Бесплатная библиотека стандартов и нормативов www.docload.ru

Все документы, размещенные на этом сайте, не являются их официальным изданием и предназначены исключительно для ознакомительных целей.
Электронные копии этих документов могут распространяться без всяких ограничений. Вы можете размещать информацию с этого сайта на любом другом сайте.
Это некоммерческий сайт и здесь не продаются документы. Вы можете скачать их абсолютно бесплатно!
Содержимое сайта не нарушает чьих-либо авторских прав! Человек имеет право на информацию!

 

МИНИСТЕРСТВО МОНТАЖНЫХ И СПЕЦИАЛЬНЫХ
СТРОИТЕЛЬНЫХ РАБОТ СССР

УТВЕРЖДАЮ

Заместитель Министра

монтажных и специальных

строительных работ СССР

К.К. ЛИПОДАТ

"1" ноября 1985 г.

ОРГАНИЗАЦИЯ
ИНСТРУМЕНТАЛЬНОГО ХОЗЯЙСТВА
МОНТАЖНОГО И СПЕЦИАЛИЗИРОВАННОГО
СТРОИТЕЛЬНого
УПРАВЛЕНИЯ

ВСН 373-85

Минмонтажспецстрой СССР

Центральное бюро научно-технической информации

МОСКВА 1986

Нормы разработаны ВПТИмонтажспецстроем и ВНИИмонтажспецстроем на основе изучения и обобщения передового опыта организаций минмонтажспецстроя СССР.

С введением в действие настоящих норм утрачивает силу "Инструкция по организации инструментального хозяйства монтажного и специализированного строительного управления" ВСН 373-77/ММСС СССР и "Руководство по организации инструментального хозяйства монтажного и специализированного строительного управления". М., 1979 г.

Нормы содержат основные требования к организации инструментального хозяйства, к структуре, принципам организации и назначению подразделений, указания по хранению, учету, выдаче, списанию и ремонту инструмента, основные обязанности работников подразделений инструментального хозяйства.

Составители: Ф.П. Корень, Л.М. Песин, А.В. Махотин, Л.С. Суханова и В.П. Шищенко (ВПТИмонтажспецстрой), кандидаты техн. наук И.Л. Рубин и Л.А. Григорьев (ВНИИмонтажспецстрой).

С вопросами следует обращаться по адресу: 105275, Москва, Проспект Буденного, 53, ВПТИмонтажспецстрой.

Министерство монтажных и специальных строительных работ СССР (Минмонтажспецстрой СССР)

Ведомственные строительные нормы

ВСН 373-85

Минмонтажспецстрой СССР

Организация инструментального хозяйства монтажного и специализированного строительного управления

Взамен "Инструкции по организации инструментального хозяйства монтажного и специализированного строительного управления"

ВСН 373-77

ММСС СССР

1. ОБЩИЕ ПОЛОЖЕНИЯ

1.1. Настоящие нормы устанавливают общие требования к организации инструментального хозяйства в монтажных и специализированных строительных управлениях Минмонтажспецстроя СССР.

1.2. Основная задача инструментального хозяйства - своевременное оснащение бригад, звеньев и отдельных рабочих слесарно-монтажным, газопламенным и измерительным инструментом, монтажными приспособлениями и средствами малой механизации (в дальнейшем - инструментом) и обеспечение эффективного и безопасного применения указанных изделий на рабочих местах.

1.3. Номенклатура необходимого инструмента для выполнения различных видов строительно-монтажных работ и комплектования им подразделений инструментального хозяйства монтажной организации определяется "Перечнем специального инструмента, монтажных приспособлений и средств малой механизации, рекомендуемых для применения в строительно-монтажных организациях Минмонтажспецстроя СССР" (Единая номенклатура), м., 1986 - и "Перечнем ручного немеханизированного инструмента и средств для линейных и угловых измерений, рекомендуемых для применения в строительно-монтажных организациях и на промышленных предприятиях Минмонтажспецстроя СССР" (Единая номенклатура), М., 1984.

Внесены ВПТИмонтажспецстроем и ВНИИмонтажспецстроем

Утверждены Минмонтажспецстроем СССР
1 ноября 1985 г.

Срок введения в действие
1 января 1966 г.

1.4. Потребное количество инструмента на бригаду (бригадные технологические комплекты), на 100 рабочих, выполняющих определенные виды строительно-монтажных работ, на 1 млн. руб. сметной стоимости различных видов строительно-монтажных работ и в целом на монтажную организацию, а также годовую заявочную потребность монтажной организации в инструменте следует определять по "Нормативам потребности в ручном инструменте, монтажных приспособлениях и средствах малой механизации для производства различных видов монтажных и специальных строительных работ" ", М., 1986.

2. СТРУКТУРА ИНСТРУМЕНТАЛЬНОГО ХОЗЯЙСТВА

2.1. В состав инструментального хозяйства, как правило, должны входить следующие подразделения (см. рисунок):

центральная инструментальная кладовая (ЦИК) с ремонтным отделением;

участковые инструментальные кладовые (УИК);

бригадные инструментальные кладовые (БИК);

передвижная инструментальная мастерская (ПИМ).

2.2. Подразделения инструментального хозяйства вместе составляют группу малой механизации, возглавляемую руководителем группы, который назначается руководством управления из числа инженерно-технических работников.

2.3. Управлением должен быть издан приказ (согласованный с трестом) о создании группы малой механизации. Группа должна, как правило, входить в состав участка подготовки производства.

2.4. Для оказания помощи группе малой механизации во внедрении новых видов инструмента в распоряжение руководителя группы при необходимости могут быть дополнительно выделены квалифицированные рабочие.

3. ОРГАНИЗАЦИЯ И ОСНОВНОЕ НАЗНАЧЕНИЕ ПОДРАЗДЕЛЕНИЙ ИНСТРУМЕНТАЛЬНОГО ХОЗЯЙСТВА

3.1. ЦИК с ремонтным отделением является обязательным подразделением инструментального хозяйства и ее следует размещать при производственной базе управления или в непосредственной близости от нее. Работу ЦИК должен возглавлять слесарь-инструментальщик 5-6 разряда, являющийся материально ответственным лицом.

3.2. ЦИК необходимо размещать в отдельном сухом светлом помещении и оборудовать стеллажами для хранения инструмента, шкафами для режущего инструмента, стендами и приборами для проверки исправности инструмента, шкафами для хранения ценного и точного измерительного инструмента. Каждому виду инструмента на стеллажах должно быть отведено отдельное место.

3.3. Создаваемое при ЦИК ремонтное отделение для технического обслуживания и ремонта инструмента рекомендуется размещать в двух изолированных помещениях, общая площадь которых должна составлять в зависимости от объемов выполняемых работ 20-35 м2. Техническое обслуживание и ремонт инструмента должны выполнять слесари-инструментальщики не ниже 5 разряда.

3.4. Площадь ЦИК вместе с ремонтным отделением, а также число слесарей ремонтного отделения рекомендуется принимать по таб. 1.

Таблица 1

Годовой объем работ управления, млн. руб.

Рекомендуемая площадь ЦИК с ремонтным отделением, м2

Число слесарей ремонтного отделения

1,9-3,2

До 50

1

3,3-5

50-70

1

Свыше 5

70-100

2

3.5. Освещенность инструментальных кладовых в соответствии с СН 245-71 и СНиП II-4-79 должна быть 75 лк, а ремонтных - 90.

3.6. Согласно требованиям СНиП II-3-79 и в целях обеспечения сохранности инструмента в ЦИК и УИК необходимо поддерживать температуру 18-22 °С и относительную влажность не более 60 %.

3.7. Основные функции ЦИК:

получение инструмента с баз снабжения и центрального материального склада;

подготовка полученного инструмента к работе;

оснащение инструментом участков, бригад, звеньев и отдельных рабочих;

хранение и учет движения инструмента;

контроль за соблюдением правил эксплуатации инструмента;

комплектация и выдача инструмента;

проведение периодических проверок, технического обслуживания и текущего ремонта;

обеспечение резервного запаса инструмента и запасных частей;

проведение инвентаризации;

составление актов списания инструмента, клеймение инструмента.

3.8. УИК следует организовывать при производстве монтажных работ на отдельном крупном объекте или значительном удалении участка от ЦИК. УИК должен обслуживать слесарь-инструментальщик не ниже 4 разряда, являющийся материально-ответственным лицом. Целесообразность организации УИК определяется руководством управления.

3.9. УИК, как правило, следует размещать в зданиях контейнерного типа или в стационарных помещениях, оборудованных стеллажами, шкафами, слесарным верстаком, стендами и приборами для проверки исправности инструмента.

3.10. Основные функции УИК:

получение инструмента из ЦИК;

оснащение инструментом бригад, звеньев и отдельных рабочих;

хранение инструмента и учет его движения;

техническое обслуживание, проверка исправности и мелкий текущий ремонт инструмента;

контроль за соблюдением правил эксплуатации инструмента.

3.11. ПИМ следует организовывать при наличии удаленных участков или бригад. Она должна осуществлять оперативную связь между центральной, участковыми и бригадными инструментальными кладовыми. Мастерскую должен обслуживать слесарь-инструментальщик 5 разряда, имеющий удостоверение водителя автомобиля. Целесообразность организации ПИМ определяется руководством управления.

3.12. ПИМ следует размещать в закрытом кузове специально оборудованного автомобиля или в специальном прицепе. Ее необходимо оснащать стеллажами для размещения обменного фонда инструмента и оборудованием для проведения технического обслуживания, проверки и мелкого текущего ремонта.

3.13. Основные функции ПИМ:

своевременная доставка инструмента в УИК и БИК;

техническое обслуживание, проверка исправности и мелкий текущий ремонт инструмента непосредственно на рабочих местах;

замена неисправного и изношенного инструмента работоспособным;

контроль за соблюдением правил эксплуатации инструмента.

3.14. БИК предназначена для хранения бригадного технологического комплекта инструмента. Ее следует организовывать непосредственно на рабочей площадке и размещать в специальном контейнере или здании контейнерного типа. За сохранность инструмента в БИК несет ответственность бригадир.

3.15. Примерная планировка ЦИК, УИК, ПИМ и БИК и перечень оборудования даны в приложении 1.

4. ХРАНЕНИЕ, УЧЕТ, ВЫДАЧА И СПИСАНИЕ ИНСТРУМЕНТА

4.1. Условия хранения инструмента должны соответствовать требованиям соответствующих стандартов, технических условий, паспортов и инструкций по эксплуатации.

4.2. Порядок размещения инструмента на стеллажах и в шкафах в инструментальных кладовых должен обеспечить его сохранность, быстроту поиска, оперативность учета, свободный доступ к каждому из них, а также исключить возможность получения травмы.

4.3. Инструмент новый, бывший в употреблении или требующий ремонта необходимо хранить отдельно. Рабочие насадки, вспомогательное оборудование, монтажные приспособления, режущий и измерительный инструмент следует также хранить отдельно. микрометрический инструмент, штангенинструмент, концевые плоскопараллельные меры, лекальные поверочные линейки и другие средства измерений, полученные в индивидуальных футлярах и коробках, должны храниться в них. Поверочные линейки во избежание прогиба должны храниться в горизонтальном положении с опорами в нескольких точках, распределенных по всей длине линейки.

4.4. Инструмент, за исключением мелкого (сверла, метчики и др.), следует клеймить (маркировать) с указанием условного знака организации и инвентарного номера.

4.5. Инвентаризацию инструмента следует производить одновременно со всеми другими материальными ценностями, имеющимися в управлении, в соответствии с действующими правилами.

4.6. В инструментальных кладовых необходимо вести алфавитной список всех имеющихся материальных ценностей с указанием мест их хранения (номера ячейки, стеллажа, шкафа и др.).

4.7. Инструмент, находящийся в инструментальных кладовых без использования более одного месяца, должен быть сухим и чистым и перед хранением подвергнут консервации согласно требованиям технической документации.

4.8. Хранить и учитывать пиротехнический инструмент и патроны к нему следует в соответствии со СНиП III-4-80, "Инструкцией по применению пороховых инструментов при производстве монтажных и специальных строительных работ" ВСН 410-80/ММСС СССР, инструкцией по эксплуатации и приказом по управлению.

4.9. Шлифовальные круги на бакелитовой, керамической и вулканитовой связках необходимо хранить на стеллажах в соответствии с приведенными в табл. 2 требованиями ГОСТ 2424-83.

Таблица 2

Тип

Диаметр, мм

Способ хранения

ПП

До 100

В ящиках, коробках или стопками высотой не более 600 мм

 

Свыше 100

На ребре или стопками высотой не более 1000 мм

ЧЦ и ЧК

До 200

Стопками высотой не более 600 мм

Шлифовальные армированные отрезные круги типа Д следует хранить стопками высотой не более 600 мм на деревянных или обшитых войлоком металлических полках стеллажей или шкафов. Каждая стопка с двух сторон должна быть ограничена гладкими металлическими дисками толщиной 2 мм и диаметром не менее диаметра круга. Во избежание коробления круги типа Д должны находиться под постоянной нагрузкой 2-3 кг.

Шлифовальные армированные зачистные круги типа 5П хранят стопками высотой не более 300 мм.

4.10. При каждой выдаче инструмента следует проверять:

комплектность и надежность крепления деталей;

внешним осмотром - исправность кабеля, наличие защитного кожуха и т.д.;

четкость работы выключателя или пускового устройства;

работу на холостом ходу.

4.11. Выдавать инструмент специальный, а также с электрическим и пневматическим приводами разрешается только рабочим, прошедшим производственное обучение и имеющим квалификационную группу по технике безопасности.

4.12. На время отпуска бригадира числящиеся за ним наборы инструмента необходимо переоформить на звеньевого, заменяющего бригадира.

4.13. Необходимо строго соблюдать положение о материальной ответственности за ущерб, причиненный вследствие утраты или поломки инструмента по вине работника, в порядке, предусмотренном статьями 118-121 КЗоТ РСФСР, соответствующими статьями КЗоТ союзных республик и правилами внутреннего распорядка.

4.14. Учет времени работы, технического обслуживания, проверки и испытаний инструмента следует вести в специальном журнале, рекомендуемая форма которого дана в приложении 2.

4.15. Учет движения инструмента следует производить по типовым междуведомственным формам, утвержденным приказом ЦСУ СССР № 1148 от 25 января 1978 г. и циркулярным письмом Минмонтажспецстроя СССР № 29-3-36 от 30 марта 1981 г.

4.16. Получение инструмента для ЦИК с баз снабжения или центрального материального склада управления (треста) должно быть оформлено требованием № М-11, форма которого приведена в приложении 3.

4.17. Поступающий в ЦИК или УИК инструмент следует учитывать: по основным средствам - карточкой складского учета материалов № М-17, а малоценный и быстроизнашивающийся - ведомостью Ж МБ-1, формы которых приведены в приложении 4.

4.18. Учет выданного в работу инструмента осуществляется по карточке № МБ-2, форма которой приведена в приложении 5. Карточка заполняется слесарем-инструментальщиком ЦИК или УИК на каждого рабочего (или бригадира). Для учета инструмента, выданного рабочему (или бригадиру) в кратковременное пользование, можно применять двухмарочную систему: марку рабочего, сданную в обмен на получаемый инструмент, кладут на место хранения этого инструмента, а марку-жетон выданного инструмента вешают на табельную доску учета.

4.19. Заказ на ремонт или заточку инструмента осуществляется по карточке формы № МБ-3, приведенной в приложении 6. Карточка заполняется в двух экземплярах, один остается у слесаря-инструментальщика, другой передается вместе с инструментом исполнителю.

4.20. Списание инструмента производится постоянно действующей комиссией организации в соответствии с типовой инструкцией о порядке списания пришедших в негодность оборудования, хозяйственного инвентаря и другого имущества, утвержденной Минфином СССР и Госпланом СССР от 16 июня 1962 г. № 161/31-И. Постоянно действующая комиссия организации производит непосредственный осмотр инструмента, подлежащего списанию, устанавливает непригодность его к дальнейшему использованию с учетом нормативного срока службы и составляет акт на списание.

4.21. В случае поломки или утери инструмента составляется акт выбытия, с указанием причин, по форме № МБ-4, представленной в приложении 7. Акт составляется в одном экземпляре. При поломке, порче или утере инструмента по вине работника акт составляется в двух экземплярах, один остается в ЦИК, второй направляется в бухгалтерию для удержания с работника в установленном порядке стоимости поломанного, утерянного или испорченного инструмента. Акт выбытия впоследствии прикладывается к акту списания.

4.22. Акт на списание малоценных и быстроизнашивающихся предметов составляется по форме № МБ-8, приведенной в приложении 8.

Применяется для оформления списания морально устаревших, изношенных и непригодных для дальнейшего использования инструментов. На разные виды инструмента акты на списание составляются отдельно.

Акт составляется в одном экземпляре постоянно действующей комиссией на основании разовых актов выбытия (форма № МБ-4).

4.23. На все средства измерений должны быть заведены паспорта и карточки учета, рекомендуемая форма которых дана соответственно в приложениях 9 и 10.

4.24. В паспорте указывается техническая характеристика и отмечаются результаты государственной и периодической проверки, а также краткое содержание ремонта.

5. ЭКСПЛУАТАЦИЯ, ТЕХНИЧЕСКОЕ ОБСЛУЖИВАНИЕ, РЕМОНТ И ПРОВЕРКА ИНСТРУМЕНТА

5.1. Безопасность эксплуатации инструмента обеспечивается обязательным соблюдением требований ГОСТ 12.2.010-75, ГОСТ 12.2.013-75, СНиП III.4-80, ОСТ 36-100.2.03-84, а также технических условий, паспортов и инструкций по эксплуатации инструмента.

5.2. Для обеспечения исправного состояния инструмента необходимо систематически осуществлять техническое обслуживание, текущий и капитальный ремонты. Эти мероприятия следует проводить согласно технической документации заводов-изготовителей с учетом требований СНиП III-1-76.

5.3. Техническое обслуживание должно обеспечивать работоспособное состояние инструмента, уменьшать интенсивность износа деталей и узлов, выявлять и предупреждать неисправности.

5.4. При текущем ремонте производят замену и восстановление отдельных частей инструмента и его регулировку, в результате которого должна быть обеспечена работоспособность инструмента до очередного планового ремонта.

5.5. Капитальный ремонт должен обеспечивать восстановление исправности и полного или близкого к нему проектного ресурса инструмента. В процессе капитального ремонта восстанавливают или заменяют детали и узлы, включая базовые, и проводят их полную регулировку.

Примерный состав работ по техническому обслуживанию и ремонту инструмента дан в приложении 11.

5.6. Согласно ГОСТ 12.2.013-75 техническое обслуживание и ремонт электрических ручных машин и вспомогательного оборудования к ним должен производить персонал, имеющий квалификационную группу по технике безопасности не ниже III.

5.7. Техническое обслуживание и ремонт инструмента необходимо проводить в сроки, предусмотренные графиками, составленными руководителем группы малой механизации и утвержденными главным инженером управления. Рекомендуемая периодичность технического обслуживания и ремонта, составленная на основе технической документации заводов-изготовителей, соответствующих ГОСТов и рекомендаций минстройдормаша СССР, приведена в приложении 12.

5.8. Техническое обслуживание и текущий ремонт инструмента должны выполнять подразделения инструментального хозяйства управления, капитальный ремонт - специализированные предприятия министерства и других ведомств. Сдача инструмента в капитальный ремонт и выдача из ремонта должна производиться в соответствии с требованиями ГОСТ 19504-74 и ГОСТ 24408-80.

5.9. Для проведения технического обслуживания и ремонта инструмента ремонтные отделения рекомендуется оснастить приборами, приспособлениями, измерительным, режущим и ручным слесарно-монтажным инструментом, примерный перечень которых приведен в приложении 13.

5.10. Проверку и испытания инструмента следует производить в соответствии с нормами и правилами, предусмотренными соответствующими стандартами и техническими условиями.

Проверку и испытания ручных электрических и пневматических машин следует производить в соответствии с ГОСТ 12.2.01-75 и ГОСТ 12.2.013-75.

5.11. Средства измерений, поступившие в монтажное управление, подвергаются внеочередной проверке в соответствии с ГОСТ 8.002-71.

5.12. Средства измерений, прошедшие внеочередную проверку, вносятся метрологической службой в графики государственной или ведомственной проверки.

5.13. На средства измерений, забракованные в процессе прохождения проверки, составляется акт, рекомендуемая форма которого приведена в приложении 14. В акте должны быть указаны неисправности средств измерений.

5.14. Нестандартизованные средства измерений в процессе эксплуатации подвергаются обязательной метрологической проверке с периодичностью, установленной метрологической службой.

Первичная метрологическая аттестация этих средств измерений производится в соответствии с требованиями ГОСТ 8.326-78.

6. ОБЯЗАННОСТИ РАБОТНИКОВ ИНСТРУМЕНТАЛЬНОГО ХОЗЯЙСТВА

6.1. Общее руководство инструментальным хозяйством осуществляет главный инженер управления.

6.2. Ответственность за организацию и работу инструментального хозяйства несет начальник участка подготовки производства.

6.3. Руководитель группы малой механизации непосредственно подчиняется начальнику участка подготовки производства.

6.4. Руководитель группы обязан:

участвовать в подборе кадров подразделений инструментального хозяйства;

составлять план работы подразделений инструментального хозяйства и контролировать его выполнение;

составлять ежегодные заявки на приобретение инструмента, комплектующих изделий и запчастей;

составлять графики обслуживания участков и бригад передвижной инструментальной мастерской;

требовать от начальников монтажных участков обеспечения сохранности инструмента на монтажных площадках;

составлять перечни и графики проведения всех видов ремонта, проверки и испытания инструмента;

принимать участие в разработке и осуществлении мероприятий по механизации трудоемких ручных операций;

организовывать доставку инструмента на объекты монтажа и обратно, их техническое обслуживание и ремонт;

руководить работой ремонтных отделений и требовать от них своевременного и качественного ремонта;

информировать линейный персонал о вновь поступившем инструменте;

проводить инструктаж и контролировать соблюдение правил техники безопасности при эксплуатации инструмента;

составлять ежеквартальный отчет о проведенной работе;

организовывать работу комиссий по инвентаризации и списанию инструмента;

участвовать в организации школ передового опыта и обучении монтажников эффективным и безопасным приемам работы с инструментом.

6.5. Слесарь-инструментальщик ЦИК обязан:

хранить, учитывать, выдавать и принимать инструмент согласно существующим положениям;

выдавать инструмент только после проверки его работоспособности;

периодически, по согласованию с руководителем группы малой механизации, проверять правильность хранения и эксплуатации инструмента, находящегося на участках и в бригадах;

участвовать в составлении заявок годовой потребности в инструменте, комплектующих изделиях и запасных частях;

производить комплектование инструмента приспособлениями, насадками, рабочим инструментом и средствами, обеспечивающими безопасность работы;

при выдаче инструмента требовать от рабочего предъявления удостоверения на право его эксплуатации;

регулярно и тщательно осматривать инструмент, поступающий в кладовую после эксплуатации;

содержать инструмент в работоспособном состоянии;

заменять рабочим неисправный инструмент новым или отремонтированным;

вести учет времени работы инструмента;

составлять дефектные ведомости на неисправный инструмент перед передачей его в ремонт;

отправлять инструмент, требующий ремонта, в ремонтные отделения, проверять и принимать отремонтированный;

контролировать правильность ведения документации по учету, хранению и выдаче инструмента в УИК и ПИМ;

оформлять первичные приходно-расходные документы при получении инструмента с баз снабжения;

извещать руководителя группы об утере инструмента;

принимать участие в работе передвижной инструментальной мастерской;

принимать участие в работе комиссии по инвентаризации и списанию инструмента;

6.6. Слесарь-инструментальщик УИК обязан:

хранить, учитывать, принимать, выдавать и осуществлять техническое обслуживание инструмента согласно существующему положению;

следить за постоянным наличием в кладовой необходимой номенклатуры и количества инструмента;

получать инструмент с центральной инструментальной кладовой;

обеспечивать бригады монтажников и отдельных рабочих инструментом постоянного и периодического пользования;

постоянно контролировать правильность эксплуатации инструмента, находящегося у рабочих;

выдавать инструмент только после проверки его работоспособности и в комплекте с необходимыми приспособлениями, насадками и средствами, обеспечивающими безопасность работы с ним;

обеспечивать доставку в центральную инструментальную кладовую вышедшего из строя инструмента и обмен его на новый или отремонтированный, при этом на каждый вышедший из строя инструмент составлять дефектную ведомость с указанием возможной причины выхода инструмента из строя;

по согласованию с руководителем группы малой механизации контролировать и оказывать помощь в организации хранения инструмента, находящегося в бригадах;

содержать инструмент в работоспособном состоянии;

принимать участие в составлении заявки на инструмент периодического пользования;

информировать инструментальщика ЦИК и руководителя группы малой механизации об эффективности, надежности и безопасности работы инструмента, а также подготавливать предложения по усовершенствованию его конструкции;

принимать участие в работе комиссии по инвентаризации и списанию инструмента.

6.7. Слесарь-инструментальщик ПИМ обязан:

доставлять инструмент в УИК и БИК;

заменять вышедший из строя инструмент, находящийся на участках, в бригадах или у отдельных рабочих на исправный, а также осуществлять техническое обслуживание инструмента согласно графику;

строго выполнять утвержденный график работы ПИМ;

по согласованию с руководителем группы малой механизации доставлять инструмент с баз снабжения и материального склада в ЦИК;

доставлять сторонним ремонтным организациям инструмент, требующий капитального ремонта;

проверять техническое состояние инструмента в БИК и при необходимости подготавливать к работе (производить заточку сверл, смену шлифовальных кругов, насадку рукояток и др.);

контролировать правильность эксплуатации и хранения инструмента;

оказывать методическую помощь рабочим в овладении наиболее эффективными и безопасными приемами эксплуатации инструмента;

принимать от бригадиров заявки на доставку необходимого инструмента к месту производства работ;

вместе с бригадирами составлять дефектные ведомости на вышедший из строя инструмент.

6.8. Слесарь ремонтного отделения ЦИК обязан:

хорошо знать типы, устройство и принцип работы инструмента, а также требования правил техники безопасности;

своевременно и качественно производить техническое обслуживание и текущий ремонт инструмента;

проверять отремонтированный инструмент и осуществлять периодические проверки согласно требованиям ГОСТ 12.2.013-75, ГОСТ 12.2.010-75, СНиП III-4-80 и технической документации заводов-изготовителей;

вести учет проведенных проверок, испытаний, технического обслуживания и ремонта инструмента;

рекомендовать к списанию не пригодный к ремонту инструмент, а детали и узлы списанного инструмента по возможности использовать для ремонтного фонда;

своевременно составлять заявки на запасные части к инструменту.

Приложение 1

Перечень оборудования подразделений инструментального хозяйства

Номер позиции на рисунке

Наименование и назначение оборудования

Шифр чертежей, ГОСТ

Количество

Калькодержатель

1

2

3

4

5

Центральная инструментальная кладовая (рис. 1)

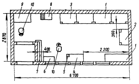
1

Стеллаж для абразивного инструмента

1595.03.00.000

4

ВНИИмонтажспецстрой

2

Стеллаж с поддонами для электрических и пневматических ручных машин, средств малой механизации, газопламенного и ручного инструмента, запчастей

1595.01.00.000

19

То же

3

Стеллаж для мелкого режущего инструмента

357.00.00

1

ВПТИмонтажспецстрой

4

Стенд для испытания редукторов, манометров и резаков после ремонта

К 57.00.000

1

Гипротехмонтаж

5

Верстак

1595.04.00.000

2

ВНИИмонтажспецстрой

6

Тиски В-120

ГОСТ 4045-75

2

Покупное изделие

7

Заточный станок

ИЭ 9702А.

2

То же

8

Тумбочка для настольно-сверлильного станка

Ц 13а-00-00

2

ВПТимонтажспецстрой

9

Настольно-сверлильный станок

НС-12А

2

Покупное изделие

10

Гребенки для подключения пневматических ручных машин

7.00.000

1

ВПТИмонтажспецстрой

11

Токарно-винторезный станок с высотой центров не менее 100 мм

-

1

Покупное изделие

12

Стенд для проверки электроинструмента СПЭИ-2

324-000

1

Производственное предприятие "Южкавэнергоремонт"

13

Огнетушитель химический пенный ОП-5

ГОСТ 16005-70

4

Покупное изделие

14

Умывальник

-

1

То же

15

Шкаф для одежды

-

4

"

16

Стол конторский двухтумбовый

-

1

"

17

Стул специальный с регулируемой высотой сиденья

ГОСТ 17816-72

1

"

18

Сейф для пиротехнического инструмента и строительных патронов

-

1

Покупное изделие

19

Стеллаж с дверками для измерительного, режущего дорогостоящего инструмента и приборов

1595.02.00.000

1

ВНИИмонтажспецстрой

Участковая инструментальная кладовая (рис. 2)

1

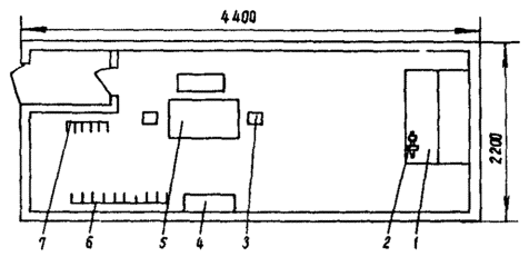
Стеллаж с поддонами для электрических и пневматических ручных машин, средств малой механизации, газопламенного и ручного инструмента

1595.01.00.000

4

ВНИИмонтажспецстрой

2

Стеллаж с дверками для измерительного, режущего дорогостоящего инструмента и приборов

1595.02.00.000

1

То же

3

Стеллаж для абразивов

1595.03.00.000

1

"

4

Верстак

1595.04.00.000

1

"

5

Тиски В-120

ГОСТ 4045-75

1

Покупное изделие

6

Пирамида для ударного инструмента

1595.05.00.000

1

ВНИИмонтажспецстрой

7

Скоба для длинномерного инструмента

1595.00.00.000

2

"

8

Лестница бытовая ЛБ-4

РТУ РСФСР 111-71

1

Покупное изделие

9

Стол

-

1

То же

10

Стул специальный с регулируемой высотой сиденья

ГОСТ 17816-72

2

"

Передвижная инструментальная мастерская (рис. 3)

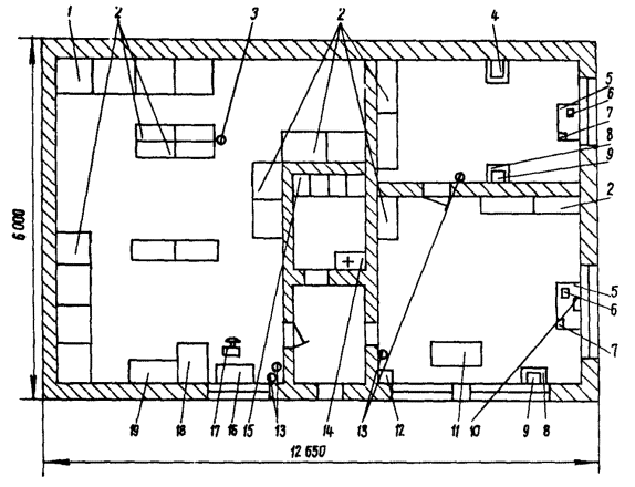
1

преобразователь частоты тока

ИЭ-9405

1

Покупное изделие

2

Верстак

1595.04.00.000

1

ВНИИмонтажспецстрой

3

Заточный станок

ИЭ 9702А

1

Покупное изделие

4

Катушка монтажная

СТД 422.00.000.

1

ПКБ треста Сантехдеталь

5

Тиски В-120

ГОСТ 4045-75

1

Покупное изделие

6

Стул специальный с регулируемой высотой сиденья

ГОСТ 17816-72

1

Те же

7

Огнетушитель химический пенный ОП-5

ГОСТ 16005-70

1

"

8

Стенд для проверки электроинструмента СПЭИ-2

324-000

1

Производственное предприятие "Южказэнергоремонт"

9

Стеллаж с поддонами для ручных машин, средств малой механизации и инструмента

Ц 01в-00-00

1

ВПТИмонтажспецстрой

10

Стеллаж для запчастей, измерительного, режущего инструмента и приборов

Ц 07-00-00

1

То же

Бригадная инструментальная кладовая (рис. 4)

1

Стеллаж для инструмента

6.04.00

2

ВПТИмонтажспецстрой

2

Тиски В-120

ГОСТ 4045-75

1

Покупное изделие

3

Верстак

6.05.00

1

ВПТИмонтажспецстрой

Бригадная инструментальная кладовая (рис. 5)

1

Бригадная инструментальная кладовая (шкаф для инструмента)

1895.00.00.000

1

вниимонтажспецстрой

2

Тиски В-120

ГОСТ 4045-75

1

Покупное изделие

3

Табурет

-

2

То же

4

Скамья

-

2

"

5

Стол

-

1

"

6

Вешалка для инструмента

-

1

Собственное изготовление

7

Вешалка для одежды

-

1

Покупное изделие

Рис. 1. Примерная планировка ЦИК и ремонтных отделений

Рис. 2. Примерная планировка УИК в здании контейнерного типа

Рис. 3. Примерная планировка ПИМ

Рис. 4. Примерная планировка БИК конструкции ВПТИмонтажспецстроя

Рис. 5. Примерная планировка БИК конструкции ВНИИмонтажспецстроя

Приложение 2

Журнал учета времени работы, технического обслуживания, ремонта, проверки и испытания инструмента

№ п/п

Наименование инструмента

Инвентарный номер

Время работы

Техническое обслуживание

Ремонт

Проверка, испытание

Должность, фамилия и подпись ответственного лица

Дата выдачи

Дата получения

Вид обслуживания

Дата

Вид, перечень ремонтируемых узлов и деталей

Дата

Вид проверки, испытаний

Дата

1

2

3

4

5

6

7

8

9

10

11

12

 

 

 

 

 

 

 

 

 

 

 

 

 

 

 

 

 

 

 

 

 

 

 

 

Приложение 3

___________________                                                      Типовая междуведомственная

предприятие, организация                                                        форма № М-11

Утверждена ЦСУ СССР 14.XII.72

№ 816

Вид операции

Склад

Цех, отдел (объект-получатель)

 

 

 

ТРЕБОВАНИЕ № ___

"___" ____________ 19__ г.

Через кого _________________________________________________________________

Затребовал __________________________ Разрешил _____________________________

Корреспондирующий счет

Номенклатурный номер

Наименование, сорт, размер

Единица измерения

Количество

Цена

Сумма

Порядковый номер записи по складской картотеке

Счет, субсчет

Шифр аналитического учета

Затребовано

Отпущено

1

2

3

4

5

6

7

8

9

10

 

 

 

 

 

 

 

 

 

 

 

 

 

 

 

 

 

 

 

 

 

 

 

 

 

 

 

 

 

 

 

 

 

 

 

 

 

 

 

 

Отпустил                                                                                     Получил

Приложение 4

ПО УЧЕТУ МАЛОЦЕННЫХ И БЫСТРОИЗНАШИВАЮЩИХСЯ ПРЕДМЕТОВ

_____________________________             Типовая междуведомственная форма № МБ-1

предприятие, организация                           Утверждена приказом ЦСУ СССР

от 25.12.78 № 1148

КОД по ОКУД 03110019

ВЕДОМОСТЬ

на пополнение          постоянного запаса инструментов (приспособлений)

изъятие                      "___" ___________ 19___ г.

Вид операции

Склад, цех (поставщик)

Получатель

Корреспондирующий счет

Счет, субсчет

Код аналитического учета

 

Инструмент (приспособление)

Единица изменения

Пополнение (изъятие) постоянного запаса

Наименование, марка, размер

Код (номенклатурный номер)

наименование

Код

Количество

цена

сумма

1

2

3

4

5

6

7

 

 

 

 

 

 

 

 

 

 

 

 

 

 

и т.д. до конца линовки через 20 пунктов

Начальник инструментального                                                       Начальник цеха

(планового) отдела                                                                            (участка)

Инструменты отпустил                                                                     Инструменты принял на

ответственное хранение

_________________________                     Типовая междуведомственная форма № М-17

предприятие, организация                                утверждена приказом ЦСУ СССР от

14.12.72 № 516

Код по ОКУД 0303013

КАРТОЧКА СКЛАДСКОГО УЧЕТА МАТЕРИАЛОВ

Склад

Стеллаж

Ячейка

Марка

Сорт

Профиль

Размер

Код (номенклатурный

Единица измерения

Цена

Норма запаса

номер)

наименование

код

1

2

3

4

5

6

7

8

9

10

11

12

Наименование материала _______________________        Номер строки в форме 1 1-си

_____________________________________________                               13

Дата записи

Номер документа

Порядковый номер записи

От кого получено или кому отпущено

Приход

Расход

Остаток

Контроль (подпись, дата)

14

15

16

17

18

19

20

21

 

 

 

 

 

 

 

 

 

 

 

 

 

 

 

 

Оборотная сторона формы № М-17

Дата записи

Номер документа

Порядковый номер записи

От кого получено или кому отпущено

Приход

Расход

Остаток

Контроль (подпись, дата)

14

15

16

17

18

19

20

21

 

 

 

 

 

 

 

 

 

 

 

 

 

 

 

 

 

 

 

 

 

 

 

 

и т.д. до конца линовки через 16 пунктов

Приложение 5

___________________                                 Типовая междуведомственная форма № МБ-2

предприятие, организация                                   Утверждена ЦСУ СССР 25.12.78 г.

№ 1148

Код по ОКУД

КАРТОЧКА
учета малоценных и быстроизнашивающихся предметов

Фамилия, и.о. ______________________________________________________________

Профессия _________________________________________________________________

Цех, участок

Кладовая

табельный номер

 

 

 

 

Наименование предмета

Марка, размер

Код (номенклатурный номер)

Срок использования

Выдано

Возвращено

Акт выбытия

Дата

Количество

Подпись работника

Дата

Количество

Подпись кладовщика

Номер

Дата

1

2

3

4

5

6

7

8

9

10

11

12

 

 

 

 

 

 

 

 

 

 

 

 

 

 

 

 

 

 

 

 

 

 

 

 

Приложение 6

_____________________________             Типовая междуведомственная форма № МБ-3

предприятие, организация                                Утверждена ЦСУ СССР 25.12.78

№ 1148

Код по ОКУД

ЗАКАЗ
на ремонт или заточку инструментов (приспособлений)

"___" ___________ 19__ г.

Цех заказчик

Цех исполнитель

Корреспондирующий счет

Срок исполнения

Счет, субсчет

Код аналитического учета

 

 

 

 

 

 

 

 

 

 

 

Наименование инструментов (приспособлений)

Номер чертежа

Код (номенклатурный номер)

Количество

Вид ремонта

Отметка или подпись контролера ОТК

Дата возврата

Подпись кладовщика

Сдано

Возвращено

1

2

3

4

5

6

7

8

9

 

 

 

 

 

 

 

 

 

 

 

 

 

 

 

 

 

 

 

 

 

 

 

 

 

 

 

Сдал

 

 

 

 

Принял

 

 

 

 

 

 

 

 

 

 

 

 

Приложение 7

___________________________                 Типовая междуведомственная форма № МБ-4

предприятие, организация                                Утверждена ЦСУ СССР 25.12.78 № 1149

Код по ОКУД

УТВЕРЖДАЮ

_____________________

подпись

"___" __________ 19__ г.

АКТ
выбытия малоценных и быстроизнашивающихся предметов

"___" ___________ 19__ г.

Вид операции

Цех, участок

Склад

 

 

 

 

Корреспондирующий счет

Наименование предмета

Марка, размер

Код номенклатурный (номер)

Единица измерения

Количество

Цена

Сумма

Код причины выбытия

Субсчет, счет

Код аналитического учета

1

2

3

4

5

6

7

8

9

10

 

 

 

 

 

 

 

 

 

 

 

 

 

 

 

 

 

 

 

 

Причина выбытия

П

Мастер, производитель работ

Оборотная сторона формы № МБ-4

Фамилия, и.о.

Табельный номер

Код предмета (номенклатурный номер)

Дата выдачи

Подпись сдавшего малоценные предметы

Расчет удержания с виновных

 

Вид удержания

 

Процент износа

Стоимость за вычетом износа

размер (процент удержания)

сумма к удержанию

Подпись виновного в поломке (утере)

12

13

14

15

16

17

18

19

20

21

 

 

 

 

 

 

 

 

 

 

Начальник цеха, участка

Бухгалтер                                                                                              Кладовщик

Приложение 8

____________________________               Типовая междуведомственная Форма № МБ-8

предприятие, организация                                Утверждена ЦСУ СССР 25.12.78 № 1148

Код по ОКУД

УТВЕРЖДАЮ

_______________________

подпись

"___" ___________ 198__ г.

АКТ
на списание малоценных и быстроизнашивающихся предметов

"___" ___________ 19__ г.

Комиссия, назначенная приказом № ___ от "___" __________ 19__ г., осмотрела принятые за _________ 19__ г. находившиеся в эксплуатации малоценные и быстроизнашивающиеся предметы и признала их пришедшими в негодность и подлежащими сдаче в утиль.

Вид операции

Цех, участок

Кладовая

Корреспондирующий счет

Счет, субсчет

Код аналитического учета

 

 

 

 

 

 

Наименование предмета

Дата поступления в эксплуатацию

Код (номенклатурный номер)

Единица измерения

Количество

Цена

Сумма

Причина списания

код

наименование

1

2

3

4

5

6

7

8

9

 

 

 

 

 

 

 

 

 

 

 

 

 

 

 

 

 

 

 

 

 

 

 

 

 

 

 

 

 

 

 

 

 

 

 

 

Оборотная сторона формы № МБ-8

Наименование предмета

Дата поступления в эксплуатацию

Код (номенклатурный номер)

Единица измерения

Количество

Цена

Сумма

Причина списания

Код

Наименование

1

2

3

4

5

6

7

8

9

 

 

 

 

 

 

 

 

 

 

 

 

 

 

 

 

 

 

 

 

 

 

 

 

 

 

 

 

 

 

 

 

 

 

 

 

общее количество предметов прописью

Номера и даты актов выбытия _________________________________________________

___________________________________________________________________________

Перечисленные в настоящем акте предметы в присутствии комиссии превращены в утиль, который подлежит оприходованию:

Наименование утиля

Код (номенклатурный номер)

Единица измерения

Количество

Цена

Сумма

Порядковый номер записки по складской картотеке

1

2

3

4

5

6

7

 

 

 

 

 

 

 

 

 

 

 

 

 

 

Утиль, не подлежащий учету, уничтожен.

Председатель комиссии ___________________ _____________________ _____________

должность                               фамилия, и.о.                        подпись

Члены комиссии              ___________________ _____________________ _____________

должность                               фамилия, и.о.                        подпись

Утиль по накладной № _____ сдал

"___" ____________ 19__ г.

Приложение 9

___________________________________________________________________________

_______________________      Паспорт № ______________        Дата поступления в

(наименование                      на ______________________        эксплуатацию

_______________________               (наименование средства             _____________________

управления)                       _________________________           Периодичность поверки

измерения)                                                прибора

Завод изготовитель

Заводской номер

Инвентарный номер

Тип

Пределы измерений

Цена деления

Класс точности (разряд, погрешность)

 

 

 

 

 

 

 

Перечень основных частей комплекта ________________________________________

___________________________________________________________________________

___________________________________________________________________________

Руководитель метрологической службы

(ответственный за состояние средства

измерения)                                                   ________________________________________

(подпись)                           (ф.и.о.)

________________________________________

(подпись составителя паспорта)

Дата составления "___" ____________ 19__ г.

Оборотная сторона паспорта

РЕЗУЛЬТАТ ПОВЕРКИ

Дата поверки

Заключение (годен, не годен)

Дата поверки

Заключение (годен, не годен)

Дата поверки

Заключение (годен, не годен)

Дата поверки

Заключение (годен, не годен

 

 

 

 

 

 

 

 

 

 

 

 

 

 

 

 

СВЕДЕНИЯ О РЕМОНТЕ

___________________________________________________________________________

Дата ремонта                                                                             Краткая характеристика ремонта

___________________________________________________________________________

___________________________________________________________________________

Приложение 10

КАРТОЧКА №
СКЛАДСКОГО УЧЕТА СРЕДСТВ ИЗМЕРЕНИЙ

___________________________________________________________________________

(наименование средства измерения)

Склад (цех)

Стеллаж

Ячейка

Завод-изготовитель

Заводской номер

Инвентарный номер

Предел измерения

Класс точности. Цена деления

Количество штук в наборе

Примечание

 

 

 

 

 

 

 

 

 

 

 

Дата записи

Номер документа

От кого получено или кому отпущено

Приход

Расход

Остаток

Кто получил, подпись

 

 

 

 

 

 

 

 

 

 

 

 

 

 

 

 

 

 

 

 

 

 

 

 

 

 

 

 

 

 

 

 

 

 

 

Приложение 11

Состав работ по техническому обслуживанию и ремонту инструмента

Мероприятие

Исполнитель

Периодичность проведения мероприятия

Техническое обслуживание

Внешний осмотр инструмента и проверка надежности крепления узлов и деталей

Слесарь-инструментальщик, рабочий

Перед выдачей или началом работы

Проверка исправности измерительных приборов и защитных кожухов

То же

То же

Осмотр кабелей, шлангов и штепсельных соединений

"

"

Проверка наличия и исправности соединительных хомутов на воздушных шлангах

"

"

Проверка наличия и исправности насадок, сменных головок, удлинителей, режущего инструмента и др.

"

"

Проверка электрической прочности изоляции

Слесарь-инструментальщик ЦИК

Не реже одного раза в 6 мес.

Замена износившихся щеток электрических ручных машин

Слесарь-инструментальщик

По мере износа

Замена лопаток пневматического двигателя

То же

То же

Регулировка и смазка деталей и узлов

"

Согласно графику

Текущий ремонт

Все требования раздела "Техническое обслуживание" данного приложения

Ремонтное отделение

По мере износа

Замена отдельных износившихся деталей с частичной разборкой

То же

То же

Проверка работоспособности на холостом ходу и под нагрузкой

"

По окончании ремонта и смазки деталей и узлов

Капитальный ремонт

Все требования раздела "Текущий ремонт" данного приложения

Специализированное предприятие или ремонтное отделение

По мере износа

Ремонт или замена деталей и узлов любой сложности

То же

То же

Проверка технических параметров инструмента с доводкой их до номинальных величин

"

По окончании ремонта

Окраска и смазка инструмента согласно техническим условиям и заводским инструкциям

"

То же

Приложение 12

Периодичность выполнения технического обслуживания и ремонта строительно-отделочных и особо сложных машин

Наименование машин

Периодичность выполнения

технического обслуживания, мес.

ремонта

I. Строительно-отделочные машины

Растворосмесители

0,5

2200

Агрегаты штукатурно-смесительные

0,5

4500

Агрегаты шпаклевочные

0,5

1200

Агрегаты окрасочные

0,5

1400

Установки компрессорные для малярных работ

0,5

1800

Мамины для устройства и отделки полов

0,5

2000

Мелотерки

0,5

3200

Краскотерки

0,5

2200

Вибраторы

0,3

200

II. Ручные машины

машины сверлильные электрические

диаметр сверла от 6 до 14 мм

2,0

С коллекторным двигателем - 300

асинхронным двигателем - 350

диаметр сверла от 14 до 32 мм

 

С коллекторным двигателем - 650,

асинхронным - 700

Машины сверлильные пневматические

диаметр сверла до 13 мм

2,0

1000

диаметр сверла свыше 13 мм

 

1300

Машины шлифовальные электрические

2,0

С коллекторным двигателем - 250

асинхронным - 500

Машины шлифовальные пневматические

2,0

400

Молотки электрические

3,0

150

Молотки ручные пневматические

3,0

300

Перфораторы электрические

3,0

200

Ломы пневматические

3,0

250

Трамбовки электрические

3,0

200

Пилы электрические

2,0

С коллекторным двигателем - 300

асинхронным - 750

Рубанки электрические

2,0

С коллекторном двигателем - 360

асинхронном - 750

Ножницы электрические

2,0

180

Ножницы пневматические

2,0

150

Преобразователи частоты тока

3,0

50000

Приложение 13

ПЕРЕЧЕНЬ
приборов, приспособлений и инструмента, необходимых для проведения технического обслуживания и ремонта инструмента

№ п/п

Наименование

главный параметр

Стандарт

Количество, шт.

1

2

3

4

5

1

Молоток слесарный стальной

Масса, кг

0,5-1

ГОСТ 2310-77

3

2

Кувалда кузнечная тупоносая

2,0

ГОСТ 11401-75

1

3

Зубило слесарное

Длина, мм

160-200

ГОСТ 7211-72

6

4

Зубило кузнечное

160

ГОСТ 11418-75

2

5

Клейцмейсель слесарный

160-200

ГОСТ 7212-74

1

6

Кернер

125-160

ГОСТ 7213-72

3

7

Чертилка

150

ГОСТ 24473-80Е

2

8

Циркуль разметочный

250

ГОСТ 24472-80Е

1

9

Плоскогубцы комбинированные

160-200

ГОСТ 5547-75

1

10

Круглогубцы

160

ГОСТ 7283-73

2

11

Кусачки торцовые

200

ГОСТ 7282-75

1

12

Отвертка слесарно-монтажная

-

ГОСТ 17199-71

2 (набора)

13

Отвертка диэлектрическая

Длина, мм

175

ГОСТ 21010-75

2

14

Бородки слесарные

160-200

ГОСТ 7214-72

2

15

Ключи гаечные с открытым зевом двусторонние

Размер зева, мм

7´8

ГОСТ 2839-80Е

2

 

 

8´10

 

2

 

 

10´12

 

2

 

 

12´14

 

2

 

 

14´17

 

2

 

 

19´22

 

2

 

 

24´27

 

2

16

Ключи гаечные разводные

Наибольшее раскрытие губок, мм

ГОСТ 7275-75

 

 

 

12

 

1

 

 

19

 

1

17

Напильники:

 

 

 

 

плоские с насечкой № 1; 2; 3; 4

Длина, мм

150-200

ГОСТ 1465-80

(стсэв 1297-78)

10

 

квадратные с насечкой № 1; 2; 3

150-200

"

6

 

трехгранные с насечкой № 1; 2; 3; 4

150-250

"

6

 

круглые с насечкой № 1; 2; 3

150-250

"

5

 

полукруглые с насечкой № 1; 2

250

"

3

 

ромбичные с насечкой № 2; 3; 4

150-250

"

3

18

Надфили плоские, квадратные, трехгранные, круглые, полукруглые, ромбичные, овальные (набор)

 

ГОСТ 1513-77Е

по 3 каждого вида

19

Ножницы ручные для резки металла

Длина, мм

250-320

ГОСТ 7210-75

2

80

Рамка ножовочная ручная

Длина ножовочного полотна, мм

250-300

ГОСТ 17270-71

2

21

Полотна ножовочные по металлу

-

ГОСТ 6645-68

30

22

Щетка стальная прямоугольная

Длина, мм

310

ТУ 494-01-104-76

1

23

Набор щупов № 1 и 4

-

ГОСТ 882-75

2 (набора)

24

Плита поверочная

Габариты, мм

400´400

ГОСТ 10905-75

1

25

Линейка измерительная металлическая

Длина, мм

1000

ГОСТ 427-75

2

26

Метр складной металлический

-

-

2

27

Рулетка измерительная металлическая

Длина, мм

50000

ГОСТ 7502-80

1

28

Линейка поверочная лекальная с двусторонним скосом, ЛД

Предел измерений, мм

0-320

ГОСТ 8026-75

1

29

Линейка поверочная с широкой рабочей поверхностью ШП-630

Габариты, мм

630´10

ГОСТ 8026-75

2

30

Угольник поверочный

250´160

ГОСТ 3749-77

1

31

Угломер с пониусом

-

ГОСТ 5378-66

1

32

Микрометр

Цена деления, мм

0,01

ГОСТ 6507-78

1

33

Вольтметр

Электрическое напряжение, В

0-500

ГОСТ 8711-78

1

34

Амперметр

Сила электрического тока, А

0-500

ГОСТ 8711-78

1

35

Манометр

Давление, МПа,

до 1

ГОСТ 8625-77Е

1

36

Прибор электроизмерительный комбинированный переносной

-

ГОСТ 10374-82

1

37

Тахометр

-

ГОСТ 18303-72

1

38

Нутромер

Предел измерений, мм

50-75

ГОСТ 10-75

1

39

Глубинометр микрометрический

0-100

ГОСТ 7470-78

1

40

Штангенциркуль ШЦ-I

0-125

ГОСТ 166-80

2

 

ШЦ-II

0-250

ГОСТ 166-80

2

41

Уровень брусковый

Длина, мм

200

Цена деления, мм/м

0,02

ГОСТ 9392-75

1

42

Уровень рамный

"

ГОСТ 9392-75

1

43

Пружинный электрододержатель ЭД-2

-

-

1

44

Шприц смазочно-заправочный

-

ГОСТ 8043-75Е

1

45

Перчатки резиновые технические

-

ГОСТ 20010-74

2 пары

46

Обувь специальная диэлектрическая из полимерных материалов

-

ГОСТ 13385-78

2 пары

47

Ковер диэлектрический резиновый

-

ГОСТ 4997-75

2

48

Очки защитные

-

ГОСТ 12.4.003-80

5

49

Щиток электросварщика

-

-

3

50

Горелка однопламенная универсальная для ацетиленокислородной сварки

-

ГОСТ 1077-79Е

1

51

Лампа паяльная

-

-

1

52

Электропаяльник бытовой

-

ГОСТ 7219-83

1

53

Съемник и приспособление для монтажа и демонтажа средств малой механизации и ручных машин

-

Собственное изготовление

Комплект

54

Сверла спиральные с цилиндрическим хвостовиком (набор)

Диаметр, мм

до 25

ГОСТ 10902-77

По 3 каждого размера

55

Сверла спиральные малоразмерные диаметром 0,1-1,5 мм с утолщенным цилиндрическим хвостовиком

-

ГОСТ 8034-76

По 5 каждого размера

56

Планки круглые

Диаметр, мм

от 3 до 12

ГОСТ 9740-71

2

57

Развертки ручные цилиндрические

От 10 до 15

ГОСТ 7722-77

2

58

метчики машинно-ручные (набор)

От 1 до 15

ГОСТ 3266-81

По 2 каждого диаметра

Приложение 14

УТВЕРЖДАЮ

Главный инженер управления

_________________________

(подпись) инициалы, фамилия

___________________________                                             "___" ______________ 19__ г.

___________________________

(наименование управления)

ДЕФЕКТНЫЙ АКТ №

"___" ______________ 19__ г.

Мы, нижеподписавшиеся, ____________________________________________________

_______________________________________________ составили настоящий акт в том,

что из поступивших средств измерений от ______________________________________

поставщика

___________________________________________________________________________

по железнодорожной накладной № _____________ по счету № _____________________

от "___" ______________ 19__ г. после поверки в нижеперечисленных средствах измерений оказались следующие дефекты ______________________________________

___________________________________________________________________________

___________________________________________________________________________

Наименование средств измерений

Заводской номер

Количество

Пределы измерений

Цена деления

Фактические параметры

Перечень дефектов и отклонений

Примечание

Заключение ________________________________________________________________

Подписи: __________________________      _____________________________________

(подпись)                                                              инициалы, фамилия

___________________________     _____________________________________

(подпись)                                                              инициалы, фамилия

список
использованных нормативных документов

СНиП II-3-79             "Строительная теплотехника"

СНиП II-4-79             "Естественное и искусственное освещение"

СНиП III-I-76            "Правила производства и приемки работ. Организация строительного производства"

СНиП III-4-80            "Правила производства и приемки работ. Техника безопасности в строительстве"

СН-245-71                 "Санитарные нормы проектирования промышленных предприятий"

ОСТ 36-100.2.03-64  ССБТ "Средства малой механизации, монтажные приспособления и инструмент. Общие требования безопасности"

ГОСТ 8.002-71 ГСИ "Организация и порядок проведения поверки, ревизии и экспертизы средств измерений".

Взамен Правил 12-58

ГОСТ 8.326-78          ГСИ "метрологическое обеспечение разработки, изготовления и эксплуатации нестандартизованных средств измерений. Основные положения"

ГОСТ 12.2.010-75     ССБТ. "Машины ручные пневматические. Общие требования безопасности"

ГОСТ 12.2.013-75     ССБТ. "Машины ручные электрические. Общие требования безопасности"

ГОСТ 2424-83.          "Круги шлифовальные".

ГОСТ 19504-74         "Система технического обслуживания и ремонта техники. Порядок сдачи в капитальный ремонт и выдачи из капитального ремонта"

ГОСТ 24408-80         "Система технического обслуживания и ремонта строительных машин. Правила сдачи в капитальный ремонт и выдачи из капитального ремонта машин и их составных частей. Общие требования".

"Типовая инструкция о порядке списания пришедших в негодность оборудования, хозяйственного инвентаря и другого имущества". Утверждена Минфином СССР и Госпланом СССР от 16 июня 1962 г. № 161/31-И с учетом изменений

СОДЕРЖАНИЕ

 




Rambler's Top100 Яндекс цитирования
  Copyright © 2008-2026, www.docload.ru