Бесплатная библиотека стандартов и нормативов www.docload.ru

Все документы, размещенные на этом сайте, не являются их официальным изданием и предназначены исключительно для ознакомительных целей.
Электронные копии этих документов могут распространяться без всяких ограничений. Вы можете размещать информацию с этого сайта на любом другом сайте.
Это некоммерческий сайт и здесь не продаются документы. Вы можете скачать их абсолютно бесплатно!
Содержимое сайта не нарушает чьих-либо авторских прав! Человек имеет право на информацию!

 

ПРАВИТЕЛЬСТВО МОСКВЫ

МОСКОМАРХИТЕКТУРА

РЕКОМЕНДАЦИИ
по проектированию навесных фасадных систем с вентилируемым воздушным зазором для нового строительства и реконструкции зданий

2002

Предисловие

1. Разработаны: Центральным научно-исследовательским и проектным институтом жилых и общественных зданий (ЦНИИЭП жилища).

Авторский коллектив:

от ЦНИИЭП жилища

д.т.н. Николаев С.В.                     - руководитель работы

д.т.н. Граник Ю.Г.                       - техническое руководство

инж. Ставровский Г.А.                - конструкции, технология производства и общая редакция

д.т.н. Зырянов B.C.                       - прочностные расчеты

к.т.н. Беляев B.C.                          - теплотехнические расчеты

к.т.н. Граник М.Ю.                      - конструкции, компьютерная графика

д.арх. член-корреспондент         - предложения по дальнейшему развитию фасадных

РААСН Кавин Е.В                         систем

от НИИСФ

к.т.н. Матросов Ю.А.                   - расчет температурных полей у оконных откосов

к.т.н. Бутовский И.Н.

Консультант:

Директор дирекции строительства

Фирмы "PROGRES" (Югославия) - вопросы воздухообмена в воздушной прослойке.

Батинич Р.

2. Подготовлены к утверждению и изданию Управлением перспективного проектирования и нормативов Москомархитектуры.

3. Утверждены указанием Москомархитектуры от 18.02.2002 г. № 20.

СОДЕРЖАНИЕ

1. Введение. 1

2. Назначение и область применения систем.. 2

3. Конструктивные решения систем.. 2

4. Исходные данные для проектирования систем.. 20

5. Определение основных параметров систем.. 20

6. Прочностные расчеты систем.. 21

7. Теплотехнические расчеты систем.. 35

8. Состав проектно-сметной документации. 63

9. Экономические показатели систем.. 63

10. Основные положения по производству работ и системе контроля качества. 65

11. Правила эксплуатации системы.. 66

12. Перечень нормативных документов и литературы.. 66

Приложение Предложения по дальнейшему развитию конструктивно-технологических решений фасадных систем с вентилируемым воздушным зазором.. 67

1. Введение

1.1. Одним из наиболее эффективных способов решения задачи сокращения энергетических затрат на отопление зданий в соответствии с требованиями II этапа энергосбережения СНиП II-3-79* и МГСН 2.01-99 является многослойная конструкция утепления и отделки наружных стен с вентилируемым воздушным зазором между слоем наружной отделки фасада (экраном) и слоем утеплителя, расположенных с внешней стороны несущих конструкций наружной стены. Такие системы утепления и отделки наружных стен и зимой и летом позволяют поддерживать режим теплообмена таким, что это создает достаточно комфортные условия проживания, а во время отопительного сезона позволяет не превышать нормативный расход энергоресурсов на отопление помещений.

1.2. Известно около 20 отечественных и зарубежных систем утепления и отделки наружных ограждений зданий с вентилируемым воздушным зазором, часть из них применяется в г. Москве, в том числе, "Марморок", "Союз "Метроспецстрой", "Техноком" (Интерал), "Каптехнострой" и др. При этом техническими параметрами отдельной системы владеют только предприятия (фирмы) - разработчики этой системы. А у многих проектных организаций, работающих в г. Москве данные необходимые для применения систем наружных ограждений с вентилируемым воздушным зазором, в разрабатываемых проектах отсутствуют.

1.3. Рекомендации по проектированию навесных фасадных систем с вентилируемым воздушным зазором для нового строительства и реконструкции зданий являются методическим и справочным пособием при разработке проектов наружных ограждений, где применяется фасадная система с вентилируемым воздушным зазором и в соответствии с поставленной задачей, содержат следующие данные:

- технические решения и отличительные особенности систем с вентилируемым воздушным зазором;

- возможности систем по архитектурному оформлению фасадов;

- комплектующие материалы и изделия систем (несущие конструкции, утеплитель, облицовочные фасадные материалы и др.);

- состав исходных данных для проектирования систем;

- определение основных параметров систем;

- прочностные расчеты несущих конструкций систем;

- теплотехнические расчеты систем;

- технико-экономические показатели систем;

- основные положения по производству работ и контролю качества;

- основные положения по эксплуатации систем.

1.4. Методический материал, приводимый в Рекомендациях, базируется на ряде конкретных систем, на примере которых практически могут быть рассмотрены все конструктивные и отделочные элементы, применяемые в системах с вентилируемым воздушным зазором, а также разработаны методики прочностных и теплотехнических расчетов, выполнение которых необходимо при проектировании конкретных объектов.

В настоящих Рекомендациях рассматриваются системы, уже зарекомендовавшие себя в результате их применения в практике строительства, в том числе, в г. Москве, и технические решения которых с необходимыми обоснованиями в настоящее время (сентябрь 2001 г.) рассматриваются в Федеральном центре сертификации Госстроя РФ для оформления Технических свидетельств. К таким системам относятся следующие: "Марморок", "Союз "Метроспецстрой", "Каптехнострой", "Гранитогрес", "Техноком" (Интерал), "Мосрекон-М", "Краспан" и "U-KON".

1.5. Настоящие Рекомендации предназначены для проектных и инвестиционных организаций, работающих в области жилищно-гражданского строительства.

2. Назначение и область применения систем

2.1. Все системы предназначены для наружной отделки и утепления наружных стен жилых и гражданских зданий в соответствии с II этапом энергосбережения СНиП II-3-79* и МГСН 2.01-99, в том числе, для строящихся и реконструируемых зданий в г. Москве. Вместе с тем, все рассматриваемые системы могут применяться только для отделки фасадов зданий без дополнительной теплоизоляции наружных стен.

2.2. Предельная высота зданий, для которой можно применить конкретную систему, и другие ограничения приводятся в соответствующем разделе Приложения к Техническому свидетельству Госстроя РФ на применяемую систему.

3. Конструктивные решения систем

3.1. Принципиальное конструктивное решение всех систем утепления и наружной отделки наружных стен зданий одинаково и заключается в том, что на несущие конструкции наружной стены с внешней стороны устанавливают и фиксируют сплошной слой плит утеплителя и элементы несущего каркаса, посредством которого на стене, с определенным зазором относительно слоя утеплителя, монтируется плитный или листовой отделочный материал (экран). Зазор между экраном и слоем утеплителя необходим для эффективного удаления влаги и паров, мигрирующих из помещений через наружную стену на улицу.

3.2. Отличие между системами заключается в различных способах крепления плит утеплителя на несущих конструкциях наружной стены, в материале и геометрии отдельных элементов несущего каркаса, а также в схеме их расположения на поверхности основания, в выборе отделочных материалов и способе их крепления к несущему каркасу. Кроме того, системы отличаются способами решения архитектурного облика фасада, в том числе, по возможности придания зданиям индивидуальной выразительности.

Отличительные особенности каждой системы будут приводиться в дальнейшем изложении их конструктивных решений.

3.3. В настоящих Рекомендациях используется следующая терминология:

основание - несущие конструкции наружной стены, на которые крепятся элементы системы, это может быть стена из кирпича, бетона, бетонных блоков, легкого бетона и т.п.;

несущий каркас - комплекс элементов из металла или дерева, соединенных между собой и с основанием, на который на определенном расстоянии от основания крепится облицовочный материал (плитный или листовой);

элементы несущего каркаса:

- кронштейны (консоли) крепятся дюбелями и анкерными винтами непосредственно к основанию, наиболее развитый размер этого элемента расположен по нормали от основания, за счет его изменения в основном решается величина, на которую облицовочный слой отнесен от основания, остальные элементы каркаса крепятся к кронштейнам;

- вертикальные и горизонтальные профили - это линейные элементы несущего каркаса, функции которых в разных системах разные. В одних системах облицовочные плиты или листы крепятся к вертикальным профилям, а горизонтальные профили являются основой, к которой с определенным шагом крепятся вертикальные профили, а в других системах - наоборот, есть системы, в которых один из этих элементов (вертикальный или горизонтальный профиль) вообще отсутствует. Эти элементы соединяются между собой и с кронштейнами с помощью болтов, заклепок или саморезов из оцинкованной или нержавеющей стали, заклепки могут быть алюминиевыми;

экран - внешний облицовочный слой системы, выполненный из облицовочных плит или листов.

3.4. Система "Союз "Метроспецстрой"

Разработчик и поставщик основных комплектующих деталей системы - ЗАО "Союз "Метроспецстрой".

Адрес: 103012, Москва, Б. Черкасский пер., д. 4, стр. 2. Тел./факс 921-00-49, тел. 928-81-55.

По проектированию и применению этой системы в 2001 г. выпущены Рекомендации [19]. Здесь приводятся ее основные конструктивные решения и отличительные особенности.

Несущий каркас системы включает кронштейны основные и промежуточные, вертикальные промежуточные профили и горизонтальные профили, к которым крепится облицовочный материал. Все элементы несущего каркаса выполнены из анодированного алюминия, их изготовителем является завод "Металлоконструкция" (г. Видное, Московская область).

В качестве утеплителя применяются минераловатные плиты, которые крепятся к основанию специальными дюбелями. Если применяется утеплитель без кашированной внешней поверхности, его укрывают паропроницаемой влаговетрозащитной пленкой.

Для формирования экрана могут применяться различные отделочные материалы: плиты из природного камня (мрамора или гранита), стеклофибробетона, керамогранита и др. При этом для плит из природного камня используется специальный горизонтальный профиль, вертикальные полки которого входят в пазы, выфрезерованные в верхнем и нижнем торцах облицовочных плит.

Остальные отделочные материалы крепятся к горизонтальному профилю другого сечения с помощью кляммеров из нержавеющей стали или алюминиевых.

Конструктивное решение системы показано на рис. 3.1-3.3.

В данной системе архитектурный облик фасада создается за счет выбора цвета и фактуры фасадной поверхности, кроме того, пластика фасада может быть достигнута за счет устройства облицовочного слоя на разных расстояниях от основания, а с помощью специального каркаса и облицовочных плит непрямоугольной формы можно создавать на фасаде более сложные архитектурные формы.

3.5. Система "Марморок"

Разработчик и поставщик основных комплектующих деталей ООО "Компания РВМ-2000".

Адрес: 125047, Москва, ул. 4-ая Тверская-Ямская, дом 31. Тел. 250-44-96, факс 251-50-59.

По проектированию и применению этой системы в 2001 г. выпущены Рекомендации [18]. Ее конструктивные решения и основные отличительные особенности следующие.

В системе применяются три вида элементов несущего каркаса: кронштейны, горизонтальные и вертикальные профили, которые выполнены из листовой оцинкованной стали толщиной от 0,55 до 1,5 мм. На полках вертикального профиля с шагом 100 мм выштампованы крючки и полоски для фиксации облицовочных плиток. В отличие от других систем здесь утеплитель надежно закреплен на основании без дюбелей, только элементами несущего каркаса. Выполняется это следующим образом: после установки консолей с шагом по вертикали, равным высоте плит утеплителя к ним крепятся горизонтальные профили, на которые устанавливается горизонтальный ряд плит утеплителя. Если это предусмотрено проектом, плиты утеплителя вместе с горизонтальными профилями покрываются влаговетрозащитной пленкой, после чего на горизонтальные профили с шагом по горизонтали 300 мм крепятся вертикальные профили, окончательно прижимая утеплитель к основанию. В качестве облицовочного материала применяется плитка "Марморок", изготовленная прессованием из каменной крошки на цементном вяжущем и покрытая гидрофобным составом. Плитка, имеющая с задней стороны специальную складку, навешивается на крючки вертикального профиля и фиксируется полоской. Крючки и полоски во время монтажа плиток, отгибаются в рабочее положение. Конструктивное решение системы поясняется рис. 3.4 и 3.5.

В этой системе архитектурное решение фасада может быть достигнуто за счет применения облицовочных плиток разного цвета и фактуры, а также сочетанием различных цветов. Могут применяться такие архитектурные детали, как венчающие и промежуточные карнизы, пояски, обрамления окон и дверей, венчающие элементы в виде фиал и шатровых участков крыши. Эти архитектурные детали выполняются преимущественно из оцинкованной листовой стали с полимерным цветным покрытием способом гнутья из предварительно выкроенной заготовки.

3.6. Система "ИНТЕРАЛ"

Разработчик системы - ООО "ИнтерАЛ-Инжиниринг".

Адрес: 119530, Москва, пр-д Стройкомбината, дом 5. Тел. 441-22-33, 441-23-22, факс 442-93-73.

Изготовитель элементов системы - ООО "Экспериментальный завод Техноком - специальные технологии и монтаж".

Монтаж систем - ООО "Техноком БАУ" и ООО СПМУ "Спецмонтаж".

Несущий каркас системы состоит из двух основных элементов: кронштейнов и вертикальных профилей. В зависимости от вида облицовочного материала расстояния от основания до экрана, места установки на фасаде здания и других факторов могут применяться различные кронштейны и вертикальные профили. Кронштейны применяются двух типов: "С" - образный с флажком и "L" - образный.

"С" - образные кронштейны выпускаются с флажками разных размеров. "L" -образные - с разным выносом от основания. Кроме того, выпускаются специальные кронштейны: угловые, для откосов и т.п. Чертежи кронштейнов приведены на рис. 3.6.

Вертикальные профили в этой системе применяются нескольких типов, сечения приводятся на рис. 3.7.

Кронштейны изготавливаются либо из стальных оцинкованных, либо алюминиевых листов, а вертикальные профили - преимущественно из прессованного алюминия.

В этой системе, также как и в других, в качестве утеплителя применяются минераловатные влагостойкие плиты преимущественно с каптированной поверхностью. Плиты утеплителя и влаговетрозащитная пленка крепятся к основанию специальными дюбелями с широкой тарельчатой шляпкой. Поскольку в приводимых далее системах, кроме системы "Мосрекон", отсутствует специфика, которая может влиять на конструктивное решение слоя утеплителя, далее возвращаться к этому вопросу нет необходимости.

Для устройства экрана применяется довольно широкий диапазон облицовочных материалов, в том числе листы фибробетона, плиты керамогранита, многослойные алюминиевые листы, кассетные панели из оцинкованной стали или алюминия. Листы фибробетона изготавливаются с различными фактурными слоями: гладкоокрашенные, покрытые крошкой натурального камня различных цветов. Толщина листов 4¸10 мм, поставляются листы размерами 1200´2500 мм и 1200´3050 мм. Торговые марки поставляемых листов - "Minerit", "Eternit" и др.

Плиты керамогранита торговых марок "AGROB BUCHTAL", "IMOLA" и др. поставляются размерами 600´600 мм, 600´300 мм и 600´900 мм различных цветов и фактуры.

Многослойные алюминиевые листы с пластиковой или минеральной прослойкой торговых марок "Alucobond", "Reynobond" и "Alpolic", в том числе и с цветным покрытием. Толщина листов 3 мм, 4 мм и 6 мм. Размер поставляемых листов 1100 мм и 1500 мм ´ 3200 мм.

Кассетные панели из оцинкованной стали или алюминиевых листов с цветным покрытием PVDF или полиэстерным.

Для перечисленных выше облицовочных материалов существуют разные способы их крепления на вертикальных профилях несущего каркаса.

Фибробетонные листы крепятся к полкам вертикальных профилей саморезами или заклепками из оцинкованной стали или алюминиевыми, шляпки которых окрашиваются под цвет фактурного слоя облицовочного материала.

Для крепления в облицовочном материале и полках вертикальных профилей сверлятся отверстия. Конструктивное решение системы показано на рис. 3.8 и 3.9.

Крепление плит керамогранита может выполняться двумя способами: с открытым креплением, которое выполняется с помощью кляммеров из нержавеющей стали, укрепленных заклепками на полках вертикального профиля, и со скрытым креплением, для которого к вертикальным профилям дополнительно крепятся специальные горизонтальные профили, а к тыльной стороне плит керамогранита посредством цангового анкера крепятся по 4 кронштейна, которые легко фиксируются на 2-х горизонтальных профилях (рис. 3.10).

Многослойные алюминиевые листы можно крепить к вертикальному профилю заклепками так же, как это делается при креплении фибробетонных листов, либо изготовить из листа кассетную панель и крепить невидимым способом к специальным вертикальным профилям П-образного сечения со штифтами (рис. 3.11 и 3.12).

При изготовлении кассетных панелей из листа выкраивается заготовка, края которой загибаются, чтобы получить корытообразную панель. В боковых вертикальных стенках панели делаются просечки, посредством которых панель навешивается на втулки, закрепленные в вертикальных профилях.

Архитектурный облик фасада так же, как и в других системах, можно создать за счет подборки нужных облицовочных материалов, их цвета и его сочетаний, кроме того, в этой системе из листовых материалов (многослойные алюминиевые листы, листы из оцинкованной стали и алюминия) можно выкраивать и выгибать различные архитектурные формы.

3.7. Система "U-KON"

Разработчиком системы и поставщиком комплектующих деталей является ООО "Алкон-Трейд".

Адрес: 113054, Москва, ул. Дубининская, д. 69, кор. 3. Тел. 235-88-98, 952-78-00. Изготовитель элементов системы - ООО "Агрисовгаз".

В системе в качестве облицовочного материала применяются композитные листы "Alucobond" и "Dibond" с различной отделкой фасадной поверхности, в том числе анодированной, с цветным покрытием различных цветов и под натуральный камень; в системе могут применяться листовые материалы из алюминия и фибробетона с различными покрытиями, плиты керамогранита и из натурального камня, а также другие материалы.

Элементы несущего каркаса системы выполнены из алюминиевых составов Al Mg Si 0,75 F 22 и Al Mg Si 0,5 F 25, и включают: кронштейны, салазки, вертикальные и горизонтальные профили, дренажи и различные крепежные элементы. Среди крепежных элементов есть кляммеры из нержавеющей стали.

Базовая схема несущего каркаса представляет собой укрепленные на основании кронштейны, к которым заклепками прикреплены вертикальные профили. Облицовочные материалы (листовые, штатные, кассетные панели) в этой схеме крепятся к вертикальному профилю. Исключением являются случаи, когда плиты керамогранита и натурального камня "скрытым" способом прикрепляют к горизонтальным профилям, установленным на вертикальные профили.

В системе применяются несколько видов кронштейнов, в том числе кронштейны, воспринимающие вертикальные (собственный вес) и горизонтальные (ветровые) нагрузки от вертикального, профиля и кронштейны, воспринимающие только горизонтальную нагрузку, что обеспечивает возможность вертикальному профилю перемещаться, вследствие температурных деформаций. В случае жесткого крепления вертикального профиля на кронштейне (без возможности вертикального перемещения) соединение осуществляется с помощью салазок (рис. 3.13).

В зависимости от облицовочного материала и способа его крепления применяются различные вертикальные профили, в том числе П-образного и двутаврового сечений (рис. 3.14).

Крепление листового облицовочного материала к вертикальным профилям производится заклепками или прижимными профилями, а кассетные панели, с помощью вырезов на боковых ребрах, навешиваются на штифты установленные в П-образные вертикальные профили (рис. 3.11 и 3.12).

Скрытое крепление плит из натурального камня и керамогранита выполняется аналогично способам, изложенным, соответственно в разделах 3.4 и 3.6 (рис. 3.1 и 3.10).

Кроме того, компанией "Алкон-трейд" хорошо отработана технология создания объемных форм любой сложности по методике холодной фрезеровки и сгиба панелей "Alucobona" и "Dibond"

3.8. Системы "Гранитогрес" и "Каптехнострой"

Разработчик и поставщик комплектующих деталей системы «Гранитогрес» - ООО «Гранитогрес».

Адрес: 119146, Москва, ул. 2-ая Фрунзенская, д. 8, офис 28. Тел./факс 248-22-80, 248-22-89, 242-54-37.

Разработчиком и поставщиком комплектующих деталей системы "Каптехнострой" являются ЗАО "Каптехнострой" и ООО "КТС-Каптехнострой", входящие в инженерно-строительное объединение "Каптехнострой".

Адрес: 115553, Москва, ул. Высокая, д. 3. Тел. 721-85-51, 116-42-56.

В системах основными элементами несущего каркаса являются кронштейны и вертикальные профили, на которые крепятся облицовочные материалы. Горизонтальные профили применяются только в случае скрытого крепления плит керамогранита.

Вертикальные профили из прессованного алюминия, для обеих систем поставляются предприятием "MOCMEK" г. Видное Московской области. Это же предприятие поставляет алюминиевые кронштейны для системы "Каптехнострой", а ООО "Гранитогрес" кронштейны изготавливает на собственном производстве из соответствующего алюминиевого листа.

В системах применяются следующие способы отделки фасадов:

- плитами керамогранита размеров от 300´300 мм до 1200´1200 мм со скрытым и открытым креплением, поставляемыми из Италии, Германии, Испании, Португалии, Турции и России;

- фибробетонными плитами с покрытием крошкой натурального камня или гладкоокрашенными, производимыми в Финляндии, Бельгии и России.

Кроме того, в системе "Каптехнострой" применяются вертикальные панели из алюминия с цветным порошковым или анодированным покрытием, а также панели из многослойных алюминиево-пластиковых материалов (типа "Алюкобонд" и др.), а в системе "Гранитогрес" - кассетные панели из оцинкованной и окрашенной листовой стали.

Для отделочных материалов, упомянутых в последнем абзаце, требуются специальные несущие каркасы.

Все отделочные материалы, за исключением вертикальных алюминиевых и кассетных панелей, крепятся на вертикальном профиле через упругий резиновый уплотнитель специальной формы, изготовленный из высококачественного морозостойкого каучука.

Открытое крепление плит керамогранита на вертикальном профиле производится скобами (кляммерами) из нержавеющей стали, окрашенными под цвет облицовочного материала.

Скрытое крепление плит производится сверлением с тыльной стороны плиты несквозных конусообразных отверстий, в которые входят самораспорные винты, установленные в скобах, надетых на горизонтальный профиль.

Фибробетонные плиты крепятся к полкам вертикального профиля оцинкованными саморезами или заклепками через предварительно просверленные отверстия.

Вертикальные алюминиевые панели крепятся на специальном каркасе посредством взаимодействующих деталей, имеющихся на тыльной стороне панели и на горизонтальном профиле несущего каркаса.

Листы из многослойных алюминиево-пластиковых материалов крепятся к вертикальным профилям саморезами или заклепками.

Кассетные панели из многослойных алюминиево-пластиковых листов или из оцинкованной и окрашенной листовой стали снабжены прорезями на боковых гранях, посредством которых они навешиваются на втулки, закрепленные в вертикальных профилях несущего каркаса "П"-образного сечения.

В этих системах средства для обогащения фасадов архитектурными деталями те же, что и в системах по п.п. 3.6 и 3.7.

Конструктивное решение систем с различными отделочными материалами показано на рис. 3.15¸3.18.

3.9. Система "Краспан"

Разработчиком системы является ООО "Профис" (г. Красноярск), а поставщиком комплектующих деталей и исполнителем подрядных работ - ООО "Фаско-Строй" (г. Москва).

Адрес: 109088, Москва, Дубровский пр-д, д. 9. Тел. 274-02-51, 274-02-57.

Конструкции несущего каркаса системы выполняются преимущественно из оцинкованной стали и включают: кронштейны, горизонтальные и вертикальные профили. На последние крепятся облицовочные фасадные плиты.

Кронштейны из оцинкованной стали толщиной 1,5 мм изготавливаются семи основных типоразмеров, их рабочие длины изменяются от 55 до 200 мм.

Горизонтальные профили "Г"-образного и "П"-образного сечений выполняются из оцинкованной стали толщиной 1,2 мм.

Вертикальные профили, целый и половинчатый, тоже выполняются из оцинкованной стали толщиной 1,2 мм, кроме них есть угловые фасонные вертикальные профили из оцинкованной стали толщиной 0,6 мм или алюминиевого листа толщиной 0,7 мм.

Монтажные элементы вертикального профиля по высоте не должны скрепляться друг с другом, при этом стыки этих монтажных элементов должны совпадать по высоте с горизонтальными стыками облицовочных плит.

Также в системе есть ряд фасонных элементов из оцинкованной стали или алюминия для устройства вертикальных или горизонтальных швов, оконных откосов, сливов и т.п.

В качестве облицовочного материала в этой системе применяются фасадные плиты завода "Краспан" (г. Красноярск) на основе высокопрочных прессованных волокнисто-цементных плит толщиной 8 мм. Выпускается 2 типа плит: плиты "Краспан Колор" с гладкой окрашенной поверхностью различных цветов и плиты "Краспан Стоун" с натуральной каменной крошкой, связанной с плитой высококачественными синтетическими смолами.

Фасадные плиты крепятся к полкам вертикальных профилей саморезами или заклепками через специальную резиновую прокладку. Вертикальные и горизонтальные швы прикрываются специальными металлическими накладками, окрашенными под цвет фасадной поверхности плит.

Конструктивное решение системы поясняется рис. 3.19 ¸3.21.

3.10. Система "Мосрекон"

Разработчиком и поставщиком основных комплектующих деталей и материалов системы является ОАО "ВНИИжелезобетон".

Адрес: 111524, Москва, ул. Плеханова, д. 7. Тел. 176-27-04, факс 368-35-70.

В отличие от других, в этой системе отсутствуют кронштейны и горизонтальные профили. Несущий каркас этой системы включает анкерные шпильки, на которые навешиваются все остальные элементы системы, включая плиты утеплителя, вертикальные профили с крючками и облицовочную плитку, висящую на этих крючках.

Достигается это за счет того, что анкерная шпилька, с помощью дюбеля надежно укрепленная в основании, имеет свободную длину достаточную, чтобы закрепить на ней все перечисленные выше элементы системы. На свободном конце анкерной шпильки есть резьба, благодаря которой плоская металлическая пластина-шайба прижимает плитный утеплитель к основанию, а на конце анкерной шпильки на проектном расстоянии от утеплителя на резьбе устанавливается фигурная пластина с гайкой, к которой болтами или заклепками крепится вертикальный профиль из алюминия или оцинкованной стали. Величина прижима утеплителя ограничена защитной втулкой, одетой на анкерную шпильку. Длина втулки равняется проектной толщине плит утеплителя.

В системе применяется облицовочная плитка из мелкозернистого бетона плотностью 1800¸2200 кг/м3 и облегченная плотностью 1500¸1800 кг/м3 с объемным или поверхностным окрашиванием и водоотталкивающим покрытием. Размеры облицовочной плитки: длина - 600 мм, высота -116, 216 и 316 мм, толщина - 27 мм.

В местах примыкания системы к карнизам, балконам, проемам, парапетам и т.п. дополнительно применяются различные металлические изделия.

Конструктивное решение системы поясняется рис. 3.22¸3.24.

3.11. Материалы и изделия, применяемые при реализации систем в проектах и на практике, должны полностью соответствовать данным, приведенным в разделах 2 и 5 Приложения к Техническому свидетельству Госстроя России на применяемую систему.

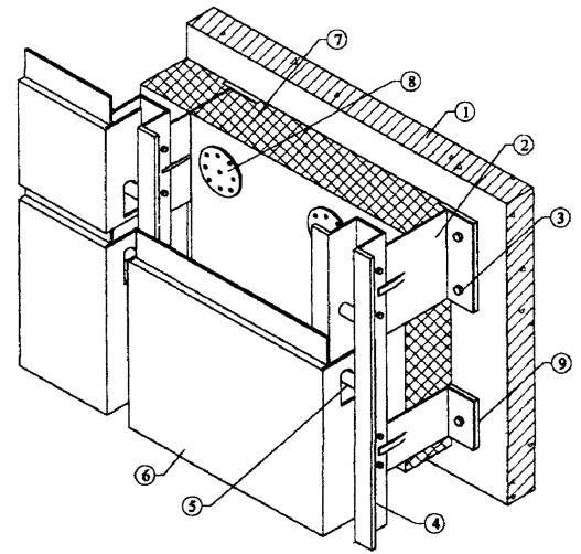
1 - основание;
2 - кронштейн (опорный профиль);
3 - анкер HILTI НCL 12´100;
4 - вертикальный промежуточный профиль;
5 - горизонтальный несущий профиль;
6 - плиты из натурального камня;
7 - теплоизоляция;
8 - паронитовая прокладка;
9 - ветровлагозащитная мембрана TYVEK;
10 - болт M5, гайка М5, шайба

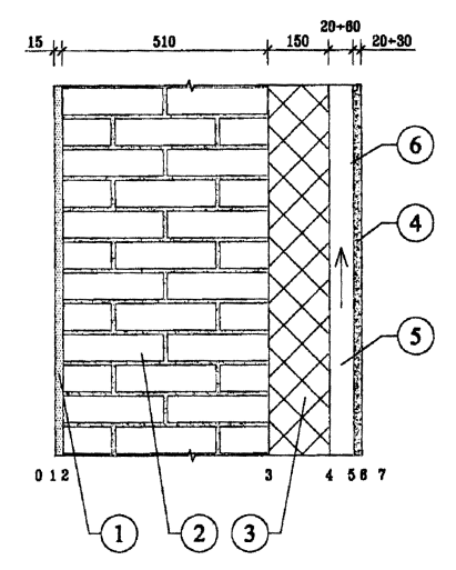
Рис. 3.1. Система "Союз "Метроспецстрой" с облицовочными плитами из натурального камня, вертикальный разрез

1 - основание;
2 - кронштейн (опорный профиль);
3 - анкер HILTI НCL 12´100;
4 - вертикальный промежуточный профиль;
5 - горизонтальный несущий профиль;
6 - плиты из керамогранита;
7 - теплоизоляция;
8 - паронитовая прокладка;
9 - ветровлагозащитная мембрана TYVEK;
10 - кляммер

Рис. 3.2. Система "Союз "Метроспецстрой" с облицовочными плитами из керамогранита, вертикальный разрез

1 - основание;
2 - кронштейн (опорный профиль);
3 - анкер HILTI НCL 12´100;
4 - вертикальный промежуточный профиль;
5 - горизонтальный несущий профиль;
6 - плиты из керамогранита;
7 - теплоизоляция;
8 - дюбель EJOT TID-T;
9 - паронитовая прокладка;
10 - ветровлагозащитная мембрана TYVEK;
11 - кляммер;
12 - уголок 50´50´2 мм

Рис. 3.3. Система "Союз "Метроспецстрой" с облицовочными плитами из керамогранита, горизонтальный разрез угла здания

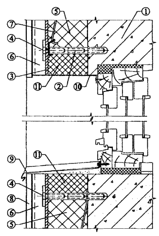
1 - основание;
2 - горизонтальный профиль;
3 - вертикальный профиль;
4 - кронштейн;
5 - крючок для установки отделочной плитки;
6 - отгибаемая полоска для фиксации отделочной плитки;
7 - ветровлагозащитная мембрана;
8 - дюбель;
9 - саморез;
10 - утеплитель;
11 - плитка "Марморок"

Примечание: условно сочетание горизонтального профиля, расположенного в зоне утеплителя, показано сплошными линиями.

Рис. 3.4. Система "Марморок", вертикальный разрез

1 - основание;
2 - горизонтальный профиль;
3 - вертикальный профиль;
4 - кронштейн;
5 - дюбель;
6 - саморез;
7 - утеплитель;
8 - плитка "Марморок"

Рис. 3.5. Система "Марморок", горизонтальный разрез на углу здания

Рис. 3.6. Система "Интерал", кронштейны

Рис. 3.7. Система "Интерал", вертикальные профили (поперечное сечение)

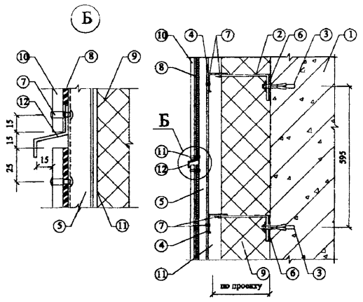
1. Основание.
2. Кронштейн (С-образный элемент и флажок).
3. Анкерный болт.
4. Вертикальный профиль.
5. Утеплитель.
6. Экран (фибробетонные плиты).
7. Заклепка.
8. Паронитовая прокладка.

Рис. 3.8. Система "Интерал", вертикальный разрез системы с облицовкой из фибробетонных плит

1. Основание.
2. Кронштейн (С-образный элемент и флажок).
3. Анкерный болт.
4. Вертикальный профиль.
5. Утеплитель.
6. Экран (фибробетонные плиты).
7. Заклепка.
8. Паронитовая прокладка.

Рис. 3.9. Система "Интерал", горизонтальный разрез системы с облицовкой из фибробетонных плит

1. Основание.
2. Кронштейн (С-образный элемент и флажок).
3. Анкерный болт.
4. Вертикальный профиль.
5. Утеплитель.
6. Экран (фибробетонные плиты).
7. Заклепка.
8. Паронитовая прокладка.
9. Кронштейн для скрытого крепления плит.
10. Распорный винт.
11. Горизонтальный профиль.

Рис. 3.10. Система "Интерал", вертикальный разрез системы с облицовкой плитами керамогранита со скрытыми креплениями

1. Основание.
2. Кронштейн L-образный.
3. Анкерный болт.
4. Вертикальный профиль П-образный.
5. Утеплитель.
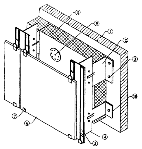
6. Экран (кассетная панель).
7. Штифт для навески кассетных панелей.
8. Паронитовая прокладка.
9. Заклепка.

Рис. 3.11. Система "Интерал" и др., вертикальный разрез системы с облицовкой кассетными панелями

1. Основание.
2. Кронштейн L-образный.
3. Анкерный болт.
4. Вертикальный профиль П-образный.
5. Утеплитель.
6. Экран (кассетная панель).
6а. Экран (угловая кассетная панель).
7. Штифт для навески кассетных панелей.
8. Паронитовая прокладка.
9. Заклепка.

Рис. 3.12. Система "Интерал" и др., горизонтальный разрез системы с облицовкой кассетными панелями

Рис. 3.13. Система "U-KON", кронштейны

Рис. 3.14. Система "U-KON", виды вертикальных профилей, дренаж и салазки

1. Основание.
2. Кронштейн.
3. Анкерный болт крепления кронштейна.
4. Вертикальный профиль.
5. Резиновая прокладка.
6. Облицовочная плита из керамогранита ("Гранитогрес").
7. Скоба (кляммера).
8. Утеплитель.
9. Тарелочный дюбель крепления утеплителя.
10. Паронитовая прокладка.

Рис. 3.15. Системы "Гранитогрес" и "Каптехнострой" с облицовкой плитами из керамогранита, прикрепленными к несущему каркасу кляммерами

1. Основание.
2. Кронштейн.
3. Анкерный болт крепления кронштейна.
4. Вертикальный профиль.
5. Горизонтальный профиль.
6. Кронштейн для скрытого крепления облицовочных плит.
7. Распорный винт.
8. Облицовочная плита из керамогранита ("Гранитогрес").
9. Утеплитель.
10. Тарелочный дюбель крепления утеплителя.
11. Паронитовая прокладка.

Рис. 3.16. Системы "Гранитогрес" и "Каптехнострой" с облицовкой плитами из керамогранита со скрытым креплением

1. Основание.
2. Кронштейн.
3. Анкерный болт крепления кронштейна.
4. Вертикальный профиль.
5. Резиновая прокладка.
6. Облицовочная плита из фибротетона.
7. Саморез крепления облицовочной плиты.
8. Утеплитель.
9. Тарелочный дюбель крепления утеплителя.
10. Паронитовая прокладка.

Рис. 3.17. Системы "Гранитогрес" и "Каптехнострой" с облицовкой прессованными плитами из фибробетона

1. Основание.
2. Кронштейн (универсальный).
3. Дюбель крепления кронштейна.
4. Вертикальный профиль.
5. Горизонтальный стержень в вертикальном профиле для навески кассетной панели.
6. Кассетная панель.
7. Утеплитель.
8. Дюбель для крепления утеплителя.
9. Паронитовая прокладка.

Рис. 3.18. Системы "Гранитогрес" и "Каптехнострой" с облицовкой кассетными панелями

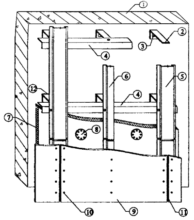
1. Основание.
2. Кронштейн.
3. Анкерный болт.
4. Горизонтальный несущий профиль.
5. Вертикальный профиль.
6. Вертикальный профиль (половинный).
7. Утеплитель.
8. Дюбель полимерный для крепления утеплителя.
9. Фасадная плита "Краспан".
10. Заклепка стальная для крепления фасадных плит.
11. Металлическая планка вертикального шва.
12. Паронитовая прокладка.

Рис. 3.19. Фрагмент конструктивного решения фасадной системы "Краспан"

1. Основание.
2. Кронштейн.
3. Анкерный болт.
4. Горизонтальный несущий профиль.
5. Вертикальный несущий профиль.
6. Паронитовая прокладка.
7. Стальная заклепка.
8. Резиновая уплотнительная прокладка.
9. Теплоизоляция.
10. Фасадная плита "КРАСПАН".
11. Влаговетрозащитная паропроницаемая пленка "TYVEK".
12. Фасонный расшивочный элемент.

Рис. 3.20. Система "Краспан", вертикальный разрез

1. Основание.
2. Кронштейн.
3. Анкерный болт.
4. Горизонтальный несущий профиль.
5. Вертикальный несущий профиль.
6. Паронитовая прокладка.
7. Стальная заклепка.
8. Резиновая уплотнительная прокладка.
9. Теплоизоляция.
10. Фасадная плита "КРАСПАН".
11. Влаговетрозащитная паропроницаемая пленка "TYVEK".
12. Фасонный расшивочный элемент.

Рис. 3.21. Система "Краспан", горизонтальный разрез

1. Основание.
2. Анкерная шпилька.
3. Втулка.
4. Плоская пластина (крепление утеплителя).
5. Гайка.
6. Фигурная пластина с гайкой.
7. Утеплитель.
8. Вертикальный профиль.
9. Облицовочная плитка.

Рис. 3.22. Вертикальный разрез системы "Мосрекон-М"

1. Основание.
2. Анкерная шпилька.
3. Втулка.
4. Плоская пластина (крепление утеплителя).
5. Гайка.
6. Фигурная пластина с гайкой.
7. Утеплитель.
8. Вертикальный профиль.
9. Облицовочная плитка.

Рис. 3.23. Горизонтальный разрез системы "Мосрекон-М"

1. Основание.
2. Утеплитель.
3. Анкерная шпилька.
4. Плоская пластина.

Рис. 3.24. Система "Мосрекон-М", схема размещения анкерных шпилек на фасаде здания (пример)

4. Исходные данные для проектирования систем

4.1. Проектно-сметная документация на систему для конкретного объекта разрабатывается на основе задания на проектирование, подготовленного в соответствии с существующим в г. Москве порядком и утвержденного заказчиком.

Задание на проектирование обязательно должно содержать требование о соответствии системы II этапу энергосбережения СНиП II-3-79* и МГСН 2.01-99.

4.2. Задание на проектирование должно включать следующие исходные данные:

- архитектурные чертежи фасадов здания, включающие данные о фактуре и цвете облицовочных материалов, чертежи архитектурных деталей (карнизов, обрамления проемов и т.п.) и другие необходимые данные, если это не входит в состав работ по данному заданию;

- строительные чертежи наружных стен от фундаментов до парапетов, включая узлы, поясняющие решение и размеры всех конструкций;

- данные от разработчиков фундаментов о величине допустимой дополнительной нагрузки на стены здания;

- план участка, где расположено здание.

Для реконструируемых зданий задание на проектирование дополнительно должно содержать акт обследования наружных стен здания, где указывается состояние поверхности фасадов, результаты испытаний на усилия, с которыми принятые дюбели можно вырвать из стены, и геодезическую съемку поверхностей фасадов с данными о величине отклонений их отдельных участков от вертикальной плоскости.

4.3. К заданию на проектирование должно быть приложено Приложение к Техническому свидетельству Госстроя России на выбранную для применения фасадную систему.

5. Определение основных параметров систем

5.1. К основным параметрам систем следует отнести:

- тип и размер облицовочных плит;

- характеристику принятых плит утеплителя: марку, размеры, теплопроводность и др., а также необходимость или ее отсутствие применения ветровлагозащитной пленки;

- величину воздушного зазора;

- схему размещения на фасаде здания элементов несущего каркаса с размерами и принятой номенклатурой этих элементов;

- тип и марку дюбелей для крепления к основанию элементов несущего каркаса и плит утеплителя.

5.2. Тип облицовочных плит, их цвет и фактуру поверхности определяет главный архитектор проекта, если эти данные отсутствуют в задании на проектирование.

5.3. В качестве утеплителя следует принимать минераловатные плиты, на которые имеются Технические свидетельства Госстроя России, разрешающие их применение в фасадных системах с вентилируемым воздушным зазором. Толщина плит утеплителя определяется теплотехническим расчетом (методики теплотехнического и других необходимых в этой работе расчетов приводятся ниже).

5.4. Рекомендации по выбору величины воздушного зазора содержатся в разделе 7 "Теплотехнические расчеты систем".

5.5. Схема размещения на фасаде элементов несущего каркаса принимается с учетом следующих факторов:

- размера облицовочных плит, который определяет шаг установки элементов (вертикальных или горизонтальных профилей), непосредственно к которым крепятся облицовочные плиты;

- расстояния от основания до экрана с учетом величин фактического отклонения плоскости фасада от вертикальной плоскости;

- геометрии фасада здания (основания), на котором крепится система, размещения на фасаде проемов, балконов и лоджий, козырьков и т.п., поскольку следует минимизировать количество элементов несущего каркаса и облицовочных плит нестандартного размера, а также решить конструкцию примыкания системы к элементам фасада, выступающим или отступающим от его плоскости;

- результатов прочностных расчетов, определяющих допускаемые шаги крепления элементов несущего каркаса к основанию и друг к другу, поперечные сечения элементов, принятый крепеж и т.п.

5.6. Тип и марка дюбелей для крепления к основанию элементов несущего каркаса и плит утеплителя принимаются исходя из следующих условий:

- материала основания;

- наличия Технического свидетельства Госстроя России, разрешающего применение конкретных дюбелей в системах с вентилируемым воздушным зазором;

- результатов прочностных расчетов системы;

- толщины плит утеплителя;

- результатов испытания дюбелей на вырывание.

6. Прочностные расчеты систем

6.1. Методические предпосылки

Прочностные расчеты включают проверку прочности и деформаций металлических профилей, анкерных болтов и стержней, несущих нагрузки от их собственной массы, массы облицовочных плит, утеплителя и от давления ветра, стыковых соединений профилей между собой, их креплений к основным несущим конструкциям здания. Нагрузку от собственной массы профилей в случаях, когда она относительно мала, возможно не учитывать.

Физико-механические характеристики материалов профилей, их соединений и крепежных элементов следует принимать по СНиП [3, 4].

Нагрузки от собственной массы облицовочных плит и утеплителя принимаются по техническим условиям или паспортным данным предприятий-изготовителей. Временные нагрузки от ветра принимаются по СНиП [2], в данном случае для I ветрового района г. Москвы. Кроме того, учитываются дополнительные коэффициенты к ветровым нагрузкам в соответствии с письмом ЦНИИСКа № 1-945 от 14.11.2001 г.

Усилия: изгибающие моменты, поперечные и продольные силы; прогибы определяются с использованием основных положений сопротивления материалов и строительной механики. Коэффициенты надежности по нагрузкам gf, а также единый коэффициент надежности по ответственности gп = 0,95 принимаются по СНиП [2].

При проверке прочности и деформаций элементов и стыковых соединений формулы СНиП [3, 4] трансформируются по форме к условиям примеров.

Подробно методика расчета проиллюстрирована в приводимых ниже примерах (п.п. 6.6¸6.8). В примерах исходные параметры даны для конкретных материалов и конструкций (п. 6.2). В то же время приведенная методика, где все расчетные формулы даются как в буквенном, так и в числовом выражениях со ссылками на нормативные источники, может быть использована и для других вариантов и сочетаний материалов и конструктивных решений.

6.2. Характеристики материалов

Расчетные сопротивления несущих профилей и заклепок, изготовленных из алюминиевых сплавов марок АД31Т1, АМг2М и АМг2Н2, согласно [3] (МПа): профилей: на растяжение, сжатие и изгиб R = 120; на сдвиг Rs = 75; на смятие Rlp = 90; модуль упругости Е = 7 104; соединений на заклепках: на срез Rrs = 70; на смятие Rrp = 110; Коэффициент условий работы gc = 1.

Расчетные сопротивления стальных профилей согласно [4] (МПа): на растяжение, сжатие и изгиб Ry = 230; на сдвиг Rs = 133; на смятие Rlp = 175; модуль упругости Е = 21 104. Коэффициент условий работы gc = 1.

Расчетные сопротивления стальных болтов и заклепок по [4] (МПа): на растяжение Rвt = 170; на срез Rвs = 150. Коэффициент условий работы gв = 0,8.

Тип, конструкция и допускаемое усилие на 1 болт с дюбелем подбираются по каталогам фирм с учетом материала и состояния стены.

Утеплитель - минераловатные плиты "Венти-Баттс" плотностью g = 110 кг/м3, толщиной d = 150 мм - для всех систем. Прочность на сжатие утеплителя "Венти-Баттс" при 10 % деформации 0,02 МПа.

6.3. Расчетные схемы

Направления координатных осей приняты:

ось х - горизонтальная в плоскости стены;

ось у - горизонтальная по нормали к стене;

ось z - вертикальная в плоскости стены.

Расчетные схемы вертикальных и горизонтальных профилей, кронштейнов, анкерных болтов для различных систем неодинаковы, поэтому приводятся в примерах (п.п. 6.6¸6.8).

Заклепочные и болтовые соединения между профилями и со стеной, анкеровка в стене, рассчитываются на действие усилий среза от вертикальных нагрузок, растяжения, изгиба и вырыва от совместного действия вертикальной и ветровой нагрузок.

Типы систем для примеров выбраны с учетом их разнообразия как по материалам, так и по набору и последовательности установки элементов креплений: "Мосрекон", "Интерал" и "Гранитогрес". Эти системы могут служить аналогами для расчета всех других подобных систем.

6.4. Ветровые нагрузки

Поскольку эти нагрузки одинаковы для всех систем, то они обобщаются в данном разделе.

Горизонтальные нагрузки от ветрового давления приняты условно для высоты Н = 80 м; нормативное значение ветрового давления для I ветрового района w0 = 0,23 кПа; коэффициент "К" для зданий высотой 80 м, тип местности "В", по табл. 6 [2] К = 1,45; аэродинамический коэффициент принимается максимальным - для угловых зон здания С = 2; коэффициент gр = 1,3, учитывающий пульсационную составляющую ветровой нагрузки и коэффициент gm - 1,2 увеличения средней величины ветрового давления (gр и gm - по рекомендации ЦНИИСК, как дополнение к СНиП [2]).

Нормативная ветровая нагрузка qyn = wn = 0,23×1,45×½-2½×1,3×1,2 = 1,04 кПа = 1040 Н/м2. Расчетная нагрузка при коэффициенте надежности по нагрузке gf = 1,4×[2]: qy = 1040×1,4 = 1456 Н/м2.

Далее расчет профилей и их креплений производится лишь для участков около углов здания. При этом для средних зон фасада образуется запас прочности подконструкций. Во избежание перерасхода материалов при необходимости могут быть увеличены шаги кронштейнов в одном или в обоих направлениях с соответствующим перерасчетом прочности и жесткости несущих элементов и их креплений.

Расчет для средних зон фасада отличается величиной аэродинамического коэффициента С = 0,8 и определением коэффициента gр по формуле (8) СНиП [2].

6.5. Рекомендации по конструированию

В приведенных примерах размеры, шаги, материал профилей и элементов креплений приняты, главным образом, для иллюстрации методики расчета. При выявлении в некоторых деталях и узлах крепления излишнего запаса прочности их параметры при разработке реальных проектов рекомендуется уточнять.

6.6. Пример расчета системы "Мосрекон"

6.6.1. Исходные данные

В данном примере принят вариант облицовки плитками из мелкозернистого бетона плотностью g = 2200 кг/м3, длиной 600 мм, высотой 116¸316 мм, приведенной толщиной 20 мм. Крепление плит - профилями из нержавеющей стали толщиной d = 1 мм.

Соединение профилей - стальными болтами Æ 5 мм, анкеровка к стене - стальными анкерами-шпильками Æ 12 мм с дюбелями. Утеплитель - по п. 6.2, крепится к стене этими же шпильками.

Шаги вертикальных профилей и анкеров-шпилек вдоль здания lх = 0,3 м, шаги анкеров-шпилек по вертикали hz = 0,6 м.

6.6.2. Расчетные схемы

Расчетная схема вертикальных профилей в направлении оси "у" - трехпролетная балка, неразрезная на промежуточных и шарнирно закрепленная на верхней и нижней опорах (рис. 6.1); в направлении оси "z" - растянутый стержень.

Пролеты в направлении оси "z" номинально соответствуют шагам анкеров-шпилек, при этом расчетные пролеты уменьшаются за счет фигурных пластин и составляют lz = 0,5 м.

К вертикальным профилям и анкерам-шпилькам прикладывается вертикальная нагрузка от собственного веса и веса облицовочных плит и горизонтальная ветровая нагрузка.

Расчетная схема анкеров-шпилек - защемленная консоль с вылетом lу, диктуемым толщиной утеплителя и воздушного зазора (рис. 6.2), в данном примере lу = 190 мм.

6.6.3. Нагрузки

Вертикальные нагрузки (Н/м2): от веса облицовочных плит: нормативная qzn = 2200×20×10-3×101 = 440; расчетная qz = gf×qzn = 1,1×440 = 484; от веса утеплителя qутn =110×150×10-3×101 = 165; qут = 1,3×165 = 215; собственным весом профилей пренебрегается.

Горизонтальные ветровые нагрузки - по п. 6.4.

Рис. 6.1. Расчетные схемы вертикального профиля

а - на вертикальные нагрузки;

б - на ветровые нагрузки

Рис. 6.2. Расчетная схема анкера-шпильки

а - схема нагрузок;

б - момент от вертикальной нагрузки;

в - поперечная сила

6.6.4. Расчет вертикального профиля

Геометрические характеристики

Для поперечного сечения профиля: d = 1 мм; А = 55 мм2; J = 1189 мм4; W = 116 мм3; Аn = 52 мм2; Jn = 1130 мм4; Wn = 110 мм3; So = 656 мм3; t = 2 мм.

Определение усилий

Нагрузки на 1 м профиля (Н/м): вертикальные от плит: нормативная pzn = qzn×lx = 440×0,3 = 132; расчетная pz = qz×lx = 484×0,3 = 143; горизонтальные от ветра: нормативная руn = qyn×lx = 1040×0,3 = 312; расчетная ру = qy×lx = 1456×0,3 = 437.

Изгибающие моменты в плоскости, нормальной к стене (Нм): от вертикальной нагрузки: нормативной Мвn = Ктабл×pzn×qzn×lz2 = 0,25×132×0,52 = 8,3; расчетной Мв = 0,25×145×0,52 = 9,2; от горизонтальной нагрузки: нормативной Мrn = Ктабл×pуn×lz2 = 0,1×312×0,52 = 7,8; расчетной Мr = 0,1×437×0,52 = 11,1.

Продольное усилие Nz = pz×lz = 145×0,5 = 73 Н. Поперечные силы: у средних опор Qy.c. = ру×lz/2 + Мr/lz = 437×0,5/2 + 11,1/0,5 = 131,5 Н; у крайних опор Qy.c. = 437×0,5/2 - 11,1/0,5 = 87,1 Н.

Проверка прочности профиля на растяжение с изгибом

По формуле (50) [4]

gn £ gc; ×0,95 = 167,5 МПа < 230×1 = 230 МПа;

прочность на растяжение с изгибом обеспечивается.

Проверка прочности на сдвиг в горизонтальной плоскости в направлении оси "у"

По формуле (29) [4] на сдвиг у опор:

×gn £ Rs×gc; ×0,95 = 36,3 МПа < 133×1 = 133 МПа;

прочность профиля на сдвиг обеспечивается.

Проверка прочности крепления профиля к фигурной пластине

Крепление производится двумя стальными болтами d = 5 мм, расчетной площадью сечения Аn = 10,7 мм; ns = 2. Расчетные нагрузки на 1 узел (Н): вертикальная Nz = qz×lx×hz = 484×0,3×0,6 = 87,1; горизонтальная Ny = qy lx hz = 1456×0,3×0,6 = 262,1. Продольное растягивающее усилие N = Ny = 262,1 Н; поперечная сила Qz = Nz = 87,1 Н.

По формуле (127) [4] на срез

 £ Rвs×gв; ×0,95 = 3,87 МПа < 150×0,8 = 120 МПа;

по формуле (129) на растяжение

 £ Rвt×gc; ×0,95 = 12,9 МПа < 230×1 = 230 МПа;

прочность болтов на срез и растяжение обеспечивается.

Проверка жесткости вертикального профиля

Проверяется прогиб в направлении оси "y", т.е. по нормали к стене, от действия нормативной ветровой нагрузки руn = 312 Н/м, с изгибающим моментом на средних опорах Мгn = 7,8 Нм.

По формулам строительной механики

f/l = 0,5/500 = 1/1000, что меньше предельно допустимой величины [f/l] = 1/200; жесткость профиля достаточна.

6.6.5. Расчет анкеров-шпилек

Геометрические характеристики

Диаметр d = 12 мм, расчетный диаметр do = 9,7 мм; расчетная площадь сечения Аn = 73,9 мм2; Wn = 89,6 мм3; расчетные сопротивления по п. 6.2.

Определение усилий

Расчетные нагрузки на 1 анкер (Н): вертикальная Nz = (qz + qут)×lx×hz = (484 + 215)×0,3×0,6 = 125,8; горизонтальная Ny = qy×lx×hz = 1456×0,3×0,6 = 262,1. Изгибающий момент от вертикальной нагрузки М = Ктабл×Nz×lу = 0,5×125,8×0,19 = 12,0 Нм. Продольное растягивающее усилие N = Ny = 262,1 Н. Поперечная сила Qz = Nz = 125,8 Н.

Проверка прочности анкера на растяжение с изгибом

По формуле (50) [4]

;

×0,95 = 130,6 МПа < 170×0,8 = 136 МПа;

прочность анкеров-шпилек на растяжение с изгибом обеспечивается.

Проверка прочности анкера на срез

По формуле (127) [4]: Qz×gn = 125,8×0,95 = 119,5 Н < Rвs×gв×Аn×ns = 150×0,8×73,9×1 = 8868 Н; прочность анкеров-шпилек на срез обеспечивается.

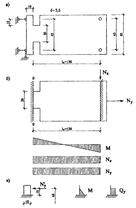
6.7. Пример расчета системы "Интерал"

6.7.1. Исходные данные

В данном примере принят вариант с облицовочными плитами из керамогранита плотностью g = 2500 кг/м3, размеры плит 600´600 мм, толщина d = 10 мм. Крепление плит - алюминиевыми профилями с С-образным кронштейном и фиксирующим флажком; толщина вертикальных профилей - 2 мм, флажков и кронштейнов - 3,5 мм.

Шаги вертикальных профилей и кронштейнов вдоль здания lх = 0,3 м, шаги кронштейнов по вертикали lz = 1,2 м.

Крепление кронштейна к стене - одним стальным болтом Æ10 мм с дюбелем.

Утеплитель - минераловатные плиты - по п. 6.2, крепится к стене независимо от облицовки, стальными распорными стержнями Æ5 мм с шляпками Æ80 мм.

6.7.2. Расчетные схемы

Расчетная схема вертикальных профилей - двухпролетная, неразрезная на промежуточной опоре и шарнирно опертая по концам, балка (рис. 6.3).

Пролеты в направлении оси "z" соответствуют шагам кронштейнов.

К вертикальным профилям прикладывается вертикальная нагрузка от собственного веса и веса облицовочных плит с эксцентрицитетом относительно плоскости заклепочного соединения lу и горизонтальная ветровая нагрузка.

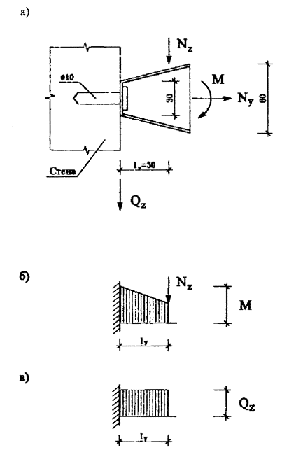
Расчетная схема фиксирующих флажков - стойки двухпролетной рамы (рис. 6.3), ригелем которой является вертикальный профиль, а опорами - кронштейны. Длина флажков диктуется толщиной слоя утеплителя и воздушного зазора. К флажку прикладывается вертикальная нагрузка от профиля с облицовкой и горизонтальная ветровая нагрузка (рис. 6.4). Через флажок эти нагрузки передаются на кронштейны.

Расчетная схема кронштейна - консоль с вылетом lу (рис. 6.5), диктуемым толщиной слоя утеплителя и конструкцией соединения с флажком. На кронштейны через вертикальные профили-флажки передаются вертикальные и ветровые нагрузки.

Расчетная схема анкерных болтов для крепления утеплителя - консоль с вылетом ly = dут.

6.7.3. Нагрузки

Вертикальные нагрузки (Н/м2): от веса облицовочных плит: нормативная qzn = 2500×10×10-3×101 = 250; расчетная qz = gf×qzn = 1,1×250 = 275; от веса утеплителя - по п. 6.5.3; собственным весом алюминиевых профилей пренебрегается.

Горизонтальные нагрузки от ветрового давления - по п. 6.4.

6.7.4. Расчет вертикального профиля

Геометрические характеристики

Для поперечного сечения профиля с отверстием Æ5 мм: d = 2 мм; А = 260 мм2; Аn = 250 мм2; J = 55993 мм4; Jn = 46839 мм4; Wn = 1142 мм3; t = d = 2 мм; So = 1371 мм3.

Определение усилий

Нагрузки на 1 м профиля (Н/м):

- вертикальные от плит: нормативная рzn = qzn×lx = 250×0,3 = 75; расчетная pz = qz×lx = 275×0,3 = 82,5;

- горизонтальные от ветра: нормативная рyn = qyn×lx = 1040×0,3 = 312; расчетная pу = qy×lx = 1456×0,3 = 437.

Изгибающие моменты в плоскости, перпендикулярной стене (Нм):

- от вертикальной нагрузки: нормативной Мn = Ктабл×рzn×lz×ey = 0,25×75×1,2×0,13 = 2,9; расчетной М1 = К×рz×lz×ey = 0,25×82,5×1,2×0,13 = 3,2;

- от ветровой нагрузки: нормативной М2n = Ктабл×рyn×lz2 = 0,125×312×1,22 = 56,2; расчетной М2 = 0,125×437×1,22 = 78,7.

Продольное усилие Nz = рz×lz = 82,5×1,2 = 99 Н.

Поперечная сила: Qy = ру×lz/2 + М2/lz = 437×1,2/2 + 78,7/1,2 = 328 Н.

Рис. 6.3. Расчетные схемы вертикального профиля

а - на вертикальные нагрузки;

б - на ветровые нагрузки

Рис. 6.4. Расчетная схема флажка

а - геометрия;

б - схема нагрузок и усилия в опорном сечении 0-0;

в - то же в верхнем выступе

Рис. 6.5. Расчетная схема кронштейна

а - схема нагрузок;

б - эпюра моментов;

в - эпюра поперечных сил

Проверка прочности профиля на растяжение с изгибом

По формуле (29) [3]

;

×0,95 = 68,1 МПа < 120×1 = 120 МПа;

прочность на растяжение с изгибом обеспечивается.

Проверка профиля на сдвиг (срез)

По формуле (21) [3]

×gn £ Rsgc

×0,95 = 4,56 МПа < 75×1 = 75 МПа;

прочность на сдвиг (срез) обеспечивается.

Проверка прочности крепления профиля к флажку

Крепление производится двумя алюминиевыми заклепками d = 4,8 мм, площадью сечения А = 18,1 мм2.

Усилия среза в одной заклепке (Н): от вертикальной нагрузки Q1 = Nz/2 = 99/2 = 50; от изгибающего момента Q2 = M1/z = 3,2×103/45 = 71; от горизонтальной нагрузки Q3 = Qy/2 = 328/2 = 164; суммарные: Qz = Q1 = 108; Qy = Q2 + Q3 = 71 + 164 = 235.

По формулам (73), (74) [3]:

×gn £ Rrs (на срез) и

×gn £ Rrs, (на смятие); соответственно:

×0,95 = 12,6 МПа < 70 МПа;

×0,95 = 23,8 МПа < 110 МПа.

прочность заклепочного соединения на срез и смятие обеспечивается.

Проверка жесткости вертикального профиля

Проверяется прогиб в направлении оси "у", т.е. по нормали к стене, от действия нормативной ветровой нагрузки рyn = 312 Н/м, с изгибающим моментом на средней опоре М2n = 56,2 Нм.

По формулам строительной механики

f/l - 0,82/1200 = 1/1463, что меньше предельно допустимой величины [f/l] = 1/200, жесткость профиля достаточна.

6.7.5. Расчет флажка

Геометрические характеристики

1) опорного поперечного сечения (с учетом двух вырезов) h = 30 мм; lк = 130 мм; d = 3,5 мм; Аn = 30×3,5 = 105 мм2; Wn = 3,5×302/6 = 525 мм3; Jn = 3,5×303/12 = 7875 мм4; Sn = 3,5×152/2 = 394 мм3;

2) вертикальных выступов: h = 10 мм; lк = 10 мм; d = 3,5 мм; А = 10×3,5 = 35 мм2; W = 3,5×102/6 = 58 мм3; J = 3,5×103/12 = 292 мм4; S = 3,5×52/2 = 44 мм3.

Усилия

От вертикальной нагрузки, передаваемой вертикальным профилем Nz = 99 Н; от горизонтальной нагрузки Ny = рy×lz = 437×1,2 = 525 Н.

Проверка прочности опорного сечения на растяжение с изгибом и сдвиг (срез)

Плечо вертикальной нагрузки относительно расчетного сечения ly = 130 мм. Изгибающий момент М = Ктабл×Nz×ly = 0,5×99×0,13 = 6,4 Нм. Продольное растягивающее усилие Ny = 525 Н; поперечная сила Qz = Nz = 99 Н.

По формуле (29) [3] на растяжение с изгибом

×0,95 = 16,3 МПа < 120×1 = 120 МПа;

прочность опорного сечения на растяжение с изгибом обеспечивается.

По формуле (21) [3]

×0,95 = 1,34 МПа < 75×1 = 75 МПа;

прочность опорного сечения на сдвиг (срез) обеспечивается.

Проверка прочности вертикальных выступов на изгиб и сдвиг (срез)

Плечо горизонтального усилия в верхнем выступе lz = 10 мм; плечо внутренней пары z = 45 мм.

Горизонтальное усилие в верхнем выступе: от вертикальной нагрузки Ny,1 = My/z = 6,4×103/45 = 142Н; от горизонтальной (ветровой) нагрузки Ny,2 = Ny/2 = 525/2 = 263 Н; суммарное Nv = Ny,1 + Nv,2 = 142 + 263 = 405 Н.

Изгибающий момент в основании выступа М = Ny×lz = 405×10×10-3 = 4,1 Нм; поперечная сила Qy = Ny = 405 Н.

По формулам, аналогичным с опорным сечением:

на изгиб ×0,95 = 67 МПа < 120 МПа;

на сдвиг (срез) ×0,95 = 16,6 МПа < 75 МПа;

прочность выступа на изгиб и сдвиг (срез) обеспечивается.

6.7.6. Расчет кронштейна

Геометрические характеристики приопорных сечений

в = 50 мм; t = d = 3,5 мм; А = в×d = 50×3,5 = 175 мм2; J = 50×3,53/12 = 179 мм4; W = 50×3,52/6 = 102 мм3; S = 50×1,752/2 = 77 мм3.

Усилия

Вертикальное расчетное усилие, передаваемое флажком Nz = 99 Н с плечом еу = 0,03 м. Горизонтальное расчетное усилие на одну ветвь кронштейна Ny(1) = Ny,2 = 263 Н с эксцентрицитетом eZ = 0,01 м.

Изгибающий момент в ветви: М = Nz×еу + Ny(1)×еz = 99×0,03 + 263×0,01 = 5,6 Нм; максимальная поперечная сила Qz = Nz = 99 Н; продольная сила в ветви Ny(1) = 263 H.

Проверка прочности приопорных сечений кронштейна на растяжение (сжатие) с изгибом

По формуле (29) [3]

gn £ R×gс;

×0,95 = 53,6 МПа < 120 МПа;

прочность на растяжение (сжатие) с изгибом обеспечивается.

Проверка прочности кронштейна на сдвиг (срез)

По формуле (21) [3] ×gn £ Rsgc от вертикальной нагрузки

×0,95 = 11,6 МПа < 75 МПа;

прочность на сдвиг (срез) обеспечивается.

Проверка прочности в вырезах кронштейна на смятие

Площадь смятия Авр = 3,5×3,5 = 12,25 мм2: усилие Nвр = Ny(1) = 263 Н.

Напряжения смятия

×0,95 = 20,4 МПа < Rвр = 90 МПа;

прочность на смятие в вырезах обеспечивается.

6.7.7. Расчет крепления кронштейна к стене

Крепление производится одним стальным болтом Æ 12 мм с расчетным диаметром 9,7 мм и расчетной площадью сечения Аn = 73,9 мм2; Wn = pr3/4 = 0,785×4,853 = 89,6 мм3. Расчетные сопротивления - по п. 6.2.

Изгибающий момент в болте М = Nz×eу = 99×0,03 = 3 Нм; поперечная сила Qz = Nz,1 = 99 Н; продольная сила Ny = Nу,2 = 525 Н.

По формуле (50) [4]

×gn £ Rвt×gв;

×0,95 = 38,6 МПа < 170×0,8 = 136 МПа;

прочность болтов на растяжение с изгибом обеспечивается.

По формуле (127) [4]:

Qz×gn £ Rвs×gв×An = Nв;

99×0,95 = 94 Н < 150×0,8×73,9 = 8868 Н;

прочность болтов на срез обеспечивается.

6.7.8. Расчет креплений утеплителя

На 1 м2 стены принимается 4 распорных стержня: на 1 стержень с расчетной площадью сечения А = 19,6 мм2, приходится Аут.1 = 0,25 м2.

При диаметре шляпки dш = 80 мм утеплитель может воспринять усилие сжатия не более [N] = Ryт×Аш = 0,02×p×802/4 = 100,5 Н.

Контроль за ограничением этого усилия осуществляется по величине деформации обжатия утеплителя под шляпкой, которая при dут = 150 мм не должна превышать D = 0,1×150 = 15 мм.

Поперечная сила, приходящаяся на 1 стержень от веса утеплителя, Qz = 1,3×110×0,15×0,25×101 = 53,4 Н.

По аналогии с п. 6.6.7: Qz×gn = 53,4×0,95 = 50,7 Н < 150×0,8×19,6 = 2352 Н;

прочность стержней на срез обеспечивается.

6.8. Пример расчета системы "Гранитогрес"

6.8.1. Исходные данные

В данном примере принят вариант облицовки керамической плиткой "Гранитогрес" плотностью g = 2500 кг/м3, размеры плит 600´600 мм, толщина d = 10 мм. Крепление плит - алюминиевыми профилями; толщина вертикальных профилей - 2 мм, кронштейнов - 3,5 мм. Несущий кронштейн принят высотой 150 мм. Соединение профилей алюминиевыми заклепками Æ 4, 8 мм, анкеровка к стене - стальными болтами Æ 12 мм с дюбелями.

Шаги вертикальных профилей и кронштейнов вдоль здания lх = 0,6 м, что соответствует ширине плит, шаги кронштейнов по вертикали lz = 1,0 м.

Утеплитель - по п. 6.2, крепится к стене независимо от облицовки стальными распорными стержнями Æ 5 мм с шляпками Æ 80 мм.

6.8.2. Расчетные схемы

Расчетные схемы вертикальных профилей: в направлении оси "у" - двухпролетная балка, неразрезная на промежуточной и шарнирно закрепленная на верхней и нижней опорах (рис. 6.6), в направлении оси "z" - растянутый стержень. Пролеты в направлении оси "z" соответствуют шагам кронштейнов.

К вертикальным профилям прикладывается вертикальная нагрузка от собственного веса и веса облицовочных и горизонтальная ветровая нагрузка.

Расчетная схема несущего кронштейна - консоль с вылетом lу (рис. 6.7), диктуемым толщиной слоя утеплителя и воздушного зазора. Кронштейн крепится к стене двумя болтами и воспринимает вертикальные и горизонтальные нагрузки, передаваемые от вертикального профиля.

Расчетная схема вспомогательного кронштейна - стержень, работающий на растяжение от ветровой нагрузки; крепится к стене одним болтом.

6.8.3. Нагрузки

Вертикальные нагрузки (Н/м2): от веса облицовочных плит: нормативная qzn = 2500×10×10-3×101 = 250; расчетная qz = gf×qzn = 1,1×250 = 275; от веса утеплителя - по п. 6.6.3; собственным весом алюминиевых профилей пренебрегается.

Горизонтальные ветровые нагрузки - по п. 6.4.

6.8.4. Расчет вертикального профиля

Геометрические характеристики

Для поперечного сечения профиля: d = 2 мм; А = 260 мм2; Аn = 250 мм2; J = 55993 мм4; Jn = 46839 мм4; Wn = 1142 мм3; t = d = 2 мм; So = 1371 мм3.

Рис. 6.6. Расчетные схемы вертикального профиля

а - на вертикальные нагрузки;

б - на ветровые нагрузки

Рис. 6.7. Расчетная схема несущего кронштейна

а - схема нагрузок;

б - момент от вертикальной нагрузки;

в - поперечная сила

Определение усилий

Нагрузки на 1 м профиля (Н/м):

- вертикальные от плит: нормативная рzn = qzn×lx = 250×0,6 = 150; расчетная pz = qz×lx = 275×0,6 = 165;

- горизонтальные от ветра: нормативная руn = qуn×lx = 1040×0,6 = 624; расчетная ру = qy×lх = 1456×0,6 = 874.

Изгибающие моменты в плоскости, перпендикулярной стене, с максимальным значением над средней опорой (Нм):

- от нормативной ветровой нагрузки

Мn = руn×lz2/8 = 624×12/8 = 78;

- от расчетной

М = ру×lz2/8 = 874×12/8 = 109,3.

Продольное усилие:

Nz = pz×2lz = 165×2×1 = 330 Н.

Поперечная сила у средней опоры:

Qy,e = pу×lz/2 + М/lz = 874×1/2 + 109/1 = 546 Н;

у крайних опор:

Qy,e = 874×1/2 - 109/1 = 328 Н.

Проверка прочности профиля на растяжение с изгибом

По формуле (29) [3]

×gn £ R×gc;

×0,95 = 92,2 МПа < 120×1 = 120 МПа;

прочность профиля на растяжение с изгибом обеспечивается.

Проверка профиля на сдвиг (срез)

По формуле (21) [3]

×gn £ Rsgc;

×0,95 = 7,6 МПа < 75×1 = 75 МПа;

прочность профиля на сдвиг (срез) обеспечивается.

Проверка прочности крепления вертикального профиля к несущему кронштейну

Крепление производится двумя алюминиевыми заклепками d = 4,8 мм, площадью сечения А = 18,1 мм2, с расчетными сопротивлениями по п. 6.2.

Усилия среза в одной заклепке (Н): от вертикальной нагрузки Qz = Nz/2 = 330/2 = 165; от горизонтальной ветровой нагрузки Qy,1 = Qy/2 = 328/2 = 164.

По формулам (73), (74) [3]:

На срез ×0,95 = 12,1 МПа < Rs = 70 МПа;

На смятие ×0,95 = 23,1 МПа < Rгр = 110 МПа;

прочность заклепочного соединения на срез и смятие обеспечивается.

Проверка жесткости вертикального профиля

Проверяется прогиб в направлении оси "у", т.е. по нормали к стене, от действия нормативной ветровой нагрузки pуn = 624 Н/м, с изгибающим моментом над средней опорой Мn = 78 Нм.

По формулам строительной механики

f/l = 0,77/1000 = 1/1300; что меньше предельно допустимой величины [f/l] = 1/200; жесткость профиля достаточна.

6.8.5. Расчет прочности несущего кронштейна

Геометрические характеристики вертикального сечения

hz = 150 мм; t = d = 3,5 мм; А = hz×d = 150×3 = 450 мм2; Аn = (150 - 2,13)×3 = 372 мм2; J = 3×1503/12 = 843750 мм4; Jn = 796787 мм4; W = 3×1502/6 = 11250 мм3; Wn = 10624 мм3; S = 3×1502/8 = 8438 мм3; So = 7970 мм3. Шаги несущих кронштейнов: lх = 0,6 м; lz = 2 м.

Усилия

Nz = 330 Н с плечом lу = 0,17 м; Ny = 2Qy = 656 Н.

Изгибающий момент от вертикальной нагрузки: М = Nz×еу = 360×0,17 = 61,2 Нм; продольная сила Ny = 656 Н; поперечная сила Qz = Nz = 330 Н.

Проверка прочности кронштейна на растяжение с изгибом

По формуле (29) [3]

×gn £ R×gс;

×0,95 = 6,6 МПа < 120 МПа;

прочность кронштейна на растяжение с изгибом обеспечивается.

Проверка прочности кронштейна на сдвиг (срез)

По формуле (21) [3]

×gn £ Rsgc;

×0,95 = 0,9 МПа < 75 МПа;

прочность на сдвиг (срез) обеспечивается.

6.8.6. Расчет вспомогательного кронштейна

Расчет производится только на действие горизонтальной ветровой нагрузки. Геометрические характеристики вертикального сечения: hz = 80 мм; t = d = 3,5 мм; А = hz×d = 80×3 = 240 мм2.

Шаги кронштейнов: lх = 0,6 м; lz = 1,0 м.

Продольная сила, передаваемая от вертикального профиля Ny = 2Qye = 2×546 = 1092 Н.

По формуле (1) [3]

 £ R×gc на растяжение

×0,95 = 4,3 МПа < 75 МПа;

прочность кронштейна на растяжение обеспечивается.

6.8.7. Расчет крепления кронштейнов к стене

Крепление производится: несущего двумя, а вспомогательного одним, стальными болтами Æ 12 мм, расчетной площадью сечения Аn = 73,9 мм2. Расчетные сопротивления по п. 6.2.

Изгибающий момент в несущем кронштейне из плоскости стены М = 61,2 Нм. Продольная сила в несущем кронштейне Ny = 328 Н, во вспомогательном - Ny = 1092 Н.

В несущем кронштейне растягивающее усилие в 1 болте (Н): от изгибающего момента NM = M/Z = 61,2 103/70 = 874; от продольной силы - NN = Ny/2 = 328/2 = 164; суммарное Ny,1 = NM + NN = 874 + 164 = 1038; усилие сдвига Qz = 2 Nz = 330 Н.

Во вспомогательном кронштейне растягивающее усилие в болте Ny,1 = Ny = 1092 Н.

По формуле (129) [4] ×gn £ Rвtgв на растяжение:

в несущем кронштейне

×0,95 = 13,3 МПа < 170×0,8 = 136 МПа;

во вспомогательном кронштейне

×0,95 = 14,1 МПа < 170×0,8 = 136 МПа;

прочность болтов на растяжение обеспечивается.

По формуле (127) [4]: gn×Qz £ Rвs×gв×An×ns на срез в несущем кронштейне 330×0,95 = 314 Н < 150×0,8×73,9×2 = 17736 Н; прочность болтов на срез обеспечивается.

6.8.8. Расчет крепления утеплителя - по п. 6.7.8.

7. Теплотехнические расчеты систем

7.1. Введение

В настоящем разделе анализируются принципы теплотехнического проектирования различных систем наружных стен с вентилируемыми воздушными зазорами между экраном и теплоизоляционным слоем, приводятся рекомендации по теплотехническим расчетам основных технических параметров систем, в том числе даются основные параметры приточных полостей и воздушной прослойки.

Принципы теплотехнического проектирования включают методы теплотехнических расчетов, расчеты воздухообмена и влагообмена в воздушных прослойках.

Методика теплотехнических расчетов базируется на требованиях СНиП II-3-79* [5] и МГСН 2.01-99 [10].

Основное отличие приведенной в работе методики от теплотехнических норм [5, 10] в комплексной оценке теплового, воздушного и влажностного режима рассматриваемой системы.

7.2. Основные, используемые в тексте, понятия

Прослойка между стеной и экраном, вентилируемая наружным воздухом; швы, зазоры, щели - приточные, воздухозаборные (полости, отверстия), вытяжные, воздуховыводящие. Такими зазорами могут являться как вертикальные, так и горизонтальные стыковые швы панелей экранов, но преимущественно горизонтальные (при уплотнении вертикальных).

Экраны-панели могут быть из различных атмосферостойких, долговечных материалов, в т.ч. утепленных. В последнем случае температура в прослойке будет выше, чем при не утепленных экранах.

Условный коэффициент паропроницаемости - приведенный коэффициент паропроницаемости, учитывающий сопротивление паропроницанию материалов экрана и швов-стыков между облицовочными панелями.

7.3. Основные положения по проектированию систем наружных стен с вентилируемой воздушной прослойкой

При проектировании зданий с вентилируемыми фасадами следует учитывать особенности экранируемых стен.

Минимальный размер полости* (щели) для притока воздуха рекомендуется 10¸15 мм при размерах плит экрана 600´600 мм и более.

___________

* - то же, что швы-зазоры.

Толщина воздушной прослойки должна быть, как правило, 60 мм, минимальная 30 мм (минимально допустимое расстояние от экрана до ближайшей точки на поверхности утеплителя).

Толщина воздушной прослойки при материале экрана с коэффициентом паропроницаемости 0,01 и менее рекомендуется 50-60 мм, а толщина экрана не более 10 мм.

Сечение полости (щели)* для вытяжки воздуха не должно быть менее сечения полости (щели) для притока.

______________

* - то же, что швы-зазоры.

Отверстия следует выполнять так, чтобы не было их закупорки.

При назначении указанных размеров имеется в виду, что в расчетах условного коэффициента паропроницаемости вентилируемых фасадов с учетом стыковых швов учитывается только площадь приточных (либо вытяжных) полостей - швов (отверстий).

7.4. Правила теплотехнического проектирования наружных ограждений с вентилируемым фасадом

Теплотехническое проектирование наружных стен с вентилируемыми фасадами включает в себя два этапа. Причем второй этап применяется, если после первого этапа расчетов не выявится надежность рассматриваемой конструкции в теплотехническом отношении.

Первый этап

Назначается конструктивное решение стены, в т.ч. параметры экранов, приточных и выводных щелей с учетом раздела 7.3.

Выполняется теплотехнический расчет наружной стены с экраном, т.е. определяется необходимая толщина теплоизоляции, исходя из требований 2-ого этапа СНиП II-3-79* (98) [5] и с учетом требований МГСН 2.01-99 [10].

Выполняется расчет влажностного режима стены по методике СНиП II-3-79* (98) [5] с учетом коэффициента паропроницаемости по глади экрана в соответствии с табл. Приложения 3 [5].

Проверяется расчетом упругость водяного пара на выходе из прослойки по формуле (7.18) с учетом параметров стены данных в разделе 7.7 при расходе воздуха равным нулю.

Если влажностной режим стены удовлетворяет требованиям норм строительной теплотехники, то на этом теплотехническое проектирование заканчивается.

Если влажностной режим экранированных стен не удовлетворяет требованиям СНиП II-3-79* (98) [5], то подбирается такой материал стены и экрана, чтобы с ним конструкция стены удовлетворяла требованиям СНиП [5].

Если расчет влажностного режима наружного ограждения с вентилируемым фасадом показал невыполнение требований СНиП II-3-79* (98) [5], а другой материал стены и экрана подобрать нельзя, то переходят ко второму этапу теплотехнического проектирования.

1) Определяется условный коэффициент паропроницаемости экрана с учетом швов по методике раздела 7.6.6.

2) С учетом этого коэффициента паропроницаемости проводят расчет по методике СНиП II-3-79* (98 г.).

3) Определяется влажностный режим рассматриваемой конструкции в годовом цикле с учетом средних месячных температур по методике данной в разделе (7.6.3).

4) С учетом результатов расчета по пп. 2, 3 анализируются результаты, при необходимости корректируются материалы и их толщины в конструкции с целью исключения влагонакопления в годовом цикле. В основном, проведенных упомянутых расчетов для определения применимости конструкции, бывает достаточно. В других случаях расчет может быть продолжен в следующей последовательности.

5) С учетом этажности здания и района строительства определяется скорость движения воздуха в прослойке за экраном и расход воздуха по разделу (7.6.4).

Для выполнения п. 5 определяется термическое сопротивление воздушной прослойки по формуле (7.16).

6) Определяется температура на выходе из воздушной прослойки по формуле (7.15).

7) Определяется действительная упругость водяного пара на выходе из прослойки еу по формуле (7.18) определяется количество влаги на выходе из прослойки и проверяется условие еу < Ен, где Ен - максимальная упругость водяного пара на выходе из прослойки. Анализируются результаты расчетов и корректируется конструкция стены.

7.5. Нормативные требования

Требования к теплотехническим характеристикам конструкций содержатся в СНиП II-3-79* [5] МГСН 2.01-99 [10] и проекте СНиП 22.01.03 "Теплозащита зданий".

Требования к сопротивлению теплопередаче конструкций приведены в [5], исходя из санитарно-гигиенических и комфортных условий и условий энергосбережения. Так как требования из условия энергосбережения являются более жесткими, они и приняты в настоящей работе в качестве критерия оценки системы.

Согласно [5] требования по второму этапу нужно принимать для зданий, строительство которых начинается с 1 января 2000 года.

На основе [5 и 10] составлена таблица 7.1 исходных расчетных данных, где представлены требуемые сопротивления теплопередаче наружных стен жилых домов.

Значения нормативных требований к наружным ограждениям жилых зданий

Таблица 7.1

№ пп

Название нормативного документа

Требуемое сопротивление теплопередаче наружных стен

ГСОП

1

2

1

2

1.

СНиП 23.01.01-82

МГСН 2.01-99

3,159

 

5027

 

2.

СНиП 23.01-99

СНиП II-3-79* (98 г.), табл. 16

 

3,13

 

4943

7.6. Методика теплотехнического расчета наружных стен с вентилируемой воздушной прослойкой

7.6.1. Общие требования

Расчет наружных стен с экраном и вентилируемой воздушной прослойкой основан на расчете теплотехнических характеристик стен и расчета влажностного режима.

Теплотехнический расчет наружных стен с вентилируемой прослойкой в соответствии с настоящим разделом включает в себя:

- подбор толщины теплоизоляционного слоя;

- определения влажностного режима в годовом цикле и в соответствии действующими теплотехническими нормами;

- определение параметров воздухообмена в прослойке;

- определение тепловлажностного режима прослойки;

- определение условного приведенного коэффициента паропроницаемости экранов с учетом швов-зазоров между панелями-экранами.

Таким образом, для определения области применения стен с вентилируемой воздушной прослойкой производится несколько теплотехнических расчетов: расчет теплового режима стен и прослойки и влажностного режима стены и прослойки.

7.6.2. Определение толщины теплоизоляционного слоя

Методика теплотехнического расчета разработана в соответствии с рядом документов, подготовленных ЦНИИЭП жилища и НИИСФ как авторами СНиП II-3-79*, и полностью удовлетворяет нормативным требованиям [5, 10].

В основу конструктивных решений наружных стен при определении приведенных сопротивлений теплопередаче фрагментов принимаются толщины утеплителя, рассчитанные предварительно по формуле:

.                                    (7.1)

где: Rоred - требуемое приведенное сопротивление теплопередаче стен, м2×°С/Вт;

r - коэффициент теплотехнической однородности по табл. 7.2; 7.3.

Таблица 7.2

Значения r кирпичных утепленных снаружи стен

Толщина, м

Коэффициент r при l, Вт/м °С

стены (без дополнительного утепления)

утеплителя

0,04

0,05

0,08

0,38

0,1

0,705

0,726

0,73

0,15

0,693

0,713

0,723

0,2

0,68

0,7

0,715

0,51

0,1

0,694

0,714

0,73

0,15

0,682

0,702

0,72

0,2

0,667

0,687

0,702

0,64

0,1

0,685

0,7

0,715

0,15

0,675

0,69

0,705

0,2

0,665

0,68

0,695

Примечания:

1. В таблице даны r для худшего в теплотехническом отношении участка (с оконным проемом).

2. Для получения значений r с учетом глухих участков, в т.ч. торцевых стен, приведенные в таблице значения умножаются на 1,05.

Таблица 7.3

Значения r бетонных (керамзитобетонных) утепленных снаружи стен

Толщина, м

Коэффициент r при l, Вт/м °С

панели (без дополнительного утепления)

утеплителя

0,04

0,05

0,08

0,3

0,05

0,9

0,92

0,95

0,1

0,84

0,87

0,88

0,15

0,81

0,84

0,85

0,35

0,05

0,87

0,9

0,93

0,1

0,8

0,83

0,86

0,15

0,78

0,81

0,83

0,64

0,05

0,82

0,87

0,9

0,1

0,77

0,8

0,83

0,15

0,75

0,78

0,8

0,2

0,74

0,765

0,785

Для проверки правильности принятых толщин утепляющих слоев определяются приведенные сопротивления теплопередаче наружных стен для основных "фрагментов". Каждый рассчитываемый фрагмент делится на отдельные участки, характеризуемые одним или несколькими видами теплопроводных включений.

Средневзвешенное значение приведенного сопротивления теплопередаче слоистых наружных стен определяется (на секцию) по формуле:

,                                                               (7.2)

где:

 - сумма площадей фрагментов наружных стен (k - количество фрагментов стен), м2;

Fi, Roiпр - соответственно площадь и приведенное сопротивление теплопередаче i-го фрагмента стен, м2 °С/Вт;

___________

*) Ror cр то же, что Rопр cp.

Если Ror cр > Roreq*) по табл. 1б СНиП II-3-79* [5], конструкция стены удовлетворяет требованиям теплотехнических норм. Если Ror cр < Roreq пр, то следует либо увеличить толщину утепляющего слоя, либо рассмотреть возможность включения в проект энергосберегающих мероприятий (утепление узлов и т.п.).

___________

*) Roreq = Roтр.

Для практических расчетов допускается при определении Rопр и его коэффициента теплотехнической однородности наружных стен с вентилируемой прослойкой применять табл. 7.2, 7.3.

Для расчета средневзвешенного значения многослойных наружных стен при наличии в стенах глухих (без проемов) участков может быть также использована формула:

Ror cр = Ror×n,                                                               (73)

где:

n = 1,05 - коэффициент, учитывающий наличие глухих участков в наружных стенах (см. примечание к табл. 7.2)

7.6.3. Определение влажностного режима наружных стен

Влажностный режим наружных стен определяется двумя методами. По СНиП II-3-79* (98 г.) и исходя из баланса влаги в годовом цикле.

Определение влажностного режима наружных стен в годовом цикле производится в следующей последовательности:

1. Определяются исходные данные для расчета; 2. Определяются сопротивления паропроницанию слоев конструкции наружной стены, параметры внутреннего и наружного воздуха; 3. Определяется приток и отток влаги (пара) к рассматриваемому сечению по формулам:

 и ,                                      (7.4)

где

ев, еn - упругость водяного пара внутреннего и наружного воздуха;

еt - то же, в рассматриваемом сечении;

Rп.вн.сл. - сопротивление паропроницанию от внутренней поверхности до границы зоны возможной конденсации (с учетом пограничного слоя);

еt - определяется по формуле:

,                                                   (7.5)

 - сумма сопротивлений паропроницанию слоев до рассматриваемого сечения,

Rп - сопротивлений паропроницанию всей стены.

По указанным формулам определяется упругость водяного пара еt, в характерных сечениях конструкции в годовом цикле.

Если еt окажется больше максимальной упругости водяного пара Е, то в данном сечении будет конденсат. Если в годовом цикле окажется увеличение накопления влаги в конструкции, то ее надо корректировать, добиваясь исключения влагонакопления в годовом цикле.

7.6.4. Определение параметров воздухообмена в прослойке

Движение воздуха в прослойке осуществляется за счет гравитационного (теплового) и ветрового напора. В случае расположения приточных и вытяжных отверстий на разных стенах скорость движения воздуха в прослойках Vпр может определяться по следующим формулам

,                                          (7.6)

где кн кз - аэродинамические коэффициенты на разных стенах здания, по СНиП 2.01.07-85 [2];

VH - скорость движения наружного воздуха;

к -  коэффициент учета изменения скорости потока по высоте по СНиП 2.01.07-85;

Н -   разности высот от входа воздуха в прослойку до ее выхода из нее;

tcp, tн - средняя температура воздуха в прослойке и температура наружного воздуха.

Sx - сумма коэффициентов местных сопротивлений.

Другим вариантом определения Vпр служит формула:

,                                       (7.7)

gн, gпр - плотности наружного воздуха и в прослойке.

Другой вариант определения Vпр по разности давлений воздуха на входе и выходе:

по формуле:

,                                                             (7.8)

где:

DРD = DРвх - DРвых                                                           (7.9)

При расположении воздушной прослойки на одной стороне здания, можно принять кн = кз. В этом случае, если пренебречь изменением скорости ветра по высоте формула (7.6) примет вид:

,                                                   (7.10)

Формула (7.7) примет вид:

,                                                (7.11)

В формуле (7.7) gпр - плотность воздуха в прослойке.

Указанные формулы применены в технической системе. При этом g имеет размерность кг/м3.

В системе СИ в числителе "g" будет отсутствовать, а "g" имеет размерность Н/м3.

Из полученных по указанным формулам скоростей движения воздуха выбирается наименьшая, корректируется с учетом потерь давления на трение по известным из курса "Вентиляция" методам.

Расход воздуха в прослойке определяется по формуле:

W = Vпр×3600×dnp×gпр                                                          (7.12)

где dпр - толщина воздушной прослойки, м, шириной 1 м, или площадь Fпр, м2.

7.6.5. Определение параметров тепловлажностного режима прослойки

Температура входящего в прослойку воздуха tо определяется по формуле:

,                                        (7.13)

где tв, tH - расчетные температуры внутреннего и наружного воздуха;

m - коэффициент, равный 0,26 в системе СИ и 0,3 - в технической.

Остальные обозначения даны в [17].

Допускается определять температуру воздуха, входящего в прослойку по формуле

tо = n×tn,                                                            (7.14)

где n = 0,95.

Температура воздуха по длине прослойки определяется по формуле:

,     (7.15)

где кв и кн - коэффициенты теплопередачи внутренней и наружной частей стены до середины прослойки;

hy - расстояние от приточных до вытяжных отверстий.

При определении термического сопротивления прослойки Rпр следует пользоваться формулами:

Rпр = ,                                                              (7.16)

где                                           aпр = 5,5 + 5,7 Vпр + aл,                                                (7.17)

где aл - коэффициент лучистого теплообмена;

Св - переводной коэффициент: в технической системе равен 1, а в СИ В = 3,6.

Действительная упругость водяного пара на выходе из прослойки определяется по формуле:

еу,   (7.18)

Полученная по данной формуле величина упругости водяного пара на выходе из прослойки еу должна быть меньше максимальной упругости водяного пара Еу.

Если еу > Еу, то необходимо изменить геометрические параметры прослойки стены здания.

В формуле (7.18) Мв и Мн равны соответственно:

; ,                                                  (7.19)

где:

Rвп и Rпн - сумма сопротивлений паропроницанию от внутренней поверхности до воздушной прослойки и от воздушной прослойки до наружной поверхности;

ев и ен - действительная упругость водяного пара с внутренней стороны стены и снаружи;

е0 - упругость водяного пара воздуха, входящего в прослойку;

,                                                              (7.20)

п - переводной коэффициент.

7.6.6. Методика определения условного приведенного коэффициента паропроницаемости с учетом швов-зазоров между панелями экранами

Для расчета используются либо коэффициенты паропроницаемости материалов - экрана по СНиП II-3-79* (98г), либо полученные экспериментально.

Расчет приведенного коэффициента паропроницаемости экранов с учетом швов-зазоров производится в следующей последовательности:

1) Определяется условное сопротивление паропроницанию в стыковых швах по формуле:

 м2×ч×Па /мг (м2×ч×мм рт. ст.)/г,                           (7.21)

где в - коэффициент перевода из системы И в техническую, равен 7,5; в технической в = 1;

hш = 6,5.

Sxш -   местные, по щели сопротивления проходу воздуха (по таблицам курса «Вентиляция»).

dэ - толщина экрана, м.

2) Определяется сопротивление паропроницанию плит экрана по его глади по формуле:

,                                                             (7.22)

где mэ - коэффициент паропроницаемости экрана по СНиП II-3-79* (98) [5].

3) Определяется приведенное сопротивление паропроницанию экрана с учетом стыковых швов  по формуле:

=,                                                         (7.23)

SF - суммарная расчетная площадь экрана, м2;

Fгл - площадь экрана без швов, м2;

F¢ -   площадь зазоров, через которые поступает воздух. Как правило площадь выходных щелей-зазоров в верхней части экрана не учитывается;

Rп и Rп¢ - см. выше;

4) Определяется условный приведенный коэффициент паропроницанию экрана с учетом зазоров по формуле:

,                                                                  (7.24)

7.7. Пример теплотехнического расчета наружных стен с вентилируемой воздушной прослойкой

7.7.1. Общие положения

Вышеуказанные методики расчета пригодны для всех типов конструктивных систем вентилируемых фасадов. В качестве примера ниже будет рассмотрено пять систем: Гранитогресс, Краспан, Мосрекон, Мармарок и Метроспецстрой. Две последних системы рассмотрены в [18, 19]; поэтому результаты расчетов будут приведены в обобщенном виде. В первых трех системах расчет будет приведен в различных объемах, необходимых для понимания его сущности.

7.7.2. Система Гранитогресс

7.7.2.1. Конструктивные отличия

Облицовочный материал - плитки «Керамогранит» итальянского производства, которые с помощью скоб (кляммер) крепятся к вертикальным несущим элементам.

Размер плиток 600 ´ 600 ´ 10 мм.

Вертикальные элементы заклепками крепятся к кронштейнам, которые дюбелями укреплены на основании (несущие конструкции наружной стены).

Расстояние от основания до облицовочных плит регулируется подбором кронштейнов нужной длины.

Для снижения теплопередачи через кронштейн, между ним и основанием ставится прокладка из паронита.

7.7.2.2. Исходные данные

Для расчета принимается кирпичная стена толщиной 0,51 м, плотностью 1600 кг/м3 из керамических пустотелых кирпичей с l = 0,64 Вт/м °С. Снаружи стены утеплены минераловатными плитами «Фасад баттс» с l = 0,045 Вт/ м °С. За воздушной прослойкой расположены плиты-экраны. Характеристики плит-экранов системы «Гранитогресс» приняты как для гранита.

Условия монтажа системы - реконструкция пятиэтажных жилых домов в г. Москве.

Между экраном и утеплителем расположена воздушная прослойка. Ее толщина dпр может в расчете варьироваться. Назначаем ее первоначальную толщину в соответствии с МГСН 2.01-99 dпр = 60 мм [10]. В дальнейшем также рассчитывается вариант с толщиной прослойки 30 мм.

Прослойка за экраном вентилируется. Прослойка закрывается снаружи плитами-экранами высотой 600 мм. В нижней части конструкции приточная щель, а в верхней - условно-вытяжная. Причем в чистоте, площадь щелей-отверстий, которые считаются приточными, равна 0,028 м2. Высота (ширина) горизонтальной приточной щели 10 мм.

В действительности движение воздуха в прослойке может быть различным и зависящим от направления и скорости движения ветра и других факторов. Поэтому принятое расстояние от входных до выходных щелей 0,6 м является в некоторой степени условным.

7.7.2.3 Расчет толщины теплоизоляции

Толщина теплоизоляции из минваты типа "Фасад-Баттс" равна:*)

 м

где:

3,13 - требуемое сопротивление теплопередаче стен для гор. Москвы;

0,692 - коэффициент теплотехнической однородности, см. табл. 7.2;

0,175 -  термическое сопротивление воздушной прослойки по СНиП II-3-79* (98 г.) [5], которое затем уточняется расчетом.

Сопротивление теплопередаче по глади наружной стены при толщине утеплителя из минваты типа "Фасад-Баттс":

=4,47 (4,395) *) м2×°С/Вт,

______________

*) Над чертой толщины слоев, под чертой - коэффициенты теплопроводности [5].

где: 0,51; 0,15; 0,02 - толщина кирпичной кладки, утеплителя и экрана.

Приведенное сопротивление теплопередаче наружной кирпичной стены с экраном с учетом коэффициента теплотехнической однородности r = 0,72 с учетом глухих участков (0,692 ´ 1,05 = 0,72):

 = 4,47×0,72 = 3,2 м2×°С/Вт. (3,15) *)

____________

*) В скобках - при термическом сопротивлении прослойки, определенном с учетом движения воздуха, (см. ниже).

7.7.2.4. Влажностный режим наружных ограждающих конструкций по СНиП II-3-79* (98 г.) [5]

Влажностный режим наружных стен характеризуется процессами влагонакопления, зависящими от ряда внешних факторов и физических характеристик материалов, в т.ч. от сопротивления паропроницанию конструкции.

Расчетное сопротивление паропроницанию Rп, м2×ч×Па/мг (до плоскости возможной конденсации) должно быть не менее большего из требуемых сопротивлений паропроницанию , из условия недопустимости накопления влаги за год эксплуатации и  из условия ограничения влаги в конструкции за период с отрицательными среднемесячными температурами.

Расчет ведется с учетом того, что зона возможной конденсации располагается на внешней границе утеплителя и наружного слоя.

В период эксплуатации в зимних условиях температура воздуха tв = 20 °С, а относительная влажность j = 55 %.

На рис. 7.1 дана расчетная схема наружной стены из керамических камней-кирпича, утепленной минватой на основе базальтовых волокон с вентилируемой воздушной прослойкой и экраном.

При этом коэффициент паропроницаемости экрана принят, как для гранита, в связи с отсутствием других данных в СНиП II-3-79* (98 г.) [5].

Расчетное сопротивление паропроницанию наружной стены до зоны возможной конденсации Rп, м2 ч Па/мг:

Rп =  = 4,09 м2×ч×Па/мг

(В технической системе Rп = 30,25 м2×ч×мм рт. ст/г).

Расчетное сопротивление паропроницанию части ограждающей конструкции, Rпн, м2×ч×Па/мг, расположенной между наружной поверхностью и плоскостью возможной конденсации равно:

Rпн == 1,25 м2×ч×Па/мг

(В технической системе  = 6,66 м2×ч×мм рт. ст/г)

Требуемое сопротивление паропроницанию Rп1, м2×ч×Па/мг из условия недопустимости накопления влаги за год эксплуатации, формула (34) [5]:

= = 1,72 м2×ч×Па/мг

Требуемое сопротивление паропроницанию из условия ограничения влаги в наружной стеновой панели за период с отрицательными температурами наружного воздуха Rп2, м2×ч×Па/мг, формула (35) СНиП II-3-79* [5]:

== 3,6 m2×ч×Па/мг

h =  =  = 12,75

Как видно из расчета, Rп >  >  и влажностный режим конструкции должен быть удовлетворительным.

Однако, при толщине экрана, например, 30 мм, то  = 5,16 > Rп и влажностный режим конструкции будет неудовлетворительным.

В соответствии с разделом 7.4 проводим расчет упругости водяного пара по формуле (7.18), с учетом заданных параметров конструкции, при учете характеристик экрана по глади при расходе воздуха близком нулю:

еу = 3,

где: Мв == 0,033; Мн == = 0,15.

Эта величина значительно превосходит Е = 2 - максимальную упругость водяного пара, что приводит к обильному конденсату. Данный вывод существенно уточняет результаты расчета по СНиП II-3-79* (98) [5].

При учете щелей зазоров:

еу = 1,66,

что меньше максимальной упругости водяного пара на высоте из прослойки, что однако не исключает образование конденсата по глади (см. расчет выше). Поэтому рекомендуется принять максимальные параметры прослойки в соответствии с разделом 7.3.

Учитывая вышеизложенное, производим расчет влагонакопления в стене в годовом цикле.

7.7.2.5. Расчет влажностного режима стены по годовому балансу влаги

Расчет для большей наглядности проводится как в технической системе, так и в системе СИ, что не влияет на конечный результат. Расчет выполнен по приведенной выше методике (раздел 7.6.3). Характеристики материалов и конструкций и исходные данные для расчета представлены в табл. 7.4 и на рис. 7.1.

Параметры внутреннего воздуха в отопительный период tв = 20 °С, j = 55 %, в летний и переходный период (tв > 8 °С) (неотопительный) параметры внутреннего воздуха приняты равными параметрам наружного воздуха.

Параметры наружного воздуха приняты по СНиП 2.01.01-82 и СНиП II-А.6-72 (относительная влажность воздуха). Влагосодержание воздуха принято по приложению 3 книги К.Ф. Фокина "Строительная теплотехника ограждающих частей здания", 1973 г.

Рассчитывается стена с воздушной прослойкой с экраном-панелью из природного камня, имеющего большее приведенное (см. ниже) сопротивление паропроницанию.

В табл. 7.5¸7.7 представлены показатели влажностного режима стены по сечениям (см. рис. 7.1), а также показатели влагонакопления в граммах, характеризующие влагозащитные свойства конструкций.

Как видно в табл. 7.5, при наличии сплошного экрана-панели из природного камня с октября по март в прослойке будет конденсат. Это указывает на опасность наличия большой площади глухих экранов без швов-зазоров.

В табл. 7.6-7.7 даны показатели влагонакопления в конструкции при наличии пароизоляции.

Как видно в табл. 7.6 и 7.7 наличие пароизоляции более в 30 раз уменьшает влагонакопление.

Задачей вентилируемой прослойки является выявление возможности замены пароизоляции. Поэтому для иллюстрации этого производятся нижеследующие расчеты.

Определяем влажностный режим наружной стены системы «Гранитогресс» с учетом приведенного коэффициента паропроницаемости с учетом стыковых швов (m = 0,070 МКГС), m = 0,52 (СИ).

Сопротивление паропроницанию до зоны возможной конденсации:

Rп =  = 4,09

Сопротивление паропроницанию наружного слоя:

Rп =  = 0,019

Сопротивление паропроницанию из условия недопустимости накопления влаги за год эксплуатации:

= = 0,026

таким образом, по этому условию накопления влаги не будет.

1 - раствор;
2 - кирпичная кладка;
3 - минеральная вата;
4 - панель экрана;
5 - воздушная прослойка;
6 - зона возможной конденсации.

Рис. 7.1. Схема наружной стены для расчета влажностного режима.

Исходные данные для расчета влажностного режима стены в годовом цикле

Таблица 7.4.

Наименование материала

Номер слоя

*)

Коэффициент

Плотность кг/м3

Толщина слоя

м

Термическое сопротивление слоев м2×°С/Вт

Сопротивление паропроницанию слоев м2×ч×Па/мг

теплопроводности

Вт/м °С

паропроницаемости в системе

СИ мг/м×ч×Па

технической г/м×ч×мм рт. ст.

1

2

3

4

5

6

7

8

9

Внутренний воздух

0

-

-

-

-

-

0,115

-

Цементно-песчаный раствор

1

0,93

0,09

0,012

1800

0,015

0,016

0,1667

Кирпичная кладка

2

0,64

0,14

0,0186

1600

0,51

0,797

3,64

Минвата

3

0,045

0,51

0,068

170

0,15

3,33

0,28

Воздушная прослойка

4

 

-

 

 

0,03¸0,06

0,17

 

Панель-экран (Краспан)

5

0,93

0,03**

(0,114)

0,004

(0,015)

1800

0,008

0,0086

0,266

Гранитогрес

6

3,49

0,008

(0,52)

0,001

(0,07)

2800

0,01

 

1.25

Наружный воздух

7

 

 

 

 

 

0,043

 

*) При расположении пароизоляции между кирпичной кладкой и утеплителем нумерация слоев сдвигается в большую сторону.

**) В скобках коэффициент паропроницаемости с учетом щелей зазоров.


Таблица 7.5.

Распределение влажности в кирпичной стене толщиной d = 0,51 м, с утеплением минватой d = 0,15 м и защитным экраном, воздушной прослойкой

(по глади m = 0,008 мг/м×ч×Па)

 

 

МЕСЯЦЫ

I

II

III

IV

V

VI

VII

VIII

IX

X

XI

XII

Ro = 4,4805, Rвн.сл. = 4,43

tн

-10,2

-9,6

-4,7

4

11,6

15,8

18,1

16,2

10,6

4,2

-2,2

-7,6

tв

20

20

20

20

11,6

15,8

18,1

16,2

10,6

20

20

20

Dt

30,2

29,6

24,7

16

0

0

0

0

0

15,8

22,2

27,6

tп

-9,9

-9,3

-4,4

4,2

 

 

 

 

 

4,4

-2,0

-7,3

 

 

 

 

 

 

 

 

 

 

 

 

 

 

 

 

 

 

 

 

 

 

 

 

 

 

 

 

Еt

 

1,96

2,07

3,17

6,19

10,24

13,46

15,58

13,81

9,59

6,27

3,88

2,47

 

 

 

 

 

 

 

 

 

 

 

 

 

 

 

 

 

 

 

 

 

 

 

 

 

 

 

 

Rп = 6,87289, Rпвн.сл. = 4,36

ен

1,604

1,62

2,41

4,026

5,939

7,941

9,615

9,391

7,001

4,828

3,132

2,0485

ев55

9,647

9,647

9,647

9.647

5,939

7,941

9,615

9,391

7,001

9,647

9,647

9,647

Dе

8,043

8,027

7,237

5,671

-

-

-

-

-

4,819

6,545

7,598

еt

4,54

4,56

5,06

6,06

 

 

 

 

 

6,59

5,53

4,83

 

 

 

 

 

 

 

 

 

 

 

 

 

 

 

 

 

 

 

 

 

 

 

 

 

 

 

 

 

 

 

 

 

 

 

 

 

 

 

 

 

 

Часы

 

744

672

744

720

744

720

744

744

720

744

720

744

Qвн.сл.

 

1311,8

1167,9

1105,4

570,7

-836,4

 

 

 

 

576,3

952,4

1224,8

Qнар.сл.

 

105,4

120,3

225

619,9

1450,8

 

 

 

 

426,9

214,3

124,8

DQ

 

1206,5

1047,6

880,4

-49,0

-2287,2

 

 

 

 

149,4

738,2

1100,0

SDQ

 

3194,0

4241,7

5122,9

5073,1

2285,8

 

 

 

 

149,4

887,6

1987,6

 

 

 

 

 

 

Конденсат

 

 

 

 

 

 

 

 

 

 

 

 

 

 

 

 

 

 

 

 

Таблица 7.6.

Распределение влажности по кирпичной стене толщиной d = 0,51 м, с утеплением минватой d = 0,15 м пароизоляцией из полиэтиленовой пленки и защитным экраном (по глади m = 0,008 мг/м×ч Па)

 

 

МЕСЯЦЫ

I

II

III

IV

V

VI

VII

VIII

IX

X

XI

XII

Ro = 4,4805, Rвн.сл. = 4,43

tн

-10,2

-9,6

-4,7

4

11,6

15,8

18,1

16,2

10,6

4,2

-2,2

-7,6

tв

20

20

20

20

11,6

15,8

18,1

16,2

10,6

20

20

20

Dt

30,2

29,6

24,7

16

0

0

0

0

0

15,8

22,2

27,6

tп

-9,9

-9,3

-4,4

4,2

 

 

 

 

 

4,4

-2,0

-7,3

 

 

 

 

 

 

 

 

 

 

 

 

 

 

 

 

 

 

 

 

 

 

 

 

 

 

 

 

Еt

 

1,96

2,07

3,17

6,19

10,24

13,46

15,58

13,81

9,59

6,27

3,88

2,47

 

 

 

 

 

 

 

 

 

 

 

 

 

 

 

 

 

 

 

 

 

 

 

 

 

 

 

 

Rп = 14,1729, Rпвн.сл. = 11,65

ен

1,604

1,62

2,41

4,026

5,939

7,941

9,615

9,391

7,001

4,828

3,132

2,0485

ев55

9,647

9,647

9,647

9,647

5,939

7,941

9,615

9,391

7,001

9,647

9,647

9,647

Dе

8,043

8,027

7,237

5,671

-

-

-

-

-

4,819

6,545

7,598

еt

3,03

3,04

3,69

5,02

 

 

 

 

 

5,68

4,29

3,40

 

 

 

 

 

 

 

 

 

 

 

 

 

 

 

 

 

 

 

 

 

 

 

 

 

 

 

 

 

 

 

 

 

 

 

 

 

 

 

 

 

 

Часы

 

744

672

744

720

744

720

744

744

720

744

720

744

Qвн.сл.

 

490,9

436,7

413

213,5

-274,4

 

 

 

 

 

356,1

1224,8

Qнар.сл.

 

105,4

120,3

225,0

619,9

1273,3

 

 

 

 

 

214,3

124,8

DQ

 

1206,5

1047,6

880,4

-4064

-1547,6

 

 

 

 

 

141,8

332,2

SDQ

 

860,1

1170,5

1364,8

958,4

-589,2

 

 

 

 

 

141,8

475,0

 

 

 

 

 

 

 

 

 

 

 

 

 

 

 

 

 

 

 

 

 

 

 

 

 

 

 

 

Таблица 7.7.

Распределение влажности в кирпичной стене толщиной d = 0,51 м, с утеплением минватой d = 0,15 м и защитным экраном d = 0,02 м, воздушной прослойкой и пароизоляцией из нескольких слоев полиэтиленовой пленки

 

 

МЕСЯЦЫ

I

II

III

IV

V

VI

VII

VIII

IX

X

XI

XII

 

Ro = 4,4805, Rвн.сл. = 4,43

tн

-10,2

-9,6

-4,7

4

11,6

15,8

18,1

16,2

10,6

4,2

-2,2

-7,6

 

tв

20

20

20

20

11,6

15,8

18,1

16,2

10,6

20

20

20

 

Dt

30,2

29,6

24,7

16

0

0

0

0

0

15,8

22,2

27,6

 

tп

-9,9

-9,3

-4,4

4,2

 

 

 

 

 

4,4

-2,0

-7,3

 

 

 

 

 

 

 

 

 

 

 

 

 

 

 

 

Еt

 

1,96

2,07

3,17

6,19

10,24

13,46

15,58

13,81

9,59

6,27

3,88

2,47

 

 

 

 

 

 

 

 

 

 

 

 

 

 

 

 

Rп = 21,4229, Rпвн.сл. = 18,95

ен

1,604

1,62

2,41

4,026

5,939

7,941

9,615

9,391

7,001

4,828

3,132

2,0485

 

ев55

9,647

9,647

9,647

9,647

5,939

7,941

9,615

9,391

7,001

9,647

9,647

9,647

 

Dе

8,043

8,027

7,237

5,671

-

-

-

-

-

4,819

6,545

7,598

 

еt

2,54

2,56

3,26

4,68

 

 

 

 

 

5,39

3,89

2,94

ПЭ-2 сл. d = 0,0032

 

 

 

 

 

 

 

 

 

 

 

 

 

 

 

Rп = 28,7729, 3 слоя - 26,25

еt

2,31

2,32

3,04

4,52

 

 

 

 

 

5,25

3,70

2,71

ПЭ-3 сл. d = 0,0048

 

 

 

 

 

 

 

 

 

 

 

 

 

 

 

Rп = 36,0729, 4 слоя - 33,55

еt

2,16

2,18

2,91

4,42

 

 

 

 

 

5,16

3,58

2,58

ПЭ-4 сл. d = 0,0064

 

 

 

 

 

 

 

 

 

 

 

 

 

 

 

Часы

 

744

672

744

720

744

720

744

744

720

744

720

744

 

DQ 2 сл.

 

196,3

148,2

29,2

-488,6

 

 

 

 

 

 

4,7

156,9

ПЭ - 2 сл.

вар. 6

SDQ 2 сл.

 

357,8

506,1

535,3

46,6

 

 

 

 

 

 

4,7

161,6

DQ 3 сл.

 

112,5

73,6

-41,5

-525,1

 

 

 

 

 

 

 

78,6

ПЭ - 3 сл.

вар. 7

SDQ 3 сл.

 

191,0

264,6

223,1

 

 

 

 

 

 

 

 

78,6

DQ 4 сл.

 

65,0

31,4

-81,4

-545,8

 

 

 

 

 

 

 

34,3

ПЭ - 4 сл.

вар. 8

SDQ 4 сл.

 

99,3

130,7

49,4

 

 

 

 

 

 

 

 

34,3

 

 

 

 

 

 

 

 

 

 

 

 

 

 

 


Сопротивление паропроницаемости из условия ограничения влаги в конструкции за период с отрицательными температурами:

Как следует из анализа полученных данных, учет швов-зазоров в экране дает существенный запас по паропроницаемости. Увеличение толщины экрана в три раза не приводит к увеличению Rп1 и Rп2 больше Rп. Однако в действительности надо учитывать нижеследующее обстоятельство.

Указанный вывод справедлив для случая, когда один стык работает на приток, а другой вышележащий на вытяжку. В действительности экран может оказаться в зоне практического отсутствия разности давлений по высоте прослойки в некоторых местах.

Учитывая вышеизложенное и то, что при отсутствии движения воздуха в прослойке влажностный режим в ней может определяться местными сопротивлениями паропроницаемости, в т.ч. по глади экрана, ниже выполняется подробный расчет воздушного и влажностного режима прослойки.

Расчеты для большей наглядности выполняются в технической системе и системе СИ.

7.7.2.6. Определение скорости движения воздуха в прослойке системы «Гранитогресс»

Определяется скорость движения воздуха в прослойке при температуре наружного воздуха минус 28 °С. Расчет делается по формулам (7.10¸7.11) при расстоянии от проточных отверстий (входа) до выхода h = 0,6 м. Толщина прослойки 0,06 м и 0,03 м.

Температура входящего в прослойку воздуха по формуле (7.14):

tх = -28×0,95 = -26,6 °С.

Скорость движения воздуха в прослойке по формуле (7.10):

 = 0,115 м/с,

где 0,6 - расстояние от входных до выходных отверстий, м.

Расход воздуха при V = 0,115 м/с по формуле (7.12):

W = 0,115×3600×1,405×0,06 = 34,9 кг/м×ч

Эквивалентный диаметр прослойки равен:

 = 0,113 м

Потери давления на трение Drтр

при dэ = 0,11 м и при  ´ 1,405 = 0,00124

DРтр = 0,00065 мм. вод. ст. = 0,0065 Па

DР при V = 0,115,  = 0,0051 мм вод. ст. = 0,051 Па.

Искомая разность давлений за вычетом потерь по длине.

DР = 0,051 - 0,0065 = 0,0446 Па или 0,00446 мм вод. ст.

Уточненная скорость воздуха в прослойке

 = 0,107 м/с.

Трение уменьшает скорость движения воздуха на 7 %.

Расход воздуха через прослойку толщиной 0,06 и 0,03 м для обоих вариантов при расстоянии от входных до выходных отверстий h1 = 0,6 м:

при dпр = 0,06 м; W1 = 0,107×3600×1,405×0,06 = 32,5 кг/м×ч

при dпр = 0,03 м; W2 = 0,107×3600×1,405×0,03 = 16,24 кг/м×ч

Скорость движения воздуха в прослойке при температуре наружного воздуха минус 10,2 °С, определяется аналогично.

Расчет делается по формуле (7.10):

При температуре входящего в прослойку воздуха по формуле (7.14):

-9,69 °С, hy = 0,6 м.

 = 0,066 м/с,

а с учетом потерь на трение V = 0,061 м/с.

При указанной условной толщине прослоек 0,06 и 0,03 ширине их 1 м и при расстоянии от входных до выходных отверстий hy = 0,6 м расход воздуха составит через прослойку при tп = -10,2 °С

при dпр = 0,06 м: W1 = 0,061×3600×1,32×0,06 = 17,4 кг/м×ч

при dпр = 0,03 м: W2 = 0,061×3600×1,32×0,03 = 8,7 кг/м×ч

Как следует из анализа полученных результатов, при уменьшении расстояния от входных до выходных отверстий в три раза расход воздуха уменьшается в 1,6-1,7 раза.

7.7.2.7 Определение теплового и влажностного режима воздушной прослойки

Поскольку расчет влажностного режима в годовом цикле выполнялся при среднемесячной температуре января, расчет делается при этой температуре.

Определяем упругость водяного пара еу выходящего из прослойки по формуле (7.18). Для этого определяем величины входящих в формулу показателей.

Температура входящего в прослойку воздуха по формуле (7.14) при

tн = -10,2 °С (Е = 1,91) tо = 0,95×(-10,2) = -9,69 °C (E = 2).

Относительная влажность наружного воздуха принимается равной 85 %.

Расстояние от входных до выходных стыков-щелей 0,6 м. У всех систем суммарное сопротивление паропроницанию внутренних слоев до прослойки одинаково.

Сначала расчет делается с учетом швов между экранами.

Условная толщина прослойки 0,03 м.

Величины, входящие в формулу (7.18):  = 0,033.

Условное сопротивление паропроницанию наружного слоя

 = 0,143,

где m = 0,07 - коэффициент паропроницаемости с учетом швов (см. раздел 7.7.2.5, табл. 7.4).

Упругость водяного пара входящего в прослойку воздуха составляет:

ео = 2 ´ 0,85 = 1,7.

Температуру выходящего из прослойки воздуха примем равной температуре входящего, т.е. -9,69 °С, а Е = 2 мм рт. ст.

Определяем упругость водяного пара воздуха еу, выходящего из прослойки по формуле (7.18) при расстоянии от входа до выхода воздуха 0,6 м.

ев×Мв + ен×Мн = 9,65×0,033 + 1,624×7 = 11,696

ен = 1,91×0,85 = 1,624;  = 1,1

Мв + Мн = 7,033; h = 0,6 м:

 = 1,63

Если расход воздуха в прослойке принять близким нулю, то в этом случае:

 = 1,66, что меньше максимальной упругости водяного пара на выходе из прослойки Е = 2. Следовательно, даже отсутствие движения воздуха в прослойке не приведет к образованию конденсата, что характерно в местах близких к швам-стыкам.

Для того чтобы проиллюстрировать, насколько при экранах типа "Гранитогресс" возможно образование конденсата зависит от движения воздуха в прослойке, проведем расчет влагонакопления по глади экрана. В этом случае:

ев×Мв + ен×Мн = 0,328 + 1,624 0,15 = 0,57,

где:

 = 0,15,

где:

 = 6,66,

где:

0,0015 - коэффициент паропроницаемости (0,008 в системе СИ), по глади экрана,

Мв + Мн = 0,033 + 0,15 = 0,183

Упругость водяного пара lу, выходящего из прослойки:

 = 1,716, что меньше Е.

Если принять расход воздуха, близким нулю, как показал расчет в разделе 7.7.2.4, то:

,

что значительно превосходит Е = 2 максимальную упругость водяного пара на выходе из прослойки, что приведет к обильному конденсату в отличие от предыдущего варианта.

Учитывая такую возможность при наличии экранов типа керамогранит, т.е. с низкой паропроницаемостью следует принять толщину прослойки 60 мм, а высоту зазора стыкового шва 20 мм.

В этом случае даже при Dр = 0,6´0,0025 = 0,0015 мм вод. ст. Скорость движения воздуха в прослойке составит при tн = -10,2.

 = 0,064, а с учетом трения 0,06 м/сек.

При расходе воздуха W = 3600×0,06×0,06×1,32 = 3,3 кг/ч (2,5 м2/ч); е = 1,73, что меньше максимальной упругости водяного пара на выходе из прослойки.

Рассмотренная выше система характеризует худший вариант с точки зрения накопления влаги по глади экрана, но лучший у стыков-швов за счет их малого сопротивления паропроницания.

Конденсат в рассматриваемой конструкции стены, как следует из [21], в воздушной прослойке на экране выпадает только при условном приведенном коэффициенте паропроницаемости экрана с учетом стыков-щелей m = 0,12 мг/п.ч.Па и менее.

Теперь рассмотрим вариант - лучший, с точки зрения влагонакопления по глади, но с большим, чем в предыдущем варианте условным сопротивлением паропроницанием шва-стыка.

7.7.3. Система "Красная"

7.7.3.1. Конструктивные отличия

В этой системе в качестве облицовочного материала применяются высокопрочные прессованные волокнисто-цементные листы размером 1200´1600´8 мм, которые выпускаются либо окрашенными полиэфирными красителями, либо с крошкой натурального камня, приклеенного к листу синтетической смолой.

Листы крепятся к металлическим вертикальным элементам несущего каркаса посредством заклепок. Между листами и вертикальными элементами каркаса устанавливается специальная резиновая прокладка в виде сплошной полосы. Вертикальные элементы в свою очередь крепятся к горизонтальным элементам, а последние к кронштейнам, которые дюбелями укреплены на основании (несущей конструкции наружной стены).

В пространство между основанием и облицовкой с воздушным зазором относительно облицовки устанавливаются негорючие минераловатные плиты утеплителя расчетной толщины. Расстояние между основанием и облицовкой, необходимое для установки плит утеплителя и устройства воздушного зазора, получается за счет выбора кронштейнов такой длины, которая удовлетворяет изложенным выше требованиям.

7.7.3.2. Влажностный режим наружных ограждающих конструкций по СНиП II-3-79* (98 г.) [4]

На рис. 7.1 дана расчетная схема наружной стены из керамических камней-кирпича, утепленной минватой на основе базальтовых волокон с вентилируемой воздушной прослойкой и экраном.

При этом коэффициент паропроницаемости экрана принят, как для бетона в связи с отсутствием других данных в СНиП II-3-79* (98 г.) [5].

Расчетное сопротивление паропроницанию наружной стены до зоны возможной конденсации Rп, м2×ч×Па/мг:

 = 4,09 м2×ч×Па/мг

(В технической системе Rп = 30,25 м2×ч×мм рт. ст./г).

Расчетное сопротивление паропроницанию части ограждающей конструкции, Rп, м2×ч×Па/мг, расположенной между наружной поверхностью и поверхностью возможной конденсации равно:

 = 0,266 м2×ч×Па/мг

Требуемое сопротивление паропроницанию Rп1, м2×ч×Па/мг из условия недопустимости накопления влаги за год эксплуатации, формула (34) [5] равно 0,365 м2×ч×Па/мг.

Требуемое сопротивление паропроницанию из условия ограничения влаги в наружной стеновой панели за период с отрицательными температурами наружного воздуха Rп2, м2×ч×Па/мг, формула (35) СНиП II-3-79* [5] равно 2,36 м2×ч×Па/мг.

Поскольку условие Rп > Rп1тр и Rп2тр, рассматриваемая конструкция удовлетворяет требованиям теплотехнических норм.

В соответствии с разделом 7.4 по формуле (7.18) определяем упругость водяного пара на выходе из прослойки при расходе воздуха близким нулю, используя параметры стены в разделе 7.7, при учете экрана по глади:

Rпв = 30,25;  = 0,033;  = 2; Мн =  = 0,5

евМв + енМн = 9,65×0,033 + 0,29×0,5 = 0,46; Мв + Мн = 0,033 + 0,5 = 0,533

 = 0,86

При учете щелей зазоров

 = 0,86

что больше максимальной упругости водяного пара выходящего из прослойки Е = 0,39, следовательно, необходим дальнейший расчет влажностного режима в годовом цикле (расчет см. ниже табл. 7.10) или принятие максимальных толщин прослойки по разделу 7.3. Расчет в годовом цикле показывает наличие конденсата на внутренней поверхности экрана, который высыхает в марте.

7.7.3.3. Определение скорости движения воздуха в прослойке системы «Красная»

Расчет делается при температуре -28 °С и -10,2 °С.

Скорость движения воздуха в прослойке при температуре наружного воздуха минус 28 °С. Расчет делается по формулам (7.10-7.11) при расстоянии от входа до выхода воздуха hy = 1,8 м.

Температура входящего в прослойку воздуха по формуле (7.14):

tx = -28´0,95 = -26,6 °С.

Скорость движения воздуха в прослойке по формуле (7.10):

 = 0,185 м/с,

где 1,8 - расстояние от входных до выходных щелей-стыков,

6 - сумма сопротивлений всей конструкции.

Скорость движения воздуха в прослойке по формуле (7.11):

 = 0,185 м/с.

Скорость движения воздуха в прослойке по формуле (7.8) при DР:

DР = 1,8×0,008 = 0,014 мм вод. ст.

 = 0,180 м/с.

Скорость движения воздуха по всем трем формулам одинакова.

Расход воздуха при V = 0,18 м/с по формуле (7.12):

W = 0,180×3600×1,405×0,06 = 54,7 кг/м×ч.

Эквивалентный диаметр прослойки равен

 = 0,113 м.

Потери давления на трение:

при dэ = 0,11 м и при ×1,405 = 0,0024 мм вод. ст.

DРтр = 0,0011 мм вод. ст. или 0,011 Па.

Скорость в прослойке соответствует  = 0,0139 мм вод. ст. или 0,139 Па.

Искомая разность давлений за вычетом потерь по высоте прослойки

DР = 0,139 - 0,011 = 0,128 Па (0,0128 мм вод. ст.)

Уточненная скорость воздуха в прослойке

 = 0,172 м/с.

Трение уменьшает скорость движения воздуха на 4,4 %.

Определение скорости движения воздуха при толщине прослойки 0,03 м.

Эквивалентный диаметр прослойки равен

 = 0,058 м

при DРтр = 0,002 мм вод. ст. (0,02 Па) (DР = 0,0139 - 0,02 = 0,0119 мм вод. ст.)

Уточненная скорость воздуха в прослойке

V =  = 0,16 м/с - или на 8 % меньше, чем без учета трения.

При толщине прослойки 30 мм:

W = 0,16×3600×1,405×0,03 = 24,20 кг/м×ч.

Определяем скорость движения воздуха в прослойке при температуре наружного воздуха -10,2 °С.

Температура входящего в прослойку воздуха по формуле (7.14):

tx = -10,2×0,95 = 9,69 °С

при h = 1,8 м:

 = 0,11 м/с,

а с учетом потерь на трение V = 0,104 м/с.

Расход воздуха при условной толщине прослойки dпр = 0,06 м на ширину 1 м:

W = 0,104×3600×0,06×1,32 = 29,6 кг/м×ч

при dпр = 0,03 м: W = 0,104×3600×0,03×1,32 = 14,8 кг/ч.

7.7.3.4. Определение теплового и влажностного режима воздушной прослойки

Определяем температуру входящего в прослойку воздуха при tH = -28 °C по формуле (7.14):

to = 0,95×tн = 0,95 (-28) = -26,6 °С.

Определяем температуру выходящего из прослойки воздуха tу по формуле (7.15); при толщине прослойки 0,06 м:

 = -26,8 °С,

где hy = 1,8 м - расстояние между входными и выходными щелями-стыковыми швами;

W = 48,3 кг/ч - расход воздуха через прослойку.

Определяем tу при hy = 1,8 м и dпр = 0,03 м, W = 14,8 кг/м×ч и tн = -10,2 °С (средняя температура января).

 = -9,52 °С,

Таким образом, можно принять температуру выходящего из прослойки - минус 26,8 °С и 9,52 °С.

В расчетах tу принято: термическое сопротивление воздушной прослойки Rвп при h = 1,8 м по формуле (7.16):

 = 0,11 м2×°С×ч/ккал (0,096 м2×°С/Вт),

где aвп - коэффициент теплообмена по формуле (7.17):

aвп = 5,5 + 5,7Vпр + aл = 5,5 + 5,7×0,18 + 2,44 = 9,0 ккал/м2×ч×°С (10,4 Вт/м×°С)

aл - коэффициент лучистого теплообмена

= 2,44.

В расчетах tу также принято: коэффициенты теплопередачи внутреннего и наружного слоев Кв и Кн.

 = 0,233;

при  = 10;

К = Кв + Кн = 0,233 + 10 = 10,233 Вт/м2×°С

при tн = -28 °С, А = Кв×tв + Кн×tн = 0,233×20 + 10×(-28) = -275,3

при tн = -10,2 °С, А = 0,233×20 + 10×(-10,2) = -97,34

Термическое сопротивление воздушной прослойки при tн = -10,2 °С принимается таким же как при tн = -28 °C.

Температура входящего в прослойку воздуха по формуле (7.14) при tн = -28 °С, tо = 0,95×(-28) = -26,6 °С, Е = 0,4, е0 = 0,34, а при tн = -10,2 °С, Е = 1,91, tо = 0,95×(-10,2) = 9,69 °С, ео = 1,7.

Определяем упругость водяного пара еу выходящего из прослойки по формуле (7.18) при tн = -28 °С.

Для этого определяем величины входящих в формулу показателей.

Относительная влажность наружного воздуха принимается равной 85 %.

Расстояние от входных до выходных отверстий 1,8 м, расход воздуха в прослойке 52,2 и 29,6 кг/мм при dпр = 0,06 м; 24,2 и 14,8 кг/ч (см. выше) при толщине прослойки 0,03 м.

Расчет проводится в соответствии с разделом 7.6.5.

 = 0,033,

где 30,25 - сопротивление паропроницанию наружного слоя.

Условное сопротивление паропроницанию наружного слоя

 = 0,527;  = 1,886,

где m = 0,015 - с учетом швов-зазоров.

Мв + Мн = 0,033 + 1,886 = 1,92

Мв×ев + Мн×ен = 0,033×9,65 + 1,88×0,29 = 0,87

 = 0,345,

что меньше допускаемых 0,39, т.е. максимальной упругости водяного пара;

при толщине прослойки 0,03 м:

 = 0,35.

При толщине прослойки 0,03 м и tH = -10,2 °С

 = 1,72,

где Мв×ев + Мн×ен = 0,033×0,65 + 1,88×1,63 = 3,25,

что меньше максимальной упругости водяного пара.

Однако, упругость водяного пара по прослойке увеличивается, откуда можно сделать вывод, что влажностным режимом прослойки и возможность конденсатообразования определяется влажностным режимом стены до прослойки, т.е. количеством влаги, проходящей в прослойку из помещения.

Ниже дается определение скорости движения воздуха и расчета в воздушной прослойке стены системы "Мосреком". Других расчетов для этой системы не делается, поскольку она имеет промежуточные значения коэффициентов паропроницаемости по глади и с учетом зазоров щелей.

7.7.4. Система с ВВЗ «Мосрекон М"

7.7.4.1. Конструктивные отличия

Облицовочный материал - навесная плитка по типу "Марморок" длиной 600 мм, высотой 116, 216 и 316 мм, толщиной 27 мм, которая навешивается на крючки вертикального несущего профиля. Последний крепится к основанию (несущая часть наружной стены) посредством анкерных шпилек. Свободный конец анкерных шпилек снабжен резьбой. На этой резьбе гайками закрепляются плоские пластины, которые удерживают утеплитель в проектном положении и фигурные пластины, к которым заклепками крепятся вертикальные несущие профиля. Расстояние от основания до облицовочных плиток определяется длиной анкерной шпильки и длиной ее резьбы.

7.7.4.2. Определение скорости движения воздуха в прослойке системы "Мосрекон"

При температуре -28 °С

По формуле (7.10):

 = 0,63 м/с,

где DРпр = 0,168 мм вод. ст.

Потери давления DРтр = 0,01 мм вод. ст.

С учетом трения DР = 0,168 - 0,01 = 0,158 мм вод. ст.

 = 0,606 м/с или на 4 % меньше, чем без учета трения.

Расход воздуха при толщине прослойки 0,03 м:

W = 3600×0,606×1,405×0,03 = 92 кг/м×ч (65,5 м3×ч).

При температуре -10,2 °С

По формуле (7.10):

 = 0,37 м/с

 = 0,055 мм вод. ст.

Потери давления:

Ртр = 0,004 мм вод. ст.

DР = 0,055 - 0,004 = 0,051 мм вод. ст.

 = 0,355 м/с.

Расход воздуха при толщине прослойки:

W = 0,355×3600×0,03×l,32 = 50,6 кг/м×ч.

При таком расходе воздуха будет обеспечено осушение прослойки, что подтверждается расчетами системы "краспан" (см. выше).

7.7.3. Заключение полученным результатам

В сводной таблице 7.8 приведены геометрические характеристики экранируемых фасадов различных конструктивных систем, а также значения их влажностных характеристик.

Как видно из табл. 7.8, влажностный режим в воздушной прослойке у экрана зависит от сопротивления паропроницания материала экрана. В случае, если в расчете учитывается экран материала эквивалентного природному камню или граниту по глади без учета щелей-стыков, то влажностный режим не удовлетворяет требованиям теплотехнических норм, а с учетом щелей-стыков (т.е. в районе стыков) удовлетворяет. Это относится как к системе "Метростроя", так и к системе "Гранитогрес".

Как правило, при условном коэффициенте паропроницаемости экрана с учетом щелей, равном m = 0,19 мг/м×ч×Па (0,025 г/м×ч×мм рт. ст.) и более опасности недопустимого влагонакопления у экрана нет. Этой величине соответствует площадь приточной щелей 0,025 м2 на м2 экрана.

В системе "Краспан" в "Мосрекон" площадь приточных щелей-отверстий составляет 0,007 в 0,003 м2 на м2 экрана; в этом случае удовлетворение требований по влагонакоплению обеспечивается во многом благодаря более высокой, чем у системы "Гранитогресс" паропроницаемости экрана. Чем длиннее (выше) прослойка, тем больше скорость движения воздуха и его расход, а, следовательно, и эффективность выноса влаги.

Так при длине прослойки от 0,6 до 21 м скорость движения воздуха возрастает от 0,107 до 0,606 м/с, т.е. в 5,6 раза, также как и расход воздуха.

С другой стороны, чем длиннее (выше) прослойка, тем меньше условный (с учетом щелей) коэффициент паропроницаемости и тем больше вероятность недопустимого влагонакопления по глади экрана. Поэтому истинную величину влагораспределения в стене с вентилируемым фасадом можно получить, рассчитав и проанализировав ее в соответствии с разделом (7.6.3.).

Для того чтобы выявить количество влаги, конденсирующейся в прослойке у экрана для примера выполнен расчет влажностного режима стен ряда из рассматриваемых систем в годовом цикле.

Результаты расчетов, проведенных по вышеприведенной методике (см. раздел 7.6.3) даны в табл. 7.9, 7.10, 7.5.

Как видно из табл. 7.5, данной выше, максимальное количество влаги выпадает на поверхности экрана (без учета швов) из природного камня (с m = 0,008 мг×м/ч×Па) 5122,9 г/м2 за 744 часа или 6,9 г/м2×ч. При учете швов (табл. 7.9) количество влаги на экране составляет 452 г/м2 или 0,062 г/м×ч.


Таблица 7.8.

Система

Экран

Высота прослойки,

м

Высота шва,

мм

Площадь шва м2 на

м2/отверстий в чистоте и швов

Коэффициент газопроницаемости

Сопротивление паропроницанию Rп Rп1тр Rп2тр

при m по глади/при m с учетом швов

Количество конденсата у экрана, 2/м2×ч

Скорость движения воздуха м/сек. в прослойке за экраном при толщине прослойки, мм

Упругость водяного пара, мм рт. ст. (с учетом швов)

 

условный с учетом швов (щелей) в системе

по глади в системе

Входящего в прослойку

Выходящего из прослойки

Расход воздуха, кг/м×ч

размер, м

материал

толщина,

мм

20-30

50-60

СИ

техн.

СИ

техн.

по глади

с учетом швов

-28

-10,2

-28

-10,2

-28

-10,2

-28

-10,2

 

1

2

3

4

5

6

7

8

9

10

11

12

13

14

15

16

17

18

19

20

21

22

23

24

 

Метрострой

0,6´0,6

природный камень

10-30

3

8

0,025

-

0,187

0,025

0,008

0,001

4,28

5,4

-

7,7

-

6,9

0,06

0,24

36,5

0,14

20,5

0,24

85

0,14

48

0,34

1,7

0,38

1,75

 

Марморок

0,1´0,6

бетон

30

3

10

0,018

-

0,45

0,06

0,03

0,004

4,28

1,44

-

3,745

-

-

-

0,24

36,5

0,14

20,5

0,24

72,8

0,144

48

0,34

1,7

0,36

1,73

 

-

-

гранит

20

 

-

-

0,12

0,016

 

 

 

 

 

 

0,46

-

-

-

-

0,34

1,7

0,35

1,72

 

Краспан

1,2´1,8

цемент.

8

1,8

15

0,007

-

0,114

0,015

0,03

0,004

4,11

0,36

-

2,35

-

 

 

0,16

24,2

1,104

14,8

0,17

52,2

0,104

29,6

0,34

1,7

0,35

1,72

 

Гранитогрес

0,6´0,6

плитки*) с покраской керамогранит

10

0,6

10

0,028

-

0,52

0,07

0,008

0,0015

4,4

9

0,03

4,2

0,35

 

 

0,107

16,24

0,061

8,7

0,107

32,5

0,061

17,4

-

1,7

-

1,63

 

Мосрекон

0,2´0,6

бетон

10

21

-

-

0,003

0,083

0,011

0,03

0,004

4,13

 

 

 

» 0,46

0,606

92

0,355

50,6

-

-

-

-

-

-

 

_____________

*) полиэфирными красителями.

Таблица 7.9.

Распределение влажности в кирпичной стене, утепленной минватой с защитным экраном (с учетом швов, m = 0,187 мг/м×ч×Па)

 

 

МЕСЯЦЫ

I

II

III

IV

V

VI

VII

VIII

IX

X

XI

XII

Ro = 4,4805, Rвн.сл. = 4,4313

tH

-10,2

-9,6

-4,7

4

11,6

15,8

18,1

16,2

10,6

4,2

-2,2

-7,6

tв

20

20

20

20

11,6

15,8

18,1

16,2

10,6

20

20

20

Dt

30,2

29,6

24,7

16

0

0

0

0

0

15,8

22,2

27,6

tп

-9,9

-9,3

-4,4

4,2

 

 

 

 

 

4,4

-2,0

-7,3

 

 

 

 

 

 

 

 

 

 

 

 

 

 

 

 

 

 

 

 

 

 

 

 

 

 

 

 

Еt

 

1,96

2,07

3,17

6,19

10,24

13,46

15,58

13,81

9,59

6,27

3,88

2,47

 

 

 

 

 

 

 

 

 

 

 

 

 

 

 

 

 

 

 

 

 

 

 

 

 

 

 

 

 

ен

1,604

1,62

2,41

4,026

5,939

7,941

9,615

9,391

7,001

4,828

3,132

2,0485

ев55

9,647

9,647

9,647

9,647

 

 

 

 

 

9,647

9,647

9,647

Dе

8,043

8,027

7,547

5,621

 

 

 

 

 

4,819

6,515

7,599

еt

1,97

1,99

2,74

4,28

 

 

 

 

 

5,05

3,43

2,40

 

 

 

 

 

 

 

 

 

 

 

 

 

 

 

 

 

 

 

 

 

 

 

 

 

 

 

 

Часы

 

744

672

744

720

744

720

744

744

720

744

720

744

Qвн.сл.

 

1119,88

1027,41

 

 

 

 

 

 

 

 

 

 

Qнар.сл.

 

1074,55

1264,21

Конденсат на экране будет в январе в количестве 45 г/м2 и высохнет в феврале

DQ

 

45,33

-236,80

SDQ

 

45,33

 

 

 

 

 

 

 

 

 

 

 

 

 

 

 

 

 

 

 

 

 

 

 

 

 

 

 

 

 

Таблица 7.10.

Распределение влажности в кирпичной стене толщиной d = 0,51 м, утепленной минватой толщиной d = 0,15 м с защитным экраном (с учетом швов m = 0,12 мг/м×ч×Па)

 

 

МЕСЯЦЫ

I

II

III

IV

V

VI

VII

VIII

IX

X

XI

XII

Ro = 4,4805, Rвн.сл. = 4,4813

tH

-10,2

-9,6

-4,7

4

11,6

15,8

18,1

16,2

10,6

4,2

-22

-7,6

tв

20

20

20

20

11,6

15,8

18,1

16,2

10,6

20

20

20

Dt

30,2

29,6

24,7

16

0

0

0

0

0

15,8

22,2

27,6

tп

-9,9

-9,3

-4,4

4,2

 

 

 

 

 

4,4

-2,0

-7,3

 

 

 

 

 

 

 

 

 

 

 

 

 

 

 

 

 

 

 

 

 

 

 

 

 

 

 

 

Еt

 

1,96

2,07

3,17

6,19

10,24

13,46

15,58

13,81

9,59

6,27

3,88

2,47

 

 

 

 

 

 

 

 

 

 

 

 

 

 

 

 

 

 

 

 

 

 

 

 

 

 

 

 

Rп = 5,2551, Rпвн.сл. = 4,9559

ен

1,604

1,62

2,41

4,026

5,939

7,941

9,615

9,391

7,001

4,828

3,132

2,0485

ев55

9,647

9,647

9,647

9,647

 

 

 

 

 

9,647

9,647

9,647

Dе

8,043

8,027

7,547

5,621

 

 

 

 

 

4,819

6,515

7,599

еt

2,06

2,08

-2,82

4,35

 

 

 

 

 

5,10

3,50

2,48

Rп. нар.сл. = 0,2992

 

 

 

 

 

 

 

 

 

 

 

 

 

 

 

 

 

 

 

 

 

 

 

 

 

 

 

Часы

 

744

672

744

720

744

720

744

744

720

744

720

744

Qвн.сл.

 

1154,40

1027,41

972,35

В среднемесячные периоды выпадение конденсата будет наблюдаться с декабря по февраль в максимальном количестве 314,8 г/м2 в феврале и высыхает в марте.

1077,44

Qнар.сл.

 

885,24

1011,70

1889,84

1048,4

DQ

 

268,76

16,72

-917,48

29,33

SDQ

 

298,09

314,8

-602,68

29,33

%

 

 

 

 

 

 

 

 

 

 

 

 

 

 

 

 

 

 

 

 

 

 

 

 

 

 

 


7.8. Заключение (Рекомендации по проектированию)

Теплотехническое проектирование систем наружных стен с вентилируемым фасадом выполняется в следующей последовательности (в дополнение к разделу 7.4):

1. Назначаются проектные размеры щелей-зазоров, воздушной прослойки и экранов облицовки в соответствии с разделом (7.3). При этом следует выполнять следующие требования:

- толщина воздушной прослойки между экраном и уплотнителем не должна быть меньше 30 мм;

- площадь воздуховыводящей полости не должна быть меньше площади приточной;

- если экран выполняется из влагонепроницаемых или почти влагонепроницаемых материалов (металл, стеклопластик, гранит с коэффициентом паропроницаемости менее m = 0,038 мг/м 4 Па) площадь приточных щелей не должна быть меньше 0,015 ¸ 0,020 м2 на м2 экрана.

- Не рекомендуется высота (ширина) стыковых швов (совмещающих функции приточных щелей) менее 15 мм.

2. Определяется толщина утеплителя в соответствии с разделом - 7.6.2.

3. Рассчитывается влажностный режим конструкции в соответствии со СНиП II-3-79* (98) (с учетом коэффициенте паропроницаемости по глади экрана).

4. Рассчитывают условный приведенный коэффициент паропроницаемости со щелями-зазорами (с учетом раздела 7.6.6.).

5. Рассчитывается упругость водяного пара по формуле (7.18) при отсутствии расхода воздуха в прослойке.

6. Если в результате расчета по п. 3 ¸ 5 положительны и соблюдены требования п. 1, то конструкция стены считается удовлетворительной, если же нет, то расчет продолжают в следующей последовательности:

- определяется влажностный режим конструкции стены в годовом цикле;

- определяется тепловой (температура), воздушный (скорость движения воздуха) и влажностный (упругость водяного пара) режим конструкции стены, в т.ч. прослойки;

- корректируются элементы конструкции наружной стены для выполнения всех требований теплотехнических норм.

Приложение 7.1

Определение приведенного коэффициента паропроницанию. Система "Краспан"

Условное сопротивление паропроницанию зазоров в стыковых соединениях плит (толщина плит 0,008 м; приведенная площадь швов на м2 плит 0,007 м2; ширина (высота) шва 0,015 м)

 = 0,005 м2×ч×мм рт. ст/г (0,00067 м2×ч×Па/мг),

где:

6,5 - условный коэффициент паропроницания стыковых швов;

4,2 - сумма дополнительных сопротивлений.

Сопротивление паропроницанию плит по глади:

 = 2 м2×ч×мм рт. ст/г (0,266 м2×ч×Па/мг)

Приведенное сопротивление паропроницанию м2 плит:

 = 0,529 м2×ч×мм рт. ст/г (0,07 м2×ч×Па/мг)

Приведенный коэффициент паропроницаемости:

 = 0,015, (в системе СИ m = 0,114)

Система «Гранитогресс» (как природный камень - гранит)

Условное сопротивление паропроницанию зазоров в стыковых соединениях плит (толщина плит 10 мм, высота шва - 10 мм, площадь швов 0,028 м2 на м2 экрана):

 = 0,00415

Сопротивление паропроницанию по глади:

 = 6,66

Приведенное сопротивление паропроницанию:

 = 0,145

Приведенный коэффициент паропроницания:

 = 0,07 г/ч×м×мм рт. ст. (в системе СИ m = 0,525 мг/м×ч×Па)

Система «Мосрекон»

Условное сопротивление паропроницанию зазоров в стыковых соединениях плит-экранов (средняя толщина плит 0,02 м; площадь швов на м2 плит 0,003 м2, в т.ч. площадь входных отверстий в чистоте 55 %):

 = 0,009

Сопротивление паропроницанию по глади экранов:

 = 5,

где: 0,02 - средняя толщина экрана, м.

Приведенное сопротивление паропроницанию:

 = 1,88

Приведенный коэффициент паропроницания:

 = 0,011 (В системе СИ m = 0,083)

Приложение 7.2

Расчет температурных полей у оконных откосов

Исследуемая наружная стена выполнена из эффектного кирпича (расчетная теплопроводность 0,64 Вт/м×°С) толщиной 510 мм. Заполнения оконных проемов выполнены из деревянных оконных блоков с двухкамерными стеклопакетами - толщина оконной коробки 60 мм. Пространство между коробкой и откосом запенивалось пенополиуретаном l = 0,04 Вт/(м×°С). Рассчитывался верхний узел примыкания оконного блока к откосу (в зоне железобетонных перемычек).

Для расчетов приняты следующие варианты расположения оконного блока в проеме:

для стены толщиной 510 мм с наружным утеплением из минераловатных плит l = 0,04 Вт/(м×°С) толщиной 150 мм и вентилируемой воздушной прослойкой толщиной 60 мм:

- с заглублением от наружной поверхности кирпичной стены на 120 мм (рис. 1);

- заподлицо с наружной поверхностью кирпичной стены (рис. 2).

Для выполнения эффективности расположения оконного блока в проеме определялось распределение температур на поверхности откоса со стороны помещения и количество теплоты, проходящей через этот откос, на основе расчета на ЭВМ температурных полей по программе СТП. Для расчета приняты следующие характеристики окружающей воздушной среды:

- расчетная температура внутреннего воздуха tint = 20 °С;

- расчетная зимняя температура наружного воздуха text = -28 °С;

- коэффициент теплоотдачи внутренней поверхности наружной стены aint = 8,7 Вт/(м2×°С);

- коэффициент теплоотдачи наружной поверхности наружной стены aext = 23 Вт/(м2×°С);

- расчетная относительная влажность воздуха внутри помещения jint = 55 %;

- температура точки росы td = 10,7 °С.

В результате расчета температурных полей вышеупомянутых вариантов было установлено изменение температуры на внутренней поверхности откоса и количество теплоты, теряемое через него, для каждого варианта размещения оконного блока в проеме (рис. 1-2).

При расчетных условиях минимальная температура в углу примыкания оконной коробки к откосу tmin для вариантов составила: 1) 7,5 °С; 2) 15,5 °С.

Зона выпадения конденсата на внутренней поверхности откоса составила: 1) 6 мм; 2) отсутствует.

Количество теплоты, теряемое через оконный откос: 1) 18,7 Вт; 2) 7,8 Вт.

Таким образом, наиболее эффективным вариантом расположения оконного блока в проеме явился вариант - размещение оконного блока заподлицо с наружной поверхностью кирпичной стены, утепленной снаружи. В этом случае железобетонные перемычки защищены от непосредственного взаимодействия с наружным воздухом эффективным утеплителем, что положительно сказывается на тепловом режиме откоса проема со сторон помещения.

Рис. 1. Температурные поля у оконного откоса, вариант 1

Рис. 2. Температурные поля у оконного откоса, вариант 2

8. Состав проектно-сметной документации

8.1. Состав рабочего проекта или рабочей документации на систему наружных ограждений фасадов с вентилируемым воздушным зазором определяется Положением о едином порядке предпроектной и проектной подготовки строительства в г. Москве, 2ая редакция, приложение к распоряжению мэра Москвы от 11.04.2000 г. № 378-РМ и, в том числе, включает следующие разделы: общую пояснительную записку, архитектурную часть, конструкторскую часть, конструкторскую часть по решению архитектурных деталей, специальные части (водосток, антенны, рекламу и т.п.) и сметы.

8.2. В общей пояснительной записке приводятся следующие данные:

- архитектурная концепция решения фасадов здания и отдельных архитектурных элементов;

- данные о конструктивном решении системы и ее элементов;

- данные о решении специальных устройств на фасаде;

- данные об эффективности энергосбережения принятых технических решений, результаты теплотехнических расчетов;

- экологическая характеристика системы;

- основные технико-экономические показатели системы.

8.3. Архитектурная часть включает чертежи фасадов здания, отдельных архитектурных элементов и узлов. На чертежах приводится цветовое решение фасада и его отдельных элементов.

8.4. Конструкторская часть включает чертежи всех конструктивных элементов системы, с узлами и деталями, а также полную спецификацию всех применяемых материалов и изделий.

8.5. Специальная часть включает чертежи фасадов с привязкой мест размещения специальных устройств, узлы и детали конструкций крепления этих устройств на фасаде, а также спецификацию оборудования, материалов и изделий, предусмотренных проектом.

Кроме того, проектом должны быть предусмотрены устройства, обеспечивающие возможность бережного обслуживания фасада (включая очистку) в процессе его эксплуатации.

8.6. Сметы на устройство системы составляются на основе действующих нормативов, единичных расценок, фактической стоимости оборудования и материалов, а также утвержденных заказчиком калькуляций на отдельные виды работ и элементы конструкций.

9. Экономические показатели систем

Стоимость фасадной системы с вентилируемым воздушным зазором для конкретных зданий зависит от многих факторов, в том числе, от размеров здания, архитектурного решения фасадов, оборудования и оснастки, применяемых для монтажа системы, а также структуры подрядной организации и ее коммерческой политики. В связи с этим конечная стоимость системы может колебаться в значительных пределах.

В целях более объективной экономической оценки систем приведены прямые затраты, приходящиеся на 1 м2 системы на рядовом участке фасада.

Затраты приводятся поэлементно (стоимость элементов несущего каркаса, включая крепеж, стоимость утеплителя, стоимость облицовочного материала и стоимость монтажа) для всех рассматриваемых систем - таблица 9.1., перечень применяемых в этих системах облицовочных материалов и их стоимость - таблица 9.2. Данные для таблиц предоставлены фирмами-разработчиками систем.

Таблица 9.1

Величина прямых затрат на устройство фасадных систем с вентилируемым воздушным зазором

№№ п.п.

Наименование системы

Затраты (стоимость) у.е.

Детали каркаса

Утеплитель

Облицовочный материал

Монтаж

Всего

1.

Мармарок

20

12

19

15-18

66-69

2.

Метроспецстрой

22

15

включая дюбели

24

плиты мраморные

23,5

85,5

3.

Краспан

14

15

-"-

10,5

панели "Краспан"

16

55,5

4.

Гранитогрес

Каптехнострой

20

15

-"-

30

матовые

17

82

5.

Мосрекон

11,8

12

12

16

51,8

6.

Интерал

24

15

включая дюбели

26

керамика видимое крепление

20

85

 

36

44

керамика скрытое крепление

30

125

21

59

кассетные панели композит.

30

125

7.

U-KON

18-20

15

включая дюбели

56, 54

касетная панель «Алюкобонд»

30

119,54-121,54

Примечания: стоимость утеплителя толщиной 150 мм.

Облицовочные материалы для фасадных систем с вентилируемым воздушным зазором

Таблица 9.2.

№№ п/п

Вид облицовочного материала

Размер плит, мм

Стоимость 1 м2

у.е.

Кто изготавливает

В каких системах применяется

1

2

3

4

5

6

1.

Плиты мраморные

от 300´300´20 до 1000´800´30

24

Метроспецстрой

Метроспецстрой

2.

Плиты гранитные

от 300´300´20 до 1000´800´30

56

Метроспецстрой

Метроспецстрой

3.

Плитка "Марморок"

600´1,05´30 (25)

19

"Марморок" Швеция

РВМ-2000

4.

Плитка "Мосрекон"

116

600´216´27

316

2,14

ВНИИжелезобетон

Мосрекон

5.

Плитка керамогранитная "Гранитогрес" матовая

600´600´10

30

Касальгранде, Падана, Италия

Гранитогрес

6.

То же

400´400´8

17,5

Касальгранде, Падана, Италия

Гранитогрес

7.

То же полированная

600´600´10

42¸55

Касальгранде, Падана, Италия

Гранитогрес

8.

То же полированная

400´400´8

32

Касальгранде, Падана, Италия

Гранитогрес

9.

Плиты керамогранитовые матовые

600´600´10

30¸40

Чезар, Леонардо, КОЭМ, Италия

Каптехнострой, Метроспецстрой, Интерал, U-KON

10.

То же полированные

600´600´10

44¸51

Чезар, Леонардо, КОЭМ, Италия

Каптехнострой, Метроспецстрой, Интерал, U-KON

11.

Плиты керамические

600´600´8

600´600´10

600´900´8

600´900´10

26¸35

"AGROB BUCHTAL KERAMIK" (Германия)

Интерал

600´600´10

600´900´10

28¸45

"COOPERATIVA CERAMICA D¢IMOLA" (Италия)

600´600´10

600´900´10

30¸60

"MIRAGE DRANITO CERAMICO" (Италия)

12.

Фиброцементные плиты окрашенные

1200´3000´8

1200´2500´8

9

з-д "Краспан" Красноярск

Краспан, Метроспецстрой, U-KON

13.

Тоже с крошкой натурального камня

1200´3000´8

1200´2500´8

18

з-д "Краспан" Красноярск

Интерал, Каптехнострой, U-KON

14.

Тоже, Сем Стоун

1200´3000´8

1200´2500´8

28

Финляндия

Интерал, Каптехнострой, Гранитогрес, U-KON

15.

Минерит

10 без окраски

16.

Панели алюминиевые

600´250

 

Мосмек

г. Видное

Каптехнострой

17.

Листы "Алюкобонд" многослойныеМ

1000, 1200, 1500 ´ 1500

44

Алюкобонд Германия

U-KON, Интерал, Каптехнострой

18.

Кассетная панель "Алюкобонд"

 

56

19.

Кассетные панели из оцинкованной стали или алюминия

 

 

Гранитогрес

Гранитогрес, U-KON

20.

Листы многослойные "REYNOBOND"

1250´2500

1250´3200

1250´4000

1500´3000

1500´4000

45

"REYNOLDS ALUMINIUM FRANCE" Франция

Интерал

21.

Кассетные панели "REYNOBOND"

 

54¸61

 

Интерал

22.

Фибробетонные плиты цветные

600´600´10

600´400´10

600´300´10

от 20

ООО "Фибробетон" Москва

 

10. Основные положения по производству работ и системе контроля качества

10.1. Для выполнения работ по монтажу системы здание разбивается на захватки и определяется порядок и последовательность перемещения монтажников с одной захватки на другую.

10.2. Величина захваток и их количество в каждом случае определяются с учетом многих факторов, в том числе размеров фасадов здания, величины бригады монтажников, оснащения строительной организации оборудованием и оснасткой, условиями комплектации строительства материалами, изделиями и др. Захваткой может быть вся высота фасада, а можно фасад по высоте разделить на несколько захваток, учитывая наличие промежуточных карнизов, поясков и другие факторы. Также в горизонтальном направлении захваткой может быть весь фасад, только одна секция или может быть принят какой-либо другой способ деления фасада на захватки. Разбивка фасадов здания на захватки и выбор средств для работы монтажников на высоте (подмостки, люльки, подъемные платформы и т.п.) выполняется в проекте организации строительства или в технологических картах.

10.3. При монтаже системы на реконструируемых зданиях работы начинаются с очистки фасада от несвязанных с основанием элементов, таких как отслоившиеся штукатурка, краска и т.п. Кроме того, фасад надо освободить (демонтировать) от специальных устройств: водостоков, различных кронштейнов, антенн, вывесок и др.

10.4. Монтаж системы начинается с разметки фасада, установки маяков, по которой будут устанавливаться и крепиться к основанию кронштейны. Разметка выполняется с помощью геодезических приборов, уровня и отвеса. Установка и крепление кронштейнов, вертикальных или горизонтальных профилей в пределах захватки может производиться снизу вверх и наоборот, в зависимости от решений, принятых в ПОС.

10.5. После разметки фасада в нем сверлятся отверстия под дюбели для крепления кронштейнов к основанию посредством анкерных винтов. Для снижения теплопередачи в месте примыкания кронштейна к основанию между ними на анкерный винт одевается паронитовая прокладка.

В случаях, когда основанием является кирпичная кладка, нельзя устанавливать дюбели в швы кладки, при этом расстояние от центра дюбеля до ложкового шва должно быть не менее 35 мм, а от тычкового - 60 мм. Минимальное расстояние от края конструкции до дюбеля оговаривается специальными рекомендациями фирмы-изготовителя.

Категорически запрещается сверлить отверстия для дюбелей в пустотелых кирпичах или блоках с помощью перфоратора.

10.6. К кронштейнам крепятся вертикальные или горизонтальные профили, которые являются базой для устройства отделочного слоя фасада в пределах проектных допусков. Поэтому установка каждого профиля, его положение в вертикальной плоскости проверяется соответствующими приборами: теодолитом, отвесом и др.

10.7. К началу монтажа плит утеплителя захватка, на которой производятся работы, должна быть укрыта от попадания влаги на стену и плиты утеплителя.

Исключением могут быть случаи, когда монтажники не покидают рабочие места до тех пор, пока все смонтированные плиты не закроют предусмотренной проектом ветровлагозащитной пленкой.

10.8. Монтаж плит утеплителя начинается с нижнего ряда, который устанавливается на стартовый профиль, цоколь или другую соответствующую конструкцию, и ведется снизу вверх. Если плиты утеплителя устанавливаются в 2 ряда, следует обеспечить перевязку швов. Плиты утеплителя должны устанавливаться плотно друг к другу так, чтобы в швах не было пустот. Если избежать пустот не удается, они должны быть тщательно заделаны тем же материалом. Вся стена (за исключением проемов) непрерывно по всей поверхности должна быть покрыта утеплителем установленной проектом толщины. Крепление штат утеплителя к основанию производится пластмассовыми дюбелями тарельчатого типа с распорными стержнями. В случае применения ветровлагозащитной пленки установленные плиты утеплителя сначала крепятся к основанию только двумя дюбелями каждая плита и только после укрытия нескольких рядов пленкой устанавливаются остальные, предусмотренные проектом, дюбели. Полотнища пленки устанавливаются с перехлестом 100 мм.

10.9. Монтаж облицовки фасада начинается после полного окончания монтажа плит утеплителя. Как правило, монтаж облицовочных плит начинается с нижнего ряда и ведется снизу вверх. Во время монтажа, отделочных плит следует следить за тем, чтобы воздушный зазор позади отделочных плит был чист и без каких-либо посторонних включений.

10.10. В процессе монтажа элементов системы должен выполняться пооперационный контроль качества работ и составляться акты на скрытые работы. Это должно выполняться в соответствии с действующей в подрядной организации "Системой управления контролем качества продукции", где указано, какие параметры и технологические процессы контролируются, и лица, ответственные за выполнение этой работы. В составе комиссии, подписывающей акты на скрытые работы, должны быть лица (представители проектной организации), выполняющие авторский надзор.

10.11. Работы по монтажу системы могут выполнять организации, специалисты которых прошли обучение и имеют лицензию на право выполнения указанных работ от организации - разработчика системы или его официального представителя.

11. Правила эксплуатации системы

11.1. В процессе строительства и эксплуатации здания не допускается крепить непосредственно к облицовочному материалу любые детали и устройства.

11.2. Не следует допускать возможность попадания воды с крыши здания на облицовочную плитку, для чего надо содержать желоба на крыше и водостоки в рабочем состоянии.

11.3. Уход за облицовкой фасада, заключающийся в ее регулярной очистке и периодическом восстановлении, продлит срок службы облицовки.

11.4. Промывка водой является одним из наиболее эффективных способов очистки облицовки. Для промывки воду подают шлангами под давлением 2-3 атм.

Рекомендуется сочетать промывку с ручной очисткой поверхности щетками или скребками.

11.5. Повреждения облицовочных плит заделывают различными мастиками и составами, в том числе, на основе жидкого стекла, канифоли, цементно-известковой смеси и др. в зависимости от вида облицовочных плит.

11.6. После очистки и ремонта поверхность облицовочных плит следует обработать средствами, создающими на ней защитную оболочку. Для этого существуют средства на основе пчелиного воска, растворы, вступающие в химическое взаимодействие с природным камнем, пропитывающие растворы с последующей полимеризацией и т.п.

11.7. Плиты с дефектами, не подлежащими восстановлению, заменяются в соответствии с инструкцией разработчика системы.

12. Перечень нормативных документов и литературы

1. СНиП 2.08.01-89*       Жилые здания.

и МГСН 3.01-01

2. СНиП 2.01.07-85         Нагрузки и воздействия.

3. СНиП 2.03.06-85         Алюминиевые конструкции.

4. СНиП II-23-81*           Стальные конструкции.

5. СНиП II-3-79*             Строительная теплотехника.

(изд. 1998 г.)

6. СНиП 23-01-99           Строительная климатология.

7. СНиП 2.01.01-82         Строительная климатология и геофизика.

8. СНиП 2.03.11-85         Защита строительных конструкций от коррозии.

9. СНиП 21-01-97           Пожарная безопасность зданий и сооружений.

10. МГСН 2.01-99           Нормативы по теплозащите и тепловодоэлектроснабжению.

11. ГОСТ 17177-94         Материалы и изделия строительные теплоизоляционные. Методы испытаний.

12. ГОСТ 22233-93         Профили прессованные из алюминиевых сплавов для ограждающих конструкций. Общие технические условия.

13. ГОСТ 26805-86         Заклепка трубчатая для односторонней клепки тонколистовых строительных металлоконструкций. Технические условия.

14. ГОСТ 27180-86         Керамические плитки. Методы испытаний.

15. ГОСТ 7025-78           Материалы стеновые и облицовочные. Методы определения водопоглощения и морозостойкости.

16. ГОСТ 481-80             Паранитовые листы.

17. Рекомендации по проверке и учету воздухопроницаемости наружных ограждающих конструкций жилых зданий. ЦНИИЭП жилища, Москва, 1983.

18. Рекомендации по проектированию и применению для строительства и реконструкции зданий в г. Москве системы с вентилируемым воздушным зазором "Марморок". Правительство Москвы, Москомархитектура, Москва, 2001 г.

19. Рекомендации по проектированию и применению для строительства и реконструкции зданий в г. Москве системы с вентилируемым воздушным зазором из алюминиевых профилей производства ЗАО Союз "Метроспецстрой". Правительство Москвы, Москомархитектура, Москва, 2001 г.

Приложение

Предложения по дальнейшему развитию конструктивно-технологических решений фасадных систем с вентилируемым воздушным зазором

1. При разработке данных предложений перед разработчиками ставились следующие задачи:

- разработать фасадную систему с использованием преимущественно материалов отечественного производства;

- снизить трудоемкость монтажа и повысить теплоизоляцию наружных стен путем использования заливочных вспенивающихся композиций;

- снизить вес и стоимость системы в целом за счет применения более эффективных и менее дефицитных материалов.

Здесь представлены два варианта новых систем с использованием вспенивающихся полимерных заливочных композиций и декоративно-облицовочных изделий, полученных из исходных продуктов и материалов, освоенных отечественной промышленностью.

Оба варианта требуют опытной проверки и предлагаются в качестве экспериментальных конструкций утепления и отделки зданий. Они могут использоваться при строительстве и ремонте гражданских зданий с наружными стенами любой конструктивной системы.

Ниже излагаются конструктивные решения, технология монтажа, сведения о материалах и обоснование целесообразности проведения эксперимента по внедрению обеих систем.

2. Система на опорных стержнях с воздушным зазором, образованным гофрами.

2.1. Система представляет собой легкую навесную конструкцию из гофрированных листов, удерживаемых в рабочем положении опорными стержнями с растяжками. Между основанием и гофрированными листами образуется полость, в которой путем вспенивания заливочных полимерных композиций, формируется монолитный утеплитель.

2.2. Опорный стержень состоит из двух частей: основная часть, длиной 75 мм, квадратного сечения, остальная часть длиной - 60 мм представляет собой винт, который вворачивают в дюбель установленный в основание. Внутри квадратной части стержня - отверстие с резьбой под такой же винт. Стержни с растяжками располагаются на фасаде с шагом 400 (600) мм по горизонтали и - 600 (900) мм по высоте. Это унифицированные детали, отформованные из конструкционного стеклопластика, которые могут быть изготовлены на заводах «Тверьстеклопластик» или Бийском заводе стеклопластиков по ТУ 2296-001-20994511. Они могут быть стальными с защитным антикоррозийным покрытием, или из алюминиевых сплавов, а также других материалов.

2.3. В каждую намеченную точку устанавливают один или два стержня (вворачиваемых друг в друга) в зависимости от расчетной толщины утеплителя стены. Между основанием и стержнем устанавливается растяжка нижележащего стержня.

2.4. На свободный конец каждого стержня надета стальная оцинкованная фигурная деталь подвески, которая предназначена для фиксации и крепления гофрированных листов, являющихся защитным экраном утеплителя, обеспечивающих продольную жесткость конструктивной системы, образующих воздушные каналы для удаления влаги и служащих опорой для фасадной декоративной облицовки.

2.5. Фигурная деталь состоит из 2-х частей - внутренней с отверстием для зацепа растяжки и внешней корытообразной для опоры гофрированных листов.

Обе части соединены точечной сваркой и изготавливаются из стального листа толщ. 1,5-2 мм. Деталь надевается на торец опорного стержня и приклеивается холодной полимерной сваркой.

2.6. После монтажа опорных стержней с растяжками на них, порядно, устанавливаются и крепятся гофрированные (асбестоцементные, или из других негорючих материалов) листы. Диеты для увеличения паропроницаемости перфорированны. Они углами опираются на корытообразную часть фигурной детали и прижимаются к ней, сегментного сечения шайбой и болтом. Шайба рассчитана на фиксацию 4-х гофрированных листов, сходящихся у опорного стержня. Конструктивное решение системы показано на рис. 12.1¸12.5

2.7. В случае применения гофрированного листа без перфорации предусмотрен вариант устройства воздушной прослойки в углублениях гофра листа со стороны утеплителя. Для этого (на гребни) листа, со стороны утеплителя, перед его установкой, наклеивается паропроницаемая пленка. Пространство между ней и гофром остается не заполненным при вспенивании утеплителя, образуя, таким образом, каналы для проветривания конструкции ограждения.

2.8. Полость между стеной и гофрированным листом заполняется жидкой композицией пенопласта марки «Пеноизол» (смолы ВПС-Г, пенообразователя АБСФК, и катализатора отверждения - ортофосфорной кислоты и воды) или ФРП-1 (смолы РФ-1172 (б.ФРВ-1А и ВАГ-3). Характеристики обоих пенопластов см. - в приложении.

Заполнение производится поэтапно рядами с помощью установки ГЖУ-1 ЗАО «МЕТТЕМ» - для «Пеноизола» и установки НПО «Полимерсинтез» или «Кубань Ф» - для ФРП-1.

2.9. После полного заполнения полости между основанием и гофром вспененной полимерной композицией, производится облицовка фасада тонкой, коробчатой рельефной, декоративной плиткой - стальной эмалированной или цветной полимерной (например стеклопластиковой). Плитки крепятся к гофрированным листам шурупами-саморезами.

3. Система из пространственных элементов с воздушным зазором, между просечной сеткой и экраном

3.1. Несущей основой этого варианта является фахверковая конструкция, собираемая из автономно несущих, унифицированных пространственных элементов, которые могут изготавливаться, по индивидуальному заказу, на любом предприятии металлоизделий.

3.2. Элемент представляет собой легкую пространственную конструкцию, которая состоит из арматурных стержней и вертикальных «Z»-образных каркасов, а также стального просечного листа с горизонтальными гофрированными полосами, соединенными с ней точечной электросваркой.

Размер элемента 600´400 или 750´500 мм, (рис. 7) ширина «Z»-образного каркаса от 100 до 200 мм - зависит от заданной толщины заливочного утеплителя.

3.3. На выступающих частях гофрированных полос толщ. 1,5 мм закреплены (сваркой) полосы из мягкой листовой стали, которые при монтаже наружной облицовки сгибаются в скобы и служат опорой и креплением, тонких (толщ. 8-10 мм) декоративно-защитных плиток фасада (из известняка, туфа, ракушечника, мрамора, керамики).

После изготовления каждый элемент фахверка, в собранном виде, покрывается антикоррозийной защитой - оцинковкой, или составом ВН-30 (горячим способом), или покрытием типа «Земля».

3.4. Элементы фахверка крючками «Z»-образного каркаса навешиваются на скобы, установленные на основании. Установка скоб производится по уровню в вертикальном и горизонтальном направлениях, точно по размерам элемента. Нивелировка (выравнивание) плоскости фасада производится посредством прокладок разной толщины под скобы в процессе установки их на основании. Каждая скоба предназначена для навески 4-х смежных элементов (двух верхних крючков и двух нижних).

3.5. После монтажа одного ряда элементов фахверка, полость между ним и стеной заполняется жидкой вспенивающейся композицией ФРП-1 или «Пеноизол» (см. п. 12.2.8 и приложение).

Выступившая пена в стыках элементов, после ее отверждения, срезается.

Развивающееся давление при вспенивании композиции, и ее адгезия к прилегающим материалам стены, фахверка и каркаса обеспечивают полное (без пустот) заполнение пространства, прочное сцепление и объединение всей конструкции ограждения в монолит, а, следовательно, ее устойчивость, прочность и надежность работы во времени.

3.6. После заполнения утеплителем всей полости между фахверком и основанием приступают к обрамлению торцов проемов окон и балконных дверей, а после их выполнения - к облицовке всего фасада здания.

3.7. Стена облицовывается тонкими плитками естественного камня (туфа, известняка, ракушечника или керамики). Облицовка выполняется постановкой плиток на отогнутые полосы мягкой стали фахверка, установленные на гофрах горизонтальных полос просечного листа (п. 12.3.4) с приклейкой мастикой «Драйфлекс» или мастикой № 51, а затем сгибом полос и прижимом ими облицовочных плиток.

3.8. Конструктивное решение углов предлагаемой системы утепления к оконным проемам дано на рис. 12.6¸12.8.

Отличительной чертой обеих систем от изложенных в разделе 3 является то, что они легче по весу, менее трудоемки в монтаже, изготавливаются исключительно из отечественного сырья и материалов. В них не используется дефицитная тонколистовая оцинкованная сталь. Применяемые заливочные утеплители более эффективны по теплоизоляции и дешевле, чем плиты из твердой минеральной ваты. Они исключают образование пустот и воздушных прослойков, неизбежных при укладке плит, т.к. при вспенивании все пустоты и трещины заполняются. Происходит обволакивание (деталей каркаса) и склеивание утеплителя со всеми контактирующими материалами, в том числе с каркасом и основанием. Образованный таким образом монолит гасит и предотвращает вибрацию наружного каркаса системы и сопутствующий шумовой эффект, присущих системам, собираемых из погонажных элементов и плит.

Есть и определенные ограничения при работе с заливочными полимерными композициями. Монтажные работы с ними следует производить преимущественно при температуре выше 0 град. С. Возможно их выполнять и при более низких температурах - до минус 10 град. С, но при условии подогрева этих композиций до + 30 - 35 град. С, утепления емкостей их хранения, подающих шлангов и заливочных установок.

Таким образом, все вышеизложенное показывает, что сейчас своевременно и целесообразно начать освоение и внедрение новых систем утепления зданий с применением заливочных полимерных композиций. Это вызвано, в первую очередь, возможностью снизить вес этих конструкций, их стоимость и трудоемкость монтажа, а также повысить эффективность теплоизоляции.

Если принять несущие элементы конструкций утепления примерно равными по весу новых и систем применяемых сейчас, где используются полужесткие плиты из минеральной ваты (марки Венти-Баттс) с Y = 110 кг/м3, то только по слою теплоизоляции, предлагаемые заливочные утеплители будут легче минераловатных в 1,5-4 раза. Внедрение их даст сокращение веса 1 м2 утеплителя (при толщине его - 15 см) на 7,5 - 13,7 кг, т.е. на каждые 100 м2 стены новые системы будут легче на 0,7-1,37 тонн.

Существующие цены на эти утеплители также существенно различны:

- 1 м3 полужестких МВП (по данным комбината «Мосасботермостекло» Московской обл. на 08.11.01 г.) стоит 2249,39 руб.

- 1 м3 пенопласта марки «Пеноизол» от 165 руб.

- 1 м3 пенопласта марки ФРП-1 - от 918 руб.

Следует также учесть значительное сокращение трудозатрат при монтаже заливочной теплоизоляции. При ней не требуется расхода полимерцементной мастики, которая необходима для приклейки МВП к основанию, их предварительного раскроя и неизбежных отходов, сверления отверстий и установки дюбелей для крепления плит, а также затраченного на все это время.

Кроме этого следует учитывать и эффективность теплоизоляционных качеств заливочных утеплителей, которые выше и к тому же возрастают за счет сокращения многочисленных мостиков холода (пустот, раковин, воздушных прослоек, неплотных прилеганий плит друг к другу, а также к несущему каркасу и др.).

Все это даст экономию тепла, а, следовательно, и топлива.

1. Основание.
2. Составной анкерный болт.
3. Гофрированный лист с перфорацией.
4. Болт крепления гофрированного листа с шайбами.
5. Вспененный заливочный утеплитель.
6. Воздушная прослойка.
8. Фасадная облицовка из металлических листов, покрытых цветными полимерными составами

Рис. 12.1. Конструктивное решение системы с применением гофрированных листов, смонтированных "встык"

1. Основание.
2. Составной анкерный болт.
3. Гофрированный лист с перфорацией.
4. Болт крепления гофрированного листа с шайбами.
5. Вспененный заливочный утеплитель.
6. Воздушная прослойка.
7. Растяжка.
8. Фасадная облицовка из металлических листов, покрытых цветными полимерными составами

Рис. 12.2. Вертикальный разрез системы (узел)

1. Основание.
2. Составной анкерный болт.
3. Гофрированный лист с перфорацией.
4. Болт крепления гофрированного листа с шайбами.
5. Вспененный заливочный утеплитель.
6. Воздушная прослойка.
7. Растяжка.
8. Фасадная облицовка из металлических листов, покрытых цветными полимерными составами.
9. Слив.
10. Металлический экран.
11. Минераловатный вкладыш по периметру проема

Рис. 12.3. Узел примыкания системы к оконному проему (вертикальный разрез)

1. Основание.
2. Составной анкерный болт.
3. Гофрированный лист с перфорацией.
4. Болт крепления гофрированного листа с шайбами.
5. Вспененный заливочный утеплитель.
6. Воздушная прослойка.
8. Фасадная облицовка из металлических листов, покрытых цветными полимерными составами

Рис. 12.4. Конструктивное решение системы с применением гофрированных листов, смонтированных "внахлест"

1. Основание.
2. Составной анкерный болт.
3. Гофрированный лист с перфорацией.
4. Болт крепления гофрированного листа с шайбами.
5. Вспененный заливочный утеплитель.
6. Воздушная прослойка.
7. Растяжка.
8. Фасадная облицовка из металлических листов, покрытых цветными полимерными составами.

Рис. 12.5. Вертикальный разрез системы (узел)

1. Рамка из арматурных стержней.
2. "Z"-образный каркас.
3. Просечной лист.
4. Гофрированная полоса стальная.

Рис. 12.6. Пространственный элемент

1. Основание.
2. Пространственный элемент.
3. Просечной лист.
4. Гофрированная полоса (стальная).
5. Скоба для крепления облицовочных плит.
6. Облицовочная плита.
7. Скоба на основании для подвески пространственных элементов.
8. Утеплитель.

Рис. 12.7. Система с применением несущих пространственных элементов

1. Основание.
2. Пространственный элемент.
3. Облицовочные плиты.
4. Огнестойкий утепляющий вкладыш.
5. Вспененный заливочный утеплитель.
6. Просечной лист.
7. Металлический слив.
8. Однокомпонентный заливочный ППУ "Вилан-405".

Рис. 12.8. Узел примыкания системы к оконному проему. Вертикальный разрез

Характеристики и стоимость утеплителей «Пеноизол», ФРП-1 и МВП

Карбамидный пенопласт марки «Пеноизол».

Его компоненты выпускают: ТОО фирма «Филин» г. Королев и ООО фирма «Стройдеталь» г. Сергиев - Посад (обе Московская обл.)

Технические и экономические показатели:

Плотность, кг/м3                                                             - 25

Коэффициент теплопроводности, Вт (м. град. С)       - 0,029

Прочность на сжатие, МПА/см2 (кг/см2)                      - 0,03 (0,3)

Горючесть - не поддерживает горение, самозатухает - Г2; В2

Стоимость компонентов, руб.                                       - 137,5

С учетом оборудования и переработки (20 %)

составит, руб.                                                                  - 165

Фенольно-резольный пенопласт марки - ФРП-1

Его компоненты выпускают:

Химкомбинаты в г. Новомосковске, г. Кемерово, г. Ново-шахтинске.

Технические и экономические показатели:

Плотность, кг/м3                                                             - 40-50

Коэффициент теплопроводности, Вт (м. град. С)       - 0,038

Прочность на сжатие МПА/см2 (кг/см2)                       - 0,1(1,0)

Горючесть - не поддерживает горения, самозатухает - Г1; В1.

Стоимость компонентов, руб.                                       - 765

с учетом оборудования и переработки (20 %), руб.    - 918

Минераловатные плиты (MBП) - ВЕНТИ-GATTC

Комбинат Мосасботермостекло (г. Железнодорожный, Московской обл.)

Плотность, кг/м3                                                             - 10

Коэффициент теплопроводности

МВП полужестких (Y = 110 кг/м3) Вт (м. град. С)      - 0,037

Прочность на сжатие, при 10 % деформации, МПА, - 0,02

Горючесть                                                                        - негорючий

Стоимость: полужестких МВП, Y = 110 кг/м3             - 2249,39 руб./м3




Rambler's Top100 Яндекс цитирования
  Copyright © 2008-2026, www.docload.ru