Бесплатная библиотека стандартов и нормативов www.docload.ru

Все документы, размещенные на этом сайте, не являются их официальным изданием и предназначены исключительно для ознакомительных целей.
Электронные копии этих документов могут распространяться без всяких ограничений. Вы можете размещать информацию с этого сайта на любом другом сайте.
Это некоммерческий сайт и здесь не продаются документы. Вы можете скачать их абсолютно бесплатно!
Содержимое сайта не нарушает чьих-либо авторских прав! Человек имеет право на информацию!

 

СССР

РУКОВОДЯЩИЙ ДОКУМЕНТ

ФЛАНЦЕВЫЕ СОЕДИНЕНИЯ СОСУДОВ И АППАРАТОВ
НА ДАВЛЕНИЕ СВЫШЕ 10 ДО 100 МПа
(СВЫШЕ 100 ДО 1000 КГС/СМ2)

МЕТОДИКА РАСЧЕТА РЕЖИМОВ ЗАТЯЖКИ ШПИЛЕК

РД 26-01-122-89

РУКОВОДЯЩИЙ ДОКУМЕНТ

ФЛАНЦЕВЫЕ СОЕДИНЕНИЯ СОСУДОВ И АППАРАТОВ НА ДАВЛЕНИЕ СВЫШЕ 10 ДО 100 МПа
(СВЫШЕ 100 ДО 1000 КГС/СМ2)

Методика расчета режимов затяжки шпилек

РД 26-01-122-89

Дата введения 01.01.90

Настоящий руководящий документ распространяется на фланцевые соединения сосудов и аппаратов на давление свыше 10 до 100 МПа (свыше 100 до 1000 кгс/см2), работающих в химической, нефтехимической и смежных отраслях промышленности и устанавливает методику расчета режимов затяжки шпилек фланцевых соединений с уплотнительными кольцами двухконусного, треугольного (дельта), восьмиугольного сечений и с плоскими прокладками.

1. ОБЩИЕ ПОЛОЖЕНИЯ

1.1. Настоящий руководящий документ распространяется на фланцевые соединения сосудов и аппаратов, уплотнительные кольца и шпильки которых изготовлены в соответствии с ОСТ 26-01-86 и ОСТ 26-01-138 ¸ ОСТ 26-01-144.

1.2. Допускается применение руководящего документа для фланцевых соединений сосудов и аппаратов по конструкции и параметрам отличающихся от приведенных в ОСТ 26-01-86 при согласовании с ИркутскНИИхиммашем.

1.3. Эффективность использования руководящего документа обеспечивается при условии выполнения требований нормативных документов ОСТ 26-01-86 и ОСТ 26-01-138 - ОСТ 26-01-144 к качеству поверхностей контакта деталей фланцевого соединения сосуда или аппарата высокого давления.

1.4. В руководящем документе приведена методика расчета режимов затяжки шпилек фланцевых соединений сосудов и аппаратов высокого давления как методом предварительной осевой вытяжки с помощью гидродомкратов или других нагружающих устройств, так и методом, использующим при затяжке шпилек крутящий момент.

1.5. Применение других режимов затяжки шпилек, отличающихся от приведенных в руководящем документе, допускается после их согласования с ИркутскНИИхиммашем.

1.6. Величина усилия затяжки шпилек определяется в соответствии с РД 26-01-168.

1.7. Основные термины, использованные в руководящем документе, приведены в приложении 1.

1.8. Условные обозначения приведены в приложениях 2 и 3.

2. РАСЧЕТ РЕЖИМОВ ПРИ ЗАТЯЖКЕ ШПИЛЕК МЕТОДОМ ОСЕВОЙ ВЫТЯЖКИ

2.1. Последовательность расчета режимов затяжки

2.1.1. Определить величину усилия затяжки шпилек фланцевого соединения Qз в соответствии с РД 26-01-168.

2.1.2. Выбрать необходимое количество нагружающих устройств (гидродомкратов) i. Количество нагружающих устройств может быть принято: минимум - два и максимум - равное количеству шпилек затвора m.

Принятое количество нагружающих устройств должно быть кратно количеству шпилек фланцевого соединения.

Расчет начинают при i = 2. Необходимое количество нагружающих устройств уточняется в процессе расчета (п. 2.2.1.2).

2.1.3. Определить количество групп шпилек n (п. 2.2.1.1).

2.1.4. Определить окончательное усилие Qn, приходящееся на последнюю группу шпилек в конце процесса затяжки (п. 2.2.1.1).

2.1.5. Определить коэффициент относительной податливости уплотнительного кольца a. Для этого необходимо предварительно определить податливость уплотнительного кольца (п. 5.2) и группы шпилек при нагрузке на одну шпильку  (п. 5.1.2).

2.1.6. Определить коэффициент разгрузки для каждой группы шпилек Kz (раздел 4).

2.1.7. Определить величину текущего усилия нагружения каждой группы шпилек Qz. (п.п. 2.2.1., 2.2.2).

2.2. Расчет режимов затяжки

2.2.1. Однообходной режим затяжки шпилек.

2.2.1.1. Текущее усилие нагружения Qz, очередной группы шпилек определяют по формуле

.                                                            (1)

Текущее усилие нагружения одной шпильки  определяют по формуле

.                                                                      (2)

Коэффициент разгрузки шпилек соответствующей группы определяют согласно раздела 4.

В случае, когда нагружающее устройство имеет механизм для довертывания гаек с контролем величины крутящего момента, величину коэффициента разгрузки Kz(м) определяют в соответствии с п. 4.3.

Окончательное усилие Qn, приходящееся на одну группу шпилек в конце процесса затяжки определяют по формуле

.                                                                   (3)

Количество групп шпилек n в затворе определяют по формуле

.                                                                      (4)

Коэффициент относительной податливости уплотнительного кольца (прокладки) a определяют по формуле

.                                                                  (5)

Для двухконусного уплотнительного кольца существует два вида осевой податливости в зависимости от его положения - свободного кольца  и прижатого к упору  - соответственно, существует и два вида коэффициента относительной податливости уплотнительного кольца (прокладки).

Для свободного кольца

;

для кольца прижатого к упору

.

Коэффициенты aс и aу используются в расчетах в зависимости от положения уплотнительного кольца.

Коэффициенты осевой податливости уплотнительного кольца lо, ,  и группы шпилек lш(Q) определяют согласно раздела 5.

2.2.1.2. Полученную величину текущего усилия нагружения одной шпильки первой группы  сравнивают с величиной допускаемой нагрузки на одну шпильку [Q]¢, при этом должно соблюдаться условие

.                                                             (6)

Величину допускаемой нагрузки [Q]¢ принимают меньшей из двух величин:

полученной из условия обеспечения прочности участка шпильки, воспринимающего нагрузку, имеющего минимальную площадь поперечного сечения, в частности монтажного участка резьбы шпильки

,                                                      (7)

где K1 = 106 (102);

соответствующей рабочему усилию нагружающего устройства

[Q]¢£Qну.                                                              (8)

При невыполнении условия (6) необходимо произвести расчет при увеличенном количестве нагружающих устройств.

Пример расчета однообходного режима затяжки шпилек приведен в приложении 12.

Если при этом условие (6) не выполняется, то необходимо произвести расчет пообходно-уравнительного режима затяжки шпилек.

2.2.2. Пообходно-уравнительный режим затяжки шпилек.

2.2.2.1. Текущее усилие нагружения Qz(N) любой группы шпилек при любом обходе определяют по формуле

.                                   (9)

Текущее усилие нагружения одной шпильки определяют по формуле

.                                                          (10)

Допускаемую на группу шпилек нагрузку [Q] определяют по формуле

[Q] = i×[Q]¢.                                                              (11)

2.2.2.2. Необходимое количество обходов M определяют по формуле

.                                            (12)

Коэффициент разгрузки шпилек Кz2 при пообходно-уравнительном режиме затяжки определяют согласно раздела 4.

2.3. Последовательность затяжки шпилек

2.3.1. Установить нагружающие устройства на первую группу шпилек.

2.3.2. Шпильки первой группы нагрузить текущим усилием для первой группы.

2.3.3. Довернуть до упора гайки.

В случае, когда нагружающее устройство имеет механизм для довертывания, гайки довернуть моментом соответствующей величины (см. п. 4.3).

2.3.4. Усилия, развиваемые нагружающими устройствами, снизить до нуля.

2.3.5. Переставить нагружающие устройства на вторую группу шпилек согласно схемы (см. приложение 4).

2.3.6. Шпильки второй группы нагрузить текущим усилием для второй группы.

2.3.7. Повторить операции, указанные в пунктах 2.3.3 - 2.3.4.

2.3.8. Шпильки остальных групп фланцевого соединения нагружаются соответствующими им усилиями в той же последовательности.

2.3.9. При затяжке шпилек пообходно-уравнительным методом первый обход групп шпилек нагружающими устройствами производится в той же последовательности, что и при однообходном методе затяжки.

При последующих обходах первая группа шпилек нагружается усилием той же величины, что и первая группа при первом обходе.

Текущие же усилия нагружения каждой последующей группы шпилек при каждом обходе, имеют соответствующие значения (см. п. 2.2.2.1).

3. РАСЧЕТ РЕЖИМОВ ПРИ ЗАТЯЖКЕ ШПИЛЕК КРУТЯЩИМ МОМЕНТОМ

3.1. Расчет режимов затяжки

3.1.1. Методика позволяет произвести расчет текущего крутящего момента Mz для моментной затяжки шпилек по соответствующим текущим усилиям нагружения одной шпильки , рассчитанным в соответствии с разделом 2.

3.1.2. При расчете текущих усилий нагружения каждой шпильки очередной группы  в соответствии с формулами раздела 2, коэффициент разгрузки Kz, принимается равным 1. Для случая использования только одного моментного ключа количество нагружающих устройств условно принимается равным 2.

При количестве моментных ключей больше одного, в расчете учитывается фактическое количество ключей, используемое при затяжке, кратное количеству шпилек.

3.1.3. Текущий крутящий момент Мz определяют по формуле

,                                     (13)

где K2 = 103.

3.1.3.1. Условный диаметр трения DТ торцевой поверхности гайки определяют по формуле:

.                                                        (14)

3.1.3.2. Коэффициент трения в резьбе f1 и коэффициент трения на опорной поверхности гайки f2 принимают в соответствии с табл. 1.

Таблица 1

Болты и гайки без покрытия

Cмазка

Без смазки

Машинное масло ГОСТ 20799

Солидол ГОСТ 4366

Машинное масло с добавкой 20 % MgS2

f1

0,40

0,21

0,19

0,13

f2

0,20

0,12

0,13

0,09

3.2. Последовательность затяжки шпилек

3.2.1. Порядок операций при затяжке шпилек одним моментным ключом.

С целью исключения возможного перекоса крышки в процессе затяжки шпилек одним моментным ключом, затяжка каждой шпильки одной группы производится в два приема, приложением крутящего момента попеременно к каждой шпильке группы.

С целью определения порядкового номера затягиваемой шпильки в группе, перед затяжкой очередной группы шпилек должен замеряться осевой зазор между торцевыми поверхностями крышки и фланца корпуса в зоне шпилек затягиваемой группы. При этом первой затягивают шпильку, в зоне которой осевой зазор максимальный.

Затем затягивают вторую шпильку группы.

3.2.1.1. Установить крышку параллельно плоскости фланца. Допуск параллельности согласно ОСТ 26-01-86.

Довернуть рукой до упора все гайки шпилек.

3.2.1.2. Установить на первую шпильку первой группы моментный ключ.

3.2.1.3. Нагрузить шпильку моментом, равным 50 % от величины крутящего момента, рассчитанного для одной шпильки первой группы.

3.2.1.4. Переставить ключ на вторую шпильку первой группы согласно схемы (см. приложение 5, черт. 3).

3.2.1.5. Нагрузить вторую шпильку первой группы расчетным моментом для одной шпильки первой группы.

3.2.1.6. Довернуть рукой до упора гайки остальных шпилек.

3.2.1.7. Переставить ключ опять на первую шпильку первой группы.

3.2.1.8. Нагрузить шпильку полным расчетным моментом для одной шпильки первой группы.

3.2.1.9. Довернуть рукой все гайки до упора.

3.2.1.10. Замерить зазоры между торцами крышки и фланца корпуса сосуда или аппарата в зоне шпилек второй группы.

3.2.1.11. Установить ключ на шпильку второй группы со стороны большего зазора.

3.2.1.12. Повторить операции п.п. 3.2.1.3 - 3.2.1.9 для шпилек второй группы с соответствующими данной группе величинами крутящих моментов.

3.2.1.13. Повторить операции п.п. 3.2.1.10 - 3.2.1.12 для шпилек остальных групп при соответствующих им величинах крутящих моментов.

3.2.2. Порядок операций при затяжке шпилек двумя моментными ключами.

3.2.2.1. Установить крышку параллельно плоскости фланца. Допуск параллельности согласно ОСТ 26-01-86.

Довернуть рукой до упора все гайки шпилек.

3.2.2.2. Установить на шпильки первой группы моментные ключи.

3.2.2.3. Нагрузить шпильки крутящим моментом соответствующей величины.

3.2.2.4. Довернуть рукой гайки остальных шпилек до упора.

3.2.2.5. Переставить ключи на шпильки второй группы согласно схемы (см. приложение 5, черт. 4).

3.2.2.6. Нагрузить шпильки второй группы крутящим моментом соответствующей величины.

3.2.2.7. Повторить операцию п. 3.2.2.4.

3.2.2.8. Шпильки остальных групп фланцевого соединения нагружаются соответствующими крутящими моментами в той же последовательности.

4. КОЭФФИЦИЕНТ РАЗГРУЗКИ ШПИЛЕК

4.1. Коэффициент разгрузки шпилек при однообходном режиме затяжки.

Максимальную величину коэффициента разгрузки шпилек для рассматриваемых типов уплотнительных колец принимают равной Kn = 1,5.

Величину коэффициента разгрузки для соответствующего порядкового номера группы шпилек Кz определяют по формуле

.                                                        (15)

Величину коэффициента yz в зависимости от типа уплотнительного кольца, количества групп шпилек во фланцевом соединении и порядкового номера группы, определяют согласно приложений 10 и 11.

Для фланцевых соединений с уплотнительным кольцом восьмиугольного сечения и плоской прокладкой коэффициент yz принимают равным 1.

4.2. Коэффициент разгрузки шпилек при пообходно-уравнительном режиме затяжки.

Величину коэффициента разгрузки шпилек для первого обхода определяют аналогично п. 4.1.

При последующих обходах величину коэффициента разгрузки для каждой группы шпилек принимают равной величине коэффициента разгрузки для последней группы первого обхода.

4.3. Коэффициент разгрузки шпилек при использовании довертывающего крутящего момента.

В случае, когда нагружающее устройство имеет механизм для довертывания гаек с контролем величины крутящего момента, величину оптимального крутящего момента при вытянутой шпильке определяют по формуле

,                                                     (16)

где Kз = 1010 (105).

При этом величину коэффициента разгрузки шпилек Kz (п. 4.1) уточняют по формуле

.                                                   (17)

Величина коэффициента разгрузки Kz(M) используется в разделе 2 при определении текущих усилий нагружения шпилек при использовании устройств с механизмом довертывания гаек.

5. КОЭФФИЦИЕНТЫ ОСЕВОЙ ПОДАТЛИВОСТИ ЭЛЕМЕНТОВ ФЛАНЦЕВЫХ СОЕДИНЕНИЙ

5.1. Коэффициент осевой податливости шпилек

5.1.1. Коэффициент осевой податливости одной шпильки при нагрузке  определяют по формуле

.                                                  (18)

Коэффициент осевой податливости расчетной длины шпильки lст определяют по формуле

.                                                       (19)

Коэффициент удельной осевой податливости расчетной длины шпильки c выбирается для соответствующего типоразмера шпильки из приложения 6.

Расчетная длина стержня шпильки lст определяется по формуле

.                                                 (20)

Суммарный коэффициент осевой податливости резьбы соединений шпилька-гайка и шпилька-гнездо  при соответствующей нагрузке на одну шпильку  определяется в соответствии с приложением 9.

Величины суммарного коэффициента осевой податливости резьбы при величинах нагрузки, заключенных между двумя последовательными табличными значениями указанных в приложениях, определяются при помощи линейной интерполяции.

Нагрузку, равную усилию затяжки одной шпильки в конце процесса затяжки  определяют по формуле

.                                                            (21)

5.1.2. Коэффициент осевой податливости группы шпилек определяют по формуле

.                                                   (22)

5.2. Коэффициенты осевой податливости уплотнительных колец фланцевых соединений сосудов высокого давления

5.2.1. Коэффициент осевой податливости двухконусного кольца

Коэффициент осевой податливости двухконусного свободного кольца  выбирается для соответствующего типоразмера кольца из приложения 7.

Коэффициент осевой податливости двухконусного кольца прижатого к упору крышки  выбирается для соответствующего типоразмера кольца из приложения 7.

Номер группы шпилек Zy, при котором двухконусное кольцо подходит к упору крышки и при этом изменяется величина его осевой податливости, определяют по формуле

.                                           (23)

Окончательное усилие, приходящееся на одну группу шпилек в конце процесса затяжки Qn, определяют в соответствии с разделом 2.

Суммарное усилие в шпильках Qу, при котором внутренняя поверхность кольца подходит к упору крышки, определяют по формуле

.                                                        (24)

При расчете текущих усилий по формуле (1) раздела 2, до порядкового номера затягиваемой группы шпилек Z = Zу следует использовать в выражении (5) значения , а при Z > Zу - значения.

5.2.2. Величину коэффициента осевой податливости кольца треугольного сечения (дельта) lот выбирают для соответствующего типоразмера кольца из приложения 7.

5.2.3. Величину коэффициента осевой податливости сопряжения фланец корпуса сосуда высокого давления - кольцо восьмиугольного сечения - крышка lов выбирают для соответствующего типоразмера кольца из приложения 8.

5.2.4. Величину коэффициента осевой податливости плоской прокладки lоп определяют по формуле

,                                                         (25)

где K1 = 106 (102).

Площадь плоской прокладки Fоп определяют по формуле

.                                                        (26)

ПРИЛОЖЕНИЕ 1

Справочное

ОСНОВНЫЕ ТЕРМИНЫ

1. Режим затяжки - последовательность нагружения шпилек фланцевого соединения текущими усилиями (текущими крутящими моментами) определенной величины.

2. Текущее усилие - усилие нагружения очередной группы шпилек.

3. Текущий крутящий момент - момент, соответствующий текущему усилию нагружения одной шпильки очередной группы.

4. Группа шпилек - количество шпилек, одновременно нагружаемых в процессе затяжки.

5. Однообходный режим затяжки - режим, при котором требуемая величина усилия затяжки шпилек соединения достигается при однократном приложении соответствующего текущего усилия (текущего момента) к каждой шпильке (группе шпилек).

6. Пообходно-уравнительный режим затяжки - режим, при котором требуемая величина усилия затяжки шпилек соединения достигается за несколько обходов, приложением текущих усилий (текущих моментов) к каждой группе шпилек, соответствующих своему обходу.

7. Допускаемая нагрузка - усилие, величина которого определяется прочностью монтажного участка резьбы шпильки или мощностью нагружающего устройства.

8. Коэффициент разгрузки шпилек - коэффициент, учитывающий уменьшение усилия в шпильках при переносе нагрузки на гайку после снятия нагрузки нагружающего устройства и численно равный отношению величины усилия, прикладываемого к шпильке к величине остаточного усилия в шпильке.

9. Довертывающий крутящий момент - момент, который прикладывается к гайке при растянутой шпильке с целью снижения величины коэффициента разгрузки.

10. Монтажный участок резьбы шпильки - резьбовая часть шпильки, используемая для закрепления тяги нагружающего устройства.

ПРИЛОЖЕНИЕ 2

Обязательное

УСЛОВНЫЕ ОБОЗНАЧЕНИЯ

Qз - усилие затяжки всех шпилек затвора, МН (кгс);

- усилие затяжки одной шпильки, МН (кгс);

Qh - окончательное усилие, приходящееся на одну группу шпилек в конце процесса затяжки, МН (кгс);

Qz - текущее усилие нагружения очередной группы шпилек при однообходном режиме затяжки, МН (кгс);

 - текущее усилие нагружения одной шпильки очередной группы, МН (кгс);

Qz(м) - текущее усилие нагружения очередной группы шпилек для соответствующего обхода при пообходно-уравнительном режиме затяжки, МН (кгс);

 - текущее усилие нагружения одной шпильки очередной группы, МН (кгс);

[Q] - допускаемая нагрузка на одну шпильку, МН (кгс);

[Q] - допускаемая нагрузка на группу шпилек, МН (кгс);

Qну - рабочее усилие нагружающего устройства, МН (кгс);

Мz - текущий крутящий момент для затяжки одной шпильки соответствующей группы, МН м (кгс м);

МКр.опт - оптимальный крутящий момент для довертывания гаек, МН м (кгс м);

             коэффициент осевой податливости двухконусного кольца:

l - свободного, мм/МН (мм/кгс);

l - прижатого к упору крышки, мм/МН (мм/кгс);

l - коэффициент осевой податливости кольца восьмиугольного сечения, мм/МН (мм/кгс);

lот - коэффициент осевой податливости кольца треугольного сечения (дельта), мм/МН (мм/кгс);

l - коэффициент осевой податливости плоской прокладки, мм/МН (мм/кгс);

lш - коэффициент осевой податливости группы шпилек, мм/МН (мм/кгс);

 - коэффициент осевой податливости одной шпильки, мм/МН (мм/кгс);

 - коэффициент осевой податливости резьбового соединения шпилька-гайка и шпилька-гнездо (суммарный), мм/МН (мм/кгс);

- коэффициент осевой податливости одной шпильки, на длине lст мм/МН (мм/кгс);

c - коэффициент удельной осевой податливости шпильки, на длине lст мм/МН мм (мм/кгс мм);

 - предел текучести материала шпильки при 20 °С, МПа (кгс/см2);

 - модуль упругости материала плоской прокладки при 20 °С, МПа (кгс/см2);

Fш - площадь сечения гладкой части шпильки, мм2;

Fоп - площадь плоской прокладки, мм2;

b - угол конусности уплотнительных поверхностей (угол между осью вращения детали и образующей уплотнительной поверхности), град;

lст - расчетная длина шпильки, мм;

Hшб - высота шайбы, мм;

Hкр - толщина крышки, мм;

hзаз - зазор между торцем крышки и фланцем корпуса сосуда, мм;

dоr - радиальный зазор между внутренней поверхностью обтюратора и упором крышки, мм;

d2 - средний диаметр резьбы, мм;

h - высота плоской прокладки, мм;

D - внутренний диаметр сосуда или горловины, мм;

D1, D2 - диаметральные размеры плоской прокладки;

Dг - диаметр наружной проточки гайки, мм;

dшб - диаметр шайбы внутренний, мм;

dр - диаметр резьбовой части шпильки, мм;

dо - диаметр центрального отверстия в шпильке, мм;

Dт - условный диаметр трения торцевой поверхности гайки, мм;

P - шаг резьбы шпильки, мм;

m - количество шпилек во фланцевом соединении;

i - количество одновременно действующих гидродомкратов;

n - количество групп шпилек во фланцевом соединении;

Z - порядковый номер группы шпилек;

Zу - номер группы шпилек, при котором обтюратор изменяет свою податливость;

M - количество обходов;

N - порядковый номер обхода;

Kz1 - коэффициент разгрузки шпилек при однообходном режиме затяжки для соответствующей группы;

Kz2 - коэффициент разгрузки шпилек при пообходно-уравнительном режиме затяжки;

Kz(M) коэффициент разгрузки шпилек для соответствующей группы (при условии доворачивания гаек крутящим моментом);

K1, K2, K3 - коэффициент пропорциональности для перевода величин в единицы систем СИ и (МКС);

a - коэффициент относительной податливости уплотнительного кольца (прокладки);

aс - коэффициент относительной податливости двухконусного уплотнительного кольца свободного;

aу - коэффициент относительной податливости двухконусного уплотнительного кольца прижатого к упору;

f1, f2 - коэффициент трения в резьбе и на опорной поверхности гайки;

yz - коэффициент.

ПРИЛОЖЕНИЕ 3

Обязательное

УСЛОВНЫЕ ОБОЗНАЧЕНИЯ ОСНОВНЫХ РАЗМЕРОВ ЭЛЕМЕНТОВ ФЛАНЦЕВОГО СОЕДИНЕНИЯ СОСУДОВ И АППАРАТОВ ВЫСОКОГО ДАВЛЕНИЯ

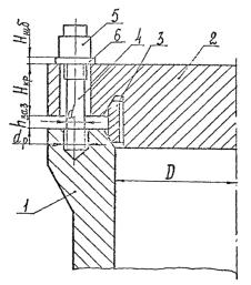
1 - корпус сосуда, 2 - крышка, 3 - двухконусное кольцо, 4 - шпилька, 5 - гайка, 6 - шайба

Черт. 1

ПРИЛОЖЕНИЕ 4

Рекомендуемое

СХЕМЫ ПЕРЕСТАНОВКИ НАГРУЖАЮЩИХ УСТРОЙСТВ ПРИ ОСЕВОЙ ВЫТЯЖКЕ ШПИЛЕК

Черт. 2

ПРИЛОЖЕНИЕ 5

Рекомендуемое

СХЕМЫ ПЕРЕСТАНОВКИ КЛЮЧА ПРИ МОМЕНТНОЙ ЗАТЯЖКЕ ШПИЛЕК

Затяжка одним моментным ключом

1 - 1 - номер группы шпилек

Черт. 3

Затяжка двумя ключами

Черт. 4

ПРИЛОЖЕНИЕ 6

Обязательное

КОЭФФИЦИЕНТ УДЕЛЬНОЙ ОСЕВОЙ ПОДАТЛИВОСТИ СТЕРЖНЯ ШПИЛЬКИ

Таблица 2

Диаметр резьбы dр, мм

Удельная осевая податливость стержня шпильки c×10 мм/МН (106 мм/кгс мм)

56

0,0271

60

0,0229

64

0,0200

68

0,0173

72

0,0151

76

0,0134

80

6,0119

85

0,0103

90

0,0091

95

0,0082

100

0,0073

105

0,0066

110

0,0059

115

0,0054

120

0,0049

125

0,0045

130

0,0041

140

0,0035

150

0,0030

160

0,0026

170

0,0023

180

0,0020

190

0,0018

200

0,0016

ПРИЛОЖЕНИЕ 7

Обязательное

КОЭФФИЦИЕНТ ОСЕВОЙ ПОДАТЛИВОСТИ УПЛОТНИТЕЛЬНЫХ КОЛЕЦ

Таблица 3

Внутренний диаметр сосуда или горловины, мм

Податливость двухконусного кольца

Податливость кольца треугольного сечения lот, мм/МН (105 мм/кгс)

свободного , мм/МН (105 мм/кгс)

находящегося на упоре , мм/МН (105 мм/кгс)

200

1,3807

0,4072

0,2813

300

1,3701

0,2836

0,1961

400

1,2023

0,2427

0,1502

500

1,1681

0,1834

0,1216

600

1,0040

0,1228

0,1031

800

0,9968

0,1084

0,0794

1000

0,8686

0,0837

0,0412

1200

0,7448

0,0668

0,0351

1400

0,6720

0,0554

-

1600

0,5694

0,0461

-

1800

0,5247

0,0403

-

2000

0,4402

0,0362

-

2200

0,4334

0,0323

-

2400

0,3946

0,0289

-

2600

0,3601

0,0259

-

2800

0,3379

0,0239

-

3000

0,3220

0,0224

-

3200

0,2959

0,0206

-

ПРИЛОЖЕНИЕ 8

Обязательное

КОЭФФИЦИЕНТ ОСЕВОЙ ПОДАТЛИВОСТИ УЗЛА УПЛОТНЕНИЯ С КОЛЬЦОМ ВОСЬМИУГОЛЬНОГО СЕЧЕНИЯ

Таблица 4

Внутренний диаметр аппарата или горловины, мм

Давление, МПа (кгс/см2)

Податливость узла уплотнения lов, мм/МН (105 мм/кгс) в зависимости от размера сечения, соответствующего механическим свойствам материала уплотнительного кольца

230 МПа (2300 кгс/см2) £  £ 300 МПа (3000 кгс/см2)

 ³ 300 МПа(3000 кгс/см2)

400

32 (320)

0,0359

0,0449

500

32 (320)

0,0265

0,0326

600

20 (200)

0,0280

0,0318

32 (320)

0,0209

0,0285

800

20 (200)

0,0188

0,0199

32 (320)

0,0146

0,0163

1000

20 (200)

0,0134

0,0135

32 (320)

0,0108

0,0134

1200

20 (200)

0,0111

0,0118

32 (320)

0,0085

0,0106

ПРИЛОЖЕНИЕ 9

Обязательное

СУММАРНЫЙ КОЭФФИЦИЕНТ ОСЕВОЙ ПОДАТЛИВОСТИ РЕЗЬБОВЫХ СОЕДИНЕНИЙ ШПИЛЬКА-ГАЙКА И ШПИЛЬКА-ГНЕЗДО

Таблица 5

Диаметр резьбы, мм, dр

Суммарный коэффициент осевой податливости резьбы  мм/MH (105 мм/кгс) в зависимости от нагрузки , МН (кгс)

5×10-2 МH (5×103 кгс)

10×10-2 МН (10×103 кгс)

15×10-2 МН (15×103 кгс)

20×10-2 МН (20×103 кгс)

М56

1,3600

1,1100

1,0400

0,9500

М60

М64

М68

0,9200

0,7900

0,6533

0,600

М72

М76

М80

0,6400

0,5700

0,5133

0,4750

М90

0,5800

0,500

0,4670

0,4050

М100

0,4400

0,4150

0,3666

0,3350

М110

0,3600

0,3350

0,2866

0,2700

М120

-

-

-

-

М130

-

-

-

-

M140

-

-

-

-

М150

-

-

-

-

M160

-

-

-

-

М170

-

-

-

-

М180

-

-

-

-

М190

-

-

-

-

М200

-

-

-

-

Продолжение табл. 5

Диаметр резьбы, мм, dр

Суммарный коэффициент осевой податливости резьбы  мм/MH (105 мм/кгс) в зависимости от нагрузки , МН (кгс)

25×10-2 МH (25×103 кгс)

30×10-2 МH (30×103 кгс)

40×10-2 МH (40×103 кгс)

50×10-2 МH (50×103 кгс)

М56

0,8680

0,8067

0,7100

0,6400

М60

М64

М68

0,5707

0,5200

0,4750

0,4460

М72

М76

М80

0,4520

0,4234

0,3875

0,3600

М90

0,3780

0,3532

0,3250

0,3020

М100

0,3120

0,3017

0,2725

0,2580

М110

0,2600

0,2475

0,2400

0,2270

М120

0,2260

0,2216

0,2075

0,2030

М130

0,2200

0,2144

0,2038

0,1970

М140

-

0,2017

0,1963

0,1880

М150

-

-

-

-

M160

-

-

-

-

М170

-

-

-

-

М180

-

-

-

-

М190

-

-

-

-

М200

-

-

-

-

Продолжение табл. 5

Диаметр резьбы, мм, dр

Суммарный коэффициент осевой податливости резьбы  мм/MH (105 мм/кгс) в зависимости от нагрузки , МН (кгс)

60×10-2 МH (60×103 кгс)

80×10-2 МH (80×103 кгс)

100×10-2 МH (100×103 кгс)

120×10-2 МH (120×103 кгс)

М56

0,5933

0,5244

0,4740

-

М60

М64

М68

0,4166

0,3813

0,3520

0,3308

М72

М76

М80

0,3383

0,3075

0,2860

0,2700

М90

0,2834

0,2550

0,2380

0,2242

М100

0,2416

0,2238

0,2070

0,1941

М110

0,2184

0,2025

0,1880

0,1775

М120

0,1934

0,1825

0,1735

0,1637

М130

0,1883

0,1763

0,1665

0,1562

М140

0,1825

0,1707

0,1620

0,1508

М150

0,1758

0,1669

0,1580

0,1454

M160

-

-

0,1545

0,1408

М170

-

-

-

0,1350

М180

-

-

-

0,1329

М190

-

-

-

-

М200

-

-

-

-

Продолжение табл. 5

Диаметр резьбы, мм, dр

Суммарный коэффициент осевой податливости резьбы  мм/MH (105 мм/кгс) в зависимости от нагрузки , МН (кгс)

140×10-2 МH (140×103 кгс)

160×10-2 МH (160×103 кгс)

180×10-2 МH (180×103 кгс)

200×10-2 МH (200×103 кгс)

М56

-

-

-

-

М60

М64

М68

0,3146

0,2994

-

-

М72

М76

М80

0,2572

0,2472

0,2389

-

М90

0,2136

0,2051

0,1977

0,1915

М100

0,1847

0,1772

0,1711

0,1658

М110

0,1693

0,1622

0,1567

0,1515

М120

0,1561

0,1497

0,1444

0,1403

М130

0,1479

0,1425

0,1361

0,1320

М140

0,1418

0,1356

0,1300

0,1250

М150

0,1357

0,1287

0,1228

0,1180

M160

0,1314

0,1232

0,1175

0,1118

М170

0,1261

0,1191

0,1128

0,1072

М180

0,1228

0,1149

0,1089

0,1030

М190

0,1197

0,1119

0,1057

0,1003

М200

-

0,1094

0,1031

0,0973

Продолжение табл. 5

Диаметр резьбы, мм, dр

Суммарный коэффициент осевой податливости резьбы  мм/MH (105 мм/кгс) в зависимости от нагрузки , МН (кгс)

250×10-2 МH (250×103 кгс)

300×10-2 МH (300×103 кгс)

350×10-2 МH (350×103 кгс)

400×10-2 МH (400×103 кгс)

М56

-

-

-

-

М60

М64

М68

-

-

-

-

М72

М76

М80

-

-

-

-

М90

-

-

-

-

М100

0,1544

0,1470

-

-

М110

0,1418

0,1340

0,1283

-

М120

0,1308

0,1243

0,1186

0,1143

М130

0,1228

0,1157

0,1103

0,1058

М140

0,1154

0,1082

0,1030

0,0991

М150

0,1084

0,1014

0,0960

0,0923

M160

0,1024

0,0950

0,0903

0,0868

М170

0,0976

0,0912

0,0863

0,0825

М180

0,0938

0,0870

0,0820

0,0786

М190

0,0904

0,0838

0,0792

0,0754

М200

0,0872

0,0810

0,0724

0,0710

Продолжение табл. 5

Диаметр резьбы, мм, dр

Суммарный коэффициент осевой податливости резьбы  мм/MH (105 мм/кгс) в зависимости от нагрузки , МН (кгс)

450×10-2 МH (450×103 кгс)

500×10-2 МH (500×103 кгс)

600×10-2 МH (600×103 кгс)

700×10-2 МH (700×103 кгс)

М56

-

-

-

-

М60

М64

М68

-

-

-

-

М72

М76

М80

-

-

-

-

М90

-

-

-

-

М100

-

-

-

-

М110

-

-

-

-

М120

0,1105

-

-

-

М130

0,1025

0,0998

-

-

М140

0,0958

0,0935

0,0899

-

М150

0,0893

0,0870

0,0836

0,0811

M160

0,0841

0,0818

0,0785

0,0760

М170

0,0798

0,0776

0,0744

0,0718

М180

0,0760

0,0738

0,0704

0,0681

М190

0,0728

0,0706

0,0671

0,0648

М200

0,0701

0,0678

0,0645

0,0621

Продолжение табл. 5

Диаметр резьбы, мм, dр

Суммарный коэффициент осевой податливости резьбы  мм/MH (105 мм/кгс) в зависимости от нагрузки , МН (кгс)

800×10-2 МH (800×103 кгс)

900×10-2 МH (900×103 кгс)

1000×10-2 МH (1000×103 кгс)

1100×10-2 МH (1100×103 кгс)

М56

-

-

-

-

М60

М64

М68

-

-

-

-

М72

М76

М80

-

-

-

-

М90

-

-

-

-

М100

-

-

-

-

М110

-

-

-

-

М120

-

-

-

-

М130

-

-

-

-

М140

-

-

-

-

М150

-

-

-

-

M160

0,0811

0,0730

-

-

М170

0,0763

0,0685

0,0674

-

М180

0,0723

0,0648

0,0638

0,0629

М190

0,0688

0,0616

0,0605

0,0596

М200

0,0658

0,0589

0,0578

0,0568

Продолжение табл. 5

Диаметр резьбы, мм, dр

Суммарный коэффициент осевой податливости резьбы  мм/MH (105 мм/кгс) в зависимости от нагрузки , МН (кгс)

1200×10-2 МH (1200×103 кгс)

1300×10-2 МH (1300×103 кгс)

1400×10-2 МH (1400×103 кгс)

1500×10-2 МH (1500×103 кгс)

М56

-

-

-

-

М60

М64

М68

-

-

-

-

М72

М76

М80

-

-

-

-

М90

-

-

-

-

М100

-

-

-

-

М110

-

-

-

-

М120

-

-

-

-

М130

-

-

-

-

М140

-

-

-

-

М150

-

-

-

-

M160

-

-

-

-

М170

-

-

-

-

М180

-

-

-

-

М190

0,0589

0,0584

-

-

М200

0,0562

0,0557

0,0550

0,0547

ПРИЛОЖЕНИЕ 10

Обязательное

ЗАВИСИМОСТЬ КОЭФФИЦИЕНТА Yz ОТ КОЛИЧЕСТВА ГРУПП И ПОРЯДКОВОГО НОМЕРА ГРУППЫ ДЛЯ ФЛАНЦЕВОГО СОЕДИНЕНИЯ С ДВУХКОНУСНЫМ КОЛЬЦОМ

Черт. 5

ПРИЛОЖЕНИЕ 11

Обязательное

ЗАВИСИМОСТЬ КОЭФФИЦИЕНТА Yz ОТ КОЛИЧЕСТВА ГРУПП И ПОРЯДКОВОГО НОМЕРА ГРУППЫ ДЛЯ ФЛАНЦЕВОГО СОЕДИНЕНИЯ С УПЛОТНИТЕЛЬНЫМ КОЛЬЦОМ ТРЕУГОЛЬНОГО СЕЧЕНИЯ (ДЕЛЬТА)

Черт. 6

ПРИЛОЖЕНИЕ 12

Справочное

ПРИМЕР РАСЧЕТА ОДНООБХОДНОГО РЕЖИМА ЗАТЯЖКИ ШПИЛЕК ФЛАНЦЕВОГО СОЕДИНЕНИЯ С ДВУХКОНУСНЫМ КОЛЬЦОМ

1. Исходные данные

Внутренний диаметр сосуда - 1000 мм.

Расчетное давление - 70 МПа.

Прокладка медная - sсм = 100 МПа.

Средний диаметр уплотнения - Dк = 1044,9 мм.

Размеры двухконусного кольца:

       h1 = 85 мм;

h2 = 42 мм.

Количество шпилек - m = 12.

Диаметр резьбы шпилек - dр М140×6.

Диаметр шейки шпильки - d = 131 мм.

Высота крышки - Hкр = 280 мм.

Высота шайбы - Hшб = 38 мм.

Зазор между крышкой и фланцем - hзаз = 10 мм.

2. Суммарное усилие затяжки всех шпилек определяем в соответствии с РД 26-01-168 по формуле:

,

где l - ширина уплотнительной поверхности,

 мм.

Тогда

м.

3. Принимаем количество нагружающих устройств (гидродомкратов) i = 2.

4. Количество групп шпилек в затворе определяется по формуле:

.

5. Окончательное усилие Qn, приходящееся на одну группу шпилек в конце процесса затяжки, определяем по формуле:

МН.

6. Усилие затяжки одной шпильки в конце процесса затяжки

 МН.

7. Коэффициент относительной податливости двухконусного кольца определяем по формуле:

.

7.1. Определяем коэффициент осевой податливости одной шпильки при нагрузке  МН

.

Удельную осевую податливость стержня шпильки М140´6 выбираем из приложения 6.

c = 0,0035×10-1 мм/МН×мм,

расчетную длину стержня шпильки определяем по формуле:

lст = hзаз + Hкр + Hшб = 10 + 280 + 38 = 328 мм.

Податливость стержня шпильки равна

lст = c×lст = 0,0035×10-1×328 = 0,1017 мм/МН.

Суммарный коэффициент осевой податливости резьбы М140´6 при нагрузке  МН определяем по приложению 9

 мм/МН.

Тогда податливость одной шпильки при нагрузке  МН будет равна

 мм/МН.

Податливость группы шпилек равна

 мм/МН.

7.2. Определяем по приложению 7 осевую податливость двухконусного кольца, соответственно, свободного и прижатого к упору:

 мм/МН;

 мм/МН.

7.3. Суммарное усилие в шпильках Qу, при котором внутренняя поверхность двухконусного кольца подходит к упору крышки, определяется по формуле:

 МН,

где dоr = 1,07 мм - средний зазор между двухконусным кольцом и упором крышки для диаметра уплотнения 1000 мм выбирается в соответствии ОСТ 26-01-86.

7.4. Величины относительной податливости уплотнительного кольца свободного aс и находящегося на упоре крышки aу будут равны:

.

7.5. Номер группы Zу при котором двухконусное кольцо подходит к упору крышки и при этом изменяется величина его осевой податливости, определяем по формуле

.

Следовательно, при затяжке шпилек первой группы, обтюратор подходит к цилиндрическому упору крышки и величина его осевой податливости изменяется.

Таким образом, при расчете текущих усилий нагружения шпилек групп с 1 по 6 должна использоваться величина  мм/МН.

8. Коэффициент разгрузки

8.1. Согласно п. 4.1 максимальная величина коэффициента разгрузки шпилек для фланцевого соединения с двухконусным кольцом равна Kn = 1,5.

8.2. Коэффициент разгрузки шпилек для каждой группы.

Согласно приложению 10 определяем для каждого порядкового номера группы коэффициент yz и по формуле Kz = yz×Kn определяем коэффициент разгрузки для каждой группы шпилек:

Z = 1                    K1 = 0,8×1,5 = 1,20;

Z = 2                    K2 = 0,9×1,5 = 1,35;

Z = 3                    K3 = 0,96×1,5 = 1,44;

Z = 4                    K4 = 0,986×1,5 = 1,48;

Z = 5                    К5 = 0,996×1,5 = 1,49;

Z = 6                    K6 = 1×1,5 = 1,5.

9. Определяем текущие усилия нагружения каждой группы шпилек по формуле:

;

Z = 1                    МН;

Z = 2                    МН;

Z = 3                    МН;

Z = 4                    МН;

Z = 5                    МН;

Z = 6                    МН.

10. Усилие нагружения каждой шпильки очередной группы при i = 2 определяем по формуле:

;

 МН;                      МН;

 МН;                      МН;

 МН;                      МН.

ИНФОРМАЦИОННЫЕ ДАННЫЕ

1.    УТВЕРЖДЕН Министерство химического и нефтяного машиностроения, УкрНИИхиммаш

2.  ИСПОЛНИТЕЛИ Вирюкин В.П. (руководитель темы),

Погодин В.К., канд. техн. наук

3.  Срок первой проверки 1992 г.

периодичность проверки 5 лет

4.  Взамен РД РТМ 26-01-122-79

5.  ССЫЛОЧНЫЕ НОРМАТИВНО-ТЕХНИЧЕСКИЕ ДОКУМЕНТЫ

Обозначение НТД, на который дана ссылка

Номер пункта, подпункта, перечисления, приложения

1. ОСТ 26-01-86-88

1.1, 1.2, 1.3, 3.2.1.1, 3.2.2.1, Приложение 12

2. ОСТ 26-01-138-81 - ОСТ 26-01-144-81

1.1, 1.2

3. РД 26-01-168-88

1.6, 2.1.1, Приложение 12

4. ГОСТ 4366-76

3.1.3.2

5. ГОСТ 20799-75

3.1.3.2

СОДЕРЖАНИЕ

1. Общие положения. 1

2. Расчет режимов при затяжке шпилек методом осевой вытяжки. 1

2.1. Последовательность расчета режимов затяжки. 1

2.2. Расчет режимов затяжки. 2

2.3. Последовательность затяжки шпилек. 3

3. Расчет режимов при затяжке шпилек крутящим моментом.. 4

3.1. Расчет режимов затяжки. 4

3.2. Последовательность затяжки шпилек. 4

4. Коэффициент разгрузки шпилек. 5

5. Коэффициенты осевой податливости элементов фланцевых соединений. 6

5.1. Коэффициент осевой податливости шпилек. 6

5.2. Коэффициенты осевой податливости уплотнительных колец фланцевых соединений сосудов высокого давления. 6

Приложение 1 Основные термины.. 7

Приложение 2 Условные обозначения. 8

Приложение 3 Условные обозначения основных размеров элементов фланцевого соединения сосудов и аппаратов высокого давления. 9

Приложение 4 Схемы перестановки нагружающих устройств при осевой вытяжке шпилек. 9

Приложение 5 Схемы перестановки ключа при моментной затяжке шпилек. 10

Приложение 6 Коэффициент удельной осевой податливости стержня шпильки. 11

Приложение 7 Коэффициент осевой податливости уплотнительных колец. 11

Приложение 8 Коэффициент осевой податливости узла уплотнения с кольцом восьмиугольного сечения. 11

Приложение 9 Суммарный коэффициент осевой податливости резьбовых соединений шпилька-гайка и шпилька-гнездо. 12

Приложение 10 Зависимость коэффициента Yz от количества групп и порядкового номера группы для фланцевого соединения с двухконусным кольцом.. 15

Приложение 11 Зависимость коэффициента Yz от количества групп и порядкового номера группы для фланцевого соединения с уплотнительным кольцом треугольного сечения. 15

Приложение 12 Пример расчета однообходного режима затяжки шпилек фланцевого соединения с двухконусным кольцом.. 16

Информационные данные. 18

ЛИСТ РЕГИСТРАЦИИ ИЗМЕНЕНИЙ РД 26-01-122-89

Номер листа (страницы)

Номер документа

Подпись

Дата внесения изменения

Дата введения изменения

измененного

замененного

нового

аннулированного

 

 

 

 

 

 

 

 

ПОЯСНИТЕЛЬНАЯ ЗАПИСКА

к проекту руководящего документа «Фланцевые соединения сосудов и аппаратов на давление свыше 10 до 100 МПа (свыше 100 до 1000 кгс/см2). Методика расчета режимов затяжки шпилек».

(Окончательная редакция, представляемая на утверждение).

1. ОСНОВАНИЕ ДЛЯ РАЗРАБОТКИ РУКОВОДЯЩЕГО ДОКУМЕНТА

План отраслевой стандартизации на 1988 год, тематический план института на 1988 год, шифр темы 7965-68-21.

Проект руководящего документа соответствует техническому заданию на его разработку, утвержденному УкрНИИхиммашем 17.03.88 г.

2. ЦЕЛИ И ЗАДАЧИ РАЗРАБОТКИ РУКОВОДЯЩЕГО ДОКУМЕНТА

Целью настоящей работы является пересмотр РД РТМ 26-01-122-79 «Фланцевые соединения сосудов и аппаратов на давление свыше 9,81 до 98,1 МПа (свыше 100 до 1000 кгс/см2). Методика расчета режимов затяжки шпилек» с внесением в него дополнений и изменений, возникших за время его действия, а также результатов научно-исследовательских работ, проведенных в последнее время.

Разработка руководящего документа позволит решить задачу повышения надежности сосудов и аппаратов высокого давления, работающих в промышленности по производству минеральных удобрений и других отраслях промышленности.

Пересмотр руководящего документа обеспечит соответствие его современному мировому научно-техническому уровню и требованиям действующих стандартов.

3. ХАРАКТЕРИСТИКА ОБЪЕКТА СТАНДАРТИЗАЦИИ

Объектом стандартизации является методика расчета режимов затяжки шпилек фланцевых соединений сосудов и аппаратов, работающих под давлением свыше 9,81 до 98,1 Па.

Руководящий документ разрабатывается взамен действующего РД РТМ 26-01-122-79.

В последнее время разработан и введен в действие с 01.07.85 г. ГОСТ 26303-84 (СТ СЭВ 4350-83) «Сосуды и аппараты высокого давления. Шпильки. Методы расчета на прочность», переработаны нормативные документы ОСТ 26-01-86-78 и ОСТ 26-01-87-78 соответственно в документы ОСТ 26-01-86-88 «Уплотнения неподвижные металлические для сосудов и аппаратов на давление свыше 10 до 100 МПа (свыше 100 до 1000 кгс/см2). Типы. Конструкция и размеры. Технические требования. Правила приемки. Методы контроля» и РД 26-01-168-88 «Уплотнения неподвижные металлические для сосудов и аппаратов на давление свыше 10 до 100 МПа (свыше 100 до 1000 кгс/см2). Методика расчета на прочность и плотность», которые вводятся в действие с 01.01.89. Также переработан ОСТ 26-1360-75 в сборник ОСТ 26-01-136-81 ¸ ОСТ 26-01-144-81 «Изделия крепежные для сосудов и аппаратов на давление свыше 9,81 до 98,1 МПа (свыше 100 до 1000 кгс/см2). Типы. Конструкция и размеры. Общие технические требования», который введен в действие с 01.07.82 г.

Содержание перерабатываемого руководящего документа необходимо было привести в соответствие с вновь введенными в действие нормативными документами. Кроме того, за время действия руководящего документа РД РТМ 26-01-122-79 накоплен значительный опыт по расчету режимов затяжки шпилек и использованию данных режимов при эксплуатации фланцевых соединений сосудов и аппаратов высокого давления, что позволило заинтересованным организациям сделать некоторые замечания и предложения по совершенствованию методики расчета.

В результате, в перерабатываемом руководящем документе учтены замечания и предложения организаций, изменения вновь введенных стандартов и результаты научно-исследовательских работ по уточнению величин коэффициентов осевой податливости уплотнительных колец и резьбовых соединений типов шпилька-гайка и шпилька-резьбовое гнездо фланца корпуса сосуда или аппарата (тема 84-09).

4. НАУЧНО-ТЕХНИЧЕСКИЙ УРОВЕНЬ РУКОВОДЯЩЕГО ДОКУМЕНТА

Руководящий документ разработан с использованием результатов теоретических и экспериментальных исследований, а также опыта использования РД РТМ 26-01-122-79 и выполнен на современном научно-техническом уровне.

5. ТЕХНИКО-ЭКОНОМИЧЕСКАЯ ЭФФЕКТИВНОСТЬ ОТ ВНЕДРЕНИЯ РУКОВОДЯЩЕГО ДОКУМЕНТА

Технико-экономическая эффективность от внедрения руководящего документа обусловлена уточнением величин коэффициентов осевой податливости элементов затворов сосудов высокого давления которое позволяет более качественно проводить процесс затяжки шпилек (обеспечение заданного усилия затяжки при равномерном его распределении по всем шпилькам затвора), а следовательно и повышением надежности работы уплотнений сосудов и аппаратов высокого давления.

6. ВНЕДРЕНИЕ, ВВЕДЕНИЕ РУКОВОДЯЩЕГО ДОКУМЕНТА В ДЕЙСТВИЕ (СРОК ДЕЙСТВИЯ) И ПРОВЕРКА РУКОВОДЯЩЕГО ДОКУМЕНТА

Предполагаемая дата введения руководящего документа в действие с учетом времени на его издание и обеспечение им заинтересованных организаций и предприятий планируется с 01.01.90 г.

Из опыта пользования стандартами установлено, что ограниченный срок действия нормативного документа 5 лет является наиболее оптимальным.

За этот период могут быть разработаны новые или заменены старые стандарты, на которые были ссылки, а также возникнуть новые решения вопросов и т.д.

Проверка руководящего документа проводится в установленном порядке, предполагаемый срок первой проверки 1993 г.

7. ВЗАИМОСВЯЗЬ С ДРУГИМИ НОРМАТИВНО-ТЕХНИЧЕСКИМИ ДОКУМЕНТАМИ

Руководящий документ взаимосвязан с ГОСТ 26303-84, ОСТ 26-01-138-81 - ОСТ 26-01-144-81, ОСТ 26-01-86-88, РД 26-01-168-88, РД РТМ 26-01-122-79, который должен быть отменен в результате утверждения и введения в действие разработанного руководящего документа.

8. СВЕДЕНИЯ О РАССЫЛКЕ НА ОТЗЫВ

Первая редакция проекта руководящего документа разослана на отзыв 26 организациям и предприятиям министерства химического и нефтяного машиностроения и смежных отраслей промышленности.

Получено 20 отзывов: 5 от предприятий и организаций МХНМ и 15 от организаций и предприятий смежных отраслей.

Отзывов с замечаниями и предложениями получено 7, из них 2 от МХНМ (УкрНИИхиммаш и Уралхиммаш) и 5 от организаций других смежных отраслей.

Подавляющее большинство замечаний и предложений принято при разработке окончательной редакции руководящего документа. По некоторым замечаниям сделаны пояснения.

Составлена сводка отзывов.

Принципиальных разногласий по замечаниям и предложениям нет.

9. СВЕДЕНИЯ О СОГЛАСОВАНИИ

Окончательная редакция проекта руководящего документа согласно технического задания согласована с НИИхиммаш, ГИАП, Министерством минеральных удобрений СССР, УкрНИИхиммаш, Госгортехнадзором СССР.

В связи с тем, что принципиальных разногласий по документу нет (большинство замечаний и предложений приняты), согласительное совещание проводить не было необходимости.

10. ИСТОЧНИКИ ИНФОРМАЦИИ

При разработке руководящего документа использованы следующие технические материалы:

ГОСТ 26303-84 (СТ СЭВ 4350-83) «Сосуды и аппараты высокого давления. Шпильки. Методы расчета на прочность»;

ОСТ 26-01-138-81 ¸ ОСТ 26-01-144-81 «Изделия крепежные для сосудов и аппаратов на давление свыше 9,81 до 98,1 МПа (свыше 100 до 1000 кгс/см2). Типы. Конструкция и размеры. Общие технические требования»;

ОСТ 26-01-86-88 «Уплотнения неподвижные металлические для сосудов и аппаратов на давление свыше 10 до 100 МПа (свыше 100 до 1000 кгс/см2). Типы. Конструкция и размеры. Технические требования. Правила приемки. Методы контроля»;

РД 26-01-168-88 «Уплотнения неподвижные металлические для сосудов и аппаратов на давление свыше 10 до 100 МПа (свыше 100 до 1000 кгс/см2). Методика расчета на прочность и плотность»;

РД РТМ 26-01-122-79 «Фланцевые соединения сосудов и аппаратов на давление свыше 9,81 до 98,1 МПа (свыше 100 до 1000 кгс/см2). Методика расчета режимов затяжки шпилек»;

Отчеты ИркутскНИИхиммаш по теме 0154-78-20 «Руководящий технический материал. Затворы для сосудов и аппаратов на давление свыше 100 до 1000 кгс/см2. Методика расчета режимов затяжки шпилек»;

Отчеты ИркутскНИИхиммаш по теме 0154-84-09 «Проведение НИР по определению деформационных характеристик деталей затворов и разработка рекомендаций по пересмотру РД РТМ 26-01-122-79», 1985 г.

Статья «Уточнение коэффициента разгрузки при затяжке резьбовых соединений», Румянцев О.З., Продан В.Д. и др. «Вестник машиностроения». Москва, 1974.

Заместитель директора по научной работе                                     В.И. Лившиц

Заведующий отделом стандартизации                                            В.И. Королев

Заведующий отделом прочности                                                     А.К. Древин

Заведующий лабораторией                                                               В.К. Погодин

Руководитель темы, научный сотрудник                                        В.П. Вирюкин




Rambler's Top100 Яндекс цитирования
  Copyright © 2008-2026, www.docload.ru