Бесплатная библиотека стандартов и нормативов www.docload.ru

Все документы, размещенные на этом сайте, не являются их официальным изданием и предназначены исключительно для ознакомительных целей.
Электронные копии этих документов могут распространяться без всяких ограничений. Вы можете размещать информацию с этого сайта на любом другом сайте.
Это некоммерческий сайт и здесь не продаются документы. Вы можете скачать их абсолютно бесплатно!
Содержимое сайта не нарушает чьих-либо авторских прав! Человек имеет право на информацию!

 

МИНИСТЕРСТВО ТРАНСПОРТА РОССИЙСКОЙ ФЕДЕРАЦИИ

Государственная служба дорожного хозяйства

«Росавтодор»

МЕТОДИКА
РАСЧЕТНОГО ПРОГНОЗИРОВАНИЯ СРОКА
СЛУЖБЫ ЖЕЛЕЗОБЕТОННЫХ ПРОЛЕТНЫХ СТРОЕНИЙ
АВТОДОРОЖНЫХ МОСТОВ

УТВЕРЖДЕНО

18.04.2001 г.

распоряжением № 79-р

Министерства

транспорта РФ

МОСКВА 2002

Настоящая методика позволяет определять расчетом или принимать предельные сроки службы железобетонных пролетных строений на разных этапах их функционирования.

При анализе технико-экономических показателей мостов или установлении приоритета капитальных вложений в будущие сооружения, срок службы этих сооружений принимается по нормативным показателям, полученным статистическим путем на основании обработанных данных о фактическом состоянии (износе) более чем 3000 пролетных строений.

На стадии проектирования рассчитывается проектный срок службы моста с конкретными характеристиками материалов для пролетных строений. При определении проектного срока службы учитывается ориентация сооружения, интенсивность движения на проектируемом участке, климатический район, принятые характеристики бетона и арматуры и размеры сечений. Представляется возможным проектирование сооружения с любым заданным сроком службы.

На стадии строительства определяется прогнозируемый срок службы реально построенного пролетного строения с учетом реальных параметров материалов, дефектов изготовления конструкций и отступлений от требуемой технологии. Расчеты выполняются по предельным состояниям, оговоренным в СНиП 2.05.03-84*, используя фактические прочностные характеристики материалов и учитывая величины дополнительных напряжений в бетоне, обусловленных технологическими отступлениями.

Остаточный ресурс эксплуатируемого пролетного строения определяется перерасчетом конструкции на основании фактических и прогнозируемых характеристик материалов. Приводится функция деградации материалов, позволяющая определять их характеристики для любого периода, ti.

Методика расчетного прогнозирования срока службы учитывает требования действующего СНиП 2.05.03-84* по расчету железобетонных пролетных строений автодорожных мостов. Методика включает лишь часть, хотя и большую, расчетных моделей, для которых СНиПом определяются конкретные требования.

Приведенные расчетные модели и критерии отказа дают максимальное представление о процессе накопления повреждений в материалах и конструкциях и отражают результаты исследований материалов и конструкций, а также результаты исследований, проведенных большим числом специалистов в области надежности, долговечности и оценки состояния мостовых сооружений. Данная Методика в основном касается балочных конструкций, хотя может быть использована, с определенными уточнениями, для прогнозирования срока службы железобетонных пролетных строений иных статических схем или конструкций, железобетонных опор, железобетонной плиты сталежелезобетонных пролетных строений.

Методика предназначена для использования проектными и научно-исследовательскими организациями, а также органами управления эксплуатацией мостовых сооружений.

ОСНОВНЫЕ ТЕРМИНЫ И ОПРЕДЕЛЕНИЯ

Термин

Определения по ГОСТ 27.002-89

Дополнительные пояснения

Надежность сооружения

Свойство сооружения сохранять во времени и в установленных пределах значения всех параметров, характеризующих способность выполнять требуемые функции. Надежность сооружения обусловливается его безотказностью и долговечностью

Способностью пролетного строения выполнять требуемые функции является способность обеспечивать безопасные условия движения (с определенной вероятностью) расчетных транспортных средств в течение нормативного или заданного срока службы

Срок службы (ресурс)

Календарная продолжительность эксплуатации или ее возобновление после ремонта сооружения до перехода его в предельное состояние (момент снятия с эксплуатации)

Переход пролетного строения в предельное состояние определяется по одному или нескольким элементам (балка, плита) с учетом возможного снижения вероятности безотказной работы

Безотказность

Свойство сооружения непрерывно сохранять работоспособное состояние в течение некоторого времени

-

Работоспособность (работоспособное состояние)

Состояние объекта, при котором значение всех параметров, характеризующих способность выполнять заданные функции, соответствует предъявляемым требованиям

К пролетным строениям предъявляются требования нормативно-технической (СНиП 2.05.084) и проектной документации. При этом учитывается, что вероятность их безотказной работы может снижаться из-за деградационного отказа

Отказ

Событие, заключающееся в нарушении работоспособного состояния

При наступлении отказа прекращается эксплуатация пролетного строения (выполняется ремонт) или изменяются условия эксплуатации (по массе транспортных средств и условиям их движения)

Деградационный отказ

Отказ, обусловленный естественными процессами старения, изнашивания, коррозии и усталости при соблюдении всех установленных правил проектирования, изготовления и эксплуатации

Характеризуется моментом снижения показателя вероятности безотказной работы до установленного предела

Вероятность безотказной работы

Вероятность того, что в пределах заданной наработки, отказ объекта не возникает

В качестве предельного значения показателя вероятности безотказной работы принят показатель P(t) = 0,9 (квантиль 1,282). Вероятность безотказной работы пролетного строения, введенного в эксплуатацию в соответствии с требованиями СНиП, на уровне P(t) = 0,9986 (квантиль 3,0)

Наработка до отказа

Календарная продолжительность эксплуатации сооружения до возникновения отказа

Продолжительность эксплуатации пролетного строения до допустимого снижения P(t)

Ремонт (восстановление)

Процесс перевода объекта в работоспособное состояние из неработоспособного состояния

Восстановление первоначальных функций пролетного строения, имеющего вероятность безотказной работы не ниже P(t) = 0,9986

Ремонтопригодность

Свойство сооружения, заключающееся в приспособленности к поддержанию и восстановлению работоспособного состояния путем технического обслуживания и ремонта

Пролетное строение считается неремонтопригодным, когда достигается предельный износ

Остаточный ресурс (остаточный срок службы)

Календарная продолжительность эксплуатации сооружения от момента контроля его технического состояния (идентификации) до перехода в предельное состояние

-

Предельное состояние

Состояние, при котором дальнейшая эксплуатация сооружения недопустима или нецелесообразна

Предельное состояние пролетного строения наступает при достижении износа, при котором сооружение либо закрывается на ремонт, либо продолжается временная его эксплуатация с иными условиями нагружения

Нормативный срок службы

-

Минимальная календарная продолжительность эксплуатации, установленная нормативными документами

Износ

-

Снижение основной функции пролетного строения - обеспечивать безопасный пропуск расчетных нагрузок в неконтролируемом режиме при расчетных скоростях. Показателем износа пролетного строениям в целом является снижение грузоподъемности. Показателем износа элемента (например, балки) является снижение несущей способности

Предельный износ

-

Износ пролетного строения в такой степени, при которой его восстановление становится экономически нецелесообразным

ВВЕДЕНИЕ

Обширная информация о характере возникновения и накопления повреждений в железобетонных мостовых конструкциях делает возможным классификацию и разделение всех факторов, определяющих уровень сопротивляемости элементов конструкции, на две группы: - производственные факторы и факторы окружающей среды.

К производственным факторам относятся:

·       качество конструктивных решений;

·       уровень и качество изготовления и монтажа конструкций;

·       гравитационные силы и силы трения, возникающие как от временной, так и от постоянной нагрузки;

·       инерционные, центробежные усилия от временной нагрузки и др.

К факторам окружающей среды относятся:

·       сейсмические силы, характер и режим их воздействия;

·       физико-химические процессы, протекающие в материалах при изготовлении и эксплуатации;

·       климатические воздействия;

·       агрессивность воздушной и водной среды и др.

Допущенные при изготовлении и монтаже дефекты и повреждения, развиваясь в процессе эксплуатации, снижают работоспособность конструкции. Постепенное «старение» железобетонной конструкции и потеря ею нормируемых качеств, вследствие необратимого накопления разного рода повреждений, проявляется в деградации структуры, снижении прочности бетона и образовании разного рода трещин. Начало и развитие этого процесса обусловлено большим, трудно обозримым количеством комбинаций воздействия вышеперечисленных факторов на элементы сооружения. Важнейшими из них являются: многократно повторяющиеся воздействия временных нагрузок, «отжимающих» (снижающих) запас релаксационных пластических свойств бетона, попеременное замораживание и оттаивание водонасыщенных зон конструкции, сезонные и суточные перепады температур воздуха, разного рода процессы коррозии, протекающие в бетоне вследствие карбонизации, капиллярной усадки, выщелачивания агрессивной влагой (с солями) цементного раствора и др.

Ухудшение эксплуатационных качеств конструкции проявляется также в снижении прочности бетона и уменьшении площади поперечных сечений бетонных элементов и арматурной стали в результате повреждения коррозией. Развитие таких повреждений, помимо прямого снижения несущей способности, может привести к потере сцепления арматуры с бетоном и, соответственно, к изменению расчетной статической схемы конструкции, увеличению прогибов и опасному дополнительному раскрытию трещин. Такой медленно протекающий процесс деградации, снижающий работоспособность конструктивных элементов сооружения, поддается наблюдению, расчетной оценке и может быть приостановлен. Расчетную работоспособность конструкции можно восстановить путем ремонта и усиления.

В настоящее время, в соответствии с нормами (СНиП, ГОСТ), методика контроля предупреждения усталостных процессов регламентирована только расчетом на выносливость, причем, по очень примитивной, далекой от реальной жизни сооружения модели воздействий временных нагрузок. Эта модель односторонне и приблизительно отражает процесс потери конструкцией ее свойств за условный период времени (порядка 80 - 100 лет). Представляется, что на достигнутом уровне понимания и проработки проблемы долговечности строительных материалов и конструкции, предлагаемая методология расчетного контроля срока службы, являясь интегральным инструментом оценки долговечности, способна значительно лучше оценить эффективность работы конструкции под всеми видами нагрузок и воздействий в течение установленного или требуемого времени ее эксплуатации.

Итак, методология расчетного контроля долговечности искусственных сооружений, в сочетании с грамотной и целенаправленной диагностикой позволяет:

- «перевооружить» всю систему эксплуатации мостов, для которой в настоящее время содержание, характер ремонта, межремонтные сроки, режим пропуска нагрузок устанавливаются на основании субъективных экспертных оценок опасных состояний;

- упорядочить экономические оценки мероприятий по поддержанию безопасного уровня эксплуатации мостов;

- планировать очередность и виды ремонтных работ, обеспечивая разумное распределение финансовых и материальных ресурсов в условиях жестких ограничений и малых возможностей служб эксплуатации.

Ожидаемая технико-экономическая эффективность предлагаемого подхода к расчетной оценке сроков службы железобетонных конструкций видится в следующем:

1. С определенной вероятностью может быть дана количественная оценка времени безопасной эксплуатации конструкции.

2. Опираясь на научно обоснованный анализ фактических данных о реальном поведении конструкции, возможен прогноз момента наступления разного рода отказов конструкции под нагрузками.

3. Пользуясь расчетным прогнозом (с учетом фактического состояния), можно оценивать запасы прочности и надежности для любого момента времени.

4. В период эксплуатации можно контролировать напряженное состояние и развитие деструктивных процессов, предупреждая аварийное состояние конструкции.

5. Открывается возможность корректировки и уточнения срока службы в ситуациях, когда изменяется режим эксплуатации сооружения (величина и цикличность временных нагрузок, динамические параметры и др.), а также обоснованно допускаемого увеличения интенсивности временных нагрузок, повышения скорости движения, но с учетом состояния конструкции по диагностическим данным, с расчетом и установкой уменьшенного, по сравнению с проектным, срока службы, т.е. обоснованного регулирования долговечности сооружения.

6. Предоставляется возможность обоснованного планирования сроков профилактических работ, а также межремонтных сроков.

7. Возможно определение режимов дальнейшей эксплуатации конструкции и прогноза ее срока службы после ремонта и реконструкции.

Во избежание чрезмерных ожиданий успеха от реализации предлагаемой Методики, следует понимать, что при существующем уровне знаний поведения железобетонных конструкций в эксплуатации, достоверность длительного (до 100 лет) прогноза срока службы таких капитальных сооружений, как мосты, еще недостаточно высока. Здесь необходим целенаправленный и значительно больший объем информации о поведении мостовых сооружений в эксплуатации, чем, например, при оценке ресурса меньших механизмов. В последнем случае ресурс до наработки до отказа на порядок меньше, а информации о времени фактического износа меньших механизмов неизмеримо больше. Ожидать реального успеха от реализации предлагаемой Методики можно лишь при условии, что будут созданы и освоены автоматизированные расчетные комплексы, действующие совместно с банком данных, содержащим необходимый объем статистической информации о многочисленных видах «заболеваний» железобетонных мостовых конструкций в процессе эксплуатации.

Учитывая изложенное, «Росавтодор» поручил трем научным коллективам подготовить расчетную методику, которая давала бы возможность максимально приблизиться к поставленным целям и достичь упомянутых результатов. Настоящая Методика предполагает, что все необходимые расчеты будут выполняться с использованием расчетных комплексов, учитывающих различные исходные статистические параметры сооружений и позволяющих вести вычисления в диалоговом режиме. Разработчики располагают такими программами к ПЭВМ, построенными на базе требований СНиП 2.05.03.84* [1], которые могут оказать помощь в создании аналогичных комплексов в проектных организациях и дирекциях автомобильных дорог.

В разработке методики участвовали научные коллективы:

РОСДОРНИИ

Руководитель темы, координация работ - Канд. техн. наук

Шестериков В. И.

(глава 2; пункты 1.1 - 1.3; 3.4 - 3.7; 4.1; 4.2; 4.4; 5.1; 5.5; подпункты 5.2.1; 5.2.2; 5.2.4; 5.2.5)

МИИТ

Д-р техн. наук, профессор

Иосилевский Л. И.

(введение, пункты - 1.1; 1.4; 5.3; 5.4; 5.6)

 

Д-р техн. наук, профессор

Носарев А. В. (пункт 5.6)

 

Д-р техн. наук, профессор

Алмазов В. О. (пункты 3.1; 4.2)

 

Д-р техн. наук, профессор

Чирков В. П.

(пункт 4.3. подпункт 5.2.3)

ЦНИИС

Канд. техн. наук

Цернант А. А.

(глава I, участие)

 

Канд. техн. наук

Антропова Е. А.

(пункт 3.3, подпункты 3.5.2; 5.2.3)

 

Д-р техн. наук, профессор

Пассек В. В. (пункт 3.2)

Кроме того, при подготовке отдельных глав, определении состава документа и разработке базовых материалов принимали участие: д-р экон. наук, профессор Дингес Э. В (МАДИ), канд. техн. наук Улупов А. С. (МИИТ), канд. техн. наук Васильев А. И., Егорушкин Ю. М., Заковенко В. В., канд. экон. наук Бегун И. А. (ЦНИИС), канд. техн. наук Мусатов С. А. (РОСДОРНИИ).

ГЛАВА 1. ОБЩИЕ ПОЛОЖЕНИЯ И ОСНОВНЫЕ ПРИНЦИПЫ, НА КОТОРЫХ БАЗИРУЕТСЯ МЕТОДИКА

1.1. Стратегия эксплуатации мостов

Мостовое сооружение, а следовательно, и пролетное строение за свою жизнь проходит три важнейших этапа эксплуатации.

Первый этап, когда построенное сооружение эксплуатируется какое-то время без снижения надежности. За этот период протекают основные длительные деформации (усадка и ползучесть), возрастает прочность бетона, нормально функционирует система водоотвода и не нарушается изоляция у деформационных швов, водоотводных трубок, стоек ограждений и тротуаров. Вероятность безотказной работы пролетного строения сохраняется на уровне (согласно СНиП 2.05.03-84* [1]) Р(t) = 0,9986 (индекс надежности равен 3,0). В течение указанного периода за мостом осуществляется лишь уход1. Продолжительность этого периода зависит от качества изготовления и монтажа конструкций, и для пролетных строений он составляет, как правило, от 5 до 15 лет (рис. 1.1, точка А).

1 Перечень работ по содержанию и ремонту пролетных строений и мостовых сооружений в целом приведен в классификации ремонтных работ [2]. Основные положения, касающиеся этих работ, даны в Приложении 1.

Рис. 1.1. График снижения надежности (Н) сооружения:

Т0 - период приработки; Тр - работоспособность; Тсл - предельный срок службы.

Второй этап эксплуатации характеризуется появлением и развитием дефектов, изменением свойств бетона и коррозией арматуры. Появляются отказы в элементах, срок службы которых ниже, чем несущих конструкций пролетных строений (покрытие, деформационные швы, изоляция...). Дефекты и отказы влияют на несущую способность балок пролетных строений и распределение временной нагрузки между ними. Мост продолжает эксплуатироваться в прежнем режиме, т.е. без каких-либо ограничений, хотя надежность пролетных строений постепенно снижается. Продолжительность второго этапа определяется временем, за которое вероятность безотказной работы балок пролетного строения снижается с 0,9986 до 0,9, т.е. индекс надежности уменьшается с 3,0 до 1,282 (» 1,3). В этот период за мостом ведется уход и проводятся плановые профилактические работы в рамках работ по содержанию.

Продление указанного этапа возможно при проведении планово-предупредительных работ (ППР) - см. рис. 1.1, линия «а» - «б».

Снижение индекса надежности с 3,0 до 1,3 в течение второго этапа (см. рис. 1.1, точка Б) означает, что дальнейшая эксплуатация моста по первоначальной схеме невозможна и что мост должен быть закрыт на ремонт или реконструкцию, поскольку работоспособность пролетных строений исчерпана. Если выполнение ремонта задерживается и по каким-то причинам он должен быть перенесен на более поздний срок, то временно, до проведения ремонта, дальнейшая эксплуатация моста возможна лишь при изменении условий нагружения сооружения, т.е. при введении ограничений по массе временной нагрузки.

Третий этап эксплуатации сооружения характеризуется двумя факторами:

·       наличием в конструкциях, и в первую очередь в пролетных строениях, дефектов, снижающих их несущую способность и грузоподъемность моста в целом;

·       введением ограничений по массе транспортного средства, которое может безопасно двигаться по мосту в неконтролируемом режиме, и периодическим последующим снижением массы транспортного средства с целью обеспечения требуемой надежности.

Продолжительность третьего этапа (см. рис. 1.1, участок Б - В) определяется временем, необходимым для достижения сооружением такого состояния, когда, при максимально возможных ограничениях по временной нагрузке, вероятность безотказной работы пролетных строений снова достигает р = 0,90.

На третьем этапе эксплуатации моста обязательно должен быть выполнен его ремонт, не дожидаясь наступления момента В (см. рис. 1.1), или предпринята серия ремонтных мероприятий (определяется экономическими расчетами), включая планово-предупредительные работы, цель которых отодвинуть момент ремонта или восстановления за счет изменения темпов деградации материалов.

1.2. Пороговые уровни (уровни надежности и критерий невозможности эксплуатации)

Уровни надежности определяются стратегией эксплуатации. В Методике рассматриваются два основных уровня надежности - Н1 и Н2 (см. рис. 1.1).

Уровень Н1 характеризуется значением вероятности безотказной работы пролетных строений, Р = 0,90, в условиях действия проектных нагрузок. Этому уровню соответствует временной отрезок Тр, называемый работоспособным периодом (условно, работоспособностью) и определяемый для проектируемых, строящихся или недавно построенных сооружений. При достижении уровня Н1 снижается грузоподъемность пролетных строений или выполняется ремонт.

Уровень Н2 характеризуется значением вероятности безотказной работы пролетных строений, Р = 0,50, в условиях действия проектных нагрузок. Этому уровню соответствует предельный износ пролетного строения, а его дальнейшая эксплуатация недопустима даже при пониженной эксплуатационной нагрузке. Первое снижение допустимой нагрузки происходит в возрасте пролетных строений до Тр. Последующие снижения нагрузки возможны на участке Б - В (Б* - В*), что может продлить период эксплуатации до достижения уровня Н2.

Критерием невозможности эксплуатации сооружения, установленным современными потребительскими требованиями к автодорожным мостам (пропускать безопасно по мосту движущиеся по дорогам транспортные средства), является показатель грузоподъемности:

Q ³ 18 т для автомобильной нагрузки в неконтролируемом режиме движения;

Q ³ 20 т для автомобильной нагрузки в потоке по полосе движения (регулируемый режим);

Q ³ 32 т для одиночной нагрузки.

1.3. Принцип расчетности

Пролетные строения автодорожных мостов, запроектированные в полном соответствии с требованиями СНиП 2.05.03-84*, имеют нормативные сроки службы.

Проектный срок службы пролетных строений проектируемых конкретных мостов определяется расчетным путем с учетом:

q      - принятой конструкции мостового полотна и, в первую очередь, системы водоотвода и гидроизоляции;

q      - предполагаемого уровня напряжений в бетоне и арматуре на стадии эксплуатации;

q      - географического положения объекта (климатический район).

Прогнозируемый срок службы пролетных строений мостов в возрасте не более Т0, рассчитывается, в соответствии со СНиП, на основании фактического начального резерва и с учетом таких фактических данных, как:

Ø     - состояние бетона и арматуры конструкций, полученных с завода;

Ø     - отступления, допущенные при строительстве;

Ø     - интенсивность и состав движения и изменение этих данных во времени;

Ø     - постоянная нагрузка.

Расчеты выполняются по всем моделям отказа, приведенным в СНиПе для плит и балок. Используются фактические статистические данные о материалах и нагрузках для вероятностных моделей износа конструкций. При обследовании и диагностике мостов на стадиях строительства собирается информация об основных статистических параметрах, достаточная по содержанию и представительная по объему, для реализации основной цели расчета: определения сроков службы мостов с учетом фактических дефектов и повреждений (деградации) бетона и арматуры, изменения геометрических размеров.

Для расчетов используются апробированные методики определения влияния различных дефектов на несущую способность элементов и грузоподъемность пролетного строения.

Остаточный ресурс или остаточный срок службы эксплуатируемого пролетного строения определяется периодом эксплуатации до достижения предельного износа. Момент наступления предельного износа (момент невозможности дальнейшей эксплуатации) устанавливается на основании графика снижения грузоподъемности, построенного по результатам перерасчета конструкции.

При перерасчете конструкции учитывается:

¨     - деградация бетона и арматуры (изменение прочности сечения);

¨     - прогноз изменения характеристик бетона на момент ti -прогноз изменения прочности на сжатие и площади сечения;

¨     - прогноз изменения характеристик арматуры на момент t1 - прогноз изменения сечения, обусловленного коррозией;

¨     - деградация напрягаемой арматуры определяется комплексным показателем - снижением величины предварительного обжатия бетона, с учетом коррозии, неравномерности натяжения, проскальзывания или обрыва проволок;

¨     - снижение поперечной жесткости пролетного строения, оценивается состоянием диафрагм или бетона омоноличивания.

1.4. Расчетные модели отказов (износа)

Деградация свойств материалов в железобетонной конструкции вызывается неблагоприятной комбинацией воздействий статически и динамически действующих внешних гравитационных сил и внутренних самоуравновешивающихся полей напряжений. Последние вызваны попеременным замораживанием и оттаиванием воды в порах водонасыщенных участков бетона, капиллярной усадкой, давлением на бетон изнутри продуктов коррозии арматуры, суточным перепадом температур воздуха, солнечной радиацией и другими факторами.

Деградация структуры бетона железобетонных пролетных строений, его износ зависят главным образом от комбинации силовых полей в бетоне. Поэтому принятая в действующих нормативных документах методика оценки надежности в форме сопоставления комбинации суммарных напряжений (Ssi) с предельными значениями прочности, изменяющейся во времени, может быть использована и в оценке ресурса (долговечности) конструкции.

Главным в сопоставлении напряжений с прочностными возможностями материалов, обычно используемых при проектировании, является то, что сами величины напряжений, как и надежность, изменяются во времени вследствие деструктивных процессов в бетоне, изменений деформативных свойств конструктивных элементов, нарушений связей этих элементов между собой и др.

При расчетном прогнозировании рассматриваются следующие модели отказов (износа):

·       - износ многократно сжимаемого бетона в результате предельного поперечного растяжения с образованием и развитием продольно-ориентированных трещин, оцениваемых критическим коэффициентом, m [3], или износ, определяемый развитием микротрещин и сдвигов в бетоне, контролируемых коэффициентом критических напряжений К1с [4 - 6];

·       - износ водонасыщенного бетона в результате разрыва внутренних связей в процессе попеременного замораживания и оттаивания влаги в порах бетона при колебании температур воздуха [7];

·       - износ вследствие деградации структуры бетона плит проезжей части пролетных строений, вызванной фильтрацией и выщелачиванием агрессивной влагой (с солями) цементного раствора, а также в результате возросшего воздействия временной нагрузки в результате разрушения асфальтобетонного покрытия [8];

·       - потеря карбонизированным защитным слоем бетона своих защитных свойств [9];

·       - износ оголенной арматуры в результате ее коррозии [10];

·       - отказ, вызванный образованием горизонтальных трещин в зонах сопряжения плиты с ребром с последующим отсечением плиты от ребра, и, соответственно, с резким уменьшением геометрических характеристик рабочих сечений и снижением грузоподъемности конструкции [11];

·       - разрушение вертикальной арматуры (хомутов) из-за резкого возрастания напряжений в ситуации, когда в стенках возникают наклонные трещины, пересекающие вертикальные хомуты и наклонную преднапряженную арматуру [12].

Отказы возникают в различных комбинациях и сочетаниях. Вероятность их реализации в разных конструкциях различна. Практически все предсказуемые износы относятся к категориям медленно протекающих, постепенных отказов. Они могут быть своевременно обнаружены и приостановлены или устранены в результате ремонта.

Таким образом, ресурс пролетного строения в процессе эксплуатации может быть снижен или исчерпан в результате воздействия следующих факторов или их сочетаний (рис. 1.2):

Рис. 1.2. Контролируемые расчетом виды повреждения пролетного строения.

1 - разрушения арматуры и бетона плиты; 2 - разрушения продольного шва омоноличивания; 3 - разрыва хомутов в наклонном сечении; 4 - разрушения арматуры в середине пролета; 5 -разрыва хомутов по продольной трещине в месте примыкания плиты к ребру главной балки; 6 - разрушения бетона сжатой зоны в середине пролета; 7 - разрыва диафрагм.

Воздействие окружающей среды в комбинации с другими воздействиями сказываются, прежде всего, на прочности бетона и, соответственно, на перегруппировке напряжений в сечении. Зная эти два важнейших параметра в разные моменты технической диагностики и прогнозируя процесс изменения этих параметров в будущем, можно предвидеть (в доверительных интервалах) время, когда следует принимать решения о ремонте или замене конструктивного элемента.

ГЛАВА 2. НОРМАТИВНЫЕ СРОКИ СЛУЖБЫ ПРОЛЕТНЫХ СТРОЕНИЙ

Нормативные сроки службы используются при выполнении технико-экономического обоснования инвестиций в строительство мостов [13]. При этом, в рассматриваемых стратегиях учитываются периодичность проведения профилактических работ, время реализации ППР и ремонта, момент замены пролетных строений (срок службы) [14]. Кроме того, нормативные сроки могут применяться при разработке проекта эксплуатации мостового сооружения [15].

2.1. Классификация элементов

2.1.1. Нормативные сроки службы определяются для следующих элементов и участков железобетонных пролетных строений - на момент достижения ими предельного износа:

·       - фасадная поверхность конструкций;

·       - крайние блоки;

·       - средние блоки;

·       - плита проезжей части;

·       - диафрагмы или другие связи, продольные швы омоноличивания (на момент превращения связи в шарнирную).

2.1.2. Нормативные сроки службы для типовых конструкций, объединяются в четыре группы:

I - железобетонные плиточные пролетные строения с пустотными плитами и напрягаемой арматурой;

II - то же, сплошного сечения;

III - железобетонные ребристые пролетные строения с обычной арматурой; монолитные или сборные, с диафрагмами или без диафрагм;

IV - то же, с предварительно-напряженной арматурой.

2.1.3. Период приработки конструкций, Т0, принимается в зависимости от компоновки элементов мостового полотна двух видов:

А - современная компоновка, предусматривающая, что -

Ø     проезжая часть имеет требуемые продольные и поперечные уклоны и обратный уклон поверхности тротуара от края до оси водоотводных трубок;

Ø     тротуары монолитные, полученные омоноличиванием пространства между карнизом и цоколем ограждения;

Ø     гидроизоляция уложена без разрывов по всей ширине и усилена в зоне расположения закладных деталей под стойки ограждения;

Ø     деформационные швы герметичны (рис. 2.1, а);

Б - компоновка, использовавшаяся в типовых проектах до 1980 г. и встречающаяся на эксплуатируемых сооружениях, в которой:

q      проезжая часть имеет двускатный профиль с достаточным поперечным уклоном;

q      сборные тротуарные блоки уложены на выравнивающий слой;

q      гидроизоляция доведена только до тротуаров;

q      карнизы отсутствуют; деформационные швы герметичны (рис. 2.1, б).

Рис. 2.1. Компоновка элементов мостового полотна:

А - гидроизоляция на всю ширину; Б - гидроизоляция только между тротуарами.

2.2. Нормативный срок службы

2.2.7. Нормативный срок службы определяется временем достижения предельного физического износа, значения которого приведены для железобетонных пролетных строений в таблицах 2.1, 2.2, 2.3. Функция износа соответствует функции отказа из теории надежности (рис. 2.2 и формула (2.1)).

                                               (2.1)

где е - натуральное число;

ti - временной параметр (годы);

Т0 - период приработки;

l - показатель функции износа, отражающий качество конструкций после изготовления и монтажа, качество содержания по принятой стратегии эксплуатации, реальные транспортные и природно-климатические условия функционирования объекта (средняя статистическая величина, полученная для каждого элемента и пролетного строения в целом по результатам обследования более 1000 мостов [15, 16]).

Рис. 2.2. Условный нормативный график долговечности.

Таблица 2.1

Нормы износа пролетных строений автодорожных мостов

№ п/п

Пролетные строения

Норма износа, И, %

доремонтный уровень, И1

допустимый износ, [И]

предельный износ, Ипред.

1

Железобетонные ребристые с обычной арматурой

15

35

70

2

Железобетонные ребристые предварительно-напряженные

10

30

60

3

Плитные железобетонные любой конструкции

10

30

60

Нормативным сроком службы предусматривается, что, в случае потери работоспособности, выполняется ремонт пролетного строения или опоры, после чего конструкция вновь эксплуатируется.

Работоспособность конструкций и элементов (Тр) определяется моментом достижения допустимого износа (см. табл. 2.1), который требует проведения ремонтных работ (см. рис. 2.2, [И]).

При нормировании износа и периода работоспособного состояния (работоспособность) было учтено, что на сооружении проводятся работы по постоянному уходу, ежегодные затраты на которые составляют не менее 0,5 % от стоимости строительства объекта, и профилактические работы, периодичностью 3 - 5 лет. Увеличение затрат на содержание и снижение периодичности профилактических работ способствуют увеличению периода эксплуатации до потери сооружением работоспособного состояния и увеличению сроков службы по сравнению с нормативными.

Параметры долговечности (l, Т0, Т1, Тр и Тпред.) для различных элементов и конструкций пролетных строений приведены в таблицах 2.4 - 2.8.

Таблица 2.2

Нормативные сроки ремонта и перестройки железобетонных пролетных строений при условии выполнения работ по уходу и профилактике (для условий регионов, кроме «Юга»)

Тип пролетного строения

Конструкция

Расположение гидроизоляции

Минимальный возраст конструкции, годы

начало ремонта (работоспособность), Тр

начало перестройки (срок службы), Тсл

Железобетонные ребристые с обычной арматурой

1. Сборные, диафрагменные (дороги III - IV категории)

по всей ширине

40

62

в пределах габарита

30

50

2. То же (дороги I - II категорий)

по всей ширине

34

52

в пределах габарита

25

40

3. Сборные бездиафрагменные:

по всей ширине

 

 

а) дороги III - IV категории б) I - II категории

43

67

б) I - II категории

40

62

4. Монолитные диафрагменные (дороги I - IV кат.)

в пределах габарита

38

62

Железобетонные ребристые с предварительно-напряженной арматурой

1. Сборные диафрагменные (дороги III - IV категории)

по всей ширине

45

70

в пределах габарита

40

70

2. То же, (дороги I - II категории)

по всей ширине

48

75

в пределах габарита

43

70

3. Сборные бездиафрагменные (I - IV категории)

по всей ширине

52

82

Железобетонное плитное пролетное строение с обычной арматурой

1. Сборные пустотные:

по всей ширине

 

 

а) дороги III - IV категории

26

45

б) I - II категории

22

36

2. Сборные сплошного сечения, монолитные плитные пролетные строения

по всей ширине

32

52

Железобетонные плитные с напряженной арматурой

1. Сборные пустотные:

по всей ширине

 

 

а) дороги III - IV категории

32

52

б) дороги I - II категории

24

40

Таблица 2.3

Нормативные сроки ремонта и перестройки железобетонных пролетных строений при условии выполнения работ по уходу и профилактике (для условий Южного региона)

Тип пролетного строения

Конструкция

Расположение гидроизоляции

Минимальный возраст конструкции, годы

начало ремонта (работоспособность), Тр

начало перестройки (срок службы), Тсл

Железобетонные Ребристые с обычной арматурой

Сборные диафрагменные (дороги III - IV категории)

По всей ширине

45

60

В пределах габарита

40

60

То же (дороги I - II категории)

по всей ширине

40

60

в пределах габарита

32

50

Сборные, бездиафрагменные (I - IV категории)

по всей ширине

50

75

Монолитные диафрагменные (дороги I - IV категории)

в пределах габарита

43

65

Железобетонные ребристые с предварительно-напряженной арматурой

Сборные диафрагменные (дороги I - IV категории)

в пределах габарита

52

82

Сборные бездиафрагменные дороги I - IV категории)

по всей ширине

65

100

Железобетонные плитные

Пустотные плиты, сборные:

по всей ширине

 

 

а) дороги III - IV категории

35

55

б) дороги I - II категории

30

45

Сборные плиты сплошного сечения, монолитные плитные пролетные строения.

по всей ширине

39

61

Таблица 2.4

Параметры долговечности элементов железобетонных ребристых пролетных строений с обычной арматурой

№ п/п

Тип конструкции

Элемент

Показатель функции износа, l

Сроки службы, годы

Т0

Т1

Тр

Тпред.

Тпред.*

1

Сборные диафрагменные (дороги III - IV категории):

Фасаднаяx поверхность

0,0200

5

12

20

30

-

Крайние балки

0,0150

10

20

29

45

-

Средние балки

0,0100

15

30

45

65

-

Поперечные связи (диафрагмы)

0,0200

10

17

25

35

-

а) гидроизоляция по всей ширине

Пролетное строение в целом

0,0100

10

25

40

62

35

Фасадная поверхность

0,0200

0

7

15

25

-

б) гидроизоляция в пределах габарита

Крайние балки

0,0170

5

13

22

35

-

Средние балки

0,0120

10

22

35

55

-

Поперечные связи (диафрагмы)

0,0200

5

17

20

30

-

Пролетное строение в целом

0,0120

5

16

30

50

30

2

Сборные диафрагменные (дороги I - II категории):

Фасадная поверхность

0,0200

5

12

20

30

 

Крайние балки

0,0170

10

18

27

40

-

Средние балки

0,0120

15

28

41

60

-

Поперечные связи (диафрагмы)

0,0250

10

16

22

30

-

а) гидроизоляция по всей ширине

Пролетное строение в целом

0,0125

10

21

34

52

30

Фасадная поверхность

0,0200

0

7

15

25

-

б) гидроизоляция в пределах габарита

Крайние балки

0,0200

5

12

20

30

-

Средние балки

0,0130

10

20

32

50

-

Поперечные связи (диафрагмы)

0,0200

5

12

20

30

-

Пролетное строение в целом

0,0150

5

15

25

40

25

3

Сборные, бездиафрагменные:

Фасадная поверхность

0,0140

5

15

25

40

-

Крайние балки

0,0130

10

20

32

50

 

а) дороги III - IV категории, гидроизоляция по всей ширине

Средние балки

0,0090

15

31

48

70

-

Поперечные связи (продольные швы)

0,0170

10

18

27

40

-

Пролетное строение в целом

0,0090

10

26

43

67

35

б) дороги I - II категории, гидроизоляция по всей ширине

Фасадная поверхность

0,0140

5

15

25

40

-

Крайние балки

0,0150

10

20

29

45

 

Средние балки

0,0100

15

30

-45

65

-

Поперечные связи (продольные швы)

0,0200

10

17

25

35

-

Пролетное строение в целом

0,0100

10

25

40

62

35

4

Монолитные диафрагменные (дороги I - IV категории), гидроизоляция в пределах габарита

Фасадная поверхность

0,0170

0

8

17

30

-

Крайние балки

0,0130

5

15

28

45

-

Средние балки

0,0090

10

26

43

65

-

Поперечные связи (диафрагмы)

0,0170

5

13

22

35

-

Пролетное строение в целом

0,0090

5

20

38

62

35

Примечание. Здесь и далее Т* - справочные данные (не нормируются) для случая отсутствия ухода и профилактики.

Таблица 2.5

Параметры долговечности элементов железобетонных ребристых пролетных строений с предварительно-напряженной арматурой для условий «Центра» и «Севера»

№ п/п

Тип конструкции

Элемент

Показатель функции износа, l

Сроки службы, годы

 

Т0

Т1

Тр

Тпред.

Тпред.*

 

1

Сборные диафрагменные (дороги III - IV категории:

Фасадная поверхность

0,0150

5

12

22

35

-

 

Крайние балки

0,0100

15

25

40

60

 

 

Средние балки

0,0080

20

32

53

80

-

 

Поперечные связи (диафрагмы)

0,0130

15

22

33

50

-

а) гидроизоляция по всей ширине

Пролетное строение в целом

0,0085

15

25

45

70

35

 

б) гидроизоляция в пределах габарита

Фасадная поверхность

0,0150

0

7

17

30

-

 

Крайние балки

0,0100

10

20

35

55

-

 

Средние балки

0,0080

15

27

48

75

-

 

Поперечные связи (диафрагмы)

0,0130

10

17

28

45

-

 

Пролетное строение в целом

0,0085

10

20

40

65

35

 

2

Сборные диафрагменные (дороги I - II категории):

Фасадная поверхность

0,0150

5

12

22

35

-

 

Крайние балки

0,0090

15

26

42

65

-

 

Средние балки

0,0080

20

32

53

80

-

 

Поперечные связи (диафрагмы)

0,0130

15

22

33

50

-

 

а) гидроизоляция по всей ширине

Пролетное строение в целом

0,0080

15

27

48

75

40

 

б) гидроизоляция в пределах габарита

Фасадная поверхность

0,0150

0

7

17

30

-

 

Крайние балки

0,0100

10

20

35

55

-

 

Средние балки

0,0090

20

31

47

70

-

 

Поперечные связи (диафрагмы)

0,0120

10

28

42

60

-

 

Пролетное строение в целом

0,0080

10

22

43

70

35

 

3

Сборное, бездиафрагменные (дороги I - IV категории, гидроизоляция по всей ширине)

Фасадная поверхность

0,0120

5

13

27

45

-

 

Крайние балки

0,0085

15

25

45

70

-

 

Средние балки

0,0070

20

33

60

90

-

 

Поперечные связи (продольные швы)

0,0120

15

23

37

55

-

 

Пролетное строение в целом

0,0070

15

28

55

85

50

 

Таблица 2.6

Параметры долговечности элементов железобетонных плитных пролетных строений для условий «Центра» и «Севера»

№ п/п

Тип конструкции

Элемент

Показатель функции износа, l

Сроки службы, годы

Т0

Т1

Тр

Тпред.

Тпред.*

1

Сборные пустотные с обычной арматурой

Фасадные поверхности

0,0220

0

4

12

70

-

Крайние плиты

0,0150

5

11

22

35

-

Средние плиты

0,0100

10

18

35

55

-

а) дороги III - IV категории

Пролетное строение в целом

0,0120

5

13

26

45

20

б) дороги I - II категории

Фасадные поверхности

0,0220

0

4

12

20

 

Крайние плиты

0,0180

5

10

20

30

-

Средние плиты

0,0130

10

17

29

45

-

Пролетное строение в целом

0,0150

5

11

22

36

20

2

Монолитные и сборные сплошного сечения с обычной арматурой

Фасадные поверхности

0,0150

0

6

17

30

-

Крайние плиты

0,0130

5

12

24

40

-

Средние плиты

0,0090

10

20

37

60

 

Пролетное строение в целом

0,0100

5

15

32

52

25

3

Сборные пустотные плиты с напрягаемой арматурой

Фасадные поверхности

0,0130

и

7

19

35

-

Крайние плиты

0,0120

5

13

26

45

-

Средние плиты

0,0090

10

20

37

60

-

а) дороги III - IV категории

Пролетное строение в целом

0,0100

5

15

32

52

25

б) дороги I - II категории

Фасадные поверхности

0,0150

0

6

17

30

-

Крайние плиты

0,0130

5

12

24

40

-

Средние плиты

0,0120

10

18

31

50

-

Пролетное строение в целом

0,0130

5

12

24

40

20

Таблица 2.7

Параметры долговечности элементов железобетонных ребристых пролетных строений с обычной арматурой для условий «Юга»

№ п/п

Тип конструкции

Элемент

Показатель функции износа, l

Сроки службы, годы

 

Т0

Т1

Тр

Тпред.

Тпред.*

 

1

Сборные диафрагменные ребристые (дороги III - IV категории):

Фасадная поверхность

0,0200

10

17

25

35

-

 

Крайние балки

0,0150

15

25

34

50

-

 

Средние балки

0,0100

20

35

50

70

-

 

Поперечные связи

0,0200

15

22

30

40

-

 

а) гидроизоляция по всей ширине

Пролетное строение в целом

0,0100

15

30

45

65

40

 

Фасадная поверхность

0,0200

5

12

20

30

-

 

б) гидроизоляция в пределах габарита

Крайние балки

0,0170

10

18

27

40

-

 

Средние балки

0,0100

20

35

50

70

-

 

Поперечные связи

0,0200

10

17

25

35

-

 

Пролетное строение в целом

0,0100

10

25

40

60

35

 

2

Сборные диафрагменные (дороги I - II категории):

Фасадная поверхность

0,0200

10

17

25

35

 

 

Крайние балки

0,0200

15

22

30

40

-

 

Средние балки

0,0100

20

35

50

70

-

 

Поперечные связи (диафрагмы)

0,0250

15

21

27

35

-

а) гидроизоляция по всей ширине

Пролетное строение в целом

0,0120

15

27

40

60

35

 

б) гидроизоляция в пределах габарита

Фасадная поверхность

0,0200

5

12

20

30

-

 

Крайние балки

0,0200

10

17

25

35

-

 

Средние балки

0,0100

20

35

50

70

-

 

Поперечные связи (диафрагмы)

0,0250

10

26

32

30

-

 

Пролетное строение в целом

0,0130

10

21

32

50

35

 

3

Сборные бездиафрагменные (дороги I - IV категории, гидроизоляция по всей ширине)

Фасадная поверхность

0,0150

10

20

29

30

-

 

Крайние балки

0,0130

15

26

37

35

-

 

Средние балки

0,0085

20

37

55

70

-

 

Поперечные связи

0,0170

15

23

32

30

-

 

Пролетное строение в целом

0,0085

15

32

32

50

30

 

4

Монолитные диафрагменные (дороги I - IV категории, гидроизоляция в пределах габарита)

Фасадная поверхность

0,0170

5

13

22

35

-

 

Крайние балки

0,0130

10

21

32

50

-

 

Средние балки

0,0090

15

31

48

70

-

 

Поперечные связи (диафрагмы)

0,0170

10

28

37

40

-

 

Пролетное строение в целом

0,0090

10

26

43

65

40

 

Таблица 2.8

Параметры долговечности элементов железобетонных ребристых пролетных строений с предварительно-напряженной арматурой для условий «Юга»

№ п/п

Тип конструкции

Элемент

Показатель функции износа, l

Сроки службы, годы

Т0

Т1

Тр

Тпред.

Тпред.*

1

Сборные диафрагменные (дороги I - IV категорий, гидроизоляция в пределах габарита)

Фасадные поверхности

0,0130

10

17

28

45

-

Крайние балки

0,0100

15

25

40

60

-

Средние балки

0,0070

20

32

57

85

-

Поперечные связи (диафрагмы)

0,0130

15

22

33

50

-

Пролетное строение в целом

0,0070

15

27

52

82

45

2

Сборные бездиафрагменные (дороги I - IV категорий, гидроизоляция по всей ширине)

Фасадные поверхности

0,0120

10

18

32

50

-

Крайние балки

0,0080

15

27

48

75

-

Средние балки

0,0050

25

45

75

115

-

Поперечные связи (продольные швы)

0,0120

20

28

42

60

-

Пролетное строение в целом

0,0060

20

35

65

100

55

Таблица 2.9

Параметры долговечности элементов железобетонных плитных пролетных строений для условий «Юга» (гидроизоляция по всей ширине моста)

№ п/п

Тип конструкции

Элемент

Показатель функции износа, l

Сроки службы, годы

Т0

Т1

Тр

Тпред.

Тпред.*

1

Сборные пустотные плиты:

Фасадные поверхности

0,0120

0

8

21

40

-

Крайние плиты

0,0120

10

18

31

50

-

а) дороги III - IV категории

Средние плиты

0,0090

20

30

47

70

-

Пролетное строение в целом

0,0100

10

19

35

55

25

б) дороги I - II категории

Фасадные поверхности

0,0130

0

7

19

35

-

Крайние плиты

0,0150

10

16

27

40

-

Средние плиты

0,0120

20

28

41

60

-

Пролетное строение в целом

0,0130

10

17

30

45

20

2

Сборные плиты сплошного сечения (монолитные плиты)

Фасадные поверхности

0,0120

0

8

21

40

-

Крайние плиты

0,0100

10

18

35

55

-

Средние плиты

0,0090

20

30

47

70

-

Пролетное строение в целом

0,0090

10

20

39

61

30

2.2.2. Накопление повреждений в конструкциях графически представлено на рисунках 2.3 - 2.9.

На приведенных рисунках область накопления повреждений разделена на 3 участка:

И £ И1 - участок, в пределах которого требуются затраты лишь на содержание (надзор, уход и профилактика);

И1 £ И £ [И] - участок, в пределах которого выполняются работы по мелкому ремонту (ППР - ремонт элементов);

[И] £ И £ Ипред. - участок, в пределах которого требуются затраты на ремонт всего пролетного строения (усиление, замена отдельных элементов, полное восстановление).

Рис. 2.3. График долговечности железобетонных ребристых пролетных строений с обычной арматурой для условий «Центра» и «Севера» (табл. 2.4, пп. 1 и 2):

1 и 3 - сборные диафрагменные, на дорогах I - II категорий, с гидроизоляцией, соответственно, в пределах габарита (l = 0,015) и по всей ширине (l = 0,0125);

2 и 4 - сборные диафрагменные, на дорогах III - IV категорий, с гидроизоляцией, соответственно, в пределах габарита (l = 0,012) и по всей ширине (l = 0,01).

Рис. 2.4. График долговечности железобетонных ребристых пролетных строений с обычной арматурой для условий «Центра» и «Севера» (табл. 2.4, пп. 3 и 4):

1 и 2 - сборные бездиафрагменные пролетные строения, соответственно, на дорогах III - IV категорий (l = 0,009) и на дорогах I - II категорий (l = 0,01);

3 - монолитные ребристые пролетные строения (l =0,009).

Рис. 2.5. График долговечности железобетонных ребристых пролетных строений с предварительно напряженной арматурой для условий «Центра» и «Севера» (см. табл. 2.5):

сборные диафрагменные:

1 и 2 - на дорогах III - IV категорий с гидроизоляцией по всей ширине и в пределах габарита, соответственно (l = 0,0085);

3 и 4 - на дорогах I - II категорий по всей ширине и в пределах габарита, соответственно (l = 0,008);

5 - сборные бездиафрагменные на дорогах I - IV категорий с гидроизоляцией по всей ширине (l = 0,007).

Рис. 2.6. График долговечности железобетонных плитных пролетных строений с гидроизоляцией по всей ширине для условий «Центра» и «Севера» (см. табл. 2.6):

сборные диафрагменные:

1 и 2 - сборные пустотные плиты с обычной арматурой:

соответственно, на дорогах III - IV категорий (l = 0,0012);

и на дорогах I - II категорий (l = 0,015);

3 - монолитные сборные плиты сплошного сечения с обычной арматурой (l = 0,01);

4 и 5 - сборные пустотные плиты с напрягаемой арматурой:

соответственно, на дорогах III - IV категорий (l = 0,01) и на дорогах I - II категорий (l = 0,013).

Рис. 2.7. График долговечности железобетонных ребристых пролетных строений с обычной арматурой для условий «Юга» (см. табл. 2.7):

1 и 2 - сборные диафрагменные на дорогах III и IV категорий:

с гидроизоляцией, соответственно, по всей ширине и в пределах габарита (l = 0,01);

3 и 4 - сборные диафрагменные на дорогах I и II категорий:

соответственно, с гидроизоляцией по всей ширине (l = 0,012) и в пределах габарита (l =0,013);

5 - сборные бездиафрагменные (l = 0,0085);

6 - монолитные диафрагменные (l = 0,009).

Рис. 2.8. График долговечности железобетонных, ребристых сборных пролетных строений с предварительно-напряженной арматурой для условий «Юга» (см. табл. 2.8):

1 и 2 - соответственно, диафрагменные пролетные строения с гидроизоляцией в пределах габарита (l = 0,007) и бездиафрагменные пролетные строения с гидроизоляцией по всей ширине (l = 0,006).

Рис. 2.9. График долговечности железобетонных плитных пролетных строений с гидроизоляцией по всей ширине моста для условий «Юга» (см. табл. 2.9):

1 и 2 - с пустотными сборными плитами, соответственно, на дорогах III - IV категорий (l = 0,001) и I - II категорий (l = 0,013);

3 - со сборными плитами сплошного сечения, монолитные пролетные строения (l = 0,009).

Графики и таблицы составлены для конструкций, расположенных в трех климатических зонах (регионах), границами которых являются административные границы, в частности:

Ø     регион, условно названный «Юг», в который входят административные субъекты юга европейской части России (области Саратовская, Белгородская, Воронежская, Волгоградская), а также Приморский край и Сахалинская область;

Ø     регион, условно названный «Центр», - области Мурманская, Вологодская, Свердловская, Пермская, Кировская, республика Карелия, а также субъекты РФ на Дальнем Востоке и юге Сибири - Камчатская область, Еврейский автономный округ. Хабаровский край, Амурская область, республика Хакасия, республика Алтай, республика Тыва, Новосибирская область, Омская область. Тюменская область (южнее Ханты-Мансийского автономного округа).

Ø     регион, условно названный «Север», в который входят административные субъекты, расположенные севернее региона «Центр».

Указанное административное деление по регионам близко к районированию по СНиП 23-0-1-99, а именно:

¨     «Центр» - районы IВ, IIВ, IIА;

¨     «Север» - IА, IБ, IГ и IД;

¨     «Юг» - IIIА, IIIБ и IIIВ.

ГЛАВА 3. ПРОГНОЗИРОВАНИЕ РАБОТОСПОСОБНОСТИ КОНСТРУКЦИЙ ПРИ ПРОЕКТИРОВАНИИ*

Рекомендациями настоящего раздела следует пользоваться в тех случаях, когда требуется определить время эксплуатации пролетных строений проектируемого моста до момента достижения ими допустимого снижения надежности (см. рис. 1.1, точка Б). При этом учитывается место расположения моста, конструкция мостового полотна, фактические климатические воздействия, планируемые интенсивность и состав движения. На этой стадии прогнозирование выполняют по результатам расчетов по первому предельному состоянию по прочности и выносливости балок и плиты. Используются критерии и требования СНиП [1] с учетом меняющихся характеристик бетона и арматуры во времени. Расчетными воздействиями являются постоянные нагрузки от запроектированного пролетного строения и временные нагрузки НК-80 и А-11 при расчете на прочность и А-11 при расчете на выносливость.

*) Прогнозирование срока эксплуатации конструкции до потери их работоспособности (r - 0,90), т.е. до ремонта.

Определение работоспособного периода выполняется на основании анализа напряжений в арматуре и бетоне при расчете на прочность и из анализа накопления повреждений от многократных воздействий (эквивалентных циклов) при расчете на выносливость. Результата прогнозирования работоспособности пролетного строения должны явиться основой Проекта эксплуатации моста, поскольку они определяют момент проведения его ремонта или реконструкции [17].

3.1. Прогнозирование изменения прочности бетона

(модель деградации бетона с учетом его морозостойкости)

3.1.1. Снижение прочности бетона, Rвt и модуля упругости, Eвt в результате деградационных процессов в течение ti лет эксплуатации, определяется по формулам:

                                                         (3.1)

                                                         (3.2)

Rв и Ев - расчетное сопротивление и модуль упругости бетона согласно действующему СНиП 2.05.03-84.

,  - коэффициенты условий работы

                                          (3.3)

где

Кs - коэффициент, зависящий от агрессивности воды-среды;

Кs = 1,0 - при контакте бетона с пресной водой;

Кs = 1,25 - при контакте с морской или другой соленой водой;

Кt - коэффициент перехода от свойств куба к свойствам призмы (Кt = 1,675);

DR; DE - комплексы влияния на бетон циклов замораживания и оттаивания при заданной влажности (табл. 3.1);

w - комплекс влияния уровня напряженности на скорость изменения деструктивного процесса (табл. 3.2);

ti - количество полных лет эксплуатации.

Комплексы DR, DE и w, представленные в таблицах 3.1 и 3.2, вычислены на вероятностной основе с обеспеченностью 0,95.

3.1.2. На деструктивные процессы, протекающие в бетоне конструкций, оказывают влияние вид и уровень напряженного состояния, степень водонасыщения бетона, агрессивность воды-среды, контактирующей с бетоном.

В расчетах учитываются:

а) изменение во времени исходных параметров свойств бетона (прочность и морозостойкость, степень водонасыщения бетона);

б) влияние среды, в частности, соленость воды-среды;

в) число переходов среды через льдообразующий рубеж (через 0°) и минимальная температура в каждом цикле;

г) уровень и вид напряженного состояния.

Одновременно учитываются два процесса, протекающие в бетоне:

·       - процесс набора прочности в течение 5 - 20 лет, предусмотренный СНиП 2.05.03-84, табл. 25 (в южном регионе для элементов, защищенных от внешних воздействий среды, может быть принят 5-летний срок набора прочности);

·       - процесс деструкции бетона при эксплуатации.

Таблица 3.1

Величины DR и DE для различных условий водонасыщения и морозостойкости (F)

Зона конструкции по СНиП 2.03.01-84

Зона конструкции по СНиП 2.05.03-84

Условия

индекс

водонасыщенное состояние

особо суровые (F > 300)

суровые (F = 300)

умеренные (F = 200)

DR

DE

DR

DE

DR

DE

Iа

Водонасыщенное состояние

Зона переменного уровня воды (нарушение гидроизоляции, застой воды, прямой сток воды) - зона деформационных швов конструкции, консоли плит

13,5

20,9

6,0

9,6

3,0

4,8

Iб

Эпизодическое водонасыщение

Надводная, надземная зоны (фрагменты пролетных строений, подвергаемые обычным атмосферным воздействиям) - фасадные поверхности балок

9,0

13,8

3,0

4,6

1,6

2,5

Iв

Воздушно-влажное состояние

Надводная, надземная зоны (фрагменты, не подверженные непосредственному воздействию атмосферных осадков) - средние балки пролетных строений

4,5

6,9

2,0

3,0

1,0

1,5

Таблица 3.2

Величина w для различных условий влияния морозостойкости на напряженное состояние

w·103

F = 200

F = 300

сжатие

растяжение

сжатие

растяжение

0,01

4,86

5,00

3,27

3,33

0,05

4,42

5,02

3,04

3,34

0,10

4,04

5,06

2,84

3,36

0,15

3,79

5,14

2,70

3,39

0,20

3,64

5,26

2,60

3,45

0,25

3,56

5,42

2,55

3,52

0,30

3,54

5,63

2,53

3,60

0,35

3,59

5,90

2,53

3,71

0,40

3,70

6,25

2,58

3,85

0,45

3,90

6,69

2,66

4,01

0,50

4,21

7,27

2,78

4,21

0,55

4,68

8,04

2,95

4,46

0,60

5,36

9,09

3,21

4,76

0,65

6,08

10,60

3,54

5,14

0,70

6,80

12,90

3,88

5,63

0,75

7,52

16,84

4,23

6,27

0,80

8,23

25,00

4,57

7,14

0,85

 8,95

51,61

5,09

8,38

Примечание. 1. smin - сжимающие (растягивающие) напряжения, создаваемые постоянными нагрузками.

2. Промежуточные значения w следует определять линейной интерполяцией.

3.1.3. По результатам расчета строятся графики изменения прочности бетона для элементов сооружений, указанных в главе 2:

·       для плитных пролетных строений - фасадные поверхности, крайние плиты, средние плиты;

·       для ребристых пролетных строений - консоли плит, фасадные поверхности, крайние балки, средние балки, поперечные связи (диафрагмы или продольные швы омоноличивания).

Значения напряжений в бетоне, smin, определяются с учетом воздействия на конструкцию температурных факторов, влияние которых рассматривается в п. 3.2.

Графики изменения прочности бетона строятся с учетом периода приработки, Т0, в течение которого идет нарастание прочности бетона, (см. таблицы главы 2). Пример подобных графиков для пролетных строений с напрягаемой арматурой и компоновкой элементов мостового полотна по схеме «А» (см. рис. 2.1) для мостов на дорогах II категории Центрального региона России приведен на рис. 3.1. Принято, что нарастание прочности бетона, предусмотренное СНиП, протекает в течение периода Т0, равного от 5 до 20 лет.

Рис. 3.1. Пример прогнозируемого снижения прочности бетона:

1 - фасадные поверхности; 2 - крайние балки; 3 - продольные швы омоноличивания; 4 - средние балки.

3.2. Напряжения в бетоне балок от резкого изменения температуры

3.2.1. В различных точках поперечного сечения балок от резких повышений или понижений температуры воздуха возникают нормальные растягивающие или сжимающие напряжения. Такие напряжения определяются в плите, в стенке и нижней части ребра. Значения напряжений учитываются в оценке напряженного состояния при расчетах на прочность и выносливость [19].

Последовательность определения напряжений следующая:

- сечения разбиваются на отдельные элементы;

- устанавливается приведенная толщина, di, элементов сечения;

- вычисляется условная расчетная температура, ti, элементов сечения при резком понижении или повышении температуры воздуха;

- определяются напряжения, si, отдельных элементов сечения.

3.2.2. Разбивка сечения на отдельные элементы покачана на рис. 3.2.

Рис. 3.2. Расчетные эпюры напряжения

Каждое сечение условно разделяется на следующие элементы: железобетонная плита, ребро железобетонной балки, нижний пояс балки или участок в нижней части стенки высотой, равной толщине стенки (этот элемент существенно отличается по величине тепловой инерции от остальной части стенки).

Приведенная толщина элемента сечения рассчитывается по формуле:

                                                       (3.4)

где fi - площадь поперечного сечения отдельного элемента (для плит проезжей части - с учетом толщины одежды), см2;

Si - часть периметра поперечного сечения, контактирующая с наружным воздухом (учитывается поверхность покрытия проезжей части), см.

3.2.3. Условная расчетная температура, ti, определяется по табл. 3.3 в соответствии с приведенной толщиной элемента сечения.

Таблица 3.3

Условная расчетная температура элемента сечения

di

м

0,02

0,04

0,1

0,2

0,3

0,4

0,5

0,6

0,7

0,9

1,2 и более

ti

°С

9,3

8,5

6,8

5,0

3,7

2,7

2,0

1,4

1,0

0,5

0

3.2.4. Растягивающие напряжения определяются для середины ребра в предварительно-напряженных балках (рис. 3.2, точка «б») и для нижнего участка ребра в балках с обычной арматурой (см. рис. 3.2, точка «в»). Растягивающие напряжения рассчитывают по формуле:

                                            (3.5)

где  - показатель массивности элемента;

fm и fs - площадь поперечного сечения элемента наименьшей массивности (для которого определяется s) и площадь остальной части поперечного сечения (с учетом площади слоев одежды);

m - поправочный коэффициент, принимаемый равным 1,0 для sв в сечении 1 и 2,5 - для sв в сечении 2;

Е - модуль упругости бетона, для класса бетона, предусмотренного проектом;

Dt - разность между температурой элемента меньшей массивности и средней температурой, tcp, остальных элементов сечения, определяемой по формуле:

                                                         (3.6)

где n - число элементов, имеющихся в сечении, кроме элемента с площадью fm (для сечений на рис. 3.2 n = 2).

В остальных характерных точках сечения напряжения определяются в соответствии с переходными коэффициентами, указанными на рис. 3.2.

3.2.5. Расчетные температурные напряжения рассчитываются по формуле

                                              (3.7)

где s - напряжения в соответствии с рис. 3.2 и (3.5);

Si - поправочные коэффициенты.

Каждое сечение определяется для двух сочетаний воздействия, в каждом из которых главным является либо резкое понижение, либо резкое повышение температуры воздуха. При этом учитывается значение S1, равное, соответственно, + 1,3 и - 1,0.

Коэффициент S2 учитывает особенность климатического района и принимается равным

S2 = 0,0375 · А,                                                  (3.8)

где А - максимальная суточная амплитуда изменения температуры воздуха; принимается для соответствующего климатического района по СНиП 2.01.01-82 [3].

Коэффициент S3 учитывает местоположение балки в сечении:

Ø     для средних балок - S3 = 1,0;

Ø     для крайних - « - - S3 = 1,25.

Коэффициент S4 учитывает степень повторяемости различных напряжений и принимается равным 0,5; 1,0; 1,75; 3,0, соответственно, при повторяемости 50; 10; 1 раз в год и 1 раз в 50 лет (см. рис. 3.3).

3.2.6. Расчетные температурные напряжения учитываются:

v    при расчете плит (сжатые волокна в сечении плиты), добавляя значения sр к напряжениям сжатия при К4 = 0,5;

v    при проверке несущей способности балок по главным напряжениям, добавляя значения sр к главным растягивающим или главным сжимающим напряжениям стенки при К4 = 1,75;

v    при определении напряжений в сжатой зоне балок, добавляя значения sр к напряжениям сжатия бетона в уровне плиты при К4 = 2,5.

Рис. 3.3. Вероятность повторения расчетных напряжений, Р

3.3. Прогноз карбонизации бетона

На стадии разработки проекта темп карбонизации бетона принимается по нормативным значениям (табл. 3.4), установленным на основании статистических данных, полученных авторами на мостах общей сети автомобильных дорог.

Время карбонизации, Ткб, защитного слоя бетона толщиной «а» определяется по формуле:

                                           (3.9)

где а - толщина принятого в проекте защитного слоя, мм;

К - нормативная скорость карбонизации, мм/год (табл. 3.4);

m1 - коэффициент, зависящий от типа конструкции (от величины обжатия бетона):

m1 = 0,6 - для пролетных строений с обычной арматурой;

m1 = 1,0 - для предварительно-напряженных конструкций;

m2 - коэффициент, зависящий от положения поверхностей:

m2 = 2,0 - для средних поверхностей плит и балок;

m2 = 1,0 - для фасадных поверхностей;

m3 - коэффициент, зависящий от агрессивности воздушной среды и принимаемый равным 2,0; 1,3 и 1,0 при слабой, средней и высокой степенях агрессивности, соответственно;

m4 - коэффициент, учитывающий наличие защитного покрытия на боковой и нижней поверхностях плит и балок [20]:

m4 = 1,5 - при сроке службы защитного покрытия tn = 3 - 7 лет;

m4 = 3,0 - то же, tn ³ 30 лет (при tn < 3 лет m4 = 1,0; при tn от 7 до 30 лет - определяется интерполяцией).

Таблица 3.4

Нормативные значения карбонизации

Плотность бетона

Агрессивность среды

повышенная ³ 0,86

нормальная ³ 0,82

малая < 0,82

Марка по водопроницаемости, В (W)

В8

В6

В4

ниже В4

Скорость карбонизации, К, мм/год

0,25

0,75

1,0

2,0

3.4. Прогноз коррозии арматуры*)

3.4.1. За начало отсчета времени коррозии арматуры, Та, принимается время, необходимое для полной нейтрализации бетона защитного слоя (см. п. 3.3). Функция снижения поперечного сечения арматуры (износа арматуры, Та), соответствует функции отказов по теории надежности.

*) Данные главы могут быть использованы при прогнозировании коррозии арматуры пролетных строений эксплуатируемых мостов.

                                    (3.10)

где DFa - площадь корродированной арматуры в процентах от первоначальной площади;

l* - показатель функции коррозии, характеризующий ее скорость при различных условиях эксплуатации;

t - возраст пролетного строения;

Ткб - время карбонизации защитного слоя, годы;

К - коэффициент ускорения процесса коррозии, обусловленный внешними условиями и определяемый:

К = Ктр · Кг · Кз,                                                (3.11)

Ктр - коэффициент, учитывающий наличие трещин после изготовления (при проектировании К =1,0);

Кг - коэффициент, учитывающий качество гидроизоляции (при проектировании Кг = 1,0);

Кз - коэффициент, зависящий от климатической зоны (при проектировании К = Кз).

3.4.2. Значения коэффициентов ускорения процесса коррозии, Ктр и Кз приведены в табл. 3.5.

Влияние трещин на коррозию арматуры может быть определено и в соответствии с инструкцией ВСН 32-89 [10], выдержка из которой приведена в Приложении 4.

Таблица 3.5

Значения коэффициентов Ктр и Кз

Вид арматуры

Коэффициент Ктр при размере трещин, Dтр

Коэффициент Кз в климатических зонах

0 мм и обжатие

< 0,2 мм

< 0,5 мм

> 0,5 мм

«Север»

«Центр»

«Юг»

Арматура продольных швов омоноличивания (нижний ряд)

1,0

1,0

1,10

1,25

1,20

1,0

0,9

Хомуты на фасадной поверхности (смачивание водой)

1,0

1,1

1,25

1,5

1,20

1,0

0,9

Хомуты на внутренних поверхностях балок

1,0

1,0

1,0

1,25

1,1

1,0

0,8

Основная арматура крайних балок и плит

1,0

1,1

1,25

1,50

1,1

1,0

0,9

Основная арматура средних балок и плит

1,0

1,0

1,10

1,25

1,1

1,0

0,8

3.4.3. Значения коэффициента, учитывающего качество гидроизоляции, Кг, приведены в табл. 3.6.

Таблица 3.6

Значения коэффициента Кг

Вид арматуры

Коэффициент Кг при качестве гидроизоляции

а

б

в

Продольные швы

1,0

1,1

1,25

Фасадные поверхности, крайняя балка или плита

1,0

1,2

1,5

Средние балки и плиты

1,0

1,0

1,1

Качество гидроизоляции отмечено тремя состояниями:

а) дефекты отсутствуют (принимается при проектировании);

б) имеются отдельные (локальные) следы протечек через бетон консолей плит или из-под тротуаров;

в) имеются протечки по всем продольным швам омоноличивания и плитам.

На стадии проектирования, при Ктр = 1,0 и Кг =1,0, можно воспользоваться базовым графиком коррозии (рис. 3.4), на котором значения показателя функции l* даны для Кз = 1,0. Базовые показатели функции l* принимаются по данным табл. 3.7.

Если коррозия арматурного элемента достигает 60 %, такой элемент в расчетах несущей способности сечения не учитывается.

Рис. 3.4. График базовых показателей коррозии арматуры при Ткб = 0; Ктр = Кг = Кз = 1,0

Таблица 3.7

Базовые значения показателя функции износа арматуры, l*

Вид арматуры

Место положения арматуры

продольные швы омоноличивания

фасадные поверхности, крайняя балка, консоль плиты

средняя балка, средние плиты

А. Пролетные строения с обычным армированием

 

 

 

нижний ряд основной арматуры

-

0,0220

0,0120

последующие ряды

-

0,0160

0,0120

отогнутые стержни

-

0,0150

0,0120

хомуты

0,0200

0,0250

0,0150

арматура продольных швов

-

-

-

арматура плиты

-

0,0200

0,0150

Б. Пролетные строения с напрягаемой арматурой

 

 

 

арматура плиты

-

-

-

нижние пучки в нижнем поясе

-

0,0150

0,0100

остальные пучки в нижнем поясе

-

0,0120

0,0100

пучки в стенке

-

0,0080

0,0080

арматура продольных швов

0,0200

0,0100

0,0080

3.5. Прогноз срока службы плиты

Срок службы плиты до допустимого снижения надежности (период работоспособного состояния) определяется по результатам расчета по прочности и выносливости плиты.

Расчет по прочности плиты

3.5.1. Изменение характеристик бетона и арматуры во времени учитывается в показателях расчетных сопротивлений, в значениях площади арматуры (коррозия) и размеров зоны сжатия бетона, , под действием временной нагрузки.

3.5.2. Прочность бетона принимается изменяющейся во времени (см. п. 3.1 и рис. 3.7). В соответствии со временем карбонизации бетона защитного слоя (п. 3.2) определяется время начала коррозии арматуры плиты, а затем, принимая нормативные темпы коррозии арматуры, устанавливается изменение во времени площади коррелированной арматуры, Fa. При этом темп износа арматуры плиты (процент потери площади) принимается в соответствии с рекомендациями п. 3.4.

При вычислении напряжений в сжатой зоне плиты дополнительно учитывают значение s (сжатие) от резкого изменения суточной температуры воздуха при 10-процентной вероятности такого изменения (коэффициент S4 = 2,5 в (3.7) и (3.8)). Вероятность принята по максимальной периодичности профилактических работ на сооружении [21].

3.5.3. Геометрические характеристики конструкции (балки, плиты) изменяются во времени из-за возможных повреждений фасадной поверхности, изменения ширины плиты крайней балки, деградации бетона плиты под гидроизоляцией и выравнивающим слоем. При проектировании (определении проектного срока службы плиты) учитывают возможное изменение ее толщины в процессе эксплуатации. Время эксплуатации плиты до начала деградации бетона под гидроизоляцией и выравнивающим слоем увязывают с периодом доремонтной эксплуатации гидроизоляции и принимается по табл. 3.8. Деградация бетона плиты начинается с момента повреждения выравнивающего слоя на всю его толщину.

Таблица 3.8

Показатели доремонтной эксплуатации

Зоны

До начала деградации бетона под гидроизоляцией, годы

Темп уменьшения толщины бетона, мм/год

выравнивающий слой

плита

«Север»

5/10

2,5/1,5

1,2/0,8

«Центр»

7/12

2,0/1,3

1,0/0,7

«Юг»

10/15

1,5/1,0

0,8/0,6

Примечание. 1. В числителе даны показатели для консоли плиты и крайних балок, в знаменателе для средних участков плиты.

2. Темп уменьшения эффективной толщины бетона получен на основании статистических данных для бетона марки М 300 (класс В22,5) и может быть уменьшен на 20 % для бетона М400 (В30).

Используя формулы СНиП 2.05.03-84*, расчетом определяется предельное усилие сечений в середине плиты и у ребра. Работоспособность плиты считается утерянной, если несущая способность в одном из сечений меньше внешнего усилия на 30 % (левая часть условия прочности).

Момент потери плитой работоспособности, исходя из ее прочности, означает необходимость усиления плиты или значительного снижения массы обращающейся временной нагрузки, что учитывается при разработке проекта эксплуатации (или соответствующего раздела в проекте моста).

Расчет на выносливость (прочность в эксплуатации)

3.5.5. Расчет на выносливость бетона и арматуры в двух сечениях плиты выполняется в соответствии с требованиями СНиП 2.05.03-84*, п. 3.26 и п. 3.39 (расчетные сопротивления), п. 3.94 (условия равновесия), и пользуясь формулами:

,                                                  (3.12)

а также формулами (117) и (118) СНиП 2.05.03-84*, которые берутся без изменения.

В формуле (3.12) принято:

eв - коэффициент асимметрии напряжений (СНиП, табл. 26), принимаемый для плиты равным единице;

Rвt - расчетное сопротивление бетона, изменяющееся во времени по сравнению с R в возрасте 28 суток (пп. 3.1.1);

Rsf - расчетное сопротивление арматурной стали растяжению;

masi - коэффициент условия работы арматуры плиты, равный

0,81 - для арматурной стали А-I;

0,67 - то же, А-II.

3.5.6. Помимо изменения прочности бетона, в расчетах учитывается возможная коррозия арматуры плиты (п. 3.4) и изменение сечения плиты.

Равенство правой и левой частей в формуле 118 (условие равновесия) п. 3.94 СНиП 2.05.03-84* означает, что арматура может выдержать 2·106 циклов нагружения. Формула 117 (упомянутого выше СНиП) указывает на то, что:

а) если бы свойства бетона не изменялись во времени, то он мог бы выдерживать 2·106 циклов приложения нагрузки А-II, т.е. при mвt = 1,0;

б) поскольку свойства бетона изменяются во времени, эксплуатация сооружения без ограничения допускается до тех пор, пока показатель

                                                         (3.13)

превышает  (по СНиП).

В (3.13) показатели  и  являются параметрами, изменяющимися во времени при изменениях прочности бетона, сечения плиты и напряжений в бетоне.

3.5.7. Для расчета работоспособности плиты по выносливости бетона и арматуры, необходимо все предполагаемые транспортные средства привести к нагрузке А-II. При этом учитывается ежегодный прирост интенсивности движения по данным ТЭО дороги. Если такие данные отсутствуют, принимают следующий ежегодный прирост числа транспортных средств:

·       4 % - на мостах федеральной дорожной сети на подъездах к крупным городам;

·       3 % - на мостах основных участков федеральной дорожной сети;

·       1,5 % - на мостах местной сети.

Состав транспортного потока, согласно которому должно определяться число эквивалентных циклов нагружения при приведении транспортных средств к нагрузке А-II, принимают по данным пунктов учета. При отсутствии необходимых данных допускается принимать состав движения по табл. 3.9 (учтены только автомобильные транспортные средства).

Таблица 3.9

Нормируемый состав движения (для проектирования)

№ п.п.

Характеристика автомобильного транспортного средства

Состав движения, %

федеральная дорожная сеть

местная дорожная сеть

1.

Легковые автомобили

60

50

2.

Легкие грузовые автомобили (полная масса Q £ 3,5 т)

3

10

3.

Средние грузовые автомобили (Q £ 10 т)

5

15

4.

Тяжелые грузовые автомобили (Q £ 20 т)

10

15

5.

Сверхтяжелые автомобили (Q > 3,5 т)

 

 

- трехосные автомобили

7

5

- автомобили с прицепом:

 

 

Q < 30 т (четыре оси)

10

5

Q < 40 т (пять осей)

3

-

Q < 50 т (шесть осей)

2

-

3.5.8. При определении напряжений в бетоне и арматуре плиты, усилия от нагрузки, А-II определяют в соответствии с требованиями СНиП, т.е. нагрузка располагается в наиболее невыгодном положении. В расчете учитывают напряжения в наиболее нагружаемом участке (или в середине пролета плиты, или над ребром).

3.5.9. Число эквивалентных циклов нагружения определяется по специальным методикам, разрешенным для применения. В этих методиках может быть использован различный критерий эквивалентности. Наиболее правильным является определение числа эквивалентных циклов нагружения по кривым усталости бетона и арматуры, построенным по известным зависимостям (глава 4).

При определении эквивалентности воздействия на плиту и годового числа нагружения, Ni, оцениваются напряжения от каждой оси транспортного средства, которые сравниваются с суммарными напряжениями, создаваемыми одной осью тележки, А-II (Р = 11,0 тс) и распределенной нагрузкой (V = 1,1 т/м). За базовую нагрузку принимается воздействие одной оси и распределенной нагрузки.

3.5.10. Прогнозируемый срок службы плиты, рассчитываемый по модели выносливости бетона и арматуры, является функцией изменения свойств бетона и арматуры, а также условий движения и зависит от отношения N0/Ni, где

N0 - базовое число воздействий 11-тонной оси и распределенной нагрузки (2·106 циклов);

Ni - эквивалентное годовое воздействие осей транспортных средств (одно эквивалентное воздействие вызывает те же напряжения в материале, что и проектное воздействие).

3.5.11. При наличии автоматизированного расчета (расчетного комплекса) целесообразно выполнять «погодовой» расчет на выносливость, который заключается в следующем:

1-й год эксплуатации -

Ø     определяется число эквивалентных циклов и годы эксплуатации, Т1, для состава движения и характеристик материалов, имеющихся на тот момент;

Ø     устанавливается годовое накопление повреждений от многократно повторяющихся воздействий, исходя из условий 1-го года

2-й год эксплуатации -

Ø     определяется число эквивалентных циклов и годы эксплуатации, Т2, исходя из условий 2-го года, а именно с учетом изменившихся показателей интенсивности движения и свойств бетона;

Ø     определяется годовое накопление повреждений от многократно повторяющихся воздействий, исходя из условий второго года

iгод эксплуатации -

Ø     определяется эквивалентное число циклов и годы эксплуатации, Тi, для условий движения и характеристик материалов, имевшихся на год ti, т.е. учитываются изменившиеся:

·       условия и состав движения;

·       максимальная масса зарегистрированных транспортных средств;

·       прочность бетона;

·       сечение бетона в зоне сжатия (вследствие разрушения, размораживания);

·       сечение арматуры (влияние коррозии);

Ø     определяется годовое накопление повреждений в бетоне и арматуре от многократно повторяющихся воздействий, исходя из условий i-го года

Прогнозируемый срок службы плиты, рассчитываемый по модели выносливости арматуры, определяется на момент, когда сумма годовых накоплений повреждений становится равной единице, т.е. выполняется условие (рис. 3.5)

                                                      (3.14)

Рис. 3.5. График накопления усталостных повреждений (wt) в плите:

DТ - остаточный ресурс.

3.6. Прогноз срока службы балок пролетных строений, исходя из расчета по модели прочности

3.6.1. Срок службы определяется расчетом по модели прочности пролетных строений нормальных сечений в середине пролета и наклонных сечений в приопорном участке. При этом, критерием работоспособности проектируемого пролетного строения, является снижение его надежности в эксплуатации до допустимой величины (вероятность Р = 0,90) [22].

В формулах (56) - (58), (95) - (97), (103) и (104) СНиП 2.05.03-84* учитываются изменяющиеся во времени значения прочности бетона, толщины ребра и плиты, площади обычной арматуры с учетом возможной коррозии после срока Ткб.

3.6.2. Проверка прочности по различным критериям выполняется для разного возраста конструкций, расположенных в поперечном сечении пролетного строения в разных его местах - по краям и середине. Работоспособность балки пролетного строения, определяемая тем или иным критерием, считается утраченной, если левая часть условия прочности (внешнее усилие) превышает правую часть (несущая способность) на 30 %.

Момент потери балкой работоспособности означает необходимость ее усиления или значительного снижения массы подвижной временной нагрузки, что учитывается при разработке Проекта эксплуатации моста.

3.7. Регулирование работоспособности при проектировании

3.7.1. На стадии проектирования увеличение периода эксплуатации пролетного строения до потери его работоспособности возможно за счет применения материалов с лучшими характеристиками (по сравнению с минимальными значениями, приведенными в СНиП) и применения конструктивных мер.

Регулирование работоспособности конструкций за счет характеристик материала достигается:

а) увеличением прочности и морозостойкости бетона, особенно в зоне обжатия:

Ø     улучшаются показатели выносливости плиты;

Ø     улучшается напряженное состояние;

Ø     отодвигается момент начала деградации бетона под гидроизоляцией и снижается ее темп (примерно на 10 %, по сравнению с данными табл. 3.8 при изменении класса бетона на 100 ед.).

б) применением арматуры периодического профиля с защитным покрытием:

Ø     в зависимости от типа покрытия время эксплуатации до начала коррозии может быть увеличено по сравнению с рассчитанной величиной Ткб;

Ø     снижается темп коррозии (уменьшение на 20 % и более показателя l, приведенного в табл. 3.7).

3.7.2. Регулирование работоспособности пролетных строений конструктивным путем достигается за счет:

а) защиты бетона от воздействия окружающей среды путем устройства специальных покрытий, обеспечивающих:

v    уменьшение показателей DR и DE, приведенных в табл. 3.1, на 40, 20 и 10 % для зон Iа; Iб и Iв, соответственно;

v    увеличение времени на карбонизацию бетона защитного слоя по сравнению с нормируемой скоростью карбонизации, указанной в табл. 3.4.

б) дополнительного армирования плиты и балок по сравнению с требуемым по расчету.

Глава 4. ПРОГНОЗИРОВАНИЕ СРОКА СЛУЖБЫ ПОСТРОЕННОГО ПРОЛЕТНОГО СТРОЕНИЯ

4.1. Общие положения

4.1.1. Рекомендации данной главы используют при прогнозировании срока службы изготовленных конструкций (рекомендации предыдущего раздела касались прогноза на стадии проектирования). Прогнозируемый срок службы устанавливается расчетным путем, ориентируясь на требования СНиП 2.05.03-84* и принимая реальные исходные характеристики материалов и конструкций, изготовленных на заводе МЖБК и на строительной площадке. Прогнозируется работоспособность и предельный срок службы сооружения в возрасте, не превышающем период приработки Т0.

4.1.2. Прогнозирование выполняется для следующих элементов пролетного строения:

q      плита

а) расчет по модели выносливости, в двух сечениях;

·       вблизи вута;

·       по продольному шву омоноличивания;

б) расчет по модели прочности плиты;

q      фасад - расчетное определение времени достижения предельного износа защитного бетонного слоя;

q      балки (крайние и средние) с обычной арматурой, расчет по модели прочности:

а) нормальных сечений;

б) наклонных сечений при действии поперечной силы;

в) то же, изгибающих моментов;

г) расчеты по модели раскрытия трещин, нормальных и наклонных к продольной оси;

q      балки (крайние и средние) с напрягаемой арматурой.

Кроме упомянутых выше расчетов для балок с обычной арматурой выполняются дополнительные расчеты:

а) по образованию продольных трещин от нормальных сжимающих напряжений в нижнем поясе балок;

б) по главным растягивающим напряжениям в стенке балки.

4.1.3. Для расчета работоспособности и предельного срока службы построенного железобетонного пролетного строения используются фактические характеристики арматуры и бетона сборных конструкций (заводские данные либо данные, полученные при монтаже конструкций), а также характеристики арматуры и бетона монолитных участков (данные строительства). В частности, используются следующие фактические исходные данные по материалам:

·       прочность бетона, с обеспеченностью 0,95;

·       класс (марка) бетона, по которому назначаются расчетные сопротивления;

·       изменение прочности бетона;

·       толщина защитного слоя бетона продольного шва омоноличивания (снизу), стенок балок в приопорных участках, нижнего пояса балок в середине пролета, плиты балок в середине пролета;

·       показатель водонепроницаемости бетона балок и продольных швов омоноличивания;

·       прочность арматуры (основной напрягаемой и обычной арматуры балок и плит, хомутов);

·       дополнительные напряжения в бетоне вследствие технологических ошибок при изготовлении и монтаже балок, приведшие к появлению трещин.

4.1.4. При осмотре конструкции фиксируются трещины:

Ø     на поверхности стенки, вдоль хомутов (вертикальные);

Ø     температурно-усадочные трещины в стенке;

Ø     в месте контакта бетона продольных швов омоноличивания с железобетонной плитой балок, изготовленных в заводских условиях;

Ø     поперечные трещины в плите;

Ø     горизонтальные трещины в нижнем поясе.

Оцениваются качество гидроизоляции и работоспособность системы водоотвода.

4.1.5. Определяемые сроки службы дают возможность устанавливать время проведения ремонтно-восстановительных мероприятий и срок перестройки сооружения.

По значениям предельного срока службы бетонного защитного слоя фасадов и плиты между крайними балками (сечение по шву омоноличивания) назначается время проведения планово-предупредительного ремонта. При этом также принимается во внимание износ элементов мостового полотна: гидроизоляции, покрытия, деформационных швов, сопряжении, тротуаров.

По результатам расчета работоспособности балок, используя показатели трещиностойкости, определяется время проведения специальных профилактических работ (пропитка защитного слоя или инъектирование) или необходимость пропитки бетона перед вводом моста в эксплуатацию.

Рассчитываемый по моделям прочности и выносливости срок службы плиты позволяет определять работоспособность конструкций, т.е. время выполнения ремонта плиты, в процессе которого могут быть усилены плиты, продольные швы омоноличивания и сами балки. Эти значения срока службы конструкций определяют также время, когда необходимо изменить условия движения на мосту (например, сузить временно проезжую часть и снизить массу транспортных средств).

Определяемый расчетом предельный срок службы конструкций (балок и плит) соответствует времени перестройки сооружения (пролетного строения).

4.2. Характеристики материалов и конструкций

4.2.1. Прочность бетона устанавливается при обследовании балок в сечениях, участвующих в расчетах. В частности, если анализ проводится в процессе строительства, определяют прочность плиты сверху и снизу в приопорных участках и в середине пролета, прочность в ребре балок в приопорных участках и прочность бетона нижнего пояса в середине пролета предварительно напряженных балок. Прочность определяют одним из стандартных методов с определением класса бетона В и расчетного сопротивления, Rв [23], [24].

Для бетона плиты дополнительно определяется коэффициент вариации прочности, Vв.

Фактические значения прочности используются для построения графика изменения прочности во времени (см. п. 3.1).

4.2.2. Прочность арматуры принимается в соответствии с сертификатами, фиксирующими результаты заводских испытаний арматуры на разрыв. По результатам испытаний устанавливается фактический коэффициент вариации прочности. При отсутствии испытания образцов коэффициенты вариации принимают равными:

Vs = 0,077 - арматурные стержни классов А-I и А-II;

Vs = 0,090 - арматурные стержни классов А-III и А-IV;

Vs = 0,066 - высокопрочная гладкая проволока.

Расчетное сопротивление, Rs, и нормативное сопротивление, Rsn, арматуры устанавливаются по СНиП 2.05.03-84* в зависимости от класса арматуры. Временное сопротивление, Rnn, принимается в этом случае по соответствующим стандартам.

4.2.3. Толщина защитного слоя устанавливается фактическими замерами на участках, по которым осуществляется прогноз карбонизации и последующей коррозии арматуры (см. п. 3.3 и п. 3.4). Толщина защитного слоя плиты определяется по верхней поверхности над балками (до укладки слоев одежды) и по нижней поверхности продольных швов омоноличивания (середина пролета плиты). Толщина защитного слоя стенки измеряется с двух сторон и в расчете принимают значения с меньшей толщиной, аmin. Возможно использовать значения ai по данным измерений на заводе-изготовителе [25, 26].

Значения а, замеренные на построенном или строящемся мосту, вносятся в (3.9) и далее в (3.10) для прогноза коррозии (см. п. 3.4):

·       нижней арматуры продольных швов омоноличивания;

·       хомутов в приопорных участках крайних балок или фасадных поверхностей, а также в приопорных участках средних балок;

·       верхней арматуры плиты над ребрами (балками);

·       основной арматуры нижнего пояса в середине пролета.

4.2.4. Водонепроницаемость бетона устанавливается стандартными методами контроля на построенном пролетном строении. Показатель фактической водонепроницаемости используется при прогнозировании карбонизации бетона защитного слоя (см. п. 3.3).

4.2.5. Геометрические параметры балок пролетных строений построенного моста определяются по результатам контрольных замеров:

а) толщины ребра, учитываемой при определении показателя массивности элемента (см. п.3.2), и площади сечения - при расчетах на трещиностойкость;

б) толщины плиты, влияющей на поперечную жесткость пролетного строения.

На основании уточненных геометрических размеров балок пролетных строений расчетом определяют:

·       прогнозируемое изменение толщины плиты во времени (см. табл. 3.8);

·       момент инерции приведенного сечения, Jred (пп. 3.5.6);

·       напряжения сжатия в элементах сечения;

·       расчетные температурные напряжения (п. 3.2).

4.2.6. Состояние конструкций и элементов устанавливается при обследовании моста и учитывается при определении коэффициентов ускорения коррозии, Кг (качество гидроизоляции) и Ктр (наличие трещин, обусловленных изготовлением, см. пп. 3.4.1).

Качество гидроизоляции учитывается при определении не только темпов коррозии арматуры, но и периода приработки, Т0. В частности, значения Т0 (см. табл. 2.1 и табл. 2.2) в зависимости от качества гидроизоляции могут быть снижены (введением понижающего коэффициента mi):

в эксплуатируемом сооружении имеются

Ø     протечки из-под тротуарных блоков - m1 = 0,8 для крайних балок;

Ø     протечки по крайним продольным швам омоноличивания (стыки между крайними балками) и вдоль деформационные швов - m1 = 0,4 для крайних балок; m1 = 0,8 для средних балок;

Ø     протечки в плите снизу в средних участках пролетных строений, для средних балок:

а) локальные протечки - m1 = 0,5 и

б) сплошные - m1 = 0,2.

Значения Т0 зависят также и от качества системы водоотвода построенного сооружения. Так, если на проезжей части пролетного строения отсутствуют продольный и поперечный уклоны, то к нормативному значению Т0 вводится дополнительный коэффициент условия работ, m2 = 0,5.

4.3. Определение срока службы плиты по показателю выносливости

4.3.1. Срок службы бетонной плиты при потере выносливости рекомендуется определять, с учетом воздействия нагрузки случайного характера и прочности материала, по формуле:

                                                  (4.1)

где Vв - коэффициент вариации прочности бетона;

h - коэффициент, равный

smax - максимальные напряжения в бетоне от реальной эксплуатационной нагрузки (с учетом требования СНиП, п. 3.4);

a - коэффициент, зависящий от уровня напряжений, создаваемых постоянной нагрузкой, и коэффициента вариации временной нагрузки Vs (табл. 4.1),

sn - минимальные напряжения в бетоне;

Rвп - призменная прочность бетона (средние значения);

В - коэффициент, учитывающий изменение прочности бетона во времени, его постепенную деградацию (gR,w см. п. 3.1) и рост прочности бетона во времени, который принимается в соответствии с СНиП 2.05.03-84, п. 3.2.6 или табл. 4.2 данной Методики (bв);

g - коэффициент, зависящий от принятой обеспеченности расчетного срока службы и соответствующий требуемому индексу надежности для построенного сооружения, 3,0.

Для бетона железобетонной плиты, рассчитываемой по показателю выносливости, кривая усталости, по которой определяется число эквивалентных циклов, строится по упрощенной зависимости

                                              (4.2)

Таблица 4.1

Значения коэффициента а при различных значениях an

Коэффициент вариации временной нагрузки, Vs

an = sn/Rвп

0

0,1

0,2

0,3

0,4

0,5

0

0,595

0,635

0,668

0,703

0,730

0,783

0,05

0,570

0,603

0,634

0,658

0,675

0,691

0,10

0,527

0,552

0,571

0,587

0,599

0,605

0,15

0,481

0,492

0,502

0,511

0,520

0,529

Таблица 4.2

Значения коэффициента bв

Класс бетона по прочности при сжатии, В

В 27,5 и ниже

В 30

В 40

В 50

В 55

В 60

bв

1,34

1,31

1,28

1,26

1,21

1,20

4.3.2. Расчет срока службы по потере выносливости арматуры основывается на применении гипотезы линейного суммирования усталостных напряжений. Срок службы при напряжениях, принимаемых по табл. 4.3, определяют с учетом случайного характера воздействия нагрузки и прочности арматуры:

                                                  (4.3)

где Vs - коэффициент вариации прочности арматуры, принимаемый на основе анализа статистически обработанных результатов испытаний на разрыв образцов арматуры, поступившей на завод:

0,090 - то же, А-III и А-IV;

0,066 - высокопрочная гладкая проволока;

m - параметр кривой выносливости, принимаемый по табл. 4.3;

h - коэффициент, равный

                                                          (4.4)

где  - максимальные напряжения в арматуре, создаваемые эксплуатационной нагрузкой;

Rnn - предел прочности арматуры при статическом действии нагрузки;

a - коэффициент, зависящий от уровня напряжений, создаваемых постоянной нагрузкой, an = sn/Rnn, и коэффициента вариации временной нагрузки, Vs. Значения коэффициентов a, m и  приведены в табл. 4.3.

При s » 0,

Расчеты могут выполняться с учетом использования номограммы рис. 4.1 (для арматуры класса В-II) и рис. 4.2 (для арматуры класса А-II).

Кривая выносливости арматуры может быть принята по работам [26, 27].

Таблица 4.3

Значения коэффициентов a, m,  для различных видов арматуры

Коэффициент

an = sn/Rnn

0

0,1

0,2

0,3

0,4

0,45

0,5

0,55

0,6

Арматура класса А-I (А-IV)**

А*

0,428

0,493

0,556

0,618

0,682

-

0,737

-

-

0,406

0,472

0,536

0,598

0,661

-

0,727

-

-

М

10

14

20

26

36

-

50

-

-

sn/Rnn

0,306

0,366

0,425

0,480

0,540

-

0,589

-

-

Арматура класса А-II (А-III)**

А*

0,335

0,403

0,472

0,541

0,616

-

-

-

-

0,322

0,391

0,459

0,529

0,603

-

-

-

-

М

8

11

14

21

30

-

44

-

-

sn/Rnn

0,231

0,292

0,349

0,416

0,483

-

0,543

-

-

Арматура класса B-II

А*

-

-

-

-

-

0,608

0,646

0,684

0,722

-

-

-

-

-

0,600

0,638

0,676

0,714

М

-

-

-

-

-

38

44

52

63

sn/Rnn

-

-

-

-

-

0,495

0,530

0,563

0,599

*) В числителе - для Vs = 0,05; в знаменателе - для Vs = 0,10.

**) В скобках указан класс арматуры, не испытанной на выносливость (показано условно).

Рис. 4.1. Срок службы по выносливости высокопрочной арматуры класса В-II

Рис. 4.2. Номограмма. Срок службы по выносливости арматуры (класс А-II)

4.3.3. Срок службы по показателям выносливости позволяет определять время эксплуатации до усиления плиты, замены бетона продольных швов омоноличивания или верхнего слоя бетона плиты, т.е. время проведения работ, относящихся, по классификации [1], к ремонту моста. Срок службы, определяемый по требованиям настоящей главы, может быть увеличен, если предусмотреть в расчетах, что в какой-то момент Т, в интервале времени эксплуатации моста, между точками А и Б (см. рис. 1.1), вводятся ограничения по массе транспортных средств. Введение таких ограничений означает уменьшение расчетного значения  и приведенного числа нагружений N1 по (4.1) и (4.3).

В Проекте эксплуатации моста или Рекомендациях по эксплуатации, разработанных по результатам обследований эксплуатируемых мостов, указывается желательное время введения ограничений по массе (TQ) и период эксплуатации до ремонта после введения ограничений. Наиболее целесообразным для введения ограничений является интервал времени между Тр (работоспособность по (4.1) и (4.3)) и Т0, а именно

                                                      (4.5)

4.3.4. Расчет плиты по прочности выполняют в соответствии с требованиями п. 3.5, но принимая характеристики материалов и конструкций, установленные при обследовании эксплуатируемого сооружения.

4.4. Определение срока службы пролетных строений по показателям несущей способности балок

4.4.1. Внешние усилия, передаваемые на балки пролетных строений, определяют, используя пространственные методы расчета. В расчетах по прочности и трещиностойкости принимаются фактические прочностные характеристики арматуры и бетона. Величина напряжений, создаваемых натяжением арматуры, устанавливается по журналам ведения работ.

4.4.2. Сроки службы определяются на основании расчетов, указанных в пп. 4.1.1. При этом в формулы СНиП [1] вводятся фактически характеристики материалов и конструкций и значения коэффициентов условий работы, приведенные в п. 4.2.

Расчетом устанавливаются два показателя долговечности - работоспособность и предельный срок службы. Время потери работоспособного состояния определяют по наиболее нагруженной балке, принимая в качестве критерия момент, когда левая часть условий прочности (см. формулы СНиП [1] - 52, 54, 57, 94 - 96, 101, 103 - 105) превысит правую на 30 %. Аналогичное превышение, характеризующее снижение индекса надежности до 1,3, является определяющим работоспособность в расчетах по трещиностойкости (см. СНиП [1], табл. 40 и формула 124).

Работоспособность, рассчитываемая по прочности, определяет время начала выполнения ремонтных работ (усиление элементов). Результаты расчета по трещиностойкости указывают на время введения ограничений по массе транспортного средства (расчет по трещинообразованию, см. п. 3.103* СНиП [1]) и время начала проведения профилактических работ по защите бетонной поверхности (расчет по раскрытию трещин).

4.4.3. Предельный срок службы определяют по результатам перерасчета конструкции на прочность только по характеристикам материалов, прогнозируемым на период после потери работоспособности, Тp. При этом принято, что при потере работоспособности пролетное строение будет отремонтировано, а несущая способность балок, по которой определяют Тp, восстановлена. Учитывая это, предельный срок службы, определяемый на стадии приемки нового сооружения (или «молодого» сооружения, когда ti £ Т0), представляет собой срок эксплуатации до потери работоспособности неотремонтированных балок. В Проекте эксплуатации моста могут быть даны показатели работоспособности всех балок.

Примером определения предельного срока службы по прочности на стадии приемки может служить рис. 4.3, на котором показано изменение предельного усилия (момента или поперечной силы) во времени для шести балок пролетного строения (1, 2 ...) по сравнению с требуемым предельным усилием . Наиболее нагруженные балки, 1 и 6, имеющие наименьший резерв, утратили свою работоспособность к моменту Тр, после чего были усилены (кривая 3). Предельный срок службы, указанный в Проекте эксплуатации моста, может определяться временем потери работоспособности менее загруженным балками 3 и 4 или повторной потерей работоспособности отремонтированных балок 1 и 6.

Рис. 4.3. Прогноз работоспособности балок пролетного строения:

1 - резерв в несущей способности, полученный на стадии проектирования и строительства; 2 - снижение прочности для различных балок пролетного строения; 3 - ремонт (усиление) четырех балок в момент ti = Тр; 4 - снижение прочности отремонтированных балок.

4.5. Увеличение срока службы в процессе строительства

Регулирование срока службы в процессе строительства возможно за счет внесения изменений в характеристики материалов и конструкций на различных этапах строительства. Например, если своевременно обнаруживается проявление недостатков строительства, то следует считать возможным и оправданным:

v    применение балок с большей несущей способностью по сравнению с первоначальными требованиями;

v    применение бетона повышенной прочности;

v    регулирование толщины защитного слоя и количества арматуры.

Более реальным в процессе строительства, а в некоторых случаях и по его завершению, является не регулирование, а увеличение работоспособности и срока службы за счет:

q      увеличения размеров консоли плит крайних балок путем устройства карнизов, что снижает влияние климатических факторов на старение бетона фасадных поверхностей;

q      защиты поверхности бетона специальными защитными покрытиями с увеличенным сроком службы;

q      замены гидроизоляционных систем и дополнение системы водоотвода дренажными устройствами;

q      инъектирования появившихся трещин;

q      применения бетона повышенной прочности.

ГЛАВА 5. ОПРЕДЕЛЕНИЕ ОСТАТОЧНОГО РЕСУРСА ПРОЛЕТНЫХ СТРОЕНИЙ ЭКСПЛУАТИРУЕМЫХ МОСТОВ

5.1. Общие положения

5.1.1 Рекомендации данной главы используются при прогнозировании срока службы эксплуатируемых мостов (возраст больше Т0). Основанием для прогноза служат исходные данные на момент строительства (начальные характеристики) и данные на момент идентификации (обследования), которые экстраполируются на будущее.

Прогнозируется работоспособность и предельный срок службы на основании расчета конструкций по фактическим параметрам старения материалов.

5.1.2. Выполняются расчеты срока службы эксплуатируемых мостов по показателям:

q      выносливости плиты;

q      прочности нормальных и наклонных сечений балок;

q      продольной трещиностойкости балок;

q      выносливости хомутов в зоне трещин.

5.1.3. Особенностью определения остаточного ресурса эксплуатируемых пролетных строений является то, что все характеристики принимаются не по нормативным значениям, а определяются на основании фактических замеров.

Определяются все характеристики, упомянутые в пп. 4.1.3, а также:

Ø     фактическая толщина элементов;

Ø     коррозия арматуры (хомутов и основных стержней);

Ø     величина обжатия бетона в предварительно напряженных конструкциях (по специальной методике);

Ø     наличие трещин в несущих конструкциях для последующего определения их влияния на несущую способность сечения (по специальной методике);

Ø     процент содержания хлоридов в бетоне;

Ø     коэффициент вариации при оценке карбонизации бетона.

5.2. Характеристики материалов и конструкций. Параметры воздействий

5.2.1. Прочность бетона на момент идентификации определяется по результатам измерений, а график изменения прочности для различных участков строится с учетом показателей прочности из исполнительной документации и требований СНиП, табл. 25 [1]. График изменения прочности (по аналогии с рис. 3.1 и пп. 3.1.3 настоящей Методики) включает: участок набора прочности и участок снижения прочности. Участок набора прочности строится по двум характерным точкам:

1 -я - прочность на момент t = 0;

2-я - прочность на момент завершения ее нарастания.

Последовательность построения графика изменения прочности

1. По документации устанавливается прочность бетона конструкции на 28 сутки (R28). При отсутствии паспорта на бетон или данных испытания бетонных кубиков в процессе строительства, в качестве начальной прочности бетона принимаются данные проекта. При отсутствии проектной и рабочей документации на конструкции пролетных строений значения прочности определяются по требованиям типового проекта, а для индивидуальных конструкций - согласно требованиям нормативного документа, действующего на момент проектирования объекта.

2. Устанавливается возможное время продолжения набора прочности в период эксплуатации. Принимается параболическая функция набора прочности. Для примера, на рис. 5.1, а такая точка (2) соответствует Т0 - 10 лет (марочная прочность от начального значения, М300, возросла до М390).

3. Рассчитывается теоретическая кривая деградации бетона, используя требования п. 3.1 (пунктирная линия на рис. 5.1, а). Снижение прочности по (3.3) для срока эксплуатации Тi = 50 лет равно:

т.е. теоретическая марочная прочность на момент Тi = 50 лет составляет: (1 - 0,77)·300 = 70 кг/см2.

4. Суммируя данные набора прочности и деградации бетона, получают результирующую кривую изменения прочности бетона (кривая А на рис. 5.1, а).

Указанная кривая для рассматриваемого примера соответствует условиям:

Ø     начальная марочная прочность - М300;

Ø     увеличение прочности по СНиП - до М390 (k = 1,3);

Ø     мост находится в средней климатической зоне («Центр»),

Ø     объект - крайняя балка;

Ø      - в результате чего w = 0,0026;

ks = 1,2; kt = 1,65; DR = 3,0.

5. Устанавливается фактическая прочность бетона на момент идентификации (Тi = 30 лет) и это значение наносится на итоговый график изменения прочности.

6. Определяется расчетная функция деградации бетона (износа), которая зависит от фактического значения Rвt. В частности, если фактическая марочная прочность соответствует теоретической (кривая А, рис. 5.1, а) или отличается от нее не более чем на 10 % (т.е. 252 ± 25,2 кг/см2), то в качестве расчетной принимается теоретическая кривая деградации (см. рис. 5.1, б; заштрихованная зона).

Если фактическая марочная прочность отличается от теоретической более, чем на 10 % (она может располагаться выше или ниже теоретического значения - см. точки 4 и 5 на рис. 5.1, б), то в качестве расчетной принимается экспоненциальная кривая, проходящая через точки 3 и 4 (или точки 3 и 5).

                                                  (5.1)

где  - изменение прочности на любой момент t*;

 - прочность бетона после прекращения ее нарастания (точка 3, на рис. 5.1, б);

t* - продолжительность эксплуатации с момента начала деградации (т.е. с Т0 = 10 лет);

l - функция деградации (износа). Для примера, на рис. 5.1, б, соответственно:

l4 = 0,006;

l5 = 0,016.

Рис. 5.1. Прогнозирование прочности бетона в крайней балке железобетонного пролетного строения

5.2.2. Прочность арматуры принимается по исполнительной документации или пп. 4.2.2, если не обнаружена значительная коррозия стержней. Если на арматуре имеются толстые слоистые окислы продуктов коррозии, для начальной прочности вводится коэффициент 0,95.

Коррозия арматуры, учитываемая в расчете по площади арматуры, Fa, определяется для каждого ряда арматуры, а увеличение коррозии принимается как функция износа с момента полной карбонизации защитного слоя.

                                               (5.2)

Если износ арматуры (Иa) превышает 60 %, арматурные стержни в расчете не учитывают. За расчетную величину Fa принимается суммарная площадь арматуры в пакете с учетом коррозии.

5.2.3. Карбонизация бетона защитного слоя определяется для установления момента начала коррозии арматуры.

Вероятностная модель процесса износа бетона защитного слоя по степени его карбонизации и выщелачивания:

                                             (5.3)

где a, Kэ, Vа, Vkэ - средние значения толщины защитного слоя и скорости процесса, коэффициенты вариации, определяемые по результатам замеров:

                              (5.4)

Расчеты Ткб возможно проводить по номограмме (рис. 5.2) с использованием значений Vn, Vkэ, Кэ (табл. 5.1) и a.

Обозначения, принятые в номограмме:

a - средняя толщина защитного слоя бетона (мм);

Vа, Vkэ, Vx - коэффициенты вариации защитного слоя, диффузии и глубины карбонизации, соответственно;

gn - характеристика надежности (gn = 1,645 при вероятности 0,95), квантиль;

Кэ - средняя величина эффективного коэффициента диффузии (мм/год1/2), где

                                                          (5.5)

где а1 - замеренная глубина карбонизации;

n - число измерений;

t1 - возраст бетона.

Изменение глубины карбонизации во времени может быть принято по линейной зависимости.

Рис. 5.2. Номограмма для определения Ткб.

5.2.4. Геометрические параметры - толщина элементов, площадь сечений - определяются по фактическим замерам (см. пп. 4.2.5). Графическая интерпретация изменения характеристик hв, fв, Rв, Fa и Ткб через показатели износа приведена на рис. 5.3, на котором условно показано несколько характерных точек:

1 - фактическая площадь бетона на момент идентификации;

2 - прочность бетона на момент Т0;

3 - уменьшенная прочность бетона на момент идентификации;

4 - предельное снижение прочности бетона (предельный износ);

5 - продолжительность карбонизации защитного слоя;

6 - зафиксированный процент коррозии арматуры на момент идентификации.

Рис. 5.3. Изменение во времени сечения бетона плиты (Fв), прочности бетона (Rв) и сечения арматуры из-за коррозии (Fa):

1 - 6 - характерные временные точки (пп. 5.2.4).

5.2.5. Количество эквивалентных годовых циклов нагружения плиты балок определяется по отношению к осевой нагрузке эталонного грузовика, Q = 12 т [10] или к осевой нагрузке А-II. При этом рассматривается состав движения на момент идентификации и на момент строительства (т.е. в прошлом).

Учет различных условий движения в прошлом дает возможность установить реальные условия нагружения, которые зависят от интенсивности движения, состава потока и максимального веса автомобиля. Если у владельца дороги отсутствуют указанные данные за прошедшие годы, допускается принимать:

·       годовой темп роста интенсивности, дороги I - III категории - 3 % и дороги IV - V категории - 1,5 %;

·       процентный состав потока - по данным на год идентификации;

·       максимальный вес транспортного средства (сверхтяжелые нагрузки) - по табл. 5.2.

Таблица 5.1

Значения величин Кэ, Vкэ, Vа при различных условиях эксплуатации железобетонных конструкций

№ п/п.

Условия эксплуатации конструкций

Кэ, мм/год1/2

Vкэ

Vа

1.

На открытом воздухе (опоры, плиты, покрытия, пролетные строения) [24]

 

 

 

1.1.*)

Бетон повышенной плотности (r > 0,86), марка по водонепроницаемости:

 

 

 

 

B(W)8

0,15

0,1

0,1

 

B(W)6

0,50

 

 

1.2.*)

Бетон повышенной плотности (r > 0,82); марка по водонепроницаемости

 

 

 

 

B(W)4

2,5

0,2

0,15

1.3.*)

Неплотный бетон (r < 0,82); марка по водонепроницаемости менее

 

 

 

 

B(W)4

5,0

0,3

0,25

2.

Опоры, плиты, покрытия, пролетные строения мостов, эксплуатируемые в средах с различной степенью агрессивности (по признаку карбонизации, выщелачивания бетона и проникания кислых вод в бетон) [25]

 

 

 

2.1.

Среда слабой степени агрессивности

2,0 - 3

0,20

0,17

2.2.

Среда средней степени агрессивности

3,0 - 5,0

0,25

0,17

2.3.

Среда высокой степени агрессивности

5,0 - 8,0

0,30

0,17

*) Плотность бетона на эксплуатируемом объекте определяется по результатам испытания кернов или другими (неразрушающими) способами, по специальным методикам.

Таблица 5.2

Показатели для сверхтяжелых транспортных средств

Характеристика транспортного средства

Показатели для периода, год

до 1961

1961-1975

1975-1990

после 1990

Наибольшая масса, т:

 

 

 

 

- эталонный автомобиль

15

20

22

24

- автомобиль с полуприцепом

20

30

40

50

Число осей:

 

 

 

 

- эталонный автомобиль

2

3

3

3

- автомобиль с полуприцепом

3

4

5

6

Наибольшее давление на ось, т:

 

 

 

 

- эталонный автомобиль

10

8

9

9,5

- автомобиль с полуприцепом

8

8

9

10

Число задних тележек и количество осей в тележке:

 

 

 

 

- эталонный автомобиль

1 (1)

1 (2)

1 (2)

1 (2)

- автомобиль с полуприцепом

2 (1)

2 (1 + 2)

2 (2 + 2)

2 (2 + 3)

Наибольшее давление на заднюю тележку, т:

 

 

 

 

- эталонный автомобиль

10

16

18

19

- автомобиль с полуприцепом

8

16

18

25

5.3. Остаточный ресурс по критерию выносливости плиты

Расчетом плиты в поперечном направлении используется для определения срока службы по потере выносливости нижней поперечной арматуры в середине плиты и верхней арматуры над балкой, а также по потере выносливости бетона в верхних волокнах середины плиты (продольные швы омоноличивания) и по низу в месте примыкания к вуту. Расчеты выполняют в соответствии с требованиями п. 4.3, но с учетом установленных фактических функций деградации материалов (п. 5.2).

Значения Тсл определяют по данным на начало эксплуатации (по начальным характеристикам материалов и начальным условиям нагружения) и по данным на время идентификации, т.е. получаем показатели Тсл,0 и Тсл,ti. По этим показателями определяют годовой процент накопления повреждений на указанное время - w0 и wt (см. пп. 3.5.11). По этим показателям строится обобщенный график изменений Wi, используя функцию (еlt - 1), и определяется остаточный ресурс Тост. Критерием достижения предельного накопления повреждений (Т*) является момент достижения суммарного значения wi по годам, величиной, равной 1,0, т.е.

                                           (5.6)

5.4. Остаточный ресурс по критерию продольной трещиностойкости

5.4.1. По данному критерию изменяющийся во времени ресурс предварительно напряженных конструкций вычисляют через критические коэффициенты интенсивности, К, по формуле:

                                                     (5.7)

                                   (5.8)

где y - ресурс прочности по критерию продольной трещиностойкости;

Кt1, К0, Кmin - резерв (запас), рассчитываемый по параметрам СНиП [1], соответственно, на момент технической диагностики, на начало и конец эксплуатации;

Rвmin = Rв,mc2 - - см. СНиП, п. 3.24 (величина Rвmin в конце эксплуатации должна быть меньше Rв,mc2).

Формула (5.7) может быть преобразована в более удобный для расчета вид:

                                             (5.9)

где 0,4 - пороговый уровень ресурса по показателю продольной трещиностойкости [28 - 30], определяющий работоспособность конструкций, Тp.

5.4.2. Напряжение sвt1 вычисляют с учетом изменения во времени характеристик расчетных элементов сечения: свойства бетона плиты, стенки, нижнего пояса, напряжений в арматурных пучках, а также с учетом образования поперечных трещин, нарушения связей между элементами пролетного строения и др. По (5.9) напряжения могут определяться как в любой точке бетонного сечения, так и в любом арматурном элементе.

5.4.3. Для определения срока службы Тсл и остаточного ресурса, DТ, строится график изменения ресурса прочности, y(t), по которому определяются все временные показатели. Пример такого графика приведен на рис. 5.4, на котором показано:

§       снижение прочности бетона (Rв) - кривая 1;

§       увеличение сжимающих напряжений в бетоне при сохранении проектной величины обжатия (при отсутствии и наличии трещин в бетоне) - кривая 2.

§       то же, но для случая (зафиксированного при идентификации) снижения обжатия бетона плиты, для случаев без трещин (кривая 3) или с трещинами (кривая 4);

§       момент идентификации (Тi = 33 года), потеря работоспособности (Тp = 54 года) и предельный ресурс (Тсл ~ 72 года);

§       остаточный ресурс работоспособности DТp - Тi = 54 - 33 = 11 лет.

На рис. 5.4 можно видеть зону повышенного риска, начинающуюся от первого пересечения кривых прочности бетона и напряжений (участок между Тp и Тсл).

Рис. 5.4. Напряжения и прочность бетона плиты по годам эксплуатации

Для определения напряжений сечение балки разделяется на участки (блоки 1, ..., 5, рис. 5.5), в которых определяют значения s с учетом фактической прочности бетона и дефектов (например, трещин) и изменившихся внешних воздействий:

Mg+v - изгибающий момент от постоянной и временной нагрузок;

Np - усилие обжатия;

j - угол поворота сечения.

Рис. 5.5. Расчетная модель для определения нормальных напряжений:

а - сечение; б - нагрузки и деформации; в и г - напряжения в бетоне, соответственно, без учета и с учетом трещин

5.5. Остаточный ресурс по критерию прочности

5.5.1. Остаточный ресурс, как и в предыдущих случаях, определяется по результатам расчета конструкций с использованием фактических характеристик материалов, упомянутых в п. 5.2. Целесообразно выполнять расчет по характерным точкам, соответствующим различному периоду эксплуатации (см. рис. 5.3), например, на момент:

- строительства;

- завершения периода приработки, Т0;

- карбонизированной толщины защитного слоя Ткб;

- идентификации, Тi;

- достижения минимально допустимой прочности бетона, :

Ø     М170 (класс В12) для балок пролетных строений с обычной арматурой;

Ø     М250 (класс В20) для балок пролетных строений с напрягаемой арматурой.

5.5.2. По результатам расчетов строится график изменения условия прочности Sвнеш. £ Sвнутр., по которому определяется остаточный срок службы до потери работоспособности, Тр. Это время соответствует моменту, когда по одному из критериев условия прочности правая часть оказывается меньше левой на 30 %. На рис. 5.6 этот момент соответствует пересечению кривых графика с горизонтальной линией

Sвнутр./Sвнеш. = 0,7.

Рассчитанный по графику остаточный ресурс по работоспособности указывает на время эксплуатации до ремонта или реконструкции моста.

5.5.3. Остаточный срок службы по прочности определяется для случаев, когда:

а) выполнен ремонт или реконструкция пролетного строения (определяется повторная работоспособность балок);

б) из-за временной невозможности выполнения скорейшего ремонта требуется ограничение условий движения: уменьшение массы нагрузок, т.е. снижение Sвнеш. (расчетом определяют повторную работоспособность балок,  на рис. 5.6);

Рис. 5.6. Условный график изменения условий прочности:

1 и 2 - наклонные сучения под действием, соответственно, моментов (СНиП формулы 103 и 104) и поперечной силы (СНиП формулы 94 - 96); 3 - нормальные сечения при изгибе (СНиП формулы 54 и 57); 4 - то же, после снижения массы транспортных средств.

в) из-за невозможности скорейшего ремонта происходит сужение габарита проезда и, следовательно, разгрузка крайних балок (расчетом определяют остаточную работоспособность для средних, менее нагруженных балок).

5.5.4. На основании расчетов, указанных в пп. 5.5.3, определяют изменение грузоподъемности во времени, являющейся показателем одного из важнейших потребительских свойств сооружения. Изменение грузоподъемности во времени показывает, как это потребительское свойство изменилось к моменту идентификации и может изменяться в дальнейшем, а также когда будет достигнуто минимальное значение грузоподъемности, по которому устанавливается невозможность дальнейшей эксплуатации сооружения. Критерием невозможности дальнейшей эксплуатации по показателю грузоподъемности пролетного строения может быть момент снижения допустимых нагрузок до следующих величин:

Qa = 18 т - масса трехосного автомобиля, движущегося в потоке;

Qнк = 32 т - масса четырехосного одиночного транспортного средства в неконтролируемом режиме движения.

На рис. 5.7 приведен график изменения грузоподъемности пролетного строения, который показывает, что

- предельный срок службы пролетного строения по возможности пропуска автомобильной нагрузки составляет 60 лет (остаточный ресурс 30 лет);

- по одиночной нагрузке - 77 лет (остаточный ресурс 47 лет).

5.6. Прогноз срока службы по признаку выносливости хомутов над трещиной

5.6.7. Расчетом контролируются изменяющиеся во времени напряжения в хомутах и прочностные возможности арматурной стали по признаку выносливости в ситуации, когда во время эксплуатации в стенке балочных конструкций образуются наклонные трещины. Опытом эксплуатации установлено, что действующие условия расчета стенки на трещиностойкость по наклонным сечениям не исключают возможность образования таких трещин [12, 31, 32]. Вероятность их образования часто достигает 20 - 30 %. Наклонная арматура и, особенно, хомуты, попавшие в сечение с трещиной, начинают работать в достаточно жестких условиях на выносливость. Рекомендации настоящей главы используются для проверки остаточного срока службы хомутов по этому критерию, если при обследовании установлено наличие косых трещин раскрытием > 0,3 мм.

Рис. 5.7. Условный график изменения грузоподъемности пролетного строения:

1 и 2 - начальная грузоподъемность, соответственно, по одиночной и автомобильной нагрузкам; 3 - год идентификации; 4 и 5 - кривая изменений, соответственно, Qa и Qнк; 6 и 7 - момент наступления невозможности эксплуатации, соответственно, для одиночной нагрузки и для автомобилей.

5.6.2. Участок для расчетной проверки хомутов на выносливость выбирается в пределах трети крайней балки пролетного строения и, прежде всего, в местах с минимальным процентом вертикального армирования, где в пределы идентифицированной трещины попадает минимальное число хомутов. Расчетная наклонная трещина проводится в месте зафиксированной трещины (вблизи линии, перпендикулярной главным растягивающим напряжениям), на уровне центра тяжести поперечного сечения. Длина расчетной (т.е. участвующей в расчете) трещины принимается равной расстоянию между линиями примыкания верхнего и нижнего поясов.

5.6.3. Максимальные напряжения в хомутах, , определяют по формуле:

                                                 (5.10)

где  - максимальные напряжения в хомуте, обусловленные возникающим в нем нормальным усилием от временной и постоянной нагрузок;

 - то же, но вследствие изгиба хомута, вызываемого раскрытием трещины под расчетной временной нагрузкой.

Срок службы по выносливости хомутов Тсл определяют по (4.3) и (4.4), принимая значение  по (5.10), в которой:

                               (5.11)

где a - угол наклона трещины к горизонтали;

Еs - модуль упругости арматуры, кг/см2;

d - диаметр стержня (хомута), см,

ap - условная длина арматурного стержня:

ap = 9d (арматура периодического профиля),

ap = 13d (гладкая арматура);

Jx - момент инерции сечения стержня, см4;

d = 120 Rd; R - марка бетона (среднее значение прочности), кг/см2,

Dс и Dt - величины раскрытия трещин и сдвига кромок, получаемые при испытаниях (натурных измерениях) под подвижными нагрузками с экстраполяцией на расчетную.

                                    (5.12)

где Nx и Qx - нормальные и поперечные силы в хомуте в месте пересечения с трещиной;

Ax - площадь сечения хомута, см2

Кd - коэффициент реактивного сопротивления бетона, принимаемый равным 12R;

Еs - модуль упругости стали хомута.

5.6.5. Значения Nx и Qx вычисляются, исходя из условия, что главные растягивающие напряжения, которые до образования трещины воспринимались бетоном, полностью передаются на хомуты и продольную распределительную арматуру. При определении главных растягивающих напряжений учитывают возможные дополнительные напряжения в стенке, вызванные резким перепадом температур воздуха (п. 3.2), принимая 20-процентную вероятность появления таких температурных воздействий (т.е. с коэффициентом S4 = 2,2 в (3.7)).

5.6.6. При определении остаточного ресурса проверка хомутов по признаку выносливости выполняется от момента раскрытия наклонной трещины на величину a = 0,5 мм. Момент раскрытия трещины на 0,5 мм принимается по году первого упоминания об этом в материалах обследования. Если при предшествующей идентификации раскрытие трещины составляло менее 0,5 мм, а при последующей - более 0,5 мм, расчетный момент достижения acr = 0,5 мм определяется интерполяцией.

ПРИЛОЖЕНИЕ 1

ПЕРЕЧЕНЬ РАБОТ ПО СОДЕРЖАНИЮ И РЕМОНТУ ЖЕЛЕЗОБЕТОННЫХ ПРОЛЕТНЫХ СТРОЕНИЙ, ВВЕДЕННЫХ В КЛАССИФИКАЦИЮ РОСАВТОДОРА

А. Уход

Нормативные постоянные работы

Весенне-летне-осеннее содержание

- очистка поверхностей от грязи, наносного грунта, растительности;

- промывка опорных узлов балок;

- нанесение вертикальной разметки на низ фасадных балок путепроводов над автодорогами.

Зимнее содержание - очистка от снега, льда торцевых участков.

Надзор

Ø     постоянный надзор - проведение осмотров каждые 10 дней;

Ø     весенний осмотр (периодический) с составлением ведомостей дефектов и графика их устранения в рамках сверхнормативных работ по содержанию;

Ø     осенний осмотр (текущий) с составлением ведомостей дефектов;

Ø     ведение книги искусственного сооружения;

Ø     уход за смотровыми устройствами.

Специальные работы по надзору

q      плановая диагностика мостового сооружения (1 раз в 5 лет);

q      плановое обследование (первое - через 15 лет, далее - 1 раз в 10 лет);

q      наблюдение за состоянием сооружений в предремонтный период (с момента оценки «неудовлетворительно» - ежегодно, вплоть до начала ремонта);

q      предпроектное обследование для составления проекта ремонта (реконструкции) сооружения;

q      обследование для оценки работы сооружения;

q      испытание, если необходимо выявление фактической работы сооружения.

Б. Профилактика

·       устройство козырьков для устранения попадания воды на фасадные поверхности конструкций;

·       гидрофобизация фасадных конструкций (балок, арок, стоек и плиты надарочных элементов), а также опорных узлов;

·       заделка трещин и сколов, устранение повреждений одиночных участков защитного слоя бетона конструкций;

·       устранение нарушенных связей (приварка накладок диафрагм, бетонирование сколов бетона и др.);

·       защита от коррозии локально оголенной арматуры;

·       затирка одиночных трещин на поверхности бетона.

В. Планово-предупредительные работы

¨     гидрофобизация или окраска бетона конструкций (плиты, ребер балок, арок и др. элементов);

¨     ремонт диафрагм;

¨     заделка бетоном проломов в плите проезжей части с установкой дополнительной арматуры;

¨     устранение дефектов в элементах с установкой дополнительной арматуры и с устройством опалубки (сколы бетона глубиной до 100 мм с оголением рабочей арматуры и хомутов) на всей площади поверхности бетона пролетного строения, с предварительной очисткой металла (оголенного) от ржавчины;

¨     устранение дефектов в элементах без устройства опалубки (сколы защитного слоя глубиной до 30 мм) на всей площади поверхности бетона пролетного строения путем нанесения защитных покрытий (торкретирование, набрызг, полимербетон и т.д.), восстановление продольных швов омоноличивания снизу;

¨     ремонт (усиление) опорных участков и торцов балок (зона под деформационным швом);

¨     ремонт консолей плит, в том числе, с заменой бетона консоли на части ее ширины.

Г. Ремонт

Ø     Усиление или замена отдельных балок.

Ø     Усиление всего пролетного строения различными методами, в частности:

q      добавление балок и устройство (либо без устройства) монолитной плиты;

q      устройство монолитной, сборно-монолитной или сборной плиты;

q      увеличение поперечной жесткости за счет устройства (усиления) диафрагм;

q      повышение несущей способности балок за счет их развития или усиления внешним армированием.

Ø     Уширение пролетного строения сооружения без увеличения числа полос движения (увеличение ширины имеющихся полос безопасности).

Ø     Изменение статической схемы пролетных строений (устройство температурно-неразрезной системы или неразрезной системы, превращение в рамную систему и др.), требующее частичного переустройства существующих конструкций.

Ø     Замена продольных швов омоноличивания требует частичной или полной замены элементов одежды.

ПРИЛОЖЕНИЕ 2

ОЦЕНКА ВЛИЯНИЯ ТРЕЩИН НА КОРРОЗИЮ АРМАТУРЫ

1. Источник - Инструкция по определению грузоподъемности железобетонных балочных пролетных строений эксплуатируемых автодорожных мостов. ВСН 32-89. -М.: Транспорт, 1991.

2. Извлечения из ВСН 32-89 [10].

... 2.15. Степень поражения арматуры коррозией устанавливают:

- при ширине раскрытия трещин 0,5 мм и более - прямым измерением со вскрытием защитного слоя выборочно, в местах расчетных сечений;

- при ширине раскрытия трещин менее 0,5 мм - косвенным методом, используя график (рис. 1) с интерполяцией в необходимых случаях, принимая при этом за момент образования трещины год постройки моста ...

3. Дополнительные пояснения к графику.

Если по результатам обследования установлен момент появления трещин в конструкциях, то начало коррозии считают от этого момента. Размер трещин, указанный на графике прилагаемого рисунка, установлен по результатам измерений на поверхности бетона при толщине защитного слоя 30 мм. При толщине 20 мм или 50 мм темп коррозии (глубина h, мм), соответственно, увеличивают на 40 % или уменьшают на 20 % по сравнению с указанными на графике.

4. При раскрытии трещин до 0,5 мм, включительно, интерполяцию кривых допускается осуществлять для возраста конструкции до 6 лет.

Рис. 1. Развитие коррозии арматуры в трещинах железобетонных конструкций:

цифры на кривых - раскрытые трещин, мм

ПРИЛОЖЕНИЕ 3

ПРИМЕР РАСЧЕТНОГО ПРОГНОЗИРОВАНИЯ СРОКА СЛУЖБЫ ЭКСПЛУАТИРУЕМОГО ПРОЛЕТНОГО СТРОЕНИЯ

3.1. Исходные данные

Пролетное строение - железобетонное, ребристое бездиафрагменное с балками, имеющими обычную арматуру (типовой проект 56 Д).

Расположение моста - регион Центр.

Габарит - Г-10 + 2×1 м, дорога III категории, число балок - 7, схема моста 3×15 м, общая длина L = 50 м.

Гидроизоляция - на всю ширину пролетного строения.

Возраст моста - 30 лет.

Интенсивность движения на момент идентификации - 5000 авт./сутки.

3.2. Характеристики материалов и конструкций

Образцы (керны), отобранные с проезжей части, показали:

¨     толщина выравнивающего слоя - 2 см;

¨     весь выравнивающий слой разрушен в результате размораживания;

¨     поверхность плиты разморожена на глубину 1 см.

Проверка прочности бетона плиты показала:

§       прочность бетона на поверхности плиты на глубине более 1 см составила 300 кг/см2;

§       прочность бетона на нижней поверхности плиты соответствовала марке бетона М250 в крайнем шве (снижение прочности, износ - 17 %, кривая А, см. рис. 5.1, б) и М300 - в среднем шве (кривая l4 = 0,006, см. рис. 5.1, б);

§       прочность бетона консоли соответствует марке бетона М200, т.е. износ бетона по показателю прочности составил 33 %.

Прочность бетона ребер балок, после 30 лет эксплуатации, соответствовала прочности бетона следующих марок (см. рис. 5.1, а):

М200 - фасадная поверхность под слоем шелушения;

М250 - крайняя балка с внутренней стороны;

М300 - средние балки.

Толщина бетона защитного слоя фасадных поверхностей за счет шелушения уменьшилась на 5 мм (20 %). При этом оголилась арматура. Глубина карбонизации бетона на уровне основной арматуры крайнего ребра и плиты составила 40 мм (т.е. превысила начальную толщину бетона, Dз.сл = 25 мм), а в 3-х средних балках и плитах - 15 мм, в балках 2 и 6 - 30 мм.

Коррозия арматуры в ребрах крайних балок определена как 20 % для нижнего ряда, 15 % - для второго ряда и 5 % - для третьего ряда. Общее снижение площади арматуры в каркасе Fa составило в крайних балках 12 %, а в балках 2 и 6 - 5 %. Коррозия нижней арматуры консоли плиты составила 25 %, а в крайних продольных швах омоноличивания - 10 % (табл. 1).

Используя требования п. 5.2, строятся графики изменения сечения бетона и прочности, карбонизации, коррозии арматуры для (плиты и балки) концевых и средних участков (рис. 1). На указанном рисунке цифрами обозначены следующие характерные точки:

Рис. 1, а - 1, 2 и 3

§     на момент идентификации прочность бетона средних плит и ребер (износ = 0), ребра крайней балки с внутренней стороны и крайнего продольного шва омоноличивания (износ = 16 %), консоли плиты и фасадной поверхности (износ = 33%);

                - 4

§     момент достижения предельно допустимой прочности бетона (М170);

Рис. 1, б - 5

§     начало коррозии арматуры;

                - 6, 7, 8, 9

§     на момент идентификации коррозия арматуры в балках 2 и 6, в крайних продольных швах, в ребре крайних балок, по фасадной поверхности (износ, соответственно = 5, 10, 12 и 25 %).

Рис. 1, в - 10

§     глубина карбонизации бетона на толщину защитного слоя;

                - 11, 12, 13

§     на момент идентификации глубина карбонизации бетона средних балок 2 и 6, крайних балок.

Рис. 1. Графики изменения во времени:

а - марочной прочности бетона, Мв, конструкций (процент снижения по отношению к М300); б - коррозии арматуры (снижение площади Fa; в - карбонизации бетона защитного слоя, Кв, мм

Таблица 1

Характеристики конструкции на разных участках

Участок

Марочная прочность бетона, М, кг/см2

Глубина карбонизации бетона, мм

Коррозия арматуры, %

Снижение толщины, мм

Консоль плиты

200

40

25

5

Фасад

200

40

0

5

Бетон крайних продольных швов омоноличивания

250

30

10

i 10

Плита между средними балками

300

15

0

J 10

Ребро крайних балок

250

40

12

0

Ребро балок 2 и 6

300

30

5

0

Ребро средних балок

300

15

0

0

3.3. Прогноз по показателю выносливости бетона плиты

Для определения проектного показателя срока службы по состоянию моста к моменту ввода его в эксплуатацию, используются рекомендации главы 4, из которых следует, что срок службы зависит от кривой усталости бетона.

Множитель в формуле (4.1)

                                                           (1)

фактически определяющий кривую усталости, отражает эквивалентность воздействия любой нагрузки. При воздействии оси с давлением 12 т (расчетное воздействие эквивалентно А-11) множитель (1) равен 1,0 и срок службы определяется как отношение N0/Ni. В случае, если уровень реального воздействия вызывает напряжения в бетоне, соответствующие его прочности, то число циклов приложения нагрузки равно единице (точка 1, рис. 2). Пользуясь кривой усталости и учитывая показатель параметра кривой выносливости, m в (4.1), можем установить число эквивалентных воздействий всех автомобилей на момент t = 0 (завершение строительства) и t = 30 лет (момент идентификации). В табл. 2 приведен расчет эквивалентных нагружений для случая t = 30 лет, при интенсивности движения 5000 авт./сут. Число приведенных воздействий на мост составляет 74000 в год, или 37000 воздействий нагрузки А-11 на одну полосу (равносильно воздействию нагрузки Н-30 с давлением на ось 12 т). Указанное количество воздействий определяет ежегодное накопление усталостных повреждений в бетоне, составляющее 1,85 % от предельного (условный показатель срока службы 1/0,0185 = 53 года).

Аналогичный расчет на момент t = 0:

Ni = 20000 воздействий

Тсл = 100 лет

wti = 1/Тсл = 1,0 % в год. - (wti - см. пп. 3.5.11).

Таким образом, если после момента строительства не изменялись бы условия эксплуатации, то по показателю выносливости бетона срок службы плиты составил бы 100 лет. Увеличение интенсивности в 2 раза (до 5000 авт./сут) увеличивает темп накопления усталостных повреждений в 1,85 раза, и фактическое накопление повреждений составит около 41 % от предельного (Wпред = 1,0; формула (3.14)). Предел накопления, при сохранении темпа роста интенсивности, будет достигнут на 53-й год эксплуатации. Следовательно, если учитывать только изменение интенсивности движения, срок службы плиты снижается почти вдвое. Эта зона на рис. 3 представлена как зона «А».

Таблица 2

Эквивалентные воздействия на бетон плиты (t = 30 лет)

Тип транспортного средства

Давление на ось, т

Число проходов за год (1×106)

Коэффициент приведения

Количество эквивалентных нагружений

Легкий грузовик

1,0

0,060

~

0

2,0

0,060

Средний грузовик

3,0

0,091

~ 0,001

91

6,0

0,091

0,010

910

Тяжелый грузовик

4,0

0,182

0,002

364

8,0

0,364

0,0400

14560

Сверхтяжелый грузовик:

4,0

0,126

0,002

252

а) 3 оси

9,0

0,252

0,100

25200

б) 4 оси

5,0

0,182

0,004

728

8,0

0,546

0,0400

21840

5,0

0,064

0,004

240

в) 5 осей

8,0

0,120

0,0400

480

9,0

0,120

0,100

1200

5,0

0,040

0,004

160

г) 6 осей

8,0

0,20

0,0400

8000

SNi » 74 000 воздействий

Рис. 2. График усталости бетона и арматуры

Рис. 3. Накопление усталостных повреждений в бетоне плиты за счет влияния:

А - интенсивности движения; Б - толщины плиты; В - прочности бетона

Из-за изменения толщины плиты, которое приводит к увеличению напряжений в бетоне и арматуре, изменяется отношение s/R. В частности, для рассматриваемого случая снижение толщины бетона на 10 мм увеличивает напряжение в бетоне в 1,1 раза, что приводит к уменьшению базового числа циклов до 1·106 (точка 3, см. рис. 2) и к увеличению темпа накопления усталостных повреждений на 30-й год до 3 % в год. На 50-й год эксплуатации, когда эффективная толщина плиты снизится на 35 мм, а напряжения увеличатся в 1,3 раза, годовой процент накопления усталостных повреждений достигнет 8,5 % (зона «Б», см. рис. 3).

Снижение прочности плиты в середине массива начинает проявляться лишь с 30-го года эксплуатации (см. рис. 1, а), но уже через 10 лет приводит к заметному снижению выносливости (показатель W возрастает на 1,5 %). Учитывая все три фактора (увеличение интенсивности движения, повреждение плиты под защитным слоем, снижение прочности бетона), получаем итоговый график накопления усталостных повреждений и снижения срока службы до 40 лет (заштрихованная зона, см. рис. 3).

3.4. Прогноз по показателю выносливости арматуры плиты

В соответствии с требованиями главы 4, а также используя формулу (4.3) и номограмму (см. рис. 4.2), определяем параметр, gз, на основании которого можно построить график усталости арматуры плиты. Из графика усталости (см. рис. 2) следует, что, если напряжения в арматуре превышают расчетное сопротивление (2700 кг/см2 для арматуры класса А-II) в 2,1 раза, т.е. достигается временное сопротивление (5600 кг/см2), разрыв арматуры происходит при одном цикле нагружения. Если напряжения в арматуре соответствуют расчетному сопротивлению, разрыв происходит при 2×106 циклах нагружения.

Используя график усталости, определяется эквивалентность воздействия каждой оси (табл. 3). При реальном воздействии на момент идентификации при интенсивности движения 5000 авт./сут (t = 30 лет) ежегодное накопление усталостных повреждений составляет 0,5 %, а при воздействии на момент постройки - w = 0,3 %. Накопление усталостных повреждений до появления в арматуре пластического шарнира (начало появления «шейки») происходит несколько большими темпами (пунктирная линия усталости, см. рис. 2) и составляет 0,7 % в год (табл. 4).

Таблица 3

Эквивалентные воздействия на арматуру плиты (t = 30 лет)

Осевая нагрузка, т

Количество воздействий в год

Коэффициент приведения по (5.10)

Количество эквивалентных нагружений

а

б

а

б

4

217×103

0,001

0,0005

217

108

5

280×103

0,002

0,001

560

580

6

91×103

0,005

0,002

455

182

8

664×103

0,010

0,020

6640

13280

9

264×103

0,045

0,050

11880

13200

S

Мост

19750

27058

Одна плита

» 10000

» 13500

Примечание: а - по временному сопротивлению; б - по текучести.

Таблица 4

Параметры долговечности арматуры плиты

Показатель

По временному сопротивлению

По текучести

t = 0

t = 30 лет

t = 50 лет

t = 0

t = 30 лет

t = 50 лет

Число эквивалентных циклов, тыс.

6

10

15

10

13,5

17

Условный срок службы, годы

333

200

133

200

148

118

Ежегодное накопление повреждений, %

0,30

0,50

0,75

0,50

0,70

0,85

Рис. 4. Накопление усталостных повреждений в арматуре

Темп накопления усталостных повреждений (wi) в арматуре зависит от изменения толщины плиты (проявляется после 22 лет эксплуатации) и коррозии арматуры (проявляется после 50 лет эксплуатации). Изменение эффективной толщины плиты на 1 см к моменту идентификации увеличивает напряжения в арматуре при расчетном воздействии (как и для бетона) на 10 % и приводит к увеличению показателя w до 1,8 %. На 50-й и 60-й год эксплуатации этот показатель изменяется пропорционально величине изменения эффективной толщины плиты и составляет, соответственно, 5,0 % и 7,0 % в год. Аналогичным образом влияет и коррозия арматуры, из-за которой, к возрасту сооружения t = 60 лет, темп накопления составит w60 = 8 % в год.

В соответствии с итоговым графиком накопления усталостных повреждений (рис. 4) предел  достигается к 60-му году, т.е. по показателю выносливости арматуры срок службы плиты (в пределах полосы движения) составит 60 лет.

3.5. Прогноз по показателю прочности плиты

Оценка по показателю прочности выполняется вначале для плиты между крайними балками с наиболее поврежденным продольным швом омоноличивания. Согласно табл. 1, для крайних участков плиты (между балками 1 и 2, например) имеем:

Ø     сечение плиты уменьшено на 10 мм (износ 6 %);

Ø     глубину карбонизации - 30 мм (на 5 мм больше толщины защитного слоя);

Ø     коррозия арматуры - 10 % (износ 10 %);

Ø     марочная прочность бетона - М250 (износ 17 %).

По критерию «прочность бетона» срок службы плиты составляет 43 года (см. рис. 1, а), т.е. до ее усиления осталось 13 лет.

По критерию «грузоподъемность» срок службы может быть установлен по изменению несущей способности, на которую влияют изменения во времени показателей прочности бетона, толщины плиты и коррозии арматуры. Если на момент идентификации (t = 30 лет) прочность бетона за 10 лет снизилась на 17 %, это означает снижение несущей способности на 10 %. Через 10 лет, когда прочность бетона снизится до М200 (износ 35 %), несущая способность уменьшится на 22 %.

Аналогично влияние снижения толщины плиты:

q      при снижении на 1 см несущая способность снижается на 8 % (t = 30 лет);

q      при снижении на 3 см несущая способность снижается на 25 % (t = 50 лет).

Снижение сечения арматуры (см. рис. 1, б) снижает несущую способность:

¨     на момент идентификации - на 10 %;

¨     через 10 лет - на 25 % (коррозия - 35 %).

Результирующее снижение несущей способности приведено в табл. 5, из которой следует, что допустимый износ (30 %) достигается в возрасте 32 лет. Этот срок и является предельным сроком работоспособности крайнего продольного шва омоноличивания.

Таблица 5

Снижение несущей способности плиты, %

Возраст, годы

30

35

40

45

Снижение несущей способности крайних плит

28

45

62

80

То же, средних плит

0

5

11

20

Для средних участков плит (между средними балками) при оценке несущей способности учитываются те же критерии. По критерию «прочность бетона» срок службы плиты составляет около 75 лет, поэтому этот показатель не является определяющим. В то же время показатель прочности бетона изменяется, начиная с момента t = 30 лет, из-за чего меняется и несущая способность всей плиты. В частности, снижение несущей способности на 10 % станет возможным, когда прочность бетона снизится до М250, т.е. через 23 года, а на 5 % - примерно, через 13 лет (износ 10 %).

Поскольку снижение толщины бетона над средними участками к моменту идентификации еще не начинается (толщина выравнивающего слоя составляет 30 мм), то влияние этого фактора на средние плиты пока не проявляется. Деградация бетона на глубину 1 см ожидается через ~ 10, а на 2 см - через ~ 20 лет, что, соответственно, снизит несущую способность на 8 % и 16 %.

Снижение сечения арматуры начинается через 20 лет (см. рис. 1, б) и к 50-летнему возрасту сооружения составляет 20 %.

Результирующее снижение несущей способности в средних участках плит представлено в табл. 5 и на рис. 5, из которых следует, что износ = 30 % (предел работоспособности) достигается примерно через 22 года, а износ = 60 % (предельный срок службы) - через 35 лет.

Рис. 5. Изменение несущей способности крайних (1) и средних (2) плит с учетом влияния:

а, а¢ - коррозии арматуры; б, б¢ - прочности бетона; в, в¢ - деградации бетона плиты

3.6. Прогноз по показателю прочности балок

3.6.1. Общие положения. Прогноз по показателю прочности предполагает оценку во времени несущей способности балок и грузоподъемности пролетного строения.

Несущая способность балок зависит от развития существующих дефектов, таких как упомянутые ранее коррозия арматуры, снижение прочности бетона и повреждения бетона под гидроизоляцией, а также:

·       повреждения поверхности (защитного слоя) ребер;

·       трещины в ребрах;

·       коррозия хомутов.

К повреждаемым поверхностям балок пролетных строений в рассматриваемом примере относятся:

¨     фасадная поверхность крайней балки - на глубину до 1 см;

¨     крайняя балка с внутренней стороны и соседние балки - 0,5 см;

¨     во всех остальных балках в опорных узлах - до 0,5 см;

¨     остальные участки балок - без повреждения защитного слоя.

Наличие усадочных трещин в ребрах крайних балок соответствует износу И = 10 %. В средних балках износ отсутствует, и его начало может быть отмечено моментом идентификации (кривая 5, рис. 6).

Коррозия хомутов в приопорных участках составила в крайних балках ~ 15 %, в балках 2 и 6 ~ 5 %, а в средних балках коррозия хомутов не отмечалась (кривая 10, см. рис. 6). Изменение указанных дефектов во времени показано на рис. 6.

Прогноз дается по показателям износа и по прочности нормальных сечений балок в l/2 и наклонных сечений в приопорных участках.

3.6.2. Износ опорных участков и стенок. Для определения износа суммируются показатели частного износа по критериям «повреждение защитного слоя» и «усадочные трещины» [17, 32].

В год идентификации (t = 30 лет) суммарный износ стенок крайних балок составлял:

Ø     фасадная поверхность - 40 % (шелушение) + 10 % (трещины) = 50 %;

Ø     внутренняя поверхность крайних балок - 20 % (шелушение) + 10 % (трещины) = 30 %;

Ø     балки 2 и 6 - 20 % (шелушение) + 5 % (трещины) = 25 %;

Ø     балки 3, 4, 5 - 0%.

Учитывая изменение этих параметров во времени, можно определить срок службы элементов, который составит:

q      для фасадной поверхности - 0 лет (защитный слой имеет предельный износ и должен быть полностью заменен);

q      для балок 1 и 7 - 0 лет (износ крайних балок превысил допустимый уровень, предельный уровень износа будет достигнут примерно через 15 лет);

q      балки 2 и 6 - 5 лет до ремонта и 23 года - до замены;

q      средние балки - 32 года до ремонта.

Рис. 6. Изменение повреждений балок во времени:

─ ─ ─ 1, 1¢, 2 - глубина повреждения защитного слоя;

─── 3, 4, 5 - усадочные и другие трещины старения, соответственно, в крайних балках, балках 2 и 6, средних балках;

▬▬ 6, 7 - изменение прочности бетона в средних и крайних балках, соответственно;

─ · ─ 8, 9, 10 - коррозия хомутов в приопорных участках, соответственно, в крайних балках, балках 2 и 6, в средних балках

По показателю износа опорных узлов (табл. 6) имеем:

§       крайние балки - превышен допустимый износ опорных узлов, в связи с этим опорные узлы этих балок должны быть усилены (иначе через 15 лет балки придется менять);

§       балки 2 и 6 - потребуется усиление опорных узлов через 5 лет (или замена балок через 25 лет);

§       средние балки - потребуется усиление опорных узлов через 10 лет (или замена балок через 35 лет).

Таблица 6

Износ опорных узлов, %

Балки

Износ (%) за период, годы

30

40

50

60

70

Крайние (1 и 7)

40

54

71

> 70

> 70

Балки 2 и 6

25

36

50

67

> 70

Средние (3, 4, 5)

20

30

42

57

74

Таблица 7

Износ конструкций по признаку «поврежденные поверхности»

Поверхность

Износ (%) за период, годы

30

40

50

60

70

Фасадная поверхность

50

66

> 60

> 60

> 60

Внутренняя поверхность крайних балок

30

42

58

77

> 60

Балки 2 и 6

25

40

56

73

> 60

Балки 3, 4, 5

0

9

18

28

40

3.6.3. Прочность балок по нормальным сечениям. В пролетных строениях применены балки с одинаковым армированием, установленным расчетом конструкции из пяти балок. При пятибалочной конструкции расчетной является крайняя балка с несущей способностью, S0 (нагрузка НК-80). В пролетном строении с семью балками наиболее нагруженными являются балки 2 и 6. Кроме того, при сравнении с условиями нагружения пролетного строения с пятью балками, в случае семи балок в рассматриваемом примере, имеется определенный резерв несущей способности, благодаря чему балки могут воспринимать временную нагрузку, превышающую НК-80:

·       на 20% - балки 1 и 7;

·       на 10% - балки 3, 4 и 5;

·       на 5% - балки 2 и 6.

Изменение несущей способности во времени определяется изменением толщины плиты и прочности бетона и коррозией арматуры (см. рис. 1). В рассматриваемом примере на момент идентификации (t = 30 лет) эти изменения составили:

Ø     снижение прочности бетона на 33 %, 17 % и 0 %, соответственно, для балок 1, 2 и 3;

Ø     снижение сечения основной арматуры на 12 %, 5 % и 0 %, соответственно, для балок 1, 2, 3;

Ø     уменьшение толщины плиты балок 1 и 2 на 10 мм, а средних балок - 0 мм;

Ø     снижение несущей способности на 37 %, 21 % и 0 %, соответственно, для балок 1, 2 и 3.

Учитывая резерв несущей способности конструкции с семью балками по сравнению с несущей способностью S0, можно определить реальное соотношение внешних усилий и несущей способности нормальных сечений, которое представлено на рис. 7.

На рис. 7 видно, что, по прочности нормального сечения, работоспособность крайних балок исчерпана, они требуют ремонта (усиления). В противном случае через 10 лет балки должны быть заменены.

Работоспособность балок 2 и 6 будет исчерпана через 12 лет, а срок службы составит 57 лет (через 27 лет).

Работоспособность средних балок будет исчерпана через 35 лет.

Рис. 7. Изменение во времени прочности балок по нормальному сечению

3.6.4. Прочность балок по наклонным сечениям. При проектировании пролетного строения сечение арматуры (хомутов и наклонных стержней) определено по нагрузке НК-80. При этом, на отогнутые стержни (арматура класса А-II) приходится 50 % несущей способности (Sот = 0,5·S0), на хомуты (арматура класса А-I) - 15 % несущей способности (Sx = 0,15·S0), а на бетон сжатой зоны - 35% (Sв = 0,35·S0). На изменение несущей способности в основном влияет:

q      марка (класс) бетона - при определении Sв;

q      толщина ребра - при определении Sв;

q      площадь арматуры - при определении Sот и Sx.

На момент идентификации прочность бетона в опорных участках балок 1, 2 и крайних балок снизилась на 33 %, 17 % и 0 %, соответственно. Толщина ребра из-за дефектов двух поверхностей снизилась (в среднем) в крайней балке на 15 мм (7,5 %) и в средних балках - на 10 мм (5 %). В результате суммарное изменение Sв составило 35 % для крайних балок. Изменение Sв во времени показано на рис. 8 (кривые 1, 2, 3). Изменение долей несущей способности наклонных сечений Sот и Sx зависит от коррозии арматуры (упоминалось ранее) и имеет значения, приведенные в табл. 8.

Рис. 8. Изменение во времени несущей способности сжатой зоны плиты в наклонном сечении

Из табл. 8 можно сделать следующие выводы о сроках службы:

¨     работоспособность опорных узлов в крайних балках, в балках 2 и 6, в средних балках окажется исчерпанной через 5, 15 и 35 лет, соответственно;

¨     при невозможности проведения ремонта предельный срок службы будет достигнут, соответственно, через 15, 25 и 45 лет.

Таблица 8

Значения износа элементов опорного сечения, %

Показатель

Возраст моста, годы

0

10

20

30

40

50

60

70

Балки 1 и 7

DSx

0

0

7

15

23

32

55

43

DSот

0

0

2

12

22

33

45

65

DSв

0

2,5

15

35

63

95

100

100

Суммарное значение несущей способности (в долях DS0)

1,00

1,00

0,93

0,79

0,64

0,45

0,36

0,24

Балки 2 и 6

DSx

0

0

0

5

11

17

24

32

DSот

0

0

0

5

13

23

35

50

DSв

0

0,5

10

22

35

55

76

100

Si/S0

0

1,00

0,97

0,89

0,80

0,67

0,52

0,35

Средние балки

DSx

0

0

0

0

1

4

8

14

DSот

0

0

0

0

0

0

10

22

DSв

0

0

2,5

5

12

25

38

55

Si/S0

1,00

1,00

1,00

0,98

0,95

0,91

0,80

0,68

3.7. Анализ результатов расчета

Результаты расчета срока службы различных элементов пролетных строений, приведенные в табл. 9, показывают, что исчерпана работоспособность фасадных поверхностей, крайних продольных швов омоноличивания и крайних балок (по нормальному сечению). Незначительными капитальными вложениями (мелкий ремонт или ППР) ситуацию уже не исправишь. Для восстановления функций этих элементов требуется их полное восстановление:

q      нанесение на фасад защитных покрытий (растворов) для восстановления функций защитного слоя;

q      усиление бетона крайних продольных швов омоноличивания (например, глубокой пропиткой);

q      усиление крайних балок.

Таблица 9

Итоговая таблица расчета срока службы

Критерий

Возраст конструкций t (годы) в момент исчерпания

работоспособности

срока службы

А. Выносливость

Плита между средними балками

 

 

а) по бетону

-

(40)

б) по арматуре

-

60

Б. Прочность

Плита между крайними балками

[31]

(38)

Плита между средними балками

54

65

Балки, нормальное сечение

 

 

а) 1 и 7

[30]

(40)

б) 2 и 6

(42)

57

в)средние

65

> 70

Балки, наклонное сечение

 

 

а) 1 и 7

(36)

55

б) 2 и 6

55

64

в) средние

67

> 70

В. Износ

Фасадные поверхности

[20]

(35)

Опорные узлы

 

 

а) 1 и 7

(35)

45

б) 2 и 6

45

55

в) средние балки

65

75

Г. Прочность бетона

Консоль

-

(34)

Плита (средние участки)

-

47

Плита (средние участки)

-

65

Балки:

 

 

крайние

-

(34)

2 и 6

-

45

средние

-

65

Примечание. В квадратных скобках - значения t, близкие к моменту идентификации; в круглых скобках - значения t на ближайшие 10 лет.

Предельный срок службы указанных элементов, если не проводить ремонта этих трех элементов пролетных строений, будет достигнут, соответственно, через 5, 8 и 10 лет, т.е. к 40-летнему возрасту моста. К моменту t = 40 лет в рассматриваемом примере окажется, что:

v    исчерпана выносливость по бетону железобетонной плиты;

v    достигнут предельный срок службы крайних балок по прочности нормального сечения.

К этому времени бетон консолей плит и крайних балок станет неремонтопригодным. Именно к этому времени, т.е. через 10 лет ± 2 года после момента идентификации, целесообразно провести ремонт пролетных строений, который включает:

Ø     замену крайних балок на новые (одновременно решаются вопросы прочности бетона, износа опорных узлов, надежности по наклонному сечению);

Ø     устройство бетонного слоя усиления над оставшимися балками с заменой бетона крайних продольных швов (одновременно улучшаются показатели по выносливости, несущей способности балок по нормальному и наклонному сечению, показатели износа опорных узлов);

Ø     защиту существующего бетона балок 2 и 6 и опорных узлов с целью продления срока службы пролетного строения до очередного ремонта или замены (t= 65 - 70 лет).

ПРИЛОЖЕНИЕ 4

БАЗОВЫЙ ГРАФИК ФУНКЦИИ Иt = (elt - 1)

ЛИТЕРАТУРА

1. СНиП 2.05.03-84* Строительные нормы и правила. Мосты и трубы. - М.: Госстрой, 1996.

2. О классификации работ по ремонту и содержанию автомобильных дорог общего пользования./ФДД. Приказ № 26 от 26 мая 1994 г.

3. Берг О. Я. Физические основы теории прочности бетона. - М.: Госстрой, 1961.

4. Зайцев Ю. В., Щербаков Е. Н. К обоснованию некоторых критериев расчета преднапряженных железобетонных элементов. Сообщение на международном конгрессе. ФИП. - М., 1978.

5. Щербаков Е. Н., Зайцев Ю. В. Прогнозирование выносливости бетонов в преднапряженных конструкциях.//Известия ВНИИТ им. Б. Е. Веденеева. Сборник трудов. -М.: Энергоатомиздат, 1987. - С. 95 - 99.

6. Мамажанов Р. Основы теории прогнозирования ресурса железобетонных мостов для средней Азии. Автореф. дисс. на соиск. уч. степ. д-ра техн. наук. 05.23.15. - М.: ЦНИИС, 1989.

7. Алмазов В. О. Основы расчетов железобетонных конструкций, подвергаемых циклическим замораживаниям и оттаиваниям. Сборник трудов. - М.: МИСИ, 1988. - С. 19 - 51.

8. Шестериков В. И. Оценка долговечности мостов с различными конструкциями пролетных строений.//Труда НПО Росдорнии. Выпуск 6. - И.: Информавтодор, 1993. - С. 157 - 167.

9. Чирков В. П. Оценка сроков службы защитного слоя бетона. Сборник трудов ХИИТ. Выпуск 21. - Харьков, 1993.

10. Инструкция по определению грузоподъемности железобетонных балочных пролетных строений эксплуатируемых мостов. ВСН 32-89. - М.: Транспорт, 1989. - 105 с.

11. Иосилевский Л. И. Долговечность преднапряженных железобетонных пролетных строений мостов. - М.: Транспорт, 1967. - 266 с.

12. Носарев А. В. О равновесной изолированной трещине в железобетонной пластине. - Сборник трудов МИИТ. Вып. 275. - М.: Транспорт, 1969. - С. 149 - 163.

13. Дингес Э. В., Шестериков В. И., Дугин Л. В. Методика технико-экономического обоснования ремонта и реконструкции автодорожных мостов за счет средств МБРР. - Контракт ВR-С-15. - М., 1998 (Утверждена Росавтодором в 1999 г.).

14. Шестериков В. И. Оценка состояния автодорожных мостов и прогнозирование его изменения с помощью показателя физического износа.//Автомобильные дороги. Инф. сб. /ЦБНТИ Росавтодора. - М., 1991. - С. 1 - 48.

15. Мусатов С. А., Шестериков В. И. и др. Методические рекомендации по содержанию мостовых сооружений на автомобильных дорогах. - М.: Информавтодор, 1999. - 85 с.

16. Региональные дорожные нормы. Определение и прогнозирование износа элементов мостовых сооружений на автомобильных дорогах Краснодарского края. РДН 218.05.14-2000. - М.: фирма «Верстка», 2001. - 130 с.

17. Отраслевые дорожные нормы (ОДН). Требования к проекту эксплуатации моста./ГП Росдорнии, 2000 (Утверждены Росавтодором в 2001 г.).

18. СНиП 2.01.01-82 Строительная климатология и геофизика. - М.: Госстрой, 1983.

19. Пассек В. В., Заковенко В. В., Дробышевский Б. А., Антропова Е. А. и др. Температурные и усадочные воздействия на пролетные строения мостов. Деп. рукопись. Хранение ВНИИС Госстроя СССР, № 8314 от 08.10.87.

20. Чирков В. П., Цернант А. А., Антропова Е. А., Бегун И. А. Сроки службы - основа для проектирования транспортных систем.//Транспортное строительство. - № 1. - 2000.

21. Руководство по структуре и организации службы эксплуатации искусственных сооружений на автомобильных дорогах./ГП Росдорнии. -М.: Информавтодор, 1994.

22. Потапкин А. А. Оценка ресурса мостов с учетом дефектов и повреждений. Сб.//«Повышение надежности строящихся и эксплуатируемых мостов»/Дорожный научно-исследовательский центр. - Павловск, 1996 (Материалы конференции).

23. ГОСТ 212443-75. Бетон. Определение прочности методом отрыва со скалыванием. - М.: Госстрой, 1975.

24. ГОСТ 28570-90. Бетоны. Методика определения прочности по образцам, отобранным из конструкций. - М.: Госстрой, 1990.

25. Лычев Л. С. Вероятностные методы расчета строительных элементов и систем./Ассоциация высших учебных заведений. - М., 1995. - 96 с.

26. Рекомендации по оценке и обеспечению надежности транспортных сооружений. - М.: ЦНИИС, 1989. - С. 4 - 71.

27. Мамажанов Р. Прогнозирование процессов накопления повреждений в элементах, подверженных режимным загружениям.//Известия АН. - Серия технических наук. - № 2. - 1989. - С. 22 - 25.

28. Низмутдинова Р. Ресурс железобетонных пролетных строений мостов на железнодорожных линиях промышленных предприятий./ТашИНТ. Диссертация на соиск. уч. степ. канд. техн. наук. 05.23.15. - Ташкент, 1994.

29. Мамажанов Р. Вероятностное прогнозирование ресурса железобетонных пролетных строений./Ташкент, ф-л АН. - Ташкент, 1993. - 156 с.

30. Иосилевский Л. И. Расчетный прогноз надежности и долговечности - путь увеличения срока службы мостовых сооружений.//Автомобильные дороги. - Инф. сб./Информавтодор, № 12, 1996.

31. Иосилевский Л. И. Практические методы управления надежностью железобетонных мостов. - М.: НИЦ «Инженер», 1999. - 293 с.

32. Васильев А. И., Антропова Е. А., Шестериков В. И. Прогнозирование сроков службы эксплуатируемого пролетного строения.//Материалы международного симпозиума «Исследование и строительство в экстремальных условиях». Россия. - М., 23 - 24 января 1996 г.

33. Чирков В. П. Надежность и долговечность железобетонных конструкций, зданий и сооружений.//Российская архитектурно-строительная энциклопедия, т. 5. «Наука материалы и технологии в строительстве России XXI века». - М., 1998. - С. 86 - 117.

34. Чирков В. П. Методы расчета сроков службы железобетонных конструкций. Уч. пос. - М.: МИИТ, 1996. - 60 с.

35. Бондаренко В. М., Иосилевский Л. И., Чирков В. П. Надежность строительных конструкций и мостов. - М., 1996.

36. Чирков В. П., Антропова Е. А. Прогнозирование срока службы автодорожных мостов.//Труды Международной научно-технической конференции «Надежность строительных элементов и систем». СГАСА. - Самара, 1997. - С. 78 - 84.

СОДЕРЖАНИЕ

Основные термины и определения. 2

Введение. 3

Глава 1. Общие положения и основные принципы, на которых базируется методика. 5

1.1. Стратегия эксплуатации мостов. 5

1.2. Пороговые уровни (уровни надежности и критерий невозможности эксплуатации) 6

1.3. Принцип расчетности. 7

1.4. Расчетные модели отказов (износа) 7

Глава 2. Нормативные сроки службы пролетных строений. 9

2.1. Классификация элементов. 9

2.2. Нормативный срок службы.. 10

Глава 3. Прогнозирование работоспособности конструкций при проектировании. 18

3.1. Прогнозирование изменения прочности бетона. 19

3.2. Напряжения в бетоне балок от резкого изменения температуры.. 21

3.3. Прогноз карбонизации бетона. 23

3.4. Прогноз коррозии арматуры.. 24

3.5. Прогноз срока службы плиты.. 25

Расчет по прочности плиты.. 26

Расчет на выносливость. 26

3.6. Прогноз срока службы балок пролетных строений, исходя из расчета по модели прочности. 29

3.7. Регулирование работоспособности при проектировании. 29

Глава 4. Прогнозирование срока службы построенного пролетного строения. 29

4.1. Общие положения. 29

4.2. Характеристики материалов и конструкций. 31

4.3. Определение срока службы плиты по показателю выносливости. 32

4.4. Определение срока службы пролетных строений по показателям несущей способности балок. 35

4.5. Увеличение срока службы в процессе строительства. 36

Глава 5. Определение остаточного ресурса пролетных строений эксплуатируемых мостов. 36

5.1. Общие положения. 36

5.2. Характеристики материалов и конструкций. Параметры воздействий. 37

5.4. Остаточный ресурс по критерию продольной трещиностойкости. 41

5.5. Остаточный ресурс по критерию прочности. 43

5.6. Прогноз срока службы по признаку выносливости хомутов над трещиной. 44

Приложение 1 Перечень работ по содержанию и ремонту железобетонных пролетных строений, введенных в классификацию росавтодора. 46

Приложение 2 Оценка влияния трещин на коррозию арматуры.. 47

Приложение 3 Пример расчетного прогнозирования срока службы эксплуатируемого пролетного строения. 48

3.1. Исходные данные. 48

3.2. Характеристики материалов и конструкций. 48

3.3. Прогноз по показателю выносливости бетона плиты.. 50

3.4. Прогноз по показателю выносливости арматуры плиты.. 52

3.5. Прогноз по показателю прочности плиты.. 53

3.6. Прогноз по показателю прочности балок. 54

3.7. Анализ результатов расчета. 57

Приложение 4 Базовый график функции Иt = (elt - 1) 58

Литература. 59

 




Rambler's Top100 Яндекс цитирования
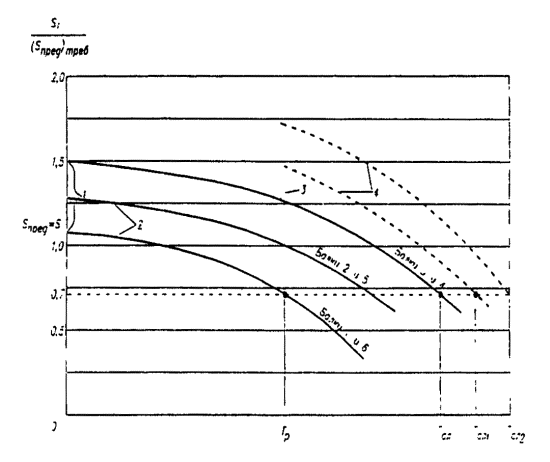
  Copyright © 2008-2026, www.docload.ru