Бесплатная библиотека стандартов и нормативов www.docload.ru

Все документы, размещенные на этом сайте, не являются их официальным изданием и предназначены исключительно для ознакомительных целей.
Электронные копии этих документов могут распространяться без всяких ограничений. Вы можете размещать информацию с этого сайта на любом другом сайте.
Это некоммерческий сайт и здесь не продаются документы. Вы можете скачать их абсолютно бесплатно!
Содержимое сайта не нарушает чьих-либо авторских прав! Человек имеет право на информацию!

 

ГОСТ 164-90

МЕЖГОСУДАРСТВЕННЫЙ СТАНДАРТ

ШТАНГЕНРЕЙСМАСЫ

ТЕХНИЧЕСКИЕ УСЛОВИЯ

ИПК ИЗДАТЕЛЬСТВО СТАНДАРТОВ

Москва

МЕЖГОСУДАРСТВЕННЫЙ СТАНДАРТ

ШТАНГЕНРЕЙСМАСЫ

Технические условия

Vernier height gauges.

Specifications

ГОСТ
164-90

Дата введения 01.01.91

Настоящий стандарт распространяется на штангенрейсмасы для измерения и разметки размеров.

1. ТИПЫ. ОСНОВНЫЕ ПАРАМЕТРЫ И РАЗМЕРЫ

1.1. Штангенрейсмасы должны изготовляться следующих типов:

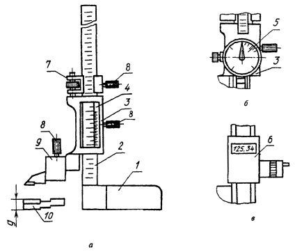
ШР - с отсчетом по нониусу (черт. 1а);

ШРК - с отсчетным устройством с круговой шкалой (черт. 1б);

ШРЦ - с электронным цифровым отсчетным устройством (черт. 1в).

1 - основание; 2 - штанга; 3 - рамка, 4 - нониус; 5 - круговая шкала; 6 - цифровое отсчетное устройство; 7 - микрометрическая подача; 8 - стопорные винты; 9 - разметочная ножка; 10 - измерительная ножка

Черт. 1

Примечание. Чертеж не определяет конструкцию штангенрейсмаса.

1.2. Диапазон измерений, значение отсчета по нониусу, цена деления круговой шкалы и шаг дискретности цифрового отсчетного устройства и классы точности штангенрейсмасов должны соответствовать указанным в табл. 1.

Таблица 1

мм

Диапазон измерений

Значение отсчета по нониусу

Цена деления круговой шкалы отсчетного устройства

Шаг дискретности цифрового отсчетного устройства, классов точности 1; 2

0 - 250

0,05

0,02; 0,05

0,01

40 - 400

0,05

60 - 630

100 - 1000

0,05; 0,10

600 - 1600

1500 - 2500

0,10

-

-

Пример условного обозначения штангенрейсмаса типа ШР с диапазоном измерения 0 - 250 мм и значением отсчета по нониусу 0,05 мм:

Штангенрейсмас ШР-250-0,05 ГОСТ 164-90

То же, штангенрейсмаса типа ШРК с диапазоном измерения 0 - 250 мм и ценой деления круговой шкалы 0,02 мм:

Штангенрейсмас ШРК-250-0,02 ГОСТ 164-90

То же, штангенрейсмаса типа ШРЦ с диапазоном измерения 0 - 250 мм и шагом дискретности 0,01 мм:

Штангенрейсмас ШРЦ-250-0,01 ГОСТ 164-90

1.3. Штангенрейсмасы следует изготовлять с микрометрической подачей рамки.

1.4. Длину нониуса следует выбирать из ряда:

9; 19; 39 мм - при значении отсчета по нониусу 0,1 мм;

19; 39 мм - при значении отсчета по нониусу 0,05 мм.

Длинные штрихи нониуса допускается отмечать целыми числами.

1.5. Штангенрейсмас типа ШРЦ должен обеспечивать выполнение функций, характеризующих степень автоматизации, в соответствии с перечнем, приведенным в приложении.

1.6. Электрическое питание штангенрейсмаса типа ШРЦ - от автономного встроенного источника питания или от сети общего назначения напряжением 220 В через блок питания.

1.7. Конструкция штангенрейсмасов с цифровым отсчетным устройством должна обеспечивать правильность показаний при наибольшей допустимой скорости перемещения рамки не менее 0,5 м/с.

2. ТЕХНИЧЕСКИЕ ТРЕБОВАНИЯ

2.1. Штангенрейсмасы следует изготовлять в соответствии с требованиями настоящего стандарта по рабочим чертежам, утвержденным в установленном порядке.

2.2. Предел допускаемой погрешности штангенрейсмасов как при незатянутом, так и при затянутом зажиме рамки, при температуре окружающей среды (20 ± 10) °С, должен соответствовать указанному в табл. 2.

Таблица 2

мм

Измеряемая длина

Предел допускаемой погрешности штангенрейсмасов (±)

со значением отсчета по нониусу

с ценой деления круговой шкалы отсчетного устройства

с шагом дискретности цифрового отсчетного устройства

0,05

0,10

0,02

0,05

0,01 для классов точности

1

2

До 250

0,05

0,05

0,03

0,05

0,03

0,05

Св. 250 до 400

-

0,04

0,06

Св. 400 до 630

0,10

0,10

0,05

0,07

Св. 630 до 1000

0,10

0,10

-

0,10

0,07

0,09

Св. 1000 до 1600

-

0,15

-

-

Св. 1600 до 2500

0,20

Примечания:

1. За измеряемую длину принимают номинальное расстояние между измерительной поверхностью ножки и поверочной плитой.

2. Погрешность штангенрейсмасов не должна превышать значений, указанных в табл. 2, при поверке их по плоскопараллельным концевым мерам длины из стали.

2.3. Допуск параллельности верхней и нижней измерительных поверхностей ножки:

0,004 мм - при цене деления круговой шкалы 0,02 мм и шаге дискретности 0,01 мм;

0,006 мм - при значении отсчета по нониусу и цене деления круговой шкалы 0,05 мм;

0,01 мм - при значении отсчета по нониусу 0,1 мм.

2.4. Допуск прямолинейности измерительных поверхностей разметочной и измерительной ножек - 0,004 мм. По краям плоских измерительных поверхностей в зоне шириной не более 0,5 мм допускаются завалы.

2.5. Измерительные плоскости разметочной и измерительной ножек должны быть параллельны основанию штангенрейсмаса.

При сдвигании ножки до соприкосновения с поверочной плитой или с установленными на плиту плоскопараллельными концевыми мерами длины, соответствующими нижнему пределу измерения штангенрейсмаса, просветы между поверхностью ножки и плитой или концевыми мерами при незатянутом и затянутом зажимах рамки не должны превышать: 0,010 мм - при значении отсчета по нониусу 0,05 мм, цене деления круговой шкалы 0,02 и 0,05 мм и шаге дискретности 0,01 мм; 0,015 мм - при значении отсчета по нониусу 0,1 мм. При этом для штангенрейсмасов с отсчетом по нониусу нулевые штрихи шкал нониуса и штанги должны совпадать.

2.6. Мертвый ход микрометрической пары микрометрической подачи рамки не должен превышать 1/3 оборота.

Черт. 2

2.7. Рамка вместе с устройством микрометрической подачи не должна перемещаться по штанге под действием собственного веса в вертикальном положении штангенрейсмаса.

Штангенрейсмасы должны иметь устройство для зажима рамки, обеспечивающее ее стопорение в любом положении в пределах диапазона измерений.

2.8. Требования к шкале штанги и нониуса

2.8.1. Расположение плоскости шкалы нониуса относительно плоскости шкалы штанги указано на черт. 2.

2.8.2. Размеры штрихов шкал штанги и нониуса должны соответствовать указанным ниже:

ширина штрихов 0,08 - 0,20 мм;

разница ширины штрихов в пределах одной шкалы и штрихов шкал штанги и нониуса одного штангенрейсмаса типа ШР - не более 0,03 мм.

2.8.3. Конструкция штангенрейсмасов типа ШР должна допускать возможность регулировки нониуса.

2.9. Требования к круговой шкале отсчетного устройства (тип ШРК)

2.9.1. Длина деления шкалы должна быть не менее 1 мм.

2.9.2. Ширина штрихов шкалы 0,15 - 0,25 мм. Разность ширины соответствующих штрихов в пределах одной шкалы должна быть не более 0,05 мм.

2.9.3. Ширина стрелки над делениями шкалы должна быть 0,15 - 0,20 мм. Конец стрелки должен перекрывать короткие штрихи не более чем на 0,8 их длины. Расстояние между концом стрелки и циферблатом не должно превышать 0,7 мм.

2.9.4. Отсчетное устройство должно обеспечивать возможность совмещения стрелки с нулевым делением круговой шкалы.

2.10. Требования к штангенрейсмасам с цифровым отсчетным устройством (тип ШРЦ).

2.10.1. Высота цифр должна быть не менее 4 мм.

2.10.2. Штангенрейсмасы типа ШРЦ дополнительно допускается оснащать интерфейсом для вывода результата измерения на внешнее устройство.

2.11. Требования к измерительной ножке штангенрейсмасов

2.11.1. Измерительные ножки штангенрейсмасов должны иметь две измерительные поверхности: нижнюю плоскую и верхнюю с ребром. Ширина ребра должна быть не более 0,5 мм с закруглением по радиусу у штангенрейсмасов с диапазоном измерения 0 - 250 мм и не более 0,2 мм у штангенрейсмасов с другими диапазонами измерений.

2.11.2. Размер g измерительной ножки (черт. 1а) должен быть выражен целым числом миллиметров. Отклонение действительного размера измерительной ножки от намаркированного должно быть не более ±0,02 мм.

2.12. Измерительная поверхность разметочной ножки должна изготовляться из твердого сплава (твердый сплав по ГОСТ 3882).

2.13. Твердость измерительных поверхностей должна быть:

основания стального - не менее 57 HRCЭ или чугунного - не менее 160..241 НВ;

измерительной ножки - не менее 59 НRСЭ;

разметочной ножки - не менее 61 HRCЭ.

Твердость поверхностей измерительных ножек и основания из высоколегированной стали должна быть не менее 51 HRCЭ.

2.14. Параметр шероховатости измерительных поверхностей штангенрейсмасов при значении отсчета по нониусу, цене деления шкалы и шаге дискретности не более 0,05 мм по ГОСТ 2789 не должен превышать:

Ra £ 0,16 мкм - для измерительной ножки;

Ra £ 0,32 мкм - для разметочной ножки и основания.

Параметр шероховатости измерительных поверхностей штангенрейсмасов при значении отсчета по нониусу 0,1 мм по ГОСТ 2789 не должен превышать:

Ra £ 0,32 мкм - для измерительной и разметочной ножки;

Ra £ 0,63 мкм - для основания.

2.15. Наружные поверхности штангенрейсмаса, за исключением измерительных поверхностей ножек и основания, должны иметь антикоррозионное покрытие по ГОСТ 9.032 и ГОСТ 9.303.

Поверхности шкал штанги и нониуса штангенрейсмаса из инструментальной и конструкционной стали с верхним пределом измерения до 1000 мм должны быть хромированы, с верхним пределом измерения до 630 мм могут иметь хромирование матовое.

Поверхности шкал штанги и нониуса штангенрейсмаса из высоколегированной стали с верхним пределом измерения до 630 мм должны быть матовые.

2.16. Штангенрейсмасы должны быть размагничены.

2.17. Средняя наработка на отказ штангенрейсмасов - 15000 условных измерений.

Под условным измерением понимают перемещение рамки по штанге до контакта измерительных поверхностей с объектом измерения. При этом перемещение рамки должно быть не менее 1/3 верхнего предела измерения штангенрейсмаса.

Критерием отказа является нарушение работоспособности штангенрейсмасов, приводящее к невыполнению требований пп. 2.2 и (или) 2.7.

2.18. Полный средний срок службы - не менее 5 лет.

Критерием предельного состояния является износ элементов штангенрейсмаса, приводящий к невыполнению требований пп. 2.2 и (или) 2.7 и характеризуемый невозможностью или нецелесообразностью восстановления изношенных поверхностей.

2.19. Среднее время восстановления штангенрейсмасов - не более 3,5 ч.

2.20. Средний срок сохраняемости должен быть не менее 4 лет при условии переконсервации через 2 года.

2.21. Комплектность

2.21.1. Штангенрейсмасы должны быть укомплектованы измерительной и разметочной ножками.

К каждому штангенрейсмасу должен быть приложен паспорт по ГОСТ 2.601.

2.22. Маркировка

2.22.1 На каждом штангенрейсмасе должны быть нанесены:

товарный знак предприятия-изготовителя;

порядковый номер по системе нумерации предприятия-изготовителя;

условное обозначение года выпуска;

значение отсчета по нониусу или цена деления круговой шкалы;

размер измерительной ножки (на измерительной ножке).

2.22.2. Маркировка на футляре - по ГОСТ 13762.

Наименование или условное обозначение штангенрейсмаса наносят только на жестком футляре.

2.23. Упаковка

2.23.1. Методы и средства для обезжиривания и консервации штангенрейсмасов - по ГОСТ 9.014.

2.23.2. Штангенрейсмасы должны быть упакованы в футляры, изготовленные из материалов по ГОСТ 13762.

2.23.3. Штангенрейсмасы с пределом измерения свыше 250 мм при транспортировании в контейнерах допускается упаковывать в футляры без транспортной тары.

При упаковывании без транспортной тары футляры со штангенрейсмасами должны быть закреплены так, чтобы исключалась возможность их перемещения.

3. ПРИЕМКА

3.1. Для проверки соответствия штангенрейсмасов требованиям настоящего стандарта проводят государственные испытания, приемочный контроль, периодические испытания и испытания на надежность.

3.2. Государственные испытания - по ГОСТ 8.383 и ГОСТ 8.001.

3.3. При приемочном контроле каждый штангенрейсмас проверяют на соответствие требованиям пп. 1.5; 2.2 - 2.7; 2.8.1; 2.8.3; 2.9.3; 2.9.4; 2.11.2; 2.14; 2.15; 2.16; 2.21; 2.22.

3.4. Периодические испытания проводят не реже раза в 3 года не менее чем на 3 штангенрейсмасах каждого типа, из числа прошедших приемочный контроль, на соответствие всем требованиям настоящего стандарта, кроме пп. 2.17 - 2.20.

Результаты испытаний считают удовлетворительными, если все испытываемые штангенрейсмасы соответствуют всем проверяемым требованиям.

3.5. Подтверждение показателей надежности (пп. 2.17 - 2.20) проводят не реже раза в 3 года по программам испытаний на надежность, разработанным в соответствии с ГОСТ 27.410 и утвержденным в установленном порядке. Допускается совмещение испытаний на надежность с периодическими испытаниями.

4. МЕТОДЫ КОНТРОЛЯ И ИСПЫТАНИЙ

4.1. Проверка штангенрейсмасов - по МИ 424 и МИ 2190.

4.2. При определении влияния транспортной тряски используют ударный стенд, создающий тряску ускорением 30 м/с2 при частоте 80 - 120 ударов в минуту.

Штангенрейсмасы в упаковке крепят к стенду и испытывают при общем числе ударов 15000. После испытаний погрешность штангенрейсмасов не должна превышать значений, указанных в табл. 2.

Допускается проводить испытания штангенрейсмасов транспортированием на грузовой машине со скоростью 20 - 40 км/ч на расстояние не менее 100 км по грунтовой дороге.

4.3. Воздействие климатических факторов внешней среды при транспортировании определяют в климатических камерах в следующих режимах: при температуре минус (50 ± 3) °С, плюс (50 ± 3) °С и при относительной влажности (95 ± 3) % при температуре (35 ± 5) °С. Выдержка в климатической камере по каждому из трех видов испытаний – 2 ч. После испытаний погрешность штангенрейсмасов не должна превышать значений, указанных в табл. 2.

Допускается после выдержки штангенрейсмаса в каждом режиме выдерживать его в нормальных условиях в течение 2 ч.

5. ТРАНСПОРТИРОВАНИЕ И ХРАНЕНИЕ

Транспортирование и хранение штангенрейсмасов - по ГОСТ 13762.

6. УКАЗАНИЯ ПО ЭКСПЛУАТАЦИИ

Штангенрейсмас допускается эксплуатировать при температуре окружающей среды от 10 до 40 °С и относительной влажности воздуха - не более 80 % при температуре 25 °С.

7. ГАРАНТИИ ИЗГОТОВИТЕЛЯ

Изготовитель гарантирует соответствие штангенрейсмасов требованиям настоящего стандарта при соблюдении условий транспортирования, хранения и эксплуатации.

Гарантийный срок эксплуатации штангенрейсмасов - 12 мес. со дня ввода в эксплуатацию.

ПРИЛОЖЕНИЕ

Обязательное

ПЕРЕЧЕНЬ ФУНКЦИЙ, ХАРАКТЕРИЗУЮЩИХ СТЕПЕНЬ АВТОМАТИЗАЦИИ

1. Выдача цифровой информации в прямом коде (с указанием знака и абсолютного значения).

2. Установка начала отсчета в абсолютной системе координат.

3. Запоминание результата измерения*.

4. Гашение памяти с восстановлением текущего результата измерения*.

5. Вывод результатов измерения на внешние устройства*.

6. Переход из абсолютной системы координат в относительную и обратно по внешней команде*.

7. Предварительная установка нуля.

8. Перезапись памяти*.

9. Предварительная установка числа (ввод констант).

10. Накопление массива результатов измерения*.

11. Сравнение результатов измерения с пороговыми границами*.

12. Выделение экстремальных элементов массива (максимума и минимума) с нахождением разности между ними*.

13. Арифметические действия с результатами измерения и константами*.

* По заказу потребителя.

ИНФОРМАЦИОННЫЕ ДАННЫЕ

1. РАЗРАБОТАН И ВНЕСЕН Министерством станкостроительной и инструментальной промышленности СССР

2. УТВЕРЖДЕН И ВВЕДЕН В ДЕЙСТВИЕ Постановлением Государственного комитета СССР по управлению качеством продукции и стандартам от 23.02.90 № 266

3. ВЗАМЕН ГОСТ 164-80

4. ССЫЛОЧНЫЕ НОРМАТИВНО-ТЕХНИЧЕСКИЕ ДОКУМЕНТЫ

Обозначение НТД, на который дана ссылка

Номер пункта

Обозначение НТД, на который дана ссылка

Номер пункта, раздела

ГОСТ 2.601-95

2.21.1

ГОСТ 27.410-87

3.5

ГОСТ 8.001-80

3.2

ГОСТ 2789-73

2.14

ГОСТ 8.383-80

3.2

ГОСТ 3882-74

2.12

ГОСТ 9.014-78

2.23.1

ГОСТ 13762-86

2.22.2; 2.23.2; разд. 5

ГОСТ 9.032-74

2.15

МИ 424-84

4.1

ГОСТ 9.303-84

2.15

МИ 2190-92

4.1

5. Ограничение срока действия снято по протоколу № 5-94 Межгосударственного Совета по стандартизации, метрологии и сертификации (ИУС 11-12-94)

6. ПЕРЕИЗДАНИЕ. Июнь 2001 г.

СОДЕРЖАНИЕ

 




Rambler's Top100 Яндекс цитирования
  Copyright © 2008-2026, www.docload.ru