Бесплатная библиотека стандартов и нормативов www.docload.ru

Все документы, размещенные на этом сайте, не являются их официальным изданием и предназначены исключительно для ознакомительных целей.
Электронные копии этих документов могут распространяться без всяких ограничений. Вы можете размещать информацию с этого сайта на любом другом сайте.
Это некоммерческий сайт и здесь не продаются документы. Вы можете скачать их абсолютно бесплатно!
Содержимое сайта не нарушает чьих-либо авторских прав! Человек имеет право на информацию!

 

ГОСТ 20259-80

МЕЖГОСУДАРСТВЕННЫЙ СТАНДАРТ

КОНТЕЙНЕРЫ УНИВЕРСАЛЬНЫЕ

ОБЩИЕ ТЕХНИЧЕСКИЕ УСЛОВИЯ

ИПК ИЗДАТЕЛЬСТВО СТАНДАРТОВ

Москва

МЕЖГОСУДАРСТВЕННЫЙ СТАНДАРТ

КОНТЕЙНЕРЫ УНИВЕРСАЛЬНЫЕ

Общие технические условия

Universal containers.
General specifications

ГОСТ
20259-80

Дата введения 01.01.82

Настоящий стандарт распространяется на закрытые и открытые универсальные среднетоннажные и крупнотоннажные контейнеры по ГОСТ 18477, предназначенные для прямых и смешанных внутренних и международных перевозок.

Стандарт полностью соответствует международному стандарту ИСО 1496-1.

(Измененная редакция, Изм. № 1, 3).

1. ТЕХНИЧЕСКИЕ ТРЕБОВАНИЯ

1.1. Контейнеры должны изготовляться в соответствии с требованиями настоящего стандарта, ГОСТ 18477 по рабочим чертежам, утвержденным в установленном порядке, при этом ни одна часть конструкции контейнера не должна выступать за пределы внешних размеров по ГОСТ 18477. Климатическое исполнение - У, категория 1 по ГОСТ 15150 с учетом требований к подвижному составу. Крупнотоннажные контейнеры должны, кроме того, отвечать действующим Правилам Регистра СССР по контейнерам, а также требованиям Международной конвенции по безопасным контейнерам ООН/ИМО, 1972 г. (КБК), и Таможенной конвенции, касающейся контейнеров, 1972 г. (ТКК).

Примечание. Среднетоннажные контейнеры по согласованию между изготовителем и заказчиком допускается изготовлять в климатическом исполнении У категории 1 по ГОСТ 15150 без учета требований к подвижному составу.

(Измененная редакция, Изм. № 3).

1.2. Конструкция контейнеров должна обеспечивать:

надежность и удобство в эксплуатации при прогрессивных удельных затратах материалов на изготовление контейнеров на единицу грузоподъемности и вместимости;

возможность штабелирования груженых среднетоннажных контейнеров в 3 яруса, крупнотоннажных контейнеров в 9 ярусов, а по согласованию между изготовителем и заказчиком - не менее чем в 6 ярусов;

сохранность груза при транспортировании, хранении и перегрузке контейнеров при условии выполнения правил эксплуатации;

удобство промывки, очистки, выполнения ремонтов, крепления грузов, технического и коммерческого осмотров;

невозможность извлечения груза из контейнера (закрытого или открытого с закрепленным тентом или съемной крышей) или загрузки в него груза без оставления видимых следов взлома или повреждения таможенных печатей и пломб;

наложение печатей и навеску пломб на закрытые контейнеры и открытые, оборудованные тентом или съемной крышей;

отсутствие потайных мест для скрытия груза;

легкую доступность всех мест, где может помещаться груз, для таможенного досмотра.

(Измененная редакция, Изм. № 3).

1.3. Контейнеры должны иметь:

двустворчатую дверь с эластичным уплотнением и запорными устройствами - закрытые контейнеры и открытые с тентом или съемной крышей;

двустворчатую дверь с запорными устройствами - открытые контейнеры без тента или съемной крыши высотой 1580 мм и более;

двустворчатую дверь или заменяющую ее откидную торцевую стенку с запорными устройствами - открытые контейнеры без тента или съемной крыши типоразмеров 1АХ, 1СХ и 1DX высотой менее 1580 мм;

рымные узлы по ГОСТ 18579 - среднетоннажные закрытые контейнеры; рымные узлы по утвержденной в установленном порядке конструкторской документации - среднетоннажные открытые контейнеры;

угловые фитинги по ГОСТ 20527 - крупнотоннажные контейнеры;

опорные (контактные) площадки на торцевых и промежуточных поперечных балках основания для передачи нагрузки на продольные балки полуприцепа, расположенные в пределах двух зон шириной 250 мм каждая (черт. 1 приложения 1) - контейнеры типоразмеров 1АА, 1А, 1АХ, 1СС, 1C, 1СХ;

одну пару вилочных проемов по ГОСТ 18477 - контейнеры всех типоразмеров, кроме 1АА, 1А, 1АХ, и контейнеры типоразмеров 1СС, 1C и 1СХ с боковыми дверями,

а также по требованию заказчика:

устройства для крепления грузов, расположенные на элементах конструкции стенок и не выступающие за их поверхность; конструкция устройств (жесткая, шарнирная) и их размещение - по утвержденной в установленном порядке технической документации;

вентиляционные устройства с заградительной системой - контейнеры с эластичным уплотнением всех типоразмеров;

паз в основании (туннель) по ГОСТ 18477 для установки на низкорамный полуприцеп-контейнеровоз - контейнеры типоразмеров 1АА, 1А и 1АХ;

подхватные устройства в основании по ГОСТ 18477 - крупнотоннажные контейнеры;

карман для хранения транспортных документов;

карман внутри контейнера для хранения фактуры или спецификации.

Примечания:

1. Допускается выполнять двери среднетоннажных контейнеров (закрытых и открытых с тентом или съемной крышей) без эластичного уплотнения, но не менее чем с двумя лабиринтами, обеспечивающими непопадание атмосферных осадков и пыли внутрь контейнера.

2. Крупнотоннажные контейнеры помимо торцевой двери следует оборудовать боковыми дверями по согласованию между изготовителем и транспортными министерствами (заказчиком).

Среднетоннажные контейнеры допускается оборудовать либо торцевой, либо боковой дверью. Тип двери для этих контейнеров выбирает заказчик, а для используемых в смешанном и прямом железнодорожном сообщениях - МПС.

3. Контейнеры типоразмера УУК-5 допускается оборудовать объемными угловыми фитингами в соответствии с ГОСТ 18477 и ГОСТ 18579:

Эти контейнеры взамен объемных фитингов и все среднетоннажные контейнеры других типоразмеров по требованию заказчика следует оборудовать для крепления на подвижном составе нижними плоскими угловыми фитингами, имеющими такие же размеры отверстий, как отверстия на нижних опорных поверхностях объемных угловых фитингов по ГОСТ 20527.

4. Контейнеры типоразмеров 1СС, 1C и 1СХ без боковых дверей допускается изготовлять со второй внутренней парой вилочных проемов по ГОСТ 18477, предназначенных для работы только с порожними контейнерами, - по согласованию между изготовителем и заказчиком.

5. Открытые крупнотоннажные контейнеры индивидуального пользования без тента и съемной крыши высотой 2438 и 2591 мм допускается вместо торцевой двустворчатой двери оборудовать трехстворчатой, состоящей из одной нижней откидной створки и двух верхних створок, раскрывающихся в разные стороны.

6. Крупнотоннажные контейнеры типоразмеров 1АХ, 1СХ, 1DX высотой более 1580 мм допускается оборудовать откидной торцевой стенкой по согласованию с заказчиком.

7. Допускается оборудовать двери (откидные стенки) открытых контейнеров, имеющих устройства для крепления тента, лабиринтами для отвода атмосферных осадков наружу вместо эластичного уплотнения - по согласованию с заказчиком.

8. Рымные узлы открытых среднетоннажных контейнеров не должны выступать за пределы верхних балок, в которых они монтируются, а их конструкцией и расположением должна быть обеспечена возможность применения захвата по ГОСТ 22661.

9. Каждое устройство для крепления груза, размещенное на элементах конструкции стенок среднетоннажных контейнеров, должно выдерживать действующее в эксплуатационных условиях в любом направлении усилие не менее 2,5 кН, а крупнотоннажных контейнеров - не менее 5 кН. Наименьший свободный зазор для пропуска и надежного закрепления увязочных средств - по согласованию с заказчиком, но не менее 25 мм.

(Измененная редакция, Изм. № 3, 4).

1.4. Металлические элементы конструкции должны быть защищены от коррозии. Подготовка поверхностей и система защитных лакокрасочных покрытий устанавливается нормативно-технической документацией на каждый типоразмер контейнера. Выбранные герметики (для уплотнения), грунтовки, краски и т.п. после нанесения и высыхания должны быть прочными, нетоксичными, влагонепроницаемыми, обладать стойкостью против действия морской воды и моющих средств, не оказывать отрицательного влияния друг на друга и не впитывать запахи. Они должны соответствовать условиям эксплуатации в диапазоне предельных температур от минус 50 до плюс 70 °С. Окраска всех наружных поверхностей контейнера, кроме пола и крыши, должна соответствовать V классу, а внутренних поверхностей и крыши - VI классу покрытий по ГОСТ 9.032. Покрытие пола - по п. 1.8.2 настоящего стандарта.

(Измененная редакция, Изм. № 2, 3).

1.5. Материалы и технология изготовления крупнотоннажных контейнеров должны отвечать требованиям Регистра СССР.

1.6. Сварку следует производить по ГОСТ 5264, ГОСТ 14771 и ГОСТ 8713. Допускается применять сварные соединения других типов и конструкции по нормативно-технической документации на каждый типоразмер контейнера.

1.7. Конструкция пола должна обеспечивать:

полный сток воды при наклоне контейнера на 2° - 3° в сторону торцевой двери;

возможность въезда погрузчика по специальному мостику с опиранием его на нижнюю балку дверной рамы;

водонепроницаемость пола в целом, в местах стыка отдельных его элементов между собой и по периметру пола - с элементами стенок и основания.

Крупнотоннажные контейнеры, кроме устройств для крепления грузов по п. 1.3, должны по требованию заказчика иметь устройства для крепления тяжелых грузов, встроенные в пол и не выступающие над его поверхностью (розетки), или оборудоваться другими приспособлениями, расположенными на боковых балках основания и отвечающими требованиям п. 1.2 в части сохранности груза.

При этом каждое устройство для крепления груза, расположенное в основании (в полу или на балках), должно выдерживать в эксплуатационных условиях усилие не менее 20 кН, приложенное в любом направлении; общее число таких устройств должно быть не менее 16 в контейнерах типоразмеров 1АА, 1А, 1АХ, не менее 10 - 1СС, 1C, 1СХ и не менее 8 - ID и 1DX; наименьший свободный зазор для пропуска и надежного закрепления увязочных средств - по согласованию с заказчиком, но не менее 25 мм.

Примечание. До 01.01.89 допускалось снижать усилие 20 кН до 10 кН по согласованию с заказчиком.

1.8. Настил пола контейнера должен быть изготовлен из древесины - досок или фанеры. Применение других материалов допускается по согласованию изготовителя с заказчиком и Регистром СССР. Полы должны быть оборудованы защитным металлическим листом (уголком) со стороны дверного проема.

Применять листовую сталь допускается только в 3-тонных автомобильных контейнерах, используемых для прямых перевозок на короткие расстояния при согласии Минавтотранса РСФСР и отдела охраны труда ПК профсоюза работников автомобильного транспорта и шоссейных дорог.

1.8.1. Для изготовления деревянного настила пола следует применять доски 1-го сорта из древесины хвойных пород по ГОСТ 8486 или фанеру в виде щитов заданных размеров, специально предназначенную для изготовления полов. Наружная поверхность и кромки щитов должны быть защищены влагонепроницаемыми покрытиями. Допускается до 1 января 1989 г. изготовлять настил пола из щитов заданных размеров из фанеры для авто-, вагоно-, контейнеростроения по техническим условиям на фанеру.

При изготовлении клееных полов допускается использовать доски 1, 2 и 3-го сортов из древесины хвойных пород по ГОСТ 8486 для предварительной нарезки на рейки с удалением пороков и дефектов, влияющих на прочность и водонепроницаемость настила пола.

Параметр шероховатости верхней лицевой поверхности досок - по нормативно-технической документации на каждый типоразмер контейнера.

Допускается применять доски 2-го сорта из древесины хвойных пород по ГОСТ 8486 для изготовления настила пола в среднетоннажных контейнерах.

1.8.2. Древесина, применяемая для изготовления настила пола, должна быть пропитана защитным средством с обеспечением V класса условий службы по ГОСТ 20022.2, а для крупнотоннажных контейнеров, по согласованию между изготовителем и заказчиком, кроме того химикатами, предохраняющими от грызунов и термитов. Пропитка указанными веществами не должна вызывать изменения качества грузов.

Пропитку антисептиками древесины настила пола среднетоннажных контейнеров допускается не производить при условии окраски настила пола внутри контейнера. С наружной стороны настил пола из досок или фанеры у всех контейнеров должен быть покрыт битумной мастикой или другим не уступающим ей по качеству материалом. Покрытие пола среднетоннажных контейнеров с наружной стороны допускается проводить эмалью ПФ133 по ГОСТ 926 или ПФ115 по ГОСТ 6465. При применении фанеры с защитным влагонепроницаемым покрытием с наружной стороны указанное покрытие настила пола битумной мастикой по согласованию с заказчиком может не производиться.

1.9. Конструкцией двери и дверной рамы закрытого контейнера должно быть обеспечено:

плотное прилегание эластичного уплотнения по всему периметру к дверной раме, створок двери - друг к другу. При оборудовании дверей взамен эластичного уплотнения лабиринтами для отвода атмосферных осадков наружу требования к прилеганию двери к дверной раме и створок двери друг к другу - по конструкторской документации, согласованной с заказчиком;

открывание торцевой двери контейнеров всех типоразмеров и боковой двери среднетоннажных контейнеров на угол 270°, боковых дверей крупнотоннажных контейнеров на угол 180°;

невозможность снятия двери в запертом положении;

надежное свободное запирание и отпирание двери предусмотренными запорными устройствами без дополнительных приспособлений;

закрепление двери в открытом положении (у среднетоннажных контейнеров - по требованию заказчика);

возможность применения ограждения дверного проема;

невозможность попадания искр внутрь контейнера при запертых дверях.

По требованию заказчика перечисленные требования распространяются также на открытые контейнеры с тентом, съемной крышей или без них.

Конструкция откидной стенки должна быть рассчитана на въезд вилочного погрузчика грузоподъемностью 2 т. Угол откидывания стенки должен составлять не менее 120°.

1.7 - 1.9. (Измененная редакция, Изм. № 2, 3).

1.10. Двери не должны выступать за пределы дверной рамы. Размеры дверного проема закрытых контейнеров - по ГОСТ 18477, открытых - по конструкторской документации, утвержденной в установленном порядке.

(Измененная редакция, Изм. № 3).

1.11. Конструкция запорных устройств двери (откидной стенки) должна обеспечивать:

возможность захвата их рукоятки рукой в рукавице;

прижим двери (откидной стенки) по всему периметру к дверной раме, створок двери - друг к другу (у закрытых контейнеров и открытых с тентом или съемной крышей); допускаемое усилие на рукоятке запорного устройства при запирании контейнера - по ГОСТ 20260;

невозможность самооткрывания запертой двери (откидной стенки) под воздействием вибрации и нагрузок, возникающих в процессе эксплуатации;

одновременный ввод кулачков штанг запорных устройств в зевы гнезд, имеющихся на верхней и нижней балках дверной рамы, без повреждений и остаточных деформаций в элементах конструкции сцепляющихся устройств и двери;

применение проволочной закрутки диаметром 6 мм;

возможность пломбирования двери закрытых контейнеров и двери (откидной стенки) открытых контейнеров с закрепленным тентом или съемной крышей одной пломбой и защиту пломбы от повреждений;

усиление жесткости конструкции дверной рамы при запертых дверях;

сохранение в процессе эксплуатации соосности отверстий на рукоятках и пломбировочных скобах, требуемой для свободного пропуска проволочной закрутки, навески пломбы либо установки пломбы-запора принятых размеров. Диаметр отверстия должен быть не менее 8 мм для проволочной закрутки и 11 мм - для пломбы. При одном отверстии на рукоятке и одном на пломбировочной скобе диаметр отверстия должен быть не менее 14 мм.

(Измененная редакция, Изм. № 2, 3).

1.12. Каждая боковая стенка крупнотоннажных контейнеров для нанесения маркировки должна иметь с наружной стороны по две зоны с гладкой поверхностью обшивки (без гофр) размерами, достаточными для указанной цели.

1.13. Конструкция и крепление карманов, включая устройства для запора и пломбирования, должны обеспечивать сохранность документов. Изъятие документов должно быть невозможным без повреждения пломб или карманов.

Карман для хранения водонепроницаемого пакета с транспортными документами должен быть закреплен на наружной стороне левой боковой стенки вблизи двери (откидной стенки), карман для хранения фактуры или спецификации - на внутренней стороне левой боковой стенки вблизи двери (откидной стенки) или на двери.

1.14. Конструкция крыши контейнера не должна препятствовать стоку с нее воды и счистке снега. Крыша крупнотоннажных контейнеров в местах стыка с угловыми фитингами должна быть усилена для предотвращения повреждения ее поворотными замками захвата крана. Усиление крыши можно производить выше ее уровня дополнительным листом при условии, что лист и его крепление не будут по длине контейнера выходить за размер 750 мм от его торца и не будут выступать над верхней поверхностью верхних угловых фитингов.

Крыша среднетоннажных контейнеров в зоне примыкания ее к рымным узлам должна быть усилена для предотвращения ее повреждения рабочими органами механических (автоматических) захватов грузоподъемных кранов. Усиление крыши выше ее уровня допускается в пределах допусков к габаритной высоте контейнеров, установленных ГОСТ 18477.

Указанное усиление крыши парка эксплуатируемых среднетоннажных контейнеров - по ремонтной документации.

(Измененная редакция, Изм. № 2, 3).

1.15. Съемный тент или съемная часть крыши должны оборудоваться запорными устройствами с индикацией, позволяющей с уровня земли проверять надежность их закрепления на контейнерах, находящихся на площадке или подвижном составе.

1.16. Конструкция основания крупнотоннажных контейнеров должна обеспечивать возможность их опирания только на нижние угловые фитинги, а контейнеров типоразмеров 1АА, 1А, 1АХ, 1СС, 1C, 1СХ - кроме того, при установке их на полуприцепы-контейнеровозы - только на опорные (контактные) площадки, имеющиеся на поперечных балках основания контейнера.

1.17. При расстоянии между соседними поперечными балками, имеющими опорные (контактные) площадки, превышающем 1000 мм, расположение таких балок должно соответствовать черт. 2 - 4 приложения 1. В этом случае каждая пара опорных (контактных) площадок на торцевых балках должна выдерживать вертикальную нагрузку не менее 0,5 Rg, а на промежуточных поперечных балках - не менее 1,5 Rg/n, где R - максимальная масса брутто контейнера, кг; g - ускорение силы тяжести; n - число промежуточных поперечных балок.

Каждая опорная (контактная) площадка в направлении продольной оси контейнера должна иметь длину не менее 25 мм.

1.18. Каждая угловая стойка среднетоннажного контейнера на высоте не менее 1 м от опорной плоскости основания должна иметь устройство для крепления на подвижном составе. Свободный зазор для пропуска увязочных средств - не менее 20 мм. Конструкции устройств для крепления контейнеров на подвижном составе - по чертежам, утвержденным в установленном порядке.

1.19. Верхние плоскости верхних угловых фитингов крупнотоннажных контейнеров должны выступать над уровнем крыши, за исключением места ее усиления по п. 1.14, не менее чем на 6 мм.

Нижние поверхности опорных (контактных) площадок, в том числе на торцовых балках, должны находиться в плоскости, расположенной на 12,5 мм (или 11 - 17,5 мм) выше плоскости нижних поверхностей нижних угловых фитингов контейнера. Кроме нижних угловых фитингов и нижних боковых продольных балок (включая элементы усиления), ни одна часть контейнера не должна располагаться ниже этой плоскости.

1.20. Конструкция среднетоннажных и крупнотоннажных контейнеров должна выдерживать нагрузки, приведенные в обязательных приложениях соответственно 2 и 3, и в условиях действия указанных сил должна рассматриваться как единое целое. При этом следует учитывать, что:

у крупнотоннажных контейнеров, загруженных равномерно распределенным по площади пола грузом до 1,8R прогиб элементов основания не должен быть более 6 мм ниже уровня нижних плоскостей нижних угловых фитингов;

смещение в поперечном направлении верхней рамы контейнеров типоразмеров 1АА, 1А, 1АХ, 1СС, 1C, 1СХ по отношению к основанию в условиях нагружения по ГОСТ 20260 на поперечный перекос должно вызывать такую деформацию торцевой рамы, чтобы сумма абсолютных изменений длин ее диагоналей была не более 60 мм;

смещение в продольном направлении верхней рамы контейнеров типоразмеров 1АА, 1А, 1X, 1СС, 1C, 1СХ по отношению к основанию в условиях нагружения по ГОСТ 20260 на продольный перекос не должно превышать 25 мм.

1.6 - 1.20. (Измененная редакция, Изм. № 2, 3).

1.21. Срок службы контейнеров - по «Нормативным срокам службы», утвержденным Госпланом СССР.

(Измененная редакция, Изм. № 3).

2. ПРАВИЛА ПРИЕМКИ И МЕТОДЫ ИСПЫТАНИЙ

2.1. Правила приемки и методы испытаний - по ГОСТ 20260.

3. МАРКИРОВКА

3.1. Маркировка крупнотоннажных контейнеров - по ГОСТ 25588, маркировочный код - по ГОСТ 25290.

Предприятие-изготовитель на среднетоннажных контейнерах должно маркировать следующие данные:

надпись «СССР» - на всех контейнерах, кроме поставляемых МПС;

технический знак советских железных дорог или другого владельца с сокращенным его наименованием;

маркировочный номер - по ГОСТ 22377;

сокращенное наименование предприятия-изготовителя и по усмотрению последнего - его товарный знак;

месяц и год изготовления;

условное обозначение контейнера;

максимальную массу брутто, собственную массу, объем;

предупредительный знак в виде прямоугольника шириной 115 и высотой 80 мм с цифрами 2,6 внутри его - на контейнерах типоразмеров УУКП-5 (6), УУКП-5 и УУКП-3 (5).

Место и цвет маркировки, размеры и расположение наносимых букв, цифр и знаков на среднетоннажных контейнерах должны соответствовать рабочим чертежам, утвержденным в установленном порядке.

3.2. Каждый контейнер должен иметь:

на видном месте - заводскую табличку, содержащую полное или сокращенное наименование предприятия-изготовителя, серийный номер контейнера, контрольное число и время изготовления контейнера (первые две цифры - месяц, вторые две - последние цифры года изготовления). Серийный номер и контрольное число допускается заменять на номер контейнера по системе нумерации предприятия-изготовителя при согласии заказчика;

клеймо ОТК предприятия-изготовителя;

клеймо Регистра СССР на крупнотоннажных контейнерах, подлежащих приемке Регистром СССР.

Места расположения клейм на крупнотоннажных контейнерах - согласно Руководству по техническому надзору за изготовлением контейнеров Регистра СССР, часть 1, а на среднетоннажных - по нормативно-технической документации на каждый типоразмер контейнера.

Примечания:

1. Цифры месяца и года изготовления в заводской табличке следует клеймить ударным шрифтом.

2. На среднетоннажные контейнеры заводскую табличку разрешается не устанавливать при согласии заказчика.

3.1, 3.2. (Измененная редакция, Изм. № 2, 3).

3.3. Таблички о допущении крупнотоннажного контейнера к эксплуатации по условиям безопасности и о допущении перевозки грузов под таможенными печатями и пломбами (ГОСТ 25588) должны прикрепляться к контейнеру на видном и наименее подверженном повреждению месте.

3.4. На контейнерах, пол которых пропитан химикатами в соответствии с международными требованиями, обеспечивающими применяемость контейнеров во всех странах, должна быть табличка с надписью на английском языке «Timber treated for plant quarantine department of health Australia».

3.5. Если контейнеры типоразмеров 1СС, 1C или 1СХ имеют две пары вилочных проемов, то рядом с проемами внутренней пары должна быть нанесена принятая международная маркировка.

3.3 - 3.5. (Измененная редакция, Изм. № 2).

3.6. (Исключен, Изм. № 3).

4. ТРАНСПОРТИРОВАНИЕ И ХРАНЕНИЕ

4.1. Транспортирование контейнеров осуществляют на открытом подвижном составе железнодорожным, автомобильным транспортом, в трюмах и на палубах судов. Среднетоннажные закрытые контейнеры и открытые с тентом или съемной крышей, не имеющие эластичного уплотнения, в груженом состоянии при морских перевозках должны размещаться в трюмах судов.

4.2. Каждая партия изготовленных контейнеров одного типоразмера, предназначенная одному заказчику, но состоящая не более чем из 10 крупнотоннажных или 200 среднетоннажных контейнеров, должна сопровождаться документами, содержащими:

обозначение типоразмера контейнера;

дату выпуска или отправления;

число контейнеров в партии;

дату периодических испытаний;

дату составления документа.

(Измененная редакция, Изм. № 2).

4.3. Контейнеры должны храниться на открытых площадках с бетонным или другим соответствующим покрытием с уклоном 0,03 в поперечном направлении. Площадка должна иметь устройства для отвода дождевых и талых вод и удовлетворять противопожарным требованиям. Двери контейнеров должны быть заперты.

5. ТРЕБОВАНИЯ БЕЗОПАСНОСТИ

5.1. Створки дверей, откидные стенки, запорные устройства и петли дверей и откидных стенок, устройства для крепления груза в полу, на балках или стенках, рымные узлы и угловые фитинги на верхней раме, а также поверхности стенок и дверей контейнеров должны исключать возможность порезов и травм при креплении грузов, загрузке и разгрузке их, строповке и ремонте контейнеров.

(Измененная редакция, Изм. № 3).

5.2. Части и элементы конструкции контейнера, которые в незакрепленном положении могут подвергаться повреждениям и нарушать условия безопасной работы, должны оснащаться соответствующими устройствами крепления.

5.3. Устройство контейнера в целом должно обеспечивать безопасность выполнения транспортных, загрузочно-разгрузочных, перегрузочных и складских операций с применением средств комплексной механизации и автоматизации.

6. ГАРАНТИИ ИЗГОТОВИТЕЛЯ

6.1. Изготовитель гарантирует соответствие контейнеров требованиям настоящего стандарта при соблюдении условий эксплуатации.

Гарантийный срок эксплуатации среднетоннажных контейнеров - 24 мес, крупнотоннажных - 18 мес со дня ввода в эксплуатацию.

(Измененная редакция, Изм. № 2).

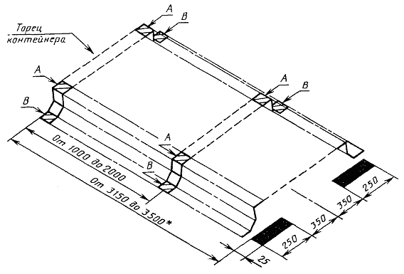
ПРИЛОЖЕНИЕ 1

Обязательное

Зона расположения опорных (контактных) площадок в основании контейнеров типоразмеров 1АА, 1А, 1АХ, 1СС, 1C, 1СХ

Черт. 1

Расположение опорных (контактных) площадок в основании контейнеров типоразмеров 1СС, 1C и 1СХ

а) при 4 парах опорных (контактных) площадок (минимум)

б) при 5 парах опорных (контактных) площадок

Черт. 2

Расположение опорных (контактных) площадок в основании контейнеров типоразмеров 1АА, 1А и 1AX, не имеющих паза для установки на полуприцеп с «гусиной шеей»

а) при 5 парах опорных (контактных) площадок (минимум)

б) при 6 парах опорных (контактных) площадок

Черт. 3

Расположение опорных (контактных) площадок в основании контейнеров типоразмеров 1АА, 1А и 1АХ, имеющих паз для установки на полуприцеп с «гусиной шеей»

а) при 6 парах опорных (контактных) площадок (минимум)

б) при 7 парах опорных (контактных) площадок

* Размер указан как в ИСО 1496-1.

в) в зоне паза (при наличии 6 и 7 пар опорных (контактных площадок)

Черт. 4

Примечания:

1. Суммарная площадь каждой пары площадок - верхней А и нижней Б, которые следует рассматривать как составные части одной опорной (контактной) площадки в зоне паза, должна быть не менее 1250 мм2.

2. Если боковые элементы паза предусматриваются сплошными, опорные (контактные) площадки в зоне паза необязательны.

(Измененная редакция, Изм. № 3).

ПРИЛОЖЕНИЕ 2

Обязательное

ЗНАЧЕНИЯ СИЛ И СХЕМЫ ИХ ДЕЙСТВИЯ НА СРЕДНЕТОННАЖНЫЕ КОНТЕЙНЕРЫ ПО ГОСТ 18477

На чертежах буквами обозначены: R и Rном, соответственно максимальная и номинальная массы брутто контейнера, кг; Т - его собственная масса, кг; g = 9,81 м/с2 - ускорение силы тяжести.

1. Штабелирование

Черт. 1

2. Подъем за 4 рымных узла

Черт. 2

3. Подъем вилочным погрузчиком

Черт. 3

Примечание. Вилочный захват погрузчика вводится в пазы на длину 3/4 ширины контейнера.

4. Нагружение основания сжатием

Черт. 4

Примечание. Сила 2 Rg действует на основание контейнера в продольном (поперечном) направлении и равномерно распределяется по ширине (длине).

5. Нагружение торцевой и боковой стенок контейнера

Черт. 5

6. Нагружение крыши

Черт. 6

7. Нагружение пола

Черт. 7

Примечание. Площадь контакта шины каждого из двух передних колес погрузчика с полом контейнера равна 40 см2.

8. Проверка жесткости конструкции

Установка контейнера на 3 опоры

Черт. 8

Примечание. Высота трех подкладок по 50 мм. Под свободный угол контейнеров типоразмеров УУКП-5 (6), УУКП-5, УУК-5 (6) и УУК-5 устанавливается дополнительная подкладка высотой 35 мм.

(Измененная редакция, Изм. № 3).

Установка контейнера на продольное ребро

Черт. 9

Примечание. Груз в контейнере должен иметь массу R-Т.

ПРИЛОЖЕНИЕ 3

Обязательное

ЗНАЧЕНИЯ СИЛ И СХЕМЫ ИХ ДЕЙСТВИЯ НА КРУПНОТОННАЖНЫЕ КОНТЕЙНЕРЫ ПО ГОСТ 18477

На чертежах буквами обозначены: R - максимальная масса брутто контейнера, кг; Т - его собственная масса, кг; g - ускорение силы тяжести, g = 9,81 м/с2. Показанные наружные нагрузки относятся только к одной конструктивной части (угловому фитингу, вилочному проему, подхватному устройству), внутренние - к контейнеру в целом. Нагрузки, условия их приложения и другие указания, относящиеся к контейнерам типоразмеров 1АА (1А), 1СС (1C) и 1D, распространяются также на контейнеры типоразмеров 1АХ, 1СХ и 1DX.

Нагрузки и схемы их действия, указанные на черт. 1 - 14, принимаются при проектировании и испытаниях контейнеров, а на черт. 15 -  17 - только при проектировании.

1. Штабелирование

F = 848 кН для 1АА, 1А, 1АХ, 1СС, 1C, 1СХ;

F = 224 кН для 1D, 1DX.

Черт. 1

Примечания:

1. Силы, приложенные к верхним угловым фитингам, смещены относительно центров последних на 38 мм в продольном и на 25 мм в поперечном направлениях.

2. По согласованию между изготовителем и заказчиком нагрузка F для контейнеров типоразмеров 1АА, 1А, 1АХ может быть увеличена до 1077 кН.

2. Подъем за верхние угловые фитинги

Черт. 2

Черт. 3

3. Подъем за нижние угловые фитинги

Черт. 4

Примечание. Силы, приложенные к нижним угловым фитингам, должны отстоять от их наружной поверхности на 38 мм.

4. Подъем контейнеров, имеющих вилочные проемы, вилочным погрузчиком

Подъем контейнеров типоразмеров 1СС, 1C и 1D с одной парой вилочных проемов и контейнеров типоразмеров 1СС, 1C с двумя парами проемов с использованием внешней пары.

Черт. 5

Подъем контейнеров типоразмеров 1СС и 1C с двумя парами вилочных проемов с использованием внутренней пары:

Черт. 6

Примечание. Вилочный захват погрузчика (ширина вил по 200 мм) вводится в пазы на длину 1828 ± 3 мм.

До 01.07.89 по согласованию между изготовителем и заказчиком допускается снижать указанные на черт. 5 и 6 нагрузки: (1,6 R - Т) g до (1,25 R - T) g; 0,8 Rg до 0,0625 Rg; (0,8 R - Т) g до (0,625 R - Т) g; 0,4 Rg до 0,3125 Rg.

5. Подъем за подхватные устройства основания (если они имеются)

Черт. 7

Примечание. Вертикальные оси всех четырех лап захвата и четырех полок подхватных устройств основания должны совпадать между собой. Линейные размеры площадки контакта лап и полок должны быть 32 ´ 254 мм по ГОСТ 18477.

6. Нагружение основания сжатием или растяжением

Черт. 8

7. Нагружение торцевой стенки

Черт. 9

Черт. 10

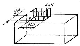
9. Нагружение крыши

Черт. 11

Примечание. Нагрузка 3 кН приложена в наиболее слабом месте крыши жесткой конструкции.

10. Нагружение пола

Черт. 12

Примечание. Площадь контакта шины каждого из двух передних колес погрузчика с полом контейнера 142 см2.

11. Проверка жесткости конструкции контейнеров типоразмеров 1СС, 1C, 1АА, 1А

Поперечный перекос

Черт. 13

Примечание. Сила 150 кН приложена поочередно или одновременно к каждому верхнему угловому фитингу контейнера со стороны одной боковой стенки сначала в сторону контейнера, а затем от него.

Продольный перекос

Черт. 14

Примечание. Сила 75 кН приложена поочередно или одновременно к каждому верхнему угловому фитингу контейнера со стороны одной торцевой стенки сначала в сторону контейнера, а затем от него.

12. Нагружение порожнего контейнера вертикальными растягивающими усилиями, действующими через угловые фитинги

Черт. 15

13. Нагружение порожнего контейнера горизонтальными сжимающими и растягивающими усилиями, действующими через угловые фитинги

В поперечном направлении

Черт. 16

В продольном направлении

Только для ID, 1DX при подъеме по черт. 3. (усилие определяется расчетом)

1АА, 1А, 1АХ, 1СС, 1C, 1СХ

Черт. 17

ПРИЛОЖЕНИЕ 1 - 3. (Измененная редакция, Изм. № 2, 3).

ИНФОРМАЦИОННЫЕ ДАННЫЕ

1. РАЗРАБОТАН И ВНЕСЕН Министерством путей сообщения СССР

2. УТВЕРЖДЕН И ВВЕДЕН В ДЕЙСТВИЕ Постановлением Государственного комитета СССР по стандартам от 26.09.80 № 4837

3. ВЗАМЕН ГОСТ 20259-74

4. ССЫЛОЧНЫЕ НОРМАТИВНО-ТЕХНИЧЕСКИЕ ДОКУМЕНТЫ

5. Снято ограничение срока действия Постановлением Госстандарта СССР от 03.07.91 № 1199

6. ИЗДАНИЕ (август 2002 г.) с Изменениями № 1, 2, 3, 4, утвержденными в марте 1983 г., октябре 1985 г., декабре 1987 г., марте 1990 г. (ИУС 7-83, 1-86, 4-88, 6-90)

СОДЕРЖАНИЕ

 




Rambler's Top100 Яндекс цитирования
  Copyright © 2008-2026, www.docload.ru