Бесплатная библиотека стандартов и нормативов www.docload.ru

Все документы, размещенные на этом сайте, не являются их официальным изданием и предназначены исключительно для ознакомительных целей.
Электронные копии этих документов могут распространяться без всяких ограничений. Вы можете размещать информацию с этого сайта на любом другом сайте.
Это некоммерческий сайт и здесь не продаются документы. Вы можете скачать их абсолютно бесплатно!
Содержимое сайта не нарушает чьих-либо авторских прав! Человек имеет право на информацию!

 

ГОСУДАРСТВЕННЫЙ СТАНДАРТ СОЮЗА ССР

МАТЕРИАЛЫ СТРОИТЕЛЬНЫЕ

НЕЙТРОННЫЙ МЕТОД ИЗМЕРЕНИЯ ВЛАЖНОСТИ

ГОСТ 23422-87

 

ГОСУДАРСТВЕННЫЙ СТАНДАРТ СОЮЗА ССР

МАТЕРИАЛЫ СТРОИТЕЛЬНЫЕ

Нейтронный метод измерения влажности

Building materials. Neutron method
of humidity measurement

ГОСТ
23422-87

Дата введения 01.01.88

Несоблюдение стандарта преследуется по закону

Настоящий стандарт распространяется на песок, щебень, гравий и гравийно-песчаную смесь, применяемые в качестве заполнителей бетона (далее - сыпучие материалы), бетонную и растворную смеси, а также бетоны на плотных заполнителях (далее - бетоны) и устанавливает методики измерения объемной или массовой влажности (далее - влажности) нейтронным методом.

Нейтронный метод применяют преимущественно для автоматизированного измерения влажности сыпучих материалов, а также для экспрессного измерения влажности бетонных и растворных смесей и бетонов.

Нейтронный метод измерения влажности основан на эффекте замедления быстрых нейтронов в процессе их взаимодействия с ядрами атомов водорода воды, содержащейся в материале.

Число медленных нейтронов, регистрируемых влагомерами, характеризует объемную влажность контролируемого материала. Массовую влажность контролируемого материала находят по отношению значения объемной влажности этого материала к его средней плотности, определенной по ГОСТ 12730.1-78.

1. СРЕДСТВА ИЗМЕРЕНИЙ

1.1. Измерение влажности сыпучих материалов и бетонов следует проводить при помощи влагомеров по ГОСТ 21196-75 или влагомеров-плотномеров по ГОСТ 25932-83, отградуированных заводом-изготовителем в значениях объемной или массовой влажности.

1.2. Средства измерений должны обеспечивать измерение объемной влажности в диапазоне 1-30% с погрешностью не более 1 абс. %, или массовой влажности в диапазоне 1-12% с погрешностью не более 0,75 абс. % при доверительной вероятности 0,86.

1.3. Допускается применять для измерения влажности сыпучих материалов другие средства измерений, соответствующие требованиям настоящего стандарта (п. 1.2) и отградуированные по методике, приведенной в приложении 1.

1.4. При проведении измерений должны соблюдаться действующие санитарные правила работы с радиоактивными веществами и другими источниками ионизирующих излучений, утвержденные Минздравом СССР.

1.5. Влажность сыпучих материалов, бетонных и растворных смесей измеряют преимущественно влагомерами с измерительными преобразователями зондового типа в соответствии с черт. 1, черт. 2.

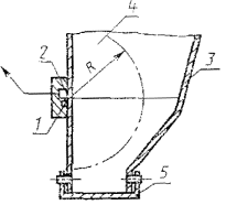
Для измерения влажности при одностороннем доступе к контролируемому материалу применяют влагомеры с измерительными преобразователями поверхностного типа в соответствии с черт. 3, черт. 4.

2. ПОДГОТОВКА И ПРОВЕДЕНИЕ ИЗМЕРЕНИЙ

2.1. При измерении влажности сыпучих материалов, бетонных и растворных смесей в бункерах измерительный преобразователь зондового типа помещают в обсадную трубу, установленную внутри бункера в соответствии с черт. 2, а измерительный преобразователь поверхностного типа устанавливают на вертикальной стене в соответствии с черт. 4.

2.2. Число и расположение участков, на которых должна определяться влажность бетонов в конструкциях, устанавливают нормативно-технической документацией или рабочими чертежами на конструкцию. При отсутствии указанных данных число и расположение участков контроля влажности устанавливается предприятием - изготовителем конструкции по согласованию с проектной или научно-исследовательской организацией.

2.3. При установке измерительных преобразователей должны быть выполнены следующие условия:

1) преобразователи зондового типа следует устанавливать так, чтобы зона рассеяния нейтронов, соответствующая сфере радиусом R, находилась внутри контролируемого материала согласно черт. 1, черт. 2.

2) преобразователи поверхностного типа следует устанавливать так, чтобы зона рассеяния нейтронов, соответствующая полусфере радиусом R, описанная вокруг геометрического центра детектора медленных нейтронов, находилась внутри контролируемого материала согласно черт. 3, черт. 4.

1 - источник излучения; 2 - детектор; 3 - контролируемый материал; 4 - сфера зоны рассеяния нейтронов

Черт. 1

1 - источник излучения; 2 - детектор; 3- расходный бункер; 4 - сфера зоны рассеяния нейтронов; 5 - шибер; 6 - обсадная труба

Черт. 2

1 - источник излучения; 2 - детектор; 3 - контролируемый материал; 4 - полусфера зоны рассеяния нейтронов

Черт. 3

1 - источник излучения; 2 - детектор; 3 - расходный бункер; 4 - полусфера зоны рассеяния нейтронов; 5 - шибер

Черт. 4

2.4. Радиусы R выбирают в зависимости от значения минимальной влажности Wmin, соответствующей началу диапазона измерения, согласно табл. 1.

Таблица 1

Wmin, %

1,0-2,0

3,0

5,0 и более

R, мм

500

400

250

Наименьшее расстояние от поверхности сыпучих материалов или бетонной или растворной смеси в бункере до измерительного преобразователя должно быть не менее R при соответствующей влажности.

3. ОБРАБОТКА РЕЗУЛЬТАТОВ

3.1. Значение влажности определяют по показаниям влагомера и (или) градуировочной зависимости, представленной в виде графика, таблицы или формулы с округлением до 0,1 абс. %. Пример градуировочной зависимости, представленной в виде графика, приведен на черт. 5 (приложение 1).

3.2. Значение массовой влажности Wm, %, вычисляют по формуле

                                                            (1)

где Wo - объемная влажность, %;

 - плотность воды, равная 1000 кг/м3;

ρ - средняя плотность контролируемого материала, кг/м3.

3.3. Вычисление массовой влажности Wm проводят с округлением до 0,1 абс. %.

3.4. Результаты измерений заносят в журнал, форма которого приведена в приложении 2.

ПРИЛОЖЕНИЕ 1

Рекомендуемое

МЕТОДИКА ГРАДУИРОВКИ НЕЙТРОННЫХ ВЛАГОМЕРОВ

1. Градуировку влагомеров производят по образцам. За образцы принимают увлажненные сыпучие материалы, помещенные в металлические емкости, размер которых должен быть не менее:

1) для измерительных преобразователей зондового типа 800´800´900 мм;

2) для измерительных преобразователей поверхностного типа 800´800´500 мм.

2. Одновременно с заполнением емкостей для образцов отбирают 3-4 пробы увлажненных сыпучих материалов для определения массовой влажности Wт, %, по ГОСТ 8735-75 или ГОСТ 8269-87.

3. Для градуировки влагомеров с преобразователями зондового типа в центре емкости должна быть расположена обсадная труба для установки измерительного преобразователя.

Для градуировки влагомеров с преобразователями поверхностного типа на верхнюю поверхность образца укладывают стальной лист толщиной 5-10 мм, имитирующий стенку бункера, на которую устанавливают измерительные преобразователи.

4. Для градуировки влагомеров изготавливают пять образцов из сыпучих материалов с использованием мелкого заполнителя.

Влажность образцов Wm определяется по ГОСТ 8735-75 или ГОСТ 8269-87 и должна составлять:

1-го образца - 7-7,5%;

2-го образца - 5,8-6%;

3-го образца - 4-4,5%;

4-го образца - 3-3,5%.

5. Массу образца сыпучих материалов, использованных для заполнения емкости, определяют путем взвешивания.

6. Плотность сыпучих материалов ρ, кг/м3, использованных для образцов, вычисляют по формуле

                                                            (2)

где т - масса образцов сыпучих материалов, помещенных в емкость, кг;

V - объем образца, м3.

7. Объемную влажность образца Wo, %, определяют по формуле

                                             (3)

где ρ - плотность сыпучего материала, кг/м3;

 - плотность воды, равная 1000 кг/м3;

Wm - по п. 4 настоящего приложения.

8. Измерительный преобразователь устанавливают на образце в соответствии с п. 3 настоящего приложения, снимают показания влагомера не менее пяти раз и определяют среднее арифметическое значение результатов измерений N. Пример записи результатов измерений приведен в табл. 2.

Таблица 2

Номер образца

Результаты измерений влажности (по массе) Wm, %

Насыпная плотность сыпучего материала ρ, кг/м

Объемная влажность образца Wо, %

Показания влагомера N, имп

Примечания

1

6,7

1420

8,07

18358

 

 

6,3

18490

 

 

6,5

18435

 

 

6,5

18377

 

 

6,5

18510

 

Результаты измерения

 = 6,5

 = 18430

 

9. По результатам проведенных измерений устанавливают градуировочную зависимость N=f(Wo). Пример построения градуировочной зависимости приведен на черт. 5.

Черт. 5

10. Среднее квадратическое отклонение экспериментальных точек от градуировочной зависимости определяют по формуле

                                                          (4)

где WГoi -  значение объемной влажности сыпучего материала, определенное по градуировочной зависимости и показаниям влагомера на i-м образце;

Woi - значение объемной влажности i-го образца, определенное в соответствии с п. 7;

п - число образцов для установления градуировочной зависимости.

11. Погрешность градуировки не должна превышать 0,5 абс. % при доверительной вероятности не менее 0,86.

ПРИЛОЖЕНИЕ 2

Рекомендуемое

ФОРМА ЖУРНАЛА ДЛЯ ЗАПИСИ РЕЗУЛЬТАТОВ ИЗМЕРЕНИЙ ВЛАЖНОСТИ

Влагомер типа_________________________________________ , порядковый номер по системе нумерации предприятия-изготовителя_____________ .

Дата

Материал

Фракционный состав

Показания прибора

Влажность, %

Примечание

 

 

 

 

 

 

Оператор

 

 

подпись

ИНФОРМАЦИОННЫЕ ДАННЫЕ

1. РАЗРАБОТАН И ВНЕСЕН Министерством промышленности строительных материалов СССР

ИСПОЛНИТЕЛИ

О. М. Нечаев, канд. техн. наук (руководитель темы); Ю. Н. Мизрохи, канд. техн. наук; З. М. Брейтман; Л. Г. Родэ, канд. техн. наук; В. В. Судаков, канд. техн. наук; Н. Л. Рынин, канд. техн. наук; В. Г. Копытов; В. Г. Романов, канд. техн. наук; В. В. Пушкарев; В. П. Иванов, канд. физ.-мат. наук; М. К. Трунцева; И. Н. Нагорняк

2. УТВЕРЖДЕН И ВВЕДЕН В ДЕЙСТВИЕ Постановлением Государственного строительного комитета СССР от 5 августа 1987 г. № 165

3. ВЗАМЕН ГОСТ 23422-79 в части нейтронного метода измерения влажности

4. ССЫЛОЧНЫЕ НОРМАТИВНО-ТЕХНИЧЕСКИЕ ДОКУМЕНТЫ

Обозначение НТД, на который дана ссылка

Номер пункта, приложения

ГОСТ 8269-87

Приложение 1, п. 2, п. 3

ГОСТ 8735-75

Приложение 1, п. 2, п. 3

ГОСТ 12730.1-78

Вводная часть

ГОСТ 21196-75

1.1

ГОСТ 25932-83

1.1

СОДЕРЖАНИЕ

 




Rambler's Top100 Яндекс цитирования
  Copyright © 2008-2026, www.docload.ru