|
|
ГОСУДАРСТВЕННЫЙ СТАНДАРТ СОЮЗА ССР ВЕНТИЛЯТОРЫ ШАХТНЫЕ ТЕХНИЧЕСКИЕ УСЛОВИЯ ГОСТ
11004-84 (СТ СЭВ 3830-82) Е ГОСУДАРСТВЕННЫЙ КОМИТЕТ
СССР ПО СТАНДАРТАМ Москва ГОСУДАРСТВЕННЫЙ СТАНДАРТ
СОЮЗА ССР
Срок действия с
01.01.85 до
01.01.95 В
части вентиляторов ВОД-18 и ВЦ-15 с
01.01.87 В
части вентилятора ВЦД-47,5 УМ с
01.01.92 Настоящий стандарт
распространяется на вентиляторы с номинальной подачей от 25 до 630 м3/с
и номинальным полным давлением от 1000 до 12500 Па при работе с воздухом,
имеющим плотность 1,2 кг/м3, предназначенные для вентиляторных
установок главного проветривания шахт горнодобывающей промышленности,
эксплуатируемых в атмосферных условиях при температуре перемещаемого воздуха от
228 до 323 К, запыленности до 150 мг/м3 и относительной влажности до
98 % (при температуре 298 К), на высоте над уровнем моря до 1000 м,
изготовляемые для нужд народного хозяйства и экспорта. Климатическое исполнение вентиляторов У и
Т, категория размещения 3.1 по ГОСТ
15150-69; для электрооборудования вентиляторов УХЛ4 и О4. Пояснения терминов, применяемых в
настоящем стандарте, приведены в приложении 1. Стандарт не распространяется на вентиляторы с вертикальной
осью вращения и вентиляторы, установленные на общей раме с двигателем. (Измененная редакция, Изм. № 3, 4). 1. ТИПЫ И ОСНОВНЫЕ ПАРАМЕТРЫ
1.1. Типы, исполнения и способы
регулирования вентиляторов должны соответствовать указанным в табл. 1. Таблица 1
1.2. Основные параметры
вентиляторов должны выбираться из рядов, указанных в табл. 2. Таблица 2
(Измененная редакция,
Изм. № 4). Номинальные диаметры
рабочих колес 2000, 2250, 2800, 3550, 4250, 4500, 5600 и 6000 мм рекомендуются
к применению в экспортных разработках. 1.3. Основные параметры
вентиляторов должны соответствовать указанным в табл. 3. 1.4. Коды ОКП вентиляторов приведены в
приложении 2. Таблица 3
(Измененная редакция,
Изм. № 3, 4). Примечание. Указанные в таблице
параметры по подаче и давлению соответствуют максимальной частоте вращения. Для
частот вращения, отличающихся от максимальной, параметры по подаче и давлению
должны быть пересчитаны по ГОСТ 10616-73. 1.5. Структура обозначений
типоразмеров вентиляторов должна соответствовать приведенной ниже:
__________ * Исполнение осевых одноступенчатых и
центробежных односторонних вентиляторов не указывают. Пример условного
обозначения вентилятора центробежного
двустороннего номинальным диаметром рабочего колеса 3150 мм, конструктивной
особенности М2, регулируемого изменением частоты вращения, предназначенного для
эксплуатации в умеренном климате, в закрытом нерегулярно отапливаемом
помещении: Вентилятор ВЦД-31, 5М2У3.1
ГОСТ 11004-84 (Измененная редакция, Изм. № 3). 2. ТЕХНИЧЕСКИЕ ТРЕБОВАНИЯ
2.1. Вентиляторы должны изготовляться в
соответствии с требованиями настоящего стандарта по рабочим чертежам,
утвержденным в установленном порядке, и требованиям заказа-наряда
внешнеторговой организации. 2.3. Центробежные вентиляторы
должны иметь правое или левое направление вращения по ГОСТ 22270-76. (Измененная редакция, Изм. № 3). В эксплуатационных документах на
вентилятор должны быть указаны фактические диаметры шеек валов под посадку
подшипников и диаметры внутренних колец подшипников. 2.7. Вентиляторы должны иметь
средства регулирования, обеспечивающие изменение подачи и статического давления
в пределах не менее указанных в табл. 3 для рабочих областей. Применяемые способы регулирования должны
соответствовать табл. 1. Допускается сочетать различные способы
регулирования. 2.10. Сварные детали и
сборочные единицы рабочих колес вентиляторов следует изготовлять из
углеродистой полуспокойной стали группы В по ГОСТ 380-88 или низколегированной
стали по ГОСТ 19281-73 и ГОСТ 19282-73 или конструктивных сталей по ГОСТ 977-88. (Измененная редакция,
Изм. № 4). Подрезы не должны превышать 10 % толщины
меньшего из свариваемых листов и быть не более 1 мм. Свищи, трещины и прожоги не допускаются. (Измененная редакция, Изм. № 3). 2.16. (Исключен, Изм. № 3). 2.17. Допуски радиальных и
торцевых биений рабочих колес центробежных вентиляторов не должны превышать
значений, указанных в табл. 4. Таблица
4
(Измененная редакция,
Изм. № 4). При статической балансировке остаточный
дисбаланс не должен превышать значения, определяемого по формуле mД = К где mД - масса остаточного дисбаланса, кг; тр - масса вращающихся частей ротора, кг; п -
максимальная частота вращения вентилятора, мин-1; R - радиус расположения балансировочного
груза, м; K - коэффициент, зависящий от типа вентилятора: K = 13,5 - для
центробежных вентиляторов, K = 6,0 - для осевых
вентиляторов. Динамическая балансировка рабочих колес и
роторов номинальным диаметром до 2500 мм должна проводиться на
предприятии-изготовителе, а свыше 2500 мм - при наладке на месте установки
вентилятора у потребителя. Амплитуда виброперемещений подшипников
роторов вентиляторов не должна превышать значений, указанных в табл. 5. Таблица
5
(Измененная редакция,
Изм. № 4). 2.17, 2.18. (Измененная
редакция, Изм. № 3). 2.19. (Исключен, Изм. № 3). 2.20. Корпуса подшипников
ротора следует подвергать низкотемпературному отжигу. Отклонения углов установки отдельных
лопаток от номинальных значений не должны превышать ±3°. 2.23. Защиту от коррозии
поверхностей вентиляторов следует осуществлять нанесением покрытий,
соответствующих табл. 6. 2.24. Вентиляторы
климатического исполнения Т должны соответствовать требованиям ГОСТ 15151-69. Применяемые в них резиновые уплотнения - по ГОСТ
15152-69. Войлочные уплотнительные кольца должны быть пропитаны смазкой
ЦИАТИМ-201 по ГОСТ 6267-74 или другой равноценной. 2.25. Параметры надежности
вентиляторов должны соответствовать указанным в табл. 7. Критерием отказов являются поломки
сборочных единиц и деталей ротора (лопатки рабочих колес, вал, подшипники),
трансмиссионного вала, соединительных муфт и лопаток направляющего или
спрямляющего аппаратов. Критерием предельного состояния является снижение
подачи вентилятора до менее чем 20 % номинальной. 2.23-2.25. (Измененная
редакция, Изм. № 3). 2.26. (Исключен, Изм. № 3). Таблица 6
Таблица 7
Примечание. Наработка на отказ сборочных
единиц и деталей вентиляторов ВЦ-25М не менее 17000 ч. (Измененная редакция, Изм. № 3). 2.27.3. Лакокрасочные
покрытия должны быть не ниже IV класса по ГОСТ 9.032-74. 2.27.4. Расположенные снаружи
крепежные детали должны иметь противокоррозионное покрытие: Ц.хр или Ц.фос.хр по ГОСТ
9.306-85 - для климатического исполнения У; Кд.хр или Кд.фос.хр по ГОСТ
9.306-85 или другое, равноценное по защитным свойствам, - для
климатического исполнения Т. Толщину покрытий принимать по ГОСТ
9.303-84 в зависимости от условий эксплуатации по ГОСТ
15150-69. (Измененная редакция, Изм. № 3). 2.27.5. Изделия, применяемые для
комплектации вентиляторов, предназначенных для экспорта, должны быть в
экспортном исполнении. 2.28. Эксплуатация вентиляторов при
температуре перемещаемого воздуха менее 263 К допускается только при
реверсировании воздушной струи. (Введен дополнительно, Изм. № 3). 3. ТРЕБОВАНИЯ БЕЗОПАСНОСТИ
Окраска внутренних и наружных
поверхностей ограждений должна соответствовать сигнальным цветам по ГОСТ
12.4.026-76. 3.7. Электробезопасность
вентиляторов должна соответствовать требованиям ГОСТ 12.1.019-79 и ГОСТ 12.1.038-82, защитное заземление следует выполнять по ГОСТ 12.1.030-81, электрооборудование вентиляторов должно соответствовать
требованиям ГОСТ 12.2.007.0-75. Класс электрических изделий по способу защиты человека от
поражения электрическим током 01. 3.8. Уровни звуковой мощности
вентиляторов в октавных полосах частот и корректированные уровни звуковой
мощности не должны превышать значений, указанных в табл. 8. Уровни звукового давления и уровни звука
при работе вентиляторов в установках главного проветривания не должны превышать
норм, установленных «санитарными нормами допустимых уровней шума на рабочих
местах» № 3223-85, утвержденных Минздравом СССР для рабочих мест и рабочих зон
на территории предприятий и норм, установленных «Санитарными нормами
допустимого шума в помещениях жилых и общественных зданий и на территории жилой
застройки» № 3077-84, утвержденными Минздравом СССР для территорий,
непосредственно прилегающих к жилым домам. Таблица
8
(Измененная редакция,
Изм. № 4). Установки главного
проветривания с вентиляторами, уровни звукового давления и уровни звука которых
превышают указанные нормы, должны эксплуатироваться со средствами глушения
шума. В эксплуатационных документах вентилятора
должна быть приведена его шумовая характеристика по ГОСТ 12.1.023-80,
соответствующая режиму работы с максимальным значением шума. (Измененная редакция, Изм. № 3). 3.10. При изготовлении
вентиляторов следует соблюдать требования безопасности, предусмотренные ГОСТ 12.3.004-75, ГОСТ 12.3.005-75 и «Санитарными правилами по радиоизотопной дефектоскопии»
№ 1171-74, утвержденными Минздравом СССР. (Измененная редакция, Изм. № 3). 3.11. При выполнении
погрузочно-разгрузочных работ следует соблюдать требования безопасности,
предусмотренные ГОСТ 12.3.009-76. 4. КОМПЛЕКТНОСТЬ
4.1. В комплект вентилятора
должны входить: система смазки вентилятора (состоящая для
вентиляторов диаметром более 2100 мм из маслостанции, указателей подачи масла,
нагнетательных и сливных трубопроводов); электрооборудование (электропривод,
пускорегулирующая аппаратура, аппаратура контроля режима работы, включающая
первичные преобразователи и вторичные приборы контроля подачи и давления;
аппаратура контроля температуры подшипников, аппаратура дистанционного и
автоматизированного управления, защиты и сигнализации); комплектация типов
электрооборудования и электроаппаратуры по согласованию с потребителем; комплект средств для реверсирования
воздушной струи и перехода с работающего вентилятора на резервный, состоящий из
установок ляд (дверей) в подводящих, всасывающих и нагнетательных каналах.
Необходимость комплектации вентилятора средствами для реверсирования воздушной
струи и перехода с работающего вентилятора на резервный согласовывается с
потребителем. К вентилятору должны прикладываться
эксплуатационные документы по ГОСТ 2.601-68. Невстроенное электрооборудование
комплектуется эксплуатационными документами его изготовителями. Обеспечение ремонтной документацией по
ГОСТ 2.602-68 должно проводиться в порядке, предусмотренном НТД. (Измененная редакция, Изм. № 1, 3). 4.2. Комплектность вентиляторов,
предназначенных для экспорта, должна соответствовать указанной в п. 4.1, если
иное не установлено условиями договора между предприятием и внешнеэкономической
организацией. 4.2, 4.3. (Измененная
редакция, Изм. № 3). 5. ПРАВИЛА ПРИЕМКИ
5.1. Предприятие-изготовитель должно
проводить приемо-сдаточные и периодические испытания вентиляторов. 5.2. Приемо-сдаточным испытаниям
подвергают каждый вентилятор. При этом проверяют его соответствие требованиям
пп. 2.4,
2.5;
2.9-2.15, 2.17, 2.18, 2.20-2.24; 2.27, 3.3, 3.4, 3.6; 4.1-4.3.
Соответствие требованиям пп. 2.14, 2.15, 2.21, 2.22, 3.3, 3.6 для вентиляторов с
номинальным диаметром свыше 2500 мм проверяют на полностью собранном
вентиляторе перед обкаткой у потребителя. (Измененная редакция, Изм. № 1, 3). 5.3. Периодическим испытаниям подвергают
один вентилятор каждого типоразмера не реже раза в три года при номинальном
диаметре рабочего колеса до 2500 мм и не реже раза в пять лет при номинальном
диаметре рабочего колеса свыше 2500 мм. 5.4. При периодических испытаниях
проверяют соответствие вентиляторов требованиям табл. 1-3, пп. 2.2, 2.3, 2.6-2.8, 2.25,. 3.1, 3.2, 3.5 и 3.8 (Измененная редакция, Изм. № 3). 5.5. При неудовлетворительных результатах
периодических испытаний вентиляторов выявляют и устраняют причины отклонения,
после чего проводят повторные испытания. Результаты повторных испытаний
являются окончательными. 6. МЕТОДЫ ИСПЫТАНИЙ
6.1. Взаимозаменяемость сборочных единиц
и деталей (п. 2.9),
форма профиля (п. 2.12) и углы установки профилей лопаток рабочих
колес осевых вентиляторов (п. 2.13), проверяют универсальным измерительным
инструментом и специальными шаблонами. (Измененная редакция, Изм. № 3). 6.2. Номинальную подачу,
подачу в пределах рабочей области, номинальное статическое давление,
статическое давление в пределах рабочей области и максимальный статический
к.п.д. вентилятора (п. 1.3) проверяют по данным аэродинамических испытаний,
проведенных в соответствии с ГОСТ 10921-74. Номинальное полное давление и максимальный
полный к.п.д. (п. 1.3) проверяют по данным аэродинамических испытаний или
определяют расчетным путем по ГОСТ 10921-74, исходя из результатов
аэродинамических испытаний. Периодические испытания вентиляторов с
номинальным диаметром рабочего колеса до 2500 мм следует проводить на станции
аэродинамических испытаний предприятия-изготовителя. Аэродинамические испытания
вентиляторов с номинальным диаметром рабочего колеса свыше 2500 мм допускается
проводить на геометрически подобных моделях с диаметром рабочего колеса не
менее 500 мм. Геометрия проточной части моделей должна полностью
соответствовать геометрии вентиляторов, изготавливаемых предприятием. Полученные при испытаниях аэродинамические
характеристики вентиляторов для нормального и реверсивного режимов работы
должны быть построены в соответствии со справочным приложением 3. 6.3. Удельное энергопотребление (п. 1.3)
следует определять по справочному приложению 4, исходя из аэродинамической
характеристики вентилятора. 6.4. Удельную массу и удельную
материалоемкость вентилятора (п. 1.3) подсчитывают по формуле, приведенной в
справочном приложении 1. 6.5. Массу вентилятора и массу комплекта
(п. 1.3)
проверяют взвешиванием вентилятора или его составных частей, сборочных единиц и
деталей, с последующим суммированием. 6.6. Возможность установки привода
направляющего и спрямляющего аппаратов с любой стороны относительно оси осевых
вентиляторов (п. 2.2), возможность правого или левого направления
вращения центробежных вентиляторов (п. 2.3), наличие мер,
предотвращающих скопление воды во внутренних полостях лопаток рабочих колес (п.
2.4),
наличие жесткой фиксации внутренних колец подшипников качения на валу от
радиального смещения (п. 2.5), наличие системы циркуляционной смазки
подшипников (п. 2.6),
наличие средств регулирования (п. 2.7), защита от коррозии и засорения пылью опор
лопаток направляющих и спрямляющих аппаратов и их доступность для осмотра и
ремонта (п. 2.8),
покрытия поверхностей вентиляторов (пп. 2.23 и 2.27.3), сборка механической
части вентиляторов (п. 2.27.1), противокоррозионные покрытия крепежных
деталей (п. 2.27.4),
наличие и окраска ограждений (п. 3.3), крепление вращающихся частей (п. 3.4),
наличие устройств, предотвращающих самопроизвольное вращение ротора (п. 3.5),
проверяют визуально. 6.7. Механические свойства и химический
состав применяемых сталей (п. 2.10) и резины (п. 2.24) проверяют по сертификатам
или результатам лабораторных проб. 6.8. Качество сварных
соединений (п. 2.11) проверяют внешним осмотром по ГОСТ 3242-79, ультразвуком по ГОСТ 14782-86 или проникающим излучением по ГОСТ 7512-82 и ГОСТ 23055-78. (Измененная редакция, Изм. № 3). 6.9. Радиальный зазор между лопатками и
корпусом осевого вентилятора (п. 2.14), радиальный зазор между лабиринтным кольцом
и входной трубой центробежного вентилятора (п. 2.15) и отклонения углов
установки лопаток направляющих и спрямляющих аппаратов от номинальных значений
(п. 2.22)
проверяют специальными шаблонами на собранных вентиляторах перед их обкаткой. 6.10. (Исключен, Изм. № 3). 6.11. Допуски радиальных и
торцевых биений рабочих колес центробежных вентиляторов (п. 2.17) проверяют
индикаторами часового типа по ГОСТ 577-68 класса точности 1 и универсальным измерительным
инструментом, погрешность которого не должна превышать допускаемой по ГОСТ
8.051-81. 6.12. Статическая
балансировка рабочих колес (п. 2.18) контролируется на
балансировочном устройстве путем навески контрольного груза. Динамическая
балансировка - специализированной балансировочной аппаратурой с узкополосным
фильтром, настроенным на рабочую частоту вращения ротора; виброизмерительные
преобразователи аппаратуры должны устанавливаться на опорах (осевые
вентиляторы) или корпусах (центробежные вентилятора) подшипников при обкатке
вентиляторов. (Измененная редакция, Изм. № 3, 4). 6.13. (Исключен, Изм. № 3). 6.14. Отжиг корпусов
подшипников (п. 2.20) проверяют по ГОСТ 27208-87. 6.15. Отсутствие утечек масла из баков
маслостанций и соединительных трубопроводов (п. 2.21) следует проверять в
течение 30 мин гидравлическим давлением, превышающим номинальное в 1,5 раза на
собранных вентиляторах перед их обкаткой. 6.14, 6.15. (Измененная
редакция, Изм. № 3). 6.16. Отсутствие утечки масла из корпусов
подшипников (п. 2.21) и амплитуду виброперемещений подшипников
(п. 2.18)
проверяют в процессе обкатки вентиляторов при номинальной частоте вращения
ротора. Вентиляторы с номинальными диаметрами
рабочих колес до 2500 мм должны обкатываться на предприятии-изготовителе.
Продолжительность обкатки - до достижения установившейся температуры
подшипников ротора, но не менее 2 ч. Вентиляторы с номинальными диаметрами
рабочих колес свыше 2500 мм обкатывают у потребителя после наладки механической
и электрической частей перед сдачей в эксплуатацию. Продолжительность обкатки
не менее 72 ч. 6.17. Одновременность и усилие поворота
лопаток направляющих и спрямляющих аппаратов (п. 2.22) проверяют поворотом их
вручную через приводной механизм не менее 5 раз при обкатке вентилятора или при
неработающем вентиляторе. 6.18. Показатели надежности (п. 2.25)
проверяют с участием потребителя по результатам эксплуатационных наблюдений по
методике, утвержденной в установленном порядке. (Измененная редакция, Изм. № 3). 6.19. Ограничение хода подвижных
элементов механизма поворота лопаток направляющих и спрямляющих аппаратов (п. 3.6)
проверяют пятикратным доведением лопаток направляющих и спрямляющих аппаратов с
помощью привода до конечного положения. При этом концевые выключатели должны
отключать электродвигатель механизма поворота. 6.20. Метод определения шумовой
характеристики вентилятора (п. 3.8) - по справочному приложению 5. 7. МАРКИРОВКА, УПАКОВКА, ТРАНСПОРТИРОВАНИЕ И ХРАНЕНИЕ
7.1. На корпусе вентилятора
должна быть укреплена защищенная от коррозии табличка, выполненная по ГОСТ 12969-67 и ГОСТ 12971-67 и содержащая: товарный знак или наименование
предприятия-изготовителя; условное обозначение вентилятора; порядковый номер вентилятора по системе
нумерации предприятия-изготовителя; год и месяц выпуска; обозначение настоящего стандарта; государственный Знак качества для
вентиляторов, которым он присвоен в установленном порядке. Для вентиляторов, предназначенных на
экспорт, дополнительно включается надпись «Сделано в СССР» на русском языке или
языке, указанном в заказе-наряде внешнеторговой организации. На вентиляторы,
изготовляемые для экспорта, государственный Знак качества не наносят. (Измененная редакция, Изм. № 3). 7.2. На наружной боковой поверхности
корпуса вентилятора со стороны электродвигателя у центробежных вентиляторов и
около смотрового люка у осевых вентиляторов металлической стрелкой или яркой
несмываемой краской должно быть указано направление вращения рабочего колеса. 7.3. Обработанные
неокрашенные поверхности вентиляторов подвергают консервации по ГОСТ 9.014-78, группа II - 1. Для инструмента,
приспособлений и запасных частей - группа I - 1. Условия хранения
и транспортирования - ОЖ4 по ГОСТ 15150-69. Вариант защиты ВЗ-1 по ГОСТ
9.014-78. Варианта внутренней упаковки: ВУ-0 для
вентиляторов, ВУ-1 для инструмента, приспособлений и запасных частей, ВУ-4 по
нормативно-технической документации. Консервация комплектующих изделий - в
соответствии с нормативно-технической документацией. Срок защиты вентиляторов без
переконсервации - 3 г. 7.4. Потребитель должен проводить
переконсервацию в случае обнаружения нарушений временной противокоррозионной
защиты в процессе хранения вентилятора и по истечении срока действия
консервации. 7.5. В зависимости от размеров
и массы вентиляторы транспортируются в собранном виде или разобранными на
отдельные сборочные единицы. Категория упаковки КУ-0 по ГОСТ 23170-78, для экспорта - дополнительно по требованиям заказа-наряда
внешнеторговой организации. Условия транспортирования в части воздействия
механических факторов - Ж по ГОСТ 23170-78. 7.6. Мелкие сборочные
единицы, детали, запасные части, инструмент и встроенное электрооборудование
должны быть упакованы в плотные деревянные щитовые неразборные ящики по ГОСТ
10198-78 при массе более 500 кг и по ГОСТ 2991-85 при массе до 500 кг, а для
экспорта в ящики по ГОСТ 24634-81 и ГОСТ 10198-78. Категория упаковки - КУ-2 по ГОСТ 23170-78. (Измененная редакция, Изм. № 3). 7.7. Конкретные требования к упаковке
вентиляторов, размещению, укладке и креплению к таре, массе и габаритным
размерам по каждому грузовому месту следует приводить в технической
документации. 7.8. Упаковка технической и
товаросопроводительной документации вентиляторов должна соответствовать
требованиям ГОСТ 23170-78. 7.9. Упаковка и
транспортирование вентиляторов в районы Крайнего Севера и отдаленные районы -
по ГОСТ 15846-79. 7.10. Маркировка грузовых
мест и манипуляционные знаки - по ГОСТ 14192-77. Транспортную маркировку груза на экспорт
следует проводить в соответствии с требованиями заказа-наряда, а при отсутствии
в заказе-наряде образца - по ГОСТ 14192-77. 7.11. Транспортирование вентиляторов
осуществляется транспортом любого вида на открытых транспортных средствах в
соответствии с правилами перевозок грузов и техническими условиями
погрузки и крепления грузов, действующими на соответствующем виде транспорта. 7.12. Условия хранения - по ГОСТ 15150-69: ОЖ4 (навесы) - для механических частей
вентиляторов в районах с умеренным климатом, ЖЗ (помещения с естественной
вентиляцией) - в районах с тропическим климатом; Л (отапливаемые хранилища) - для
электрооборудования и аппаратуры; ЖЗ (неотапливаемые хранилища) - для
запасных частей и инструмента. В период хранения необходимо ежемесячно
или при перемене места хранения проводить внешний осмотр консервации и
упаковки, а также проворачивать ротор в его подшипниках на угол не менее 90°. (Измененная редакция, Изм. № 3). 8. ГАРАНТИИ ИЗГОТОВИТЕЛЯ
8.1. Изготовитель гарантирует
соответствие вентиляторов требованиям настоящего стандарта при соблюдении
условий эксплуатации, транспортирования, хранения и монтажа. Гарантийный срок эксплуатации - 30 мес.
для вентиляторов с номинальным диаметром рабочего колеса свыше 3150 мм и 24
мес. для остальных со дня ввода в эксплуатацию, но не более 36 мес. со дня
отправки с предприятия-изготовителя. 8.2. Для вентиляторов, предназначенных на
экспорт, гарантийный срок эксплуатации - 24 мес. со дня ввода вентилятора в
эксплуатацию, но не более 36 мес. со дня проследования груза через
Государственную границу СССР. ПРИЛОЖЕНИЕ 1
| ||||||||||||||||||||||||||||||||||||||||||||||||||||||||||||||||||||||||||||||||||||||||||||||||||||||||||||||||||||||||||||||||||||||||||||||||||||||||||||||||||||||||||||||||||||||||||||||||||||||||||||||||||||||||||||||||||||||||||||||||||||||||||||||||||||||||||||||||||||||||||||||||||||||||||||||||||||||||||||||||||||||||||||||||||||||||||||||||||||||||||||||||||||||||||||||||||||||||||||||||||||||||||||||||||||||||||||||||||||||||||||||||||||||||||||||||||||||||||||||||||||||||||||||||||||||||||||||||||||||||||||||||||||||||||||||||||||||||||||||||||||||||||||||||||||||||||||||||||||||||||||||||||||||||||||||||||||||||||||||||||||||||||||||||||||||||||||||||||||||||||||||||||||||||||||||||||||||||||||||||||||||||||||||||||||||||||||||||||||||||||||||||||||||||||||||||||||||||||||||||||||||||||||||||||||||||||||||||||||||||||||||||||||
|
Термин |
Пояснение |
|
Номинальный диаметр рабочего колеса (D, мм) |
Диаметр рабочего колеса по внешним концам лопаток, указанный в
обозначении вентилятора. (Для центробежных вентиляторов, регулируемых
изменением формы, лопаток рабочего колеса, номинальный диаметр соответствует
режиму работы вентилятора с номинальной подачей и давлением) |
|
Подача (Q, м3·с-1) |
Объем воздуха, протекающий в единицу времени через вентилятор,
отнесенный к условиям всасывания. Соответствует объемному расходу воздуха |
|
Номинальная подача (Qnom, м3·с-1) |
Подача вентилятора, работающего при максимальном статическом
коэффициенте полезного действия |
|
Полное давление (pv, Па) |
Разность полных давлений воздушного потока при выходе и перед входом
в вентилятор, включающий диффузор и элементы подсоединения к шахтной сети
(коллектор, входную коробку) |
|
Номинальное полное давление (рvnom, Па) |
Полное давление вентилятора, работающего при максимальном полном
коэффициенте полезного действия |
|
Статическое давление (рsv, Па) |
Разность между полным давлением и динамическим давлением,
рассчитанным по среднерасходной скорости воздушного потока на выходе из
диффузора вентилятора |
|
Номинальное статическое давление (psvnom, Па) |
Статическое давление вентилятора, работающего при максимальном
статическом коэффициенте полезного действия |
|
Рабочая область |
Область режимов работы вентилятора, охватывающая подачи от
минимальной Qmin до максимальной Qmax, и статические давления от минимального psvmin до максимального psvmax; в пределах этой области должен обеспечиваться статический
коэффициент полезного действия ηs ³ 0,6, устойчивость и однозначность
работы вентилятора и подача воздуха при реверсировании воздушной струи на
любом режиме не менее 60 % подачи при прямой работе |
|
Полный (η) и статический (ηs) коэффициенты полезного действия |
Величины, определяемые из выражений:
где N - входная мощность
вентилятора, за вычетом потерь в подшипниках, кВт; К - коэффициент сжимаемости воздуха в вентиляторе, равный в
соответствии с ГОСТ 10921-74, для атмосферного воздуха К = 1 - 0,36 p01 - абсолютное полное давление
воздушного потока перед вентилятором, определяемое как разность атмосферного
давления и статического давления перед входом в вентилятор, Па |
|
Максимальный полный, (ηmax) или статический
коэффициент полезного действия |
Наибольшее значение полного или статического к.п.д. в пределах
рабочей области вентилятора |
|
Полезная гидравлическая мощность (Р, кВт) |
Основной технический параметр вентилятора, характеризующий мощность,
передаваемую вентилятором перемещаемому им воздуху и определяемый в общем
случае по формуле P = Для номинального режима работы вентилятора Pnom = |
|
Удельное энергопотребление вентилятора (Е) |
Отношение мощности, потребляемой вентилятором, к полезной
гидравлической мощности; определяется в нормальной области режимов, в
соответствии со справочным приложением 4 |
|
Удельная масса вентилятора (А, кг·кВт-1) |
Отношение массы вентилятора без электрооборудования и комплекта
средств для реверсирования воздушной струи и перехода на резервный вентилятор
к его полезной гидравлической мощности при номинальном режиме работы из
выражения A = где т - масса вентилятора без электрооборудования, кг |
|
Шумовая характеристика |
Технический показатель параметров шума вентилятора, устанавливаемый в
уровнях звуковой мощности в октавных полосах частот по результатам испытаний,
проводимых в соответствии со справочным приложением 5 |
|
Объединенная удельная оперативная трудоемкость технических
обслуживаний и текущих ремонтов (чел.-ч, год-1) |
Параметр, соответствующий ГОСТ 21623-76 и определяемый для
вентиляторов главного проветривания как ожидаемая сумма трудозатрат,
выраженная в чел.-ч, на ежесменное, ежесуточное и двухнедельное обслуживание,
ежемесячный и полугодовой текущие ремонты, комплексную ревизию и наладку
одного вентилятора в течение календарного года эксплуатации |
(Измененная редакция,
Изм. № 3).
|
Обозначение вентилятора |
Исполнения для |
||
|
нужд народного хозяйства |
экспорта |
||
|
с комплектом средств для
реверсирования воздушной струи и перехода с работающего вентилятора на
резервный |
без комплекта средств для
реверсирования воздушной струи и перехода с работающего вентилятора на
резервный |
||
|
ВОД-18КУ3.1 |
31 4621 0477 02 |
31 4621 0511 06 |
31 4621 0479 00 |
|
ВОД-18КТ3.1 |
|
31 4621 0478 01 |
31 4621 0481 06 |
|
ВОД-21МКУ3.1 |
31 4621 0482 05 |
31 4621 0512 05 |
31 4621 0484 03 |
|
ВОД-21МКТ3.1 |
|
31 4621 0483 04 |
31 4621 0485 02 |
|
ВОД-30М2КУ3.1 |
31 4621 0524 01 |
31 4621 0525 00 |
31 4621 0527 09 |
|
ВОД-30М2КТ3.1 |
|
31 4621 0526 10 |
31 4621 0528 08 |
|
ВОД-40МКУ3.1 |
31 4621 0491 04 |
31 4621 0514 03 |
31 4621 0493 02 |
|
ВОД-40МКТ3.1 |
|
31 4621 0492 03 |
31 4621 0494 01 |
|
ВЦ-25МНУ3.1 |
31 4621 0175 02 |
31 4621 0186 10 |
31 4621 0177 00 |
|
ВЦ-25МНТ3.1 |
|
31 4621 0176 01 |
31 4621 0178 10 |
|
ВЦ-31,5М2НУ3.1 |
31 4621 0611 03 |
31 4621 0612 02 |
31 4621 0614 00 |
|
ВЦ-31,5М2ВУ3.1 |
31 4621 0616 09 |
31 4621 0617 08 |
31 4621 0619 06 |
|
ВЦ-31,5М2НТ3.1 |
|
31 4621 0613 01 |
31 4621 0615 10 |
|
ВЦ-31,5М2ВТ3.1 |
|
31 4621 0618 07 |
31 4621 0621 01 |
|
ВЦД-31,5М2НУ3.1 |
31 4621 0228 06 |
31 4621 0229 05 |
31 4621 0232 10 |
|
ВЦД-31,5М2ВУ3.1 |
31 4621 0234 08 |
31 4621 0235 07 |
31 4621 0237 05 |
|
ВЦД-31,5М2НТ3.1 |
|
31 4621 0231 00 |
31 4621 0233 09 |
|
ВЦД-31,5М2ВТ3.1 |
|
31 4621 0236 06 |
31 4621 0238 04 |
|
ВЦД-47,5УМНУ3.1 |
31 4621 0239 03 |
31 4621 0241 09 |
31 4621 0243 07 |
|
ВЦД-47,5УМВУ3.1 |
31 4621 0245 05 |
31 4621 0246 04 |
31 4621 0248 02 |
|
ВЦД-47,5УМНТ3.1 |
|
31 4621 0242 08 |
31 4621 0244 06 |
|
ВЦД-47,5УМВТ3.1 |
|
31 4621 0247 03 |
31 4621 0249 01 |
(Измененная редакция, Изм. № 4).
1. Аэродинамические качества вентилятора должны оцениваться
по аэродинамическим характеристикам, построенным в виде графиков зависимости
значений статического давления psv,
мощности N и статического к.п.д. ηs от подачи Q при данном номинальном
диаметре рабочего колеса, заданной частоте или частотах вращения и при работе с
воздухом, имеющим плотность 1,2 кг/м3.
2. Аэродинамические характеристики вентиляторов должны
строиться по данным аэродинамических испытаний, проведенных в соответствии с
ГОСТ 10921-74.
Вентилятор должен испытываться с диффузором и входной
коробкой или коллектором.
Допускается построение характеристик путем пересчета
данных, полученных при испытании вентилятора этого же диаметра при другой
частоте вращения, или результатов испытаний геометрически подобной модели
вентилятора. Пересчет характеристик должен проводиться по ГОСТ 10616-73.
3. Аэродинамические характеристики должны приводиться в
виде сводного графика размерных характеристик, соответствующих разным углам
установки поворотных лопаток рабочего колеса или направляющего аппарата (черт. 1), разным
частотам вращения (черт. 2) или разным формам лопаток колеса, с нанесенными на
них линиями постоянных значений статических к.п.д., как показано на чертежах.
Аэродинамические характеристики осевых вентиляторов должны
включать сводные графики характеристик для прямой и реверсивной работы.
4. На сводном графике характеристик наносится граница
области устойчивости работы вентилятора, которая должна быть построена с
запасом по дросселированию в 1,2 относительно границы режимов однозначной
работы.
5. На свободном графике должна быть выделена рабочая
область, которая ограничивается предельными (минимальной и максимальной)
характеристиками вентилятора, линией статического к.п.д., равного 0,6, и
границами по устойчивости работы и по реверсированию с подачей 60 % воздуха.
Сводный график характеристик вентилятора,
регулируемого изменением углов установки рабочего колеса
Черт. 1
Сводный
график характеристик вентилятора, регулируемого изменением частоты вращения
Черт. 2
1. Удельное энергопотребление определяется в нормальной
области режимов вентиляторов, охватывающей наиболее рациональные и вероятные
режимы их эксплуатации.
2. Для построения нормальной области режимов (см. чертеж)
используется сводный график аэродинамических характеристик, построенный в
соответствии с приложением 3.

В той части сводного графика, где значения статических
к.п.д. являются наибольшими, проводятся две вертикальные линии так, чтобы
левая, обозначаемая Qmin, была по подаче в два
раза меньше правой, обозначаемой Qmax,
т.е. Qmin = 0,5 Qmax. Как показано на чертеже, линии проведены так, что
интервал между Qmin и Qmax охватывает все
значения статического к.п.д. ηs = 0,8, а изолиния статических к.п.д. ηs = 0,7 равномерно выступает за пределы выделенного
интервала слева и справа (что указывает на охват наиболее благоприятной по
к.п.д. части характеристики).
Промежуток между минимальной Qmin и максимальной Qmax, выделенными подачами, делится на пять равных частей и через
эти деления проводятся вертикальные линии.
По величинам статических давлений нормальная область
ограничивается условием, чтобы при всех значениях подачи минимальное давление psvmin было в 2 раза меньше максимального давления psvmax, т.е. psvmin = 0,5 psvmax. При этом как верхняя, так и нижняя граничные кривые
заменяются ломаными линиями, имеющими не более четырех изломов. Отрезки,
ограничивающие нормальную область режимов по вертикали, также делятся на пять
равных частей и через соответствующие деления проводятся прямые, в результате
чего нормальная область режимов разбивается на 25 четырехугольников.
3. Удельное энергопотребление Ei определяется для 25 режимов работы вентилятора, соответствующих
точкам характеристики, лежащим в месте пересечения диагоналей
четырехугольников, на которые разбита нормальная область.
Удельное энергопотребление в i
точке характеристики равно отношению мощности Ni, потребляемой вентилятором при работе в этой точке
характеристики, к полезной гидравлической мощности Рi в этой точке
Ei =
=
:
=
,
где Qi, psvi, ηsi - значения параметров
вентилятора в точке характеристики.
4. Расчет удельного энергопотребления вентилятора
проводится по формуле
E =
.
1. Шумовые характеристики вентиляторов устанавливаются
путем испытания натурных образцов вентиляторов на стенде
предприятия-изготовителя или у потребителя в составе вентиляторной установки
главного проветривания шахты.
2. Шумовой характеристикой вентилятора являются уровни
звуковой мощности в среднегеометрических октавных полосах частот 63, 125, 250,
500, 1000, 2000, 4000 и 8000 Гц (Lp,
дБ) при максимальной частоте вращения.
3. Шумовая характеристика должна определяться при режимах
работы вентилятора, соответствующих максимальному статическому коэффициенту
полезного действия и максимальному статическому давлению.
4. Уровни звуковой мощности в октавных полосах частот Lp, дБ, вычисляют исходя из измеренных уровней
звукового давления по формуле
Lp = Lm + 10 lg
,
где Lm - средний уровень
звукового давления на измерительной поверхности, дБ;
S - площадь измерительной
поверхности, м2;
S0 - 1 м2.
5. Уровни звукового давления Li, дБ, измеряют в канале за диффузором вентилятора на
измерительной поверхности, представляющей собой поперечное сечение канала
(черт. 1).
Число точек измерения должно быть не менее пяти. Точки должны быть расположены
равномерно по измерительной поверхности.
Средний уровень звукового давления на измерительной
поверхности Lm, дБ, вычисляют по
формуле
Lm =
,
где Li - уровень звукового
давления, дБ, в i-й точке измерения;
п -
число точек на измерительной поверхности.
Формула может применяться, если измеренные значения Li различаются не более
чем на 5 дБ. При более высоких различиях измеренных значений Li средний уровень звукового давления вычисляется по формуле
Lm = 10 lg
.
6. Требования к измерительной аппаратуре, уровню помех,
оценке качества звукового поля, а также порядок проведения измерений и
оформление результатов определения шумовой характеристики - по ГОСТ
23941-79 и ГОСТ
12.1.026-80.
7. При применении вентиляторов в неавтоматизированных
вентиляторных установках, имеющих постоянный обслуживающий персонал,
потребителем для решения вопроса о необходимости устройства звукоизолированной
кабины на рабочем месте оператора определяются уровни звукового давления в
октавных полосах частот в машинном зале вентиляторной установки. Метод
измерений и обработки их результатов - по ГОСТ 12.1.050-86.
8. Корректированный уровень звуковой мощности LpA, дБА,
вычисляют по формуле
LpA = 10 lg
,
где Lpi - уровень звуковой
мощности в i-ой полосе частот, дБ;
LAi - поправка по частотной характеристике А шумометра для i-ой
полосы;
п -
число частотных полос.

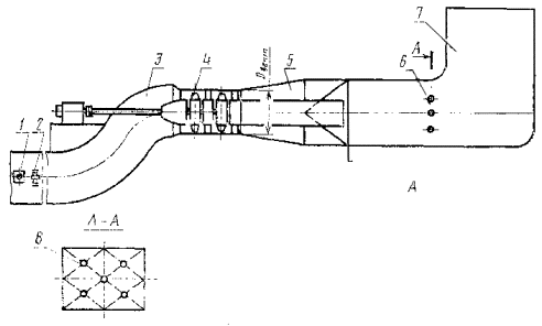
1
- датчики давления вентилятора; 2 - датчики подачи вентилятора; 3 - канал
вентилятора; 4 - вентилятор; 5 - диффузор; 6 - измерительная поверхность; 7 -
выходная часть; 8 - точки измерения
ИНФОРМАЦИОННЫЕ
ДАННЫЕ
1. РАЗРАБОТАНО И ВНЕСЕНО Министерством угольной промышленности СССР
РАЗРАБОТЧИКИ
В.
В. Иванов, И. А. Раскин, канд. техн. наук
(руководитель темы), В. Н. Молчанов
2. УТВЕРЖДЕНО И ВВЕДЕНО
В ДЕЙСТВИЕ Постановлением Государственного комитета СССР по стандартам от
21.06.84 № 2009
3. Срок проверки - 1992 г., периодичность - 3 года
4. Стандарт полностью
соответствует СТ СЭВ 3830-82
5. ССЫЛОЧНЫЕ
НОРМАТИВНО-ТЕХНИЧЕСКИЕ ДОКУМЕНТЫ
|
Обозначение НТД, на
который дана ссылка |
Номер пункта, подпункта, перечисления,
приложения |
|
ГОСТ 2.601-68 |
|
|
ГОСТ 2.602-68 |
|
|
ГОСТ 8.051-81 |
|
|
ГОСТ 9.303-81 |
|
|
ГОСТ 9.401-89 |
|
|
ГОСТ 12.1.023-80 |
|
|
Приложение 5 |
|
|
ГОСТ 12.1.050-86 |
Приложение 5 |
|
ГОСТ 12.2.003-74 |
|
|
ГОСТ 12.2.062-81 |
|
|
ГОСТ 380-88 |
|
|
ГОСТ 2991-85 |
|
|
ГОСТ 6267-74 |
|
|
ТОСТ 7512-82 |
|
|
ГОСТ 10198-78 |
|
|
ГОСТ 10277-76 |
|
|
ГОСТ 10616-73 |
|
|
ГОСТ 10921-74 |
|
|
ГОСТ 14192-77 |
|
|
ГОСТ 15152-69 |
|
|
ГОСТ 19281-73 |
|
|
ГОСТ 21623-76 |
Приложение 1 |
|
ГОСТ
23941-79 |
|
|
ГОСТ 25865-83 |
|
|
ГОСТ 27208-87 |
|
|
Правила безопасности в угольных и сланцевых шахтах |
|
|
Единые правила безопасности при разработке рудных,
нерудных и россыпных месторождений подземным способом |
|
|
Санитарные нормы № 3223-85 |
|
|
Санитарные нормы № 3077-84 |
|
|
Санитарные нормы № 2274-80 |
|
|
Санитарные правила № 1171-74 |
6. ПЕРЕИЗДАНИЕ (май 1989
г.) с Изменениями 1, 2, 3, утвержденными в феврале 1987 г., октябре 1987 г.,
июле 1989 г. (ИУС 1-87, 5-87,11-89)
7. Проверен в 1989 г.
Срок действия продлен до 01.01.95 (Постановление
Государственного комитета СССР по стандартам от 07.07.89 № 2347)
СОДЕРЖАНИЕ
|
|
|
|