Бесплатная библиотека стандартов и нормативов www.docload.ru

Все документы, размещенные на этом сайте, не являются их официальным изданием и предназначены исключительно для ознакомительных целей.
Электронные копии этих документов могут распространяться без всяких ограничений. Вы можете размещать информацию с этого сайта на любом другом сайте.
Это некоммерческий сайт и здесь не продаются документы. Вы можете скачать их абсолютно бесплатно!
Содержимое сайта не нарушает чьих-либо авторских прав! Человек имеет право на информацию!

 

ГОСУДАРСТВЕННЫЙ СТАНДАРТ СОЮЗА ССР

ВЕНТИЛЯТОРЫ РАДИАЛЬНЫЕ
ОБЩЕГО НАЗНАЧЕНИЯ

ОБЩИЕ ТЕХНИЧЕСКИЕ УСЛОВИЯ

ГОСТ 5976-90

ИЗДАТЕЛЬСТВО СТАНДАРТОВ

Москва

ГОСУДАРСТВЕННЫЙ СТАНДАРТ СОЮЗА ССР

ВЕНТИЛЯТОРЫ РАДИАЛЬНЫЕ
ОБЩЕГО НАЗНАЧЕНИЯ

Общие технические условия

Radial fans for general use.
General specifications

ГОСТ
5976-90

Срок действия с 01.01.92

до 01.01.97

Настоящий стандарт распространяется на радиальные вентиляторы общего назначения для обычных сред, одноступенчатые, с горизонтально расположенной осью вращения, со спиральными корпусами, с рабочими колесами от 200 до 3150 мм, создающие полные давления до 12000 Па при плотности перемещаемой газообразной среды 1,2 кг/м3 и предназначенные для перемещения воздуха и других газовых смесей, агрессивность которых по отношению к углеродистым сталям обыкновенного качества не выше агрессивности воздуха, с температурой до 80 °С, не содержащих липких веществ, волокнистых материалов, с содержанием пыли и других твердых примесей не более 100 мг/м3. Для вентиляторов двустороннего всасывания (двусторонних) с расположением ременной передачи в перемещаемой среде температура в перемещаемой среде не должна превышать 60 °С.

Стандарт устанавливает обязательные требования.

Вентиляторы применяются в системах кондиционирования воздуха и вентиляции и для производственных целей.

Стандарт не распространяется на вентиляторы специального исполнения (пылевые, взрывозащищенные, коррозионностойкие и др.) и вентиляторы, встроенные в агрегаты и машины, в т.ч. кондиционеры.

1. ОСНОВНЫЕ ПАРАМЕТРЫ И РАЗМЕРЫ

1.1. Вентиляторы должны обеспечивать производительность Q и полное давление Pv в пределах области, указанной на черт. 1.


Черт. 1


1.2. Вентиляторы разделяют на вентиляторы низкого, среднего и высокого давления в зависимости от величины полного давления, создаваемого на номинальном режиме.

Вентиляторы низкого давления должны создавать полное давление до 1000 Па, вентиляторы среднего давления - свыше 1000 до 3000 Па, вентиляторы высокого давления - свыше 3000 до 12000 Па.

Указанная на черт. 1 область I может обслуживаться вентиляторами высокого давления, работающими на режимах, соответствующих среднему давлению.

Примечание. За номинальный принят режим, соответствующий максимальному значению полного КПД.

1.3. Вентиляторы должны разделять на классы в зависимости от величины окружной скорости колеса u.

К первому классу относят вентиляторы с загнутыми вперед лопатками при u £ 30 м/с и вентиляторы с загнутыми назад лопатками при u £ 50 м/с.

Ко второму классу относят вентиляторы с загнутыми вперед лопатками при u > 30 м/с и вентиляторы с загнутыми назад лопатками при u > 50 м/с.

1.4. Номера вентиляторов, номинальные диаметры D их рабочих колес по внешним кромкам лопаток, а также диаметры входных коллекторов DK должны соответствовать ГОСТ 10616.

Допускаются модификации вентиляторов с диаметрами рабочих колес, отличающимися от указанных в ГОСТ 10616 на величину до ± 10 % при неизменных остальных размерах проточной части вентиляторов.

1.5. Углы входа  и выхода  лопаток рабочих колес радиальных вентиляторов в сечениях, перпендикулярных оси вращения, следует отсчитывать в соответствии с черт. 2.

а - лопатки, загнутые назад ( < 90°); б - лопатки, загнутые вперед ( > 90°); в - лопатки, радиально оканчивающиеся  = 90°); г - профильная лопатка

Черт. 2

1.6. У вентиляторов, снабженных направляющими аппаратами, углы  установки лопаток направляющего аппарата должны отсчитываться в соответствии с черт. 3.

Черт. 3

1.7. Геометрическая форма проточной части вентиляторов должна соответствовать аэродинамической схеме вентилятора.

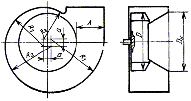
1.8. Основные размеры R1, R2, R3, и R4 спиралей корпусов вентиляторов определяются схемой построения по черт. 4, исходя из диаметра D рабочего колеса, размера А и постоянного отношения .

В технически обоснованных случаях допускается отклонение формы спирали от приведенной на черт. 4.

Черт. 4

1.9. Конструктивные исполнения вентиляторов и их обозначения в соответствии с черт. 5.

Допускается для вентиляторов исполнения 1 крепление электродвигателя непосредственно к корпусу вентилятора.

1.10. Разность между диаметром отверстия в стенке спирального корпуса и диаметром вала (ступицы) для вентилятора низкого и среднего давления должна быть для вентиляторов номеров:

от 2 до 6,3 - не более 4 мм;

от 6,3 до 12,5 - не более 8 мм;

12,5 и выше - не более 12 мм.

Для вентиляторов высокого давления следует предусматривать уплотнения.

1.11. Вентиляторы изготавливают как правого, так и левого вращения. Термины и определения - по ГОСТ 22270.

1.12. Вентиляторы номеров от 2 до 12,5 включ. следует изготавливать с поворотными корпусами, допускающими их установку в любое из положений в соответствии с черт. 6, а номеров выше 12,5 изготавливают с поворотными корпусами по заказу потребителей.

1.13. Положения спирального корпуса радиального вентилятора определяют углом поворота относительно исходного нулевого положения. Углы поворота корпуса отсчитывают по направлению вращения рабочего колеса в соответствии с черт. 6.

1.14. Обозначение типа вентилятора должно состоять из:

1) буквы В - вентилятор;

2) буквы Р - радиальный;

3) стократной величины коэффициента полного давления на режиме максимального полного КПД, округленной до целого числа;

4) величины быстроходности nу на режиме максимального полного КПД, округленной до целого числа.

Тип вентилятора обозначают по величинам коэффициента полного давления  и быстроходности nу вентиляторов номеров 5 или 6,3 и окружной скорости рабочего колеса выше 20 м/с. При отсутствии в типоразмерном ряду номеров 5 или 6,3 обозначение типа присваивают по ближайшему к ним номеру вентилятора.

Пример обозначения типа радиального вентилятора с коэффициентом полного давления, равным 0,875 (на режиме максимального полного КПД), и быстроходностью, равной 71,5: (ВР 88-72).

Вентиляторы, выполняемые по одной аэродинамической схеме, должны иметь одинаковые обозначения типа вентилятора, присваиваемое организацией-разработчиком.

1.15. Обозначение типоразмера вентилятора состоит из:

1) типа;

2) номера по ГОСТ 10616;

3) класса.

Черт. 5

Черт. 6

Пример обозначения типоразмера радиального вентилятора типа ВР 88-72, номера 4, 1-го класса: (ВР 88-72-4.1).

Условные обозначения вентиляторов устанавливают в технических условиях на конкретные изделия.

Примечание. Вводится на новые разработки. Обозначение типоразмеров вентиляторов, разработанных до введения в действие настоящего стандарта, сохраняется прежним.

1.16. Вентиляторы одного типоразмера, изготовленные различными предприятиями, должны иметь одинаковые аэродинамические и акустические характеристики, габаритные, установочные и присоединительные размеры.

2. ТЕХНИЧЕСКИЕ ХАРАКТЕРИСТИКИ

2.1. Характеристики

2.1.1. Вентиляторы следует изготавливать в соответствии с требованиями настоящего стандарта, ГОСТ 10616 и нормативно-технической документации на конкретные вентиляторы.

2.1.2. Построение аэродинамических характеристик вентиляторов - по ГОСТ 10616.

2.1.3. Для вентиляторов номеров от 2 до 6,3 включ. максимальное значение полного КПД  должно удовлетворять условию

.                                            (1)

где  - определяемая испытаниями величина  вентилятора с D = 0,63 м.

Для вентиляторов с номерами, превышающими 6,3, должно выполняться условие

.

2.1.4. Максимальные значения полных КПД  вентиляторов номера 6,3 и выше в зависимости от коэффициента полного давления  на номинальном режиме должны быть не менее указанных в табл. 1.

Таблица 1

1,6 и более

1,4

1,2

1,0

0,8 и более

0,65

0,68

0,72

0,78

0,8

2.1.5. На номинальном режиме отношение коэффициента динамического давления вентилятора  к коэффициенту полного давления  должно быть не более 0,1 + 0,075 .

2.1.6. Допускаются отклонения действительной аэродинамической характеристики от типовой в пределах рабочего участка:

1) по величине снижения полного КПД - не более 4 % от ;

2) по величине полного давления - не более ± 4 %.

Примечание. Рабочий участок аэродинамической характеристики определяют по ГОСТ 10616.

2.1.7. Суммарные уровни звуковой мощности вентиляторов на номинальном режиме со стороны нагнетания должны удовлетворять условию

где Q - производительность, м3/с;

Рv - полное давление, Па;

 - КПД, доли единицы.

Допускаемые верхние отклонения до 2 дБ, нижние значения не ограничивают. В приложении 1 приведены диаграммы зависимости суммарных уровней звуковой мощности от давления, производительности и поправки на КПД.

2.1.8. Требования к надежности, критерии отказов и критерии предельных состояний должны устанавливаться в технических условиях на вентиляторы конкретных типоразмеров при режиме эксплуатации, предусматривающем не более 6 пусков-остановок в сутки.

2.1.9. Задние и передние диски рабочих колес, боковые стенки, спирали корпусов и коллекторы допускается изготавливать сварными при сохранении их прочности.

2.1.10. Допускаемые отклонения присоединительных и установочных размеров вентиляторов не должны превышать пределов класса точности «средний» по ГОСТ 25670.

2.1.11. Допускаемые отклонения габаритных размеров вентиляторов не должны превышать пределов класса точности «грубый» по ГОСТ 25670.

2.1.12. Допускаемые отклонения линейных размеров проточной части вентиляторов должны быть в пределах полей допусков не ниже 14-го квалитета или класса точности «средний» по ГОСТ 25346.

2.1.13. Углы входа и выхода лопаток рабочих колес, соответствующие аэродинамической схеме, должны обеспечиваться системой линейных геометрических размеров.

2.1.14. Радиальный и осевой зазоры между коллектором и рабочим колесом должны соответствовать аэродинамической схеме вентилятора.

2.1.15. Значения радиального биения рабочих колес вентиляторов, измеренные на внешних кромках дисков, должны быть в пределах полей допусков 14-го квалитета по ГОСТ 25346.

2.1.16. Величина осевого биения рабочего колеса вентилятора, замеренная на внешних кромках дисков, должна быть не более удвоенной величины радиального биения.

2.1.17. Рабочие колеса и шкивы должны быть динамически отбалансированы. Возможность статической балансировки определяют в соответствии с ГОСТ 22061.

2.1.18. Рабочее колесо после испытаний на прочность не должно иметь нарушений геометрических размеров сварных и других соединений.

Допустимые удельные остаточные неуравновешенности рабочих колес вентиляторов

Черт. 7

2.1.19. Величина удельной остаточной неуравновешенности рабочих колес вентиляторов массой от 3 до 1000 кг, условно отнесенная к центру тяжести колес, в зависимости от номинальной частоты-вращения n, не должна превышать значений, указанных на графике (черт. 7).

Расчет верхних и нижних значений допустимых дисбалансов в плоскостях коррекции определяют по ГОСТ 22061.

2.1.20. Допускаемое среднее квадратическое значение виброскорости вентиляторов не должно превышать 6,3 мм/с, независимо от вида балансировки рабочих колес, шкивов и муфт. Класс точности балансировки 4 по ГОСТ 22061.

2.1.21. Детали и сборочные единицы вентиляторов должны иметь защитно-декоративные лакокрасочные покрытия, соответствующие условиям эксплуатации, класс покрытия VI по ГОСТ 23852.

Покрытию не подлежат посадочные поверхности и таблички.

2.1.22. Рабочие колеса вентиляторов или наружные поверхности фланцев, сопрягаемые с воздуховодами, шкивы, муфты и оградительные устройства подлежат окраске в сигнальный цвет по ГОСТ 12.4.026.

2.2. Требования к материалам и комплектующим изделиям

2.2.1. Листовой и профильный прокат для деталей вентиляторов должен соответствовать требованиям, установленным в государственных стандартах.

2.2.2. Допускаемые отклонения размеров отливок из чугуна должны соответствовать требованиям по ГОСТ 26645.

2.2.3. Применяемые в производстве вентиляторов лакокрасочные материалы, растворители, разбавители, сиккативы, а также вспомогательные материалы должны соответствовать требованиям, установленным на них государственными стандартами и техническими условиями.

Запрещается применять лакокрасочные материалы без аналитических паспортов, а также по истечении срока хранения.

2.2.4. Запасные части должны быть окрашены в основной цвет изделия.

Допускается по согласованию с потребителем запасные части изготавливать в загрунтованном виде.

2.2.5. Электродвигатели, подшипники, виброизоляторы и ремни должны соответствовать требованиям нормативно-технической документации на изделия конкретного типа.

2.3. Комплектность

2.3.1. Вентиляторы комплектуют в соответствии с ТУ.

2.3.2. По заказу потребителя вентиляторы комплектуют виброизоляторами.

2.3.3. По согласованию изготовителя с потребителем вентиляторы номеров 6,3 и выше могут комплектовать направляющими аппаратами или другими регулирующими устройствами.

2.3.4. К вентиляторам должны прилагать эксплуатационную документацию по ГОСТ 2.601. Номенклатура эксплуатационной документации, прилагаемой к изделиям, - по ТУ - на конкретные вентиляторы.

2.4. Маркировка

2.4.1. На видном месте корпуса каждого вентилятора должна быть прикреплена табличка по ГОСТ 12971, содержащая:

1) наименование и (или) товарный знак предприятия-изготовителя;

2) условное обозначение вентилятора;

3) частоту вращения рабочего колеса, об/мин;

4) год изготовления вентилятора;

5) заводской номер;

6) обозначение нормативно-технического документа на изготовление вентилятора;

7) изображение государственного Знака качества для вентиляторов, которым он присвоен.

2.4.2. Направление вращения рабочего колеса вентилятора должно быть указано стрелкой на корпусе вентилятора. На рабочие колеса стрелку наносят в тех случаях, когда их транспортируют отдельно или вентилятор транспортируют в разобранном виде.

2.4.3. Изображение, места нанесения и способ выполнения транспортной маркировки - по ГОСТ 14192.

2.5. Упаковка

2.5.1. При транспортировании железнодорожным и автомобильным транспортом вентиляторы могут поставлять с применением тары или без нее в условиях, обеспечивающих их сохранность, с защищенными входными и выходными отверстиями. При положении корпуса вентилятора 270° входные и выходные отверстия допускается не защищать.

2.5.2. При транспортировании воздушным, прямым смешанным железнодорожно-водным и водным сообщением вентиляторы упаковывают в ящики, изготовленные по ГОСТ 2991 или ГОСТ 10198.

2.5.3. Сопроводительная документация должна быть помещена во влагонепроницаемую упаковку.

2.5.4. Вентиляторы, отправляемые в районы Крайнего Севера и труднодоступные районы, упаковывают в соответствии с ГОСТ 15846.

2.5.5. При транспортировании в разобранном виде укрупненные узлы вентиляторов, требующие защиты от механических повреждений и атмосферных воздействий, упаковывают по ГОСТ 15846. Узлы, не требующие защиты, транспортируют без упаковки.

3. ПРИЕМКА

3.1. Для проверки соответствия вентиляторов требованиям настоящего стандарта и технических условий проводят приемочный контроль и периодические испытания. Объем контроля и испытаний установлен в табл. 2.

3.1.1. Выпускаемые вентиляторы подвергают сплошному контролю по пп. 2, 3, 4, 12 и 13 табл. 2 и проводят запуск каждого вентилятора, после чего предъявляют на приемосдаточные испытания в объеме табл. 2.

3.1.2. Приемосдаточные испытания осуществляют по количественному признаку в соответствии с ГОСТ 20736. Планы контроля для конкретных типоразмеров должны быть указаны в технических условиях.

За партию принимают вентиляторы одного типоразмера и модификации по диаметру рабочего колеса, укомплектованные двигателями одного типоразмера.

3.2. Вентиляторы от номера 12 и выше допускается предъявлять на приемочный контроль по узлам в разобранном виде. Запуск вентилятора до номера 12 проводится при приемочном контроле обязательно.

3.3. В процессе приемосдаточных испытаний запрещается проводить доработку и разбраковку продукции.

3.4. Партию вентиляторов, не выдержавшую приемосдаточных испытаний, после разбраковки и устранения дефектов вновь предъявляют на приемку.

Результаты повторных приемосдаточных испытаний считают окончательными и распространяют на всю партию.

3.5. На периодические испытания предъявляют продукцию, прошедшую приемочный контроль.

3.6. Периодическим испытаниям подвергают не менее двух образцов вентиляторов. Показатели по пп. 1, 2, 5-9, 11, 12, 13 (табл. 2) проверяют не реже одного раза в год, по п. 10 - не реже одного раза в три года, а также при модернизации и изменении конструкции.

3.7. Вентиляторы, выпуск которых изготовителем возобновлен после перерыва, продолжительность которого превысила срок периодичности проведения периодических испытаний, подвергают периодическим испытаниям перед началом серийного выпуска.

Таблица 2

Наименование показателей

Объем испытаний

Методы контроля по ГОСТ 5976

Пределы (допуски)

Приемочный контроль

Периодические испытания

контроль

приемо-сдаточные испытания

1. Габаритные, присоединительные и установочные размеры

-

+

+

4.2

2.1.10

2.1.11

2.1.12

2. Осевые и радиальные зазоры между рабочим колесом и коллектором

+

+

+

4.2

2.1.14

3. Биение рабочего колеса (проверять до сборки)

+

-

-

4.3

2.1.15

2.1.16

4. Прочностные испытания рабочего колеса

+

-

-

4.4

2.1.18

5. Масса

-

-

+

4.5

по ТУ

6. Аэродинамические параметры номинального режима (величина полного давления)*

-

+

+

4.6

2.1.6

7. Полная аэродинамическая характеристика

-

-

+

4.6

2.1.6

8. Акустическая характеристика

-

-

+

4.7

2.1.7

9. Вибрационная характеристика

-

+

+

4.8

2.1.20

10. Показатели надежности

-

-

по ТУ

4.9

по ТУ

11. Сопротивление заземления

-

+

+

4.10

6.7

12. Лакокрасочные покрытия

 

 

 

 

 

а) толщина покрытия

-

-

 

 

 

б) качество покрытия

+

+

+

4.11

2.1.21

13. Комплектность, упаковка и маркировка

+

+

+

4.12

по ТУ

* Допускается определение параметров на режиме, близком к номинальному в области расходов, отличающихся на ±10 % от номинального.

3.8. Результаты периодических испытаний должны быть оформлены протоколом.

3.9. При организации производства вентиляторов по утвержденной документации, ранее освоенной на другом предприятии, изготовитель проводит испытания в соответствии с ГОСТ 15.001.

4. МЕТОДЫ КОНТРОЛЯ

4.1. Перечисленные в табл. 2 испытания проводят на специально оборудованных аттестованных стендах, укомплектованных аттестованными средствами измерения.

4.2. Габаритные, присоединительные и установочные размеры вентиляторов, осевые и радиальные зазоры между рабочим колесом и коллектором на соответствие требованиям технической документации проверяют при помощи мерительных инструментов, обеспечивающих требуемую точность.

4.3. Радиальное и осевое биения рабочего колеса проверяют на стенде при помощи средств измерения, обеспечивающих заданную точность.

4.4. Рабочее колесо каждого выпускаемого вентилятора должно подвергаться прочностным испытаниям путем не менее двух кратковременных разгонов (не менее 30 с) при увеличении частоты вращения от 0 до величины, превышающей на 10 % номинальную.

Контроль должен проводиться посредством внешнего осмотра до сборки вентилятора.

4.5. Массу вентиляторов номеров от 2 до 8 проверяют взвешиванием в сборе, выше номера 8 - взвешиванием узлов на оборудовании, наименование которого приводят в технических условиях на конкретный вентилятор.

4.6. Аэродинамические параметры номинального режима и полную аэродинамическую характеристику вентиляторов проверяют в соответствии с ГОСТ 10921.

4.7. Акустические характеристики вентиляторов проверяют специальным оборудованием по ГОСТ 12.2.028.

Для вентиляторов с диаметрами рабочих колес, равными или более 800 мм, акустические характеристики допускается определять по испытаниям модельных вентиляторов меньших номеров, но не менее 5-го, с последующим пересчетом по ГОСТ 10616.

Испытания вентиляторов, не имеющих типовых моделей, допускается проводить в обычных помещениях с обязательным контролем звукового поля.

4.8. Вибрационные характеристики вентилятора проверяют согласно ГОСТ 12.1.012.

4.9. Показатели надежности проверяют в соответствии с техническими условиями на конкретные вентиляторы.

4.10. Сопротивление между болтом заземления и каждой доступной прикосновению металлической нетоковедущей частью вентилятора проверяют до подключения его к источнику питания путем измерения с помощью моста постоянного тока при соблюдении требований безопасности по ГОСТ 12.3.019.

4.11. Лакокрасочные покрытия вентилятора проверяют:

1) внешний вид - по ГОСТ 9.032;

2) толщину покрытия - средствами измерения, указанными в соответствующих ТУ.

4.12. Состояние комплектности, упаковки и маркировки контролируют визуально в соответствии с ТУ на конкретный вентилятор.

5. ТРАНСПОРТИРОВАНИЕ И ХРАНЕНИЕ

5.1. Вентиляторы транспортируют любым видом транспорта в соответствии с правилами перевозки грузов, действующими на данном виде транспорта.

5.2. Вентиляторы следует транспортировать и хранить в условиях, исключающих их механическое повреждение.

5.3. Транспортирование по железной дороге производят на платформах, полувагонах и вагонах.

5.4. При перевозке вентиляторов железнодорожным транспортом размещение и крепление грузов в ящичной упаковке и неупакованных должно производиться в соответствии с: «Техническими условиями погрузки и крепления грузов», гл. 5.

5.5. Все механически обработанные и неокрашенные поверхности вентилятора должны быть покрыты антикоррозионным составом, обеспечивающем хранение изделий в соответствии с ГОСТ 9.014.

5.6. В зависимости от размеров и массы вентиляторы могут транспортироваться в собранном или разобранном виде.

5.7. Вентиляторы должны хранить в условиях, исключающих их механическое повреждение. Условия хранения вентиляторов должны обеспечивать их защиту от прямых атмосферных воздействий по ГОСТ 15150.

5.8. Вентиляторы до номера 12 включ. транспортируют в собранном виде. Вентиляторы номеров св. 12 допускается транспортировать в разобранном виде укрупненными узлами.

6. УКАЗАНИЯ ПО ЭКСПЛУАТАЦИИ

6.1. Требования по эксплуатации должны быть изложены в паспорте на вентилятор.

6.2. Вентиляторы должны эксплуатировать в климатических условиях, предусмотренных нормативно-технической документацией, и на режимах, соответствующих рабочему участку (по ГОСТ 10616) аэродинамической характеристики.

6.3. В условиях эксплуатации необходимо систематически проводить техническое обслуживание и планово-предупредительные ремонты вентиляторов в соответствии с порядком и сроками проведения этих работ, указанными в эксплуатационной документации.

6.4. Монтаж электрооборудования должен выполняться в соответствии с требованиями «Правил устройства электроустановок» (ПУЭ), гл. 1.7 «Заземление и защитные меры электробезопасности» (утверждена Главтехуправлением и Госэнергонадзором Минэнерго СССР от 30.04.80) и гл. 5.3. «Электродвигатели и их коммутационные аппараты» (утверждена Главтехуправлением Минэнерго СССР от 20.06.75).

6.5. Все подвижные части вентилятора должны быть ограждены. Не допускается нагрузка вентиляторов вспомогательными посторонними конструкциями, кроме присоединения воздуховодов через гибкие (мягкие) или фланцевые соединения.

6.6. Вентилятор и электродвигатель должны быть заземлены в соответствии с требованиями ГОСТ 12.2.007.0.

6.7. Значение сопротивления между заземляющим болтом (винтом, шпилькой) и каждой доступной прикосновению металлической токоведущей частью изделия, которая может оказаться под напряжением, не должно превышать 0,1 Ом по ГОСТ 12.2.007.0.

6.8. Вибрация, создаваемая вентилятором на рабочем месте, не должна превышать значений, установленных ГОСТ 12.1.012.

В случае превышения указанных значений конструкцией вентиляционных систем должны быть предусмотрены средства их снижения до значений, нормированных ГОСТ 12.1.012.

6.9. Уровни шума, создаваемые вентилятором и вентиляционной системой на рабочем месте, не должны превышать значений, приведенных в ГОСТ 12.1.003. В случае превышения указанных значений конструкцией вентиляционных систем должны быть предусмотрены средства его снижения до значений, нормированных ГОСТ 12.1.003.

6.10. Для обеспечения устойчивости параллельной работы двух или нескольких вентиляторов на рабочем участке аэродинамической характеристики каждого вентилятора должен быть такой участок, на котором при увеличении производительности создаваемое вентилятором давление уменьшается.

7. ГАРАНТИИ ИЗГОТОВИТЕЛЯ

7.1. Изготовитель должен гарантировать соответствие вентиляторов требованиям настоящего стандарта при соблюдении правил эксплуатации, транспортирования, хранения и монтажа.

7.2. Гарантийный срок эксплуатации вентиляторов - 18 мес. со дня ввода их в эксплуатацию.

7.3. Гарантийная наработка устанавливается в технических условиях на конкретный вентилятор, но не менее установленной наработки на отказ.

7.4. Гарантийный срок хранения - 1 год со дня изготовления вентилятора.

ПРИЛОЖЕНИЕ
Справочное

Диаграммы зависимости
Суммарные уровни звуковой мощности, дБ

Черт. 8

Черт. 9

ИНФОРМАЦИОННЫЕ ДАННЫЕ

1. РАЗРАБОТАН И ВНЕСЕН Министерством строительного, дорожного и коммунального машиностроения СССР

РАЗРАБОТЧИКИ

В. А. Васильев (руководитель темы); Н. Б. Зеленченко; А. Ф. Андрейченко; И. М. Петлах; Е. В. Токарев, канд. физ. мат. наук; Т. С. Соломахова, д-р техн. наук; Т. С. Фенько; М. С. Грановский; М. Б. Фрадкин, А, Г. Харченко; Л. А. Буневич

2. УТВЕРЖДЕН И ВВЕДЕН В ДЕЙСТВИЕ Постановлением Государственного комитета СССР по контролю качества продукции и стандартам от 18.07.90 № 2213

3. Срок первой проверки - 1995 г., периодичность проверки 5 лет

4. Взамен ГОСТ 5976-73

5. ССЫЛОЧНЫЕ НОРМАТИВНО-ТЕХНИЧЕСКИЕ ДОКУМЕНТЫ

Обозначение НТД. на который дана ссылка

Номер пункта

Обозначение НТД, на который дана ссылка

Номер пункта

ГОСТ 2.601-68

2.3.4

ГОСТ 10921-90

4.6

ГОСТ 9.014-78

5.5

ГОСТ 12971-67

2.4.1

ГОСТ 9.032-74

4.11

ГОСТ 14192-77

2.4.3

ГОСТ 12.1.003-83

6.9

ГОСТ 15150-69

5.7

ГОСТ 12.1.012-90

4.8; 6.8

ГОСТ 16846-79

2.5.4; 2.5.5

ГОСТ 12.2.007.0-75

6.6; 6.7

ГОСТ 18242-72

3.1.2

ГОСТ 12.2.028-84

4.7

ГОСТ 20736-75

3.1.2

ГОСТ 12.3.019-80

4.10

ГОСТ 22061-76

2.1.17; 2.1.19; 2.1.20

ГОСТ 12.4.026-76

2.1.22

ГОСТ 22270-76

1.11

ГОСТ 15.001-88

3.9

ГОСТ 23852-79

2.1.21

ГОСТ 2991-85

2.5.2

ГОСТ 25346-89

2.1.12; 2.1.15

ГОСТ 7566-81

2.2.1

ГОСТ 25670-83

2.1.10; 2.1.11

ГОСТ 10198-91

2.5.2

ГОСТ 26645-85

2.2.2

ГОСТ 10616-90

1.4; 1.15; 2.1.1; 2.1.2; 2.1.6; 4.7; 6.2

 

 

6. ПЕРЕИЗДАНИЕ. Август 1994 г.

СОДЕРЖАНИЕ

 




Rambler's Top100 Яндекс цитирования
  Copyright © 2008-2026, www.docload.ru