Бесплатная библиотека стандартов и нормативов www.docload.ru

Все документы, размещенные на этом сайте, не являются их официальным изданием и предназначены исключительно для ознакомительных целей.
Электронные копии этих документов могут распространяться без всяких ограничений. Вы можете размещать информацию с этого сайта на любом другом сайте.
Это некоммерческий сайт и здесь не продаются документы. Вы можете скачать их абсолютно бесплатно!
Содержимое сайта не нарушает чьих-либо авторских прав! Человек имеет право на информацию!

 

ГОСУДАРСТВЕННЫЙ СТАНДАРТ СОЮЗА ССР

ВЕНТИЛЯТОРЫ КРЫШНЫЕ ОСЕВЫЕ

ОБЩИЕ ТЕХНИЧЕСКИЕ УСЛОВИЯ

ГОСТ 24857-81

ГОСУДАРСТВЕННЫЙ КОМИТЕТ СССР ПО СТАНДАРТАМ

Москва

ГОСУДАРСТВЕННЫЙ СТАНДАРТ СОЮЗА ССР

ВЕНТИЛЯТОРЫ КРЫШНЫЕ ОСЕВЫЕ

Общие технические условия

Axial roof ventilators.
General specifications

ГОСТ
24857-81

Срок действия с 01.01.83

до 01.01.95

Несоблюдение стандарта преследуется по закону

Настоящий стандарт распространяется на крышные осевые вентиляторы (далее - вентиляторы), одноступенчатые, с вертикально расположенной осью вращения, с диаметрами рабочих колес от 200 до 1600 мм, предназначенные для удаления непосредственно из помещений промышленных и общественных зданий (без сети воздуховодов) воздуха и других газовоздушных невзрывоопасных смесей, агрессивность которых по отношению к углеродистым сталям обыкновенного качества не выше агрессивности воздуха, и температура не выше 40 °С, которые не содержат липких веществ и волокнистых материалов и в которых содержание пыли и других твердых примесей не более 10 мг/м3.

Климатическое исполнение вентиляторов - У, Т, категория размещения 1 по ГОСТ 15150-69.

Стандарт не распространяется на вентиляторы в специальном исполнении (взрывозащищенные, коррозионностойкие и др.).

(Измененная редакция, Изм. № 1).

Требования пп. 1.5, 2.1.7, 6.1.4, 6.3 и разд. 3 настоящего стандарта являются обязательными, другие требования - рекомендуемыми.

(Измененная редакция, Изм. № 2).

1. ОСНОВНЫЕ ПАРАМЕТРЫ И РАЗМЕРЫ

1.1. Производительность Q вентиляторов должна находиться в пределах от 0,5×103 до 100×103 м3/ч на рабочем режиме при статическом давлении psv = 0.

1.2. Аэродинамические качества вентиляторов должны оцениваться по размерным или безразмерным аэродинамическим показателям, определяемым на основании аэродинамических испытаний в рабочем режиме.

Определение аэродинамических показателей дано в приложении.

1.3. Удельная производительность  в рабочем режиме должна составлять:

³ 5 - для вентиляторов со скоростью выхода воздуха менее 10 м/с;

³ 2 - для вентиляторов со скоростью выхода воздуха более 10 м/с (факельный выброс).

1.4. Акустические качества вентиляторов должны оцениваться по шумовым характеристикам (ГОСТ 12.2.028-84) на основании акустических испытаний вентиляторов в рабочем режиме раздельно на всасывании и нагнетании. При испытании на нагнетании должен учитываться шум, излучаемый через выходное отверстие и корпус вентилятора.

1.5. Суммарные уровни звуковой мощности вентиляторов не должны превышать значений, приведенных на черт. 1, более чем на 5 дБ.

Черт. 1

1.4, 1.5. (Измененная редакция, Изм. № 1).

1.6. Основные размеры проточной части вентиляторов должны определяться в зависимости от диаметров рабочих колес по аэродинамическим схемам вентиляторов.

1.7. Номинальные значения диаметров рабочих колес по внешним кромкам лопаток должны выбираться из следующего ряда: 200, 250, 315, 400, 500, 630, 800, 1000, 1250, 1600 мм.

(Измененная редакция, Изм. № 1).

1.8. Габаритные, присоединительные и установочные размеры вентиляторов - по техническим условиям на конкретные вентиляторы.

1.9. По конструктивным признакам вентиляторы подразделяют:

в зависимости от направления и скорости воздуха: с выходом в стороны (черт. 2, а); вверх (черт. 2, б); вверх и вниз (черт. 2, в); факельный (черт. 2, г);

в зависимости от взаимного расположения рабочего колеса и электродвигателя: с рабочим колесом, устанавливаемым после электродвигателя (черт. 3, а); с рабочим колесом, устанавливаемым перед электродвигателем (черт. 3, б);

в зависимости от способа передачи динамических усилий на несущие конструкции: виброизолированные; невиброизолированные.

Черт. 2

Черт. 3

1.10. Вентиляторы должны соответствовать схемам исполнения: К, К + СА или ВНА + К по ГОСТ 11442-74.

1.11. Рабочее колесо вентилятора должно устанавливаться непосредственно на вал электродвигателя.

1.12. (Исключен, Изм. № 1).

2. ТЕХНИЧЕСКИЕ ТРЕБОВАНИЯ

2.1. Требования к конструкции

2.1.1. Вентиляторы должны изготовлять в соответствии с требованиями настоящего стандарта и технических условий на вентиляторы конкретных типов.

2.1.2. Конструкцией рабочих колес должна обеспечиваться их прочность при рабочей частоте вращения вентилятора.

2.1.3. Конструкцией вентиляторов должно быть обеспечено постоянство зазора между корпусом и рабочим колесом, а также защита виброизолированной части от ветровых нагрузок.

2.1.4. Вентиляторы должны иметь специальные приспособления для захвата грузоподъемными средствами.

2.1.5. Для доступа к элементам, требующим периодического наблюдения и обслуживания, должны быть предусмотрены люки с легкосъемными крышками или другие подобные устройства.

2.1.6. Значение удельной остаточной неуравновешенности рабочих колес должно устанавливаться организацией - разработчиком конструкторской документации, исходя из допустимого среднего квадратического значения виброскорости и частоты вращения рабочего колеса.

2.1.7. Допускаемые средние квадратические значения виброскорости вентиляторов в сборе не должны превышать 6,7 мм/с.

2.2. Требования по устойчивости к внешним воздействиям

2.2.1. Поверхности вентиляторов, подвергающиеся прямой солнечной радиации, должны окрашиваться в белый, серебристо-белый или другой цвет светлого тона.

2.2.2. Наружные и внутренние поверхности вентиляторов должны иметь защитные лакокрасочные покрытия класса V по ГОСТ 9.032-74, группы VI по ГОСТ 9.104-79.

Покрытию не подлежат посадочные поверхности, таблички, а также покупные изделия, имеющие окраску, и изделия из пластмассы.

2.2.3. Вибрационная прочность вентиляторов, подготовленных к транспортированию, должна обеспечивать работоспособность после механических воздействий, возникающих при их транспортировании.

Значение вибрационной нагрузки и методы проверки вибрационной прочности должны быть заданы в технических условиях на вентиляторы конкретных типов.

2.3. Требования надежности:

средний срок службы - не менее 12 лет;

средний ресурс до капитального ремонта - не менее 23000 ч;

наработка на отказ - не менее 15000 ч.

Установленная безотказная наработка - не менее 3000 ч, установленный ресурс до капитального ремонта - 6000 ч.

2.2.3, 2.3. (Измененная редакция, Изм. № 1).

3. ТРЕБОВАНИЯ БЕЗОПАСНОСТИ

3.1. Конструкция вентиляторов должна отвечать общим требованиям безопасности по ГОСТ 12.2.003-74.

3.2. Подвижные части вентиляторов должны быть ограждены.

3.3. Вентиляторы и электродвигатели должны быть заземлены. Заземление должно осуществляться в соответствии с ГОСТ 12.2.007.0-75.

3.4. Монтаж электрооборудования, заземление вентиляторов и электродвигателей должны производиться в соответствии с требованиями «Правил устройства электроустановок (ПУЭ).

3.5. Для безопасности обслуживающего персонала при ремонте и обслуживании должны быть проведены мероприятия, исключающие возможность дистанционного пуска вентиляторов.

3.6. Рабочие колеса вентиляторов должны быть окрашены в сигнальный цвет по ГОСТ 12.4.026-76.

(Измененная редакция, Изм. № 2).

3.7. Для защиты от случайного попадания посторонних предметов в обслуживаемое помещение при ремонте вентилятора под ним должен быть установлен поддон, служащий одновременно для сбора и удаления влаги.

3.8. Крепления вращающихся частей должны быть предохранены от самопроизвольного рассоединения.

3.9. Уровни шума, создаваемого вентиляционной системой на рабочих местах, не должны превышать значений, установленных ГОСТ 12.1.003-83.

При превышении этих значений в вентиляционных системах должны быть предусмотрены меры по снижению шума.

3.10. Допустимые значения средней квадратической виброскорости вентиляторов в сборе должны соответствовать п. 2.1.7.

4. КОМПЛЕКТНОСТЬ

4.1. В комплект вентиляторов входит:

вентилятор;

поддон (по согласованию между изготовителем и потребителем);

паспорт по ГОСТ 2.601-68.

5. ПРАВИЛА ПРИЕМКИ

5.1. Вентиляторы должны подвергаться приемосдаточным, периодическим и типовым испытаниям.

При наличии государственной приемки вентиляторы должны подвергаться предъявительским испытаниям по ГОСТ 26964-86.

5.2. Приемосдаточным испытаниям должен подвергаться каждый вентилятор на соответствие требованиям пп. 2.1.2-2.1.4,. 2.1.7, 2.2.1, 2.2.2, 3.6, 3.8, 4.1. При выявлении несоответствия хотя бы одному из этих требований дефекты подлежат устранению, после чего вентиляторы должны быть вторично подвергнуты приемосдаточным испытаниям в полном объеме.

5.1, 5.2. (Измененная редакция, Изм. № 1).

5.3. Периодическим испытаниям должны подвергаться серийно выпускаемые вентиляторы, не менее одного в год каждого типоразмера.

5.4. Типовым испытаниям должны подвергаться опытные образцы вентиляторов после внесения изменений в конструкцию, технологию или материалы, влияющих на параметры вентиляторов.

5.5. При периодических и типовых испытаниях вентиляторы должны подвергаться механическим, аэродинамическим и акустическим испытаниям и контрольным испытаниям на надежность по ГОСТ 27.410-87 на соответствие пп. 1.1, 1.3, 1.4, 1.6, 2.2.3 и 2.3.

(Измененная редакция, Изм. № 2).

Примечание. Испытания вентиляторов на соответствие требованиям п. 2.3 должны проводиться 1 раз в три года.

(Измененная редакция, Изм. № 1).

5.6. К периодическим и типовым испытаниям допускаются вентиляторы, выдержавшие приемо-сдаточные испытания.

5.7. (Исключен, Изм. № 2).

6. МЕТОДЫ КОНТРОЛЯ И ИСПЫТАНИЙ

6.1. Механические испытания

6.1.1. Испытание на прочность рабочих колес каждого вентилятора (п. 2.1.2) должно производиться путем кратковременного разгона с увеличением частоты вращения от 0 до значения, превышающего на 10% рабочую.

6.1.2. После испытаний на прочность рабочих колес не должно иметь место нарушение сварных и других соединений. Контроль должен производиться наружным осмотром.

6.1.3. Каждый вентилятор должен подвергаться кратковременной обкатке. Время обкатки должно устанавливаться в технических условиях на конкретные вентиляторы.

6.1.4. Определение средних квадратических значений виброскорости вентиляторов на соответствие требованиям п. 2.1.7 проводится по нормативно-технической документации на конкретные вентиляторы.

(Измененная редакция, Изм. № 2).

6.1.5. Испытания вентиляторов на воздействие вибрационной нагрузки (п. 2.2.3) должны проводиться по техническим условиям на вентиляторы конкретных типов.

6.1.6. (Исключен, Изм. № 1).

6.2. Аэродинамические испытания

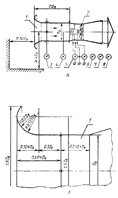
6.2.1. Аэродинамические испытания проводят согласно ГОСТ 10921-74 на установке с камерой всасывания и встроенным вспомогательным вентилятором (черт. 4) для определения параметров, указанных в пп. 1.1-1.3.

1 - расходомер (измерительный коллектор) диаметром D4; 2 - дросселирующее устройство; 3 - вспомогательный вентилятор с электроприводом; 4 - выравнивающее устройство (сетки, спрямляющая решетка); 5 - приемники статического давления, расположенные по периметру камеры диаметром D1; 6 - испытуемый вентилятор; 7 - соединительный вал; 8 - балансирный станок (мотор-весы); 9 - дифманометр для измерения расхода воздуха; 10 - дифманометр для измерения статического давления вентилятора; 11 - измеритель крутящего момента; 12 - измеритель частот вращения; 13 - барометр для измерения атмосферного давления; 14 - термометр для измерения температуры окружающего воздуха; 15 - психрометр для измерения влажности окружающего воздуха

Черт. 4

Примечание. Определение размеров D1 и D4 - по ГОСТ 10921-74.

6.2.2. Допускается проведение аэродинамических испытаний на установке со всасывающим воздуховодом-расходомером (измерительным коллектором) длиной, равной двум его диаметрам DB (черт. 5), если отсутствует всасывающая камера по п. 6.2.1 или вентилятор по конструктивным особенностям не может быть присоединен к камере.

1 - расходомер (измерительный коллектор); 2 - испытуемый вентилятор; 3 - дифманометр для измерения расхода; 4 - измеритель частоты вращения; 5 - ваттметры для измерения потребности мощности; 6 - барометр для измерения атмосферного давления; 7 - термометр для измерения температуры окружающего воздуха; 8 - психометр для измерения влажности окружающего воздуха

Черт. 5

6.3. Акустические испытания вентиляторов должны проводиться по ГОСТ 12.2.028-84 для получения шумовых характеристик в соответствии с пп. 1.4 и 1.5.

При измерениях в свободном звуковом поле радиус измерительной поверхности r должен быть не менее удвоенного значения максимального габаритного размера вентилятора.

6.4. Показатели надежности должны контролироваться по статистическим данным, а также по результатам периодических и типовых испытаний по методикам и по критериям отказов и предельных состояний, приведенным в эксплуатационной документации на вентиляторы конкретных типов.

6.2.2-6.4. (Измененная редакция, Изм. № 1).

7. МАРКИРОВКА, УПАКОВКА, ТРАНСПОРТИРОВАНИЕ И ХРАНЕНИЕ

7.1. На каждом вентиляторе, на видном месте, должна быть установлена табличка.

7.2. Табличка должна быть выполнена в соответствии с ГОСТ 12971-67 и техническими условиями на вентиляторы конкретных типов.

7.3. Направление вращения рабочего колеса должно быть указано хорошо видимой стрелкой на наружной поверхности корпуса по ГОСТ 12.4.040-78.

7.2, 7.3. (Измененная редакция, Изм. № 1).

7.4. Все металлические неокрашенные поверхности вентилятора должны быть подвергнуты консервации. Консервация должна производиться средствами временной защиты для изделий группы II-1 по ГОСТ 9.014-78.

7.5. При транспортировании виброизолированная часть вентилятора должна быть жестко закреплена относительно неподвижной его части.

7.6. Вентиляторы должны транспортироваться без упаковки в вертикальном положении.

Допускается транспортировать вентилятор со снятым зонтом.

7.7. Эксплуатационная документация должна быть помещена во влагонепроницаемую пленку и надежно прикреплена к вентилятору.

7.8. Транспортная маркировка в соответствии с ГОСТ 14192-77 наносится на ярлыках и должна содержать:

а) основные надписи: получатель и место назначения;

б) дополнительные надписи: масса нетто и брутто в килограммах, габаритные размеры в метрах, отправитель и место отправления;

в) манипуляционные знаки: «Верх, не кантовать», «Место строповки» и «Центр тяжести».

Примечание. Манипуляционные знаки должны наноситься непосредственно на вентилятор.

7.9. Способы крепления маркировочных ярлыков вентиляторов устанавливает организация-разработчик.

7.10. Транспортирование вентиляторов производят любыми видами транспорта и любым видом подвижного состава.

Условия транспортирования устанавливают по условиям хранения по ГОСТ 15150-69.

7.11. Условия хранения должны устанавливаться по ГОСТ 15150-69 в технических условиях на вентиляторы конкретных типов.

7.10, 7.11. (Измененная редакция, Изм. № 1).

8. ГАРАНТИИ ИЗГОТОВИТЕЛЯ

8.1. Изготовитель гарантирует соответствие вентиляторов требованиям настоящего стандарта при соблюдении условий эксплуатации, хранения и транспортирования.

8.2. Гарантийный срок эксплуатации - 18 мес. со дня ввода вентиляторов в эксплуатацию

ПРИЛОЖЕНИЕ
Обязательное

ОПРЕДЕЛЕНИЕ АЭРОДИНАМИЧЕСКИХ ПОКАЗАТЕЛЕЙ

1. Размерными аэродинамическими показателями являются:

производительность Q, м3/с, м3/ч;

потребляемая мощность N, Вт, кВт.

Безразмерными аэродинамическими показателями являются:

коэффициент производительности ;

коэффициент потребляемой мощности ;

удельная производительность .

Подсчет аэродинамических показателей осуществляют по формулам, приведенным в ГОСТ 10921-74.

Примечание. Удельную производительность определяют по формулам:

где Q, м3/с;

N, Вт;

r - плотность перемещаемого газа, кг/м3;

 - окружная скорость рабочего колеса вентилятора, м/с;

D - диаметр рабочего колеса, м;

п - частота вращения рабочего колеса, об/мин.

2. (Исключен, Изм. № 1).

ИНФОРМАЦИОННЫЕ ДАННЫЕ

1. РАЗРАБОТАН И ВНЕСЕН Государственным комитетом СССР по делам строительства

ИСПОЛНИТЕЛИ

А. И. Ушомирская, В. А. Спивак, М. С. Грановский, А. Я. Гольтвегер, М. В. Фрадкин, И. И. Колмаков, В. А. Белопольский, А. А. Пискунов, М. Я. Гембаржевский, И. В. Брусиловский, Е. Я. Юдин, Н. Н. Северина

2. УТВЕРЖДЁН И ВВЕДЕН В ДЕЙСТВИЕ Постановлением Государственного комитета СССР по стандартам от 24.06.81 № 3119

3. Срок проверки - 1992 г., периодичность проверки - 3 года

4. ВВЕДЕН ВПЕРВЫЕ

5. ССЫЛОЧНЫЕ НОРМАТИВНО-ТЕХНИЧЕСКИЕ ДОКУМЕНТЫ

Обозначамые НТД, на который дана ссылка

Номер пункта, подпункта, приложения

ГОСТ 2.601-68

4.1

ГОСТ 9.014-78

7.4

ГОСТ 9.032-74

2.2.2

ГОСТ 9.104-79

2.2.2

ГОСТ 12.1.003-83

3.9

ГОСТ 12.2.003-74

3.1

ГОСТ 12.2.007.0-75

3.3

ГОСТ 12.2.028-84

1.4, 6.3

ГОСТ 12.4.026-76

3.6

ГОСТ 12.4.040-78

7.3

ГОСТ 15.001-73

5.7

ГОСТ 27.410-83

5.5

ГОСТ 10921-74

6.2.1; приложение

ГОСТ 11442-74

1.10

ГОСТ 12971-67

7.2

ГОСТ 13731-67

6.1.4

ГОСТ 14192-77

7.8

ГОСТ 15150-69

Вводная часть, 7.10, 7.11

ГОСТ 26964-86

5.1

6. ПЕРЕИЗДАНИЕ (июль 1988 г.) с Изменением № 1, утвержденным в сентябре 1987 г. (ИУС 1-88).

7. Проверен в 1987 г. Срок действия продлен до 01.01.95 (Постановление Госстандарта СССР от 24.09.87 № 3648)

СОДЕРЖАНИЕ

 




Rambler's Top100 Яндекс цитирования
  Copyright © 2008-2025, www.docload.ru