Бесплатная библиотека стандартов и нормативов www.docload.ru

Все документы, размещенные на этом сайте, не являются их официальным изданием и предназначены исключительно для ознакомительных целей.
Электронные копии этих документов могут распространяться без всяких ограничений. Вы можете размещать информацию с этого сайта на любом другом сайте.
Это некоммерческий сайт и здесь не продаются документы. Вы можете скачать их абсолютно бесплатно!
Содержимое сайта не нарушает чьих-либо авторских прав! Человек имеет право на информацию!

 

ГОСУДАРСТВЕННЫЙ СТАНДАРТ СОЮЗА ССР

ВЕНТИЛЯТОРЫ КРЫШНЫЕ РАДИАЛЬНЫЕ

ОБЩИЕ ТЕХНИЧЕСКИЕ УСЛОВИЯ

ГОСТ 24814-81

КОМИТЕТ СТАНДАРТИЗАЦИИ И МЕТРОЛОГИИ СССР

Москва

ГОСУДАРСТВЕННЫЙ СТАНДАРТ СОЮЗА ССР

ВЕНТИЛЯТОРЫ КРЫШНЫЕ РАДИАЛЬНЫЕ

Общие технические условия

Radial roof ventilators.
General specifications

ГОСТ
24814-81

Срок действия с 01.01.83

до 01.01.95

Настоящий стандарт распространяется на крышные радиальные вентиляторы (далее - вентиляторы), одноступенчатые, с вертикально расположенной осью вращения, с диаметрами рабочих колес от 200 до 1600 мм, предназначенные для удаления из помещений промышленных и общественных зданий воздуха и других невзрывоопасных газовоздушных смесей, агрессивность которых по отношению к углеродистым сталям обыкновенного качества не выше агрессивности воздуха, а температура не выше 50 °С, которые не содержат липких веществ и волокнистых материалов, и в которых содержание пыли и других твердых примесей не более 100 мг/м3.

Климатическое исполнение вентиляторов - У, Т, категория размещения - 1 по ГОСТ 15150-69.

Стандарт не распространяется на вентиляторы в специальном исполнении (взрывозащищенные, коррозионностойкие и др.).

Требования пп. 1.5, 2.1.7, 6.1.4, 6.3 и разд. 3 настоящего стандарта являются обязательными, другие требования - рекомендуемыми.

(Измененная редакция, Изм. № 1).

1. ОСНОВНЫЕ ПАРАМЕТРЫ И РАЗМЕРЫ

1.1. Производительность Q вентиляторов должна находиться в пределах от 0,3×103 до 80×103 м3/ч и статическое давление Psv - от 0 до 600 Па.

1.2. Аэродинамические качества вентиляторов должны оцениваться по размерным или безразмерным аэродинамическим характеристикам, определяемым на основании аэродинамических испытаний.

Номинальный режим работы вентилятора должен соответствовать нулевому значению статического давления (psv = 0).

При работе с сетью воздуховодов рекомендуется использовать участок характеристики, на котором статическое давление с увеличением производительности монотонно падает до нуля и при этом производительность находится в пределах .

(Измененная редакция, Изм. № 1).

1.3. Удельная производительность вентиляторов  на номинальном режиме должна быть не менее указанной в таблице.

Номер вентилятора

4

5

6,3 и более

1,6

1,7

1,8

Черт. 1

1.4. Акустические качества вентиляторов должны оцениваться по шумовым характеристикам (ГОСТ 12.2.028-84) на основании акустических испытаний вентиляторов в номинальном режиме работы раздельно на всасывании и нагнетании. При испытании со стороны нагнетания должен учитываться шум, излучаемый через выходное отверстие и корпус вентилятора.

1.3, 1.4. (Измененная редакция, Изм. № 2).

1.5. Суммарные уровни звуковой мощности вентиляторов не должны превышать значений, приведенных на черт. 1, более чем на 5 дБ.

(Измененная редакция, Изм. № 1).

1.6. Основные размеры проточной части вентиляторов должны определяться в зависимости от диаметров рабочих колес по аэродинамическим схемам вентиляторов.

1.7. Номинальные значения диаметров рабочих колес по внешним кромкам лопаток должны выбираться из следующего ряда: 200, 250, 315, 400, 500, 630, 800, 1000, 1250, 1600 мм.

(Измененная редакция, Изм. № 1).

1.8. Габаритные, присоединительные и установочные размеры вентиляторов - по техническим условиям на конкретные вентиляторы.

Черт. 2

1.9. По конструктивным признакам вентиляторы подразделяют:

в зависимости от направления выхода воздуха: с выходом вниз (черт. 2, а), в стороны (черт. 2, б), вверх (черт. 2, в), вверх и вниз (черт. 2, г);

в зависимости от способа привода:

с установкой рабочего колеса непосредственно на вал электродвигателя (черт. 3, а), с приводом посредством клиноременной передачи (черт. 3, б);

в зависимости от способа передачи динамических усилий на поддерживающие конструкции: виброизолированные, невиброизолированные.

1 - входной патрубок; 2 - рабочее колесо; 3 - корпус; 4 - электродвигатель

Черт. 3

1.10. (Исключен, Изм. № 1).

2. ТЕХНИЧЕСКИЕ ТРЕБОВАНИЯ

2.1. Требования к конструкции

2.1.1. Вентиляторы должны изготовлять в соответствии с требованиями настоящего стандарта и технических условий на конкретные вентиляторы.

2.1.2. Конструкцией рабочих колес должна обеспечиваться их прочность при рабочей частоте вращения вентилятора.

2.1.3. Конструкцией вентиляторов должно быть обеспечено постоянство зазора между входным патрубком и рабочим колесом, а также защита виброизолированной части от ветровых нагрузок.

2.1.4. Вентиляторы должны иметь специальные приспособления для захвата грузоподъемными средствами.

2.1.5. Для доступа к элементам, требующим периодического наблюдения и обслуживания, должны быть предусмотрены люки с легкосъемными крышками или другие подобные устройства.

2.1.6. Значения удельной остаточной неуравновешенности рабочих колес и шкивов должны устанавливаться организацией-разработчиком конструкторской документации, исходя из допустимого среднего квадратического значения виброскорости, частоты вращения рабочего колеса и способа привода вентилятора.

2.1.7. Допускаемые средние квадратические значения виброскорости вентиляторов в сборе не должны превышать 6,3 мм/с.

(Измененная редакция, Изм. № 2).

2.1.8. Осевые и радиальные зазоры между рабочим колесом и коллектором должны соответствовать размерам, указанным в аэродинамических схемах вентиляторов.

(Введен дополнительно, Изм. № 2).

2.2. Требования по устойчивости к внешним воздействиям

2.2.1. Поверхности вентиляторов, подвергающиеся прямой солнечной радиации, должны окрашиваться в белый, серебристо-белый или другой цвет светлого тона.

2.2.2. Наружные и внутренние поверхности вентиляторов должны иметь защитные лакокрасочные покрытия класса V по ГОСТ 9.032-74 группы У1 по ГОСТ 9.104-79.

Покрытию не подлежат посадочные поверхности, канавки шкивов, таблички, а также покупные изделия, имеющие окраску, и изделия из пластмасс.

2.2.3. Вибрационная прочность вентиляторов, подготовленных к транспортированию, должна обеспечивать работоспособность после механических воздействий, возникающих при их транспортировании.

Значения вибрационной нагрузки и методы проверки вибрационной прочности должны быть заданы в технических условиях на вентиляторы конкретных типов.

2.3. Требования надежности:

средний срок службы - не менее 12 лет;

средний ресурс до капитального ремонта - не менее 23000 ч;

наработка на отказ - не менее 15000 ч.

Установленная безотказная наработка - не менее 3000 ч, установленный ресурс до капитального ремонта - 6000 ч.

2.2.3, 2.3. (Измененная редакция, Изм. № 1).

3. ТРЕБОВАНИЯ БЕЗОПАСНОСТИ

3.1. Конструкция вентиляторов должна отвечать общим требованиям безопасности по ГОСТ 12.2.003-74.

3.2. Подвижные части вентиляторов должны быть ограждены.

3.3. Вентиляторы и электродвигатели должны быть заземлены. Заземление должно осуществляться в соответствии с ГОСТ 12.2.007.0-75.

3.4. Монтаж электрооборудования, заземление вентиляторов и электродвигателей должны производиться в соответствии с требованиями «Правил устройства электроустановок» (ПУЭ).

3.5. Для безопасности обслуживающего персонала при ремонте и обслуживании должны быть проведены мероприятия, исключающие возможность дистанционного пуска вентиляторов.

3.6. Шкивы вентиляторов должны быть окрашены в сигнальный цвет по ГОСТ 12.4.026-76.

(Измененная редакция, Изм. № 2).

3.7. Для защиты от случайного попадания посторонних предметов в обслуживаемое помещение при ремонте вентилятора, работающего без сети воздуховодов, под ним должен быть установлен поддон, служащий одновременно для сбора и удаления влаги.

3.8. Крепления вращающихся частей должны быть предохранены от самопроизвольного рассоединения.

3.9. Уровни шума, создаваемого вентиляционной системой на рабочих местах, не должны превышать значений, установленных ГОСТ 12.1.003-83.

При превышении этих значений в вентиляционных системах должны быть предусмотрены меры по снижению шума.

3.10. Допустимые значения средней квадратической виброскорости вентиляторов в сборе должны соответствовать п. 2.1.7.

4. КОМПЛЕКТНОСТЬ

4.1. В комплект вентилятора входят:

вентилятор;

комплект приводных ремней (для вентиляторов с клиноременной передачей);

самооткрывающийся клапан и поддон (по согласованию между изготовителем и потребителем);

паспорт по ГОСТ 2.601-68.

5. ПРАВИЛА ПРИЕМКИ

5.1. Вентиляторы должны подвергаться приемо-сдаточным, периодическим и типовым испытаниям.

5.2. Приемо-сдаточным испытаниям должен подвергаться каждый вентилятор на соответствие требованиям пп. 2.1.2-2.1.4, 2.1.7, 2.1.8, 2.2.1, 2.2.2, 3.6, 3.8, 4.1. При выявлении несоответствия хотя бы по одному из этих требований дефекты подлежат устранению, после чего вентиляторы должны быть вторично подвергнуты приемо-сдаточным испытаниям в полном объеме.

5.1, 5.2. (Измененная редакция, Изм. № 1).

5.3. Периодическим испытаниям должны подвергаться серийно выпускаемые вентиляторы, не менее одного в год каждого типоразмера.

5.4. Типовым испытаниям должны подвергаться опытные образцы вентиляторов после внесения изменений в конструкцию, технологию или материалы, влияющих на параметры вентиляторов.

5.5. При периодических и типовых испытаниях вентиляторы должны подвергаться механическим, аэродинамическим и акустическим испытаниям и контрольным испытаниям на надежность по ГОСТ 27.410-87 на соответствие пп. 1.1, 1.3, 1.4, 1.6, 2.2.3 и 2.3.

Примечание. Испытания вентиляторов на соответствие требованиям п. 2.3 должны проводиться 1 раз в три года.

(Измененная редакция, Изм. № 11).

5.6. К периодическим и типовым испытаниям допускаются вентиляторы, выдержавшие приемо-сдаточные испытания.

5.7. (Исключен, Изм. № 12).

6. МЕТОДЫ КОНТРОЛЯ И ИСПЫТАНИЙ

6.1. Механические испытания

6.1.1. Испытание на прочность рабочих колес каждого вентилятора (п. 2.1.2) должно производиться путем кратковременного разгона с увеличением частоты вращения от 0 до значения, превышающего на 10 % рабочую.

6.1.2. После испытаний на прочность рабочих колес не должно иметь место нарушение сварных и других соединений. Контроль должен производиться наружным осмотром.

6.1.3. Каждый вентилятор должен подвергаться кратковременной обкатке. Время обкатки должно устанавливаться в технических условиях на конкретные вентиляторы.

6.1.4. Определение средних квадратических значений виброскорости вентиляторов на соответствие требованиям п. 2.1.7 проводится по нормативно-технической документации на конкретные вентиляторы.

(Измененная редакция, Изм. № 2).

6.1.5. Испытания вентиляторов на воздействие вибрационной нагрузки (п. 2.2.3) должны проводиться по техническим условиям на конкретные вентиляторы.

6.1.6. (Исключен, Изм. № 1).

6.2. Аэродинамические испытания

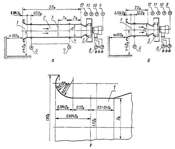
6.2.1. Аэродинамические испытания проводят согласно ГОСТ 10921-90 на установке с камерой всасывания и встроенным вспомогательным вентилятором (черт. 4) для получения аэродинамических характеристик по п. 1.2 и определения параметров, указанных в пп. 1.1, 1.3.

6.2.2. Допускается проведение аэродинамических испытаний на установке со всасывающим воздуховодом и расходомером (измерительным коллектором) равных диаметров DB (черт. 5), если отсутствует установка по п. 6.2.1 или вентилятор по конструктивным особенностям не может быть присоединен к камере.

6.2.1, 6.2.2 (Измененная редакция, Изм. № 15).

6.2.3. В качестве всасывающего воздуховода по п. 6.2.2 должен применяться трубопровод круглого сечения, общей длиной вместе с расходомером равной пяти его диаметрам, с четырьмя и более приемниками статического давления в виде круглых отверстий диаметром 2-5 мм, расположенных равномерно по периметру воздуховода на расстоянии одного диаметра от входа в вентилятор (см. черт. 5, а). Приемники должны соединяться между собой трубками диаметром, превышающим диаметр отверстия приемника более чем в два раза.

6.2.4. Для получения режимов работы  при испытании со всасывающим воздуховодом по п. 6.2.2 должно устанавливаться дросселирующее устройство в виде сменных рассредоточенных сопротивлений типа сеток, расположенных на расстоянии двух диаметров от входа в вентилятор (см. черт. 5, а).

1 - расходомер (измерительный коллектор диаметром D4); 2 - дросселирующее устройство; 3 - вспомогательный вентилятор с электроприводом; 4 - выравнивающее устройство (сетки, спрямляющая решетка); 5 - приемники статического давления, расположенные по периметру камеры диаметром D1; 6 - испытуемый вентилятор; 7 - соединительный вал; 8 - балансирный станок (мотор-весы); 9 - дифманометр для измерения расхода воздуха; 10 - дифманометр для измерения статического давления вентилятора; 11 - измеритель крутящего момента; 12 - измеритель частоты вращения; 13 - барометр для измерения атмосферного давления; 14 - термометр для измерения температуры окружающего воздуха; 15 - психрометр для измерения влажности окружающего воздуха

Черт. 4

Примечание. Определение размеров D1, и D4 - по ГОСТ 10921-74.

6.2.5. Для получения номинального режима работы psv = 0 при испытании со всасывающим воздуховодом по п. 6.2.2 допускается применять короткий воздуховод с расходомером общей длиной, равной двум его диаметрам (см. черт. 5, б).

6.3. Акустические испытания вентиляторов должны проводиться по ГОСТ 12.2.028-84 для получения шумовых характеристик в соответствии с пп. 1.4 и 1.5.

При измерениях в свободном звуковом поле радиус измерительной поверхности r должен быть не менее удвоенного значения максимального габаритного размера вентилятора.

6.4. Показатели надежности должны контролироваться по статистическим данным, а также по результатам периодических и типовых испытаний по методикам и по критериям отказов и предельных состояний, приведенным в эксплуатационной документации на конкретные вентиляторы.

6.3, 6.4. (Измененная редакция, Изм. № 1).

1 - расходомер (измерительный коллектор); 2 - воздуховод; 3 - дросселирующее устройство (сетки); 4 - приемники статического давления; 5 - испытуемый вентилятор; 6 - дифманометр для измерения расхода; 7 - дифманометр для измерения статического давления вентилятора; 8 - ваттметры для измерения потребляемой мощности; 9 - измеритель частоты вращения; 10 - барометр для измерения атмосферного давления; 11 - термометр для измерения температуры окружающего воздуха; 12 - психрометр для измерения влажности окружающего воздуха

Черт. 5

7. МАРКИРОВКА, УПАКОВКА, ТРАНСПОРТИРОВАНИЕ И ХРАНЕНИЕ

7.1. На каждом вентиляторе, на видном месте, должна быть установлена табличка.

7.2. Табличка должна быть выполнена в соответствии с ГОСТ 12971-67 и техническими условиями на конкретный вентилятор.

7.3. Направление вращения рабочего колеса должно быть указано хорошо видимой стрелкой на наружной поверхности корпуса по ГОСТ 12.4.040-78.

7.2, 7.3. (Измененная редакция, Изм. № 1).

7.4. Все металлические неокрашенные поверхности вентилятора должны быть подвергнуты консервации. Консервация должна производиться средствами временной защиты для изделий группы II-1 по ГОСТ 9.014-78.

7.5. При транспортировании виброизолированная часть вентилятора должна быть жестко закреплена относительно неподвижной его части.

7.6. Вентиляторы должны транспортироваться без упаковки в вертикальном положении.

7.7. Самооткрывающийся клапан должен транспортироваться отдельным местом без упаковки. Крепежные детали клапана должны быть закреплены в отверстиях фланца клапана.

7.8. Эксплуатационная документация должна быть помещена во влагонепроницаемую пленку и надежно прикреплена к вентилятору.

7.9. Приводные ремни должны быть связаны между собой и надежно прикреплены в защищенном от атмосферных осадков месте.

7.10. Транспортная маркировка в соответствии с ГОСТ 14192-77 наносится на ярлыках и должна содержать:

а) основные надписи: получатель и место назначения;

б) дополнительные надписи: масса нетто и брутто в килограммах, габаритные размеры в метрах, отправитель и место отправления;

в) манипуляционные знаки: «Верх, не кантовать», «Место строповки» и «Центр тяжести».

Примечание. Манипуляционные знаки должны наноситься непосредственно на вентилятор.

7.11. Способы крепления маркировочных ярлыков вентиляторов устанавливает организация-разработчик.

7.12. Транспортирование вентиляторов производится любыми видами транспорта и любым видом подвижного состава.

Условия транспортирования устанавливаются по условиям хранения по ГОСТ 15150-69.

7.13. Условия хранения должны устанавливаться по ГОСТ 15150-69 в технических условиях на вентиляторы конкретных типов.

7.12, 7.13. (Измененная редакция, Изм. № 1).

8. ГАРАНТИИ ИЗГОТОВИТЕЛЯ

8.1. Изготовитель гарантирует соответствие вентиляторов требованиям настоящего стандарта при соблюдении условий эксплуатации, хранения и транспортирования.

8.2. Гарантийный срок эксплуатации - 18 мес. со дня ввода вентиляторов в эксплуатацию.

ПРИЛОЖЕНИЕ
Обязательное

ОПРЕДЕЛЕНИЕ АЭРОДИНАМИЧЕСКИХ ХАРАКТЕРИСТИК

1. Размерная аэродинамическая характеристика вентилятора представляет собой график зависимостей статического давления psv, развиваемого вентилятором, потребляемой им мощности N, удельной производительности  от производительности Q при определенной плотности перемещаемого газа r и постоянной частоте вращения п рабочего колеса.

Черт. 1

Пример размерной аэродинамической характеристики приведен на черт. 1. Подсчет аэродинамических параметров осуществляют по формулам, приведенным в ГОСТ 10921-90.

Примечания: 1. Удельную производительность  определяют по формуле

,

где Q, м3/с;

N, Вт;

, кг/м3;

 - окружная скорость рабочего колеса вентилятора, м/с.

где D - диаметр рабочего колеса, м;

п, об/мин.

2. При испытании со всасывающим воздуховодом (черт. 5, а настоящего стандарта) значение статического давления вентилятора psv принимается равным измеренной разности статических давлений потока в расходомере и перед вентилятором.

(Измененная редакция, Изм. № 1).

2. Безразмерная аэродинамическая характеристика вентилятора представляет собой график зависимостей коэффициентов статического давления ys, потребляемой мощности , удельной производительности  от коэффициента производительности y и используется для получения размерных аэродинамических характеристик по формулам связи размерных величин с безразмерными коэффициентами и для сравнения вентиляторов разных типов.

Формулы связи размерных величин с безразмерными коэффициентами - по ГОСТ 10616-90.

Пример безразмерной аэродинамической характеристики приведен на черт. 2.

Примечание. Подсчет удельной производительности производят по формуле

.

Черт. 2

(Измененная редакция, Изм. № 1).

3, 4. (Исключены, Изм. № 1).

ИНФОРМАЦИОННЫЕ ДАННЫЕ

1. РАЗРАБОТАН И ВНЕСЕН Государственным комитетом СССР по делам строительства

РАЗРАБОТЧИКИ

А. И. Ушомирская, В. А. Спивак, М. С. Грановский, Я. А. Гольтвегер, М. В. Фрадкин, И. И. Колмаков, В. А. Белопольский, А. А. Пискунов, И. О. Керстен, Т. С. Соломахова, Е. Я. Юдин, Н. Н. Северина

2. УТВЕРЖДЕН И ВВЕДЕН В ДЕЙСТВИЕ Постановлением Государственного комитета СССР по стандартам от 04.06.81 № 2809

3. Срок проверки - 1992 г.

4. ВВЕДЕН ВПЕРВЫЕ

5. ССЫЛОЧНЫЕ НОРМАТИВНО-ТЕХНИЧЕСКИЕ ДОКУМЕНТЫ

Обозначение НТД, на который дана ссылка

Номер пункта, подпункта, приложения

ГОСТ 2.601-68

4.1

ГОСТ 9.014-78

7.4

ГОСТ 9.032-74

2.2.2

ГОСТ 9.104-79

2.2.2

ГОСТ 12.1.003-83

3.9

ГОСТ 12.2.003-91

3.1

ГОСТ 12.2.007.0-75

3.3

ГОСТ 12.2.028-84

1.4; 6.3

ГОСТ 12.4.026-76

3.6

ГОСТ 12.4.040-78

7.3

ГОСТ 27.410-87

5.5

ГОСТ 10616-90

Приложение

ГОСТ 10921-90

6.2.1; приложение

ГОСТ 12971-67

7.2

ГОСТ 14192-77

7.10

ГОСТ 15150-69

Вводная часть; 7.12; 7.13

6. Переиздание (октябрь 1991 г.) с Изменениями № 1, 2, утвержденными в сентябре 1987 г., марте 1991 г. (ИУС 1-88, 6-91)

7. Проверен в 1987 г. Срок действия продлен до 01.01.95 (Постановление Госстандарта СССР от 24.09.87 № 3649)

СОДЕРЖАНИЕ

 




Rambler's Top100 Яндекс цитирования
  Copyright © 2008-2025, www.docload.ru