Бесплатная библиотека стандартов и нормативов www.docload.ru

Все документы, размещенные на этом сайте, не являются их официальным изданием и предназначены исключительно для ознакомительных целей.
Электронные копии этих документов могут распространяться без всяких ограничений. Вы можете размещать информацию с этого сайта на любом другом сайте.
Это некоммерческий сайт и здесь не продаются документы. Вы можете скачать их абсолютно бесплатно!
Содержимое сайта не нарушает чьих-либо авторских прав! Человек имеет право на информацию!

 

ФЕДЕРАЛЬНОЕ ГОСУДАРСТВЕННОЕ УНИТАРНОЕ ПРЕДПРИЯТИЕ
ЦЕНТР УПРАВЛЕНИЯ ФЕДЕРАЛЬНОЙ СОБСТВЕННОСТЬЮ

СХЕМЫ
ВХОДНОГО И ОПЕРАЦИОННОГО КОНТРОЛЯ
КАЧЕСТВА СТРОИТЕЛЬНО-МОНТАЖНЫХ
РАБОТ

Часть I, выпуск 4

КРОВЛИ

Москва 2002

Применение на территории Российской Федерации импортных строительных материалов

В связи со случаями поставки на российский рынок строительных материалов и изделий (поливинилхлоридные облицовочные материалы, гипсокартонные листы, трубы и другие изделия) с показателями ниже требований нормативных документов на аналогичную продукцию, действующую на территории РФ, Минстрой России разъясняет.

Применяемые в строительстве на территории РФ импортные материалы и изделия должны соответствовать требованиям действующих государственных стандартов и нормативных документов. Законодательством предусматривается подтверждение такого соответствия сертификатами соответствия или документом о качестве материалов и изделий поставщика.

При отсутствии в России государственных стандартов и нормативных документов на эти материалы и изделия и их поставке в Россию по зарубежным стандартам необходимо в соответствии с постановлением Минстроя России № 18-25 от 19.04.96 г. наличие Технического свидетельства Минстроя России, подтверждающего пригодность продукции для её применения в строительстве.

Минстрой России обратился с просьбой к органам экспертизы и архитектурно-строительного надзора усилить контроль за соблюдением указанного порядка.

(Письмо Минстроя России от 12 февраля 1997 г. № ЛХ-76/13)

ФЕДЕРАЛЬНОЕ ГОСУДАРСТВЕННОЕ УНИТАРНОЕ ПРЕДПРИЯТИЕ
ЦЕНТР УПРАВЛЕНИЯ ФЕДЕРАЛЬНОЙ СОБСТВЕННОСТЬЮ

СХЕМЫ
ВХОДНОГО И ОПЕРАЦИОННОГО КОНТРОЛЯ
КАЧЕСТВА СТРОИТЕЛЬНО-МОНТАЖНЫХ
РАБОТ

Часть I, выпуск 4

КРОВЛИ

Москва 2002

Разработаны ФГУП ЦУФС Минатома РОССИИ

(б. трестом «Оргтехстрой-11»)

(лицензия ФЛЦ № 027683)

Директор

(тел. 901-1681)

О. Капура

1-й зам. Директора

(тел. 901-0963)

А. Бетлий

Исполнитель

(тел. 901-1688, 901-1809, 901-1618, факс 901-1644)

А.С. Каревский

СОДЕРЖАНИЕ

ПОЯСНИТЕЛЬНАЯ ЗАПИСКА.. 3

КРОВЛИ.. 4

Устройство кровель из рулонных материалов. 4

Требования к рулонным материалам.. 4

Требования ГОСТ 30547-97 Материалы рулонные. 7

Требования ГОСТ 10923-93* Рубероид. 10

Требования ГОСТ 30693-2000 Мастики. 11

Требования ТУ 5774-005-05766480-95 Изопласт. 14

Требования ТУ 5770-008-05108038-99 Филизол. 16

Требования ТУ 5770-531-00284718-93 Днепрофлекс. 18

Требования ТУ 5774-003-00287852-99 Техноэласт. 19

Требования ТУ 5774-001-17925162-99 Унифлекс. 21

Требования ТУ 5774-003-17925162-2000 Экофлекс. 24

Требования ТУ 5774-002-13157915-98 Линокром.. 26

Требования ТУ 5774-002-17187505-95 Бикапол. 29

Требования ТУ 5774-002-41993527-97 Кромэл. 30

Общие технические требования по устройству кровель. 32

Устройство основания под водоизоляционный ковер. 34

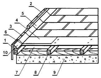
Устройство водоизоляционного ковра. 37

а) Устройство водоизоляционного ковра из битумных и битумно-полимерных рулонных материалов, наклеиваемых на мастиках. 44

Устройство водоизоляционного ковра из битумно-полимерных наплавляемых рулонных материалов типа Филизол, Изопласт, Изоэласт, Днепрофлекс, Битулин и др. 45

Устройство водоизоляционного ковра из битумно-полимерных наплавляемых рулонных материалов ЗАО ТехноНИКОЛЬ («Техноэласт», «Унифлекс», «Экофлекс») 50

б) Устройство водоизоляционного ковра из эластомерных рулонных материалов. 59

Устройство и ремонт кровель из эластомерного рулонного материала «Элон». 60

Устройство кровель из эластомерного рулонного материала «Кромэл». 66

Устройство защитного слоя. 71

Устройство «дышащих» кровель. 73

Контроль качества кровельных работ. 76

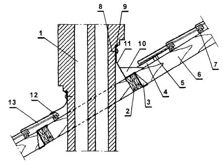
Рулонные кровли панельных, блочных и кирпичных жилых зданий по серии 2.160-4, вып. 5. 78

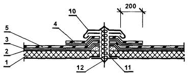
Узлы сопряжений конструкций теплого чердака и крыш с кровлей по серии 2.160-4, вып. 5. 79

Узлы сопряжений конструкций холодного чердака и крыш с кровлей по серии 2.160-4, вып. 5. 81

Узлы сопряжений конструкций теплого чердака и крыш с кровлей по серии 2.160-4, вып. 5. 83

Конструкции рулонных кровель общественных зданий по серии 2.260-1, вып. 5. 86

Узлы сопряжений конструкций бесчердачных невентилируемых покрытий общественных зданий с кровлей по серии 2.260-1, вып. 5. 87

Устройство мастичной кровли. 89

Требования к материалам.. 89

Требования ГОСТ 30693-2000 Мастики. 90

Требования ГОСТ 2889-80 Мастика кровельная горячая. 93

Требования ТУ 21-5744710-512-91 Мастика «Вента-У». 94

Требования ТУ 5775-001-17187505-95 Мастика Битурэл. 95

Требования ТУ 5775-029-17187505-2000 Мастика Битурэл-ЭКСТРА.. 96

Требования ТУ 5775-033-17187505-2000 Мастика Битурэл-СУПЕР. 98

Требования ТУ 5775-028-17187505-2000 Мастика ОГНЕБИТ. 99

Требования ТУ 5772-011-17187505-97 Композиция ПОЛУР. 101

Требования ТУ 5772-024-17187505-2000 Композиция ОГНЕПОЛ.. 102

Требования ТУ 5775-017-17187505-97 Мастика ГЕРМОКРОВ.. 104

Требования ТУ 5775-032-17187505-2000 Мастика ОГНЕКРОВ.. 105

Требования ТУ 5775-011-13238275-97 мастика «Ребакс-М». 107

Требования ТУ 2311-001-17660092-95 Антикор МПБ-2. 108

Общие технические требования по устройству кровель. 109

Устройство основания под водоизоляционный ковер. 110

Устройство водоизоляционного ковра. 113

Устройство мастичной кровли с применением мастики «Вента-У». 118

Устройство мастичной кровли с применением мастики «Битурэл». 124

Устройство мастичной кровли с применением мастик «Ребакс-М» и «БКМ-200». 129

Контроль качества мастичных кровель. 136

Узлы сопряжения конструкций теплого чердака и крыш кирпичных зданий с кровлей по серии 2.160-4, вып. 5. 139

Узлы сопряжений конструкций холодного чердака и крыш кирпичных зданий с кровлей по серии 2.160-4, вып. 5. 141

Узлы сопряжения конструкций теплого чердака и крыш панельных жилых зданий с кровлей по серии 2.160-8 и 2.160-4, вып. 5. 146

Устройство кровли из асбестоцементных листов. 150

Требования ГОСТ 30340-95. 151

Технические требования. 154

Контроль качества кровельных работ. 169

Устройство металлической кровли, кровли из металлочерепицы и профнастила. 171

Требования к материалам.. 171

Требования ГОСТ 14918-80 Сталь тонколистовая. 172

Требования ГОСТ 30246-94 Прокат тонколистовой. 174

Требования ГОСТ 24045-94 Профили стальные. 176

Металлочерепица. 181

Требования ТУ 1122-001-34830894-2000. 183

Требования ТУ 5285-001-18219851-96. 185

Требования ТУ 1122-082-02494680-98. 188

Технические требования. 190

Устройство кровли из листовой стали и меди. 191

Устройство кровли из металлочерепицы.. 197

Устройство кровли из металлического профнастила. 201

Контроль качества кровельных работ. 203

Устройство кровли из мелкоштучных материалов. 204

Требования к материалам.. 204

Требования ТУ 5789-054-00281588-97 Плитки асбестоцементные плоские. 205

Требования ТУ 5772-031-46359508-99 Изделия кровельные РЕНОПЛАСТ. 208

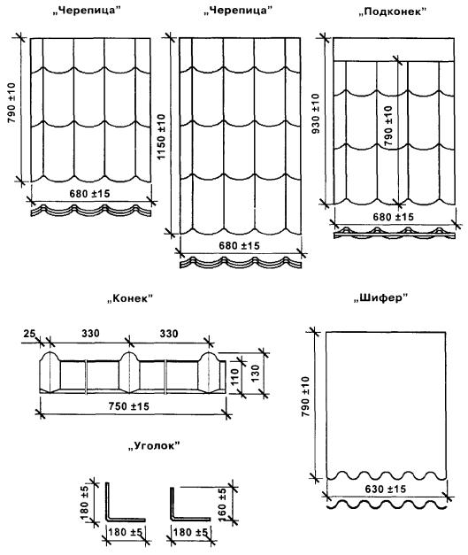
Требования ТУ 5779-548-05744716-2000 Битумная черепица. 210

Гибкая черепица «ТехноНИКОЛЬ». 211

Битумные волнистые листы марки «Ондулин». 211

Кровельная битумно-полимерная плитка KATEPAL. 213

Кровельная битумная плитка PIKIPOIKA.. 215

Кровельная битумная плитка IKOPAL PLANO.. 216

Битумная гидроизоляционная кровельная черепица «Тегола Канадезе». 217

Требования ТУ 5756-001-41546053-98 Черепица цементно-песчаная Франкфуртская. 220

Технические требования. 222

Устройство водоизоляционного слоя из кровельных асбестоцементных плиток. 224

Устройство водоизоляционного слоя из битумно-полимерных плиток. 226

Устройство водоизоляционного слоя из кровельных изделий РЕНОПЛАСТ. 226

Устройство водоизоляционного слоя из битумной черепицы.. 227

Устройство кровель из гибкой черепицы ТехноНИКОЛЬ. 228

Устройство водоизоляционного слоя из битумных волнистых кровельных листов марки «Ондулин». 230

Устройство водоизоляционного слоя из кровельных плиток и комплектующих материалов АО «KATEPAL». 231

Инструкция по монтажу кровельной плитки «Пикопойка». 233

Инструкция по монтажу кровельной плитки «Icopal Plano». 234

Инструкция по укладке гибкой черепицы «Tegola». 237

Устройство водоизоляционного слоя из черепицы.. 240

Устройство кровли из цементно-песчаной черепицы.. 241

Устройство кровли из цементно-песчаной черепицы «Франкфуртской». 245

Контроль качества кровельных работ. 252

Устройство плитной, монолитной и засыпной теплоизоляции. 254

Выявление дефектов кровли и их устранение. 258

ПОЯСНИТЕЛЬНАЯ ЗАПИСКА

Схемы входного и операционного контроля качества СМР составлены в соответствии с требованиями СНиП 3.01.01-85* «Организация строительного производства».

Схемы входного и операционного контроля предназначены для линейных инженерно-технических работников, бригадиров и рабочих, работников отдела контроля качества СМР, работников лабораторной, геодезической и сварочной служб, осуществляющих самоконтроль, входной, операционный и приемочный контроль качества СМР.

Схемы могут быть использованы:

- работниками служб по подготовке строительного производства в качестве типовых для включения их в проекты производства СМР или разработки на их основе схем, отражающих специфику конкретных проектов зданий и сооружений;

- работниками служб по подготовке кадров в качестве учебного пособия при подготовке, переподготовке и повышении квалификации рабочих и ИТР;

- преподавательским составом высших и средних технических учебных заведений при подготовке инженерно-технических работников строительного профиля;

- руководителями подразделений, основных функциональных отделов и служб, а также руководством строительных организаций при проверке знаний проектов и нормативных требований по качеству выполнения СМР у линейного персонала, а также при осуществлении инспекционного контроля качества СМР;

- работниками авторского надзора проектных организаций;

- работниками технического надзора заказчика, осуществляющими приемку выполненных работ, работниками служб архитектурно-строительного надзора, федеральных и региональных центров по лицензированию строительной деятельности и других организаций, осуществляющих надзор за строительством.

Схемы входного и операционного контроля качества СМР составлены на основании требований строительных норм и правил, государственных стандартов, технических условий, типовой проектной документации и содержат:

- основные требования к качеству применяемых материалов, конструкций и деталей;

- перечень технологических операций, подлежащих контролю в процессе выполнения строительно-монтажных работ;

- перечень технических требований, подлежащих соблюдению при выполнении строительно-монтажных работ;

- схемы основных монтажных узлов;

- основные требования к качеству при приемке законченных этапов и видов работ.

Строительные конструкции, изделия, материалы и инженерное оборудование, поступающие на строительную площадку, должны пройти входной контроль. Производители работ (мастера) обязаны проверять путем внешнего осмотра и выполнения необходимых замеров соответствие качества поступающих конструкций, изделий, материалов и инженерного оборудования требованиям рабочих чертежей, государственных стандартов, технических условий.

При выполнении входного контроля на комплектовочных базах прорабу (мастеру) должны быть представлены документы (паспорта, сертификаты, акты и т.д.), подтверждающие качество поставляемых материалов и изделий. При возникновении сомнений в качестве поставляемых материалов прораб (мастер) обязан потребовать контрольной проверки поступивших материалов и изделий.

Входной контроль должен предотвратить запуск в производство материалов, конструкций и изделий, не соответствующих требованиям проектной и нормативно-технической документации. На строительной площадке входной контроль должен выполняться прорабом или мастером с привлечением в необходимых случаях лабораторной и других служб.

Операционный контроль должен осуществляться в процессе выполнения строительно-монтажных работ и обеспечивать своевременное выявление дефектов и причин их возникновения, а также своевременное принятие мер по их устранению и предупреждению.

При осуществлении операционного контроля должны проверяться:

- соблюдение заданной в проектах производства работ и технологических картах технологии производства работ;

- соответствие качества выполняемых работ требованиям проекта и нормативно-технической документации.

Операционный контроль должен осуществляться производителем работ (мастером), инженером (лаборантом) строительной лаборатории, геодезистом, работником сварочной службы или лаборатории сварки. Участие той или иной службы в осуществлении операционного контроля должно быть регламентировано технологической картой на конкретный технологический процесс.

Приемочный контроль должен осуществляться по завершении этапов или отдельных видов работ, а также ответственных конструкций. Приемка оформляется актами освидетельствования скрытых работ, актами приемки отдельных этапов или видов работ, а также ответственных конструкций.

Приемка должна производиться прорабом, работниками отдела контроля качества СМР с привлечением в необходимых случаях работников лабораторной, геодезической или сварочной служб, и представителями технического надзора заказчика.

При осуществлении производственного контроля надлежит пользоваться измерительным инструментом и приборами, прошедшими метрологическую поверку в установленные сроки.

Ссылки на нормативную литературу даны по состоянию на 29.03.2002 г. Данные о новой нормативной документации и изменениях действующей приводятся в информационных указателях Госстандарта и Госстроя России.

КРОВЛИ

Устройство кровель из рулонных материалов

Требования к рулонным материалам

ГОСТ 30547-97 Материалы рулонные кровельные и гидроизоляционные. Общие технические условия.

ТУ 5774-007-05766480-96 Материал рулонный кровельный и гидроизоляционный наплавляемый битумно-полимерный «ИзоЭласт».

ТУ 5774-005-05766480-95 Материал рулонный кровельный и гидроизоляционный наплавляемый битумно-полимерный «Изопласт».

ТУ 5774-010-05766480-99 Материал рулонный кровельный и гидроизоляционный битумно-полимерный «КИНЕпласт».

ТУ 5774-001-00287898-98 Материал рулонный кровельный и гидроизоляционный наплавляемый битумно-полимерный «Дальмостопласт».

ТУ 5774-545-00284718-96 Материал рулонный кровельный и гидроизоляционный наплавляемый битумно-полимерный «Атаклон».

ТУ 5774-544-00284718-96 Материал рулонный кровельный и гидроизоляционный наплавляемый битумно-полимерный «Термофлекс».

ТУ 5770-001-07509505-94 Материал рулонный кровельный и гидроизоляционный наплавляемый битумно-полимерный «Помаласт».

ТУ 5770-541-00284718-96 Материал рулонный кровельный и гидроизоляционный наплавляемый битумно-полимерный «Бикроэласт».

ТУ 5770-538-00284718-93 Материал рулонный кровельный наплавляемый битумно-полимерный «Бимаст».

ТУ 5770-537-00284718-93 Материал рулонный кровельный и гидроизоляционный наплавляемый битумно-полимерный «Полимаст».

ТУ 5770-531-00284718-95 Материал рулонный кровельный и гидроизоляционный наплавляемый битумно-полимерный «Днепрофлекс».

ТУ 5770-543-00284718-95 Материал рулонный кровельный и гидроизоляционный наплавляемый битумно-полимерный «Стекломаст».

ТУ 21-5744710-519-92 Материал рулонный кровельный и гидроизоляционный наплавляемый «Стекломаст».

ТУ 5774-001-42520038-98 Гидростеклоизол кровельный.

ТУ 5774-012-05108038-99 Гидростеклоизол СХ.

ТУ 5774-002-13157915-98 Материал рулонный кровельный и гидроизоляционный наплавляемый «Линокром».

ТУ 5774-003-17925162-2000 Материал рулонный кровельный и гидроизоляционный наплавляемый «Экофлекс».

ТУ 5774-001-17925162-99 Материал рулонный и гидроизоляционный наплавляемый битумно-полимерный «Унифлекс».

ТУ 5774-003-00287852-99 Материал рулонный кровельный и гидроизоляционный наплавляемый битумно-полимерный водостойкий «Техноэласт».

ТУ 5774-042-00288739-99 Материал рулонный кровельный и гидроизоляционный наплавляемый «Бикрост».

ТУ 5774-004-00289973-96 Материал рулонный кровельный и гидроизоляционный «Стеклоизол».

ТУ 5774-003-00289973-95 Материал рулонный кровельный и гидроизоляционный «Рубитэкс».

ТУ 21-5744710-515-92 Материал рулонный кровельный и гидроизоляционный на стекловолокнистой основе «Стеклобит».

ТУ 5774-007-00289973-2000 Кровельный и гидроизоляционный рулонный наплавляемый битумно-полимерный материал «Стеклоэласт».

ТУ 5770-529-00284718-94 Материал рулонный битумно-полимерный наплавляемый кровельный «Тепломаст».

ТУ 5770-528-00284718-94 Материал рулонный кровельный наплавляемый битумно-полимерный «Элабит».

ТУ 5774-008-05108038-99 Материал рулонный кровельный и гидроизоляционный наплавляемый битумно-полимерный «Филизол».

ТУ 5774-011-05108038-99 Материал рулонный кровельный «Филизол СХ».

ТУ 5774-004-00287823-99 Материал рулонный кровельный и гидроизоляционный наплавляемый битумно-полимерный «Армокров У».

ТУ 5774-001-45510767-99 Кровельный гидроизоляционный полимерно-битумный наплавляемый материал «Петрофлекс».

ТУ 5774-001-47403411-2000 Материал рулонный кровельный и гидроизоляционный наплавляемый битумно-полимерный «Полифлекс» (Эластокрон).

ТУ 5774-001-29303425-2000 Наплавляемый рулонный кровельный материал марки Битулин НР АРР.

ТУ 5774-026-00287776-97, ТУ 5774-033-00287776-99 Материал рулонный битумный кровельный наплавляемый на стекловолокнистой основе «Крунам-С» и «Крунам-СХ».

ТУ 5774-002-04001232-94 Полимерное битумное покрытие «КВЕ 45К».

ТУ 5774-001-18060333-95 Материал рулонный кровельный и гидроизоляционный наплавляемый битумно-полимерный «Люберит».

ТУ 5774-002-18060333-2000 Материал рулонный кровельный и гидроизоляционный наплавляемый битумный «Люберит-Окси» и «Люберит-Окси-Эласт».

ТУ 5774-004-18060333-2001 «Люберит-Эласт».

ТУ 577433-005-18096696-96 Битумно-полимерный наплавляемый рулонный кровельный и гидроизоляционный материал «Бирепласт».

ТУ 5774-008-18518973-2002 Материал гидроизоляционный кровельный наплавляемый битумно-полимерный «Айситекс».

ТУ 5774-001-04000706-95 Материалы кровельные и гидроизоляционные «Крома» (мембраны).

ТУ 21-5744710-504-91 Материал рулонный полимерный кровельный вулканизованный «Бутилон».

ТУ 5774-001-29659211-95 Материал рулонный кровельный и гидроизоляционный «Изолин» марок Э, К, Г.

ТУ 5774-058-11322110-95 Материал рулонный кровельный и гидроизоляционный «Левизол».

ТУ 5774-002-17187505-95 Материал рулонный полимерный кровельный «Бикапол».

ТУ 2567-002-00152000-96 Материал кровельный полимерный «Кросил».

ТУ 5774-017-00152000-2001 Материал кровельный армированный «Тэлкров».

ТУ 5774-540-00284718-93 Материал рулонный полимерный кровельный и гидроизоляционный вулканизированный ВСП 50.

ТУ 8725-011-00302480-95 Материал рулонный «Кровлен».

ТУ 21-5744710-520-92 Материал рулонный полимерный кровельный с липким слоем «Кровлелен».

ТУ 5774-001-04678851-95 Материал рулонный полимерный кровельный и гидроизоляционный «Изолен».

ТУ 3-32286133-7-94 Материал кровельный и гидроизоляционный полимерный «Рукрил».

ТУ 38.108044-94 Материал рулонный полимерный кровельный и гидроизоляционный «Армогидрокром».

ТУ 84-07507802.108-96 Материал «Резинопласт».

ТУ 5779-003-51447062-2000 Материал рулонный гидроизоляционный RESINOL-BEN.

ТУ 2512-451-05011868-2000 Атмосферостойкое резиновое полотно для строительства Л 1047 на основе этилен-пропиленовых каучуков.

ТУ 5774-002-41993527-97 Материал эластомерный рулонный кровельный и изоляционный «Кромэл».

ТУ 5774-001-52679314-2000 Материал рулонный кровельный пониженной горючести «Кромел-ПП».

ТУ 65.02-70-95 Кровля «Элон-

ТУ 21-5744710-514-92, ТУ 38.305-8-324-95 Материал рулонный полимерный кровельный «Элон» и «Элон-1».

ТУ 5774-001-46439362-99 Материал рулонный кровельный и гидроизоляционный полимерный «Поликром».

ТУ 2245-003-05263796-96 Материал рулонный кровельный гидроизоляционный полимерный «Кавер-флекс».

ТУ 5774-002-11313564-96 Материал рулонный полимерный «Поликров».

ТУ 2543-060-05766801-96 Материал рулонный «Бутилкор».

ТУ 2310-204-08610940-97 Материалы кровельные «Бетакрол».

ТУ 38.605-150Д-7-95 Рулонный гидроизоляционный материал «Бутерол».

ТУ 21-5744710-507-90 Материал рулонный полимерный кровельный и гидроизоляционный «Гидробутил».

ТУ 5774-107-00300191-2000 Материал рулонный полимерный кровельный и гидроизоляционный «Уникром».

ТУ 5775-001-13199776-2000 Мастика полимерная холодная кровельная приклеивающая «Уникром-К».

ТУ 5775-002-13199776-2000 Мастика полимерная холодная защитная «Уникром-З».

ТУ 95-25048396-054-93 Материал рулонный кровельный на основе поливинилхлорида «Кровлелон».

ГОСТ 10923-93* Рубероид. Технические условия.

ТУ 21-5744710-509-92 Рубероид кровельный с крупнозернистой посыпкой.

ТУ 21-00287776-27-97 Рубероид кровельный с чешуйчатой посыпкой РКЦ-350.

ТУ 21-00287776-28-97 Рубероид кровельный с мелкозернистой посыпкой.

ТУ 21-5744710-505-90, ТУ 5774-001-00287875-99 Материал рулонный кровельный наплавляемый на основе стеклохолста «Рубемаст».

ГОСТ 15879-70* Стеклорубероид. Технические условия.

ГОСТ 2697-83* Пергамин кровельный. Технические условия.

ТУ 5774-029-00287776-97 Материал рулонный кровельный беспокровный перфорированный «Вентаэр».

ГОСТ 30693-2000 Мастики кровельные и гидроизоляционные. Общие технические условия.

ГОСТ 2889-80 Мастика битумная кровельная горячая. Технические условия.

ТУ 5774-017-17187505-97 Мастика полимерная кровельная «Гермокров».

ТУ 21-5744710-527-92 Мастика бутилкаучуковая «Бутилкров».

ТУ 5774-001-17187505-95 Мастика битумно-полимерная кровельная и гидроизоляционная «Битурэл».

ТУ 5775-001-48505873-2000 Мастика кровельная и гидроизоляционная «Унимаст».

ТУ 5775-004-41993521-97 Мастика полимерно-битумная «Мастмэл».

ТУ 5775-007-00152000-98 Мастика битумно-полимерная ПБС.

ТУ 5775-006-00152000-97 Мастика герметизирующая МГ.

ТУ 5772-013-17187505-95 Универсальный герметизирующе-клеевой состав строительного назначения «Унигекс».

Стандарты и технические условия на кровельные материалы, предусмотренные проектом.

СНиП 3.04.01-87 Изоляционные и отделочные покрытия.

Пособие. Кровли. Технические требования, правила приемки, проектирование и строительство, методы испытаний (АО ЦНИИПромзданий. Москва. 1997 г.).

Входной контроль кровельных материалов должен осуществляться в соответствии с требованиями проекта, государственных стандартов и технических условий на кровельные материалы конкретных видов, предусмотренные проектом, технологической документации, утвержденной в установленном порядке.

ГОСТ 30547-97 Материалы рулонные кровельные и гидроизоляционные. Общие технические условия.

Стандарт распространяется на рулонные кровельные и гидроизоляционные материалы и устанавливает классификацию и общие технические требования к ним.

Рулонные кровельные и гидроизоляционные материалы (далее рулонные материалы) классифицируют по следующим основным признакам:

- назначению;

- структуре полотна;

- виду основы;

- виду основного компонента покровного состава (для материалов на картонной основе), вяжущего (для материалов на волокнистой и комбинированной основах) или материала (для полимерных материалов);

- виду защитного слоя.

По назначению рулонные материалы подразделяют на:

- кровельные, предназначенные для устройства однослойного, верхнего и нижнего слоев многослойного кровельного ковра;

- гидроизоляционные, предназначенные для устройства гидроизоляции строительных конструкций;

- пароизоляционные, предназначенные для устройства пароизоляции строительных конструкций.

По структуре полотна рулонные материалы подразделяют на:

- основные (одно- и многоосновные);

- безосновные.

По виду основы рулонные материалы подразделяют на:

- картонной основе;

- асбестовой основе;

- стекловолокнистой основе;

- основе из полимерных волокон;

- комбинированной основе.

По виду основного компонента покровного состава, вяжущего или материала рулонные материалы подразделяют на:

- битумные (наплавляемые, ненаплавляемые);

- битумно-полимерные (наплавляемые, ненаплавляемые);

- полимерные (эластомерные вулканизованные и невулканизованные, термопластичные).

По виду защитного слоя рулонные материалы подразделяют на:

- материалы с посыпкой (крупнозернистой, чешуйчатой, мелкозернистой, пылевидной);

- материалы с фольгой;

- материалы с пленкой.

Условное обозначение рулонного материала в технической документации и при заказе должно состоять из полного или краткого наименования, марки и обозначения нормативного документа, по которому выпускается конкретный вид материала.

Рулонные материалы должны соответствовать требованиям данного стандарта и нормативного документа на конкретный вид материала.

Полотно рулонного материала не должно иметь трещин, дыр, разрывов и складок.

На кромках (краях) полотна рулонного материала на картонной и асбестовой основах допускаются не более двух надрывов длиной 15 - 30 мм на длине полотна до 20 м. Надрывы длиной до 15 мм не нормируются, а более 30 мм не допускаются.

На основные битумные и битумно-полимерные рулонные материалы покровный состав или вяжущее должны быть нанесены сплошным слоем по всей поверхности основы.

Крупнозернистая или чешуйчатая посыпка должна быть нанесена сплошным слоем на лицевую поверхность полотна рулонных кровельных материалов.

Рулонные кровельные материалы с крупнозернистой или чешуйчатой посылкой должны иметь с одного края лицевой поверхности вдоль всего полотна непосыпанную кромку шириной (85 + 15) мм.

Ширина непосыпанной кромки может быть увеличена в зависимости от области применения и приведена в нормативном документе на конкретный материал.

Материалы должны быть плотно намотаны в рулон и не слипаться.

Торцы рулонов должны быть ровными. Допускаются выступы на торцах рулона высотой, мм, не более:

15 - для рулонных материалов на картонной, асбестовой и комбинированной основах;

20 - для рулонных материалов на волокнистой основе, безосновных битумно-полимерных и полимерных материалов.

В партии допускается не более 5 % составных рулонов, в одном составном рулоне - не более двух полотен. Длина меньшего из полотен в рулоне должна быть не менее 3 м.

Линейные размеры, площадь полотна рулонного материала и допускаемые отклонения от линейных размеров и площади устанавливают в нормативном документе на конкретный вид материала.

Разрывная сила при растяжении рулонных основных битумных и битумно-полимерных материалов должна быть не менее, Н (кгс):

215 (22) - для материалов на картонной основе;

294 (30) - для материалов на стекловолокнистой основе;

343 (35) - для материалов на основе из полимерных волокон;

392 (40) - для материалов на комбинированной основе.

Условная прочность гидроизоляционных безосновных битумно-полимерных материалов должна быть не менее 0,45 МПа (4,6 кгс/см2).

Условная прочность и относительное удлинение при разрыве рулонных полимерных материалов должны быть не менее:

1,5 МПа (15 кгс/см2) и 300 % - для не вулканизованных эластомерных;

4 МПа (41 кгс/см2) и 300 % - для вулканизованных эластомерных;

8 МПа (82 кгс/см2) и 200 % - для термопластичных.

Сопротивление динамическому или статическому продавливанию рулонных кровельных полимерных материалов должно быть указано в нормативном документе на конкретный вид материала.

Изменение линейных размеров рулонных безосновных полимерных материалов должно быть не более ±2 % при испытании при температуре (70 ±2) °С в течение не менее 6 ч.

Температура хрупкости покровного состава или вяжущего битумных рулонных материалов должна быть не выше минус 15 °С, битумно-полимерных - не выше минус 25 °С.

Рулонные материалы должны выдерживать испытание на гибкость в условиях, приведенных в нижеследующей таблице.

Вид материала

Условия испытания рулонных материалов на гибкость

на брусе с закруглением радиусом, мм

при температуре, °С, не выше

Битумные:

 

 

на картонной основе

25 ± 0,2

5

на волокнистой основе

25 ± 0,2

0

Битумно-полимерные Полимерные:

25 ± 0,2

минус 15

эластомерные

5 ± 0,2

минус 40

термопластичные

5 ± 0,2

минус 20

Битумные и битумно-полимерные рулонные материалы должны быть теплостойкими при испытании в условиях, приведенных в нижеследующей таблице.

Вид материала

Условия испытания рулонных материалов на теплостойкость

при температуре, °С, не ниже

в течение, ч, не менее

Битумные

70

2

Битумно-полимерные

85

2

Масса покровного состава или вяжущего с наплавляемой стороны для основных наплавляемых битумных рулонных материалов должна быть не менее 1500, а для битумно-полимерных - не менее 2000 г/м2.

Водопоглощение рулонных материалов (кроме пергамина) должно быть не более 2,0 % по массе при испытании в течение не менее 24 ч.

Рулонные кровельные материалы (кроме пергамина) должны быть водонепроницаемыми в течение не менее 72 ч при давлении не менее 0,001 МПа (0,01 кгс/см2).

Водонепроницаемость рулонных гидроизоляционных материалов устанавливают в зависимости от области применения и указывают в нормативном документе на конкретный вид материала.

Паропроницаемость или сопротивление паропроницанию рулонных пароизоляционных материалов указывают в нормативном документе на конкретный вид материала.

Потеря посыпки для рулонных кровельных материалов с крупнозернистой посыпкой должна быть не более 3,0 г/образец для битумных и не более 2,0 г/образец - для битумно-полимерных материалов.

Рулонные материалы с цветной посыпкой должны выдерживать испытание на цветостойкость посыпки в течение не менее 2 ч.

Рулонные материалы, применяемые в условиях специальных (в том числе химических) воздействий, должны обладать стойкостью к этим воздействиям.

На каждый рулон материала должна быть наклеена или вложена в рулон этикетка.

Маркировка рулонов может производиться штампом непосредственно на упаковочной бумаге без наклейки специальных этикеток. Оттиск штампа должен быть четким и разборчивым.

Допускается нанесение маркировки на упаковочную ленту повторяющимся текстом.

На этикетке (штампе) должно быть указано:

- наименование предприятия-изготовителя или его товарный знак;

- наименование материала и номер нормативного документа на конкретный вид материала;

- номер партии и дата изготовления;

- количество материала в партии.

Перечень данных на этикетке может быть дополнен или изменен в соответствии с требованиями нормативного документа на конкретный вид материала.

Намотку материалов в рулон производят на сердечник или без него. Необходимость применения сердечника определяется видом рулонного материала и устанавливается в нормативном документе на конкретный вид материала.

Упаковка должна обеспечивать сохранность рулонных материалов при транспортировании и хранении. Особенности упаковки должны быть указаны в нормативном документе на конкретный вид материала. В нормативном документе на конкретный вид материала должны содержаться следующие показатели пожарной опасности:

группа горючести - для всех видов кровельных материалов; для гидроизоляционных и пароизоляционных материалов толщиной более 0,2 см;

группа распространения пламени - для кровельных материалов и гидроизоляционных и пароизоляционных материалов при применении их для устройства однослойного или верхнего слоя многослойного кровельного ковра;

группа воспламеняемости - для всех видов кровельных материалов; для гидроизоляционных и пароизоляционных материалов толщиной более 0,2 см.

Для рулонных гидроизоляционных и пароизоляционных материалов толщиной менее 0,2 см показатели пожарной опасности допускается не определять.

Организация-производитель или разработчик рулонного материала могут заявить в нормативном документе на материал предельные значения отдельных или всех показателей его пожарной опасности (наиболее опасные: Г4, РП4, В3) без подтверждения испытаниями.

Перечень контролируемых показателей качества рулонных кровельных и гидроизоляционных материалов приведен в нижеследующей таблице.

Наименование показателя

Применяемость

Разрывная сила при растяжении или условная прочность

Для всех материалов

Гибкость

То же

Теплостойкость или изменение линейных размеров

То же

Водопоглощение

То же

Водонепроницаемость

То же

Относительное удлинение при разрыве

Для полимерных кровельных и гидроизоляционных материалов

Относительное остаточное удлинение

Для безосновных полимерных и битумнополимерных кровельных и гидроизоляционных материалов

Сопротивление статическому продавливанию

Для полимерных кровельных материалов (при разработке новых материалов)

Масса вяжущего или покровного состава или масса 1 м2 материала

Для основных полимерных и битумно-полимерных кровельных и гидроизоляционных материалов

Потеря посыпки

Для материалов с крупнозернистой и чешуйчатой посыпкой

Температура хрупкости вяжущего или покровного состава

Для основных битумных и битумно-полимерных кровельных и гидроизоляционных материалов

Цветостойкость посыпки

Для материалов с цветной посыпкой

Химическая стойкость

Для материалов, применяемых в условиях воздействия агрессивных сред

Масса вяжущего или покровного состава с наплавляемой стороны *

Для наплавляемых кровельных и гидроизоляционных материалов

Паропроницаемость или сопротивление паропроницанию

Для материалов, предназначенных для устройства пароизоляции

* - для материалов на стеклохолсте не нормируется

Примечание: при необходимости номенклатура показателей может быть дополнена другими показателями по согласованию с потребителем продукции.

Предприятие-изготовитель контролирует качество рулонных материалов по всем показателям, установленным в нормативном документе на конкретный вид материала.

Каждая принятая службой технического контроля партия рулонных материалов должна оформляться документом о качестве, в котором указывают:

- наименование или товарный знак предприятия-изготовителя;

- наименование материала и его условное обозначение;

- номер партии и дату изготовления;

- количество рулонов в партии;

- результаты испытаний.

В документе о качестве указывают среднеарифметическое значение результатов испытаний всех рулонов в выборке.

Потребитель имеет право проводить контрольную проверку материалов в соответствии с требованиями данного стандарта, применяя методы испытаний, указанные в ГОСТ 2678-94 и нормативном документе на конкретный вид материала.

Транспортирование рулонных материалов следует производить в крытых транспортных средствах.

По согласованию с потребителем допускается использовать другие транспортные средства, обеспечивающие сохранность рулонных материалов.

Рулонные материалы должны храниться в условиях, обеспечивающих защиту от воздействия влаги и солнца, рассортированными по маркам.

Особенности хранения рулонных материалов должны быть указаны в нормативном документе на конкретный вид материала.

ГОСТ 10923-93* Рубероид. Технические условия

Стандарт распространяется на рубероид - рулонный кровельный и гидроизоляционный материал, получаемый путем пропитки кровельного картона нефтяными битумами с последующим нанесением на обе стороны полотна покровного состава, состоящего из смеси покровного битума и наполнителя, и посыпки.

В зависимости от марки картона, назначения и вида посыпки рубероид подразделяют на марки, указанные в нижеследующей таблице.

Марка рубероида

Марка картона

Основное назначение

Вид посыпки

РКК-400

РКК-350

400

350

Для верхнего слоя кровельного ковра

Крупнозернистая с лицевой стороны и пылевидная или мелкозернистая с нижней стороны полотна

РКЦ-400

400

То же

Крупнозернистая цветная с лицевой стороны и пылевидная или мелкозернистая с нижней стороны полотна

РКК-350

350

Для верхнего слоя кровельного ковра с защитным слоем и нижних слоев кровельного ковра

Пылевидная или мелкозернистая с обеих сторон полотна

РПП-300

300

Для нижних слоев кровельного ковра

То же

РПЭ-300

300

То же

То же

Примечание: допускается вместо пылевидной и мелкозернистой посыпки использовать для защиты нижней или обеих сторон полотна полимерную пленку.

Рубероид выпускают в рулонах шириной 100, 1025 и 1050 мм. Предельное отклонение по ширине полотна ±5 мм.

Общая площадь рулона рубероида марок РКК-400, РКЦ-400 и РКК-350 должна быть 10 ± 0,5 м2, РКП-35015 ± 0,5 м2, РПП-300 и РПЭ-30020 ± 0,5 м2.

Допускается по согласованию с потребителем выпуск рулонов другой ширины и площади.

Условное обозначение рубероида в технической документации и при заказе должно состоять из слова «Рубероид», обозначений марки рубероида и стандарта. Пример условного обозначения рубероида марки РКК-400: Рубероид РКК-400 ГОСТ 10923-93

Требования к внешнему виду рубероида, кромкам полотна, слипаемости, ровности торцов, величине выступов на торцах рулона, ширине кромки, количеству составных рулонов и полотен в рулоне - по ГОСТ 30547-97.

Картонная основа рубероида должна быть пропитана битумом по всей толщине полотна. В разрезе рубероид должен быть черным с коричневым оттенком, без светлых прослоек непропитанного картона.

Упаковка рулонов рубероида должна быть произведена полосой бумаги шириной не менее 500 мм или картона шириной не менее 300 мм, края которой должны проклеиваться по всей ширине или с двух сторон по всей длине.

Допускается применение других упаковочных материалов, обеспечивающих сохранность рубероида при транспортировании и хранении.

Маркировка рубероида должна производиться по ГОСТ 30547-97. На этикетке (штампе) должны быть указаны: наименование предприятия-изготовителя или его товарный знак; наименование материала и его марка; обозначение настоящего стандарта; номер партии (или другое обозначение партии, принятое на заводе-изготовителе; краткая инструкция по применению.

Перечень данных на этикетке (штампе) может быть дополнен или изменен по согласованию с потребителем продукции.

Транспортная маркировка - по ГОСТ 14192-96 с нанесение основных, дополнительных и информационных надписей.

Рулоны рубероида должны храниться рассортированными по маркам в сухом закрытом помещении в вертикальном положении не более чем в два ряда по высоте. Рулоны рубероида могут храниться в контейнерах и на поддонах.

Срок хранения рубероида - 12 месяцев со дня изготовления. По истечении срока хранения рубероид должен быть проверен на соответствие требованиям данного стандарта. В случае соответствия рубероид может быть использован по назначению.

ГОСТ 30693-2000 Мастики кровельные и гидроизоляционные

Общие технические условия

Данный стандарт распространяется на кровельные и гидроизоляционные мастики, предназначенные для приклеивания рулонных кровельных и гидроизоляционных материалов, устройства защитных слоев кровель, устройства и ремонта мастичных кровель, устройства мастичных слоев гидроизоляции и пароизоляции строительных конструкций, зданий и сооружений, и устанавливает классификацию, общие технические требования, требования безопасности, правила приемки, методы испытаний, требования к транспортированию и хранению и указания по применению.

Кровельные и гидроизоляционные мастики (далее - мастики) классифицируют по следующим основным признакам:

- назначению;

- виду основных исходных компонентов;

- виду разбавителя;

- характеру отверждения;

- способу применения.

По назначению мастики подразделяют на:

- кровельные, предназначенные для устройства мастичных и ремонта всех типов кровель;

- приклеивающие, предназначенные для приклеивания рулонных кровельных и гидроизоляционных материалов и устройства защитных слоев кровель;

- гидроизоляционные, предназначенные для устройства мастичных слоев гидроизоляции;

- пароизоляционные, предназначенные для устройства мастичных слоев пароизоляции.

В зависимости от вида основных исходных компонентов мастики подразделяют на:

- битумные;

- битумно-эмульсионные;

- битумно-резиновые;

- битумно-полимерные;

- полимерные.

По виду разбавителя мастики подразделяют на содержащие:

- воду;

- органические растворители.

По характеру отверждения мастики подразделяют на:

- отверждающиеся (в том числе вулканизующиеся);

- неотверждающиеся.

Отверждающиеся мастики могут быть одно- и многокомпонентными.

По способу применения мастики подразделяют на:

горячие - с предварительным подогревом перед применением;

холодные - не требующие подогрева (содержащие растворитель и эмульсионные).

Условное обозначение мастик в технической документации и при заказе должно состоять из полного или краткого наименования, марки и обозначения нормативного документа, по которому выпускается конкретный вид мастики.

Мастики должны соответствовать требованиям данного стандарта и нормативного документа на конкретный вид мастики.

Физико-механические показатели мастик должны соответствовать требованиям, приведенным в нижеследующей таблице.


Наименование показателя

Вид мастики и ее назначение

Битумная

Битумно-полимерная или битумно-резиновая

Битумно-эмульс.

Полимерная

горячая

холодная

горячая

холодная

холодная

холодная

для приклеивания рулонных кровельных и гидроизоляционных (битумных) м-лов

для приклеивания рулонных кровельных и гидроизоляционных (битумных) м-лов

для приклеивания битумных и битумно-полимерных рулонных материалов

для устройства мастичной кровли или гидроизоляции

для приклеивания битумных и битумно-полимерных рулонных материалов

для устройства мастичной кровли или гидроизоляции

для устройства мастичной кровли или гидроизоляции

для приклеивания полимерных рулонных материалов

для устройства мастичной кровли или гидроизоляции

Условная прочность МПа (кгс/см2) не менее

-

-

-

0,2

(2,0)

-

0,2

(2,0)

0,2

(2,0)

-

0,6

(6,0)

Относительное удлинение при разрыве, %, не менее

-

-

-

100

-

100

100

-

150

Прочность сцепления с основанием МПа (кгс/см2)

0,1

(1,0)

0,1

(1,0)

0,1

(1,0)

0,1

(1,0)

0,1

(1,0)

0,1

(1,0)

0,1

(1,0)

0,2

(2,0)

0,2

(2,0)

То же, между слоями

-

-

0,1

(1,0)

-

0,1

(1,0)

-

-

0,2

(2,0)

-

Прочность на сдвиг клеевого соединения, кН/м (кгс/см2)

не менее

-

-

0,1

(1,0)

-

0,1

(1,0)

-

-

0,1

(1,0)

-

Водопоглощение в течение 24 ч, %, не менее

-

-

-

2

-

2

5

-

2


Мастики должны выпускаться в готовом к употреблению виде (для однокомпонентных мастик) либо в виде составных частей (для многокомпонентных мастик).

Многокомпонентные мастики должны поставляться комплектно.

По внешнему виду мастики должны быть однородными - без видимых посторонних включений.

В некоторых мастиках допускается наличие отдельных включений, количество которых нормируется в нормативном документе на конкретный вид мастики.

Мастики должны выдерживать испытания на гибкость в условиях, приведенных в нижеследующей таблице.

Вид мастики

Условия испытания мастик на гибкость

на брусе с закруглением радиусом, мм

при температуре, ° С не выше

Битумно-эмульсионная

5,0 ± 0,2

Минус 15

Битумно-резиновая

5,0 ± 0,2

Минус 5

Битумно-полимерная

5,0 ± 0,2

Минус 15

Полимерная

5,0 ± 0,2

Минус 30

Теплостойкость и температура размягчения мастик должны быть установлены в зависимости от области их применения в нормативном документе на конкретный вид мастики.

Кровельные мастики должны быть водонепроницаемыми при испытании в течение не менее 72 ч при давлении не менее 0,001 МПа (0,01 кгс/см2).

Гидроизоляционные мастики должны быть водонепроницаемыми при испытании в течение не менее 10 мин при давлении не менее 0,03 МПа (0,3 кгс/см2), если иные условия испытания не установлены в нормативном документе на конкретный вид мастики.

Паропроницаемость пароизоляционных мастик указывают в нормативном документе на конкретный вид мастики.

Мастики, применяемые в условиях специальных воздействий, должны обладать стойкостью к этим воздействиям.

Цветные мастики должны выдерживать испытание на цветостойкость в течение не менее 2 ч.

На каждое тарное место должна быть наклеена или прикреплена к нему этикетка с указанием:

- наименования предприятия-изготовителя или его товарного знака;

- наименования мастики, индекса компонента или состава (для многокомпонентных мастик);

- обозначения нормативного документа на конкретный вид мастики;

- номера партии и даты изготовления;

- массы нетто тарного места;

- краткой инструкции по применению.

Перечень информации на этикетке может быть дополнен или изменен в соответствии с требованиями нормативного документа на конкретный вид мастики.

Транспортная маркировка - по ГОСТ 14192-96.

Упаковка должна обеспечивать сохранность мастики при транспортировании и хранении. Особенности упаковки указывают в нормативном документе на конкретный вид мастики.

В нормативном документе на конкретный вид мастики должны содержаться следующие показатели пожарной опасности покрытия из мастики:

группы горючести, воспламеняемости и распространения пламени - для кровельных мастик;

группы горючести и воспламеняемости - для гидроизоляционных мастик.

Организация-производитель или разработчик мастик может заявить в нормативном документе на мастику предельные значения отдельных или всех показателей ее пожарной опасности (наиболее опасные: Г4, РП4, В3) без подтверждения испытаниями.

Перечень контролируемых показателей качества кровельных и гидроизоляционных мастик (для всех мастик и для конкретных групп мастик) приведен в нижеследующей таблице.

Наименование показателя

Применяемость

Теплостойкость или температура размягчения

Для всех мастик

Прочность сцепления с основанием

То же

Условная вязкость

Для холодных мастик

Гибкость

Для мастик, предназначенных для устройства мастичных кровель и гидроизоляции

Водопоглощение

То же

Водонепроницаемость

То же

Условная прочность

Для мастик, предназначенных для устройства мастичных кровель

Относительное удлинение при разрыве

То же

Прочность на сдвиг клеевого соединения

Для приклеивающих битумно-полимерных, битумно-резиновых и полимерных мастик

Прочность сцепления между слоями

То же

Паропроницаемость

Для мастик, предназначенных для устройства пароизоляции

Содержание сухого вещества или массовая доля летучих и нелетучих веществ

Для холодных мастик

Условное время вулканизации (отверждения) или жизнеспособность

Для отверждающихся мастик

Химическая стойкость

Для мастик, применяемых в условиях воздействия агрессивных сред

Цветостойкость

Для цветных мастик

Примечание: При необходимости номенклатура показателей может быть изменена или дополнена другими показателями по согласованию с потребителем продукции.

Предприятие-изготовитель контролирует качество мастик по всем показателям, установленным в нормативном документе на конкретный вид мастики.

Каждая партия мастики, принятая отделом технического контроля, должна оформляться документом о качестве, в котором указывают:

- наименование или товарный знак, адрес предприятия-изготовителя:

- наименование мастики и обозначение нормативного документа;

- номер партии и дату изготовления;

- количество тарных мест мастики (или составов мастики) в партии и их массу;

- результаты испытаний или подтверждение о соответствии качества мастики требованиям нормативного документа.

Перечень информации в документе о качестве может быть дополнен в соответствии с требованиями нормативного документа на конкретный вид мастики.

Потребитель имеет право проводить контрольную проверку мастик в соответствии с требованиями данного стандарта, применяя методы испытаний, указанные в ГОСТ 26589-94 и нормативном документе на конкретный вид мастики.

Транспортирование мастик производится всеми видами транспорта.

Погрузку в транспортные средства и перевозку мастик производят в соответствии с Правилами перевозки грузов, действующими на транспорте данного вида, и требованиями, установленными в нормативном документе на конкретный вид мастики.

Мастики должны храниться в условиях, обеспечивающих защиту от воздействия влаги и солнца, рассортированными по маркам.

Особенности хранения мастик должны быть указаны в нормативном документе на конкретный вид мастики.

Мастики должны применяться в соответствии с требованиями действующих строительных норм, сводов правил и рекомендаций (инструкций) по применению конкретного вида мастики.

ТУ 5774-005-05766480-95 Материал рулонный кровельный и гидроизоляционный наплавляемый битумно-полимерный «Изопласт».

Данные технические условия распространяются на материал рулонный кровельный и гидроизоляционный Изопласт, предназначенный для устройства кровельного ковра зданий и сооружений и гидроизоляции строительных конструкций во всех климатических районах по СНиП 23-01-99 «Строительная климатология».

Изопласт получают путем двустороннего нанесения на стекловолокнистую или полиэфирную основу битумно-полимерного вяжущего, состоящего из битума, полимерной добавки и наполнителя. В качестве полимерной добавки используют атактический (АПП) или изотактический (ИПП) полипропилен или аналогичные полиолефины.

В качестве защитного слоя используют крупнозернистую, чешуйчатую и мелкозернистую посыпки или полимерную легкоплавкую пленку.

В зависимости от вида защитного слоя и области применения Изопласт выпускается двух марок:

Изопласт К - с крупнозернистой или чешуйчатой посыпкой с лицевой стороны и полимерной легкоплавкой пленкой с нижней стороны полотна, применяется для устройства верхнего слоя кровельного ковра;

Изопласт П - с мелкозернистой посыпкой или полимерной легкоплавкой пленкой с лицевой стороны и полимерной легкоплавкой пленкой с нижней стороны полотна, применяется для устройства нижних слоев кровельного ковра и верхнего слоя кровельного ковра с защитным слоем, гидроизоляции строительных конструкций.

Изопласт является биостойким.

Пример условного обозначения материала при заказе:

Изопласт К ТУ 57743-005-05766480-95

Полотно Изопласта не должно иметь трещин, дыр, разрывов, пузырей, складок, отслоения полимерной пленки.

Требования к слипаемости, ровности торцов рулона, ширине кромки - по ГОСТ 30547-97. Непосыпанная кромка должна быть защищена полимерной пленкой.

Линейные размеры полотна в рулоне, предельные отклонения от номинальных размеров должны соответствовать требованиям, указанным в нижеследующей таблице.

Наименование показателя

Номинальные размеры

Предельные отклонения

Ширина, мм

1000

±10

Длина, м

10,0

±0,1

По согласованию с потребителем допускается изготовлять материал другой длины.

Показатели качества Изопласта должны соответствовать требованиям, указанным в нижеследующей таблице.

Наименование показателя

Норма для марок

Изопласт К

Изопласт П

Масса 1 м2, кг, в пределах

4,0 - 5,0

3,0 - 5,5

Разрывная сила при растяжении, Н, не менее

600

360

Масса вяжущего с наплавляемой стороны*, кг/м2, не менее

2,0

2,0

Масса основы, г/м2, не более

250

200

Водопоглощение в течение 24 ч, % по массе, не более

1,0

1,0

Потеря посыпки, г/образец, не более

2

-

Температура хрупкости вяжущего, °С, не выше

минус 25

минус 25

* - Для Изопласта на стеклохолсте не нормируется

Изопласт должен быть гибким. При испытании на брусе с закруглением радиусом (10,0 ± 0,2) мм и на брусе с закруглением радиусом (25,0 ± 0,2) мм при температуре (минус 15 ± 1) °С на поверхности образца не должно появляться трещин.

Изопласт должен быть водонепроницаемым. При испытании Изопласта всех марок при давлении не менее 0,01 кгс/см2 в течение не менее 72 ч, а Изопласта П дополнительно при давлении (1,0 ± 0,1) кгс/см2 в течение (2,0 ± 0,1) ч на поверхности образца не должно появляться признаков проникания воды.

Изопласт должен быть теплостойким. При испытании при температуре (120 ± 2) °С в течение (2,0 ± 0,1) ч на поверхности образца не должно быть вздутий и следов перемещения вяжущего.

Изопласт поставляется в рулонах, обмотанных в двух местах полимерной лентой с липким слоем, размещаемых на поддоне с габаритами (1170×979) ± 10 мм, скрепленными полипропиленовой упаковочной лентой и упакованными в колпак из полиэтиленовой термоусадочной пленки, на которой наносится маркировка путем наклеивания этикетки с указанием:

- наименования и адреса предприятия-изготовителя;

- наименования материала;

- обозначения данных технических условий;

- типа защитного слоя лицевой стороны полотна;

- вида основы;

- массы 1 м2 материала;

- номера партии и даты изготовления.

На упаковочную ленту наносится маркировка с указанием:

- наименования и товарного знака предприятия-изготовителя;

- наименования материала.

Транспортная маркировка - по ГОСТ 14192-96 с нанесением основных, дополнительных и информационных надписей.

Изопласт имеет следующие показатели пожарной опасности:

группа горючести - Г4 по ГОСТ 30244-94 (сильногорючий);

группа воспламеняемости - В2 по ГОСТ 30402-96 (умереновоспламеняемый);

группа распространения пламени - РП4 по ГОСТ 30444-97 (сильнораспространяющее пламя).

Транспортирование Изопласта следует производить в крытых транспортных средствах на поддонах в один ряд по высоте.

Допускается транспортирование поддонов с Изопластом в два ряда по высоте, при этом вес верхних поддонов должен равномерно распределяться на все рулоны нижнего ряда с помощью деревянных щитов или поддонов.

По согласованию с потребителем допускаются другие способы транспортирования, обеспечивающие сохранность материала.

Рулоны Изопласта должны храниться рассортированными по маркам в вертикальном положении на поддонах в один ряд по высоте на расстоянии не менее 1 м от отопительных приборов.

Допускается кратковременное хранение поддонов с Изопластом в два ряда по высоте, при этом вес верхних поддонов должен равномерно распределяться на все рулоны нижнего ряда с помощью деревянных щитов или поддонов.

Гарантийный срок хранения Изопласта при соблюдении потребителем вышеизложенных требований по транспортированию и хранению - 2 года со дня изготовления.

По истечении гарантийного срока хранения Изопласт должен быть проверен на соответствие требованиям данных технических условий. В случае соответствия материал может быть использован по назначению.

Изопласт должен применяться в соответствии с требованиями СНиП 3.04.01-87 и «Руководства по применению в кровлях и гидроизоляции наплавляемых рулонных материалов Изопласт».

ТУ 5770-008-05108038-99 Материал рулонный кровельный и гидроизоляционный наплавляемый битумно-полимерный «Филизол».

Данные технические условия распространяются на материал рулонный кровельный и гидроизоляционный наплавляемый битумно-полимерный «Филизол», предназначенный для устройства кровельного ковра зданий и сооружений и гидроизоляции строительных конструкций.

Филизол получают путем двустороннего нанесения на стекло- или полиэфирную основу битумно-полимерного вяжущего, состоящего из битума, полимерной добавки и наполнителя. В качестве полимерной добавки используют бутадиенстирольный термоэластопласт (SBS) или аналогичные полимеры.

Филизол относится к биостойким материалам.

Филизол выпускается трех марок: Филизол-В, Филизол-супер и Филизол-Н.

Вид защитного слоя и область применения Филизола приведены в нижеследующей таблице.

Марка материала

Защитный слой

Назначение

Лицевая сторона

Нижняя сторона

Филизол-В

Крупнозернистая посыпка

Мелкозернистая посыпка или легкоплавкая полимерная пленка

Для устройства верхнего слоя кровельного ковра

Филизол-супер

Крупнозернистая посыпка

Легкоплавкая полимерная пленка

В качестве однослойной кровли или верхнего слоя кровельного ковра

Филизол-Н

Мелкозернистая посыпка или легкоплавкая полимерная пленка

Мелкозернистая посыпка или легкоплавкая полимерная пленка

Для устройства нижнего слоя кровельного ковра и гидроизоляции

Условное обозначение Филизола при заказе должно состоять из наименования, марки и обозначения данных технических условий.

Пример условного обозначения Филизола марки В при заказе:

Филизол-В ТУ 5774-008-05108038-99.

Филизол выпускают в рулонах шириной 1000 ± 20 мм, длиной: Филизол-В и Филизол-Н - 10,0 ± 0,1 м, Филизол-супер - 8,0 ± 0,1 м.

По согласованию с потребителем допускается изготовление материала других размеров.

Полотно Филизола не должно иметь трещин, сквозных отверстий, разрывов, пузырей, складок.

Полотно Филизола должно быть плотно намотано в рулоны и не слипаться. Рулон должен иметь ровные торцы. Допускаются выступы на торцах рулона не более 20 мм.

Битумно-полимерное вяжущее должно быть нанесено на обе стороны по всей поверхности полотна сплошным слоем.

Крупнозернистая и мелкозернистая посыпки должны быть нанесены на поверхность полотна сплошным слоем.

Полотно Филизола В и Филизола-супер должно иметь с одного края лицевой поверхности вдоль всего полотна кромку шириной (85 ± 15) мм, покрытую мелкозернистой посыпкой или полимерной пленкой. Допускается уменьшение толщины краев полотна до 2 мм на расстоянии 10 мм от края.

Качественные показатели Филизола должны соответствовать требованиям, приведенным в нижеследующей таблице.

Наименование показателя

Норма для марок

Филизол-В

Филизол-Н

Филизол-супер

Масса 1 м2, кг, в пределах

4,2 - 4,8

3,6 - 4,0

5,3 - 6,0

Масса вяжущего с наплавляемой стороны, кг/м2, не менее

2,0

2,0

2,5

Разрывная сила материала при растяжении, Н (кгс), не менее

490 (50)

392 (40)

490 (50)

Теплостойкость в течение 2 ч, при температуре, °С

На поверхности образца не должно быть следов перемещения вяжущего

85 ± 1

85 ± 1

85 ± 1

Температура хрупкости вяжущего по Фраасу, °С, не выше

минус 25

минус 25

минус 25

Гибкость на брусе радиусом 25 мм при температуре, °С

При изгибе образцов не должно появляться трещин

 

 

 

минус 18 ± 1

минус 18 ± 1

минус 18 ± 1

Водонепроницаемость, в течение 2 ± 0,1 ч, при давлении, МПа (кгс/см2)

Не должно быть признаков проникания воды

 

0,1 ± 0,01

(1,0 ± 0,1)

0,1 ± 0,01

(1,0 ± 0,1)

0,1 ± 0,01

(1,0 ± 0,1)

Водопоглощение в течение 24 ч, % по массе, не более

1,5

1,5

1,5

Потеря посыпки, г/образец не более

2

-

2

Филизол должен быть намотан на втулки, длина которых не должна превышать ширину материала более чем на 50 мм. При использовании стеклохолста или полиэфирной основы по согласованию с потребителем допускается намотка без втулки.

Рулон Филизола должен быть обернут бумагой, край которой по всей длине следует проклеивать. Рулоны Филизола пакетируют - размещают на поддоне в вертикальном положении и обматывают полимерной натяжной пленкой. По согласованию с потребителем допускается поставка рулонов Филизола без пакетирования.

На каждый пакет или рулон должна быть наклеена этикетка, в которой указывают:

- наименование предприятия-изготовителя или его товарный знак;

- наименование продукции;

- обозначение данных технических условий;

- вид основы;

- количество материала в рулоне, м2;

- ширину полотна в рулоне;

- номер партии и дату изготовления;

- штамп технического контроля;

- краткие сведения по применению.

Транспортная маркировка должна производиться по ГОСТ 14192-96 и наноситься на каждое грузовое место. На каждое грузовое место должна наноситься предупредительная надпись «Не бросать».

Каждая партия Филизола должна сопровождаться паспортом, в котором указывают:

- наименование предприятия-изготовителя или его товарный знак;

- наименование материала и его условное обозначение;

- номер партии и дату изготовления;

- количество материала, м2;

- результаты испытаний или подтверждение о соответствии качества Филизола требованиям данных технических условий.

Филизол транспортируют всеми видами транспорта в соответствии с правилами перевозки грузов, действующими для каждого вида транспорта, в условиях, исключающих возможность его увлажнения, загрязнения и механического повреждения.

Транспортирование и хранение Филизола должно производиться в вертикальном положении в один ряд по высоте.

Филизол должен храниться в вертикальном положении на расстоянии не менее 1 м от отопительных приборов.

Изготовитель должен гарантировать соответствие Филизола требованиям данных технических условий при соблюдении потребителем условий транспортирования и хранения.

Гарантийный срок хранения Филизола - 1 год со дня изготовления. По истечении гарантийного срока хранения Филизол должен быть проверен на соответствие требованиям данных технических условий и в случае соответствия может быть использован по назначению.

ОАО «Завод «Филикровля» производит также опытную партию материала рулонного кровельного «Филизол СХ» (ТУ 5774-011-05108038-99), который получают путем двухстороннего нанесения на стекло-холст битумно-полимерного вяжущего, состоящего из битума и полимерной добавки и наполнителя.

Филизол СХ выпускают двух марок - Филизол СХ-В и Филизол СХ-Н.

Филизол СХ выпускают в рулонах шириной 1000 ± 20 мм и длиной - 10,0 ± 0,1 м.

По согласованию с потребителем допускается изготовление материала других размеров.

Вид защитного слоя и область применения Филизола СХ приведены в нижеследующей таблице.

Марка материала

Защитный слой

Назначение

Лицевая сторона

Нижняя сторона

Филизол СХ-В

Крупнозернистая посыпка

Мелкозернистая посыпка или легкоплавкая полимерная пленка

Для устройства верхнего слоя кровельного ковра

Филизол СХ-Н

Мелкозернистая посыпка или легкоплавкая полимерная пленка

Мелкозернистая посыпка или легкоплавкая полимерная пленка

Для устройства нижнего слоя кровельного ковра

Требования по упаковке и маркировке, по содержанию этикеток и паспорта, по транспортированию и хранению, по гарантийному сроку хранения Филизола СХ аналогичны требованиям, предъявляемым к Филизолу по ТУ 5774-008-05108038-99.

ТУ 5770-531-00284718-93 Материал рулонный кровельный и гидроизоляционный наплавляемый битумно-полимерный «Днепрофлекс».

Данные технические условия распространяются на материал рулонный кровельный и гидроизоляционный Днепрофлекс, предназначенный для устройства кровельного ковра зданий и сооружений, гидроизоляции строительных конструкций.

Материал изготовляется путем двустороннего нанесения на стеклооснову битумно-полимерного вяжущего, состоящего из битума, термопластичного каучука Carifleks и наполнителя, и посыпки.

В зависимости от вида посыпки и области применения Днепрофлекс выпускается трех марок:

Днепрофлекс К - с крупнозернистой посыпкой с лицевой стороны и пылевидной или мелкозернистой посыпкой с нижней стороны полотна (применяется для устройства верхнего слоя кровельного ковра);

Днепрофлекс П - с пылевидной или мелкозернистой посыпкой с обеих сторон полотна (применяется для устройства нижних слоев кровельного ковра и верхнего слоя кровельного ковра с защитным слоем);

Днепрофлекс Г - с пылевидной посыпкой с обеих сторон полотна (применяется для гидроизоляции строительных конструкций, в том числе тоннелей метрополитена открытого способа работ.

Днепрофлекс является биостойким.

Ширина полотна в рулоне: 800, 1000 и 1060 мм; площадь - 7,5 м2.

По согласованию с потребителем допускается изготовление материала других размеров.

Полотно Днепрофлекса не должно иметь трещин, дыр, разрывов, складок. На кромках (краях) полотна рулона не допускается более двух надрывов длиной 20 - 30 мм. Надрывы длиной до 20 мм не нормируются, а более 30 мм не допускаются.

Полотно материала должно быть плотно намотано в рулоне и не слипаться.

Торцы рулона должны быть ровными. Допустимая высота выступов на торцах рулона должна быть не более 20 мм.

В партии не допускается более 5 % составных рулонов, а в одном составном рулоне - более двух полотен Днепрофлекса. Длина меньшего из полотен в рулоне должна быть не менее 3 м.

Битумно-полимерное вяжущее должно быть нанесено на обе стороны по всей поверхности полотна сплошным слоем.

Крупнозернистая посыпка должна быть нанесена на лицевую поверхность полотна Днепрофлекса К сплошным слоем.

Нижняя поверхность полота Днепрофлекса К и обе поверхности полотна Днепрофлекса П и Г должны иметь пылевидную или мелкозернистую посыпку.

Днепрофлекс должен иметь с одного края лицевой поверхности вдоль всего полотна непосыпанную кромку шириной (85 ± 15) мм.

Полотно Днепрофлекса должно быть плотно намотано на жесткий или мягкий сердечник, обеспечивающий сохранность рулона при транспортировании и хранении. Длина сердечника должна быть равна ширине полотна Днепрофлекса или превышать ее не более чем на 10 мм.

Вместо сердечника допускается использование картона, наматываемого с полотном Днепрофлекса. Длина полотна картона при этом должна быть не менее 0,5 м, а ширина должна соответствовать ширине Днепрофлекса с допускаемым отклонением ±5 мм.

По согласованию с потребителем допускается намотка рулонов без сердечника.

Рулоны Днепрофлекса следует хранить в закрытом помещении, в вертикальном положении в один ряд по высоте на расстоянии не менее 1 м от отопительных приборов.

Гарантийный срок хранения - 12 месяцев со дня изготовления.

ТУ 5774-003-00287852-99 Материал рулонный кровельный и гидроизоляционный наплавляемый битумно-полимерный водостойкий «Техноэласт»

Данные технические условия распространяются на материал рулонный кровельный и гидроизоляционный наплавляемый битумно-полимерный водостойкий «Техноэласт», предназначенный для устройства кровельного ковра зданий и сооружений и гидроизоляции строительных конструкций во всех климатических районах.

Техноэласт получают путем двустороннего нанесения на стекловолокнистую или полиэфирную основу битумно-полимерного вяжущего, состоящего из битума, бутадиен-стирольного термоэластопласта и наполнителя.

В качестве защитного слоя используют крупнозернистую, чешуйчатую, пылевидную или мелкозернистую посыпки.

В зависимости от вида посыпки и области применения Техноэласт выпускается двух марок:

Техноэласт К - с крупнозернистой или чешуйчатой посыпкой с лицевой стороны и пылевидной или мелкозернистой посыпкой с наплавляемой стороны полотна; применяется для устройства верхнего слоя кровельного ковра;

Техноэласт П - с пылевидной или мелкозернистой посыпкой с обеих сторон полотна; применяется для устройства верхнего слоя кровельного ковра с защитным слоем и нижних слоев кровельного ковра, для гидроизоляции строительных конструкций, мостов и тоннелей.

Допускается вместо пылевидной или мелкозернистой посыпки использовать для защиты наплавляемой или обеих сторон полотна от слипания полимерную пленку.

Техноэласт является биостойким.

Пример условного обозначения материала при заказе:

Техноэласт К ТУ 5774-003-00287852-99

Допускается, по требованию потребителя, дополнять условное обозначение материала индексами, характеризующими вид основы или защитного слоя и массу вяжущего.

Полотно Техноэласта не должно иметь трещин, дыр, разрывов, пузырей, складок, отслоения полимерной пленки.

Требования к слипаемости, ровности торцов рулона, величине выступов на торцах рулона, ширине кромки - по ГОСТ 30547.

Линейные размеры полотна в рулоне, площадь, предельные отклонения от номинальных размеров должны соответствовать требованиям, указанным в нижеследующей таблице.

Наименование показателя

Номинальные размеры

Предельные отклонения

Ширина, мм

850 ÷ 1150

±30

Площадь, м2

6 ÷ 11

±0,2

По согласованию с потребителем допускается изготовление материала других размеров.

Качественные показатели Техноэласта должны соответствовать требованиям, приведенным в нижеследующей таблице.

Техноэласт должен быть гибким. При испытании на брусе с закруглением радиусом (25,0 ± 0,2) мм и на брусе с закруглением радиусом (10,0 ± 0,2) мм при температуре не выше 248 К (минус 25 °С) на лицевой поверхности образца не должно появляться трещин.

Техноэласт должен быть водонепроницаемым. При испытании Техноэласта всех марок при давлении не менее 0,001 МПа (0,01 кгс/см2) в течение не менее 72 ч., а Техноэласта П дополнительно при давлении не менее 0,2 МПа (2 кгс/см2) в течение (2,0±0,1) ч на поверхности образца не должно быть признаков проникания воды.

Техноэласт должен быть теплостойким. При испытании при температуре (373 ± 2) К [(100 ± 2)] °С в течение (2,0±0,1) ч на поверхности образца не должно быть сползания посыпки, вздутий и других дефектов вяжущего.

Техноэласт должен быть водостойким. После выдерживания материала в воде при температуре (29315) К [(2015)] °С в течение не менее 7 суток, образец должен выдержать испытание на гибкость.

Качественные показатели Техноэласта

Наименование показателя

Норма для марок

Техноэласт К

Техноэласт П

Масса 1 м2, кг, в пределах

3,0 - 6,5

3,0 - 5,5

Разрывная сила при растяжении, Н (кгс), не менее

360 (37)

360 (37)

Масса вяжущего с наплавляемой стороны*, кг/м2, не менее

2,0

2,0

Масса основы, г/м2, в пределах

90 ÷ 250

50 ÷ 250

Водопоглощение в течение 24 ч, % по массе, не более

1,0

1,0

Потеря посыпки, г/образец, не более

2

-

Температура хрупкости вяжущего, ° С, не выше

минус 35

минус 35

* - Для Техноэласта на стеклохолсте не нормируется

Полотно Техноэласта должно быть плотно намотано на жесткий или мягкий сердечник, обеспечивающий сохранность рулона при транспортировании и хранении.

Длина сердечника должна быть равна ширине полотна Техноэласта или превышать ее не более чем на 10 мм.

Вместо сердечника допускается использование картона, наматываемого вместе с полотном Техноэласта. Длина полотна картона при этом должна быть не менее 1,5 м, а ширина соответствовать ширине Техноэласта с допускаемым отклонением ±5 мм.

По согласованию с потребителем допускается намотка рулонов Техноэласта без сердечника и картона.

Упаковка рулонов Техноэласта производится полосой бумаги шириной не менее 500 мм или картона шириной не менее 300 мм, края которой должны проклеиваться по всей ширине или двух сторон по всей длине.

Допускается применение для упаковки полимерной ленты с липким слоем.

Допускается размещение рулонов Техноэласта на поддонах габаритами (1170×970) ± 30 мм, скрепленными упаковочной лентой и упакованными в колпак из полиэтиленовой термоусадочной пленки.

Маркировка Техноэласта должна производиться по ГОСТ 30547. На этикетке (штампе) должны быть указаны:

- наименование и адрес предприятия-изготовителя или его товарный знак;

- наименование материала;

- обозначение данных технических условий;

- тип защитного слоя лицевой стороны полотна;

- вид основы;

- масса 1 м2 материала;

- размеры рулонов;

- номер партии и дата изготовления;

- краткая инструкция по применению.

По согласованию с потребителем допускается изменение перечня указаний на этикетке.

Транспортная маркировка по ГОСТ 14192 с нанесением основных, дополнительных и информационных надписей.

Техноэласт имеет следующие показатели пожарной опасности:

- группа горючести Г4 по ГОСТ 30244 (сильногорючий);

- группа воспламеняемости - В3 по ГОСТ 30402 (легковоспламеняемый);

- группа распространения пламени - РП4 по ГОСТ 30444 (ГОСТ Р 51032) (сильнораспространяющий пламя).

Каждая партия Техноэласта должна сопровождаться паспортом, в котором должны указывать:

- наименование предприятия-изготовителя или его товарный знак;

- наименование материала и его условное обозначение;

- номер партии и дату изготовления;

- количество рулонов и м2 материала;

- размеры рулонов;

- результаты испытаний или подтверждение о соответствии качества Техноэласта требованиям данных технических условий.

Рулоны Техноэласта должны храниться рассортированными по маркам в сухом закрытом помещении в вертикальном положении в один ряд по высоте на расстоянии не менее 1 м от отопительных приборов.

Рулоны Техноэласта могут храниться в контейнерах и на поддонах.

Допускается хранение поддонов с Техноэластом в два ряда по высоте, при этом вес верхних поддонов должен равномерно распределяться на все рулоны нижнего ряда с помощью деревянных щитов или поддонов.

Допускается кратковременное (не более 14 суток) хранение поддонов с Техноэластом, на открытом воздухе.

Допускается кратковременное (не более 14 суток) хранение рулонов Техноэласта в горизонтальном положении с укладкой не более 6 рулонов по высоте.

Транспортирование рулонов Техноэласта следует производить в крытых транспортных средствах в горизонтальном положении не более 6 рулонов по высоте или в вертикальном положении в один ряд по высоте с укладкой сверх вертикального ряда одного ряда в горизонтальном положении.

Допускается транспортирование поддонов с Техноэластом в два ряда по высоте, при этом вес верхних поддонов должен равномерно распределяться на все рулоны нижнего ряда с помощью деревянных щитов или поддонов.

По согласованию с потребителем допускаются другие способы транспортирования, обеспечивающие сохранность материала.

Изготовитель должен гарантировать соответствие Техноэласта требованиям данных технических условий при соблюдении потребителем условий транспортирования и хранения, приведенных выше.

Гарантийный срок хранения Техноэласта 12 месяцев со дня изготовления.

По истечении гарантийного срока хранения Техноэласт должен быть проверен на соответствие требованиям данных технических условий. В случае соответствия материал может быть использован по назначению.

ТУ 5774-001-17925162-99 Материал рулонный кровельный и гидроизоляционный наплавляемый битумно-полимерный «Унифлекс»

Данные технические условия распространяются на материал рулонный кровельный и гидроизоляционный наплавляемый битумно-полимерный водостойкий «Унифлекс», предназначенный для устройства кровельного ковра зданий и сооружений и гидроизоляции строительных конструкций во всех климатических районах.

Унифлекс получают путем двустороннего нанесения на стекловолокнистую или полиэфирную основу битумно-полимерного вяжущего, состоящего из битума, бутадиен-стирольного термоэластопласта и наполнителя.

В качестве защитного слоя используют крупнозернистую, чешуйчатую, пылевидную или мелкозернистую посыпки.

В зависимости от вида посыпки и области применения Унифлекс выпускается двух марок:

Унифлекс К - с крупнозернистой или чешуйчатой посыпкой с лицевой стороны и пылевидной или мелкозернистой посыпкой с наплавляемой стороны полотна; применяется для устройства верхнего слоя кровельного ковра;

Унифлекс П - с пылевидной или мелкозернистой посыпкой с обеих сторон полотна; применяется для устройства верхнего слоя кровельного ковра с защитным слоем и нижних слоев кровельного ковра, для гидроизоляции строительных конструкций, мостов и тоннелей.

Допускается вместо пылевидной или мелкозернистой посыпки использовать для защиты наплавляемой или обеих сторон полотна от слипания полимерную пленку.

Унифлекс является биостойким.

Пример условного обозначения материала при заказе:

Унифлекс К ТУ 5774-001-17925162-99

Допускается, по требованию потребителя, дополнять условное обозначение материала индексами, характеризующими вид основы или защитного слоя и массу вяжущего.

Полотно Унифлекса не должно иметь трещин, дыр, разрывов, пузырей, складок, отслоения полимерной пленки.

Требования к слипаемости, ровности торцов рулона, величине выступов на торцах рулона, ширине кромки - по ГОСТ 30547.

Линейные размеры полотна в рулоне, площадь, предельные отклонения от номинальных размеров должны соответствовать требованиям, указанным в нижеследующей таблице.

Наименование показателя

Номинальные размеры

Предельные отклонения

Ширина, мм

850 ÷ 1150

±30

Площадь, м2

6 ÷ 11

±0,2

По согласованию с потребителем допускается изготовление материала других размеров.

Качественные показатели Унифлекса должны соответствовать требованиям, приведенным в нижеследующей таблице.

Наименование показателя

Норма для Унифлекса К/П

Масса 1 м2, кг, в пределах***

3,0 ÷ 5,5

Разрывная сила при растяжении, Н (кгс), не менее

294 (30)*; 343 (35)**

Масса вяжущего с наплавляемой стороны*, кг/м2, не менее

2,0

Масса основы, г/м2, в пределах

50 ÷ 250

Водопоглощение в течение 24 ч, % по массе, не более

1,0

Потеря посыпки, г/образец, не более****

2

Температура хрупкости вяжущего, ° С, не выше

минус 25

* - Для Унифлекса на стекловолокнистой основе;

** - Для Унифлекса на полиэфирной основе;

*** - Допускается отклонения от номинального значения, кг, не более +0,250, -0,249;

**** - для Унифлекса К

Унифлекс должен быть гибким. При испытании на брусе с закруглением радиусом (25,0 ± 0,2) мм при температуре не выше 258 К (минус 15 °С) на лицевой поверхности образца не должно появляться трещин.

Унифлекс должен быть водонепроницаемым. При испытании Унифлекса всех марок при давлении не менее 0,001 МПа (0,01 кгс/см2) в течение не менее 72 ч., а Унифлекса П дополнительно при давлении не менее 0,2 МПа (2 кгс/см2) в течение (2,0 ± 0,1) ч на поверхности образца не должно быть признаков проникания воды.

Унифлекс должен быть теплостойким. При испытании при температуре 358 К (85 °С) в течение (2,0 ± 0,1) ч на поверхности образца не должно быть сползания посыпки, вздутий и других дефектов вяжущего.

Полотно Унифлекса должно быть плотно намотано на жесткий или мягкий сердечник, обеспечивающий сохранность рулона при транспортировании и хранении.

Длина сердечника должна быть равна ширине полотна Унифлекса или превышать ее не более чем на 10 мм.

Вместо сердечника допускается использование картона, наматываемого вместе с полотном Унифлекса. Длина полотна картона при этом должна быть не менее 1,5 м, а ширина соответствовать ширине Унифлекса с допускаемым отклонением ±5 мм.

По согласованию с потребителем допускается намотка рулонов Унифлекса без сердечника и картона.

Упаковка рулонов Унифлекса производится полосой бумаги шириной не менее 500 мм или картона шириной не менее 300 мм, края которой должны проклеиваться по всей ширине или двух сторон по всей длине.

Допускается применение для упаковки полимерной ленты с липким слоем.

Допускается размещение рулонов Унифлекса на поддонах габаритами (1170×970) ± 30 мм, скрепленными упаковочной лентой и упакованными в колпак из полиэтиленовой термоусадочной пленки.

Маркировка Унифлекса должна производиться по ГОСТ 30547. На этикетке (штампе) должны быть указаны:

- наименование и адрес предприятия-изготовителя или его товарный знак;

- наименование материала;

- обозначение данных технических условий;

- тип защитного слоя лицевой стороны полотна;

- вид основы;

- масса 1 м2 материала;

- размеры рулонов;

- номер партии и дата изготовления.

По согласованию с потребителем допускается изменение перечня указаний на этикетке.

Транспортная маркировка по ГОСТ 14192 с нанесением основных, дополнительных и информационных надписей.

Унифлекс имеет следующие показатели пожарной опасности:

- группа горючести Г4 по ГОСТ 30244 (сильногорючий);

- группа воспламеняемости - В3 по ГОСТ 30402 (легковоспламеняемый);

- группа распространения пламени - РП4 по ГОСТ 30444 (ГОСТ Р 51032) (сильнораспространяющий пламя).

Каждая партия Унифлекса должна сопровождаться паспортом, в котором должны указывать:

- наименование предприятия-изготовителя или его товарный знак;

- наименование материала и его условное обозначение;

- номер партии и дату изготовления;

- количество рулонов и м2 материала;

- размеры рулонов;

- результаты испытаний или подтверждение о соответствии качества Унифлекса требованиям данных технических условий.

Рулоны Унифлекса должны храниться рассортированными по маркам в закрытом помещении или под навесом в вертикальном положении в один ряд по высоте на поддонах или без них на расстоянии не менее 1 м от отопительных приборов.

Рулоны Унифлекса могут храниться в контейнерах и на поддонах.

Допускается хранение поддонов с Унифлексом в два ряда по высоте, при этом вес верхних поддонов должен равномерно распределяться на все рулоны нижнего ряда с помощью деревянных щитов или поддонов.

Допускается хранение Унифлекса в горизонтальном положении с укладкой не более 6 рулонов по высоте.

Допускается кратковременное хранение Унифлекса на открытой площадке. По согласованию с потребителем допускаются другие условия хранения Унифлекса, обеспечивающие его защиту от воздействия влаги и солнца.

Транспортирование рулонов Унифлекса следует производить в крытых транспортных средствах в горизонтальном положении не более 6 рулонов по высоте или в вертикальном положении в один ряд по высоте с укладкой сверх вертикального ряда одного ряда в горизонтальном положении.

Допускается транспортирование поддонов с Унифлексом в два ряда по высоте, при этом вес верхних поддонов должен равномерно распределяться на все рулоны нижнего ряда с помощью деревянных щитов или поддонов.

По согласованию с потребителем допускаются другие способы транспортирования, обеспечивающие сохранность материала.

Изготовитель должен гарантировать соответствие Унифлекса требованиям данных технических условий при соблюдении потребителем условий транспортирования и хранения, приведенных выше.

Гарантийный срок хранения Унифлекса 12 месяцев со дня изготовления.

По истечении гарантийного срока хранения Унифлекс должен быть проверен на соответствие требованиям данных технических условий. В случае соответствия материал может быть использован по назначению.

ТУ 5774-003-17925162-2000 Материал рулонный кровельный и гидроизоляционный наплавляемый «Экофлекс»

Данные технические условия распространяются на материал рулонный кровельный и гидроизоляционный наплавляемый «Экофлекс», предназначенный для устройства кровельного ковра зданий и сооружений и гидроизоляции строительных конструкций во всех климатических районах.

Экофлекс получают путем двустороннего нанесения на стекловолокнистую или полиэфирную основу битумного вяжущего (АПП-модифицированного), состоящего из битума, наполнителя и технологических добавок.

В качестве защитного слоя используют крупнозернистую, чешуйчатую, пылевидную или мелкозернистую посыпки.

В зависимости от вида посыпки и области применения Экофлекс выпускается двух марок:

Экофлекс К - с крупнозернистой или чешуйчатой посыпкой с лицевой стороны и пылевидной или мелкозернистой посыпкой с наплавляемой стороны полотна; применяется для устройства верхнего слоя кровельного ковра;

Экофлекс П - с пылевидной или мелкозернистой посыпкой с обеих сторон полотна; применяется для устройства верхнего слоя кровельного ковра с защитным слоем и нижних слоев кровельного ковра, для гидроизоляции строительных конструкций.

Допускается вместо пылевидной или мелкозернистой посыпки использовать для защиты наплавляемой или обеих сторон полотна от слипания полимерную пленку.

Пример условного обозначения материала при заказе:

Экофлекс К ТУ 5774-003-17925162-2000

Допускается дополнять условное обозначение материала индексами, характеризующими вид защитных слоев и массу 1 м2 материала.

Полотно Экофлекса не должно иметь трещин, дыр, разрывов, пузырей, складок, отслоения полимерной пленки.

Требования к слипаемости, ровности торцов рулона, величине выступов на торцах рулона, ширине кромки, количеству составных рулонов и полотен к рулоне - по ГОСТ 30547.

Непосыпаемая кромка должна быть защищена полимерной пленкой.

Линейные размеры полотна в рулоне, площадь, предельные отклонения от номинальных размеров должны соответствовать требованиям, приведенным в нижеследующей таблице.

Наименование показателя

Номинальные размеры

Предельные отклонения

Ширина, мм

850 ÷ 1150

±30

Площадь, м2

6 ÷ 15

±0,2

По согласованию с потребителем допускается изготовление материала других размеров.

Качественные показатели Экофлекса должны соответствовать требованиям, приведенным в нижеследующей таблице.

Экофлекс должен быть гибким. При испытании на брусе с закруглением радиусом (25,0 ± 0,2) мм при температуре не выше 268 К (минус 5 °С) на лицевой поверхности образца не должно появляться трещин.

Экофлекс должен быть водонепроницаемым. При испытании Экофлекса всех марок при давлении не менее 0,001 МПа (0,01 кгс/см2) в течение не менее 72 ч., а Экофлекса П дополнительно при давлении не менее 0,2 МПа (2 кгс/см2) в течение 2 ч на поверхности образца не должно быть признаков проникания воды.

Экофлекс должен быть теплостойким. При испытании при температуре не менее 393 К (120 °С) в течение не менее 2 ч на поверхности образца не должно быть сползания посыпки, вздутий и других дефектов вяжущего.

Качественные показатели Экофлекса

Наименование показателя

Норма для Экофлекса К/П

Масса 1 м2, кг, в пределах*

3,0 ÷ 5,5

Разрывная сила при растяжении, Н (кгс), не менее

294 (30)**; 343 (35)***

Масса вяжущего с наплавляемой стороны*, кг/м2, не менее

1,5

Масса основы, г/м2, в пределах

50 ÷ 250

Водопоглощение в течение 24 ч, % по массе, не более

1,0

Потеря посыпки, г/образец, не более****

3

Температура хрупкости вяжущего, ° С, не выше

минус 15

* - Допускается отклонения от номинального значения, кг, не более +0,250, -0,249;

** - Для Экофлекса на стекловолокнистой основе;

*** - Для Экофлекса на полиэфирной основе;

**** - Для Экофлекса К

Полотно Экофлекса должно быть плотно намотано на жесткий или мягкий сердечник, обеспечивающий сохранность рулона при транспортировании и хранении.

Длина сердечника должна быть равна ширине полотна Экофлекса или превышать ее не более чем на 10 мм.

Вместо сердечника допускается использование одного или нескольких полотен картона, наматываемого вместе с полотном Экофлекса, при этом суммарная длина полотна картона должна быть не менее 1,5 м, а ширина соответствовать ширине Экофлекса с допускаемым отклонением ±5 мм.

По согласованию с потребителем допускается намотка рулонов Экофлекса без сердечника и картона.

Упаковка рулонов Экофлекса производится полосой бумаги шириной не менее 500 мм или картона шириной не менее 300 мм, края которой должны проклеиваться по всей ширине или двух сторон по всей длине.

Допускается применение для упаковки полимерной ленты с липким слоем или других упаковочных материалов, обеспечивающих сохранность продукции при транспортировании и хранении.

Допускается размещение рулонов Экофлекса на поддонах, скрепленными упаковочной лентой и упакованными в колпак из полиэтиленовой термоусадочной пленки.

Маркировка Экофлекса должна производиться по ГОСТ 30547. На этикетке (штампе) должны быть указаны:

- наименование и адрес предприятия-изготовителя или его товарный знак;

- наименование материала;

- обозначение данных технических условий;

- тип защитного слоя лицевой стороны полотна;

- вид основы;

- масса 1 м2 материала;

- размеры рулонов;

- номер партии и дата изготовления;

- краткая инструкция по применению.

По согласованию с потребителем допускается изменение перечня указаний на этикетке.

Транспортная маркировка по ГОСТ 14192 с нанесением основных, дополнительных и информационных надписей.

Экофлекс имеет следующие показатели пожарной опасности:

- группа горючести Г4 по ГОСТ 30244 (сильногорючий);

- группа воспламеняемости - В3 по ГОСТ 30402 (легковоспламеняемый);

- группа распространения пламени - РП4 по ГОСТ 30444 (ГОСТ Р 51032) (сильнораспространяющий пламя).

Каждая партия Экофлекса должна сопровождаться паспортом, в котором должны указывать:

- наименование предприятия-изготовителя или его товарный знак;

- наименование материала и его условное обозначение;

- номер партии и дату изготовления;

- количество рулонов и м2 материала;

- размеры рулонов;

- результаты испытаний или подтверждение о соответствии качества Экофлекса требованиям данных технических условий.

Рулоны Экофлекса должны храниться рассортированными по маркам в закрытом помещении или под навесом в вертикальном положении в один ряд по высоте на поддонах или без них на расстоянии не менее 1 м от отопительных приборов.

Допускается хранение поддонов с Экофлексом в два ряда по высоте, при этом вес верхних поддонов должен равномерно распределяться на все рулоны нижнего ряда с помощью деревянных щитов или поддонов.

Допускается хранение Экофлекса в горизонтальном положении с укладкой не более 6 рулонов по высоте.

Допускается кратковременное хранение Экофлекса на открытой площадке. По согласованию с потребителем допускаются другие условия хранения Экофлекса, обеспечивающие его защиту от воздействия влаги и солнца.

Транспортирование рулонов Экофлекса следует производить в крытых транспортных средствах в горизонтальном положении не более б рулонов по высоте или в вертикальном положении в один ряд по высоте с укладкой сверх вертикального ряда одного ряда в горизонтальном положении.

Допускается транспортирование поддонов с Экофлексом в два ряда по высоте, при этом вес верхних поддонов должен равномерно распределяться на все рулоны нижнего ряда с помощью деревянных щитов или поддонов.

По согласованию с потребителем допускаются другие способы транспортирования, обеспечивающие сохранность материала.

Изготовитель должен гарантировать соответствие Экофлекса требованиям данных технических условий при соблюдении потребителем условий транспортирования и хранения, приведенных выше.

Гарантийный срок хранения Экофлекса 12 месяцев со дня изготовления.

По истечении гарантийного срока хранения Экофлекс должен быть проверен на соответствие требованиям данных технических условий. В случае соответствия материал может быть использован по назначению.

ТУ 5774-002-13157915-98 Материал рулонный кровельный и гидроизоляционный наплавляемый «Линокром»

Данные технические условия распространяются на материал рулонный кровельный и гидроизоляционный наплавляемый «Линокром», предназначенный для устройства кровельного ковра зданий и сооружений и гидроизоляции строительных конструкций во всех климатических районах.

Линокром получают путем двустороннего нанесения на стекловолокнистую или полиэфирную основу битумного вяжущего, состоящего из битума, наполнителя и технологических добавок.

В качестве защитного слоя используют крупнозернистую, чешуйчатую, пылевидную или мелкозернистую посыпки.

В зависимости от вида посыпки и области применения Линокром выпускается двух марок:

Линокром К - с крупнозернистой или чешуйчатой посыпкой с лицевой стороны и пылевидной или мелкозернистой посыпкой с наплавляемой стороны полотна; применяется для устройства верхнего слоя кровельного ковра;

Линокром П - с пылевидной или мелкозернистой посыпкой с обеих сторон полотна, или с мелкозернистой посыпкой с лицевой стороны и пылевидной посыпкой с нижней стороны полотна; применяется для устройства нижних слоев кровельного коврах, для гидроизоляции строительных конструкций.

Допускается вместо пылевидной или мелкозернистой посыпки использовать для защиты нижней или обеих сторон полотна от слипания полимерную пленку.

Линокром является биостойким.

Пример условного обозначения материала при заказе:

Линокром К ТУ 5774-002-13157915-98

Полотно Линокрома не должно иметь трещин, дыр, разрывов, пузырей, складок, отслоения полимерной пленки.

Требования к слипаемости, ровности торцов рулона, величине выступов на торцах рулона, ширине кромки, количеству составных рулонов и полотен в рулоне - по ГОСТ 30547.

Непосыпаемая кромка должна быть защищена полимерной пленкой.

Линейные размеры полотна в рулоне, предельные отклонения от номинальных размеров должны соответствовать требованиям, приведенным в нижеследующей таблице.

Наименование показателя

Номинальные размеры

Предельные отклонения

Ширина, мм

850 ÷ 1150

±30

Длина, м

7,5; 8,0; 10,0

±0,2

По согласованию с потребителем допускается изготовление материала других размеров.

Качественные показатели Линокрома должны соответствовать требованиям, приведенным в нижеследующей таблице.

Наименование показателя

Норма для марок

Линокром К

Линокром П

Масса 1 м2, кг, в пределах

3,0 - 4,0

3,0 - 4,0

Разрывная сила при растяжении, Н (кгс), не менее

360 (37)

360 (37)

Масса вяжущего с наплавляемой стороны*, кг2, не менее

1,5

1,5

Масса основы, г/м2, в пределах

100 ÷ 250

50 ÷ 250

Водопоглощение в течение 24 ч, % по массе, не более

2,0

2,0

Потеря посыпки, г/образец, не более

2

-

Температура хрупкости вяжущего, ° С, не выше

минус 15

минус 15

* - Для Линокрома на стеклохолсте не нормируется

Линокром должен быть гибким. При испытании на брусе с закруглением радиусом (25,0 ± 0,2) мм при температуре не выше 273 К (0 ± 1 °С) на поверхности образца не должно появляться трещин.

Линокром должен быть водонепроницаемым. При испытании Линокрома всех марок при давлении не менее 0,001 МПа (0,01 кгс/см2) в течение не менее 72 ч., а Линокрома П дополнительно при давлении не менее 0,2 МПа (2 кгс/см2) в течение (2 ± 0,1) ч на поверхности образца не должно быть признаков проникания воды.

Линокром должен быть теплостойким. При испытании при температуре не менее 353 К (80 °С) в течение не менее 2 ч на поверхности образца не должно быть сползания посыпки, вздутий и других дефектов вяжущего.

Полотно Линокрома должно быть плотно намотано на жесткий или мягкий сердечник, обеспечивающий сохранность рулона при транспортировании и хранении.

Длина сердечника должна быть равна ширине полотна Линокрома или превышать ее не более чем на 10 мм.

Вместо сердечника допускается использование картона, наматываемого вместе с полотном Линокрома, при этом длина полотна картона должна быть не менее 1,5 м, а ширина соответствовать ширине Линокрома с допускаемым отклонением ±5 мм.

По согласованию с потребителем допускается намотка рулонов Линокрома без сердечника и картона.

Упаковка рулонов Линокрома должна производиться по ГОСТ 2551 со следующими дополнениями:

- допускается применение для упаковки полимерной ленты с липким слоем;

- допускается размещение рулонов Линокрома на поддонах габаритами (1170×970) ± 30 мм, скрепленными упаковочной лентой и упакованными в колпак из полиэтиленовой термоусадочной пленки.

Маркировка Линокрома должна производиться по ГОСТ 30547. На этикетке (штампе) должны быть указаны:

- наименование и адрес предприятия-изготовителя или его товарный знак;

- наименование материала;

- обозначение данных технических условий;

- тип защитного слоя лицевой стороны полотна;

- вид основы;

- масса 1 м2 материала;

- размеры рулонов;

- номер партии и дата изготовления;

- краткая инструкция по применению.

По согласованию с потребителем допускается изменение перечня указаний на этикетке.

Транспортная маркировка по ГОСТ 14192 с нанесением основных, дополнительных и информационных надписей.

Линокром имеет следующие показатели пожарной опасности:

- группа горючести Г4 по ГОСТ 30244 (сильногорючий);

- группа воспламеняемости - В3 по ГОСТ 30402 (легковоспламеняемый);

- группа распространения пламени - РП3 по ГОСТ 30444 (ГОСТ Р 51032) для Линокрома К и РП2 - для Линокрома П.

Каждая партия Линокрома должна сопровождаться паспортом, в котором должны указывать:

- наименование предприятия-изготовителя или его товарный знак;

- наименование материала и его условное обозначение;

- номер партии и дату изготовления;

- количество рулонов и м2 материала;

- размеры рулонов;

- результаты испытаний или подтверждение о соответствии качества Линокрома требованиям данных технических условий.

Рулоны Линокрома должны храниться рассортированными по маркам в сухом закрытом помещении в вертикальном положении в один ряд по высоте на расстоянии не менее 1 м от отопительных приборов.

Рулоны Линокрома могут храниться в контейнерах и на поддонах.

Допускается кратковременное (не более 14 суток) хранение поддонов с Линокромом в два ряда по высоте, при этом вес верхних поддонов должен равномерно распределяться на все рулоны нижнего ряда с помощью деревянных щитов или поддонов.

В интервале температур от плюс 5 до плюс 25 °С допускается кратковременное (не более 14 суток) хранение рулонов Линокрома в горизонтальном положении с укладкой не более 12 рулонов по высоте, при этом материал должен быть защищен от прямого воздействия солнечных лучей.

Транспортирование рулонов Линокрома следует производить в крытых транспортных средствах в горизонтальном положении не более 6 рулонов по высоте или в вертикальном положении в один ряд по высоте с укладкой сверх вертикального ряда одного ряда в горизонтальном положении.

Допускается транспортирование поддонов с Линокромом в два ряда по высоте, при этом вес верхних поддонов должен равномерно распределяться на все рулоны нижнего ряда с помощью деревянных щитов или поддонов.

По согласованию с потребителем допускаются другие способы транспортирования, обеспечивающие сохранность материала.

Изготовитель должен гарантировать соответствие Линокрома требованиям данных технических условий при соблюдении потребителем условий транспортирования и хранения, приведенных выше.

Гарантийный срок хранения Линокрома 12 месяцев со дня изготовления.

По истечении гарантийного срока хранения Линокром должен быть проверен на соответствие требованиям данных технических условий. В случае соответствия материал может быть использован по назначению.

В настоящее время кровельная компания ТехноНИКОЛЬ кроме вышеперечисленных материалов («Техноэласт», «Унифлекс», «Экофлекс», «Линокром») выпускает также кровельный материал «Бикрост».

В планах компании выпуск новых рулонных кровельных материалов серии «Вент» для вентилируемой кровли и самоклеющихся рулонных кровельных материалов.

Техноэласт ЭКВ 6,0 «Вент»

Рулонный кровельный СБС-модифицированный битумно-полимерный наплавляемый материал для однослойных кровельных ковров с частичной приклейкой нижней поверхности материала (для создания воздушных каналов для отвода водяных паров). Предназначен для устройства новых кровель во всех климатических зонах по всем видам основания, в т.ч. влажным. Основа из тяжелого полиэфирного полотна (не менее 250 г/м2) гарантирует исключительную прочность и стабильность размеров материала. Материал Техноэласт ЭКВ 6,0 «Вент» обеспечивает распределение водяных паров под кровельным ковром. Для отвода паров используются, как правило, флюгарки (аэраторы).

Поверхность кровли должна быть очищена от пыли и грязи и огрунтована битумным праймером. Скат кровли изготавливается из одного слоя материала Техноэласт ЭКВ 6,0 «Вент». Дополнительно материал может быть закреплен механически в местах нахлестов. Примыкания и другие узлы кровли изготавливаются из материала Техноэласт марок ЭКП (ТКП) и ЭПП (ХПП). Особенное внимание при укладке следует уделять нахлестам и местам монтажа воронок аэраторов.

Унифлекс ЭПВ 5,0 «Вент»

Рулонный кровельный СБС-модифицированный битумно-полимерный материал для двухслойных «дышащих» кровельных ковров с частичной приклейкой нижней поверхности материала (для создания воздушных каналов для отвода водяных паров). Может быть использован для устройства новых кровель по всем видам основания, в т.ч. влажным. В качестве верхнего слоя используется Унифлекс ЭКП (ТКП) или Техноэласт ЭКП (ТКП).

Материал Унифлекс ЭПВ 5,0 «Вент» обеспечивает распределение водяных паров под кровельным ковром. Для отвода паров используются, как правило, флюгарки (аэраторы). Поверхность кровли должна быть очищена от пыли и грязи и огрунтована битумным праймером. Нижний слой кровельного ковра изготавливается из одного слоя материала Унифлекс ЭПВ 5,0 «Вент». Дополнительно материал может быть закреплен механически в местах нахлестов. В качестве верхнего слоя используются материалы Унифлекс ЭКП (ТКП) или Техноэласт ЭКП (ТКП). Примыкания и другие узлы кровли изготавливаются из материалов Унифлекс и Техноэласт марок ЭКП (ТКП) и ЭПП (ХПП). Особенное внимание при укладке следует уделять нахлестам и местам монтажа воронок аэраторов.

Техноэласт ЭКС 5,0

Рулонный кровельный самоклеящийся СБС-модифицированный битумно-полимерный материал, предназначенный для устройства плоских кровель без применения открытого пламени. Может использоваться также для устройства скатных кровель по сплошному деревянному основанию.

Особенности применения:

- поверхность должна быть очищена от пыли и грязи и огрунтована битумным праймером;

- антиадгезионная бумага снимается с нижней стороны на 30 - 40 см, после чего материал аккуратно раскатывается на подготовленную поверхность; лента бумаги с верхней стороны материала не снимается;

- для герметизации бокового нахлеста лента бумаги с верхней стороны «вытаскивается» из нахлеста под углом 45 град.;

- при укладке следует дополнительно прикатать материал; особенное внимание необходимо уделять нахлестам и примыканиям;

- работы должны производиться при температуре поверхности и окружающего воздуха не менее +5 °С. Поверхность основания должна быть сухой и ровной.

ТУ 5774-002-17187505-95 Материал рулонный полимерный кровельный «Бикапол»

Данные технические условия распространяются на материал, предназначенный для устройства и ремонта кровельного ковра зданий и сооружений и сохраняющий работоспособность в интервале температур от минус 50 °С до плюс 80 °С.

Бикапол представляет собой черный или цветной безосновный материал, изготавливаемый из смеси термоэластопластов с добавлением технологических и функциональных добавок.

В зависимости от области применения и используемых материалов Бикапол выпускается двух марок:

Бикапол А - применяется для устройства и ремонта кровельного ковра зданий и сооружений во всех климатических районах,

Бикапол Б - применяется для устройства и ремонта кровельного ковра зданий и сооружений, эксплуатируемых в условиях химической агрессии; изготавливается с использованием вторичного сырья.

Бикапол является биостойким.

Пример условного обозначения Бикапола А черного цвета при заказе:

Бикапол А черный (толщина×ширина×длина) ТУ 5774-002-17187505-95.

Полотно Бикапола не должно иметь трещин, дыр, разрывов и складок.

Полотно Бикапола должно быть плотно намотано в рулоне. Торцы рулона должны быть ровными (кроме случаев, когда поставляется Бикапол с фигурной формой края полотна). Допустимая высота выступов на торцах рулона не должна превышать 20 мм.

В партии не допускается более 10 % составных рулонов, а в одном составном рулоне более двух полотен. Длина меньшего из полотен должна быть не менее 3 м.

По согласованию с потребителем число полотен и количество составных рулонов в партии может быть увеличено.

Линейные размеры полотна в рулоне и предельные отклонения от номинальных размеров должны соответствовать требованиям, указанным в нижеследующей таблице.

Линейные размеры полотна Бикапола в рулоне и предельные отклонения от номинальных размеров

Наименование показателя

Размеры

Предельные отклонения от номинальных размеров

Длина, м

8,0; 10,0; 12,0; 15,0; 20,0; 25,0

±0,5

Ширина, мм

250, 300, 350, 400, 500, 600, 800, 1000, 1200, 1400, 1600

±0,5

Толщина, мм

0,6; 0,8; 1,0; 1,2; 1,5; 2,0; 2,5; 3,0

±0,1

Примечание: Допускается по согласованию с потребителем изготовление Бикапола других размеров по длине, ширине и толщине.

Упаковка рулонов Бикапола шириной 600 мм и более должна производиться путем обвязывания с двух сторон на расстоянии 200 - 250 мм от каждого конца рулона шпагатом или липкой лентой, а рулонов шириной 250 - 500 мм - посередине рулона. По согласованию с потребителем допускаются другие способы упаковки, в том числе упаковочной бумагой шириной не менее 150 мм.

Маркировка Бикапола производится путем наклеивания или вложения под упаковку этикетки размерами (150×200) ± 10 мм.

Маркировка рулонов может производиться штампом непосредственно на упаковочной бумаге без наклейки специальных этикеток. Оттиск штампа должен быть четким и разборчивым.

На этикетке (штампе) должны быть указаны:

- товарный знак предприятия-изготовителя;

- полное наименование материала;

- номер партии и дата изготовления;

- размеры полотна (длина - ширина - толщина);

- обозначение технических условий.

В паспорте, которым сопровождается каждая партия Бикапола, должны быть указаны: наименование или товарный знак предприятия-изготовителя; номер партии и дата изготовления; результаты испытаний или подтверждение соответствия качества Бикапола требованиям технических условий; масса партии; количество мест; обозначение технических условий.

Транспортирование и хранение рулонов Бикапола следует производить в горизонтальном положении не более 7 рядов по высоте и при температуре не выше 30 °С.

Гарантийный срок хранения Бикапола - 12 месяцев со дня изготовления. По истечении гарантийного срока хранения Бикапол должен быть проверен на соответствие требованиям технических условий. В случае соответствия материал может быть использован по назначению.

ТУ 5774-002-41993527-97 Материал эластомерный рулонный кровельный и изоляционный «КРОМЭЛ»

Данные технические условия распространяются на рулонный кровельный и гидроизоляционный материал «Кромэл» (далее РКМ «Кромэл»), предназначенный для устройства кровель и гидроизоляции строительных конструкций, зданий и сооружений во всех климатических зонах по СНиП 23-01-99 «Строительная климатология».

РКМ «Кромэл» изготавливается вальцекаландровым способом из резиновой смеси на основе этиленпропилендиенового каучука с наполнителями, мягчителями и другими целевыми технологическими добавками, сдублированной с армирующей основой (или без нее) и вулканизованной по электронно-химической технологии.

Рулонный кровельный и гидроизоляционный материал «Кромэл» выпускается двух типов:

«Кромэл- - рулонный кровельный и гидроизоляционный материал, крепление которого к основанию осуществляется с помощью клеящих мастик.

«Кромэл- - рулонный кровельный и гидроизоляционный материал с нанесенным в заводских условиях на внутреннюю сторону клеящим составом.

В зависимости от исполнения, РКМ «Кромэл» выпускается следующих марок:

Р - рядовой,

РА - рядовой армированный,

Пп - с повышенными противопожарными свойствами,

ПпА - с повышенными противопожарными свойствами, армированный.

Пример условного обозначения при заказе:

РКМ «Кромэл-1 Р» 1,2×900×10,

РКМ «Кромэл-1 РА» 1,2×1100×15,

РКМ «Кромэл-1 Пп» 1,5×1000×20,

РКМ «Кромэл-1 ПпА» 1,5×1400×25,

РКМ «Кромэл-2 Р» 1,2×1200×10,

РКМ «Кромэл-2 РА» 1,2×1400×25,

РКМ «Кромэл-2 Пп» 1,8×1300×15,

РКМ «Кромэл-2 ПпА» 1,8×1100×20.

РКМ «Кромэл-1Р» 1,2×900×10 - рулонный кровельный и гидроизоляционный материал «Кромэл», рядовой, толщиной 1,2 мм, шириной 900 мм, длина рулона 10 м.

РКМ «Кромэл-1ПпА» 1,5×1400×25 - рулонный кровельный и гидроизоляционный материал «Кромэл», с повышенными противопожарными свойствами, армированный, толщиной 1,5 мм, шириной 1400 мм, длина рулона 25 м.

РКМ «Кромэл-2Р» 1,2×1200×10 - рулонный кровельный материал «Кромэл», рядовой, без армирующей основы, с клеящим составом на внутренней поверхности, толщиной 1,2 мм, шириной 1200 мм, длина рулона 10 м.

РКМ «Кромэл-2ПпА» 1,8×1100×20 - рулонный кровельный материал «Кромэл», с повышенными противопожарными свойствами, армированный, с клеящим составом на внутренней поверхности, толщиной 1,8 мм, шириной 1100 мм, длина рулона 20 м.

По требованию заказчика РКМ «Кромэл» может выпускаться со светоотражающим слоем и с краевыми зонами повышенной склеиваемости шириной 100 мм.

Дополнительные технические требования к РКМ «Кромэл» в этих случаях должны оговариваться отдельно при заказе.

Полотно РКМ «Кромэл» не должно иметь трещин, отверстий, разрывов и складок с нарушением полимерного слоя. Поверхность материала и основы должна быть чистой.

Полотно РКМ «Кромэл» должно быть намотано в рулоне. Торцы рулона должны быть ровными. Допустимая высота выступов на торцах рулона не должна превышать 20 мм.

В качестве армирующей основы используется полотно нетканое клееное по ГОСТ 25441-90. Возможно использование иного армирующего материала, не снижающего качественных показателей РКМ «Кромэл».

Армирующая основа должна иметь ширину, меньшую ширины эластомерного полотна на 100 ± 20 мм с одного края.

В партии не допускается более 10 % составных рулонов, а в одном составном рулоне - более двух полотен. Длина меньшего из полотен должна быть не менее 3 м. По согласованию с потребителем число полотен и количество составных рулонов в партии может быть увеличено.

Линейные размеры полотна в рулоне и предельные отклонения от номинальных размеров должны соответствовать требованиям, приведенным в нижеследующей таблице.

Наименование показателя

Размеры

Предельные отклонения от номинальных размеров

Длина, м

10,0; 15,0,20,0, 25,0

±0,3

Ширина, мм

900; 1000; 1100; 1200; 1300, 1400

±20

Толщина, мм

1,2; 1,5; 1,8

±0,2

Допускается по согласованию с потребителем изготовление РКМ «Кромэл» других размеров по длине и ширине.

Физико-механические свойства РКМ «Кромэл-1» и РКМ «Кромэл-2» должны соответствовать требованиям, приведенным в нижеприведенной таблице.

РКМ «Кромэл» должен быть водонепроницаемым. При испытании при давлении не менее 0,001 МПа (0,01 кгс/см2) в течение не менее 72 ч. на поверхности образца не должно появляться признаков проникания воды.

РКМ «Кромэл» марок Р и РА относится к группе горючести Г-4, а марок Пп и ПпА - к группе горючести Г-3 в соответствии с ГОСТ 30244-94.

Полотно «Кромэл» должно наматываться на жесткий сердечник диаметром не менее 50 мм, обеспечивающий сохранность рулона при транспортировании и хранении. Длина сердечника не должна превышать ширину материала более чем на 200 мм.

При упаковке РКМ «Кромэл» используется антиадгезионная прокладка (силиконизированная бумага или др.). Ширина прокладки должна превышать ширину полотна на 60 ± 10 мм.

Физико-механические свойства РКМ «Кромэл- и РКМ «Кромэл-

Наименование показателя

Норма для марок РКМ «Кромэл»

Р

РА

Пп

ПпА

Условная прочность при растяжении, МПа, не менее

6,0

6,0

2,5

3,0

Относительное удлинение при разрыве, %, не менее

250

250

250

40

Водопоглощение, %, не более

0,5

1,0

0,5

1,0

Теплостойкость при температуре 120 °С в течение 2-х часов

отсутствие вздутий

Изменение линейных размеров при нагревании, %, не более

2,0

2,0

2,0

2,0

Гибкость на брусе с закруглением r = 5 мм, град. С, не более

-60

-60

-40

-40

Прочность сцепления с основанием, МПа, не менее *

0,1

0,1

0,1

0,1

Характер разрушения *

когезионный

* - показатели для РКМ «Кромэл-

Рулоны РКМ «Кромэл» обертывают в два слоя бумагой (по ГОСТ 2228-81* марки А, по ГОСТ 8273-75* марки А, по ГОСТ 11600-75*) или полиэтиленовой пленкой по ГОСТ 10354-82*. Упакованные в бумагу или пленку рулоны перевязывают с двух сторон шпагатом по ГОСТ 17308-88 в виде «хлопушки». Допускается применять другие упаковочные материалы и другие способы упаковки, обеспечивающие сохранность РКМ «Кромэл» при транспортировании и хранении.

Маркировка РКМ «Кромэл» производится по ГОСТ 30547-97 со следующим дополнением: на этикетке (штампе) дополнительно указывают размеры рулона (по длине и ширине).

Транспортная маркировка осуществляется по ГОСТ 14192-96 с нанесением манипуляционного знака № 8 «Крюками не брать».

Изготовитель гарантирует соответствие РКМ «Кромэл» требованиям данных технических условий при соблюдении потребителем условий транспортирования и хранения.

Гарантийный срок хранения «Кромэл» - 12 месяцев со дня изготовления. По истечении гарантийного срока хранения «Кромэл» должен быть проверен на соответствие требованиям технических условий. В случае соответствия материал может быть использован по назначению.

Устройство кровельного ковра из РКМ «Кромэл» должно осуществляться в соответствии с «Рекомендациями по применению в кровлях РКМ «Кромэл».

ООО «Компания Кромэл-Инжиниринг» выпускает также материал рулонный кровельный пониженной горючести «Кромэл-ПП» (по ТУ 5774-001-52679314-2000), предназначенный для устройства кровель и гидроизоляции строительных конструкций, зданий и сооружений, в том числе на объектах с повышенными противопожарными требованиями, включая АЭС, а также для напольных покрытий в транспортных средствах.

РКМ «Кромэл-ПП» изготавливается вальцекаландровым способом из смеси на основе пластиката ПВХ с наполнителями, мягчителями и другими целевыми технологическими добавками и представляет собой термопластичный материал, свариваемый горячим воздухом.

Характеристики РКМ «Кромэл-ПП» в соответствии с Нормами пожарной безопасности 244-97 приведены в нижеследующей таблице.

Наименование показателей

Нормативное значение

НТД на методы испытаний

Группа горючести

П

ГОСТ 30244-94

Группа распространения пламени

РП1

ГОСТ Р 51032-97

Группа воспламеняемости

В1

ГОСТ 30402-96

Общие технические требования по устройству кровель

Устройство кровельных покрытий следует осуществлять в соответствии с требованиями СНиП 3.04.01-87, СНиП 3.01.01-85*, проекта, ППР, технологических карт, схем операционного контроля качества, инструкций и руководств по применению кровельных материалов предприятий-изготовителей и проектных организаций, другой технологической документации, утвержденной в установленном порядке.

Кровельные работы должны осуществлять строительно-монтажные организации, получившие лицензию на выполнение строительно-монтажных работ (работы по защите конструкций и оборудования) в Федеральных или региональных лицензионных органах.

Кровельные работы должны выполняться квалифицированным персоналом, прошедшим специальную подготовку и обладающим надлежащими навыками по выполнению кровельных работ.

При производстве работ по устройству кровельных покрытий должно быть обеспечено соблюдение требований проекта, строительных норм и правил.

Производству работ по устройству кровель из рулонных материалов должны предшествовать:

- завершение и надлежащее оформление всех предусмотренных проектом предшествующих работ;

- разработка проекта производства работ по устройству рулонных кровель, разработка технологической карты и схемы операционного контроля качества на выполнение кровельных работ (с использованием соответствующей типовой документации);

- входной контроль проектно-сметной документации и кровельных материалов;

- изучение инженерно-техническим персоналом проектной и технологической документации, обучение мастеров и рабочих передовым методам труда.

При входном контроле рабочей документации должна производиться проверка ее комплектности и достаточности содержащейся в ней технической информации для производства работ.

Входной контроль кровельных материалов должен производиться в соответствии с требованиями стандартов и технических условий на материалы в порядке, предусмотренном технологической картой или другой технологической документацией, утвержденной в установленном порядке. До поступления на строительную площадку должны быть произведены все требуемые испытания материалов на соответствие их требованиям проекта, стандартов и технических условий. По истечении гарантийного срока хранения кровельные материалы перед применением также должны быть проверены на соответствие их требованиям стандартов и технических условий.

На строительной площадке в процессе входного контроля необходимо:

проверить наличие документов о качестве и полноту содержащихся в них данных;

по имеющимся документам о качестве и маркировке (этикеткам, штампам) убедиться в соответствии поступивших кровельных материалов требованиям проекта;

путем внешнего осмотра проверить целостность упаковки и отсутствие на материалах недопустимых дефектов внешнего вида;

в соответствии с требованиями ППР и технологической карты провести необходимые испытания материалов на соответствие их требованиям нормативной документации (до поступления их в производство работ и после истечения гарантийных сроков хранения);

при возникновении каких-либо сомнений в качестве поступивших материалов должны быть вызваны представители строительной лаборатории или функциональных служб, ответственных за поставку кровельных материалов.

Кровельные работы должны выполняться по утвержденному проекту производства работ (ППР).

Запрещается осуществление строительно-монтажных работ без утвержденного проекта производства работ. Не допускаются отступления от решений проектов производства работ без согласования с организациями, разработавшими и утвердившими их.

Замена предусмотренных проектом материалов, изделий и составов допускается только по согласованию с проектной организацией и заказчиком.

Кровельные работы по СНиП 3.04.01-87 допускается выполнять при температуре окружающего воздуха от минус 30 ° до плюс 60 °С (производство работ с применением горячих мастик - при температуре окружающего воздуха не ниже минус 20 °С, с применением составов на водной основе без противоморозных добавок - не ниже 5 °С) и при отсутствии снегопада, гололеда и дождя.

Согласно рекомендаций АО ЦНИИПромзданий работы по устройству кровель следует производить при температуре наружного воздуха до минус 20 °С и при отсутствии снегопада, гололеда и дождя.

Рулонные кровельные материалы при производстве работ в условиях отрицательных температур необходимо в течение 20 ч. отогреть до температуры не менее +15 °С, перемотать и доставить к месту укладки в утепленной таре.

До начала работ по устройству основного кровельного ковра в соответствии с проектом должны быть выполнены следующие работы:

замоноличены швы между сборными железобетонными плитами;

устроены температурно-усадочные швы;

смонтированы закладные элементы;

оштукатурены участки вертикальных поверхностей каменных конструкций на высоту примыкания рулонного ковра кровли;

устроены выравнивающие стяжки (из цементно-песчаных, гипсовых, гипсопесчаных и других смесей);

установлены и закреплены водосточные воронки, компенсаторы деформационных швов, патрубки (или стаканы) для пропуска инженерного оборудования, анкерные болты;

в зданиях с покрытиями послойной сборки из металлического профнастила и сгораемой и трудносгораемой теплоизоляции должны быть заполнены пустоты ребер настилов на длину 250 мм несгораемыми материалами в местах примыкания настила к стенам, деформационным швам, стенкам фонарей, а также с каждой стороны конька кровли и ендовы;

очищена от строительного мусора и пыли поверхность основания;

удалена вода с крыши и просушено основание под рулонный ковер;

произведена огрунтовка поверхности основания перед нанесением приклеивающих составов;

осуществлена проверка соответствия этих работ требованиям проекта, осуществлена приемка основания под кровлю и составлены акты на скрытые работы.

В случае ремонтных работ с поверхности существующей кровли должны быть удалены свободный гравий и другие частицы, выполнена очистка от пыли, грязи, ржавчины и т.п. Пузыри, трещины, швы на поверхности существующей рулонной кровли должны быть отремонтированы, после чего вся поврежденная поверхность существующей кровли должна быть обработана праймером, а затем после высыхания последнего выполнены ремонтные водоизоляционные слои.

Устройство основания под водоизоляционный ковер

Основанием под водоизоляционный ковер могут служить ровные поверхности:

железобетонных несущих плит, швы между которыми заделаны цементно-песчаным раствором марки не ниже 100 или бетоном марки не ниже В7,5;

теплоизоляционных плит с пределом прочности при сжатии при 10 % деформации не менее 0,06 МПа. При этом в кровлях с наклейкой водоизоляционного ковра холодными мастиками на основе растворителей теплоизоляционные плиты должны обладать устойчивостью к органическим растворителям (бензин, этилацетон, нефрас и др.) и стойкостью к воздействию температур горячих мастик. Возможность применения плитного утеплителя в качестве основания под водоизоляционный ковер без устройства выравнивающей стяжки должна быть подтверждена результатами его испытаний;

монолитной теплоизоляции с прочностью на сжатие не менее 0,15 МПа из легких бетонов, а также материалов на основе цементного или битумного вяжущего с эффективными заполнителями - перлитом, вермикулитом и др.;

выравнивающих монолитных стяжек из цементно-песчаного раствора и асфальтобетона с прочностью на сжатие, соответственно, не менее 5 и 0,8 МПа, а также сборных (сухих) стяжек из асбестоцементных плоских прессованных листов или цементно-стружечных плит толщиной 10 мм. Последние рекомендуется использовать в качестве стяжки по минераловатной и другой подобной мягкой теплоизоляции с пределом прочности на сжатие при 10 %-ой деформации от 0,03 до 0,06 МПа;

водоизоляционного ковра существующих кровель из рулонных материалов (при производстве ремонтных работ и реконструкции без снятия кровли и утеплителя).

Теплоизоляционные плиты из пенополистирола, фенольного пенопласта и других сгораемых утеплителей могут быть использованы в качестве основания под водоизоляционный ковер из рулонных материалов без устройства выравнивающей стяжки только при свободной укладке рулонного материала, в том числе с механическим креплением его, так как огневой способ наклейки при сгораемом утеплителе недопустим, а использование горячих мастик и холодных клеящих составов на растворителях разрушающе воздействует на такие материалы.

Теплоизоляционные плиты при укладке по толщине в 2 и более слоев следует располагать вразбежку с плотным прилеганием друг к другу. Швы между плитами более 5 мм должны быть заполнены теплоизоляционным материалом.

Перед выполнением монолитной теплоизоляции на цементном вяжущем следует произвести нивелировку поверхности несущих плит для установки маяков, служащих основанием под рейки для укладки бетонной массы полосами на необходимую высоту. Полосы располагают поперек пролетов; ширина их не должна превышать 1,5 м.

Работа по укладке теплоизоляции должна совмещаться с работами по устройству пароизоляционного слоя (если он требуется по проекту), выполняя их в направлении «на себя» в целях повышения сохранности теплоизоляции при транспортировании материалов.

Выравнивающая цементно-песчаная стяжка должна выполняться из жесткого (с осадкой конуса до 30 мм) раствора марок 50 - 100, а асфальтобетонная - из горячего мелкозернистого песчаного асфальтобетона. Затирку по сборным железобетонным плитам следует принимать толщиной 10 - 15 мм, а толщину стяжки:

из цементно-песчаного раствора по засыпной теплоизоляции - не менее 40 мм ±10 %(с армированием);

из цементно-песчаного раствора по теплоизоляционным плитам - не менее 30 мм ±10 %;

из песчаного асфальтобетона - не менее 15 мм ±10 %.

Стяжки из песчаного асфальтобетона не допускается применять по сжимаемым (например, минераловатным) и засыпным (из керамзитового гравия и т.п.) теплоизоляционным материалам, а также при наклейке рулонных материалов на холодных кровельных мастиках.

При устройстве выравнивающей стяжки из асфальтобетона его укладывают полосами шириной до 2 м, ограниченными двумя рейками или одной рейкой и полосой ранее уложенного асфальта, и уплотняют валиком или катком массой 60 - 80 кг. Выравнивающие стяжки из цементно-песчаного раствора следует устраивать захватками шириной 2 - 3 м по направляющим, служащими маяками, с разравниванием и уплотнением поверхности.

Температурно-усадочные швы в монолитных выравнивающих стяжках образуют путем установки реек при укладке цементно-песчаного раствора или асфальтобетона, которые удаляют после твердения материала стяжки, а швы заполняют мастиками с последующей односторонней наклейкой на шов полосок рулонного материала шириной 150 - 200 мм.

В стяжках из цементно-песчаного раствора должны быть предусмотрены температурно-усадочные швы шириной до 5 мм, разделяющие поверхность стяжки на участки не более 6×6 м.

Выравнивающие стяжки из песчаного асфальтобетона должны быть разрезаны температурно-усадочными швами на участки не более 4×4 м (в покрытиях с несущими плитами длиной 6 м эти участки из асфальтобетона должны иметь размер 3×3 м).

Швы должны располагаться над торцевыми швами несущих плит и над температурно-усадочными швами в монолитной теплоизоляции. Температурно-усадочные швы в стяжках, теплоизоляционных слоях монолитной укладки и торцовые стыки несущих плит покрытия должны быть перекрыты полосами шириной 150 - 200 мм рулонного водоизоляционного материала с посыпкой, обращенной вниз, и точечной приклейкой их с одной стороны шва.

Для обеспечения необходимой адгезии наплавляемых рулонных материалов все поверхности основания из цементно-песчаного раствора и бетона после укладки должны быть огрунтованы грунтовочными холодными составами (праймерами), приготовленными из битума марки 5 и растворителя (керосина, солярного масла, уайт-спирита, нефраса), взятых в соотношении 1:2 или 1:3 (по весу) или из клеящих мастик (типа бутилкаучуковой и т.п.), разбавленных растворителем или бензином в соотношении 1:2. Грунтовку наносят с помощью окрасочного распылителя или вручную кистью.

Огрунтовка поверхности должна быть выполнена сплошной без пропусков и разрывов. Огрунтовку стяжек, выполненных из цементно-песчаных растворов, следует выполнять не позднее чем через 4 ч после их укладки, применяя грунтовки на медленно испаряющихся растворителях (за исключением стяжек с уклоном поверхности более 5 %, когда огрунтовку следует выполнять после их твердения). Огрунтовка затвердевших и просушенных изолируемых цементных или бетонных поверхностей должна производиться грунтовками, приготовленными на быстроиспаряющихся растворителях. Расход грунтовки - 1 л/м2. Огрунтованные поверхности должны быть просушены до полного испарения растворителя.

Грунтовка должна иметь прочное сцепление с основанием. На приложенном к ней тампоне не должно оставаться следов вяжущего.

Плоские асбестоцементные прессованные листы и цементно-стружечные плиты, используемые в качестве сборной стяжки, во избежание коробления должны быть огрунтованы с обеих сторон. При их раскладке под стыки смежных листов по всей длине должны быть проложены полоски из них шириной 100 мм, огрунтованные с обеих сторон.

Обеспыливание оснований необходимо выполнять перед нанесением огрунтовочных составов, включая приклеивающие клеи и мастики.

При устройстве кровель по основанию из теплоизоляционных плит или при использовании сборной стяжки работы по укладке теплоизоляции или сборной стяжки не должны значительно опережать работы по выполнению нижнего слоя водоизоляционного ковра; их последовательность должна обеспечивать устройство нижнего слоя водоизоляционного ковра в ту же смену, что и укладка теплоизоляционных плит или листов сборной стяжки.

В местах примыкания к стенам, парапетам, деформационным швам и другим конструктивным элементам должны быть выполнены наклонные под углом 45° бортики из легкого бетона, цементно-песчаного раствора или гипсобетона. Высота их у мест примыканий кровли должна быть не менее 100 мм. Вертикальные поверхности конструкций, выступающих над кровлей (стенки деформационных швов, парапеты и т.п.), выполненные из кирпича или блоков, должны быть оштукатурены цементно-песчаным раствором на высоту устройства дополнительного водоизоляционного ковра, но не менее 250 мм.

Для закрепления на примыканиях верхних концов рулонного ковра и фартуков из оцинкованной стали должны быть установлены деревянные рейки или пробки на высоте, требуемой проектом.

Перед устройством изоляционных слоев основание должно быть сухим, обеспыленным, на нем не допускаются уступы, борозды и другие неровности.

При подготовке поверхности основания необходимо соблюдать требования, приведенные в нижеследующей таблице.

Технические требования

Предельные отклонения

Контроль (метод, объем, вид регистрации)

Допускаемые отклонения поверхности основания при рулонной кровле:

-

Измерительный, технический осмотр, не менее 5 измерений на каждые 70 - 100 м2 поверхности или на участке меньшей площади в местах, определяемых визуальным осмотром

вдоль уклона и на горизонтальной поверхности

±5 мм

поперек уклона и на вертикальной поверхности из штучных материалов

±10 мм

вдоль и поперек уклона

±10 мм

Отклонения плоскости элемента от заданного уклона (по всей площади)

2 %

То же

Толщина элемента конструкции (от проектной)

±10 %

То же

Число неровностей (плавного очертания протяженностью не более 150 мм) на площади поверхности 4 м2

Не более 2

То же

Толщина грунтовки, мм:

 

 

для кровель из наплавляемых материалов - 0,7

5 %

То же

при огрунтовке отвердевшей стяжки - 0,3

5 %

То же

при огрунтовке стяжек в течение 4 ч после нанесения раствора - 0,6

10 %

То же

Влажность основания: из теплоизоляционных слоев монолитной укладки

не более:

Измерительный, технический осмотр, не менее 5 измерений равномерно на каждые 50 - 70 м2 основания, регистрация в журнале работ

на цементном вяжущем

15 %

на битумном вяжущем

2,5 %

стяжки из цементно-песчаного раствора

5 %

стяжки из песчаного асфальтобетона

2,5 %

из теплоизоляционных плит

по ГОСТ или ТУ на плиты

Прочность оснований на сжатие, МПа, не ниже:

не ниже:

Измерительный, технический осмотр, не менее 3 измерений на каждые 70 - 100 м2 поверхности основания

из теплоизоляционных слоев монолитной укладки

 

на цементном вяжущем

0,6

на битумном вяжущем

0,15

стяжки из цементно-песчаного раствора по засыпной теплоизоляции

10

стяжки из цементно-песчаного раствора по теплоизоляционным плитам

5

стяжки из песчаного асфальтобетона

0,8

Определение водопоглощения, прочности и морозостойкости основания под кровлю из теплоизоляционных плит при входном контроле для каждой партии плит проводят в соответствии с ГОСТ 17177-94, ГОСТ 10060.0-95 и ГОСТ 16136-80, а основания под кровлю из монолитной теплоизоляции - при операционном контроле в соответствии с ГОСТ 17177-94 и ГОСТ 10060.0-95.

Определение толщины теплоизоляционного слоя и выравнивающей стяжки производится с помощью игольчатого толщиномера или ему подобного устройства с диапазоном измерений 0 … 150 мм погрешностью 1 мм и удельной нагрузкой 0,005 кгс/см2.

Определение ровности поверхности основания под кровлю производят с помощью двухметровой рейки и металлической линейки по ГОСТ 427-75*.

Уклон основания под кровлю определяют с помощью уклономера или ватерпаса.

Влажность основания под кровлю определяют перед наклейкой слоев кровельного ковра при помощи поверхностного влагомера ВКСМ-12М или ему подобным или на образцах, взятых из основания, в соответствии с ГОСТ 5802-86 и ГОСТ 17177-94.

Устройство водоизоляционного ковра

Для устройства рулонного водоизоляционного ковра следует применять битумные и битумно-полимерные материалы на негниющей стеклянной, синтетической или картонной основе или эластомерные вулканизованные пленочные материалы. Аналогичные материалы рекомендуется применять для устройства пароизоляции.

Потенциальный срок службы кровельных рулонных материалов, за исключением материалов на картонной основе с битумным вяжущим, должен быть не менее 10 лет.

Рулонные материалы на картонной основе с битумными вяжущими (материалы типа рубероида, наплавляемого рубероида, рубемаста) допускается применять для устройства водоизоляционного ковра в кровлях временных зданий и сооружений со сроком службы до 5 лет. Такие ограничения связаны с технологическими характеристиками этих материалов - гниением картона в водной среде и разложением его при воздействии солнечных лучей, деструкцией битума при воздействии прямых солнечных лучей.

Рулонные материалы следующего поколения - наплавляемые материалы на негниющих основах (типа Бикрост, Стеклоизол, Стекломаст). В основе данных материалов используется стеклоткань, не подверженная гниению, а в качестве пропитки используется окисленный битум, который в меньшей степени подвержен деструкции при воздействии прямых солнечных лучей. Соответственно, срок службы у подобных материалов достигает 5 - 8 лет.

К следующему классу рулонных материалов относятся битумно-полимерные материалы наплавляемого типа на негниющих основах (так называемые мембраны). Материалы этого класса состоят из стеклоткани (стеклохолста), пропитанной битумом, модифицированным полимерными материалами - стирол-бутадиен-стиролом (СБС) или атактическим полипропиленом (АПП). Модифицированный битум имеет высокие эксплуатационные свойства - он не подвержен интенсивному разложению под воздействием солнечной радиации, имеет повышенную термостойкость и высокую эластичность (даже при отрицательных температурах), что и определяет потенциальный срок службы этих материалов до 25 лет. В качестве основы в этих материалах используется также эластичные полиэфирные полотна. В отличие от стеклотканей с их малым относительным удлинением (2 - 4 %) полиэфирные основы способны удлиняться на 15 - 30 %, обеспечивая сплошность кровельного покрытия в жестких условиях эксплуатации. К данному классу относятся рулонные наплавляемые битумно-полимерные материалы Филизол, Днепрофлекс, Изопласт, Изоэласт, Рубитекс, Кинепласт, Мостопласт, Техноэласт, Унифлекс, Экофлекс, Армокров У и др.

К последнему по времени появления классу материалов можно отнести армированные стеклотканью и неармированные полимерные рулонные материалы, которые приклеиваются к кровле не с помощью пламенных горелок, а с использованием одно- и двухкомпонентных битумно-полимерных или полимерных мастик. За счет высоких эксплуатационных свойств данных материалов - температурный диапазон от -50 до +150 °С, потенциальный срок службы до 25 лет - их рекомендуют использовать в один слой. К данному классу материалов относятся Л 1047, Кромэл-1, Элон, Поликром, Рукрил, Армогидрокром, Бикапол, Поликров и др.

Рулонные кровли устраиваются с уклоном от 0 до 25 %.

Количество слоев в основном и дополнительном водоизоляционном ковре рулонных кровель в зависимости от уклона должен быть не менее указанного в нижеследующей таблице.

Вид рулонного материала

Уклон кровли, %

менее 1,5

1,5 - менее 2,5

2,5 - менее 10

10 - 25

Битумно-полимерные и битумные с армирующей стекло- или синтетической основой

2* … 4*

1**; 2***

1* … 3*

1**; 2***

1* … 3*

1**; 2***

1* … 3*

1**; 2***

То же, с картонной основой

4

1**; 3***

4

1**; 3***

3

1**; 3***

3

1**; 3***

Эластомерные пленочные материалы

2

1

1

1

1

1

1

1

Примечание: в числителе - для основного водоизоляционного ковра, * - в зависимости от показателя гибкости материала;

в знаменателе - для дополнительного слоя, ** - в ендовах, на коньковых и карнизных участках;

*** - на примыканиях к вертикальным поверхностям - стенам, парапетам и др.

Конструкция водоизоляционного ковра в зависимости от уклона кровли и вида рулонного материала должна приниматься по нижеследующей таблице.

Уклон кровли, %

Тип кровли

Основной водоизоляционный ковер

Защитный слой

менее 1,5

К-1

Три слоя наплавляемых рулонных битумных или битумно-полимерных материалов на стекло- или синтетической основе, обладающих гибкостью при отрицательных температурах от минус 10 до минус 20 °С.

Из гравия, втопленного в покровной слой верхнего наплавляемого рулонного материала, либо из крупнозернистой посыпки на верхнем слое рулонного материала

Два слоя таких же материалов, обладающих гибкостью при отрицательных температурах от минус 20 до минус 30 °С

Четыре слоя наплавляемых рулонных битумных материалов на стекло- или синтетической основе, обладающих гибкостью при температурах от 0 до минус 10 °С

Два слоя эластомерных пленочных материалов

Четыре слоя рулонных материалов на картонной основе, наклеенных на мастиках

1,5 - менее 2,5

К-2

Три слоя наплавляемых рулонных битумных материалов на стекло- или синтетической основе, обладающих гибкостью при температурах от 0 до минус 10 °С

То же

Два слоя наплавляемых рулонных битумно-полимерных материалов на стекло- или синтетической основе, обладающих гибкостью при отрицательных температурах от минус 10 до минус 20 °С

Один слой наплавляемого рулонного битумно-полимерного материала с двойной армирующей основой толщиной не менее 4 мм и обладающего гибкостью при отрицательных температурах от минус 10 до минус 20 °С или с одной армирующей синтетической основой и гибкостью при отрицательных температурах от минус 20 до минус 30 °С

Из гравия, втопленного в покровный слой верхнего наплавляемого рулонного материала, либо крупнозернистой посыпки на верхнем слое рулонного материала

Четыре слоя рулонных материалов на картонной основе, наклеенных на мастиках

Один слой эластомерных пленочных материалов

2,5 - менее 10

К-3

Три слоя наплавляемых рулонных битумных материалов на стекло- или синтетической основе, обладающих гибкостью при температурах от 0 до минус 10 °С

То же

Два слоя наплавляемых рулонных битумно-полимерных материалов на стекло- или синтетической основе, обладающих гибкостью при отрицательных температурах от минус 10 до минус 20 °С

Один слой наплавляемого рулонного битумно-полимерного материала с двойной армирующей основой толщиной не менее 4 мм и обладающего гибкостью при отрицательных температурах от минус 10 до минус 20 °С или с одной армирующей синтетической основой и гибкостью при отрицательных температурах от минус 20 до минус 30 °С

Три слоя рулонных материалов на картонной основе, наклеенных на мастиках

 

Один слой эластомерного пленочного материала

Окрасочный слой

10 - 25

К-4

Три слоя наплавляемых рулонных битумных материалов на стекло- или синтетической основе, обладающих гибкостью при температурах от 0 до минус 10 °С

Крупнозернистая посыпка на верхнем слое рулонного материала

Два слоя наплавляемых рулонных битумно-полимерных материалов на стекло- или синтетической основе, обладающих гибкостью при отрицательных температурах от минус 10 до минус 20 °С

Один слой наплавляемого рулонного битумно-полимерного материала с двойной армирующей основой толщиной не менее 4 мм и обладающий гибкостью при отрицательных температурах от минус 10 до минус 20 °С или с одной армирующей синтетической основой и гибкостью при отрицательных температурах от минус 20 до минус 30 °С

Три слоя рулонных материалов на картонной основе, наклеенных на мастиках

Один слой эластомерного пленочного материала

Окрасочный слой

Мастики для устройства рулонных кровель в зависимости от их уклона должны иметь теплостойкость не ниже, указанной в нижеследующей таблице, при условной прочности не менее 1,0 МПа, относительном удлинении не менее 100 %, водопоглощении по массе не более 2 % и гибкости на брусе с закруглением радиусом 25 мм не выше ± 0 °С.

Район строительства

Тип мастики

Теплостойкость мастик, °С

для участков кровель с уклоном, %

мест примыкания

менее 2,5

2,5 - менее 10

10 - 25

Севернее географической широты 50° для европейской и 53° для азиатской части

горячая

55

65

75

85

холодная

65

65

не допускается

Южнее этих районов

горячая

65

75

85

100

холодная

75

75

не допускается

Ширина склеивания рулонных материалов в местах продольной и поперечной нахлестки полотнищ должна быть не менее 100 мм.

Высота наклейки рулонных материалов в местах примыканий к вертикальным поверхностям должна быть не менее 100 мм (на высоту наклонного бортика) - для слоев основного водоизоляционного ковра и не менее 250 мм - для дополнительных.

В местах примыкания кровли к парапетам высотой до 450 мм слои дополнительного водоизоляционного ковра должны быть заведены на верхнюю грань парапета с обделкой мест примыкания оцинкованной кровельной сталью и закреплением ее при помощи костылей.

При высоте парапета до 200 мм переходной наклонный бортик рекомендуется выполнять из бетона до верха парапета.

При устройстве кровли в покрытиях с высоким (более 450 мм) парапетом защитный фартук с кровельным ковром должен быть закреплен пристрелкой дюбелями, а верхняя часть парапета отделана кровельной сталью, закрепляемой костылями, или покрыта парапетными плитками с герметизацией швов между ними.

К бетонным поверхностям кровельный ковер с защитным фартуком крепится с помощью металлической планки размером 2×40 мм дюбелями, расстояние между которыми составляет 600 мм. Отдельные заготовки при устройстве защитных фартуков соединяют между собой одинарным лежачим фальцем.

Примыкание кровли к парапету высотой до 450 мм

1 - сборная железобетонная плита покрытия; 2 - пароизоляция (по расчету); 3 - теплоизоляция; 4 - выравнивающая стяжка; 5 - грунтовка (праймер); 6 - основной кровельный ковер; 7 - защитный слой; 8 - дополнительные слои кровельного ковра; 9 - крепежные элементы (дюбели и др.); 10 - костыли из стальных полос 400×40 мм через 600 мм; 11 - покрытие парапета из оцинкованной стали; 12 - стена.

Нижний край защитных фартуков заводят на наклонные переходные бортики, а верхний край защитного фартука отгибают на прижимную планку. Шов между планкой и бетонной поверхностью заделывают герметизирующей мастикой. Открытую поверхность мастики окрашивают краской БТ-177.

На примыкания кровли к оштукатуренной поверхности из каменной (кирпичной) кладки водоизоляционный ковер и защитный фартук прикрепляют деревянными рейками, прибиваемыми оцинкованными гвоздями к закладным брускам. Место крепления фартука защищают герметизирующей мастикой. Открытую поверхность мастики огрунтовывают краской БТ-177.

Примыкание кровли к парапету высотой более 450 мм

1 - сборная железобетонная плита покрытия; 2 - пароизоляция (по расчету); 3 - теплоизоляция; 4 - выравнивающая стяжка; 5 - грунтовка (праймер); 6 - основной кровельный ковер; 7 - защитный слой; 8 - дополнительные слои кровельного ковра; 9 - фартук из оцинкованной кровельной стали; 10 - крепежные элементы (дюбели и др.); 11 - герметизирующая мастика; 12 - покрытие парапета (оцинкованная сталь, плиты и др.); 13 - костыли из стальных полос 400×40 мм через 600 мм; 14 - стена; 15 - воронка внутреннего водостока.

При наружном водоотводе карнизные участки кровли должны быть усилены одним слоем дополнительного водоизоляционного ковра шириной не менее 250 мм, выполненного из рулонного материала, приклеиваемого к основному ковру (при рулонных кровлях).

Конек кровли при уклонах 3 % и более должен быть усилен на ширину 150 - 250 мм с каждой стороны, а ендова - на ширину 500 - 750 мм (от линии перегиба) одним слоем дополнительного водоизоляционного ковра, который может быть выполнен из рулонного материала (при рулонных кровлях), приклеенного к основанию по продольным кромкам.

1 - сборная железобетонная плита покрытия; 2 - пароизоляция (по расчету); 3 - теплоизоляция; 4 - выравнивающая стяжка; 5 - грунтовка (праймер); 6 - дополнительный слой кровельного ковра; 7 - основной кровельный ковер; 8 - защитный слой; 9 - воронка внутреннего водостока.

Наклейка дополнительных слоев производится в направлении от воронки к водоразделу отдельными, очищенными от посыпки, полотнищами, которые должны быть заведены на поверхность ската на 500 - 750 мм (от линии перегиба).

Полотнища сначала насухо примеряют по месту, а затем одну половину полотнища отгибают вдоль продольной оси ендовы и с помощью горелки плотно приклеивают к основанию. Вслед за первой половиной полотнища таким же способом производят наклейку второй половины.

В местах установки водосточных воронок основной водоизоляционный ковер, наклеиваемый на фланец воронки, должен быть усилен двумя слоями дополнительного водоизоляционного ковра.

Слои водоизоляционного ковра должны на 150 мм перекрывать водоприемную чашу, которая закрепляется к плитам покрытия хомутом с резиновым уплотнителем; водоприемную чашу рекомендуется опирать на утеплитель из легкого бетона.

1 - сборная железобетонная плита покрытия; 2 - пароизоляция (по расчету); 3 - теплоизоляция; 4 - выравнивающая стяжка; 5 - грунтовка (праймер); 6 - два дополнительных слоя кровельного ковра; 7 - основной кровельный ковер; 8 - защитный слой; 9 - колпак водоприемной воронки; 10 - водоприемная чаша; 11 - уплотнитель; 12 - легкий бетон выравнивающего слоя ендовы.

Воронки внутреннего водостока должны быть установлены согласно проекту равномерно по площади кровли на пониженных участках вдоль каждого ряда разбивочных осей здания с креплением их к конструкциям здания.

Площадь кровли, приходящаяся на одну воронку, должна устанавливаться из расчета 0,75 м2 кровли на 1 см2 поперечного сечения трубы. На каждом участке кровли, ограниченном стенами и деформационными швами, должно быть не менее двух водоприемных воронок; при площади кровли до 700 м2 допускается установка одной воронки диаметром 100 мм.

Все детали воронок перед устройством водоизоляционного слоя должны быть очищены от ржавчины и покрыты антикоррозионным составом.

Основание воронок до начала работ по их обделке должно быть очищено от мусора и пыли и, при необходимости, просушено.

Кровельный материал, предназначенный для оклейки воронок, заранее заготавливается полотнами 1×1 м. Наложив подготовленное полотно на воронку, кровельщик в центре его над воронкой делает крестообразный надрез, а затем с помощью горелочного устройства приклеивает надрезанные части.

Приклейка полотнища осуществляется за счет расплавления покровного слоя и плотного прижатия полотнища.

Места пропуска через кровлю труб должны быть выполнены с применением стальных патрубков с фланцами (или железобетонных стаканов) и герметизацией кровли в этом месте. Места пропуска анкеров также должны быть загерметизированы, для чего устанавливается рамка из уголков, которая ограничивает растекание мастики, а пространство между рамкой и патрубком или анкером заполняется герметизирующей мастикой.

В деформационном шве с металлическим компенсатором перед устройством водоизоляционного ковра на компенсатор должен быть наклеен сжимаемый утеплитель, например, из минеральной ваты и на него уложена выкружка из оцинкованной кровельной стали, кромки которой опираются на бетонные бортики, а на выкружку насухо укладывается стеклоткань и заводится водоизоляционный ковер.

Пропуск анкера через кровельный ковер

1 - сборная железобетонная плита покрытия; 2 - пароизоляция (по расчету); 3 - теплоизоляция; 4 - выравнивающая стяжка; 5 - грунтовка (праймер); 6 - основной кровельный ковер; 7 - защитный слой; 8 - рамка из уголка; 9 - герметизирующая мастика; 10 - анкер.

В деформационных швах с металлическими компенсаторами последние выполняют функции пароизоляции, поэтому пароизоляция из рулонного материала должна перекрывать края металлического компенсатора. Во всех остальных случаях, в местах примыкания покрытий к стенам, стенкам фонарей, шахтам и оборудованию, проходящему через покрытие или чердачное перекрытие, пароизоляция должна быть поднята на высоту, равную толщине теплоизоляционного слоя.

Выполнение работ по устройству кровель одновременно с другими строительно-монтажными работами на кровлях, связанными с применением открытого огня (сварка и т.п.), не допускается.

Рулонные кровельные материалы перед употреблением для устранения волн и складок должны быть выдержаны в раскатанном состоянии. Кровли из рулонных материалов могут быть выполнены в традиционном (при расположении водоизоляционного ковра над теплоизоляцией) и инверсионном (при расположении водоизоляционного ковра под теплоизоляцией) вариантах.

Деформационный шов в покрытии

1 - сборная железобетонная плита покрытия; 2 - пароизоляция (по расчету); 3 - теплоизоляция; 4 - выравнивающая стяжка; 5 - грунтовка (праймер); 6 - основной кровельный ковер; 7 - рулонный кровельный материал, уложенный насухо; 8 - стеклоткань; 9 - оцинкованная кровельная сталь; 10 - компенсатор; 11 - утеплитель (минеральная вата); 12 - бортик из легкого бетона; 13 - защитный слой.

Конструктивное решение покрытия с кровлей в инверсионном варианте включает:

железобетонные сборные или монолитные плиты;

затирку (при сборных железобетонных плитах);

водоизоляционный ковер;

теплоизоляцию;

разделительный (фильтрующий) слой-холст противокорневой из синтетических волокон;

пригруз из гравия или бетонных плиток из расчета 50 кгс/м2.

При выполнении кровли в инверсионном варианте в качестве теплоизоляции должен применяться только экструзионный пенополистирол, характеризующийся низким водопоглощением, что исключает возможность его увлажнения и размораживания в процессе эксплуатации кровли.

К преимуществам кровель, выполненных в инверсионном варианте, относится более высокая долговечность водоизоляционного ковра, в связи с тем, что он в процессе эксплуатации не подвергается прямому воздействию атмосферных факторов и работает в узком диапазоне температур.

Инверсионный вариант кровли предъявляет наиболее высокие требования к качеству устройства водоизоляционного ковра, так как при протечках возникают значительные трудности в определении мест его повреждения и выполнении ремонтных работ из-за необходимости в большинстве случаев снятия теплоизоляции, разделительного и пригрузочного слоев.

Устройство кровельного ковра должно начинаться с пониженных участков кровли: карнизных свесов и участков расположения водоприемных воронок.

Работы должны производиться в следующей технологической последовательности:

- оклеивают воронки внутренних водостоков дополнительными слоями;

- оклеивают ендовы и карнизные участки кровель дополнительными слоями;

- наклеивают слои основного кровельного ковра;

- оклеивают примыкания к вертикальным конструкциям дополнительными слоями.

Кровельные ковры из рулонных материалов с заранее наплавляемым в заводских условиях мастичным слоем необходимо наклеивать на предварительно огрунтованное основание методом расплавления мастичного слоя материала без применения приклеивающих мастик. Для разогрева (расплавления) слоя мастики применяют горелки, которые работают на сжиженном газе пропан-бутане или жидком топливе. Прочность приклейки должна составлять не менее 0,5 МПа.

Расплавление мастичного слоя должно производиться одновременно с раскладкой полотнищ (температура расплавленной мастики - 140 ÷ 160 °С). Каждый уложенный слой кровли необходимо прикатать катком до устройства последующего.

Рулонные материалы необходимо перед наклейкой разметить по месту укладки; раскладка полотнищ рулонных материалов должна обеспечить соблюдение величин их нахлестки при наклейке.

При устройстве рулонной кровли с применением клеящих составов:

- горячие мастики должны наноситься на огрунтованное основание непосредственно перед наклейкой полотнищ;

- холодные мастики (клеи) следует наносить на основание или полотнище заблаговременно.

Между нанесением приклеивающих составов и приклейкой полотнищ необходимо соблюдать технологические перерывы, обеспечивающие прочное сцепление приклеивающих составов с основанием.

Каждый слой следует укладывать после отвердения мастик и достижения прочного сцепления с основанием предыдущего слоя.

Мастика должна в соответствии с проектом наноситься равномерным сплошным, без пропусков или полосовым слоем. При точечной приклейке полотнищ к основанию мастику следует наносить после раскатки полотнищ в местах расположения отверстий.

Полотнища рулонных материалов при устройстве кровель должны наклеиваться:

при уклонах крыш до 15 % - в направлении от пониженных участков к повышенным с расположением полотнищ по длине перпендикулярно скату (стоку воды);

при уклонах крыш более 15 % - параллельно скату (стоку воды).

Перекрестная наклейка полотнищ рулонов не допускается. Склеивание полотнищ рулонных материалов между собой должно быть сплошным (без пропусков).

При наклейке смежные полотнища кровельных материалов должны укладываться внахлестку на 100 мм (продольная и поперечная нахлестка). Нижние слои рулонного ковра крыш с уклоном более 1,5 мм допускается укладывать по ширине с нахлесткой 70 мм.

Вид наклейки рулонного ковра (сплошная, полосовая или точечная) должен соответствовать проекту.

При наклейке полотнищ кровельного ковра вдоль ската крыши верхняя часть полотнища нижнего слоя должна перекрывать противоположный скат не менее чем на 1000 мм. Мастику следует наносить непосредственно под раскатываемый рулон тремя полосами шириной по 80 - 100 мм. Последующие слои необходимо наклеивать на сплошном слое мастики.

При наклейке полотнищ поперек ската крыши верхняя часть полотнища каждого слоя, укладываемого на коньке, должна перекрывать противоположный скат крыши на 250 мм и приклеиваться на сплошном слое мастики.

Проектом может быть предусмотрена точечная или полосовая наклейка полотнищ нижнего слоя водоизоляционного ковра с оставлением непроклеенных полос шириной 100 мм через каждые 2 - 3 м, либо выполнение механического закрепления его к основанию путем пристрелки дюбелями. Эти способы применяются в целях компенсации деформаций несущих конструкций покрытия и предотвращения возможности появления трещин и вздутий водоизоляционного ковра.

Точечная и полосовая наклейка должна быть равномерной и составлять 25 - 35 % площади наклеиваемых полотнищ; при этом их раскатку следует предусматривать вдоль ската.

У мест примыкания к выступающим над кровлей конструкциям (стенам, парапетам и т.п.) слои дополнительного водоизоляционного ковра следует наклеивать полотнищами 2 - 2,5 м; при этом на вертикальных поверхностях наклейку производить снизу вверх. Слои рулонного материала дополнительного водоизоляционного ковра у мест примыкания к стенам, парапетам и т.п. должны наклеиваться полосами, либо на вертикальных участках примыканий вообще не наклеиваться в целях обеспечения возможности выхода воздуха или перераспределения его во всех непроклеенных участках. На участках шириной 250 мм в местах нахлестки дополнительного водоизоляционного ковра с основным рулонные материалы должны иметь сплошную наклейку.

При устройстве покрытия из комплексных панелей с нанесенным в заводских условиях водоизоляционным ковром заделка стыков панелей и их оклейка должна производиться после проверки состояния водоизоляционного ковра на смонтированных панелях.

В кровлях, где проектируется укладка гидроизоляционного ковра без приклейки к основанию, кровельный ковер закрепляется механическим способом. Для этого рулоны кровельного материала раскатываются на подготовленное основание (при данном проектном решении основание не покрывается праймером) вдоль линии водораздела и закрепляются шурупами, ввинченными в дюбеля. Под головки шурупов подкладывают шайбы. Полотнища вдоль линии водораздела закрепляют шурупами с обеих сторон. Затем раскатывают второй рулон, примеряя его к первому так, чтобы обеспечить равномерный нахлест кромки второго рулона на первый не менее 100 мм. Газовой горелкой методом подплавления приклеивают кромку второго рулона к кромке первого.

После этого дюбелями, шурупами с шайбами закрепляется свободная кромка второго полотнища, на которую наплавляется кромка третьего полотнища и т.д.

а) Устройство водоизоляционного ковра из битумных и битумно-полимерных рулонных материалов, наклеиваемых на мастиках

Рулонные материалы перед наклейкой необходимо разместить по месту укладки; раскладка полотнищ должна обеспечивать соблюдение требуемых величин их нахлестки при наклейке - не менее 100 мм.

Мастика должна наноситься равномерным, сплошным (без пропусков) или полосовым способом. При точечной приклейке полотнищ к основанию мастику следует наносить в местах расположения отверстий после раскладки полотнищ.

В целях снижения трудоемкости кровельных работ предпочтение должно отдаваться холодным клеящим мастикам.

В местах примыкания к выступающим поверхностям кровли (парапетам, трубопроводам и т.п.) основной водоизоляционный ковер должен быть поднят до верха бортика стяжки. Приклейку слоев дополнительного водоизоляционного ковра следует выполнять после устройства верхнего слоя основного водоизоляционного ковра.

При наклейке полотнищ основного водоизоляционного ковра вдоль ската крыши верхняя часть полотнища нижнего слоя должна перекрывать противоположный скат не менее, чем на 1000 мм.

При наклейке полотнищ поперек ската верхняя часть полотнища каждого слоя водоизоляционного ковра, укладываемого на коньке, должна перекрывать противоположный скат на 250 мм.

Температура при нанесении горячих битумных мастик должна составлять 160 °С с предельным отклонением +20 °С. При этом она должна контролироваться не реже 4 раз в смену и заноситься в журнал производства работ.

При наклейке основного и дополнительного водоизоляционных ковров горячая мастика должна наносится слоем толщиной, соответственно, 2 и 1,5 мм, а холодная битуминозная - толщиной 10,8 мм с допускаемым отклонением ±10 %. Толщина мастики должна контролироваться путем производства 5 измерений на каждые 70 - 100 м в местах, определяемых визуальным осмотром, и заноситься в журнал производства работ.

При устройстве рулонной кровли с применением клеящих составов горячие мастики должны наноситься на огрунтованное основание непосредственно перед наклейкой полотнищ. Холодные мастики следует наносить на основание или полотнище заблаговременно. Между нанесением приклеивающих составов и приклейкой полотнищ необходимо соблюдать технологические перерывы, обеспечивающие прочное сцепление приклеивающих составов с основанием. Прочность приклейки должна составлять не менее 0,5 МПа.

Устройство водоизоляционного ковра из битумно-полимерных наплавляемых рулонных материалов типа Филизол, Изопласт, Изоэласт, Днепрофлекс, Битулин и др. (по данным типовой технологической карты АОЗТ ЦНИИОМТП, М., 1998 г. и Руководств по применению этих материалов АОЗТ «ЦНИИпромзданий»)

Кровли из наплавляемых рулонных материалов предпочтительно применять на уклонах 1,5 - 10 %.

До начала устройства кровли должны быть:

выполнены и приняты все строительно-монтажные работы на изолируемых участках, включая замоноличивание швов между сборными железобетонными плитами, установку и закрепление к несущим плитам или к стальным профилированным настилам водосточных воронок, компенсаторов деформационных швов, патрубков (или стаканов) для пропуска инженерного оборудования, анкерных болтов, антисептированных деревянных брусков (или реек) для закрепления изоляционных слоев и защитных фартуков;

выполнены и приняты паро- и теплоизоляция;

выполнены и приняты основания под кровлю на всех поверхностях, включая карнизные участки кровель и места примыкания к выступающим над кровлей конструктивным элементам;

на покрытии зданий с металлическим профилированным настилом и теплоизоляционным материалом из сгораемых и трудносгораемых материалов должны быть заполнены пустоты ребер настилов на длину 250 мм несгораемыми материалами в местах примыкания настила к стенам, деформационным швам, стенкам фонарей, а также с каждой стороны конька кровли и ендовы.

проверены уклоны и ровность выполненных оснований под кровлю на всех поверхностях, включая карнизные участки кровель и места примыканий к выступающим над кровлей конструктивным элементам.

Проверочные работы должны включать:

- определение отметок самых низших точек - водосточных воронок и самых высших отметок ската. По полученным отметкам определяются уклоны (по отношению превышения отметок к расстоянию между замеряемыми точками) и сравнивают их с проектными. Если окажется, что уклон основания меньше проектного, необходимо исправить стяжку, доведя все отметки до проектных значений;

- проверку уклона по всей поверхности ската с помощью натянутого между всеми высокими точками и низкой точкой возле воронки шнура; выявление и исправление мест с обратными уклонами (контруклонами);

- проверку ровности всей поверхности основания с помощью трехметровой рейки.

Для обеспечения проектного уклона и ровности основания перед выполнением теплоизоляции должна производиться нивелировка основания несущих плит для установки маяков, служащих основанием под рейки для укладки монолитной теплоизоляции.

Теплоизоляционные работы совмещают с работами по устройству пароизоляционного слоя (если он требуется по проекту), выполняя их «на себя». Это повышает сохранность теплоизоляции при транспортировании материалов.

Замоченная во время монтажа теплоизоляция должна быть удалена и заменена сухой.

Теплоизоляционные работы необходимо проводить в сухую погоду, чтобы не допустить замокания теплоизоляционного материала. Теплоизоляционные работы подлежат освидетельствованию с составлением актов на скрытые работы.

Основанием под кровлю могут служить:

ровные поверхности железобетонных несущих плит либо теплоизоляции без устройства по ним выравнивающих стяжек (затирок);

выравнивающая стяжка из цементно-песчаного раствора:

прочностью на сжатие не менее 10 (100) МПа (кгс/см2), влажностью не более 5 %, толщиной 25 ÷ 30 мм, с расстоянием между температурно-усадочными швами не менее 6 м - при устройстве ее по засыпной теплоизоляции;

прочностью на сжатие не менее 5 (50) МПа (кгс/см2), влажностью не более 5 %, толщиной 20 ÷ 25 мм, с температурно-усадочными швами над швами в несущих плитах - при устройстве ее по теплоизоляционным плитам или теплоизоляции монолитной укладки;

прочностью на сжатие не менее 5 (50) МПа (кгс/см2), влажностью не более 5 %, толщиной 10 ÷ 15 мм, с температурно-усадочными швами над швами в несущих плитах - при устройстве ее по железобетонным плитам;

или песчаного асфальтобетона прочностью на сжатие не менее 0,8 (8) МПа (кгс/см2), влажностью не более 2,5 %, толщиной 20:25 мм, с температурно-усадочными швами над швами в несущих плитах.

Температурно-усадочные швы должны выполняться шириной 5 мм и заполняться одним из нижеприведенных герметиков:

- клей-герметик кремнийорганический «Эластосил 137-181» (ТУ 6-02-1-362-86);

- мастика герметизирующая строительного назначения «Тиопрол»;

- мастики тиоколовые строительного назначения АМ-0,5 и КБ-0,5 (ТУ 84-246-85);

- мастика строительная КГМ-У;

- мастика «Гермобутил-2м» и др.

На швы укладывают полоски шириной 150 - 200 мм из рулонного материала с крупнозернистой посыпкой (посыпкой вниз) и приклеивают их точечно с одной стороны шва.

При устройстве выравнивающей стяжки из цементно-песчаного раствора укладку последнего производят полосами шириной не более 3 м, ограниченными рейками, которые служат маяками. Раствор к месту укладки подают по трубопроводам при помощи растворонасосов или в емкостях на колесном ходу. Разравнивают растворную смесь правилом, передвигаемым по рейкам.

При устройстве выравнивающей стяжки из литого асфальта его укладывают полосами шириной до 2 м (ограниченными двумя рейками или одной рейкой и полосой ранее уложенного асфальта) и уплотняют валиком или катком массой 60 - 80 кг.

Перед устройством изоляционных слоев основание должно быть сухим, обеспыленным, на нем не допускаются уступы, борозды и другие неровности.

При соблюдении всех требований проекта к качеству основания производят его огрунтовку битумом БН 70/30, разжиженным керосином или уайт-спиритом в соотношении 1:3. Грунтовку наносят при помощи окрасочного распылителя либо кистями (при малых объемах работ).

Конструкция кровельного ковра определяется требованиями проекта и зависит от уклона и типа покрытия (см. нижеследующую таблицу).

В новом покрытии или при его реконструкции (при капитальном ремонте с заменой теплоизоляции) кровельный ковер выполняют из двух слоев кровельного материала, причем для верхнего слоя применяют материал с крупнозернистой посыпкой.

На эксплуатируемых покрытиях, (крышах-террасах) кровельный ковер выполняют из двух слоев кровельного материала, имеющих мелкозернистую (тальковую) посыпку (с основой из стеклоткани или полиэфирного полотна).

При ремонте существующей (старой) кровли без замены теплоизоляции кровельный ковер выполняют из двух слоев. При этом целесообразность сохранения теплоизоляции устанавливают при детальном обследовании ограждающей части покрытия (при необходимости с отбором проб слоев для определения их состояния, в т.ч. влажности теплоизоляции).

Ремонт кровельного ковра может быть выполнен из одного слоя кровельного материала с основой из стеклоткани или полиэфирного полотна в зависимости от состояния «старой» кровли, которое определяется в процессе ее обследования.

В местах перепадов высот кровель, примыкания изоляционных слоев к парапетам, стенам, бортам фонарей, в местах пропуска труб и др. предусматривают дополнительные изоляционные слои из тех же материалов, из которых выполняют основные изоляционные слои.

Конструктивные решения кровли

Уклон, %

Вид строительства и тип покрытия

Схема кровельного ковра

1,5 ÷ 10

Новое строительство или капремонт с заменой теплоизоляции

1,5 ÷ 3

1,5 ÷ 10

Ремонт существующей (старой) кровли без замены теплоизоляции

Условные обозначения: 1 - профнастил; 2 - пароизоляция; 3 - плитный утеплитель; 4 - сборная стяжка; 5 - кровельный ковер; 6 - железобетонная плита; 7 - монолитный утеплитель; 8 - выравнивающая стяжка; 9 - разделительный слой; 10 - защитный слой из цементно-песчаного раствора; 11 - плитки на цементно-песчаном растворе; 12 - существующая (старая) кровля; 13 - крупнозернистая посыпка на верхнем слое; 14 - грунтовка.

Устройство водоизоляционного ковра из битумно-полимерных кровельных материалов может осуществляться путем сплошной, полосовой или точечной наклейки нижнего слоя или путем свободной укладки его с механическим креплением к основанию.

Наклейку рулонных битумно-полимерные материалов осуществляют методом расплавления битумно-полимерного слоя или на мастиках.

Метод наклейки на мастиках рекомендуется использовать преимущественно в тех случаях, когда недопустимо применение метода расплавления битумно-полимерного слоя (объекты газораспределения, здания со взрывоопасным производством и т.п.).

Для приклейки рулонных материалов методом расплавления используют горелки, которые работают на сжиженном газе пропан-бутане или жидком топливе.

Технологические приемы наклейки наплавляемого рулонного материала методом расплавления могут быть различными.

В общем случае последовательность выполнения работ следующая. На подготовленное основание раскатывают 5 - 7 рулонов, примеряют один рулон по отношению к другому и обеспечивают необходимую нахлестку. Затем приклеивают концы всех рулонов с одной стороны и полотнища рулонного материала обратно скатывают в рулоны (при значительном охлаждении полотнищ в зимний период эти операции производят при легком подогреве ручной горелкой наружной поверхности рулона).

Затем приступают собственно к наклейке полотнищ. Для этого рулоны поочередно вновь раскатывают при одновременном разогреве и оплавлении покровного (приклеивающего) слоя наплавляемого рулонного материала с одновременным нагревом основания или поверхности ранее наклеенного водоизоляционного слоя. Наклейка осуществляется в следующей последовательности. Кровельщик зажигает горелку, маятниковыми движениями горелки вдоль рулона, держа стакан горелки на расстоянии 10 - 20 см от рулона, оплавляет его и после образования валика стекшей мастики захватом-раскатчиком цепляет рулон и отступая назад раскатывает и приклеивает его к основанию.

Прикатка рулонов в местах нахлесток осуществляется катком ИР-735.

При наклейке полотнищ очень важна синхронность расплавления слоя мастики и раскатывания рулона. Скорость раскатывания определяется временем, необходимым для начала расплавления мастичного слоя приклеиваемого рулона. Это оценивается визуально (по началу образования валика расплавленной мастики впереди рулона). Нельзя допускать вытекания мастики из-под рулона более чем на 5 мм. Большее вытекание свидетельствует о перегреве материала и потере качества мастики (сгорание и испарение легких масел). Признаком нормальной приклейки является отсутствие почернений и пузырей на верхней стороне наклеиваемого полотнища.

У мест примыкания к стенам, парапетам и т.п. кровельные рулонные материалы наклеивают полотнищами длиной до 2 м. Наклейку полотнищ из наплавляемых рулонных материалов на вертикальные поверхности производят снизу вверх при помощи ручной горелки.

В местах примыкания кровли к парапетам высотой до 450 мм слои дополнительного ковра заводят на верхнюю грань парапета, затем примыкание обделывают оцинкованной кровельной сталью, которую закрепляют с помощью костылей. При пониженном расположении парапетных стеновых панелей (при высоте парапета не более 200 мм) наклонный переходный бортик устраивают из бетона до верха панелей.

При устройстве кровли с повышенным расположением верхней части парапетных панелей (более 450 мм) защитный фартук с кровельным ковром закрепляют пристрелкой дюбелями, а отделку верхней части парапета выполняют из кровельной стали, закрепляемой костылями или из парапетных плиток, швы между которыми герметизируют.

Конек кровли (при уклоне 3 % и более) усиливают на ширину 150 - 250 мм с каждой стороны, а ендову - на ширину 500 - 700 мм (от линии перегиба) одним слоем рулонного материала, приклеиваемого к основанию под кровельный ковер по продольным кромкам.

Раскладка и раскрой полотнищ наплавляемого рулонного материала при устройстве основного и дополнительных слоев кровельного ковра в углу парапета и на поверхности внешнего угла показаны на приведенных ниже рисунках.

Верхний край дополнительных слоев должен быть закреплен. Одновременно крепят фартуки из оцинкованной стали для защиты этих слоев от механических повреждений и атмосферных воздействий на них. Способы крепления могут быть различными: к деревянным рейкам, заложенным в штрабу кирпичной кладки, или пристрелкой металлической планки размером 4×40 мм (через 600 мм) дюбелями к бетонной поверхности.

Раскладка и раскрой полотнищ наплавляемого рулонного материала при устройстве дополнительных слоев кровельного ковра на поверхности внутреннего угла

(А, Б, В, Г - последовательность операций)

1 - парапет; 2 - основной кровельный ковер; 3 - переходный наклонный бортик; 4 - нижний слой дополнительного ковра; 5 - верхний слой (с крупнозернистой посыпкой) дополнительного ковра

Раскладка и раскрой полотнищ наплавляемого рулонного материала при устройстве кровельного ковра на поверхности внешнего угла

(А, Б - последовательность операций для основного кровельного ковра)

1 - стена вентшахты; 2 - нижний слой основного кровельного ковра; 3 - верхний слой (с крупнозернистой посыпкой) основного ковра; 4 - наклонный бортик

Раскладка и раскрой полотнищ наплавляемого рулонного материала при устройстве кровельного ковра на поверхности внешнего угла

(В, Г - последовательность операций для дополнительного кровельного ковра)

1 - стена вентшахты; 4 - наклонный бортик; 5 - основной кровельный ковер; 6 - нижний слой дополнительного ковра; 7 - верхний слой (с крупнозернистой посыпной) дополнительного ковра

Устройство водоизоляционного ковра из битумно-полимерных наплавляемых рулонных материалов ЗАО ТехноНИКОЛЬ («Техноэласт», «Унифлекс», «Экофлекс»)

(по данным Руководств по применению этих материалов АОЗТ «ЦНИИпромзданий»)

Уклоны кровель принимают в соответствии с нормами проектирования зданий и сооружений. Кровли из наплавляемых рулонных материалов предпочтительно применять на уклонах 1,5 ÷ 10 %.

1. Подготовительные работы.

До начала устройства кровли должны быть:

выполнены и приняты все строительно-монтажные работы на изолируемых участках, включая замоноличивание швов между сборными железобетонными плитами, установку и закрепление к несущим плитам или к стальным профилированным настилам водосточных воронок, компенсаторов деформационных швов, патрубков (или стаканов) для пропуска инженерного оборудования, анкерных болтов, антисептированных деревянных брусков (или реек) для закрепления изоляционных слоев и защитных фартуков;

выполнены и приняты слои паро- и теплоизоляции;

выполнены и приняты основания под кровлю на всех поверхностях, включая карнизные участки кровель и места примыкания к выступающим над кровлей конструктивным элементам;

на покрытии зданий с металлическим профилированным настилом и теплоизоляционным материалом из сгораемых и трудносгораемых материалов должны быть заполнены пустоты ребер настилов на длину 250 мм несгораемыми материалами в местах примыкания настила к стенам, деформационным швам, стенкам фонарей, а также с каждой стороны конька кровли и ендовы.

проверены уклоны и ровность выполненных оснований под кровлю на всех поверхностях, включая карнизные участки кровель и места примыканий к выступающим над кровлей конструктивным элементам.

2. Требования к основанию под кровлю.

Основанием под кровлю могут служить:

- ровные поверхности железобетонных несущих плит либо теплоизоляции без устройства по ним выравнивающих стяжек (затирок);

- выравнивающая стяжка из цементно-песчаного раствора или асфальтобетона, требования к которым приведены в нижеследующей таблице.

В местах примыкания кровель к стенам, шахтам и другим конструктивным элементам должны быть предусмотрены переходные наклонные бортики (под углом 45 °), высотой не менее 100 мм из легкого бетона или цементно-песчаного раствора. Стены из кирпича или блоков в этих местах должны быть оштукатурены цементно-песчаным раствором марки 50.

3. Конструкция кровельного ковра.

Конструкция кровельного ковра зависит от уклона и типа покрытия (см. нижеследующую таблицу).

Конструктивные решения кровли

Уклон, %

Вид строительства и тип покрытия

Схема кровельного ковра

1,5 ÷ 10

Новое строительство или капремонт с заменой теплоизоляции

1,5 ÷ 3

1,5 ÷ 10

Ремонт существующей (старой) кровли без замены теплоизоляции

Условные обозначения к таблице: 1 - профнастил; 2 - пароизоляция; 3 - плитный утеплитель; 4 - сборная стяжка; 5 - кровельный ковер; 6 - железобетонная плита; 7 - монолитный утеплитель; 8 - выравнивающая стяжка; 9 - разделительный слой; 10 - защитный слой из цементно-песчаного раствора или асфальтобетона; 11 - плитки на цементно-песчаном растворе; 12 - существующая (старая) кровля; 13 - крупнозернистая посыпка на верхнем слое; 14 - грунтовка; 15 - экструдированный пенополистирол; 16 - пригруз из гравия.

Требования к основаниям под кровлю

Наименование показателей

Основание под кровлю

Из теплоизоляционных слоев монолитной укладки на основе

Из цементно-песчаного раствора

из теплоизоляционных плит (в том числе со сборной стяжкой из асбестоцементных листов по ГОСТ 18124 или цементно-стружечных плит по ГОСТ 26816

цементного вяжущего

битумного вяжущего

по засыпной теплоизоляции

по теплоизоляционным плитам или теплоизоляции монолитной укладки

по железобетонным плитам

из песчаного асфальтобетона

Ровность

Плавно нарастающие неровности не более 10 мм по высоте между основанием и контрольной рейкой длиной 2 м

Перепады по высоте не более 3 мм* у рядом расположенных плит

Прочность на сжатие, МПа (кгс/см2), не менее

0,6 (6)

0,15 (1,5)

10 (100)

5 (50)

5 (50)

0,8 (8)

по стандарту или техническим условиям

Влажность, %

**

**

5

5

5

2,5

по стандарту или техническим условиям

Толщина, мм

***

***

25 - 30

20 - 25

10 - 15

20 - 25

***

Расстояние между температурно-усадочными швами, м, не более

****

****

6

****

****

4

****

* - при больших перепадах необходимо производить срезку выступов или подкладывать клинообразные пластины (либо выравнивать перепады цементным раствором или бетоном);

** - не выше, предусмотренной главой СНиП по строительной теплотехнике;

*** - толщину теплоизоляции принимают по расчету;

**** - температурно-усадочные швы устраивают над швами в несущих плитах.

В новом покрытии или при его реконструкции (при капитальном ремонте с заменой теплоизоляции) кровельный ковер выполняют из двух - четырех слоев кровельного материала (в зависимости от уклона кровли), причем для верхнего слоя применяют материал с крупнозернистой посыпкой.

На эксплуатируемых покрытиях (крышах-террасах) кровельный ковер выполняют из двух нижних слоев кровельного материала, имеющих мелкозернистую (тальковую) посыпку (с основой из стеклоткани или полиэфирного полотна) или полиэтиленовую пленку.

При ремонте существующей (старой) кровли без замены теплоизоляции кровельный ковер выполняют из двух слоев. При этом целесообразность сохранения теплоизоляции устанавливают при детальном обследовании ограждающей части покрытия (при необходимости с отбором проб слоев для определения их состояния, в т.ч. влажности теплоизоляции). Для выравнивания упругости водяных паров внутри покрытия с наружным воздухом могут быть применены вентиляционные патрубки. Ремонт кровельного ковра может быть выполнен из одного слоя наплавляемого кровельного материала в зависимости от состояния «старой» кровли, которое определяется в процессе ее обследования.

В местах перепадов высот кровель, примыкания изоляционных слоев к парапетам, стенам, бортам фонарей, в местах пропуска труб и др. предусматривают дополнительные изоляционные слои.

4. Подготовка основания под изоляционные слои.

В стяжках на покрытиях зданий и сооружений выполняют температурно-усадочные швы шириной 5 - 10 мм, разделяющие стяжку из цементно-песчаного раствора на участки не более 6×6 м, а из песчаного асфальтобетона - не более 4×4 м. Швы должны располагаться над швами несущих плит (в холодных покрытиях) и над температурно-усадочными швами в монолитной теплоизоляции. По ним укладывают полоски шириной 150 - 200 мм из материала с крупнозернистой посыпкой и приклеивают их точечно с одной стороны шва.

1 - сборная железобетонная плита; 2 - пароизоляция; 3 - теплоизоляция; 4 - выравнивающая стяжка; 5 - основной кровельный ковер; 6 - дополнительные слои кровельного ковра; 7 - герметизирующая мастика; 8 - патрубок; 9 - засыпной утеплитель; 10 - грунтовка; 11 - крупнозернистая посыпка верхнего слоя материала.

При устройстве выравнивающей стяжки из цементно-песчаного раствора укладку последнего производят полосами шириной не более 3 м, ограниченными рейками, которые служат маяками. Раствор подают к месту укладки по трубопроводам при помощи растворонасосов или в емкостях на колесном ходу. Разравнивают цементно-песчаную смесь правилом из металлического уголка, передвигаемым по рейкам.

После или в процессе высыхания (через 8 - 10 суток после укладки) стяжки ее грунтуют; грунтовку наносят при помощи окрасочного распылителя либо кистями (при малых объемах работ).

При устройстве выравнивающей стяжки из литого асфальта его укладывают полосами шириной до 2 м (ограниченными двумя рейками или одной рейкой и полосой ранее уложенного асфальта) и уплотняют валиком или катком весом 60 - 80 кг.

Перед выполнением монолитной теплоизоляции на цементном вяжущем производят нивелировку поверхности несущих плит для установки маяков, служащих основанием под рейки для укладки бетонной массы полосами на необходимую высоту.

Теплоизоляционные работы совмещают с работами по устройству пароизоляционного слоя (если он требуется по проекту), выполняя их «на себя». Это повышает сохранность теплоизоляции при транспортировании материалов.

Теплоизоляционные плиты должны плотно прилегать друг к другу. Если ширина швов между плитами превышает 5 мм, то их заполняют теплоизоляционным материалом.

Замоченная во время монтажа теплоизоляция должна быть удалена и заменена сухой.

Теплоизоляционные работы не должны опережать работы по устройству нижнего слоя кровли. Как правило, их последовательность должна обеспечивать устройство нижнего слоя кровельного ковра в ту же смену, что и укладка теплоизоляционных плит.

Перед устройством теплоизоляционных слоев основание должно быть сухим, обеспыленным, на нем не допускаются уступы, борозды и другие неровности. Требования к ровности основания изложены в вышеприведенной таблице.

Все поверхности оснований из железобетона, бетона и штукатурка из цементно-песчаного раствора должны быть огрунтованы составом из битума БН 90/10 и керосина (праймером), приготовленным в соотношении (по весу) 1:3. Расход грунтовки составляет 0,3 - 0,5 кг/м2.

5. Устройство изоляционных слоев.

Устройство кровельного ковра в пределах рабочих захваток начинают с пониженных участков: карнизных свесов и участков расположения водосточных воронок (ендов).

При наклейке изоляционных слоев из рулонных материалов следует предусматривать нахлестку смежных полотнищ на 80 - 100 мм.

Технологические приемы наклейки наплавляемого рулонного материала выполняют в следующей последовательности.

На подготовленное основание железобетонных плит раскатывают 5 - 7 рулонов, примеряют один рулон по отношению к другому и обеспечивают необходимую нахлестку. Затем приклеивают концы всех рулонов с одной стороны и полотнища рулонного материала вновь скатывают в рулоны (при значительном охлаждении полотнищ в зимний период эти операции производят при легком подогреве ручной горелкой наружной поверхности рулона).

Разогревая покровный (приклеивающийся) слой наплавляемого рулонного материала с одновременным подогревом основания или поверхности ранее наклеенного изоляционного слоя, рулон вновь раскатывают и плотно прижимают к основанию.

У мест примыканий к стенам, парапетам и т.п. кровельные рулонные материалы наклеивают полотнищами длиной 2 … 2,5 м. Наклейку полотнищ из наплавляемых рулонных материалов на вертикальные поверхности производят снизу вверх при помощи ручной горелки.

Раскладка и раскрой полотнищ наплавляемого рулонного материала при устройстве основного и дополнительного кровельного ковра в углу парапета, а также на поверхности внешнего угла (например, вентшахты) приведены на нижеследующих рисунках.

Технологические приемы устройства кровельного ковра методом свободной укладки нижнего слоя с механическим закреплением выполняют в следующей последовательности.

На подготовленное основание под кровлю раскатывают рулоны, примеряют один рулон по отношению к другому и обеспечивают нахлестку (продольную и поперечную) не менее 100 мм.

Затем полотнище рулонного материала (кроме полотнища, раскатанного вдоль линии водораздела) обратно скатывают в рулоны (при значительном охлаждении полотнищ зимой эти операции производят при легком подогреве ручной горелкой поверхности рулона).

Полотнище рулонного материала вдоль линии водораздела закрепляют шайбами с дюбелями, затем, разогревая покровный (приклеивающий) слой наплавляемого рулонного материала в месте нахлестки, рулон раскатывают, плотно прижимая к ранее уложенному полотнищу. После этого свободную кромку раскатанного полотнища закрепляют шайбами с дюбелями.

Верхний (второй) слой наплавляемого рулонного материала приклеивают сплошь, при этом полотнища раскатывают так, чтобы они перекрывали швы нижележащего слоя.

Раскладка и раскрой полотнищ наплавляемого рулонного материала при устройстве основного кровельного ковра в углу парапета

(а - нижнего слоя; б - верхнего слоя)

Раскладка и раскрой полотнищ наплавляемого рулонного материала при устройстве дополнительных слоев кровельного ковра на поверхности внутреннего угла

(А, Б, В, Г - последовательность операций)

1 - парапет; 2 - основной кровельный ковер; 3 - переходный наклонный бортик; 4 - нижний слой дополнительного ковра; 5 - верхний слой (с крупнозернистой посыпкой) дополнительного ковра

Раскладка и раскрой полотнищ наплавляемого рулонного материала при устройстве кровельного ковра на поверхности внешнего угла

(А, Б - последовательность операций для основного кровельного ковра)

1 - стена вентшахты; 2 - нижний слой основного кровельного ковра; 3 - верхний слой (с крупнозернистой посыпкой) основного ковра; 4 - наклонный бортик

Раскладка и раскрой полотнищ наплавляемого рулонного материала при устройстве кровельного ковра на поверхности внешнего угла

(В, Г - последовательность операций для дополнительного кровельного ковра)

1 - стена вентшахты; 4 - наклонный бортик; 5 - основной кровельный ковер; 6 - нижний слой дополнительного ковра; 7 - верхний слой (с крупнозернистой посыпкой) дополнительного ковра

Примыкание кровли к парапету высотой до 450 мм

Примыкание инверсионного покрытия к парапету высотой до 450 мм

1 - сборная железобетонная плита перекрытия; 2 - пароизоляция; 3 - теплоизоляция; 4 - выравнивающая стяжка; 5 - основной кровельный ковер; 6 - крупнозернистая посыпка верхнего слоя материала; 7 - дополнительные слои кровельного ковра; 8 - дюбели; 9 - костыли 40×4 через 600 мм; 10 - оцинкованная кровельная сталь; 11 - стена; 12 - грунтовка; 13 - теплоизоляция из экструдированного пенополистирола; 14 - предохранительный (фильтрующий) слой из синтетического холста; 15 - пригруз из гравия; 16 - точечная приклейка теплоизоляции; 17 - легкий бетон; i - направление уклона верхней поверхности парапета (для стока воды).

Примыкание кровли к парапету высотой более 450 мм

1 - сборная железобетонная плита перекрытия; 2 - пароизоляция; 3 - теплоизоляция; 4 - выравнивающая стяжка; 5 - основной кровельный ковер; 6 - крупнозернистая посыпка верхнего слоя материала; 7 - дополнительные слои кровельного ковра; 8 - воронка внутреннего водостока; 9 - фартук; 10 - герметизирующая мастика; 11 - дюбели; 12 - оцинкованная кровельная сталь; 13 - костыли 40×4 через 600 мм; 14 - стена; 15 - грунтовка; i - направление уклона верхней поверхности парапета (для стока воды).

В местах примыкания кровли к парапетам высотой до 450 мм слои дополнительного ковра заводят на верхнюю грань парапета, затем примыкание обделывают оцинкованной кровельной сталью, которую закрепляют при помощи костылей. При пониженном расположении парапетных стеновых панелей (при высоте парапета не более 200 мм) наклонный переходный бортик устраивают из бетона до верха панелей.

При устройстве кровли с повышенным расположением верхней части парапетных панелей (более 450 мм) защитный фартук с кровельным ковром закрепляют пристрелкой дюбелями, а отделку верхней части парапета выполняют из кровельной стали, закрепляемой костылями или из парапетных плиток, швы между которыми герметизируют.

Конек кровли

а) традиционного, б) инверсионного покрытия

Ендова кровли

а) традиционного, б) инверсионного покрытия

1 - сборная железобетонная плита покрытия; 2 - пароизоляция (по расчету); 3 - теплоизоляция; 4 - цементно-песчаная стяжка; 5 - основной кровельный ковер; 6 - крупнозернистая посыпка верхнего слоя материала; 7 - дополнительный слой кровельного материала; 8 - точечная приклейка теплоизоляции; 9 - грунтовка (праймер); 10 - предохранительный (фильтрующий) слой из синтетического холста; 11 - пригруз из гравия; 12 - дополнительный слой кровли, приклеенный по продольным кромкам; 13 - воронка внутреннего водостока; 14 - легкий бетон.

Примыкание кровли к трубе

а) в традиционном, б) в инверсионном покрытии

1 - сборная железобетонная плита покрытия; 2 - пароизоляция (по расчету); 3 - теплоизоляция; 4 - цементно-песчаная стяжка; 5 - основной кровельный ковер; 6 - крупнозернистая посыпка верхнего слоя материала; 7 - рамка из уголка; 8 - зонт; 9 - хомут; 10 - труба; 11 - патрубок с фланцем; 12 - пригруз из гравия; 13 - предохранительный (фильтрующий) слой из синтетического холста; 14 - точечная приклейка теплоизоляции; 15 - грунтовка; 16 - легкий бетон; 17 - герметизирующая мастика.

Конек кровли (при уклоне 3 % и более) усиливают на ширину 150 … 250 мм с каждой стороны, а ендову - на ширину 500 … 700 мм (от линии перегиба) одним слоем рулонного материала, приклеиваемого к основанию под кровельный ковер по продольным кромкам.

Места пропуска через кровлю труб выполняют с применением стальных патрубков с фланцами (или железобетонных стаканов) и герметизацией кровли в этом месте. Места пропуска анкеров также усиливают герметизирующей мастикой. Для этого устанавливают рамку из уголков (которая ограничивает растекание мастики), а пространство между рамкой и патрубком или анкером заполняют мастикой.

Пропуск анкера через кровельный ковер

Воронка внутреннего водостока

1 - сборная железобетонная плита покрытия; 2 - пароизоляция (по расчету); 3 - теплоизоляция; 4 - выравнивающая стяжка; 5 - основной кровельный ковер; 6 - крупнозернистая посыпка верхнего слоя материала; 7 - рамка из уголка; 8 - герметизирующая мастика; 9 - анкер; 10 - грунтовка; 11 - дополнительный слой кровельного ковра; 12 - колпак водоприемной воронки; 13 - водоприемная чаша; 14 - уплотнитель.

Деформационный шов в покрытии

а) в традиционном, б) в инверсионном покрытии

1 - сборная железобетонная плита покрытия; 2 - пароизоляция (по расчету); 3 - теплоизоляция; 4 - выравнивающая стяжка; 5 - основной кровельный ковер; 6 - рулонный кровельный материал, уложенный насухо; 7 - стеклоткань; 8 - оцинкованная кровельная сталь; 9 - компенсатор; 10 - утеплитель (минеральная вата); 11 - бортик из легкого бетона; 12 - грунтовка; 13 - предохранительный (фильтрующий) слой из синтетического холста; 14 - пригруз из гравия; 15 - крупнозернистая посыпка верхнего слоя материала; 16 - дюбели.

В деформационном шве с металлическим компенсатором перед устройством кровельного ковра на компенсатор наклеивают сжимаемый утеплитель из минеральной ваты и на него укладывают выкружку из оцинкованной кровельной стали, кромки которой опираются на бетонные бортики, затем на выкружку насухо укладывают стеклоткань и кровельный рулонный материал.

В местах пропуска через покрытие воронки внутреннего водостока слои кровельного ковра должны заходить на водоприемную чашу, которую крепят к плитам покрытия хомутом с уплотнителем из резины.

Раскладка рулонных материалов при устройстве кровельного ковра с механическим закреплением нижнего слоя

1 - переходной наклонный бортик у парапета (стены); 2 - линия водораздела; 3 - основание под кровлю; 4 - нижний механически закрепляемый слой рулонного материала; 5 - шайбы с дюбелями; 6 - наклейка полотнищ в местах нахлесток; 7 - верхний (второй) слой кровельного ковра.

У мест примыкания к стенам, парапетам и т.п. наклейку нижнего полотнища дополнительного водоизоляционного ковра производят только в местах сопряжения с основным водоизоляционным ковром.

Примыкание кровли с механическим закреплением нижнего слоя к парапету высотой до 450 мм

Примыкание кровли с механическим закреплением нижнего слоя к парапету высотой более 450 мм

Условные обозначения элементов кровли приведены на стр. 60

б) Устройство водоизоляционного ковра из эластомерных рулонных материалов.

Водоизоляционный ковер из эластомерных рулонных материалов может быть выполнен тремя способами:

методом наклейки;

методом свободной укладки с пригрузом (при однослойном ковре);

методом свободной укладки с механическим креплением.

Устройство водоизоляционного ковра методом наклейки выполняют в следующей последовательности:

на предварительное огрунтованное основание (вдоль линии водораздела) раскатывают полотнище эластомерного материала и перегибают его по длинной стороне пополам без морщин;

на основание и отогнутую часть полотнища наносят тонкий слой клея и выдерживают до тех пор, пока клей перестанет прилипать при прикосновении сухим пальцем (до «отлипа»);

разворачивают смазанную клеем половину полотнища без образования морщин на основание с нанесенным клеевым составом и прикатывают катком массой 2 - 5 кг с мягкой обкладкой;

аналогичным способом приклеивают вторую половину полотнища;

в местах нахлестки на 100 мм смежных полотнищ клеящий состав наносят на предварительно обезжиренные растворителем кромки стыкуемых полотнищ и после выдержки клея до «отлипа» соединяют их с последующей прикаткой мест нахлестки поперек шва роликом массой 2 - 5 кг. Места нахлесток смежных полотнищ дополнительно герметизируют.

При устройстве однослойного водоизоляционного ковра методом свободной укладки работы могут производиться с использованием отдельных полотнищ или укрупненных карт площадью 50 - 100 м2. Их выполняют в следующей последовательности:

раскатывают полотнища или заранее заготовленные карты на основание и осуществляют склейку их между собой с последующей герметизацией швов в местах нахлестки;

на образованный таким образом свободно уложенный на основание однослойный водоизоляционный ковер расстилают распределительный (прокладочный) слой из стеклоткани, стеклорогожки, дарнита и т.п. рулонных материалов с точечной приклейкой его к водоизоляционному ковру;

по распределительному слою рассыпают пригрузочный гравийный слой из расчета 50 кгс/м2.

Устройство водоизоляционного ковра методом свободной укладки с механическим креплением осуществляют в следующей последовательности:

раскатывают несколько рулонов эластомерного материала с нахлесткой в 100 мм;

кромки полотнищ, смежных с полотнищем, уложенным вдоль линии водораздела перегибают (на ширину не менее 100 мм) по длинной стороне;

полотнище, уложенное вдоль линии водораздела закрепляют шайбами с дюбелями;

кромки закрепленного полотнища на ширину нахлестки и отогнутые кромки смежных полотнищ на такую же ширину сначала обезжиривают растворителем, затем смазывают клеящим составом и после выдержки клея до «отлипа» соединяют стыкуемые кромки с прикаткой мест нахлестки поперек шва роликом массой 2 - 5 кг. Места нахлесток дополнительно герметизируют;

свободные кромки смежных полотнищ закрепляют шайбами с дюбелями и эти кромки склеивают с кромками соседних полотнищ аналогичным способом.

Устройство и ремонт кровель из эластомерного рулонного материала «Элон»

(по данным типовой технологической карты АОЗТ ЦНИИОМТП, М., 1998 г.)

Элон представляет собой рулонный полимерный материал, изготовленный на основе этиленпропилендиенового каучука. Он относится к категории эластомерных рулонных материалов. Его физико-механические свойства позволяют применять его для устройства кровель на приклеивающей мастике в летнее и зимнее время по жестким основаниям из:

ровных железобетонных плит без устройства по ним выравнивающих стяжек;

цементно-песчаных стяжек, огрунтованных мастикой Унимаст, разбавленной бензином или уайт-спиритом в соотношении 1:2 или 1:3;

стяжек из песчаного асфальтобетона;

асбестоцементных плит и листов;

древесностружечных плит;

старых рулонных ковров, выполненных из всех видов рулонных материалов.

Для устройства кровельного ковра применяют следующие материалы:

- рулонные полимерные материалы Элон (ТУ 21-5744710-514-92) и Элон-1 (ТУ 38.305-8-324-95);

- мастика кровельная и гидроизоляционная Унимаст (ТУ 5775-001-48505873-2000) для приклеивания Элона к основанию и герметизации мест примыканий;

- герметизирующие мастики Эластосил, АМ-0,5, КБ-0,5, Тиопрол, КГМ-У, Гермобутил-2м для герметизации мест примыканий, указанных в проекте;

- стеклоткань типа СС-1 (ТУ 6-48-0204962-17-91), ткань стеклянная электроизоляционная ЭЗ-125 П(95) и др. (ГОСТ 19907-83*).

До начала устройства кровли должны быть:

выполнены и приняты все строительно-монтажные работы на изолируемых участках, включая замоноличивание швов между сборными железобетонными плитами, установку и закрепление к несущим плитам или к стальным профилированным настилам водосточных воронок, компенсаторов деформационных швов, патрубков (или стаканов) для пропуска инженерного оборудования, анкерных болтов;

выполнены и приняты паро- и теплоизоляция, стяжки;

проверены уклоны и ровность выполненных оснований под кровлю на всех поверхностях, включая карнизные участки кровель и места примыканий к выступающим над кровлей конструктивным элементам.

На покрытии зданий с металлическим профилированным настилом и теплоизоляционным материалом из сгораемых и трудносгораемых материалов должны быть заполнены пустоты ребер настилов на длину 250 мм несгораемыми материалами в местах примыканий настила к стенам, деформационным швам, стенкам фонарей.

Проверочные работы должны включать:

- определение отметок самых низших точек - водосточных воронок и самых высших отметок ската. По полученным отметкам определяются уклоны (по отношению превышения отметок к расстоянию между замеряемыми точками) и сравнивают их с проектными. Если окажется, что уклон основания меньше проектного, необходимо исправить стяжку, доведя все отметки до проектных значений;

- проверку уклона по всей поверхности ската с помощью натянутого между всеми высокими точками и низкой точкой возле воронки шнура; выявление и исправление мест с обратными уклонами (контруклонами);

- проверку ровности всей поверхности основания с помощью трехметровой рейки.

Для обеспечения проектного уклона и ровности основания перед выполнением теплоизоляции должна производиться нивелировка основания несущих плит для установки маяков, служащих основанием под рейки для укладки монолитной теплоизоляции.

Теплоизоляционные работы совмещают с работами по устройству пароизоляционного слоя (если он требуется по проекту), выполняя их «на себя». Это повышает сохранность теплоизоляции при транспортировании материалов.

Теплоизоляционные плиты должны плотно прилегать друг к другу. Если ширина швов между плитами превышает 5 мм, то их необходимо заполнять теплоизоляционным материалом.

Замоченная во время монтажа теплоизоляция должна быть удалена и заменена сухой.

Теплоизоляционные работы необходимо проводить в сухую погоду, чтобы не допустить замокания теплоизоляционного материала. Теплоизоляционные работы подлежат освидетельствованию с составлением актов на скрытые работы.

Основанием под кровлю могут служить:

ровные без выбоин и раковин поверхности железобетонных несущих плит либо теплоизоляции без устройства по ним выравнивающих стяжек (затирок);

выравнивающая стяжка из цементно-песчаного раствора:

прочностью на сжатие не менее 10 (100) МПа (кгс/см2), влажностью не более 5 %, толщиной 25 ÷ 30 мм, с расстоянием между температурно-усадочными швами не менее 6 м - при устройстве ее по засыпной теплоизоляции;

прочностью на сжатие не менее 5 (50) МПа (кгс/см2), влажностью не более 5 %, толщиной 20 ÷ 25 мм, с температурно-усадочными швами над швами в несущих плитах - при устройстве ее по теплоизоляционным плитам или теплоизоляции монолитной укладки;

прочностью на сжатие не менее 5 (50) МПа (кгс/см2), влажностью не более 5 %, толщиной 10 ÷ 15 мм, с температурно-усадочными швами над швами в несущих плитах - при устройстве ее по железобетонным плитам;

или песчаного асфальтобетона прочностью на сжатие не менее 0,8 (8) МПа (кгс/см2), влажностью не более 2,5 %, толщиной 20 ÷ 25 мм, с температурно-усадочными швами над швами в несущих плитах.

Основанием для наклейки Элона могут служить также асбестоцементные плиты и плоские листы (сборные стяжки), древесностружечные плиты.

В качестве основания при ремонтах кровель могут быть старые рубероидные ковры, а также кровли из наплавляемых и рулонных полимерных материалов, выполненные ранее и вышедшие из строя.

Температурно-усадочные швы должны выполняться шириной 5 мм и заполняться герметиком. По ним укладывают полоски шириной 150 ÷ 200 мм из стеклоткани.

При устройстве выравнивающей стяжки из цементно-песчаного раствора укладку последнего производят полосами шириной не более 3 м, ограниченными рейками, которые служат маяками. Раствор к месту укладки подают по трубопроводам при помощи растворонасосов или в емкостях на колесном ходу. Разравнивают растворную смесь правилом, передвигаемым по рейкам.

При устройстве выравнивающей стяжки из литого асфальта его укладывают полосами шириной до 2 м (ограниченными двумя рейками или одной рейкой и полосой ранее уложенного асфальта) и уплотняют валиком или катком массой 60 ÷ 80 кг.

Перед устройством изоляционных слоев основание должно быть ровным, прочным, без трещин и отслоений, сухим, очищенным от мусора, обеспыленным, имеющим проектный уклон к водосточным воронкам.

Основание в местах примыканий к стенам, шахтам, трубам и другим выступающим конструктивным элементам должно выполняться в виде переходных бортиков высотой не менее 100 мм с уклоном 45°.

Устройство кровли из Элона состоит из подготовительных работ и последующей наклейки Элона на основание.

В состав подготовительных работ входят:

подготовка необходимых инструментов, инвентаря, установок, подъемных и транспортных механизмов;

проверка качества Элона и мастики Унимаст на соответствие требованиям технических условий;

подготовка основания из железобетонных плит, выравнивающих стяжек или асбестоцементных плит: очистка, просушка, обеспыливание, заделка цементным раствором раковин, трещин, неровностей, оштукатуривание примыканий, устройство в сопряжениях переходных наклонных бортиков;

очистка основания из старого кровельного ковра от грязи, листьев, песка, наплывов битума, посторонних предметов; удаление воды с кровли и просушка влажных мест, устранение непроклеев (в местах вздутий и механических повреждений старого кровельного ковра необходимо сделать крестообразный разрез кровельного ковра и, отогнув разрезанные края ковра в стороны, очистить вскрытую поверхность от пыли и грязи, затем высушить и нанести мастику, выдержать до прекращения налипания и затем тщательно прижать от краев к разрезу; на место разреза наклеить заплату из Элона на мастике Унимаст; заплата должна перекрывать поврежденный участок на 100 мм);

ремонт парапетных решеток, стоек крепления антенн, окраска всех металлических креплений и элементов на крыше мастиками Унимаст, МБК, МБХП, Кровлелит за два - три раза за исключением стальных оцинкованных покрытий, колпаков, отливов и карнизных свесов;

ремонт зонтов вытяжных шахт и окраска их вышеприведенными мастиками с алюминиевой пудрой;

очистка водосточных воронок от грязи, наплывов битума, устранение засоров стояков (ведро воды должно беспрепятственно пройти по трубе стояка внутреннего водостока и без потерь дойти до выходного отверстия в уровне тротуара);

устранение полимерраствором возможных контруклонов и застойных зон на кровле;

ремонт карнизных свесов;

съем колпаков и прижимных колец водоприемных воронок и очистка их от старых герметиков, либо при необходимости замена воронок в полном комплекте.

При ремонте мягкой кровли с полным снятием старого рулонного ковра в объем подготовительных работ дополнительно входят:

демонтаж стальных покрытий;

удаление старого изношенного рубероидного ковра;

устройство из раствора переходных бортиков в местах примыканий;

ремонт стяжки с устройством уклонов для стока атмосферных осадков к водоприемной воронке с устройством температурно-усадочных швов и восстановлением переходных бортиков и штукатурки стен в местах примыканий;

заделка полимерраствором щелей и пробоин в кровельных панелях безрулонной кровли.

Подготовительные работы на кровле следует выполнять по захваткам из расчета завершения к концу смены всех гидроизоляционных работ на расчищенных и вскрытых участках кровли.

Для гарантированного удаления влаги с основания кровли следует применять сушильные установки с принудительной вентиляцией.

Завершение подготовительных работ должно оформляться актом на скрытые работы.

Работы по устройству и ремонту кровли с применением Элона допускается выполнять при любой положительной и отрицательной температуре до минус 20 °С наружного воздуха, при отсутствии атмосферных осадков, по сухому (без наледей и снега) основанию.

До начала работ по устройству и ремонту кровли все строительно-монтажные и подготовительные работы должны быть закончены.

Рулоны Элона перед наклеиванием необходимо раскатать и выдержать в таком положении в течение 1,5 - 2 ч.

На основание из бетона, цементно-песчаного раствора, асбестоцемента и старого рулонного ковра необходимо нанести праймер и выдержать до прекращения прилипания.

Приклеивание Элона осуществляется клеточно-полосовым методом.

Рекомендуется в продольном направлении приклейку вести тремя полосами шириной 200 - 250 мм каждая (две полосы по краям полотнища, одна - посередине). В поперечном направлении полосы делать таким образом, чтобы при пересечении с продольными получался замкнутый квадрат.

Мастика наносится на основание ровным слоем при помощи шпателя с гребенчатой кромкой с высотой зуба 1 мм или кистью с тщательной растушевкой нанесенного слоя и выдерживается до прекращения прилипания.

При устройстве и ремонте кровли на подготовленное основание Элон наклеивается в один слой с нахлестом кромок полотнищ в продольном и поперечном направлениях по 70 - 100 мм.

Места нахлестов необходимо дополнительно грунтовать мастикой.

Полотнища Элона приклеиваются к основанию и прикатываются катком массой 50 - 70 кг с мягкой обкладкой. Особо тщательно необходимо приклеивать края полотен в местах нахлестов, избегая образования складок. При образовании складок их следует рассечь и заново приклеить.

Места нахлестов Элона дополнительно оклеиваются стеклотканью шириной 100 - 120 мм так, чтобы стеклоткань перекрывала нижнее полотнище на 50 - 60 мм.

После высыхания мастики на стеклоткань последовательно наносятся четыре слоя мастики с выдержкой для высыхания каждого слоя в течение 0,5 - 1 часа.

При увеличении вязкости мастики ее разбавляют до необходимой консистенции бензином.

В ендовах, на коньковых и карнизных участках кровли, у водоприемных воронок, а также над деформационными швами для усиления кровельного ковра необходимо устройство дополнительного слоя Элона размерами:

не менее 500 мм от линии перегиба кровли с каждой стороны ската - на участках ендов;

не менее 400 мм - на карнизных свесах;

не менее 250 мм с каждой стороны ската от линии перегиба кровли - в коньковой части;

не менее 1000×800 мм - у водоприемных воронок;

не менее 350 мм от перегибов дополнительного слоя у основания с каждой стороны шва (без приклейки) - над деформационными швами.

На участках усилений (ендов, карнизов и коньковой части) слои Элона должны быть склеены между собой и с основанием клеточно-полосовым методом.

При выполнении примыкания к водоприемной воронке следует снять колпак и прижимное кольцо водоприемной воронки, очистить вокруг нее поверхность кровли, нанести слой мастики и после подсушивания наклеить полотно Элона размером не менее 1000×800 мм с разрезом в центре на лепестки, которые приклеиваются к стенкам раструба водоприемной воронки.

Устройство кровли в ендове

Устройство кровли на карнизном свесе

Устройство кровли на коньке

1 - основание под кровельный ковер; 2 - грунтовка; 3 - мастика Унимаст; 4 - дополнительный слой Элона; 5 - основной кровельный ковер из Элона; 6 - металлический фартук; 7 - зажимной хомут; 8 - воронка внутреннего водостока; 9 - чаша водоприемной воронки; 10 - колпак водоприемной воронки; 11 - фартук из оцинкованной стали; 12 - V-образный компенсатор; 13 - утеплитель; 14 - выкружка из кровельной стали; 15 - компенсатор

Устройство кровли в местах установки водосточных воронок

Устройство деформационных швов со стенками из сборных бетонных деталей

Устройство деформационных швов при ширине швов до 60 мм с полукруглым компенсатором из оцинкованной стали

При укладке на мастику основного кровельного ковра из Элона над воронкой на полотнище Элона выполняется разрез на лепестки со смещением направления разреза на 45° по отношению к разрезу, выполненному на уложенном дополнительном слое Элона. Лепестки приклеиваются к стенкам раструба водоприемной воронки. После приклейки полотнища Элона в раструб устанавливается прижимное кольцо на мастике.

На участках усилений деформационных швов дополнительный слой Элона укладывается насухо.

В местах перепадов высот, примыканий основного кровельного ковра к парапетам, стенам и вытяжным шахтам необходимо полотнище Элона поднять на высоту не менее 300 мм и усилить сверху дополнительным слоем Элона на длину не менее 350 мм от вертикальной и горизонтальной поверхности.

Примыкание кровли к парапету высотой до 450 мм

1 - основание под кровельный ковер; 2 - грунтовка; 3 - мастика Унимаст; 4 - стеклоткань; 5 - основной кровельный ковер из Элона; 6 - дополнительный слой Элона; 7 - оцинкованная кровельная сталь

Примыкание кровли к парапету высотой более 450 мм

1 - основание под кровельный ковер; 2 - грунтовка; 3 - мастика Унимаст; 4 - стеклоткань; 5 - основной кровельный ковер из Элона; 6 - дополнительный слой Элона

Примыкания кровельного ковра к вытяжным трубам и стойкам антенн также усиливаются дополнительным слоем Элона.

Края дополнительного слоя Элона в местах примыканий к парапетам, стенам, вытяжным шахтам, трубам, стойкам антенн оклеиваются стеклотканью на мастике с последующим четырехслойным покрытием стеклоткани мастикой Унимаст.

Обделку водосточных воронок при ремонте производят в следующей последовательности:

- выкраивают полотнище из Элона размером не менее 1000×800 мм;

- наносят мастику на нижнюю поверхность полотнища и основание вокруг воронки (по размеру приклеиваемого полотнища), выдерживают 2 - 3 мин. для испарения растворителя и приклеивают полотнище к основанию симметрично воронке;

- в полотнище над воронкой делают крестообразный разрез 150×150 мм, полученные лепестки прижимают к внутренней поверхности воронки, на которую предварительно был нанесен слой мастики.

Примыкание кровли к вытяжной трубе

1 - основание под кровельный ковер; 2 - грунтовка; 3 - мастика Унимаст; 4 - стеклоткань; 5 - основной кровельный ковер из Элона; 6 - дополнительный слой Элона

Оклейку выпусков к стойкам антенн устраивают в следующей последовательности:

- вырезают кусок материала шириной 300 - 350 мм и длиной, превышающей окружность изолируемой стойки на 50 мм;

- грунтуют приклеивающей мастикой подготовленный кусок материала, а также изолируемую поверхность стойки;

- обматывают выкроенный кусок материала вокруг основания стойки с напуском на основание не менее 200 мм и тщательной притирают, для удобства укладки края материала надрезают.

Примыкание кровли к стойке антенны

1 - основание под кровельный ковер; 2 - грунтовка; 3 - мастика Унимаст; 4 - стеклоткань; 5 - основной кровельный ковер из Элона; 6 - дополнительный слой Элона

Устройство кровель из эластомерного рулонного материала «Кромэл»

(по данным типовой технологической карты АОЗТ ЦНИИОМТП, М., 1998 г.)

Кромэл представляет собой рулонный эластомерный материал, изготовленный из резиновой смеси на основе этиленпропилендиенового каучука, сдублированной с армирующей основой (или без нее) и вулканизованной по электронно-химической технологии. Его физико-механические свойства позволяют применять его для устройства кровель посредством сплошной приклейки его к основанию на приклеивающей мастике «Мастмэл» в летнее и зимнее время по жестким основаниям из:

ровных железобетонных плит без устройства по ним выравнивающих стяжек;

цементно-песчаных стяжек, огрунтованных мастикой Мастмэл, разбавленной растворителем (толуол, нефрас С4-150/200) в соотношении 1:4;

стяжек из песчаного асфальтобетона;

старых рулонных ковров, выполненных из различных кровельных материалов.

Для устройства кровельного ковра применяют следующие материалы:

- рулонный эластомерный материал Кромэл (ТУ 5774-002-41993527-97) марок 1Р и 1РА;

- мастика Мастмэл-2 (ТУ 5575-004-41993521-97);

- шовный клей Контактол (ТУ 205 РФ 1-23-40-94);

- герметизирующая лента Герлен (ТУ 5772-009-05108038-98);

- крепежные элементы.

До начала устройства кровли должны быть:

выполнены и приняты все строительно-монтажные работы на изолируемых участках, включая замоноличивание швов между сборными железобетонными плитами, установку и закрепление к несущим плитам водосточных воронок, компенсаторов деформационных швов, патрубков для пропуска инженерного оборудования, анкерных болтов;

выполнены и приняты слои паро- и теплоизоляции, стяжки;

проверены уклоны и ровность выполненных оснований под кровлю на всех поверхностях, включая карнизные участки кровель и места примыканий к выступающим над кровлей конструктивным элементам.

Проверочные работы должны включать:

- определение отметок самых низших точек - водосточных воронок и самых высших отметок ската. По полученным отметкам определяются уклоны (по отношению превышения отметок к расстоянию между замеряемыми точками) и сравнивают их с проектными. Если окажется, что уклон основания меньше проектного, необходимо исправить стяжку, доведя все отметки до проектных значений;

- проверку уклона по всей поверхности ската с помощью натянутого между всеми высокими точками и низкой точкой возле воронки шнура; выявление и исправление мест с обратными уклонами (контруклонами);

- проверку ровности всей поверхности основания с помощью трехметровой рейки «Кондор-3М».

Для обеспечения проектного уклона и ровности основания перед выполнением теплоизоляции должна производиться нивелировка основания несущих плит для установки маяков, служащих основанием под рейки для укладки монолитной теплоизоляции.

Теплоизоляционные работы совмещают с работами по устройству пароизоляционного слоя (если он требуется по проекту), выполняя их «на себя». Это повышает сохранность теплоизоляции при транспортировании материалов.

Теплоизоляционные плиты должны плотно прилегать друг к другу. Если ширина швов между плитами превышает 5 мм, то их необходимо заполнять теплоизоляционным материалом.

Замоченная во время монтажа теплоизоляция должна быть удалена и заменена сухой.

Теплоизоляционные работы не должны опережать работы по устройству гидроизоляции. Как правило их последовательность должна обеспечивать устройство кровельного ковра в ту же смену, что и укладка теплоизоляционных плит. Теплоизоляционные работы необходимо проводить в сухую погоду, чтобы не допустить замокания теплоизоляционного материала.

Теплоизоляционные работы подлежат освидетельствованию с составлением актов на скрытые работы.

Основанием под кровлю могут служить:

ровные без выбоин и раковин поверхности железобетонных несущих плит либо теплоизоляции без устройства по ним выравнивающих стяжек (затирок);

выравнивающая стяжка из цементно-песчаного раствора:

прочностью на сжатие не менее 10 (100) МПа (кгс/см2), влажностью не более 5 %, толщиной 25 ÷ 30 мм, с расстоянием между температурно-усадочными швами не менее 6 м - при устройстве ее по засыпной теплоизоляции;

прочностью на сжатие не менее 5 (50) МПа (кгс/см2), влажностью не более 5 %, толщиной 20 ÷ 25 мм, с температурно-усадочными швами над швами в несущих плитах - при устройстве ее по теплоизоляционным плитам или теплоизоляции монолитной укладки;

прочностью на сжатие не менее 5 (50) МПа (кгс/см2), влажностью не более 5 %, толщиной 10 ÷ 15 мм, с температурно-усадочными швами над швами в несущих плитах - при устройстве ее по железобетонным плитам;

или песчаного асфальтобетона прочностью на сжатие не менее 0,8 (8) МПа (кгс/см2), влажностью не более 2,5 %, толщиной 20 ÷ 25 мм, с температурно-усадочными швами над швами в несущих плитах.

Температурно-усадочные швы должны выполняться шириной 5 мм и заполняться герметикой. По ним укладывают полоски шириной 150 мм из стеклоткани, рубероида или пергамина с точечной приклейкой с одной стороны шва.

При устройстве выравнивающей стяжки из цементно-песчаного раствора укладку последнего следует производить полосами шириной не более 2 м, ограниченными рейками, которые служат маяками. Раствор к месту укладки можно подавать по трубопроводам при помощи растворонасосов или в бадьях, емкостях на колесном ходу. Разравнивают растворную смесь правилом, передвигаемым по рейкам.

При устройстве выравнивающей стяжки из литого асфальта его укладывают полосами шириной до 2 м (ограниченными двумя рейками или одной рейкой и полосой ранее уложенного асфальта) и уплотняют валиком или катком массой 60 - 80 кг.

Основанием кровли из Кромэл может служить также старый кровельный ковер.

Подготовка основания из старого кровельного ковра включает в себя:

- очистку от грязи, листьев, песка, наплывов битума, посторонних предметов, удаление воды с кровли и просушка влажных мест, выравнивание поверхности;

- ремонт мест вздутий и механических повреждений. В местах вздутий, механических повреждений необходимо сделать крестообразный разрез кровельного ковра и, отогнув разрезанные края в стороны, очистить вскрытую поверхность от пыли и грязи, затем высушить ее, нанести мастику, выдержать мастику «до отлипа», и тщательно прижать отогнутые края старого ковра от краев к разрезу. На место разреза наклеить заплату из Кромэла на мастике, перекрывающую поврежденный участок на 100 мм;

- очистку водоприемных воронок от грязи, наплывов битума; устранение засоров стояков (перед очисткой воронок их следует закрыть пробками для исключения попадания мусора в стояки);

- ремонт карнизных свесов;

- съем колпаков и прижимных колец водоприемных воронок и очистка их от старых герметиков;

- сушку старого кровельного ковра.

Перед устройством изоляционных слоев основание должно быть ровным, прочным, без трещин и отслоений, сухим, очищенным от мусора, обеспыленным, имеющим проектный уклон к водосточным воронкам.

Основание в местах примыканий к стенам, шахтам, трубам и другим выступающим конструктивным элементам при применении Кромэла не требует переходных бортиков или выкружек.

Работу по устройству кровельного ковра из Кромэла начинают с разбивки площади крыши на захватки. Устройство кровельного ковра начинают с пониженных участков - карнизных свесов, ендов и водосточных воронок.

Существует несколько систем крепления Кромэл к основанию:

- балластная система со свободной укладкой кровли и гравийным «пригрузом»;

- система механического крепления кровли при помощи специальных крепежных элементов;

- система устройства кровельного ковра методом наклейки.

Подробное описание этих систем дано в Руководстве по применению в кровле и гидроизоляции рулонных полимерных материалов серии Кромэл (М. 1997).

Типовая технологическая карта АОЗТ ЦНИИОМТП разработана на устройство кровельного ковра методом наклейки.

Устройство кровельного ковра методом наклейки выполняют в следующей последовательности:

все необходимые материалы подают навстречу потоку кровельных работ;

для снятия усадочных напряжений рекомендуется предварительное выдерживание полотнищ Кромэла на кровле в раскатанном состоянии в течение 48 часов. При устройстве кровельной системы при низких температурах (ниже плюс 5 °С) полотнища материала следует выдержать в теплом помещении в раскатанном состоянии в течение 3-х суток при температуре не ниже 20 °С;

огрунтовывают подготовленное основание разбавленным составом мастики, на которую будет приклеиваться гидроизоляционный ковер. Как правило, приготовление грунтовочного состава выполняют в построечных условиях путем разбавления приклеивающей мастики 4 - 5 частями (по объему) растворителя (толуол, нефрас, гексан и пр.) и тщательного перемешивания состава до полной однородности;

наносят приклеивающую мастику - на предварительно огрунтованное основание на ширину полотнища Кромэла равномерно наносят полимерную мастику Мастмэл из расчета 1000 - 1500 г на м2 изолируемой поверхности и выдерживают ее до тех пор, пока она перестанет прилипать к сухому пальцу руки при прикосновении к покрытому мастикой основанию (до «отлипа»). Слой мастики наносят также на приклеиваемую поверхность раскатанного полотнища Кромэл и также просушивают «до отлипа» (описанные действия равнозначны для любой из сторон Кромэл-1РА;

наклеивание рулонов Кромэл - по поверхности с нанесенным приклеивающим составом укладывают подготовленное полотно Кромэл, не допуская морщин и складок, и тщательно «выжимая» из-под рулона воздушные пузыри; затем плотно притирают полотно к основанию руками в рукавицах движениями от середины. Каждое следующее полотно сначала укладывают «насухо», с нахлестом 80 - 100 мм на предыдущее, уже наклеенное, выравнивают, отмечают мелом границы его кромок и складывают, отворачивая кромку;

затем места нахлестки смежных полотнищ обезжиривают растворителем и наносят тонкий слой полимерной мастики Мастмэл. После выдержки до «отлипа» на нижнюю кромку укладывают и прижимают герметизирующую ленту «Герлен-80», затем внахлест приклеивают кромку верхнего полотна и прикатывают полученный стык роликом поперек шва. При температуре ниже +8 °С стык при прикатке рекомендуется прогревать строительным феном с температурой воздуха 120 - 150 °С;

в случае применения для склеивания полотен Кромэла шовного клея, места нахлестки для увеличения шероховатости обрабатывают металлической щеткой до матового оттенка, обезжиривают их растворителем, наносят на места нахлестки шовный клей «Контактол», просушивают их до «отлипа», а затем склеивают полотна и прокатывают стык роликом поперек шва;

клей «Контактол» следует наносить на обе склеиваемые кромки резины тонким слоем при помощи валика шириной 80 - 100 мм. При загустевании клея его следует разбавлять растворителем (нефрас, уайт-спирит) и тщательно перемешивать. В холодное время года клей перед нанесением должен быть выдержан в теплом помещении в течение нескольких часов. Стыки Кромэл перед нанесением клея при температуре ниже +5 °С следует прогревать при помощи строительного фена;

после склейки стыка полотнище отворачивают на ранее наклеенное, наносят мастику на него и на основание, просушивают мастику «до отлипа» и затем приклеивают полотнище к основанию. В таком порядке производят наклейку и всех последующих полотнищ;

водоизоляционный слой у водосточных воронок усиливают снизу дополнительным одним слоем Кромэла размером не менее 1000×1000 мм;

Устройство кровли в местах установки водосточных воронок

Устройство деформационных швов со стенками из сборных бетонных деталей

1 - основание под кровельный ковер; 2 - грунтовка; 3 - мастика Мастмэл; 4 - дополнительный слой Кромэла; 5 - основной кровельный ковер из Кромэла; 6 - зажимной хомут; 7 - воронка внутреннего водостока; 8 - чаша водоприемной воронки; 9 - колпак водоприемной воронки; 10 - фартук из оцинкованной стали; 11 - утеплитель; 12 - V-образный компенсатор

Устройство кровли в ендове

Устройство кровли на карнизном свесе

Устройство кровли на коньке

1 - основание под кровельный ковер; 2 - грунтовка; 3 - мастика Мастмэл; 4 - дополнительный слой Кромэла; 5 - основной кровельный ковер из Кромэла; 6 - металлический фартук; 7 - герметизирующая лента Герлен

в ендовах, на коньковых и карнизных участках крыш и над деформационными швами устраивают дополнительный слой водоизоляционного ковра: в ендове - не менее 750 мм с каждой стороны от линии перегиба крыши; в коньковой части - до 500 мм с каждой стороны от линии перегиба крыши; на карнизе - до 1000 мм; над деформационными швами - 1000 мм;

механическое крепление гидроизоляционного ковра осуществляется в обязательном порядке во всех местах перехода горизонтальной поверхности в вертикальную (примыкания к парапетам, стенам, вентшахтам, фонарям, местам выхода на кровлю, трубам диаметром более 350 мм) саморезами через оцинкованные шовные рейки или пластины;

обработка парапетов высотой до 450 мм осуществляется при помощи дополнительного ковра (фартука) из Кромэл, нижняя кромка которого склеивается с основным гидроизоляционным ковром, а верхняя заводится на фасадную часть парапета с напуском 50 мм, затем парапет оформляют фартуком из оцинкованной стали;

Примыкание кровли к парапету высотой до 450 мм

1 - основание под кровельный ковер; 2 - грунтовка; 3 - мастика Мастмэл; 4 - дополнительный слой Кромэла; 5 - основной кровельный ковер из Кромэла; 6 - прокладки из герметизирующей ленты Герлен; 7 - оцинкованная кровельная сталь

обработка вертикальных поверхностей высотой более 500 мм, а также примыкания к фонарям, вентшахтам и т.п. осуществляется путем приклеивания верхней кромки дополнительного ковра (фартука) к вертикальной поверхности через герметизирующую ленту Герлен-200 и дополнительным креплением саморезами через оцинкованную прижимную планку;

Примыкание кровли к парапету высотой более 450 мм

1 - основание под кровельный ковер; 2 - грунтовка; 3 - мастика Мастмэл; 4 - дополнительный слой Кромэла; 5 - основной кровельный ковер из Кромэла; 6 - прокладки из герметизирующей ленты Герлен; 7 - защитный фартук из оцинкованной кровельной стали

места пропуска через кровлю труб выполняют с применением стальных патрубков с фланцами и герметизацией кровли в этом месте;

места пропуска анкеров усиливают герметизирующей мастикой. Для этого в месте пропуска устанавливают рамку из уголков, которую заполняют герметизирующей мастикой;

защитную окраску поверхности клеевой кровельной системы выполняют за два раза композицией, состоящей из: мастики Мастмэл, алюминиевой пудры и растворителя в соотношении 1:1, 5:5 (окраска смонтированной клеевой кровельной системы защитной светоотражающей композицией производится в соответствии с требованиями проекта).

Устройство защитного слоя

В кровлях с уклоном до 10 %, выполненных из рулонных битумно-полимерных, битумных материалов с мелкозернистой посыпкой для защиты верхнего слоя основного водоизоляционного ковра должен предусматриваться защитный слой из гравия или из крупнозернистой посыпки (каменной крошки) с маркой по морозостойкости не ниже 100.

Толщина защитного слоя из гравия должна быть 10 - 15 мм.

Толщина защитного слоя из крупнозернистой посыпки, выполняемого в построечных условиях, должна быть 3 - 5 мм.

В кровлях с уклонами до 2,5 % из эластомерных пленочных рулонных материалов, выполненных методом свободной укладки, должен предусматриваться гравийный пригрузочный слой из расчета 50 кг/м2.

В кровлях с уклоном более 10 % из рулонных битумно-полимерных или битумных материалов верхний слой основного водоизоляционного ковра должен выполняться из материала с крупнозернистой посыпкой.

В кровлях из эластомерных пленочных рулонных материалов, выполненных методами наклейки или свободной укладки с механическим, креплением при уклонах 2,5 % и более должен быть предусмотрен защитный слой из окрасочных составов, а при меньших уклонах - защитный слой из гравия или крупнозернистой посыпки.

Защитный слой в местах перепадов высот, на пониженных участках (при наружном неорганизованном водоотводе), а также эксплуатируемых кровель должен быть толщиной не менее 30 мм и выполняться из плит или из монолитных материалов с маркой по морозостойкости не менее В 7,5. Ширина защитного слоя в местах перепадов высот и на пониженных участках должна быть не менее 0,75 м.

В монолитном защитном слое эксплуатируемых кровель, а также в местах перепадов высот и на пониженных участках кровель должны быть предусмотрены температурно-усадочные швы шириной 10 мм с шагом не более чем 1,5 м во взаимно перпендикулярных направлениях, заполняемые герметизирующими составами.

На кровлях с уклоном до 10 % и верхним слоем из битумных и битумно-полимерных материалов с мелкозернистой посыпкой защитный слой рекомендуется выполнять из гравия фракции 5 - 10 мм или крупнозернистой посыпки, втопленных в слой мастики толщиной 1,5 - 2 мм или в подплавленный покровный слой наплавляемого рулонного материала. Фракция крупнозернистой посыпки должна быть 3 ÷ 5 мм. Гравий и посыпка должны быть промыты и просушены.

При уклонах более 10 % верхний слой водоизоляционного ковра следует выполнять из рулонных материалов с крупнозернистой посыпкой, а при верхнем слое из рулонных материалов с мелкозернистой посыпкой - окрасочным.

На кровлях из эластомерных пленочных рулонных материалов осуществляемых методами наклейки или свободной укладки с механическим креплением при уклонах более 2,5 % защитный слой рекомендуется выполнять окрасочным, а при меньших уклонах из гравия или крупнозернистой посыпки, втопленных в слой приклеивающего состава, нанесенного на прокладочный слой из стеклоткани, синтетического полотна или другого рулонного материала, точечно подклеенного к основному водоизоляционному ковру.

Устройство защитных слоев осуществляют захватками, начиная с пониженных участков (карнизных свесов, ендов), а также мест примыкания кровель к стенам и ведут их «на себя». Перед устройством защитных слоев поверхность водоизоляционного ковра должна быть сухой и чистой.

Поверхность кровли должна быть равномерно покрыта защитным слоем гравия или крупнозернистой посыпкой на верхнем слое рулонного ковра.

Контролируемые операции

Состав и средства контроля

Документация

Подготовительные работы

Проверить:

- завершение и надлежащее оформление предшествующих работ по монтажу конструкций и их элементов, приемке соединений и их антикоррозионной защите, замоноличиванию всех стыков сборных конструкций, устройству основания под кровлю (наличие акта приемки или актов освидетельствования скрытых работ, геодезических исполнительных схем и другой приемосдаточной документации);

Акт приёмки, акты освидетельствования скрытых работ, исполнительные схемы

- наличие ППР, технологических карт и схем операционного контроля качества по устройству кровли;

- наличие и готовность к работе всех средств механизации, инвентаря, приспособлений и инструмента;

ППР, технологические карты, СОКК

- наличие документов о качестве на каждую партию поступивших кровельных материалов, соответствие их требованиям проекта и нормативных документов.

Документы о качестве, акты лабораторных испытаний

Устройство кровли из рулонных материалов

Контролировать:

- соблюдение заданной ППР технологии выполнения кровельных работ (температуру окружающего воздуха и материалов, влажность основания, его обеспыливание, раскатку полотнищ рулонных материалов, направление раскатки, плотность прилегания полотнищ, число слоев основного ковра и дополнительных слоев и др.);

- качество выполнения кровельных работ (ровность, отклонения от заданного уклона, толщину всех слоев кровельного ковра, величину нахлестки полотнищ, понижение в местах расположения воронок, дефекты и повреждения на поверхности покрытия и др.).

Общий и специальный журналы работ

Приемка

Проверить:

- соответствие рулонной кровли требованиям проекта и нормативных документов;

- составление и надлежащее оформление приемосдаточной исполнительной документации.

Акт приемки

Акты освидетельствования скрытых работ; акты лабораторных испытаний

ВХОДНОЙ И ОПЕРАЦИОННЫЙ КОНТРОЛЬ осуществляют:

мастер (прораб), лаборант (инженер) - в процессе производства работ

ПРИЕМОЧНЫЙ КОНТРОЛЬ ОСУЩЕСТВЛЯЮТ:

прораб (мастер), работники отдела контроля качества СМР, представители технадзора заказчика

КИП - контрольная рейка, толщиномер, металлическая линейка, металлическая рулетка, штангенциркуль, уклономер, ватерпас, лабораторные приборы и оборудование

В качестве окрасочного защитного слоя рекомендуется применять следующие составы:

бутилкаучуковую мастику с добавлением 10 - 14 % наполнителя - алюминиевой пудры ПАК-3 или ПАК-4;

эмаль ХП-799, включающую хлорсульфополиэтиленовый лак ХП-734 с 25 % наполнителя - алюминиевой пудры ПАК-3 или ПАК-4;

хлорсульфополиэтиленовый лак ХП-734 с 25 % наполнителя - алюминиевой пудры ПАК-3 или ПАК-4.

Окрасочное защитное покрытие на поверхность водоизоляционного ковра наносят ровным слоем; расход состава зависит от его сухого остатка.

Технологический процесс по устройству окрасочного защитного слоя включает:

нанесение первого слоя, ровно покрывающего поверхность водоизоляционного ковра;

нанесение второго слоя через 2 - 3 часа после высыхания предыдущего при температуре 18 - 23 °С.

При механизированном нанесении окрасочного состава безвоздушными установками вязкость его не должна превышать 100 с, а при ручном нанесении 300 с. Требуемая вязкость состава достигается введением растворителя.

В кровлях подверженных воздействию щелочных производственных выделений на участках с уклоном 10 % и более водоизоляционный ковер должен быть защищен щелочестойкими мастичными составами, наносимыми толщиной не менее 0,5 мм. В качестве щелочестойких составов рекомендуется применять гуммировочные составы на основе найрита или на основе хлорсульфированного полиэтилена и битума в соотношении 1:2.

В защитном слое из окрасочных составов не должно быть пор, кратеров, трещин и других дефектов.

Устройство «дышащих» кровель

При устройстве водоизоляционного ковра в осенне-зимний период возможно увлажнение оснований под кровлю, которое не всегда устраняется при сплошной наклейке наплавляемых рулонных материалов путем их подплавления и подогрева основания, а это может привести к образованию вздутий, снижающих эксплуатационную надежность ковра.

Предотвратить появление вздутий можно частичным закреплением нижнего слоя водоизоляционного ковра, которое достигается несколькими способами:

- полосовой или точечной приклейкой;

- механическим закреплением;

- укладкой на основание под кровлю перфорированного рулонного материала.

Кровли, выполненные этими способами, называются «дышащими».

Применение «дышащего» водоизоляционного ковра позволяет выровнять давление паровоздушной смеси в подкровельном слое с давлением наружного воздуха и, таким образом, исключить образование вздутий между основанием под кровлю и ковром.

В соответствии с главой СНиП II-26-76 точечная или полосовая приклейка должна быть равномерной и составлять 25 ÷ 35 % площади наклеиваемых полотнищ рулонного материала, что практически невозможно осуществить при применении наплавляемых материалов. Поэтому для таких кровель наиболее целесообразно применение двух других способов частичного закрепления.

Технологические приемы устройства кровельного ковра методом свободной укладки нижнего слоя с механическим закреплением выполняют в следующей последовательности (см. нижеприведенный рисунок):

на подготовленное основание под кровлю раскатывают рулоны, примеряют один рулон по отношению к другому и обеспечивают нахлестку (продольную и поперечную) не менее 100 мм;

затем полотнища рулонного материала (кроме полотнища, раскатанного вдоль линии водораздела) обратно скатывают в рулоны (при значительном охлаждении полотнищ зимой эти операции производят при легком подогреве ручной горелкой поверхности рулона);

полотнище рулонного материала, раскатанное вдоль линии водораздела, закрепляют дюбелями с шайбами;

следующий рулон раскатывают, разогревая покровный (приклеивающий) слой наплавляемого материала в месте нахлестки, и плотно прижимают к ранее уложенному и закрепленному дюбелями полотнищу;

после этого свободную кромку раскатанного и приклеенного полотнища закрепляют дюбелями с шайбами;

таким образом раскатывают, приклеивают и закрепляют остальные полотнища;

верхний (второй) слой наплавляемого рулонного материала приклеивают сплошь, при этом полотнища раскатывают так, чтобы они перекрывали швы нижележащего слоя.

Раскладка рулонных материалов при устройстве кровельного ковра с механическим закреплением нижнего слоя

1 - переходной наклонный бортик у парапета (стены); 2 - линия водораздела; 3 - основание под кровлю; 4 - нижний механически закрепляемый слой рулонного материала; 5 - шайбы с дюбелями; 6 - наклейка полотнищ в местах нахлесток; 7 - верхний (второй) слой кровельного ковра.

Узлы примыкания кровли с механическим закреплением нижнего слоя к парапету высотой до и более 450 мм из кровельных материалов «Техноэласт», «Унифлекс», «Экофлекс» приведены на стр. 63.

Аналогичные узлы для кровельных материалов «Изопласт», «Изоэласт» и «Кинепласт» приведены в Руководствах по применению в кровлях этих материалов, разработанных ЦНИИпромзданий.

Для устройства «дышащей» кровли с укладкой на основание под кровлю перфорированного рулонного материала применяют:

перфорированный рулонный материал по ТУ 5774-012-05766480-2000 «Материал рулонный кровельный вентиляционный Изопласт ДХП-1,5», массой 1,5 кг3, или аналогичный ему другой перфорированный рулонный материал;

наплавляемые рулонные материалы «Изопласт» (ТУ 5774-005-05766480-95), «КИНЕпласт» (ТУ 5774-010-05766480-99) и другие наплавляемые материалы.

Основанием под «дышащую» кровлю могут служить поверхности:

- бетонных плит, выравнивающей стяжки из цементно-песчаного раствора или асфальтобетона;

- монолитной теплоизоляции;

- ремонтируемой («старой») кровли.

Выравнивающие стяжки и монолитная теплоизоляция должны удовлетворять тем же требованиям, предъявляемым к ним при устройстве кровель из наплавляемых рулонных материалов.

Требования к изоляционным слоям:

- в новом покрытии или при его реконструкции (при капитальном ремонте с заменой теплоизоляции) «дышащий» водоизоляционный ковер должен включать нижний слой из перфорированного рулонного материала и верхний слой из наплавляемого рулонного материала с крупнозернистой посыпкой и массой не менее 5 кг/м2, например, марки «Изопласт-П*» с армирующей основой из полиэстера (ПЭ-250) или стеклоткани (Т-200) или «КИНЕпласт»- ЭКП-5.0; ХКП-5.0; ТКП-5,0 и ТКП-6,0 или других аналогичных материалов.

На эксплуатационных покрытиях (крышах-террасах) для водоизоляционного ковра в качестве верхнего слоя применяют наплавляемый рулонный материал, имеющий мелкозернистую (тальковую, песочную) посыпку либо полиэтиленовую пленку и массу не менее 5,0 кг/м2: например, марки «Изопласт-П*» с армирующей основой из полиэстера (ПЭ-250) или стеклоткани (Т-200) или «КИНЕпласт» - ЭМП-5,5.

На примыканиях к вертикальным поверхностям (парапетам, стенам, бортам фонарей и т.п.) выполняют изоляционные слои из тех же материалов, что и основной водоизоляционный ковер.

Подготовку основания под кровлю производят так же, как и при устройстве кровли из наплавляемых рулонных материалов.

В ремонтируемой («старой») кровле предварительно устраняют дефекты (трещины, вырывы и т.п.), выравнивают неровности, а поверхность ее грунтуют составом из битума V марки и керосина в соотношении (по весу) 1:3; расход грунтовки 0,3 ÷ 0,5 кг/м2.

Технологические приемы устройства кровельного ковра выполняют в следующей последовательности (см. нижеследующий рисунок):

Раскладка рулонных материалов при устройстве «дышащей» кровли

1 - наклонный бортик у парапета (стены); 2 - линия водораздела; 3 - огрунтованное основание под кровлю; 4 - перфорированный рулонный материал; 5 - отверстия (перфорация); 6 - наклейка полотнищ в местах нахлесток; 7 - верхний (второй) слой кровельного ковра.

- на подготовленное основание под кровлю раскатывают несколько рулонов перфорированного рулонного материала, примеряют каждый рулон по отношению к соседнему и обеспечивают требуемую нахлестку (рис. а);

- полотнища перфорированного материала (кроме полотнища, раскатанного вдоль линии водораздела) обратно скатывают в рулоны (рис. б);

- смежные (соседние по отношению к раскатанному вдоль водораздела) полотнища при раскатывании приклеивают по нахлесткам к предыдущему (рис. в), в ветреную погоду полотнища перфорированного рулонного материала приклеивают точечно (к основанию под кровлю) и между нахлестками;

- продолжая таким образом приклеивать смежные полотнища к предыдущим, устраивают нижний слой кровли из перфорированного рулонного материала;

- второй (верхний) слой наплавляемого рулонного материала с крупнозернистой посыпкой приклеивают сплошь, при этом полотнища раскатывают так, чтобы они перекрывали швы нижележащего (перфорированного) слоя (рис. г).

У мест примыканий к вертикальным поверхностям (парапетам, стенам) нижний слой ковра из перфорированного рулонного материала предварительно закрепляют также точечно, затем наклеивают второй слой из рулонного материала с крупнозернистой посыпкой.

Контроль качества кровельных работ

Производственный контроль качества работ по устройству рулонных кровель должен включать входной контроль качества кровельных материалов, операционный контроль соблюдения заданной технологии выполнения кровельных работ и качества выполнения отдельных технологических операций, приемочный контроль соответствия готовой кровли требованиям проекта и нормативных документов.

Объем работ, выполняемых в процессе входного и операционного контроля качества кровельных работ, приведен выше.

Результаты входного контроля рулонных кровельных материалов, представленные в виде сертификатов соответствия и гигиенических сертификатов, документов о качестве, актах и протоколах лабораторных испытаний, предъявляются при приемке отдельных слоев кровельного покрытия.

Результаты операционного контроля, зафиксированные в журналах производства работ, также предъявляются при приемке отдельных слоев кровельного покрытия.

Устройство каждого элемента кровли должно выполняться после промежуточной приемки - проверки правильности выполнения соответствующего нижележащего элемента с составлением акта освидетельствования скрытых работ.

Промежуточной приемке подлежат выполненные работы по устройству:

- несущих конструкций покрытия (качество заполнения стыков плит бетоном, устройство деформационных швов, наличие и правильность устройства (установки) выступающих конструкций над крышей, правильность разбивки профиля и соблюдение уклонов ендовы и др.);

- пароизоляционного слоя;

- теплоизоляционного слоя;

- основания (стяжек), в том числе в местах примыкания кровли к вертикальным и выступающим конструктивным элементам;

- рулонных основных и дополнительных слоев кровли;

- защитного слоя.

При приемке основания исполнитель должен представить заказчику акты на скрытые работы по результатам инструментального контроля ровности поверхности основания, его влажности, уклона и уровня понижения поверхности в местах расположения воронок внутреннего водостока, а также оценки визуального контроля (с участием представителя заказчика) соответствия проекту и нормативным документам выполненных в основании температурно-усадочных швов.

При приемке слоя пароизоляции исполнитель должен представить заказчику акт на скрытые работы по результатам визуального контроля (с участием представителя заказчика) слоя пароизоляции (наличия трещин, вздутий, разрывов, пробоин, расслоений), в том числе в узлах примыканий покрытий к стенам, стенкам фонарей, шахтам и оборудованию, проходящему через покрытие, и в местах деформационных швов.

При приемке водоизоляционного слоя исполнитель должен представить заказчику акты на скрытые работы по результатам инструментального контроля (с участием представителя заказчика) уклона кровли, уровня понижения поверхности в местах расположения воронок внутреннего водостока, оценку визуального контроля соответствия требованиям проекта и нормативных документов внешнего вида выполненной кровли (отсутствие внешних дефектов, трещин, вздутий, разрывов, пробоин, расслоений, а также отслоений в местах нахлестки).

При приемке готовой кровли необходимо проверять:

расположение полотнищ (в зависимости от уклона покрытия), их соединение и защита в рядовом покрытии, в местах примыкания и сопряжений в разных плоскостях (отступления от проекта не допускаются);

соответствие числа усилительных (дополнительных) слоев в сопряжениях (примыканиях) проекту (отступления от проекта не допускаются);

уровень понижения поверхности в местах расположения воронок внутреннего водоотвода - чаши водоприемных воронок внутренних водостоков не должны выступать над поверхностью основания (отступления от проекта не допускаются);

отсутствие острых углов в конструкциях примыкании (стяжек и бетона), которые должны быть сглаженными и ровными (отступления от проекта не допускаются).

Подлежат проверке с составлением акта приемки составы мастик для приклейки рулонных материалов и их теплостойкость; прочность и составы клеящей прослойки. Они должны соответствовать требованиям проекта (отступления от проекта - не более 5 %).

Пузыри, вздутия, воздушные мешки, разрывы, вмятины, проколы, губчатое строение, потек и наплывы на поверхности покрытия кровель не допускаются (отступления от проекта не допускаются).

Полный отвод воды по всей поверхности кровель должен осуществляться по наружным и внутренним водостокам без застоя воды (отступления от проекта не допускаются).

Соответствие проекту и нормативным документам вышеперечисленных параметров оценивается в процессе технического осмотра и оформляется актом приемки.

Требования, предъявляемые к готовым кровельным конструкциям, приведены в нижеследующей таблице.

Технические требования

Контроль (метод, объем, вид регистрации)

Полный отвод воды по всей поверхности кровель должен осуществляться по наружным и внутренним водостокам без застоя воды

Технический осмотр, акт приемки

Прочность сцепления с основанием и между собой кровельного ковра из рулонных материалов по сплошной мастичной клеящей прослойке - не менее 0,5 МПа

Измерительный, 5 измерений на 120 - 150 м2 поверхности покрытия (при простукивании не должен изменяться характер звука); при разрыве приклеенных материалов не должны наблюдаться отслоения по мастике (разрыв должен происходить внутри рулонного полотнища), акт приемки

Отклонение от заданного уклона кровли должно быть не более 2 %

Измерительный, 5 изм. на 50 - 100 м2 поверхности покрытия

Теплостойкость и составы мастик для приклейки рулонных материалов, а также прочность и составы клеящей прослойки должны соответствовать проектным. Отступления от проекта - 5 %.

Технический осмотр, акт приемки

Расположение полотнищ, их соединение и защита в рядовом покрытии, в местах примыканий и сопряжений в разных плоскостях, число дополнительных слоев должно соответствовать проекту. Отступления от проекта не допускаются.

Технический осмотр, акт приемки

Пузыри, вздутия, воздушные мешки, разрывы, вмятины, проколы, губчатое строение, потек и наплывы на поверхности покрытия не допускаются. Отступления от проекта не допускаются.

Технический осмотр, акт приемки

Увеличение влажности оснований, промежуточных элементов, покрытия и всей конструкции по сравнению со стандартом - не более 0,5 %

Измерительный, 5 измерений на 50 - 70 м2 поверхности покрытия или на отдельных участках меньшей площади в местах, выявленных визуальным осмотром, акт приемки


Рулонные кровли панельных, блочных и кирпичных жилых зданий

Узлы кровли крыш жилых зданий по серии 2-160-4 вып. 5

ЧЕТЫРЕХСЛОЙНЫЕ КРОВЛИ

ТРЕХСЛОЙНЫЕ КРОВЛИ

Узлы сопряжений конструкций теплого чердака и крыш с кровлей

Узел 13 Узел сопряжения плиты кровельного покрытия и наружной продольной стены чердака с кровлей

Узел 14 Узел сопряжения плиты кровельного покрытия и наружной торцевой стены чердака с кровлей

Узел 15 Узел сопряжения лотковой плиты и наружной торцовой стены чердака с кровлей

Узел 16 Узел сопряжения плиты кровельного покрытия и лотковой плиты с кровлей

Узел 17 Узел сопряжения двух плит кровельного покрытия

Узел 19 Узел сопряжения водосточной воронки и лотковой плиты с кровлей

Узел 31 Узел сопряжения двух лотковых плит с кровлей

В местах примыкания к стенам, вентиляционным шахтам и другим конструктивным элементам край кровельного ковра должен быть приподнят не менее чем на 200 мм. Наклонная часть подъёма выполняется под углом 45° или выкружкой радиусом 100 мм. При примыкании ковра к отдельно стоящим трубам основание поднимается на высоту 200 мм (не менее). Поднятая часть основания выполняется из цементно-песчаного раствора марки М100, из тяжелого бетона класса В7,5 или из асфальтобетона прочностью на сжатие 0,8 МПа (при температуре 50 °С).

Стены из кирпича на высоту заведения и наклейки водоизоляционного ковра выравниваются штукатуркой из цементно-песчаного раствора марки M100. Поверхность основания грунтуется.

В местах примыкания кровель к вертикальным поверхностям - стенам, шахтам и другим конструкциям слои основного водоизоляционного ковра усиливаются тремя дополнительными слоями рулонных материалов с верхним слоем, имеющим крупнозернистую посыпку. Под основной ковер укладывается скользящая прокладка из рулонного материала, которая приклеивается только в верхней части вертикального участка и в середине наклонной плоскости. Дополнительные слои водоизоляционного ковра укладываются на мастиках с повышенной теплостойкостью. Место примыкания защищается слоем гравия, втопленного в битумную мастику.

Узел 30 Узел сопряжения плиты кровельного покрытия и стены будки выхода на крышу с кровлей

Узел 25 Узел сопряжения плиты кровельного покрытия и наружной стены машинного помещения с кровлей

Верхний край водоизоляционного ковра на вертикальных участках примыкания закрепляется и защищается от прямого попадания влаги фартуком из оцинкованной кровельной стали толщиной 0,5 - 0,8 мм, край которого крепится к строительным конструкциям. На вертикальных поверхностях, не имеющих выступающей части (распушки) или углубления («выдры», штрабы), способствующих защите верхнего края ковра, «фартук» устанавливается в двух уровнях. Крепление защитного фартука осуществляется шайбами из оцинкованной стальной полосы, пристрелянными дюбель-гвоздями к бетонным конструкциям или прибитыми кровельными оцинкованными гвоздями к деревянным антисептированным рейкам или пробкам, заложенным в кирпичные стены или сборные бетонные элементы.

Зазор между стеной и верхним отогнутым краем фартука герметизируется нетвердеющими строительными мастиками, поверхность которых защищается (от высыхания) бутадиенстирольными, кумаронокаучуковыми, ПХВ красками (ГОСТ 9825-73*). Поверхности, соприкасающиеся с герметизирующей мастикой, предварительно огрунтовываются соответствующей (для принятого герметика) грунтовкой.

Вокруг водоприёмных воронок внутреннего водостока основной гидроизоляционный ковер усиливается тремя слоями, армированными двумя слоями стеклохолста марки ВВ-Г или стеклосетки марки ССС (при применении битумно-латексной эмульсии или холодных мастик). При отсутствии стекломатериалов усиление ковра осуществляют наклейкой двух дополнительных слоев рулонных материалов и слоя мешковины, пропитанной в мастике.

Узлы сопряжений конструкций холодного чердака и крыш с кровлей

Узел 48 Узел сопряжения плиты кровельного покрытия и наружной продольной стены чердака с кровлей

Узел 49 Узел сопряжения плиты кровельного покрытия и наружной торцевой стены чердака с кровлей

Количество слоев основного рулонного водоизоляционного ковра из рубероида принимают в зависимости от уклона кровли: для кровли с уклоном до 2,5 % (0 - 2,5 %) - 4 слоя; для кровли с уклоном более 2,5 % - 3 слоя.

Мастика для устройства кровель назначается в зависимости от района строительства, вида и уклона кровли. При устройстве кровель с уклоном менее 2,5 % из небиостойких рулонных материалов, в состав битумных мастик необходимо вводить антисептики.

Бетонные поверхности основания перед наклейкой ковра должны быть огрунтованы.

Узел 50 Узел сопряжения лотковой плиты и наружной торцовой стены чердака с кровлей

Узел 51 Узел сопряжения плиты кровельного покрытия и лотковой плиты с кровлей

Узел 54 Узел сопряжения водосточной воронки и лотковой плиты с кровлей

Узел 58 Узел сопряжения двух лотковых плит с кровлей

В пределах холодных чердаков все трубопроводы (вытяжной вентиляции санузлов, водостока, теплосетей и пр.) во избежание обмерзания или теплопотерь утепляются оберткой их минераловатными матами (ГОСТ 21880-94*).

Применяемые теплоизоляционные материалы при укладке их в конструкцию должны иметь влажность, установленную стандартами или техническими условиями на эти материалы.

Сборные железобетонные элементы крыш (плиты покрытия, лотки, опоры лотков и др.) устанавливаются на слой цементно-песчаного раствора марки 100 толщиной 20 мм.

Для защиты кровель от действия солнечной радиации в III и IV климатических районах следует устраивать дополнительный слой из гравия (по ГОСТ 8267-93), топленного в горячую битумную мастику слоем 2 мм. Для исключения разрыва рулонного ковра швы между плитами покрытий шириной более 1,5 м перекрываются насухо полосой из рулонного материала шириной 250 мм с приклейкой кромки с одной стороны на ширину 50 мм.

Узел 63 Узел сопряжения плиты кровельного покрытия и стены будки выхода на крышу с кровлей

Узел 62 Узел сопряжения плиты кровельного покрытия и наружной стены машинного помещения с кровлей

Узлы сопряжений конструкций теплого чердака и крыш с кровлей

Узел 12 Узел сопряжения плиты кровельного покрытия и наружной продольной стены с кровлей

Узел 13 Узел сопряжения плиты кровельного покрытия и лотковой плиты с кровлей

Узел 14 Узел сопряжения лотковой плиты и наружной торцевой стены с кровлей

Узел 15 Узел сопряжения плиты кровельного покрытия и наружной торцевой стены с кровлей

Узел 19 Узел сопряжения водосточной воронки и лотковой плиты с кровлей

Узел 31 Узел сопряжения двух лотковых плит с кровлей

В местах примыкания к стенам, вентиляционным шахтам и другим конструктивным элементам край кровельного ковра должен быть приподнят не менее чем на 200 мм. Наклонная часть подъёма выполняется под углом 45° или выкружкой радиусом 100 мм. При примыкании ковра к отдельно стоящим трубам основание поднимается на высоту 200 мм (не менее). Поднятая часть основания выполняется из цементно-песчаного раствора марки M100, из тяжелого бетона класса В7,5 или из асфальтобетона прочностью на сжатие 0,8 МПа (при температуре 50 °С).

Стены из кирпича на высоту заведения и наклейки водоизоляционного ковра выравниваются штукатуркой из цементно-песчаного раствора марки М100. Поверхность основания грунтуется.

В местах примыкания кровель к вертикальным поверхностям - стенам, шахтам и другим конструкциям слои основного водоизоляционного ковра усиливаются тремя дополнительными слоями рулонных материалов с верхним слоем, имеющим крупнозернистую посыпку. Под основной ковер укладывается скользящая прокладка из рулонного материала, которая приклеивается только в верхней части вертикального участка и в середине наклонной плоскости. Дополнительные слои водоизоляционного ковра укладываются на мастиках с повышенной теплостойкостью. Место примыкания защищается слоем гравия, втопленного в битумную мастику.

Узел 30 Узел сопряжения плиты кровельного покрытия и стены будки выхода на крышу с кровлей

Узел 24 Узел сопряжения плиты кровельного покрытия и наружной стены машинного помещения с кровлей

Верхний край водоизоляционного ковра на вертикальных участках примыкания закрепляется и защищается от прямого попадания влаги фартуком из оцинкованной кровельной стали толщиной 0,5 - 0,8 мм, край которого крепится к строительным конструкциям. На вертикальных поверхностях, не имеющих выступающей части (распушки) или углубления («выдры», штрабы), способствующих защите верхнего края ковра, «фартук» устанавливается в двух уровнях. Крепление защитного фартука осуществляется шайбами из оцинкованной стальной полосы, пристрелянными дюбельвоздями к бетонным конструкциям или прибитыми кровельными оцинкованными гвоздями к деревянным антисептированным рейкам или пробкам, заложенным в кирпичные стены или сборные бетонные элементы.

Зазор между стеной и верхним отогнутым краем фартука герметизируется нетвердеющими строительными мастиками, поверхность которых защищается (от высыхания) бутадиенстирольными, кумаронокаучуковыми, ПХВ красками (ГОСТ 9825-73*). Поверхности, соприкасающиеся с герметизирующей мастикой, предварительно огрунтовываются соответствующей (для принятого герметика) грунтовкой.

Вокруг водоприёмных воронок внутреннего водостока основной гидроизоляционный ковер усиливается тремя слоями, армированными двумя слоями стеклохолста марки ВВ-Г или стеклосетки марки ССС (при применении битумно-латексной эмульсии или холодных мастик). При отсутствии стекломатериалов усиление ковра осуществляют наклейкой двух дополнительных слоев рулонных материалов и слоя мешковины, пропитанной в мастике.

Конструкции рулонных кровель общественных зданий по серии 2.260-1 выпуск 5

Согласно СНиП II-26-76 теплоизоляционные слои типов Т-3 ÷ Т-7; Т-9; Т-10 могут использоваться в качестве основания под кровлю без стяжек по их поверхности. Допускается предусматривать стяжку из цементно-песчаного раствора марки 50 толщиной 15 мм по теплоизоляции типа Т-8; Т-11 и Т-12. По засыпным утеплителям (типа Т-15) необходимо предусматривать стяжку из цементно-песчаного раствора повышенной жесткости (осадка конуса до 30 мм) марки 100 толщиной 25 мм. Стяжки следует устраивать захватками шириной 2 - 3 м по направляющим с разравниванием и уплотнением поверхности. В осенне-зимний период по монолитным и плитным утеплителям допускается предусматривать стяжку из песчаного асфальтобетона толщиной 15 мм (прочностью на сжатие не ниже 8 кгс/см2 при 50 °С) (ТУ 66-16-31-89 «Асфальтопесчаные строительные смеси»).

В стяжках следует предусматривать температурно-усадочные швы шириной 5 мм, разделяющие поверхность стяжки из цементно-песчаного раствора на участки не более 6´6 м, а песчаного асфальтобетона - на участки не более 4×4 м; в покрытиях с несущими плитами длиной 6 м эти участки должны иметь размеры 3×3 м. Температурно-усадочные швы должны располагаться над торцовыми швами несущих плит и над температурно-усадочными швами в слоях монолитной теплоизоляции. По температурно-усадочным швам в стяжках, теплоизоляционных материалах монолитной укладки и над торцовыми стыками несущих плит должна предусматриваться укладка полос шириной 150 мм из рубероида и точечная приклейка их с одной стороны шва. По поверхности основания из цементно-песчаного раствора должна предусматриваться огрунтовка.

Узлы сопряжений конструкций бесчердачных невентилируемых покрытий общественных зданий с кровлей по серии 2.260-1 в. 5

Узел сопряжения плиты кровельного покрытия и наружной парапетной панели

Узел сопряжения плиты кровельного покрытия, карнизной плиты и подкарнизной стеновой панели

Узел сопряжения плиты кровельного покрытия и водоприёмной воронки

Узел сопряжения плиты кровельного покрытия изделия для крепления растяжки

Узел сопряжения плиты кровельного покрытия и трубы

Узел сопряжения плиты кровельного покрытия и радиостойки

Узел сопряжения плиты кровельного покрытия и изделия для крепления растяжки

Узел сопряжения конструкций в деформационном шве

Узел сопряжения плиты кровельного покрытия и вентиляционной шахты

Узел сопряжения конструкция в деформационном шве


Устройство мастичной кровли

Требования к материалам

ГОСТ 30693-2000 Мастики кровельные и гидроизоляционные. Общие технические условия.

ГОСТ 2889-80 Мастика битумная кровельная горячая. Технические условия.

ГОСТ 15836-79 Мастика битумно-резиновая изоляционная. Технические условия.

ТУ 21-5744710-512-91 Мастика битумно-бутилкаучуковая холодная кровельная и гидроизоляционная «Вента-У».

ТУ 5775-001-17187505-95 Мастика битумно-полимерная кровельная и гидроизоляционная БИТУРЭЛ.

ТУ 5775-029-17187505-2000 Мастика битумно-полимерная кровельная и гидроизоляционная Битурэл-Экстра.

ТУ 5775-033-17187505-2000 Мастика полимер-битумная кровельная и изоляционная Битурэл-Супер.

ТУ 5775-028-17187505-2000 Мастика полимерно-битумная кровельная, изоляционная и огнезащитная Огнебит.

ТУ 5772-011-17187505-97 Композиции полимерные полиуретановые ПОЛУР.

ТУ 5772-024-17187505-2000 Композиции полимерные полиуретановые ОГНЕПОЛ.

ТУ 5775-017-17187505-97 Мастика полимерная кровельная ГЕРМОКРОВ.

ТУ 5775-032-17187505-2000 Мастика полимерная кровельная ОГНЕКРОВ.

ТУ 5775-001-11753429-95 Мастика полимерно-битумная ПБМ

ТУ 5775-007-00152000-98 Мастика битумно-полимерная ПБС

ТУ 5775-002-10591806-94 Мастика полимерно-битумная кровельная ПБК.

ТУ 309-3.1-2-92 Композиция полимерно-битумная «Антикор МПБ-.

ТУ 2311-001-17660092-95 Композиция полимерно-битумная с пониженной горючестью «Антикор МПБ-.

ТУ 5775-001-26768088-96 Мастика резино-битумная холодная РБМ-Х.

ТУ 21-27-126-88 Мастика хлорсульфополиэтиленобитумная отверждающаяся кровельная и гидроизоляционная «Кровлелит Б-.

ТУ 21-27-37-89 Мастика изол. ТУ 21-27-76-88 Мастика битумно-латексная эмульсионная кровельная и гидроизоляционная «БЛЭМ-20».

ТУ 5775-001-10616742-98 Мастики битумно-эмульсионные кровельные и гидроизоляционные на твердых эмульгаторах.

ТУ 5770-001-23372974-94 Мастика полимерная холодная однокомпонентная кровельная, гидроизоляционная «Магир».

ТУ 5775-001-29659211-96 Мастики кровельные и гидроизоляционные эмульсионные битумные и битумно-полимерные.

ТУ 2513-001-20504464-99 Герметик антикоррозионный «Гермокрон».

ТУ 38.403770-93 Материал кровельный «Битурэл».

ТУ 5775-002-41099447-95 Бутилкаучуковая гидроизоляционная кровельная однокомпонентная мастика «Бутислан-К».

ТУ 5775-012-41099447-99 Однокомпонентный декоративный гидроизоляционный материал для наружных работ (Экстраплан 1101).

ТУ 5775-013-41099447-98 Однокомпонентный гидроизоляционный материал для наружных работ (Эластоплан 1101).

ТУ 5775-012-32478306-2001 Мастика кровельная «Тиобит».

ТУ 5775-052-32478306-2002 Мастика кровельная «Тиобит С».

ТУ 5775-001-11313564-96 Мастика полимерная защитная «Поликров-Л».

ТУ 5772-005-42788835-98 Мастика гидроизоляционная холодного отверждения резино-битумная МГХ-Т.

ТУ 5772-006-42788835-98 Мастика битумно-каучуковая холодного отверждения кровельная и гидроизоляционная МГХ-К.

ТУ 5775-011-13238275-97 Битумно-каучуковая кровельная и гидроизоляционная мастика «Ребакс-М».

ТУ 2384-008-13238275-97 Каучукобитумная гидроизоляционная мастика «БКМ-200».

ТУ 5775-001-32989231-98 Мастика битумно-полимерная гидроизоляционная, герметизирующая и кровельная «Аэродор».

ТУ 5775-001-33529333-95 Мастика полимерная резино-битумная (холодная) «Поликон».

ТУ 5775-001-42280605-96 Мастика «Супер-М».

Мастика «Гипердесмо» (Греция) (сертифицирована и рекомендована АО ЦНИИпромзданий)

Стандарты и технические условия на кровельные, армирующие и герметизирующие материалы, предусмотренные проектом.

СНиП 3.01.01-85* Организация строительного производства.

СНиП 3.04.01-87 Изоляционные и отделочные покрытия.

Пособие. Кровли. Технические требования, правила приемки, проектирование и строительство, методы испытаний (АО ЦНИИПромзданий. М., 1997 г.).

Серия 2.160-4 Узлы крыш жилых зданий, выпуск 5 «Сборные железобетонные чердачные крыши с теплым и холодными чердаками, с рулонной и безрулонной кровлями». Руководство по применению мастики «Вента-У» в кровлях, гидроизоляции и для антикоррозионной защиты строительных конструкций и технологического оборудования» (ЦНИИПромзданий, 1995)

Инструкция по применению изоляционного материала «Битурэл» (компания «Гермопласт»).

Инструкции и Руководства разработчиков и заводов-изготовителей по применению кровельных и герметизирующих материалов, предусмотренных проектом.

Входной контроль кровельных материалов должен осуществляться в соответствии с требованиями проекта, государственных стандартов и технических условий на конкретные кровельные материалы, предусмотренные проектом, а также требованиями технологической документации, утвержденной в установленном порядке.

ГОСТ 30693-2000 Мастики кровельные и гидроизоляционные

Общие технические условия

Данный стандарт распространяется на кровельные и гидроизоляционные мастики, предназначенные для приклеивания рулонных кровельных и гидроизоляционных материалов, устройства защитных слоев кровель, устройства и ремонта мастичных кровель, устройства мастичных слоев гидроизоляции и пароизоляции строительных конструкций, зданий и сооружений, и устанавливает классификацию, общие технические требования, требования безопасности, правила приемки, методы испытаний, требования к транспортированию и хранению и указания по применению.

Кровельные и гидроизоляционные мастики (далее - мастики) классифицируют по следующим основным признакам:

- назначению;

- виду основных исходных компонентов;

- виду разбавителя;

- характеру отверждения;

- способу применения.

По назначению мастики подразделяют на:

- кровельные, предназначенные для устройства мастичных и ремонта всех типов кровель;

- приклеивающие, предназначенные для приклеивания рулонных кровельных и гидроизоляционных материалов и устройства защитных слоев кровель;

- гидроизоляционные, предназначенные для устройства мастичных слоев гидроизоляции;

- пароизоляционные, предназначенные для устройства мастичных слоев пароизоляции.

В зависимости от вида основных исходных компонентов мастики подразделяют на:

- битумные;

- битумно-эмульсионные;

- битумно-резиновые;

- битумно-полимерные;

- полимерные.

По виду разбавителя мастики подразделяют на содержащие:

- воду;

- органические растворители.

По характеру отверждения мастики подразделяют на:

- отверждающиеся (в том числе вулканизующиеся);

- неотверждающиеся.

Отверждающиеся мастики могут быть одно- и многокомпонентными.

По способу применения мастики подразделяют на:

горячие - с предварительным подогревом перед применением;

холодные - не требующие подогрева (содержащие растворитель и эмульсионные).

Условное обозначение мастик в технической документации и при заказе должно состоять из полного или краткого наименования, марки и обозначения нормативного документа, по которому выпускается конкретный вид мастики.

Мастики должны соответствовать требованиям данного стандарта и нормативного документа на конкретный вид мастики.

Физико-механические показатели мастик должны соответствовать требованиям, приведенным в нижеследующей таблице.

Мастики должны выдерживать испытания на гибкость в условиях, приведенных в нижеследующей таблице.

Вид мастики

Условия испытания мастик на гибкость

на брусе с закруглением радиусом, мм

при температуре, °С не выше

Битумно-эмульсионная

5,0 ± 0,2

Минус 15

Битумно-резиновая

5,0 ± 0,2

Минус 5

Битумно-полимерная

5,0 ± 0,2

Минус 15

Полимерная

5,0 ± 0,2

Минус 30

Теплостойкость и температура размягчения мастик должны быть установлены в зависимости от области их применения в нормативном документе на конкретный вид мастики.

Кровельные мастики должны быть водонепроницаемыми при испытании в течение не менее 72 ч при давлении не менее 0,001 МПа (0,01 кгс/см2).


Физико-механические свойства мастик

Наименование показателя

Вид мастики и ее назначение

Битумная

Битумно-полимерная или битумно-резиновая

Битумно-эмульс.

Полимерная

горячая

холодная

горячая

холодная

холодная

холодная

для приклеивания рулонных кровельных и гидроизоляционных (битумных) м-лов

для приклеивания рулонных кровельных и гидроизоляционных (битумных) м-лов

для приклеивания битумных и битумно-полимерных рулонных материалов

для устройства мастичной кровли или гидроизоляции

для приклеивания битумных и битумно-полимерных рулонных материалов

для устройства мастичной кровли или гидроизоляции

для устройства мастичной кровли или гидроизоляции

для приклеивания полимерных рулонных материалов

для устройства мастичной кровли или гидроизоляции

Условная прочность МПа (кгс/см2) (6,0) не менее

-

-

-

0,2

(2,0)

-

0,2

(2,0)

0,2

(2,0)

-

0,6

Относительное удлинение при разрыве, %,

-

-

-

100

-

100

100

-

150

Прочность сцепления с основанием МПа (кгс/см2) не менее

0,1

(1,0)

0,1

(1,0)

0,1

(1,0)

0,1

(1,0)

0,1

(1,0)

0,1

(1,0)

0,1

(1,0)

0,2

(2,0)

0,2

(2,0)

То же, между слоями

-

 

0,1

(1,0)

-

0,1

(1,0)

-

-

0,2

(2,0)

-

Прочность на сдвиг клеевого соединения, кН/м (кгс/см2)

-

-

0,1

(1,0)

-

0,1

(1,0)

-

-

0,1

(1,0)

-

Водопоглощение в течение 24 ч, %, не менее

-

-

-

2

-

2

5

-

2


Гидроизоляционные мастики должны быть водонепроницаемыми при испытании в течение не менее 10 мин при давлении не менее 0,03 МПа (0,3 кгс/см2), если иные условия испытания не установлены в нормативном документе на конкретный вид мастики.

Паропроницаемость пароизоляционных мастик указывают в нормативном документе на конкретный вид мастики.

Мастики, применяемые в условиях специальных воздействий, должны обладать стойкостью к этим воздействиям.

Цветные мастики должны выдерживать испытание на цветостойкость в течение не менее 2 ч.

На каждое тарное место должна быть наклеена или прикреплена к нему этикетка с указанием:

- наименования предприятия-изготовителя или его товарного знака;

- наименования мастики, индекса компонента или состава (для многокомпонентных мастик);

- обозначения нормативного документа на конкретный вид мастики;

- номера партии и даты изготовления;

- массы нетто тарного места;

- краткой инструкции по применению.

Перечень информации на этикетке может быть дополнен или изменен в соответствии с требованиями нормативного документа на конкретный вид мастики.

Транспортная маркировка - по ГОСТ 14192-96.

Упаковка должна обеспечивать сохранность мастики при транспортировании и хранении. Особенности упаковки указывают в нормативном документе на конкретный вид мастики.

В нормативном документе на конкретный вид мастики должны содержаться следующие показатели пожарной опасности покрытия из мастики:

группы горючести, воспламеняемости и распространения пламени - для кровельных мастик;

группы горючести и воспламеняемости - для гидроизоляционных мастик.

Организация-производитель или разработчик мастик может заявить в нормативном документе на мастику предельные значения отдельных или всех показателей ее пожарной опасности (наиболее опасные: Г4, РП4, В3) без подтверждения испытаниями.

Перечень контролируемых показателей качества кровельных и гидроизоляционных мастик (для всех мастик и для конкретных групп мастик) приведен в нижеследующей таблице.

Наименование показателя

Применяемость

Теплостойкость или температура размягчения

Для всех мастик

Прочность сцепления с основанием

То же

Условная вязкость

Для холодных мастик

Гибкость

Для мастик, предназначенных для устройства мастичных кровель и гидроизоляции

Водопоглощение

То же

Водонепроницаемость

То же

Условная прочность

Для мастик, предназначенных для устройства мастичных кровель

Относительное удлинение при разрыве

То же

Прочность на сдвиг клеевого соединения

Для приклеивающих битумно-полимерных, битумно-резиновых и полимерных мастик

Прочность сцепления между слоями

То же

Паропроницаемость

Для мастик, предназначенных для устройства пароизоляции

Содержание сухого вещества или массовая доля летучих и нелетучих веществ

Для холодных мастик

Условное время вулканизации (отверждения) или жизнеспособность

Для отверждающихся мастик

Химическая стойкость

Для мастик, применяемых в условиях воздействия агрессивных сред

Цветостойкость

Для цветных мастик

Примечание: При необходимости номенклатура показателей может быть изменена или дополнена другими показателями по согласованию с потребителем продукции.

Предприятие-изготовитель контролирует качество мастик по всем показателям, установленным в нормативном документе на конкретный вид мастики.

Каждая партия мастики, принятая отделом технического контроля, должна оформляться документом о качестве, в котором указывают:

- наименование или товарный знак, адрес предприятия-изготовителя;

- наименование мастики и обозначение нормативного документа;

- номер партии и дату изготовления;

- количество тарных мест мастики (или составов мастики) в партии и их массу;

- результаты испытаний или подтверждение о соответствии качества мастики требованиям нормативного документа.

Перечень информации в документе о качестве может быть дополнен в соответствии с требованиями нормативного документа на конкретный вид мастики.

Потребитель имеет право проводить контрольную проверку мастик в соответствии с требованиями данного стандарта, применяя методы испытаний, указанные в ГОСТ 26589-94 и нормативном документе на конкретный вид мастики.

Транспортирование мастик производится всеми видами транспорта.

Погрузку в транспортные средства и перевозку мастик производят в соответствии с Правилами перевозки грузов, действующими на транспорте данного вида, и требованиями, установленными в нормативном документе на конкретный вид мастики.

Мастики должны храниться в условиях, обеспечивающих защиту от воздействия влаги и солнца, рассортированными по маркам.

Особенности хранения мастик должны быть указаны в нормативном документе на конкретный вид мастики.

Мастики должны применяться в соответствии с требованиями действующих строительных норм, сводов правил и рекомендаций (инструкций) по применению конкретного вида мастики.

ГОСТ 2889-80 Мастика битумная кровельная горячая. Технические условия

Данный стандарт распространяется на битумную кровельную горячую мастику, представляющую собой однородную массу, состоящую из битумного вяжущего и наполнителя и используемую в горячем состоянии.

Мастика может изготавливаться с добавками антисептиков и гербицидов.

Мастика предназначена для устройства рулонных кровель, а также мастичных кровель, армированных стекломатериалами.

Область применения мастики приведена в нижеследующей таблице (рекомендуемое приложение 1 к стандарту).

Район строительства

Мастика для устройства кровель с уклоном, %

Мест примыканий

менее 2,5

2,5 - менее 10

10-25

Севернее географической широты 50 - для европейской и 53 - для азиатской части России

МБК-Г-55

МБК-Г-65

МБК-Г-75

МБК-Г-85

Южнее этих районов

МБК-Г-65

МБК-Г-75

МБК-Г-85

МБК-Г-100

Мастики марок МБК-Г-55 и МБК-Г-65 следует применять для наклейки антисептированного рубероида и стеклорубероида, а мастики марок МБК-Г-55А и МБК-Г-65А - для наклейки неантисептированного рубероида; мастики марок МБК-Г-55Г и МБК-Г-65Г - для устройства защитного слоя на кровлях.

Цифры в условном обозначении марок мастики обозначают ее теплостойкость в °С. В обозначении марок мастики с добавками антисептиков или гербицидов после цифры теплостойкости добавляют соответственно букву А или Г.

По внешнему виду мастика должна быть однородной без посторонних включений и частиц наполнителя, антисептика или гербицида, не покрытых битумом.

На срезе мастики площадью 50 см2 не должно быть более двух непропитанных частиц наполнителя, антисептика или гербицида размером более 0,4 мм.

В зависимости от марки мастика должна соответствовать требованиям, приведенным в нижеследующей таблице.

Наименование показателей

Норма для мастики марок

МБК-Г-55

МБК-Г-65

МБК-Г-75

МБК-Г-85

МБК-Г-100

Теплостойкость в течение 5 ч, °С, не менее

55

65

75

85

100

Температура размягчения по методу «кольцо и шар», °С

55 - 60

68 - 72

78 - 82

88 - 92

55 - 60

Гибкость при температуре 18 ± 2 °С на стержне диаметром, мм

10

15

20

30

40

Содержание наполнителя, % по массе:

 

 

 

 

 

волокнистого

12 - 15

12 - 15

12 - 15

12 - 15

12 - 15

пылевидного

25 - 30

25 - 30

25 - 30

25 - 30

25 - 30

Содержание воды

Следы

Мастика может быть упакована в стальные бочки со съемным днищем, в деревянные бочки или барабаны, мешки бумажные с противоадгезионной прослойкой.

На строительные объекты, расположенные вблизи мест централизованного изготовления, мастику следует транспортировать разогретой до 160 - 180 °С в специальных автомашинах, оборудованных мешалками. Время в пути не должно превышать 3 часов.

На упаковке мастики должно быть указано несмываемой краской:

- наименование или товарный знак предприятия-изготовителя;

- марка мастики;

- наименование наполнителя;

- номер партии.

Каждая отгружаемая партия мастики должна сопровождаться документом, удостоверяющим качество, в котором должны указываться:

- наименование или товарный знак предприятия-изготовителя;

- количество мест в партии и их масса;

- марка мастики;

- наименование наполнителей и их процентное содержание в мастике;

- наименование антисептика или гербицида и их процентное содержание в мастике;

- результаты испытаний;

- обозначение данного стандарта.

Мастика должна храниться раздельно по маркам в закрытом помещении.

Гарантийный срок хранения мастики - один год со дня изготовления. По истечении гарантийного срока хранения перед применением мастика должна быть проверена на соответствие ее требованиям данного стандарта.

ТУ 21-5744710-512-91 Мастика битумно-бутилкаучуковая холодная кровельная и гидроизоляционная «Вента-У»

Мастика предназначена для устройства и ремонта кровель, наружной гидроизоляции строительных конструкций. Сохраняет работоспособность в интервале температур от минус 65 до плюс 130 °С.

Мастика представляет собой многокомпонентную однородную массу, полученную путем смешения в соотношении 50:1 по массе двух составов - жидкого вулканизующегося состава «В» и пастообразного состава «А», содержащего активатор вулканизации.

Мастика является биостойкой.

Смешение двух составов производят на месте потребления в любом смесительном оборудовании в соотношении 50:1 по массе.

Состав «А» при длительном хранении может расслаиваться или засыхать (требуется добавка необходимого количества воды). Перед введением его в состав «В» состав «А» следует перемешать до полной однородности по всему объему при помощи лопастных мешалок или другого смесительного оборудования.

Готовая мастика по внешнему виду должна представлять собой однородную массу черного цвета.

Готовность мастики проверяется по сухому остатку (не менее 27 %), условной вязкости (в пределах 200 - 300 с) и условному времени вулканизации при температуре 20 ± 5 °С (3 - 24 ч).

Мастика должна выдерживать испытания на гибкость. При испытании образца мастики на брусе с радиусом закругления 5 ± 0,2 мм при температуре минус 65 ± 1 °С на поверхности образца не должно быть трещин.

Мастика должна быть водонепроницаемой. При испытании при давлении 0,10 ± 0,01 МПа (1,0 ± 0,1 кгс/см2) в течение не менее 10 мин на поверхности образца не должно быть признаков проникания воды.

Мастика должна быть теплостойкой. При испытании при температуре 130 ± 2 °С в течение не менее 5 ч на поверхности образца не должно быть вздутий.

Физико-механические свойства мастики должны соответствовать требованиям, приведенным в нижеследующей таблице.

Наименование показателя

Норма

Прочность сцепления с бетоном, МПа (кгс/см2) не менее

0,5 (5,0)

Водопоглощение в течение 24 ч, % по массе, не более

0,5

Условная прочность, МПа (кгс/см2), не менее

0,7 (7,0)

Относительное удлинение при разрыве, %, не менее

400

Условное время вулканизации, ч, в пределах

3 - 24

Условная вязкость, с, в пределах

200 - 300

Содержание сухого остатка, % по массе, не менее

27

Состав «В» мастики «Вента-У» поставляется заводом-изготовителем в герметически закрывающейся металлической таре (бочки стальные или алюминиевые), а состав «А» - в полиэтиленовой таре массой не более 5 кг.

Объем заполнения тары должен быть не более 90 %. Допускается поставка составов «В» и «А» в другой таре, обеспечивающей сохранность свойств составов мастики.

На каждое тарное место должна быть наклеена этикетка с указанием:

- наименования предприятия-изготовителя или его товарного знака;

- обозначения технических условий;

- даты изготовления;

- массы тарного места;

- гарантийного срока хранения.

На этикетке должны быть надписи: «ОГНЕОПАСНО» и «ВЗРЫВООПАСНО».

Каждая партия мастики должна сопровождаться документом о качестве.

Мастика должна храниться в помещении, снабженным приточно-вытяжной вентиляцией. При хранении мастика должна быть защищена от прямого воздействия солнечных лучей.

Гарантийный срок хранения мастики - не менее 3 месяцев со дня ее изготовления. По истечении гарантийного срока хранения мастика перед применением должна быть проверена на соответствие требованиям технических условий и при положительных результатах может быть использована по назначению.

ТУ 5775-001-17187505-95 Мастика битумно-полимерная кровельная и гидроизоляционная БИТУРЭЛ

Данные технические условия распространяются на мастику битумно-полимерную кровельную и гидроизоляционную Битурэл, изготовляемую на основе полиуретана и битума.

Мастика предназначается для устройства и ремонта кровель, наружной гидроизоляции строительных конструкций, защиты от коррозии наружных металлических конструкций, технологического оборудования, трубопроводов и днищ автомобилей.

Мастика представляет собой однородную массу черного цвета, полученную путем смешения двух жидких компонентов - полимерного компонента 1 (светлого цвета) и битумного компонента 2 (черного цвета) в соотношении (30 ± 1): (70 ± 2) по массе. Смешение компонентов производится на месте потребления.

После отверждения мастика Битурэл превращается в монолитную резиноподобную эластичную пленку - слой, сохраняющую заданные свойства в диапазоне температур от +120 до минус 50 °С.

Мастика Битурэл является биостойкой.

Пример условного обозначения мастики при заказе:

Битурэл ТУ 5775-001-17187505-95.

По внешнему виду мастика Битурэл должна представлять собой однородную массу черного цвета, без посторонних включений.

Физико-механические свойства мастики должны соответствовать требованиям, приведенным в нижеследующей таблице.

Наименование показателя

Норма

Жизнеспособность (после смешения компонентов), ч, не менее

5

Массовая доля летучих веществ, %, не более

30

Условная прочность, МПа (кгс/см2), не менее

1,0 (10,0)

Относительное удлинение при разрыве, %, не менее

500

Прочность сцепления, МПа (кгс/см2) не менее

- с бетоном

0,5 (5,0)

- с металлом

0,5 (5,0)

Водопоглощение в течение 24 ч, % по массе, не более

1,5

Химическая стойкость (снижение условной прочности и относительного удлинения при разрыве после воздействия кислот, щелочей, раствора солей), %, не более

10

Стойкость к воздействию искусственных климатических факторов (снижение условной прочности и относительного удлинения при разрыве), %, не более

10

Мастика должна выдерживать испытания на гибкость. При испытании образца мастики на брусе с радиусом закругления 5 ± 0,2 мм при температуре минус 50 ± 1 °С на поверхности образца не должно быть трещин.

Мастика должна быть водонепроницаемой. При испытании при давлении 0,10 ± 0,01 МПа (1,0 ± 0,1 кгс/см2) в течение не менее 10 мин на поверхности образца не должно быть признаков проникания воды.

Мастика должна быть теплостойкой. При испытании при температуре 120 ± 2 °С в течение не менее 5 ч на поверхности образца не должно быть вздутий.

Мастика поставляется потребителю в виде двух компонентов: 1 и 2, которые должны быть упакованы в металлические бочки или в другую тару по согласованию с потребителем продукции.

На каждое тарное место должна быть наклеена этикетка с указанием:

- наименования предприятия-изготовителя или его товарного знака;

- наименования мастики, индекса компонента;

- обозначения данных технических условий;

- номера партии и даты изготовления;

- массы нетто тарного места;

- гарантийного срока хранения.

Для компонента 2 на этикетке должны быть надписи «ОГНЕОПАСНО» и «ВЗРЫВООПАСНО».

Каждая партия мастаки Битурэл должна сопровождаться документом о качестве, в котором указывают:

- наименование и товарный знак предприятия-изготовителя;

- наименование мастики и номер технических условий;

- номер партии и дату изготовления;

- массу нетто и количество тарных мест компонентов 1 и 2;

- результаты испытаний или подтверждение соответствия качества мастики Битурэл требованиям технических условий;

- гарантийный срок хранения.

Мастика транспортируется всеми видами транспорта.

Мастика должна храниться в полотно закрытой таре в неотапливаемых складских помещениях при температуре не выше 30 °С.

Гарантийный срок хранения мастики Битурэл - 6 месяцев со дня ее изготовления. По истечении гарантийного срока хранения мастика перед применением должна быть проверена на соответствие требованиям технических условий и при положительных результатах может быть использована по назначению.

ТУ 5775-029-17187505-2000 Мастика битумно-полимерная кровельная и гидроизоляционная БИТУРЭЛ-ЭКСТРА

Данные технические условия распространяются на мастику двухкомпонентную битумно-полимерную кровельную и изоляционную БИТУРЭЛ-ЭКСТРА, изготовляемую на основе битумно-полимерной мастики Битурэл с введением в ее состав специальных добавок, повышающих эксплуатационные свойства.

БИТУРЭЛ-ЭКСТРА предназначается для устройства и ремонта кровель всех типов, наружной гидроизоляции строительных конструкций, заделки стыков плит покрытия аэродромов и автодорог, защиты от коррозии наружных металлических и бетонных поверхностей, технологического оборудования, трубопроводов. Работоспособность мастики сохраняется в интервале температур от минус 60 °С до плюс 140 °С.

Мастика до отверждения представляет собой однородную (без посторонних включений) вязкую массу черного цвета, полученную путем смешения двух жидких компонентов - компонента полиуретанового «Гермопласт ФП- (1) и специального компонента (2) в соотношении (30 ± 2):(70 ± 2) по массе. Смешение компонентов производится на месте потребления.

После отверждения покрытие должно представлять собой по внешнему виду резиноподобную пленку без вздутий и пузырей.

Мастика биостойка.

Пример условного обозначения мастики при заказе:

Битурэл-Экстра ТУ 5775-029-17187505-2000.

Мастика должна отвечать требованиям, приведенным в нижеследующей таблице.

Наименование показателей

Норма

Условное время отверждения (tотв) после смешивания компонентов при t = +20 °С, ч

не менее 3

Содержание сухого остатка, %

более 70

Условное время отверждения (tотв) после смешения компонентов при температуре +20 °С должно быть не менее 3 ч. Условное время отверждения мастики зависит от температуры, при которой происходит ее полимеризация. Для придания мастике специальных свойств в нее вводятся катализаторы, с помощью которых (в зависимости от региона применения, климатических условий, времени года и других факторов) возможно варьирование времени жизни мастики, изменение прочностных и других показателей.

Физико-механические свойства покрытия из мастики должны соответствовать требованиям, приведенным в нижеследующей таблице.

Наименование показателя

Норма

Предел прочности при разрыве, МПа, не менее

1,0

Относительное удлинение при разрыве, %, не менее

500

Адгезия (прочность сцепления), МПа (кгс/см2) не менее

- с бетоном

0,5 (5,0)

- с металлом (чистым и ржавым)

0,5 (5,0)

- с рубероидом

0,5 (5,0)

Паропроницаемость, кг/м с Па

0,75·10-13

Водостойкость, МПа, не менее

0,45

Водопоглощение в течение 24 ч, % по массе, не более

1,0

Водонепроницаемость пленки толщиной 2,0 мм в течение 10 мин, МПа, не менее

0,1

Гибкость на брусе R = 5 мм, °С

-60

Теплостойкость в течение 5 часов, °С, не менее

140

Химическая стойкость (снижение условной прочности и относительного удлинения при разрыве после воздействия кислот, щелочей, раствора солей), %, не более

10

По воспламеняемости покрытие относится к группе В2 по ГОСТ 30402-96, по горючести - к группе Г3 по ГОСТ 30403-96.

Компоненты мастики должны быть упакованы в герметически закрывающиеся металлические бочки по ГОСТ 13950-91*, ГОСТ 17366-80*, ГОСТ 6247-79* или в другую тару по согласованию с потребителем продукции.

На каждое тарное место должна быть наклеена этикетка с указанием:

- наименования предприятия-изготовителя или его товарного знака;

- наименования мастики, индекса компонента;

- обозначения технических условий;

- номера партии и даты изготовления;

- массы нетто тарного места;

- номера места;

- гарантийного срока хранения.

Для специального компонента на этикетке должны быть надписи «ОГНЕОПАСНО» и «ВЗРЫВООПАСНО».

Каждая партия мастики должна сопровождаться документом о качестве, в котором указывают:

- наименование и товарный знак предприятия-изготовителя;

- наименование мастики и номер технических условий;

- номер партии и дату изготовления;

- массу нетто и количество тарных мест компонентов;

- результаты испытаний или подтверждение соответствия качества мастики требованиям технических условий;

- гарантийный срок хранения.

Компоненты мастики транспортируется всеми видами транспорта.

Компоненты мастики должны храниться в полотно закрытой таре в неотапливаемых складских помещениях при температуре не выше 30 °С.

Гарантийный срок хранения компонентов мастики - 6 и 12 месяцев, соответственно, со дня их изготовления. По истечении гарантийного срока хранения компоненты мастики перед применением должны быть проверены на соответствие их требованиям технических условий и при установлении соответствия могут быть использованы по назначению.

ТУ 5775-033-17187505-2000 Мастика полимер-битумная кровельная и изоляционная БИТУРЭЛ-СУПЕР

Технические условия распространяются на мастику двухкомпонентную полимер-битумную кровельную и изоляционную БИТУРЭЛ-СУПЕР, изготовляемую на основе битумно-полимерной кровельной и гидроизоляционной мастики БИТУРЭЛ-ЭКСТРА (ТУ 5775-029-17187505-2000) с введением в ее состав специальных добавок, повышающих эксплуатационные свойства.

В зависимости от области и условий применения мастика выпускается двух марок: БИТУРЭЛУПЕР 1 и БИТУРЭЛУПЕР 2. При необходимости мастика БИТУРЭЛ-СУПЕР 1 может выпускаться с приданными ей специальными свойствами, обеспечивающими повышенную стойкость к определенным агрессивным средам. При этом ее физико-механические показатели не изменяются, а мастика маркируется индексом «М».

Мастика БИТУРЭЛ-СУПЕР 1 предназначается для устройства и ремонта кровель всех типов, в том числе эксплуатируемых, наружной гидроизоляции строительных конструкций, заделки стыков плит перекрытия аэродромов и автодорог, усиленной защиты от коррозии наружных металлических и бетонных конструкций, технологического оборудования, трубопроводов.

Мастика БИТУРЭЛ-СУПЕР 2 предназначается: для приклейки материалов на основе этилен-пропилен-дивиниловых материалов при устройстве и ремонте кровель всех типов, наружной гидроизоляции строительных конструкций и антикоррозионной защиты.

Работоспособность покрытия из мастики сохраняется в интервале температур от минус 50 °С до плюс 150 °С.

Мастика биостойка.

Пример условного обозначения мастики при заказе:

Битурэл-Супер ТУ 5775-033-17187505-2000.

Мастика до отверждения представляет собой однородную (без посторонних включений) вязкую массу черного цвета, полученную путем смешения двух жидких компонентов - компонента полиуретанового «Гермопласт ФП- (1) и специального компонента (2) в соотношении (30 ± 2):(70 ± 2) по массе. Смешение компонентов производится на месте потребления.

Мастика должна отвечать требованиям, приведенным в нижеследующей таблице.

Наименование показателей

Норма

Битурэл-Супер 1

Битурэл-Супер 2

Условное время отверждения (tотв) после смешивания компонентов при t = +20 °С, ч

не менее 2

не менее 3

Содержание сухого остатка, %, более

70

65

Условное время отверждения мастики зависит от температуры, при которой происходит ее полимеризация. Для придания мастике специальных свойств в нее вводятся катализаторы, с помощью которых (в зависимости от региона применения, климатических условий, времени года и других факторов) возможно варьирование времени жизни мастики, изменение прочностных и других показателей.

После отверждения покрытие должно представлять собой по внешнему виду резиноподобную пленку без вздутий и пузырей.

Физико-механические свойства покрытия из мастики должны соответствовать требованиям, приведенным в нижеследующей таблице.

Наименование показателя

Норма

Битурэл-Супер 1

Битурэл-Супер 2

Предел прочности при разрыве, МПа, не менее

0,3

0,3

Относительное удлинение, %, не менее

300

400

Адгезия, МПа (кгс/см2) не менее

 

 

- с бетоном

0,7 (7,0)

0,3 (3,0)

- с металлом (чистым и ржавым)

0,7 (7,0)

0,3 (3,0)

- с рубероидом

0,7 (7,0)

0,3 (3,0)

Паропроницаемость, кг/м с Па

0,75·10-13

-

Водостойкость, МПа, не менее

0,45

0,45

Водопоглощение в течение 24 ч, %, не более

1,0

1,0

Водонепроницаемость пленки толщиной 2,0 мм в течение 10 мин, МПа, не менее

0,1

0,1

Гибкость на брусе R = 5 мм, °С

-50

-50

Теплостойкость в течение 5 часов, °С, не менее

150

110

Химическая стойкость (снижение механических показателей), %, не более

10

10

Покрытия из мастики Битурэл-Супер 1 по воспламеняемости относятся к группе В3 (по ГОСТ 30402-96), по горючести - к группе Г2 (по ГОСТ 30244-96), по распространению пламени - к группе РП2 (по ГОСТ-30444-97).

Покрытия из мастики Битурэл-Супер 2 по воспламеняемости относятся к группе В3, по горючести - к группе Г3, по распространению пламени - к группе РП2.

Компоненты мастики должны быть упакованы в герметически закрывающиеся металлические бочки по ГОСТ 13950-91*, ГОСТ 17366-80*, ГОСТ 6247-79* или в другую тару по согласованию с потребителем продукции.

На каждое тарное место должна быть наклеена этикетка с указанием: наименования предприятия-изготовителя или его товарного знака; наименования мастики, индекса компонента; обозначения технических условий; номера партии и даты изготовления; массы нетто тарного места; номера места; гарантийного срока хранения.

Для специального компонента на этикетке должны быть надписи «ОГНЕОПАСНО» и «ВЗРЫВООПАСНО».

Каждая партия мастики должна сопровождаться документом о качестве, в котором указывают:

- наименование и товарный знак предприятия-изготовителя;

- наименование мастики и номер технических условий;

- номер партии и дату изготовления;

- массу нетто и количество тарных мест компонентов;

- результаты испытаний или подтверждение соответствия качества мастики требованиям технических условий;

- гарантийный срок хранения.

Компоненты мастики транспортируется всеми видами транспорта.

Компоненты мастики должны храниться в полотно закрытой таре в неотапливаемых складских помещениях при температуре не выше 30 °С.

Гарантийный срок хранения компонентов мастики - 6 и 12 месяцев соответственно со дня их изготовления. По истечении гарантийного срока хранения компоненты мастики перед применением должны быть проверены на соответствие их требованиям технических условий и при установлении соответствия могут быть использованы по назначению.

ТУ 5775-028-17187505-2000 Мастика полимерно-битумная кровельная, изоляционная и огнезащитная ОГНЕБИТ

Технические условия распространяются на мастику двухкомпонентную полимерно-битумную кровельную, изоляционную и огнезащитную Огнебит, изготовляемую на основе битумно-полимерной кровельной и гидроизоляционной мастики БИТУРЭЛ (ТУ 5775-001-17187505-951 с введением в ее состав специальных добавок, повышающих ее огнезащитные свойства.

В зависимости от области и условий применения мастика выпускается двух марок: Огнебит и Огнебит «В».

Мастика предназначается для устройства и ремонта кровель всех типов, заделки стыков плит перекрытия аэродромов и автодорог, защиты от коррозии и огня наружных металлических и бетонных конструкций, технологического оборудования, трубопроводов.

Работоспособность покрытия из мастики сохраняется в интервале температур от минус 50 °С до плюс 150 °С.

Мастика биостойка.

Пример условного обозначения мастики при заказе:

Огнебит ТУ 5775-028-17187505-2000.

Мастика до отверждения представляет собой однородную (без посторонних включений) массу черного цвета, полученную путем смешения двух жидких компонентов - компонента полиуретанового «Гермопласт ФП- (1) и специального пастообразного компонента (2) в соотношении (30 ± 2):(70 ± 2) по массе. Смешение компонентов производится на месте потребления.

Мастика должна отвечать требованиям, приведенным в нижеследующей таблице.

Наименование показателей

Норма

Огнебит

Огнебит «В»

Условное время отверждения (tотв) после смешивания компонентов при t = +20 °С, ч

не менее 3

не менее 3

Содержание сухого остатка, %, более

70

70

Условное время отверждения мастики зависит от температуры, при которой происходит ее полимеризация. Для придания мастике специальных свойств в нее вводятся катализаторы, с помощью которых (в зависимости от региона применения, климатических условий, времени года и других факторов) возможно варьирование времени жизни мастики, изменение прочностных и других показателей.

После отверждения покрытие должно представлять собой по внешнему виду резиноподобную пленку без вздутий и пузырей.

Физико-механические свойства покрытия из мастики должны соответствовать требованиям, приведенным в нижеследующей таблице.

Наименование показателей

Норма

Огнебит

Огнебит «В»

Предел прочности при разрыве, МПа, не менее

1,0

1,5

Относительное удлинение, %, не менее

250

50

Адгезия, МПа (кгс/см2) не менее

 

 

- с бетоном

0,5 (5,0)

0,5 (5,0)

- с металлом (чистым и ржавым)

0,5 (5,0)

0,5 (5,0)

- с рубероидом

0,5 (5,0)

0,5 (5,0)

Паропроницаемость, кг/м с Па

0,75·10-13

0,75·10-13

Водопоглощение в течение 24 ч, %, не более

1,5

2,0

Водонепроницаемость пленки толщиной 2,0 мм в течение 10 мин, МПа, не менее

0,1

0,1

Гибкость на брусе R = 5 мм, °С

-50

-40

Теплостойкость в течение 5 часов, °С, не менее

150

150

Химическая стойкость (снижение механических показателей), %, не более

10

10

Покрытия из мастики по воспламеняемости относятся к группе В2, а по горючести - к группе Г2 (Огнебит) и Г1 (Огнебит «В»).

Компоненты мастики должны быть упакованы в герметически закрывающиеся металлические бочки по ГОСТ 13950-91*, ГОСТ 17366-80*, ГОСТ 6247-79* или в другую тару по согласованию с потребителем продукции.

На каждое тарное место должна быть наклеена этикетка с указанием:

- наименования предприятия-изготовителя или его товарного знака;

- наименования мастики, индекса компонента;

- обозначения технических условий;

- номера партии и даты изготовления;

- массы нетто тарного места;

- номера места;

- гарантийного срока хранения.

Для специального компонента на этикетке должны быть надписи «ОГНЕОПАСНО» и «ВЗРЫВООПАСНО».

Каждая партия мастики должна сопровождаться документом о качестве, в котором указывают:

- наименование и товарный знак предприятия-изготовителя;

- наименование мастики и номер технических условий;

- номер партии и дату изготовления;

- массу нетто и количество тарных мест компонентов;

- результаты испытаний или подтверждение соответствия качества мастики требованиям технических условий;

- гарантийный срок хранения.

Компоненты мастики транспортируется всеми видами транспорта.

Компоненты мастики должны храниться в полотно закрытой таре в неотапливаемых складских помещениях при температуре не выше 30 °С.

Гарантийный срок хранения компонентов мастики - 6 и 12 месяцев соответственно со дня их изготовления. По истечении гарантийного срока хранения компоненты мастики перед применением должны быть проверены на соответствие их требованиям технических условий и при установлении соответствия могут быть использованы по назначению.

ТУ 5772-011-17187505-97 Композиции полимерные полиуретановые ПОЛУР

Технические условия распространяются на композиции полимерные полиуретановые ПОЛУР, представляющие собой двухкомпонентные отверждающиеся системы на основе полиуретана и технологических добавок, предназначенные для строительства и ремонта зданий, сооружений и конструкций, для получения моноблочных изделий радио- и электронной промышленности.

В зависимости от области применения выпускают композиции Полур пяти марок:

Полур-1 - для устройства подготовительного слоя бесшовных наливных покрытий пола, в качестве компаунда для заливки радиоэлектронного оборудования, длительно работающего в среде воздуха и в условиях повышенной влажности в интервале температур от минус 60 °С до 80 °С; для устройства неэксплуатируемой кровли и для коррозионной защиты наземных и подземных железобетонных, каменных и металлических сооружений, в том числе в хозяйственно-питьевом водоснабжении;

Полур-2 - для устройства бесшовных наливных покрытий пола со слабой и умеренной интенсивностью механических воздействий (по СНиП 2.03.13-88) в зданиях типов А, Б и В; покрытий балконов, лоджий, террас, крылец и дорожных площадок; для устройства эксплуатируемых кровель; для гидроизоляции и защиты от коррозии конструкций и трубопроводов, в том числе в хозяйственно-питьевом водоснабжении;

Полур-3 - для устройства бесшовных наливных покрытий пола со слабой и умеренной интенсивностью механических воздействий (по СНиП 2.03.13-88) в зданиях типов А, Б и В; покрытий балконов, лоджий, террас, крылец и дорожных площадок; для устройства эксплуатируемых кровель; для гидроизоляции и защиты от коррозии конструкций и трубопроводов, в том числе в хозяйственно-питьевом водоснабжении;

Полур-4 - для устройства бесшовных наливных покрытий пола с умеренной и значительной интенсивностью механических воздействий (по СНиП 2.03.13-88) в зданиях типов А, Б и В; для изготовления объемных комплектующих изделий; для гидроизоляции и защиты от коррозии конструкций и трубопроводов, в том числе в хозяйственно-питьевом водоснабжении;

Полур-5 - для устройства бесшовных наливных покрытий пола со слабой и умеренной интенсивностью механических воздействий (по СНиП 2.03.13-88) в зданиях типов А, Б и В; покрытий балконов, лоджий, террас, крылец и дорожных площадок; для устройства эксплуатируемых кровель; для гидроизоляции и защиты от коррозии конструкций и трубопроводов, в том числе в хозяйственно-питьевом водоснабжении.

Композиции Полур после отверждения характеризуются повышенными морозостойкостью, износостойкостью и химической стойкостью. По согласованию с заказчиком им может быть придан любой цвет.

Композиции Полур работоспособны в интервале температур от минус 60 °С до 120 °С.

Показатели качества композиций Полур должны соответствовать нормам представленным в нижеследующей таблице

Наименование показателя

Норма для марок

Полур-1

Полур-2

Полур-3

Полур-4

Полур-5

Жизнеспособность, мин, не менее

60

120

120

40

100

Время высыхания до степени 5, ч, не более

40

24

22

5

24

Истираемость, мкм, не более

70

50

20

100

70

Прочность сцепления с бетоном, МПа, не менее

-

0,90

0,75

0,60

1,00

Условная прочность, МПа, не менее

0,5

3,5

10,0

30,0

4,0

Относительное удлинение при разрыве, %, не менее

100

200

150

20

300

Водопоглощение, % массе, не более

5,0

2,0

2,0

2,0

1,5

Гибкость на брусе с закруглением радиусом (10 ± 0,2) мм, при температуре минус 50 ± 1 °С

на поверхности образца не должно быть трещин

По внешнему виду композиции Полур до и после отверждения должны быть однородными, не иметь видимых посторонних включений. Цвет - по согласованию с заказчиком. Допускаются оттенки.

Пример условного обозначения композиции при заказе:

Композиция Полур-2 ТУ 5772-011-17187505-97.

Покрытия из композиций Полур относятся к группе Г3 по горючести (ГОСТ 30244-94), к группе В2 по воспламеняемости (ГОСТ 30402-96), к группе РП3 по распространению пламени (ГОСТ Р 51032-97), к группе Д2 по дымообразующей способности (ГОСТ 12.1.044-89).

Композиции Полур поставляются в виде двух компонентов: основного (1-ый компонент) и отверждающего (2-ой компонент).

Для композиций Полур приняты следующие соотношения основного и отверждающего компонентов (м. ч.).

Композиции Полур

основной компонент

отверждающий компонент

Полур-1

100

10 - 35

Полур-2

100

30 - 55

Полур-3

100

35 - 60

Полур-4

100

40 - 65

Полур-5

100

35 - 60

Точное соотношение компонентов должно быть указано в паспорте для каждой партии материалов.

Основной и отверждающий компоненты должны быть упакованы в герметически закрывающиеся металлические бочки по ГОСТ 13950-91*, ГОСТ 17366-80*, ГОСТ 6247-79* или по согласованию с потребителем в другую тару, обеспечивающую сохранность свойств компонентов при хранении и транспортировании.

На каждую упаковочную единицу должна быть нанесена маркировка, в которой указывают:

- наименование предприятия-изготовителя или его товарный знак;

- условное обозначение продукции, наименование компонента;

- номер партии и дату изготовления;

- массу нетто;

- манипуляционные знаки «Беречь от нагрева», «Беречь от влаги», «Герметичная упаковка»;

- штамп ОТК или бракера-упаковщика;

- гарантийный срок хранения.

Каждая партия композиций Полур должна сопровождаться документом о качестве (паспортом), в котором указывают:

- наименование и адрес предприятия-изготовителя или его товарный знак;

- условное обозначение продукции;

- номер партии и дату изготовления;

- массу нетто партии;

- количество упаковочных единиц основного и отверждающего компонентов;

- результаты испытаний;

- штамп ОТК или бракера-упаковщика;

- гарантийный срок хранения;

- соотношение основного и отверждающего компонента (м. ч.). Компоненты композиций Полур транспортируется всеми видами транспорта в крытых транспортных средствах.

Компоненты композиций Полур должны храниться в крытых складских проветриваемых помещениях или под навесом при температуре не выше 40 °С.

Гарантийный срок хранения основного компонента - 6 месяцев со дня изготовления, отверждающего - 12 месяцев со дня изготовления.

По истечении гарантийного срока хранения основной и отверждающий компоненты могут быть использованы, если в результате испытаний приготовленные из них композиции Полур будут удовлетворять требованиям данных технических условий.

ТУ 5772-024-17187505-2000 Композиции полимерные полиуретановые ОГНЕПОЛ

Технические условия распространяются на композиции полимерные полиуретановые ОГНЕПОЛ, изготовляемые на основе композиций полимерных полиуретановых Полур (ТУ 5772-011-17187505-97) путем введения в их состав добавок, повышающих их огнезащитные свойства.

Композиции предназначаются для устройства бесшовных наливных покрытий пола со слабой, умеренной и значительной интенсивностью механических воздействий (по СНиП 2.03.13-88) в зданиях типов А, Б и В; покрытий балконов, лоджий, террас, крылец и дорожных площадок; для устройства эксплуатируемых кровель; для гидроизоляции, а также защиты от коррозии и огня различных строительных конструкций и трубопроводов.

Композиции получают путем смешения в заданном соотношении двух компонентов - основного и отверждающего. Смешение компонентов производится на месте потребления. После отверждения покрытия характеризуются повышенными огнезащитными свойствами и химической стойкостью.

Покрытия работоспособны в интервале температур от минус 60 °С до плюс 150 °С.

В зависимости от области и условий применения выпускают композиции четырех марок: Огнепол-3, Огнепол-3В, Огнепол-5 и Огнепол-5В.

Пример условного обозначения при заказе:

Композиция Огнепол-3 ТУ 5772-024-17187505-2000

Показатели качества композиций Огнепол должны соответствовать нормам, представленным в нижеследующей таблице.

Наименование показателя

Норма для марок

Огнепол-3

Огнепол-3В

Огнепол-5

Огнепол-5В

Жизнеспособность, мин, не менее

50

60

50

60

Время высыхания до степени 5, ч, не более

22

24

24

20

Истираемость, мкм, не более

50

50

60

70

Прочность сцепления с бетоном, МПа, не менее

0,75

0,75

1,00

1,00

Условная прочность, МПа, не менее

8,0

6,0

5,0

4,0

Относительное удлинение при разрыве, %, не менее

150

100

120

80

Водопоглощение, % массе, не более

2,0

2,5

2,0

2,0

Гибкость на брусе с закруглением радиусом 10 ± 0,2 мм, при температуре минус 60 ± 1 °С

на поверхности образца не должно быть трещин

По внешнему виду композиции Огнепол до отверждения должны представлять собой однородную массу без видимых посторонних включений.

Композиции Огнепол поставляются в виде двух компонентов: основного и отверждающего.

Для композиций Огнепол приняты следующие соотношения основного и отверждающего компонентов (м. ч.):

Композиции Полур

основной компонент

отверждающий компонент

Огнепол-3

100

70 - 100

Огнепол-5

100

70 - 100

Огнепол-3В

100

100 - 150

Огнепол-5В

100

100 - 150

Точное соотношение компонентов должно быть указано в паспорте для каждой партии материалов.

Покрытия из композиций Огнепол после отверждения по внешнему виду должны представлять собой резиноподобную пленку без вздутий, пузырей, проколов и трещин. Цвет - в зависимости от пигмента: коричневый, зеленый, синий, черный, красный. Допускаются оттенки.

Композиции должны отвечать требованиям, приведенным в нижеследующей таблице.

Наименование показателей

Значения для марок

Огнепол-3

Огнепол-3В

Огнепол-5

Огнепол-5В

Жизнеспособность, мин, не менее

50

60

50

60

Время высыхания до степени 5, ч, не более

22

24

24

20

Покрытия из композиций Огнепол-3 и Огнепол-5 относятся к группе Г2 по горючести (ГОСТ 30244-94), к группе В2 по воспламеняемости (ГОСТ 30402-96), к группе РП3 по распространению пламени (ГОСТ Р 51032-97), к группе Д2 по дымообразующей способности (ГОСТ 12.1.044-89), к группе Т2 по показателю токсичности продуктов горения (ГОСТ 12.1.044-89).

Покрытия из композиций Огнепол-3В и Огнепол-5В относятся к группе Г1 по горючести, к группе В1 по воспламеняемости, к группе РП2 по распространению пламени, к группе Д1 по дымообразующей способности, к группе Т2 по показателю токсичности продуктов горения.

Основной и отверждающий компоненты должны быть упакованы в герметически закрывающиеся металлические бочки по ГОСТ 13950-91*, ГОСТ 17366-80*, ГОСТ 6247-79* или по согласованию с потребителем в другую тару, обеспечивающую сохранность свойств компонентов при хранении и транспортировании.

На каждое тарное место должна быть наклеена этикетка, в которой указывают:

- наименование предприятия-изготовителя или его товарный знак;

- обозначение данных технических условий;

- наименование композиции, индекс компонентов;

- номер партии и дату изготовления;

- массу нетто тарного места;

- гарантийный срок хранения;

- штамп ОТК или бракера-упаковщика.

Транспортная упаковка - по ГОСТ 14192-96.

Каждая партия композиций Огнепол должна сопровождаться документом о качестве (паспортом), в котором указывают:

- наименование и адрес предприятия-изготовителя или его товарный знак;

- условное обозначение продукции;

- номер партии и дату изготовления;

- массу нетто партии;

- количество упаковочных единиц основного и отверждающего компонентов;

- результаты испытаний;

- штамп ОТК или бракера-упаковщика;

- гарантийный срок хранения;

- соотношение основного и отверждающего компонентов, массовые части.

Компоненты композиций Огнепол транспортируется всеми видами транспорта в крытых транспортных средствах.

Компоненты композиций Огнепол должны храниться в крытых складских проветриваемых помещениях или под навесом при температуре не выше 40 °С.

Гарантийный срок хранения основного компонента композиции Огнепол - не менее 6 месяцев, отверждающего - не менее 12 месяцев со дня их изготовления. По истечении гарантийного срока хранения основной и отверждающий компоненты могут быть использованы, если в результате испытаний приготовленные из них композиции Огнепол будут удовлетворять требованиям данных технических условий.

ТУ 5775-017-17187505-97 Мастика полимерная кровельная ГЕРМОКРОВ

Технические условия распространяются на полимерную кровельную мастику Гермокров, изготовляемую на основе каучука, модифицированных полиуретанов, отвердителя и технологических добавок, сохраняющую работоспособность в интервале температур от минус 50 °С до плюс 100 °С.

Мастика выпускается в виде двух жидких составов - полимерного состава 1 и отверждающего состава 2, смешивающихся в соотношении 5:1 по массе. Смешивание производится на месте потребления.

В зависимости от области и условий применения мастика Гермокров выпускается двух марок:

Гермокров-1 - предназначается для устройства мастичных цветных кровель и ремонта всех видов старых кровель (для защиты и придания декоративности) на плоских и пологих крышах; для устройства антикоррозионных покрытий бетонных и металлических конструкций (в том числе стальных трубопроводов), эксплуатируемых на воздухе и под землей; для приклеивания облицовочных и отделочных материалов (плиток и рулонов);

Гермокров-2 - предназначается для устройства и ремонта мастичных цветных кровель на крышах любой формы (в том числе скатных, куполов, шпилей); для устройства гидроизоляции строительных конструкций (фундаментов, стен подвалов, опор мостов и путепроводов и т.п.); для покрытия полов и стен открытых помещений (стоянок, складов), в том числе в условиях слабоагрессивных химических воздействий.

Мастика Гермокров является биостойкой.

Пример условного обозначения мастики при заказе:

Гермокров-1 ТУ 5775-017-17187505-97

По внешнему виду мастика Гермокров должна представлять собой однородную бесцветную (допускаются желтоватые оттенки), либо равномерно окрашенную в один тон цветостойкими красителями массу без видимых посторонних включений.

Покрытие из мастики Гермокров должно представлять собой ровную гладкую поверхность без пузырей, трещин и царапин.

Мастика и покрытия из нее должны отвечать требованиям, приведенным в нижеследующей таблице.

Наименование показателя

Норма для марок

Гермокров-1

Гермокров-2

Жизнеспособность после смешения составов, ч, не менее

1,5

2,0

Плотность, г/см3, в пределах

1,0 - 1,3

1,0 - 1,3

Прочность сцепления с бетоном, МПа, не менее

0,6 (6,0)

1,0 (10,0)

Условная прочность, МПа (кгс/см2), не менее

0,6 (6,0)

1,0 (10,0)

Относительное удлинение при разрыве, %, не менее

450

250

Водопоглощение за 24 часа, % по массе, не более

2,0

2,5

Химическая стойкость (снижение условной прочности и относительного удлинения при разрыве после воздействия кислот, щелочей, растворов солей), %, не более

10

10

Удельное объемное сопротивление, Ом·см, не более

5·1013

5·1013

Мастика должна выдерживать испытания на гибкость. При испытании образца мастики на брусе с радиусом закругления 5 ± 0,2 мм при температуре минус 50 ± 1 °С на поверхности образца не должно быть трещин.

Мастика должна быть водонепроницаемой. При испытании при давлении 0,10 ±0,01 МПа (1,0 ± 0,1 кгс/см2) в течение не менее 10 мин на поверхности образца не должно быть признаков проникания воды. Мастика должна быть теплостойкой при испытании при температуре 100 ± 2 °С в течение не менее 5 ч на поверхности образца не должно быть вздутий.

Мастика Гермокров должна выдерживать испытание на стойкость к статическому продавливанию. После испытания мастики образец должен быть водонепроницаемым.

Мастика Гермокров должна быть цветостойкой. При испытании в течение 72 ч не должно быть изменения цвета образца.

Мастика поставляется потребителю в виде двух составов 1 и 2.

Составы 1 и 2 каждой марки должны быть упакованы в герметически закрывающиеся металлические бочки по ГОСТ 13950-91*, ГОСТ 17366-80*, ГОСТ 6247-79* или в другую тару по согласованию с потребителем продукции.

На каждое тарное место должна быть наклеена этикетка, в которой указывают:

- наименование предприятия-изготовителя или его товарный знак;

- наименование мастики, индекс состава;

- обозначение данных технических условий;

- номера партии и даты изготовления;

- массу нетто тарного места;

- гарантийный срок хранения;

Транспортная упаковка - по ГОСТ 14192-96.

Каждая партия мастики Гермокров должна сопровождаться документом о качестве, в котором указывают:

- наименование и товарный знак предприятия-изготовителя;

- наименование и марку мастики и номер технических условий;

- номер партии и дату изготовления;

- массу нетто и количество тарных мест составов 1 и 2;

- результаты испытаний или оттиск Знака соответствия, если продукция сертифицирована;

- гарантийный срок хранения.

Мастика Гермокров (составы 1 и 2) транспортируется всеми видами транспорта.

Мастика должна храниться в плотно закрытой таре в неотапливаемых складских помещениях при температуре не выше 30 °С.

Гарантийный срок хранения мастики Гермокров - 6 месяцев со дня изготовления. По истечении гарантийного срока хранения составов мастика Гермокров перед применением должна быть проверена на соответствие требованиям данных технических условий и при установлении соответствия может быть использована по назначению.

ТУ 5775-032-17187505-2000 Мастика полимерная кровельная ОГНЕКРОВ

Технические условия распространяются на полимерную кровельную мастику Огнекров, изготовляемую на основе мастики полимерной кровельной Гермокров (ТУ 5775-017-17187505-97) путем введения в ее состав добавок, повышающих ее огнезащитные свойства.

В зависимости от области и условий применения мастика Огнекров выпускается четырех марок:

Огнекров-1 и Огнекров-1В - предназначается для устройства мастичных цветных кровель и ремонта всех видов старых кровель (для защиты и придания декоративности) на плоских и пологих крышах; для устройства антикоррозионных и огнезащитных покрытий бетонных и металлических конструкций (в том числе стальных трубопроводов), эксплуатируемых на воздухе и под землей; для приклеивания облицовочных и отделочных материалов (плиток и рулонов);

Огнекров-2 и Огнекров-2В - предназначается для устройства и ремонта мастичных цветных кровель на крышах любой формы (в том числе скатных, куполов, шпилей); для устройства гидроизоляции и огнезащиты строительных конструкций (фундаментов, стен подвалов, опор мостов и путепроводов и т.п.); для покрытия полов и стен открытых помещений (стоянок, складов), в том числе в условиях слабоагрессивных химических воздействий.

Мастика Огнекров является биостойкой.

Мастику получают путем смешения в заданном соотношении двух компонентов - полимерного и отверждающего. Смешение компонентов производится на месте потребления. После отверждения покрытия из мастики характеризуются повышенными огнезащитными свойствами и химической стойкостью.

Покрытия из мастики работоспособны в интервале температур от минус 50 °С до 140 °С.

Пример условного обозначения при заказе:

Огнекров-1 ТУ 5775-032-17187505-2000

Мастика должна отвечать требованиям, приведенным в нижеследующей таблице.

Наименование показателя

Норма для марок

Огнекров-1

Огнекров-1В

Огнекров-2

Огнекров-2В

Жизнеспособность, ч, не менее

1,0

1,2

1,0

1,2

Плотность, г/см2, в пределах

1,0 - 1,3

1,2 - 1,5

1,0 - 1,3

1,2 - 1,5

Мастика до отверждения по внешнему виду должна представлять собой однородную массу без видимых посторонних включений.

Покрытия из мастики после отверждения должны представлять собой резиноподобную пленку без вздутий, пузырей, проколов и трещин. Цвет - в зависимости от пигмента: красный, коричневый, зеленый, синий, черный. Допускаются оттенки.

Покрытия из мастики должны отвечать требованиям, приведенным в нижеследующей таблице.

Наименование показателя

Норма для марок

Огнекров-1

Огнекров-1В

Огнекров-2

Огнекров-2В

Условная прочность, МПа (кгс/см2), не менее

1,0 (10,0)

0,6 (6,0)

1,5 (15,0)

1,0 (10,0)

Относительное удлинение при разрыве, %, не менее

160

100

150

80

Прочность сцепления с бетоном, МПа, не менее

0,8

0,6

0,9

0,7

Водопоглощение за 24 ч, % по массе, не более

2,0

2,5

2,0

2,5

Химическая стойкость (снижение условной прочности и относительного удлинения при разрыве после воздействия кислот, щелочей, растворов солей), %, не более

10

10

10

10

Покрытие из мастики должно выдерживать испытания на гибкость. При испытании образцов из мастик Огнекров-1 и Огнекров-2 на брусе с закруглением радиусом 5 ± 0,2 мм при температуре минус 50 ± 1 °С на поверхности образцов не должно быть трещин. При испытании образцов из мастик Огнекров-1В и Огнекров-2В на брусе с закруглением радиусом 10 ± 0,2 мм при температуре минус 50 ± 1 °С на поверхности образцов не должно быть трещин.

Покрытие из мастики должно быть водонепроницаемым. При испытании при давлении 0,10 ± 0,01 МПа (1,0 ± 0,1 кгс/см2) в течение не менее 10 мин на поверхности образца не должно быть признаков проникания воды.

Покрытие из мастики должно быть теплостойким. При испытании при температуре 140 ± 2 °С в течение не менее 5 ч на поверхности образца не должно быть вздутий.

Покрытие из мастики должно выдерживать испытание на стойкость к статическому продавливанию. После испытания при 100 ± 1 Н образец должен быть водонепроницаемым.

Покрытия из мастик Огнекров-1 и Огнекров-2 относятся к группе Г2 по горючести (ГОСТ 30244-94), к группе В2 по воспламеняемости (ГОСТ 30402-96), к группе РП3 по распространению пламени (ГОСТ Р 51032-97), к группе Д2 по дымообразующей способности (ГОСТ 12.1.044-89), к группе Т2 по показателю токсичности продуктов горения (ГОСТ 12.1.044-89).

Покрытия из мастик Огнекров-1В и Огнекров-2В относятся к группе Г1 по горючести, к группе В1 по воспламеняемости, к группе РП2 по распространению пламени, к группе Д1 по дымообразующей способности, к группе Т2 по показателю токсичности продуктов горения.

Мастику поставляют в виде двух компонентов: полимерного и отверждающего.

Для композиций Огнекров приняты следующие соотношения основного и отверждающего компонентов (масс. ч.):

Мастика Огнекров

полимерный компонент

отверждающий компонент

Огнекров-1

100

25 - 35

Огнекров-2

100

20 - 30

Огнекров-1В

100

40 - 80

Огнекров-2В

100

30 - 60

Полимерный и отверждающий компоненты должны быть упакованы в герметически закрывающиеся металлические бочки по ГОСТ 13950-91*, ГОСТ 17366-80*, ГОСТ 6247-79* или по согласованию с потребителем в другую тару, обеспечивающую сохранность свойств компонентов при хранении и транспортировании.

На каждое тарное место должна быть наклеена этикетка, в которой указывают: наименование предприятия-изготовителя или его товарный знак; обозначение данных технических условий; наименование мастики, индекс компонентов; номер партии и дату изготовления; массу нетто тарного места; гарантийный срок хранения; штамп ОТК или бракера-упаковщика.

Транспортная упаковка - по ГОСТ 14192-96.

Каждая партия мастики должна сопровождаться документом о качестве (паспортом), в котором указывают:

- наименование и адрес предприятия-изготовителя или его товарный знак; условное обозначение продукции;

- номер партии и дату изготовления; массу нетто партии;

- количество упаковочных единиц полимерного и отверждающего компонентов; соотношение полимерного и отверждающего компонентов, массовые части;

- результаты испытаний;

- штамп ОТК или бракера-упаковщика;

- гарантийный срок хранения.

Компоненты мастики транспортируется всеми видами транспорта в крытых транспортных средствах.

Компоненты мастики должны храниться в крытых складских проветриваемых помещениях или под навесом при температуре не выше 30 °С.

После вскрытия тары компоненты мастики должны быть использованы в течение 5 дней. По истечении этого срока неиспользованные компоненты мастики должны быть перелиты в чистую сухую тару с плотно закрывающимися крышками, исключающими попадание влаги и других посторонних веществ. Тара должна быть заполнена не менее, чем на 90 % объема.

Гарантийный срок хранения полимерного и отверждающего компонентов мастики - не менее 6 месяцев со дня их изготовления. По истечении гарантийного срока хранения компоненты могут быть использованы, если в результате испытаний приготовленная из них мастика будет удовлетворять требованиям данных технических условий.

ТУ 5775-011-13238275-97 Битумно-каучуковая кровельная и гидроизоляционная мастика «Ребакс-М»

Данные технические условия распространяются на мастику однокомпонентную битумно-каучуковую кровельную и гидроизоляционную «Ребакс-М», предназначенную для устройства новых и ремонта существующих кровель и гидроизоляции в зданиях различного назначения во всех климатических условиях Российской Федерации, а также для антикоррозионной защиты металлических конструкций, технологического оборудования и автомобилей.

Мастика представляет собой раствор битума и синтетического дивинилстирольного каучука в органическом растворителе с добавкой модифицирующих смол и ингибиторов коррозии. Модифицирующие смолы одновременно выполняют роль антисептической присадки.

Обозначение продукции:

Мастика «Ребакс-М» ТУ 5775-011-13238275-97

Мастика «Ребакс-М» должна соответствовать требованиям, приведенным в следующей таблице.

Наименование показателя

Норма

Цвет

Черный. Оттенок не нормируется.

Внешний вид мастики

Густая однородная масса. Допускается наличие легкоразравниваемых волокнистых включений. Допускается расслаивание, исчезающее при перемешивании.

Время высыхания при 20 ± 2 °С, ч

24

Внешний вид покрытий

Однородное покрытие без вздутий и подтеков.

Массовая доля нелетучих веществ, мас. %

45 - 65

Прочность сцепления с основанием, МПа (кгс/см2), не менее:

- из бетона

0,4 (4,0)

- из металла

0,4 (4,0)

Условная прочность, МПа (кгс/см2), не менее

0,6 (6,0)

Гибкость на брусе с закруглением радиусом 10 мм при температуре, °С, не выше

Минус 20

Водопоглощение за 24 часа, мас. %, не более

0,5

Водонепроницаемость при давлении 0,01 ± 0,0001 кгс/см2, ч, не менее

72

Теплостойкость покрытия, °С, не менее, после сушки:

в течение 24 ч

80

15 суток

100

Стойкость покрытия при 20 ± 2 °С к действию 3 %-ного раствора хлористого натрия, сутки, не менее

30

Мастика «Ребакс-М» пожароопасна. По горючести она относится к группе Г4, по воспламеняемости - к группе В3, по распространению пламени - к группе РП4 (все группы наиболее опасные).

Мастика «Ребакс-М» расфасовывается в герметичную металлическую или стеклянную тару. Объем упаковки не регламентируется и выбирается по согласованию с заказчиком. Отклонение от массы расфасованного товара не должно превышать ±2 % от массы, указанной на этикетке.

На тару с помощью бумажных этикеток, методом тиснения или с помощью краски должны быть нанесены следующие данные:

- наименование продукта;

- наименование предприятия-изготовителя;

- дата изготовления;

- номер партии;

- номер данных технических условий;

- масса нетто (объем);

- краткая инструкция по применению;

- срок хранения.

Потребительская маркировка должна включать предупредительную надпись «Огнеопасно».

Мастику «Ребакс-М» следует хранить в герметичной таре в защищенном от влаги помещении вдали от нагревательных приборов при температуре не выше 60 °С.

Предприятие-изготовитель должно гарантировать соответствие качества мастики «Ребакс-М» требованиям данных технических условий при соблюдении потребителем правил хранения мастики. Гарантированный срок хранения мастики - 24 месяца со дня изготовления при условии хранения в герметичном состоянии.

ТУ 2311-001-17660092-95 Композиция полимерно-битумная с пониженной горючестью «Антикор МПБ-2»

Композиция представляет собой многокомпонентную однородную массу, полученную путем смешения в заданном соотношении полимерного и битумного состава. Полимерный состав представляет собой раствор хлорсульфированного полиэтилена в толуоле или ксилоле или лака ХП-734 с наполнителем, антипиреном и модифицирующей добавкой. Битумный состав - раствор битума в ксилоле или толуоле с вулканизатором.

Композиция предназначается для устройства монолитных кровельных покрытий, ремонта кровельных покрытий, гидроизоляции и защиты от коррозии строительных конструкций.

Покрытия из «Антикор МПБ-2» сохраняют эластичность и защитные свойства в интервале температур от минус 40 °С до 100 °С.

Наименование показателя

Норма

Цвет

черный

Вязкость по ВЗ-4, с, не более (диаметр сопла 4 мм)

400

Время высыхания до степени 1, ч

1

Адгезия к бетону, кгс/см2, не менее

4,0

Водопоглощение в течение 24 ч, г/м2, не более

1,0

Условная прочность при разрыве, кгс/см2, не менее

14,0

Относительное удлинение, %, не менее

300

Теплостойкость в течение 5 часов, °С, не менее

100

Перед нанесением полимерный и битумный составы смешивают в соотношении 9:1 массовых частей.

Нанесение мастики производится в несколько слоев при температуре окружающего воздуха не ниже 5 °С методами безвоздушного распыления, валиками, кистями и т.п. Время сушки каждого слой 3 часа.

Вулканизация пленки происходит при отсутствии атмосферных осадков.

Общие технические требования по устройству кровель

Устройство кровельных покрытий следует осуществлять в соответствии с требованиями СНиП 3.04.01-87, СНиП 3.01.01-85*, проекта, ППР, технологических карт, схем операционного контроля качества, инструкций и руководств по применению кровельных материалов заводов-изготовителей и проектных организаций, другой технологической документации, утвержденной в установленном порядке.

Кровельные работы должны осуществлять строительно-монтажные организации, получившие лицензию на выполнение строительно-монтажных работ (работы по защите конструкций и оборудования) в Федеральных или региональных лицензионных органах.

Кровельные работы должны выполняться квалифицированным персоналом, прошедшим специальную подготовку и обладающим надлежащими навыками по выполнению кровельных работ.

При производстве работ по устройству кровельных покрытий должно быть обеспечено соблюдение требований проекта, строительных норм и правил.

Производству работ по устройству кровель из мастичных материалов должны предшествовать:

- завершение и надлежащее оформление всех предусмотренных проектом предшествующих работ;

- разработка проекта производства работ по устройству мастичных кровель, разработка технологической карты и схемы операционного контроля качества на выполнение кровельных работ (с использованием соответствующей типовой документации);

- входной контроль проектно-сметной документации и кровельных материалов;

- изучение инженерно-техническим персоналом проектной и технологической документации, обучение мастеров и рабочих передовым методам труда.

При входном контроле рабочей документации должна производиться проверка ее комплектности и достаточности содержащейся в ней технической информации для производства работ.

Входной контроль кровельных материалов должен производиться в соответствии с требованиями стандартов и технических условий на материалы в порядке, предусмотренном технологической картой или другой технологической документацией, утвержденной в установленном порядке. До поступления на строительную площадку должны быть произведены все требуемые испытания материалов на соответствие их требованиям проекта, стандартов и технических условий. По истечении гарантийного срока хранения кровельные материалы перед применением также должны быть проверены на соответствие их требованиям стандартов и технических условий.

На строительной площадке в процессе входного контроля необходимо:

проверить наличие документов о качестве и полноту содержащихся в них данных;

по имеющимся документам о качестве и маркировке (этикеткам, штампам) убедиться в соответствии поступивших кровельных материалов требованиям проекта;

путем внешнего осмотра проверить целостность упаковки и отсутствие на материалах недопустимых дефектов внешнего вида;

в соответствии с требованиями ППР и технологической карты провести необходимые испытания материалов на соответствие их требованиям нормативной документации (до поступления их в производство работ и после истечения гарантийных сроков хранения);

при возникновении каких-либо сомнений в качестве поступивших материалов должны быть вызваны представители строительной лаборатории или функциональных служб, ответственных за поставку кровельных материалов.

Кровельные работы должны выполняться по утвержденному проекту производства работ (ППР).

Запрещается осуществление строительно-монтажных работ без утвержденного проекта производства работ. Не допускаются отступления от решений проектов производства работ без согласования с организациями, разработавшими и утвердившими их.

Замена предусмотренных проектом материалов, изделий и составов допускается только по согласованию с проектной организацией и заказчиком.

Кровельные работы по СНиП 3.04.01-87 допускается выполнять при температуре окружающего воздуха от минус 30° до плюс 60 °С (производство работ с применением горячих мастик - при температуре окружающего воздуха не ниже минус 20 °С, с применением составов на водной основе без противоморозных добавок - не ниже 5 °С) и при отсутствии снегопада, гололеда и дождя.

Согласно рекомендаций АО ЦНИИПромзданий работы по устройству кровель следует производить при температуре наружного воздуха до минус 20 °С.

До начала работ по устройству основного кровельного ковра в соответствии с проектом должны быть выполнены следующие работы:

замоноличены швы между сборными железобетонными плитами;

устроены температурно-усадочные швы;

смонтированы закладные элементы;

оштукатурены участки вертикальных поверхностей каменных конструкций на высоту примыкания рулонного ковра кровли;

устроены выравнивающие стяжки (из цементно-песчаных, гипсовых, гипсопесчаных и других смесей);

установлены и закреплены водосточные воронки, компенсаторы деформационных швов, патрубки (или стаканы) для пропуска инженерного оборудования, анкерные болты;

в зданиях с покрытиями послойной сборки из металлического профнастила и сгораемой и трудносгоремой теплоизоляции должны быть заполнены пустоты ребер настилов на длину 250 мм несгораемыми материалами в местах примыкания настила к стенам, деформационным швам, стенкам фонарей, а также с каждой стороны конька кровли и ендовы;

очищена от строительного мусора и пыли поверхность основания;

удалена вода с крыши и просушено основание под мастичную кровлю;

произведена огрунтовка поверхности основания перед нанесением мастичных составов;

осуществлена проверка соответствия этих работ требованиям проекта, осуществлена приемка основания под кровлю и составлены акты на скрытые работы.

В случае ремонтных работ с поверхности существующей кровли должны быть удалены свободный гравий и другие частицы, выполнена очистка от пыли, грязи, ржавчины и т.п. Пузыри, трещины, швы на поверхности существующей рулонной кровли должны быть отремонтированы, после чего вся поврежденная поверхность существующей кровли должна быть обработана праймером, а затем после высыхания последнего выполнены ремонтные водоизоляционные слои.

Устройство основания под водоизоляционный ковер

Основанием под водоизоляционный ковер могут служить ровные поверхности:

железобетонных несущих плит, швы между которыми заделаны цементно-песчаным раствором марки не ниже 100 или бетоном марки не ниже В7,5;

монолитной теплоизоляции с прочностью на сжатие не менее 0,15 МПа из легких бетонов, а также материалов на основе цементного или битумного вяжущего с эффективными заполнителями - перлитом вермикулитом и др.;

выравнивающих монолитных стяжек из цементно-песчаного раствора и асфальтобетона с прочностью на сжатие, соответственно, не менее 5 и 0,8 МПа, а также сборных (сухих) стяжек из асбестоцементных плоских прессованных листов или цементно-стружечных плит толщиной 10 мм. Последние рекомендуется использовать в качестве стяжки по минераловатной и другой подобной мягкой теплоизоляции с пределом прочности на сжатие при 10 %-ой деформации от 0,03 до 0,06 МПа;

водоизоляционного ковра существующих кровель из рулонных материалов (при производстве ремонтных работ и реконструкции без снятия кровли и утеплителя).

Перед выполнением монолитной теплоизоляции на цементном вяжущем следует произвести нивелировку поверхности несущих плит для установки маяков, служащих основанием под рейки для укладки бетонной массы полосами на необходимую высоту. Полосы располагают поперек пролетов; ширина их не должна превышать 1,5 м.

Работа по укладке теплоизоляции должна совмещаться с работами по устройству пароизоляционного слоя (если он требуется по проекту), и выполняться в направлении «на себя» в целях повышения сохранности теплоизоляции при транспортировании материалов. Выравнивающая цементно-песчаная стяжка должна выполняться из жесткого (с осадкой конуса до 30 мм) раствора марок 50 - 100, а асфальтобетонная - из горячего мелкозернистого песчаного асфальтобетона. Затирку по сборным железобетонным плитам следует принимать толщиной 10 - 15 мм, а толщину стяжки:

из цементно-песчаного раствора по засыпной теплоизоляции - не менее 40 мм ±10 %(с армированием);

из цементно-песчаного раствора по теплоизоляционным плитам - не менее 30 мм ±10 %;

из песчаного асфальтобетона - не менее 15 мм ±10 %.

Стяжки из песчаного асфальтобетона не допускается применять по сжимаемым (например, минераловатным) и засыпным (из керамзитового гравия и т.п.) теплоизоляционным материалам.

При устройстве выравнивающей стяжки из асфальтобетона его укладывают полосами шириной до 2 м, ограниченными двумя рейками или одной рейкой и полосой ранее уложенного асфальта, и уплотняют валиком или катком массой 60 - 80 кг.

Выравнивающие стяжки из цементно-песчаного раствора следует устраивать захватками шириной 2 - 3 м по направляющим, служащими маяками, с разравниванием и уплотнением поверхности.

Температурно-усадочные швы в монолитных выравнивающих стяжках образуют путем установки реек при укладке цементно-песчаного раствора или асфальтобетона, которые удаляют после твердения материала стяжки, а швы заполняют мастиками с последующей односторонней наклейкой на шов полосок рулонного материала шириной 150 - 200 мм.

Температурно-усадочные швы в стяжках из цементно-песчаного раствора должны быть предусмотрены шириной до 5 мм. Они должны разделять поверхность стяжки на участки не более 6´6 м.

Выравнивающие стяжки из песчаного асфальтобетона должны быть разрезаны температурно-усадочными швами на участки не более 4´4 м (в покрытиях с несущими плитами длиной 6 м эти участки из асфальтобетона должны иметь размер 3´3 м).

Швы должны располагаться над торцевыми швами несущих плит и над температурно-усадочными швами в монолитной теплоизоляции. Температурно-усадочные швы в стяжках, теплоизоляционных слоях монолитной укладки и торцовые стыки несущих плит покрытия должны быть перекрыты полосами шириной 150 - 200 мм рулонного водоизоляционного материала с посыпкой, обращенной вниз, и точечной приклейкой их с одной стороны шва.

Для обеспечения необходимой адгезии мастичных кровельных материалов все поверхности основания из цементно-песчаного раствора и бетона после укладки должны быть огрунтованы грунтовочными холодными составами (праймерами), приготовленными из битума марки 5 и растворителя (керосина, солярного масла, уайт-спирита, нефраса), взятых в соотношении 1:2 или 1:3 (по весу) или из клеящих мастик (типа бутилкаучуковой и т.п.), разбавленных растворителем или бензином в соотношении 1:2. Грунтовку наносят с помощью окрасочного распылителя или вручную кистью.

Огрунтовка поверхности должна быть выполнена сплошной без пропусков и разрывов. Огрунтовку стяжек, выполненных из цементно-песчаных растворов, следует выполнять не позднее чем через 4 ч после их укладки, применяя грунтовки на медленно испаряющихся растворителях (за исключением стяжек с уклоном поверхности более 5 %, когда огрунтовку следует выполнять после их твердения). Огрунтовка затвердевших и просушенных изолируемых цементных или бетонных поверхностей должна производиться грунтовками, приготовленными на быстроиспаряющихся растворителях. Расход грунтовки - 1 л/м2. Огрунтованные поверхности должны быть просушены до полного испарения растворителя.

Грунтовка должна иметь прочное сцепление с основанием. На приложенном к ней тампоне не должно оставаться следов вяжущего.

Плоские асбестоцементные прессованные листы и цементно-стружечные плиты, используемые в качестве сборной стяжки, во избежание коробления должны быть огрунтованы с обеих сторон. При их раскладке под стыки смежных листов по всей длине должны быть проложены полоски из них шириной 100 мм, огрунтованные с обеих сторон.

Обеспыливание оснований необходимо выполнять перед нанесением огрунтовочных составов, включая мастики.

При использовании сборной стяжки работы по укладке сборной стяжки не должны значительно опережать работы по выполнению нижнего слоя водоизоляционного ковра; их последовательность должна обеспечивать устройство нижнего слоя водоизоляционного ковра в ту же смену, что и укладка листов сборной стяжки.

В местах примыкания к стенам, парапетам, деформационным швам и другим конструктивным элементам должны быть выполнены наклонные под углом 45° бортики из легкого бетона, цементно-песчаного раствора или гипсобетона. Высота их у мест примыканий кровли должна быть не менее 100 мм. Вертикальные поверхности конструкций, выступающих над кровлей (стенки деформационных швов, парапеты и т.п.), выполненные из кирпича или блоков, должны быть оштукатурены цементно-песчаным раствором на высоту устройства дополнительного водоизоляционного ковра, но не менее 250 мм.

Для закрепления на примыканиях верхних концов армирующего полотнища и фартуков из оцинкованной стали должны быть установлены деревянные рейки или пробки на высоте, требуемой проектом.

Перед устройством изоляционных слоев основание должно быть сухим, обеспыленным, на нем не допускаются уступы, борозды и другие неровности.

При подготовке поверхности основания необходимо соблюдать требования, приведенные в нижеследующей таблице.

Технические требования

Предельные отклонения

Контроль (метод, объем, вид регистрации)

Допускаемые отклонения поверхности основания при мастичной кровле:

-

Измерительный, технический осмотр, не менее 5 измерений на каждые 70 - 100 м2 поверхности или на участке меньшей площади в местах, определяемых визуальным осмотром

вдоль уклона и на горизонтальной поверхности

±5 мм

поперек уклона и на вертикальной поверхности

±10 мм

вдоль и поперек уклона на поверхности из штучных материалов

±10 мм

Отклонения плоскости элемента от заданного уклона (по всей площади)

2 %

То же

Толщина элемента конструкции (от проектной), в том числе:

±10 %

То же

стяжки из цементно-песчаного раствора:

по засыпной теплоизоляции … не менее 40 мм

±10 %

по теплоизоляционным плитам … не менее 30 мм

±10 %

стяжки из песчаного асфальтобетона … не менее 15 мм

±10 %

Число неровностей (плавного очертания протяженностью не более 150 мм) на площади поверхности 4 м2

Не более 2

Измерительный, технический осмотр, не менее 5 измерений на каждые 70 - 100 м2 поверхности или на участке меньшей площади в местах, определяемых визуальным осмотром

Толщина грунтовки, мм:

при огрунтовке отвердевшей стяжки - 0,3

5 %

при огрунтовке стяжек в течение 4 ч после нанесения раствора - 0,6

10 %

Влажность основания:

не более:

Измерительный, технический осмотр, не менее 5 измерений равномерно на каждые 50 - 70 м2 основания, регистрация в журнале работ

из теплоизоляционных слоев монолитной укладки

на цементном вяжущем

15 %

на битумном вяжущем

2,5 %

стяжки из цементно-песчаного раствора

5 %

стяжки из песчаного асфальтобетона

2,5 %

Прочность оснований на сжатие, МПа, не ниже:

из теплоизоляционных слоев монолитной укладки

на цементном вяжущем

не менее:

Измерительный, технический осмотр, не менее 3 измерений на каждые 70 - 100 м2 поверхности основания

0,6

на битумном вяжущем

0,15

стяжки из цементно-песчаного раствора по засыпной теплоизоляции

10

стяжки из цементно-песчаного раствора по теплоизоляционным плитам

5

стяжки из песчаного асфальтобетона

0,8

Определение водопоглощения, прочности и морозостойкости основания под кровлю из теплоизоляционных плит при входном контроле для каждой партии плит проводят в соответствии с ГОСТ 17177-94, ГОСТ 10060.0-95 и ГОСТ 16136-80, а основания под кровлю из монолитной теплоизоляции - при операционном контроле в соответствии с ГОСТ 17177-94 и ГОСТ 10060.0-95.

Определение толщины теплоизоляционного слоя и выравнивающей стяжки производится с помощью игольчатого толщиномера или ему подобного устройства с диапазоном измерений 0 … 150 мм погрешностью 1 мм и удельной нагрузкой 0,005 кгс/см2.

Определение ровности поверхности основания под кровлю производят с помощью двухметровой рейки и металлической линейки по ГОСТ 427-75*.

Уклон основания под кровлю определяют с помощью уклономера или ватерпаса.

Влажность основания под кровлю определяют перед наклейкой слоев кровельного ковра при помощи поверхностного влагомера ВКСМ-12М или ему подобным или на образцах, взятых из основания, в соответствии с ГОСТ 5802-86 и ГОСТ 17177-94.

Устройство водоизоляционного ковра

Для устройства водоизоляционного ковра должны применяться материалы заводского производства, отвечающие требованиям действующих государственных стандартов и технических условий на эти материалы.

При использовании аналогичных материалов зарубежного производства они должны иметь отечественный сертификат соответствия или документ о качестве материалов поставщика, а для материалов, не имеющих отечественного аналога - техническое свидетельство Минстроя России.

Для устройства мастичного водоизоляционного ковра рекомендуется преимущественно использовать битумно-полимерные и полимерные мастики с армирующими прокладками из стекло- или синтетических рулонных материалов (стеклохолст, стеклосетка, полотно из синтетических волокон).

Мастики для устройства мастичных кровель в зависимости от их уклона должны иметь теплостойкость не ниже указанной в нижеследующей таблице, при условной прочности не менее 1,0 МПа, относительном удлинении не менее 100 %, водопоглощении по массе не более 2 % и гибкости на брусе с закруглением радиусом 25 мм не выше ± 0 °С.

Район строительства

Тип мастики

Теплостойкость мастик, °С

для участков кровель с уклоном, %

мест примыкания

менее 2,5

2,5 - менее 10

10 - 25

Севернее географической широты 50° для европейской и 53° для азиатской части

горячая

55

65

75

85

холодная

65

65

не допускается

Южнее этих районов

горячая

65

75

85

100

холодная

75

75

не допускается

Количество армированных мастичных слоев в зависимости от уклона должно быть не менее указанного в нижеследующей таблице.

Вид армирующей прокладки

Уклон кровли, %

менее 1,5

1,5 - менее 2,5

2,5 - менее 10

10 - 25

Стеклохолст

4

1*; 3**

3

1*; 2**

3

1*; 2**

2

1*; 2**

Стеклосетка

3

1*; 2**

2

1*; 2**

2

1*; 2**

2

1*; 2**

Полотно из синтетических волокон

3

1*; 2**

2

1*; 2**

2

1*; 2**

1

1*; 2**

Примечание: в числителе - для основного водоизоляционного ковра, в знаменателе - для дополнительного слоя, * - в ендовах, на коньковых и карнизных участках; ** - на примыканиях к вертикальным поверхностям - стенам, парапетам и др.

Конструкция водоизоляционного ковра в зависимости от уклона кровли и вида армирующей прокладки должна приниматься по нижеследующей таблице.

Уклон кровли, %

Тип кровли

Основной водоизоляционный ковер

Защитный слой

менее 1,5

К-1

Четыре слоя мастики, армированные четырьмя слоями стеклохолста

Из гравия, наклеенного на мастике, либо из крупнозернистой посыпки, наклеенной на мастике

Три слоя мастики, армированные тремя слоями стеклосетки или тремя полотнами из синтетических волокон

1,5 - менее 2,5

К-2

Три слоя мастики, армированные тремя слоями стеклохолста

То же

Два слоя мастики, армированные двумя слоями стеклосетки или двумя полотнами из синтетических волокон

2,5 - менее 10

К-3

Три слоя мастики, армированные тремя слоями стеклохолста

То же

Два слоя мастики, армированные двумя слоями стеклосетки или двумя полотнами из синтетических волокон

10 - 25

К-4

Два слоя мастики, армированные двумя слоями стеклохолста или стеклосетки

Окрасочный слой

Один слой мастики, армированный одним полотном из синтетических волокон

Основной водоизоляционный ковер при устройстве новой кровли выполняют в следующей последовательности:

на поверхность основания наносят слой мастики и по нему расстилают армирующий рулонный материал, укладывая его ступенчатым способом: вдоль линии водораздела вначале укладывают два слоя армирующего рулонного материала (стеклохолст, стеклосетка или полотно из синтетических волокон), затем каждое последующее полотнище этого материала смещают относительно предыдущего с обеспечением нахлестки не менее 50 см;

на остальных участках полотнища армирующего материала укладывают с нахлесткой 100 мм, после чего наносят мастику.

Высота наклейки рулонных армирующих материалов в местах примыканий к вертикальным поверхностям должна быть не менее 100 мм (на высоту наклонного бортика) - для слоев основного водоизоляционного ковра и не менее 250 мм - для дополнительных.

В местах примыкания кровли к парапетам высотой до 450 мм слои дополнительного водоизоляционного ковра должны быть заведены на верхнюю грань парапета с обделкой мест примыкания оцинкованной кровельной сталью и закреплением ее при помощи костылей.

Примыкание кровли к парапету высотой до 450 мм

1 - сборная железобетонная плита покрытия; 2 - пароизоляция (по расчету); 3 - теплоизоляция; 4 - выравнивающая стяжка; 5 - грунтовка (праймер); 6 - основной кровельный ковер; 7 - защитный слой; 8 - дополнительные слои кровельного ковра; 9 - крепежные элементы (дюбели и др.); 10 - костыли из стальных полос 400×40 мм через 600 мм; 11 - покрытие парапета из оцинкованной стали; 12 - стена.

При высоте парапета до 200 мм переходной наклонный бортик рекомендуется выполнять из бетона до верха парапета.

При устройстве кровли в покрытиях с высоким (более 450 мм) парапетом защитный фартук с кровельным ковром должен быть закреплен пристрелкой дюбелями, а верхняя часть парапета отделана кровельной сталью, закрепляемой костылями, или покрыта парапетными плитками с герметизацией швов между ними.

Примыкание кровли к парапету высотой более 450 мм

1 - сборная железобетонная плита покрытия; 2 - пароизоляция (по расчету); 3 - теплоизоляция; 4 - выравнивающая стяжка; 5 - грунтовка (праймер); 6 - основной кровельный ковер; 7 - защитный слой; 8 - дополнительные слои кровельного ковра; 9 - фартук из оцинкованной кровельной стали; 10 - крепежные элементы (дюбели и др.); 11 - герметизирующая мастика; 12 - покрытие парапета (оцинкованная сталь, плиты и др.); 13 - костыли из стальных полос 400×40 мм через 600 мм; 14 - стена; 15 - воронка внутреннего водостока.

Конек кровли

Ендова кровли

1 - сборная железобетонная плита покрытия; 2 - пароизоляция (по расчету); 3 - теплоизоляция; 4 - выравнивающая стяжка; 5 - грунтовка (праймер); 6 - дополнительный слой кровельного ковра; 7 - основной кровельный ковер; 8 - защитный слой; 9 - воронка внутреннего водостока.

К бетонным поверхностям кровельный ковер с защитным фартуком крепится с помощью металлической планки размером 2×40 мм дюбелями, расстояние между которыми составляет 600 мм. Отдельные заготовки при устройстве защитных фартуков соединяют между собой одинарным лежачим фальцем.

Нижний край защитных фартуков заводят на наклонные переходные бортики, а верхний край защитного фартука отгибают на прижимную планку. Шов между планкой и бетонной поверхностью заделывают герметизирующей мастикой. Открытую поверхность мастики окрашивают краской БТ-177.

На примыкания кровли к оштукатуренной поверхности из каменной (кирпичной) кладки водоизоляционный ковер и защитный фартук прикрепляют деревянными антисептированными рейками, прибиваемыми оцинкованными гвоздями к закладным брускам. Место крепления фартука защищают герметизирующей мастикой. Открытую поверхность мастики огрунтовывают краской БТ-177.

Конек кровли при уклонах 3 % и более должен быть усилен на ширину 150 - 250 мм с каждой стороны, а ендова - на ширину 500 - 750 мм (от линии перегиба) одним слоем дополнительного водоизоляционного ковра, который может быть выполнен из мастики с одной армирующей прокладкой.

В пределах рабочих захваток работы должны начинаться с пониженных участков: карнизных свесов и участков расположения водосточных воронок (ендов). В процессе производства кровельных работ все необходимые материалы должны подаваться в направлении навстречу производственному потоку.

При наружном водоотводе карнизные участки кровли должны быть усилены одним слоем дополнительного водоизоляционного ковра шириной не менее 250 мм, выполненного из двух слоев мастики с двумя армирующими прокладками.

Чаши водосточных воронок должны находиться в самых низких местах покрытия на расстоянии не менее 500 мм от парапетов и других выступающих частей здания. Местное понижение кровли в местах установки воронок внутреннего водоотвода должно составлять 15 - 20 мм в радиусе 0,5 м.

Воронки внутреннего водостока должны быть установлены согласно проекту равномерно по площади кровли на пониженных участках вдоль каждого ряда разбивочных осей здания с креплением их к конструкциям здания.

Площадь кровли, приходящаяся на одну воронку, должна устанавливаться из расчета 0,75 м2 кровли на 1 см2 поперечного сечения трубы. На каждом участке кровли, ограниченном стенами и деформационными швами, должно быть не менее двух водоприемных воронок; при площади кровли до 700 м2 допускается установка одной воронки диаметром 100 мм.

В местах установки водосточных воронок основной водоизоляционный ковер, наклеиваемый на фланец воронки, должен быть усилен двумя слоями дополнительного водоизоляционного ковра.

Воронка внутреннего водостока

1 - сборная железобетонная плита покрытия; 2 - пароизоляция (по расчету); 3 - теплоизоляция; 4 - выравнивающая стяжка; 5 - грунтовка (праймер); 6 - два дополнительных слоя кровельного ковра; 7 - основной кровельный ковер; 8 - защитный слой; 9 - колпак водоприемной воронки; 10 - водоприемная чаша; 11 - уплотнитель; 12 - легкий бетон выравнивающего слоя ендовы.

Слои водоизоляционного ковра должны на 150 мм перекрывать водоприемную чашу, которая закрепляется к плитам покрытия хомутом с резиновым уплотнителем.

Водоприемную чашу рекомендуется опирать на утеплитель из легкого бетона.

Все детали воронок перед устройством водоизоляционного слоя должны быть очищены от ржавчины и покрыты антикоррозионным составом.

Основание воронок до начала работ по их обделке должно быть очищено от мусора и пыли и, при необходимости, просушено.

Места пропуска через кровлю труб должны быть выполнены с применением стальных патрубков с фланцами (или железобетонных стаканов) и герметизацией кровли в этом месте. Места пропуска анкеров также должны быть загерметизированы, для чего устанавливается рамка из уголков, которая ограничивает растекание мастики, а пространство между рамкой и патрубком или анкером заполняется герметизирующей мастикой.

Пропуск анкера через кровельный ковер

1 - сборная железобетонная плита покрытия; 2 - пароизоляция (по расчету); 3 - теплоизоляция; 4 - выравнивающая стяжка; 5 - грунтовка (праймер); 6 - основной кровельный ковер; 7 - защитный слой; 8 - рамка из уголка; 9 - герметизирующая мастика; 10 - анкер.

В деформационном шве с металлическим компенсатором перед устройством водоизоляционного ковра на компенсатор должен быть наклеен сжимаемый утеплитель, например, из минеральной ваты и на него уложена выкружка из оцинкованной кровельной стали, кромки которой опираются на бетонные бортики, а на выкружку насухо укладывается стеклоткань и заводится водоизоляционный ковер.

Деформационный шов в покрытии

1 - сборная железобетонная плита покрытия; 2 - пароизоляция (по расчету); 3 - теплоизоляция; 4 - выравнивающая стяжка; 5 - грунтовка (праймер); 6 - основной кровельный ковер; 7 - рулонный кровельный материал, уложенный насухо; 8 - стеклоткань; 9 - оцинкованная кровельная сталь; 10 - компенсатор; 11 - утеплитель (минеральная вата); 12 - бортик из легкого бетона; 13 - защитный слой

В деформационных швах с металлическими компенсаторами последние выполняют функции пароизоляции, поэтому пароизоляция должна перекрывать края металлического компенсатора. Во всех остальных случаях, в местах примыкания покрытий к стенам, стенкам фонарей, шахтам и оборудованию, проходящему через покрытие или чердачное перекрытие, пароизоляция должна быть поднята на высоту, равную толщине теплоизоляционного слоя.

Выполнение работ по устройству кровель одновременно с другими строительно-монтажными работами на кровлях, связанными с применением открытого огня (сварка и т.п.), не допускается.

Устройство каждого элемента кровли следует начинать после проверки правильности выполнения соответствующего нижележащего элемента с составлением акта освидетельствования скрытых работ.

Кровли из мастичных материалов могут быть выполнены в традиционном (при расположении водоизоляционного ковра над теплоизоляцией) и инверсионном (при расположении водоизоляционного ковра под теплоизоляцией) вариантах.

Конструктивное решение покрытия с кровлей в инверсионном варианте включает:

железобетонные сборные или монолитные плиты;

затирку (при сборных железобетонных плитах);

водоизоляционный ковер;

теплоизоляцию;

разделительный (фильтрующий) слой-холст противокорневой из синтетических волокон;

пригруз из гравия или бетонных плиток из расчета 50 кгс/м2.

При выполнении кровли в инверсионном варианте в качестве теплоизоляции должен применяться только экструзионный пенополистирол, характеризующийся низким водопоглощением, что исключает возможность его увлажнения и размораживания в процессе эксплуатации кровли.

К преимуществам кровель, выполненных в инверсионном варианте, относится более высокая долговечность водоизоляционного ковра, в связи с тем, что он в процессе эксплуатации не подвергается прямому воздействию атмосферных факторов и работает в узком диапазоне температур.

Инверсионный вариант кровли предъявляет наиболее высокие требования к качеству устройства водоизоляционного ковра, так как при протечках возникают значительные трудности в определении мест его повреждения и выполнении ремонтных работ из-за необходимости в большинстве случаев снятия теплоизоляции, разделительного и пригрузочного слоев.

Устройство кровельного ковра должно начинаться с пониженных участков кровли: карнизных свесов и участков расположения водоприемных воронок.

Работы должны производиться в следующей технологической последовательности:

- оклеивают воронки внутренних водостоков дополнительными слоями;

- оклеивают ендовы и карнизные участки кровель дополнительными слоями;

- наклеивают слои основного кровельного ковра;

- оклеивают примыкания к вертикальным конструкциям дополнительными слоями.

Каждый слой кровельного ковра должен наноситься сплошным, без разрывов, равномерной толщины после отвердения грунтовки или нижнего слоя.

При устройстве кровли из полимерных составов типа «Кровлелит» и «Вента» их необходимо наносить агрегатами высокого давления, обеспечивающими плотность, равномерную толщину покрытия и прочность сцепления покрытия с основанием не менее 0,5 МПа.

Устройство мастичной кровли с применением мастики «Вента-У»

(по данным Руководства по применению мастики «Вента-У», М., ЦНИИПромзданий, 1995 г.)

Мастику «Вента-У» применяют на поверхностях с любыми уклонами, в том числе имеющих сложное очертание (купола, складки, оболочки и т.п.).

Работа с мастикой «Вента-У» допускается при положительных и отрицательных температурах окружающего воздуха. Отверждение покрытия в естественных условиях возможно при температурах от минус 15 °С до плюс 40 °С.

Нанесение мастики «Вента-У» на основание может производиться кистью, шпателем, валиками с обкладкой из меха или механизированным способом - методом окрасочной технологии. При механизированном способе нанесения мастика разбавляется растворителем бензинового типа (нефрасом, БЛХ, «галоша» и др.) в соотношении от 1:0,5 до 1:1 по массе.

Каждый последующий слой мастики наносится после высыхания предыдущего.

Общая толщина изоляционного покрытия определяется назначением конструкции и назначается проектом.

Зависимость толщины покрытия от концентрации используемой мастики и ее расхода на 1 м2 приведена в нижеследующей таблице.

Концентрация % (по сухому веществу)

Расход мастики на 1 м2

2,0

2,5

3,0

3,5

4,0

4,5

5,0

5,5

6,0

6,5

7,0

7,5

8,0

27

0,49

0,61

0,74

0,86

0,98

1,10

1,23

1,35

1,47

1,60

1,72

1,84

1,96

30

0,54

0,68

0,82

0,95

1,09

1,23

1,36

1,50

1,64

1,77

1,91

2,04

2,18

33

0,59

0,74

0,90

1,05

1,20

1,35

1,50

1,65

1,80

1,95

2,10

2,25

2,40

Для устройства кровельного покрытия применяют следующие материалы:

- битумно-бутилкаучуковую мастику «Вента-У» по ТУ 21-5744710-512-91;

- армирующие стеклосетки, стеклоткань и им подобные стеклоосновы;

герметизирующие мастики (Эластосил 137-181, УТ-32, Гермабутил, ЛТ-1, АМ-0,5, Гикром и др. мастики).

В качестве верхнего защитного окрасочного слоя, повышающего отражательную способность покрытия, его долговечность, улучшающего декоративные и эстетические свойства, применяют:

- алюминиевую суспензию на основе мастики «Вента-У» (состав, масс. ч.: алюминиевая пудра … 16, растворитель (бензинового типа) … 72, мастика «Вента-У» … 12);

- мастику цветную бутилкаучуковую холодного отверждения «Унике» (ТУ 5770-003-23463180-94).

В качестве верхнего (защитного) слоя может быть применена крупнозернистая посыпка на мастике «Вента-У».

Мастика «Вента-У» поставляется потребителю в виде двух составов: «В» (жидкого) - вулканизующегося и «А» (пастообразного) - содержащего активатор вулканизации.

Смешение двух составов производят на месте потребления в любом смесительном оборудовании в соотношении 50:1 по массе.

Время перемешивания составов … 15 - 20 минут, после чего мастику выдерживают не менее 20 мин. Готовность мастики проверяется по сухому остатку (не менее 27 %), условной вязкости (в пределах 200 - 300 с) и условному времени вулканизации при температуре 20 ± 5 °С (3 - 24 ч).

Мастика «Вента-У» после смешения составов должна быть использована в течение 1 - 2 часов.

В случае, если прошла частичная или полная вулканизация мастики, дальнейшее ее использование недопустимо.

Основанием под изоляционные слои из мастики «Вента-У» могут служить:

- ровные поверхности железобетонных несущих плит (в том числе железобетонных кровельных панелей) без устройства по ним выравнивающих стяжек;

- выравнивающая стяжка из цементно-песчаного раствора, в том числе:

стяжка по теплоизоляционным плитам или теплоизоляции монолитной укладки прочностью на сжатие не менее 5 МПа, влажностью не более 5 %, толщиной не менее 15 - 20 мм;

стяжка по железобетонным плитам прочностью на сжатие не менее 5 МПа, влажностью не более 5 %, толщиной не менее 10 - 15 мм;

стяжка полистиролцементных плит, нанесенная в заводских условиях;

- ровные поверхности сборной стяжки из прессованного асбестоцементного листа толщиной 10 мм;

- выравнивающая стяжка из асфальтобетона прочностью на сжатие не менее 0,8 МПа, влажностью не более 2,5 %, толщиной не менее 15 - 20 мм; с расстоянием между температурно-усадочными швами не более 4 м;

- выравнивающая стяжка из теплоизоляционных слоев монолитной укладки на цементном вяжущем прочностью на сжатие не менее 0,6 МПа и на битумном вяжущем прочностью на сжатие не менее 0,15 МПа.

В местах примыканий к выступающим над изоляционными слоями конструктивным элементам (стенам, парапетам и др.) должны быть устроены переходные наклонные бортики с уклоном 45° высотой не менее 100 мм из легкого бетона или цементно-песчаного раствора.

Конструктивные элементы покрытий и типы кровель из мастики «Вента-У» следует принимать в зависимости от вида строительства и уклона кровли по нижеследующей таблице.

В новом строительстве и при капитальном ремонте покрытия в качестве утеплителя предпочтительно применение полистиролцементных плит с цементной стяжкой, выполненной в заводских условиях в одном с утеплителем технологическом цикле, а также монолитной теплоизоляции, наносимой механизированным способом в построечных условиях.

В покрытиях с уклоном до 3 % кровельный ковер рекомендуется выполнять общей толщиной не менее 2 мм из мастики, армированной прокладкой из стеклоосновы, или из одного слоя рулонного материала типа рубероида с последующим нанесением на него мастичного покрытия толщиной 1 мм. В соответствии с проектом на ковер наносится окрасочное покрытие или устраивается защитный слой из мелкого гравия (крупнозернистая посыпка).

Слои кровельного ковра из мастики «Вента-У» при уклоне 03 %

1 - кровельный ковер из мастики «Вента-У»; 2 - стеклооснова; 3 - окрасочный защитный слой; 4 - один слой из рубероида; 5 - защитный слой из мелкого гравия (крупнозернистая посыпка); 6 - грунтовка; 7 - сборная стяжка; стяжка из цементно-песчаного раствора, нанесенная на плиты; железобетонная плита покрытия.

На эксплуатируемых покрытиях (крышах-террасах) с защитными слоями из цементно-песчаного раствора или плиток кровельный ковер выполняется аналогично, при этом между ковром и защитным слоем предусматривают разделительный слой - холст из синтетических волокон.

Конструктивные решения кровли

Вид строительства и тип покрытия

Уклон, %

Схема кровельного ковра

Новое строительство или капремонт с заменой теплоизоляции

0 ÷ 3

 

3 ÷ 15

> 15

0 ÷ 3

Ремонт существующей (старой) кровли без замены теплоизоляции

0 ÷ 25

Условные обозначения: 1 - профнастил; 2 - пароизоляция; 3 - минераловатные плиты повышенной жесткости; 4 - сборная стяжка; 5 - кровельный ковер; 6 - проклейка швов в стяжке полосой стеклоткани; 7 - полистиролцементные плиты; 8 - выравнивающая стяжка, нанесенная на плиты 7 в заводских условиях; 9 - ж.б. плита покрытия; 10 - плитный утеплитель; 11 - монолитный утеплитель; 12 - плитки из ц.п. раствора; 13 - защитный слой из ц.п. раствора или асфальтобетона; 14 - грунтовка; 15 - окрасочный защитный слой; 16 - существующая (старая) кровля; 17 - разделительный слой; 18 - защитный слой из мелкого гравия (крупнозернистая посыпка); 19 - один слой из рубероида.

Аналогично выполняются кровельные покрытия с уклоном 3 - 15 % и более. Эти покрытия допускается выполнять без армирования стеклоосновой. Общая толщина покрытия должна составлять около 2 мм. При применении в качестве нижнего слоя рулонного материала сверху на него наносится мастичное покрытие толщиной 1 мм.

В покрытиях типа свода, купола и т.п., на которых в качестве утеплителя применяют пенополиуретан или ему подобный материал с неровной поверхностью, кровельный ковер выполняют без армирования, общей толщиной покрытия не менее 1,5 мм. Сверху наносится окрасочное покрытие.

Аналогично новому покрытию в зависимости от уклона выполняется кровельное покрытие при ремонте существующей (старой) кровли (без замены теплоизоляции и стяжки). Толщина мастичного покрытия а также его армирование может быть изменено в зависимости от состояния «старой» кровли и важности объекта. На особо важных объектах мастичный кровельный ковер защищается специальными огнестойкими материалами.

До начала кровельных работ должны быть выполнены и приняты: все строительно-монтажные работы на изолируемых участках, включая замоноличивание швов между сборными железобетонными плитами, установку и закрепление к несущим плитам чаш водосточных воронок, патрубков (или стаканов) для пропуска инженерного оборудования, анкерных болтов и т.п.

Все поверхности основания из железобетона, бетона, штукатурки и стяжки из цементно-песчаного раствора должны быть огрунтованы раствором мастики «Вента-У» в растворителе (бензине) в соотношении 2:1.

Температурно-усадочные швы в цементно-песчаной стяжке шириной 510 мм располагают над торцевыми швами сборных железобетонных плит покрытия, а по ним точечно приклеивают посыпкой вниз полоски рубероида шириной 150200 мм.

При устройстве выравнивающей стяжки цементно-песчаный раствор укладывают полосами шириной не более 3 м, ограниченными рейками, которые служат маяками.

При устройстве выравнивающей стяжки из литого асфальта его укладывают полосами шириной до 2 м (ограниченными двумя рейками или одной рейкой и полосой ранее уложенного асфальта) и уплотняют валиком или катком массой 6080 кг.

Перед выполнением монолитной теплоизоляции на цементном вяжущем производят нивелировку поверхности несущих плит для установки маяков, служащих основанием под рейки для укладки бетонной смеси полосами на необходимую высоту. Полосы располагают поперек пролетов, ширина их не должна превышать 1,5 м.

Теплоизоляционные работы совмещают с работами по устройству пароизоляционного слоя (если он требуется по проекту), выполняя их на себя. Теплоизоляционные плиты должны плотно прилегать друг к другу. Если ширина швов между плитами превышает 5 мм, то их необходимо заполнять теплоизоляционным материалом. Замоченная теплоизоляция должна быть удалена и заменена сухой.

Теплоизоляционные работы не должны намного опережать работы по устройству нижнего слоя кровли. Как правило, их последовательность должна обеспечивать устройство нижнего слоя кровельного ковра в ту же смену, что и укладка теплоизоляционных плит.

Перед устройством изоляционных слоев основание должно быть сухим, обеспыленным, на нем не допускаются уступы, борозды и другие неровности.

Устройство изоляционных слоев в пределах рабочих захваток должно осуществляться в соответствии с проектом производства работ на конкретный объект строительства.

При устройстве основного водоизоляционного ковра должна предусматриваться нахлестка смежных полотнищ армирующих стеклооснов на 100 мм.

Водоизоляционный ковер следует устраивать в следующей технологической последовательности.

На подготовленное основание наносят слой мастики и одновременно раскатывают стеклооснову и прикатывают ее для того, чтобы произошла ее пропитка. После высыхания мастики, которое определяют «по отлипу», производят послойное нанесение мастики с сушкой каждого слоя.

Каждый нанесенный слой мастики должен выдерживаться не менее: 6 часов - при положительной температуре; 24 часа - при отрицательной температуре до минус 10 °С; 48 часов - при температуре ниже минус 10 °С.

В местах примыкания кровли к стенам, парапетам и т.п. устраивают дополнительный ковер, армированный прокладкой из стеклоосновы. Общая толщина основного и дополнительного ковра должна быть более 2,5 мм.

Примыкание кровли к парапету высотой более 450 мм

1 - сборная железобетонная плита покрытия; 2 - пароизоляция (по расчету); 3 - теплоизоляция; 4 - выравнивающая стяжка; 5 - грунтовочный слой (праймер); 6 - основной кровельный ковер; 7 - окрасочный защитный слой; 8 - воронка внутреннего водостока; 9 - дополнительный слой кровельного ковра; 10 - стена.

В местах примыкания кровли к парапетам высотой до 450 мм и более слои дополнительного ковра заводят на верхнюю грань парапета.

При пониженном расположении парапетных стеновых панелей (при высоте парапета не более 200 мм) переходный бортик устраивают из бетона до верха панелей.

Конек кровли (при уклоне кровли 3 % и более) усиливают на ширину 150 - 250 мм с каждой стороны, а ендову - на ширину 500 - 750 мм (от линии перегиба) дополнительным армированным ковром.

Примыкание кровли к парапету высотой до 450 мм

1 - сборная железобетонная плита покрытия; 2 - пароизоляция (по расчету); 3 - теплоизоляция; 4 - выравнивающая стяжка; 5 - грунтовка (праймер); 6 - основной кровельный ковер; 7 - защитный слой; 8 - дополнительные слои кровельного ковра; 9 - крепежные элементы (дюбели и др.); 10 - костыли из стальных полос 400×40 мм через 600 мм; 11 - покрытие парапета из оцинкованной стали; 12 - стена.

Места пропуска через кровлю труб выполняют с применением стальных патрубков с фланцами (или железобетонных стаканов) и герметизацией кровли в этом месте. Места пропуска анкеров также усиливают герметизирующей мастикой. Для этого устанавливают рамку из уголков (которые ограничивают растекание мастики), а пространство между рамкой и патрубком или анкером заполняют мастикой.

Перед устройством кровельного ковра на компенсатор в деформационном шве с металлическим компенсатором наклеивают сжимаемый утеплитель из минеральной ваты и на него укладывают выкружку из оцинкованной кровельной стали, кромки которой опираются на бетонные бортики, затем на выкружку насухо укладывают стеклоткань и рубероид.

В местах пропуска через покрытие воронки внутреннего водостока слои кровельного ковра должны заходить на водоприемную чашу, которую крепят к плитам перекрытия хомутом с уплотнителем из резины.

Деформационный шов в покрытии

1 - сборная железобетонная плита покрытия; 2 - пароизоляция (по расчету); 3 - теплоизоляция; 4 - выравнивающая стяжка; 5 - грунтовка (праймер); 6 - основной кровельный ковер; 7 - рулонный кровельный материал, уложенный насухо (рубероид); 8 - стеклоткань; 9 - выкружка из оцинкованной кровельной стали; 10 - компенсатор; 11 - несгораемый минераловатный утеплитель; 12 - бортик из легкого бетона; 13 - защитный слой.

При выполнении гидроизоляционных слоев на вертикальных и наклонных (более 25 %) поверхностях при условии армирования покрытия применяют полотнища стеклоосновы длиной 1,5 - 2 м. При значительной высоте изолируемой конструкции устройство мастичного слоя производят ярусами, начиная с нижнего.

При необходимости закрепления армирующего слоя на каждом ярусе предусматривают установку деревянных антисептированных реек по высоте рабочих захваток.

Для защиты мастичного кровельного ковра применяют окрасочные защитные покрытия.

Нанесение окрасочного покрытия на основание, выполненное из мастики «Вента-У», может производиться только после высыхания мастики (до отлипа), но не ранее, чем через 12 часов.

Перед нанесением защитного окрасочного покрытия поверхность основания (покрытие из мастики «Вента-У») должна быть сухой и чистой. На ней не должно быть пыли, грязи, мусора.

При подготовке поверхности в зимнее время с нее предварительно удаляют снег и наледь, протирают ветошью и просушивают до требуемой влажности.

Нанесение защитного покрытия на основание может производиться кистью, шпателем, валиками с обкладкой из меха или механизированным способом - методом окрасочной технологии.

В случае некачественного нанесения или повреждения покрытия после окраски допускается дополнительная подкраска непокрытых (дефектных) мест.

Устройство окрасочных покрытий рекомендуется осуществлять захватками, а начинать с пониженных участков кровель (карнизных свесов, ендов) и мест примыканий кровель к стенам.

В процессе работ необходимо предохранять ранее нанесенные защитные слои от повреждений. Для этого работы по нанесению окрасочных покрытий должны выполняться «на себя».

Защитный слой с применением окрасочных покрытий должен иметь равномерную окраску по всей изолируемой поверхности. Толщина защитного слоя должна быть не менее 0,1 мм.

Для предохранения покрытия на горизонтальных поверхностях от механических повреждений при эксплуатации необходимо выполнять следующие требования:

- ходить по покрытию в обуви с мягкой, гладкой подошвой;

- очистку покрытий от снега производить сжатым воздухом или деревянными лопатами с оставлением слоя снега толщиной 3 - 5 см;

- при ремонте и обслуживании различных коммуникационных линий и оборудования, расположенных на крыше, во избежание повреждений кровельного ковра в рабочей зоне необходимо укладывать защитные покрытия (трапы, коврики, щиты, маты).

При повреждении покрытия, выполненного из мастики «Вента-У», ремонт должен быть произведен в следующей последовательности:

- участок покрытия, требующий ремонта, вырезается острым ножом, очищается от пыли и грязи;

- прилегающая неповрежденная пленка покрытия на расстоянии 3 - 5 см по периметру протирается бензином;

- на подготовленную поверхность наносится мастика по обычной окрасочной технологии.

Устройство мастичной кровли с применением мастики «Битурэл»

(по данным Инструкции по применению изоляционного материала БИТУРЭЛ компании «Гермопласт» и типовой технологической карты по устройству мастичной кровли, М., ЦНИИОМТП, 1998 г.)

БИТУРЭЛ - современный изоляционный материал на основе полиуретановых композиций, предназначенный для устройства новой мастичной кровли и выполнения ремонта различных видов существующих кровель. Материал применяется также для гидроизоляции частей здания и коррозионной защиты инженерных конструкций.

БИТУРЭЛ при употреблении в дело представляет собой жидко-вязкую массу черного цвета, полученную смешиванием двух жидких компонентов 1 и 2 в соотношении 30 ÷ 70 частей. Компонент 1 светлого цвета относится к четвертому классу опасности, компонент 2 черного цвета относится к третьему классу опасности (легковоспламеняемая жидкость).

После отверждения мастика Битурэл превращается в монолитную резиноподобную эластичную пленку - слой, сохраняющую заданные свойства в диапазоне температур от плюс 120 °С до минус 50 °С и при атмосферных воздействиях.

Мастичная кровля из Битурэл применяется, как правило, на зданиях с плоскими бетонными крышами при уклоне скатов не более 12 %, предпочтительно с внутренним водостоком. Из жилых зданий это преимущественно кирпичные и панельные дома 5 и более этажей, строящиеся во всех климатических районах страны.

При устройстве кровли на крышах с большими и переменными уклонами необходимы дополнительные мероприятия по подготовке и нанесению мастики.

Кровельный слой из Битурэла рекомендуется выполнять толщиной не менее 2,0 мм при уклоне ската менее 4 %, в остальных случаях - не менее 1,5 мм. В примыканиях и деталях кровли (стойки, воронки и пр.) толщина слоя должна быть не менее 3 мм. Усредненный расход мастики на кровлю составляет 3,5 кг2. Увеличение расхода возможно на 0,5 кг/м2 при понижении температуры ниже 5 °С; на 0,5 кг/м2 - при шероховатой поверхности с неровностями; на 1 кг2 - при неровной поверхности скатов (просадки, прогибы).

Закрепление мастичной кровли из Битурэла осуществляется адгезионным сцеплением с основанием, которое должно быть ровным, чистым и жестким, предпочтительно бетонным. Допускается, что материал основания может быть сильно увлажнен, желательно, без водяной пленки на поверхности. В основании допускаются трещины шириной до 0,3 мм; при ширине трещин до 0,9 мм необходима грунтовка основания или нанесение дополнительного слоя; при ширине трещин более 0,9 мм производится ремонт или замена основания.

В местах примыкания покрытия к вертикальным элементам крыши рекомендуется устройство наклонного (45 °С) бортика размером 150×150 мм из бетона, раствора и др. Бортик делается при подготовке основания кровли и покрывается слоем мастики за 1 раз. Над бортиком на стенку наносится вертикальный участок кровли высотой не менее 150 мм. Общая высота вертикального участка не должна превышать 600 мм (на парапете).

При нанесении кровельного слоя на вертикальные участки мест примыкания в мастику могут вводиться различные добавки для увеличения вязкости. В узлах примыкания, как правило, не требуется армирования мастики. В отдельных случаях, при возможных значительных деформациях узла, мастика может армироваться стеклосеткой с нанесением дополнительного слоя мастики толщиной 0,5 - 1 мм.

В узлах примыкания верхний край вертикального участка кровли, как правило, не нуждается в дополнительной защите металлическими фартуками. Установка последних возможна, если материал стенки не позволяет надежно нанести слой мастики. Целесообразно верхний край мастичной кровли заводить в специальный паз-борозду глубиной 10 мм и высотой 20 мм, прорезанную в материале стенки примыкания.

Мастика Битурэл не нуждается, как правило, в дополнительной защите от инсоляции. При необходимости защиты крыши и здания от солнечного перегрева поверхность мастичной кровли покрывается солнцезащитным слоем из мелкого гравия (10 - 20 мм), крупного песка (2 - 3 мм), металлической фольги, алюминиевой краски и т.п. Защитный слой укладывается по свежеуложенному слою мастики при расходе 0,5 кг/м2.

Мастика Битурэл имеет небольшую паропроницаемость, достаточную для того, чтобы практически исключить вздутия кровли при нормальном влажностном состоянии основания и утеплителя. При значительном увлажнении материалов покрытия возникает необходимость устройства «дышащей» кровли, с частичной приклейкой к основанию. При таком решении образующаяся под кровлей паровоздушной смесь выводится через примыкания в наружный воздух, чем полностью исключаются возможность поднятия давления паровоздушной смеси под кровлей и образования вздутия, даже в экстремальных ситуациях.

Для устройства «дышащей» кровли дополнительно используется рулонный материал (предпочтительно, Бикапол производства компании Гермопласт) в качестве первого нижнего слоя, приклеиваемого с помощью мастики Битурэл к основанию полосами или пятнами, рассредоточенными по основанию и занимающими около 25 % всей ее площади. Рулонный материал укладывается встык. Поверх рулонного слоя укладывается обычным образом кровельный слой мастики Битурэл толщиной не менее 1,5 мм.

Частичная приклейка к основанию должна доводиться до краев кровли на всех наклонных и вертикальных участках. Верхний край кровли в этом случае следует защищать металлическим или пластиковым фартуком, герметично закрепленном на стене или трубе.

Менее трудоемкий вариант устройства «дышащей» кровли может быть выполнен с помощью перфорированного рулонного материала (в т.ч. Бикапола). В этом случае точечная приклейка к основанию обеспечивается мастикой, проникающей через отверстия в полотнище при нанесении основного мастичного слоя поверху. Сам рулонный материал укладывается на основание насухо и встык. Перфорированный рулонный материал изготавливается, как правило, в заводских условиях, с отверстиями диаметром 20 мм по сетке 100×100 мм, или с другими соотношениями, обеспечивая относительную площадь отверстий, равную 25 %.

Если в «дышащей» кровле необходимо иметь сплошь наклеенные края ковра, особенно в примыканиях, то для выпуска из-под кровли паровоздушной смеси рекомендуется устанавливать по полю кровли вентиляторы низкого давления (флюгарки). При диаметре трубки 50 мм вентиляторы устанавливаются с шагом 6 метров по основанию кровли. Слои кровли наклеиваются сплошь на круглое основание вентилятора, чем обеспечивается его устойчивость.

Не допускается использование в качестве основания для мастики Битурэл стяжки из известковых или известково-цементных растворов. Если стяжка основания выполнена с применением шлаковых цементов, а также в случае нанесения мастики на свежую цементно-песчаную стяжку (выдержанную менее 28 суток), поверхность основания рекомендуется грунтовать мастикой Гидрофор (производство компании Гермопласт) с расходом 0,5 кг/м2, предварительно разжиженной любым растворителем, не содержащим воду и масла. При отсутствии мастики Гидрофор поверхность грунтуется черным компонентом 2 мастики Битурэл с расходом 1 кг/м2. После высыхания грунтовки в течение суток поверхность основания готова к устройству мастичной кровли.

При соблюдении правил применения, устройства и эксплуатации мастичной кровли из Битурэла (при отсутствии механических повреждений кровельного слоя) ее гарантированная долговечность принимается равной не менее 15 лет (без ремонта). Период до первого текущего ремонта и межремонтный период устанавливается не менее 10 лет.

Основанием под новую мастичную кровлю из Битурэла должна служить, как правило, поверхность бетонных кровельных плит (при сборных конструкциях) или поверхность цементно-песчаной стяжки, а также асфальтобетонные стяжки (в зимнее время).

Основанием под изоляционные слои из мастики Битурэл могут служить:

- ровные поверхности железобетонных несущих плит (в том числе железобетонных кровельных панелей) без устройства по ним выравнивающих стяжек;

- выравнивающая стяжка из цементно-песчаного раствора, в том числе:

стяжка по теплоизоляционным плитам или теплоизоляции монолитной укладки прочностью на сжатие не менее 5 МПа, влажностью не более 5 %, толщиной не менее 20 - 25 мм (температурно-усадочные швы выполняются над швами в несущих плитах);

стяжка по железобетонным плитам прочностью на сжатие не менее 5 МПа, влажностью не более 5 %, толщиной не менее 10 - 15 мм (температурно-усадочные швы выполняются над швами в несущих плитах);

стяжка по засыпной теплоизоляции прочностью на сжатие не менее 10 МПа, влажностью не более 5 %, толщиной не менее 25 - 30 мм (расстояние между температурно-усадочными швами не менее 6 м);

- выравнивающая стяжка из песчаного асфальтобетона прочностью на сжатие не менее 0,8 МПа, влажностью не более 2,5 %, толщиной не менее 20 - 25 мм; с расстоянием между температурно-усадочными швами не более 4 м.

В цементно-песчаную смесь рационально добавлять до 15 % от массы цемента поливинилацетатной дисперсии (ПВАД). Можно добавлять латекс СКС-65ГП или аналогичные водные дисперсии полимеров по конкретным рекомендациям проектной или исследовательской организации.

Асфальтобетонные стяжки рекомендуется выполнять в холодное время года, в том числе зимой при уклонах крыш до 20 %. Размер карт таких стяжек 4×4 м. Асфальтобетонные смеси желательно использовать с добавкой 5 % резиновой крошки для повышения трещиностойкости асфальтобетона.

Не допускается применение в качестве основания для мастики Битурэл стяжки из известковых или известково-цементных растворов, а также стяжки или бетоны на шлакопортландцементе.

До начала работ по устройству стяжек необходимо провести нивелировку основания для установки маяков, служащих основанием под рейки для укладки выравнивающих стяжек.

Стяжку из цементно-песчаного раствора следует укладывать полосами шириной 2 м и длиной 6 м, заполняя их раствором через одну. После схватывания раствора производят укладку раствора в пропущенные полосы, при этом края готовых растворных полос служат маяками для последующей укладки раствора, начальные маяки-рейки (деревянные или металлические) обязательно извлекаются, а швы из-под них заполняются мастикой Битурэл. Ширина швов не должна превышать 5 мм.

При уклоне кровли до 15 % укладываемые полосы стяжки располагают поперек ската, а при уклоне более 15 % - по скату. Раствор сначала укладывают на наиболее удаленные участки, постепенно приближаясь к месту подачи раствора на крышу. При уклоне до 15 % стяжку сначала делают в узлах-сопряжениях и примыканиях, а затем на плоскостях скатов.

Для разравнивания раствора используют правила, виброрейки или пневмогладилки.

Растворные полосы заполняют так, чтобы после извлечения маячных реек образовывались температурно-усадочные швы в карте размером не более 6×6 м.

Поверхности основания (стяжек) должны быть ровными, чистыми, без пыли, жирных и масляных пятен.

Поверхности свежей цементно-песчаной стяжки (выдержанной менее 28 суток), а также поверхности стяжек, выполненных на шлако-портланцементе, рекомендуется грунтовать мастикой Гидрофор (производство компании «Гермопласт») с расходом 0,5 кг на квадратный метр, предварительно разжиженной любым растворителем, не содержащим воду и масло. При отсутствии мастики Гидрофор поверхность грунтуется черным компонентом 2 мастики Битурэл с расходом 1 кг на квадратный метр. Грунтовка высыхает за сутки.

При выполнении ремонта кровли из рубероида необходимо соблюдать условие, по которому количество слоев в старой кровле не должно превышать шести. При большем количестве слоев рулонный ковер должен быть удален полностью, а стяжка должна быть отремонтирована или выполнена заново. При меньшем количестве слоев рубероидная кровля может быть отремонтирована. Возможность и целесообразность снятия старого кровельного покрытия или его ремонта определяется по результатам официального заключения эксперта.

Старое мастичное покрытие толщиной до 5 мм, как правило, счищать не следует. Необходимо лишь выровнять бугры и наплывы на его поверхности.

Даже при удовлетворительном состоянии основного кровельного покрытия необходимо вокруг водоприемной воронки внутреннего водостока счистить верхние слои старых изоляционных материалов. То же относится ко всем сопряжениям и примыканиям кровли.

Поверхность старой кровли, служащей основанием по кровельное покрытие из Битурэла должна быть достаточно ровной (без вздутий, пузырей и складок), с плавными переходами в местах сопряжений с выступающими над крышей конструкциями (элементами).

В стяжке основания допускаются трещины до 0,3 мм, при ширине трещины до 0,9 мм необходимо нанесение на нее дополнительной полосы мастики, при большей ширине трещины основание подлежит ремонту.

Трещины, выбоины и каверны в сохранившейся стяжке уплотняют цементным раствором или полимерраствором.

Мастика Битурэл поставляется в виде комплекта из двух жидких компонентов 1 и 2, расфасованных, как правило, в 200-литровые металлические бочки. Гарантийный срок хранения в герметичной заводской таре компонента 1 - шесть месяцев, компонента 2 - двенадцать месяцев. При хранении в неотапливаемых помещениях (особенно в зимний период) реальный срок хранения компонента 1 составляет не менее 12 месяцев. После разгерметизации тары (вскрытия пробок) продолжительность хранения уменьшается до двух месяцев. При переливе компонентов в другую тару срок хранения ограничен одним месяцем.

Смешивание двух компонентов мастики в заданном соотношении (30 массовых частей компонента 1 и 70 массовых частей компонента 2) осуществляется на строительной площадке непосредственно перед употреблением. Смешивание производится в любом смесительном оборудовании или вручную, с использованием в качестве емкости любой пригодной тары. Приготовление мастики должно производится на открытой площадке или в помещении с интенсивным вентилированием, при температуре не ниже +5 °С. При низких температурах окружающего воздуха происходит некоторое загустение мастики, затрудняющее ее приготовление и нанесение, поэтому при температуре ниже минус 7 °С рекомендуется предварительно подогреть компоненты мастики в водяной «бане» до температуры 20 - 60 °С (в зависимости от температуры наружного воздуха).

Продолжительность механизированного перемешивания смеси, в зависимости от условий, составляет 3 - 5 минут. Продолжительность ручного перемешивания увеличивается до 10 - 15 минут. Не допускается вместо профессиональных мешалок применять деревянные палки.

Для обеспечения требуемого качества приготовленной смеси необходимо соблюдать следующие условия:

- точность дозировки компонентов при смешивании (30 ÷ 70 массовых частей) не должна превышать ±3 % от массы смеси.

- тщательность перемешивания смеси должна обеспечить однородную желеобразную консистенцию мастики, в результате последовательного прохождения трех фаз состояния смеси: первоначальная однородная жидкость; появление многих желеобразных сгустков; превращение в однородную желеобразную массу;

- осторожность в применении разбавителей (бензин, ксилол и др.) для разжижения мастики. Категорически запрещается добавка разбавителей в мастику, наносимую на влажное основание, во избежание полной потери адгезии. При нанесении мастики на сухое основание допускается добавление разбавителей в пределах 5 % при ручном нанесении и до 15 % - при механизированном;

- применение по рекомендации специалистов компании «Гермопласт» дополнительного компонента-катализатора в количестве 2 - 3 % от массы мастики.

Жизнеспособность приготовленной мастичной смеси из двух компонентов составляет не менее пяти часов, в течение которых она должна быть употреблена в дело. После нанесения мастики начинается ее отверждение и через 3 - 5 часов слой упрочняется настолько, что не смывается даже ливневым дождем. Через сутки заканчивается основное отверждение Битурэла (появление отлипа), достаточное для нанесения последующих слоев и проведения других работ на кровле, а также начала нормальной эксплуатации. При пониженных температурах наружного воздуха возможно увеличение продолжительности основного отверждения мастики до нескольких суток. Полное отверждение мастики длится до 6 месяцев.

До устройства мастичного ковра должны быть выполнены следующие работы:

- проверены уклоны поверхности основания от водораздела до водосточных воронок (не должно быть обратных уклонов), ровность поверхности основания (поверхность должна быть ровной, просветы между основанием и контрольной трехметровой рейкой не должны превышать 5 мм вдоль уклона и 10 мм поперек уклона; поверхность должна быть без вздутий и складок с плавными переходами в местах сопряжений с выступающими над крышей конструкциями. По стяжке допускаются трещины шириной до 0,3 мм). Для проверки уклонов следует использовать нивелир и рейку, для проверки ровности основания - контрольную 3-х метровую рейку;

- поверхность основания должна быть очищена от мусора и пыли;

- по всей поверхности должны быть установлены и закреплены патрубки, в которые вставляют чаши воронок.

Нанесение приготовленной мастики на подготовленное основание является сравнительно простой технологической операцией, выполняемой механизированным способом или вручную.

При нанесении мастики вручную используют крупные малярные кисти (лучше флейцовые), накаточные валики из овчины, резиновые или металлические гребенки и шпатели, а также другие подходящие инструменты. Не рекомендуется применение квачевых кистей, затрудняющих нанесение тонких слоев. В качестве переносной тары для мастики используются, как правило, пластмассовые ведра с крышками, которые легко очищаются от остатков мастики. Использование металлических ведер нецелесообразно, так как их очистка крайне затруднительна (выжигание), а при работе в холодное время года ведра нуждаются в утеплении.

Для качественного механизированного нанесения мастики необходимы универсальные передвижные установки высокого давления фирмы Вагнер (ЕР 3000, GP 3000) или им аналогичные.

Нанесение мастики Битурэл целесообразно выполнять захватками, соответствующими сменной производительности бригады кровельщиков, чтобы на следующий день на захватке можно было вести другие работы.

При устройстве защитного слоя из песка, фольги, алюминиевого порошка и др. по свежеуложенной мастике работы ведутся полосами на ширину, достаточную для посыпки песка и порошка, укладки фольги рабочими, стоящими на ранее сделанном слое выдержанной мастики.

Нанесение мастики Битурэл на основание из свежеуложенной цементно-песчаной стяжки в весенне-летний период допускается не ранее, чем через трое суток после укладки раствора.

На примыкания и вертикальные участки мастика наносится перед устройством основного слоя на скатах, чтобы не ждать отверждения мастики на скатах.

При нанесении мастики на участках с большими уклонами (от 25 % до вертикали), а также в жаркое время дня, в нее необходимо вводить добавки для увеличения вязкости. Рекомендуется для этой цели применять универсальный загуститель Гермогуст-1 компании Гермопласт, который смешивается с компонентами Битурэла в количестве от 10 до 50 % массы мастики. Возможно применение цементного порошка в количестве до 30 % объема мастики, а также жидкого стекла в количестве, определяемом опытным смешиванием. Нанесение мастики на этих участках производится за два раза после отверждения предыдущего слоя.

Участки изолируемой поверхности, на которых имеются стыки, швы, трещины, способные деформироваться при работе конструкций, должны обрабатываться особым образом, чтобы увеличить базу растяжения пленки над швом. Для этого полосу вдоль шва на ширину 5 - 6 см в каждую сторону предварительно покрывают антиадгезионными составами, в качестве которых можно использовать смазку металлических форм, концентрированный мыльный раствор и др. Можно также укладывать узкие полосы пергамина, бумаги для ослабления склеивания мастики Битурэл с основанием вдоль шва.

Мастика Битурэл наносится, как правило, за 2 раза, с последовательным нанесением слоев по 0,5 - 1,5 мм, после отверждения каждого. Для обеспечения надежного склеивания слоев мастики время между нанесением слоев не должно превышать 24 часов, увеличиваясь в неблагоприятных случаях до 36 часов. На горизонтальных поверхностях и поверхностях с уклонами до 5,0 %, рекомендуется нанесение слоя мастики толщиной до 3,0 мм за один раз, при условии тщательного разравнивания ее по основанию.

С использованием мастики Битурэл предусматривается выполнение текущих ремонтов (профилактических и аварийных), с сохранением основного состава и материала существующей кровли. Выполнение капитального ремонта с полной сменой старого кровельного материала и устройством новой кровли становится необходимым, если ремонтируемая кровля состоит из большого количества дефектных слоев.

Ремонт мастичной кровли (в том числе из Битурэла) осуществляется нанесением поверх существующей мастики нового слоя Битурэла толщиной не менее 1,5 мм. Поверхность старой кровли предварительно должна быть очищена от частиц разрушенной мастики, отложений пыли, грязи, листьев и т.п. Сильно разрушенные участки кровли (до 30 % общей площади) вырезаются до основания и заполняются новой мастикой. При необходимости, поверхность кровли выравнивается путем заполнения слабо пониженных мест новой мастикой. При понижениях более 5 мм целесообразно выравнивать их строительными растворами и шпаклевками. Слой новой мастики наносится на всю поверхность кровли, включая примыкания и вертикальные участки.

Ремонт рулонной кровли из рубероида состоит, в основном, в нанесении на подготовленную поверхность старой кровли слоя мастики Битурэл толщиной не менее 2 мм. Подготовка поверхности рубероидной кровли состоит, главным образом, в устранении и ремонте мест вздутий путем их разрезки и проклейки слоев. Затем с поверхности кровли удаляются разрушенные частицы материала, отложения пыли, грязи, листьев. При необходимости выравнивания скатов пониженные места заполняются мастикой, шпаклевкой или строительными растворами (кроме известковых и известково-цементных, а также приготовленных на шлакопортландцементе). Восстанавливаются все обделки мест примыкания - выдры, фартуки, пояса. Особо тщательно обрабатываются водоприемные воронки внутреннего водостока, однако обеспечение надежной проклейки водоприемной чаши не должно приводить к поднятию уровня кровли вокруг воронки.

Ремонт жесткой кровли из асбестоцементных (волнистых и плоских) и металлических (плоских и профилированных) листов возможен при сохранении ими несущей способности и появлении протечек в соединениях и отдельных местах. В зависимости от степени развития дефектов может проводиться ремонт двух видов - частичный и полный. При частичном ремонте мастикой Битурэл покрываются участки (полосы) расстроенных стыков и соединений, при этом мастика должна заполнять и внутреннюю полость дефектного стыка. При полном ремонте слой мастики Битурэл толщиной 1,5 мм покрывает всю поверхность кровли.

Поскольку асбестоцементные и металлические кровли применяются в скатных крышах с большими уклонами (от 20 до 100 %), применяемая для их ремонта мастика Битурэл должна обладать достаточной вязкостью, для чего в нее вводятся специальные добавки для повышения вязкости, описанные выше. Нанесение слоя мастики выполняется за 2 раза, с выдержкой для отверждения.

Ввиду опасности сползания слоя свежей мастики по скату при высокотемпературном нагреве солнцем (70 - 80 °С) ремонт скатных кровель с уклоном более 50 % не рекомендуется производить в III и IV климатических районах в период максимальных дневных температур.

Устройство мастичной кровли с применением битумно-каучуковых мастик «Ребакс-М» и «БКМ-200»

(по данным Руководства по применению мастик «Ребакс-М» и «БКМ-200», М., ЦНИИПромзданий, ТОО фирма «РОГНЕДА», 1998 г.)

Мастики «Ребакс-М» и «БКМ-200» рекомендуются для устройства кровель на поверхностях с уклонами 2 % и более, в том числе имеющих сложное очертание и большие уклоны (купола, складки, оболочки и т.п.).

Работа по устройству кровель из мастик «Ребакс-М» и «БКМ-200» допускается при температуре воздуха не ниже минус 5 °С и относительной влажности воздуха не более 80 %.

Потенциальный срок службы в кровлях, определенный в лаборатории кровель ЦНИИПромзданий, составляет для «БКМ-200» 15 - 20 лет, для «Ребакс-М» - 20 - 25 лет.

Для устройства изоляционного ковра применяют следующие материалы:

- битумно-каучуковые мастики «Ребакс-М» (ТУ 5775-011-13238275-97) и «БКМ-200» (ТУ 2384-008-13238275-97) - составы, представляющие собой раствор битума и синтетического дивинилстирольного каучука в органическом растворителе с добавкой модифицирующих смол и ингибиторов коррозии. Модифицирующие смолы одновременно выполняют роль антисептической присадки;

- кровельную грунтовку, предназначенную для повышения адгезии мастичных изоляционных слоев к основанию (приготавливают путем разбавления мастик растворителем;

- армирующие материалы: стеклосетки СС-1, СС-2, СС-8 (ТУ 6-43-0204962-17-91), стеклоткани Э-3 (ГОСТ 19907-83*), прокладки из синтетических волокон либо им подобные материалы (армирующие материалы предназначены для усиления мест ремонта существующей кровли, а также при устройстве армированной новой мастичной кровли по цементно-песчаной стяжке или другому основанию под кровлю);

- защитный светоотражающий состав ЗМС-05 ТУ 2313-009-13238275-97 производства ЗАО «НПП Рогнеда» или окрасочный светоотражающий состав, получаемый введением в мастики «Ребакс-М», «БКМ-200» растворителя и светостойкого пигмента светлых тонов, или состав на основе светостойких эмалей типа ПВХ, ХВ, ХС (в качестве верхнего (защитного) слоя может быть применен мелкий гравий (каменная крошка размером 3 - 5 мм) или крупнозернистая посыпка по мастике);

- герметизирующие мастики (Эластосил 137-181, УТ-32, АМ-0,5 и др., удовлетворяющие требованиям ГОСТ 25621-83).

Для защитных фартуков, компенсаторов в деформационных швах, элементов наружных водостоков и обделки свесов карнизов предусматривают: оцинкованную сталь толщиной 0,5 ÷ 0,8 мм (ГОСТ 14918-80*), стальные полосы 4×40 (ГОСТ 103-76*), оцинкованные или с противокоррозионной окраской для крепления защитных фартуков к бетонным поверхностям.

Основанием под мастичную кровлю из мастик «Ребакс-М» и «БКМ-200» могут служить

- при ремонте существующей кровли - поверхность рубероидного ковра, оцинкованной или не оцинкованной стали, другие аналогичные поверхности;

- при устройстве новой кровли:

поверхность железобетонных плит;

поверхность выравнивающей стяжки из цементно-песчаного раствора, в том числе:

стяжка по теплоизоляционным плитам или теплоизоляции монолитной укладки прочностью на сжатие не менее 5 МПа, влажностью не более 5 %, толщиной - 15 ÷ 20 мм;

стяжка по железобетонным плитам прочностью на сжатие не менее 5 МПа, влажностью не более 5 %, толщиной - 10 ÷ 15 мм;

стяжка из песчаного асфальтобетона прочностью на сжатие не менее 0,8 МПа, влажностью не более 2,5 %, толщиной - 20 ÷ 25 мм;

ровные поверхности сборной стяжки из прессованных асбестоцементных листов толщиной 10 мм или цементно-стружечных плит (ГОСТ 26816-86); и других аналогичных материалов.

На поверхности ремонтируемой кровли не должно быть открытых разрушений на всю глубину изолирующих слоев. Поверхность кровли должна обеспечивать свободный сток воды к водоприемным устройствам при минимальном уклоне 2 %.

Конструктивные решения кровли

Вид строительства и тип покрытия

Уклон, %

Схема кровельного ковра

Новое строительство или капремонт с заменой теплоизоляции

2 ÷ 15

≥ 15

2 ÷ 3

Ремонт существующей (старой) кровли без замены теплоизоляции

2

2 ÷ 3

Условные обозначения: 1 - профнастил; 2 - пароизоляция; 3 - плитный утеплитель; 4 - сборная стяжка; 5 - основной кровельный ковер; 6 - ж.б. плита покрытия; 7 - монолитный утеплитель; 8 - выравнивающая стяжка; 9 - разделительный слой; 10 - защитный слой из цементно-песчаного раствора или асфальтобетона; 11 - плитки на цементно-песчаном растворе; 12 - существующая (старая) кровля; 13 - грунтовка; 14 - неармированный слой мастики; 15 - окрасочный защитный слой, 16 - пригрузочный слой гравия; 17 - наплавляемый рулонный материал.

Основной мастичный водоизоляционный ковер назначают в зависимости от вида строительства и уклона кровли по приведенной выше таблице.

В покрытиях с уклоном 2 - 15 % кровельный ковер предусматривают из двух мастичных слоев, армированных двумя слоями прокладок из стекломатериалов с верхним окрасочным защитным слоем.

На уклонах 2 - 10 % допускается применить защитный слой из мелкого гравия (ГОСТ 8267-93) или крупнозернистой посыпки по слою мастики.

В инверсионном покрытии (на уклонах 2 - 3 %) ковер предусматривают из двух армированных мастичных слоев с пригрузом теплоизоляционных плит гравием массой ~ 50 кг/м2 (в качестве теплоизоляционных плит может быть рекомендован экструзионный пенополистирол «Стайрофом»).

В покрытиях с защитными слоями из цементно-песчаного раствора или плиток (на крышах-террасах) кровельный ковер предусматривают из двух армированных мастичных слоев с укладкой между ковром и защитным слоем разделительной прокладки из синтетического холста (по ТУ 6-19-290-83).

На уклонах более 15 % кровельный ковер допускается выполнять из одного армированного мастичного слоя с верхним слоем из окрасочного состава.

При ремонте существующей (старой) кровли без замены теплоизоляции кровельный ковер выполняют из двух армированных мастичных слоев с защитным слоем. При этом целесообразность сохранения теплоизоляции устанавливают по результатам детального обследования ограждающей части покрытия (при необходимости с отбором проб слоев для определения их состояния, в т.ч. влажности теплоизоляции).

Ремонт кровельного ковра может быть выполнен из одного армированного слоя в зависимости от состояния «старой» кровли, которое определяется в процессе ее обследования.

Допускается сочетание «Ребакса-М» или «БКМ-200» с наплавляемым рулонным материалом типа «Филизол» или ему подобным: например, один армированный слой мастики по слою «Филизола».

В местах примыкания мастичной кровли к парапетам, стенам, бортам фонарей и другим выступающим над кровлей конструкциям предусматривают дополнительные изоляционные слои из двух мастичных слоев с двумя армирующими прокладками из стекломатериалов. Ендовы и конек кровли в этих покрытиях усиливают одним армированным мастичным слоем.

Допускается выполнять дополнительные изоляционные спои из одного слоя наплавляемого рулонного материала типа «Филизол» и одного армированного мастичного слоя.

На неэксплуатируемых кровлях допускается выполнять на примыканиях к парапетам, стенам, бортам фонарей дополнительный ковер из трех армированных мастичных слоев без устройства защитного фартука.

До начала устройства кровельного ковра должны быть выполнены все строительно-монтажные работы на изолируемых участках.

При выполнении ремонтных работ с крыши должны быть удалены свободный гравий и другие частицы. Поверхность ее должна быть очищена от пыли, грязи, ржавчины и т.п.

Пузыри, трещины, швы на поверхности существующей рулонной кровли должны быть отремонтированы, для чего после надрезки пузырей всю поврежденную поверхность существующей кровли обрабатывают грунтовкой, а затем, после высыхания последней наносят слой мастики «Ребакс-М» или «БКМ-200», по которому укладывают армирующий стекломатериал и покрывают мастикой.

Грунтовкой должна быть обработана вся поверхность состарившейся рулонной кровли и места сопряжения кровли с парапетом, бортами фонарей, вентиляционными шахтами и т.п., а также поверхность выравнивающей стяжки в случае устройства новой мастичной кровли.

При выполнении выравнивающей стяжки из цементно-песчаного раствора укладку последнего производят полосами шириной не более 3 м, ограниченными рейками, которые служат маяками. Разравнивание цементно-песчаной смеси осуществляют правилом из металлического уголка, передвигаемого по рейкам.

В стяжках выполняют температурно-усадочные швы шириной 5 - 10 мм, разделяющие стяжку из цементно-песчаного раствора на участки размером не более 6×6 м, а при стяжке из песчаного асфальтобетона - не более 4×4 м (в покрытиях с несущими плитами длиной 6 м эти участки из асфальтобетона должны иметь размеры 3×3 м). Швы должны располагаться над торцовыми швами несущих плит и над температурно-усадочными швами в монолитной теплоизоляции. По ним на предварительно прогрунтованную и высохшую поверхность насухо укладывают полоски стеклоткани шириной 100 - 150 мм и сверху покрывают мастикой.

После или в процессе высыхания (через 8 - 10 суток после укладки стяжки) ее грунтуют битумной грунтовкой, которую наносят при помощи окрасочного распылителя, либо кистями (при малых объемах работ).

При устройстве выравнивающей стяжки из литого асфальта его укладывают полосами шириной до 2 м (ограниченными двумя рейками или одной рейкой и полосой ранее уложенного асфальта) и уплотняют валиком или катком весом 60 - 80 кг.

При использовании монолитной теплоизоляции на цементном вяжущем, производят нивелировку поверхности несущих плит для установки маяков, служащих основанием под рейки для укладки легкобетонной массы полосами на необходимую высоту. Полосы шириной не более 1,5 м располагают поперек пролетов.

Устройство изоляционных слоев кровли в пределах рабочих захваток начинают с пониженных участков: карнизных свесов и участков расположения водосточных воронок (ендов).

Основной водоизоляционный ковер с применением армирующих стекломатериалов выполняют в следующей последовательности:

- на поверхность основания под кровлю, подготовленную для устройства кровли, наносят слой мастики и по нему расстилают полотнища стекломатериала, при этом армирующие материалы укладывают ступенчатым способом. На пониженном участке, например на карнизе, вначале наклеивают два слоя стекломатериала, затем каждое последующее полотнище смещают относительно предыдущего так, чтобы нахлестка составила 52 см;

- на полотнища холста или ткани, уложенных с нахлесткой по длине 80 ÷ 100 мм, наносят мастику. Расход ее - не менее 4,5 кг/м2, армирующих прокладок - 2,2 м22, грунтовки - не менее 0,2 кг/м2.

Ремонтные изоляционные слои в покрытиях выполняют аналогичным способом.

Схема расположения слоев мастичного кровельного ковра

а) с двумя армирующими слоями (ступенчатое расположение слоев);

б) с одним армирующим слоем

1 - основание под кровлю; 2 - грунтовка; 3 - армирующие слои; 4 - слои мастики; 5 - защитный (окрасочный) слой

Если на поверхности существующей кровли сохранилась крупнозернистая посыпка или гравий, удаление которых требует больших затрат, либо поверхность сильно остаренной кровли имеет большое количество шероховатостей и неровностей, то ремонтный слой выполняют с применением редкой стеклоткани в следующей последовательности:

- на огрунтованную поверхность старой кровли наносят слой мастики и расстилают редкую стеклоткань;

- по разостланному полотнищу или ряду полотнищ редкой стеклоткани, уложенных с нахлесткой по ширине и длине 80 ÷ 100 мм, наносят мастику.

При нанесении мастики ручным способом (валиком, кистью, гребком с резиновой вставкой) ее обычно не разбавляют растворителем. Для нанесения механизированным способом применяют установки безвоздушного распыления (2600Н, 7000Н, Факел-3, УРБХ-, Виза-1, станция СО-145), при этом мастики разбавляют растворителем до рабочей вязкости, указанной в паспорте установки.

Защитный слой, если он требуется по проекту, выполняют по высохшему кровельному ковру (через 5 - 7 суток). Окрасочный состав наносят валиком, кистью или распылением. Расход состава - в соответствии с рекомендациями по его применению.

В инверсионном покрытии по уложенным на кровельный ковер теплоизоляционным плитам (например, из «Страйформа») расстилают предохранительный (фильтрующий) слой из синтетического холста и насыпают пригрузочный слой из гравия.

Слои основного водоизоляционного ковра у мест примыкания к выступающим над кровлей конструкциям должны подниматься на переходные (наклонные) бортики (под углом 45°) высотой не менее 100 мм из легкого бетона, цементно-песчаного раствора или асфальтобетона. Стены из кирпича или блоков в этих местах должны быть оштукатурены цементно-песчаным раствором марки 50.

Дополнительные изоляционные слои на примыканиях к выступающим над кровлей конструкциям выполняют из полотнищ армирующего материала длиной 2 ÷ 2,5 м которые наклеивают в той же последовательности, что и основной водоизоляционный ковер, при этом на примыканиях к вертикальным поверхностям наклейку производят снизу вверх.

Верхний край дополнительных изоляционных слоев должен быть закреплен. Одновременно крепят фартуки из оцинкованной стали для защиты этих слоев от механических повреждений и атмосферных воздействий на кровле.

Примыкание кровли к парапету высотой до 450 мм

1 - сборная железобетонная плита покрытия; 2 - пароизоляция; 3 - теплоизоляция; 4 - выравнивающая стяжка; 5 - основной кровельный ковер; 6 - защитный (окрасочный) слой; 7 - мастика «Ребакс-М», «БКМ-200»; 8 - армирующие прокладки из стекломатериалов; 9 - костыли 40×4 через 600 мм; 10 - оцинкованная кровельная сталь; 11 - грунтовка; 12 - стена.

В местах примыкания кровли к парапетам высотой до 450 мм изоляционные слои заводят на верхнюю грань парапета, затем примыкание обделывают оцинкованной кровельной сталью. При пониженном расположении парапетных стеновых панелей (при высоте парапета не более 200 мм) наклонный переходный бортик устраивают из бетона до верха панелей.

При устройстве кровли с повышенным расположением верхней части парапетных панелей (более 450 мм) защитный фартук с кровельным ковром закрепляют дюбелями, а отделку верхней части парапета выполняют из кровельной стали, закрепляемой костылями.

Примыкание кровли к парапету высотой более 450 мм

1 - сборная железобетонная плита покрытия; 2 - пароизоляция (по расчету); 3 - теплоизоляция; 4 - выравнивающая стяжка; 5 - грунтовка (праймер); 6 - основной кровельный ковер; 7 - окрасочный защитный слой; 8 - дополнительные слои кровельного ковра; 9 - фартук из оцинкованной кровельной стали; 10 - крепежные элементы (дюбели и др.); 11 - герметизирующая мастика; 12 - покрытие парапета (оцинкованная сталь, плиты и др.); 13 - костыли из стальных полос 400×40 мм через 600 мм; 14 - стена; 15 - воронка внутреннего водостока.

Конек кровли

Ендова кровли

1 - сборная железобетонная плита покрытия; 2 - пароизоляция (по расчету); 3 - теплоизоляция; 4 - выравнивающая стяжка; 5 - грунтовка (праймер); 6 - дополнительный слой кровельного ковра; 7 - основной кровельный ковер; 8 - защитный слой; 9 - воронка внутреннего водостока.

Воронка внутреннего водостока

1 - сборная железобетонная плита покрытия; 2 - пароизоляция (по расчету); 3 - теплоизоляция; 4 - выравнивающая стяжка; 5 - грунтовка (праймер); 6 - два дополнительных слоя кровельного ковра; 7 - основной кровельный ковер; 8 - защитный слой; 9 - колпак водоприемной воронки; 10 - водоприемная чаша; 11 - уплотнитель; 12 - легкий бетон выравнивающего слоя ендовы

Конек кровли (при уклоне 2,0 % и более) усиливают на ширину 250 мм с каждой стороны, а ендову - на ширину 750 мм (от линии перегиба) одним армированным мастичным слоем Карнизные участки кровли при наружном водоотводе усиливают также одним армированным мастичным слоем шириной 250 мм. Деформационные швы в покрытиях могут быть с разделительными стенками (например, у стен с перепадом высот) или выкружкой (компенсатором).

Как и в других местах примыкания кровли, у стенок деформационных швов делают наклонные переходные бортики.

В деформационных швах с металлическим компенсатором последние выполняют пароизолирующую и несущую функцию. На компенсатор наклеивают выкружку, кромки которой опираются на основание под кровлю, затем на выкружку укладывают насухо слой стеклоткани и выполняют остальные слои кровли.

Пропуск анкера через кровельный ковер

Устройство кровли на карнизном свесе

1 - сборная железобетонная плита покрытия; 2 - пароизоляция (по расчету); 3 - теплоизоляция; 4 - выравнивающая стяжка; 5 - грунтовка (праймер); 6 - основной кровельный ковер; 7 - защитный слой; 8 - рамка из уголка; 9 - герметизирующая мастика; 10 - анкер; 11 - крепежный элемент (толевые гвозди); 12 - дополнительный армированный изоляционный слой; 13 - сливной фартук; 14 - деревянный вкладыш.

Деформационный шов в покрытии

1 - сборная железобетонная плита покрытия; 2 - пароизоляция (по расчету); 3 - теплоизоляция; 4 - выравнивающая стяжка; 5 - грунтовка (праймер); 6 - основной кровельный ковер; 7 - прокладка из стеклоткани, уложенная насухо; 8 - оцинкованная кровельная сталь; 9 - компенсатор; 10 - эластичный утеплитель (минеральная вата); 11 - защитный (окрасочный) слой.

Места пропусков через кровлю труб выполняют с применением стальных (или пластмассовых) патрубков с фланцами или железобетонных стаканов и с подъемом водоизоляционного слоя в инверсионных покрытиях и герметизацией кровли в этом месте. Места пропусков анкеров можно также усиливать слоем мастики, заливаемой вокруг анкера. Для этого устанавливают рамку из неравнобоких уголков, которая ограничивает растекание мастики, и пространство между уголком и патрубком или анкером заполняют «Ребаксом-М» или «БКМ-200».

В местах пропуска через кровлю воронок внутреннего водостока слои основного и дополнительного слоя должны заходить на водоприемную чашу.

Контроль качества мастичных кровель

Производственный контроль качества выполнения работ по устройству мастичных кровель должен включать:

- входной контроль качества кровельных материалов;

- операционный контроль соблюдения заданной технологии выполнения кровельных работ и качества выполнения отдельных технологических операций;

- приемочный контроль соответствия готовых кровель требованиям проекта и нормативных документов.

Соответствие применяемых кровельных материалов требованиям проекта должно выявляться при входном контроле этих материалов. Результаты входного контроля кровельных материалов, представленные в виде сертификатов соответствия и гигиенических сертификатов, документов о качестве, предъявляются при приемке отдельных слоев кровельного покрытия и всего покрытия в целом.

Соответствие применяемых кровельных материалов требованиям нормативных документов (государственных стандартов и технических условий) должно выявляться при одном контроле на основании результатов лабораторных испытаний этих материалов.

В функции лабораторного контроля входит:

- входной контроль качества кровельных материалов заводского производства, который проводится с целью проверки соответствия этих материалов требованиям нормативных документов и недопущения некондиционных материалов в производство. Результаты этого контроля в виде актов и протоколов лабораторных испытаний также предъявляются при приемке отдельных слоев кровельного покрытия и всего покрытия в целом;

- контроль качества подготовленных оснований (ровность, прочность, толщина, влажность, расположение швов и их размеры, очистка от мусора, пыли, влаги и т.д.);

- контроль качества кровельных материалов, приготовляемых в построечных условиях (подбор и уточнение состава мастик, контроль дозировки, температуры, времени перемешивания, готовность мастики, тщательность перемешивания, вязкость мастики, разбавление мастики в случае необходимости, соответствие приготовленных мастик требованиям нормативных документов);

Контролируемые операции

Состав и средства контроля

Документация

Подготовительные работы

Проверить:

- завершение и надлежащее оформление предшествующих работ по монтажу конструкций и их элементов, приемке соединений и их антикоррозионной защите, замоноличиванию всех стыков сборных конструкций, устройству основания под кровлю (наличие акта приемки или актов освидетельствования скрытых работ, геодезических исполнительных схем и другой приемосдаточной документации);

Акт приёмки, акты освидетельствования скрытых работ, исполнительные схемы

- наличие ППР, технологических карт и схем операционного контроля качества по устройству кровли;

- наличие и готовность к работе всех средств механизации, инвентаря, приспособлений и инструмента;

ППР, технологические карты, СОКК

- наличие документов о качестве на каждую партию поступивших кровельных материалов, соответствие их требованиям проекта и нормативных документов.

Документы о качестве, акты лабораторных испытаний

Устройство мастичной кровли

Контролировать:

- соблюдение заданной ППР технологии выполнения кровельных работ (температуру окружающего воздуха и материалов, влажность основания, его обеспыливание, нанесение захватками, очередность нанесения мастики на примыкания и сопряжения кровли, равномерность нанесения, количество слоев основного и дополнительного ковра, устройство сопряжений и др.);

- качество выполнения кровельных работ (ровность, отклонения от заданного уклона, толщину всех слоев кровельного ковра, величину нахлестки полотнищ, понижение в местах расположения воронок, дефекты и повреждения на поверхности покрытия и др.).

Общий и специальный журналы работ

Приемка

Проверить:

- соответствие мастичной кровли требованиям проекта и нормативных документов;

- составление и надлежащее оформление приемосдаточной исполнительной документации.

Акт приемки

Акты освидетельствования скрытых работ; акты лабораторных испытаний

ВХОДНОЙ И ОПЕРАЦИОННЫЙ КОНТРОЛЬ осуществляют:

мастер (прораб), лаборант (инженер) - в процессе производства работ

ПРИЕМОЧНЫЙ КОНТРОЛЬ ОСУЩЕСТВЛЯЮТ:

прораб (мастер), работники отдела контроля качества СМР, представители технадзора заказчика

КИП - контрольная рейка, толщиномер, металлическая линейка, металлическая рулетка, штангенциркуль, уклономер, ватерпас, лабораторные и геодезические приборы и оборудование

- контроль технологических режимов нанесения кровельных слоев (температуры окружающего воздуха, температуры готовых к употреблению кровельных мастик, регулирование вязкости мастики, времени отверждения каждого слоя мастики);

- контроль технологии нанесения мастичного покрытия, отдельных слоев покрытия и всего покрытия в целом (применение предусмотренных ППР средств для ручного и механизированного нанесения мастики, нанесение захватками, равномерность нанесения, количество и толщина слоев, очередность нанесения мастики на примыкания и сопряжения кровли, нанесение дополнительных слоев со стеклоосновой и соответствие их числа проекту на ендове, на коньке, на карнизе, устройство примыканий к парапету, стенам машинного отделения и вентшахт, устройство сопряжений с вентиляционной и другими трубами, нахлестку смежных полотнищ армирующих стеклооснов, обустройство водоотводящих воронок, устройство температурно-усадочных швов, устройство «дышащей» кровли, нанесение защитных слоев кровли и т.д.).

Контроль технологии нанесения мастичного покрытия, качества отдельных слоев покрытия и всего покрытия в целом (операционный контроль) должны осуществлять мастер, прораб и работники строительной лаборатории. Разграничение их обязанностей должно быть зафиксировано в технологической карте на устройство мастичной кровли или другом документе, утвержденном в установленном порядке.

Результаты операционного контроля, зафиксированные в журналах производства работ, также предъявляются при приемке отдельных слоев кровельного покрытия и всего покрытия в целом.

Устройство каждого элемента кровли должно выполняться после промежуточной приемки - проверки правильности выполнения соответствующего нижележащего элемента с составлением акта освидетельствования скрытых работ.

Промежуточной приемке подлежат выполненные работы по устройству:

несущих конструкций покрытия (качество заполнения стыков плит бетоном, устройство деформационных швов, наличие и правильность устройства (установки) выступающих конструкций над крышей, правильность разбивки профиля и соблюдение уклонов ендовы и др.);

пароизоляционного слоя;

теплоизоляционного слоя;

основания (стяжек), в том числе в местах примыкания кровли к вертикальным и выступающим конструктивным элементам;

основных и дополнительных слоев кровли;

защитного слоя.

При приемке готовой кровли необходимо проверять:

осуществление полного отвода воды по всей поверхности кровель по наружным и внутренним водостокам без застоя воды (отступления от проекта не допускаются; отклонение от заданного уклона кровли должно быть не более 2 %);

влажность оснований, промежуточных элементов, покрытия и всей конструкции. Увеличение влажности допускается не более чем на 0,5 % по сравнению со стандартами или техническими условиями, проектом и нормативными документами (контроль - измерительный, 5 измерений на площади 50 - 70 м2 поверхности или на отдельных участках меньшей площади в местах, выявленных визуальным осмотром);

сплошность защитных покрытий, их толщину, сцепление с защищаемой поверхностью (отступления от проекта не допускаются);

соответствие числа усилительных (дополнительных) слоев в сопряжениях (примыканиях) проекту (отступления от проекта не допускаются);

соответствие уровня понижения поверхности в местах расположения воронок внутреннего водоотвода проекту (чаши водоприемных воронок внутренних водостоков не должны выступать над поверхностью основания) (отступления от проекта не допускаются);

отсутствие острых углов в конструкциях примыкании (стяжек и бетона), которые должны быть сглаженными и ровными (отступления от проекта не допускаются);

отсутствие на поверхности покрытия кровель пузырей, вздутий, воздушных мешков, разрывов, вмятин, проколов, губчатого строения, потеков и наплывов (отступления от проекта не допускаются).

Соответствие проекту и нормативным документам вышеперечисленных параметров оценивается в процессе технического осмотра и оформляется актом приемки.


Безрулонные кровли кирпичных жилых зданий по серии 2.160-4 вып. 5

Узлы сопряжения конструкций теплого чердака и крыш с кровлей

Узел 32 Узел сопряжения плиты кровельного покрытия и наружной продольной стены с кровлей

Узел 33 Узел сопряжения плиты кровельного покрытия и наружной торцевой стены с кровлей

В безрулонных крышах продольные стыки кровельных плит перекрываются П-образными железобетонными нащелевиками, как правило, на всю длину плиты перекрытия. При необходимости устройства составного нательника под место стыковки следует подкладывать полосу кровельного материала длиной 1 м (по 0,5 м в каждую сторону от стыка).

Для обеспечения герметичности и утепления стыков плит покрытия над теплым чердаком в зазор между плитами, в верхней и нижней части стыка, устанавливаются уплотняющие прокладки (по ГОСТ 19177-81) насухо, средняя часть стыка (по толщине плит) заполняется мягким теплоизоляционным материалом или заливается вспенивающимся пенопластом. Уплотняющие прокладки в стыках должны быть обжаты на 25 - 50 % диаметра (ширины) их поперечного сечения. Герметизация стыка выполняется по верхней уплотняющей прокладке нетвердеющими мастиками. При необходимости увеличения пространственной жесткости покрытия уплотняющая прокладка в нижней части стыка заменяется бетонной шпонкой.

Узел 34 Узел сопряжения наружной торцевой стены и лотковой плиты с кровлей

Узел 35 Узел сопряжения плиты кровельного покрытия и лотковой плиты с кровлей


Узел 38 Узел сопряжения водосточной воронки и лотковой плиты с кровлей

Узел 45 Узел сопряжения стены будки выхода на крышу и плиты кровельного покрытия с кровлей

Сборные железобетонные элементы крыш (плиты покрытия, лотки, опоры лотков и др.) устанавливаются на слой цементно-песчаного раствора толщиной 20 мм марки 100.

Стыки примыкания кровельных плит к стенам машинного помещения лифта, вентиляционным шахтам, парапетам в торцах зданий и другим вертикальным конструкциям крыш заделываются также как и продольные стыки кровельных плит.

Гидроизоляция водоприёмной воровки внутреннего водостока обеспечивается наклейкой на фланец воронки трёх слоев стеклоткани на мастике.

Для пропуска через кровельные плиты вентиляционных шахт, стояков вытяжной вентиляции, выходов на крышу и др. в плитах должны быть предусмотрены отверстия с бортиком высотой 80 - 100 мм по периметру.

Узел 44 Узел сопряжения плиты кровельного покрытия и наружной стены машинного помещения с кровлей

Узел 58 Узел сопряжения двух лотковых плит с кровлей

Стыки между водосборными лотками перекрываются насухо полосой рулонного изола или стеклоткани с заведением за продольные ребра стыкуемых лотков и устройством деформационного выгиба, поверху наклеивается на мастике два слоя рулонного изола или стеклоткани с заведением концов на торцевые рёбра лотков. Заделка стыка лотков выполняется до укладки кровельных плит.

Стыки примыкания кровельных плит к стенам машинного помещения лифта, вентиляционным шахтам, парапетам в торцах зданий и другим вертикальным конструкциям крыш заделываются также как и продольные стыки кровельных плит. Устье стыка и ребро кровельной плиты перекрываются фартуком из оцинкованной кровельной стали толщиной 0,5 - 0,8 мм. Крепление защитного фартука и герметизация места его примыкания к вертикальной поверхности осуществляется шайбами из оцинкованной стальной полосы, прибитыми кровельными оцинкованными гвоздями к деревянным антисептированным рейкам или пробкам, заложенным в кирпичные стены. Поверхности конструкций в местах примыкания металлического фартука выравниваются штукатуркой из цементно-песчаного раствора марки 100.

Узлы сопряжений конструкций холодного чердака и крыш с кровлей

Узел 64 Узел сопряжения плиты кровельного покрытия и наружной продольной стены чердака с кровлей

Узел 65 Узел сопряжения плиты кровельного покрытия и наружной торцевой стены чердака с кровлей


Узел 66 Узел сопряжения плиты кровельного покрытия, наружной торцевой стены и плиты лотковой с кровлей


Узел 70 Узел сопряжения водосточной воронки и лотковой плиты с кровлей

Вокруг водоприёмных воронок внутреннего водостока основной гидроизоляционный ковёр усиливается тремя слоями мастики, армированными двумя слоями стеклохолста марки ВВ-Г или стеклосетки марки ССС (при применении битумно-латексной эмульсии или холодных битумных мастик). При отсутствии стекломатериалов усиление ковра осуществляют наклейкой двух дополнительных слоев рулонных материалов и слоя мешковины, пропитанной в мастике.

Узел 67 Узел сопряжения плиты кровельного покрытия и лотковой плиты с кровлей

Узел 68 Узел сопряжения двух плит кровельного покрытия с кровлей

Узел 74 Узел сопряжения двух лотковых плит с кровлей

Узел 78 Узел сопряжения плиты кровельного покрытия и наружной стены машинного помещения с кровлей


Безрулонные кровли панельных жилых зданий по серии 2.160-8

Узлы сопряжения конструкций теплого чердака и крыш с кровлей

Узел сопряжения плиты кровельного покрытия и наружной панели парапета с кровлей

УЗЕЛ 1                                                                                                                УЗЕЛ 2 (вариант)

Плиты лотков и нательники укладываются по слою цементно-песчаного раствора толщиной 20 мм; плиты покрытий укладываются на панели парапета по слою цементно-песчаного раствора толщиной 20 мм, а на лотковые плиты - по слою цементно-песчаного раствора толщиной 10 мм. Марка раствора принимается по аналогии с раствором, применяемым для монтажа изделий в нижележащих этажах, но не менее М100.

Узел 3 Узел сопряжения плиты кровельного покрытия и лотковой плиты с кровлей

                                                                                                                                                    Схема расположения ПРП

Узел 8 (δ - δ) Узел сопряжения двух плит кровельного покрытия с кровлей

Узел 4 Узел сопряжения плиты лотковой и однослойной наружной торцевой панели парапета с кровлей

Узел 5 Узел сопряжения плиты кровельного покрытия и наружной панели парапета с кровлей

Узел 6 Узел сопряжения плиты кровельного покрытия и наружной панели парапета с кровлей

Безрулонные кровли панельных жилых зданий по серии 2.160-8 и 2.160-4 вып. 5

Узел 9 Узел сопряжения двух лотковых плит с кровлей на опоре лотка

Узел 38 Узел сопряжения водосточной воронки и лотковой плиты с кровлей (по серии 2.160-4 вып. 5)


Узел 45 Узел сопряжения стены будки выхода на крышу и кровельного покрытия с кровлей (по серии 2.160-4 вып. 5)

На панельные жилые здания распространяются также узлы 35, 36 и 42, приведенные выше для кирпичных зданий.

Сборные железобетонные элементы крыш (плиты покрытия, лотки, опоры лотков и др.) устанавливаются на слой цементно-песчаного раствора толщиной 20 мм марки 100.

Стыки примыкания кровельных плит к стенам машинного помещения лифта, вентиляционным шахтам, парапетам в торцах зданий и другим вертикальным конструкциям крыш заделываются также как и продольные стыки кровельных плит.

Гидроизоляция водоприёмной воронки внутреннего водостока обеспечивается наклейкой на фланец воронки трёх слоев стеклоткани на мастике.

Для пропуска через кровельные плиты вентиляционных шахт, стояков вытяжной вентиляции, выходов на крышу и др. в плитах должны быть предусмотрены отверстия с бортиком высотой 80 - 100 мм по периметру.

Устройство кровли из асбестоцементных листов

ГОСТ 30340-95 Листы асбестоцементные волнистые. Технические условия.

ТУ 5781-015-04001485-97 Листы асбестоцементные волнистые профиля 30/130.

ТУ 5781-052-00281588-96 Листы асбестоцементные волнистые профиля 40/150 уменьшенной толщины.

ТУ 5789-066-00281588-99 Асбестоцементные окрашенные воднодисперсионными красками листы волнистые, плитки плоские прессованные и детали к ним.

ТУ 5781-001-05017488-94 Листы асбестоцементные волнистые.

ТУ 5781-042-04812290-93 Листы асбестоцементные волнистые профиля 51/177 с асимметричными кромками.

ТУ 5781-001-00281559-97 Листы асбестоцементные волнистые укороченные и с уменьшенным количеством волн.

Стандарты и технические условия на листы асбестоцементные волнистые и комплектующие детали к ним, предусмотренные проектом.

СНиП 3.04.01-87 Изоляционные и отделочные покрытия.

СНиП 3.01.01-85* Организация строительного производства.

Пособие. Кровли. Технические требования, правила приемки, проектирование и строительство, методы испытаний (АО ЦНИИПромзданий. Москва. 1997 г.).

Входной контроль асбестоцементных волнистых листов и комплектующих деталей к ним должен осуществляться в соответствии с требованиями проекта, государственных стандартов и технических условий на конкретные материалы, а также требованиями технологической документации, утвержденной в установленном порядке.

ГОСТ 30340-95 Листы асбестоцементные волнистые. Технические условия.

Данный стандарт распространяется на асбестоцементные волнистые листы и детали к ним, предназначенные для устройства кровель и стеновых ограждений зданий и сооружений.

По форме поперечного сечения (профилю) волнистые листы выпускают двух видов - 40/150 и 54/200, где в числителе указана высота волны, а в знаменателе - шаг волны в миллиметрах.

По размерам листы выпускаются следующих видов (длина L×ширина В×толщина t), мм:

профиль 40/150:

7 - волновой лист - 1750×980×5,8;

8 - волновой лист - 1750×1130×5,8;

профиль 54/200: 6 - волновой лист - 1750×1125×6,0 и 1750×1125×7,5.

Условное обозначение листов и деталей должно состоять из:

- обозначения профиля листа, сокращенного обозначения детали;

- числа волн (только для листов профиля 40/150);

- толщины (только для листов профиля 54/200);

- обозначения данного стандарта.

Пример условного обозначения листа профиля 40/150 восьмиволнового:

40/150 - 8 ГОСТ 30340-95

Пример условного обозначения листа профиля 54/200 толщиной 7,5 мм:

54/200 - 7,5 ГОСТ 30340-95

Пример условного обозначения детали упрощенной коньковой перекрывающей к листам профиля 54/200:

УКУ-2 ГОСТ 30340-95

Профиль волнистых асбестоцементных листов

Основные размеры листов должны соответствовать указанным в нижеследующей таблице.

Наименование размера

Номинальный размер листов профиля, мм

Пред. откл. мм

40/150

54/200

Длина L

1750

1750

±15

Ширина В:

6 - волнового листа

 

1125

 

7 - волнового листа

980

-

+ 10; -5

8 - волнового листа

1130

-

 

Толщина t

5,8

6,0; 7,5

+1,0; - 0,3

Высота волны: - рядовой h

- перекрывающей h1

40

40

54

54

+4; -3

+4; -5

- перекрываемой h2

32

45

+4; -6

Ширина перекрывающей кромки b1

43

60

±7

Ширина перекрывающей кромки b2*

37

65

-

Ширина волны S*

150

200

-

* - размеры справочные

Сокращенное обозначение деталей к волнистым асбестоцементным листам приведено в нижеследующей таблице.

Наименование детали

Сокращенное обозначение детали к листам профиля

40/150

54/200

Коньковая перекрываемая

КС-1

КУ-1

Коньковая перекрывающая

КС-2

КУ-2

Упрощенная коньковая перекрываемая

УКС-1

УКУ-1

Упрощенная коньковая перекрывающая

УКС-2

УКУ-2

Равнобокая угловая

PC

РУ

Лотковая

ЛС

ЛУ

Основные размеры деталей должны соответствовать указанным в нижеследующей таблице

Сокращенное обозначение детали

Длина L

±10

Ширина В

±10

Толщина t

+1,0; -0,3

Высота рядовой волны, h ± 3

Высота перекрывающей волны h1 ± 3

КС-1

1130

380

7,5

40

46

КС-2

385

УКС-1

330

5,8

-

-

УКС-2

PC

1750

300

ЛС

405

КУ-1

1125

380

7,5

54

60

КУ-2

385

УКУ-1

1310

440

-

-

УКУ-2

445

РУ

1750

300

ЛУ

405

Листы и лотковые детали должны иметь прямоугольную форму в плане. Отклонение от прямоугольности не должно быть более 15 мм.

Прямоугольные кромки листов, лотковых и равнобоких угловых деталей должны быть прямолинейными. Отклонение от прямолинейности не должно быть более 10 мм.

Листы и детали могут выпускаться окрашенными и неокрашенными.

Листы и детали не должны иметь отколов, пробоин и сквозных трещин.

Допускаются малозначительные дефекты:

- отдельные сдиры протяженностью в любом направлении не более 100 мм;

- отдельные щербины с одной стороны листа (детали) размером не более 15 мм в направлении, перпендикулярном кромке изделия. Общая величина щербин, измеренная вдоль кромки изделия, не должна превышать 60 мм;

- отдельные поверхностные разрывы длиной не более 100 мм и шириной 2 мм.

Коньковые детали

Перекрываемая                                         Перекрывающая

Упрощенные коньковые детали

Перекрываемая                                              Перекрывающая

Равнобокая угловая деталь

Суммарное число малозначительных дефектов на одном листе (детали) в любой комбинации не должно быть более трех, а число листов (деталей) с такими же дефектами не должно быть более одной трети ее объема.

Цвет окрашенных листов и деталей и интенсивность их окраски должны соответствовать образцам-эталонам, утвержденным предприятием-изготовителем.

Поверхность листов и деталей должна быть равномерно окрашенной, без высолов и пятен, видимых на расстоянии 10 м.

На лицевой поверхности перекрываемой части листов и деталей должны быть нанесены:

- товарный знак или наименование предприятия-изготовителя;

- обозначение профиля листа (сокращенное обозначение детали), а на листах профиля 54/200 также толщина;

- номер партии.

Качество маркировки должна быть такой, чтобы исключалась возможность оспорить ее содержание.

Листы и детали поставляются без упаковки.

В районы Крайнего Севера и труднодоступные районы литы и детали должны поставляться в упакованном виде или в специализированных кассетах, а также, по согласованию МПС, в крупнотоннажных контейнерах. Тара и упаковка по ГОСТ 15846-79*.

Предприятие-изготовитель должно сопровождать каждую поставку листов и деталей документом о качестве, в котором должно указывать:

- наименование и адрес предприятия-изготовителя;

- условное обозначение листов (деталей);

- номер партии и дату изготовления;

- количество листов и деталей каждой партии в поставке;

- результаты испытаний каждой партии;

- обозначение данного стандарта.

Транспортирование листов и деталей может производиться транспортом любого вида с соблюдением Правил перевозок грузов, установленных для транспорта данного вида, и требований другой документации, утвержденной в установленном порядке.

Транспортирование листов и деталей должно осуществляться в пакетированном виде:

- в специализированных кассетах и других средствах пакетирования;

- в деревянных решетчатых ящиках по ГОСТ 10198-91;

- в транспортных пакетах, сформированных с использованием деревянных подкладок или поддонов.

Габаритные размеры пакетов не должны превышать по длине 1950 мм, по ширине 1350 мм, по высоте 1880 мм, масса пакета не должна быть более 5000 кг.

Допускается транспортировать листы стопами в непакетированном виде в крытых железнодорожных вагонах и автомобилях.

При погрузке в крытые железнодорожные вагоны число листов в штабеле не должно превышать:

165 шт. - для листов профиля 40/150;

150 шт. - для листов профиля 54/200 толщиной 6,0 мм;

130 шт. - для листов профиля 54/200 толщиной 7,5 мм.

Транспортные пакеты при хранении у потребителя могут быть установлены друг на друга в штабели высотой не более 3,5 м.

Стопы непакетированных листов должны храниться у потребителя на поддонах (подкладках). Стопы вместе с поддонами (подкладками) могут быть установлены друг на друга в штабели. При этом общая высота штабеля из стоп не должна превышать 2,5 м.

При погрузочно-разгрузочных, транспортно-складских и других работах не допускаются удары по листам и деталям и их сбрасывание с какой бы то ни было высоты; грузозахватные устройства должны иметь защитные приспособления (прокладки), исключающие возможность повреждения изделий.

Назначение листов и деталей приведено в нижеследующей таблице.

Вид листа и обозначение деталей

Назначение листов и деталей

Листы

40/150 8-волновой

40/150 7-волновой

Устройство чердачных кровель и стеновых ограждений жилых, общественных и сельскохозяйственных зданий

54/200 толщиной 6,0 мм

Устройство чердачных кровель и стеновых ограждений жилых, общественных, сельскохозяйственных и производственных зданий

54/200 толщиной 7,5 мм

Устройство бесчердачных кровель и стеновых ограждений производственных зданий и сооружений

Детали

КС-1, КС-2, КУ-1, КУ-2,

УКС-1, УКС-2, УКУ-1, УКУ-2

Устройство коньков

PC, РУ

Обрамление выступов над кровлей и углов стен

ЛС, ЛУ

Устройство ендов и деформационных швов покрытий и стен

Технические требования

Устройство кровель из асбестоцементных волнистых листов следует осуществлять в соответствии с требованиями СНиП 3.04.01-87, СНиП 3.01.01-85*, проекта, ППР, технологических карт, схем операционного контроля качества, или другой технологической документации, утвержденной в установленном порядке.

Кровельные работы должны осуществлять строительно-монтажные организации, получившие лицензию на выполнение строительно-монтажных работ (работы по защите конструкций и оборудования) в Федеральных или региональных лицензионных органах.

Кровельные работы должны выполняться квалифицированным персоналом, прошедшим специальную подготовку и обладающим надлежащими навыками по выполнению кровельных работ.

При производстве работ по устройству кровельных покрытий должно быть обеспечено соблюдение требований проекта, строительных норм и правил.

Кровельные асбестоцементные материалы должны применяться строго в соответствии с областями применения, определенными в утвержденных нормативно-технических документах, при наличии разрешения к применению в строительстве или наличии санитарно-эпидемиологического заключения, выданного органом государственного санитарно-эпидемиологического надзора Российской Федерации.

Производству работ по устройству кровли из асбестоцементных волнистых листов должны предшествовать:

- завершение и надлежащее оформление всех предусмотренных проектом предшествующих работ;

- разработка проекта производства работ по устройству кровли, разработка технологической карты и схемы операционного контроля качества на выполнение кровельных работ (с использованием соответствующей типовой документации);

- входной контроль проектно-сметной документации и кровельных материалов;

- изучение инженерно-техническим персоналом проектной и технологической документации, обучение мастеров и рабочих передовым методам труда.

При входном контроле рабочей документации должна производиться проверка ее комплектности и достаточности содержащейся в ней технической информации для производства работ.

Входной контроль кровельных материалов должен производиться в соответствии с требованиями стандартов и технических условий на материалы в порядке, предусмотренном технологической картой или другой технологической документацией, утвержденной в установленном порядке. До поступления на строительную площадку должны быть произведены все требуемые испытания материалов на соответствие их требованиям проекта, стандартов и технических условий.

На строительной площадке в процессе входного контроля необходимо:

проверить наличие документов о качестве асбестоцементных листов и деталей и полноту содержащихся в них данных;

по имеющимся документам о качестве и маркировке убедиться в соответствии поступивших кровельных материалов требованиям проекта;

путем внешнего осмотра проверить целостность листов и деталей, отсутствие на них недопустимых дефектов внешнего вида;

в соответствии с требованиями ППР и технологической карты провести необходимые испытания листов и деталей на соответствие их требованиям нормативной документации;

при возникновении каких-либо сомнений в качестве поступивших материалов должны быть вызваны представители строительной лаборатории или функциональных служб, ответственных за поставку кровельных материалов.

Кровельные работы должны выполняться по утвержденному проекту производства работ (ППР).

Запрещается осуществление строительно-монтажных работ без утвержденного проекта производства работ. Не допускаются отступления от решений проектов производства работ без согласования с организациями, разработавшими и утвердившими их.

Замена предусмотренных проектом материалов, изделий и составов допускается только по согласованию с проектной организацией и заказчиком.

Кровельные работы по СНиП 3.04.01-87 допускается выполнять при температуре окружающего воздуха от минус 30° до плюс 60 °С и при отсутствии снегопада, гололеда и дождя.

Кровли из асбестоцементных волнистых листов рекомендуется выполнять при устройстве чердачных покрытий жилых, общественных, сельскохозяйственных и производственных зданий и бесчердачных покрытий производственных зданий и сооружений.

Кровли из асбестоцементных волнистых листов не допускается применять в районах с большими ветровыми нагрузками - V, VI, VII (ветровые районы по СНиП 2.01.07-85 «Нагрузки и воздействия»), а также на открытых побережьях морей, озер, водохранилищ для зданий высотой до карниза более 20 м, с изломом кровли поперек ската, со сложной конфигурацией в плане, с перепадами высот, с уклоном кровли более 25 %, для навесов и козырьков.

Кровли из асбестоцементных волнистых листов рекомендуется предусматривать одно- или двухскатными, возможно более простой формы (без ребер и разжелобков), используя преимущественно рядовые листы основных размеров.

Уклон кровли должен быть не менее 10 %. Уклон кровли в ендове должен быть не менее 1 %.

На кровлях из асбестоцементных волнистых листов должен предусматриваться наружный организованный водоотвод.

Для устройства кровель следует использовать асбестоцементные волнистые листы по ГОСТ 30340-95 «Листы асбестоцементные волнистые. Технические условия», а также асбестоцементные листы более мелких размеров, выпускаемые по техническим условиям, приведенным в начале схемы.

Для устройства узлов сопряжения элементов кровли из асбестоцементных волнистых листов рекомендуется применять асбестоцементные фасонные детали, выпускаемые по ГОСТ 30340-95 или техническим условиям. При отсутствии асбестоцементных фасонных деталей допускается использовать в качестве их коньковые, угловые и лотковые детали, выполненные их тонколистовой оцинкованной стали или алюминиевого сплава.

Основанием для асбестоцементных кровель служит деревянная обрешетка или прогоны (железобетонные, стальные, деревянные).

Основание под чердачную кровлю из асбестоцементных волнистых листов длиной 1750 мм рекомендуется выполнять в виде обрешетки из рядовых брусков сечением 60×60 мм с таким расчетом, чтобы на нее можно было уложить целое число листов в продольном и поперечном направлениях. При этом все нечетные бруски должны иметь высоту 60 мм, а четные 63 мм. Для однотипности целесообразно использовать бруски сечением 60×60 мм с наращиванием их по необходимости подкладками толщиной 3 мм.

Волнистые листы длиной 1750 и 875 мм укладываются по двухпролетной схеме (каждый кровельный лист опирается на три обрешетины), волнистые листы длиной 583 мм - по однопролетной схеме.

Конструкция рядовой обрешетки и крепления асбоцементных волнистых листов длиной 1750 мм

а) - продольный разрез ската; б) - крепление листов шурупами и гвоздями; в) - дополнительное крепление листов на карнизе. 1 - асбестоцементный лист; 2 - обрешеточный брусок; 3 - карнизный брусок; 4 - гвоздь; 5 - шуруп; 6 - резиновая шайба; 7 - противоветровая скоба; 8 - уравнительная планка

Разбивка обрешетки под волнистые листы профиля 40/150 длиной 875 мм при раскладке листов со смещением продольных кромок

1 - асбестоцементный лист угловой; 2 - асбестоцементный лист фронтонный; 3 - карнизный настил (доски 200×50 мм); 4 - доски обрешетки (120×50 мм); 5 - брус 50×50 мм; 6 - гвоздь (4×100 мм или 5×120 мм) с некоррогирующей шляпкой или оцинкованный с шайбой из резины или других гидроизоляционных материалов; 7 - стропильная нога.

Разбивка обрешетки под волнистые листы профиля 40/150 длиной 875 мм при раскладке листов со смещением по длине

1 - асбестоцементный лист угловой укороченной длины - 437,5 мм; 2 - асбестоцементный лист (фронтонный) длиной 875 мм; 3 - карнизный настил (доски 120×50 мм); 4 - доски обрешетки (120×50 мм); 5 - брус 50×50 мм; 6 - гвоздь (4×100 мм или 5×120 мм) с некоррогирующей шляпкой или оцинкованный с шайбой из резины или других гидроизоляционных материалов; 7 - стропильная нога.

Разбивка обрешетки под волнистые листы профиля 40/150 длиной 583 мм при раскладке листов со смещением продольных кромок на одну волну

1 - асбестоцементный лист угловой; 2 - асбестоцементный лист фронтонный; 3 - карнизный настил (доски 200×50 мм); 4 - доски обрешетки (120×50 мм); 5 - стропильная нога; 6 - гвоздь (4×100 мм или 5×120 мм) с некоррогирующей шляпкой или оцинкованный с шайбой из резины или других гидроизоляционных материалов.

Разбивка обрешетки под волнистые листы профиля 40/150 длиной 583 мм при раскладке листов со смещением по длине

1 - асбестоцементный лист угловой укороченной длины - 291,5 мм; 2 - асбестоцементный лист (фронтонный) длиной 583 мм; 3 - карнизный настил (доски 150×50 мм); 4 - доски обрешетки (120×50 мм); 5 - стропильная нога; 6 - гвоздь (4×100 мм или 5×120 мм) с некоррогирующей шляпкой или оцинкованный с шайбой из резины или других гидроизоляционных материалов.

Основание под чердачную кровлю из асбестоцементных волнистых листов длиной 875 и 583 мм рекомендуется выполнять в виде обрешетки из брусков сечением 50×50 мм и досок сечением 50×120 мм длиной, кратной расстоянию между осями стропил. На карнизную доску (брусок) прибивают уравнительную планку, чтобы составная доска (брусок) имела высоту 56 мм, планки нашивают также на четные бруски, чтобы их высота равнялась 53 мм. Обрешетка для листов длиной 875 и 583 мм также выполняется с расчетом, чтобы на нее можно было уложить целое число листов в продольном и поперечном направлениях. С этой целью допускается увеличение или уменьшение свесов кровли на фронтонах, а также изменение величины выноса карнизного свеса.

Шаг брусков обрешетки в чердачных кровлях для листов длиной 1750 мм должен быть не более 750 мм, для укороченных листов - не более 550 мм.

На карнизе рекомендуется использовать брусок, или сплошной дощатый настил (для устройства организованного водослива). Ширина настила - до 500 мм.

Основание под конек крыш изготавливают из двух коньковых брусков сечением 70×90 мм и 60×100 мм, или бруска сечением 60×120 мм, и коньковых досок 50×150 мм, или приконьковых брусков того же сечения, что и рядовые.

В ендове обрешетка должна быть выполнена в виде сплошного досчатого настила (например, из двух досок 50×250 мм, поставленных под углом друг к другу).

Обрешетку у дымовой трубы следует выполнять с использованием дополнительных брусков того же сечения, что и рядовые, и располагать их вокруг ствола трубы в соответствии с требованиями проекта и требованиями пожарной безопасности.

Деревянные бруски и доски обрешетки должны быть антисептированы и подвергнуты глубокой пропитке антипиреном.

В зданиях производственного назначения основание под кровлю из асбестоцементных волнистых листов рекомендуется выполнять из стальных или деревянных прогонов, располагаемых с шагом 1500 мм.

Шаг прогонов в кровлях производственных зданий должен приниматься равным длине листа за вычетом нахлестки.

Несущая и деформативная способность обрешетки и прогонов должны быть проверены расчетом по действующим нормативным документам.

Покрытие карниза с разжелобком (ендовой) при организованном водоотводе

1 - дощатое основание разжелобка; 2 - стропильная нога; 3 - обрешетка; 4 - кляммеры; 5 - карнизный дощатый настил; 6 - костыли; 7 - настенный желоб; 8 - воронка водосточной трубы; 9 - сливной лоток

При устройстве основания (обрешетки) должны быть соблюдены следующие требования:

- отклонение от проектного уклона не должно превышать 5 %;

- неровности на длине 1 м поверхности основания вдоль ската не должны превышать 5 мм, поперек ската - 10 мм;

- расстояния между элементами обрешетки (шаг брусков обрешетки, расстояние между осями прогонов) должны соответствовать проектным; стыки обрешетки следует располагать вразбежку;

- в местах покрытий ендов основания должны быть устроены из досок (сплошными).

При проверке и приемке оснований (прогонов и обрешетки) проверяют: расположение поверхностей полок прогонов в одной плоскости, качество прогонов (отсутствие отколов, наплывов и т.п.) и обрешетки (жесткость, отсутствие просветов сверх допустимых размеров), совпадение осей прогонов и брусков обрешетки с местами сопряжений листов смежных рядов.

Проверка правильности выполнения основания и соответствия его требованиям проекта и нормативных документов завершается составлением акта освидетельствования скрытых работ.

Устройство водоизоляционного слоя из асбестоцементных листов следует начинать только после проверки правильности выполнения основания и составления акта освидетельствования скрытых работ.

После проверки качества основания производится разбивка ската с целью определения расположения листов и рядов.

Для нанесения разбивочных линий основание кровли рассчитывают таким образом, чтобы на скате укладывалось целое число горизонтальных и вертикальных рядов листов.

Количество горизонтальных рядов на скате nЛ г.р. (или листов в вертикальном ряду рядового покрытия) определяют делением фактической длины ската на полезную длину листа без напуска:

nЛ г.р. = (H + C)/(L - t),

где: Н - высота основания ската от конька до карниза, мм; С - свес кровли на карнизе, мм; L - длина листа, мм; t - поперечная нахлестка асбестоцементных листов, мм.

Количество вертикальных рядов асбестоцементных листов, размещаемых вдоль направления ската nЛ в.р. (или количество листов в горизонтальном ряду), определяют путем деления длины карнизного свеса и двух напусков на фронтонах крыши размеров от 50 до 70 мм каждый на полезную ширину листа:

nЛ в.р. = (К + 2Ф)/(В - b),

где: К - длина основания ската по карнизу, мм; Ф - свес листов на фронтоне, мм; В - ширина листов, мм; b - продольная нахлестка асбестоцементных листов, мм.

Полученное при расчетах дробное число рядов округляют до целого числа в большую сторону. В коньковом ряду укладывают листы, обрезанные до длине на столько, сколько не хватает до полного числа горизонтальных рядов, а у фронтона - листы, обрезанные по ширине на столько, сколько не хватает до полного числа вертикальных рядов.

Монтаж асбестоцементных волнистых листов ведут по способу горизонтальных или вертикальных захваток. При монтаже листов профиля 54/200 работы ведут по способу горизонтальных захваток, при монтаже листов других профилей - по способу горизонтальных или вертикальных захваток.

При способе горизонтальных захваток скат крыши разбивают на горизонтальные захватки, длина которых равна длине ската, а ширина - двум горизонтальным рядам. Карнизный и коньковый ряды выделяют в отдельные захватки. Если при разбивке ската получается нечетное число рядов, то в последнюю (верхнюю) захватку включают один ряд.

Способ горизонтальных захваток рационален при устройстве асбестоцементных кровель на крышах промышленных зданий большой протяженности, он позволяет добиться большой производительности кровельных работ.

Способ вертикальных захваток целесообразно применять на крышах промышленных зданий большой ширины. При этом каждый скат разбивают на захватки длиной от конька до карниза и шириной, равной расстоянию между компенсационными швами.

При любом способе работ во избежание перегрузок здания монтаж листов рекомендуется вести одновременно на двух скатах покрытия.

Поперек ската волна перекрывающей волны асбестоцементного листа должна перекрывать волну перекрываемой кромки смежного листа. Вдоль ската кровли нахлестка асбестоцементных волнистых листов должна быть не менее 150 и не более 300 мм - для листов длиной 1750 мм, 120 ÷ 150 мм - для укороченных листов (в зависимости от уклона кровли).

Устройство водоизоляционного слоя из асбестоцементных волнистых листов может осуществляться тремя способами, обеспечивающими плотную трехслойную нахлестку в местах стыкования углов листов:

- со смещением продольных кромок листов с необрезанными углами на одну волну по отношению к таким же кромкам листов смежного ряда;

- с совмещением продольных кромок во всех вышеукладываемых рядах, но с обрезкой углов;

- с укладкой листов со смещением по длине (с укороченными листами).

Первый способ рекомендуется использовать при узких по уклону и длинных в поперечном направлении скатах, второй - при широких по уклону и коротких в поперечном направлении скатах.

Асбестоцементные волнистые листы вдоль ската следует укладывать в направлении от карниза к коньку, а поперек ската - в направлении, противоположном направлению господствующих ветров, для того чтобы ветер не задувал в шов.

Для того, чтобы нижние торцы укладываемых листов карнизного ряда и следующих за ним горизонтальных рядов образовывали ровные линии, их монтаж следует вести по причальному шнуру.

С этой целью при устройстве кровли по обрешетке перед монтажом листов натягивают шнур параллельно карнизному бруску на заданном расстоянии от него. Ориентируясь по этому шнуру устанавливают противоветровые скобы - по две скобы, прибитые гвоздями к карнизному бруску, на каждый лист карнизного ряда. В отгибы противоветровых скоб плотно вставляют уравнительные полосы, выполненные из обрезков асбестоцементных листов, и на эти полосы укладывают асбестоцементные листы строго по причальному шнуру.

При укладке второго и последующих горизонтальных рядов листов перед их монтажом натягивают шнур вдоль карниза, отступая от верхних кромок листов уложенного ряда на расстояние, равное нахлестке. Ориентируясь по причальному шнуру ведут монтаж последующих горизонтальных рядов. При этом нижние торцы листов укладываемого ряда должны образовывать ровные линии по причальному шнуру.

При устройстве кровли по прогонам перед монтажом листов натягивают шнур параллельно карнизному прогону на заданном расстоянии. Ориентируясь по этому шнуру устанавливают первый лист. При укладке листа проверяют, соответствует ли размеры фронтонного свеса требуемым по проекту, следят за тем, чтобы нижний торец листа вплотную подступал к натянутому шнуру, а верхний не выступал за грань полки прогона. После проверки укладки закрепляют лист крепежными деталями, предусмотренными проектом, с двух сторон к карнизному прогону и приступают к монтажу следующих листов. Нахлестка листов в поперечном и продольном направлениях, последовательность монтажа кровли такие же, как при устройстве кровель по обрешетке, с той лишь разницей, что для крепления листов к прогонам используются крепежные детали - крюки, которые устанавливаются по одному на лист (как правило, на второй волне).

В целях уменьшения возможности проникновения (задувания) осадков в поперечные нахлестки асбестоцементных волнистых листов укладка их должна осуществляться в направлении противоположном господствующему направлению ветров; под асбестоцементные листы должен быть проложен слой водоизоляционного рулонного материала; «зазоры» в местах стыкования листов размером более 7 мм рекомендуется заполнять герметизирующей нетвердеющей мастикой типа «тиопрол», КГМ-У.

При уклоне кровли до 20 % должна быть предусмотрена герметизация стыков между асбестоцементными волнистыми листами.

Первый способ укладки листов.

При укладке листов по этому способу продольные кромки в смежных горизонтальных рядах последовательно смещают на одну волну так, чтобы они образовывали ступенчатую линию (см. нижеприведенный рисунок). При этом крайние (фронтальные) листы каждого горизонтального ряда обрезают по ширине на одну, две и т.д. волны, либо используют неполномерные листы.

Общий вид покрытия со смещением кромок на одну волну

Порядок укладки волнистых листов

14 - последовательность укладки листов. Стрелками показано направление надвижки листов. 1 - угловой лист; 2 - карнизный лист; 3 - фронтонный лист; 4 - рядовой лист

Первым с подветренной стороны укладывают крайний (фронтальный) лист карнизного ряда (листы карнизного ряда укладывают по причальному шнуру). Этот лист (лист 1) перекрывается на одну волну следующим листом (лист 2) и т.д.

После того как закончена укладка карнизного ряда первый лист в карнизном ряду (лист 1) перекрывают сверху листом второго ряда (лист 3), укороченным по ширине на одну волну.

Наложенный сверху крайний (фронтонный) лист второго ряда (лист 3) перекрывают соседним листом (лист 4) на одну волну также, как в карнизном ряду. Последующие листы укладывают аналогично.

Второй способ укладки листов.

Укладка листов с совмещением продольных кромок предполагает предварительную обрезку углов листов по определенной схеме, зависящей от направления укладки листов на кровле (справа налево или слева направо).

Схема раскладки листов на кровле при ходе укладки справа налево

Схема раскладки листов на кровле при ходе укладки слева направо

1 - угловой лист; 2 - фронтонные листы и листы карнизного ряда; 3 - фронтонные листы и листы конькового ряда; 4 - рядовые листы.

Схема обрезки листов при ходе укладки справа налево

Схема обрезки листов при ходе укладки слева направо

На угловых листах (лист 1), укладываемых на пересечении карнизного ряда с первым вертикальным рядом и конькового ряда с последним вертикальным, углы не обрезаются.

На листах, предназначенных для укладки в коньковом ряду и в первом вертикальном ряду (лист 3), считая от фронтона, от которого начинают укладку листов, обрезают один нижний угол.

На листах, предназначенных для укладки в карнизном ряду и в последнем вертикальном ряду (лист 2), обрезают один верхний угол.

У всех остальных листов (рядовые листы) обрезают два противоположных угла, расположенных по диагонали (лист 4).

Сторона угла на продольной кромке листа отпиливается на величину, равную принятой нахлестке (150 ÷ 300 мм - для листов длиной 1750 мм, 120 ÷ 150 мм - для укороченных листов), сторона угла на поперечной (торцевой) кромке отпиливается на 90 мм (по проекту). Отпиливание углов производится, как правило, электропилой, а в отдельных случаях плотничьей ножовкой.

Обломка углов вместо их отпиливания не допускается.

Обрезка углов листов, обрезка волн и сверление отверстий в листах при больших объемах работ должны производиться в заготовительных мастерских. Однако применение предварительно заготовленных листов предполагает четкое соблюдение требований проекта к точности монтажа обрешетки и прогонов. Если расстояния между брусками (досками) обрешетки или прогонами не одинаковы и не отвечают требованиям проекта, то применять листы с заранее обрезанными углами и просверленными отверстиями окажется невозможным и все заготовительные операции придется выполнять на крыше.

Первым с подветренной стороны укладывается крайний (фронтонный) лист карнизного ряда (лист 1), не имеющий обрезанных углов. Этот лист перекрывается на одну волну следующим листом (лист 2) с одним верхним обрезанным углом на накрывающей кромке.

Аналогично укладываются остальные листы карнизного ряда (листы 2).

Порядок укладки волнистых листов

14 - последовательность укладки листов. Стрелками показано направление надвижки листов. 1 - угловой лист; 2 - карнизный лист; 3 - фронтонный лист; 4 - рядовой лист

После укладки карнизного ряда первый карнизный лист, с которого начинается покрытие, перекрывают сверху листом фронтонного ряда с нижним обрезанным углом на накрываемой кромке (лист 3). При стыковании листов 2 и 3 между обрезанными углами должен оставляться проектный зазор, необходимый на случай температурного расширения (3 ÷ 4 мм - для листов профиля 28/115; 8 - 10 мм - для листов профиля 40/150, 51/177 и 54/200).

Затем уложенный сверху крайний (фронтонный) лист второго ряда (лист 3) перекрывают соседним в ряду листом (лист 4), имеющим два обрезанных угла на полволны. Все остальные фронтонные листы (листы 3) и рядовые листы (листы 4) с двумя обрезанными углами второго и последующих рядов, кроме приконькового, укладывают так же. Второй и последующие ряды, кроме приконькового, заканчиваются у фронтона или деформационного шва листами, у которых обрезаны лишь верхние углы (справа вверху), т.е. листами 2. Приконьковый ряд покрывают листами, у которых обрезаны только нижние углы (слева внизу), т.е. листами 3. Заканчивается укладка приконькового ряда целым листом.

Вышеприведенный способ последовательной укладки карнизного, а затем смежного с ним второго и последующих горизонтальных рядов листов представляет способ горизонтальных захваток, при котором ряды листов укладывают снизу вверх.

При способе вертикальных захваток укладка ведется вертикальными рядами от фронтона. Существует и угловой метод монтажа листов, показанный на нижеприведенном рисунке.

Покрытие ската по обрешетке вертикальными (а) и угловыми (б) рядами (цифрами показан порядок раскладки листов)

Третий способ укладки листов (со смещением листов по длине).

При укладке асбестоцементных листов этим способом первый вертикальный ряд начинают с укороченного по длине листа (L = 437,5 мм для листов длиной 875 мм и L = 291,5 мм для листов длиной 583 мм, т.е. с разрезанного на две равные половины листа), который перекрывают следующим в этом вертикальном ряду листом полной длины. Далее следуют листы полной длины. Заканчиваться ряд может укороченным листом или листом полной длины.

Следующий смежный вертикальный ряд начинают листом полной длины. Третий ряд вновь начинают с укороченного листа и т.д. Таким образом происходит смещение стыковых соединений в смежных вертикальных рядах относительно друг друга примерно на полдлины листа. Не использованные в карнизном ряду части листа могут быть использованы в коньковом ряду и наоборот.

Схема раскладки листов на кровле

Порядок укладки волнистых листов

При укладке листов необходимо следить, чтобы накрываемые кромки листов были расположены сверху над накрываемыми.

Стыкование листов необходимо производить на широких обрешетках (50×120 мм) таким образом, чтобы сливная кромка вышележащего листа и верхняя кромка нижележащего стояли на одинаковом расстоянии от оси широкой обрешетины.

В кровлях, укладываемых по обрешетке, разжелобки устраивают по сплошному дощатому настилу. При устройстве основания по настилу снизу вверх укладывают лотковые детали с нахлесткой 150 мм и крепят их шурупами (согласно проекту). Асбестоцементные листы предварительно размечают и обрезают в зависимости от уклона и расположения разжелобка, а затем монтируют с перекрытием продольных кромок лотковых деталей на 150 мм.

Устройство ендовы (разжелобка)

1 - лоток; 2 - гвоздь; 3 - асбестоцементный лист; 4 - дощатое основание ендовы; 5 - брусок; 6 - сливной лоток; 7 - шуруп; 8 - уравнительная планка

Вместо лотковых деталей при устройстве основания по дощатому настилу могут применяться картины из оцинкованной кровельной стали. Из однолистных картин обычно заготавливают полосу на всю длину разжелобка (ендовы). Готовую полосу скатывают в рулон и в таком виде подают на крышу. Собирают полосу из картин с помощью двойных лежачих фальцев, которые должны располагаться по стоку воды. Фальцы должны быть промазаны суриковой замазкой. Уложенную в ендову полосу прибивают гвоздями по продольным кромкам к дощатому настилу, либо крепят к обрешетке с помощью кляммер за отвороты кромок.

Напуск волнистых листов на картины из оцинкованной стали должен быть не менее 150 мм.

Волнистые листы вдоль границы ендовы должны иметь ровно опиленные края. Ширина ендовы между краями листов на смежных скатах должна быть не менее 200 мм.

Покрытие коньков при устройстве асбестоцементных кровель по обрешетке устраивают по коньковому брусу сечением 60×100, установленному на брус сечением 70×90 мм - при устройстве кровель из листов длиной 1750 мм, или по коньковому брусу 60×120 - при использовании укороченных листов.

Покрытие конька (ребра) по обрешетке

1 - бруски; 2 - коньковый брус; 3 - скоба; 4 - асбестоцементный лист; 5 - гвоздь; 6 - рулонный гидроизоляционный материал; 7 - коньковые детали

К нижнему коньковому брусу через 24 м по его длине прибивают скобы так, чтобы они выходили на 10 … 15 см из под коньковых деталей, которые будут уложены позже (скобы используют для устройства рабочих переносных ходов, применяемых при эксплуатации кровли). Верхний коньковый брус покрывают рулонным гидроизоляционным материалом (толь, рубероид - по проекту) насухо, чтобы исключить попадание снега или косого дождя внутрь здания со стороны конька. Полотнища рулонного гидроизоляционного материала крепят к брусу гвоздями с широкими шляпками (по проекту).

По закрепленному полотнищу укладывают коньковые детали в направлении навстречу господствующему ветру. Коньковые детали укладывают, начиная от того же фронтона, от которого вели монтаж асбестоцементных листов. Коньковые детали накрывают широким раструбом (КС-2; КУ-2; УКС-2; УКУ-2, или другими - по проекту) с нахлесткой 80 … 90 мм (по проекту).

Перед укладкой коньковые детали примеряют по месту, размечают на них расположение креплений и сверлят отверстия. Каждую деталь крепят на брусе конька гвоздями в двух местах и на рядовом покрытии кровли - в четырех-пяти местах (по проекту).

Коньковые детали в неутепленных крышах с кровлями из асбестоцементных листов укладывают по железобетонным или стальным прогонам. Устройство коньков может быть выполнено глухим или с вентиляционными щелями. Конек покрывают сначала переходными деталями, а затем коньковыми деталями с перекрытием нижележащих на 150 мм. К прогонам переходные детали крепят с помощью крюков (по три крюка на одну деталь). Коньковые детали соединяют с крюками скобами. Чтобы равномерно распределить давление от крюков на листы, под скобы и крюки ставят прокладки из гидроизоляционных рулонных материалов (согласно проекту).

Компенсационные швы (в зданиях длиной 25 м и более) устраивают в соответствии с проектом через 12, 18 или 24 м, деформационные - в зависимости от назначения здания, его длины и применяемых конструкций. Компенсационными швами разрезают только кровлю из асбестоцементных листов, а деформационными - все здание от кровли до фундамента.

В местах компенсационных и деформационных швов листы укладывают с зазором 25 - 30 мм, обеспечивающим возможность их поперечного перемещения. Сверху шов перекрывают лотковыми деталями, которые укладывают начиная от карниза с нахлесткой 200 мм. К листам рядового покрытия лотковые детали крепятся скобами при помощи винтов.

Покрытие глухого конька по прогонам

Компенсационный шов

1 - прогон; 2 - крюк; 3 - переходная деталь; 4 - прижимная скоба; 5 - коньковая деталь; 6 - гайка; 7 - асбестоцементный лист; 8 - шайба из рулонного гидроизоляционного материала; 9 - стальная шайба; 10 - прокладка из рулонного гидроизоляционного материала; 11 - скобы; 12 - лотковая деталь; 13 - шайбы; 14 - винт с полукруглой головкой

В местах продольных и поперечных примыканий кровель из асбестоцементных листов к вертикальным каменным или бетонным стенам на уровне кровли в стенах устраивают штрабы глубиной 65 мм и высотой 130 мм. В штрабу заводят верхний край угловой детали. Деталь крепят к обрешетке тремя-четырьмя шурупами через гребни волн уложенного листа. Под головки шурупов подклеивают согласно проекту мягкие шайбы из гидроизоляционных рулонных материалов.

Примыкание кровли к продольной стене

1 - стена; 2 - мауэрлат; 3 - обрешетка; 4 - асбестоцементный лист; 5 - лотковая деталь (уголковая деталь); 6 - гидроизоляция

Угловые детали укладывают снизу вверх с нахлесткой 150 мм, чтобы вода не попадала в стыки.

В месте прохода дымовой трубы основание кровли выполняют в соответствии с требованиями Правил противопожарной безопасности.

При монтаже листов по прогонам в местах примыканий кровли к трубе укладывают дополнительный прогон. Обрешетку у дымовой трубы следует выполнять с использованием дополнительных брусков того же сечения, что и рядовые и располагать их вокруг ствола трубы в соответствии с требованиями Правил противопожарной безопасности.

Места примыканий кровли к верхнему участку дымовой трубы устраивают во время подготовительных работ до начала монтажа асбестоцементных листов рядового покрытия, а к боковым и нижнему участкам - после монтажа асбестоцементных листов рядового покрытия.

Устройство воротника дымовой трубы

1 - оголовок дымовой трубы; 2 - асбестоцементный лист; 3 - угловая деталь; 4 - стропильная нога; 5 - брусок обрешетки; 6 - затрубный уголок; 7 - шуруп (гвоздь)

Угловые детали для верхнего участка примыкания, укладываемые под асбестоцементные листы, обрезают таким образом, чтобы с каждой стороны трубы они выходили на 300 мм. Эти детали крепят к дополнительному прогону не менее чем тремя крюками, а к деревянной обрешетке - тремя-четырьмя шурупами или гвоздями с мягкой шайбой. На остальных участка примыкания угловые детали, укладываемые сверху листов рядового покрытия, крепят четырьмя-шестью крюками (к прогонам) или шурупами (к обрешетке).

Асбестоцементные волнистые листы и детали крепят к обрешетке шиферными гвоздями (длиной 4×100 или 5×120 мм с некоррогирующей шляпкой по ТУ 214 РСФСР 9-87-75), оцинкованными гвоздями (ГОСТ 9870) или шурупами (ГОСТ 1144). Листы карнизного ряда крепятся также противоветровыми скобами из расчета по две на лист.

Воротники вокруг труб, слуховых окон и детали ендов крепят теми же гвоздями 4×50 мм или шурупами.

Под головку кровельных гвоздей и шурупов подкладываются шайбы, вырезанные из резины, или рубероида, или других гидроизоляционных материалов.

Отверстия в волнистых листах под крепежные гвозди просверливают дрелью с диаметром сверла на 2 ÷ 3 мм больше толщины гвоздя.

Пробивка листов гвоздем не допускается.

При неорганизованном водостоке (на одно- и двухэтажных зданиях) и при устройстве подвесных желобов листы карнизного ряда крепят двумя шиферными гвоздями за гребень второй и седьмой волны у восьмиволновых листов и за гребень второй и шестой волны у семиволновых листов.

Отверстия между карнизной доской и волнами карнизного ряда листов промазывают цементно-известково-песчаным раствором состава 1:1:6 с добавлением волокнистых органических наполнителей (по проекту).

Для рядовых листов используется, как правило, одно крепление на лист - внизу на второй волне (считая от накрывающей кромки).

Крепление асбестоцементных листов профиля 40/150 и 54/200 по деревянным прогонам

Расстояние от гвоздя до сливной кромки листа должно быть равно половине ширины поперечной нахлестки.

В коньковых листах, в ендовах, в рядовых листах при расчетной величине ветрового отсоса более 60 кгс/см2 должно быть предусмотрено одно дополнительное крепление на лист - на волне смежной с перекрываемой. Листы приконькового ряда крепят как к нижнему, так и к верхнему брускам (прогонам).

Листы крайнего вертикального ряда, расположенные у фронтона, на котором заканчивается покрытие кровли, дополнительно крепят гвоздями за второй от фронтонного свеса гребень волны.

К прогонам волнистые листы должны крепиться крепежными элементами типа «крюк». Для рядовых листов используется, как правило, одно крепление на лист (на второй волне). В карнизных и коньковых листах, в рядовых листах при расчетной величине ветрового отсоса более 60 кгс/см2, а также при наличии кранов или технологического оборудования без устройства соответствующей виброизоляции должно быть предусмотрено одно дополнительное крепление на лист.

Шиферные гвозди, шурупы, противоветровые скобы и стальные элементы типа «Крюк» для крепления асбестоцементных волнистых листов к обрешетке и прогонам, кляммеры для крепления кровельной стали к обрешетке должны быть оцинкованными.

Способы крепления асбестоцементных волнистых листов к прогонам

а) - швеллерному; б) - из уголка; в) - деревянному; 1 - прогон; 2 - крепежный элемент типа «крюк»; 3 - шайба

Контроль качества кровельных работ

Производственный контроль качества работ по устройству кровель из асбестоцементных волнистых листов должен включать входной контроль качества асбестоцементных листов и деталей к ним, операционный контроль соблюдения заданной технологии выполнения кровельных работ и качества выполнения отдельных технологических операций, приемочный контроль соответствия готовой кровли требованиям проекта и нормативных документов.

Устройство каждого элемента кровли должно выполняться после промежуточной приемки - проверки правильности выполнения соответствующего нижележащего элемента с составлением актов освидетельствования скрытых работ.

Объем работ, выполняемых при входном и операционном контроле качества кровельных работ, должен быть определен в проекте производства работ и технологической карте на производство кровельных работ.

Соответствие применяемых асбестоцементных листов и деталей к ним требованиям проекта и нормативных документов должно выявляться при входном контроле этих материалов, который включает проверку документов о качестве и маркировку поступивших материалов, проверку внешнего вида и основных размеров листов и деталей, отбраковку листов и деталей с отколами, сквозными трещинами и пробоинами, а также лабораторные испытания материалов. Результаты входного контроля материалов, представленные в виде документов о качестве, актах и протоколах лабораторных испытаний, предъявляются при приемке отдельных элементов и готовой кровли.

При операционном контроле качества кровельных работ из асбестоцементных волнистых листов проверяются и принимаются в соответствии с требованиями проекта основания под кровлю и покрытия из этих волнистых листов.

При проверке основания проверяют: точность монтажа обрешетки и прогонов (шаг брусков и досок, шаг прогонов); расположение поверхностей обрешетки и полок прогонов в одной плоскости; качество прогонов (отсутствие отколов, наплывов и т.п.) и обрешетки (жесткость, отсутствие просветов более 5 мм при приложении двухметровой рейки вдоль ската и 10 мм - поперек ската, расположение стыков обрешетки вразбежку); уклон поверхности основания, в том числе ендовы (отклонение поверхности основания от заданного уклона не более 5 %); соответствие проекту конструкции основания в местах примыканий к стенам, в местах сопряжений с дымовой трубой, на карнизе, коньке и ендове.

Результаты приемки основания должны быть отражены в актах освидетельствования скрытых работ.

При монтаже кровли проверяют соответствие ее следующим основным требованиям:

Контролируемые операции

Состав и средства контроля

Документация

Подготовительные работы

Проверить:

- завершение и надлежащее оформление предшествующих работ по устройству оснований асбестоцементных кровель;

- правильность устройства обрешетки и соответствие ее требованиям проекта (разбежка стыков обрешетки, расстояние между элементами обрешетки, жесткость обрешетки, сплошность обрешетки в местах покрытия карнизных свесов, разжелобков и ендов, неровности на длине 1 м вдоль и поперек ската, уклон обрешетки, расстояния между осями прогонов, качество прогонов и брусков обрешетки, расположение полок прогонов в одной плоскости и т.д.);

Акт приёмки, акты освидетельствования скрытых работ, исполнительные схемы

- наличие ППР, технологических карт и схем операционного контроля качества по устройству кровли;

- завершение разметки ската;

ППР, технологические карты, СОКК

- наличие документов о качестве на каждую партию поступивших листов и деталей к ним, соответствие их требованиям проекта и нормативных документов;

- подготовку листов и доставку их на крышу.

Документы о качестве, акты лабораторных испытаний

Устройство кровли из асбестоцементных листов

Контролировать:

- соблюдение заданной ППР технологии устройства кровли из асбестоцементных листов;

- качество выполнения кровельных работ (отклонения плоскости кровли от заданного уклона, величину уступов между листами кровель, величину нахлестки листов, отсутствие отколов и трещин в листах, качество выполнения узлов примыкания кровли к стенам и другим конструкциям и др.).

Общий и специальный журналы работ

Приемка

Проверить:

- соответствие кровли требованиям проекта и нормативных документов;

- составление и надлежащее оформление приемо-сдаточной исполнительной документации.

Акт приемки

Акты освидетельствования скрытых работ; акты лабораторных испытаний

ВХОДНОЙ И ОПЕРАЦИОННЫЙ КОНТРОЛЬ осуществляют:

мастер (прораб), геодезист, лаборант (инженер) - в процессе производства работ

ПРИЕМОЧНЫЙ КОНТРОЛЬ ОСУЩЕСТВЛЯЮТ:

прораб (мастер), работники отдела контроля качества СМР, представители технадзора заказчика

КИП - контрольная рейка, толщиномер, металлическая линейка, металлическая рулетка, штангенциркуль, уклономер, ватерпас, лабораторные приборы и оборудование

- асбестоцементные листы и детали не должны иметь отколов, сквозных трещин и пробоин;

- расположение листов в рядовом покрытии должно соответствовать проекту;

- величина нахлестки листов и деталей должна соответствовать проектной (отклонения - не более 5 %);

- уклон должен соответствовать проектному (отклонения - не более 5 %);

- стыки между асбестоцементными листами при уклоне кровли до 20 % должны быть загерметизированы;

- конструкция узлов кровель в местах примыканий к стенам, в местах сопряжений с дымовой трубой, на карнизе, коньке и ендове, в узлах деформационных швов должна соответствовать проекту;

- стыки между асбестоцементными листами и вертикальными поверхностями в узлах примыканий должны быть заделаны в соответствии с требованиями проекта;

- величина уступов между листами кровель не должна превышать 5 мм;

- крепление листов к обрешетке и прогонам должно соответствовать проекту;

- соединение металлических картин, располагаемых вдоль стока воды (в ендовах), должно осуществляться двойным лежачим фальцем и промазываться суриковой замазкой;

- шиферные гвозди, шурупы, противоветровые скобы и стальные элементы типа «крюк» для крепления асбестоцементных волнистых листов к обрешетке и прогонам, кляммеры для крепления кровельной стали к обрешетке должны быть оцинкованными.

Готовые кровли из асбестоцементных листов при приемке проверяют на соответствие следующим требованиям:

- полный отвод воды по всей поверхности кровель должен осуществляться по наружным водостокам без застоя воды;

- при осмотре кровли из чердачных помещений должны отсутствовать видимые просветы в покрытии;

- в асбестоцементных листах и деталях должны отсутствовать отколы и трещины;

- узлы кровель в сопряжениях (примыканиях) должны отвечать требованиям проекта.

Соответствие кровли из асбестоцементных листов требованиям проекта и нормативных документов, выявленное при техническом осмотре кровли, должно быть отражено в акте приемки кровли.

Требования, предъявляемые к готовым кровельным конструкциям, приведены в нижеследующей таблице.

Технические требования

Контроль (метод, объем, вид регистрации)

Полный отвод воды по всей поверхности кровель должен осуществляться по наружным и внутренним водостокам без застоя воды

Технический осмотр, акт приемки

Отсутствие видимых просветов в покрытии при осмотре кровли из чердачных помещений

Технический осмотр, акт приемки

Отсутствие отколов, сквозных трещин и пробоин в волнистых листах

Технический осмотр, акт приемки

Наличие промазки двойных лежачих фальцев в соединениях металлических картин. Отступление от проекта не допускается

Технический осмотр, акт приемки

Наличие герметизации стыков между асбестоцементными волнистыми листами при уклоне кровли до 20 %. Отступление от проекта не допускается

Технический осмотр, акт приемки

Отклонение от заданного уклона не более 5 %

Измерительный, не менее 5 измерений на каждые 50 - 100 м2 поверхности покрытия

Устройство металлической кровли, кровли из металлочерепицы и профнастила

Требования к материалам

ГОСТ 14918-80* Сталь тонколистовая оцинкованная с непрерывных линий. Технические условия.

ГОСТ 19904-90 Прокат листовой холоднокатанный. Сортамент.

ГОСТ 16523-97 Прокат тонколистовой из углеродистой стали качественной и обыкновенного качества общего назначения. Технические условия.

ТУ 14-1-4695-89 Прокат тонколистовой холоднокатанный электролитически оцинкованный с полимерными покрытиями.

ТУ 14-1-4766-90 Прокат тонколистовой холоднокатанный электролитически оцинкованный.

ТУ 14-11-236-88 Прокат тонколистовой холоднокатанный алюминированный.

ТУ 14-11-247-94 Прокат тонколистовой холоднокатанный с алюмоцинковым покрытием.

ТУ 102-5247-104-94 Лист стальной оцинкованный, профиль стальной оцинкованный.

ГОСТ 30246-94 Прокат тонколистовой рулонный с защитно-декоративным лакокрасочным покрытием для строительных конструкций. Технические условия.

ТУ 14-1-4792-90 Прокат тонколистовой холоднокатанный горячеоцинкованный с органическим покрытием (Новолипецкий меткомбинат, г. Липецк).

ТУ 1122-082-02494680-98 Профили стальные листовые гнутые для обшивок и настилов с безметизными соединениями в двойной фальц (ЗАО «Эксергия», г. Липецк).

ТУ 5262-021-03984416-98 Элементы металлической кровли (АО «Стройдеталь», г. С-Пб).

ТУ 400-30-037-94 Изделия стальные кровельные (АООТ фирма «Промстройматериалы», г. Москва).

ТУ 400-30-038-94 Свесы и сливы металлические (АООТ фирма «Промстройматериалы», г. Москва).

ТУ 8324.0590718-17-93 Листы отбортованные (Завод офсетных пластин, г. Зарайск, М.о.).

ТУ 48-0812-43-97 Ленты, листы и профилированные материалы из цинктитана (АООТ МЗОЦМ, г. Москва).

ГОСТ 495-92 Листы и полосы медные. Технические условия.

ТУ 5285-001-35530527-98 Профили листовые стальные гнутые с волнистой формой гофра (имитирующие черепицу) для строительства (ЗАО «Буково-Талдом», г. Москва).

ТУ 5285-001-45859820-97 Профили стальные гнутые с волнистой и трапециевидной формой гофра для кровель и стен зданий (ООО «Металл-профиль», г. Москва).

ТУ 1122-001-34830894-2000 Листы стальные профилированные гнутоштампованные (металлочерепица) и профильный погонаж для строительства (ЗАО «Соцпромстрой», г. Одинцово).

ТУ 1122-103-17178386-98 Листы стальные профилированные гнутоштампованные (металлочерепица) и профильный погонаж (ЗАО «Гранат», г. Москва).

ТУ 1122-003-08890571-96 Специальный волнистый профиль из стального листа (Опытный механический завод № 2, Спецстрой, г. Москва).

ТУ 5285-001-45003160-99 Профили стальные с волнистой формой гофра, имитирующие черепицу, для строительства (Московский центр кровельных материалов).

ТУ 5285-001-18219851-96 Профили стальные гнутые с волнистой и трапециевидной формой гофра для ограждающих конструкций (ЗАО «Раннила-Талдом», г. Москва).

ТУ 5285-001-49133681-2000 Профильные стальные листы гнутые с волнистой формой гофра (имитирующие черепицу) для строительства (ЗАО «Форум», г. Челябинск).

ТУ 24-18-270-96 Покрытие кровельное металлочерепица (АО «Подольский машзавод им. Серго Орджоникидзе).

ТУ 1120-002-51182681-2002 Профили стальные листовые гнутые строительные (металлочерепица «Монтеррей», СПК «Стройсортмет», г. Москва).

ТУ 1476-001-49907220-2001 Листы профильные стальные оцинкованные, металлочерепица с полимерным покрытием. Водосточные системы (ООО «Ривет-М», г. Москва).

ТУ 5285-001-54943011-2001 Профили стальные гнутые для кровель и стен зданий и комплектующие элементы к ним (фирма «OMI», г. Москва).

ТУ 5284-001-45659067-99 Стальные гофрированные листы с лакокрасочным покрытием для кровельных и облицовочных работ (ЗАО «Форум», г. Челябинск).

ТУ 1122-088-04614443-94 Листы металлические волнистые ЛВ для кровель зданий и сооружений (СП «Вамаг», г. Магнитогорск).

ТУ 1111-002-01397330-94 Изделия из тонколистовой волнистой стали (АО «Южстальконструкция», г. Ростов-н-Д).

ТУ 1122-001-45545091-98 Профили гофрированные и волнистые листовые (ЗАО «Нордик Профайл», г. Санкт-Петербург).

ТУ 1108-001-39124646-98 Профиль листовой гофрированный (ТОО НПП «Камилан», г. Новосибирск).

ТУ 1122-089-00186335-98 Листы стальные профилированные (ОАО АК «Лысьвенский металлургический завод», г. Лысьва, Пермская обл.).

ГОСТ 24045-94 Профили стальные листовые гнутые с трапециевидными гофрами для строительства. Технические условия.

ТУ 1122-056-02494680-96 Профили стальные листовые гнутые с трапециевидными гофрами для строительства (АОЗТ «ЦНИИпроектстальконструкция им. Мельникова», г. Москва).

ТУ 1122-101-04614443-95 Профили стальные листовые гнутые с трапециевидными гофрами для строительства (АО «Венталл», г. Обнинск, Калужской обл.).

ТУ 1122-101-17178386-98 Листы профилированные гнутые с трапециевидными гофрами для стен и кровель жилых и производственных зданий (ЗАО «Гранат», г. Москва).

ТУ 1122-004-04002183-95 Настилы профильные с трапециевидным гофром из оцинкованной стали (АО «Стройперлит», г. Мытищи, М.о.).

Стандарты и технические условия на кровельные материалы для устройства металлической кровли, кровли из металлочерепицы и стальных профилей с трапециевидными гофрами, предусмотренные проектом.

Входной контроль кровельных материалов должен осуществляться в соответствии с требованиями проекта, государственных стандартов и технических условий на конкретные кровельные материалы, предусмотренные проектом, а также требованиями технологической документации, утвержденной в установленном порядке.

ГОСТ 14918-80* Сталь тонколистовая оцинкованная с непрерывных линий. Технические условия

Данный стандарт распространяется на листовую и рулонную холоднокатанную сталь, оцинкованную горячим способом в агрегатах непрерывного цинкования, предназначенную для холодного профилирования, под окраску, изготовления штампованных деталей, посуды, тары и других металлических изделий.

Сталь тонколистовая оцинкованная (ОЦ) подразделяется:

по назначению на группы:

- для холодной штамповки ХШ,

- для холодного профилирования ХП,

- под окраску (дрессированная) ПК,

- общего назначения ОН;

по способности к вытяжке (сталь группы ХШ) на категории:

- нормальной вытяжки Н,

- глубокой вытяжки Г,

- весьма глубокой вытяжки ВГ;

по равномерности толщины цинкового покрытия:

- с нормальной разнотолщинностью HP,

- с уменьшенной разнотолщинностью УР.

По согласованию потребителя с изготовителем оцинкованная сталь может изготовляться с узором кристаллизации КР и без узора кристаллизации МТ.

В зависимости от толщины покрытия, нанесенного с двух сторон, оцинкованная сталь делится на три класса, указанных в нижеприведенной таблице.

Класс толщины

Толщина покрытия, мкм

П (повышенный)

Св. 40 до 60 включительно

1

Св. 18 до 40 включительно

2

Св. 10 до 18 включительно

При изготовлении стали с дифференцированным покрытием толщина его на одной стороне листа должна соответствовать 2-му классу, а на другой стороне - классу П (для листов) или классу 1.

Оцинкованную сталь изготовляют шириной от 710 до 1800 мм включительно, толщиной от 0,5 до 2,5 мм включительно.

Размеры, предельные отклонения и другие требования к сортаменту - согласно требованиям ГОСТ 19904-90.

Пример условного обозначения оцинкованной стали ОЦ толщиной 0,8 мм и шириной 1250 мм 1 класса толщины цинкового покрытия, нормальной разнотолщинности HP, групп ХП и ПК, нормальной точности прокатки по толщине БТ и ширине БН, нормальной плоскостности ПН, с обрезкой кромок О, с узором кристаллизации по ГОСТ 14918-80:

Оцинкованную сталь изготовляют из углеродистой холоднокатанной рулонной стали с качеством поверхности по ГОСТ 16523-97. Марки стали должны соответствовать приведенным в нижеследующей таблице.

Оцинкованная сталь

Марка холоднокатанной стали для изготовления оцинкованной стали

Группа

Категория вытяжки

ХШ

Н, Г

Марки стали с химическим составом по ГОСТ 9045-93, ГОСТ 1050-88* и ГОСТ 380-94

ХШ

ВГ

08пс, 08кп, 08Ю по ГОСТ 9045-93, 08пс, 08кп, 10кп по ГОСТ 1050-88*

ХП, ПК

 

08пс по ГОСТ 9045-93; 08, 08пс по ГОСТ 1050-88*; БСт0, БСт2, БСт3 всех степеней раскисления по ГОСТ 380-94

ОН

 

Марки стали с химическим составом по ГОСТ 9045-93, ГОСТ 1050-88* и ГОСТ 380-94

Поверхность оцинкованной стали должна быть чистой со сплошным покрытием.

Не допускаются нарушения сплошности покрытия в виде растрескивания на мелких наплывах, расположенных на дефектах стальной основы, классификация и размеры которых предусмотрены ГОСТ 16523-97.

На листах и полосах с необрезанной кромкой не допускаются рванины кромок глубиной, превышающей предельные отклонения по ширине.

Для оцинкованной стали групп ХШ, ХП и ОН допускаются мелкие наплывы (натеки, наслоения), крупинки и неравномерная кристаллизация цинка, следы от перегибов полосы и регулирующих роликов, местная шероховатость покрытия (сыпь), легкие царапины и потертость, не нарушающие сплошность цинкового покрытия, светлые и матовые пятна, неравномерность окраски пассивной пленки.

Для оцинкованной стали группы ПК допускаются мелкие темные точки и дорожка (следы) от деформированных мелких наплывов (натеки, наслоения), крупинок и местной шероховатости покрытия (сыпь), матовый и размытый узор кристаллизации цинка, следы от перегибов полосы, легкие царапины и потертость, не нарушающие сплошность цинкового покрытия, светлые и матовые пятна, неравномерность окраски пассивной пленки.

По требованию потребителя пассивная пленка должна иметь равномерную окраску.

В месте изгиба оцинкованной стали толщиной до 1,0 мм включительно при испытании на прочность сцепления покрытия с основным металлом при изгибе на 180° не должно быть отслоений цинкового покрытия, обнажающего стальную поверхность. Допускается сетка мелких трещин по всей длине изгиба и отслоения покрытия на расстоянии до 6 мм от краев образца.

Количество перегибов без излома оцинкованной стали групп ХП, ПК и ОН должно быть для толщины до 0,8 мм … 8; для толщины свыше 0,8 до 1,2 мм … 5.

Партии листов или рулонов одной группы оцинкованной стали, одного размера, одного вида и класса толщины покрытия, вида консервации, одной марки и плавки (сталь групп ХШ, ХП и ПК) и категории вытяжки (сталь группы ХШ), должна быть оформлена и сопровождаться документом о качестве с дополнением факультативных показателей качества.

ГОСТ 30246-94 Прокат тонколистовой рулонный с защитно-декоративным лакокрасочным покрытием для строительных конструкций. Технические условия

Данный стандарт распространяется на рулонный тонколистовой прокат с защитно-декоративным лакокрасочным покрытием, нанесенным на линиях окрашивания рулонного металла валковым методом, предназначенный для изготовления конструкций и других строительных изделий холодным профилированием и гибкой.

Прокат с защитно-декоративным лакокрасочным покрытием изготовляют с одно-, двухслойными покрытиями толщиной до 200 мкм лакокрасочными материалами групп I, II и III по СНиП 2.03.11-85, предназначенными для окрашивания на линиях рулонного металла, с прочностью пленки при изгибе «Т» от 0Т до 4Т.

Прокат изготовляют с односторонним покрытием (обозначение 1), двусторонним одинаковым покрытием обеих сторон (обозначение 2) и двусторонним различным покрытием лицевой и обратной сторон (обозначение 3), где лицевая сторона - внешняя сторона рулона.

Прокат с защитно-декоративным лакокрасочным покрытием поставляют в рулонах. Толщина проката в рулонах - от 0,5 до 1,2 мм и ширина - до 1500 мм.

Размеры, масса, телескопичность рулона не должны превышать: внутренний диаметр - 640 мм; наружный диаметр - 1500 мм; телескопичность - 40 мм; масса - 10 т.

Для изготовления проката с защитно-декоративным лакокрасочным покрытием в качестве исходной заготовки используют только листовой рулонный стальной прокат с металлическими защитными покрытиями и без покрытий и алюминиевый прокат. Качество исходного проката должно удостоверяться документом предприятия-изготовителя проката или предприятием-изготовителем проката с покрытием.

Прокат с покрытием изготовляют из исходной заготовки с углеводородными смазками без пассивации. Допускается по согласованию с изготовителем проката с защитно-декоративным лакокрасочным покрытием поставка исходной заготовки с пассивацией без углеводородной смазки.

Лакокрасочные материалы, применяемые для окрашивания проката, приведены в нижеследующей таблице.

Лакокрасочные материалы, применяемые для окрашивания проката

Система лакокрасочных покрытий

Физико-технические свойства покрытий

Степень агрессивного воздействия среды по СНиП 2.03.11

Покровный слой

Грунтовка

Прочность при изгибе «Т», не более

Адгезия, балл

Толщина покрытия, мкм

Цвет пленки

Материал

Количество слоев

Материал

Количество слоев

Лак ГФ-296

1

-

-

2,5Т

-

-

Бесцветный

Слабоагрессивная

Эмаль МЛ-1202

Эмаль МЛ-1202ПМ

1

ЭП-0200

1

2,5Т

1

25 - 40

Светлосерый, красно-коричневый голубой, светло-зеленый

Эмаль МЛ-1203

1

ЭП-0200

1

2,5Т

1

15 - 20

Палевый, оттенок не нормируется

Неагрессивная

Эмаль АС-1171

АС-1171ПМ

1

ЭП-0200

1

2Т

1

25 - 30

Белый, серый, бирюзовый, голубой

Слабоагрессивная

Грунтовка ЭП-0140

1

2

-

-

3,5

1

70 - 80

Красный, песочный, розовый

Слабоагрессивная

Краска ОД-ХВ-221

1

АК-0138

1

1Т

1

40 - 50

Белый, салатовый, голубой, черный, серо-голубой

Слабоагрессивная

Пластикат ПЛ-ХВ-122

1

АК-0138

1

0Т

1

180 - 220

Серо-голубой

Слабоагрессивная

Эмаль ГФ-2107

1

-

-

2Т

1

10 - 15

Светлосерый, оттенок не нормируется

Неагрессивная

Допускается использование других лакокрасочных материалов с качеством получаемых покрытий, удовлетворяющих требованиям СНиП 2.03.11-85 и данного стандарта.

Прокат с покрытием, не подвергнутый профилированию или гибке, выдерживает агрессивное воздействие среды в соответствии со СНиП 2.03.11-85.

Степень стойкости против агрессивного воздействия среды изделий, изготовленных из проката с покрытием профилированием или гибкой, должна устанавливаться нормативными документами на изготовление этих изделий.

Качество защитно-декоративного лакокрасочного покрытия по показателям внешнего вида должно быть не менее V класса по ГОСТ 9.032-74*.

Цвет, степень блеска, рисунок покрытия устанавливают по согласованию изготовителя с потребителем.

Поверхность окрашенного проката должна быть чистой со сплошным покрытием.

Допускается по согласованию изготовителя с потребителем отсутствие покрытия в начале и в конце рулона. Общая протяженность непокрытых участков должна быть не более 20 м.

Прочность покрытия при изгибе «Т» зависит от применяемого лакокрасочного материала, толщины исходной заготовки и определяет допустимые радиусы сгибов при дальнейшей переработке проката с покрытием.

Покрытие, выдержавшее испытания на изгиб «Т», в местах гиба обладает теми же защитными свойствами, что и покрытие, не подвергнутое изгибу.

Требования к прочности пленки покрытия при изгибе устанавливает потребитель в зависимости от радиуса гиба при переработке проката с покрытием.

Адгезия пленки покрытия не должна быть более 1 балла по ГОСТ 15140-78*.

Необходимую толщину покрытия устанавливает потребитель. Значения толщины покрытий лакокрасочными материалами приведены выше в таблице.

Маркировка рулонов должна содержать: наименование или/и товарный знак предприятия-изготовителя; условное обозначение проката; массу рулона; номер партии, дату изготовления.

Транспортная маркировка рулонов - по ГОСТ 14192-96*.

Упаковка проката с покрытием должна быть произведена по чертежам предприятия-изготовителя. Упаковка должна предохранять радиальную и торцовую поверхности рулонов от механических повреждений и атмосферных осадков.

Допускается по согласованию изготовителя с потребителем использовать в качестве упаковки 1 - 1,5 неокрашенных витка конца рулона.

Партия проката с покрытием должна сопровождаться документом о качестве, содержащим:

- наименование или/и товарный знак предприятия-изготовителя;

- дату изготовления и номер партии;

- общее количество рулонов в партии;

- общую массу;

- номер заказа;

- условное обозначение проката;

- значение показателей:

а) толщины покрытия и количества покровных слоев;

б) прочности пленки при изгибе;

- заключение отдела технического контроля предприятия-изготовителя о соответствии продукции требованиям и нормам данного стандарта.

Условное обозначение проката (ОК) с односторонним покрытием (1) лицевой стороны лаком ГФ-296, нанесенным по оцинкованной стали по ГОСТ 14918-80*, толщиной 0,8 мм и шириной 1250 мм:

Условное обозначение проката (ОК) с двусторонним одинаковым покрытием (2) обеих сторон эпоксидной грунтовкой ЭП-0140, нанесенным по стали с алюмоцинковым покрытием по ТУ 14-11-247, толщиной 0,8 мм и шириной 1250 мм:

Условное обозначение проката (ОК) с двусторонним различным покрытием (3) лицевой стороны эмалью МЛ-1202 и обратной стороны эмалью МЛ-1203, нанесенным по стали с алюминиевым покрытием по ТУ 14-11-236, толщиной 0,8 мм и шириной 1250 мм:

ГОСТ 24045-94 Профили стальные листовые гнутые с трапециевидными гофрами для строительства. Технические условия

Данный стандарт распространяется на стальные холодногнутые листовые профили с трапециевидной формой гофра, изготавливаемые на профилегибочных станах и предназначенные для применения в строительстве и других отраслях промышленности.

Профилированные листы классифицируют по:

- назначению;

- материалу исходной заготовки;

- наличию защитно-декоративного лакокрасочного покрытия.

По назначению профилированные листы подразделяют на типы:

Н - для настила покрытий;

НС - для настила и стеновых ограждений;

С - для стеновых ограждений.

По материалу исходной заготовки профилированные листы подразделяют:

- на листы из тонколистового оцинкованного проката по ГОСТ 14918-80* (обозначение ОЦ);

- на листы из тонколистового проката с алюмоцинковым покрытием по ТУ 14-11-247-88 (обозначение АЦ);

- на листы из тонколистового алюминированного проката и проката с алюмокремниевым покрытием по ТУ 14-11-236-88 (обозначение А и АК);

- на листы из тонколистового проката с электролитическим цинковым покрытием по ТУ 14-1-4695-89 (обозначение ЭОЦП).

По наличию защитно-декоративного лакокрасочного покрытия профилированные листы подразделяют:

- на листы без лакокрасочного покрытия (без обозначения);

- на листы с лакокрасочным покрытием по ГОСТ 30246-94 (указывается обозначение лакокрасочных материалов).

Пример условного обозначения профилированного листа типа Н высотой 57 мм, шириной 750 мм, толщиной 0,8 мм, имеющего лакокрасочное покрытие эмалью МЛ-1202 по поверхности С и лакокрасочное покрытие по поверхности Д, изготовленного из проката с алюмоцинковым покрытием:

Н57-750-0,8 АД МЛ-1202/МЛ-1203 ГОСТ 24045-94

Пример условного обозначения профилированного листа типа Н высотой 57 мм, шириной 750 мм, толщиной 0,8 мм, имеющего лакокрасочное покрытие краской ОД-ХВ-221 по поверхности С и без лакокрасочного покрытия поверхности Д, изготовленного из алюминированного проката:

Н57-750-0,8 АЛ ОД-ХВ-221/- ГОСТ 24045-94

Пример условного обозначения профилированного листа типа Н высотой 57 мм, шириной 750 мм, толщиной 0,8 мм, без лакокрасочного покрытия, изготовленного из оцинкованного проката:

Н57-750-0,8 ГОСТ 24045-94

Профилированные листы по длине должны изготовляться:

- кратной (250 мм) мерной длины от 3 до 12 м - для настила (типов Н и НС);

- кратной (300 мм) мерной длины от 2,4 до 12 м - для стеновых ограждений (типов НС и С).

По согласованию изготовителя и потребителя допускается изготовлять профилированные листы любой мерной длины, а также длиной менее 3 и более 12 м для настила.

Профилированные листы без лакокрасочного покрытия должны изготовляться из тонколистового холоднокатанного проката, приведенного в нижеследующей таблице (сортамент по ГОСТ 19904-90).

Наименование м-ла исходной заготовки для профилирования

Характеристика покрытия и условные обозначения материала

Марка сталей

Сталь тонколистовая оцинкованная с непрерывных линий по ГОСТ 14918

I класс толщины цинкового покрытия, нормальной разнотолщинности HP, групп ХП и ПК, нормальной точности прокатки по толщине БТ и ширине БН, нормальной плоскостности ПН, с обрезкой кромок О:

08пс по ГОСТ 9045, 08, 08пс по ГОСТ 1050 Ст1, Ст2, Ст3 всех способов раскисления по ГОСТ 380

Прокат тонколистовой холоднокатанный с алюмоцинковым покрытием по ТУ 14-11-247-88

Покрытие АЦ, по массе - класса 170, по виду - с обычной кристаллизацией Кр или дрессированное Др, по назначению - групп 230, 260:

АЦ 170-Кр-230 ТУ 14-11-236-88

То же

Прокат тонколистовой холоднокатанный алюминированный по ТУ 14-11-236-88

Покрытие алюминиевое А или алюмокремниевое АК, по массе - класса 150, по назначению - группы 230:

А (АК) 150-230 ТУ 14-11-236-88

08пс по ГОСТ 9045; 08, 08пс по ГОСТ 1050; Ст1, Ст2, Ст3 всех способов раскисления по ГОСТ 380

Прокат тонколистовой холоднокатанный электролитически оцинкованный по ТУ 14-1-4695-89

Марка ЭОЦ, 1-й класс покрытия, нормальной точности прокатки по толщине БТ и ширине БН, нормальной плоскостности ПН:

ЭОЦП-1-БТ-БН-ПН ТУ 14-1-4695-89

08кп ГОСТ 16523-97

08кп, 08пс, 10кп по ГОСТ 1050; 08кп, 08пс по ГОСТ 9045

Требования к материалу исходной заготовки устанавливает потребитель в зависимости от условий эксплуатации конструкций.

Допускается применять прокат, получаемый по импорту, показатели качества которого соответствуют требованиям соответствующих нормативных документов.

Качество покрытия (цинкового, алюмоцинкового, алюмокремниевого, алюминиевого) профилированных листов должно удовлетворять требованиям нормативных документов на материал исходной заготовки для профилирования.

Профилированные листы с лакокрасочными покрытиями должны изготовляться из проката с защитно-декоративным лакокрасочным покрытием для строительных конструкций по ГОСТ 30246-94.

Материал лакокрасочного покрытия, его толщина, цвет должны соответствовать ГОСТ 30246-94 и устанавливаются по согласованию изготовителя с потребителем.

На поверхности цинкового, лакокрасочного покрытий допускаются потертости, риски, следы формообразующих валков, не нарушающие сплошность покрытия.

Профилированный лист типа Н высотой 57 и 60 мм

Обозначение профилированного листа

Размеры в мм

h

В1

t

В

b

b1

b2

b3

b4

b5

b6

h1 не менее

h2

R не более

S

Н57-750-0,6

57

750

0,6

801

94,5

44

42

20

93

46,5

18

10

7

4,0

187,5

Н57-750-0,7

0,7

Н57-750-0,8

0,8

Н60-845-0,7

60

845

0,7

902

89,5

50

47

22

122

61

16

14

5

3,5

211,2

Н60-845-0,8

0,8

Н60-845-0,9

0,9

Профилированный лист типа Н высотой 75 мм

Обозначение профилированного листа

Размеры в мм

h

В1

t

В

b

b1

b2

b3

b4

b5

b6

h1 не менее

h2

R не более

S

Н75-750-0,7

75

750

0,6

800

95,5

50

48

23

92

46

18

6

7

4,0

187,5

Н75-750-0,8

0,7

Н75-750-0,9

0,8

Профилированный лист типа Н высотой 114 мм, шириной 600 мм

Обозначение профилированного листа

Размеры в мм

h

В1

t

В

b

b1

b2

b3

b4

b5

b6

h1 не менее

h2

R не более

S

Н114-600-0,8

114

600

0,8

646

96

60

-

-

104

52

18

-

7

4,0

200

Н114-600-0,9

0,9

Н114-600-1,0

1,0

Профилированный лист типа Н высотой 114 мм, шириной 750 мм

Обозначение профилированного листа

Размеры в мм

h

В1

t

В

b

b1

b2

b3

b4

b5

b6

h1 не менее

h2

R не более

S

Н114-750-0,8

114

750

0,8

807

124

80

-

-

126

42

18

-

7

4,0

250

Н114-750-0,9

0,9

Н114-750-1,0

1,0

Профилированный лист типа НС высотой 44 мм

Обозначение профилированного листа

Размеры в мм

h

В1

t

В

b

b1

b2

b3

b4

b5

b6

h1 не менее

h2

R не более

S

НС44-1000-0,7

НС44-1000-0,8

44

1000

0,7

1052

92

66

-

-

108

54

18

-

7

4,0

200

0,8

Предельные отклонения размеров всех типов профилей не должны превышать указанных в нижеследующей таблице.

Высота профиля

Предельные отклонения, мм

по высоте

по ширине

по длине

От 10 до 20 мм включ.

±1,0

±8,0

 

От 20 до 60 мм включ.

±1,5

От 60 до 75 мм включ.

±2,0

От 75 до 114 мм включ.

±2,5

+15,0

-8,0

Примечания: 1. По согласованию изготовителя с потребителем отклонение по длине выше указанного предела браковочным признаком не является.

2. Размеры шага, ширины, радиусов кривизны и глубины гофров, высоты ступенек на готовых профилях не контролируются.

Разность ширины крайних узких полок гофров профилированных листов должна быть не менее 2 мм.

На плоской части более узких полок рекомендуется производить маркировку в виде продольного зига, окраски или другими способами.

Серповидность профилированных листов не должна превышать 1 мм на 1 м длины при длине профилей до 6 м и 1,5 мм на 1 м длины при длине профилей более 6 м. Общая серповидность не должна превышать произведения допускаемой серповидности на 1 м на длину листа в метрах.

Волнистость на плоских участках профилированных листов не должна превышать 1,5 мм, а на отгибах крайних полок - 3 мм.

Косина резов профилированных листов не должна выводить длину листов за номинальный размер и предельное отклонение по длине.

В комплект поставки профилированных листов должны входить:

- профилированные листы одного типоразмера, материала исходной заготовки, вида лакокрасочного покрытия;

- крепежные изделия (по согласованию потребителя с изготовителем);

- документ на отгружаемую продукцию.

Маркировку профилированных листов производят по ГОСТ 7566-94.

Маркировку наносят на ярлык, который крепят к пакету.

Маркировка должна содержать:

- наименование или товарный знак предприятия-изготовителя;

- условное обозначение профилированного листа;

- длину и количество профилированных листов в пакете;

- теоретическую массу пакета;

- номер пакета и партии;

- клеймо технического контроля предприятия-изготовителя.

Упаковку производят по чертежам предприятия-изготовителя. Упаковка должна обеспечить сохранность профилированных листов и защитного покрытия от механических повреждений, а также от смещения листов в пакете относительно друг друга.

Каждая партия отгружаемой продукции должна сопровождаться документом, содержащим:

- наименование или товарный знак предприятия-изготовителя;

- наименование потребителя;

- номер заказа;

- номер партии;

- условное обозначение профилированного листа;

- данные о количестве и номера пакетов с указанием теоретической массы каждого пакета;

- данные об общей теоретической массе профилированных листов в партии;

- штамп технического контроля предприятия-изготовителя.

Профилированные листы перевозят транспортом всех видов в соответствии с правилами перевозки и условиями погрузки и крепления грузов, действующими на транспорте данного вида.

Пакеты при транспортировании и хранении должны быть уложены на деревянные или из другого материала подкладки одинаковой толщины не менее 50 мм, шириной не менее 150 мм и длиной больше габаритного размера пакета не менее чем на 100 мм, расположенные не реже чем через 3 м.

Пакеты при транспортировании должны быть закреплены и надежно предохранены от перемещения.

При транспортировании и хранении пакеты должны быть размещены в один ярус. Допускается размещение транспортируемых и хранимых в два и более яруса при условии, что масса 1 м2 всех профилей, расположенных над нижним профилем, не должна превышать 3000 кг/м2.

Металлочерепица

Листы металлочерепицы классифицируют по:

- наименованию и типу профиля;

- материалу исходной заготовки (типу гладкого листа);

- виду защитно-декоративного лакокрасочного покрытия;

- виду цветовой гаммы защитно-декоративного лакокрасочного покрытия.

Наименования профилей - коммерческие (торговые) названия профилей, пришедшие в Россию из-за рубежа вместе с закупаемыми там профилегибочными станами и ввозимой металлочерепицей: Каскад (Cascade), Классик (Classic), Виктория (Victoria), Монтеррей (Monterrey), Элит (Elite), Эксклюзив (Exklusiv), МП Элит (МР Elite) и другие.

В качестве исходной заготовки для производства металлочерепицы используются гладкие листы:

- оцинкованного проката отечественного производства по ГОСТ 14918-80*, ГОСТ 19904-90 или другим нормативным документам;

- проката с алюмоцинковым покрытием отечественного производства по ТУ 14-11-247-88 или другим нормативным документам;

- проката алюминированного и с алюмокремниевым покрытием отечественного производства по ТУ 14-11-236-88 или другим нормативным документам;

- горячеоцинкованного проката с органическими покрытиями отечественного производства по ГОСТ 30246-94, ТУ 14-1-4792-90, а также поступающего по импорту.

По виду защитно-декоративного лакокрасочного покрытия листы металлочерепицы подразделяют на:

- листы с защитно-декоративным лакокрасочным покрытием по ГОСТ 30246-94, ТУ 14-1-4792-90, а также поступающие по импорту;

- листы без защитно-декоративного лакокрасочного покрытия.

Цветовая гамма защитно-декоративных лакокрасочных покрытий определяется:

- нормативными документами (стандартами и техническими условиями) на конкретную металлочерепицу отечественного производства;

- маркировкой предприятий-изготовителей, поставляющих продукцию по импорту.

Условные обозначения размеров листов:

А - ширина листа металлочерепицы (расстояние между осями симметрии крайних гофров), мм;

а - расстояние между осями симметрии гофра (шаг гофров), мм;

n - количество гофров;

В - высота профиля;

С - ширина поперечного шага гофра;

L - длина листа;

D - величина отгиба;

Е - высота поперечного шага гофра;

S - толщина профиля (листа исходной заготовки), мм.

Условные обозначения листов металлочерепицы, как правило, включают:

- наименование листа (профиля);

- ширину листа, мм;

- толщину профиля, мм;

- тип защитно-декоративного покрытия, его толщину и цвет;

- номер технических условий.

Технические условия на листы металлочерепицы включают в себя требования:

- к исходным материалам (листовому прокату);

- к геометрической точности листов (предельные отклонения по высоте, ширине, длине, допуски по серповидности листов, волнистости на плоских участках листов, косине реза и др.);

- к защитно-декоративному покрытию (внешний вид, наличие микротрещин, потертости, риски или следы формообразующих валков и др.);

- к комплектности поставки (наличие профильного погонажа);

- к маркировке листов;

- к правилам приемки листов, в т.ч. к содержанию документа о качестве листов металлочерепицы;

- к упаковке листов;

- к транспортированию и хранению пакетов профилированных листов;

- к креплению профилированных листов на монтаже и заделке стыков; по условиям эксплуатации в зданиях с различной степенью воздействия газовой среды.

Технические требования должны содержать гарантии изготовителя при условии соблюдения потребителем условий транспортирования, хранения, монтажа и эксплуатации.

Профиль с прямоугольной формой гофры Cascade

Тип профиля, название

L

А

а

n

В

С

D

Е

S

Изготовитель

Каскад Cascade

до 7000 мм

1050

210

5

45

300

40

20

0,5

Rannila Steel Финляндия

Профили с волнистой формой гофры

Размеры профилей с волнистой формой гофра

Тип профиля, название

L

А

а

n

В

С

D

Е

S

Изготовитель

Классика

от 800 до 7500 мм

1100

183,3

6

40

350

40

15

0,5

СП ТОО «Буково»

ТУ 5285-001-35530527-98

Монтеррей Monterrey

до 8000 мм

1100

183,3

6

39

350

40

15

0,5

Rannila Steel Финляндия

Монтеррей Monterrey

до 12000 мм

1100

183,3

6

24

350

40

15

0,5

ЗАО Раннила Талдом

ТУ 5285-001-18219851-96

Монтеррей Monterrey

от 1000 до 8000 мм

1180

183,3

6

24

350

40

15

0,5

0,6

ЗАО Соцпромстрой

ТУ 1122-001-34830894-00

Монтеррей Monterrey

от 1210 до 7500 мм

1100

183,3

6

24

350

40

15

0,55

ЗАО «Гранат»

ТУ 1122-103-17178386-98

Монтеррей Monterrey

от 480 до 6800 мм

1100

183,3

6

36

350

40

15

0,5

МЦКМ

ТУ 5285-001-45003160-99

Монтеррей Monterrey

от 600 до 10000 мм

1060

183,3

6

31

350

40

15

0,55

Спецстрой (з-д № 2)

ТУ 1122-003-08890571-96

Монтеррей Monterrey

от 500 до 8000 мм

1100

183,3

6

39

350

40

15

0,5

Металл профиль

ТУ 5285-001-45859820-97

Элит Elite

до 8000 мм

1025

205

5

63

400

40

17

0,5

Rannila Steel Финляндия

Элит Elite

от 850 до 8000 мм

1070

214

5

50

350

40

17

0,5

МЦКМ

ТУ 5285-001-45003160-99

ТУ 1122-001-34830894-2000 Листы стальные профилированные гнутоштампованные (металлочерепица) и профильный погонаж для строительства (ЗАО Соцпромстрой)

Данные технические условия распространяются на стальные оцинкованные, а также оцинкованные с защитно-декоративными лакокрасочными покрытиями, гнуто-штампованные листы в виде металлочерепицы типа «Монтеррей» (далее металлочерепица), предназначенные для кровель индивидуальных жилых и гражданских зданий, и на профильный погонаж, предназначенный для комплектации кровельных и стеновых ограждений.

Примеры условного обозначения металлочерепицы (МЧ) высотой гофра 24 мм, шириной 1100 мм, из листа толщиной 0,6 мм без лакокрасочного покрытия:

МЧ 24-1100-0,6 ТУ 1122-001-34830894-2000

То же, с лакокрасочным покрытием с одной стороны профиля (по поверхности Д - наружной):

МЧ 24-1100-0,6Д ТУ 1122-001-34830894-2000

То же, с лакокрасочным покрытием с обеих сторон профиля по поверхностям Д и П - наружной и внутренней:

МЧ 24-1100-0,6ДП ТУ 1122-001-34830894-2000

Примеры условного обозначения профильного погонажа, конькового (ПК), толщиной 0,6 мм и длиной 2500 мм без лакокрасочного покрытия:

ПК 0,6-2500 ТУ 1122-001-34830894-2000

То же, с лакокрасочным покрытием с одной стороны профиля по поверхности Д:

ПК 0,6-2500Д ТУ 1122-001-34830894-2000

То же с лакокрасочным покрытием с обеих сторон профиля по поверхностям Д и П:

ПК 0,6-2500ДП ТУ 1122-001-34830894-2000

Тип профиля, название

L

А

а

n

В

С

D

Е

S

Изготовитель

Монтеррей Monterrey

от 1000 до 8000 мм

1180

183,3

6

24

350

40

15

0,5 0,6

ЗАО Соцпромстрой

ТУ 1122-001-34830894-2000

Форма и размеры металлочерепицы приведены в таблице и рисунке.

Профильный погонаж изготавливают следующих видов: коньковый (ПК), стыковой (ПС), карнизный (ПКР), угловой наружный (ПУН), угловой внутренний (ПУВ), торцевой (ПТ), оконный сливной (ПОС), стеновой сливной (ПСС), косяковый (ПКС).

Металлочерепица изготавливается любой мерной длины от 1 до 8 м, а профильный погонаж - от 1 до 2,5 м.

Металлочерепица и погонаж должны соответствовать требованиям данных технических условий и ГОСТ 24045-94.

Металлочерепица и профильный погонаж всех типов должны изготавливаться из тонколистового холоднокатаного проката по ГОСТ 14918-80* первого класса толщины цинкового покрытия, нормальной разнотолщинности HP, группы ХП для листов без лакокрасочного покрытия и группы ПК для листов с лакокрасочным покрытием, нормальной точности прокатки по толщине БТ и ширине БН, нормальной плоскостности ПН с обрезной кромкой О и предельными отклонениями по ГОСТ 19904-90 из сталей марок 08пс по ГОСТ 9045-93; 08, 08пс по ГОСТ 1050-88*; Ст1, Ст2, Ст3 всех способов раскисления по ГОСТ 380-94.

Допускается применять листовой прокат полученный по импорту, показатели качества которого отвечают требованиям соответствующих нормативных документов.

Металлочерепица и профилированный погонаж с защитно-декоративным покрытием должны изготавливаться из тонколистовой оцинкованной стали с нанесенным лакокрасочным покрытием на линиях окрашивания рулонного металла валковым методом с односторонним покрытием по лицевой стороне (поверхность Д) или двусторонним покрытием лицевой и обратной сторон (поверхности Д и П) по ГОСТ 30246-94, или с пластизольным покрытием только по лицевой стороне.

На поверхности цинкового, лакокрасочного покрытий допускаются потертости, риски, следы формообразующих валков, не нарушающие сплошность покрытия.

Предельные отклонения размеров не должны превышать указанных в нижеследующей таблице.

Параметры

Предельные отклонения, мм

Металлочерепица

Погонаж

Высота

±1,5

±1,5

Ширина

±8,0

±1,5

Длина

±10,0

±10,0

Угол закручивания сечения

-

±5°

По согласованию изготовителя с потребителем отклонение по длине выше указанного предела браковочным признаком не является.

Размеры радиусов кривизны на готовых профилях не контролируются.

Предельные отклонения по толщине металлочерепицы и профильного погонажа должны соответствовать предельным отклонениям по толщине заготовки нормальной точности прокатки по ГОСТ 19904-90 без учета толщины покрытия. Предельные отклонения не распространяются на отклонения по толщине в местах изгиба.

Серповидность металлочерепицы и профильного погонажа не должна превышать 1 мм на 1 м длины при длине листов до 6 м и 1,5 мм на 1 м длины при длине листов более 6 м. Общая серповидность не должна превышать произведения допускаемой серповидности на 1 м на длину профилированного листа в метрах.

Волнистость на отгибах крайних полок металлочерепицы и профильного погонажа не должна превышать - 3 мм.

Косина резов профилированных листов не должна выводить длину листов за нормальный размер и предельное отклонение по длине.

В комплект поставки должны входить:

- профилированные листы одного типоразмера, материала исходной заготовки, вида лакокрасочного покрытия;

- документ на отгружаемую продукцию.

Профильный погонаж комплектуется согласно заказ - наряду потребителя.

Маркировку металлочерепицы и профильного погонажа наносят на ярлык, который крепят к пакету.

Маркировка должна содержать:

- наименование или товарный знак предприятия-изготовителя;

- условное обозначение профилированного листа;

- длину и количество листов в пакете;

- теоретическую массу пакета;

- номер пакета и партии;

- клеймо технического контроля предприятия-изготовителя.

Упаковка металлочерепицы и профильного погонажа производят по ГОСТ 7566-94 и чертежам предприятия-изготовителя, утвержденным в установленном порядке.

Упаковка должна обеспечить сохранность металлочерепицы и профильного погонажа и защитного покрытия от механических повреждений, а также от смещения листов в пакете относительно друг друга.

Правила приемки, в том числе требования к документу о качестве металлочерепицы, требования к транспортированию и хранению - по ГОСТ 24045-94.

Предприятие-изготовитель должно гарантировать соответствие профилей требованиям данных технических условий при соблюдении потребителем условий транспортирования и хранения.

Гарантийный срок - 12 месяцев с момента отгрузки с предприятия-изготовителя.

ТУ 5285-001-18219851-96 Профили стальные гнутые с волнистой и трапециевидной формой гофра для ограждающих конструкций (ЗАО «Раннила Талдом»)

Данные технические условия распространяются на стальные оцинкованные, а также оцинкованные с защитно-декоративными лакокрасочными и полимерными покрытиями, холодногнутые листовые профили с волнистой и трапециевидной формами гофры (далее листы профилированные), предназначенные для обшивки наружных и внутренних поверхностей стен и кровли зданий с неагрессивной и слабоагрессивной степенью воздействия газовой среды, при температуре наружного воздуха от минус 55 °С до плюс 40 °С, температуре внутреннего воздуха плюс 18 °С и относительной влажности воздуха внутри помещения не более 70 %.

По назначению листы профилированные подразделяются на виды:

- для стенового внутреннего и наружного ограждения - С20;

- для наружного кровельного ограждения - Н45 (где 20 и 45 - высота гофра в мм);

- трапециевидные профили для стен и кровель RAN 20;

- волнистые листы с имитацией элементов черепицы Монтеррей.

Трапециевидные профили для стен и кровель RAN 20 в свою очередь подразделяются на:

- RAN 20A - профиль, рекомендуемый для стен;

- RAN 20B и RAN 20R - профили, рекомендуемые для кровельного покрытия.

Для изготовления листов профилированных используются следующие исходные материалы:

- сталь тонколистовая оцинкованная ОЦ по ГОСТ 14918-80* и ТУ 14-1-3564-83;

- сталь тонколистовая оцинкованная с повышенной прочностью покрытия ОЦП по ГОСТ 14918-80* и ТУ 14-1-3432-82;

- прокат тонколистовой холоднокатанный электролитически оцинкованный ЭОЦ по ТУ 14-1-4766-90;

- прокат тонколистовой холоднокатанный электролитически оцинкованный с односторонним ЭОЦП и с двухсторонним ЭОЦП и полимерным покрытием по ТУ 14-1-4695-88;

- прокат с лакокрасочным покрытием холоднокатанной полосы ЛКП; прокат с лакокрасочным покрытием горячеоцинкованной полосы ЛКПОЦ; прокат с органозолевым покрытием холоднокатанной полосы ОЗП; прокат с органозолевым покрытием холоднокатанной горячеоцинкованной полосы ОЗПОЦ; прокат с пластизолевым покрытием холоднокатанной полосы; прокат с пластизолевым покрытием холоднокатанной горячеоцинкованной полосы по ТУ 14-1-4792-90;

- прокат тонколистовой холоднокатанный с алюмоцинковым покрытием АЛЦ по ТУ 14-11-247-94;

- прокат тонколистовой холоднокатанный алюминированный АЛ по ТУ 14-11-236-88;

- прокат тонколистовой горячеоцинкованный холоднокатанный, поставляемый по импорту, с пластмассовыми пластизолевыми покрытиями PVC-200 и PVC-100, покрытиями PVF2, Акрил, Полиэстер, матовый полиэстер (ПЕМА), Pural (для наружного применения предназначены покрытия PVF2, Пластизоль, ПЕМА, Пурал).

Профилированный лист типа Н45

Обозначение профилированного листа

Размеры в мм

h

в

S

В

b1

b2

I

t

а

К-во гофров

Н45-900-0,7

Н45-900-0,8

45

900

0,7

970

60

30

20

150

35

6

0,8

Профилированный лист Монтеррей

Предельные отклонения размеров профилированных листов не должны превышать: по высоте … ±1,0 мм; по ширине … ±5,0 мм; по длине … ±5,0 мм.

Предельные отклонения профилированных листов по толщине должны соответствовать предельным отклонениям по толщине исходной заготовки. Предельные отклонения не распространяются на отклонения по толщине в местах изгиба.

Шаг, ширина, высота и радиусы кривизны гофров обеспечиваются прокатными валками и на готовых профилированных листах не контролируются.

На полках профилированных листов и изгибах крайних полок волнистость не должна превышать 1,5 мм на 1 п/м.

Серповидность профилированных листов не должна превышать 1,0 мм на 1 м длины.

Допуск неперпендикулярности кромок профилированного листа не должен превышать 3,0 мм на ширину листа.

Длины профилированных листов изготавливаются по требованию заказчика, но длина одного листа не может превышать 12 метров.

Условное обозначение профилированного листа должно включать: тип назначения; ширину профиля (расстояние между осями симметрии крайних гофров); толщину профиля (материала исходной заготовки); тип защитно-декоративного покрытия и цвет в случае окраски, (маркировка цветов по каталогу Раутаруукки); номер настоящих технических условий.

Примеры условного обозначения при заказе:

- профилированного листа для наружного ограждения кровли шириной 900 мм, толщиной исходной заготовки 0,6 мм с алюмоцинковым покрытием тонколистового холоднокатанного проката: профилированный лист Н45-900-0,6 АЛЦ ТУ 5285-001-18219851-96

- профилированного листа RAN 20A шириной 1090 мм, толщиной 0,5 мм, с покрытием PVC 200 цвета RR32 (темно-коричневый) с пластизолевым покрытием толщиной 200 мкм (PVC 200): профилированный лист RAN 20A-1090-0,5 PVC 200 (RR 32) ТУ 5285-001-18219851-96

- профилированного листа RAN 20R шириной 1090 мм, толщиной 0,5 мм, оцинкованного: профилированный лист RAN 20R-1090-0,5 ОЦ ТУ 5285-001-18219851-96

- профилированного листа с волнистой формой гофра, имитирующего черепицу для наружного ограждения кровли, шириной 1100 мм, толщиной исходной заготовки 0,5 мм, с пластизолевым покрытием толщиной 200 мкм (PVC 200), темно-красного: профилированный лист «Монтеррей» 1100-0,5 PVC 200 (RR 29) ТУ 5285-001-18219851-96

Профилированные листы должны соответствовать требованиям данных технических условий и изготавливаться из тонколистового проката, согласно вышеприведенной таблице. Марка и свойства оцинкованной стали, а также качество цинкового и защитно-декоративных покрытий должны быть удостоверены документом о качестве (сертификатом предприятия, фирмы-изготовителя) заготовки.

Микротрещины в защитно-декоративном покрытии в местах изгиба не допускаются.

На поверхности цинкового, лакокрасочного или полимерного покрытия допускаются потертости, риски или следы формообразующих валков, не нарушающие сплошности покрытия.

В комплект поставки должны входить профилированные листы одного профиля (марки), упаковка (по требованию заказчика), этикетка на основании наряд-заказа.

Маркировка должна наноситься на этикетку, которая прочно крепится к пакету с профилированными листами.

Маркировка должна содержать:

- наименование предприятия-изготовителя или его товарный знак;

- условное обозначение профилированного листа;

- длину и количество профилированных листов в пакете;

- массу пакета без упаковки;

- дату изготовления;

- штамп технического контроля предприятия-изготовителя или оператора.

Профилированные листы должны быть упакованы в пакеты массой не превышающей 80 кг при ручной и 5000 кг при механизированной погрузке.

Упаковка должна выполняться в зависимости от требований покупателя (типы упаковки приведены в приложение 5 к данным техническим условиям).

Упаковка должна обеспечивать сохранность профилированных листов при погрузочно-разгрузочных работах и транспортировании автомобильным или железнодорожным транспортом.

Пакеты при транспортировании, хранении и размещении в несколько ярусов должны прокладываться деревянными прокладками толщиной не менее 50 мм, шириной не менее 130 мм и длиной больше габаритного размера пакета по ширине на 100 мм.

Пакеты с профилированными листами могут размещаться в деревянной таре.

Хранение профилированных листов должно соответствовать условиям по ГОСТ 15150-69*, исключающим совместное нахождение с химически активными веществами.

Изготовитель должен гарантировать (в документе о качестве) соответствие профилированных листов требованиям данных технических условий при соблюдении потребителем условий транспортирования, хранения и эксплуатации.

Гарантийный срок эксплуатации профилированных листов, установленный данными техническими условиями:

2 года с момента ввода в эксплуатацию - для листов из отечественного проката с лакокрасочными и полимерными покрытиями;

10 лет - для листов из импортного проката с полимерными покрытиями.

Гарантийный срок хранения оцинкованных профилированных листов - 12 месяцев со дня изготовления.

ТУ 1122-082-02494680-98 Профили стальные листовые гнутые для обшивок и настилов с безметизными соединениями в «двойной фальц» (АО «Эксергия»)

Данные технические условия распространяются на стальные холодногнутые листовые профили с краевыми отгибами высотой 25 мм (именуемые далее - профилированные листы), изготовляемые на профилегибочных станах и предназначенные для обшивок стен и настилов покрытий с безметизными продольными соединениями профилей между собой с помощью «двойного фальца».

Область применения профилированных листов и способы их защиты от коррозии принимаются в зависимости от степени агрессивного воздействия среды в соответствии со СНиП 2.03.11-85.

Условное обозначение профилированного листа должно включать: тип профилированного листа, размеры сечения (высота отгибов на продольных краях, монтажная ширина, толщина заготовки), обозначение материала исходной заготовки, обозначение лакокрасочного покрытия листа по поверхностям С и Д, обозначение данных технических условий.

Пример условного обозначения профилированного листа типа ПГФ с краевыми отгибами высотой 25 мм, монтажной шириной 500 мм из оцинкованной стали толщиной 0,6 мм, имеющего лакокрасочное покрытие эмалью МЛ-1202 по поверхности С и лакокрасочное покрытие эмалью ГФ-2107 по поверхности Д:

ПГФ 25-500-0,6 ОЦ МЛ-1202Ф-2107 ТУ 1122-082-02494680-98

То же, без лакокрасочного покрытия:

ПГФ 25-500-0,6 ОЦ ТУ 1122-082-02494680-98

Для изготовления профильных листов должны применяться следующие материалы:

- сталь тонколистовая оцинкованная ОЦ с непрерывных линий по ГОСТ 14918-80* первого класса толщины цинкового покрытия, групп ХП и ПК, нормальной точности прокатки по толщине БТ и ширине БН, нормальной плоскостности ПН с обрезной кромкой О по ГОСТ 19904-90;

- тонколистовая сталь, получаемая по импорту и имеющая показатели качества, соответствующие требованиям существующих отечественных нормативных документов;

Профили гнутые из тонколистовой стали

- прокат тонколистовой холоднокатанный в листах и рулонах с алюмоцинковым покрытием АЛЦ по ТУ 14-11-247-94;

- прокат тонколистовой холоднокатанный в листах и рулонах алюминированный АЛ по ТУ 14-11-236-88;

- рулонная тонколистовая холоднокатанная электролитически оцинкованная сталь с односторонним ЭОЦП и с двухсторонним ЭОЦПп полимерным покрытием по ТУ 14-1-4695-88;

- горячеоцинкованная сталь марки 08пс по ТУ 14-1-4792-90.

Для изготовления профилированных листов должны использоваться листовая или рулонная сталь шириной 600 мм и толщиной 0,55; 0,6; 0,7 и 0,8 мм (без учета толщины защитного покрытия). Размеры, предельные отклонения и другие требования к исходной заготовке - в соответствии с требованиями ГОСТ 19904-90.

Профилированные листы с лакокрасочными покрытиями должны изготовляться из проката с защитно-декоративными лакокрасочными покрытиями по ГОСТ 30246-94.

Материал лакокрасочного покрытия, его толщина и цвет должны соответствовать ГОСТ 30246-94 и устанавливаться по согласованию изготовителя с потребителем.

На поверхности защитного покрытия допускаются потертости, риски или следы формообразующих валков, не нарушающие сплошности покрытия.

Предельные отклонения размеров профилированных листов не должны превышать величин, указанных в нижеследующей таблице.

Толщина листа

Предельные отклонения, мм

по высоте

по ширине

по длине

0,55 ÷ 0,8

+2

±5

+10

Примечания: 1. По согласованию с потребителем отклонения по длине выше указанного в таблице предела браковочным признаком не являются.

2. Размеры мелкого гофра и радиусы кривизны в местах гибов на готовых профилях не контролируются.

Изменение ширины узких полок по длине профиля допускается не более, чем на 2 мм.

Серповидность профилированных листов не должна превышать 4 мм на 1 м их длины. Общая серповидность профилированных листов не должна превышать произведения его общей длины в м на допускаемую серповидность на 1 м длины листа.

Волнистость на плоских участках профилированных листов не должна превышать 2 мм, на отгибах - не более 3 мм.

Косина резов профилированных листов не должна выводить их длину за номинальный размер с учетом предельного отклонения по длине.

В комплект поставки должны входить:

- профилированные листы одного типоразмера, материала исходной заготовки, вида защитного покрытия;

- кляммеры из оцинкованной листовой стали толщиной не менее толщины исходного материала или 0,8 мм;

- документ на отгружаемую продукцию.

Документ о качестве, сопровождающий каждую партию отгружаемой продукции должен содержать:

- наименование или товарный знак предприятия-изготовителя;

- наименование потребителя;

- номер заказа;

- номер партии;

- условное обозначение профилированных листов;

- данные о количестве и номера пакетов с указанием теоретической массы каждого пакета;

- данные об общей теоретической массе профилированных листов в партии;

- штамп технического контроля предприятия-изготовителя.

Маркировка должна наноситься на ярлык, который прочно крепится к пакету с профилированными листами.

Маркировка должна содержать: наименование или товарный знак предприятия-изготовителя; условное обозначение профилированных листов и типа кляммеров; длину и количество профилированных листов в пакете; теоретическую массу пакета; номер пакета и партии; клеймо технического контроля предприятия-изготовителя.

Упаковка должна производиться по чертежам предприятия-изготовителя, утвержденным в установленном порядке. Упаковка должна обеспечивать сохранность профилированных листов и защитного покрытия от механических повреждений, а также от смещения листов в пакете относительно друг друга.

Профилированные листы транспортируют транспортом всех видов в соответствии с правилами перевозок и условиями погрузки и крепления грузов, действующими на транспорте данного вида.

Пакеты при транспортировании и хранении должны быть уложены на деревянные подкладки, расположенные не реже, чем через 2 м и имеющие одинаковую толщину не менее 50 мм, ширину не менее 150 мм и длину, превышающую габаритный размер пакета не менее, чем на 100 мм.

Пакеты при транспортировании должны быть закреплены и надежно предохранены от перемещения.

При транспортировании и хранении профилированных листов в пакетах, размещенных в несколько ярусов, должны быть предусмотрены стеллажи, препятствующие повреждению листов.

Выгрузка пакетов вручную и подача листов к месту монтажа волоком запрещается.

Технические требования

Устройство кровельных покрытий из листовой стали, меди, металлочерепицы и металлического профнастила следует осуществлять в соответствии с требованиями СНиП 3.04.01-87, СНиП 3.01.01-85*, проекта, ППР, технологических карт, схем операционного контроля качества, инструкций и руководств по применению кровельных материалов заводов-изготовителей и проектных организаций, другой технологической документации, утвержденной в установленном порядке.

Для устройства кровли из листовой стали, меди, металлочерепицы и металлического профнастила должны применяться материалы и изделия заводского производства, отвечающие требованиям действующих стандартов или технических условий и имеющие сертификат соответствия, а в необходимых случаях техническое свидетельство Госстроя России, подтверждающее пригодность материалов для их применения в строительстве.

Кровельные работы должны осуществлять строительно-монтажные организации, получившие лицензию на выполнение строительно-монтажных работ (работы по защите конструкций и оборудования) в Федеральных или региональных лицензионных органах.

Кровельные работы должны выполняться квалифицированным персоналом, прошедшим специальную подготовку и обладающим надлежащими навыками по выполнению кровельных работ.

При производстве работ по устройству кровельных покрытий должно быть обеспечено соблюдение требований проекта, строительных норм и правил.

Производству работ по устройству кровельных покрытий должны предшествовать:

- завершение и надлежащее оформление всех предусмотренных проектом предшествующих работ;

- разработка проекта производства работ по устройству кровель, разработка технологической карты и схемы операционного контроля качества на выполнение кровельных работ (с использованием соответствующей типовой документации);

- входной контроль проектно-сметной документации и кровельных материалов;

- изучение инженерно-техническим персоналом проектной и технологической документации, обучение мастеров и рабочих передовым методам труда.

При входном контроле рабочей документации должна производиться проверка ее комплектности и достаточности содержащейся в ней технической информации для производства работ.

Входной контроль кровельных материалов должен производиться в соответствии с требованиями стандартов и технических условий на материалы в порядке, предусмотренном технологической картой или другой технологической документацией, утвержденной в установленном порядке. До поступления на строительную площадку должны быть произведены все требуемые испытания материалов на соответствие их требованиям проекта, стандартов и технических условий. По истечении гарантийного срока хранения кровельные материалы перед применением также должны быть проверены на соответствие их требованиям стандартов и технических условий.

На строительной площадке в процессе входного контроля необходимо:

проверить наличие документов о качестве и полноту содержащихся в них данных;

по имеющимся документам о качестве и маркировке (этикеткам, ярлыкам, штампам) убедиться в соответствии поступивших кровельных материалов требованиям проекта;

путем внешнего осмотра проверить целостность упаковки и отсутствие на материалах недопустимых дефектов внешнего вида (в поставленных материалах не допускаются: отслоение покрытия от поверхности листа; растрескивание или откалывание покрытия; неравномерное, сильное изменение цвета покрытия, а также механические повреждения листов, связанные с нарушением условий транспортирования и хранения материалов);

в соответствии с требованиями ППР и технологической карты провести необходимые испытания материалов на соответствие их требованиям нормативной документации (до поступления их в производство работ и после истечения гарантийных сроков хранения);

при возникновении каких-либо сомнений в качестве поступивших материалов должны быть вызваны представители строительной лаборатории или функциональных служб, ответственных за поставку кровельных материалов.

Кровельные работы должны выполняться по утвержденному проекту производства работ (ППР).

Запрещается осуществление строительно-монтажных работ без утвержденного проекта производства работ. Не допускаются отступления от решений проектов производства работ без согласования с организациями, разработавшими и утвердившими их.

Замена предусмотренных проектом кровельных материалов и изделий допускается только по согласованию с проектной организацией и заказчиком.

Кровли из листовой стали рекомендуется преимущественно применять в малоэтажных жилых зданиях, особенно при сложном профиле крыши.

Уклон кровли из листовой стали и меди должен быть не менее 30 %.

Кровли из металлического профнастила рекомендуется применять в зданиях производственного назначения, а из металлочерепицы - в гражданских зданиях при наиболее простом профиле крыши.

Уклон кровли из металлического профнастила и металлочерепицы должен быть не менее 10 %.

Уклон кровли из листовой стали и меди, а также из металлического профнастила и металлочерепицы в ендове должен быть не менее 1 %.

Для кровель из листовой стали должна применяться оцинкованная сталь толщиной не менее 0,4 мм, а для кровли из меди - листы толщиной не менее 0,3 мм.

Металлический профнастил для кровель должен иметь высоту гофра не менее 44 мм.

Кровельные работы по СНиП 3.04.01-87 допускается выполнять при температуре окружающего воздуха от минус 30° до плюс 60 °С и при отсутствии снегопада, гололеда и дождя.

Согласно рекомендаций АО ЦНИИПромзданий работы по устройству кровель следует производить при температуре наружного воздуха до минус 20 °С и при отсутствии снегопада, гололеда и дождя.

До начала работ по устройству кровельных покрытий должны быть выполнены и освидетельствованы все предусмотренные проектом предшествующие работы.

Устройство каждого элемента кровли следует выполнять после проверки правильности выполнения соответствующего нижележащего элемента с составлением акта освидетельствования скрытых работ. Акт освидетельствования скрытых работ предъявляется заказчику при приемке кровельного покрытия.

Устройство кровли из листовой стали и меди

Основанием под кровлю из листовой стали является деревянная обрешетка, которую рекомендуется выполнять по проекту из брусков сечением 50×50 и досок 50×120 или 50×140 мм, расположенных на проектном расстоянии друг от друга.

Несущая и деформативная способность обрешетки должна быть проверена проектировщиками расчетом по действующим нормативным документам.

Устройство обрешетки должно производиться в направлении от карниза к коньку.

Карнизный свес крыши по всему периметру следует выполнять в виде сплошного дощатого настила шириной не менее 700 мм, а далее следует размещать параллельно свесу бруски обрешетки с шагом не более 200 мм. При этом четыре бруска обрешетки должны чередоваться с доской, на которой располагают лежачие фальцы стыкуемых картин.

В разжелобках и ендовах обрешетку следует выполнять в виде сплошного дощатого покрытия шириной до 800 мм на каждом скате.

Вдоль конька кровли следует укладывать две сходящиеся кромками доски, которые служат опорой для конькового стыка.

При устройстве деревянного основания (обрешетки) под кровли необходимо соблюдать следующие требования:

- отклонение от проектного уклона не должно превышать 5 %;

- обрешетка должна быть ровной, прочной, жесткой, без выступов и углублений; неровности на длине 1 м поверхности основания вдоль ската не должны превышать 5 мм, поперек ската - 10 мм;

- расстояния между элементами обрешетки (шаг брусков обрешетки) должны соответствовать проектным; стыки обрешетки следует располагать вразбежку;

- в местах покрытий свесов крыши (по всему периметру), разжелобков и ендов основания должны быть устроены из досок (сплошными).

При проверке и приемке оснований (обрешетки) проверяют: качество обрешетки (жесткость, отсутствие просветов сверх допустимых размеров), уклон обрешетки, совпадение осей досок обрешетки с местами расположения лежачих фальцев стыкуемых картин.

Проверка правильности выполнения основания и соответствия его требованиям проекта и нормативных документов завершается составлением акта освидетельствования скрытых работ.

Устройство кровли из листовой стали и меди включает следующие операции:

- покрытие карнизных свесов;

- укладку настенных желобов;

- устройство рядового покрытия (покрытие скатов крыши);

- покрытие разжелобков.

Устройство карнизного свеса должно начинаться с установки штырей со скобами и Т-образных костылей.

Штыри со скобами предназначены для крепления водосточных воронок наружного организованного водоотвода, предусмотренного для кровель из листовой стали, меди, металлочерепицы и металлического профнастила.

При наружном организованном водоотводе расстояние между водосточными воронками (трубами) должно быть не более 24 м; площадь поперечного сечения водосточной трубы должна приниматься из расчета 1,5 см2 на 1 м2 площади кровли. Настенные и подвесные желоба должны иметь продольный уклон не менее 2 %.

Штыри следует располагать по осям водоприемных воронок, а костыли, предназначенные для поддержания «картин» из листовой стали, - с шагом 700 мм. Костыли врезаются в настил (согласно проекту) с выносом (свесом) на 120 мм за его грань.

Костыли изготавливают из полосовой стали толщиной 5 - 6 мм, шириной 25 - 35 мм и длиной 450 мм. В каждом костыле должно быть предусмотрено три отверстия, в два из которых забивают гвозди для крепления костылей к обрешетке, третье, запасное, используется только в том случае, если одно из отверстий совпадает со щелью между досками обрешетки.

Расстояние между штырем и костылем не должно превышать 400 мм. Поперечные планки костылей должны отстоять от свеса дощатого настила на 120 мм. Все костыли должны быть уложены с одинаковым свесом, поэтому сначала прибивают два крайних костыля, между которыми натягивают шнур, по которому определяют положение всех промежуточных костылей.

Поверх костылей с плотным огибанием их Т-образных выступов укладывают заранее поданные на крышу карнизные «картины». Укладку «картин» на костыли следует производить, начиная от осей водосточных воронок или в обе стороны от водораздела. На крыше «картины» соединяют сначала для одной половины свеса между воронками, потом - для другой.

Картины карнизного свеса соединяют между собой одинарным лежачим фальцем, на водоразделе и при стыковании у воронки картины карнизного свеса должны быть соединены двойным лежачим фальцем. Вдоль верхней кромки картины карнизного свеса закрепляют к дощатому настилу гвоздями - по три на каждый лист. Шляпки гвоздей в дальнейшем закрывают настенным желобом.

По окончании покрытия карнизных свесов производят укладку настенных желобов. Настенные желоба должны иметь продольный уклон не менее 2 %. Работу по укладке настенных желобов начинают с установки крючьев, которые размещают по линии, намеченной для укладки желобов и отбитой намеленным шнуром. Крючья устанавливаются поверх карнизных картин. У воронок и на водоразделе должны быть установлены маячные крючья, а между ними на расстоянии 670 ÷ 730 мм - остальные. Крючья следует располагать перпендикулярно к линии настенных желобов и прибивать двумя или тремя (по проекту) гвоздями к обрешетке.


Покрытие карнизного свеса

1 - карнизный штырь со скобой; 2 - дощатый настил; 3 - Т-образный костыль; 4 - гвоздь 3,5×45 мм


Сборку картин желобов следует производить в направлении от водоприемных воронок к водоразделу. При этом борта желобов должны соединяться между собой внахлестку с учетом направления стока воды, а верхняя кромка картин на карнизе должна быть расположена выше верха борта желоба.

Устройство настенного желоба

I Крепление верхней кромки картин кляммерами (при устройстве кровли из асбестоцементных волнистых листов, черепицы и рулонных материалов)

1 - штырь со скобой; 2 - водоприемная воронка; 3 - лоток; 4 - настил желобка, 5 - стропильная нога; 6 - карнизный настил; 7 - обрешетина; 8 - картина настенного желоба; 9, 13 - гвозди; 10 - костыль; 11 - крюк для желоба; 12 - картина карнизного свеса; 14 - кляммера

На водоразделе и при стыковании у воронки картины должны быть соединены двойным лежачим фальцем, а борта желобов на крючьях - саморезами. Верхнюю продольную кромку настенных желобов следует соединять с картинами рядового покрытия одинарным лежачим фальцем (при устройстве кровли из асбестоцементных волнистых листов, черепицы и рулонных материалов кромка крепится к настилу кляммерами).

Лоток должен устанавливаться по оси водоприемного участка с таким расчетом, чтобы его хвостовой отворот находился под концами соединяемых настенных желобов. Борта лотков и желобов соединяют угловыми фальцами, отгибаемыми на внутренние плоскости лотковых бортов.

При использовании подвесных желобов они должны быть расположены с таким расчетом, чтобы стекающая со ската вода не переливалась через его передний борт.

Подвесные желоба должны иметь продольный уклон не менее 2 %.

Расстояние между водосточными трубами должно быть не более 24 м; площадь поперечного сечения водосточной трубы должна приниматься из расчета 1,5 см2 на 1 м2 площади кровли.

При устройстве подвесных желобов у воронок и на водоразделе должны быть установлены две крайние (маячные) скобы, а затем по шнуру между ними на расстоянии 670 ÷ 730 мм - остальные.

Перед установкой лотковых скоб по уровню должна быть проверена горизонтальность передней кромки.

Желоб следует закреплять к лотковым скобам кляммерами.

Во избежание повреждения желоба от температурных деформаций в нем должны быть предусмотрены компенсаторы или подвижные швы.

Компенсаторы выполняют в виде водоприемной воронки, в которую с двух сторон входят свободно уложенные концы подвесных желобов.

Подвижной шов должен предусматриваться в точке наивысшего подъема желобов, где концевые торцы желобов заделывают жестяными заглушками, между которыми оставляют зазор в 30 - 40 мм для температурного расширения желобов. Оба конца желобов закрывают сверху жестяной крышкой (на два ската), по которой вода стекает в концы желобов.

Водоприемные воронки могут быть выполнены круглой или прямоугольной формы с одним или двумя отверстиями для ввода желобов. Воронка должна закрепляться к карнизу стандартным штырем с обжимным хомутом.

По окончании работ по укладке настенных желобов производят покрытие скатов кровли.

Для рядового покрытия скатов крыши, также как и для покрытия карнизных свесов, разжелобков и т.д. должны использоваться предварительно подготовленные картины.

Рядовое покрытие ската

а - укладка рядовых полос; б - примыкание ската к стене; в - коньковый стоячий фальц; г - крепление фронтонного края рядовой полосы; 1 - картина в рядовой полосе; 2 - одинарный лежачий фальц; 3 - одинарный стоячий фальц; 4 - коньковый стоячий фальц; 5 - доска; 6 - брусок; 7 - фартук; 8 - закладной брусок; 9 - толевой гвоздь; 10 - цементно-песчаный раствор; 11 - фронтонная кляммера; 12 - кровельный гвоздь.

Картины могут изготовляться из проката в листах и рулонах, с цинковым покрытием и с защитно-декоративными покрытиями.

Картины из проката в листах могут быть одинарными и двойными (из двух листов, соединенных по коротким сторонам). Картины из рулонной стали могут быть длиной от 3 до 12 м, могут быть с мелким профилем и без него.

Для устройства кровли должны применяться картины заводского производства, которые должны выпускаться по утвержденным в установленном порядке техническим условиям, должны отвечать требованиям этих технических условий и должны иметь документ о качестве установленной формы.

В процессе изготовления картин производится отгиб кромок листа с четырех сторон для последующего соединения их фальцами.

Кровельные листы обычно соединяют между собой по короткой стороне листа лежачим фальцем, а по длинной - стоячим.

Виды фальцев

При покрытии скатов кровли стоячие фальцевые соединения располагаются по скату, а лежачие - поперек (параллельно коньку кровли), что не препятствует стоку воды со скатов.

При уклонах кровли менее 60 % лежачие фальцевые соединения в кровлях из листовой стали и меди должны быть выполнены двойными и загерметизированы (суриковой замазкой, пропайкой или другими способами по проекту).

Величину отгиба картин для устройства лежачего фальца следует принимать 15 мм, для устройства стоячего фальца отгиб накрывающей кромки должен составлять 35 мм, отгиб накрываемой кромки - 20 мм (если другие размеры не обоснованы проектом).

В зависимости от формы крыши рядовое покрытие выполняют в следующей последовательности: на фронтонных крышах первую полосу картин следует располагать вдоль фронтона или противопожарной стены, а при вальмовых, полувальмовых и многощипцовых - от края их коньков.

Фронтонный свес должен свисать с обрешетки на 40 - 50 мм. Фронтонные свесы монументальных зданий должны закрепляться на костылях с устройством отворотных лент с капельниками.

Крепление фронтонного свеса к обрешетке выполняют с помощью концевых фронтонных кляммер, устанавливаемых через 200 - 400 мм. Фронтонные кляммеры одним концом прибивают к торцам брусков обрешетки, а второй конец вместе с отгибом рядовой полосы загибают в виде двойного стоячего фальца.

Картины рядового покрытия раскладывают полосами по скату кровли в направлении от конька к карнизному желобу. Картины в каждой полосе соединяют друг с другом лежачим фальцем. Укладку рядовых полос на скате проводят выше конька на 50 - 60 мм. Этот выпуск используется затем для образования конькового фальца. Листы противоположных скатов, стыкуемые в коньковом фальце, должны укладываться со смещением не менее 50 мм относительно друг друга. Уложенные листы временно прикрепляют у конька к обрешетке гвоздями (за край отогнутой кромки гребня).

Вдоль собранной из картин полосы к боковой стороне обрешетки прибивают кляммеры на расстоянии 600 мм друг от друга (по проекту). Соседнюю полосу картин укладывают таким образом, чтобы отогнутая большая кромка первой полосы примыкала к малой отогнутой кромке второй полосы, а соседние лежачие фальцевые соединения были смещены относительно друг друга на расстояние не менее 50 мм. Кляммеры пропускают между загнутыми кромками соседних картин.

Для плотного соединения кровли к обрешетке соседние полосы картин соединяют сначала стоячим фальцем лишь у кляммер. При загибе высокой кромки на низкую (формировании стоячего фальца) загибается также и кляммера, благодаря чему соединяемые фальцем картины прижимаются к обрешетке.

Схема соединения картин с обрешеткой кляммерами

(последовательность операций соединения - а, б, в, г, д)

После соединения картин с обрешеткой картины соединяют между собой стоячим фальцем на всем протяжении стыка.

Вслед за покрытием скатов кровли (рядового покрытия) производят покрытие разжелобков. Разжелобки покрывают отдельными картинами или предварительно соединенными в мастерской картинами. Первый лист вырезают по форме конька, а последний, примыкающий к желобу - по месту. Длинными сторонами картины соединяют между собой лежачим фальцем, который при уклонах кровли менее 60 % должен быть выполнен двойным и загерметизирован. Двойным фальцем соединяют также разжелобок с настенными желобами. Короткими сторонами (продольными кромками) разжелобки устанавливают под края рядового покрытия, которые затем обрезают по границам разжелобка. Края разжелобка соединяют с краями рядового покрытия лежачим фальцем, отогнутым в сторону разжелобка. Лежачий фальц у лотка и конька должен быть выполнен двойным. К обрешетке кромки разжелобка и рядового покрытия должны крепиться кляммерами, размещаемыми на расстоянии 500 мм друг от друга.

Во избежание разрушения от температурных деформаций длина корытообразных желобов из оцинкованной стали, устанавливаемых в местах ендов, не должна превышать 6 м.

Кляммеры для крепления листовой стали к обрешетке должны быть оцинкованными.

Двойные лежачие фальцевые соединения должны быть в соответствии с требованиями проекта загерметизированы. В качестве герметизирующих материалов применяют: суриковую замазку (%, по массе: молотый мел - 57, натуральная олифа - 29, тертый сурик -14), герметик силиконовый однокомпонентный «Эластосил 137-83», тиоколовые мастики КБ-0,5 (ТУ 84-246-85) и КБ-0,5С (ТУ 2513-029-32478306-99), герметик Тиксопрол-АМ марки 05 (ТУ 5712-004-18009705-95), акриловый герметик Агер (ТУ 5772-002-44470468-99), герметик текучий строительного назначения Гертекс (ТУ 5770-006-04002214-2000), герметики компании «Макрофлекс» Makrofix Bitumen и Makrofix PU40, силиконовые герметики Chemlux 9016 и 9018, пенополиуретановые герметики Chemlux 9712 и 9714 (Финляндия), герметик силиконовый Stsrecha фирмы Kvadro (Чехия) и др.

Устройство кровли из металлочерепицы

Основанием под кровлю из металлочерепицы является обрешетка из досок сечением 32×100 мм, располагаемых с шагом, равным ширине поперечного шага гофра (размеру поперечной волны). Этот шаг колеблется в пределах 300 - 400 мм: для профиля Каскад - 300 мм; для профиля Монтеррей - 350 мм и для профиля Элит - 400 мм. При этом восходящая на карниз доска должна быть на 10 - 15 мм толще других (см. нижеприведенный рисунок).

Несущая и деформативная способность обрешетки должна быть проверена проектировщиками расчетом по действующим нормативным документам.

Устройство обрешетки должно производиться в направлении от карниза к коньку.

Разметка обрешетки (вариант без организованного водослива)

На кровлях из металлочерепицы должен предусматриваться наружный организованный водоотвод. При использовании карнизных свесов, настенных или подвесных желобов из стали карнизный свес крыши по всему периметру следует выполнять в виде сплошного дощатого настила шириной не менее 700 мм.

В разжелобках и ендовах обрешетку следует выполнять в виде сплошного дощатого покрытия шириной до 800 мм на каждом скате.

Вдоль конька кровли следует укладывать две сходящиеся кромками доски, которые служат опорой для конькового стыка.

Обрешетка должна устраиваться строго по проекту, учитывающему оптимальный с точки зрения расхода раскрой металлочерепицы для запроектированной кровли.

При устройстве деревянного основания (обрешетки) под кровли необходимо соблюдать следующие требования:

- отклонение от проектного уклона не должно превышать 5 %;

- обрешетка должна быть ровной, прочной, жесткой, без выступов и углублений; неровности на длине 1 м поверхности основания вдоль ската не должны превышать 5 мм, поперек ската - 10 мм;

- расстояния между элементами обрешетки (шаг брусков обрешетки) должны соответствовать проектным; стыки обрешетки следует располагать вразбежку;

- в местах покрытий свесов крыши (по всему периметру), разжелобков и ендов основания должны быть устроены из досок (сплошными).

Применение эффективных кровельных материалов, таких, как металлочерепица и металлические листовые материалы (оцинкованные, цинковые, медные) предполагает обязательное использование устройств для естественной вентиляции подкровельного пространства, необходимой в первую очередь для предотвращения конденсации влаги на металлических поверхностях, а затем - для защиты теплоизоляции от увлажнения.

В связи с этим проект кровельного покрытия должен предусматривать устройство надежной гидропароизоляции утеплителя, металлочерепицы и подкровельного пространства от водяных паров, содержащихся в теплом воздухе, и надежной вентиляции под кровельным покрытием за счет естественных потоков воздуха. При отсутствии такой защиты неизбежно выпадение конденсата на внутренней поверхности металлочерепицы, увлажнение теплоизоляции и, как следствие, снижение надежности и долговечности кровли.

Рекомендуемая конструкция кровли из металлочерепицы

а) с применением паронепроницаемых и антиконденсатных материалов

б) с применением супердиффузионных материалов

1. Металлочерепица 2. Обрешетка 3. Брусок 4. Паронепроницаемые или антиконденсатные материалы (вариант «а»); супердиффузионные материалы (вариант «б») 5. Теплоизоляция 6. Стропила 7. Паронепроницаемые материалы 8. Потолок

Для пароизоляции утеплителей рекомендуется использовать следующие материалы:

Ютафол Н и Ютафол Н АЛ компании «Юта» (JUTA, Чехия);

Elkatek 150S, Elbotek 350 (White и Alu) компании OY Eltete AB (Финляндия) и др.

Для подкровельной гидроизоляции рекомендуется использовать следующие материалы:

гидроизоляционные паронепроницаемые:

Elkatek 150S, Elbotek 350 (White и Alu) компании OY Eltete AB (Финляндия);

гидроизоляционные паронепроницаемые противоконденсатные:

Ютакон компании «Юта» (JUTA, Чехия);

Elkatek Extra, Elkatek Extra L, Elkatek Panssari компании OY Eltete AB (Финляндия);

Ranka Tak компании Rannila (Финляндия);

Руффлекс 150, Монарфол 250 (350/500) компании Monarfliex (Дания);

диффузионные материалы:

Ютафол Д (Д-90, Д-96, Д-110, Д-220) компании «Юта» (JUTA, Чехия);

Eltfoil 110D, Elwitek 4440, Elwitek 5550 компании OY Eltete AB (Финляндия);

Руффлекс 150 с перф. компании Monarfliex (Дания);

Unterspannband, Eurofol Q 140, Eurofol Q 210 компании Braas (Германия);

супердиффузионные:

Ютавек компании «Юта» (JUTA, Чехия);

Tyvek Soft, Tyvek Solid концерна Дю Понт;

Монарфлекс ВМ310 компании Monarfliex (Дания);

Divoroll Uni (Pro, Light, Top) компании Braas (Германия) и др.

Пароизоляционные материалы предназначены для образования паронепроницаемых барьеров на внутренней стороне теплоизолирующих слоев кровли. Они препятствуют конденсации влаги в теплоизолирующих слоях и тем самым сохраняют их теплоизоляционные свойства. Пароизоляционные материалы с дополнительным слоем алюминиевой фольги, обращенным во внутрь помещения, позволяют кроме того экономить немалую часть тепловой энергии, так как отражают ее внутрь здания. Для эффективного использования отражательной способности алюминиевого слоя необходимо создать между монтируемым материалом и потолком закрытый воздушный зазор, равный 4 - 6 см. В случае уменьшения зазора паронепроницаемость материала сохраняется, но способность отражения теплового излучения утрачивается.

Пароизоляционные материалы тем не менее пропускают часть водяных паров, которые поступают в теплоизоляцию. Теплоизоляция, в свою очередь пропускает в подкровельное пространство часть теплого воздуха, содержащего водяные пары. Кроме того, в подкровельное пространство всегда поступает определенное количество влаги с наружным воздухом, который нагревается от контакта с теплоизоляцией. В итоге в подкровельном пространстве всегда имеется в достаточном количестве влага, которая представляет опасность как для металлочерепицы (и других металлических кровельных материалов), так и для теплоизоляции. Для защиты кровельных материалов и теплоизоляции применяют различные материалы, приведенные выше.

Для гидроизоляции металлочерепицы (и других металлических кровельных материалов) рекомендуется применять гидроизоляционные паронепроницаемые противоконденсатные материалы (Ютакон компании «Юта» (JUTA, Чехия); Elkatek Extra, Elkatek Extra L, Elkatek Panssari компании OY Eltete AB (Финляндия); Ranka Tak компании Rannila) и др.).

Эти материалы оптимально приспособлены для защиты металлических кровельных материалов. Они снабжены противоконденсатным впитывающим слоем, что гарантирует впитывание влаги за считанные секунды. Однако их возможности не беспредельны, поэтому для удаления влаги необходимо обеспечить вентиляцию этих материалов. Вентиляционный зазор под этими материалами должен быть не менее 5 см.

Менее предпочтительны для защиты металлических кровельных материалов супердиффузионные материалы (Ютавек компании «Юта» (JUTA, Чехия); Tyvek Soft, Tyvek Solid концерна Дю Понт). Эти материалы, обладая супердиффузионными свойствами (свыше 1000 г пара на 1 м2 изделия за 24 ч), почти полностью пропускают через себя водяные пары, но не пропускают воду. Они решают проблему гидроизоляции утеплителя, они не требуют под собой вентиляционного зазора, т.е. укладываются непосредственно на утеплитель. Однако они не защищают металлические кровельные материалы от возможной конденсации влаги на ее поверхности из-за разности температур наружного воздуха и воздуха в подкровельном пространстве (в зимнее время, например, металлочерепица испытывает влаговую нагрузку круглосуточно). И защита эта может быть обеспечена только благодаря надежной вентиляции всего подкровельного пространства от карниза до конька.

Естественная вентиляция подкровельного пространства основана на перепаде давления воздуха у карниза, торца кровли и у конька. Она обеспечивается конструктивно благодаря запроектированным щелям у карниза, торцевым окошкам, вентиляционным решеткам, вентилируемой конструкцией конька. Она обеспечивается также вентиляционными зазорами, предусмотренными проектом, между кровельным покрытием, гидроизоляционным подкровельным материалом и утеплителем, т.е. обеспечивается соблюдением заданной технологии устройства кровли и качественным выполнением строительно-монтажных работ.

Установку гидроизоляционных паронепроницаемых противоконденсатных материалов рекомендуется начинать с окантовки ската и последующей укладкой материалов горизонтально непосредственно на стропила (параллельно карнизу). Материалы крепятся к стропилам скобами механического сшивателя или оцинкованными гвоздями с плоской головкой. Величина провисания материалов не должна превышать 20 мм. Величина нахлеста материалов определяется углом наклона кровли и должна быть не менее 100 мм. Для эффективной работы противоконденсатных материалов необходимо обеспечить вентиляционный зазор между ними и утеплителем не менее 50 мм.

После закрепления противоконденсатных материалов на стропилах к последним прибиваются бруски-контррейки сечением 50 ÷ 30 мм (по проекту), а по ним устанавливают обрешетку. Доски обрешетки прибивают к стропилам оцинкованными гвоздями. Благодаря контррейке образуется дополнительный вентиляционный зазор между противоконденсатным материалом и металлочерепицей, равный толщине контррейки.

С торца кровельное покрытие закрывается торцевой планкой (доской), которая должна быть выше обрешетки на высоту профильного листа (40 мм - для профиля Монтеррей, 60 мм - для профиля Элит, 45 мм - для профиля Каскад).

Монтаж листов металлочерепицы следует производить с торца на двускатной крыше и от самой высокой точки ската по обе стороны - на шатровой крыше. До начала монтажа листов необходимо тщательно измерить подготовленную конструкцию обрешетки и по полученным размерам рассчитать необходимое количество листов металлочерепицы.

В самом простом случае нужное количество листов легко рассчитать, разделив длину карниза на полезную ширину листа (полезная ширина листов: профиля Монтеррей - 1100; профиля Элит - 1025; профиля Каскад - 1050 мм).

Если на скат требуются листы разной длины, то эти длины должны быть кратными 350 мм для профиля Монтеррей, 400 мм - для профиля Элит и 300 мм - для профиля Каскад.

При расчете сложных крыш необходимо делать чертежи на миллиметровке и рассчитывать скат за скатом или прибегать к помощи компьютерных программ. Одна из таких программ RooftileRu OOО «Гэликон» приведена на странице Интернета по адресу http://www.rooftile.ru. Аналогичные программы используют продавцы металлочерепицы и производители, которые режут листы под размер, необходимый заказчику.

Величина нахлестки металлочерепицы поперек ската кровли - один гофр.

При монтаже листов металлочерепицы капиллярная канавка каждого листа должна быть накрыта последующим листом, кроме последнего листа, торец которого закрывается торцевой планкой. Капиллярная канавка находится у металлочерепицы профиля Монтеррей и Элит на волне левого края, а у профиля Каскад - на левом краю (у металлочерепицы других профилей местоположение капиллярной канавки должно быть приведено в инструкции по монтажу кровельного покрытия).

Монтаж листов металлочерепицы можно начинать с любого торца. В целях облегчения монтажа рекомендуется монтаж начинать с левого края. В этом случае следующий лист устанавливается под последнюю волну предыдущего листа.

На кровлях с организованным водоотводом с применением подвесных желобов края листов металлочерепицы должны быть выровнены по карнизу и установлены с выступом от карниза на 40 мм. Рекомендуется монтировать 3 - 4 листа с временным креплением каждого листа одним шурупом у конька после выравнивания нижних кромок относительно карниза и только затем крепить листы к обрешетке окончательно.

Крепление листов металлочерепицы следует осуществлять самонарезающими шурупами 4,8×28 мм с уплотнительной шайбой.

На каждый квадратный метр покрытия перпендикулярно к листам устанавливается 6 шурупов (если другие нормы не предусмотрены проектом или инструкцией по монтажу металлочерепицы), при этом:

вдоль карниза по краю лист крепится в каждом втором прогибе волны и на каждом поперечном нахлесте по верху каждой поперечной волны;

в рядовом покрытии каждый поперечный нахлест крепится по верху волны под каждой поперечной волной;

остальные крепления производятся в прогиб волны профиля под поперечной волной.

Продольный нахлест листов металлочерепицы должен составлять не менее 250 мм, крепление листов должно производиться в каждую вторую волну (если иные требования не обоснованы в проекте).

В местах ендов должен устанавливаться гладкий лист из оцинкованной стали шириной 1250 мм (по проекту), согнутый по середине на проектный угол. Лист должен устанавливаться по сплошной обрешетке, с обязательной герметизацией зазоров между ним и листами металлочерепицы специальной уплотнительной лентой по профилю металлочерепицы (уклон кровли в ендове должен быть не менее 1 %.). Во избежание разрушения листа от температурных деформаций его длина не должна превышать 6 м.

При наличии в проекте соответствующих требований ендова закрывается сверху декоративной планкой, которая крепится без уплотнительной ленты заклепками или шурупами по верху волны профиля с шагом 300 - 500 мм.

В местах разжелобков устанавливают готовые листы для разжелобков длиной 2 м. Листы устанавливают по сплошной обрешетке с нахлестом 150 мм (по проекту) с обязательной герметизацией швов.

Конек крыши должен закрываться коньковыми элементами после установки всех рядовых листов металлочерепицы и закрепления уплотнительной ленты. Коньковые элементы должны закрепляться шурупами на каждой второй профильной волне. Нахлест коньковых элементов (планок) не менее 100 мм (по проекту). Места нахлестки листов металлочерепицы при уклонах до 20 % должны быть герметизированы силиконовыми или тиоколовыми герметиками. Следует герметизировать также все зазоры между элементами сквозных выходов и кровельными листами.

Для заделки примыкания скатов кровли к стене используются специальные планки для стыков и швов длиной 2 м. Они крепятся в верхнюю точку волны металлочерепицы и к примыкающей стене. Нахлест планок по длине - не менее 100 мм. Дополнительное уплотнение примыкания осуществляется силиконовыми или тиоколовыми герметиками.

Монтаж элементов водосливной системы, снегозадержателей, лестниц, переходных мостиков и других элементов кровли следует производить в соответствии с требованиями проекта и инструкций производителей-поставщиков этих элементов.

Устройство кровли из металлического профнастила

Кровли из металлического профнастила рекомендуется применять в зданиях производственного назначения.

Уклон кровли из металлического профнастила должен быть в рядовом покрытии не менее 10 %, а в ендове - не менее 1 %.

Металлический профнастил для кровель должен иметь высоту гофра не менее 44 мм.

В качестве кровельных листов должны применяться профили стальные гнутые с трапециевидными гофрами для строительства по ГОСТ 24045-94 или другой профнастил, отвечающие требованиям стандартов или технических условий на эти материалы и имеющие сертификат соответствия. Зарубежные материалы, имеющие отечественный аналог, должны иметь сертификат соответствия, не имеющие - должны иметь Техническое свидетельство Минстроя России, подтверждающее пригодность продукции для ее применения в строительстве. Профнастил должен иметь цинковое, алюмоцинковое или алюминиевое покрытие заготовки и защитно-декоративное лакокрасочное покрытие.

Наиболее целесообразно кровлю из металлического профнастила применять в зданиях с длиной ската до 12 м.

При большей длине ската профнастил должен устанавливаться с нахлесткой вдоль ската на величину не менее 200 мм и поперек ската - на одну волну.

Карниз холодного покрытия из металлического профнастила

1. Стальной профилированный настил (кровельный); 2. Прогон покрытия; 3. Винт самонарезающий.

В утепленных покрытиях для разрывов «мостиков холода» между верхней полкой дистанционного прогона и профнастилом должны быть установлены прокладки из бакелизированной фанеры толщиной 10 мм, окрашенные пентофталевыми или хлорвиниловыми эмалями за два раза. В качестве противоветрового барьера рекомендуется использовать рулонные материалы Ютавек компании «Юта» (JUTA, Чехия) и Тайвек (Tyvek Soft, Tyvek Solid) концерна Дю Понт.

Крепление профнастила между собой и к прогонам следует выполнять самонарезающими винтами с уплотнительной шайбой из неопреновой резины толщиной 1 мм.

Продольные и поперечные стыки профнастила при уклонах до 20 % должны быть загерметизированы тиоколовыми или силиконовыми герметиками.

Примыкания кровли из металлического профнастила к стенам следует осуществлять с устройством фартуков из оцинкованной стали толщиной 0,8 мм, окрашенной с обеих сторон. Крепление фартуков к стене выполняется на заклепках, а между собой - одинарным лежачим фальцем. Коньковый и карнизный фасонные элементы, а также фартуки для отделки пропусков через кровлю должны иметь «гребенку» по форме поперечного сечения профиля металлического настила.

Контролируемые операции

Состав и средства контроля

Документация

Подготовительные работы

Проверить:

- завершение и надлежащее оформление предшествующих работ по устройству оснований для кровли;

- правильность устройства обрешетки и соответствие ее требованиям проекта (разбежка стыков обрешетки, расстояние между элементами обрешетки, жесткость обрешетки, сплошность обрешетки в местах покрытия карнизных свесов, разжелобков и ендов, неровности на длине 1 м вдоль и поперек ската, уклон обрешетки, расстояния между осями прогонов, качество прогонов и брусков обрешетки, расположение полок прогонов в одной плоскости и т.д.);

Акт приёмки, акты освидетельствования скрытых работ, исполнительные схемы

- наличие ППР, технологических карт и схем операционного контроля качества работ по устройству кровли;

- завершение разметки ската;

ППР, технологические карты, СОКК

- наличие документов о качестве на каждую партию поступивших листов и деталей к ним, соответствие их требованиям проекта и нормативных документов;

- подготовку листов и доставку их на крышу.

Документы о качестве, акты лабораторных испытаний

Устройство кровли из металлических листовых материалов

Контролировать:

- соблюдение заданной ППР технологии устройства кровли из металлических листовых материалов;

- качество выполнения кровельных работ (отклонения плоскости кровли от заданного уклона, величину фронтонного и карнизного свеса, величину нахлестки листов, крепление листов к обрешетке и друг с другом, качество выполнения узлов примыкания кровли к стенам и другим конструкциям, гидроизоляцию стыков и др.)

Общий и специальный журналы работ

Приемка

Проверить:

- соответствие кровли требованиям проекта и нормативных документов;

- составление и надлежащее оформление приемо-сдаточной исполнительной документации.

Акт приемки

Акты освидетельствования скрытых работ; акты лабораторных испытаний

ВХОДНОЙ И ОПЕРАЦИОННЫЙ КОНТРОЛЬ осуществляют:

мастер (прораб), лаборант (инженер) - в процессе производства работ

ПРИЕМОЧНЫЙ КОНТРОЛЬ ОСУЩЕСТВЛЯЮТ:

прораб (мастер), работники отдела контроля качества СМР, представители технадзора заказчика

КИП - контрольная рейка, толщиномер, металлическая линейка, металлическая рулетка, штангенциркуль, уклономер, ватерпас, лабораторные приборы и оборудование

Контроль качества кровельных работ

Производственный контроль качества работ по устройству кровель из металлических листов должен включать входной контроль качества металлических фальцевых листов, листов металлочерепицы, листов профнастила и комплектующих деталей к ним, операционный контроль соблюдения заданной технологии выполнения кровельных работ и качества выполнения отдельных технологических операций, приемочный контроль соответствия отдельных элементов кровли и готовой кровли требованиям проекта и нормативных документов.

Соответствие применяемых металлических фальцевых листов, листов металлочерепицы, листов профнастила и комплектующих деталей к ним требованиям проекта и нормативных документов должно выявляться при входном контроле этих материалов, который включает проверку документов о качестве и маркировку поступивших материалов, визуальный осмотр и необходимые замеры геометрических параметров листов, лабораторные испытания материалов. Результаты входного контроля материалов, представленные в виде документов о качестве, актах и протоколах лабораторных испытаний, предъявляются при приемке готовой кровли.

При операционном контроле качества кровельных работ проверяются и принимаются в соответствии с требованиями проекта основания под кровли из металлических листов, слои пароизоляции и теплоизоляции, и покрытия из металлических листов.

Устройство каждого элемента кровли должно выполняться после промежуточной приемки - проверки правильности выполнения соответствующего нижележащего элемента с составлением акта освидетельствования скрытых работ.

Промежуточной приемке подлежат выполненные работы по устройству:

несущих конструкций основания;

пароизоляционного слоя;

теплоизоляционного слоя;

покрытия из металлических листов.

При устройстве и приемке основания проверяют: расположение поверхностей полок прогонов в одной плоскости, качество прогонов (отсутствие отколов, наплывов и т.п.) и обрешетки (жесткость, отсутствие просветов более 5 мм при приложении двухметровой рейки вдоль ската и 10 мм - поперек ската, расположение стыков обрешетки вразбежку), отклонение фактического уклона основания от проектного (не должно превышать 5 %).

При монтаже металлической кровли проверяют соответствие ее следующим основным требованиям:

- уклон должен соответствовать проектному (отклонения - не более 5 %);

- расположение металлических листов, их соединение и защита в рядовом покрытии, в местах примыканий и сопряжений в разных плоскостях, их крепление к основанию должно соответствовать проектному (отступления от проекта не допускаются).

При приемке готовой кровли необходимо проверять:

осуществление полного отвода воды по всей поверхности кровель по наружным и внутренним водостокам без застоя воды (отступления от проекта не допускаются);

влажность оснований, промежуточных элементов, покрытия и всей конструкции. Увеличение влажности допускается не более чем на 0,5 % по сравнению со стандартами или техническими условиями, проектом и нормативными документами (контроль - измерительный, 5 измерений на площади 50 - 70 м2 поверхности или на отдельных участках меньшей площади в местах, выявленных визуальным осмотром);

отсутствие видимых просветов в покрытии при осмотре кровли из чердачных помещений (отступления от проекта не допускаются);

наличие герметизации предусмотренных проектом двойных лежачих фальцев в соединениях металлических листов, герметизации стыков между листами металлочерепицы и профнастила (отступления от проекта не допускаются);

наличие предусмотренного проектом противоветрового барьера из рулонного паропроницаемого материала (отступления от проекта не допускаются).

Соответствие кровли из металлических листов требованиям проекта и нормативных документов, выявленное при техническом осмотре кровли, должно быть отражено в акте приемки кровли.

УСТРОЙСТВО КРОВЛИ ИЗ МЕЛКОШТУЧНЫХ МАТЕРИАЛОВ

Требования к материалам

ТУ 5789-054-00281588-97 Плитки асбестоцементные плоские прессованные и детали к ним.

ТУ 5779-548-05744716-2000 Битумная черепица.

ТУ 5774-001-45510767-99 Кровельные гидроизоляционные полимерно-битумные наплавляемые материалы «Петрофлекс» (битумная черепица «Мозаика»).

ТУ 206-9290-22-93 Плитка кровельная полимерная.

ТУ 5779-001-51447062-2000 Материал кровельный гидроизоляционный RESINOL.

ТУ 5772-031-46359508-99 Изделия кровельные Ренопласт. Гибкая черепица ТехноНИКОЛЬ (сертификат соответствия Госстроя России № 0102286 от 19.06.2000).

Битумные волнистые листы марки «Ондулин» типа PPHR (техническое свидетельство Госстроя № ТС-07-0063-98).

Кровельная плитка KATEPAL (сертификат соответствия Госстроя России № 0102924 от 06.11.2000).

ТУ 5774-001-33669635-96 Плитка кровельная Pikipoika (сертификат соответствия Госстроя России № 0130285 от 07.02.2001).

Кровельная битумная плитка «Ikopal Plano» (сертификат соответствия Госстроя России № 0130208 от 22.01.2001).

Битумная гидроизоляционная кровельная черепица «Тегола Канадезе» (сертификат соответствия Госстроя России № 0102683 от 12.09.2000).

ТУ 5756-001-31038568-98, ТУ 5758-073-01264238-93, ТУ 400-1-113-14-94 Черепица цементно-песчаная пазовая двойная.

ТУ 5756-001-41546053-98 Черепица цементно-песчаная франкфуртская.

ТУ 5756-140-01393898-94 Черепица цементно-песчаная волнистая ленточная ЧПВЛ.

ТУ 5756-001-10110787-96 Черепица цементно-песчаная для кровли промышленных и жилых зданий.

ТУ 5756-001-27227341-94, ТУ 5756-001-26397621-94, ТУ 5756-009-00008064-95, ТУ 5756-002-24718127-96, ТУ 5756-002-18055088-93, ТУ 5758-073-01264238-93, ТУ 66-09-063-93, ТУ 67-07-364-94, ТУ 5756-004-27154671-95, ТУ 5756-108-01393898-93, ТУ 5756-004-50023290-93 Черепица цементно-песчаная.

ТУ 5756-004-33698518-97 Черепица облегченная опилко-бетонная.

ТУ 5756-004-33698518-97 Черепица из мелкозернистого бетона.

ТУ 5756-088-00187895-95, ТУ 5756-018-00200561-96, ТУ 5756-001-40941681-95, ТУ 5756-001-21399667-95, ТУ 5756-001-11173560-93 Черепица керамическая.

ТУ 21-0287965-10-92 Черепица керамическая плоская ленточная, коньковая.

ТУ 5772-001-11546564-2002 Черепица из термопласткомпозитов (черепица «Кроман»).

ТУ 5284-003-18061584-94 Черепица металлическая (НПП «Конкурент», г. Жуковский, М.о.).

ТУ 1476-030-07506814-97 Черепица (НАПО «Алмаз», г. Новосибирск).

ТУ 1476-007-07528141-96 Черепица металлическая (АО «Нытва», г. Нытва, Пермская обл.).

ТУ 1476-001-32155655-96 Черепица металлическая кровельная (ИЧФ «СВ и К°», г. Новосибирск).

ТУ 8324.0590718-82-93 Черепица металлическая (Завод офсетных пластин, г. Зарайск, М.о.).

ТУ 1121-001-18761075-2001 Профили металлические гнутые кровельные (металлочерепица «Кедр», ООО «Центроснабрезерв», г. Москва).

……Государственные стандарты, технические условия или технические свидетельства на мелкоштучные кровельные материалы, предусмотренные проектом.

СНиП 3.01.01-85* Организация строительного производства.

СНиП 3.04.01-87 Изоляционные и отделочные покрытия.

Пособие. Кровли. Технические требования, правила приемки, проектирование и строительство, методы испытаний (АО ЦНИИПромзданий. М., 1997 г.).

Инструкции (руководства, рекомендации) разработчиков и заводов-изготовителей по применению кровельных материалов, предусмотренных проектом.

Входной контроль кровельных материалов должен осуществляться в соответствии с требованиями проекта, государственных стандартов и технических условий на конкретные кровельные материалы, предусмотренные проектом, а также требованиями технологической документации, утвержденной в установленном порядке.

ТУ 5789-054-00281588-97 Плитки асбестоцементные плоские прессованные и детали к ним

Данные технические условия распространяются на плитки асбестоцементные плоские прессованные и детали к ним, предназначенных для устройства кровель, а также наружной облицовки зданий и сооружений, архитектурной отделки фасадов зданий и т.п.

Плитки выпускаются двух типов: удлиненными (ПУ), форма которых образована из прямоугольников с размерами 200×400 мм или 300×600 мм, и квадратными (ПК), форма которых образована из квадрата со стороной 400 мм.

Форма плиток - удлиненных и квадратных - определяется номером 14 (для плиток ПУ) и 57 (для плиток ПК).

Формы и размеры асбестоцементных плиток (толщина плиток 4 мм)

Номер

Форма

Размеры, мм

L

В

Координаты отверстий

Фаска

с×45°

l

m

n

1

400

200

140

35

20

21

600

300

240

45

20

25

2

400

200

140

35

20

21

600

300

240

45

20

25

3

400

200

140

35

20

21

600

300

240

45

20

25

4

400

200

100

-

20

-

600

300

200

-

20

-

5

566

467

233

35

20

-

6

516,5

566

233

30

20

-

7

333

467

233

-

20

-

Детали выпускаются трех видов:

- коньковая арочного типа АКП (арочная коньковая для плиток) - для устройства коньков;

- лотковая ЛП (лотковая для плиток) - для устройства ендов и облицовки деформационных швов покрытий и стен;

- равнобокая угловая РП (равнобокая угловая для плиток) - для оформления примыкания к вертикальным выступам над кровлей и углов стен.

Плитки (детали) выпускаются неокрашенными и окрашенными. Условное обозначение плиток должно состоять из:

- обозначения вида плиток - ПУ или ПК;

- номера формы плитки, отделенного от предыдущего при помощи тире;

- размера плиток - 200×400 мм или 300×600 мм, отделенного от предыдущего интервалом (только для плиток ПУ);

- обозначения данных технических условий, отделенного от предыдущего интервалом.

Пример условного обозначения удлиненной плитки формы 1 размером 200×400 мм:

ПУ-1 200×400 ТУ 5789-054-00281588-97

Пример условного обозначения квадратной плитки формы 5:

ПК-5 ТУ 5789-054-00281588-97

Условное обозначение деталей должно состоять из:

- обозначения вида детали - АКП, ЛП или РП;

- обозначения данных технических условий, отделенного от предыдущего интервалом.

Пример условного обозначения лотковой детали:

ЛП ТУ 5789-054-00281588-97

Условное обозначение окрашенных плиток (деталей) включает дополнительную букву «О», которую ставят непосредственно (без интервала) после обозначения вида плитки (детали).

Пример условного обозначения окрашенной квадратной плитки формы 6:

ПКО-6 ТУ 5789-054-00281588-97

Цвет и вид окраски в условное обозначение не включают и указывают текстом вид окраски по каталогу предприятия-изготовителя плит (деталей).

Форма и размеры плиток должны соответствовать указанным в вышеприведенной таблице. Плитки выпускаются толщиной t = 4 мм. Диаметр отверстий для крепления плиток 5 мм, для ветровой кнопки - 3 мм.

Предельные отклонения от размеров плиток, мм, не должны быть более указанных в нижеследующей таблице.

Вид плитки

Предельные отклонения от номинальных размеров, мм

L

В

t

l

m

n

ПУ 200×400

1, 2, 3 и 4

±3

±2

+0,7; -0,3

±1

±1

±1

ПУ 300×600

1, 2, 3 и 4

±5

±3

+0,7; -0,3

±1

±1

±1

ПК № 5, 6 и 7

±3

±2

+0,7; -0,3

±1

±1

±1

Номинальные размеры деталей и предельные отклонения от них должны соответствовать указанным в нижеследующей таблице.

Сокращенное обозначение деталей

Размеры в миллиметрах

Длина L ± 10

Ширина В +10; -5

Толщина t +1,0; -0,3

Высота Н ± 5

АКП

600; 750

214/228*

5,8

-

РП

600; 750

200

5,8

-

ЛП

600; 750

300

5,8

60

*) В числителе дана ширина у перекрываемого торца, а в знаменателе - у перекрывающего

Форма деталей приведена на нижеследующем рисунке.

По согласованию между потребителем и предприятием-изготовителем могут быть изготовлены плитки (детали) других форм и размеров, не указанных в таблицах и рисунках.

Продольные кромки удлиненных плиток и деталей должны быть прямолинейными. Отклонение от прямолинейности не должно быть более 2 мм.

Поверхность плиток и плоской части деталей (кроме АКП) должна быть плоской. Отклонение от плоскости не должно быть более 2 мм.

Прямые углы должны быть прямыми. Отклонение от прямоугольности указанных углов не должно быть более 2 мм.

Плитки (детали) не должны иметь отколов, трещин, сдиров, посторонних включений. На нелицевых поверхностях допускаются отдельные неровности, если их высота или глубина не превышает 2 мм.

Арочная коньковая деталь

Равнобокая угловая деталь

Лотковая деталь

Цвет окрашенных плиток (деталей) и интенсивность окраски должны быть равномерными по всей поверхности и соответствовать образцам-эталонам, утвержденным предприятием-изготовителем по согласованию с органом архстройнадзора и хранящимся на предприятии. На окрашенной поверхности не должно быть высолов и пятен.

Окрашенная поверхность плиток и деталей должна быть устойчивой к истиранию. Устойчивость цветного покрытия к истиранию должна обеспечивать сохранность качества покрытия после не менее чем 3 кг израсходованного на испытание кварцевого песка.

На нелицевой поверхности не менее 1 % плиток (деталей), но не менее чем на трех плитках (деталях) каждого вида в поставке одному потребителю, должна быть нанесена маркировка (наклеена этикетка), содержащая: товарный знак или наименование предприятия-изготовителя, номер партии, сокращенное обозначение вида плитка (детали), т.е. условное обозначение плитки без условного обозначения данных технических условий.

Маркировка должна быть нанесена контрастным цветом, принятым у изготовителя способом, обеспечивающим ее сохранность.

Качество маркировки должно быть таким, чтобы исключалась возможность оспорить ее содержание.

Физико-механические показатели плиток и деталей должны соответствовать, указанным в нижеследующей таблице.

Наименование показателя

Норма

для плиток

для деталей

Предел прочности при изгибе, МПа (кгс/см2), не менее

20 (200)

18 (180)

Плотность, г/см3, не менее

1,80

1,60

Ударная вязкость, кДж/м2 (кгс·см/см2) не менее

2,0 (2,0)

1,5 (1,5)

Морозостойкость:

число циклов попеременного замораживания и оттаивания без видимых признаков разрушения

50

25

остаточная прочность, %, не менее

90

90

Предприятие-изготовитель должно сопровождать каждую поставку плиток и деталей документом о качестве (паспортом), в котором должно указать:

- наименование и адрес предприятия-изготовителя;

- обозначение данных технических условий;

- сокращенное обозначение плиток (деталей);

- номер партии и дату изготовления;

- количество плиток (деталей) каждой партии в поставке;

- результаты испытаний каждой партии.

Плитки и детали должны храниться в закрытых помещениях или под навесом с соблюдением безопасности и сохранности продукции.

При хранении плитки и детали укладывают на деревянные поддоны отдельно по видам, размерам, цвету в горизонтальном положении в количестве, обеспечивающем устойчивость стопок.

Поддоны с плитками могут устанавливаться друг на друга в штабели высотой не более, чем в три яруса. Общая высота штабеля не должна превышать 2 м.

Установка поддонов с деталями друг на друга не допускается.

ТУ 5772-031-46359508-99 Изделия кровельные РЕНОПЛАСТ

Данные технические условия распространяются на изделия кровельные Ренопласт, изготавливаемые методом формования из композиции на основе термопластичной матрицы из смеси полиолефинов, технологических добавок и пигментов.

Изделия предназначаются для устройства кровли жилых, общественных и производственных зданий и сооружений.

Изделия работоспособны в интервале температур от минус 40 до плюс 90 °С.

Условное обозначение кровельных изделий должно состоять из наименования типа изделия и условного обозначения данных технических условий.

Пример условного обозначения при заказе «черепицы» 1150×680 Ренопласт:

«Черепица» 1150×680 Ренопласт ТУ 5772-031-46359508-99

В зависимости от области применения изделия выпускают шести типов, указанных в нижеследующей таблице.

Цвет и качество лицевой поверхности изделия должно соответствовать цвету и качеству лицевой поверхности образца - эталона, согласованного с потребителем.

На поверхности изделия не допускаются сквозные отверстия, трещины и другие механические повреждения, нарушающие целостность изделия.

Изделия являются пожароопасными. Пожарно-технические характеристики изделий: группа горючести - Г4 (сильногорючие), группа распространения пламени - РП4 (сильнораспространяющие пламя), группа воспламеняемости - В3 (легковоспламеняемые).

Изделия должны быть гибкими. При испытании на брусе с закруглением радиусом 15+0,2 мм при температуре не выше минус 25 °С на лицевой поверхности образца не должно быть трещин.

Изделия должны быть водонепроницаемыми. При испытании при давлении не менее 0,001 МПа (0,01 кгс/см2) в течение не менее 72 ч на поверхности образца не должно быть признаков проникания воды. Допускается проведение экспресс-анализа при давлении не менее 0,1 МПа (1 кгс/см2) в течение 1 ч.

Изделия должны быть уложены на специально оборудованные поддоны в количестве не более 100 штук в одной стопке.

На каждое изделие должен быть нанесен товарный знак предприятия-изготовителя. Маркировка должна производиться штемпельной краской контрастного цвета или цветным мелком с нелицевой стороны изделия.

На каждую упаковочную единицу должен быть прикреплен ярлык (этикетка), в котором указывают:

- наименование и адрес предприятия-изготовителя или его товарный знак;

- условное обозначение продукции;

- номер партии и дату изготовления;

- цвет;

- площадь изделия в м2;

- номер контролера ОТК;

- гарантийный срок хранения.

Транспортная маркировка по ГОСТ 14192-96 с нанесением предупредительной надписи «Не бросать».

Типы изделий РЕНОПЛАСТ

Тип изделия

Форма

Область применения

Справочная масса, кг

«Черепица» Ренопласт 790×680×3

Для устройства кровли

2,5

«Черепица» Ренопласт 1150×680×3

Для устройства кровли

3,7

«Шифер» Ренопласт 790×680×3

Для устройства кровли

2,6

«Конек» Ренопласт

Для устройства конька кровли

1,7

«Подконек» Ренопласт

Для устройства конька кровли

2,7

«Уголок» l = 1200

Для примыканий

2,0

Показатели физико-механических свойств изделий должны соответствовать требованиям, приведенным в нижеследующей таблице.

Наименование показателя

Норма

Прочность при растяжении, МПа (кгс/см2), не менее

3,45 (35,0)

Изменение линейных размеров, %, не более

0,5

Водопоглощение, % по массе, не более

1,0

Морозостойкость 25 циклов при температуре минус 25 °С

 

Светостойкость, балл, не менее

3

Форма и размеры изделий кровельных Ренопласт

Комплектность поставки определяется условиями заказа. В комплект поставки должна входить инструкция по применению.

Каждая партия изделий должна сопровождаться документом о качестве, в котором указывают:

- наименование и адрес предприятия-изготовителя или его товарный знак;

- условное обозначение продукции;

- номер партии и дату изготовления;

- результаты испытаний;

- номер контролера ОТК;

- гарантийный срок хранения.

Изделия могут транспортироваться всеми видами транспорта в крытых транспортных средствах в соответствии с Правилами перевозки грузов, действующими на каждом виде транспорта.

При перевозке транспортом потребителя за сохранность и качество продукции отвечает потребитель.

Изделия должны храниться в крытых складских помещениях на поддонах в один ряд.

Предприятие-изготовитель должно гарантировать соответствие изделий требованиям данных технических условий при соблюдении потребителем условий хранения и транспортирования.

По истечении гарантийного срока хранения изделия могут быть использованы по назначению только после положительных результатов испытаний их на соответствие требованиям данных технических условий.

ТУ 5779-548-05744716-2000 Битумная черепица

По данным техническим условиям ЗАО «Рязанский картонно-рубероидный завод» выпускает отечественную мягкую битумную черепицу.

Завод не представил этих технических условий, а сообщил некоторые технические характеристики битумной черепицы, которые и приводятся ниже.

Битумная черепица представляет собой мелкоформатный битумный кровельный материал на стекловолокнистой основе.

Битумная черепица применяется для устройства герметичного и красивого кровельного покрытия при строительстве новых и ремонте старых объектов, в т.ч. крыш сложной конфигурации - шатровых и мансардных.

Форма и размеры битумной черепицы

Размер черепицы - 1000×320 мм;

толщина - 3,5 мм;

масса одного квадратного метра - 5 кг;

цвет - золотистый, серый, зеленый, синий, красно-коричневый;

разрывная сила при растяжении битумной плитки должна составлять не менее 30 кгс;

образцы битумной плитки не должны иметь трещин при испытании на гибкость на брусе с радиусом 25 ± 0,2 мм при температуре 0 °С;

образцы битумной плитки не должны иметь вздутий, следов перемещения покровного слоя при температуре 85 ± 2 °С в течение не менее 2 часов;

расход плитки - 7,7 шт. на квадратный метр;

упаковка - 23 плитки на 3 м2 покрытия;

вес упаковки - 30 кг;

вес покрытия - 10 кг на квадратный метр покрытия;

гарантийный срок хранения - 6 месяцев со дня изготовления.

Плитку рекомендуется применять на крышах с уклоном 1:3, на более плоских кровлях необходимо предусматривать устройство отдельного нижнего ковра.

Гибкая черепица «ТехноНИКОЛЬ»

Гибкая черепица «ТехноНИКОЛЬ» имеет сертификат соответствия Госстоя России № 0102286 от 19.06.2000. Она выпускается по евростандарту SFS-EN 544 и соответствует требованиям ГОСТ 30547-97 «Материалы рулонные кровельные и гидроизоляционные. Общие технические условия».

Рекламные данные

Гибкая черепица «ТехноНИКОЛЬ» имеет следующую конструкцию:

основа - стеклохолст (110 г/м2), в ендовном ковре основание полиэстер;

стеклохолст пропитан СБС-модифицированным битумом;

стеклохолст с двух сторон имеет покровной слой из того же битума общей массой около 3000 г/м2;

верхний слой - крупнозернистая базальтовая посыпка;

нижний слой - самоклеющаяся морозостойкая битумно-полимерная масса (более 60 % нижней поверхности);

защитный слой - легкосъемная силиконизированная пленка.

Гибкая черепица «Аккорд»         Гибкая черепица «Соната», «Соната балт»

Номинальный размер рядовых плиток черепицы 1,0 м × 0,317 м.

Номинальная толщина - 3,8 мм.

Номинальный вес упаковки - 24 кг.

Объем упаковки - 3 кв. м готового покрытия с учетом нахлестов (22 шт. в упаковке).

Гибкость на брусе R = 15 мм … -15 °С.

Температура размягчения … +113 °С.

Черепица выпускается красного, зеленого, коричневого и синего цветов.

Черепица складируется на европоддонах (1,0 × 1,2 м) пакетами по 36 упаковок. Поддоны с гибкой черепицей не должны подвергаться воздействию прямых солнечных лучей во избежание преждевременного спекания клеевого слоя с силиконовой защитной пленкой. Не допускается складирование поддонов друг на друга.

Техническое свидетельство Госстоя России № ТС-07-0063-98 от 20 мая 1998 г. Битумные волнистые листы марки «Ондулин» типа РРНР для устройства кровель в жилых, сельскохозяйственных, промышленных вспомогательных зданиях.

Данное техническое свидетельство распространяются на битумные волнистые листы марки «Ондулин» типа PPHR (далее - листы «Ондулин»), представляющие собой волнистую картонную основу, получаемую из картонно-бумажной макулатуры, пропитанную битумом.

Верхняя поверхность листов окрашена (цвета: красный, коричневый, зеленый, черный, красный люкс, коричневый люкс).

Листы «Ондулин» предназначены для устройства кровель в жилых, сельскохозяйственных, промышленных вспомогательных зданиях типа складов, навесов гаражей и т.п. с ограниченным доступом на кровлю.

Материал относится к группе горючести - Г4 (сильногорючие), группе распространения пламени - РП4 (сильнораспространяющие пламя), группе воспламеняемости - В3 (легковоспламеняемые).

Общий вид листов

Устройство кровли и производство работ должно осуществляться в соответствии с инструкциями и рекомендациями поставщика.

Линейные размеры листов «Ондулин», предельные отклонения от номинальных размеров и методы их определения должны соответствовать параметрам, указанным в нижеследующей таблице.

Наименование показателей, ед. измерения

Номинальный размер

Предельные отклонения от номинального размера

Нормативные документы на метод испытаний

Длина листа, мм

2000

±10

ГОСТ 8747-88

Ширина, мм

950

от -15 до +25

ГОСТ 8747-88

Толщина листа, мм

2,9

от -0,2 до +0,2

ГОСТ 8747-88

Высота волны, мм

38

от -2 до +3

ГОСТ 8747-88

Количество волн, шт.

10

-

-

Листы «Ондулин» должны соответствовать требованиям указанным в нижеследующей таблице.

Наименование показателя ед. измерения

Нормативное требование

Нормативные документы на метод испытаний

Объемная плотность, г/см3

от 0,87 до 1,15

ГОСТ 8747-88

Водопоглощение в течение 24 час, % по массе, не более,

1,5

ГОСТ 8747-88

Водонепроницаемость при давлении 0,01 МПа (0,1 кгс/см2) в течение 10 мин.

Непроницаем

ГОСТ 8747-88

Прочность при растяжении МПа (кгс/см2), не менее

1,0 (10)

ГОСТ 2678-94

Относительное удлинение при разрыве, %, не менее

5,0

ГОСТ 2678-94

Несущая способность, кН/м

от 0,95 до 1,45

ГОСТ 8747-88

Листы «Ондулин» должны поставляться в штабелях на поддоне, упакованными в полиэтилен.

Каждый штабель листов должен маркироваться этикеткой, на которой должна содержаться следующая информация:

- название материала: PLAQUE ASPALTEE;

- тип продукта: PPHR;

- наименование и адрес завода-изготовителя;

- код завода-изготовителя.

На каждом листе «Ондулин» должна содержаться следующая информация:

- наименование материала и маркировка «F» (Франция);

- код из 9 цифр, содержащий год, день, часы и минуты выпуска материала.

Каждая партия продукции должна сопровождаться документом производителя (поставщика) с информацией о марке материала, предприятии-изготовителе, объеме партии в шт., площади и дате изготовления.

Транспортирование и хранение листов «Ондулин» осуществляется в соответствии с инструкциями и рекомендациями поставщика.

ЗАО «Ондулин-Строительные материалы» предоставляет гарантию на листы «Ондулин», поставляемые официальными дилерами и дистрибьютерами вышеуказанного ЗАО.

Изготовитель гарантирует водонепроницаемость кровельных листов в течение 15 лет от даты покупки при соблюдении следующих условий:

- покупатель получает от продавца инструкцию по креплению материала с гарантийным талоном, на котором должна стоять печать дистрибьютера-продавца материала, либо ЗАО «Ондулин-Строительные материалы» и его филиалов. При возникновении претензии гарантийный талон с инструкцией, а также накладная на материал должны быть предоставлены дистрибьютеру, продавшему материал;

- гарантия не касается дефектов, возникших в результате:

непрофессионального монтажа или несоблюдения инструкции по креплению, предоставляемой Продавцом;

ненадлежащего использования материала;

неправильного хранения или содержания материала;

неквалифицированного ремонта или использования нефирменных комплектующих.

Кровельная битумно-полимерная плитка KATEPAL

Кровельная плитка KATEPAL имеет сертификат соответствия Госстроя России № 0102924 от 06.11.2000 на кровельные и гидроизоляционные битумно-полимерные материалы фирмы «Katepal OY», выпускаемые по стандарту SFS-EN 544 для устройства кровельного ковра зданий и сооружений и гидроизоляции строительных конструкций, эксплуатируемых во всех климатических районах по СНиП 23-01-99.

Данный сертификат подтверждает соответствие выпускаемых фирмой «Katepal OY» кровельных и гидроизоляционных битумно-полимерных материалов, в том числе кровельного плиточного материала (гонты, коньковая и карнизная плитка) требованиям ГОСТ 30547-97 «Материалы рулонные кровельные и гидроизоляционные. Общие технические условия».

Разрывная сила при растяжении кровельного плиточного материала составляет, Н (кгс) - 461 (47), водопоглощение в течение 24 ч, % по массе - 1,2.

Образцы кровельного плиточного материала не имеют трещин при испытании на гибкость на брусе с радиусом 25 ± 0,2 мм при температуре минус 15 °С, не имеют признаков проникания воды при испытании на водонепроницаемость при давлении 0,001 МПа (0,01 кгс/см2) в течение 72 часов, не имеют дефектов при испытании на теплостойкость в течение 2 часов при температуре 85 °С.

Масса покровного состава составляет 2276 г/м2.

Температура хрупкости покровного состава - минус 39 °С.

Потеря посыпки - 1,1 г/образец.

Материал относится к группе горючести - Г4 (сильногорючий), группе распространения пламени - РП1 (не распространяет пламя), группе воспламеняемости - В2 (умеренно воспламеняемый).

Рекламные данные

Кровельные плитки «KATEPAL» имеют следующую конструкцию:

основа - нетканый стеклохолст (125 г/м2);

с двух сторон стеклохолст покрыт битумом, тип битума - окисленный;

верхний слой - каменные или минеральные гранулы (каменная крошка);

нижний слой - самоклеящийся СБС-модифицированный битум;

защитный слой - силиконизированная пленка.

Номинальный размер рядовых плиток (гонта) 1,0 м×0,32 м.

Номинальная толщина - 3,8 мм.

Номинальный вес - 4,3 кг/м2.

Объем упаковки - 3 кв. м готового покрытия с учетом нахлестов (22 шт. в упаковке).

Форма плиток - прямоугольная (Роки) и шестиугольная в виде сот (КЛ, Джази, Катрилли).

Плитка «Роки» выпускается шести цветов - Балтика (серо-синие), Голубая лагуна (ярко-синие), Тайга (изумрудные), Медный отлив, Гранит (красные), Спелый каштан.

Плитки «КЛ» - однотонные одноцветные (красные, зеленые, коричневые, серые и черные).

Плитки «Катрилли» имеют тени в верхней своей части (цвета: осенний красный, зелень моховая, кора дерева, лишайник, вереск).

Плитки «Джази» в верхней части посыпки состоят из смеси каменной крошки черного и основного цвета (цвета - красный, серый, коричневый и зеленый).

Карнизные плитки имеют размер 1,00 м×0,25 м, сделаны из того же плиточного материала, что и рядовые плитки (20 шт. в упаковке, упаковки достаточно для 20 м карниза.

Коньковые плитки готовятся из карнизных плиток путем деления последних по насечкам на три части. Их размеры: 0,33×0,25 м (одной упаковки карнизных плиток достаточно для 12 погонных метров конька).

Для устройства ендов применяется ендовый ковер KATEPAL Pintari, изготовленный из битумно-полимерного материала, аналогичного тому, из которого изготовляются рядовые кровельные плитки (основа - стеклохолст, СБС-модифицированный битум, верхний слой - каменная крошка, нижний слой - мелкий песок). Толщина ковра 3 мм, размер рулона 10 м×0,7 м.

Для дополнительного усиления ендов, коньковых и карнизных свесов, фронтонов, а также всей площади кровли при уклоне менее 18° предназначен подкладочный ковер KATEPAL K-EL 50/2200 (основа - стеклохолст, СБС-модифицированный битум, верхний и нижний слой - мелкий песок). Толщина ковра 2 мм, размер рулона 15 м×1 м.

В кровельную систему RUFLEX входят также водостоки PLASMO, кровельные вентиляторы и проходки SK-Tuole.

АО «KATEPAL» (Финляндия) предоставляет Владельцу 15-летнюю гарантию на кровельную плитку с даты покупки при соблюдении следующих условий:

- кровельная конструкция выполнена с соблюдением строительных требований и нормативов, применяемых в тех климатических условиях, где монтируется плитка;

- монтаж кровельной плитки и сопутствующих комплектующих материалов выполнен с соблюдением действующих на момент монтажа инструкций по монтажу плитки KATEPAL;

- в качестве комплектующих использованы только те материалы, которые рекомендованы в инструкции.

- гарантия не распространяется на повреждения, возникшие в результате:

неправильного транспортирования, хранения или монтажа материала;

неосторожного обслуживания или ремонта кровли;

невыполненной или неправильно выполненной пароизоляции и вентиляции подкровельного пространства, а также основания кровли.

Незначительное изменение цвета посыпки вследствие естественного износа, а также разнооттеночность плиток одного и того же типа и цвета дефектами не являются.

Кровельная битумная плитка PIKIPOIKA

Кровельная битумная плитка PIKIPOIKA имеет сертификат соответствия № РООСС F1.СЛ4200032 Госстроя России № 0130285 от 07.02.2001 на кровельные битумные плитки фирмы «Pikipoika», выпускаемые серийно фирмой «Lemminkainen» для устройства кровель скатных крыш.

Данный сертификат подтверждает соответствие выпускаемых фирмой «Lemminkainen» кровельных битумных плиток требованиям ГОСТ 30547-97 «Материалы рулонные кровельные и гидроизоляционные. Общие технические условия» и ТУ 5774-001-33669635-96 «Плитка кровельная PIKIPOIKA».

Нормативные требования к плиткам по ТУ 5774-001-33669635-96 приведены в нижеследующей таблице.

Наименование показателей

Нормативные значения

Номинальные размеры и отклонения от них: длина, мм

1000 ± 1

ширина, мм

317,5 ± 1

толщина, мм

3,3 ± 0,4

Разрывная сила при растяжении, Н (кгс)

не менее 294 (30)

Водопоглощение за 24 ч, % по массе

не более 1,5

Масса вяжущего, г/см2

не менее 2000

Масса основы, г/см2

в интервале 50 ÷ 250

Температура хрупкости вяжущего, °С

не выше минус 15 °С

Потеря посыпки, г/образец

не более 3,0

Водонепроницаемость при давлении

должны выдерживать давление 0,08 МПа в течение не менее 10 мин

Теплостойкость при температуре 80 ± 1 °С в течение 2 ч

не должно быть сползаний посыпки, вздутий и других дефектов вяжущего

Плитки не должны иметь трещин, разрывов и складок.

Лицевая поверхность должна быть покрыта сплошным слоем посыпки.

Торцы плиток должны быть ровными.

Плитки не должны слипаться.

Кровельная плитка «Pikipoika» на подкладочном ковре K-EL 50/2200 относится к группе горючести - Г4 (сильногорючая), группе распространения пламени - РП1 (не распространяет пламя), группе воспламеняемости - В3 (легковоспламеняемая).

Рекламные данные

Кровельные плитки «Pikipoika» имеют следующую конструкцию:

основа - стекловолокно (120 г/м2);

тип битума - окисленный;

верхний слой - цветная гравийная посыпка, продутый шлак (черный);

нижний слой - самоклеящийся СБС-модифицированный битум (две полосы, верхняя - направляющая, нижняя - гидроизолирующая);

защитный слой - пленка.

Номинальный размер рядовых плиток 1,0 м×0,32 м.

Номинальный вес ~ 8,4 кг/м2.

Расход ~ 7,4 плитки/м2.

Объем упаковки - 3 кв. м готового покрытия с учетом нахлестов (22 шт. в упаковке).

Форма плиток - шестиугольная в виде сот (цветовая гамма - тройка зеленая, тройка красная, тройка коричневая, зеленый раита, красный раита, коричневый раита, зеленый, красный, коричневый, серый, тройка кело, иней, серый раита, черный) и аналогичная, но с закругленными углами (цветовая гамма - тройка мох, тройка Карелия, тройка кора дерева, кело волна).

Форма кровельных плиток «Pikipoika»

Карнизные ленты имеют размер 1,10×10 м и 0,275×10 м, они самоклеящиеся и сделаны из такого же кровельного материала, как и рядовые плитки. Аналогичные ленты для ендов Супра-7 имеют размеры 0,7×10 м.

Коньковые самоклеящиеся плитки имеют размеры: 0,33×0,37 м (одной упаковки коньковых плиток из 30 шт. достаточно для 7 погонных метров конька).

Для усиления ответственных участков (карнизов, ендов, конька, фронтонов, примыканий), а также при уклоне кровли менее 1:3 по всей площади рекомендуется использовать подкладочный ковер (K-EL 50/2200), имеющий размеры 1,0×15 м.

Плиточные и рулонные материалы должны храниться в сухом и прохладном месте. Плитки - на поддонах, рулоны - закрытыми полиэтиленом или другим защитным материалом. При температуре свыше плюс 40 °С рулоны надо хранить в защищенном от солнечного света месте.

Фирма «Lemminkainen Oyj» (Финляндия) предоставляет Владельцу 15-летнюю гарантию на кровельную плитку с даты покупки при соблюдении следующих условий:

- при монтаже кровельного покрытия не должны использоваться дефектные плитки, которые были выявлены в момент монтажа или должны были быть выявлены;

- кровля должна монтироваться с соблюдение действующих в момент монтажа инструкций по монтажу кровельной плитки «Pikipoika»;

- основание под кровлю и нижележащие конструкции должны быть запроектированы в соответствии с требованиями действующих нормативных документов и быть надежными;

- при эксплуатации кровли должны соблюдаться меры по уходу за крышей и быть исключены ущербы плитке или кровле умышленные или по грубой неосторожности;

- повреждения кровли не должны исправляться до разрешения Гаранта.

Гарантия предполагает безупречность кровельных плиток «Pikipoika» до монтажа, а также водонепроницаемость, морозоустойчивость и стойкость к нагрузкам плиток, смонтированных в соответствии с гарантийными условиями.

На основании гарантии дефектные плитки заменяются на соответствующее количество новых плиток, имеющихся на данный момент в производстве.

Кровельная битумная плитка IKOPAL PLANO

Кровельная битумная плитка «Ikopal Plano» имеет сертификат соответствия № РООСС FI.CB24.H00690130208 от 22.01.2001 на кровельные плитки «Ikopal Plano», выпускаемые серийно фирмой «Ikopal Oy»(AO «Икопал»).

Данный сертификат подтверждает соответствие выпускаемых фирмой «Ikopal Oy» кровельных плиток требованиям ГОСТ 30547-97 «Материалы рулонные кровельные и гидроизоляционные. Общие технические условия» и ГОСТ 15879-70* «Стеклорубероид. Технические условия».

Нормативные требования к плиткам по ГОСТ 30547-97, проверенные при сертификационных испытаниях, приведены в нижеследующей таблице.

Наименование показателей

Нормативные значения

Разрывная сила при растяжении, Н (кгс)

не менее 294 (30)

Водопоглощение за 24 ч, % по массе

не более 2,0

Теплостойкость в течение 2 часов, °С

70

Гибкость на брусе с закруглением радиусом 25 мм при температуре, °С

0

Водонепроницаемость в течение 72 часов, МПа (кгс/см2)

0,001 (0,01)

Кровельная плитка «Ikopal Plano» относится к группе горючести - Г4 (сильногорючая), группе распространения пламени - РП1 (не распространяет пламя), группе воспламеняемости - В3 (легковоспламеняемая).

Кровельные плитки «Ikopal Plano» имеют следующую конструкцию:

основа - стеклохолст (120 г/м2);

тип битума - окисленный;

верхний слой - цветная чешуйчатая посыпка;

нижний слой - клеевой битум или самоклеющийся СБС-модифицированный битум (в плитках Plano Claro);

защитный слой - пленка.

Номинальный размер рядовых плиток 1,0 м×0,32 м, номинальный вес ~ 8 кг/м2, масса вяжущего, г/см2 - 4000, масса основы, г/см2 - 120.

Расход ~ 7,4 плитки/м2. Объем упаковки - 3 кв. м готового покрытия с учетом нахлестов (22 шт. в упаковке, вес упаковки 24 кг).

Форма и цвет кровельных плиток «Ikopal Plano»

Plano Natur

(однотонная; цветовая гамма - графитно-черный, угольно-серый, натурально-коричневый, кирпично-красный, зеленый лес)

Plano Nova

(двухцветная; цветовая гамма: верхняя часть - черная, нижняя часть - натурально-коричневый, клюквенно-красный, зеленый лес)

Plano Tema

(двухцветная; цветовая гамма: верхняя часть - черная, нижняя часть - натурально-коричневый, натурально-серый, кирпично-красный, зеленый лес)

Plano Claro

(двухцветная; цветовая гамма: верхняя часть - черная, нижняя часть - зеленый лес, кирпично-красный, деним)

Для дополнительного усиления ендов, коньковых и карнизных свесов, фронтонов, а также всей площади кровли при уклоне менее 1:3 (3 по горизонтали, 1 по вертикали) предназначен подкладочный ковер KATEPAL K-EL 50/2200 (основа - стеклохолст, СБС-модифицированный битум, верхний и нижний слой - мелкий песок). Толщина ковра 2 мм, размер рулона 15 м×1 м, площадь упаковки 15 м2, вес упаковки 33 кг.

Для усиления ендов рекомендуется использовать рулонные материалы Icopal Pinta Ultra цвета плитки (размер рулона 0,7×10 м, площадь 7 м2, вес рулона 28 кг) и Icopal Liima Ultra цвета плитки самоклеящийся (размер рулона 1,0×8 м, площадь 8 м2, вес рулона 28 кг).

Фирма «Icopal Oy» (Финляндия) предоставляет Владельцу 15-летнюю гарантию на кровельную плитку с даты покупки. Гарантия предполагает водонепроницаемость и стойкость к нормальным климатическим нагрузкам.

Условия гарантии:

- кровельная конструкция выполнена с соблюдением строительных требований и нормативов, применяемых в тех климатических условиях, где смонтирована плитка;

- монтаж кровельной плитки и сопутствующих комплектующих материалов выполнен с соблюдением действующих на момент монтажа инструкций по монтажу, выданных «Icopal Oy»;

- в качестве комплектующих использованы только те материалы, которые рекомендованы в инструкции по монтажу.

Гарантия не распространяется на повреждения, возникшие в результате:

неправильного транспортирования, хранения или монтажа материала;

неосторожной эксплуатации или ремонта кровли;

невыполненной или неправильно выполненной пароизоляции и вентиляции подкровельного пространства, а также основания кровли.

Незначительное изменение цвета посыпки вследствие естественного износа или цветовые колебания посыпки натурального цвета.

Битумная гидроизоляционная кровельная черепица «Тегола Канадезе»

Битумная гидроизоляционная кровельная черепица «Тегола Канадезе» имеет сертификат соответствия № РООСС IТ.СЛ33000240102683 от 12.09.2000 на битумную гидроизоляционную кровельную черепицу, выпускаемую серийно фирмой «Tegola Canadese S.p.A(Италия).

Данный сертификат подтверждает соответствие выпускаемых фирмой «Tegola Canadese S.p.A.» кровельной черепицы требованиям ГОСТ 30547-97 «Материалы рулонные кровельные и гидроизоляционные. Общие технические условия».

Кровельная черепица выпускается следующих типов: Топ Шингл, Топ Шингл Традишнл, Мастер, Стандарт, Традишнл, Мозаика, Престиж Элит, Престиж Компакт, Престиж Традишнл.

Кровельная черепица типов Мастер, Стандарт, Традишнл и Мозаика имеет следующую конструкцию:

основа - предварительно пропитанное битумом стекловолокно (125 г/м2);

стекловолокно окружено слоями модифицированного или окисленного битума «Тя-Юана»;

верхний слой - керамизированный базальтовый гранулят, вплавленный в горячий битум;

нижний слой - кремниевый песок.

Кровельная черепица типа «Престиж Традишнл» - тоже пятислойная черепица, в которой вместо гранулята используется медная облицовка, а вместо кремниевого песка - защитная полипропиленовая пленка.

Кровельная черепица типов Престиж Элит и Престиж Компакт имеет следующую конструкцию:

в центре находится слой модифицированного окисленного битума;

по обе стороны от него стекловолокно и еще по одному слою модифицированного окисленного битума;

нижний слой - защитная полипропиленовая пленка;

верхний слой - тонкий (70 микрон) медный лист (99,9 % меди) с самоклеящейся полосой; медный лист приварен к горячему битуму по всей площади плитки.

Битумная черепица типа «Мастер»

Назначение: устройство скатной кровли различной формы и сложности. Рекомендуемый уклон крыши - от 17 градусов.

Сырьевой состав: АПП - модифицированный битум, стекловолокно, клеящий состав на основе битума, кремниевый песок.

Диапазон рабочих температур - от минус 70 до плюс 150 °С.

Размеры - 91,5×42,2 см; полезная ширина (выступ из-под следующего слоя) - 182 мм, толщина - 3,3 мм.

Цвет - четыре цвета (старая обожженая глина, сланцевый, серый камень, дерево).

Битумная черепица типа «Стандарт»

Назначение: устройство скатной кровли различной формы и сложности. Рекомендуемый уклон крыши - от 6 градусов.

Сырьевой состав: битум Тя-юана окисленный, стекловолокно, клеящий состав на основе битума, кремниевый песок.

Диапазон рабочих температур - от минус 70 до плюс 150 °С.

Размеры - 100×34 см; полезная ширина (выступ из-под следующего слоя) - 145 мм, толщина - 3,1 мм.

Цвет - 13 цветов (красный с отливом, красный Европа, красный, красный Испания, зеленый с отливом, черный с отливом, темно-серый, коричневый с отливом, синий, черный, темно-коричневый, светло-серый, сланцевый).

Битумная черепица типа «Традишнл»

Назначение: устройство скатной кровли различной формы и сложности. Рекомендуемый уклон крыши - от 6 градусов.

Сырьевой состав: битум Тя-юана окисленный, стекловолокно, клеящий состав на основе битума, кремниевый песок.

Диапазон рабочих температур - от минус 70 до плюс 150 °С.

Размеры - 100×34 см; полезная ширина (выступ из-под следующего слоя) - 145 мм, толщина - 3,1 мм.

Цвет - 6 цветов (красный с отливом, обожженная глина, красный с отливом Краков, зеленый с отливом, коричневый с отливом, сланцевый).

Битумная черепица типа «Мозаика»

Назначение: устройство скатной кровли различной формы и сложности. Рекомендуемый уклон крыши - от 6 градусов.

Сырьевой состав: СБС-модифицированный окисленный битум Тя-юана, стекловолокно, клеящий состав на основе битума, кремниевый песок.

Диапазон рабочих температур - от минус 70 до плюс 150 °С.

Размеры - 100×33,6 см; полезная ширина (выступ из-под следующего слоя) - 145 мм, толщина - 3 мм.

Цвет - 5 цветов (красный с отливом, зеленый с отливом, черный, коричневый с отливом, серый с отливом).

Битумная черепица типа «Престиж Элит»

Назначение: устройство скатной кровли различной формы и сложности. Рекомендуемый уклон крыши - от 6 градусов.

Сырьевой состав: окисленный битум Тя-юана с добавками Айч+Пи, стекловолокно, медь, клеящий состав на основе битума, полипропилен.

Диапазон рабочих температур - от минус 70 до плюс 150 °С.

Размеры - 100×34 см; полезная ширина (выступ из-под следующего слоя) - 145 мм, толщина - 4,7 мм, толщина меди - 70 мкм, ширина загиба меди по кромкам - 20 мм.

Битумная черепица типа «Престиж Компакт»

Назначение: устройство скатной кровли различной формы и сложности. Рекомендуемый уклон крыши - от 6 градусов.

Сырьевой состав: окисленный битум Тя-юана с добавками Айч+Пи, стекловолокно, медь, клеящий состав на основе битума, полипропилен.

Диапазон рабочих температур - от минус 70 до плюс 150 °С.

Размеры - 100×34 см; полезная ширина (выступ из-под следующего слоя) - 290 мм, толщина - 4,7 мм, толщина меди - 70 мкм, ширина загиба меди по кромкам - 20 мм.

Битумная черепица типа «Престиж Традишнл»

Назначение: устройство скатной кровли различной формы и сложности. Рекомендуемый уклон крыши - от 6 градусов.

Сырьевой состав: окисленный битум Тя-юана с добавками Айч+Пи, стекловолокно, медь, клеящий состав на основе битума, полипропилен.

Диапазон рабочих температур - от минус 70 до плюс 150 °С.

Размеры - 100×34 см; полезная ширина (выступ из-под следующего слоя) - 145 мм, толщина - 3,1 мм, толщина меди - 70 мкм.

Битумная гидроизоляционная кровельная черепица «Тегола Канадезе» относится к группе горючести - Г4 (сильногорючая по СНиП 21-01-97*), группе распространения пламени - РП1 (не распространяет пламя), группе воспламеняемости - В2 (умеренно-воспламеняемая).

Производитель «Тегола Канадезе» (Италия) предоставляет Заказчику 15-летнюю гарантию на кровельное покрытие с даты покупки. Гарантия предполагает водонепроницаемость и стойкость к атмосферным воздействиям (кроме исключительных явлений), если укладка была произведена в соответствии с инструкциями по монтажу.

Гарантия не распространяется на повреждения, возникшие в результате:

- стихийных бедствий, погодных аномалий;

- неправильного хранения или содержания материала;

- непрофессионального монтажа или несоблюдения инструкций по креплению;

- неквалифицированного ремонта или использования нефирменных комплектующих.

ТУ 5756-001-41546053-98 Черепица цементно-песчаная Франкфуртская

Данные технические условия распространяются на черепицу цементно-песчаную «Франкфуртскую», окрашенную и неокрашенную, изготавливаемую из цементно-песчаного бетона методом проката на заводе ООО «Браас-ДСК и предназначенную для устройства кровель зданий и сооружений различного назначения.

Черепица подразделяется на:

- рядовую Франкфуртскую черепицу,

- коньковую Франкфуртскую черепицу,

- половинчатую Франкфуртскую черепицу.

Форма и размеры черепицы должны соответствовать указанным в нижеприведенных рисунках и таблице.

Форма и размеры рядовой Франкфуртской черепицы.

Форма и размеры коньковой Франкфуртской черепицы.

Размеры и масса цементно-песчаной Франкфуртской черепицы

Наименование показателей

Рядовая

Коньковая

Половинчатая

Длина, мм

420 - 2

450 - 2

420 - 2

Ширина, мм

330 - 1

-

180 (+2,0; -1,0)

Длина навеса, мм

398 ± 1

-

398 ± 1,0

Ширина покрытия, мм

300 ± 1,5

-

150 ± 1,5

Толщина крутого среза, мм

-

23,0 ± 1

-

Ширина круглого среза, мм

-

250 + 4

 

Масса, г

4450 ± 200

4300 ± 300

2250 ± 200

Форма и размеры половинчатой Франкфуртской черепицы.

Виды, размеры и форма допускаемых дефектов черепицы регламентируется приложением № 1 к данным техническим условиям. Суммарное количество допускаемых дефектов, отмечаемых на одной черепице, не должно превышать трех.

Разрушающая нагрузка при испытании черепицы на изгиб должна быть:

для рядовой и половинчатой черепицы - не менее 2500 N через 28 суток и не менее 1600 N через 24 часа;

для коньковой черепицы - не менее 1000 N через 28 суток и не менее 1200 N через 24 часа.

Черепица должна быть водонепроницаемой. Допускается после 24 часов испытания образование капель на обратной стороне черепицы без их отрыва от поверхности. Испытания проводятся на черепице без поверхностного окрашивания.

Подъем воды по капиллярам после 1-го часа испытания допускается не более 20 мм.

Черепица должна быть морозостойкой и выдерживать не менее 1000 циклов попеременного замораживания при температуре минус 18 ± 2 °С в насыщенном водой состоянии и последующего оттаивания в воде при температуре 18 ± 2° без признаков разрушения (выкрашивание, образование трещин, расслоение).

Неплоскостность черепицы не должна превышать 3 мм.

Черепица упаковывается следующим образом:

рядовая - 240 штук на деревянном поддоне в термоусадочной полиэтиленовой пленке. Каждый из шести пакетов по 40 штук перевязывается полимерной лентой и прокладывается картоном;

коньковая - 34 штуки на деревянном поддоне с перевязкой полимерной лентой и в термоусадочной полиэтиленовой пленке;

половинчатая - 40 штук на деревянном поддоне с перевязкой полимерной лентой и в термоусадочной полиэтиленовой пленке.

Каждая упаковка черепицы, отгружаемая потребителю, должна сопровождаться упаковочным листом, вкладываемым под термоусадочную пленку.

Упаковочный лист должен содержать следующую информацию:

- наименование предприятия-изготовителя:

- почтовый адрес и телефоны предприятия-изготовителя;

- тип черепицы;

- краткие технические характеристики и указания по применению;

- дату изготовления;

- штамп ОТК;

- обозначение данных технических условий.

Каждая черепица на нижней (нелицевой) стороне должна иметь рельефную надпись:

BRAAS Dachsystem

FRANKFURTER PFANNE

Черепица отгружается потребителю в упакованном виде. В случае отгрузки количества, некратного единице упаковки, допускается отгрузка в неупакованном виде.

Упаковка осуществляется на деревянных поддонах с перевязкой каждого ряда полимерной лентой. В свою очередь поддон с черепицей упаковывается в пакет из термоусадочной полиэтиленовой пленки.

Количество черепицы в упаковке и способ упаковки должны соответствовать требованиям, изложенным выше.

Транспортирование черепицы допускается любым видом транспорта в соответствии с «Правилами перевозки грузов», действующими на данном виде транспорта.

Складирование и хранение черепицы должно осуществляться в упакованном виде в соответствии с технологическим регламентом, утвержденном в установленном порядке, с соблюдением требований безопасности и сохранности продукции.

Допускается складирование упакованной черепицы в штабелях с установкой поддонов друг на друга. При этом максимальная высота штабеля для рядовой и коньковой черепицы - 4 поддона, для половинчатой черепицы - 8 поддонов, причем каждый последующий ярус собирается со смешением на половину поддона.

Предприятие-изготовитель должно гарантировать соответствие черепицы требованиям данных технических условий при соблюдении потребителем условий транспортирования и хранения.

Гарантийный срок хранения черепицы в упаковке - 1 год со дня отгрузки потребителю.

Каждому потребителю должен выдаваться документ, гарантирующий обязательства производителя в части замены продукции, не выдержавшей гарантийного срока эксплуатации при условии соблюдения потребителем указаний по применению и эксплуатации черепицы.

Гарантийный срок службы Франкфуртской черепицы при условии соблюдения потребителем указаний по эксплуатации - 30 лет.

Технические требования

Устройство кровельных покрытий из мелкоштучных материалов следует осуществлять в соответствии с требованиями СНиП 3.04.01-87, СНиП 3.01.01-85*, проекта, ППР, технологических карт, схем операционного контроля качества, инструкций и руководств по применению кровельных материалов заводов-изготовителей и проектных организаций, другой технологической документации, утвержденной в установленном порядке.

Для устройства кровли из мелкоштучных материалов должны применяться материалы и изделия заводского производства, отвечающие требованиям действующих стандартов или технических условий и имеющие сертификат соответствия, а в необходимых случаях техническое свидетельство Госстроя России, подтверждающее пригодность материалов для их применения в строительстве.

Кровельные работы должны осуществлять строительно-монтажные организации, получившие лицензию на выполнение строительно-монтажных работ (работы по защите конструкций и оборудования) в Федеральных или региональных лицензионных органах.

Кровельные работы должны выполняться квалифицированным персоналом, прошедшим специальную подготовку и обладающим надлежащими навыками по выполнению кровельных работ.

При производстве работ по устройству кровельных покрытий должно быть обеспечено соблюдение требований проекта, строительных норм и правил.

Производству работ по устройству кровельных покрытий должны предшествовать:

- завершение и надлежащее оформление всех предусмотренных проектом предшествующих работ;

- разработка проекта производства работ по устройству кровель, разработка технологической карты и схемы операционного контроля качества на выполнение кровельных работ (с использованием соответствующей типовой документации);

- входной контроль проектно-сметной документации и кровельных материалов;

- изучение инженерно-техническим персоналом проектной и технологической документации, обучение мастеров и рабочих передовым методам труда.

При входном контроле рабочей документации должна производиться проверка ее комплектности и достаточности содержащейся в ней технической информации для производства работ.

Входной контроль кровельных материалов должен производиться в соответствии с требованиями стандартов и технических условий на материалы в порядке, предусмотренном технологической картой или другой технологической документацией, утвержденной в установленном порядке. До поступления на строительную площадку должны быть произведены все требуемые испытания материалов на соответствие их требованиям проекта, стандартов и технических условий. По истечении гарантийного срока хранения кровельные материалы перед применением также должны быть проверены на соответствие их требованиям стандартов и технических условий.

На строительной площадке в процессе входного контроля необходимо:

- проверить наличие документов о качестве и полноту содержащихся в них данных;

- по имеющимся документам о качестве и маркировке (этикеткам, ярлыкам, штампам) убедиться в соответствии поступивших кровельных материалов требованиям проекта;

- путем внешнего осмотра проверить целостность упаковки и отсутствие на материалах недопустимых дефектов внешнего вида;

- в соответствии с требованиями ППР и технологической карты провести необходимые испытания материалов на соответствие их требованиям нормативной документации (до поступления их в производство работ и после истечения гарантийных сроков хранения);

- при возникновении каких-либо сомнений в качестве поступивших материалов должны быть вызваны представители строительной лаборатории или функциональных служб, ответственных за поставку кровельных материалов.

Кровельные работы должны выполняться по утвержденному проекту производства работ (ППР).

Запрещается осуществление строительно-монтажных работ без утвержденного проекта производства работ. Не допускаются отступления от решений проектов производства работ без согласования с организациями, разработавшими и утвердившими их.

Замена предусмотренных проектом кровельных материалов и изделий допускается только по согласованию с проектной организацией и заказчиком.

Кровельные работы по СНиП 3.04.01-87 допускается выполнять при температуре окружающего воздуха от минус 30 до плюс 60 °С и при отсутствии снегопада, гололеда и дождя.

Согласно рекомендаций АО ЦНИИПромзданий работы по устройству кровель следует производить при температуре наружного воздуха до минус 20 °С и при отсутствии снегопада, гололеда и дождя.

До начала работ по устройству кровельных покрытий должны быть выполнены и освидетельствованы все предусмотренные проектом предшествующие работы.

Устройство каждого элемента кровли следует выполнять после проверки правильности выполнения соответствующего нижележащего элемента с составлением акта освидетельствования скрытых работ. Акт освидетельствования скрытых работ предъявляется заказчику при приемке кровельного покрытия.

Кровли из мелкоштучных материалов рекомендуется преимущественно применять при устройстве чердачных покрытий малоэтажных зданий гражданского назначения.

Для устройства таких кровель должны применяться:

- плитки кровельные асбестоцементные (рядовые, краевые и коньковые детали) с прочностью на изгиб не менее 24 МПа и морозостойкостью не менее 50 циклов);

- битумно-полимерные плитки (типа «шинглс»), физико-технические показатели которых в зависимости от основы должны удовлетворять требованиям ГОСТ 30547-97 для рулонных битумных и битумно-полимерных материалов;

- глиняная или цементно-песчаная черепица (плоская ленточная, пазовая ленточная, пазовая штампованная и желобчатая) с прочностью на изгиб в ненасыщенном состоянии не менее 7 МПа и морозостойкостью не менее 25 циклов и другие мелкоштучные материалы.

В кровлях их асбестоцементных и битумно-полимерных плиток нижний водоизоляционный слой рекомендуется выполнять из битумно-полимерных рулонных материалов.

На кровлях из мелкоштучных материалов должен предусматриваться наружный организованный водоотвод.

При наружном организованном водоотводе расстояние между водосточными воронками (трубами) должно быть не более 24 м; площадь поперечного сечения водосточной трубы должна приниматься из расчета 1,5 см2 на 1 м2 площади кровли. Настенные и подвесные желоба должны иметь продольный уклон не менее 2 %.

Уклон кровли из мелкоштучных материалов должен быть не менее:

20 % - для черепицы (для глиняной желобчатой черепицы - не более 30 %);

50 % - для асбестоцементной и битумно-полимерной плитки.

Основанием под кровлю из мелкоштучных материалов должна быть деревянная обрешетка.

Для кровель из асбестоцементных плиток обрешетку рекомендуется выполнять сплошной или разреженной из досок; для кровель из битумно-полимерных плиток - сплошной двухслойной из досок, а для черепичных кровель - разреженной из брусков сечением 50×50, 50×60 или 60×60.

Во всех случаях в местах разжелобков обрешетка должна выполняться сплошной из досок, а по карнизу должны устанавливаться доски шириной 140 - 150 мм с защитной уравнительной рейкой по карнизному краю.

При устройстве обрешетки должны быть соблюдены следующие требования:

- отклонения от заданного уклона должны быть не более 5 %;

- неровности обрешетки на длине 1 м поверхности основания не должны быть более: 5 мм - вдоль ската; 10 мм - поперек ската;

- стыки обрешетки должны располагаться вразбежку;

- расстояния между элементами обрешетки должны соответствовать проектным;

- кляммеры и гвозди для крепления черепицы и асбестоцементных кровельных плиток должны быть оцинкованными.

Устройство водоизоляционного слоя из кровельных асбестоцементных плиток

К обрешетке кровельные асбестоцементные плитки следует крепить оцинкованными гвоздями и противоветровыми кнопками. При забивке гвоздей их головки должны только соприкасаться с поверхностью плиток во избежание их повреждения. В этой связи целесообразно использовать под головки гвоздей мягкие шайбы из рулонного водоизоляционного материала.

Покрытие скатов кровли асбестоцементными плитками должно начинаться со свеса карниза укладкой краевых плиток на всю его длину и далее параллельными рядами по направлению к коньку. Каждый вышележащий ряд должен напускаться на нижележащий.

Покрытие фронтона следует выполнять укладкой краевых плиток с напуском на 20 - 30 мм за край фронтонного свеса, а покрытие коньков и ребер - коньковыми деталями, укладываемыми по слою рулонного водоизоляционного материала.

Примыкание кровли из асбестоцементных плиток к вертикальным конструкциям (стенам, парапетам и т.п.) следует выполнять с использованием фартука из оцинкованной стали.

Конструкция кровли из асбестоцементных листов ПУ-3 размером 200×400 мм

Конструкция кровли из асбестоцементных листов ПУ-2 размером 200×400 мм

Конструкция кровли из асбестоцементных листов ПУ-2 размером 300×600 мм

Устройство водоизоляционного слоя из битумно-полимерных плиток

До укладки плиток вдоль фронтонных и карнизных свесов должны быть установлены фартуки из оцинкованной кровельной стали, которые закрепляют гвоздями ниже капельников.

На наклонные отвороты фартуков горячей мастикой должны быть наклеены полосы битумно-полимерного рулонного материала шириной 300 мм и закреплены к обрешетке гвоздями.

Нижний слой кровли должен быть выполнен из рулонного водоизоляционного материала, который раскатывают в направлении поперек ската с закреплением верхней по скату кромки рулона гвоздями к обрешетке и наклейкой мастикой нижней кромки рулона на смежное полотнище с нахлесткой 100 мм.

Устройство верхнего водоизоляционного слоя должно начинаться с укладки впритык друг к другу плиток нижнего ряда, каждую из которых крепят к обрешетке гвоздями с подкладкой шайб диаметром 20 мм из жести, а кромочные отвороты плитки приклеивают мастикой. Каждый последующий ряд плиток укладывают с нахлесткой на половину ширины плитки и с боковым смещением на смежную на размер одного кромочного отворота.

Коньки, ребра и разжелобки должны быть покрыты полотнищами рулонного водоизоляционного материала, которые закрепляют к обрешетке гвоздями и приклеивают мастикой. Разжелобки могут быть также покрыты кровельной сталью.

Устройство водоизоляционного слоя из кровельных изделий РЕНОПЛАСТ (ТУ 5772-031-46359508-99)

(согласно инструкции по монтажу и эксплуатации кровельного материала ЗАО НПФ «Росэкопласт»)

Изделия РЕНОПЛАСТ (листы «черепица» и детали к ним) могут эксплуатироваться в диапазоне температур от минус 60 °С до плюс 90 °С (температура поверхности крыши) при резких колебаниях температур.

Температура воздуха при выполнении кровельных работ должна быть не ниже минус 5 °С.

Основанием под кровлю должна быть сплошная обрешетка из досок.

Угол наклона крыши должен быть не менее 26° (отношение высоты к длине 1:2), во избежание скопления на кровле большой массы снега.

До укладки листов в соответствии с требованиями проекта устанавливаются фартуки из оцинкованной кровельной стали, которые закрепляют гвоздями ниже капельников.

На наклонные отвороты фартуков горячей мастикой должны быть наклеены полосы битумно-полимерного рулонного материала шириной 300 мм и закреплены к обрешетке гвоздями.

По обрешетке в соответствии с требованиями проекта настилается пароизоляционный слой из рулонного водоизоляционного материала (рубероид, рубемаст и т.д.). Рулонный материал раскатывают в направлении поперек ската с закреплением верхней по скату кромки рулона гвоздями к обрешетке и наклейкой мастикой нижней кромки рулона на смежное полотнище с нахлесткой 100 мм.

Крепить листы необходимо начинать с противоположного превалирующим ветрам края крыши. Второй ряд листов целесообразно начинать с половины листа, чтобы избежать нахлеста в четыре листа. Это облегчает укладку.

Крепление листов черепицы производится на расстоянии 40 мм от нижнего края листа в середине каждой нижней части волны оцинкованными анодированными гвоздями с широкой шляпкой длиной 60 мм или специальными шурупами-саморезами, имеющими резиновую прокладку.

В местах бокового (поперечного) перехлеста крепление листов производится длинными гвоздями (90 мм) или шурупами 85 мм в верхнюю волну под углом (на расстоянии от края верхнего листа 25 - 30 мм). Предварительно под гвозди или шурупы просверливаются отверстия диаметром меньше чем диаметр гвоздя или шурупа.

В центре листов делается дополнительное крепление в трех точках - в каждую нижнюю часть волны.

Если обрешетка заканчивается в 10 - 15 мм от нижнего края листа, то точка крепления листа должна отстоять от края обрешетки не ближе 20 мм.

Заворачивать шуруп или вбивать гвоздь необходимо до соприкосновения прокладки или шляпки с поверхностью листа и не более.

Крепление коньковых элементов следует начинать с противоположного превалирующим ветрам края крыши. Соединение коньковых элементов с рядовыми листами кровли производится в верх каждой волны.

При необходимости ходить по уложенным листам необходимо использовать специальные настилы, опирающиеся на нижнюю часть волны.

Устройство водоизоляционного слоя из битумной черепицы (ТУ 5779-548-05744716-2000)

(согласно инструкции по монтажу и эксплуатации кровли ЗАО «Рязанский картонно-рубероидный завод»)

Температура воздуха при выполнении кровельных работ должна быть не ниже минус 5 °С. При более низкой температуре битумную черепицу необходимо поместить в теплое помещение на 2 - 3 суток до ее монтажа. Во время производства работ битумную черепицу необходимо приносить из теплого помещения на место монтажа постепенно.

Минимальный угол наклона крыши должен быть 1:3.

Основание под кровлю должна быть сплошным, твердым и ровным. В качестве основания могут быть использованы шпунтовая или обрезная доска, влагостойкие строительные листы, достаточно твердые для забивания гвоздей, например, фанера. В швах обшивки основания не должно быть острых кромок.

При дощатом основании должны применяться доски шириной не более 120 мм. Доски должны соответствовать по качеству классу IV, влажность дерева не должна превышать 20 % от веса в сухом состоянии.

Стыки досок должны располагаться на опорах. Длина досок должна быть не менее 2-х пролетов между опорами.

Толщина досок и фанеры при разных расстояниях между опорами приведена в нижеследующей таблице.

Расстояния между опорами

мм

Толщина шпунтовой доски

мм

Толщина доски

мм

600

20

12

900

25

18

1200

30

21

Битумную черепицу можно также крепить к гладкому основанию из старого рубероида, если это основание прочно, неподвижно и герметично.

Нижний слой кровли должен быть выполнен из рулонного водоизоляционного материала. Завод-изготовитель рекомендует кровельные материалы, пропитанные битумом (пергамин). Пергамин укладывается по всей площади кровли, параллельно карнизам, начиная снизу, перекрывая каждый слой не менее чем на 10 см. Верхняя по скату кромка рулона закрепляется к обрешетке гвоздями, а нижняя приклеивается мастикой. В поперечном направлении концы рулонов перекрываются также на 10 см.

До укладки битумной черепицы вдоль фронтонных и карнизных свесов должны быть установлены фартуки из оцинкованной стали, которые закрепляют гвоздями ниже капельников.

Начальная полоса покрытия может быть выполнена из обрезанных кровельных плиток или из полосы рулонного кровельного материала с минеральным покрытием шириной как минимум 20 см. Начальная полоса должна защищать кровлю в качестве прокладки в промежутках под вырезами и соединениями первого слоя битумной черепицы. Перед монтажом битумной черепицы с ее верхней поверхности снимают защитную пленку, закрывающую слой мастики.

Монтаж черепицы начинают с центра карнизного свеса по направлению к обоим торцевым частям кровли. Центральная линия кровли отмечается под прямым углом к коньку крыши. Для получения прямых швов между черепицами проводят мелом линию в месте шва. Черепицу закрепляют концами язычков вниз с помощью оцинкованных кровельных гвоздей на 15 … 20 мм вверх от пазов. Если уклон крыши более 1:1 (45°), крепление черепицы выполняется с помощью шести гвоздей. Крепление с помощью гвоздей необходимо производить осторожно, стараясь не повредить молотком поверхность битумной черепицы.

Первый ряд черепицы укладывается таким образом, чтобы концы были расположены на 30 - 50 мм от края бокового карниза. После этого монтируют второй ряд черепицы так, чтобы концы язычков были на одном уровне с нижними частями черепицы предыдущего ряда. На торцевых карнизах черепицу обрезают до уровня карнизов и приклеивают к карнизным полосам по ширине 100 мм. Выполнение этих операций продолжается до тех пор, пока монтаж черепицы не будет закончен.

При монтаже черепицы необходимо убедиться в том, что ее нижняя сторона хорошо приклеена и при необходимости осторожно подогреть нижнюю поверхность черепицы, например, с помощью газовой горелки для обеспечения плотного приклеивания.

Перед монтажом черепицы должна осуществляться герметизация кровельных выходов, как, например, выходов вентканалов и световых фонарей с помощью полос, отрезанных от верхнего ковра. Полосы поднимают на высоту не менее 300 мм, закрепляют мастикой и заанкеривают, после чего закрывают металлическим листом. Отделка небольших выходов, как, например, выходы труб, антенн и пр. выполняется с помощью резиновых фартуков.

На конек крыши укладывают коньковые битумные черепицы, которые закрепляют с помощью потайных гвоздей. Битумную черепицу перед установкой при помощи легкого подогрева сгибают по коньку. Монтаж черепицы на сгибы шатровой крыши выполняется также, как и укладка черепицы на конек. При застилке ендовы используют в качестве дополнительной подкладки высококачественный кровельный рулонный материал.

Устройство кровель из гибкой черепицы ТехноНИКОЛЬ

(согласно инструкции по применению ЗАО «ТехноНИКОЛЬ»)

Гибкую черепицу применяют на крышах с уклоном от 12° (соотношение 1:5). Черепица используется как для устройства новых кровель, так и для реконструкции старых кровель. Гибкая черепица прекрасно смотрится на крышах, как частных домов - коттеджей, так и на жилых, общественных, промышленных и других зданий, особенно со сложными формами крыш. Основным достоинством гибкой черепицы ТехноНИКОЛЬ является то, что ее можно применять для кровель любой сложности, формы и конфигурации, вплоть до куполов и луковичных крыш, обеспечивая 100 % герметичность, при этом она прекрасно вписывается в окружающий ландшафт. Она имеет высокие шумопоглощающие свойства. В случае устройства мягкой черепицы поверх битумных покрытий, последние выполняют функцию дополнительного нижнего подкладочного ковра.

Материалы для устройства кровель должны отвечать действующим строительным нормам и правилам. В качестве сплошного настила допустимо использовать влагостойкую фанеру, ориентированную стружечную плиту (OSB-3), шпунтованные или обрезные доски с относительной влажностью не более 20 %, которые в процессе монтажа следует сортировать по толщине. При использовании обрезной доски в качестве обрешетки максимальный допустимый зазор между досками должен быть не более 5 мм. При монтаже в зимний период и использовании в качестве сплошного настила фанеры либо плиты OSB-3 необходимо между листами оставлять зазор в 3 мм для обеспечения компенсации линейного расширения в теплое время года. Края фанеры рекомендуется крепить ершенными гвоздями или саморезами. Для увеличения срока службы деревянных элементов стропильной конструкции рекомендуется обработать их антисептиками и антипиринами.

При укладке гибкой черепицы по деревянным конструкциям крыши, как и по другим видам конструкций, шаг стропил зависит от постоянных и временных нагрузок, а так же от формы крыши, и колеблется от 600 до 1500 мм. В зависимости от шага стропил применяется сплошной деревянный настил различной толщины.

Шаг стропил, мм

Толщина фанеры, мм

Толщина OSB-3, мм

Толщина доски, мм

600

12

12

20

900

18

18

23

1200

21

21

30

1500

27

27

37

Для увеличения срока службы подкровельной конструкции крыши необходимо предусматривать вентиляцию, особенно над эксплуатируемым мансардным этажом. Для нормальной вентиляции скатная крыша должна иметь три основных элемента: отверстие для притока свежего воздуха, каналы над теплоизоляцией для его циркуляции и вытяжные отверстия в верхней части кровли.

Каналы над теплоизоляцией должны иметь минимальную высоту продуха 50 мм при угле наклона ската > 20 град. При уменьшении угла наклона ската (< 20 град) высота продуха должна быть увеличена до 80 мм.

Вытяжные элементы в верхней части кровли могут быть нескольких видов: коньковый аэратор, щипцовая решетка в боковых частях кровли, либо скатный вытяжной кровельный выход.

Дополнительный слой рулонного материала при уклонах кровли более 18° (1:3) укладывается лишь в зонах вероятных протечек (вдоль карнизных и торцевых свесов на величину не менее 400 мм п. 2.6 СНиП II-26-76 «Кровли» (рекомендуется доводить подкладочный ковер до плоскости фасада), конек кровли должен быть усилен на ширину 0,25 м с каждой стороны одним слоем рулонного кровельного материала п. 2.4 СНиП II-26-76.

При уклоне крыш от 12° до 18° (от 1:5 до 1:3) на основание под черепицу дополнительный слой подкладочного ковра ТехноНИКОЛЬ укладывается по всей поверхности ската. Укладку рулонного материала ведут снизу вверх с нахлестом в поперечном направлении 100 мм, а в продольном - 150 мм, раскатывая рулон параллельно карнизному свесу. К основанию его крепят специальными оцинкованными гвоздями с широкими шляпками через каждые 200 мм. Места нахлестки промазываются битумной мастикой ТехноНИКОЛЬ. До монтажа основания под кровлю к вылетам стропильных ног или кобылкам крепятся крючья подвесного водосточного желоба в случае, если предусмотрена система организованного водоотвода.

Свесы кровли усиливаются металлическими карнизными и торцевыми планками поверх подкладочного слоя. Металлические планки укладываются внахлест на 5 см и крепятся кровельными гвоздями в местах нахлеста через 3 см, а далее с шагом 10 ÷ 12 см. Вдоль карнизного свеса поверх металлической планки (капельника) укладывается встык коньковая/карнизная (1,00×0,25 м) гибкая самоклеящаяся плитка с отступом на 10 ÷ 20 мм от места перегиба металлической карнизной планки. Перед укладкой с плиток следует удалять легкосъемную силиконизированную пленку, а после приклейки каждую коньково-карнизную плитку необходимо дополнительно крепить гвоздями. В ендовах необходимо укладывать специальный ендовный ковер ТехноНИКОЛЬ. Дополнительно, по краям рулонные материалы крепятся к основанию гвоздями и промазываются битумной мастикой ТехноНИКОЛЬ на полосе в 10 см.

При укладке гибкой черепицы во избежание цветовых отклонений необходимо использовать битумную черепицу вперемешку из 4 ÷ 5 упаковок одновременно. Гибкую черепицу необходимо укладывать рядами снизу вверх, начиная от центра нижнего карниза в направлении фронтонов. Первый ряд черепицы следует укладывать таким образом, чтобы нижний край лепестков черепицы отстоял от края коньково-карнизной плитки на расстоянии 20 ÷ 30 мм. Крайняя черепица, с которой начинается укладка второго ряда, обрезается на величину, обеспечивающую формирование проектного рисунка кровли и перекрытие механического крепежа. Черепицу отрезают вровень с краями фронтонного карниза и проклеивают битумной мастикой ТехноНиколь на полосе шириной 10 см.

Перед приклейкой черепицы с нижней ее части необходимо снять защитную пленку. После приклейки черепица дополнительно крепится к основанию четырьмя гвоздями, если уклон кровли до 45°, и шестью гвоздями, если уклон более 45°.

Укладку гибкой черепицы «Аккорд» следует начинать от центра карнизного свеса в направлении торцевых частей кровли и конька. Первый ряд черепицы укладывается так, чтобы выступающие части гибкой черепицы закрывали стыки и линию перфорации карнизных плиток. Последующие ряды черепицы укладываются так, чтобы правая выступающая часть черепицы (квадратная) закрывала стык между двумя черепицами предыдущего ряда. Снимать защитную пленку следует только перед укладкой черепицы. После приклейки черепицу дополнительно крепят к основанию четырьмя гвоздями, прибиваемыми в середине пазов черепицы у их обреза и на краях черепицы. Шляпки гвоздей должны закрываться выступающими частями черепицы следующего ряда.

Монтаж конька должен производиться при помощи коньковой/карнизной черепицы размером 0,25×1,00 м. Коньково-карнизная черепица делится на три равные части по линии перфорации. Образующиеся коньковые черепицы размером 0,25×0,33 м укладываются с нахлестом 5 см. В отличие от карниза коньковая черепица укладывается на конек короткой стороной вдоль ската.

Черепица приклеивается с нахлестом 5 см. В местах нахлеста нижняя черепица дополнительно крепится четырьмя гвоздями (два на скат). Шляпки гвоздей должны быть перекрыты укладываемой с нахлестом следующей коньковой черепицей.

В местах примыканий кровельного покрытия к вертикальным поверхностям должна быть прибита треугольная рейка. По этой рейке гибкая черепица заводится на вертикальную поверхность. Поверх черепицы с помощью битумной мастики приклеивается ендовный ковер ТехноНИКОЛЬ. На вертикальную поверхность ковер должен быть заведен не менее чем на 300 мм, в климатических зонах с повышенными снеговыми нагрузками эта величина может быть увеличена. Верхняя часть примыкания должна быть закрыта металлическим фартуком, который закрепляется механически, и загерметизирована битумной мастикой.

Герметизация нижних частей кровельных проходок, антенн, труб коммуникаций должна осуществляться с помощью специальных проходных элементов для гибкой черепицы, фиксируемых гвоздями. Ряды гибкой черепицы, укладываемые на проходку, обрезаются и приклеиваются к фланцу с помощью битумной мастики ТехноНИКОЛЬ. Далее на проходной элемент монтируется необходимый кровельный выход.

Устройство водоизоляционного слоя из битумных волнистых кровельных листов марки «Ондулин» типа PPHR

(согласно инструкции по креплению листов ЗАО «Ондулин СМ»)

Листы «Ондулин» предназначены для устройства кровель в жилых, сельскохозяйственных, промышленных вспомогательных зданиях типа складов, навесов гаражей т.п. с ограниченным доступом на кровлю.

При угле наклона крыши от 5° до 10° (уклон от 1:11 до 1:6) требуется сплошная обрешетка из доски или фанеры. Концевой нахлест листов при этом 300 мм, боковой - 2 волны.

При угле наклона крыши от 10° до 15° (уклон от 1:6 до 1:4) делается обрешетка с интервалом 450 мм по осям. Концевой нахлест листов при этом 200 мм, боковой нахлест - 1 волна.

При угле наклона крыши от 15° и более (уклон от 1:4 и менее) делается обрешетка с интервалом 600 мм по осям. Концевой нахлест листов при этом 170 мм, боковой нахлест - 1 волна.

Бруски обрешетки должны быть прибиты к стропилам на заданных расстояниях по осям, параллельно к карнизу.

В качестве нижнего водоизоляционного слоя рекомендуется использовать подкладочный материал «Ондутис».

Начинать укладку листов следует с противоположного превалирующим ветрам края крыши. Второй ряд листов следует начинать с половины листа для того, чтобы на угловом стыке был нахлест в 3, а не в 4 листа. Это облегчает укладку.

Для крепления одного листа необходимо 20 гвоздей.

Необходимо прибивать листы Ондулина по каждой волне на конце листа и концевом нахлесте, а также по обеим сторонам бокового нахлеста.

К промежуточным брускам обрешетки листы прибивают через одну волну.

Необходимо использовать натянутую веревку для того, чтобы производить крепеж точно по линии бруса обрешетки.

Крепление листов «Ондулин» к металлической обрешетке рекомендуется производить саморезами «Стелфикс».

Обрезать листы можно ножовкой по дереву, смазанной маслом для того, чтобы избежать застревания. Можно использовать для этой цели циркулярную и ручную электропилу.

Укладку коньковых элементов «Ондулин» следует также начинать с противоположного превалирующим ветрам края крыши и вести ее с нахлестом 125 мм. Прибивать коньковый элемент необходимо по каждой волне стыкующегося с ним листа к дополнительным брускам обрешетки.

Для оформления ендов рекомендуется использовать специальные ендовы «Ондулин», которые крепятся к сплошной обрешетке из досок. Эти же ендовы можно использовать в примыканиях кровли к вертикальным стенам. Стык ендовы со стеной следует надежно загерметизировать.

Для лучшей гидроизоляции карниза рекомендуется использовать универсальный карнизный короб (лоток). Максимальный свес листа «Ондулин» на карнизе - 70 мм.

Чипец крыши можно защитить загнутым и прибитым к чипцовой доске краем листа «Ондулин» (этот метод рекомендуется использовать только при плюсовой температуре), или специальным чипцовым или коньковый элементом «Ондулин»

Устройство водоизоляционного слоя из кровельных плиток и комплектующих материалов АО «KATEPAL»

(согласно инструкции по монтажу кровельной системы АО «KATEPAL»)

Кровельная плитка «KATEPAL» - материал для скатной кровли. Минимальный уклон кровли, при котором допускается использование плитки KATEPAL - 1:5 (около 12 градусов). Устройство кровли должно начинаться с подготовки основания. Основание должно быть ровным, жестким и всегда проветриваемым. Воздушный зазор должен быть достаточно большим, вытяжное отверстие располагают как можно выше, а отверстия для притока воздуха, соответственно, в нижней части кровли.

Вентиляция необходима для:

- отвода влаги, содержащейся в воздухе, от утеплителя, обрешетки и кровельного материала;

- предотвращения образования льда и сосулек на кровле в зимнее время;

- уменьшения температуры внутри здания летом.

Основанием под кровлю должна быть сплошная деревянная обрешетка. В качестве основания может быть использована влагостойкая фанера, шпунтованная или обрезная доска. Влажность материала для основания не должна превышать 20 % от сухого веса.

Стыки досок должны располагаться на опорах, и длина досок должна быть не менее двух пролетов между опорами.

Для компенсации линейного температурного расширения между листами и досками необходимо оставлять достаточный зазор.

Толщина досок и фанеры в зависимости от шага стропил приведена в нижеследующей таблице.

Шаг стропил, мм

Толщина досок, мм

Толщина фанеры, мм

600

20

12

900

23

18

1200

30

21

Нижний (подкладочный) слой кровли должен быть выполнен из рулонного водоизоляционного материала. В качестве укрепляющего подкладочного слоя под кровельную плитку рекомендуется кровельный ковер Katepal K-EL 50/2200.

Основой кровельного ковра Katepal K-EL 50/2200 является стеклохолст, пропитанный СБС-модифицированным битумом; верхний и нижний слои - мелкий песок; номинальная толщина ковра 2 мм; размер рулона 15×1 м; метод установки: гвозди, клей К-36.

При уклоне кровли менее 1:3 (менее 18°) подкладочный слой следует устанавливать по всей плоскости кровли. Укладку ведут раскатывая рулон параллельно карнизному свесу, снизу вверх с нахлестом не менее 10 см. Края ковра фиксируются гвоздями с интервалом 20 см, швы герметизируются клеем Katepal.

При уклоне кровли более 1:3 (более 18°) подкладочный слой укладывают на коньки, в ендовы, на карнизные свесы и в торцевые части кровли.

До укладки кровельной плитки поверх подкладочного слоя должны быть смонтированы кронштейны для крепления водосточных желобов, смонтированы карнизные стальные листы внахлест на 5 см. Стальные листы должны быть прибиты вразбежку кровельными гвоздями с интервалом 10 см, а в местах нахлестки с интервалом 3 см сквозь оба листа.

Далее на карнизный свес поверх стальных листов монтируются самоклеящиеся карнизные плитки Katepal.

Основой карнизных плиток Katepal является стеклохолст, пропитанный СБС-модифицированным битумом; верхний слой - каменная крошка; нижний слой - самоклеящийся СБС-модифицированный битум; размер плитки 1×0,25 м; метод установки: самонаклеивание, гвозди.

Плитки монтируют предварительно удалив с них защитную пленку. Плитки прибивают на расстоянии 3 - 5 см от верхнего края с шагом 20 см между гвоздями.

Ендовы поверх подкладочного слоя дополнительно защищают ендовым ковром Katepal Pintari. Цвет этого ковра должен соответствовать цвету основного покрытия.

Основой ковра Katepal Pintari является стеклохолст, пропитанный СБС-модифицированным битумом; верхний слой - каменная крошка; нижний слой - мелкий песок; размер рулона 10×0,7 м; номинальная толщина 3 мм; метод установки: приклеивание на битумной мастике и механическая фиксация.

Края ковра Katepal Pintari (вдоль ендовы) приклеиваются к основанию клеем Katepal. Ширина слоя приклейки должна быть не менее 10 см. Дополнительно края ковра крепятся гвоздями.

Укладку кровельной плитки Katepal следует начинать от центра карнизного свеса в направлении торцевых частей кровли. Первый ряд кровельных плиток необходимо укладывать отступая от нижней кромки карнизной плитки на 35 см. Выступающие части кровельной плитки должны закрывать стыки карнизных плиток.

Во избежание цветовых отклонений рекомендуется использовать кровельные плитки из 4 ÷ 5 упаковок вперемешку.

При температуре окружающего воздуха ниже +5 °С упаковки с плиткой рекомендуется хранить перед монтажом в теплом помещении. Допускается применение во время монтажа тепловоздушной горелки.

Перед приклейкой плитки с нижней ее части необходимо снять защитную пленку. Складывать плитки со снятой защитной пленкой не разрешается. После приклейки плитки дополнительно крепятся к основанию четырьмя гвоздями. Если уклон кровли круче 1:1, каждая плитка должна крепиться шестью гвоздями.

Последующие ряды плиток следует монтировать так, чтобы нижний край лепестков плиток был на одном уровне с вырезами плиток предыдущего ряда. На торцевых частях кровли плитки обрезаются по краю и приклеиваются к основанию клеем Katepal. Ширина приклеиваемого слоя должна быть не менее 10 см.

В ендовах кровельная плитка должна быть обрезана таким образом, чтобы на дне ендовы в ее центре оставалась открытой полоса ендового ковра Pintari шириной около 15 см. Края кровельных плиток вдоль линии отреза на ширине не менее 10 см должны быть приклеены к основанию клеем Katepal. При обрезке плиток на ендове должны быть приняты меры, обеспечивающие сохранность нижних слоев кровли.

Укладку прямоугольной плитки «Rocky» следует начинать от центра карнизного свеса в направлении торцевых частей кровли и конька. Первый ряд плиток укладывается так, чтобы выступающие части кровельных плиток закрывали стыки и линию перфорации карнизных плиток. Последующие ряды плиток укладываются так, чтобы правая выступающая часть плитки (квадратная) закрывала стык между двумя плитками предыдущего ряда. Снимать защитную пленку следует только перед укладкой плитки. После приклейки плитки дополнительно крепят к основанию четырьмя гвоздями, прибиваемыми в середине пазов плитки чуть выше (20 ÷ 30 мм) их обреза и на краях плитки. Шляпки гвоздей должны закрываться выступающими частями плиток следующего ряда.

Монтаж конька должен производиться при помощи коньковой плитки, которая образуется при делении карнизной плитки на три равные части. При делении карнизной плитки по линии перфорации образуются три коньковых плитки размером 0,25×0,33 м.

Коньковую плитку приклеивают, предварительно удалив защитную пленку, на конек короткой стороной параллельно коньку.

Плитка приклеивается с нахлестом 5 см. В местах нахлеста нижняя плитка дополнительно крепится четырьмя гвоздями (два на скат).

Шляпки гвоздей должны быть перекрыты укладываемой с нахлестом следующей коньковой плиткой.

В местах примыканий кровельного покрытия к вертикальным поверхностям должна быть прибита треугольная рейка (размеры не указываются). По этой рейке кровельная плитка заводится на вертикальную поверхность и приклеивается клеем Katepal. Поверх кровельной плитки приклеивается ковер Katepal Pintari. На вертикальную поверхность ковер должен быть заведен не менее чем на 30 см, на скат - не менее чем на 20 см. Примыкание в вертикальной поверхности должно быть закрыто металлическим фартуком, а горизонтальные швы загерметизированы.

Кровельные проходки небольшого диаметра должны выполняться с помощью специальных резиновых уплотнителей фирмы SK Tuole.

Инструкция по монтажу кровельной плитки «Пикопойка»

(инструкция по монтажу самоклеящейся кровельной плитки «Pikipoika» концерна «Lemminkainen»)

«Pikipoika» подходит для самых разнообразных типов скатных крыш с уклоном 1:3 (18°) и более, а с нижним ковром (K-EL 50/2200) может монтироваться даже на кровлю с меньшим уклоном 1:5 (12°). Нижний ковер рекомендуется использовать всегда для сложных форм крыши. Плитки крепятся с помощью самоклеящегося слоя битума, находящегося на нижней стороне плитки, и фиксируются гвоздями.

Укладка кровли начинается с подготовки основания, которое должно быть ровным и прочным. В качестве такого основания может быть использована влагостойкая фанера, шпунтованная или обрезная доска, влажность которой не должна превышать 20 %. Зависимость между шагом стропил и толщиной фанеры или досок при снеговой нагрузке 1,8 кН/м2 и точечной нагрузке 1,0 кН представлена в нижеследующей таблице.

Шаг стропил, мм

Толщина фанеры, мм

Толщина доски, мм

600

12

20

900

18

23

1200

21

30

Стыки досок должны располагаться на месте опор. Доски должны опираться, как минимум, на два пролета между стропилами. Между досками должен оставаться зазор, достаточный для расширения досок при изменении температуры и влажности.

Поверх основания рекомендуется укладка подкладочного ковра K-EL 50/2200, который укрепляет основание, повышает сопротивляемость кровли ветровым нагрузкам, улучшает гидроизоляционные свойства. При уклоне кровли менее 1:3 подкладочный ковер должен укладываться по всей площади основания; при уклоне более 1:3 - в местах ендов, карнизов, фронтонов, конька и примыканий.

Подкладочный ковер монтируется снизу вверх с нахлестом 10 см, швы герметизируются клеем Пикипойка и фиксируются гвоздями с шагом 20 см.

Карниз отделывается перед монтажом кровли. На карнизные свесы укладываются карнизные стальные листы с нахлестом 3 см и прибиваются с шагом 10 см в шахматном порядке. Далее на карнизный лист монтируется самоклеящаяся карнизная полоса, с которой предварительно снимается защитная пленка. Нижний край полосы должен доходить до карнизного угла. Полоса укладывается без бокового нахлеста и фиксируется гвоздями с шагом 20 см.

В карнизной части на подкладочный ковер согласно проекту крепятся также лотковые скобы для монтажа водосточных подвесных желобов.

В ендове поверх подкладочного ковра K-EL 50/2200 укладывается карнизная самоклеящаяся полоса (1,1×10 м), либо Супра 7 (0,7×10 м) и Супра 10 (1,1×7 м).

Укладку самоклеящейся кровельной плитки «Пикипойка» следует вести от центра карниза в направлении фронтонов. Первый ряд плиток следует укладывать отступая от карниза на 3 см так, чтобы лепестки плиток закрывали места стыков карнизных полос. Проектное положение плитки корректируется и фиксируется благодаря верхней самоклеящейся полосе, с которой предварительно снимается защитная пленка. Плитки монтируются без бокового нахлеста. У фронтонного свеса плитку обрезают и проклеивают на полосе 10 см от свеса.

Смонтированные плитки дополнительно фиксируются 4 - 6 гвоздями в 2 - 3 см выше верхнего края вырезов.

Следующие ряды плиток должны укладываться так, чтобы концы лепестков второго ряда совпадали с верхними краями вырезов первого ряда и перекрывали крепеж.

Укладка кровельных плиток должна производится при температуре окружающего воздуха не ниже 5 °С. При более низких температурах для обеспечения надежного приклеивания плиток ее клейкую поверхность рекомендуется подогревать строительным феном. Сами же плитки и комплектующие элементы следует хранить в тепле до момента их укладки.

Чтобы избежать появления на кровле пятен с различными оттенками при укладке рекомендуется брать плитки по очереди из четырех-пяти пачек.

При укладке плиток на ендову требуется обрезка краев плиток. От центра ендовы до края скошенных плиток должна оставаться открытая полоса шириной 15 см. Скошенные края плиток в ендовах должны дополнительно промазываться клеем Пикипойка.

Конек выполняется из специальных коньковых плиток (0,33×0,37 м). Перед монтажом коньковую полосу необходимо по перфорации разделить на отдельные коньковые плитки. После удаления защитной пленки плитка прибивается к коньку четырьмя гвоздями с одной стороны, а с другой просто приклеивается на предыдущую с нахлестом в 12 см. Крепеж остается невидимым.

Инструкция по монтажу кровельной плитки «Icopal Plano»

(инструкция по монтажу кровельной плитки «Icopal Plano» концерна «Icopal Oy»)

Кровельная плитка Icopal Plano представляет собой битумное покрытие, предназначенное для применения на твердых и ровных основаниях. Кровельную плитку Icopal Plano можно использовать как на новых объектах, так и для ремонта старых кровель с рубероидным или плиточным покрытием.

Минимальный уклон кровли 1:5 (11°).

Минимальная температура при выполнении кровельных работ +6 °С.

Кровельную плитку и принадлежности следует складировать и хранить в тени, максимально 12 упаковок одна на другой. При жаркой погоде битумные изделия следует хранить в затененном месте и приносить на место монтажа постепенно. Это позволит легче снимать защитную пленку.

В сложных условиях, в частности, на ветренных и холодных участках прочность крепления плитки следует обеспечить путем нагревания клеевых поверхностей строительным феном. Если монтаж кровельной плитки происходит при температуре ниже +6 °С, то за два-три дня до монтажа ее следует поместить в теплое помещение (около 20 °С). Плитку необходимо приносить из теплого помещения на место монтажа постепенно.

Основание под кровельное покрытие должно быть устойчивым, ровным и негнущимся. В качестве такого основания может быть использована влагостойкая фанера, шпунтованная доска толщиной не менее 23 мм и шириной не более 95 мм или обрезная доска шириной 100 мм. Влажность древесины не должна превышать 20 %. В швах основания должны быть предусмотрены зазоры 2 - 3 мм. Доски должны перекрывать как минимум два пролета между стропилами, места их соединения должны находиться на стропильных балках.

На объектах реконструкции вначале следует проверить состояние нижней обшивки и при необходимости заменить поврежденные доски новыми. Складки и т.п., имеющиеся в старом битумном покрытии, необходимо разрезать, склеить и прибить гвоздями к основанию. В случае удаления старого битумного покрытия необходимо всегда использовать нижний ковер Plano.

В новом строительстве в качестве нижнего ковра рекомендуется использовать ковер Icopal Plano 1×10 м.

Нижний ковер Icopal Plano 1×10 м можно монтировать на основание вертикально или горизонтально (нижний ковер K-EL 50/2200 1×10 м - только горизонтально). При вертикальном монтаже ковер укладывается вдоль фронтона и прибивается к основанию с помощью нескольких гвоздей. Затем с нижней кромки ковра удаляют защитную пленку, ковер приклеивают к основанию и дополнительно прибивают к основанию гвоздями с шагом 200 мм. После этого снимают защитную пленку с верхней кромки ковра и эту кромку прибивают к основанию с помощью нескольких гвоздей. Следующий рулон после того, как с нижней его кромки удалят защитную пленку, укладывается внахлест примерно на 100 мм на предыдущий ковер и прибивается к основанию гвоздями с шагом 200 мм. Поперечные швы между рулонами выполняются внахлест около 150 мм.

На карнизе рекомендуется использовать карнизные металлические листы Icopal с фланцами, которые служат защитой карнизных досок и придают кровле аккуратный вид. Минимальная ширина фланца карнизного металлического листа составляет 150 мм. Карнизные металлические листы прибиваются к основанию гвоздями с шагом 100 мм.

Конструкция карниза

а) с металлическим карнизным сливом              б) со сливом из карнизной полосы

В карнизной части на подкладочный ковер согласно проекту крепятся карнизный металлический лист (рис. а), а затем сверху укладывается карнизная полоса 10×0,33 м, либо на подкладочный ковер непосредственно укладывается карнизная полоса (рис. б).

Перед укладкой с карнизной полосы удаляется защитная пленка, далее полоса укладывается вдоль карниза липким слоем вниз, затем ее дополнительно крепят к основанию гвоздями вдоль верхней кромки с шагом 100 мм.

Карнизную полосу можно согнуть в виде слива, предварительно закруглив верхний край карнизной доски, и закрепить ее за передний край с помощью гвоздей с шагом 50 мм (рис. б).

Конструкция фронтона

а) со сливом из карнизной полосы           б) с металлическим карнизным сливом

На фронтоне металлический карнизный лист и карнизная полоса монтируются так же, как карнизе. На фронтоне можно использовать фасонную карнизную планку (рис. б). Края кровельных плиток на фронтоне приклеиваются к основанию на ширину 100 мм.

До монтажа кровельных плиток для выравнивания цветовых оттенков облицованной поверхности необходимо перемешать между собой кровельную плитку из нескольких упаковок.

Первый ряд кровельных плиток укладывается таким образом, чтобы нижний край укладываемой плитки располагался в 20 мм от карнизного свеса. Каждую плитку приклеивают, а затем дополнительно прибивают гвоздями к основанию на расстоянии около 30 мм от верхнего обреза каждого паза, а также на торцах плитки (т.е. 4 гвоздя на плитку). При больших уклонах и в ветренных районах плитки дополнительно прибивают еще одним гвоздем у каждого торца плитки (т.е. 6 гвоздей на плитку).

Следующий ряд плиток укладывается так, чтобы края лепестков верхних плиток совмещались с пазами (вырезами) нижних плиток и закрывали шляпки гвоздей, которыми крепились плитки нижнего ряда.

При монтаже плиток Plano Claro применяется другое количество гвоздей - 5 шт. на плитку. Этикетка Plano Claro выполняет функцию вспомогательного средства при прибивании плиток гвоздями. Этикетку следует поместить между крайними лепестками плитки таким образом, чтобы вспомогательные линии на этикетке оказались на одном уровне с обрезами лепестков. В этом случае концы трех стрелок, нанесенных на верхний край этикетки, указывают положение трех гвоздей для крепления плиток. Еще два гвоздя вбивают на торцах плитки.

Монтаж плиток Plano Claro выполняется таким образом, чтобы центральная часть широкого лепестка верхнего ряда плиток совпала с участком вертикального шва нижнего ряда плиток, и чтобы лепестки верхнего ряда плиток закрывали шляпки гвоздей, которыми крепились плитки нижнего ряда.

В ендовах поверх нижнего ковра дополнительно укладывают рулонный материал Icopal Liima Ultra 1,0×8 м одного цвета с кровельной плиткой (или Icopal Pinta Ultra цвета плитки, размер рулона 0,7×10 м). С ковра предварительно снимается защитная пленка, после чего он укладывается в ендову и приклеивается с помощью клеевых точек на нижней поверхности ковра, а затем дополнительно крепится гвоздями по краям ковра с шагом 100 мм.

Кровельная плитка укладывается на ковер Icopal Liima Ultra 1,0×8 м с напуском не менее 150 мм. Края кровельных плиток вдоль ендовы должны быть ровно обрезаны и приклеены к основанию.

Для покрытия конька используются приклеиваемые коньковые плитки. С нижней поверхности коньковых плиток предварительно удаляется защитная пленка, плитки перегибаются через конек, приклеиваются и дополнительно прибиваются к основанию четырьмя гвоздями (два гвоздя на скат) с того края плитки, на который внахлест будет уложена следующая коньковая плитка. Следующая плитка укладывается внахлест на предыдущую примерно на 100 мм так, чтобы гвозди были закрыты. Крепление последней кровельной плитки обеспечивается с помощью кровельного клея Icopal.

Ряды кровельной плитки на коньке должны быть подняты до такой высоты, чтобы гвозди, которыми прибит последний ряд плиток, были скрыты за коньковой плиткой.

В узлах примыканий кровельная плитка должна быть поднята до верхнего края треугольной рейки, смонтированной в основании примыкания. Крепление кровельной плитки выполняется рядами от точки сгиба треугольной рейки таким образом, чтобы шляпки гвоздей были скрыты под следующим рядом плиток.

В качестве дополнительного слоя изоляции используются рулонные материалы Icopal Pinta Ultra цвета плитки (размер рулона 0,7×10 м) и Icopal Liima Ultra цвета плитки (размер рулона 1,0×8 м).

Подъем дополнительного слоя изоляции на вертикальную поверхность должен составлять не менее 300 мм. На основной кровельный ковер (на поверхность ската) дополнительный слой должен укладываться с нахлестом не менее 100 мм. Нижние слои дополнительного ковра должны оставаться под рядами кровельной плитки, верхние должны заходить на кровельную плитку. Прочность крепления рядов плитки следует усиливать с помощью кровельного клея Icopal, дополнительных слоев изоляции - с помощью резинобитумного клея Icopal и механических крепежных приспособлений. Подъемы дополнительного ковра на вертикальную поверхность должны быть облицованы металлическими листами с пластиковым покрытием.

Инструкция по укладке гибкой черепицы «Tegola»

(инструкция по укладке гибкой черепицы ЗАО «Тегола»)

Гибкую черепицу «Тегола» укладывают на сплошное основание из влагостойкой фанеры или шпунтованной либо обрезной доски с пропиткой.

Для дополнительной гидроизоляции используется рулонный подкладочный слой. В случае уклона скатов менее 1:3 дополнительная гидроизоляция устраивается на всей поверхности основания, при уклоне более 1:3 - только по периметру ската, в местах ендов, стыков и т.п.

В карнизной части устанавливаются карнизные свесы («капельники») или желоба водосточной системы. Карниз усиливается полосами гибкой черепицы, от которой отрезаны лепестки.

Укладку черепицы следует начинать от средней линии ската. Первый ряд черепицы проклеивается битумной мастикой «Битустик» и в верхней части фиксируется гвоздями.

Следующие ряды укладываются со смещением, создающим проектный рисунок. Каждая полоса черепицы крепится пятью гвоздями. Если уклон ската превышает 60°, то используют два дополнительных гвоздя в верхних углах. Каждый гвоздь должен прошивать и нижний лист черепицы (схема укладки должна быть представлена на упаковке черепицы).

Лепестки черепицы приклеиваются на самоклеящиеся полоски. При укладке в теплую погоду достаточно прижать лепесток к основанию, в холодную погоду необходимо нагревать самоклеящие полоски.

Последний ряд черепицы доводится до линии конька, выступающая часть перегибается через конек и фиксируется на противоположном скате. Конек перекрывается коньковыми элементами, которые получаются путем деления целых плит на отдельные черепицы. Из полученных элементов укладывают коньки и ребра. Нахлест выполняют со стороны ветра. Крепят коньковые элементы двумя гвоздями (по одному на скат) и битумной мастикой «Битустик». В зимний период коньковые элементы рекомендуется перед укладкой подогревать.

В ендове гибкая черепица «Tegola» укладывается с нахлестом и подрезкой полос примыкающего ската по центральной линии ендовы в соответствии с приведенным ниже рисунком.

Основание в ендове рекомендуется усилить гидроизоляционной мембраной «Сэйфити Поли» шириной 1 м, которая крепится к основанию кровли по краям ковра гвоздями с шагом 100 мм.

1 - гидроизоляционная мембрана «Сэйфити Поли» шириной 1 м; 2 - битумная мастика «Битустик»; 3 - зона, не пробиваемая гвоздями; 4 - основание под черепицу: фанера повышенной влагостойкости (ФСФ) толщиной от 9,5 мм, доска шпунтованная или обрезная толщиной от 25 мм, листы ОСП; 5 - фиксирующий гвоздь; 6 - верхний лист гибкой черепицы (обрезается по шнуру, верхний угол листа срезается под углом 60°).

Для оформления фронтона или чипца в первом варианте рекомендуется использовать специальные металлические элементы. Крайние полосы (у фронтона) обрезаются и приклеиваются битумной мастикой «Битустик».

1 - фронтонный металлический водосточный фартук; 2 - фиксирующий металлический кляммер (не менее 3 шт. на метр); 3 - битумная мастика «Битустик»; 4 - фиксирующий гвоздь; 5 - самоклеящиеся точки; 6 - верхний лист гибкой черепицы (угол срезается под 60°); 7 - основание под черепицу: фанера повышенной влагостойкости (ФСФ) толщиной от 9,5 мм, доска шпунтованная или обрезная толщиной от 25 мм, листы ОСП; 8 - вентиляционная камера (от 5 см); 9 - обрешетка; 10 - несущая конструкция; 11 - саморез с защитным колпачком.

Для оформления фронтона или чипца во втором варианте рекомендуется использовать деревянный брус треугольного сечения, доски и подкладочный материал.

1 - доска; 2 - прижимная доска; 3 - фиксирующий гвоздь; 4 - подкладочный слой; 5 - выкроенный лист гибкой черепицы; 6 - основание под черепицу: фанера повышенной влагостойкости (ФСФ) толщиной от 9,5 мм, доска шпунтованная или обрезная толщиной от 25 мм, листы ОСП; 7 - вентиляционная камера (от 5 см); 8 - обрешетка; 9 - несущая конструкция; 10 - брус треугольного сечения.

Примыкания к вертикальным стенам следует выполнять с помощью специальных металлических фартуков.

1 - пристенный металлический водосточный фартук (развертка 25 см); 2 - дополнительный металлический водосточный фартук (развертка 12,5 см; крепление в штрабу); 3 - фиксирующий металлический кляммер (не менее 3 шт. на метр); 4 - битумная мастика «Битустик»; 5 - фиксирующий гвоздь; 6 - самоклеящиеся точки; 7 - верхний лист гибкой черепицы (угол срезается под 60°); 8 - дополнительная гидроизоляционная мембрана «Сэйфити Поли/«Айс-бар» шириной 1 м, соответственно навариваемая или наклеиваемая в местах вероятного скапливания снега; 9 - основание под черепицу: фанера повышенной влагостойкости (ФСФ) толщиной от 9,5 мм, доска шпунтованная или обрезная толщиной от 25 мм, листы ОСП; 10 - штроба в стене для крепления фартука.

Для защиты утеплителя от конденсата и пыли рекомендуется использование пленки «Микробар», а в качестве пароизоляции - пленки «Алюбар».

Для обеспечения вентиляции подкровельного пространства рекомендуется установка аэраторов - в случае незамкнутых межстропильных пространств или вентиляционных коньков - в случае замкнутых межстропильных пространств.

Устройство водоизоляционного слоя из черепицы

Водоизоляционный слой из плоской ленточной черепицы выполняется в два слоя обычным или чешуйчатым способом.

Черепицу следует укладывать в направлении от карниза к коньку справа налево с продольным смещением вышеуложенных рядов относительно нижеуложенных и с боковым смещением одной черепицы относительно другой (продольное смещение - 180 мм, боковое - половина ширины черепицы). При этом нечетные ряды начинают и заканчивают целыми черепицами, а четные - половинками.

На карнизе черепица первого слоя должна опираться на два бруска обрешетки с зацеплением шипами за тыльную грань верхнего бруска обрешетки, черепица второго слоя должна опираться на черепицу первого слоя с зацеплением шипами за верхний торец черепицы первого слоя.

В рядовом покрытии обычного способа укладки черепица первого и второго слоев должна опираться на два бруска обрешетки и нижележащую черепицу и зацепляться шипами за тыльную грань верхнего бруска обрешетки. При чешуйчатом способе укладки черепица второго слоя опирается на черепицу первого слоя и цепляется шипами за верхний торец черепицы первого слоя.

В приконьковом ряду черепица верхнего слоя должна зацепляться за верхний торец черепицы нижнего слоя.

Все черепицы, укладываемые вдоль карнизных и фронтонных свесов, должны закрепляться независимо от уклона. В остальных рядах на скатах следует закреплять каждую вторую и каждую третью.

Крепление черепицы следует выполнять кляммерами. Как исключение допускается осуществлять крепление гвоздями. При использовании кляммер черепицу следует закреплять попарно.

Конек и ребра крыши должны покрываться коньковыми желобчатыми черепицами на цементном растворе. При этом на коньке их следует укладывать в том же направлении, что и при укладке на скате, а на ребрах в направлении снизу вверх. При этом каждая черепица должна быть закреплена проволокой, пропущенной через ушко желобчатой черепицы к гвоздю, забитому в брусок обрешетки.

Устройство кровли из пазовой ленточной и штампованной черепицы выполняют в один слой.

Пазовую ленточную черепицу рекомендуется применять для устройства кровли в крышах простых форм - односкатных, двускатных.

Узлы черепичной кровли

а - сечение конька; б - примыкание кровли к стене; 1 - кляммера для крепления черепиц; 2 - брусок обрешетки; 3 - коньковая желобочная черепица; 4 - коньковый брус; 5 - проволока для крепления коньковой черепицы; 6 - глухарь; 7 - скоба; 8 - плоская ленточная черепица; 9 - стропильная нога; 10 - раствор; 11 - гвозди; 12 - рейка; 13 - фартук из кровельной стали.

Укладку пазовой и штампованной черепицы на обрешетку рекомендуется начинать с фронтона рядами в направлении от карниза к коньку. Поперечные ряды на скате должны выполняться вразбежку со смещением черепиц в смежных рядах. При этом нечетные ряды выкладываются из цельных черепиц, а четные начинают и заканчиваются половинками. В остальном устройство кровли из пазовой ленточной черепицы аналогично предыдущей.

Устройство кровли из желобчатой черепицы рекомендуется предусматривать при уклонах 30 %, так как при меньшем уклоне не обеспечивается водонепроницаемость кровли, а при большем уклоне - способность черепицы удерживаться на скате.

Желобчатая черепица должна укладываться по сплошному досчатому настилу на известковом растворе с добавкой очёсов при толщине слоя 10 - 12 мм в направлении от фронтона слева направо рядами, параллельными коньку. При этом в нижнем ряду каждая верхняя черепица должна входить суженым концом в расширенный конец нижней черепицы не менее, чем на 1/6 - 1/4 длины. В покрывающем ряду каждая верхняя черепица расширенным концом должна накрывать суженый конец нижней черепицы на ту же величину.

Примыкание черепичной кровли к стенам следует выполнять с помощью фартука из оцинкованной стали.

Устройство кровли из цементно-песчаной черепицы

(по данным технологической карты на устройство кровли из цементно-песчаной черепицы, ЦНИИОМТП, М.,1998 г.).

Технологическая карта составлена на устройство кровли из плоской ленточной черепицы, волнистой ленточной черепицы и пазовой ленточной двойной черепицы.

До начала устройства кровли из цементно-песчаной черепицы должны быть выполнены организационно-подготовительные мероприятия в соответствии со СНиП 3.01.01-85* «Организация строительного производства», закончены все монтажные и сопутствующие работы, оформлены акты на скрытые работы в соответствии со СНиП 3.03.01-87 «Несущие и ограждающие конструкции».

Подготовительные работы включают:

- проверку соблюдения проектных уклонов скатов кровли;

- проверку правильности устройства обрешетки;

- сортировку и отбраковку цементно-песчаной черепицы, устранение на ней мелких дефектов, заготовку половинок и т.д.

Уклон скатов кровли из цементно-песчаной черепицы определяется климатическими условиями зоны, видом черепицы и принимают равным от 50 до 100 % (27° - 45°).

Основанием дня цементно-песчаной черепицы служит обрешетка из жердей или брусков сечением 50×50 мм, прибиваемых к стропилам параллельно коньку на равных расстояниях один от другого. Это расстояние между верхними гранями брусков должно быть равным полезной (кроющей) части черепицы. Для каждого вида цементно-песчаной черепицы свой шаг обрешетки (см. нижеследующие рисунки).

Цементно-песчаную черепицу доставляют и хранят рассортированной в контейнерах на дощатых подкладках и уложенной на ребро.

Крышу начинают покрывать от фронтона со свеса кровли по направлению к коньку. Устройство покрытия обычно начинают справа налево (если смотреть с земли).

По карнизу укладывают доски шириной 140 - 150 мм, с защитой по карнизному краю уравнительной рейкой.

Укладку цементно-песчаной черепицы производят с передвижных ходовых мостиков, которые укладывают по длине ската и закрепляют за коньковый брус.

Схема укладки ленточной черепицы при устройстве двухслойной кровли

Схема укладки ленточной черепицы при устройстве двухслойной кровли типа «бобровый хвост»

Поперечные ряды плоской ленточной цементно-песчаной черепицы на скате выкладывают вразбежку, т.е. со смещением черепиц в смежных рядах. Все нечетные ряды выкладывают из цельных черепиц, а четные ряды начинают и заканчивают половинками. Черепицу укладывают в трех - четырех рядах одновременно.

Цементно-песчаную пазовую двойную черепицу укладывают только в один слой.

Каждую укладываемую и кровлю черепицу закрепляют медной проволокой или гвоздями, шурупами, кляммерами в зависимости от вида черепицы.

Схема крепления цементно-песчаной пазовой двойной черепицы представлена на нижеприведенном рисунке.

Схема укладки волнистой ленточной черепицы

Схема укладки пазовой двойной черепицы

1 - прижимная доска; 2 - ветровая доска; 3 - черепица; 4 - обрешетка; 5 - уравнительная планка.

Разжелобки покрывают кровельной сталью (или морозостойкой резиной с продольными желобками), укладываемой на сплошные участки из досок.

Конек крыши покрывают цементно-песчаной коньковой черепицей. Коньковую черепицу укладывают на цементно-известковом растворе так, чтобы ее края покрывали прилегающие к коньку рядовые черепицы не менее чем на 40 - 60 мм.

Коньковую черепицу укладывают в том же направлении, в каком ведут укладку на скате.

Коньковую черепицу крепят к коньковому брусу гвоздями из нержавеющей стали или привязывают проволокой к гвоздям, забитым в стропила, обрешетку.

Схема крепления цементно-песчаной пазовой двойной черепицы

1 - деталь крепления черепицы; 2 - черепица пазовая ленточная двойная; 3 - гвоздь (шуруп); 4 - обрешетка; 5 - стропильная нога.

Схема устройства разжелобка

1 - морозостойкая резина с продольными желобками для стока воды или кровельная оцинкованная сталь; 2 - цементно-песчаная черепица; 3 - сплошные участки обрешетки; 4 - стропильная нога; 5 - продольный брус.

Через три-четыре месяца после покрытия крыши черепицей все поперечные швы со стороны чердака промазывают известковым раствором с добавлением в него волокнистых материалов (очесов, пакли т.д.).

Устройство конька и прохода через черепичную кровлю радио-, телевизионных и телефонных стоек

1 - труба стоечная; 2 - кольцо; 3 - копыто; 4 - лист резиновый; 5 - коньковый брус; 6 - коньковая черепица; 7 - цементный раствор; 8 - черепица пазовая ленточная двойная; 9 - болт с гайкой; 10 - хомут для крепления стойки.

При устройстве прохода через черепичную кровлю радио-, телевизионных и телефонных стоек сверлят отверстие диаметром 40 мм при помощи твердосплавных сверл с победитовым или алмазным наконечником.

Там, где через крышу проходит дымовентиляционный стояк, обрешетку пропиливают так, чтобы наружная горячая поверхность стояка была отделена от элементов крыши воздушными прослойками. Концы обрешетки закрепляют поперечными ригелями.

Устройство прохода через кровлю дымовентиляционного стояка

1 - дымовентиляционный стояк; 2 - ригель; 3 - металлический хомут; 4 - доски; 5 - подкладочный брусок; 6 - стропильная нога; 7 - обрешетка; 8 - дюбель; 9 - мастика; 10 - крепежный брусок треугольного очертания; 11 - оцинкованная кровельная сталь; 12 - гвоздь; 13 - цементно-песчаная черепица.

Устройство кровли из цементно-песчаной черепицы «Франкфуртской»

(по данным ТУ 5756-001-41546053-98 и Инструкции по применению кровельной системы BRAAS; Москва, ООО «БРААС ДСК-).

Франкфуртская черепица допускается к применению в любых климатических зонах на жилых, общественных и промышленных зданиях с углом наклона скатов от 10° до 90°. Рекомендуемые углы наклона - 22 ÷ 60°. Предельные углы наклона скатов и дополнительные меры по креплению черепицы приведены в нижеследующей таблице.

Угол наклона ската

Дополнительные меры

< 10°

Применение черепицы не допускается !

10°

Минимальный угол наклона ската. Требуется нижняя кровля по сплошному настилу и увеличенное сечение контробрешетки.

10° - 16°

16° - 22°

Требуется нижняя кровля. Обязательное устройство нижней защитной пленки. При повышенных требованиях необходима нижняя кровля.

22°

Стандартный угол наклона ската. Обеспечивает непопадание воды под Франкфуртскую черепицу.

22° - 60°

Для утепленных (совмещенных) крыш требуется нижняя защитная пленка. Крепление черепицы зависит от ветровых нагрузок.

60° - 90°

Требуется дополнительное крепление черепицы:

60° - 70° - каждая черепица крепится противоветровым кляммером;

75° - 90° - каждая черепица крепится противоветровым кляммером и двумя шурупами.

При повышенных требованиях необходимо использовать S-образный профиль.

Обязательному креплению к обрешетке подлежат: фронтонная, коньковая, колоколообразная, начальная хребтовая, опорная, проходная и прозрачная черепицы. Кроме этого необходимо крепить шурупами все черепицы, находящиеся на краях ската: на ендовах, хребтах вокруг мансардных окон, люков-лазов, печных и каминных труб, на карнизном свесе.

Средний расход черепицы на 1 м2 кровли составляет от 9-ти до 11-ти штук и зависит от угла наклона ската.

Масса одного квадратного метра покрытия в насыщенном водой состоянии не превышает 54 кг.

Дополнительные меры также принимаются в случаях, если здание находится в регионе с повышенными снеговыми и ветровыми нагрузками, при угле ската < 22 и > 60 или при наличии специальных требований к крыше.

Дополнительными мерами являются:

- установка противоветровых и S-образных зажимов;

- крепление черепицы шурупами-саморезами;

- использование нижней защитной пленки;

- обустройство нижней кровли;

- использование кровельной мембраны типа «DIFOROLL»;

- укладка желобка ендовы по опалубке из досок;

- использование вентиляционных элементов на свесе, коньке, ендове, хребте и скате;

- использование половинчатых черепиц при обустройстве ендовы и хребта;

- использование снегоостанавливающих и снегозадерживающих элементов.

Рядовая Франкфуртская черепица укладывается на обрешетку двумя шипами, находящимися в верхней части на оборотной стороне черепицы. Друг с другом черепица соединяется в двухразовые вертикальные замки, находящиеся на продольных боковых сторонах черепицы. Люфт величиной 3 мм позволяет компенсировать тепловую деформацию кровли и исключает капиллярное затекание воды под черепицу.

Дополнительное крепление Франкфуртской черепицы осуществляется корозионностойкими шурупами-саморезами 5 ÷ 50 мм и противоветровыми кляммерами.

Рекомендуемое сечение стропил не менее 50×150 мм, шаг стропил 60 ÷ 90 см в зависимости от расчетной нагрузки и длины стропильных ног.

Обрешетку для черепичных кровель рекомендуется выполнять сплошной из досок и разреженной из брусков сечением 30×50, 40×50, 40×60 или 50×50 мм.

Сплошную обрешетку из досок рекомендуется выполнять в местах разжелобков ( 30 см), карнизов и всех местах, где проектом предусмотрено устройство нижнего водоизоляционного слоя (нижней кровли).

Для разреженной обрешетки используется пиленый брусок хвойных пород дерева, отвечающий требованиям СНиП II-25-80 «Деревянные конструкции». Пиленый брусок должен быть без обзола и проходных сучков, не ниже второго сорта. Сечение обрешетки выбирается в зависимости от шага стропил в соответствии с данными, приведенными в нижеследующей таблице

Шаг стропил (мм)

Сечение обрешетки (мм)

до 750

30×50

750 - 900

40×50

900 - 1200

40×60 или 50×50

При наличии специальных требований к крыше допускается использование металлической или пластмассовой обрешетки.

Шаг обрешетки зависит от угла наклона крыши и равняется разнице между длиной черепицы (420 мм) и перекрытием (нахлестом) по длине черепицы (75 ÷ 108 мм) Данные по шагу обрешетки в зависимости от угла наклона крыши приведены в нижеследующей таблице.

Шаг обрешетки в зависимости от угла наклона крыши

Угол наклона крыши, град.

Перекрытие (нахлест) мм

Шаг обрешетки, мм

10 - 22

100 - 108

312 - 320

22 - 30

85 - 108

312 - 335

30 - 90

75 - 108

312 - 345

Шаг обрешетки на свесе карниза может быть от 32 до 39 см - он зависит от положения водосточного желоба. Расстояние от верхней грани обрешетки до конька должно быть 4 см.

Обрешетка должна быть выполнена с таким расчетом, чтобы на нее в продольном направлении можно было уложить целое число черепиц, т.е. она имела целое число рядов черепицы. Имея общую длину покрытия по контробрешетке (или по стропилам, если не предусмотрена подкровельная пленка), от нее необходимо отнять 4 см и шаг на свесе и оставшуюся длину в соответствии с данными вышеприведенной таблицы разбить на целое число рядов с равномерным шагом.

В поперечном направлении укладка целого числа черепиц обеспечивается применением половинчатой черепицы и свободного люфта 3 мм в каждом стыке черепиц.

Контробрешетку минимальным сечением 30×50 мм необходимо использовать на кровлях с нижней защитной пленкой или нижней кровлей, для сложных многоскатных крыш или при большой длине стропильных ног толщину контробрешетки следует увеличить до 50 мм.

Перед началом укладки черепицы необходимо проверить правильность устройства стропильной конструкции: измерить длины стропильных ног, диагонали скатов, длины коньков, хребтов и свесов.

Необходимо проверить неровности плоскости стропил или контробрешетки (двухметровой рейкой или причальным шнуром) - неровности не должны превышать ±5 мм на длине 2 м. Поверхности, не отвечающие этим требованиям, должны быть выровнены с помощью реек или брусков необходимой толщины.

До укладки черепицы должен быть завершен монтаж водосливов. Шаг установки креплений желоба должен быть не более 70 см. В этом случае крепления можно устанавливать непосредственно на стропильные ноги или контробрешетку. При большем шаге необходимо поверх стропил выполнить настил толщиной не менее 30 мм, на который затем устанавливать крепления желобов. Крепления сгибаются так, чтобы передняя кромка желоба была ниже задней на 1 см. Крепления устанавливаются с помощью ватерпаса таким образом, чтобы обеспечить проектный уклон желоба (не менее 3 мм/м).

1 - водосточный желоб; 2 - выравнивающий брусок (20 - 30 мм поверх первой обрешетки); 3 - обрешетка; 4 - подкровельная пленка; 5 - контробрешетка; 6 - стропильная нога; 7 - настил карнизного свеса, 8 - защитный фартук свеса.

Подкровельная пленка служит дополнительной подкровельной гидроизоляцией. В качестве подкровельной пленки используют гидроизоляционные паронепроницаемые и противоконденсатные материалы (Elbotek 350 White, Elbotek 350 Alu, Elkatek 150S, Elkatek 130, Elkatek extra, Elkatek extra L, Elkatek panssari, Rool-Flex 150, Monarfol 250 и др.), а также диффузионные материалы (Eurofol Q 140, Eurofol Q 210, Jutafoll D 110, Jutafoll D 220, Jutakon 140, Unterspannbahn, Eltfoil 110 D, Rool-Flex Perforated 150 и др.). Все эти гидроизоляционные материалы для надежной работы требуют проветривания. С этой целью между пленкой и теплоизоляцией должен оставаться свободный зазор не менее 2 см (по проекту).

Пленку укладывают поверх стропил вдоль карнизного свеса внахлест не менее 10 см. Пленку крепят степлерными скобами, обеспечивая провис не менее 2 см для свободного отвода конденсата от контробрешетки и стропил. Контробрешетку толщиной не менее 30 мм (бруски длиной 1,35 м) прибивают вдоль стропил поверх пленки оцинкованными гвоздями с шагом примерно 30 см. На ендове и хребте контробрешетку необходимо на 5 - 10 см не доводить до настила и хребтовой контробрешетки.

Рекомендуется проливка уложенной пленки для проверки качества ее укладки и обнаружения повреждений.

На скатах с углом наклона менее 16°, а также скатах с углом наклона 16 - 22°, к которым предъявляются повышенные требования по гидроизоляции, под черепицей для гарантии полной защиты от воды и снега требуется устраивать дополнительный нижний слой из битумно-полимерного рулонного гидроизоляционного материала (Техноэласт, Изопласт без верхней посыпки и др.). Для этого поверх сплошного дощатого настила вдоль стропил необходимо устроить контробрешетку трапециевидного сечения, а затем сверху на них приклеить или наплавить битумно-полимерную рулонную гидроизоляцию. Поверх гидроизоляции далее следует монтировать обрешетку и черепичную кровлю.

Для устройства нижнего слоя вместо битумно-полимерных рулонных гидроизоляционных материалов целесообразно использовать супердиффузионные материалы Divoroll Pro, Tyvek Soft, Tyvek Solid, Monarflex BM 310, Jutavek, Elkatek SD и др. Эти материалы могут укладываться на дощатый настил и непосредственно на теплоизоляционный слой. Крепятся к конструкции эти материалы либо механически (гвозди, скобы и т.д.), либо на клеях.

Укладывать черепицу необходимо снизу вверх, справа налево согласно произведенной разметке. Разметку рядов необходимо производить с помощью причального шнура. Перед укладкой необходимо разложить черепицу стопками по 5 - 6 штук на всех скатах для равномерной нагрузки стропил. Первый ряд на карнизном свесе, под коньком и боковые (фронтонные) столбцы необходимо крепить оцинкованными шурупами 5×50 мм и противоветровыми кляммерами (по проекту).

Разметку и укладку черепицы на вальмовых и шатровых крышах следует начинать от середины скатов в направлении к хребтам.

На фронтонных свесах можно применить боковые цементно-песчаные или облегченные алюминиевые черепицы. Можно устроить фронтон традиционными способами - с помощью лобовых или накрывающих досок. Накрывающие доски шириной до 200 мм, предварительно обработанные антисептиком, следует устанавливать с небольшим уклоном в сторону черепицы. Доски можно защитить сверху металлическим фартуком (по проекту).

В конструкции конька вентиляция обеспечивается при помощи:

аэроэлемента конька Coverland - вентиляция 90 см2/м;

рулонного материала Figarol - вентиляция 210 см2/м;

аэроэлемента конька АFЕ - вентиляция 380 см2/м.

Аэроэлементы конька и рулонный материал Figarol устанавливаются под коньковую черепицу на коньковый брусок или доску. Между коньковой черепицей и верхней гранью конькового бруска или доски должен оставаться зазор не менее 0,5 см.

Сечение конькового бруска должно быть не менее 50×50 мм.

В подкровельной пленке или нижнем кровельном ковре должен оставаться вентиляционный зазор не менее 10 см.

Классический вариант конька

Вариант конька для многоснежных районов

При устройстве хребтов черепица должна укладываться с зазором 1,5 - 2,5 см к хребтовой доске или бруску. Черепица, непосредственно примыкающая к хребтовой доске или бруску, должна подрезаться.

Разметку и обрезку черепицы необходимо производить с таким расчетом, чтобы между черепицами и хребтовой доской или бруском оставался зазор 1,5 - 2,5 см.

Разметку и маркировку черепиц, попадающих под обрезку, следует производить на кровле, а обрезку - на земле. Черепицу после обрезки для удаления пыли необходимо обязательно промыть водой.

Крепить подрезанную черепицу необходимо шурупами или оцинкованной проволокой.

На участке примыкания к хребтовой доске или бруску рекомендуется использовать половинчатую черепицу. Ее расход составляет примерно 1 шт./2 ряда хребта.

Подкровельная гидроизоляционная пленка, если она предусмотрена проектом, должна укладываться с нахлестом 10 см через накосную стропильную ногу.

Для вентиляции подкровельного пространства рекомендуется использование рулонного материала Figarol (вентиляция 210 см2/м) и аэроролика хребта (вентиляция 380 см2/м, рулон 5 м).

Коньковую черепицу необходимо крепить к хребтовому бруску шурупами 5×70 мм и кляммерами.

В местах разжелобков (ендов) обрешетка должна выполняться сплошной из обрезной доски такой же толщины, как и контробрешетка. Ширина сплошного настила должна быть не менее 30 см.

С перехлестом через настил укладывается подкровельная гидроизоляционная пленка. Поверх подкровельной пленки укладывается желобок (желобок Бигекеле 1500×500 мм из горячекатанного алюминия, поставляемый БРААС ДСК-1, или аналогичный ему желобок из оцинкованной стали), ширина которого от оси до отбортовки должна составлять 25 см.

Желобки необходимо укладывать снизу вверх с нахлестом не менее 10 см на скатах с углом наклона 22° и более и с нахлестом не менее 15 см на скатах с углом наклона от 10 до 22°.

Каждый желобок должен крепиться в верхней части (поперечный шов) оцинкованными гвоздями, а вдоль ската - скобами с шагом 30 - 40 см.

Дополнительную герметизация стыков рекомендуется осуществлять с помощью герметизирующей ленты для стыка ендов KSB (0,14×5 м).

При укладке черепицы в ендовах необходимо произвести разметку черепиц, попадающих под обрезку. Для этого необходимо выложить ендову, не закрепляя черепицы, попадающие под обрезку замаркировать и разметить черепицы, подлежащие обрезке. Обрезку необходимо производить на земле (резка по месту не рекомендуется) Чтобы не пускать при обрезке в отходы цельную черепицу рекомендуется, там где это возможно, использовать для обрезки половинчатую черепицу.

Разметку и обрезку черепицы необходимо производить с таким расчетом, чтобы нахлест черепицы на желобок был от 8 до 10 см.

Подрезанную черепицу необходимо крепить оцинкованной проволокой или шурупами.

Для защиты от задувания снега рекомендуется применять поролоновые полосы для ендовы (1000×30×60 мм), которые приклеивают вдоль канта желобка.

При устройстве примыканий к трубам, стенам, парапетам, брандмауэрам подкровельную гидроизоляционную пленку необходимо подрезать с запасом 10 см для нахлеста на стену или трубу. На примыканиях подкровельную пленку необходимо крепить с помощью клейкой ленты. Над печным проемом необходимо выполнить дренажный желобок из пленки.

В примыканиях к вертикальным несущим конструкциям черепица укладывается с зазором 2 - 3 см и крепится коррозионностойкими шурупами. Места примыканий гидроизолируются с помощью рулонного самоклеящегося материала - Вакафлекса (рулон 0,28×5 м), прижимной планки Вака (окрашенный алюминий) и герметика - Герметика К.

Места примыканий - поверхность труб и других несущих конструкций, а также поверхность черепицы, на которые будет наклеиваться Вакафлекс должны быть чистыми и сухими. Если работа выполняется при температуре ниже +5 °С, поверхности, на которые будет наклеиваться Вакафлекс, должны быть нагреты при помощи технического фена.

Наклеивание Вакафлекса необходимо начинать с нижней части трубы, затем выполняются боковые и верхняя часть. Верхнюю часть печной трубы необходимо обустраивать сдвоенным рулоном Вакафлекса (для защиты кровли от талой воды). Для этого две полосы необходимой длины склеиваются между собой с нахлестом 5 см.

При укладке черепицы и наклеивании Вакафлекса должны обеспечиваться нахлесты, приведенные в нижеследующей таблице и рисунке.

Угол наклона

Нахлест, мм

b

с

d

< 22°

100

150

150

≥ 22°

80

150

100

Кровля, выполненная из Франкфуртской черепицы, в процессе эксплуатации не требует за собой никакого ухода. Не допускается скалывание льда и смерзшегося снега. Хождение по уложенной на крыше черепице допускается или по деревянным трапам шириной не менее 400 мм или по специально оборудованным подножкам с использованием опорной Франкфуртской черепицы.

Контроль качества кровельных работ

Производственный контроль качества работ по устройству кровель из мелкоштучных материалов должен включать входной контроль качества мелкоштучных кровельных материалов и деталей к ним, операционный контроль соблюдения заданной технологии выполнения кровельных работ и качества выполнения отдельных технологических операций, приемочный контроль соответствия готовой кровли требованиям проекта и нормативных документов.

Устройство каждого элемента кровли должно выполняться после промежуточной приемки - проверки правильности выполнения соответствующего нижележащего элемента с составлением актов освидетельствования скрытых работ.

Объем работ, выполняемых при входном и операционном контроле качества кровельных работ, должен быть определен в проекте производства работ и технологической карте на производство кровельных работ.

Соответствие применяемых мелкоштучных материалов и деталей к ним требованиям проекта и нормативных документов должно выявляться при входном контроле этих материалов, который включает проверку документов о качестве и маркировку поступивших материалов, проверку внешнего вида и основных размеров кровельных материалов и комплектующих деталей, отбраковку материалов и деталей, не отвечающих требованиям нормативных документов, а также лабораторные испытания материалов. Результаты входного контроля материалов, представленные в виде документов о качестве, актах и протоколах лабораторных испытаний, предъявляются при приемке отдельных элементов и готовой кровли.

При операционном контроле качества кровель из мелкоштучных кровельных материалов проверяются и принимаются в соответствии с требованиями проекта основания под кровлю и кровельные покрытия из этих материалов.

При проверке основания проверяют: точность монтажа обрешетки (шаг брусков и досок); расположение поверхности обрешетки в одной плоскости; качество обрешетки (жесткость, отсутствие просветов более 5 мм при приложении двухметровой рейки вдоль ската и 10 мм - поперек ската, расположение стыков обрешетки вразбежку); уклон поверхности основания, в том числе ендовы (отклонение поверхности основания от заданного уклона не более 5 %); соответствие проекту конструкции основания в местах примыканий к стенам, в местах сопряжений с дымовой трубой, на карнизе, коньке и ендове.

Контролируемые операции

Состав и средства контроля

Документация

Подготовительные работы

Проверить:

- завершение и надлежащее оформление предшествующих работ по устройству оснований кровель из мелкоштучных материалов;

- правильность устройства обрешетки и соответствие ее требованиям проекта (разбежка стыков обрешетки, расстояние между элементами обрешетки, жесткость обрешетки, сплошность обрешетки в местах покрытия карнизных свесов, разжелобков и ендов, неровности на длине 1 м вдоль и поперек ската, уклон обрешетки, качество брусков обрешетки и т.д.);

Акт приемки, акты освидетельствования скрытых работ, исполнительные схемы

- наличие ППР, технологических карт и схем операционного контроля качества по устройству кровли;

- завершение разметки ската;

ППР, технологические карты, СОКК

- наличие документов о качестве на каждую партию поступивших кровельных материалов и деталей к ним, соответствие их требованиям проекта и нормативных документов;

- подготовку материалов и доставку их на крышу.

Документы о качестве, акты лабораторных испытаний

Устройство кровли из мелкоштучных материалов

Контролировать:

- соблюдение заданной ППР технологии устройства кровли из мелкоштучных кровельных материалов;

- качество выполнения кровельных работ (отклонения плоскости кровли от заданного уклона, величину нахлестки материалов, качество выполнения узлов примыкания кровли к стенам и другим конструкциям и др.).

Общий и специальный журналы работ

Приемка

Проверить:

- соответствие кровли требованиям проекта и нормативных документов;

- составление и надлежащее оформление приемо-сдаточной исполнительной документации.

Акт приемки

Акты освидетельствования скрытых работ; акты лабораторных испытаний

ВХОДНОЙ И ОПЕРАЦИОННЫЙ КОНТРОЛЬ осуществляют:

мастер (прораб), геодезист, лаборант (инженер) - в процессе производства работ

ПРИЕМОЧНЫЙ КОНТРОЛЬ ОСУЩЕСТВЛЯЮТ:

прораб (мастер), представители технадзора заказчика

КИП - контрольная рейка, толщиномер, металлическая линейка, металлическая рулетка, штангенциркуль, уклономер, ватерпас, лабораторные приборы и оборудование

Результаты приемки основания должны быть отражены в актах освидетельствования скрытых работ.

При монтаже кровли проверяют соответствие ее следующим основным требованиям:

- укладка мелкоштучных материалов на обрешетку должна производиться рядами от карниза к коньку по предварительной разметке. Каждый вышележащий ряд должен напускаться на нижележащий (отступления от проекта не допускаются);

- асбестоцементные и другие плоские и волнистые листы не должны иметь отколов, сквозных трещин и пробоин;

- расположение мелкоштучных материалов в рядовом покрытии, а также на карнизах, фронтонах, коньках, ребрах и в примыканиях должно соответствовать проекту (отступления от проекта не допускаются);

- величина нахлестки мелкоштучных материалов должна соответствовать проектной (отклонения - не более 5 %);

- уклон кровли должен соответствовать проектному (отклонения - не более 5 %);

- конструкция узлов кровель в местах примыканий к стенам, в местах сопряжений с дымовой трубой, на карнизе, коньке, ребре и ендове должна соответствовать проекту;

- стыки между мелкоштучными материалами и вертикальными поверхностями в узлах примыканий должны быть заделаны в соответствии с требованиями проекта;

- крепление мелкоштучных материалов к обрешетке должно соответствовать проекту;

- гвозди, шурупы, противоветровые скобы и зажимы, кляммеры должны быть оцинкованными.

Готовые кровли из мелкоштучных материалов при приемке проверяют на соответствие следующим требованиям:

- полный отвод воды по всей поверхности кровель должен осуществляться по наружным водостокам без застоя воды;

- при осмотре кровли из чердачных помещений должны отсутствовать видимые просветы в покрытии;

- в асбестоцементных плитках и деталях должны отсутствовать отколы и трещины;

- узлы кровель в сопряжениях (примыканиях) должны отвечать требованиям проекта.

Соответствие кровли из мелкоштучных материалов требованиям проекта и нормативных документов, выявленное при техническом осмотре кровли, должно быть отражено в акте приемки кровли.

Требования, предъявляемые к готовым кровельным конструкциям, приведены в нижеследующей таблице.

Технические требования

Контроль (метод, объем, вид регистрации)

Полный отвод воды по всей поверхности кровель должен осуществляться по наружным и внутренним водостокам без застоя воды

Технический осмотр, акт приемки

Отсутствие видимых просветов в покрытии при осмотре кровли из чердачных помещений

Технический осмотр, акт приемки

Отсутствие отколов, сквозных трещин и пробоин в плоских и волнистых листах

Технический осмотр, акт приемки

Наличие промазки двойных лежачих фальцев в соединениях металлических картин. Отступление от проекта не допускается

Технический осмотр, акт приемки

Отклонение от заданного уклона не более 5 %

Измерительный, не менее 5 измерений на каждые 50 - 100 м2 поверхности покрытия

Устройство плитной, монолитной и засыпной теплоизоляции

СНиП II-26-76 Кровли

СНиП 3.04.01-87 Изоляционные и отделочные покрытия

СНиП II-26-76 «Кровли» предусматривает следующие типы и материалы теплоизоляции.

Тип теплоизоляции

Материал теплоизоляции

Нормативный документ

Т-3

Плиты минераловатные повышенной жесткости на синтетическом связующем

ГОСТ 22950-95

Т-4

Плиты из минеральной ваты на синтетическом связующем теплоизоляционные

ГОСТ 9573-96

Т-5

Изделия теплоизоляционные из стеклянного штапельного волокна марки П-190

ГОСТ 10499-95

Т-7

Плиты перлитофосфогелевые

ТУ 480-1-15-78

Т-8

Перлитобитумные плиты

ГОСТ 16136-80

Т-9

Перлитобитумный монолитный слой

ТУ 66-286-89

Т-10

Калиброванные плиты из ячеистых бетонов с гидрофобизацией

ТУ 480-1-292-92

Т-11

Плиты из легких бетонов

Плиты из ячеистых бетонов

Плиты из пеностекла

ТУ 400-1-63-82

ГОСТ 5742-76

Т-12

Легкие теплоизоляционные бетоны монолитной укладки (в основном в составе комплексных плит)

ТУ 21 РСФСР 35.4-91

Т-15

Керамзит

ГОСТ 9757-90

Шунгизит

ГОСТ 9757-90

Перлит

ГОСТ 10832-91

Вермикулит

ГОСТ 12865-67

Засыпка перлитофосфогелевая теплоизоляционная

ТУ 5766-003-04002183-95

Другие теплоизоляционные засыпки с объемной массой до 600 кг/м3 (в основном в составе комплексных плит)

 

Плиты теплоизоляционные из пенопласта на основе резольных фенолформальдегидных смол

ГОСТ 20916-87

ТУ 480-1-297-92

Плиты пенополистирольные

ГОСТ 15588-86

ТУ 2244-003-05765227-96

 

Контролируемые операции

Состав и средства контроля

Документация

Подготовительные работы

Проверить:

- завершение и надлежащее оформление предшествующих работ по устройству основания или нижележащих слоев кровли;

Акт приемки, акты освидетельствования скрытых работ, исполнительные схемы

- наличие ППР, технологических карт и схем операционного контроля качества по устройству плитной или монолитной теплоизоляции;

- наличие и готовность к работе всех средств механизации, инвентаря, приспособлений и инструмента;

ППР, технологические карты, СОКК

- наличие документов о качестве на каждую партию поступивших теплоизоляционных материалов, соответствие их требованиям проекта и нормативных документов, внешним осмотром отсутствие в материалах дефектов внешнего вида.

Документы о качестве, акты лабораторных испытаний

Устройство плитной, монолитной и засыпной теплоизоляции

Контролировать:

- соблюдение заданной ППР технологии и качества выполнения теплоизоляционных работ (влажность основания, его обеспыливание, толщину слоя мастики при приклейке плит теплоизоляции, непрерывность слоев изоляции, ширину швов между плитами, плотность прилегания к основанию, качество обделки мест пропуска через теплоизоляцию оборудования, толщину покрытия, отклонение от заданного уклона, величину нахлестки плит, уступы между плитами, отсутствие механических повреждений).

Общий и специальный журналы работ

Приемка

Проверить:

- соответствие теплоизоляции требованиям проекта и нормативных документов;

- составление и надлежащее оформление приемо-сдаточной исполнительной документации.

Акт приемки

Акты освидетельствования скрытых работ; акты лабораторных испытаний

ВХОДНОЙ И ОПЕРАЦИОННЫЙ КОНТРОЛЬ осуществляют:

мастер (прораб), геодезист, лаборант (инженер) - в процессе производства работ

ПРИЕМОЧНЫЙ КОНТРОЛЬ ОСУЩЕСТВЛЯЮТ:

прораб (мастер), работники отдела контроля качества СМР, представители технадзора заказчика

КИП - контрольная рейка, толщиномер, металлическая линейка, металлическая рулетка, штангенциркуль, уклономер, ватерпас, лабораторные приборы и оборудование

Устройство теплоизоляционных слоев кровельных покрытий следует осуществлять в соответствии с требованиями СНиП 3.04.01-87, СНиП 3.01.01-85*, проекта, ППР, технологических карт, схем операционного контроля качества и другой технологической документации, утвержденной в установленном порядке.

Кровельные работы должны осуществлять строительно-монтажные организации, получившие лицензию на выполнение строительно-монтажных работ (работы по защите конструкций и оборудования) в Федеральных или местных лицензионных органах.

Кровельные работы должны выполняться квалифицированным персоналом, прошедшим специальную подготовку и обладающим надлежащими навыками по выполнению кровельных работ.

Производству работ по устройству теплоизоляционных слоев кровельных покрытий должны предшествовать:

завершение и надлежащее оформление всех предусмотренных проектом предшествующих работ;

разработка проекта производства работ по устройству кровель, разработка технологической карты и схемы операционного контроля качества на выполнение кровельных работ (с использованием соответствующей типовой документации);

входной контроль проектно-сметной документации и теплоизоляционных материалов.

При входном контроле рабочей документации должна производиться проверка ее комплектности и достаточности содержащейся в ней технической информации для производства работ.

Входной контроль теплоизоляционных материалов должен производиться в соответствии с требованиями стандартов и технических условий на материалы в порядке, предусмотренном технологической картой или другой технологической документацией, утвержденной в установленном порядке. До поступления на строительную площадку должны быть произведены все требуемые испытания материалов на соответствие их требованиям проекта, стандартов и технических условий. По истечении гарантийного срока хранения теплоизоляционные материалы перед применением также должны быть проверены на соответствие их требованиям стандартов и технических условий.

На строительной площадке в процессе входного контроля необходимо:

проверить наличие сопроводительной документации (документов о качестве) и полноту содержащихся в них данных;

по имеющейся сопроводительной документации и маркировке убедиться в соответствии поступивших теплоизоляционных материалов требованиям проекта;

путем внешнего осмотра проверить отсутствие на материалах недопустимых дефектов внешнего вида;

при возникновении каких-либо сомнений в качестве поступивших материалов должны быть вызваны представители строительной лаборатории или функциональных служб, ответственных за поставку кровельных материалов.

Кровельные работы должны выполняться по утвержденному проекту производства работ (ППР).

Запрещается осуществление строительно-монтажных работ без утвержденного проекта производства работ. Не допускаются отступления от решений проектов производства работ без согласования с организациями, разработавшими и утвердившими их.

Замена предусмотренных проектом теплоизоляционных материалов допускается только по согласованию с проектной организацией и заказчиком. Возможность такой замены должна быть подтверждена результатами испытаний физико-технических свойств материалов, проведенными в лабораториях, аккредитованных в системе сертификации строительной продукции.

Кровельные работы допускается выполнять при температуре окружающего воздуха от минус 30° до плюс 60 °С (производство работ с применением горячих мастик - при температуре окружающего воздуха не ниже минус 20 °С, с применением составов на водной основе без противоморозных добавок - не ниже 5 °С).

До начала работ по устройству теплоизоляционных слоев кровельных покрытий, выполняемых в традиционном варианте, в соответствии с проектом должны быть выполнены следующие работы:

- заделаны швы между сборными плитами;

- устроены температурно-усадочные швы;

- смонтированы закладные элементы;

- оштукатурены участки вертикальных поверхностей каменных конструкций на высоту примыкания рулонного ковра кровли;

- осуществлена проверка соответствия этих работ требованиям проекта и их приемка с составлением акта на скрытые работы;

устроены выравнивающие стяжки (из цементно-песчаных, гипсовых, гипсопесчаных и других смесей);

- осуществлена проверка соответствия выравнивающей стяжки требованиям проекта и ее приемка с составлением акта на скрытые работы;

- установлены и закреплены водосточные воронки, компенсаторы деформационных швов, патрубки (или стаканы) для пропуска инженерного оборудования;

- очищена от строительного мусора и пыли поверхность основания;

- удалена вода с крыши и просушено основание под рулонный ковер;

- произведена огрунтовка поверхности основания перед нанесением приклеивающих составов;

- осуществлена пароизоляция (по проекту) и ее приемка с составлением акта на скрытые работы.

При инверсионном варианте выполнения рулонной кровли (при расположении водоизоляционного ковра под теплоизоляцией) до устройства теплоизоляции должны быть выполнены и приняты с составлением акта на скрытые работы все нижележащие слои кровельного покрытия.

Основанием под водоизоляционный ковер могут служить ровные поверхности:

теплоизоляционных плит с пределом прочности при сжатии при 10 % деформации не менее 0,06 МПа. При этом в кровлях с наклейкой водоизоляционного ковра холодными мастиками на основе растворителей теплоизоляционные плиты должны обладать устойчивостью к органическим растворителям (бензин, этилацетон, нефрас и др.) и стойкостью к воздействию температур горячих мастик. В противном случае по плитному утеплителю требуется устройство стяжки;

монолитной теплоизоляции с прочностью на сжатие не менее 0,15 МПа из легких бетонов, а также материалов на основе цементного или битумного вяжущего с эффективными заполнителями - перлитом, вермикулитом и др.

По поверхности минераловатной и другой подобной мягкой теплоизоляции с пределом прочности на сжатие при 10 %-ой деформации от 0,03 до 0,06 МПа требуется выравнивающая стяжка, в качестве которой рекомендуется использовать сборные (сухие) стяжки из асбестоцементных плоских прессованных листов или цементно-стружечных плит толщиной 10 мм. В отсутствии стяжки требуется срезка уступов между смежными плитами, если они превышают 5 мм, и на плиты требуется предварительная наклейка слоя рубероида, который повышает прочность плит на продавливание и исключает проникновение битумной мастики в толщу теплоизоляции при производстве кровельных работ.

Теплоизоляционные плиты из пенополистирола, фенольного пенопласта и других сгораемых утеплителей могут быть использованы в качестве основания под водоизоляционный ковер из рулонных материалов без устройства выравнивающей стяжки только при свободной укладке рулонного материала, в том числе с механическим креплением его, так как огневой способ наклейки при сгораемом утеплителе недопустим, а использование горячих мастик и холодных клеящих составов на растворителях разрушающе воздействует на такие материалы.

Теплоизоляционные плиты при укладке по толщине в 2 и более слоев следует располагать вразбежку с плотным прилеганием друг к другу. Швы между плитами более 5 мм должны быть заполнены теплоизоляционным материалом.

Крепление плит к основанию должно соответствовать проекту.

При устройстве теплоизоляции из жестких минераловатных плит, укладываемых насухо, зазор между плитами и изолируемой поверхностью не должен превышать 2 мм.

При наклейке жестких минераловатных плит температура горячих битумных мастик должна составлять 160 °С с предельным отклонением +20 °С. При этом она должна контролироваться не реже 4 раз в смену и заноситься в журнал производства работ.

Теплоизоляционные работы с применением жестких минераловатных плит следует совмещать с работами по устройству кровель. Укладка плит и устройство нижнего слоя рулонного водоизоляционного ковра должны производиться в одну и ту же смену. Плиты следует укладывать «на себя».

Теплоизоляционные плиты из легких и ячеистых бетонов, перлитобитумные и др. должны укладываться на основание плотно друг к другу и иметь одинаковую толщину в каждом слое.

Теплоизоляционные сыпучие материалы перед укладкой должны быть рассортированы по фракциям. Теплоизоляцию следует устраивать по маячным рейкам полосами шириной 3 - 4 м с укладкой сыпучего утеплителя более мелких фракций в нижнем слое.

Слои должны укладываться толщиной не более 60 мм и уплотняться после укладки.

Перед выполнением монолитной теплоизоляции на цементном вяжущем следует произвести нивелировку поверхности несущих плит для установки маяков, служащих основанием под рейки для укладки бетонной массы полосами на необходимую высоту Полосы располагают поперек пролетов; ширина их не должна превышать 1,5 м.

Слои монолитной теплоизоляции должны разделяться температурно-усадочными швами на участки не более 3×3 м. Швы должны располагаться над торцевыми швами несущих плит.

Температурно-усадочные швы в теплоизоляционных слоях монолитной укладки должны быть перекрыты полосами шириной не менее 150 мм рулонного водоизоляционного материала с точечной приклейкой их с одной стороны шва.

Работа по укладке теплоизоляции должна совмещаться с работами по устройству пароизоляционного слоя (если он требуется по проекту), выполняя их в направлении «на себя» в целях повышения сохранности теплоизоляции при транспортировании материалов.

Устройство каждого элемента кровли должно выполняться после промежуточной приемки - проверки правильности выполнения соответствующего нижележащего элемента с составлением акта освидетельствования скрытых работ.

При приемке теплоизоляционного слоя рулонных покрытий предъявляются результаты входного контроля теплоизоляционных материалов, представленные в виде сертификатов соответствия и гигиенических сертификатов, документов о качестве, актах и протоколах лабораторных испытаний; предъявляются журналы работ, в которых отображены результаты операционного контроля качества выполнения теплоизоляционных работ (ровность поверхности основания из теплоизоляционных материалов, его влажность, уклон, толщина покрытия, нахлестка плит в многослойных покрытиях, уровень понижения в местах расположения воронок внутреннего водостока, наличие и расположение температурно-усадочных швов).

Соответствие проекту и нормативным документам вышеперечисленных параметров теплоизоляционного слоя оценивается в процессе технического осмотра и оформляется актом приемки.

Требования, предъявляемые к готовым теплоизоляционным покрытиям, приведены в нижеследующей таблице.

Технические требования

Предельные отклонения

Контроль (метод, объем, вид регистрации)

Допускаемые отклонения поверхности теплоизоляции:

монолитной укладки:

-

Измерительный, технический осмотр, не менее 5 измерений на каждые 70 - 100 м2 поверхности или на участке меньшей площади в местах, определяемых визуальным осмотром

вдоль уклона

±5 мм

поперек уклона

±10 мм

из теплоизоляционных плит

перепад между плитами не более 5 мм

Отклонения плоскости теплоизоляции от заданного уклона

0,2 %

То же

Толщина слоя (от проектной)

-5; +10 %, но не более 20 мм

То же

Число неровностей (плавного очертания протяженностью не более 150 мм) на площади поверхности 4 м2

Не более 2

То же

Влажность основания:

 

Измерительный, технический осмотр, не менее 5 измерений равномерно на каждые 50 - 70 м2 основания, регистрация в журнале работ

из теплоизоляционных слоев монолитной укладки

 

на цементном вяжущем

15 %

на битумном вяжущем

2,5 %

из теплоизоляционных плит

по ГОСТ или ТУ на плиты

Толщина клеевой прослойки, мм:

 

То же

из клеев и холодных мастик - 0,8 из горячих мастик - 1,5

 

 

Ширина швов между плитами:

при наклейке - не более 5 мм (для жестких плит - 3 мм)

при укладке насухо - не более 2 мм

 

То же

Величина нахлестки плит должна соответствовать проектной

Температура битумоперлита и битумокерамзита при нанесении - не менее 120 °С

5 %

Измерительный, на каждые 50 - 100 м2 поверхности

Измерительный, периодический, не менее 8 раз в смену, журнал работ

В. БЕЛЕВИЧ, к. т. н., зав. лабораторией

кровельных работ ЦНИИОМТП

(журнал «Стройка» № 19 2000 г, № 22 2001 г.)

Выявление дефектов кровли и их устранение

Многолетние обследования кровель жилых зданий показали общее неудовлетворительное их состояние в связи:

- с грубыми нарушениями строительных норм и правил при организации производства кровельных работ;

- с неправильным выбором кровельных материалов;

- иногда неудачным проектным решением конструкции кровель.

Наиболее часто встречающиеся дефекты и нарушения:

- вздутия всего кровельного ковра или отдельных его слоев;

- неровности поверхности кровли (бугристость) с большим числом отслоений верхнего слоя рулонного материала от нижележащих слоев;

- отсутствие или недостаточное количество наклеиваемых слоев дополнительного кровельного ковра для усиления в местах примыканий;

- неоднородность структуры защитного слоя на поверхности кровель в виде чередования полос крупнозернистой посыпки с их обмазкой битумом;

- большое количество поперечных трещин в покровном слое рубероида или другого рулонного материала с крупнозернистой посыпкой.

Дефекты возникают в процессе эксплуатации не только из-за отсутствия технически обоснованных проектов, но также из-за нарушения технологии устройства кровли, несоблюдения правил эксплуатации, а также в связи с изменением свойств кровельных материалов под воздействием климатических факторов.

Для предотвращения нарушения нормативных документов (СНиП, СН, Инструкции, ТУ) при производстве кровельных работ, увеличения сроков службы кровель без капитального ремонта необходимы постоянные и периодические наблюдения за техническим состоянием кровельного покрытия. С этой целью необходимо проводить планомерную или внеочередную (срочную) экспертизу качества кровель и их элементов. Это необходимо во время эксплуатации, а также при подготовке к ремонту и проведении ремонтных работ.

Для того чтобы выявить все возможные дефекты кровли и дать наиболее полную оценку состояния кровельного ковра, лабораторией кровельных работ Центрального научно-исследовательского института организации, механизации и технической помощи строительству (ЦНИИОМТП) разработано Пособие, в котором приведены описание наиболее часто встречающихся дефектов и нарушений кровельных покрытий и рекомендации по наблюдению за техническим состоянием кровель, обследованию и экспертизе их качества с составлением экспертных заключений, а также даны рекомендации по устранению мелких неисправностей и предложения по паспортизации зданий.

Пособие предназначено для инженерно-технических работников, мастеров строительного производства, мастеров производственного обучения и рабочих-кровельщиков.

Для выявления дефектов в конструкции крыш и кровли следует проводить сезонные наружные обследования.

При весенних обследованиях следует:

- определять характер и размер вздутий;

- выявлять появление сырых пятен в квартирах верхнего этажа;

- проверять состояние защитного слоя, состояние изоляции у мест примыкания к выступающим конструкциям или инженерному оборудованию;

- проверять правильность закрепления защитных металлических фартуков и свесов.

При летних обследованиях фиксируют:

- наличие растрескивания верхнего слоя кровли;

- рубчатость и оплывание приклеивающих мастик, характеризующие их недостаточную теплостойкость, сползание полотен рулонных материалов с вертикальных поверхностей;

- характер разрушения покровного слоя рулонного материала: появление трещин, пузырей, сплошных каверн.

При осенних обследованиях проверяется работа внутренних и наружных водостоков:

- при внутренних водостоках на плане крыши отмечаются зоны застоя воды, степень загрязнения воронок;

- при неорганизованном наружном водостоке - места и степень замачивания фасадных стен и цоколей водой, стекающей с крыши, затекание дождевой воды через балконы в помещения верхнего этажа и приямки подвальных этажей.

Все эти обследования проводятся с целью своевременного проведения всех работ по ремонту кровель и подготовке их к зиме.

Кровли и водоприемные устройства необходимо очистить от листьев, хвои и пыли. При этом запрещается сметать листья и мусор в водостоки. Для очистки кровель должны применяться деревянные лопаты, метлы или полимерные скребковые устройства.

При зимних обследованиях проверяют:

- зону и глубину отложения снега на поверхности крыши, обледенение крыши, особенно в прикарнизной части;

- наличие и размер сосулек на карнизе при наружном водостоке;

- степень обледенения вентиляционных шахт и зонтов над ними, приточных отверстий в наружных стенах;

- степень подтаивания снега на крыше при разной его толщине и плотности (на кровле следует оставлять слой снега толщиной 5 - 10 см);

- образование ледяных пробок в водосточных трубах при наружном организованном отводе воды, наличие или отсутствие ледяных пробок в наземных выпусках водосточных труб;

- наличие неисправности водоприемных воронок при внутреннем отводе воды.

По результатам каждого обследования все данные о выявленных дефектах кровли должны фиксироваться.

ДЕФЕКТЫ КРОВЕЛЬНЫХ ПОКРЫТИЙ

Дефекты на плоскости крыши:

- полное или частичное отсутствие защитного слоя;

- трещины (ширина их раскрытия, направление, протяженность и характер трещин);

- размеры и характер вздутий (с водой или воздушных);

- наличие пазух в результате отслаивания полотнищ в местах нахлесток, состояние заплат от ранее произведенных ремонтов.

Дефекты в местах примыканий к вертикальным плоскостям, в ендовах и на карнизах:

- отслаивание края ковра;

- бугристость полотен в местах перехода на горизонтальную поверхность.

Механические повреждения кровельного ковра стойками и растяжками:

- разрушение мест сопряжения стоек и растяжек с основным кровельным ковром.

Биологическое разрушение кровельного ковра - наличие грибков, растений, мха в результате действий микроорганизмов.

Обнаружив и зафиксировав дефекты, следует определить примерный процент поврежденной площади кровли по каждому виду дефекта с целью принятия последующего решения о виде ремонта.

Кроме наличия дефектов кровельных покрытий при осмотре необходимо:

- определить зоны и глубину отложения снега;

- определить наличие обледенения прикарнизной части;

- обследовать вентиляционные шахты и зонты над ними;

- обследовать приточные вентиляционные отверстия в наружных стенах;

- определить наличие ледяных пробок в водосточных трубах и отметах при наружном водостоке;

- определить наличие ледяных пробок в водосточных трубах и наземных выпусках при внутреннем водостоке.

Очень важно провести осмотр потолков квартир верхнего этажа.

На верхнем, мастичном слое, если нарушен защитный слой, можно видеть следующие дефекты:

- мелкую сетку трещин;

- растрескивание;

- чешуйчатость, шелушение, пористость, мелкие пузыри размерами до 3×3 мм;

- крупные пузыри размерами от 150×200 мм и более, лопнувшие пузыри;

- бугристость, морщинистость, складочность, оплывание и т.д.

Причины возникновения дефектов и простейшие способы их устранения

Часто встречающиеся дефекты - это протечки, которые появляются непосредственно после дождя (первый тип); такого рода протечки могут появляться и через определенное время после дождя. Протечки могут появляться через некоторое время после начала таяния снега на кровле (второй тип). Этот промежуток времени может находиться в пределах от нескольких часов до нескольких дней.

Причинами образования первого типа протечек являются механические повреждения, деформации основания кровли или допущенный при производстве кровельных работ брак.

В этом случае наиболее возможными местами повреждений являются места пересечения кровли инженерными коммуникациями и места деформации оснований.

Причинами второго типа протечек является образование трещин в местах примыканий к торцевым и продольным парапетам, вентиляционным шахтам, в местах выхода на кровлю; в местах стыков плит покрытия, образование микротрещин в покровном слое рулонного материала, а также нарушение герметичности примыкания кровельного ковра к поддону водоприемной воронки и недостаточной герметичности в местах прохода через кровлю стоек ограждения покрытия.

Причинами третьего типа протечек (мерцающих), когда протечки появляются не после каждого дождя, являются микротрещины в отдельных слоях кровельного ковра, недостающая ширина фартуков и зонтов над строительными конструкциями, некачественное заполнение швов в кирпичной кладке парапетов и стыков парапетных панелей.

Одной из основных причин разгерметизации кровельного ковра является замокание утеплителя и, как результат, возникновение критического давления водяных паров на кровельный ковер при интенсивном нагревании поверхности в летнее время.

Еще несколько характерных причин, вызывающих появление дефектов:

- отсутствие температурно-усадочных швов; появление трещин в основании под кровлей;

- провисание кровельного ковра вследствие больших зазоров-швов между плитами утеплителя;

- отсутствие наклонного переходного бортика;

- попадание влаги между слоями рулонного ковра или в полость покрытия в процессе строительства или эксплуатации кровель;

- приклейка слоев рулонных материалов по мокрым или запыленным поверхностям и в местах механических повреждений, вызывающих попадание влаги в утеплитель;

- приклейка полотнищ рулонных материалов к неподготовленной поверхности, отсутствие надежного закрепления верхнего края кровельного ковра и фартука;

- недостаточная теплостойкость мастичного слоя наплавляемых материалов, применяемых для наклейки слоев дополнительного ковра.

Способы устранения дефектов включают мероприятия по восстановлению нормального сброса воды с покрытия:

- устройство выкружек у мест примыкания кровельного ковра к парапетам, шахтам, рефлекторам и флюгаркам;

- частичное выравнивание поверхности асфальтом или кусками рулонного материала для уклонов к водосточным воронкам;

- восстановление мест примыканий кровельного ковра к различным конструкциям и др.

Дефекты кровель, причины их возникновения, способы их устранения

1. Дефекты: отслаивание кровельного ковра в местах наклейки одной полосы рулонного материала на другую (в швах).

Причины возникновения:

Не соблюдалась величина нахлестки полотнищ по ширине. Рулонный материал перед наклейкой не раскатывался, и полотнища не пригонялись по месту или не делалась разметка мелом линии наклейки. Нахлестка стыков полотнищ верхнего слоя выполнена против направления господствующих ветров.

Способы устранения:

Естественным путем тщательно просушить поврежденный шов, осторожно щеткой очистить от песка и грязи, отогнуть полотнища, промазать мастикой, полотно прижать, отставшие кромки прошпаклевать, а затем промазать швы. Отставшие кромки в швах можно склеить с помощью газовой горелки или паяльной лампы.

1. Дефекты: отслаивание кровельного ковра от основания или одного слоя ковра от другого.

Причины возникновения:

Недостаточное сцепление мастики с основанием из-за несоблюдения следующих условий:

а) цементная стяжка или бетонное основание не были предварительно огрунтованы битумной грунтовкой;

б) наклейка производилась по влажному или не очищенному от пыли и грязи основанию;

в) нижняя поверхность полотнищ и кромки лицевой стороны не были очищены от минеральной посыпки;

г) поверхность основания (или нижележащего слоя кровли) небрежно, с пропусками покрыта мастикой и недостаточно промазаны места приклеивания кромок полотнищ;

д) наклейка произведена остывшей мастикой, с температурой ниже 160 °С (для битумной мастики);

е) наклеенные полотнища плохо прижаты к нижележащему слою или основанию.

Способы устранения:

В местах расслоения рулонного ковра следует возможно больше разъединить листы, очистить их от грязи, промазать мастикой и приклеить к основанию или друг к другу; возможные при этом разрывы листов заклеить полосками рулонного материала шириной не менее 20 см, а затем сверху промазать мастикой.

3. Дефекты: впадины на поверхности кровельного покрытия глубиной более 10 мм.

Причины возникновения:

Рулонный ковер наклеен на поврежденное основание с выбоинами и углублениями.

Способы устранения:

Заливку впадин не допускается производить мастикой. Следует рулонный ковер надрезать конвертом, отогнуть концы, исправить основание, высушить, вновь наклеить отогнутые концы покрытия и сверху на это место наклеить двухслойную заплату, перекрывающую надрезы на 100 мм.

4. Дефекты: разрывы ковра и пробоины.

Причины возникновения:

а) щели и трещины в плиточном или монолитном основании;

б) механические повреждения покрытия при производстве кровельных работ;

в) зыбкость основания.

Способы устранения:

Вскрыть рулонный ковер и тщательно очистить поврежденное место. Замонолитить швы между кровельными плитами согласно проекту. Трещины разделать зубилом: очистить от осколков бетона и увлажнить. Заделать трещины до уровня основания раствором на расширяющемся цементе. Заделанное место увлажнить и поддерживать в таком состоянии в течение суток, затем огрунтовать и заклеить поврежденный участок рулонным материалом с перекрытием этого участка на 20 см по всем направлениям.

5. Дефекты: образование вздутий на поверхности рулонной кровли, устроенной по асфальтобетонной стяжке.

Причины возникновения:

Деформация асфальтобетонной стяжки при интенсивном воздействии солнечных лучей. Невыполнение требований СНиП об устройстве температурно-усадочных швов.

Способы устранения:

Вскрыть рулонный ковер над поврежденным местом, вырубить и удалить вздувшуюся, отслоившуюся стяжку, уложить на очищенное место новый асфальтобетон, уплотнить и выправить заподлицо с поверхностью стяжки. Восстановить рулонный ковер путем последовательного наклеивания полотнищ и устройства сопряжения со старым ковром.

6. Дефекты: образование в слоях рулонного ковра отдельных вздутий - «мешков», наполненных воздухом или водой.

Причины возникновения:

Рулонный ковер наклеен недоброкачественно. Воздушные мешки, образовавшиеся при наклейке полотнищ, своевременно не ликвидированы путем проката и обжатия их. Основание было влажным.

Способы устранения:

«Мешок» разрезать конвертом, углы отвернуть и просушить. Внутренние и наружные стороны углов и основание конверта очистить от грязи и смазать мастикой. Углы приклеить и притереть гребком. Сверху наклеить заплату, перекрывая места надрезов на 100 мм, кромки ее прошпаклевать, заплату окрасить мастикой. Если ремонтируемая кровля ранее была выполнена из наплавляемых материалов, приклеивание слоев ковра и заплат можно выполнить без мастики, с использованием газовой горелки или паяльной лампы. Если вздутие наполнено не водой, а воздухом, достаточно проколоть его, выпустить воздух, а в отверстие от прокола впрыснуть 10 - 20 г уайт-спирита или керосина и прижать.

7. Дефекты: протечки в местах примыкания кровельного покрытия к парапетам и другим вертикальным поверхностям.

Причины возникновения:

Отставание рулонного ковра от вертикальных поверхностей из-за неправильной заделки концов полотнищ в борозды или неправильного крепления их к заложенной в стене рейке. Неправильно установлены металлические фартуки.

Способы устранения:

Места, в которых рулонный ковер отстал от вертикальной поверхности, осторожно прогреть паяльной лампой, разъединить листы, просушить каждый слой, вновь приклеить и покрыть мастикой. Полотнища после приклейки немедленно закрыть металлическим фартуком, верхний край закрепить гвоздями, прибиваемыми через все полотнища к деревянной рейке, заделанной в стене, верх загерметизировать.

8. Дефекты: стекание мастики с поверхности кровельного ковра.

Причины возникновения:

а) Воздействие солнечных лучей и неправильно подобранный состав мастики (ее низкая теплостойкость);

б) в верхний слой покрытия уложены материалы без крупнозернистой или чешуйчатой посыпки.

Способы устранения:

Поверхность кровельного покрытия вновь промазать мастикой и в незастывшем состоянии посыпать сухим крупным песком.

9. Дефекты: растрескивание верхнего покровного слоя рулонного покрытия.

Причины возникновения:

Старение мастики.

Способы устранения:

Поверхность кровельного покрытия вновь промазать мастикой и в незастывшем состоянии посыпать сухим крупным песком.

10. Дефекты: неплотное прилегание кровельного покрытия к основанию в местах примыкания рулонного ковра к вертикальным поверхностям.

Причины возникновения:

В основании кровли не сделаны выкружки в местах примыкания к вентблокам и другим вертикальным поверхностям.

Способы устранения:

Концы полотнищ осторожно отогреть паяльной лампой, освободить от креплений и отогнуть рулонный ковер. Сделать выкружку радиусом 50 - 100 мм из керамзитобетона или цементного раствора, просушить, огрунтовать, вновь наклеить поодиночке отогнутые полотнища и закрепить концы ковра в соответствии с указаниями проекта.

11. Дефекты: отслаивание кровельного покрытия от бетонного свеса карниза.

Причины возникновения:

а) недоброкачественная наклейка рулонного ковра;

б) нахлестка полотнищ выполнена против господствующего направления ветра;

в) концы полотнищ плохо зажаты металлическим фартуком, установленным на торце карнизной плиты.

Способы устранения:

Отогнуть кромку капельника на металлическом фартуке, установленном на торце карнизной плиты, и вывести концы рулонного ковра из капельника. Ковер на карнизном свесе отвернуть и очистить от грязи. Поверхность основания свеса карниза покрыть мастикой и наклеить новый рулонный ковер так, чтобы концы полотнищ опускались со свеса карниза. Вновь наклеенный ковер закрепить гвоздями к доске, укрепленной на торце карнизной плиты. Завести свисающие концы полотнищ в капельник металлического фартука. Загнуть отогнутую кромку капельника, зажав в ней концы рулонного ковра, и промазать мастикой. Поверх наклеенного нового материала наклеить отогнутые концы старого ковра; образовавшиеся швы тщательно прошпаклевать и промазать мастикой.

12. Дефекты: отслаивание кровельного ковра в месте примыкания его к металлическому покрытию карнизного свеса.

Причины возникновения:

Неплотное прилегание металлического покрытия свеса к карнизной плите.

Способы устранения:

Отогнуть отставшие края полотнища и очистить. Освободить металлическое покрытие от креплений, выправить так, чтобы оно плотно прилегало к основанию, и вновь закрепить гвоздями к деревянным пробкам, установленным в карнизной плите. Отогнутые края полотнища вновь приклеить к металлическому покрытию свеса. Тщательно прошпаклевать швы мастикой. В случае разрывов ковра наклеить сверху заплаты, перекрывая места разрыва на 100 мм. Кромки прошпаклевать и окрасить.

13. Дефекты: увлажнение и промерзание теплоизоляционного слоя. Появление сырости на потолке верхнего этажа при неповрежденном кровельном ковре.

Причины возникновения:

Нарушение пароизоляционного слоя. Слой не сплошной, имеет пропуски, повреждения при производстве кровельных работ или вообще не сделан.

Способы устранения:

Вскрыть кровельное покрытие над поврежденным местом. Снять стяжку и теплоизоляционный слой. Просушить поврежденное место и теплоизоляционный материал. Исправить оклеенную или обмазочную пароизоляцию в соответствии с требованиями проекта. Восстановить теплоизоляционный слой, стяжку и кровельное покрытие. Надрезы кровельного ковра заклеить в 2 слоя полосками рулонного материала, перекрывающими их на 100 мм.

14. Дефекты: протечки у воронки внутреннего водостока.

Причины возникновения:

а) чаша воронки водостока перед оклейкой не была очищена от ржавчины, что вызвало отставание оклейки;

б) повреждение кровли у воронки внутреннего водостока.

Способы устранения:

Снять решетчатый колпак и зажимной конус воронки. Отогреть паяльной лампой и отогнусь отдельно каждое полотнище основного ковра. Снять обклейку из стеклоткани и вынуть чашу воронки. Расчистить образовавшееся в набетонке отверстие, обмазать его края цементным раствором и установить чашу воронки в отверстие плотно на раствор. Оклеить чашу воронки пропитанной битумом стеклотканью и вновь наклеить дополнительные и основные слои кровельного ковра в соответствии с проектом.

15. Дефекты: застой в ендовах воды (лужи), оставшейся после дождя.

Причины возникновения:

Перепады и углубления в слое бетона, образующего продольный уклон ендовы.

Способы устранения:

Снять кровельное покрытие ендовы. Выровнять набетонку слоем из раствора, придав ей заданный уклон, и огрунтовать. Оклеить ендову 2 - 3 слоями рулонного материала так, чтобы смежные полотна в одном слое перекрывались на 100 мм по стоку воды, а швы в смежных слоях располагались вразбежку. Выполнить сопряжение вновь наклееных полотнищ «в вилку» с основным покрытием ската кровли так, чтобы скатные полотнища имели напуск 100 мм на покрытие ендовы.

16. Дефекты: заполнение ендовы водой при таянии снега.

Причины возникновения:

Обледенение и промерзание решетки и воронки из-за неисправности нагревательного элемента, обогревающего горловину внутреннего водостока (если этот обогрев существует).

Способы устранения:

Проверить подключение нагревательного элемента; в случае неисправности нагревательный элемент исправить.

17. Дефекты: сползание полотнищ рулонных материалов защитного битумного или окрасочного слоя на основных плоскостях кровель.

Причины возникновения:

Применение битумов или кровельных мастик с недостаточной теплостойкостью, наклейка рулонных материалов вдоль конька кровель, имеющих уклон более 15°.

Способы устранения:

При капитальном ремонте старых кровель следует применять кровельные мастики с требуемой теплостойкостью: наклеить основные слои водоизоляционного ковра вдоль ската; при этом каждый слой кровли должен поочередно заходить через конек, перекрывая соответствующий слой на другом скате на ширину 0,25 м. При текущем ремонте необходимо:

1) после устранения складчатости, вызванной сползанием полотнищ, произвести окраску водоизоляционного ковра краской БТ-177. Окраска должна периодически возобновляться;

2) если краска БТ-177 не дает желаемых результатов, сползающие полотнища снимают и на их место наклеивают рулонные материалы вдоль ската на мастиках с требуемой теплостойкостью. При использовании в ремонтных работах наплавляемых рулонных материалов следует применять только те, у которых теплостойкость составляет не менее 75 °С.

18. Дефекты: протекание кровли в местах пропуска через кровлю вентиляционных труб.

Причины возникновения:

Отсутствие герметичности соединения дождезащитных зонтов с трубами.

Способы устранения:

При капитальном ремонте следует выполнять требования СНиП II-26-76. При текущем ремонте необходимо:

1) ослабить хомут, закрепляющий зонт на трубе, и заложить между зонтом и трубой прокладку из атмосферостойкой резины (ГОСТ 7338-90*); промазать герметиком место соединения зонта с трубой и затянуть хомуты;

2) уплотнить герметизирующую мастику, а место соединения трубы с дождезащитным зонтом окрасить краской БТ-177.

19. Дефекты: сползание кровли в местах примыкания к вертикальным поверхностям. Расслаивание полотнищ рулонных материалов и появление в них повреждений.

Причины возникновения:

Недостаточная теплостойкость мастик, применяемых для наклейки слоев дополнительного водоизоляционного ковра, и отсутствие защитных фартуков.

Способы устранения:

При капитальном ремонте следует применять кровельные мастики, рекомендуемые для мест примыканий (СНиП II-26-76). При текущем ремонте следует:

1) при небольших, только наметившихся сползаниях мастики:

- закрепить водоизоляционный ковер;

- окрасить места примыканий краской БТ-177;

- выполнить защитные фартуки;

2) при сползании мастики, расслоении и повреждении полотнищ водоизоляционного ковра (встречающихся в случаях, когда на плоских кровлях места примыканий выполняются с использованием легкоплавких кровельных мастик, применяемых на основных плоскостях кровель) необходимо:

- освободить от закрепления в верхней части и убрать все оставшиеся полотнища рулонных материалов вместе со сплывшей вниз мастикой;

- освободить водоизоляционный ковер у мест примыкания от защитного слоя или крупнозернистой посыпки на ширину 350 - 400 мм;

- выполнить слои дополнительного водоизоляционного ковра на мастиках с требуемой теплостойкостью (не менее 100 °С), закрепив ковер в верхней части;

- выполнить защитный окрасочный слой или крупнозернистую посыпку (в случае, если рулонный материал верхнего слоя не имеет крупнозернистой посыпки);

- установить защитные фартуки в соответствии с требованиями проекта и нормативных документов.

20. Дефекты: отслаивание дополнительного водоизоляционного ковра и фартука от выступающих вертикальных участков примыканий кровель.

Причины возникновения:

Полотнища рулонных материалов приклеиваются к неподготовленной выступающей поверхности: отсутствует надежное закрепление верхнего края водоизоляционного ковра и фартука.

Способы устранения:

При капитальном ремонте следует наклеивать полотнища дополнительного водоизоляционного ковра к оштукатуренным и предварительно огрунтованным выступающим вертикальным поверхностям. При текущем ремонте необходимо:

1) у примыканий к поверхностям кладки снять защитный фартук; отставший рулонный ковер отогнуть вниз; в выступающей поверхности сделать штрабу и установить деревянные пробки (на высоте не менее 200 мм от основания под кровлю), к которым закрепить антисептированный деревянный брусок; поверхность примыкания ниже деревянного бруска оштукатурить цементно-песчаным раствором и огрунтовать; отогнутую часть водоизоляционного ковра очистить от пыли и грунтовать; нанести горячую кровельную мастику на вертикальную поверхность примыкания и отвернутую часть водоизоляционного ковра, затем плотно склеить их. Край отогнутого ковра прибить к деревянному брусу. Затем наклеить дополнительный слой рулонного материала; выполнить работы по установке защитных фартуков с закреплением их краев в штрабе и заделать цементно-песчаным раствором часть штрабы выше защитного фартука; при использовании наплавляемых материалов наклеивание производят с помощью горелки;

2) у примыканий к бетонным поверхностям снять защитный фартук; отставший рулонный ковер отогнуть вниз; поверхность примыкания ковра затереть цементно-песчаным раствором; отогнутую часть водоизоляционного ковра, а также поверхность примыкания очистить от пыли и огрунтовать; после высыхания грунтовки нанести горячую мастику на вертикальную поверхность примыкания и отогнуть часть водоизоляционного ковра, затем склеить их; при помощи дюбелей закрепить к бетонной поверхности стальную полосу; закрепить верхний край защитного фартука на стальной полосе, обрезать край рулонного ковра и загерметизировать мастиками шов между бетонной поверхностью и защитным фартуком. Мастику окрасить краской БТ-177;

3) у примыканий к металлическим вертикальным поверхностям снять защитный фартук; отставший рулонный ковер отогнуть вниз; отогнутую часть водоизоляционного ковра, а также поверхность примыкания очистить от пыли и огрунтовать; после высыхания грунтовки нанести горячую мастику на вертикальную поверхность примыкания и отогнутую часть водоизоляционного ковра, после чего склеить их; закрепить комбинированными заклепками или самонарезающими винтами стальную полосу 4×40 мм по всей длине крепления водоизоляционного ковра и защитного фартука; примыкание защитных фартуков зачеканить герметизирующими мастиками марок АМ-05; Эластосил 11-06; УТ-32; Бутепрол ; УМС-50; сверху мастику окрасить краской БТ-177;

4) при сильной изношенности отставшего водоизоляционного ковра (при наличии в нем сквозных трещин, разрывов) необходимо: удалить изношенный ковер и освободить участок кровли от защитного слоя или крупнозернистой посыпки на ширину 350 - 400 мм; наклеить слои дополнительного рулонного ковра; установить защитные фартуки.

21. Дефекты: сквозные трещины в слоях водоизоляционного ковра, уложенного по плитным и композиционным утеплителям.

Причины возникновения:

Провисание водоизоляционного ковра вследствие больших зазоров, швов между плитами утеплителя, а также скошенных углов.

Способы устранения:

При капитальном ремонте следует:

1) зазоры, швы между плитами, превышающие 5 мм, заполнить рейками из плитного утеплителя, скошенные углы заделать утеплителем. При устройстве теплоизоляции из двух слоев плит швы второго слоя не должны совпадать со швами первого слоя;

2) выполнить водоизоляционный ковер в соответствии с требованиями СНиП II-26-76. При текущем ремонте необходимо:

- вдоль трещин по ширине 1 м освободить водоизоляционный ковер от защитного слоя или крупнозернистой посыпки;

- отогнуть для удобства работы слои кровельных материалов, расположенных выше трещин;

- заполнить швы рейками из теплоизоляции;

- наклеить отогнутые слои кровельных материалов;

- на трещину наложить полоску из рулонного материала шириной 150 - 200 мм и склеить ее в отдельных местах с одной стороны трещины с верхним слоем водоизоляционного ковра;

- произвести сплошную наклейку трех, а на кровлях, заполняемых водой, четырех полотнищ кровельных материалов так, чтобы каждое верхнее полотнище перекрывало нижележащее и склеивалось с основным водоизоляционным ковром на 100 - 150 мм с каждой стороны трещины;

- выполнить защитный окрасочный слой или крупнозернистую посыпку с применением материалов, соответствующих ТУ или ГОСТ.

22. Дефекты: трещины в слоях водоизоляционного ковра в местах примыкания кровли по углами фонарей.

Причины возникновения:

Разрывы рулонного ковра образуются при воздействии температурных перепадов, т.к. кровли на углах фонарей являются местами концентрации напряжений.

Способы устранения:

При капитальном ремонте следует выполнять работы в соответствии с общими требованиями - у примыканий к стенам компенсирующая полоса образуется приклейкой полотнища нижнего слоя дополнительного кровельного ковра на участке сопряжения с переходным наклонным бортиком и основным ковром. При этом нижний слой дополнительного водоизоляционного ковра в местах примыканий наклеивается только к вертикальным поверхностям, далее укладывается «насухо».

При текущем ремонте необходимо:

1) освободить водоизоляционный ковер от защитного слоя или крупнозернистой посыпки на ширину 400 мм с каждой стороны трещины;

2) на трещину «насухо» наложить полоску полиэтиленовой пленки шириной 150 мм;

3) наклеить слои дополнительного водоизоляционного ковра так, чтобы нижний слой перекрывал пленку не менее, чем на 100 мм;

4) восстановить защитный окрасочный слой или крупнозернистую посыпку и защитный фартук.

23. Дефекты: вмятины, складки или трещины над стыками теплоизоляционных плит.

Причины возникновения:

а) усушка или разбухание органических теплоизоляционных материалов;

б) деформация теплоизоляционных пенопластов и других материалов, уложенных без необходимой выдержки после изготовления;

в) повреждение углов и кромок теплоизоляционных материалов;

г) вибрация несущих конструкций плоского покрытия, особенно настилов с низкой жесткостью при изгибе (дощатый настил, настил из плит, изготовленных из древесно-стружечных плит).

Способы устранения:

Расчистить участок кровли в месте образования складок и трещин. Заполнить щели теплоизоляционным материалом. Выровнять поверхность цементно-песчаным раствором. Огрунтовать. Оклеить поверхность рулонным материалом. Обмазать поверхность горячей битумной мастикой и обсыпать эту часть гравием.

24. Дефекты: образование вздутий между нижним слоем кровельного ковра и основанием под кровлю (отслоение многослойного кровельного ковра от основания).

Причины возникновения:

Температурно-влажностные факторы, зависящие от условий эксплуатации внутри объекта, наклеивание ковра при выпадении осадков или на влажное основание, использование переувлажненного утеплителя вследствие его неправильного хранения.

Способы устранения:

Рулонный ковер в месте образования воздушного мешка крестообразно разрезают. На очищенное основание наносят слой мастики толщиной 3 - 4 мм, которым подрезанные части рулонного ковра приклеивают вновь. Размеры заплаты из одного слоя рулонного материала должны превосходить контуры поврежденного участка на 150 мм.

25. Дефекты: образование хаотически расположенных вздутий под верхним слоем кровельного ковра (не имеющего гравийного защитного слоя).

Причины возникновения:

Увлажнение нижележащего слоя в процессе наклеивания; использование материалов, содержащих дефекты.

Способы устранения:

При производстве заплаточного ремонта поврежденный участок ковра удалить, а примыкающий к поврежденному здоровый ковер надрезать (длина надреза - 100 мм) и отвернуть. Первую заплату из одного слоя рулонного материала наклеить на очищенное и просушенное основание и завести под кромки существующего ковра. Размеры второй заплаты, которую наклеивают сверху, должны на 100 - 150 мм превышать контуры подрезов. Основание смазать мастикой. Углы приклеить и притереть гребком, сверху наклеить заплату, перекрывая места надрезов на 100 мм.

26. Дефекты: вздутие на защитном гравийном слое кровельного ковра.

Причины возникновения:

Передвижение основы кровельного материала из органического волокна, плохое сцепление гравия с битумной мастикой и вследствие этого частичная утрата гравийного слоя, разрушение слоя битума под воздействием атмосферного фактора.

Способы устранения:

Расчистить участок кровли в месте образования вздутия до нижеследующего плотного слоя. Налить горячую мастику на очищенное место и рассыпать гравий с его втапливанием в слой мастики.

27. Дефекты: трещины в защитном слое битумной мастики, нанесенном на поверхность кровельного ковра.

Причины возникновения:

Отсутствие защитной посыпки, вследствие чего происходит старение битумных кровельных материалов. Разрушение битумов под воздействием ультрафиолетовых лучей.

Способы устранения:

Расчистить поврежденный участок кровли. Обмазать горячей мастикой и засыпать эту часть реконструируемого покрытия гравием с размером фракций 3 - 5 мм.

28. Дефекты: трещины сквозные в кровельном ковре.

Причины возникновения:

Наличие слишком больших щелей между плитами теплоизоляционного материала (некачественное производство работ по укладке плит или недостаточно хорошее качество теплоизоляционных материалов).

Способы устранения:

Вдоль трещин по ширине 1 м:

- освободить кровельный ковер от защитного слоя;

- отогнуть слои материалов;

- очистить нижеследующий слой;

- наклеить отогнутые слои кровельных материалов;

- на трещину наложить полоску из рулонного материала шириной 150 - 200 мм и склеить ее в отдельных местах с одной стороны трещины с верхним слоем кровельного ковра.

29. Дефекты: трещины в кровельном ковре вертикальные в местах примыкания друг к другу различных конструктивных элементов.

Причины возникновения:

Различное время строительства примыкающих друг к другу конструктивных элементов и вследствие этого различная осадка.

Способы устранения:

Расчистить трещины. Заполнить трещины цементно-песчаным раствором марки 100.

30. Дефекты: трещины в швах или в железобетонных плитах плоских покрытий с эксплуатируемой кровлей, верхний слой которых (плитки) уложен на растворную постель близ стены с закрепленной в ней консольной плитой.

Причины возникновения:

Недостаточное армирование железобетонных плит. Неправильное размещение арматуры в них.

Способы устранения:

Расчистить трещины. Приготовить раствор марки не ниже 100 и заполнить трещины приготовленным раствором. На отремонтированном участке наклеить кровельный ковер, уложить слой кварцевого песка и уложить плитки эксплуатируемой кровли.

31. Дефекты: трещины в швах или в железобетонных плитах плоских покрытий эксплуатируемых крыш, хаотически направленные.

Причины возникновения:

Отсутствие уклона кровли. Слишком большие расстояния между деформационными швами.

Способы устранения:

Расчистить трещины. Приготовить раствор марки не ниже 100 и заполнить трещины приготовленным раствором. На отремонтированном участке наклеить кровельный ковер, уложить слой кварцевого песка и уложить плитки эксплуатируемой кровли.

32. Дефекты: трещины в сборных железобетонных крышах с окрасочными и изоляционными слоями.

Причины возникновения:

Продолжительный срок эксплуатации без ремонтов.

Способы устранения:

По дефектным панелям уложить кровельный ковер из 2 - 3 слоев стеклоткани на битумно-полимерной мастике.

33. Дефекты: трещины в водосборных лотках.

Причины возникновения:

Продолжительный срок эксплуатации без ремонтов.

Способы устранения:

Заделать цементно-песчаным раствором марки не ниже 100 с добавками ПВАЭ (не более 0,2 % массы цемента).

34. Дефекты: волосяные трещины в железобетонных панелях безрулонных крыш.

Причины возникновения:

Продолжительный срок эксплуатации без ремонтов.

Способы устранения:

1. Волосяные трещины затирать раствором, а трещины шириной 0,2 см расширяют и прочищают, заделывают раствором заподлицо.

2. Заделку трещин можно выполнить эпоксидным клеем.

35. Дефекты: трещины на кровельном покрытии в местах опор телеантенн, радиоточек, вытяжных труб.

Причины возникновения:

Срок службы заделок в местах сопряжения истек, требуется ремонт.

Способы устранения:

Трещины заделать в следующей последовательности: на очищенную вокруг трубы поверхность нанести слой полимерраствора в виде выкружки; затем слой мастики; наклеить стеклоткань, по которой снова нанести мастику. Толщина мастичного слоя должна быть не более 1 мм.

36. Дефекты: образование на поверхности кровли на плоском покрытии волн, расположенных на определенном расстоянии друг от друга.

Причины возникновения:

Повреждение торцов и боковых граней теплоизоляционных плит, особенно оклеенных с одной стороны плит.

Способы устранения:

Срезать участки кровли с образованными на ее поверхности волнами. Наклеить на очищенное основание новый рулонный материал в 1 или 2 слоя.

37. Дефекты: застаивание воды на плоском покрытии.

Причины возникновения:

Отсутствие уклона кровли, особенно если несущие конструкции покрытия обладают низкой жесткостью на изгиб, например, дощатый настил, настил из древесностружечных плит, а также, если плиты имеют большие пролеты.

Способы устранения:

1. Снять старый рулонный ковер.

2. На поверхности крыши определить места будущих водоразделов; устроить слой теплоизоляции с образованием уклона от водораздела к водосточным воронкам, устроить стяжку; огрунтовать; наклеить кровельный ковер.

38. Дефекты: появление мешков (вздутий) увеличенных размеров, более 1 м в диаметре.

Причины возникновения:

Повышенное влагосодержание теплоизоляционного слоя из-за некачественно выполненной пароизоляции. В этом случае водяной пар вместе с тепловым потоком поднимается вверх и диффундирует через чердачное перекрытие. Если пары не встречают на своем пути препятствия, то они, охлаждаясь, конденсируют. Зимой переувлажненный теплоизоляционный материал в условиях частых оттепелей многократно замерзает и оттаивает. Наличие влаги в толще утеплителя приводит к разрушению кровельного ковра, так как при отрицательных температурах под ним скапливается влага, которая со временем превращается в глыбы льда. Замерзая, вода отрывает кровельный ковер от основания и увеличивает поры в кровельном материале. В летний период, когда температура наружной поверхности кровли достигает 80 °С капли влаги, находящейся в замкнутом пространстве, превращаются в пар и могут увеличиваться в объеме в 15 - 40 раз, поэтому образуются воздушные мешки, достигающие более 1 м в диаметре.

Способы устранения:

Ремонт поврежденных кровель в местах образования вздутий в соответствии с п. п. 5, 6.

39. Дефекты: образование морщинистости и продольных вдоль уклона складок преимущественно на рулонных кровлях с уклоном до 10 %.

Причины возникновения:

Применение мастик и битума с температурой размягчения ниже требуемой, в результате под действием солнечной радиации в летнее время года мастика, расплавляясь, вытекает из-под рулонного ковра, создавая складки и морщины.

Способы устранения:

Снять старый слой рулонного материала, очистить поверхность нижележащего слоя, наклеить новый слой рулонного материала.

40. Дефекты: выход из строя верхнего слоя рулонного ковра (исчезновение гравийного защитного слоя, высушивание).

Причины возникновения:

Влияние атмосферных воздействий: дождя, воды, снега, солнечной радиации.

Способы устранения:

Заменить верхний слой рулонного ковра на новый с последующим нанесением защитного слоя.

41. Дефекты: протечки в местах опорных частей стоек ограждения антенн и стяжек.

Причины возникновения:

Отверстия, деформации и свищи в местах сопряжения кровли с опорными частями выступающих конструкций.

Способы устранения:

Герметизацию опорных частей стоек выполнять обмазкой герметиком толщиной 2 - 2,5 мм по их периметру с захватом поверхности кровли на 20 мм. Герметизацию лентой «Герлен-Д» фальцев и пробоин металлической кровли выполнять только по сухой, очищенной, обеспыленной поверхности кровли при относительной влажности воздуха не выше 75 %. Для этого самоклеящую ленту «Герлен-Д» нарезают полосами шириной 25 - 30 мм и длиной, равной длине герметизирующих фальцев, но не более 2,5 - 3 м. Полоски ленты наложить на фальцы, плотно прижать к поверхности резиновым валиком.

42. Дефекты: разрывы ковра в местах его сопряжения с водоприемной воронкой и вентиляционными трубами.

Причины возникновения:

Увлажнение и уплотнение утеплителя.

Способы устранения:

При разрывах ковра необходимо заменить поврежденную часть ковра и надежно соединить восстановленный участок ковра со старым (внахлест), а также с воронкой или трубой. Для усиления ковра вокруг воронки (трубы) наклеивают дополнительные два слоя; снизу - как основание, из стеклоткани, пропитанной мастикой, а сверху - на ковер из рулонного материала, перекрывая им верхнюю заплату не менее, чем на 150 мм.

43. Дефекты: просадка глубиной до 15 мм.

Причины возникновения:

Увлажнение и уплотнение утеплителя.

Способы устранения:

Небольшие по глубине, до 15 мм, просадки кровли заделывают наклейкой в несколько слоев рулонного материала с последовательным увеличением размеров заплат.

44. Дефекты: просадка глубиной более 15 мм.

Причины возникновения:

Увлажнение и уплотнение утеплителя.

Способы устранения:

Значительные по размерам просадки кровли следует выравнивать асфальтом и наклейкой сверху двух слоев материала, обеспечивая при этом один уровень и уклон поверхности со смежными участками и согласовывая направление полотнищ с принятым на ремонтируемом покрытии.

45. Дефекты: появление цветных отметин над стыками теплоизоляционных плит.

Причины возникновения:

Наличие щелей между торцами и боковыми гранями теплоизоляционных плит, возникающих вследствие неточной укладки плит.

Способы устранения:

Провести расчистку щелей, заполнить щели теплоизоляционным материалом, промазать поверхности цементным раствором, оклеить щели рубероидом, обмазать горячим битумом, засыпать гравием.

46. Дефекты: отсутствие гравия над стыками теплоизоляционных плит.

Причины возникновения:

Наличие щелей между торцами и боковыми гранями теплоизоляционных плит, возникших вследствие неточной укладки плит.

Способы устранения:

Провести расчистку щелей, заполнить щели теплоизоляционным материалом, обмазать цементным раствором, оклеить рубероидом, обмазать горячим битумом, засыпать гравием.

47. Дефекты: разрывы ковра в местах перегибов (в примыканиях) и неполная приклейка к основанию.

Причины возникновения:

Отсутствие выкружек из цементно-песчаного раствора, или не выдержан радиус закруглений.

Способы устранения:

Удалить поврежденные участки кровельного ковра. Сделать из цементно-песчаного раствора выкружку, требуемую согласно СНиП II-26-76, и наклеить рулонный ковер в соответствии с требованиями того же СНиП II-26-76.

48. Дефекты: на вертикальных стенках ковер отслаивается, отгибается, и вода проникает в толщу покрытия. В зимний период в этих местах интенсивно подтаивает снег.

Причины возникновения:

Рулонный ковер на вертикальных стенках делают на высоту 5 - 10 см вместо нормируемой 25 см; не закреплен фартук из оцинкованного железа.

Способы устранения:

Удалить поврежденные участки кровельного ковра и выполнить новые дополнительные слои кровельного ковра на вертикальных участках примыканий.

49. Дефекты: пятна на потолках помещений верхних этажей.

Причины возникновения:

Протечки с чердака или высокая влажность утеплителя в чердачных помещениях.

Способы устранения:

Покрыть пятна гидрофобной шпаклевкой составом по массе: известковое тесто - 1, портландцемент - 1, гидрофобная кремнийорганическая жидкость (ГКЖ-10 или ГКЖ-10 - 0,2 % массы цемента. Продолжительность высыхания слоя 24 часа. Прошпаклеванную поверхность огрунтовать известковым молоком и окрасить меловым составом.

50. Дефекты: обледенение поверхности крыш с теплым чердаком и водоотводящим устройством.

Причины возникновения:

Повышенное воздействие солнечной радиации на кровлю, отсутствие гидрофобных свойств поверхности, повышенное сцепление воды, льда и пыли с материалами кровли.

Способы устранения:

Применить окрасочные составы светлых тонов, обладающие повышенными водоотталкивающими свойствами: органосиликатные составы светлых тонов ВН-30, ВН-3-ДТОХ, ВН-ЗОДТ; эмаль КО-174, лак МЕТ-1, кремнийорганические гидрофобные жидкости ГКЖ-10, ГКЖ-11, ГКЖ-94, краска БТ-177.

51. Дефекты: отсутствие или повреждение защитных слоев лотковых железобетонных крыш.

Причины возникновения:

1. Защитный слой был выполнен некачественно.

2. Срок службы защитного слоя истек.

Способы устранения:

Нанести на поверхность лотковых железобетонных крыш окрасочные составы: а) грунтовка - лак Этиноль - 1 слой, основное покрытие - эмаль ПХВ-23; б) грунтовка - лак БТ-577 - 1 слой, основное покрытие - краска БТ-177 или битумный лак - 92 м. ч., алюминиевая пудра - 8 м. ч. (для первого слоя), битумный лак - 85 м. ч., алюминиевая пудра - 15 м. ч. (для второго слоя).

52. Дефекты: отслоение защитного слоя мастичной кровли.

Причины возникновения:

Срок службы старого защитного слоя истек.

Способы устранения:

Соскоблить старый защитный слой, выровнять поверхность полимерраствором состава 1:3:0,6 (цемент, песок, 50 %-я - пластифицированная поливинилацетатная эмульсия с добавкой 1,5 % ГКЖ-10). После высыхания поверхности кровли восстановить защитный слой.

53. Дефекты: протекание металлических кровель в год изготовления или в год ремонта, или на следующий год после ремонта.

Причины возникновения:

Фальцы стоячие или лежачие либо неплотно обжаты, либо до обжатия не были промазаны замазкой на железном сурике или свинцовых белилах, либо на кровле имеются мелкие отверстия, свищи, пробоины.

Способы устранения:

В качестве герметизирующих материалов при ремонте металлических кровель рекомендуются: герметик силиконовый однокомпонентный «Эластосил 11-06», тиоколовая мастика КБ-0,5; самоклеящая лента «Герлен-Д». Можно использовать герметизирующий слоистый материал - Армокровлелит, состоящий из армирующей основы (стеклоткань типа Т-12-41, АСТТ) и мастики Кровлелит. Герметик толщиной слоя 2 мм следует наносить на сухую, очищенную от ржавчины и отслоившейся краски, обеспыленную поверхность фальца шпателем до получения гладкой поверхности слоя герметика. Состав с суриковой замазкой, % (по массе): молотый мел - 57, натуральная олифа - 29, тертый сурик - 14. Мелкие отверстия, свищи и пробоины в кровле размером до 5 мм промазать слоем герметика толщиной 2,8 - 3 мм с захватом краев вокруг отверстия на 1 - 12 мм. Крупные отверстия, пробоины размером от 10 мм и более перекрывают заплатой из кровельной стали или двух слоев стеклоткани на герметике.

54. Дефекты: отрыв картин и других отдельных элементов металлической кровли от обрешетки во время порывистых ветров.

Причины возникновения:

Недостаточное закрепление кляммеров (для крепления картин к обрешетке), крючьев (для крепления настенных желобов); костылей (для поддержания карнизных свесов); ухватов (для крепления водосточных труб, воронок, отмета к стенам здания).

Способы устранения:

Проверить и заново закрепить конструкцию, использовав следующие изделия: кляммеры (из обрезков кровельной стали); крючья - из полосовой стали толщиной 5 - 6 мм, шириной 16 - 25 мм, длиной 420 мм; костыли - из полосовой стали толщиной 5 - 6 мм, шириной 25 - 36 мм, длиной 450 мм.

55. Дефекты: протечки в металлической кровле, эксплуатируемой менее 2 лет.

Причины возникновения:

Свищи в кровле размером до 30 мм.

Способы устранения:

Свищи в металлической кровле (до 30 мм) заделывают снаружи и со стороны чердачного помещения мастикой, состав которой: битум тугоплавкий - 47, соляровое масло - 28, известь-пушонка - 12, шлаковата - 13. Толщина слоя - 23 мм с обязательным перекрытием поврежденного места на 30 - 40 мм вокруг него.

56. Дефекты: протечки в металлической кровле, эксплуатируемой более 2 лет.

Причины возникновения:

Свищи в кровле.

Способы устранения:

Свищи устраняют наклейкой заплат из рулонного материала размером от 30 мм до 100 мм или мешковины, пропитанной мастикой, которые должны перекрывать их не менее, чем на 100 - 150 мм. Отремонтированные места после высыхания окрашивают под цвет кровли.

57. Дефекты: интенсивное образование наледей и сосулек на металлической кровле.

Причины возникновения:

Разница температуры наружного воздуха и температуры воздуха на чердаке выше 4 °С из-за поступления тепла в чердачное помещение от некачественной, недостаточной теплоизоляции трубопроводов, воздухосборников, стояков, недостаточная толщина насыпного утеплителя.

Способы устранения:

Увеличить толщину насыпного утеплителя до 22 см при засыпке керамзитовым гравием или шлаком. У наружных стен толщина утеплителя на ширину 30 - 50 см должна быть больше в 2 раза, чем на поверхности чердачного перекрытия. Засыпку защитить известково-цементной стяжкой. Слежавшийся сыпучий утеплитель разрыхлять (1 раз в 5 лет). Двери и люки чердачных помещений обшить кровельной сталью по асбесту или войлоку, смоченному в глине. Для плотного притвора нужны: уплотняющие прокладки из резины, пенополиуретана или др. упругих материалов. Отремонтировать теплоизоляцию трубопроводов, не допуская оголенных участков и трещин.

58. Дефекты: массовое появление сосулек зимой на карнизах крыш с различным покрытием.

Причины возникновения:

Недостаточное утепление крыш, отсутствие вентиляционных каналов, устройство неорганизованного водостока.

Способы устранения:

Дополнительное утепление чердачного перекрытия, устройство системы вентиляции, организованного водостока; устроить кабельную антиобледенительную систему с помощью нагревателей.

59. Дефекты: протечки в местах примыканий металлической кровли к стенам надстроек, вентшахт, труб.

Причины возникновения:

В местах примыканий образовались отверстия.

Способы устранения:

Герметизацию мест примыканий в металлических кровлях выполняют с использованием стеклоткани по слою герметика толщиной 0,3 мм с последующим нанесением шпателем на поверхность стеклоткани слоя герметика толщиной 0,8 - 1 мм.

60. Дефекты: замерзание воды в водоотводящих лотках и воронках. Прекращение функционирования системы внутреннего водоотвода.

Причины возникновения:

Температура поверхностей водоотводящих лотков и приемных воронок была отрицательной.

Способы устранения:

Реконструкция системы водоотвода. Устроить кабельную антиобледенительную систему с помощью нагревателей.

61. Дефекты: застой и намерзание воды у парапетов, ограждений кровли, архитектурных деталей, выходящих на крыши с наружным водоотводом.

Причины возникновения:

Излишнее размещение на кровлях архитектурных деталей, вертикальных элементов, препятствующих отеканию воды.

Способы устранения:

Перепроектировать все элементы кровельного покрытия, в т.ч. учесть возможность устроить антиобледенительную систему (см. п. 58 - 60).

62. Дефекты: увлажнение карнизов и стен.

Причины возникновения:

Недостаточная высота подъема рулонных материалов в местах примыкания кровли к вертикальным поверхностям, выходящим выше крыши.

Способы устранения:

В местах примыкания к стенам, парапету край кровельного ковра должен быть приподнят не менее, чем на 250 мм. Кромку ковра заводят в штрабу и надежно закрепляют. Рулонный ковер в местах примыкания к выступающим конструкциям должен состоять из полотнищ длиной 2 - 2,5 м. Вертикальный участок ковра сверху должен быть защищен фартуком из оцинкованной стали от затекания воды.

63. Дефекты: волнообразное отслоение краев полотнищ рубероида.

Причины возникновения:

Применение некачественного картона при изготовлении рубероида.

Способы устранения:

При необходимости ремонта вначале производятся счистка и удаление гравия. Если удаление гравия затруднено, поверхность выравнивают литым асфальтом.

64. Дефекты: затекание воды на фасад здания.

Причины возникновения:

Недостаточный относ капельника (слезника) от вертикальной поверхности.

Способы устранения:

Удалить поврежденные участки кровельного ковра и выполнить новые дополнительные слои кровельного ковра на вертикальных участках примыканий.

65. Дефекты: протечки кровель, выполненных из штучных материалов, после текущего ремонта.

Причины возникновения:

Нарушение плотности соединений и целостности отдельных элементов покрытий.

Способы устранения:

Провести тщательную проверку качества выполненных работ, которые должны отвечать следующим требованиям:

а) элементы кровель из штучных материалов не должны иметь сколов, трещин, коробления;

б) отделки ендов, воронок и мест примыкания кровли к выступающим частям здания и конструкциям должны отвечать проекту;

в) наружные водосточные трубы должны быть установлены строго вертикально, а отдельные их звенья - прочно соединены между собой и закреплены к стенам здания;

г) элементы кровель из штучных материалов должны плотно прилегать к обрешетке и быть закреплены; при осмотре снизу не должно быть видимых просветов; ряды покрытия должны быть параллельны свесу или коньку;

д) неоцинкованные металлические детали должны быть окрашены водостойкими красками;

е) на внутренних поверхностях кровель и несущей конструкции не должно быть конденсационной влаги;

ж) вентилирующие устройства чердаков должны быть сухими и не иметь следов гниения.

66. Дефекты: протечки в асбестоцементных кровлях.

Причины возникновения:

1) механические повреждения листов при хождении по покрытию;

2) растрескивание листов при деформации обрешетки покрытия.

Способы устранения:

Замена отдельных изломанных листов. Склеивание трещин на волнах асбестоцементных листов тканью и обмазка мастикой.

Телефоны

ведущих специалистов ГОССТРОЯ РОССИИ по выполнению кровельных работ:

Отдел кровель АО «ЦНИИПРОМЗДАНИЙ»

Воронин Алексей Михайлович

Андреева Галина Николаевна

(т. 095 - 482-4254; 482-3727)

Лаборатория кровельных работ ЦНИИОМТП

Белевич Владимир Борисович

(т. 095 - 976-4456)

Никитин Владимир Николаевич

(т. 095 - 976-0081)

Лаборатория подземных сооружений и кровель НИИМОССТРОЯ

Вальницев Александр Борисович

(т. 095 - 147-4226)




Rambler's Top100 Яндекс цитирования
  Copyright © 2008-2026, www.docload.ru