Бесплатная библиотека стандартов и нормативов www.docload.ru

Все документы, размещенные на этом сайте, не являются их официальным изданием и предназначены исключительно для ознакомительных целей.
Электронные копии этих документов могут распространяться без всяких ограничений. Вы можете размещать информацию с этого сайта на любом другом сайте.
Это некоммерческий сайт и здесь не продаются документы. Вы можете скачать их абсолютно бесплатно!
Содержимое сайта не нарушает чьих-либо авторских прав! Человек имеет право на информацию!

 

ФГУП ЦУФС МИНАТОМА РОССИИ (б. трест «ОРГТЕХСТРОЙ-11»)

СХЕМЫ
ВХОДНОГО И ОПЕРАЦИОННОГО КОНТРОЛЯ
КАЧЕСТВА СТРОИТЕЛЬНО-МОНТАЖНЫХ
РАБОТ

Часть IV

тепловые сети, наружные газопроводы,
автомобильные дороги и благоустройство

Москва, 2001 г.

Применение на территории Российской Федерации импортных строительных материалов

В связи со случаями поставки на российский рынок строительных материалов и изделий (поливинилхлоридные облицовочные материалы, гипсокартонные листы, трубы и другие изделия) с показателями ниже требований нормативных документов на аналогичную продукцию, действующую на территории РФ, Минстрой России разъясняет.

Применяемые в строительстве на территории РФ импортные материалы и изделия должны соответствовать требованиям действующих государственных стандартов и нормативных документов. Законодательством предусматривается подтверждение такого соответствия сертификатами соответствия или документом о качестве материалов и изделий поставщика.

При отсутствии в России государственных стандартов и нормативных документов на эти материалы и изделия и их поставке в Россию по зарубежным стандартам необходимо в соответствии с постановлением Минстроя России № 18-25 от 19.04.96 г. наличие Технического свидетельства Минстроя России, подтверждающего пригодность продукции для её применения в строительстве.

Минстрой России обратился с просьбой к органам экспертизы и архитектурно-строительного надзора усилить контроль за соблюдением указанного порядка.

(Письмо Минстроя России от 12 февраля 1997 г. № ЛХ-76/13)

Разработаны ФГУП ЦУФС Минатома РОССИИ

(б. трестом «Оргтехстрой-11»)

(лицензия ФЛЦ № 000721-1)

Директор (тел. 901-1681)

О.Ф. Капура

1-й зам. директора (тел. 901-0963)

А. В. Бетлий

Исполнитель (тел. 901-0963)

А.С. Каревский

СОДЕРЖАНИЕ

Пояснительная записка. 3

Геодезические работы... 4

Разбивочные работы при прокладке инженерных сетей. 4

Производство детальных разбивочных работ при прокладке трубопроводов. 6

Тепловые сети.. 13

Внеплощадочные и внутри площадочные подготовительные работы.. 13

Разработка траншей и котлованов для тепловых сетей. 15

Прокладка наружных тепловых сетей. 24

Технические требования к трубам.. 26

Технические требования к размещению тепловых сетей. 39

Технические требования к прокладке тепловых сетей в особых условиях строительства. 44

Технические требования к прокладке тепловых сетей. 47

Прокладка тепловых сетей из стальных труб с теплоизоляционным слоем из пенополиуретана и гидроизолирующим покрытием.. 54

Сборка и сварка стальных трубопроводов тепловых сетей. 60

Технические требования к сварочным материалам.. 60

Технические требования к сборке и сварке. 64

Бесканальная прокладка тепловых сетей из асбестоцементных труб. 76

Технические требования к трубам.. 76

Расположение изолированных труб в траншее по серии 3.903.8-16. 78

Технические требования к прокладке по серии 3.903.8-16. 82

Монтаж строительных конструкций тепловых сетей. 84

Технические требования к сборным железобетонным конструкциям.. 84

Технические требования к монтажу и узлы сопряжения сборных лотковых конструкций по серии 3.006.1-2.87. 86

Технические требования к монтажу. 91

Устройство гидроизоляционных покрытий подземных строительных конструкций тепловых сетей. 92

Технические требования. 95

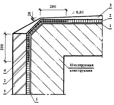
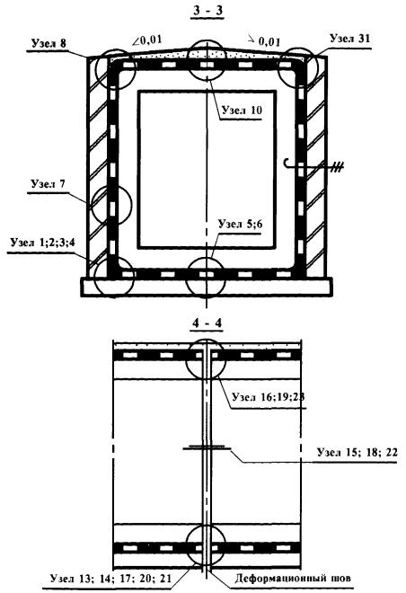
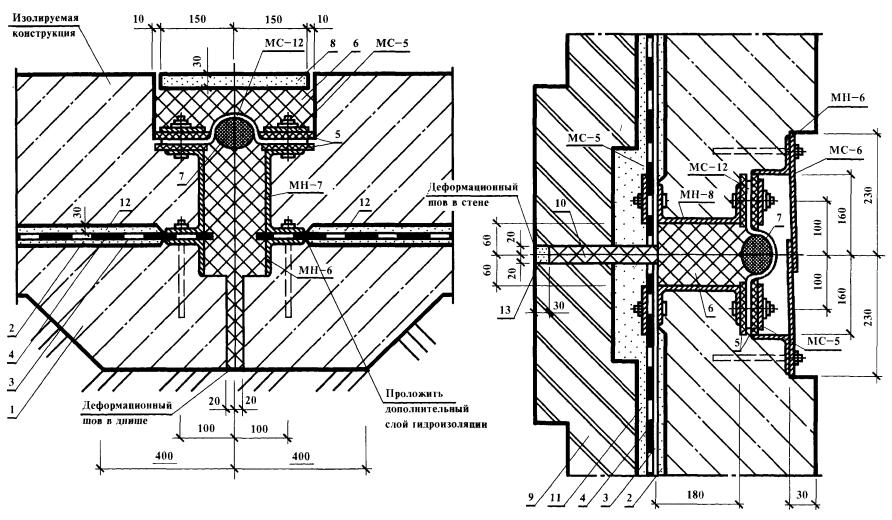
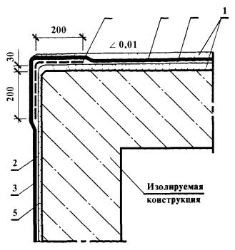
Узлы окрасочной гидроизоляции по серии 1.010-1. 108

Узлы штукатурной гидроизоляции по серии 1.010-1. 116

Узлы литой гидроизоляции по серии 1.010-1. 123

Узлы оклеечной гидроизоляции по серии 1.010-1. 128

Теплоизоляция наружных тепловых сетей. 138

Устройство обратных засыпок на наружных тепловых сетях. 147

Предварительное испытание трубопроводов тепловых сетей. 151

Приемочные испытания трубопроводов тепловых сетей. 153

Наружные газопроводы... 157

Разработка траншей и котлованов для наружных газопроводов. 157

Прокладка наружных стальных газопроводов. 169

Технические требования к стальным трубам.. 170

Технические требования к прокладке. 182

Сборка и сварка газопроводов из стальных труб. 189

Технические требования к сварочным материалам.. 189

Технические требования к сборке и сварке газопроводов из стальных труб. 192

Контроль качества. 201

Прокладка наружных трубопроводов из полиэтиленовых труб. 207

Технические требования к размещению полиэтиленовых газопроводов. 208

Технические требования к трубам и соединительным деталям.. 210

Входной контроль полиэтиленовых труб и соединительных деталей. 213

Земляные работы.. 217

Монтажные работы.. 218

Сварка встык нагретым инструментом.. 221

Сварка при помощи соединительных деталей с закладными нагревателями. 225

Технология соединения полиэтиленовых труб со стальными. 227

Вварка трубной вставки («катушки») в трубопровод, уложенный в траншею.. 228

Квалификационные испытания сварщиков. 229

Контроль качества сварных соединений. 230

Устройство обратных засыпок трубопроводов на наружных сетях газоснабжения. 235

Испытания наружных газопроводов. 239

Автомобильные дороги и благоустройство.. 245

Разбивочные работы при возведении земляного полотна. 245

Подготовка основания земляного полотна. 247

Возведение насыпей. 249

Разработка выемок. 252

Разработка выемок и возведение насыпей в особых условиях. 254

Устройство дополнительных слоев основания из щебня, гравия или (и) песка. 257

Устройство щебеночных оснований и покрытий методом заклинки. 261

Требования к материалам.. 261

Технические требования к устройству оснований и покрытий. 266

Устройство оснований и покрытий из грунтов, укрепленных органическими и неорганическими вяжущими материалами. 271

Требования к грунтам.. 271

Технические требования к устройству оснований и покрытий. 279

Устройство оснований и покрытий из смесей щебеночно-гравийно-песчаных, обработанных неорганическими вяжущими материалами. 288

Требования к смесям.. 288

Технические требования к устройству оснований и покрытий. 291

Устройство монолитных оснований и покрытий. 298

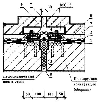
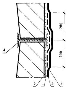
Устройство деформационных швов в цементнобетонных покрытиях по серии 3.503-71/88. 307

Устройство асфальтобетонных оснований и покрытий. 309

Требования к асфальтобетонным смесям.. 310

Технические требования к устройству оснований и покрытий. 315

Устройство сборных железобетонных покрытий. 323

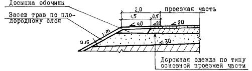
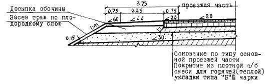
Устройство и укрепление обочин и откосов. 325

Устройство дренажей. 327

Дополнительные дренажные прослойки по серии 3.503-21. 331

Дренажные устройства земляного полотна по серии 3.503-21. 333

Дренажные устройства земляного полотна дорог промышленных предприятий по серии 3.503.9-72. 337

Устройство и укрепление обочин и откосов автомобильных дорог общего пользования по серии 3.503-71/88. 341

Установка бортовых камней. 345

Устройство сборных покрытий из тротуарных плит. 349

Технические требования к бетонным тротуарным плитам.. 349

Технические требования к устройству покрытий. 354

Пояснительная записка

Схемы входного и операционного контроля качества СМР составлены в соответствии с требованиями СНиП 3.01.01-85* «Организация строительного производства».

Схемы входного и операционного контроля предназначены для линейных инженерно-технических работников, бригадиров и рабочих, работников отдела контроля качества СМР, работников лабораторной, геодезической и сварочной служб, осуществляющих самоконтроль, входной, операционный и приёмочный контроль качества СМР.

Схемы могут быть использованы:

- работниками служб по подготовке строительного производства в качестве типовых для включения их в проекты производства СМР или разработки на их основе схем, отражающих специфику конкретных проектов зданий и сооружений;

- работниками служб по подготовке кадров в качестве учебного пособия при подготовке, переподготовке и повышении квалификации рабочих и ИТР;

- преподавательским составом высших и средних технических учебных заведений при подготовке инженерно-технических работников строительного профиля;

- руководителями подразделений, основных функциональных отделов и служб, а также руководством строительных организаций при проверке знаний проектов и нормативных требований по качеству выполнения СМР у линейного персонала, а также при осуществлении инспекционного контроля качества СМР;

- работниками авторского надзора проектных организаций,

- работниками технического надзора заказчика, осуществляющими приемку выполненных работ, работниками служб архитектурно-строительного надзора, федеральных и региональных центров по лицензированию строительной деятельности и других организаций, осуществляющих надзор за строительством.

Схемы входного и операционного контроля качества СМР составлены на основании требований строительных норм и правил, государственных стандартов, технических условий, типовой проектной документации и содержат:

- основные требования к качеству применяемых материалов, конструкций и деталей;

- перечень технологических операций, подлежащих контролю в процессе выполнения строительно-монтажных работ;

- перечень технических требований, подлежащих соблюдению при выполнении строительно-монтажных работ;

- схемы основных монтажных узлов;

- основные требования к качеству при приемке законченных этапов и видов работ.

Строительные конструкции, изделия, материалы и инженерное оборудование, поступающие на строительную площадку, должны пройти входной контроль. Производители работ (мастера) обязаны проверять путем внешнего осмотра и выполнения необходимых замеров соответствие качества поступающих конструкций, изделий, материалов и инженерного оборудования требованиям рабочих чертежей, государственных стандартов, технических условий.

При выполнении входного контроля на комплектовочных базах прорабу (мастеру) должны быть представлены документы (паспорта, сертификаты, акты и т.д.), подтверждающие качество поставляемых материалов и изделий. При возникновении сомнений в качестве поставляемых материалов прораб (мастер) обязан потребовать контрольной проверки поступивших материалов и изделий.

Входной контроль должен предотвратить запуск в производство материалов, конструкций и изделий, не соответствующих требованиям проектной и нормативно-технической документации. На строительной площадке входной контроль должен выполняться прорабом или мастером с привлечением в необходимых случаях лабораторной и других служб.

Операционный контроль должен осуществляться в процессе выполнения строительно-монтажных работ и обеспечивать своевременное выявление дефектов и причин их возникновения, а также своевременное принятие мер по их устранению и предупреждению.

При осуществлении операционного контроля должны проверяться:

- соблюдение заданной в проектах производства работ и технологических картах технологии производства работ;

- соответствие качества выполняемых работ требованиям проекта и нормативно-технической документации.

Операционный контроль должен осуществляться производителем работ (мастером), инженером (лаборантом) строительной лаборатории, геодезистом, работником сварочной службы или лаборатории сварки. Участие той или иной службы в осуществлении операционного контроля должно быть регламентировано технологической картой на конкретный технологический процесс.

Приемочный контроль должен осуществляться по завершении этапов или отдельных видов работ, а также ответственных конструкций. Приемка оформляется актами освидетельствования скрытых работ, актами приемки отдельных этапов или видов работ, а также ответственных конструкций.

Приемка должна производиться прорабом, работниками отдела контроля качества СМР с привлечением в необходимых случаях работников лабораторной, геодезической или сварочной служб, и представителями технического надзора заказчика.

При осуществлении производственного контроля надлежит пользоваться измерительным инструментом и приборами, прошедшими метрологическую поверку в установленные сроки.

Ссылки на нормативную литературу даны по состоянию на 01.01.2001. Данные о новой нормативной документации и изменениях действующей приводятся в информационных указателях Госстандарта и Госстроя РФ.

СХЕМЫ ВХОДНОГО И ОПЕРАЦИОННОГО КОНТРОЛЯ КАЧЕСТВА СМР

ЧАСТЬ IV

ГЕОДЕЗИЧЕСКИЕ РАБОТЫ

Разбивочные работы при прокладке инженерных сетей

СНиП 3.01.01-85* Организация строительного производства

СНиП 3.01.03-84 Геодезические работы в строительстве

ПОСОБИЕ по производству геодезических работ в строительстве (к СНиП 3.01.03-84).

До начала выполнения геодезических работ на строительной площадке заказчик должен передать подрядчику геодезическую разбивочную основу и рабочие чертежи, разрешенные к производству работ.

Создание геодезической разбивочной основы для строительства является обязанностью заказчика.

Не менее чем за 10 дней до начала выполнения строительно-монтажных работ заказчик обязан передать поэтапно подрядчику техническую документацию на геодезическую разбивочную основу и закрепленные на площадке строительства пункты основы, в том числе:

- знаки разбивочной сети строительной площадки;

- плановые (осевые) знаки линейных сооружений, определяющие ось, начало, конец трассы, колодцы (камеры), закрепленные на прямых участках не менее чем через 0,5 км и на углах поворота трассы;

- нивелирные реперы вдоль осей инженерных сетей не реже чем через 0,5 км;

- каталоги координат, высот и абрисы всех пунктов геодезической разбивочной основы.

Приёмка геодезической разбивочной основы для строительства должна оформляться актом по форме, приведенной в приложении 12 СНиП 3.01.03-84.

Принятые знаки геодезической разбивочной основы должны находиться в процессе строительства под наблюдением за сохранностью и устойчивостью и проверяться инструментально не реже двух раз в год (в весенний и осенне-зимний периоды).

Геодезические работы являются неотъемлемой частью технологического процесса строительного производства и их следует осуществлять по единому для данной строительной площадки графику, увязанному со сроками выполнения общестроительных, монтажных и специальных работ.

До начала выполнения геодезических работ рабочие чертежи, используемые при разбивочных работах, должны быть проверены в части взаимной увязки размеров, координат и отметок (высот) и разрешены к производству работ техническим надзором заказчика.

Контролируемые операции

Состав и средства контроля

Документация

Подготовительные работы

Проверить:

- наличие геодезической разбивочной основы и технической документации на неё и закрепленные на площадке строительства пункты основы с разрешением на производство работ;

Акт приёмки, техническая документация

- сохранность знаков, закрепляющих пункты геодезической разбивочной основы, и неизменность их положения (путём повторных измерений элементов сети не реже двух раз в год), восстановление утерянных знаков;

Общий журнал работ

Акт об окончании подготовительных работ

- завершение подготовительных работ (расчистка площадки, освобождение её от строений, подлежащих сносу, и, как правило, вертикальная планировка).

Разбивочные работы

Контролировать:

- вынос в натуру и закрепление оси трассы, углов поворота и мест пересечения её с существующими подземными сетями и сооружениями;

- рабочую разбивку оси траншей, её контуров, проектного уклона дна траншеи, основания под укладку трубопровода, котлована колодца.

Исполнительный разбивочный чертеж (схема)

Приёмка

Проверить:

- правильность выполнения разбивки трассы в натуре (от красных линий, осей проездов, от существующих твердых контурных точек и от специально проложенных теодолитных ходов);

- соответствие отметок проектной документации.

Акт разбивки и исполнительный разбивочный чертеж (схема)

ВХОДНОЙ И ОПЕРАЦИОННЫЙ КОНТРОЛЬ осуществляют:

прораб, работники службы главного геодезиста - в процессе производства работ

ПРИЕМОЧНЫЙ КОНТРОЛЬ ОСУЩЕСТВЛЯЮТ:

прораб, геодезист, представители технадзора заказчика

КИП - нивелир, теодолит, рулетки измерительные металлические и др.

Геодезические работы при прокладке сетей инженерных коммуникаций должны выполняться в соответствии с требованиями СНиП 3.01.03-84 «Геодезические работы в строительстве».

Геодезические работы следует выполнять после предусмотренной проектной документацией расчистки территории, освобождения её от строений, подлежащих сносу, и, как правило, вертикальной планировки.

Непосредственно перед выполнением разбивочных работ исполнитель должен проверить неизменность положения знаков разбивочной сети путём повторных измерений элементов сети.

Перенесению в натуру подлежат: места подключений и присоединений коммуникаций, углы поворота сети, колодцы, камеры, а для совмещенных прокладок дополнительно ось основной сети. Обязательному перенесению подлежат места пересечения коммуникаций с другими сетями.

Выбор метода перенесения зависит от характера застройки, протяженности трассы, заданной точности и от наличия пунктов и знаков геодезической сети или разбивочной сети строительной площадки.

Геодезические работы по перенесению подземных сетей на местность начинаются с выноса точек поворота и продольной оси прокладки.

Перенесение в натуру осуществляется полярным способом с контролем от ближайшей вынесенной в натуру точки; способом линейных или створных засечек и способом перпендикуляров.

Полярный способ применяется при разбивках на открытой местности и возможности производства угловых и линейных измерений с одной точки стояния прибора. Для измерения расстояний могут использоваться мерные ленты, металлические рулетки, оптические и нитяные дальномеры.

При выносе точек трассы, близко расположенных к пунктам геодезической или разбивочной сети, к капитальной застройке, рекомендуется способ линейных засечек. При этом длина стороны засечки не должна быть более длины мерного прибора, а число засечек должно быть не менее трёх. Углы при вершине засечки должны быть в пределах от 30 до 120°.

При наличии достаточного числа точек с известными координатами может применяться способ створных засечек.

Способ перпендикуляров рационален в случае расположения трасс вдоль геодезической сети, специально проложенного теодолитного хода или створной линии между зданиями. Длина перпендикуляра не должна превышать 4 м. При длине перпендикуляров более 4 м вынос в натуру должен контролироваться засечкой.

При построении на местности отрезков линий заданной длины, полученных по координатам или непосредственно взятых с плана, в них вводят поправки на наклон (при угле наклона более 1,5°), температуру и компарирование. Перенесение отрезков линий в натуру должно быть осуществлено с относительной ошибкой не более 1:2000.

Ось трассы, углы поворота и места пересечения их с существующими подземными сетями и сооружениями в натуре закрепляется штырями, кольями и т.д., а их положение фиксируется параллельными выносками или створными знаками.

Допускается закрепление положения оси прокладок с использованием обноски, устраиваемой на прямолинейных участках, устанавливаемой вдоль трассы на расстоянии 40 - 50 м одна от другой, а также в местах поворота.

Правильность выполнения разбивки трассы в натуре контролируется от красных линий, осей проездов, от существующих твердых контурных точек и от специально проложенных теодолитных ходов.

Погрешность разбивочных работ (средняя квадратическая погрешность) не должна превышать: при линейных измерениях - 1/2000; при угловых измерениях - 30 с; при определении превышения на станции - 5 мм.

Ось трассы проектируется в траншею теодолитом или отвесом от натянутой проволоки между створными точками оси или точками поворота.

Разбивка проектного уклона дна траншеи производится с помощью постоянных и ходовых визирок, оптических нивелиров и лазерных уклонофиксаторов. Разбивка по высоте основания под укладку трубопроводов с уклонами не более 0,001 производится с помощью нивелира.

Разбивка котлована колодца включает закрепление центра колодца, установку обноски, закрепленной на расстоянии 0,6 - 0,7 м от бровки траншеи, и передачу отметок и осей на обноску.

По окончании разбивочных работ должны составляться акт разбивки осей и исполнительный разбивочный чертеж (схема).

Производство детальных разбивочных работ при прокладке трубопроводов

СНиП 3.01.01-85 Организация строительного производства

СНиП 3.01.03-84 Геодезические работы в строительстве

ПОСОБИЕ по производству геодезических работ в строительстве (к СНиП 3.01.03-84).

При подготовке к производству строительно-монтажных работ по прокладке трубопровода необходимо проверить:

- наличие ППГР, технологической карты и СОКК или в составе ППР технологической документации на проведение разбивочных работ, содержащих методы выполнения детальных разбивочных работ, схему местоположения знаков, отметок и ориентиров, порядок и объем проведения работ;

- наличие акта разбивки трассы; наличие исполнительного чертежа по результатам выноса в натуру и закрепления мест подключений и присоединений коммуникаций, углов поворота трубопровода, колодцев, камер, каналов, тоннелей, пересечений трубопровода с другими сетями;

- сохранность знаков внешней разбивочной сети трубопровода и осевых знаков, неизменность их положения путем повторных измерений элементов сети; восстановление утерянных знаков;

- наличие актов освидетельствования ранее выполненных земляных работ по устройству траншей и котлованов, актов приемки траншей и котлованов;

- наличие исполнительного чертежа по результатам геодезической проверки соответствия планового и высотного положения траншей и котлованов проектному; наличие на чертеже подтверждения заказчиком правильности составления и соответствия исполнительного чертежа натуре;

- проведение учебы рабочих организации труда и способам выверки труб и других элементов трубопровода в плане и по вертикали.

Детальные разбивочные работы при прокладке трубопроводов входят в технологический процесс строительного производства. Они должны выполняться в соответствии с требованиями СНиП 3.01.03-84, ППР, ППГР и технологической документации, утвержденной в установленном порядке.

До начала работ по прокладке трубопроводов должно быть осуществлено закрепление положения оси трубопровода. Ось трассы проектируется в траншею теодолитом или отвесом от натянутой проволоки между створными точками оси или точками поворота.

Контролируемые операции

Состав и средства контроля

Документация

Подготовительные работы

Проверить:

- наличие ППГР, технологической карты и СОКК, или в составе ППР технологической документации по проведению детальных разбивочных работ при прокладке трубопровода инженерных сетей;

ППР, ППГР, технологическая карта и СОКК

- наличие исполнительного чертежа по результатам выноса в натуру трассы трубопровода;

- сохранность и неизменность положения знаков разбивочной сети трубопровода, осевых знаков и знаков, закрепляющих в натуре ось трассы, начало и конец трассы, колодцы; восстановление утерянных знаков;

Исполнительный чертеж

- наличие актов освидетельствования ранее выполненных земляных работ и акта приёмки траншей и котлованов;

Общий журнал работ

Акты освидетельствования скрытых работ

Исполнительный чертеж

- наличие исполнительного чертежа по результатам геодезической исполнительной съёмки законченных разработкой траншей и котлованов с разрешением заказчика на укладку трубопровода.

Производство детальных разбивочных работ

Контролировать:

- соблюдение заданной технологии производства детальных разбивочных работ;

- точность разбивочных работ;

Журнал геодезического контроля

- укладку труб, колодцев, камер, каналов, тоннелей в проектное положение (отклонения в плане и по высоте от предусмотренных ППР отметок с помощью постоянных и ходовых визирок, маяков, реперов, причалок, нивелира, теодолита, лазерных приборов).

Исполнительные геодезические схемы

Приёмка

Проверить:

- соответствие фактического положения трубопровода и других конструкций требованиям проекта и нормативных документов по результатам инструментальной геодезической съёмки;

- надлежащее оформление исполнительного чертежа по результатам исполнительной съёмки и получение подтверждение заказчиком правильности составления исполнительного чертежа натуре.

Исполнительный чертеж

ВХОДНОЙ И ОПЕРАЦИОННЫЙ КОНТРОЛЬ осуществляют:

прораб, геодезист - в процессе производства работ

ПРИЁМОЧНЫЙ КОНТРОЛЬ ОСУЩЕСТВЛЯЮТ:

прораб (мастер), геодезист, представители технадзора заказчика

КИП - нивелир, теодолит, визирки, проволока, причалки, обноска, рейки, рулетка измерительная, лазерные приборы и др.

Закрепление положения оси трассы, особенно колодцев, допускается выполнять с использованием обноски, устраиваемой на прямолинейных участках трассы на расстоянии 40 - 50 м одна от другой, а также в местах поворота. На обноски (обрезные доски, прикрепленные горизонтально к столбам над траншеей, или инвентарные инженерные обноски) выносят и фиксируют оси, между которыми натягивается струна. Со струны ось отвесами переносится на дно траншеи.

Разбивка проектного уклона дна траншеи после доработки недоборов и восполнения переборов и разбивка дна приямков для заделки стыков трубопроводов может производиться с помощью постоянных (неподвижных) и ходовых визирок, геометрического нивелирования, оптических нивелиров и лазерных уклонофиксаторов. Отметки постоянных (неподвижных) визирок, прикрепленных к инвентарным обноскам или прибитых к деревянной обноске гвоздем, или установленных на бровке траншеи, выносятся нивелиром с учетом проектного уклона траншеи. Разность отметок неподвижных визирок определяется по формуле Dh = i×l, где i - проектный уклон траншеи, l - расстояние между визирками. Высота (длина) ходовой визирки определяется как разность отметок верха постоянной (неподвижной) визирки и дна траншеи (дна приямков). Разбивка по высоте основания под укладку трубопроводов с уклонами не более 0,001 производится с помощью нивелира.

При контроле способом геометрического нивелирования вдоль оси через каждые 15 - 20 м забивают колья, смещенные от оси на удобное расстояние, нивелируют их и на каждом подписывают глубину траншеи, вычисленную по разности проектной отметки и отметки колышка. Глубину траншеи контролируют рейкой с сантиметровыми делениями, по которой перемещается струбцина с ползунком. Струбцину закрепляют на отметке, равной глубине траншеи от верхнего среза колышка.

Автоматическое регулирование глубины траншеи может выполняться при помощи различных датчиков уклона, устанавливаемых на землеройной машине (маятник, электронный уровень, гирископ) или при помощи датчиков уклона, устанавливаемых параллельно оси трассы отдельно от землеройной машины (струна, световой луч лазера).

Разбивка котлована колодца включает закрепление центра колодца, установку обноски, закрепленной на расстоянии 0,6 - 0,7 м от бровки траншеи, и передачу отметок и осей на обноску.

Разбивка по высоте дна траншей, приямков и котлованов и перенос оси трубопровода с помощью неподвижных и ходовых визирок

Укладка труб по высоте с помощью неподвижных и ходовых визирок

1. Неподвижные обноски 2. Визирка ходовая 3. Неподвижные визирки на бровке траншеи

Укладка труб по высоте может осуществляться:

- при строительстве на подготовленном основании (по маякам) по уровню;

- с помощью ходовых и постоянных визирок, устанавливаемых в местах будущих колодцев и поворотных точек, а на прямолинейных участках через 40 - 50 м одна от другой;

- с помощью нивелира и рейки.

Укладка по уровню осуществляется установкой каждой трубы в отдельности. При укладке по уровню в обязанности геодезической службы вменяется установка на дне траншеи временных реперов, выверка накладных или шланговых уровней и инструктаж бригадиров и звеньевых о способах выверки и точности установки.

При укладке труб с помощью неподвижных (постоянных) визирок последние устанавливаются в местах будущих колодцев, в поворотных точках, а на прямолинейных участках через 40 - 50 м одна от другой.

Визирки устанавливаются по нивелиру по оси трассы на инвентарных или деревянных обносках или на бровке траншеи. Отметки неподвижных визирок выносятся с учетом проектного уклона трубопровода, обычно на высоте, кратной 1 м от верха проектной отметки трубы. Далее при укладке труб требуется совместить на линии визирования отметки ходовой визирки, установленной на укладываемой трубе, с отметками постоянных визирок.

При укладке труб по маякам геодезические работы заключаются в выносе осей трассы и отметок. При этом отметки даются по верху маяков, при устройстве которых особое внимание должно обращаться на их сохранность.

Укладка труб разрешается лишь после проверки соответствия отметок проектной документации: дна траншеи - при бесканальной прокладке, дна канала - при канальной прокладке.

Прямолинейность оси уложенных труб в горизонтальной плоскости (в плане) может проверяться по устанавливаемым на трубы вешкам, по шнуру, теодолитом, по лазерному или световому пучку.

При выверке труб по вешкам одна из них устанавливается по отвесу по центру трубы, а вторая на ранее уложенную. Для точной выверки в плане требуется, ориентируясь по установленной в колодце вешке, фиксирующей ось трубопровода, совместить все три вешки.

Правильность уклонов уложенных труб может проверяться по визиркам, нивелиром или лазерным уклонофиксатором.

Укладка трубопроводов «змейкой» в вертикальной или горизонтальной плоскости не допускается. Отклонение трубопровода от проектного положения должно быть в пределах допусков, регламентированных нормативными документами.

Технология работ с применением лазерных приборов

Применение лазерных приборов при сооружении подземных коммуникаций (канализации, водопровода, газопровода и магистральных трубопроводов) наиболее эффективно для задания проектного направления и уклона коммуникаций и при необходимости строгого их соблюдения в процессе строительства.

Точность геодезических разбивочных работ при строительстве объектов линейного характера с применением лазерных приборов составляет около 1 см на расстоянии 50 - 100 м.

Сооружение подземных сетей с помощью лазерных приборов может осуществляться двумя способами в зависимости от технологии строительно-монтажных работ: в подготовленной траншее между двумя предварительно вынесенными в натуру точками трассы и непосредственно за проходом экскаватора.

При первом способе на дне траншеи разбиваются и закрепляются постоянными знаками начальная и конечная точки прямолинейного участка трубопровода.

Лазерный прибор устанавливают на дне траншеи и ориентируют по оси будущего трубопровода. Для ориентирования лазерного пучка используются точки, ранее вынесенные и закрепленные на дне траншеи.

В зависимости от используемого прибора проектный уклон лазерному пучку задается либо по шкале микрометра, либо с помощью подъемных винтов по нивелирной рейке, последовательно устанавливаемой перед прибором и в конце прямолинейного участка и фиксирующей высоту лазерного пучка над дном траншеи.

В торце подготовленной к укладке секции трубопровода закрепляют контрольную марку, центр которой устанавливается строго по геометрической оси трубы, после чего трубоукладчик опускает секцию на дно траншеи. Секцию одним концом присоединяют к элементу трубопровода, а свободные конец перемещают до тех пор, пока лазерный пучок не попадет в центр контрольной марки. В этом положении труба закрепляется, из нее извлекается контрольная марка и устанавливается в следующую секцию.

При втором способе на дно частично отрытой траншеи (не менее 50 м) теодолитом переносят проектную ось трубопровода и закрепляют ее через 20 м деревянными кольями. Прибор устанавливают на дне траншеи и ориентируют по проектной оси. По лазерному пучку одновременно производятся зачистка дна траншеи, подготовка бетонного основания и укладка секций трубопровода.

Трубопровод укладывают в той же последовательности, что и при первом способе.

Наиболее простой и удобной в работе является схема положения лазерного прибора, при которой его пучок совпадает с проектным положением оси трубопровода. Если лазерный прибор нельзя установить по оси трубопровода (диаметр трубы более 800 мм, траншея залита водой и т.д.), прибор перемещают на штативе выше или ниже оси трубы, и лазерный пучок проходит параллельно оси внутри трубы или над ней.

В соответствии с положением лазерного пучка контрольные марки могут устанавливаться внутри и сверху трубы на подставках различной конструкции.

Для установки лазерного прибора на дне траншеи применяется штанговый штатив, позволяющий изменять высоту прибора в диапазоне от 30 до 200 см, консольный штатив и штанга с распоркой, позволяющая устанавливать прибор внутри смонтированной трубы.

Для обеспечения точности ориентирования пучка по оси трубопровода и фиксации лазерного пятна на экране марки лазерный прибор рекомендуется переставлять через каждые 100 - 150 м. Во избежание накопления ошибок за счет рефракции необходимо исключить попадание в трубопровод выхлопных газов строительных машин.

Исполнительные геодезические съемки

В процессе прокладки инженерных сетей должна производиться геодезическая (инструментальная) проверка соответствия положения прокладываемых инженерных сетей требованиям проекта и нормативных документов (операционный контроль).

Контролируемые в процессе прокладки инженерных сетей параметры.

методы геодезического контроля, порядок и объем его проведения должны быть установлены в ППР (ППГР).

Погрешность измерений в процессе геодезического контроля и при исполнительных съемках инженерных сетей должны быть не более 0,2 величины отклонений, допускаемых проектной и нормативной документацией.

Результаты геодезической (инструментальной) проверки оформляются геодезической документацией, в которую входят: исполнительные геодезические схемы, чертежи, профили, разрезы и т.д.; журналы геодезического контроля, акты геодезической проверки, полевые журналы, и фиксируются в общем журнале работ.

При приемке работ по прокладке инженерных сетей для проверки соответствия фактического положения их требованиям проекта и нормативных документов должна выполняться исполнительная геодезическая съемка. Исполнительную геодезическую съемку подземных инженерных сетей следует выполнять в процессе строительства в открытых траншеях и котлованах до их засыпки.

Места, точки, параметры, методы, порядок проведения и оформления, а также объем съемок должен устанавливаться ППР (ППГР).

В качестве исходной геодезической основы для исполнительной съемки принимаются знаки геодезической разбивочной основы.

Производство съемок включает в себя следующие виды работ:

выяснение наличия геодезической или разбивочной сети и восстановление утерянных знаков этой сети;

съемку и нивелирование элементов инженерных сетей и сооружений;

составление исполнительных чертежей и планов.

По каждому отдельному виду подземных сетей и сооружений съемке подлежат;

по канализации, водостоку, дренажу - оси трасс, колодцы, углы поворота, изломы сетей в профиле, стыковые соединения, места присоединений и выпусков;

по газопроводу - ось трассы, углы поворота, камеры, места подключений, вводы, изломы в профиле, стыковые соединения, задвижки и т.д.;

по водопроводу - ось трассы, колодцы, вводы, аварийные выпуски;

артезианские скважины, стыковые соединения и т.д.;

по теплосети - ось трассы, камеры, углы поворота, компенсаторы, места подключений, вводы, сварные соединения, центры подвижных и неподвижных опор, данные по сопутствующему дренажу сети с выпусками в канализацию и т.д.;

по телефонным сетям - ось трассы, колодцы, распределительные шкафы, места ввода и подключений, центры муфт, телефонные будки и т.д.;

по силовым кабельным сетям - ось трассы кабелей (независимо от способа укладки), колодцы, тоннели и коллекторы, трансформаторные подстанции, киоски, центры муфт и т.д.

При съемках должны быть собраны данные о количестве прокладок, отверстий, материале труб, колодцев, каналов, о размерах диаметров труб и каналов, давлении в газовых и напряжении в кабельных сетях.

При расположении подземных сетей в блоках и тоннелях снимается только одна их сторона, другая же наносится по данным промеров. Выходы подземных сетей и элементы их конструкций должны быть связаны между собой или привязаны к твердым контурам застройки контрольными промерами.

При съемке кабелей в пучках замеры производятся до крайних кабелей.

Обязательной съемке подлежат все подземные сооружения, пересекающие прокладку или идущие параллельно с ней, вскрытые траншеей. Одновременно со съемкой указанных элементов инженерных сетей должны быть сняты все здания, прилегающие к проезду или к трассам прокладок.

Ширина полосы, охватываемой съемкой, должна быть не менее 20 м в обе стороны от оси трассы или устанавливаться заданием.

При производстве работ рекомендуется давать единую нумерацию колодцев, камер и др.

У круглых колодцев снимается центр крышки решеток, у люков прямоугольной формы - два угла.

При значительном заглублении снимаемых элементов (свыше 1 м) точки их выносятся на поверхность земли при помощи отвеса или рейки с круглым уровнем.

Закругленные части снимаются так, чтобы отразить подобие фигуры в масштабе составляемого плана.

При съемке колодцев и камер производится обмер внутреннего и внешнего габаритов сооружения, его конструктивных элементов, расположения труб и фасонных частей с привязкой к отвесной линии, проходящей через центр крышки колодца.

При этом должны быть установлены назначение, конструкция колодцев, камер, распределительных шкафов и киосков, характеристика имеющейся в них арматуры.

Для газовых и тепловых сетей фиксируется расположение стыков трубопровода относительно люков колодцев или камер с указанием типа стыка.

Результаты измерений заносятся в абрис, где делаются зарисовки в плане в сочетании со схемой прокладываемого теодолитного хода, показываются привязки к опорной застройке, линейные размеры сооружения, сечения и т.д.

В колодцах, выстроенных по типовым проектам, определяется лишь внецентренность и ориентировка. Внецентренность колодцев определяется, как правило, с помощью отвесов и рейки.

Плановое положение всех подземных сетей и относящихся к ним сооружений может быть определено:

на застроенной территории - промерами от твердых точек капитальной застройки, от пунктов геодезической или разбивочной сети и съемочного обоснования, от точек специально проложенных теодолитных ходов;

на незастроенной территории - от точек съемочного обоснования, пунктов геодезической сети или от точек специально проложенных теодолитных ходов.

Выходы подземных сетей и углы их поворота на незастроенной территории координируются.

Координирование колодцев и точек углов поворота на застроенной территории производится только по специальному заданию заказчика.

Съемка планового положения элементов подземной сети производится одним из нижеприведенных способов;

способом линейных засечек - не менее чем от трех точек. Засечки не должны превышать длину мерной ленты или рулетки (20 - 50 м). Углы между смежными направлениями засечек у определяемой точки должны быть не менее 30 и не более 120;

способом перпендикуляров длиной не более 4 м от линии, соединяющих точки съемочного обоснования, теодолитных ходов или капитальной застройки, а также от линий, продолжающих их створ. Длина продолжения створа не должна превышать половины расстояния между конечными точками створа, но не должна быть более 60 м;

полярным способом - с пунктов опорной геодезической сети, с точек съемочного обоснования и теодолитных ходов или с вспомогательных точек, определенных указанными выше способами. Нуль лимба теодолита ориентируется на твердую точку, отстоящую от инструмента не ближе чем на 50 м. Длина полярного направления не должна быть более 30 м.

При всех способах съемки точек подземной инженерной сети в обязательном порядке производят контрольные измерения расстояний между ними. Все линейные измерения при съемках производятся стальными лентами или рулетками.

Точки подземной инженерной сети, расположенные в траншеях, при съемке выносятся на поверхность земли отвесом.

Все снимаемые точки элементов подземной инженерной сети последовательно, по ходу съемки, нумеруются в полевых абрисах и журналах.

Предельные ошибки определения элементов в плане не должны быть более 0,2 м.

Высотное положение элементов сети определяется до засыпки траншей техническим нивелированием от реперов городской (государственной) нивелирной сети. Высотное положение проходных коллекторов может определяться от прокладываемых внутри нивелирных ходов. Определение высотных отметок от условного начала запрещается.

Нивелированием определяются отметки пола коллекторов, верха в пакетах кабельной канализации, верха бронированного кабеля, верха напорных лотков самотечных трубопроводов, поверхности земли (бровки траншей) в характерных местах, обечаек смотровых люков и всех остальных точек, заснятых в плане. Кроме того, определяются отметки элементов всех ранее построенных инженерных сетей, вскрытых при строительстве.

Нумерация точек, установленная в процессе горизонтальной съемки, при нивелировании не изменяется.

При глубоком заложении подземных инженерных сетей, когда невозможно определить высотное положение их точек непосредственно по рейке, отметки получают путем измерения металлической рулеткой вертикального расстояния от твердой точки, занивелированной на поверхности земли, или другими доступными методами, обеспечивающими необходимую точность получения отметок.

Вскрытые при строительстве ранее построенные подземные коммуникации, пересекающие или проложенные параллельно строящимся, снимаются с той же детализацией, что и строящиеся.

По окончании обработки материалов исполнительных съемок инженерных сетей составляется исполнительный чертеж. Основой для его составления является копия согласованного проекта в масштабе 1:500 или план масштаба 1:500, составленный по результатам исполнительных съемок.

В состав исполнительного чертежа входит:

ситуационный план участка в масштабе 1:2000 с указанием месторасположения участка работ и наименованием близлежащих улиц и проездов для всех коммуникаций;

план трассы в масштабе 1:500;

продольный профиль, горизонтальный масштаб которого принимается равным масштабу плана, а вертикальный 1:100 или 1:200 и в отдельных случаях 1:50 (для тепловых сетей и кабеля связи);

размеры колодцев (камер) с указанием материалов, высоты горловины, расположения и привязкой вводов труб в колодец, направления на смежные колодцы и вводы, характерные сечения коллекторов, каналов, футляров, блоков, накатов.

Состав исполнительной документации на трубопроводы и подземные сооружения определяют на основании проектов на их сооружение.

Если прокладка подземных сооружений выполнена с отклонениями от проекта, то на исполнительных чертежах должно быть указано, кем и когда эти отклонения разрешены.

Исполнительный чертеж входит в состав обязательной исполнительной документации, предъявляемой при сдаче в эксплуатацию законченных строительством инженерных сетей.

Не позднее чем за три дня до засыпки траншей и котлованов строительные организации обязаны вызвать представителя технадзора заказчика для проведения инструментальной проверки соответствия планового и высотного положения построенных подземных инженерных сетей их отображению на предъявляемых исполнительных чертежах.

Данные проверки заносятся в абрис и нивелирный журнал и заверяются подписью. На исполнительном чертеже, в нижнем правом углу делается следующая надпись: «Планово-высотное положение инженерной сети проверено, чертеж составлен правильно, соответствует натуре, отклонений от проекта нет (или имеются)». Далее следуют подпись и дата.

СХЕМЫ ВХОДНОГО И ОПЕРАЦИОННОГО КОНТРОЛЯ КАЧЕСТВА СМР

ЧАСТЬ IV

ТЕПЛОВЫЕ СЕТИ

Внеплощадочные и внутри площадочные подготовительные работы

Подготовка строительного производства должна обеспечивать планомерное развертывание строительно-монтажных работ и взаимоувязанную деятельность всех участников строительства объекта.

Общая организационно-техническая подготовка должна выполняться в соответствии с Правилами о договорах подряда на капитальное строительство и включать в том числе: обеспечение стройки проектно-сметной документацией, отвод в натуре площадки (трассы) для строительства, оформление финансирования строительства, заключение договоров подряда и субподряда на строительство, оформление разрешений и допусков на производство работ, решение вопросов о переселении лиц и организаций, размещенных в подлежащих сносу зданиях, обеспечение строительства подъездными путями, электро-, водо- и теплоснабжением, системой связи и помещениями бытового обслуживания кадров строителей, организацию поставки на строительство оборудования, конструкций, материалов и готовых изделий.

Подготовка к строительству каждого объекта должна предусматривать изучение инженерно-техническим персоналом проектно-сметной документации (включая документацию по результатам технического обследования конструкций при реконструкции действующего предприятия), детальное ознакомление с условиями строительства, разработку проектов производства работ на внеплощадочные и внутриплощадочные подготовительные работы, возведение зданий, сооружений и их частей, а также выполнение самих работ подготовительного периода с учетом природоохранных требований и требований по безопасности труда.

Внеплощадочные подготовительные работы должны включать строительство подъездных путей и причалов, линий электропередач с трансформаторными подстанциями, сетей водоснабжения с водозаборными сооружениями, канализационных коллекторов с очистными сооружениями, жилых поселков для строителей, необходимых сооружений по развитию производственной базы строительной организации, а также сооружений и устройств связи для управления строительством.

Внутриплощадочные подготовительные работы должны предусматривать сдачу-приёмку геодезической разбивочной основы для строительства и геодезические разбивочные работы для прокладки инженерных сетей, дорог и возведения зданий и сооружений, освобождение строительной площадки для производства строительно-монтажных работ (расчистка территории, снос строений и др.), планировку территории, искусственное понижение (в необходимых случаях) уровня грунтовых вод, перекладку существующих и прокладку новых инженерных сетей, устройство постоянных и временных дорог, инвентарных временных ограждений строительной площадки с организацией в необходимых случаях контрольно-пропускного режима, размещение мобильных (инвентарных) зданий и сооружений производственного, складского, вспомогательного, бытового и общественного назначения, устройство складских площадок и помещений для материалов, конструкций и оборудования, организацию связи для оперативно-диспетчерского управления производством работ, обеспечение строительной площадки противопожарным водоснабжением и инвентарем, освещением и средствами сигнализации.

В подготовительный период должны быть также возведены постоянные здания и сооружения, используемые для нужд строительства, или приспособлены для этих целей существующие.

Строительство временных неинвентарных зданий и сооружений допускается только в виде исключения при соответствующем обосновании.

Устройство временных внеплощадочных и внутриплощадочных дорог допускается только в случаях нецелесообразности или невозможности использования для нужд строительства постоянных существующих и запроектированных дорог. Конструкция всех дорог, используемых в качестве временных, должна обеспечивать движение строительной техники и перевозку максимальных по массе и габаритам строительных грузов.

Обеспечение строительства водой, теплом, паром, сжатым воздухом и электроэнергией, как правило, должно осуществляться от действующих систем, сетей и установок с использованием для нужд строительства запроектированных постоянных инвентарных сетей и сооружений.

Конкретный объём и сроки выполнения работ, выполняемых в подготовительный период, определяются проектами организации строительства и производства работ, разрабатываемыми в соответствии с требованиями СНиП 3.01.01-85* «Организация строительного производства».

Запрещается осуществление строительно-монтажных работ без утвержденных проекта организации строительства и проекта производства работ. Не допускаются отступления от решений проектов организации строительства и проектов производства работ без согласования с организациями, разработавшими и утвердившими их.

До начала земляных работ на строительной площадке должны быть выполнены следующие подготовительные работы:

разработаны проекты производства работ по устройству земляных сооружений;

переданы и приняты закрепленные на местности знаки геодезической разбивки земляных сооружений;

отведены и закреплены на местности площади с учетом необходимой ширины полос земли для производства работ, под грунтовые карьеры и резервы, под постоянные и временные отвалы грунта и вскрышных пород, под временные землевозные дороги, трубопроводы, линии электропередач, а также площади, необходимые при работах способом гидромеханизации для устройства водоемов и отстойников;

выполнены работы по расчистке территории от леса, камней и валунов, осушению и отводу поверхностных вод, устройству временных инвентарных зданий, складских площадок и др.

Плодородный слой почвы в основании насыпей и на площади, занимаемой разными выемками, до начала основных земляных работ должен быть снят в размерах, установленных проектом организации строительства и перемещен в отвалы для последующего использования его при рекультивации или повышении плодородия малопродуктивных угодий.

Допускается не снимать плодородный слой:

при толщине плодородного слоя менее 10 см;

на болотах, заболоченных и обводненных участках;

на почвах с низким плодородием в соответствии с ГОСТ 17.5.3.05-84 «Охрана природы. Рекультивация земель. Общие требования к землеванию», ГОСТ 17.4.3.02-85 «Охрана природы. Почвы. Требования к охране плодородного слоя почвы при производстве земляных работ», ГОСТ 17.5.3.06-85 «Охрана природы. Земля. Требования к определению норм снятия плодородного слоя почвы при производстве земляных работ»;

при разработке траншей шириной по верху 1 м и менее.

Необходимость снятия и мощность снимаемого плодородного слоя устанавливаются в проекте организации строительства с учетом уровня плодородия, природной зоны в соответствии с требованиями действующих стандартов и требованиями предыдущего абзаца.

Снятие и нанесение плодородного слоя следует производить, когда грунт находится в немёрзлом состоянии.

Хранение плодородного грунта должно осуществляться в соответствии с ГОСТ 17.4.3.02-85 и ГОСТ 17.5.3.04-83*. Способы хранения грунта и защиты буртов от эрозии, подтопления, загрязнения должны быть установлены в проекте организации строительства.

Окончание внеплощадочных и внутриплощадочных подготовительных работ в объёме, обеспечивающем строительство объекта запроектированными темпами, должно быть подтверждено актом, составленным заказчиком и генподрядчиком с участием субподрядной организации, выполняющей работы в подготовительный период, и профсоюзного комитета генподрядчика.

Приложение 8 к СНиП 3.01.01-85*

АКТ

об окончании внеплощадочных и внутриплощадочных подготовительных

работ и готовности объекта_________________________________________________

(предприятия, здания, сооружения, их комплекса)

к началу строительства.

«__»__________19__ г.

Комиссия в составе:

руководителя дирекции строящегося предприятия (технического

надзора заказчика-застройщика)_____________________________________________

(фамилия, инициалы, должность)

руководителя генеральной подрядной организации_____________________________

(фамилия, инициалы, должность)

руководителя субподрядной специализированной организации, выполняющей работы в подготовительный период____________________________________________

(фамилия, инициалы, должность)

председателя профсоюзного комитета генеральной подрядной строительной организации________________________________________________________________

(фамилия, инициалы, должность)

произвела освидетельствование внеплощадочных и внутриплощадочных подготовительных работ, в том числе по обеспечению санитарно-бытового обслуживания работающих, выполненных по состоянию на «___»___________19__ г.

1. К освидетельствованию предъявлены работы________________________________

(наименование внеплощадочных и внутриплощадочных подготовительных работ, в том числе по обеспечению санитарно-бытового обслуживания работающих)

2. Работы выполнены в объемах, установленных проектом организации строительства и предусмотренных проектами производства работ___________________

(наименование организаций, разработавших ПОС, ППР, чертежей и дата их составления)

3. При выполнении работ отсутствуют (или допущены) отклонения от проекта организации строительства и проектов производства работ

_________________________________________________________________________

(при наличии отклонений указывается, кем согласованы, чертежей и дата согласования)

Решение комиссии

Работы выполнены в объемах и в сроки в соответствии с проектом организации строительства и проектами производства работ. На основании изложенного разрешается производство основных строительных, монтажных и специальных строительных работ по строительству объекта____________________________________

(предприятия, здания, сооружения, их комплекса)

Руководитель дирекции строящегося предприятия

(технического надзора заказчика-застройщика)_________________________________

(подпись)

Руководитель генеральной подрядной организации_____________________________

(подпись)

Руководитель субподрядной специализированной организации__________________

(подпись)

Председатель профсоюзного комитета генеральной подрядной строительной организации________________________________________________________________

(подпись)

Разработка траншей и котлованов для тепловых сетей

СНиП 3.01.01-85* Организация строительного производства

СНиП 3.02.01-87 Земляные сооружения, основания и фундаменты

СНиП 2.04.07-86 Тепловые сети

СНиП 3.05.03-85 Тепловые сети

Пособие по производству работ при устройстве оснований и фундаментов (к СНиП 3.02.01-83).

СНиП III-4-80* Техника безопасности в строительстве

Строительство тепловых сетей допускается осуществлять только на основе предварительно разработанных решений по организации строительства и технологии производства работ, которые должны быть приняты в проекте организации строительства и проектах производства работ (ППР).

До начала производства работ заказчик должен оформить и передать подрядной строительной организации разрешение на производство строительных работ.

К основным работам по строительству объекта или его части разрешается приступать только после отвода в натуре площадки (трассы) для его строительства, создания разбивочной геодезической сети (см. СОКК «Построение геодезической разбивочной основы для строительства» в альбоме часть I вып. 1, и СОКК «Разбивочные работы при прокладке инженерных сетей» в данном альбоме), окончания внеплощадочных и внутриплощадочных подготовительных работ (см. СОКК «Внеплощадочные и внутриплощадочные подготовительные работы» в данном альбоме).

Разработку выемок следует производить в соответствии с требованиями СНиП 3.02.01-87, СНиП 3.01.01-85*, проекта, ППР, технологических карт и схем операционного контроля качества.

Земляные работы должны выполнять строительные организации, получившие лицензию на выполнение этих работ в Федеральных или региональных органах по лицензированию строительной деятельности.

Земляные работы должны выполняться квалифицированным персоналом, прошедшим специальную подготовку и обладающим надлежащими навыками по выполнению земляных работ.

При производстве земляных работ должно быть обеспечено соблюдение строительных норм и правил, проекта и ППР.

Возведение земляных сооружений должно производиться по утвержденному проекту производства работ (ППР).

Контролируемые операции

Состав и средства контроля

Документация

Подготовительные работы

Проверить:

- наличие утвержденной проектно-сметной документации с разрешением заказчика на производство работ;

псд

- наличие геодезической разбивочной основы и технической документации на неё; наличие закрепленных на площадке строительства пунктов основы;

- наличие ППР, технологической карты, схемы операционного контроля качества;

- завершение подготовительных внеплощадочных и внутриплощадочных работ;

Акт приёмки, техническая документация ППР, технологическая карта,

СОКК

Акт

Акт разбивки, исполнительные схемы

- завершение геодезических разбивочных работ по выносу в натуру и закреплению осей и характерных основных и промежуточных точек земляных сооружений.

Разработка траншей и котлованов

Контролировать:

- соблюдение заданной ППР (технологической картой) технологии разработки траншей и котлованов;

Общий и специальный журналы работ

- отклонения отметок дна траншеи и котлованов от проектных при черновой и окончательной разработке; крутизну откосов и поперечный профиль траншей и котлованов.

Исполнительный разбивочный чертеж (схема)

Приёмка

Проверить:

- соответствие фактических поперечного и продольного профилей траншей и котлованов требованиям проекта и нормативных документов;

Исполнительные геодезические схемы (чертежи)

- соответствие фактического напластования и свойств грунтов оснований требованиям проекта и нормативных документов;

- составление и надлежащее оформление актов освидетельствования скрытых работ, актов приёмки оснований, траншей и котлованов и др. приёмо-сдаточной документации.

Протоколы (акты) испытаний Акты освидетельствования скрытых работ Акты приёмки

ВХОДНОЙ И ОПЕРАЦИОННЫЙ КОНТРОЛЬ осуществляют:

прораб (мастер), геодезист, инженер (лаборант) - в процессе производства работ

ПРИЕМОЧНЫЙ КОНТРОЛЬ ОСУЩЕСТВЛЯЮТ:

прораб, геодезист, представители технадзора заказчика

КИП - нивелир, теодолит, рулетка измерительная металлическая и др. инструмент, лабораторные приборы

Запрещается осуществление земляных работ без утвержденного проекта производства работ. Не допускаются отступления от решений проектов производства работ без согласования с организациями, разработавшими и утвердившими их.

Разработка выемок, и вскрытие подземных коммуникаций в пределах охранных зон допускаются при наличии письменного разрешения эксплуатирующих организаций.

До начала производства земляных работ в местах расположения действующих подземных коммуникаций расположение последних на местности должно быть обозначено соответствующими знаками или надписями.

Производство земляных работ в зоне действующих подземных коммуникаций следует осуществлять под непосредственным руководством прораба или мастера, а в охранной зоне кабелей, находящихся под напряжением, или действующего газопровода, кроме того, под наблюдением работников электро- или газового хозяйства.

В случае обнаружения не указанных в проекте коммуникаций, подземных сооружений или обозначающих их знаков земляные работы должны быть приостановлены, на место работ вызваны представители заказчика и организаций, эксплуатирующих обнаруженные коммуникации, и приняты меры по предохранению обнаруженных подземных устройств от повреждения. При невозможности установления эксплуатирующих организаций следует вызвать представителей местной администрации.

Перед началом производства земляных работ на участках с возможным патогенным заражением почвы (свалка, скотомогильники, кладбища и т.п.) необходимо разрешение органов Государственно-санитарного надзора.

Котлованы и траншеи, разрабатываемые на улицах, проездах, во дворах населенных пунктов, а также местах, где происходит движение людей или транспорта, должны быть ограждены защитным ограждением с учетом требований ГОСТ 23407-78. На ограждении необходимо устанавливать предупредительные надписи и знаки, а в ночное время - сигнальное освещение.

Места прохода людей через траншеи должны быть оборудованы переходными мостиками, освещаемыми в ночное время.

Грунт, извлеченный из котлована или траншеи, следует размещать на расстоянии не менее 0,5 м от бровки выемки.

Разрабатывать грунт в котлованах и траншеях «подкопом» не допускается.

Валуны и камни, а также отслоения грунта, обнаруженные на откосах, должны быть удалены.

Рытьё котлованов и траншей с вертикальными стенками без креплений в нескальных и незамерзших грунтах выше уровня грунтовых вод и при отсутствии вблизи подземных сооружений допускается на глубину не более, м: 1,0 - в насыпных, песчаных и крупнообломочных грунтах; 1,25 - в супесях: 1,50 - в суглинках и глинах.

Наибольшую высоту вертикальных стенок выемок в мёрзлых грунтах, кроме сыпучемёрзлых, при среднесуточной температуре воздуха ниже минус 2 °С допускается увеличивать по сравнению с вышеприведенной на величину глубины промерзания грунта, но не более чем до 2 м.

Рытьё котлованов и траншей с откосами без креплений в нескальных грунтах выше уровня грунтовых вод (с учётом капиллярного поднятия) или в грунтах, осушенных с помощью искусственного водопонижения, допускается при глубине выемки и крутизне откосов согласно нижеприведенной таблице.

Вид грунтов

Крутизна откоса (отношение его высоты к заложению и градусы) при глубине выемки, м, не более

1,5

3

5

Насыпные неуплотненные

Песчаные гравийные

Супесь

Суглинок

Глина

Лёссы и лессовидные

При напластовании различных видов грунтов крутизну откосов для всех пластов надлежит назначать по наиболее слабому виду грунта.

Крутизна откосов выемок глубиной более 5 м во всех случаях и глубиной менее 5 м при гидрогеологических условиях и видах грунтов, не предусмотренных в вышеприведенной таблице, должна устанавливаться проектом.

При высоте откосов более 5 м в однородных грунтах их крутизну допускается принимать по графикам приложения 3 СНиП 3.02.01-87, но не круче указанных в вышеприведенной таблице для глубины выемки 5 м и во всех грунтах (включая скальные) не более 80°. Крутизна откосов выемок, разрабатываемых в скальных грунтах с применением взрывных работ, должна быть установлена в проекте.

В проекте должна быть установлена необходимость временного крепления вертикальных стенок траншей и котлованов в зависимости от глубины выемки, вида и состояния грунта, гидрогеологических условий: величины и характера временных нагрузок на бровке и других местных условий.

При установке креплений верхняя часть их должна выступать над бровкой выемки не менее чем на 15 см.

Устанавливать крепления необходимо в направлении сверху вниз по мере разработки выемки на глубину не более 0,5 м.

Разборку креплений следует производить в направлении снизу вверх по мере обратной засыпки выемки.

Разработка роторными и траншейными экскаваторами в связных грунтах (суглинках, глинах) траншей с вертикальными стенами без крепления допускается на глубину не более 3 м. В местах, где требуется пребывание рабочих, должны устраиваться крепления траншей или откосов.

Производство работ в котлованах и траншеях с откосами, подвергшимися увлажнению, разрешается только после тщательного осмотра производителем работ (мастером) состояния грунта откосов и обрушения неустойчивого грунта в местах, где обнаружены «козырьки» или трещины (отслоения).

При наличии в период производства работ подземных вод в пределах выемок или вблизи их дна мокрыми следует считать не только грунты, расположенные ниже уровня грунтовых вод, но и грунты, расположенные выше этого уровня на величину капиллярного поднятия, которую следует принимать:

0,3 м - для крупных, средней крупности и мелких песков;

0,5 м - для пылеватых песков и супесей;

1,0 - для суглинков и глин.

Котлованы и траншеи, разработанные в зимнее время, при наступлении оттепели должны быть осмотрены, а по результатам осмотра должны быть приняты меры к обеспечению устойчивости откосов и креплений.

Перед допуском рабочих в котлованы или траншеи глубиной более 1,3 м должна быть проверена устойчивость откосов и креплений.

При пересечении траншей, разрабатываемых для каналов и коллекторов, с действующими коммуникациями, не защищенными от механических повреждений, разработка грунта землеройными машинами разрешается на расстояниях не менее 0,5 м от боковой поверхности и 0,5 м над верхом коммуникаций с предварительным их обнаружением с точностью до 0,25 м.

Ширину вскрытия полос дорог и городских проездов при разработке траншей следует принимать: при бетонном покрытии или асфальтовом покрытии по бетонному основанию - на 10 см больше ширины траншеи по верху с каждой стороны с учетом креплений; при других конструкциях дорожных покрытий - на 25 см.

При дорожных покрытиях из сборных железобетонных плит ширина вскрытия должна быть кратной размеру плиты.

Наименьшая ширина дна траншеи при бесканальной прокладке труб (В) должна быть равной расстоянию между наружными боковыми гранями изоляции крайних трубопроводов тепловых сетей (в) с добавлением на каждую сторону размера (а), равного:

для трубопроводов условным диаметром Dy до 250 мм - 0,3 м;

для трубопроводов условным диаметром Dy свыше 250 мм до 500 мм - 0,4 м;

для трубопроводов условным диаметром Dy свыше 500 до 1000 мм - 0,5 м, если другие требования не обоснованы рабочими чертежами.

Наименьшая ширина дна траншей при бесканальной прокладке труб

Ширину приямков в траншее для сварки и изоляции стыков труб при бесканальной прокладке трубопроводов следует принимать равной расстоянию между наружными боковыми гранями изоляции крайних трубопроводов с добавлением 0,6 м на каждую сторону, длину приямков - 1,0 м и глубину от нижней грани изоляции трубопроводов - 0,7 м, если другие требования не обоснованы рабочими чертежами.

Наименьшая ширина дна траншеи при канальной прокладке тепловых сетей должна быть равной ширине канала с учетом опалубки (на монолитных участках), гидроизоляции, попутного дренажа и водоотливных устройств, конструкции крепления траншей с добавлением 0,2 м. При этом ширина траншеи должна быть не менее 1,0 м.

При необходимости работы людей между наружными гранями конструкций канала и стенками или откосами траншей ширина между наружными гранями конструкции канала и стенками или откосами траншеи в свету должна быть не менее:

Перед началом производства земляных работ необходимо обеспечить отвод поверхностных и подземных вод с помощью временных или постоянных устройств, не нарушая при этом сохранность существующих сооружений.

Разработку в траншеях и котлованах элювиальных грунтов, меняющих свои свойства под влиянием атмосферных воздействий, следует осуществлять, оставляя защитный слой, величина которого и допустимая продолжительность контакта вскрытого основания с атмосферой устанавливается проектом. Защитный слой удаляется непосредственно перед началом возведения сооружения.

Выемки в грунтах, кроме валунных, скальных и элювиальных, следует разрабатывать, как правило, до проектной отметки с сохранением природного сложения грунтов основания. Вид и характеристики вскрытого грунта естественных оснований должны соответствовать проекту.

Допускается разработка траншей и котлованов в два этапа: черновая - с отклонениями, приведенными в пунктах 14 нижеследующей таблицы, и окончательная (непосредственно перед возведением конструкции) - с отклонениями, приведенными в пункте 5 этой же таблицы.

Технические требования

Предельные отклонения

Контроль (метод и объем)

1. Отклонения отметок дна выемок от проектных (кроме выемок в валунных, скальных и вечномерзлых грунтах) при черновой разработке:

 

Измерительный, точки измерений устанавливаются случайным образом; число измерений на принимаемый участок должно быть не менее:

а) одноковшовыми экскаваторами, оснащенными ковшами с зубьями

Для экскаваторов с механическим приводом по видам рабочего оборудования:

 

драглайн… +25 см

20

прямого копания…+10 см

15

обратная лопата…+15 см

10

Для экскаваторов с гидравлическим приводом… +10 см

5

б) одноковшовыми экскаваторами, оснащенными планировочными ковшами, зачистным оборудованием

+5 см

5

в) бульдозерами

+10 см

15

г) траншейными экскаваторами

+10 см

10

2. Отклонения отметок дна выемок от проектных при черновой разработке в скальных и вечномерзлых грунтах, кроме планировочных выемок:

 

Измерительный, при числе измерений на сдаваемый участок не менее 20 в наиболее высоких местах, установленных визуальным осмотром

а) недоборы

Не допускаются

 

б) переборы

По табл. 5 СНиП 3.02.01-87

 

3. Отклонения отметок дна выемок в местах устройства фундаментов и укладки конструкций при окончательной разработке или после доработки недоборов и восполнения переборов

+5 см

Измерительный, по углам и центру котлована, в местах поворотов и примыканий траншей, расположения колодцев но не реже чем через 50 м и не менее 10 измерений на принимаемый участок

4. Вид и характеристики вскрытого грунта естественных оснований под фундаменты и земляные сооружения

Должны соответствовать проекту. Не допускается размыв, размягчение, разрыхление или промерзание верхнего слоя грунта основания толщиной более 3 см.

Технический осмотр всей поверхности основания

5. Отклонения от проектного продольного уклона дна траншей, водоотводных канав и других выемок с уклонами

Не должны превышать ±0,0005

Измерительный, в местах поворотов, примыканий, расположения колодцев и т.п., но не реже чем через 50 м и не менее 10 измерений на принимаемый участок

Доработку недоборов до проектной отметки следует производить с сохранением природного сложения грунтов основания.

Восполнение переборов в местах укладки трубопроводов и устройства фундаментов должно быть выполнено местным грунтом с уплотнением до плотности грунта естественного сложения основания или малосжимаемым грунтом (модуль деформации не менее 20 МПа). В просадочных грунтах II типа не допускается применение дренирующего грунта.

Способ восстановления оснований, нарушенных в результате промерзания, затопления, а такие переборов глубиной более 50 см, должен быть согласован с проектной организацией.

Проектом организации строительства и проектом производства работ должно быть предусмотрено опережающее строительство дренажных насосных и устройств по выпуску воды в соответствии с рабочими чертежами.

До укладки в траншею дренажные трубы должны быть осмотрены и очищены от грунта и мусора.

Послойную фильтрующую обсыпку дренажных трубопроводов (кроме трубофильтров) гравием и песком необходимо выполнять с использованием инвентарных разделительных форм.

Прямолинейность участков дренажных трубопроводов между смежными колодцами следует проверять осмотром «на свет» с помощью зеркала до и после засыпки траншеи. Отраженная в зеркале окружность трубы должна иметь правильную форму. Допустимая величина отклонения от окружности по горизонтали должна быть не более 0,25 диаметра трубы, но не более 50 мм в каждую сторону.

Отклонение от правильной формы окружности по вертикали не допускается.

При производстве земляных работ должен выполняться входной, операционный и приемочный контроль.

В состав операционного контроля, т.е. в технологический процесс выполнения земляных работ входят контрольные геодезические измерения точности геометрических параметров земляных сооружений (траншей и котлованов).

Состав контролируемых операций, объём, сроки и способы контроля, осуществляемого в процессе разработки траншей и котлованов, участие в нём геодезической службы, строительной и геотехнической лаборатории и других функциональных служб должно быть определено технологическими картами на выполнение этих работ.

Контроль точности производства земляных работ осуществляется как в плане, так и по высоте. Измерения осуществляются инструментально геодезическими методами.

При контроле сопоставляются измеренные размеры с размерами и отметками, указанными на чертежах, и величинами допусков, установленных нормативными документами.

Крутизну откосов проверяют откосниками (откосными лекалами) или же теодолитом способом наклонного луча визирования.

Контроль точности высотного положения траншей и котлованов производят с помощью геометрического, тригонометрического нивелирования или визирок.

Глубину траншеи или котлована до 3 м можно контролировать нивелиром методом геометрического нивелирования. Нивелир устанавливают на бровку и по рейке, поставленной на дно, берут отсчет а. Глубина выемки (h) вычисляется по формуле:

h = а - v,

где: v - высота инструмента.

При контроле тригонометрическим нивелированием для определения глубины котлована h измеряют вертикальный угол v и горизонтальное расстояние d с одной станции прибора.

Тогда:

h = d×tgv + v - i,

где: i - высота прибора; v - высота визирования на рейку.

На практике всегда высота визирования равна высоте прибора, поэтому формула принимает вид: h = d tgv

Уклон дна траншей и котлованов можно контролировать посредством теодолита, нивелира или с помощью визирок.

Результаты геодезической (инструментальной) проверки при операционном контроле должны быть зафиксированы в общем журнале работ.

Отсутствие нарушений природных свойств грунтов основания и соответствие этих свойств предусмотренным в проекте допускается проверять визуально (технический осмотр). В сомнительных случаях следует применять пенетрацию, зондирование, отбор проб грунта для испытаний и др.

При больших отклонениях от проектных данных должно быть выполнено, кроме того, испытание грунтов пробными нагрузками и принято решение о необходимости разработки поправок к проекту оснований и фундаментов, либо к проекту производства работ.

Проверку однородности и достаточности выполненного уплотнения грунтов в естественном залегании следует осуществлять полевыми методами (зондированием, радиоизотопными методами и пр.) и выборочным определением плотности сухого грунта по отобранным образцам из каждого уплотненного слоя грунта.

При контроле качества выполнения земляных работ по разработке траншей и котлованов следует обращать внимание на:

соблюдение необходимых недоборов грунта, недопущение переборов и нарушения структуры грунта основания;

недопущение нарушения структуры грунта при срезке недоборов и подготовке оснований;

предохранение грунтов оснований от подтапливания подземными и поверхностными водами с размягчением и размывом верхних слоев основания;

соответствие характеристик вскрытых грунтов основания предусмотренным в проекте;

достижение достаточного и однородного уплотнения песчаных подушек.

Результаты операционного контроля качества выполненных земляных работ фиксируются в общих и специальных журналах работ, журналах геотехнического контроля, исполнительных геодезических схемах, чертежах и других документах, предусмотренных технологическими картами в действующей в данной организации системой управления качеством.

При приёмке земляных работ по разработке траншей и котлованов производятся исполнительные съёмки.

Плановое и высотное положение элементов инженерных сетей следует определять от знаков разбивочной сети строительной площадки, внешней разбивочной сети здания (сооружения) или от твердых точек капитальных зданий (сооружений). Перед началом работ необходимо проверить неизменность положения пунктов сети и ориентиров.

Производство исполнительных съёмок включает в себя следующие виды работ:

выяснения наличия геодезической или разбивочной сети и восстановление знаков этой сети;

съёмку и нивелирование элементов инженерных сетей и сооружений;

составление исполнительных чертежей и планов.

При исполнительной съёмке земляных сооружений подлежат съёмке в плане: бровки котлованов, траншей, границы планировочных оформляющих плоскостей. Верхняя и нижняя бровки снимаются при глубине выемок свыше 3 м. В остальных случаях допускается снимать только нижнюю бровку.

Съёмке по высоте подлежат контуры котлованов, перепады (изменения) отметок оснований под фундаменты, трубы и т.п. По окончании обработки материалов исполнительных съёмок составляется исполнительный чертёж. Если земляные работы выполнены с отклонениями от проекта, то на исполнительном чертеже должно быть указано, кем и когда эти отклонения разрешены.

На исполнительном чертеже должно быть подтверждение заказчиком правильности составления и соответствия исполнительного чертежа натуре. Исполнительный чертёж входит в состав обязательной исполнительной документации, которая прилагается к акту освидетельствования скрытых работ по разработке траншей и котлованов.

Промежуточной сдаче заказчику с составлением актов освидетельствования скрытых работ подлежат следующие виды скрытых земляных работ, выполняемых при разработке траншей и котлованов тепловых сетей:

- разбивка земляных работ (трассы);

- качество грунтов естественных оснований;

- замена грунтов в основаниях;

- устройство естественных оснований под земляные сооружения, фундаменты, трубопроводы в котлованах и траншеях;

- устройство дренажей и его элементы (дренажные слои и их основания, колодцы, трубопроводы и их обсыпка);

- устройство грунтовых подушек и т.д.

Сдача - приёмка траншей и котлованов должна оформляться актом, к которому прилагаются:

- перечень технической документации, на основании которой были произведены работы;

- материалы испытаний грунтов, выполненных как в процессе операционного контроля, так и при приёмке основания;

- акты промежуточных проверок и приёмок скрытых работ;

- журналы производства работ;

- исполнительные чертежи, выполненные по результатам геодезических съёмок законченных строительством котлованов и траншей;

- перечень недоделок, не препятствующих эксплуатации траншей и котлованов, с указанием сроков их устранения.

Приложение 6 к СНиП 3.01.01-85*

АКТ ОСВИДЕТЕЛЬСТВОВАНИЯ СКРЫТЫХ РАБОТ

______________________________________________________________________

(наименование работ)

выполненных в_________________________________________________________

(наименование в место расположения объекта)

«___»__________19__ г.

Комиссия в составе:

представителя строительно-монтажной организации_________________________

(фамилия, инициалы, должность)

представителя технического надзора заказчика_______________________________

(фамилия, инициалы, должность)

произвела осмотр работ, выполненных_____________________________________

(наименование строительно-монтажной организации)

и составила настоящий акт о нижеследующем:

1. К освидетельствованию предъявлены следующие работы___________________

(наименование скрытых работ)

2. Работы выполнены по проектно-сметной документации____________________

(наименование проектной организации, чертежей и дата их составления)

3. При выполнении работ применены______________________________________

(наименование материалов, конструкций, изделий со ссылкой на сертификаты или другие документы, подтверждающие качество)

4. При выполнении работ отсутствуют (или допущены) отклонения

от проектно-сметной документации________________________________________

(при наличии отклонении указывается, кем согласованы, чертежей и дата согласования)

5. Дата: начала работ_____________________________________________________

окончания работ________________________________________________________

Решение комиссии

Работы выполнены в соответствии с проектно-сметной документацией, стандартами, строительными нормами и правилами и отвечают требованиям их приёмки.

На основании изложенного разрешается производство последующих работ по устройству (монтажу)______________________________________________________

(наименование работ и конструкции)

Представитель, технического надзора

заказчика______________________________________________________________

(подпись)

Представитель строительно-монтажной

организации____________________________________________________________

(подпись)

Прокладка наружных тепловых сетей

ГОСТ 3262-75* Трубы стальные водогазопроводные. Технические условия.

ГОСТ 10704-91 Трубы стальные электросварные прямошовные. Сортамент.

ГОСТ 10705-80* Трубы стальные электросварные. Технические условия.

ГОСТ 10706-76* Трубы стальные электросварные прямошовные. Технические условия.

ГОСТ 8731-74* Трубы стальные бесшовные горячедеформированные. Технические условия.

ГОСТ 8732-78* Трубы стальные бесшовные горячедеформированные. Сортамент.

ГОСТ 8733-74* Трубы стальные бесшовные холоднодеформированные и теплодеформированные. Технические условия.

ГОСТ 8734-75* Трубы стальные бесшовные холоднодеформированные. Сортамент.

ГОСТ 20295-85 Трубы стальные сварные для магистральных газонефтепроводов. Технические условия.

ГОСТ 550-75* Трубы стальные бесшовные для нефтеперерабатывающей и нефтехимической промышленности. Технические условия.

ТУ 14-3-954-80 Трубы стальные электросварные спирально-шовные Æ 530 - 1420 для трубопроводов тепловых сетей.

ГОСТ 8944-75* Соединительные части из ковкого чугуна с цилиндрической резьбой для трубопроводов. Технические требования.

ГОСТ 8965-75 Части соединительные стальные с цилиндрической резьбой для трубопроводов Р 1,6 МПа. Технические условия.

ГОСТ 17380-83* Детали трубопроводов стальные бесшовные приварные на Ру £ 10 МПа (£ 100 кгс/см2). Технические условия.

ГОСТ 30732-2001 Трубы и фасонные изделия стальные с тепловой изоляцией из пенополиуретана в полиэтиленовой оболочке. Технические условия.

ТУ 4936-001-33680607-98 Трубы стальные прямые с наружной теплоизоляцией для бесканальной прокладки тепловых сетей (ЗАО «МосФлоулайн», г. Москва).

ТУ 4936-002-33680607-98 Изделия фасонные (отводы, переходы, тройники, опоры неподвижные и др.) из стальных труб с наружной теплоизоляцией для бесканальной прокладки тепловых сетей (ЗАО «МосФлоулайн»).

ТУ 4936-003-33680607-98 Трубы стальные прямые с наружной теплоизоляцией для надземной, канальной и тоннельной прокладки тепловых сетей (ЗАО «МосФлоулайн»).

ТУ 4936-004-33680607-98 Изделия фасонные (отводы, переходы, тройники, опоры неподвижные и др.) из стальных труб с наружной теплоизоляцией для надземной, канальной и тоннельной прокладки тепловых сетей (ЗАО «МосФлоулайн»).

ТУ 4936-005-33680607-98 Полуцилиндры из заливочного пенополиуретана для изоляции стыков стальных труб с наружной теплоизоляцией (ЗАО «МосФлоулайн»).

ТУ 5769-007-41989945-98 Стальные трубы с теплоизоляционным слоем из пенополиуретана диаметрами 57 - 530 мм и гидрозащитным покрытием (ЗАО НПО «Стройполимер»).

ТУ 5769-008-41989945-98 Изделия фасонные из стальных труб в тепло- и гидроизоляции для подземных и наземных теплопроводов (ЗАО НПО «Стройполимер»).

ТУ 5769-009-41989945-98 Полуцилиндры из пенополиуретана для теплоизоляции стальных труб (ЗАО НПО «Стройполимер», г. Москва).

ТУ 5768-001-05030483-97 Трубы стальные с теплозащитным слоем из пенополиуретана и гидрозащитным покрытием (Мостеплосетьэнергоремонт, филиал АО «Мосэнерго», г. Москва).

ТУ 5768-003-05030483-97 Изделия фасонные с теплоизоляционным покрытием из пенополиуретана и гидроизоляционным покрытием (Мостеплосетьэнергоремонт, г. Москва).

ТУ 5768-016-17685313-2000 Трубы стальные с теплоизоляцией из пенополиуретана с гидрозащитным покрытием (ООО Фирма «БООС-М», г. Москва).

ТУ 1310-001-21211787-96 Трубы, теплоизолированные пенополиуретаном с гидроизоляционным покрытием из полиэтилена (ЗАО «Трасса», г. Новокуйбышевск, Самарской обл).

ТУ 5768-001-11146497-97 Трубы стальные с тепловой изоляцией из пенополиуретана с защитным покрытием (ЗАО «Группа ИКА», г. Санкт-Петербург).

ТУ 5768-002-11146497-97 Изделия фасонные стальные с тепловой изоляцией из пенополиуретана с защитным покрытием (ЗАО «Группа ИКА», г. Санкт-Петербург).

ТУ 5768-004-41595620-98 Трубы стальные с теплоизоляционным слоем из пенополиуретана с гидрозащитным покрытием (Ассоциация «КАРТЕК», г. Москва).

ТУ 5768-003-41852784-97 Изделия фасонные с теплоизоляционным слоем из пенополиуретана и гидрозащитным покрытием ППУ (ООО «Полимерстрой», г. Оренбург).

ТУ 2248-005-24042765-95 Трубы с теплоизоляционным покрытием из жесткого пенополиуретана (НПП «Уретанмаш», г. Пермь).

ТУ 1300-001-48776980-98 Трубы стальные с теплоизоляционным слоем из пенополиуретана и гидрозащитным покрытием (АОЗТ «Тайфун Мет», г. Серпухов, Моск. обл.).

ТУ 5767-024-1297775-94 Трубы и отводы трубопроводов с тепловой изоляцией из пенополиуретана для подземной прокладки.

ТУ 5767-001-23085909-94 Трубы стальные с теплоизоляционным слоем из пенополиуретана и гидрозащитным покрытием.

ТУ 1381-001-12402028-97 Изолированные трубы для центрального отопления, горячего водоснабжения и пароснабжения (ТОО «Базис», г. Тамбов).

ТУ 5767-011-04001232-95 Трубы стальные для тепловых сетей, изолированные битумоперлитом (КТБ «Мосоргстройматериалы», г. Москва, АООТ Люберецкий КСМиК).

ТУ 5767-001-04002154-92 Трубы с изоляцией из перлитобитума и полуцилиндры перлитобитумные (АООТ «Теплоизолит», г. Хотьково, Московской, обл.).

ТУ 5767-023-1297775-94 Трубы теплогидроизолированные и скорлупы с битумоперлитовой основой для теплосети бесканальной прокладки.

ТУ 480-2-1-84 Трубы и изделия для тепловых сетей с изоляцией из битумоперлита. ТУ 66.16-148-87 Трубы и изделия для тепловых сетей, изолированных битумоперлитом.

ТУ 66-15-71-89 Трубы и изделия для тепловых сетей с изоляцией из битумоперлита.

ТУ 66-16-186-90 Трубы и изделия для тепловых сетей, изолированных битумоперлитом.

ТУ 36-21-15-14-3-89 Трубы с кремнеорганическим покрытием для теплосетей.

ТУ 1390-001-01297858-96 Трубы стальные с двусторонним силикатноэмалевым покрытием.

ТУ 5221-008-04005951-97 Трубы стальные с индустриальной теплоизоляцией из минераловатных цилиндров.

ТУ 102-574-91 Трубы прямые, части соединительные стальные теплоизолированные и теплоизоляционные изделия из фенольного пенопласта с неметаллическим наружным защитным покрытием для трубопроводов наземной прокладки.

ТУ 400-24-588-94 Детали трубопроводов тепловых сетей сварные фасонные.

ТУ 1468-004-39535214-96 Трубы центробежные из чугуна с шаровидным графитом под сварку для теплотрасс.

Государственные стандарты и технические условия на трубы, фасонные изделия, арматуру и другие материалы, предусмотренные проектом.

СНиП 3.01.01-85* Организация строительного производства.

СНиП 2.04.07-86* Тепловые сети.

СНиП 3.05.03-85 Тепловые сети.

СНиП 3.01.03-84 Геодезические работы в строительстве.

СНиП 2.07.01-89 Градостроительство. Планировка и застройка городских и сельских поселений.

СНиП 3.02.03-87 Земляные сооружения, основания и фундаменты.

ПБ 03-75-94 Правила устройства и безопасной эксплуатации трубопроводов пара и горячей воды (Госгортехнадзор России, 1999).

ВСН 29-95 Ведомственные строительные нормы по проектированию и бесканальной прокладке в г. Москве городских двухтрубных тепловых сетей из труб с индустриальной теплоизоляцией из пенополиуретана в полиэтиленовой оболочке.

ВСН 11-94 Ведомственные строительные нормы по проектированию и бесканальной прокладке внутриквартальных тепловых сетей из труб с индустриальной теплоизоляцией из пенополиуретана в полиэтиленовой оболочке.

Серия 5.903-13 Изделия и детали трубопроводов для тепловых сетей (07.90).

Руководство по применению труб с индустриальной изоляцией из ППУ производства ЗАО «МосФлоулайн» (М., 2001 г.).

Руководство ЗАО НПО «Стройполимер» по проектированию и строительству стальных трубопроводов с заводской теплогидроизоляцией (М., 2000 г.).

Технические требования к трубам

Для трубопроводов тепловых сетей должны предусматриваться стальные электросварные трубы. Бесшовные стальные трубы могут применяться для трубопроводов с параметрами теплоносителя, для которых применение сварных труб не допускается Правилами Госгортехнадзора России.

Для трубопроводов тепловых сетей при рабочем давлении пара 0,07 МПа и ниже и температуре воды 115 °С и ниже при давлении до 1,6 МПа включ. могут применяться неметаллические трубы, если качество этих труб удовлетворяет санитарным требованиям и соответствует параметрам теплоносителя в тепловых сетях.

Для сетей горячего водоснабжения в закрытых системах теплоснабжения и от котельных должны применяться оцинкованные водогазопроводные или эмалированные трубы. Для сетей горячего водоснабжения в открытых системах теплоснабжения могут применяться неоцинкованные трубы.

Для трубопроводов тепловых сетей, кроме тепловых пунктов и сетей горячего водоснабжения, не должны применять арматуру:

из серого чугуна - в районах с расчетной температурой наружного воздуха для проектирования отопления ниже минус 10 °С;

из ковкого чугуна - в районах с расчетной температурой наружного воздуха для проектирования отопления ниже минус 30 °С.

На выводах тепловых сетей от источников теплоты и на вводах в тепловые пункты (кроме индивидуальных тепловых пунктов, связанных с центральными тепловыми пунктами без подкачивающих насосов) должна предусматриваться стальная запорная арматура. На трубопроводах тепловых сетей допускается применение арматуры из латуни и бронзы. При установке чугунной арматуры в тепловых сетях должна предусматриваться защита её от изгибающих усилий.

Для тепловых сетей, как правило, должна предусматриваться арматура с концами под приварку или фланцевая.

Муфтовую арматуру допускается применять условным проходом Dy £ 100 мм при давлении теплоносителя 1,6 МПа и ниже и температуре 115 °С и ниже в случаях применения водогазопроводных труб.

Для гибких компенсаторов, углов поворотов и других гнутых элементов трубопроводов должны применяться крутоизогнутые отводы заводского изготовления с радиусом гиба не менее одного диаметра трубы (по условному проходу).

Допускается применять нормальноизогнутые отводы с радиусом гиба не менее 3,5 номинального наружного диаметра трубы.

Для трубопроводов водяных тепловых сетей с рабочим давлением теплоносителя до 2,5 МПа включ. и температурой до 200 °С включ., а также для паровых тепловых сетей с рабочим давлением до 2,2 МПа включ. и температурой до 350 °С включ. допускается применять сварные секторные отводы.

Штампосварные тройники и отводы допускается применять для теплоносителей всех параметров.

Штампосварные и сварные секторные отводы допускается применять при условии проведения 100 %-ного контроля сварных соединений отводов ультразвуковой дефектоскопией или просвечиванием.

Сварные секторные отводы допускается применять при условии их изготовления с внутренним подваром сварных швов.

Применять детали трубопроводов, в том числе отводы из электросварных труб, со спиральным швом не допускается.

Для тепловых сетей должны применяться, как правило, детали и элементы трубопроводов (компенсаторы, грязевики, изолированные трубы, а также узлы трубопроводов и другие изделия) заводского изготовления. Они должны быть изготовлены централизованно (в заводских условиях, цехах, мастерских) в соответствии со стандартами, техническими условиями и проектной документацией.

ГОСТ 3262-75* Трубы стальные водогазопроводные. Технические условия.

Поступившие на строительную площадку трубы:

- должны иметь по требованию потребителя на концах, подлежащих сварке, с толщиной стенки 5 мм и более, фаски под углом 35 - 40° к торцу трубы; при этом должно быть оставлено торцовое кольцо шириной 1 - 3 мм

- не должны иметь на поверхности трещин, плен, вздутий и закатов;

- не должны иметь на торцах расслоений;

- могут иметь отдельные вмятины, рябизну, риски, следы зачистки и др. дефекты, обусловленные способом производства, если они не выводят толщину стенки за минимальные размеры, а также слой окалины, не препятствующий осмотру;

- могут иметь грат на внутренней поверхности шва труб, который по требованию потребителя на трубах с условным проходом 20 мм и более должен быть срезан или сплющен, при этом высота грата или его следов не должна превышать 0,5 мм;

- должны иметь обрезанные под прямым углом и зачищенные от заусенцев концы; допускаемая величина скоса торца не более 2°, остатки заусенцев не должны превышать 0,5 мм;

- должны иметь по требованию потребителя проконтролированными неразрушающими методами сварные швы каждой трубы.

Трубы выпускаются условным проходом от 6 до 150 мм.

По длине трубы изготовляют от 4 до 12 м:

- мерной или кратной мерной длины с припуском на каждый рез по 5 мм и предельным отклонением на всю длину +10 мм;

- немерной длины; по согласованию изготовителя с потребителем в партии немерных труб допускается до 5 % труб с длиной от 1,5 до 4 м.

Предельные отклонения по размерам труб не должны превышать указанных в нижеследующей таблице.

Размеры труб

Предельные отклонения для труб точности изготовления

обычной

повышенной

Наружный диаметр с условным проходом:

 

 

до 40 мм включительно

+0,4; -0,5 мм

±0,4 мм

свыше 40 мм

+0,8; -1,0 %

±0,8 %

Толщина стенки

-15 %

-10 %

Примечания:

1. Предельное отклонение в плюсовую сторону по толщине стенки ограничивается предельными отклонениями по массе

2. Трубы обычной точности изготовления применяют для систем отопления, повышенной - для деталей водопроводных и газопроводных конструкций

Кривизна труб на 1 м длины не должна превышать 2 мм - для труб с условным проходом до 20 мм включительно; 1,5 мм - для труб с условным проходом свыше 20 мм.

Трубы должны быть связаны в пакеты. Масса пакета должна быть не более 10 т. По заказу потребителя масса пакета должна быть не более 5 т.

Каждый пакет должен иметь бирку с указанием следующих данных: товарный знак или наименование и товарный знак предприятия-изготовителя, условное обозначение трубы, марка стали, номер пакета, масса пакета.

ГОСТ 10705-80* Трубы стальные электросварные.

Технические условия.

ГОСТ 10704-91 Трубы стальные электросварные прямошовные. Сортамент.

Данные стандарты распространяются на стальные электросварные прямошовные трубы диаметром от 8 до 530 мм с толщиной стенки до 10 мм включительно из углеродистой стали, применяемые для трубопроводов и конструкций разного назначения.

В зависимости от показателей качества трубы изготовляют следующих групп:

А - с нормированием механических свойств из спокойной, полуспокойной и кипящей стали марок Ст2, Ст3, Ст4 по ГОСТ 380-94 (категории 4 по ГОСТ 16523-89*, категории 1 по ГОСТ 14637-89*);

Б - с нормированием химического состава из спокойной, полуспокойной и кипящей стали марок Ст2, Ст3, Ст4 по ГОСТ 380-94 и ГОСТ 14637-89*, из спокойной, полуспокойной и кипящей стали марок 08, 10, 15, 20 по ГОСТ 1050-88* и стали марки 08Ю по ГОСТ 9045-93;

В - с нормированием механических свойств и химического состава из спокойной, полуспокойной и кипящей стали марок Ст2, Ст3, Ст4 по ГОСТ 380-94 (категории 4 по ГОСТ 16523-89* и категорий 2 - 5 по ГОСТ 14637-89*), из спокойной, полуспокойной и кипящей стали марок 08, 10, 15, 20 по ГОСТ 1050-88* и для труб диаметром 50 мм стали марки 08Ю по ГОСТ 9045-93;

Д - с нормированием испытательного гидравлического давления.

Трубы изготовляют термически обработанными (по всему объёму трубы или по сварному соединению) и без термической обработки. Вид термической обработки по всему объёму трубы выбирает изготовитель.

По длине трубы изготовляют:

немерной длины:

при диаметре до 30 мм - не менее 2 м;

при диаметре св. 30 до 70 мм - не менее 3 м;

при диаметре св. 70 до 152 мм - не менее 4 м;

при диаметре св. 152 мм - не менее 5 м;

(по требованию потребителя трубы группы А и В по ГОСТ 10705-80* диаметром свыше 152 мм изготовляют длиной не менее 10 м; трубы всех групп диаметром до 70 мм - длиной не менее 4 м);

мерной длины:

при диаметре до 70 мм - от 5 до 9 м;

при диаметре св. 70 до 219 мм - от 6 до 9 м;

при диаметре св. 219 до 420 мм - от 10 до 12 м;

(трубы диаметром свыше 426 мм изготовляют только немерной длины; по согласованию изготовителя с потребителем трубы диаметром свыше 70 до 219 мм допускается изготовлять от 6 до 12 м);

кратной длины кратностью не менее 250 мм и не превышающей нижнего предела, установленного для мерных труб. Припуск для каждого реза устанавливается по 5 мм (если другой припуск не оговорен) и входит в каждую кратность.

Трубы мерной и кратной длины изготовляют двух классов точности по длине:

I - с обрезкой концов и снятием заусенцев;

II - без заторцовки и снятия заусенцев (с порезкой в линии стана).

Предельные отклонения по длине мерных труб приведены в нижеследующей таблице.

Длина труб, мм

Предельные отклонения по длине мерных труб, мм, классов

I

II

До 6 включ.

+10

+50

Св. 6

+15

+70

Предельные отклонения по общей длине кратных труб не должны превышать:

+5 мм - для труб I класса точности;

+100 мм - для труб II класса точности.

По требованию потребителя трубы мерной и кратной длины II класса точности должны быть с заторцованными концами с одной или двух сторон.

Предельные отклонения по наружному диаметру трубы приведены в нижеследующей таблице.

Наружный диаметр труб, мм

Предельные отклонения по наружному диаметру при точности изготовления

обычной

повышенной

10

±0,2 мм

-

Св. 10 до 30 включ.

±0,3 мм

±0,25

Св. 30 до 51 включ.

±0,4 мм

±0,35

Св. 51 до 193,7 включ.

±0,8 %

±0,7 %

Св. 193,7 до 426 включ.

±0,75 %

±0,65 %

Св. 426 до 1020 включ.

±0,7 %

±0,65 %

По требованию потребителя трубы изготовляют с односторонним или смещенным допуском по наружному диаметру. Односторонний или смещенный допуск не должен превышать суммы предельных отклонений, приведенных выше.

Предельные отклонения по толщине стенки должны соответствовать:

±10 % - при диаметре труб до 152 мм;

ГОСТ 19903-74* - при диаметре труб свыше 152 мм для максимальной ширины листа нормальной точности.

По согласованию потребителя с изготовителем допускается изготовлять трубы с односторонним допуском по толщине стенки, при этом односторонний допуск не должен превышать суммы предельных отклонений по толщине стенки.

Овальность и разностенность труб должна быть не более предельных отклонений соответственно по наружному диаметру и толщине стенки.

Кривизна труб не должна превышать 1,5 мм на 1 м длины. По требованию потребителя кривизна труб диаметром до 152 мм должна быть не более 1 мм на 1 м длины.

На поверхности труб не допускаются трещины, плены, закаты, рванины и риски.

Рябизна, забоины, вмятины, мелкие риски, слой окалины и следы зачистки допускаются при условии, что они не выводят толщину стенки и диаметр трубы за предельные отклонения. Допускается смещение кромок до 10 % от номинальной толщины стенки.

Поверхность труб, термически обработанных в защитной атмосфере, не должна иметь окалины. Допускается наличие окисной пленки.

Непровары швов должны быть заварены, место сварки зачищено.

На трубах диаметром 57 мм и более допускается один поперечный шов.

Наружный грат на трубах должен быть удален. В месте снятия грата допускается утонение стенки на 0,1 мм сверх минусового допуска.

Концы труб должны быть обрезаны под прямым углом и зачищены от заусенцев. Допускается образование фаски. Косина реза для труб диаметром до 219 мм не должна превышать 1 мм, а для труб диаметром 219 мм и более - 1,5 мм. По согласованию изготовителя с потребителем трубы изготовляют разрезанными в линии стана.

По требованию потребителя на концах труб с толщиной стенки 5 мм и более должна быть снята фаска под углом 25 - 30° к торцу  и оставлено торцовое кольцо шириной 1,8 ± 0,8 мм. По согласованию изготовителя с потребителем угол скоса и ширина торцового кольца могут быть изменены.

Трубы должны выдерживать испытательное гидравлическое давление:

при диаметре до 102 мм - не менее 6,0 МПа (60 кгс/см2);

при диаметре 102 мм и более - не менее 3 МПа (30 кгс/см2);

при диаметре 402 - 530 мм и толщине стенки 4,0 - 5,5 мм - не менее 2 МПа (20 кгс/см2).

Пример условного обозначения трубы с наружным диаметром 76 мм, толщиной стенки 3 мм, мерной длины, II класса точности по длине, из стали марки Ст3, изготовленной по группе В ГОСТ 10705-80:

ГОСТ 8732-78* Трубы стальные бесшовные горячедеформированные. Сортамент.

ГОСТ 8731-74* Трубы стальные бесшовные горячедеформированные. Технические требования.

Трубы выпускаются: наружным диаметром от 20 до 550 мм, толщиной стенок от 2,5 до 75 мм; длиной: немерной длины - в пределах от 4 до 12,5 м, мерной длины - в пределах немерной; длины, кратной мерной - в пределах немерной длины с припуском на каждый рез по 5 мм; приблизительной длины - в пределах немерной длины.

Предельные отклонения по длине труб мерной длины и длины, кратной мерной, не должны превышать: +10 мм - при длине до 6 м;

+15 мм - при длине свыше 6 м или с наружным диаметром более 152 мм;

±500 мм - для приблизительной длины.

Предельные отклонения по наружному диаметру не должны превышать величин, указанных в нижеследующей таблице.

Наружный диаметр труб, мм

Предельные отклонения по наружному диаметру при точности изготовления

обычной

повышенной

До 50 включительно

±0,5 мм

±0,5 мм

Св. 50 до 219 включ.

±0,8 %

±1,0 %

Св. 219

±1,0 %

±1,25 %

Овальность и разностенность труб не должны выводить размер труб за предельные отклонения по диаметру и толщине стенки.

Кривизна любого участка трубы на 1 м длины не должна превышать: 1,5 мм - для труб с толщиной стенки до 20 мм; 2,0 - для труб с толщиной стенки свыше 20 до 30 мм; 4,0 - для труб с толщиной стенки свыше 30 мм.

Предельные отклонения по толщине стенки труб не должны превышать значений, приведенных в нижеследующей таблице.

Наружный диаметр мм

Толщина стенки мм

Предельные отклонения по толщине стенки труб точности изготовления, %

повышенной

обычной

До 219

До 15 включ.

±12,5

+12,5; -15,0

Св. 15 до 30

+10,0; -12,5

±12,5

30 и выше

±10,0

+10,0; -12,5

Св. 219

До 15 включ.

+12,5; -15,0

Св. 15 до 30

±12,5

30 и выше

+10,0; -12,5

Поступившие на строительную площадку трубы:

- не должны иметь трещин, плен, рванин и закатов;

- могут иметь о цельные незначительные забоины, вмятины, риски, тонкий слой окалины, следы зачистки дефектов и мелкие плены, если они не выводят толщину стенки за пределы минусовых отклонений;

- должны иметь зачищенные от заусенцев концы труб (допускается образование фаски при их удалении); должны иметь обрезанные под прямым углом концы труб (при этом допускается образование фаски под углом не менее 70° к оси трубы);

- должны иметь снятые фаски под углом 35 - 40° к торцу трубы и оставленное при этом торцовое кольцо шириной 1 - 3 мм (если это оговорено договором поставки для труб с толщиной стенки от 5 до 20 мм).

Трубы выпускаются в зависимости от показателей качества (с нормированием механических свойств, химического состава и марок стали или без нормирования механических свойств и химического состава, но с нормированием испытательного гидравлического давления) пяти групп А, Б, В, Г и Д.

ГОСТ 8733-74* Трубы стальные бесшовные холоднодеформированные и теплодеформированные. Технические требования

Трубы в зависимости от показателей качества (с нормированием механических свойств, химического состава и марок стали или без нормирования механических свойств и химического состава, но с нормированием испытательного гидравлического давления) выпускаются пяти групп Б, В, Г, Д и Е.

Размеры труб и предельные отклонения по ним должны соответствовать указанным в ГОСТ 8734-75*.

Поступившие на строительную площадку трубы:

- не должны иметь трещин, плен, рванин, раковин и закатов;

- могут иметь отдельные незначительные забоины, окалину (следы отслоившейся окалины), не препятствующие осмотру, вмятины, следы правки, риски и следы зачистки дефектов, если они не выводят размеры труб за предельные отклонения;

- не должны иметь на поверхности окалины (если это оговорено договором поставки);

- должны иметь обрезанные под прямым углом и зачищенные от заусенцев концы труб (допускается образование фаски при удалении заусенцев);

- должны иметь снятые фаски под углом 35 - 40° к торцу трубы и торцовое кольцо шириной 1 - 3 мм (если это оговорено договором поставки для труб с толщиной стенки 5 мм и более).

ГОСТ 20295-85 Трубы стальные сварные для магистральных газонефтепроводов. Технические условия

Данный стандарт распространяется на стальные сварные прямошовные и спиральношовные трубы диаметром 159 ¸ 820 мм, применяемые для сооружения магистральных газонефтепроводов, нефтепродуктопроводов, технологических и промысловых трубопроводов.

Трубы изготовляют трех типов:

1 - прямошовные диаметром 159 ¸ 426 мм, изготовленные контактной сваркой токами высокой частоты;

2 - спиральношовные диаметром 159 ¸ 820 мм, изготовленные электродуговой сваркой;

3 - прямошовные диаметром 530 ¸ 820 мм, изготовленные электродуговой сваркой.

В зависимости от механических свойств трубы изготовляют классов прочности К 34; К 38; К 42; К 50; К 52; К 55; К 60.

Трубы изготовляют длиной от 10,6 до 11,6 м.

Трубы диаметром 159 и 168 мм выпускают с толщиной стенок от 3 до 6 мм; трубы диаметром 219 мм - от 3 до 8 мм; трубы диаметром 245 и 273 мм - от 4 до 8 мм; трубы диаметром 325 мм - от 4 до 9 мм; трубы диаметром 377 мм - от 4,5 до 9 мм; трубы диаметром 426 мм - от 5 до 10 мм; трубы диаметром 530 ¸ 820 мм - от 5 до 12 мм.

Предельные отклонения по наружному диаметру корпуса труб должны соответствовать приведенным в нижеследующей таблице.

Наружный диаметр, мм

Предельные отклонения, мм

159 и 168

±1,5

Св. 168 до 325 включ.

±2,0

Св. 325 до 426 включ.

±2,2

Св. 426 до 630 включ.

±3,0

Св. 630 до 820 включ.

±4,0

По требованию потребителя предельные отклонения по наружному диаметру корпуса труб типа 2 диаметром 159 ¸ 377 мм должны соответствовать нижеприведенным.

Наружный диаметр, мм

Предельные отклонения, мм

159 и 168

±1,2

Св. 168 до 325 включ.

±1,5

377

±2,0

Предельные отклонения по толщине стенки труб должны соответствовать допускам на толщину металла, предусмотренным ГОСТ 19903-74* для максимальной ширины листовой и рулонной стали.

Овальность торцов труб типа 1 и 2 не должна выводить их размеры за предельные отклонения по наружному диаметру корпуса труб, приведенные выше.

Кривизна труб типа 1, исключая участок поперечного шва, не должна превышать 1,5 мм на 1 м длины, по требованию потребителя - 1 мм на 1 м длины.

Общая кривизна труб всех типов не должна превышать 0,2 % от длины трубы (по требованию потребителя - 0,15 % от длины трубы).

Высота усиления всех наружных швов труб типов 2 и 3 должна быть 0,5 ¸ 2,5 мм для труб с толщиной стенки менее 10 мм.

Высота усиления внутренних швов должна быть не менее 0,5 мм. На внутреннем шве допускается седловина или отдельные углубления до уровня основного металла.

ГОСТ 10692-80 Трубы стальные, чугунные и соединительные части к ним. Приёмка, маркировка, упаковка, транспортирование и хранение.

Каждая партия стальных труб должна сопровождаться документом о качестве, содержащим: товарный знак или наименование или товарный знак и наименование предприятия-изготовителя, наименование предприятия-потребителя, номер заказа, дату выписки документа о качестве, обозначение стандарта или нормативно-технической документации, размер труб, марку стали, номер плавки (при поплавочной поставке) или партии, химический состав труб по требованию потребителя), массу партии, общую длину труб и по требованию количество труб в штуках, результаты всех видов испытаний, отметки об отправке труб разных размеров, если это оговорено в нормативно-технической документации, штамп технического контроля.

Маркировку наносят на каждую трубу диаметром свыше 159 мм с толщиной стенки 3,5 мм и более. По требованию потребителя допускается маркирование каждой трубы диаметром от 114 мм. В зависимости от диаметра и толщины стенки труб маркировку наносят клеймением, электрическим карандашом или резиновым штампом (несмываемой краской), электрографом или несмываемой краской.

Маркировку труб производят на расстоянии не более 500 мм и не менее 20 мм от торца и обводят или подчеркивают яркой краской.

Маркировку труб диаметром до 159 мм включительно, труб, имеющих светлую поверхность, а также холоднодеформированных труб в пакетах, наносят на ярлык. Маркировку холоднодеформированных труб диаметром до 450 мм включительно, увязанных в пакеты, допускается наносить на ярлык и на три трубы каждого диаметра.

Маркировка должна содержать размер трубы, марку стали, товарный знак или наименование и товарный знак предприятия-изготовителя. При машинной маркировке допускается обозначать марку стали четырехзначным числовым кодом в соответствии с Общесоюзным классификатором продукции.

Маркировка на бесшовные трубы диаметром 351 ¸ 550 мм наносится клеймением и должна содержать: обозначение стандарта или нормативно-технической документации, номер трубы, номер партии или плавки, толщину стенки, клеймо отдела технического контроля.

Трубы диаметром до 159 мм должны быть прочно увязаны в пакеты или плотно уложены в деревянные ящики или решетки, изготовляемые по ГОСТ 2991-85*, ГОСТ 24634-81*, ГОСТ 5959-80* или контейнеры по ГОСТ 20435-75*, или другой нормативно-технической документации, и надежно закреплены внутри тары от свободного перемещения при транспортировании.

По требованию потребителя транспортируют трубы диаметром до 159 мм без упаковки. В транспортные пакеты по нормативно-технической документации увязывают трубы диаметром свыше 159 до 250 мм включительно.

При хранении и складировании трубы должны быть рассортированы партиями по размерам и маркам стали, чтобы предотвратить возможность их перепутывания. Трубы должны храниться на стеллажах или площадках открытого хранения, при этом они должны иметь консервационное покрытие.

ТУ 66-15-71-89 Трубы и изделия для тепловых сетей с изоляцией из битумоперлита.

Трубы должны иметь свободные от изоляции и очищенные от битумоперлита и битумоперлитовой массы концы труб длиной (200+5) мм, подготовленные под сварку.

Торцы битумоперлитовой изоляции должны быть ровными, перпендикулярными к оси трубы и защищенными от механических повреждений и увлажнения соответствующими гидроизоляционными материалами.

Изделия из битумоперлита (круговые полукольца цилиндров и секторы круговых колец цилиндров, применяемые для изоляции труб в местах сварки трубопроводов) должны иметь длину (400-5) мм.

В изделиях не допускаются:

- отбитость и притупленность углов, сколы ребер длиной и глубиной более 10 мм;

- поверхностные трещины видимые на глаз;

- искривления поверхности и ребер более 10 мм.

В конструкцию труб и изделий входят:

- антикоррозионное покрытие труб (битумная грунтовка (праймер) или металлизационное алюминиевое покрытие);

- основной теплоизоляционный слой - битумоперлит или улучшенный битумоперлит с применением полимерных или других эффективных добавок;

- формообразующий слой битумоперлитовой изоляции - бумага мешочная или оберточная;

- гидроизоляционное покрытие теплоизоляционного слоя - экструдированная полимерная оболочка; вспененная полиэтиленовая оболочка; полимерная липкая лента или эффективные рулонные материалы (плёнка ПДБ) с проклейкой горячим битумом; гидроизол или изол.

Для изготовления труб с изоляцией применяют стальные трубы по ГОСТ 8732-78*, ГОСТ 10704-91 и ГОСТ 10705-80*.

Трубы с изоляцией поставляются с комплектующими изделиями из битумоперлита.

Трубы с изоляцией должны иметь маркировку и штамп ОТК. Маркировка должна включать наименование завода-изготовителя, номер партии, дату изоляции, условное обозначение.

Маркировка выполняется на типографском бланке и приклеивается водостойким клеем внутрь трубы.

Маркировка изделий выполняется пресс-формой или трафаретом, масляной краской с указанием условного обозначения изделия, наружного диаметра трубы, для изоляции которой предназначается изделие, и его толщины.

Складирование и хранение изолированных труб должно производиться на выровненных площадках в штабели высотой не более 2 м с применением прокладок, обеспечивающих сохранность изоляционной конструкции. Допускаются незначительные вмятины от прокладок на теплоизоляции.

Изделия должны храниться в вертикальном положении под навесом, уложенными в штабели высотой не более 120 см.

Трубы с изоляцией необходимо защищать от механических повреждений.

ГОСТ 30732-2001 Трубы и фасонные изделия стальные с тепловой изоляцией из пенополиуретана в полиэтиленовой оболочке. Технические условия

Данный стандарт распространяется на стальные трубы и фасонные изделия с тепловой изоляцией из пенополиуретана в полиэтиленовой оболочке, предназначенные для подземной бесканальной прокладки тепловых сетей с расчетными параметрами теплоносителя: рабочим давлением до 1,6 МПа и температурой до 130 °С (допускается кратковременное повышение температуры до 150 °С).

Теплогидроизолированные трубы состоят из стальной трубы, индустриальной теплоизоляции, центрирующих опор и полиэтиленовой защитной оболочки.

Трубы и фасонные изделия могут быть двух шпон по толщине изоляции: тип 1 - стандартный, тип 2 - усиленный.

Размеры изолированных труб должны соответствовать значениям, указанным в нижеприведенной таблице, конструкция должна соответствовать нижеприведенному рисунку.

В миллиметрах

Наружный диаметр стальных труб d

Тип 1

Тип 2

Наружный диаметр изоляции по полиэтиленовой оболочке

Толщина слоя пенополиуретана S

Наружный диаметр изоляции по полиэтиленовой оболочке

Толщина слоя пенополиуретана S

номинальный D

предельное отклонение

(+)

номинальный D

предельное отклонение

(+)

57

125

3,7

31,5

140

4,1

38,5

76

140

4,1

29,0

160

4,7

39,0

89

160

4,7

32,5

180

5,4

42,5

108

180

5,4

33,0

200

5,9

43,0

133

225

6,6

42,5

250

7,4

54,5

159

250

7,4

41,5

280

8,3

55,5

219

315

9,8

42,0

355

10,4

62,0

273

400

11,7

57,0

450

13,2

81,5

325

450

13,2

55,5

500

14,6

79,5

426

560

16,3

58,2

630

16,3

92,5

530

710

20,4

78,9

-

-

-

630

800

23,4

72,5

-

-

-

720

900

26,3

76,0

-

-

-

820

1000

29,2

72,4

1100

32,1

122,5

920

1100

32,1

72,4

1200

35,1

120,5

1020

1200

35,1

70,4

-

-

-

1 - центрирующая опора; 2 - изоляция из пенополиуретана; 3 - труба-оболочка из полиэтилена; 4 - стальная труба; 5 - проводники-индикаторы системы ОДК.

Стандарт устанавливает следующие типы изолированных фасонных изделий: отводы с углом 30, 45, 60 и 90° (допускается изготовление отводов с другими углами); переходы; тройники; тройниковые ответвления; тройники параллельные; тройники с шаровым краном воздушника; Z-образные элементы; неподвижные опоры; металлические заглушки изоляции; элементы трубопровода с кабелем вывода; концевые элементы с кабелем вывода.

Конструкция и размеры изолированных фасонных изделий, в том числе неподвижной опоры, указаны в приложении В стандарта.

Приведенные в стандарте размеры фасонных изделий (кроме диаметров стальной трубы и полиэтиленовой трубы-оболочки) являются рекомендуемыми и определяются проектным решением.

Условное обозначение изолированной трубы или фасонного изделия состоит из наименования изделия - «труба», «отвод» и т.д., сокращенного наименования материала трубы - Ст, наружного диаметра и толщины стенки трубы в миллиметрах, типа изоляции (1 или 2), сокращенного наименования материала изоляционной конструкции: пенополиуретан - ППУ, полиэтиленовая оболочка - ПЭ и номера данного стандарта.

Пример условного обозначения стальной трубы наружным диаметром 57 мм, толщиной стенки 3 мм с изоляцией типа 1 из пенополиуретана в полиэтиленовой оболочке:

Труба Cm 57´3-1-ППУ-ПЭ ГОСТ 30732-2001

Для изготовления изолированных труб должны использоваться стальные трубы наружным диаметром от 57 до 1020 мм, длиной до 12 м, соответствующие требованиям ГОСТ 550, ГОСТ 8731, ГОСТ 8733, ГОСТ 10705, ГОСТ 20295, СНиП 2.04.07 и ПБ 03-75.

На поверхности стальных труб и деталей не должно быть трещин, рванин, закатов. Допускаются некоторые следы от ударов, мелкие вмятины, риски, тонкий слой окалины и следы от зачистки дефектов, если они не вызывают уменьшения толщины стенки, выводя ее за пределы минусовых допусков, регламентируемых соответствующими стандартами.

Для изготовления полиэтиленовых труб-оболочек должны применяться термосветостабилизированный полиэтилен низкого давления высокой плотности черного цвета, выпускаемый по ГОСТ 16338.

Трубы-оболочки должны иметь гладкую наружную поверхность. Допускаются незначительные продольные полосы и волнистость, не выводящие толщину стенки трубы за пределы допускаемых отклонений. На наружной и торцевой поверхности не допускаются пузыри, трещины, раковины, посторонние включения. Цвет труб - черный.

Для теплоизоляционного слоя должны использоваться озонобезопасные системы жестких пенополиуретанов.

Тепловая изоляция должна быть нанесена на всю длину стальных труб и фасонных изделий за исключением концевых участков, равных 150-20 мм при диаметре труб до 219 мм и 210-20 мм при диаметре труб 273 мм и более.

Торцы тепловой изоляции труб и фасонных изделий должны иметь гидроизоляционное покрытие.

Срок службы тепловой изоляции труб и фасонных изделий должен составлять не менее 25 лет.

На поверхности полиэтиленовой оболочки изолированной трубы или фасонного изделия на расстоянии не менее 200 мм от торца изоляции с помощью трафарета или штампа должна быть нанесена светлой несмываемой краской маркировка. Допускается маркировка на бирке (этикетке), прикрепляемой к стальной трубе изделия или полиэтиленовой оболочке.

Маркировка должна содержать: условное обозначение изделия; наименование предприятия-изготовителя; номер партии (контракта); дату изготовления.

Каждая партия труб и фасонных изделий должна сопровождаться документом о качестве, который должен содержать:

- наименование предприятия-изготовителя или его товарный знак;

- условное обозначение изделия;

- номер партии; размер партии;

- результаты испытаний;

- отметку отдела технического контроля;

- дату изготовления.

Перевозка изолированных труб и фасонных изделий должна производиться в соответствии с правилами перевозки грузов, обеспечивающими сохранность изоляции и исключающими возникновение продольного прогиба.

Перевозка труб и фасонных изделий, погрузочно-разгрузочные работы должны осуществляться в интервале температур, указанных для проведения строительно-монтажных работ, но не ниже минус 18 °С.

Для погрузки и разгрузки труб и фасонных изделий следует применять специальные траверсы и мягкие полотенца шириной 50 - 200 мм.

Не допускается использовать цепи, канаты и другие грузозахватные устройства, вызывающие повреждение изоляции. Для труб диаметром более 108 мм возможно использование торцевых захватов со специальными траверсами.

Строго запрещается сбрасывание, скатывание, соударение труб, волочение их по земле.

Укладку труб в транспортные средства необходимо производить ровными рядами, не допуская перехлестов. В качестве амортизатора между трубами с целью исключения повреждения покрытия следует использовать поролон, резину и т.п. Для обеспечения свободного пропуска обвязок между трубами и дном кузова автомашины укладывают прокладки.

Не допускается раскатывание нижнего ряда труб при транспортировании.

Трубы и фасонные изделия должны храниться на ровных горизонтальных площадках, очищенных от камней и других посторонних предметов, которые могут привести к повреждению полиэтиленовой оболочки.

Складирование труб производят штабелями высотой не более 2 м. Для предотвращения раскатывания труб в штабелях должны быть установлены боковые опоры. В штабеле должны быть уложены трубы одного типоразмера.

Фасонные изделия хранят в специально отведенных для них местах, рассортированными по виду и диаметрам.

Трубы и фасонные изделия при хранении более 2 недель на открытом воздухе должны быть защищены от воздействия прямых солнечных лучей (в тени, под навесом или прикрыты рулонными материалами).

Торцы труб должны быть защищены заглушками.

На строительных площадках трубы следует укладывать на песчаные подушки шириной до 1,2 м и высотой не менее 300 мм, отсыпанные перпендикулярно длине труб, под концы и середину трубы.

При соблюдении правил транспортирования, хранения, монтажа и эксплуатации изготовитель должен гарантировать:

- 2 года хранения труб и изделий со дня их изготовления;

- 5 лет безотказной эксплуатации труб и изделий.

ТУ 5769-007-41989945-98 Стальные трубы с теплоизоляционным слоем из пенополиуретана диаметрами 57 ¸ 530 мм и гидрозащитным покрытием

Технические условия распространяются на тепловую изоляцию из пенополиуретана в гидрозащитной оболочке (с системой контроля влажности), наносимую индустриальным методом на стальные трубы диаметрами 57 ¸ 530 мм, предназначенные для строительства тепловых сетей при постоянном воздействии теплоносителя с температурой до 130 °С и кратковременной пиковой температурой до 150 °С.

Теплогидроизолированные трубы предназначены для подземной (канальной и бесканальной), наземной и надземной прокладки.

Теплогидроизолированные трубы выпускаются двух видов - А и Б:

вид А - для подземной прокладки с использованием в качестве гидрозащитного покрытия полиэтиленовой трубы (допускается изготавливать гидрозащитное покрытие из отрезков полиэтиленовых труб, соединяемых встык);

вид Б - для наземной, надземной и подземной канальной прокладки с использованием в качестве гидрозащитного покрытия оцинкованной стали с толщиной цинкового покрытия не менее 70 мкм.

Основные размеры труб приведены в нижеследующей таблице.

Диаметр стальной трубы мм

Толщина теплоизоляционного слоя, мм

Толщина гидрозащитного покрытия, мм

Диаметр трубы с гидрозащитным покрытием, мм

Длина неизолированных концов, мм

вид А

вид Б

вид А

вид Б

вид А

вид Б

57´3,5

38,5

41,5

3,0

0,5

140

140

150

76´3,5

39,0

42,0

3,0

0,5

160

160

150

89´3,5

42,5

45,5

3,0

0,5

180

180

150

108´4

42,8

46,0

3,2

0,5

200

200

150

133´4

42,5

46,0

3,5

0,5

225

225

150

159´4,5

41,6

45,5

3,9

0,5

250

250

150

219´6

43,1

48,0

4,9

0,5

315

315

150

273´7

57,2

63,5

6,3

0,5

400

400

150

325´7

55,5

62,5

7,0

0,5

450

450

250

426´7

58,2

67,0

8,8

0,5

560

560

250

530´7

78,9

90,0

11,1

0,5

710

710

250

Теплогидроизолированные трубы состоят из:

- стальной трубы, отвечающей требованиям Правил устройства и безопасной эксплуатации трубопроводов пара и горячей воды, длиной от 9 до 12 м (по согласованию с заказчиком допускается поставка труб меньшей длины; допускается нанесение пенополиуретановой теплоизоляции и гидроизоляции на стальные трубы, поставляемые заказчиком, несущим в этом случае ответственность за качество стальных труб);

- индустриальной теплоизоляции из пенополиуретана, нанесенной на поверхность стальной трубы в заводских условиях, отвечающей требованиям данных технических условий;

- центрирующих опор из полипропилена или полиэтилена низкого давления;

- полиэтиленовой защитной оболочки или оболочки из оцинкованной тонколистовой стали.

Теплогидроизолированная труба

1. Стальная труба 2. Пенополиуретановая изоляция 3. Гидрозащитная оболочка 4. Сигнальные провода Dн - наружный диаметр стальной трубы Dгз - наружный диаметр гидрозащитного покрытия hппу - толщина пенополиуретановой изоляции hгз - толщина гидрозащитной оболочки L - длина стальной трубы l - длина неизолированных концов стальной трубы

Концевые участки стальных труб на длине 150 - 250 мм должны быть свободны от тепло-гидроизоляции для возможности выполнения сварочных работ.

Предельные отклонения диаметра труб с теплогидроизоляционным покрытием не должны превышать:

+5 мм - для труб с диаметром до 205 мм;

+10 мм - для труб с диаметром свыше 205 мм.

Предельные отклонения длины неизолированных концов труб… +10 мм.

Предельные отклонения расстояния между центральными линиями основной трубы и гидроизолированной трубы в любой точке не должны превышать:

3,0 мм - для наружного диаметра гидроизоляции 75 - 160 мм;

4,5 мм - для наружного диаметра гидроизоляции 180 - 400 мм;

6,0 мм - для наружного диаметра гидроизоляции 450 - 630 мм.

На поверхности труб не допускаются повреждения, нарушение целостности гидроизоляционного покрытия.

Пример условного обозначения продукции при заказе:

Труба ст. ППУ-0 57´3,5´140 по ТУ 5769-007-41989945-98

Труба ст. ППУ-П 57´3,5´140 по ТУ 5769-007-41989945-98

где: ППУ - пенополиуретан;

П - гидрозащита из полиэтилена;

0 - гидрозащита из оцинкованной стали;

57 - диаметр стальной трубы, мм;

3,5 - толщина стенки стальной трубы, мм;

140 - наружный диаметр гидрозащитного покрытия.

На поверхности теплогидрозащитного покрытия трубы с помощью наклейки или штампа должна быть нанесена следующая маркировка:

- наименование и адрес предприятия-изготовителя или его товарный знак;

- наименование продукции;

- наружный диаметр стальной трубы и толщина ее стенки;

- обозначение технических условий;

- номер партии;

- дата изготовления;

- оттиск знака соответствия.

Маркировка также может быть нанесена на бирку, прикрепленную к стальной трубе или теплогидрозащитному покрытию.

Каждая партия принимаемых труб должна сопровождаться документом о качестве, в котором должны быть указаны:

- наименование предприятия-изготовителя или его товарный знак;

- наименование продукции и номер технических условий;

- номер партии и дата изготовления;

- результаты испытаний или подтверждение соответствия качества продукции требованиям данных технических условий;

- оттиск знака соответствия;

- срок изготовления (месяц, год);

- гарантийный срок хранения.

Трубы с теплогидрозащитным покрытием должны транспортироваться на специально оборудованных машинах, обеспечивающих сохранность изоляции и исключающих возникновение продольного прогиба, всеми видами транспорта в соответствии правилами, действующими на этом транспорте.

Перемещение, разгрузка труб должны производиться механизированным способом с применением специальных приспособлений (траверс, полотенец), исключающих повреждение тепловой изоляции.

Хранение труб с теплогидрозащитным покрытием должно производиться строго по диаметрам, путем укладки их в штабели. Высота штабеля должна быть не более 3 м, а количество рядов труб не более 6. Нижний ряд труб с теплозащитным покрытием неизолированными концами должен укладываться на подкладки сечением 200´200 мм, остальные ряды - на прокладки, высота которых должна быть на 50 мм больше, чем толщина изоляции трубы. Против раскатывания должны быть установлены боковые упоры.

Изолированные трубы в полиэтиленовой оболочке должны быть укрыты от солнечных лучей.

Трубы должны комплектоваться теплоизолированными фасонными частями и элементами по ТУ 5769-008-41989945-98 (отводы на 30, 45, 60 и 90°, тройники равнопроходные и неравнопроходные, переходы, неподвижные опоры в виде стального фланца с приваренными к нему с обеих сторон стальными патрубками), элементами для изоляции стыковых соединений трубопровода, а также приборами оперативно дистанционного контроля.

Изготовитель должен гарантировать соответствие теплогидроизолированного покрытия требованиям данных технических условий в течение 6 месяцев со дня отгрузки изделий с предприятия-изготовителя при соблюдении потребителем правил хранения, транспортировки и условий монтажа, но не более 1 года со дня выпуска.

Изготовитель должен гарантировать безаварийную работу смонтированного, впрессованного и засыпанного теплопровода в течение двух лет при наличии сертификатов качества на стальные трубы и актов проверки сварных швов.

Детали, элементы трубопроводов (компенсаторы, грязевики, изолированные трубы, а также узлы трубопроводов и другие изделия) должны быть изготовлены централизованно (в заводских условиях, цехах, мастерских) в соответствии со стандартами, техническими условиями и проектной документацией.

Для тепловой изоляции трубопроводов тепловой сети, включая арматуру, фланцевые соединения и компенсаторы, следует применять полносборные или комплектные конструкции заводского изготовления, а также трубы с тепловой изоляцией полной заводской готовности.

Тепловую изоляцию трубопроводов при бесканальной прокладке следует выполнять в заводских условиях.

Теплоизоляционные материалы и изделия должны отвечать требованиям проекта, СНиП 2.04.14-88 «Тепловая изоляция оборудования и трубопроводов», стандартов, технических условий и другой технологической документации, утвержденной в установленном порядке.

Трубопроводная арматура должна поставляться в соответствии с требованиями нормативной документации испытанной и не требовать разборки для расконсервации.

Арматура должна поставляться с эксплуатационной документацией, в том числе с паспортом, техническим описанием и инструкцией по эксплуатации.

Арматура должна иметь четкую маркировку на корпусе, в которой указывается:

- наименование или товарный знак предприятия-изготовителя;

- условный проход;

- условное или рабочее давление и температура среды;

- направление потока среды;

- марка стали.

Арматура с условным проходом 50 мм и более должна поставляться с паспортом установленной формы, где указываются применяемые материалы, режимы термической обработки и результаты неразрушающего контроля, если проведение этих операций было предусмотрено техническими условиями. Данные должны относиться к основным деталям арматуры: корпусу, крышке, шпинделю, затвору и крепежу.

На маховиках арматуры должно быть обозначено направление вращения при открытии и закрытии арматуры.

Арматуру, не имеющую паспортов и маркировки, можно использовать для трубопроводов только после ее ревизии и испытания.

На строительной площадке и в заводском производстве в процессе входного контроля:

должны быть проверены документы о качестве (паспорта, сертификаты, или их копии, заверенные владельцем сертификата) с целью определения полноты содержащихся в них данных;

должны быть проверены маркировка, ярлыки с целью определения соответствия поступивших труб, узлов, фасонных частей, сварочных и изоляционных материалов, оборудования, арматуры, соединительных деталей, изоляционных покрытий требованиям проекта и их комплектности (без разборки узлов на сборочные единицы и детали);

должен быть произведен внешний осмотр труб, узлов, фасонных частей, сварочных и изоляционных материалов, оборудования, арматуры, изоляционных покрытий и т.д. с целью проверки соответствия их требованиям стандартов или других нормативно-технических документов и обнаружения недопустимых дефектов на наружных и внутренних поверхностях;

должны быть произведены замеры наружного диаметра и толщины стенки труб, замеры габаритных размеров сборочных единиц и другие замеры и испытания, предусмотренные проектом и технологическими картами;

должно быть проверено наличие и сроки действия гарантий предприятий-изготовителей на оборудование и изделия (оборудование и изделия, на которые истек гарантийный срок, указанный в технических условиях, а при отсутствии таких указаний - по истечение года могут быть приняты в монтаж только после проведения ревизии, устранения дефектов, испытаний, а также других работ, предусмотренных эксплуатационной документацией; результаты проведенных работ должны быть занесены в формуляры, паспорта и другую сопроводительную документацию; чугунную арматуру с условным проходом более 200 мм, независимо от наличия паспорта, маркировки и срока хранения, перед установкой следует подвергнуть ревизии и гидравлическому испытанию на прочность и плотность);

при возникновении каких-либо сомнений в качестве поступивших труб, узлов, материалов или документов на них должны быть вызваны представители строительной лаборатории и функциональных служб, ответственных за поставку оборудования и материалов.

В случае отсутствия документов о качестве, необходимых данных в них, а также при несоответствии ярлыков (бирок) данным документов о качестве должны быть проведены необходимые испытания на соответствие материалов требованиям стандартов или технических условий с оформлением результатов протоколами, дополняющими (заменяющими) документ о качестве.

Виды и объем входного контроля, а также участие в нем тех или иных должностных лиц и служб должны быть определены в технологических картах на выполнение работ или другой технологической документации, утвержденной в установленном порядке.

Технические требования к размещению тепловых сетей

Прокладка тепловых сетей должна осуществляться в соответствии с требованиями проекта, СНиП 3.01.01-85*, СНиП 2.04.07-86*, СНиП 3.05.03-85, СНиП 3.01.03-84, СНиП 2.07.01-89, СНиП 3.02.03-87, Правил устройства и безопасной эксплуатации трубопроводов пара и горячей воды (Госгортехнадзор России, 1999), ППР, технологических карт и схем операционного контроля качества.

Способ прокладки и трасса тепловых сетей должны быть определены в проекте согласно требованиям СНиП 2.04.07-86*.

Прокладка тепловых сетей по насыпям автомобильных дорог общей сети I, II и III категорий не допускается.

В населенных пунктах для тепловых сетей должна быть предусмотрена, как правило, подземная прокладка (бесканальная, в каналах или в городских и внутриквартальных тоннелях совместно с другими инженерными сетями).

Тепловые сети под городскими проездами и площадями с усовершенствованным покрытием, а также при пересечении крупных автомагистралей, должны прокладываться в тоннелях или в футлярах.

При обосновании допускается надземная прокладка тепловых сетей.

Для тепловых сетей Dy £ 400 мм должна быть предусмотрена преимущественно бесканальная прокладка.

По территории, не подлежащей застройке вне населенных пунктов, прокладка тепловых сетей должна предусматриваться надземной на низких опорах.

Допускается пересечение водяными сетями диаметром 300 мм и менее жилых и общественных зданий при условии прокладки сетей в технических подпольях, технических коридорах и тоннелях (высотой не менее 1,8 м) с устройством дренирующего колодца в нижней точке на выходе из здания.

Пересечение тепловыми сетями детских дошкольных, школьных и лечебно-профилактических учреждений не допускается.

Прокладка тепловых сетей при рабочем давлении пара выше 2,2 МПа и температуре выше 350 °С в непроходных каналах и общих городских или внутриквартальных тоннелях не допускается.

Уклон тепловых сетей независимо от направления движения теплоносителя и способа прокладки должен быть не менее 0,002. При катковых и шариковых опорах уклон не должен превышать:

где r - радиус катка или шарика, см.

Уклон тепловых сетей к отдельным зданиям при подземной прокладке должен приниматься от здания к ближайшей камере.

На отдельных участках (при пересечениях коммуникаций, прокладке по мостам и т.п.) допускается принимать прокладку тепловых сетей без уклона.

Подземную прокладку тепловых сетей допускается принимать совместно с другими инженерными сетями: в городских и внутриквартальных тоннелях - с водопроводами диаметром до 300 мм, кабелями связи, силовыми кабелями напряжением до 10 кВ, а в городских тоннелях также с трубопроводами сжатого воздуха давлением до 1,6 МПа и напорной канализации; во внутриквартальных тоннелях допускается совместная прокладка водяных сетей диаметром не более 250 мм с газопроводами природного газа давлением до 0,005 МПа диаметром до 150 мм.

Предусматривать прокладку трубопроводов тепловых сетей в каналах и тоннелях совместно с газопроводами сжиженного газа, кислородопроводами, азотопроводами, трубопроводами холода, трубопроводами с легковоспламеняющимися летучими химически едкими и ядовитыми веществами и с бытовой канализацией не допускается.

Трубопроводы тепловых сетей и горячего водоснабжения при 4-трубной прокладке следует располагать в изолированных друг от друга каналах.

При подземной прокладке тепловых сетей в каналах допускается прокладка в одном канале, в том числе без разделительных перегородок, трубопроводов систем горячего водоснабжения и систем отопления, обеспечивая ремонтнопригодность тепловых сетей.

Прокладка водопровода совместно с тепловыми сетями в тоннелях должна предусматриваться в одном ряду или под трубопроводами тепловых сетей, при этом следует предусматривать тепловую изоляцию водопровода.

Допускается прокладка тепловых сетей в общих траншеях с водопроводами, водостоками, канализацией и газопроводами давлением до 0,3 МПа включительно.

Расстояния по горизонтали (в свету) от наружной грани строительных конструкций или оболочки изоляции трубопроводов при бесканальной прокладке тепловых сетей до зданий и сооружений должны быть не менее приведенных в нижеследующей таблице.

Здания

Сооружения

Расстояние, м, по горизонтали от зданий и сооружений до подземных тепловых сетей

наружной стенки канала, тоннеля

оболочки бесканальной прокладки

Фундаменты зданий и сооружений

2

5

Фундаменты ограждений предприятий, эстакад, опор контактной сети и связи, железных дорог

1,5

1,5

Ось крайнего пути ж.д. колеи 1520 мм

4

4

Ось крайнего пути ж.д. колеи 750 мм и трамвая

2,8

2,8

Бортовой камень улицы, дороги (кромки проезжей части, укрепленной полосы обочины)

1,5

1,5

Наружная бровка кювета, подошва насыпи дороги

1

1

Фундаменты опор воздушных линий электропередачи напряжением:

 

 

до 1 кВ наружного освещения,

1

1

контактной сети трамваев и троллейбусов: св. 1 до 35 кВ

2

2

св. 35 до 110 кВ и выше

3

3

Примечания:

1. При прокладке тепловых сетей в вечномерзлых грунтах расстояние принимается по техническому расчету.

2. Допускается прокладка тепловых сетей в пределах фундаментов опор и эстакад трубопроводов, контактной сети при условии выполнения мер, исключающих возможность повреждения сетей в случае осадки фундаментов, а также повреждения фундаментов при аварии на сетях.

3. При размещении тепловых сетей, подлежащих прокладке с применением строительного водопонижения, расстояние следует устанавливать с учетом зоны возможного нарушения прочности грунтов оснований.

4. В орошаемых районах при непросадочных грунтах расстояние от тепловых сетей до оросительных каналов (до бровки каналов) должно быть не менее 2 м.

Расстояния в свету при подземной и надземной прокладках тепловых сетей между строительными конструкциями и трубопроводами должны быть не менее приведенных в нижеследующих таблицах.

Непроходные каналы

Условный проход трубопроводов мм

Расстояние от поверхности теплоизоляционной конструкции трубопроводов в свету, мм, не менее

до стенки канала

до поверхности теплоизоляционной конструкции смежного трубопровода

до перекрытия канала

до дна канала

25 - 80

70

100

50

100

100 - 250

80

140

50

150

300 - 350

100

160

70

150

400

100

200

70

180

500 - 700

110

200

100

180

800

120

250

100

200

900 - 1400

120

250

100

300

Примечание: при реконструкции тепловых сетей с использованием существующих каналов допускается отступление от размеров, указанных в данной таблице.

Тоннели, надземная прокладка и тепловые пункты

Условный проход трубопроводов мм

Расстояние от поверхности теплоизоляционной конструкции трубопроводов в свету, мм, не менее

до стенки тоннеля

до перекрытия тоннеля

до дна тоннеля

до поверхности теплоизоляционной конструкции смежного трубопровода в тоннелях, при надземной прокладке и в тепловых пунктах

по вертикали

по горизонтали

25 - 80

150

100

150

100

100

100 - 250

170

100

200

140

140

300 - 350

200

120

200

160

160

400

200

120

200

160

200

500 - 700

200

120

200

180

200

800

250

150

250

200

250

900

250

150

300

200

250

1000 - 1400

350

250

350

300

300

Примечание: при реконструкции тепловых сетей с использованием существующих каналов допускается отступление от размеров, указанных в данной таблице.

Узлы трубопроводов в тоннелях, камерах и тепловых пунктах

Наименование

Расстояние в свету, мм, не менее

От пола или перекрытия до поверхности теплоизоляционных конструкций трубопроводов (для перехода)

700

Боковые проходы для обслуживания арматуры и сальниковых компенсаторов (от стенки до фланца арматуры или до компенсатора) при диаметрах труб, мм:

до 500

600

от 600 до 900 и более

700

То же при диаметрах труб 1000 мм и более

1000

От стенки до фланца корпуса сальникового компенсатора (со стороны патрубка) при диаметрах труб, мм:

до 500

600 (вдоль оси трубы)

600 и более

800 (вдоль оси трубы)

От пола или перекрытия до фланца арматуры или до оси болтов сальникового уплотнения

400

От пола или перекрытия до поверхности теплоизоляционной конструкции труб ответвлений

300

От выдвинутого шпинделя задвижки (или штурвала) до стенки или перекрытия

200

Для труб диаметром 600 мм и более между стенками смежных труб со стороны сальникового компенсатора

500

От стенки или от фланца задвижки до штуцеров для выпуска воды или воздуха

100

От фланца задвижки на ответвлении до поверхности теплоизоляционных конструкций основных труб

100

Между теплоизоляционными конструкциями смежных сильфонных компенсаторов при диаметрах до 500 мм

100

То же при диаметрах компенсаторов 600 мм и более

150

Минимальные расстояния от края подвижных опор до края опорных конструкций (траверс, кронштейнов, опорных подушек) должны обеспечивать максимально возможное смещение опоры в боковом направлении с запасом не менее 50 мм. Кроме того, минимальные расстояния от края траверсы или кронштейна до оси трубы без учета смещения должны быть не менее 0,5 Dy.

Максимальные расстояния в свету от теплоизоляционных конструкций сильфонных компенсаторов до стенок, перекрытий и дна тоннелей должны быть для компенсаторов Dy £ 500 мм - 100 мм, для компенсаторов Dy £ 600 мм и более - 150 мм. При невозможности соблюдения указанных расстояний компенсаторы следует устанавливать вразбежку со смещением в плане не менее 100 мм относительно друг друга.

Расстояние от поверхности теплоизоляционной конструкции трубопровода до строительных конструкций или до поверхности теплоизоляционной конструкции других трубопроводов после теплового перемещения трубопроводов должно быть в свету не менее 30 мм.

Ширина прохода в свету в тоннелях должна быть равной диаметру наибольшей трубы плюс 100 мм, но не менее 700 мм.

Подающий трубопровод двухтрубных водяных тепловых сетей при прокладке его в одном ряду с обратным трубопроводом следует располагать справа по ходу теплоносителя от источника теплоты.

К трубопроводам с температурой теплоносителя не выше 300 °С допускается при надземной прокладке крепить трубы меньших размеров.

Сальниковые компенсаторы на подающих и обратных трубопроводах водяных тепловых сетей в камерах допускается устанавливать со смещением на 150 - 200 мм относительно друг друга в плане, а фланцевые задвижки Dy ³ 150 мм и сильфонные компенсаторы - вразбежку с расстоянием (по оси) в плане между ними не менее 100 мм.

В тепловых пунктах ширина проходов в свету должна быть, м, не менее: между насосами с электродвигателями напряжением до 1000 В - 1,0; то же 1000 В и более - 1,2; между насосами и стеной - 1,0; между насосами и распределительным щитом или щитом КИПиА - 2,0; между выступающими частями оборудования или между выступающими частями оборудования и стеной - 0,8.

Расстояние по горизонтали (в свету) между тепловыми сетями и соседними инженерными подземными сетями при их параллельном размещении должно быть не менее приведенных в нижеследующей таблице.

Инженерные сети

Расстояние, м, по горизонтали от соседних сетей до тепловых сетей

наружной стенки канала, тоннеля

оболочки бесканальной прокладки

Водопровод

1,5

1,5

Канализация бытовая

1

1

Канализация дождевая и дренаж

1

1

Газопроводы давления,

 

 

МПа (кгс/см2):

 

 

низкого до 0,005 (0,05)

2

1

среднего св. 0,005 (0,05) до 0,3 (3)

2

1

высокого св. 0,3 (3) до 0,6 (6)

2

1,5

высокого св. 0,6 (6) до 1,2 (12)

4

2

Кабели силовые всех напряжений

2

2

Кабели связи

1

1

Каналы, тоннели

2

2

Наружные пневмомусоропроводы

1

1

Примечания:

1. На вводах инженерных сетей в зданиях сельских поселений расстояние должно быть не менее 0,5 м.

2. При разнице в глубине заложения смежных трубопроводов свыше 0,4 м расстояния, указанные выше, следует увеличивать с учетом крутизны откосов траншей, но не менее глубины траншеи до подошвы насыпи и бровки выемки.

3. Согласно СНиП 2.04.07-86 (табл. 2 прил. 6) расстояния по горизонтали до бытовой или производственной канализации при диаметре труб тепловых сетей Dy £ 200 мм должно быть не менее 1,5 м, а при Dy > 200 - не менее 3 м.

Расстояния по вертикали от наружной грани строительных конструкций или оболочки изоляции трубопроводов при бесканальной прокладке тепловых сетей до сооружений и инженерных сетей должны быть не менее приведенных в нижеследующей таблице.

Сооружения и инженерные сети

Наименьшее расстояние в свету, м

Подземная прокладка тепловых сетей

 

Водопровод, водосток, газопровод, канализация

0,2

Бронированные кабели связи

0,5

Силовые и контрольные кабели напряжением до 35 кВ

0,5 (прим. 5)

Маслонаполненные кабели напряжением св. 110 кВ

1 (прим. 5)

Блок телефонной канализации; бронированный кабель связи в трубах

0,15

Подошва рельсов ж.д. промышленных предприятий

1,0

То же железных дорог общей сети

2,0

То же трамвайных путей

1,0

Верх проезжей части автомобильных дорог общей сети I, II и III категорий и внутренних дорог промышленных предприятий

1,0

Дно кювет или других водоотводящих сооружений; основание насыпи ж.д. земляного полотна (при расположении тепловых сетей под этими сооружениями)

0,5

Сооружения метрополитена при обделке их чугунными тюбингами (при расположении тепловых сетей над этими сооружениями)

0,5

Сооружения метрополитена при обделке их бетонными монолитными, железобетонными монолитными и сборными тюбингами с наружной оклеечной изоляцией

0,8

То же при обделке их сборными железобетонными тюбингами со связями без оклеечной изоляции

0,8

То же при обделке их сборными железобетонными тюбингами без связей и без оклеечной изоляции

1,0

Надземная прокладка тепловых сетей

 

Головка рельсов железных дорог

габариты «С», «Си», «Сч» по ГОСТ 9238-83, ГОСТ 9720-86*

Верх проезжей части автомобильной дороги

5,0

Верх пешеходных дорог

2,2

Части контактной сети трамвая

0,3

То же троллейбуса

0,2

Воздушные линии электропередачи при наибольшей стреле провеса проводов при напряжении, кВ: до 1 - 1 м, св. 1 до 20 - 3 м, 35 - 110 кВ - 4 м, 150 кВ - 4,5 м, 220 кВ - 5 м, 330 кВ - 6 м, 500 кВ - 6,5 м.

Примечания к предыдущей таблице:

1. Заглубление тепловых сетей от поверхности земли или дорожного покрытия должно быть не менее: до верха перекрытий каналов и тоннелей - 0,5 м; до верха перекрытий камер - 0,3 м; до верха оболочки бесканальной прокладки - 0,7 м (в непроезжей части допускаются выступающие над поверхностью земли перекрытия камер и вентиляционных плит на высоту не менее 0,4 м); на вводе тепловых сетей в здание допускается заглубление от поверхности земли до верха перекрытия каналов или тоннелей - 0,3 м и до верха оболочки бесканальной прокладки - 0,5 м; при высоком уровне грунтовых вод допускается уменьшение величины заглубления каналов и тоннелей и расположение перекрытий выше поверхности земли на высоту не менее 0,4 м, если при этом не нарушаются условия передвижения транспорта.

2. При надземной прокладке тепловых сетей на низких опорах расстояние в свету от поверхности земли до низа тепловой изоляции трубопроводов должно быть не менее: при ширине группы труб до 1,5 м - 0,35 м;

при ширине группы труб более 1,5 м - 0,5 м.

3. При подземной прокладке тепловые сети при пересечении с силовыми и контрольными кабелями связи могут располагаться над или под ними.

4. При бесканальной прокладке расстояние в свету от водяных тепловых сетей открытой системы теплоснабжения или сетей горячего водоснабжения до расположенных ниже или выше тепловых сетей канализационных труб должно быть не менее 0,4 м.

5. Температура почвы в местах пересечения тепловых сетей с электрокабелями на глубине заложения силовых и контрольных кабелей напряжением до 35 кВ не должна повышаться более чем на 10 °С по отношению к высшей среднемесячной летней температуре почвы и на 15 °С - к низшей среднемесячной зимней температуре почвы на расстоянии до 2 м от крайних кабелей, а температура почвы на глубине заложения маслонаполненного кабеля не должна повышаться более чем на 5°С по отношению к среднемесячной температуре в любое время года на расстоянии до 3 м от крайних кабелей.

6. Заглубление тепловых сетей в местах подземного пересечения железных дорог общей сети в пучинистых грунтах определяется расчетом из условий, при которых исключается влияние тепловыделений на равномерность морозного пучения грунта. При невозможности обеспечить заданный температурный режим за счет заглубления тепловых сетей предусматривается вентиляция тоннелей (каналов, футляров), замена пучинистого грунта на участке пересечения или надземная прокладка тепловых сетей.

7. Расстояние до блока телефонной канализации или до бронированного кабеля связи в трубах должно уточняться по специальным нормам.

Пересечение тепловыми сетями рек, автомобильных дорог, трамвайных путей, а также зданий и сооружений, как правило, должно быть предусмотрено под прямым углом. Допускается при обосновании пересечение под меньшим углом, но не менее 45°, а сооружений метрополитена и железных дорог - не менее 60°.

Пересечение подземными тепловыми сетями трамвайных путей следует предусматривать на расстоянии от стрелок и крестовин не менее 3 м (в свету).

При подземном пересечении тепловыми сетями железных дорог наименьшие расстояния по горизонтали в свету должны быть, м:

- до стрелок и крестовин железнодорожного пути и мест присоединения отсасывающих кабелей к рельсам электрофицированных железных дорог - 10;

- до стрелок и крестовин железнодорожного пути при пучинистых грунтах - 20;

- до мостов, труб, тоннелей и других искусственных сооружений на железных дорогах - 30.

Прокладка тепловых сетей при пересечении железных дорог общей сети, а также рек, оврагов, открытых водостоков должна предусматриваться, как правило, надземной. При этом допускается использовать постоянные автодорожные и железнодорожные мосты.

Прокладку тепловых сетей при подземном пересечении железных и автомобильных дорог, трамвайных путей и линий метрополитена следует производить:

в каналах - при возможности производства строительно-монтажных и ремонтных работ открытым способом;

в футлярах - при невозможности производства работ открытым способом, длине пересечения до 40 м и обеспечении по обе стороны от пересечения прямых участков трассы длиной до 10 - 15 м;

в тоннелях - в остальных случаях, а также при заглублении от поверхности земли до перекрытия канала (футляра) 2,5 м и более.

При прокладке тепловых сетей под водными преградами должно быть предусмотрено устройство дюкеров.

Длина каналов, тоннелей или футляров в местах пересечений должна быть на 3 м в каждую сторону больше размеров пересекаемых сооружений, в том числе сооружений земляного полотна железных и автомобильных дорог. В ближайших к пересечению камерах должны предусматриваться установка запорной арматуры и устройства для спуска воды из трубопроводов тепловых сетей, а также из каналов, тоннелей или футляров.

При прокладке тепловых сетей в футлярах должна предусматриваться усиленная антикоррозионная защита труб тепловых сетей и футляров, а в местах пересечения электрофицированных железных дорог и трамвайных путей дополнительно активная электрохимическая защита, электроизолирующие опоры и контрольно-измерительные пункты.

Между тепловой изоляцией и футляром должен предусматриваться зазор не менее 100 мм.

При подземной прокладке тепловых сетей в местах их пересечения с газопроводами не допускается прохождение газопроводов через строительные конструкции камер, непроходных каналов и ниш тепловых сетей.

При пересечении тепловыми сетями действующих сетей водопровода и канализации, расположенных над трубопроводами тепловых сетей, а также при пересечении газопроводов, должно быть предусмотрено устройство футляров на трубопроводах водопровода, канализации и газа на длине 2 м по обе стороны от пересечения (в свету). На футлярах должно быть предусмотрено защитное покрытие от коррозии.

В местах пересечения тепловых сетей при их подземной прокладке в каналах или тоннелях с газопроводами должны быть предусмотрены на тепловых сетях на расстоянии не более 15 м по обе стороны от газопровода устройства для отбора проб на утечку газа.

При прокладке тепловых сетей с попутным дренажем на участке пересечения с газопроводом дренажные трубы следует укладывать без отверстий на расстоянии по 2 м в обе стороны от газопровода с герметической заделкой стыков.

На вводах трубопроводов тепловых сетей в здания должны быть предусмотрены устройства, предотвращающие попадание газа в здание.

В местах пересечения подземных тепловых сетей с воздушными линиями электропередачи и электрофицированными железными дорогами должно быть предусмотрено заземление всех элементов тепловых сетей с сопротивлением заземляющих устройств не более 10 Ом, в том числе заземление всех металлических и железобетонных конструкций, расположенных на расстоянии по горизонтали по 5 м в каждую сторону от частей контактной сети.

Технические требования к прокладке тепловых сетей в особых условиях строительства

В особых условиях строительства:

- должна применяться стальная запорная, регулирующая и предохранительная арматура независимо от диаметров труб и параметров теплоносителя;

- не допускается прокладка тепловых сетей из неметаллических труб;

- не допускается совместная прокладка тепловых сетей с газопроводами в каналах и тоннелях независимо от давления газа;

- допускается совместная прокладка с газопроводами природного газа только во внутриквартальных тоннелях и общих траншеях при давлении газа не более 0,005 МПа.

В районах с сейсмичностью 8 и 9 баллов:

- бесканальная прокладка тепловых сетей допускается для трубопроводов Dy £ 400 мм;

- не допускается прокладка транзитных тепловых сетей под жилыми, общественными и производственными зданиями, а также по стенам зданий, фермам, колоннам и т.п.;

- в местах прохождения трубопроводов тепловых сетей через фундаменты и стены зданий должен предусматриваться зазор между поверхностью теплоизоляционной конструкции трубы и верхом проема не менее 0,2 м. Для заделки зазора должны применяться эластичные водогазонепроницаемые материалы;

- в местах присоединения трубопроводов к насосам, водоподогревателям и бакам должны предусматриваться мероприятия, обеспечивающие продольные и угловые перемещения трубопроводов;

- сальниковые стальные компенсаторы допускается применять только при подземной прокладке тепловых сетей для труб Dy ³ 400 мм. Расчетная компенсирующая способность сальниковых компенсаторов должна приниматься на 100 мм меньше предусмотренной в конструкции компенсатора;

- не допускаются подвижные катковые и шариковые опоры труб;

- при надземной прокладке должны применяться эстакады или низкие отдельно стоящие опоры. Прокладка на высоких отдельно стоящих опорах и использование труб тепловой сети для связи между опорами не допускается.

В районах вечномерзлых грунтов:

- для компенсации тепловых удлинений трубопроводов должны применяться гибкие компенсаторы из труб и углы поворотов трубопроводов.

- допускается применение сильфонных компенсаторов и при обосновании - сальниковых для трубопроводов Dy ³ 400 мм;

- схемы тепловых сетей городов и других населенных пунктов должны предусматривать подачу теплоты не менее чем по двум взаиморезервируемым трубопроводам, рассчитанным на подачу не менее 70 % суммарного теплового потока каждым трубопроводом, и связанным между собой перемычками; расстояние между двумя резервируемыми трубопроводами должно быть не менее 50 м;

- при подземном и наземном способах прокладки тепловых сетей в просадочных при оттаивании многолетнемерзлых грунтах должны предусматриваться следующие мероприятия по сохранению устойчивости конструкций тепловых сетей:

прокладку сетей в каналах или тоннелях с естественной или искусственной вентиляцией, обеспечивающей требуемый температурный режим грунта;

замену грунта в основании каналов и тоннелей на непросадочный;

устройство свайного основания; обеспечение водонепроницаемости каналов, тоннелей и камер;

удаление случайных и аварийных вод из камер и тоннелей;

надземная прокладка тепловых сетей должна предусматриваться на эстакадах, низких или высоких отдельно стоящих опорах, а также в наземных каналах, расположенных на поверхности земли;

при подземной прокладке тепловых сетей для ответвлений к отдельным зданиям, возводимым или возведенным на вечномерзлых грунтах с сохранением мерзлого состояния, необходимо на расстоянии 6 м от стены здания вести надземную прокладку сетей. Допускается подземная прокладка тепловых сетей совместно с другими инженерными сетями в вентилируемых каналах с выходом их на поверхность в пределах проветриваемого подполья зданий, при этом должны быть приняты меры по предотвращению протаивания грунтов под фундаментами зданий;

не допускается применение бесканальной прокладки при подземной прокладке тепловых сетей, строящихся по принципу сохранения мерзлоты;

по трассе тепловых сетей должна быть предусмотрена планировка земли, обеспечивающая отвод горячей воды при авариях от основания строительных конструкций на расстояние, исключающее ее тепловое влияние на вечномерзлый грунт;

при прокладке тепловых сетей в каналах должна предусматриваться оклеечная гидроизоляция из битумных рулонных материалов наружных поверхностей строительных конструкций и закладных частей;

для узлов трубопроводов при надземной прокладке тепловых сетей на низких отдельно стоящих опорах или наземных каналах должна предусматриваться надземные камеры (павильоны);

наименьший диаметр труб независимо от расхода и параметров теплоносителя 50 мм;

минимальная высота скользящих опор для труб при подземной прокладке тепловых сетей - не менее 150 мм;

расстояния в свету по горизонтали от тепловых сетей при их подземной прокладке до фундаментов зданий и сооружений должны быть:

- при строительстве зданий и сооружений на вечномерзлых грунтах по принципу I - не менее 2 м от зоны оттаивания грунта около канала, определяемой расчетом, но не менее величин, указанных в нижеследующей таблице:

- при строительстве зданий и сооружений на вечномерзлых грунтах по принципу II (без сохранения вечной мерзлоты) - не менее величин, указанных в нижеследующей таблице;

Грунт

Среднегодовая температура вечномерзлого грунта, °С

от 0 до минус 2

от минус 2 до минус 4

ниже -4

наименьшие расстояния в свету по горизонтали, м

Глинистый

7

6

6

Песчаный

8

7

6

Крупнообломочный

10

8

8

допускается применять при обосновании засыпную тепловую изоляцию при прокладке тепловых сетей в наземных каналах и совместную подвесную изоляцию для подающего и обратного трубопроводов;

здания тепловых пунктов и других сооружений на тепловых сетях должны быть надземными с вентилируемыми подпольями;

прокладку трубопроводов в сооружениях на тепловых сетях следует вести выше уровня пола; устройство в полу каналов и приямков не допускается.

На подрабатываемых территориях:

- для компенсации тепловых удлинений трубопроводов и дополнительных перемещений от воздействия деформаций земной поверхности должны быть использованы гибкие компенсаторы из труб и углы поворотов; сальниковые компенсаторы допускаются только на территории, где на земной поверхности не ожидается образование уступов;

- деформационные швы должны быть в каналах, тоннелях и при бесканальной прокладке с изоляцией, допускающей перемещение труб внутри изоляции; деформационные швы при бесканальной прокладке в изоляции с битумным вяжущим не предусматриваются;

- уклоны тепловых сетей при подземной прокладке и уклон труб попутного дренажа должны быть назначены с учетом ожидаемых наклонов земной поверхности от влияния горных выработок;

- при прокладке тепловых сетей в подвалах и подпольях зданий усилия от неподвижных опор не должны передаваться на конструкции зданий.

При просадочных, пучинистых, засоленных и набухающих грунтах:

- должны быть предусмотрены мероприятия, предотвращающие просадку строительных конструкций, вызывающую прогиб трубопроводов более допустимой расчетной величины;

- не допускается бесканальная прокладка при подземной прокладке тепловых сетей;

- не допускается пересечение тепловыми сетями жилых, общественных и производственных зданий;

- при подземной прокладке тепловых сетей параллельно фундаментам зданий и сооружений в грунтах I типа по просадочности, засоленных и набухающих грунтах наименьшие расстояния по горизонтали до фундаментов зданий и сооружений должны быть не менее 5 м, а в грунтах II типа по просадочности - по нижеследующей таблице;

Толщина слоя просадочного грунта, м

Условный проход труб, мм

до 100

от 100 до 300

более 300

наименьшие расстояния по горизонтали в свету, м

до 5

То же, что и для непросадочных грунтов

От 5 до 12

5

7,5

10

Св. 12

7,5

10

15

- при прокладке тепловых сетей на расстояниях, меньших указанных выше, должны предусматриваться водонепроницаемые конструкции каналов и камер, а также постоянное удаление из камер случайных и аварийных вод;

- наименьшее расстояние по горизонтали до бортового камня автомобильной дороги для трубопроводов диаметром более 100 мм должно быть не менее 2 м;

- при возведении зданий и сооружений в грунтах II типа, просадочные свойства которых полностью устранены уплотнением или закреплением, расстояния от наружной поверхности труб до граней фундаментов зданий и сооружений должны назначаться без учета просадочности грунтов;

- для обеспечения контроля за состоянием и работой тепловых сетей на просадочных, засоленных и набухающих грунтах должна быть предусмотрена возможность свободного доступа к их основным элементам и узлам;

- пропуск труб и каналов через стены сооружений должен осуществляться с помощью сальников, обеспечивающих их горизонтальное смещение внутри и за пределы сооружения на 1/5 от возможной величины просадки, суффозионной осадки или набухания грунтов в основании;

- вводы тепловых сетей в здания должны быть герметичными; в фундаментах (стенах подвалов) зазор между поверхностью теплоизоляционной конструкции трубы и перемычкой над проемом должен быть не менее 30 см и не менее расчетной величины просадки при возведении зданий с применением комплекса мероприятий; дно канала, примыкающего к зданию, должно быть выше подошвы фундамента на величину не менее 50 см.

При биогенных грунтах (торфах) и илистых грунтах:

- не допускается бесканальная прокладка при подземной прокладке тепловых сетей;

- для отдельно стоящих опор и опор эстакад должны назначаться свайные основания;

- основания под каналы и камеры при подземной прокладке тепловых сетей должны быть:

при мощности слоя торфа до 1 м - с полной выторфовкой с устройством песчаной подушки по всему дну траншеи и монолитной железобетонной плитой под основания каналов и камер;

при мощности слоя торфа более 1 м - на свайном основании и ростверке под каналы и под дренажные трубы.

Технические требования к прокладке тепловых сетей

Строительство тепловых сетей должны выполнять строительно-монтажные организации, получившие лицензию от Федерального или региональных центров по лицензированию строительной деятельности, а по трубопроводам, на которые распространяются требования Правил устройства и безопасной эксплуатации трубопроводов пара и горячей воды, - лицензию органов Госгортехнадзора на выполнение соответствующих работ.

Строительство тепловых сетей должны выполнять строительно-монтажные организации, которые располагают техническими средствами, обеспечивающими качественное изготовление и монтаж тепловых сетей в полном соответствии с требованиями строительных норм и правил и Правил устройства и безопасной эксплуатации трубопроводов пара и горячей воды.

Строительство тепловых сетей должно вестись по утвержденному проекту и при наличии организации, на которую возложены технический надзор и приёмка работ.

Работы по монтажу тепловых сетей должны выполняться квалифицированным персоналом, прошедшим специальную подготовку и обладающим надлежащими навыками по монтажу тепловых сетей.

Производству работ по прокладке тепловых сетей должны предшествовать:

выполнение предусмотренных проектом внеплощадочных и внутриплощадочных подготовительных работ (см. СОКК «Внеплощадочные и внутриплощадочные подготовительные работы» в данном альбоме);

разработка проекта производства работ, технологических карт и схем операционного контроля качества;

выполнение и приемка предусмотренных проектом земляных работ (см. СОКК «Разработка траншей и котлованов» в данном альбоме);

выполнение геодезических работ по перенесению подземных сетей в натуру; передача и приемка закрепленных на местности знаков геодезической разбивки (см. СОКК «Разбивочные работы при прокладке инженерных сетей» и «Производство детальных разбивочных работ при прокладке трубопроводов» в данном альбоме);

Контролируемые операции

Состав и средства контроля

Документация

Подготовительные работы

Проверить:

- наличие ППР, технологических карт и схем операционного контроля качества (СОКК);

- наличие актов освидетельствования ранее выполненных земляных работ и акта приёмки траншей и котлованов (с исполнительной документацией и разрешением заказчика на укладку тепловых сетей);

наличие в натуре и неизменность положения знаков разбивочной сети трассы и наличие акта приёмки-передачи этих знаков и материалов исполнительной съёмки (при передаче работ);

ППР, технологические карты и СОКК

Акты освидетельствования скрытых работ с исполнительной документацией; Акты-приемки

- выполнение геодезических работ по перенесению трассы тепловых сетей в натуру; - выполнение земляных работ по окончательной разработке траншеи (доработка недоборов) и подготовке искусственного основания;

Исполнительный чертеж

- документы о качестве (паспорта, сертификаты), маркировку, ярлыки и внешним осмотром качество поступивших труб, соединительных деталей, арматуры и других материалов и оборудования;

- выполнение работ по подготовке сварочных, гидро- и теплоизоляционных материалов, по раскладке труб, их очистке, установке сварочного оборудования и уточнению технологических параметров сварки.

Документы о качестве

Прокладка тепловых сетей

Контролировать:

- соблюдение заданной технологии прокладки тепловых сетей;

- укладку трубопровода в проектное положение;

Общий и специальный журналы

- соблюдение технологии сварки, внешний вид сварных швов, результаты механических испытаний сварных соединений;

- соблюдение технологии изоляционных и теплоизоляционных работ, качество покрытий.

Протокол механических испытаний

Журнал сварочных работ

Приёмка

Проверить:

- соответствие фактического положения уложенных трубопроводов тепловых сетей требованиям проекта;

- выполнение требований проекта и нормативных документов к качеству сварных соединений; гидро- и теплоизоляционных покрытий;

- надлежащее оформление исполнительной документации.

Исполнительный чертеж, акты освидетельствования скрытых работ

Акт приемки тепловых сетей

ВХОДНОЙ И ОПЕРАЦИОННЫЙ КОНТРОЛЬ осуществляют:

прораб, геодезист, лаборант (инженер) - в процессе производства работ

ПРИЁМОЧНЫЙ КОНТРОЛЬ ОСУЩЕСТВЛЯЮТ:

прораб (мастер), геодезист, представители технадзора заказчика

КИП - нивелир, теодолит и др. геодезические приборы, лабораторные приборы и оборудование.

входной контроль проектно-сметной документации, труб, узлов и других элементов наружных сетей;

изучение инженерно-техническим персоналом проектной и технологической документации.

При входном контроле рабочей документации должна производиться проверка ее комплектности и достаточности содержащейся в ней технической информации для производства работ.

Входной контроль труб и других элементов наружных сетей должен производиться в соответствии с требованиями соответствующих технологических карт и другой технологической документации, утвержденной в установленном порядке. Технические требования к трубам и другим элементам трубопроводов, перечень нормативно-технической документации и задачи входного контроля приведены выше.

Объём входного контроля при проверке труб и других материалов и деталей, а также участие в нем лабораторной и других служб должны определяться в технологических картах.

Монтаж трубопроводов должен производиться по утвержденному проекту производства работ (ППР), в соответствии с требованиями технологических карт по прокладке трубопроводов тепловых сетей и схем операционного контроля качества.

Запрещается осуществление строительно-монтажных работ без утвержденного проекта производства работ. Не допускаются отступления от решений проектов производства работ без согласования с организациями, разработавшими и утвердившими их.

Монтаж трубопроводов должен производиться после приемки земляных работ, оформления актов освидетельствования скрытых работ и исполнительного чертежа по результатам исполнительной геодезической съемки.

Запрещается выполнение последующих работ при отсутствии актов освидетельствования предшествующих скрытых работ во всех случаях.

Предусмотренные проектом земляные работы и работы по устройству оснований должны выполняться в соответствии с требованиями СНиП 3.02.01-87 и СНиП 3.05.03-85 (см. СОКК «Разработка траншей и котлованов» в данном альбоме).

Наименьшая ширина дна траншеи при бесканальной прокладке труб должна быть равной расстоянию между наружными боковыми гранями изоляции крайних трубопроводов тепловых сетей (попутного дренажа) с добавлением на каждую сторону:

0,3 м - для трубопроводов условным диаметром Dy до 250 мм;

0,4 м - для трубопроводов условным диаметром Dy св. 250 до 500 мм;

0,5 м - для трубопроводов условным диаметром Dy св. 500 до 1000 мм.

Ширину приямков в траншее для сварки и изоляции стыков труб при бесканальной прокладке трубопроводов следует принимать равной расстоянию между наружными боковыми гранями изоляции крайних трубопроводов с добавлением 0,6 м на каждую сторону, длину приямков - 1,0 м и глубину от нижней грани изоляции трубопроводов - 0,7 м, если другие нормы не обоснованы рабочими чертежами.

Наименьшая ширина дна траншеи при канальной прокладке тепловых сетей должна быть равной ширине канала с учетом опалубки (на монолитных участках), гидроизоляции, попутного дренажа и водоотливных устройств, конструкции крепления траншей с добавлением 0,2 м. При этом ширина траншеи должна быть не менее 1,0 м.

При необходимости работы людей между наружными гранями конструкции канала и стенками или откосами траншеи ширина между наружными гранями конструкции канала и стенками или откосами траншеи в свету должна быть не менее:

0,7 м - для траншей с вертикальными стенками и

0,3 м - для траншей с откосами.

Трубопроводы тепловых сетей при бесканальной подземной прокладке укладывают согласно проекту на естественное или искусственное основание. Вид и характеристики вскрытого грунта естественного основания должны соответствовать проекту. Не допускается размыв, размягчение, разрыхление или промерзание верхнего слоя грунта основания толщиной более 3 см. Способ восстановления оснований, нарушенных в результате промерзания, затопления, а также переборов глубиной более 50 см, должен быть согласован с проектной организацией.

Гранулометрический состав грунта, предназначенного для устройства искусственного основания должен соответствовать проекту. Выход за пределы диапазона, установленного проектом, допускается не более чем в 20 % определений. Влажность уплотняемого грунта должна быть в пределах, установленных проектом. Средняя плотность уплотненного грунта должна быть не ниже проектной. Допускается снижение плотности сухого грунта на 0,05 т/м3 не более чем в 10 % определений. Контроль - по указаниям проекта. Отклонения от проектного продольного уклона дна траншей с естественным или искусственным основанием не должны превышать ±0,0005.

Укладку трубопроводов в проектное положение разрешается выполнять:

при бесканальной прокладке трубопроводов - после сооружения попутного дренажа (при его необходимости) на полностью подготовленное и принятое по акту основание;

при канальной прокладке - на установленные и принятые по акту плиты днища, уложенные на песчаную или бетонную подготовку (по проекту) (установку элементов каналов или камер в проектное положение следует выполнять в технологической последовательности, увязанной с проектом производства работ по монтажу и предварительному испытанию трубопроводов на прочность и герметичность).

Укладку трубопроводов в траншею, канал или на надземные конструкции следует производить по технологии, предусмотренной проектом производства работ, предусматривающей высокую эксплуатационную надежность работы трубопроводов, исключающей возникновение остаточных деформаций в трубопроводах, нарушение целостности противокоррозионного покрытия и тепловой изоляции путём применения соответствующих монтажных приспособлений, правильной расстановки одновременно работающих грузоподъёмных машин и механизмов.

Конструкция крепления монтажных приспособлений к трубам должна обеспечивать сохранность покрытия и изоляции трубопроводов.

Монтаж трубопровода должен производиться после проверки соответствия проекту размеров траншеи, крепления стенок, отметок дна. Результаты проверки должны быть отражены в журнале производства работ.

Трубы перед монтажом следует располагать на инвентарных подкладках вдоль траншеи так, чтобы они не мешали механизмам, работающим по прокладке трубопровода, чтобы осмотр и подготовка их концов, захват и опускание трубы в траншею были бы наиболее удобными, чтобы исключить ненужные перемещения труб во время монтажа трубопровода.

Концы труб, а также отверстия во фланцах запорной и другой арматуры при перерывах в укладке следует закрывать заглушками или деревянными пробками.

При перемещении труб и собранных секций, имеющих антикоррозионное покрытие, следует применять мягкие захваты, гибкие полотенца и другие средства, исключающие повреждение этих покрытий.

До начала работ по сборке труб необходимо: удалить торцевые заглушки, которыми закрывают отверстия труб при перерывах в работе, произвести визуальный осмотр труб и убедиться в отсутствии в них посторонних предметов и мусора, в противном случае произвести очистку труб, произвести выправку деформированных кромок и их зачистку.

Правка плавных вмятин на концах труб для трубопроводов, на которые не распространяются требования Правил Госгортехнадзора, допускается, если их глубина не превышает 3,5 % диаметра трубы. Участки труб с вмятинами большей глубины или имеющие надрывы следует вырезать. Концы труб с забоинами или задирами фасок глубиной от 5 до 10 мм следует обрезать или исправлять наплавкой.

Зачистка до чистого металла кромок и прилегающих к ним внутренней и наружной поверхностей труб производится на ширину не менее 10 мм.

Подготовленные таким образом трубы собирают в звенья в следующей последовательности: укладывают и выверяют лежни, на которые затем с помощью крана-трубоукладчика укладывают трубы, центрируют трубы центратором и прихватывают стык сваркой, сваривают стыки труб с поворачиванием звена труб.

При сборке стыка с помощью прихваток число их должно быть для труб диаметром до 100 мм - 1 ¸ 2; для труб диаметром свыше 100 до 426 мм - 3 ¸ 4. Для труб диаметром свыше 426 мм прихватки следует располагать через каждые 300 - 400 мм по окружности.

Прихватки должны быть расположены равномерно по периметру стыка.

Протяженность одной прихватки для труб диаметром до 100 мм - 10 ¸ 20 мм; для труб диаметром свыше 100 до 426 мм - 20 ¸ 40 мм, для труб диаметром свыше 426 мм - 30 ¸ 40 мм. Высота прихватки должна быть при толщине стенки S до 10 мм - (0,6 ¸ 0,7)S, но не менее 3 мм, при большей толщине стенки - 5 ¸ 8 мм. Применяемые для прихваток электроды или сварочная проволока должны быть тех же марок, что и для сварки основного шва.

Сварка трубопроводов тепловых сетей должна производиться в соответствии с требованиями проекта, ППР и СНиП 3.05.03-85 (см. СОКК «Сварка трубопроводов тепловых сетей»).

После сборки труб в звенья, которая производится при бесканальной прокладке тепловых сетей на бровке траншеи или в самой траншее, при канальной прокладке - на бровке канала, при надземной прокладке - на специальной площадке, звенья опускают либо в траншею, либо на опоры канала или опоры сетей надземной прокладки.

Строповку труб и секций из труб следует выполнять в полном соответствии с требованиями ППР. Схема строповки должна исключать возникновение при подъеме остаточных деформаций труб, а также недопустимых их прогибов. Конструкция крепления стропов должна обеспечивать сохранность противокоррозионного покрытия и тепловой изоляции на трубах.

Опущенные в траншею звенья (плети) сваривают между собой, затем окончательно выверяют. Трубопроводы канальной и наземной прокладки после окончательной выверки закрепляют на опорах.

Прокладку трубопроводов в пределах щитовой опоры необходимо выполнять с применением труб максимальной поставочной длины. При этом сварные поперечные швы трубопроводов должны быть, как правило, расположены симметрично относительно щитовой опоры.

Прохождение трубопровода через неподвижную щитовую опору

Монолитные неподвижные щитовые опоры необходимо выполнять после монтажа трубопроводов на участке щитовой опоры.

Укладку труб диаметром свыше 100 мм с продольным или спиральным швом следует производить со смещением этих швов не менее чем на 100 мм. При укладке труб диаметром менее 100 мм смещение шва должно быть не менее трехкратной толщины стенки трубы.

Продольные швы должны находиться в пределах верхней половины окружности укладываемых труб.

Смещение продольных швов

Крутоизогнутые и штампованные отводы трубопроводов разрешается сваривать между собой без прямого участка.

Приварка патрубков и отводов в сварные стыки и гнутые элементы не допускается.

При монтаже трубопроводов подвижные опоры и подвески должны быть смещены относительно проектного положения на расстояние, указанное в рабочих чертежах, в сторону, обратную перемещению трубопровода в рабочем состоянии.

При отсутствии данных в рабочих чертежах подвижные опоры и подвески горизонтальных трубопроводов должны быть смещены с учетом поправки на температуру наружного воздуха при монтаже на следующие величины:

скользящие опоры и элементы крепления подвесок к трубе - на половину теплового удлинения трубопровода в месте крепления;

катки катковых опор - на четверть теплового удлинения.

Смещение подвижных опор и подвесок

Пружинные подвески при монтаже трубопроводов необходимо затягивать в соответствии с рабочими чертежами.

Во время выполнения гидравлических испытаний паропроводов диаметром 400 мм и более следует устанавливать в пружинных подвесках разгружающее устройство.

В местах ввода трубопроводов бесканальной прокладки в каналы, камеры и здания (сооружения) футляры проходных сальников необходимо надевать на трубы во время их монтажа.

На вводах трубопроводов подземной прокладки в здания должны быть выполнены (в соответствии с рабочими чертежами) устройства, предотвращающие проникание газа в здания.

Трубопроводную арматуру надлежит монтировать в закрытом состоянии. Фланцевые и приварные соединения арматуры должны быть выполнены без натяга трубопроводов.

Отклонение от перпендикулярности плоскости фланца, приваренного к трубе, по отношению к оси трубы не должно превышать 1 % наружного диаметра фланца, но быть не более 2 мм по верху фланца. Плоскости соединяемых фланцев должны быть ровными, гайки болтов должны быть расположены на одной стороне соединения, затяжку болтов следует выполнять равномерно крест-накрест. Устранение перекосов фланцев установкой скошенных прокладок или подтягиванием болтов не допускается.

Сваривание стыков, смежных с фланцевым соединением, следует выполнять лишь после равномерной затяжки всех болтов на фланцах.

Сильфонные (волнистые) и сальниковые компенсаторы следует монтировать в собранном виде.

Сальниковые стальные компенсаторы могут применяться при параметрах теплоносителя Ру £ 2,5 МПа и t < 300 °С для трубопроводов диаметром 100 мм и более при подземной прокладке и надземной на низких опорах. Расчетная компенсирующая способность компенсаторов должна приниматься на 50 мм меньшей, чем предусмотрено в конструкции компенсатора. Сальниковые компенсаторы для трубопроводов, прокладываемых на эстакадах и отдельно стоящих высоких опорах, предусматривать, как правило, не допускается.

При подземной прокладке тепловых сетей установка компенсаторов в проектное положение допускается только после выполнения предварительных испытаний трубопроводов на прочность и герметичность, обратной засыпки трубопровода бесканальной прокладки, каналов, камер и щитовых опор.

Осевые сильфонные и сальниковые компенсаторы следует устанавливать на трубопроводы без перелома осей компенсаторов и осей трубопроводов.

Допускаемые отклонения от проектного положения присоединительных патрубков компенсаторов при их установке и сварке должны быть не более указанных в технических условиях на изготовление и поставку компенсаторов.

При монтаже сильфонных компенсаторов не разрешается их скручивание относительно продольной оси и провисание под действием собственного веса и веса примыкающих трубопроводов. Строповку компенсаторов следует производить только за патрубки.

Монтажная длина сильфонных и сальниковых компенсаторов должна быть принята по рабочим чертежам с учетом поправки на температуру наружного воздуха при монтаже.

Растяжку компенсаторов до монтажной длины следует производить с помощью приспособлений, предусмотренных конструкцией компенсаторов, или натяжными монтажными устройствами.

Растяжку П-образного компенсатора следует выполнять после окончания монтажа трубопровода, контроля качества сварных стыков (кроме замыкающих стыков, используемых для натяжения) и закрепления конструкций неподвижных опор.

Растяжка компенсатора должна быть произведена на величину, указанную в рабочих чертежах, с учетом поправки на температуру наружного воздуха при сварке замыкающих стыков.

Растяжку компенсатора необходимо выполнять одновременно с двух сторон на стыках, расположенных на расстоянии не менее 20 и не более 40 диаметров трубопровода от оси симметрии компенсатора, с помощью стяжных устройств, если другие требования не обоснованы проектом.

На участке трубопровода между стыками, используемыми для растяжки компенсатора, не следует производить предварительное смещение опор и подвесок по сравнению с проектом (рабочим проектом).

Непосредственно перед сборкой и сваркой труб необходимо произвести визуальный осмотр каждого участка на отсутствие в трубопроводе посторонних предметов и мусора.

F

Отклонение положения опор, опорных конструкций под трубопроводы от проектного в плане не должно превышать ±10 мм, если другие нормы не предусмотрены проектом.

F

Отклонение уклона трубопроводов, уклонов дна канала тепловой сети и дренажных трубопроводов от проектного допускается на величину ±0,0005. При этом фактический уклон должен быть не менее 0,002.

F

Подвижные опоры трубопроводов должны прилегать к опорным поверхностям конструкций без зазора и перекоса.

Обратную засыпку траншей при бесканальной и канальной прокладке трубопроводов следует выполнять после проведения предварительных испытаний трубопроводов на прочность и герметичность, полного выполнения изоляционных и строительно-монтажных работ (см. СОКК «Устройство обратных засыпок на наружных тепловых сетях» в данном альбоме).

Обратную засыпку необходимо производить в указанной технологической последовательности:

- подбивка пазух между трубопроводами бесканальной прокладки и основанием;

- одновременная равномерная засыпка пазух между стенками траншеи трубопроводов при бесканальной прокладке, а также между стенками траншеи и канала, камеры при канальной прокладке на высоту не менее 0,20 м над трубопроводами, каналами, камерами;

- засыпка траншеи до проектных отметок.

Требуемая точность работ по прокладке тепловых сетей должна обеспечиваться детальными разбивочными работами, которые входят в технологический процесс подготовки и прокладки тепловых сетей (см. СОКК «Производство детальных разбивочных работ при прокладке трубопроводов» в данном альбоме).

Для определения фактического положения тепловых сетей должна производиться исполнительная геодезическая съемка планового и высотного положения ее элементов по окончании укладки. Исполнительную геодезическую съемку подземных инженерных сетей следует выполнять до засыпки траншей.

Плановое и высотное положение элементов инженерных сетей следует определять от знаков разбивочной сети строительной площадки, внешней разбивочной сети здания (сооружения) или от твердых точек капитальных зданий (сооружений).

Производство съемок включает в себя следующие виды работ: выяснение наличия геодезической или разбивочной сети и восстановление знаков этой сети; съемку и нивелирование элементов тепловых сетей; составление исполнительных чертежей и планов.

По теплосети съемке подлежат: ось трассы, камеры, углы поворота, компенсаторы, места подключений, вводы. При расположении тепловых сетей в каналах и тоннелях снимается только одна их сторона, другая же наносится по данным промеров. Выходы подземных сетей и элементы их конструкций должны быть связаны между собой или привязаны к твердым контурам застройки контрольными промерами.

Обязательной съемке подлежат все подземные сооружения, пересекающие прокладку или идущие параллельно с ней, вскрытые траншеей. Одновременно должны быть сняты все здания, прилегающие к проезду или к трассам прокладок. Ширина полосы, охватываемой съемкой, должна быть не менее 20 м в обе стороны от оси трассы или устанавливаться заданием. При производстве работ рекомендуется давать единую нумерацию колодцев, камер и др. У круглых колодцев снимается центр крышки решеток, у люков прямоугольной формы два угла.

При значительном заглублении снимаемых элементов (свыше 1 м) точки их выносятся на поверхность земли при помощи отвеса или рейки с круглым уровнем.

При съемке колодцев и камер производится обмер внутреннего и внешнего габаритов сооружения, его конструктивных элементов, расположения труб и фасонных частей с привязкой к отвесной линии, проходящей через центр крышки колодца. Для тепловых сетей фиксируется расположение стыков трубопроводов относительно люков колодцев, камер и абонентских вводов с указанием типа стыка.

Результаты измерений заносятся в абрис, где делаются зарисовки в плане в сочетании со схемой прокладываемого теодолитного хода, показываются привязки к опорной застройке, линейные размеры сооружения, сечения и т.д.

Плановое положение всех подземных сетей и относящихся к ним сооружений может быть определено:

на застроенной территории - от твердых точек капитальной застройки, от пунктов геодезической или разбивочной сети и съемочного обоснования, от точек специально проложенных теодолитных ходов;

на незастроенной территории - от точек съемочного обоснования, пунктов геодезической сети или от точек специально проложенных теодолитных ходов. Выходы подземных сетей и углы их поворота на незастроенной территории координируются.

Съемка планового положения элементов подземной сети производится одним из нижеперечисленных способов: способом линейных засечек, способом перпендикуляров, полярным способом. При всех способах съемки точек подземной сети в обязательном порядке производят контрольные измерения расстояний между ними. Предельные ошибки определения элементов подземной сети в плане не должны быть более 0,2 м.

Высотное положение элементов подземной сети определяется до засыпки траншей техническим нивелированием от реперов городской нивелирной сети. Высотное положение проходных коллекторов может определяться от прокладываемых внутри нивелирных ходов.

По материалам обработки исполнительных съемок составляется исполнительный чертеж, который входит в состав исполнительной документации при приемке сетей наряду с актами освидетельствования скрытых работ.

При прокладке тепловых сетей подлежат приемке с составлением актов освидетельствования скрытых работ следующие виды скрытых работ:

подготовка поверхности труб и сварных стыков под противокоррозионное покрытие;

выполнение противокоррозионного покрытия труб и сварных стыков.

По приведенным в СНиП 3.05.03-85 формам составляются также акты о растяжке компенсаторов, о результатах испытаний трубопроводов на прочность и герметичность, о проведении промывки (продувки) трубопроводов.

На трубопроводы, на которые распространяются Правила устройства и безопасной эксплуатации трубопроводов пара и горячей воды, составляют паспорта установленной формы.

Для составления паспорта монтажная организация должна представить следующие документы:

исполнительную схему трубопровода с указанием в ней марки стали, диаметров, толщины труб, протяженности трубопровода, расположения опор, компенсаторов, подвесок, арматуры, воздушников и дренажных устройств, сварных соединений с указанием расстояний между ними и от них колодцев и абонентских вводов, расположения указателей для контроля тепловых перемещений с указанием проектных величин перемещений, устройств для измерения ползучести (для трубопроводов, которые работают при температурах, вызывающих ползучесть металла);

свидетельство об изготовлении элементов трубопровода;

свидетельство о монтаже трубопровода;

акт приемки трубопровода владельцем от монтажной организации.

Прокладка тепловых сетей из стальных труб с теплоизоляционным слоем из пенополиуретана и гидроизолирующим покрытием

Для прокладки тепловых сетей с расчетными параметрами теплоносителя: рабочим давлением до 1,6 МПа и температурой до 130 °С (допускается кратковременное повышение температуры до 150 °С) используются стальные трубы и фасонные изделия с тепловой изоляцией из пенополиуретана в защитной полиэтиленовой оболочке.

Номера технических условий на некоторые трубы и изделия, в том числе выпускаемые ЗАО «МосФлоулайн» и ЗАО НПО «Стройполимер», приведены в начале данной схемы операционного контроля.

Использование труб с тепловой изоляцией из пенополиуретана в защитной полиэтиленовой оболочке рекомендуется, как правило, при строительстве тепловых сетей бесканальным способом.

Для надземной прокладки трубопроводов, а также для их прокладки в проходных и полупроходных каналах используются трубы с металлической оболочкой.

При надземной прокладке трубопроводов на эстакадах, отдельно стоящих опорах или лежнях через каждые 100 м длины трубопровода должны предусматриваться вставки изоляции длиной до 3 м из негорючих материалов.

Надземная прокладка трубопроводов в изоляции из пенополиуретана на эстакадах совместно с электрокабелями или трубопроводами, транспортирующими горючие вещества, а также в зданиях или подвалах не допускается, кроме зданий IV и V категории по огнестойкости.

Доставка на строительную площадку теплоизолированных труб диаметром до 300 мм должна производиться автотранспортом с удлиненным прицепом, диаметром 400 ¸ 1000 мм - специально оборудованным автотранспортом.

Транспортировку изолированных труб и деталей следует выполнять при температуре до минус 18 °С.

Разгрузку изолированных труб и деталей диаметром до 150 мм следует производить с использованием траверс и мягких полотенец или строп, располагаемых на трубах на 1/3 по их длине, труб диаметром 300 ¸ 1000 мм - с использованием полотенец или строп с захватом по неизолированным концам стальных труб.

Погрузочно-разгрузочные работы с изолированными трубами и деталями следует производить при температуре до минус 18 °С.

При выполнении погрузочно-разгрузочных работ запрещается сбрасывать изолированные трубы, фасонные изделия, элементы и детали с транспортных средств.

Складирование и хранение изолированных труб на приобъектных складах и стройплощадках должно выполняться в штабелях на подготовленной и выровненной площадке, не подверженной затоплению водой. Нижний ряд труб должен располагаться на песчаных подушках высотой не менее 300 мм, шириной 0,7 ¸ 0,9 м, с шагом 5,0 - для труб диаметром до 530 мм и 1 ¸ 1,2 м - для труб диаметром 630 ¸ 1020 мм.

Высота штабеля изолированных труб должна быть не более 2 м. Должны быть предусмотрены меры против раскатывания труб (упоры).

Различные виды изолированных фасонных изделий и деталей должны храниться отдельно.

Изолированные трубы, фасонные изделия и детали при хранении более 2-х недель должны быть защищены от воздействия прямых солнечных лучей (располагаться в тени, под навесом или прикрыты рулонным материалом).

Полуцилиндры из ППУ, термоусаживающиеся муфты и манжеты должны храниться в помещениях или под навесом в заводской упаковке, компоненты «А» и «Б» ППУ должны храниться в теплом отапливаемом помещении в соответствии с требованиями сертификата завода-изготовителя.

Строительные конструкции (камеры, камеры-павильоны), прокладки теплопроводов в футлярах при бесканальной прокладке тепловых сетей с пенополиуретановой изоляцией в полиэтиленовой оболочке должны применяться как и при канальной прокладке.

Повороты трубопровода следует выполнять с помощью отводов заводского изготовления с теплоизоляцией из пенополиуретана в гидрозащитной оболочке из полиэтиленовых труб.

Присоединение ответвлений следует выполнять с помощью тройников различных конструкций заводского изготовления с теплоизоляцией из пенополиуретана в гидрозащитной оболочке из полиэтиленовых труб.

Для изоляции стыков труб на прямолинейных участках трассы следует применять пенополиуретановые скорлупы заводского изготовления, термоусаживающиеся ленты (полотно), термоусаживающиеся муфты.

Пенополиуретановые скорлупы заводского изготовления предназначены также для изоляции стыков труб канальных участков бесканальной прокладки.

Сопряжение бесканальных участков теплопроводов с каналом должно осуществляться путем устройства торцевой стенки с сальниковыми уплотнениями вокруг изолированных теплопроводов или песчаной обсыпкой.

Проход теплопроводов сквозь стенки камер и фундаменты зданий осуществляется с помощью установки специальных резиновых гильз с последующим бетонированием (бетон В3,5) в строительной конструкции.

Конструкции железобетонных неподвижных опор для бесканальной прокладки тепловых сетей должны разрабатываться по индивидуальным чертежам на необходимое усилие, определяемое расчетом с учетом местных грунтовых условий.

При использовании трубопроводов без предварительного напряжения компенсация теплового расширения на углах поворотов, в местах расположения П- и Z-образных компенсаторов осуществляется за счет упругих прокладок: вначале устанавливаются полистирольные блоки или маты из вспененного полиэтилена, а затем производится засыпка с уплотнением пазух песчаным грунтом.

Как положительные, так и отрицательные удлинения трубопровода воспринимаются специально устанавливаемыми на нем компенсаторами различных конструкций: сальниковыми, П-образными, стартовыми. Естественные повороты трассы - Г-образные, Z-образные с углом поворота более 15° также являются компенсаторами.

Сальниковые и П-образные компенсаторы устанавливаются, когда выполняется «холодный» монтаж теплопровода (без предварительного подогрева).

Стартовый компенсатор представляет собой компенсатор, который срабатывает один раз, после чего фиксируется сваркой в этом положении. Смонтированный трубопровод с установленными на нем стартовыми компенсаторами засыпается грунтом по всей длине, кроме мест установки стартовых компенсаторов. После этого трубопровод надевается до расчетной температуры, при которой муфта компенсатора сжимается на максимальную величину. После этого компенсатор фиксируется сваркой, охлаждается и засыпается грунтом. Пусковые компенсаторы располагаются на прямолинейных участках трубопровода на расчетном расстоянии друг от друга.

После засыпки предварительно нагретых теплопроводов перемещения их отсутствуют (за исключением участков естественной компенсации) и температурные перепады изменяют напряжения в теплопроводах в пределах допустимых значений.

При использовании метода предварительного нагрева трубопровода особое внимание следует обратить на следующее:

- примыкающие к врезкам в существующие или проектируемые теплопроводы прямолинейные участки должны иметь длину не более 30 м, при более длинных участках необходимо устанавливать на них неподвижные опоры на расстоянии не более 12 м от врезки;

- на ответвлениях должны свободно обеспечиваться поперечные перемещения путем установки эластичных прокладок.

Прокладка тепловых сетей из труб, изолированных пенополиуретаном включает следующие типовые операции:

- разбивку трассы в натуре и ее приемку;

- разработку траншей в соответствии с требованиями проекта, исполнительную съемка траншей, сдачу-приемку траншей с составлением актов освидетельствования скрытых работ; устройство неподвижных опор;

- раскладку и труб, фасонных изделий и других комплектующих элементов, визуальное обследование состояния полиэтиленовой оболочки и влажности ППУ (с составлением акта освидетельствования скрытых работ);

- проверку состояния изоляции и целостности сигнальных проводов системы ОДК с составлением акта освидетельствования скрытых работ;

- сборку труб и сварку стыков труб;

- предварительное гидравлическое испытание сварных швов;

- соединение проводов системы ОДК;

- теплогидроизоляцию стыков труб с составлением актов освидетельствования скрытых работ;

- обсыпку трубопроводов слоем песка, установку компенсирующих подушек, обратную засыпку траншей, кроме мест установки стартовых компенсаторов, трамбовку грунта;

- предварительный нагрев трубопровода до проектной температуры (при вариантах с пусковыми компенсаторами), фиксацию стартовых компенсаторов сварным швом, сборку проводов системы ОДК на стыках стартовых компенсаторов, теплоизоляцию стартового компенсатора и гидроизоляцию места его установки (с составлением акта освидетельствования скрытых работ);

- обратную засыпку траншей и трамбовку грунта в местах установки стартовых компенсаторов;

- испытание и промывку трубопроводов.

В водонасыщенных грунтах следует устраивать сопутствующий дренаж несовершенного типа, сооружаемый только на время строительства.

Наименьшую ширину траншей по дну при 2-трубной бесканальной прокладке тепловых сетей следует принимать:

2d1 + a + 0,6 м - для труб диаметром до 250 мм;

2d1 + a + 0,8 м - для труб диаметром до 500 мм;

2d1 + a + 1,0 м - для труб диаметром до 1000 мм,

(где d1 - наружный диаметр оболочки теплоизоляции, м; а - расстояние в свету между оболочками теплоизоляции труб).

Минимальную ширину дна траншеи при канальной прокладке теплопроводов следует принимать согласно СНиП 3.05.03-85.

Размеры приямков под сварку и изоляцию стыков труб следует принимать: ширина - 2d1 + a + 1,2 м; длина: 1,2 м - для стыка с термоусадочным полотном (лентой), 2,0 м - для стыка МФЛ-1000; глубина: 0,4 м - для труб диаметром до 219 мм, 0,7 м - для труб диаметром 273 мм и более.

На дне траншеи следует устраивать песчаную подушку толщиной не менее 10 см.

Минимальную глубину заложения труб с теплоизоляцией из пенополиуретана в полиэтиленовой оболочке в земле следует принимать не менее 0,5 м вне пределов проезжей части и 0,7 м - в пределах проезжей части, считая до верха теплоизоляции.

Максимальную глубину заложения теплоизолированных труб следует определять расчетом с учетом устойчивости слоя ППУ на действие статической нагрузки.

При необходимости подземной прокладки теплопроводов с теплоизоляцией их пенополиуретаном в полиэтиленовой оболочке на глубине более допустимых их следует прокладывать в каналах (тоннелях).

Прокладку в каналах или футлярах следует также применять под проездами, площадями, автомагистралями, при пересечении с трамвайными и железнодорожными путями, в районах плотной застройки, при большой насыщенности зоны прокладки подземными коммуникациями, при значительном приближении (менее 5 м) трассы к фундаментам зданий и сооружений.

При бесканальной прокладке сваренные в плети звенья труб укладываются в траншеи на песчаное основание. При последующей обратной засыпке труб обязательно устройство защитного слоя из песчаного грунта, не содержащего твердых включений (щебня, камней, кирпичей и пр.) с подбивкой пазух между трубопроводами и основанием и послойным уплотнением как между трубами, так и между трубами и стенками траншеи. Толщина защитного слоя над оболочкой должна быть не менее 15 см, сбоку - 10 см.

Монтаж трубопроводов с теплогидроизоляцией из ППУ в полиэтиленовой оболочке должен производиться при температуре наружного воздуха не ниже минус 15 °С.

Перед укладкой трубы, соединительные детали и элементы должны подвергаться тщательному осмотру с целью обнаружения трещин, сколов, глубоких надрезов, проколов, вырывов и других механических повреждений полиэтиленовой оболочки теплоизоляции. При обнаружении трещин в оболочке, глубоких надрезов их заделывают путем экструзионной сварки или путем наложения термоусаживающихся манжет.

Трубы, фасонные детали раскладывают на бровке или дне траншеи с помощью крана или трубоукладчика, мягких «полотенец» или гибких стропов.

Опускание в траншею изолированных труб следует производить плавно, без рывков и ударов о стенки и дно каналов и траншей. Перед укладкой труб в траншеи или каналы в обязательном порядке должны быть проверены целостность проводников-индикаторов системы ОДК и их изолированность от металлической трубы.

При монтаже труб необходимо обеспечить расположение проводников-индикаторов системы ОДК по боковым частям стыка (в положении «3 часа» и «9 часов») и предохранять от механических повреждений концы проводников (для труб диаметром 530 мм и выше под оболочку должны устанавливаться три проводника-индикатора в положении, соответствующем 3, 9 и 12 часам). Не допускается расположение сигнальных проводов в нижней четверти стыка.

Монтаж трубопроводов производится, как правило, на дне траншеи. Допускается производить сварку прямых участков труб в секции на бровке траншеи (при температуре +10 °С и выше). Несколько труб свариваются в плеть и изолируются на лежнях (с последующим их удалением), располагаемых поперек траншеи на дне с соответствующими промежутками. Лежни следует изготавливать только из деревянного бруса сечением не менее 100´100 мм.

Металлический шов трубы должен располагаться в позиции «12 часов». При сварке продольный шов смежных элементов следует располагать со сдвигом не менее 100 мм.

Резку труб (в случае необходимости) производят газорезкой, при этом теплоизоляция снимается ручным инструментом, а торцы теплоизоляции в ходе резки стальных труб закрываются защитными экранами.

Резка полиэтиленовой оболочки при температуре воздуха ниже минус 5 °С должна производится с предварительным подогревом оболочки мягким пламенем газовой горелки.

При производстве сварочных работ необходимо обеспечивать защиту пенополиуретана и гидроизоляционной оболочки, а также концов проводов, выходящих из изоляции, от попадания на нее искр.

Теплогидроизоляция сварных стыков на трассе и засыпка теплопроводов песком производится после гидравлического испытания этого участка на прочность и плотность, а также после повторного замера сопротивления изоляции по каждому элементу.

Работы по теплогидроизоляции стыковых соединений труб следует производить по проекту и при строгом соблюдении технических требований руководств изготовителей теплогидроизолированных труб (ЗАО «МосФлоулайн», ЗАО НПО «Стройполимер» и др.).

Для изоляции стыковых соединений применяются следующие технологии:

- теплогидроизоляция стыка с применением термоусаживающихся сварных муфт (стык «МосФлоулайн-1000»), муфт с манжетами (стык типа «Jointek-1500»), термоусаживающихся кожухов (SUPERCASE) и заливкой стыка жидким пенополиуретаном;

- теплогидроизоляция стыка с применением металлического кожуха из оцинкованной стали и термоусаживающейся ленты (полотна) и заливкой стыка жидким пенополиуретаном;

- теплогидроизоляция стыка с применением пенополиуретановых скорлуп и термоусаживающейся ленты (полотна).

Поскольку термоусаживающиеся полиэтиленовые муфты и кожухи являются неразъемными, они должны быть установлены (надвинуты) на трубопровод до сварки стальных труб.

До устройства теплогидроизоляции выполняются следующие подготовительные работы:

- визуально обследуется состояние полиэтиленовой оболочки и теплоизоляции (отсутствие следов подтопления);

- торцы теплоизоляции, поверхность полиэтиленовой оболочки и металлической трубы очищаются от грязи, металлическую трубу чистят металлической щеткой до удаления рыхлой (пластовой) ржавчины;

- при необходимости поверхности промываются водой и стык просушивается газовой горелкой;

- на торцах труб вокруг проводов системы ОДК удаляется ППУ с мастикой диаметром 20 мм на глубину 20 мм;

- проверяются провода системы ОДК, контролируя сопротивление изоляции от начала участка теплосети до места монтажа стыка, а также провода в пристыковываемом элементе; соединяются провода в соответствии со схемой системы ОДК.

Подготовительные работы подлежат приемке с составлением актов освидетельствования скрытых работ.

Теплоизоляция с использованием термоусаживающихся сварных муфт (стык «МосФлоулайн-1000»), муфт с манжетами (стык типа «Jointek-1500») и заливкой стыка жидким пенополиуретаном в общем виде на трассе выполняется следующим образом:

- внутренняя поверхность муфты в случае загрязнения очищается от грязи, обезжиривается, зачищается и обезжиривается еще раз;

- муфта надвигается на центр стыка, маркером отмечается ее положение на стыке, муфта вновь смещается в сторону от стыка, место под установку муфты на оболочках труб обезжиривается, тщательно зачищается наждачной лентой и вновь обезжиривается;

- на обеих сторонах стыка на проектном расстоянии от маркерных отметок вокруг оболочки труб устанавливаются нагреватели для сварки;

- муфта надвигается на стык, ее края усаживаются на оболочку труб при равномерном попеременном нагреве пропановой горелкой (одновременно двумя горелками при диаметре трубы 273 мм и более);

- после усадки муфты на нее устанавливаются бандажные ленты, концы которых затягиваются с помощью замков или машинки для затяжки;

- к контактным проводам установленных ранее нагревателей подсоединяются кабели сварочного аппарата, на сварочном аппарате устанавливается напряжение сварки и время поддержания температуры в соответствии с требованиями по сварке;

- производится сварка стыка; после сварки и охлаждения стыка обжимные ленты снимаются, муфта опрессовывается воздухом с избыточным давлением 0,5 бар, токопроводящие выводы по краям муфт срезаются, просверливается второе отверстие в муфте для заливки компонентов ППУ;

- в муфту заливаются компоненты ППУ, перемешанные электрической дрелью со специальным смесителем, в пропорциях согласно инструкциям фирм-поставщиков компонентов; после затвердения ППУ отверстия завариваются полиэтиленовыми пробками при температуре 240 °С;

- после заливки стыка производится проверка целостности проводов и сопротивления изоляции системы ОДК заизолированного участка.

Установка электросварной муфты, ее гидравлическая опрессовка, заливка стыков пенополиуретаном, гидроизоляция теплоизоляционного слоя стыков (в случае применения термоусаживающегося материала или пробки) принимаются с составлением актов освидетельствования скрытых работ.

Более детальное описание технологических операций, подлежащих выполнению при теплогидроизоляции стыков, приводятся в руководствах изготовителей теплогидроизолированных труб и должны быть даны в технологических картах на прокладку тепловых сетей из труб с индустриальной теплоизоляцией из пенополиуретана в полиэтиленовой оболочке.

Трубопроводы с теплоизоляцией их пенополиуретаном в полиэтиленовой оболочке должны быть оборудованы системой оперативного дистанционного контроля (ОДК) состояния теплоизоляционного слоя из ППУ в ходе эксплуатации теплопроводов. Система ОДК предназначена для обнаружения участков теплоизоляции с повышенной влажностью. Изменение влажности может быть вызвано либо проникновением воды через полиэтиленовую оболочку, либо за счет утечек воды из трубопроводов, вызванных их коррозией. Система ОДК должна устанавливаться по специальному проекту.

Система ОДК должна содержать:

- не менее двух проводников-индикаторов, закладываемых в пенополиуретановую теплоизоляцию труб;

- приборы для фиксирования увлажнения теплоизоляции - детекторы;

- приборы для определения места повреждения трубопровода - локаторы;

- узлы соединения проводников-индикаторов;

- сопутствующие подключающие устройства, кабели и пр.

Установку фиксирующих приборов системы ОДК следует производить в соответствии с проектом, как правило, в помещениях ЦТП, камерах-павильонах, диспетчерских пунктах и др. Допускается установка фиксирующих приборов системы ОДК в специальных павильонах, сооружаемых на трассе теплопровода.

Испытания и промывка теплопроводов производятся в соответствии с требованиями СНиП 3.05.03-85. Теплопроводы должны подвергаться предварительному и окончательному испытанию на прочность и герметичность.

Предварительные испытания трубопроводов на прочность и герметичность следует выполнять, как правило, гидравлическим способом.

Для гидравлического испытания должна применяться вода с температурой не ниже +5 °С и не выше +40 °С. Гидравлическое испытание трубопроводов должно производиться при положительной температуре окружающего воздуха.

Предварительные испытания могут производиться строительно-монтажной организацией без участия заказчика. Результаты испытаний должны регистрироваться в журнале работ.

Предварительное испытание трубопроводов следует производить отдельными участками по мере окончания монтажно-сварочных работ до установки пусковых, сильфонных компенсаторов и запорной арматуры, но после того, как сваренный участок трубопровода уложен и концы испытываемого участка заварены заглушками. Использование запорной арматуры для отсечки испытываемого участка не допускается.

Окончательное испытание теплопроводов производится в присутствии представителей заказчика и эксплуатирующей организации. О результатах испытаний составляется акт.

Испытания производятся после завершения строительно-монтажных работ и установки на тепловых сетях пусковых сильфонных компенсаторов, кранов для воздушников, задвижек для спускников и другого оборудования и приборов.

При выполнении строительных и монтажных работ подлежат приемке, согласно СНиП 3.01.01-85*, следующие виды работ:

- подготовка сварных стыков стальных труб под противокоррозионное покрытие или под заливку смесью пенополиуретана;

- выполнение антикоррозионного покрытия в варианте с полуцилиндрами из ППУ;

- теплоизоляция стыков;

- соединение проводников-индикаторов системы ОДК;

- гидроизоляция теплоизоляционного слоя стыков.

Кроме того, в состав исполнительной документации, предъявляемой при приемке тепловых сетей, входят:

- акт на разбивку трассы тепловых сетей:

- исполнительные чертежи на построенные тепловые сети;

- акты освидетельствования скрытых работ по устройству дренажей, водовыпусков, основания под теплопроводы, камеры, обмазочной и оклеечной гидроизоляции при канальной прокладке, устройству сигнализации дистанционного контроля за состоянием изоляции, герметичности стыков полиэтиленовой гидроизоляции;

- акт о проведении растяжки компенсаторов, производстве предварительного нагрева, настройки пусковых компенсаторов;

- акт о проведении испытаний трубопроводов на прочность и герметичность;

- акт о проведении промывки (продувки) трубопроводов.

Сборка и сварка стальных трубопроводов тепловых сетей

ГОСТ 9466-75* Электроды покрытые металлические для ручной дуговой сварки сталей и наплавки. Классификация и общие технические условия.

ГОСТ 9467-75* Электроды покрытые металлические для ручной дуговой сварки конструкционных и теплоустойчивых сталей. Типы.

ГОСТ 2246-70* Проволока стальная сварочная. Технические условия.

ГОСТ 26271-84* Проволока порошковая для дуговой сварки углеродистых и низколегированных сталей. Общие технические условия.

ГОСТ 9087-81* Флюсы сварочные плавленные. Технические условия.

……………….Стандарты и технические условия на сварочные материалы конкретных видов и марок, предусмотренные проектом.

СНиП 3.05.03-85 Тепловые сети.

ГОСТ 16037-80* Соединения сварные стальных трубопроводов. Основные типы, конструктивные элементы и размеры.

ПБ 03-75-94 Правила устройства и безопасной эксплуатации трубопроводов пара и горячей воды (Госгортехнадзор России, 1999).

Технические требования к сварочным материалам

Подготовка сварочных материалов должна производиться в соответствии с требованиями государственных стандартов и технических условий на сварочные материалы, ГОСТ 24297-87 «Входной контроль продукции. Основные положения» и технологической документации, устанавливающей порядок подготовки сварочных материалов на конкретном предприятии.

Подготовка сварочных материалов в зависимости от условий производства должна включать:

- входной контроль электродов, сварочной проволоки, флюсов, защитных газов, который в свои очередь состоит из:

проверки наличия сертификатов; проверки полноты приведенных в них данных и их соответствия требованиям стандартов или технических условий;

проверки наличия на каждом ящике или другой упаковке соответствующей этикетки, ярлыка или бирки; проверке приведенных на них данных;

проверки сохранности упаковки и самих сварочных материалов;

проверки технологических свойств материалов; определения механических свойств стыковых сварных соединений;

- прокалку (сушку) электродов и флюсов; очистку, намотку проволоки в кассеты для механизированных способов сварки;

- учет, хранение и выдачу сварочных материалов в производство.

Подготовка сварочных материалов к сварке в зависимости от структуры предприятия производится централизованно или разрознено.

1. Входной контроль сварочных материалов

Входной контроль сварочных материалов должен производиться в соответствии с требованиями ГОСТ 24297-87, требованиями стандартов и технических условий на сварочные материалы конкретных видов и марок, требованиями ППР (ППСР) и другой технологической документации, утвержденной в установленном порядке.

1.1. Электроды покрытые металлические для ручной дуговой сварки (ГОСТ 9466-75*, ГОСТ 9467-75*)

Покрытие электродов должно быть плотным, прочным, без вздутий, пор, наплывов, трещин, за исключением поверхностных продольных трещин и местных сетчатых растрескиваний, протяженность которых не превышает 3-кратный номинальный диаметр электрода, если минимальное расстояние между ближайшими концами трещин или (и) краями участков местного сетчатого растрескивания более 3-кратной длины более протяженной трещины или участка растрескивания, и неровностей, за исключением местных вмятин глубиной не более 50 % толщины покрытия в количестве не более 4 при суммарной протяженности до 25 (35) мм на одном электроде, двух вмятин, расположенных с двух сторон электрода в одном поперечном сечении, которые принимаются за одну, если их суммарная глубина не превышает 50 % толщины покрытия. На поверхности покрытия допускаются местные задиры, протяженностью не более 15 мм при глубине не более 25 % номинальной толщины покрытия числом не более двух (трех) на одном электроде (в скобках указаны значения, допускаемые для 10 % контролируемых электродов).

Разность толщины покрытия (е) в диаметрально противоположных участках электрода не должна превышать нижеприведенных значений.

Диаметр электрода

2,0

2,5

3,0 3,15 3,25

4,0

5,0

6,0 6,3

св. 6,3

е

0,10

0,14

0,12

0,16

0,15

0,20

0,20

0,26

0,24

0,32

0,28

0,36

0,30

0,40

в знаменателе указаны значения е, допускаемые для 10 % контролируемых электродов

На отдельных электродах, суммарное количество которых не должно превышать 10 % общего числа контролируемых электродов, допускается:

- отклонение длины зачищенного от покрытия конца l от номинального значения до ±7,5 мм;

- наличие на покрытии каждого электрода не более двух поперечных надрывов размером не более половины длины окружности покрытия, поверхностных следов слипания электродов; не более трех пор с наружным размером не более 1,5 мм для электродов диаметром до 4 мм вкл, и не более 2,0 мм для электродов большего размера.

Электроды должны быть упакованы в коробки или пачки, на (в) которых должна иметься этикетка или маркировка, содержащая наряду с другими данные по режимам сварочного тока в зависимости от диаметра электродов и положения сварки, режим повторного прокаливания электродов.

Каждая партия электродов должна сопровождаться сертификатом.

1.2. Проволока стальная сварочная (ГОСТ 2246-70*)

Поверхность сварочной проволоки должна быть чистой, гладкой, без трещин, расслоений, плен, закатов, забоин, раковин, окалины, ржавчины, масла и других загрязнений. На поверхности проволоки допускаются риски (в т.ч. затянутые), царапины, местная рябизна и отдельные вмятины. Глубина указанных пороков не должна превышать предельного отклонения по диаметру проволоки.

Проволока поставляется в мотках, катушках или кассетах и должна состоять из одного отрезка, свернутого неперепутанными рядами и плотно намотанного таким образом, чтобы исключить возможность распушивания или разматывания мотка. Концы проволоки должны быть легко находимы. Каждый моток должен быть плотно перевязан мягкой проволокой не менее чем в трех местах, равномерно расположенных по периметру мотка. Мотки проволоки одной партии допускается связывать в бухты. Масса одного мотка или бухты не должна превышать 80 кг.

На каждом мотке (бухте, катушке, кассете) должен быть металлический ярлык, на котором должны быть указаны: наименование или товарный знак предприятия-изготовителя, условное обозначение проволоки, номер партии, клеймо ОТК.

Каждый моток (бухта, катушка) проволоки диаметром 0,5 мм и менее должен быть обернут слоем бумаги и упакован в плотный деревянный ящик по ГОСТ 18617-83* или другую тару согласно требованиям нормативно-технической документации. Каждый моток (бухта, катушка) проволоки диаметром свыше 0,5 мм должен быть обернут слоем бумаги, затем слоем полимерной пленки, нетканых материалов или ткани из химических волокон. При механизированной упаковке каждый моток проволоки должен быть упакован в крепировальную бумагу или полимерную пленку с одновременным креплением проволокой. На каждый упакованный моток (бухту, катушку) поверх упаковки должен крепиться металлический ярлык, содержащий данные, приведенные выше.

Каждая партия проволоки должна сопровождаться сертификатом, в котором кроме данных, содержащихся в ярлыке, должны указываться; состояние поверхности проволоки, химический состав в %, содержание ферритной фазы в %, результаты испытаний на растяжение, масса проволоки нетто в кг.

1.3. Проволока порошковая для дуговой сварки (ГОСТ 26271-84*)

Поверхность проволоки должна быть без вмятин, надрывов, без следов коррозии, масла и других загрязнений. Допускаются продольные риски и следы волочильной смазки.

Порошковая проволока изготовляется в мотках. Каждый моток должен состоять из одного отрезка проволоки, свернутого неперепутанными рядами и плотно увязанного таким образом, чтобы исключить распушивание или разматывание мотка. Наружный конец проволоки должен быть легко находим. Допускается наматывать проволоку на катушки по ГОСТ 25445-88.

Проволоку принимают партиями. Партия должна сопровождаться одним документом о качестве, в котором указывают: товарный знак или наименование предприятия-изготовителя и товарный знак, условное обозначение проволоки, номер партии, результаты испытаний проволоки, массу нетто проволоки, дату изготовления, штамп ОТК.

На каждой катушке (мотке) порошковой проволоки должен быть укреплен ярлык, на котором указывают: условное обозначение, номер партии, дату изготовления и штамп ОТК.

Мотки (катушки) проволоки должны быть обернуты в водонепроницаемую упаковочную бумагу по ГОСТ 8828-89 или помещены в мешки из полиэтиленовой пленки по ГОСТ 10354-82*. Упакованные мотки (катушки) должны быть уложены в металлические барабаны со сварными или закатанными швами. Масса брутто упакованной проволоки должна быть от 20 до 130 кг. Для предупреждения увлажнения проволоки в каждый барабан должен быть помещен силикагель в количестве 0,5 - 1 % от массы проволоки. На обечайку каждого барабана должен быть наклеен ярлык, в котором кроме данных, содержащихся в документе о качестве, указывается масса брутто барабана.

Гарантийный срок хранения порошковой проволоки в упаковке предприятия-изготовителя - 8 месяцев со дня изготовления.

1.4. Флюсы сварочные плавленные (ГОСТ 9087-81*)

Флюсы должны поставляться в виде однородных зерен с регламентированным содержанием инородных частиц (нерастворившихся частиц сырьевых материалов, угля, графита, кокса, стружки, металлических частиц). Не допускается наличие во флюсе инородных частиц более 0,5 % от массы флюса для марок АН-348-А, АН 348-АМ, ОСЦ-45, ОСЦ-45М; более 0,3 % - для марок АН-22 и АН-47. Цвет зерен флюса АН-348-А и АН-318-АМ - желтый и коричневый всех оттенков; ОСЦ-45 и ОСЦ-45М - светло-серый, желтый и коричневый всех оттенков; АН-22 - желтый всех оттенков и светло-коричневый; АН-47 - темно-коричневый всех оттенков и черный. Влажность флюсов АН-348-А, АН-348-АМ, ОСЦ-45, ОСЦ-45М, АЦ-22 и АН-47 - не должна превышать 0,10 % от массы флюса.

Флюс должен быть упакован в бумажные мешки по ГОСТ 2226-88* или другую тару, обеспечивающую сохранность флюса при транспортировании. Масса нетто одной упаковочной единицы от 20 до 50 кг. На каждой упаковочной единице должен быть ярлык, содержащий: наименование и товарный знак предприятия-изготовителя, массу флюса, массу нетто, номер партии, обозначение ГОСТ 9087-81*, знак «Боится сырости». Каждая партия флюсов должна сопровождаться документом о качестве, содержащим кроме данных, включенных в ярлык, химический состав флюса, дату изготовления и массу партии.

1.5. При поступлении сварочных материалов на предприятие производится проверка упаковки и тары на соответствие их требованиям нормативно-технической документации, а также проверка наличия сертификатов. Результаты проверки актируются по установленной на предприятии форме. При отсутствии сертификатов на сварочные материалы, истечении гарантийного срока их хранения, наличии в ППСР или проекте конкретных требований к качеству сварочных материалов последние могут быть переданы в производство после проведения:

- испытания стыковых сварных соединений на растяжение до разрушения (ГОСТ 10922-90);

- испытаний сварочных материалов на соответствие конкретным требованиям ППСР или проекта.

Перед сваркой ответственных конструкций, подвергаемых в соответствии с требованиями ППСР или проекта радиографическому или ультразвуковому контролю в объеме 25 % и более, сварочные материалы подвергаются проверке на технологические свойства независимо от наличия сертификата.

По результатам испытаний начальник сварочной лаборатории или ответственный работник сварочной службы в журнале входного контроля указывает области применения испытанных партий сварочных материалов. В случае неудовлетворительных результатов испытаний, сварочные материалы в производство не допускаются.

2. Подготовка сварочных материалов

2.1. Подготовка электродов

Электроды перед выдачей их в производство должны быть прокалены по режимам, указанным на маркировке упаковочной тары. Срок хранения электродов после прокалки не должен быть более 15 суток. При большем сроке хранения электродов требуется их повторная прокалка. Прокалку электродов не допускается производить более трех раз (не считая прокалки при их изготовлении). При большем количестве прокалок электроды используются только для сварки неответственных конструкций или производятся повторные технологические испытания.

Дата каждой повторной прокалки должна быть проставлена в журнале установленной формы.

Технологические испытания электродов должны производиться по ГОСТ 9466-75*. При испытаниях контролируют: легкость возбуждения и стабильность горения дуги, равномерность плавления электродов и правильность формирования валиков шва, легкость удаления шлака, отсутствие в швах после тщательного удаления шлака, брызг расплавленного металла и других загрязнений, поверхностных трещин, надрывов и пор, сплошность углового шва.

2.2. Подготовка сварочной проволоки

Сварочная проволока стальная, а также порошковая перед выдачей в производство должна быть очищена от следов ржавчины, масла, окислов и других загрязнений.

Подготовку сварочной проволоки к сварке, намотку в кассеты, очистку и промывку должны производить специально подготовленные, обученные данным операциям и проинструктированные по технике безопасности рабочие.

Для предупреждения увлажнения порошковой проволоки в каждый барабан или полиэтиленовый мешок должен быть помещен силикагель в количестве 0,5 - 1 % от массы проволоки. Силикагель перед укладкой должен быть просушен при температуре от 150 до 170 °С не менее 2 ч. Синий или фиолетовый цвет силикагеля указывает на допустимую его влажность. Если порошковая проволока хранилась в условиях высокой влажности или, если того требует проект, то перед сваркой ее подвергают прокалке при температуре 230 - 250 °С в течение 2 - 3 часов для удаления влаги и остатков волочильной смазки.

Технологические свойства порошковой проволоки проверяют наплавкой валика на пластину и сваркой таврового или стыкового соединений. На поверхности валика или сварного шва не допускаются поры и трещины.

2.3. Подготовка флюсов

Флюсы перед выдачей в производство должны быть высушены при температуре 300-400 °С (флюсы АН-348-А, АН-348-АМ, ОСЦ-45, ОСЦ-45М, АН-47), 400 - 450 °С (флюс АН-22) в течение одного часа (флюс АН-22 - 2 ч.). Слой флюса при прокалке не должен превышать 45 - 50 мм.

Флюсы после прокалки следует хранить в герметичной таре (флягах) или в сушильном шкафу. Срок хранения флюсов в негерметичной таре не должен превышать 15 суток. По истечении срока хранения после прокалки флюсы перед сваркой должны быть просушены повторно по тому же режиму. Количество сушек (прокалок) не ограничивается. Дата каждой прокалки и режим прокалки должны быть проставлены в журнале.

2.4. Хранение сварочных материалов

Сварочные материалы следует хранить в условиях, обеспечивающих их сохранность от увлажнения, загрязнения и механических повреждений. Температура в помещении, предназначенном для хранения электродов, порошковой проволоки и флюсов, должна быть не ниже 15 °С, при этом относительная влажность воздуха не должна превышать 50 %.

Прокаленные электроды и порошковую проволоку следует подавать на рабочее место в количестве, необходимом для работы сварщика в течение полусмены.

На рабочем месте электроды должны находиться в закрывающихся коробках (пеналах) из влагонепроницаемого материала.

Технические требования к сборке и сварке

3. Сборка и сварка трубопроводов из стальных труб

Сборка стыков труб и деталей должна производиться в соответствии с требованиями ГОСТ 16037-80*, СНиП 3.05.03-85, стандартов, технических условий, рабочих чертежей и другой технологической документации, утвержденной в установленном порядке.

Работам по сборке и сварке трубопроводов тепловых сетей должны предшествовать:

- входной контроль сварочных материалов:

- входной контроль стальных труб (секций, плетей), деталей, узлов, арматуры и т.д.;

- входной контроль сборочных единиц трубопроводов (укрупненных элементов заводской готовности);

- работы по подготовке кромок труб под сварку.

Требования, предъявляемые к сварочным материалам и их подготовке к сварке, изложены выше.

Объем входного контроля при приемке стальных труб (секций, плетей), деталей, узлов, арматуры и т.д. приведен в СОКК «Прокладка наружных тепловых сетей». Участие в нем различных служб должно быть определено технологическими картами.

При входном контроле сборочных единиц трубопроводов (укрупненных элементов заводской готовности) должно проверяться наличие сборочных чертежей и документов, удостоверяющих их качество.

Изготовление сборочных единиц трубопроводов должно производиться в соответствии с деталировочными чертежами, ГОСТ 16037-80*, СНиП 3.05.03-85 и требованиями ведомственных нормативных документов.

Сборочные единицы трубопроводов, передаваемые на монтаж, должны быть укомплектованы по спецификации деталировочных чертежей; сварные стыки заварены и проконтролированы, поверхности огрунтованы (кроме свариваемых кромок); отверстия труб закрыты пробками (торцевыми заглушками).

Отклонение линейных размеров сборочных единиц трубопроводов не должно превышать ±3 мм на каждый метр, но не более ±10 мм на всю длину сборочной единицы. Отклонения угловых размеров и перекос осей не должны превышать ±2,5 мм на 1 м, но не более ±8 мм на весь последующий прямой участок трубопровода.

Подготовка кромок труб под сварку должна выполняться в соответствии с требованиями ГОСТ 16037-80*, ППСР и требованиями ведомственных нормативных документов.

При подготовке кромок труб к сварке должны контролироваться: перпендикулярность плоскости торца трубы к продольной оси трубы; угол скоса и величина притупления кромок трубы, разностенность труб.

При сборке стыков трубопроводов должно обеспечиваться правильное фиксированное взаимное расположение соединяемых концов труб, деталей и арматуры, при котором разностенность и смещение внутренних кромок труб при их стыковке под сварку не должны превышать величин, приведенных в нижеследующей таблице.

Трубопроводы

Толщина стенки труб и деталей S, мм

1 - 3

3,5 - 6

7 - 10

11 - 20

св. 20

Для пара и горячей воды, подведомственные Госгортехнадзору

0,2S

0,1S + 0,3

0,15S

0,05S + 1

0,1S, но не более 3 мм

Для тепловых сетей по СНиП 3.05.03-85

0,2S, но не более 3 мм

При больших значениях смещение кромок устраняют за счет плавного скоса кромок трубы или детали большей толщины под углом не более 30°, а для трубопроводов высокого давления, подведомственных Госгортехнадзору - не более 15°. Это достигается путем механической обработки (расточки), калибровки (в холодную или с нагревом) или наплавки и последующей ее обработки.

Смещение кромок с наружной стороны допускается на величины, указанные в нижеследующей таблице.

Толщина тонкой детали, мм

Разность толщин деталей, мм

До 3

1

Св. 3 до 7

2

Св. 7 до 10

3

Св. 10

4

В этом случае сварка стыковых соединений должна производиться так же, как деталей одинаковой толщины, а конструктивные элементы подготовленных кромок и размеры сварного шва должны выбираться по большей толщине. Для осуществления плавного перехода от одной детали к другой допускается наклонное расположение поверхности шва.

Контролируемые операции

Состав и средства контроля

Документация

Подготовительные работы

Проверить:

- наличие ППР (ППСР), технологических карт и схем операционного контроля качества (СОКК);

- наличие актов освидетельствования ранее выполненных земляных работ и акта приёмки траншей и котлованов (с исполнительной документацией и разрешением заказчика на укладку трубопровода);

- сопроводительные документы (документы о качестве, сертификаты и т.д.), маркировку, ярлыки и внешним осмотром качество поступивших сварочных материалов, труб, соединительных деталей, арматуры и других материалов и оборудования;

ППР, технологические карты и СОКК

Акты освидетельствования скрытых работ с исполнительной документацией

Документы о качестве, этикетки, ярлыки

Журнал сварочных работ

- подготовку сварочных материалов (внешний осмотр, технологические испытания, прокалку электродов и проволоки, очистку проволоки, намотку в кассеты);

- квалификацию сварщиков;

- подготовку рабочего места сварщика, наличие инвентарного помещения для обогрева или тепляка (в зимних условиях производства сварочных работ);

- наличие и исправность сварочного оборудования и уточнение технологических параметров сварки;

- подготовку свариваемых поверхностей (очистку от загрязнений, размеры разделки кромок, зачистку кромок и прилегающих к ним поверхностей).

Сварка трубопроводов тепловых сетей

Контролировать:

- сборку труб под сварку, правку плавных вмятин, величины смещения кромок труб, смещение швов смежных труб, величины зазоров между трубами, число прихваток;

Журнал сварочных работ

- соблюдение заданной технологии сварки (режима сварки, технику сварки и качество сварных швов, очистку сварных швов от шлака и брызг металла, окалины и других загрязнений), результаты механических испытаний;

- технологию подварки дефектных участков сварного шва и качество исправленных швов; удаление забракованных стыков и вварку на их место «катушек»;

- наличие на швах личного клейма сварщиков;

- восстановление противокоррозионного покрытия.

Протокол механических испытаний

Приёмка

Проверить:

- соответствие конструкции, внешнего вида и размеров сварных соединений, результатов испытаний требованиям проекта и нормативных документов;

- надлежащее оформление исполнительной документации.

Акты (протоколы) испытаний, акты освидетельствования скрытых работ, исполнит. чертеж

ВХОДНОЙ И ОПЕРАЦИОННЫЙ КОНТРОЛЬ осуществляют:

мастер (прораб), сварщик, инженер по сварке - в процессе производства работ

ПРИЁМОЧНЫЙ КОНТРОЛЬ ОСУЩЕСТВЛЯЮТ:

прораб (мастер), ИТР сварочной службы и лаборатории сварки, представители технадзора заказчика

КИП - лабораторные приборы (Арина-02, Арина-05, Арина-2-02, Арматура, УЗД МВТУ и др.), шаблоны, линейка металлическая

СТЫКОВОЕ СОЕДИНЕНИЕ ТРУБЫ С ТРУБОЙ ИЛИ С АРМАТУРОЙ ОДНОСТОРОННИМ ШВОМ БЕЗ СКОСА КРОМОК

Ручная дуговая сварка (Р) и дуговая сварка в защитном газе плавящимся электродом (ЗП) допускается при толщине стенки трубы 2 - 5 мм и минимальной наружном диаметре трубы 25 мм. Дуговая сварка под флюсом (Ф) допускается при толщине стенки трубы 4 - 6 мм и минимальном наружном диаметре трубы 133 мм. Газовая сварка (Г) допускается при толщине стенки трубы 1 - 3 мм и максимальном наружном диаметре трубы 150 мм.

СТЫКОВОЕ СОЕДИНЕНИЕ ТРУБЫ С ТРУБОЙ ИЛИ С АРМАТУРОЙ ОДНОСТОРОННИМ ШВОМ НА СЪЁМНОЙ ПОДКЛАДКЕ

Ручная дуговая сварка (Р) и дуговая сварка в защитном газе плавящимся электродом (ЗП) допускается при толщине стенки трубы 2 - 3 мм (Р) и 2 - 4 мм (ЗП) и минимальном наружном диаметре 25 мм

СТЫКОВОЕ СОЕДИНЕНИЕ ТРУБЫ С ТРУБОЙ ИЛИ С АРМАТУРОЙ ОДНОСТОРОННИМ ШВОМ НА ОСТАЮЩЕЙСЯ ЦИЛИНДРИЧЕСКОЙ ПОДКЛАДКЕ

Ручная дуговая сварка (Р) и дуговая сварка в защитном газе плавящимся электродом (ЗП) допускается при толщине стенки трубы 2 - 3 мм и минимальном наружном диаметре 25 мм

Если же разница в толщине свариваемых труб и деталей превышает вышеприведенные значения, то на кромке, имеющей большую толщину S1, должен быть сделан скос до толщины тонкой кромки S, как указано на нижеприведенном рисунке. При этом конструктивные элементы подготовленных кромок и размеры сварного шва следует выбирать по меньшей толщине.

Непосредственно перед сборкой труб необходимо:

удалить торцевые заглушки;

произвести визуальный осмотр каждого участка на отсутствие в трубопроводе посторонних предметов и мусора и в случае необходимости произвести очистку труб;

зачистить до чистого металла кромки и прилегающие к ним внутреннюю и наружную поверхности труб на ширину не менее 10 мм;

установить трубы так, чтобы продольные швы находились в пределах верхней половины окружности, чтобы смещение продольных или спиральных швов стыкуемых труб составляло не менее 100 мм для труб диаметром свыше 100 мм и не менее трёхкратной толщины стенки трубы для труб диаметром менее 100 мм.

СТЫКОВОЕ СОЕДИНЕНИЕ ТРУБЫ С ТРУБОЙ ИЛИ С АРМАТУРОЙ ОДНОСТОРОННИМ ШВОМ СО СКОСОМ ОДНОЙ КРОМКИ

Ручная дуговая сварка (Р) и дуговая сварка в защитном газе плавящимся электродом (ЗП) допускается при толщине стенки трубы 3 - 20 мм и минимальном наружном диаметре труб 25 мм

S = S1 мм

3

4

5

6

7

8

9

10

12

14

16

18

20

b мм

1+0,5

2+0,5

2+1,0

c мм

0,5+0,5

1±0,5

e мм

8+2

10+2

11+2

12+2

13+3

14+3

16+4

18+4

20+4

22+5

25+5

27+7

29+9

g мм

СТЫКОВОЕ СОЕДИНЕНИЕ ТРУБЫ С ТРУБОЙ ИЛИ С АРМАТУРОЙ ОДНОСТОРОННИМ ШВОМ НА ОСТАЮЩЕЙСЯ ЦИЛИНДРИЧЕСКОЙ ПОДКЛАДКЕ СО СКОСОМ ОДНОЙ КРОМКИ

Ручная дуговая сварка (Р) и дуговая сварка в защитном газе плавящимся электродом (ЗП) допускается при толщине стенки трубы 2-20 мм и минимальном наружном диаметре трубы 25 мм (ЗП) и 57 мм (Р).

S = S1 мм

2

3

4

5

6

7

8

9

10

12

14

16

18

20

b мм

2+2

4±1

e мм

9+2

10+2

11+2

12+2

13+3

14+4

16+4

18+4

20+4

21+5

23+6

26+6

28+6

31+7

g мм

При сборке элементов и узлов трубопроводов тепловых сетей кроме вышеприведенных должны соблюдаться ещё следующие требования:

расстояние между соседними поперечными сварными швами на прямых участках трубопроводов с теплоносителем давлением до 1,6 МПа включ. и температурой до 250 ° включ. должно быть не менее 50 мм, для теплоносителей с более высокими параметрами - не менее 100 мм;

расстояние от поперечного сварного шва до начала гиба должно быть не менее 100 мм;

крутоизогнутые и штампованные отводы трубопроводов разрешается сваривать между собой без прямого участка;

крутоизогнутые и сварные отводы вваривать непосредственно в трубу без штуцера (трубы, патрубка) не допускается;

приварка патрубков и отводов в сварные стыки и гнутые элементы не допускается;

в стыках труб, собираемых и свариваемых на остающемся подкладном кольце, зазор между кольцом и внутренней поверхностью трубы не должен превышать 1 мм.

Сборку элементов и узлов трубопроводов следует производить при помощи сборочных стендов, центрирующих устройств и приспособлений, обеспечивающих установку и закрепление труб и деталей в заданном положении, а также позволяющих равномерно распределить по периметру стыка смещения кромок и зазоры, возникающие из-за погрешностей размеров и формы стыкуемых концов труб и деталей.

Правка плавных вмятин на концах труб, на которые не распространяются требования Правил Госгортехнадзора (Госпроматомнадзора), допускается, если их глубина не превышает 3,5 % диаметра трубы. Участки труб с вмятинами большей глубины или имеющие надрывы следует вырезать. Концы труб с забоинами или задирами фасок глубиной от 5 до 10 мм следует обрезать или исправлять наплавкой.

СТЫКОВОЕ СОЕДИНЕНИЕ ТРУБЫ С ТРУБОЙ ИЛИ С АРМАТУРОЙ ОДНОСТОРОННИМ ШВОМ СО СКОСОМ КРОМОК

Ручная дуговая сварка (Р) и дуговая сварка в защитном газе плавящимся электродом (ЗП) допускается при толщине стенки трубы 3 - 20 мм и минимальном наружном диаметре трубы 25 мм. Газовая сварка (Г) допускается при толщине трубы 3 - 7 мм и наружном диаметре трубы 14 - 150 мм.

S = S1 мм

3

4

5

6

7

8

9

10

12

14

16

18

b мм

1+0,5

1,5+0,5

2+1,0

2+1,5

c мм

0,5+0,5

1±0,5

1,5±0,5

e мм

7+2

8+2

9+2

11+2

12+3

13+3

16+4

18+4

21+4

23+6

26+6

28+6

g мм

СТЫКОВОЕ СОЕДИНЕНИЕ ТРУБЫ С ТРУБОЙ ИЛИ С АРМАТУРОЙ ОДНОСТОРОННИМ ШВОМ НА СЪЁМНОЙ ПОДКЛАДКЕ СО СКОСОМ КРОМОК

Ручная дуговая сварка (Р) и дуговая сварка в защитном газе плавящимся электродом (ЗП) допускается при толщине стенки трубы 2 - 40 мм и минимальном наружном диаметре трубы 25 мм. Дуговая сварка под флюсом допускается при толщине стенки трубы 6 - 40 мм и минимальном наружном диаметре трубы 377 мм.

S = S1 мм

2

3 - 4

5

6 - 8

9 - 10

12

14

16

18

20

25 - 30

35 - 40

b мм

2+1,0

4+1,0

6±1,0

e мм

7+2

8+2

10+2

13+2

15+3

18+3

22+4

24+4

26+5

29+5

39+7

50+7

g мм

Сборка стыков после проведения операционного контроля правильности подготовки кромок и выполнения других вышеизложенных требований заканчивается наложением на них прихваток.

К прихватке и сварке трубопроводов допускаются сварщики при наличии документов на право производства сварочных работ в соответствии с Правилами аттестации сварщиков, утвержденных Госгортехнадзором (Госпроматомнадзором).

Перед допуском к работе по сварке стыков трубопроводов сварщик должен сварить допускной стык в производственных условиях в следующих случаях:

при перерыве в работе более 6 мес;

при сварке трубопроводов с изменением группы стали, сварочных материалов, технологии или сварочного оборудования.

На трубах диаметром 529 мм и более разрешается сваривать половину периметра допускного шва; при этом, если допускной стык является вертикальным неповоротным, сварке должны подвергаться потолочные и вертикальные участки шва.

Допускной стык должен быть однотипным с производственным.

Допускной стык подвергается тем видам контроля, которым подвергаются производственные сварные соединения.

В случаях неудовлетворительного качества сварки пробных (допускных) стыков порядок допуска сварщика, выполнившего сварку забракованных пробных стыков, вновь к сварке допускных стыков трубопроводов должен быть определён ведомственными или местными правилами.

Сварщик, имеющий право производства сварочных работ и успешно сваривший допускной стык, обязан при производстве сварочных работ выбивать или наплавлять клеймо на расстоянии 30 - 50 мм от стыка со стороны, доступной для осмотра.

Сварку трубопроводов, на которые не распространяются требования Правил Госгортехнадзора (Госпроматомнадзора).

СТЫКОВОЕ СОЕДИНЕНИЕ ТРУБЫ С ТРУБОЙ ИЛИ С АРМАТУРОЙ ОДНОСТОРОННИМ ШВОМ НА ОСТАВШЕЙСЯ ЦИЛИНДРИЧЕСКОЙ ПОДКЛАДКЕ СО СКОСОМ КРОМОК

Ручная дуговая сварка (Р) и дуговая сварка в защитном газе плавящимся электродом (ЗП) допускается при толщине стенки трубы 2 - 20 мм и минимальном наружном диаметре трубы 25 мм.

S = S1 мм

2

3

4

5

6

7

8

10

12

14

16

18

20

b мм

2+1,0

5±1,0

e мм

7+2

8+2

9+2

10+2

12+3

13+4

14+4

16+5

18+4

23+6

25+8

27+8

30+8

g мм

СТЫКОВОЕ СОЕДИНЕНИЕ СЕКТОРОВ (ОТВОДОВ) ДВУСТОРОННИМ ШВОМ СО СКОСОМ КРОМОК

Ручная дуговая сварка (Р) и дуговая сварка в защитном газе плавящимся электродом (ЗП) допускается при толщине стенки трубы 3-25 мм и минимальном диаметре трубы 108 мм.

S = S1 мм

3

4

5

6

7

8

10

12

14

16

18

20

22

24

25

b мм

e мм

8+2

9+2

10+2

12+2

13+4

14+4

16+4

18+5

20+5

22+5

24+6

26+6

28+6

30+7

32+7

g мм

допускается производить без подогрева свариваемых стыков:

при температуре наружного воздуха до минус 20 °С - при применении труб из углеродистой стали с содержанием углерода не более 0,24 % (независимо от толщины стенки труб), а также труб из низколегированной стали с толщиной стенки не более 10 мм;

при температуре наружного воздуха до минус 10 °С - при применении труб из углеродистой стали с содержанием углерода свыше 0,24 %, а также труб из низколегированной стали с толщиной стенки свыше 10 мм.

При более низкой температуре наружного воздуха сварку следует производить в специальных кабинах, в которых температура воздуха в районе свариваемых стыков должна поддерживаться не ниже указанной.

Разрешается производить сварочные работы на открытом воздухе при подогреве свариваемых концов труб на длине не менее 200 мм от стыка до температуры не ниже 200 °С. После окончания сварки должно быть обеспечено постепенное понижение температуры стыка и прилегающей к нему зоны труб путем укрывания их асбестовым полотном или применения другого метода. С этой же целью свободные концы труб на весь период сварочных работ должны быть заглушены.

Сварка (при отрицательной температуре) трубопроводов, на которые распространяются требования Правил Госгортехнадзора (Госпроматомнадзора), должна выполняться с соблюдением требований этих Правил.

При дожде, ветре и снегопаде сварочные работы могут выполняться только при условии защиты сварщика и места сварки.

Способы сварки, а также типы, конструктивные элементы и размеры сварных соединений стальных трубопроводов должны соответствовать ГОСТ 16037-80*.

Стыки трубопроводов диаметром 920 мм и более, свариваемые без остающегося подкладного кольца, должны быть выполнены с подваркой корня шва внутри трубы.

СТЫКОВОЕ СОЕДИНЕНИЕ СЕКТОРОВ КОЛЕН (ОТВОДОВ) ОДНОСТОРОННИМ ШВОМ НА СЪЁМНОЙ ПОДКЛАДКЕ СО СКОСОМ КРОМОК

Ручная дуговая сварка (Р) и дуговая сварка в защитном газе плавящимся электродом (ЗП) допускается при толщине стенки трубы 3 - 25 мм и минимальном диаметре трубы 108 мм.

S = S1 мм

3

4

5

6

7

8

10

12

14

16

18

20

22

24

25

b мм

2+1,0

e мм

8+2

9+2

10+2

12+3

13+5

14+5

16+6

18+6

21+6

23+7

25+7

28+7

31+7

33+7

35+7

g мм

УГЛОВОЕ СОЕДИНЕНИЕ ФЛАНЦА ИЛИ КОЛЬЦА С ТРУБОЙ ДВУСТОРОННИМ ШВОМ БЕЗ СКОСА КРОМОК

Ручная дуговая сварка (Р) и дуговая сварка в защитном газе плавящимся электродом (ЗП) допускается при толщине стенок трубы 2 - 15 мм и минимальном наружном диаметре трубы 14 мм.

b - не более 0,5 мм при Dн до 45 мм вкл                                  К = S+1

b - не более 1,0 мм при Dн св. 45 до 194 мм вкл                     K1 = S при S до 3 вкл.

b - не более 1,5 мм при Dн св. 194 мм                                      K1 = 3 при S св. 3

При выполнении сварки внутри трубопровода ответственному исполнителю должен быть выдан наряд-допуск на производство работ повышенной опасности.

При сборке стыка с помощью прихваток число их должно быть для труб диаметром до 100 мм - 1 - 2; диаметром свыше 100 до 426 мм - 3 - 4; для труб диаметром свыше 426 мм прихватки следует располагать через каждые 300 - 400 мм окружности.

Прихватки должны быть расположены равномерно по периметру стыка. Протяженность одной прихватки для труб диаметром до 100 мм - 10 - 20 мм, диаметром свыше 100 до 426 мм - 20 - 40, диаметром свыше 426 мм - 30 - 40 мм. Высота прихватки должна быть при толщине стенки S до 10 мм - (0,6 - 0,7)S, но не менее 3 мм, при большей толщине стенки - 5 - 8 мм.

Применяемые для прихваток электроды или сварочная проволока должны быть тех же марок, что и для сварки основного шва.

При наложении основного шва необходимо полностью перекрыть и переварить прихватки.

4. Контроль качества

Контроль качества сварочных работ и сварных соединений трубопроводов следует выполнять путём:

проверки исправности сварочного оборудования и измерительных приборов, качества применяемых материалов;

операционного контроля в процессе сборки и сварки трубопроводов;

внешнего осмотра сварных соединений и измерений размеров швов;

проверки сплошности стыков неразрушающими методами контроля - радиографическим (рентгеновскими или гамма-лучами) или ультразвуковой дефектоскопией в соответствии с требованиями Правил Госгортехнадзора (Госпроматомнадзора), ГОСТ 7512-82*, ГОСТ 14782-86 и других стандартов, утвержденных в установленном порядке.

УГЛОВОЕ СОЕДИНЕНИЕ ОТРОСТКА ОТВЕТВИТЕЛЬНОГО ШТУЦЕРА ИЛИ ПРИВАРЫША С ТРУБОЙ ОДНОСТОРОННИМ ШВОМ БЕЗ СКОСА КРОМОК

Ручная дуговая сварка (Р) и дуговая сварка в защитном газе плавящимся электродом (ЗП) допускается при толщине стенки трубы 2 - 20 мм и минимальном наружном диаметре трубы 14 мм (ЗП) и 25 мм (Р). Газовая сварка допускается при толщине стенок труб 1 - 7 мм и наружном диаметре труб 14 - 150 мм. b - не более 1 мм для газовой сварки и 2 мм для Р и ЗП

Соединение применяется при отношении наружного диаметра ответвления к наружному диаметру трубы не более 0,5

К = 1,3 толщины более тонкой детали

УГЛОВОЕ СОЕДИНЕНИЕ ОТРОСТКА, ОТВЕТВИТЕЛЬНОГО ШТУЦЕРА ИЛИ ПРИВАРЫША С ТРУБОЙ ОДНОСТОРОННИМ ШВОМ БЕЗ СКОСА КРОМОК

Ручная дуговая сварка (Р) и дуговая сварка в защитном газе плавящимся электродом (ЗП) допускается при толщине стенки трубы 2 - 25 мм (Р) и (ЗП) и минимальном наружном диаметре трубы 25 мм (Р) и 14 мм (ЗП).

Газовая сварка (Г) допускается при толщине стенки трубы 1 - 7 мм и наружном диаметре труб 14 - 150 мм.

b - не более 1 мм для газовой сварки и не более 2 мм для Р и ЗП

К = 1,3 толщины более тонкой детали.

Соединение применяется при отношении наружного диаметра ответвления к наружному диаметру трубы более 0,5

Для трубопроводов, на которые не распространяются Правила Госгортехнадзора (Госпроматомнадзора), допускается взамен радиографического или ультразвукового контроля применять магнитографический контроль;

механических испытаний и металлографических исследований контрольных сварных соединений трубопроводов, на которые распространяются требования Правил Госгортехнадзора, в соответствии с этими Правилами;

испытаний на прочность и герметичность.

При операционном контроле качества сварных соединений стальных трубопроводов надлежит проверить соответствие стандартам конструктивных элементов и размеров сварных соединений (притупление и зачистку кромок, величину зазоров между кромками, ширину и усиление сварного шва), а также технологию и режим сварки, качество сварочных материалов, прихваток и сварного шва.

Все сварные стыки подлежат внешнему осмотру и измерению.

Стыки трубопроводов, сваренные без подкладного кольца с подваркой корня шва, подвергаются внешнему осмотру и измерению размеров шва снаружи и внутри трубы, в остальных случаях - только снаружи. Перед осмотром сварной шов и прилегающие к нему поверхности труб должны быть очищены от шлака, брызг расплавленного металла, окалины и других загрязнений на ширину не менее 20 мм (по обе стороны шва).

Результаты внешнего осмотра и измерения размеров сварных соединений считаются удовлетворительными, если:

отсутствуют трещины любых размеров и направлений в шве и прилегающей зоне, а также подрезы, наплывы, прожоги, незаваренные кратеры и свищи;

размеры и количество объёмных включений и западаний между валиками не превышают значений, приведенных в нижеследующей таблице;

размеры непровара, вогнутости и превышение проплава в корне шва стыковых соединений, выполненных без остающегося подкладного кольца (при возможности осмотра стыка изнутри трубы), не превышает значений, приведенных ниже.

Дефект

Максимально допустимый линейный размер дефекта мм

Максимально допустимое число дефектов на любые 100 мм длины шва

Объемное включение округлой или удлиненной формы при номинальной толщине стенки свариваемых труб в стыковых соединениях или меньшем катете шва в угловых соединениях, мм:

 

 

до 5,0

0,8

2

св. 5,0 до 7,5

0,8

3

св. 7,5 до 10,0

1,0

4

св. 10,0

1,2

4

Западание (углубление между валиками и чешуйчатое строение поверхности шва при номинальной толщине стенки свариваемых труб в стыковых соединениях или при меньшем катете шва в угловых соединениях, мм

 

не ограничивается

до 15,0

1,5

св. 15,0

2,0

То же

 

Трубопроводы, на которые Правила Госгортехнадзора

Дефект

Максимально допустимая высота (глубина), % номинальной толщины стенки

Максимально допустимая суммарная длина по периметру стыка

Распространяются

вогнутость и непровар в корне шва превышение проплава

10, но не более 2 мм

20, но не более 2 мм

20 % периметра

Не распространяются

Те же

10

1/3 периметра

Стыки, не удовлетворяющие перечисленным требованиям, подлежат исправлению или удалению.

Проверке сплошности неразрушающими методами контроля подвергаются сварные соединения:

- трубопроводов, на которые распространяются требования Правил Госгортехнадзора, наружным диаметром до 465 мм - в объеме, предусмотренном этими Правилами; диаметром свыше 165 до 900 мм - в объеме не менее 10 % (но не менее четырех стыков); диаметром свыше 900 мм - в объеме не менее 15 % (но не менее четырех стыков) общего числа однотипных стыков, выполненных каждым сварщиком;

- трубопроводов, на которые не распространяются требования Правил Госгортехнадзора, наружным диаметром до 465 мм - в объеме не менее 3 % (но не менее двух стыков); диаметром свыше 465 мм - в объеме 6 % (но не менее трех стыков) общего числа однотипных стыков, выполненных каждым сварщиком; в случае проверки сплошности сварных соединений с помощью магнитографического контроля 10 % общего числа стыков, подвергнутых контролю, должно быть проверено, кроме того, радиографическим методом.

Неразрушающим методам контроля следует подвергать 100 % сварных соединений трубопроводов тепловых сетей, прокладываемых в непроходных каналах под проезжей частью дорог, в футлярах, тоннелях или технических коридорах совместно с другими инженерными коммуникациями, а также при пересечениях:

- железных дорог и трамвайных путей - на расстоянии не менее 4 м, электрифицированных железных дорог - не менее 11 м от оси крайнего пути;

- железных дорог общей сети - на расстоянии не менее 3 м от ближайшего сооружения земляного полотна;

- автодорог - на расстоянии не менее 2 м от края проезжей части, укрепленной полосы обочины или подошвы насыпи;

- метрополитена - на расстоянии не менее 8 м от сооружений;

- кабелей силовых, контрольных и связи - на расстоянии не менее 2 м;

- газопроводов - на расстоянии не менее 4 м;

- магистральных газопроводов и нефтепроводов - на расстоянии не менее 9 м;

- зданий и сооружений - на расстоянии не менее 5 м от стен и фундаментов.

Сварные швы следует браковать, если при проверке неразрушающими методами контроля обнаружены трещины, незаваренные кратеры, прожоги, свищи, а также непровары в корне шва, выполненного на подкладном кольце.

При проверке радиографическим методом сварных швов трубопроводов, на которые распространяются требования Правил Госгортехнадзора, допустимыми дефектами считаются поры и включения, размеры которых не превышают значений, указанных в нижеследующей таблице.

Номинальная толщина стенки трубы, мм

Предельно допустимые размеры пор и включений, мм

Суммарная длина пор и включений на любые 100 мм шва

отдельных пор

скоплений

цепочек

ширина (диаметр)

длина

ширина (диаметр)

длина

ширина (диаметр)

длина

до 2,0

0,5

2,0

0,8

2,0

0,5

3,0

4,0

Св. 2,0 до 3,0

0,6

2,5

1,0

2,5

0,6

4,0

6,0

Св. 3,0 до 5,0

0,8

3,5

1,2

3,5

0,8

5,0

10,0

Св. 5,0 до 8,0

1,2

4,0

2,0

4,0

1,2

6,0

15,0

Св. 11,0 до 14,0

2,0

5,0

3,0

5,0

2,0

8,0

20,0

Св. 14,0 до 20,0

2,5

6,0

4,0

6,0

2,5

9,0

25,0

Высота (глубина) непровара, вогнутости и превышения проплава в корне шва соединения, выполненного односторонней сваркой без подкладного кольца, не должны превышать значений, указанных выше.

Допустимыми дефектами сварных швов по результатам ультразвукового контроля считаются дефекты, измеряемые характеристики и число которых не превышает указанных ниже.

Номинальная толщина стенки трубы

Размер искусственного углового отражателя («зарубки») мм´мм

Допустимая условная длина отдельного дефекта, мм

Число дефектов на любые 100 мм шва

крупных и мелких суммарно

крупных

От 4,0 до 8,0

2,0´1,0

10,0

7

2

Св. 8,0 до 14,5

2,5´2,0

20,0

8

3

Св. 14,5 до 20,0

3,5´2,0

20,0

8

3

Примечания к таблице: 1. Крупным считается дефект, условная протяженность которого превышает 5,0 мм при толщине стенки до 5,5 мм и 10 мм при толщине стенки свыше 5,5 мм. Если условная протяженность дефекта не превышает указанных значений, он считается мелким.

2. При электродуговой сварке без подкладного кольца при одностороннем доступе к шву допускается суммарная условная протяженность дефектов, расположенных в корне шва, до 1/3 периметра трубы.

3. Уровень амплитуды эхо-сигнала от измеряемого дефекта не должен превышать уровень амплитуды эхо-сигнала от соответствующего искусственного углового отражателя («зарубки») или эквивалентного сегментного отражателя.

Для трубопроводов, на которые не распространяются требования Правил Госгортехнадзора, допустимыми дефектами при радиографическом методе контроля считаются поры и включения, размеры которых не превышают максимально допустимых по ГОСТ 23055-78* для сварных соединений 7-го класса, а также непровары, вогнутость и превышение проплава в корне шва, выполненного односторонней электродуговой сваркой без подкладного кольца, высота (глубина) которых не должна превышать значений, указанных выше.

Максимально допустимые размеры пор и включений по ГОСТ 23055-78*

Толщина свариваемых элементов, мм

Поры и включения, мм

Суммарная длина, мм

ширина (диаметр)

длина

До 3

0,4

1,2

4,0

Св. 3 до 5

0,5

1,5

5,0

Св. 5 до 8

0,6

2,0

6,0

Св. 8 до 11

0,8

2,5

8,0

Св. 11 до 14

1,0

3,0

10,0

Св. 14 до 20

1,2

3,5

12,0

Примечания: 1. За размеры пор и включений принимаются для удлиненных пор и включений - длина и ширина.

2. За размер скоплений пор, включений принимается его длина, измеренная по наиболее удаленным друг от друга краям дефектов в скоплении.

3. Скоплением называется три или более расположенных беспорядочно дефектов с расстоянием между любыми двумя близлежащими дефектами более одной, но не более трех максимальных ширин или диаметров этих дефектов.

4. Поры и включения, расположенные на прямой линии с расстоянием между ними более их максимальной ширины или диаметра, рассматриваются как отдельные дефекты.

При выявлении неразрушающими методами контроля недопустимых дефектов в сварных швах трубопроводов, на которые распространяются требования Правил Госгортехнадзора, должен проводиться повторный контроль качества швов, установленный этими Правилами, а в сварных швах трубопроводов, на которые не распространяются требования Правил, - в удвоенном числе стыков по сравнении с указанным выше.

В случае выявления недопустимых дефектов при повторном контроле должны быть проконтролированы все стыки, выполненные данным сварщиком.

Исправлению путем местной выборки и последующей подварки (без повторной сварки всего соединения) подлежат участки сварного шва с недопустимыми дефектами, если размеры выборки после удаления дефектного участка не превышают нижеуказанных значений.

Глубина выборки, % номинальной толщины стенки свариваемых труб (расчетной высоты сечения шва)

Длина, % номинального наружного периметра трубы (патрубка)

До 25

Любая

Св. 25 до 50

Не более 50

Св. 50

Не более 25

Примечание. При исправлении в одном соединении нескольких участков их суммарная протяженность может превышать указанную в таблице не более чем в 1,5 раза при тех же нормах по глубине

Сварные стыки, в швах которых для исправления дефектного участка требуется произвести выборку размерами более допускаемых по приведенной выше таблице, должны быть полностью удалены, а на их место вварены «катушки».

Сварщик, допустивший брак, может быть допущен вновь к сварке трубопроводов только после сдачи испытаний по программе и в порядке, утвержденным ведомством или предприятием.

Подрезы следует исправлять наплавкой ниточных валиков шириной не более 2 - 3 мм.

Если исправляют стык с трещиной, то ее концы должны быть точно определены, засверлены сверлом диаметром 3 - 5 мм, после чего дефектный металл удаляется полностью, стык зачищается и заваривается в несколько слоев.

Все исправленные участки сварных стыков должны быть проверены внешним осмотром, радиографической или ультразвуковой дефектоскопией.

Строительно-монтажное, монтажное и ремонтное предприятие обязаны применять такие виды и объемы контроля своей продукции, которые гарантировали бы выявление недопустимых дефектов, ее высокое качество и надежность в эксплуатации.

Производственный контроль должен включать:

- проверку аттестации сварщиков и специалистов неразрушающего контроля;

- проверку сборочно-сварочного, термического и контрольного оборудования, аппаратуры, приборов и инструментов;

- входной контроль качества сварочных материалов и материалов для дефектоскопии;

- операционный контроль технологии сварки, неразрушающий и разрушающий контроль сварных соединений, контроль исправления дефектов.

Виды контроля должны быть регламентированы проектом.

Объем контроля, участие в нем различных служб должны быть указаны в технологических картах.

На исполнительном чертеже трубопровода, являющемся составной частью исполнительной документации, предъявляемой при приемке трубопровода, должны быть указаны расстояния между сварными соединениями, а также расстояния от колодцев, камер и абонентских вводов до ближайших сварных соединений.

Бесканальная прокладка тепловых сетей из асбестоцементных труб

ГОСТ 539-80* Трубы и муфты асбестоцементные напорные. Технические условия.

ТУ 5786-055-00281588-98 Трубы и муфты асбестоцементные для теплопроводов.

ТУ 21-24-92-99 Полуцилиндры раструбные и безраструбные для изоляции теплопроводов.

ГОСТ 481 - 80* Паронит и прокладки из него. Технические условия.

ГОСТ 7338-90* Пластины резиновые и резинотканевые. Технические условия.

ТУ 6-06-5761799-002-88Е Лента поливинилхлоридная липкая для защиты труб от коррозии.

СНиП 3.05.03-85 Тепловые сети.

Серия 3.903.8-16 Бесканальная прокладка тепловых сетей из асбестоцементных труб диаметром от 50 до 300 мм для несейсмических районов и районов сейсмичностью 7, 8 и 9 баллов.

Технические требования к трубам

Входной контроль труб и комплектующих материалов, предусмотренных проектом, должен осуществляться в соответствии с требованиями государственных стандартов, технических условий, ППР и другой технологической документации, утвержденной в установленном порядке.

ГОСТ 539-80* Трубы и муфты асбестоцементные напорные. Технические условия

Данный стандарт распространяется на трубы и муфты асбестоцементные, применяемые для напорных водопроводных и мелиоративных систем.

В зависимости от величины рабочего давления трубы и муфты подразделяют на 4 класса.

Условное обозначение класса

Величина рабочего давления

труб

муфт

МПа

кгс/см2

ВТ6

САМ6

0,6

6

ВТ9

САМ9

0,9

9

ВТ12

САМ12

1,2

12

ВТ15

САМ15

1,5

15

Трубы каждого класса в зависимости от пропускной способности (внутреннего диаметра) и длины подразделяют на три типа; 1, 2 и 3.

Трубы 1 типа с условным проходом 100 и 150 выпускают длиной 2950 и 3950 мм, трубы с условным проходом 200 ¸ 500 - длиной 3950 мм. Трубы 2 типа с условным проходом 200 ¸ 500 выпускают длиной 5000 мм, а трубы 3 типа с условным проходом 200 и 300 ¸ 5950 мм.

Трубы должны иметь с обеих сторон обточенные концы, длина которых должна быть не менее 200 мм.

Отклонения размеров труб от номинальных не должны превышать значений, указанных в нижеследующей таблице.

Условный проход

Отклонения, мм

по наружному диаметру обточенных концов труб

по толщине стенки

по длине труб

100

150

-1,5

+1,5; -2,0

-50

200

250

-2,0

+1,5; -2,5

300

350

-2,5

+2,0; -3,0

400

500

-3,0

+3,0; -4,0

Условное обозначение асбестоцементной трубы (муфты) должно состоять из обозначения класса трубы (муфты), условного прохода трубы в мм, размера по длине в мм, типа (для труб) и обозначения данного стандарта.

Пример условного обозначения трубы класса ВТ9, условного прохода 200 мм, длиной 3950 мм, типа 1:

ВТ9 200´3930 тип 1 ГОСТ 539-80

То же, асбестоцементной муфты, предназначенной для соединения труб класса ВТ12, условного прохода 200 мм:

САМ12 200 ГОСТ 539-80

Поступившие на строительную площадку трубы:

- не должны иметь трещин, обломов и расслоений;

- не должны иметь сдиров и вмятин на обточенных поверхностях;

- могут иметь на наружных необточенных поверхностях труб отпечатки от технического сукна, сдиры и вмятины глубиной не более 1 мм;

- могут иметь сколы по внутренней поверхности у торца трубы глубиной не более 2 мм и длиной не более 20 мм вдоль образующей трубы.

Трубы должны быть прямыми. Отклонения от прямолинейности труб не должны превышать следующих величин: 12 мм - для труб длиной 2950 мм и 3950 мм; 18 мм - для труб длиной 5000 мм; 24 мм - для труб длиной 5950 мм.

Контролируемые операции

Состав и средства контроля

Документация

Подготовительные работы

Проверить:

- наличие ППР, технологических карт и схем операционного контроля качества (СОКК);

- наличие актов освидетельствования ранее выполненных земляных работ; наличие исполнительного чертежа на эти работы; наличие в натуре и неизменность положения знаков разбивочной сети трассы;

- выполнение геодезических работ по перенесению трассы тепловых сетей в натуру;

- выполнение земляных работ по окончательной разработке траншеи (доработка недоборов) и подготовке песчаной подготовки;

ППР, технологические карты, СОКК

Акты освидетельствования скрытых работ; исполнительные чертежи

Акт разбивки, исполнительные схемы

- сопроводительные документы (паспорта, сертификаты), маркировку, клеймы, ярлыки и внешним осмотром качество поступивших труб, муфт и других материалов;

Паспорта, сертификаты, ярлыки

- выполнение работ по подготовке изоляционных и теплоизоляционных материалов, по очистке труб и устранению дефектов изоляции, по раскладке труб вдоль траншеи.

Общий и специальный журналы работ

Бесканальная прокладка тепловых сетей из асбестоцементных труб

Контролировать:

- соблюдение заданной технологии прокладки тепловых сетей;

- укладку тепловых сетей в проектное положение (глубину, уклон и прилегание трубопроводов ко дну траншеи, положение сетей в плане); - соблюдение технологии сборки и монтажа муфтовых соединений, их антикоррозионной защиты; - соблюдение технологии изоляционных и теплоизоляционных работ, качество покрытий.

Общий и специальный журналы работ

Приёмка выполненных работ

Проверить:

- соответствие фактического положения уложенных тепловых сетей требованиям проекта и нормативных документов;

- выполнение требований проекта и нормативных документов к качеству стыковых соединений, изоляционных и теплоизоляционных покрытий;

- надлежащее оформление исполнительной документации.

Исполнительный чертеж, акты освидетельствования скрытых работ

Акт приёмки тепловых сетей

ВХОДНОЙ И ОПЕРАЦИОННЫЙ КОНТРОЛЬ осуществляют:

прораб (мастер), геодезист, инженер (лаборант) - в процессе производства работ

ПРИЁМОЧНЫЙ КОНТРОЛЬ ОСУЩЕСТВЛЯЮТ:

прораб, геодезист, работники отдела контроля качества СМР, представители технадзора заказчика

КИП - нивелир, теодолит, рулетка и др. геодезические приборы, лабораторные приборы

Трубы должны поставляться вместе с муфтами и резиновыми кольцами, при этом число муфт должно быть равно числу труб, а число резиновых колец вдвое превышать число муфт. По требованию заказчика (получателя) число поставляемых муфт и резиновых колец может быть увеличено.

Класс поставляемых муфт должен быть не ниже класса труб.

На наружной поверхности каждой трубы должно быть нанесено краской: товарный знак или наименование предприятия-изготовителя; условное обозначение трубы, номер партии, а также должна быть надпись «Не бросать», а на каждой муфте - условный проход трубы, для которой предназначена муфта, класс муфты и номер партии. На наружной поверхности не менее 10 % труб и муфт, отобранных от партии, должен быть нанесен штамп ОТК.

Предприятие-изготовитель должно гарантировать соответствие труб и муфт требованиям настоящего стандарта и сопровождать каждую партию документом, удостоверяющим их качество, в котором указывают: наименование и адрес предприятия-изготовителя; номер и дату выдачи документа; номер партии труб, условное обозначение, общее количество в штуках и метрах; номер партии муфт, наименование или условное обозначение, условный проход, количество в штуках; количество и внутренний диаметр резиновых колец: результаты испытаний труб и асбестоцементных муфт; обозначение данного стандарта.

Трубы и муфты должны храниться в штабелях уложенными на ровную площадку по классам, типам и диаметрам: трубы - в горизонтальном положении, а муфты - в вертикальном положении. При укладке труб на неровную площадку под нижний ряд должны быть уложены деревянные подкладки. Нижний ряд труб должен быть закреплён.

На строительной площадке в процессе входного контроля должны быть проверены сопроводительные документы и маркировка, произведен внешний осмотр и необходимые замеры труб и других материалов.

При возникновении каких-либо сомнений в качестве труб или других материалов необходимо вызывать представителя строительной лаборатории.

Расположение изолированных труб в траншее по серии 3.903.8-16

ПРОКЛАДКА ТРУБОПРОВОДОВ В ЗАВОДСКОЙ ТЕПЛОВОЙ ИЗОЛЯЦИИ

для несейсмических районов с температурой воздуха до -30 °С

Диаметр трубопровода Dн = S, мм

Габаритные размеры траншеи, мм

a

d

b

h

h1

2 при Н равной, м

H1 при Н равной, м

1,0

1,5

2,0

1,0

1,5

2,0

68´10

828

404

2060

228

168

3200

3780

6060

1168

1668

2168

118´10

858

454

2170

278

218

3310

3890

6170

1218

1718

2218

161´14

882

497

2260

321

261

3400

3980

6260

1261

1761

2261

224´20

920

560

2400

384

324

3540

4120

6400

1324

1824

2324

274´23

1098

634

2830

458

398

3970

4550

6830

1398

1898

2398

324´24

1130

660

2920

484

424

4060

4640

6920

1424

1924

2424


ПРОКЛАДКА ТРУБОПРОВОДОВ В МОНОЛИТНОЙ ТЕПЛОВОЙ ИЗОЛЯЦИИ

для несейсмических районов с температурой воздуха до -30 °С

Диаметр трубопровода

Dн = S, мм

Габаритные размеры траншеи, мм

a

d

b

d

d1

h

h1

h2

h3

2 при Н, м

H1 при Н, м

Н2 при Н, м

1,0

1,5

2,0

1,0

1,5

2,0

1,0

1,5

2,0

68´10

828

404

2060

592

749

228

168

445

345

3200

3780

6060

1168

1668

2168

1445

1945

2445

118´10

858

454

2170

692

861

278

218

507

407

3310

3890

6170

1218

1718

2218

1507

2007

2507

161´14

882

497

2259

777

946

321

261

550

450

3400

3980

6260

1261

1761

2261

1550

2050

2550

224´20

920

560

2400

904

1086

384

324

626

526

3540

4120

6400

1324

1824

2324

1626

2126

2626

274´23

1098

634

2830

1052

1238

458

398

704

604

3970

4550

6830

1398

1898

2398

1704

2204

2704

324´24

1130

660

2920

1104

1300

484

424

740

640

4060

4640

6920

1424

1924

2424

1740

2240

2740

ПРОКЛАДКА ТРУБОПРОВОДОВ В ЗАВОДСКОЙ ТЕПЛОВОЙ ИЗОЛЯЦИИ

в районах с сейсмичностью 7, 8 и 9 баллов с температурой воздуха до -40 °С

Диаметр трубопровода

Dн = S, мм

Габаритные размеры траншеи, мм

a

d

b

e

k

h

h1

2 при Н равной, м

Н1 при Н равной, м

1,0

1,5

2,0

1,0

1,5

2,0

68´10

828

404

2060

655

750

228

168

3200

3780

6060

1168

1668

2168

122´13

858

454

2170

710

750

278

218

3310

3890

6170

1218

1718

2218

168´16,5

882

497

2260

630

1000

321

261

3400

3980

6260

1261

1761

2261

224´21,5

920

560

2400

700

1000

384

324

3540

4120

6400

1324

1824

2324

298´24

1098

634

2830

815

1200

458

398

3970

4550

6830

1398

1898

2398

324´27

1130

660

2920

660

1200

484

424

4060

4640

6920

1424

1924

2424

ПРОКЛАДКА ТРУБОПРОВОДОВ В МОНОЛИТНОЙ ТЕПЛОВОЙ ИЗОЛЯЦИИ

в районах с сейсмичностью 7, 8 и 9 баллов с температурой воздуха до -40 °С

Диаметр трубопровода

Габаритные размеры траншеи, мм

a

d

b

d

d1

е

k

h

h1

h2

h3

2 при H, м

Н1 при H, м

H2 при Н, м

1,0

1,5

2,0

1,0

1,5

2,0

1,0

1,5

2,0

68´10

828

404

2060

592

749

655

750

228

168

445

345

3200

3780

6060

1168

1668

2168

1445

1945

2445

122´13

858

454

2170

692

861

710

750

278

218

507

407

3310

3890

6170

1218

1718

2218

1507

2007

2507

168´16,5

882

497

2259

777

946

630

1000

321

261

550

450

3400

3980

6260

1261

1761

2261

1550

2050

2550

224´21,5

920

560

2400

904

1086

700

1000

384

324

626

526

3540

4120

6400

1324

1824

2324

1626

2126

2626

298´24

1098

634

2830

1052

1238

815

1200

458

398

704

604

3970

4550

6830

1398

1898

2398

1704

2204

2704

324´27

1130

660

2920

1104

1300

860

1200

484

424

740

640

4060

4640

6920

1424

1924

2424

1740

2240

2740


Технические требования к прокладке по серии 3.903.8-16

Требования серии 3.903.8-16 распространяются на строительство бесканальных тепловых сетей диаметром Dy 50 - 300 мм с тепловой изоляцией из теплоустойчивых материалов, выполненных на основе перлита, керамзита, вермикулита, шлака с добавлением вяжущих материалов на битумной основе.

Тепловая изоляция трубопроводов выполняется в заводских условиях на оборудовании или на монтаже с использованием инвентарной опалубки.

Поставка асбестоцементных труб по ГОСТ 539-80* должна осуществляться в соответствии с техническими условиями заводов-изготовителей, утверждаемыми в установленном порядке.

Соединение теплоизолированных асбестоцементных труб между собой и с металлическими элементами тепловых сетей выполняется с помощью быстромонтируемых соединительных муфт:

- втулочной, тип I и II для Dy 50, 100, 150, 200, 250 и 300 мм;

- хомутовой, тип I и тип II для Dy 50, 100 и 150 мм.

Соединения разработаны для асбестоцементных труб по ГОСТ 539-80* для класса ВТ12 и для труб, выпускаемых по заводским техническим условиям. Допускается в обоснованных случаях применять асбестоцементные трубы других классов с уточнением размера прокладки, подрезкой под углом в 45° внутренней кромки труб (для исполнения II).

Прокладки между трубами и деталями предусмотрены из термостойкой резины или паронита. Для прочности соединений на трубах выполняются кольцевые проточки для крепления хомутов.

Строительство бесканальных тепловых сетей из асбестоцементных труб должно осуществляться в соответствии с требованиями проекта, СНиП 3.05.03-85 ППР, технологических карт и другой технологической документации, утвержденной в установленном порядке.

Предшествующие монтажу трубопроводов земляные работы и работы по устройству оснований должны выполняться в соответствии с требованиями проекта, СНиП 3.02.01-87, СНиП 3.05.03-85, ППР и другой технологической документации, утвержденной в установленном порядке (см. СОКК «Разработка траншей и котлованов для тепловых сетей»).

Рытье траншей и котлованов теплофикационных камер должно выполняться экскаватором. Траншея выполняется по профилю трассы с недобором грунта на глубину 100 мм. Последующий добор должен производиться вручную непосредственно перед укладкой труб без нарушения естественной структуры грунта в основании траншеи.

В районах с сейсмичностью 7 баллов и более в основании грунта устанавливаются поперечные железобетонные балки с металлическими подкладками для опор скольжения. Расстояние между железобетонными балками принимается по нижеследующей таблице.

Условный диаметр трубопровода, мм

50

100

150

200

250

300

Расстояние между поперечными балками, м

12

15

18

20

22

25

Сечение железобетонных балок, мм

250´220

Перед укладкой в траншеи все трубы и детали трубопроводов должны быть разложены вдоль траншеи.

Укладка трубопроводов в траншею разрешается после проверки соответствия отметок основания траншеи проекту; результаты проверки фиксируются актами.

Укладка труб в траншеи должна производиться трубоукладчиком, снабженным траверсой и приспособлениями с «полотенцами», или мягкими клещевыми захватами. Освобождение труб от захватов и подъемных приспособлений разрешается только после закрепления труб в соединениях на песчаном основании.

Строповка труб тросом, сбрасывание труб и изделий в траншею, волочение их по грунту не допускается.

Изолированные асбестоцементные трубы или плети из труб укладываются в траншею на песчаную подготовку, а при сейсмичности 7 баллов и более на промежуточные балочные опоры.

При прокладке тепловых сетей ниже максимального уровня стояния грунтовых вод, в насыщенных водой грунтах, а также в глинистых и суглинистых грунтах должен предусматриваться попутный дренаж, при этом трубопроводы укладываются на подушку из среднезернистого песка толщиной не менее 100 мм.

Заглубление тепловых сетей из асбестоцементных труб от поверхности земли или дорожного покрытия должно быть:

- до верха тепловой изоляции не менее 0,7 и не более 1,8 м;

- до верха тепловой изоляции под дорожным покрытием не менее 1 м и не более 2 м;

- на вводе тепловой сети в здание, в непроезжей части допускается заглубление до 0,5 м.

Соединение труб между собой, с арматурой, компенсаторами должно производиться непосредственно в траншее. Поворот и волочение труб во время соединений запрещается. Соединение труб в плети на бровке траншеи или над траншеей допускается только при наличии механизмов и устройств, исключающих прогиб трубопроводов и повреждения стыковых соединений при опускании плети в траншею.

Компенсация тепловых удлинений трубопроводов должна осуществляться преимущественно осевыми компенсаторами (сильфонными или сальниковыми), а углы поворота должны крепиться неподвижно.

Для уменьшения нагрузок рекомендуется устанавливать неподвижные опоры на прямолинейных участках с симметричными схемами компенсации.

Проход асбестоцементных трубопроводов через стены теплофикационных камер должен выполняться через водогазонепроницаемые сальники конструкции ГПКНИИ СантехНИИпроект, которые допускают осевое перемещение трубопроводов.

Все металлические трубы и детали должны иметь защиту от коррозии.

Для защиты поверхности соединительных деталей асбестоцементных труб, а также наружной поверхности металлических труб и их деталей от коррозии рекомендуется применять органосиликатные композиции или другие материалы с лучшими технико-экономическими показателями.

Гидравлическое испытание смонтированных трубопроводов должно производиться в соответствии с действующими правилами и осуществляться в два приема: предварительное и окончательное. Предварительное гидравлическое испытание производится по отдельным участкам до установки запорной арматуры и осевых компенсаторов. Окончательное гидравлическое испытание должно производиться после полного завершения строительно-монтажных работ и выполнения тепловой изоляции трубопроводов.

После предварительного гидравлического испытания отдельных участков трубопроводов и устранения выявленных дефектов устанавливается запорная арматура и осевые сильфонные компенсаторы, выполняется изоляция стыковых соединений.

Гидравлическое испытание (предварительное и окончательное) должно выполняться в соответствии с требованиями ППР и СНиП 3.05.03-85. Результаты окончательных гидравлических испытаний должны оформляться актами. Согласно серии 3.903.8-16 толщина основного слоя теплоизоляционной конструкции, определяемая по нормам тепловых потерь, должна быть не менее 30 мм. Исходя из требований унификации и индустриализации работ рекомендуется толщину основного теплоизоляционного слоя конструкции для двухтрубных водяных тепловых сетей принимать для подающего и обратного трубопроводов одинаковой исходя из условия, что суммарные среднегодовые потери подающим и обратным трубопроводами не превышают суммарных нормативных потерь теплоты.

F

Отклонения положения опор, опорных конструкций под наружные трубопроводы от проектного в плане не должны превышать ±10 мм.

F

Отклонение уклона трубопроводов от проектного допускается на величину ±0,0005. При этом фактический уклон должен быть не менее 0,002.

Требуемая точность работ по прокладке тепловых сетей должна обеспечиваться детальными разбивочными работами, которые входят в технологический процесс подготовки и прокладки тепловых сетей (см. СОКК «Производство детальных разбивочных работ при прокладке трубопроводов»).

Для определения фактического положения уложенных трубопроводов должна производиться исполнительная геодезическая съемка планового и высотного положения ее элементов по окончании укладки. Исполнительную геодезическую съемку подземных сетей следует выполнять до засыпки траншей (см. СОКК «Прокладка наружных тепловых сетей»). По материалам обработки результатов исполнительных съемок составляется исполнительный чертеж, который входит в состав исполнительной документации при приемке тепловых сетей. На исполнительном чертеже представители заказчика при отсутствии замечаний должны сделать надпись о соответствии его натуре, об отсутствии или наличии отклонений от проекта.

При прокладке тепловых сетей подлежат приемке с составлением актов освидетельствования следующие виды скрытых работ: подготовка основания, попутный дренаж, монтаж стыковых соединений, антикоррозионные работы и др.

Монтаж строительных конструкций тепловых сетей

ТУ 5822-002-36516630-97 Элементы каналов и тоннелей железобетонные серии 3.006.1-2/82.

ТУ 5858-027-36913928-97 Лотки теплотрасс для устройства инженерных коммуникаций.

ТУ 5858-002-03984178-98 Каналы непроходные.

ТУ 5865-022-22554532-96 Элементы каналов и тоннелей железобетонные серии 3.006.1-2/87.

ТУ 5865-001-01003035-96 Элементы каналов и тоннелей железобетонные.

ТУ 5858-003-01218149-96 Элементы каналов сборные железобетонные.

ТУ 5858-091-01227705-98 Сборные железобетонные каналы и тоннели.

ТУ 5858-130-00284807-93 Лотки и плиты железобетонные каналов и тоннелей.

ТУ 5858 - 005-0161822-93 Конструкции сборных железобетонных каналов.

ТУ 5858-131-00284807-93 Конструкции железобетонные сборные тоннелей.

ТУ 5858-003-01218008-93 Элементы каналов и тоннелей железобетонные серии 3.006.1-2/82.

ТУ 585821-04-01218050-94 Лотки теплотрасс для прокладки инженерных коммуникаций.

ТУ 5893-032-01018485-95 Лотковые элементы каналов и туннелей сборные железобетонные.

ТУ 5800-012-13232172-94 Блоки железобетонные для каналов тепловых сетей со съемными перекрытиями.

ТУ 110-41-023-88 Лотковые элементы и плиты для сборных железобетонных каналов и тоннелей и плиты теплотрасс серии 3.006.1-2/82.

ТУ 110-41-027-89 Элементы железобетонные для сборных тепловых камер.

ТУ 110-41-056-91 Элементы лотков железобетонные для сборных каналов и тоннелей теплотрасс.

ТУ 66-312-91 Лотки железобетонные для каналов.

ТУ 67-05-257-90 Элементы лотковые.

ТУ 67-05-275-91 Элементы каналов и тоннелей железобетонные серии 3.006-2.

ТУ 66-082-87 Элементы тоннелей железобетонные серии 3.006.1-3/83.

ТУ 66-15-99-92 Элементы тоннелей железобетонные.

……………….Технические условия на сборные железобетонные конструкции каналов, камер и тоннелей, предусмотренные проектом.

СНиП 3.01.01-85* Организация строительного производства.

СНиП 3.05.03-85 Тепловые сети.

СНиП 2.04.07-86 Тепловые сети.

СНиП 3.03.01-87 Несущие и ограждающие конструкции.

Технические требования к сборным железобетонным конструкциям

Входной контроль качества железобетонных элементов каналов, камер и тоннелей должен осуществляться в соответствии с требованиями проекта, ППР, технических условий на конкретные виды изделий, СНиП 3.01.01-85*, ГОСТ 13015.0-83, ГОСТ 13015.3-81 и технологической документации, утвержденной в установленном порядке.

ТУ 110-41-023-88 Лотковые элементы и плиты для сборных железобетонных каналов и тоннелей и плиты теплотрасс серии 3.006.1-2/82

Поставленные на строительную площадку изделия не должны иметь:

- жировых и ржавых пятен на лицевой поверхности;

- наплывов бетона на монтажных петлях и открытых поверхностях стальных закладных изделий;

- трещин, за исключением местных поверхностных усадочных и других технологических, шириной не более 0,2 мм.

Значения действительных отклонений геометрических параметров изделий не должны превышать предельных, указанных ниже.

Геометрический параметр

Предельные отклонения, мм

Длина, высота, ширина изделий, мм: до 120

±2

от 120 до 250

±2,5

до 500

±3

от 500 до 1000

±4

от 1000 до 1600

±5

от 1600 до 2500

±6

от 2500 до 4000

±8

св. 4000

±10

Толщина изделий, мм: до 120

±4

св. 120

±5

Прямолинейность реального профиля боковых поверхностей изделий на всей длине, мм: до 1000

8

от 2500 до 4000

16

от 4000 до 8000

20

на заданной длине 1000

3

Разность длин диагоналей при длине, мм: до 4000

16

св. 4000

20

Отклонение от проектного положения стальных закладных изделий не должно превышать:

 

в плоскости изделий: для элементов закладных

 

изделий размером, мм до 100

5

св. 100

10

из плоскости изделий

3

Открытые поверхности стальных закладных изделий должны иметь антикоррозионное покрытие в виде металлизации напылением, технические характеристики которого должны соответствовать требованиям СНиП 2.03.11-83.

Требования к качеству поверхности и внешнему виду изделии по ГОСТ 13015.0-83* для категории поверхности А7. Согласно этим требованиям на поверхностях изделий не допускаются раковины диаметром более 20 мм и околы бетона на ребре глубиной более 20 мм.

В документе о качестве изделий должны быть приведены марки бетона изделий по морозостойкости и водонепроницаемости.

Хранить изделия следует уложенными в горизонтальном положении в штабели. Высота штабеля не должна превышать 2,5 м. Подкладки под изделия и прокладки между ними в штабеле следует располагать по вертикали одна над другой.

ТУ 66-312-91 Лотки железобетонные для каналов

Поставленные на строительную площадку изделия не должны иметь:

- жировых и ржавых пятен на лицевой поверхности;

- наплывов бетона на монтажных петлях;

- трещин, за исключением местных поверхностных усадочных и других технологических, шириной не более 0,2 мм.

Значения фактических отклонений геометрических параметров не должны превышать предельных, приведенных ниже.

Геометрический параметр

Предельные отклонения, мм

Длина изделий: 2970

±12

5970

±15

Ширина и высота изделий: до 1000

±6

св. 1000 до 1600

±8

св. 1600 до 2500

±10

Отклонение от прямолинейности на всей длине: 2970

12

5970

15

на длине 1600

5

Отклонение от равенства диагоналей: для лотков длиной 2970

8

5970

10

Категория бетонных поверхностей лотков - А7 по ГОСТ 13015.0-83*. На бетонных поверхностях лотков согласно установленной категории не допускаются раковины диаметром более 20 мм и околы бетона ребер глубиной более 20 мм.

Маркировка - на боковой поверхности лотков.

Лотки должны храниться в рабочем положении с опиранием на поверхность прокладок и подкладок толщиной не менее 30 мм в штабеле высотой не более 2,5 м. Прокладки между лотками по высоте штабеля следует располагать одна над другой на одной вертикали с устройствами для подъёма лотков.

ТУ 67-05-257-90 Элементы лотковые

Поставленные на строительную площадку изделия не должны иметь:

- жировых и ржавых пятен на лицевой поверхности;

- наплывов бетона на монтажных петлях;

- трещин, за исключением местных поверхностных усадочных и других технологических, шириной не более 0,2 мм.

Допускаемые отклонения:

по длине элементов лотков… ±15 мм;

по высоте… ±7;

по толщине стенки лотка: … -1; +5;

по толщине плит: … ± 5 мм.

Требования к качеству поверхности и внешнему виду изделий по ГОСТ 13015.0-83* для категории поверхности А7. Согласно этим требованиям на поверхностях изделий не допускаются раковины диаметром более 20 мм и околы бетона на ребре глубиной более 20 мм.

Каждая партия изделий для сборных железобетонных каналов и тоннелей должна сопровождаться документом о качестве, в котором должны быть указаны: номер и дата выдачи паспорта, номер партии, марка элементов каналов, тоннелей и лотков, дата изготовления, класс или марка бетона по прочности, отпускная прочность бетона (нормируемая, требуемая с учетом фактической однородности бетона по ГОСТ 18105-86 и фактическая), марка бетона по морозостойкости и водонепроницаемости.

На строительной площадке в процессе входного контроля:

- должны быть проверены документы о качестве (паспорта, сертификаты), маркировка, ярлыки с целью определения наличия в них всех требуемых данных, а также с целью определения соответствия поступивших изделий и материалов требованиям проекта;

- должно быть проверено наличие штампа ОТК на сборных железобетонных конструкциях;

- должен быть произведен внешний осмотр и необходимые замеры (испытания) изделий и материалов с целью проверки соответствия их требованиям нормативно-технической документации и обнаружения недопустимых дефектов на лицевых поверхностях железобетонных изделий и дефектов внешнего вида других материалов (объем входного контроля и участие в нем различных служб должны быть определены в технологических картах;

- при возникновении каких-либо сомнений в качестве поступивших изделий и материалов должны быть вызваны представители строительной лаборатории или функциональных служб, ответственных за поставку изделий и материалов.

Технические требования к монтажу и узлы сопряжения сборных лотковых конструкций по серии 3.006.1-2.87

Монтаж строительных конструкций тепловых сетей следует осуществлять в соответствии с требованиями проекта, СНиП 3.01.01-85*, СНиП 3.05.03-85, СНиП 3.03.01-87, СНиП 3.02.01-87, СНиП 3.04.01-87, СНиП 3.04.03-85, ППР, технологических карт и схем операционного контроля качества, и другой технологической документации, утвержденной в установленном порядке.

Монтаж строительных конструкций тепловых сетей должны осуществлять строительно-монтажные организации, получившие лицензию от Федерального или региональных центров по лицензированию строительной деятельности.

Монтаж строительных конструкций тепловых сетей должны осуществлять строительно-монтажные организации, которые располагают техническими средствами, обеспечивающими качественное выполнение строительно-монтажных работ в полном соответствии с требованиями строительных норм и правил и проекта.

Согласно СНиП 2.04.07-86 строительные конструкции тепловых сетей должны предусматриваться, как правило, сборными из унифицированных железобетонных и бетонных элементов.

Контролируемые операции

Состав и средства контроля

Документация

Подготовительные работы

Проверить:

- наличие ППР, технологических карт и схем операционного контроля качества (СОКК);

- наличие актов освидетельствования ранее выполненных земляных работ и акта приёмки траншей и котлованов (с исполнительной документацией и разрешением заказчика на укладку тепловых сетей); наличие в натуре и неизменность положения знаков разбивочной сети трассы и наличие акта приёмки-передачи этих знаков и материалов исполнительной съёмки (при передаче работ);

ППР, технологические карты и СОКК

Акты освидетельствования скрытых работ с исполнительной документацией;

Акты - приемки

- выполнение геодезических работ по перенесению трассы тепловых сетей в натуру; - выполнение земляных работ по окончательной разработке траншеи (доработка недоборов) и подготовке искусственного основания;

Исполнительный чертеж

- документы о качестве (паспорта, сертификаты), маркировку, ярлыки и внешним осмотром качество поступивших изделий и материалов;

- наличие разметки на сборных элементах тепловых сетей, определяющей их проектное положение;

- выполнение работ по очистке опорных поверхностей от мусора, грязи, снега и наледи;

- выполнение работ по устройству попутного дренажа (при необходимости).

Документы о качестве

Монтаж строительных конструкций тепловых сетей

Контролировать:

- соблюдение заданной технологии монтажа строительных конструкций;

- установку строительных конструкций в проектное положение (уклон дна канала, положение конструкций в плане, отклонение от вертикали, глубины опирания);

Общий и специальный журналы

- соблюдение технологии сварки, внешний вид сварных швов, результаты механических испытаний сварных соединений;

- соблюдение технологии и качество работ по замоноличиванию и герметизации швов, гидроизоляции поверхностей, антикоррозионной защите стальных элементов.

Протокол механических испытаний

Журнал сварочных работ

Приёмка

Проверить:

- соответствие фактического положения смонтированных конструкций требованиям проекта и нормативных документов;

- выполнение требований проекта и нормативных документов к качеству сварных соединений, гидроизоляции, замоноличивания, антикоррозионной защиты;

- надлежащее оформление исполнительной документации.

Исполнительный чертеж, акты освидетельствования скрытых работ

Акт приемки

ВХОДНОЙ И ОПЕРАЦИОННЫЙ КОНТРОЛЬ осуществляют:

прораб (мастер), геодезист, лаборант (инженер) - в процессе производства работ

ПРИЁМОЧНЫЙ КОНТРОЛЬ ОСУЩЕСТВЛЯЮТ:

прораб (мастер), геодезист, представители технадзора заказчика

КИП - нивелир, теодолит и др. геодезические приборы, лабораторные приборы и оборудование.

Каркасы, кронштейны и другие опорные строительные конструкции под трубопроводы тепловых сетей в местах, доступных для обслуживания, должны предусматриваться из металла с антикоррозионным покрытием, а в местах, недоступных для обслуживания - из сборного и монолитного железобетона (щитовые или балочные опоры и т.п.).

Для наружных поверхностей стен и перекрытий каналов, тоннелей, камер и других конструкций, а также закладных частей строительных конструкций при прокладке тепловых сетей вне зоны грунтовых вод должна предусматриваться обмазочная битумная изоляция, а при прокладке их под дорогами и тротуарами с твердым покрытием следует предусматривать оклеечную гидроизоляцию перекрытий указанных сооружений из битумных рулонных материалов.

При прокладке тепловых сетей ниже максимального уровня стояния грунтовых вод следует предусматривать попутный дренаж, а для наружных поверхностей строительных конструкций и закладных частей - обмазочную битумную изоляцию.

При невозможности применения попутного дренажа должна предусматриваться оклеечная гидроизоляция из битумных рулонных материалов с защитными ограждениями на высоту, превышающую максимальный уровень грунтовых вод на 0,5 м или другая эффективная гидроизоляция.

Для трубопроводов в местах прохода через стены камер и щитовых опор должно предусматриваться антикоррозийное покрытие, а в зоне действия блуждающих токов - электроизолирующие прокладки. Применение асбестовых прокладок не допускается.

Конструкции щитовых неподвижных опор должны применяться только с воздушным зазором между трубопроводом и опорой и позволять возможность замены трубопровода без разрушения железобетонного тела опоры. В щитовых опорах должны предусматриваться отверстия, обеспечивающие сток воды. Перед щитовыми опорами по уклону трассы следует предусматривать люки для контроля и прочистки отверстий.

Высота камер и тоннелей в свету от уровня пола до низа выступающих конструкций должна приниматься не менее 2 м. Допускается местное уменьшение высоты камеры до 1,8 м.

Вышеизложенным требованиям СНиП 2.04.07-86 отвечают конструкции серии 3.006.1-2/87 «Сборные железобетонные каналы и тоннели из лотковых элементов» и серии 3.006.1-3/83 «Сборные железобетонные конструкции тоннелей».

Серия 3.006.1-2/87 Сборные железобетонные каналы и тоннели из лотковых элементов

Подготовка под каналы и тоннели при отсутствии грунтовых вод принята песчаная толщиной 100 мм.

Для отвода случайных вод днищу каналов и тоннелей придается предельный уклон imin = 0,002.

Монтаж конструкций камер и тоннелей должен производиться в соответствии с проектом производства работ и СНиП 3.05.03-85.

К монтажу камер допускается приступать после устройства подготовки и инструментальной проверки соответствия проекту отметок и уклонов подготовки.

Швы между сборными элементами заполняются цементным раствором марки 50. В местах деформационных швов стыки сборных элементов заполняются битумом.

В полуподземных каналах швы между плитами перекрытия заполняются битумной мастикой с наполнителем.

Наружные поверхности каналов и тоннелей, прокладываемых вне зоны грунтовых вод, покрываются обмазочной битумной изоляцией.

Стальные соединительные элементы должны быть защищены антикоррозионным покрытием. В тоннелях, кроме того, они должны быть обетонированы.

Монтаж коммуникаций при отсутствии перекрытия (верхних лотков или плит) может производиться в каналах и тоннелях, прокладываемых вне зданий, при высоте стенок нижних лотков в чистоте не более 600 мм и во всех внутрицеховых каналах и тоннелях, верх перекрытия которых заглублен не более, чем на 0,5 м. В остальных случаях монтаж коммуникаций в открытых каналах и тоннелях допускается производить при условии отсутствия временной нагрузки на призме обрушения грунта или раскрепления стен временными распорками.

В закрытых тоннелях монтаж коммуникаций производится через монтажные проемы.

Обратную засыпку грунта следует производить после монтажа плит перекрытия или верхних лотков равномерно слоями толщиной 20 - 30 см, одновременно с обеих сторон канала или тоннеля, с уплотнением в соответствии с требованиями СНиП 3.02.01-87.


Схема расположения лотков и плит перекрытий односекционного и двухсекционного каналов

Схема расположения лотков односекционного и двухсекционного тоннелей


При строительстве в районах с высоким уровнем грунтовых вод рекомендуется устройство попутного дренажа. При невозможности применения дренажа следует предусмотреть гидроизоляцию.

Предусматриваются следующие типы гидроизоляции - асфальтовая холодная; асфальтовая горячая; оклеечная битумная; композиции из петролатума, битума и высших жирных кислот.

Противонапорную гидроизоляцию стен необходимо предусматривать выше максимального уровня грунтовых вод не менее, чем на 0,5 м.

Сборные элементы каналов и тоннелей должны монтироваться по подготовке из бетона марки 100 толщиной 100 мм, армированной по краям сетками. При агрессивном воздействии грунтовых вод подготовку следует выполнять из бетона повышенной плотности (марки не ниже В-6 по водонепроницаемости), либо из втрамбованного в грунт щебня толщиной 100 мм с пропиткой битумом до полного насыщения.

При возведении каналов и тоннелей на просадочных грунтах II типа основание каналов и тоннелей при величине просадки до 40 см должно выполняться с уплотнением на глубину не менее 0,3 м (для каналов), 0,4 м (для тоннелей) и 1 м (для камер тепловых сетей). При величине просадки более 40 см для каналов и тоннелей, содержащих трубопроводы с водой, кроме уплотнения грунта следует предусмотреть дополнительную укладку в основание слоя суглинистого грунта, обработанного битумом или дегтерными материалами, толщиной не менее 100 мм на всю ширину траншеи; в стыках между сборными элементами каналов необходимо предусмотреть железобетонные плоские подкладки с заливкой швов в днище битумом. Подготовку под тоннели необходимо выполнять из бетона класса В7,5 толщиной 100 мм, армированного сетками. Швы в днище также заполняются битумом; днище каналов и тоннелей следует выполнять с продольным уклоном (i = 0,003 - 0,005).

В районах с сейсмичностью 9 баллов стыки сборных железобетонных элементов каналов усиливаются плоскими подкладками, применение которых предусмотрено также и для просадочных грунтов; подготовка под тоннели выполняется из армированного бетона марки 100 толщиной 100 мм; засыпка грунта в пазухи и над перекрытием каналов и тоннелей должна производиться с тщательным послойным уплотнением; швы между сборными железобетонными элементами камер и тоннелей должны быть тщательно зачеканены цементным раствором марки 50 для районов с сейсмичностью 7 баллов и марки 100 - для районов с сейсмичностью 8 и 9 баллов.

Серия 3.006.1-3/83 Сборные железобетонные конструкции тоннелей

К монтажу объемных элементов тоннелей, стеновых блоков следует приступать после устройства бетонной подготовки, дренажа (в случае необходимости) и инструментальной проверки соответствия проекту отметок и уклонов бетонной подготовки.

Швы между элементами тоннелей тщательно заполняются цементным раствором марки 50.

Монтаж коммуникаций должен производиться через монтажные проемы, а в тоннелях типа ТС допускается монтаж при отсутствии перекрытия, засыпке до верха стены и при отсутствии временной нагрузки на призме обрушения.

Засыпка тоннелей производится по окончании работ по устройству гидроизоляции равномерными слоями, толщиной 20 - 30 см, одновременно с обеих сторон тоннеля с уплотнением в соответствии с требованиями СНиП 3.02.01-87.

Распалубку монолитных конструкций разрешается производить после достижения бетоном 70 % проектной прочности. К моменту обратной засыпки грунтом бетон должен иметь проектную прочность.

F

Предельные отклонения отметок песчаной подготовки, служащей опорой для сборных элементов каналов и тоннелей, от проектной не должны превышать … - 15 мм, если другие нормы не обоснованы в проекте

F

Предельные отклонения отметок бетонной подготовки, служащей опорой для сборных элементов каналов и тоннелей … - 5 мм

F

Отклонение уклонов дна канала тепловой сети и дренажных трубопроводов от проектного допускается на величину ±0,0005, при этом фактический уклон должен быть не менее 0,002.

F

Отклонение от совмещения ориентиров (рисок геометрических осей, граней) в нижнем сечении установленных сборных железобетонных элементов тепловых сетей (стеновых блоков, объемных блоков) с установочными ориентирами (рисками геометрических осей или гранями нижележащих элементов, рисками разбивочных осей) … не более 8 мм

F

Отклонение от вертикали верха плоскостей установленных сборных железобетонных элементов тепловых сетей (стеновых блоков, объемных блоков) … не более 10 мм

F

Отклонение от симметричности опирания плит перекрытий при длине плит до 4 м … 5 мм; при длине плит от 4 до 8 м … 6 мм

Технические требования к монтажу

Требуемая точность работ по монтажу строительных конструкций тепловых сетей должна обеспечиваться детальными разбивочными работами, которые входят в технологический процесс подготовки и прокладки тепловых сетей (см. СОКК «Производство детальных разбивочных работ при прокладке трубопроводов»).

Для определения фактического положения смонтированных строительных конструкций тепловых сетей должна производиться исполнительная геодезическая съемка планового и высотного положения их элементов по окончании монтажа. Исполнительную геодезическую съемку строительных конструкций подземных сетей следует выполнять до засыпки каналов и тоннелей (см. СОКК «Прокладка наружных тепловых сетей»).

Исполнительные съемки выполняют, опираясь на знаки геодезической или разбивочной сети строительной площадки.

Производство съемок включает в себя следующие виды работ:

- выяснение наличия геодезической или разбивочной сети и восстановление знаков этой сети;

- съемку и нивелирование смонтированных строительных конструкций.

По тепловым сетям съемке подлежат - ось трассы, камеры, углы поворота, компенсаторы, места подключений, вводы.

При расположении трубопроводов в каналах и тоннелях снимается только одна их сторона, другая же наносится по данным промеров. Выходы подземных сетей и элементы их конструкций должны быть связаны между собой или привязаны к твердым контурам застройки контрольными промерами.

Обязательной съемке подлежат все подземные сооружения, пересекающие тепловые сети или идущие параллельно с ними, вскрытые траншеей. Одновременно со съемкой элементов инженерных сетей должны быть сняты все здания, прилегающие к проезду или трассе тепловых сетей.

Ширина полосы, охватываемой съемкой, должна быть не менее 20 м в обе стороны от оси трассы или устанавливаться заданием.

При съемке камер производится обмер внутреннего и внешнего габаритов сооружения, его конструктивных элементов, расположения труб и фасонных частей с привязкой к отвесной линии, проходящей через центр крышки колодца.

По окончании обработки материалов исполнительных съемок тепловых сетей составляется исполнительный чертеж, который входит в состав исполнительной документации при приемке тепловых сетей. На исполнительном чертеже представители заказчика при отсутствии замечания должны сделать надпись о правильности составления чертежа и соответствии исполнительного чертежа натуре.

Если прокладка подземных сооружений выполнена с отклонением от проекта, то на исполнительных чертежах должно быть указано, кем и когда эти отклонения разрешены.

Все выявленные представителями заказчика недостатки отражаются в акте и инженерная сеть до устранения выявленных недостатков в эксплуатацию не принимается.

При монтаже строительных конструкций тепловых сетей подлежат приемке с составлением актов освидетельствования следующие виды скрытых работ: подготовка основания, попутный дренаж (в случае необходимости его устройства), выполнение сварочных работ, работ по замоноличиванию швов, по гидроизоляции и т.д.

Устройство гидроизоляционных покрытий подземных строительных конструкций тепловых сетей

ГОСТ 30547-97 Материалы рулонные кровельные и гидроизоляционные. Общие технические условия.

ГОСТ 10923-93* Рубероид. Технические условия.

ТУ 21-5744710-505-90 Материал рулонный кровельный и гидроизоляционный наплавляемый «Рубемаст».

ТУ 5774-002-13157915-98 Материал рулонный кровельный и гидроизоляционный наплавляемый «Линокром».

ТУ 5774-042-00288739-99 Материал рулонный кровельный и гидроизоляционный наплавляемый «Бикрост».

ТУ 21-5744710-515-92 Материал рулонный кровельный и гидроизоляционный на стекловолокнистой основе «Стеклобит».

ГОСТ 10296-79* Изол. Технические условия.

ГОСТ 7415-86* Гидроизол. Технические условия.

ГОСТ 20429-84* Фольгоизол. Технические условия.

ГОСТ 15879-70* Стеклорубероид. Технические условия.

ТУ 5774-004-00289973-96 Материал рулонный кровельный и гидроизоляционный наплавляемый «Стеклоизол».

ТУ 5774-010-05108038-99 Гидростеклоизол гидроизоляционный.

ТУ 5774-012-05108038-99 Гидростеклоизол СХ.

ТУ 400-1-51-83 Гидростеклоизол.

ТУ 5774-001-1806333-95 Материал рулонный кровельный и гидроизоляционный наплавляемый битумно-полимерный «Люберит».

ТУ 5774-003-00289973-95 Материал рулонный кровельный и гидроизоляционный наплавляемый битумно-полимерный «Рубитекс».

ТУ 577433-005-18096696-96 Битумно-полимерный наплавляемый рулонный кровельный и гидроизоляционный материал «Бирепласт».

ТУ 5774-545-00284718-96 Материал рулонный кровельный и гидроизоляционный наплавляемый битумно-полимерный «Атаклон».

ТУ 5774-026-00287776-97 Материал рулонный кровельный и гидроизоляционный наплавляемый битумно-полимерный «Крунам-СТ».

ТУ 21-5744710-519-92 Материал рулонный кровельный и гидроизоляционный наплавляемый «Стекломаст».

ТУ 5770-543-00284718-94 Материал рулонный кровельный и гидроизоляционный наплавляемый битумно-полимерный «Стекломаст термопластичный».

ТУ 5774-544-00284718-96 Материал рулонный кровельный и гидроизоляционный наплавляемый битумно-полимерный «Термофлекс».

ТУ 5770-541-00284718-96 Материал рулонный кровельный и гидроизоляционный наплавляемый битумно-полимерный «Бикроэласт».

ТУ 5770-001-07509505-94 Материал рулонный кровельный и гидроизоляционный наплавляемый битумно-полимерный «Помаласт».

ТУ 5774-008-05108038-99 Материал рулонный кровельный и гидроизоляционный наплавляемый битумно-полимерный «Филизол».

ТУ 5774-004-00287823-99 Материал рулонный кровельный и гидроизоляционный наплавляемый битумно-полимерный «Армокров У».

ТУ 5770-531-00284718-93 Материал рулонный кровельный и гидроизоляционный наплавляемый битумно-полимерный «Днепрофлекс».

ТУ 5774-005-05766480-95 Материал рулонный кровельный и гидроизоляционный наплавляемый битумно-полимерный «Изопласт».

ТУ 5770-528-00284718-94 Материал рулонный кровельный наплавляемый битумно-полимерный «Элабит».

ТУ 5774-008-18254055-2000 Материал гидроизоляционный кровельный «Айситекс».

ТУ 5774-001-29303425-2000 Наплавляемый рулонный кровельный материал марки Битулин HP APP.

ТУ 5774-001-00287852-96 Материал рулонный кровельный и гидроизоляционный наплавляемый битумно-полимерный «Бикропласт».

ТУ 5774-003-17925162-2000 Материал рулонный кровельный и гидроизоляционный наплавляемый «Экофлекс».

ТУ 5774-001-17925162-99 Материал рулонный и гидроизоляционный наплавляемый битумно-полимерный «Унифлекс».

ТУ 5774-003-00287852-99 Материал рулонный кровельный и гидроизоляционный наплавляемый битумно-полимерный водостойкий «Техноэласт».

ТУ 5774-007-05766480-96 Материал рулонный кровельный и гидроизоляционный наплавляемый битумно-полимерный «ИзоЭласт».

ТУ 5774-005-05766480-95 Материал рулонный кровельный и гидроизоляционный наплавляемый битумно-полимерный «Изопласт».

ТУ 5774-010-05766480-99 Материал рулонный кровельный и гидроизоляционный битумно-полимерный «КИНЕпласт».

ТУ 5774-025-01393697-99 Рулонный гидроизоляционный наплавляемый битумно-полимерный материал «Мостопласт».

ТУ 5774-001-00287898-98 Материал рулонный кровельный и гидроизоляционный наплавляемый битумно-полимерный «Дальмостопласт».

ТУ 5774-001-47403411-2000 Материал рулонный кровельный и гидроизоляционный наплавляемый битумно-полимерный «Полифлекс» (Эластокрон).

ТУ 5774-001-45510767-99 Кровельный гидроизоляционный полимерно-битумный наплавляемый материал «Петрофлекс».

ТУ 5774-007-00289973-2000 Кровельный и гидроизоляционный рулонный наплавляемый битумно-полимерный материал «Стеклоэласт».

ТУ 5774-547-05744716-98 Материал рулонный кровельный и гидроизоляционный наплавляемый «Фольгобит».

ТУ 21-5744710-507-91 Материал рулонный полимерный кровельный и гидроизоляционный «Гидробутил».

ТУ 5774-001-04000706-95 Материалы кровельные и гидроизоляционные «Крома» (мембраны).

ТУ 5774-001-04678851-95 Материал рулонный полимерный кровельный и гидроизоляционный «Изолен».

ТУ 5774-001-29659211-95 Материал рулонный кровельный и гидроизоляционный «Изолин» марок Э, К, Г.

ТУ 38.108044-94 Материал рулонный полимерный кровельный и гидроизоляционный «Армогидрокром».

ТУ 5774-107-00300191-2000 Материал рулонный полимерный кровельный и гидроизоляционный «Уникром».

ТУ 5775-001-13199776-2000 Мастика полимерная холодная кровельная приклеивающая «Уникром-К».

ТУ 5775-002-13199776-2000 Мастика полимерная холодная защитная «Уникром-З».

ТУ 5775-001-11313564-96 Мастика полимерная защитная «Поликров-Л».

ТУ 5775-003-11313564-96 Мастика полимерная защитная «Поликров-М».

ТУ 5774-002-11313564-96 Материал рулонный полимерный «Поликров».

ТУ 38.605-150Д-7-95 Рулонный гидроизоляционный материал «Бутерол».

ТУ 5774-002-41993527-97 Материал эластомерный рулонный кровельный и изоляционный «Кромэл».

ТУ 5774-001-52679314-2000 Материал рулонный кровельный пониженной горючести «Кромел-ПП».

ТУ 2512-451-05011868-2000 Атмосферостойкое резиновое полотно для строительства Л 1047 на основе этилен-пропиленовых каучуков.

ТУ 2310-201-08610940-97 Покрытие для защиты бетонных поверхностей «Бетарол».

ТУ 2310-202-08610940-97 Покрытие для гидроизоляции бетонных поверхностей «Бетазол».

ТУ 2310-002-08610940-97 Системы защиты бетонных поверхностей «Бетал».

ГОСТ 30693-2000 Мастики кровельные и гидроизоляционные. Общие технические условия.

ГОСТ 2889-80 Мастика битумная кровельная горячая. Технические условия.

ГОСТ 15836-79 Мастика битумно-резиновая изоляционная. Технические условия.

ТУ 5774-017-17187505-97 Мастика полимерная кровельная «Гермокров».

ТУ 5775-032-17187505-2000 Мастика полимерная кровельная «Огнекров».

ТУ 5772-011-17187505-97 Композиции полимерные полиуретановые «Полур».

ТУ 5772-024-17187505-2000 Композиции полимерные полиуретановые «Огнепол».

ТУ 5774-001-17187505-95 Мастика битумно-полимерная кровельная и гидроизоляционная «Битурэл».

ТУ 5775-029-17187505-2000 Мастика битумно-полимерная кровельная и гидроизоляционная «Битурэл-Экстра».

ТУ 5775-033-17187505-2000 Мастика полимер-битумная кровельная и изоляционная «Битурэл-Супер».

ТУ 5775-023-17187505-95 Мастика полимерная гидроизоляционная «Гидрофор».

ТУ 5775-007-00152000-98 Мастика битумно-полимерная ПБС.

ТУ 5775-001-11753429-95 Мастика полимерно-битумная ПБМ.

ТУ 5775-001-13216173-95 Мастика битумно-полимерная универсальная.

ТУ 5775-001-10691301-93 Мастика битумно-полимерная универсальная.

ТУ 5775-001-29659211-96 Мастики кровельные и гидроизоляционные эмульсионные битумные и битумно-полимерные.

ТУ 2311-001-17660092-95 Композиция битумно-полимерная «Антикор МПБ-2».

ТУ 21-5744710-512-91 Мастика битумно-бутилкаучуковая холодная кровельная и гидроизоляционная «Вента-У».

ТУ 5775-001-26607828-93 Мастика битумно-каучуко-резиновая кровельная и гидроизоляционная.

ТУ 5775-001-05192702-95 Мастика битумно-тальковая изоляционная.

ТУ 2384-008-13238275-97 Каучуко-битумная гидроизоляционная мастика «БКМ-200».

ТУ 5775-011-1328275-97 Мастика битумно-каучуковая кровельная и гидроизоляционная «Ребакс-М».

ТУ 5775-001-10616742-93 Мастики битумно-эмульсионные кровельные и гидроизоляционные холодные на твердых эмульгаторах.

ТУ 5775-201-01265733-94 Мастика резино-битумная.

ТУ 5775-001-33529333-95 Мастика полимерная резинобитумная (холодная) «Поликон».

ТУ 5775-066-16810126-97 Мастика каучуковая изоляционная.

ТУ 5775-552-03986987-93 Мастика гидроизоляционная холодная асфальтовая БСХА.

ТУ 5770-003-23463180-94 Мастика бутилкаучуковая холодная цветная кровельная и гидроизоляционная «УНИКС».

ТУ 5775-001 (002, 003)-29258624-97 Композиции ПСП, ОСП и МСП.

ТУ 5775-001-39504194-96 Материал «Пенетрол».

ТУ 5772-002-42788835-96 Мастика битумная холодного отверждения МГХ.

ТУ 5772-005-42788835-98 Мастика гидроизоляционная холодного отверждения резино-битумная МГХ-Т.

ТУ 5772-006-42788835-98 Мастика битумно-каучуковая холодного отверждения кровельная и гидроизоляционная МГХ-К.

ТУ 21-27-37-89 Мастика «Изол».

ТУ 21-27-40-83 Мастики битумно-каучуковые горячие кровельные и гидроизоляционные.

ТУ 21-27-42-77 Мастика эпоксидно-каменоугольная.

ТУ 21-27-76-88 Мастика битумно-латексная эмульсионная кровельная и гидроизоляционная БЛЭМ-20.

ТУ 21-27-90-83 Мастика бутилкаучуковая холодная МБК.

ТУ 21-27-126-88 Мастика хлорсульфополиэтиленбитумная (утверждающаяся кровельная гидроизоляционная «Кровлелит Б-3».

ТУ 21-27-132-89 Мастика латексная парогидроизоляционная «Изолакт» ЛСП-901.

ТУ 66-14-03-83 Мастика битумно-асбестовая эмульсионная (БАЭМ).

ТУ 67-05-264-90 Мастика битумно-асбестовая модифицированная изоляционная БАМИ.

ТУ 67-13-303-89 Мастики битумно-кукерсольные и битумно-латексно-кукерсольные холодные.

ТУ 67-13-306-89 Мастика безбитумная.

ТУ 2513-001-20504464-99 Герметик «Гермокрон-гидро».

ГОСТ 10354-82* Пленка полиэтиленовая. Технические условия.

ГОСТ 16272-79* Пленка поливинилхлоридная пластифицированная техническая. Технические условия.

ТУ 38-10264-83 Пленка полипропиленовая.

Стандарты и технические условия на полимерные, эмульсионно-мастичные и рулонные гидроизоляционные материалы, асфальтовые смеси и цементные растворы для асфальтовой и литой гидроизоляции, армирующие стеклосетки, стеклоткань и другие материалы, предусмотренные проектом.

СНиП 3.04.01-87 Изоляционные и отделочные покрытия.

СНиП 3.04.03-85 Защита строительных конструкций от коррозии.

СНиП 3.01.01-85* Организация строительного производства.

Серия 1.010-1 Гидроизоляция подземных частей зданий и сооружений.

Технические требования

Устройство гидроизоляционных покрытий подземных строительных конструкций тепловых сетей следует осуществлять в соответствии с требованиями проекта, СНиП 3.04.01-87, СНиП 3.01.01-85*, СНиП 3.04.03-85, стандартов и технических условий на гидроизоляционные материалы конкретных видов, предусмотренных проектом, ППР, технологических карт, схем операционного контроля качества и другой технологической документации, утвержденной в установленном порядке.

Работы по устройству гидроизоляционных покрытий должны выполнять строительно-монтажные организации, получившие лицензию на выполнение этих работ в Федеральном или региональных органах по лицензированию строительной деятельности.

Работы по устройству гидроизоляционных покрытий должны выполняться квалифицированным персоналом, прошедшим специальную подготовку и обладающим надлежащими навыками по выполнению гидроизоляционных работ.

При производстве гидроизоляционных работ должно быть обеспечено соблюдение требований строительных норм и правил, проекта и ППР.

Работы по устройству гидроизоляционных покрытий должны производиться по утвержденному проекту производства работ (ППР).

Запрещается осуществление строительно-монтажных работ без утвержденного проекта производства работ. Не допускаются отступления от решений проектов производства работ без согласования с организациями, разработавшими и утвердившими их. Замена предусмотренных проектом материалов, изделий и составов допускается только по согласованию с проектной организацией и заказчиком.

Основным работам по устройству гидроизоляционных покрытий должны предшествовать подготовительные работы:

- завершение, надлежащее оформление и приемка предшествующих работ по устройству оснований;

- входной контроль поступивших на строительную площадку гидроизоляционных материалов;

- подготовка и приготовление изоляционных составов;

- подготовка бетонной поверхности.

Входной контроль качества полимерных, эмульсионно-мастичных и рулонных гидроизоляционных материалов, а также материалов для асфальтовой и литой гидроизоляции должен осуществляться в соответствии с требованиями проекта, ППР, с техническими требованиями стандартов и технических условий на конкретные виды материалов, предусмотренные проектом.

На строительной площадке в процессе входного контроля необходимо:

проверить наличие документов о качестве и полноту содержащихся в них данных;

по имеющейся сопроводительной документации, маркировке убедиться в соответствии поступивших гидроизоляционных материалов требованиям проекта;

путем внешнего осмотра проверить отсутствие на материалах недопустимых дефектов внешнего вида;

проверить соответствие гидроизоляционных материалов требованиям нормативных документов путем проведения их испытаний, виды и объем которых установлены в технологических картах или других технологических документах, утвержденных в установленном порядке;

гидроизоляционные материалы, гарантийный срок хранения которых истек, проверить перед применением на соответствие их требованиям стандартов и технических условий;

при возникновении каких-либо сомнений в качестве поступивших материалов должны быть вызваны представители строительной лаборатории или функциональных служб, ответственных за поставку гидроизоляционных материалов.

При проектировании подземных строительных конструкций тепловых сетей в соответствии с требованиями СНиП 2.03.11-85 «Защита строительных конструкций от коррозии» предусматривают следующую защиту бетонных и железобетонных конструкций:

лакокрасочными толстостенными (мастичными) покрытиями - при действии жидких сред, при непосредственном контакте покрытия с твердой агрессивной средой;

оклеечными покрытиями - при действии жидких сред, в грунтах, в качестве непроницаемого подслоя в облицовочных покрытиях;

облицовочными покрытиями, в том числе из полимербетонов - при действии жидких сред, в грунтах, в качестве защиты от механических повреждений оклеечного покрытия.

Типы защитных покрытий в зависимости от агрессивности среды определяются по нижеследующей таблице.

ЗАЩИТА НАРУЖНЫХ ПОВЕРХНОСТЕЙ ПОДЗЕМНЫХ БЕТОННЫХ И ЖЕЛЕЗОБЕТОННЫХ КОНСТРУКЦИЙ

Конструкции

Номер варианта

Защитное покрытие при степени агрессивного воздействия среды

группа покрытий

слабая

группа покрытий

средняя

группа покрытий

сильная

Тонкостенные конструкции и фундаменты толщиной менее 0,5 м

1

II

Битумно-латексные1 мастики

III

Асфальтовые1 мастики холодные и горячие

IV

Полимерные покрытия эпоксидные

2

II

Битумные покрытия горячие

III

Полимерные покрытия на основе лака ХП-734

III

Оклеечные битумные рулонные материалы с защитной стенкой

3

II

Битумно-полимерные покрытия и мастики

III

То же, на основе полиизоционата К

IV

Оклеечные полимерные рулонные материалы

4

 

 

III

Оклеечные битумные рулонные материалы с защитной стенкой

IV

Полимерные покрытия, армированные стеклотканью

1 - при защите вертикальных поверхностей необходимо устройство защитной стенки

Гидроизоляцию конструкций необходимо предусматривать выше максимального уровня грунтовых вод не менее чем на 0,5 м.

Решающим фактором при определении типа гидроизоляции является величина гидростатического напора.

Типы гидроизоляции в зависимости от гидростатического напора приведены в нижеследующей таблице.

Свойства гидроизоляции

Типы гидроизоляции

окрасочная

штукатурная

литая асфальтовая

оклеечная

листовая из полимерных материалов

металлическая

битумная

полимерная

цементная

асфальтовая

Гидростатический напор, м

2*

5

20

30

30

30

30

не огранич.

* - при соответствующем обосновании и при обеспечении доступа для периодического ремонта.

Выше максимального уровня грунтовых вод конструкции должны быть изолированы от капиллярной влаги.

Средние значения максимального поднятия капиллярной воды (м) в зависимости от вида грунта:

пески:

крупнозернистые                           0,03 ¸ 0,15

среднезернистые                           0,15 ¸ 0,35

мелкозернистые                             0,35 ¸ 1,1

суглинки:

легкие                                             2 ¸ 2,5

средние и тяжелые                        3,5 ¸ 6,5

лессовые и глинистые грунты          4 и более

глины                                              до 12

илы                                                 до 25

Типы защитных п                                      окрытий емкостных сооружений согласно серии 1.010-1 (вып. 0 - 0) приведены в нижеследующей таблице.

Виды гидроизоляции

Категория трещиностойкости

Емкостные сооружения (бассейны, резервуары, лотки, отстойники и т.д.)

стены

днища

перекрытия

Окрасочная:

битумно-полимерная

1,2

+

+

+1

 

3

+

+

-

полимерная

1, 2

+1

-

+1

 

3

-

-

-

цементно-полимерная

1, 2, 3

+

-

-

Штукатурная:

горячий асфальтовый р-р

1, 2

+

+

+

 

3

+

+

-

горячая асфальтовая

1, 2

+

+

+

мастика

3

+

+

-

холодная асфальтовая

1, 2

+

+

+

мастика

3

+

-

-

цементно-песчаный р-р

1, 2

+

-

-

 

3

-

-

-

коллоидный цементный

1, 2

+

+

+

раствор

3

-

-

-

активированный

1, 2

+

+

+

торкрет

3

-

-

-

стеклоцемент

1, 2, 3

+

+

+

Оклеечная:

битумная

1, 2, 3

+

+

+

битумно-полимерная

1, 2, 3

+

+

+

полимерная

1, 2, 3

+

+

+

Монтируемая:

пластмассовая

1, 2, 3

+

+

+

металлическая

1, 2, 3

+

+

+

+ … рекомендуется, - … не допускается, 1 … для наружных поверхностей

ПОДГОТОВКА БЕТОННОЙ ПОВЕРХНОСТИ

В основаниях под гидроизоляцию в соответствии с проектом необходимо выполнить следующие работы:

- срезать монтажные приспособления;

- очистить, закруглить острые углы радиусом не менее 10 мм;

- срезать или заполнить раствором, промыть, обеспылить, заделать швы кладки и неровности, просушить их;

- заделать швы между сборными плитами;

- устроить температурно-усадочные швы;

- смонтировать закладные элементы;

- оштукатурить участки вертикальных поверхностей каменных конструкций на высоту примыкания рулонного или эмульсионно-мастичного ковра гидроизоляции.

Бетонная поверхность, подготовленная к нанесению антикоррозионной защиты, не должна иметь выступающей арматуры, раковин, наплывов, сколов ребер, масляных пятен, грязи и пыли.

Закладные изделия должны быть жестко закреплены в бетоне, фартуки закладных изделий должны быть установлены заподлицо с защищаемой поверхностью.

Подготовленная бетонная поверхность в зависимости от вида защитного покрытия должна соответствовать нижеприведенным требованиям.

ПОКАЗАТЕЛИ

Значение показателей качества поверхности, подготовленной под защитные покрытия.

Мастичные

Оклеечные

1. Шероховатость:

 

 

класс шероховатости

2 - III

3 - III

суммарная площадь отдельных раковин и углублений на 1 м2, %, при глубине раковин до 0,3 мм

до 0,2

до 0,2

поверхностная пористость,

до 20

до 10

 % по массе

 

 

2. Влажность оснований, %

 

 

по массе: бетонных

4

4

цементно-песчаных.

5

5

(контроль - измерительный, не менее 5 измерений равномерно на каждые 50 - 70 м2 основания, регистрация результатов - в журнале работ)

Класс шероховатости определяется по нижеследующей таблице.

Класс шероховатости

Расстояние между выступами и впадинами, мм

2 - III

Свыше 1,2 до 2,5

3 - II

Свыше 0,6 до 1,2

Обеспыливание оснований необходимо выполнять перед нанесением огрунтовочных и изоляционных составов, включая приклеивающие клеи и мастики.

Огрунтовка поверхности перед нанесением приклеивающих и изоляционных составов должна быть выполнена сплошной без пропусков и разрывов. Огрунтовку стяжек, выполненных из цементо-песчаных растворов следует выполнять не позднее чем через 4 ч после их укладки, применяя грунтовки на медленно испаряющихся растворителях.

Грунтовка должна иметь прочное сцепление с основанием, на приложенном к ней тампоне не должно оставаться следов вяжущего.

При подготовке поверхности основания необходимо соблюдать нижеприведенные требования.

Технические требования

Предельные отклонения

Контроль (метод, объем, вид регистрации)

Допускаемые отклонения поверхности основания при рулонной и безрулонной эмульсионной и мастичной изоляции:

 

Измерительный, технический осмотр, не менее 5 измерений на каждые 70 - 100 м2 поверхности или на участке меньшей площади в местах, определяемых визуальным осмотром

на горизонтальной поверхности

±5 мм

на вертикальной поверхности

±10 мм

Толщина элемента конструкции (от проектной)

10 %

То же

Число неровностей (плавного очертания протяженностью не более 150 мм) на площади поверхности 4 м2

не более 2

То же

Толщина грунтовки, мм:

 

 

при огрунтовке отвердевшей стяжки - 0,3

5 %

То же

при огрунтовке стяжек в течение 4 ч после нанесения раствора - 0,6

10 %

То же

Влажность основания перед нанесением грунтовки не должна превышать величин, указанных выше. По влажным основаниям допускается наносить только грунтовки или изоляционные составы на водной основе, если влага, выступающая на поверхности основания, не нарушает целостности пленки покрытия.

ПОДГОТОВКА И ПРИГОТОВЛЕНИЕ ГИДРОИЗОЛЯЦИОННЫХ СОСТАВОВ

При подготовке и приготовлении гидроизоляционных составов следует соблюдать нижеприведенные требования.

Технические требования

Предельные отклонения

Контроль (метод, объем, вид регистрации)

Битум и деготь (пек) необходимо применять очищенными от примесей и обезвоженными. Нагрев не должен превышать, °С:

 

Измерительный, периодический, не менее 4 раз в смену, журнал работ

битума - 180

±5 %

 

дегтя (пека) - 140

±7 %

 

Наполнители (заполнители) должны быть просеянными через сито с размерами ячеек, мм:

 

То же

для песка - 1,5

 

 

для пылевидных - 2

 

 

для волокнистых - 4

 

 

Допустимая влажность наполнителей (заполнителей):

 

Измерительный, периодический, не менее 4 раз в смену, журнал работ

для песка

до 2 %

для составов с уплотняющими добавками

до 5 %

 

для других составов

до 3 %

 

Температура эмульсий и их составляющих, °С:

 

То же, не менее 5 - 6 раз в смену, журнал работ

битума - 110

+10 °С

 

раствора эмульгатора - 90

+7 °С

 

латекса (при введении в эмульсию) - 70

Минус 10 °С

 

УСТРОЙСТВО ГИДРОИЗОЛЯЦИИ ИЗ РУЛОННЫХ МАТЕРИАЛОВ

Нанесение оклеечных защитных покрытий должно выполняться в следующей технологической последовательности:

- подготовка рулонных материалов;

- нанесение и сушка грунтовок;

- послойное наклеивание материалов.

Работы по нанесению оклеечных защитных покрытий на основе битумно-рулонных материалов следует выполнять, как правило, при температуре окружающего воздуха, защитных материалов и защищаемых поверхностей не ниже 10 °С.

Рулонные изоляционные материалы при производстве работ при отрицательных температурах необходимо в течение 20 ч отогреть до температуры не менее 15 °С, перемотать и доставить к месту укладки в утепленной таре. Рулонные материалы перед наклейкой необходимо разметить по месту укладки; раскладка полотнищ рулонных материалов должна обеспечивать соблюдение величин их нахлестки при наклейке.

На защищаемую поверхность перед наклейкой рулонных материалов на битумных мастиках должны быть нанесены грунтовки на основе битума, на синтетических клеях - грунтовки из этих же клеев.

Сушку первого слоя грунтовок на основе битума следует производить до отлипа, второго - в течение 1 - 2 ч. Сушку первого слоя грунтовок из синтетического клея следует производить в течение 40 - 60 мин, второго - до отлипа. Сушку полимерных и битумно-полимерных грунтовок следует производить до отлипа.

Перед наклейкой на защищаемую поверхность рулонные материалы должны быть очищены от минеральной посыпки.

При нанесении рулонных материалов на битумной мастике ее слой не должен превышать 3 мм, на клеях - 1 мм.

При наклейке рулонных материалов из гидроизола, рубероида и стекло-рубероида величина нахлестки полотнищ должна быть 100 мм.

Мастика должна в соответствии с проектом наноситься равномерным сплошным, без пропусков или полосовым способом.

При устройстве рулонной гидроизоляции с применением клеящих составов горячие мастики должны наноситься на огрунтованное основание непосредственно перед наклейкой полотнищ. Холодные мастики (клеи) следует наносить на основание или полотнища заблаговременно. Между нанесением приклеивающих составов и приклейкой полотнищ необходимо соблюдать технологические перерывы, обеспечивающие прочное сцепление приклеивающих составов с основанием.

Каждый слой следует укладывать после отвердения мастик и достижения прочного оцепления с основанием предыдущего слоя.

Защитные покрытия из рулонных материалов, наклеенных на битумных составах, должны быть прошпатлеваны битумными мастиками. На горизонтальные покрытия мастики следует наносить слоями толщиной не более 10 мм, на вертикальные - слоями толщиной 2 - 3 мм.

Покрытия, подлежащие последующей защите материалами на основе силикатных и цементных составов, должны быть затерты по слою из битумной неостывшей мастики или синтетических смол крупноразмерным кварцевым песком.

УСТРОЙСТВО ГИДРОИЗОЛЯЦИИ ИЗ ПОЛИМЕРНЫХ И ЭМУЛЬСИОННО-БИТУМНЫХ СОСТАВОВ.

Гидроизоляционные работы допускается выполнять при температуре окружающей среды от 60 до минус 30 °С (производство работ с применением горячих мастик - при температуре окружающего воздуха не ниже минус 20 °С).

Способ нанесения, состав, число и толщина отдельных слоев, влажность воздуха и время сушки каждого слоя, общая толщина гидроизоляционного покрытия определяются ППР, технологическими картами и технической документацией, разработанной в соответствии с ГОСТ 21.513-83.

Гидроизоляционные работы выполняются, как правило, в следующей технологической последовательности: нанесение грунтовок, сушка грунтовочных слоев, нанесение шпаклевок (при необходимости), сушка шпаклевочных слоев, нанесение окрасочных слоев с их сушкой, выдерживание или термическая обработка покрытия.

При устройстве гидроизоляции из эмульсионно-мастичных составов каждый слой изоляционного ковра должен наноситься сплошным, без разрывов, равномерной толщины после отвердения грунтовки или нижнего слоя.

Мастичные покрытия, приготовленные на составах из природных и синтетических смол, должны наноситься слоями толщиной не более 3 мм каждый.

Защитное покрытие на основе горячих битумных или каменоугольных мастик должно быть предохранено от внешних механических воздействий до достижения температуры окружающего воздуха.

При устройстве гидроизоляции из полимерных составов типа «Кровлелит» и «Вента» их необходимо наносить агрегатами высокого давления, обеспечивающими плотность, равномерную толщину покрытия и прочность сцепления покрытия с основанием не менее 0,5 МПа. При применении холодных асфальтовых эмульсионных мастик подача и нанесение составов должны осуществляться агрегатами с винтовыми насосами (механического действия), обеспечивающими прочность сцепления покрытия с основанием не менее 0,4 МПа.

При устройстве гидроизоляции из эмульсионно-мастичных составов, армированных фибрами стекловолокна, их нанесение должно выполняться агрегатами, обеспечивающими получение фибр одинаковой длины, равномерное распределение в составе и плотность изоляционного покрытия.

При устройстве рулонной изоляции и устройстве изоляции из полимерных и эмульсионно-мастичных составов должны соблюдаться нижеприведенные требования.

Технические требования

Предельные отклонения

Контроль (метод, объем, вид регистрации)

Температура при нанесении горячих мастик, °С:

 

Измерительный, периодический, не менее 4 раз в смену, журнал работ

битумных - 160

+20 °С

дегтевых - 130

+10 °С

Толщина слоя мастик при наклейке рулонного ковра, мм:

 

Измерительный, технический осмотр, не менее 5 измерений на каждые 70 - 100 м2 в местах, определяемых визуальным осмотром, журнал работ

горячих битумных - 2,0

±10 %

промежуточных слоев - 1,5

±10 %

холодных битумных - 0,8

±10 %

Толщина одного слоя изоляции, мм:

-

Измерительный, технический осмотр, не менее 5 измерений на каждые 70 - 100 м2 в местах, определяемых визуальным осмотром, журнал работ

холодных асфальтовых мастик - 7

 

цементных растворов - 10

эмульсий - 3

 

полимерных составов (типа «Кровлелит» и «Вента») - 1

 

УСТРОЙСТВО ГИДРОИЗОЛЯЦИИ ИЗ ЦЕМЕНТНЫХ РАСТВОРОВ И ГОРЯЧИХ АСФАЛЬТОВЫХ СМЕСЕЙ

При устройстве цементной гидроизоляции из растворов с применением водонепроницаемых расширяющихся цементов (ВРЦ), водонепроницаемых безусадочных цементов (ВБЦ) или портландцемента с уплотняющими добавками составы следует наносить на смоченную водой поверхность основания.

Каждый последующий слой должен наноситься не позднее чем через 30 мин (при применении составов ВРЦ и ВБЦ) или не более чем через сутки (при применении составов на портландцементе с уплотняющими добавками) после отвердения предыдущего слоя.

Цементная гидроизоляция в течение двух суток после нанесения (1 ч при применении ВРЦ и ВБЦ) должна предохраняться от механических воздействий.

Увлажнение цементной гидроизоляции во время твердения должно осуществляться распыленной струей воды без напора при применении составов:

ВРЦ и ВБЦ - через 1 ч после нанесения и через каждые 3 ч в течение суток;

на портландцементе с уплотняющими добавками - через 8 - 12 ч после нанесения, а затем 2 - 3 раза в сутки в течение 14 дней.

Цементные растворы и горячие асфальтовые смеси при уклоне поверхности до 25 % необходимо укладывать по маячным рейкам полосами шириной 2 - 6 м слоями равномерной толщины (не более 75 мм) с уплотнением и заглаживанием поверхности слоя.

При устройстве гидроизоляции из цементных растворов, армированных фибрами стекловолокна, их нанесение должно выполняться агрегатами, обеспечивающими получение фибр одинаковой длины, равномерное их распределение в растворе и плотность изоляционного покрытия.

При устройстве гидроизоляции из цементных растворов и горячих асфальтовых смесей, мастик и битумов следует соблюдать нижеприведенные требования.

Технические требования

Предельные отклонения

Контроль (метод, объем, вид регистрации)

Допускаемые отклонения поверхности (при проверке двухметровой рейкой):

 

Измерительный, не менее 5 измерений на каждые 50 - 100 м2 поверхности или на участке меньшей площади в местах, определяемых визуальным осмотром

по горизонтали

±5 мм

по вертикали

-5; +10 мм

плоскости элемента от заданного уклона - 0,2 %

Не более 150 мм

толщины элемента покрытия - -5; +10 %

Не более 3,0 мм

Подвижность составов (смесей) без пластификатора, см:

 

Измерительный, не менее 3 измерений на каждые 70 - 100 м2 поверхности покрытия

при нанесении вручную - 10

+2 см

при нанесении установками с поршневыми или винтовыми насосами - 5

+4 см

при применении пластификаторов - 10

+2 см

Температура горячих асфальтовых смесей при нанесении - 120 °С

 

Измерительный, периодический, не менее 8 раз в смену, журнал работ

Устройство изоляции с дисперсноармированным стекловолокном (фибрами стекловолокна):

 

Измерительный, периодический не менее 16 измерений в смену (через каждые 0,5 ч работы), журнал работ

размеры фибр - 20 мм

+20 мм

соотношение по массе глиноземистого цемента к портландцементу - 90:10

до 80:20

содержание в портландцементе марки не ниже 400 трехкальциевого алюмината по массе - не более 8 %. Стекложгут не должен иметь парафиновый замасливатель

 

Готовые гидроизоляционные покрытия должны отвечать нижеприведенным требованиям.

Технические требования

Контроль (метод, объем, вид регистрации)

Прочность сцепления с основанием и между собой гидроизоляционного ковра из рулонных материалов по сплошной мастичной клеящей прослойке эмульсионных составов с основанием - не менее 0,5 МПа

Измерительный, 5 измерений на 120 - 150 м2 поверхности покрытия (при простукивании не должен изменяться характер звука); при разрыве приклеенных материалов не должны наблюдаться отслоения по мастике (разрыв должен происходить внутри рулонного полотнища), акт приемки.

Теплостойкость и составы мастик для приклейки рулонных материалов, а также прочность и составы клеящей прослойки должны соответствовать проектным. Отступления от проекта - 5 %

Технический осмотр, акт приемки

Пузыри, вздутия, воздушные мешки, разрывы, вмятины, проколы, губчатое строение, потеки и наплывы на поверхности покрытия гидроизоляции не допускаются

Технический осмотр, акт приемки

Увеличение влажности оснований, промежуточных элементов - не более 5 %

Измерительный, 5 измерений на 50 - 70 м2 поверхности покрытия или на отдельных участках меньшей площади в местах, выявленных визуальным осмотром, акт приемки

При приемке готовой гидроизоляции необходимо проверять качество заполнения стыков и отверстий в сооружениях из сборных элементов уплотняющими материалами. Отступления от проекта не допускаются

Технический осмотр, акт приемки

Серия 1.010-1 выпуск 0 - 0, 0 - 1, 0 - 2

Гидроизоляция подземных частей зданий и сооружений

Серия содержит узлы окрасочной, штукатурной и литой гидроизоляции, а также узлы оклеечной изоляции сборных, монолитных и сборно-монолитных подземных сооружений и предназначен для использования проектными и строительными организациями при проектировании и возведении подземных сооружений.

ОКРАСОЧНАЯ ГИДРОИЗОЛЯЦИЯ

Окрасочная гидроизоляция представляет собой сплошное многослойное (2 - 4 слоя) водонепроницаемое покрытие, выполненное окрасочным способом и имеющее общую толщину 3 - 6 мм. Окраска является наиболее распространенным, наиболее механизированным, дешевым способом гидроизоляции и антикоррозионной защиты поверхностей бетонных и железобетонных сооружений. Однако область применения ограничивается недостаточной долговечностью окрасочных покрытий.

Окрасочную гидроизоляцию следует применять в основном для защиты от капиллярной влаги в дренирующих грунтах (песчаных, галечных, скальных и т.д.). При гидростатическом напоре ее можно применять, если нет деформационных швов и если будет создана возможность периодического осмотра и ремонта гидроизоляции, а напор не будет превышать 2 м. При постоянном обводнении и при наличии агрессивных вод применяют композиции на основе эпоксидных смол.

Окрасочная гидроизоляция применяется как внутри помещения, так и под землей и только со стороны воздействия воды.

По составу исходных материалов различают следующие типы окрасочных покрытий:

1) битумные:

- из растворенных и горячих битумов;

- из битумных эмульсий и паст.

Битумные материалы изготавливают в виде растворов битума и пеков, водобитумных и водопековых эмульсий, применяемых как с наполнителями и спецдобавками, так и без них.

2) битумно-полимерные:

- из битумно-латексных мастик;

- из битумно-наиритовых мастик;

- из битумно-каучуковых мастик;

- из битумно-бутилкаучуковых мастик;

- из битумно-полиэтиленовых мастик.

Битумно-полимерные композиции применяются в виде расплавов, растворов или водоэмульсионные, обладают повышенной деформативной способностью и водостойкостью, однако гидрозащитные покрытия на их основе более многодельные по сравнению с покрытиями на основе битумных эмульсионных мастик.

3) полимерные:

- из синтетических смол;

- из лакокрасочных материалов.

Полимерные материалы изготавливают на основе синтетических каучуков и смол (хлоркаучуковые, бутилкаучуковые, алкидные, полиуретановые, эпоксидные и другие мастики и краски).

4) полимерцементные - из цементно-латексных составов.

Полимерцементные материалы приготавливаются на основе цемента и синтетического латекса. При приготовлении полимерцементных составов применяются: цемент, песок, синтетический латекс, жидкое стекло, эмульгатор.

При выборе типа изоляции необходимо, чтобы прочность гидроизоляции (растяжение, сдвиг) соответствовала деформативности (раскрытию трещин) конструкции. Для конструкций с раскрытием трещин 0,2 мм и более применять битумную окрасочную гидроизоляцию не рекомендуется. Углы поворота, сопряжения и т.д. окрасочных покрытий необходимо армировать стеклотканью, стеклосеткой и т.д.

При применении окрасочной гидроизоляции для защиты подземных сооружений в зданиях с мокрыми процессами, а также для защиты сооружений, расположенных вне здания, от атмосферных осадков, необходимо применять комбинированную изоляцию - окрасочную и оклеечную.

Выбор вида окрасочной гидроизоляции в зависимости от гидростатического напора следует производить по нижеприведенным таблицам.

Вид гидроизоляции

Условное обозначение материала

Состав

Гидростатический напор

 

кол-во слоев

толщина мм

2

5

10

20

 

Битумная:

 

 

 

 

 

 

 

 

- из расплавленных растворенных битумов

БР

4

4

+*

-

-

-

 

- из битумных эмульсий

БЭ

4

6

+*

-

-

-

 

- из горячих и холодных битумных мастик

БМ

2

6

+*

-

-

-

 

- из горячих битумно-резиновых мастик

БРМ

2

4

+

-

-

-

 

Битумно-полимерная:

 

 

 

 

 

 

 

 

- из битумно-латексных мастик

БЛ

3

6 - 16

+

+

-

-

 

- из битумно-наиритовых мастик

БН

2

3

2 - 4

4

+

+

+

+

-

+

-

-

 

- из битумно-каучуковых мастик

БК

2

2

+

-

-

-

 

- из битумно-бутилкаучуковых мастик

ББК

2

5-6

+

+

-

-

 

- из битумно-полиэтиленовых мастик

БПМ

1

2

3

2

+

+

-

-

-

-

-

-

 

Полимерная:

 

 

 

 

 

 

 

 

- из эпоксидных красок

Э

1

0,8 - 1

+

+

-

-

 

- из эпоксидно-деггевых красок

эд

4

2,5

+

+

+

-

 

- из эпоксидно-фурановых красок

ЭФ

4

2 - 2,5

+

+

+

-

 

- из эпоксидно-каменоугольных красок

ЭКУ

4

2,5

+

+

-

-

 

- из эпоксидно-каучуковых красок

эк

4

2,5

+

+

+

-

 

- из хлорсульфированно-полиэтиленовых красок

хс

4

2

+

+

-

-

 

- из тиоколовых мастик

т

1

2

+

+

-

-

 

- из бутилкаучуковых мастик

БКМ

1

2

+

+

-

-

 

Полимерцементная:

 

 

 

 

 

 

 

 

- из цементно-латексных мастик

цл

1

3

+

+

-

-

 

- из цементно-поливинил-ацетатных мастик

ЦП

1

4

+

+

+

-

 

- из цементно-эпоксидных мастик

цэ

1

4

+

+

-

-

 

*- при соответствующем обосновании и при обеспечении доступа для периодического ремонта

 

 

Вид гидроизоляции

Рекомендуемая толщина, мм

Допустимый гидростатический напор грунтовых вод, м

Теплостойкость °С

Возможность устройства по влажным основаниям

Необходимость устройства защитных ограждений

Битумная

4…6

2

70…90

нет

треб.

Битумно-полимерная:

 

 

 

 

 

- битумно-латексная

6…16

5

70

да

не треб.

- битумно-наиритовая

2…4

до 10

80

да

треб.

- битумно-эпоксидная

1,3…1,5

1

80…95

нет

треб.

- битумно-полистирольная

1,5…2

2 - 3

115

нет

треб.

Полимерная:

 

 

 

 

 

- эпоксидная

1

до 5

80

нет

не треб.

- эпоксидно-дегтевая

2,5

до 10

50

да

не треб.

- эпоксидно-фурановая

2,5

до 10

70

нет

не треб.

- эпоксидно-каменоугольная

2,5

до 5

50

да

не треб.

- эпоксидно-каучуковая

2…2,5

до 10

100

нет

не треб.

Полимерцементная:

 

 

 

 

 

- цементно-латексная

3

5

70

да

не треб.

- цементно-поливинилацетатная

4

до 10

60

да

не треб.

- цементно-эпоксидноамидная

4

5

80…85

нет

не треб.

- цементно-фуриловая

45

5

80…90

нет

 

ШТУКАТУРНАЯ ГИДРОИЗОЛЯЦИЯ

Штукатурная гидроизоляция (асфальтовая и цементно-песчаная) представляет собой многослойное покрытие из растворов, содержащих наполнители и заполнители, наносится толщиной от нескольких миллиметров до нескольких сантиметров (6 ¸ 50 мм).

Надежность работы штукатурной гидроизоляции зависит от жесткости изолируемой конструкции, поэтому штукатурную гидроизоляцию необходимо применять на поверхностях жестких сооружений, не подвергающихся деформациям (прекратившиеся осадки) и вибрациям любого происхождения.

По составу исходных материалов различают следующие виды штукатурной гидроизоляции:

1) на основе неорганических вяжущих:

а) цементные:

- из торкрет-бетона или пневмобетона;

- из цементно-песчаных растворов с уплотняющими добавками;

- из коллоидно-цементного раствора.

2) на основе органических вяжущих:

а) битумные:

- из холодных асфальтовых мастик;

- из горячих асфальтовых мастик;

- из горячих асфальтовых растворов.

б) из полимербетонов и полимеррастворов.

Штукатурную цементную гидроизоляцию следует выполнять в виде покрытия из цементно-песчаного раствора (состава цемент:песок 1:1 или 1:2), наносимого механизированным (торкретирование) или ручным способом.

Торкретирование следует применять, как правило, для защиты ограждающих конструкций из монолитного бетона или сборно-монолитного железобетона при воздействии гидростатического напора.

Горячая асфальтовая штукатурная гидроизоляция представляет собой водонепроницаемое, пластичное и высокопрочное покрытие толщиной 5 ¸ 25 мм, состоящее из нескольких слоев или наметов асфальтового раствора или мастики, наносимых на горизонтальные поверхности разливом, а на вертикальные - набрызгом в нагретом состоянии при рабочей температуре 160 ¸ 200 °С.

Преимуществом горячей штукатурной гидроизоляции является возможность применения ее с пластификаторами, полимерными добавками, также армирования ее стеклосетками. Благодаря этому горячей штукатурной гидроизоляцией можно защищать железобетонные конструкции с расчетным раскрытием трещин до 2 мм. Недостатком гидроизоляции является применение материалов в горячем состоянии, что усложняет гидроизоляционные работы, повышает их трудоемкость, требует сушки основания.

Холодная асфальтовая штукатурная гидроизоляция представляет собой водонепроницаемое и пластичное покрытие толщиной 5 ¸ 25 мм, выполняемое штукатурным способом, отдельными наметами толщиной по 5 ¸ 7 мм из холодной асфальтовой мастики - смеси водной эмульсионной пасты битума с минеральным наполнителем.

Холодная гидроизоляция отличается простотой устройства, надежностью. Ее выполняют без нагрева материалов при высокой механизации всего процесса; покрытия из нее можно устраивать на влажном основании, без защитных ограждений, причем обеспечивается высокая водо-, тепло-, и солестойкость мастики.

Техническая характеристика штукатурных изоляций

Показатель

Асфальтовая

Цементно-песчаная (торкрет)

горячая

холодная

Рекомендуемая толщина, мм:

 

 

 

против капиллярной влаги

4…7

5…7

-

против гидростатического напора до 10 м

8…18

10…15

20…30

Теплостойкость, °С

110

105

80…90

Возможность устройства по влажным основаниям

нет

да

да

Необходимость устройства защитных ограждений

да

да

нет

Выбор вида штукатурной гидроизоляции в зависимости от гидростатического напора следует производить по нижеследующей таблице.

Вид гидроизоляции

Условное обозначение материала

Состав

Гидростатический напор

 

кол-во слоев

толщина мм

2

5

10

20

 

Битумная:

- из горячих асфальтовых растворов

БГР

1

4…10

+

-

-

-

 

 

2

8…15

+

+

-

-

 

 

3

12…24

+

+

-

-

 

- из горячих асфальтовых мастик

БГМ

1

3…8

+

-

-

-

 

 

2

6…16

+

+

-

-

 

 

3

9…24

+

+

+

-

 

- из холодных асфальтовых мастик «хамаст»

БХМ

2

5…7

+

-

-

-

 

 

3…4

10…18

+

+

-

-

 

 

4…5

15…20

+

+

+

-

 

- из холодной битумной асбесто-эмульсионной мастики с добавлением цемента

 

3…4

10…18

+

+

+

-

 

БАЭМ

4…5

15…20

+

+

+

-

 

Цементная

- на растворе (при работе на прижим)

ЦР

2

20

+

-

-

-

 

- на растворе с уплотняющими добавками (при работе на прижим и отрыв)

ЦРД

2

20

+

+

-

-

 

 

3

25…30

+

+

+

-

 

- из торкрета (при работе на прижим и отрыв)

ЦТ

2

25

+

+

+

-

 

 

3

30

+

+

+

+

 

- из торкрета на расширяющемся портландцементе и напрягающемся цементе (на прижим и отрыв)

РПЦ

2

25

+

+

+

-

 

- из армированного торкрета с уплотняющими добавками (при работе на прижим и отрыв)

АТУ

2

25

+

+

+

-

 

- из армированного торкрета на расширяющемся портландцементе и напрягающемся цементе (на прижим и отрыв)

АРПЦ

2

25

+

+

+

-

 

- на коллоидном растворе (на прижим и отрыв)

КР

2

15

+

+

-

-

 

 

3

15

+

+

+

-

 

- на коллоидном полимерцементном растворе (на прижим и отрыв)

ПЦР

2

15

+

+

+

-

 

- из активированного торкрета (на прижим и отрыв)

AT

2…3

20…25

+

+

+

-

 

 

3…4

15…25

+

+

+

+

 

- из стеклоцемента (на прижим и отрыв)

СТ

2…3

15…20

+

+

+

-

 

 

4

25

+

+

+

+

 

ЛИТАЯ ГИДРОИЗОЛЯЦИЯ

Литая гидроизоляция представляет собой сплошной водонепроницаемый слой, образованный разливом, разравниванием, поярусной заливкой растворов и мастик в щель между поверхностью сооружения и ограждения.

В зависимости от температуры материала различают горячую или холодную литую гидроизоляцию. Мастики и растворы при применении должны быть жидкотекучими, а затем затвердевать и создавать водонепроницаемый слой.

Литая гидроизоляция может быть армирована металлической сеткой или стеклотканью.

На горизонтальных поверхностях литая гидроизоляция устраивается только на жестком монолитном основании и состоит из одного-двух слоев. Толщина каждого слоя должна быть: для растворов - не менее 12 мм, для мастик - не менее 5 мм.

Материалом для литой гидроизоляции могут служить холодная или горячая асфальтовая мастики или литые асфальтовые растворы. Литая гидроизоляция на горизонтальной поверхности защищается стяжкой и; цементно-песчаного раствора толщиной 30 мм.

Литую гидроизоляцию рекомендуется применять на горизонтальных поверхностях, а на вертикальных поверхностях она очень трудоемка и сложна.

Состав асфальтовой гидроизоляции следует принимать по ГОСТ 9128-97.

Техническая характеристика литой гидроизоляции

Показатель

Литая асфальтовая

Рекомендуемая ширина щели или толщина изоляции, мм

35…50

Допустимый гидростатический напор, м

8…10*

Теплостойкость, °С

35…40

Наименьшая температура воздуха при производстве работ, °С

5…10

Возможность устройства по влажным основаниям

нет

* - при напорах более 10 м применение литой гидроизоляции допускается при соответствующем обосновании

Выбор толщины литой гидроизоляции в зависимости от гидростатического напора

Назначение гидроизоляции

Толщина отдельных слоев, мм

первого слоя

второго слоя

из асфальтовой мастики

из асфальтового раствора

из асфальтовой мастики

из асфальтового раствора

Против капиллярной влаги

5…7

12… 15

-

-

Против гидростатического напора до 10 м

5…7

15…20

5…7

15…20

Против гидростатического напора свыше 10 м

7…10

20…25

7…10

20…25

Рекомендуемые толщины, мм, литой гидроизоляции на вертикальных поверхностях

Высота одновременной заливки, мм

Гидроизоляционный материал

Ограждение

кирпичное

деревянное

Температура воздуха, °С

5…15

> 15

5…15

> 15

< 200

горячий битум, пек, мастика

35

30

40

40

асфальтовый раствор (асфальтобетон)

40

35

45

40

200…400

горячий битум, пек, мастика

40

35

45

40

асфальтовый раствор (асфальтобетон)

45

45

50

45

400…600

горячий битум, пек, мастика

50

40

50

50

асфальтовый раствор (асфальтобетон)

50

50

60

50

ОКЛЕЕЧНАЯ ГИДРОИЗОЛЯЦИЯ

Оклеечная гидроизоляция представляет собой сплошной водонепроницаемый ковер рулонных, пленочных гидроизоляционных материалов, наклеиваемых послойно мастиками на огрунтованную поверхность изолируемой конструкции или защитного ограждения.

Оклеечная гидроизоляция должна проектироваться только из гнилостойких материалов.

Оклеечные покрытия по составу применяемых материалов подразделяются на две подгруппы:

1) покрытия из битумных рулонных материалов:

- изол (ГОСТ 10296-79*);

- гидроизол (ГОСТ 7415-86*);

- фольгоизол (ГОСТ 20429-84*);

- армобитэп (ТУ 21-27-50-76);

- экарбит (ТУ 21-27-50-76).

2) покрытия из синтетических полимерных материалов:

- полиэтиленовая пленка (ГОСТ 10354-82*);

- поливинилхлоридная пленка (ГОСТ 16272-79*);

- полипропиленовая пленка (ТУ 38-10264-83).

Техническая характеристика оклеечной гидроизоляции

Показатель

Гидроизол (3…5 сл.)

Фольгоизол (1 сл.) по рубероиду (1 сл.)

Стеклорубероид (4 слоя)

Изол (5 сл.)

Армобитэп (3 сл.)

Допустимый гидростатический напор, м

10…30

20

20

30

20

Теплостойкость, °С

80

80

80

90

70

Наименьшая температура воздуха при производстве работ, °С

5

10

5

10

5

Возможность устройства по влажным основаниям

нет

нет

нет

нет

нет

Устройство защитного слоя

требуется

не требуется

требуется

требуется

не требуется

Гидроизоляционный ковер из рулонных битумных материалов наклеивают послойно по наружным поверхностям конструкции со стороны воздействия воды.

Оклеечная гидроизоляция не должна подвергаться постоянно действующим сдвигающим и растягивающим нагрузкам.

Для предохранения от механических повреждений и оползней она должна быть защищена и зажата защитной конструкцией из бетона, железобетона, кирпича и т.д. При невозможности обеспечить прижим, оклеечную гидроизоляцию применять не рекомендуется.

Выбор вида материала оклеечной гидроизоляции в зависимости от гидростатического напора

Вид гидроизоляции

Состав

Гидростатический напор

 

кол-во слоев

толщина мм

2

5

10

20

30

 

Битумная:

 

 

 

 

 

 

 

 

- из гидроизола

3

7

+

+

+

-

-

 

5

11

+

+

+

+

+

 

- из изола

3

11

+

+

+

-

-

 

5

17

+

+

+

+

+

 

- из стеклорубероида

3

13

+

+

+

-

-

 

4

16

+

+

+

+

-

 

- из фольгоизола

1

5

+

+

+

+

-

 

2

8

+

+

+

+

+

 

Битумно-полимерная:

 

 

 

 

 

 

 

 

- из армобитэпа

2

-

+

+

+

-

-

 

3

-

+

+

+

+

-

 

- из экарбита

3

-

+

+

-

-

-

 

4

-

+

+

+

-

-

 

Полимерная:

 

 

 

 

 

 

 

 

- из полиэтиленовой пленки

1

0,2

+

+

+

-

-

 

2

0,4

+

+

+

+

-

 

3

0,6

+

+

+

+

+

 

Количество слоев оклеечной гидроизоляции

Свойства гидроизоляции

Количество слоев рулонного материала при относительной влажности помещений, %

менее 60

60 ¸ 75

свыше 75

Против капиллярной влаги и просачивающейся воды

3

2

-

Против гидростатического напора до 5 м

4

3

2

То же, более 5 м

5

4

3

Нанесение оклеечной гидроизоляции должно выполняться по СНиП 3.04.01-87 в следующей технологической последовательности:

- нанесение и сушка грунтовок;

- послойное наклеивание материалов;

- обработка стыков (сварка или склейка);

- сушка (выдержка) оклеечного покрытия.

В узлах серии 1.010-1 приняты следующие конструкции:

подготовка:

- при неагрессивной среде - бетонная из бетона класса В12,5;

- при агрессивной среде - асфальтовая толщиной 40 мм по слою щебня толщиной 60 мм;

защитные ограждения:

- на горизонтальных поверхностях - цементно-песчаная стяжка толщиной 30 мм из раствора марки 100;

- на вертикальных поверхностях - 1) из глиняного кирпича М75 на цементном растворе М50 толщиной 120 мм; 2) из бетонных блоков толщиной »300 мм; 3) из плоских асбестоцементных листов толщиной 8 мм;

деформационные швы с уплотнением резиновыми, пластмассовыми и металлическими компенсаторами.

Сопряжения различных типов гидроизоляции приняты внахлестку на полосе шириной 30…50 см. Места пропуска закладных изделий через гидроизоляцию усилены диафрагмами из листовой стали, шпонками из мастик, а гидроизоляционный покров армирован стеклотканью.



1 - подготовка из бетона класса В12,5;

2 - выравнивающий слой из цементного раствора M100 - 20 мм;

3 - грунтовка;

4 - окрасочная гидроизоляция;

5 - защитная стяжка из цементного раствора М100;

6 - армирующий слой;

7 - затирка цементным раствором М100 - 10 мм.

1 - щебеночная подготовка - 60 мм;

2 - уплотненный асфальтобетон - 40 мм;

3 - грунтовка;

4 - окрасочная гидроизоляция;

5 - защитная стяжка из цементного раствора М100;

6 - армирующий слой;

7 - затирка цементным раствором М100 - 10 мм.

1 - подготовка из бетона класса В12,5;

2 - выравнивающий слой из цементного раствора М100;

3 - грунтовка;

4 - окрасочная гидроизоляция;

5 - защитная стяжка из цементного раствора М100;

6 - армирующий слой;

Узел 4

1 - подготовка из бетона класса В3,5;

2 - выравнивающий слой из цементного раствора М100 - 20 мм;

3 - грунтовка;

4 - окрасочная гидроизоляция;

5 - защитная стяжка из цементного раствора М100;

Узел 5

1 - щебеночная подготовка - 60 мм;

2 - уплотненный асфальтобетон - 40 мм;

3 - грунтовка;

4 - окрасочная гидроизоляция;

5 - защитная стяжка из цементного раствора М100;

Узел 6

1 - затирка цементным раствором М100 - 10 мм;

2 - грунтовка;

3 - окрасочная гидроизоляция.

Узел 7

1 - грунтовка;

2 - армирующий слой;

3 - окрасочная гидроизоляция;

4 - соединительный элемент,

5 - затирка цементным раствором М100 - 10 мм;

Узел 9

Узел 10

1 - защитная стяжка из цементного раствора М100;

2 - грунтовка;

3 - окрасочная гидроизоляция;

4 - армирующий слой;

5 - затирка цементным раствором М100 - 10 мм.

Узел 11

1 - защитная стяжка из цементного раствора М100;

2 - грунтовка;

3 - окрасочная гидроизоляция;

4 - армирующий слой;

5 - затирка цементным раствором М100 - 10 мм.

Узел 12

Узел 15

1 - защитная стяжка из цементного раствора М100;

2 - грунтовка;

3 - окрасочная гидроизоляция;

4 - затирка цементным раствором М100 - 10 мм;

5 - армирующий слой.

Узел 16

1 - подготовка из бетона класса В3,5;

2 - заполнение шва битумной мастикой;

3 - выравнивающая стяжка из цементного раствора М100 - 20 мм;

4 - окрасочная гидроизоляция;

5 - защитная стяжка из цементного раствора М100;

6 - армирующий слой;

7 - битумная мастика;

8 - жгут пакли, пропитанный битумом;

9 - просмоленная доска, обернутая рубероидом;

10 - зачеканка цементным раствором М100;

11 - грунтовка.

Узел 17

1 - просмоленная доска, обернутая рубероидом;

2 - затирка цементным раствором М100 - 10 мм;

3 - грунтовка;

4 - битумная мастика;

5 - армирующий слой;

6 - жгут пакли, пропитанный битумом;

7 - окрасочная гидроизоляция;

8 - зачеканка цементным раствором М100.


Узел 19                                                                       Узел 18                                                           Узел 20

1 - грунтовка;

2 - стяжка из цементного раствора М100 по уклону;

3 - просмоленная доска, обернутая рубероидом;

4 - окрасочная гидроизоляция;

5 - жгут пакли, пропитанный битумом;

6 - цементный раствор М100;

7 - защитная стяжка из цементного раствора М100;

8 - армирующий слой;

9 - защитное ограждение из кирпича;

10 - битумная мастика;

11 - зачеканка цементным раствором М100.

1 - грунтовка;

2 - стяжка из цементного раствора М100 по уклону;

3 - просмоленная доска, обернутая рубероидом;

4 - окрасочная гидроизоляция;

5 - жгут пакли, пропитанный битумом;

7 - защитная стяжка из цементного раствора М100;

8 - армирующий слой;

10 - битумная мастика;

11 - зачеканка цементным раствором М100.


Узел 21

Узлы штукатурной гидроизоляции по серии 1.010-1

Узел 1

1 - подготовка из бетона класса В12,5;

2 - штукатурная цементная гидроизоляция;

3 - защитная стяжка из цементного раствора М100;

4 - армирующий слой;

5 - защитное покрытие из 2-х слоев горячего битума по холодной битумной грунтовке.

Узел 2

1 - щебеночная подготовка - 60 мм;

2 - штукатурная цементная гидроизоляция;

3 - защитная стяжка из цементного раствора М100;

4 - армирующий слой;

5 - защитное покрытие из 2-х слоев горячего битума по холодной битумной грунтовке;

6 - уплотненный асфальтобетон - 40 мм.

Узел 3

1 - подготовка из бетона класса В12,5;

2 - штукатурная цементная гидроизоляция;

3 - защитная стяжка из цементного раствора М100;

4 - щебеночная подготовка - 60 мм;

5 - уплотненный асфальтобетон - 40 мм

Узел 5

1 - штукатурная цементная гидроизоляция;

2 - защитное покрытие из 2-х слоев горячего битума.

Узел 6

1 - штукатурная цементная гидроизоляция;

2 - армирующий слой;

3 - защитное покрытие из 2-х слоев горячего битума;

4 - защитная стяжка из цементного раствора М100.

Узел 9

1 - подготовка из бетона класса В12,5;

2 - битумная грунтовка;

3 - асфальтовая штукатурная гидроизоляция;

4 - защитная стяжка из цементного раствора M100;

5 - армирующий слой;

6 - защитная стенка;

7 - цементный раствор М100.

Узел 10

1 - щебеночная подготовка - 60 мм;

2 - уплотненный асфальтобетон - 40 мм;

3 - битумная грунтовка;

4 - асфальтовая штукатурная гидроизоляция;

5 - защитная стяжка из цементного раствора М100;

6 - армирующий слой;

7 - защитная стенка;

8 - цементный раствор М100.

Узел 11

1 - битумная грунтовка;

2 - асфальтовая штукатурная гидроизоляция;

3 - защитная стенка;

4 - цементный раствор М100.

Узел 12

1 - битумная грунтовка;

2 - асфальтовая штукатурная гидроизоляция;

3 - защитная стяжка из цементного раствора М100;

4 - армирующий слой;

5 - защитная стенка.

Узел 13

1 - битумная грунтовка;

2 - асфальтовая штукатурная гидроизоляция;

3 - защитная стяжка из цементного раствора М100 по уклону.

Узел 14                                                              Узел 15

1 - асфальтовая гидроизоляция;

2 - армирующий слой;

3 - зачеканка цементным раствором М100;

4 - битумная мастика;

5 - прокладка резиновая пористая;

6 - защитная стяжка из цементного раствора М100;

7 - подготовка из бетона класса В12,5;

8 - плита железобетонная - 100 мм.

1 - асфальтовая гидроизоляция;

2 - армирующий слой;

3 - битумная мастика;

4 - прокладка резиновая пористая;

5 - цементный раствор М100;

6 - защитная стенка;

7 - жгут пакли, пропитанный битумом.

Узел 16                                                                 Узел 17

1 - асфальтовая гидроизоляция;

2 - армирующий слой;

3 - защитная стяжка из цементного раствора М100 по уклону;

4 - битумная мастика;

5 - жгут пакли, пропитанный битумом;

6 - прокладка резиновая пористая.

1 - подготовка из бетона класса В12,5;

2 - просмоленная пакля;

3 - штукатурная гидроизоляция;

4 - защитная стяжка из цементного раствора М100;

5 - просмоленная доска, обернутая рубероидом;

6 - 2 слоя гидроизола;

7 - битумная мастика;

8 - зачеканка цементным раствором М100;

9 - армирующий слой;

10 - жгут пакли, пропитанный битумом.

Узел 18

1 - щебеночная подготовка;

2 - уплотненный асфальтобетон - 40 мм;

3 - жгут пакли, пропитанный битумом;

4 - штукатурная гидроизоляция;

5 - защитная стяжка из цементного раствора М100;

6 - просмоленная доска, обернутая рубероидом;

7 - 2 слоя гидроизола;

8 - битумная мастика;

9 - зачеканка цементным раствором М100;

10 - армирующий слой.

Узел 19                                                              Узел 20

1 - просмоленная доска, обернутая рубероидом;

2 - 2 слоя гидроизола;

3 - битумная мастика;

4 - штукатурная гидроизоляция;

5 - защитное покрытие из 2-х слоев горячего битума по холодной битумной грунтовке;

6 - зачеканка цементным раствором М100;

7 - жгут пакли, пропитанный битумом;

8 - армирующий слой.

1 - просмоленная доска, обернутая рубероидом;

2 - просмоленная пакля;

3 - битумная мастика;

4 - штукатурная гидроизоляция;

5 - защитная стяжка из цементного раствора М100 по уклону;

6 - зачеканка цементным раствором М100;

7 - жгут пакли, пропитанный битумом;

8 - армирующий слой;

9 - 2 слоя гидроизола.

Узел 21

1 - штукатурная цементная гидроизоляция;

2 - литая гидроизоляция;

3 - подготовка из бетона класса В12,5;

4 - защитная стенка;

5 - цементный раствор М100;

6 - защитное покрытие из 2-х слоев горячего битума.

Узлы литой гидроизоляции по серии 1.010-1

Узел 1

1 - подготовка из бетона класса В12,5;

2 - литая асфальтовая гидроизоляция;

3 - армирующий слой;

4 - защитная стенка;

5 - защитная стяжка из цементного раствора М100.

Узел 2

1 - щебеночная подготовка - 60 мм;

2 - литая асфальтовая гидроизоляция;

3 - армирующий слой;

4 - защитная стенка;

5 - уплотненный асфальтобетон - 40 мм;

6 - защитная стяжка из цементного раствора М100.

Узел 3

1 - подготовка из бетона класса В12,5;

2 - литая гидроизоляция;

3 - защитная стяжка из цементного раствора М100;

4 - защитная стенка.

Узел 5

1 - литая асфальтовая гидроизоляция;

2 - защитная стяжка из цементного раствора М100;

3 - армирующий слой;

4 - защитная стенка.

Узел 7

1 - защитная стяжка из цементного раствора М100;

2 - грунтовка;

3 - литая гидроизоляция;

4 - затирка цементным раствором М100.

Узел 8

1 - подготовка из бетона класса В12,5;

2 - просмоленная пакля;

3 - литая асфальтовая гидроизоляция;

4 - защитная стяжка из цементного раствора М100;

5 - просмоленная доска, обернутая рубероидом;

6 - жгут пакли, пропитанный битумом;

7 - битумная мастика;

8 - зачеканка цементным раствором М100;

9 - армирующий слой;

10 - 2 слоя гидроизола.

Узел 9

1 - щебеночная подготовка - 60 мм;

2 - уплотненный асфальтобетон - 40 мм;

3 - литая асфальтовая гидроизоляция;

4 - защитная стяжка из цементного раствора М100;

5 - просмоленная доска, обернутая рубероидом;

6 - жгут пакли, пропитанный битумом;

7 - битумная мастика;

8 - зачеканка цементным раствором М100;

9 - армирующий слой;

10 - 2 слоя гидроизола.

Узел 10

1 - просмоленная доска, обернутая рубероидом;

2 - жгут пакли, пропитанный битумом;

3 - битумная мастика;

4 - литая асфальтовая гидроизоляция;

5 - защитная стенка (опалубка);

6 - зачеканка цементным раствором М100;

7 - армирующий слой;

8 - 2 слоя гидроизола.

Узел 11

1 - просмоленная доска, обернутая рубероидом;

2 - жгут пакли, пропитанный битумом;

3 - битумная мастика;

4 - литая асфальтовая гидроизоляция;

5 - защитная стяжка из цементного раствора М100;

6 - зачеканка цементным раствором М100;

7 - армирующий слой;

8 - 2 слоя гидроизола;

9 - просмоленная пакля.

Узлы оклеечной гидроизоляции по серии 1.010-1

Узел 1

1 - подготовка из бетона класса В12,5;

2 - цементная стяжка - 20 мм;

3 - грунтовка;

4 - оклеечная гидроизоляция;

5 - защитная стяжка из цементного раствора М100;

6 - армирующий слой;

7 - затирка цементным раствором М100 - 10 мм;

8 - дополнительный слой гидроизоляции;

9 - защитная стенка.

Узел 2                                                          Узел 3

1 - щебеночная подготовка - 60 мм;

2 - уплотненный асфальтобетон - 40 мм;

3 - грунтовка;

4 - оклеечная гидроизоляция;

5 - защитная стяжка из цементного раствора М100;

6 - армирующий слой;

7 - затирка цементным раствором М100 - 10 мм;

8 - дополнительный слой гидроизоляции;

9 - защитная стенка.

1 - подготовка из бетона класса В12,5;

2 - цементная стяжка - 20 мм;

3 - грунтовка;

4 - оклеечная гидроизоляция;

5 - защитная стяжка из цементного раствора М100;

6 - армирующий слой;

7 - затирка цементным раствором М100 - 10 мм;

8 - защитная стенка.

Узел 4

1 - щебеночная подготовка - 60 мм;

2 - уплотненный асфальтобетон - 40 мм;

3 - грунтовка;

4 - оклеечная гидроизоляция;

5 - защитная стяжка из цементного раствора М100;

6 - армирующий слой;

7 - затирка цементным раствором М100 - 10 мм;

8 - защитная стенка.

Узел 5

1 - подготовка из бетона класса В12,5;

2 - цементная стяжка - 20 мм;

3 - грунтовка;

4 - оклеечная гидроизоляция;

5 - защитная стяжка из цементного раствора М100;

6 - щебеночная подготовка - 60 мм;

7 - уплотненный асфальтобетон - 40 мм.

Узел 7

1 - затирка цементным раствором М100 - 10 мм;

2 - грунтовка;

3 - оклеечная гидроизоляция;

4 - защитная стенка.

Узел 8

1 - цементная стяжка - 10 - 15 мм;

2 - грунтовка;

3 - оклеечная гидроизоляция;

4 - защитная стяжка по уклону;

5 - армирующий слой;

6 - затирка цементным раствором M100 - 10 мм;

7 - защитная стенка.

Узел 10

1 - затирка цементным раствором М100 - 10 мм;

2 - грунтовка;

3 - оклеечная гидроизоляция;

4 - защитная стяжка из цементного раствора М100.

Узел 13

1 - подготовка из бетона класса В12,5;

2 - цементная стяжка - 20 мм;

3 - грунтовка;

4 - оклеечная гидроизоляция;

5 - армирующий слой;

6 - жгут пакли, пропитанный битумом;

7 - дополнительный слой гидроизоляции;

8 - просмоленная доска, обернутая рубероидом;

9 - зачеканка цементным раствором М100;

10 - битумная мастика;

11 - защитная стяжка из цементного раствора М100;

Узел 14

1 - щебеночная подготовка - 60 мм;

2 - уплотненный асфальтобетон - 40 мм;

3 - зачеканка цементным раствором М100;

4 - оклеечная гидроизоляция;

5 - армирующий слой;

6 - жгут пакли, пропитанный битумом;

7 - дополнительный слой гидроизоляции;

8 - просмоленная доска, обернутая рубероидом;

9 - битумная мастика:

10 - защитная стяжка из цементного раствора М100.

Узел 15

1 - просмоленная доска, обернутая рубероидом;

2 - зачеканка цементным раствором М100;

3 - битумная мастика;

4 - грунтовка;

5 - оклеечная гидроизоляция;

6 - жгут пакли, пропитанный битумом;

7 - армирующий слой;

8 - цементный раствор M100;

9 - защитная стенка;

10 - затирка цементным раствором М100 - 10 мм.

Узел 16

1 - просмоленная доска, обернутая рубероидом;

2 - зачеканка цементным раствором М100;

3 - битумная мастика;

4 - цементная стяжка - 20 мм;

5 - грунтовка;

6 - оклеечная гидроизоляция;

7 - армирующий слой;

8 - жгут пакли, пропитанный битумом;

9 - защитная стяжка из цементного раствора М100.


Узел 17                                                                                                   Узел 18


Узел 19

Маркировка к узлам 17, 18 и 19:

1 - подготовка из бетона класса В12,5;

2 - затирка цементным раствором М100 - 10 мм;

3 - грунтовка;

4 - оклеечная гидроизоляция;

5 - резиновая прокладка;

6 - битумная мастика;

7 - жгут пакли, пропитанный битумом;

8 - стяжка из цементного раствора М100;

9 - защитная стенка;

10 - пакля, пропитанная битумом;

11 - цементный раствор М100;

12 - защитная стяжка из цементного раствора М100;

13 - зачеканка цементным раствором M100.

Узел 20                                                           Узел 21

1 - подготовка из бетона класса В12,5;

2 - выравнивающий слой из цементного раствора М100;

3 - оклеечная гидроизоляция;

4 - жгут пакли, пропитанный битумом;

5 - просмоленная доска, обернутая рубероидом;

6 - компенсатор;

7 - битумная мастика;

8 - зачеканка цементным раствором М100;

9 - защитная стяжка из цементного раствора М100;

10 - армирующий слой.

1 - оклеечная гидроизоляция;

2 - армирующий слой;

3 - зачеканка цементным раствором М100;

4 - битумная мастика,

5 - прокладка резиновая пористая Æ 40 мм;

6 - защитный слой из цементного раствора М100;

7 - подготовка из бетона класса В12,5;

8 - плита железобетонная - 100 мм;

9 - грунтовка;

10 - дополнительный слой гидроизоляции.

Узел 22

1 - оклеечная гидроизоляция;

2 - армирующий слой;

3 - битумная мастика;

4 - прокладка резиновая пористая Æ 40 мм;

5 - дополнительный слой гидроизоляции;

6 - защитная стенка;

7 - цементный раствор М100;

8 - зачеканка цементным раствором М100.

Узел 23

1 - оклеечная гидроизоляция;

2 - армирующий слой;

3 - битумная мастика;

4 - дополнительный слой гидроизоляции;

5 - зачеканка цементным раствором М100;

6 - защитная стяжка из цементного раствора М100;

7 - выравнивающий слой из цементного раствора М100;

8 - прокладка резиновая пористая Æ 40 мм;

9 - жгут пакли, пропитанный битумом.

Узел 31

Сопряжение оклеечной и асфальтовой гидроизоляции

1 - горячая асфальтовая штукатурная гидроизоляция;

2 - оклеечная гидроизоляция;

3 - затирка из цементного раствора М100 - 10 мм;

4 - грунтовка;

5 - защитная стяжка из цементного раствора М100;

6 - защитная стенка.

Теплоизоляция наружных тепловых сетей

ГОСТ 21880-94* Маты прошивные из минеральной ваты теплоизоляционные. Технические условия.

ТУ 5762-002-00287830-96 Маты минераловатные прошивные строительные.

ТУ 5762-036-32538942-95 Маты прошивные из некондиционных минераловатных плит.

ГОСТ 9573-96 Плиты из минеральной ваты на синтетическом связующем теплоизоляционные. Технические условия.

ТУ 5762-010-04001485-96 Плиты теплоизоляционные из минеральной ваты на синтетическом связующем.

ТУ 5762-004-05292415-95 Плиты теплоизоляционные из минеральной ваты на синтетическом связующем.

ГОСТ 10499-95 Изделия теплоизоляционные из штапельного волокна. Технические условия.

ГОСТ 10140-80 Плиты теплоизоляционные из минеральной ваты на битумном связующем. Технические условия.

ГОСТ 23307-78* Маты теплоизоляционные из минеральной ваты вертикально-слоистые. Технические условия.

ГОСТ 23208-83 Цилиндры и полуцилиндры теплоизоляционные из минеральной ваты на синтетическом связующем. Технические условия.

ТУ 5762-010-45757203-2001 Цилиндры теплоизоляционные из минеральной ваты на синтетическом связующем.

ТУ 5762-013-04001485-97 Цилиндры теплоизоляционные из минеральной ваты на синтетическом связующем М-100, М-125, М-150, М-175.

ТУ 5762-009-04001485-97 Маты теплоизоляционные из минеральной ваты на синтетическом связующем.

ТУ 5762-003-05292415-95 Маты прошивные из минеральной ваты теплоизоляционные.

ТУ 5762-007-45757203-2000 Маты минераловатные теплоизоляционные Тех Маг.

ТУ 5761-086-11387634-95 Маты прошивные теплоизоляционные.

ТУ 5762-002-05297105-94 Маты минераловатные прошивные гофрированной структуры.

ТУ 5762-002-057655227-93 Плиты теплоизоляционные из минеральной ваты гофрированной структуры.

ТУ 5762-002-05262415-94 Плиты минераловатные теплоизоляционные на синтетическом и комплексном связующем.

ТУ 5762-001-05299710-94 Плиты минераловатные гофрированной структуры.

ТУ 21-24-52-95 Плиты теплоизоляционные из минеральной ваты ВФ-75 на синтетическом связующем.

ТУ 36.16.22-67-94 Маты минераловатные прошивные строительные МС.

ТУ 21-5328983-05-92 Маты и вата из супертонкого стекловолокна без связующего.

ТУ 5769-003-05307482-97 Изделия прошивные из базальтового волокна.

ТУ 5763-002-00287697-97 Изделия из стеклянного штапельного волокна URSA.

ТУ 21-5328983-05-92 Маты и вата из супертонкого волокна без связующею.

ТУ 21-5328983-08-93 Маты из супертонкого базальтового и стеклянного волокна со связующим.

ТУ 2244-069-04696843-2000 Изделия из вспененного полиэтилена «Энергофлекс». Техническое свидетельство Госстороя № ТС-07-0337-2001 от 06.04.2001 «Теплоизоляционные изделия К-flex марок ЕС, ST, ЕСО с комплектующими изделиями.

ТУ 5766-003-04002183-95 Засыпка перлитофосфогелевая теплоизоляционная.

ТУ 36.16.22-72-96 Изделия перлитоцементные теплоизоляционные.

ТУ 2291-001-24966233-96 Теплоизоляционные изделия из пенопласта на основе полистирола.

ГОСТ 30732-2001 Трубы и фасонные изделия стальные с тепловой изоляцией из пенополиуретана в полиэтиленовой оболочке. Технические условия.

ТУ 4936-001-33680607-98 Трубы стальные прямые с наружной теплоизоляцией для бесканальной прокладки тепловых сетей (ЗАО «МосФлоулайн», г. Москва).

ТУ 4936-002-33680607-98 Изделия фасонные (отводы, переходы, тройники, опоры неподвижные и др.) из стальных труб с наружной теплоизоляцией для бесканальной прокладки тепловых сетей (ЗАО «МосФлоулайн»).

ТУ 4936-003-33680607-98 Трубы стальные прямые с наружной теплоизоляцией для надземной, канальной и тоннельной прокладки тепловых сетей (ЗАО «МосФлоулайн»).

ТУ 4936-004-33680607-98 Изделия фасонные (отводы, переходы, тройники, опоры неподвижные и др.) из стальных труб с наружной теплоизоляцией для надземной, канальной и тоннельной прокладки тепловых сетей (ЗАО «МосФлоулайн»).

ТУ 4936-005-33680607-98 Полуцилиндры из заливочного пенополиуретана для изоляции стыков стальных труб с наружной теплоизоляцией (ЗАО «МосФлоулайн»).

ТУ 5769-007-41989945-98 Стальные трубы с теплоизоляционным слоем из пенополиуретана диаметрами 57 - 530 мм и гидрозащитным покрытием (ЗАО НПО «Стройполимер»).

ТУ 5769-008-41989945-98 Изделия фасонные из стальных труб в тепло- и гидроизоляции для подземных и наземных теплопроводов (ЗАО НПО «Сгройполимер»).

ТУ 5769-009-41989945-98 Полуцилиндры из пенополиуретана для теплоизоляции стальных труб (ЗАО НПО «Стройполимер», г. Москва).

ТУ 5768-001-05030483-97 Трубы стальные с теплозащитным слоем из пенополиуретана и гидрозащитным покрытием (Мостеплосетьэнергоремонт, филиал АО «Мосэнерго», г. Москва).

ТУ 5768-003-05030483-97 Изделия фасонные с теплоизоляционным покрытием из пенополиуретана и гидроизоляционным покрытием (Мостеплосетьэнергоремонт, г. Москва).

ТУ 5768-016-17685313-2000 Трубы стальные с теплоизоляцией из пенополиуретана с гидрозащитным покрытием (ООО Фирма «БООС-М», г. Москва).

ТУ 1310-001-21211787-96 Трубы, теплоизолированные пенополиуретаном с гидроизоляционным покрытием из полиэтилена (ЗАО «Трасса», г. Новокуйбышевск, Самарской обл.).

ТУ 5768-001-11146497-97 Трубы стальные с тепловой изоляцией из пенополиуретана с защитным покрытием (ЗАО «Группа ИКА», г. Санкт-Петербург).

ТУ 5768-002-11146497-97 Изделия фасонные стальные с тепловой изоляцией из пенополиуретана с защитным покрытием (ЗАО «Группа ИКА», г. Санкт-Петербург).

ТУ 5768-004-41595620-98 Трубы стальные с теплоизоляционным слоем из пенополиуретана с гидрозащитным покрытием (Ассоциация «КАРТЕК», г. Москва).

ТУ 5768-003-41852784-97 Изделия фасонные с теплоизоляционным слоем из пенополиуретана и гидрозащитным покрытием ППУ (ООО «Полимерстрой», г. Оренбург).

ТУ 2248-005-24042765-95 Трубы с теплоизоляционным покрытием из жесткого пенополиуретана (НПП «Уретанмаш», г. Пермь).

ТУ 1300-001-48776980-98 Трубы стальные с теплоизоляционным слоем из пенополиуретана и гидрозащитным покрытием (АОЗТ «Тайфун Мет», г. Серпухов, Моск. обл.).

ТУ 5767-024-1297775-94 Трубы и отводы трубопроводов с тепловой изоляцией из пенополиуретана для подземной прокладки.

ТУ 5767-001-23085909-94 Трубы стальные с теплоизоляционным слоем из пенополиуретана и гидрозащитным покрытием.

ТУ 5767-003-23085909-94 Изделия фасонные с теплоизоляционным слоем из пенополиуретана и гидрозащитным покрытием.

ТУ 400-24-578-95 Трубы с индустриальной теплоизоляцией из пенополиуретана в полиэтиленовой оболочке.

ТУ 5768-004-05293751-95 Изделия теплоизоляционные из пенопласта «Резопен».

ТУ 5768-025-1277775-94 Изделия теплоизоляционные из жесткого заливочного пенополиуретана.

ТУ 5768-001-44040360-96 Элементы теплоизоляционные из жесткого пенополиуретана.

ТУ 1381-001-12402028-97 Изолированные трубы для центрального отопления, горячего водоснабжения и пароснабжения (ТОО «Базис», г. Тамбов).

ТУ 5767-011-04001232-95 Трубы стальные для тепловых сетей, изолированные битумоперлитом (КТБ «Мосоргстройматериалы, г. Москва, АООТ Люберецкий КСМиК).

ТУ 5767-023-1297775-94 Трубы теплогидроизолированные и скорлупы с битумоперлитовой основой для теплосети бесканальной прокладки.

ТУ 5767-001-04002154-92 Трубы с изоляцией из перлитобитума и полуцилиндры перлитобитумные.

ТУ 65-606-89 Изоляция труб и изделия из битумоперлитоцемента (битумоперлита).

ТУ 66-16-186-90, ТУ 400-2-131-89, ТУ 480-2-1-84, ТУ 66-16-186-90, ТУ 66-15-71-89, ТУ 66-09-071-89 Трубы и изделия для тепловых сетей, изолированные битумоперлитом.

Государственные стандарты и технические условия на материалы для тепловой изоляции трубопроводов тепловых сетей, предусмотренные проектом.

СНиП 2.04.14-88* Тепловая изоляция оборудования и трубопроводов.

СП 41-103-2000 Проектирование тепловой изоляции оборудования и трубопроводов.

СНиП 3.01.01-85* Организация строительного производства.

СНиП 3.05.03-85 Тепловые сети.

СНиП 3.04.01-87 Изоляционные и отделочные покрытия.

Для тепловой изоляции трубопроводов, как правило, следует применять полносборные или комплектные конструкции заводского изготовления, а также трубы с тепловой изоляцией полной заводской готовности.

Для трубопроводов тепловых сетей, включая арматуру, фланцевые соединения и компенсаторы, тепловую изоляцию необходимо предусматривать независимо от температуры теплоносителя и способов прокладки.

Для обратных трубопроводов тепловых сетей при Dy £ 200 мм, прокладываемых в помещениях, тепловой поток от которых используется для отопления помещений, а также конденсатопроводов при сбросе конденсата в канализацию, тепловую изоляцию допускается не предусматривать.

Арматуру, фланцевые соединения, люки, компенсаторы следует изолировать, если изолируется оборудование или трубопровод, на котором они установлены.

Теплоизоляционные конструкции следует предусматривать из следующих элементов:

теплоизоляционного слоя;

армирующих и крепежных деталей;

покровного слоя.

Защитное покрытие изолируемой поверхности от коррозии не входит в состав теплоизоляционной конструкции.

Для теплоизоляционного слоя трубопроводов с положительными температурами содержащихся в них веществ для всех способов прокладок, кроме бссканальной, следует применять материалы и изделия со средней плотностью не более 400 кг/м2 и теплопроводностью не более 0,07 Вт/(м×°С) (при температуре 25 °С и влажности, указанной в соответствующих государственных стандартах и технических условиях на материалы и изделия). Допускается применение шнуров асбестовых для изоляции трубопроводов условным проходом до 50 мм включ.

Для теплоизоляционного слоя трубопроводов с положительными температурами при бесканальной прокладке следует применять материалы со средней плотностью не более 600 кг/м3 и теплопроводностью не более 0,13 Вт/(м×°С) при температуре материала 20 °С и влажности, указанной в соответствующих государственных стандартах или технических условиях.

Конструкция тепловой изоляции трубопроводов при бесканальной прокладке должна обладать прочностью на сжатие не менее 0,4 МПа.

Тепловую изоляцию трубопроводов, предназначенных для бесканальной прокладки, следует выполнять в заводских условиях.

Теплоизоляционные конструкции следует выполнять из материалов, обеспечивающих:

тепловой поток через изолированные поверхности трубопроводов согласно заданному технологическому режиму или нормированной плотности теплового потока;

исключение выделения в процессе эксплуатации вредных, пожароопасных и взрывоопасных, неприятно пахнущих веществ в количествах, превышающих предельно допустимые концентрации;

исключение выделения в процессе эксплуатации болезнетворных бактерий, вирусов и грибков.

Съемные теплоизоляционные конструкции должны применяться для изоляции люков, фланцевых соединений, арматуры, сальниковых и сильфонных компенсаторов трубопроводов, а также в местах измерений и проверки состояния изолируемых поверхностей.

Применение засыпной изоляции трубопроводов при подземной прокладке в каналах и бесканально не допускается.

Для трубопроводов, подвергающихся ударным воздействиям и вибрации, не следует применять теплоизоляционные изделия на основе минеральной ваты и засыпную теплоизоляционную конструкцию.

Для покровного слоя тепловой изоляции рекомендуются:

- металлические материалы (листы из алюминия и алюминиевых сплавов марок АДО, АД1, АМц, Амг2, В95 по ГОСТ 21631-76* и ГОСТ 13726-97, сталь тонколистовая оцинкованная с непрерывных линий по ГОСТ 14918-80*, сталь тонколистовая кровельная, прокат тонколистовой из углеродистой стали качественной и обыкновенного качества по ГОСТ 16523-89*, сталь рулонная холоднокатанная с полимерным покрытием (металлопласт);

- материалы на основе синтетических полимеров (материалы армопластовые для защиты покрытий тепловой изоляции трубопроводов, стеклопластик рулонный РСТ, стеклопластик фенольный покровный ФСП, пленка винипластовая каландрированная КПО по ГОСТ 16398-81*, пленка из вторичного поливинилхлоридного сырья, стеклотекстолит покровный листовой);

- материалы на основе природных полимеров: (рубероид РКК-400 по ГОСТ 10923-93*, стеклорубероид по ГОСТ 15879-70*, пергамин кровельный по ГОСТ 2697-70*, изол по ГОСТ 10296-79*, фольгоизол по ГОСТ 20429-84*) и т.д.

Не допускается применение металлических покровных слоев при подземной прокладке трубопроводов. Покровный слой из стали рулонной холоднокатанной с полимерным покрытием (металлопласт) не допускается применять в местах, подверженных прямому воздействию солнечных лучей.

При применении напыляемого пенополиуретана для трубопроводов, прокладываемых в каналах, допускается покровный слой не предусматривать.

Выбор материалов покровных слоев теплоизоляционных конструкций трубопроводов, расположенных на открытом воздухе в районах с расчетной температурой окружающего воздуха минус 40 °С и ниже, должен производиться с учетом температурных пределов применения материалов по государственным стандартам или техническим условиям.

Расчет толщины теплоизоляционного слоя для оборудования и трубопроводов с положительными температурами должен производиться:

а) по нормированной плотности теплового потока через изолированную поверхность;

б) по заданной величине теплового потока;

в) по заданной величине охлаждения вещества, сохраняемого в емкостях в течении определенного времени;

г) по заданному снижению температуры вещества, транспортируемого трубопроводами;

д) по заданному количеству конденсата в паропроводах;

ж) по температуре на поверхности изоляции, принимаемой не более, °С:

для изолируемых поверхностей, расположенных в рабочей или обслуживаемой зоне помещений и содержащих вещества:

- температурой выше 100 °С........................... 45;

- температурой 100 °С и ниже........................ 35;

для изолируемых поверхностей, расположенных на открытом воздухе в рабочей или обслуживаемой зоне, при:

- металлическом покровном слое................... 55;

- для других видов покровного слоя.............. 60.

Температура на поверхности тепловой изоляции трубопроводов, расположенных за пределами рабочей или обслуживаемой зоны, не должна превышать температурных пределов применения материалов покровного слоя, но не выше 75 °С.

Минимальная толщина теплоизоляционного слоя из неуплотняющихся материалов должна быть:

при изоляции тканями, полотном холстопрошивным, шнурами - 30 мм;

при изоляции жесткоформованными изделиями - равной минимальной толщине, предусматриваемой государственными стандартами или техническими условиями;

при изоляции изделиями из волокнистых уплотняющихся материалов - 40 мм.

Предельная толщина теплоизоляционной конструкции при подземной прокладке в каналах и тоннелях приведена в нижеследующей таблице.

Предельная толщина теплоизоляционной конструкции при подземной прокладке в каналах и тоннелях

Условный проход трубопровода, мм

Способ прокладки трубопроводов

в тоннеле

в непроходном канале

Предельная толщина теплоизоляционной конструкции, мм, при температуре теплоносителя, °С

20 и выше

до 150 вкл

151 и выше

15

60

40

60

25

80

60

100

40

80

60

100

50

100

80

120

65

140

80

140

80

160

80

140

100

160

80

160

125

160

80

160

150

160

100

180

200

180

100

200

250

180

100

200

300

200

100

200

350

200

100

200

400

220

120

220

450

220

120

220

500

220

120

220

600

240

120

220

700

240

120

220

800

240

120

220

900 и более

260

120

220

Для поверхностей с температурой выше 250 °С не допускается применение однослойных конструкций. При многослойной конструкции последующие слои должны перекрывать швы предыдущего. При изоляции жесткоформованными изделиями следует предусматривать вставки из волокнистых материалов в местах устройства температурных швов.

Толщина металлических листов, лент, применяемых для покровного слоя, в зависимости от наружного диаметра или конфигурации теплоизоляционной конструкции приведена в нижеследующей таблице.

Материал

Толщина листа, мм, при диаметре изоляции, мм

350 и менее

св. 350 до 600

св. 600 до 1600

св. 1600

Сталь тонколистовая

0,35 - 0,5

0,5 - 0,8

0,8

1,0

Листы из алюминия и алюминиевых сплавов

0,3

0,5 - 0,8

0,8

1,0

Ленты из алюминия и алюминиевых сплавов

0,25 - 0,3

0,3 - 0,8

0,8

1,0

Примечания:

1. Листы и ленты из алюминия и алюминиевых сплавов толщиной 0,25 - 0,3 мм рекомендуется применять гофрированными.

2. Для изоляции трубопроводов диаметром изоляции более 600 до 1600 мм допускается применять металлические листы и ленты толщиной 0,5 мм.

Для предохранения покровного слоя от коррозии следует предусматривать:

для кровельной стали - окраску;

для листов и лент из алюминия и алюминиевых сплавов при применении теплоизоляционного слоя в стальной некрашенной сетке или устройстве стального каркаса - установку под покровный слой прокладки из рулонного материала.

Конструкция тепловой изоляции должна исключать деформацию и сползание теплоизоляционного слоя в процессе эксплуатации.

На вертикальных участках трубопроводов через каждые 3 - 4 м по высоте должны быть предусмотрены опорные конструкции.

Температурные швы в покровных слоях горизонтальных трубопроводов должны быть у компенсаторов, опор и поворотов, а на вертикальных трубопроводах - в местах установки опорных конструкций.

Для трубопроводов надземной прокладки при применении теплоизоляционных конструкций из горючих материалов следует предусматривать вставки длиной 3 м из негорючих материалов не менее чем через 100 м длины трубопровода, участки теплоизоляционных конструкций из негорючих материалов на расстоянии не менее 5 м от технологических установок, содержащих горючие газы и жидкости.

При пересечении трубопроводом противопожарной преграды следует предусматривать теплоизоляционные конструкции из негорючих материалов в пределах размера противопожарной преграды.

Теплоизоляционные материалы, конструкции и изделия, предусмотренные проектом, а также рабочая документация должны проходить входной контроль.

При входном контроле рабочей документации должна производиться проверка ее комплектности и достаточности содержащейся в ней технической информации для производства теплоизоляционных работ.

При входном контроле теплоизоляционных материалов, полносборных и комплектных теплоизоляционных конструкций и изделий на строительной площадке надлежит:

проверить сопроводительные документы (документы о качестве, паспорта, сертификаты и др.) с целью определения наличия всех показателей качества, регламентированных нормативно-технической документацией (стандартами и техническими условиями);

дополнительно к сопроводительным документам проверить маркировку, ярлыки с целью определения соответствия поступивших теплоизоляционных материалов, конструкций и изделий требованиям проекта;

проверить внешним осмотром отсутствие недопустимых дефектов на наружных и внутренних поверхностях конструкций и изделий;

провести необходимые измерения и передать материалы на испытания, регламентированные технологической картой, с целью определения соответствия поступивших материалов требованиям нормативно-технической документации (в т.ч. при истечении гарантийного срока хранения материалов);

проверить соответствие заказным спецификациям размеров и количества комплектных теплоизоляционных конструкций, материалов и изделий, изготавливаемых на комплектовочных базах (участках) строительных организаций (УПТК):

Контролируемые операции

Состав и средства контроля

Документация

Подготовительные работы

Проверить:

- наличие ППР, технологических карт и схем операционного контроля качества (СОКК);

- завершение и надлежащее оформление предшествующих работ по прокладке наружных тепловых сетей и приемочным испытаниям трубопроводов; наличие акта с разрешением заказчика на производство теплоизоляционных работ;

- завершение работ по подготовке поверхностей трубопроводов под изоляцию (очистку их от грязи, пыли и ржавчины, окалины и покрытие антикоррозионными составами в соответствии с требованиями проекта);

- завершение работ по монтажу на изолируемых трубопроводах крепежных деталей;

ППР, технологические карты и СОКК

Акты освидетельствования скрытых работ с исполнительной документацией;

Акт о проведении испытаний

- документы о качестве (паспорта, сертификаты), маркировку, ярлыки и внешним осмотром качество поступивших изделий и материалов.

Документы о качестве

Теплоизоляция трубопроводов наружных тепловых сетей

Контролировать:

- соблюдение заданной технологии производства теплоизоляционных работ;

- толщину слоев теплоизоляции, плотность их прилегания друг к другу и к изолируемой поверхности, отсутствие повреждений, провисания и неплотностей прилегания, крепление изделий к основанию согласно проекту (в т.ч. съемной теплоизоляции).

Общий и специальный журналы

Приёмка

Проверить:

- соответствие выполненных теплоизоляционных работ требованиям проекта и нормативных документов; документов;

Акты освидетельствования скрытых работ

- надлежащее оформление исполнительной документации.

Акт сдачи-приемки

ВХОДНОЙ И ОПЕРАЦИОННЫЙ КОНТРОЛЬ осуществляют:

прораб (мастер), лаборант (инженер) строительной лаборатории - в процессе производства работ

ПРИЕМОЧНЫЙ КОНТРОЛЬ ОСУЩЕСТВЛЯЮТ:

прораб (мастер), геодезист, представители технадзора заказчика

КИП - металлическая линейка, лабораторные приборы и оборудование.

требовать контрольной проверки тех материалов, конструкций и изделий, которые вызывают сомнение в их качестве, и устранения обнаруженных дефектов.

Участие во входном контроле строительной лаборатории и других служб строительной организации или сторонних организаций, привлекаемых на договорных условиях, должно быть регламентировано технологической картой или другими документами, утвержденными в установленном порядке.

На строительной площадке и комплектовочных базах должны строго соблюдаться условия хранения и транспортирования теплоизоляционных материалов, конструкций и изделий, предусмотренные соответствующими стандартами, техническими условиями и технологической документацией.

Условия хранения и транспортирования теплоизоляционных материалов, конструкций и изделий должны исключать возможность их повреждения, порчи и потерь.

Монтаж теплоизоляционных конструкций и защитных покрытий тепловых сетей следует осуществлять в соответствии с требованиями проекта, СНиП 3.01.01-85*, СНиП 3.05.03-85, СНиП 3.04.01-87, СНиП 2.04.14-88*. ППР, технологических карт и схем операционного контроля качества, и другой технологической документации, утвержденной в установленном порядке.

Монтаж теплоизоляционных конструкций тепловых сетей должны осуществлять строительно-монтажные организации, получившие лицензию от Федерального или региональных центров по лицензированию строительной деятельности.

Монтаж теплоизоляционных конструкций тепловых сетей должны осуществлять строительно-монтажные организации, которые располагают техническими средствами, обеспечивающими качественное выполнение строительно-монтажных работ в полном соответствии с требованиями строительных норм и правил и проекта.

Работы по устройству теплоизоляционных покрытий трубопроводов должны выполняться по утвержденному проекту производства работ (ППР).

Запрещается осуществление теплоизоляционных работ без утвержденного проекта производства работ.

Не допускаются отступления от решений проекта производства работ в части замены предусмотренных проектом теплоизоляционных материалов, конструкций и изделий без согласования с проектной организацией и заказчиком.

Проект производства работ на выполнение теплоизоляционных работ должен содержать наряду с другими документами технологическую карту производства теплоизоляционных работ с приложением схемы операционного контроля качества (СОКК).

При выполнении заливной теплоизоляции при бесканальной прокладке трубопроводов в проекте производства работ необходимо предусматривать временные устройства, предотвращающие всплытие трубопровода, а также попадание в изоляцию грунта.

Работы по теплоизоляции наружных тепловых сетей могут быть начаты только после оформления акта (разрешения), подписанного заказчиком, представителями монтажной организации и организации, выполняющей теплоизоляционные работы.

Возможность производства теплоизоляционных работ на трубопроводах, подлежащих регистрации в соответствии с Правилами Госгортехнадзора России, до выполнения испытаний на прочность и герметичность необходимо согласовать с местным органом Госгортехнадзора России.

Разрешение на производство теплоизоляционных работ на наружных тепловых сетях может быть дано при полной технической готовности подлежащего изоляции участка трубопровода, то есть при:

- завершении и надлежащем оформлении монтажных работ по прокладке наружных подземных и наземных трубопроводов тепловых сетей на участке, подлежащем изоляции;

- завершении и надлежащем оформлении результатов работ по приемочным испытаниям трубопроводов, подлежащих изоляции;

- завершении работ по подготовке поверхности трубопровода к тепловой изоляции (очистке поверхности от грязи, пыли, ржавчины и окалины, покрытии поверхности трубопровода антикоррозионными составами в соответствии с требованиями проекта);

- завершении работ по монтажу на подлежащих изоляции трубопроводах всех предусмотренных проектом крепежных деталей (крепежные элементы, подлежащие изоляции, должны быть очищены от ржавчины, а подлежащие антикоррозионной защите - обработаны в соответствии с требованиями проекта).

Тепловая изоляция трубопроводов тепловых сетей производится, как правило, после проведения испытаний трубопроводов. Допускается как исключение тепловая изоляция неопрессованных трубопроводов при условии, что сварные стыки будут оставлены неизолированными. С этой целью сварные и фланцевые соединения не должны быть изолированы на ширину 150 мм по обе стороны соединений до выполнения испытаний трубопроводов на прочность и герметичность.

Теплоизоляцию трубопроводов в местах, труднодоступных для изоляции, необходимо выполнять полностью до монтажа, включая устройство покровных оболочек.

Для теплопроводов, прокладываемых бесканально, должны применяться трубы с монолитной тепловой изоляцией, нанесенной механизированным способом в заводских условиях.

Для тепловой изоляции подземных трубопроводов, прокладываемых в непроходных каналах и лотках, должны применяться предпочтительно полносборные теплоизоляционные конструкции.

В тех случаях, когда изоляция выполняется в каналах, трубопроводы, расположенные в закрытых проходных и непроходных каналах, принимают под изоляцию, как правило, до их перекрытия плитами. Каналы, в которых проложены трубопроводы, подлежащие изоляции, перед началом работ очищают от земли, мусора и снега; в них не должно быть воды. Для изоляции следует применять сборные теплоизоляционные конструкции.

Трубопроводы, заполненные веществами, должны быть освобождены от них до начала производства изоляционных работ.

Конструкции тепловой изоляции должны отвечать требованиям проекта, а также типовым конструкциям тепловой изоляции по серии 7.903.9-2 «Тепловая изоляция трубопроводов с положительными температурами»: вып. 1. Тепловая изоляция трубопроводов. Рабочие чертежи, вып. 2. Тепловая изоляция арматуры и фланцевых соединений. Рабочие чертежи. Серия 3.903-11 «Тепловая изоляция криволинейных и фасонных участков трубопроводов и узлов оборудования. Рабочие чертежи» (разработчик ВНИПИтеплопроект).

Изоляцию из рулонных изделий, матов, плит из мягких и полужестких волокнистых теплоизоляционных материалов монтируют в такой последовательности.

Заготовки из рулонных изделий, маты, плиты в пакетах, контейнерах и на поддонах предварительно подают к рабочему месту и раскладывают по фронту работ.

Мат, плиту или заготовку укладывают на высушенную, очищенную от грязи и ржавчины, покрытую антикоррозионным составом поверхность и закрепляют на трубопроводе подвеской. Далее изделие прижимают к трубопроводу и устанавливают по поверхности изоляции бандажи с пряжками или проволочные кольца через 250 мм одно от другого и подтягивают их ключом. Вид крепежных изделий и расстояния между ними должны быть установлены проектом.

Второе изделие также укладывают на поверхность трубопровода, плотно подгоняя его к ранее уложенному, и затем закрепляют. После укладки и закрепления изделий поверхность изоляции выравнивается, швы между изделиями законопачиваются в соответствии с требованиями проекта (минеральной, стеклянной ватой или обрезками изделий).

При двухслойной изоляции первый слой может крепиться проволочными кольцами через 500 мм, а второй - бандажами с пряжками через 250 мм и на расстоянии 50 мм от стыка.

Изделия второго (верхнего) слоя должны перекрывать стыки нижнего слоя.

При устройстве теплоизоляции трубопроводов с применением мягких и полужестких волокнистых изделий необходимо обеспечивать:

- уплотнение теплоизоляционных материалов по проекту с коэффициентом уплотнения для мягких волокнистых изделий не более 1,5, для полужестких - 1,2;

- плотное прилегание изделий к изолируемой поверхности и между собой; при изоляции в несколько слоев - перекрытие продольных и поперечных швов;

- плотную спиральную укладку изоляции шнурами и жгутами с минимальным отклонением относительно плоскости, перпендикулярной оси трубопровода, и навивку в многослойных конструкциях каждого последующего слоя в направлении, обратном виткам предыдущего слоя;

- установку на горизонтальных трубопроводах креплений для предотвращения провисания теплоизоляции.

При устройстве теплоизоляции трубопроводов из жестких изделий применяют фасонные изделия - полуцилиндры, цилиндры и сегменты.

Жесткие изделия должны иметь правильную форму, внутренний диаметр полуцилиндров, цилиндров и сегментов должен точно соответствовать диаметру трубопровода. Жесткие изделия укладывают на изолируемую поверхность вручную, как правило на мастике, или насухо, когда они по форме и размерам точно совпадают с изолируемой поверхностью. При неполном совпадении изделия притирают одно к другому и к изолируемой поверхности.

При изоляции сегментами может быть использован резиновый шнур, который наматывается спиралью с шагом между витками 300 ¸ 350 мм на участок трубы длиной 15 - 20 м. Концы шнура закрепляют на трубопроводе кольцами из проволоки. Сегменты укладывают на мастике под шнур сначала под нижнюю часть трубопровода, затем с боков и сверху. При этом их располагают вразбежку, т.е. торцевые швы - в шахматном порядке. По мере укладки сегменты закрепляют бандажами или проволочными кольцами и плотно притягивают к поверхности трубопровода. Резиновый шнур перемещают дальше по трубе и продолжают таким образом изоляцию трубопровода. При изоляции небольших участков трубопроводов используют кольца из резинового шнура. Уложенный слой сегментов выравнивают мастикой и заделывают все неровности. Следующие слои монтируют так же, как и первый, но обязательно перекрывая швы предыдущего слоя.

Вертикальный трубопровод изолируют скорлупами и сегментами, начиная с нижней части трубопровода. Чтобы изоляция не сползла, на трубопроводе устраивают опорные полки или уголки (в соответствии с требованиями проекта).

Монтаж теплоизоляционных конструкций и покровных оболочек необходимо начинать от разгрузочных устройств, фланцевых соединений, криволинейных участков (отводов) и фасонных частей (тройников, крестовин) и проводить в направлении, противоположном уклону, а на вертикальных поверхностях - снизу вверх.

При устройстве теплоизоляции из жестких изделий, укладываемых насухо, должен быть обеспечен зазор не более 2 мм между изделиями и изолируемой поверхностью.

При наклейке жестких изделий температура мастик должна быть в следующих пределах: битумных - 160+20 °С; дегтевых - 130+10 °С (контроль - измерительный, периодический, не менее 4 раз в смену, регистрация - в журнале работ).

Толщина слоя прослойки не должна превышать: из клеев и холодных мастик - 0,8 мм, из горячих мастик - 1,5 мм. Ширина швов между плитами, изделиями не должна превышать: при наклейке - 5 мм (для жестких изделий - 3 мм); при укладке насухо - 2 мм (контроль - измерительный, не менее 5 измерений на каждые 50 ¸ 70 м2 поверхности покрытия, регистрация - в журнале работ).

Предельные отклонения толщины монолитной и плитной теплоизоляции от проектной должны быть в пределах -5 ¸ +10 %, но не более 20 мм (контроль - измерительный, не менее 5 измерений на каждые 50 ¸ 70 м2 поверхности покрытия, регистрация - в журнале работ).

Предельные отклонения плоскости изоляции: от заданного уклона - 0,2 %, по горизонтали - ±5 мм, по вертикали - ±10 мм (контроль - измерительный, не менее 5 измерений на каждые 50 ¸ 100 м2 поверхности покрытия).

Утеплители при устройстве теплоизоляции из плит должны укладываться на основание плотно друг к другу и иметь одинаковую толщину в каждом слое. При устройстве теплоизоляции в несколько слоев швы плит необходимо устраивать вразбежку.

При производстве работ по устройству покровных оболочек теплоизоляции из жестких и гибких (неметаллических) материалов необходимо обеспечить плотное прилегание оболочек к теплоизоляции с надежным креплением при помощи крепежных изделий и тщательное уплотнение стыков гибких оболочек с их приклейкой в соответствии с проектом.

На трубопроводах диаметром до 200 мм стеклоткань должна быть уложена спирально, на трубопроводах диаметром более 200 мм - отдельными полотнищами в соответствии с требованиями проекта.

Устройство каждого слоя теплоизоляции следует выполнять после проверки правильности выполнения нижележащего слоя с составлением акта освидетельствования скрытых работ. Окончательную сдачу всей теплоизоляции оформляют актом сдачи-приемки.

Устройство обратных засыпок на наружных тепловых сетях

СНиП 3.05.03-85 Тепловые сети.

СНиП 3.02.01-87 Земляные сооружения, основания и фундаменты.

Обратная засыпка траншей тепловых сетей должна выполняться в соответствии с требованиями проекта, СНиП 3.05.03-85, СНиП 3.02.01-87, ППР, технологических карт, схем операционного контроля качества и другой технологической документации, утвержденной в установленном порядке.

До проведения работ по обратной засыпке траншей тепловых сетей должны быть:

- завершены все предусмотренные проектом работы по прокладке трубопроводов и монтажу строительных конструкций (подготовка оснований под трубопроводы, каналы и тоннели, монтаж трубопроводов, узлов, элементов и деталей, сварочные, антикоррозионные и теплоизоляционные работы, монтаж верхних лотков или перекрытий каналов и тоннелей, замоноличивание и обетонирование стыковых соединений каналов и тоннелей, герметизация мест прохода трубопроводов через стенки строительных конструкций, гидроизоляция строительных конструкций);

- надлежаще оформлены акты освидетельствования скрытых работ по прокладке трубопроводов и монтажу строительных конструкций;

- завершены работы по предварительным испытаниям трубопроводов;

- устранены выявленные при испытаниях дефекты и проведены повторные испытания трубопроводов на прочность и герметичность;

- определены в ППР типы и физико-механические характеристики грунтов, предназначенных для устройства обратных засыпок, специальные требования к ним; определены методы устройства обратных засыпок, способы уплотнения грунта (или без уплотнения), определены требуемая степень уплотнения (плотность сухого грунта или коэффициент уплотнения) и толщины слоев отсыпки; определены механизмы для уплотнения грунта, количество ударов трамбовки или проходов уплотняющей машины по одному следу и др.; определены методы и объём операционного контроля параметров, регламентированных ППР и нормативной документацией.

Контролируемые операции

Состав и средства контроля

Документация

Подготовительные работы

Проверить:

- наличие ППР, технологической карты и СОКК по устройству обратных засыпок и требуемых в них данных;

ППР, технологическая карта и СОКК

- наличие требуемых согласованных изменений проекта (при замене грунтов обратных засыпок);

Согласованные изменения

- завершение предусмотренных проектом работ по прокладке трубопроводов и наличие актов освидетельствования скрытых работ и акта о проведении предварительных испытаний трубопроводов;

- готовность механизмов и приспособлений для обратной засыпки, для подбивки пазух и уплотнения грунта.

Акты освидетельствования скрытых работ

Акт предварительных испытаний трубопроводов

Устройство обратных засыпок

Контролировать:

- соблюдение заданной технологии устройства обратных засыпок при подбивке пазух, первой и второй стадиях засыпки траншей с уложенными трубопроводами, каналами и тоннелями гранулометрический состав грунта, содержание в грунте мусора, растворимых солей, мёрзлых комьев, твердых включений, снега и льда, температуру грунта, плотность сухого грунта, толщину слоев отсыпки и др.);

- соблюдение заданной технологии подсыпки и уплотнения грунта под действующими коммуникациями;

- соблюдение заданной технологии обратной засыпки на участках пересечения с существующими дорогами.

Общий и специальные журналы работ, в т.ч. журнал лабораторных испытаний

Акты лабораторных испытаний

Приёмка

Проверить:

- соответствие фактических параметров выполненной обратной засыпки требованиям проекта и нормативных документов;

- надлежащее оформление актов освидетельствования скрытых работ по обратным засыпкам, в т.ч. в местах пересечения с действующими коммуникациями, существующими дорогами, улицами и т.д.

Акты лабораторных испытаний

Акты освидетельствования скрытых работ

ВХОДНОЙ И ОПЕРАЦИОННЫЙ КОНТРОЛЬ осуществляют:

прораб (мастер), лаборант (инженер) - в процессе производства работ

ПРИЁМОЧНЫЙ КОНТРОЛЬ ОСУЩЕСТВЛЯЮТ:

прораб (мастер), работники отдела контроля качества СМР, представители технадзора заказчика

КИП - нивелир, щуп, лабораторные приборы, радиоизотопные плотномеры и влагомеры

Способ обратной засыпки траншей с уплотнением грунта, а также типы применяемых механизмов устанавливаются проектом организации строительства и уточняются проектом производства работ, составляемыми с учетом требований действующих нормативных документов. При выборе механизмов исходят из необходимой степени уплотнения грунта, заданных объёмов и сроков работ с минимальными затратами. При этом для обеспечения качественной засыпки следует использовать местные грунты в период их оптимальной влажности. Переувлажненные грунты уплотнению не поддаются, поэтому перед уплотнением их следует подсушивать до оптимальной влажности. Разрыхленный грунт слоем толщиной 30 - 40 см подсушивается в жаркую погоду за 2 - 3 дня. Чтобы довести до проектной плотности грунт с влажностью менее оптимальной, его уплотняют увеличенным числом проходов (ударов) по одному следу или используя тяжелые грунтоуплотняющие средства.

В целях получения оптимальной влажности грунт в процессе его укладки поливают машинами или с помощью разбрызгивателей. При этом грунт следует отсыпать слоями одинаковой толщины, каждый отсыпанный слой грунта уплотняют одинаковым числом проходов (ударов) по одному следу.

При засыпке трубопроводов следует принимать меры по предотвращению повреждения гидроизоляционного и теплоизоляционного слоев труб.

В ППР должны быть указаны типы и физико-механические характеристики грунтов, предназначенных для устройства обратных засыпок, и специальные требования к ним, требуемая степень уплотнения (плотность сухого грунта или коэффициент уплотнения).

По согласованию с заказчиком и проектной организацией грунты обратных засыпок при необходимости могут быть заменены.

Применение грунтов с концентрацией растворимых солей в пороговой влаге свыше 10 % не допускается для засыпки на расстоянии менее 10 м от существующих и проектируемых неизолированных металлических или железобетонных конструкций.

При использовании для засыпок грунтов, содержащих твердые включения, в т.ч. мёрзлые комья, в объёме до 20 % от общего объёма грунта, последние должны быть равномерно распределены в отсыпаемом грунте и расположены не ближе 0,2 м от труб.

При укладке грунта «насухо» уплотнение следует производить, как правило, при влажности, которая должна быть в пределах AWo £ W £ BWo, где Wo - оптимальная влажность, определяемая в приборе стандартного уплотнения по ГОСТ 22733-77 «Грунты. Метод лабораторного определения максимальной плотности». Коэффициенты А и В следует принимать по нижеследующей таблице.

Тип грунта

Величина коэффициентов А и В при коэффициенте уплотнения Ксом

0,98

0,95

0,92

А

В

А

В

А

В

Пески крупные, средние, мелкие

Не ограничивается

Пески пылеватые

0,60

1,35

0,50

1,45

0,40

1,60

Супеси

0,80

1,20

0,75

1,35

0,56

1,40

Суглинки

0,85

1,15

0,80

1,20

0,70

1,30

Глины

0,90

1,10

0,85

1,15

0,75

1,20

Обратную засыпку траншей, на которые не передаются дополнительные нагрузки (кроме собственного веса грунта), можно выполнять без уплотнения грунта, но с отсыпкой по трассе траншей валика, размеры которого следует определять с учетом последующей естественной осадки грунта. Наличие валика не должно препятствовать использованию территории в соответствии с её назначением. Величину осадки нескального грунта при отсутствии в проекте необходимых указаний ориентировочно можно принять - 9 %.

Опытное уплотнение грунтов обратных засыпок следует производить при наличии указаний в проекте, а при отсутствии специальных указаний - при объёме поверхностного уплотнения на объекте 10 тыс. м3 и более.

В результате опытного уплотнения должны быть установлены:

- толщина отсыпаемых слоев, число проходов уплотняющих машин по одному следу, продолжительность воздействия вибрационных и других рабочих органов на грунт, число ударов и высота сбрасывания трамбовок и другие технологические параметры, обеспечивающие проектную плотность грунта;

- величины косвенных показателей качества уплотнения, подлежащих операционному контролю («отказа» для уплотнения трамбованием, числа ударов динамического плотномера и др.).

До засыпки траншей трубопроводы для фиксации проектного положения следует присыпать грунтом на половину его диаметра и тщательно уплотнить и подбить пазухи, оставляя стыки открытыми для осмотра в процессе предварительного испытания трубопроводов.

Засыпку траншей с уложенными трубопроводами в непросадочных грунтах, в т.ч. на участках пересечения траншей с действующими подземными коммуникациями, если проектом предусмотрены устройства, обеспечивающие неизменность положения и сохранность пересекаемых коммуникаций, следует производить в две стадии.

На первой стадии выполняется засыпка нижней зоны немёрзлым грунтом без включений размером свыше 1/4 их диаметра на высоту 0,2 м над верхом трубы с подбивкой пазух и равномерным послойным его уплотнением до проектной плотности с обеих сторон трубы. При засыпке не должна повреждаться изоляция труб. Стыки засыпаются после проведения предварительных испытаний трубопроводов тепловых сетей на прочность и герметичность.

На второй стадии выполняется засыпка верхней зоны траншеи грунтом, не содержащим твердых включений размером свыше диаметра трубы. При этом должна обеспечиваться сохранность трубопровода и плотность грунта, установленная проектом.

Засыпку траншей с каналами и тоннелями в непросадочных грунтах следует производить в две стадии.

На первой стадии, после монтажа плит перекрытий каналов или верхних лотков и по окончании работ по устройству гидроизоляции выполняется засыпка нижней зоны траншеи на высоту 0,2 м над верхом канала или тоннеля немёрзлым грунтом, не содержащим твердых включений размером свыше 1/4 высоты канала, но не более 20 см, равномерно слоями толщиной 20 - 30 см, одновременно с обеих сторон канала или тоннеля, с послойным его уплотнением до проектной плотности.

На второй стадии выполняется засыпка верхней зоны траншеи грунтом, не содержащим твердых включений размером свыше 1/2 канала. При этом должна обеспечиваться сохранность канала и плотность грунта, установленная проектом.

Уплотнение пазух на первом этапе засыпки следует производить слоями 0,2 - 0,3 м от стенки траншеи в сторону трубы. Уплотнение грунта рекомендуется производить ручными, механическими и электрическими трамбовками. Количество проходов и степень необходимого уплотнения должны быть указаны в проекте.

Траншеи, кроме разрабатываемых в просадочных грунтах II типа, на участках пересечения с существующими дорогами, другими территориями, имеющими дорожные покрытия, следует засыпать на всю глубину песчаным, галечниковым грунтом, отсевом щебня или другими аналогичными малосжимаемыми (модуль деформаций 20 МПа и более) местными материалами, не обладающими цементирующими свойствами, с уплотнением. При отсутствии в районе строительства указанных материалов допускается совместным решением заказчика, подрядчика и проектной организации использовать для обратных засыпок супеси и суглинки при условии обеспечения их уплотнения до проектной плотности.

На участке пересечения траншей, кроме разрабатываемых в просадочных грунтах, с действующими подземными коммуникациями (трубопроводами, кабелями и др.), проходящими в пределах глубины траншей и не имеющими по проекту устройств, обеспечивающих неизменяемость их положения и сохранность, должна быть выполнена подсыпка под действующие коммуникации немёрзлым песком или другим малосжимаемым (модуль деформаций 20 МПа и более) грунтом по всему поперечному сечению траншеи на высоту до половины диаметра пересекаемого трубопровода (кабеля) или его защитной оболочки с послойным уплотнением грунта. Вдоль траншеи размер подсыпки по верху должен быть на 0,5 м больше с каждой стороны пересекаемого трубопровода (кабеля) или его защитной оболочки, а откосы подсыпки должны быть не круче 1:1.

Обратную засыпку (за исключением выполняемых в просадочных грунтах II типа) узких пазух, где невозможно обеспечить уплотнение грунта до требуемой плотности имеющимися средствами, следует выполнять только малосжимаемыми (модуль деформаций 20 МПа и более) грунтами (щебнем, гравийно-галечниковыми и песчано-гравийными грунтами, песками крупными и средней крупности) или аналогичными промышленными отходами с проливкой водой, если в проекте не предусмотрено другое решение.

Обратные засыпки траншей в грунтовых условиях II типа по просадочности, в т.ч. на пересечениях с действующими коммуникациями, а также под дорогами с покрытиями усовершенствованного типа следует производить глинистыми грунтами с послойным уплотнением сразу после устройства коммуникаций. Использование дренирующих грунтов не допускается.

При обратной засыпке котлованов в набухающих грунтах следует применять ненабухающий грунт по всей ширине пазухи или в пределах прилегающего к конструкциям вертикального демпфирующего слоя, поглощающего деформации набухания. Ширина демпфирующего слоя грунта устанавливается проектом.

Набухающий грунт допускается использовать для засыпки траншей с коммуникациями, однако в местах наложения на них дорог и территорий с дорожным покрытием следует использовать только ненабухающий грунт.

При устройстве обратных засыпок в засушливых районах допускается использовать для увлажнения грунта минерализованную воду при условии, что суммарное количество растворимых солей в грунте после уплотнения не будет превышать допустимых пределов, установленных проектом.

При производстве работ по устройству обратных засыпок состав контролируемых показателей, предельные отклонения, объёмы и методы контроля должны соответствовать требованиям, приведенным ниже.

Технические требования

Предельные отклонения

Контроль

Вид и характеристики грунта основания траншеи

Должны соответствовать проекту. Не допускается размыв, размягчение, разрыхление или промерзание верхнего слоя грунта основания толщиной более 3 см.

Технический осмотр всей поверхности основания

Гранулометрический состав грунта, предназначенного для обратных засыпок (при наличии специальных указаний в проекте)

Должен соответствовать проекту. Выход за пределы диапазона, установленного проектом, допускается не более чем в 20 % определений

Измерительный и регистрационный по указанию проекта

Содержание в грунте, предназначенном для устройства обратных засыпок:

 

 

а) древесины, волокнистых материалов; гниющего или легкосжимаемого строительного мусора

Не допускается

Ежесменный, визуальный

б) растворимых солей в случае применения засоленных грунтов

Количество не должно превышать указанного в проекте

Измерительный по указаниям проекта, но не реже чем одно определение на 10 тыс. м3

Содержание мёрзлых комьев в обратных засыпках от общего объёма отсыпаемого грунта

Не должно превышать, %

Визуальный, периодический (устанавливается в ППР)

а) для верхних зон траншей с уложенными коммуникациями

20

 

б) для грунтовых подушек

15

 

Размер твердых включений, в т.ч. мёрзлых комьев в обратных засыпках

Не должен превышать 2/3 толщины уплотненного слоя, но не более 15 см для грунтовых подушек и 30 см для обратных засыпок

Визуальный, периодический (устанавливается в ППР)

Наличие снега и льда в обратных засыпках

Не допускается

Не допускается

Влажность уплотняемого грунта

Должна быть в пределах, установленных проектом

Измерительный, по указаниям проекта

Средняя по проверяемому участку плотность сухого грунта обратных засыпок

Не ниже проектной. Допускаются значения ниже проектных на 0,06 г/см3 в отдельных определениях, но не более чем в 20 %

Измерительный, Периодический, объём устанавливается заказчиком

Предварительное испытание трубопроводов тепловых сетей

СНиП 3.05.03-85 Тепловые сети.

СНиП III-4-80* Техника безопасности в строительстве. Правила устройства и безопасной эксплуатации трубопроводов пара и горячей воды.

Испытания стальных трубопроводов тепловых сетей на прочность и герметичность должны производиться в соответствии с требованиями проекта, СНиП 3.05.03-85, СНиП III-4-80*, Правил Госгортехнадзора России, ППР и другой технологической документации, утвержденной в установленном порядке.

Предварительным испытаниям на прочность и герметичность подлежат трубопроводы тепловых сетей, прокладываемые бесканально и в непроходных каналах.

Разделение (в случае необходимости) трубопроводов при испытаниях на участки, способ выявления дефектов принимает организация, осуществляющая испытания, если отсутствуют соответствующие указания в проекте.

Одновременные предварительные испытания нескольких трубопроводов на прочность и герметичность допускается производить в случаях, обоснованных ППР.

Предварительные испытания трубопроводов следует производить до установки сальниковых (сильфонных) компенсаторов, секционирующих задвижек, закрывания каналов и обратной засыпки трубопроводов бесканальной прокладки и каналов.

До проведения предварительных испытаний трубопроводов должны быть:

- завершены все работы по сварке стыковых соединений и исправлению обнаруженных дефектов, получены удовлетворительные результаты испытаний сварных соединений;

- отключены заглушками испытываемые трубопроводы от действующих и от первой запорной арматуры, установленной в здании (сооружении);

- установлены заглушки на концах испытываемых трубопроводов и вместо сальниковых (сильфонных) компенсаторов, секционирующих задвижек;

- завершены работы по монтажу оборудования и контрольно-измерительных приборов;

- подготовлены средства наполнения, опрессовки и опорожнения испытываемого трубопровода, смонтированы временные коммуникации и установлены приборы и краны, необходимые

Контролируемые операции

Состав и средства контроля

Документация

Подготовительные работы

Проверить:

- наличие ППР, технологических карт, схем операционного контроля качества (СОКК) или другой документации по проведению испытаний;

- завершение и надлежащее оформление предшествующих работ по прокладке трубопроводов, по сварке стыковых соединений и исправлению обнаруженных дефектов, по проведению испытаний сварных соединений, по гидроизоляции трубопроводов;

- завершение работ по монтажу оборудования и контрольно-измерительной аппаратуры;

- установку заглушек на концах испытываемых трубопроводов и вместо компенсаторов и секционирующих задвижек;

- готовность средств наполнения, опрессовки и опорожнения трубопровода, завершение монтажа временных коммуникаций, установку приборов и кранов, необходимых для проведения испытаний;

- наличие доступа к сварным соединениям для их внешнего осмотра при испытаниях;

- организацию дежурства на границе опасной зоны.

ППР, технологические карты, СОКК

Акты освидетельствования скрытых работ с исполнительной документацией; Акт о проведении испытаний

Предварительное испытание трубопроводов наружных тепловых сетей

Контролировать:

- соблюдение заданной технологии производства предварительных испытаний трубопроводов на прочность и герметичность;

- падение давления во время испытаний;

- устранение дефектов трубопровода, выявленных во время испытаний;

- соблюдение технологии проведения повторных испытаний трубопроводов (при необходимости).

Общий и специальный журналы работ

Приёмка

Проверить:

- соответствие параметров испытаний и его результатов требованиям проекта и нормативных документов;

- отсутствие дефектов в сварных швах и соединениях;

- отсутствие признаков сдвига или деформаций трубопроводов и неподвижных опор;

- надлежащее оформление акта о проведении предварительных испытаний.

Акт о проведении предварительных испытаний трубопровода

ВХОДНОЙ И ОПЕРАЦИОННЫЙ КОНТРОЛЬ осуществляют:

прораб (мастер) - в процессе производства работ

ПРИЁМОЧНЫЙ КОНТРОЛЬ ОСУЩЕСТВЛЯЮТ:

прораб (мастер), представители технадзора заказчика и эксплуатирующей организации

КИП - пружинные манометры класса не ниже 1,5 и другое оборудование.

для проведения испытаний;

- персонал, участвующий в испытаниях трубопроводов, должен быть ознакомлен с порядком проведения работ (ППР, СОКК и др.) и с мероприятиями по безопасному их выполнению;

- организовано дежурство на границе опасной зоны;

- обозначены знаками безопасности в соответствии с ГОСТ 12.4.026-76* границы опасной зоны.

Величина опасной зоны, которая устанавливается на время проведения пневматических испытаний трубопроводов, находящихся в траншеях, приведена в следующей таблице.

Материал труб

Испытательное давление, МПа

Диаметр трубопровода, мм

Расстояние от бровки траншеи и торцов трубопроводов до границы опасной зоны, м

Сталь

0,6 - 1,6

До 300

7,0

300 - 1000

10,0

Св. 1000

20,0

При нахождении трубопроводов вблизи жилых или эксплуатируемых общественных или промышленных зданий пневматические их испытания можно производить при условии, что оконные и дверные проемы этих зданий, находящиеся в пределах опасной зоны, должны быть закрыты защитными ограждениями (щитами, решетками).

Компрессор и манометры, используемые при испытании трубопроводов, следует располагать вне зоны траншеи, в которой находится испытываемый трубопровод.

Допускается расположение компрессора в опасной зоне на расстоянии не менее 10 м от бровки, в этом случае он должен быть защищен защитными ограждениями.

Предварительные испытания трубопроводов на прочность и герметичность следует выполнять, как правило, гидравлическим способом.

При отрицательных температурах наружного воздуха и невозможности подогрева воды, а также при отсутствии воды допускается в соответствии с ППР выполнение предварительных испытаний пневматическим способом.

Не допускается выполнение пневматических испытаний трубопроводов, прокладываемых в одном канале (секции) или в одной траншее с действующими инженерными коммуникациями.

Трубопроводы водяных тепловых сетей следует испытывать давлением, равным 1,25 рабочего, но не менее 1,6 МПа (16 кгс/см2), паропроводы, конденсатопроводы и сети горячего водоснабжения - давлением, равным 1,25 рабочего, если другие требования не обоснованы проектом (рабочим проектом).

Измерения давления при выполнении испытаний трубопроводов на прочность и герметичность следует производить по аттестованным в установленном порядке двум (один - контрольный) пружинным манометрам класса не ниже 1,5 с диаметром корпуса не менее 160 мм и шкалой с номинальным давлением 4/3 измеряемого.

О результатах предварительных испытаний трубопроводов следует составлять акт установленной формы.

Гидравлические испытания трубопроводов следует выполнять с соблюдением следующих основных требований: испытательное давление должно быть обеспечено в верхней точке (отметке) трубопроводов; температура воды при испытаниях должна быть не ниже 5 °С; при отрицательной температуре наружного воздуха трубопровод необходимо заполнить водой с температурой не выше 70 °С и обеспечить возможность заполнения и опорожнения его в течение 1 ч; при постепенном заполнении водой из трубопроводов должен быть полностью удален воздух; испытательное давление должно быть выдержано в течение 10 мин и затем снижено до рабочего; при рабочем давлении должен быть произведен осмотр трубопровода по всей его длине.

Результаты гидравлических испытаний трубопровода считаются удовлетворительными, если во время их проведения не произошло падения давления, не обнаружены признаки разрыва, течи или запотевания в сварных швах, а также течи в основном металле, фланцевых соединениях, арматуре и других элементах трубопроводов, отсутствуют признаки сдвига или деформаций трубопровода и неподвижных опор.

Аналогично расцениваются и результаты предварительных пневматических испытаний трубопроводов, которое следует производить для стальных трубопроводов с рабочим давлением не выше 1,6 МПа и температурой до 250 °С. Заполнение трубопровода воздухом и подъем давления следует производить плавно со скоростью не более 0,3 МПа в 1 час. При испытательном давлении трубопровод сначала выдерживается до выравнивания температур воздуха, а затем 30 мин - собственно испытания, затем давление плавно снижается до 0,3 МПа, но не выше рабочего давления.

Приемочные испытания трубопроводов тепловых сетей

СНиП 3.05.03-85 Тепловые сети.

СНиП III-4-80* Техника безопасности в строительстве. Правила устройства и безопасной эксплуатации трубопроводов пара и горячей воды.

Испытания стальных трубопроводов тепловых сетей на прочность и герметичность должны производиться в соответствии с требованиями проекта, СНиП 3.05.03-85, СНиП III-4-80*, Правил Госгортехнадзора России, ППР и другой технологической документации, утвержденной в установленном порядке.

Окончательные (приемочные) испытания трубопроводов должны производиться после завершения строительно-монтажных работ.

Трубопроводы необходимо испытывать на прочность и герметичность.

Вид испытаний (прочность, герметичность), способ (гидравлический, пневматический), продолжительность и оценку результатов испытаний следует принимать в соответствии с проектом.

Окончательные (приемочные) испытания трубопроводов тепловых сетей на прочность и герметичность следует выполнять, как правило, гидравлическим способом.

При отрицательных температурах наружного воздуха и невозможности подогрева воды, а также при отсутствии воды допускается в соответствии с ППР выполнение испытаний пневматическим способом.

Пневматические испытания трубопроводов не допускаются:

- для трубопроводов, расположенных в действующих цехах;

- для надземных трубопроводов;

- для трубопроводов, прокладываемых в одном канале (секции) или в одной траншее с действующими инженерными коммуникациями.

Перед выполнением окончательных (приемочных) испытаний трубопроводов тепловых сетей на прочность и герметичность должны быть:

- завершены все работы по сварке стыковых соединений и исправлению обнаруженных дефектов, получены удовлетворительные результаты испытаний сварных соединений;

- отключены заглушками испытываемые трубопроводы от действующих и от первой запорной арматуры, установленной в здании (сооружении) (использование запорной арматуры для отключения испытываемых трубопроводов не разрешается);

Контролируемые операции

Состав и средства контроля

Документация

Подготовительные работы

Проверить:

- наличие ППР, технологических карт, схем операционного контроля качества (СОКК) или другой документации по проведению испытаний;

- завершение и надлежащее оформление предшествующих работ по прокладке трубопроводов, по сварке стыковых соединений и исправлению обнаруженных дефектов, по проведению испытаний сварных соединений, по гидроизоляции трубопроводов;

- отключение заглушками испытываемых трубопроводов от действующих и от первой запорной арматуры, установленной в здании (сооружении);

- готовность средств наполнения, опрессовки и опорожнения трубопровода, завершение монтажа временных коммуникаций, установку приборов и кранов, необходимых для проведения испытаний;

- наличие доступа к трубопроводам для их внешнего осмотра и осмотра сварных соединений на время проведения испытаний;

- организацию дежурства на границе опасной зоны.

ППР, технологические карты, СОКК

Акты освидетельствования скрытых работ с исполнительной документацией; Акт о проведении испытаний

Приемочные испытания трубопроводов наружных тепловых сетей

Контролировать:

- соблюдение заданной технологии производства приемочных испытаний трубопроводов на прочность и герметичность;

- падение давления во время испытаний;

- наличие или отсутствие признаков разрыва, течи или запотевания в сварных швах, течи в основном металле, фланцевых соединениях, арматуре, компенсаторах и др. элементах трубопроводов, признаков сдвига или деформаций трубопроводов и неподвижных опор;

- устранение дефектов трубопровода, выявленных во время испытаний, и соблюдение технологии проведения повторных испытаний трубопроводов.

Общий и специальный журналы работ

Приёмка

Проверить:

- соответствие параметров испытаний и его результатов требованиям проекта и нормативных документов;

- отсутствие дефектов в сварных швах и соединениях;

- отсутствие признаков сдвига или деформаций трубопроводов и неподвижных опор;

- надлежащее оформление акта о проведении приемочных испытаний.

Акт о проведении приемочных испытаний трубопроводов на прочность и герметичность

ВХОДНОЙ И ОПЕРАЦИОННЫЙ КОНТРОЛЬ осуществляют:

прораб (мастер) - в процессе производства работ

ПРИЁМОЧНЫЙ КОНТРОЛЬ ОСУЩЕСТВЛЯЮТ:

прораб (мастер), представители технадзора заказчика и эксплуатирующей организации

КИП - пружинные манометры класса не ниже 1,5 и другое оборудование.

- обеспечен доступ на всем протяжении испытываемых трубопроводов для их внешнего осмотра и осмотра сварных швов на время проведения испытаний;

- открыты полностью арматура и байпасные линии;

- подготовлены средства наполнения, опрессовки и опорожнения испытываемого трубопровода, смонтированы временные коммуникации и установлены приборы и краны, необходимые для проведения испытаний;

- проверены знания персонала о порядке проведения испытаний (ППР, СОКК и др.) и мероприятий по безопасному их выполнению;

- организовано дежурство на границе опасной зоны;

- обозначены знаками безопасности в соответствии с ГОСТ 12.4.026-76* границы опасной зоны и предупредительными знаками временные заглушки, люки фланцевые соединения.

Величина опасной зоны, которая устанавливается на время проведения пневматических испытаний трубопроводов, находящихся в траншеях, приведена в следующей таблице.

Материал труб

Испытательное давление, МПа

Диаметр трубопровода, мм

Расстояние от бровки траншеи и торцов трубопроводов до границы опасной зоны, м

Сталь

0,6 - 1,6

До 300

7,0

300 - 1000

10,0

Св. 1000

20,0

Нахождение лиц в опасной зоне в период нагнетания в трубопровод воздуха и при выдерживании трубопровода под давлением при испытании на прочность не допускается.

При нахождении трубопроводов вблизи жилых или эксплуатируемых общественных или промышленных зданий пневматические их испытания можно производить при условии, что оконные и дверные проемы этих зданий, находящиеся в пределах опасной зоны, должны быть закрыты защитными ограждениями (щитами, решетками).

Компрессор и манометры, используемые при испытании трубопроводов, следует располагать вне зоны траншеи, в которой находится испытываемый трубопровод.

Допускается расположение компрессора в опасной зоне на расстоянии не менее 10 м от бровки, в этом случае он должен быть защищен защитными ограждениями.

Не допускается выполнение пневматических испытаний надземных трубопроводов, а также трубопроводов, прокладываемых в одном канале (секции) или в одной траншее с действующими инженерными коммуникациями.

Одновременное гидравлическое испытание нескольких трубопроводов, смонтированных на одних опорных конструкциях или эстакадах, допускается в случае, если эти опорные конструкции или эстакады рассчитаны на соответствующие нагрузки.

Трубопроводы водяных тепловых сетей следует испытывать давлением, равным 1,25 рабочего, но не менее 1,6 МПа (16 кгс/см2), паропроводы, конденсатопроводы и сети горячего водоснабжения - давлением, равным 1,25 рабочего, если другие требования не обоснованы проектом (рабочим проектом).

Измерения давления при выполнении испытаний трубопроводов на прочность и герметичность следует производить по аттестованным в установленном порядке двум (один - контрольный) пружинным манометрам класса не ниже 1,5 с диаметром корпуса не менее 160 мм и шкалой с номинальным давлением 4/3 измеряемого.

Испытания трубопроводов на прочность и герметичность (плотность), их продувку, промывку, дезинфекцию необходимо производить по технологическим схемам (согласованным с эксплуатационными организациями), регламентирующим технологию и технику безопасности проведения работ (в том числе границы охранных зон).

ГИДРАВЛИЧЕСКИЕ ИСПЫТАНИЯ

Гидравлические испытания трубопроводов следует выполнять с соблюдением следующих основных требований:

- испытательное давление должно быть обеспечено в верхней точке (отметке) трубопроводов;

- температура воды при испытаниях должна быть не ниже 5 °С;

- при отрицательной температуре наружного воздуха трубопровод необходимо заполнить водой с температурой не выше 70 °С и обеспечить возможность заполнения и опорожнения его в течение 1 ч;

- при постепенном заполнении водой из трубопроводов должен быть полностью удален воздух;

- испытательное давление должно быть выдержано в течение 10 мин и затем снижено до рабочего;

- при рабочем давлении должен быть произведен осмотр трубопровода по всей его длине.

Результаты гидравлических испытаний трубопровода на прочность и герметичность считаются удовлетворительными, если во время их проведения не произошло падения давления, не обнаружены признаки разрыва, течи или запотевания в сварных швах, а также течи в основном металле, фланцевых соединениях, арматуре и других элементах трубопроводов, отсутствуют признаки сдвига или деформаций трубопровода и неподвижных опор.

Осмотр стальных трубопроводов по всей их длине при испытании разрешается производить только после снижения давления до 0,3 МПа.

Дефекты трубопровода следует устранять после снижения давления до атмосферного.

Технология исправления дефектов и порядок контроля должны быть определены в проекте (ППР).

ПНЕВМАТИЧЕСКИЕ ИСПЫТАНИЯ

Пневматические испытания следует производить для стальных трубопроводов с рабочим давлением не выше 1,6 МПа (16 кгс/см2) и температурой до 250 °С, монтируемых из труб и деталей, испытанных на прочность и герметичность (плотность) заводами-изготовителями в соответствии с ГОСТ 3845-75* (при этом заводское испытательное давление для труб, арматурного оборудования и других изделий и деталей трубопроводов должно быть на 20 % выше испытательного давления, принятого для смонтированного трубопровода).

Установка чугунной арматуры (кроме вентилей из ковкого чугуна) на время испытаний не допускается.

Пневматическое испытание проводят в такой последовательности:

- очищают и продувают трубопровод;

- устанавливают заглушки и манометры;

- присоединяют к трубопроводу компрессор;

- плавно со скоростью не более 0,3 МПа (3 кгс/см2) в 1 час заполняют трубопровод воздухом:

- при величине давления, равной 0,3 испытательного, но не более 0,3 МПа (3 кгс/см2), визуально осматривают трассу [вход в охранную (опасную) зону, но без спуска в траншею]. На период осмотра трассы подъем давления должен быть прекращен;

- при достижении величины испытательного давления трубопровод выдерживается для выравнивания температуры по длине трубопровода;

- после выравнивания температуры воздуха испытательное давление выдерживается в течение 30 мин - собственно испытание;

- затем давление плавно снижают до 0,3 МПа (3 кгс/см2), но не выше величины рабочего давления теплоносителя, и при этом давлении производят осмотр трубопроводов с отметкой дефектных мест;

- снижают избыточное давление воздуха в трубопроводах до нуля и отключают компрессор;

- устраняют обнаруженные в трубопроводах дефекты;

- вторично испытывают трубопроводы тепловых сетей на прочность и герметичность;

- плавно снижают давление до 0,3 МПа (3 кгс/см2), но не выше величины рабочего давления теплоносителя, и при этом давлении производят осмотр трубопроводов;

- снижают избыточное давление воздуха в трубопроводах до нуля и отключают компрессор;

- при отсутствии дефектов отсоединяют компрессор, снимают заглушки и манометры.

Места утечки определяются по звуку просачивающегося воздуха, по пузырям при покрытии сварных стыков и других мест мыльной эмульсией и применением других методов.

Дефекты устраняются только при снижении избыточного давления до нуля и отключении компрессора.

При пневматическом испытании трубопроводов предохранительные клапаны должны быть отрегулированы на соответствующее давление.

Присоединять и разъединять линии, подводящие воздух от компрессора к испытываемому трубопроводу, разрешается только после прекращения подачи воздуха и снятия давления до атмосферного.

Результаты пневматических испытаний трубопроводов считаются удовлетворительными, если во время их проведения не произошло падения давления по манометру, не обнаружены дефекты в сварных швах, фланцевых соединениях, трубах, оборудовании и других элементах и изделиях трубопровода.

О результатах испытаний трубопроводов на прочность и герметичность следует составить акты по приведенной ниже форме.

АКТ

О ПРОВЕДЕНИИ ИСПЫТАНИЙ ТРУБОПРОВОДОВ НА ПРОЧНОСТЬ И ГЕРМЕТИЧНОСТЬ

г._____________     «___»___________19____г.

Комиссия в составе:

представителя строительно-монтажной организации_________________________

_________________________________________________________________________

(фамилия, имя, отчество, должность)

представителя технического надзора заказчика_______________________________

_________________________________________________________________________

(фамилия, имя, отчество, должность)

представителя эксплуатационной организации______________________________

_________________________________________________________________________

(фамилия, имя, отчество, должность)

произвела осмотр работ, выполненных_______________________________________

_________________________________________________________________________

(наименование строительно-монтажной организации)

и составила настоящий акт о нижеследующем:

1. К освидетельствованию и приемке предъявлены_____________________________

___________________________________________________________________________

(гидравлические или пневматические)

трубопроводы, испытанные на прочность и герметичность и перечисленные в таблице, на участке от камеры (пикета, шахты) № ______ до камеры (пикета, шахты) № _______ трассы_____________________________________________________________________

_______________________________________ протяженностью __________м.

(наименование трубопровода)

Трубопровод

Испытательное давление, МПа (кгс/см2)

Продолжительность, мин

Наружный осмотр при давлении МПа (кгс/см2)

 

 

 

 

2. Работы выполнены по проектно-сметной документации_______________________

_________________________________________________________________________

(наименование проектной организации, номера чертежей и дата их составления)

РЕШЕНИЕ КОМИССИИ

Работы выполнены в соответствии с проектно-сметной документацией, стандартами, строительными нормами и правилами и отвечают требованиям их приемки.

На основании изложенного считать испытание на прочность и герметичность трубопроводов, перечисленных в акте, выполненными.

Представитель строительно-монтажной организации___________________________

(подпись)

Представитель технического надзора заказчика_________________________________

(подпись)

Представитель эксплуатационной организации________________________________

(подпись)

СХЕМЫ ВХОДНОГО И ОПЕРАЦИОННОГО КОНТРОЛЯ КАЧЕСТВА СМР

ЧАСТЬ IV

НАРУЖНЫЕ ГАЗОПРОВОДЫ

Разработка траншей и котлованов для наружных газопроводов

СНиП 3.01.01-85* Организация строительного производства.

СНиП 3.02.01-87 Земляные сооружения, основания и фундаменты.

СНиП 2.04.08-87* Газоснабжение.

СНиП 3.05.02-88* Газоснабжение.

СНиП III-4-80* Техника безопасности в строительстве.

Строительство наружных газопроводов допускается осуществлять только на основе предварительно разработанных решений по организации строительства и технологии производства работ, которые должны быть приняты в проекте организации строительства и проектах производства работ (ППР).

До начала производства работ заказчик должен оформить и передать подрядной строительной организации разрешение на производство строительных работ.

К основным работам по строительству наружных газопроводов разрешается приступать только после отвода в натуре площадки (трассы) для их строительства, создания разбивочной геодезической сети (см. СОКК «Построение геодезической разбивочной основы для строительства» в альбоме часть I вып. 1, и СОКК «Разбивочные работы при прокладке инженерных сетей» в данном альбоме), окончания внеплощадочных и внутриплощадочных подготовительных работ (см. СОКК «Внеплощадочные и внутриплощадочные подготовительные работы» в данном альбоме).

Разработку выемок следует производить в соответствии с требованиями СНиП 3.02.01-87, СНиП 3.01.01-85*, проекта, ППР, технологических карт и схем операционного контроля качества.

Земляные работы должны выполнять строительные организации, получившие лицензию на выполнение этих работ в Федеральных или региональных органах по лицензированию строительной деятельности.

Земляные работы должны выполняться квалифицированным персоналом, прошедшим специальную подготовку и обладающим надлежащими навыками по выполнению земляных работ.

При производстве земляных работ должно быть обеспечено соблюдение строительных норм и правил, проекта и ППР.

Возведение земляных сооружений должно производиться по утвержденному проекту производства работ (ППР).

Контролируемые операции

Состав и средства контроля

Документация

Подготовительные работы

Проверить:

- наличие утвержденной проектно-сметной документации с разрешением заказчика на производство работ;

псд

- наличие геодезической разбивочной основы и технической документации на неё; наличие закрепленных на площадке строительства пунктов основы;

Акт приёмки, техническая документация

- наличие ППР, технологической карты, схемы операционного контроля качества;

ППР, технологическая карта,

- завершение подготовительных внеплощадочных и внутриплощадочных работ;

СОКК

Акт

- завершение геодезических разбивочных работ по выносу в натуру и закреплению осей и характерных основных и промежуточных точек земляных сооружений.

Акт разбивки, исполнительные схемы

Разработка траншей и котлованов

Контролировать:

- соблюдение заданной ППР (технологической картой) технологии разработки траншей и котлованов;

Общий и специальный журналы работ

- отклонения отметок дна траншей и котлованов от проектных при черновой и окончательной разработке; крутизну откосов и поперечный профиль траншей и котлованов.

Исполнительный разбивочный чертеж (схема)

Приёмка

Проверить:

- соответствие фактических поперечного и продольного профилей траншей и котлованов требованиям проекта и нормативных документов;

Исполнительные геодезические схемы (чертежи)

- соответствие фактического напластования и свойств грунтов оснований требованиям проекта и нормативных документов;

- составление и надлежащее оформление актов освидетельствования скрытых работ, актов приёмки оснований, траншей и котлованов и другой приёмосдаточной документации.

Протоколы (акты) испытаний

Акты освидетельствования скрытых работ

Акты приёмки

ВХОДНОЙ И ОПЕРАЦИОННЫЙ КОНТРОЛЬ осуществляют:

прораб (мастер), геодезист, инженер (лаборант) - в процессе производства работ

ПРИЁМОЧНЫЙ КОНТРОЛЬ ОСУЩЕСТВЛЯЮТ:

прораб, геодезист, представители технадзора заказчика

КИП - нивелир, теодолит, рулетка измерительная металлическая и др. инструмент, лабораторные приборы и оборудование

без утвержденного проекта производства работ. Не допускаются отступления от решений проектов производства работ без согласования с организациями, разработавшими и утвердившими их.

Разработка выемок, и вскрытие подземных коммуникаций в пределах охранных зон допускаются при наличии письменного разрешения эксплуатирующих организаций.

До начала производства земляных работ в местах расположения действующих подземных коммуникаций расположение последних на местности должно быть обозначено соответствующими знаками или надписями.

Производство земляных работ в зоне действующих подземных коммуникаций следует осуществлять под непосредственным руководством прораба или мастера, а в охранной зоне кабелей, находящихся под напряжением, или действующего газопровода, кроме того, под наблюдением работников электро- или газового хозяйства.

В случае обнаружения не указанных в проекте коммуникаций, подземных сооружений или обозначающих их знаков земляные работы должны быть приостановлены, на место работ вызваны представители заказчика и организаций, эксплуатирующих обнаруженные коммуникации, и приняты меры по предохранению обнаруженных подземных устройств от повреждения. При невозможности установления эксплуатирующих организаций следует вызвать представителей местной администрации.

Перед началом производства земляных работ на участках с возможным патогенным заражением почвы (свалка, скотомогильники, кладбища и т.п.) необходимо разрешение органов Государственно-санитарного надзора.

Котлованы и траншеи, разрабатываемые на улицах, проездах, во дворах населенных пунктов, а также местах, где происходит движение людей или транспорта, должны быть ограждены защитным ограждением с учетом требований ГОСТ 23407-78. На ограждении необходимо устанавливать предупредительные надписи и знаки, а в ночное время - сигнальное освещение.

Места прохода людей через траншеи должны быть оборудованы переходными мостиками, освещаемыми в ночное время.

Прокладка наружных газопроводов на территории населенных пунктов должна быть предусмотрена, как правило, подземной в соответствии с требованиями СНиП 2.07.01-89* «Градостроительство. Планировка и застройка городских и сельских поселений». Надземная и наземная прокладка наружных газопроводов допускается внутри жилых кварталов и дворов, а также на других отдельных участках трассы.

Минимальные расстояния (а) по горизонтали (в плане) от подземных и наземных (в насыпи) газопроводов до зданий (кроме газорегуляторных пунктов - ГРП) и сооружений в соответствии с требованиями СНиП 2.07.01-89* указаны в нижеследующей таблице.

Инженерные сети

Расстояния, м, по горизонтали до газопровода давлением, МПа (кгс/см2)

низкого до 0,005 (0,05)

среднего свыше 0,005 (0,05) до 0,3 (3)

высокого св. 0,3 (3) до 0,6 (6)

высокого св. 0,6 (6) до 1,2 (12)

От фундаментов зданий и сооружений

2

4

7

10

От фундаментов ограждений предприятий, эстакад, опор контактной сети и связи, железных дорог

1

1

1

1

От оси крайнего пути железных дорог колеи 1520 мм, но не менее глубины траншеи до подошвы насыпи и бровки выемки

3,8

4,8

7,8

10,8

От оси крайнего пути железных дорог колеи 750 мм и трамвая

2,8

2,8

3,8

3,8

От бортового камня улицы, дороги (кромки проезжей части, укрепленной полосы обочины)

1,5

1,5

2,5

2,5

От фундаментов опор воздушных линий электропередачи напряжением:

 

 

 

 

до 1 кВ

1

1

1

1

св. 1 до 35 кВ

5

5

5

5

св. 35 кВ

10

10

10

10

Минимальные расстояния (а) по горизонтали от подземных газопроводов до зданий и сооружений

1. Бортовой камень 2. Газопровод 3. Фундамент зданий и сооружений, ограждений предприятий, эстакад, опор контактной сети и связи, железных дорог

При заложении газопроводов ниже подошвы фундаментов зданий и сооружений более 0,4 м расстояния, указанные в вышеприведенной таблице, должны быть увеличены в зависимости от крутизны откосов.

Допускается уменьшение до 50 % расстояний, указанных в вышеприведенной таблице, для газопроводов давлением до 0,6 МПа (6 кгс/см2) при прокладке их между зданиями и под арками зданий, в стесненных условиях на отдельных участках трассы, а также от газопроводов давлением свыше 0,6 МПа (6 кгс/см2) до отдельно стоящих нежилых и подсобных строений.

В этих случаях на участках сближения и по 5 м в каждую сторону от этих участков следует предусматривать:

- применение бесшовных или электросварных труб, прошедших 100 %-ный контроль заводского сварного соединения неразрушающими методами, или электросварных труб, не прошедших такого контроля, но проложенных в футляре;

- проверку всех сварных (монтажных) стыков неразрушающими методами контроля.

Допускается прокладка подземных газопроводов в пределах фундаментов опор и эстакад трубопроводов, контактной сети при условии выполнения мер, исключающих возможность повреждения газопроводов в случае осадки фундаментов, а также повреждения фундаментов при аварии на газопроводах.

В орошаемых районах при непросадочных грунтах расстояние от подземных газопроводов до оросительных каналов (до бровки каналов) следует принимать в проекте, м, равным:

1 - для газопроводов низкого и среднего давления;

2 - для газопроводов высокого давления до 0,6 МПа (6 кгс/см2).

Расстояние от газопровода до наружных стенок колодцев и камер других подземных инженерных сетей должно быть не менее 0,3 м. На участках, где расстояние в свету от газопровода до колодцев и камер других подземных инженерных сетей составляет от 0,3 м до нормативного расстояния для данной коммуникации, газопроводы следует прокладывать с соблюдением требований, предъявляемых к прокладке газопроводов в стесненных условиях.

При прокладке электросварных труб в футляре последний должен выходить не менее чем на 2 м в каждую сторону от стенки колодца или камеры.

Минимальные расстояния (а) по горизонтали (в свету) от стальных газопроводов до соседних инженерных сетей при их параллельном размещении в соответствии с требованиями СНиП 2.07.01-89* указаны в нижеследующей таблице.

Соседние инженерные сети

Расстояния, м, по горизонтали до газопровода давлением, МПа (кгс/см2)

низкого до 0,005 (0,05)

среднего свыше 0,005 (0,05) до 0,3 (3)

высокого св. 0,3 (3) до 0,6 (6)

высокого св. 0,6 (6) до 1,2 (12)

От водопровода и напорной канализации; от ближайшей трубы теплосети бесканальной прокладки без дренажа

1

1

1,5

2

От канализации бытовой, дренажа и дождевой канализации

1

1,5

2

5

От кабелей силовых всех напряжений

1

1

1

2

От кабелей связи

1

1

1

1

От каналов, тоннелей

2

2

2

4

От наружных пневмомусоропроводов

1

1,5

1,5

2

От наружной стенки канала, тоннеля тепловых сетей; от тепловой сети бесканальной прокладки

2

2

2

4

От газопроводов давления, МПа (кгс/см2):

 

 

 

 

низкого до 0,005 (0,05)

0,5

0,5

0,5

0,5

среднего св. 0,005 (0,05) до 0,3 (3)

0,5

0,5

0,5

0,5

высокого св. 0,3 (3) до 0,6 (6)

0,5

0,5

0,5

0,5

высокого св. 0,6 (6) до 1,2 (12)

0,5

0,5

0,5

0,5

При параллельной прокладке и совместном размещении в одной траншее двух и более газопроводов расстояние между ними (в свету) допускается принимать: 0,4 м - для труб диаметром до 300 мм, 0,5 м - для труб диаметром более 300 мм.

При разнице в глубине заложения смежных газопроводов свыше 0,4 м расстояния, указанные в вышеприведенной таблице, следует увеличивать с учетом крутизны откосов траншей, но не менее глубины траншеи до подошвы насыпи и бровки выемки.

Расстояние между газопроводом с давлением до 0,3 МПа (3 кгс/см2) и другими подземными коммуникациями (за исключением кабельных линий) при прокладке их в общей траншее должно быть не менее 0,8 м.

Расстояние по вертикали в свету при пересечении газопроводов всех давлений с подземными инженерными сетями следует принимать не менее 0,2 м, с электрическими сетями - в соответствии с ПУЭ, с кабельными линиями связи и радиотрансляционными сетями - в соответствии с ВСН 116-87 и ВСН 600-81.

В местах пересечения подземными газопроводами каналов тепловой сети, коммуникационных коллекторов, каналов различного назначения с проходом над или под пересекаемым сооружением должна быть предусмотрена прокладка газопровода в футляре, выходящем на 2 м в обе стороны от наружных стенок пересекаемых сооружений, а также проверку неразрушающими методами контроля всех сварных стыков в пределах пересечения и по 5 м в стороны от наружных стенок пересекаемых сооружений.

Глубина прокладки газопроводов должна быть не менее 0,8 м до верха газопровода или футляра.

В местах, где не предусматривается движение транспорта, глубину прокладки газопроводов допускается уменьшать до 0,6 м.

Прокладка газопроводов в грунтах с включением строительного мусора и перегноя должна производиться с устройством под газопровод основания из мягкого или песчаного грунта толщиной не менее 10 см (над выступающими неровностями основания); засыпка газопровода должна производиться таким же грунтом на полную глубину траншеи.

В грунтах с несущей способностью менее 0,025 МПа (0,25 кгс/см2), а также в грунтах с включением строительного мусора и перегноя дно траншеи должно быть усилено путем подкладки антисептированных деревянных брусьев, бетонных брусьев, устройства свайного основания или втрамбовывания щебня или гравия. Подсыпку грунта под газопровод и засыпку его следует производить мягким или песчаным грунтом.

Глубина укладки газопровода под железнодорожными и трамвайными путями и автомобильными дорогами должна приниматься в проекте в зависимости от способа производства строительных работ и характера грунтов.

Минимальная глубина укладки газопровода до верха футляра от подошвы рельса или верха покрытия на нулевых отметках и выемках, а при наличии насыпи от подошвы насыпи должна быть, м:

под железными дорогами общей сети - 2,0 (от дна водоотводных сооружений - 1,5), а при производстве работ методом прокола - 2,5;

пол трамвайными путями, железными дорогами промышленных предприятий и автомобильными дорогами: 1,0 - при производстве работ открытым способом; 1,5 - при производстве работ методом продавливания, горизонтального бурения или щитовой проходки; 2,5 - при производстве работ методом прокола.

Глубина заложения полиэтиленовых газопроводов должна быть не менее 1 м до верха трубы.

Рытьё котлованов и траншей с откосами без креплений в нескальных грунтах выше уровня грунтовых вод (с учётом капиллярного поднятия) или в грунтах, осушенных с помощью искусственного водопонижения, допускается при глубине выемки и крутизне откосов согласно нижеприведенной таблице.

Вид грунтов

Крутизна откоса (отношение его высоты к заложению и градусы) при глубине выемки, м, не более

1,5

3

5

Насыпные неуплотненные

Песчаные гравийные

Супесь

Суглинок

Глина

Лёссы и лессовидные

Рытьё котлованов и траншей с вертикальными стенками без креплений в нескальных и незамерзших грунтах выше уровня грунтовых вод и при отсутствии вблизи подземных сооружений допускается на глубину не более, м:

1,0 - в насыпных, песчаных и крупнообломочных грунтах;

1,25 - в супесях;

1,50 - в суглинках и глинах.

Наибольшую высоту вертикальных стенок выемок в мёрзлых грунтах, кроме сыпучемёрзлых, при среднесуточной температуре воздуха ниже минус 2 °С допускается увеличивать по сравнению с вышеприведенной на величину глубины промерзания грунта, но не более чем до 2 м.

При напластовании различных видов грунтов крутизну откосов для всех пластов надлежит назначать по наиболее слабому виду грунта.

Крутизна откосов выемок глубиной более 5 м во всех случаях и глубиной менее 5 м при гидрогеологических условиях и видах грунтов, не предусмотренных в вышеприведенной таблице, должна устанавливаться проектом.

При высоте откосов более 5 м в однородных грунтах их крутизну допускается принимать по графикам приложения 3 СНиП 3.02.01-87, но не круче указанных в вышеприведенной таблице для глубины выемки 5 м и во всех грунтах (включая скальные) не более 80°. Крутизна откосов выемок, разрабатываемых в скальных грунтах с применением взрывных работ, должна быть установлена в проекте.

В проекте должна быть установлена необходимость временного крепления вертикальных стенок траншей и котлованов в зависимости от глубины выемки, вида и состояния грунта, гидрогеологических условий: величины и характера временных нагрузок на бровке и других местных условий.

При установке креплений верхняя часть их должна выступать над бровкой выемки не менее чем на 15 см.

Устанавливать крепления необходимо в направлении сверху вниз по мере разработки выемки на глубину не более 0,5 м.

Разборку креплений следует производить в направлении снизу вверх по мере обратной засыпки выемки.

Разработка роторными и траншейными экскаваторами в связных грунтах (суглинках, глинах) траншей с вертикальными стенами без крепления допускается на глубину не более 3 м. В местах, где требуется пребывание рабочих, должны устраиваться крепления траншей или откосов.

Производство работ в котлованах и траншеях с откосами, подвергшимися увлажнению, разрешается только после тщательного осмотра производителем работ (мастером) состояния грунта откосов и обрушения неустойчивого грунта в местах, где обнаружены «козырьки» или трещины (отслоения).

При наличии в период производства работ подземных вод в пределах выемок или вблизи их дна мокрыми следует считать не только грунты, расположенные ниже уровня грунтовых вод, но и грунты, расположенные выше этого уровня на величину капиллярного поднятия, которую следует принимать:

0,3 м - для крупных, средней крупности и мелких песков;

0,5 м - для пылеватых песков и супесей;

1,0 - для суглинков и глин.

Котлованы и траншеи, разработанные в зимнее время, при наступлении оттепели должны быть осмотрены, а по результатам осмотра должны быть приняты меры к обеспечению устойчивости откосов и креплений.

Перед допуском рабочих в котлованы или траншеи глубиной более 1,3 м должна быть проверена устойчивость откосов и креплений.

Ширину вскрытия полос дорог и городских проездов при разработке траншей следует принимать: при бетонном покрытии или асфальтовом покрытии по бетонному основанию - на 10 см больше ширины траншеи по верху с каждой стороны с учетом креплений; при других конструкциях дорожных покрытий - на 25 см.

При дорожных покрытиях из сборных железобетонных плит ширина вскрытия должна быть кратной размеру плиты.

При пересечении разрабатываемых траншей с действующими коммуникациями, не защищенными от механических повреждений, разработка грунта землеройными машинами разрешается на следующих минимальных расстояниях:

- для подземных и воздушных линий связи и электрических, магистральных трубопроводов и других коммуникаций, для которых существуют правила охраны - в соответствии с требованиями этих правил;

- для стальных сварных, керамических, чугунных и асбестоцементных трубопроводов, каналов и коллекторов, при использовании гидравлических экскаваторов - 0,5 м от боковой поверхности и 0,5 м над верхом коммуникаций с предварительным их обнаружением с точностью до 0,25 м;

- для прочих подземных коммуникаций и средств механизации, а также для валунных и глыбовых грунтов независимо от вида коммуникаций и средств механизации - 2 м от боковой поверхности и 1 м над верхом коммуникаций с предварительным их обнаружением с точностью до 1 м;

- на болотах и в грунтах текуче-пластичной консистенции механизированная разработка грунта над коммуникациями не разрешается.

Оставшийся грунт должен разрабатываться с применением ручных безударных инструментов или специальных средств механизации.

При разработке грунтов, содержащих негабаритные включения, в проекте должны быть предусмотрены мероприятия по их разрушению или удалению за пределы площадки. Негабаритными считаются валуны, камни, куски разрыхленного мерзлого и скального грунта, наибольший размер которых превышает:

2/3 ширины ковша - для экскаваторов, оборудованных обратной лопатой или оборудованием прямого копания;

1/2 ширины ковша - для экскаваторов, оборудованных драглайном;

2/3 наибольшей конструктивной глубины копания - для скреперов;

1/2 высоты отвала - для бульдозеров и грейдеров;

1/2 ширины кузова и по весу половину паспортной грузоподъемности - для транспортных средств;

3/4 меньшей стороны приемного отверстия - для дробилки;

30 см - при разработке вручную с удалением подъемными кранами.

Минимальная ширина траншей под газопроводы должна приниматься в проекте наибольшей из числа величин, удовлетворяющих следующим требованиям:

под стальные трубопроводы со сварным стыковым соединением - кроме магистральных, с откосами 1:0,5 и круче по нижеследующей таблице;

под трубопроводы, кроме магистральных, с откосами положе 1:0,5 - не менее наружного диаметра трубы с добавлением 0,5 м при укладке отдельными трубами и 0,3 м при укладке плетями;

под трубопроводы на участках кривых вставок - не менее двукратной ширины траншеи на прямолинейных участках;

при устройстве искусственных оснований под трубопроводы, кроме грунтовых подсыпок, коллекторы и подземные каналы - не менее ширины основания с добавлением 0,2 м с каждой стороны;

разрабатываемых одноковшовыми экскаваторами - не менее ширины режущей кромки ковша с добавлением 0,15 м в песках и супесях, 0,1 м в глинистых грунтах, 0,4 м в разрыхленных скальных и мерзлых грунтах;

разрабатываемых траншейными экскаваторами - не менее номинальной ширины копания.

Ширина траншей для трубопроводов диаметром свыше 3,5 м устанавливается в проекте.

Минимальная ширина траншей под газопроводы

Способ укладки трубопроводов

Ширина траншей, м, без учета креплений

Плетями или отдельными секциями при наружном диаметре труб, D, м: до 0,7 включительно

D + 0,3 но не менее 0,7

свыше 0,7

1,5 D

То же на участках, разрабатываемых траншейными экскаваторами под трубопроводы диаметром до 219 мм, укладываемые без спуска людей в траншеи (узкотраншейный метод)

D + 0,2

То же на участках трубопровода, пригружаемого железобетонными пригрузами или анкерными устройствами

2,2 D

То же на участках трубопровода, пригружаемого с помощью нетканных синтетических материалов

1,5 D

Отдельными трубами при наружном диаметре труб D, м, включительно: до 0,5

D + 0,5

от 0,5 до 1,6

D + 0,8

от 1,6 до 3,5

D + 1,4

При параллельной укладке нескольких трубопроводов в одной траншее расстояния от крайних труб до стенок траншей определяется согласно требований вышеприведенной таблицы, а расстояния между трубами устанавливаются проектом.

При необходимости передвижения людей в пазухе расстояние между поверхностью откоса и боковой поверхностью трубопровода должно быть в свету не менее 0,6 м.

Размеры приямков для сварки стыков газопроводов в траншее должны быть не менее указанных в нижеследующей таблице.

Трубы

Условный проход трубопровода, мм

Размеры приямков, м

длина

ширина

глубина

Стальные

Для всех диаметров

1,0

D + 1,2

0,7

Пластмассовые

Для всех диаметров

0,6

D + 0,5

0,2

Разработку в траншеях и котлованах элювиальных грунтов, меняющих свои свойства под влиянием атмосферных воздействий, следует осуществлять, оставляя защитный слой, величина которого и допустимая продолжительность контакта вскрытого основания с атмосферой устанавливается проектом. Защитный слой удаляется непосредственно перед началом возведения сооружения.

Выемки в грунтах, кроме валунных, скальных и элювиальных, следует разрабатывать, как правило, до проектной отметки с сохранением природного сложения грунтов основания. Вид и характеристики вскрытого грунта естественных оснований должны соответствовать проекту.

Допускается разработка траншей и котлованов в два этапа: черновая - с отклонениями, приведенными в пунктах 1 ¸ 4 нижеследующей таблицы, и окончательная (непосредственно перед возведением конструкции) - с отклонениями, приведенными в пункте 5 этой же таблицы.

Технические требования

Предельные отклонения

Контроль (метод и объем)

1. Отклонения отметок дна выемок от проектных (кроме выемок в валунных, скальных и вечномерзлых грунтах) при черновой разработке:

Для экскаваторов с механическим приводом по видам рабочего оборудования:

Измерительный, точки измерений устанавливаются случайным образом; число измерений на принимаемый участок должно быть не менее:

а) одноковшовыми экскаваторами, оснащенными ковшами с зубьями

 

драглайн… +25 см

20

прямого копания… +10 см

15

обратная лопата… +15 см

10

Для экскаваторов с гидравлическим приводом… +10 см

5

б) одноковшовыми экскаваторами, оснащенными планировочными ковшами, зачистным оборудованием

+5 см

5

в) бульдозерами

+10 см

15

г) траншейными экскаваторами

+10 см

10

2. Отклонения отметок дна выемок от проектных при черновой разработке в скальных и вечномерзлых грунтах, кроме планировочных выемок:

 

Измерительный, при числе измерений на сдаваемый участок не менее 20 в наиболее высоких местах, установленных визуальным осмотром

а) недоборы

Не допускаются

 

б) переборы

По табл. 5 СНиП 3.02.01-87 (см. нижеследующую табл.)

 

3. Отклонения отметок дна выемок в местах устройства фундаментов и укладки конструкций при окончательной разработке или после доработки недоборов и восполнения переборов

+5 ом

Измерительный, по углам и центру котлована, в местах поворотов и примыканий траншей, расположения колодцев но не реже чем через 50 м и не менее 10 измерений на принимаемый участок

4. Вид и характеристики вскрытого грунта естественных оснований под фундаменты и земляные сооружения

Должны соответствовать проекту. Не допускается размыв, размягчение, разрыхление или промерзание верхнего слоя грунта основания толщиной более 3 см.

Технический осмотр всей поверхности основания

5. Отклонения от проектного продольного уклона дна траншей, водоотводных канав и других выемок с уклонами

Не должны превышать ±0,0005

Измерительный, в местах поворотов, примыканий, расположения колодцев и т.п., но не реже чем через 50 м и не менее 10 измерений на принимаемый участок

Переборы в скальных и вечномерзлых грунтах

Разновидность грунта в соответствии с ГОСТ 25100-95 и модулем трещиноватости

Допустимые величины переборов, см, при рыхлении способом

взрывным

механическим

методом скважинных зарядов

методом шпуровых зарядов

Прочные и очень прочные при модуле трещиноватости менее 1,0

20

10

5

Прочие скальные грунты, вечномерзлые грунты

40

20

10

Примечание. Модуль трещиноватости - среднее число трещин на один метр линии измерения, расположенной на поверхности забоя перпендикулярно главной или главным системам трещин

Доработку недоборов до проектной отметки следует производить с сохранением природного сложения грунтов основания.

Восполнение переборов в местах укладки трубопроводов и устройства фундаментов должно быть выполнено местным грунтом с уплотнением до плотности грунта естественного сложения основания или малосжимаемым грунтом (модуль деформации не менее 20 МПа). В просадочных грунтах II типа не допускается применение дренирующего грунта.

Способ восстановления оснований, нарушенных в результате промерзания, затопления, а такие переборов глубиной более 50 см, должен быть согласован с проектной организацией.

Проектом организации строительства и проектом производства работ должно быть предусмотрено опережающее строительство дренажных насосных и устройств по выпуску воды в соответствии с рабочими чертежами.

До укладки в траншею дренажные трубы должны быть осмотрены и очищены от грунта и мусора.

Послойную фильтрующую обсыпку дренажных трубопроводов (кроме трубофильтров) гравием и песком необходимо выполнять с использованием инвентарных разделительных форм.

Прямолинейность участков дренажных трубопроводов между смежными колодцами следует проверять осмотром «на свет» с помощью зеркала до и после засыпки траншеи. Отраженная в зеркале окружность трубы должна иметь правильную форму. Допустимая величина отклонения от окружности по горизонтали должна быть не более 0,25 диаметра трубы, но не более 50 мм в каждую сторону.

Отклонение от правильной формы окружности по вертикали не допускается.

При прокладке газопровода из полиэтиленовых труб в грунтах I типа по просадочности, среднепучинистых и грунтах с включением щебня (IV категории) должно быть предусмотрено устройство под газопроводы основания толщиной не менее 10 см из песчаного грунта или другого грунта, не содержащего крупных включений, и засыпку таким же грунтом на высоту не менее 20 см.

Не допускается строительство газопроводов из полиэтиленовых труб в районах с расчетной температурой ниже минус 40 °С, в сильнопучинистых грунтах, в грунтах II типа просадочности, скальных грунтах, в районах подрабатываемых территорий и в районах с сейсмичностью свыше 6 баллов.

Полиэтиленовые трубы могут предусматриваться для строительства газопроводов в сильнопучинистых грунтах при условии прокладки их ниже зоны сезонного промерзания грунта, а также в грунтах II типа просадочности при прокладке их вне территории населенных пунктов, где исключается возможность замачивания основания трубопровода, в том числе от подземных вод в течение всего срока его эксплуатации, и в скальных грунтах при устройстве под газопроводами основания толщиной не менее 10 см из песчаного грунта или другого грунта, не содержащего крупных включений, и засыпке газопровода таким же грунтом на высоту не менее 20 см.

Для полиэтиленовых газопроводов, прокладываемых на местности с уклоном более 200 о/оо, в проекте должны быть предусмотрены мероприятия по предотвращению размыва траншей. Прокладка газопроводов из полиэтиленовых труб с уклоном более 500 о/оо не допускается.

F

Размеры траншей, приямков для заделки стыков трубопроводов и котлованов должны быть не менее установленных проектом. Крутизна откосов должна быть не более установленной проектом.

Требуемая точность работ при выполнении земляных работ по разработке траншей и котлованов для подземных газопроводов должна обеспечиваться детальными разбивочными работами, которые входят в технологический процесс выполнения земляных работ (см. СОКК «Производство детальных разбивочных работ при прокладке трубопроводов»).

В состав операционного контроля, т.е. в технологический процесс выполнения земляных работ входят контрольные геодезические измерения точности геометрических параметров земляных сооружений (траншей и котлованов).

Состав контролируемых операций, объём, сроки и способы контроля, осуществляемого в процессе разработки траншей и котлованов, участие в нём геодезической службы, строительной и геотехнической лаборатории и других функциональных служб должно быть определено технологическими картами на выполнение этих работ.

Контроль точности производства земляных работ осуществляется как в плане, так и по высоте. Измерения осуществляются инструментально геодезическими методами.

При контроле сопоставляются измеренные размеры с размерами и отметками, указанными на чертежах, и величинами допусков, установленных нормативными документами.

Крутизну откосов проверяют откосниками (откосными лекалами).

Контроль точности высотного положения траншей и котлованов производят с помощью геометрического, тригонометрического нивелирования или визирок.

Глубину траншеи или котлована до 3 м можно контролировать нивелиром методом геометрического нивелирования. Нивелир устанавливают на бровку и по рейке, поставленной на дно, берут отсчет а. Глубина выемки (h) вычисляется по формуле:

h = а - v,

где: v - высота инструмента.

При контроле тригонометрическим нивелированием для определения глубины котлована h измеряют вертикальный угол v и горизонтальное расстояние d с одной станции прибора.

Тогда:

h = dtgv + v - i,

где: i - высота прибора; v - высота визирования на рейку.

Определение глубины траншеи или котлована методом геометрического нивелирования.

Определение глубины траншеи или котлована методом тригонометрического нивелирования.

Уклон дна траншей и котлованов можно контролировать посредством теодолита, нивелира или с помощью визирок.

Результаты геодезической (инструментальной) проверки при операционном контроле должны быть зафиксированы в общем журнале работ.

Отсутствие нарушений природных свойств грунтов основания и соответствие этих свойств предусмотренным в проекте допускается проверять визуально (технический осмотр). В сомнительных случаях следует применять пенетрацию, зондирование, отбор проб грунта для испытаний и др.

При больших отклонениях от проектных данных должно быть выполнено, кроме того, испытание грунтов пробными нагрузками и принято решение о необходимости разработки поправок к проекту оснований и фундаментов, либо к проекту производства работ.

Проверку однородности и достаточности выполненного уплотнения грунтов в естественном залегании следует осуществлять полевыми методами (зондированием, радиоизотопными методами и пр.) и выборочным определением плотности сухого грунта по отобранным образцам из каждого уплотненного слоя грунта.

При контроле качества выполнения земляных работ по разработке траншей и котлованов следует обращать внимание на:

соблюдение необходимых недоборов грунта, недопущение переборов и нарушения структуры грунта основания;

недопущение нарушения структуры грунта при срезке недоборов и подготовке оснований;

предохранение грунтов оснований от подтапливания подземными и поверхностными водами с размягчением и размывом верхних слоев основания;

соответствие характеристик вскрытых грунтов основания предусмотренным в проекте;

достижение достаточного и однородного уплотнения песчаных подушек.

Результаты операционного контроля качества выполненных земляных работ фиксируются в общих и специальных журналах работ, журналах геотехнического контроля, исполнительных геодезических схемах, чертежах и других документах, предусмотренных технологическими картами и действующей в данной организации системой управления качеством.

При приёмке земляных работ по разработке траншей и котлованов производятся исполнительные съёмки.

Плановое и высотное положение элементов инженерных сетей следует определять от знаков разбивочной сети строительной площадки, внешней разбивочной сети здания (сооружения) или от твердых точек капитальных зданий (сооружений). Перед началом работ необходимо проверить неизменность положения пунктов сети и ориентиров.

Производство исполнительных съёмок включает в себя следующие виды работ:

выяснения наличия геодезической или разбивочной сети и восстановление знаков этой сети;

съемку и нивелирование элементов инженерных сетей и сооружений;

составление исполнительных чертежей и планов.

При исполнительной съемке земляных сооружений подлежат съёмке в плане: бровки котлованов, траншей, границы планировочных оформляющих плоскостей. Верхняя и нижняя бровки снимаются при глубине выемок свыше 3 м. В остальных случаях допускается снимать только нижнюю бровку.

Съёмке по высоте подлежат контуры котлованов, перепады (изменения) отметок оснований под фундаменты, трубы и т.п.

По окончании обработки материалов исполнительных съёмок составляется исполнительный чертеж. Если земляные работы выполнены с отклонениями от проекта, то на исполнительном чертеже должно быть указано, кем и когда эти отклонения разрешены.

На исполнительном чертеже должно быть подтверждение заказчиком правильности составления и соответствия исполнительного чертежа натуре. Исполнительный чертеж входит в состав обязательной исполнительной документации, которая прилагается к акту освидетельствования скрытых работ по разработке траншей и котлованов.

Промежуточной сдаче заказчику с составлением актов освидетельствования скрытых работ подлежат следующие виды скрытых земляных работ, выполняемых при разработке траншей и котлованов тепловых сетей:

- разбивка земляных работ (трассы);

- качество грунтов естественных оснований;

- замена грунтов в основаниях;

- устройство естественных оснований под земляные сооружения, фундаменты, трубопроводы в котлованах и траншеях;

- устройство дренажей и его элементы (дренажные слои и их основания, колодцы, трубопроводы и их обсыпка);

- устройство грунтовых подушек и т.д.

При необходимости в проекте допускается указывать другие элементы, подлежащие промежуточной приемке с составлением актов освидетельствования скрытых работ.

Сдача - приемка траншей и котлованов должна оформляться актом, к которому прилагаются:

- перечень технической документации, на основании которой были произведены работы;

- материалы испытаний грунтов, выполненных как в процессе операционного контроля, так и при приемке основания;

- акты промежуточных проверок и приемки скрытых работ;

- журналы производства работ;

- исполнительные чертежи, выполненные по результатам геодезических съёмок законченных строительством котлованов и траншей;

- перечень недоделок, не препятствующих эксплуатации траншей и котлованов, с указанием сроков их устранения.

Приложение 6 к СНиП 3.01.01-85*

АКТ ОСВИДЕТЕЛЬСТВОВАНИЯ СКРЫТЫХ РАБОТ

_________________________________________________________________________

(наименование работ)

выполненных в___________________________________________________________

(наименование в место расположения объекта)

«___»_______________19___ г.

Комиссия в составе:

представителя строительно-монтажной организации___________________________

(фамилия, инициалы, должность)

представителя технического надзора заказчика_________________________________

(фамилия, инициалы, должность)

произвела осмотр работ, выполненных_______________________________________

(наименование строительно-монтажной организации)

и составила настоящий акт о нижеследующем:

1. К освидетельствованию предъявлены следующие работы______________________

_________________________________________________________________________

(наименование скрытых работ)

2. Работы выполнены по проектно-сметной документации_______________________

_________________________________________________________________________

(наименование проектной организации, чертежей и дата их составления)

3. При выполнении работ применены________________________________________

_________________________________________________________________________

(наименование материалов, конструкций, изделий со ссылкой на сертификаты или другие документы, подтверждающие качество)

4. При выполнении работ отсутствуют (или допущены) отклонения от проектно-сметной документации_______________________________________________________

(при наличии отклонений указывается, кем согласованы, чертежей и дата согласования)

5. Дата: начала работ_______________________________________________________

окончания работ_______________________________________________________

Решение комиссии

Работы выполнены в соответствии с проектно-сметной документацией, стандартами, строительными нормами и правилами и отвечают требованиям их приёмки.

На основании изложенного разрешается производство последующих работ по устройству (монтажу)_________________________________________________________

(наименование работ и конструкций)

Представитель, технического надзора заказчика________________________________

(подпись)

Представитель строительно-монтажной организации___________________________

(подпись)

Прокладка наружных стальных газопроводов

ГОСТ 10705-80* Трубы стальные электросварные. Технические условия.

ГОСТ 10704-91 Трубы стальные электросварные прямошовные. Сортамент.

ГОСТ 20295-85 Трубы стальные сварные для магистральных газонефтепроводов. Технические условия.

ГОСТ 10706-76* Трубы стальные электросварные прямошовные. Технические условия.

ГОСТ 8696-74* Трубы стальные электросварные со спиральным швом общего назначения. Технические условия.

ГОСТ 8731-74* Трубы стальные бесшовные горячедеформированные. Технические условия.

ГОСТ 8732-78* Трубы стальные бесшовные горячедеформированные. Сортамент.

ГОСТ 8733-74* Трубы стальные бесшовные холоднодеформированные и теплодеформированные. Технические условия.

ГОСТ 8734-75* Трубы стальные бесшовные холоднодеформированные. Сортамент.

ГОСТ 3262-75* Трубы стальные водогазопроводные. Технические условия.

ТУ 14-3-377-87 Трубы стальные сварные прямошовные для магистральных газонефтепроводов.

ТУ 14-3р-03-94 Трубы стальные электросварные прямошовные диаметром 530 ¸ 1220 мм для газо-, нефтепродуктопроводов.

ТУ 14-3р-13-95 Трубы стальные электросварные прямошовные диаметром от 20 до 159 мм.

ТУ 14-3р-28-99 Трубы стальные электросварные прямошовные с повышенными эксплуатационными характеристиками (530 ¸ 1220 мм).

ТУ 1390-002-01297858-96 Трубы стальные диаметром 89 ¸ 530 мм с наружным антикоррозионным покрытием из экструдированного полиэтилена.

ТУ 1390-003-00154341-95 Трубы стальные электросварные и бесшовные с наружным антикоррозионным покрытием на основе экструдированного полиэтилена.

ТУ 1390-003-01297858-99 Трубы стальные с наружным двухслойным покрытием на основе экструдированного полиэтилена.

ТУ 1390-005-01297858-98 Трубы стальные с наружным двухслойным защитным покрытием на основе экструдированного полиэтилена.

ТУ 1390-013-04001657-98 Трубы с комбинированным ленточно-полиэтиленовым покрытием.

ТУ 1390-014-05111644-98 Трубы диаметром 57 ¸ 530 мм с наружным комбинированным ленточно-полиэтиленовым покрытием.

ТУ 1394-001-05111644-96 Трубы стальные с двухслойным покрытием из экструдированного полиэтилена.

ТУ 1394-002-47394390-99 Трубы стальные с покрытием из экструдированного полиэтилена.

ТУ 1394-003-02066613-97 Трубы стальные с наружным полиэтиленовым противокоррозионным покрытием.

ТУ 1394-005-04005951-97 Трубы стальные с наружным защитным покрытием из экструдированного полиэтилена диаметром 57 ¸ 426 мм.

ТУ 1394-009-04005951-99 Трубы стальные с наружным двух- и трехслойным покрытием на основе экструдированного полиэтилена.

ТУ 1394-011-04005951-2000 Трубы стальные с двух- и трехслойным наружным покрытием на основе экструдированного полипропилена.

ТУ 102-176-90 Трубы стальные электросварные спиральношовные с наружным противокоррозионным покрытием из полиэтилена.

ТУ 2112-004-02066613-97 Трубы стальные с наружным противокоррозионным полиэтиленовым покрытием.

ТУ 1468-006-01297858-2001 Наружное полиуретановое покрытие для противокоррозионной защиты деталей соединительных узлов и узлов трубопроводов диаметром от 108 до 1420 мм.

ТУ 4859-001-11775856-95 Трубы стальные с покрытием из полиэтиленовых липких лент.

ГОСТ 8944-75* Соединительные части из ковкого чугуна с цилиндрической резьбой для трубопроводов. Технические требования.

ГОСТ 8965-75 Части соединительные стальные с цилиндрической резьбой для трубопроводов Р 1,6 МПа. Технические условия.

ГОСТ 8966-75, ГОСТ 8968-75, ГОСТ 8969-75 Муфты прямые, контргайки и сгоны стальные с цилиндрической резьбой для трубопроводов Р 1,6 МПа (основные размеры).

ГОСТ 17380-83* Детали трубопроводов дальние бесшовные приварные на Ру £ 10 МПа (£ 100 кгс/см2). Технические условия.

ГОСТ 12816-80* Фланцы арматуры, соединительных частей и трубопроводов на Ру от 0,1 до 20,0 МПа (от 1 до 200 кгс/см2). Общие технические требования.

ГОСТ 12820-80*, ГОСТ 12821-80* Фланцы стальные плоские приварные (конструкция и размеры).

ГОСТ 481-80* Паронит и прокладки из него. Технические условия.

ГОСТ 7338-90 Пластины резиновые и резинотканевые. Технические условия.

ГОСТ 21631-76*Е Листы из алюминия и алюминиевых сплавов. Технические условия.

ГОСТ 13726-78 Е Ленты из алюминия и алюминиевых сплавов. Технические условия.

ГОСТ 495-92 Листы и полосы медные. Технические условия.

ГОСТ 9.402-80* ЕСЗКС. Покрытия лакокрасочные. Подготовка металлических поверхностей перед окрашиванием.

ГОСТ 9.602-89 ЕСЗКС. Сооружения подземные. Общие требования к защите от коррозии.

ГОСТ 9812-74* Битумы нефтяные изоляционные. Технические условия.

ГОСТ 15836-79 Мастика битумно-резиновая изоляционная. Технические условия.

ГОСТ 20477-86* Лента полиэтиленовая с липким слоем. Технические условия.

Государственные стандарты и технические условия на другие материалы и технические изделия, предусмотренные проектом.

СНиП 3.01.01-85* Организация строительного производства.

СНиП 2.04.08-87* Газоснабжение.

СНиП 3.05.02-88* Газоснабжение.

Технические требования к стальным трубам

Для строительства систем газоснабжения должны применяться в соответствии с требованиями проекта стальные прямошовные и спиральношовные сварные и бесшовные трубы, изготовленные, как правило, из углеродистой стали обыкновенного качества по ГОСТ 380-94 и качественной стали по ГОСТ 1050-88*.

Для газопроводов жидкой фазы СУГ должны применяться, как правило, бесшовные трубы. Допускается применять для этих газопроводов электросварные трубы. При этом трубы диаметром до 50 мм должны пройти 100 %-ный контроль сварного шва неразрушающими методами, а трубы диаметром 50 мм и более также и испытание сварного шва на растяжение.

Трубы по ГОСТ 3262-75* допускается применять для строительства наружных газопроводов низкого давления.

Трубы по ГОСТ 8731-74*, изготовляемые из слитка, не должны применялся без проведения 100 %-ного контроля неразрушающими методами металла труб. Это требование должно быть оговорено при заказе труб по ГОСТ 8731-74*.

Трубы, предусмотренные для систем газоснабжения, должны быть испытаны гидравлическим давлением на заводе-изготовителе или иметь запись в сертификате о гарантии того, что трубы выдержат гидравлическое давление, величина которого соответствует требованиям стандартов или технических условий на трубы.

Соединительные части и детали для систем газоснабжения должны быть из спокойной стали или ковкого чугуна.

Соединительные части и детали должны быть заводского изготовления. Допускается применение соединительных частей и деталей, изготовленных на базах строительных организаций, при условии контроля всех сварных соединений (для сварных деталей) неразрушающими методами.

На трубы, фасонные части, сварочные и изоляционные материалы, применяемые в соответствии с проектом, должны иметься сертификаты заводов-изготовителей (или их копии, заверенные владельцем сертификата), удостоверяющие их качество.

На оборудование, арматуру диаметром свыше 100 мм, узлы, соединительные детали и изолирующие фланцы должны иметься технические паспорта заводов-изготовителей, центрально-заготовительных мастерских (ЦЗМ) или центрально-заготовительных заводов (ЦЗЗ) строительно-монтажных организаций.

На изоляционные покрытия, выполненные в условиях ЦЗМ или ЦЗЗ, должен составляться технический паспорт (акт), в котором указывается: дата выполнения изоляционных работ, тип изоляционного покрытия и результаты контроля его качества.

ГОСТ 10705-80* «Трубы стальные электросварные. Технические условия».

ГОСТ 10704-91 «Трубы стальные электросварные прямошовные. Сортамент».

Данные стандарты распространяются на стальные электросварные прямошовные трубы диаметром от 8 до 530 мм с толщиной стенки до 10 мм включительно из углеродистой стали, применяемые для трубопроводов и конструкций разного назначения.

В зависимости от показателей качества трубы изготовляют следующих групп:

А - с нормированием механических свойств из спокойной, полуспокойной и кипящей стали марок Ст2, Ст3, Ст4 по ГОСТ 380-94 (категории 4 по ГОСТ 16523-97, категории 1 по ГОСТ 14637-89*);

Б - с нормированием химического состава из спокойной, полуспокойной и кипящей стали марок Ст2, Ст3, Ст4 по ГОСТ 380-94 и ГОСТ 14637-89*, из спокойной, полуспокойной и кипящей стали марок 08, 10, 15, 20 по ГОСТ 1050-88* и стали марки 08Ю по ГОСТ 9045-93;

В - с нормированием механических свойств и химического состава из спокойной, полуспокойной и кипящей стали марок Ст2, Ст3, Ст4 по ГОСТ 380-94 (категории 4 по ГОСТ 16523-89* и категории 2 - 5 по ГОСТ 14637-89*), из спокойной, полуспокойной и кипящей стали марок 08, 10, 15, 20 по ГОСТ 1050-88* и для труб диаметром 50 мм стали марки 08Ю по ГОСТ 9045-93;

Д - с нормированием испытательного гидравлического давления.

Трубы изготовляют термически обработанными (по всему объёму трубы или по сварному соединению) и без термической обработки. Вид термической обработки по всему объёму трубы выбирает изготовитель.

По длине трубы изготовляют:

немерной длины:

при диаметре до 30 мм - не менее 2 м;

при диаметре св. 30 до 70 мм - не менее 3 м;

при диаметре св. 70 до 152 мм - не менее 4 м;

при диаметре св. 152 мм - не менее 5 м.

По требованию потребителя трубы групп А и В по ГОСТ 10705-80* диаметром свыше 152 мм изготовляют длиной не менее 10 м; трубы всех групп диаметром до 70 мм - длиной не менее 4 м;

мерной длины:

при диаметре до 70 мм - от 5 до 9 м;

при диаметре св. 70 до 219 мм - от 6 до 9 м;

при диаметре св. 219 до 420 мм - от 10 до 12 м.

Трубы диаметром свыше 426 мм изготовляют только немерной длины. По согласованию изготовителя с потребителем трубы диаметром свыше 70 до 219 мм допускается изготовлять от 6 до 12 м;

кратной длины кратностью не менее 250 мм и не превышающей нижнего предела, установленного для мерных труб. Припуск для каждого реза устанавливается по 5 мм (если другой припуск не оговорен) и входит в каждую кратность.

Трубы мерной и кратной длины изготовляют двух классов точности по длине:

I - с обрезкой концов и снятием заусенцев;

II - без заторцовки и снятия заусенцев (с порезкой в линии стана).

Предельные отклонения по длине мерных труб приведены в нижеследующей таблице.

Длина труб, мм

Предельные отклонения по длине мерных труб, мм, классов

I

II

До 6 включ.

+10

+50

Св. 6

+15

+70

Предельные отклонения по общей длине кратных труб не должны превышать: +5 мм - для труб I класса точности;

+100 мм - для труб II класса точности.

По требованию потребителя трубы мерной и кратной длины II класса точности должны быть с заторцованными концами с одной или двух сторон.

Предельные отклонения по наружному диаметру трубы приведены в нижеследующей таблице.

Наружный диаметр труб, мм

Предельные отклонения по наружному диаметру при точности изготовления

обычной

повышенной

10

±0,2 мм

-

Св. 10 до 30 включ.

±0,3 мм

±0,25

Св. 30 до 51 включ.

±0,4 мм

±0,35

Св. 51 до 193,7 включ.

±0,8 %

±0,7 %

Св. 193,7 до 426 включ.

±0,75 %

±0,65 %

Св. 426 до 1020 включ.

±0,7 %

±0,65 %

По требованию потребителя трубы изготовляют с односторонним или смещенным допуском по наружному диаметру. Односторонний или смещенный допуск не должен превышать суммы предельных отклонений, приведенных выше.

Предельные отклонения по толщине стенки должны соответствовать:

±10 % - при диаметре труб до 152 мм;

ГОСТ 19903-74* - при диаметре труб свыше 152 мм для максимальной ширины листа нормальной точности.

По согласованию потребителя с изготовителем допускается изготовлять трубы с односторонним допуском по толщине стенки, при этом односторонний допуск не должен превышать суммы предельных отклонений по толщине стенки.

Овальность и разностенность труб должна быть не более предельных отклонений соответственно по наружному диаметру и толщине стенки.

Кривизна труб не должна превышать 1,5 мм на 1 м длины. По требованию потребителя кривизна труб диаметром до 152 мм должна быть не более 1 мм на 1 м длины.

На поверхности труб не допускаются трещины, плены, закаты, рванины и риски.

Рябизна, забоины, вмятины, мелкие риски, слой окалины и следы зачистки допускаются при условии, что они не выводят толщину стенки и диаметр трубы за предельные отклонения. Допускается смещение кромок до 10 % от номинальной толщины стенки.

Поверхность труб, термически обработанных в защитной атмосфере, не должна иметь окалины. Допускается наличие окисной пленки.

Непровары швов должны быть заварены, место сварки зачищено.

На трубах диаметром 57 мм и более допускается один поперечный шов.

Наружный грат на трубах должен быть удален. В месте снятия грата допускается утонение стенки на 0,1 мм сверх минусового допуска.

Концы труб должны быть обрезаны под прямым углом и зачищены от заусенцев. Допускается образование фаски. Косина реза для труб диаметром до 219 мм не должна превышать 1 мм, а для труб диаметром 219 мм и более - 1,5 мм. По согласованию изготовителя с потребителем трубы изготовляют разрезанными в линии стана.

По требованию потребителя на концах труб с толщиной стенки 5 мм и более должна быть снята фаска под углом 25 - 30° к торцу трубы и оставлено торцовое кольцо шириной 1,8 ± 0,8 мм. По согласованию изготовителя с потребителем угол скоса и ширина торцового кольца могут быть изменены.

Трубы должны выдерживать испытательное гидравлическое давление:

при диаметре до 102 мм - не менее 6,0 МПа (60 кгс/см2);

при диаметре 102 мм и более - не менее 3 МПа (30 кгс/см2);

при диаметре 402 ¸ 530 мм и толщине стенки 4,0 - 5,5 мм - не менее 2 МПа (20 кгс/см2).

Пример условного обозначения трубы с наружным диаметром 76 мм, толщиной стенки 3 мм, мерной длины, II класса точности по длине, из стали марки Ст3, изготовленной по группе В ГОСТ 10705-80:

ГОСТ 20295-85 Трубы стальные сварные для магистральных газонефтепроводов. Технические условия.

Данный стандарт распространяется на стальные сварные прямошовные и спиральношовные трубы диаметром 159 ¸ 820 мм, применяемые для сооружения магистральных газонефтепроводов, нефтепродуктопроводов, технологических и промысловых трубопроводов.

Трубы изготовляют трех типов:

1 - прямошовные диаметром 159 ¸ 426 мм, изготовленные контактной сваркой токами высокой частоты;

2 - спиральношовные диаметром 159 ¸ 820 мм, изготовленные электродуговой сваркой;

3 - прямошовные диаметром 530 ¸ 820 мм, изготовленные электродуговой сваркой.

В зависимости от механических свойств трубы изготовляют классов прочности К 34; К 38; К 42; К 50; К 52; К 55; К 60.

Трубы изготовляют длиной от 10,6 до 11,6 м.

Трубы диаметром 159 и 168 мм выпускают с толщиной стенок от 3 до 6 мм; трубы диаметром 219 мм - от 3 до 8 мм; трубы диаметром 245 и 273 мм - от 4 до 8 мм; трубы диаметром 325 мм - от 4 до 9 мм; трубы диаметром 377 мм - от 4,5 до 9 мм; трубы диаметром 426 мм - от 5 до 10 мм; трубы диаметром 530 ¸ 820 мм - от 5 до 12 мм.

Предельные отклонения по наружному диаметру корпуса труб должны соответствовать приведенным в нижеследующей таблице.

Наружный диаметр, мм

Предельные отклонения, мм

159 и 168

±1,5

Св. 168 до 325 включ.

±2,0

Св. 325 до 426 включ.

±2,2

Св. 426 до 630 включ.

±3,0

Св. 630 до 820 включ.

±4,0

По требованию потребителя предельные отклонения по наружному диаметру корпуса труб типа 2 диаметром 159 ¸ 377 мм должны соответствовать нижеприведенным.

Наружный диаметр, мм

Предельные отклонения, мм

159 и 168

±1,2

Св. 168 до 325 включ.

±1,5

377

±2,0

Предельные отклонения по толщине стенки труб должны соответствовать допускам на толщину металла, предусмотренным ГОСТ 19903-74* для максимальной ширины листовой и рулонной стали.

Овальность торцов труб типа 1 и 2 не должна выводить их размеры за предельные отклонения по наружному диаметру корпуса труб, приведенные выше.

Кривизна труб типа 1, исключая участок поперечного шва, не должна превышать 1,5 мм на 1 м длины, по требованию потребителя - 1 мм на 1 м длины.

Общая кривизна труб всех типов не должна превышать 0,2 % от длины трубы (по требованию потребителя - 0,15 % от длины трубы).

Высота усиления всех наружных швов труб типов 2 и 3 должна быть 0,5 ¸ 2,5 мм для труб с толщиной стенки менее 10 мм.

Высота усиления внутренних швов должна быть не менее 0,5 мм. На внутреннем шве допускается седловина или отдельные углубления до уровня основного металла.

Высота остатка наружного грата на трубах типа 1 не должна превышать 1 мм. Внутренний грат не удаляется.

В сварном соединении труб типа 2 допускается относительное смещение кромок по высоте на величину до 15 % от номинальной толщины стенки, для труб типов 1 и 3 - до 10 %.

Концы труб должны быть обрезаны под прямым углом. Предельные отклонения от прямого угла (косина реза) не должны превышать: 1 мм - для труб наружным диаметром от 159 до 325 мм включ.; 1,5 мм - для труб наружным диаметром св. 325 до 426 мм включ.; 2,0 мм - для труб наружным диаметром св. 426 до 820 мм включительно.

Концы труб с толщиной стенки 5 мм и более должны иметь фаску под углом 25 - 30°. При этом должно быть оставлено торцовое кольцо (притупление) шириной 1 - 3 мм.

Пример условного обозначения трубы типа 1 диаметром 325 мм, толщиной стенки 7 мм, класса прочности К 38, с объёмной термообработкой:

Труба тип 1-Т 325´7 - К 38 ГОСТ 20295-85

Трубы изготовляют термически обработанными (по всему объёму или сварному соединению) и без термической обработки.

Трещины, плены, рванины, расслоения и закаты на поверхности основного металла труб не допускаются.

Незначительные забоины, рябизна и окалина допускаются, если они не выводят толщину стенки за пределы минусовых отклонений.

Исправление поверхностных дефектов основного металла сваркой не допускается. Допускается исправление поверхностных дефектов зачисткой, при этом следы зачистки не должны выводить толщину стенки трубы за пределы минусовых отклонений.

На трубах всех типов допускается один поперечный шов стыка рулонов (стыковой шов за исключением труб типа 1 диаметром 159 и 168 мм) и один кольцевой шов (исключая трубы типа 2 диаметром 159 ¸ 377 мм) при условии контроля их неразрушающими методами.

На трубах типа 2 стыковой шов двух смежных рулонов должен быть расположен на расстоянии не менее 300 мм от торца трубы.

Каждая партия труб должна сопровождаться документом о качестве, содержащим:

наименование предприятия-изготовителя и товарный знак или его товарный знак; тип трубы; номинальные размеры труб; класс прочности и марку стали; номер партии;

результаты механических испытаний основного металла и сварного соединения; марку стали и номер стандарта на сталь для труб из углеродистых сталей;

эквивалентную фактической величину гидравлического давления без учета осевого подпора;

состояние металла труб (термически обработанная по всему объёму или по сварному шву, или без термообработки); отметку о проведении неразрушающего контроля; обозначение данного стандарта.

На каждой трубе на расстоянии 100 - 1500 мм от одного из концов должно быть выбито клеймо с указанием: товарного знака или наименования предприятия-изготовителя и его товарного знака; допускается взамен товарного знака указывать условное обозначение; марки стали или её условного обозначения; номера трубы или номера партии, или номера трубы в партии; клейма технического контроля; года изготовления.

Участок клеймения четко отмечается краской.

Допускается для труб типа 1 взамен клеймения нанесение маркировки несмываемой краской.

ГОСТ 8696-74* «Трубы стальные электросварные со спиральным швом общего назначения. Технические условия».

Данный стандарт распространяется на стальные электросварные трубы со спиральным швом общего назначения. Стандарт не распространяется на трубы, предназначенные для магистральных газопроводов и нефтепроводов.

Трубы изготовляют наружным диаметром от 159 до 2520 мм и толщиной от 3,5 до 25 мм.

Трубы изготовляют длиной от 10 до 12 м. В партии допускается до 5 % укороченных труб длиной не менее 6 м.

Предельные отклонения по наружному диаметру должны соответствовать приведенным в нижеследующей таблице.

Наружный диаметр труб, мм

Предельные отклонения по наружному диаметру при точности изготовления

обычной

повышенной

159

±1,5 мм

±1,4 мм

Св. 159 до 273 включ.

±2,0 мм

±1,8 мм

Св. 273 до 377 включ.

±2,5 мм

±2,2 мм

Св. 377 до 720 включ.

±2,0 мм

±1,6 мм

Св. 720 до 920 включ.

±2,5 мм

±1,6 мм

1020

±3,0 мм

±1,6 мм

Св. 1020 до 1420 включ.

±3,5 мм

±1,6 мм

1620

±4,0 мм

±3,5 мм

Св. 1620 до 2520 включ.

±0,3 %

±4,5 мм

Предельные отклонения по толщине стенки должны соответствовать предельным отклонениям на толщину металла, предусматриваемым ГОСТ 19903-74* для максимальной ширины рулонной и листовой стали.

Смещение кромок не должно превышать 25 % от номинальной толщины стенки, но не более 3 мм для труб диаметром 530 - 1420 мм с толщиной стенки менее 14 мм и не более 5 мм для труб диаметром 1420 - 2520 мм с толщиной стенки 14 мм и более.

Для труб группы Б допускается местное смещение кромок до 30 % от толщины стенки трубы на участках до 10 % длины шва.

Смещение кромок труб повышенной точности изготовления не должно превышать для труб диаметром 530 - 1420 мм: 1,0 мм при толщине стенки 4 мм; 1,2 мм при толщине стенки 5 мм; 1,4 мм при толщине стенки 6 мм; 1,6 мм при толщине стенки 7 мм и более.

Овальность труб не должна превышать 2 % от номинального наружного диаметра.

Овальность труб повышенной точности изготовления не должна превышать 1 % от номинального наружного диаметра.

Общая кривизна труб не должна превышать 0,2 % от их длины.

Общая кривизна труб повышенной точности изготовления не должна превышать 0,1 % от длины.

Концы труб должны быть обрезаны под прямым углом. Косина реза не должна превышать 2 мм, а для труб диаметром 1420 мм и более с толщиной стенки 14 мм и более - 4 мм.

На концах труб должна быть снята фаска под углом 25 - 30° к торцу трубы, при этом должно быть оставлено торцовое кольцо шириной:

1 - 3 мм при толщине стенки 4 - 7 мм;

1 - 4 мм при толщине стенки 8 - 14 мм;

1 - 6 мм при толщине стенки 15 - 25 мм.

Ширина торцового кольца не измеряется в зоне шва на расстоянии 80 мм.

Усиление наружного шва должно быть:

0,5 - 3,0 мм при толщине стенки до 10 мм;

0,5 - 3,5 мм при толщине стенки 10 - 14 мм;

0,5 - 4,5 мм при толщине стенки 15 - 20 мм;

0,5 - 5,0 мм при толщине стенки 20 мм и более.

Для труб повышенной точности изготовления усиление наружного шва должно быть: 0,5 - 3,2 мм при толщине стенки 10 - 14 мм; 0,5 - 4,5 мм при толщине стенки 15 мм и более.

Усиление внутреннего шва должно быть не менее 0,5 мм. На внутреннем шве допускается седловина или отдельные углубления не более 2 мм при условии, что толщина шва в месте углубления не менее чем на 1 мм превышает допускаемую минимальную толщину стенки трубы.

Пример условного обозначения трубы с наружным диаметром 630 мм с толщиной стенки 7 мм, немерной длины из стали Ст2кп, изготовленной по группе Б ГОСТ 8696-74*:

Труба 630´7 - Ст2кп ГОСТ 8696-74

В зависимости от показателей качества трубы должны изготовляться следующих групп:

А - по механическим свойствам из углеродистой стали марок Ст2, Ст3 (всех степеней раскисления) категории 1 по ГОСТ 14637-89*;

Б - по химическому составу из углеродистой стали марок Ст2, Ст3 (всех степеней раскисления) по ГОСТ 14637-89*;

В - по химическому составу и механическим свойствам из углеродистой стали Ст2 (всех степеней раскисления) категории 2, Ст3 (всех степеней раскисления) категории 2 и 3, Ст3пс и Ст3сп категории 4 и 5 по ГОСТ 14637-89, стали марки 20 по ГОСТ 1050-88*, низколегированной стали по ГОСТ 19281-89* и низколегированной стали с химическим составом, приведенным в табл. 3а. Марка низколегированной стали выбирается изготовителем труб с учетом требований по нормам механических свойств, установленных для классов прочности К45, К50, К52 и К55;

Д - без нормирования химического состава и механических свойств.

Трубы изготовляют с наружным и внутренним швом. На трубах допускается поперечный шов стыка рулонов и один кольцевой шов, выполненные двусторонней сваркой. Кольцевой шов на трубах диаметром 159 ¸ 377 мм выполняется односторонней сваркой.

Допускается выход поперечного шва на торец трубы и пересечения его с кольцевым швом. Место пересечения спирального шва и поперечного шва стыка рулонов должно находиться на расстоянии не менее 300 мм от торца трубы или кольцевого шва.

Трещины, плены, раковины, расслоения и закаты на поверхности труб не допускаются.

Незначительные забоины, вмятины, мелкие риски, тонкий слой окалины и следы зачистки пороков допускаются, если они не выводят толщину стенки за пределы установленных предельных отклонений.

На поверхности труб группы Б и Д допускаются отдельные пороки основного металла, если минимальная толщина стенки в местах их залегания составляет не менее 70 % от номинальной толщины.

Допускается заварка пороков труб с последующей зачисткой места заварки и повторным гидравлическим испытанием.

Металл швов должен быть без пор, раковин, трещин и других пороков.

Непровар шва на трубах групп А, Б и В не допускается. Переход от усиления шва к основному металлу труб должен быть плавным, без подрезов. Допускаются отдельные подрезы глубиной до 0,5 мм длиной не более 0,3 м с общей длиной не более 10 % длины шва. Совпадение подрезов в одном сечении по внутреннему и наружному шву не допускается.

Нормы допускаемых пороков швов, определяемых физическими неразрушающими методами, устанавливаются нормативно-технической документацией, утвержденной в установленном порядке.

ГОСТ 8731-74* Трубы стальные бесшовные горячедеформированные. Технические условия.

ГОСТ 8732-78* Трубы стальные бесшовные горячедеформированные. Сортамент.

Данный стандарт распространяется на горячедеформированные бесшовные стальные трубы общего назначения, изготовляемые по наружному диаметру, толщине стенки и длине.

Трубы выпускаются наружным диаметром от 20 до 550 мм и толщиной стенок от 2,5 до 75 мм.

По длине трубы должны изготовляться:

немерной длины - в пределах от 4 до 12,5 м;

мерной длины - в пределах немерной;

длины, кратной мерной - в пределах немерной с припуском на каждый рез по 5 мм;

приблизительной длины в пределах немерной длины.

По соглашению изготовителя с потребителем допускается изготовлять трубы длиной, выходящей за пределы, указанные для труб немерной длины.

Трубы приблизительной длины изготовляют по требованию потребителя.

Предельные отклонения по длине труб мерной длины и длины, кратной мерной, не должны превышать: +10 мм - при длине до 6 м; +15 мм - при длине свыше 6 м или с наружным диаметром более 152 мм; ±500 мм - для приблизительной длины.

Предельные отклонения по наружному диаметру не должны превышать величин, указанных в нижеследующей таблице.

Наружный диаметр труб, мм

Предельные отклонения по наружному диаметру при точности изготовления

обычной

повышенной

До 50 включительно

±0,5 мм

±0,5 мм

Св. 50 до 219 включ.

±0,8 %

±1,0 %

Св. 219

±,0 %

±1,25 %

Овальность и разностенность труб не должны выводить размер труб за предельные отклонения по диаметру и толщине стенки.

Кривизна любого участка трубы на 1 м длины не должна превышать: 1,5 мм - для труб с толщиной стенки до 20 мм; 2,0 - для труб с толщиной стенки свыше 20 до 30 мм; 4,0 - для труб с толщиной стенки свыше 30 мм.

Предельные отклонения по толщине стенки труб не должны превышать значений, приведенных в нижеследующей таблице.

Наружный диаметр, мм

Толщина стенки, мм

Предельные отклонения по толщине стенки труб точности изготовления, %

повышенной

обычной

До 219

До 15 включ.

± 2,5

+12,5; -15,0

Св. 15 до 30

+10,0; -12,5

±12,5

30 и выше

±10,0

+10,0; -12,5

Св. 219

До 15 включ.

+12,5; -15,0

Св. 15 до 30

±12,5

30 и выше

+10,0; -12,5

По соглашению изготовителя с потребителем трубы могут изготовляться с комбинированными предельными отклонениями, например: по наружному диаметру повышенной точности по ГОСТ 9567-75*, а по толщине стенки - обычной точности и т.д.

По требованию потребителя трубы должны поставляться по внутреннему диаметру и по толщине стенки, а также по наружному и внутреннему диаметрам и по разностенности.

Предельные отклонения по внутреннему диаметру для труб диаметром 70 ¸ 203 мм, стенкой 7 ¸ 20 мм и отношением диаметра к толщине стенки, равным или менее 10, не должны превышать соответствующих предельных отклонений по наружному диаметру, приведенных выше.

Для прочих размеров труб предельные отклонения по внутреннему диаметру устанавливаются по соглашению изготовителя с потребителем.

Пример условного обозначения трубы с наружным диаметром 70 толщиной стенки 3,5 мм, длиной, кратной 1250 мм, обычной точности изготовления, из стали марки 10, изготовляемой по Б ГОСТ 8731-74*;

.

В зависимости от показателей качества трубы должны изготовляться с нормированием механических свойств (группа А), с нормированием химического состава (группа Б), с нормированием механических свойств и химического состава (группа В и Г) и без нормирования механических свойств и химического состава.

На поверхности труб не допускаются трещины, плены, рванины и закаты.

Допускаются отдельные незначительные забоины, вмятины, риски, тонкий слой окалины, следы зачистки дефектов и мелкие плены, если они не выводят толщину стенки за пределы минусовых отклонений.

Концы труб должны быть обрезаны под прямым углом, при этом допускается образование фаски под углом не менее 70° к оси трубы. Концы труб должны быть зачищены от заусенцев; допускается образование фаски при их удалении.

По требованию потребителя на концах труб, подлежащих сварке, с толщиной стенки от 5 до 20 мм должны быть сняты фаски под углом 35 - 40° к торцу трубы. При этом должно быть оставлено торцовое кольцо шириной 1 - 3 мм.

ГОСТ 8733-74* «Трубы стальные бесшовные холоднодеформированные и теплодеформированные. Технические условия».

ГОСТ 8734-75* «Трубы стальные бесшовные холоднодеформированные. Сортамент».

Данный стандарт распространяется на холоднодеформированные и теплодеформированные бесшовные трубы общего назначения из углеродистой и легированной стали.

Трубы выпускаются наружным диаметром от 5 до 250 мм и толщиной стенок от 0,3 до 24 мм.

В зависимости от отношения наружного диаметра (Dн) к толщине стенки (s) трубы подразделяются на:

особотонкостенные при Dн/s более 40 и трубы диаметром 20 мм и менее со стенкой 0,5 мм и менее;

тонкостенные при Dн/s от 12,5 до 40 и трубы диаметром 20 мм и менее со стенкой 1,5 мм;

толстостенные при Dн/s от 6 до 12,5;

особотолстостенные при Dн/s менее 6.

По длине трубы должны изготовляться:

немерной длины - в пределах от 1,5 до 11,5 м;

мерной длины - в пределах от 4,5 до 9 м с предельными отклонениями по длине +10 мм;

длины, кратной мерной - в пределах от 1,5 до 9 м с припуском на каждый рез по 5 мм (если другой припуск не оговорен в заказе) и с предельными отклонениями на общую длину не более оговоренных для труб мерной длины.

Предельные отклонения по наружному диаметру и толщине стенки труб не должны превышать указанных в нижеследующей таблице.

Размеры труб

Предельные отклонения

Наружный диаметр, мм:

 

от 4 до 10 вкл.

±0,15 мм

св. 10 до 30 вкл.

±0,30 мм

св. 30 до 50 вкл.

±0,40 мм

св. 50

±0,8 %

Толщина стенки, мм:

 

до 1

±0,12 мм

св. 1 до 5 вкл.

±10 %

св. 1 до 2,5 при диаметре 110 и более

±12 %

св. 5

±8 %

Трубы должны изготовляться по наружному диаметру и по толщине стенки. По требованию потребителя трубы должны изготовляться по внутреннему диаметру и толщине стенки, а также по наружному и внутреннему диаметрам и разностенности.

Предельные отклонения по внутреннему диаметру труб не должны превышать соответствующих предельных отклонений по наружному диаметру.

Овальность и разностенность труб не должны выводить их размеры за предельные отклонения соответственно по наружному диаметру и толщине стенки.

Кривизна любого участка трубы на 1 м длины не должна превышать:

3 мм - для труб диаметром от 4 до 8 мм;

2 мм - для труб диаметром от 8 до 10 мм;

1,5 мм - для труб диаметром свыше 10 мм.

По требованию потребителя кривизна труб диаметром 20 - 90 мм не должна превышать 1 мм на 1 м длины.

Пример условного обозначения трубы с наружным диаметром 70 мм, толщиной стенки 2,0 мм, длиной, кратной 1250 мм, из стали марки 20, с поставкой по химическому составу (по группе Б) ГОСТ 8733-74*:

В зависимости от показателей качества трубы должны изготовляться следующих групп:

Б - с нормированием химического состава, из спокойной стали марок по ГОСТ 1050-88*, ГОСТ 14959-79*, ГОСТ 4543-71* и ГОСТ 19281-89*;

В - с нормированием механических свойств и химического состава, из стали марок по ГОСТ 1050-88*, ГОСТ 14959-79*, ГОСТ 4543-71* и ГОСТ 19281-89*;

Г - с нормированием механических свойств, контролируемых на термообработанных образцах, и химического состава из стали марок по ГОСТ 1050-88*, ГОСТ 14959-79*, ГОСТ 4543-71* и ГОСТ 19281-89*;

Д - без нормирования механических свойств и химического состава, но с нормированием испытательного гидравлического давления;

Е - после специальной термической обработки.

Трубы изготавливают термически обработанными. Без термической обработки изготавливают трубы, у которых отношение наружного диаметра D к толщине стенки S равно 50 и более, а также по требованию потребителя.

На поверхности труб не допускаются трещины, плены, рванины, раковины и закаты.

Отдельные незначительные забоины, окалина (следы отслоившейся окалины), не препятствующие осмотру, вмятины, следы правки, риски и следы зачистки дефектов допускаются, если они не выводят размеры труб за предельные отклонения.

По требованию потребителя поверхность трубы должна быть очищена от окалины.

Концы труб должны быть обрезаны под прямым углом и зачищены от заусенцев; допускается образование фаски при удалении заусенцев.

По требованию потребителя на концах труб, подлежащих сварке, с толщиной стенки 5 мм и более, должны быть сняты фаски под углом 35 - 40° к торцу трубы. При этом должно быть оставлено торцовое кольцо шириной 1 - 3 мм.

Трубы всех видов, работающие под давлением (условия работы труб оговариваются в заказе), должны выдерживать испытательное гидравлическое давление.

ГОСТ 3262-75* «Трубы стальные водогазопроводные. Технические условия».

Данный стандарт распространяется на неоцинкованные и оцинкованные стальные сварные трубы с нарезанной или накатанной цилиндрической резьбой и без резьбы, применяемые для водопроводов и газопроводов, систем отопления, а также для деталей водопроводных и газопроводных конструкций.

Трубы изготовляют по размерам, приведенным в нижеследующей таблице.

Условный проход

Наружный диаметр, мм

Толщина стенки труб, мм

легких

обыкновенных

усиленных

6

10,2

1,8

2,0

2,5

8

13,5

2,0

2,2

2,8

10

17,0

2,0

2,2

2,8

15

21,3

2,35

-

-

15

21,3

2,5

2,8

3,2

20

26,8

2,35

-

-

20

26,8

2,5

2,8

3,2

25

33,5

2,8

3,2

4,0

32

42,3

2,8

3,2

4,0

40

48,0

3,0

3,5

4,0

50

60,0

3,0

3,5

4,0

65

75,5

3,2

4,0

4,5

80

88,5

3,5

4,0

4,5

90

101,3

3,5

4,0

4,5

100

114,0

4,0

4,5

5,0

125

140,0

4,0

4,5

5,5

150

165,0

4,0

4,5

5,5

По требованию потребителя трубы легкой серии, предназначенные под накатку резьбы, изготовляют по размерам, приведенным в нижеследующей таблице.

Условный

Наружный

Толщина стенки

Условный

Наружный

Толщина стенки

10

16,0

2,0

32

41,0

2,8

15

20,0

2,5

40

47,0

3,0

20

26,0

2,5

50

59,0

3,0

25

32,0

2,8

65

74,0

3,2

Предельные отклонения по размерам труб не должны превышать указанных в нижеследующей таблице.

Размеры труб

Предельные отклонения для труб точности изготовления

обычной

повышенной

Наружный диаметр с условным проходом:

 

 

до 40 мм включительно

+0,4; -0,5 мм

±0,4 мм

свыше 40 мм

+0,8; -1,0 %

±0,8 %

Толщина стенки

-15 %

-10 %

Примечания:

1. Предельное отклонение в плюсовую сторону по толщине стенки ограничивается предельными отклонениями по массе

2. Трубы обычной точности изготовления применяют для систем отопления, повышенной - для деталей водопроводных и газопроводных конструкций

Кривизна труб на 1 м длины не должна превышать: 2 мм - для труб с условным проходом до 20 мм включительно; 1,5 мм - для труб с условным проходом свыше 20 мм.

Пример условного обозначения трубы обыкновенной, неоцинкованной, обычной точности изготовления, немерной длины, с условным проходом 100 мм, толщиной стенки 4,5 мм, без резьбы и без муфты:

Труба 100´4,5 ГОСТ 3262-75

То же, с цинковым покрытием, немерной длины, с резьбой:

Труба Ц-Р-100´4,5 ГОСТ 3262-75

Трубы изготовляют из сталей по ГОСТ 380-94 и ГОСТ 1050-88* без нормирования механических свойств и химического состава.

По требованию потребителя на концах труб, подлежащих сварке, с толщиной стенки 5 мм и более, должны быть сняты фаски под углом 35 - 40° к торцу трубы. При этом должно быть оставлено торцовое кольцо шириной 1 - 3 мм.

На поверхности труб не допускаются трещины, плены, вздутия и закаты.

На торцах труб не допускаются расслоения.

Допускаются отдельные вмятины, рябизна, риски, следы зачистки и другие дефекты, обусловленные способом производства, если они не выводят толщину стенки за минимальные размеры, а также слой окалины.

По требованию потребителя на трубах с условным проходом 20 мм и более на внутренней поверхности шва труб грат должен быть срезан или сплющен, при этом высота грата или его следов не должна превышать 0,5 мм.

Концы труб должны быть обрезаны под прямым углом. Допускается величина скоса торца не более 2°. Остатки заусенцев не должны превышать 0,5 мм. При снятии заусенцев допускается образование притупления (закругления) торцов. Допускается порезка труб в линии стана.

Трубы должны выдерживать гидравлическое давление:

2,4 МПа (25 кгс/см2) - трубы обыкновенные и легкие;

3,1 МПа (32 кгс/см2) - трубы усиленные.

По требованию потребителя сварные швы труб подвергают контролю неразрушающими методами.

ГОСТ 10692-80* Трубы стальные, чугунные и соединительные части к ним. Приёмка, маркировка, упаковка, транспортирование и хранение.

Каждая партия стальных труб должна сопровождаться документом о качестве, содержащим: товарный знак или наименование или товарный знак и наименование предприятия-изготовителя, наименование предприятия-потребителя, номер заказа, дату выписки документа о качестве, обозначение стандарта или нормативно-технической документации, размер труб, марку стали, номер плавки (при поплавочной поставке) или партии, химический состав труб по требованию потребителя), массу партии, общую длину труб и по требованию количество труб в штуках, результаты всех видов испытаний, отметки об отправке труб разных размеров, если это оговорено в нормативно-технической документации, штамп технического контроля.

Маркировку наносят на каждую трубу диаметром свыше 159 мм с толщиной стенки 3,5 мм и более. По требованию потребителя допускается маркирование каждой трубы диаметром от 114 мм. В зависимости от диаметра и толщины стенки труб маркировку наносят клеймением, электрическим карандашом или резиновым штампом (несмываемой краской), электрографом или несмываемой краской.

Маркировку труб производят на расстоянии не более 500 мм и не менее 20 мм от торца и обводят или подчеркивают яркой краской.

Маркировку труб диаметром до 159 мм включительно, труб, имеющих светлую поверхность, а также холоднодеформированных труб в пакетах, наносят на ярлык. Маркировку холоднодеформированных труб диаметром до 450 мм включительно, увязанных в пакеты, допускается наносить на ярлык и на три трубы каждого диаметра.

Маркировка должна содержать размер трубы, марку стали, товарный знак или наименование и товарный знак предприятия-изготовителя. При машинной маркировке допускается обозначать марку стали четырёхзначным числовым кодом в соответствии с Общесоюзным классификатором продукции.

Маркировка на бесшовные трубы диаметром 351 - 550 мм наносится клеймением и должна содержать: обозначение стандарта или нормативно-технической документации, номер трубы, номер партии или плавки, толщину стенки, клеймо отдела технического контроля.

Трубы диаметром до 159 мм должны быть прочно увязаны в пакеты или плотно уложены в деревянные ящики или решетки, изготовляемые по ГОСТ 2991-85*, ГОСТ 24634-81*, ГОСТ 5959-80* или контейнеры по ГОСТ 20435-75*, или другой нормативно-технической документации, и надежно закреплены внутри тары от свободного перемещения при транспортировании.

По требованию потребителя транспортируют трубы диаметром до 159 мм без упаковки. В транспортные пакеты по нормативно-технической документации увязывают трубы диаметром свыше 159 до 250 мм включительно.

При хранении и складировании трубы должны быть рассортированы партиями по размерам и маркам стали, чтобы предотвратить возможность их перепутывания. Трубы должны храниться на стеллажах или площадках открытого хранения, при этом они должны иметь консервационное покрытие.

На строительной площадке в процессе входного контроля: должны быть проверены сопроводительные документы (паспорта, технические паспорта, сертификаты, или их копии, заверенные владельцем сертификата), маркировка, ярлыки с целью определения соответствия поступивших труб, узлов, фасонных частей, сварочных и изоляционных материалов, оборудования, арматуры, соединительных деталей, изоляционных покрытий требованиям проекта. На трубы, фасонные части, сварочные и изоляционные материалы, применяемые в соответствии с проектом, должны иметься сертификаты заводов-изготовителей (или их копии, заверенные владельцем сертификата), удостоверяющие их качество. На оборудование, арматуру диаметром более 100 мм, узлы, соединительные детали и изолирующие фланцы должны иметься технические паспорта заводов-изготовителей, центрально-заготовительных мастерских (ЦЗМ) или центрально-заготовительных заводов (ЦЗЗ) строительно-монтажных организаций. На изоляционные покрытия, выполненные в условиях ЦЗМ или ЦЗЗ, должен составляться технический паспорт (акт), в котором указываются: дата выполнения изоляционных работ, тип изоляционного покрытия и результаты контроля его качества. Все вышеперечисленные сопроводительные документы входят в состав исполнительной документации, предъявляемой при приёмке законченных строительством объектов систем газоснабжения;

должен быть произведен внешний осмотр труб, узлов, фасонных частей, сварочных и изоляционных материалов, оборудования, арматуры, соединительных частей, изоляционных покрытий и т.д. с целью проверки соответствия их требованиям стандартов или других нормативно-технических документов и обнаружения недопустимых дефектов на наружных и внутренних поверхностях;

при возникновении каких-либо сомнений в качестве поступивших материалов или документов должны быть вызваны представители строительной лаборатории и функциональных служб, ответственных за поставку материалов.

Прокладку газопроводов следует осуществлять в соответствии с требованиями проекта, СНиП 3.01.01-85*, СНиП 2.04.08-87*, СНиП 3.05.02-88*, ППР, технологических карт, схем операционного контроля качества СМР и другой технологической документации, утвержденной в установленном порядке, а также «Правил безопасности в газовом хозяйстве» и «Правил устройства и безопасной эксплуатации сосудов, работающих под давлением».

Строительство систем газоснабжения должны выполнять строительно-монтажные организации, получившие разрешение от местных органов Госгортехнадзора РФ и лицензию от местных органов по лицензированию строительной деятельности.

Строительство систем газоснабжения должно вестись по утвержденному проекту газоснабжения населенного пункта и при наличии организации, на которую возложены технический надзор и приёмка работ.

Работы по монтажу газопроводов должны выполняться квалифицированным персоналом, прошедшим специальную подготовку и обладающим надлежащими навыками по монтажу газопроводов.

Перед монтажом газопровода должен быть осуществлен входной контроль рабочей документации, труб, узлов, фасонных частей, сварочных и изоляционных материалов, оборудования, арматуры, соединительных частей, изоляционных покрытий и т.д.

При входном контроле рабочей документации должна производиться проверка её комплектности и достаточности содержащейся в ней технической информации для производства работ.

Задачи входного контроля труб, фасонных частей, сварочных, изоляционных и других материалов, предусмотренных проектом, приведены выше.

Объём входного контроля при проверке труб и других материалов и деталей, а также участие в нем лабораторной и других служб должны определяться в технологических картах.

Предшествующие монтажу газопроводов земляные работы и работы по устройству оснований должны выполняться в соответствии с требованиями проекта и СНиП 3.02.01-87 (СОКК «Разработка траншей и котлованов для наружных газопроводов»).

Монтаж газопровода должен производиться после приёмки земляных работ, оформления актов освидетельствования скрытых работ и исполнительного чертежа по результатам исполнительной геодезической съёмки.

Запрещается выполнение последующих работ при отсутствии актов освидетельствования предшествующих скрытых работ во всех случаях.

Технические требования к прокладке

Газопровод укладывают на естественное или искусственное основание. Вид и характеристики вскрытого грунта естественного основания под газопровод должны соответствовать проекту. Не допускается размыв, размягчение, разрыхление или промерзание верхнего слоя грунта основания толщиной более 3 см. Способ восстановления оснований, нарушенных в результате промерзания, затопления, а также переборов глубиной более 50 см, должен быть согласован с проектной организацией.

Сборка и сварка газопроводов из стальных труб должна производиться в соответствии с требованиями проекта, ППР и СНиП 3.05.02-88* (см. СОКК «Сборка и сварка газопроводов из стальных труб»).

Монтаж газопроводов выполняют в такой последовательности: разрабатывают траншеи и котлованы, устраивая, если требуется, водоотлив; подчищают дно и стенки траншей и котлованов; роют приямки в местах сварки труб и изоляции стыков; устраивают естественное или искусственное основание под трубопровод; выполняют днища колодцев и камер; опускают трубы в траншею, укладывая их на основание; сваривают трубы, производя монтаж фасонных частей и установку арматуры; подбивают и присыпают трубопровод грунтом (кроме стыков); возводят стенки и перекрытия колодцев и камер; продувают трубопровод воздухом; испытывают трубопровод предварительно на прочность, проверяя качество сварных швов и фланцевых соединений; изолируют стыки; засыпают трубопровод; окончательно испытывают трубопровод после завершения строительно-монтажных работ.

Укладывать газопровод в траншею следует, как правило, опуская с бермы траншеи плети (нитки).

Перед опусканием газопровода:

полости труб, секций, плетей очищают от грязи и мусора и закрывают инвентарными пробками;

проверяют всю поверхность защитного покрытия: внешним осмотром - отсутствие механических повреждений и трещин, по ГОСТ 9.602-89* - толщину, адгезию к стали и сплошность.

Опускание трубопровода производится с применением инвентарных мягких «полотенец», не нарушающих целостность антикоррозионной изоляции.

После укладки газопровода в траншею должны быть проверены:

проектная глубина, уклон и прилегание газопровода ко дну траншеи на всём его протяжении;

состояние защитного покрытия газопровода;

фактические расстояния между газопроводом и стенками траншеи, пересекаемыми им сооружениями и их соответствие проектным расстояниям.

Правильность укладки газопровода следует проверять путём нивелировки всех узловых точек уложенного газопровода и мест его пересечения с подземными сооружениями.

Если после укладки газопровода будет установлено наличие неплотного его прилегания ко дну траншеи в отдельных местах, то в этих местах должна быть сделана подсыпка грунта с его послойным уплотнением и подбивкой пазух.

F

Отклонения от проектного положения газопровода в плане, по высоте, по уклону не должны превышать норм, обоснованных проектом.

Требуемая точность работ по прокладке газопровода должна обеспечиваться детальными разбивочными работами, которые входят в технологический процесс подготовки и прокладки газопровода (см. СОКК «Производство детальных разбивочных работ при прокладке трубопроводов»).

Как правило, выверка положения труб по вертикали осуществляется с помощью ходовой визирки, которая устанавливается на укладываемую трубу и верх которой при установке трубы в проектное положение должен находиться на линии визирования. Выверка труб в плане осуществляется по вешкам.

Защиту от коррозии подземных стальных газопроводов следует выполнять защитными покрытиями в соответствии с проектом. Материалы и конструкции, применяемые для защиты подземных газопроводов от коррозии, должны соответствовать требованиям ГОСТ 9.602-89*.

Перед нанесением покрытия газопровод должен быть очищен от снега, наледи, пыли, земли, продуктов коррозии, копоти, пятен жира и, при необходимости, высушен. Качество очистки поверхности трубы и сварных стыков должно соответствовать степени 4 по ГОСТ 9.402-80*.

Изоляционное покрытие на основе битумно-резиновых мастик весьма усиленного типа следует наносить на трубы или секции труб механизированным способом в базовых или заводских условиях.

Битумные мастики, используемые при проведении изоляционных работ на трассе, должны быть заводского (ЦЗЗ, ЦЗМ) изготовления.

Проверку качества защитных покрытий необходимо проводить поэтапно в следующем порядке:

перед опусканием газопровода в траншею следует проверить всю поверхность защитного покрытия на отсутствие механических повреждении и трещин, а также замерить толщину, адгезию к стали и сплошность;

после опускания газопровода в траншею до его присыпки защитное покрытие подлежит проверке внешним осмотром. При этом следует проверять качество покрытий монтажных стыков, изолированных в траншее;

Контролируемые операции

Состав и средства контроля

Документация

Подготовительные работы

Проверить:

- наличие ППР, технологических карт и схем операционного контроля качества (СОКК);

- наличие актов освидетельствования ранее выполненных земляных работ и акта приёмки траншей и котлованов (с исполнительной документацией и разрешением заказчика на укладку газопровода); наличие в натуре и неизменность положения знаков разбивочной сети трассы и наличие акта приёмки-передачи этих знаков и материалов исполнительной съёмки (при передаче работ);

ППР, технологические карты и СОКК

Акты освидетельствования скрытых работ с исполнительной документацией; Акты приёмки

- выполнение геодезических работ по перенесению трассы газопровода в натуру;

- выполнение земляных работ по окончательной разработке траншеи (доработка недоборов);

Исполнительный чертеж

- сопроводительные документы (документы о качестве, сертификаты, технические паспорта и т.д.), маркировку, ярлыки и внешним осмотром качество поступивших труб, соединительных деталей, арматуры и других материалов и оборудования;

- выполнение работ по раскладке труб, их очистке, установке сварочного оборудования и уточнению технологических параметров сварки.

Документы о качестве

Прокладка наружных стальных газопроводов

Контролировать:

- соблюдение заданной технологии прокладки газопровода;

- укладку газопровода в проектное положение (глубину, уклон и прилегание газопровода ко дну траншеи, положение его в плане и т.д.);

Общий и специальный журналы

- соблюдение технологии сварки, внешний вид сварных швов, результаты механических испытаний сварных соединений, удаление забракованных стыков и вварку на их место «катушек»;

- наличие номера (клейма) сварщика на каждом сварном соединении.

Протокол механических испытаний работ

Приёмка

Проверить:

- соответствие фактического положения уложенного газопровода требованиям проекта;

- выполнение требований проекта и нормативных документов к качеству сварных соединений;

- надлежащее оформление исполнительной документации.

Исполнительный чертеж, акты освидетельствования скрытых работ, технический паспорт газопровода

ВХОДНОЙ И ОПЕРАЦИОННЫЙ КОНТРОЛЬ осуществляют:

прораб, геодезист, лаборант (инженер) - в процессе производства работ

ПРИЕМОЧНЫЙ КОНТРОЛЬ ОСУЩЕСТВЛЯЮТ:

прораб (мастер), геодезист, представители технадзора заказчика и газового хозяйства

КИП - нивелир, теодолит и др. геодезические приборы, лабораторные приборы и оборудование.

после засыпки траншеи защитное покрытие подлежит окончательной проверке инструментальным методом на отсутствие участков электрического контакта металла трубы с грунтом.

Данные о качестве защитного покрытия заносятся в пятый раздел строительного паспорта подземного газопровода.

Строительство установок электрохимической защиты следует осуществлять по проектам электрохимической защиты газопроводов.

Электромонтажные работы необходимо производить в соответствии с требованиями «Правил устройства электроустановок (ПУЭ)», утвержденными Госэнергонадзором РФ.

Контрольно-измерительные пункты необходимо устанавливать на газопроводе после укладки его в траншею до засыпки землей. Проверку и приёмку контрольно-измерительных пунктов следует производить после засыпки траншеи.

Результаты производства работ по устройству установки электрохимической защиты следует оформлять актом.

Способ укладки газопроводов на дно подводной траншеи (протаскиванием по дну, свободным погружением газопровода на дно водной преграды с подачей плети на плаву к месту укладки; опусканием с применением плавучих опор) должен быть определен проектом организации строительства и уточнен проектом производства работ.

Газопровод, прокладываемый через водную преграду, должен быть сварен, изолирован, испытан и подготовлен к спуску или протаскиванию к моменту приёмки подводной траншеи. Перед укладкой газопровода в подводную траншею должны быть сделаны промеры её глубины по проектному створу, а также составлен акт о готовности траншеи и соответствии проекту продольного профиля трассы перехода.

Перед протаскиванием изолированного газопровода по дну водной преграды, а также до установки на него балластных грузов поверх изоляции следует устраивать защитную футеровку в соответствии с проектом.

Если проектом предусмотрено сплошное бетонное балластное покрытие, то его следует наносить после испытания газопровода на прочность.

Проверку положения газопровода на дне траншеи следует проводить в течение суток после его укладки.

При прокладке газопроводов в вечномёрзлых грунтах траншеи и котлованы следует рыть при отрицательных температурах наружного воздуха и засыпать их на полную глубину до наступления тёплого периода.

При монтаже газопроводов в районах с сейсмичностью 7 баллов и выше, а также в районах с просадочными и пучинистыми грунтами деформированные концы труб следует обрезать. Зазоры между торцами труб при сварке плетей должны быть устранены путём вварки «катушек» длиной не менее 200 мм.

Для определения фактического положения подземного газопровода следует производить исполнительную геодезическую съёмку планового и высотного положения его элементов по окончании укладки.

Исполнительную геодезическую съёмку подземных инженерных сетей следует выполнять до засыпки траншей.

Плановое и высотное положение элементов инженерных сетей следует определять от знаков разбивочной сети строительной площадки, внешней разбивочной сети здания (сооружения) или от твердых точек капитальных зданий (сооружений).

Производство съёмок включает в себя следующие виды работ:

выяснение наличия геодезической или разбивочной сети и восстановление знаков этой сети;

съёмку и нивелирование элементов инженерных сетей и сооружений;

составление исполнительных чертежей и планов.

По газопроводу съёмке подлежат: ось трассы, углы поворота, колодцы, места подключений, вводы, изломы в профиле.

Обязательной съёмке подлежат все подземные сооружения, пересекающие прокладку или идущие параллельно с ней, вскрытые траншеей. Одновременно со съёмкой указанных элементов инженерных сетей должны быть сняты все здания, прилегающие к проезду или к трассам прокладок.

Ширина полосы, охватываемой съёмкой, должна быть не менее 20 м в обе стороны от оси трассы или устанавливаться заданием.

При производстве работ рекомендуется давать единую нумерацию колодцев, камер и др.

У круглых колодцев снимается центр крышки решеток, у люков прямоугольной формы два угла.

При значительном заглублении снимаемых элементов (свыше 1 м) точки их выносятся на поверхность земли при помощи отвеса или рейки с круглым уровнем.

Закругленные части снимают так, чтобы отразить подобие фигуры в масштабе составляемого плана.

При съёмке колодцев производится обмер внутреннего и внешнего габаритов сооружения, его конструктивных элементов, расположения труб и фасонных частей с привязкой к отвесной линии, проходящей через центр крышки колодца.

Для газовых сетей фиксируется расположение стыков трубопроводов относительно люков колодцев с указанием типа стыка.

Результаты измерений заносятся в абрис, где делаются зарисовки в плане в сочетании со схемой прокладываемого теодолитного хода, показываются привязки к опорной застройке, линейные размеры сооружения, сечения и т.д.

В колодцах, выстроенных по типовым проектам, определяются лишь внецентренность и ориентировка. Внецентренность колодцев определяется, как правило, с помощью отвесов или рейки.

Плановое положение газопровода и относящихся к нему сооружений может быть определено:

на застроенной территории от твердых точек капитальной застройки, от пунктов геодезической или разбивочной сети и съёмочного обоснования, от точек специально проложенных теодолитных ходов;

на незастроенной территории от точек съёмочного обоснования, пунктов геодезической сети или от точек специально проложенных теодолитных ходов.

Выходы подземных сетей и углы их поворота на незастроенной территории координируются.

Координирование колодцев и точек углов поворота на застроенной территории производится только по специальному заданию заказчика.

Съёмка планового положения элементов подземной сети производится одним из ниже перечисленных способов:

способом линейных засечек - не менее чем от трёх точек. Засечки не должны превышать длину мерной ленты или рулетки (20 - 50 м). Углы между смежными направлениями засечек у определяемой точки должны быть не менее 30° и не более 120°;

способом перпендикуляров длиной не более 4 м от линий, соединяющих точки съёмочного обоснования, теодолитных ходов или капитальной застройки, а также от линий, продолжающих их створ. Длина продолжения створа не должна превышать половины расстояния между конечными точками створа, но не должна быть более 60 м;

полярным способом - с пунктов опорной геодезической сети, с точек съёмочного обоснования и теодолитных ходов или с вспомогательных точек, определенных указанными выше способами. Нуль лимба теодолита ориентируется на твердую точку, отстоящую от инструмента не ближе чем на 50 м. Длина полярного направления не должна быть более 30 м.

При всех способах съёмки точек подземной инженерной сети в обязательном порядке производят контрольные измерения расстояний между ними.

Все линейные измерения при съёмках производятся стальными рулетками (ГОСТ 7502-89*).

Точки подземного газопровода, расположенные в траншее, при съёмке выносятся на поверхность земли отвесом.

Предельные ошибки определения элементов подземной инженерной сети в плане не должны быть более 0,2 м.

Высотное положение элементов газопровода определяется до засыпки траншей техническим нивелированием от реперов городской нивелирной сети.

По окончании обработки материалов исполнительных съёмок составляется исполнительный чертеж.

Если прокладка газопровода выполнена с отклонениями от проекта, то на исполнительных чертежах должно быть указано, кем и когда эти отклонения разрешены.

Исполнительный чертеж входит в состав обязательной исполнительной документации, предъявляемой при сдаче в эксплуатацию законченных строительством газопроводов.

Не позднее чем за три дня до засыпки траншей и котлованов строительные организации обязаны вызвать заказчиков для проведения инструментальной проверки соответствия планового и высотного положения построенного газопровода на местности его отображению на предъявляемых исполнительных чертежах.

Если представленные геодезические материалы отвечают предъявляемым к ним требованиям, то на исполнительном чертеже, в нижнем правом углу проверяющими делается следующая надпись: «Планово-высотное положение газопровода проверено, чертеж составлен правильно, соответствует натуре, отклонений от проекта нет (имеются отклонения от проекта)». Эта надпись сопровождается подписью и датой.

На законченные строительством подземные и надземные газопроводы, газовые вводы, ГРП и ГРУ, а также резервуарные установки СУГ следует составлять строительные паспорта.

ПРИЛОЖЕНИЕ 1 к СНиП 3.05.02-88* (Обязательное)

СТРОИТЕЛЬНЫЙ ПАСПОРТ ПОДЗЕМНОГО (НАДЗЕМНОГО) ГАЗОПРОВОДА, ГАЗОВОГО ВВОДА,

(ненужное зачеркнуть)

построенного_____________________________________________________________

(наименование строительно-монтажной организации и номер проекта)

по адресу:________________________________________________________________

(город, улица, привязки начального и конечного пикетов)

1. ХАРАКТЕРИСТИКА ГАЗОПРОВОДА (ГАЗОВОГО ВВОДА)

Указывается длина (для ввода - подземного и надземного участков), диаметр, рабочее давление газопровода, тип изоляционного покрытия линейной части и сварных стыков (для подземных газопроводов и газовых вводов), число установленных запорных устройств и других сооружений.

2. ПЕРЕЧЕНЬ ПРИЛАГАЕМЫХ СЕРТИФИКАТОВ, ТЕХНИЧЕСКИХ ПАСПОРТОВ (ИЛИ ИХ КОПИЙ) И ДРУГИХ ДОКУМЕНТОВ, УДОСТОВЕРЯЮЩИХ КАЧЕСТВО МАТЕРИАЛОВ И ОБОРУДОВАНИЯ

_________________________________________________________________________

Примечание. Допускается прилагать (или размещать в данном разделе) извлечения из указанных документов, заверенные лицом, ответственным за строительство объекта, и содержащие необходимые сведения (номер сертификата, марка (тип), ГОСТ (ТУ), размеры, номер партии, завод-изготовитель, дата выпуска, результаты испытаний).

3. ДАННЫЕ О СВАРКЕ СТЫКОВ ГАЗОПРОВОДА

Фамилия, имя, отчество сварщика

Номер (клеймо) сварщика

Сварено стыков

Дата проведения сварочных работ

диаметр труб, мм

число, шт.

_________________________________________________________________________

(должность, подпись, инициалы, фамилия производителя работ)

План (схема) сварных стыков подземных газопроводов

Примечание. Схема должна быть составлена так, чтобы местоположение каждого стыка могло быть найдено с поверхности земли. Для этого должны быть сделаны привязки к постоянным наземным объектам (зданиям, сооружениям) как самого газопровода, так и его характерных точек (концевых, поворотных и др.); должны быть нанесены расстояния между стыками, а также между стыками и характерными точками, в том числе пересекаемыми коммуникациями. Строгое соблюдение масштаба схемы - необязательно.

4. ПРОВЕРКА ГЛУБИНЫ ЗАЛОЖЕНИЯ ГАЗОПРОВОДА, УКЛОНОВ, ПОСТЕЛИ, УСТРОЙСТВА ФУТЛЯРОВ, КОЛОДЦЕВ, КОВЕРОВ

(составляется для подземных газопроводов и газовых вводов)

Установлено, что глубина заложения газопровода от поверхности земли до верха трубы на всем протяжении, уклоны газопровода, постель под трубами, а также устройство футляров, колодцев, коверов соответствуют проекту.

Производитель работ_______________________________________________________

(должность, подпись, инициалы, фамилия)

Представитель газового хозяйства____________________________________________

(должность, подпись, инициалы, фамилия)

5. ПРОВЕРКА КАЧЕСТВА ЗАЩИТНОГО ПОКРЫТИЯ ПОДЗЕМНОГО ГАЗОПРОВОДА (ГАЗОВОГО ВВОДА)

1. Перед укладкой в траншею проверено защитное покрытие труб и стыков:

на отсутствие механических повреждений и трещин - внешним осмотром; толщина - замером по ГОСТ 9.602-89* мм; адгезия к стали - по ГОСТ 9.602-89*; сплошность - дефектоскопом.

2. Стыки, изолированные в траншее, проверены внешним осмотром на отсутствие механических повреждений и трещин.

4. Проверка на отсутствие электрического контакта между металлом трубы и грунтом произведена после полной засыпки траншеи «___»____________19___г.

Примечание. Если траншея была засыпана при глубине промерзания грунта более 10 см, то строительно-монтажная организация должна выполнять проверку после оттаивания грунта, о чем должна быть сделана запись в акте о приемке законченного строительством объекта системы газоснабжения.

При проверке качества защитного покрытия дефекты не обнаружены.

Начальник лаборатории____________________________________________________

(подпись, инициалы, фамилия)

Представитель газового хозяйства____________________________________________

(должность, подпись, инициалы, фамилия)

6. ПРОДУВКА ГАЗОПРОВОДА, ИСПЫТАНИЕ ЕГО НА ПРОЧНОСТЬ И ГЕРМЕТИЧНОСТЬ

1. «___»_____________19___г. перед испытанием на прочность

произведена продувка газопровода воздухом.

2. «___»_____________19___г. произведено пневматическое (гидравлическое) испытание газопровода на прочность давлением_________________________________

МПа (кгс/см2) с выдержкой в течение ______ч.

Газопровод испытание на прочность выдержал.

3. «___»_____________19___г. засыпанный до проектных отметок газопровод с установленной на нем арматурой и ответвлениями к объектам до отключающих запорных устройств (или подземная часть газового ввода) испытан на герметичность в течение_______ч.

До начала испытания подземный газопровод находился под давлением воздуха в течение ________ ч для выравнивания температуры воздуха в газопроводе с температурой грунта.

Замеры давления производились манометром (дифманометром) по ГОСТ_____, класс__________.

Данные замеров давления при испытании подземного газопровода

Дата испытания

Замеры давления, кПа (мм рт. ст.)

Падение давления, кПа (мм рт. ст.)

месяц

число

часы

манометрическое

барометрическое

допускаемое

фактическое

Р1

Р2

В1

В2

Согласно данным вышеприведенных замеров давления подземный газопровод испытание на герметичность выдержал, утечки и дефекты в доступных для проверки местах не обнаружены;

«___»_____________19___г. произведено испытание надземного газопровода (надземной части газового ввода) на герметичность давлением _______ МПа (______кгс/см2) с выдержкой в течение ________ч, последующим внешним осмотром и проверкой всех сварных, резьбовых и фланцевых соединений. Утечки и дефекты не обнаружены. Надземный газопровод (надземная часть газового ввода) испытание на герметичность выдержал.

Производитель работ_______________________________________________________

(должность, подпись, инициалы, фамилия)

Представитель газового хозяйства____________________________________________

(должность, подпись, инициалы, фамилия)

7. ЗАКЛЮЧЕНИЕ

Газопровод (газовый ввод) построен в соответствии с проектом, разработанным

_________________________________________________________________________

(наименование проектной организации и дата выпуска проекта)

с учетом согласованных изменений, внесенных в рабочие чертежи № ______

Строительство начато «___»_____________19___г.

Строительство закончено «___»_____________19___г.

Главный инженер ССМУ___________________________________________________

(подпись, инициалы, фамилия)

Представитель газового хозяйства____________________________________________

(должность, подпись, инициалы, фамилия)

Приложение 8 к СНиП 3.05.02-88* (обязательное)

ПРАВИЛА ПРИЕМКИ

ЗАКОНЧЕННЫХ СТРОИТЕЛЬСТВОМ ОБЪЕКТОВ

СИСТЕМ ГАЗОСНАБЖЕНИЯ

1. Приемка законченного строительством объекта системы газоснабжения, сооруженного в соответствии с проектом и требованиями СНиП 3.05.02-88*, должна производиться приемочной комиссией в соответствии с требованиями настоящих Правил.

Примечание. Настоящие правила не распространяются на законченные строительством ГНС, ГНП и АГЗС, приемку которых следует производить в соответствии с требованиями СНиП 3.01.04-87.

2. В состав приемочной комиссии включаются представители: заказчика (председатель комиссии), генерального подрядчика и эксплуатационной организации (предприятия газового хозяйства или газовой службы предприятия). Представители органов Госгортехнадзора России включаются в состав приемочной комиссии при приемке объектов, подконтрольных этим органам.

3. Генеральный подрядчик на каждый законченный строительством объект системы газоснабжения предъявляет приемочной комиссии в одном экземпляре следующую исполнительную документацию:

комплект рабочих чертежей на строительство предъявляемого к приемке объекта с надписями, сделанными лицами, ответственными за производство строительно-монтажных работ о соответствии выполненных в натуре работ этим чертежам или внесенным в них проектной организацией изменениям;

сертификаты заводов-изготовителей (их копии, извлечения из них, заверенные лицом, ответственным за строительство объекта) на трубы, фасонные части, сварочные и изоляционные материалы;

технические паспорта заводов-изготовителей (ЦЭЗ, ЦЗМ) или их копии на оборудование, узлы, соединительные детали, изоляционные покрытия, изолирующие фланцы, арматуру диаметром свыше 100 мм, а также другие документы, удостоверяющие качество оборудования (изделий);

инструкции заводов-изготовителей по эксплуатации газового оборудования и приборов;

строительный паспорт и протоколы проверки качества сварных стыков по формам СНиП 3.05.02-88*:

акт разбивки и передачи трассы (площадки) для подземного газопровода и резервуаров СУГ;

журнал учета работ (для подземных газопроводов протяженностью свыше 100 м и резервуаров СУГ) - по требованию заказчика;

акт приемки предусмотренных проектом установок электрохимической защиты (для подземных газопроводов и резервуаров СУГ);

акты приемки скрытых и специальных работ, выполненных в соответствии с договором-подрядом (контрактом) - для ГРП, котельных;

акт приемки газооборудования для проведения комплексного опробования (для предприятий и котельных).

4. Приемочная комиссия должна проверить представленную исполнительную документацию и соответствие смонтированной системы газоснабжения этой документации, требованиям СНиП 3.05.02-88* и «Правил безопасности в газовом хозяйстве» Госгортехнадзора России.

5. Приемка законченного строительством объекта системы газоснабжения оформляется актом по форме обязательного приложения 9.

АКТ

приемки законченного строительством объекта

системы газоснабжения

_________________________________________________________________________

(наименование и адрес объекта)

г._________________                                                    «___»_____________19___г.

Приемочная комиссия в составе: председателя комиссии - представителя заказчика

_________________________________________________________________________

(фамилия, имя, отчество, должность)

членов комиссии, представителей:

генерального подрядчика___________________________________________________

(фамилия, имя, отчество, должность)

эксплуатационной организации_____________________________________________

(фамилия, имя, отчество, должность)

органов Госгортехнадзора__________________________________________________

(фамилия, имя, отчество, должность)

УСТАНОВИЛА:

1. Генеральным подрядчиком (наименование организации) предъявлен к приемке законченный строительством (наименование объекта)

2. Субподрядными организациями (наименование организаций) выполнены (виды работ)                                                                                                                                          

3. Проект № ______ разработан (наименование организации)                                           

4. Строительство осуществлялось в сроки:

начало работ (месяц, год), окончание работ (месяц, год)

Приемочная комиссия рассмотрела документацию, представленную в соответствии с требованиями «Правил приемки законченных строительством объектов систем газоснабжения» и «Правил безопасности в газовом хозяйстве» Госгортехнадзора России, произвела внешний осмотр объекта, определила соответствие выполненных строительно-монтажных работ проекту, провела, при необходимости, дополнительные испытания (кроме зафиксированных в исполнительной документации) виды испытаний)                                                                                                                                 

Решение приемочной комиссии:

1. Строительно-монтажные работы выполнены в полном объеме в соответствии с проектом, требованиями СНиП 3.05.02-88* и «Правил безопасности в газовом хозяйстве» Госгортехнадзора России.

2. Предъявленный к приемке (наименование объекта), считать принятым заказчиком вместе с прилагаемой исполнительной документацией с «___»_____________19___г.

Председатель комиссии (подпись)                                                                                        

М.П.

Представитель генерального подрядчика (подпись)                                                           

Представитель эксплуатационной организации (подпись)                                                

Представитель органов Госгортехнадзора РФ (подпись)                                                   

Сборка и сварка газопроводов из стальных труб

ГОСТ 9467-75* Электроды покрытые металлические для ручной дуговой сварки конструкционных и теплоустойчивых сталей. Типы.

ГОСТ 9466-75* Электроды покрытые металлические для ручной дуговой сварки сталей и наплавки. Классификация и общие технические условия.

ГОСТ 2246-70* Проволока стальная сварочная. Технические условия.

ТУ 1221-093-36534674-97 Проволока стальная сварочная марок Св-08, Св-08А.

ГОСТ 26271-84* Проволока порошковая для дуговой сварки углеродистых и низколегированных сталей. Общие технические условия.

ГОСТ 9087-81* Флюсы сварочные плавленные. Технические условия.

Государственные стандарты и технические условия на сварочные материалы конкретных видов и марок, предусмотренные проектом.

ГОСТ 16037-80* Соединения сварные стальных трубопроводов. Основные типы, конструктивные элементы и размеры.

СНиП 3.01.01-85* Организация строительного производства.

СНиП 3.05.02-88* Газоснабжение.

Технические требования к сварочным материалам

Подготовка сварочных материалов должна производиться в соответствии с требованиями проекта, нормативно-технических документов на сварочные материалы, ГОСТ 24297-87 «Входной контроль продукции. Основные положения» и технологической документации, устанавливающей порядок подготовки сварочных материалов на конкретном предприятии.

Подготовка сварочных материалов должна включать:

- входной контроль, заключающийся в осмотре упаковки, проверке наличия сертификатов и их содержания, во внешнем осмотре сварочных материалов, проверке технологических и механических свойств материалов и сварных соединений;

- прокалку (сушку) электродов и флюсов, очистку, намотку проволоки в кассеты для механизированных способов сварки;

- учет, хранение и выдачу материалов в производство.

Подготовка сварочных материалов к сварке в зависимости от структуры предприятия производится централизованно на участке подготовки сварочных материалов или разрознено.

1. Входной контроль сварочных материалов

Входной контроль качества сварочных материалов должен производиться в соответствии с требованиями проекта, СНиП 3.01.01-85*, ГОСТ 34297-87, требованиями государственных стандартов и технических условий на сварочные материалы конкретных видов и марок, предусмотренных проектом, требованиями ППР (ППСР), технологических карт и другой технологической документации, утвержденной в установленном порядке.

Входной контроль сварочных материалов должен включать в себя:

- проверку наличия сопроводительной документации (паспортов, сертификатов) и полноты содержащихся в них данных, маркировки, ярлыков, этикеток с целью определения соответствия поставленных сварочных материалов требованиями проекта;

- проверку сохранности упаковки и гарантийных сроков хранения и использования материалов; внешний осмотр сварочных материалов, проверку технологических свойств сварочных материалов и определение области их применения.

Сварочные материалы подлежат строгому учету, надлежащему хранению и подготовке к сварочным работам. Технические требования к сварочным материалам и процессу их подготовки к сварке более подробно изложены ниже.

1.1. Электроды покрытые металлические для ручной дуговой сварки (ГОСТ 9466-75*, ГОСТ 9467-75*)

Покрытие электродов должно быть плотным, прочным, без вздутий, пор, наплывов, трещин, за исключением поверхностных продольных трещин и местных сетчатых растрескиваний, протяженность которых не превышает 3-кратный номинальный диаметр электрода, если минимальное расстояние между ближайшими концами трещин или (и), краями участков местного сетчатого растрескивания более 3-кратной длины более протяженной трещины или участка растрескивания, и неровностей, за исключением местных вмятин глубиной не более 50 % толщины покрытия в количестве не более 4 при суммарной протяженности до 25 (35) мм на одном электроде, двух вмятин, расположенных с двух сторон электрода в одном поперечном сечении, которые принимаются за одну, если их суммарная глубина не превышает 50 % толщины покрытия. На поверхности покрытия допускаются местные задиры, протяженностью не более 15 мм при глубине не более 25 % номинальной толщины покрытия числом не более двух (трех) на одном электроде (в скобках указаны значения, допускаемые для 10 % контролируемых электродов).

Разность толщины покрытия (е) в диаметрально противоположных участках электрода не должна превышать нижеприведенных значений.

Диаметр электрода

2,0

2,5

3,0 3,15 3,25

4,0

5,0

6,0 6,3

св. 6,3

е

0,10

0,12

0,15

0,20

0,24

0,28

0,30

0,14

0,16

0,20

0,26

0,32

0,36

0,40

в знаменателе указаны значения е, допускаемые для 10 % контролируемых электродов

На отдельных электродах, суммарное количество которых не должно превышать 10 % общего числа контролируемых электродов, допускается:

- отклонение длины зачищенного от покрытия конца l от номинального значения до ±7,5 мм;

- наличие на покрытии каждого электрода не более двух поперечных надрывов размером не более половины длины окружности покрытия, поверхностных следов слипания электродов; не более трех пор с наружным размером не более 1,5 мм для электродов диаметром до 4 мм вкл, и не более 2,0 мм для электродов большего размера.

Электроды должны быть упакованы в коробки или пачки, на (в) которых должна иметься этикетка или маркировка, содержащая наряду с другими данные по режимам сварочного тока в зависимости от диаметра электродов и положения сварки, режим повторного прокаливания электродов.

Каждая партия электродов должна сопровождаться сертификатом.

1.2. Проволока стальная сварочная (ГОСТ 2246-70*)

Поверхность сварочной проволоки должна быть чистой, гладкой, без трещин, расслоений, плен, закатов, забоин, раковин, окалины, ржавчины, масла и других загрязнений. На поверхности проволоки допускаются риски (в т.ч. затянутые), царапины, местная рябизна и отдельные вмятины. Глубина указанных пороков не должна превышать предельного отклонения по диаметру проволоки.

Проволока поставляется в мотках, катушках или кассетах и должна состоять из одного отрезка, свернутого неперепутанными рядами и плотно намотанного таким образом, чтобы исключить возможность распушивания или разматывания мотка. Концы проволоки должны быть легко находимы. Каждый моток должен быть плотно перевязан мягкой проволокой не менее чем в трех местах, равномерно расположенных по периметру мотка. Мотки проволоки одной партии допускается связывать в бухты. Масса одного мотка или бухты не должна превышать 80 кг.

На каждом мотке (бухте, катушке, кассете) должен быть металлический ярлык, на котором должны быть указаны: наименование или товарный знак предприятия-изготовителя, условное обозначение проволоки, номер партии, клеймо ОТК.

Каждый моток (бухта, катушка) проволоки диаметром 0,5 мм и менее должен быть обернут слоем бумаги и упакован в плотный деревянный ящик по ГОСТ 18617-83* или другую тару согласно требованиям нормативно-технической документации. Каждый моток (бухта, катушка) проволоки диаметром свыше 0,5 мм должен быть обернут слоем бумаги, затем слоем полимерной пленки, нетканых материалов или ткани из химических волокон. При механизированной упаковке каждый моток проволоки должен быть упакован в крепировальную бумагу или полимерную пленку с одновременным креплением проволокой. На каждый упакованный моток (бухту, катушку) поверх упаковки должен крепиться металлический ярлык, содержащий данные, приведенные выше.

Каждая партия проволоки должна сопровождаться сертификатом, в котором кроме данных, содержащихся в ярлыке, должны указываться; состояние поверхности проволоки, химический состав в %, содержание ферритной фазы в %, результаты испытаний на растяжение, масса проволоки нетто в кг.

1.3. Проволока порошковая для дуговой сварки (ГОСТ 26271-84*)

Поверхность проволоки должна быть без вмятин, надрывов, без следов коррозии, масла и других загрязнений. Допускаются продольные риски и следы волочильной смазки.

Порошковая проволока изготовляется в мотках. Каждый моток должен состоять из одного отрезка проволоки, свернутого неперепутанными рядами и плотно увязанного таким образом, чтобы исключить распушивание или разматывание мотка. Наружный конец проволоки должен быть легко находим. Допускается наматывать проволоку на катушки по ГОСТ 25445-82.

Проволоку принимают партиями. Партия должна сопровождаться одним документом о качестве, в котором указывают: товарный знак или наименование предприятия-изготовителя и товарный знак, условное обозначение проволоки, номер партии, результаты испытаний проволоки, массу нетто проволоки, дату изготовления, штамп ОТК.

На каждой катушке (мотке) порошковой проволоки должен быть укреплен ярлык, на котором указывают: условное обозначение, номер партии, дату изготовления и штамп ОТК.

Мотки (катушки) проволоки должны быть обернуты в водонепроницаемую упаковочную бумагу по ГОСТ 8828-89 или помещены в мешки из полиэтиленовой пленки по ГОСТ 10354-82*. Упакованные мотки (катушки) должны быть уложены в металлические барабаны со сварными или закатанными швами. Масса брутто упакованной проволоки должна быть от 20 до 130 кг. Для предупреждения увлажнения проволоки в каждый барабан должен быть помещен силикагель в количестве 0,5 - 1 % от массы проволоки. На обечайку каждого барабана должен быть наклеен ярлык, в котором кроме данных, содержащихся в документе о качестве, указывается масса брутто барабана.

Гарантийный срок хранения порошковой проволоки в упаковке предприятия-изготовителя - 8 месяцев со дня изготовления.

1.4. Флюсы сварочные плавленные (ГОСТ 9087-81*)

Флюсы должны поставляться в виде однородных зерен с регламентированным содержанием инородных частиц (нерастворившихся частиц сырьевых материалов, угля, графита, кокса, стружки, металлических частиц). Не допускается наличие во флюсе инородных частиц более 0,5 % от массы флюса для марок АН-348-А, АН 348-АМ, ОСЦ-45, ОСЦ-45М; более 0,3 % - для марок АН-22 и АН-47. Цвет зерен флюса АН-348-А и АН-318-АМ - желтый и коричневый всех оттенков; ОСЦ-45 и ОСЦ-45М - светло-серый, желтый и коричневый всех оттенков; АН-22 - желтый всех оттенков и светло-коричневый; АН-47 - темно-коричневый всех оттенков и черный. Влажность флюсов АН-348-А, АН-348-АМ, ОСЦ-45, ОСЦ-45М, АН-22 и АН-47 - не должна превышать 0,10 % от массы флюса.

Флюс должен быть упакован в бумажные мешки по ГОСТ 2226-88* или другую тару, обеспечивающую сохранность флюса при транспортировании. Масса нетто одной упаковочной единицы от 20 до 50 кг. На каждой упаковочной единице должен быть ярлык, содержащий: наименование и товарный знак предприятия-изготовителя, массу флюса, массу нетто, номер партии, обозначение ГОСТ 9087-81*, знак «Боится сырости». Каждая партия флюсов должна сопровождаться документом о качестве, содержащим кроме данных, включенных в ярлык, химический состав флюса, дату изготовления и массу партии.

1.5. При поступлении сварочных материалов на предприятие производится проверка упаковки и тары на соответствие их требованиям нормативно-технической документации, а также проверка наличия сертификатов. Результаты проверки актируются по установленной на предприятии форме. При отсутствии сертификатов на сварочные материалы, истечении гарантийного срока их хранения, наличии в ППСР или проекте конкретных требований к качеству сварочных материалов последние могут быть переданы в производство после проведения:

- испытания стыковых сварных соединений на растяжение до разрушения (ГОСТ 10922-90);

- испытаний сварочных материалов на соответствие конкретным требованиям ППСР или проекта.

Перед сваркой ответственных конструкций, подвергаемых в соответствии с требованиями ППСР или проекта радиографическому или ультразвуковому контролю в объеме 25 % и более, сварочные материалы подвергаются проверке на технологические свойства независимо от наличия сертификата.

По результатам испытаний начальник сварочной лаборатории или ответственный работник сварочной службы в журнале входного контроля указывает области применения испытанных партий сварочных материалов. В случае неудовлетворительных результатов испытаний, сварочные материалы в производство не допускаются.

2. Подготовка сварочных материалов

2.1. Подготовка электродов

Электроды перед выдачей их в производство должны быть прокалены по режимам, указанным на маркировке упаковочной тары. Срок хранения электродов после прокалки не должен быть более 15 суток. При большем сроке хранения электродов требуется их повторная прокалка. Прокалку электродов не допускается производить более трех раз (не считая прокалки при их изготовлении). При большем количестве прокалок электроды используются только для сварки неответственных конструкций или производятся повторные технологические испытания.

Дата каждой повторной прокалки должна быть проставлена в журнале установленной формы.

Технологические испытания электродов должны производиться по ГОСТ 9466-75*. При испытаниях контролируют: легкость возбуждения и стабильность горения дуги, равномерность плавления электродов и правильность формирования валиков шва, легкость удаления шлака, отсутствие в швах после тщательного удаления шлака, брызг расплавленного металла и других загрязнений, поверхностных трещин, надрывов и пор, сплошность углового шва.

2.2. Подготовка сварочной проволоки

Сварочная проволока стальная, а также порошковая перед выдачей в производство должна быть очищена от следов ржавчины, масла, окислов и других загрязнений.

Подготовку сварочной проволоки к сварке, намотку в кассеты, очистку и промывку должны производить специально подготовленные, обученные данным операциям и проинструктированные по технике безопасности рабочие.

Для предупреждения увлажнения порошковой проволоки в каждый барабан или полиэтиленовый мешок должен быть помещен силикагель в количестве 0,5 - 1 % от массы проволоки. Силикагель перед укладкой должен быть просушен при температуре от 150 до 170 °С не менее 2 ч. Синий или фиолетовый цвет силикагеля указывает на допустимую его влажность. Если порошковая проволока хранилась в условиях высокой влажности или, если того требует проект, то перед сваркой ее подвергают прокалке при температуре 230 - 250 °С в течение 2 - 3 часов для удаления влаги и остатков волочильной смазки.

Технологические свойства порошковой проволоки проверяют наплавкой валика на пластину и сваркой таврового или стыкового соединений. На поверхности валика или сварного шва не допускаются поры и трещины.

2.3. Подготовка флюсов

Флюсы перед выдачей в производство должны быть высушены при температуре 300 - 400 °С (флюсы АН-348-А, АН-348-АМ, ОСЦ-45, ОСЦ-45М, АН-47), 400 - 450 °С (флюс АН-22) в течение одного часа (флюс АН-22 - 2 ч.). Слой флюса при прокалке не должен превышать 45 - 50 мм.

Флюсы после прокалки следует хранить в герметичной таре (флягах) или в сушильном шкафу. Срок хранения флюсов в негерметичной таре не должен превышать 15 суток. По истечении срока хранения после прокалки флюсы перед сваркой должны быть просушены повторно по тому же режиму. Количество сушек (прокалок) не ограничивается. Дата каждой прокалки и режим прокалки должны быть проставлены в журнале.

2.4. Хранение сварочных материалов

Сварочные материалы следует хранить в условиях, обеспечивающих их сохранность от увлажнения, загрязнения и механических повреждений. Температура в помещении, предназначенном для хранения электродов, порошковой проволоки и флюсов, должна быть не ниже 15 °С, при этом относительная влажность воздуха не должна превышать 50 %.

Прокаленные электроды и порошковую проволоку следует подавать на рабочее место в количестве, необходимом для работы сварщика в течение полусмены.

На рабочем месте электроды должны находиться в закрывающихся коробках (пеналах) из влагонепроницаемого материала.

Технические требования к сборке и сварке газопроводов из стальных труб

3. Сборка и сварка газопроводов из стальных труб

Сборка стыков труб и деталей должна производиться в соответствии с требованиями проекта, ГОСТ 16037-80*, СНиП 3.05.02-88*, стандартов, технических условий, рабочих чертежей и другой технологической документации, утвержденной в установленном порядке.

Работам по сборке и сварке газопроводов должны предшествовать:

- входной контроль сварочных материалов;

- входной контроль стальных труб, фасонных частей, оборудования, арматуры, узлов, соединительных деталей и изолирующих фланцев, изоляционных материалов и т.д.;

- входной контроль изоляционных покрытий, выполненных в базовых или заводских условиях;

- работы по подготовке кромок труб под сварку.

Требования, предъявляемые к сварочным материалам и их подготовке к сварке, изложены выше.

Объем входного контроля при приемке стальных труб, соединительных деталей, узлов, арматуры и т.д. приведен в СОКК «Прокладка наружных стальных газопроводов». Участие в нем различных служб должно быть определено технологическими картами.

На сварочные и изоляционные материалы, трубы, фасонные части, применяемые в соответствии с проектом, должны иметься сертификаты заводов-изготовителей (или их копии, заверенные владельцем сертификата), удостоверяющие их качество.

На оборудование, арматуру диаметром более 100 мм, узлы, соединительные детали и изолирующие фланцы должны иметься технические паспорта заводов-изготовителей, центрально-заготовительных мастерских (ЦЗМ) или центрально-заготовительных заводов (ЦЗЗ) строительно-монтажных организаций.

На изоляционные покрытия, выполненные в условиях ЦЗМ или ЦЗЗ, должен составляться технический паспорт (акт), в котором указываются: дата выполнения изоляционных работ, тип изоляционного покрытия и результаты контроля его качества.

Сварочные работы следует производить по утвержденному проекту производства сварочных работ (ППСР) или другой технологической документации.

К сварке стыков стальных газопроводов, включая прихватку и приварку временных креплений, допускаются сварщики, аттестованные в соответствии с действующими Правилами аттестации сварщиков, утвержденными Госгортехнадзором России, и имеющие удостоверение сварщика установленного образца. При этом сварщики могут быть допущены к тем видам сварочных работ, которые указаны в их удостоверениях.

Руководство работами по сборке, сварке и контролю качества сварных соединений должны осуществлять инженерно-технические работники, имеющие специальную техническую подготовку, изучившие Правила, рабочие чертежи, технологические процессы и другую необходимую НТД и прошедшие аттестацию комиссии предприятия.

Контролируемые операции

Состав и средства контроля

Документация

Подготовительные работы

Проверить:

- наличие ППР (ППСР), технологических карт и схем операционного контроля качества (СОКК);

- наличие актов освидетельствования ранее выполненных земляных работ и акта приёмки траншей и котлованов (с исполнительной документацией и разрешением заказчика на укладку газопровода);

- сопроводительные документы (документы о качестве, сертификаты и т.д.), маркировку, ярлыки и внешним осмотром качество поступивших сварочных материалов, труб, соединительных деталей, арматуры и других материалов и оборудования;

ППР, технологические карты и СОКК

Акты освидетельствования скрытых работ с исполнительной документацией

Документы о качестве, этикетки, ярлыки

- подготовку сварочных материалов (внешний осмотр, технологические испытания, прокалку электродов и проволоки, очистку проволоки, намотку в кассеты);

- квалификацию сварщиков;

- подготовку рабочего места сварщика, наличие инвентарного помещения для обогрева или тепляка (в зимних условиях производства сварочных работ);

- наличие и исправность сварочного оборудования и уточнение технологических параметров сварки;

- подготовку свариваемых поверхностей (очистку от загрязнений, размеры разделки кромок, зачистку кромок и прилегающих к ним поверхностей).

Журнал сварочных работ

Сборка и сварка газопроводов из стальных труб

Контролировать:

- сборку труб под сварку, правку плавных вмятин, величины смещения кромок труб, смещение швов смежных труб, величины зазоров между трубами, число прихваток;

Журнал сварочных работ

- соблюдение заданной технологии сварки (режима сварки, технику сварки и качество сварных швов, очистку сварных швов от шлака и брызг металла, окалины и других загрязнений), результаты механических испытаний;

- технологию подварки дефектных участков сварного шва и качество исправленных швов; удаление забракованных стыков и вварку на их место «катушек»;

- наличие на швах личного клейма сварщиков;

- восстановление противокоррозионного покрытия.

Протокол механических испытаний

Приёмка

Проверить:

- соответствие конструкции, внешнего вида и размеров сварных соединений, результатов испытаний требованиям проекта и нормативных документов;

- надлежащее оформление исполнительной документации.

Акты (протоколы) испытаний, акты освидетельствования скрытых работ, исполнит. чертеж

ВХОДНОЙ И ОПЕРАЦИОННЫЙ КОНТРОЛЬ осуществляют:

мастер (прораб), сварщик, инженер по сварке - в процессе производства работ

ПРИЁМОЧНЫЙ КОНТРОЛЬ ОСУЩЕСТВЛЯЮТ:

прораб (мастер), ИТР сварочной службы и лаборатории сварки, представители технадзора заказчика

КИП - лабораторные приборы (Арина-02, Арина-05, Арина-2-02, Арматура, УЗД МВТУ и др.), шаблоны, линейка металлическая.

Способы сварки, а также типы, конструктивные элементы и размеры сварных соединений стальных газопроводов должны соответствовать требованиям проекта, ГОСТ 16037-80*, СНиП 3.05.02-88*, ППР (ППСР) и другой технологической документации, утвержденной в установленном порядке.

Каждому сварщику приказом по строительно-монтажной организации должен быть присвоен номер (клеймо), который он обязан наплавлять или выбивать на расстоянии 50 ¸ 100 мм от сваренного им стыка на подземном газопроводе со стороны, доступной для осмотра.

При сварке труб условным диаметром более 400 мм двумя сварщиками каждый из них должен поставить (наплавить или выбить) по номеру (клейму) на границах своего участка.

Перед допуском сварщика к работе по сварке газопроводов необходимо производить сварку допускных (пробных) стыков в следующих случаях:

- если сварщик впервые приступает к сварке газопровода или имел перерыв в работе по сварке более календарного месяца;

- если сваривают трубы, изготовленные из марок стали, отличающихся от ранее свариваемых данным сварщиком своими свойствами по свариваемости;

- если изменена технология сварки.

Допускные стыки следует сваривать также для проверки качества сварочных материалов: при нарушении условий хранения или по истечении паспортного срока хранения сварочных материалов; при обнаружении дефектов сварочных материалов при внешнем осмотре - увлажнении электродов, обсыпке электродов (не более чем на 10 - 15 % поверхности), незначительной коррозии сварочной проволоки. В этих случаях допускные стыки следует сваривать после устранения дефектов (просушки электродов, очистки проволоки).

Контроль допускного стыка следует осуществлять: внешним осмотром на соответствие требованиям ГОСТ 16037-80*, радиографическим методом по ГОСТ 7512-82*, механическими испытаниями по ГОСТ 6996-66* и в соответствии со СНиП 3.05.02-88*.

При неудовлетворительных результатах контроля допускного стыка:

внешним осмотром - стык бракуется и дальнейшему контролю не подлежит; физическими методами или механическими испытаниями - проверку следует повторить на удвоенном числе стыков.

В случае получения неудовлетворительного результата хотя бы на одном стыке при проверке качества сварочных материалов следует браковать всю партию этих материалов, а при проверке квалификации сварщика - он должен пройти дополнительную практику по сварке, после чего сварить новый допускной стык, подлежащий испытаниям в соответствии с вышеприведенными требованиями.

Подготовка кромок труб под сварку должна выполняться в соответствии с требованиями ГОСТ 16037-80*, ППР (ППСР) и требованиями других технологических документов, утвержденных в установленном порядке.

При подготовке кромок труб к сварке должны контролироваться: перпендикулярность плоскости торца трубы к продольной оси трубы; угол скоса и величина притупления кромок трубы, разностенность труб.

При сборке стыков трубопроводов должно обеспечиваться правильное фиксированное взаимное расположение соединяемых концов труб, деталей и арматуры, при котором смещение внутренних кромок свариваемых труб не должно превышать величины:

0,15S + 0,5 мм,

где: S - наименьшая из толщин стенок свариваемых труб, мм.

Перед сборкой под сварку стальных труб необходимо:

- очистить их внутреннюю полость от возможных засорений (грунта, льда, снега, воды, строительного мусора, отдельных предметов и др.);

- проверить геометрические размеры разделки кромок, выправить плавные вмятины на концах труб глубиной до 3,5 % наружного диаметра трубы;

- очистить до чистого металла кромки и прилегающие к ним внутреннюю и наружную поверхности труб на ширину не менее 10 мм.

Концы труб, имеющие трещины, надрывы, забоины, задиры фасок глубиной более 5 мм, следует обрезать.

При температуре воздуха ниже минус 5 °С правка концов труб без их подогрева не допускается.

Сборку труб под сварку следует выполнять на инвентарных подкладках с применением центратора и других приспособлений.

Для закрепления труб в зафиксированном под сварку положении электродами, применяемыми для сварки корневого шва, следует выполнять равномерно расположенные по периметру стыка прихватки в количестве: для труб диаметром до 80 мм включ. - 2 шт., св. 80 мм до 150 мм включ. - 3 шт., св. 150 мм до 300 мм включ. - 4 шт., св. 300 мм - через каждые 250 мм.

СТЫКОВОЕ СОЕДИНЕНИЕ ТРУБЫ С ТРУБОЙ ИЛИ С АРМАТУРОЙ ОДНОСТОРОННИМ ШВОМ БЕЗ СКОСА КРОМОК

Ручная дуговая сварка (Р) и дуговая сварка в защитном газе плавящимся электродом (ЗП) допускается при толщине стенки трубы 2 - 5 мм и минимальном наружном диаметре трубы 25 мм. Дуговая сварка под флюсом (Ф) допускается при толщине стенки трубы 4 - 6 мм и минимальном наружном диаметре трубы 133 мм. Газовая сварка (Г) допускается при толщине стенки трубы 1 - 3 мм и максимальном наружном диаметре трубы 150 мм.

Г S = 1,0 - 1,6          b = 0,5±0,3;           е = 3+1;             g = 0,5+0,5

 = 2,0 - 3,0            = 1,0±0,5             = 4+2                 = 1,0±0,5

СТЫКОВОЕ СОЕДИНЕНИЕ ТРУБЫ С ТРУБОЙ ИЛИ С АРМАТУРОЙ ОДНОСТОРОННИМ ШВОМ НА СЪЕМНОЙ ПОДКЛАДКЕ

Ручная дуговая сварка и дуговая сварка в защитном газе плавящимся электродом (ЗП) допускается при толщине оценки трубы 2 - 3 мм (Р) и 2 - 4 мм (ЗП) и минимальном наружном диаметре 25 мм

S = S1 = 2 - 3 мм (Р)

S = S1 = 2 - 4 мм (ЗП)

СТЫКОВОЕ СОЕДИНЕНИЕ ТРУБЫ С ТРУБОЙ ИЛИ С АРМАТУРОЙ ОДНОСТОРОННИМ ШВОМ НА ОСТАЮЩЕЙСЯ ЦИЛИНДРИЧЕСКОЙ ПОДКЛАДКЕ

Ручная дуговая сварка (Р) и дуговая сварка в защитном газе плавящимся электродом (ЗП) допускается при толщине стенки трубы 2 - 3 мм и минимальном наружном диаметре 25 мм.

S = S1 = 2 - 3 мм

Высота прихватки должна составлять 1/3 толщины стенки трубы, но не менее 2 мм. Длина каждой прихватки должна составлять 20 ¸ 30 мм - при диаметре стыкуемых труб до 50 мм включ.; 50 ¸ 60 мм - при диаметре стыкуемых труб св. 50 мм.

Сварочные работы на открытом воздухе во время дождя, снегопада, тумана и при ветре скоростью свыше 10 м/с можно выполнять только при обеспечении защиты места сварки от влаги и ветра.

Необходимость предварительного подогрева стыков следует определять в зависимости от марки стали свариваемых труб, подразделяющихся на следующие группы:

I - трубы из спокойных (сп) и полуспокойных (пс) сталей марок Ст1, Ст2, Ст3, Ст4 по ГОСТ 380-94, марок 08, 10, 15 и 20 по ГОСТ 1050-88*;

II - трубы из кипящих (кп) сталей марок Ст1, Ст2, Ст3, Ст4 по ГОСТ 380-94;

III - трубы из низколегированных сталей марок 09Г2С, 17Г1С, 14ХГС и др. по ГОСТ 19281-89*; марки 10Г2 по ГОСТ 4543-71*.

Предварительный подогрев стыков следует производить при сварке труб с толщиной стенки от 5 до 10 мм включительно электродами с рутиловым или целлюлозным покрытием при температуре наружного воздуха ниже минус 20 °С - для труб I и II группы, ниже минус 10 °С - для труб III группы. Минимальная температура подогрева должна составлять 100 °С и измеряться на расстоянии 5 - 10 мм от кромки трубы.

Для дуговой сварки труб следует применять следующие типы электродов по ГОСТ 9467-75*, ГОСТ 9466-75*:

Э42-Ц, Э46-Ц диаметром 3; 3,25; 4 мм с целлюлозным покрытием - для сварки корневого слоя шва труб I-III групп;

СТЫКОВОЕ СОЕДИНЕНИЕ ТРУБЫ С ТРУБОЙ ИЛИ С АРМАТУРОЙ ОДНОСТОРОННИМ ШВОМ СО СКОСОМ ОДНОЙ КРОМКИ

Ручная дуговая сварка (Р) и дуговая сварка в защитном газе плавящимся электродом (ЗП) допускается при толщине стенки трубы 3 - 20 мм и минимальном наружном диаметре труб 25 мм

S = S1, мм

3

4

5

6

7

8

9

10

12

14

16

18

20

b мм

1+0,5

2+0,5

2+1,0

c им

0,5+0,5

1±0,5

e мм

8+2

10+2

11+2

12+2

13+3

14+3

16+4

18+4

20+4

22+5

25+5

27+7

29+9

g мм

СТЫКОВОЕ СОЕДИНЕНИЕ ТРУБЫ С ТРУБОЙ ИЛИ С АРМАТУРОЙ ОДНОСТОРОННИМ ШВОМ СО СКОСОМ ОДНОЙ КРОМКИ НА ОСТАЮЩЕЙСЯ ЦИЛИНДРИЧЕСКОЙ ПОДКЛАДКЕ

Ручная дуговая сварка (Р) и дуговая сварка в защитном газе плавящимся электродом (ЗП) допускается при толщине стенки трубы 2 - 20 мм и минимальном наружном диаметре трубы 25 мм (ЗП) и 57 мм (Р).

S = S1, мм

2

3

4

5

6

7

8

9

10

12

14

16

18

20

b мм

2+2

4±1

e мм

9+2

10+2

11+2

12+3

13+3

14+4

16+4

18+4

19+4

21+5

23+6

26+6

28+6

31+7

g мм

Э42А-Б, Э46А-Б, Э50А-Б диаметром 2,5; 3; 3,25 мм с основным покрытием - для сварки корневого слоя шва труб I и III групп;

Э42А-Б, Э46А-Б, Э50А-Б диаметром 3,25 и 4 мм с основным покрытием - для сварки заполняющих и облицовочного слоев шва труб I и III групп;

Э42-Р, Э46-Р с рутиловым покрытием - для сварки всех слоев шва труб I и II групп; постоянным током;

Э42-Р с рутиловым покрытием - для сварки всех слоев шва труб I и II групп переменным током.

Сварочную проволоку и флюсы следует подбирать по ГОСТ 2246-70* и ГОСТ 9087-81* соответственно в зависимости от группы свариваемых труб в следующих сочетаниях:

для труб I и II группы - Св-08 и АН-348-А, Св-08А и АНЦ-1 (ТУ 108.1424-86), Св-08ГА и АН-47;

для труб III группы - Св-08ГА и АН-348-А, АНЦ-1 (ТУ 108.1424-86), АН-47.

При дуговой сварке труб в среде углекислого газа следует применять:

- сварочную проволоку по ГОСТ 2246-70* марка СВ-08Г2С;

- углекислый газ по ГОСТ 8050-85* чистотой не менее 99,5 %.

При газовой сварке следует применять:

- сварочную проволоку по ГОСТ 2246-70* марок Св-08, Св-08А, Св-08ГА, Св-08Г2С, Св-12ГС;

- кислород технический по ГОСТ 5583-78*;

- ацетилен в баллонах по ГОСТ 5457-75* или ацетилен, полученный на месте производства работ из карбида кальция по ГОСТ 1460-81*.

Ручную дуговую сварку неповоротных и поворотных стыков труб при толщине стенок до 6 мм следует выполнять не менее чем в два слоя, а при толщине стенок более 6 мм - не менее чем в три слоя. Каждый слой шва перед наложением последующего должен быть тщательно очищен от шлака и брызг металла.

СТЫКОВОЕ СОЕДИНЕНИЕ ТРУБЫ С ТРУБОЙ ИЛИ С АРМАТУРОЙ ОДНОСТОРОННИМ ШВОМ СО СКОСОМ КРОМОК

Ручная дуговая сварка (Р) и дуговая сварка в защитном газе плавящимся электродом (ЗП) допускается при толщине стенки трубы 3 - 20 мм и минимальном наружном диаметре трубы 25 мм. Газовая сварка (Г) допускается при толщине трубы 3 - 7 мм и наружном диаметре трубы 14 - 150 мм.

S = S1, мм

3

4

5

6

7

8

10

12

14

16

18

20

b мм

1+0,5

1,5+0,5

2+1,0

2+1,5

c мм

0,5+0,5

1±0,5

1,5±0,5

e мм

7+2

8+2

9+2

11+2

12+3

13+3

16+4

18+4

21+4

23+6

26+6

28+6

g мм

СТЫКОВОЕ СОЕДИНЕНИЕ ТРУБЫ С ТРУБОЙ ИЛИ С АРМАТУРОЙ, ОДНОСТОРОННИМ ШВОМ СО СКОСОМ КРОМОК НА СЪЕМНОЙ ПОДКЛАДКЕ

Ручная дуговая сварка (Р) и дуговая сварка в защитном газе плавящимся электродом (ЗП) допускается при толщине стенки трубы 2 - 40 мм и минимальном наружном диаметре трубы 25 мм.

Дуговая сварка под флюсом допускается при толщине стенки трубы 6 - 40 мм и минимальном наружном диаметре трубы 377 мм.

S = S1, мм

2

3 - 4

5

6 - 8

9 - 10

12

14

16

18

20

25 - 30

35 - 40

b мм

2+1,0

4+1,0

6±1,0

e мм

7+2

8+2

10+2

13+3

15+3

18+3

22+4

24+4

26+5

29+5

39+7

50+7

g мм

Газовая сварка ацетиленом допускается для газопроводов условным диаметром не более 150 мм с толщиной стенок до 5 мм включительно со скосом кромок, с толщиной стенок до 3 мм включительно - без скоса кромок. Газовую сварку следует производить в один слой.

Газовая сварка с применением пропан-бутановой смеси допускается только для газопроводов давлением до 0,005 МПа (0,05 кгс/см2) включительно условным диаметром не более 150 мм с толщиной стенок до 5 мм включительно.

Стыки газопроводов диаметром 920 мм и более, свариваемые без остающегося кольца, должны быть выполнены с подваркой корня шва внутри трубы.

Автоматическую дуговую сварку под флюсом следует выполнять по первому слою, сваренному ручной дуговой сваркой (теми же электродами, которыми прихватывались стыки), или полуавтоматической (автоматической) сваркой в среде углекислого газа.

Длина ввариваемой в линейную часть подземного газопровода монтажной «катушки» должна быть не менее 200 мм.

Сборку под сварку труб с односторонним продольным или спиральным швом следует производить со смещением швов в местах стыковки труб не менее чем на, мм:

15 - для труб диаметром до 50 мм;

50 - для труб диаметром от 50 до 100 мм;

100 - для труб диаметром свыше 100 мм.

При сборке под сварку труб, у которых заводские швы (продольный и спиральный) сварены с двух сторон, допускается не производить смещение швов при условии проверки места пересечения швов физическими методами.

Для соединения труб следует применять дуговую (ручную, автоматическую под флюсом) и газовую сварку, стыковую контактную сварку оплавлением и пайку газопроводов.

Типы, конструктивные элементы и размеры сварных соединений стальных газопроводов должны соответствовать ГОСТ 16037-80* и требованиям СНиП 3.05.02-88*. Для подземных газопроводов следует применять только стыковые и угловые соединения.

СТЫКОВОЕ СОЕДИНЕНИЕ ТРУБЫ С ТРУБОЙ ИЛИ С АРМАТУРОЙ ОДНОСТОРОННИМ ШВОМ СО СКОСОМ КРОМОК НА ОСТАЮЩЕЙСЯ ЦИЛИНДРИЧЕСКОЙ ПОДКЛАДКЕ

Ручная дуговая сварка (Р) и дуговая сварка в защитном газе плавящимся электродом (ЗП) допускается при толщине стенки трубы 2 - 20 мм и минимальном наружном диаметре трубы 25 мм.

S = S1, мм

2

3

4

5

6

7

8

10

12

14

16

18

20

b мм

2+1,0

5±1,0

e мм

7+2

8+2

9+2

10+2

12+3

13+4

14+4

16+5

18+5

23+6

25+8

27+8

30+8

g мм

СТЫКОВОЕ СОЕДИНЕНИЕ СЕКТОРОВ (ОТВОДОВ) ДВУСТОРОННИМ ШВОМ СО СКОСОМ КРОМОК

Ручная дуговая сварка (Р) и дуговая сварка в защитном газе плавящимся электродом (ЗП) допускается при толщине стенки трубы 3 - 25 мм и минимальном диаметре трубы 108 мм.

S = S1, мм

3

4

5

6

7

8

10

12

14

16

18

20

22

24

25

b, мм

е, мм

8+2

9+2

10+2

12+3

13+4

14+4

16+4

18+5

20+5

22+5

24+6

26+6

28+6

30+7

32+7

g, мм

Конструктивные размеры разделки кромок при соединении труб и деталей одинакового наружного диаметра с разной толщиной стенок должны соответствовать требованиям СНиП III-42-80.

Допускаемое смещение кромок свариваемых труб не должно превышать величины 0,15S + 0,5 мм, где S - наименьшая из толщин стенок свариваемых труб, мм.

Стыковую контактную сварку оплавлением и пайку газопроводов, а также контроль качества этих работ следует производить в соответствии с требованиями ВСН 006-89 (Дополнение 1) Миннефтегазстроя.

Приварка патрубков ответвлений в местах расположения поперечных (кольцевых) сварных швов основного газопровода не допускается. Расстояние между поперечным швом газопровода и швом приварки к нему патрубка должно быть не менее 100 мм.

На внутренних газопроводах, а также в ГРП и ГРУ при врезках ответвлений диаметром до 50 мм (в том числе импульсных линий) расстояние от швов ввариваемых штуцеров до кольцевых швов основного газопровода должно быть не менее 50 мм.

При вварке в газопровод фасонных частей, узлов, арматуры и прочих устройств должна быть обеспечена соосность ввариваемых элементов с газопроводом. Перекосы в горизонтальной и вертикальной плоскостях не допускаются.

Расстояния от сварных поперечных стыков подземных газопроводов до стенок пересекаемых подземных инженерных коммуникаций и других сооружений должны быть (в плане) не менее 1 м. При прокладке газопровода в футляре расстояние от сварного шва до концов футляра должно быть не менее 300 мм.

СТЫКОВОЕ СОЕДИНЕНИЕ СЕКТОРОВ КОЛЕН (ОТВОДОВ) ОДНОСТОРОННИМ ШВОМ СО СКОСОМ КРОМОК НА СЪЕМНОЙ ПОДКЛАДКЕ

Ручная дуговая сварка (Р) и дуговая сварка в защитном газе плавящимся электродом (ЗП) допускается при толщине стенки трубы 3 - 25 мм и минимальном диаметре трубы 108 мм.

S = S1, мм

3

4

5

6

7

8

10

12

14

16

18

20

22

24

25

b мм

2+1,0

е мм

8+2

9+2

10+2

12+3

13+5

14+5

16+6

18+6

21+6

23+7

25+7

28+7

31+7

33+7

35+7

g мм

УГЛОВОЕ СОЕДИНЕНИЕ ФЛАНЦА ИЛИ КОЛЬЦА С ТРУБОЙ ДВУСТОРОННИМ ШВОМ БЕЗ СКОСА КРОМОК

Ручная дуговая сварка (Р) и дуговая сварка в защитном газе плавящимся электродом (ЗП) допускается при толщине стенок трубы 2 - 15 мм и минимальном наружном диаметре трубы 14 мм.

b - не более 0,5 мм при Dн до 45 мм вкл.                             К = S+1

- не более 1,0 мм при Dн св. 45 до 194 мм вкл.                K1 = S при S до 3 вкл.

- не более 1,5 мм при Dн св. 194 мм.                                    = 3 при S св. 3

Изоляцию от коррозии участков сварных соединений следует выполнять защитными покрытиями в соответствии с проектом.

Перед нанесением покрытия изолируемый участок газопровода должен быть очищен от снега, наледи, пыли, земли, продуктов коррозии, копоти, пятен жира и, при необходимости, высушен. Качество очистки сварочных стыков должно соответствовать степени 4 по ГОСТ 9.402-80*.

Битумные мастики, используемые при проведении изоляционных работ на трассе, должны быть заводского изготовления (ЦЗЗ, ЦЗМ).

Контроль качества

Операционный контроль в процессе сборки и сварки газопроводов следует производить в соответствии с требованиями проекта, СНиП 3.01.01-85*, СНиП 3.05.02-88*, ППР, технологических карт и схем операционного контроля качества.

При операционном контроле следует проверять соответствие нормативным требованиям: подготовки труб, их очистки, правки концов; конструктивных элементов и размеров сварных швов; числа, размеров и расположения прихваток; порядка наложения отдельных слоев шва, размеров и формы слоев шва.

Стыки, сваренные дуговой или газовой сваркой, по результатам внешнего осмотра должны удовлетворять, кроме вышеприведенных, следующим требованиям:

- швы и прилегающие к ним поверхности труб на расстоянии не менее 20 мм (по обе стороны шва) должны быть очищены от шлака, брызг расплавленного металла, окалины и других загрязнений;

- швы не должны иметь трещин, прожогов, незаваренных кратеров, выходящих на поверхность пор, а также подрезов глубиной более 5 % толщины стенки труб (более 0,5 мм) и длиной более 1/3 периметра стыка (более 150 мм).

УГЛОВОЕ СОЕДИНЕНИЕ ОТРОСТКА, ОТВЕТВИТЕЛЬНОГО ШТУЦЕРА ИЛИ ПРИВАРЫША С ТРУБОЙ ОДНОСТОРОННИМ ШВОМ БЕЗ СКОСА КРОМОК

Ручная дуговая сварка (Р) и дуговая сварка в защитном газе плавящимся электродом (ЗП) допускается при толщине стенки трубы 2 - 20 мм и минимальном наружном диаметре трубы 14 мм (ЗП) и 25 мм (Р). Газовая сварка допускается при толщине стенок труб 1 - 7 мм и наружном диаметре труб 14 - 150 мм. Соединение применяется при отношении наружного диаметра ответвления к наружному диаметру трубы не более 0,5

b - не более 1 мм для газовой сварки;

- не более 2 мм для Р и ЗП.

К = 1,3 толщины более тонкой детали

УГЛОВОЕ СОЕДИНЕНИЕ ОТРОСТКА, ОТВЕТВИТЕЛЬНОГО ШТУЦЕРА ИЛИ ПРИВАРЫША С ТРУБОЙ ОДНОСТОРОННИМ ШВОМ БЕЗ СКОСА КРОМОК

Ручная дуговая сварка (Р) и дуговая сварка в защитном газе плавящимся электродом (ЗП) допускается при толщине стенки трубы 2 - 25 мм (Р) и (ЗП) и минимальном наружном диаметре трубы 25 мм (Р) и 14 мм (ЗП).

Газовая сварка (Г) допускается при толщине стенки трубы 1 - 7 мм и наружном диаметре труб 14 - 150 мм.

Соединение применяется при отношении наружного диаметра ответвления к наружному диаметру трубы более 0,5.

b - не более 1 мм для газовой сварки;

- не более 2 мм для Р и ЗП

К = 1,3 толщины более тонкой детали

Угловое соединение У17 применяется при отношении наружного диаметра ответвления к наружному диаметру трубы не более 0,5, а У18 - более 0,5.

Из общего числа сваренных стыков следует отбирать стыки для проверки их физическими методами или механическими испытаниями.

Стыки для механических испытаний следует вырезать в период производства работ с целью исключения врезки (вварки) «катушек». Допускается стыки для механических испытаний сваривать из отрезков труб в условиях сооружаемого объекта.

Контролю физическими методами следует подвергать:

допускные стыки - радиографическим методом;

отобранные для контроля по нормам нижеследующей таблицы стыки наружных газопроводов - радиографическим и ультразвуковым методами.

Контроль стыков радиографическим методом следует производить по ГОСТ 7512-82*, ультразвуковым - по ГОСТ 14782-86.

Применение ультразвукового метода допускается только при условии проведения выборочной дублирующей проверки стыков радиографическим методом в объеме не менее 10 % числа стыков, отобранных для контроля. При получении неудовлетворительных результатов радиографического контроля хотя бы на одном стыке, объем этого контроля следует увеличить до 50 %. В случае выявления при этом дефектных стыков все стыки, сваренные сварщиком на объекте в течение календарного месяца и проверенные ультразвуковым методом, должны быть подвергнуты радиографическому контролю.

По результатам проверки радиографическим методом стыки следует браковать при наличии следующих дефектов:

- трещин, прожогов, незаваренных кратеров;

- непровара по разделке шва;

- непровара в корне шва и между валиками свыше 25 мм на каждые 300 мм длины сварного соединения или свыше 10 % периметра при длине сварного соединения менее 300 мм:

Газопроводы

Число стыков, %, подлежащих контролю от общего числа стыков, сваренных каждым сварщиком на объекте

1. Надземные и внутренние газопроводы природного газа и СУГ диаметром менее 50 мм всех давлений; надземные и внутренние газопроводы природного газа (включая ГРП, ГРУ) диаметром 50 мм и более, давлением до 0,005 МПа (0,05 кгс/см2) включ.

Не подлежат контролю

2. Наружные и внутренние газопроводы СУГ всех давлений (за исключением указанных в поз. 1)

100

3. Наружные надземные и внутренние газопроводы природного газа давлением св. 0,005 до 1,2 МПа (св. 0,05 до 12 кгс/см2) включ.

5, но не менее одного стыка

4. Подземные газопроводы природного газа давлением:

до 0,006 МПа (0,06 кгс/см2) включ. (за исключением указанных в поз. 12);

10, но не менее одного стыка

св. 0,005 до 0,3 МПа (св. 0,05 до 3 кгс/см2) включ. (за исключением указанных в поз. 13);

50, но не менее одного стыка

св. 0,3 до 1,2 МПа (св. 3 до 12 кгс/см2) включ. (за исключением указанных в поз. 13)

100

5. Подземные газопроводы всех давлений, прокладываемые под проезжей частью улиц с усовершенствованными капитальными покрытиями (цементно-бетонные и железобетонные, асфальто-бетонные на прочных основаниях, мозаиковые на бетонных и каменных основаниях, брусчатые мостовые на основаниях, укрепленных вяжущими материалами), а также на переходах через водные преграды и во всех случаях прокладки газопроводов в футлярах (в пределах перехода и на расстоянии не менее 5 м в обе стороны от края пересекаемого сооружения, а для железных дорог общей сети - не менее 50 м в обе стороны от края земляного полотна)

100

6. Подземные газопроводы всех давлений при пересечении коммуникационных коллекторов, каналов, тоннелей (в пределах пересечений и на расстоянии не менее 5 м в обе стороны от наружных стенок пересекаемых сооружений)

100

7. Надземные газопроводы всех давлений, подвешенные к мостам и - в пределах переходов через естественные преграды

100

8. Газопроводы всех давлений, прокладываемые во внутриквартальных коммуникационных коллекторах

100

9. Подземные газопроводы всех давлений, прокладываемые в районах с сейсмичностью св. 7 баллов и на подрабатываемых территориях

100

10. Подземные газопроводы всех давлений, прокладываемые на расстоянии менее 3 м от коммуникационных коллекторов и каналов (в том числе каналов тепловой сети)

100

11. Подземные вводы на расстоянии от фундаментов зданий: до 2 м - для газопроводов давлением до 0,005 МПа (0,05 кгс/см2);

100

до 4 м - давлением св. 0,005 до 0,3 МПа (св. 0,05 до 3 кгс/см2) включ.

 

до 6 м - давлением св. 0,3 до 0,6 МПа (св. 3 до 6 кгс/см2) включ.

 

до 10 м - давлением св. 0,6 до 1,2 МПа (св. 6 до 12 кгс/см2).

 

12. Подземные газопроводы природного газа давлением до 0,005 МПа (0,05 кгс/см2) включ., прокладываемые в сильно- и средне-пучинистых и просадочных грунтах, а также на расстоянии менее 4 м от общественных зданий с массовым скоплением людей и жилых зданий высотой св. 5 этажей

25, но не менее одного стыка

13. Подземные газопроводы природного газа давлением св. 0,005 до 1,2 МПа (св. 0,05 до 12 кгс/см2) включ., прокладываемые вне населенных пунктов за пределами черты их перспективной застройки

20, но не менее одного стыка

Примечания:

1. Для проверки следует отбирать сварные стыки, имеющие худший внешний вид.

2. Нормы контроля по поз. 3 не распространяются на газопроводы, указанные в поз. 7 и 8; по поз. 4, 12 и 13 - на указанные в поз. 5 и 6; по поз. 13 - на указанные в поз. 9.

3. Нормы контроля не распространяются на угловые соединения труб газопроводов условным диаметром до 500 мм включ. и швы приварки к газопроводу фланцев и плоских заглушек.

4. Нормы контроля стыков подземных газопроводов распространяются на наземные газопроводы.

5. Сварные стыки соединительных деталей газопроводов, изготовленные в условиях ЦЗЗ или ЦЗМ, подлежат контролю радиографическим методом.

- непровара в корне шва в стыках газопроводов диаметром 920 мм и более, выполненных с внутренней подваркой;

- непровара в корне шва в сварных соединениях, выполненных с подкладным кольцом;

- если размеры дефектов стыков (пор, шлаковых и других включений) превышают установленные для класса 6 по ГОСТ 23055-78* «Контроль неразрушающий. Сварка металлов плавлением. Классификация сварных соединений по результатам радиографического контроля».

Результаты проверки стыков радиографическим методом следует оформлять протоколом по приведенной ниже форме.

Лаборатория___________________________________________________________

(наименование строительно-монтажной организации)

ПРОТОКОЛ

проверки сварных стыков газопровода

радиографическим методом

№ _________ «___»_____________19____ г.

Произведена проверка сварных стыков газопровода __________давления, строящегося по адресу___________________________________________________________________

(улица, привязки начального и конечного пикетов)

Газопровод сварен _________________сваркой из труб наружным диаметром

(вид сварки) мм, толщиной стенки _____________ мм.

Результаты проверки

Номер стыка по сварочной схеме

Ф. И. О. сварщика

Номер (клеймо) сварщика

Номер снимка

Размер снимка

Чувствительность контроля, мм

Обнаруженные дефекты

Оценка стыка (годен, не годен)

 

 

 

 

 

 

 

 

Начальник лаборатории_______________________________________________________

(подпись, инициалы, фамилия)

Дефектоскопист_____________________________________________________________

(подпись, инициалы, фамилия)

По результатам ультразвукового контроля стыки следует браковать при наличии дефектов, площадь которых превышает указанную в ВСН 012-88 Миннефтегазстроя или площадь отверстия в стандартных образцах предприятия, прилагаемых к ультразвуковому аппарату, а также при наличии дефектов протяженностью более 25 мм на 300 мм длины сварного соединения или на 10 % периметра при длине сварного соединения менее 300 мм.

Результаты проверки стыков ультразвуковым методом следует оформлять протоколом по приведенной ниже форме.

Лаборатория___________________________________________________________

(наименование строительно-монтажной организации)

ПРОТОКОЛ

проверки сварных стыков газопровода ультразвуковым методом

№ _____________ «____» ____________ 19_____ г.

Произведена проверка сварных стыков газопровода _________давления, строящегося по адресу___________________________________________________________________

(улица, привязки начального и конечного пикетов)

Газопровод сварен _______________сваркой из труб наружным диаметром

(вид сварки)

 ___________мм, толщиной стенки ___________мм.

Контроль качества сварных соединений выполнен ультразвуковым дефектоскопом типа _________, рабочая частота __________МГц.

Результаты проверки

Номер стыка по сварочной схеме

Ф. И. О. сварщика

Номер (клеймо) сварщика

Угол ввода луча, град.

Браковочная чувствительность

Описание дефектов

Оценка стыка (годен, не годен)

 

 

 

 

 

 

 

Начальник лаборатории____________________________________________________

(подпись, инициалы, фамилия)

Дефектоскопист___________________________________________________________

(подпись, инициалы, фамилия)

Исправление дефектов шва, выполненного газовой сваркой запрещается.

Исправление дефектов шва, выполненного дуговой сваркой, допускается производить путем удаления дефектной части шва и заварки ее заново с последующей проверкой всего сварного стыка радиографическим методом. Превышение высоты усиления сварного шва относительно размеров, установленных ГОСТ 16037-80*, допускается устранять механической обработкой. Подрезы следует исправлять наплавкой ниточных валиков высотой не более 2-3 мм, при этом высота ниточного валика не должна превышать высоту шва, Исправление дефектов подчеканкой и повторный ремонт стыков запрещается.

Механическим испытаниям следует подвергать:

- допускные стыки;

- стыки подземных газопроводов всех давлений, сваренных газовой сваркой.

Число стыков, отбираемых для механических испытаний, должно составлять 0,5 % общего числа стыков, сваренных каждым сварщиком в течение календарного месяца при сооружении объектов или производстве трубных заготовок в ЦЗМ и ЦЗЗ, но не менее двух - для труб диаметром до 50 мм включ., одного - для труб условным диаметром свыше 50 мм.

Для определения механических свойств стыков, сваренных дуговой или газовой сваркой, следует производить следующие виды механических испытаний:

- испытание на статическое растяжение;

- испытание на статический изгиб или сплющивание.

Для механических испытаний сварных стыков газопроводов условным диаметром свыше 50 мм из каждого отобранного для контроля стыка должны вырезаться три образца с неснятым усилением для испытания на растяжение и три образца со снятым усилением для испытания на изгиб. Образцы следует вырезать из участков сварного стыка, распределенных равномерно по периметру. Изготовление образцов должно производиться по ГОСТ 6996-66* «Сварные соединения. Методы определения механических свойств».

Результаты испытаний сварного стыка на растяжение и изгиб следует определять как среднее арифметическое результатов соответствующих видов испытаний образцов данного стыка.

Результаты механических испытаний сварного стыка считаются неудовлетворительными, если:

- средняя арифметическая величина предела прочности при испытании на растяжение менее нижнего предела прочности основного металла труб, установленного ГОСТ (ТУ);

- средняя арифметическая величина угла изгиба при испытании на изгиб менее 120° для дуговой сварки, менее 100° - для газовой сварки;

- результат испытаний хотя бы одного из трех образцов по одному из видов испытаний на 10 % ниже требуемой величины показателя по этому виду испытаний (предела прочности или угла изгиба).

Механические испытания сварных стыков труб условным диаметром до 50 мм включительно должны производиться на целых стыках на растяжение и сплющивание. Для труб этих диаметров половина отобранных для контроля стыков (с неснятым усилением) следует испытывать на растяжение и половину (со снятым усилением) - на сплющивание.

Результаты механических испытаний сварного стыка считаются неудовлетворительными, если:

- величина предела прочности при испытании стыка на растяжение менее нижнего предела прочности основного металла труб, установленного ГОСТ (ТУ);

- величина просвета между сжимающими поверхностями пресса при появлении первой трещины на сварном шве при испытании стыка на сплющивание свыше 5S, где S - толщина стенки трубы.

Результаты механических испытаний сварных стыков следует оформлять по приведенной ниже форме.

При неудовлетворительных результатах проверки стыков физическими методами или механическими испытаниями необходимо провести проверку удвоенного числа стыков.

Проверку удвоенного числа стыков физическими методами следует производить на участках, которые к моменту обнаружения брака не были приняты по результатам этого вида контроля. Если при повторной проверке физическими методами хотя бы один из проверяемых стыков окажется неудовлетворительного качества, то все стыки, сваренные данным сварщиком на объекте в течение календарного месяца, должны быть проверены радиографическим методом контроля.

Проверка удвоенного числа стыков механическими испытаниями должна производиться по виду испытаний, давшему неудовлетворительные результаты. В случае получения при повторной проверке неудовлетворительных результатов хотя бы на одном стыке, все стыки, сваренные данным сварщиком в течение календарного месяца на данном объекте газовой сваркой должны быть удалены, а стыки, сваренные дуговой сваркой, должны быть проверены радиографическим методом контроля.

Лаборатория___________________________________________________________

(наименование строительно-монтажной организации)

ПРОТОКОЛ

механических испытаний сварных стыков

стального газопровода

№ _______________ «___» ____________19____ г.

Произведены испытания стыков стального газопровода, сваренного_______________

(вид сварки)

из труб ГОСТ (ТУ) _________________, марки стали _____________________________,

наружным диаметром __________мм, толщиной стенки ________мм сварщиком _____

 _______________________________________, имеющим номер (клеймо) __________,

(Ф. И. О.)

по адресу ___________________________________________________________в период

(улица, привязки начального и конечного пикетов)

«____» ____________19___ г.      по «___» ____________19___ г.

Результаты механических испытаний сварных стыков стального газопровода

№ № образцов

Размеры образцов

Результаты испытаний

Оценка стыка (годен, не годен)

толщина (диаметр), мм

ширина, (длина), мм

площадь поперечного сечения, мм2

на растяжение

на сплющивание

на изгиб

разрушающая нагрузка, Н (кгс)

предел прочности МПа (кгс/мм2)

место разрушения (по шву или основному металлу)

величина просвета между поверхностями пресса при появлении первой трещины, мм

угол изгиба, градус

 

 

 

 

 

 

 

 

 

 

Начальник лаборатории____________________________________________________

(подпись, инициалы, фамилия)

Дефектоскопист___________________________________________________________

(подпись, инициалы, фамилия)

Данные о сварке стыков газопровода следует оформить в строительном паспорте подземного газопровода (газового ввода) по приведенной ниже форме.

Фамилия, имя, отчество сварщика

Номер (клеймо) сварщика

Сварено стыков

Дата проведения сварочных работ

диаметр труб, мм

число шт.

 

 

 

 

 

________________________________________________________________________

(должность, подпись, инициалы, фамилия производителя работ)

В составе строительного паспорта следует оформить план (схемы) сварных стыков подземных газопроводов. Схема должна быть составлена так, чтобы местоположение каждого стыка могло быть найдено с поверхности земли. Для этого должны быть сделаны привязки к постоянным наземным объектам (зданиям, сооружениям) как самого газопровода, так и его характерных точек (концевых, поворотных и др.); должны быть нанесены расстояния между стыками, а также между стыками и характерными точками, в том числе пересекаемыми коммуникациями. Строгое соблюдение масштаба схемы - необязательно.

В разделе 2 строительного паспорта приводится перечень сертификатов и других документов, удостоверяющих качество материалов и оборудования, примененных для строительства газопровода, в том числе и сварочных материалов. Допускается прилагать (или размещать в данном разделе) извлечения из указанных документов, заверенные липом, ответственным за строительство объекта, и содержащие необходимые сведения (номер сертификата, марка (тип), ГОСТ (ТУ), размеры, номер партии, завод-изготовитель, дата выпуска, результаты испытаний).

Строительный паспорт и протоколы проверки качества сварных стыков, а также сертификаты заводов-изготовителей (их копии, извлечения из них, заверенные лицом, ответственным за строительство) входят в состав исполнительной документации, предъявляемой генеральным подрядчиком приемочной комиссии.

Прокладка наружных трубопроводов из полиэтиленовых труб

ГОСТ Р 50838-95* Трубы из полиэтилена для газопроводов

ТУ 6-19-352-87 Трубы из полиэтилена низкого давления для газопроводов.

ТУ 6-19-359-87 Детали соединительные из полиэтилена низкого давления для газопроводов.

ТУ 6-49-04719662-120-94 Трубы из полиэтилена средней плотности для газопроводов.

ТУ 2248-004-04864447-99 Трубы полиэтиленовые армированные для газопроводов.

ТУ 2248-005-40270293-97 Трубы полиэтиленовые различного назначения.

ТУ 2248-034-00203536-97 Трубы полиэтиленовые для газопроводов повышенного давления (до 1,2 МПа).

ТУ 2248-032-00203536-96 Детали соединительные из полиэтилена с удлиненными хвостовиками.

ТУ 2248-033-00203536-96 Муфты полиэтиленовые с закладными электронагревателями для газопроводов.

ТУ 2248-037-00203536-96 Отводы седловые полиэтиленовые с закладными электронагревателями

Государственные стандарты и технические условия на трубы и соединительные детали, предусмотренные проектом.

СНиП 2.04.08-87* Газоснабжение.

СНиП 3.05.02-88* Газоснабжение.

СНиП 3.01.01-85* Организация строительного производства.

СНиП 3.01.03-84 Геодезические работы в строительстве.

СНиП 3.02.01-87 Земляные сооружения, основания и фундаменты.

Правила безопасности в газовом хозяйстве.

СП 42-101-96 Проектирование и строительство газопроводов из полиэтиленовых труб диаметром до 300 мм.

Область применения полиэтиленовых труб согласно СНиП 2.04.08-87* приведена в нижеследующей таблице.

Давление газа, МПа (кг/см2)

не более

Область применения полиэтиленовых труб

Газы, допускаемые для транспортирования

0,3 (3)

Газопроводы на территории поселков и сельских населенных пунктов

Природные газы газовых и газонефтяных месторождений, не содержащие ароматических и хлорированных углеводородов, и газовоздушные смеси, не содержащие указанных углеводородов

0,6 (6)

Межпоселковые газопроводы

То же

Технические требования к размещению полиэтиленовых газопроводов

Не допускается строительство газопроводов из полиэтиленовых труб в районах с расчетной температурой ниже минус 40 °С, в сильнопучинистых грунтах, в грунтах II типа просадочности, скальных грунтах, в районах подрабатываемых и закарстованных территорий и в районах с сейсмичностью свыше 6 баллов на территориях городов и сельских поселений из труб ПЭ 63 (ПНД) мерной длины.

Допускается прокладка полиэтиленовых газопроводов на территории городов и сельских поселений, расположенных в районах с сейсмичностью свыше 6 баллов, при условии применения длинномерных труб из ПЭ 80 (ПСП), соединенных муфтами с закладными нагревателями.

Строительство газопроводов из полиэтиленовых труб не допускается надземно, наземно, внутри зданий, а также в тоннелях, коллекторах и каналах.

Полиэтиленовые трубы могут предусматриваться для строительства газопроводов в сильнопучинистых грунтах при условии прокладки их ниже зоны сезонного промерзания грунта, а также в грунтах II типа просадочности при прокладке их вне территории населенных пунктов, где исключается возможность замачивания основания трубопровода, в том числе от подземных вод в течение всего срока его эксплуатации, и в скальных грунтах при устройстве под газопровод основания толщиной не менее 10 см из песчаного грунта или другого грунта, не содержащего крупных включений, и засыпке таким же грунтом на высоту не менее 20 см.

В газопроводах высокого давления, подводящих газ к населенному пункту, использование полиэтиленовых труб должно заканчиваться не менее, чем за 50 м до жилой застройки.

Максимальный уклон газопроводов из полиэтиленовых труб не должен превышать 1:2. Если уклон превышает 1:2, следует проводить планировку трассы до указанного значения или соответствующее заглубление газопровода, обеспечивающее допустимый уклон.

Для газопроводов, прокладываемых на сезонно подтопляемых территориях и на местности с уклоном свыше 1:5 и подверженной эрозии, следует предусматривать проектные решения по предотвращению размыва траншеи (водоотведение, одерновка, каменная наброска, геотекстиль и т.д.).

Глубина заложения полиэтиленовых газопроводов должна быть не менее 1 м до верха трубы.

Переходы газопроводов под железнодорожными и трамвайными путями, автомобильными дорогами I и II категорий, переходы через реки, болота и другие водные преграды следует предусматривать из стальных труб.

При пересечении автомобильных дорог, не перечисленных выше, подземных коллекторов и каналов, силовых и телефонных кабелей, водостока, водопровода, канализации, тепловых сетей, а также в местах прохода газопровода через стенки колодцев полиэтиленовые газопроводы должны заключаться в футляры из металлических труб. Внутренний диаметр футляра должен быть не менее чем на 100 мм больше наружного диаметра газопровода. Концы футляра должны выходить не менее чем на 2 м от наружных стенок пересекаемых сооружений и на 2 см от наружных стенок колодцев.

Расстояния по вертикали в свету при пересечении полиэтиленовых газопроводов всех давлений с подземными сооружениями должны быть не менее указанных в нижеприведенной таблице.

Сооружения и коммуникации

Расстояния по вертикали в свету при пересечении полиэтиленового газопровода с сооружениями и коммуникациями от наружной стенки трубы или футляра, м

Водопровод, канализация, водосток, телефонная канализация, тепловые сети

0,2

Бесканальная тепловая сеть

0,5

Силовой кабель, телефонный бронированный кабель

0,5

Электрокабель маслонаполненный 110 - 220 кВ

1,0

Газопроводы давлением до 0,6 МПа

0,5

Каналы, тоннели

0,5

Минимальные расстояния по горизонтали в свету между полиэтиленовыми газопроводами и другими подземными сооружениями и зданиями следует принимать по нижеприведенной таблице (как для стальных газопроводов согласно требованиям СНиП 2.07.01-89 «Градостроительство. Планировка и застройка городских и сельских поселений» и СНиП 2.04.08-87* «Газоснабжение»).

Для случаев, приведенных в СНиП 2.07.01-89, допускается уменьшать до 50 % эти расстояния при условии, что на участках сближения по 5 м для газопроводов среднего давления и по 2 м для газопроводов низкого давления в каждую сторону от них будет выполнено одно из следующих требований:

применение длиномерных труб без соединений;

использование труб мерной длины, соединенных муфтами с закладными нагревателями;

прокладка труб мерной длины в стальном футляре;

замена на стальные трубы, соответствующие требованиям СНиП 2.04.08-87*.

Допускается прокладка газопроводов вдоль края земляного полотна внутрипоселковых автодорог (прокладка на глубине не менее 1,5 м от верха трубы) при согласовании с органами Госгортехнадзора.

Сооружения и коммуникации

Расстояния по горизонтали до подземных полиэтиленовых газопроводов, м, при давлении, МПа

до 0,005

от 0,005 до 0,3

от 0,3 до 0,6

Водопровод

1,0

1,0

1,5

Канализация бытовая

1,0

1,5

2,0

Водосток, дренажи и дождевая канализация

1,0

1,5

2,0

Канал теплосети

1,0

2,0

2,0

Бесканальная тепловая сеть

1,0

1,0

1,5

Газопроводы давлением до 0,6 МПа

0,5

0,5

0,5

Электрокабель, телефонный бронированный кабель

1,0

1,0

1,0

Электрокабель маслонаполненный 110 - 220 кВ

1,0

1,0

1,0

Каналы, тоннели

2,0

2,0

2,0

Фундаменты зданий и сооружений, путепроводов и тоннелей

2,0

4,0

7,0

Ограждения опор контактной сети и связи

1,0

1,0

1,0

Ось крайнего пути железной дороги колеи 1520 мм

3,8

4,8

7,8

Ось крайнего пути железных дорог колеи 750 мм и трамвая

2,8

3,8

3,8

Бортовой камень улицы, дороги

1,5

1,5

2,5

Наружная бровка кювета или подошва насыпи дороги (улицы)

1,0

1,0

1,0

Фундаменты опор воздушных линий электропередачи напряжением:

 

 

 

до 1 кВ и выше

1,0

1,0

1,0

св. 1 до 35 кВ

5,0

5,0

5,0

св. 35 до 110 и выше

10,0

10,0

10,5

Ось ствола дерева

1,5

1,5

1,5

Проектное решение относительно пересечения полиэтиленового газопровода с каналом теплосети в каждом конкретном случае должно приниматься с учетом возможности расположения газопровода выше или ниже канала.

Допускается для присоединения полиэтиленовых труб к стальным осуществлять выход полиэтиленовых труб из земли на высоту не более 0,8 м с устройством защитного металлического футляра. Эксплуатация цокольных вводов и надземных выходов может производиться при температуре не ниже минус 40 °С.

Допускается прокладка в одной траншее двух и более полиэтиленовых газопроводов, а также полиэтиленового и стального, при этом расстояние между газопроводами следует принимать из условия возможности производства работ по монтажу и ремонту газопроводов.

Совместная прокладка газопроводов с кабельными линиями не допускается.

При проектировании и строительстве подземных газопроводов давлений до 0,6 МПа следует применять следующие трубы и соединительные детали и варианты их сочетания:

вариант 1: трубы из полиэтилена низкого давления ПЭ 63 (ПНД) диаметром от до 225 мм, выпускаемые по ГОСТ Р 50838-95* или ТУ 6-19-352-87; детали соединительные из ПЭ 63 (ПНД) (втулки под фланцы, отводы, тройники, переходы) диаметром от 63 до 225 мм, выпускаемые по ТУ 6-19-359-87;

вариант 2: трубы из полиэтилена средней плотности ПЭ 80 (ПСП) диаметром от 20 до 225 мм, выпускаемые по ГОСТ Р 50838-95* или ТУ 6-49-04719662-120-94;

детали соединительные из ПЭ 80 (ПСП) диаметром от 20 до 225 мм зарубежного производства (до разработки отечественного стандарта на детали соединительные из ПЭ 80 (ПСП) и постановки их на производство).

Возможно применение труб и соединительных деталей из ПЭ 63 (ПНД) или ПЭ 80 (ПСП) зарубежного производства при наличии (у изготовителя или заказчика) разрешения Госгортехнадзора России на применение данной продукции (согласно РД 08-59-94 Госгортехнадзора России).

Для газопроводов низкого (до 0,005 МПа) и среднего (от 0,005 до 0,3 МПа) давлений следует применять трубы и соединительные детали:

по ТУ 6-19-352-87 и ТУ 6-19-359-87 типа «С» (средний) или «Т» (тяжелый);

Технические требования к трубам и соединительным деталям

ГОСТ Р 50838-95* Трубы из полиэтилена для газопроводов.

Данный стандарт распространяется на напорные трубы из полиэтилена для подземных газопроводов, транспортирующих горючие газы, предназначенные в качестве сырья и топлива для промышленного и коммунально-бытового использования.

Размеры труб (мм) соответствуют указанным в нижеследующей таблице.

Наружный диаметр мм

SDR 17,6

SDR 11

Овальность, мм не более труб

 

Толщина стенки, мм

в отрезках

в бухтах, катушках для SDR

 

Номинальный

Пред. откл.

Номинальная

Пред. откл.

Номинальная

Пред. откл.

17,6

11

 

20

+0,3

-

-

3,0

+0,4

0,5

-

1,2

 

25

+0,3

-

-

3,0

+0,4

0,6

-

1,5

 

32

+0,3

-

-

3,0

+0,4

0

-

2,0

 

40

+0,4

-

-

3,7

+0,5

1,0

-

2,4

 

50

+0,4

-

-

4,6

+0,6

1,2

-

3,0

 

63

+0,4

-

-

5,8

+0,7

1,5

-

3,8

 

75

+0,5

4,3

+0,6

6,8

+0,8

1,6

11,3

4,5

 

90

+0,6

5,2

+0,7

8,2

+1,0

1,8

13,5

5,4

 

110

+0,7

6,3

+0,8

10,0

+1,1

24

16,5

6,6

 

125

+0,8

7,1

+0,9

11,4

+1,3

2,5

18,8

7,5

 

140

+0,9

8,0

+0,9

12,7

+1,4

2,8

21,0

8,4

 

160

+1,0

9,1

+1,1

14,6

+1,6

3,2

24,0

9,6

 

180

+1,1

10,3

+1,2

16,4

+1,8

3,6

27,0

10,8

 

200

+1,2

11,4

+1,3

18,2

+2,0

4,0

-

-

 

225

+1,4

12,8

+1,4

20,5

+2,2

4,5

-

-

 

Примечание. Номинальный наружный диаметр соответствует минимальному среднему наружному диаметру.

 

Трубы изготовляют в прямых отрезках, бухтах и на катушках, а трубы диаметром 200 и 225 мм выпускают только в прямых отрезках. Длина труб в прямых отрезках должна быть от 5 до 24 м с кратностью 0,5 м, предельное отклонение длины от номинальной - не более 1 %. Допускается в партии труб в отрезках до 5 % труб длиной менее 5 м, но не менее 3 м.

Предельные отклонения длины труб, изготовляемых в бухтах и на катушках, не более 3 % для труб длиной менее 500 м и не более 1,5 % для труб длиной 500 м и более.

Допускается по согласованию с потребителем изготовление труб другой длины и предельных отклонений.

Условное обозначение труб состоит из слова «труба», сокращенного наименования материала (ПЭ 63, ПЭ 80, ПЭ 100, где цифры обозначают десятикратное значение MRS - минимальной длительной прочности, МПа), слова «ГАЗ», стандартного размерного отношения SDR, тире, номинального диаметра, толщины стенки трубы и обозначения данного стандарта.

Пример условного обозначения трубы из полиэтилена ПЭ 63, SDR 11 номинальным диаметром 110 мм с предельными отклонениями +0,7 мм и номинальной толщиной стенки 10 мм:

Труба ПЭ 63 ГАЗ SDR 11 - 110´10 ГОСТ Р 50838-95

Трубы должны иметь гладкие наружную и внутреннюю поверхности. Допускаются незначительные продольные полосы и волнистость, не выводящие толщину стенки трубы за пределы допускаемых отклонений. На наружной, внутренней и торцовой поверхностях труб не допускаются пузыри, трещины, раковины, посторонние включения.

Цвет труб - желтый или черный с желтыми продольными маркировочными полосами в количестве не менее трех, равномерно распределенными по окружности трубы. Допускается по согласованию с потребителем изготовление труб без желтых полос.

Внешний вид поверхности труб и торцов должен соответствовать контрольному образцу.

Маркировку наносят на поверхность трубы нагретым металлическим инструментом или другим способом, не ухудшающим качество трубы, с интервалом не более 1,0 м. Маркировка должна включать товарный знак предприятия и условное обозначение трубы без слова «труба», дату изготовления (месяц, две последние цифры года). В маркировку допускается включать другую информацию, например, номер партии, линии.

Глубина клеймения не более 0,3 мм для труб номинальной толщиной стенки до 6,8 мм включительно и не более 0,7 мм для труб номинальной толщиной стенки более 6,8 мм.

Бухты, катушки, пакеты или блок-пакеты снабжают ярлыком с нанесением транспортной маркировки по ГОСТ 14192-96.

Трубы, выпускаемые в отрезках, связывают в пакеты массой до 3 т.

По согласованию с потребителем из пакетов допускается формировать блок-пакеты массой до 5 т.

Внутренний диаметр бухты должен быть не менее 20 наружных диаметров трубы.

Пакеты труб скрепляют не менее чем в двух местах на расстоянии 2 - 2,5 м, а пакеты труб, предназначенных для районов Крайнего Севера и труднодоступных районов - на расстоянии 1 ¸ 1,5 м. Бухты скрепляют не менее чем в шести местах.

При упаковке труб в бухты и на катушки концы труб должны быть жестко закреплены.

Документ о качестве труб должен содержать:

наименование и (или) товарный знак предприятия-изготовителя;

номер партии и дату изготовления;

условное обозначение трубы;

размер партии в метрах;

марку сырья;

результаты испытаний или подтверждение о соответствии качества требованиям данного стандарта;

условия и сроки хранения.

Высота штабеля труб в отрезках и бухтах при хранении свыше двух месяцев не должна превышать 2 м. При меньших сроках хранения высота штабеля должна быть не более 3 м для SDR 17,6 и 4 м для SDR 11.

Гарантийный срок хранения труб - два года со дня изготовления.

Рекомендуемые способы сварки труб в зависимости от их наружного диаметра указаны в нижеследующей таблице.

Номинальный наружный диаметр d, мм

Тип материала

Способ сварки

20 ¸ 225

ПЭ 63

ПЭ 80

ПЭ 100

С помощью соединительных деталей с закладными нагревателями

20 ¸ 110

ПЭ 80

Нагретым инструментом враструб

63 ¸ 225

ПЭ 63

ПЭ 80

ПЭ 100

Нагретым инструментом встык

ТУ 6-19-352-87 Трубы из полиэтилена низкого давления для газопроводов

Трубы изготовляют двух типов: С-ГАЗ и Т-ГАЗ для номинального давления транспортируемого газа, МПа, соответственно, 0,25 и 0,40 (срок службы труб при номинальном давлении и температуре 20 °С составляет 50 лет при коэффициенте запаса прочности, соответственно, 3,27 и 3,25.

Трубы типа С-ГАЗ могут быть использованы для транспортировки газа давлением 0,3 МПа, а типа Т-ГАЗ - 0,6 МПа, при этом коэффициент запаса прочности составляет, соответственно, 2,7 и 2,17.

Размеры труб и допускаемые отклонения от них не должны превышать нижеприведенных.

Средний наружный диаметр

Толщина стенки трубы типов

С-ГАЗ

Т-ГАЗ

Номинал.

Пред, откл

Номинал.

Пред. откл

Номинал.

Пред. откл.

63

+0,6

-

-

5,8

+0,8

110

+1,0

6,6

+0,9

10,0

+1,2

160

+1,5

9,5

+1,2

14,6

+1,7

225

+2,1

13,4

+1,6

20,5

+2,3

Толщина стенок, измеренная в отдельных местах, может превышать номинальную на 0,28 для труб с номинальной толщиной стенки S < 10 и на 0,15S для труб с номинальной толщиной стенки S > 10 мм. Толщина стенок ниже номинального значения не допускается.

Предельные отклонения наружного диаметра труб не должны превышать +1,1; +1,8; +2,6; +2,9 мм для труб средним наружным диаметром, соответственно, 63; 110; 160 и 225 мм.

Трубы должны изготавливаться длиной от 5,0 до 12 м с кратностью 0,5 м. Отклонения длины от номинальной должны быть не более 1 %. Трубы диаметром 63 и 110 мм большей длины могут изготавливаться в бухтах. Длина и предельные отклонения на длину труб в бухтах определяются по соглашению с заказчиком.

Трубы изготавливаются из ПНД по ТУ 6-05-1983-87 «Композиция полиэтилена низкого давления для труб и соединений деталей газораспределительных сетей».

Трубы должны иметь гладкую наружную и внутреннюю поверхности. Допускаются незначительные продольные полосы и волнистость, незначительные следы от формующего инструмента, не выводящие толщину стенки трубы за пределы допускаемых отклонений. На поверхности и по торцу не допускаются пузыри.

На поверхности труб не допускаются другие отдельные дефекты по ГОСТ 24105-80 глубиной более 0,7 мм, ухудшающие эксплуатационные свойства труб.

Цвет труб должен быть черным, однородным.

В партии труб в отрезках допускается до 5 % труб длиной менее 5 м, но не менее 3 м.

Партия труб должна сопровождаться документом о качестве, который должен содержать: наименование и товарный знак предприятия-изготовителя, номер партии, условное обозначение труб, размеры партии в м, результаты испытаний или подтверждение о соответствии качества требованиям ТУ, дата выпуска партии.

Маркировка должна быть нанесена на поверхность трубы нагретым металлическим штампом или другим способом с интервалом не более 1,5 м и должна включать товарный знак предприятия и условное обозначение трубы без слова «труба», номер ТУ, месяц и год изготовления, номер партии, линии и другую информацию по усмотрению завода-изготовителя.

Трубы, выпускаемые в прямых отрезках, должны быть связаны в пакеты массой до 1 т. Из пакетов допускается формировать блок-пакеты массой до 5 т.

Внутренний диаметр бухты должен быть не менее 20 наружных диаметров трубы.

Бухты, пакеты или блок-пакеты должны быть снабжены ярлыком.

Трубы, не связанные в пакеты, допускается поставлять без ярлыков. Два ярлыка в этом случае крепятся к двум крайним увязкам.

Высота штабеля при хранении труб свыше 2-х месяцев не должна превышать 2 м. При меньших сроках хранения высота штабеля должна быть не более 4 м для труб типа С-ГАЗ и не более 5 м для труб Т-ГАЗ.

ТУ 6-19-359-87 Детали соединительные из полиэтилена низкого давления для газопроводов

Соединительные детали подразделяются на виды: втулки под фланец, переход, тройник, отвод 90° литьевой, отвод 90° гнутый.

Наружные присоединительные диаметры и толщина стенки в зоне присоединения не должны превышать нижеприведенных значений.

Средний наружный диаметр

Толщина стенки трубы типов

С-ГАЗ

Т-ГАЗ

Номинал.

Пред. откл

Номинал.

Пред. откл

Номинал.

Пред. откл.

63

+1,2

-

-

5,8

+0,8

110

+1,9

6,6

+0,9; -0,3

10,0

+1,2

160

+2,6

9,5

+1,2;-0,4

14,6

+1,7

225

+2,9

13,4

+1,6;-0,6

20,5

+2,3

Внутренние и наружные поверхности соединительных деталей не должны иметь трещин, вздутий, подгаров, раковин, включений и других повреждений, ухудшающих эксплуатационные свойства деталей. Допускаются незначительные следы от формующего инструмента, следы механической обработки и холодных стыков, выступы от удаленных литников на присоединительных поверхностях не более 0,5 мм, а на других поверхностях не более 3 мм.

Партия соединительных деталей должна сопровождаться документом, удостоверяющим их качество, который должен содержать: наименование предприятия-изготовителя и его товарный знак, условное обозначение деталей, дату выдачи документа о качестве, номер партии, размер партии, дату изготовления, результаты испытаний или подтверждение о соответствии партии деталей требованиям ТУ.

Маркировка соединительных деталей должна содержать наименование завода-изготовителя или его товарный знак и условное обозначение детали без указания её вида и слов ТУ 6-19-359-67.

Маркировка наносится в процессе изготовления деталей. Допускается нанесение маркировки нагретым металлическим штампом.

Каждое грузовое место должно снабжаться ярлыком, содержавшим следующие данные: условное обозначение детали, номер партии, количество деталей, дату выпуска, фамилию или номер упаковщика.

Соединительные детали, упакованные в тару, должны храниться в неотапливаемых складах, защищенными от прямых солнечных лучей и атмосферных осадков. Допускается хранение на стеллажах без упаковки, а также в отапливаемых помещениях на расстоянии не менее 1 м от нагревательных приборов. Условия хранения должны исключать возможность механического повреждения или деформирования деталей и загрязнения их поверхности.

Входной контроль полиэтиленовых труб и соединительных деталей

На строительной площадке в процессе входного контроля:

должны быть проверены сопроводительные документы (паспорта, технические паспорта, сертификаты или их копии, заверенные владельцем сертификата), маркировка, ярлыки с целью определения соответствия поступивших труб, соединительных деталей, арматуры и оборудования требованиям проекта;

должен быть произведен внешний осмотр труб, соединительных деталей, арматуры и оборудования, определены размеры труб и деталей с целью проверки соответствия их требованиям соответствующих нормативно-технических документов и обнаружения недопустимых дефектов на наружных и внутренних поверхностях;

при возникновении каких-либо сомнений в качестве поступивших материалов или документов должны быть вызваны представители строительной лаборатории и функциональных служб, ответственных за поставку материалов, и определена необходимость дополнительных испытаний труб или соединительных деталей.

При дополнительных испытаниях образцов рекомендуется определять величины предела текучести при растяжении и относительного удлинения при разрыве. Испытания должны выполняться лабораториями строительно-монтажных организаций или аккредитованными испытательными центрами.

Для проведения входного контроля должно быть отобрано определенное количество труб или соединительных деталей (в процентах в зависимости от диаметра):

dе 225 мм - 2 % труб или соединительных деталей от партии;

dе 160 и 110 мм - 1 % труб или соединительных деталей от партии;

dе 63 и 40 мм - 0,5 % труб или соединительных деталей от партии;

de 32 и 20 мм - 0,25 % труб или соединительных деталей от партии.

Количество труб в любом случае должно быть не менее 5 шт.

При использовании труб в бухтах для проведения входного контроля необходимо представить отрезок трубы длиной не менее 2 м, достаточный для изготовления не менее чем 25 образцов.

Внешний вид поверхности труб и деталей определяют визуально без применения увеличительных приборов. Глубину дефектов определяют с помощью индикатора часового типа с ценой деления 0,01 мм.

Размеры труб и деталей (диаметры, толщины стенок) определяют при температуре (23 ± 5) °С. Перед измерением образцы выдерживают при указанной температуре не менее 2 ч.

Измерение наружного диаметра de, труб проводят на пяти пробах в трех сечениях каждой пробы на расстоянии не менее 150 мм от торцов.

Измерение наружного диаметра присоединительных концов деталей проводят на каждом из концов не менее пяти деталей на расстоянии 5 мм от торцов.

Для труб и деталей диаметром 160 мм и менее величину de определяют как среднее арифметическое измерений максимального и минимального диаметров в двух взаимно перпендикулярных направлениях в одном сечении. Измерения проводят штангенциркулем (ГОСТ 166-89*) или микрометром (ГОСТ 6507-90*) типов МТ и МК с погрешностью 0,1 мм.

Для труб и деталей диаметром более 160 мм значение de вычисляют по формуле:

где: П - периметр (мм), измеренный рулеткой ГОСТ 7502-89* с погрешностью 0,5 мм;

Т - толщина ленты рулетки (мм), измеренная микрометром с погрешностью 0,01 мм.

Толщину стенки измеряют стенкомером индикаторным ГОСТ 11358-89* или микрометром типа МТ ГОСТ 6507-90* с погрешностью до 0,01 мм в четырех равномерно распределенных по окружности точках:

у труб - с обоих концов каждой из труб на расстоянии 10 мм от торца (не менее 5 труб);

у деталей - на каждом присоединительном конце не менее пяти деталей на расстоянии 5 мм от торца (не менее 5 деталей).

Рассчитанные средние значения de и каждый из замеров толщины стенки не должны выходить за пределы допускаемых отклонений, регламентированных соответствующими ТУ на трубы и соединительные детали.

Предел текучести при растяжении (dрт) и относительное удлинение при разрыве (Ерр) определяют для материала труб по ГОСТ 11262-80*.

Контролируемые операции

Состав и средства контроля

Документация

Подготовительные работы

Проверить:

- наличие ППР, технологических карт и схем операционного контроля качества (СОКК);

- наличие актов освидетельствования ранее выполненных земляных работ и акта приёмки траншей и котлованов (с исполнительной документацией и разрешением заказчика на укладку газопровода); наличие в натуре и неизменность положения знаков разбивочной сети трассы и наличие акта приёмки-передачи этих знаков и материалов исполнительной съёмки (при передаче работ);

ППР, технологические карты и СОКК

Акты освидетельствования скрытых работ с исполнительной документацией;

Акты приёмки

- выполнение геодезических работ по перенесению трассы газопровода в натуру;

- выполнение земляных работ по окончательной разработке траншеи (доработка недоборов);

Исполнительный чертеж

- сопроводительные документы (документы о качестве, сертификаты, технические паспорта и т.д.), маркировку, ярлыки и внешним осмотром качество поступивших труб, соединительных деталей, арматуры и других материалов и оборудования;

- выполнение работ по раскладке труб, их очистке, установке сварочного оборудования и уточнению технологических параметров сварки.

Документы о качестве

Прокладка наружных газопроводов из полиэтиленовых труб

Контролировать:

- соблюдение заданной технологии прокладки газопровода;

- укладку газопровода в проектное положение (глубину, уклон и прилегание газопровода ко дну траншеи, положение его в плане и т.д.);

Общий и специальный журналы

- соблюдение технологии сварки, внешний вид сварных швов, результаты механических испытаний сварных соединений, удаление забракованных стыков и вварку на их место «катушек»;

- наличие номера (клейма) сварщика на каждом сварном соединении.

Протокол механических испытаний работ

Приёмка

Проверить:

- соответствие фактического положения уложенного газопровода требованиям проекта;

- выполнение требований проекта и нормативных документов к качеству сварных соединений;

- надлежащее оформление исполнительной документации.

Исполнительный чертеж, акты освидетельствования скрытых работ, технический паспорт газопровода

ВХОДНОЙ И ОПЕРАЦИОННЫЙ КОНТРОЛЬ осуществляют:

прораб, геодезист, лаборант (инженер) - в процессе производства работ

ПРИЁМОЧНЫЙ КОНТРОЛЬ ОСУЩЕСТВЛЯЮТ:

прораб (мастер), геодезист, представители технадзора заказчика и газового хозяйства

КИП - нивелир, теодолит и др. геодезические приборы, лабораторные приборы и оборудование.

Для труб, поставляемых по ТУ 6-19-352-87 и ТУ 6-49-04719662-120-94, испытания проводят на образцах-лопатках типа 1 при номинальной толщине стенки труб до 6 мм, и типа 2 при номинальной толщине стенки труб свыше 6 мм.

Для труб, поставляемых по ГОСТ Р 50838-95*, испытания проводят на образцах-лопатках типа 2.

Испытания производят при температуре 23 ± 2 °С на разрывных машинах, обеспечивающих измерение нагрузки с погрешностью не более 1 % от измеряемой величины.

Скорость перемещения зажимов разрывной машины при испытании труб, поставляемых по ТУ 6-19-352-87, составляет 50 ± 5 мм/мин для образцов с номинальной толщиной стенки менее 6 мм и 25 ± 2 мм/мин для образцов с номинальной толщиной стенки 6 мм и более.

Для труб, поставляемых по ГОСТ Р 50838-95* и ТУ 6-49-04719662-94, величина скорости перемещения зажимов разрывной машины составляет 100 ± 10 мм/мин для образцов с номинальной толщиной стенки до 10 мм и 25 ± 2 мм/мин для образцов с номинальной толщиной стенки 10 мм и более.

За результат испытаний следует принимать:

среднее арифметическое значение предела текучести и минимальное значение относительного удлинения - для труб, поставляемых по ТУ 6-19-352-87;

минимальные значения предела текучести и относительного удлинения - для труб, поставляемых по ГОСТ Р 50838-95* и ТУ 6-49-04719662-120-94.

Предел текучести при растяжении должен быть не менее 15 МПа (152 кгс/см2) для труб из ПЭ 80 (ПСП) по ТУ 6-49-04719662-120-94 и не менее 19 МПа (193 кгс/см2) - для труб из ПЭ 63 (ПНД) по ТУ 6-19-352-87. Относительное удлинение для указанных материалов труб должно быть не менее 350 %.

В случае получения неудовлетворительных результатов хотя бы по одному из показателей (внешнему виду, размерам и механическим свойствам) этот показатель контролируется повторно на удвоенном количестве образцов, взятых из той же партии. В случае вторичного получения неудовлетворительных результатов производят контрольные испытания в присутствии представителя завода-изготовителя партии труб (деталей).

По результатам входного контроля составляют протокол, который входит в состав документации, предъявляемой приёмочной комиссии при сдаче газопровода в эксплуатацию.

Если истек гарантийный срок хранения труб или соединительных деталей, оговоренный в технических условиях, то заключение о пригодности труб или соединительных деталей для строительства газопровода может быть выдано либо заводом-изготовителем, либо испытательной лабораторией, аккредитованной органами Госстандарта России, после проведения комплекса испытаний, регламентированных техническими условиями на трубы или детали.

Приложение 16 (рекомендуемое) к СП 42-101-96

ПРОТОКОЛ

входного контроля полиэтиленовых труб (соединительных деталей) для газопроводов

1. Наименование объекта___________________________________________________

(область, район, населенный пункт)

2. Организация, проводившая входной контроль_______________________________

(наименование)

3. Дата___________________________________________________________________

4. Характеристика труб (деталей):

условное обозначение______________________________________________________

завод-изготовитель________________________________________________________

дата выпуска______________________________________________________________

номер сертификата _________размер партии

количество труб (деталей), отобранных для входного контроля___________________

5. Наименование нормативно-технической документации, на основании которой проведены механические испытания____________________________________________

6. Внешний вид труб (деталей)_______________________________________________

7. Результаты измерительного контроля и механических испытаний

 

№ проб труб, (деталей)

Средний наружный диаметр, мм

Толщина стенки, мм

Предел текучести при растяжении, МПа (кгс/см2)

Относительное удлинение при разрыве %

Примечания

 

средняя

минимальная

среднее

минимальное

 

8. Заключение.

По результатам визуального осмотра, измерений размеров и механических испытаний партия труб (деталей) может (не может) быть допущена для строительства газопровода.

Руководитель лаборатории

Исполнитель

 

 

Прокладку газопроводов следует осуществлять в соответствии с требованиями проекта, ППР, технологических карт, схем операционного контроля качества и другой нормативной документации, утвержденной в установленном порядке.

Строительство систем газоснабжения должны выполнять строительно-монтажные организации, получившие разрешение от местных органов Госгортехнадзора и лицензию от местных органов по лицензированию строительной деятельности, по утвержденному проекту газоснабжения населенного пункта и при наличии организации, на которую возложены технический надзор и приёмка работ.

Работы по монтажу газопроводов должны выполняться квалифицированным персоналом, прошедшим специальную подготовку и обладающим надлежащими навыками по монтажу газопроводов.

Перед монтажом газопровода должен осуществляться входной контроль рабочей документации, труб, соединительных деталей, арматуры и оборудования.

При входном контроле рабочей документации должна производиться проверка её комплектности и достаточности содержащейся в ней технической информации для производства работ.

Задачи входного контроля при проверке труб и соединительных деталей изложены выше. Объём входного контроля и участие в нем строительной лаборатории и других служб должны быть установлены в соответствующих технологических картах.

Предшествующие монтажу газопровода земляные работы и работы по устройству оснований должны выполняться в соответствии с требованиями проекта и СНиП 3.02.01-87 (СОКК «Разработка траншей и котлованов для наружных газопроводов»).

Монтаж газопровода должен производиться после приёмки земляных работ, оформления актов освидетельствования скрытых работ и исполнительного чертежа по результатам исполнительной геодезической съёмки.

Запрещается выполнение последующих работ при отсутствии актов освидетельствования предшествующих скрытых работ во всех случаях.

До начала работ по монтажу газопровода должны быть выполнены предусмотренные ППР детальные разбивочные работы.

На строительстве трубопроводов используют следующие организационные схемы выполнения монтажных работ:

трассовую, при которой отдельные трубы доставляются непосредственно на трассу, раскладываются вдоль оси трубопровода, стыкуются и свариваются в нитку;

базовую, при которой трубы свариваются в двух- или трехтрубные секции на трубосварочной базе и вывозят на трассу, где производят их сварку в нитку;

стендовую, при которой одиночные трубы сваривают на трассе в длиномерные плети способом протягивания;

индустриальную, при которой на трассу доставляются длиномерные трубы в бухтах, где их разматывают и сваривают между собой.

ЗЕМЛЯНЫЕ РАБОТЫ

Диаметр полиэтиленовых трубопроводов определяется по результатам гидравлического расчета.

Заглубление газопроводов до верха трубы при прокладке в грунтах любого типа, кроме сильнопучинистых, должно приниматься не менее 1 м, а для районов с расчетной температурой наружного воздуха ниже минус 40 °С (до минус 45 °С) - 1,4 м.

Ширина траншеи должна быть не менее dе + 300 мм для труб с dе от 63 мм и выше, и не менее 250 мм для труб с dе до 50 мм включительно.

Полиэтиленовые трубы могут предусматриваться для строительства газопроводов в сильнопучинистых грунтах при условии прокладки их ниже зоны сезонного промерзания грунта, а также в грунтах II типа просадочности при прокладке их вне территории населенных пунктов, где исключается возможность замачивания основания трубопровода, в т.ч. от подземных вод, в течение всего срока его эксплуатации.

Прокладка газопровода из полиэтиленовых труб в грунтах с наличием щебня или других каменистых включений, а также в набухающих, скальных грунтах, грунтах I и II типов просадочности должна предусматривать устройство основания под газопровод высотой не менее 10 см из песка или мягкого грунта, не содержащего крупных (более 20 мм включений, и засыпку таким же песком или грунтом на высоту не менее 20 см. При прокладке газопроводов в средне- и сильнопучинистых грунтах для устройства основания и засыпки следует предусматривать, как правило, только песок.

Во избежание локального замачивания просадочного грунта I типа в местах перелома оси газопровода рекомендуется предусматривать односторонний уклон траншеи для отведения воды.

Решение о прокладке полиэтиленовых газопроводов в грунтах со слабонесущей способностью (в неслежавшихся насыпных грунтах, грунтах с органикой, илистых и т.п.) принимается отдельно в каждом конкретном случае проектной организацией с разработкой мероприятий по усилению дна траншей.

Максимальные значения ширины траншеи определяются размерами рабочего органа экскаватора или балластирующих конструкций.

Дно траншеи должно быть тщательно спланировано (например путём протаскивания клин-бабы, шар-бабы и др.) и очищено от камней, комьев грунта, корней деревьев и др.; в каменистых грунтах перед укладкой трубопровода делается подсыпка из мягкого мелкогранулированного грунта толщиной 10 см над выступающими гребнями дна, этот грунт не должен содержать масел и других органических примесей.

В зимний период очистку трассы от снега производят непосредственно перед разработкой траншеи. Длина очищаемого участка трассы определяется в зависимости от производительности комплекса машин и должна соответствовать его выработке за одну - две смены.

Рытье траншей начинают с низовой стороны для обеспечения возможности удаления грунтовых и атмосферных вод в местах с пониженными отметками.

Траншея под трубопроводы малых диаметров (20 ¸ 110 мм) в мягких грунтах может разрабатываться плужными канавокопателями.

В зимнее время траншея, как правило, в задел не разрабатывается во избежание ее заноса снегом и образования льда. Если в траншее появляется снег или лед, то их необходимо удалить. Укладывать трубопровод на лед или снег запрещается.

Засыпка траншеи с уложенным газопроводом в твердых грунтах производится в три приема: сначала мягким или мелкогранулированным грунтом засыпается и трамбуются пазухи одновременно с обеих сторон газопровода, а затем трубопровод присыпается тем же грунтом на 0,2 м; после этого производится окончательная засыпка. При необходимости на присыпку укладывается предупреждающая лента желтого цвета или изолированный провод. На внутрипоселковых газопроводах грунт засыпается слоями и уплотняется механическими или пневматическими трамбовками.

С целью уменьшения динамического воздействия на трубопровод засыпку траншеи следует производить преимущественно многоковшовым траншеезасыпателем.

После засыпки трубопровода над газопроводом устраивают валик, высота которого определяется из расчета ожидаемой осадки грунта засыпки.

Нормы контроля земляных работ в соответствии с требованиями СНиП 3.02.01-87 приведены в данном альбомы в СОКК «Разработка траншей и котлованов для наружных газопроводов».

МОНТАЖНЫЕ РАБОТЫ

Работы по укладке трубопроводов ведут при температуре не ниже минус 15 °С и не выше плюс 30 °С.

При укладке трубопроводов при более низкой температуре наружного воздуха необходимо организовать их подогрев до требуемой температуры. Это условие может быть выполнено путем пропуска подогретого воздуха через подготовленный к укладке трубопровод или предварительного подогрева катушек или бухт в специальных тепляках. При этом температура воздуха не должна быть более +60 °С.

При укладке трубопроводов в траншею в жаркий период для предотвращения образования, остаточных напряжении в трубопроводе необходимо соблюдать условие, при котором температура трубы не была бы выше +30 °С. Это условие может быть выполнено путем укладки трубопровода в наиболее холодное время суток.

Допустимые радиусы упругого изгиба (r) при монтаже и укладке трубопровода в зависимости от температуры окружающего воздуха и наружного диметра трубы (de) определяются по нижеприведенному графику.

Перед укладкой трубы подвергаются тщательному осмотру с целью обнаружения трещин, подрезов, рисок и других механических повреждений.

При прокладке трубопроводов протяженностью 1000 м и более их возможно монтировать готовыми секциями, которые изготавливают в условиях базы, затем их развозят и раскладывают вдоль трассы, где из них изготавливают плети. При небольшой длине трассы монтаж трубопровода целесообразно вести на берме из отдельных труб путем последовательного их наращивания в плеть.

Доставлять трубы или секции на трассу необходимо непосредственно перед производством монтажных работ.

Максимальное число раскладываемых по трассе труб (секций) не должно превышать сменную выработку сварочной бригады.

Укладка в траншею трубопроводов производится не ранее 30 минут после сварки последнего стыка.

Укладка трубопровода в траншею производится без резких перегибов; не допускается сбрасывание плети на дно траншеи или ее перемещение волоком по дну траншеи.

Открытые с торцов участки трубопроводов во время производства работ закрывают инвентарными заглушками.

При укладке трубопроводов в траншею необходимо выполнять мероприятия, направленные на снижение напряжений в трубах от температурных перепадов в процессе эксплуатации: при температуре свыше +10° укладку трубопровода необходимо производить «змейкой», засыпку трубопровода необходимо производить в наиболее холодное время суток; при температуре окружающего воздуха ниже 0 °С засыпку трубопровода необходимо производить в самое теплое время суток.

В зимний период трубопровод укладывают на талый грунт. В случае промерзания дна траншеи осуществляют подсыпку на дно мелкогранулированного грунта. Засыпку трубопровода смёрзшимся грунтом необходимо осуществлять только после того, как трубопровод будет присыпан мелкогранулированным грунтом.

При укладке трубопроводов в скальные и каменистые грунты и на промороженное дно траншеи для обеспечения защиты трубопровода от механических повреждений при засыпке возможно применять пенополимерные материалы (ППМ).

Нанесение пенополимерного материала на дно траншеи осуществляется с помощью автономной пеногенерирующей установки, перемещающейся вдоль траншеи и обеспечивающей подачу ППМ по гибкому рукаву. Толщина образуемого на дне траншеи слоя пенополимерного материала должна составлять 200 ¸ 250 мм, плотность материала - 23 ¸ 25 кг/м3.

Время выдержки пенополимерного материала (технологический разрыв между нанесением ППМ и укладкой трубопровода должен составлять не менее 8 часов). После укладки трубопровод, частично проседая, уплотняет пенополимерный слой, образуя корытообразную постель, предохраняющую поверхность труб от механических повреждений выступающими неровностями дна траншеи.

В зависимости от условий производства работ и диаметра труб монтаж трубопроводов можно выполнять по различным схемам:

соединение отдельных труб в нитку на дне траншеи;

монтаж трубопровода на берме траншеи из отдельных труб в секции или плети;

монтаж трубопровода на лежках над траншеей.

При укладке трубопровода с бермы траншеи могут быть использованы два метода производства работ: непрерывный и цикличный.

Непрерывный метод укладки для газопроводов de 160 ¸ 225 мм предусматривает использование двух грузоподъёмных средств (трубоукладчиков), которые безостановочно перемещаются вдоль траншеи в процессе опускания укладываемой плети. В качестве грузозахватной оснастки следует применять троллейные подвески, оснащенные мягкими катками. Высота подъёма трубопровода над строительной полосой должна быть в пределах 0,5 ¸ 0,8 м.

Троллейные подвески могут быть подвешены либо непосредственно на трубоукладчиках, либо с помощью траверс.

Расстояния l1, l2, l3 обозначенные на нижеприведенном рисунке, определяют в зависимости от диаметра укладываемого трубопровода, исходя из данных, приведенных в нижеследующей таблице. Таблица составлена применительно к условиям, когда длина траверсы lт равна 6 м, а глубина траншеи определена как hт = de + 1,0 м. Если глубина траншеи или высоты подъёма трубопровода отличаются от принятых выше, то необходимо выполнить уточнённый расчет параметров укладки.

Обозначение расстояний (пролетов)

Значения расстояний (м) в зависимости от диаметра трубопровода (мм)

63 и менее

110

160

225

l1

12 - 15

15 - 18

17 - 20

20 - 24

l2

8 - 10

10 - 12

12 - 15

14 - 17

l3

20 - 23

25 - 28

30 - 34

35 - 40

Схемы укладки трубопроводов с бермы траншеи с применением траверс

А - с траверсой у головного трубоукладчика;

Б - с траверсой у заднего трубоукладчика;

В - с траверсой у обоих трубоукладчиков

При использовании схем «а» и «б» рекомендуется принимать меньшие из расстояний, которые входят в указанные интервалы, при использовании схемы «в» - большие.

Цикличный метод укладки трубопроводов может осуществляться либо способом «перехвата» (когда трубоукладчики следуют друг за другом, каждый в своей колее), либо способом «переезда» (когда последний трубоукладчик поочередно объезжает передний трубоукладчик, используя при работе под нагрузкой одну большую колею).

Количество трубоукладчиков в колонне при укладке цикличным методом должно равняться трем: два из них находятся постоянно под нагрузкой, а один используется для подмены других.

Укладку трубопроводов диаметром 110 мм и менее рекомендуется производить вручную с использованием ремней, пеньковых или капроновых канатов, брезентовых полотенец. Схема строповки трубопровода при этом должна быть аналогична той, что применяется при механизированной укладке.

При прокладке трубопроводов в узкой строительной полосе возможно применять на прямых участках способ монтажа трубопровода методом протягивания.

Для этого в начальной точке участка трассы устраивается накопительная площадка и оборудуется сварочный пост, а в конечной точке этого участка устанавливается трактор-тягач или тяговая лебедка. Затем разрабатывается траншея. Для уменьшения коэффициента трения и, следовательно, тягового усилия (что позволяет увеличить длину протягиваемой плети), а также исключения возможных механических повреждений трубопровода на дне траншеи устраивается постель (ложе) из пенополимерных материалов (ППМ), по которой перемещается трубопровод.

Трубопровод через болота и обводненные участки может укладываться способом протаскивания или сплава.

При прокладке трубопроводов под дорогами и другими препятствиями применяются бестраншейные методы, включающие прокол, продавливание и горизонтальное бурение.

Трубы диаметром 20 - 110 мм, поступающие в бухтах, имеют малый погонный вес и небольшой модуль упругости. Это позволяет совместить процессы рытья траншеи и укладку, отказавшись от укладочной колонны. Для рытья траншеи и укладки трубопровода используют специально оборудованные роторные или цепные траншейные экскаваторы, плужные канавокопатели, а также ножевые щелерезы.

Роторные и цепные экскаваторы используются в твердых и мерзлых грунтах, плужные канавокопатели и ножевые щелерезы применяются в мягких грунтах.

Укладка плетей из бухты может производиться и в заранее подготовленную траншею. При этом применяются два способа производства работ:

разматывание трубы с неподвижной бухты и ее укладка в траншею протаскиванием;

разматывание трубы с подвижной бухты и укладка в траншею путем боковой надвижки.

Первый способ применяется при наличии в траншее или над ней поперечных препятствий. При этом усилия натяжения плети не должны превышать предельно допустимых для каждого диаметра труб величин.

Из бухты в траншею могут укладываться одновременно два трубопровода; при этом разматывание труб осуществляются одновременно с 2-х бухт, установленных по обе стороны траншеи или по одну сторону.

Разматывание труб из бухт осуществляют при температуре наружного воздуха не ниже +5 °С. Допускается разматывание вести и при более низких температурах, если созданы условия для подогрева труб на катушке до температуры не менее +5 °С.

Перерывы в работе по укладке трубопроводов не допускаются до полной укладки плети из бухты.

В случае, если плеть трубопровода охладится до предельно допустимой температуры, укладку необходимо приостановить, а бухту с оставшейся трубой вновь подогреть.

Возможен вариант установки специального тепляка, подогреваемого выхлопными газами, или другими методами непосредственно на тяговый трактор укладочной машины, что обеспечит непрерывную укладку труб.

Скорость разматывания бухты - до 0,8 - 1,0 км/час.

Для устройства узких траншей с последующей укладкой трубопровода рекомендуется использовать малогабаритные цепные траншеекопатели, щеленарезные машины.

Для совмещения рытья узких траншей (щелей) и укладки трубопровода могут быть использованы серийные машины с необходимым дооборудованием.

Узкие траншеи (щели), разработанные роторными и цепными экскаваторами, щеленарезными и трубозаглубительными машинами, могут быть засыпаны с помощью специального плуга, который осуществляет процесс засыпки непрерывно в сцепе с тягачом землеройно-укладочной машины.

Ножевые щелерезы применяются для укладки трубопроводов диаметром 20 ¸ 110 мм бестраншейным способом (трубозаглубление). Ножевой трубозаглубитель состоит из трактора-тягача, ножевого щелереза, кассеты (выполняющей функции устройства по формированию упругого изгиба заданного очертания в зоне укладки) и щелезасыпщика.

Эффективность данного метода укладки может быть повышена (в особенности при работе на относительно плотных грунтах) путем создания предварительной прорези в грунте (пропорки) или проведения работ по его рыхлению.

СОЕДИНЕНИЕ ТРУБ И ДЕТАЛЕЙ

Полиэтиленовые трубы следует соединять между собой:

при толщине стенки труб не менее 5 мм - сваркой встык на сварочных установках или муфтами с закладными нагревателями;

при толщине стенки менее 5 мм - только муфтами с закладными нагревателями.

Допускается применение других способов соединения полиэтиленовых труб, в т.ч. фланцевых, в соответствии с требованиями ведомственных нормативных документов, утвержденных в установленном порядке.

Неразъемное соединение полиэтиленовых труб между собой и с соединительными деталями осуществляют двумя методами сварки: сваркой встык нагретым инструментом и сваркой при помощи соединительных деталей с закладными нагревателями; разъемное соединение полиэтиленовых труб между собой и полиэтиленовых труб со стальными (или арматурой) осуществляют с помощью фланцев.

СВАРКА ВСТЫК НАГРЕТЫМ ИНСТРУМЕНТОМ

Этим методом сварки, как правило, соединяют трубы и детали с толщиной стенки по торцам более 5 мм, в частности:

трубы из ПЭ 63 (ПНД) по ГОСТ Т 50838-95* или ТУ 6-19-352-87 между собой и с деталями из ПНД по ТУ 6-19-359-87;

трубы из ПЭ 80 (ПСП) по ГОСТ Р 50838-95* или ТУ 6-49-04719662-120-94 между собой и с деталями из ПСП.

Сварку труб производят при температуре окружающего воздуха от -15 до +40 °С. Место сварки защищают от атмосферных осадков, пыли и песка. При сварке свободный конец трубы или плети закрывают для предотвращения сквозняков внутри свариваемых труб.

Детали соединительные приваривают к трубам или отрезкам труб, как правило, в заготовительных мастерских - при температуре окружающего воздуха не ниже минус 5° С.

Технологический процесс соединения труб и деталей сваркой встык включает:

подготовку труб и деталей к сварке (очистка, сборка, центровка, механическая обработка торцов, проверка совпадения торцов и зазора в стыке;

сварку стыка (оплавление, нагрев торцов, удаление нагретого инструмента, осадка стыка, охлаждение соединения).

Перед сборкой и сваркой труб, а также соединительных деталей тщательно очищают их полости от грунта, снега, льда, камней и других посторонних предметов.

Концы труб и присоединительные части деталей очищают от всех загрязнений на расстояние не менее 50 мм от торцов.

Очистку концов труб и деталей от пыли и песка производят сухими или увлажненными концами (ветошью) с дальнейшей протиркой насухо. Если концы труб или деталей окажутся загрязненными смазкой, маслом или какими-либо другими жирами, их обезжиривают с помощью спирта, уайт-спирита, ацетона.

Концы труб, сдеформированные или имеющие глубокие (более 4 - 5 мм) забоины, обрезают.

Сборку свариваемых труб и деталей, включающую установку, центровку и закрепление свариваемых концов, производят в зажимах центратора установки для сварки.

Концы труб и деталей центруют по наружной поверхности таким образом, чтобы максимальная величина смещения наружных кромок не превышала 10 % номинальной толщины стенки свариваемых труб. Подгонку труб при центровке осуществляют поворотом одной или обеих труб вокруг их оси, установкой опор под трубы на некотором расстоянии, использованием прокладок.

При разнице в толщине стенок свариваемых труб или деталей свыше 15 % от номинальной толщины стенки или более 5 мм на трубе (детали), имеющей большую толщину, делают скос под углом 15 ± 3° к оси трубы до толщины стенки тонкой трубы (детали).

Последовательность процесса сборки и сварки встык труб из полиэтилена

Центровка и закрепление в зажимах сварочной машины концов свариваемых труб

Механическая обработка торцов труб с помощью торцовки

Проверка точности совпадения торцов по величине зазора

Оплавление и нагрев свариваемых поверхностей нагретым инструментом

Осадка стыка до образования сварного соединения

При сварке встык вылет концов труб из зажимов центраторов обычно составляет 15 ¸ 30 мм, а привариваемых деталей - не менее 5 мм.

Закрепленные и сцентрированные концы труб и деталей перед сваркой подвергают механической обработке - торцеванию с целью выравнивания свариваемых поверхностей непосредственно в сварочной установке.

После механической обработки загрязнение поверхности торцов не допускается. Удаление стружки изнутри трубы или детали производят с помощью кисти, а снятие заусенцев с острых кромок торца - с помощью ножа.

После обработки еще раз проверяют центровку и наличие зазоров в стыке. Между торцами, приведенными в соприкосновение, не должно быть зазоров, превышающих:

0,3 мм - для труб диаметром до 110 мм;

0,5 мм - для труб диаметром свыше 110 до 225 мм включительно.

Зазор измеряют лепестковым щупом с погрешностью 0,05 мм.

Сварка встык нагретым инструментом заключается в нагревании свариваемых торцов труб или деталей до вязкотекучего состояния полиэтилена при непосредственном контакте с нагретым инструментом и последующем соединении торцов под давлением осадки после удаления инструмента.

Основными параметрами процесса сварки встык являются:

- температура нагретого инструмента Тн;

- продолжительность оплавления tоп и нагрева tн;

- давление нагретого инструмента на торцы при оплавлении Роп и нагрева Рн;

- продолжительность технологической паузы между окончанием нагрева и началом осадки tп;

- давление на торцы при осадке Рос;

- время охлаждения сваренного стыка под давлением осадки tохл.

Температуру нагретого инструмента выбирают по нижеследующей таблице в зависимости от типа нагревателя и материала труб (ПЭ 63 или ПЭ 80).

При выборе сварочного оборудования предпочтение следует отдавать установкам с нагревательным инструментом типа «теплогенератор» с электрическим питанием.

При сварке в условиях повышенных (свыше 30 °С) или пониженных (ниже минус 5 °С) температур окружающего воздуха температуры, приведенные в таблице для ТА, следует соответственно понизить или повысить на 10 °С.

Тип нагревателя

Температура нагретого инструмента (Тн, °С) для труб из полиэтилена

ПЭ 63 (ПНД)

ПЭ 80 (ПСП)

Теплогенератор электрический с непрерывным автоматическим поддержанием заданной температуры, с антиадгезионным покрытием (ТГ)

230 ± 10

220 ± 10

Теплоаккумулятор с периодическим нагревом перед сваркой на газовых горелках инфракрасного излучения, со съёмным антиадгезионным покрытием.

250 ± 10

230 ± 10

Циклограмма процесса сварки труб встык нагретым инструментом

Оплавление и нагрев торцов свариваемых труб и деталей осуществляют одновременно (синхронно) посредством их контакта с рабочими поверхностями нагретого инструмента.

Оплавление торцов ведут при давлении Роп = 0,15 + 0,05 МПа (1,5 + 0,5 кгс/см2) в течение времени tоп, достаточного для образования по всему периметру контактирующих с нагревателем торцов труб валиков расплавленного материала (первичного грата) высотой до 1,0 мм при толщине стенки труб от 5 до 10 мм; 1,5 мм - от 10 до 15 мм; 2,0 мм - 15 до 23 мм.

После появления первичного грата давление снижают до Р = 0,02 ± 0,01 МПа (0,2 ± 0,1 кгс/см2) и торцы нагревают в течение времени tн, которое в зависимости от сортамента (толщины стенки) труб и деталей, температуры окружающего воздуха То и типа нагревателя (ТГ - теплогенератор, ТА - теплоаккумулятор) выбирают по нижеследующей таблице.

Сортамент свариваемых труб

Время нагрева торцов труб (tн, °С) из ПНД и ПСП при температуре окружающего воздуха (То, °С) и типе нагревателей (ТГ, ТА)

от минус 15 до 0

от 0 до плюс 20

от плюс 20 до 40

ТГ

ТА

ТГ

ТА

ТГ

ТА

ПНД 63Т ГАЗ

ПСП ГАЗ SDR11 63´5,8

50 - 60

50 - 60

45 - 50

45 - 50

45 - 50

40 - 45

ПНД 110С ГАЗ

ПСП ГАЗ SDR17,6 110´6,3

55 - 65

55 - 65

50 - 55

50 - 55

45 - 50

45 - 50

ПНД 110Т ГАЗ

ПСП ГАЗ SDR11 110´10

105 - 115

80 - 95

95 - 105

70 - 80

90 - 95

65 - 75

ПНД 160С ГАЗ

ПСП ГАЗ SDR17,6 160´9,1

90 - 105

75 - 90

85 - 90

65 - 75

80 - 85

60 - 70

ПНД 160Т ГАЗ

ПСП ГАЗ SDR11 160´14,6

140 - 155

120 - 135

125 - 140

110 - 125

115 - 125

100 - 115

ПНД 225С ГАЗ

ПСП ГАЗ SDR17,6 225´12,8

130 - 145

115 - 130

120 - 130

105 - 120

110 - 120

95 - 110

ПНД 225Т ГАЗ

ПСП ГАЗ SDR11 225´20,5

180 - 200

160 - 180

165 - 180

150 - 165

150 - 165

140 - 155

Допускается давление Рн снижать вплоть до нуля при сохранении постоянства контакта торцов труб (деталей) с нагретым инструментом.

Продолжительность технологической паузы, необходимой для удаления нагретого инструмента, выдерживают как можно короткой, но не более 3 с для труб de 63 мм, 4 с - для труб de 110 и 160 мм: 5 с - для труб de 225 мм.

После удаления нагретого инструмента торцы труб и деталей сводят и производят осадку стыка при давлении Рос = 0,15 + 0,05 МПа (1,5 + 0,5 кгс/см2). Осадку стыка осуществляют плавным увеличением давления до заданного уровня.

Время нарастания давления осадки принимается:

- для труб из ПНД 63Т ГАЗ и ПСП ГАЗ SDR11 63´5,8 - 3 ¸ 6 с;

- для труб из ПНД 110С ГАЗ и ПСП ГАЗ SDR17,6 110´6,3 - 3 ¸ 7 с;

- для труб из ПНД 110Т ГАЗ и ПСП ГАЗ SDR11 110´10 - 4 ¸ 8 с;

- для труб из ПНД 160С ГАЗ и ПСП ГАЗ SDR17,6 160´9,1 - 4 ¸ 8 с;

- для труб из ПНД 160Т ГАЗ и ПСП ГАЗ SDR11 160´14,6 - 5 ¸ 10 с;

- для труб из ПНД 225С ГАЗ и ПСП ГАЗ SDR17,6 225´12,8 - 5 ¸ 10 с;

- для труб из ПНД 225Т ГАЗ и ПСП ГАЗ SDR11 225´20,5 - 8 ¸ 14 с.

Охлаждение стыка производят под давлением осадки в течение времени tохл, величина которого принимается по нижеприведенной таблице в зависимости от сортамента (толщины стенки) свариваемых труб и деталей и температуры окружающего воздуха То.

Сортамент свариваемых труб

Время охлаждения стыка (tохл, °С) труб из ПНД и ПСП при температуре окружающего воздуха (То, °С)

от минус 15 до 0

от 0 до плюс 20

от плюс 20 до 40

ПНД 63Т ГАЗ

ПСП ГАЗ SDR11 63´5,8

4

5

6

ПНД 110С ГАЗ

ПСП ГАЗ SDR17,6 110´6,3

4

5

6

ПНД 110Т ГАЗ

ПСП ГАЗ SDR11 110´10

6

7

9

ПНД 160С ГАЗ

ПСП ГАЗ SDR17,6 160´9,1

5

7

8

ПНД 160Т ГАЗ

ПСП ГАЗ SDR11 160´14,6

9

10

12

ПНД 225С ГАЗ

ПСП ГАЗ SDR17,6 225´12,8

8

9

11

ПНД 225Т ГАЗ

ПСП ГАЗ SDR11 225´20,5

12

14

17

Для повышения точности поддержания заданных давлений (Роп, Рн, Рос) в процессе сварки учитывают потери на трение движущихся частей сварочной установки и перемещаемой при сварке трубы (секции). Для чего перед сваркой каждого стыка производят замер усилия при холостом ходе подвижного зажима центратора установки с закрепленной в нем трубой (секцией), которое суммируют с усилием, необходимым для создания заданных давлений (Роп, Рн, Рос).

При сварке нагретым инструментом рабочие поверхности нагревателя, как правило, должны быть покрыты антиадгезионным слоем из стеклоткани или эмульсии на основе фторопласта (Ф-4Д).

Маркировку сварных стыков производят сразу же после окончания операции осадки в процессе охлаждения стыка в зажимах центратора сварочной установки. Маркировка (шифр или номер) ставится сварщиком клеймом на горячем расплаве грата в двух диаметральных точках.

Для маркировки стыков рекомендуется использовать клейма (шифр) типа ПУ-6 или ПУ-8 ГОСТ 2930-62*.

СВАРКА ПРИ ПОМОЩИ СОЕДИНИТЕЛЬНЫХ ДЕТАЛЕЙ С ЗАКЛАДНЫМИ НАГРЕВАТЕЛЯМИ

Этот метод сварки применяют для соединения труб из ПСП диаметром от 20 до 225 мм, а также для приварки к трубопроводу седловых отводов.

Сварку с помощью муфт с закладными нагревателями производят в случаях:

- соединения длинномерных труб (плетей) при прокладке новых газопроводов или восстановления ветхих стальных газопроводов методом протяжки в них полиэтиленовых труб;

- соединения труб с толщиной стенки менее 5 мм;

- ремонта газопроводов в стесненных условиях.

Сварку полиэтиленовых газопроводов с применением соединительных деталей с закладными нагревателями производят при температуре окружающего воздуха не ниже минус 5 °С и не выше +35 °С. В случаях необходимости проведения сварки при других температурах работы выполняют в укрытиях (палатки, шатры и т.п.).

Место сварки защищают от воздействия влаги, песка, пыли и т.п.

Технологический процесс соединения труб с помощью муфт с нагревателями включает:

подготовку концов труб (очистка от загрязнений, разметка, механическая обработка - циклевка сварных поверхностей и обезжиривание их;

Схема подготовки соединяемых элементов и сборки стыка

сборку стыка (установка и закрепление концов свариваемых труб в зажимах центрирующего приспособления с одновременной посадкой муфты, подключение к муфте сварочного аппарата);

сварку (задание программы процесса сварки, пуск процесса сварки, нагрев, охлаждение соединения).

Перед сборкой и сваркой труб тщательно очищают их полости от грунта, снега, льда, камней и других посторонних предметов. Длина очищаемых концов труб должна быть не менее 1,5 длины применяемых для сварки муфт.

Перед механической обработкой на концы свариваемых труб на длину 1/2 длины муфты наносят метки глубины посадки муфты для обозначения зоны обработки.

Механическая обработка концов труб заключается в снятии с поверхности размеченного конца трубы слоя толщиной 0,1 - 0,2 мм с помощью специальной зачистной оправки или ручной или механизированной цикли, а также снятии фасок для удаления заусенцев.

Свариваемые поверхности труб после циклевки и муфты тщательно обезжиривают путем протирки салфеткой из хлопчатобумажной ткани или впитывающей бумаги, смоченной в спирте, уайт-спирите, ацетоне, или в других специальных рекомендованных составах.

Муфты с закладными нагревателями, поставляемые изготовителем в индивидуальной герметичной упаковке, вскрываемой непосредственно перед сборкой, обезжириванию не подвергают.

Механическую обработку и протирку труб и деталей производят непосредственно перед сборкой и сваркой.

Сборка стыка заключается в посадке муфты на концы свариваемых труб с установкой по ранее нанесенным меткам или по упору сборочного приспособления. Рекомендуется для сборки стыков использовать приспособление, которое позволяет установить, сцентрировать и закрепить концы свариваемых труб с одновременной посадкой муфты.

Процесс сборки включает:

надевание муфты на конец первой трубы до совмещения торцов муфты и трубы, закрепление конца трубы в зажиме приспособления;

установку в упор в торец первой трубы и закрепление конца второй трубы в зажиме приспособления;

надвижение муфты на конец второй трубы на 1/2 длины муфты до упора в зажим приспособления или до метки, нанесенной на трубу;

подключение к клеммам муфты токоподводящих проводов от сварочного аппарата.

При сборке и сварке труб муфтами с закладными нагревателями без применения приспособления стыкуемые трубы должны быть выложены на подкладки, обеспечивающие их соосность и неподвижность в процессе сварки. При этом трубы должны быть собраны вплотную (торец в торец) а муфты установлены по меткам.

Если свариваемые концы труб имеют повышенную овальность (более 1,5 % от de), то перед сборкой стыка для придания им цилиндрической формы используют инвентарные калибрующие зажимы, которые устанавливают на трубы на удалении 15 ¸ 30 мм от меток.

Во избежание повреждения закладных нагревателей (проволочных электроспиралей) надевание муфты на конец трубы или введение трубы в муфту производят с осторожностью без перекоса и проворачивания, без больших усилий.

Собранные трубы укладывают прямолинейно без изгиба и провисания; клеммы токоподвода муфты располагают со свободным доступом.

Сварка при помощи деталей с закладными нагревателями заключается в расплавлении полиэтилена на соединяемых поверхностях муфты (седлового отвода) и труб за счет тепла, выделяемого при протекании электрического тока по заложенным в муфту электрическим спиралям, и последующем естественном охлаждении соединения.

Параметры режимов сварки устанавливают на сварочном аппарате в зависимости от сортамента муфты или считывают со штрихового кода с муфты или магнитной карточки при помощи датчика, что зависит от вида используемых муфт и сварочных аппаратов.

После включения аппарата процесс сварки проходит в автоматическом режиме.

После завершения нагрева трубное соединение можно перемещать не ранее, чем через 10 минут охлаждения.

Приварку к трубам седловых отводов производят в следующей последовательности:

размечают место приварки отвода на трубе;

поверхность трубы в месте приварки отвода обрабатывают (зачищают) с помощью цикли, а затем обезжиривают путем протирки салфеткой из хлопчатобумажной ткани или впитывающей бумаги, смоченной в спирте, уайт-спирите, ацетоне, или в других специальных рекомендованных составах.

привариваемую поверхность отвода, если он поставляется изготовителем в герметичной индивидуальной упаковке, вскрываемой непосредственно перед сборкой, обезжириванию не подвергают;

отвод устанавливают на трубу и механически прикрепляют с помощью специальных зажимов;

если труба в зоне приварки отвода имеет повышенную овальность (более 1,5 % от de), то перед установкой отвода трубе придают правильную геометрическую форму с помощью калибрующих зажимов, укрепляемых на трубе на расстоянии 15 ¸ 30 мм от меток (зажимы снимают только после сварки и охлаждения соединения);

подключают к контактным клеммам токоподвода сварочные провода;

производят сварку (аналогично сварке труб муфтами с закладными нагревателями);

после охлаждения через патрубок приваренного отвода производят сверловку (фрезерование) стенки трубы для соединения внутренних полостей отвода и трубы.

ТЕХНОЛОГИЯ СОЕДИНЕНИЯ ПОЛИЭТИЛЕНОВЫХ ТРУБ СО СТАЛЬНЫМИ

Втулки под фланцы и трубы из полиэтилена соединяют между собой сваркой встык нагретым инструментом или при помощи муфт с закладными нагревателями.

При сварке втулок под фланцы с полиэтиленовыми трубами применяют сварочные устройства, оснащенные приспособлениями для центровки и закрепления втулок.

Рекомендуется сборку и сварку втулок под фланцы с трубами производить в условиях мастерских. При этом втулку приваривают к патрубку длиной 0,8 ¸ 1,0 м.

Перед приваркой готового узла (втулка - патрубок) или отдельной втулки под фланец к трубе на замыкающем участке газопровода следует обязательно предварительно надеть на трубу накидкой фланец.

При сборке фланцевых соединений затяжку болтов производят поочередно, завинчивая противоположно расположенные гайки тарированным или динамометрическим ключом с усилием, регламентированным проектом.

Гайки болтов располагают на одной стороне фланцевого соединения.

ФЛАНЦЕВЫЕ СОЕДИНЕНИЯ ПОЛИЭТИЛЕНОВЫХ ТРУБ

А - полиэтиленовых труб со стальными трубами, арматурой;

Б - полиэтиленовых труб между собой

1 - фланец стальной накидной; 2 - втулка под фланец из полиэтилена; 3 - труба из полиэтилена; 4 - фланец стальной трубы, арматуры

Неразъёмные соединения полиэтиленовых труб со стальными осуществляют с помощью переходников «полиэтилен-сталь», которые изготовляют в заводских условиях или в условиях трубозаготовительных мастерских по технической документации, утверждённой в установленном порядке (ТУ 2248-025-00203536-96 «Неразъемные соединения полиэтиленовых труб со стальными»).

Переходники «полиэтилен-сталь» могут быть изготовлены методом горячего формования из полиэтиленовых труб в сочетании со стальными трубами с образованием раструбных соединений обычного типа (на давление газа до 0,3 МПа) и усиленного с упрочняющей муфтой (на давление газа до 0,6 МПа).

Возможно изготовление переходников методом литья под давлением.

Во всех случаях поступающие на монтаж переходники должны иметь паспорт или сертификат, удостоверяющий их качество.

При вварке переходников «полиэтилен-сталь» в трубопровод вначале производят сборку и сварку труб из полиэтилена в соответствии с изложенными выше рекомендациями, а затем осуществляют сборку и сварку стыка стальных труб.

ВВАРКА ТРУБНОЙ ВСТАВКИ («КАТУШКИ») В ТРУБОПРОВОД, УЛОЖЕННЫЙ В ТРАНШЕЮ

В траншее трубные вставки вваривают в следующих случаях:

- при замыкании участков строящихся трубопроводов;

- при нарушении целостности трубопровода вследствие механических повреждений строительной техникой, грунтовой засыпкой, балластировкой, разрывов по сварным стыкам или телу трубы в процессе испытаний.

Трубные вставки вваривают сваркой встык нагретым инструментом или при помощи муфт с закладными нагревателями. Минимальная длина вставки - 500 мм.

При вварке трубной вставки сваркой нагретым инструментом работы выполняют в следующем порядке:

- определяют местонахождение повреждения или дефекта трубопровода;

- освобождают от грунтовой (песчаной) присыпки участок трубопровода определенной длины;

- уширяют траншею в зоне производства работ и делают приямок для размещения сварочной установки;

- очищают, размечают и вырезают поврежденный участок;

- от цельной трубы отрезают вставку требуемого размера;

- приваривают вставку к первому (с меньшей длиной освобождения) концу трубопровода;

- приваривают второй конец трубопровода (с большой длиной освобождения) к вставке с одновременным упругим изгибом трубопровода методом подъема для обеспечения осевого перемещения конца, что необходимо при сварке встык нагретым инструментом.

Общая длина освобождения трубопровода зависит от длины ввариваемой вставки - lв, диаметра свариваемых труб de, температуры окружающего воздуха То, длины сварочной установки и определяется как сумма:

S = lв +2х +2, м

где: 2х - длина освобождения «подвижного» конца трубопровода, определяемая по нижеследующей таблице;

2 - слагаемое (в метрах), учитывающее требуемую для закрепления в зажимах сварочной установки длину горизонтальных участков концов трубопровода.

de мм

Температура окружающего воздуха То, °С

-15

-10

-5

0

+10

+20

+30

+40

у

у

у

у

у

у

у

у

63

18

1,0

18

0,9

18

0,9

17

0,9

16

0,9

14

0,8

13

0,8

11

0,8

110

25

1,1

24

1,1

24

1,1

23

1,1

21

1,0

19

1,0

17

0,9

15

0,9

160

33

1,6

32

1,6

32

1,6

31

1,6

28

1,5

25

1,4

23

1,4

20

1,3

225

40

1,8

39

1,8

39

1,7

38

1,7

34

1,7

30

1,6

28

1,5

25

1,4

у - высота подъёма, м, требуемая для сварки замыкающего стыка.

Длина трубной вставки lв должна быть не менее 500 мм и больше длины рассечки трубопровода для труб диаметром: 63 мм - не менее, чем на 10 мм; 110 мм - на 14 мм; 160 мм - на 16 мм; 225 мм - на 20 мм.

Величина требуемого для сварки встык нагретым инструментом осевого перемещения конца трубопровода составляет для труб диаметром: 63 ¸ 110 мм - 50 мм; 160 ¸ 225 мм включительно - 80 мм.

Вырезку поврежденного участка трубопровода и отрезку трубной вставки осуществляют по разметке с помощью ручной ножовки, механических труборезов роликового или гильотинного типа и др.

Установку трубной вставки и муфт с закладными нагревателями в рассечку трубопровода и сварку производят в следующей последовательности:

- на подготовленные к сборке концы трубопровода надевают муфты;

- под один из концов трубопровода с муфтой подводят приспособление для сборки, в нем закрепляют конец трубопровода;

- в рассечку трубопровода вводят трубную вставку, один конец которой закрепляют в зажиме приспособления;

- на оба конца трубной вставки надвигают муфты с установкой их по меткам или по упору (в приспособлении);

- к муфте, установленной в приспособлении, подключают сварочный аппарат и производят сварку;

- после охлаждения первого соединения приспособление устанавливают на второй стык и производят сварку.

Допускается при наличии двух комплектов оснастки (приспособлений и сварочных аппаратов) производить сборку и сварку одновременно двух соединений трубной вставки.

КВАЛИФИКАЦИОННЫЕ ИСПЫТАНИЯ СВАРЩИКОВ

К производству сварочно-монтажных работ при строительстве полиэтиленовых газопроводов допускаются сварщики, аттестованные:

- при сварке встык нагретым инструментом - в соответствии с «Временным порядком аттестации сварщиков полиэтиленовых газопроводов», изложенным в Приложении 2 «Правил безопасности в газовом хозяйстве»;

при сварке деталями с закладными нагревателями - в соответствии с дополнением к «Временному порядку аттестации сварщиков полиэтиленовых газопроводов», разработанному с учетом зарубежного опыта и согласованному с Госгортехнадзором России.

Независимо от наличия удостоверения на право производства работ сварщик должен сварить в условиях близких к производственным допускные (пробные) стыки (соединения) в случаях:

- если сварщик впервые приступает к сварке газопровода или имел продолжительный перерыв в работе по сварке - более 1 месяца;

- если изменился материал или сортамент труб (деталей);

- если применен новый тип сварочного, оборудования.

Допускные стыки должны изготавливаться из отрезков полиэтиленовых труб длиной не менее 300 мм, сваренных между собой при помощи муфт с закладными нагревателями или нагретым инструментом встык. Количество допускных стыков должно составлять не менее 3 штук.

В случае использования длинномерных труб из ПСП, имеющих на всем протяжении только отдельные муфтовые сварные соединения (как правило, не более 10 шт), количество допускных стыков может быть уменьшено до одного.

В случае использования на строительном объекте седловых отводов с закладными нагревателями необходимость изготовления из них допускных соединений и последующих испытаний определяется местными органами Госгортехнадзора России.

Допускные стыки (соединения), сваренные нагретым инструментом, подвергают:

- визуальному контролю (внешнему осмотру) и контролю геометрических параметров стыковых соединений;

- механическим испытаниям.

Если в результате визуального и измерительного контроля стыки не удовлетворяют установленным требованиям, то сварщик выполняет сварку повторно. Если при повторном контроле получены неудовлетворительные результаты хотя бы по одному стыку, то сварщик признается не выдержавшим испытания.

Отбор образцов для механических испытаний осуществляют после того, как получены положительные результаты контроля внешнего вида и геометрических параметров сварных соединений.

Для оценки качества сварных соединений, выполненных при помощи муфт и отводов с закладными нагревателями используют следующие методы.

Муфтовые соединения испытываются на сплющивание, а седловые - на отдир (отщепление).

При неудовлетворительных результатах механического испытания хотя бы одного стыка сварщик выполняет сварку удвоенного количества пробных стыков. Если при повторных механических испытаниях хотя бы один из проверяемых стыков окажется неудовлетворительного качества, то все допускные стыки бракуются.

По результатам визуального контроля и механических испытаний допускных стыков оформляется заключение о их качестве, на основании которого сварщик допускается или не допускается к проведению сварочных работ.

Каждому сварщику, допущенному к сварке, присваивается номер или шифр, который служит для регистрации работ в журнале производства работ и для маркировки (клеймения) стыков на газопроводе.

Сварщик, не выдержавший испытания, может быть допущен к повторным испытаниям только после прохождения дополнительной практики по сварке, но не ранее, чем через один месяц с момента проведения предыдущих испытаний или отстранения его от работы.

КОНТРОЛЬ КАЧЕСТВА СВАРНЫХ СОЕДИНЕНИЙ

При строительстве полиэтиленовых газопроводов для обеспечения требуемого уровня качества сварки производят:

- проверку квалификации сварщиков;

- входной контроль качества применяемых труб и соединительных деталей;

- техническую проверку сварочных устройств (нагревательного инструмента, сварочного центратора, торцовки, блока питания);

- систематический операционный контроль сборки под сварку, режимов сварки, внешнего вида сварных соединений и их геометрических параметров, физико-механических свойств сварных соединений.

Техническую проверку сварочных устройств производят с целью обеспечения требуемых технологических параметров сборки и сварки труб и соединительных деталей.

При проверке сварочного и сборочного оборудования следует контролировать:

- выход нагревательного инструмента на заданную температуру и точность её поддержания (с помощью приборов для измерения температуры);

- целостность антиадгезионного покрытия рабочих поверхностей нагревательного инструмента, а также изоляции электропроводок (визуальным контролем);

- работу центратора (зажимов, механизма перемещения подвижной головки, гидравлической системы или динамометра) путем зажатия концов труб, их соединения и сжатия;

- работу устройства для механической обработки торцов труб. Результаты проверки должны соответствовать паспортным данным на оборудование.

Проверку оборудования следует производить через каждые 10 дней работы с регистрацией результатов проверки в журнале производства работ.

Операционным контролем предусматривается:

- проверка качества подготовки концов труб и деталей под сборку и сварку;

- контроль режимов сварки нагретым инструментом (температуры нагретого инструмента, продолжительности оплавления и технологической паузы, давления при оплавлении и осадке, продолжительности охлаждения соединения) и при помощи деталей с закладными нагревателями (напряжение питания и время сварки). Значения параметров режимов сварки должны отвечать требованиям проекта, ППР, технологических карт и соответствующих нормативных документов.

Рабочими средствами измерений и контроля режимов сварки являются:

- секундомеры или реле времени - для контроля длительности этапов процессов сварки;

- манометры, динамометры и тензометры (измерение давления в гидро- или пневмосистемах установок) - для контроля давления при оплавлении и осадке стыка;

- термометры (сопротивления, термоэлектрические, дилатометрические и т.д.) с вторичными показывающими приборами - для контроля температуры нагревательного инструмента;

- вольтметры - для контроля напряжения, подаваемого на контакты деталей с закладными нагревателями;

- термометры жидкостные - для измерения температуры окружающей среды.

Проверке внешним осмотром и замерам геометрических параметров подлежат 100 % соединений, механическим испытаниям - 1 % соединений, но не менее пяти стыков из общего числа выполненных одним сварщиком на одном объекте. Контрольные стыки следует вырезать в период производства работ с целью исключения вварки «катушек».

Внешний вид сварного шва должен удовлетворять следующим требованиям:

валик шва должен быть равномерно распределен по окружности трубы и иметь высоту, мм:

- для труб толщиной стенки св. 5 до 6 мм включ............... 1,5 ¸ 3;

- для труб толщиной стенки св. 6 до 10 мм включ............. 2,5 ¸ 4,5;

- для труб толщиной стенки св. 10 до 15 мм включ........... 3 ¸ 5;

- для труб толщиной стенки св. 15 до 20,5 мм включ........ 3,5 ¸ 6,5;

- валики шва должны быть одного цвета с трубой и не иметь трещин;

- смещение кромок труб допускается не более чем на 10 % толщины стенки трубы;

- угол излома продольной оси труб в стыке или оси труб и приваренных к ним соединительных деталей не должен превышать 10°;

- вытесненный из стыка материал (грат) должен быть равномерно распределен по периметру стыка, оба валика грата должны быть симметричными;

- ширина грата должна быть не менее 2h (при этом за h принимается среднее значение из h1 и h2, где h1 и h2 - высота обоих валиков);

- высота усиления сварного шва К должна быть больше нуля (линия сплавления валиков располагается над образующей поверхностью трубы);

- поверхность грата должна быть гладкой без визуально выявленных пор и трещин, впадина между валиками грата должна быть видимой;

- на поверхности грата в двух диаметрально противоположных точках должно быть поставлено клеймо сварщика.

Грат считается равномерно распределенным по периметру стыка, если минимальная высота валиков грата (h1 или h2), измеренная в любой точке по периметру стыка, отличается от максимальной, измеренной в любой точке, не более чем на 40 %.

Местное расширение грата и уменьшение высоты валиков, обусловленные постановкой клейма, браком не считаются.

На поверхности грата допускаются отдельные механические повреждения (вмятины, срезы), возникшие при погрузочно-разгрузочных и транспортных операциях, не затрагивающие тело трубы.

Для измерения геометрии сварного стыкового соединения и шва следует использовать: угломер (ГОСТ 5378-88) - для измерения угла излома стыка; штангенциркуль ЩЦ-1 (ГОСТ 166-89*) - для измерения смещения кромок и размеров грата.

Стыки, забракованные при внешнем осмотре, исправлению не подлежат и должны быть удалены. На их место должны быть вварены катушки длиной не менее 500 мм.

Механическим испытаниям подлежат 1 % соединений, но не менее пяти стыков из общего числа выполненных одним сварщиком на одном объекте. Из контрольного стыка для механических испытаний на статическое растяжение следует изготовить не менее пяти образцов II типа в соответствии с ГОСТ 11262-80*. При этом шов должен находиться посередине образца.

Испытаниям подвергаются стыки труб, выполненные нагретым инструментом. Испытания контрольных стыков при сварке труб деталями с закладными нагревателями допускается не предусматривать.

Контрольные стыки следует вырезать в период производства работ с целью исключения вварки «катушек».

Образцы следует вырезать из участков, равномерно расположенных по всему периметру сварного стыка, путем распиловки стыка на полосы вдоль образующей трубы с последующим фрезерованием полос. Допускается при толщине стенки трубы до 10 мм сварные образцы вырубать штампом-просечкой. Грат со сварного стыка не снимают.

Образцы для испытаний вырезают из стыка не ранее, чем через сутки после окончания сварки.

Сварные стыки полиэтиленовых газопроводов считаются выдержавшими испытания, если не менее 80 % вырезанных из каждого стыкового соединения образцов имеют пластичный характер разрушения по основному материалу (вне плоскости сварки) после формирования «шейки» - типичного сужения площади поперечного сечения образца во время растяжения. Остальные образцы могут иметь вязкое разрушение во время формирования «шейки», проходящее по околошовной зоне или пересекающее плоскость сварки. Все образцы должны иметь предел текучести при растяжении не менее 19,0 МПа (193 кгс/см2) для труб из ПЭ 63 (ПНД) и 15,0 МПа (152 кгс/см2) - для труб из ПЭ 80 (ПСП).

Хрупкое разрушение образцов по сварному шву недопустимо.

Результаты механических испытаний следует оформлять протоколом по форме обязательного приложения 6 к СНиП 3.05.02-88*.

При неудовлетворительных результатах механического испытания хотя бы одного стыка необходимо произвести повторное испытание удвоенного числа стыков, сваренных данным сварщиком. Если при повторной проверке хотя бы один из проверяемых стыков окажется неудовлетворительного качества, то все стыки, сваренные этим сварщиком на данном объекте, бракуются. После этого сварщик отстраняется от выполнения сварочных работ и может быть допущен к ним только после прохождения дополнительной практики по сварке и получения положительных результатов проверки допускного стыка.

Забракованные стыки следует вырезать и на их место вваривать «катушки» длиной не менее 500 мм.

Качество сварных соединений, выполненных сваркой встык нагретым инструментом, проверяют также физическими методами по нормам, указанным в нижеследующей таблице.

Вид газопровода

Давление газа МПа (кгс/см2)

Число стыков, подлежащих контролю от общего числа стыков, сваренных каждым сварщиком на объекте, %

Подземные газопроводы на территории городов и других населенных мест

до 0,3 включительно (до 3 включительно)

100

Подземные газопроводы на участках прокладки полиэтиленовых труб в футлярах и по 5 м в обе стороны от них, а также на участках прохождения их в ветхих стальных газопроводах

до 0,6 включительно (до 6 включительно)

100

Подземные газопроводы, прокладываемые в сильно и среднепучинистых и просадочных грунтах, а также на расстоянии 4 м от общественных зданий с массовым скоплением людей и жилых зданий высотой свыше 5 этажей

до 0,005 МПа (0,05 включительно)

25, но не менее одного стыка

Подземные газопроводы, прокладываемые вне населенных пунктов за пределами черты их перспективной застройки

свыше 0,005 до 0,6 МПа (свыше 0,05 до 6 кгс/см2)

20, но не менее одного стыка

Нормы данной таблицы в части контроля сварных стыков физическими методами не распространяются на соединения, выполненные с помощью муфт с закладными элементами.

Допускается не производить оценку стыков физическими неразрушающими методами в случае использования для сварки труб автоматизированного сварочного оборудования, осуществляющего запись технологических параметров сварки и выдачу их в протокольной форме.

Для контроля стыков может быть применен ультразвуковой метод.

Для определения фактического положения подземного газопровода следует производить исполнительную геодезическую съёмку планового и высотного положения его элементов по окончании укладки.

Исполнительную геодезическую съёмку подземных инженерных сетей следует выполнять до засыпки траншей.

Плановое и высотное положение элементов инженерных сетей следует определять от знаков разбивочной сети строительной площадки, внешней разбивочной сети здания (сооружения) или от твердых точек капитальных зданий (сооружений).

Производство съёмок включает в себя следующие виды работ:

- выяснение наличия геодезической или разбивочной сети и восстановление знаков этой сети;

- съёмку и нивелирование элементов инженерных сетей и сооружений;

- составление исполнительных чертежей и планов.

По газопроводу съёмке подлежат: ось трассы, углы поворота, колодцы, места подключений, вводы, изломы в профиле.

Обязательной съёмке подлежат все подземные сооружения, пересекающие прокладку или идущие параллельно с ней, вскрытые траншеей. Одновременно со съёмкой указанных элементов инженерных сетей должны быть сняты все здания, прилегающие к проезду или к трассам прокладок.

Ширина полосы, охватываемой съёмкой, должна быть не менее 20 м в обе стороны от оси трассы или устанавливаться заданием.

При производстве работ рекомендуется давать единую нумерацию колодцев, камер и др.

У круглых колодцев снимается центр крышки решеток, у люков прямоугольной формы два угла.

При значительном заглублении снимаемых элементов (свыше 1 м) точки их выносятся на поверхность земли при помощи отвеса или рейки с круглым уровнем.

Закругленные части снимают так, чтобы отразить подобие фигуры в масштабе составляемого плана.

При съёмке колодцев производится обмер внутреннего и внешнего габаритов сооружения, его конструктивных элементов, расположения труб и фасонных частей с привязкой к отвесной линии, проходящей через центр крышки колодца.

Для газовых сетей фиксируется расположение стыков трубопроводов относительно люков колодцев с указанием типа стыка.

Результаты измерений заносятся в абрис, где делаются зарисовки в плане в сочетании со схемой прокладываемого теодолитного хода, показываются привязки к опорной застройке, линейные размеры сооружения, сечения и т.д.

В колодцах, выстроенных по типовым проектам, определяются лишь внецентренность и ориентировка. Внецентренность колодцев определяется, как правило, с помощью отвесов или рейки.

Плановое положение газопровода и относящихся к нему сооружений может быть определено:

- на застроенной территории от твердых точек капитальной застройки, от пунктов геодезической или разбивочной сети и съёмочного обоснования, от точек специально проложенных теодолитных ходов;

- на незастроенной территории от точек съёмочного обоснования, пунктов геодезической сети или от точек специально проложенных теодолитных ходов.

Выходы подземных сетей и углы их поворота на незастроенной территории координируются.

Координирование колодцев и точек углов поворота на застроенной территории производится только по специальному заданию заказчика.

Съёмка планового положения элементов подземной сети производится одним из нижеперечисленных способов:

способом линейных засечек - не менее чем от трёх точек. Засечки не должны превышать длину мерной ленты или рулетки (20 ¸ 50 м). Углы между смежными направлениями засечек у определяемой точки должны быть не менее 30° и не более 120°;

способом перпендикуляров длиной не более 4 м от линий, соединяющих точки съёмочного обоснования, теодолитных ходов или капитальной застройки, а также от линий, продолжающих их створ. Длина продолжения створа не должна превышать половины расстояния между конечными точками створа, но не должна быть более 60 м;

полярным способом - с пунктов опорной геодезической сети, с точек съёмочного обоснования и теодолитных ходов или с вспомогательных точек, определенных указанными выше способами. Нуль лимба теодолита ориентируется на твердую точку, отстоящую от инструмента не ближе чем на 50 м. Длина полярного направления не должна быть более 30 м.

При всех способах съемки точек подземной инженерной сети в обязательном порядке производят контрольные измерения расстояний между ними.

Все линейные измерения при съёмках производятся стальными рулетками (ГОСТ 7502-89*).

Точки подземного газопровода, расположенные в траншее, при съёмке выносятся на поверхность земли отвесом.

Предельные ошибки определения элементов подземной инженерной сети в плане не должны быть более 0,2 м.

Высотное положение элементов газопровода определяется до засыпки траншей техническим нивелированием от реперов городской нивелирной сети.

По окончании обработки материалов исполнительных съёмок составляется исполнительный чертеж.

Если прокладка газопровода выполнена с отклонениями от проекта, то на исполнительных чертежах должно быть указано, кем и когда эти отклонения разрешены.

Исполнительный чертеж входит в состав обязательной исполнительной документации, предъявляемой при сдаче в эксплуатацию законченных строительством газопроводов.

Не позднее чем за три дня до засыпки траншей и котлованов строительные организации обязаны вызвать заказчиков для проведения инструментальной проверки соответствия планового и высотного положения построенного газопровода на местности его отображению на предъявляемых исполнительных чертежах.

Если представленные геодезические материалы отвечают предъявляемым к ним требованиям, то на исполнительном чертеже, в нижнем правом углу проверяющими делается следующая надпись: «Планово-высотное положение газопровода проверено, чертеж составлен правильно, соответствует натуре, отклонений от проекта нет (имеются отклонения от проекта)». Эта надпись сопровождается подписью и датой.

Правила приёмки законченных строительством объектов систем газоснабжения (приложение 8 к СНиП 3.05.02-88*, обязательное), форма Строительного паспорта подземного (надземного) газопровода (приложение 1 к СНиП 3.05.02-88*, обязательное) и форма Акта приёмки законченного строительством объекта системы газоснабжения (приложение 9 к СНиП 3.05.02-88*, обязательное) приведены в данном альбоме в СОКК «Прокладка наружных стальных газопроводов».

Приложение 6 (обязательное) к СНиП 3.05.02-88*

Лаборатория______________________________________________________________

 (наименование строительно-монтажной организации)

ПРОТОКОЛ

МЕХАНИЧЕСКИХ ИСПЫТАНИЙ СВАРНЫХ СТЫКОВ ПОЛИЭТИЛЕНОВОГО ГАЗОПРОВОДА

№ _______ «___» __________ 20____ г.

Произведены испытания стыков полиэтиленового газопровода,

сваренного _____________из труб по ГОСТ (ТУ) ____________, наружным

(вид сварки)

диаметром ________мм, толщиной стенки ________мм сварщиком _____________,

имеющим номер (клеймо) ____________, по адресу:

_________________________________________________________________________

(улица привязки начального и конечного пикетов)

в период с «___» __________ 20____ г. по «____» ___________ 20___ г.

РЕЗУЛЬТАТЫ МЕХАНИЧЕСКИХ ИСПЫТАНИЙ СВАРНЫХ СТЫКОВ ПОЛИЭТИЛЕНОВОГО ГАЗОПРОВОДА

Номер стыка

Номер и тип образца, вырезанного из стыка

Тип разрывной машины

Предел текучести при растяжении, МПа (кгс/см2)

Относительное удлинение при разрушении, %

Характер и тип разрушения

Оценка стыка (годен, не годен)

 

 

 

 

 

 

 

Начальник лаборатории____________________________________________________

(подпись, инициалы, фамилия)

Испытания проводил_______________________________________________________

(подпись, инициалы, фамилия)

Примечание. Протокол испытаний следует составлять на каждого сварщика отдельно и копию представлять в составе исполнительной документации на все объекты, на которых в течение календарного месяца работал этот сварщик.

Приложение 5 (обязательное) к СНиП 3.05.02-88*

Лаборатория______________________________________________________________

(наименование строительно-монтажной организации)

ПРОТОКОЛ

ПРОВЕРКИ СВАРНЫХ СТЫКОВ ГАЗОПРОВОДА РАДИОГРАФИЧЕСКИМ МЕТОДОМ

№ _______ «___» ___________ 20____ г.

Произведена проверка сварных стыков газопровода_____________________________

давления, строящегося по адресу_____________________________________________

(улица привязки начального и конечного пикетов)

Газопровод сварен ___________________сваркой из труб наружным

диаметром ___________ мм, толщиной стенки __________мм.

РЕЗУЛЬТАТЫ ПРОВЕРКИ

Номер стыка по сварочной схеме

Фамилия, имя, отчество сварщика

Номер (клеймо) сварщика

Номер снимка

Размер снимка, мм

Чувствительность контроля, мм

Обнаруженные дефекты

Оценка стыка (годен, не годен)

 

 

 

 

 

 

 

 

Начальник лаборатории____________________________________________________

(подпись, инициалы, фамилия)

Дефектоскопист___________________________________________________________

(подпись, инициалы, фамилия)

Устройство обратных засыпок трубопроводов на наружных сетях газоснабжения

СНиП 3.05.02-88* Газоснабжение.

СНиП 3.02.01-87 Земляные сооружения, основания и фундаменты.

Обратная засыпка траншей газопроводов должна выполняться в соответствии с требованиями проекта, СНиП 3.05.02-88*, СНиП 3.02.01-87, ППР, технологических карт, схем операционного контроля качества и другой технологической документации, утвержденной в установленном порядке.

До проведения работ по обратной засыпке траншей газопроводов должны быть:

- завершены все предусмотренные проектом работы по прокладке газопроводов и монтажу строительных конструкций (подготовка оснований под трубопроводы, колодцы и коверы, монтаж трубопроводов, фасонных частей, узлов, арматуры и прочих устройств, сварочные и антикоррозионные работы, строительство монолитных или монтаж сборных железобетонных колодцев, замоноличивание стыковых соединений колодцев и гидроизоляция колодцев, герметизация мест прохода газопроводов через стенки строительных конструкций, гидроизоляция строительных конструкций и т.д.);

- надлежаще оформлены акты освидетельствования скрытых работ по прокладке газопроводов и возведению строительных конструкций;

- завершены работы по испытаниям подземных газопроводов на прочность;

- устранены выявленные при испытаниях дефекты и проведены повторные испытания газопроводов на прочность и герметичность;

- определены в ППР типы и физико-механические характеристики грунтов, предназначенных для устройства обратных засыпок, специальные требования к ним; определены методы устройства обратных засыпок, способы уплотнения грунта (или без уплотнения), определены требуемая степень уплотнения (плотность сухого грунта или коэффициент уплотнения) и толщины слоев отсыпки; определены механизмы для уплотнения грунта, количество ударов трамбовки или проходов уплотняющей машины по одному следу и др.; определены методы и объём операционного контроля параметров, регламентированных ППР и нормативной документацией.

Контролируемые операции

Состав и средства контроля

Документация

Подготовительные работы

Проверить:

- наличие ППР, технологической карты и СОКК по устройству обратных засыпок и требуемых в них данных;

ППР, технологическая карта и СОКК

- наличие требуемых согласованных изменений проекта (при замене грунтов обратных засыпок);

- завершение предусмотренных проектом работ по прокладке газопроводов и возведению строительных конструкций, наличие актов освидетельствования скрытых работ, акта приемки электрохимической защиты, наличие строительного паспорта газопровода (3, 4, 5 и 6 разделы);

- завершение работ по испытанию подземных газопроводов на прочность;

- готовность механизмов и приспособлений для обратной засыпки, для подбивки пазух и уплотнения грунта.

Согласованные изменения

Акты освидетельствования скрытых работ

Акт приемки электрохимической защиты

Устройство обратных засыпок

Контролировать:

- соблюдение заданной технологии устройства обратных засыпок при подбивке пазух, первой и второй стадиях засыпки траншей с уложенными газопроводами (гранулометрический состав грунта, содержание в грунте мусора, растворимых солей, мерзлых комьев, твердых включений, снега и льда, температуру грунта, плотность сухого грунта, толщину слоев отсыпки и др.);

- соблюдение заданной технологии подсыпки и уплотнения грунта под действующими коммуникациями;

- соблюдение заданной технологии обратной засыпки на участках пересечения с существующими дорогами.

Общий и специальные журналы работ, в т.ч. журнал лабораторных испытаний

Акты лабораторных испытаний

Приёмка

Проверить:

- соответствие фактических параметров выполненной обратной засыпки требованиям проекта и нормативных документов;

- надлежащее оформление актов освидетельствования скрытых работ по обратным засыпкам, в т.ч. в местах пересечения с действующими коммуникациями, существующими дорогами, улицами и т.д.

Акты лабораторных испытаний

Акты освидетельствования скрытых работ

Строительный паспорт

ВХОДНОЙ И ОПЕРАЦИОННЫЙ КОНТРОЛЬ осуществляют:

прораб (мастер), лаборант (инженер) - в процессе производства работ

ПРИЁМОЧНЫЙ КОНТРОЛЬ ОСУЩЕСТВЛЯЮТ:

прораб (мастер), работники отдела контроля качества СМР, представители технадзора заказчика

КИП - нивелир, щуп, лабораторные приборы, радиоизотопные плотномеры и влагомеры

Способ обратной засыпки траншей с уплотнением грунта, а также типы применяемых механизмов устанавливаются проектом организации строительства и уточняются проектом производства работ, составляемыми с учетом требований действующих нормативных документов. При выборе механизмов исходят из необходимой степени уплотнения грунта, заданных объёмов и сроков работ с минимальными затратами. При этом для обеспечения качественной засыпки следует использовать местные грунты в период их оптимальной влажности. Переувлажненные грунты уплотнению не поддаются, поэтому перед уплотнением их следует подсушивать до оптимальной влажности. Разрыхленный грунт слоем толщиной 30 - 40 см подсушивается в жаркую погоду за 2 - 3 дня. Чтобы довести до проектной плотности грунт с влажностью менее оптимальной, его уплотняют увеличенным числом проходов (ударов) по одному следу или используя тяжелые грунто-уплотняющие средства.

В целях получения оптимальной влажности грунт в процессе его укладки поливают машинами или с помощью разбрызгивателей. При этом грунт следует отсыпать слоями одинаковой толщины, каждый отсыпанный слой грунта уплотняют одинаковым числом проходов (ударов) по одному следу.

При засыпке газопроводов следует принимать меры по предотвращению повреждения гидроизоляционного слоя труб.

В ППР должны быть указаны типы и физико-механические характеристики грунтов, предназначенных для устройства обратных засыпок, и специальные требования к ним, требуемая степень уплотнения (плотность сухого грунта или коэффициент уплотнения).

По согласованию с заказчиком и проектной организацией грунты обратных засыпок при необходимости могут быть заменены.

Применение грунтов с концентрацией растворимых солей в пороговой влаге свыше 10 % не допускается для засыпки на расстоянии менее 10 м от существующих и проектируемых неизолированных металлических или железобетонных конструкций.

При использовании для засыпок грунтов, содержащих твердые включения, в т.ч. мёрзлые комья, в объёме до 20 % от общего объёма грунта, последние должны быть равномерно распределены в отсыпаемом грунте и расположены не ближе 0,2 м от труб.

При укладке грунта «насухо» уплотнение следует производить, как правило, при влажности, которая должна быть в пределах AWo £ W £ BWo, где Wo - оптимальная влажность, определяемая в приборе стандартного уплотнения по ГОСТ 22733-77 «Грунты. Метод лабораторного определения максимальной плотности». Коэффициенты А и В следует принимать по нижеследующей таблице.

Тип грунта

Величина коэффициентов А и В при коэффициенте уплотнения Ксом

0,98

0,95

0,92

А

В

А

В

А

В

Пески крупные, средние, мелкие

Не ограничивается

Пески пылеватые

0,60

1,35

0,50

1,45

0,40

1,60

Супеси

0,80

1,20

0,75

1,35

0,56

1,40

Суглинки

0,85

1,15

0,80

1,20

0,70

1,30

Глины

0,90

1,10

0,85

1,15

0,75

1,20

Обратную засыпку траншей, на которые не передаются дополнительные нагрузки (кроме собственного веса грунта), можно выполнять без уплотнения грунта, но с отсыпкой по трассе траншеи валика, размеры которого следует определять с учетом последующей естественной осадки грунта. Наличие валика не должно препятствовать использованию территории в соответствии с её назначением. Величину осадки нескального грунта при отсутствии в проекте необходимых указаний ориентировочно можно принять - 9 %.

Опытное уплотнение грунтов обратных засыпок следует производить при наличии указаний в проекте, а при отсутствии специальных указаний - при объёме поверхностного уплотнения на объекте 10 тыс. м3 и более.

В результате опытного уплотнения должны быть установлены:

- толщина отсыпаемых слоев, число проходов уплотняющих машин по одному следу, продолжительность воздействия вибрационных и других рабочих органов на грунт, число ударов и высота сбрасывания трамбовок и другие технологические параметры, обеспечивающие проектную плотность грунта;

- величины косвенных показателей качества уплотнения, подлежащих операционному контролю («отказа» для уплотнения трамбованием, числа ударов динамического плотномера и др.).

До засыпки траншей трубопроводы для фиксации проектного положения следует присыпать грунтом на половину его диаметра и тщательно уплотнить и подбить пазухи, оставляя стыки открытыми для осмотра в процессе испытания газопроводов на прочность.

Засыпку траншей с уложенными трубопроводами в непросадочных грунтах, в т.ч. на участках пересечения траншей с действующими подземными коммуникациями, если проектом предусмотрены устройства, обеспечивающие неизменность положения и сохранность пересекаемых коммуникаций, следует производить в две стадии.

На первой стадии выполняется засыпка нижней зоны немёрзлым грунтом без включений размером свыше 1/4 их диаметра на высоту 0,2 м над верхом трубы с подбивкой пазух и равномерным послойным его уплотнением до проектной плотности с обеих сторон трубы. При засыпке не должна повреждаться изоляция труб. Стыки засыпаются после проведения испытаний газопроводов на прочность.

На второй стадии выполняется засыпка верхней зоны траншеи грунтом, не содержащим твердых включений размером свыше диаметра трубы. При этом должна обеспечиваться сохранность трубопровода и плотность грунта, установленная проектом.

Уплотнение пазух на первом этапе засыпки следует производить слоями 0,2 - 0,3 м от стенки траншеи в сторону трубы. Уплотнение грунта рекомендуется производить ручными, механическими и электрическими трамбовками. Количество проходов по одному следу и степень необходимого уплотнения должны быть указаны в проекте. При отсутствии в проекте таких данных средняя по проверяемому участку плотность сухого грунта обратных засыпок должна быть не ниже плотности, соответствующей контрольным значениям коэффициента уплотнения, приведенным в нижеследующей таблице.

Траншеи, кроме разрабатываемых в просадочных грунтах II типа, на участках пересечения с существующими дорогами, другими территориями, имеющими дорожные покрытия, следует засыпать на всю глубину песчаным, галечниковым грунтом, отсевом щебня или другими аналогичными малосжимаемыми (модуль деформаций 20 МПа и более) местными материалами, не обладающими цементирующими свойствами, с уплотнением. При отсутствии в районе строительства указанных материалов допускается совместным решением заказчика, подрядчика и проектной организации использовать для обратных засыпок супеси и суглинки при условии обеспечения их уплотнения до проектной плотности.

Тип грунта

Контрольные значения коэффициента уплотнения при общей толщине отсыпки, м

до 2

2,01 - 4

4,01 - 6

св. 6

 

При нулевой нагрузке на поверхность уплотненного грунта

Глинистые

0,92

0,93

0,94

0,95

Песчаные

0,91

0,92

0,93

0,94

 

При нагрузке от 0,05 до 0,2 МПа (0,5 - 2 кгс/см2)

Глинистые

0,94

0,95

0,96

0,97

Песчаные

0,93

0,94

0,95

0,96

 

При нагрузке свыше 0,2 МПа (2 кгс/см2)

Глинистые

0,95

0,96

0,97

0,98

Песчаные

0,94

0,95

0,96

0,97

Примечание. Коэффициент уплотнения - отношение достигнутой плотности сухого грунта к максимальной плотности сухого грунта, полученной в приборе стандартного уплотнения по ГОСТ 22733-77

На участке пересечения траншей, кроме разрабатываемых в просадочных грунтах, с действующими подземными коммуникациями (трубопроводами, кабелями и др.), проходящими в пределах глубины траншей и не имеющими по проекту устройств, обеспечивающих неизменяемость их положения и сохранность, должна быть выполнена подсыпка под действующие коммуникации немёрзлым песком или другим малосжимаемым (модуль деформаций 20 МПа и более) грунтом по всему поперечному сечению траншеи на высоту до половины диаметра пересекаемого трубопровода (кабеля) или его защитной оболочки с послойным уплотнением грунта. Вдоль траншеи размер подсыпки по верху должен быть на 0,5 м больше с каждой стороны пересекаемого трубопровода (кабеля) или его защитной оболочки, а откосы подсыпки должны быть не круче 1:1.

Обратную засыпку (за исключением выполняемых в просадочных грунтах II типа) узких пазух, где невозможно обеспечить уплотнение грунта до требуемой плотности имеющимися средствами, следует выполнять только малосжимаемыми (модуль деформаций 20 МПа и более) грунтами (щебнем, гравийно-галечниковыми и песчано-гравийными грунтами, песками крупными и средней крупности) или аналогичными промышленными отходами с проливкой водой, если в проекте не предусмотрено другое решение.

Обратные засыпки траншей в грунтовых условиях II типа по просадочности, в т.ч. на пересечениях с действующими коммуникациями, а также под дорогами с покрытиями усовершенствованного типа следует производить глинистыми грунтами с послойным уплотнением сразу после устройства коммуникаций. Использование дренирующих грунтов не допускается.

При обратной засыпке котлованов в набухающих грунтах следует применять ненабухающий грунт по всей ширине пазухи или в пределах прилегающего к конструкциям вертикального демпфирующего слоя, поглощающего деформации набухания. Ширина демпфирующего слоя грунта устанавливается проектом.

Набухающий грунт допускается использовать для засыпки траншей с коммуникациями, однако в местах наложения на них дорог и территорий с дорожным покрытием следует использовать только ненабухающий грунт.

При устройстве обратных засыпок в засушливых районах допускается использовать для увлажнения грунта минерализованную воду при условии, что суммарное количество растворимых солей в грунте после уплотнения не будет превышать допустимых пределов, установленных проектом.

При производстве работ по устройству обратных засыпок состав контролируемых показателей, предельные отклонения, объёмы и методы контроля должны соответствовать требованиям, приведенным ниже.

Технические требования

Предельные отклонения

Контроль

Вид и характеристики грунта основания траншеи

Должны соответствовать проекту. Не допускается размыв, размягчение, разрыхление или промерзание верхнего слоя грунта основания толщиной более 3 см.

Технический осмотр всей поверхности основания

Гранулометрический состав грунта, предназначенного для обратных засыпок (при наличии специальных указаний в проекте)

Должен соответствовать проекту. Выход за пределы диапазона, установленного проектом, допускается не более чем в 20 % определений

Измерительный и регистрационный по указанию проекта

Содержание в грунте, предназначенном для устройства обратных засыпок:

 

 

а) древесины, волокнистых материалов; гниющего или легкосжимаемого строительного мусора

Не допускается

Ежесменный, визуальный

б) растворимых солей в случае применения засоленных грунтов

Количество не должно превышать указанного в проекте

Измерительный по указаниям проекта, но не реже чем одно определение на 10 тыс. м3

Содержание мёрзлых комьев в обратных засыпках от общего объёма отсыпаемого грунта

Не должно превышать, %

Визуальный, периодический (устанавливается в ППР)

а) для верхних зон траншей с уложенными коммуникациями

20

 

б) для грунтовых подушек

15

 

Размер твердых включений, в т.ч. мёрзлых комьев в обратных засыпках

Не должен превышать 2/3 толщины уплотненного слоя, но не более 15 см для грунтовых подушек и 30 см для обратных засыпок

Визуальный, периодический (устанавливается в ППР)

Наличие снега и льда в обратных засыпках

Не допускается

Не допускается

Влажность уплотняемого грунта

Должна быть в пределах, установленных проектом

Измерительный, по указаниям проекта

Средняя по проверяемому участку плотность сухого грунта обратных засыпок

Не ниже проектной. Допускаются значения ниже проектных на 0,06 г/см3 в отдельных определениях, но не более чем в 20 %

Измерительный, периодический, объем устанавливается заказчиком

Испытания наружных газопроводов

СНиП 3.05.02-88* Газоснабжение.

СНиП III-4-80* Техника безопасности в строительстве.

Правила безопасности в газовом хозяйстве.

Испытания газопроводов на прочность и герметичность должны производиться в соответствии с требованиями проекта, СНиП 3.05.02-88*, СНиП III-4-80*, Правил безопасности в газовом хозяйстве, ППР и другой технологической документации, утвержденной в установленном порядке.

До проведения испытаний газопроводов должны быть:

- завершены все работы по сварке стыковых соединений, по гидроизоляции стальных газопроводов, по исправлению обнаруженных дефектов, получены удовлетворительные результаты контроля качества сварных соединений и гидроизоляции газопровода;

- скрытые работы надлежаще оформлены актами освидетельствования скрытых работ;

- завершены работы по монтажу арматуры, оборудования и контрольно-измерительных приборов;

- установлены катушки, заглушки и пробки взамен арматуры, оборудования и приборов, не рассчитанных на испытательное давление;

- подготовлены средства наполнения, опрессовки и опорожнения испытываемого участка газопровода, смонтированы временные коммуникации и установлены приборы и краны, необходимые для проведения испытаний;

- проверены знания персонала, участвующего в испытаниях, в части порядка проведения работ (ППР, СОКК, правила, инструкции) и мероприятий по безопасному их выполнению;

- организовано дежурство на границе опасной зоны;

- обозначены знаками безопасности в соответствии с ГОСТ 12.4.026-76* границы опасной зоны.

Величина опасной зоны, которая устанавливается на время проведения пневматических испытаний трубопроводов, находящихся в траншеях, приведена в нижеследующей таблице.

Нахождение лиц в опасной зоне в период нагнетания в газопровод воздуха и при выдерживании газопровода под давлением при испытании на прочность не допускается.

При нахождении газопроводов вблизи жилых или эксплуатируемых общественных или промышленных зданий пневматические их испытания можно производить при условии, что оконные и дверные проемы этих зданий, находящиеся в пределах опасной зоны, должны быть закрыты защитными ограждениями (щитами, решетками).

Контролируемые операции

Состав и средства контроля

Документация

Подготовительные работы

Проверить:

- наличие ППР, технологических карт, схем операционного контроля качества (СОКК) или другой документации по проведению испытаний;

ППР, технологические карты, СОКК

- завершение и надлежащее оформление предшествующих работ по прокладке газопроводов, сварке стыковых соединений, гидроизоляции стальных газопроводов, исправлению обнаруженных дефектов, проведению испытаний сварных соединений и гидроизоляционных покрытий;

- завершение работ по монтажу арматуры, оборудования и контрольно-измерительной аппаратуры;

- установку катушек, заглушек или пробок взамен арматуры, оборудования и приборов, не рассчитанных на испытательное давление;

- готовность средств наполнения, опрессовки и опорожнения газопровода, завершение монтажа временных коммуникаций, установку приборов и кранов, необходимых для проведения испытаний;

- организацию дежурства на границе опасной зоны.

Акты освидетельствования скрытых работ

Испытания газопроводов

Контролировать:

- соблюдение заданной технологии проведения испытаний газопроводов на прочность и герметичность;

- точность измерения давления и фактические значения падения давления во время испытаний;

- устранение дефектов газопровода, выявленных во время испытаний;

- соблюдение технологии проведения повторных испытаний газопроводов (при необходимости).

Общий и специальный журналы

Приёмка

Проверить:

- соответствие параметров испытаний и его результатов требованиям проекта и нормативных документов;

- надлежащее оформление акта о проведении предварительных испытаний.

Строительный паспорт подземного (надземного) газопровода

ВХОДНОЙ И ОПЕРАЦИОННЫЙ КОНТРОЛЬ осуществляют:

прораб (мастер) - в процессе производства работ

ПРИЁМОЧНЫЙ КОНТРОЛЬ ОСУЩЕСТВЛЯЮТ:

прораб (мастер), представители технадзора заказчика и газового хозяйства

КИП - пружинные манометры класса не ниже 1,5 и другое оборудование.

 

Материал труб

Испытательное давление МПа

Диаметр трубопровода мм

Расстояние от бровки траншеи и торцов трубопроводов до границы опасной зоны, м

Сталь

0,6 - 1,6

До 300

7,0

300 - 1000

10,0

Св. 1000

20,0

Полиэтилен низкого давления типа: Т

1,0

63 - 1200

6,0

С

0,6

Компрессор и манометры, используемые при испытании трубопроводов, следует располагать вне зоны траншеи, в которой находится испытываемый трубопровод.

Допускается расположение компрессора в опасной зоне на расстоянии не менее 10 м от бровки, в этом случае он должен быть защищен защитными ограждениями.

Осмотр трубопроводов при испытании разрешается производить только после снижения давления в стальных и пластмассовых трубопроводах до 0,3 МПа.

Обстукивание сварных швов непосредственно во время испытания трубопроводов не допускается.

Присоединять и разъединять линии, подводящие воздух от компрессора к испытываемому трубопроводу, разрешается только после прекращения подачи воздуха и снятия давления до атмосферного.

Дефекты трубопровода следует устранять после снижения давления до атмосферного.

Подземные газопроводы всех давлений, а также наземные и внутренние газопроводы низкого и среднего давления на прочность и герметичность следует испытывать воздухом. Надземные газопроводы высокого давления на прочность и герметичность следует испытывать водой. Допускается их испытание воздухом при соблюдении специальных мер безопасности, предусмотренных проектом производства работ.

Испытание подземных газопроводов на прочность следует производить после их монтажа в траншеи и присыпки на 20 - 25 см выше верхней образующей трубы.

Допускается производить испытание газопроводов на прочность после полной засыпки траншеи.

Испытание подземных газопроводов на герметичность следует производить после полной засыпки траншеи до проектных отметок.

Перед испытанием на прочность и герметичность законченных строительством наружных газопроводов следует производить продувку с целью очистки их внутренней полости. Способ продувки и меры безопасности должны быть определены проектом производства работ.

Испытания на прочность и герметичность газопроводов должна проводить строительно-монтажная организация в присутствии представителя газового хозяйства. Допускается проведение испытания на прочность без участия представителя газового хозяйства по согласованию с ним.

Для испытания на прочность и герметичность газопровод следует разделить на отдельные участки, ограниченные заглушкой или линейной арматурой (если длины участков не установлены проектом).

Линейная арматура может быть использована в качестве ограничительного элемента, если перепад давлений при испытании не превышает величины, допустимой для данного типа арматуры.

Монтажные стыки стальных газопроводов, сваренные после испытаний, должны быть проверены радиографическим методом контроля.

Для проведения испытаний газопроводов на прочность и герметичность следует применять манометры класса точности не ниже 1,5. При испытательном давлении до 0,01 МПа (0,1 кгс/см2) необходимо применять U-образные жидкостные манометры с водяным заполнением.

Пружинные манометры, применяемые при испытании, должны иметь корпус диаметром не менее 160 мм и шкалу с верхним пределом измерений не менее 4/3 и не более 5/3 от величины измеряемого давления.

Испытания на прочность и герметичность наружных газопроводов, газовых вводов, ГРП и ГРУ следует производить после установки отключающей арматуры, оборудования и контрольно-измерительных приборов.

Если арматура, оборудование и приборы не рассчитаны на испытательное давление, то вместо них на период испытаний следует устанавливать катушки, заглушки, пробки.

Сооружения

Нормы испытаний

на прочность

на герметичность

Испытательное давление МПа (кгс/см2)

Продолжительность испытания, ч

Испытательное давление МПа (кгс/см2)

Продолжительность испытания, ч

Допускаемое падение давления

Подземные газопроводы

 

 

 

 

 

1. Газопроводы низкого давления до 0,005 МПа (0,05 кгс/см2) (кроме газопроводов, указанных в поз. 2)

0,6 (6)

1

0,1 (1)

24

Определяется по формуле (1)

2. Вводы низкого давления до 0,005 МПа (0,05 кгс/см2) условным диаметром до 100 мм при их раздельном строительстве с уличными газопроводами

0,1 (1)

1

0,01 (0,1)

1

Определяется по формуле (1)

3. Газопроводы среднего давления св. 0,005 до 0,3 МПа (св. 0,05 до 3 кгс/см2)

0,6 (6)

1

0,3 (3)

24

Определяется по формуле (1)

4. Газопроводы высокого давления св. 0,3 до 0,6 МПа (св. 3 до 6 кгс/см2)

0,75 (7,5)

1

0,6 (6)

24

Определяется по формуле (1)

5. Газопроводы высокого давления:

 

 

 

 

 

св. 0,6 до 1,2 МПа (св. 6 до 12 кгс/см2)

1,5 (15)

1

1,2 (12)

24

Определяется по формуле (1)

св. 0,6 до 1,6 МПа (св. 6 до 16 кгс/см2)

для сжиженных газов

2,0 (20)

1

1,6 (16)

24

Надземные газопроводы

 

 

 

 

 

6. Газопроводы низкого давления до 0,005 МПа (0,05 кгс/см2) (кроме газопроводов, указанных в поз. 7)

0,3 (3)

1

0,1 (1)

0,5

Видимое падение давления по манометру не допускается

7. Вводы низкого давления до 0,005 МПа (0,05 кгс/см2) условным диаметром до 100 мм при их раздельном строительстве с уличными газопроводами

0,1 (1)

1

0,01 (0,1)

0,5

8. Газопроводы среднего давления св. 0,005 до 0,3 МПа (св. 0,05 до 3 кгс/см2)

0,45 (4,5)

1

0,3 (3)

0,5

То же

9. Газопроводы высокого давления св. 0,3 до 0,6 МПа (св. 3 до 6 кгс/см2)

0,75 (7,5)

1

0,6 (6)

0,5

То же

10. Газопроводы высокого давления:

 

 

 

 

 

св. 0,6 до 1,2 МПа (св. 6 до 12 кгс/см2)

1,5 (15)

1

1,2 (12)

0,5

То же

св. 0,6 до 1,6 МПа (св. 6 до 16 кгс/см2)

2,0 (20)

1

1,6 (16)

0,5

То же

для сжиженных газов

 

 

 

 

 

Газопроводы и оборудование ГРП

 

 

 

 

 

11. Газопроводы и оборудование низкого давления до 0,005 МПа (0,05 кгс/см2)

0,3 (3)

1

0,1 (1)

12

1 % испытательного давления

12. Газопроводы и оборудование среднего давления св. 0,005 до 0,3 МПа (св. 0,05 до 3 кгс/см2)

0,45 (4,5)

1

0,3 (3)

12

1 % испытательного давления

13. Газопроводы и оборудование высокого давления св. 0,3 до 0,6 МПа (св. 3 до 6 кгс/см2)

0,75 (7,5)

1

0,6 (6)

12

1 % испытательного давления

14. Газопроводы высокого давления св. 0,6 до 1,2 МПа (св. 6 до 12 кгс/см2)

1,5 (15)

1

1,2 (12)

12

То же

Внутридомовые и внутрицеховые газопроводы, ГРУ

 

 

 

 

 

15. Газопроводы низкого давления до 0,005 МПа (0,05 кгс/см2) в жилых домах и общественных зданиях, на предприятиях бытового обслуживания населения непроизводственного характера

0,1 (1)

1

0,005 (0,05)

5 мин

20 даПа (20 мм вод. ст.)

16. Газопроводы промышленных и сельскохозяйственных предприятий, котельных, предприятий бытового обслуживания населения производственного характера:

 

 

 

 

 

низкого давления

до 0,005 МПа (0,05 кгс/см2)

0,1 (1)

1

0,01 (0,1)

1

60 даПа (60 мм вод. ст.)

среднего давления:

св. 0,005 до 0,1 МПа (св. 0,05 до 1 кгс/см2)

0,2 (2)

1

0,1 (1)

1

1,5 % испытательного давления

св. 0,1 до 0,3 МПа (св. 1 до 3 кгс/см2)

0,45 (4,5)

1

0,3 (3)

1

Определяется по формуле (4)

высокого давления:

св. 0,3 до 0,6 МПа (св. 3 до 6 кгс/см2)

0,75 (7,5)

1

1,25 от рабочего, но не выше 0,6 (6)

1

То же

св. 0,6 до 1,2 МПа (св. 6 до 12 кгс/см2)

1,5 (15)

1

1,25 от рабочего, но не выше 1,2 (12)

1

То же

св. 0,6 до 1,6 МПа (св. 6 до 16 кгс/см2) для сжиженных газов

2,0 (20)

1

1,25 от рабочего, но не выше 1,6 (16)

1

То же

Испытания внутренних газопроводов на прочность следует производить при отключенном оборудовании, если это оборудование не рассчитано на испытательное давление.

Нормы испытаний наружных и внутренних газопроводов следует принимать в соответствии с вышеприведенной таблицей. Наземные газопроводы следует испытывать по нормам, предусмотренным для подземных газопроводов.

Результаты испытания на прочность следует считать положительными, если в период испытаний давление в газопроводе не меняется (нет видимого падения давления по манометру).

Результаты испытания на герметичность следует считать положительными, если в период испытания фактическое падение давления в газопроводе не превышает допустимого падения давления и при осмотре доступных к проверке мест не обнаружены утечки.

При пневматических испытаниях газопроводов на прочность поиск дефектов допускается производить только после снижения давления до норм, установленных для испытания на герметичность.

Дефекты, обнаруженные в процессе испытаний газопроводов на прочность и герметичность, следует устранять только после снижения давления в газопроводе до атмосферного. При этом дефекты, обнаруженные в процессе испытаний газопроводов на прочность, должны быть устранены до начала его испытаний на герметичность.

После устранения дефектов, обнаруженных в результате испытания газопровода на герметичность, следует повторно произвести это испытание.

До начала испытаний на герметичность подземные газопроводы после их заполнения воздухом следует выдерживать под испытательным давлением в течение времени, необходимого для выравнивания температуры воздуха в газопроводе с температурой грунта. Минимальная продолжительность выдержки газопровода под давлением, ч, устанавливается в зависимости от условного диаметра газопровода:

до 300 мм.............................. 6

св. 300 мм до 500 мм............ 12

св. 500 мм.............................. 24

Подземный газопровод считается выдержавшим испытание на герметичность, если фактическое падение давления в период испытания не превысит величины, определяемой по формуле (1)

                                         (1)

где:

DPadm - допускаемое падение давления, кПа;

DPadm - то же, мм рт. ст.;

d - внутренний диаметр газопровода, мм;

Т - продолжительность испытания, ч.

Если испытываемый газопровод состоит из участков разных диаметров d1, d2, d3, dn, то величина d определяется по формуле

                                           (2)

где:

d1, d2, dn, - внутренние диаметры участков газопроводов, мм;

l1, l2, ln, - длины участков газопроводов соответствующих диаметров, м.

Фактическое падение давления в газопроводах DPf, кПа (мм рт. ст.), за время испытания на герметичность определяется по формуле

DPf = (P1 + B1) - (Р2 + В2),                                              (3)

где:

P1 и Р2 - избыточное давление в газопроводе в начале и в конце испытания по показаниям манометра, кПа (мм рт. ст.);

B1 и B2 - то же по показаниям барометра-анероида, кПа (мм рт. ст.) (допускается данные о барометрическом давлении получать от местных метеостанций).

Участки подводных и подземных переходов, прокладываемые в футлярах, следует испытывать в три стадии:

на прочность - после сварки перехода или его части до укладки на место;

на герметичность - после укладки на место, полного монтажа и засыпки всего перехода;

на герметичность - при окончательном испытании на герметичность всего газопровода в целом.

Испытание на прочность и герметичность коротких однотрубных переходов, без сварных стыков, допускается производить вместе с основным газопроводом.

До начала испытания на герметичность наружные надземные газопроводы, а также внутренние газопроводы, включая газопроводы ГРП и ГРУ после их заполнения воздухом, следует выдерживать под испытательным давлением в течение времени, необходимого для выравнивания температуры воздуха внутри газопроводов с температурой окружающего воздуха.

Газопроводы низкого давления в жилых домах и общественных зданиях, предприятиях бытового обслуживания населения непроизводственного характера следует испытывать на прочность и герметичность на следующих участках:

на прочность - от отключающего устройства на вводе в здание до кранов на опусках к газовым приборам. При этом газовые приборы следует отключить, а счетчики, если они не рассчитаны на испытательное давление, заменить перемычками;

на герметичность - от отключающего устройства на вводе в здание до кранов газовых приборов.

При установке в существующих газифицированных жилых и общественных зданиях дополнительных газовых приборов, испытание новых участков газопроводов к этим приборам при их длине до 5 м допускается производить газом (рабочим давлением) после подключения новых участков к действующей сети с проверкой всех соединений газоиндикаторами или мыльной эмульсией.

Внутренние газопроводы промышленных и сельскохозяйственных предприятий, котельных, предприятий бытового обслуживания населения производственного характера следует испытывать на участке от отключающего устройства на вводе до отключающих устройств у газовых горелок газифицируемого оборудования.

Испытание газопроводов и оборудования ГРП и ГРУ следует производить или в целом (от входной до выходной задвижки) по нормам испытательного давления на стороне высокого давления, или по частям: до регулятора давления - по нормам испытательных давлений на стороне высокого давления; после регулятора давления - по нормам испытательного давления на стороне низкого давления.

При испытании на герметичность внутренних газопроводов среднего - свыше 0,1 МПа (1 кгс/см2) и высокого давлений на промышленных и сельскохозяйственных предприятиях, котельных, предприятиях бытового обслуживания населения производственного характера допускаемую величину падения давления DPadm, выраженную в процентах к начальному испытательному давлению, следует определять по формуле

                                                          (4)

где: d - внутренний диаметр испытываемого газопровода, мм.

Если испытываемый газопровод состоит из участков газопроводов разных диаметров, то величину d в формуле (4) следует определять по формуле (2).

Фактическое падение давления в газопроводе, выраженное в процентах к начальному давлению, следует определять по формуле

                                           (5)

где:

P1, P2, B1, B2 - то же, что в формуле (3);

t1, t2 - абсолютная температура воздуха в газопроводе в начале и в конце испытания, °С.

При наличии у газифицируемых тепловых агрегатов приборов автоматики испытание газопроводов на прочность следует производить до запорного устройства, установленного на ответвлении от общего (цехового) газопровода к данному агрегату. Приборы автоматики следует испытывать только на герметичность рабочим давлением совместно с газопроводом.

Внутренние газопроводы низкого давления от индивидуальных, групповых баллонных и резервуарных установок СУГ в жилых и общественных зданиях следует испытывать на прочность и герметичность по нормам испытания газопроводов природного газа в соответствии с вышеприведенной таблицей.

Резервуары СУГ вместе с обвязкой по жидкой и паровой фазам следует испытывать на прочность и на герметичность в соответствии с требованиями «Правил устройства и безопасной эксплуатации сосудов, работающих под давлением» Госгортехнадзора России.

Результаты испытаний следует оформлять записью:

- в разделе 6 строительного паспорта подземного, надземного газопровода, газового ввода;

- в разделе 4 строительного паспорта внутридомового (внутрицехового) газооборудования;

- в разделе 4 строительного паспорта ГРП;

- в разделе 7 строительного паспорта резервуарной установки СУГ.

СХЕМЫ ВХОДНОГО И ОПЕРАЦИОННОГО КОНТРОЛЯ КАЧЕСТВА СМР

ЧАСТЬ IV

АВТОМОБИЛЬНЫЕ ДОРОГИ И БЛАГОУСТРОЙСТВО

Разбивочные работы при возведении земляного полотна

СНиП 3.01.01-85 «Организация строительного производства»

СНиП 3.01.03-84 «Геодезические работы в строительстве»

До начала выполнения геодезических работ на строительной площадке Заказчик должен передать подрядчику геодезическую разбивочную основу и рабочие чертежи, разрешенные к производству работ.

Не менее чем за 10 дней до начала выполнения строительно-монтажных работ Заказчик обязан передать поэтапно подрядчику техническую документацию на геодезическую разбивочную основу и закрепленные на площадке строительства пункты основы, в том числе:

- знаки разбивочной сети строительной площадки;

- плановые (осевые) знаки земляного полотна, определяющие ось, начало, конец трассы, колодцы (камеры), закрепленные на прямых участках не менее чем через 0,5 км и на углах поворота трассы;

- каталоги координат, высот и абрисы всех пунктов геодезической разбивочной основы.

Приёмка геодезической разбивочной основы для строительства должна оформляться актом.

Принятые знаки геодезической разбивочной основы в процессе строительства должны находиться под наблюдением за сохранностью и устойчивостью и проверяться инструментально не реже двух раз в год (в весенний и осенне-зимний периоды).

Геодезические работы являются неотъемлемой частью технологического процесса строительного производства и их следует осуществлять по единому для данной строительной площадки графику, увязанному со сроками выполнения общестроительных, монтажных и специальных работ.

До начала разбивки земляного полотна на строительной площадке должны быть выполнены следующие подготовительные работы: расчистка площадки от леса, кустарника, пней и камней; разборка подлежащих сносу строений и их фундаментов; срезка и складирование растительного слоя грунта и планировка площадки строительства; устройство водоотводных сооружений; сооружение временных дорог и подъездов.

Завершение подготовительных работ должно быть зафиксировано в журнале работ.

Контролируемые операции

Состав и средства контроля

Документация

Подготовительные работы

Проверить:

- наличие геодезической разбивочной основы и технической документации на неё и закрепленные на площадке строительства пункты основы с разрешением на производство работ;

Акт приёмки, техническая документация

- сохранность знаков, закрепляющих пункты геодезической разбивочной основы, и неизменность их положения (путем повторных измерений элементов сети не реже двух раз в год); восстановление утерянных знаков;

- завершение подготовительных работ (расчистка площадки, разборка подлежащих сносу строений и т.д.).

Общий журнал работ

Разбивочные работы

Контролировать:

- вынос в натуру и закрепление пикетов и плюсовых точек, вершин углов поворотов, главных и промежуточных точек кривых, дополнительных реперов у высоких насыпей и глубоких выемок;

- рабочую разбивку контуров насыпей и выемок, высотных отметок, линий уклонов поверхности откосов и т.д.

Исполнительный разбивочный чертеж (схема)

Приёмка

Проверить:

- правильность выполнения разбивочных работ (путем проложения контрольных геодезических ходов);

- погрешность разбивочных работ

Акт разбивки и исполнительный разбивочный чертеж (схема)

ВХОДНОЙ И ОПЕРАЦИОННЫЕ КОНТРОЛЬ осуществляют:

прораб, работники службы главного геодезиста - в процессе производства работ

ПРИЕМОЧНЫЙ КОНТРОЛЬ ОСУЩЕСТВЛЯЮТ:

прораб, представители технадзора Заказчика

Контрольно-измерительные инструменты: нивелир, теодолит, рулетка, коленный уровень, откосное лекало, рейки

ЗАКРЕПЛЕНИЕ ОСИ ДОРОГИ

СХЕМА РАЗБИВКИ НАСЫПИ И ВЫЕМКИ

на слабопересеченной местности

1 - колышки с рабочей отметкой, 2 - шаблон в насыпи, 3 - уровень, 4 - колышки, 5 - откосное лекало

В - ширина земляного полотна дороги

Н - высота (глубина) насыпи или выемки

на косогоре

1 - рейки вертикальные

2 - наклонные рейки

3 - коленный уровень

Перед началом разбивочных работ следует проверить сохранность знаков, закрепляющих пункты геодезической разбивочной основы, и неизменность их положения (путем повторных измерений элементов сети).

Разбивку земляного полотна следует выполнять в соответствии со СНиП 3.01.03-84 «Геодезические работы в строительстве».

При разбивке должны быть вынесены в натуру и закреплены все пикеты и плюсовые точки, вершины углов поворотов, главные и промежуточные точки кривых и установлены дополнительные реперы у высоких (свыше 3 м) насыпей и глубоких (более 3 м) выемок, вблизи искусственных сооружений, через 0,5 км на пересеченной местности. Разбивочные знаки дублируются за пределами полосы производства работ.

Рабочая разбивка контуров насыпей и выемок, других сооружений, высотных отметок, линий уклонов поверхности откосов и т.д. производится от установленных знаков пикетов и реперов не реже чем через 50 м на прямых и 10 - 20 м на кривых непосредственно перед выполнением соответствующих технологических операций.

Разбивка земляного полотна должна выполняться в зависимости от способа производства механизированных работ. При выполнении работ по разбивке насыпи необходимо давать запас на её осадку в зависимости от применяемых механизмов, высоты насыпи и применяемых грунтов.

Правильность выполнения разбивочных работ должна проверяться путем проложения контрольных геодезических ходов (в направлениях, не совпадающих с принятыми при разбивке) с точностью не ниже, чем при разбивке.

Погрешность разбивочных работ (средняя квадратическая погрешность) не должна превышать: при линейных измерениях - 1/2000; при угловых измерениях - 30 с; при определении превышения на станции - 5 мм.

По окончании разбивочных работ должен составляться акт разбивки и исполнительный разбивочный чертеж (схема).

Подготовка основания земляного полотна

СНиП 3.01.01-85 «Организация строительного производства»

СНиП 3.06.03-85 «Автомобильные дороги»

До начала работ по подготовке основания земляного полотна необходимо проверить:

наличие утвержденной в установленном порядке проектно-сметной документации с разрешением Заказчика на производство работ;

наличие технической документации на геодезическую разбивочную основу и закрепленные на площадке строительства пункты основы с разрешением на производство работ;

наличие утвержденной в установленном порядке технологической документации (ППР, технологических карт и т.д.);

завершение подготовительных работ, в состав которых входят:

- расчистка площадки от леса, кустарника, пней и камней;

- разборка подлежащих сносу строений и их фундаментов;

- срезка и складирование растительного слоя грунта;

- вертикальная планировка площадки;

- завершение геодезических разбивочных работ по выносу в натуру и закреплению оси дороги, её границ, углов поворота трассы, водоотводных канав и т.д.;

- разработка предусмотренных проектом выемок;

- устройство водоотводных сооружений;

- сооружение временных дорог и подъездов;

- подготовка бытовых помещений на площадке;

- освещение площадки и прочие работы в соответствии со строительным генеральным планом и действующими нормами техники безопасности и производства работ.

Контролируемые операции

Состав и средства контроля

Документация

Подготовительные работы

Проверить:

- наличие утвержденной в установленном порядке проектно-сметной документации с разрешением Заказчика на производство работ;

ПСД

- наличие технической документации на геодезическую разбивочную основу;

- наличие технологической документации (ППР, технологических карт и т.д.);

Геодезическая разбивочная основа

ППР

- завершение подготовительных работ (расчистка площадки, снос строений и их фундаментов, срезка и складирование растительного слоя грунта, вынос в натуру и закрепление оси дороги, её границ, углов поворота трассы и т.д., разработка выемок, устройство водоотводных сооружений, сооружение временных дорог и подъездов и т.д.)

Акт освидетельствования скрытых работ, общий журнал работ

Подготовка основания

Контролировать:

- вид и характеристику вскрытого грунта естественного основания, грунта, предназначенного для замены вскрытого грунта, на соответствие требованиям проекта;

- плотность грунта в слоях основания на соответствие её требованиям проекта;

Акты лабораторных испытаний

- отклонения геометрических размеров основания от проектных;

- вертикальные отметки спланированной поверхности и её уклон.

Исполнительная геодезическая схема

Приёмка

Проверить:

- соответствие фактических параметров подготовленного основания требованиям проекта и нормативных документов

Акты освидетельствования скрытых работ и лабораторных испытаний

ВХОДНОЙ И ОПЕРАЦИОННЫЙ КОНТРОЛЬ осуществляет:

мастер (прораб), инженер (лаборант) ОИМК (ЦСЛ), геодезист - в процессе выполнения работ

ПРИЁМОЧНЫЙ КОНТРОЛЬ ОСУЩЕСТВЛЯЕТ:

работники отдела контроля качества СМР, мастер (прораб), работники ОИМК (ЦСЛ), геодезист, представители технадзора Заказчика

Контрольно-измерительные инструменты: нивелир, теодолит, рулетка, рейка с уровнем

Поверхность основания насыпи должна быть полностью освобождена от камней и комьев, диаметр которых превышает 2/3 толщины устраиваемого слоя, а также от посторонних предметов.

Поверхность основания должна быть выровнена. В недренирующих грунтах поверхности придается двускатный или односкатный поперечный уклон. Ямы, траншеи, котлованы и другие местные понижения, в которых может застаиваться вода, в процессе выравнивания поверхности засыпаются недренирующим грунтом с его уплотнением.

Ровность поверхности контролируется нивелированием по оси и бровкам в трех точках на поперечнике не реже, чем через 50 м.

Отклонения уклона спланированной поверхности от проектной не должны превышать ±0,001 (кроме инструментального возможен визуальный контроль за стоком атмосферных осадков).

Отклонение отметок спланированной поверхности от проектных не должны превышать:

- в нескальных грунтах …±5 см; в скальных грунтах: от +10 до -20 см.

Отклонения геометрических размеров основания земляного полотна не должны превышать: - положения оси …±20 см; ширины основания …±15 см.

Отклонения контролируются в местах размещения знаков разбивки, но не реже, чем через 100 м на прямолинейных участках и 50 м на криволинейных участках.

Методы и последовательность работ по подготовке основания земляного полотна должны быть указаны в проекте и технологической документации.

Типы и физико-механические характеристики вскрытого грунта естественных оснований а также грунта, предназначенного для его замены, специальные требования к ним, требуемая степень уплотнения (плотность сухого грунта или коэффициент уплотнения), границы частей, возводимых из грунтов с разными физико-механическими характеристиками, должны быть указаны в проекте.

Предельные отклонения толщины снимаемого плодородного слоя грунта не должны превышать ±20 % от проектных значений в 90 % результатов определений.

При техническом осмотре всей поверхности основания не должно быть зафиксировано размыва, размягчения, разрыхления или промерзания верхнего слоя грунта основания толщиной более 3 см.

Наличие снега и льда в основании земляного полотна не допускается.

Уплотнение основания земляного полотна на требуемую глубину следует выполнять непосредственно перед устройством вышележащих слоев. Если требуемая глубина уплотнения превышает толщину слоя, эффективно уплотняемого имеющимися средствами, излишний слой грунта снимают, перемещают на другую захватку или во временный кавальер и уплотняет нижний слой, затем удаленный грунт возвращают на уплотненный нижний слой основания и уплотняют до требуемой плотности.

Снижение плотности грунта естественного основания в пределах до 4 % от проектных значений допускается не более, чем в 10 % результатов определений. Плотность грунта следует контролировать в каждом технологическом слое по оси земляного полотна и на расстоянии 1,5 - 2,0 м от бровки, а при ширине слоя более 20 м также в промежутках между ними.

Контроль плотности грунта необходимо производить на каждой сменной захватке уплотняющих машин, но не реже, чем через 200 м при высоте насыпи до 3 м и не реже, чем через 50 м при высоте насыпи более 3 м. Контроль плотности следует производить на глубине, равной 1/3 толщины уплотняемого слоя, но не менее 8 см. Плотность грунта следует определять по ГОСТ 5180-84.

Завершение работ по устройству основания должно оформляться актом по освидетельствованию скрытых работ. Отдельным актом освидетельствования скрытых работ оформляется приемка работ по замене грунтов и устройств по отводу грунтовых вод.

Возведение насыпей

СНиП 3.01.01-85 «Организация строительного производства»

СНиП 3.06.03-85 «Автомобильные дороги»

До начала работ по возведению насыпей необходимо проверить:

наличие утвержденной в установленном порядке проектно-сметной документации с разрешением Заказчика на производство работ;

наличие утвержденной в установленном порядке технологической документации (ППР, технологических карт и т.д.);

наличие технической документации на геодезическую разбивочную основу и закрепленные на площадке строительства пункты основы с разрешением на производство работ;

завершение подготовительных работ, в состав которых входят:

- расчистка площадки от леса, кустарника, пней и камней;

- разборка подлежащих сносу строений и их фундаментов;

- срезка и складирование растительного слоя грунта;

- вертикальная планировка площадки;

- геодезические разбивочные работы по выносу в натуру и закреплению оси дороги, её границ, углов поворота трассы, водоотводных канав и т.д.;

- разработка предусмотренных проектом выемок;

- устройство водоотводных сооружений;

- подготовка основания насыпи;

- сооружение временных дорог и подъездов;

- подготовка бытовых помещений на площадке;

- освещение площадки и прочие работы в соответствии со строительным генеральным планом и действующими нормами техники безопасности и производства работ.

Контролируемые операции

Состав и средства контроля

Документация

Подготовительные работы

Проверить:

- наличие утвержденной в установленном порядке проектно-сметной документации с разрешением Заказчика на производство работ;

ПСД

- наличие утвержденной в установленном порядке технологической документации;

ППР

- наличие технической документации на геодезическую разбивочную основу;

- завершение подготовительных работ (расчистка площадки, снос строений и их фундаментов, срезка и складирование растительного слоя грунта, планировка площадки, вынос в натуру и закрепление оси дороги, её границ, углов поворота трассы и т.д., рабочая разбивка контуров насыпи, сооружение временных дорог и подъездов, разработка выемок и т.д.).

Геодезическая разбивочная основа

Общий журнал работ

Акт освидетельствования работ по подг. основания

Возведение насыпей

Контролировать:

- соблюдение заданной в ППР технологии возведения насыпей;

Общий журнал работ

- физико-механические свойства грунтов (плотность, однородность, влажность, засоренность, температуру), их соответствие требованиям проекта и нормативных документов;

- ровность поверхности насыпи;

Акты лабораторных испытаний

- поперечный и продольный профиль насыпи (ширину насыпей по верху и по низу, отметки поверхностей, уклоны, крутизну откосов насыпей).

Исполнительная геодезическая схема

Приёмка

Проверить:

- соответствие фактических физико-механических характеристик грунтов в возведенной насыпи требованиям проекта и нормативных документов;

- соответствие фактического поперечного и продольного профилей насыпи требованиям проекта и нормативных документов.

Акты лабораторных испытаний

Акт освидетельствования скрытых работ

Контрольно-измерительный инструмент

Теодолит, нивелир, металлическая рулетка, шаблоны и др.

 

ВХОДНОЙ И ОПЕРАЦИОННЫЙ КОНТРОЛЬ осуществляют:

мастер (прораб), инженер (лаборант) ОИМК (ЦСЛ), геодезист - в процессе выполнения работ

ПРИЁМОЧНЫЙ КОНТРОЛЬ ОСУЩЕСТВЛЯЮТ:

работники отдела контроля качества СМР, прораб, геодезист, представители технадзора Заказчика

Предельные отклонения поперечных уклонов: в не менее 90 % результатов - до ±0,010, в остальных результатах - от -0,015 до 0,030.

Проверку правильности размещения оси земляного полотна, высотных отметок, поперечных профилей земляного полотна и толщин слоев следует производить не реже чем через 100 м на прямолинейных участках и 50 м на криволинейных участках в трех точках на поперечнике, как правило, в местах размещения знаков рабочей разбивки с помощью геодезических инструментов и шаблонов.

Плотность грунта следует контролировать в каждом технологическом слое по оси земляного полотна и на расстоянии 1,5 - 2,0 м от бровки, а при ширине слоя более 20 м - также в промежутках между ними.

Контроль плотности грунта необходимо производить на каждой сменной захватке работы уплотняющих машин, но не реже чем через 200 м при высоте насыпи до 3 м и не реже чем через 50 м при высоте насыпи более 3 м.

Контроль плотности верхнего слоя следует производить не реже чем через 50 м.

Дополнительный контроль плотности необходимо производить в местах сопряжения с мостами.

Контроль плотности следует производить на глубине, равной 1/3 толщины уплотняемого слоя, но не менее 8 см.

Отклонения от требуемого значения коэффициента уплотнения в сторону уменьшения допускаются не более чем на 0,04.

Контроль влажности используемого грунта следует производить, как правило, в месте его получения (в резерве, карьере) не реже одного раза в смену и обязательно при выпадении осадков.

Плотность и влажность грунта следует определять по ГОСТ 5180-84. Для текущего контроля допускается использовать ускоренные и полевые экспресс-методы и приборы.

Однородность грунта следует контролировать визуально.

Ровность поверхности земляного полотна контролируется нивелированием по оси и бровкам в трех точках на поперечнике не реже чем через 50 м. Поверхность не должна иметь местных углублений, в которых может застаиваться вода.

При приёмочном контроле объём измерений должен быть не менее 20 % объёма измерений при операционном контроле, но состоять не менее чем из 20 измерений.

Методы и последовательность работ по возведению насыпей должны быть указаны в проекте и технологической документации.

Типы и физико-механические характеристики грунтов, предназначенных для возведения насыпей, и специальные требования к ним, требуемая степень уплотнения (плотность сухого грунта или коэффициент уплотнения), границы частей насыпи, возводимых из грунтов с разными физико-механическими характеристиками, должны быть указаны в проекте.

По согласованию с заказчиком и проектной организацией грунты насыпей при необходимости могут быть заменены.

При использовании в одной насыпи грунтов разных типов поверхность слоев из менее дренирующих грунтов, располагаемых под слоями из более дренирующих, должна иметь уклон в пределах 0,04 - 0,1 от оси насыпи к краям.

Гранулометрический состав грунта должен соответствовать проекту. Выход за пределы диапазона, установленного проектом, допускается не более чем в 20 % определений.

Содержание в грунте древесины, волокнистых материалов, гниющего или легкосжимаемого строительного мусора не допускается.

Содержание в грунте растворимых солей в случае применения засоленных грунтов не должно превышать указанного в проекте (контроль - не реже чем одно определение на 10 тыс. м3 грунта).

Содержание мерзлых комьев в насыпях от общего объёма грунта не должно превышать, %:

для насыпей, уплотняемых укаткой... 20;

для насыпей, уплотняемых трамбованием… 30;

для насыпей, возводимых без уплотнения… 50.

Размер твердых включений, в т.ч. мерзлых комьев, в насыпях не должен превышать 2/3 толщины уплотненного слоя, но не более 30 см. Твердые включения должны быть равномерно распределены в отсыпаемом грунте и расположены не ближе 0,2 м от изолированных конструкций, а мерзлые комья, кроме того, не ближе 1 м от откоса насыпи.

Наличие снега и льда в насыпях не допускается.

Средняя по контролируемому участку плотность сухого грунта должна быть не ниже проектной. При летней отсыпке допускаются значения плотности сухого грунта ниже проектной не более чем в 10 % определений. Периодичность контроля - по указаниям проекта, а при отсутствии указаний - ежесменно, но не реже чем одно определение на 300 м3 насыпи.

Степень влажности при устройстве насыпи из грунтов повышенной влажности должна быть не более 0,85. Допускаются значения более 0,85 не более чем 20 % определений. Периодичность контроля - как и при контроле плотности.

Разработка выемок

СНиП 3.01.01-85* «Организация строительного производства»

СНиП 3.06.03-85 «Автомобильные дороги»

До начала работ по разработке выемок необходимо проверить:

наличие утвержденной в установленном порядке проектно-сметной документации с разрешением Заказчика на производство работ;

наличие технической документации на геодезическую разбивочную основу и закрепленные на площадке строительства пункты основы с разрешением на производство работ;

наличие утвержденной в установленном порядке технологической документации (ППР, технологических карт и т.д.);

завершение подготовительных работ, в состав которых входят:

- расчистка площадки от леса, кустарника, пней и камней;

- разборка подлежащих сносу строений и их фундаментов;

- вертикальная планировка площадки;

- завершение геодезических разбивочных работ по выносу в натуру и закрепление оси дороги, её границ, углов поворота трассы, водоотводных канав и т.д.;

- рабочая разбивка контуров выемок, высотных отметок, линий уклонов поверхности откосов и т.д.;

- сооружение временных дорог и подъездов;

- подготовка бытовых помещений на площадке;

- освещение площадки и прочие работы в соответствии со строительным генеральным планом и действующими нормами техники безопасности и производства работ.

Окончание внеплощадочных и внутриплощадочных подготовительных работ в объёме, обеспечивающем строительство объекта запроектированными темпами, должно быть подтверждено актом, составленным заказчиком и генподрядчиком с участием субподрядной организации, выполняющей работы в подготовительный период, и профсоюзного комитета генподрядчика.

Контролируемые операции

Состав и средства контроля

Документация

Подготовительные работы

Проверить:

- наличие утвержденной в установленном порядке проектно-сметной документации с разрешением Заказчика на производство работ;

псд

- наличие технической документации на геодезическую разбивочную основу;

- наличие технологической документации (ППР, технологических карт и т.д.);

Геодезическая разбивочная основа ППР

- завершение подготовительных работ (расчистка площадки, снос строений и их фундаментов, срезка и складирование растительного слоя грунта, вынос в натуру и закрепление оси дороги, её границ, углов поворота трассы и т.д., рабочая разбивка контуров выемок, линий уклонов и т.д., сооружение временных дорог и подъездов и т.д.).

Общий журнал работ

Акт об окончании подготовительных работ

Разработка выемки

Контролировать:

- соблюдение заданной в ППР и технологической карте технологии разработки выемки;

Общий журнал работ

- отклонения отметок дна выемки от проектных при черновой и окончательной разработке;

- уменьшение крутизны откосов сверх допустимых значений.

Исполнительная геодезическая схема

Приёмка

Проверить:

- соответствие фактических поперечного и продольного профилей выемки требованиям проекта и нормативных документов.

Акт освидетельствования скрытых работ по основанию выемки

Контрольно-измерительный инструмент

Теодолит                                      ГОСТ 10529-86*

Нивелир                                       ГОСТ 10528-90

Рулетка                                         ГОСТ 7502-80*

Лекала, шаблоны и т.д.

 

ВХОДНОЙ И ОПЕРАЦИОННЫЙ КОНТРОЛЬ осуществляют:

мастер (прораб), инженер (лаборант) ОИМК (ЦСЛ), геодезист - в процессе выполнения работ

ПРИЁМОЧНЫЙ КОНТРОЛЬ ОСУЩЕСТВЛЯЮТ:

работники отдела контроля качества СМР, мастер (прораб), геодезист, представители технадзора Заказчика

Предельные отклонения отметок дна выемок от проектных кроме выемок в валунных скальных и вечномерзлых грунтах) при черновой разработке:

- одноковшовыми экскаваторами типа: драглайн… +25 см (число измерений на контролируемом участке - 20); прямого копания…+10 см (число измерений - 15); обратная лопата… +10 см (число измерений - 10); экскаваторами с гидравлическим приводом… +10 см (число измерений - 10); экскаваторами, оборудованными зачистными и другими планировочными приспособлениями, экскаваторами-планировщиками… +5 см (число измерений - 5);

- бульдозерами… +10 см (число измерений - 15);

- скреперами… +10 см (число измерений - 10).

Предельные отклонения отметок дна выемок от проектных при черновой разработке в скальных и вечномерзлых грунтах: недоборы… 10 см; переборы… 20 см (число измерений на сдаваемом участке не менее 20 в наиболее высоких местах, установленных визуальным осмотром).

Предельные отклонения отметок дна выемок от проектных при черновой разработке в скальных и вечномерзлых грунтах без рыхления валунных и глыбовых грунтов: недоборы…. не допускаются; переборы… не более величины максимального диаметра валунов (глыб), содержащихся в грунте в количестве свыше 15 % по объему, но не более 0,4 м3.

Предельные отклонения отметок дна выемок от проектных при окончательной разработке или после доработки недоборов и восполнения переборов… ±5 см (число измерений не менее 10 на принимаемом участке и не реже, чем через 50 м).

Крутизна откосов выемок должна быть установлена в проекте или ППР.

При операционном контроле качества разработки выемок следует контролировать поперечный профиль откосов и основания выемки. Проверку следует производить не реже чем через 100 м (в трех точках на поперечнике), как правило, в местах размещения знаков рабочей разбивки с помощью геодезических инструментов и шаблонов.

При осуществлении приёмочного контроля следует проверять соответствие фактических параметров поперечного профиля выемок требованиям проекта. Объём измерений при приёмочном контроле должен быть не менее 20 % объёма измерений при операционном контроле, но состоять не менее чем из 20 измерений.

Процесс сооружения земляного полотна должен быть организован, как правило, без разрывов.

Разрывы в возводимом земляном полотне допускается на участках сосредоточенных работ или расположения искусственных сооружений и на участках с особыми грунтовыми условиями, где работы выполняются по индивидуальному проекту, предусматривающему технологические или сезонные перерывы (глубокие болота, оползневые участки, глубокие скальные выемки и т.п.).

Земляное полотно, кроме случаев строительства на спланированных территориях промышленных и сельскохозяйственных предприятий, следует возводить с опережением последующих работ (заделом), величина которого должна определяться ПОС и обеспечивать непрерывное и равномерное устройство дорожных оснований и покрытий.

При строительстве дорог на спланированных территориях промышленных и сельскохозяйственных предприятий сооружение земляного полотна следует выполнять непосредственно перед устройством основания дорожной одежды.

На участках задела земляное полотно должно быть выполнено до проектной отметки, поверхность его, включая откосы, спланирована, откосы укреплены, обеспечена надежная работа водоотводных сооружений.

Разработку выемок следует начинать, как правило, с пониженных мест рельефа. В процессе строительства должен быть обеспечен постоянный отвод поверхностных вод из всей зоны производства работ.

Разработку выемок на косогорах круче 1:3 или оползневых склонах допускается производить только после строительства специальных защитных устройств.

Выемки в грунтах, кроме валунных, скальных и элювиальных, следует разрабатывать, как правило, до проектной отметки с сохранением природного сложения грунтов основания. Допускается разработка выемок в два этапа: черновая и окончательная (непосредственно перед возведением конструкции).

Доработку недоборов до проектной отметки следует производить с сохранением природного сложения грунтов оснований.

Восполнение переборов в выемках в скальных грунтах допускается выполнять местным скальным грунтом, не содержащим на поверхности кусков размером свыше 5 см. Способ восполнения переборов глубиной более 50 см должен быть согласован с проектной организацией.

F

Разработка выемок в пределах охранных зон допускается при наличии письменного разрешения эксплуатирующих организаций.

Разработка выемок и возведение насыпей в особых условиях

СНиП 3.06.03-85 «Автомобильные дороги»

СНиП 3.02.01-87 «Земляные сооружения, основания и фундаменты»

1. Земляные работы в зимних условиях.

В зимний период разрешается выполнять разработку выемок и резервов в необводнённых песках, гравийно-галечных и скальных грунтах в глинистых грунтах при влажности в пределах, указанных в нижеследующей таблице, разработку выемок глубиной более 3 м, возведение насыпи из сосредоточенных резервов, устройство насыпи из песчаных грунтов на болотах.

Вид грунта

Влажность при требуемом коэфф. уплотнения

1 - 0,98

0,95

0,90

Пески пылеватые, супеси легкие, крупные

Не более 1,35

Не более 1,6

Не нормируется

Супеси легкие и пылеватые

0,8 - 1,25

0,75 - 1,35

0,7 - 1,6

Супеси тяжелые пылеватые и суглинки легкие и легкие пылеватые

0,85 - 1,15

0,8 - 1,2

0,75 - 1,4

Суглинки тяжелые и тяжелые пылеватые, глины

0,95 - 1,05

0,9 - 1,1

0,85 - 1,2

Для возведения насыпи в зимнее время применяют без ограничений скальные, крупнообломочные грунты и пески (непылеватые). Применение глинистых грунтов и пылеватых песков допускается при влажности не более оптимальной. Применение глинистых грунтов повышенной влажности допускается только при выполнении в соответствии с проектом мероприятий по обеспечению необходимой устойчивости земляного полотна. Глинистые грунты повышенной влажности следует применять только в талом виде.

Основание под насыпь должно быть подготовлено в летнее время, а перед началом возведения насыпи тщательно очищено от снега и льда. При возведении насыпи на сильнопучинистых грунтах в районах с глубиной промерзания более 1,5 м нижние слои (1,2 - 1,5 м) следует устраивать до наступления устойчивых отрицательных температур воздуха.

Размер мерзлых комьев при возведении насыпей не должен превышать 30 см при уплотнении грунтов решетчатыми катками или трамбующими машинами и 15 см при уплотнении грунтов катками на пневматических шинах и вибрационными. Укладывать мерзлые комья грунта допускается на расстоянии не ближе 1 м от поверхности откосов. Общее количество мерзлого грунта не должно превышать 30 % общего объёма грунта, укладываемого в насыпь, при уплотнении трамбованием и 20 % при уплотнении укаткой. Мёрзлый грунт должен равномерно распределяться в теле насыпи.

Высоту насыпи, возводимой в зимнее время из глинистых и песчаных грунтов с включением мёрзлых комьев, необходимо увеличить на 3 % от толщины слоя зимней отсыпки.

Уплотнение грунтов до требуемой плотности следует производить до их замерзания.

Наличие снега и льда в насыпях и их основаниях при визуальном контроле не допускается.

Температура грунта, отсыпаемого и уплотняемого при отрицательной температуре воздуха должна обеспечивать сохранение немёрзлого или пластичного состояния грунта до конца его уплотнения (периодичность лабораторного контроля должна быть установлена в технологической карте или ППР).

Средняя по принимаемому участку плотность сухого грунта не должна быть ниже проектной. Допускаются значения плотности сухого грунта ниже проектных не более чем в 20 % определений при зимней отсыпке.

При сооружении земляного полотна полностью в зимнее время до устройства асфальто- и цементобетонных покрытий, покрытий и оснований, устраиваемых с применением вязких битумов, а также из материалов, укрепленных цементом, должен быть установлен технологический перерыв для стабилизации земляного полотна. После окончания технологического перерыва поверхность земляного полотна должна быть спланирована и при необходимости произведены досыпка и уплотнение.

2. Земляные работы в просадочных, набухающих и других грунтах, меняющих свои свойства под влиянием атмосферной влаги и подземных вод.

Разработку элювиальных грунтов, меняющих свои свойства под влиянием атмосферных воздействий, следует осуществлять, оставляя защитный слой, величина которого и допустимая продолжительность контакта вскрытого основания с атмосферой должна быть установлена проектом. Защитный слой удаляется непосредственно перед началом возведения сооружения.

Разработку выемок в просадочных и набухающих грунтах разрешается производить только после выполнения мероприятий, обеспечивающих отвод поверхностных вод из выемки и прилегающей территории, размеры которой превышают с каждой стороны размеры разрабатываемой выемки по верху на величину:

для просадочных грунтов - не менее величины просадочной толщи, указанной в проекте, а при отсутствии указаний в проекте - на 15 м при I типе и 25 м при II типе грунтовых условий по просадочности;

для набухающих грунтов - не менее 15 м.

При производстве земляных работ в грунтовых условиях II типа по просадочности водоприёмники и водоотводные устройства должны быть рассчитаны на приток воды 5 % обеспеченности от таяния снегов и выпадения осадков, принимая наибольшую из указанных величин.

Обратные засыпки выемок в грунтовых условиях II типа по просадочности под дорогами с покрытиями усовершенствованного типа следует производить глинистыми грунтами с послойным уплотнением сразу после устройства коммуникаций. Использование дренирующих грунтов не допускается.

Не допускается использовать набухающий грунт для засыпки траншей с коммуникациями в местах наложения на них дорог и территорий с дорожным покрытием.

3. Земляные работы на сильнопучинистых основаниях.

При устройстве насыпей на сильнопучинистых основаниях нижняя часть насыпи должна быть отсыпана на высоту не менее глубины промерзания до наступления устойчивых отрицательных температур воздуха.

4. Земляные работы в засушливых районах и песчаных пустынях.

Земляное полотно в песчаных пустынях следует возводить, как правило, в зимне-весенний период.

При производстве работ в сухой период года в засушливых районах на засоленных грунтах в проекте организации строительства должно быть предусмотрено дублирование трасс временных дорог.

При строительстве дорог в песках, покрытых растительностью, необходимо принимать меры против её повреждения, нарушения рельефа и разрыхления поверхности песков.

Верхний слой засоленного грунта толщиной не менее 5 см должен быть удален с поверхности основания насыпи, резервов и карьеров.

При выполнении земляных работ в районах подвижных песков в ПОС должны быть предусмотрены мероприятия по защите насыпей и выемок от заносов и выдувания на период строительства (порядок разработки резервов, опережающее устройство защитных слоев и др.). Устройство защитного слоя и укрепление откосов следует производить вслед за возведением насыпи из песка. Защитные слои из песка, укрепленного вяжущими материалами, необходимо устраивать согласно правилам укрепления грунтов, как правило, путем смешения непосредственно на земляном полотне. Защитный слой на земляном полотне следует укладывать по способу «от себя». Защитные от выдувания слои из глинистого грунта поверх песка следует укладывать полосами с перекрытием на 0,5 - 1,5 м, в связи с чем в проекте необходимо предусматривать дополнительный объём грунта в размере 10 - 15 % общего объёма защитного слоя.

Земляное полотно из песка следует возводить непрерывно. Законченные участки земляного полотна и прилегающие к ним пески необходимо сразу же укреплять.

При устройстве насыпей в засушливых районах допускается использовать для увлажнения грунта минерализованную воду при условии, что суммарное количество растворимых солей в грунте после уплотнения не будет превышать допустимых пределов, установленных проектом.

5. Земляные работы на засоленных грунтах.

Устройство земляного полотна на засоленных грунтах при высоком уровне грунтовых вод необходимо производить в период, когда их влажность соответствует требованиям вышеприведенной таблицы.

Верхний рыхлый слой засоленного грунта, перенасыщенный солями, и солевые корки толщиной более 3 см следует удалять с поверхности резервов и основания насыпи перед её возведением.

Для возведения насыпей на засоленных грунтах при высоком уровне грунтовых вод и глубине резервов не более 0,5 - 0,6 м следует использовать бульдозеры и автогрейдеры. Применение гредер-элеваторов для возведения насыпей на солончаках допускается в случае расположения уровня грунтовых вод не ближе 1 м от поверхности земли.

Отсыпку насыпи из привозного грунта на мокрых солончаках следует вести способом «от себя».

6. Земляные работы на слабых грунтах

Режим возведения насыпи на слабом основании должен устанавливаться проектом.

При использовании слабых грунтов в качестве оснований дорог и площадок дерновый слой удалять не следует.

При возведении насыпей на слабых грунтах на характерных участках по согласованию с заказчиком и проектной организацией следует устанавливать поверхностные и глубинные марки для проведения наблюдений за деформациями насыпи, а также уточнения фактических объёмов работ.

При строительстве насыпей на слабых основаниях до устройства покрытий и оснований должен быть установлен технологический перерыв для стабилизации земляного полотна. После окончания технологического перерыва поверхность земляного полотна должна быть спланирована и при необходимости произведены досыпка и уплотнение.

7. Земляные работы на оползнеопасных склонах

В проекте организации строительства на оползнеопасных склонах должны быть установлены: границы оползнеопасной зоны, режим разработки грунта, интенсивность разработки или отсыпки во времени, увязка последовательности устройства выемок (насыпей) и их частей с инженерными мероприятиями, обеспечивающими общую устойчивость склона, средства и режим контроля положения и наступления опасного состояния склона.

Разработку выемок и отсыпку насыпей на оползневых склонах допускается производить только после строительства специальных защитных устройств.

Запрещается производство работ на склонах и прилегающих участках при наличии трещин, заколов до выполнения соответствующих противооползневых мероприятий.

В случае возникновения потенциально опасной ситуации все виды работ следует прекратить. Возобновление работ допускается после полной ликвидации причин опасной ситуации с оформлением соответствующего разрешительного акта.

8. Земляные работы на переувлажненных грунтах

При использовании грунтов, имеющих влажность более допустимых значений, следует предусматривать просушивание грунта: естественным способом, введением песка, сухого малосвязного грунта, шлаков, неактивных зол, укладываемых в виде дренирующих слоев или водопоглощающих прослоек, а также активных добавок (известь, золы уноса, гипс и др.), применяемых для осушения глинистых грунтов в основании и верхней части земляного полотна.

При использовании в земляном полотке переувлажненных грунтов до устройства асфальто- и цементобетонных покрытий, покрытий и оснований, устраиваемых с применением вязких битумов, а также из материалов, укрепленных цементом, должен быть установлен технологический перерыв для стабилизации земляного полотна.

Устройство дополнительных слоев основания из щебня, гравия или (и) песка

ГОСТ 25607-94 Смеси щебеночно-гравийно-песчаные для покрытий и оснований автомобильных дорог и аэродромов. Технические условия.

ГОСТ 8736-93 Песок для строительных работ. Технические условия.

СНиП 3.06.03-85* Автомобильные дороги.

СНиП 2.05.02-85* Автомобильные дороги.

Входной контроль щебеночно-гравийно-песчаных смесей и песка, предусмотренных проектом для устройства дополнительных слоев оснований следует осуществлять в соответствии с требованиями проекта, государственных стандартов, технических условий, ППР, технологических карт, схем операционного контроля качества и другой технологической документации, утвержденной в установленном порядке.

ГОСТ 25607-94 Смеси щебеночно-гравийно-песчаные для покрытий и оснований автомобильных дорог и аэродромов. Технические условия.

Данный стандарт распространяется на готовые щебеночно-песчаные, гравийно-песчаные и щебеночно-гравийно-песчаные смеси, применяемые для устройства покрытий, оснований и дополнительных слоев оснований автомобильных дорог и оснований аэродромов и укрепления обочин автомобильных дорог, а также на щебень, применяемый для устройства покрытий и оснований по способу заклинки.

Требования к готовым смесям для строительства оснований и дополнительных слоев оснований и покрытий.

Стандарт регламентирует состав и область применения 13 готовых смесей, которые приведены в нижеследующей таблице.

Допускается использование смесей:

С1 и С2 - для устройства оснований при соответствующем технико-экономическом обосновании;

С3 ¸ С11 - для устройства дополнительных слоев оснований;

С4 ¸ С6 и С9 и С10 - для укрепления обочин автомобильных дорог.

ЗЕРНОВОЙ СОСТАВ СМЕСЕЙ В % ПО МАССЕ

Номер смеси

Наибольший размер зерен

Полный остаток на ситах размером, мм

120

80

40

20

10

5

2,5

0,63

0,16

0,05

 

 

Смеси для покрытий

С1

40

-

0 - 5

0 - 20

20 - 40

35 - 60

45 - 70

55 - 80

70 - 90

75 - 92

80 - 93

С2

20

-

-

0 - 5

0 - 20

10 - 35

25 - 50

35 - 65

55 - 80

65 - 90

75 - 92

 

 

Смеси для оснований (непрерывная гранулометрия)

С3

120

0 - 10

115 - 30

20 - 50

40 - 65

50 - 75

65 - 85

75 - 90

80 - 95

95 - 100

95 - 100

С4

80

0 - 2

0 - 15

20 - 60

40 - 80

55 - 85

55 - 85

55 - 85

85 - 95

85 - 95

85 - 95

С5

80

0 - 2

0 - 15

10 - 35

20 - 50

30 - 65

40 - 75

50 - 85

70 - 90

90 - 95

90 - 95

С6

40

-

0 - 5

0 - 20

40 - 60

60 - 80

70 - 85

75 - 85

85 - 95

93 - 97

93 - 97

С7

20

-

-

0 - 5

0 - 20

20 - 40

40 - 60

55 - 70

75 - 85

90 - 95

90 - 95

С8

20

-

-

0 - 5

0 - 20

40 - 70

60 - 85

70 - 95

85 - 97

90 - 97

92 - 100

 

 

Смеси для оснований (полунепрерывная гранулометрия)

 

С9

80

0 - 2

0 - 20

15 - 40

28 - 64

40 - 79

48 - 85

55 - 88

69 - 92

87 - 97

95 - 100

С10

40

-

0 - 5

0 - 20

17 - 40

30 - 64

42 - 80

49 - 86

65 - 91

85 - 95

95 - 100

С11

20

-

-

0 - 5

0 - 20

18 - 40

32 - 64

42 - 80

60 - 80

83 - 95

95 - 100

 

 

Смеси для расклинки

С12

10

-

-

-

0 - 5

0 - 20

30 - 70

50 - 85

75 - 95

89 - 93

90 - 100

С13

5

-

-

-

-

0 - 5

0 - 20

20 - 70

55 - 95

75 - 98

80 - 100

Марка по пластичности смеси, определяемая на зернах размером менее 0,63, входящих в состав смесей, должна соответствовать требуемой, приведенной в соседней таблице.

Марка по пластичности

Число пластичности

Пл 1

до 1 включительно

Пл 2

свыше 1 до 5

Пл 3

свыше 5 до 7

Содержание пылевидных и глинистых частиц (размером менее 0,005 мм) в готовых смесях должно соответствовать требуемому, указанному в приведенной выше таблице. При этом содержание глины в комках от общего количества пылевидных и глинистых частиц в готовых смесях должно быть, в % по массе, не более: 20 - для оснований, 10 - для покрытий.

Коэффициент фильтрации смесей для дополнительных слоев основания должен быть не менее:

1 м/ сут - для дренирующих слоев оснований автомобильных дорог;

7 м/сут - для дренирующих слоев аэродромов;

0,2 м/сут - для морозозащитных слоев оснований автомобильных дорог.

Для морозозащитных слоев оснований должны применяться непучинистые или слабопучинистые смеси. Степень пучинистости характеризуют относительной деформацией морозного пучения смеси, которая должна быть не более 0,04.

Щебень и гравий, входящие в состав смесей, по прочности, морозостойкости и устойчивости структуры против распадов должны соответствовать требованиям ГОСТ 8267-93. Марка по дробимости щебня из осадочных пород не должна быть ниже 300. Допускается применение в смесях щебня из двух и более разновидностей горных пород. Кроме того, щебень и гравий, входящие в состав смесей, характеризуют показателями водостойкости, указанными в нижеследующей таблице.

Марка по водостойкости

Потеря массы при испытании, %

В 1

до 1 включительно

В 2

свыше 1 до 3

Щебень, гравий и смеси в зависимости от величины суммарной удельной эффективной активности естественных радионуклидов (Аэфф) подразделяют на классы и применяют:

при Аэфф до 740 Бк/кг - для строительства дорог и аэродромов без ограничения;

при Аэфф св. 740 Бк/кг до 1350 Бк/кг - для строительства дорог и аэродромов вне населенных пунктов и зон перспективной застройки.

При отгрузке потребителю каждую партию щебня и смесей сопровождают документом о качестве, в котором указывают:

наименование предприятия - изготовителя и его адрес;

номер и дату выдачи документа;

наименование и адрес потребителя;

номер партии и количество материала;

номер вагонов, номер судна, номер накладной;

наименование материала;

зерновой состав щебня и смесей;

содержание пылеватых и глинистых частиц и глины в комках;

содержание зерен пластинчатой и игловатой формы в щебне (кроме щебня в готовых смесях);

марку по дробимости щебня и гравия;

марку по морозостойкости щебня и гравия;

марку по водостойкости щебня и гравия;

потерю массы при определении устойчивости структуры щебня против распадов;

марку щебня и смесей по пластичности;

содержание дробленных зерен в щебне из гравия;

насыпную плотность;

степень пучинистости (только для смесей для морозозащитных слоев);

коэффициент фильтрации (только для смесей для дополнительных слоев);

удельную эффективную активность естественных радионуклидов щебня, гравия и смесей;

обозначение данного стандарта.

ГОСТ 8736-93 Песок для строительных работ. Технические условия.

Данный стандарт распространяется на природный песок и песок из отсевов дробления горных пород с истинной плотностью зерен от 2,0 до 2,8 г/см3, предназначенные для применения в качестве заполнителя тяжелых, легких, мелкозернистых, ячеистых и силикатных бетонов, строительных растворов, приготовления сухих смесей, для устройства основания и покрытий автомобильных дорог и аэродромов.

В зависимости от зернового состава песок подразделяют на группы по крупности:

I класс - очень крупный (песок из отсевов дробления), повышенной крупности, крупный, средний и мелкий;

II класс - очень крупный (песок из отсевов дробления), повышенной крупности, крупный, средний, мелкий, очень мелкий, тонкий и очень тонкий.

Каждую группу песка характеризуют значением модуля крупности и полным остатком песка на сите с сеткой № 063.

Группа песка

Модуль крупности, Мк

Полный остаток на сите № 063, %

Очень крупный

Св. 3,5

Св. 75

Повышенной крупности

Св. 3,0 до 3,5

Св. 65 до 75

крупный

Св. 2,5 до 3,0

Св. 45 до 65

Средний

Св. 2,0 до 2,5

Св. 30 до 45

Мелкий

Св. 1,5 до 2,0

Св. 10 до 30

Очень мелкий

Св. 1,0 до 1,5

до 10

Тонкий

Св. 0,7 до 1,0

Не нормируется

Очень тонкий

до 0,7

Не нормируется

Содержание зерен крупностью св. 10,5 и менее 0,16 мм не должно превышать нижеприведенных значений.

Класс и группа песка

Содержание зерен крупностью

св. 10 мм

св. 5 мм

св. 0,16 мм

I класс

Повышенной крупности, крупный и средний

0,5

5

5

Мелкий

0,5

5

10

II класс

Очень крупный и повышенной крупности

5

20

10

Крупный и средний

5

15

10

Мелкий и очень мелкий

0,5

10

20

Тонкий и очень тонкий

Не допускается

Не нормируется

Содержание в песке пылевидных и глинистых частиц, а также глины в комках не должно превышать нижеприведенных значений.

Класс и группа песка

Содержание пылевидных и глинистых частиц, %

Содержание глины в комках, %

в песке природном

из отсевов дробления

в песке природном

из отсевов дробления

I класс

 

 

 

 

Очень крупный

-

3

-

0,35

Повышенной крупности, крупный и средний

2

3

0,25

0,35

Мелкий

3

5

0,35

0,50

II класс

 

 

 

 

Очень крупный

-

10

-

2

Повышенной крупности, крупный и средний

3

10

0,5

2

Мелкий и очень мелкий

5

10

0,5

2

Тонкий и очень тонкий

10

Не нормир.

1,0

 

 

Контролируемые операции

Состав и средства контроля

Документация

Подготовительные работы

Проверить:

- наличие ППР, технологических карт и схем операционного контроля качества (СОКК);

- готовность земляного полотна, наличие актов освидетельствования ранее выполненных земляных работ и исполнительной документации с разрешением заказчика на устройство дополнительных слоев;

- наличие в натуре и неизменность положения знаков разбивочной сети трассы и наличие акта приёмки-передачи этих знаков и материалов исполнительной съёмки (при передаче работ); выполнение разбивочных геодезических работ;

ППР, технологические карты и СОКК

Акты освидетельствования скрытых работ с исполнительной документацией;

Исполнительный чертеж

- сопроводительные документы (документы о качестве) и внешним осмотром качество поступивших материалов (готовых смесей, песка и т.д.);

Документы о качестве

Устройство дополнительных слоев основания из песка или готовых смесей

Контролировать:

- соблюдение заданной технологии устройства дополнительных слоев основания из песка или готовых смесей;

Общий журнал работ

- плотность дополнительных слоев;

- поперечный и продольный профили дополнительных слоев основания (высотные отметки, ширину, толщину слоя, поперечный уклон).

Акты лабораторных испытаний

Приёмка

Проверить:

- соответствие фактических физико-механических свойств песка и готовых смесей в дополнительных слоях основания требованиям проекта и нормативных документов;

Акты лабораторных испытаний

- соответствие фактического поперечного и продольного профилей дополнительных слоев требованиям проекта и нормативной документации;

- надлежащее оформление исполнительной документации.

Акты освидетельствования скрытых работ с исполнительной документацией

ВХОДНОЙ И ОПЕРАЦИОННЫЙ КОНТРОЛЬ осуществляют:

(мастер) прораб, геодезист, лаборант (инженер) - в процессе производства работ

ПРИЕМОЧНЫЙ КОНТРОЛЬ ОСУЩЕСТВЛЯЮТ:

прораб (мастер), геодезист, представители технадзора заказчика

КИП - нивелир, теодолит и др. геодезические приборы, лабораторные приборы и оборудование.

Предельные отклонения поперечных уклонов не должны превышать ±0,010 в не менее 90 % результатов определений и -0,015, +0,030 в остальных результатах

Плотность дополнительного слоя должна быть не ниже проектной в не менее 90 % результатов, в остальных результатах допускается снижение плотности до 4 % от проектных значений.

Готовые щебеночно-песчаные, гравийно-песчаные и щебеночно-гравийно-песчаные смеси, применяемые для устройства оснований и дополнительных слоев оснований автомобильных дорог должны отвечать требованиям ГОСТ 25607-94.

Для дренирующих и морозозащитных слоев дорожных одежд можно допускать без дополнительных испытаний пески по ГОСТ 8736-93, содержащие зерна размером менее 0,16 мм не более 25 % по массе, пылевидноглинистые частицы не более 5 %, в т.ч. глинистые частицы для природного песка не более 0,5 % и для дробленого - не более 1 % по массе. Коэффициент фильтрации при максимальной плотности должен быть не менее 1 м/сут.

Смеси в момент укладки должны иметь влажность, близкую к оптимальной с отклонениями не более 10 %. При недостаточной влажности смесь следует увлажнять за 20 - 30 минут до начала уплотнения.

Смеси разравнивают в соответствии с проектными отметками и после тщательной планировки уплотняют.

При устройстве песчаного подстилающего слоя следует учитывать, что песок при уплотнении уменьшается в объеме на 10 - 15 %, поэтому толщина подстилающего слоя до уплотнения должна быть соответственно увеличена.

Уплотнение катками необходимо осуществлять от краев к середине, при этом каждый след от предыдущего прохода катка должен перекрываться при последующем проходе не менее чем на 1/3.

Скорость движения катка следует принимать равной 1,5 - 2 км/ч на первых 2 - 3 проходах и доводить к концу укатки до максимальной рабочей скорости.

Общее число проходов катков статического типа должно быть не менее 20 (7 на первом и 13 на втором этапах), комбинированных типов - не менее 12 (4 и 8) и вибрационного типа - не менее 8 (3 и 5).

При операционном контроле качества работ по устройству дополнительных слоев основания следует контролировать не реже чем через каждые 100 м:

- высотные отметки по оси дороги;

- ширину дополнительного слоя;

- толщину неуплотненного слоя смеси или песка по его оси;

- поперечный уклон;

- плотность дополнительного слоя.

Высотные отметки, ширина и толщина слоя, поперечные уклоны и плотность определяются не реже чем через 100 м в трех точках на поперечнике, как правило, в местах размещения знаков рабочей разбивки.

При приемке выполненных работ надлежит произвести освидетельствование работ в натуре, контрольные замеры, проверку результатов лабораторных испытаний, записей в общем журнале работ, оформить результаты актом освидетельствования скрытых работ по устройству дополнительных слоев основания.

При приемочном контроле объем измерений должен быть не менее 20 % объема измерений при операционном контроле, но состоять не менее чем из 20 измерений.

Устройство щебеночных оснований и покрытий методом заклинки

ГОСТ 8267-93* Щебень и гравий из плотных горных пород для строительных работ. Технические условия.

ГОСТ 25607-94* Смеси щебеночно-гравийно-песчаные для покрытий и оснований автомобильных дорог и аэродромов. Технические условия.

ГОСТ 3344-83 Щебень и песок шлаковые для дорожного строительства. Технические условия.

СНиП 3.06.03-85* Автомобильные дороги.

СНиП 2.05.02-85 Автомобильные дороги.

Требования к материалам

Входной контроль щебня, гравия и щебеночно-гравийно-песчаных смесей, предусмотренных проектом для устройства щебеночных оснований и покрытий методом заклинки, следует осуществлять в соответствии с требованиями проекта, государственных стандартов, технических условий, ППР, технологических карт, схем операционного контроля качества и другой технологической документации, утвержденной в установленном порядке.

ГОСТ 8267-93* Щебень и гравий из плотных горных пород для строительных работ. Технические условия.

Данный стандарт распространяется на щебень и гравий из горных пород со средней плотностью зерен от 2,0 до 3,0 г/см3, применяемый в качестве заполнителей для тяжелого бетона, также для дорожных и других видов строительных работ.

Щебень и гравий выпускают в виде следующих основных фракций: от 5 (3) до 10 мм; св. 10 до 20 мм; св. 20 до 40 мм; св. 40 до 80 (70) мм и смеси фракций от 5 (3) до 20 мм.

По согласованию изготовителя с потребителем выпускают щебень и гравий в виде фракций от 10 до 15 мм; св. 15 до 20 мм; св. 80 (70) до 120 мм и св. 120 до 150 мм, а также смеси фракций от 5 (3) до 15 мм; св. 5 (3) до 40 мм; св. 20 до 80 (70) мм.

Полные остатки на контрольных ситах при рассеве щебня и гравия фракций от 5 (3) до 10 мм, св. 10 до 20 мм, св. 20 до 40 мм: св. 40 до 80 (70) мм и смеси фракций от 5 (3) до 20 мм и от 5 до 15 мм должны соответствовать указанным в нижеследующей таблице, где d и D - наименьшие и наибольшие номинальные размеры зерен.

Для щебня и гравия фракций св. 80 (70) до 120 мм и св. 120 до 150 мм, а также для смеси фракций от 5 (3) до 40 мм

Диаметр отверстий контрольных сит, мм

d

0,5 (d +D)

D

1,25D

Полные остатки на ситах, % по массе

От 90 до 100

От 30 до 80

До 10

До 0,5

Примечание. Для щебня и гравия фракций от 5 (3) до 10 мм применяют, соответственно, сита 2,5 и 1,25 мм, полные остатки на которых должны быть от 95 до 100 % по массе.

и св. 20 до 80 (70) мм полные остатки на контрольных ситах диаметром d, D, 1,25D должны удовлетворять указанным в вышеприведенной таблице, а соотношение фракций в смесях устанавливают по согласованию изготовителя с потребителем в соответствии с нормативными документами на применение этих смесей для строительных работ.

Полные остатки на контрольных ситах при рассеве щебня и гравия фракций от 10 до 15 мм и св. 15 до 20 мм должны быть:

от 85 до 100 % - на сите с размерами отверстий            d;

до 15 % - на сите с размерами отверстий                        D;

до 0,75 % - на сите с размерами отверстий                     1,25D.

Щебень из гравия должен содержать дробленные зерна в количестве не менее 80 % но массе. Допускается по согласованию изготовителя с потребителем выпуск щебня из гравия с содержанием дробленых зерен не менее 60 %.

Форму зерен щебня и гравия характеризуют содержанием зерен пластинчатой (лещадной) и игловатой формы.

Щебень в зависимости от содержания зерен пластинчатой и игловатой формы подразделяют на четыре группы, которые должны соответствовать указанным в нижеследующей таблице.

Группа щебня

Содержание зерен пластинчатой (лещадной) и игловатой формы в процентах по массе

1

До 15 включительно

2

Св. 15 до 25

3

Св. 25 до 35

4

Св. 35 до 50

Примечание. По согласованию изготовителя с потребителем допускается выпуск щебня из изверженных горных пород, содержащего св. 50 %, но не более 65 % зерен пластинчатой (лещадной) и игловатой формы.

Гравий не должен содержать зерен пластинчатой и игловатой формы более 35 % по массе.

Прочность щебня и гравия характеризуют маркой, определяемой по дробимости щебня (гравия) при сжатии (раздавливании) в цилиндре.

Щебень и гравий, предназначенные для строительства автомобильных дорог, характеризуют маркой по истираемости в полочном барабане.

Марки по дробимости щебня из осадочных, метаморфических и изверженных пород должны соответствовать требованиям, указанным в нижеследующих таблицах.

Марка по дробимости щебня из осадочных и метаморфических пород

Потеря массы при испытании щебня, %

в сухом состоянии

в насыщенном водой состоянии

1200

До 11 включ.

До 11 включ.

1000

Св. 11 до 13

Св. И до 13

800

Св. 13 до 15

Св. 13 до 15

600

Св. 15 до 19

Св. 15 до 20

400

Св. 19 до 24

Св. 20 до 28

300

Св. 24 до 28

Св. 28 до 38

200

Св. 28 до 35

Св. 38 до 54

 

Марка по дробимости щебня из изверженных пород

Потеря массы при испытании щебня, %

из интрузивных пород

из эффузивных пород

1400

До 12 включ.

До 9 включ.

1200

Св. 12 до 16

Св. 9 до 11

1000

Св. 16 до 20

Св. 11 до 13

800

Св. 20 до 25

Св. 13 до 15

600

Св. 25 до 34

Св. 15 до 20

Допускается определять марку щебня из осадочных и метаморфических пород как в сухом, так и в насыщенном водой состоянии.

При несовпадении марок по дробимости прочность оценивают по результатам испытания в насыщенном водой состоянии.

Марки по дробимости щебня из гравия и гравия должны соответствовать требованиям, указанным в нижеследующей таблице.

Марка по дробимости щебня из гравия и гравия

Потеря массы при испытании, %

щебня из гравия

гравия

1000

До 10 включ.

До 8 включ.

800

Св. 10 до 14

Св. 8 до 12

600

Св. 14 до 18

Св. 12 до 16

400

Св. 18 до 26

Св. 16 до 24

Марки по истираемости щебня и гравия должны соответствовать требованиям, указанным в нижеследующей таблице.

Марка по истираемости щебня и гравия

Потеря массы при испытании, %

щебня

гравия

И1

До 25 включ.

До 20 включ.

И2

Св. 25 до 35

Св. 20 до 30

И3

Св. 35 до 45

Св. 30 до 40

И4

Св. 45 до 60

Св. 40 до 50

Содержание зерен слабых пород в щебне и гравии в зависимости от вида горной породы и марки по дробимости не должно быть более указанного в нижеследующей таблице.

Вид породы и марка по дробимости щебня и гравия

Содержание зерен слабых пород

Щебень из изверженных, метаморфических и осадочных пород марок: 1400; 1200; 1000

5 %

800; 600; 400

10 %

300

15 %

Щебень из гравия и валунов и гравий марок:

 

1000; 800; 600

10 %

400

15 %

Щебень и гравий по морозостойкости подразделяют на следующие марки: F15; F25; F50; F100; F150; F200; F300; F400.

Показатели морозостойкости щебня и гравия при испытании замораживанием и оттаиванием или насыщением в растворе сернокислого натрия и высушиванием должны соответствовать указанным в нижеследующей таблице.

Вид испытания

Марка по морозостойкости щебня и гравия

F15

F25

F50

F100

F150

F200

F300

F400

Замораживание-оттаивание:

 

 

 

 

 

 

 

 

число циклов

15

25

50

100

150

200

300

400

потеря массы после испытания, %, не более

10

10

5

5

5

5

5

5

Насыщение в растворе сернокислого натрия - высушивание:

 

 

 

 

 

 

 

 

число циклов

3

5

10

10

15

15

15

15

потеря массы после испытания, %, не более

10

10

10

5

5

3

2

1

Содержание пылевидных и глинистых частиц (размером менее 0,05 мм) в щебне и гравии в зависимости от вида горной породы и марки по дробимости должно соответствовать указанному в нижеследующей таблице.

Вид породы и марка по дробимости щебня и гравия

Содержание пылеватых и глинистых частиц, % от массы

Щебень из изверженных и метафорфических

 

пород марок: св. 800

1

св. 600 до 800 включ.

1

Щебень из осадочных пород марок:

 

от 600 до 1200 включ.

2

200, 400

3

Щебень из гравия и валунов и гравий марок:

 

1000

1

800

1

600

2

400

3

Содержание глины в комках не должно быть более указанного в нижеследующей таблице.

Марка по дробимости щебня и гравия

Содержание глины в комках, % от массы

Щебень из изверженных, осадочных и метаморфических пород марок: 400 и выше

0,25

300, 200

0,5

Щебень из гравия и валунов, гравий марок:

 

1000, 800, 600, 400

0,25

Щебень из попутно добываемых вскрышных и вмещающих пород и некондиционных отходов горных предприятий по переработке руд и неметаллических ископаемых других отраслей промышленности должны быть стойкими против всех распадов.

Устойчивость структуры щебня против всех видов распадов должна соответствовать требованиям, указанным в нижеследующей таблице.

Марка по дробимости щебня

Потеря массы при распаде, %, не более

1000 и выше

3

800, 600

5

400 и ниже

7

Для дорожного строительства в пределах территории населенных пунктов и зон перспективной застройки применяют щебень и гравий со значениями суммарной удельной активности естественных радионуклидов (Аэфф) свыше 370 до 740 Бк/кг. Щебень и гравий с Аэфф св. 740 до 2800 Бк/кг применяют в дорожном строительстве вне населенных пунктов.

Изготовитель сопровождает щебень и гравий документом о качестве, в котором указывает:

наименование предприятия-изготовителя и его адрес;

номер и дату выдачи документа;

наименование и адрес потребителя;

номер партии и количество щебня (гравия);

номер вагона или номер судна и номера накладных;

зерновой состав щебня (гравия);

содержание зерен пластинчатой (лещадной) и игловатой формы;

содержание дробленых зерен в щебне из гравия;

содержание глины в комках;

марку щебня (гравия) по прочности (дробимости);

содержание зерен слабых пород;

морозостойкость щебня (гравия);

насыпную плотность щебня (гравия);

удельную эффективную активность естественных радионуклидов щебня (гравия);

устойчивость структуры щебня против распадов;

содержание вредных компонентов и примесей;

обозначение данного стандарта.

Щебень и гравий хранят раздельно по фракциям и смесям фракций в условиях, предохраняющих их от засорения и загрязнения.

ГОСТ 25607-94* Смеси щебеночно-гравийно-песчаные для покрытий и оснований автомобильных дорог и аэродромов. Технические условия.

Данный стандарт распространяется на готовые щебеночно-песчаные, гравийно-песчаные и щебеночно-гравийно-песчаные смеси, применяемые для устройства покрытий, оснований и дополнительных слоев оснований автомобильных дорог и оснований аэродромов и укрепления обочин автомобильных дорог, а также на щебень, применяемый для устройства покрытий и оснований по способу заклинки.

Требования к щебню из горных пород для устройства оснований и покрытий по способу заклинки

Щебень по зерновому составу, прочности, морозостойкости, содержанию зерен пластинчатой (лещадной) и игловатой формы, содержанию пылевидных и глинистых частиц, глины в комках и содержанию дробленых зерен в щебне из гравия, устойчивости структуры щебня против распадов должен соответствовать требованиям ГОСТ 8267-93*.

Марка по дробимости щебня из осадочных горных пород не должна быть ниже 300.

Кроме того, щебень из изверженных и метаморфических пород марки по дробимости 600 и ниже, из осадочных пород марки 400 и ниже, щебня из гравия марки 600 и ниже характеризуют показателем пластичности и водостойкости.

Марка по пластичности должна соответствовать требованиям, приведенным в нижеследующей таблице.

Марка по пластичности

Число пластичности

Пл 1

до 1 включительно

Пл 2

свыше 1 до 5

Пл 3

свыше 5 до 7

Щебень более высоких марок по дробимости, чем указано выше, относят к марке Пл 1.

Марка щебня по водостойкости должна соответствовать требованиям, указанным в нижеследующей таблице.

Марка по водостойкости

Потеря массы при испытании, %

В 1

до 1 включительно

В 2

свыше 1 до 3

Щебень более высоких марок по дробимости, чем указано выше, относят к марке В 1.

Требования к готовым смесям для строительства оснований и дополнительных слоев оснований и покрытий.

Стандарт регламентирует состав и область применения 13 готовых смесей, которые приведены в нижеследующей таблице.

Допускается использование смесей:

С1 и С2 - для устройства оснований при соответствующем технико-экономическом обосновании;

С3 ¸ С11 - для устройства дополнительных слоев оснований;

С4 ¸ С6 и С9 и С10 - для укрепления обочин автомобильных дорог.

Марка по пластичности смеси, определяемая на зернах размером менее 0,63, входящих в состав смесей, должна соответствовать требуемой, приведенной выше в разделе требований к щебню.

Содержание пылевидных и глинистых частиц (размером менее 0,005 мм) в готовых смесях должно соответствовать требуемому, указанному в приведенной ниже таблице. При этом содержание глины в комках от общего количества пылевидных и глинистых частиц в готовых смесях должно быть, в % по массе, не более: 20 - для оснований, 10 - для покрытий.

Щебень и гравий, входящие в состав смесей, по прочности, морозостойкости и устойчивости структуры против распадов должны соответствовать требованиям ГОСТ 8267-93*. Марка по дробимости щебня из осадочных пород не должна быть ниже 300. Щебень из изверженных и метаморфических пород марки по дробимости 600 и ниже, из осадочных пород марки 400 и ниже, из гравия марки 600 и ниже должен отвечать требованиям по пластичности и водостойкости, приведенным в разделе требований к щебню. Допускается применение в смесях щебня из двух и более разновидностей горных пород. Кроме того, гравий, входящий в состав смесей, также характеризуют показателями водостойкости, указанными в разделе требований к щебню.

Щебень, гравий и смеси в зависимости от величины суммарной удельной эффективной активности естественных радионуклидов (Аэфф) подразделяют на классы и применяют:

при Аэфф до 740 Бк/кг - для строительства дорог и аэродромов без ограничения;

при Аэфф св. 740 Бк/кг до 2800 Бк/кг - для строительства дорог и аэродромов вне населенных пунктов и зон перспективной застройки.

При отгрузке потребителю каждую партию щебня и смесей сопровождают документом о качестве, в котором указывают:

наименование предприятия-изготовителя и его адрес;

номер и дату выдачи документа;

наименование и адрес потребителя;

номер партии и количество материала;

номер вагонов, номер судна, номер накладной;

наименование материала;

зерновой состав щебня и смесей;

содержание пылеватых и глинистых частиц и глины в комках;

ЗЕРНОВОЙ СОСТАВ СМЕСЕЙ В % ПО МАССЕ

Номер смеси

Наибольший номер зерен

Полный остаток на ситах размером, мм

120

80

40

20

10

5

2,5

0,63

0,16

0,05

 

 

Смеси для покрытий

С1

40

-

0 - 5

0 - 20

20 - 40

35 - 60

45 - 70

55 - 80

70 - 90

75 - 92

80 - 93

С2

20

-

-

0 - 5

0 - 20

10 - 35

25 - 50

35 - 65

55 - 80

65 - 90

75 - 92

 

 

Смеси для оснований (непрерывная гранулометрия)

С3

120

0 - 10

15 - 30

20 - 50

40 - 65

50 - 75

65 - 85

75 - 90

80 - 95

95 - 100

95 - 100

С4

80

0 - 2

0 - 15

20 - 60

40 - 80

55 - 85

55 - 85

55 - 85

85 - 95

85 - 95

85 - 95

С5

80

0 - 2

0 - 15

10 - 35

20 - 50

30 - 65

40 - 75

50 - 85

70 - 90

90 - 95

90 - 95

С6

40

-

0 - 5

0 - 20

40 - 60

60 - 80

70 - 85

75 - 85

85 - 95

93 - 97

93 - 97

С7

20

-

-

0 - 5

0 - 20

20 - 40

40 - 60

55 - 70

75 - 85

90 - 95

90 - 95

С8

20

-

-

0 - 5

0 - 20

40 - 70

60 - 85

70 - 95

85 - 97

90 - 97

92 - 100

 

 

Смеси для оснований (полунепрерывная гранулометрия)

С9

80

0 - 2

0 - 20

15 - 40

28 - 64

40 - 79

48 - 85

55 - 88

69 - 92

87 - 97

95 - 100

С10

40

-

0 - 5

0 - 20

17 - 40

30 - 64

42 - 80

49 - 86

65 - 91

85 - 95

95 - 100

С11

20

-

-

0 - 5

0 - 20

18 - 40

32 - 64

42 - 80

60 - 80

83 - 95

95 - 100

 

 

Смеси для расклинки

С12

10

-

-

-

0 - 5

0 - 20

30 - 70

50 - 85

75 - 95

89 - 93

90 - 100

С13

5

-

-

-

-

0 - 5

0 - 20

20 - 70

55 - 95

75 - 98

80 - 100

содержание зерен пластинчатой и игловатой формы в щебне (кроме щебня в готовых смесях);

марку по дробимости щебня и гравия;

марку по морозостойкости щебня и гравия;

марку по водостойкости щебня и гравия;

потерю массы при определении устойчивости структуры щебня против распадов;

марку щебня и смесей по пластичности;

содержание дробленных зерен в щебне из гравия;

насыпную плотность;

степень пучинистости (только для смесей для морозозащитных слоев);

коэффициент фильтрации (только для смесей для дополнительных слоев);

удельную эффективную активность естественных радионуклидов щебня, гравия и смесей;

обозначение данного стандарта.

Щебень и гравий хранят раздельно по фракциям, а смеси - по номерам, предохраняя от смешивания и загрязнения.

На строительной площадке в процессе входного контроля:

должны быть проверены документы о качестве на поступившие щебень и готовые щебеночно-гравийно-песчаных смеси с целью определения соответствия поступивших материалов требованиям проекта;

должен быть произведен внешний осмотр материалов с целью проверки соответствия их требованиям соответствующих нормативно-технических документов и обнаружения недопустимого их смешивания и загрязнения;

произведены предусмотренные регламентом (технологическими картами) физико-механические испытания материалов;

при возникновении каких-либо сомнений в качестве поступивших материалов или документов должны быть вызваны представители строительной лаборатории и функциональных служб, ответственных за поставку материалов, и определена необходимость дополнительных их испытаний.

Технические требования к устройству оснований и покрытий

Устройство щебеночных оснований и покрытий методом заклинки следует осуществлять в соответствии с требованиями проекта, ППР, технологических карт, схем операционного контроля качества и другой нормативной документации, утвержденной в установленном порядке.

Работы по устройству слоев дорожной одежды должны выполнять строительно-монтажные организации, получившие лицензию от местных органов по лицензированию строительной деятельности, по утвержденному проекту и при наличии организации, на которую возложены технический надзор и приёмка работ.

Работы по устройству слоев дорожной одежды должны выполняться квалифицированным персоналом, прошедшим специальную подготовку и обладающим надлежащими навыками по строительству автомобильных дорог.

Перед началом работ по устройству слоев дорожной одежды должен осуществляться входной контроль рабочей документации и материалов, предусмотренных проектом для устройства оснований и покрытий.

При входном контроле рабочей документации должна производиться проверка её комплектности и достаточности содержащейся в ней технической информации для производства работ.

Задачи входного контроля материалов при устройстве оснований и покрытий изложены выше. Объём входного контроля и участие в нем строительной лаборатории должны быть установлены в соответствующих технологических картах.

Работу по устройству слоев дорожной одежды следует производить только на готовом и принятом в установленном порядке непереувлажненном и недеформированном земляном полотне.

Земляное полотно должно быть принято при наличии оформленных актов освидетельствования скрытых работ и исполнительного чертежа по результатам исполнительной геодезической съёмки.

Запрещается выполнение последующих работ при отсутствии актов освидетельствования предшествующих скрытых работ во всех случаях.

До начала работ по устройству слоев дорожной одежды должны быть выполнены предусмотренные ППР детальные разбивочные работы по закреплению положения бровок и высотных отметок слоев. При применении машин, оборудованных автоматическими следящими системами, закрепление бровок и высотных отметок осуществляется путем установки копирных струн с одной или с двух сторон укладываемого слоя. Разбивочные работы следует выполнять с использованием геодезических инструментов.

Устройство слоев дорожной одежды в зимнее время разрешается только по земляному полотну, полностью законченному и принятому до наступления отрицательных температур, за исключением строительства в условиях вечной мерзлоты и двухстадийного строительства.

Перед началом работ по устройству дорожных одежд в зимнее время земляное полотно или нижележащий слой должны быть очищены от снега и льда на участке сменной захватки. В снегопад и метель работы по устройству дорожной одежды не допускаются.

Для щебеночных оснований и покрытий, устраиваемых методом заклинки, следует применять щебень по ГОСТ 8267-93*, ГОСТ 3344-83, ГОСТ 25607-94* фракций 40 - 70 и 7 - 120 мм в качестве основного материала, а фракций 20 - 40, 10 - 20 и 5 - 10 мм - в качестве расклинивающего. При устройстве оснований для расклинки допускается применение смесей 12 и 13 по ГОСТ 25607-94*.

Марки по прочности и морозостойкости каменных материалов должны соответствовать требованиям нижеследующей таблицы.

Показатели свойств каменных материалов

Для покрытий

Для оснований

Категория автомобильной дороги

IV

V

I - III

IV, V

Марка по дробимости (раздавливанию в цилиндре) в водонасыщенном состоянии, не ниже:

 

 

 

 

щебня из изверженных и метаморфических пород

1000

800

800

600

из осадочных пород

800

600

600

300

из шлаков

800

600

600

300

щебня из гравия

800

600

600

400

Марка по истираемости

И2

И3

И3

И4

Марка по морозостойкости для районов со среднемесячной температурой воздуха наиболее холодного месяца, °С:

 

 

 

 

от 0 до минус 5

15

15

15

-

от минус 5 до минус 15

25

25

25

15

от минус 15 до минус 30

50

50

50

25

ниже минус 30

75

75

75

50

Прочность расклинивающего материала может быть на марку ниже основного.

Конструкция слоев оснований из щебня карбонатных пород марок 400 и ниже допускается без использования расклинивающего материала.

В щебне из изверженных и метаморфических пород марок 800 и выше и осадочных пород марок 600 и выше для щебеночных покрытий дорог IV, V категорий содержание зерен (пластинчатой) лещадной и игловатой форм не должно превышать 15 % по массе, а для оснований дорог I - III категорий - 35 %.

Щебень (гравий) для щебеночных и гравийных покрытий по водостойкости должен быть марки В1, а для оснований - В2.

Щебень (гравий) для щебеночных и гравийных покрытий по пластичности должен быть марки Пл 1, а для оснований на дорогах I - III категорий - не ниже марки Пл 2 и на дорогах IV, V категорий - не ниже марки Пл 3.

Наименьшая толщина распределяемого щебня должна в 1,5 раза превышать размер наиболее крупных частиц и быть не менее 10 см при укладке на прочное основание и не менее 15 см при укладке на песок.

Максимальная толщина слоя щебня не должна превышать значений, приведенных в нижеследующей таблице.

Вид материала

Максимальная толщина уплотняемого слоя, см, при применении катков

с гладкими вальцами массой 10 т и более

решетчатых и на пневматических шинах массой 15 т и более

вибрационных и комбинированных массой, т

до 10

16 и более

Трудноуплотняемый (из изверженных и метаморфических пород марки по прочности 1000 и более, гравий прочный, шлаки остеклованной структуры.

18

24

18

24

Легкоуплотняемый (из изверженных и метаморфических пород марки по прочности менее 1000, осадочные, гравий неокатанный, шлаки пористой структуры.

22

30

22

30

Объём щебня в насыпном виде следует определять с учетом коэффициента запаса на уплотнение. Для песчано-гравийных (щебеночных) смесей оптимального зернового состава и щебня фракций 40 - 70 и 70 - 120 мм марки по прочности 800 и более коэффициент запаса материала на уплотнение следует ориентировочно принимать 1,25 ¸ 1,3, а для щебня марок по прочности 600 ¸ 300 - 1,3 ¸ 1,5. Коэффициент запаса шлака на уплотнение в зависимости от его плотности следует ориентировочно принимать 1,3 ¸ 1,5.

Разрешается вывозить щебень и гравий и укладывать их в штабели на земляном полотне или промежуточном складе для последующего использования при устройстве дорожной одежды.

Работы по устройству щебеночных оснований и покрытий методом заклинки следует производить в два этапа:

распределение основной фракции щебня и его предварительное уплотнение (обжатие и взаимозаклинивание);

распределение расклинивающего щебня (расклинцовка двух-, трехразовая) с уплотнением каждой фракции. Для оснований допускается одноразовая расклинцовка. При применении щебня осадочных пород марки по прочности менее 600 при устройстве оснований работы можно выполнять в один этап.

Доуплотнение при необходимости следует осуществлять регулированием движения построечного транспорта по ширине основания (покрытия).

На первом и втором этапах основание уплотняют катками на пневматических шинах массой не менее 16 т с давлением воздуха в шинах 0,6 ¸ 0,8 МПа, прицепными вибрационными катками массой не менее 6 т, решетчатыми массой не менее 15 т, самоходными гладковальцовыми массой не менее 10 т и комбинированными массой более 16 т. Общее число проходов катков статического типа должно быть не менее 30 (10 на первом этапе и 20 на втором), комбинированных типов - не менее 18 (6 и 12) и вибрационного типа - не менее 12 (4 и 8).

Основания из щебня марок по прочности менее 600 и по пластичности Пл 2, Пл 3 уплотняют катками на пневматических шинах массой не более 16 т не менее чем за 20 проходов или виброплитами.

Для уменьшения трения между щебенками и ускорения взаимозаклинивания укатку следует производить, поливая щебень водой (ориентировочно 15 ¸ 25 л/м2, при уплотнении шлакового щебня - 25 ¸ 35 л/м2 на первом этапе и 10 ¸ 12 л/м2 по расклинивающей фракции).

На втором этапе следует производить расклинцовку слоя щебня фракциями мелкого щебня с последовательно уменьшающимися размерами.

При использовании трудноуплотняемого щебня слой щебня перед распределением расклинивающего материала следует обрабатывать органическим вяжущим материалом из расчета 2 ¸ 3 л/м2.

Расход расклинивающих фракций щебня следует принимать по нижеследующей таблице.

Размер основной фракции щебня, мм

Расход расклинивающих фракций, м3, на 1000 м2 при их размерах, мм

20 - 40

10 - 20

5 - 10

40 - 70

-

15

10

70 - 120

10

10

10

Примечание. При строительстве оснований из щебня фракции 40 - 70 мм методом заклинки допускается применять одноразовую расклинку смесью щебеночных и песчано-щебеночных фракций 5 - 20, 0 - 20, 0 - 10, а при применении щебня 70 - 120 мм использовать фракции 5 - 40 мм. Расход смесей должен соответствовать суммарным требованиям настоящей таблицы

После окончания уплотнения покрытия по его поверхности следует распределять каменную мелочь из изверженных пород марки по прочности не ниже 800 (из осадочных пород - не ниже 600) в количестве 1 м3 на 100 м2 и уплотнять ориентировочно за 4 ¸ 6 проходов катка.

По окончании уплотнения шлакового слоя из активных и высокоактивных шлаков в случае, если сразу не устраивается вышележащий слой, следует производить поливку его водой в течение 10 ¸ 12 дней из расчета 2 ¸ 2,5 л/м2.

Песчано-гравийную или песчано-щебеночную смесь оптимального гранулометрического состава по ГОСТ 25607-94* разрешается приготавливать непосредственно на дороге.

Смесь в момент укладки должна иметь влажность, близкую к оптимальной с отклонениями не более 10 %. При недостаточной влажности смесь следует увлажнять за 20 ¸ 30 мин до начала уплотнения.

Слой смеси следует уплотнять в соответствии с требованиями, изложенными выше для щебня. Ориентировочно количество проходов катков следует уменьшить на 30 %.

При операционном контроле качества работ по устройству щебеночных оснований и покрытий методом заклинки следует контролировать по каждому укладываемому слою не реже чем через каждые 100 м:

не реже одного раза в смену - влажность щебня (смеси);

физико-механические свойства щебня (смесей);

постоянно визуально - качество уплотнения;

высотные отметки по оси дороги;

ширину слоя;

толщину слоя неуплотненного щебня или смеси по его оси;

поперечный уклон;

ровность (просвет под рейкой длиной 3 м на расстоянии 0,75 ¸ 1 м от каждой кромки покрытия (основания) в пяти контрольных точках, расположенных на расстоянии 0,5 м от концов рейки и друг от друга).

Высотные отметки, ширина и толщина слоя, поперечные уклоны определяются не реже чем через каждые 100 м в трех точках на поперечнике, как правило, в местах размещения знаков рабочей разбивки.

Качество уплотнения щебеночных оснований и покрытий следует проверять путем контрольного прохода катка массой 10 ¸ 13 т по всей длине контролируемого участка, после которого на основании (покрытии) не должно оставаться следа и возникать волны перед вальцем, а положенная под валец щебенка должна раздавливаться.

При приемке выполненных работ надлежит произвести освидетельствование работ в натуре, контрольные замеры, проверку результатов лабораторных испытаний, записей в общем журнале работ. Приемку щебеночного основания надлежит оформить актом освидетельствования скрытых работ по устройству щебеночного основания.

При приемочном контроле объем измерений должен быть не менее 20 % объема измерений при операционном контроле, но состоять не менее чем из 20 измерений.

Предварительная оценка ровности поверхности в продольном направлении проводится путем проезда на автомашине по всему сдаваемому участку по каждой полосе движения. На основе такой оценки выбираются захватки для детального измерения ровности и поперечных уклонов.

Захватки в общем случае выбираются длиной 300 ¸ 400 м, а для внутрихозяйственных автомобильных дорог сельскохозяйственных предприятий и организаций, а также для внутренних дорог промышленных предприятий - длиной 100 - 150 м. Суммарная длина захваток должна составлять не менее 10 % длины сдаваемого участка дороги в однополосном исчислении.

Контролируемые операции

Состав и средства контроля

Документация

Подготовительные работы

Проверить:

- наличие ППР, технологических карт и схем операционного контроля качества (СОКК);

- готовность земляного полотна и дополнительных слоев основания, наличие актов освидетельствования ранее выполненных работ и исполнительной документации с разрешением заказчика на устройство щебеночных оснований и покрытий методом заклинки;

- наличие в натуре и неизменность положения знаков разбивочной сети трассы и наличие акта приёмки-передачи этих знаков и материалов исполнительной съёмки (при передаче работ); выполнение разбивочных геодезических работ;

- сопроводительные документы (документы о качестве) и внешним осмотром качество поступивших материалов (щебня, готовых смесей).

ППР, технологические карты и СОКК

Акты освидетельствования скрытых работ с исполнительной документацией;

Исполнительный чертеж

Документы о качестве

Устройство щебеночных оснований и покрытий методом заклинки.

Контролировать:

- соблюдение заданной технологии устройства щебеночных оснований и покрытий методом заклинки;

- качество материалов, влажность щебня, качество уплотнения;

Общий журнал работ

Акты лабораторных испытаний

- поперечный и продольный профили щебеночных оснований и покрытий (высотные отметки, ширину, толщину слоя, поперечный уклон, ровность).

Исполнительная геодезическая схема

Приёмка

Проверить:

- соответствие фактических физико-механических свойств щебня и готовых смесей в основаниях и покрытиях требованиям проекта и нормативных документов;

Акты лабораторных испытаний

- соответствие фактического поперечного и продольного профилей и ровности основания и покрытий требованиям проекта и нормативной документации;

- надлежащее оформление исполнительной документации.

Акты освидетельствования скрытых работ с исполнительной документацией

ВХОДНОЙ И ОПЕРАЦИОННЫЙ КОНТРОЛЬ осуществляют:

(мастер) прораб, геодезист, лаборант (инженер) - в процессе производства работ

ПРИЕМОЧНЫЙ КОНТРОЛЬ ОСУЩЕСТВЛЯЮТ:

прораб (мастер), геодезист, представители технадзора заказчика

КИП - нивелир, теодолит и др. геодезические приборы, лабораторные приборы и оборудование.

Детальный контроль ровности поверхности основания или покрытия на выбранных захватках следует вести в соответствии с требованиями ГОСТ 30412-96 «Дороги автомобильные и аэродромы. Методы измерений неровностей оснований и покрытий»:

путем измерений просветов под трехметровой рейкой с помощью клинового промерника;

путем нивелирования поверхности с помощью нивелира и нивелирной рейки;

путем измерения с применением автомобильной установки ПКРС-2 для ускоренной предварительной оценки.

Измерение просветов под трехметровой рейкой с помощью клина (промерника) следует производить в пяти контрольных точках, расположенных на расстоянии 0,5 м от концов рейки и друг от друга.

Детальные измерения ровности следует производить на расстоянии 0,5 ¸ 1,0 м от каждой кромки покрытия или края полосы движения.

На каждой захватке следует произвести:

100 ¸ 130 измерений просветов (25 ¸ 30 приложений рейки) или непрерывную графическую запись неровностей;

80 - 100 измерений поперечных уклонов рейкой с уровнем (25 ¸ 30 измерений для захваток длиной 100 ¸ 150 м);

определение вертикальных абсолютных или относительных отметок путем нивелирования с шагом 5 м.

Измерение сцепления шины автомобиля с дорожным покрытием следует производить не ранее чем через две недели после окончания строительства покрытия.

Измерения следует выполнять по одной полосе наката колес автомобилей каждой полосы движения. На каждые 1000 м необходимо делать 3 ¸ 5 измерений в зависимости от состояния покрытия по каждой полосе движения.

Измерения следует производить в соответствии с требованиями ГОСТ 30413-96 «Дороги автомобильные. Метод определения коэффициента сцепления колеса автомобиля с дорожным покрытием».

Ровность щебеночных оснований и покрытий (просвет под рейкой длиной 3 м):

для дорог I, II и III категорий

- не более 5 % результатов определений могут иметь значения просветов в пределах до 20 мм, остальные - до 10 мм

для дорог IV, V категорий и внутренних дорог промышленных предприятий

- не более 5 % результатов определений могут иметь значения просветов в пределах до 30 мм, остальные - до 15 мм

для дорог I-c, II-с и III категорий

- не более 5 % результатов определений могут иметь значения просветов в пределах до 40 мм, остальные - до 20 мм

Устройство оснований и покрытий из грунтов, укрепленных органическими и неорганическими вяжущими материалами

ГОСТ 30491-97 Смеси органоминеральные и грунты, укрепленные органическими вяжущими, для дорожного и аэродромного строительства. Технические условия.

ГОСТ 23558-94* Смеси щебеночно-гравийно-песчаные и грунты, обработанные неорганическими вяжущими материалами, для дорожного и аэродромного строительства. Технические условия.

СНиП 3.06.03-85 Автомобильные дороги.

СНиП 2.05.02-85* Автомобильные дороги.

Требования к грунтам

Входной контроль грунтов, укрепленных органическими вяжущими и обработанных неорганическими вяжущими, предусмотренных проектом для устройства оснований и покрытий, следует осуществлять в соответствии с требованиями проекта, государственных стандартов, технических условий, ППР, технологических карт, схем операционного контроля качества и другой технологической документации, утвержденной в установленном порядке.

ГОСТ 30491-97 Смеси органоминеральные и грунты, укрепленные органическими вяжущими, для дорожного и аэродромного строительства. Технические условия.

Данный стандарт распространяется на органоминеральные смеси и укрепленные грунты, получаемые смешением щебня, гравия, песка, их смесей и грунтов с органическими вяжущими или органическими вяжущими совместно с минеральными и применяемые для устройства оснований и покрытий автомобильных дорог и аэродромов в соответствии с действующими строительными нормами.

Органоминеральная смесь - искусственная смесь, получаемая смешением на дороге или в смесительных установках щебня, гравия, песка и их смесей, а также минерального порошка (в том числе порошковых отходов промышленного производства) с органическими вяжущими (жидкими или вязкими битумами, битумными эмульсиями) и активными добавками и без них или с органическими вяжущими совместно с минеральными.

Укрепленный грунт - искусственная смесь, получаемая смешением на дороге или в смесительных установках грунтов с органическими вяжущими (жидкими битумами и битумными эмульсиями) и активными добавками и без них или с органическими вяжущими совместно с минеральными.

Рекомендуемая область применения укрепленных грунтов приведена в нижеследующей таблице.

Вид материала

Дорожно-климатическая зона

Интенсивность воздействия расчетной нагрузки, ед/сут

Конструктивный слой

Покрытие

Основание

верхний слой

нижний слой

Укрепленные грунты: с жидкими или эмульгированными органическими вяжущими

IV, V

1000 и менее

-

+

+

с жидкими эмульгированными органическими вяжущими совместно с минеральными

I - V

св. 2000

-

+

+

Примечание: применение грунтов для аэродромов устанавливают в соответствии со СНиП 32-03

Укрепленные грунты в зависимости от наибольшего размера зерен применяемых минеральных материалов приготавливают:

крупнозернистыми - с зернами размером до 40 мм;

мелкозернистыми - с зернами размером до 20 мм;

песчаными - с зернами размером до 5 мм;

Зерновой состав минеральной части укрепленных грунтов должен соответствовать требованиям, приведенным в нижеследующей таблице.

Конструктивный

Максимальная крупность зерен щебня (гравия), мм

Содержание, % по массе

Марка по дробимости (прочность), не менее

щебня, не более

зерен мельче 0,63 мм, не менее

зерен мельче 0,071 мм, не менее

Покрытие

20

65

24

8

800

20

50

38

10

400

15

35

50

12

300

10

35

50

12

200

Основание

40

70

12

Не нормируется

800

40

55

20

400

20

35

30

4

300

15

35

30

4

200

Зерновой состав минеральной части укрепленных грунтов должен содержать зерна размером менее 5 мм не менее 95 % по массе, в том числе менее 0,63 мм - от 30 до 70 %; менее 0,071 мм - от 10 до 22 %.

Физико-механические показатели укрепленных грунтов должны соответствовать указанным в нижеприведенной таблице.

Наименование показателей

Значения для укрепленных грунтов

с жидкими или эмульгированными органическими вяжущими

с жидкими или эмульгированными органическими вяжущими совместно с минеральными

Предел прочности на сжатие, МПа, при температурах, °С, не менее: 20

1,0

1,5

50

0,5

-

Предел прочности на сжатие водонасыщенных образцов при 20 °С, МПа, не менее

0,6

1,0

Предел прочности на растяжение при изгибе водонасыщенных образцов при 20 °С, МПа, не менее

 

0,4

Морозостойкость, число циклов

10, 15, 25, 50

10, 15, 25, 50

Водонасыщение, % по объему, не более

12

12

Набухание, % по объему, не более

4,0

2,0

Примечание: морозостойкость укрепленных грунтов характеризуют числом циклов замораживания-оттаивания, при которых потеря предела прочности на сжатие водонасыщенных образцов при температуре 20 °С не превышает, %:

40 - при применении жидких и эмульгированных органических вяжущих;

30 - при применении органических вяжущих совместно с минеральными;

Укрепленные грунты в зависимости от значения суммарной удельной эффективной активности естественных радионуклидов Аэфф в грунтах используют для строительства дорог и аэродромов:

без ограничений - при Аэфф до 740 Бк/кг;

вне населенных пунктов и зон перспективной застройки - при Аэфф св. 740 до 2800 Бк/кг.

Для приготовления укрепленных грунтов применяют крупнообломочные, песчаные и глинистые грунты с числом пластичности не более 22 по ГОСТ 25100-95, в том числе супеси и суглинки с числом пластичности:

- до 12 при условии введения добавок извести, цемента, золы-уноса или песка из отсевов дробления карбонатных горных пород при строительстве в I - III дорожно-климатических зонах и без введения добавок в IV - V дорожно-климатических зонах;

- от 12 до 17 и глины с числом пластичности до 22 при условии введения добавок извести, цемента, золы-уноса и песка из отсевов дробления карбонатных горных пород или природного крупнозернистого песка.

Допускается применение засоленных грунтов, содержащих легкорастворимые соли не более 1 % по массе, при условии укрепления их жидкими органическими вяжущими.

Максимальная крупность зерен крупнообломочных грунтов должна соответствовать вышеприведенной (см. таблицу на предыдущей станице).

Содержание комков глины размером более 5 мм в измельченном, подготовленном к обработке жидкими органическими вяжущими грунте не должно быть более 25 % по массе, в том числе комков глины размером более 10 мм - более 10 % по массе.

В случае применения грунтов с показателями качества ниже вышеприведенных, должно быть проведено их исследование в специализированных лабораториях научно-исследовательских институтов для подтверждения возможности и технико-экономической целесообразности получения укрепленных грунтов с нормируемыми показателями качества.

В качестве органических вяжущих для приготовления укрепленных грунтов применяют битумы нефтяные дорожные жидкие по ГОСТ 11955-82*, эмульсии битумные дорожные по ГОСТ 18659-81.

Допускается применение других органических вяжущих, удовлетворяющих требованиям действующих нормативных документов и обеспечивающих получение укрепленных грунтов в соответствии с требованиями данного стандарта.

Для устройства оснований не допускается использование жидких битумов без активных добавок.

В качестве активных добавок к битуму применяют поверхностно-активные вещества (ПАВ) или продукты, содержащие ПАВ и удовлетворяющие требованиям действующих нормативных документов.

В качестве активных добавок к применяемым грунтам используют известь по ГОСТ 9179-77*, а также минеральные вяжущие в количестве не более 4 % по массе.

В качестве минеральных вяжущих для приготовления укрепленных грунтов применяют портландцемент и шлакопортландцемент по ГОСТ 10178-85*, золу-унос по ГОСТ 25818-91.

Перечень вяжущих материалов и активных добавок, применяемых для укрепленных грунтов в зависимости от вида грунта и дорожно-климатической зоны строительства, приведен в нижеследующей таблице.

Вид грунта

Вяжущие материалы и добавки

Дорожно-климатическая зона строительства

Крупнообломочные несцементированные, близкие к оптимальному составу грунты, гравелистые, крупные, средние и неоднородные пески

Жидкие нефтяные битумы совместно с цементом, жидкие битумы

IV, V

Жидкие битумы с активными добавками

II, III, IV, V

Крупнообломочные несцементированные грунты неоптимального состава, однородные, крупные, средние и мелкие пески

Битумные эмульсии совместно с карбамидными смолами

II, III

Жидкие нефтяные битумы совместно с цементом, жидкие битумы с активными добавками

IV, V

Битумные эмульсии совместно с цементом или добавкой извести

II, III, IV, V

Пылеватые пески, различные супеси с числом пластичности менее 3

Битумные эмульсии совместно с цементом или добавкой извести Жидкие битумы с активными добавками

II, III, IV, V

Супеси, близкие к оптимальному составу, галечниковые либо гравелистые, пылеватые

Битумные эмульсии с цементом или добавкой извести

II, III, IV, V

Жидкие битумы с активными добавками

II, III

Жидкие нефтяные битумы совместно с цементом

IV, V

Супеси пылеватые, суглинки легкие пылеватые

Битумные эмульсии совместно с цементом или добавкой извести,

II, III, IV, V

Супеси пылеватые, суглинки легкие пылеватые

Жидкие битумы с активными добавками

II, III, IV, V

Битумные эмульсии совместно с карбамидными смолами

II, III

Жидкие нефтяные битумы совместно с цементом

IV, V

Суглинки тяжелые пылеватые

Жидкие битумы с добавкой извести и поверхностно-активных веществ

II, III, IV, V

Жидкие битумы

IV, V

Глины легкие песчаные в пылеватые с числом пластичности не более 22

Жидкие битумы с добавкой извести и поверхностно-активных веществ

III, IV, V

Укрепленные грунты должны быть приняты техническим контролем изготовителя.

Приемка производится партиями.

При приемке и отгрузке укрепленных грунтов, приготовленных в смесительных установках, партией считают количество материала одного состава, выпускаемого на одной установке в течение одной смены, но не более 400 т (270 м3).

При приемке укрепленных грунтов, приготовленных смешением на дороге, партией считают количество материала, обрабатываемого в течение одной смены на участке производства работ, но не более 300 т (200 м3).

При приемке и отгрузке смесей, хранящихся на складе, партией считают количество смеси одного состава, отгружаемое одному потребителю в течение суток.

Количество поставляемой смеси определяют по массе или объему.

Смесь из смесительной установки или со склада, отгружаемую в автомобили, принимают по массе.

При смешении на дороге укрепленные грунты принимают по объему.

Для проверки соответствия качества укрепленных грунтов требованиям данного стандарта проводят приемосдаточные и периодические испытания.

При приемосдаточных испытаниях определяют:

- температуру смесей;

- водонасыщение;

- набухание;

- предел прочности на сжатие при температурах 20 и 50 °С;

- водостойкость;

- слеживаемость смесей с жидкими органическими вяжущими.

При периодических испытаниях определяют:

- один раз в месяц состав укрепленных грунтов;

- один раз в полгода предел прочности на растяжение при изгибе водонасыщенных образцов и морозостойкость.

Удельную эффективную активность естественных радионуклидов в укрепленных грунтах принимают по максимальной величине удельной эффективной активности естественных радионуклидов, содержащихся в применяемых материалах, грунтах и активных добавках. Эти данные указывает предприятие-поставщик в документе о качестве. В случае отсутствия этих данных изготовитель должен их определить силами специализированной лаборатории.

Периодические испытания проводят также в случае изменения свойств грунтов, применяемых для приготовления укрепленных грунтов.

Каждая партия укрепленных грунтов должна сопровождаться документом о качестве, в котором указывают:

- наименование изготовителя;

- номер и дату выдачи документа;

- наименование и адрес потребителя;

- назначение укрепленного грунта;

- массу укрепленного грунта;

- температуру смеси;

- время выпуска смеси из смесителя;

- водонасыщение;

- набухание;

- предел прочности на сжатие при температуре 20 и 50 °С;

- предел прочности на растяжение при изгибе водонасыщенных образцов при температуре 20 °С;

- морозостойкость;

- удельную эффективную активность естественных радионуклидов;

- обозначение данного стандарта.

Укрепленные грунты, приготавливаемые в установках, транспортируют к месту укладки автомобильным транспортом.

Смеси с жидкими или эмульгированными вяжущими с активными добавками и без них допускается хранить в летний период на открытых площадках, в осенне-зимний период - в закрытых складах или под навесом.

Срок хранения - не более 8 месяцев со дня изготовления.

Смеси с органическими вяжущими совместно с минеральными хранению не подлежат.

При транспортировании и хранении смесей, содержащих воду, необходимо следить за сохранением оптимальной влажности, не допуская их пересыхания или переувлажнения.

Продолжительность технологического разрыва между приготовлением и окончанием уплотнения смесей с органическими вяжущими совместно с минеральными, включая продолжительность транспортирования к месту укладки, не должна превышать 4 ч.

ГОСТ 23558-94* Смеси щебеночно-гравийно-песчаные и грунты, обработанные неорганическими вяжущими материалами, для дорожного и аэродромного строительства. Технические условия.

Данный стандарт распространяется на щебеночно-гравийно-песчаные смеси и грунты, обработанные неорганическими вяжущими материалами, применяемые для устройства оснований, дополнительных слоев оснований и покрытий автомобильных дорог и аэродромов.

Область применения укрепленных грунтов приведена в нижеследующей таблице.

Обработанный материал - искусственный материал, получаемый смешением в карьерных смесительных установках песчано-щебеночных, песчано-гравийных, песчано-щебеночно-гравийных смесей и песка с цементом или другим неорганическим вяжущим и водой и отвечающий в проектные или промежуточные сроки нормируемым показателям качества по прочности и морозостойкости.

Укрепленный грунт - искусственный материал, получаемый преимущественно смешением непосредственно на дороге (с использованием фрез) грунта с цементом или другим неорганическим вяжущим и водой и отвечающий в проектные и промежуточные сроки нормируемым показателям качества по прочности и морозостойкости.

Рекомендуемая область применения укрепленных грунтов

Тип дорожной одежды

Марка по прочности на сжатие, не ниже

Марка по морозостойкости для районов со среднемесячной температурой воздуха наиболее холодного месяца, °С, не менее

 

покрытие со слоем износа

основание

дополнительный слой основания

от 0 до -5

от -5 до -15

от -15 до -30

Ниже -30

 

Капитальный

-

М40

М10

F15

F25

F25

F50

 

Облегченный

-

М40

М10

F10

F15

F25

F50

 

Переходный

-

М20

-

F5

F10

F15

F25

 

То же

М40

-

-

F10

F15

F25

-

 

Прочность укрепленного грунта в проектном возрасте характеризуют маркой. Соотношение между маркой по прочности и прочностью на сжатие и растяжение при изгибе должно соответствовать требованиям, указанным в нижеприведенной таблице.

Марка по прочности

Предел прочности, МПа (кгс/см2), не менее

на сжатие, Rсж

на растяжение при изгибе, Rизг

М10

1,0 (10)

0,2 (2)

М20

2,0 (20)

0,4 (4)

М40

4,0 (40)

0,8 (8)

М60

6,0 (60)

1,2 (12)

М75

7,5 (75)

1,5 (15)

М100

10,0 (100)

2,0 (20)

Примечание - Допускается определять прочность в установленные промежуточные сроки. При этом прочность в промежуточные сроки должна быть не менее 0,5 от нормируемого значения прочности в проектном возрасте.

По морозостойкости укрепленные грунты подразделяют на марки: F5, F10, F15, F25, F50, F75.

За марку по морозостойкости принимают установленное число циклов попеременного замораживания и оттаивания, при которых допускается снижение прочности на сжатие не более чем на 25 % от нормируемой прочности в проектном возрасте.

Укрепленные грунты, в зависимости от величины суммарной удельной эффективной активности естественных радионуклидов (Аэфф), содержащихся в грунтах, используют:

при Аэфф до 740 Бк/кг - для строительства дорог и аэродромов без ограничений;

при Аэфф св. 740 до 2800 Бк/кг - для дорожного и аэродромного строительства вне населенных пунктов и зон перспективной застройки.

Для обработки неорганическими вяжущими материалами применяют все виды пылевидных и глинистых грунтов по ГОСТ 25100-95 с числом пластичности не более 12.

Не допускается применять грунты, содержащие гумусовые вещества в количестве 2 % по массе, в I и II дорожно-климатических зонах, более 4 % - в III - IV зонах и содержащие примеси гипса в количестве 10 % по массе.

Содержание в подготовленном к обработке вяжущим материалом размельченном глинистом грунте комков глины размером более 5 мм должно быть не более 25 % по массе, в т.ч. комков глины размером более 10 мм - 10 % по массе.

Глинистые грунты, обрабатываемые портландцементом или шлакопортландцементом, должны иметь влажность (грунта) на границе текучести не более 55 % по массе, обрабатываемые известью или известково-шлаковым вяжущим должны иметь число пластичности не менее 5, влажность - не более 55 % по массе.

Допускается применение супесей, суглинков и глин с числом пластичности до 17 при условии улучшения зернового состава песком (природным или из отсевов дробления горных пород и шлака) и доведением числа пластичности до 12. Такие грунты следует укреплять известью или известково-шлаковым вяжущим.

Засоленные грунты с содержанием легкорастворимых солей сульфатов менее 2 % и хлоридов менее 4 % по массе допускается укреплять цементом, известью, комплексными известково-шлаковыми вяжущими.

Засоленные грунты с рН менее 7 перед обработкой цементом должны быть предварительно нейтрализованы добавками извести, каустической соды или другими щелочными соединениями.

Засоленные грунты с рН более 4 и содержанием солей сульфатов не более 3 % и хлоридов не более 5 % по массе допускается обрабатывать золами-уноса.

Зерновой состав грунтов должен соответствовать требованиям, указанным в нижеприведенной таблице.

Максимальная крупность зерен, мм

Полный остаток на ситах размером отверстий, мм

40

20

10

5

2,5

1,25

0,63

0,315

0,14

0,005

40

До 10

От 20 до 40

От 35 до 65

От 50 до 80

От 60 до 85

От 70 до 90

От 75 до 95

От 80 до 97

От 85 до 98

От 87 до 100

20

-

До 10

От 20 до 40

От 35 до 65

От 50 до 80

От 60 до 85

От 70 до 90

От 75 до 95

От 80 до 97

От 85 до 100

10

-

-

До 10

От 25 до 40

От 45 до 65

От 60 до 80

От 70 до 85

От 75 до 90

От 80 до 95

От 85 до 100

5

-

-

-

До 10

От 30 до 40

От 50 до 65

От 65 до 80

От 75 до 85

От 80 до 90

От 88 до 100

2,5

-

-

-

-

До 10

От 30 до 40

От 55 до 65

От 70 до 80

От 80 до 90

От 88 до 100

1,25

-

-

-

-

-

До 10

От 35 до 45

От 60 до 70

От 75 до 85

От 85 до 100

Тип грунтов следует выбирать в соответствии с назначением укрепленных грунтов, условиями их эксплуатации, требуемой маркой по прочности и морозостойкости.

В случае необходимости применения грунтов с показателями качества ниже требуемых данным стандартом должно быть проведено их исследование в специализированных лабораториях для подтверждения возможности и технико-экономической целесообразности получения укрепленных грунтов с нормируемыми показателями качества.

Для приготовления укрепленных грунтов следует применять следующие вяжущие материалы:

I вид - портландцемент и шлакопортландцемент по ГОСТ 10178-85*, сульфатостойкий и пуццолановый цементы по ГОСТ 22266-94, а также цементы для строительных растворов по ГОСТ 25328-82 марок не ниже 400 для покрытий и 300 для оснований;

II вид - активные материалы с удельной поверхностью не менее 150 м2/кг (полный остаток на сите № 0071 не менее 20 % по массе) марок по прочности в 180-суточном возрасте, определяемой по ГОСТ 3344-83, не менее 50:

- молотые высокоактивные и активные шлаки черной, цветной металлургии и фосфорные шлаки по ГОСТ 3344-83;

- бокситовые и нефелиновые шламы с содержанием двухкальциевого силиката С2S не менее 40 % по массе;

- золы-уноса с удельной поверхностью св. 150 м2/кг, содержанием сернистых и сернокислых соединений в пересчете на SO не более 6 %, потерей при прокаливании не более 5 % по массе;

III вид - комплексные вяжущие марок по прочности в 90-суточном возрасте, определяемых по ГОСТ 3344-83, не менее 100. Комплексное вяжущее состоит из основного компонента и активатора твердения. В качестве основного компонента следует использовать молотые слабоактивные и активные шлаки черной металлургии и шлаки фосфорные по ГОСТ 3344-83, основные золы-уноса по ГОСТ 25818-91, бокситовые и нефелиновые шламы. В качестве активаторов твердения - портландцемент, шлакопортландцемент марок по прочности не ниже 400 по ГОСТ 10178-85*, известь строительная I и II сортов по ГОСТ 9179-77*, гипс строительный марок не ниже Г10 по ГОСТ 125-79, содощелочной (содосульфатный) плав с содержанием Na2CO3 не менее 95 % и NaOH не менее 1 % по массе, жидкое стекло с кремнеземистым модулем 1,7 - 1,8 и плотностью от 1,15 до 1,25 г/см3.

Для снижения расхода вяжущих материалов, повышения прочности, морозостойкости и улучшения технологических свойств следует применять химические добавки, удовлетворяющие требованиям соответствующих нормативных документов, утвержденных в установленном порядке.

Перечень добавок приведен в нижеследующей таблице.

Вода для приготовления укрепленных грунтов и приготовления растворов химических добавок должна соответствовать требованиям ГОСТ 23732-79. Максимально допустимое содержание растворимых солей не должно превышать 10000 мг/л, в т.ч. ионов SO4 - 2700 мг/л, Cl - 3500 мг/л.

Допускается в пустынных районах V дорожно-климатической зоны использовать воду озер и водоемов с большим содержанием водорастворимых солей, если обеспечивается стойкость против коррозии укрепленных грунтов.

При подборе состава должно устанавливаться необходимое количество вяжущего, обеспечивающее получение укрепленных грунтов с заданными марками по прочности и морозостойкости.

Добавки для приготовления укрепленных грунтов

Вид добавки

Наименование

Условная марка

Нормативный документ

Пластифицирующие

Лигносульфонаты технические (модифицированные)

ЛСТ

ЛСТМ-2

ТУ 13-0281036-05-89

Щелочной сток производства капролактама

ЩСПК (ПАЩ) ЩСПКМ-1

ТУ 113-03-616-87

Противоморозные, они же - ускорители твердения

Хлорид кальция

хк

ГОСТ 450-77*

Хлорид натрия

хн

ГОСТ 13830-91

Нитрит кальция

нк

ГОСТ 4142-77*

Гидрофибизирующие

Жидкость гидрофобизирующая (ГКЖ-94)

136 - 41

ГОСТ 10843-76

Укрепленные грунты должны быть приняты техническим контролем изготовителя.

Входной контроль грунтов, вяжущих, добавок и воды должен осуществляться лабораторией перед началом строительства, а также при изменении качества используемых материалов, но не реже одного раза в квартал.

Приемка укрепленных грунтов должна производиться партиями.

Партией считают количество укрепленного грунта одной марки по прочности, изготовленное в течение одной смены на одной смесительной установке, но не более 1000 м3.

При приемочном контроле изготовитель должен проверять каждую партию укрепленного грунта на прочность при сжатии, а также состав смеси.

При периодических испытаниях не реже одного раза в квартал, а также при подборе каждого нового состава грунтов должна определяться марка по морозостойкости и марка по прочности на растяжение при изгибе или раскалывании.

Удельную активность естественных радионуклидов в грунтах определяют по величине максимальной удельной эффективной активности естественных радионуклидов, содержащихся в применяемых грунтах и вяжущих материалах. Эти данные устанавливают по данным геологической разведки и указывает предприятие-поставщик в документе о качестве. В случае отсутствия данных о содержании естественных радионуклидов потребитель определяет их содержание силами специализированной лаборатории.

Каждая партия укрепленного грунта должна сопровождаться документом о качестве, в котором указывают:

- наименование изготовителя;

- наименование и адрес потребителя;

- номер и дату выдачи документа;

- номер партии и количество укрепленного грунта, состав смеси;

- марку по прочности и морозостойкости;

- содержание естественных радионуклидов;

- обозначение данного стандарта.

Укрепленные грунты перевозят автомобильным транспортом любого вида. Продолжительность технологического разрыва между приготовлением и окончанием уплотнения смесей, включая продолжительность транспортирования к месту укладки, не должна превышать при обработке грунтов портландцементом или шлакопортландцементом, шлаковыми и зольными вяжущими с активаторами - цементом, жидким стеклом - 5 ч, шлаковыми, золошлаковыми вяжущими без активаторов и с активатором: известью и белитовым шламом - 48 ч.

Допускается складирование и хранение укрепленных грунтов, содержащих шлаковые, зольные вяжущие без активаторов и с активаторами: известью, белитовыми шламами, до укладки при температуре до 5 °С в течение 2 сут, при температуре ниже 5 °С - 15 сут, а при отрицательных температурах - 30 сут.

При транспортировании и хранении смесей необходимо следить за сохранением оптимальной влажности, не допуская высыхания или переувлажнения укрепленных грунтов.

На строительной площадке в процессе входного контроля:

должны быть проверены документы о качестве на поступившие укрепленные грунты, или грунты, органические и минеральные вяжущие, активные и химические добавки с целью определения соответствия поступивших материалов требованиям проекта;

должен быть произведен внешний осмотр материалов с целью проверки соответствия их требованиям нормативно-технических документов и обнаружения недопустимого их смешивания и загрязнения;

произведены предусмотренные регламентом (технологическими картами) физико-механические испытания материалов;

при возникновении каких-либо сомнений в качестве поступивших материалов или документов должны быть вызваны представители строительной лаборатории и функциональных служб, ответственных за поставку материалов, и определена необходимость дополнительных их испытаний.

Технические требования к устройству оснований и покрытий

Устройство оснований и покрытий из крупнообломочных, песчаных и глинистых грунтов, укрепленных органическими и неорганическими вяжущими материалами следует осуществлять в соответствии с требованиями проекта, СНиП 3.01.01-85*, СНиП 3.06.03-85, СНиП 2.05.02-85*, ППР, технологических карт, схем операционного контроля качества и другой технологической документации, утвержденной в установленном порядке.

Работы по устройству слоев дорожной одежды должны выполнять строительно-монтажные организации, получившие лицензии от Федеральных или региональных органов по лицензированию строительной деятельности. Работы должны выполняться по утвержденному проекту и при наличии организации, на которую возложены технический надзор и приемка работ.

Работы по устройству слоев дорожной одежды должны выполняться квалифицированным персоналом, прошедшим специальную подготовку и обладающим надлежащими навыками по строительству автомобильных дорог.

Перед началом работ по устройству слоев дорожной одежды должен быть осуществлен входной контроль рабочей документации и материалов, предусмотренных проектом для устройства оснований и покрытий.

При входном контроле рабочей документации должна производиться проверка её комплектности и достаточности содержащейся в ней технической информации для производства работ.

Задачи входного контроля материалов при устройстве оснований и покрытий изложены выше. Объем входного контроля и участие в нем строительной лаборатории должны быть установлены в соответствующих технологических картах.

Работу по устройству слоев дорожной одежды следует производить только на готовом и принятом в установленном порядке непереувлажненном и недеформированном земляном полотне.

Земляное полотно должно быть принято при наличии оформленных актов освидетельствования скрытых работ и исполнительного чертежа по результатам исполнительной геодезической съемки.

Запрещается выполнение последующих работ при отсутствии актов освидетельствования предшествующих скрытых работ во всех случаях.

До начала работ по устройству слоев дорожной одежды должны быть выполнены предусмотренные ППР детальные разбивочные работы по закреплению положения бровок и высотных отметок слоев. При применении машин, оборудованных автоматическими следящими системами, закрепление бровок и высотных отметок осуществляется путем установки копирных струн с одной или с двух сторон укладываемого слоя. Разбивочные работы следует выполнять с использованием геодезических инструментов.

Покрытие и основание с использованием вяжущих материалов следует устраивать на сухом и чистом нижележащем слое, а при использовании органических вяжущих веществ, кроме того, - на непромерзшем слое.

Устройство слоев дорожной одежды в зимнее время разрешается только по земляному полотну, полностью законченному и принятому до наступления отрицательных температур, за исключением строительства в условиях вечной мерзлоты и двухстадийного строительства.

Перед началом работ по устройству дорожных одежд в зимнее время земляное полотно или нижележащий слой должны быть очищены от снега и льда на участке сменной захватки. В снегопад и метель работы по устройству дорожной одежды не допускаются.

Согласно СНиП 2.05.02-85* виды укрепленных грунтов для устройства нижнего слоя тонкослойных битумоминеральных покрытий (3 - 5 см) или слоев износа в виде двойной поверхностной обработки приведены в нижеследующей таблице.

Виды укрепленных грунтов для устройства нижнего слоя покрытий

Категория дороги

Дорожно-климатическая зона

Грунты, укрепленные битумными эмульсиями или жидкими битумами, совместно с цементом или известью

III, IV

II - V

Грунты, укрепленные минеральными вяжущими с добавками или без добавок ПАВ или активных веществ, прочностью 2,0 - 6,0 МПа

III - V

II - V

Грунты, укрепленные органическими вяжущими с добавкой или без добавки ПАВ или активных веществ

IV, V

IV, V

Виды укрепленных грунтов для устройства оснований дорожных одежд капитального типа приведены в нижеследующей таблице.

Виды укрепленных грунтов для устройства оснований

Категория дороги

Дорожно-климатическая зона

Грунты, укрепленные минеральными вяжущими, прочностью 2,0 - 6,0 МПа, для оснований цементобетонных монолитных или сборных покрытий

I - III

I - V

Грунты, укрепленные битумной эмульсией совместно с цементом, прочностью 2,0 - 6,0 МПа, для верхних слоев оснований асфальтобетонных покрытий толщиной 8 см и более

I - III

I - V

Грунты, укрепленные минеральными вяжущими с добавками или без добавок ПАВ или активных веществ, прочностью 2,0 - 6,0 МПа, для нижних слоев оснований асфальтобетонных покрытий

I - III

I - V

Смешение грунтов с вяжущими материалами следует осуществлять:

- на дороге, специальной площадке или в карьере, используя однопроходные грунтосмесительные машины и дорожные фрезы;

- в смесительных установках, как правило, с принудительным перемешиванием.

Крупнообломочные грунты, а также смеси крупнообломочных грунтов (в количестве не менее 20 - 30 %) с мелким песком допускается смешивать с вяжущими материалами в установках со свободным перемешиванием.

Укрепленные грунты при устройстве дорожных одежд следует укладывать в один или несколько слоев в зависимости от толщины основания и покрытия и применяемых машин.

При этом верхний слой основания и покрытия следует устраивать из смесей, приготовленных, как правило, в установках.

При смешении крупнообломочных грунтов с вяжущими материалами в смесительных установках грунты не должны содержать зерен крупнее 40 мм; при отсутствии в крупнообломочных грунтах зерен крупнее 25 мм суммарное количество зерен размером от 2 до 25 мм не должно быть более 70 % массы грунта. Для грунтовых частиц размером менее 0,5 мм, входящих в состав крупнообломочных грунтов, число пластичности должно быть не более 12. При смешении крупнообломочных грунтов с вяжущими на дороге размер зерен в грунте не должен превышать 25 мм.

Глинистые грунты с числом пластичности более 12 перед смешением с вяжущими материалами должны быть размельчены.

После размельчения содержание в грунте частиц размером более 5 мм должно составлять не свыше 25 % массы, в том числе содержание частиц размером более 10 мм - не свыше 10 %.

При измельчении тяжелых суглинков и глин влажностью менее 0,3 влажности на границе текучести грунта в сухую погоду при температуре воздуха свыше 20 °С в грунт необходимо вводить добавки поверхностно-активных веществ, % от массы смеси:

сульфитно-дрожжевую бражку (СДБ)............................... 0,05 - 0,5;

смачиватель ОП-7 или ОП-10........................................... 0,05 - 0,5;

гидрофобизирующую жидкость ГЖ-136-41..................... 0,1 - 0,2;

гудрон нейтрализованный (ГНД)...................................... 0,015 - 0,03.

Растворимые добавки следует вводить в грунт в виде водных растворов, нерастворимые - в виде эмульсий.

Укладку смеси грунта с вяжущими и ее уплотнение следует выполнять при влажности, близкой к оптимальной. Плотность укрепленного материала должна быть не менее 0,98 максимальной по ГОСТ 22733-77.

При использовании в качестве вяжущего материала цемента в сочетании с органическими вяжущими или при применении только органического вяжущего количество воды, соответствующее оптимальной влажности смеси должно быть уменьшено на количество используемого органического вяжущего или на количество воды в эмульсии, если органический вяжущий материал эмульгирован.

При укреплении известью или активной золой уноса вводят дополнительную добавку воды (2 - 4 %) сверх оптимальной влажности.

Для достижения требуемой плотности и ровности слоев грунтов, укрепленных вяжущими материалами, следует применять уплотнение, сочетающее предварительное вибрирование смеси вибробрусом укладчика и укатку самоходными катками вибрационными или на пневматических шинах.

ОСНОВАНИЯ И ПОКРЫТИЯ ИЗ ГРУНТОВ, УКРЕПЛЕННЫХ ОРГАНИЧЕСКИМИ ВЯЖУЩИМИ МАТЕРИАЛАМИ

При подборе состава для улучшения технических и технологических свойств грунтов, укрепленных:

жидкими битумами, - следует применять известь, сланцевую золу, золы уноса сухого отбора, золошлаковые смеси гидроудаления с добавками или без добавок извести, молотый известняк, молотую опоку с известью;

сланцевыми битумами, битумными эмульсиями, - известь, известковую пыль, цемент, золы уноса;

органическими вяжущими (кроме смолы карбамидоформальдегидной), - катионактивные и анионактивные вещества (тира Э-1, кубовые остатки СЖК, второй жировой гудрон, госсиполовую смолу и др.).

Основания и покрытия из грунтов, укрепленных органическими вяжущими материалами, разрешается устраивать в сухую погоду при температуре воздуха не ниже 10 °С. Смешение грунтов с битумной эмульсией допускается при температуре воздуха не ниже 5 °С. Влажность крупнообломочных и песчаных грунтов перед введением органического вяжущего должна находиться в пределах 2 - 5 %, а влажность глинистых грунтов - в пределах 0,2 - 0,4 влажности на границе текучести грунта.

При смешении в стационарных смесительных установках крупнообломочных и песчаных грунтов или супесей с жидким битумом, битумной эмульсией и активными добавками, а также грунтов с битумной эмульсией или жидким битумом совместно с цементом вяжущие вещества, добавки (кроме молотой негашеной извести) и вода должны вводиться в грунт одновременно и в полном объеме.

При использовании в качестве активных добавок молотой негашеной извести ее необходимо распределить по грунту и перемешать с ним. Последующую обработку грунта органическими вяжущими в смесительной установке следует производить не ранее чем через 12 ч и не позднее чем через 24 ч после внесения извести.

Влажность грунта перед внесением негашеной извести должна обеспечивать гидратацию (гашение) извести.

При смешении на дороге крупнообломочных и песчаных грунтов или супесей с органическими вяжущими материалами вяжущее должно вводиться в грунт за один проход грунтосмесительной машины; влажность грунта при этом должна быть в пределах 2 - 5 % для крупнообломочных и песчаных грунтов и 0,2 - 0,4 влажности на границе текучести грунта - для глинистых грунтов. Влажность смеси перед уплотнением должна быть оптимальной, а количество воды в смеси откорректировано с учетом потребности ее для гашения извести и активной золы, а также наличия ее в органических вяжущих.

Влажность смеси грунтов с неорганическими вяжущими перед уплотнением должна соответствовать оптимальной, но в зависимости от погодных условий во время производства работ допускается не более чем на:

2 - 3 % выше оптимальной при сухой погоде без осадков и температуре воздуха выше 20 °С;

1 - 2 % меньше оптимальной при температуре ниже 10 °С и при наличии осадков.

При смешении глинистых грунтов с органическими вяжущими материалами следует применять метод приготовления смеси на дороге с помощью однопроходных или многопроходных грунтосмесительных машин.

При укреплении грунтов жидкой карбамидоформальдегидной смолой с добавкой эмульгированных битума или нефтяного гудрона следует предварительно смешать их в смесителях с принудительным перемешиванием без подогрева. Смолобитумное вяжущее может храниться без отвердителя не более 3 сут. Готовое вяжущее с добавкой отвердителя необходимо вводить в грунт не позднее чем через 3 ч после смешения.

При использовании смолы со сроком хранения более 2 мес (если она отвечает техническим требованиям), а также при работе при температурах воздуха свыше 25 °С следует вводить сначала смолобитумное вяжущее, затем отвердитель.

При укреплении грунтов карбамидоформальдегидными смолами с использованием в качестве добавки сырой нефти или СДБ порядок их введения определяется применяемыми средствами механизации.

Грунты, укрепленные органическими вяжущими материалами совместно с известью или цементом, следует уплотнять не позднее чем через 2 ч после окончания перемешивания смеси. При температуре воздуха ниже 16 °С разрыв между окончанием перемешивания смеси и началом ее уплотнения допускается до 4 ч.

Уплотнение грунтов, укрепленных органическими вяжущими материалами, должно заканчиваться в течение смены. Если в процессе работ по уплотнению выпадали атмосферные осадки и температура воздуха была ниже 15 °С, допускается повторное уплотнение смеси, но не позднее чем через 2 сут для грунта с добавкой цемента и 4 сут - для смеси грунта с добавкой извести.

За уплотненным слоем грунта, укрепленного битумной эмульсией или жидким битумом с цементом при температуре воздуха выше 15 °С и отсутствии осадков, необходимо осуществлять уход путем розлива битумной эмульсии из расчета 0,6 - 0,8 л/м2. В случае устройства вышележащего конструктивного слоя не позднее чем через сутки уход не требуется.

Движение построечного транспорта по слою основания или покрытия из грунтов, укрепленных органическими вяжущими, разрешается через 5 сут после его устройства в случае применения укрепленного материала, удовлетворяющего требованиям I класса прочности при толщине укрепленного слоя не менее 15 см, а также применения укрепленного материала, удовлетворяющего требованиям II класса прочности при толщине укрепленного слоя не менее 20 см. При толщине укрепленного слоя меньше указанных, а также при применении укрепленного материала, удовлетворяющего требованиям III класса прочности, движение построечного транспорта следует открывать через 7 сут после устройства слоя.

ОСНОВАНИЯ И ПОКРЫТИЯ ИЗ ГРУНТОВ, УКРЕПЛЕННЫХ НЕОРГАНИЧЕСКИМИ ВЯЖУЩИМИ МАТЕРИАЛАМИ

Устройство оснований и покрытий из грунтов, укрепленных неорганическими вяжущими материалами, следует осуществлять преимущественно при температуре не ниже 5 °С.

При укреплении грунтов неорганические вяжущие материалы следует вводить в грунт с использованием весовых или объемных дозаторов независимо от метода приготовления смеси.

При укреплении грунтов неорганическими вяжущими материалами необходимо учитывать количество воды, вводимой с раствором солей или щелочей.

При смешении на дороге крупнообломочных, песчаных или глинистых грунтов с цементом и добавками в виде битумных эмульсий, жидкого битума, нефтяного гудрона или сырой нефти следует сначала ввести в грунт органическое вяжущее, перемешать его с грунтом и затем последовательно вводить в смесь цемент и воду.

При укреплении грунта цементом с добавками золы уноса, золошлаковых смесей или других несвязных дисперсных материалов добавки следует распределить по грунту, перемешать их с грунтом, спланировать смесь и затем последовательно вводить в нее цемент и воду.

При укреплении грунта цементом с добавкой молотой негашеной извести грунт с цементом следует смешивать через сутки после введения извести и воды.

При укреплении глинистых грунтов неорганическими вяжущими материалами следует использовать, как правило, способ смешения грунта с вяжущими на дороге. Движение транспортных средств по слою глинистых грунтов, предназначенному для укрепления, не допускается.

При укреплении грунтов известью совместно с добавками зол уноса или золошлаковых смесей следует ввести в грунт добавки и перемешать их с ним до однородного состояния, затем ввести известь, увлажнить грунт до оптимальной влажности и через сутки спланировать и уплотнить смесь.

Влажность смеси грунтов с неорганическими вяжущими перед уплотнением должна соответствовать оптимальной, но в зависимости от погодных условий во время производства работ допускается не более чем на:

2 - 3 % выше оптимальной при сухой погоде без осадков и температуре воздуха выше 20 °С;

1 - 2 % меньше оптимальной при температуре ниже 10 °С и при наличии осадков.

При температуре воздуха выше 20 °С для замедления процесса схватывания смеси и обеспечения оптимальных условий уплотнения следует вводить в смесь добавку СДБ (в виде водного раствора) или ГЖ-136-41 (в виде эмульсии) в количестве не более 0,5 % массы цемента при укреплении несвязных грунтов и 1 - 1,5 % при укреплении связных грунтов или добавки органических вяжущих в виде битумных эмульсий, жидкого битума, нефтяного гудрона или сырой нефти в количестве, как правило, 1 - 3 % массы грунта.

Уплотнение смеси грунта с цементом до максимальной плотности должно быть закончено не позднее чем через 3 ч, а при пониженных температурах (ниже 10 °С) - не позднее чем через 5 ч после введения в смесь воды или раствора солей.

При укреплении грунтов цементом совместно с добавками поверхностно-активных веществ (СДБ, ГЖ-136-41, гудрона нейтрализованного и других) или совместно с добавками битумных эмульсий, жидкого битума, гудрона или сырой нефти смесь следует уплотнить не позднее чем через 8 ч после введения воды. При укреплении грунтов известью или активными золами уноса, используемыми в качестве самостоятельного вяжущего, уплотнение следует заканчивать не позднее чем через 14 - 18 ч после введения в смесь воды.

Для ухода за свежеуложенным грунтом, укрепленным неорганическими вяжущими, следует распределять по поверхности грунта 50 %-ные быстрораспадающиеся или среднераспадающиеся эмульсии с использованием битума или других органических вяжущих из расчета 0,5 - 0,8 л/м2.

Для ухода за свежеуложенным слоем укрепленного грунта можно распределять также нефтяной гудрон или нейтрализованный гудрон (ГНД) из расчета 0,5 - 0,6 л/м2 или слой песка толщиной 5 см с поддержанием его во влажном состоянии.

Движение построечного транспорта по слою основания или покрытия из грунтов, укрепленных органическими вяжущими, разрешается через 5 сут после его устройства в случае применения укрепленного материала, удовлетворяющего требованиям I класса прочности при толщине укрепленного слоя не менее 15 см, а также применения укрепленного материала, удовлетворяющего требованиям II класса прочности при толщине укрепленного слоя не менее 20 см. При толщине укрепленного слоя меньше указанных, а также при применении укрепленного материала, удовлетворяющего требованиям III класса прочности, движение построечного транспорта следует открывать через 7 сут после устройства слоя.

Допускается открывать движение построечного транспорта и укладывать вышележащие слои на следующий день после устройства укрепленного слоя грунта в случае укрепления неорганическими вяжущими связных грунтов, а также в течение первых двух суток в случае укрепления грунтов цементом или карбамидоформальдегидной смолой совместно с добавками в виде поверхностно-активных веществ, битумных эмульсий, жидких битумов, гудронов, сырой нефти или при использовании медленнотвердеющих вяжущих как без цемента, так и в сочетании с ним.

При укреплении переувлажненных грунтов цементом, известью или другими неорганическими вяжущими влажность обрабатываемого грунта не должна превышать значений, приведенных в нижеследующей таблице.

Вид грунта

Допускаемая влажность (в долях от оптимальной) при коэффициенте уплотнения 1 - 0,98

Пески пылеватые

1,35

Супеси легкие крупные, супеси легкие

1,25

Супеси пылеватые, супеси тяжелые пылеватые, суглинки легкие

1,15

Суглинки тяжелые, глины песчанистые и пылеватые

1,1

Осушать переувлажненный грунт следует путем укладки его в валы, бурты (пески, супеси), многократного рыхления (при солнечной погоде), а также обработки его известью (порошкообразной негашеной, молотой комовой и пушонкой) или активной золой уноса.

Количество добавок вяжущих материалов, осушающих грунт, назначают по нижеследующей таблице.

Вид грунта

Количество добавок молотой негашеной извести или активной золы уноса сухого отбора, % к массе грунта при влажности его в относительных единицах от оптимальной влажности

1,2

1,4

1,6

Пески и супеси пылеватые

-

0,5

1,0

Суглинки легкие

-

0,5

1,5

Суглинки тяжелые

1,0

2,0

-

Глины песчанистые и пылеватые

1,5

3,0

-

Примечание. Добавка молотой негашеной извести приведена в пересчете на СаО + MgO, добавка активной золы уноса - в пересчете на содержание свободной СаО.

УКРЕПЛЕНИЕ ГРУНТОВ НЕОРГАНИЧЕСКИМИ ВЯЖУЩИМИ МАТЕРИАЛАМИ ПРИ ПОНИЖЕННОЙ И ОТРИЦАТЕЛЬНОЙ ТЕМПЕРАТУРЕ

При отрицательной температуре воздуха следует предусматривать меры против смерзания укрепленных грунтов.

При отрицательной температуре воздуха в грунт необходимо вводить добавки, понижающие температуру замерзания воды (противоморозные добавки), в количестве 0,5 - 1,5 % массы грунта.

Добавки, связывающие воду (известь, цемент, гипс и др.), следует вносить в грунт в порошкообразном состоянии перед введением растворов противоморозных добавок.

Крупнообломочные и песчаные грунты с вяжущими материалами следует смешивать в смесительных установках, а глинистые грунты - на дороге с использованием однопроходных или многопроходных грунтосмесительных машин.

Уход за уплотненным слоем грунта, укрепленного цементом, следует осуществлять с помощью слоя песка толщиной не менее 6 см.

Движение транспортных средств по укрепленному слою основания или покрытия разрешается не ранее чем через 20 сут. В период оттепелей и весеннего таяния движение транспортных средств по слою не допускается.

При температуре воздуха ниже минус 10 °С в районах с устойчиво отрицательной температурой и коротким строительным сезоном при необходимости обеспечения высоких годовых темпов строительства допускается приготовление цементогрунтовых смесей только из несвязных грунтов путем смешения их с цементом без введения воды. При отсутствии задела земляного полотна приготовленная смесь должна храниться в штабелях до наступления положительных температур, после чего смесь следует распределить, увлажнить с перемешиванием и уплотнить. При наличии задела готового и принятого земляного полотна приготовленная смесь хранится в виде конструктивного слоя дорожной одежды до наступления положительной температуры, после чего смесь следует увлажнить с перемешиванием и уплотнить. Цементогрунтовые смеси при температуре воздуха ниже минус 10 °С следует приготовлять не ранее чем за 3 мес до наступления плюсовых температур.

Контролируемые операции

Состав и средства контроля

Документация

Подготовительные работы

Проверить:

- наличие ППР, технологических карт и схем операционного контроля качества (СОКК);

- готовность земляного полотна и дополнительных слоев основания, наличие актов освидетельствования ранее выполненных работ и исполнительной документации с разрешением заказчика на устройство оснований и покрытий из укрепленных грунтов;

- наличие в натуре и неизменность положения знаков разбивочной сети трассы и наличие акта приёмки-передачи этих знаков и материалов исполнительной съёмки (при передаче работ); выполнение разбивочных геодезических работ;

ППР, технологические карты и СОКК

Акты освидетельствования скрытых работ с исполнительной документацией;

Исполнительный чертеж

- сопроводительные документы (документы о качестве) и внешним осмотром качество поступивших материалов (готовых смесей, грунтов, вяжущих и добавок).

Документы о качестве

Устройство оснований и покрытий из укрепленных грунтов

Контролировать:

- соблюдение заданной технологии устройства оснований и покрытий из укрепленных грунтов;

Общий журнал работ

- качество материалов и смеси (гранулометрический состав грунтов, число пластичности глинистых грунтов, степень их размельчения, температуру органического вяжущего, температуру смеси, влажность грунтов и готовой смеси, качество уплотнения, прочность и др.);

- поперечный и продольный профили оснований и покрытий из укрепленного грунта (высотные отметки, ширину, толщину слоя, поперечный уклон, ровность).

Акты лабораторных испытаний

Исполнительная геодезическая схема

Приёмка

Проверить:

- соответствие фактических физико-механических свойств укрепленных грунтов в основаниях и покрытиях требованиям проекта и нормативных документов;

Акты лабораторных испытаний

- соответствие фактического поперечного и продольного профилей и ровности основания и покрытий требованиям проекта и нормативной документации;

- надлежащее оформление исполнительной документации.

Акты освидетельствования скрытых работ с исполнительной документацией

ВХОДНОЙ И ОПЕРАЦИОННЫЙ КОНТРОЛЬ осуществляют:

(мастер) прораб, геодезист, лаборант (инженер) - в процессе производства работ

ПРИЁМОЧНЫЙ КОНТРОЛЬ ОСУЩЕСТВЛЯЮТ:

прораб (мастер), геодезист, представители технадзора заказчика

КИП - нивелир, теодолит и др. геодезические приборы, лабораторные приборы и оборудование.

В районах с суровыми климатическими условиями при необходимости ускорения открытия движения по дороге допускается в зимнее время укладывать на основание из смесей крупнообломочных грунтов и вяжущих покрытий из сборных железобетонных плит. На участках, не имеющих после оттаивания земляного полотна деформаций покрытия, следует омоноличивать швы. При наличии деформаций покрытия следует демонтировать плиты, выровнять и уплотнить основание, уложить плиты и омоноличить швы.

КОНТРОЛЬ КАЧЕСТВА РАБОТ

При операционном контроле качества работ по устройству оснований и покрытий из укрепленных грунтов следует контролировать по каждому укладываемому слою не реже чем через каждые 100 м:

- высотные отметки по оси дороги;

- ширину слоя;

- толщину слоя неуплотненного грунта по его оси;

- поперечный уклон;

- ровность (просвет под рейкой длиной 3 м на расстоянии 0,75 ¸ 1 м от каждой кромки покрытия (основания) в пяти контрольных точках, расположенных на расстоянии 0,5 м от концов рейки и друг от друга).

Высотные отметки, ширина и толщина слоя, поперечные уклоны определяются не реже чем через каждые 100 м в трех точках на поперечнике, как правило, в местах размещения знаков рабочей разбивки.

Предварительная оценка ровности поверхности в продольном направлении проводится либо путем проезда на автомашине по всему сдаваемому участку по каждой полосе движения, либо на основе графической записи неровностей, полученной с помощью автомобильной установки ПКРС-2, оборудованной датчиком ровности (ГОСТ 30412-96). На основе такой оценки выбираются захватки для детального измерения ровности и поперечных уклонов.

Захватки в общем случае выбираются длиной 300 ¸ 400 м, а для внутрихозяйственных автомобильных дорог сельскохозяйственных предприятий и организаций, а также для внутренних дорог промышленных предприятий - длиной 100 ¸ 150 м. Суммарная длина захваток должна составлять не менее 10 % длины сдаваемого участка дороги в однополосном исчислении.

На каждой захватке следует произвести:

100 ¸ 130 измерений просветов (25 ¸ 30 приложений рейки) или непрерывную графическую запись неровностей;

80 ¸ 100 измерений поперечных уклонов рейкой с уровнем (25 ¸ 30 измерений для захваток длиной 100 ¸ 150 м);

определение вертикальных абсолютных или относительных отметок путем нивелирования с шагом 5 м.

Детальный контроль ровности поверхности основания или покрытия на выбранных захватках следует вести в соответствии с требованиями ГОСТ 30412-96 «Дороги автомобильные и аэродромы. Методы измерений неровностей оснований и покрытий»:

путем измерений просветов под трехметровой рейкой с помощью клинового промерника;

путем нивелирования поверхности с помощью нивелира и нивелирной рейки;

путем измерения с применением автомобильной установки ПКРС-2 для ускоренной предварительной оценки.

Измерение просветов под трехметровой рейкой с помощью клина (промерника) следует производить в пяти контрольных точках, расположенных на расстоянии 0,5 м от концов рейки и друг от друга. Длину участка измерений следует принимать в пределах 300 - 400 м.

Измерения на дорогах и улицах следует проводить, прикладывая рейку к поверхности основания (покрытия) на расстоянии 0,5 ¸ 1,0 м от каждой кромки покрытия или края полосы движения (при многополосной проезжей части дороги рейку следует прикладывать на расстоянии 0,5 - 1,0 м от границы каждой полосы движения). Места приложения рейки должны быть равномерно расположены по длине участка измерений. Поверхность участка измерений должна быть чистой.

Общее число измерений просветов под рейкой на участке измерений должно быть не менее 120.

Нивелир и рейка должны быть поверены и отвечать требованиям ГОСТ 10528-90.

Опорный торец нивелирной рейки должен быть снабжен насадкой с полусферическим подпятником.

Длина участка измерений должна быть не менее 400 м. Места установки нивелирной рейки должны быть расположены на одной линии, находящейся на расстоянии 0,5 - 1,0 м от кромки основания (покрытия) дороги или на оси основания (покрытия) аэродрома. Места установки должны быть обозначены метками. Шаг меток 5 ± 0,2 м.

Измерения следует проводить, последовательно устанавливая нивелирную рейку на каждую из меток.

По данным нивелирования вычисляют относительные отметки hi точек поверхности покрытия или основания дороги в местах разметки (величину отсчета по нивелирной рейке, приведенную к единому высотному уровню).

По относительным отметкам точек поверхности в местах разметки определяют отклонения dhi этих точек (кроме первой и последней на участке измерений) от прямой линии, проходящей через предыдущую (i - 1) и последующую (i + 1) точки по формуле

где: hi - 1 и hi + 1 - относительные отметки предыдущей и последующей точек.

Категория дороги

Значения амплитуд, мм, при использовании комплектов машин

без автоматической системы задания вертикальных отметок

с автоматической системой задания вертикальных отметок

Расстояния между точками, м

5

10

20

5

10

20

I, II, III

7

12

24

5

8

16

IV, V, I-c, II-с и внутренние дороги промышленных предприятий

10

16

-

-

-

-

Общее количество полученных величин dhi следует принять за 100 % и с точностью до 0,1 % вычислить число величин dhi, меньше установленных СНиП 3.06.03-85 и приведенных выше.

90 % определений должны быть в пределах требований, приведенных в таблице, а 10 % определений не должны превышать эти требования более чем в 1,5 раза.

При операционном контроле качества работ по устройству оснований и покрытий из укрепленных грунтов дополнительно к вышеназванным показателям качества следует контролировать:

- не реже одного раза в смену:

гранулометрический состав грунтов по ГОСТ 12536-79 и ГОСТ 12801-84;

число пластичности глинистых грунтов - по ГОСТ 5180-84;

степень размельчения глинистых грунтов путем рассева проб на ситах с отверстиями 5 и 10 мм (по ГОСТ 12801-84);

температуру органического вяжущего перед использованием (по ГОСТ 12801-84);

однородность эмульсии - отсутствие расслоения (по ГОСТ 18659-81);

качество смеси путем определения прочности образцов на сжатие, водонасыщение смесей, набухание, водостойкость, слеживаемость смесей с жидкими органическими вяжущими (по ГОСТ 12801-84, ГОСТ 30491-97, ГОСТ 10180-90, ГОСТ 23558-94);

температуру смеси при хранении в штабеле на глубине 0,2 - 0,4 м;

- не реже чем через 200 м:

влажность обрабатываемых грунтов и готовой смеси перед ее уплотнением и плотность материала в уплотненном слое в трех точках на поперечнике (по оси и на расстоянии 0,5 м от кромки слоя) по ГОСТ 5180-84 (допускается использовать ускоренные и полевые экспресс-методы и приборы);

- не реже одного раза в 5 смен:

содержание легкорастворимых солей в засоленных грунтах по ГОСТ 25100-95;

пригодность зол уноса и золошлаковых смесей;

постоянное соблюдение требований по уходу за уплотненным слоем грунта;

- периодически - один раз в полгода для грунтов, укрепленных органическими вяжущими, не реже одного раза в квартал для грунтов, обработанных неорганическими вяжущими, - марку укрепленного грунта по морозостойкости и предел прочности на растяжение при изгибе или раскалывании.

Для контроля прочности укрепленных грунтов в соответствии с ГОСТ 12801-84, ГОСТ 30491-97, ГОСТ 10180-90, ГОСТ 23558-94 производится отбор проб и испытания образцов укрепленного грунта.

Отклонение от требуемых показателей прочности допускается:

при приготовлении смесей в карьерных смесительных установках - не более ±8 %;

при приготовлении смесей однопроходной грунтосмесительной машиной - не более ±15 %;

при приготовлении смесей дорожной фрезой - не более ±25 %.

При приемке выполненных работ надлежит произвести освидетельствование работ в натуре, контрольные замеры, проверку результатов лабораторных испытаний, записей в общем журнале работ. Приемку оснований и покрытий из укрепленного грунта надлежит оформлять актом освидетельствования скрытых работ.

При приемочном контроле должны использоваться способы измерений аналогичные применяемым при операционном контроле, а объем измерений должен быть не менее 20 % объема измерений при операционном контроле, но состоять не менее чем из 20 измерений.

Прочность материала и толщина покрытия контролируется при приемочном контроле по трем кернам на 1000 м2, если выявлено несоответствие указанных показателей качества по другим методам контроля.

Измерение сцепления шины автомобиля с дорожным покрытием следует производить не ранее чем через две недели после окончания строительства покрытия.

Измерения следует выполнять по одной полосе наката колес автомобилей каждой полосы движения. На каждые 1000 м необходимо делать 3 ¸ 5 измерений в зависимости от состояния покрытия по каждой полосе движения.

Измерения следует производить в соответствии с требованиями ГОСТ 30413-96 «Дороги автомобильные. Метод определения коэффициента сцепления колеса автомобиля с дорожным покрытием».

Ровность оснований и покрытий из укрепленных грунтов (просвет под рейкой длиной 3 м):

для дорог I, II и III категорий

- не более 5 % результатов определений могут иметь значения просветов в пределах до 14 мм, остальные - до 7 мм

для дорог IV, V категорий и внутренних дорог промышленных предприятий

- не более 5 % результатов определений могут иметь значения просветов в пределах до 20 мм, остальные - до 10 мм

для дорог I-c, II-с и III-c категорий

- не более 5 % результатов определений могут иметь значения просветов в пределах до 30 мм, остальные - до 15 мм

Устройство оснований и покрытий из смесей щебеночно-гравийно-песчаных, обработанных неорганическими вяжущими материалами

ГОСТ 23558-94* Смеси щебеночно-гравийно-песчаные и грунты, обработанные неорганическими вяжущими материалами, для дорожного и аэродромного строительства. Технические условия.

СНиП 3.06.03-85 Автомобильные дороги.

СНиП 2.05.02-85* Автомобильные дороги.

Требования к смесям

Входной контроль щебеночно-гравийно-песчаных смесей, обработанных неорганическими вяжущими материалами, предусмотренных проектом для устройства оснований и покрытий, следует осуществлять в соответствии с требованиями проекта, государственных стандартов, технических условий, ППР, технологических карт, схем операционного контроля качества и другой технологической документации, утвержденной в установленном порядке.

ГОСТ 23558-94* Смеси щебеночно-гравийно-песчаные и грунты, обработанные неорганическими вяжущими материалами, для дорожного и аэродромного строительства. Технические условия.

Данный стандарт распространяется на щебеночно-гравийно-песчаные смеси и грунты, обработанные неорганическими вяжущими материалами, применяемые для устройства оснований, дополнительных слоев оснований и покрытий автомобильных дорог и аэродромов.

Область применения обработанных щебеночно-гравийно-песчаных смесей приведена в нижеследующей таблице.

Обработанный материал - искусственный материал, получаемый смещением в карьерных смесительных установках песчано-щебеночных, песчано-гравийных, песчано-щебеночно-гравийных смесей и песка с цементом или другим неорганическим вяжущим и водой и отвечающий в проектные или промежуточные сроки нормируемым показателям качества по прочности и морозостойкости.

Прочность обработанного материала в проектном возрасте характеризуют маркой. Соотношение между маркой по прочности и прочностью на сжатие и растяжение при изгибе должно соответствовать требованиям, указанным в нижеприведенной таблице.

Рекомендуемая область применения обработанных материалов

Тип дорожной одежды

Марка по прочности на сжатие, не ниже

Марка по морозостойкости для районов со среднемесячной температурой воздуха наиболее холодного месяца, °С, не менее

 

покрытие со слоем износа

основание

дополнительный слой основания

от 0 до -5

от -5 до -15

от -15 до -30

ниже -30

 

Капитальный

-

М60

М10

F15

F25

F25

F50

 

Капитальный

-

М40

М10

F15

F25

F25

F50

 

Облегченный

-

М40

М10

F10

F15

F25

F50

 

Переходный

-

М20

-

F5

F10

F15

F25

 

То же

М40

-

-

F10

F15

F25

-

 

Марка по прочности обработанных материалов и предел прочности на сжатие и растяжение

Марка по прочности

Предел прочности, МПа (кгс/см2), не менее

на сжатие, Rсж

на растяжение при изгибе, Rизг

М10

1,0 (10)

0,2 (2)

М20

2,0 (20)

0,4 (4)

М40

4,0 (40)

0,8 (8)

М60

6,0 (60)

1,2 (12)

М75

7,5 (75)

1,5 (15)

М100

10,0 (100)

2,0 (20)

Примечание - Допускается определять прочность в установленные промежуточные сроки. При этом прочность в промежуточные сроки должна быть не менее 0,5 от нормируемого значения прочности в проектном возрасте.

По морозостойкости обработанные материалы подразделяют на марки: F5, F10, F15, F25, F50, F75.

За марку по морозостойкости принимают установленное число циклов попеременного замораживания и оттаивания, при которых допускается снижение прочности на сжатие не более чем на 25 % от нормируемой прочности в проектном возрасте.

Обработанные материалы, в зависимости от величины суммарной удельной эффективной активности естественных радионуклидов (Аэфф), содержащихся в обрабатываемых материалах, используют:

при Аэфф до 740 Бк/кг - для строительства дорог и аэродромов без ограничений;

при Аэфф св. 740 до 2800 Бк/кг - для дорожного и аэродромного строительства вне населенных пунктов и зон перспективной застройки.

Обработке неорганическими вяжущими подвергают следующие материалы:

- щебеночно-песчаные смеси;

- гравийно-песчаные смеси;

- щебеночно-гравийно-песчаные смеси;

- пески;

- золошлаковые смеси.

Зерновой состав песчано-щебеночных, песчано-гравийных, песчано-щебеночно-гравийных смесей, золошлаковых смесей и песка должен соответствовать требованиям, приведенным ниже.

Максимальная крупность зерен, мм

Полный остаток на ситах размером отверстий, мм

40

20

10

5

2,5

1,25

0,63

0,315

0,14

0,005

40

До 10

От 20 до 40

От 35 до 65

От 50 до 80

От 60 до 85

От 70 до 90

От 75 до 95

От 80 до 97

От 85 до 98

От 87 до 100

20

-

До 10

От 20 до 40

От 35 до 65

От 50 до 80

От 60 до 85

От 70 до 90

От 75 до 95

От 80 до 97

От 85 до 100

10

-

-

До 10

От 25 до 40

От 45 до 65

От 60 до 80

От 70 до 85

От 75 до 90

От 80 до 95

От 85 до 100

5

-

-

-

До 10

От 30 до 40

От 50 до 65

От 65 до 80

От 75 до 85

От 80 до 90

От 88 до 100

2,5

-

-

-

-

До 10

От 30 до 40

От 55 до 65

От 70 до 80

От 80 до 90

От 88 до 100

1,25

-

-

-

-

-

До 10

От 35 до 45

От 60 до 70

От 75 до 85

От 85 до 100

Вид материалов следует выбирать в соответствии с назначением обработанных материалов, условиями их эксплуатации, требуемой маркой по прочности и морозостойкости.

Щебень и гравий из горных пород, щебень из шлаков, крупно- и среднезернистые золошлаковые смеси, входящие в состав смесей, по морозостойкости, прочности, содержанию вредных компонентов и примесей, стойкости против силикатного и железистого распадов должны соответствовать требованиям ГОСТ 8267-93*, ГОСТ 3344-83, ГОСТ 25592-91.

Песок природный и из отсевов дробления горных пород должен соответствовать требованиям ГОСТ 8736-93*, песок из шлаков - ГОСТ 3344-83, мелкозернистая золошлаковая смесь - ГОСТ 25592-91.

В случае необходимости применения материалов с показателями качества ниже требуемых данным стандартом должно быть проведено их исследование в специализированных лабораториях для подтверждения возможности и технико-экономической целесообразности получения обработанных материалов с нормируемыми показателями качества.

Для приготовления укрепленных грунтов следует применять следующие вяжущие материалы:

I вид - портландцемент и шлакопортландцемент по ГОСТ 10178-85*, сульфатостойкий и пуццолановый цементы по ГОСТ 22266-94, а также цементы для строительных растворов по ГОСТ 25328-82 марок не ниже 400 для покрытий и 300 для оснований;

II вид - активные материалы с удельной поверхностью не менее 150 м2/кг (полный остаток на сите № 0071 не менее 20 % по массе) марок по прочности в 180-суточном возрасте, определяемой по ГОСТ 3344-83, не менее 50:

- молотые высокоактивные и активные шлаки черной, цветной металлургии и фосфорные шлаки по ГОСТ 3344-83;

- бокситовые и нефелиновые шламы с содержанием двухкальциевого силиката С2S не менее 40 % по массе;

- золы-уноса с удельной поверхностью св. 150 м2/кг, содержанием сернистых и сернокислых соединений в пересчете на SO не более 6 %, потерей при прокаливании не более 5 % по массе;

III вид - комплексные вяжущие марок по прочности в 90-суточном возрасте, определяемых по ГОСТ 3344-83, не менее 100. Комплексное вяжущее состоит из основного компонента и активатора твердения. В качестве основного компонента следует использовать молотые слабоактивные и активные шлаки черной металлургии и шлаки фосфорные по ГОСТ 3344-83, основные золы-уноса по ГОСТ 25818-91, бокситовые и нефелиновые шламы. В качестве активаторов твердения - портландцемент, шлакопортландцемент марок по прочности не ниже 400 по ГОСТ 10178-85*, известь строительная I и II сортов по ГОСТ 9179-77*, гипс строительный марок не ниже Г10 по ГОСТ 125-79, содощелочной (содосульфатный) плав с содержанием Na2CO3 не менее 95 % и NaOH не менее 2 % по массе, жидкое стекло с кремнеземистым модулем 1,7 - 1,8 и плотностью от 1,15 до 1,25 г/см3.

Для снижения расхода вяжущих материалов, повышения прочности, морозостойкости и улучшения технологических свойств следует применять химические добавки, удовлетворяющие требованиям соответствующих нормативных документов, утвержденных в установленном порядке.

Перечень добавок приведен в нижеследующей таблице.

Вид добавки

Наименование

Условная марка

Нормативный документ

Пластифицирующие

Лигносульфонаты технические (модифицированные)

ЛСТ

ЛСТМ-2

ТУ 13-0281036-05-89

Щелочной сток производства капролактама

ЩСПК (ПАЩ)

ЩСПКМ

ТУ 113-03-616-87

Противоморозные, они же - ускорители твердения

Хлорид кальция

ХК

ГОСТ 450-77*

Хлорид натрия

хн

ГОСТ 13830-91

Нитрит кальция

НК

ГОСТ 4142-77*

Гидрофобизирующие

Жидкость гидрофобизирующая (ГКЖ-94)

136 - 41

ГОСТ 10843-76

Вода для приготовления укрепленных грунтов и приготовления растворов химических добавок должна соответствовать требованиям ГОСТ 23732-79. Максимально допустимое содержание растворимых солей не должно превышать 10000 мг/л, в т.ч. ионов SO4 - 2700 мг/л, Cl - 3500 мг/л.

Допускается в пустынных районах V дорожно-климатической зоны использовать воду озер и водоемов с большим содержанием водорастворимых солей, если обеспечивается стойкость против коррозии обработанных материалов.

Расход воды при подборе состава устанавливают из расчета получения максимальной плотности смеси при оптимальной влажности, расход вяжущего - из расчета получения обработанных материалов с заданными марками по прочности и морозостойкости.

Обработанные материалы должны быть приняты техническим контролем изготовителя.

Входной контроль щебня и гравия из горных пород, щебня и песка из шлаков, золошлаковых смесей, песка природного и из отсевов дробления горных пород, вяжущих, добавок и воды осуществляется лабораторией перед началом строительства, а также при изменении качества используемых материалов, но не реже одного раза в квартал.

Приемку обработанных материалов производят партиями.

Партией считают количество обработанного материала одной марки по прочности, изготовленное в течение одной смены на одной смесительной установке, но не более 1000 м3.

Изготовитель должен проверять каждую партию обработанного материала по прочности на сжатие, а также состав смеси.

При периодических испытаниях не реже одного раза в квартал, а также при подборе каждого нового состава обработанного материала должны определяться марка по морозостойкости и марка по прочности на растяжение при изгибе или раскалывании.

Удельную активность естественных радионуклидов в обработанных материалах определяют по величине максимальной удельной эффективной активности естественных радионуклидов, содержащихся в применяемых каменных и вяжущих материалах. Эти данные устанавливают по данным геологической разведки и указывает предприятие-поставщик в документе о качестве. В случае отсутствия данных о содержании естественных радионуклидов потребитель определяет его силами специализированной лаборатории.

Каждая партия обработанного материала должна сопровождаться документом о качестве, в котором указывают:

- наименование изготовителя;

- наименование и адрес потребителя;

- номер и дату выдачи документа;

- номер партии и количество обработанного материала, состав смеси;

- марку по прочности и морозостойкости;

- содержание естественных радионуклидов;

- обозначение данного стандарта.

Обработанные материалы перевозят автомобильным транспортом любого вида. Продолжительность технологического разрыва между приготовлением и окончанием уплотнения смесей, включая продолжительность транспортирования к месту укладки, не должна превышать при обработке материалов портландцементом или шлакопортландцементом, шлаковыми и зольными вяжущими с активаторами - цементом, жидким стеклом - 5 ч, шлаковыми, золошлаковыми вяжущими без активаторов и с активатором: известью и белитовым шламом - 48 ч.

Допускается складирование и хранение обработанных материалов, содержащих шлаковые, зольные вяжущие без активаторов и с активаторами: известью, белитовыми шламами, до укладки при температуре до 5 °С в течение 2 сут, при температуре ниже 5 °С - 15 сут, а при отрицательных температурах - 30 сут.

При транспортировании и хранении смесей необходимо следить за сохранением оптимальной влажности, не допуская высыхания или переувлажнения обработанных материалов.

На строительной площадке в процессе входного контроля:

должны быть проверены документы о качестве на поступившие обработанные материалы (или необработанные материалы - в случае приготовления смеси методом смешения на дороге) с целью определения соответствия поступивших материалов требованиям проекта;

должен быть произведен внешний осмотр обработанных материалов (или необработанных материалов - в случае приготовления смеси методом смешения на дороге) с целью проверки соответствия их требованиям нормативно-технических документов и обнаружения недопустимого их смешивания и загрязнения;

произведены предусмотренные регламентом (технологическими картами) физико-механические испытания материалов;

при возникновении каких-либо сомнений в качестве поступивших материалов или документов должны быть вызваны представители строительной лаборатории и функциональных служб, ответственных за поставку материалов, и определена необходимость дополнительных их испытаний.

Технические требования к устройству оснований и покрытий

Устройство оснований и покрытий из щебеночных, гравийных и песчаных материалов, обработанных неорганическими вяжущими материалами следует осуществлять в соответствии с требованиями проекта, СНиП 3.01.01-85*, СНиП 3.06.03-85, СНиП 2.05.02-85*, ППР, технологических карт, схем операционного контроля качества и другой технологической документации, утвержденной в установленном порядке.

Работы по устройству слоев дорожной одежды должны выполнять строительно-монтажные организации, получившие лицензии от Федеральных или региональных органов по лицензированию строительной деятельности. Работы должны выполняться по утвержденному проекту и при наличии организации, на которую возложены технический надзор и приемка работ.

Работы по устройству слоев дорожной одежды должны выполняться квалифицированным персоналом, прошедшим специальную подготовку и обладающим надлежащими навыками по строительству автомобильных дорог.

Перед началом работ по устройству слоев дорожной одежды должен быть осуществлен входной контроль рабочей документации и материалов, предусмотренных проектом для устройства оснований и покрытий.

При входном контроле рабочей документации должна производиться проверка её комплектности и достаточности содержащейся в ней технической информации для производства работ.

Задачи входного контроля материалов при устройстве оснований и покрытий изложены выше. Объем входного контроля и участие в нем строительной лаборатории должны быть установлены в соответствующих технологических картах.

Работу по устройству слоев дорожной одежды следует производить только на готовом и принятом в установленном порядке непереувлажненном и недеформированном земляном полотне.

Земляное полотно должно быть принято при наличии оформленных актов освидетельствования скрытых работ и исполнительного чертежа по результатам исполнительной геодезической съемки.

Запрещается выполнение последующих работ при отсутствии актов освидетельствования предшествующих скрытых работ во всех случаях.

До начала работ по устройству слоев дорожной одежды должны быть выполнены предусмотренные ППР детальные разбивочные работы по закреплению положения бровок и высотных отметок слоев. При применении машин, оборудованных автоматическими следящими системами, закрепление бровок и высотных отметок осуществляется путем установки копирных струн с одной или с двух сторон укладываемого слоя. Разбивочные работы следует выполнять с использованием геодезических инструментов.

Покрытие и основание с использованием вяжущих материалов следует устраивать на сухом и чистом нижележащем слое.

Устройство слоев дорожной одежды в зимнее время разрешается только по земляному полотну, полностью законченному и принятому до наступления отрицательных температур, за исключением строительства в условиях вечной мерзлоты и двухстадийного строительства.

Перед началом работ по устройству дорожных одежд в зимнее время земляное полотно или нижележащий слой должны быть очищены от снега и льда на участке сменной захватки. В снегопад и метель работы по устройству дорожной одежды не допускаются.

Согласно СНиП 2.05.02-85* материалы щебеночные, гравийные и песчаные, обработанные неорганическими вяжущими и предназначенные для устройства покрытий и оснований, должны отвечать требованиям ГОСТ 23556-94* и требованиям, приведенным в нижеследующей таблице.

Показатели свойств обработанных материалов

Для покрытий со слоем износа из черных смесей

Для оснований

Категория автомобильной дороги

IV, V

I, II

III

IV, V

Предел прочности на сжатие водонасыщенных образцов, твердевших 28 сут, МПа

6,0 - 7,5

4,0 - 7,5

4,0 - 7,5

2,0 - 6,0

Марка по морозостойкости для районов со среднемесячной температурой наиболее холодного месяца, °С, не менее:

 

 

 

 

от 0 до -5

10

15

10

-

от -5 до -15

25

25

15

10

от -15 до -30

50

25

25

15

ниже минус 30

75

50

50

25

ПРИГОТОВЛЕНИЕ СМЕСИ

Смеси следует приготовлять, как правило, в смесителях принудительного перемешивания. Допускается приготовление смеси методом смешения на дороге.

При приготовлении смеси методом смешения на дороге сначала по каменным материалам распределяются добавки золы уноса, золошлаковых смесей или других несвязанных дисперсных материалов, затем полученную смесь перемешивают, планируют и лишь затем последовательно вводят в нее цемент и воду.

Разгрузку и подачу каменных материалов в приемные бункера дозаторного отделения смесительной установки следует выполнять погрузчиками или транспортерами, оборудованными питателями.

Доменные и сталеплавильные (металлургические) шлаки, шлаки и золы ТЭЦ мокрого улавливания следует хранить на открытых площадках. При хранении более 6 мес. шлак и золу, используемые как вяжущие перед употреблением необходимо испытывать на активность.

Для повышения активности металлургического шлака его следует размельчать в шаровых мельницах, предварительно высушив в сушильном барабане. Для получения комплексного вяжущего в шаровую мельницу подают порошкообразный активатор (цемент, известь, щелочь и др.). Измельченный шлак следует хранить в закрытых складах.

Точность дозирования составляющих материалов в смеси должна соответствовать нижеприведенным величинам.

Составляющие

Отклонение от заданного расхода, % к массе

Вяжущее

До 2

Заполнители

До 5

Вода и водные растворы

До 2

Количество воды в смеси должно обеспечивать ее оптимальную влажность при уплотнении с учетом потерь влаги при транспортировании и распределении. При температуре воздуха выше 20 °С смесь при транспортировании автомобилями-самосвалами следует закрывать брезентом.

Растворы СДБ, содощелочного плава, жидкого стекла, хлористых солей следует приготовлять на растворных узлах смесительных установок, при необходимости с подогревом воды.

Продолжительность транспортирования смесей каменных материалов с цементом, начало схватывания которого не менее 2 ч, не должна превышать 30 мин при температуре воздуха во время укладки выше 20 °С и 50 мин - при температуре воздуха ниже 20 °С. Уплотнение смеси следует заканчивать до конца схватывания цемента.

Смеси каменных материалов со шлаком, золой с добавкой гашеной извести и без нее следует уплотнять не позднее 2 сут.

УСТРОЙСТВО ОСНОВАНИЙ (ПОКРЫТИЙ)

Основания (покрытия) из каменных материалов, обработанных неорганическими вяжущими, следует устраивать, как правило, в сухую погоду при среднесуточной температуре воздуха не ниже 5 °С.

Наименьшая толщина распределяемого щебня должна в 1,5 раза превышать размер наиболее крупных частиц и быть не менее 10 см при укладке на прочное основание и не менее 15 см при укладке на песок.

Максимальная толщина слоя щебня не должна превышать значений, приведенных в нижеследующей таблице.

Вид материала

Максимальная толщина уплотняемого слоя, см, при применении катков

с гладкими вальцами массой 10 т и более

решетчатых и на пневматических шинах массой 15 т и более

вибрационных и комбинированных массой, т

до 10

16 и более

Легкоуплотняемый (из изверженных и метаморфических пород марки по прочности менее 1000, осадочные, гравий неокатанный, шлаки пористой структуры.

22

30

22

30

Уплотнять материал слоя следует, как правило, катками на пневматических шинах или вибрационными катками. Ориентировочное число проходов катка по одному следу может быть принято равным соответственно 16 и 10.

По окончании уплотнения следует производить отделку поверхности автогрейдером или профилировщиком с последующим уплотнением гладковальцовым катком массой 6 - 8 т за два - четыре прохода по одному следу.

После отделки основания (покрытия), устраиваемым с использованием цемента, следует выполнять уход за ними путем розлива битумной эмульсии с расходом 0,6 - 0,8 л/м2 или россыпи песка (супеси легкой) слоем 4 - 6 см и поддержания его во влажном состоянии в течение 28 сут.

При устройстве вышележащего слоя дорожной одежды в день устройства основания (нижнего слоя покрытия) уход за ним не производится.

Движение построечного транспорта и устройство вышележащего слоя по основанию, устраиваемому с применением шлака и золы, разрешается сразу после окончания уплотнения.

Движение и устройство вышележащего слоя по основанию (покрытию), устроенному с применением цемента в качестве основного вяжущего или добавки, разрешается только после достижения прочности не менее 70 % проектной или в день устройства основания.

ОСОБЕННОСТИ ПРОИЗВОДСТВА РАБОТ ПРИ ПОНИЖЕННОЙ И ОТРИЦАТЕЛЬНОЙ ТЕМПЕРАТУРЕ

Приготовление и укладка каменных материалов, обработанных неорганическими вяжущими материалами, при среднесуточных температурах воздуха в пределах от 5 до минус 15 °С должны осуществляться принятием специальных мер: утеплением основания, подогревом воды и заполнителей, введением в смесь водных растворов хлористых солей.

Концентрированные растворы хлористых солей натрия и кальция следует приготовлять плотностью не более 1,29 г/см3 (0,427 кг безводной соли на 1 л воды), а хлористого натрия не более 1,15 г/см3 (0,25 кг безводной соли на 1 л воды), при этом хлористый натрий следует растворять в горячей воде.

Приготовленные растворы следует периодически перемешивать, перекачивать с помощью насоса в расходные емкости и разбавлять водой до концентрации, указанной в нижеприведенной таблице, в зависимости от температуры.

Ориентировочное количество вводимых в смесь хлористых солей в зависимости от температуры воздуха следует также принимать согласно нижеприведенных данных.

Температура воздуха при производстве работ, °С

Количество солей, %, к массе воды, содержащейся в смеси

От 0 до минус 5

NaCl 5 % или СаС12 3 %

или CaCl2 2 % + NaCl 3 %

От минус 5 до минус 7

CaCl2 3 % + NaCl 4 %

От минус 7 до минус 10

CaCl2 3 % + NaCl 7 %

От минус 10 до минус 15

CaCl2 6 % + NaCl 9 %

При отрицательных температурах влажность песка и щебня при хранении в штабеле не должна превышать 3 - 4 %. Применение смерзшегося песка допускается только после отсева комьев крупнее 10 мм.

Смеси без солевых добавок следует приготовлять в смесительных установках, как правило, в закрытых помещениях с использованием подогретых заполнителей и воды. Наибольшая допустимая температура воды 80 °С, заполнителя 50 °С. Температура смеси на выходе из смесителя 35 - 40 °С. Температура подогретой смеси в конце транспортирования должна быть не менее 25 °С. При температуре наружного воздуха до минус 15 °С время транспортирования должно уточняться в начале производства работ и не должно превышать 60 мин.

Транспортировать смесь следует в утепленном выхлопными газами и укрытом кузове автомобиля-самосвала.

Уплотнение и укрытие смеси следует заканчивать до начала ее замерзания.

Поверхность основания следует утеплять засыпкой слоем песка или супеси толщиной не менее 10 см или укрывать другими утеплителями, с тем чтобы до замерзания укрепленный материал набрал прочность не менее 70 % проектной.

При устройстве оснований из смесей с медленнотвердеющими (шлаковыми, зольными и другими) вяжущими материал не должен замерзать до окончания уплотнения, при этом может вводиться один хлористый натрий без уменьшения суммарного количества добавляемых солей. Разрешается не утеплять основания из таких материалов.

После оттаивания при необходимости производят выравнивание и доуплотнение слоя.

КОНТРОЛЬ КАЧЕСТВА РАБОТ

При операционном контроле качества работ по устройству оснований и покрытий из щебеночных, гравийных и песчаных материалов, обработанных неорганическими вяжущими материалами, следует контролировать по каждому укладываемому слою не реже чем через каждые 100 м:

- высотные отметки по оси дороги;

- ширину слоя;

- толщину слоя неуплотненного материала по его оси;

- поперечный уклон;

- ровность (просвет под рейкой длиной 3 м на расстоянии 0,75 ¸ 1 м от каждой кромки покрытия (основания) в пяти контрольных точках, расположенных на расстоянии 0,5 м от концов рейки и друг от друга).

Высотные отметки, ширина и толщина слоя, поперечные уклоны определяются не реже чем через каждые 100 м в трех точках на поперечнике, как правило, в местах размещения знаков рабочей разбивки с помощью геодезических инструментов и шаблонов.

F

Предельные отклонения высотных отметок по оси от проектных могут иметь значения в пределах до ±100 (20) мм у не более 10 % результатов определений, остальные - ±50 (10) мм (в скобках - для работ, выполненных с применением машин с автоматической системой задания вертикальных отметок).

F

Предельные отклонения ширины слоя от проектных могут иметь значения в пределах от минус 15 до 20 см у не более 10 % результатов определений, остальные - до - до ±10 см.

F

Предельные отклонения толщины слоя от проектных могут иметь значения в пределах от минус 22 (-15) до 30 (20) мм у не более 10 % результатов определений, остальные - ±15 (10) мм.

F

Предельные отклонения поперечных уклонов от проектных могут иметь значения в пределах от минус 0,015 (-0,010) до 0,030 (0,015) у не более 10 % результатов определений, остальные - до ±0,010 (0,005).

Предварительная оценка ровности поверхности в продольном направлении проводится либо путем проезда на автомашине по всему сдаваемому участку по каждой полосе движения, либо на основе графической записи неровностей, полученной с помощью автомобильной установки ПКРС-2, оборудованной датчиком ровности (ГОСТ 30412-96). На основе такой оценки выбираются захватки для детального измерения ровности и поперечных уклонов.

Захватки в общем случае выбираются длиной 300 ¸ 400 м, а для внутрихозяйственных автомобильных дорог сельскохозяйственных предприятий и организаций, а также для внутренних дорог промышленных предприятий - длиной 100 ¸ 150 м. Суммарная длина захваток должна составлять не менее 10 % длины сдаваемого участка дороги в однополосном исчислении.

На каждой захватке следует произвести:

100 ¸ 130 измерений просветов (25 ¸ 30 приложений рейки) или непрерывную графическую запись неровностей;

80 ¸ 100 измерений поперечных уклонов рейкой с уровнем (25 ¸ 30 измерений для захваток длиной 100 ¸ 150 м);

определение вертикальных абсолютных или относительных отметок путем нивелирования с шагом 5 м.

Детальный контроль ровности поверхности основания или покрытия на выбранных захватках следует вести в соответствии с требованиями ГОСТ 30412-96 «Дороги автомобильные и аэродромы. Методы измерений неровностей оснований и покрытий»:

путем измерений просветов под трехметровой рейкой с помощью клинового промерника;

путем нивелирования поверхности с помощью нивелира и нивелирной рейки;

путем измерения с применением автомобильной установки ПКРС-2 для ускоренной предварительной оценки.

Измерение просветов под трехметровой рейкой с помощью клина (промерника) следует производить в пяти контрольных точках, расположенных на расстоянии 0,5 м от концов рейки и друг от друга. Длину участка измерений следует принимать в пределах 300 - 400 м.

Измерения на дорогах и улицах следует проводить, прикладывая рейку к поверхности основания (покрытия) на расстоянии 0,5 ¸ 1,0 м от каждой кромки покрытия или края полосы движения (при многополосной проезжей части дороги рейку следует прикладывать на расстоянии 0,5 - 1,0 м от границы каждой полосы движения). Места приложения рейки должны быть равномерно расположены по длине участка измерений. Поверхность участка измерений должна быть чистой.

Общее число измерений просветов под рейкой на участке измерений должно быть не менее 120.

При обработке результатов измерений общее их число следует принять за 100 % и определить число просветов под рейкой, превышающих максимально допустимую величину просветов, установленную СНиП 3.06.03-85.

F

Ровность оснований и покрытий из щебеночных, гравийных и песчаных материалов, обработанных неорганическими вяжущими (просвет под рейкой длиной 3 м):

для дорог I, II и III категорий

- не более 5 % результатов определений могут иметь значения просветов в пределах до 20 (10) мм, остальные - до 10 (5) мм

для дорог IV, V категорий и внутренних дорог промышленных предприятий

- не более 5 % результатов определений могут иметь значения просветов в пределах до 30 мм, остальные - до 15 мм

для дорог I-c, II-с и III-с категорий

- не более 5 % результатов определений могут иметь значения просветов в пределах до 40 мм, остальные - до 20 мм

Нивелир и рейка должны быть поверены и отвечать требованиям ГОСТ 10528-90.

Опорный торец нивелирной рейки должен быть снабжен насадкой с полусферическим подпятником.

Длина участка измерений должна быть не менее 400 м. Места установки нивелирной рейки должны быть расположены на одной линии, находящейся на расстоянии 0,5 - 1,0 м от кромки основания (покрытия), дороги или на оси основания (покрытия) аэродрома. Места установки должны быть обозначены метками. Шаг меток 5 ± 0,2 м.

Измерения следует проводить, последовательно устанавливая нивелирную рейку на каждую из меток.

По данным нивелирования вычисляют относительные отметки hi точек поверхности покрытия или основания дороги в местах разметки (величину отсчета по нивелирной рейке, приведенную к единому высотному уровню).

По относительным отметкам точек поверхности в местах разметки определяют отклонения dhi этих точек (кроме первой и последней на участке измерений) от прямой линии, проходящей через предыдущую (i - 1) и последующую (i + 1) точки по формуле

где: hi - 1 и hi + 1 - относительные отметки предыдущей и последующей точек.

Общее количество полученных величин dhi следует принять за 100 % и с точностью до 0,1 % вычислить число величин dhi, меньше установленных СНиП 3.06.03-85 и приведенных ниже.

90 % определений должны быть в пределах требований, приведенных в таблице, а 10 % определений не должны превышать эти требования более чем в 1,5 раза.

Категория дороги

Значения амплитуд, мм, при использовании комплектов машин

без автоматической системы задания вертикальных отметок

с автоматической системой задания вертикальных отметок

Расстояния между точками, м

5

10

20

5

10

20

I, II, III

7

12

24

5

8

16

IV, V, I-c, II-с и внутренние дороги промышленных предприятий

10

16

-

-

-

-

При операционном контроле качества работ по устройству оснований и покрытий из щебеночных, гравийных и песчаных материалов, обработанных неорганическими вяжущими материалами дополнительно к вышеназванным показателям качества следует контролировать:

- не реже одного раза в смену:

влажность смеси по ГОСТ 5180-84;

прочность материала по ГОСТ 23558-94;

плотность солевых растворов при отрицательной температуре;

не реже одного раза в семь смен - точность дозирования компонентов смеси контрольным взвешиванием;

постоянно:

качество уплотнения;

соблюдение режима ухода;

- периодически - не реже одного раза в квартал, а также при подборе каждого нового состава обработанного материала - марку по морозостойкости и марку по прочности на растяжение при изгибе или раскалывании по ГОСТ 10180-90 и ГОСТ 23558-94.

Качество уплотнения следует проверять путем контрольного прохода катка массой 10 - 13 т по всей длине контролируемого участка, после которого на основании (покрытии) не должно оставаться следа и возникать волны перед вальцом.

При приемке выполненных работ надлежит произвести освидетельствование работ в натуре, контрольные замеры, проверку результатов лабораторных испытаний строительных материалов и контрольных образцов обработанных материалов, записей в общем журнале работ. Приемку оснований и покрытий из обработанного материала надлежит оформить актом освидетельствования скрытых работ.

При приемочном контроле должны использоваться способы измерений аналогичные применяемым при операционном контроле, а объем измерений должен быть не менее 20 % объема измерений при операционном контроле, но состоять не менее чем из 20 измерений.

Прочность материала и толщина покрытия контролируется при приемочном контроле по трем кернам на 1000 м2, если выявлено несоответствие указанных показателей качества по другим методам контроля.

Измерение сцепления шины автомобиля с дорожным покрытием следует производить не ранее чем через две недели после окончания строительства покрытия.

Измерения следует выполнять по одной полосе наката колес автомобилей каждой полосы движения. На каждые 1000 м необходимо делать 3 ¸ 5 измерений в зависимости от состояния покрытия по каждой полосе движения.

Измерения следует производить в соответствии с требованиями ГОСТ 30413-96 «Дороги автомобильные. Метод определения коэффициента сцепления колеса автомобиля с дорожным покрытием».

В качестве испытательного оборудования следует использовать автомобильную установку типа ПКРС-2, состоящую из автомобиля, прицепного одноколесного прибора, оборудованного датчиками ровности и коэффициента сцепления, а также установленных в автомобиле системы увлажнения покрытия, системы управления и регистрации.

Испытания следует производить при температуре воздуха не ниже 0 °С.

Результаты испытаний следует представить в форме протокола отдельно для каждого участка дороги.

Ровность оснований и покрытий из укрепленных грунтов (просвет под рейкой длиной 3 м):

для дорог I, II и III категорий

- не более 5 % результатов определений могут иметь значения просветов в пределах до 20 мм, остальные - до 10 мм

для дорог IV, V категорий и внутренних дорог промышленных предприятий

- не более 5 % результатов определений могут иметь значения просветов в пределах до 30 мм, остальные - до 15 мм

для дорог I-c, II-с и III-с категорий

- не более 5 % результатов определений могут иметь значения просветов в пределах до 40 мм, остальные - до 20 мм

Устройство монолитных оснований и покрытий

СНиП 3.06.03-85 Автомобильные дороги.

ГОСТ 7473-94 Смеси бетонные. Технические условия.

Бетонная смесь, предназначенная для укладки в основание (покрытие), должна приготовляться в соответствии с требованиями ГОСТ 7473-94 по технологическому регламенту, утвержденному в установленном порядке.

При проектировании состава бетонной смеси показатели удобоукладываемости на месте бетонирования следует устанавливать по нижеследующей таблице.

Машины и оборудование для уплотнения бетонной смеси в основании (покрытии)

Удобоукладываемость по ГОСТ 10181.1-81

подвижность, см, не более

жесткость, с, не менее

Бетоноукладчик на колесно-рельсовом ходу

2

8

Бетоноукладчик со скользящей опалубкой при скорости движения, м/мин:

 

 

2 и менее

2

8

от 2 до 2,5

3

5

от 2,5 до 3,0

4

3

Площадочный вибратор и виброрейки

4

3

Вибрационные катки и др. аналогичное оборудование

-

30

Показатель жесткости мелкозернистой бетонной смеси должен составлять не менее 15 и не более 25 с по ГОСТ 10181.1-81.

При укладке покрытия с числом полос две и более, бетонируемого в скользящей опалубке, не следует использовать бетонные смеси подвижностью свыше 2 см.

Для строительства покрытия в скользящей опалубке следует использовать бетонные смеси, состав которых обеспечивает максимальную устойчивость кромок и боковых граней свежеотформованной бетонной плиты после прохода бетоноукладчика.

Наибольшая крупность заполнителя в бетоне не должна превышать: 20 мм - для верхнего слоя двухслойных покрытий, бетонируемых методом сращивания слоев; 40 мм - для однослойных и нижнего слоя двухслойных покрытий; 70 мм - для оснований.

Продолжительность транспортирования бетонной смеси не должна превышать 30 мин при температуре воздуха от 20 до 30° С и 60 мин - при температуре воздуха ниже 20 °С. Применяемые способы транспортирования смеси должны исключать возможность попадания в смесь атмосферных осадков, нарушения однородности, потери цементного раствора, а также обеспечивать предохранение смеси от вредного воздействия ветра и солнечных лучей.

При входном контроле бетонной смеси на строительной площадке необходимо: проверить наличие паспорта и требуемых в нем данных; внешним осмотром убедиться в отсутствии расслоения смеси, в наличии требуемых фракций щебня; проверить удобоукладываемость смеси; потребовать контрольной проверки смеси при возникших сомнениях в ее качестве.

Контролируемые операции

Состав и средства контроля

Документация

Подготовительные работы

Проверить:

- наличие ППР, технологических карт и схем операционного контроля качества (СОКК);

- готовность земляного полотна и дополнительных слоев основания, наличие актов освидетельствования ранее выполненных работ и исполнительной документации с разрешением заказчика на устройство монолитных цементнобетонных оснований и покрытий;

ППР, технологические карты и СОКК

Акты освидетельствования скрытых работ с исполнительной документацией;

- наличие в натуре и неизменность положения знаков разбивочной сети трассы и наличие акта приёмки-передачи этих знаков и материалов исполнительной съемки (при передаче работ); выполнение разбивочных геодезических работ;

- сопроводительные документы (документы о качестве) и внешним осмотром качество поступивших бетонных смесей;

- установку закладных деталей швов расширения и сжатия, сеток и каркасов.

Исполнительный чертеж

Документы о качестве

Устройство монолитных цементнобетонных оснований и покрытий.

Контролировать:

- соблюдение заданной технологии устройства монолитных цементнобетонных оснований и покрытий;

Общий журнал работ

- качество бетонной смеси (удобоукладываемость, объем вовлеченного воздуха, прочность и др.); уход за свежеотформованным бетоном;

Акты лабораторных испытаний

- поперечный и продольный профили монолитных оснований и покрытий (высотные отметки, ширину, толщину слоя, поперечный уклон, ровность).

Исполнительная геодезическая схема

Приемка

Проверить:

- соответствие фактических физико-механических свойств уложенного бетона требованиям проекта и нормативных документов;

Акты лабораторных испытаний

- соответствие фактических поперечного и продольного профилей и ровности основания и покрытий требованиям проекта и нормативной документации;

- надлежащее оформление исполнительной документации.

Акты освидетельствования скрытых работ с исполнительной документацией

ВХОДНОЙ И ОПЕРАЦИОННЫЙ КОНТРОЛЬ осуществляют:

(мастер) прораб, геодезист, лаборант (инженер) - в процессе производства работ

ПРИЁМОЧНЫЙ КОНТРОЛЬ ОСУЩЕСТВЛЯЮТ:

прораб (мастер), геодезист, представители технадзора заказчика

КИП - нивелир, теодолит и др. геодезические приборы, лабораторные приборы и оборудование.

Работу по устройству слоев дорожной одежды следует производить только на готовом и принятом в установленном порядке непереувлажненном и недеформированном земляном полотне.

Покрытие и основание с использованием вяжущих материалов следует устраивать на сухом и чистом нижележащем слое.

До начала устройства каждого слоя основания и покрытия следует производить разбивочные работы по закреплению положения бровок и высотных отметок слоев. При применении машин, оборудованных автоматическими следящими системами, закрепление бровок и высотных отметок осуществляется путем установки копирных струн с одной или двух сторон укладываемого слоя. Разбивочные работы и их контроль следует выполнять с использованием геодезических инструментов.

Устройство слоев дорожной одежды в зимнее время разрешается только по земляному полотну, полностью законченному и принятому до наступления отрицательных температур, за исключением строительства в условиях вечной мерзлоты и двухстадийного строительства.

Перед началом работ по устройству слоев дорожной одежды в зимнее время земляное полотно или нижележащий слой должны быть очищены от снега и льда на участке сменной захватки. В снегопад и метель работы по устройству дорожной одежды не допускаются.

Подбор состава бетона для устройства оснований и покрытий следует производить в соответствии с требованиями ГОСТ 27006-86.

Приготовление бетонной смеси должно обеспечивать требуемый объем вовлеченного воздуха с учетом продолжительности ее транспортирования от бетонного завода к месту бетонирования.

Мелкозернистые бетонные смеси следует приготавливать только в бетоносмесителях с принудительным перемешиванием как цикличного, так и непрерывного действия.

При использовании бетоносмесителей цикличного действия продолжительность перемешивания бетонной смеси должна быть не менее 60 с и уточняться опытным путем.

Материалы для приготовления бетонной смеси должны дозироваться по виду и фракциям раздельно.

При приготовлении цементнобетонной смеси следует контролировать:

постоянно - соблюдение технологических режимов приготовления бетонной смеси;

не реже одного раза в смену (согласно требований технологической карты) - показатель удобоукладываемости бетонной смеси и объем вовлеченного воздуха по ГОСТ 10181.0-81, ГОСТ 10181.1-81, ГОСТ 10181.2-81, ГОСТ 10181.3-81, концентрацию рабочих растворов химических добавок, прочность бетона путем испытания трех контрольных образцов-балок, изготовленных и хранившихся в соответствии с ГОСТ 10180-90, влажность заполнителей по ГОСТ 8269.0-97 и ГОСТ 8735-88* (проверяется также в случае выпадения осадков);

при изменении качества смеси (удобоукладываемости, объема вовлеченного воздуха и др.) - точность дозирования компонентов бетонной смеси методом контрольного взвешивания по инструкции завода-изготовителя бетоносмесительной установки, качество песка, щебня или гравия по ГОСТ 8269.0-97, ГОСТ 8269.1-97 и ГОСТ 8735-88*;

один раз в квартал - морозостойкость бетона по ГОСТ 10060.0-95.

Контроль работы дозаторов цемента, заполнителей, добавок и воды должен осуществляться в установленном порядке.

Оценку прочности бетона следует вести без использования статистических методов: прочность на растяжение при изгибе и прочность на сжатие по ГОСТ 18105-86* и ГОСТ 10180-90.

Бетонировать покрытия с одной или двумя полосами движения следует на полную ее ширину. При строительстве дорог с двумя и более полосами движения в условиях, где не может быть прекращено движение транспортных средств, допускается бетонирование покрытия на половину ширины проезжей части.

Покрытия с тремя и более полосами движения следует бетонировать полосами шириной 7,5 м при четном числе полос и 7,5 и 3,75 м при нечетном.

Бетонировать покрытия и основания при максимальной суточной температуре воздуха свыше 30 °С, перепаде температуры воздуха за сутки более 12 °С и относительной влажности воздуха менее 50 % следует, как правило, в вечерние и ночные часы.

При установившейся среднесуточной температуре наружного воздуха ниже 5 °С и минимальной суточной температуре воздуха ниже 0 °С бетонировать покрытия и основания следует согласно СНиП 3.03.01-87.

Бетоноукладчики со скользящей опалубкой следует применять преимущественно для устройства однослойных покрытий (оснований) без швов расширения и без армирования поперечных швов сжатия.

При использовании мелкозернистого бетона следует применять колесно-рельсовый комплект бетоноукладочных машин.

При устройстве покрытия комплектами машин со скользящими формами и при необходимости устройства полосы примыкания шириной 3,75 м разрешается применять бетоноукладчик с шириной укладки 7,5 м, при этом используется половина ширины укладочного оборудования, вторая половина должна находиться в нерабочем состоянии.

Бетонные покрытия и основания внутренних дорог промышленных предприятий допускается устраивать средствами малой механизации.

Чистовую профилировку основания необходимо производить на ширину, обеспечивающую движение ходовой части бетоноукладочных машин.

При устройстве покрытия в рельс-формах основание или выравнивающий слой следует профилировать на всю ширину покрытия после установки рельс-форм.

Автоматическая система задания вертикальных отметок рабочих органов машин должна работать, как правило, от двух копирных струн. Отклонение копирной струны от вертикальных отметок не должно превышать ±3 мм.

При использовании основания из укрепленных цементом грунтов I класса прочности допускается работа от одной копирной струны.

При укладке смежной полосы бетонирования, когда гусеницы бетоноукладчика с одной стороны движутся по ранее уложенной полосе, копирная струна со стороны уложенной полосы не устанавливается.

Копирную струну следует закреплять в кронштейнах на стойках, устанавливаемых на расстоянии не более 15 м друг от друга на прямых участках и 4 - 6 м - на криволинейных участках и виражах.

Рельс-формы должны быть установлены на спланированное основание шириной не менее 0,5 м с каждой стороны полосы бетонирования (из щебня, гравия или грунта, укрепленного вяжущими материалами) или на уширенное для этого основание под покрытие; не допускается осадка основания от воздействия бетоноукладочных машин во время укладки. Для этого установленные рельс-формы следует обкатывать наиболее машиной комплекта.

Отклонения отметок рельс-форм после обкатки не должны превышать ±5 мм

Рельс-формы непосредственно перед укладкой бетонной смеси необходимо смазать с внутренней стороны отработанным маслом.

Рельс-формы следует снимать не ранее 24 ч после укладки бетонной смеси. Отделять рельс-формы от бетона следует с помощью приспособлений, обеспечивающих целостность боковых граней и кромок плит.

Установку арматуры, прокладок и штырей деформационных швов следует производить после установки рельс-форм и окончательного уплотнения и профилирования основания.

Бетонную смесь следует распределять с помощью распределителя с учетом припуска на уплотнение, величину которого следует устанавливать в зависимости от толщины покрытия и удобоукладываемости смеси и определять при пробном бетонировании. Допускается распределение бетонной смеси бетоноукладчиком в случае выгрузки бетонной смеси на основание.

В качестве скользящей опалубки следует, как правило, применять универсальные скользящие формы.

Незначительные неровности и мелкие дефекты поверхности покрытия после прохода бетоноукладчика следует исправлять с помощью трубного финишера. Трубы финишера следует слегка увлажнить тонкораспыленной водой через систему орошения.

Уплотнение и отделку бетона в покрытии следует производить, как правило, непрерывно, избегая остановок бетоноотделочной машины с включенными вибраторами.

Шероховатость бетонного покрытия следует устраивать путем обработки поверхности свежеуложенного бетона мешковиной, щетками, дисковой накаткой и др.

Средняя глубина бороздок шероховатости, определяемая по методу «песчаного пятна», в зависимости от требуемой величины коэффициента сцепления колеса с покрытием должна быть в пределах 0,5 - 1,5 мм. Фактура обработанного покрытия должна быть однородной.

На полосах уширения проезжей части (на закруглениях, у съездов и т.п.), на площадках, примыкающих к основной дороге, покрытия следует устраивать с применением специальных укладчиков или средств малой механизации.

Уплотнение бетонной смеси средствами малой механизации следует выполнять прямыми непрерывными полосами с перекрытием полос на 5 - 10 см.

Устройство двухслойных бетонных покрытий следует производить комплектом машин, передвигающихся по рельс-формам, и, как правило, с использованием двух распределителей.

Организация работ по устройству двухслойного покрытия должна обеспечивать ритмичную укладку смеси и получение монолитного бетона по всей толщине покрытия.

Интервалы во времени между укладкой нижнего и верхнего слоев должны быть: при температуре воздуха 5 - 20 °С - не более 1 ч; при температуре 20 - 25 °С - не более 45 и при температуре 25 - 30 °С - не более 30 мин.

Для ухода за бетоном следует применять пленкообразующие материалы, которые наносятся на бетонную поверхность в количестве не менее 400 г/м2 при температуре воздуха до 25 °С и 600 г/м2 при температуре 25 °С и выше, как правило, в два слоя с интервалом в 20 - 30 мин.

Пленкообразующие материалы необходимо наносить путем распыления многосопловым распределителем равномерно на всю открытую поверхность плиты (включая и боковые грани) после завершения работ по отделке покрытия. Пленкообразующие материалы типа ПМ следует наносить после испарения влаги с поверхности бетона (поверхность становится матовой), а водную битумную эмульсию - сразу после окончания отделки поверхности бетонного покрытия.

В случае задержки с нанесением пленкообразующих материалов во избежание высыхания поверхности свежеуложенный бетон необходимо предварительно защитить, как правило, путем нанесения депрессора испарения влаги. В качестве депрессора испарения влаги следует применять депрессор марки ДСШ при расходе 5 - 10 г/м2. Допускается применение влажной мешковины.

В случае выпадения осадков следует применять рулонные пароводонепроницаемые материалы.

При отсутствии пленкообразующих материалов допускается применять для ухода за бетоном слой песка или супеси толщиной 4 - 6 см, поддерживаемый во влажном состоянии.

Уход за свежеуложенным бетоном следует осуществлять до момента достижения бетоном проектной прочности, но не менее 28 сут.

При максимальной суточной температуре воздуха 25 °С и выше темные пленкообразующие материалы после формирования пленки следует осветлять путем нанесения суспензии алюминиевой пудры или известкового раствора. Допускается вместо осветления наносить на поверхность пленки из темных материалов слои песка (супеси) толщиной 4 - 6 см.

Пазы деформационных швов следует нарезать преимущественно в затвердевшем бетоне алмазными дисками при достижении бетоном прочности на сжатие в пределах 8,0 - 10,0 МПа. Допускается устройство пазов швов расширения в свежеуложенном бетоне и пазов швов сжатия комбинированным способом закладка в свежеуложенный бетон эластичной прокладки и нарезка по ней паза в затвердевшем бетоне.

Элемент шва расширения в собранном виде (каркас, дощатая прокладка, штыри) следует перед бетонированием надежно закрепить штырями на основании в соответствии с проектным положением.

Верх дощатой прокладки, заостренной под углом 60°, не должен доходить до поверхности покрытия на 10 - 12 мм; стальные штыри следует располагать в дощатой прокладке параллельно поверхности устраиваемого покрытия и оси полосы бетонирования. До установки в проектное положение дощатую прокладку следует 24 ч вымачивать в воде или смазать со всех сторон разжиженным битумом, битумной эмульсией, минеральными маслами и другими материалами. Штыри с одного конца до середины следует обмазать слоем разогретого битума.

При устройстве покрытия в скользящих формах с применением распределителя бетонной смеси деревянную прокладку следует обрезать с обоих концов приблизительно на 15 см для обеспечения прохода распределителя и затем после прохода бетоноукладчика восстановить ее вручную. При работе без распределителя прокладку необходимо обрезать с обоих концов приблизительно на 2 - 3 см.

При бетонировании покрытия в рельс-формах зазор между стенкой рельс-формы и примыкающим к ней торцом дощатой прокладки не должен превышать 5 мм. Зазор между торцами прокладок по оси покрытия при любых способах бетонирования не допускается.

Ширину паза следует нарезать на 3 - 5 мм больше толщины доски. Пазы швов расширения в свежеуложенном бетоне следует устраивать, как правило, с помощью резинового шаблона заводского изготовления.

Штыри поперечных швов сжатия следует устанавливать в проектное положение до бетонирования покрытия с использованием поддерживающих устройств или втапливать в свежеуложенный бетон вибропогружателем.

Время начала нарезки пазов швов следует определять на основании данных о прочности бетона, вышеизложенных требований и уточнять путем пробной нарезки. При пробной нарезке выкрашивание кромок швов не должно превышать 2 - 3 мм.

Для обеспечения равномерного срабатывания швов сжатия их необходимо, как правило, нарезать подряд (последовательно по полосе бетонирования).

При суточных перепадах температуры воздуха менее 12 °С пазы поперечных швов сжатия в покрытии следует, как правило, нарезать в этот же день. Если прочность бетона не достигает в этот период требуемой величины, то швы следует нарезать на следующие сутки, как правило, не ранее 9 ч утра и не позднее 24 ч.

В случае невозможности нарезать все швы подряд из-за недопустимого выкрашивания кромок шва следует устраивать контрольные швы сжатия через три-четыре плиты по двухстадийному способу: нарезка узкого паза шва одним алмазным диском при достижении прочности бетона на сжатие около 5,0 - 7,0 МПа и последующая нарезка верхней части шва до проектных размеров при достижении прочности бетона более 10,0 МПа. При невозможности устройства контрольных швов по двухстадийному способу и появлении трещин в покрытии контрольные швы надлежит устраивать комбинированным способом.

При суточном перепаде температуры воздуха более 12 °С пазы поперечных швов сжатия в покрытии, уложенном до 13 - 14 ч, следует нарезать в те же сутки. В покрытии, уложенном во второй половине дня, для обеспечения трещиностойкости следует устраивать контрольные поперечные швы через две-три плиты комбинированным способом, а последующую нарезку промежуточных швов производить в затвердевшем бетоне. Допускается устраивать контрольные швы по двухстадийному способу.

При устройстве контрольных поперечных швов комбинированным способом в бетон следует заложить эластичную ленту (прокладку) толщиной 0,2 - 3,0 мм, а затем по ленте следует нарезать паз шва в затвердевшем бетоне. В качестве эластичной прокладки может использоваться полиэтиленовая лента и другие аналогичные материалы, закладываемые после отделки поверхности бетонного покрытия. Установка ленты не допускается, если бетонная смесь потеряла подвижность и лента не омоноличивается. Лента должна закладываться на глубину не менее 1/4 толщины покрытия и выступать над поверхностью покрытия на 0,5 - 1,0 см.

В конце рабочей смены и в местах вынужденного перерыва работ следует устраивать рабочие поперечные швы, как правило, по типу швов коробления с помощью приставной опалубки.

Укладку покрытия от рабочего шва следует продолжать после снятия опалубки и обмазки торца плиты разжиженным битумом или пленкообразующим материалом.

Если в данном месте необходим (по проекту) шов расширения, его устраивают на расстоянии одной плиты перед рабочим швом или после него при возобновлении строительства.

При устройстве швов коробления штыри, как правило, следует устанавливать и закреплять на основании до бетонирования. Допускается втапливать штыри в уплотненную бетонную смесь методом вибропогружения или другим, обеспечивающим проектное положение штырей и качество бетона в покрытии.

Штыри в продольный шов сжатия следует устанавливать преимущественно путем втапливания в бетонную смесь.

Пазы продольных швов сжатия, как правило, следует нарезать в затвердевшем бетоне согласно вышеприведенным требованиям.

Герметизирующие материалы, разрешенные для заполнения деформационных швов и приготовленные на основе битума, перед применением необходимо разогревать до температуры 150 - 180 °С.

Перед заполнением деформационных швов необходимо:

промыть пазы сразу же после их нарезки до полного удаления шлама и просушить их;

очистить пазы швов и продуть их (обеспылить) сжатым воздухом;

удалить песок и щебень с поверхности покрытия в зоне шва.

Работы по заполнению деформационных швов мастиками, приготовленными на основе битума, надлежит выполнять в последовательности:

на дно паза шва уложить хлопчатобумажный шнур;

стенки паза шва смазать разжиженным битумом;

паз шва заполнить мастикой на 2 - 3 мм выше уровня покрытия;

выступающие над пазом шва излишки мастики срезать острым скребком.

Снятые излишки мастики следует повторно использовать для заливки швов после её разогрева.

Заполнять пазы герметизирующими материалами следует непосредственно после их подготовки.

Движение построечного транспорта по покрытию можно открывать только после заполнения швов.

При устройстве оснований из жестких бетонных смесей, уплотняемых методом укатки, распределять и уплотнять бетонную смесь следует в один слой при проектной толщине основания 20 см и менее и в два слоя - при толщине основания более 20 см.

Распределять смесь следует профилировщиком основания или распределителем бетонной смеси. Допускается распределение смеси автогрейдером в рельс-формах. При распределении смеси без рельс-форм бетонную смесь следует распределять на ширину, превышающую проектную на 25 см с каждого края.

Жесткую бетонную смесь следует доводить до плотности не менее 0,98 расчетной, как правило, вибрационными катками.

Допускается применение катков на пневматических шинах в комплексе с гладковальцовыми катками массой 6 - 8 т для начальной прикатки и окончательного уплотнения, а также машин, оборудованных вибробрусом, с окончательным уплотнением катками массой 6 - 8 т. В этих случаях при толщине слоя 20 см и более основание следует устраивать в два слоя в течение одной смены. Уход за основанием следует осуществлять только в случае перерыва в производстве работ. Осветление пленки или засыпка ее песком при этом не производится.

При строительстве покрытий и оснований из монолитного бетона следует контролировать:

постоянно - соблюдение технологических режимов бетонирования, ухода за бетоном, устройства и герметизации швов, правильность установки арматуры и прокладок швов, устойчивость кромок боковых граней и сплошность поверхности покрытия;

перед началом бетонирования - правильность установки копирных струн и рельс-форм;

не реже одного раза в смену и при изменениях качества смеси на месте бетонирования - прочность бетона путем формования и последующего испытания трех контрольных образцов-балок, удобоукладываемость и объем вовлеченного воздуха, а также качество работ по уходу за свежеуложенным бетоном с применением пленкообразующих материалов на участках покрытия размером 20´20 см (сформировавшуюся на бетоне пленку необходимо промыть водой, удалить оставшуюся влагу, разлить 10 %-ный раствор соляной кислоты или 1 %-ный раствор фенолфталеина - вспенивание или покраснение допустимо не более чем в двух точках на 100 см2 поверхности пленки).

Плотность жесткой бетонной смеси, уплотняемой методом укатки, следует контролировать по трем пробам на 1 км путем контрольного прохода катка массой 10 - 13 т по всей длине контролируемого участка, после которого на основании (покрытии) не должно оставаться следа и возникать волны перед вальцом, а положенная под валец щебенка должна раздавливаться.

При операционном контроле качества работ по устройству монолитных цементнобетонных оснований и покрытий следует контролировать по каждому укладываемому слою не реже чем через каждые 100 м:

высотные отметки по оси дороги;

ширину; толщину слоя неуплотненного материала по его оси;

поперечный уклон; ровность (просвет под рейкой длиной 3 м на расстоянии 0,75 - 1 м от каждой кромки основания (покрытия) в пяти контрольных точках, расположенных на расстоянии 0,5 м от концов рейки и друг от друга);

разницу в уровне поверхности в швах.

Допускаемые отклонения контролируемых параметров не должны превышать нижеприведенных значений:

высотные отметки по оси      не более 10 % результатов определений могут иметь отклонения от проектных значений в пределах до ±100 (20) мм, остальные до ±50 (10) мм

ширина слоя                            не более 10 % результатов определений могут иметь отклонения от проектных значений в пределах от минус 7,5 до 10 см, остальные - до ±5 см

толщина слоя                           не более 10 % результатов определений могут иметь отклонения от проектных значений в пределах от минус 22 (минус 15) до 30 (20) мм, остальные - до ±15 (10) мм

поперечные уклоны                не более 10 % результатов - в пределах от минус 0,015 (минус 0,010) до 0,030 (0,015), остальные - до ±0,010 (0,005)

ровность (просвет

под рейкой длиной 3 м)         не более 5 % результатов - просветы в пределах до 10 (6) мм, остальные - до 5 (3) мм

разница в уровне

поверхности в швах                - не более 20 % результатов определений могут иметь значения в пределах до 10 (7) мм, остальные - до 3 (2) мм

* - данные в скобках относятся к работам, выполняемым с применением машин с автоматической системой задания вертикальных отметок.

При приёмке выполненных работ надлежит произвести освидетельствование работ в натуре, контрольные замеры, проверку результатов лабораторных испытаний и записей в общем журнале работ.

Приёмку с составлением актов освидетельствования скрытых работ надлежит производить по выполнении следующих работ:

устройства и уплотнения основания из монолитного бетона;

установки элементов швов расширения и коробления;

установки арматуры.

При осуществлении приёмочного контроля следует проверять соответствие фактических значений проектным по приведенным параметрам. Кроме указанных параметров следует контролировать:

плотность слоев дорожных одежд;

ровность слоев оснований и покрытий путем определения алгебраических разностей высотных отметок (по ГОСТ 30412-96);

сцепление шины автомобиля с покрытием (для верхних слоев) или шероховатость покрытия (по ГОСТ 30413-96);

прочность бетона и толщину покрытия по трём кернам на 1000 м2 при выявлении несоответствия указанных параметров требуемым значениям по другим методам контроля.

При приёмочном контроле способы измерений должны быть аналогичны применяемым при выполнении операционного контроля. Объём измерений должен быть не менее 20 % объёма измерений при операционном контроле, но состоять не менее чем из 20 измерений, за исключением контроля жестких бетонных смесей, проводимого в объёме, требуемом при операционном контроле.

При приёмке работ предварительная оценка ровности поверхности в продольном направлении проводится либо на основе графической записи, полученной с помощью приборов типа ПКРС или других приборов, показания которых приведены к показаниям ПКРС, либо путем проезда на автомашине по всему сдаваемому участку по каждой полосе движения. На основе такой оценки выбираются захватки для детального измерения ровности и поперечных уклонов.

Захватки в общем случае выбираются длиной 300 - 400 м, а для внутрихозяйственных автомобильных дорог организаций и внутренних дорог промышленных предприятий - длиной 100 - 150 м. Суммарная длина захваток должна составлять не менее 10 % длины сдаваемого участка дороги в однополосном исчислении.

Детальный контроль ровности поверхности основания или покрытия на выбранных захватках следует вести путем измерения просветов под трехметровой рейкой, определения показаний стрелочного прибора или передвижной рейки.

Измерение просветов под трехметровой рейкой с помощью клина (промерника) следует производить в пяти контрольных точках, расположенных на расстоянии 0,5 м от концов рейки и друг от друга.

Детальные измерения ровности следует производить на расстоянии 0,5 - 1,0 м от каждой кромки покрытия или края полосы движения.

На каждой захватке следует произвести:

100 - 130 измерений просветов (25 - 30 приложений рейки) или непрерывную графическую запись неровностей;

80 - 100 измерений поперечных уклонов рейкой с уровнем (25 - 30 измерений для захваток длиной 100 - 150 м);

определение вертикальных абсолютных или относительных отметок путем нивелирования с шагом 5 м.

90 % результатов определений неровностей должны быть в пределах, приведенных в нижеследующей таблице, а 10 % - не превышать эти пределы более чем в 1,5 раза.

Категория дороги

Значения амплитуд, мм, при использовании комплектов машин

без автоматической системы задания вертикальных отметок

с автоматической системой задания вертикальных отметок

Расстояние между точками, м

5

10

20

5

10

20

I, II, III

7

12

24

5

8

16

IV, V, I-с, II-с, III-с и внутренние дороги промышленных предприятий

10

16

-

-

-

-

Сцепление шины автомобиля с увлажненной поверхностью покрытия характеризуется коэффициентом сцепления, определяемым специальными динамометрическими приборами типа ПКРС, а также по длине тормозного пути или по величине уменьшения скорости движения автомобиля модели ГАЗ-М24 или другими приборами, показания которых приведены к показаниям прибора ПКРС. Измерение сцепления следует производить не ранее чем через две недели после окончания строительства покрытия.

Измерения следует выполнять по одной полосе наката колес автомобилей каждой полосы движения. На каждые 1000 м необходимо делать 3 - 5 измерений в зависимости от состояния покрытия по каждой полосе движения.

Значения измеренных коэффициентов сцепления должны быть не ниже указанных в проекте.

Шероховатость дорожных покрытий следует измерять методом «песчаного пятна» (прибор КП-139). На каждой полосе движения следует производить 5 измерений на каждые 1000 м по одной полосе наката.

Значения средней глубины впадин шероховатости по методу «песчаного пятна» не должны быть меньше указанных в нижеследующей таблице.

Коэффициент сцепления

Минимальная средняя глубина впадин (бороздок) шероховатости по методу «песчаного пятна», мм

для асфальтобетонного покрытия и поверхностной обработки

для цементнобетонного покрытия

0,28 - 0,30

1

0,5

0,35

1,8

1

Производство бетонных работ при отрицательных температурах воздуха

Приготовление бетонной смеси следует производить в обогреваемых бетоносмесительных установках, применяя подогретую воду, оттаянные или подогретые заполнители, обеспечивающие получение бетонной смеси с температурой не ниже требуемой по расчету. Допускается применение не отогретых сухих заполнителей, не содержащих наледи на зернах и смерзшихся комьев. При этом продолжительность перемешивания бетонной смеси должна быть увеличена не менее чем на 25 % по сравнению с летними условиями.

Способы и средства транспортирования должны обеспечивать предотвращение снижения температуры бетонной смеси ниже требуемой по расчету.

Состояние основания, на которое укладывается бетонная смесь, а также температура основания и способ укладки должны исключать возможность замерзания смеси в зоне контакта с основанием. При выдерживании бетона методом термоса, при предварительном разогреве бетонной смеси, а также при применении бетона с противоморозными добавками допускается укладывать смесь на неотогретое непучинистое основание или старый бетон, если по расчету в зоне контакта на протяжении расчетного периода выдерживания бетона не произойдет его замерзания.

Контроль прочности бетона следует осуществлять, как правило, испытанием образцов, изготовленных у места укладки бетонной смеси. Образцы, хранящиеся на морозе, перед испытанием надлежит выдерживать 2 - 4 ч при температуре 15 - 20 °С.

Допускается контроль прочности производить по температуре бетона в процессе его выдерживания.

Требования к производству работ при отрицательных температурах воздуха:

прочность бетона монолитных конструкций к моменту замерзания:

для бетона без противоморозных добавок          не менее 70 % проектной прочности (контроль по ГОСТ 18105-86)

для бетона с противоморозными добавками      не менее 20 % проектной прочности к моменту охлаждения бетона до температуры, на которую расчитано количество добавок.

Загружение конструкций расчетной нагрузкой допускается после достижения бетоном не менее 100 % проектной прочности.

Температура воды и бетонной смеси на выходе из смесителя, приготовленной на шлакопортландцементе, портландцементе марок ниже М600: воды не более 70 °С, смеси не более 35 °С; на БТЦ и портландцементе марки М600 и выше: воды не более 60 °С, смеси < 30 °С. Т-ра смеси: > 5 °С при «термосе» и на 5 °С выше т-ры замерзания р-ра добавок.

Устройство деформационных швов в цементнобетонных покрытиях по серии 3.503-71/88

СХЕМА НАРЕЗКИ И АРМИРОВАНИЯ ШВОВ ДЕФОРМАЦИИ В ЦЕМЕНТОБЕТОННЫХ ПОКРЫТИЯХ

I вариант: Толщина покрытия h = 22,24 см при основаниях из «тощего» цементобетона М7,5 - 12,5; из материалов и грунтов, укрепленных неорганическими вяжущими I класса прочности и температуре воздуха во время бетонирования ³ +5 °С

II вариант: Толщина покрытия h = 22,24 см при различных типах основания и любой температуре воздуха во время бетонирования (за исключением случаев, предусмотренных в I варианте)

III вариант: Толщина покрытия h = 18,20 см при различных типах оснований и любой температуре воздуха во время бетонирования.

1. Металлические штыри Æ 20 мм

2. Металлические штыри Æ 22,25 мм

3. Мастика

4. Герметизирующий материал или готовая резиновая прокладка

5. Деревянная доска-прокладка

6. Битумная обмазка

7. Колпачок из резины или полиэтилена

8. Воздушный зазор

9, 10. Каркас-корзинка

- поперечный шов сжатия

- шов коробления

- продольный шов

- поперечный шов сжатия при основаниях из каменных материалов, не укрепленных вяжущими

- поперечный шов сжатия при основаниях из каменных материалов и грунтов, укрепленных вяжущими

- компенсационный шов расширения

- шов расширения

l - длина плиты

Размеры в см

В цементобетонном покрытии следует устраивать продольные и поперечные швы.

Поперечные швы подразделяются на швы расширения, сжатия, коробления и рабочие.

Продольные и рабочие швы устраиваются по типу швов коробления.

Продольные швы следует устраивать при ширине покрытия более 4,5 м для предупреждения появления продольных трещин, возникающих вследствие переменного воздействия транспорта по ширине плит, неоднородного и осадок земляного полотна.

Швы расширения следует применять для повышения продольной устойчивости покрытия при максимальном нагреве покрытия летом.

Швы расширения должны устраиваться обязательно на примыканиях к мостам, путепроводам и в местах пересечения цементобетонных покрытий в одном уровне.

Швы сжатия следует устраивать между швами расширения для предупреждения появления трещин в плитах вследствие изменения температуры покрытия, усадки бетона и неоднородных деформаций земляного полотна.

Швы коробления повышают продольную устойчивость покрытия, уменьшают в плитах температурные напряжения, повышают трещиностойкость и транспортно-эксплуатационные качества покрытий.

Рабочие швы устраиваются в конце рабочей смены или при перерыве бетонирования покрытия более 3-х часов.

Расстояния между швами сжатия - длину плиты - следует назначать по расчету в зависимости от толщины плиты и климатических условий. При этом длину неармированных плит необходимо назначать в пределах, указанных в нижеследующей таблице.

Климат

толщина покрытия, см

18

20

22

24

длина плиты, м

Умеренный

4,5 - 5

5 - 6

5 - 6

5,5 - 7

Континентальный

3,5 - 4

4 - 5

4 - 5

4,5 - 6

С целью исключения образования ступеней в швах между плитами и частично для передачи нагрузки с плиты на плиту края плит вдоль швов следует, как правило, соединять при помощи стальных штырей. Размещение штырей в поперечных и продольных швах в зависимости от материала основания показано выше.

Расстояние между швами расширения в районах с умеренным и континентальным климатом следует назначать, как правило, согласно нижеприведенной таблице.

Допускается не устраивать швы расширения при толщине цементобетонного покрытия 22,24 см и при температуре воздуха во время бетонирования от +5 °С и выше.

При этом должны быть соблюдены следующие условия:

- основания необходимо устраивать из «тощего» бетона низких марок или каменных материалов и грунтов, укрепленных неорганическими вяжущими (I класс прочности);

- обочины должны укрепляться монолитными материалами.

Расстояние между швами расширения

Климат

Покрытие

Толщина покрытия см

Температура воздуха при бетонировании, °С

< +5

От +5 до +15

+15 ¸ +25

> +25

Расстояние между швами расширения в м

Умеренный

Неармированное

22 - 24

25 - 28

50 - 56

80 - 90

90 - 110

20

24 - 25

35 - 42

50 - 54

30 - 90

18

18 - 20

25 - 30

30 - 35

40 - 45

Континентальный

Неармированное

22 - 24

20 - 24

40 - 48

80 - 90

90 - 110

20

18 - 20

32 - 36

40 - 45

50 - 66

18

16 - 18

22 - 25

25 - 28

36 - 40

Любой

Армированное, при длине плит более 7 м

20 - 24

28 - 40

75 - 80

не устраивают

18

21 - 40

35 - 40

40 - 60

50 - 80

В период эксплуатации должна производиться своевременная высококачественная герметизация (перезаливка мастиками и т.д.) всех поперечных швов. Перед мостами и путепроводами должно быть устроено не менее трех компенсационных швов расширения через 15 - 30 метров в виде сквозных пазов шириной 6 см, заполненных легкосжимаемым материалом (полистирол листовой, песчаный асфальтобетон и др.)

В этих же условиях в цементобетонных покрытиях при толщине оснований из цементогрунтов I класса прочности не менее 16 см допускается не устраивать штыревых соединения в швах сжатия.

В покрытиях дорог I, II категорий нарезку швов сжатия следует производить, как правило, в затвердевшем бетоне.

Для обеспечения водонепроницаемости швов их следует заполнять герметизирующими материалами.

Устройство асфальтобетонных оснований и покрытий

СНиП 3.06.03-85 Автомобильные дороги.

ГОСТ 9128-97 Смеси асфальтобетонные дорожные, аэродромные и асфальтобетон. Технические условия.

ТУ 5718-002-21865218-96 Смеси битумоминеральные.

ТУ 5718-001-01393728-96 Вяжущие полимерно-битумные на основе «Каудест-Д» и полимерасфальтобетон.

ТУ 5718-001-015156468-97 Смеси дорожные асфальтобетонные, аэродромные и асфальтобетон.

Технические условия на смеси асфальтобетонные, предусмотренные проектом.

Требования к асфальтобетонным смесям

Входной контроль асфальтобетонных смесей, предусмотренных проектом для устройства оснований и покрытий следует осуществлять в соответствии с требованиями проекта, государственных стандартов, технических условий, ППР, технологических карт, схем операционного контроля качества и другой технологической документации, утвержденной в установленном порядке.

ГОСТ 9128-97 Смеси асфальтобетонные дорожные, аэродромные и асфальтобетон. Технические условия.

Данный стандарт распространяется на асфальтобетонные смеси и асфальтобетон, применяемые для устройства покрытий и оснований автомобильных дорог, аэродромов, городских улиц и площадей, дорог промышленных предприятий.

Область применения асфальтобетонов при устройстве верхних слоев покрытий автомобильных дорог и городских улиц приведена в нижеследующей таблице.

Асфальтобетонные смеси и асфальтобетоны в зависимости от вида минеральной составляющей подразделяют на щебеночные, гравийные и песчаные.

Смеси в зависимости от вязкости используемого битума и температуры при укладке подразделяют на:

- горячие, приготавливаемые с использованием вязких и жидких нефтяных дорожных битумов и укладываемые с температурой не менее 120 °С;

- холодные, приготавливаемые с использованием жидких нефтяных дорожных битумов и укладываемые с температурой не менее 5 °С.

Контролируемые операции

Состав и средства контроля

Документация

Подготовительные работы

Проверить:

- наличие ППР, технологических карт и схем операционного контроля качества (СОКК);

- готовность земляного полотна и дополнительных слоев основания, наличие актов освидетельствования ранее выполненных работ и исполнительной документации с разрешением заказчика на устройство асфальтобетонных оснований и покрытий;

- наличие в натуре и неизменность положения знаков разбивочной сети трассы и наличие акта приёмки-передачи этих знаков и материалов исполнительной съемки (при передаче работ); выполнение разбивочных геодезических работ;

ППР, технологические карты и СОКК

Акты освидетельствования скрытых работ с исполнительной документацией;

Исполнительный чертеж

- сопроводительные документы (документы о качестве) и внешним осмотром качество поступивших асфальтобетонных смесей;

- готовность подъездных путей для подачи смесей, а также механизмов для разравнивания и уплотнения смесей.

Документы о качестве

Устройство асфальтобетонных оснований и покрытий

Контролировать:

- соблюдение заданной технологии устройства асфальтобетонных оснований и покрытий;

Общий журнал работ

- качество асфальтобетонной смеси (температуру смеси в каждом автомобиле) и качество асфальтобетона;

- поперечный и продольный профили асфальтобетонных оснований и покрытий (высотные отметки, ширину, толщину слоя, поперечный уклон, ровность).

Акты лабораторных испытаний

Исполнительная геодезическая схема

Приемка

Проверить:

- соответствие фактических физико-механических свойств уложенного асфальтобетона требованиям проекта и нормативных документов;

Акты лабораторных испытаний

- соответствие фактических поперечного и продольного профилей и ровности основания и покрытий требованиям проекта и нормативной документации;

- надлежащее оформление исполнительной документации.

Акты освидетельствования скрытых работ с исполнительной документацией

ВХОДНОЙ И ОПЕРАЦИОННЫЙ КОНТРОЛЬ осуществляют:

(мастер) прораб, геодезист, лаборант (инженер) - в процессе производства работ

ПРИЕМОЧНЫЙ КОНТРОЛЬ ОСУЩЕСТВЛЯЮТ:

прораб (мастер), геодезист, представители технадзора заказчика

КИП - нивелир, теодолит и др. геодезические приборы, лабораторные приборы и оборудование.

Рекомендуемая область применения асфальтобетонов при устройстве верхних слоев покрытий автомобильных дорог и городских улиц

Дорожно-климатическая зона

Вид асфальтобетона

Категория автомобильной дороги

I, II

III

IV

марка смеси

марка битума

марка смеси

марка битума

марка смеси

марка битума

I

Плотный и высокоплотный

I

БНД 90/130

БНД 130/200

БНД 200/300

II

БНД 90/130

БНД 130/200

БНД 200/300

СГ 130/200

МГ 130/200

МГО 130/200

III

БНД 90/130

БНД 130/200

БНД 200/300

СГ 130/200

МГ 130/200

МГО 130/200

II, III

Плотный и высокоплотный

I

БНД 60/90

БНД 90/130

БНД 130/200

БН 90/130

II

БНД 60/90

БНД 90/130

БНД 130/200

БНД 200/300

БН 60/90

БН 90/130

БН 130/200

БН 200/300

III

БНД 60/90

БНД 90/130

БНД 130/200

БНД 200/300

БН 60/90

БН 90/130

БН 130/200

БН 200/300

СГ 130/200

МГ 130/200

ГО 130/200

 

Из холодных смесей

-

-

I

СГ 70/130

СГ 130/200

II

СГ 70/130

СГ 130/200

МГ 70/130

МГ 130/200

МГО 70/130

МГО 130/200

IV, V

Плотный

I

БНД 40/60

БНД 60/90

БН 40/60

БН 60/90

II

БНД 40/60

БНД 60/90

БНД 90/130

БН 40/60

БН 60/90

БН 90/130

III

БНД 40/60

БНД 60/90

БНД 90/130

БН 40/60

БН 60/90

БН 90/130

 

Из холодных смесей

-

-

I

СГ 70/130

СГ 130/200

II

СГ 70/130

СГ 130/200

МГ 70/130

МГ 130/200

МГО 70/130

МГО 130/200

Примечания к таблице:

1. Для городских скоростных и магистральных улиц и дорог следует применять асфальтобетон из смесей видов и марок, рекомендуемых для дорог I и II категорий; для дорог промышленно-складских районов - рекомендуемых для дорог III категории; для остальных улиц и дорог - рекомендуемых для дорог IV и V категории.

2. Битумы марок БН рекомендуется применять в мягких климатических условиях, характеризуемых средними температурами самого холодного месяца года выше минус 10 °С.

3. Битум марки БН 40/60 должен соответствовать технической документации, утвержденной в установленном порядке.

Горячие смеси и асфальтобетоны в зависимости от наибольшего размера минеральных зерен подразделяют на:

- крупнозернистые с размером зерен до 40 мм;

- мелкозернистые с размером зерен до 20 мм;

- песчаные с размером зерен до 5 мм.

Холодные смеси подразделяют на мелкозернистые и песчаные.

Асфальтобетоны из горячих смесей в зависимости от величины остаточной пористости подразделяют на виды:

- высокоплотные с остаточной пористостью от 1,0 до 2,5 %;

- плотные с остаточной пористостью св. 2,5 до 5,0 %;

- пористые с остаточной пористостью св. св. 5,0 до 10,0 %;

- высокопористые с остаточной пористостью св. 10,0 до 18,0 %.

Асфальтобетоны из холодных смесей должны иметь остаточную пористость свыше 6,0 до 10,0 %.

Щебеночные и гравийные горячие смеси и плотные асфальтобетоны в зависимости от содержания в них щебня (гравия) подразделяют на типы:

А с содержанием щебня св. 50 до 60 %;

Б с содержанием щебня св. 40 до 50 %;

В с содержанием щебня св. 30 до 40 %.

Щебеночные и гравийные холодные смеси и соответствующие им асфальтобетоны в зависимости от содержания в них щебня (гравия) подразделяют на типы Бх и Вх.

Горячие и холодные песчаные смеси и соответствующие им асфальтобетоны в зависимости от вида песка подразделяют на типы:

Г и Гх - на песках из отсевов дробления, а также на их смесях с природным песком при содержании последнего не более 30 % по массе;

Д и Дх - на природных песках или смесях природных песков с отсевами дробления при содержании последних менее 70 % по массе.

Смеси и асфальтобетоны в зависимости от показателей физико-механических свойств и применяемых материалов подразделяют на марки, указанные в нижеследующей таблице.

Вид и тип смесей и асфальтобетонов

Марки

Горячие: высокоплотные

I

плотные типов: А

II, III

Б, Г

I, II, III

в, д

II, III

пористые и высокопористые

I, II

Холодные типов: Бх, Вх

I, II

Гх

I, II

Дх

II

Показатели физико-механических свойств высокоплотных и плотных асфальтобетонов из горячих смесей различных марок, применяемых в конкретных дорожно-климатических зонах, должны соответствовать приведенным в нижеследующей таблице.

Наименование показателя

Значение для асфальтобетонов марки

I

II

III

для дорожно-климатических зон

I

II, III

IV, V

I

II, III

IV, V

I

II, III

IV, V

Предел прочности при сжатии при температуре 50 °С, МПа, не менее, для асфальтобетонов:

 

 

 

 

 

 

 

 

 

высокоплотных

1,0

1,1

1,2

-

-

-

-

-

-

плотных типов А

0,9

1,0

1,1

0,8

0,9

1,0

-

-

-

Б

1,0

1,2

1,3

0,9

1,0

1,2

0,8

0,9

1,1

В

-

-

-

1,1

1,2

1,3

1,0

1,1

1,2

Г

1,1

1,3

1,6

1,0

1,2

1,4

0,9

1,0

1,1

Д

-

-

-

1,1

1,3

1,5

1,0

1,1

1,2

Предел прочности при сжатии при температуре 20 °С для асфальтобетонов всех типов, МПа, не менее

2,5

2,5

2,5

2,2

2,2

2,2

2,0

2,0

2,0

Предел прочности при сжатии при температуре 0 °С для асфальтобетонов всех типов, МПа, не менее

9,0

11,0

13,0

10,0

12,0

13,0

10,0

12,0

13,0

Водостойкость, не менее:

 

 

 

 

 

 

 

 

 

плотных асфальтобетонов

0,95

0,90

0,85

0,90

0,85

0,80

0,85

0,75

0,70

высокоплотных асфальтобетонов

0,95

0,95

0,90

-

-

-

-

-

-

плотных асфальтобетонов при длительном водонасыщении

0,90

0,85

0,75

0,85

0,75

0,70

0,75

0,65

0,60

высокоплотных асфальтобетонов при длительном водонасыщении

0,95

0,90

0,85

-

-

-

-

-

-

Водонасыщение высокоплотных и плотных асфальтобетонов из горячих смесей должно соответствовать приведенным ниже данным.

Вид и тип

Водонасыщение в процентах по объему для

образцов, отформованных из смеси

вырубок и кернов готового покрытия, не более

Высокоплотные

От 1,0 до 2,5

3,0

Плотные типов: А

От 2,0 до 5,0

5,0

Б, В и Г

От 1,5 до 4,0

4,5

Д

От 1,0 до 4,0

4,0

Примечание: - Показатели водонасыщения асфальтобетонов, применяемых в конкретных дорожно-климатических зонах, могут уточняться в указанных пределах в проектной документации на строительство.

Пористость минеральной части асфальтобетонов из горячих смесей должна быть, %. не менее: высокоплотных… 16, плотных типов А и Б … 19, типов В, Г и Д… 22, пористых… 23, высокопористых щебеночных… 24, высокопористых песчаных… 28.

Показатели физико-механических свойств пористых и высокопористых асфальтобетонов из горячих смесей должны соответствовать нижеприведенным.

Наименование показателя

Значение для марки

I

II

Предел прочности при сжатии при температуре 50 °С, МПа, не менее

0,7

0,5

Водостойкость, не менее

0,7

0,6

Водостойкость при длительном водонасыщении, не менее

0,6

0,5

Водонасыщение, % по объему, не более, для:

 

 

пористых асфальтобетонов

Св. 5 до 10

Св. 5 до 10

высокопористых асфальтобетонов

Св. 10 до 18

Св. 10 до 18

Примечание - Для крупнозернистых асфальтобетонов предел прочности при сжатии при температуре 50 °С и водостойкость не нормируются.

Показатели физико-механических свойств асфальтобетонов из холодных смесей различных марок должны соответствовать нижеприведенным.

Наименование показателя

Значение для марки и типа

I

II

Бх, Вх

Гх

БХ, ВХ

Гх, Дх

Предел прочности при сжатии при температуре 20 °С, МПа, не менее:

 

 

 

 

до прогрева

 

 

 

 

- сухих

1,5

1,7

1,0

1,2

- водонасыщенных

1,1

1,2

0,7

0,8

- после длительного водонасыщения

0,8

0,9

0,5

0,6

после прогрева:

 

 

 

 

- сухих

1,8

2,0

1,3

1,5

- водонасыщенных

1,6

1,8

1,0

1,2

- после длительного водонасыщения

1,3

1,5

0,8

0,9

Пористость минеральной части асфальтобетонов из холодных смесей должна быть, %, не более, для типов: БХ… 18, ВХ… 20, Гх и Дх… 21.

Водонасыщение асфальтобетонов из холодных смесей должно быть от 5 до 9 % по объему.

Слеживаемость холодных смесей, характеризуемая числом ударов по ГОСТ 12801-84, должна быть не более 10.

Температура горячих и холодных смесей при отгрузке потребителю и на склад в зависимости от показателей битумов должна быть в пределах, указанных в нижеследующей таблице.

Вид смеси

Температура смеси, °С, в зависимости от показателя битума

глубины проникания иглы 0,1 мм при 25 °С, мм

условной вязкости по вискозиметру с отверстием 5 мм при 60 °С, с

 

40 - 60

61 - 90

91 - 130

131 - 200

201 - 300

70 - 130

131 - 200

Горячая

От 150 до 160

От 145 до 155

От 140 до 150

От 130 до 140

От 120 до 130

-

От 110 до 120

Холодная

 

 

 

 

 

От 80 до 100

От 100 до 120

Примечания:

1. При использовании ПАВ или активированных минеральных порошков допускается снижать температуру горячих смесей на 20 °С

2. Для высокоплотных асфальтобетонов и асфальтобетонов на полимерно-битумных вяжущих допускается увеличивать температуру готовых смесей на 20 °С, соблюдая при этом требования ГОСТ 12.1.005 к воздуху рабочей зоны.

Смеси и асфальтобетоны в зависимости от значения суммарной удельной эффективной активности естественных радионуклидов Аэфф в применяемых минеральных материалах используют при:

Аэфф до 740 Бк/кг - для строительства дорог и аэродромов без ограничений;

Аэфф св. 740 до 2800 Бк/кг - для строительства дорог вне населенных пунктов и зон перспективной застройки.

Смеси должны выдерживать испытание на сцепление битумов с поверхностью минеральной части.

Область применения марок битума приведена выше в таблице рекомендованной области применения асфальтобетонов при устройстве верхних слоев покрытий автомобильных дорог и городских улиц.

Для холодных смесей марки I следует применять жидкие битумы класса СГ. Допускается применение битумов классов МГ и МГО при условии использования активированных минеральных порошков или предварительной обработки минеральных материалов смесью битума с поверхностно-активными веществами.

Для холодных смесей марки II следует применять жидкие битумы классов СГ, МГ и МГО.

На каждую партию отгруженной смеси потребителю должен быть выдан документ о качестве, в котором указывают результаты приемосдаточных и периодических испытаний, в том числе:

- наименование изготовителя;

- номер и дату выдачи документа;

- наименование и адрес потребителя;

- вид, тип и марку смеси;

- массу смеси;

- срок хранения холодной смеси;

- водостойкость для горячих смесей;

- слеживаемость для холодных смесей;

- водонасыщение;

- водостойкость при длительном водонасыщении для горячих смесей;

- пределы прочности при сжатии:

при 20 °С до прогрева и после прогрева для холодных смесей; при 50 °С и 0 °С для горячих смесей;

- остаточную пористость и пористость минеральной части смеси;

- сдвигоустойчивость и трещиностойкость при условии наличия этих показателей в проектной документации;

- удельную эффективную активность естественных радионуклидов;

- обозначение данного стандарта.

При отгрузке смеси потребителю каждый автомобиль должен сопровождаться транспортной документацией, в которой указывают:

- наименование предприятия-изготовителя;

- адрес и наименование потребителя;

- дату изготовления;

- время выпуска из смесителя;

- температуру отгружаемой смеси;

- тип и количество смеси.

Смеси транспортируют к месту укладки автомобилями, сопровождая каждый автомобиль транспортной документацией.

Холодные смеси хранят в летний период на открытых площадках, в осенне-зимний период - в закрытых складах или под навесом в штабелях.

Сроки хранения:

2 недели - для смесей, приготовленных с использованием битумов марок СГ 130/200, МГ 130/200 и МГО 130/200;

4 месяца - для смесей, приготовленных с использованием битумов марки СГ 70/130;

8 месяцев - для смесей, приготовленных с использованием битумов марок МГ 70/130 и МГО 70/130.

На строительной площадке в процессе входного контроля:

должны быть проверены документы о качестве на поступившую асфальтобетонную смесь с целью определения соответствия поступившей смеси требованиям проекта;

должен быть произведен внешний осмотр асфальтобетонной смеси с целью проверки соответствия ее требованиям нормативного документа и обнаружения недопустимого ее загрязнения и дефектов перемешивания;

произведены предусмотренные регламентом (технологическими картами) замеры температуры смеси и отобраны пробы для физико-механических испытаний асфальтобетона;

при возникновении каких-либо сомнений в качестве поступившей асфальтобетонной смеси или документов должны быть вызваны представители строительной лаборатории и функциональных служб, ответственных за поставку материалов, и определена возможность использования смеси по назначению, или необходимость дополнительных ее испытаний.

Технические требования к устройству оснований и покрытий

Устройство асфальтобетонных оснований и покрытий следует осуществлять в соответствии с требованиями проекта, СНиП 3.01.01-85*, СНиП 3.06.03-85, СНиП 2.05.02-85*, ППР, технологических карт, схем операционного контроля качества и другой технологической документации, утвержденной в установленном порядке.

Работы по устройству слоев дорожной одежды должны выполнять строительно-монтажные организации, получившие лицензии от Федеральных или региональных органов по лицензированию строительной деятельности. Работы должны выполняться по утвержденному проекту и при наличии организации, на которую возложены технический надзор и приемка работ.

Работы по устройству слоев дорожной одежды должны выполняться квалифицированным персоналом, прошедшим специальную подготовку и обладающим надлежащими навыками по строительству автомобильных дорог.

Перед началом работ по устройству слоев дорожной одежды должен быть осуществлен входной контроль рабочей документации и материалов, предусмотренных проектом для устройства оснований и покрытий.

При входном контроле рабочей документации должна производиться проверка её комплектности и достаточности содержащейся в ней технической информации для производства работ.

Задачи входного контроля материалов при устройстве оснований и покрытий изложены выше. Объем входного контроля и участие в нем строительной лаборатории должны быть установлены в соответствующих технологических картах.

Работу по устройству слоев дорожной одежды следует производить только на готовом и принятом в установленном порядке непереувлажненном и недеформированном земляном полотне.

Земляное полотно должно быть принято при наличии оформленных актов освидетельствования скрытых работ и исполнительного чертежа по результатам исполнительной геодезической съемки.

Запрещается выполнение последующих работ при отсутствии актов освидетельствования предшествующих скрытых работ во всех случаях.

До начала работ по устройству слоев дорожной одежды должны быть выполнены предусмотренные ППР детальные разбивочные работы по закреплению положения бровок и высотных отметок слоев. При применении машин, оборудованных автоматическими следящими системами, закрепление бровок и высотных отметок осуществляется путем установки копирных струн с одной или с двух сторон укладываемого слоя. Разбивочные работы следует выполнять с использованием геодезических инструментов.

Покрытие и основание с использованием органических вяжущих материалов следует устраивать на сухом, чистом и непромерзшем нижележащем слое.

Устройство слоев дорожной одежды в зимнее время разрешается только по земляному полотну, полностью законченному и принятому до наступления отрицательных температур, за исключением строительства в условиях вечной мерзлоты и двухстадийного строительства.

Перед началом работ по устройству дорожных одежд в зимнее время земляное полотно или нижележащий слой должны быть очищены от снега и льда на участке сменной захватки. В снегопад и метель работы по устройству дорожной одежды не допускаются.

УКЛАДКА АСФАЛЬТОБЕТОННЫХ СМЕСЕЙ

Покрытия и основания из асфальтобетонных смесей следует устраивать в сухую погоду. Укладку горячих и холодных смесей следует производить весной и летом при температуре окружающего воздуха не ниже 5 °С, осенью - не ниже 10 °С.

Допускается производить работы с использованием горячих асфальтобетонных смесей при температуре воздуха не ниже 0 °С при соблюдении следующих требований:

- толщина устраиваемого слоя должна быть не менее 4 см;

- необходимо применять асфальтобетонные смеси с ПАВ или активированными минеральными порошками;

- устраивать следует, как правило, только нижний слой двухслойного асфальтобетонного покрытия; если зимой или весной по этому слою будут передвигаться транспортные средства, его следует устраивать из плотных асфальтобетонных смесей;

- верхний слой допускается устраивать только на свежеуложенном нижнем слое до его остывания (с сохранением температуры нижнего слоя не менее 20 °С).

Укладку холодных асфальтобетонных смесей следует заканчивать ориентировочно за 15 дней до начала периода осенних дождей, за исключением смесей с активированными минеральными материалами.

Перед укладкой смеси (за 1 - 6 ч) необходимо произвести обработку поверхности нижнего слоя битумной эмульсией, жидким или вязким битумом, нагретым до температуры, указанной в вышеприведенной таблице (ГОСТ 9128-97).

Норму расхода материалов, л/м2, следует устанавливать:

- при обработке битумом основания - равной 0,5 ¸ 0,8, нижнего слоя асфальтобетонного покрытия - 0,2 ¸ 0,3;

- при обработке 60 %-ной битумной эмульсией основания - 0,6 ¸ 0,9, нижнего слоя асфальтобетонного покрытия - 0,3 ¸ 0,4.

Обработку нижнего слоя вяжущим можно не производить в случае, если интервал времени между устройством верхнего и нижнего слоев составляет не более 2 сут и отсутствовало движение построечного транспорта.

Укладку асфальтобетонных смесей следует осуществлять асфальтоукладчиком и, как правило, на всю ширину.

В исключительных случаях допускается укладка смесей в нижний слой покрытия и в основание автогрейдером. При этом вдоль краев слоя следует устанавливать упорные брусья.

В местах, недоступных для асфальтоукладчика, допускается ручная укладка.

При укладке горячих и холодных (в горячем состоянии) асфальтобетонных смесей асфальтоукладчиками толщина укладываемого слоя должна быть на 10 ¸ 15 % больше проектной, а при укладке автогрейдером или ручной укладке - на 25 ¸ 30 %.

При укладке холодной асфальтобетонной смеси из штабеля асфальтоукладчиком (с выключенными уплотняющими рабочими органами) и при укладке автогрейдером или вручную толщина слоя должна быть на 60 - 70 % выше проектной.

При укладке конструктивных слоев толщиной более 10 см следует, как правило, применять асфальтоукладчики с активными уплотняющими органами.

При использовании асфальтоукладчиков с трамбующим брусом и пассивной выглаживающей плитой, а также при использовании асфальтоукладчиков с трамбующим брусом и виброплитой при укладке смесей для высокоплотного асфальтобетона, плотного асфальтобетона типов А и Б и для пористого и высокопористого асфальтобетонов с содержанием щебня более 40 % скорость укладки должна составлять 2 - 3 м/мин.

При укладке смесей для плотного асфальтобетона типов В, Г и Д, а также для пористого и высокопористого асфальтобетонов с содержанием щебня менее 40 % и высокопористого песчаного скорость укладки может быть увеличена до 4 - 5 м/мин. Режимы работы уплотняющих рабочих органов должны быть следующими: частота оборотов валов трамбующего бруса - 1000 ¸ 1400 об/мин; вала вибратора плиты - 2500 ¸ 3000 об/мин.

Температура асфальтобетонных смесей при укладке в конструктивные слои дорожной одежды должна соответствовать требованиям ГОСТ 9128-97.

Уплотнение смесей следует начинать непосредственно после их укладки.

При использовании асфальтоукладчиков с трамбующим брусом и пассивной выглаживающей плитой (типа ДС-126А, ДС-143) следует уплотнять:

- смеси для высокоплотного асфальтобетона, плотного асфальтобетона типов А и Б, а также для пористого и высокопористого асфальтобетонов с содержанием щебня более 40 % сначала катком на пневматических шинах массой 16 т (6 - 10 проходов), или гладковальцовым катком массой 10 - 13 т (8 - 10 проходов), или вибрационным катком массой 6 - 8 т (5 - 7 проходов) и окончательно - гладковальцовым катком массой 11 - 18 т (6 - 8 проходов);

- смеси для плотного асфальтобетона типов В, Г и Д, а также для пористого и высокопористого асфальтобетонов с содержанием щебня менее 40 % и высокопористого песчаного сначала гладковальцовым катком массой 6 - 8 т или вибрационным катком массой 6 - 8 т с выключенным вибратором (2 - 3 прохода), затем катком на пневматических шинах массой 16 т (6 - 10 проходов) или гладковальцовым катком массой 10 - 13 т (8 - 10 проходов), или вибрационным катком массой 6 - 8 т с включенным вибратором (3 - 4 прохода) и окончательно - гладковальцовым катком массой 11 - 18 т (4 - 8 проходов).

Скорость катков в начале укатки должна быть не более 1,5 - 2 км/ч; после 5 - 6 проходов скорость может быть увеличена до 3 - 5 км/ч - для гладковальцовых катков, 3 км/ч - для вибрационных катков и 5 - 8 км/ч - для катков на пневматических шинах.

При использовании асфальтоукладчиков с трамбующим брусом и виброплитой (типа ДС-155) следует уплотнять:

- смеси для высокоплотного асфальтобетона, плотного асфальтобетона типов А и Б, а также для пористого и высокопористого асфальтобетона с содержанием щебня свыше 40 % сначала гладковальцовым катком массой 10 - 13 т, катком на пневматических шинах массой 16 т или вибрационным катком массой 6 - 8 т (4 - 6 проходов), а затем - гладковальцовым катком массой 11 - 18 т (4 - 6 проходов);

- смеси для плотного асфальтобетона типов В, Г и Д, а также для высокопористого песчаного, пористого и высокопористого с содержанием щебня менее 40 % сначала гладковальцовым катком массой 6 - 8 т или вибрационным катком 6 - 8 т с выключенным вибратором (2 - 3 прохода), а затем - гладковальцовым катком массой 10 - 13 т (6 - 8 проходов), катком на пневматических шинах массой 16 т или вибрационным катком 6 - 8 т с включенным вибратором (4 - 6 проходов) и окончательно - гладковальцовым катком массой 11 - 18 т (4 прохода).

Скорость катков в начале укатки не должна превышать, км/ч: гладковальцовых - 5, вибрационных - 3, на пневматических шинах - 10.

При первом проходе гладковальцовых катков ведущие вальцы должны быть впереди.

Холодные асфальтобетонные смеси предварительно следует уплотнять катком на пневматических шинах (6 - 8 проходов) или гладковальцовым массой 6 - 8 т (4 - 6 проходов), а окончательное уплотнение достигается от движения транспортных средств, которое следует регулировать по всей ширине проезжей части, ограничивая скорость движения до 40 км/ч.

Предварительное уплотнение холодных асфальтобетонных смесей с активированными минеральными материалами допускается также производить катками массой 10 - 13 т, однако при появлении трещин укатку следует прекратить.

При укладке асфальтобетонных смесей толщиной 10 - 18 см уплотнение следует выполнять сначала самоходным катком на пневматических шинах (6 - 8 проходов), затем гладковальцовым массой 11 - 18 т (4 - 6 проходов).

Рабочая скорость движения катков при уплотнении слоев повышенной толщины при первых 2 - 3 проходах не должна превышать 2 - 3 км/ч, при последующих 12 - 15 км/ч. Давление воздуха в шинах катка в начале укатки должно быть не более 0,3 МПа, в конце - 0,8 МПа.

Уплотнение асфальтобетонных смесей, содержащих полимеры, следует начинать только гладковальцовыми катками массой 6 - 8 или 10 - 13 т.

При укладке смеси сопряженными полосами следует применять два (и более) укладчика или производить разогрев кромок ранее уложенной полосы с помощью инфракрасных излучателей, а при их отсутствии производить разогрев кромки ранее уложенной полосы путем укладки на нее горячей смеси шириной 10 - 20 см. После разогрева кромки смесь следует сдвинуть на устраиваемую полосу до ее уплотнения.

При укладке асфальтобетонных смесей сопряженными полосами в процессе уплотнения первой полосы вальцы катка не должны приближаться более чем на 10 см к кромке сопряжения.

Уплотнение следующей полосы необходимо начинать по продольному сопряжению. Сопряжение полос должно быть ровным и плотным.

Поперечные сопряжения полос, устраиваемых из асфальтобетонных смесей, должны быть перпендикулярны оси дороги.

В конце рабочей смены край уплотненной полосы следует обрубать вертикально по шнуру и при возобновлении работ разогревать в соответствии с вышеизложенными требованиями, либо обмазывать битумом или битумной эмульсией. При укладке в конце укатываемой полосы упорной доски край обрубать не следует.

Обнаруженные на покрытии или основании после окончания укатки участки с дефектами (раковины, участки с избыточным или недостаточным содержанием битума и пр.) должны быть вырублены; края вырубленных мест смазаны битумом или битумной эмульсией, заполнены асфальтобетонной смесью и уплотнены.

Перед устройством асфальтобетонного слоя по существующему покрытию в процессе реконструкции необходимо устранить дефекты (трещины и выбоины) старого покрытия, обработать его поверхность битумной эмульсией, жидким или вязким битумом, нагретым до температуры, указанной в вышеприведенной таблице (ГОСТ 9128-97). При глубине колеи на старом покрытии более 1 см его следует предварительно выровнять смесью и уплотнить.

При выполнении работ, направленных на повышение сцепления шин автомобилей с поверхностью асфальтобетонного покрытия, втапливают черный щебень в неуплотненный слой асфальтобетонной смеси.

Для втапливания следует применять преимущественно холодный, а также горячий и теплый черный щебень фракций 5 - 10, 10 - 20 или 15 - 20 мм.

Уложенный слой горячей асфальтобетонной смеси следует уплотнить одним-двумя проходами катка массой 6 - 8 т, после чего рассыпать черный щебень равномерным слоем в одну щебенку.

Нормы расхода черного щебня при использовании фракций:

5 - 10 мм...................................................... 6 - 8 кг/м2

10 - 15 мм.................................................... 7 - 10 кг/м2

15 - 20 мм.................................................... 9 - 12 кг/м2

Температура смеси в слое к моменту распределения черного щебня должна быть в пределах 90 - 110 °С.

После распределения черный щебень следует втопить в уложенный слой катками с гладкими вальцами массой 10 - 13 т или катками на пневматических шинах одновременно с доуплотнением асфальтобетонной смеси.

КОНТРОЛЬ КАЧЕСТВА РАБОТ

При операционном контроле качества работ по устройству оснований и покрытий из асфальтобетонных смесей, следует контролировать по каждому укладываемому слою не реже чем через каждые 100 м:

- высотные отметки по оси дороги;

- ширину слоя;

- толщину слоя неуплотненной асфальтобетонной смеси по ее оси;

- поперечный уклон;

- ровность (просвет под рейкой длиной 3 м на расстоянии 0,75 ¸ 1 м от каждой кромки покрытия (основания) в пяти контрольных точках, расположенных на расстоянии 0,5 м от концов рейки и друг от друга).

Высотные отметки, ширина и толщина слоя, поперечные уклоны определяются не реже чем через каждые 100 м в трех точках на поперечнике, как правило, в местах размещения знаков рабочей разбивки с помощью геодезических инструментов и шаблонов.

F

Предельные отклонения высотных отметок по оси от проектных могут иметь значения в пределах до ±100 (20) мм у не более 10 % результатов определений, остальные - ±50 (10) мм (в скобках - для работ, выполненных с применением машин с автоматической системой задания вертикальных отметок).

F

Предельные отклонения ширины слоя от проектных могут иметь значения в пределах от минус 15 до 20 см у не более 10 % результатов определений, остальные - до ± 10 см.

F

Предельные отклонения толщины слоя от проектных могут иметь значения в пределах от минус 15 до 20 мм у не более 10 % результатов определений, остальные - ±10 мм.

F

Предельные отклонения поперечных уклонов от проектных могут иметь значения в пределах от минус 0,015 (-0,010) до 0,030 (0,015) у не более 10 % результатов определений, остальные - до ±0,010 (0,005).

Предварительная оценка ровности поверхности в продольном направлении проводится либо путем проезда на автомашине по всему сдаваемому участку по каждой полосе движения, либо на основе графической записи неровностей, полученной с помощью автомобильной установки ПКРС-2, оборудованной датчиком ровности (ГОСТ 30412-96). На основе такой оценки выбираются захватки для детального измерения ровности и поперечных уклонов.

Захватки в общем случае выбираются длиной 300 ¸ 400 м, а для внутрихозяйственных автомобильных дорог сельскохозяйственных предприятий и организаций, а также для внутренних дорог промышленных предприятий - длиной 100 ¸ 150 м. Суммарная длина захваток должна составлять не менее 10 % длины сдаваемого участка дороги в однополосном исчислении.

На каждой захватке следует произвести:

100 ¸ 130 измерений просветов (25 ¸ 30 приложений рейки) или непрерывную графическую запись неровностей;

80 ¸ 100 измерений поперечных уклонов рейкой с уровнем (25 ¸ 30 измерений для захваток длиной 100 ¸ 150 м);

определение вертикальных абсолютных или относительных отметок путем нивелирования с шагом 5 м.

Детальный контроль ровности поверхности основания или покрытия на выбранных захватках следует вести в соответствии с требованиями ГОСТ 30412-96 «Дороги автомобильные и аэродромы. Методы измерений неровностей оснований и покрытий»:

путем измерений просветов под трехметровой рейкой с помощью клинового промерника;

путем нивелирования поверхности с помощью нивелира и нивелирной рейки;

путем измерения с применением автомобильной установки ПКРС-2 для ускоренной предварительной оценки.

Измерение просветов под трехметровой рейкой с помощью клина (промерника) следует производить в пяти контрольных точках, расположенных на расстоянии 0,5 м от концов рейки и друг от друга. Длину участка измерений следует принимать в пределах 300 - 400 м.

Измерения на дорогах и улицах следует проводить, прикладывая рейку к поверхности основания (покрытия) на расстоянии 0,5 ¸ 1,0 м от каждой кромки покрытия или края полосы движения (при многополосной проезжей части дороги рейку следует прикладывать на расстоянии 0,5 - 1,0 м от границы каждой полосы движения). Места приложения рейки должны быть равномерно расположены по длине участка измерений. Поверхность участка измерений должна быть чистой.

Общее число измерений просветов под рейкой на участке измерений должно быть не менее 120.

При обработке результатов измерении общее их число следует принять за 100 % и определить число просветов под рейкой, превышающих максимально допустимую величину просветов, установленную СНиП 3.06.03-85.

F

Ровность оснований и покрытий из асфальтобетонных смесей (просвет под рейкой длиной 3 м):

не более 5 % результатов определений могут иметь значения просветов в пределах до 10 (6) мм, остальные - до 5 (3) мм

Нивелир и рейка должны быть поверены и отвечать требованиям ГОСТ 10528-90.

Опорный торец нивелирной рейки должен быть снабжен насадкой с полусферическим подпятником.

Длина участка измерений должна быть не менее 400 м. Места установки нивелирной рейки должны быть расположены на одной линии, находящейся на расстоянии 0,5 - 1,0 м от кромки основания (покрытия) дороги или на оси основания (покрытия) аэродрома. Места установки должны быть обозначены метками. Шаг меток 5 ±0,2 м.

Измерения следует проводить, последовательно устанавливая нивелирную рейку на каждую из меток.

По данным нивелирования вычисляют относительные отметки hi точек поверхности покрытия или основания дороги в местах разметки (величину отсчета по нивелирной рейке, приведенную к единому высотному уровню).

По относительным отметкам точек поверхности в местах разметки определяют отклонения dhi этих точек (кроме первой и последней на участке измерений) от прямой линии, проходящей через предыдущую (i - 1) и последующую (i + 1) точки по формуле

где: hi - 1 и hi + 1 - относительные отметки предыдущей и последующей точек.

Общее количество полученных величин dhi следует принять за 100 % и с точностью до 0,1 % вычислить число величин dhi, меньше установленных СНиП 3.06.03-85 и приведенных ниже.

90 % определений должны быть в пределах требований, приведенных в таблице, а 10 % определений не должны превышать эти требования более чем в 1,5 раза.

Категория дороги

Значения амплитуд, мм, при использовании комплектов машин

без автоматической системы задания вертикальных отметок

с автоматической системой задания вертикальных отметок

Расстояния между точками, м

5

10

20

5

10

20

I, II, III

7

12

24

5

8

16

IV, V, I-c, II-с и внутренние дороги промышленных предприятий

10

16

-

-

-

-

При операционном контроле качества работ по устройству оснований и покрытий из асфальтобетонных смесей дополнительно к вышеназванным показателям качества следует контролировать:

постоянно:

температуру горячей асфальтобетонной смеси в каждом автомобиле;

качество асфальтобетонной смеси и соответствие ее требованиям проекта и ГОСТ 9128-97 путем отбора проб смеси и испытаний по ГОСТ 12801-84;

качество продольных и поперечных сопряжений укладываемых полос;

качество уплотнения;

качество асфальтобетона по показателям кернов (вырубок) в трех местах на 7000 м2 покрытия по ГОСТ 9128-97 и ГОСТ 12801-84, а также прочность сцепления слоев покрытия.

Вырубки или керны следует отбирать в слоях из горячих асфальтобетонов через 1 - 3 сут после их уплотнения, а из холодного - через 15 - 30 сут на расстоянии не менее 1 м от края покрытия.

Коэффициенты уплотнения конструктивных слоев дорожной одежды должны быть не ниже:

0,99 - для высокоплотного и плотного асфальтобетона из горячих смесей типов А и Б;

0,98 - для плотного асфальтобетона из горячих смесей типов В, Г и Д, пористого и высокопористого асфальтобетона;

0,96 - для асфальтобетона из холодных смесей.

В процессе работ по строительству асфальтобетонных покрытий следует вести журналы лабораторного контроля качества исходных материалов и готовых асфальтобетонных смесей, температуры битума, температуры смеси на месте приготовления и укладки и журнал укладки и уплотнения смеси по сменам.

При приемке выполненных работ надлежит произвести освидетельствование работ в натуре, контрольные замеры, проверку результатов лабораторных испытаний исходных материалов и контрольных образцов асфальтобетонной смеси и асфальтобетона, записей в общем журнале работ. Приемку оснований и уплотнения конструктивных слоев дорожных одежд из асфальтобетонной смеси надлежит оформить актом освидетельствования скрытых работ.

При приемочном контроле должны использоваться способы измерений аналогичные применяемым при операционном контроле, а объем измерений должен быть не менее 20 % объема измерений при операционном контроле, но состоять не менее чем из 20 измерений.

Прочность материала и толщина покрытия контролируется при приемочном контроле по трем кернам на 1000 м2 если выявлено несоответствие указанных показателей качества по другим методам контроля.

Измерение сцепления шины автомобиля с дорожным покрытием следует производить не ранее чем через две недели после окончания строительства покрытия.

Измерения следует выполнять по одной полосе наката колес автомобилей каждой полосы движения. На каждые 1000 м необходимо делать 3 ¸ 5 измерений в зависимости от состояния покрытия по каждой полосе движения.

Измерения следует производить в соответствии с требованиями ГОСТ 30413-96 «Дороги автомобильные. Метод определения коэффициента сцепления колеса автомобиля с дорожным покрытием».

В качестве испытательного оборудования следует использовать автомобильную установку типа ПКРС-2, состоящую из автомобиля, прицепного одноколесного прибора, оборудованного датчиками ровности и коэффициента сцепления, а также установленных в автомобиле системы увлажнения покрытия, системы управления и регистрации.

Испытания следует производить при температуре воздуха не ниже 0 °С.

Результаты испытаний следует представить в форме протокола отдельно для каждого участка дороги.



Устройство сборных железобетонных покрытий

ГОСТ 21924.0-84* «Плиты железобетонные для покрытий городских дорог. Технические условия».

Технические условия на плиты железобетонные дорожные.

Плиты железобетонные (ГОСТ 21924.0-84*)

Поставленные на строительную площадку плиты не должны иметь трещин за исключением поверхностных усадочных и технологических шириной не более 0,1 мм и длиной не более 50 мм в количестве не более пяти на 1,5 м2 поверхности плиты.

Размеры раковин и местных наплывов на рабочей поверхности плиты не должны превышать:

по диаметру или наибольшему размеру раковин - 15 мм

по глубине раковин и высоте местных наплывов - 10 мм.

Размеры раковин на нерабочей поверхности и боковых гранях плиты не должны превышать 20 мм. Околы бетона ребра (при их суммарной длине на 1 м ребра до 100 мм) не должны превышать 10 мм по глубине на рабочей поверхности плиты и 20 мм - на нерабочей.

Значения фактических отклонений геометрических параметров плит не должны превышать предельных, указанных ниже.

Вид отклонения геометрического параметра

Пред. откл., мм

пост. дор.

вр. дор.

Отклонение от линейного размера длины и ширины плиты: до 2,5 м включит.

±6

±10

св. 2,5 до 4,0 м включит.

±8

±12

св. 4,0 м

±10

±15

толщины плиты

±4

±6

размеров выемок (монтажно-стыковые элементы)

±3

±5

положения закладных изделий: в плоскости плиты

10

10

из плоскости плиты

3

3

Отклонение от прямолинейности профиля верхней поверхности плиты и от плоскостности лицевой поверхности плиты

 

 

до 2,5 м включит.

4

6

св. 2,5 до 4,0 м включит.

5

8

св. 4,0 м

6

10

Отклонение от перпендикулярности смежных торцевых граней плит на участке 400 мм

2

3

1000 мм

2,5

4

Отклонение от равенства длин диагоналей лицевых поверхностей плит при их наибольшем размере (длине и ширине): до 4,0 м включ.

8

8

св. 4,0 м

10

10

На строительной площадке необходимо проверить также:

- наличие паспорта на партию плит, в котором должны быть указаны: номер и дата выдачи паспорта, номер партии, марка плит, число плит, дата изготовления, класс или марка бетона по прочности, отпускная прочность, марка бетона по морозостойкости и водонепроницаемости, водопоглощение бетона;

- наличие маркировки на боковой или торцевой гранях каждой плиты и штампа ОТК.

Плиты должны храниться в горизонтальном положении рассортированными по маркам и партиям в штабелях высотой не более 2,0 м. Плиты необходимо укладывать на поперечные прокладки и подкладки у мест подъёма плит. Толщина прокладок - не менее 25 мм, подкладок - не менее 50 мм (> 100 мм - на грунте)

Контролируемые параметры

Состав и средства контроля

Документация

Подготовительные работы

Проверить:

- наличие утвержденной в установленном порядке проектно-сметной документации с разрешением на производство работ;

псд

- наличие утвержденной в установленном порядке технологической документации;

ППР

- приемку в установленном порядке основания под сборное железобетонное покрытие;

- завершение разбивочных работ, обеспечивающих проектное плановое и высотное положение плит;

- наличие паспортов и требуемых в них данных на поступившие партии плит;

Акт освидетельствования скрытых работ

Разбивочный чертёж

Паспорта

- качество поверхности, точность геометрических параметров, внешний вид плит;

- очистку поверхностей плит от мусора, грязи, снега и наледи, монтажно-стыковых изделий - от наплывов бетона

Общий журнал работ

Устройство сборных железобетонных покрытий

Контролировать:

- соблюдение заданных в ППР методов и последовательности производства работ (укладку и перекладку плит, прикатку плит, сварку стыковых соединений и заполнение швов);

- установку плит в проектное положение (высотные отметки по оси, поперечные уклоны, превышение граней смежных плит, контакт плит с основанием

Общий журнал работ

- готовность сварочных материалов; качество выполнения сварочных работ;

- очистку и продувку швов;

- заполнение швов пескоцементным раствором;

- заполнение швов мастикой

Журнал сварочных работ

Приёмка

Проверить:

- фактическое положение смонтированных плит сборного покрытия (отклонение от проектной разметки, высотные отметки покрытия по оси, поперечные уклоны, превышение граней смежных плит);

- выполнение требований проекта и нормативных документов к качеству сварочных соединений, замоноличивания стыков дорожных плит.

Исполнительная геодезическая схема

Акт освидетельствования (приёмки) выполненных работ

ВХОДНОЙ И ОПЕРАЦИОННЫЙ КОНТРОЛЬ осуществляют:

мастер (прораб), инженер (лаборант) ЦСЛ (ОИМК), геодезист - в процессе выполнения работ

ПРИЁМОЧНЫЙ КОНТРОЛЬ ОСУЩЕСТВЛЯЮТ:

работники отдела контроля качества СМР, прораб, геодезист, представители технадзора Заказчика

Контрольно-измерительный инструмент: нивелир, теодолит, рулетка металлическая, рейка с уровнем

 

Предельные отклонения высотных отметок по оси покрытия от проектных значений не должны превышать ±100 мм в не более 10 % результатов определений и ±50 мм в остальных результатах

 

Предельные отклонения поперечных уклонов покрытия от проектных значений не должны превышать минус 0,015 ¸ 0,030 в не более 10 % результатов определений и ±0,010 в остальных результатах

 

Превышение граней смежных плит сборных цементо-бетонных покрытий:

- для дорог I, II и III, I-к, II-к, I-л и II-л категорий - не более 20 % результатов определений могут иметь значения в пределах до 10 мм, остальные - до 5 мм;

- для дорог IV и V категорий - не более 20 % результатов определений могут иметь значения в пределах до 14 мм, остальные - до 7 мм;

- для дорог I-c, II-с, III-с категорий и внутренних дорог промышленных предприятий, кроме I-к, II-к, I-л, II-л категорий - не более 20 % результатов определений могут иметь значения в пределах до 20 мм, остальные - до 10 мм.

 

После прикатки плита (с гладкой опорной поверхностью) должна иметь контакт с основанием (выравнивающим слоем) не менее 95 % её площади.

При строительстве сборных покрытий следует выполнять следующие работы: грунтовку граней плит; планировку верхнего слоя основания или устройство выравнивающего слоя по основанию; укладку или перекладку плит; прикатку плит; сварку стыковых соединений и заполнение швов.

Строительство сборных покрытий, как правило, должно вестись в одну стадию.

В зависимости от состояния земляного полотна, основания, сроков открытия автомобильного движения, а также при необходимости срочного проезда автотранспорта в соответствии с проектом допускается двухстадийное строительство.

При двухстадийном строительстве в первой стадии плиты укладываются на земляное полотно или основание, стыковые соединения не сваривают, швы не заполняют, обочины и откосы не укрепляют; во второй стадии - производят перекладку плит с заменой дефектных плит, прикатку плит; сварку стыковых соединений и заполнение швов, укрепление обочин и откосов.

Плиты в покрытие следует укладывать, как правило, после заблаговременной их вывозки и раскладки на обочине земляного полотна. При заблаговременной раскладке порядок размещения штабелей плит должен обеспечивать наиболее производительное использование применяемого оборудования. Допускается также укладка плит в покрытие «с колес».

Укладку плит следует выполнять «от себя» самоходными кранами по выравнивающему слою, спланированному шаблоном.

Окончательная посадка плит на основание должна производиться путем прикатки покрытия гружеными автомобилями или катками на пневматических шинах до исчезновения осадки плит.

После прикатки плита (с гладкой опорной поверхностью) должна иметь контакт с основанием (выравнивающим слоем) не менее 95 % ее площади.

Сварку соединений в стыках плит и заполнение швов герметизирующим материалом следует выполнять сразу же после окончательной посадки плит в покрытие.

Заполнение швов пескоцементным раствором и герметизирующим материалом на основе битума следует производить, как правило, с помощью специального оборудования.

Монтаж сборного покрытия в зимних условиях следует производить по выравнивающей прослойке из сухого песка, мелкого щебня, шлака или других несмерзающихся материалов, укладываемых в основание. При укладке сборного покрытия на жесткое основание выравнивающую прослойку следует устраивать из сухой цементно-песчаной смеси.

Движение по сборному покрытию при одностадийном строительстве и после завершения второй стадии строительства разрешается открывать только после сварки стыковых соединений и, как правило, после заполнения швов.

При строительстве сборных железобетонных покрытий следует контролировать:

постоянно визуально - цельность плит и стыковых элементов, качество сварки стыков и заполнение швов, соблюдение технологии строительства:

не реже одного раза в смену - контакт плит с основанием (выравнивающим слоем) поднятием одной из 100 уложенных плит, превышение граней смежных плит в продольных швах на трех поперечниках на 1 км, а в поперечных швах в 10 стыках на 1 км;

не реже чем через 100 м (в трех точках на поперечнике), как правило, в местах размещения знаков рабочей разбивки - высотные отметки по оси покрытия и поперечные уклоны.

Устройство и укрепление обочин и откосов

СНиП 3.06.03-85 «Автомобильные дороги»

СНиП 2.05.02-85 «Автомобильные дороги»

До начала работ по устройству обочин и укреплению откосов должны быть закончены:

- работы по устройству дорожной одежды;

- работы по ликвидации всех временных въездов и съездов.

При устройстве обочин необходимо:

- устранить деформации земляного полотна по всей площади обочин;

- досыпать грунт до проектной отметки;

- спланировать и уплотнить грунт;

- осуществить требуемые по проекту работы по устройству на обочинах укрепленной или остановочной полосы;

- осуществить досыпку обочин и укрепление откосов.

Покрытия на укрепленной полосе обочин (0,5 - 0,75 м) и на остановочной полосе (2,5 м) рекомендуется предусматривать из цементо- или асфальтобетона с применением щебня преимущественно крупных размеров (до 25 - 45 мм), а также из обработанных вяжущими местных каменных, гравийных, шлаковых и других минеральных материалов.

Поверхность остальной части обочин следует укреплять в зависимости от интенсивности и характера движения, грунтов земляного полотна и особенностей климата засевом трав, россыпью щебня, гравия, шлака и других наиболее дешевых местных крупнозернистых материалов.

Для предохранения обочин и откосов земляного полотна от размыва на участках дорог с продольными уклонами более 30 %, с насыпями высотой более 4 м, в местах вогнутых кривых в продольном профиле следует предусматривать устройство продольных лотков и других сооружений для сбора и отвода стекающей с проезжей части воды.

Разделительные полосы следует сопрягать с проезжей частью путем устройства на разделительной полосе укрепленных полос. Остальную часть разделительной полосы следует укреплять засевом трав и, в зависимости от местных условий, посадкой кустарников на расстоянии не менее 1,75 м от кромки проезжей части.

Контролируемые операции

Состав и средства контроля

Документация

Подготовительные работы

Проверить:

- наличие утвержденной в установленном порядке проектно-сметной документации с разрешением Заказчика на производство работ;

псд

- наличие утвержденной в установленном порядке технологической документации;

ППР

- наличие технической документации на геодезическую разбивочную основу;

- завершение работ по устройству дорожных одежд

Геодезическая разбивочная основа

- выполнение работ по ликвидации всех временных въездов и съездов

Общий журнал работ

Устройство присыпных обочин и укрепление откосов

Контролировать:

- соблюдение заданной в ППР технологии устройства покрытий на обочинах;

- соблюдение заданной в ППР технологии устройства присыпных обочин и укрепления откосов;

Общий журнал работ

- физико-механические свойства грунтов, предназначенных для досыпки обочин, их соответствие требованиям проекта;

Акты лабораторных испытаний

- плотность грунта в обочинах;

- толщину слоя укрепления откосов и поперечные уклоны обочин.

Исполнительная геодезическая схема

Приёмка

Проверить:

- соответствие требованиям проекта фактических физико-механических свойств грунтов, использованных в досыпке обочин, и толщины слоя укрепления откосов;

- плотность грунта в обочинах;

Акты лабораторных испытаний

- соответствие фактических поперечных уклонов обочин требованиям проекта и нормативных документов.

Акт освидетельствования скрытых работ

Контрольно-измерительный инструмент

Нивелир                                             ГОСТ 10528-90

Линейка металлическая                        ГОСТ 427-75*

Рулетка                                               ГОСТ 7502-89*

Лабораторное оборудование и приборы

 

ВХОДНОЙ И ОПЕРАЦИОННЫЙ КОНТРОЛЬ осуществляют:

мастер (прораб), инженер (лаборант) ЦСЛ (ОИМК), геодезист - в процессе выполнения работ

ПРИЁМОЧНЫЙ КОНТРОЛЬ ОСУЩЕСТВЛЯЮТ:

работники отдела контроля качества СМР, прораб, геодезист, представители технадзора Заказчика

Проверку поперечных профилей обочин и толщин слоя укрепления следует производить не реже чем через 100 м, как правило, в местах размещения знаков рабочей разбивки с помощью геодезических инструментов и шаблонов.

Контроль плотности грунта необходимо производить не реже чем через 50 м.

Контроль плотности следует производить на глубине, равной 1/3 толщины уплотняемого слоя, но не менее 8 см.

Плотность грунта следует определять по ГОСТ 5180-84. Для текущего контроля допускается использовать ускоренные и полевые экпресс-методы и приборы.

При устройстве обочин необходимо устранить деформации земляного полотна по всей площади обочин, досыпать грунт до установленного проектом уровня, спланировать и уплотнить.

Технология устройства на обочинах покрытий из монолитного и сборного цементобетона, асфальтобетона, битумо-минеральной смеси, черного щебня, щебеночных (гравийных), грунтощебеночных (грунтогравийных) материалов аналогична технологии устройства из этих материалов оснований и покрытий дорожных одежд.

Планировку и укрепление обочин необходимо выполнять вслед за устройством дорожной одежды. При этом следует ликвидировать все временные въезды и съезды.

Планировку и укрепление откосов высоких насыпей и глубоких выемок следует производить сразу же после окончания сооружения их отдельных частей (ярусов).

При укреплении откосов путём посева трав по слою растительного грунта необходимо откосы выемок, разработанных в плотных глинистых грунтах, разрыхлять перед укладкой растительного грунта на глубину 10 - 15 см.

Гидропосев многолетних трав следует производить на предварительно увлажненную поверхность откосов или обочин.

При укреплении откосов сборными решетчатыми конструкциями их монтаж необходимо выполнять снизу вверх после устройства упорной бетонной бермы. По окончании монтажа необходимо заполнить ячейки растительным грунтом (с последующим посевом трав), каменными материалами или грунтом, обработанным вяжущим.

При укреплении подтопляемых откосов сборными плитами предварительно должен быть уложен материал обратного фильтра или выравнивающего слоя. Плиты необходимо укладывать снизу вверх. В зимний период подготовленная поверхность откоса должна быть очищена от снега и льда.

При укреплении откосов гибкими бесфильтровыми железобетонными покрытиями из блоков их следует укладывать на откосе снизу вверх впритык друг к другу. В случае, когда проектом предусмотрено закрепление блоков с помощью анкерных свай, укладывать блоки следует сверху вниз. Просвет между соседними блоками не должен превышать 15 мм.

При укреплении откосов цементобетоном методом пневмонабрызга предварительно необходимо уложить металлическую сетку и закрепить её анкерами. Набрызг следует выполнять снизу вверх с последующим уходом за цементобетоном.

Устройство дренажей

ГОСТ 1839-80* Трубы и муфты асбестоцементные для безнапорных трубопроводов. Технические условия.

ТУ 5746-009-03984346-94 Трубофильтры керамзитобетонные дренажные.

ТУ 400-1-415-77 Трубофильтры керамзитобетонные дренажные.

ГОСТ 8020-90 Конструкции бетонные и железобетонные для колодцев канализационных, водопроводных и газопроводных сетей. Технические условия.

ГОСТ 1839-80* Трубы и муфты асбестоцементные для безнапорных трубопроводов

Поступившие на строительную площадку трубы и муфты:

- должны быть комплектными;

- не должны иметь трещин, обломов и расслоений;

- могут иметь на наружной поверхности отпечатки технического сукна и сдиры глубиной не более 2 мм, а на внутренней поверхности - отпечатки накатанной поверхности форматных скалок.

Трубы и муфты должны быть прямыми цилиндрической формы.

Отклонение от прямолинейности не должно превышать:

12 мм - для труб длиной 2950 мм;

16 мм - для труб длиной 3950 мм.

Торцы труб должны быть чисто обрезаны перпендикулярно к оси.

Отклонения размеров труб и муфт от номинальных не должны превышать нижеприведенных значений.

Условный проход

Отклонения размеров труб и муфт, мм

по наруж. Æ трубы

по толщ, стенки

по длине трубы

по внутр. Æ муфты

по толщ. стенки

по длине муфты

100

150

200

±2,5

±1,5

-50,0

+1,5; -1,0

±1,5

±3,0

±2,0

300

400

±3,0

±2,0

±3,0

Предприятие-изготовитель должно сопровождать каждую партию труб и муфт документом о качестве, в котором указывают: наименование и адрес предприятия-изготовителя; номер и дату выдачи документа; номер партии труб и муфт; условное обозначение, общее количество в штуках и метрах (для труб); результаты испытаний труб и муфт; обозначение ГОСТ 1839-80*.

На наружной поверхности каждой трубы должны быть нанесены несмываемой краской: товарный знак и наименование предприятия-изготовителя, номер партии и условное обозначение трубы, а также надпись «не бросать», а на каждой муфте - условный проход трубы, для которой предназначена муфта, и номер партии.

На наружной поверхности не менее чем 10 % труб и муфт от партии должен быть нанесен несмываемой краской штамп ОТК.

При хранении трубы и муфты должны быть уложены в штабели на ровную площадку по диаметрам: трубы - горизонтальными рядами, муфты - вертикальными. На неровной площадке под нижний ряд труб должны быть уложены деревянные прокладки. Нижний ряд труб должен быть закреплен.

ТУ 400-1-415-77 Трубофильтры керамзитобетонные дренажные

Поступившие на строительную площадку трубофильтры не должны иметь сколов бетона на внутренней и наружной поверхности глубиной более 1/3 толщины стенки, длиной более 3 см в количестве 5 шт.

Отклонения от номинальных размеров труб не должны превышать величин, указанных ниже.

Внутренний диаметр

Предельные отклонения по

внутреннему диаметру и толщине

длине L

размерам фальцев

t

m1, m2, n1, n2

150

±5

+10; -5

±3

±2

Перпендикулярность наружной поверхности трубофильтров, измеряемая по образующей, не должна превышать 4 мм на всю длину трубофильтра.

Перпендикулярность торцов трубофильтров не должна превышать 5 мм.

Не менее 20 % трубофильтров в партии должны иметь на наружной поверхности нанесенные несмываемой краской с помощью трафарета или штампов следующие маркировочные знаки: дату изготовления трубофильтров; штамп технического контроля.

Каждая партия трубофильтров должна сопровождаться паспортом, содержащим следующие данные:

- наименование вышестоящей организации;

- наименование и адрес предприятия-изготовителя;

- номер и дату выдачи паспорта;

- номер партии; наименование изделий; количество, шт; марку труб по морозостойкости;

- дату изготовления;

- проектную прочность бетона; отпускную прочность бетона в % от проектной марки;

- водозахватную способность в л/мин;

- обозначение технических условий.

Трубофильтры должны храниться в штабелях высотой не более 2 м.

ГОСТ 8020-90 Конструкции бетонные и железобетонные для колодцев

Контролируемые операции

Состав и средства контроля

Документация

Подготовительные работы

Проверить:

- наличие утвержденной в установленном порядке проектно-сметной документации с разрешением на производство работ;

псд

- наличие утвержденной в установленном порядке технологической документации;

ППР

- наличие технической документации на геодезическую разбивочную основу, завершение разбивочных работ, обеспечивающих соблюдение заданных проектных координат дренажей;

Геодезическая разбивочная основа, разбивочный чертеж

- наличие паспортов и требуемых в них данных на поступающую трубную продукцию и колодцы;

- комплектность и качество трубной продукции и колодцев;

- готовность временных подъездных путей для подачи материалов к месту производства работ

Паспорта

Общий журнал работ

Устройство дренажей

Контролировать:

- соблюдение заданной в ППР технологии разработки траншей, монтажа и устройства колодцев, устройства основания под трубы (трубофильтры), прокладки труб с соединением стыков, устройства дренажного слоя, обратной засыпки и планировки;

- планировку дна траншеи, уклон и ширину траншеи; точность монтажа колодцев, отметку основания колодцев, заделку стыков, наружную гидроизоляцию колодцев; толщину основания под трубы и уклон;

Общий журнал работ

- соответствие проекту положения оси дренажных труб, их уклона, заделки стыков труб и их концов в колодцы, поперечные размеры дренажей;

- толщину фильтрующей обсыпки сверху и с боков уложенных труб;

- плотность грунта обратной засыпки и уклон спланированной поверхности

Акт освидетельствования скрытых работ

Приёмка

Проверить:

- соответствие фактических поперечных размеров и продольных уклонов дренажей, качества их монтажа требованиям проекта и норм. документов;

- плотность грунта обратных засыпок

Акт освидетельствования скрытых работ

Акты лабораторных испытаний

ВХОДНОЙ И ОПЕРАЦИОННЫЙ КОНТРОЛЬ осуществляют:

мастер (прораб), инженер (лаборант) ЦСЛ (ОИМК), геодезист - в процессе выполнения работ

ПРИЁМОЧНЫЙ КОНТРОЛЬ ОСУЩЕСТВЛЯЮТ:

работники отдела контроля качества СМР, прораб, геодезист, представители технадзора Заказчика

Контрольно-измерительный инструмент: нивелир, металлическая рулетка, уровень, лабораторное оборудование

Поставленные на строительную площадку конструкции для колодцев не должны иметь:

- жировых, ржавых пятен на лицевой поверхности конструкции;

- обнаженной рабочей и конструктивной арматуры на поверхности конструкций;

- трещин в бетоне, за исключением усадочных и др. поверхностных технологических трещин, ширина которых не должна превышать 0,1 мм;

- наплывов бетона на открытых поверхностях стальных закладных изделий и монтажных петлях.

Значения действительных отклонений геометрических параметров конструкции не должны превышать предельных, указанных в нижеследующей таблице.

Наименование отклонения и геометрического параметра

Пред. откл

Отклонение от линейного размера: мм

Высота (толщина) конструкции: до 180

±5

до 300

±8

до 1000

±10

св. 1000 до 1600

±12

св. 1600 до 2500

±15

св. 2500

±20

Внутренний диаметр рабочих камер, стеновых и опорных колец, наружный диаметр плит перекрытий и днища, диаметр лазов и отверстий

 

до 1000

±6

св. 1000 до 1600

±8

св. 1600 до 2500

±10

св. 2500

±12

Длина и ширина опорных и дорожных плит

±10

Положение отверстий и вырезов

10

Отклонение от плоскостности нижней поверхности плит перекрытий (при измерении от условной плоскости, проходящей через три точки)

 

Наружный диаметр плит перекрытия: до 1000

4

св. 1000 до 2500

6

св. 2500

8

Качество поверхностей и внешний вид конструкций должны отвечать требованиям ГОСТ 13015.0-83

Характеристика бетонной поверхности

Категория

Æ раковин мм

Высота (глубина) наплава (впадин)

Глубина сколов, мм

Длина околов на 1 м ребра

Поверхности кроме стыковых

А6

15

5

10

100

Стыковые

А7

20

-

20

-

На строительной площадке необходимо проверить также:

- наличие паспорта на партию конструкций с указанием: номера и даты выдачи паспорта, номера партии, марки конструкций, числа изделий, даты изготовления, класса бетона по прочности, марки по морозостойкости, отпускной прочности бетона;

- наличие маркировки на наружных боковых поверхностях конструкций и штампа ОТК.

Рабочие камеры следует складировать в один ряд, кольца стеновые - в два ряда по высоте, опорные кольца и плиты - не более чем в шесть рядов по высоте на прокладках.

Предельные отклонения поперечных размеров дренажей не должны превышать ±10 см в не более 10 % результатов определений и ±5 см в остальных результатах

 

Предельные отклонения продольных уклонов дренажей не должны превышать ±0,002 в не более 10 % результатов определений и ±0,001 в остальных результатах

 

Ширина траншеи при муфтовом соединении труб, м: Д +0,8 (или по проекту)

Размеры приямка для стыковки асбестоцементных труб, м: длина - 0,7; ширина - Д +0,5; глубина - 0,2

 

Предельные отклонения отметок дна траншеи после доработки недоборов или восполнения переборов ±5 см

 

Предельные отклонения от проектного продольного уклона дна траншей не должны превышать ±0,0005

 

Предельные отклонения уклона спланированной поверхности от проектного не должны превышать ±0,001

Работы по устройству водосборных колодцев и других сооружений, предназначенных для перехвата и отвода от дорожной полосы ливневых, паводковых и талых вод, необходимо выполнять до начала основных работ по сооружению земляного полотна. Строительство водоотводных сооружений следует выполнять, начиная с пониженных мест рельефа.

Работы по устройству дренажей в основании земляного полотна следует выполнять, как правило, до начала возведения насыпей. Плотность грунта при обратной засыпке траншей с уложенными коммуникациями должна быть не ниже требуемой для земляного полотна на соответствующей глубине.

При устройстве дренажей земляные работы следует начинать со сбросных участков с продвижением в сторону более высоких отметок, а укладку труб и фильтрующих материалов - с водораздельных участков с продвижением в сторону сброса.

При устройстве пластовых дренажей недопустимы нарушения в сопряжении щебеночного слоя постели с щебеночной обсыпкой труб.

Сопряжение дренажных труб и колодцев (серия 3.503-21)

Дополнительные дренажные прослойки по серии 3.503-21

ПОГЛОЩАЮЩИЕ ПРОСЛОЙКИ

ДРЕНИРУЮЩИЕ ПРОСЛОЙКИ

ИЗОЛИРУЮЩИЕ ПРОСЛОЙКИ

Контроль качества дополнительных слоев оснований из щебня, гравия и песка следует осуществлять в соответствии с требованиями, изложенными в схемах «Устройство щебеночных оснований и покрытий» и «Устройство песчаного подстилающего слоя».

Дренирующие и капилляропрерывающие прослойки из нетканых синтетических материалов и гидроизолирующие прослойки из различных материалов (изол, полиэтиленовая пленка, стабилизированная 2 % канальной сажи и др.) необходимо устраивать, начиная с низовой (по отношению к направлению стока воды) стороны.

Полотнища материала следует укладывать внахлестку с перекрытием на 0,1 м и закреплять скобами или сшивать.

Гидроизолирующий материал следует укладывать на спланированное грунтовое основание, коэффициент уплотнения которого должен быть не менее 0,95.

Вышележащие слои следует устраивать путем надвижки материалов или грунтов способом «от себя». Минимальная толщина слоя грунта или материала дорожной одежды, при которой допускается проезд строительных машин, должна составлять в уплотненном состоянии не менее 0,25 м.

При использовании полиэтиленовой пленки грунт над и под прослойкой на толщину не менее 10 см не должен иметь зерен крупнее 20 мм, а содержание зерен размером 5 - 20 мм не должно выходить за пределы допустимого зернового состава.

Отдельные полотнища пленки при укладке необходимо склеивать или сваривать.

При устройстве гидроизолирующей прослойки из полиэтиленовой пленки, за исключением конструкций с грунтом в обойме или подтопляемых непосредственно поверхностными или грунтовыми водами, допускается устраивать стыки внахлестку и скручиванием при условии, что они находятся под нагрузкой от веса вышележащих слоев грунта и дорожной одежды не менее 9,8 МПа. Ширина нахлеста должна быть не менее 0,5 м. Пленку следует укладывать свободно, без натяжки, в ветреную погоду края полотнищ нужно закреплять.

Полиэтиленовая пленка не должна находиться под воздействием прямой солнечной радиации более 2 - 3 ч, отсыпку и надвижку грунта следует вести узким фронтом.

При устройстве дополнительных слоев необходимо контролировать соответствие качества материалов и песчаных грунтов требованиям проекта, проверять толщину и грансостав слоев грунта над и под прослойкой, качество стыковки полотнищ материала и толщину первого слоя дорожной одежды над прослойкой.


Дренажные устройства земляного полотна по серии 3.503-21

НЕСОВЕРШЕННЫЙ ДРЕНАЖ ОСНОВАНИЯ НАСЫПИ


СОВЕРШЕННЫЙ ДРЕНАЖ ОСНОВАНИЯ НАСЫПИ

ДВУХСТОРОННИЙ

ОДНОСТОРОННИЙ

Несовершенный дренаж устраивается для понижения уровня грунтовых вод в основании земляного полотна при залегании водоупора на глубине более 3 м от бровки.

Глубина заложения дренажа определяется проектом. При этом дно дренажа должно быть ниже глубины промерзания не менее чем на 0,3 м.

Совершенный дренаж устраивается для перехвата грунтовых вод в основании земляного полотна при залегании водоупора на глубине до 3 м от бровки.

Глубина заложения дренажа определяется проектом. При этом дно дренажа должно быть ниже глубины промерзания не менее, чем на 0,3 м, и на 0,5 м ниже водоупора.

НЕСОВЕРШЕННЫЙ ДРЕНАЖ В ВЫЕМКЕ

ДВУСТОРОННИЙ ПОДКЮВЕТНЫЙ ДРЕНАЖ

ОДНОСТОРОННИЙ ПОДКЮВЕТНЫЙ ДРЕНАЖ

СОВЕРШЕННЫЙ ДРЕНАЖ В ВЫЕМКЕ



Дренажные устройства земляного полотна дорог промышленных предприятий по серии 3.503.9-72

ДЕТАЛИ КОНСТРУКЦИЙ СИСТЕМ ОСУШЕНИЯ ОСНОВАНИЯ ДОРОЖНЫХ ОДЕЖД СО СПЛОШНЫМ ДРЕНИРУЮЩИМ СЛОЕМ И ПРОДОЛЬНЫМИ ДРЕНАМИ

ПРОДОЛЬНЫЕ ДРЕНЫ В ОСНОВАНИИ НАСЫПИ

ПРОДОЛЬНЫЕ ДРЕНЫ В ОСНОВАНИИ ВЫЕМКИ

СПЛОШНОЙ ДРЕНИРУЮЩИЙ СЛОЙ В ОСНОВАНИИ НАСЫПИ

Размеры в см

ПОПЕРЕЧНЫЕ ВЫПУСКИ ИЗ ПРОДОЛЬНЫХ ДРЕН В ЖЕЛЕЗОБЕТОННЫЙ ЛОТОК

ВЫПУСК ПРОДОЛЬНОЙ ДРЕНЫ В ДОЖДЕПРИЕМНЫЙ КОЛОДЕЦ

СОЕДИНЕНИЕ ТРУБОФИЛЬТРОВ ПЛАСТМАССОВЫМИ НИПЕЛЯМИ

СОЕДИНЕНИЕ ТРУБОФИЛЬТРОВ СТЕКЛОТКАНЬЮ

РАСПОЛОЖЕНИЕ АСБОЦЕМЕНТНЫХ ТРУБ И ТРУБОФИЛЬТРОВ В ПРОДОЛЬНОМ РОВИКЕ

УСТРОЙСТВО ДРЕН ИЗ ЗВЕНЬЕВ АСБОЦЕМЕНТНЫХ ТРУБ С ЗАЗОРАМИ

УСТРОЙСТВО ДРЕН ИЗ ЗВЕНЬЕВ АСБОЦЕМЕНТНЫХ ТРУБ С ИЗОЛЯЦИЕЙ СТЫКОВ

Размеры в см

Наряду с обертыванием всей поверхности труб стеклотканью с целью защиты ее от заиливания допускается защита только приемных отверстий и стыков

ДЕТАЛИ КОНСТРУКЦИИ СИСТЕМЫ ОСУШЕНИЯ ОСНОВАНИЯ ДОРОЖНЫХ ОДЕЖД С ПОПЕРЕЧНЫМИ ДРЕНАМИ И ТРУБЧАТЫМИ ВЫПУСКАМИ

Выпускной оголовок трубчатого дренажа

Размеры в см

Расположение в плане поперечных трубчатых выпусков

Расстояния между трубчатыми выпусками (L, м) и углы их наклона к оси дороги (a°)

Продольный уклон по оси дороги, %

L, м

a°

менее 20

По проекту

90

20 - 40

80

40 - 60

70

60 - 80

60

Разрез по оси трубчатого выпуска              План

Расстояния между трубчатыми выпусками не должны быть более 300 м.

Для укладки в прорези могут использоваться трубы асбоцементные, перфорированные, перхлорвиниловые и т.д., а также трубофилътры.

Для гидроизоляции используются: гидроизол, полиэтиленовая пленка и другие рулонные материалы.

Вместо стеклоткани (стеклохолста и др.) может быть применена фильтровая обсыпка из щебня или гравия 1 -3 кл МР3 ³ 50

СОПРЯЖЕНИЕ ПОПЕРЕЧНОЙ ПРОРЕЗИ С ПРОДОЛЬНОЙ ДРЕНОЙ

* 35 см - для сопряжения асбоцементных труб

40 см - для сопряжения трубофильтров

СОПРЯЖЕНИЕ ПРОДОЛЬНОЙ ДРЕНЫ С ПОПЕРЕЧНЫМ ВЫПУСКОМ

ДРЕНИРУЮЩИЙ СЛОЙ

Для устройства дренирующих слоев систем осушения основания дорожных одежд применяются зернистые материалы (щебень, гравий, песок, шлак и др.), обладающие физико-механическими свойствами не ниже указанных в нижеследующей таблице.

Наименование материала дренирующего слоя (пористость)

Значение показателей

коэффициент фильтрации Кф, м/сутки

высота капиллярного поднятия hк, см

полная влагоёмкость W, %

степень неоднородности

Щебень, гравий, песок крупный

более 10

15 и менее

не более 16

более 3

Песок средней крупности (п = 0,28 - 0,32)

6 - 10

25 и менее

не более 18

более 3

Песок мелкий (п = 0,4-0,36)

3 - 8

40 и менее

не более 21

2,5 - 4

Песок очень мелкий (п = 0,4)

1 - 3

50 и более

не более 23

менее 2

Требуемая толщина дренирующего слоя hq определяется по номограммам серии 3.503.9-72 вып. 0 в зависимости от значений коэффициентов фильтрации материалов, использованных для его сооружения.

Во всех случаях толщина дренирующего слоя принимается не менее 0,2 м.

При применении системы осушения с дренирующим слоем на всю ширину земляного полотна из очень мелкого песка с Кф = 1 - 2 м/сут и земляном полотне из супесчаных и глинистых грунтов hq назначается не менее 40 см, а при земляном полотне из пылеватых грунтов - не менее 60 см.

При применении в качестве дренирующего слоя крупнопористых фильтрующих материалов между ним и поверхностью земляного полотна, отсыпанного из глинистых и пылеватых грунтов, предусматривается противозаиливающий слой песка толщиной 5 - 8 см или слой местного грунта, стабилизированного вяжущими материалами толщиной 3 см.

ПОПЕРЕЧНЫЕ ПРОРЕЗИ

На участках дороги с затяжными продольными уклонами (40 % и более), а также в местах вогнутых вертикальных кривых, для поперечного перехвата воды, движущейся в дренирующем слое вдоль дороги и накапливающейся в пониженных местах и местах уменьшения уклонов, предусматриваются поперечные дрены (прорези) на ширину проезжей части с трубчатыми выпусками под обочинами, а в выемках и нулевых местах - в продольные дрены или канализацию. Дрены устраиваются в виде неглубоких прорезей (h = 25 см) треугольного сечения с заполнением каменным материалом или укладкой труб или трубофильтров. Поперечные дрены устраивают через 15 - 20 м, но не реже 50 м.

ПОПЕРЕЧНЫЕ ВЫПУСКНЫЕ ТРУБЫ

Поперечные выпускные трубы устраивают под обочинами дороги под углом к оси в зависимости от её продольного уклона, а именно: 90° - при уклоне дороги менее 20 o/oo 80° - при уклоне дороги 20 - 40 o/oo, 70° - при уклоне дороги 40 - 60 o/oo, 60° - при уклоне дороги 60 - 80 o/oo.

ПРОДОЛЬНЫЕ ДРЕНЫ

Продольные дрены, как правило, устраиваются по краям проезжей части или вдоль укрепленных полос обочин. Дренажные трубы укладываются в лотки треугольного сечения (дрены мелкого заложения) или в углубленные ровики. Уклон дрен не должен быть менее 5 o/oo, Сброс воды из продольных дрен следует предусматривать не реже чем через 250 м, а также в пониженных местах вогнутых кривых в продольном профиле. При наличии ливневой канализации сброс воды должен производиться в дождеприёмные колодцы, а в остальных случаях - на откосы насыпи или по трубам в пониженные места. Дренажные трубы укладываются на водонепроницаемые прослойки из гидроизола и т.п. При устройстве дрен из звеньев с зазорами в стыках под ними следует устраивать жесткое основание из втрамбованного в грунт щебня или гравия.

Устройство и укрепление обочин и откосов автомобильных дорог общего пользования по серии 3.503-71/88

ВАРИАНТЫ УКРЕПЛЕНИЙ ОБОЧИН И РАЗДЕЛИТЕЛЬНЫХ ПОЛОС ПРИ НЕЖЕСТКИХ ДОРОЖНЫХ ОДЕЖДАХ ПРОЕЗЖЕЙ ЧАСТИ

I, II категории (с остановочной полосой)

I, II категории (без остановочной полосы)

I, II категории (без остановочной полосы)

III категория

IV категория

I категория (разделительная полоса)

Размеры в метрах


ВАРИАНТЫ УКРЕПЛЕНИЙ ОБОЧИН И РАЗДЕЛИТЕЛЬНЫХ ПОЛОС ПРИ ЖЕСТКИХ ДОРОЖНЫХ ОДЕЖДАХ ЧАСТИ

I, II категории (с остановочной полосой)    III категория (без остановочной полосы)

I, II категории (без остановочной полосы)  IV категория (без остановочной полосы)

I, II категории (без остановочной полосы)  I категория (разделительная полоса)

Размеры в метрах


Установка бортовых камней

ГОСТ 6665-91 «Камни бетонные и железобетонные бортовые. Технические условия».

ГОСТ 6666-81 «Камни бортовые из горных пород. Технические условия».

ТУ 67-935-87 «Камни бортовые железобетонные предварительно напряженные длиной 6 м».

ТУ 65-05-107-89 «Камни бортовые бетонные».

Входной контроль качества бортовых камней должен производиться в соответствии с требованиями стандартов и технических условий на бетонные и железобетонные камни конкретных марок, ГОСТ 13015.0-83, ГОСТ 13015.3-81, ППР и другой технологической документации, утвержденной в установленном порядке.

ГОСТ 6665-91 «Камни бетонные и железобетонные бортовые. Технические условия».

Камни бортовые, предназначенные для отделения проезжей части улиц и дорог от тротуаров, газонов, площадок и т.п., делятся на типы: БР - прямые рядовые; БУ - прямые с уширением, БУП - прямые с прерывистым уширением; БЛ - прямые с лотком; БВ - въездные; БК - криволинейные.

Камни обозначают марками в соответствии с ГОСТ 23009-78.

Марка камня состоит из буквенно-цифровых групп, разделенных тире.

Первая группа содержит обозначение типа камня, длину, высоту и ширину камня в сантиметрах, радиус кривизны в метрах для криволинейных камней; вторая - класс напрягаемой арматуры.

Пример условного обозначения камня типа БР длиной 1000 мм, высотой 300 мм и шириной 180 мм: БР100.30.18

То же камня типа БК длиной 1000 мм, высотой 300 мм и шириной 180 мм с радиусом кривизны 8 м: БК100.30.18.8

То же камня типа БР длиной 6000 мм, высотой 300 мм и шириной 180 мм с напрягаемой арматурой класса А-IV: БР600.30.18-АIV

Марки, форма и класс бетона по прочности на сжатие камней должны соответствовать указанным в нижеследующей таблице.

Камни длиной 1,0 м из мелкозернистого бетона должны изготовляться по технологии вибропрессования или другой технологии, обеспечивающей требуемые физико-механические характеристики.

Марки

Форма

Класс бетона

Назначение камней

БР100.30.15

БР300.30.15

БР600.30.15-А-IV

В30

Для отделения проезжей части внутриквартальных проездов от тротуаров и газонов

БР100.30.18

БР300.30.18 БР600.30.18-А-IV

для отделения проезжей части улиц и дорог от тротуаров, газонов, площадок-остановок общественного транспорта и обособленного полотна трамвайных путей

БР300.45.18

БР600.45.18-А-IV (А-У)

Для отделения проезжей части дорог от тротуаров на съездах с насыпью высотой менее 2 м и разделительных полос

БР300.60.20

БР600.60.20-А-IV (А-У)

Для отделения проезжей части дорог от тротуаров в тоннелях, рамповых частях тоннелей и на съездах с насыпью высотой более 2 м

БР100.20.8

В22,5

Для отделения пешеходных дорожек и тротуаров от газонов

БУ300.30.29

БУП300.30.29

В30

Для отделения проезжей части внутриквартальных проездов от тротуаров и газонов

БУ300.30.32

БУП300.30.32

БУП600.30.32-А-IV

Для отделения проезжей части улиц, дорог от тротуаров и газонов

БЛ300.32.68

БЛ300.32.93

БЛ300.32.118

Для отделения проезжей части улиц, дорог от тротуаров и газонов и устройства полос безопасности

БВ100.30.15

Для отделения проезжей части внутриквартальных проездов при устройстве въездов на тротуары в сочетании с камнями марок БР100.30.15 и БР300.30.15

БВ100.30.18

Для отделения проезжей части улиц и дорог при устройстве въездов на тротуары в сочетании с камнями БР100.30.18 и БР300.30.18

БК100.30.18.5

БК100.30.18.8

БК100.30.18.12

БК100.30.18.15

Для отделения проезжей части внутриквартальных проездов от тротуаров и газонов на закруглениях в сочетании с камнями марок БР100.30.15 и БР300.30.15

БК100.30.21.5

БК100.30.21.8

БК100.30.21.12

Для отделения проезжей части улиц и дорог от тротуаров и газонов на закруглениях в сочетании с камнями марок БР100.30.18 и БР300.30.18

Камень-аппарель

Для сопряжения покрытий велосипедных дорожек и тротуаров с интенсивным движением детских и инвалидных колясок и др. с покрытием проезжих частей улиц и дорог на пересечениях

Камни длиной 3,0 и 6,0 м должны изготовляться из тяжелого бетона армированными (камни длиной 1,0 м из тяжелого бетона допускается изготавливать до 01.01.96).

Марка бетона по морозостойкости должна назначаться проектом строительства и быть не ниже F300 при расчетной температуре наружного воздуха наиболее холодной пятидневки района строительства -45 °С; F200, F150 и F100, соответственно, при расчетных температурах от -15 до -45 включ., от -5 до -15 вкл. от 0 до -5 °С включительно.

Контролируемые операции

Состав и средства контроля

Документация

Подготовительные работы

Проверить:

- наличие ППР, технологических карт и СОКК;

 - наличие актов освидетельствования ранее выполненных и принятых земляных работ по устройству земляного ящика (корыта), подстилающего слоя под бетонное основание, песчаного основания под бортовой камень;

 - завершение разбивочных работ по закреплению в натуре проектного положения бортовых камней;

 - наличие в зоне работ необходимых материалов, приспособлений, инвентаря и инструмента;

 - доставку, разгрузку и раскладку вдоль края проезжей части (тротуара или пешеходной дорожки) бортовых камней;

 - готовность к производству работ предусмотренных ППР средств механизации

ППР, технологические карты и СОКК

Акты освидетельствования скрытых работ

Акт разбивки и исполнительная схема

Установка бортовых камней

Контролировать:

- соблюдение заданной технологии установки бортовых камней;

- укладку, разравнивание и уплотнение бетонной смеси;

- степень уплотнения грунта песчаного основания и пазух;

- соблюдение проектных отметок, уклонов и ширины конструктивных слоев основания;

- установку бортовых камней в проектное положение (смещения относительно разбивочных осей, превышение одного камня над другим в стыках, отметки верха бортовых камней);

- ширину швов между камнями.

Общий журнал работ

Приёмка

Проверить:

- соответствие фактического положения установленных бортовых камней требованиям проекта и нормативных документов;

- соответствие проектных отметок, уклонов и ширины земляного основания (ящика, корыта), подстилающего слоя или песчаного основания, бетонного основания;

- надлежащее оформление исполнительной документации

Акты освидетельствования скрытых работ

ВХОДНОЙ И ОПЕРАЦИОННЫЙ КОНТРОЛЬ осуществляют:

мастер (прораб), геодезист, лаборант (инженер) ЦСЛ - в процессе выполнения работ

ПРИЁМОЧНЫЙ КОНТРОЛЬ ОСУЩЕСТВЛЯЮТ:

прораб (мастер), геодезист, работники отдела контроля качества СМР, представители технадзора заказчика

КИП - нивелир, теодолит, рулетка металлическая, визирки, трассировочный шнур

Водопоглощение бетона камней не должно превышать по массе, %: 6 - для камней из мелкозернистого бетона; 5 - для камней из тяжелого бетона.

Значения действительных отклонений геометрических параметров камней не должны превышать предельных, приведенных ниже.

Наименование геометрического параметра

Пред. откл., мм

Длина камней: 1000

±6

3000

±10

6000

±10

Высота камней: до 200

±4

св. 200 до 500

±5

св. 500

±6

Ширина камней: по верхней кромке

±4

по основанию

±6

Отклонение от прямолинейности профиля верхней поверхности по всей длине при длине камня:

 

1000

6

3000

12

6000

15

Отклонение от перпендикулярности торцевых и смежных граней при высоте камня: до 500

4

св. 500

5

Отклонение профиля лицевой поверхности криволинейных камней от номинальной кривизны не должно превышать 5 мм.

Категория лицевой бетонной поверхности - А6, для нелицевых поверхностей - А7 по ГОСТ 13015.0-83.

Характеристика бетонной поверхности

Категория

Æ раковин, мм

Высота (глубина) наплыва (впадин)

Глубина околов, мм

Длина околов на 1 м ребра, мм

Лицевая

А6

15

5

10

100

Нелицевая невидимая

А7

20

-

20

-

Трещины на поверхности камней не допускаются, за исключением поверхностных шириной не более 0,1 мм и длиной до 50 мм, в количестве не более 5 шт. на 1 м2 поверхности армированных камней из тяжелого бетона.

Маркировка должна быть нанесена несмываемой краской на торцевую грань не менее чем 10 % камней от партии в соответствии с ГОСТ 13015.2

В марке камней длиной 3,0 и 6,0 м должна быть указана их масса.

Каждая партия камней в соответствии с требованиями ГОСТ 13015.3 должна сопровождаться документом о качестве, в котором должны быть указаны: номер и дата выдачи документа, номер партии, марка камней, дата изготовления, класс или марка бетона по прочности, отпускная прочность бетона (нормируемая, требуемая с учетом фактической однородности бетона по ГОСТ 18105-86* и фактическая), передаточная прочность бетона, марка бетона по морозостойкости, показатели водопоглощения бетона, обозначение стандарта или технических условий.

По требованию потребителя в документ о качестве вносят результаты контрольных испытаний камней на прочность и трещиностойкость по ГОСТ 8829-85.

Камни следует перевозить в пакетах контейнерах по ГОСТ 20259-80* или на поддонах по ГОСТ 18343-80 с перевязкой их стальной лентой по ГОСТ 3560-73* или проволокой по ГОСТ 3282-74*, обеспечивающих жесткую фиксацию и сохранность камней.

Запрещается погрузка камней навалом и разгрузка их сбрасыванием.

Камни следует хранить на складе готовой продукции рассортированными по маркам в штабелях или пакетах высотой до 2 м.

Камни в штабелях должны быть уложены на деревянные прокладки толщиной не менее 30 мм по ТУ 400-1-225 или прокладки из других материалов, обеспечивающих сохранность камней, расположенные по вертикали одна под другой на расстоянии 0,2 длины камня от торца. Нижний ряд камней следует укладывать на поперечные прокладки шириной не менее 80 мм.

На строительной площадке в процессе входного контроля:

должны быть проверены документы о качестве и маркировка камней с целью определения наличия в документах о качестве всех требуемых данных, а также с целью определения соответствия поступивших камней требованиям проекта и нормативных документов;

должно быть проверено наличие на камнях штампа ОТК;

должен быть произведен внешний осмотр камней и требуемые замеры с целью проверки соответствия их требованиям нормативно-технической документации и обнаружения недопустимых дефектов на поверхностях камней;

при возникновении каких-либо сомнений в качестве поступивших камней должны быть вызваны представители строительной лаборатории или функциональных служб, ответственных за поставку камней.

Установка бортовых камней должна производиться в соответствии с требованиями проекта, ППР и другой технологической документации, утвержденной в установленном порядке.

До начала производства работ по установке бортовых камней должны быть выполнены предусмотренные ППР организационно-подготовительные работы, в т.ч.:

завершены и приняты в установленном порядке земляные работы по устройству земляного ящика (корыта), подстилающего слоя под бетонное основание, песчаного основания под бортовой камень;

завершены и приняты разбивочные работы по закреплению в натуре проектного положения бортовых камней в плане и по высоте;

доставлены в зону работ необходимые материалы, приспособления, инвентарь и инструмент;

доставлены, выгружены и уложены вдоль края проезжей части, тротуара или пешеходной дорожки бортовые камни;

подготовлены предусмотренные ППР средства механизации работ по установке бортовых камней.

К установке бортовых камней следует приступать после проверки соответствия проекту положения в плане и высотных отметок основания.

Основания должны быть непереувлажненными и недеформированными.

Бортовые камни по бетонному основанию устанавливают следующим образом.

Вдоль края проезжей части, тротуара или пешеходной дорожки в створе с будущей линией бортовых камней по теодолиту выставляют ряд деревянных колышков и по ним протягивают шнур. Положение шнура определяет лицевую линию бортовых камней. На колышках в точках перелома продольного профиля по нивелиру отмечают высотные отметки грунтового основания, бетонного основания и бортовых камней.

Затем по произведенной разметке отрывают земляной ящик с заданными проектом размерами.

Для устройства бетонного основания в земляном ящике устанавливают опалубку из досок, поставленных на ребро и закрепленных металлическими штырями или деревянными кольями. Устройство бетонного основания осуществляется путём укладки и разравнивания бетонной смеси проектной марки до отметки низа бортового камня.

Бортовые камни устанавливают на свежеуложенное бетонное основание.

Первоначально по вынесенным отметкам или с помощью теодолита и нивелира выставляют маячные бортовые камни. Затем по маячному шнуру выставляют остальные камни.

После установки камней на свежеуложенное бетонное основание их осаживают до проектной отметки деревянными трамбовками. Отметки верха бортовых камней в промежуточных точках могут устанавливаться с помощью визирок.

Между отдельными бортовыми камнями оставляют зазоры-швы проектных размеров, которые заполняют цементным раствором проектной марки и после потери раствором подвижности расшивают на выступающей над покрытием части камня по лицевой и верхней граням.

При установке бортовых камней по песчаному основанию выполняют и контролируют следующие предусмотренные ППР операции:

разбивочные работы по закреплению в натуре проектного положения бортовых камней;

устройство земляного ящика проектных размеров;

устройство песчаного основания под бортовые камни заданной толщины и степени уплотнения песка;

установку на песчаное основание бортовых камней и выверку их положения относительно проектного;

заполнение швов цементным раствором заданной проектом марки с расшивкой;

засыпку пазух с тыльной стороны бортовых камней грунтом с тщательным уплотнением.

В процессе выполнения работ по установке бортовых камней и при приёмке этих работ контролируют:

соблюдение проектных отметок, уклонов и ширины конструктивных слоев основания;

степень уплотнения грунта каждого слоя основания и пазух;

укладку и разравнивание бетонной смеси;

заполнение швов между бортовыми камнями;

правильность установки бортовых камней.

Правильность установки бортовых камней проверяют визуально и с помощью рейки и шнура. Бортовые камни должны устойчиво лежать на бетонном или песчаном основании проектных размеров. Линия установленных камней должна быть прямой на прямых участках дороги (тротуара, пешеходной дорожки) и иметь плавное очертание на участках закругления. Линии расшивки швов должны быть прямыми и перпендикулярными к продольной оси бортовых камней.

Отклонения положения бортовых камней от проектного, а также размеры швов между ними не должны превышать проектных значений.

Если проектом не определена точность установки сортовых камней, допускаемые отклонения положения бортовых камней от проектных в соответствии с «Правилами приёмки и оценки качества работ при строительстве и ремонте городских дорог» (МЖКХ РСФСР, АКХ им. К.Д. Памфилова, -М.; Стройиздат, 1982) не должны превышать величин:

смещение осей бортовых камней относительно разбивочных осей - 5 мм (максимальные отклонения должны составлять не более 10 % общего числа замеров);

разность отметок лицевых поверхностей двух смежных бортовых камней в стыке (превышение одного камня над другим на стыках) - 5 мм;

толщина швов между отдельными бортовыми камнями - 5 мм.

В процессе установки бортовых камней приёмке с оформлением акта на скрытые работы подлежат законченные работы:

по устройству земляного основания (ящика, корыта);

по устройству песчаного подстилающего слоя или песчаного основания;

по устройству бетонного основания;

по установке бортовых камней.

Устройство сборных покрытий из тротуарных плит

ГОСТ 17608-91* Плиты бетонные тротуарные. Технические условия.

ГОСТ 8267-93 Щебень и гравий из плотных горных пород для строительных работ. Технические условия.

ГОСТ 25607-94* Смеси щебеночно-гравийно-песчаные для покрытий и оснований автомобильных дорог и аэродромов. Технические условия.

ГОСТ 3344-83 Щебень и песок шлаковые для дорожного строительства. Технические условия.

ГОСТ 7473-94 Смеси бетонные. Технические условия.

ГОСТ 28013-98 Растворы строительные. Общие технические условия.

Стандарты и технические условия на другие материалы, предусмотренные проектом.

Технические требования к бетонным тротуарным плитам

Входной контроль бетонных тротуарных плит и других материалов, предусмотренных проектом для устройства тротуаров из бетонных тротуарных плит, должен осуществляться в соответствии с требованиями ГОСТ 17608-91*, ГОСТ 13015.0-83*, ГОСТ 13015.3-81, стандартов и технических условий на другие материалы, предусмотренные проектом, требованиями ППР, технологических карт, СОКК и другой технологической документации, утвержденной в установленном порядке.

ГОСТ 17608-91* Плиты бетонные тротуарные. Технические условия.

Плиты подразделяются на типы в зависимости от конфигурации:

К - квадратные; П - прямоугольные; Ш - шестиугольные; Д - окаймляющие четырех- и пятиугольные для окаймления шестиугольных плит и пятиугольные для окаймления квадратных и прямоугольных плит при диагональном способе их укладки;

Ф - фигурные плиты и элементы мощения;

ЭДД - элементы декоративные дорожные.

Марки, форма и размеры плит должны соответствовать указанным в нижеследующей таблице (в таблице не приведены данные по фигурным плитам и элементам мощения: 1Ф7.8; 1Ф9.8; 1Ф16.8; 1Ф17.8 и 1Ф18.8). Плиты могут наставляться одно- или двухслойными с толщиной верхнего (обычного или цветного) слоя бетона не менее 20 мм.

Грани плит должны быть взаимно перпендикулярны.

Допускается изготовление плит с технологическим уклоном боковых граней, не превышающим 5 мм размера в плане на каждую сторону.

Плиты обозначают марками. Марка квадратных, прямоугольных, шестиугольных и окаймляющих плит состоит из буквенно-цифровых групп, разделенных точками обозначающих: первая цифра - порядковый номер данной конфигурации, буква Ф - тип плиты, цифра после буквы Ф - порядковый номер плиты, последняя цифра - толщину плиты в сантиметрах.

Марка

Форма

Длина

Ширина

Размеры, мм

Толщина h плит, укладываемых на

а

a1

b

щебеночных и бетонных основаниях

песчаных и стабилизированных основаниях

щебеночных и бетонных основаниях на тротуарах в местах заезда тяжелого транспорта

1

2

3

4

5

6

7

8

 

Квадратные плиты

1.К.5

1.К.6

1.К.8

200

-

200

50

60

80

2.К.5

2.К.6

2.К.10

250

-

250

50

60

100

2.К.6

2.К.6

250

280

-

250

280

50

50

60

60

-

3.К.5

3.К.6

3.К.10

300

-

300

50

60

100

4.К.5

4.К.7

4.К.10

375

-

375

50

70

100

5.К.5

5.К.7

5.К.10

400

-

400

50

70

100

6.К.5

6.К.7

6.К.10

500

-

500

50

70

100

7.К.6

7.К.8

7.К.10

750

-

750

60

80

100

8.К.8

8.К.10

1000

-

1000

80

100

100

 

Прямоугольные плиты

1.П.5

1.П.6

1.П.10

375

-

250

50

60

100

1.П.7

240

-

120

70

70

100

2.П.5

2.П.7

2.П.10

500

-

250

50

70

100

3.П.5

3.П.7

3.П.10

500

-

375

50

70

100

4.П.6

4.П.7

4.П.10

750

-

375

60

70

100

5П.6

5П.7

5П.10

750

-

500

60

70

100

6П.8

6П.10

1000

-

500

80

80

100

 

Шестиугольные плиты

1Ш.5

1Ш.6

1Ш.10

250

-

432

50

60

100

2Ш.5

2Ш.7

2Ш.10

375

-

648

50

70

100

3Ш.6

3Ш.8

3Ш.10

500

-

865

60

80

100

 

Пятиугольные доборные плиты для окаймления квадратных и прямоугольных плит при диагональном способе их укладки

1Д.5

1Д.6

1Д.10

177

90

353

50

60

100

2Д.5

2Д.6

2Д.10

212

253

414

50

60

100

3Д.5

3Д.6

3Д.10

233

152

466

50

60

100

4Д.5

4Д.6

4Д.10

265

178

530

50

60

100

5Д.5

5Д.6

3Д.10

283

368

566

50

60

100

6Д.5

6Д.6

6Д.10

353

90

706

50

60

100

7Д.6

7Д.8

7Д.10

529

442

1058

60

80

100

8Д.8

8Д.10

707

86

1414

80

100

100

 

Пятиугольные доборные плиты для окаймления шестиугольных плит

9Д.5

9Д.6

9Д.10

125

125

432

50

60

100

10Д.5

10Д.7

10Д.10

187

375

648

50

70

100

11Д.6

11Д.8

11Д.10

250

250

865

60

80

100

 

Четырехугольные доборные плиты для окаймления шестиугольных плит

12Д.5

12Д.6

12Д.10

-

216

500

50

60

100

13Д.5

13Д.7

13Д.10

-

324

750

50

70

100

14Д.6

14Д.8

14Д.10

-

433

1000

60

80

100

 

Фигурные плиты и элементы мощения

1Ф1.7

1Ф1.10

200

-

200

70

70

100

2Ф1.7

2Ф1.10

300

-

296

70

70

100

3Ф1.7

3Ф1.10

430

-

430

70

70

100

Ф2.7

Ф2.10

285

-

200

70

70

100

1Ф3.7

1Ф3.10

200

-

186

70

70

100

2Ф3.7

2Ф3.10

500

-

470

70

70

100

Ф4.7

Ф4.10

250

-

200

70

70

100

1Ф5.7

1Ф5.10

200

-

222

70

70

100

2Ф5.7

2Ф5.10

290

-

260

70

70

100

3Ф5.7

3Ф5.10

300

-

150

70

70

100

4Ф5.7

4Ф5.10

300

-

300

70

70

100

5Ф5.7

5Ф5.10

400

-

444

70

70

100

1Ф6.7

1Ф6.10

250

-

200

70

70

100

2Ф6.7

2Ф6.10

500

-

400

70

70

100

1Ф7.7

1Ф7.10

300

-

300

70

70

100

2Ф7.7

2Ф7.10

400

-

330

70

70

100

3Ф7.7

3Ф7.10

560

-

400

70

70

100

1Ф8.7

1Ф8.10

200

-

150

70

70

100

2Ф8.7

2Ф8.10

470

-

300

70

70

100

1Ф9.7

1Ф9.10

244

-

195

70

70

100

2Ф9.7

2Ф9.10

300

-

300

70

70

100

1Ф10.7

1Ф10.10

210

-

112

70

70

100

2Ф10.7

2Ф10.10

392

-

210

70

70

100

1Ф11.7

1Ф11.10

175

-

170

70

70

100

2Ф11.7

2Ф11.10

302

-

292

70

70

100

Ф12.7

Ф12.10

218

-

154

70

70

100

Ф13.7

Ф13.10

220

-

205

70

70

100

Ф14.7

Ф14.10

300

-

300

70

70

100

Ф15.7

Ф15.10

310

-

250

70

70

100

 

Элементы декоративные дорожные

ЭДД1.10

200

-

100

100

100

100

ЭДД2.10

100

-

100

100

100

100

ЭДД3.10

400

-

400

100

100

100

ЭДД4.7

200

-

300

70

70

100

ЭДД4.10

170

-

141

70

70

100

Примечания к таблице: 1. Размер а1 приведен для тротуара шириной 3 м. Для тротуара другой ширины размер а1 определяет расчетом. Максимальная величина а1 должна быть меньше 2а.

2. Допускается изготовлять плиты с рифленой поверхностью с размерами углублений до 3 мм.

3. Допускается изготовление плит с фаской шириной до 10 мм и углом наклона до 45° по периметру лицевой поверхности.

Прочность бетона плит на сжатие характеризуют классами по прочности на сжатие: В22,5; В25; В30; В35. Класс бетона плит по прочности на растяжение при изгибе принимает Ввtв 3,2; 4,0 и 4,4.

Прочность бетона плит на сжатие и растяжение при изгибе принимают по проекту строительства и указывают в заказе потребителя.

Значение нормируемой отпускной прочности мелкозернистого бетона плит должно составлять 90 % от класса бетона по прочности на сжатие и класса бетона по прочности на растяжение при изгибе в любое время года.

Значение нормируемой отпускной прочности тяжелого бетона плит должно составлять 90 % от класса бетона по прочности на сжатие и класса бетона по прочности на растяжение при изгибе в холодный период года и 70 % - в теплый период года. Допускается по согласованию потребителя с изготовителем значение нормируемой прочности (отпускной) бетона плит принимать 70 % в любое время года.

Марку бетона по морозостойкости принимают по проекту строительства, но не ниже приведенной в нижеследующей таблице.

Расчетная температура наружного воздуха наиболее холодной пятидневки района строительства, °С

Марка бетона по морозостойкости

Ниже -45

F300

От -15 до -45 включительно

F200

От -5 до -15 -²-

F150

От 0 до -5 -²-

F100

Водопоглощение бетона плит не должно превышать по массе, %: 5 - для плит из тяжелого бетона; 6 - для плит из мелкозернистого бетона.

Истираемость бетона плит в зависимости от условия работы покрытий должна удовлетворять требованиям ГОСТ 13015.0-83*, её устанавливает потребитель при заказе.

Значения действительных отклонения геометрических параметров плит не должны превышать предельных, приведенных в нижеследующей таблице.

Геометрический параметр

Предельные отклонения, мм

Длина, ширина: до 250

±4

от 250 до 500

±5

от 500 до 1000

±6

Толщина

±5

Отклонение от прямолинейности профиля лицевой поверхности

5

Отклонение от плоскостности лицевой поверхности

5

Отклонение от перпендикулярности торцевых и смежных им граней

4

Для конструктивно армированных плит отклонение от толщины защитного слоя бетона не должно превышать ±5 мм.

Категория лицевой бетонное поверхности - А6, для нелицевой поверхности - А7 по ГОСТ 13015.0-83*. Допускаемые дефекты бетонной поверхности не должны превышать по величине предельных значения, приведенных в нижеследующей таблице.

Характеристика бетонной поверхности

Категория

Æ раковин, мм

Высота (глубина) наплыва (впадин)

Глубина околов, мм

Длина околов на 1 м ребра, мм

Лицевая

А6

15

5

10

100

Нелицевая невидимая

А7

20

-

20

-

Трещины на поверхности плит не допускается, за исключением поверхностных и технологических шириной не более 0,1 мм и длиной до 50 мм в количестве не более 5 шт. на 1 м2 поверхности армированных плит из тяжелого бетона.

Маркировка должна быть нанесена несмываемой краской на торцевую грань не менее чем на 10 % плит от партии.

Каждая партия плит должна сопровождаться документом о качестве, в котором должны быть указаны: номер и дата выдачи документа, номер на партии, марка плит, дата изготовления, класс или марка бетона по прочности на сжатие, отпускная прочность бетона (нормируемая, требуемая с учетом фактической однородности бетона по ГОСТ 18105-86* и фактическая), класс бетона по прочности на растяжение при изгибе, марка бетона по морозостойкости, водопоглощению и истираемости бетона плит, обозначение стандарта или технических условий.

По требованию потребителя в документ о качестве должны быть внесены результаты контрольных испытаний плит на прочность и другие показатели качества.

Плиты должны храниться рассортированными по маркам и видам. При этом плиты с размерами сторон до 500 мм следует хранить в контейнерах и на кетах, а плиты с размерами сторон более 500 мм - в штабелях.

Плиты в штабелях при хранении следует укладывать правильными рядами в положении «на ребро», перевязанными стальной лентой по ГОСТ 3560-73* или стальной проволокой по ГОСТ 3282-74*, либо лицевой поверхностью вверх на поперечных прокладках толщиной не менее 40 мм по ТУ 400-1-225, расположенных строго по вертикали одна под другой на расстоянии 0,25 длины плиты от каждого её торца.

Высота штабеля плит при хранении должна быть не более 2,0 м.

На строительной площадке в процессе входного контроля:

должны быть проверены документы о качестве на плиты и другие материалы, маркировка плит и наличие штампа ОТК с целью определения наличия в документах о качестве всех требуемых данных, а также с целью определения соответствия поступивших плит и других материалов требованиям проекта и нормативных документов;

должен быть произведен внешний осмотр плит и других материалов, а также необходимые замеры, с целью проверки соответствия их требованиям нормативно-технической документации и обнаружения недопустимых дефектов на поверхности плит и других материалов;

при возникновении каких-либо сомнений в качестве плит или других материалов должны быть вызваны представители строительной лаборатории или функциональных служб, ответственных за поставку плит и других материалов.

Технические требования к устройству покрытий

Устройство тротуаров, покрытия садово-парковых и пешеходных дорожек должно производиться в соответствии с требованиями проекта, ППР, технологических карт и схем операционного контроля качества.

Плиты бетонные тротуарные из бетонов классов В22,5 и В25 должны применяться для устройства покрытий садово-парковых и пешеходных дорожек, тротуаров во внутриквартальных проездах, а плиты из бетона класса В30 и В35 - для покрытий тротуаров на магистралях.

Плиты укладывают на выровненных щебеночных, бетонных, стабилизированных и песчаных основаниях с дифференциацией толщин плит в зависимости от физико-механических показателей основания и условий эксплуатации тротуаров, указанных в проекте строительства.

В качестве выравнивающих (подстилающих) слоев под тротуарные плиты целесообразно использовать сухие или увлажненные песчано-цементные смеси, содержащие цементы марок М300 и М400 от 100 до 150 кг/м3.

Конструкции сборных покрытия тротуаров

1. Тротуарные плиты 2. Выравнивающий слой

3. Основание 4. Подстилающий слой

5. Бортовой камень 6. Грунт земляного полотна

Тротуарные покрытия

При устройстве земляного полотна, дополнительных и основных слоев основания должны соблюдаться требования СНиП 3.06.03-85 «Автомобильные дороги» и СНиП III-10-75 «Благоустройство территорий».

Требования к подготовке земляного полотна изложены в СОКК «Подготовка земляного полотна»

Дополнительные морозостойкие и гидроизоляционные слои основания под тротуары и пешеходные дорожки должны выполняться с соблюдением мер по их защите от повреждения транспортными средствами, разравнивающими и уплотняющими машинами, а также по их защите от загрязнения. При устройстве морозозащитного слоя подлежащий снятию грунт должен удаляться непосредственно перед отсыпкой морозозащитного слоя. Гидроизолирующие слои из рулонных материалов должны устраиваться с низовой по отношению к направлению стока воды стороны с перекрытием полос изолирующего материала на 10 см. Полотнища материала следует закреплять скобами или сшивать. Передвижение транспортных средств или строительных машин непосредственно по разложенному материалу не разрешается. Вышележащие слои следует устраивать путём надвижки материалов или грунтов способом «от себя». Минимальная толщина слоя грунта или материала дорожной одежды, при которой допускается проезд строительных машин, должна составлять в уплотненном состоянии не менее 0,25 м.

При устройстве дополнительных слоев должны проверяться: соответствие качества материалов и песчаных грунтов требованиям проекта, толщина и ширина слоя, высотные отметки по оси, поперечные уклоны слоя. При устройстве дренирующих, капилляропрерывающих и гидроизолирующих прослоек необходимо проверять толщину и гранулометрический состав слоев грунта над и под прослойкой, качество стыковки полотнищ материала и толщину первого слоя дорожной одежды над прослойкой. При устройстве морозозащитного слоя из непучинистых или слабопучинистых грунтов контроль качества грунта следует проводить в карьере путём отбора соответственно не менее 3 и 10 проб из каждых 500 м3 песчаного грунта и проводить их испытание с определением содержания пыли и глины и величины коэффициента фильтрации по ГОСТ 25584-90. Допускается устанавливать величину коэффициента фильтрации расчетным путём в зависимости от гранулометрического состава песчаного грунта.

Толщину и ширину слоев основания и дорожной одежды, их поперечные уклоны и высотные отметки по оси, а также плотность материалов следует контролировать в трёх точках на поперечнике (по оси и у бровок) не реже чем через 50 м.

Гранулометрический состав грунта слоев над и под гидроизолирующей прослойкой следует контролировать один раз в смену.

Допускаемые отклонения по толщине слоя основания и покрытия - не более 10 % результатов определений могут иметь отклонения от проектных значений в пределах от минус 22 до 30 мм, остальные - до ±15 мм.

Допускаемые отклонения по ширине слоев основания - не более 10 % результатов определений могут иметь отклонения от проектных значений в пределах от минус 15 до 20 см, остальные - до ±10 см.

Допускаемые отклонения по поперечным уклонам слоев оснований - не более 10 % результатов определений могут иметь отклонения от проектных значений в пределах от минус 0,015 до 0,030, остальные - до ±0,010.

Допускаемые отклонения по высотным отметкам по оси - не более 10 % результатов определений могут иметь отклонения от проектных значений в пределах до ±100 мм, остальные - до ±50 мм.

Для нижних и средних слоев щебеночных оснований под тротуары, пешеходные дорожки и площадки следует применять щебень фракций 40 - 70 и 70 - 120 мм; для верхних слоев оснований - 40 - 70 мм, для расклинивания - 5 - 10; 10 - 20 и 20 - 40 мм; для гравийных оснований следует применять оптимальную гравийную смесь фракций 40 - 120 мм, для расклинивания - 5 - 10 мм.

Расход расклинивающих фракций щебня следует принимать по нижеследующей таблице.

Размер основной фракции щебня, мм

Расход расклинивающих фракций, м3, на 1000 м2 при их размерах, мм

20 - 40

10 - 20

5 - 10

40 - 70

-

15

10

70 - 120

10

10

10

Примечание. При строительстве оснований из щебня фракции 40 - 70 мм методом заклинки допускается применять одноразовую расклинку смесью щебеночных и песчано-щебеночных фракций 5 - 20, 0 - 20, 0 - 10 мм, а при применении щебня 70 - 120 мм использовать фракции 5 - 40 мм. Расход смесей должен соответствовать суммарным требованиям, приведенным в таблице.

Работы по устройству щебёночных оснований методом заклинки следует производить в два этапа:

распределение основной фракции щебня и его предварительное уплотнение (обжатие и взаимозаклинивание);

распределение расклинивающего щебня (расклинцовка двух-трёхразовая) с уплотнением каждой фракции. Для оснований допускается одноразовая расклинцовка.

Контролируемые операции

Состав и средства контроля

Документация

Подготовительные работы

Проверить:

- наличие ППР, технологической карты и схемы операционного контроля качества;

- наличие актов освидетельствования ранее выполненных земляных работ по устройству оснований и вертикальной планировке территории;

- наличие акта освидетельствования скрытых работ по устройству монолитного бетонного основания;

- наличие акта освидетельствования (приёмки) работ по установке бортовых камней;

ППР, технологическая карта,

СОКК

Акты освидетельствования скрытых работ

- наличие в натуре и неизменность положения знаков разбивочной сети трассы; выполнение геодезических работ по перенесению трассы тротуаров (садово-парковых или пешеходных дорожек) в натуру;

Акт разбивки, исполнительные схемы

- сопроводительные документы, маркировку, наличие штампов ОТК и внешним осмотром качество поступивших тротуарных плит и других материалов;

Паспорта

- выполнение работ по очистке тротуарных плит от грязи, снега и наледи.

Общий журнал работ

Устройство сборных покрытий из тротуарных плит

Контролировать:

- соблюдение заданной ППР технологии устройства сборных покрытий из тротуарных плит;

- установку тротуарных плит в проектное положение (соответствие заданному рисунку, ширину швов между плитами, уступы в стыках смежных плит, ширину покрытий, высотные отметки по оси и поперечные уклоны);

- сопряжения покрытия с бортами, колодцами, ограждением газонов, деревьями.

Общий журнал работ

Приёмка

Проверить:

- соответствие фактического положения законченного строительством сборного покрытия и качества отделки поверхности покрытия требованиям проекта и нормативных документов;

- надлежащее оформление акта приёмки работ по устройству сборных покрытий из тротуарных плит

Акт приёмки, исполнительный чертеж

ВХОДНОЙ И ОПЕРАЦИОННЫЙ КОНТРОЛЬ осуществляют:

мастер (прораб), геодезист, лаборант (инженер) ЦСЛ - в процессе выполнения работ

ПРИЁМОЧНЫЙ КОНТРОЛЬ ОСУЩЕСТВЛЯЮТ:

прораб (мастер), геодезист, работники отдела контроля качества СМР, представители технадзора заказчика.

КИП - нивелир, теодолит, рейка с уровнем, линейка и рулетка металлические, рейка длиной 3 м и др.

При применении щебня осадочных пород марки по прочности менее 600 при устройстве оснований работы можно выполнять в один этап. Доуплотнение при необходимости следует осуществлять регулированием движения построечного транспорта по ширине основания.

Для уменьшения трения между щебенками и ускорения взаимозаклинивания укатку следует производить, поливая щебень водой (ориентировочно 15 - 25 л/м2, при уплотнении шлакового щебня - 25 - 35 л/м2 на первом этапе и 10 - 12 л/м2 по расклинивающей фракции).

На втором этапе следует производить расклинцовку слоя щебня фракциями мелкого щебня с последовательно уменьшающимися размерами.

По окончании уплотнения шлакового щебня из активных и высокоактивных шлаков в случае, если сразу не устраивается вышележащий слой, следует производить поливку его водой в течение 10 - 12 дней из расчета 2 - 2,5 л/м2.

Уплотнение каменного материала при отрицательной температуре следует производить без увлажнения. Основание из активных доменных шлаков следует устраивать из щебня фракций размером не более 70 мм. Перед укладкой верхнего слоя по уплотненному нижнему слою следует открыть движение транспортных средств на 15 - 20 дней для окончательного уплотнения нижнего слоя. Досыпку материала и исправление деформаций основания, устроенного при отрицательной температуре, следует производить только после просыхания земляного полотна и основания.

При устройстве щебеночных, гравийных и шлаковых оснований следует контролировать: соответствие качества примененных материалов требованиям проекта и нормативных документов, высотные отметки по оси, ширину и толщину основания, поперечный уклон основания, ровность (просвет под рейкой длиной 3 м на расстоянии 0,75 - 1 м от каждой кромки основания в пяти контрольных точках, расположенных на расстоянии 0,5 м от концов рейки и друг от друга).

Допускаемые отклонения по ширине, толщине, высотным отметкам, поперечному уклону щебеночных, гравийных и шлаковых оснований аналогичны соответствующим допускаемым отклонениям дополнительных слоев оснований.

Ровность щебеночных, гравийных и шлаковых оснований должна быть в пределах до 15 мм.

Дополнительно к вышеперечисленным параметрам при устройстве щебеночных, гравийных и шлаковых оснований контролируются: не реже одного раза в смену - влажность щебня; постоянно визуально - качество уплотнения, соблюдение режима ухода.

Качество уплотнения щебеночных, гравийных и шлаковых оснований следует проверять путём контрольного прохода катка массой 10 - 13 т по всей длине контролируемого участка, после которого на основании не должно оставаться следа и возникать волны перед вальцом, а положенная под валец щебёнка должна раздавливаться.

Бетонные основания монолитные следует устраивать на песчаном основании, уплотненном до коэффициента плотности не ниже 0,98, согласно требований, приведенных в СОКК «Устройство монолитных оснований и покрытий».

Плиты сборных покрытий тротуаров, садово-парковых и пешеходных дорожек следует укладывать под уклон на заранее подготовленное основание, начиная с маячного ряда, располагаемого по оси покрытия или по его краю, в зависимости от направления стока вод. Укладку следует вести от себя, перемещая плитоукладочные машины по уложенному покрытию. Посадка плит на песчаное основание должна производиться вибропосадочными машинами, а прикатка - транспортными средствами до исчезновения видимых осадок плит. Уступы в стыках смежных плит не должны превышать 5 мм. Заполнение швов плит герметизирующими материалами должно производиться сразу же после окончания посадки плит.

Плиты сборных покрытий, не рассчитанные на воздействие 8-тонной осевой нагрузки от транспортных средств, следует укладывать на песчаное основание, которое должно иметь боковой упор из грунта и быть уплотнено до плотности не ниже 0,98, иметь толщину не менее 3 см и обеспечивать полное прилегание плит при их укладке. Наличие просветов в основании при проверке его контрольной рейкой не допускается.

Плотное прилегание плит к основанию достигается осадкой их при укладке и погружении плит в песок основания до 2 мм. Швы между плитами должны быть не более 15 мм, вертикальные смещения в швах между этими плитами должны быть не более 2 мм.

Допускаемые отклонения по ширине сборных покрытий - не более 50 мм при промерах через каждые 50 м, по высотным отметкам по оси - не более ±50 мм, по поперечным уклонам - не более 0,010 при замерах через каждые 50 м.




Rambler's Top100 Яндекс цитирования
  Copyright © 2008-2026, www.docload.ru