Бесплатная библиотека стандартов и нормативов www.docload.ru

Все документы, размещенные на этом сайте, не являются их официальным изданием и предназначены исключительно для ознакомительных целей.
Электронные копии этих документов могут распространяться без всяких ограничений. Вы можете размещать информацию с этого сайта на любом другом сайте.
Это некоммерческий сайт и здесь не продаются документы. Вы можете скачать их абсолютно бесплатно!
Содержимое сайта не нарушает чьих-либо авторских прав! Человек имеет право на информацию!

 

Харьковский проектный
и научно-исследовательский институт
(Промстройниипроект) Госстроя СССР

Рекомендации
по обеспечению надежности и долговечности
железобетонных конструкций
промышленных зданий и сооружений
при их реконструкции и восстановлении

Москва Стройиздат 1990

СОДЕРЖАНИЕ

Предисловие. 2

1. Общие положения. 3

2. Диагностика коррозионного состояния эксплуатировавшихся железобетонных конструкций. 4

Выполнение предварительных обследований. 4

Выполнение инструментальных обследований. 11

Обследование антикоррозионной защиты.. 11

Обследование стальных элементов и соединений. 12

Обследование железобетонных элементов. 13

Отбор образцов для проведения механических испытаний и физико-химических исследований. 19

Анализ проб и параметров эксплуатационной среды.. 20

Исследования проб из стальных элементов. 20

Исследование проб из железобетонных элементов. 21

Обработка результатов исследования. Оценка остаточной несущей способности и эксплуатационной пригодности. 24

3. Первичная защита конструкций. 28

4. Оценка срока службы железобетонных и стальных элементов. 36

5. Вторичная защита конструкций. 45

Гидроизоляция. 45

Предотвращение инфильтрации воды внутрь помещений. 45

Защита стальных элементов от коррозии. 49

Защита стальных соединений сборных железобетонных конструкций. 54

Защита железобетонных конструкций. 55

Поверхностная пропитка бетона. 55

Антикоррозионная защита и усиление железобетонных элементов стеклопластиком.. 58

Приложение 1. Технология приготовления и укладки бетонов при возведении, усилении и восстановлении железобетонных конструкций, эксплуатирующихся в агрессивных средах. 60

Приложение 2. Механические и акустические приборы для определения прочности бетона эксплуатирующихся конструкций. 69

Приложение 3. Методика определения скорости распространения продольных ультразвуковых волн в железобетонных элементах. 70

Приложение 4. Оценка пассивирующего действия бетона защитного слоя железобетонных конструкций. 70

Приложение 5. Допустимые отклонения размеров стальных прокатных элементов в различные периоды строительства. 71

Приложение 6. Технология присоединения «старого» бетона к «новому» с применением клеев. 72

Приложение 7. Составы и технология устройства гидроизоляции и антикоррозионной защиты железобетонных конструкций композициями на основе битума, кремнийорганических и органических полимеров. 78

Приложение 8. Технологический процесс получения лакокрасочных покрытий. 90

Приложение 9. Технология поверхностной пропитки железобетонных конструкций модифицированным петролатумом.. 99

Приложение 10. Термоабразивный аппарат ТА-11/16. 101

Рекомендовано к изданию решением ученого совета Харьковского Промстройниипроекта Госстроя СССР.

Приведены методы оценки коррозионного состояния эксплуатировавшихся железобетонных и стальных конструкций, их остаточной несущей способности, эксплуатационной пригодности и ожидаемого срока службы в заданных агрессивных условиях. Описаны способы и приемы антикоррозионной защиты заменяемых, усиливаемых (восстанавливаемых) и сохраняемых железобетонных и комплексных конструкций с учетом особенностей выполнения работ в условиях реконструкции.

Для инженерно-технических работников проектных, строительных организаций и служб эксплуатации промышленных зданий и сооружений.

ПРЕДИСЛОВИЕ

Курс на реконструкцию и техническое перевооружение действующих промышленных предприятий - важная составная часть экономической политики партии.

В процессе реконструкции изменяются объемно-планировочные решения, восстанавливается или повышается несущая способность строительных конструкций, обеспечивается антикоррозионная защита, соответствующая изменяющимся условиям эксплуатации.

В металлургической, химической, машиностроительной, целлюлозно-бумажной и других ведущих отраслях промышленности в агрессивных условиях эксплуатируется от 20 до 70 % строительных конструкций, а на долю антикоррозионных мероприятий приходится 5-20 % стоимости строительно-монтажных работ.

При правильном выборе видов и способов первичной и вторичной защиты строительных конструкций с учетом особенностей выполнения общестроительных и специальных работ в условиях действующего производства может быть достигнуто значительное сближение периодов физического и морального износа пассивной части основных фондов, что позволит получить существенную экономию средств, материалов, трудозатрат, а также предотвратить потери выпускаемой предприятиями продукции в результате остановок производства на время выполнения восстановительных и антикоррозионных работ.

Практика показывает, что в условиях реконструкции и капитального ремонта зданий достигаемые качество и долговечность железобетонных конструкций, гидроизоляции, антикоррозионной защиты, как правило, ниже, чем при новом строительстве. Это обусловлено неудобством выполнения работ в стесненных условиях действующего цеха, пребыванием в зоне строительства персонала основного производства, большой долей ручного труда, стремлением к максимальному совмещению строительно-монтажных и антикоррозионных работ с целью сокращения времени простоя основного оборудования, наличием дополнительных помех, вызванных технологией основного производства (загазованностью, увлажнением, нагревом, вибрацией и т.д.).

Проектированию реконструкции обычно предшествуют обследование конструкций, оценка их коррозионного состояния, а в ряде случаев и прогнозирование долговечности.

Рекомендации содержат необходимые методики, требования, правила, а также соответствующие справочные данные для учета при проектировании и строительстве специфических условий реконструкции промышленных объектов, эксплуатировавшихся в условиях воздействия агрессивных сред.

Рекомендации разработаны Харьковским Промстройниипроектом (кандидаты техн. наук Ю. Д. Кузнецов, И. Н. Заславский, Л. Б. Фридган, В. Л. Чернявский, В. Я. Флакс, В. Ю. Дубницкий, В. В. Савенков, Г. К. Маркина, М. И. Стрелков, И. А. Ляхович, Я. И. Табачишин, Л. Г. Филатов, О. Я. Цыпкина, Л. Н. Алексеенко, Е. А. Рабинович, И. Г. Черкасский, А. Д. Саратов, инженеры Э. Б. Жамкочян, В. И. Шевчук, С. П. Манько) и НИИЖБом (доктора техн. наук С. Н. Алексеев, Е. А. Гузеев, Ф. М. Иванов, В. Г. Батраков, В. В. Михайлов, В. В. Патуроев, Б. А. Крылов, А. М. Подвальный, кандидаты техн. наук В. М. Боисенко, М. Г. Булгакова, М. Б. Краковский, Ю. В. Максимов, Г. М. Мартиросов, Н. К. Розенталь, Л. А. Титова, Н. В. Савицкий, В. В. Шнейдерова, Н. Ф. Шестеркина, канд. хим. наук В. Р. Фаликман, инж. Г. В. Любарская) при участии Донецкого Промстройниипроекта (кандидаты техн. наук Ю. П. Чернышев, К. И. Коренев, инженеры И. И. Ожиганов, Н. А. Довбня, С. Я. Хомутченко), Харьковского инженерно строительного института (д-р техн. наук А. Л. Шагин, кандидаты техн. наук В. Л. Скрипко, Л. А. Черкалина, инженеры М. Ю. Избаш, Е. А. Копейко), Харьковского института инженеров коммунального строительства (кандидаты техн. наук Л. Н. Шутенко, М. С. Золотов, инж. Н. А. Псурцева), Харьковского бюро внедрения НИИ НПО “Лакокраспокрытие” (инженеры В. П. Лебедев, Р. К. Егорова, Р. Г. Богданович), Криворожского горно-рудного института (канд. техн. наук Н. А. Гальченко, инж. Л. П. Дерябкина), НИИПромстроя (кандидаты техн. наук В. В. Яковлев, Г. В. Таненбаум), Уральского Промстройниипроекта (кандидаты техн. наук М. Ф. Тихомирова, А. В. Антипова), Иркутского политехнического института (д-р техн. наук Б. И. Пинус).

1. ОБЩИЕ ПОЛОЖЕНИЯ

1.1. Рекомендации предназначены для использования при проектировании и проведении реконструкции и капитального ремонта промышленных зданий и сооружений, подверженных агрессивным воздействиям.

1.2. В процессе реконструкции и ремонта промышленного объекта эксплуатировавшиеся железобетонные элементы могут полностью или частично удаляться, сохраняться в прежнем виде или наращиваться, подвергаться усилению и т.д.

Для обеспечения надежности и долговечности комплексных железобетонных конструкций, включающих старую и новую части после их усиления или восстановления, существенно важно ликвидировать повреждения, имеющиеся в старом бетоне, свести к минимуму повреждения в сохраняемом бетоне в процессе разрушения удаляемого бетона, предотвратить образование трещин недопустимого раскрытия в «новом» бетоне, нарушение контакта старого и нового бетона, правильно выбрать способ антикоррозионной защиты элементов.

1.3. Выбор материалов для несущих и ограждающих конструкций производится на основании технико-экономического анализа в соответствии с Указаниями по технико-экономической оценке и обоснованию области рационального применения железобетонных, стальных и деревянных конструкций промышленных зданий и сооружений, разработанными НИИЭС (ЦНИИЭУС) Госстроя СССР и настоящими Рекомендациями с учетом срока службы и эксплуатационных расходов.

Показателем сравнительной экономической эффективности является минимум приведенных затрат.

Сроки службы конструкций оцениваются методами, приведенными в разд. 4 настоящих Рекомендаций.

Для ориентировочной оценки среднегодовые затраты на капитальный ремонт железобетонных конструкций на предприятиях черной металлургии приведены в табл. 1. Указанные данные рекомендуется использовать при сравнении вариантов строительной реконструкции и антикоррозионной защиты объектов этой отрасли и сходных по условиям эксплуатации (энергетика, машиностроение и др.).

1.4. Антикоррозионная защита железобетонных конструкций подразделяется на первичную и вторичную в соответствии с п. 1.1 СНиП 2.03.11-85.

Таблица 1

Степень агрессивного воздействия среды
(
СНиП 2.03.11-85)

Среднегодовые затраты на капитальные ремонты железобетонных конструкций, руб./м3, из тяжелых бетонов (без накладных расходов)

не обеспечивающих первичную защиту

обеспечивающих первичную защиту

Слабая

3

1

Средняя

5

2

Сильная

10

3

Вторичная защита назначается в случаях, когда по результатам прогнозирования долговечности конструкций (разд. 4 Рекомендаций) первичная защита не обеспечивает требуемого их срока службы.

1.5. Особенностью проектирования реконструкции и восстановления строительных конструкций является необходимость учета их фактического состояния (степени износа). Последнее устанавливается путем обследований, направленных на выявление остаточной несущей способности и пригодности конструкций к дальнейшей эксплуатации.

Целью обследований является определение всех исходных данных, необходимых для выполнения проекта восстановления, усиления и антикоррозионной защиты. Эти данные передаются заказчиком проектной организации вместе с заданием на проектирование.

Обследования в соответствии с методическим материалом по стандартизации подразделяются на общие (предварительные) и детальные (инструментальные). Оценка коррозионного состояния железобетонных элементов выполняется в процессе общих и детальных обследований и является их составной частью.

Инженерно-геологические изыскания производятся в соответствии с требованиями СНиП 2.02.01-83 «Основания зданий и сооружений» с учетом Рекомендаций по расчету осадок, кренов и усилий в фундаментах существующих промышленных зданий от влияния вновь пристраиваемых зданий и сооружений, разработанных Харьковским Промстройниипроектом (М.: Стройиздат, 1986).

1.6. Наблюдение за несущими и ограждающими строительными конструкциями и поддержание их в работоспособном состоянии, а также обеспечение заданного режима эксплуатации технологического оборудования с точки зрения влияния эксплуатационных воздействий на долговечность строительных конструкций осуществляются в соответствии с Руководством по эксплуатации строительных конструкций производственных зданий промышленных предприятий, разработанным ЦНИИПромзданий Госстроя СССР (М.: Стройиздат, 1981) и действующими нормативными документами.

1.7. Конструкция защиты элементов от ударно-истирающих воздействий сыпучих материалов и погрузочно-разгрузочных средств назначается в соответствии с Рекомендациями по проектированию износостойкой защиты строительных конструкций, разработанными Харьковским и Донецким Промстройниипроектами.

1.8. При реконструкции нередко встречаются комплексные металложелезобетонные конструкции (элементы усиления и др.), поэтому в Рекомендациях приведены способы обследований и антикоррозионной защиты стальных элементов.

2. ДИАГНОСТИКА КОРРОЗИОННОГО СОСТОЯНИЯ ЭКСПЛУАТИРОВАВШИХСЯ ЖЕЛЕЗОБЕТОННЫХ КОНСТРУКЦИЙ

2.1. Коррозионное состояние железобетонных конструкций оценивается путем:

натурных обследований;

лабораторных исследований отобранных образцов материалов;

вероятностно-статистического анализа результатов натурного обследования и лабораторных исследований.

2.2. Детальные предпроектные натурные обследования для реконструкции подразделяются на предварительные, инструментальные и специальные и соответственно включают:

визуальный осмотр;

использование неразрушающих методов контроля; применение частично разрушающих методов, не влияющих на эксплуатационную пригодность конструкций; проведение экспресс-химанализов агрессивной среды и материалов конструкций;

применение специальной аппаратуры и нестандартных методов испытаний.

В зависимости от целей, характера, ответственности и сложности работ по обследованию конструкций к их проведению привлекаются службы смотрителей зданий, антикоррозионные службы, специалисты проектных отделов предприятий, проектных и научно-исследовательских институтов.

Выполнение предварительных обследований

2.3. В процессе предварительных обследований устанавливают:

степень и площадь повреждений защитных покрытий, гидроизоляции, кровли, полов (пузыри, отслоения, продукты коррозии и т.п.);

изменение цвета, наличие раковин и отколов в бетоне, нарушение сцепления арматуры с бетоном;

смещение закладных деталей; деформации соединительных элементов и нарушение сплошности узлов сопряжения конструкций;

несоосность арматурных выпусков и соединительных элементов;

несоответствие площадок опирания сборных элементов проектным размерам;

наличие мокрых и масляных пятен, высолов, шелушения или выпучивания бетона, участков оголения арматуры, трещин вдоль арматуры, коррозии арматуры и закладных деталей;

наличие вертикальных и наклонных трещин, заметных на глаз прогибов изгибаемых и внецентренно сжатых элементов;

ориентировочная прочность бетона;

глубина нейтрализации и толщина защитного слоя бетона;

участки с повышенным коррозионным износом.

2.4. На основании предварительных обследований производится оценка технического состояния железобетонных конструкций (в соответствии с табл. 2), намечаются участки для инструментального обследования, состав и объем подготовительных работ (изготовление подмостей, очистка элементов, устройство дополнительного освещения и т.п.), составляется программа инструментальных обследований и в случае необходимости дополнительных специальных работ (замеры динамических характеристик, геодезическая съемка и др.), устанавливается (ориентировочно) объем восстановительных работ, принимается решение о необходимости выполнения страховочных мероприятий и т.д. Категория состояния конструкций в дальнейшем уточняется на основе данных инструментальных обследований (см. табл. 7) и результатов поверочных расчетов.

Таблица 2

Категория состояния конструкций

Детальные признаки

I. Исправное - выполняются требования действующих норм и проектной документации. Необходимости в ремонтно-восстановительных работах на момент обследования нет

На поверхности бетона незащищенных конструкций видимых дефектов и повреждений нет или имеются отдельные раковины, выбоины, волосные трещины. Антикоррозионная защита закладных деталей не нарушена, поверхность арматуры при вскрытии чистая. Глубина нейтрализации бетона не превышает половины толщины защитного слоя. Ориентировочная прочность бетона не ниже проектной. Антикоррозионная защита конструкций не имеет нарушений

II. Работоспособное - с учетом фактических свойств материалов удовлетворяются требования действующих норм, относящихся к предельным состояниям I группы; требование норм по предельным состояниям II группы могут быть нарушены, но обеспечиваются нормальные условия эксплуатации. Защитные свойства бетона по отношению к арматуре на отдельных участках исчерпаны; требуется их восстановление, устройство или восстановление антикоррозионной защиты

Антикоррозионная защита железобетонных элементов имеет частичные повреждения, на отдельных участках мокрые или масляные пятна, высолы. На отдельных участках в местах с малой величиной защитного слоя проступают следы коррозии распределительной арматуры или хомутов, коррозия рабочей арматуры отдельными точками и пятнами, язв и пластинок ржавчины нет. Антикоррозионная защита закладных деталей не нарушена. Глубина нейтрализации бетона не превышает толщины защитного слоя. Изменен цвет бетона вследствие пересушивания, местами отслоение бетона при простукивании. Шелушение граней и ребер конструкций, подвергшихся замораживанию. Ориентировочная прочность бетона ниже проектной не более чем на 10 %

III. Ограниченно работоспособное - нарушены требования действующих норм, но отсутствует опасность обрушения и угроза безопасности работающих. Требуется усиление и восстановление эксплуатационных свойств

Пластинчатая ржавчина или язвы на стержнях оголенной рабочей арматуры в зоне продольных трещин или на закладных деталях, вызывающие уменьшение площади сечения стержней до 15 %. Трещины в растянутой зоне бетона, превышающие их допустимое раскрытие. Бетон в растянутой зоне на глубине защитного слоя между стержнями арматуры легко крошится. Снижение ориентировочной прочности бетона в сжатой зоне изгибаемых элементов до 30 и в остальных случаях до 20 %. Провисание отдельных стержней распределительной арматуры, выпучивание хомутов, разрыв отдельных из них, за исключением хомутов сжатых элементов ферм, вследствие коррозии стали (при отсутствии в этой зоне трещин). Уменьшенная против требований норм и проекта площадь опирания сборных элементов при коэффициенте запаса К > 1,6 (см. примеч., п. 1). Высокая водо- и воздухопроницаемость стыков стеновых панелей

V. Недопустимое - существуют повреждения, свидетельствующие об опасности пребывания людей в районе обследуемых конструкций. Требуются немедленные страховочные мероприятия: ограничение нагрузок (недопущение складирования материалов, деталей и т.п., ограничение грузоподъемности кранов и их сближения), устройство предохранительных сеток и т.п.

Дефекты в средних пролетах многопролетных балок и плит: разрыв хомутов в зоне наклонной трещины; слоистая ржавчина или язвы, вызывающие уменьшение площади сечения арматуры более 15 %; выпучивание арматуры в сжатой зоне; раздробление бетона, выкрошивание крупного заполнителя в сжатой зоне. Уменьшенная против требований норм и проекта площадь опирания сборных элементов при 1,3 < Кs ≤ 1,6 (см примеч., п. 1).

V Аварийное - существуют повреждения, свидетельствующие о возможности обрушения конструкции. Требуются немедленная разгрузка конструкции и устройство временных креплений (стоек подпорок, накладок и др.)

Трещины, в том числе пересекающие опорную зону анкеровки растянутой арматуры; «хлопающие» трещины в конструкциях, испытывающих знакопеременные воздействия (вызывающие сминание бетона и др.); отходы анкеров от пластин закладных деталей из-за коррозии стали в сварных швах или других причин; деформация закладных и соединительных элементов; расстройство стыков сборных элементов с взаимным смещением последних; смещение опор; значительные (более 1/50 пролета) прогибы изгибаемых элементов при наличии трещин в растянутой зоне с раскрытием более 0,5 мм; разрыв хомутов сжатых элементов ферм; разрыв хомутов в зоне наклонной трещины; разрыв отдельных стержней рабочей арматуры в растянутой зоне, выпучивание арматуры в сжатой зоне; раздробление бетона и выкрошивание заполнителя в сжатой зоне. Уменьшенная против требований и проекта площадь опирания сборных элементов при Кs < 1,3 (см. примеч., п. 1).

Примечания: 1. При уменьшенной против требований норм и проекта площади опирания сборных элементов необходимо провести ориентировочный расчет опорного элемента на срез и смятие бетона. В расчете учитываются фактические нагрузки и прочность бетона, определенная в соответствии с настоящими Рекомендациями. 2. Преднапряженные железобетонные конструкции с высокопрочной арматурой, имеющие признаки II категории состояния, относятся к III категории, а имеющие признаки III категории - соответственно к IV или V категории в зависимости от опасности обрушения. 3. Для отнесения конструкции к перечисленным в таблице категориям состояния достаточно наличия хотя бы одного признака, характеризующего эту категорию. 4. Отнесение обследуемой конструкции к той или иной категории состояния при наличии признаков, не отмеченных в таблице, в сложных и ответственных случаях, особенно связанных с остановкой производства, должно производиться на основе анализа напряженно-деформированного состояния конструкции или группы взаимосвязанных конструктивных элементов и детальных обследований, выполняемых специализированными организациями.

2.5. Рекомендуется привлекать к проведению предварительных обследований представителей подрядных и субподрядных организаций для возможности оперативного решения вопросов, связанных с выбором методов производства общестроительных и специальных работ, применением определенных материалов и механизмов, установлением объема и очередности работ с тем, чтобы в проекте нашли отражение согласованные технические решения.

2.6. Работам по обследованию железобетонных конструкций предшествует изучение проектно-технической документации: рабочих чертежей, расчетных схем, исходных данных и результатов статических расчетов, документов о проведении дополнительных строительных работ в период эксплуатации, замене арматуры в процессе строительства и т.п., а также журналов авторского надзора, актов скрытых работ, актов и протоколов сдачи-приемки объекта; данных геодезической съемки, нивелировки; протоколов испытаний контрольных образцов бетона; паспортов на производственные здания и сооружения, технических журналов по эксплуатации зданий и сооружений, актов обследования, данных о выполнявшихся ремонтах; материалов инженерно-геологических изысканий (литологического разреза, характеристик грунтов, гидрогеологического режима и т.п.). Кроме того, участники работ по обследованию должны ознакомиться с особенностями технологического процесса на каждом участке, характером эксплуатационных нагрузок и воздействий на строительные конструкции и их ожидаемым изменением после реконструкции, степенью агрессивности грунтовых вод.

При проведении обследований в условиях действующих предприятий лица, выполняющие обследования, должны быть проинструктированы о специальных правилах техники безопасности, действующих на данном объекте. При проведении обследований конструкций, состояние которых может быть охарактеризовано как недопустимое или аварийное (категория IV и V в табл. 2), необходимо предусмотреть меры, обеспечивающие безопасность лиц, выполняющих работы, путем применения страховочных подмостей, временных креплений и т.п.

Все указания в ходе обследования должны поступать только от руководителя работы.

К проведению обследований допускаются лица, упомянутые в специальном письменном распоряжении главного инженера предприятия.

2.7. В результате ознакомления с технической документацией намечаются предварительно генеральные совокупности (партии) обследуемых конструкций, уточняемые при предварительном натурном обследовании.

Под однородной в коррозионном отношении группой конструкций или их элементов, участков, принимаемой в дальнейшем за генеральную совокупность, понимают однотипные конструкции (фермы, перекрытия, колонны, фундаменты и т.д.) или их элементы, выполненные из одного материала, одинакового сечения, способа соединения, расположения в пространстве, с одной и той же противокоррозионной защитой, с равным сроком службы, эксплуатируемые в одних и тех же условиях. От правильного установления генеральной совокупности во многом зависят разброс образованной затем выборки, размеры доверительных интервалов, т.е. эффективность выборочного метода. Поэтому данному этапу технического диагностирования должно быть уделено серьезное внимание.

При выявлении участков конструкций с повышенным коррозионным износом, связанным с местным (сосредоточенным) воздействием агрессивных агентов, рекомендуется в первую очередь обращать внимание на следующие элементы и узлы конструкций:

опорные узлы стропильных и подстропильных ферм, вблизи которых расположены водоприемные воронки внутреннего водостока;

верхние пояса ферм в узлах присоединения к ним аэрационных фонарей, стоек ветроотбойных щитов;

верхние пояса подстропильных ферм, вдоль которых расположены ендовы кровель;

опорные узлы ферм, находящиеся внутри кирпичных стен;

верхние части колонн, находящиеся вблизи внутренних водостоков и вдоль ендов;

участки или ветви колонн, находящиеся внутри кирпичных стен;

низ и базы колонн, расположенные на уровне или ниже уровня пола, в особенности при мокрой уборке пыли в помещении (гидросмыве);

участки колонн многоэтажных зданий, проходящие через перекрытие, в особенности при мокрой уборке пыли в помещении;

участки плит покрытия, расположенные вдоль ендов, у воронок внутреннего водостока, у наружного остекления и торцов фонарей, у торцов здания.

2.8. К наиболее характерным дефектам и повреждениям бетонных и железобетонных конструкций, подлежащих выявлению при обследовании, относятся:

дефекты, связанные с недостатками проекта - несоответствие расчетной схемы действительным условиям работы, отклонения от норм и др.;

дефекты изготовления или возведения - отклонения от проектных геометрических размеров, снижение прочности и превышение проницаемости бетона по сравнению с проектными, нарушение армирования и смещение закладных деталей, недостаточная толщина защитного слоя бетона, наличие раковин, каверн, трещин; отсутствие отбортовки технологических отверстий; отсутствие или некачественное выполнение антикоррозионной защиты, футеровок, экранов, гидроизоляции и т.д.;

дефекты монтажа сборных конструкций - смещение от проектного положения, недостаточная площадь опирания, неточная подгонка узлов сопряжения, низкое качество монтажных соединений и последующей их заделки, некачественное выполнение сварных соединений, механические повреждения в виде трещин и сколов бетона;

повреждения от агрессивного воздействия производственной среды - растрескивание или шелушение растворной части, нарушение ее связи с крупным заполнителем бетона, снижение прочности бетона, появление на поверхности бетона высолов, масляных пятен и т.п.; образование коррозионных трещин в бетоне вдоль арматурных стержней и в местах стальных соединений, их коррозия, нарушение защитных слоев бетона;

механические повреждения от нарушения правил эксплуатации - пробивка отверстий, проемов с обнажением и вырезкой арматуры, обнажение арматуры для крепления оборудования, образование трещин и сколов бетона от ударов при перемещении грузов и при работе оборудования;

повреждения от не предусмотренных проектом статических и динамических силовых воздействий - развитие чрезмерных деформаций (прогибов), трещин, как правило, поперечных и наклонных в изгибаемых, внецентренно сжатых, внецентренно растянутых и растянутых элементах, продольных и наклонных - в сжатых элементах.

2.9. Сохранение защитных свойств антикоррозионных покрытий оценивается визуально по ГОСТ 6992-68*. При этом фиксируются следующие основные виды повреждений: растрескивание и отслоение, которые характеризуются глубиной разрушения верхнего слоя (до грунтовки, до окрашенной поверхности), пузыри и коррозионные очаги, характеризуемые величиной (диаметром), мм. Площадь отдельных видов повреждений покрытий выражают ориентировочно в процентах по отношению ко всей окрашенной поверхности конструкции (элемента).

При обследовании футеровок и облицовок фиксируют их отклонение от вертикали, сплошность и прочность швов кладки, места выпадения отдельных кирпичей или плиток, шелушение или выкрошивание кирпичей и т.д.

При обследовании тепловых экранов обращают внимание на состояние их креплений к несущим элементам, коробление листов и степень их коррозии.

В полах отмечают наличие провалов, вздутий, выбоин.

При оценке состояния гидро- и пароизоляции фиксируют нарушение ее сплошности, коробление, вздутие, отслоение, наличие трещин и т.д.

Рис. 1. Классификация коррозионных поражений стальных элементов

а) местная точечная (питтинговая) коррозия; б) местная язвенная коррозия; в) местная коррозия пятнами; г) сплошная равномерная коррозия; д) сплошная неравномерная коррозия

2.10. Коррозия арматуры и закладных деталей железобетонных конструкций может быть сплошной (равномерной и неравномерной), местной (язвы, пятна), точечной (питтинги), а также в виде коррозионных трещин (рис. 1).

При определении состояния стальной арматуры и закладных деталей в процессе предварительного обследования выявляют характер коррозии арматуры (тонкий налет ржавчины, отдельные пятна, сплошная равномерная, сплошная неравномерная, слоистая, пластины ржавчины, местная в виде язв, точечная в виде питтингов), а также толщину продуктов коррозии. В местах, где продукты коррозии стали хорошо сохраняются, можно по их толщине ориентировочно судить о глубине коррозии по соотношению

tmt » 0,6tpk,                                                                  (1)

где tmt - средняя глубина сплошной равномерной коррозии; tpk - толщина продуктов коррозии.

Толщина продуктов коррозии может быть установлена неразрушающим методом с помощью приборов, которыми замеряют толщину немагнитных противокоррозионных покрытий на стали (например, ИТП-1, МТ-30Н, МИП-10 и др.), а также микрометром.

Для арматуры периодического профиля следует отмечать остаточную выраженность рифов после зачистки.

Рис. 2. Характерные виды коррозии сварных соединений

а) равномерная коррозия; б) преимущественная коррозия наплавленного металла (сварного шва); в) преимущественная коррозия околошовной зоны

2.11. Возможны три характерных случая коррозии сварных соединений:

коррозия всех участков соединений (швы, околошовная зона, основной металл) протекает практически с одинаковой скоростью;

с большей интенсивностью корродирует сварной шов;

наибольшей коррозии подвержена околошовная зона.

Неравномерность коррозии сварных соединений зависит от примененных при сварке электродов и агрессивности среды. Перечисленные виды коррозии сварных соединений показаны схематически на рис. 2.

Особенности коррозии сварных соединений, как существенно влияющие на надежность конструкций, должны указываться в заключении по результатам обследования.

2.12. Для непосредственного доступа к конструкциям могут использоваться лестницы, стремянки, подмости, леса, передвижные вышки, телескопические автовышки, мостовые краны, подмости, специально устанавливаемые на мостовом кране или на его тележке. Все приспособления, используемые для обследования, должны отвечать требованиям техники безопасности. Удобство доступа к конструкциям существенно влияет на сроки выполнения и качество обследования, поэтому подготовительные работы должны выполняться в полном намеченном объеме и качественно.

Если в процессе визуального осмотра непосредственный доступ к конструкциям затруднен, целесообразно использовать полевой бинокль с 8-12-кратным увеличением, который при хорошем освещении позволяет с расстояния 6-8 м выявить наличие трещин шириной раскрытия 0,2-0,3 мм.

Перед обследованием железобетонные конструкции должны быть очищены от грязи, пыли, штукатурки, свежей покраски и т.п. Пыль должна очищаться сжатым воздухом (вода может замыть трещины).

2.13. При состоянии несущих конструкций, характеризуемых III, IV или V категорией, необходимо дать указание об ограничении нагрузки или о полной разгрузке конструкции, а также в случае необходимости срочно выполнить надежные страховочные крепления по разработанному в срочном порядке проекту, утвержденному главным инженером предприятия.

Основным средством временного крепления поврежденных балок и ферм являются подпорки, накладки и др., предохраняющие от нарастания деформаций и обрушения. Временные стойки могут выполняться из бревен, брусьев, прокатных профилей, и т.п. При высоте над уровнем пола более 6-7 м рекомендуется использовать башенные подпорки. Передача нагрузок на стойки производится с помощью подкладок с обязательной подклинкой под низ стоек или между стойкой и подпираемой конструкцией (для башенных подпорок).

Для предупреждения деформирования подпираемых ферм из вертикальной плоскости желательно подводить временные стойки под узлы верхнего пояса. Если установить такие подпорки затруднительно, допускается подвести их под узлы нижнего пояса, но в этом случае необходимо проверить элементы решетки на возможные изменения в них усилий по величине и знаку.

Накладки могут выполняться металлическими или деревянными. Временные подпорки в дальнейшем рекомендуется использовать для устройства подмостей при детальном обследовании и выполнении работ по восстановлению, усилению и защите конструкций.

2.14. В процессе общих обследований производится ориентировочная оценка прочности бетона. Рекомендуется уже на данной стадии обследований определять прочность бетона поверхностных слоев железобетонных конструкций техническими методами и приборами, приведенными в ГОСТ 22690.0-77, ГОСТ 22690.1-77 и ГОСТ 22690.2-77.

В случае отсутствия указанных инструментов допускается, как исключение, на стадии предварительных обследований прочность бетона ориентировочно оценивать по следам, оставленным на зачищенной и выровненной поверхности элемента, от удара средней силы слесарным молотком массой 0,4-0,8 кг по бетону или зубилу, установленному заостренным концом перпендикулярно поверхности бетона в соответствии с табл. 2 прил. 2. Прочность оценивается по минимальным значениям после 10 ударов с учетом примеч. к табл. 2 прил. 2

При оценке прочности пропитанного маслом бетона с помощью эталонных молотков величина, полученная по градуировочной зависимости, умножается на 0,85.

2.15. Результаты визуального осмотра железобетонных конструкций фиксируют в виде карты дефектов, нанесенных на схематические планы или разрезы здания или в виде таблиц в соответствии с рекомендациями по классификации дефектов и повреждений в несущих железобетонных конструкциях (Харьковский Промстройниипроект, НИИЖБ). Условные обозначения основных дефектов приведены в табл. 3.

Таблица 3

Условное обозначение дефекта или повреждения

Характеристика дефекта или повреждения

Разрушение бетона на глубину менее толщины защитного слоя (шелушение, отслаивание, раковины); a, b - примерные размеры дефекта

Проломы в полках плит, выколы бетона и отколы углов и ребер на глубину более защитного слоя; d - примерный диаметр пролома

Подтеки, конденсат, местное увлажнение, фильтрация влаги, высолы на поверхности, сталактиты, масляные пятна; b - примерная протяженность подтеков, В.С.М - природа пятна (влага, соль, масло и т.п.)

Пятна ржавчины на поверхности; а, b - примерные размеры пятен

Трещины между полками и ребрами плит. Продольные трещины в полках и ребрах плит, балках, колоннах, элементах ферм и т.д. l - протяженность, δ - примерная ширина раскрытия; участки, в которых трещины могут привести конструкцию в недопустимое или аварийное состояние (IV и V категории)

Трещины, имеющие наклон под углом к продольной оси элемента. Указание предполагаемого характера происхождения: К - коррозионные, F - силовые, Т - технологические

Оголение арматурных стержней; l - протяженность. Оголение арматурной сетки

Выпучивание отдельных арматурных стержней; l - протяженность

Коррозия арматуры, l - длина участка коррозии, 20 % - процент уменьшения исходного сечения; с.р. - вид коррозии (сплошная равномерная и т.п.)

Участки повреждения вторичной защиты. ЛП - лакокрасочное покрытие или пленка; И - изоляция (в том числе гидроизоляция); Ф - футеровка; ПЗ - покрытие на закладных деталях; а и b примерные размеры повреждений; 30 % - процент повреждения по поверхности закладной детали

Нарушение анкеровки закладных деталей

Отсутствие приварки закладных деталей

Недостаточность площадки опирания

Коррозия стали закладной детали (средняя глубина, мм, и % площади поражения)

2.16. Из каждой установленной генеральной совокупности (см. п. 2.7.) формируют выборку для проведения инструментальных обследований. Количество включаемых в выборку конструкций (элементов) зависит от степени агрессивности среды и принимается в соответствии с табл. 4. При этом в выборку включают конструкции, имеющие визуально различную степень повреждений или коррозионного износа (максимальную, минимальную, среднюю).

Таблица 4

Степень агрессивности среды

Количество конструкций из одной генеральной совокупности

%

штук, не менее

Неагрессивная

10

3

Слабоагрессивная

10

3

Среднеагрессивная

15

4

Сильноагрессивная

20

6

Участки конструкций с повышенной степенью износа в результате местных агрессивных воздействий, имеющие массовый характер (обнаруженные у половины и более конструкций одной генеральной совокупности), детально обследуются выборочно. При одиночном характере, а также в случаях сомнительности отнесения конструкции к III или IV(V) категории состояния детальному обследованию подлежат все конструкции участка. Сплошное обследование также следует проводить тех объектов, для которых нормами установлен коэффициент надежности по назначению, равный единице и при отсутствии проектной и исполнительной документации.

Выполнение инструментальных обследований

2.17. Инструментальные обследования проводят с целью уточнения исходных данных, необходимых для выполнения полного комплекса расчетов бетонных и железобетонных конструкций реконструируемых объектов.

В процессе инструментальных обследований устанавливают состояние антикоррозионной защиты, прочность, проницаемость, однородность и сплошность бетона; толщину защитного слоя бетона; вид, степень и глубину коррозии бетона (карбонизация, сульфатизация, проникание хлоридов и т.д.); химический состав связанных цементным камнем агрессивных веществ; причины, характер и ширину раскрытия трещин в бетоне, вид, физико-механические свойства и степень коррозии арматуры; степень коррозии стальных элементов и сварных швов комплексных конструкций и узловых соединений; величину прогибов элементов; фактические нагрузки и эксплуатационные воздействия.

Результаты испытаний оформляют соответствующими актами, на основании которых уточняется оценка состояния конструкций.

2.18. Фактические геометрические размеры элементов, прогибов, выколов и т.д. с точностью до 1 мм фиксируют метром, стальной рулеткой, мерительной стальной линейкой, треугольником с делениями, штангенциркулем, отвесом, уровнем, теодолитом или нивелиром.

Обследование антикоррозионной защиты

2.19. При оценке качества сохранившейся антикоррозионной защиты стальных элементов определяют ее толщину и адгезию к подложке. Толщину покрытий (лакокрасочных, цинковых, алюминиевых, комбинированных) замеряют с помощью переносных приборов типа МИП-10, МТ-30Н, а при толщине покрытий более 50 мкм также ИТП-1. Поверхность покрытий предварительно тщательно очищают от загрязнений, а поверхность металлических покрытий - от продуктов коррозии.

Очистка поверхности должна исключать повреждение покрытия. Продукты коррозии цинка и алюминия, прочно сцепленные с поверхностью, можно удалять механически с помощью мягкой щетки или деревянного шпателя. Возможно применение химических способов очистки. Для этого на горизонтальной плоскости закрепляют с помощью замазки полый пластмассовый цилиндр диаметром не менее 20 мм, в который наливают травящий раствор. Для цинковых покрытий рекомендуется 10 %-ный раствор хлористого аммония, для алюминиевых - 20 %-ный раствор ортофосфорной кислоты Продолжительность травления зависит от толщины и плотности продуктов коррозии, в среднем она составляет около 20-30 мин.

В комбинированных покрытиях замеряют общую толщину, а после удаления лакокрасочного слоя - толщину только металлического слоя.

Адгезия лакокрасочного покрытия или лакокрасочного слоя в комбинированном покрытии оценивается методом решетчатого надреза в баллах по ГОСТ 15140-78*. Указанный метод может быть применен и для оценки адгезии металлических покрытий. При этом шаг сетки должен быть равен 10-кратной толщине покрытия, но не менее 2 мм.

Адгезию металлических покрытий можно оценить неразрушающим электрическим методом с помощью прибора ЭСМП-1, разработанного Харьковским Промстройниипроектом, а также путем простукивания покрытия металлическим стержнем. Глухой звук свидетельствует о нарушении адгезии.

Замеры толщины противокоррозионных покрытий проводят не менее чем в 30 точках в пределах одной конструкции (или элементов конструкции), входящих в одну выборку, а адгезию определяют не менее чем в 10 точках.

Для определения исходной толщины металлических покрытий, необходимой для расчета скорости их коррозии, проводят дополнительные замеры толщины в местах, где металлическое покрытие наименее подвержено коррозии. Такими местами могут являться, например, закрытые поверхности под накладками, шайбами и т.д.

2.20. Сохранность металлического покрытия, которое, как правило, наносится при изготовлении стальных элементов, свидетельствует об отсутствии ослаблений сечения коррозией. Сохранность лакокрасочного покрытия не дает таких гарантий, так как покрытие могло восстанавливаться в эксплуатации при заметных коррозионных поражениях стали.

Поэтому сохранность лакокрасочного покрытия не исключает проверку коррозионного состояния отдельных элементов под покрытием. Лучше всего это сделать в местах, где лакокрасочное покрытие разрушают, проверяя его адгезию, руководствуясь при этом приведенными выше рекомендациями.

Обследование стальных элементов и соединений

2.21. Ослабление сечения стального элемента в случае местной коррозии оценивают следующим образом. На обеих поверхностях конструкции в одном сечении выделяют сопряженные прямоугольные площадки площадью примерно 0,5-1 дм2 с таким расчетом, чтобы количество местных поражений на ней было не менее 20-30 шт.

При этом на двутаврах и швеллерах они должны обязательно захватить середину вылета полок.

На каждой элементарной площадке после тщательной очистки поверхности от загрязнений и продуктов коррозии (без повреждения не пораженных коррозией участков поверхности) фиксируют: вид местных поражений (точки, язвы, пятна), занимаемую ими площадь Fk, %, общее количество поражений nk, шт., и плотность их расположения µ, шт./см2, шт./дм2, глубину местных поражений tlok, а также общую толщину элемента t°gen.

Значения t°gen определяют с помощью микрометра, штангенциркуля и т.п. не менее чем в трех точках в пределах элементарной площадки. При этом следят, чтобы измерительный инструмент не попадал на пораженные коррозией участки поверхности. На полках двутавров и швеллеров замеры t°gen проводят по оси, проходящей через середину вылета полки.

Значения tlok могут быть определены тремя способами: с помощью индикатора с иглой и подставкой; путем снятия поверхностных слепков, а также путем послойной зачистки стальной поверхности. Первые два способа применимы в случае, если продукты коррозии полностью удалены из местных поражений, что на практике не всегда осуществимо. Третий способ не требует удаления продуктов коррозии, в этом его существенное преимущество.

Замеры tlok индикатором производят следующим образом: индикатор на закрепленной подставке устанавливают рядом с язвой на непораженную поверхность, фиксируют показания, которые принимают за нуль. Затем индикатор переставляют, так, чтобы игла опустилась на дно язвы, при этом находят положение, при котором игла проникает на максимальную глубину. По разности отсчета определяют глубину местного поражения. Таким образом замеряют на элементарном участке не менее 10 поражений, которые выбирают случайным образом, например с помощью шаблона.

Метод замера tlok путем послойной зачистки стальной поверхности заключается в следующем. Стальную поверхность на элементарном участке зачищают с помощью напильника, наждачного круга и т.д. до полного исчезновения местных коррозионных поражений. При этом зачистку производят в j этапов, фиксируя микрометром на каждом j-том этапе толщину снятого слоя металла tj, площадь коррозионных поражений Fkj, число сохранившихся местных поражений nkj. Количество этапов j принимают не менее 5 с примерно равными значениями ∆tj.

В результате получают выборочное распределение частот Pj = ∆Fkj/Fk = ∆nkj/nk значений tlok, как это показано в табл. 5.

При определении tlok путем снятия поверхностного слепка используют слепочные материалы, выпускаемые отечественной промышленностью и широко применяемые в стоматологии (например, Сиеласт-69, Дентол-С, Диадент-М). Получаемый при этом слепок повторяет все неровности прокорродированной поверхности, имеет резиноподобную природу, хорошо сохраняется. С такого слепка в лабораторных условиях можно определить значения tlok, замеряя выступы на поверхности слепка.

Таблица 5

j

tj, мм

Fkj, %

nkj, шт.

Граница интервала, мм

tj, мм

Fkj, %

nj, шт.

, %

, %

0

0,00

35

45

-

-

-

-

-

-

1

0,12

30

40

0,00-0,12

0,12

5

6

14,2

13,0

2

0,25

23

30

0,12-0,25

0,13

7

10

20,0

21,7

3

0,33

13

16

0,25-0,33

0,08

10

14

28,6

30,4

4

0,41

8

11

0,33-0,41

0,08

5

5

14,2

10,9

5

0,52

4

7

0,41-0,52

0,11

4

4

11,4

8,8

6

0,64

2

4

0,52-0,64

0,12

2

3

5,8

6,6

7

0,72

1

2

0,64-0,72

0,08

1

2

2,9

4,3

8

0,83

0

0

0,72-0,83

0,11

1

2

2,9

4,3

Всего

35

46

100,0

100,0

2.22. В случае сплошной коррозии определение ослабления сечения производят следующим образом. Выделяют элементарные площадки на обеих поверхностях стальной конструкции (элемента) площадью около 0,5 дм2. При сплошной равномерной коррозии всю поверхность площадки с обеих сторон элемента зачищают до блеска и замеряют сохранившуюся общую толщину элемента tgen не менее чем в трех точках. На полках двутавров и швеллеров tgen определяют по середине вылета полки.

Значения tgen элементов с замкнутым сечением при отсутствии двустороннего доступа определяют ультразвуковыми толщиномерами, например, «Кварц-15».

При сплошной неравномерной коррозии определяют вначале толщину  без учета местных поражений, а затем замеряют глубину местных поражений .

Для определения  поверхность элемента зачищают с обеих сторон до появления блеска не более чем на 5-10 % площади поверхности. Значения  определяют микрометром не менее чем в 5 точках. Затем определяют , как и в случае местной коррозии, одним из трех описанных выше способов.

Для установления глубины сплошной равномерной коррозии tmt или  необходимо располагать данными о фактической исходной толщине элемента , которая может отличаться от номинальной на величину допусков. Для определения  рекомендуется найти участки поверхности конструкции (элемента), на которых отсутствует коррозия, где сохранилось защитное покрытие или наблюдается местная коррозия.

2.23. Сохранившуюся после коррозии высоту и форму сварного шва можно определить методом снятия слепка, используя слепочные материалы, перечисленные в п. 2.21. Перед снятием слепка поверхность шва и околошовной зоны зачищают от продуктов коррозии наждачной шкуркой (без выбора местных коррозионных поражений). По снятому слепку в лабораторных условиях замеряют высоту сварного шва.

2.24. Описанные выше показатели коррозионных поражений определяют не менее чем в трех различных сечениях по длине стальной конструкции. Зачистку осей поверхности элемента до блеска следует производить в наименее напряженных местах.

Обследование железобетонных элементов

2.25. Ширину раскрытия трещин в железобетонных элементах рекомендуется замерять в местах максимального раскрытия и на уровне растянутой арматуры. Протяженность трещин измеряют с помощью миллиметровой линейки, а ширину раскрытия - шаблонным толщиномером, градуированными лупами с 4-кратным увеличением или мерительными микроскопами с 24-кратным увеличением. Для повышения точности отсчета между объектом и окуляром микроскопа целесообразно устанавливать трубку длиной 100 мм.

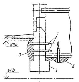
Глубину трещин можно определить с помощью игл и тонких проволочных прутов, ультразвуковым импульсным методом, а также по формуле

,                                                    (2)

где V - скорость ультразвука в ненарушенном бетоне; t и t1 - время распространения ультразвукового сигнала на базе Хсм соответственно на участке без трещин и с трещиной (рис. 3).

Для случаев когда затруднительно непосредственно измерить ширину раскрытия силовых трещин на уровне арматуры изгибаемых элементов  допускается вычислять ее по формуле

,                                                      (3)

где  - ширина трещины на поверхности в месте максимального раскрытия; h - высота элемента; hd - толщина защитного слоя бетона.

Для наблюдения за динамикой развития трещин в железобетонных элементах во времени помимо известных “маяков” применяют различного рода приспособления, в частности щелемеры, закрепляемые с помощью дюбелей.

Рис. 3. Определение глубины трещин ультразвуковым импульсным методом

2.26. Прочность бетона следует, как и на стадии предварительных обследований, определять в тех местах, где согласно схеме работы конструкции она имеет наибольшее значение с точки зрения несущей способности, а также в защитном слое сохраняемых конструкций.

Для определения прочности применяют инструменты и приборы механического действия и акустические аппараты (см. прил. 2).

Точность и достоверность поверхностных методов определения прочности бетона существенно повышается при комплексировании, когда между косвенными показателями наблюдается корреляционная связь. При сочетании методов упругого отскока и пластической деформации прочность бетона R определяется по формуле, предложенной НИИСК Госстроя СССР,

,                                                     (4)

где ris - радиус сферического отпечатка; mb - масса ударника; λ - постоянная прибора; hj - высота упругого отскока; di - диаметр пластического отпечатка.

Испытания прочности бетона акустическими методами выполняют с помощью приборов, указанных в прил. 2. При этом наряду с прочностью оценивают однородность бетона по плотности, наличие пустот, скрытых дефектов, глубину трещин.

Допускается применение различных модификаций ультразвуковых приборов для повышения точности и надежности их работы.

2.27. Из частично разрушающих методов определения прочности бетона, не влияющих на эксплуатационную пригодность конструкций, используют метод извлечения образцов (кернов, кубов) из относительно массивных элементов с последующим испытанием образцов (ГОСТ 10180-78*); метод скалывания ребра конструкции (ГОСТ 22690.4-77) и метод отрыва со скалыванием (ГОСТ 21243-75). Последний дает наиболее достоверные результаты (при сохранившихся гладких поверхностях элемента и прочности бетона более 8 МПа). Этот метод рекомендуется использовать в качестве базового во всех случаях, когда затруднительно извлечь достаточное количество кернов или образцов правильной формы для испытания разрушающими методами, а указанные выше неразрушающие механические и акустические методы использовать совместно с базовым.

После испытания прочности бетона методом отрыва со скалыванием производят визуальное освидетельствование свежего излома бетона, фиксируя при этом:

вид и максимальный размер зерен крупного заполнителя;

ориентировочное соотношение в процентах между крупным заполнителем и растворной частью;

наличие трещин и других дефектов в растворной части, крупном заполнителе или на контакте между ними;

характер отрыва бетона (по крупному заполнителю, контакту между крупным заполнителем и растворной частью, смешанный);

наличие высолов и кристаллов солей в порах бетона;

глубину нейтрализации бетона по фенолфталеиновой пробе.

Эти данные приводятся в заключении о проведенных испытаниях и используются при анализе результатов определения прочности бетона различными методами. Они учитываются также при выборе мест отбора образцов бетона для лабораторных исследований.

2.28. Если имеется возможность извлечь из обследуемых конструкций хотя бы небольшое количество кернов (3-5), рекомендуется оценивать прочность бетона при испытаниях ультразвуковым методом, способом, предложенным институтом ВНИИжелезобетон.

Измерив скорость распространения ультразвука на нескольких участках обследуемых конструкций, извлекают керны из тех мест, где скорость распространения ультразвуковых волн наибольшая. Определив затем прочность бетона в кернах и приняв ее за эталон (опорный образец), прочность бетона R на других участках по данным ультразвуковых испытаний вычисляют по формуле

,                                        (5)

где Rsup - прочность бетона опорного образца (керна); ∆V - разность скоростей распространения ультразвуковых волн в опорном образце Vsup и в замеряемой точке.

Подготовка образцов и механические испытания кернов проводятся в соответствии с Рекомендациями по оценке качества бетона гидротехнических сооружений по кернам (М.: Энергия, 1968).

2.29. Испытания прочности бетона различными методами выполняют следующим образом.

Выбирают место проведения совместных испытаний базовым и косвенным, например ультразвуковым методом (градуировочные испытания). Для этого сначала на нескольких участках производят испытания бетона косвенным методом. Пригодными для проведения градуировочных испытаний признаются участки, где коэффициент однородности прочности бетона (отношение среднеквадратичного отклонения прочности бетона к средней прочности) наименьший. При всех случаях он не должен быть св. 25 %.

Производят испытания базовым и ультразвуковым методами. Количество испытаний не должно быть менее 10.

Для оценки результатов градуировочных испытаний сопоставляют существенность различия средних значений прочности, определенных базовым и косвенным методами. Для этого определяют величину

                                               (6)

где  - модуль разности средних значений прочности, определенной базовым и косвенным методами; ,  - размах (разница между наибольшим и наименьшим значениями у базового и косвенного методов).

Если величина U < Ut (табл. 6), то разница в значении средних прочностей признается несущественной, а методы определения прочности совместимыми.

Таблица 6

Объем выборки

4

6

8

10

12

14

16

18

20

Критическое значение Ut

0,831

0,499

0,371

0,304

0,260

0,247

0,228

0,225

0,172

Если косвенный метод оказался пригодным, вычисляют коэффициент корреляции между значениями прочности, определенными базовым и косвенным методами. Затем определяют прочность бетона косвенным методом на всем объеме обследуемых конструкций. Количество измерений - не менее 30 в каждой из выбранных зон в зависимости от состояния элемента и условий эксплуатации. Поверочный контроль осуществляют базовым методом, а количество испытаний - по табл. 9 ГОСТ 20734-75. При этом общий объем испытаний косвенным методом в каждой зоне принимается за объем контролируемой партии, а объем испытаний базовым методом - за объем выборки.

Значение кубиковой прочности бетона при сжатии по результатам испытаний для каждой из выбранных зон определяют как средневзвешенную по каждому из методов с весом Pbb и Pind

,                                                  (7)

где ,  - дисперсия косвенного и базового методов;

,                                                     (8)

где n - число определений прочности базовым методом;  - среднее значение прочности при измерении; Ri - результаты единичного (i-того) определения прочности. Величина  определяется аналогично.

В тех случаях, когда различие между показателями прочности бетона, определенными методом отрыва со скалыванием и косвенным методом, больше, чем допустимо по формуле (6), значения прочности бетона на участке, где проводились испытания неразрушающим методом, определяют по формуле

R = Rindki,                                                                                                          (9)

где R - прочность бетона; Rind - прочность бетона, определенная ультразвуковым способом; ki - коэффициент совпадения, определенный по формуле

.                                                  (10)

2.30. Для проверки фактического армирования и толщины защитного слоя бетона используют магнитные методы по ГОСТ 22904-78 или методы просвечивания и ионизирующих излучений по ГОСТ 17623-87 с выборочной контрольной проверкой получаемых результатов. Ее осуществляют пробивкой борозд и непосредственными измерениями. Из отечественных приборов применяют обычно измерители защитного слоя типа ИЗС, в частности ИЗС-10Н, ТУ 25-06.18-85.79 (выпускает Бобруйский весовой завод). Пределы измерений толщины защитного слоя 5-30 мм при диаметре арматуры 4-10 мм и 10-50 мм - при 12-32 мм.

При расстоянии между стержнями арматуры менее 60 мм применение приборов типа ИЗС нецелесообразно.

2.31. Отнесение стержневой ненапряженной арматуры к тому или иному классу предварительно производится по внешнему виду в соответствии с ГОСТ 5781-82*: гладкая арматура - класс А-I, арматура периодического профиля с выступами по винтовой линии - А-II; с выступами «елочкой» - А-III и выше; гладкая сплющенная в двух взаимно перпендикулярных направлениях - Ст3, подвергнутая упрочнению холодным сплющиванием. Другой профиль стержней свидетельствует о применении арматуры зарубежного производства. В этом случае класс арматуры устанавливают по иностранным стандартам. Если рисунок стержня определить затруднительно из-за значительной поверхностной коррозии, рекомендуется вскрыть арматуру на участке с менее выраженной коррозией.

2.32. В процессе обследований глубина нейтрализованного слоя бетона определяется колориметрическим способом, основанным на изменении цвета органических индикаторов в зависимости от величины водородного показателя. Оценка производится путем обработки свежего скола бетона индикаторами рН. 1 %-ный спиртовой раствор фенолфталеина изменяет цвет от бесцветного (рН = 9,3) до малинового (рН = 10,5); 0,1 %-ный водный раствор ализариново-красного - от желтого (рН = 10,1) до лимонного (рН = 12,1).

Через минуту после нанесения раствора индикатора линейкой с точностью до 1 мм измеряют глубину нейтрализации бетона. Рекомендуется также применять разработанную в НИИЖБе методику оценки пассивирующего действия бетона защитного слоя без вскрытия арматуры.

Метод основан на способности стали в бетоне, обладающем пассивирующим действием, сохранять определенное время потенциал положительного знака после поляризации от внешнего источника и отключения тока. В бетоне, не обладающем пассивирующим действием, после отключения тока величина потенциала быстро возвращается к исходным отрицательным значениям. Измерение выполняют путем кратковременной поляризации стальной арматуры в бетоне положительным потенциалом от внешнего источника тока с напряжением на клеммах 6-12 В и измерения величины потенциала после отключения тока (см. прил. 4).

Глубина проникновения хлор-ионов определяется смачиванием свежего излома бетона 1 %-ным раствором азотнокислого серебра. Помутнение раствора свидетельствует о наличии в бетоне ионов хлора (более 0,3 % массы цемента).

2.33. Глубину разрушения бетона под воздействием жидких кислых сред определяют удалением прокорродированного слоя острым инструментом.

2.34. Степень коррозии арматуры оценивают по характеру продуктов коррозии (сплошная, язвенная, пятнами, тонким налетом, слоистая, цвет и плотность), площади поражения поверхности (в процентах от общей вскрытой поверхности) и глубине коррозионных поражений. Последнюю определяют при относительно равномерной коррозии разностью (средней) проектного и фактического диаметра арматуры, деленной на 2; при язвенной коррозии глубину язв измеряют иглой индикатора. Если поверхность стержня усеяна большим количеством язв, начальное положение стрелки индикатора можно установить с помощью калиброванной пластинки (например, лезвия безопасной бритвы), уложенной на поверхность образца.

Для количественной оценки размеров коррозии арматуры производят вскрытие арматуры в 10 однотипных конструкциях, не менее, на наиболее прокорродированных участках длиной 1 м. На каждом из таких участков в трех местах замеряют сохранившийся диаметр арматуры после удаления продуктов коррозии стали механическим путем, например с помощью наждачного круга, до получения гладкой блестящей стальной поверхности.

Вскрытие предварительно напряженной арматуры (вне зоны анкеровки) можно допускать в случае, если эксплуатационные нагрузки погасили или существенно ослабили усилия обжатия бетона, созданные предварительным напряжением, о чем, в частности, может свидетельствовать появление поперечных трещин в зоне расположения предварительно напряженной арматуры или прогиба элемента, а также после выполнения соответствующих страховочных мероприятий.

2.35. Правила оценки однородности бетона и области скрытых дефектов по скорости распространения продольных ультразвуковых волн и перечень соответствующих приборов приведены в ГОСТ 17624-87.

Наиболее удобным является прибор УКБ-1м. Он измеряет скорость распространения акустического импульса, изменение его энергии и частотно-амплитудный спектр. Точность измерения амплитуды импульсов зависит от надежности акустических контактов щупов прибора и бетона, поэтому наряду с коэффициентом затухания определяют и характер реверберационного процесса в сечении элемента. При дефектоскопии массивных железобетонных конструкций на низких частотах (20-150 кГц) чувствительность приборов невелика. Однако некоторые специфические дефекты и повреждения, вызванные недоброкачественной укладкой бетона, воздействием высоких и низких температур, коррозией, обнаруживаются достаточно легко.

Участки поврежденного слоя показывает перелом линии продольного годографа (рис. 4). Толщину измененного поверхностного слоя находят по формуле

,                                                   (11)

где la - расстояние от излучающего преобразователя до точки перелома годографа; V1 и V2 - соответственно скорости ультразвука в неповрежденном и поврежденном слоях бетона.

2.36. Трещины, каверны, зоны ослабленного бетона, а также толщина защитного слоя, размеры и расположение арматуры в конструкциях могут быть выявлены с помощью радиационной дефектоскопии. При использовании специальных методов регистрации излучения можно определить гранулометрический состав и содержание отдельных фракций заполнителя. Для просвечивания железобетонных элементов используют рентгеновские аппараты, гамма-аппараты с радиоактивными источниками и ускорители электронов (бетатроны), дающие тормозное излучение. Предельно доступные для радиационной дефектоскопии толщины конструкций составляют для рентгеновских аппаратов 200-250 мм, для радиоактивных источников излучения - 300-500 мм, для бетатронов - 2 м.

При просвечивании конструкций толщиной 0,2-1 м можно выявить арматуру диаметром от 3 мм и более. Раковины и пустоты обнаруживаются при их размерах, равных 3-5 % толщины элемента. Трещины фиксируются, если они не отклоняются от направления просвечивания на угол более 5-7 %.

2.37. Плотность бетонов в сооружениях определяют с помощью радиометрических плотномеров различных типов в соответствии с ГОСТ 17623-87 прямым (сквозным) просвечиванием или рассеянным измерением. Первый способ применяют при толщине конструкции до 50 см и свободном доступе к противоположным сторонам конструкции. При первом способе mv определяют по ослаблению потока γ - лучей, проходящих через бетон, при втором - по рассеянию γ-излучения. Влажность испытуемого бетона не должна отличаться от влажности бетона, по испытаниям которого производилось градуирование прибора более чем на +5 %.

Рис. 4. Определение дефектов и повреждений бетона ультразвуковым продольным профилированием

1, 2 - зоны установки излучателя и приемника; 3 - зона нарушенной структуры бетона; 4 - перелом линии годографа в зоне поврежденного бетона

Число измерений должно быть не менее двух на 1 м2 площади и не менее восьми - на конструкцию. Влияние арматуры в средне- и сильноармированных конструкциях оценивают по методике, разработанной в ЛВИКА им. А. Ф. Можайского. Там же исследована возможность применения метода для определения плотности бетона за закраном из другого материала (гидроизоляции, футеровки), что может оказаться весьма эффективным в условиях реконструкции.

Гамма-плотномер «Технолог-К» выпускают в пылебрызгозащитном и термовибропрочном исполнении. Он отличается повышенной точностью измерений при небольшой массе и радиационной безопасности.

2.38. Дефектоскопия железобетонных конструкций может осуществляться также методом волны удара, разработанным в КИСИ Метод заключается в том, что на изделие передается одиночный силовой импульс (удар). Волновой импульс сжатия распространяется в конструкции и отражается от тех участков, где изменяется волновое сопротивление материала (дефектные места и грани элемента). Форма, амплитуда и полярность отраженного импульса зависят от соотношения волновых сопротивлений материала всего изделия и в дефектном месте, а также от длины волны сжатия и размера дефекта по координате ее распространения. Если доступ к элементу открыт только с одной стороны (свая в грунте и т.п.), МВУ «на отражение» является единственным неразрушающим методом дефектоскопии. Возбуждение и прием волновых импульсов в этом случае производят с доступного торца элемента. Осциллограммы хорошо отражают индивидуальные особенности каждого изделия. Разработанная аппаратура относительно проста и надежна. Достоинством метода является также и то, что результат испытаний известен сразу.

На основе испытаний бетона ультразвуковым, а также радиоизотопным методом уточняют размеры и глубину дефектов и повреждений, в частности трещин, производят в необходимых случаях дополнительную контрольную расчистку.

2.39. Состояние сварных стыков арматуры оценивают визуально, при этом фиксируют вид стыка и его параметры - длину шва, высоту и т.д., дефекты изготовления - непровары и перекосы арматуры; эксплуатационные дефекты - трещины, отслоение, степень коррозии. Кроме того, выполняют отбор проб в виде стружки для химического анализа наплавленного металла. Число исследуемых однотипных стыков - не менее трех.

Рекомендуется применять разработанную МВТУ им. Баумана совместно с НИИЖБом методику ультразвукового контроля сварных соединений, в том числе арматуры периодического профиля (впадины периодического профиля заполняют пластичным звукопроводящим материалом). О наличии дефекта в соединении судят по уменьшению амплитуды сигнала по сравнению с амплитудой сигнала в качественном (эталонном) соединении (тест-образце, идентичном с контролируемым).

Целесообразно также для этой цели использовать ультразвуковые толщиномеры.

Рекомендуется применять дефектоскопы, имеющие комбинированный аттенюатор, например ДУК-66ПМ. Этот прибор удобен для работы в условиях проведения обследований и в процессе реконструкции и строительства, так как имеет относительно небольшой размер (260 ´ 160 ´ 425 мм), массу (9,5 кг) и питается от аккумуляторов.

Отбор образцов для проведения механических испытаний и физико-химических исследований

2.40. В процессе обследования отбирают образцы бетона и стали для проведения физико-механических и физико-химических исследований в лабораторных условиях. Для оценки степени агрессивных воздействий отбирают также пробы грунтов, грунтовых вод, пыли, технической воды, натечных образований и др.

Количество образцов бетона, отбираемых для дальнейших физико-химических исследований, должно составлять не менее трех из каждой генеральной совокупности. Кроме того, дополнительно отбирают образцы (не менее трех) на участках, где состояние конструкций отличается от состояния основной массы однотипных элементов. Если по результатам определения показателей (глубины нейтрализации, величины рН и т.д.) значения, установленные на основе испытаний трех образцов одной партии, отличаются между собой более чем на 30 %, из этой конструкции дополнительно отбирают не менее шести образцов.

Количество образцов арматурной стали, отбираемых для лабораторных исследований (с целью контроля класса стали) должно составлять не менее трех для каждого проверяемого класса арматуры, примененного при строительстве объекта. Для определения прочностных и деформативных характеристик арматуры неизвестного класса число образцов должно быть не менее десяти. Длина вырезаемых стержней должна быть не менее l = 8d + 200 мм, где d - диаметр арматуры.

Отбор образцов арматуры и стружки для химических анализов производится на участках конструкций с возможно меньшими напряжениями с последующим восстановлением площади сечения стержней накладками. Стружку отбирают, как правило, с помощью ручной электродрели после тщательной зачистки поверхности до металлического блеска в соответствии с ГОСТ 7565-81. Если из существующих элементов извлекают образцы арматуры, стружку рекомендуется отбирать из этих образцов после механических испытаний. В случае затруднений с извлечением образцов указанной выше длины допускается отбор отрезков меньшей длины с последующим изготовлением образцов в соответствии с требованием ГОСТ 1497-84.

При отборе образцов арматуры классов А-II и A-III для испытания на растяжение из сварных каркасов рекомендуется выбирать отрезки стержней арматуры с включением участков поперечной приварки с целью выявления влияния сварки на прочностные и деформативные свойства арматуры. Образцы с участками сварки особенно желательны в случаях наличия коррозии арматуры. При таких образцах выточка из них стандартных образцов по ГОСТ 1497-84* не рекомендуется.

Отбор образцов бетона из существующих конструкций производится отколом, выпиливанием или высверливанием. Для выпиливания выбирают участки конструкций без арматуры.

Метод извлечения образцов выбирают в зависимости от вида испытания, массивности сооружения и наличия инструментов, способных обеспечить извлечение образцов и целостность исследуемой конструкции.

Глубина отбора проб бетона назначается с учетом результатов колориметрических испытаний. Размер проб должен выбираться с учетом максимальной крупности заполнителя.

Взятые пробы бетона для химических исследований должны сразу помещаться в пластиковые пакеты или бюксы и герметизироваться. Масса каждого образца назначается в зависимости от видов намеченных исследований.

Анализ проб и параметров эксплуатационной среды

2.41. Анализы отобранных проб пыли и жидкостей целесообразно производить на месте силами заводских лабораторий.

Пробы пыли рекомендуется отбирать в герметичные полиэтиленовые пакеты, а жидкости - в плотно закрывающиеся стеклянные бутылки. Масса одной пробы пыли должна быть не менее 250, жидкости - 500 г. Из каждой зоны отбирают две параллельные пробы.

При анализе пыли определяют ее химический и фазовый составы, растворимость (малорастворимая, хорошо растворимая), рН водных вытяжек и гигроскопичность. Особое внимание следует обратить на содержание в пыли элементов, являющихся катодами по отношению к стали (графит, магнетит, медь, свинец).

Присутствие в пыли, содержащей соединения железа, магнетита, может быть определено экспресс-методом с помощью постоянного магнита, к которому притягиваются частички магнетита.

К малорастворимой относится пыль с растворимостью менее 2 г/л, хорошо растворимой - более 2 г/л.

2.42. При анализе проб жидкости определяют ее природу (кислота, щелочь, соль) и концентрацию. При отборе проб жидкости рекомендуется замерять ее температуру, а также определять водородный показатель рН экспресс-методом с помощью индикаторной бумаги. Таким же способом можно определять рН тонких пленок воды (например, конденсата) непосредственно на поверхности конструкций.

2.43. Температуру, относительную влажность воздуха, концентрацию газов, температуру поверхности конструкций при необходимости устанавливают в различных точках по ширине и высоте помещений, пролетов, а также на различных стадиях технологического процесса. В общем случае замеры рекомендуется производить не менее чем в трех сечениях по длине помещения, пролета или участка с определенным технологическим процессом и источниками агрессивных выделений. По высоте каждого сечения замеры производят на трех уровнях: рабочая зона, уровень мостового крана (подкрановых балок), межферменное пространство.

Температуру воздуха определяют с помощью ртутных термометров (обычно одновременно с определением относительной влажности воздуха аспирационным психрометром Ассмана), метеорологическим термографом, термометром сопротивления типа ЭТП-М. Последним замеряют также температуру поверхности конструкций до 120 °С.

Концентрацию газов устанавливают с помощью переносных газоанализаторов типа УГ-2, ХГ, снабженных индикаторными трубками на сернистый газ, сероводород, аммиак, хлор и др.

Исследования проб из стальных элементов

2.44. Исследование коррозионных поражений на образцах, отобранных из стальных элементов, производят, как правило, в тех случаях, когда отбор образцов связан с необходимостью установления действительных механических характеристик стали. Возможны случаи отбора образцов специально для коррозионных исследований, например из демонтируемых по условиям реконструкции конструкций, по которым можно судить о коррозионных поражениях сохраняемых элементов, а также для прогнозирования долговечности конструкций.

Места отбора образцов для механических испытаний должны быть увязаны с генеральными совокупностями коррозионных поражений конструкций.

2.45. С отобранных образцов в лабораторных условиях в первую очередь удаляют продукты коррозии стали, погружая их в 10 %-ный раствор серной кислоты с добавкой 1 %-ного формалина или уротропина (ингибиторы). Температура раствора может быть комнатной, а в случае трудноудаляемых продуктов коррозии раствор рекомендуется нагревать до температуры 70-80 °С.

Продолжительность снятия продуктов коррозии зависит от состояния образца, изменяясь от получаса до нескольких часов. В последнем случае образцы рекомендуется каждый час извлекать из раствора и протирать металлической щеткой в проточной воде. После полного удаления продуктов коррозии образцы промывают в воде и сразу же погружают на несколько минут в щелочной раствор (например, едкого натра, соды). Последняя операция необходима для нейтрализации остатков кислоты на стальной поверхности, приводящих к образованию налета ржавчины.

После снятия продуктов коррозии замеряют микрометром общую толщину образца tgen не менее чем в пяти точках. Затем определяют (при наличии) глубину местных коррозионных поражений tlok (см. п. 2.21). При этом лучше всего использовать индикатор с иглой, закрепленный на подставке или на кронштейне. На каждой стороне поверхности образца замеряют не менее 20-30 местных поражений, выбирая их случайным образом. Для этого можно, например, нанести карандашом на поверхности образца квадратную сетку и замерять ближайшие к узлам сетки коррозионные поражения.

2.46. Механические испытания проводят на двух образцах: с обработанной поверхностью и с необработанной (с коррозионными поражениями) поверхностью.

I служит для определения механических характеристик стали, а II - для оценки влияния коррозии на механические свойства. В первом случае возможно испытание пропорциональных цилиндрических образцов (гагаринских) типа II или III (коротких - l0 = 5d0).

Механические испытания образцов с необработанной поверхностью проводят на стандартных плоских, коротких , с головкой образцах. При этом обрабатывают только боковые поверхности образца.

Площадь сечения прокорродированного образца Fо определяют по формуле

Fо = bоtk,                                                             (12)

где bо - ширина рабочей части образца; tk - средняя толщина рабочей части образца с учетом местной коррозии.

При местной коррозии tk определяют по формуле

tk = tgen - 0,01Fktlok,                                                   (13)

где Fk - площадь коррозионных поражений, %; tlok - средняя глубина местной коррозии.

В случае сплошной неравномерной коррозии  определяют по формуле

.                                                        (14)

При испытании образцов с прокорродированной поверхностью определяют их относительное удлинение, а также условные значения предела текучести и временного сопротивления, учитывая приближенность определения Fо. Кроме того, рассчитывают условную приведенную толщину образца tо, представляющую собой толщину эквивалентного по прочности образца без коррозии.

Исследование проб из железобетонных элементов

2.47. При лабораторных исследованиях образцов, отобранных из железобетонных конструкций, определяют:

прочность, влажность, водопоглощение и пористость бетона;

щелочность бетона, водорастворимость компонентов, содержание ионов ,  и других веществ;

расчетные параметры стальной арматуры.

2.48. Определение прочности бетона производят испытанием на сжатие образцов, извлеченных из конструкций (кубов, цилиндров).

Результаты испытания приводят к кубиковой прочности бетона умножением на коэффициент, определяемый по соотношению прочности бетона кернов (соответствующих по форме и размерам кернам, отобранным из конструкций), высверленных из кубов, и прочности самих кубов.

2.49. Определение влажности производится на отобранных из конструкций пробах в виде отдельных кусков, которые далее дробят на части.

Наибольшая крупность раздробленной части бетона должна быть не более максимального размера зерен заполнителя. Дробление и взвешивание пробы производят сразу же после ее отбора, а хранение до испытания - в герметичной упаковке, объем которой превышает объем уложенных в нее образцов не более чем в 2 раза. После взвешивания пробы помещают в сушильный шкаф и высушивают до постоянной массы при температуре 105 ± 5 °С.

Влажность бетона по массе ωm, %, вычисляют по формуле

ωm = (mh - md)/mh·100,                                                     (15)

где mh и md - масса пробы (образца), г, соответственно до и после сушки.

2.50. Отобранные из конструкций образцы бетона для определения его водопоглощения и пористости в зависимости от крупности зерен заполнителя должны иметь следующую минимальную массу:

Наибольший размер зерен заполнителя, мм …………………………….   10      20      40

Масса пробы, г …………………………………………………………….   100    200    800

Каждый образец взвешивают и помещают в воду до полного водонасыщения. Для ускорения процесса водопоглощения воду с образцами можно доводить до кипения и выдерживать в кипящей воде 2 ч.

Насыщенные водой образцы бетона обтирают влажным материалом и взвешивают на воздухе (G2) и в воде на гидростатических весах (G3), после чего высушивают в сушильном шкафу при температуре не выше 100 °С (G4). При наличии вакуум-установки образцы насыщают водой под вакуумом. По данным этих испытаний:

объемная масса бетона, кг/м3, в сухом состоянии Vmd = G4/(G2 - G3)1000;

объемная масса бетона в насыщенном состоянии Vmh = G2/(G2 - G3)1000, кг/м3;

водонасыщение бетона ωb = (G2 - G4)/G4100,

пористость бетона Q = (G2 - G4)/(G2 - G3)100.

Бетон на плотных заполнителях считается плотным при ωb ≤ 5 и Q ≤ 1; обычным - при 5 < ωb ≤ 8 и 11 < Q ≤ 18; пористым при ωb > 8 и Q > 18 %.

Если необходимо более детально определить пористость бетона (оценка объема открытых некапиллярных пор, полного объема пор, объема открытых капиллярных пор, объема условно замкнутых пор и т.д.), то следует пользоваться методиками, изложенными в специальных документах.

2.51. Величину рН водной вытяжки цементного камня рекомендуется определять измерением с помощью рН-метра, например рН-340 и др. по следующей методике.

Растворную составляющую бетона измельчить в фарфоровой ступке до размера зерна 0,1-0,5 мм. Навеску в 1-3 г залить 100 мл дистиллированной воды и выдержать в закрытом пробкой сосуде в течение 10 мин. Измерения производить в течение 3 мин после отстаивания при постоянном перемешивании магнитной или другой мешалкой. Для каждой пробы проводить 3-5 определений рН.

2.52. Методы дифференциального термического и фазового рентгеновского анализов предназначены для оценки вещественного (минерального) состава цементного камня. По интенсивности соответствующих термических эффектов и дифракционных отражений можно определить вид и относительное количество продуктов коррозии: гипса, карбоната кальция, гидросульфоалюмината кальция и др. Подготовка проб включает отбор их из образца бетона, предварительное измельчение до размера гранул 0,5-1,5 мм, удаление зерен заполнителя, окончательное измельчение и просеивание через сито с 918 отв./см2 (до полного прохождения), двух-трехкратная дегидратация полученных проб ацетоном и высушивание при температуре 50-55 °С.

Дифференциальный термический анализ производят на пирометрах РЛК-52, ФПК-59, ФПК-60, ФПК-64 или скоростных установках типа УТА-1. Фазовый рентгеновский анализ выполняют на дифрактометрах УРС-50К с гониометром ГУР-3, УРС-50 ИМ с гониометром ГУР-4, ДРОН-1 с гониометром ГУР-5. Для каждого исследуемого участка образца производится 3-5 определений.

Оптико-микроскопические исследования проводят на прозрачных плоскопараллельных шлифах с целью количественной и качественной оценки структуры цементного бетона, для чего планиметрическим путем определяют процентное содержание пор и трещин размером не менее 10-3 см, негидратированных частиц вяжущего и продуктов коррозии вне зависимости от состава в соответствии с ГОСТ 22023-76. Для исследований используют микроскопы МБК-6, МИН-8 и др.

2.53. Определение в растворной части бетона количества ангидрида серной кислоты SO3, связанного цементным камнем, выполняется ионнообменным методом.

Навеску пробы 0,5 г помещают в стакан и обрабатывают 25 мл воды при непрерывном помешивании в течение 10 мин. Раствору дают отстояться, потом его фильтруют через неплотный фильтр. Нерастворимый осадок промывают раствором борной кислоты 3-4 раза декантацией и 4-5 раз на фильтре. Раствор и промывные воды пропускают со скоростью 4 мл/мин через колонну, заполненную Н-катионитом. Катионит промывают 2-3 раза водой. Фильтрат и промывные воды собирают в колбу и титруют 0,1н раствором едкого натра по метиловому оранжевому.

Содержание сульфатионов, %, в пересчете на серный ангидрид вычисляют по формуле

SO3 = (Vs 0,004 ks/G)100,

где Vs - объем раствора щелочи, пошедшей на титрование серной кислоты, образовавшейся в результате пропускания раствора через катионитовую колонку, мл; ks - поправка к титру 0,1н раствора щелочи; G - навеска, г; 0,004 - количество серного ангидрида, соответствующее 1 мл (0,1н раствора щелочи, г).

При анализе материалов, содержащих SO3 менее 0,5 %, следует брать большую навеску (1...2 г). При анализе материалов, содержащих значительное количество сульфата кальция (больше 10 %), навеску 0,5 г смеси следует растворять в большом количестве воды и многократно промывать 5 %-ным раствором борной кислоты.

Для проведения анализа требуется: 5 %-ный раствор борной кислоты, 0,1н раствор едкого калия или едкого натра, метиловый оранжевый - 0,1 %.

2.54. Определение водорастворимых компонентов производится путем растворения 100 г приготовленного материала в 800 г дистиллированной воды. Смесь встряхивают в течение 1 ч, а затем после 24-часового отстоя фильтруют. В полученном растворе определяют последовательно содержание ионов кальция, магния, натрия, калия, аммония, хлора, сульфата, нитрата и органических веществ.

Ионы кальция определяют комплексометрически (титрованием раствором Комплексона III).

Ионы магния определяют по синему осадку, который выпадает с хинализарином в сильно щелочной среде. При добавлении окислителей, таких как бромная вода, осадок не меняет окраски. Количественно ионы магния определяют в присутствии эриохромчерного Т-индикатора, аналогично определению ионов кальция.

Ионы натрия и его соединений качественно определяют, если пламя газовой горелки окрасится в желтый цвет. Окрашивание исчезает, если смотреть через синее кобальтовое стекло. Содержание ионов натрия определяют на пламенном фотометре.

Ионы калия выявляют окрашиванием солями калия пламени газовой горелки в фиолетовый цвет, который не исчезает, если смотреть через кобальтовое стекло. Содержание ионов калия определяют на пламенном фотометре.

Ионы аммония выявляют окрашиванием в желтый цвет раствора при добавлении к нему сегнетовой соли и реактива Несслера. Содержание ионов аммония определяются колориметрически.

Ионы хлора определяют по белому осадку, который выпадает при обработке азотнокислым серебром. Количественное содержание определяют при титровании в присутствии хромата калия при рН 6,5...10,5 стандартным раствором азотнокислого серебра, а также разложением анализируемой пробы азотной кислотой с последующим титрованием роданистым аммонием или калием в присутствии индикатора - железоаммонийных квасцов.

Сульфат-ионы обнаруживают по белому нерастворимому осадку - сульфату бария, образующемуся при реакции с ионами бария в кислой среде. Содержание сульфат-ионов определяют при титровании в присутствии натриевой соли ализаринсульфокислоты или нитхромазо в слабо кислой метанольной среде стандартным раствором хлорида бария. Сульфат-ионы можно определять также кондуктометрически, титрованием раствором ацетата бария или гравиметрическим методом, основанным на образовании осадка сульфата бария.

Ионы нитрата можно определить по окрашиванию раствора в сернокислой среде с бруцином в красный цвет, желтеющий во времени. Количественное содержание определяют колориметрически в сернокислой среде с использованием индиго. Нитраты можно определить также полярографическим, или вольтамперометрическим методом, основанным на восстановлении нитрат-иона в щелочной среде до образования аммиака.

2.55. Характер пористости оценивают сравнением дифференциального распределения наблюдаемых пор по размерам. Способ подсчета пор заключается в том, что прозрачный шлиф помещают в препаратоводитель параллельно горизонтальной оси креста нитей окуляра и замер диаметра каждой поры производят с помощью окулярной линейки микроскопа. Одновременно определяют число полей зрения в ее делениях. В соответствии с масштабом увеличения измеряют диаметр пор и капилляров. По общепринятой методике количественно петрографического анализа объем пор принимается пропорциональным занимаемой ими площади на поверхности шлифа, что соответствует цилиндрическим порам равной высоты. Значения вычисляют по двум шлифам, взятым по взаимно перпендикулярным плоскостям.

2.56. Установление марки стали и способа ее выплавки (спокойная, полуспокойная, кипящая) производят по результатам химических анализов в соответствии с ГОСТ 12365-84 и ГОСТ 12344-88. При этом определяют содержание в стали углерода, марганца, кремния, серы и фосфора. В отдельных случаях определяют содержание других компонентов (по указанию научно-исследовательских организаций).

Марку стали по данным химического анализа устанавливают в соответствии с табл. 4 ГОСТ 380-71** для арматуры классов A-I и А-II и табл. 7 ГОСТ 5781-82* для арматуры классов A-III и частично класса А-II (сталь 10ГТ).

Испытания извлеченных образцов арматуры проводят в соответствии с ГОСТ 12004-81*.

Обработка результатов исследования. Оценка остаточной несущей способности и эксплуатационной пригодности

2.57. По результатам натурных обследований и лабораторных исследований образцов производят оценку несущей способности и, в случае необходимости, надежности и ожидаемого срока службы сохраняемых железобетонных, стальных и соединительных элементов.

2.58. Выбор расчетных сопротивлений сталей, коэффициентов надежности по материалу (стали), болтов и заклепочных соединений, выполнение поверочных расчетов и проекта усиления стальных элементов производят в соответствии со СНиП II-23-81* с учетом дополнительных требований по проектированию конструкций зданий и сооружений при реконструкции.

2.59. В случае местной коррозии стальных элементов при определении фактической площади сечения в первую очередь определяют существенность различий между выборочными средними , ,  и дисперсиями , , , полученными на различных плоскостях одного и того же элемента. Поверку проводят известными в статистике методами при уровне значимости α = 0,01, принимая в качестве статистической модели распределения случайных величин  и  нормальный закон, а величины tlok - логарифмически нормальный закон распределения вероятностей.

При отсутствии существенных различий между отдельными выборками их относят к одной генеральной совокупности и объединяют в одну общую выборку. Аналогичная проверка проводится для выборок случайных величин Fk и tlok, полученных для элементов, отнесенных первоначально к различным генеральным совокупностям.

Степень ослабления площади сечения конструкций коррозии оценивается коэффициентом klok < 1, который в случае местной коррозии рассчитывают по формуле

,                                      (16)

где  - нижняя граница доверительного интервала для выборочного среднего значения исходной толщины элемента с доверительной вероятностью р, мм;  - верхняя граница доверительного интервала для выборочного среднего значения площади коррозии на поверхности конструкции  с доверительной вероятностью р, %;  - то же, для средней глубины местных коррозионных поражений , мм;  - номинальное значение исходной толщины по стандарту, мм; ∆ - допускаемое минусовое отклонение толщины профиля по стандарту, мм.

Значение klok определяют при условии

.                                            (17)

Определение границ доверительных интервалов проводят с доверительной вероятностью р = 1 - α = 0,99 для нормально распределенных величин  и Fk по формулам:

;

;                                                         (18)

для логарифмически нормальной величины tlok по формуле

,     (19)

где ta - критерий Стьюдента при уровне значимости α = 0,01; N - объем выборки.

Допускаемые минусовые отклонения толщины проката ∆ принимают в соответствии с действующими в настоящее время стандартами на стальной прокат. Значения ∆ для основных видов прокатных профилей (уголок, швеллер, двутавр) сведены в прил. 5. Наличие плюсовых и минусовых допусков на толщину проката создает запас на коррозию в пределах примерно 1-2 мм. При этом следует учитывать, что до 60-х годов профили прокатывали преимущественно с плюсовыми допусками.

2.60. В случае сплошной равномерной коррозии значение коэффициента ослабления площади сечения kreg определяют по формуле

                                                     (20)

при ,

где  - нижняя граница доверительного интервала для выборочного среднего значения сохранившейся толщины конструкции, элемента с доверительной вероятностью р, мм.

При этом предварительно проводят проверку существенности различий S2tmt и tmt между выборками для различных элементов одного профиля, например полок уголков, а также однотипных профилей. Для случайной величины tmt принимают нормальный закон распределения.

2.61. В случае сплошной неравномерной коррозии значение коэффициента ослабления площади сечения kin определяют по формуле

,                                                        (21)

при ,

где  - нижняя граница доверительного интервала для выборочного среднего значения сохранившейся толщины элемента без учета местных коррозионных поражений с доверительной вероятностью p, мм;  - верхняя граница доверительного интервала для выборочного среднего значения глубины местных коррозионных поражений на поверхности конструкции с довертикальной вероятностью p, мм.

При определении границ доверительных интервалов для  принимают нормальный закон, а для  - логарифмически нормальный закон распределения вероятностей.

Предварительно проверяют существенность различий ,  и ,  между выборками для различных элементов одного профиля, а также для однотипных профилей.

2.62. Уточнение критериев состояния железобетонных конструкций на основе детальных обследований приведено в табл. 7 (дополнительные признаки, выявленные в процессе инструментальных исследований).

2.63. Фактическое состояние железобетонной конструкции должно учитываться в поверочных расчетах на трех периодах работы конструкций:

период А, соответствующий времени от начала обследований до начала строительных работ;

период Б, соответствующий времени проведения реконструкции (работа конструкций по временной схеме с учетом монтажных работ и т.п.);

период В, соответствующий эксплуатации конструкций после реконструкции.

Таблица 7

Категория состояния конструкций

Признаки

I. Исправное

Прочность бетона не ниже проектной, скорость ультразвуковых волн (УЗВ) более 4 км/с, на отдельных участках (не более 20 % общего числа замеренных) величина защитного слоя бетона меньше проектной до 20 %, а класс бетона по водонепроницаемости на одну ступень; величина прогиба и ширина раскрытия трещин не превышают допустимую по нормам; наличие хлорионов в бетоне защитного слоя не обнаружено; потери площади сечения рабочей арматуры нет

II. Работоспособное

Прочность бетона основного сечения элемента (за пределами защитного слоя бетона и в сжатой зоне) не ниже проектной; скорость УЗВ 3 - 4 км/с; количество хлорионов в бетоне защитного слоя не превышает допустимого; величина защитного слоя бетона меньше проектной (до 30 %) на площади менее 30 % поверхности. Потеря площади сечения рабочей ненапрягаемой арматуры и закладных деталей вследствие коррозии не превышает 5 %

III. Ограниченно работоспособное

Прочность бетона основного сечения элемента ниже проектной, скорость УЗВ менее 3 км/с, потеря площади сечения рабочей арматуры и закладных деталей вследствие коррозии превышает 5 %; ширина раскрытия трещин, вызванных эксплуатационными воздействиями, на уровне арматуры превышает допустимую по действующим нормам; трещины в сжатой зоне и в зоне главных растягивающих напряжений, прогибы элементов, вызванных эксплуатационными воздействиями, превышают допустимые более чем на 30 %

Примечания: 1. Данную таблицу необходимо рассматривать совместно с табл. 2. 2. Подробная классификация дефектов и повреждений, их возможные причины и влияние на несущую способность железобетонных элементов приведены в рекомендациях по классификации дефектов в несущих железобетонных конструкциях промышленных зданий (Харьковский Промстройниипроект, НИИЖБ).

2.64. Основные требования к поверочным расчетам железобетонных конструкций для указанных выше периодов (определение нормативных и расчетных нагрузок, сопротивлений бетона и арматуры) с учетом данных обследований, приведенных в СНиП 2.01.13-87.

2.65. Оценку несущей способности конструкции производят по зонам, участкам, элементам с однотипным напряженным состоянием (пояса, раскосы ферм, приопорные и пролетные участки балок и т.д.).

На каждом участке выявляют наиболее поврежденное по принятым статистическим критериям сечение, которое принимают совмещенным с наиболее напряженным сечением. Последующее уточнение расчета при необходимости может быть достигнуто увеличением числа участков и детализацией статистического распределения параметров материалов и геометрии сечений с учетом дефектов, коррозионных повреждений внутри каждой зоны.

При оценке деформативности конструкций допускается принимать средние значения параметров жесткости сечений в пределах каждого участка.

2.66. На всех периодах (А, Б, В) обеспеченность конструкций по первому предельному состоянию (несущая способность) PI должна быть по параметрам сечений (материалы, геометрия, дефекты, повреждения) не ниже 0,9986 без учета коэффициента надежности по материалу γR > 1 не ниже 0,95 с учетом коэффициента γR.

Обеспеченность конструкций по второму предельному состоянию (эксплуатационная пригодность, PII должна быть по параметрам сечения не ниже 0,95 (γR = 1)).

2.67. По согласованию со специализированной научно-исследовательской организацией на периоде А, в частности при классификации конструкций по категориям состояния на момент обследования, допускается статистическую обеспеченность конструкции PI (несущая способность) принимать по параметрам сечения в пределах 0,9986 ≥ PI ≥ 0,95 при коэффициенте надежности по материалу γR = 1.

2.68. При отсутствии данных испытаний арматуры или невозможности отбора образцов арматуры нормативные сопротивления гладкой арматуры рекомендуется принимать Rsn = 190 МПа, арматуры периодического профиля - 300 МПа с коэффициентом надежности по материалу γR = γS = 1,2.

Нормативные сопротивления поперечной арматуры определяют умножением приведенных значений на коэффициент 0,8.

Арматурные стержни, диаметр которых в результате коррозии уменьшился более чем на 50 %, в расчете учитывать не следует.

2.69. По выборочным значениям сохранившихся диаметров арматуры определяют расчетные значения диаметра с доверительной вероятностью 0,95 (dk)

,                                                  (22)

где di - выборочное значение диаметра; n - объем выборки (как правило, не менее 30); Sdk - среднее квадратичное значение; t0,95 - коэффициент Стьюдента.

Степень ослабления площади сечения арматуры коррозией

,                                                   (23)

где do - исходный диаметр.

Степень снижения относительного удлинения kδ прокорродированной арматуры может быть рассчитана по формуле

.                                                        (24)

При этом, если не соблюдается условие δo = kδ/100 ≥ 5 % (δo - нормируемое относительное удлинение арматуры), то возможность дальнейшего использования прокорродированной стали решается на основании прямых механических испытаний отобранных из конструкции арматурных образцов.

Глубина коррозионных поражений определяется в зависимости от характеристики коррозии.

При равномерной коррозии толщину отделяющейся пленки ржавчины определяют с помощью микрометра.

При язвенной коррозии удаляют слой ржавчины травлением в 10 %-ном растворе соляной кислоты с добавлением 1 %-ного раствора уротропина с последующей промывкой. После этого арматуру опускают на 5 мин в насыщенный раствор нитрита натрия и осушают фильтровальной бумагой. Глубину язв определяют индикатором с иглой или микроскопом.

2.70. При наличии в конструкции наружных слоев с пониженной прочностью бетона (на глубину, превышающую величину защитного слоя) в расчете несущей способности и деформативности допускается принимать либо полное сечение элемента с единой пониженной прочностью в пределах всего сечения, либо уменьшенные размеры сечения (за вычетом слоев с пониженной прочностью) с фактической прочностью оставшегося сечения.

При этом во всех случаях принимаемая в расчет фактическая прочность бетона не должна быть меньше 10 МПа. Слои бетона с меньшей прочностью в расчете не учитываются.

2.71. При выполнении поверочных расчетов снижение несущей способности нормальных сечений вследствие нарушения сцепления арматуры с бетоном рекомендуется учитывать введением в расчетные формулы СНиП 2.03.01-84 коэффициентов, принимаемых 0,9 и 0,8, соответственно для II и III категории состояния конструкции (см. табл. 2 и 7).

2.72. При наличии соответствующего программного обеспечения рекомендуется оценку надежности железобетонных конструкций проводить методами статистического моделирования. Число измерений каждого параметра, вводимого в расчет в виде случайных величин, должно быть не менее 12.

Расчеты по определению надежности несущей способности одного сечения конструкции при одном сочетании нагрузок выполняют в следующем порядке.

1. Обрабатывая измерения, выполненные при обследованиях, параметры конструкции, обладающие изменчивостью, представляются как случайные величины.

2. Выбирается детерминированный метод расчета конструкции согласно СНиП 2.03.01-84*.

3. Проводится ряд статистических испытаний, каждое из которых включает следующие операции:

методами статистического моделирования согласно известным законам распределения назначаются реализации случайных величин - параметров конструкции;

проводится расчет конструкции по СНиП 2.03.01-84* согласно выбранному методу;

в результате расчета определяется несущая способность сечения конструкции.

4. При l статистических испытаний получается l значений несущей способности конструкции M1, ..., Ml.

5. Полученные данные обрабатывают методами математической статистики, аппроксимируя их одной из кривых Пирсона типа I-VII, получается функция f(М).

6. Проводят расчет конструкции при тех реализациях ее случайных параметров, которые принимаются по СНиП 2.03.01-84*. В результате определяют несущую способность Mo.

7. Определяют надежность несущей способности одного сечения конструкции при одном сочетании нагрузок

.                                                         (25)

Надежность S1i представляет собой начальную вероятность безотказной работы одного сечения конструкции при одном сочетании нагрузок, т.е. вероятность того, что значения несущей способности, определенные при различных реализациях случайных параметров, принимаемых согласно законам их распределения, превысят значения несущей способности, определенные при реализациях случайных параметров, принимаемых согласно СНиП 2.03.01-84.

По приведенной выше методике определяют надежность в различных сечениях конструкции (нормальных, наклонных) при различных сочетаниях нагрузок. Окончательно надежностью конструкции по несущей способности принимают наименьшее из полученных значений

S1i = min S1i.

Аналогично определяется надежность конструкции по пригодности к нормальной эксплуатации. Например, надежность по ширине раскрытия трещин определяется по формуле

,                                                      (26)

где fcrc) - закон распределения ширины раскрытия трещин, определенный методами статистического моделирования; [аcrc] - допустимая ширина раскрытия трещин, определяемая по СНиП 2.03.01-84* и СНиП 2.03.11-85.

Окончательно надежностью конструкции по пригодности к нормальной эксплуатации принимается наименьшее из значений надежности, полученных по всем предельным состояниям II группы.

3. ПЕРВИЧНАЯ ЗАЩИТА КОНСТРУКЦИЙ

3.1. Железобетонные конструкции с использованием первичной защиты применяют в условиях реконструкции при изготовлении и возведении новых разгружающих и заменяющих элементов (сборных, сборно-монолитных и монолитных), а также при восстановлении и усилении эксплуатировавшихся элементов путем наращивания, устройства обойм, рубашек и т.д. Сохраняемые без усиления железобетонные конструкции проверяют на соответствие их первичной защиты ожидаемым после реконструкции условиям эксплуатации. Требования к первичной защите устанавливаются в соответствии со стандартом СЭВ 4774-84 и СНиП 2.03.11-85.

3.2. При выборе параметров и способов осуществления первичной защиты учитывают:

сроки службы конструкций в период между реконструкциями (с использованием вторичной защиты или без нее);

сроки выполнения общестроительных и антикоррозионных работ в остановочный период;

степень влияния строительных работ на основное производство в доостановочный и послеостановочный период;

стоимость, трудоемкость работ, степень их механизации и т.д.

3.3. Расчетные сроки службы конструкций назначаются генеральным проектировщиком по согласованию с руководством реконструируемого предприятия. Если эти сроки не оговорены, при оценке эффективности первичной защиты их рекомендуется принимать в соответствии с Руководством по определению экономической эффективности повышения качества и долговечности строительных конструкций (НИИЖБ, М.: Стройиздат, 1982) как для элементов, эксплуатирующихся в неагрессивных средах.

3.4. Эффективность первичной защиты оценивают соответствием ожидаемых сроков службы конструкций, определенных по правилам разд. 4 Рекомендаций, расчетным срокам.

Если после реконструкции характер и интенсивность эксплуатационных физико-химических воздействий существенно не изменяется, основные параметры цементного бетона, влияющие на эффективность первичной защиты (вид цемента, марка по водонепроницаемости), а также величину защитного слоя бетона выбирают с учетом анализов проб бетона образцов, отобранных из существующих конструкций, длительное время подвергавшихся аналогичным воздействиям.

Характерные признаки коррозионных повреждений и ориентировочная скорость коррозии бетона для некоторых видов воздействий (на примере объектов черной металлургии) приведены в табл. 8.

3.5. При восстановлении и усилении железобетонных конструкций наращиванием, устройством обойм или «рубашек» дополнительными требованиями, учитываемыми при проектировании и производстве бетонных работ, являются требования обеспечения совместной работы нового и старого бетона, отсутствия пустот, неплотностей и других дефектов при заполнении бетонной смесью пространства между опалубкой обоймы («рубашки») и усиливаемой конструкцией, а также предотвращения образования трещин недопустимого раскрытия в новом бетоне вследствие усадки последнего. Удовлетворение указанных требований достигается выполнением мероприятий, рекомендуемых в пп. 3.6-3.16.

3.6. Сцепление нового бетона со старым обеспечивается соответствующей подготовкой поверхности старого бетона, в частности с помощью эффективного высокопроизводительного термообразивного агрегата ТА-11/16 (см. прил. 11).

В случае когда старый бетон подвержен замасливанию, рекомендуется термохимическая обработка его поверхности, включающая следующие операции:

обработка 0,1 %-ным раствором ПАВ (ОП-7 или ОП-10, ГОСТ 8433-81) - 1-1,5 ч;

прогрев при температуре около 180 °С - 1 ч;

обработка органическим растворителем - трихлорэтиленом, перхлорэтиленом (ГОСТ 9976-83*, ТУ 6-09-3841-77 и др.) - 1 ч;

сушка при температуре около 100 °С - 0,5 ч.;

промывка водой под давлением.

3.7. Для повышения адгезии нового бетона к старому в ответственных конструкциях рекомендуется на подготовленную поверхность старого бетона перед укладкой нового наносить слой клея, составы и технология приготовления которого приведены в прил. 6.

3.8. При восстановлении, усилении и замене железобетонных конструкций используют цементные, в том числе безусадочные расширяющиеся и напрягающие, полимерцементные, кислотостойкие (на основе жидкого стекла) и полимерные (главным образом, на основе эпоксидных смол и метилметакрилата) бетоны и растворы.

Выбор вида бетона производят на основе технико-экономического анализа с учетом факторов, указанных в п. 3.2.

Таблица 8

Вид воздействия

Признаки коррозионного повреждения

Газовоздушная среда, содержащая SO2, CO2, H2S при отсутствии систематического увлажнения - степень агрессивного воздействия средняя, бетон марки по водонепроницаемости W6

Отсутствие гидроксида кальция, снижение pH поровой жидкости ниже 11,5, частичное заполнение пор и трещин продуктами коррозии (карбонат кальция, гипс и др.); количество дефектных участков более 25 % на глубине в среднем 10 мм за 10 лет эксплуатации

Циклическое увлажнение грунтовыми и техническими водами, содержащими анионы , , , (CO2 агрессивный), близкими к нейтральным.

Степень агрессивного воздействия средняя, бетон марки по водонепроницаемости W6

Отсутствие гидроксида кальция, снижение рН поровой жидкости ниже 11,5, частичное заполнение пор и трещин продуктами коррозии (гипс, карбонат кальция); количество дефектных участков более 25 % на глубине в среднем 10 мм за 6 лет эксплуатации

Постоянное увлажнение грунтовыми водами, содержащими анионы , , .

Степень агрессивного воздействия сильная. Бетон марки по водонепроницаемости W6

Отсутствие гидроксида кальция, снижение рН поровой жидкости ниже 11,5, поры и трещины целиком заполнены продуктами коррозии (карбонатом кальция, гипсом); количество дефектных участков более 25 % на глубине в среднем 10 мм за 4 года эксплуатации

Примечания: 1. Степень агрессивного воздействия принималась по СНиП 2.03.11-85 для бетона марки по водонепроницаемости W6. При степени агрессивного воздействия больше или меньше на одну ступень средняя глубина коррозионных поражений соответственно увеличивается или уменьшается примерно в 1,5 раза. При марке бетона по водонепроницаемости больше или меньше указанной в таблице на одну ступень средняя глубина коррозионных повреждений соответственно уменьшается или увеличивается примерно в 1,5 раза. 2. Приведенные в таблице данные получены для бетонов, изготовленных на портландцементе без добавок или с добавкой молотого гранулированного шлака до 20 % с содержанием в клинкере C3A от 4 до 9 %. 3 Определение коррозионного состояния бетона проводили в соответствии с разд. 2 Рекомендаций.

3.9. К бетонной смеси и бетону помимо расчетных сопротивлений и стойкости к заданным воздействиям в зависимости от конкретных условий выполнения работ могут предъявляться специфические требования:

ускоренный темп твердения и набора прочности (после 20-30 ч твердения бетон должен иметь не менее 50 % проектной прочности);

замедление процессов схватывания (на 4 ч и более) при укладке в рассредоточенных местах бетонирования;

разжижение бетонной смеси (до 8 см ОК и более) при ограниченных возможностях силового уплотнения, укладке бетононасосами, заполнении обойм и т.д.;

безусадочность;

повышенные защитные свойства по отношению к стальной арматуре и закладным деталям.

Эти требования удовлетворяются соответствующим подбором состава бетона, применением химических добавок, технологическими приемами.

3.10. Химические добавки, применяемые для бетонов, должны удовлетворять требованиям соответствующих Технических условий и государственных стандартов (табл. 9).

Таблица 9

Назначение добавки по основному эффекту действия

Добавки, номер ГОСТа или Технического условия

1. Ускоряющие схватывание (твердение) и противоморозные добавки

Сульфат натрия, ГОСТ 6318-77*

Нитрат натрия, ГОСТ 828-77

Нитрит-нитрат кальция, ТУ 603-7P474

Хлорид кальция, ГОСТ 450-77*

Нитрит-нитрат-хлорид кальция ТУ 6-18-194-76

Поташ, калий углекислый технический, ГОСТ 10690-73*

Нитрат кальция, азотнокислый кальций, ВТУ АУ-58-57

2. Замедляющие схватывание (твердение)

Кормовая патока, ТУ 18 РСФСР 409-71

Тринатрийфосфат, ТУ 6-02-1171-79

Нитрилотриметиленфосфоновая кислота, ТУ 6-02-1171-79, ТУ 6-4919-80

3. Пластифицирующие (суперпластификаторы)

С-3, ТУ 6-14-625-80**

МФ-АР, ТУ 6-05-1926-81

«Дофен», ТУ 14-6-188-81

4. Пластифицирующие

Меласская упаренная последрожжевая барда, УПБ, ОСТ 18-126-73

Лигносульфонаты технические, ОСТ 13-183-83 (бывш. СДБ)

5. Пластифицирующе-воздухововлекающие

Щелочной сток производства капролактама, ТУ 113-03-488-84 (бывш. ПАЩ-1)

Модифицированная синтетическая поверхностно-активная добавка СПД-м, ТУ 38-30318-84

Этилсиликонат натрия, ГКЖ-10

Метилсиликонат натрия, ГКЖ-11

Нейтрализованный черный контакт (натриевый), ТУ 38-101615-76

Нейтрализованный черный контакт рафинированный, ТУ 38-3022-74

6. Воздухововлекающие

Смола нейтрализованная, воздухововлекающая (СНВ), ТУ 81-05-7-74

Смола, древесная омыленная (СДО), ТУ 81-05-16-76, ТУ 81-05-2-78

Клей талловый пековый (КТП), ОСТ 81-12-77

7. Уплотняющие

Битумная эмульсия

3.11. Для обеспечения сохраняемости бетонной смеси (свойство сохранять требуемую удобоукладываемость в течение заданного времени от первоначальных значений после затвердения до минимально допустимых в зависимости от способа укладки и уплотнения) используют добавки, приведенные в табл. 10.

Таблица 10

Добавки

Примерная дозировка, % массы цемента в пересчете на сухое вещество

Ориентировочное время увеличения сохраняемости смеси при температуре 20 °С, ч

Бетоны рядовых марок

СДБ

0,1-0,3

0,5-1

0,3-0,6

1-3

КП

0,05-0,25

2-4

НТФ

0,02-0,08

2-3

0,08-0,15

3-6

ГКЖ-10, ГКЖ-11

0,05-0,15

1-2

136-41

0,02-0,10

1-2

113-63

0,02-0,15

1-3

СДБ + КП

(0,1 - 0,9) + (0,05 - 0,25)

2-5

СДБ + 136-41 (113-63)

(0,1 - 0,3) + (0,02 - 0,10)

2-4

НТФ + 113-63 (136-41)

(0,02 - 0,1) + (0,02 - 0,1)

3-6

КП + 136-41 (113-63)

(0,05 - 0,25) + (0,02 - 0,10)

3-5

ГКЖ-10 (ГКЖ-11) + СДБ

(0,05 - 0,15) + (0,1 - 0,3)

1-3

Высокопрочные бетоны и бетоны классов В30 - В40 из высокоподвижных и литых бетонных смесей

СП + СДБ

(0,5 - 0,7) + (0,1 - 0,3)

1-3

СП + КП

(0,3 - 0,7) + (0,5 - 0,25)

1-4

СП + НТФ

(0,4 - 0,8) + (0,02 - 0,15)

3-6

СП + 113-63

(0,4 - 0,8) + (0,02 - 0,15)

2-4

СП + 136-41

(0,4 - 0,8) + (0,02 - 0,10)

2-4

СП + ГКЖ-10 (ГКЖ-11)

(0,4 - 0,8) + (0,05 - 0,10)

2-4

СП + НТФ + 113-63 (136-41)

(0,4 - 0,8) +(0,02 - 0,1) + (0,02 - 0,10)

4-6

Примечания: 1. СП - суперпластификаторы типа С-3, МФ-АР (МФАС-Р100-П, 10-03). 2. Эффективность добавки зависит от химико-минералогического и вещественного состава цементов.

3.12. Для усиления, восстановления и антикоррозионной защиты железобетонных конструкций в условиях слабой и средней степени агрессивных воздействий, а также для замоноличивания стыков сборных железобетонных элементов рекомендуется применять расширяющиеся безусадочные растворы и бетоны на обычном цементе.

Приводимые ниже варианты составов расширяющегося раствора и бетона на обычном портландцементе являются равноценными.

Растворы, кг/м3

Состав № 1:

портландцемент М500 ……………………………………………………… 515

кварцевый песок ……………………………………………………………. 1545

сернокислый алюминий .......……………………………………………….. 10

нитрит натрия (В/Ц = 0,45 - 0,55).…………………………………………... 10

Состав № 2:

портландцемент М500 ……………………………………………………… 515

кварцевый песок ........……………………………………….……………… 1545

сернокислый алюминий ......……………………………………………….. 10

азотнокислый кальций .......………………………………………………… 10

лигносульфонаты технические (СДБ) ……………………………………. 0,54

алюминиевый порошок (В/Ц = 0,45 + 0,55) ..…………………………… 0,05

Количество воды в растворе и подвижность раствора подбирают опытным путем в зависимости от крупности песка и других факторов.

Бетоны

Состав № 1:

портландцемент .......……………………………………………………………… 330

щебень ……………………………………………………………………………. 1270

песок .......………………………………………………………………………….. 600

сернокислый алюминий .....…………………………………………………….... 6,6

нитрит натрия ......……………………………………………………………….... 6,6

Состав № 2:

портландцемент ..………………………………………………………………..... 330

щебень ...………………………………………………………………………….... 1270

песок ...…………………………………………………………………………….... 600

сернокислый алюминий .....……………………………………………………….. 6,6

азотнокислый кальций .....……………………………………………………….... 6,6

технические лигносульфонаты ..………………………………………………..... 0,35

алюминиевый порошок .....………………………………………………………... 0,03

3.13. Для приготовления напрягающих растворов и бетонов применяют напрягающие цементы, песок, щебень, воду и добавки (табл. 11).

Таблица 11

Работа

Состав смеси, части

Полимерные добавки

цемент

песок

щебень

В/Ц

1. Сухое торкретирование

1

2

-

-

0,15-0,25 % ГКЖ-10 или ГКЖ-11

2. Мокрое торкретирование

1

2

-

0,41

Латекс СКС-65 ГП 0,8-1,2 % массы цемента

3. Заделка трещин мм:

 

 

 

 

 

1,5-5

1

-

-

0,28

-

5-30

1

1-1,5

-

0,3

-

4. Заделка раковин, выбоин

1

1

2

0,4

-

5. Бетонирование

1

1

2

0,45

-

3.14. Рекомендуемые составы полимерных композиций приведены в табл. 12, а технология их приготовления - в прил. 1.

Таблица 12

Компоненты

Состав полимерцементных растворов, масс. ч.

1

2

3

Латекс БС-65ГПН

80

60

77

Жидкое стекло

-

10

-

Фенолспирты

-

-

4

Портландцемент М500

50

50

50

Песок

50

50

50

Полиакриламид (1 %-ный раствор)

1,5

-

-

3.15. Составы полимерсиликатных бетонов приведены в табл. 13, безусадочных кислостойких растворов и бетонов - в табл. 14, а технология их приготовления - в прил. 1.

Основные свойства полимерсиликатных бетонов

Прочность, МПа:

при сжатии ……………………………………………………….. 30-35

при изгибе ………………………………………………………... 6-7

при растяжении ………………………………………………….. 2,5-3

Призменная прочность ……………………………………………… 21-25

Модуль упругости …………………………………………………… 24000-25000 МПа

Предельная сжимаемость …………………………………………… (110-150) 10-5

Предельная растяжимость …………………………………………… 21×10-5

Коэффициент Пуассона ………………………………………………. 0,22-0,25

Коррозионная стойкость

Среда

KS при               КS при

сжатии              изгибе

Вода                                                                                                         0,74                    0,7

серная      кислота     2 %                                                                        0,75                    0,71

»               »           5 %                                                                        0,77                    0,72

»               »           10 %                                                                      0,86                    0,76

»               »           30 %                                                                      1,01                    1,02

»               »           50 %                                                                      1,05                    1,03

соляная        »            5 %                                                                        0,87                    0,72

»               »            20 %                                                                      1,02                    1,0

азотная         »            30 %                                                                      0,99                    0,98

Коэффициент температурного расширения                                                 8×10-6 1/град

Усадка                                                                                                                0,15-0,2 %

Сцепление с арматурой                                                                                    1,8 МПа

Адгезия, МПа:

свежеуложенного полимерсиликатного

бетона к затвердевшему                                                                     2,5

полимерсиликатного бетона к

портландцементному                                                                         1

3.16. Заделку сколов, раковин, выбоин, поверхностных разрушений бетона на любую глубину; обнажения арматуры, пустоты в стыках сборных элементов и других подобных дефектов, а также устройство защитного слоя конструкции можно осуществить с помощью полимеррастворов, составы которых приведены в табл. 15.


Таблица 13

№ п.п.

Составляющие

Размер фракций, мм

Состав полимерсиликатных бетонов

1

2

3

4

Тяжелый полимерсиликатный бетон

Полимерсиликатный бетон ФС на пористых заполнителях

ФС

ПН

НЦ

Расход составляющих

% по массе

кг/м3

% по массе

кг/м3

% по массе

кг/м3

% по массе

кг/м3

1

Гранитный щебень

20-40

48-50

1100-1160

49-50

1170-1200

40-50

1160-1190

-

-

2

То же

10-20

2,6-3,0

62-66

3-3,5

72-84

3-3,5

39-43

-

-

3

Пористый щебень или гравий

10-20

-

-

-

-

-

-

21-22

400-418

4

То же

5-10

-

-

-

-

-

-

14-15

266-285

5

Песок кварцевый

0,15-5

 

560-590

22-23

530-560

22-23

540-560

28-29

532-551

6

Наполнитель

Менее 0,15

12-13

280-295

12-13

280-290

11-12

275-285

16-17

304-323

7

Жидкое стекло натриевое

-

8,5-9,5

210-220

8,5-9

205-215

8,8-9

210-220

12-14

228-266

8

Кремнефтористый натрий КФН

-

3-4

60-80

3-4

60-80

3-4

60-80

3-4

60-80

9

Фуриловый спирт ФС

-

0,29-0,31

6,8-7,0

0,23-0,27

6-7

-

-

0,4-0,5

7,6-9,5

10

Полиэфирная смола ПН-1

-

-

-

0,54-0,56

12-13

-

-

-

-

11

Полизоцианат

-

-

-

-

-

2,6-2,7

63-65

-

-

Таблица 14

Составы

Содержание компонентов

% массы сухой смеси на 1 м3 материала

Антипирен

Кремнефтористый натрий

Алюмотермический шлак

Глинозем

Каолинитовая глина

Бентонитовая глина

Алюминиевая пудра

Кварцевый микронаполнитель

Шамотный микронаполнитель

Кислотостойкий песок

Кислотостойкий щебень

1

2

3

4

5

6

7

8

9

10

11

12

Раствор I

3/60

-

3/60

-

3/60

-

-

41/820

-

50/1000

-

Бетон I

2/40

-

2/40

-

2/40

-

-

23/560

-

33/660

33/660

Раствор II

3/60

-

5/100

-

-

5/100

-

-

37/740

50/1000

-

Бетон II

3/60

-

2/40

-

-

2/40

-

-

27/540

33/660

33/660

Раствор III

-

4/80

5/100

-

5/100

-

0,005/0,1

35,995/720

-

50/1000

-

Бетон III

-

3/60

3/60

-

3/60

-

0,003/0,06

24,997/500

-

33/660

33/660

Раствор IV

-

4/80

-

5/100

5/100

-

0,005/0,1

35,995/720

-

50/1000

-

Бетон IV

-

3/60

-

3/60

3/60

-

0,003/0,06

24,997/500

-

33/660

33/660


Таблица 15

Компоненты составов

Содержание компонентов составов, мас. ч.

1

2

3

4

Метилметакрилат

100

100

 

 

Жидкий каучук СКН

20-50

-

20-40

-

Полистирол

-

5-7

-

-

Парафин

0,5

0,5

-

-

Эпоксидная смола ЭД-16, ЭД-20 или ЭИС-1

-

-

100

100

Перекись бензоила

-

6-8

-

-

Диметиланилин

-

2-3

-

-

Гипериз

6-7

-

-

-

Полиэтиленполиамин

6-7

-

8-10

8-10

Кварцевый или строительный песок

100-300

100-300

50-150

-

Тонкомолотый наполнитель

50-100

100-300

50-100

-

Ацетон, толуол, ксилол

-

-

10-30

50-150

Дибутилфталат

-

-

5-10

-

Составы полимеррастворов приготавливают непосредственно перед нанесением на ремонтируемую поверхность. Жизнеспособность полимеррастворов составляет 15-30 мин, в течение которых они должны быть полностью переработаны.

Перед нанесением полимерраствора поверхность бетона покрывают грунтовочным составом № 4 (табл. 15), который наносят кистью в количестве 0,1-0,2 кг/м2. Грунтовочный состав выдерживают при комнатной температуре 0,5-1 ч, после чего наносят полимерраствор.

Высоковязкие полимеррастворы наносят на дефектный участок с помощью шпателя, а также другого инструмента, используемого в штукатурных работах. Уплотнение полимерраствора производят штыкованием.

При ремонте дефектов глубиной более 70 мм целесообразно применять жестко закрепленную опалубку.

3.17. Работы по заделке трещин в сохраняемых конструкциях рекомендуется начинать после стабилизации процесса трещинообразования. Для более полного заполнения трещин перед началом работ желателен небольшой (0,02-0,1 от разрушающей нагрузки) пригруз конструкций, который снимается через 6-10 ч после окончания работ.

Подготовка трещин заключается в освобождении их от воды, пыли, грязи и других посторонних включений. Сушку трещины проводят, используя горелки ГПС-15, паяльные лампы и другие нагревательные приборы.

Для заделки трещин могут применяться растворы на основе напрягающих цементов (см. табл. 11), полимерцементов (см. табл. 12) в виде теста или раствора, эпоксидных смол, мономеров, полимеров, тиоколовых и других герметиков (табл. 16). Составы, приведенные в табл. 16, отверждаются при температуре выше 15 °С.

3.18. В зависимости от ширины раскрытия трещины, ее расположения (в горизонтальной, вертикальной или наклонной плоскости), а также применяемого состава для инъецирования может быть использован способ подачи состава в трещину самотеком или при помощи инъецирующей установки (табл. 17).

Таблица 16

Компоненты составов

Содержание компонентов, мас. ч. в составах

1

2

3

4

5

Метилметакрилат

100

100

100

100

-

Пластификатор СКН

-

1-5

30-40

10-30

-

Полиэфир ТГМ-3

-

-

-

20

-

Полистирол

5-7

-

-

-

-

Парафин

0,5

0,5

0,5

0,5

-

Эпоксидная смола ЭД-16, ЭД-20 и ЭИС-1

-

-

-

-

100

Перекись бензоила

7-9

5-7

-

-

-

Диметиланилин

2-3

2-3

-

-

-

Гипериз

-

-

6-7

5-6

-

Полиэтиленполиамин

-

-

6-7

5-6

8-12

Ацетон

-

5-10

-

-

10-30

Таблица 17

№ состава по табл. 15

Ширина раскрытия трещин, мм

Расположение трещин

Способ подачи состава

Жизнеспособность состава, мм

1

0,1-0,5

Горизонтальные, вертикальные, наклонные, обращенные вверх

Самотеком

10-20

2, 3

0,25-1

То же

То же, инъецирующей установкой, шприцем-инъектором

20-30

0,1-0,25

»

4, 5, 6

0,20-1,5

Горизонтальные, вертикальные, наклонные, обращенные вверх и вниз

Инъецирующей установкой, шприцем-инъектором

30-50

3.19. Подачу составов 1-4 (см. табл. 16) в горизонтальные трещины, обращенные вверх, осуществляют поливом этого состава по всей длине трещины. Если трещина является сквозной, необходимо ее нижнюю часть герметизировать, зашпаклевав цементно-песчаным раствором, гипсом, наклейкой полосы бумаги, расплавленным парафином, жидкостекольным или другим клеем.

Инъекторы представляют собой металлическую трубку с внутренним диаметром 5-10 мм, длиной 40-50 мм, с приваренной на одном конце шайбой диаметром 4-5 мм. Инъекторы приклеивают составами 4 или 5 (см. табл. 16) на бетон в местах наибольшего раскрытия трещин через 20-100 см. Допускается использование инъекторов, а также клеящих составов для них.

Перед началом инъецирования проверяют прохождение воздуха через инъекторы, для чего инъектор соединяют шлангом с системой подачи сжатого воздуха (0,2-0,3 МПа). Воздух должен свободно проходить через каждый инъектор. Одновременно проверяют герметичность клеевых швов. При обнаружении утечек воздуха дефектные места дополнительно герметизируют приклейкой полосок стеклоткани.

3.20. Для заполнения полимерными составами 1-4 (см. табл. 16) вертикальных и наклонных трещин нижний инъектор соединяют шлангом с воронкой, в которую подают состав. После появления раствора из верхнего инъектора заполнение трещин прекращают. По мере появления раствора в средних инъекторах к ним присоединяют питающий шланг, а нижележащий инъектор закрывают пробкой.

Состав 5 вводят в трещины с помощью инъецирующей установки, состоящей из герметичного бачка-сифона и компрессора. Инъектирование начинают с давления 0,05-0,16 МПа, постепенно доводя его до 0,3-0,5 МПа.

Продолжительность работы с одним замесом состава не должна превышать сроков его жизнеспособности (15-30 мин). По окончании работ все механизмы и приспособления должны быть промыты растворителем (ацетоном, толуолом) или горячей водой с содой. После отверждения состава, заполняющего трещины, инъекторы и полосы герметирующего материала удаляют.

3.21. Для заделки трещин размером 1,5-5 мм используют цементное тесто на напрягающем цементе (см. табл. 11) нормальной густоты, которое зачеканивают шпателем или инъецируют специальным пистолетом. Цементное тесто готовят небольшими порциями на строительной площадке.

Для заделки трещин размером 5-30 мм используют раствор на НЦ состава 3б (см. табл. 11), который укладывают в трещину, утрамбовывают или зачеканивают шпателем либо чеканочным молотком и затирают мастерком.

Отремонтированные участки с трещинами в конструкциях закрывают пленкой или мешковиной.

Через 24-30 ч после укладки цементного теста на напрягающем цементе или растворе производят увлажнение 1 раз в 1 ч.

3.22. Стальные элементы усиления для сооружений на открытом воздухе, эксплуатируемые в слабоагрессивной среде, следует проектировать преимущественно из стали с повышенной коррозионной стойкостью марок 10ХНДП, 10ХДП, 12ХГДАФ, 08ХГ2СБДП без защиты от коррозии.

Соединения стальных элементов на высокопрочных болтах из стали марки 38ХС и 30ХЗМФ «селект» или на заклепках из стали марки 09Г2 допускаются в конструкциях зданий и сооружений с неагрессивной средой, а также со слабоагрессивной средой в неотапливаемых помещениях и на открытом воздухе.

4. ОЦЕНКА СРОКА СЛУЖБЫ ЖЕЛЕЗОБЕТОННЫХ И СТАЛЬНЫХ ЭЛЕМЕНТОВ

4.1. Необходимость в определении (прогнозировании) срока службы возникает при принятии решения о видах, объемах и времени выполнения работ по усилению, восстановлению и антикоррозионной защите конструкций; о возможности продолжения эксплуатации сохраняемых конструкций на период реконструкции и в новых условиях эксплуатации и т.д. Практические способы прогнозирования развития во времени всех признаков, характеризующих состояние железобетонных конструкций (см. табл. 2 и 7) пока не разработаны. Методики, приведенные в данном разделе, позволяют оценить развитие во времени процесса потери бетоном защитных свойств по отношению к стальной арматуре и изменения несущей способности конструкции. Исчерпание бетоном защитных свойств по отношению к стальной арматуре является определяющим признаком выхода конструкций в рассматриваемый момент времени из I категории состояния в одну из последующих категорий (II, III, IV и V).

Рассматриваются два способа определения ожидаемого срока службы - детерминированный и вероятностный. При детерминированном способе используют средние значения величин, входящие в расчетные формулы, в вероятностной постановке обеспеченность принята равной 0,95.

При вероятностном способе оценки долговечности по истечении прогнозируемого срока службы железобетонные конструкции должны быть обследованы, после чего решается вопрос о возможности дальнейшей их эксплуатации без проведения дополнительных защитных мероприятий или о времени проведения, составе и объеме ремонтных работ. Эти сроки должны быть указаны в паспорте на здание или сооружение.

4.2. Взаимодействие бетона с углекислым газом (карбонизация) - наиболее распространенный процесс его нейтрализации. При совместном воздействии на бетон углекислого газа и других кислых газов (сернистого ангидрида, фтористого водорода, сероводорода, сероуглерода) имеет место опережающая диффузия CO2.

Оценка ожидаемой глубины нейтрализации бетона углекислым газом , см, для «нового» бетона усиливаемых или восстанавливаемых элементов для времени τ при концентрации CO2, C0 (относительная величина по объему) производится по формуле

,                                                   (27)

где  - эффективный коэффициент диффузии, см2/с; m0 - реакционная способность (объем газа, поглощаемый единицей объема бетона).

Исходные данные для расчета получают из определения глубины карбонизации бетона в естественных условиях или в камере с повышенной концентрацией CO2.

Для вычисления m0 отбирают и анализируют на содержание CO2 пробу растворной части бетона из карбонизированного и некарбонизированного слоя. Разность этих величин равняется количеству CO2, поглощенному в процессе карбонизации.

Приближенно реакционную емкость можно рассчитать по формуле

m0 = 0,4GcPCaOfc,                                                          (28)

где Gc - количество цемента, г, в 1 дм3 бетона; РСаO - количество СаО в кальцийсодержащих соединениях в цементе в относительных величинах по массе, для портландцемента может быть принято равным 0,6; fc - степень карбонизации бетона, равная отношению количества СаО, связанного в карбонат, к общему количеству СаО в цементе. Величина fc может быть принята равной 0,6.

,                                             (29)

где  - измеренная глубина карбонизации, см; C0 - концентрация углекислого газа, в относительных единицах; tc - продолжительность карбонизации, с.

Время, за которое произойдет нейтрализация бетона на заданную глубину, определяется по формуле

.                                                     (30)

Глубина нейтрализации отдельно взятого участка эксплуатировавшегося бетона определяется по формуле

,                                                       (31)

где  - глубина нейтрализации после t1 лет эксплуатации по данным обследований;  - прогнозируемая глубина нейтрализации бетона после t2 лет эксплуатации, а длительность нейтрализации соответственно

.                                                        (32)

Принимая нормальный закон распределения величины y1 с обеспеченностью 0,95, величина

.                                            (33)

4.3. Бетон защитного слоя железобетонных конструкций, эксплуатирующихся в агрессивных хлоридных средах, необходимо проверять на наличие хлоридов (см. разд. 2).

Отколотые или высверленные куски бетона следует распиливать на станке с алмазным диском и масляным охлаждением слоями толщиной 3-5 мм, параллельно внешней стороне конструкции. По результатам анализа определяют глубину слоя бетона, на которой содержание хлоридов достигает предельно допустимого - 0,1 % массы цемента для преднапряженных конструкций и 0,4 % для конструкций с обычным армированием.

Срок эксплуатации конструкции до момента достижения предельно допустимого содержания хлоридов у арматуры

,                                            (34)

где  - предельно допустимое содержание хлоридов у поверхности арматуры, % массы цемента;  - содержание хлоридов в поверхностном слое бетона (глубина до 5 мм) на момент обследования; hcl - глубина проникновения хлорид-ионов в бетон, см (справедливо при hclhd); hd - величина защитного слоя бетона.

Величины  и hcl определяют по графику распределения хлоридов в бетоне, построенному по данным послойного химического анализа в координатах Qcl - hd. При наличии на поверхности конструкции конденсационной влаги ее необходимо удалить вместе с наружным слоем цементного камня толщиной 0,5-1 мм.

Закон распределения величины hcl, как и в случае нейтрализации бетона углекислым газом, принимается нормальным.

4.4. При действии на железобетонные элементы растворов серной, азотной и соляной кислот с pH 2 скорости коррозии цементного камня бетона близки по своим значениям, так как при указанных значениях рН сульфат, нитрат и хлорид кальция полностью переходят в раствор.

При рН < 2 в растворе серной кислоты в слое продуктов коррозии образуются кристаллы сравнительно малорастворимого сульфата кальция (растворимость CaSO4·2H2O - 2,1 г/л, CaCl2 - 745 г/л, Ca(NO3)2 - 1288 г/л), и, начиная с указанной концентрации, средняя скорость коррозии бетона при действии растворов серной кислоты ниже, чем при действии растворов соляной и азотной кислот.

Для нового бетона расчет глубины повреждения бетона ас) при постоянном воздействии среды ведут на основе специальных экспериментальных исследований, проводимых для данного вида бетона,

,                                                   (35)

где  - количество прореагировавшего цементного камня в пересчете на СаО, отнесенное к единице площади реагирующей поверхности образцов, г/см2;  - количество цемента, г, в 1 см3 исследуемых образцов; РСaO - содержание СаО в цементе, %, определяемое по результатам химического анализа цемента.

При прогнозировании глубины разрушения цементного камня, раствора или бетона подземных конструкций в случае сохранения образовавшихся продуктов коррозии используются зависимости:

 (при а > 0,1);                                       (36)

(при а < 0,1).                                           (37)

Здесь , где  и  соответственно количество цементного камня в пересчете на СаО, вошедшее во взаимодействие с агрессивной средой в диффузионно-кинетической области (на этапе криволинейной зависимости  и с начала эксперимента к рассматриваемому сроку); kq - экспериментальная величина, определяемая как тангенс угла наклона прямой к оси абсцисс на графике ; τ - время, для которого прогнозируется глубина разрушения, сут.

Если конструкция некоторое время Tser уже эксплуатировалась в кислой среде, определяют среднюю глубину коррозионного поражения хас за прошедший срок службы и вычисляется константа коррозии

.                                                        (38)

Подставив в эту формулу заданный срок дальнейшей эксплуатации или предельную глубину коррозионного разрушения бетона, исключаемого при расчете конструкции, устанавливают ожидаемое значение искомой величины с обеспеченностью 0,5 (с обеспеченностью 0,95 вместо величины хас используется величина хас + 1,64σ хас).

Для ориентировочных расчетов значения константы  можно принимать по табл. 18 (при содержании портландцемента 300-450 кг/м3 в В/Ц 0,4-0,6).

Допускается также при ориентировочных расчетах ожидаемой глубины коррозии эксплуатировавшихся конструкций использовать формулы (31) и (33), принимая в качестве значения y1 глубину коррозионного поражения бетона по фенолфталеиновой пробе.

Таблица 18

pH

Концентрация, мг/л, кислоты

Соляной

Азотной

Серной

6

0,0365

0,061

0,049

1,25·10-3

5

0,365

0,61

0,49

1,9·10-3

4

3,65

6,1

4,9

4,5·10-3

3

36,5

61

49

9,5·10-3

2

365

610

490

2,8·10-2

1

3650

6100

4900

* Над чертой - значения  для соляной и азотной кислот, под чертой - для серной кислоты.

4.5. Основным показателем, определяющим степень повреждения бетона в жидкой сульфатной среде при относительно стационарном ее воздействии, служит количество связанного цементом SO3, % массы цементного камня.

Распределение связанных цементным камнем сульфат-ионов при одномерной диффузии описывается эмпирическими зависимостями: если :

 при                    (39)

если :

                       (40)

В зависимостях (39), (40):  - количество связанных сульфат-ионов в поверхностном слое, % (масса цементного камня); 19 % - предельное количество связанных сульфат-ионов, при котором прочность бетона снижается до нуля; z - текущая координата, см; zk(τ) - глубина фронта взаимодействия, см (за исключением слоев полностью разрушенного бетона); zr(τ) - глубина фронта разрушенных слоев бетона, см.

;                                                    (41)

;                                                          (42)

.                                                    (43)

В формулах (41), (42), (43) функциональные зависимости, учитывающие влияние определяющих факторов соответственно на параметры Q(z = 0; τ) и zk(τ) сульфатной коррозии бетона; τ - время взаимодействия раствора, содержащего сульфаты, год;  - время до начала разрушения поверхностного слоя бетона, год.

;                                                       (44)

;                                                        (45)

,                                                  (46)

где kq и kz - константы процесса сульфатной коррозии: kq = 0,05 (л/мг·год)0,5; kz = 0,02 см·год-0,28·л/мг0,5; Cs - концентрация , мг/л; ηk - коэффициент, учитывающий вид катиона в растворе; для натрия и никеля ηk = 1, для цинка и меди ηk = 0,77; ηB - коэффициент, учитывающий влияние бикарбонатной щелочности

                          (47)

где СB - концентрация HСО3; ; ηc - коэффициент, учитывающий химико-минералогический состав цемента

,                              (48)

где , nA,  - соответственно количество C3A, активных добавок и C3S в цементе, %; kA - коэффициент, учитывающий вид добавок - для доменных шлаков kA = 0,014; для минеральных добавок - kA = 0,020; ησ - коэффициент, учитывающий влияние напряженного состояния на проницаемость бетона:

                            (49)

,

где ηbt, ηcrc - соответственно уровень напряжений растяжения и сжатия относительно ; Rbt, Rb - соответственно временные сопротивления бетона осевому растяжению и сжатию, МПа;  - нижняя граница микротрещинообразования, МПа; σ - действующее напряжение (напряжения растяжения принимаются со знаком «минус»), МПа; ηW - коэффициент, характеризующий проницаемость бетона

,                                                       (50)

где  - объем открытых пор в единице объема цементного камня, %, определяется экспериментально или ориентировочно по формуле

,                                  (51)

где αmax = 2,38W/C ≤ 1, W/C - водоцементное отношение.

Зависимости (39), (40) справедливы при постоянном погружении бетона, выполненного на портландцементе, портландцементе с минеральными добавками, сульфатостойком шлакопортландцементе с пуццолановым портландцементом при содержании в клинкере C3A - 2...12 %, C3S - 35...70 %, сумме C3A + C4AF ≤ 22 %, доменных шлаков 0-70 % или активных минеральных добавок 0-40 %, содержании Al2O3 в доменных шлаках менее 12 %, при величине водопоглощения бетона 4-5,7 %, напряжениях - 0,8Rbt ≤ σ ≤ Rb, МПа; концентрации  - 1000-33800 мг/л, концентрации НСО3 - 0-12  времени взаимодействия раствора 1-50 лет.

Расчетный срок службы железобетонных конструкций характеризуется временем накопления предельно допустимой величины сульфат-ионов  на поверхности арматуры.

Предельно допустимая величина связанного цементом SO3 () исходя из условий недопущения коррозии арматуры и обеспечения ее анкеровки принимается равной 3,2 %, т.е. тому количеству, при котором начинается снижение прочности бетона.

Время до начала разрушения слоя определенной глубины hc определяют по формуле

.                                                (52)

При существовании разрушенных слоев (τ ≥ Tch2) срок службы по критерию накопления на глубине, равной величине защитного слоя hd, количества SO3, равного , определяется по формуле

.                                        (53)

В противном случае средний срок службы железобетонных конструкций определяется методом последовательных приближений из условия

,                                                              (54)

где zch1 - глубина, см, на которой накопилось количество связанных сульфат-ионов, равное , определяется по формуле

.                                           (55)

В качестве начального приближения можно принимать время Tch1, при котором в краевом волокне бетона накапливается количество связанных сульфат-ионов, равное ,

.                                                         (56)

Для проведения расчетов составлена программа «Прогноз» для ЭВМ ЕС на языке ПЛ/1, реализованная в ОС ЕС.

4.6. Долговечность железобетонных конструкций, эксплуатирующихся в условиях выщелачивания, характеризуется временем полной потери прочности бетоном защитного слоя, т.е. моментом оголения арматуры.

При смывании конструкции водой с жесткостью менее 5 °Н средний срок службы бетона защитного слоя определяется по формуле

,                                                    (57)

где  - относительное количество вынесенного СаО, при котором происходит полная потеря прочности бетона, принимается равным 0,3; hd - величина защитного слоя, см;  - эффективный коэффициент диффузии, равный 3,15 см2/год; kB = 0,002 для бетона с расходом цемента 300 кг/м3 и более, с W/C ≤ 0,55; kB = 0,003 для бетона с расходом цемента менее 300 кг/м3 с W/C ≥ 0,6.

Срок службы бетона с уровнем надежности, определяемым характеристикой безопасности γ, определяется по формуле

,                                       (58)

где VD, Vhd - коэффициенты вариации соответственно коэффициента эффективной диффузии и величины защитного слоя.

Расчет несущей способности, ширины раскрытия трещин, прогибов конструкции проводится в соответствии со СНиП 2.03.01-84. При этом вместо среднего значения величины , используется величина

,                                                   (59)

где  - среднее значение содержания SO3;  - среднеквадратическое отклонение величины .

Из расчета исключается поврежденный бетон (уменьшается сечение элемента) или учитывается снижение его прочности по глубине. В последнем случае сечение конструкции условно разбивается на слои, в пределах каждого из которых значения  и соответственно прочности бетона принимаются одинаковыми.

4.7. Оценка по приводимой ниже методике ожидаемого срока службы железобетонных конструкций, испытывающих многократно повторяющиеся воздействия нагрева и увлажнения грунтовыми или техническими сульфатсодержащими водами, производится в случае, когда ввиду сложности протекающих в бетоне процессов, они не могут быть сведены к одному из видов коррозии (I, II, III).

Область применения способа: содержание ионов  до 15 г/л рН водной среды 6...10 ед.; максимальная температура нагрева 90 °С; длительность цикла от 2 ч до 2 сут; бетоны классов В20...В50, марок W4...W10 на цементах с содержанием C3S 39...67 %, C2S - 12...35 %, С3А - 4...9 %.

В качестве прогнозируемого срока службы конструкции без вторичной защиты принято время, по истечении которого прочность поверхностного слоя бетона толщиной 25-30 мм уменьшается в 2 раза. При этом, как правило, исчерпываются защитные свойства бетона по отношению к арматуре.

4.8. Стойкость «нового» бетона характеризуется следующими его параметрами: прочностью при сжатии (R, МПа), водопоглощением (ω, %) и содержанием С3А в цементе ( %). Срок службы определяется по рис. 5.

Рис. 5. Зависимость долговечности бетона от его плотности и прочности

I класс соответствует 6...10; II класс - 11…15; III класс - 16...20; IV класс - 21...25; V класс - 26...30 годам для цементов, содержащих соответственно: а) С3А ≤ 5 %; б) 5 < С3А < 7 %; в) С3А > 7 %

При отсутствии данных о минералогическом составе цемента величину С3А допускается определять по графику на рис. 5, в.

4.9. Прогнозируемый срок службы эксплуатирующегося бетона до наступления выбранного предельного состояния Tcal определяют по формуле

,                                                       (60)

где f1 - коэффициент, учитывающий коррозионное состояние бетона в защитном слое; f2 - коэффициент, учитывающий толщину защитного слоя; f3 - коэффициент, учитывающий максимальную температуру эксплуатационной среды (); f4 - коэффициент, учитывающий продолжительность эксплуатации конструкции до обследования.

При прогнозировании срока службы нового бетона значение коэффициента f1 принимают равным 1. Для эксплуатировавшегося бетона f1 принимают наименьшим из значений коэффициентов f11, f12 и f13, учитывающих соответственно фактическое значение величины водопоглощения (интегрального для всей толщины защитного слоя), рН водной вытяжки бетона на уровне арматуры и количества дефектных участков цементного камня на уровне арматуры

,                                                 (61)

где ω0 - нормативное значение величины водопоглощения бетона в соответствии со СНиП 2.03.11-85. Нижний предел ωadm принимается равным 7 %. Значение wτ равно фактическому значению водопоглощения на период обследования

,                                        (62)

где рН0 = 12,5; pHadm = 11,5; рНτ - фактическое значение величины рН на момент обследования

,                                              (63)

где L0 - начальное значение количества дефектных участков (L0 = 3 %) в цементном камне; Ladm = 25 % (при Ladm ≥ 25 % бетон теряет свои защитные свойства по отношению к арматуре, а его прочность снижается примерно вдвое); LT - текущее значение количества дефектных участков.

Величину L определяют планиметрическим методом оптико-микроскопического анализа, равна процентному содержанию в прозрачном плоскопараллельном шлифе продуктов коррозии, трещин, пор (r ≥ 10-5 м).

Коэффициент f2, учитывающий эффективную толщину защитного слоя, определяют по формуле

,                                                                (64)

где  - средняя фактическая толщина защитного слоя на обследуемом участке;  - толщина защитного слоя в соответствии со СНиП 2.03.11-85.

Коэффициент условий эксплуатации f3 зависит от максимальной температуры нагрева  в цикле

Коэффициент f4 учитывает продолжительность эксплуатации до обследования (Tser), лет,

При отсутствии сведений о начальном состоянии бетона прогнозируемый срок службы определяют в диапазоне Tcal1 и Tcal2, которые рекомендуется вычислять по формуле

                                            (65)

где .                                                                                                           (66)

Здесь Sgen.j - обобщающий параметр коррозионного состояния бетона, kser.j - коэффициент условий эксплуатации, учитывающий границы изменения параметров начального состояния бетона.

Величина Sgen.j зависит от ресурса бетона по проницаемости, реакционной способности, наличия клинкерных остатков в цементном камне и принимается меньшее из значений:

;                                (67)

.                                   (68)

Здесь Vt - количество клинкерных остатков в цементном камне бетона, %, на момент обследования, величина Vadm = 20 %. Величину Vt и Vadm определяют планиметрическим методом оптико-микроскопического анализа прозрачных плоскопараллельных шлифов. Величины коэффициента kser.1 и kser.2 для формулы (67) равны 0,029 и 0,046, а для формулы (68) kser.1 и kser.2 равны 0,29 и 0,52 соответственно.

4.10. Уменьшение поперечного сечения стальной арматуры при равномерной коррозии (после исчерпаний бетоном защитных свойств) происходит со средней скоростью, приведенной в табл. 19.

Таблица 19

Степень агрессивного воздействия среды

Скорость коррозии, мм/год

Степень агрессивного воздействия среды

Скорость коррозии, мм/год

Неагрессивная

0,025

Среднеагрессивная

0,2

Слабоагрессивная

0,075

Сильноагрессивная

0,5

4.11. Оценка возможного срока службы несущих стальных конструкций связана с установлением ослабления сечения элементов конструкции в результате развития коррозионных поражений.

Средняя глубина проникновения коррозии tmt с каждой стороны поверхности конструктивного элемента

,                                                            (69)

где τi - срок службы конструкций с разрушенной противокоррозионной защитой; q - число возобновлений защиты; k, b - эмпирические параметры.

Для эксплуатационных сред кроме сильноагрессивных, характеризующихся повышенной относительной влажностью воздуха, присутствием сернистого газа, а также пылевых отложений, содержащих в основном соединения железа, что имеет место на большинстве объектов предприятий черной металлургии, значения b ≈ 0,5. Для этих же условий значения k, мм/год, установленные с доверительной вероятностью 0,95, оказались равными для неагрессивных сред 0,075, для слабоагрессивных сред - 0,15...0,3, для среднеагрессивных сред - 0,5. При этом указанные значения представляют собой математическое ожидание глубины сплошной неравномерной коррозии для вертикального одиночного конструктивного элемента открытого сечения.

Для указанных сред с сильноагрессивной степенью воздействия значения b и k оказались равными соответственно 0,67 и 0,8 мм/год.

5. ВТОРИЧНАЯ ЗАЩИТА КОНСТРУКЦИЙ

Гидроизоляция

5.1. Гидроизоляция назначается в соответствии со СН 301-65*. При этом в случае нанесения на поверхность уже эксплуатирующихся конструкций предпочтение следует отдавать безрулонным видам гидроизоляции, в частности на основе модифицированного битума с использованием в качестве модифицирующих добавок петролатума, синтетического латекса, хлоропренового каучука, хлорсульфированного полиэтилена (прил. 8). Применение гидроизоляции на основе битума не допускается при действии сильных окислителей (хромовой, крепкой серной, азотной кислот), органических растворителей (бензола, толуола, бензина, керосина), масел и эмульсий, концентрированных щелочей.

В местах попадания масел и нефтепродуктов гидроизоляцию полов рекомендуется выполнять из полихлорвиниловой пленки толщиной не менее 0,5 мм, по выравнивающему слою из цементного раствора на клее БФ-2 или применять виды защиты, приведенные в Руководстве по защите железобетонных конструкций от действия нефтепродуктов (НИИЖБ, 1983).

5.2. Гидроизолирующий подслой полов в местах систематических проливов кислот рекомендуется укладывать по асфальтовой стяжке.

Для конструкций из сборных элементов на стыках последних следует предусматривать усиление гидроизоляционного слоя прокладкой из стеклоткани.

5.3. При применении описанных в п. 5.1 видов эластичной гидроизоляции и предохранения гидроизолирующего слоя от механических повреждений (устройством защитных стенок, «рубашек» или тщательным контролем при выполнении обратных засыпок, полов и т.д.) не требуется каких-либо дополнительных ограничений по ширине раскрытия трещин в сравнении с требованиями действующих нормативных документов для конструкций, эксплуатирующихся в неагрессивных средах.

5.4. Гидроизоляцию и антикоррозионную защиту внутренних поверхностей железобетонных резервуаров и объектов очистных сооружений следует проектировать в соответствии с Руководством по проектированию защиты от коррозии железобетонных резервуаров очистных сооружений (Минмонтажспецстрой, 1981).

Внутреннюю поверхность сборных железобетонных элементов очистных сооружений при их изготовлении рекомендуется облицовывать профилированными полиэтиленовыми листами в соответствии с Рекомендациями по проектированию комплексных бетонных и железобетонных конструкций с защитой из профилированных полимерных материалов (Донецкий Промстройниипроект НИИЖБ, ЦНИИпромзданий). В случае выполнения гидроизоляции и антикоррозионной защиты после возведения очистных сооружений допускается осуществлять ее с применением кремнийорганических и органических полимеров (табл. 20 и прил. 7).

Предотвращение инфильтрации воды внутрь помещений

5.5. Предотвращение инфильтрации воды через железобетонные конструкции (днища, стены, перекрытия) помещений II и III категорий по степени допустимого увлажнения существующих сооружений может быть достигнуто устройством гидроизоляции с внутренней стороны помещений.

Вопрос о допустимости устройства внутренней гидроизоляции при сохранении контакта наружной поверхности конструкции с агрессивными водами решается в каждом конкретном случае на основе прогнозирования долговечности конструкции в соответствии с разд. 4. Составы и область применения покрытий на основе кремнийорганических и органических полимеров приведены в табл. 20.

5.6. Гидроизолирующий эффект достигается выполнением комплекса следующих операций: временного водопонижения, зачеканки фильтрующих трещин, установки закладных деталей с выпусками в сторону помещения для крепления металлической сетки, устройства водонепроницаемого слоя, крепления металлической сетки и оштукатуривания, преимущественно методом торкретирования.

5.7. В качестве гидроизолирующего слоя рекомендуется композиция из битума и петролатума (прил. 7).

Допускается применять и другие композиции:

горячую окрасочную гидроизоляцию полимербитумными и резинобитумными мастиками;

эпоксидную окрасочную гидроизоляцию из модифицированных эпоксидно-каучуковых (ЭКК) или эпоксидно-каменноугольных (ЭКС) композиций;

холодную асфальтовую штукатурную гидроизоляцию из эмульсионных мастик ХАМАСТ и БАЭМ;

цементную штукатурную гидроизоляцию из коллоидного полимерцементного раствора (КПЦР), а при необходимости устройства гидроизоляции в зимних условиях - литую асфальтовую гидроизоляцию;

изоляцию на основе битумных и битумно-полимерных эмульсионных мастик.

5.8. В условиях просачивания капиллярной воды в помещения может быть осуществлено локальное кольматирование грунтов в зоне их контакта со стенами и днищем в местах просачивания.

Для этой цели могут быть применены:

в трещиноватых и песчаных грунтах - цементная, двухрастворная силикатизация, битумизация, смолизация и глинизация;

в глинистых грунтах - одно- и двухрастворная силикатизация.

Таблица 20

состав

Компоненты

ГОСТы, ТУ

Гидрофобизный состав, мас. ч.

Грунтовочный состав, мас. ч.

Окрасочный состав, мас. ч.

Рекомендуемая область применения

1

2

3

4

5

6

7

1

Гидрофобизирующая жидкость 136-41

ГОСТ 10834-76*

15

9,5

9,5

Резервуары для воды

Поливинилацетатная эмульсия (не пластифицированная)

ГОСТ 18992-80*

15

50

50

 

Вода

ГОСТ 23732-79

70

До вязкости по ВЗ-4 35 с

До вязкости 50-55 с

 

Дибутилфталат

ГОСТ 8728-88

3,5

3,5

 

 

Мел тонкомолотый

ГОСТ 1408-78*

18,5

18,5

 

 

Белила литопонные (сухие)

ГОСТ 907-72*

18,5

18,5

 

 

2

Жидкость гидрофобизирующая 136-41

ГОСТ 10834-76

15

 

 

Резервуары для нефтяного топлива при t = 10-90 °С

Вода

ГОСТ 23732-79

85

 

 

Очистные и другие сооружения с агрессивной средой: рН = 8 - 10, содержание взвешенных веществ до 5000 кг/л

Смола эпоксидная (ЭД-16 или ЭД-20)

ГОСТ 10587-84

 

30

30

 

Эмаль ХВ-785

ГОСТ 7313-75*

 

70

70

 

Дибутилфталат

ГОСТ 8728-88

 

15 (по отношению к смоле)

15 (по отношению к смоле)

 

Полиэтиленполиамин

ТУ 6-02-594-80

10 (по отношению к смоле)

10 (по отношению к смоле)

 

 

Ксикол каменноугольный или нефтяной

ГОСТ 9249-59 ГОСТ 9410-78

Для разбавления до нужной вязкости

 

 

3

Жидкость гидрофобизирующая 136-41

ГОСТ 10834-76*

15

 

 

Очистные и другие сооружения с агрессивной средой: рН = 10-12; t = 50-70 °C, содержание взвешенных веществ до 10000 мг/л

Вода

ГОСТ 23732-79

85

 

 

Эмаль ХВ-785

ГОСТ 7313-75*

 

70

70

Эпоксисланцевая смола ЭИС-1

ТУ 38-109-1-71

 

30

30

Дибутилфталат

ГОСТ 8728-88

 

15 (по отношению к ЭИС-1)

15 (по отношению к ЭИС-1)

 

Полиэтиленполиамин

ТУ 6-02-594-80

 

10 (по отношению к ЭИС-1)

10 (по отношению к ЭИС-1)

 

Ксилол каменноугольный или нефтяной

ГОСТ 9249-59 ГОСТ 9410-78*

 

Для разбавления до нужной вязкости

 

4

Жидкость гидрофобизирующая 136-41

ГОСТ 10834-76* ГОСТ 8728-88

15

 

 

Очистные и другие сооружения с агрессивной средой: рН = 10-13; t = 50-70 °С, содержание взвешенных веществ до 10000 мг/л

Вода

ГОСТ 23732-79

85

 

 

Лак полиуретановый УР-19 ТЭАД (отвердитель)

ГОСТ 11066-74* ВТУ-ГИПИ-4 № 596-63

 

80

85

20

20

Белила титановые или литопонные (сухие)

ГОСТ 907-72*

 

 

15

 

5

Гидрофобизирующая жидкость 136-41

ГОСТ 10834-76*

15

 

 

Резервуары для питьевой воды Очистные и другие сооружения с агрессивной средой: рН = 6-7; t = 20-40 °С, содержание взвешенных веществ до 10000 мг/л

Вода

ГОСТ 23732-79

85

 

 

Эмаль ХВ-785

ГОСТ 7313-75*

 

100

100

Ксилол каменноугольный или нефтяной

ГОСТ 9410-78

 

Для разбавления до нужной вязкости

Рис. 6. Схема кольматирования грунта

1 - инъекционная трубка, 2 - фундамент, 3 - зона кольматации

Выбор конкретного способа кольматирования грунтов должен производиться в соответствии с требованиями СНиП 2.02.01-83 «Основания зданий и сооружений» с учетом инженерно-геологических и гидрогеологических условий, конструктивного решения подземной части сооружения, характера и степени повреждения гидроизоляции.

5.9. Кольматирование проводится путем нагнетания раствора (соответствующего выбранному способу закрепления грунтов) через специальные инъекционные трубки, пропускаемые в стенах или днище помещения в местах просачивания (рис. 6). Отверстия для трубок диаметром 50 мм предварительно пробуривают пневматическими перфораторами. Во избежание проникновения раствора в помещение инъекционные трубки должны иметь резиновые уплотнители. При отсутствии отмостки для предотвращения вытекания раствора на дневную поверхность грунт возле фундамента следует уплотнить.

Перед началом работ по кольматированию необходимо убедиться с помощью щупа в отсутствии пустот, а также различных коммуникаций в зоне нагнетания раствора.

5.10. При интенсивной инфильтрации воды в изолируемое помещение искусственное водопонижение на время проведения гидроизоляционных работ может быть осуществлено следующими способами: открытого водоотлива, открытых водопонизительных скважин, дренажа, иглофильтровым, вакуумным и электроосмотическим.

Ориентировочный выбор способа искусственного водопонижения в зависимости от инженерно-геологических и гидрогеологических особенностей площадки может быть произведен по данным табл. 21.

5.11. Способы искусственного водопонижения могут применяться как самостоятельно, так и в различных сочетаниях по специальному проекту в соответствии с требованиями СНиП 2.02.01-83, Руководства по производству и приемке работ при устройстве оснований и фундаментов (НИИОСП им. Н.М. Герсеванова. М.: Стройиздат, 1977), с учетом настоящих Рекомендаций.

Таблица 21

Глубина понижения уровня грунтовых вод, м

Грунт

суглинки, супеси

пески (пылеватые мелкие, средние и крупные)

гравелистые пески, гравий с песком

гравий, галечник

многослойная водоносная толща (чередование пород различной водопроницаемости)

Коэффициент фильтрации, м/сут

0,005-0,7

0,7-50

50-150

150-200 и более

До 5

Электроосмос, вакуумирование, (ЛИУ, ЭИ, ЭВВУ, УВВ)

Открытый водоотлив, траншейный дренаж, установки с легкими иглофильтрами (одноярусные)

Открытый водоотлив, траншейный дренаж, откачка воды из скважин центробежными насосами

Открытый водоотлив

Открытый водоотлив, ЛИУ, УВВ, сочетание ЛИУ с открытым водоотливом

5-20

Электроосмос, вакуумирование (ярусные установки, ЛИУ, ЭЙ, ЭВВУ)

Установки с легкими иглофильтрами (многоярусные), ЭИ

Глубинные насосы

ЭВВУ, ярусные ЛИУ, УВВ, ЭИ, глубинные насосы в сочетании с открытым водоотливом

Св. 20

Глубинные насосы (артезианские)

Открытый водоотлив: многоярусные установки ЛИУ, ЭИ, артезианские насосы

Примечание. ЛИУ - легкие иглофильтровальные установки; ЭИ - электронные иглофильтры; УВВ - установки вакуумного водопонижения; ЭВВУ - электронные вакуумные водопонизительные установки.

Таблица 22

Вариант защиты

Системы противокоррозионных покрытий

Общая толщина покрытия, мкм

Ориентировочный срок службы покрытия, годы при степени агрессивного воздействия

металлизационный слой и грунтовка

покрывной слой

Состав

Количество слоев или толщина слоя

Состав

Количество

сильной

средней

1

2

3

4

5

6

7

8

1

Напыленный алюминий марки АД-1, грунтовка ВЛ-02

250-300 мкм ЭП-0010

Шпатлевка ЭП-0010 или эмаль ЭП-775

4

400

12-15

20-25

2

То же

2

Эмаль ХВ-785 с добавкой 10-15 % шпатлевки ЭП-0010

5

350

8-10

18-20

3

Напыленный алюминий марки АД1

250-300 мкм

Лак БТ-577 или каменноугольный лак А с добавкой 20 - 30 % шпатлевки ЭП-0010

4

330

8-10

18-20

4

Горячее цинкование,

80-100 мкм

Эмаль ХВ-785 или ХС-710, ХС-759, ХС-76, лак ХВ-784 с 15 % алюминиевой пудры или с эмалью ХВ-785 (1:1)

4

250

Не применять

10-12

грунтовка ВЛ-02,

1

грунтовка АК-070 или ХС-010

1

5

Напыленный алюминий марки АД1,

150-180 мкм

То же

 

320

То же

12-15

грунтовка ВЛ-02,

1

грунтовка АК-070 или ХС-010

 

6

Напыленный алюминий марки АД1,

150-180 мкм

Шпатлевка ЭП-0010 или эмаль ЭП-773

4

300

»

12-15

грунтовка ВЛ-02

2

5.12. При осуществлении работ по водопонижению должны предусматриваться меры против нарушения природных свойств грунтов в основании существующих сооружений и меры, препятствующие нарушению устойчивости откосов и дна котлованов в соответствии со СНиП 2.02.01-83.

В частности, водопонижение целесообразно осуществлять до глубины не ниже отметки заложения подошвы фундаментов существующих сооружений во избежание дополнительной осадки последних. Водопонижение на глубину ниже отметок заложения подошвы существующих фундаментов допустимо при условиях: если величина расчетной дополнительной осадки фундаментов не превышает нормативное значение осадки для данного типа сооружения в соответствии со СНиП 2.02.01-83 или если режим ввода в действие водопонизительных установок обеспечивает равномерное и постепенное водопонижение на всем участке в течение 3-5 сут. Аналогичным образом должно осуществляться отключение водопонизительных установок.

Не допускается осуществление работ по водопонижению до глубины ниже подошвы фундамента в основаниях сооружений с нестабилизированной осадкой.

Водопонижение в основаниях высотных сооружений, получивших крен в результате неравномерной осадки, допустимо при условии предварительной ликвидации крена с обязательным обеспечением равномерного и постепенного водопонижения в пределах всего сооружения.

5.13. При вскрытии котлованов вокруг сооружений в целях применения открытого водоотлива, дренажа или ярусного водопонижения необходимо предусматривать меры по обеспечению устойчивости оснований фундаментов и откосов котлованов.

Вскрытие котлованов при устройстве открытого водоотлива следует осуществлять равномерно по всему периметру сооружения.

5.14. При наличии грунтовых вод типа «верховодки» и в условиях, когда ниже водоупора залегают неводоносные грунты с коэффициентом фильтрации более 10 м/сут, целесообразен сброс грунтовых вод в эти грунты с помощью водопоглощающих скважин.

Отвод грунтовых вод из зоны водопонижения в водоемы или их сброс в неводоносные нижележащие пласты должны быть согласованы с санэпидемстанцией.

Защита стальных элементов от коррозии

5.15. Для защиты от коррозии стальных элементов (за исключением конструкций, защищаемых на линиях окраски и профилирования) рекомендуются системы металлических (металлизационные или горячие цинковые), комбинированных (металлические совместно с лакокрасочными) и лакокрасочных покрытий, выбор которых следует производить в зависимости от степени агрессивного воздействия эксплуатационных сред для металлических и комбинированных покрытий по табл. 22, а для лакокрасочных - по табл. 23 и 24.

Учитывая специфику выполнения антикоррозионной защиты в условиях реконструкции, в указанных таблицах предусмотрено применение лакокрасочных материалов только естественной сушки, ряда материалов, пригодных для нанесения при отрицательных температурах, на влажную поверхность, быстросохнущие, а также на поверхность стали, не полностью очищенную от окислов металла. При выборе вариантов защитных покрытий следует учитывать указанные в табл. 22 и 24 ориентировочные сроки службы покрытий, за которые принимается время появления продуктов коррозии стали на 25 % площади поверхности.

Таблица 23

Степень агрессивного воздействия среды на конструкции по СНиП 2.03.11-85

Варианты покрытий для конструкций

Стальных

железобетонных

по углеродистой и низколегированной стали без металлических защитных покрытий

из оцинкованной стали класса I по ГОСТ 14918-80*

внутри отапливаемых и неотапливаемых зданий

на открытом воздухе и под навесами

внутри отапливаемых и неотапливаемых зданий

на открытом воздухе и под навесами

Неагрессивная

1, 2, 3, 4, 5, 6, 7, 8

1, 2, 3, 4, 5, 6, 7, 8

Без защиты

Без защиты

Слабоагрессивная

1, 2, 3, 4, 5, 6, 7, 8

1, 2, 3, 4, 5, 6, 7, 8

37, 38 39, 40

37, 38 39, 40

То же

Среднеагрессивная

9, 11, 13, 15, 16, 18, 20, 21, 23, 27, 29, 31, 33, 34, 35

15, 16, 18, 20, 23, 33

Не применяются

41, 43, 45, 47, 49, 51, 53, 55, 57, 59, 61, 63, 65

Сильноагрессивная

10, 12, 14, 17, 19, 22, 24, 28, 30, 32, 36

17, 19, 22, 24, 30, 32

То же

42, 44, 46, 48, 50, 52, 54, 56, 58, 60, 62, 64, 66

5.16. Ограждающие конструкции из оцинкованной стали (профилированные настилы, гладкие листы с толщиной оцинковки 0,2 мм и более) в зданиях с неагрессивной степенью воздействия среды не нуждаются в дополнительной противокоррозионной защите. В зданиях со слабо - и среднеагрессивной степенью воздействия среды долговечность указанных конструкций обеспечивается путем назначения определенной толщины оцинковки и нанесения дополнительного полимерного покрытия в заводских (на поточных линиях) или в построечных условиях. Предпочтение при этом следует отдавать полимерным покрытиям, наносимым в заводских условиях (ПЛ-ХВ-122, ЭП-0140, ОД-ХВ-221, МЛ-1202 и др.).

5.17. В зданиях со слабоагрессивной степенью воздействия среды рекомендуется цинк-полимерное покрытие с толщиной цинка 0,2-0,025 мм и с полимерным слоем из ПЛ-ХВ-122 (поливинилхлоридный пластизоль) толщиной 0,175-0,2 мм или из ЭП-0140 (эпоксидное) толщиной 0,75-0,85 мм.

При этом область применения покрытия ПЛ-ХВ-122 ограничивается нагревом поверхности конструкции до температуры не выше 70 °С (длительно) и до 90 °С (кратковременно), а покрытия ЭП-0140 соответственно 90 °С и 120 °С.

Допускается применение лакокрасочных перхлорвиниловых и эпоксидных покрытий, наносимых вручную, характеристика которых приведена в табл. 24. При этом перхлорвиниловое покрытие ручного нанесения аналогично пластизольному поливинилхлоридному покрытию ПЛ-ХВ-122 заводского нанесения, а эпоксидное - соответственно покрытию ЭП-0140.

Ориентировочный срок службы указанных комбинированных покрытий 20 лет.

5.18. Для внутренних обшивок стеновых ограждений отапливаемых зданий со слабоагрессивной степенью воздействия среды и с концентрацией сернистого газа не более 0,7 мг/м3 допускается наряду с указанными в п. 5.17 покрытиями применять полимерные покрытия заводского нанесения ОД-ХВ-221 толщиной 0,05-0,06 мм и МЛ-1202 толщиной 0,03-0,035 мм.

Допустимый температурный режим покрытий из ОД-ХВ-221 аналогичен режиму покрытий из ПЛ-ХВ-122, а покрытий из МЛ-1202 - соответственно режиму покрытий из ЭП-0140.

5.19. В ограждающих конструкциях зданий со среднеагрессивной степенью воздействия среды должны применяться цинк-полимерные покрытия с увеличенной толщиной цинка до 0,04-0,05 мм и с полимерным слоем из ПЛ-ХВ-122 толщиной 0,18-0,2 мм. Допустимый температурный режим указан в п. 5.17.

Таблица 24

Номер вари анта

Материалы покрытия

Количество слоев

Эмаль, (краска), лак

Общая толщина покрытия, мкм, не менее

Группа и индекс покрытия по СНиП 2.03.11-85

Ориентировочный срок службы покрытия в умеренном климате, годы

Грунтовка

основная

вариант замены

Покрытия для конструкции из углеродистой и низколегированной стали

1

ПФ-0142

ГФ-021

ГФ-0119

1

ПФ-170 с алюминиевой пудрой (10-15 %)

55

Iа, ан, п

2-3

2

ПФ-0242

ГФ-021

ГФ-0119

1

ПФ-115

55

Iа, ан, п

2-3

3

ПФ-0142

ГФ-021

ГФ-0119

1

ПФ-133

55

Iа, ан, п

2-3

4

ПФ-0142

ГФ-021

ГФ-0119

1

БТ-177

55

Iа, ан, п

2-3

5

-

-

-

ПФ-170 с алюминиевой пудрой (10-15 %)

55

Iа, ан, п, т

2-3

6

-

-

-

БТ-177

55

Iа, ан, п, т

2-3

7

-

-

-

КО-198

55

IIIан, п, т

2-3

8

-

-

-

КО-1112

55

IIIан, п, т

2-3

9

ХС-068

ХВ-050

ХС-059

2

ХС-710

130

IIIп, х, в

4-5

10

ХС-068

ХВ-050

ХС-059

2

ХС-710

180

IVп, х, в

3-4

11

ХС-059

ХВ-050

ХС-068

2

ХС-759

130

IIIп, х, в

4-5

12

ХС-059

ХВ-050

ХС-068

2

ХС-759

180

IVп, х, в

3-4

13

ХС-059

ХВ-050

ХС-068

2

ХС-759 и ХС-724 (2 слоя)

130

IIIп, х, в

4-5

14

ХС-059

ХВ-050

ХС-068

2

ХС-759 и ХС-724 (2 слоя)

180

IVп, x, в

3-4

15

ХС-068

ХВ-050

ХС-059

2

ХВ-16

110

IIа, ан, п, х, в

3-4

16

ХС-068

ХВ-050

ХС-059

2

XC-I19

130

IIIa, ан, п, х

4-5

17

ХС-068

ХВ-050

ХС-059

2

ХС-119

180

IVa, ан, п, х

3-4

18

ХС-068

ХВ-050

ХС-059

2

ХВ-774

130

IIIa, ан, п, х, в

4-5

19

ХС-068

ХВ-050

ХС-059

2

ХВ-774

180

IVa, ан, п, х, в

3-4

20

ХС-068

ХВ-050

ХС-059

2

ХВ-1100

110

IIа, ан, п, х, в

3-4

21

ХС-068

ХВ-050

ХС-059

2

ХВ-1120

130

IIIа, ан, п, х, в

4-5

22

ХС-068

ХВ-050

ХС-059

2

ХВ-1120

180

IVa, ан, п, х, в

3-4

23

ХС-068

ХВ-050

ХС-059

2

ХВ-785 и ХВ-784 (2 слоя)

130

IIIa, ан, п, х, в

4-5

24

ХС-068

ХВ-050

ХС-059

2

ХВ-785 и ХВ-784 (2 слоя)

180

IVa, ан, п, х, в

3-4

25

-

-

-

ОС-12-03

55

IIIa, х, т

3-4

26

-

-

-

ОС-12-01

55

IIIa, x, т

3-4

27

АК-070

ЭП-0010

2

ЭП-525

110

IIIп, х, в

4-5

28

АК-070

ЭП-0010

2

ЭП-525

180

IVп, х, в

3-4

29

-

-

1

ЭП-773

110

IIIан, п, х, в

4-5

30

-

-

1

ЭП-773

180

IVан, п, х, в

3-4

31

ЭП-0010

АК-070

1

ЭП-140

110

IIIан, п, х

4-5

32

ЭП-0010

АК-070

1

ЭП-140

180

IVан, п, х

3-4

33

-

-

-

ЭП-5116

130

IVa, х, в

3-4

34

ЭП-0010

-

1

БТ-577 + ЭП-0010 (10:3)

110

IIIп, х, т, в

4-5

35

-

-

-

ЭП-0010

110

IIIп, х, в

4-5

36

-

-

-

ЭП-0010

180

IVп, х, в

3-4

Покрытия для конструкций из оцинкованной стали по ГОСТ 14918-80* (толщина слоя цинка 20 мкм)

37

ФЛ-03ж

ВЛ-02

1

ПФ-115

60

IIа, ан, п

3-4

38

ВЛ-02 и АК-070

АК-070 АК-069

1

ХВ-1100

60

IIа, ан, п, х

4-5

39

ВЛ-02 и АК-070

АК-070 АК-069

1

ХВ-785

60

IIа, ан, п, к

5-6

40

ВЛ-02

АК-070 АК-069 ЭП-0010

1

ЭП-140

60

IIа, ан, п, х

4-5

Покрытия для железобетонных конструкций трещиностойкие

41

ХП-734

-

1

ХП-799

200

IIIa, п, х, в

10-12

42

ХП-734

-

1

ХП-799

250

IVa, п, х, в

8-10

43

Водная дисперсия тиокола Т-50

-

1

Водная дисперсия тиокола Т-50 и ХВ-785 + ХВ-784 (1:1)

300 (200 IIIп, x, в Т-50 + 100 ХВ-785 + ХВ-784)

6-7

44

То же

-

1

Водная дисперсия тиокола Т-50 и ХВ-785 + ХВ-784 (1:1)

370 (250 Т-50 IVп, х, в + 120 ХВ-785)

5-6

45

»

-

1

Водная дисперсия тиокола Т-50 и ХС-710

300 (200 Т-50 IIIп, х, в + 100 ХС-710)

6-7

46

»

-

1

Водная дисперсия тиокола Т-50 и ХС-710

370 (250 Т-50 + 120 ХС-710)

IVп, x, в

5-6

47

»

-

1

Водная дисперсия тиокола Т-50 и ХС-759

300 (200 Т-50 + 100 ХС-759)

IIIп, х, в

6-7

48

»

-

1

Водная дисперсия тиокола 2Т-50 и ХС-759

370 (250 Т-50 + 120 ХС-759)

IVп, x, в

5-6

49

»

-

1

Водная дисперсия тиокола Т-50 и ХС-119

300 (200 Т-50 + 100 ХС-119)

IIIа, п, х, в

6-7

50

Водная дисперсия тиокола Т-50

-

1

Водная дисперсия тиокола Т-50 и ХС 119

370 (250Т-50 + 120 ХС-119)

IVa, п, х, в

5-6

Нетрещиностойкие

51

ХВ-784

ХС-76

1

ХВ-785 + ХВ-784 (1:1)

150

IIIа, п, х, в

4-5

52

ХВ-784

ХС-76

1

ХВ-785 + ХВ-784 (1:1)

200

IVa, п, х, в

3-4

53

ХВ 784

ХС-76

1

ХС-710

150

IIIп, х, в

4-5

54

ХВ-784

ХС-76

1

ХС-710

200

IVп, х, в

3-4

55

ХС-724

ХС-76

1

ХС-759

150

IIIп, х, в

4-5

56

ХС-724

ХС-76

1

ХС-759

200

IVп, х, в

3-4

57

ХВ-784

ХС-76

1

ХВ-1120

150

IIIа, ан, п, х, в

4-5

58

ХВ-784

ХС-76

1

ХВ-1120

200

IVa, ан, п, х, в

3-4

59

ХВ-784

ХС-76

1

XC-119

150

IIIа, ан, п, х

4-5

60

ХВ-784

ХС-76

1

ХС-119

200

IVa, ан, п, х

3-4

61

ХВ-784

ХС-76

1

ХВ-774

150

IIIа, ан, п. х, в

4-5

62

ХВ-784

ХС-76

1

ХВ-774

200

IVa, ан, п, х, в

3-4

63

ЭЛ-20 - 100

ДБФ-15

ЭП-540

1

ЭП-773

150

IIIп, х, в

3-4

64

ЭД-20 – 100

ДБФ-15

ЭП-540

1

ЭП-773

200

IVп, х, в

3-4

65

ЭД-20 – 100

ДБФ-15

ЭП-540

1

ЭП-0010

150

IIIп, х, в

4-5

66

ЭД-20 – 100

ДБФ-15

ЭП-540

1

ЭП-0010

200

IVп, х, в

3-4

Примечания 1. Количество слоев эмали (краски) выбирают в зависимости от обшей толщины покрытия и метода нанесения материала в соответствии с прил. 8. При этом следует принимать во внимание минимальную толщину однослойного покрытия для каждого материала. 2. Варианты покрытий 1-4, 24, 37-39, 43-62 допускается применять при длительном нагреве конструкций до 60 °С и кратковременном до 80 °С, варианты 27-36, 40-42, 63-66 - до 80 °С и до 120 °С соответственно и варианты 5-8, 25, 26 - до 200 °С и до 300 °С соответственно. 3. Находящиеся в эксплуатации ограждающие конструкции из оцинкованной стали (ГОСТ 14918-80*) в случае повышения степени агрессивности среды допускается окрашивать всеми материалами, которые используются для защиты углеродистой и низколегированной стали. При этом в качестве грунтовки под эпоксидные материалы следует применять два слоя ВЛ-02 или АК-070, под перхлорвиниловые и сополимерные - один слой ВЛ-02 и один слой АК-070. 4. При выборе вариантов покрытий по бетону предпочтение необходимо отдавать трещиностойким покрытиям. 5. Для всех составных композиций соотношение компонентов приведено в массовых частях. 6. Варианты покрытий 7, 8, 25, 26 допускается наносить при отрицательных температурах, но не ниже минус 15 °С. 7. При необходимости окрашивания влажной поверхности железобетонных конструкций ее следует предварительно пропитать гидрофобизирующей жидкостью 136-41 (бывш. ГКЖ-94), ГКЖ-10 или ГКЖ-11. При применении в качестве грунтовки водной дисперсии тиокола Т-50 пропитка не производится. 8. При необходимости окрашивания влажной поверхности конструкций из углеродистой и низколегированной стали в грунтовки XB-050, XC-059 и ХС-068 следует добавлять ингибитор коррозии ИП-1 в количестве 1,5 %, в эпоксидную грунтовку ЭП-0010 - отвердитель И-6М в количестве 16 % вместо традиционных отвердителей. При нанесении эпоксидных эмалей ЭП-773, ЭП-5116 и ЭП-0010 без грунтовки в первый слой эмали необходимо добавлять отвердитель И-6М в количестве 4,8 % вместо традиционных отвердителей. 9. Варианты 9-14, 27-32 могут применяться для защиты строительных конструкций, эксплуатируемых в районах с тропическим климатом, в соответствии с ГОСТ 9.401-79. 10. Варианты покрытий 11, 12, 27-32, 35, 37, 40 могут применяться для защиты строительных конструкций, эксплуатируемых в районах с холодным климатом, в соответствии с ГОСТ 9.404-81*. 11. При ручной подготовке поверхности из углеродистой и низколегированной стали варианты покрытий 9-24 рекомендуется наносить по одному слою грунтовки модификатора ржавчины Э-ВА-01 ГИСИ, Э-ВА-0112 или ЭП-0180. При применении грунтовок - модификаторов ржавчины срок службы покрытий уменьшается в полтора-два раза. 12. Перечень вспомогательных материалов, применяемых при защите строительных конструкций от коррозии, приведен в прил. 8.

При этом необходима защита от коррозии оголенных торцов листов. Для этого могут быть использованы специальные ремонтные эмали, поставляемые заводом-изготовителем.

Ориентировочный срок службы комбинированного покрытия - 15 лет.

5.20. Выполнение работ по антикоррозионной защите стальных элементов должно производиться в соответствии с требованиями СНиП 11.23-81*, СНиП 2.03.11-85, Руководства по долговременной защите строительных стальных конструкций металлизационными и металлизационно-лакокрасочными покрытиями (ЦНИИПроектстальконструкция, ВНИИавтогенмаш, НПО «Лакокраскопокрытие», 1976) и настоящих Рекомендаций.

5.21. Поверхность стальных элементов перед окраской и металлизацией должна быть чистой, сухой и шероховатой. Наилучшим способом очистки поверхности и придания ей требуемой шероховатости (а в случае комбинированных или металлизационных покрытий и лакокрасочных покрытий в сильно - и среднеагрессивных средах - единственно допустимым) является абразивная обработка (песко- или дробеструйная и т.д.), обеспечивающая не ниже второй степени очистку от окислов по ГОСТ 9.402-80.

Правила подготовки поверхности стальных и железобетонных конструкций для нанесения лакокрасочных покрытий приведены в прил. 8.

Перерыв между пескоструйной очисткой стальной поверхности и нанесением грунта или напылением металлизационного покрытия зависит от окружающих условий. При относительной влажности воздуха менее 80 % и отсутствии в помещении пыли и газов он может быть равен 1 сут. При относительной влажности воздуха 80 % и более и в случае, когда подготовленная стальная поверхность может увлажняться конденсатом водяных паров или атмосферными осадками, грунтовку или металлизацию следует производить сразу же после пескоструйной очистки поверхности (с перерывом не более 30 мин).

5.22. При нанесении металлизационного покрытия на монтажные сварные швы поверхность шва для обеспечения сцепления покрытия должна подвергаться пескоструйной обработке или нагреву до температуры 200-250 °С после очистки до блеска от шлака. Необходимая температура нагрева поверхности шва фиксируется по началу появления пленки побежалости фиолетового цвета.

Металлизационный слой следует наносить только после тщательной проверки качества подготовленной поверхности. Металлизация производится с помощью серийно выпускаемых отечественной промышленностью ручных или стационарных газовых или электрических металлизаторов.

Для напыления металлизационного слоя рекомендуется алюминиевая проволока диаметром от 1,0 до 2,5 мм, поставляемая в бухтах. Проволока перед металлизацией должна быть очищена от масла и грязи путем протирки или промывки в органических растворителях.

Оптимальной для работы с ручным металлизатором является проволока диаметром 1,5-2 мм.

5.23. Электрические металлизаторы могут работать на переменном и постоянном токе. В последнем случае горение дуги получается более стабильным. В качестве источника переменного тока рекомендуются специальные или сварочные трансформаторы, у которых со вторичной обмотки имеются выводы от 20 до 35 В с интервалом 5 В. При этом дроссель в цепь не включается. Одновременное присоединение нескольких металлизационных аппаратов к одному трансформатору не допускается. В качестве источников постоянного тока применяют сварочные генераторы с жесткой внешней характеристикой.

5.24. Режим работы металлизационных аппаратов зависит от диаметра проволоки, скорости ее подачи, давления воздуха и подбирается в процессе работы аппарата.

Примерный режим работы ручных электрометаллизаторов следующий.

Расстояние от зоны плавления до металлизируемой поверхности 80-100 мм;

угол между струей металла и металлизируемой поверхностью 90°, скорость подачи проволоки, м/мин - 1,4; давление воздуха, МПа - 0,4-0,6; расход воздуха, м3/мин - 1,0-1,5; напряжение, В - 25; рабочий ток, А - 40-60.

5.25. Восстановление металлизационного слоя в комбинированном покрытии производится ручным газовым (МГИ-2) или электрическими (ЭМ-10) металлизационными аппаратами по предварительно опескоструенной поверхности. При этом могут быть использованы выпускаемые промышленностью специальные передвижные электрометаллизационные установки.

5.26. Контроль используемого при пескоструйной очистке поверхности и нанесения покрытия сжатого воздуха на отсутствие в нем воды и масла может быть произведен с помощью белой фильтровальной бумаги, помещаемой на расстоянии 100-150 мм от сопла аппарата. Если в течение 2-3 мин на бумаге не появятся следы влаги или масла, то воздух пригоден для работы.

5.27. При оценке качества металлизационного покрытия устанавливаются его структура, толщина и сцепление с поверхностью стали. Крупность зерна определяется визуально путем сравнения напыленного покрытия с образцами - эталонами. В качестве образцов структуры могут служить шлифовальные шкурки. Металлизационное покрытие имеет удовлетворительную мелкозернистую структуру, если крупность его зерна соответствует шлифовальной шкурке с зернистостью от 6 до 12 по ГОСТ 10054-82*, ГОСТ 6456-82* или ГОСТ 5009-82*.

Соответствие фактической толщины напыленного слоя заданной по проекту устанавливается с помощью толщиномеров, например типа ИТП-1, МИП-10, МТ-20Н и др.

Покрытие считается пригодным по толщине, если результаты замеров толщины в отдельных точках отличаются от заданной средней толщины не более чем на 20 %.

Качество сцепления металлизационного покрытия с поверхностью конструкции может быть определено без разрушения и с разрушением покрытия. В первом случае применяется проба на звук, во втором - надрезы.

Проба на звук заключается в легком обстукивании покрытия стальным стержнем. Звонкий металлический звук свидетельствует о хорошем сцеплении, глухой, дребезжащий - о плохом.

Второй вид испытаний состоит в нанесении на отдельных участках металлизационного покрытия сетки размером 6 ´ 6 мм с ячейками 2 ´ 2 мм надрезом покрытия до основного металла ножом. Отсутствие самопроизвольного выкрошивания и отделения покрытий в ячейках свидетельствует о хорошем сцеплении, а наличие выкрошивания - о плохом.

Защита стальных соединений сборных железобетонных конструкций

5.28. Стальные соединения сборных железобетонных конструкций, расположенные в стыках ограждающих конструкций, по условиям воздействия парогазовоздушной среды приравниваются к стальным конструкциям, расположенным на открытом воздухе; соединения, расположенные внутри помещений - к конструкциям внутри отапливаемых или неотапливаемых помещений.

В случае когда среда внутри помещений является более агрессивной чем снаружи, степень агрессивного воздействия среды для стыковых соединений принимается по более жестким условиям.

В зависимости от особенностей конструктивного решения стыка (его воздухо-водо- и теплозащиты) опасности появления трещин в стыке, наличия мостиков холода, выпадения конденсата и т.д. соединения на внутренней поверхности ограждающих конструкций могут быть приравнены к соединениям одной из указанных групп.

5.29. По показателю ремонтопригодности стальные соединения подразделяются на элементы, у которых лицевая поверхность пластин и монтажного шва доступна для возобновления защитных покрытий в процессе эксплуатации, и элементы, которые недоступны для восстановления или возобновления покрытий в процессе эксплуатации.

5.30. Различают соединения 1-й категории ответственности, коррозионные разрушения элементов которых приводят к аварийному состоянию конструкции или к серьезному нарушению технологического процесса, и соединения 2-й категории ответственности, коррозионные повреждения которых не приводят к указанным последствиям.

5.31. Антикоррозионная защита стальных соединений с доступной для ремонта поверхностью может осуществляться лакокрасочными, металлизационными и комбинированными покрытиями в соответствии с требованиями СНиП 2.03.11-85. Ориентировочный срок службы указанных покрытий принимается таким же, как и для стальных конструкций. В этом случае при регулярном возобновлении покрытий долговечность соединения определяется коррозионным износом на недоступной (тыльной) стороне деталей.

Основным видом противокоррозионной защиты стальных соединений при невозможности возобновления покрытий является их обетонирование преимущественно методом мокрого торкрета расширяющимися составами по металлической сетке. При обетонировании обычными способами марка бетона (раствора) по водонепроницаемости должна быть не ниже W6, а бетонная смесь должна содержать ингибиторы коррозии стали. В необходимых случаях бетон дополнительно защищают окраской, пропиткой и т.п.

Соединения 1-й категории ответственности, а также сильно изношенные узлы, как правило, должны восстанавливаться на основании результатов поверочных расчетов установкой болтов на эпоксидном клее в отверстиях, пробуриваемых в несущих конструкциях (колоннах, стенах и др.) и присоединяемых элементах (панелях и др.), а также установкой новых закладных деталей с последующим обетонированием или дополнительной антикоррозионной защитой. Соединения 2-й категории ответственности могут восстанавливаться установкой новых анкеров, привариваемых к арматуре, хомутов и т.п.

Защита железобетонных конструкций

5.32. Дополнительная поверхностная защита назначается в случаях, когда «резерв стойкости» бетона недостаточен для обеспечения эксплуатации железобетонного элемента в течение расчетного срока с заданной надежностью. Работы по устройству вторичной защиты включают подготовку поверхности старого и нового бетона и выполнение защиты (нанесение покрытий, пропитка и т.д.).

Выбор систем покрытий производится в соответствии с табл. 23.

Снижение требований к качеству бетона вследствие применения пропитки не допускается.

Поверхностная пропитка бетона

5.33. Повышение защитных и конструкционных свойств поверхностных слоев бетона может достигаться пропиткой различными материалами.

При изготовлении сборных железобетонных элементов применяется пропитка серой, мономерами (стирол, метилметакрилат и др.), расплавом битума. Для конструкций, испытывающих циклический нагрев, пропитка серой не рекомендуется.

Пропитка бетона эксплуатировавшихся конструкций осуществляется флюатированием (обработкой раствором кремнефтористого магния) или нанесением составов на основе петролатума (прил. 10), или метилметакрилата (табл. 25).

Пропитанные составы для усиления слабого бетона и повышения его непроницаемости на основе полимеризующихся композиций приведены в табл. 25.

Таблица 25

Состав

Содержание компонентов, мас. ч.

1

2

3

4

5

6

Метилметакрилат

100

100

100

100

100

100

Жидкий каучук СКН-18-1a

-

-

-

15-25

20

2-5

Полиэфир ТГМ-3

-

30

-

-

10

-

Полистирол

-

-

5-7

-

-

-

Парафин

0,5

-

0,5

-

-

0,5

Диметиланилин

-

-

2-3

-

-

2-3

Порофор ЧХЗ-57

0,5-1,5

0,5-1,0

-

-

-

-

Гипериз

-

-

-

7

5-6

-

Полиэтиленполиамин

-

-

-

7

5-6

-

Ацетон

-

-

-

-

-

5-10

Перекись бензоила

-

-

7-9

-

-

5-7

Флюатирование рекомендуется повторять через 3-4 года. Применение для пропитки модифицированного петролатума нецелесообразно при воздействии на конструкции сильных окислителей, органических растворителей, масел и концентрированных щелочей.

5.34. Поверхностная пропитка бетона модифицированным петролатумом может использоваться при устройстве безрулонных кровель неутепленных покрытий как вновь строящихся, так и эксплуатировавшихся зданий.

В последнем случае изношенный водоизоляционный ковер и цементная стяжка должны быть удалены.

Рис. 7. Конструкция кровли с пропиткой бетона стяжки

1 - железобетонные панели покрытия; 2 - цементный раствор; 3- арматурная сетка; 4 - скоба для крепления сетки; 5 - стяжка из мелкозернистого бетона; 6 - пропитанный слой бетона стяжки

В зависимости от фактического состояния железобетонных панелей покрытия и условий эксплуатации рекомендуются два варианта:

при значительных повреждениях плит панелей (пробоинах, низкой прочности бетона, оголения арматуры), а также для цехов с кранами тяжелого режима работы, особенно с жестким подвесом, и для покрытий из мелкоразмерных плит - устройство сплошной стяжки из мелкозернистого бетона толщиной 25-30 мм, армированной сеткой, закрепляемой в швах между панелями (рис. 7);

на участке с хорошо сохранившимися или вновь смонтированными крупноразмерными панелями при отсутствии значительных горизонтальных деформаций каркаса зданий пропитке могут подвергаться наружные слои бетона панелей. Швы между панелями (предварительно расчищенные) заполняются частично герметикой (УМС-50; битум нефтяной высокоплавкий, мягчитель, ГОСТ 781-78*; смесь битума и петролатума, прил. 7 и др.), частично цементным раствором, который также подвергается пропитке (рис. 8).

5.35. Стыки плит покрытий, расположенные над фермами (вдоль ската кровли) рекомендуется герметизировать уплотняющими полиэтиленовыми элементами (рис. 9). В этом случае отпадает необходимость в расчистке швов. Уплотняющий элемент имеет три ребра, из которых среднее высотой 25 мм предназначено для образования при температурных деформациях направленной трещины в набетонке по линии этого ребра, боковые высотой 7 мм - для предотвращения распространения воды, попавшей в трещину в поперечном направлении. Уплотняющие элементы нарезают из рукавов, изготовленных экструзией из полиэтилена марок 102-14, 153-14 первого или высшего сортов (ГОСТ 16337-77*Е), либо полиэтилена базовых марок 10204-003 и 15303-003. Длину уплотняющих элементов рекомендуется выбирать равной общей длине шва по обе стороны конька кровли, а укладку их производить таким образом, чтобы средние ребра совпадали с осью герметизируемых швов.

Pиc. 8. Конструкция кровли с пропиткой бетона железобетонных панелей и герметизацией швов нетвердеющими мастиками

1 - железобетонные панели покрытия; 2 - мастика герметизирующая нетвердеющая; 3 - цементный раствор; 4 - пропитанный слой бетона панелей и раствора швов

Рис. 9. Конструкция кровли с пропиткой бетона железобетонных панелей и герметизацией швов уплотняющими полиэтиленовыми элементами

1 - железобетонные панели покрытия; 2 - верхний пояс фермы; 3 - уплотняющий полиэтиленовый элемент; 4 - сварка уложенных внахлестку полиэтиленовых элементов; 5 - монтажное крепление уплотняющего элемента горячей битумной мистикой; 6 - набетонка; 7 - пропитанный слой панелей и набетонки

Монтажное крепление уплотняющих элементов к бетону панелей производится горячей битумной мастикой, наносимой участками длиной 15-20 см через 1,5-2 м.

5.36. Пропитка бетона стяжки, набетонки и панелей покрытия осуществляется в соответствии с п. 9 прил. 9.

На открытых поверхностях, подверженных инсоляции (при производстве работ в летнее время преимущественно в южных районах), искусственный прогрев бетона может не производиться. В этих случаях пропиточную смесь наносят на слегка подсушенную поверхность стяжки или набетонки, что обеспечивает благоприятные условия твердения бетона без специального ухода за ним.

5.37. Для проведения поверхностной пропитки полимерными композициями используют составы, приведенные в табл. 25. Составы 1 и 2, отверждаемые при температуре 60-80 °С, а также состав 6, отверждаемый при 20 °С, используют для пропитки на глубину до 15 мм. Составы 3-5 отверждаются при комнатной температуре, однако вследствие повышенной вязкости могут быть использованы для пропитки бетона на глубину до 7 мм. Конструкции, пропитанные составом 1, 3 и 6, могут эксплуатироваться при температуре до 75 °С, а пропитанные составом 2, 4, 5 - до 100 °С.

5.38. Конструкции и изделия, подготовленные для пропитки, не должны иметь выбоин, раковин шириной более 0,5 мм.

Поверхность бетона должна быть чистой, не допускается наличие лакокрасочных, гидроизолирующих и других покрытий и загрязнений.

Перед пропиткой поверхность бетона должна быть высушена на глубину 5-15 мм до остаточной влажности 1-1,5 %. Сушку проводят, используя терморадиационные обогреватели типа БИС-10, БИС-15 в соответствии с инструкциями по их эксплуатации. Допускаются использование других сушильных устройств, а также воздушная сушка, которые обеспечивают необходимую степень сушки на заданную глубину. При использовании состава 6 допускается пропитывать бетон с влажностью до 2,5 %.

Продолжительность сушки, подбираемая опытным путем, может колебаться от 8 до 48 ч в зависимости от толщины и формы конструкции, состава бетона, типа сушильного оборудования, температуры сушки, исходной температуры и влажности бетона и окружающей среды. Контроль и продолжительность сушки осуществляют на образцах-кернах или образцах, получаемых сколом на глубину до 15 мм. Процесс сушки считают законченным, если влажность образца, определенная по потере массы при прогреве при 110 °С, не будет превышать указанных выше значений. Перед пропиткой высушенные бетонные поверхности должны быть охлаждены до температуры 30-35 °С.

5.39. Для пропитки горизонтальных поверхностей, обращенных вверх, пропиточный состав (см. табл. 25) наносят в 1-2 слоя поливом с последующим разравниванием вениками или кистью, после чего укрывают полиэтиленовой пленкой. Расход пропиточного состава и продолжительность пропитки в зависимости от глубины пропитки и состава бетона принимают ориентировочно по табл. 26.

Таблица 26

Класс бетона по СНиП 2.03.01-84

Глубина пропитки, мм

Состав 1, 2, 6

Составы 3-5

расход, кг/м2

продолжительность пропитки, ч

расход, кг/м2

продолжительность пропитки, ч

В3,5

5

1,0

0,15

1,0

0,3

10

2,0

0,3

2,0

1,0

15

3,0

0,6

-

-

В7,5

5

0,8

0,2

0,8

0,6

10

1,4

0,6

-

-

15

1,9

1,2

-

-

В15

5

0,7

0,3

0,7

1,0

10

1,2

0,75

-

-

15

1,7

1,5

-

-

В25

5

0,5

0,5

-

-

10

1,0

1,0

-

-

15

1,5

2,0

-

-

Пропитку вертикальных и наклонных поверхностей осуществляют с помощью щитов, выполненных из жести или кровельного неоцинкованного железа и имеющих размеры, соответствующие высушенному участку. Щит должен повторять профиль пропитываемой поверхности и крепиться к ней с зазором в 1-5 мм. По периметру зазор между щитом и бетонной поверхностью герметизируют цементно-песчаным раствором, оконной замазкой и другими герметизирующими материалами. В верхней части зазор между щитом и поверхностью бетона должен иметь уширение для залива пропиточного состава. В зазор между щитом и бетонной поверхностью заливают пропиточный состав и выдерживают в течение времени, указанного в табл. 26. По окончании пропитки избыток пропиточного состава сливают через специально предусмотренное отверстие в нижней масти щита (во время пропитки оно должно быть закрыто пробкой).

По окончании процесса пропитки проводят полимеризацию пропиточного состава в поровом пространстве бетона с целью их перевода из жидкого состояния в твердое.

Процесс полимеризации составов 1 и 2 (см. табл. 25) проводят не снимая щитов, использованных для пропитки. После окончания процесса пропитки пропиточный состав полностью сливают в резервную емкость, а зазор между щитом и бетоном в течение 1-3 мин заполняют подогретой до 60-80 °С герметизирующей жидкостью, которая служит для равномерного прогрева пропитанной поверхности и предотвращении испарения мономера. Герметизирующие жидкости не должны быть летучими, токсичными и горючими. В качестве герметизирующих жидкостей рекомендуется использовать воду, глицерин, водные растворы солей и т.п.

Необходимо обеспечить свободный доступ герметизирующей жидкости к любой точке пропитанной поверхности.

После заполнения герметизирующей жидкостью зазора между щитом и пропитанным бетоном для проведения процесса полимеризации составов 1 и 2 поверхность щита дополнительно прогревают до 60-80 °С в течение 1-2 ч с помощью обогревателей, используемых при сушке бетона.

Процесс полимеризации составов 3-6 проводят при комнатной температуре. После окончания процесса пропитки в течение времени, указанного в табл. 26, и удаления избытка пропиточного состава щит оставляют в исходном положении на 0,5-1,5 ч для замедления испарения мономера, после чего щит демонтируют.

По окончании процесса полимеризации и демонтажа щита, использованного для пропитки, с поверхности бетона удаляют остатки герметизирующего материала.

Антикоррозионная защита и усиление железобетонных элементов стеклопластиком

5.40. Метод антикоррозионной защиты с одновременным усилением стеклопластиком возможно использовать для конструкций, относящихся ко II и III категориям (см. табл. 2). Применение его для конструкций, находящихся в опасном и аварийном состоянии (категории IV и V), требует специального обоснования.

Стеклопластик расчетной толщины, нанесенный на конструкцию, повышает ее несущую способность, жесткость, трещиностойкость и стойкость к воздействию динамических нагрузок. Способность стеклопластика без разрушения или нарушения герметичности работать над трещинами дает возможность эксплуатировать конструкцию с трещинами шириной раскрытия до 0,3-0,4 мм вне зависимости от степени агрессивности среды.

Расчет толщины стеклопластика ведется в соответствии со СНиП 2.03.01-84.

5.41. В случае усиления железобетонных конструкций созданием в них предварительного напряжения, по знаку противоположного напряжениям от действующих эксплуатационных нагрузок, после достижения соответствующих усилий на поверхность конструкции наносят в один или несколько слоев связующее и стеклоткань расчетной толщины. Элемент выдерживается под нагрузкой до полимеризации связующего. После снятия нагрузки предварительное напряжение в конструкции сохраняется за счет вступления в работу стеклопластика.

5.42. Выбор основы полимерной композиции (смолы) для приготовления стеклопластика должен осуществляться в зависимости от ее стойкости к заданным агрессивным воздействиям (табл. 27).

Таблица 27

№ п.п.

Реагенты

Стеклопластик на основе связующего

эпоксидного

полиэфирного

1

Кислоты:

 

 

соляная

+

+

серная

+

-

уксусная

+

+

азотная

*

*

борная

+

+

лимонная

+

+

фосфорная

+

+

хромовая

-

*

2

Щелочи:

 

 

едкий натр

+

-

едкий калий

+

-

гидроокись аммония

+

-

гидроокись кальция

+

-

3

Соли:

 

 

квасцы

+

+

хлорид, нитрат и сульфат аммония

+

+

хлористый и сернистый кальций

+

+

хлористый, азотный и сернистый магний

+

+

хлористый, азотный и сернистый натрий

+

+

4

Газы:

 

 

хлор

-

*

двуокись серы

+

+

сероводород

+

+

5

Органические:

 

 

ацетон

*

-

метиловый и этиловый спирт

+

+

анилин

-

-

бензол

*

-

четыреххлористый углевод

*

*

Примечание. +, - и * - обозначают соответственно высокую химическую стойкость, только при температурах не выше 20-25 °С, низкую химическую стойкость.

Эпоксидные полимерные композиции включают смолу, отвердитель и пластификатор. Составы некоторых эпоксидных полимерных композиций и характеристика их компонентов приведены в табл. 28.

Тип отвердителя и его количество определяют технологическую жизнеспособность полимерной композиции (т.е. ее предельный возраст, при котором возможно формование стеклопластика) и минимальную температуру, при которой может происходить полимеризация.

Таблица 28

Компоненты

Состав композиции, мас. ч.

Срок хранения

Температура полимеризации композиции

Технологическая жизнеспособность (T = 25 °C), мин

Смолы и компаунды:

 

 

 

 

ЭД-16 (ГОСТ 10587-84)

100

1 год

 

 

ЭД-20 »

100

1 »

 

 

ЭД-22 »

100

1 »

 

 

К-115 (ТУ6-05-1251-75)

100

1 »

 

 

К-153 (ТУ6-05-1584-77)

100

1 »

 

 

ЭКР-22 (ТУ81-05-125-78)

100

1 »

 

 

Отвердители:

 

 

 

 

ПЭПА (ТУ6-02-594-80)

10-14

2 года

Не ниже 18 °С

30

ДЭТА (ТУ6-02-914-81)

8-12

1 год

То же

50

ГИДА (СТУ12-10142-63)

10-15

1 »

»

50

УП-583 (ТУ6-09-42-27-76)

10-12

6 мес

»

20

Пластификаторы:

 

 

 

 

ДБФ (ГОСТ 8728-88)

10

6 »

 

 

5.43. При нанесении стеклопластика в зимних условиях или на мокрую поверхность целесообразно применять высокоактивные отвердители УП-583, АФ-2. Кроме того, при температурах до -15 °С можно использовать эпоксидную полимерную композицию следующего состава: эпоксидная смола - 100; отвердитель - ПЭПА - 30; пластификатор - фуриловый спирт - 30; ускоритель - хлорное железо - 8. В случае необходимости увеличить технологическую жизнеспособность эпоксидной композиции можно использовать низкоактивные отвердители УП-0633, ДТБ-2.

5.44. Для антикоррозионной защиты рекомендуется использовать также композиции на основе полиэфирных смол как общего назначения (ПН-1, ПН-3), так и с повышенной химической стойкостью - ПН-6, ПН-10, ПН-15, «Слокрил». Отверждение полиэфирных смол производится инициирующей системой, состоящей из инициатора и ускорителя отверждения (табл. 29).

5.45. Для армирования смол могут использовать следующие стеклоткани: Т-4, Т-11, Т-13, Т-23, ИСТ, ТСФ (Б)-70.

Раскрой стеклоткани осуществляется на чистых фанерных или картонных листах.

При использовании эпоксидных составов рекомендуется отжиг стеклоткани, производимый при больших объемах работ в печах при температуре 400-450 °С в течение 2 ч, а при небольших объемах работ - паяльной лампой.

Отжиг огнем паяльной лампы производится равномерным горизонтальным или вертикальным ее движением по всей площади полотна со скоростью 0,2-0,3 м/с на расстоянии 10-12 см от полотна до сопла.

Таблица 29

Компоненты

Состав массовых частей

Срок хранения, мес

Смолы (ОСТ-05-431-78):

 

 

ПН-1

100

 

ПН-3

100

 

ПН-6

100

 

ПН-10

100

 

ПН-15

100

3-4

«Слокрил»

100

 

Инициатор

 

 

Гипериз (ТУ 38-10293-82)

3-6

3

Ускоритель

 

 

Нафтенат кобальта (ТУ 6-05-1075-76)

6-8

3

5.46. Для снижения пористости и вязкости при повышенной температуре композиции ее рекомендуется выдержать при повышенной температуре (60-70 °С) в течение 1,5-2 ч.

5.47. Составляющие смешиваются в ведрах или других емкостях в массовых частях по табл. 28 и 29 в объемах не более 6-7 дм3.

Во избежание взрыва категорически запрещается непосредственное смешивание отвердителя (инициатора) и ускорителя отверждения. Отвердитель (инициатор) следует вводить в смесь только после тщательного перемешивания смолы с ускорителем.

5.48. Производить работы по формованию стеклопластика можно только на подготовленную бетонную поверхность при влажности воздуха не выше 70 % в следующей технологической последовательности:

нанесение кистью на бетонную поверхность тонкого (толщиной до 1 мм) сплошного слоя полимерной композиции;

укладка стеклоткани, тщательное ее прикатывание резиновым валиком;

нанесение на поверхность стеклоткани тонкого сплошного слоя полимерной композиции;

выдержка конструкции (1-4 дня) в положении, при котором производилось формование стеклопластика до его полимеризации.

При формовании стеклопластика необходимо следить за равномерностью нанесения полимерной композиции как на бетон, так и на стеклоткань, не допускать непроклея. Недопустимы также воздушные включения, которые могут образовываться под пропитанной стеклотканью. В этом случае они удаляются сразу после формования стеклопластика выгонкой их валиком через ближайший край стеклоткани либо прокалыванием в месте воздушных включений и последующим заглаживанием.

ПРИЛОЖЕНИЕ 1

ТЕХНОЛОГИЯ ПРИГОТОВЛЕНИЯ И УКЛАДКИ БЕТОНОВ ПРИ ВОЗВЕДЕНИИ, УСИЛЕНИИ И ВОССТАНОВЛЕНИИ ЖЕЛЕЗОБЕТОННЫХ КОНСТРУКЦИЙ, ЭКСПЛУАТИРУЮЩИХСЯ В АГРЕССИВНЫХ СРЕДАХ

Цементные бетоны и растворы

1. Материалы, применяемые для приготовления цементных бетонов, должны удовлетворять требованиям нормативных документов (табл. 1).

Таблица 1

Компоненты

Техническое название

ГОСТ

Цементы

Портландцемент

ГОСТ 10178-85*

Быстротвердеющий портландцемент

ГОСТ 10178-85*

Шлакопортландцемент

ГОСТ 10179-74

Сульфатостойкий портландцемент

ГОСТ 22266-76*

Заполнители

Песок

ГОСТ 8725-83

ГОСТ 8736-85

Щебень из естественного камня и гравия

ГОСТ 8269-87*

ГОСТ 10268-80

Вода

 

ГОСТ 23732-79

2. Литые и высокоподвижные бетонные смеси следует приготовлять в передвижных автобетоносмесителях либо по комбинированной схеме, которая включает следующие операции:

приготовление жесткой бетонной смеси на стационарном бетонном узле;

транспортирование бетонной смеси в автосамосвалах к месту укладки;

введение химических добавок и повторное перемешивание в бетоносмесителе бетонной смеси с химическими добавками.

Расчетные составы бетонных смесей следует корректировать на пробных замесах до тех пор, пока не будут получены требуемые характеристики бетона.

3. При применении в качестве вяжущего глиноземистого быстротвердеющего цемента следует учитывать его высокую экзотермию.

Необходимо защищать конструкцию от непосредственного попадания солнечных лучей не раньше, чем через 8-10 ч после укладки бетонной смеси.

4. Растворы добавок рабочих концентраций следует хранить при положительных температурах. В случае выпадения осадка раствор следует подогреть и перемешать.

5. Запрещается приготовлять бетонные смеси с увеличенным В/Ц против расчетного, а также добавлять воду на месте укладки бетонных смесей для компенсации потери подвижности в процессе транспортирования.

6. В случае снижения подвижности бетонной смеси ниже допустимой возможно ее восстановление путем введения дополнительного количества пластификаторов или суперпластификаторов. Максимальная дозировка добавки не должна превышать предельной, установленной лабораторией из условия получения проектной прочности бетона.

7. При приготовлении растворов расширяющихся составов (п. 3.12) сухая смесь цемента и заполнителя перемешивается в бетоносмесителе до получения однородного состава.

Водные растворы добавок приготовляют в двух емкостях: в одной - раствор сульфата алюминия, в другой - суспензию, состоящую из азотнокислого кальция, технических лигносульфонатов и алюминиевого порошка для состава № 2 или раствор нитрита натрия - для состава № 1. Суспензия и водные растворы сульфата алюминия и нитрита натрия считаются готовыми к применению после полного растворения добавок и равномерного распределения алюминиевого порошка. Рекомендуется приготовлять 20 %-ные растворы по отношению к чистой массе добавок. Как правило, сернокислый алюминий поставляют в виде кристаллогидрата Al2(SO4)3·18H2O. В этом случае нужно увеличить массу реактива соответственно 20 %-ному содержанию чистого Al2(SO4)3 в растворе, а массу кристаллизационной воды учитывать при подсчете общего количества воды для раствора. Водный раствор сульфата алюминия считается готовым после полного растворения добавок.

Водные растворы соответствующих добавок вводятся в растворосмеситель вместе с водой затворения. Количество воды в них учитывается при определении В/Ц.

Приготовленный раствор рекомендуется наносить на поверхность старого бетона методом набрызга (мокрого торкретирования).

8. Для приготовлении напрягающих растворов и бетонов (п. 3.13) используют материалы, удовлетворяющие требованиям ГОСТ и ТУ, приведенным в табл. 2.

Бетонные и растворные смеси готовят на строительной площадке в растворосмесителе небольшими порциями по мере их расходования (смесь должна быть использована в течение 2 ч). Для заделки мелких дефектов допускается приготовление раствора вручную.

Таблица 2

Компоненты

Техническое название, марка

ГОСТ или ТУ

Цемент

Напрягающий цемент НЦ-10 и НЦ-20

ТУ 21-20-48-82

ТУ 21-20-18-80

Заполнители

Песок, Мкр = 1,8 - 2,6

ГОСТ 8736-85

Щебень

ГОСТ 8209-87*

Вода

 

ГОСТ 23732-79

Полимерные добавки

Кремнийорганическая жидкость:

 

ГКЖ-10

ГОСТ 13004-77*

ГКЖ-11

ГОСТ 13032-77*

Моноалкилфениловый эфир ОП-7, ОП-10

ГОСТ 27842-88

Латекс, СКС-65ГП

ГОСТ 10564-75*

9. При приготовлении торкрет-смесей вяжущее дозируется по массе с точностью ±1 %, а порошки и тонкомолотая добавка - с точностью ±2 %. Смешивание компонентов производится в любом бетоносмесителе, обеспечивающем тщательное перемешивание. Очередность загрузки составляющих смеси следующая: порошки, тонкомолотая добавка, вяжущее. Длительность перемешивания не менее 5 мин. Влажность торкрет-смесей, приготовленных на растворобетонных узлах, не должна превышать 0,5 %, а смесей, приготовленных на месте производства работ непосредственно перед укладкой, - 5-6 %.

Торкретирование производится с использованием торкрет-установок БМ-60, СБ-67, ССВ-03 и др. Перед торкретированием устанавливают оптимальный расход воды затворения (визуально, по началу образования глянцевой пленки на поверхности нанесенного слоя бетона). При этом влажность уложенного торкрет-бетона составляет 10-13 %. Смесь наносят на вертикальную поверхность снизу вверх дуговыми движениями сопла на всю толщину наносимого слоя картами. Укладку торкрет-бетона желательно вести непрерывно. После перерыва, превышающего 1 ч, смежные торцевые поверхности должны быть очищены от пыли и увлажнены. Торкретирование и твердение бетона до начала эксплуатации должны происходить при температуре не ниже +10 °С. Торкрет-бетон необходимо увлажнять в течение 4-7 сут, начиная с 12-20 ч после укладки с интервалом в 1 ч.

Контроль качества на всех этапах производства работ включает определение активности цемента, зернового состава и объемной массы бетона, предела прочности при сжатии торкрет-бетона. При приготовлении торкрет-смеси должны контролироваться точность дозирования, время перемешивания и влажность исходных материалов.

Контроль качества подготовки поверхности состоит в проверке чистоты защищаемой поверхности и правильности крепления сетки, маяков. Для контроля качества бетона одновременно с торкретированием защищаемой поверхности изготовляются «коржи» или призмы путем торкретирования специальных форм-щитов, из которых выпиливают кубы и испытывают на прочность в соответствии с ГОСТ 10180-78* после 7 сут хранения образцов в условиях, аналогичных условиям твердения бетона.

10. Материалы, применяемые для приготовления полимерцементных растворов (п. 3.14), должны соответствовать требованиям табл. 3.

Таблица 3

Материалы

ГОСТ или ТУ

Портландцемент

ГОСТ 10178-85*

Мелкозернистый песок

ГОСТ 8736-85

Латекс синтетический БС-65ГПН

ТУ 38.103.326-81

Жидкое стекло (силикат натрия растворимый)

ГОСТ 13078-81*

Фенолоспирт

ТУ 6-05-1164-75

Полиакриламид

СТУ 12-1093-60

11. Характеристика фенолоспиртов:

разводимость в воде                                                              1:10

содержание сухого остатка                                                  50 ± 2 %

содержание свободного фенола, не более                          3 %

содержание щелочи, не более                                              1,4 %

содержание свободного формальдегида, не более            4 %

12. Латекс синтетический БС-65ГПН по физико-химическим показателям должен соответствовать следующим нормам:

массовая доля сухого вещества %, не менее                       42,0

массовая доля незаполимеризованного стирола

не более                                                                                  0,1

не менее                                                                                  10,0

поверхностное натяжение, МН/м,

не более                                                                                  41,0

Потребителю латекс отпускают в металлических бочках вместимостью 200 л или в железнодорожных цистернах Он должен храниться в отапливаемом помещении при температуре не ниже +10 °С и не выше +60 °С в закрытой таре. Замораживание латекса не допускается, так как при этом он теряет свои свойства. Пожарной опасности латекс не представляет.

13. Приготовление полимерцементного раствора осуществляется в растворосмесителе вместимостью 100-150 л из заранее отдозированных компонентов, загрузка и перемешивание которых осуществляются в следующем порядке: первоначально в растворосмеситель вводят латекс и в зависимости от принятого состава жидкое стекло, фенолоспирты или раствор полиакриламида, затем небольшими порциями цемент и песок. Перемешивание продолжают до получения однородной консистенции в течение 10-15 мин.

Жизнеспособность полимерцементного раствора зависит от применяемого модификатора (жидкое стекло, фенолоспирты, раствор полиакриламида) и составляет от 3 до 8 ч.

Технические требования к полимерцементным растворам и покрытиям на их основе приведены в табл. 4.

Таблица 4

Показатели

Единица измерения

Требования

В растворе

 

 

Жизнеспособность

ч

3-8

Пластичность, по вискозиметру Суттарда

см

6-9

В покрытии

 

 

Внешний вид:

 

 

полимерцементные растворы с добавкой ПЛА и жидкого стекла

 

Темно-серого цвета без морщин и наплывов

то же, с добавкой фенолоспиртов

 

Темно-коричневого цвета

Время высыхания при температуре 20 ± 2 °С

ч

2-3

Адгезия к бетону, не менее

МПа

1,3-1,9

Химическая стойкость

 

Устойчивы к воздействию 5 %-ных растворов соляной и азотной кислоты

Водопоглощение

%

2-5

14. Приготовление полимерцементных растворов осуществляют с помощью стандартных смесителей, техническая характеристика которых приведена в табл. 5.

Таблица 5

Показатели

Единица измерения

Турбулентный смеситель СБ-43 (С-868)

Растворосмеситель с откидными лопастями

Объем готового замеса

л

65

65

Производительность

м3

2,5

1,5

Максимальная крупность заполнителя

мм

20

10

Установочная мощность

кВт

1

1,7

Габарит

мм

1470 ´ 595 ´ 895

1800 ´ 700 ´ 1000

Масса

кг

160

135

Технологический режим приготовления полимерцементного раствора в растворосмесителе вместимостью 100 л: приготовление и загрузка в мешалку латекса - 3 мин; то же, модификаторов - 2 мин; перемешивание - 5 мин; дозировка и загрузка цемента - 8 мин; то же, песка - 8 мин; перемешивание - 10 мин. Итого 36 мин.

15. Нанесение полимерцементных растворов на поверхности конструкций осуществляется как вручную, так и механизированным способом (набрызгом) с применением пневмобачков или прямоточных растворонасосов. Техническая характеристика оборудования приведена в табл. 6. Для нанесения могут быть также использованы пистолеты для густовязких смесей любой конструкции или пневматическая форсунка конструкции Донецкого Промстройниипроекта.

Таблица 6

Показатели

Единица измерения

СО-123

ПФО-120/2

Производительность

м2

100

100-150

Рабочее давление

МПа

0,3-0,4

0,3-0,4

Расход воздуха

м3

16

7

Габарит

мм

155 ´ 45 ´ 215

350 ´ 60 ´ 230

Масса

кг

0,8

0,5

Работы по устройству покрытий производятся с инвентарных стоечных и подвесных лесов, а также с передвижных башенных подмостей. Рукоятки механизмов для подъема подмостей во время работы на подмостях следует снимать.

Операторы, наносящие полимерцементный раствор на защитные поверхности с помощью сопла, и рабочие, производящие набрызг раствора вручную, обеспечиваются защитными очками.

Пневматические окрасочные аппараты и шланги следует до начала работы проверять и испытывать на давление, превышающее в 1,5 раза рабочее.

Кислотостойкие бетоны и растворы

16. Материалы, применяемые для приготовления полимерсиликатных бетонов, должны отвечать требованиям, приведенным в табл. 7. Перед применением необходимо провести проверку соответствия продуктов требованиям нормативных документов.

Зерновой состав каждой фракции щебня должен отвечать требованиям ГОСТ 10268-80.

В качестве мелкого заполнителя следует применять кварцевые пески, отвечающие ГОСТ 8736-85.

Таблица 7

Наименование компонента

Техническое название, марка

ГОСТ или ТУ

Связующее

Стекло натриевое жидкое

ГОСТ 13078-81*

Отвердитель

Натрий технический кремнефтористый

-

Антипирен из нефелина

ТУ 608-340-76

Уплотняющие добавки

Фуриловый спирт

ОСТ 59-127-73

Фурфурол

ГОСТ 10437-80*

Полиизоцианат

ТУ-6-03-29-2-77

Смола полиэфирная не насыщенная

МРТУ 6-05-1082-76

Ацетоноформальдегидная смола

ТУ 6-05-221-122-78

Карбамидная смола

ГОСТ 14231-88

Пластифицирующие добавки

Сульфированные нафталинформальдегидные олигомеры - суперпластификатор С-3

ТУ 6-14-625-80

Нейтрализованные сульфокислоты на основе продуктов перегонки нефти

ГОСТ 13302-77*

Сульфированные меламинформальдегидные олигомеры

МФАС-Р-100-11, ТУ 6-05-2926-82

Моноалкилфениловые эфиры полиэтиленгликоля (ОП-7, ОП-10)

ГОСТ 8433-81

Полиэтиленполиамин

ТУ 6-02-594-70

Добавки, повышающие жизнеспособность составов

Кремнийорганическая гидрофобизирующая жидкость, ГКЖ-10, ГКЖ-11

ГОСТ 13004-77*

Ингибиторы коррозии

Катапин

ТУ 6-873-76

Сульфонол

ТУ 84-343-72

Заполнители

Щебень и щебень дробленный из гравия

ГОСТ 8267-82

ГОСТ 8268-82

ГОСТ 10260-82

Кермазитовый гравий

ГОСТ 9759-83

Аглопоритовый щебень

ГОСТ 11991-83

Песок кварцевый

ГОСТ 8736-85

Глинозем, окись алюминия

ГОСТ 6912-87*

Глина коалиновая

ТУ 14-8-126-74

Бентонитовая глина

ГОСТ 7032-75

Наполнители

Андезитовая мука

ТУ 6-12-101-77

Кварцевая мука

ГОСТ 9077-82*

Маршалит

ГОСТ 8736-85

Диабазовая мука

СТУ 36.13717-61

Зерновой состав мелкого заполнителя должен соответствовать кривой просеивания, приведенной в ГОСТ 10268-80. Модуль крупности песка должен быть в пределах 2-3.

Содержание в природных и дробленых песках зерен, проходящих через сито № 014, не должно превышать 2 %, а пылевидных, илистых и глинистых частиц, определяемых отмучиванием, - 0,5 %. В качестве мелкого заполнителя допускается применять шлак алюмотермический тонкомолотый (с тонкостью помола 5000-6000 см2/г).

Испытание крупных заполнителей следует производить по ГОСТ 9758-86* и ГОСТ 8269-87*, а песка - по ГОСТ 8725-83. Крупные и мелкие заполнители должны быть сухими (влажность не более 0,5 %). Не допускается загрязнение заполнителей карбонатами (мелом, мрамором, известняком), основаниями (известью, цементом) и металлической пылью (стальной, цинковой).

Удельную поверхность наполнителей следует определять по ГОСТ 310.2-76*, она должна быть в пределах 2500-3000 см2/г. Удельная поверхность кремнефтористого натрия должна быть в пределах 3000-5000 см2, влажность отвердителя и наполнителей - не более 1 %.

Кислотостойкость песка и наполнителей (ГОСТ 473.1-81) должна быть не ниже 97 %.

17. Приготовление бетонной смеси включает следующие операции: промывку заполнителей (при необходимости), сушку наполнителей и заполнителей, фракционирование заполнителей, подготовку отвердителей и вяжущего, дозирование и перемешивание составляющих.

Сушку материалов следует производить в сушильных барабанах или других аппаратах (печах, термошкафах).

Отвердитель (кремнефтористый натрий) подают на дополнительный помол в шаровую мельницу, затем загружают в отдельный бункер-накопитель.

Жидкое стекло, уплотняющие и пластифицирующие добавки должны перекачиваться со склада в соответствующие емкости-накопители центробежными насосами типа ВК и АСПЛ.

Дозаторы должны обеспечивать точность дозирования: вяжущего, наполнителя, отвердителя, добавок - ±1 % по массе; заполнителей (песка и щебня) - ± 2 % по массе; дозировочные устройства должны отвечать требованиям гостов. Дозирование жидких составляющих следует производить насосами-дозаторами типа НД-400/16 или НД-1000/16.

Приготовление полимерсиликатных смесей следует осуществлять в бетоносмесителях принудительного действия в две стадии - приготовление мастики и приготовление смеси.

Приготовление мастики производится в следующем порядке: в высокоскоростной смеситель подают отдозированное количество жидкого стекла, пластифицирующей и уплотняющей добавки и перемешивают в течение 10 с (частота вращения рабочего органа смесителя 600-800 об/мин); в работающий смеситель подают отдозированное количество наполнителя и смесь перемешивают в течение 30-60 с; в работающий смеситель подают отдозированное количество отвердителя КФН, и смесь перемешивают в течение 30 с. Если в качестве уплотняющих добавок применяется ненасыщенная полиэфирная смола ПН или полиизоцианат ПИЦ, отдозированные количества добавок подаются при работающем смесителе в готовую мастику и перемешиваются в течение 20-30 с. Загрузка мастики из работающего смесителя в бетоносмеситель производится в течение 25-30 с. Общее время приготовления мастики должно быть не более 130 с, а с учетом выгрузки - не более 3 мин.

Приготовление полимерсиликатобетонной смеси должно производиться в следующем порядке: в бетоносмеситель загружают заполнители и перемешивают в течение 1-2 мин; туда же в течение 15-30 с подается мастика, приготовленная на первой стадии. Перемешивание продолжается 2-3 мин, а выгрузка - в течение 20-30 с.

Технологический процесс приготовления полимерсиликатобетонной смеси должен производиться при температуре окружающего воздуха не менее 15 °С.

По окончании каждой смены бетоносмеситель следует тщательно очищать от остатков полимерсиликатной смеси промывной водой.

18. Жизнеспособность полимерсиликатных композиций составляет 30-60 мин, поэтому приготовленный состав необходимо использовать раньше указанного срока. Состав, начавший схватываться, для производства работ непригоден. Дополнительное разжижение такого бетона водой или жидким стеклом не допускается.

Введение в состав полимерсиликатов пластифицирующих добавок - кремнийорганических ГКЖ-10 и ГКЖ-11, а также ПЭПА, КП и других увеличивает жизнеспособность составов до 90-150 мин.

При укладке монолитного полимерсиликатного бетона в опалубку вибрирование каждого слоя толщиной не более 200 мм следует проводить в течение 1-2 мин.

19. Твердение кислотостойкого бетона должно происходить при температуре не ниже 10 °С и нормальной влажности окружающего воздуха. Увлажнение твердеющего бетона не допускается.

Для ускорения процесса твердения полимерсиликатного бетона его можно подвергать сухой термообработке (нагреву до 40-60 °С) с помощью электронагревателей, калориферов и др.

20. Перед возобновлением бетонирования после перерыва вертикальную кромку затвердевшего бетона следует очистить от пыли и загрязнений и перед укладкой свежей бетонной смеси прогрунтовать жидким стеклом с добавлением 18 % (массы жидкого стекла) кремнефтористого натрия.

Сопло-смеситель

1 - штуцер для подачи сухой смеси; 2 - насадка; 3 - камера смешивания; 4 - камера орошения; 5 - штуцер для подачи вяжущего

В местах рабочих швов уплотнение и заглаживание бетона следует производить до тех пор, пока шов станет незаметным.

Подвижность раствора на жидком стекле (глубина погружения стандартного конуса) при укладке на него штучных материалов должна составлять 5-6 см.

21. При нанесении кислотостойких бетонов и растворов методом торкрета рекомендуется использовать разработанную в Харьковском Промстройниипроекте приставку к серийным торкрет-аппаратам, которая позволяет наносить вязкие составы (с плотностью жидкого стекла 1,38-1,45). Подача сухой смеси осуществляется аппаратом для безопалубочного бетонирования (СБ-67, БМ-60 и др.) через шлюзовую камеру по гибкому трубопроводу к соплу. Разработанная конструкция сопла (см. рисунок) обеспечивает возможность равномерного увлажнения смеси вяжущего и создания оптимальных условий работы установки для получения покрытия заданных свойств.

Конструктивные размеры сопла (диаметр входного и выходного отверстий, диаметр отверстий оросителя и количество их, длина камеры смешивания и т.д.) зависят от производительности торкрет-аппарата и в каждом конкретном случае должны подбираться экспериментальным путем.

Применительно к наиболее распространенным типам торкрет-аппаратов СБ-67 и СБ-67А, производительностью 3,5-4,5 м3/ч количество отверстий оросителя сопла - 12 шт. (по 6 в 2 ряда), их диаметр 2 мм, длина камеры смешивания 200-250 мм, диаметр входного и выходного отверстий - 40 мм.

Приготовление сухой смеси осуществляется в растворосмесителе.

Устройство для подачи вяжущего состоит из обогреваемой емкости и шестеренчатого насоса. Нагрев жидкого стекла до 45-50 °С производится для уменьшения его вязкости и улучшения перемешивания смеси в сопле с помощью электротэнов, паровых регистров и т.п. Для подачи жидкого стекла (с добавками) используются бронированные шланги (ГОСТ 6286-73*, тип I и II). В качестве источника сжатого воздуха могут применяться стационарные компрессорные станции или передвижные компрессоры типа КС-9 и др. Необходимое регулируемое давление Р = 0,4-0,5 МПа.

Торкретирование полимерсиликатными составами ведется послойно, толщина 1-го слоя 10-15 мм, последующие слои должны наноситься после затвердевания предыдущего (не ранее, чем через 1-2 ч) на его увлажненную поверхность. Расстояние между соплом и торкретируемой поверхностью должно быть 0,5 - 1,5 м, угол наклона сопла к поверхности - 80-90°.

После нанесения торкрета на поверхности не должно быть сухих пятен, возможных при недостатке воды, или оплывания слоя при ее избытке.

Торкретное покрытие не должно иметь трещин.

22. Мелкие трещины, появившиеся на поверхности бетона во время его твердения, зашпатлевывают смесью минерального порошка с жидким стеклом, кремнефтористым натрием и добавками с соблюдением состава смеси.

Полимерные бетоны и растворы

23. Для приготовления полимеррастворов используют эпоксидные смолы, пластификаторы, мономеры, отвердители, инициаторы полимеризации, ускорители полимеризации, сшивающие агенты, наполнители, а также растворители и другие вспомогательные материалы, свойства которых, а также условия хранения и транспортирования должны отвечать требованиям ГОСТов и ТУ, приведенных в табл. 8.

Окраску полимеррастворов производят, вводя минеральные пигменты (железный сурик, охру, двуокись титана, трехокись хрома, сажу, алюминиевую пудру и др.), а также лакокрасочные материалы на нитроцеллюлозной, полиэфирной, акриловой и эпоксидной основах.

24. Процесс приготовления полимеррастворов включает следующие операции: подогрев высоковязких компонентов (жидкого каучука, эпоксидных смол), сушку наполнителей, дозирование компонентов по массе, загрузку жидких компонентов (за исключением отверждающих добавок) в смеситель и перемешивание их, загрузку наполнителя и пигментов в смеситель и перемешивание их с жидкими компонентами, введение в состав отвердителей и перемешивание их с полимерраствором, выгрузку полимерраствора и промывку смесителя.

Таблица 8

Компоненты

Техническое название, марка

ГОСТ или ТУ

Связующее

Эпоксидная смола ЭД-20 или ЭД-16

ГОСТ 10587-84

Эпоксидная смола ЭИС-1

ТУ 38-109-1-71

Мономер

Метилметакрилат (ММА)

ГОСТ 20370-74

Замедлитель испарения

Парафин

ГОСТ 16940-89Е

Пластификатор

Бутадиенакрилонитрильный каучук СКН-18-1A или СКН-26-1A

ТУ 38-103-16-70

Разбавители

Дибутилфталат

ГОСТ 8728-88

Алифатический эпоксидный олигомер ДЭГ-1

МРТУ 6-05-1223-69

Инициаторы и ускорители полимеризации (отвердители)

Полиэтиленполиамин (ПЭПА)

ТУ 6-02-594-71

Перекись бензоила

ГОСТ 14888-78*

Гидроперекись изопропилбензола (гипериз)

МРТУ 38-2-5-66

Динитрил азоизомасляной кислоты (порофор) ЧХЗ-57

МРТУ 6-14-237-69

Димитиланилин

ГОСТ 2168-83*

Модификатор

Полистрол порошкообразный

ГОСТ 20282-86Е

Полиэфир ТГМ-3

ТУ 6-01-450-70

Растворители

Ацетон

ГОСТ 2768-84*

Толуол

ГОСТ 9880-76

Ксилол

ГОСТ 10214-78*

Наполнители

Кварцевый песок

ГОСТ 6139-78

Строительный песок, диабаз, андезит, маршалит

ТУ 6-12-102-77

Прогрев вязких компонентов следует производить на водяной бане при 60-80 °С в упаковочной таре (металлических барабанах, флягах). Сушку наполнителей следует производить до постоянной массы при 150-250 °С в термошкафах. Перед введением наполнителей в состав полимеррастворов они должны быть охлаждены до 20-30 °С. Перемешивание следует производить в клеесмесителе или лопастных смесителях.

Инициаторы полимеризации и отвердители следует вводить в полимерраствор, имеющий температуру 10-25 °С, непосредственно перед употреблением. В связи с ограниченной жизнеспособностью полимеррастворов следует приготовлять в одном замесе такое его количество, которое может быть переработано до начала полимеризации (10-50 мин).

Для облегчения приготовления полимеррастворов на строительной площадке целесообразно предварительно подготавливать на весь предполагаемый объем работ двухкомпонентный состав, содержащий в качестве первого компонента полимерраствор без отвердителя (инициатора полимеризации), а в качестве второго компонента - отвердитель (инициатор полимеризации). Оба компонента можно хранить раздельно не более 6 мес. Перед началом работы их смешивают в нужных пропорциях.

Категорически запрещается одновременное введение в полимерраствор перекисных инициаторов (перекиси бензоила, гипериза) и ускорителей полимеризации (ПЭПА, триэталонамина, нафтената кобальта, диметиланилина), так как их непосредственный контакт может вызвать самовоспламенение. В полимерраствор следует сначала водить ускоритель и после его тщательного перемешивания с другими компонентами - перекись, которую также надо тщательно смешать с полимерраствором.

25. Бетонные работы при реконструкции следует выполнять только при наличии проекта производства работ в условиях реконструкции, составленного с учетом особенностей выполнения работ на действующем предприятии. Схемы организации работ составляются в ППР для каждого цеха или сооружения. При этом должны быть предусмотрены специальные устройства и приспособления, обеспечивающие безопасность обслуживающего персонала предприятия и безопасность рабочих, выполняющих бетонирование (ограждения, защитные навесы, вентиляционные установки и др.).

Работы по удалению старого бетона следует производить, начиная с верхних отметок в направлении сверху вниз с обеспечением мер, исключающих попадание бетона на действующее оборудование.

При организации строительных и ремонтных работ следует руководствоваться СН 245-71, СНиП III-4-80*, СНиП 2.01.02-85.

К работам с компонентами полимерсиликатных, полимеррастворов и растворов с добавками допускаются лица не моложе 18 лет, прошедшие обучение и сдавшие экзамены на знание правил работ с указанными материалами и технику безопасности при работе с оборудованием для их приготовления и нанесения.

При изготовлении опалубки, выборе транспортных средств, производстве бетонных работ с применением бетонных смесей повышенной сохраняемости необходимо учитывать повышенную пластичность и текучесть подвижных и литых бетонных смесей, их способность сохранять эти свойства в течение известного времени с момента приготовления.

Забетонированные участки должны быть ограждены, а на ограждениях вывешены предупредительные знаки. Снятие ограждения и предупредительных знаков производить не ранее чем через сутки с момента укладки бетона.

Помещения, в которых производят бетонные работы, должны быть оборудованы противопожарными средствами (водопроводами, углекислотными огнетушителями, ящиками с песком и др.), а также приточно-вытяжной вентиляцией, обеспечивающей 3-5-кратный обмен воздуха. Аппараты, в которых проводят приготовление полимеррастворов и полимеризацию, оборудуют местными отсосами.

Рабочие, занятые на приготовлении растворов, добавок, полимерных или полимерсиликатных составов должны быть снабжены халатами или комбинезонами, резиновыми перчатками, прорезиновыми фартуками, защитными очками и респираторами.

Лица, занятые на работах с полимеррастворами, должны ежегодно проходить медицинский осмотр с регистрацией по установленной форме. Лица, страдающие кожными и аллергическими заболеваниями (бронхиальной астмой, вазомоторным насморком, крапивницей, дерматитом и т.п.), а также хроническими заболеваниями слизистых оболочек глаз, к работе с упомянутыми материалами не допускаются.

Компоненты применяемых материалов хранят в соответствии с требованиями, изложенными в ГОСТах и ТУ на эти материалы. Инициаторы полимеризации полимеррастворов рекомендуется хранить в светонепроницаемых герметичных емкостях отдельно от смол и мономеров. Легковоспламеняющиеся мономеры и растворители хранят в плотнозакупоренных металлических бочках в огнестойких складах и погребах при температуре не выше 15 °С.

В помещениях, где производят работы, и местах хранения компонентов полимерных составов категорически запрещается курить, пользоваться источниками открытого огня, проводить электро- и газосварочные работы. Электрооборудование отделений приготовления и переработки полимеррастворов должно быть выполнено во взрывобезопасном исполнении.

При дозировке компонентов полимерных составов категорически запрещается смешивать одновременно инициатор и ускоритель твердения, реакция взаимодействия которых сопровождается воспламенением.

Не допускается хранение в рабочем помещении фурилового спирта и фурфурола в количествах, превышающих сменную потребность. Емкости с фуриловым спиртом и фурфуролом должны быть герметично закрыты.

При работе с кремниефтористым натрием необходимо одевать респиратор.

Запрещается принимать пищу и хранить верхнюю одежду в местах приготовления и укладки полимерсиликатного бетона, бетона с полимерными добавками и полимеррастворов.

Рабочие места, где проводят работы с полимерными или полимерсиликатными композициями и бетонами с добавками, должны иметь аптечку, в которой по согласованию с врачом должны быть медикаменты для оказания первой помощи. В случае отравления летучими компонентами полимерных составов или добавок (головокружение, тошнота), следует немедленно выйти на свежий воздух и обратиться к врачу. При попадании компонентов полимерного состава или добавок на кожу следует промыть это место теплой водой с мылом, при попадании на слизистую оболочку глаз необходимо немедленно промыть ее обильным количеством воды и обратиться к врачу.

В рабочих помещениях следует вывесить инструкции по технике безопасности и противопожарному режиму с указанием обязанностей персонала на случай возникновения пожара, а также фамилии лиц ответственных за проведение работ и выполнение техники безопасности.

ПРИЛОЖЕНИЕ 2

МЕХАНИЧЕСКИЕ И АКУСТИЧЕСКИЕ ПРИБОРЫ ДЛЯ ОПРЕДЕЛЕНИЯ ПРОЧНОСТИ БЕТОНА ЭКСПЛУАТИРУЮЩИХСЯ КОНСТРУКЦИЙ

Таблица 1

Принцип действия

Наименование прибора

Метод пластической деформации - зависимость между R и размерами отпечатка на поверхности конструкции при вдавливании индикатора (штампа) под действием статической или динамической нагрузки

Дисковый прибор ДПГ-4

Дисковый прибор ДПГ-5

Прибор ПМ

Универсальный маятниковый прибор УМП

Эталонный молоток К. П. Кашкарова (ГОСТ 22690.2-77)

Гидравлический пресс-насос ГПНВ-5

Испытание на отрыв и скалывание

Гидравлический пресс - насос ГПНВ-5, ГПНС-4 (ГОСТ 21243-75)

УРС - устройство в комплекте с ГПНВ-5 (ГОСТ 22690.4-77)

Методы упругого отскока

Склерометр КМ

Ультразвуковой импульсный метод

УКБ-1, УКБ-1м, УК-10п, УФ-90гц, УК-16п, УК-12п

Бетон 8-УРЦ

Таблица 2

п.п.

Результаты одного удара средней силы молотком массой 0,4-0,8 кг

Примерная прочность бетона, МПа

непосредственно по поверхности бетона

по зубилу, установленному жалом на бетон

1

На поверхности бетона остается слабо заметный след, при ударе по ребру откалывается тонкая лещадка

Неглубокий след, лещадки не откалываются

Св. 20

2

На поверхности бетона остается заметный след, вокруг которого могуг откалываться тонкие лещадки

От поверхности бетона откалываются острые лещадки

20-10

3

Бетон крошится и осыпается, при ударе по ребру откалываются большие куски

Зубило проникает в бетон на глубину до 5 мм, бетон крошится

10-7

4

Остается глубокий след

Зубило забивается в бетон

До 7

Примечание. Прочность бетона уточняется по результатам осмотра образца, отколотого от рассматриваемой конструкции. Размеры образца должны быть такими, чтобы в нем содержались частицы крупного заполнителя (не менее 3). Если скол произошел по телу заполнителя из изверженных пород (гранита и т.п.) - прочность бетона составляет 20 МПа и более; если скол произошел по телу заполнителя из осадочных пород (известняк и т.п.) - прочность бетона составляет 15-20 МПа, если скол произошел по поверхности контакта крупного заполнителя и раствора и зерна щебня легко извлекаются из образца, прочность бетона рекомендуется принимать: при определенной по замерам следов на поверхности бетона прочности более 20 МПа (см. табл. 39, п. 1) - 15 МПа, при прочности бетона 20-10 МПа (поз. 2 табл. 39, п. 2) - 10 МПа.

Следует стремиться производить удары по растворному участку бетона. Характерным признаком нанесения ударов по растворной части является небольшой разброс измеренных деформаций близко расположенных точек удара. Кроме того, необходимо учитывать, что в «запесоченном» бетоне размер лунки от шарика больше, чем в обычном бетоне той же прочности и, наоборот, в бетоне с большим количеством высокопрочного щебня - меньше, а также то, что на влажном бетоне от шарика получаются увеличенные отпечатки.

Прочность бетона в первую очередь следует определять в тех элементах и на тех участках, где согласно схеме работы конструкции она играет существенную роль - опорные участки и сжатая зона балок, зоны анкеровки арматуры, сжатые элементы ферм, колонн и т.п.

Если поверхностный слой бетона пересушен (в зоне расположения тепловых агрегатов и других источников тепловыделения), то от лунок при ударе шариковым молотком идут радиальные трещины, а при ударе обушком раствор крошится. Глубину пересушенного или замороженного бетона можно ориентировочно определить с помощью тонкого зубила или шила. Раствор прочности менее 10 МПа под зубилом осыпается, а острые предметы (шило, гвозди) забиваются в него сравнительно легко. При прочности бетона порядка 20 МПа и более бетон под зубилом откалывается лещадками.

При простукивании следует обращать внимание на звук: неплотный бетон издает глухой звук, а при наличии отслоений - дребезжащий. При плотном бетоне звук звонкий.

ПРИЛОЖЕНИЕ 3

МЕТОДИКА ОПРЕДЕЛЕНИЯ СКОРОСТИ РАСПРОСТРАНЕНИЯ ПРОДОЛЬНЫХ УЛЬТРАЗВУКОВЫХ ВОЛН В ЖЕЛЕЗОБЕТОННЫХ ЭЛЕМЕНТАХ

Поверхность бетона, на которой устанавливают щупы (ультразвуковые преобразователи) не должна иметь крупных наплывов, вмятин, раковин (глубиной более 3 и диаметром более 6 мм), видимых трещин. С поверхности должны быть удалены слои гидроизоляции, антикоррозионных покрытий, штукатурки, облицовка и т.п.

Для обеспечения надежного акустического контакта между бетоном и рабочей поверхностью щупов применяют вязкие контактные среды (смазку) или эластичные прокладки. Кроме рекомендуемых стандартом материалов можно применять пластилин, меловое тесто и воскоканифольный компаунд.

Измерение базы прозвучивания проводят с погрешностью не более ±0,5 %. Время распространения ультразвука может измеряться как способом сквозного, так и поверхностного прозвучивания. Значение скорости УЗВ, V, м/с вычисляют по формуле V = 103 l/t, где t - время, мкс; l - база прозвучивания, мм.

При применении метода поверхностного прозвучивания щупы устанавливают по одной плоскости конструкции на постоянной базе (l = 150-400 мм). При сквозном прозвучивании помимо стандартного варианта соосного расположения щупов применяют способ диагонального прозвучивания.

Измерение способом поверхностного прозвучивания проводят в тех случаях, когда имеется односторонний доступ к конструкции и для тонкостенных элементов. Испытания проводят при температуре от 0 до 50 °С. Щупы устанавливают на расстоянии не менее 5 см от края конструкции, а направление прозвучивания, как правило, должно быть перпендикулярно направлению арматуры, при этом концентрация арматуры по линии прозвучивания не должна превышать 5 %. Можно проводить прозвучивание параллельно арматуре, если ее диаметр меньше 18 мм и расположена она от линии прозвучивания не ближе 5 см.

В тех случаях, когда прижим щупов обеспечивается специальными приспособлениями, усилие прижима должно быть в пределах 20-30 H (2-3 кгс).

Порядок работы:

исходя из измеряемой базы и предполагаемой скорости распространения УЗВ диапазон выбирается так, чтобы отсчитываемая величина находилась в пределах 40-100 % диапазона;

подготавливается поверхность участков конструкции, к которым прижимаются головки щупа;

на донышко щупа наносится контактная среда;

щупы прикладываются с двух сторон конструкции (сквозное прозвучивание) или с одной стороны (поверхностное);

определяется время прохождения импульса через конструкцию и вычисляется скорость УЗВ.

Для оценки наличия скрытых трещин, раковин и других дефектов используется также параметр затухания импульсов в бетоне. Однако изменение величины амплитуды импульса (затухание) во многом зависит от акустических контактов щупов и конструкции, поэтому наряду с определением коэффициента затухания определяется и характер реверберационного процесса в сечении. Работы обычно проводятся специализированными научно-исследовательскими организациями.

ПРИЛОЖЕНИЕ 4

ОЦЕНКА ПАССИВИРУЮЩЕГО ДЕЙСТВИЯ БЕТОНА ЗАЩИТНОГО СЛОЯ ЖЕЛЕЗОБЕТОННЫХ КОНСТРУКЦИЙ

1. Метод предназначен для определения пассивирующего действия бетона защитного слоя железобетонных конструкций из тяжелого и легкого бетона без вскрытия защитного слоя, при оценке защитных свойств бетона, подвергающегося воздействию агрессивных газов (углекислого и сернистого газа, хлористого водорода, хлора и др.) и агрессивных растворов (хлористых, сернокислых и других солей, кислот и т.п.).

Метод может быть использован в том случае, если сопротивление бетона на измеряемом участке не превышает 105 Ом (бетон, насыщенный водой или растворами, воздушно-влажный бетон) и непригоден для измерений на высушенном бетоне, когда сопротивление превышает 105 Ом.

2. Метод основан на способности стали в бетоне, обладающем пассивирующим действием, сохранять определенное время потенциал положительного знака после поляризации от внешнего источника и отключения тока. В бетоне, не обладающем пассивирующим действием, после отключения тока величина потенциала быстро возвращается к исходным отрицательным значениям стационарного потенциала. Измерение выполняют путем кратковременной поляризации стальной арматуры в бетоне положительным потенциалом от внешнего источника тока с напряжением на клеммах 6-12 В, отключения тока и измерения величины потенциала после отключения тока.

3. Установка для приведения испытаний состоит из источника постоянного тока, вольтметра, переключателя, медносульфатного электрода и зажима типа «крокодил».

В качестве источника постоянного тока напряжением 6-12 В могут быть использованы батареи элементов или аккумуляторы, выпрямители, универсальные источники питания и другие устройства.

Для измерения потенциала и электрического сопротивления следует использовать катодный вольтметр ВК-7-9 или омвольтметр, имеющий входное сопротивление не менее 107 Ом и позволяющий измерять величину потенциала в интервале ±11 В с точностью не менее ±0,01 В и сопротивление в интервале 10/108 Ом. Для измерения величины потенциала могут применяться вольтметры катодные марок ВК-2-16, ВК-7-4, ВК-7-13, ВК-7-16, вольтметры цифровые Ш-1312, Ш-1412 и Ш-1513.

Медносульфатный электрод неполяризующийся представляет собой стержень из красной меди, погруженный в насыщенный водный раствор сернокислой меди CuSO4. Медный стержень располагается в трубке из электроизоляционного материала. В трубку заливают раствор сернокислой меди. Нижний конец трубки закрыт губчатой резиной. Слабое просачивание раствора через пористую резину обеспечивает электрический контакт электрода с бетоном при установке медносульфатного электрода на поверхность конструкции. Диаметр электроизоляционной трубки - 15-30, длина 100 - 150 мм.

4. Порядок проведения испытаний следующий: собирают установку в соответствии со схемой. Приборы, питающиеся от электрической сети (катодный вольтметр, универсальный источник питания), подключают к сети; подготавливают к работе медносульфатный электрод. Для этого медный стержень очищают от окисной пленки наждачной бумагой или кратковременным погружением в концентрированную азотную кислоту. Трубку электрода заливают насыщенным раствором сернокислой меди (марок Ч, ХЧ, ЧДА) и выдерживают до насыщения пористой резины. На одном участке скалывают защитный слой и обнажают арматуру. Закрепляют на обнаженной поверхности арматуры зажим. Медносульфатный электрод устанавливают на поверхность конструкции на минимальном расстоянии от арматурного стержня. Если на поверхности железобетонной конструкции имеется лакокрасочное покрытие, то на месте контакта электрода с железобетонной конструкцией покрытие следует удалить; определяют электрическое сопротивление цепи «медносульфатный электрод - бетон - армокаркас». Если оно не превышает 105 Ом, включают ток и в течение 1 мин поляризуют стальную арматуру анодным током. Затем отключают ток и через 1 мин измеряют потенциал стали в бетоне относительно медносульфатного электрода.

5. Результат измерения оценивают следующим образом: если за 1 мин потенциал от положительных значений понизился до 0 В и ниже, сталь - в активном состоянии, а бетон не обладает необходимым пассивирующим действием; если за 1 мин потенциал не понижается до 0 В, то бетон на контакте со стальной арматурой обладает пассивирующим действием.

Устанавливая медносульфатный электрод в различных точках с шагом 0,5 м и более, определяют пассивирующее действие бетона в соответствующих точках. Количество измерений назначается в зависимости от размера конструкций и условий ее эксплуатации. Допускаемые отклонения размеров, мм, стальных прокатных швеллеров в различные периоды строительства приведены в табл. 1 прил. 5.

ПРИЛОЖЕНИЕ 5

ДОПУСТИМЫЕ ОТКЛОНЕНИЯ РАЗМЕРОВ СТАЛЬНЫХ ПРОКАТНЫХ ЭЛЕМЕНТОВ В РАЗЛИЧНЫЕ ПЕРИОДЫ СТРОИТЕЛЬСТВА

Таблица 1

Номер профиля

По ширине полки, мм, в периоды

По толщине полки, мм, и точности прокатки

В зависимости от номинальной толщины полки, мм, и точности прокатки в различные периоды

1939-1958

1958-1974

с 1974

1939-1957

1958-1973

с 1974

Любая

6-6,5

10

6

6,5-9

10

А

Б

Б

Б

Б

А

Б

А

Б

А

Б

2-4,5

±1,0

±1,0

±1,0

-

±0,5

±0,40

-

-

±0,2

-0,3

+0,3

-0,4

-

-

-

-

5-9

±1,5

±1,5

±1,5

±0,5

±0,7

±0,45

±0,55

-

+0,2

-0,4

+0,3

-0,5

+0,2

-0,5

+0,3

-0,6

-

-

10-14

±2,0

±2,0

±2,0

±1,0

+1,2

-0,8

-

±0,60

±0,65

-

-

+0,3

-0,5

+0,4

-0,6

+0,3

-0,6

+0,4

-0,7

16-20

±4,0

±3,0

±3,0

±1,0

+1,5

-1,0

-

-

±0,70

-

-

-

-

+0,4

-0,7

+0,5

-0,8

22-25

±4,0

±4,0

±4,0

±1,0

+1,5

-1,0

-

-

±0,80

-

-

-

-

+0,4

-0,8

+0,5

-0,9

Примечания: 1. В период 1939-1957 гг. действовал ОСТ 10014-39, в период 1958-1973 гг. - ГОСТ 8509-86. 2. А - высокая точность прокатки, Б - обычная точность.

Таблица 2

Номер профиля

По высоте швеллера в периоды

По ширине полки в периоды

По толщине полки или стенки в периоды

1940-1956

1957-1973

с 1974

1940-1956

1957-1973

с 1974

1940-1956

1957-1973

с 1974

5-8

±1,5

±1,5

±1,5

±1,2

±1,5

±1,5

±0,5

Плюсовые не ограничиваются

Плюсовые не ограничиваются

10-14

±2,0

±2,0

±2,0

±1,5

±2,0

±2,0

±0,6

16-18

±2,0

±2,5

±2,5

±2,0

±2,5

±2,5

±0,7

20-30

±3,0

±3,0

±3,0

±2,0

±3,0

±3,0

±0,9

-6 % толщины полки

-6 % толщины полки

33-40

±3,0

±3,5

±3,5

+2,0

±3,5

±3,5

±1,0

Примечания: 1. В период 1940-1956 гг. действовал ГОСТ 10017-39, в период 1957-1973 гг. ГОСТ 82-72, с 1974 г. - ГОСТ 8240-72*. 2. По ГОСТ 10017-39 лимитировались отклонения по толщине стенки, по ГОСТ 8240-72 и ГОСТ 8240-72* - по толщине полки.

Таблица 3

Номера профиля

По высоте балки в периоды

По ширине полки, в периоды

По толщине стенки или полки, в периоды

1939-1957

1958-1973

с 1974

1939-1957

1958-1973

с 1974

1939-1957

1958-1973

с 1974

10-14

±2,0

±2,0

±2,0

+1,0

-1,5

±2,0

±2,0

±0,6

Плюсовые не ограничиваются

Плюсовые не ограничиваются

16-18

±2,0

±2,5

±2,5

+1,3

-2,0

±2,5

±2,5

±0,7

20-30

±3,0

±3,0

±3,0

+1,7

-2,3

±3,0

±3,0

±1,0

 

 

33-40

±3,0

±3,5

±3,5

+1,7

-2,3

±3,5

±3,5

±1,0

-6 % толщины полки

-6 % толщины полки

45-70

±4,0

±4,0

±4,0

+2,2

-3,0

±4,0

±4,0

±1,2

Примечания: 1. В период 1939-1957 гг. действовал ГОСТ 10016-39, в период 1958-1973 гг. - ГОСТ 8239-56, с 1974 - ГОСТ 8239-72*. 2. По ГОСТ 10016-39 лимитировались отклонения по толщине стенки, по ГОСТ 8239-56 и ГОСТ 8239-72* - по толщине полки.

ПРИЛОЖЕНИЕ 6

ТЕХНОЛОГИЯ ПРИСОЕДИНЕНИЯ «СТАРОГО» БЕТОНА К «НОВОМУ» С ПРИМЕНЕНИЕМ КЛЕЕВ

1. Для обеспечения сцепления «старого» и «нового» бетона при положительных температурах рекомендуется на вертикальных, наклонных либо горизонтальных плоскостях «старого» бетона наносить тонкий слой клея, а затем до его отверждения укладывать слой «нового» бетона с уплотнением с помощью вибрации. В случае обетонировки при низких температурах необходимо производить обогрев «нового» бетона до набора необходимой прочности.

2. Использование предлагаемой технологии соединения «старого» и «нового» бетона с помощью клея допускается при условии:

применения материалов соответствующего качества;

выполнения работ специально обученным персоналом;

тщательном пооперационном контроле качества клея, а также выполнения всех технологических процессов очистки поверхностей «старого» бетона, приготовления клея, нанесения его на склеиваемую поверхность, укладки «нового» бетона, температурного режима отверждения клея в строгом соответствии с требованиями настоящих Рекомендаций.

3. Для соединения «старого» и «нового» бетона рекомендуется применять силоксановые и акриловые клеи, составы которых приведены в табл. 1 и 2.

Составы акрилового клея № 1…3 рекомендуется применять при использовании подогретых бетонных смесей для соединения «старого» бетона с «новым» с дальнейшей теплоизоляцией от воздействий низких температур.

Составы № 4…6 рекомендуется применять при использовании подогрева для твердения нового бетона (электропрогрев, тепляки и т.д.).

Технологическая жизнеспособность рекомендуемых составов клея составляет при температуре среды 15-20 °С: силоксанового 120…150 мин; акрилового 100..120 мин.

Когезионная прочность при сжатии по ГОСТ 4651-82* должна быть не ниже: силоксанового клея 35 МПа; акрилового клея 60 МПа.

Для приготовления клея допускается применять компоненты, соответствующие требованиям ГОСТов, снабженные заводскими паспортами со сроком годности с момента изготовления не превышающим:

6 мес для жидкого стекла;

12 мес для тринатрийфосфата;

12 мес для андезитового порошка;

12 мес для жидкости АСТ-Т;

неограничен для порошка АСТ-Т.

Таблица 1

Составляющие

Массовые части компонентов клея составов

Нормативный источник

1

2

3

Смесь жидкого стекла и тринатрийфосфата

40

35

40

ГОСТ 13078-81*

ГОСТ 201-76

Портландцемент или шлакопортландцемент

40

35

40

ГОСТ 10178-85*

Песок средней крупности

17 + 19

30

-

ГОСТ 8736-85

Асбест

1 + 3

-

-

ГОСТ 12871-83*Е

Андезитовая мука

-

-

20

ТУ 6-12-102-77

Примечание. Указанные составы рекомендуется применять: для горизонтальных поверхностей - состав № 1; для вертикальных и наклонных поверхностей - составы № 2 и 3.

Таблица 2

Составляющие клея

Номер состава

Нормативный источник

1

2

3

4

5

6

Полимер (порошок АСТ-Т)

140

140

140

100

100

100

ТУ 64-2-226-83

Отвердитель (жидкость АСТ-Т)

100

100

100

100

100

100

ТУ 64-2-226-83

Песок кварцевый с размером зерен, мм, до:

 

 

 

 

 

 

ГОСТ 8736-85*

0,14

150-250

 

 

150-250

 

 

0,315

 

200-300

 

 

200-300

 

0,03

 

 

300-500

 

 

300-500

4. Для приготовления силоксанового клея предварительно приготавливают смесь жидкого стекла с тринатрийфосфатом. Для этого тринатрийфосфат растворяют в жидком стекле. Растворение производят в растворосмесителе СБ-43 (или ему подобном), при перемешивании в течение 30 мин. После этого смесь переливают в тару и закрывают пробкой. Тринатрийфосфат добавляют в количестве 10-15 % массы жидкого стекла.

Количество предварительно приготовленной смеси составляет 50-200 кг в зависимости от объема работ.

Смесь жидкого стекла с тринатрийфосфатом должна храниться в сухом помещении при температуре 10...20 °С.

Загрузка материалов в растворосмеситель производится в следующей последовательности.

Заливается отдозированное количество жидкого стекла с добавкой тринатрийфосфата и засыпается необходимое количество цемента. Смесь перемешивается в течение 2...3 мин, после чего добавляется кварцевый песок или андезитовый порошок (в зависимости от принятого состава).

В случае применения асбеста он вводится после добавки цемента или совместно с ним.

5. Для приготовления акрилового клея применяется пластмасса АСТ-Т, которая выпускается в виде комплекта, содержащего равные количества порошка и жидкости АСТ-Т. Порошок упаковывают в полиэтиленовых пакетах по 4,5; 9,0; 18 кг, а жидкость - в полиэтиленовых бутылках или баках по 4,5; 9,0; 18,0; 36,0; 45 кг, герметично закрытых пробками.

Компоненты АСТ-Т (порошок и жидкость) хранят в местах, защищенных от воздействия прямых солнечных лучей и атмосферных осадков при температуре не выше 25 °С.

Приготовление акрилового клея рекомендуется производить в следующей последовательности.

Необходимое количество порошка АСТ-Т, жидкости АСТ-Т и кварцевого песка отвешивают в отдельные емкости.

Смешивание компонентов возможно вручную либо в растворосмесителе типа СБ-43.

Вручную рекомендуется приготавливать замесы до 10 кг, а в растворосмесителе - до 150 кг.

При ручном приготовлении смеси в емкость заливают жидкость и добавляют порошок, затем производят периодическое перемешивание металлической или деревянной лопаткой до набухания порошка в жидкости, после чего вводят наполнитель - кварцевый песок при непрерывном перемешивании.

Момент набухания порошка в жидкости определяется получением одноцветной сметанообразной жидкости.

Время перемешивания акрилового клея после введения наполнителя составляет 3...5 мин до достижения равномерного распределения зерен песка в объеме клея.

При механическом приготовлении клея в растворосмесителе последовательность операций аналогична, однако процесс набухания порошка в жидкости должен сопровождаться кратковременным включением растворосмесителя в течение 20-25 с через 3...5 мин.

Ориентировочное время набухания порошка в жидкости АСТ-Т при температуре окружающей среды 15...25 °С составляет 10...15 мин.

Начальная относительная вязкость после введения порошка в жидкость по вискозиметру ВЗ-1 равна 4 с, после набухания - 19 с. После введения наполнителя вязкость по вискозиметру Суттарда составов № 1-6 составляет 19...30 см.

Период набухания порошка в жидкости составляет при температуре среды от -5 °С до 0 °С для составов № 1...3 до 560 мин, для составов № 4...6 до 650 мин; от 0 °С до 10 °С для составов № 1...3 до 110 мин, для составов № 4...6 до 140 мин; от 11 °С до 15 °С составов № 1...3 до 20 мин, составов № 4...6 до 30 мин, от 16 °С до 20 °С составов № 1...3 до 10 мин и составов № 4...6 до 5 мин.

Жизнеспособность клея после его приготовления равна при температуре среды менее -5 °С около 24 ч; от 0 °С до 10 °С около 5 ч, от 11 °С до 15 °С составов № 1...3 до 60 мин, составов № 4...6 до 80 мин; от 16 °С до 20 °С составов № 1...3 до 35 мин, составов № 4...6 до 50 мин.

Время отверждения акрилового клея в отливке составляет при температуре среды: от 0 °С до 10 °С до 24 ч; от 11 °С до 15 °С до 18 ч; от 16 °С до 20 °С до 10 ч; при 21 °С до 6 ч.

В связи с ограниченной технологической жизнеспособностью силоксанового и акрилового клея приготовление их производится после окончания всех работ, связанных с подготовкой поверхности старого бетона, а также приготовлением бетонной смеси.

Рациональное количество одновременно приготовляемого клея для соединения старого и нового бетона в горизонтальных швах при массовом производстве работ определяется исходя из возможности его нанесения в течение времени, равного технологической жизнеспособности клеев.

Количество клея определяется по формуле

,                                                               (1)

где N - количество рабочих, занимающихся укладкой нового бетона; Tg - технологическая жизнеспособность клея, ч; Hb - норма времени на укладку нового бетона, чел-ч;  - толщина клеевой прослойки, м;  - толщина слоя нового бетона, м;  - объемная масса клея, кг/м3.

6. Подготовку поверхности старого бетона фундаментов и других конструкций к склеиванию выполняют в следующей последовательности: закругляют наружные и внутренние острые углы (радиусом не менее 1 см) срезкой или другим способом; очищают поверхность от пыли, загрязнений и масляных пятен; удаляют наледь и влагу.

Поверхность бетона перед производством работ должна быть проверена на наличие пустот методом простукивания деревянным молотком. Места, издающие глухой звук, должны быть расчищены oт поврежденного бетона.

Очистку поверхности бетона производят при небольших объемах работ проволочными щетками или механизированным ручным инструментом, а при выполнении больших объемов работ - пескоструйными аппаратами; обеспыливание - сжатым воздухом.

В случае соединения старого бетона с новым поверхность существующего фундамента или других конструкций, подвергавшихся ранее воздействию агрессивных сред, необходимо предварительно тщательно промыть чистой водой.

При воздействии агрессивной кислой среды на бетон его поверхность нейтрализуют 4...5 %-ным раствором кальцинированной соды, повторяя промывку чистой водой.

7. Нанесение клеевой прослойки на старый бетон производится при наличии свежеприготовленной бетонной массы.

Опережение фронта работ по нанесению клея на поверхность старого бетона по отношению к бетонированию составляет:

для горизонтальных поверхностей не более 1-2 м; для вертикальных - не более 0,5 м.

Температура окружающей среды при нанесении клея должна быть не ниже: +10 °С для силоксанового, 0 °С для акрилового клея.

Толщина клеевой прослойки не должна превосходить 3-5 мм.

Если поверхность очищают струей воды, то работы по нанесению клея начинают не ранее, чем через 24 ч в случае применения силоксановых клеев и через 1 ч - акриловых.

Звено по нанесению клея состоит из двух рабочих III и IV разрядов, один из которых подвозит клей и выгружает его порциями на бетонную поверхность, а второй разравнивает слой клея до требуемой толщины прослойки.

Количество звеньев выбирают в зависимости от объема работ. Ориентировочно для клея со значением Tg = 2 ч количество звеньев для укладки клея на вертикальную поверхность должно быть не менее 2, а для укладки на горизонтальную поверхность 1-2 звена. От растворосмесителя СБ-43 клей доставляют к месту укладки либо в ведрах, либо специальной тележкой.

8. Нанесение на горизонтальную поверхность клея производится кистевым способом или наливом (табл. 3) с последующим разравниванием.

9. Силоксановый клей наносят на вертикальную поверхность набрасыванием его порциями мастерком, а затем разравнивают деревянной полутеркой.

Акриловый клей наносят на вертикальную поверхность вручную с помощью пневматических мастикометов или распылителей.

Таблица 3

№ п. п.

Вид поверхности

Способ нанесения

Оборудование

1

Горизонтальная

Налив

Емкости, рейки

Кистевой

Жесткие щетинные кисти или щетки

2

Вертикальная

Валиковый

Приспособление с ванночкой

Кистевой

Жесткие щетинные кисти или щетки

Распыление

Распылители (см. табл. 5 и 6 прил. 6)

Таблица 4

№ п. п.

Способ нанесения клея

Способ выдерживания бетона

Состав клея

1

Распыление

Термоса

1, 2, 3

Электрообогрева

4, 5, 6

В тепляках

4, 5, 6

2

Кистевой

Термоса

1, 2, 3

Электрообогрева

4, 5, 6

В тепляках

4, 5, 6

3

Налив

Термоса

1, 2, 3

Электрообогрева

4, 5, 6

В тепляках

4, 5, 6

При нанесении клея мастикометами или распылителями необходимо выполнять следующие правила:

струю клея направлять перпендикулярно к поверхности бетона;

расстояние от головки распылителя до поверхности бетона при плоской струе должно быть в пределах 250...350 мм в зависимости от вязкости клея,

распылитель перемещать со скоростью 14...18 м/с,

клей наносить последовательно параллельными полосами: первую полосу - сверху вниз, вторую - снизу вверх и т.д.,

каждая последующая полоса должна перекрывать предыдущую на 40...50 мм,

за 1 раз наносить полосу клея толщиной до 1,5 мм,

через 15...20 мин наносить второй слой клея с таким расчетом, чтобы получить толщину 3...5 мм.

Время с момента окончания нанесения клея до укладки нового бетона должно быть по возможности минимальным - не более технологической жизнеспособности клея.

Рекомендуемые составы клеев для нанесения на горизонтальную и вертикальную поверхности старого бетона представлены в табл. 4.

Рекомендуемый механизированный инструмент для нанесения акрилового клея на вертикальную поверхность представлен в табл. 5 и 6. Выбор его зависит от фронта работ и объема укладываемого нового бетона.

При нанесении клея на вертикальную поверхность распылителями необходимо учитывать потери его в зависимости от диаметра сопла, давления сжатого воздуха, расстояния распылителя от поверхности бетона (табл. 7).

При укладке новый бетон должен иметь осадку стандартного конуса 3-4 см и температуру смеси 35°…45 °С.

При уплощении бетонной смеси вибраторами с гибким валом толщина слоя бетона не должна превышать 1,25 длины рабочей части вибратора. Не допускается повторное вибрирование нового бетона в одном и том же месте.

Свежеуложенный бетон в зимних условиях при среднесуточной температуре наружного воздуха ниже -5 °С и минимальной суточной температуре ниже 0 °С необходимо предохранять от замерзания путем создания теплоодежды или обогрева.

10. Контроль качества материалов для приготовления клея производится по когезионной и адгезионной прочности клея.

Когезионная прочность клея определяется на образцах-кубиках размером 2 ´ 2 ´ 2 см при сжатии.

Временное сопротивление при сжатии должно быть не ниже данных, приведенных в п. 3 настоящего Приложения.

Адгезионная прочность клея определяется путем испытания образцов-восьмерок, состоящих из старого и нового бетона с клеевым швом по середине восьмерки. Площадь склейки должна составлять 4 см2.

К производству допускается клей, обеспечивающий прочность склейки выше когезионной прочности старого или нового бетона при растяжении.

Наполнение форм силоксановым клеем производится с проштыковкой массы, а акриловым клеем - самотеком.

Выдерживание образцов осуществляется при нормальной температуре в течение 28 сут. Одновременно испытывают не менее 5 образцов.

11. Жидкость ACT-Т горит со специфическим запахом. Предельно допустимая концентрация паров в воздухе составляет 10 мг/м3.

Все операции по приготовлению пластораствора необходимо проводить в вентилируемых помещениях.

Не допускается производить работы с пластмассой ACT-Т возле огневых точек, электроприборов и т.п.

В случае попадания жидкости АСТ-Т на кожу, ее необходимо смыть струей горячей воды.

Таблица 5

Параметры

КРУ-1

ЗИЛ

КРМ

С-592

СО-71

СО-24А

Подача материала, г/мин

400-500

500-6000

400

400-500

800

400-500

Производительность, м2

300-450

500

400

75-85

400

85

Давление сжатого воздуха по распылению, МПа

0,3-0,4

0,45-0,55

0,3-0,4

0,4-0,5

0,4-0,5

0,3-0,4

Расход воздуха, м3

6-11

11-14

14

16

26

16

Ширина факела материала на расстоянии 300 мм от поверхности бетона, МПа

400-500

500-520

350

100-120

150-200

200

Габарит, мм

195 ´ 60 ´ 225

185 ´ 45 ´ 235

183 ´ 30 ´ 145

165 ´ 45 ´ 210

180 ´ 88 ´ 345

160 ´ 44 ´ 225

Масса, кг

0,66

0,82

0,45

0,62

0,75

0,78

Таблица 6

Параметры

Установки

«Радуга» 0,63

«Радуга» 1,2

«Радуга» 2,0

Факел

УБРХ-1M

«ВИЗА»

КИТ-1654т

Производительность, кг/ч

36

72

120

42

72

60

240

Давление на распыляемый материал, МПа

20

20

20

16

19

10-16

25

Вместимость бака, л

30

30

50

-

-

20

-

Длина шлангов, м

15

15

15

15

8-10

5

30

Масса, кг

22,5

28

60

16

50

21

110

Размеры, мм

400 ´ 420 ´ 780

960 ´ 485 ´ 910

1025 ´ 535 ´ 1055

280 ´ 490 ´ 490

720 ´ 550 ´ 520

740 ´ 320 ´ 320

1040 ´ 620 ´ 1220

Таблица 7

Расстояние распылителя до поверхности, мм

Диаметр сопла, мм

1,8

2,5

4,0

0,2

0,3

0,4

0,2

0,3

0,4

0,2

0,3

0,4

20

0,5

2,4

3,4

1,8

3,2

3,8

2,3

3,7

4,2

50

3,9

5,3

7,1

4,2

4,8

5,1

5,6

6,1

6,5

100

12,4

8,2

8,0

9,0

8,8

7,8

8,6

7,3

8,1

150

14,8

12,9

11,4

13,6

12,7

10,5

12,0

11,5

11,0

250

26,3

24,4

21,5

25,4

23,2

21,1

21,2

20,5

20,1

300

32,0

30,1

26,6

31,2

28,2

26,5

30,4

28,6

26,5

Рабочие, занятые приготовлением акриловых клеев, должны быть обеспечены защитной одеждой - комбинезоном, рукавицами и головным убором.

Приготовление клея в растворосмесителе должно производиться с соблюдением всех правил техники безопасности, касающихся механизированного приготовления бетонов и растворов.

Укладку нового бетона производить в соответствии с существующими правилами.

Пример расчета дозы силоксанового клея

1. Требуется приготовить силоксановый клей для соединения старого и нового бетона на площади 350 м2. Бетонирование производится горизонтальными слоями толщиной 0,4 м, толщина клеевой прослойки 0,003 м, объемная масса клея 1500 кг/м3.

2. Потребное количество клея, кг

Pg = Shggg,                                                             (2)

где S - площадь склеивания, м2; hg - толщина клеевой прослойки, м; gg - объемная масса клея, кг/м3. Для условий п. 1 Pg = 1575 кг.

3. Определение количества составляющих силоксанового клея:

жидкое стекло + тринатрийфосфат................................................................ 35

портландцемент................................................................................................ 35

песок средней крупности................................................................................ 30

Итого                                                                                                                   100

Масса одной мас. ч.:

1575/100 = 15,65 кг.

Масса составляющих:

жидкое стекло + тринатрийфосфат....................................... 35 × 15,75 = 551,25 кг

портландцемент....................................................................... 37 × 15,75 = 551,25 кг

песок средней крупности ...................................................... 30 × 15,75 = 472,50 кг

Количество жидкого стекла и тринатрийфосфата, мас. ч....... 115

Масса одной мас. ч....................................................................... 351,25/115 = 4,79 кг

Масса составляющих:

жидкое стекло.......................................................................... 100 - 4,79 = 479 кг

тринатрийфосфат.................................................................... 16 - 4,79 = 71,85 кг.

4. Величина оптимального замеса силоксанового клея определяется по формуле (1) прил. 6.

Принимаем, что работают 2 бетонщика, а технологическая жизнеспособность клея составляет 1 ч

Пример расчета массовой дозы акрилового клея

1. Требуется приготовить акриловый клей для соединения старого бетона с новым на площади 200 м2. Бетонирование производится горизонтальными слоями толщиной 40 см, толщина клеевой прослойки 0,003 м.

2. Потребность клея определяется по формуле (2) Pg = 200×0,003×1800 = 1080 кг.

3. Количество составляющих акрилового клея, мас. ч.:

порошок АСТ-Т............................................................. 29

отвердитель АСТ-Т (жидкость)................................... 29

песок средней крупности............................................. 42

Итого                                                                                100

4. Масса одной мас. ч.: 1080/100 = 10,8 кг

5. Масса составляющих, кг:

порошок АСТ-Т ............................................................ 29 - 10,8 = 313,2;

жидкость АСТ-Т ........................................................... 29 10,8 = 313,2;

песок .............................................................................. 42 10,8 = 453,6

6. Величина оптимального замеса акрилового клея определяется по формуле (1).

Принимая, что работают 2 бетонщика, а технологическая жизнеспособность клея составляет 1,5 ч

ПРИЛОЖЕНИЕ 7

СОСТАВЫ И ТЕХНОЛОГИЯ УСТРОЙСТВА ГИДРОИЗОЛЯЦИИ И АНТИКОРРОЗИОННОЙ ЗАЩИТЫ ЖЕЛЕЗОБЕТОННЫХ КОНСТРУКЦИЙ КОМПОЗИЦИЯМИ НА ОСНОВЕ БИТУМА, КРЕМНИЙОРГАНИЧЕСКИХ И ОРГАНИЧЕСКИХ ПОЛИМЕРОВ

1. Наружная гидроизоляция и антикоррозионная защита композициями на основе битума

1. Композиции используются при выполнении гидроизоляции и противокоррозионной защиты доступных поверхностей бетонных и железобетонных конструкций зданий и сооружений всех категорий по допустимому увлажнению помещений, вне зависимости от категорий по трещиностойкости и эксплуатирующихся в условиях действия грунтовых или технических вод, которые характеризуются величиной pH 4-10 при максимальном напоре не более 20 м.

Примечание. На недоступных поверхностях строительных конструкций гидроизоляция выполняется изнутри помещений в соответствии с п. 19-26 настоящего приложения.

2. Предлагаемая изоляция не распространяется на строительные конструкции, подвергающиеся действию сильных окислителей (хромовой, крепкой серной, азотной кислот), органических растворителей (бензола, толуола, керосина, бензина и др.), нефтепродуктов, масел или эмульсий, концентрированных щелочей.

3. Устройство изоляции с применением битумно-латексной композиции допускается при температуре до плюс 5 °С, битумно-петролатумной и битумно-наиритовой - до минус 20 °С.

4. Для предохранения изолирующих покрытий подземных конструкций от механических повреждений, особенно при производстве обратной засыпки механизированным способом, их защищают традиционными методами (бетонной рубашкой, защитной кирпичной стенкой и др.), а битумно-латексное покрытие - дополнительно латексно-цементной композицией (ЛЦК). В тех случаях, когда обратная засыпка производится вручную либо с помощью внутрицеховых транспортных средств, а также когда изоляция выполняется на открытых поверхностях (междуэтажных перекрытиях, стенах сантехнических помещений и др.), в дополнительных мероприятиях по защите покрытий от механических повреждений в процессе строительства нет необходимости.

Примечание. Высокая ремонтоспособность указанных покрытий в ряде случаев позволяет исключить устройство бетонных или кирпичных защитных стенок при условии строгого контроля за обратной засыпкой, производимой механизированным способом, а также при своевременном восстановлении в процессе засыпки изолирующих покрытий.

5. В тех случаях, когда производится усиление строительных конструкций путем устройства железобетонных обойм, рубашек и т.п., последующую изоляцию их поверхности выполняют так же, как и для элементов вновь возводимых зданий и сооружений. Если в результате обследования оказалось, что железобетонная конструкция не требует усиления, то антикоррозионная защита назначается после оценки состояния бетона в поверхностном слое.

6. Подготовку поверхности неусиляемых конструкций перед устройством изоляции производят, обращая внимание на тщательную очистку поверхности от старой изоляции, натечных образований, рыхлого бетона, а также заделку каверн и наружных трещин, шириной раскрытия более 0,3 мм.

Таблица 1

Материал

Нормативный документ

Битум (нефтяной) строительный

ГОСТ 6617-76*

Петролатум

ОСТ 38.01117-76

Сольвент каменноугольный

ГОСТ 1928-79*

Хлоропреновый каучук (наирит А, Б)

ТУ МХП 1562-69*

Стеарин технический

ГОСТ 6484-64*

Синтетические жирные кислоты

ГОСТ 22385-82*

ГОСТ 23239-78*

Синтетический латекс:

 

СКС-65ГП

ГОСТ 10564-75*

Л-4

ТУ 6-01-782-73

Л-7

ТУ 6-01-780-73

СКС-50П

ГОСТ 15080-77*

БСК-65ГПН

ТУ 08.103.326-76

Жидкое стекло (силикат натрия раств.)

ГОСТ 13078-81*

Кремнефтористый натрий (технический)

 

Вулканизирующие добавки:

 

окись цинка

 

сера техническая

ГОСТ 127-76

Эмульгатор (смачиватель ДБ-360)

СТУ 1210139-61

Противостаритель (неозон Д)

ГОСТ 39-79

Стабилизатор (тиурам)

ГОСТ 740-76**Е

Портландцемент, шлакопортландцемент

ГОСТ 10178-85*

7. Материалы, применяемые для приготовления латексно-битумных, латексно-цементных, битумно-петролатумных и битумно-наиритовых композиций, должны соответствовать требованиям соответствующих нормативных документов, приведенных в табл. 1.

8. Рекомендуемые виды изоляции в зависимости от коррозионного состояния бетона строительных конструкций и условий эксплуатации приведены в табл. 2. Коррозионное состояние бетона определяют показателем капиллярного водопоглощения W, %, и величиной рН водной вытяжки из цементного камня.

9. Приготовление битумно-латексной и битумно-наиритовой композиций осуществляется на стандартном оборудовании.

Для приготовления полимербитумных композиций необходимы материалы: каучук или синтетический латекс, жидкое стекло, битум, растворитель (сольвент, толуол и др.). Состав битумно-латексной композиции: раствор битума - 70-80 мас. ч.; стабилизированный латекс - 20-30 мас. ч.

Битум марки БН-50/50 или БН-70/30 растворяют в сольвенте в соотношении 1:1. Готовый раствор битума смешивают с предварительно стабилизированным латексом марки Л-4, Л-7 или СКП-50П.

Для стабилизации латексов применяют жидкое стекло (g = 1,42 г/см3) в количестве 8-10 % массы латекса. Стабилизированный латекс можно также вводить небольшими порциями при перемешивании в расплавленный битум, имеющий температуру не выше плюс 130 °С. После смешивания рецептурного количества латекса и битума в полученную смесь порциями вводят растворитель в количестве 35-40 % массы битума. Смешивание продолжается в течение 10-15 мин до получения однородной композиции. Готовый материал выгружают в герметически закрывающуюся емкость. В закрытой емкости битумно-латексная композиция при температуре плюс 18 ± 2 °С может храниться в течение одного месяца.

Приготовление битумно-каучуковых композиций производят путем смешивания раствора битума с раствором хлоропренового каучука при следующем соотношении:

раствор битума в сольвенте, толуоле (при соотношении (1:1)                 55-70 мас. ч.

раствор каучуковой смеси                                                                             30-45 мас. ч.

Приготовление каучуковых композиций производят при следующем соотношении компонентов:

хлоропреновый каучук (А, Б или их смесь).............................................. 100 мас. ч.

мягчитель (стеарин).................................................................................... 1,0-2,0 мас. ч.

вулканизирующие добавки (окись серы, цинка)...................................... 2,8-5,5 мас. ч.

стабилизирующие добавки (неозон Д, тиурам)........................................ 1,5-2,5 мас. ч.

Перед растворением хлоропреновый каучук предварительно перетирают на вальцах и смешивают с вулканизирующими и стабилизирующими добавками. Процесс вальцевания длится 10-15 мин, после чего готовую наиритовую смесь загружают в смеситель, где при постоянном перемешивании происходит растворение ее в толуоле или сольвенте. Соотношение (по массе) наирита и растворителя принимают от 1:3 до 1:5. Процесс растворения наиритовой смеси при температуре 18-23 °С длится 3-4 ч.

Готовый раствор наиритовой композиции смешивают с раствором битума или его расплавом, имеющем температуру не выше плюс 120 °С в течение 15-20 мин до получения однородной массы, которую сливают в герметически закрывающуюся емкость. Срок хранения битумно-каучуковой (наиритовой) композиции в герметически закрытой таре - до 6 месяцев при температуре не выше плюс 25 °С.

10. Битумно-петролатумная композиция содержит битум 70/30 - 85-90 мас. ч.; петролатум - 10-15 мас. ч.; битум 90-10 - 65-75 мас. ч.; петролатум - 25-35 мас. ч. Композицию приготовляют перемешиванием компонентов при температуре 180-200 °С.

Время хранения приготовленной битумно-петролатумной композиции до ее применения неограничено.

Для приготовления битумно-петролабитумной композиции используют установки, обеспечивающие нагрев до расплавления и перемешивание составляющих. Схема установки приведена на рис. 1.

11. Поверхности бетонных и железобетонных конструкций, на которых производится гидроизоляция или антикоррозионная защита, должны удовлетворять следующим требованиям: класс шероховатости I-III (черновая затирка), поверхностная пористость - 5-10 %, чистота - не менее 95 %, влажность поверхности по массе соответствует воздушно-сухому состоянию.

Перед выполнением изоляции поверхность должна быть очищена от грязи и пыли, высушена до воздушно-сухого состояния и не иметь дефектных участков в виде трещин, шириной раскрытия более 0,5 мм, каверн, глубиной более 10 мм, защебененных зон и др.

Рис. 1. Схема агрегата для нанесения битумно-петролабитумных композиций

1 - металлическая рама; 2 - нагревательный элемент; 3 - расходный бак; 4 - бачок для промывки; 5 - электрощит; 6, 7, 9, 11 - вентили; 8 - электродвигатель; 10 - насос

12. Битумно-латексные и битумно-наиритовые композиции наносят на огрунтованную раствором битума в органическом растворителе (1:1) поверхность.

Нанесение полимербитумных материалов производится механизированным способом: распыление материалов осуществляется из нестандартных питательных емкостей с помощью пневматической форсунки и устройства для подачи по гибким шлангам сжатого воздуха и материала. Перечень оборудования для нанесения полимербитумных материалов приведен в табл. 2.

13. Нанесение битумно-петролатумных композиций осуществляется с помощью установки (см. рис. 1), которая обеспечивает нагрев, перемешивание составляющих и нанесение композиции при температуре около 180 °С.

Операции по приготовлению и нанесению битумно-петролатумной композиции осуществляют в следующем порядке. Отдозированные компоненты загружают в бак 3 установки (рис. 1) и включают нагревательные элементы 2. После расплавления компонентов закрывают вентили 9 и 11 при открытых вентилях 6 и 7, включают электродвигатель 8 и с помощью насоса 10 перемешивают композицию в течение 2-3 мин. Затем прекращают перемешивание и поднимают температуру в баке до 180 °С, открывают вентили 6 и 11, закрывают вентили 7 и 9, включают электродвигатель и подают композицию по шлангу к распиливающему устройству. После окончания работ по нанесению композиции на изолируемую поверхность промывают шланг и распиливающее устройство. Для этого закрывают вентили 6 и 7, открывают вентили 9 и 11, затем включают электродвигатель и с помощью насоса из бачка 4 пропускают дизельное топливо через подающую систему и рабочий орган.

В качестве распылительного устройства целесообразно использовать центробежную форсунку с краевым углом 90° и двухзаходной нарезкой в виде тангенциальных каналов. Форсунка (рис. 2) состоит из сопла 1, корпуса 2, завихрителя 3 и штуцера 4. Изменяя диаметр выходного отверстия сопла и давление подачи противокоррозионной композиции, получают различные размеры «факела» распыления в зависимости от мест и условий производства работ.

14. Расход компонентов для приготовления 1 т полимербитумной и битумно-петролатумной композиций приведен в табл. 4.

Количество слоев и толщина покрытия зависят от вида бетона и условий эксплуатации защищаемой конструкции. Ориентировочный расход: битумно-латексной композиции - 0,8-1,0 кг/м2; битумно-наиритовой - 2,0-2,5 кг/м2; битумно-петролатумной - 0,8-2,4 кг/м2. Время отверждения полимербитумных композиций - 3,5-4 ч; битумно-петролатумных - 1-2 мин.

Таблица 2

Вид воздействия

Характеристики эксплуатировавшегося бетона*

Вид изоляции

Битумно-латексная

Битумно-наиритовая

Битумно-петролатумная

количество слоев

общая толщина, мм

количество слоев

общая толщина, мм

количество слоев

общая толщина, мм

Действие капиллярной влаги; содержание ионов  до 10 тыс. мг/л

w = 3,5-4,5 %

2

0,5-0,7

1

0,4-0,6

2

1-2

рН = 12,04-12,5

w = 4,6-7 %

3

0,8-1,2

2

0,8-1

2**

2-3

рН = 11,5-11,9

w = 7 %

5

1,3-1,7

4

1,6-2

3

3-5

рН = 11,5

Действие гидростатического напора до 5 м для всех помещений I категории: содержание ионов  до 15 тыс., мг/л

w = 3,5-4,5 %

3

0,8-1,2

2

0,8-1

2**

2-3

рН = 12,0-12,5

w = 4,6-7 %

5

1,3-1,7

4

1,6-2

3

3-5

pН = 11,5-11,9

w = 7 %

3-5

0,8-1,7

2-4

0,8-2

2-3

2-5

рН £ 11,5***

* В случае оценки бетона неармированных конструкций учитывают только значение величины относительного капиллярного водопоглощения. Значения рН бетона железобетонных конструкций определяются на уровне ближайшей к поверхности арматуры.

** Обязательна предварительная грунтовка бетона.

*** Производится замена прокорродировавшего бетона новым; допускается сохранять бетон при расчетном сроке службы изоляции не более 10 лет.

Рис. 2. Форсунка для нанесения битумно-петролатумных композиций

1 - сопло; 2 - корпус; 3 - штуцер; 4 - завихритель

Рис. 3. Прибор для неразрушающего контроля влажности поверхности бетона

1 - рукоятка; 2 - диэлектрическая пластина; 3 - металлическая сетка; 4 - резиновая «подушка»; 5 - мегомметр; 6 - соединительные провода; 7 - поверхность бетона

Таблица 3

Наименование

Тип или марка

Оборудование для нанесения композиций

полимер-битумных

полимер-цементных

Шестеренчатый насос

Д-171

1

-

ШН-100

Растворонасос

С-263

-

1

С-251

Компрессор

ЗИФ-55

1

1

Пневматическая форсунка

ПФО-120

2

2

Таблица 4

Наименование

Расход композиции, кг на 1 т

битумно-латексной

битумно-наиритовой

битумно-петролатумной

Битум 70/30, 90/10

50

554

Петролатум

-

-

Синтетический латекс СКС-50П

270

-

-

Наирит А, Б

-

90

-

Сольвент каменноугольный

350

540

-

Жидкое стекло (натриевое)

30

-

-

Стеарин

-

1,4

-

Окись цинка

-

1,8

-

Сера техническая

-

0,9

-

Тиурам

-

0,03

-

Неозон Л

-

1,8

-

Примечание. Над чертой указан расход материалов при использовании битума БН 70/30; под чертой - битума БН 90/10.

15. Для оценки влажностного состояния бетонной поверхности изолируемой конструкции рекомендуется использовать прибор неразрушающего контроля влажности (рис. 3), состоящий из электросъемного датчика и измерительного устройства. Датчик включает два электрода, которые представляют собой металлическую сетку 3, наклеенную на основу из пористой резины 4 клеем БФ-88. Резиновые подушки аналогично закреплены к диэлектрической пластине 2 из органического стекла. В качестве измерительного устройства использован переносной мегомметр 6. При работе датчик необходимо прижать к поверхности бетона 7 небольшим усилием до 10 Н и снять показания мегомметра. О готовности поверхности к изоляции свидетельствует значение сопротивления постоянному электрическому току в 200-500 Ом. Любое меньшее значение указывает на необходимость дополнительной сушки.

Измерения производят через 30-40 мин после окончания сушки по 1-3 на каждом 1 м2 поверхности бетона.

16. Нанесение каждого последующего слоя допускается только после тщательной проверки качества предыдущего слоя. Каждый отдельный слой, как и изоляционный ковер в целом, должен быть сплошным, не иметь раковин, вздутий воздушных включений и отслоений. Инструментальной проверке подлежат толщина отдельных слоев и безрулонного ковра в целом, степень высыхания покрытия.

Контроль толщины и степень сцепления покровного слоя с основанием осуществляются методом параллельных надрезов, в соответствии с ГОСТ 15140-78* «Материалы лакокрасочные. Методы определения адгезии», при ширине ленты 10 и длине 40-50 см.

Все обнаруженные дефектные места защиты следует расчистить и покрыть снова. Проколы и надрезы изоляции, производимые с целью контроля, допускаются не более одного на каждые 10 м2. Места прокола в дальнейшем должны быть тщательно заделаны.

Работы, связанные с приготовлением изолирующих композиций и выполнением изоляции, должны производиться с соблюдением правил техники безопасности, предусмотренных СНиП III-4-80* «Техника безопасности в строительстве». При разработке и проведении мероприятий по технике безопасности необходимо пользоваться требованиями норм и правил Минздрава СССР, правил техники безопасности Гостехнадзора СССР, Госэнергонадзора Минэнерго СССР, правил пожарной безопасности при производстве строительно-монтажных работ ГУПО МВД СССР и другими правилами техники безопасности, утвержденными в установленном порядке органами государственного надзора или соответствующими министерствами и ведомствами СССР по согласованию с Госстроем СССР.

Инструкции по технике безопасности разрабатываются соответствующими службами и утверждаются главным инженером вышестоящей организации.

Изоляционные работы при реконструкции выполняют только при наличии проекта производства работ в условиях реконструкции (ППРр), составленного с учетом особенностей выполнения работ на действующем предприятии. Схемы организации работ составляют в ППРр для каждого цеха или сооружения. При этом должны предусматриваться специальные устройства и приспособления, обеспечивающие безопасность обслуживающего персонала предприятия и безопасность рабочих, выполняющих изоляцию (ограждения, защитные навесы, вентиляционные установки и др.).

Работы по удалению старой изоляции следует производить, начиная с верхних отметок в направлении сверху вниз с обеспечением мер, исключающих попадание остатков материалов на действующее оборудование.

При выполнении работ по изоляции на реконструируемых объектах без остановки оборудования обязательно соблюдение следующих условий:

выполнение работ по возможности должно производиться в смены, когда другие работы в цехе не производятся;

во время работы и по окончании ее помещения должны проветриваться;

на время производства работ все виды оборудования, вызывающие искрообразование (наждачные точила, электрические подъемные устройства и т.п.) обязательно выключают, не допускаются сварочные работы, разведение огня, курение и т.п.;

запрещается пребывание на участках изоляции работников, не связанных с производственными процессами;

участки изоляции должны обеспечиваться необходимыми средствами огнетушения;

рабочие, непосредственно занятые приготовлением изолирующих композиций и их нанесением, должны быть обеспечены средствами индивидуальной защиты;

работы по изоляции должны выполнять не менее двух человек.

17. Не допускается хранение в рабочем помещении взрывоопасных и пожароопасных материалов в количестве, превышающем сменную потребность. Хранение и транспортирование этих материалов в открытой и стеклянной таре запрещается.

Полимербитумные материалы необходимо хранить в отдельных, хорошо вентилируемых помещениях, удаленных от жилья, пунктов общественного питания, а также от мест производства ремонтно-строительных работ.

18. Трубопроводы для подачи битумно-петролатумной композиции должны быть снабжены манометрами и предохранительными клапанами, испытанными на предельное давление и опломбированными.

Предотвращение инфильтрации грунтовых вод внутрь помещений существующих зданий и сооружений

19. Внутренняя гидроизоляция включает собственно гидроизоляционный слой из композиции на основе модифицированного битума и прижимную конструкцию из торкрет-раствора по металлической сетке (для вертикальных и потолочных поверхностей) или железобетонную плиту пола. Металлическая сетка с ячейками размером 50 ´ 50 мм закрепляется к существующей арматуре сваркой выпусков или к поверхности бетона с помощью металлических пластин с выпусками-коротышами, перпендикулярными защищаемой поверхности, или дюбелей - гвоздей. Крепежные детали устанавливают до нанесения гидроизолирующего слоя, а металлическую сетку - после его нанесения.

20. Подготовка поверхности перед нанесением гидроизолирующего слоя включает разделку трещин, каверн и других дефектов, срезку выступающих металлических штырей и арматуры, зачеканку трещин, каверн, мест установки отводящих трубок, очистку от старой краски, грязи, масла и т.п.

Для заделки дефектных участков на бетонной поверхности рекомендуется применять составы, приведенные в разд. 3 и прил. 1, а также композиции, включающие цемент (портландский, шлакопортландский, гипсоглиноземистый), жидкое стекло натриевое (модуль 2,8-3,2; плотность 1,35-1,45), тринатрийфосфат, кварцевый песок, керамзитовый песок (объемная масса 1700 кг/м3, модуль крупности 1,8), молотую силикат-глыбу, бентонитовую глину (содержание глинозема 70-80 %), сернокислый алюминий, удовлетворяющие требованиям нормативных документов, приведенных в табл. 5.

Таблица 5

Материал

Нормативный документ

Цемент портландский

ГОСТ 10178-85*

Цемент шлакопортландский

ГОСТ 10178-85*

Цемент гипсоглиноземистый

ГОСТ 11052-74

Стекло жидкое натриевое

ГОСТ 13078-81*

Тринатрийфосфат

ГОСТ 201-76

Песок для строительных работ

ГОСТ 8736-85

Силикат-глыба

ГОСТ 11810-66

Бентонитовая глина

ГОСТ 7032-75

Алюминий сернокислый

ГОСТ 3758-75*

Рекомендуемые (в дополнение к приведенным в разд. 3 и прил. 1) цементные и жидкостекольные составы, мас. ч., для устранения дефектов в бетоне (зачеканка трещин, заделка сколов, каверн и др.).

Состав № 1

портландцемент …………………………………………………………………. 25

жидкое стекло …………………………………………………………………… 35

молотая силикат-глыба …………………………………………………………. 25

керамзитовый песок …………………………………………………………….. 14

тринатрийфосфат ……………………………………………………………….. 1

Состав № 2

портландцемент…………………………………………………………………. 25

жидкое стекло…………………………………………………………………… 39

кварцевый песок………………………………………………………………… 30

бентонитовая глина…………………………………….……………………….. 5

тринатрийфосфат……………………………………………………………….. 1

Состав № 3

портландцемент …………………………………………………………………. 40

жидкое стекло …………………………………………………………………… 38

кварцевый песок ………………………………………………………………… 20

тринатрийфосфат ……………………………………………………………….. 2

сернокислый алюминий ……………………………………………………..… 0,6

Состав № 4

гипсоглиноземистый цемент …………………………………………………… 40

жидкое стекло …………………………………………………………………… 38

кварцевый песок ………………………………………………………………… 20

тринатрийфосфат ……………………………………………………………….. 2

Приготовление цементно-жидкостекольных составов осуществляют в два этапа. В пропеллерном смесителе или вручную в течение 15-20 мин перемешивают жидкое стекло с тринатрийфосфатом. Затем в приготовленную смесь вводят бентонитовую глину либо молотую силикат-глыбу (составы № 1 и 2), после чего добавляют цемент и перемешивают до получения однородной массы. Жизнеспособность составов - 5-10 мин. При значительных объемах работ жидкостекольную смесь приготовляют вручную, а сухие компоненты, предварительно смешанные в Z-образном смесителе, загружают в цемент-пушку. Перемешивание компонентов выполняют в сопле в процессе нанесения на поверхность конструкции.

21. При выполнении работ по подготовке поверхности должны проверяться правильность дозирования материалов, соблюдение последовательности и продолжительности технологических операций. Отремонтированные участки не должны иметь усадочных трещин, местных вздутий и отслаивания. При простукивании деревянным молотком их поверхность не должна издавать дребезжащего звука.

22. Установку накладных крепежных деталей производят, как правило, до выполнения работ по подготовке поверхности. Накладные детали в виде прямоугольных стальных пластин со стороной не менее 50 мм и толщиной 5 мм закрепляют с помощью дюбелей-гвоздей длиной не менее 60 мм (ДГ 4,5 ´ 60; ДГ 5,5 ´ 60 мм) либо приваривают к рабочей арматуре диаметром не менее 10 мм.

К пластинам, до или после их закрепления, приваривают штыри или П-образные стержни из Ст3 для навески и закрепления металлической сетки. Стержни могут быть приварены непосредственно к рабочей арматуре защищаемых конструкций.

23. Гидроизолирующий слой рекомендуется выполнять составами из модифицированного битума, рецептура, способы приготовления и нанесения которых приведены в п. 1 настоящего приложения. Толщина покрытия должна быть такой, чтобы композиция заполняла все пространство между крепежными элементами и покрывала последние слоем толщиной не менее 1-2 мм.

Контроль толщины и степени сцепления гидроизолирующих слоев с поверхностью бетона и стали в основном осуществляют методом параллельных надрезов согласно ГОСТ 15140-78*.

Все обнаруженные дефектные места в гидроизолирующих покрытиях следует расчистить и покрыть снова. С целью контроля качества гидроизоляции допускается производить не более одного вскрытия на 5 м2 поверхности. Эти места в дальнейшем должны быть тщательно заделаны.

24. Металлическую сетку навешивают на выступающие стержни, натягивают и прижимают к ним путем отгиба обращенных внутрь помещения стержней. Прижим должен обеспечивать плотное прилегание сетки к гидроизолирующему слою.

25. По сетке путем торкретирования или укладки наносят слой цементно-песчаного раствора таким образом, чтобы толщина защитного слоя (до сетки) была не менее 15 мм.

26. Правила техники безопасности при выполнении работ по внутренней гидроизоляции аналогичны описанным в п. 16 настоящего приложения.

СОСТАВЫ И ТЕХНОЛОГИЯ УСТРОЙСТВА ГИДРОИЗОЛЯЦИИ И АНТИКОРРОЗИОННОЙ ЗАЩИТЫ С ПРИМЕНЕНИЕМ КРЕМНИЙОРГАНИЧЕСКИХ И ОРГАНИЧЕСКИХ ПОЛИМЕРОВ

27. Гидроизоляция и антикоррозионная защита включает поверхностный слой бетона несущей или ограждающей конструкции, пропитанный гидрофобизирующим составом (см. табл. 20, гр. 4), грунтовочный однократно наносимый (см. табл. 20, гр. 5) и окрасочный слой (см. табл. 20, гр. 6), наносимый за 2 раза на основе органических полимеров.

Составы и область применения полимерных покрытий приведены в табл. 20. Общая толщина покрытий должна составлять 150-200 мкм.

28. Приготовление рабочих составов производится централизованно в цехе либо на строительной площадке. Эмульсия гидрофобизатора может быть приготовлена непосредственно перед нанесением.

Для приготовления водной эмульсии гидрофобизатора применяется специальная установка, состоящая из резервуара емкостью 170 л., гидродинамических вибраторов, насоса (рис. 4).

В резервуар установки заливается вода, гидрофобизирующая жидкость 136-41, (табл. 20, состав 2) и перемешивается в течение 5-7 мин. Полученную водную эмульсию после проверки ее качества используют для гидрофобизации под все покрытия, кроме водоэмульсионной краски.

В случае получения нестойкой водной эмульсии гидрофобизатора добавляют эмульгатор «Новость» или ОП-10 (до 0,5 %).

Для приготовления раствора гидрофобизирующей жидкости 136-41 в уайт-спирите в резервуар установки заливаются уайт-спирит (85 %), гидрофобизирующая жидкость (15 %) и смесь перемешивают в течение 5-7 мин. Полученный раствор также пригоден для всех покрытий, кроме водоэмульсионной краски.

В случае применения покрытий на основе водоэмульсионной краски с гидрофобной добавкой в резервуар той же установки (см. рис. 4) заливается вода, гидрофобизирующая жидкость 136-41 и эмульгатор согласно табл. 20, состав 1. Смесь перемешивают в течение 5-7 мин, затем добавляют поливинилацетатную эмульсию (ПВА) и снова перемешивают 1-2 мин.

29. Приготовление водоэмульсионных составов производят в эмалированном, пластмассовом или оцинкованном сборнике. В сборник помещают эмульсию ПВА (не пластифицированную), гидрофобизирующую жидкость 136-41, дибутилфталат (в количествах согласно табл. 20, состав 1) и перемешивают; мел и литопонные белила тщательно перемешивают в отдельной емкости и затем загружают в сборник. Полученную вязкую массу перемешивают и пропускают через краскотерку и вибросито. В процессе перетирки краски добавляют порциями около 10 % воды. Полученную густую массу загружают в эмалированный или стеклянный реактор, куда добавляют небольшими порциями воду (около 20 %); затем, отбирая периодически пробы и замеряя вязкость по ВЗ-4, готовый окрасочный состав, характеризующийся вязкостью 50-55 с., сливают в пластмассовые бидоны или бочки с полиэтиленовым вкладышем. Хранение водоэмульсионных составов в железной таре не допускается.


Рис. 4. Установка для приготовления водной эмульсии гидрофобизатора

1 - резервуар; 2 - крышка резервуара; 3 - крышка люка; 4 - вибратор гидродинамический; 5 - насос с электродвигателем; 6 - трубопровод всасывающий; 7 - трубопровод напорный; 8 - кнопка управления; 9 - выключатель автоматический; 10 - пускатель магнитный; 11 - вентиль запорный; 12 - вентиль со штуцером под шланг; 13 - заклепки


30. Приготовление грунтовочного состава заключается в разбавлении водой водоэмульсионной краски до вязкости 28-30 с.

31. Перед приготовлением грунтовочного и окрасочного составов на основе эмали ХВ-785 и эпоксидных смол ЭД-16 и ЭД-20 или эмали ХВ-785 и эпоксисланцевой смолы ЭИС-1 из имеющейся в наличии эмали ХВ-785 отбирают среднюю пробу и определяют вязкость, которая должна быть не выше 35 с. по ВЗ-4. В противном случае эмаль разбавляют ксилолом или Р-4. Затем эмаль вязкостью 30-35 с. смешивают с пластифицированной смолой ЭД-20, ЭД-16 или ЭИС-1, предварительно разогретой до 50-60 °С согласно табл. 20, составы 2, 3. Перед нанесением на изолируемую поверхность в полученный таким образом раствор добавляют отвердитель, перемешивают и с помощью ксилола или Р-4 доводят до вязкости 40-45 с. (для грунтовочного состава) и 50-60 с. (для окрасочного состава) по ВЗ-4.

Приготовление грунтовочного и окрасочного составов на основе эмали ХВ-785 заключается в разбавлении ксилолом или Р-4 эмали ХВ-785 до вязкости грунтовочного состава 30-35 с., окрасочного - 50-60 с. по ВЗ-4 (табл. 20, состав 5).

32. Приготовление грунтовочного состава на основе УР-19 заключается в смешивании полиуретанового лака УР-19 с отвердителем (см. табл. 20, состав 4) перед его нанесением. В окрасочный состав добавляют титановые или литопонные белила (сухие) согласно рецептуре.

33. Перед выполнением гидроизоляционных работ поверхность бетона очищают от мусора и пыли стальными щетками и сжатым воздухом, имеющиеся на поверхности бетона трещины и каверны зачеканиваются цементно-песчаным раствором с выравниванием поверхности.

Нанесение на изолируемую поверхность штукатурного слоя не допускается.

34. Гидроизоляция и антикоррозионная защита водоэмульсионными составами выполняется при температуре окружающего воздуха не ниже 10 °С; нанесение гидрофобизаторов в уайт-спирите и полимерных составов на основе эпоксидной смолы и эмалей ХВ-785 допускается при температуре не ниже 5 °С.

35. Нанесение эмульсии гидрофобизатора производят непосредственно из эмульсатора с помощью удочки либо воздушным напылением распылителем типа СО 43, СО-71, О-45 и др.

Направление струи гидрофобизатора должно быть перпендикулярно покрываемой поверхности. Расстояние от распылителя до гидрофобизируемой поверхности должно быть 300-350 мм. Скорость передвижения распылителя - 0,3 м/с.

Нанесение гидрофобизатора необходимо осуществлять таким образам, чтобы каждая последующая полоса покрывала предыдущую полосу на 3-5 см.

36. Грунтовочный состав, вязкостью 30-35 с. по B3-4, наносят на гидрофобизированную поверхность распылителем с помощью окрасочного агрегата СО-5, СО 43 или распылителем марки О-45.

После высушивания грунтовочного покрытия наносят окрасочные составы вязкостью 50-60 с. по ВЗ-4 аналогично грунтовочному.

37. После окончания работ по нанесению покрытий вся аппаратура и коммуникации должны быть промыты ксилолом или сольвентом. При применении водоэмульсионных красок аппаратуру промывают водой, краски сливают в закрытую тару-бидоны или бачки с герметическими крышками.

Гидрофобизаторы и смолы транспортируют в герметически закрытой таре.

Хранение эмалей и органических растворителей (уайт-спирита, ксилола и др.) производится в закрытой таре на складах, в специально оборудованных помещениях.

38. Качество материалов проверяется по паспортам и ГОСТам; для рабочих растворов - по однородности и стойкости водной эмульсии гидрофобизатора, вязкости грунтовочного и полимерного составов.

На все поступающие на стройку материалы для гидроизоляции и антикоррозионной защиты - гидрофобизатор, эмаль ХВ-785, эпоксидные и эпоксисланцевые смолы и др. - должны быть получены паспорта от заводов-изготовителей. Проверка их возлагается на заводскую или построечную лабораторию.

Определение однородности и стойкости водной эмульсии гидрофобизатора производят следующим образом. Из эмульгатора отбирают 2 пробы (снизу и сверху) в стеклянные цилиндры емкостью 20 мл и наблюдают однородность эмульсии и период расслаивания. Эмульсия не должна расслаиваться в течение 1 сут. В случае расслаивания водную эмульсию гидрофобизатора надо перемешать снова в течение 5 мин и проверить расслаивание либо подготовить новую порцию.

Определение степени разбавления полимерных составов и эмалей до рабочей вязкости производят на вискозиметре ВЗ-4.

Для этой цели навеску (100-110 г) разбавляют соответствующим растворителем до получения заданной рабочей вязкости.

Количество растворителя, D, необходимое для разбавления краски или эмали до рабочей вязкости, %, рассчитывают по формуле

Dd = (D100)/a,                                                               (1)

где D - количество растворителя, израсходованное на разбавление полимерного или водоэмульсионного состава до получения рабочей вязкости, г; а - навеска эмали или краски, г.

Сплошность гидрофобного покрытия проверяют поливом водой: вода должна скатываться с поверхности бетона и не давать мокрых пятен. В случае обнаружения влажных мест их гидрофобизируют повторно.

Сплошность гидрофобного, грунтовочного и полимерного составов проверяется в процессе их нанесения.

Через 7 сут после завершения гидроизоляционных работ проверяется состояние покрытий. В случае обнаружения участков отслаивания поверхность очищается и покрытие наносится заново. В случае небольших участков отслаивания покрытие наносится кистью или валиком.

Завершением проверки качества гидроизоляции емкостей является испытание их на водонепроницаемость не менее чем через 10 сут после завершения окрасочных работ.

39. К работе с эмалями ХВ-785, лаками, эпоксисмолами, эпоксисланцевыми смолами, кремнийорганическими препаратами допускаются рабочие, прошедшие инструктаж по технике безопасности и пожарной безопасности.

Рабочие, занятые приготовлением и нанесением эмалей ХВ-785 и гидрофобизаторов в уайт-спирите, должны быть обеспечены защитными очками и респираторами.

Во избежание кожных заболеваний перед началом работ следует смазывать руки защитными кремами: глицериновым, силиконовым, пастами ХИОТ, АБ-1 и др. По окончанию работы пасту или крем смывают вначале холодной, а затем теплой водой с мылом.

При проведении работ внутри помещений устраивают приточно-вытяжную вентиляцию и местное освещение с напряжением не выше 12 В с невзрывоопасной арматурой. Включающие устройства должны быть вынесены из помещения, где проводятся работы, на расстояние не менее 6 м. Пользоваться светильниками с напряжением 127-220 В запрещается.

Таблица 6

Материал

ГОСТ

Расход материалов, г/м2

Составы с применением водоэмульсионных гидрофобизаторов и красок

Жидкость гидрофобизирующая 136-41

ГОСТ 10834-76*

90

Эмульсия ПВА непластифицированная

ГОСТ 18992-80*

350

Дибутилфталат

ГОСТ 8728-88

20

Мел тонкомолотый

ГОСТ 1408-78*

120

Белила литопонные сухие

 

120

Эмульгатор ОП-10 или «Новость»

ГОСТ 8433-81

-

Вода питьевая

ГОСТ 23732-79

1,0

Составы с применением гидрофобизатора и эмали ХВ-785

Жидкость гидрофобизирующая 136-41

ГОСТ 10834-76*

30

Вода

ГОСТ 23732-79

170

Эмаль ХВ-785

ГОСТ 7313-75*

500

Ксилол

ГОСТ 8449-79

50

Составы с применением гидрофобизаторов и покрытий на основе полиуретанового лака УР-19

Жидкость гидрофобизирующая 136-41

ГОСТ 10834-76*

30

Лак УР-19

ГОСТ 11066-74*

270

ТЭАД (отвердитель)

ВТУ-ГИПИ-4 № 596-63

55

Составы с применением гидрофобизатора, покрытия на основе эмали ХВ-785 и эпоксидной или эпоксисланцевой смолы

Жидкость гидрофобизирующая 136-41

ГОСТ 10834-76*

30

Эмаль ХВ-785

ГОСТ 7313-75*

430

Эпоксидная смола ЭД-16, ЭД-20 или эпоксисланцевая

ГОСТ 10587-84

200

ЭИС-1

ТУ 38-109-1-71

 

Дибутилфталат

ГОСТ 8728-88

30,0

Полиэтиленполиамин

ТУ 6-02-594-80

20

Ксилол

ГОСТ 8449-79

80 (с учетом расхода на промывку)

Запрещается также работать с открытым огнем, а также выполнять сварочные и другие работы, которые могут вызвать образование искр и воспламенение паров растворителей, курить.

Таблица 7

Оборудование

Тип, марка

Производительность

Установка для приготовления эмульсии гидрофобизатора с насосной установкой и удочкой

2387

600-700 м2

Окрасочный агрегат с пистолетом-распылителем и красконагнетательным бачком

СО-5, СО-3, СО-71, СО-43

600 м2

Аппарат для окраски фасадов здания

СО-66

1000 м2

Компрессорная установка

O-16A

27-30 м3

Бидоны пластмассовые

 

 

Вибросита

ИВ-47

-

Реакторы со смесителем

-

-

Сборники для хранения полимерных составов

ИЧЭМ-250

-

Мерники (дозаторы)

C-14-1

-

На месте производства работ с гидрофобизаторами в уайт-спирите, с эмалями ХВ-785, эпоксидными и эпоксисланцевыми составами должны быть установлены огнетушители и песок в ящиках. Расход материалов приведен в табл. 6.

ПРИЛОЖЕНИЕ 8

ТЕХНОЛОГИЧЕСКИЙ ПРОЦЕСС ПОЛУЧЕНИЯ ЛАКОКРАСОЧНЫХ ПОКРЫТИЙ

1. Технологический процесс получения покрытий включает операции подготовки поверхности, окрашивания (нанесения лакокрасочных материалов) и сушки.

Все операции получения лакокрасочных покрытий необходимо выполнять при температуре воздуха не ниже 5 и не выше 30 °С.

Допускается выполнение операций производить при других температурах, если это предусмотрено нормативно-технической документацией на соответсвующие лакокрасочные материалы.

2. При выполнении работ в условиях полной остановки основного производства интервал между подготовкой поверхности и окрашиванием должен соответствовать ГОСТ 9.402-80.

При выполнении работ в действующих цехах указанный интервал устанавливается в каждом конкретном случае экспериментально.

3. Сжатый воздух, используемый в процессе получения покрытий, должен соответствовать требованиям ГОСТ 9.010-80*.

4. Подготовка поверхности эксплуатировавшихся стальных элементов перед окрашиванием заключается в удалении окислов (ржавчины, окалины), остатков старых покрытий, пыли, минеральных масел, смазок, кислот, щелочей и других загрязнений.

Поверхности, подлежащие подготовке перед окрашиванием, и поверхности, подготовленные к окрашиванию, должны соответствовать ГОСТ 9.402-80.

Удаление окислов с поверхности, кроме конструкций из оцинкованной стали, следует производить дробеструйным (металлическим песком) или термоабразивным методом при полной остановке производства с помощью термоабразивного аппарата ТА 11/16.

В условиях действующего производства и в труднодоступных местах допускается производить очистку механическим способом ручным или механизированным инструментом.

Удаление загрязнений и продуктов коррозии цинка с поверхности конструкций из оцинкованной стали (при отсутствии продуктов коррозии стали) следует производить щетками-торцовками по ГОСТ 10597-87.

Перечень ручного механизированного инструмента для механический очистки поверхности от окислов приведен в табл. 1.

После удаления окислов с поверхности конструкций механическим способом с применением ручного или механизированного инструмента допускается производить нанесение грунтовок - модификаторов ржавчины.

5. В случае невозможности удаления с поверхности конструкций плотно сцепленной с металлом ржавчины толщиной 60-100 мкм следует применять грунтовки - модификаторы ржавчины. Выбор марки грунтовки-модификатора необходимо производить в зависимости от толщины слоя ржавчины.

Рекомендуемые грунтовки - модификаторы ржавчины и технологические параметры их нанесения приведены в табл. 2.

6. Качество очистки поверхности стальных конструкций от окислов в случае дробеструйного или термоабразивного метода очистки должно быть не более 3-й степени по ГОСТ 9.402-80*.

7. Обезжиривание поверхности стальных конструкций следует производить уайт-спиритом (бензин-растворитель для лакокрасочной промышленности) с использованием щеток или протирочного материала.

Протирочный материал и щетки не должны оставлять на обезжириваемой поверхности ворса, частичек материала и др.

Ручные шлифовальные электрические и пневматические машины приведены в табл. 1.

При незначительной зажиренности поверхности допускается применение водного состава, приведенного в ГОСТ 9.402-80*.

Обезжиривание поверхности конструкций из оцинкованной стали необходимо производить уайт-спиритом.

Таблица 1

Технические характеристики

ИП-2009А

ИП-2015

ИЭ-2014А

ИП-2013

ИЭ-2004А

ИЭ-8201Б

ИЭ-2104

Диаметр шлифовального круга, мм

63

100

Размер шлиф-инструмента 150 ´ 25 ´ 32

63

150

200

110

Частота вращения шпинделя на холостом ходу, мин-1

12100-1200

7600

5100

9000

3800

2920

6000

Рабочее давление сжатого воздуха на входе, Мпа

0,5

0,5

0,5

0,5

-

-

0,5

Максимальная мощность на шпинделе, кВт

0,44

0,735

1,29

0,45

1,07

1,065

0,55

Расход воздуха, м3/мин

0,9

-

-

2,2

-

-

0,9

Габарит, мм

440 ´ 74 ´ 65

-

-

-

-

-

513 ´ 110 ´ 165

Масса, кг

1,9

3,5

5,5

2,0

6,5

3,2

3,8

Соответствие допустимым нормам по параметрам шума и вибрации

 

ГОСТ 12.2.030-83,

 

 

 

 

 

ГОСТ 17770-86


Таблица 2

Лакокрасочный материал

Растворитель, разбавитель

Отвердитель (сиккатив) и его количество на 100 мас. ч. основы, мас. ч.

Метод нанесения лакокрасочного материала

Продолжительность сушки при 20 ± 2 °С, ч, не более

 

пневматическое распыление

безвоздушное распыление

кистью

 

рабочая вязкость по ВЗ-4 при 20 ± 2 °С, с

ориентировочная толщина одного слоя, мкм

рабочая вязкость по ВЗ-4 при 20 ± 2 °С, с

ориентировочная толщина одного слоя, мкм

рабочая вязкость по ВЗ-4 при 20 ± 2 °С, с

ориентировочная толщина одного слоя, мкм

 

Грунтовки-модификаторы ржавчины

Э-ВА-01ГИСИ, ТУ 81-05-121-79

1 %-ный раствор (водяной) ОП-7, ГОСТ 8433-81

85 %-ная ортофосфорная кислота - 3, ГОСТ 10678-76

30-50

20-25

-

-

90-180

40-50

2

Э-ВА-0112, ТУ 6-10-1234-79

Вода

70 %-ная ортофосфорная кислота - 7

20-30

20-25

-

-

50-60

40-50

2

ЭП-0180, ТУ 6-10-1858-82

Растворитель 646, ГОСТ 18188-72*,

№ 1-7,5; ТУ 6-10-1263-77

18-22

15-20

-

-

30-60

25-35

24

 

 

 

 

 

 

 

 

ацетон 30 %, ГОСТ 2768-79;

Этилцеллозольв 30 %, ГОСТ 8313-84*

ксилол 40 %, ГОСТ 9949- 76

Грунтовки

ГФ-021, ГОСТ 25129-82*

Сольвент, ГОСТ 10214-78*, ксилол или смесь с уайт-спиритом 1:1

№ 7640-3, ТУ 6-10-1351-78

22-24

15-20

25-30

20-25

22-30

20-25

24

ГФ-0199, ГОСТ 23343-78*

Сольвент, ксилол или смесь с уайт-спиритом 1:1, ГОСТ 3134-78*

-

18-20

15-20

25-30

25-30

22-30

20-25

12

ПФ-0142, ТУ 6-10-1698-78

Сольвент, ксилол, смесь ксилол + уайт-спирит 1:1

НФ-1-5, ГОСТ 1003-73* или 64П-6, ТУ 6-10-1351-78

18-20

15-20

-

-

-

-

4

АК-070, АК-069, ГОСТ 25718-83

Растворитель 646, ГОСТ 18188-72* Р-5, ГОСТ 7827-74*

-

12-18

8-15

-

-

-

-

0,5

ВЛ-02, ГОСТ 12707-77*

Толуол, ГОСТ 14710-78*Е, ксилол, Р-6, ТУ 6-10-1328-78, растворитель 648, РФГ, ГОСТ 12708-77*

Ортофосфорная кислота-20 (спиртовый раствор 15 %-ный)

16-20

8-10

16-20

8-10

-

-

0,4

ФЛ-ОЗж, ГОСТ 9109-81*

Сольвент, ксилол или смесь с уайт-спиритом 1:1

НФ-1 или ЖК-1 - 4 %, ТУ 6-10-1641-77

18-20

15-20

30-45

20-25

-

-

8

ХС-059, ГОСТ 23494-79*

Р-4, ГОСТ 7827-74* для безвоздушного распыления - ксилол + 20 % циклогексанона (бутил-ацетата) ГОСТ 8981-78*

№ 5 или № 3-2,8; ТУ 6-10-1093-76

14-16

15-20

20-40

25-35

35-40

30-35

1

ХС-068, ТУ 6-10-820-75

P-4

-

12-14

15-20

-

-

-

-

1

ХВ-050, ОСТ 6-10-314-76

Р-24, ГОСТ 7827-74*

НФ-1 или ЖК-1 - 0,5 %

18-20

20-25

-

-

-

-

1

Шпатлевка ЭП-0010, ГОСТ 10277-76*

Р-4, Р-5, ГОСТ 7827-74*

№ 1-8,5

20-25

20-30

30-40

40-60

30-50

35-45

24

Эмали, краски

ЭП-0010 + каменноугольный лак, марки А, ГОСТ 1709-75*

Р-4, Р-5, толуол

ПЭПА - 10 % от ЭП-0010, ТУ 6-02-594-80

-

-

-

-

40-45

35-45

24

ЭП 0010 + БТ-77

Р-4, P-5, толуол

ПЭПА - 10 % от ЭП-0010

-

-

-

-

40-45

35-45

24

БТ-177, ОСТ 6-10-426-79

Сольвент, ксилол

-

18-23

15-20

18-35

15-25

35-40

25-35

16

ПФ-115, ГОСТ 6465-76*

Сольвент, уайт-спирит, скипидар, ГОСТ 1571-82*Е или их смесь 1:1

-

28-30

13-23

30-45

25-35

30-50

25-35

12-48 (в зависимости от цвета)

ПФ-133, ГОСТ 926-82*

Сольвент, ксилол или смесь с уайт-спиритом 1:1

-

25-30

18-23

30-40

25-30

30-50

25-40

24

ХВ-16, ТУ 6-10-13-01-78

Р-4, Р-5

-

14-22

18-22

-

-

-

-

1,5

ХВ-110, ГОСТ 18374-79*

Р-24

НФ-1 - 0,5 %

18-20

20-25

18-22

20-25

-

-

3

ХВ-113, ГОСТ 18374-79*

Р-24

НФ-1 - 0,5 %

18-20

20-25

18-22

20-25

-

-

3

ХВ-124, ГОСТ 10144-74*

Р-4, Р-5

-

14-15

18-23

18-22

25-30

-

-

2

ХВ-774, ГОСТ 10144-74*

Р-4

-

17-20

18-23

17-20

18-23

-

-

1(50 °С)

ХВ-785, Г0СТ 7313-75*

Р-4

-

16-22

18-23

-

-

20-25

20-25

1

ХВ-785 + ХВ-784 (1:1)

Р-4

-

16-18

18-20

-

-

20-25

20-25

1

ХВ-1100, ГОСТ 6993-79*

Р-4, для безвоздушного распыления - Р-4 или Р-5 + 7 % сольвента

-

14-16

20-25

18-22

25-30

-

-

1

ХВ-1120, ТУ 6-1021127-77

Р-12, ГОСТ 7827-74*

-

24-28

20-25

-

-

-

-

2

ХС 119, ГОСТ 21824-76*

Р-4

НФ-1-0,3

14-16

18-23

-

-

-

-

2,5

ХС-710, ГОСТ 9355-81*

Р-4

-

13-15

20-25

18-22

25-30

35-40

30-40

1

ХС-759, ГОСТ 23494-79*

Р-4, для безвоздушного распыления - ксилол + 20 % бутилацетата

№ 3-3 или № 5-2,8; ТУ 6-10-1091-76

14-16

15-20

40-60

35-40

-

-

1

ХП-799, ТУ 84-618-80

Ксилол, толуол, сольвент

-

50-60

15-18

160-230

30-60

160-230

30-45

3

ЭП-140, ГОСТ 24709-81*

Р-5, ацетон - 30 % этилцеллозольв - 30 % ксилол – 40 %

Серебристый - № 4 ТУ 6-10-1429-79-43, другие цвета - № 2 ТУ 6-10-1279-7733-43

12-16

20-25

-

-

40-45

30-35

6

ЭП-525, ГОСТ 22438-85

Р-5

№ 1-2, 4-2,8

12-15

20-25

-

-

-

-

24

ЭП-773, ГОСТ 23143-83*

Растворитель 646, ГОСТ 18188-72*

№ 1-3,5 или ДЭТА-1,2; ТУ 6-02-914-76

15-16

20-25

25-30

30-40

40-45

30-40

24

ЭП-5116, ГОСТ 25366-82

Ксилол

-

18-25

40-50

-

-

Исходная

100

24

КО-198, ТУ 6-02-841-74

Сольвент, этиловый спирт + толуол (1:4)

-

18-25

18-23

-

-

25-35

25-27

0,3

КО-1112, ТУ 6-02-1095-77

Растворитель 646

-

15-17

20-30

-

-

-

-

10

OC-12-01, ОС-12-03 ТУ 84-133-81

Толуол

Полибутилтитант, ТУ 6-09-2647-75 или тетрабутоксититан 1-1,2 %, ТУ 6-09-2738-75

16-25

75

-

-

28-30

75

24

OC-12-01 + ЭД-20(16) 1:1, ГОСТ 10597-80*

Толуол

ПЭПА (10 % от смолы)

20-25

30-40

-

-

-

-

24

Лаки

ПФ-170 (с алюминиевой пудрой), ГОСТ 15907-70*

Ксилол, сольвент или уайт-спирит + сольвент 1:1

-

22-28

18-23

30-60

25-35

25-35

20-25

48

ХС-76, ГОСТ 9355-81

Р-4

-

13-15

12-15

18-22

15-20

-

-

2

ХС-724, ГОСТ 23494-79*

Р-4

-

14-16

15-20

-

-

-

-

2

ХС-784, ГОСТ 7313-75*

Р-4

-

16-22

18-23

-

-

-

-

1

ХП-734, ТУ 6-02-1152-82

Ксилол-пневмораспылитель - толуол - кисть

-

40

10-15

150-180

25-30

150-180

25-30

2

ЭП-540, ТУ 6-10-624-79

Р-4

ПЭПА-5

15-18

15-20

-

-

-

-

24

ЭД-20(16) - 100, ДБФ - 15

Р-15

ПЭПА (10 % от смолы)

16-17

15-20

-

-

-

-

24

Водная дисперсия тиокола Т-50, ГОСТ 12812-80*

Вода

-

11-13

10-15

-

-

11-13

10-15

4-5

Гидрофобизирующая жидкость № 136-41

Вода

Эмульгатор «Новость», ТУ 38-7-12-67 или ОП-10-0,5; ГОСТ 8433-81

10 %-ный раствор

-

-

-

10 %-ныйраствор

-

24

ГКЖ-10

Вода

Эмульгатор «Новость» или ОП-10-0,5

То же

-

-

-

То же

-

24

ГКЖ-11

Вода

Эмульгатор «Новость» или ОП-10-0,5

То же

-

-

-

То же

-

24

Примечание. Для водной дисперсии тиокола Т-50 рабочая вязкость указана в пуазах по ротационному вискозиметру при градиенте скорости 180 с-1 (сопло 621).


Таблица 3

Наименование и назначение

Техническая характеристика

Вибросито СО-130 для процеживания малярных составов с вязкостью до 200 с по ВЗ-4

Частота вращения 300 мин-1

Производительность 700 кг/ч

Электродвигатель:

тип 4АА56А

мощность 0,180 кВт

напряжение 220/380 В

число оборотов ротора 3000 мин-1

частота 50 Гц

Установка УП-1 для перемешивания и перекачки лакокрасочных составов

Производительность 1,4 м3

Установленная мощность 1,5 кВт

Масса 18,2 кг

Качество обезжиривания должно быть не более 1-й степени по ГОСТ 9.402-80*.

Сушку обезжиренной поверхности следует производить путем протирки чистым протирочным материалом с последующей обдувкой сухим сжатым воздухом.

8. Подготовку поверхности железобетонных конструкций перед окрашиванием необходимо производить в соответствии с требованиями СНиП 3.04.03-85.

Влажность окрашиваемой поверхности должна быть не более 4 %.

Удаление с поверхности загрязнений, старых покрытий и ослабленного слоя штукатурки производится гидроабразивным или термоабразивным методом.

При небольших объемах работ подготовку поверхности допускается производить с помощью электрических торцовых щеток из стальной проволоки, пневматических игольчатых пистолетов, а также скребков, шаберов, стальных щеток с последующим обеспыливанием пылесосом или обдувкой сжатым воздухом.

Жировые пятна необходимо удалять с помощью щеток, смоченных уайт-спиритом.

Высолы, проступившие на поверхности, должны быть полностью удалены щетками, поверхность промыта водой и высушена.

9. Поверхности железобетонных конструкций, ранее подвергавшиеся воздействию кислых сред, необходимо промыть водой и нейтрализовать 4-5 %-ным раствором кальцинированной соды, а затем снова промыть водой и высушить.

10. Все поврежденные коррозией участки поверхности железобетонных конструкций должны быть отбиты и заделаны в соответствии с прил. 1.

11. Шероховатость поверхности бетона должна быть не ниже класса 3Ш по PC 5631-76 СЭВ.

Таблица 4

Показатели

Тип распылителя

КРП-3

КРП-4

КР-10

ЗИЛ

СО-6А

СО-19Б

СО-71А

СО-123

Максимальный расход лакокрасочного материала, г/мин

350

350

160

600

100

150

1400

-

Давление воздуха на распыление, МПа

0,2-0,4

0,4

0,25-0,3

0,45-0,55

0,1-0,2

0,2

0,4-0,5

0,3-0,4

Расход воздуха, м3/ч, не более

12

27

5,2-13,6

11-14

2,4

2,5

19,2

16

Габарит, мм, не более

200 ´ 100 ´ 340

195 ´ 95 ´ 320

342 ´ 177 ´ 96

185 ´ 45 ´ 235

-

172 ´ 138 ´ 245

165 ´ 93 ´ 370

155 ´ 45 ´ 215

Масса, кг, не более

0,65

0,75

0,65

0,82

0,45

0,65

0,68

0,80

Таблица 5

Оборудование, ГОСТ или ТУ

Краткая характеристика

Красконагнетательный бак БКР-40-4

Переносной с пневматическим смесителем, рассчитан на одновременную работу двух распылителей вместимостью 40 л

Максимальное рабочее давление воздуха 0,4 МПа

Габарит 750 ´ 350 ´ 350 мм

Масса 35 кг

Воздухоочиститель CO-15M, ТУ 22-4010-77

Для очистки воздуха от влаги и масла; рассчитан на одновременную работу двух аппаратов; фильтр изготовлен из сетки и войлока. Производительность 15 м3/ч.

Максимальное рабочее давление 0,5 МПа

Габарит 550 ´ 270 ´ 136 мм

Масса 3,5 кг

Компрессор СО-7Б, ТУ 22-4880-80

Производительность 30 м3

Максимальное давление воздуха 0,6 МПа

Мощность электродвигателя 4 кВт

Вместимость рессивера 22 л

Габарит 920 ´ 480 ´ 820 мм

Масса 216 кг

12. Перед применением лакокрасочные материалы должны быть перемешаны, доведены до рабочей вязкости и профильтрованы через сетки по ГОСТ 6613-86*. Допускается применять для фильтрования лакокрасочных материалов 2-3 слоя марли.

Приготовление рабочих составов должно производиться в вентилируемом помещении при температуре воздуха не ниже 15 °С.

Перечень оборудования для приготовления рабочих составов лакокрасочных материалов приведен в табл. 4.

13. Нанесение лакокрасочных материалов необходимо производить на подготовленную поверхность методом пневматического или безвоздушного распыления (табл. 5, 6).

Допускается при окрашивании труднодоступных мест нанесение материалов производить с помощью кисти или валика.

Режимы нанесения лакокрасочных материалов и перечень основного и вспомогательного оборудования приведены в табл. 1, 2, 3.

14. После получения каждого слоя покрытия необходимо производить операцию сушки. Степень высыхания покрытий гарантируется соблюдением режимов сушки. Режимы сушки покрытий приведены в табл. 2.

15. При повреждении покрытия до металла или бетона необходимо производить подготовку поверхности перед окрашиванием и окрашивание по полному технологическому процессу.

Таблица 6

Наименование показателей

Тип установки

Радуга-0,63

УБРХ-1м

ВИЗА-3

2600Н

7000Н

Производительность, кг/мин

0,63

1,2

1

2,4

4,1

Максимальное давление лакокрасочного материала, МПа

20

19

9-16

24

24-25

Расход сжатого воздуха, м3

12,5

-

7,5

-

-

Длина шлангов, м

15

7,5

Св. 5

-

-

Вместимость бака для краски, л

20

-

20

-

-

Масса, кг

22,5

50

25

50

80

При повреждении внешнего слоя покрытия подготовку поверхности перед окрашиванием необходимо производить путем зачистки шлифовальной шкуркой № 4-6 (ГОСТ 13344-79*) поврежденных участков покрытия, последующего обезжиривания и нанесения необходимого количества слоев покрывного материала.

Исправление поврежденных участков покрытия следует производить теми же лакокрасочными материалами, которыми окрашена конструкция, или близкими к ним.

При ремонтном окрашивании для удаления старого лакокрасочного покрытия допускается применение смывок в соответствии с ГОСТ 9.402-80*. По бетону рекомендуется применять смывки АФТ-1 и СД (табл. 7).

16. Помещения, в которых производится окрашивание конструкций, должны соответствовать требованиям Инструкции по санитарному содержанию помещений и оборудования производственных предприятий, утвержденной Главным санитарно-эпидемиологическим управлением Министерства здравоохранения СССР.

Склады лакокрасочных и вспомогательных материалов должны быть снабжены приточно-вытяжной вентиляцией в соответствии с ГОСТ 12.4.021-75*.

17. Приготовление и нанесение лакокрасочных материалов должны осуществляться согласно требованиям ГОСТ 12.3.016-87, СНиП III-4-80* и нормативно-технической документации на материалы.

На все работы по приготовлению и нанесению лакокрасочных материалов должны быть разработаны технологические инструкции, утвержденные в установленном порядке.

При приготовлении рабочих составов лакокрасочных материалов не допускается изменять порядок введения компонентов, предусмотренный нормативно-технической документацией.

18. Оборудование для подготовки и окрашивания строительных конструкций должно соответствовать требованиям ГОСТ 12.2.003-74*.

Таблица 7

Марка

Состав

%

ТУ

Назначение

СЛ

Диоксолан-1

50

ТУ 6-10-1088-76

Масляные, фенольно-масляные, виниловые покрытия

Бензол

30

Спирт этиловый

10

АФТ-1

Диоксолан-1

47,5

ТУ 6-10-1202-76

Масляные фенольно-масляные, виниловые, поливинилбутиральные покрытия

Толуол

28,0

Ацетон

19,0

Коллоксилин

5,0

Парафин

0,5

СП-6

Метиленхлорид

70,56

ТУ 6-10-641-79

Масляные, алкидные, винилхлоридные, полиакрилатные, меламино-формальдегидные, эпоксидные покрытия

Смола ПСХ-С

11,24

Диоксолан-1

9,21

Ксилол

5,62

Уксусная кислота

2,25

Парафин

1,12

СП-7

Метиленхлорид

75,8

ТУ 6-10-923-76

То же

Этиловый спирт

8,4

Аммиак (25 %-ный раствор)

6,2

Метилцеллюлоза

4,0

Диэтиленгликоль

2,5

ОП-7

1,5

Жирные кислоты льняного масла

1,0

Парафин

0,6

Оборудование, работающее под давлением св. 0,7 МПа должно соответствовать Правилам устройства и эксплуатации сосудов, работающих под давлением, утвержденным Госгортехнадзором СССР.

Установка и эксплуатация электрооборудования должны соответствовать требованиям ГОСТ 12.1.013-78.

Все машины, механизмы и технологическое оборудование не во взрывобезопасном исполнении, находящиеся в зоне выполнения работ по окрашиванию строительных конструкций, должны быть обесточены.

19. При окрашивании строительных конструкций не допускается в зоне радиусом 25 м от места ведения работ, а также по всей вертикали в данной зоне курить, разводить огонь, выполнять сварочные и другие работы, которые могут вызвать образование искр и воспламенение паров растворителей.

Не допускаются в местах приготовления и нанесения лакокрасочных материалов хранение и прием пищевых продуктов.

20. Работы по окрашиванию строительных конструкций должны выполнять не менее двух человек.

Таблица 8

Компоненты

Состав паст, %

ХИОТ-6

ПМ-1

Селисского

ИЭР-1

Исчезающий крем

Миколан

Биологические перчатки (казеиновые)

Желатин пищевой или фотожелатин

2,4

2,0

1,9

-

-

-

-

Крахмал пшеничный или картофельный

5,6

14,1

14,1

-

-

-

-

Глицерин

72,0

12,6

-

10,0

10-14

-

19,7

Жидкость Бурова

20,0

-

-

-

-

-

-

Вода

До нужной консистенции

43,6

37,5

38

46-39

50

-

Каолин

-

10,1

-

40

7-8

30

-

Тальк

-

8,1

21,1

-

7-8

-

-

Вазелиновое масло

-

7,5

9,4

-

7-8

-

-

Салициловая кислота

-

0,3

-

-

-

-

-

Спирт этиловый

-

1,7

-

-

-

-

58,7

Бензин или борная кислота

-

-

1,9

-

-

-

-

Аммиак (25 %-ный)

-

-

-

-

-

-

1,9

Казеин

-

-

-

-

-

-

19,7

Мыло ядровое

-

-

-

12

23-26

-

-

При выполнении работ по окрашиванию строительных конструкций рабочие должны быть снабжены средствами индивидуальной защиты по ГОСТ 12.4.011-87.

Для защиты рук необходимо применять защитные пасти ИЭР-1, ПМ-1, биологические перчатки и др. Рецептура паст приведена в табл. 8.

21. Хранение лакокрасочных и вспомогательных материалов необходимо осуществлять в помещении, безопасном в пожарном отношении, в специальных емкостях и таре, оберегая материалы от воздействия солнечных лучей и влаги, при температуре не ниже 5 и не выше 20 °С.

В помещении для приготовления лакокрасочных материалов следует хранить не более суточного расхода взрывопожароопасных материалов (но не более 300 кг). Текущий запас должен храниться в кладовой при указанном помещении, но не более трехсуточного расхода.

22. Разлитые лакокрасочные материалы следует убирать с пола производственного помещения с помощью песка или опилок, а затем смывать щелочным водным раствором.

Отходы лакокрасочных материалов и использованный протирочный материал по окончании работы необходимо выносить в специально отведенные места и обезвреживать.

23. Помещения для приготовления лакокрасочных материалов должны быть оснащены средствами пожарной техники по ГОСТ 12.4.009-83.

24. Контроль качества используемых при окрашивании материалов следует производить методами, указанными в нормативно-технической документации на материалы. Отбор проб лакокрасочных материалов должен производиться в соответствии с требованиями ГОСТов.

25. Контроль качества подготовки поверхности стальных конструкций перед окрашиванием необходимо производить в соответствии с требованиями ГОСТ 9.402-80*.

Контроль качества подготовки поверхности бетонных конструкций следует производить в соответствии с требованиями СНиП 3.04.03-85.

26. Контроль режимов технологического процесса нанесения лакокрасочных материалов необходимо производить по следующим параметрам:

вязкость вискозиметром ВЗ-4 по ГОСТ 9070-75*Е или вискозиметром, указанным в нормативно-технической документации на материал;

температуру материала и воздуха термометром стеклянным техническим с ценой деления не более 2°;

рабочее давление лакокрасочного материала манометром;

рабочее давление сжатого воздуха манометром пружинным образцовым по ГОСТ 6521-72*.

27. Контроль качества окрашенной поверхности по внешнему виду следует производить визуальным осмотром в соответствии с ГОСТ 9.032-74*.

При ремонтном окрашивании допускается разнооттеночность покрытия.

28. Контроль толщины покрытий при окрашивании стальных конструкций следует производить в соответствии с требованиями ОСТ 6-10-403-77.

29. Контроль сплошности покрытий при окрашивании стальных конструкций необходимо проводить электрическими дефектоскопами через 36-48 ч после окончания работ.

30. Определение адгезии покрытий при окрашивании стальных конструкций необходимо производить выборочно по ГОСТ 15140-78* на образцах-свидетелях, окрашенных одновременно с конструкциями.

31. Контроль показателей качества покрытий на бетоне необходимо осуществлять по СНиП 3.04.03-85.

32. Перечень контрольно-измерительных приборов приведен в табл. 9.

Таблица 9

Наименование прибора

Назначение прибора

ГОСТ, ОСТ

Вискозиметр ВЗ-4, ГОСТ 9070-75

Определение условной вязкости лакокрасочных материалов

ГОСТ 8420-74*

Толщиномер магнитный МТ-41НЦ, ТУ 25-06.1500-83

Измерение толщины немагнитных токопроводящих и нетокопроводящих покрытий, нанесенных на ферромагнитное основание

ОСТ 6-10-403-77

Толщиномер вихретоковый ВТ-10НЦ, ТУ 25-06.2501-83

То же

ОСТ 6-10-403-77

Маятниковый прибор МП-3, ТУ 25-07-781-70

Определение твердости покрытия

ГОСТ 5233-67

Прибор У-1А, ТУ 25-05-2177-77

Определение прочности покрытия при ударе

ГОСТ 4765-73*

Прибор «Клин»

Определение степени перетира пигментированных материалов

ГОСТ 6589-74*

Шкала гибкости ШГ-2, ТУ 6-10-1948-84

Определение прочности покрытия при изгибе

ГОСТ 6806-73*

Дефектоскоп электроискровой ДЭП-2, ТУ 25-06.1862-78

Контроль сплошности немагнитных покрытий на металлической поверхности

Инструкция по эксплуатации прибора

ПРИЛОЖЕНИЕ 9

ТЕХНОЛОГИЯ ПОВЕРХНОСТНОЙ ПРОПИТКИ ЖЕЛЕЗОБЕТОННЫХ КОНСТРУКЦИЙ МОДИФИЦИРОВАННЫМ ПЕТРОЛАТУМОМ

1. Пропитка железобетонных конструкций описываемым ниже способом может осуществляться при изготовлении сборных железобетонных элементов, возведении монолитных конструкций в зимних условиях (с применением электропрогрева), а также после изготовления, возведения или монтажа.

2. Повышение долговечности железобетонных конструкций достигается тем, что при пропитке (табл. 1) происходит кольматация пор и капилляров в структуре поверхностного слоя бетона гидрофобным материалом, представляющим смесь высокомолекулярных углеводородов и кальциевых солей высших жирных кислот.

Таблица 1

Компоненты

Среднее содержание компонентов, %

В/Ц = 0,37-0,45

В/Ц = 0,5-0,55

В/Ц ³ 0,55

T = 70 °С

T = 80 °С

T = 90 °С

T = 70 °С

T = 80 °С

T = 70 °С

T = 80 °С

Петролатум

Стеарин

Парафин

Примечания: 1. Над чертой приведены данные для температуры окружающей среды выше 0 °С, под чертой - ниже 0 °С во время производства работ. 2. Церезин вместо парафина применяют при изготовлении сборных конструкций, когда температура поверхности опалубки выше 40 °С.

3. Пропитка бетона существенно не изменяет его прочностных и деформативных свойств, а компоненты пропиточной композиции практически не подвергаются старению.

4. Для пропитки применяют следующие материалы:

петролатум, представляющий собой светло-коричневую массу (смесь парафинов и церизинов с высоковязким очищенным маслом, температура каплепадения 55 °С, температура вспышки 250 °С), который должен удовлетворять ОСТ 381117-76;

технический стеарин (смесь стеариновой, пальмитиновой, оксистеариновой и других кислот), удовлетворяющий требованиям ГОСТ 5484-50*. Допускается применение других продуктов, содержащих указанные жирные кислоты, например синтетических жирных кислот (ГОСТ 2488-79*) или их кубовых остатков (ОСТ 38.01182-80);

церезин марки 57 (ГОСТ 2488-79*) или парафин в качестве добавки, интенсифицирующей процесс пропитки.

Для повышения температуры сползания пропиточной композиции в качестве загустителя применяется церезин марок 75 и 60 (ГОСТ 2488-79*).

5. Состав пропиточной композиции назначается в зависимости от условий производства работ, водоцементного отношения пропитываемого бетона (при изготовлении конструкций) и температуры прогрева Т по табл. 1.

6. Приготовление пропиточной композиции может осуществляться централизованно или на месте производства работ.

Композицию приготавливают путем совместного нагревания составляющих и перемешивания при температуре 80-90 °С. После остывания гомогенность смеси сохраняется.

Приготовленную пропиточную композицию можно хранить до употребления практически неограниченное время.

7. Пропитка в процессе изготовления сборных конструкций совмещается с их пропариванием, а монолитных конструкций, возводимых в зимних условиях, с тепловой обработкой электропрогревом. Температура на поверхности конструкции во всех случаях должна быть выше 70 °С.

Пропиточная композиция наносится распылением на дно и стенки формы опалубки, а также в случае необходимости на верхнюю заглаженную поверхность свежеотформованного бетона равномерным слоем толщиной 0,5-1,5 мм в зависимости от плотности бетона. При этом температура поверхности опалубки не должна превышать 60 °С. Оборудование для выполнения работ должно включать бак для пропиточной композиции с нагревателями, фильтр, насос и рабочий орган (распылитель), предусматривающий как ручное, так и механизированное нанесение композиции.

Цикл работ предусматривает разогрев пропиточной композиции до 80-90 °С, очистку от механических примесей и перекачку по обогреваемому трубопроводу к рабочему органу, установленному у места производства работ.

8. Пропитку конструкций после их изготовления осуществляют в ваннах, снабженных нагревательными устройствами с терморегулятором. Размеры ванн назначают в зависимости от размера пропитываемых изделий и их качества.

Мелкоразмерные изделия укладывают в ванну на специальных контейнерах, а крупногабаритные устанавливают поштучно на деревянных прокладках. Конструкция ванны должна обеспечивать после укладки изделий наполнение, а после окончания пропитки - слив пропиточной композиции.

Температура пропиточной композиции при загрузке ванны должна быть не ниже 65 °С, а уровень ее должен не менее чем на 10 см покрывать последний ряд уложенных изделий.

Пропитку осуществляют при температуре 80-150 °С. Скорость подъема температуры не должна превышать 20 град/ч. Время изотермического прогрева определяется экспериментально в зависимости от температуры пропиточной смеси и плотности бетона и может колебаться or 1,5-2 до 8-10 ч.

Извлечение пропитанных конструкций из ванны или слив пропиточной композиции производят при температуре не ниже 80 °С во избежание ее загустевания.

9. Возведенная (смонтированная) или ранее эксплуатировавшаяся конструкция перед пропиткой должна быть очищена от пыли, грязи, рыхлого бетона (раствора), антикоррозионных покрытий и т.п. Влажность поверхности бетона должна соответствовать воздушно-сухому состоянию.

Пропиточную композицию наносят на поверхность бетона распылением слоем 1-1,5 мм (не более), например, с помощью агрегата, схема которого приведена на рис. 1 прил. 7.

До нанесения пропиточной композиции и затем после ее нанесения поверхность прогревают с помощью нагревательного устройства (например, электронагревателей, газовых, бензиновых горелок и т.п.) последовательными участками до тех пор, пока она не приобретет матовый коричневый оттенок, а на ощупь будет слегка маслянистой. В случае необходимости операции нанесения пропиточной композиции и прогрева повторяют несколько раз до достижения требуемой глубины пропитки (табл. 2).

Таблица 2

Марка бетона по водонепроницаемости

Средняя глубина пропитки, мм

W8

2

W6

3

W4

5

10. Пропитку допускается осуществлять в любое время года при отсутствии источников увлажнения пропитываемой поверхности. Параметры прогрева устанавливают опытным путем в зависимости от вида теплоносителя, температуры окружающей среды и плотности бетона.

11. Одним из преимуществ пропитки конструкций перед другими видами вторичной защиты является ее избирательность: глубина пропитки зависит от плотности бетона на данном участке конструкции. Средняя глубина пропитки не должна быть меньше величин, указанных в табл. 2.

В случае если в конкретных условиях тепловой обработки глубина пропитки оказывается меньшей, должны быть откорректированы параметры тепловой обработки (длительность выдержки, температура и время прогрева), вязкость пропиточной композиции, количество последовательно наносимых слоев и т.п.

При пропитке конструкций в процессе или после изготовления одновременно с пропитываемым элементом в пропиточную ванну или пропарочную камеру устанавливают образцы-кубы размером 10 ´ 10 ´ 10 см в количестве 4 шт. Образцы изготовляют из той же бетонной смеси, уплотняют и пропитывают в тех же условиях. После окончания пропитки образцы раскалывают для определения средней глубины пропитки по всем шести граням каждого куба.

Контроль глубины пропитки можно осуществлять люминесцентным методом, в основу которого положено возбуждение люминесценции высокомолекулярных углеводородов (петролатум, парафин, церезин) и металлических мыл (кальциевые соли высших жирных кислот), длинноволновым (365,5 мкм) ультрафиолетовым светом.

Для этого используют ртутные кварцевые лампы типа ПРК-4, СВД-120А и светофильтр УФО-6. Могут быть применены стандартные установки «Малютка», БИО-1. Образцы, отобранные из пропитанного изделия, устанавливают в области действия источника ультрафиолетового излучения и замеряют ширину люминесцирующей зоны.

Для контроля качества пропитки изделий, выполняемой в процессе пропарки, допускается также способ, по которому контрольные образцы после распалубливания сушат при 40 °С. Эффективной считается пропитка, при которой за 24 ч образец теряет в массе не более 0,5 %.

Контроль качества пропитки конструкций, выполняемой после возведения, осуществляют путем образования на пропитанной поверхности бетона насечек, на боковых гранях которых можно визуально определить глубину пропитки (при интенсивном нагреве пропитанный слой бетона приобретает темный оттенок).

Насечку рекомендуется производить на каждом участке, ограниченном захваткой прогрева. После этого сплошность пропитанной поверхности восстанавливается.

При образовании сколов бетона и других нарушений защитных свойств в поверхностном слое строительных конструкций, происшедших в процессе их монтажа или эксплуатации, пропитанный слой подлежит восстановлению путем нанесения пропиточного состава и прогрева дефектных мест газовыми горелками или инфракрасными излучателями.

ПРИЛОЖЕНИЕ 10

ТЕРМОАБРАЗИВНЫЙ АППАРАТ ТА-11/16

Аппарат ТА-11/16 разработан Криворожским горно-рудным институтом и НИИЖБом. Он предназначен для генерирования высокотемпературной сверхзвуковой двухкомпонентной струи.

Аппарат состоит из ручного инструмента, камерного питателя, топливного бака и резинотканевых рукавов для подачи песка, сжатого воздуха и керосина. Ручной инструмент (см. рисунок) представляет собой реактивную горелку. Он состоит из корпуса 1, регенеративной трубы 2, в которой с концентричным зазором размещены камера 3 сгорания с радиальными отверстиями 4 для пропуска сжатого воздуха, сверхзвуковое сопло 5 и завихритель 6.

Термоабразивный аппарат ТА-11/16

Регенеративная труба 2 прикреплена к распределительной головке 7, в которой проходит патрубок 8 для крепления завихрителя 6. Калибратор 9 прижимает сопло 5 к торцу корпуса 1. На корпусе установлены игольчатый вентиль 10 для регулирования расхода керосина, воздухопровод 11 для подачи сжатого воздуха, к которому подведен резинотканевый рукав 12, заканчивающийся вентилем 13 для регулирования расхода сжатого воздуха.

Работает термоабразивный аппарат следующим образом. Через регулировочный вентиль 10 керосин подается в зазор между регенеративной трубой 2 и камерой сгорания 3, а сжатый воздух поступает через вентиль 13, резинотканевый рукав 12 и воздухопровод 11 в зазор между корпусом 1 и регенеративной трубой 2; возле сопла 5 воздух разворачивается и проходит по зазору между регенеративной трубой 2 и камерой сгорания 3. На своем пути он охлаждает теплонапряженные детали ручного инструмента, испаряет керосин и перемешивается с ним, образуя топливную смесь, которая поступает в камеру сгорания 3 через завихритель. В камере сгорания 3 химическая энергия топлива превращается в тепловую, часть которой в сверхзвуковом сопле 5 превращается в кинетическую.

Через материальный патрубок 8 поступает песок. Из сопла 5 истекает сверхзвуковая высокотемпературная двухкомпонентная струя с регулируемой температурой от 50 до 1800 °С и скоростью от 350 до 2000 м/с.

Техническая характеристика ТА-11/16

Критический диаметр сопла, мм                                               11-16

Рабочие компоненты:

окислитель                                                                               сжатый воздух

горючее                                                                                    керосин

абразив                                                                                     речной песок

Давление подачи рабочих компонентов, МПа                         0,4-0,6

Расходы рабочих компонентов:

сжатого воздуха, м3                                                              200-250

керосина, кг/ч                                                                          6-8

песка, кг/ч                                                                                100-120

Габарит ручного инструмента:

диаметр корпуса, мм                                                              48

длина горелки, мм                                                                  500

масса инструмента, кг                                                            2,5

масса аппарата, кг                                                                  40

Производительность, м2/ч при очистке поверхности:

бетона                                                                                       20-22

стали                                                                                         25-30




Rambler's Top100 Яндекс цитирования
  Copyright © 2008-2026, www.docload.ru