Бесплатная библиотека стандартов и нормативов www.docload.ru

Все документы, размещенные на этом сайте, не являются их официальным изданием и предназначены исключительно для ознакомительных целей.
Электронные копии этих документов могут распространяться без всяких ограничений. Вы можете размещать информацию с этого сайта на любом другом сайте.
Это некоммерческий сайт и здесь не продаются документы. Вы можете скачать их абсолютно бесплатно!
Содержимое сайта не нарушает чьих-либо авторских прав! Человек имеет право на информацию!

 

ГОСУДАРСТВЕННЫЙ СТАНДАРТ СОЮЗА ССР

ГАЗЫ ГОРЮЧИЕ ПРИРОДНЫЕ

МЕТОД ОПРЕДЕЛЕНИЯ ОБЩЕЙ И ОРГАНИЧЕСКОЙ СЕРЫ

ГОСТ 26374-84

(СТ СЭВ 4490-84)

ГОСУДАРСТВЕННЫЙ КОМИТЕТ СССР ПО СТАНДАРТАМ

Москва

РАЗРАБОТАН Министерством газовой промышленности

ИСПОЛНИТЕЛИ

А. И. Гриценко, А. К. Карпов, В. П. Булычев, Л. Н. Зайцева, Г. С. Павлова

ВНЕСЕН Министерством газовой промышленности

Член Коллегии А. Д. Седых

УТВЕРЖДЕН И ВВЕДЕН В ДЕЙСТВИЕ Постановлением Государственного комитета СССР по стандартам от 19 декабря 1984 г. № 4720

ГОСУДАРСТВЕННЫЙ СТАНДАРТ СОЮЗА ССР

ГАЗЫ ГОРЮЧИЕ ПРИРОДНЫЕ

Метод определения общей и органической серы

Combustible natural gases. Method for determination
of total and organic sulphur content

ГОСТ

26374-84

(СТ СЭВ 4490-84)

Постановлением Государственного комитета СССР по стандартам от 19 декабря 1984 г. № 4720 срок действия установлен

с 01.01.87

до 01.01.92

Несоблюдение стандарта преследуется по закону

Настоящий стандарт устанавливает метод определения общей и органической серы при концентрации в газе до 1000 мг/м3.

Сущность метода заключается в гидрировании серосодержащих органических соединений избытком влажного водорода в кварцевой трубке с платиновым катализатором, нагретым до (950 ± 10) °С, с последующим поглощением сероводорода раствором ацетата цинка и фотоколориметрическим или спектрофотометрическим определением метиленового синего, образующегося в кислой среде при взаимодействии сернистого цинка с диметил-n-фенилендиамином в присутствии хлорного железа.

Стандарт соответствует СТ СЭВ 4490-84.

(Измененная редакция, Изм. № 1).

1. ОПРЕДЕЛЕНИЕ ОБЩЕЙ СЕРЫ ПРИ КОНЦЕНТРАЦИИ ДО 30 мг/м3

(Измененная редакция, Изм. № 1)

1.1. Отбор проб

Пробы газа отбирают в соответствии с требованиями ГОСТ 18917-82 в сухие пробоотборники из нержавеющей стали или стеклянные газовые пипетки, или прибор ППГ способом сухой продувки.

1.2. Аппаратура, материалы и реактивы

Трубка кварцевая длиной примерно 50 см, внутренним диаметром 6 - 8 мм.

Печь электрическая для нагревания кварцевой трубки до температуры (950 ± 10) °С.

Термопара платино-платинородиевая.

Милливольтметр для индикации температуры печи.

Автотрансформатор лабораторный регулировочный (ЛАТР).

Катализатор: платиновая проволока с 5 - 10 % родия или платиновая, диаметром от 0,05 до 0,5 мм (масса 10 - 15 г).

Реометр стеклянный лабораторный типа РКС 1 - 0,06 и РКС 1 - 0,4 или РКС 2 - 0,06 и РКС 2-0,4 по ГОСТ 9932-75 или ротаметр РМ на соответствующие расходы по ГОСТ 13045-81.

Кран трехходовой стеклянный по ГОСТ 7995-80.

Склянка для промывания газа СН-1 - 100, СН-2 - 100 по ГОСТ 25336-82.

Трубка резиновая медицинская по ГОСТ 3399-76 или техническая по ГОСТ 5496-78.

Пробоотборник из нержавеющей стали.

Пипетки для отбора проб газа вместимостью 1000 см3 или прибор ППГ по ГОСТ 18954-73.

Водород по ГОСТ 3022-80, объемная доля не менее 99,5 %.

Азот газообразный по ГОСТ 9293-74, объемная доля не менее 99,5 %.

Воздух сжатый.

Уголь активированный гранулированный марки АГ-3.

Аппаратура, материалы и реактивы для определения сероводорода по ГОСТ 22387.2-83, п. 2.2.

(Измененная редакция, Изм. № 1).

1.3. Подготовка к испытанию

1.3.1. Построение градуированного графика

Для фотоколориметрического определения сероводорода строят градуировочный график по ГОСТ 22387.2-83, п. 2.3.1.

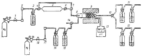
1.3.2. Схема установки для проведения испытания приведена на черт. 1.

Аппаратуру установки соединяют стеклянными трубками встык на резиновых соединениях. Резиновые трубки предварительно кипятят не менее 3 ч в 20 - 30 %-ном растворе щелочи для извлечения из них серы, а затем кипячением в свежих порциях воды отмывают от щелочи.

Платиновую проволоку сматывают спиралью длиной 8 - 10 см и помещают в середину кварцевой трубки так, чтобы сечение трубки было полностью заполнено.

Кварцевую трубку помещают в печь так, чтобы ее часть с катализатором находилась в середине нагреваемой зоны трубчатой печи.

1, 14 - игольчатые вентили; 2, 13 - реометры; 3, 6, 10 - трехходовые краны; 4 - кварцевая трубка; 5 - электрическая печь; 7 - склянки с дистиллированной водой; 8 - склянки с поглотительным раствором; 9 - милливольтметр; 11 - склянка-увлажнитель водорода; 12 - склянка с активированным углем

Черт. 1

Склянки для промывания газа 7, 11 заполняют до половины дистиллированной водой.

В две склянки с поглотительным раствором 8 наливают по 30 см3 2 %-ного раствора ацетата цинка.

Линию для подачи испытуемого газа продувают испытуемым газом через кран 3 в атмосферу, а линию для подачи водорода - водородом через кран 10 в атмосферу в течение 3 - 5 мин. Затем к крану 3 подключают азот и продувают им остальную часть установки с помощью крана 6, переключая его вначале на склянки 8, а затем на склянки 7 в течение 5 - 10 мин для удаления воздуха из системы во избежание взрыва.

После продувки аппаратуры азотом линию подачи азота отключают.

Кран 10 переключают на линию подачи водорода. Устанавливают скорость потока водорода 20 дм3/ч по реометру 13 и направляют поток водорода через склянку 12 с активированным углем, увлажнитель 11 в кварцевую трубку 4 и через кран 6 - в склянки 7.

Не прекращая потока водорода, включают электрическую печь 5 и нагревают ее до (950 ± 10) °С в течение 30 мин.

1.4. Проведение испытания

1.4.1. После достижения заданной температуры (950 ± 10) °С с помощью крана 3 в кварцевую трубку 4 и склянки 7 подают испытуемый газ.

Регулируя вентилем 1 по предварительно отградуированному реометру 2, устанавливают расход испытуемого газа 3 дм3/ч. Стабилизируют скорость потока водорода на 20 дм3/ч.

Затем краном 6 газовую смесь направляют в склянки 8 с ацетатом цинка и одновременно включают секундомер.

После окончания пропускания необходимого объема испытуемого газа, который устанавливают предварительным опытом, краном 6 поток газовой смеси направляют в склянки 7 с дистиллированной водой и одновременно отсчитывают время на секундомере. Отключают подачу испытуемого газа. Отсоединяют склянки 8 с раствором ацетата цинка от установки.

Записывают температуру и барометрическое давление.

В зависимости от предполагаемой концентрации общей серы ориентировочный объем испытуемого газа на гидрирование определяют по табл. 1.

Таблица 1

Концентрация общей серы, мг/м3

Объем пробы газа, дм3

До 2

Св. 30

Св. 2 до 5

От 30 до 15

» 5 » 10

» 15 » 4

» 10 » 20

» 4 » 2

» 20 » 30

» 2 » 1

1.4.2. По окончании испытания выключают печь. В систему, не прекращая подачи водорода, подключают азот, а затем отключают водород. Через 10 мин отключают азот и отсоединяют от установки склянки 7 с дистиллированной водой.

1.4.3. В первую склянку 8 с раствором ацетата цинка добавляют 5 см3 раствора диамина, перемешивают, добавляют 1 см3 раствора хлорного железа и вновь перемешивают. Затем содержимое склянки переводят количественно в мерную колбу вместимостью 50 см3 и доливают до метки дистиллированной водой.

Измеряют оптическую плотность раствора при тех же условиях, как и при построении градуировочного графика по п. 1.3.1.

1.4.4. Перед каждым последующим анализом новой пробы проводят контрольный опыт так же как и при испытании, но без подачи испытуемого газа. Раствор ацетата цинка после добавки реагентов не должен окрашиваться.

1.4.5. После каждых пяти испытаний для очистки катализатора от загрязнений отключают от установки водород и всю систему тщательно продувают азотом, а затем через раскаленный катализатор пропускают поток воздуха.

После очистки катализатора аппаратуру снова продувают азотом.

1.5. Обработка результатов

1.5.1. Концентрацию общей серы (X) в мг/м3 вычисляют по формуле

где m - масса сероводорода в растворе ацетата цинка, находят по градуировочному графику на основе измерения оптической плотности, мкг;

V - объем испытуемого газа, приведенный к условиям 20 °С и 101,325 кПа, дм3;

0,941 - коэффициент пересчета на серу.

1.5.2. За результат испытания принимают среднее арифметическое результатов двух последовательных определений.

(Измененная редакция, Изм. № 1).

2. ОПРЕДЕЛЕНИЕ ОРГАНИЧЕСКОЙ СЕРЫ ПРИ КОНЦЕНТРАЦИИ ДО 30 мг/м3

(Измененная редакция, Изм. № 1).

Органическую серу определяют в газах, предварительно освобожденных от сероводорода.

2.1. Отбор проб

2.1.1. Пробы газа отбирают в соответствии с ГОСТ 18917-82 в пробоотборники из нержавеющей стали (контейнеры), стеклянные газовые пипетки или прибор ППГ.

Верхние краны пипеток и пипеток к прибору ППГ должны соответствовать трехходовому серповидному крану по ГОСТ 7995-80.

2.1.2. При отборе проб в пипетки или прибор испытуемый газ освобождают от сероводорода непосредственно на месте отбора.

Для этого газ предварительно пропускают через две поглотительные склянки, заполненные 50 - 100 см3 2 %-ного раствора ацетата цинка или 30 %-ного подкисленного хлористого кадмия, а затем - в сухие пипетки для отбора пробы.

Соединительные трубки должны быть из алюминия или стекла и соединяться встык резиновыми трубками.

2.1.3. Пробоотборную линию продувают газом при открытых кранах газовых пипеток и открытом на атмосферу винтовом зажиме тройника, находящегося перед поглотительными склянками. Затем поток газа через поглотительные склянки и пипетки регулируют винтовым зажимом со скоростью, не превышающей 100 дм3/ч.

Продувают пробоотборные пипетки очищенным от сероводорода газом так, чтобы количество продувочного газа в 10 - 15 раз превышало вместимость пипеток. Расход газа измеряют газовым счетчиком на выходе после пипеток.

2.1.4. По окончании отбора проб закрывают вначале выходной кран пипетки, а затем входной (чтобы создать небольшое избыточное давление). Пипетку отсоединяют от пробоотборной линии и проверяют на герметичность погружением кранов в сосуд с водой.

2.1.5. В зависимости от предполагаемой концентрации органической серы объем газа, отобранный на испытание в пипетки, должен соответствовать указанному в табл. 3.

Таблица 3

Концентрация органической серы, мг/м3

Объем пробы газа, дм3

Св. 5 до 10

4

» 10 » 20

2

» 20 » 30

1

2.1.6. В контейнеры под давлением пробы газа отбирают без очистки от сероводорода. Очистку производят перед анализом, как указано в п. 2.1.2.

2.2. Аппаратура, материалы и реактивы

Аппаратура, применяемая для определения общей серы (п. 1.2).

Трубка соединительная стеклянная (тройник) по ГОСТ 23932-79.

Зажим винтовой.

Склянки для промывания газа СН-1 - 100, СН-1 - 500, СН-1 - 200 по ГОСТ 25336-82.

Счетчик газовый барабанный типа ГСБ-400.

Кадмий хлористый по ГОСТ 4330-76, 30 %-ный водный раствор.

2.3. Подготовка к испытанию

2.3.1. Для фотоколориметрического определения сероводорода строят градуировочный график по п. 1.3.1.

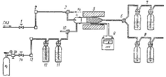
2.3.2. Собирают установку для гидрирования (черт. 2). Установку собирают встык стеклянными трубками на резиновых соединениях, подготовленных как указано в п. 1.3.2.

Склянки 12 заполняют 30 см3 2 %-ного раствора ацетата цинка. Склянки 11, 15 заполняют наполовину дистиллированной водой. Устанавливают кварцевую трубку с катализатором в печь как указано в п. 1.3.2.

2.3.3. Газовую пипетку с пробой газа в течение 30 мин выдерживают в помещении, где проводят испытание, и затем поворотом крана давление газа в пипетке приводят к атмосферному и подключают пипетку к установке (см. черт. 2).

2.3.4. Пробу газа, предварительно отобранную в контейнер, переводят в газовую пипетку известной вместимости вытеснением запирающей жидкости с последующей продувкой ее 4 - 5-кратным объемом испытуемого газа, предварительно очищенного от сероводорода в склянках, помещенных перед пипеткой, по п. 2.1.2. Готовят газовую пипетку, как указано в п. 2.3.3.

2.3.5. Установку продувают азотом. Первоначально при закрытых кранах 6, 10, регулируя вентилем 1, продувают линию азотом через краны 4, 7, 14 в атмосферу. Продувку проводят в течение 3 - 5 мин со скоростью 5 дм3/ч, установленной по реометру 2.

Затем при закрытом кране 14 продувают азотом в течение 10 мин остальную часть установки с помощью крана 10, переключая его вначале на склянки 12, а затем - склянки 11.

Линию подачи водорода через кран 14 продувают водородом в атмосферу в течение 3 - 5 мин. После чего поток водорода направляют в кварцевую трубку 8 и склянки 11 со скоростью 20 дм3/ч, установленной по реометру 17.

Стабилизируют поток азота со скоростью 5 дм3/ч.

Включают нагрев печи.

1, 18 - игольчатые вентили; 2, 17 - реометры; 3, 16 - склянки с активированным углем; 4, 7, 10, 14 - трехходовые краны; 5 - газовая пипетка; 6 - одноходовой кран; 8 - трубка кварцевая; 9 - электрическая печь; 11 - склянки с дистиллированной водой; 12 - склянки с поглотительным раствором; 13 - милливольтметр; 15 - склянка-увлажнитель водорода

Черт. 2

2.4. Проведение испытания

2.4.1. После достижения заданной температуры (950 ± 10) °С переключением крана 10 поток газов направляют в поглотительные склянки 12 с раствором ацетата цинка. Открывают кран 6 пипетки 5 с пробой газа, переключают краны 4, 7 и азотом вытесняют пробу из пипетки в кварцевую трубку 8 для гидрирования. Вытеснение пробы газа азотом проводят не менее 1 ч.

После окончания испытания поток газов направляют в склянки 11 с дистиллированной водой.

Записывают температуру и барометрическое давление.

Склянки 12 с раствором ацетата цинка отсоединяют от установки и далее определяют как указано в п. 1.4.3.

Отключают печь, подачу водорода, а затем через 10 мин - подачу азота и отсоединяют склянки 11 от установки.

2.4.2. Подготовку установки к анализу новой пробы производят как указано в пп. 1.4.4, 1.4.5.

2.5. Обработка результатов

2.5.1. Концентрацию органической серы (Х1) в мг/м3 вычисляют по формуле

где m1 - масса сероводорода в растворе ацетата цинка, которую находят по градуировочному графику на основе измерения оптической плотности, мкг;

V1 - объем пробы газа в газовой пипетке, приведенный к условиям 20 °С и 101,325 кПа, дм3;

Х2 - объемная доля сероводорода в неочищенном исходном газе, %;

0,941 - коэффициент пересчета на серу.

Поправку на объем удаленного из пробы сероводорода  учитывают при объёмной доле его в газе более 1 %. Сероводород определяют по ГОСТ 22387.2-83.

2.5.2. За результат испытания принимают среднее арифметическое результатов двух последовательных определений.

(Измененная редакция, Изм. № 1).

3. ОПРЕДЕЛЕНИЕ ОБЩЕЙ И ОРГАНИЧЕСКОЙ СЕРЫ ПРИ КОНЦЕНТРАЦИИ ОТ 30 до 1000 мг/м3

3.1. Определение проводят на небольших объемах газа, отобранных в стеклянные тарированные газовые пипетки, в соответствии с разд. 1 и 2, используя установку, схема которой приведена на черт. 2.

3.2. Объем пробы на испытание зависит от предполагаемой концентрации серы в исследуемом газе и должен соответствовать указанному в табл. 4 (см. с. 43).

3.3.. Концентрацию общей и органической серы вычисляют по формулам, приведенным в пп. 1.5.1 и 2.5.1 соответственно.

(Введен дополнительно, Изм. № 1).

4. ТОЧНОСТЬ МЕТОДА

4.1 Сходимость метода

Результаты двух последовательных определений, полученные одним исполнителем, признаются достоверными (с доверительной вероятностью 0,95), если расхождение между ними не превышает значений, указанных в табл. 5.

Таблица 4

Концентрация серы, мг/м3

Объем пробы газа, дм3

Св. 30 до 50

1,00

» 50 » 100

0,50

» 100 » 300

0,20

» 300 » 600

0,10

» 600 » 1000

0,05

4.2. Воспроизводимость метода

Результаты двух последовательных определений, полученные двумя исполнителями на разных приборах, признаются достоверными (с доверительной вероятностью 0,95), если расхождение между ними не превышает значений, указанных в табл. 5.

Таблица 5

Концентрация серы, мг/м3

Показатели точности

Сходимость

Воспроизводимость

мг/м3

% от полученного среднего значения

мг/м3

% от полученного среднего значения

До 1

0,2

-

0,4

-

Св. 1 до 5

0,4

-

0,8

-

» 5 » 30

-

10

-

12

» 30 » 100

-

8

-

10

» 100 » 1000

-

5

-

7

(Введен дополнительно, Изм. № 1).

СОДЕРЖАНИЕ

 




Rambler's Top100 Яндекс цитирования
  Copyright © 2008-2026, www.docload.ru