|
|
МИНИСТЕРСТВО ВНУТРЕННИХ ДЕЛ
РОССИЙСКОЙ ФЕДЕРАЦИИ ГОСУДАРСТВЕННАЯ
ПРОТИВОПОЖАРНАЯ СЛУЖБА НОРМЫ ПОЖАРНОЙ БЕЗОПАСНОСТИ Системы пожарной сигнализации адресные. Alarm sistems with location
fire. НПБ
58-97 МОСКВА 1997 Разработаны Всероссийским
научно-исследовательским институтом противопожарной обороны (ВНИИПО) МВД
России. Внесены и подготовлены к
утверждению нормативно-техническим отделом Главного управления Государственной
противопожарной службы (ГУГПС) МВД России. Утверждены главным
государственным инспектором Российской Федерации по пожарному надзору. Введены в действие приказом
ГУГПС МВД России от 31.12.1996 г. № 64. Дата введения в действие
01.01.1997 г. Настоящие нормы
устанавливают классификацию, общие технические требования и методы испытаний
адресных систем пожарной сигнализации, применяемых на территории России и
предназначенных для обнаружения загораний в помещениях различных зданий и
сооружений, с указанием номера пожарного извещателя, от которого поступило
извещение о пожаре. Настоящие нормы должны
применяться при проведении сертификационных и других видов испытаний адресных
систем пожарной сигнализации. 1. Нормативные ссылкиВ настоящих нормах
использованы ссылки на следующие стандарты: ГОСТ
Р 50009-92 "Совместимость технических средств охранной, пожарной и
охранно-пожарной сигнализации электромагнитная. Требования, нормы и методы
испытаний на помехоустойчивость и индустриальные радиопомехи"; ГОСТ
9.014-78 "Единая система защиты от коррозии и старения. Временная
противокоррозионная защита изделий. Общие требования"; ГОСТ
12.2.003-91 "ССБТ. Оборудование производственное. Общие требования
безопасности"; ГОСТ
12.2.007.0-75 "ССБТ. Изделия электротехнические. Требования
безопасности"; ГОСТ 27.410-87
"Надежность в технике. Методы контроля показателей надежности и планы
контрольных испытаний на надежность"; ГОСТ
15150-69 "Машины, приборы и другие технические изделия. Исполнения для
различных климатических районов. Категории, условия эксплуатации, хранения и
транспортирования в части воздействия климатических факторов внешней
среды"; ГОСТ
22522-91 "Извещатели радиоизотопные пожарные. Общие технические
условия"; ГОСТ 27990-88 "Средства
охранной, пожарной и охранно-пожарной сигнализации. Общие технические
требования"; ГОСТ 28199-89 "Основные
методы испытаний на воздействие внешних факторов". Часть 2. Испытания.
Испытание А: холод; ГОСТ 28200-89 "Основные
методы испытаний на воздействие внешних факторов". Часть 2. Испытания.
Испытание В: сухое тепло; ГОСТ 28201-89 "Основные
методы испытаний на воздействие внешних факторов". Часть 2. Испытания.
Испытание Са: влажное тепло, постоянный режим; ГОСТ 28203-89 "Основные
методы испытаний на воздействие внешних факторов". Часть 2. Испытания.
Испытание Fc и руководство: вибрация (синусоидальная); ГОСТ 28213-89 "Основные
методы испытаний на воздействие внешних факторов". Часть 2. Испытания.
Испытание Еа и руководство: одиночный удар. 2. Термины и определенияАдресная система пожарной
сигнализации (АСПС) - совокупность технических средств пожарной сигнализации,
предназначенных (в случае возникновения пожара) для автоматического или ручного
включения сигнала "Пожар" на адресном приемно-контрольном приборе
посредством автоматических или ручных адресных пожарных извещателей защищаемых
помещений. Адресный пожарный извещатель
(АПИ) - компонент АСПС, который передает на адресный приемноконтрольный прибор
код своего адреса вместе с извещением о пожаре. Адресный приемно-контрольный
прибор (АПКП) - компонент АСПС, предназначенный для приема адресных извещений о
пожаре и сигнала "Неисправность" от других компонентов АСПС,
выработки сигналов пожарной тревоги или неисправности системы и для дальнейшей
передачи сигналов и выдачи команд на другие устройства. АПКП должен
обеспечивать контроль, управление и электрическое питание всех компонентов
АСПС. Сигнал "Пожар" -
извещение о пожаре. Сигнал
"Неисправность" - формируемый компонентом АСПС сигнал, который
воспринимается АПКП как отказ этого компонента. Шлейф - электрическая
соединительная линия в АСПС между АПКП и АПИ. Дежурный режим -
стационарный режим работы АСПС после снятия всех поступивших на АПКП сигналов,
в котором АСПС в целом и ее компоненты способны принять и передать сигналы
"Пожар" и "Неисправность". Режим "ПОЖАР" -
режим работы АСПС после поступления на АПКП сигнала "Пожар". Режим
"НЕИСПРАВНОСТЬ" - режим работы АСПС после поступления на АПКП сигнала
"Неисправность". Режим "РЕЗЕРВ" -
дежурный режим работы АСПС с электрическим питанием от резервного источника
после отключения основного источника питания. Режим "РАЗРЯД" -
дежурный режим работы АСПС с электрическим питанием от основного источника
питания после отключения, выхода из строя или разряда ниже нормы резервного
источника питания. УПА - установка пожарной
автоматики. Устойчивость АСПС -
возможность АСПС сохранять работоспособность при различных воздействиях
окружающей среды. Прочность АСПС - возможность
АСПС сохранять работоспособность после различных воздействий окружающей среды. 3. КлассификацияПо максимальному количеству
подключаемых АПИ АСПС подразделяются на три категории. По способу передачи
информации о пожароопасной ситуации в защищаемых помещениях АСПС подразделяются
на аналоговые, дискретные и комбинированные. Условное обозначение АСПС
должно состоять из аббревиатуры наименования и трех групп цифр, разделенных
дефисом. Структура условного обозначения АСПС представлена в табл. 1. Первая группа цифр
обозначает регистрационный номер АСПС, который присваивается в установленном порядке при согласовании
технических условий с органами управления ГПС или перед проведением
сертификационных испытаний АСПС. Первая цифра второй группы
обозначает категорию АСПС по максимально возможному количеству подключаемых
АПИ. Таблица 1
Вторая цифра второй группы
обозначает способ передачи информации о пожароопасной ситуации в защищаемом
помещении. Цифре 1 соответствует дискретный способ с принятием решения о
возникновении пожара в АПИ (да, нет). Цифре 2 соответствует аналоговый способ,
при котором АПИ передает количественную характеристику контролируемого фактора
пожара, с принятием решения о возникновении пожара в АПКП. Цифре 3
соответствует комбинированный или иной способ передачи информации и принятия
решения о возникновении пожара. Первая цифра третьей группы
обозначает наличие или отсутствие в АСПС дымовых АПИ: цифра 0 - дымовые АПИ
отсутствуют; цифра 1 - дымовые оптические АПИ имеются; цифра 2 - дымовые
радиоизотопные АПИ имеются; цифра 3 - оптические и радиоизотопные дымовые АПИ
имеются; цифра 4 - дымовые АПИ иного принципа действия имеются; цифра 5 - иная
комбинация дымовых АПИ имеется. Вторая цифра третьей группы
обозначает наличие или отсутствие в АСПС тепловых АПИ: цифра 0 - тепловые АПИ
отсутствуют; цифра 1 - тепловые АПИ максимального действия имеются; цифра 2 -
тепловые АПИ максимально дифференциального действия имеются; цифра 3 - тепловые
АПИ и АПИ максимального и максимально дифференциального действия имеются; цифра
4 - тепловые АПИ, совмещенные с АПИ другого типа, имеются; цифра 5 -иная
комбинация тепловых АПИ имеется. Третья цифра третьей группы
обозначает наличие или отсутствие в АСПС ручных АПИ: цифра 0 - ручные АПИ
отсутствуют; цифра 1 - ручные АПИ имеются. Четвертая цифра третьей
группы обозначает наличие или отсутствие в АСПС АПИ пламени: цифра 0 - АПИ пламени
отсутствуют; цифра 1 - АПИ пламени, реагирующие на излучение открытого пламени
в инфракрасном диапазоне спектра, имеются; цифра 2 - АПИ пламени, реагирующие
на излучение открытого пламени в ультрафиолетовом диапазоне спектра, имеются;
цифра 3 - АПИ пламени, реагирующие на излучение открытого пламени в ином
спектральном диапазоне, имеются. Условное обозначение АСПС с
регистрационным номером 12, с аналоговым способом передачи информации, в состав
которой входят АПИ; дымовые оптико-электронные, дымовые радиоизотопные, ручные
с общим максимальным количеством 256 шт., показано на примере АСПС 12-22-3010 4. Общие технические требованияАСПС должна соответствовать
требованиям настоящих норм и технических условий на конкретную АСПС, введенных
в установленном порядке и согласованных с ГПС. 4.1. Общие требования назначения
4.1.1. АСПС должна перейти в
режим "ПОЖАР" при превышении в защищаемом помещении (в месте
установки АПИ) количественной величины контролируемого фактора пожара порога
срабатывания АПИ, входящего в состав АСПС (или запрограммированного порога
срабатывания всей системы для аналоговой АСПС), а также при включении ручного
АПИ. 4.1.2. АПИ должен иметь
встроенный оптический индикатор красного цвета, индицирующий режим передачи
извещения "Пожар" и возвращающийся в исходное состояние при переходе
АСПС в дежурный режим. 4.1.3. АСПС должна
автоматически обеспечивать визуальное отображение кодов адресов (далее -
номеров) АПИ, от которых поступил сигнал "Пожар". Общее количество
отображаемых одновременно или поочередно номеров АПИ, от которых поступил
сигнал "Пожар", должно быть не менее 10. 4.1.5. АСПС должна
обеспечивать автоматическую дистанционную проверку работоспособности АПИ с
визуальным отображением номеров отказавших АПИ. Отказом является выход из строя
любого составного элемента электрической схемы АПИ, нарушающий его
работоспособность, или выход из строя шлейфа, нарушающий процесс обмена
информацией между АПКП и АПИ. При наличии в АСПС АПИ,
совмещающих несколько принципов обнаружения пожара, допускается проверка
работоспособности по любому из его принципов обнаружения. 4.1.6. Интервал времени с
момента отказа АПИ до момента появления информации на АПКП об этом событии
должен быть не более 2 ч. 4.1.7. АСПС должна
обеспечивать при помощи контактов реле транслирование электрических сигналов
"Пожар" и "Неисправность", а также включение сигнала на
пуск УПА. 4.1.8. АСПС должна иметь
возможность программирования автоматического включения сигнала на пуск УПА по
логике m из n, где m ³ 2 - количество АПИ, от
которых поступили сигналы "Пожар", а n ³ 3 - количество АПИ в
программируемой группе. 4.1.9. АСПС должна иметь
возможность ручного дистанционного включения сигнала пуска УПА. 4.1.10. АСПС должна иметь
защиту от случайного включения сигнала пуска УПА. 4.1.11. АСПС должна иметь
автономный резервный источник электрического питания с автоматическим контролем
его исправности. При использовании в качестве резервного источника питания
аккумуляторной батареи при работе АСПС должен обеспечиваться ее подзаряд. Время
непрерывной работы АСПС в дежурном режиме от неразряженного резервного
источника должно быть не менее 24 ч. 4.1.13. При поступлении от
АПИ сигнала "Пожар" на АПКП должен включиться оптический индикатор
"Пожар" красного цвета и двухтональный звуковой сигнал
"Пожар". 4.1.15. Включение сигнала
пуска УПА должно сопровождаться включением соответствующего оптического
индикатора красного цвета или включением оптического индикатора по п. 4.1.14
настоящих норм в ином режиме. 4.1.16. Поступление сигнала
"Неисправность" должно сопровождаться включением соответствующего
оптического индикатора (кроме красного цвета) и звуковой сигнализации, отличной
от режима "ПОЖАР". 4.1.17. АСПС (после
отключения основного источника электрического питания) должна перейти в режим
"РЕЗЕРВ" с автоматическим переключением на электрическое питание от
резервного источника с включением звуковой сигнализации, отличной от режимов
"ПОЖАР" и "НЕИСПРАВНОСТЬ", и соответствующего оптического
индикатора (кроме красного цвета) или с включением оптического индикатора по п.
4.1.12
настоящих норм в ином режиме. 4.1.18. АСПС (после
отключения, выхода из строя или разряда ниже нормы резервного источника
электрического питания) должна перейти в режим "РАЗРЯД" с включением
соответствующего оптического индикатора (кроме красного цвета) и звуковой
сигнализации, отличной от режимов "ПОЖАР", "НЕИСПРАВНОСТЬ"
и "РЕЗЕРВ". При переходе в режим "РАЗРЯД", вызванном
периодическим контролем состояния резервного источника электрического питания,
интервал времени между контролем должен быть не более 2 ч, а звуковой сигнал
может быть кратковременным. 4.1.19. Для отключения
звуковых сигналов органы управления АПКП должны содержать кнопку без фиксации
или кнопку с фиксацией с оптической индикацией ее положения, соответствующего
режиму отключения звуковых сигналов. 4.1.20. Органы управления
АПКП должны содержать кнопку без фиксации для оперативного отключения всех
поступивших сигналов с сохранением информации по п.п. 4.1.4, 4.4.3 настоящих
норм. 4.1.21. В АСПС оптические,
звуковые и электрические сигналы "Пожар" должны обладать приоритетом
по отношению к другим сигналам. Допускается одновременное наличие на АПКП
различных сигналов при приоритетном восприятии и отображении поступившего
сигнала "Пожар". 4.2. Требования назначения к АСПС первой категории
4.2.1. Минимальная
конфигурация периферии шлейфа АСПС должна содержать дымовой АПИ. 4.2.2. Органы
программирования в АСПС должны быть защищены от несанкционированного доступа. 4.3. Требования назначения к АСПС второй категории
4.3.1. АСПС должна иметь в
своем составе выносной звуковой пожарный оповещатель, а минимальная
конфигурация периферии шлейфа должна содержать дымовой и ручной АПИ. 4.3.2. Визуальное
отображение номеров АПИ, от которых поступил сигнал "Пожар", должно
содержать информацию об очередности поступления сигнала. 4.3.3. Органы
программирования и управления в АСПС, кроме отключения звука на АПКП, должны
быть защищены от несанкционированного доступа. 4.4. Требования назначения к АСПС третьей категории
4.4.1. АСПС должна иметь в
своем составе выносной звуковой пожарный оповещатель и выносной дублирующий
дисплей со звуковой сигнализацией, отображающий номера АПИ, от которых поступил
сигнал "Пожар", а минимальная конфигурация периферии шлейфа должна
содержать дымовой, тепловой и ручной АПИ. 4.4.2. Визуальное
отображение номеров АПИ, от которых поступил сигнал "Пожар", должно
содержать информацию о времени поступления сигнала. 4.4.4. Органы
программирования и управления в АСПС должны быть защищены от
несанкционированного доступа. 4.5. Характеристики
Интервал времени с момента
включения ручного АПИ до перехода АСПС в режим "ПОЖАР" должен быть не
более 10 с. 4.5.5.
АСПС должна быть прочной к воздействию окружающей среды с температурой минус 40
°С. Тепловые АПИ, входящие в
состав АСПС, по устойчивости к воздействию окружающей среды с повышенной
температурой должны удовлетворять требованиям соответствующего стандарта или
НПБ на пожарные извещатели. форма ударного импульса -
полусинусоида; длительность ударного
импульса - 6 мс; пиковое ускорение (100-20М)
д, где М - масса, кг, составной части АСПС; число направлений - 6; число импульсов в каждом
направлении - 3. На компоненты АСПС, имеющие
массу более 4,75 кг, данное требование не распространяется. 4.5.14.
Радиоизотопные дымовые АПИ должны быть устойчивыми к воздействию воздушного
потока со скоростью 5 м/с в соответствии с требованиями ГОСТ 22522-91. 4.5.16.
По устойчивости к электрическим помехам в цепи основного источника электрического
питания и по электромагнитной совместимости АСПС должна соответствовать
требованиям ГОСТ Р 50009-92 или требованиям НПБ на устойчивость технических средств пожарной
сигнализации к индустриальным радиопомехам. 4.5.17.
Вероятность безотказной работы АСПС за время 2 ч должна быть не менее ЕХР [-(10-4
+ N×10-5)], где N - сумма максимального
количества подключаемых АПИ и количества, иных электронных блоков, подключаемых
к шлейфу. Для произвольного интервала
времени t ч безусловная вероятность безотказной работы АСПС
должна быть не менее Р (t) = ЕХР [-t×(5×10-5 + N×5×10-6)]. 4.5.18.
Срок службы АСПС должен быть не менее 10 лет. 4.6. Комплектность
Комплект поставки АСПС
должен содержать необходимые детали (кроме кабельных изделий, предназначенных
для выполнения шлейфа и электрического соединения АПКП с выносным дублирующим
дисплеем и выносным звуковым пожарным оповещателем), нестандартный инструмент и
текстовую эксплуатационную техническую документацию, обеспечивающую монтаж,
проведение пусконаладочных работ и эксплуатацию АСПС. 4.7. Маркировка
4.7.1. Маркировка
компонентов АСПС должна содержать: условное обозначение в
соответствии с разделом 3 настоящих норм; указание соответствия АСПС
требованиям настоящих норм; указание: "Сделано в
России"; товарный знак
предприятия-изготовителя; порядковый номер по системе
нумерации изготовителя; год и месяц изготовления. 4.7.2. Маркировка
потребительской тары должна содержать: наименование; условное обозначение в
соответствии с разделом 3 настоящих норм; товарный знак
предприятия-изготовителя; комплект содержимого в
упаковке; год и месяц упаковывания. 4.7.3. Маркировка
транспортной тары должна содержать манипуляционные знаки: "Осторожно,
хрупкое!"., "Боится сырости", "Верх, не кантовать". 4.8. Упаковка
4.8.1. Компоненты АСПС
должны быть упакованы в потребительскую тару в соответствии с требованиями ГОСТ
9.014-78. 4.8.2. Комплект поставки
АСПС должен быть упакован в транспортную тару в целях защиты системы от
повреждений при транспортировании и хранении. 5. Требования безопасности5.1.
Компоненты АСПС должны быть безопасными для обслуживающего персонала и
окружающих людей при монтаже, эксплуатации, ремонте и регламентных работах в
соответствии с требованиями ГОСТ 12.2.003-91 и ГОСТ 12.2.007.0-75. 5.2. Компоненты АСПС должны
быть пожаробезопасными в соответствии с требованиями ГОСТ
12.2.007.0-75 при условии правильности их монтажа, эксплуатации и
обслуживания. 5.3. АПКП АСПС должен иметь
клемму защитного заземления "Земля" или подключение основного
источника электрического питания должно осуществляться через трехполюсный соединитель
с заземляющим проводником. 5.4. Электрическое
сопротивление изоляции между соединенными клеммами для основного источника
электрического питания "~220 В" и заземляющим проводником должно быть
не менее 20 МОм. 5.5. Электрическая изоляция
между соединенными клеммами для основного источника электрического питания
"~220 В" и заземляющим проводником должна выдерживать в течение 1 мин
без пробоя и поверхностного разряда испытательное напряжение 1500 В
синусоидальной формы частотой 50 Гц. 6. Методы испытанийМетоды испытаний требований
назначения (п.п. 4.1-4.4 настоящих норм), характеристик (п.п. 4.5.1, 4.5.9, 4.5.13,
4.5.14,
4.5.16,
4.5.18
настоящих норм), комплектности (п. 4.6 настоящих норм), маркировки
(п. 4.7
настоящих норм), упаковки (п. 4.8 настоящих норм) и требований безопасности
(п.п. 5.1-5.6
настоящих норм) должны быть изложены в технических условиях на конкретную АСПС
в соответствии с требованиями соответствующих стандартов и других действующих
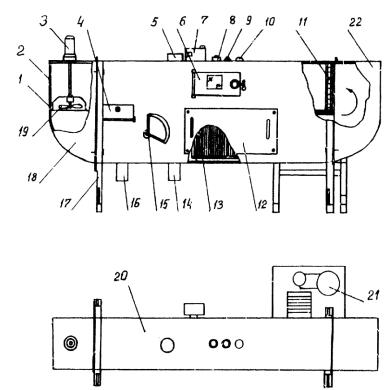
нормативных документов. Схема и технические данные
испытательного стенда "ТЕПЛОВОЙ - ДЫМОВОЙ КАНАЛ" для проверки
соответствия чувствительности и инерционности дымовых и тепловых АПИ
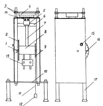
требованиям настоящих норм представлены в прил. 1. Схема и технические данные
испытательного стенда "ПРЯМОЙ УДАР" для проверки устойчивости АПИ к
воздействию прямого механического удара представлены в прил. 2. Все испытания, если они не оговорены
соответствующими пунктами настоящих норм, следует проводить в нормальных
климатических условиях; температура окружающей
среды, °С 23 ± 5; относительная влажность, %
от 45 до 80; атмосферное давление, кПа от
84 до 106,7 (630-800 мм рт. ст.). Допуск изменения
количественного значения физических величин при испытаниях, если он не оговорен
дополнительно, должен составлять не более 5 % от номинальных величин. 6.1. Методы испытаний характеристик
6.1.1 Интервал времени
перехода АСПС в режим "ПОЖАР" (п. 4.5.2 настоящих норм)
проверять при проведении контроля чувствительности по п. 4.5.1
настоящих норм на одном АПИ посредством измерения интервала времени с момента
начала воздействия на АПИ контролируемого фактора пожара с количественной
величиной, составляющей 150 % порога срабатывания, или с момента включения
ручного АПИ до самого позднего из последующих информационных событий на АПКП: включение оптического индикатора
"Пожар"; включение звукового сигнала
"Пожар"; замыкание контактов реле
"Пожар". АСПС считается выдержавшей
испытания, если интервал времени не превышает 10 с. 6.1.2. Проверку
работоспособности АСПС с предельными параметрами шлейфа (п. 4.5.3
настоящих норм) проводить путем включения максимального количества АПИ без
одного АПИ в начале шлейфа и одного АПИ в конце шлейфа. Количество АПИ в группе
можно уменьшать до величины не менее 10 шт., обеспечив в конце шлейфа
необходимую компенсацию уменьшения токопотребления. Шлейф должен состоять из не
менее 10 одинаковых RC ячеек, имитирующих распределенные по шлейфу
сопротивление и емкость необходимой величины, а в конце шлейфа должен быть
установлен резистор с величиной сопротивления 50 кОм. Включить АСПС в дежурном
режиме на время не менее 2 ч. Поменять местами одиночный АПИ с группой АПИ и
включить АСПС в дежурном режиме на время не менее 2 ч. АСПС считается выдержавшей
испытания, если во включенном состоянии осуществляется автоматическая проверка
работоспособности и отсутствуют сигналы "Пожар" и
"Неисправность". 6.1.3. Проверку
работоспособности АСПС при воздействии окружающей среды с пониженной
температурой (п. 4.5.4 настоящих норм) проводить в соответствии с
методом испытаний Аb ГОСТ 28199-89 следующим образом: внести АСПС (кроме АПКП) в
первую камеру, а АПКП во вторую камеру, показатели температуры в которых
соответствуют температуре внешней среды; повысить температуру в
первой камере до величины минус (10 ± 3) °С, а во второй камере (0 ±
2) °С; включить АСПС с
электрическим питанием от основного и резервного источников и поддерживать
температуру в камере в тех же пределах в течение 16 ч; отключить основной источник
электрического питания и продолжить поддерживать температуру в камере в тех же
пределах в течение 2 ч; после окончания выдержки
отключить электрическое питание АСПС и температуру в камерах снизить до
значения, находящегося в пределах нормальных атмосферных условий. АСПС считается выдержавшей
испытания, если при отключении основного источника питания АСПС переходит на
электрическое питание от резервного источника и на АПКП появляется
соответствующая информация, а во включенном состоянии осуществляется
автоматическая проверка работоспособности и отсутствуют сигналы
"Пожар", "Неисправность" и "Разряд". Допускается поочередное
испытание АПКП и остальных компонентов АСПС в одной камере. При этом компоненты
АСПС вне камеры должны находиться в нормальных климатических условиях. 6.1.4. Проверку прочности
АСПС к воздействию окружающей среды с пониженной температурой (п. 4.5.5
настоящих норм) проводить в соответствии с методом испытаний Аb ГОСТ
28199-89 следующим образом: внести АСПС в камеру,
температура в которой соответствует температуре внешней среды; понизить температуру в
камере до величины минус (40 ± 3) °С; поддерживать температуру в
указанных пределах в течение 16 ч; после окончания выдержки
температуру в камере повысить до значения, находящегося в пределах нормальных
атмосферных условий; извлечь АСПС из камеры и
выдержать при нормальных атмосферных условиях в течение 1 ч; включить АСПС с
электрическим питанием от основного и резервного источников и выдержать в
течение 2 ч; отключить основной источник
электрического питания и выдержать в течение 2 ч. АСПС считается выдержавшей
испытания, если при отключении основного источника питания АСПС переходит на
электрическое питание от резервного источника и на АПКП появляется
соответствующая информация, а во включенном состоянии осуществляется
автоматическая проверка работоспособности и отсутствуют сигналы
"Пожар", "Неисправность" и "Разряд". 6.1.5. Проверку
работоспособности АСПС при воздействии окружающей среды с повышенной
температурой (п. 4.5.6 настоящих норм) проводить в соответствии с
методом испытаний Вb ГОСТ 28200-89 следующим образом: внести АСПС (кроме АПКП) в
первую камеру, а АПКП во вторую камеру, показатели температуры в которых
соответствуют температуре внешней среды; повысить температуру в
первой камере до величины (55 ± 2) °С, а во второй камере (50 ± 2) °С; включить АСПС с
электрическим питанием от основного и резервного источников и поддерживать
температуру в камере в тех же пределах в течение 2 ч; отключить основной источник
электрического питания и продолжить поддерживать температуру в камере в тех же
пределах в течение 2 ч; после окончания выдержки отключить
электрическое питание АСПС и температуру в камерах снизить до значения,
находящегося в пределах нормальных атмосферных условий. АСПС считается выдержавшей
испытания, если при отключении основного источника питания АСПС переходит на
электрическое питание от резервного источника и на АПКП появляется
соответствующая информация, а во включенном состоянии осуществляется
автоматическая проверка работоспособности и отсутствуют сигналы
"Пожар", "Неисправность" и "Разряд". Допускается поочередное
испытание АПКП и остальных компонентов АСПС в одной камере. При этом компоненты
АСПС вне камеры должны находиться в нормальных климатических условиях. 6.1.6. Проверку
работоспособности АСПС в условиях воздействия окружающей среды с повышенной
влажностью (п. 4.5.7 настоящих норм) проводить в соответствии с
методами испытаний ГОСТ 28201-89 следующим образом: внести АСПС в камеру в
нормальном эксплуатационном положении; довести относительную
влажность в камере до значения (93 ± 3) % при температуре (40 ± 2) °С; включить АСПС с
электрическим питанием от основного и резервного источников и выдержать при
данных условиях в течение 4 суток; перед окончанием испытаний
отключить основной источник электрического питания. АСПС считается выдержавшей
испытания, если при отключении основного источника АСПС переходит на
электрическое питание от резервного источника и на АПКП появляется
соответствующая информация, а в процессе всего испытания осуществляется
автоматическая проверка работоспособности и отсутствуют сигналы
"Пожар", "Неисправность" и "Разряд". 6.1.7 Проверку прочности
АСПС к воздействию окружающей среды с повышенной влажностью (п. 4.5.8
настоящих норм) проводить в соответствии с методом испытаний ГОСТ 28201-89
следующим образом: внести АСПС в камеру; довести относительную
влажность в камере до значения (93 ± 3) % при температуре (40 ± 2) °С; поддерживать влажность и
температуру в камере в заданных пределах в течение 21 суток; извлечь АСПС из камеры и
выдержать при нормальных атмосферных условиях в течение 1 ч; включить АСПС с
электрическим питанием от основного и резервного источников и выдержать в
течение 2 ч; отключить основной источник
электрического питания и выдержать в течение 2 ч. АСПС считается выдержавшей
испытания, если при отключении основного источника питания АСПС переходит на
электрическое питание от резервного источника и на АПКП появляется
соответствующая информация, а во включенном состоянии осуществляется автоматическая
проверка работоспособности и отсутствуют сигналы "Пожар",
"Неисправность" и "Разряд". 6.1.8. Проверку устойчивости
АСПС к воздействию механических ударов (п. 4.5.10 настоящих норм)
проводить в соответствии с методами испытаний ГОСТ 28213-89 следующим образом: визуально осмотреть
составные части АСПС и убедиться в отсутствии механических повреждений; для каждой составной части
АСПС, находящейся во включенном состоянии, поочередно приложить 3 последовательных удара в б направлениях по трем
взаимно перпендикулярным осям с параметрами, указанными в п. 4.5.10
настоящих норм; провести проверку
работоспособности АСПС; визуально осмотреть
составные части АСПС и убедиться в отсутствии механических повреждений. АСПС считается выдержавшей
испытания, если при их проведении отсутствуют сигналы "Пожар",
"Неисправность" и "Разряд", а после испытаний система
сохраняет работоспособность и отсутствуют механические повреждения составных
частей АСПС. 6.1.9.
Проверку работоспособности АСПС в условиях воздействия вибрации (п. 4.5.11 настоящих норм) проводить в
соответствии с методами испытаний ГОСТ 28203-89 следующим образом: визуально осмотреть
компоненты АСПС и убедиться в отсутствии механических повреждений; подвергнуть АСПС в целом или
ее компоненты поочередно (во включенном состоянии) воздействию вибрации с
параметрами, указанными в п. 4.5.11 настоящих норм по 1 циклу в трех взаимно
перпендикулярных направлениях, причем одна из осей должна быть перпендикулярна
к нормальной плоскости монтажа; в конце испытаний, при
расположении оси направления вибрации перпендикулярно нормальной плоскости
монтажа, установить частоту вибрации 50 Гц и провести проверку
работоспособности АСПС; после испытаний визуально
осмотреть составные части АСПС и убедиться в отсутствии механических
повреждений. АСПС считается выдержавшей испытания,
если при их проведении сохраняется работоспособность системы и отсутствуют
сигналы "Пожар", "Неисправность" и "Разряд", а
после испытаний отсутствуют механические повреждения компонентов АСПС. 6.1.10. Проверку прочности
АСПС к воздействию вибрации (п. 4.5.12 настоящих норм) проводить в соответствии
с методами испытаний ГОСТ 28203-89 следующим образом: визуально осмотреть
компоненты АСПС и убедиться в отсутствии механических повреждений; подвергнуть АСПС в целом или
ее компоненты поочередно воздействию вибрации с параметрами, указанными в п. 4.5.12
настоящих норм по 20 циклов в трех взаимно перпендикулярных направлениях,
соответствующих направлениям по п. 6.1.9 настоящих норм; после испытаний визуально
осмотреть составные части АСПС и убедиться в отсутствии механических
повреждений; включить АСПС с
электрическим питанием от основного и резервного источников и выдержать в
течение 2 ч; отключить основной источник
электрического питания и выдержать в течение 2 ч. АСПС считается выдержавшей
испытания, если отсутствуют механические повреждения, при отключении основного
источника питания АСПС переходит на электрическое питание от резервного
источника и на АПКП появилась соответствующая информация, а во включенном
состоянии осуществляется автоматическая проверка работоспособности и
отсутствуют сигналы Пожар", "Неисправность" и "Разряд". 6.1.11. Проверку работоспособности
АСПС при электрическом питании от однофазной сети переменного тока при крайних
значениях диапазона напряжения (п. 4.5.15 настоящих норм)
проводить следующим образом: включить АСПС с максимальным
количеством АПИ с электрическим питанием от основного и резервного источников
питания (количество АПИ допускается уменьшать до 10 шт., обеспечив в шлейфе
компенсацию уменьшения потребления тока); увеличить напряжение
основного источника питания до (242 + 5) В и выдержать в течение 2 ч; снизить напряжение основного
источника питания до (187 - 4) В и выдержать в течение 2 ч. АСПС считается выдержавшей
испытания, если при их проведении осуществляется автоматическая проверка
работоспособности, отсутствуют сигналы "Пожар",
"Неисправность" и "Разряд", а АСПС не переходит в режим
"РЕЗЕРВ". 6.1.12. Проверку вероятности
безотказной работы АСПС (п. 4.5.17 настоящих норм) проводить в соответствии
с требованиями ГОСТ 27.410-87 одноступенчатым методом с ограниченной
продолжительностью испытаний при наблюдаемом риске поставщика, равном риску
потребителя и равными 0,2, и с браковочным уровнем вероятности безотказной
работы, определяемым по п. 4.5.17 настоящих норм. Объем выборки
определяется исходя из приемочного уровня вероятности безотказной работы и
времени испытаний по табл. 35 ГОСТ 27.410-87. Испытаниям на надежность
должны подвергаться АСПС, прошедшие приемо-сдаточные испытания. Формирование
выборки должно осуществляться методом случайного отбора. При испытаниях АСПС должны
находиться в дежурном режиме. Электрическое питание АСПС не менее 24 ч должно
осуществляться от резервного источника электрического питания. АСПС считается выдержавшей
испытания на надежность, если при их проведении отсутствуют сигналы
"Пожар", "Неисправность" и "Разряд", после
испытаний АСПС сохраняет работоспособность, а чувствительность и инерционность
АПИ соответствуют требованиям технических условий. 7. Транспортирование и хранение7.1 Транспортирование АСПС в
транспортной упаковке должно осуществляться всеми видами наземного транспорта в
закрытых транспортных средствах. 7.2. АСПС в упакованном виде
должны храниться в крытых складских помещениях, обеспечивающих защиту от
влияния влаги, солнечной радиации, вредных испарений и плесени. Температурный
режим хранения должен соответствовать условиям хранения 2 по ГОСТ
15150-69. 8. Гарантии изготовителя8.1. Изготовитель должен
гарантировать соответствие АСПС требованиям настоящих норм и технических
условий при соблюдении потребителем требований транспортирования, хранения,
монтажа и эксплуатации. 8.2. Гарантийный срок
эксплуатации АСПС должен быть не менее 18 месяцев. Приложение 1
| ||||||||||||||||||||||||||||||||||||||||||||||||||||||||||||||||||
|
|
|
|