
ГОСУДАРСТВЕННЫЙ СТАНДАРТ СОЮЗА ССР
ПЛИТЫ ПЕРЕКРЫТИЙ ЖЕЛЕЗОБЕТОННЫЕ РЕБРИСТЫЕ ВЫСОТОЙ 300 мм
ДЛЯ ЗДАНИЙ И СООРУЖЕНИЙ
ТЕХНИЧЕСКИЕ УСЛОВИЯ
ГОСТ 21506-87
ГОСУДАРСТВЕННЫЙ КОМИТЕТ СССР
ПО СТРОИТЕЛЬСТВУ И ИНВЕСТИЦИЯМ
Москва
ГОСУДАРСТВЕННЫЙ
СТАНДАРТ СОЮЗА ССР
|
ПЛИТЫ ПЕРЕКРЫТИЙ ЖЕЛЕЗОБЕТОННЫЕ
РЕБРИСТЫЕ ВЫСОТОЙ 300 мм
ДЛЯ ЗДАНИЙ И СООРУЖЕНИЙ
Технические условия
Reinforced
concrete ribbed floor slabs
of 300 mm depth for buildings and structures.
Specifications
|
ГОСТ
21506-87
|
Дата введения 01.01.88
Настоящий стандарт
распространяется на железобетонные предварительно напряженные ребристые плиты
высотой 300 мм, изготовляемые из тяжелого или легкого бетона и предназначенные
для перекрытий многоэтажных общественных зданий, производственных и
вспомогательных зданий промышленных предприятий и сооружений различного
назначения с шагом несущих конструкций 6 м.
Плиты применяют:
для отапливаемых и
неотапливаемых зданий, сооружений и на открытом воздухе при расчетной
температуре наружного воздуха (средней температуре воздуха наиболее холодной
пятидневки района строительства согласно СНиП 2.01.01-82) до минус 40 °С включ.;
в условиях систематического
воздействия технологических температур до 50 °С включ.;
при неагрессивной, слабо- и
среднеагрессивной степенях воздействия газообразной среды на железобетонные
конструкции;
для зданий и сооружений,
возводимых в несейсмических и сейсмических районах (при расчетной сейсмичности
до 9 баллов включ.).
Допускается применять плиты в
неотапливаемых зданиях и сооружениях и на открытом воздухе при расчетной
температуре наружного воздуха ниже минус 40 °С, а также в условиях
систематического воздействия технологических температур выше 50 °С при
соблюдении дополнительных требований, установленных проектной документацией
конкретного здания или сооружения (согласно требованиям СНиП 2.03.01-84 и СНиП
2.03.04-84) и указанных в заказе на изготовление плит.
1.1. Плиты следует изготовлять в
соответствии с требованиями настоящего стандарта и технологической
документации, утвержденной в установленном порядке, по рабочим чертежам серии
1.042.1-4.
1.2. Основные параметры и размеры.
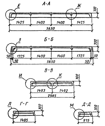
1.2.1. Форма и основные размеры
плит должны соответствовать указанным на черт. 1 - 3 и в табл. 1.
1.2.2. Основные параметры плит
должны соответствовать указанным:
в табл. 2 - для плит, предназначенных
для эксплуатации в газообразных средах с неагрессивной степенью воздействия;
в табл. 3 - для плит, предназначенных
для эксплуатации в газообразных средах со слабо- и среднеагрессивными степенями
воздействия;
в обязательном приложении - для
плит с напрягаемой арматурой сталью класса А-IIIв.
1.2.3. В
случаях, предусмотренных проектной документацией на конкретное здание или
сооружение, плиты могут иметь отверстия и вырезы в полках, углубления на
наружных гранях продольных ребер для устройства бетонных шпонок между смежными
плитами, а также дополнительные закладные изделия.
1.2.4.
Буквенно-цифровые группы в марках плит, приведенных в табл. 2,
3
и обязательном приложении, содержат следующие обозначения основных
характеристик плит:
первая группа - типоразмер
плиты: наименование конструкции и порядковый номер ее типоразмера (табл. 1);
вторая группа - несущая
способность плиты, класс напрягаемой арматуры стали и вид бетона (для плит,
изготовляемых из легкого бетона, добавляют прописную букву Л);
третья группа - наличие
отверстий диаметрами 400, 700 и 1000 мм для пропуска вентиляционных шахт или
установки крышных вентиляторов (обозначаемых соответственно 1, 2 и 3).
Пример условного обозначения (марки) плиты типоразмера П2, первой
несущей способности, с напрягаемой арматурной сталью класса Ат-V, изготовленной из тяжелого
бетона, предназначенной для эксплуатации в неагрессивной среде, с круглым отверстием
диаметром 700 мм:
П2-1АтV-2
То же, плиты типоразмера П1,
третьей несущей способности, с напрягаемой арматурной сталью класса А-IV, изготовленной из легкого бетона нормальной
проницаемости:
П1-3АIVЛ-Н



Черт.
1

Черт.
2

Черт.
3
Таблица 1
|
Типоразмер
плиты
|
Основные размеры плиты, мм
|
Масса плиты (справочная), т
|
Назначение плиты
|
|
Длина
|
Ширина
|
|
П1
|
5650
|
2985
|
3,85 (3,08)
|
Рядовые
|
|
П2
|
5650
|
1485
|
1,90 (1,52)
|
Рядовые и межколонные
|
|
П3
|
5650
|
935
|
1,45 (1,16)
|
Межколонные пристенные
|
Примечание. Масса плиты приведена без скобок для тяжелого бетона
средней плотности 2500 кг/м3, в скобках - для легкого бетона средней
плотности 2000 кг/м3.
Таблица 2
|
Класс
напрягаемой арматуры
|
Марка плиты
|
Равномерно
распределенная нагрузка на плиту при коэффициенте надежности по нагрузке
|
Напрягаемая
арматура
|
Класс бетона по
прочности на сжатие
|
Передаточная
прочность бетона, МПа
|
Предварительное
напряжение в арматуре до обжатия бетона
|
Расход
материалов
|
|

|

|
в крайнем ребре
|
в среднем ребре
|
МПа
|
кгс/см2
|
Бетон, м3
|
Сталь, кг
|
|
Па
|
кгс/м2
|
Па
|
кгс/м2
|
|
Ат-V
|
П1-1АтV
|
4900
|
500
|
5880
|
600
|
1Ø12
|
2Ø12
|
В22,5
|
16
|
540
|
5500
|
1,54
|
100,0
|
|
П1-2АтV
|
7350
|
750
|
8820
|
900
|
1Ø14
|
2Ø14
|
112,0
|
|
П1-3АтV
|
9900
|
1010
|
11960
|
1220
|
1Ø16
|
2Ø16
|
В27,5
|
19
|
123,8
|
|
П1-4АтV
|
12750
|
1300
|
15390
|
1570
|
1Ø18
|
2Ø18
|
138,9
|
|
П1-5АтV
|
16180
|
1650
|
19410
|
1980
|
1Ø20
|
2Ø20
|
В30
|
21
|
149,3
|
|
П1-6АтV
|
19610
|
2000
|
23630
|
2410
|
1Ø22
|
2Ø22
|
184,9
|
|
П1-7AтV
|
24810
|
2530
|
29810
|
3040
|
1Ø25
|
2Ø25
|
В40
|
28
|
590
|
6000
|
204,5
|
|
П1-1АтVЛ
|
5190
|
530
|
6270
|
640
|
1Ø12
|
2Ø12
|
В22,5
|
16
|
540
|
5500
|
100,0
|
|
П1-2АтVЛ
|
7650
|
780
|
9210
|
940
|
1Ø14
|
2Ø14
|
112,0
|
|
П1-3АтVЛ
|
10290
|
1050
|
12350
|
1260
|
1Ø16
|
2Ø16
|
В27,5
|
19
|
123,8
|
|
П1-4АтVЛ
|
13140
|
1340
|
15780
|
1610
|
1Ø18
|
2Ø18
|
138,9
|
|
П1-5АтVЛ
|
16180
|
1650
|
19410
|
1980
|
1Ø20
|
2Ø20
|
В30
|
21
|
149,3
|
|
П1-6АтVЛ
|
19120
|
1950
|
22940
|
2340
|
1Ø22
|
2Ø22
|
184,9
|
|
П2-1АтV
|
4900
|
500
|
5880
|
600
|
1Ø12
|
-
|
В22,5
|
16
|
0,76
|
48,6
|
|
П2-1АтV-1
|
0,84
|
70,3
|
|
П2-1АтV-2
|
0,83
|
71,1
|
|
П2-1АтV-3
|
4900
|
500
|
5880
|
600
|
1Ø12
|
-
|
В22,5
|
16
|
0,79
|
78,6
|
|
П2-2AтV
|
7350
|
750
|
8820
|
900
|
1Ø14
|
-
|
0,76
|
54,2
|
|
П2-3АтV
|
9900
|
1010
|
11960
|
1220
|
1Ø16
|
-
|
В27,5
|
19
|
60,1
|
|
П2-4АтV
|
12750
|
1300
|
15390
|
1570
|
1Ø18
|
-
|
0,76
|
66,9
|
|
П2-5АтV
|
16180
|
1650
|
19410
|
1980
|
1Ø20
|
|
В30
|
21
|
72,1
|
|
П2-6АтV
|
19610
|
2000
|
23630
|
2410
|
1Ø22
|
|
87,1
|
|
П2-7АтV
|
24810
|
2530
|
29810
|
3040
|
1Ø25
|
|
В40
|
28
|
590
|
6000
|
96,9
|
|
П2-8АтV
|
26770
|
2730
|
32160
|
3280
|
2Ø20
|
|
640
|
6500
|
117,3
|
|
П2-1АтVЛ
|
5190
|
530
|
6270
|
640
|
1Ø12
|
-
|
В22,5
|
16
|
540
|
5500
|
48,6
|
|
П2-1АтVЛ-1
|
0,84
|
70,3
|
|
П2-1АтVЛ-2
|
0,83
|
71,1
|
|
П2-1АтVЛ-3
|
0,79
|
78,6
|
|
П2-2АтVЛ
|
7650
|
780
|
9210
|
940
|
1Ø14
|
-
|
0,76
|
54,2
|
|
П2-3АтVЛ
|
10290
|
1050
|
12350
|
1260
|
1Ø16
|
-
|
В27,5
|
19
|
60,1
|
|
П2-4АтVЛ
|
13140
|
1340
|
15780
|
1610
|
1Ø18
|
66,9
|
|
П2-5АтVЛ
|
16180
|
1650
|
19410
|
1980
|
1Ø20
|
-
|
В30
|
21
|
75,1
|
|
П2-6АтVЛ
|
19120
|
1950
|
22940
|
2340
|
1Ø22
|
87,1
|
|
П3-1АтV
|
6760
|
690
|
8140
|
830
|
1Ø12
|
-
|
В22,5
|
16
|
490
|
5000
|
0,58
|
54,6
|
|
П3-2АтV
|
10100
|
1030
|
12160
|
1240
|
1Ø14
|
-
|
В27,5
|
19
|
58,2
|
|
П3-3АтV
|
12940
|
1320
|
15590
|
1590
|
1Ø16
|
-
|
В30
|
21
|
62,4
|
|
П3-4АтV
|
16370
|
1670
|
19710
|
2010
|
1Ø18
|
540
|
5500
|
67,2
|
|
П3-5АтV
|
20590
|
2100
|
24810
|
2530
|
1Ø20
|
590
|
6000
|
78,7
|
|
П3-6АтV
|
25000
|
2550
|
30000
|
3060
|
1Ø22
|
640
|
6500
|
84,7
|
|
П3-1АтVЛ
|
6760
|
690
|
8140
|
830
|
1Ø12
|
-
|
В22,5
|
16
|
490
|
5000
|
54,6
|
|
П3-2АтVЛ
|
9800
|
1000
|
11760
|
1200
|
1Ø14
|
-
|
В27,5
|
19
|
540
|
5500
|
58,2
|
|
П3-3АтVЛ
|
12750
|
1300
|
15300
|
1560
|
1Ø16
|
-
|
В30
|
21
|
590
|
6000
|
62,4
|
|
П3-4АтVЛ
|
15200
|
1550
|
18340
|
1870
|
1Ø18
|
67,2
|
|
П3-5АтVЛ
|
19610
|
2000
|
23630
|
2410
|
1Ø20
|
640
|
6500
|
78,7
|
|
Ат-IVС
|
П1-1АтIVС
|
5290
|
540
|
6370
|
650
|
1Ø14
|
2Ø14
|
В20
|
14
|
340
|
3500
|
107,1
|
|
П1-2АтIVС
|
7450
|
760
|
8920
|
910
|
1Ø16
|
2Ø16
|
В22,5
|
16
|
340
|
3500
|
1,54
|
120,4
|
|
П1-3АтIVС
|
9610
|
980
|
11570
|
1180
|
1Ø18
|
2Ø18
|
133,4
|
|
П1-4АтIVС
|
11470
|
1170
|
13820
|
1410
|
1Ø20
|
2Ø20
|
В27,5
|
18
|
149,3
|
|
П1-5АтIVС
|
15100
|
1540
|
18140
|
1850
|
1Ø22
|
2Ø22
|
390
|
4000
|
161,3
|
|
П1-6АтIVС
|
18830
|
1920
|
22650
|
2310
|
1Ø25
|
2Ø25
|
В30
|
21
|
390
|
4000
|
204,5
|
|
П1-7АтIVС
|
21180
|
2160
|
25490
|
2600
|
2Ø20
|
4Ø20
|
В40
|
28
|
500
|
5100
|
228,5
|
|
П1-1АтIVСЛ
|
5490
|
560
|
6670
|
680
|
1Ø14
|
2Ø14
|
В20
|
14
|
340
|
3500
|
107,1
|
|
П1-2АтIVСЛ
|
7740
|
790
|
9310
|
950
|
1Ø16
|
2Ø16
|
В22,5
|
16
|
120,4
|
|
П1-3АтIVСЛ
|
9900
|
1010
|
11960
|
1220
|
1Ø18
|
2Ø18
|
133,4
|
|
П1-4АтIVСЛ
|
12450
|
1270
|
15000
|
1530
|
1Ø20
|
2Ø20
|
В27,5
|
19
|
390
|
4000
|
149,3
|
|
П1-5АтIVСЛ
|
14510
|
1480
|
17450
|
1780
|
1Ø22
|
2Ø22
|
|
|
161,3
|
|
П1-6Ат1VСЛ
|
20000
|
2040
|
24020
|
2450
|
1Ø25
|
2Ø25
|
В30
|
21
|
500
|
5100
|
204,5
|
|
П2-1АтIVС
|
5290
|
540
|
6370
|
650
|
1Ø14
|
-
|
В20
|
14
|
340
|
3500
|
0,76
|
52,2
|
|
П2-1АтIVС-1
|
0,84
|
73,9
|
|
П2-1АтIVС-2
|
0,83
|
74,7
|
|
П2-1АтIVС-3
|
0,79
|
82,2
|
|
П2-2AтIVС
|
7450
|
760
|
8920
|
910
|
1Ø16
|
-
|
В22,5
|
16
|
0,76
|
58,4
|
|
П2-3AтIVС
|
9610
|
980
|
11570
|
1180
|
1Ø18
|
-
|
64,9
|
|
П2-4АтIVС
|
12170
|
1240
|
13820
|
1410
|
1Ø20
|
-
|
В27,5
|
19
|
72,1
|
|
П2-5АтIVС
|
15100
|
1540
|
18140
|
1850
|
1Ø22
|
-
|
|
|
390
|
4000
|
78,1
|
|
П2-6АтIVС
|
18830
|
1920
|
22650
|
2310
|
1Ø25
|
-
|
В30
|
21
|
390
|
4000
|
96,9
|
|
П2-7АтIVС
|
21180
|
2160
|
26490
|
2600
|
2Ø20
|
-
|
В40
|
28
|
500
|
5100
|
108,9
|
|
П2-8АтIVС
|
26480
|
2700
|
31870
|
3250
|
2Ø22
|
-
|
|
|
|
|
129,3
|
|
П2-1АтIVСЛ
|
5490
|
560
|
6670
|
680
|
1Ø14
|
-
|
В20
|
14
|
340
|
3500
|
52,2
|
|
П2-1АтIVСЛ-1
|
0,84
|
73,9
|
|
П2-1АтIVСЛ-2
|
0,83
|
74,7
|
|
П2-1AтIVСЛ-3
|
0,79
|
82,2
|
|
П2-2АтIVСЛ
|
7740
|
790
|
9310
|
950
|
1Ø16
|
-
|
В22,5
|
16
|
340
|
3500
|
0,76
|
58,4
|
|
П2-3АтIVСЛ
|
9900
|
1010
|
11960
|
1220
|
1Ø18
|
64,9
|
|
П2-4АтIVСЛ
|
12450
|
1270
|
15000
|
1530
|
1Ø20
|
-
|
В27,5
|
19
|
390
|
4000
|
72,1
|
|
П2-5АтIVСЛ
|
14510
|
1480
|
17450
|
1780
|
1Ø22
|
78,1
|
|
П2-6АтIVСЛ
|
20000
|
2040
|
24020
|
2450
|
1Ø25
|
-
|
В30
|
21
|
500
|
5100
|
96,9
|
|
П3-1АтIVС
|
6670
|
680
|
8040
|
820
|
1Ø14
|
-
|
В22,5
|
16
|
340
|
3500
|
0,58
|
58,2
|
|
П3-2AтIVС
|
9120
|
930
|
10980
|
1120
|
1Ø16
|
62,4
|
|
П3-3АтIVС
|
13920
|
1420
|
16770
|
1710
|
1Ø18
|
-
|
В27,5
|
19
|
440
|
4500
|
67,2
|
|
П3-4АтIVС
|
16860
|
1720
|
20300
|
2070
|
1Ø20
|
-
|
В30
|
21
|
440
|
4500
|
72,4
|
|
П3-5AтIVС
|
19220
|
1960
|
23140
|
2360
|
1Ø22
|
84,7
|
|
П3-6AтIVС
|
25690
|
2620
|
30890
|
3150
|
1Ø25
|
500
|
5100
|
94,5
|
|
П3-1AтIVСЛ
|
6760
|
690
|
8140
|
830
|
1Ø14
|
-
|
В22,5
|
16
|
340
|
3500
|
58,2
|
|
П3-2AтIVСЛ
|
8330
|
850
|
10000
|
1020
|
1Ø16
|
62,4
|
|
П3-3AтIVСЛ
|
13140
|
1340
|
15780
|
1610
|
1Ø18
|
-
|
В27,5
|
19
|
500
|
5100
|
67,2
|
|
П3-4AтIVСЛ
|
15690
|
1600
|
18920
|
1930
|
1Ø20
|
-
|
В30
|
21
|
72,4
|
|
П3-5AтIVСЛ
|
18140
|
1850
|
21770
|
2220
|
1Ø22
|
84,7
|
|
П3-6AтIVСЛ
|
22360
|
2280
|
26870
|
2740
|
1Ø25
|
94,5
|
Таблица 3
|
Класс
напрягаемой арматуры
|
Марка плиты
|
Равномерно
распределенная нагрузка на плиту при коэффициенте надежности по нагрузке
|
Напрягаемая
арматура
|
Класс бетона по прочности
на сжатие
|
Передаточная
прочность бетона, МПа
|
Предварительное
напряжение в арматуре до обжатия бетона
|
Расход
материалов
|
|

|

|
в крайнем ребре
|
в среднем ребре
|
МПа
|
кгс/см2
|
Бетон, м3
|
Сталь, кг
|
|
Па
|
кгс/м2
|
Па
|
кгс/м2
|
|
Ат-VCK
|
П1-1АтVCK
|
3820
|
390
|
4600
|
470
|
1Ø12
|
2Ø22
|
В27,5
|
19
|
590
|
6000
|
1,54
|
100,0
|
|
П1-2АтVCK
|
5780
|
590
|
6960
|
710
|
1Ø14
|
2Ø14
|
640
|
6000
|
112,0
|
|
П1-3АтVСК
|
7450
|
760
|
9020
|
920
|
1Ø16
|
2Ø16
|
В27,5
|
19
|
640
|
6500
|
123,8
|
|
П1-4АтVСК
|
10000
|
1020
|
12060
|
1230
|
1Ø18
|
2Ø18
|
В30
|
21
|
138,9
|
|
П1-5АтVСК
|
12650
|
1290
|
15200
|
1550
|
1Ø20
|
2Ø20
|
149,3
|
|
П1-6АтVСК
|
15100
|
1540
|
18140
|
1850
|
1Ø22
|
2Ø22
|
В40
|
28
|
184,9
|
|
П1-7АтVСК
|
16280
|
1660
|
19610
|
2000
|
1Ø25
|
2Ø26
|
204,5
|
|
П1-1АтVСКЛ
|
4210
|
430
|
5090
|
520
|
1Ø12
|
2Ø12
|
В27,5
|
19
|
590
|
6000
|
100,0
|
|
П1-2АтVСКЛ
|
5980
|
610
|
7250
|
740
|
1Ø14
|
2Ø14
|
640
|
6500
|
112,0
|
|
П1-3АтVСКЛ
|
7750
|
790
|
9310
|
950
|
1Ø16
|
2Ø16
|
123,8
|
|
П1-4АтVСКЛ
|
10000
|
1020
|
12060
|
1230
|
1Ø18
|
2Ø18
|
В30
|
21
|
138,9
|
|
П1-5АтVСКЛ
|
12650
|
1290
|
15200
|
1550
|
1Ø20
|
2Ø20
|
149,3
|
|
П2-1АтVСК
|
3820
|
390
|
4600
|
470
|
1Ø12
|
-
|
В27,5
|
19
|
590
|
6000
|
0,76
|
48,6
|
|
П2-1АтVСК-1
|
084
|
70,3
|
|
П2-1A1VСК-2
|
0,83
|
71,1
|
|
П2-1АтVСК-3
|
0,79
|
78,6
|
|
П2-2АтVСК
|
5780
|
590
|
6960
|
710
|
1Ø14
|
-
|
640
|
6500
|
0,76
|
54,2
|
|
П2-3АтVCK
|
7450
|
760
|
9020
|
920
|
1Ø16
|
-
|
В27,5
|
19
|
60,1
|
|
П2-4АтVCK
|
10000
|
1020
|
12060
|
1230
|
1Ø18
|
-
|
В30
|
21
|
66,9
|
|
П2-5АтVCK
|
12650
|
1290
|
15200
|
1550
|
1Ø20
|
-
|
72,1
|
|
П2-6АтVCK
|
15100
|
1540
|
18140
|
1850
|
1Ø22
|
-
|
В40
|
28
|
87,1
|
|
П2-7АтVCK
|
16280
|
1660
|
19610
|
2000
|
1Ø25
|
-
|
96,9
|
|
П2-8АтVCK
|
19610
|
2000
|
23530
|
2400
|
2Ø20
|
-
|
32
|
117,3
|
|
П2-1АтVCKЛ
|
4210
|
430
|
5090
|
520
|
1Ø12
|
-
|
В27,5
|
19
|
590
|
6000
|
48,6
|
|
П2-1АтVCKЛ-1
|
70,3
|
|
П2-1АтVCKЛ-2
|
71,1
|
|
П2-1АтVCKЛ-3
|
78,6
|
|
П2-2АтVCKЛ
|
5980
|
610
|
7250
|
740
|
1Ø14
|
-
|
640
|
6500
|
54,2
|
|
П2-3АтVCKЛ
|
7750
|
790
|
9310
|
950
|
1Ø16
|
-
|
60,1
|
|
П2-4АтVCKЛ
|
10000
|
1020
|
12060
|
1230
|
1Ø18
|
-
|
В30
|
21
|
66,9
|
|
П2-5АтVCKЛ
|
12650
|
1290
|
15200
|
1550
|
1Ø20
|
-
|
72,1
|
|
П3-1АтVCK
|
3920
|
400
|
4700
|
480
|
1Ø12
|
-
|
В22,5
|
16
|
0,58
|
54,6
|
|
П3-2АтVCK
|
6860
|
700
|
8330
|
850
|
1Ø14
|
-
|
В27,5
|
19
|
58,2
|
|
П3-3АтVСК
|
10590
|
1080
|
12740
|
1300
|
1Ø16
|
-
|
В30
|
21
|
62,4
|
|
П3-4АтVСК
|
15300
|
1560
|
18430
|
1880
|
1Ø18
|
-
|
67,2
|
|
П3-5АтVСК
|
19120
|
1950
|
23040
|
2350
|
1Ø20
|
-
|
78,7
|
|
П3-1АтVСКЛ
|
4120
|
420
|
5000
|
510
|
1Ø12
|
-
|
В22,5
|
16
|
54,6
|
|
П3-2АтVСКЛ
|
6860
|
700
|
8330
|
850
|
1Ø14
|
-
|
В27,5
|
19
|
58,2
|
|
П3-3АтVСКЛ
|
10590
|
1080
|
12740
|
1300
|
1Ø16
|
-
|
В30
|
21
|
62,4
|
|
П3-4АтVСКЛ
|
14700
|
1500
|
17650
|
1800
|
1Ø18
|
-
|
67,2
|
|
A-IV
|
П1-1АIV
|
4020
|
410
|
4900
|
500
|
1Ø14
|
2Ø14
|
В20
|
14
|
500
|
5100
|
1,54
|
107,1
|
|
П1-2АIV
|
5780
|
590
|
6960
|
710
|
1Ø16
|
2Ø16
|
В22,5
|
16
|
120,4
|
|
П1-3AIV
|
7940
|
810
|
9610
|
980
|
1Ø18
|
2Ø18
|
В30
|
21
|
133,4
|
|
П1-4АIV
|
10100
|
1030
|
12160
|
1240
|
1Ø20
|
2Ø20
|
149,3
|
|
П1-5АIV
|
12550
|
1280
|
15100
|
1540
|
1Ø22
|
2Ø22
|
161,3
|
|
П1-6АIV
|
16370
|
1670
|
19710
|
2010
|
1Ø25
|
2Ø25
|
204,5
|
|
П1-7АIV
|
17650
|
1800
|
21180
|
2160
|
2Ø20
|
4Ø20
|
В40
|
28
|
228,5
|
|
П1-1AIVЛ
|
4410
|
450
|
5290
|
540
|
1Ø14
|
2Ø14
|
В20
|
14
|
107,1
|
|
П1-2АIVЛ
|
5880
|
600
|
7150
|
730
|
1Ø16
|
2Ø16
|
В22,5
|
16
|
120,4
|
|
П1-3АIVЛ
|
8330
|
850
|
10000
|
1020
|
1Ø18
|
2Ø18
|
В30
|
21
|
133,4
|
|
П1-4АIVЛ
|
10290
|
1050
|
12450
|
1270
|
1Ø20
|
2Ø20
|
149,3
|
|
П1-5АIVЛ
|
12840
|
1310
|
15490
|
1580
|
1Ø22
|
2Ø22
|
161,3
|
|
П1-6АIVЛ
|
15490
|
1580
|
18630
|
1900
|
1Ø25
|
2Ø25
|
204,5
|
|
П2-1АIV
|
4020
|
410
|
4900
|
500
|
1Ø14
|
-
|
В20
|
14
|
0,76
|
52,2
|
|
П2-1АIV-1
|
0,84
|
73,9
|
|
П2-1АIV-2
|
0,83
|
74,7
|
|
П2-1АIV-3
|
0,79
|
82,2
|
|
П2-2АIV
|
5780
|
590
|
6960
|
710
|
1Ø16
|
-
|
В22,5
|
16
|
0,76
|
58,4
|
|
П2-3АIV
|
7940
|
810
|
9610
|
980
|
1Ø18
|
-
|
В30
|
21
|
64,9
|
|
П2-4АIV
|
10100
|
1030
|
12160
|
1240
|
1Ø20
|
-
|
72,1
|
|
П2-5АIV
|
12550
|
1280
|
15100
|
1540
|
1Ø22
|
-
|
78,1
|
|
П2-6АIV
|
16370
|
1670
|
19710
|
2010
|
1Ø25
|
-
|
96,9
|
|
П2-7АIV
|
17650
|
1800
|
21180
|
2160
|
2Ø20
|
-
|
В40
|
28
|
108,9
|
|
П2-1AIVЛ
|
4410
|
450
|
5290
|
540
|
1Ø14
|
-
|
В20
|
14
|
52,2
|
|
П2-1AIVЛ-1
|
0,84
|
73,9
|
|
П2-1АIVЛ-2
|
0,83
|
74,7
|
|
П2-1АIVЛ-3
|
0,79
|
82,2
|
|
П2-2АIVЛ
|
5880
|
600
|
7150
|
730
|
1Ø16
|
-
|
В22,5
|
16
|
0,76
|
58,4
|
|
П2-3AIVЛ
|
8330
|
850
|
10000
|
1020
|
1Ø18
|
-
|
В30
|
21
|
64,9
|
|
П2-4АIVЛ
|
10290
|
1050
|
12450
|
1270
|
1Ø20
|
-
|
72,1
|
|
П2-5АIVЛ
|
12840
|
1310
|
15490
|
1580
|
1Ø22
|
-
|
78,1
|
|
П2-6АIVЛ
|
15400
|
1580
|
18630
|
1900
|
1Ø25
|
-
|
96,9
|
|
П3-1AIV
|
5100
|
520
|
6170
|
630
|
1Ø14
|
-
|
В27,5
|
19
|
0,58
|
58,2
|
|
П3-2АIV
|
8330
|
850
|
10000
|
1020
|
1Ø16
|
-
|
62,4
|
|
П3-3AIV
|
12650
|
1290
|
15200
|
1550
|
1Ø18
|
-
|
В30
|
21
|
67,2
|
|
П3-4АIV
|
15780
|
1610
|
19020
|
1940
|
1Ø20
|
-
|
72,4
|
|
П3-5АIV
|
18630
|
1900
|
22450
|
2290
|
1Ø22
|
-
|
84,7
|
|
П3-1AIVЛ
|
5390
|
550
|
6570
|
670
|
1Ø14
|
-
|
В27,5
|
19
|
58,2
|
|
П3-2АIVЛ
|
8330
|
850
|
10000
|
1020
|
1Ø16
|
62,4
|
|
П3-3АIVЛ
|
12550
|
1280
|
15100
|
1540
|
1Ø18
|
-
|
В30
|
21
|
67,2
|
|
П3-4АIVЛ
|
15690
|
1600
|
18820
|
1920
|
1Ø20
|
-
|
72,4
|
Примечания к табл. 2 и 3:
1. В таблицах не приведены марки плит с
дополнительными характеристиками, отражающими конструктивные особенности и
особые условия применения плит (наличие дополнительных закладных изделий,
стойкость к сейсмическим воздействиям и к воздействиям низких температур и
т.п.). Дополнительные параметры указанных плит принимают по рабочим чертежам
серии 1.042.1-4 и проектной документации конкретного здания или сооружения и
отражают их в марке плит согласно требованиям ГОСТ 23.009-78.
2. В случае применения в качестве напрягаемой
арматурной стали класса А-V вместо Ат-V, A-IV вместо Ат-IVС, Ат-IVК вместо А-IV в марке плит следует заменить обозначение класса
арматурной стали соответственно Ат-V на А-V, Ат-IVС на А-IV, А-IV на Ат-IVК.
3. Нагрузки определены без .учета веса плиты и при
коэффициенте надежности по назначению gn = 1,0.
4. В случае установки в плитах дополнительных
закладных изделий (п. 1.2.3) расход стали на плиту следует принимать
по проектной документации на конкретное здание или сооружение.
5. Для плит,
предназначенных для эксплуатации в газообразных средах с агрессивной степенью
воздействия, в третью группу марки включают показатель проницаемости бетона,
обозначаемый прописными буквами: Н - нормальной проницаемости или П -
пониженной проницаемости.
1.3. Характеристики.
1.3.1. Плиты должны
удовлетворять требованиям по прочности, жесткости, трещиностойкости и
выдерживать при испытаниях контрольные нагрузки, установленные настоящим
стандартом.
1.3.2. Плиты
должны удовлетворять требованиям ГОСТ 13015.0-83:
по показателям фактической
прочности бетона (в проектном возрасте, передаточной и отпускной);
по морозостойкости бетона;
к маркам сталей для арматурных и
закладных изделий, в том числе для монтажных петель;
по отклонениям толщины защитного
слоя бетона до арматуры;
по защите от коррозии;
по применению форм для
изготовления плит.
1.3.3. Плиты
следует изготовлять из тяжелого бетона средней плотности более 2200 кг/м3
по ГОСТ 26633-91 или легкого бетона
плотной структуры средней плотности более 1600 до 2000 кг/м3 включ.
по ГОСТ 25820-83 классов по
прочности на сжатие, указанных в табл. 2
и 3
и обязательном приложении (для плит с напрягаемой арматурной сталью класса А-IIIв).
1.3.4. Передачу усилий обжатия
на бетон (отпуск натяжения арматуры) следует производить после достижения
бетоном требуемой передаточной прочности.
Нормируемая передаточная
прочность бетона плит в зависимости от классов бетона по прочности на сжатие,
вида и класса напрягаемой арматурной стали приведена в табл. 2, 3 и
обязательном приложении (для плит с напрягаемой арматурной сталью класса А-IIIв).
1.3.5. Нормируемую отпускную
прочность бетона на сжатие принимают равной нормируемой передаточной прочности.
При поставке плит в холодный
период года нормируемая отпускная прочность бетона может быть повышена, но не
более 85 % класса бетона по прочности на сжатие.
1.3.6. Бетон
плит, предназначенных для эксплуатации в газообразных средах со
слабоагрессивной степенью воздействия, должен быть нормальной проницаемости, а
в средах со среднеагрессивной степенью воздействия - пониженной проницаемости.
Показатели проницаемости бетона
плит (марки по водонепроницаемости) должны соответствовать указанным в
проектной документации на конкретное здание или сооружение (согласно
требованиям СНиП 2.03.11-85 и
указанным в заказе на изготовление плит.
1.3.7. Для армирования плит
следует применять арматурную сталь следующих видов и классов:
в качестве напрягаемой арматуры
плит, предназначенных для эксплуатации в неагрессивной среде, - термомеханически
упрочненную стержневую классов Ат-V и Ат-IVС, горячекатаную стержневую классов А-V и А-IV;
в качестве напрягаемой арматуры
плит, предназначенных для эксплуатации в газообразных средах со слабо- и
среднеагрессивной степенями воздействия, - термомеханически упрочненную
стержневую классов Ат-VСК
и Ат-IVК, горячекатаную стержневую класса А-IV;
в качестве ненапрягаемой
арматуры плит - термомеханически упрочненную класса Ат-IIIС, горячекатаную стержневую класса А-III и арматурную проволоку
класса Вр-I. Применение
арматурной стали класса Ат-IIIС
при среднеагрессивной степени воздействия газообразной среды на плиты не
допускается.
Допускается в качестве
напрягаемой арматурной стали плит применять арматурную сталь класса А-IIIв, изготовляемую из
арматурной стали класса A-III упрочненной вытяжкой, с
контролем величины напряжения и предельного удлинения.
1.3.8.
Арматурная сталь должна удовлетворять требованиям:
термомеханически упрочненная
арматурная сталь классов Ат-V,
Ат-VСК, Ат-IVК и Ат-IIIС
- ГОСТ
10884-81;
стержневая горячекатаная
арматурная сталь классов А-V,
A-IV и А-III - ГОСТ
5781-82;
арматурная проволока класса Вр-I
- ГОСТ
6727-80.
1.3.9. Форма и размеры
арматурных и закладных изделий и их положение в плитах должны соответствовать
указанным в рабочих чертежах на эти плиты.
1.3.10. Значения
предварительного напряжения, контролируемые по окончании натяжения арматуры на
упоры, должны, соответствовать указанным в табл. 2, 3 и обязательном приложении (для
плит с напрягаемой арматурной сталью класса А-IIIв).
Значения фактических отклонений
напряжений в напрягаемой арматуре не должны превышать ±10 %.
1.3.11. Значения действительных
отклонений геометрических параметров плит не должны превышать предельных,
указанных в табл. 4.
Таблица 4
|
Наименование
отклонения геометрического параметра
|
Наименование геометрического параметра
|
Пред. откл.
|
|
Отклонение от
линейного размера
|
Длина плиты
|
±10
|
|
Ширина плиты:
|
|
|
935
|
±4
|
|
1485
|
±5
|
|
2985
|
±8
|
|
Высота плиты
|
±5
|
|
Толщина полки, размеры ребер
|
-3, +5
|
|
Размер, определяющий положение проемов, отверстий и
вырезов
|
5
|
|
Размер, определяющий положение закладных изделий в
плоскости плиты:
|
|
|
опорные изделия
|
5
|
|
дополнительные изделия
|
10
|
|
из плоскости плиты
|
3
|
|
Отклонение от прямолинейности профиля наружных боковых
поверхностей плит:
|
|
|
|
на заданной длине 1000
|
-
|
3
|
|
на всей длине
|
-
|
8
|
|
Отклонение от плоскости нижней поверхности плиты
относительно условной плоскости, проходящей через три угловые точки плиты
|
-
|
10
|
|
Отклонение от равенства диагоналей верхней плоскости
плиты
|
-
|
16
|
1.3.12.
Требования к качеству поверхностей и внешнему виду плит - по ГОСТ 13015.0-83.
Размеры раковин, местных
наплывов и впадин на бетонных поверхностях и околов бетона ребер плит не должны
превышать предельных, установленных для категорий поверхности:
А6 - на лицевой поверхности
плиты;
А7 - на нелицевой поверхности
плиты (невидимой в условиях эксплуатации).
1.3.13. В бетоне плит, поставляемых
потребителю, трещины не допускают, за исключением:
усадочных и других поверхностных
технологических трещин, ширина которых не должна превышать 0,1 мм;
поперечных в верхней зоне
продольных, ребер от обжатия бетона, размеры которых не должны превышать
указанных в рабочих чертежах на эти плиты;
поперечных в торцевых ребрах,
ширина которых не должна превышать 0,3 мм.
1.4. Маркировка.
1.4.1.
Маркировка плит - по ГОСТ 13015.2-81. Маркировочные
надписи и знаки следует наносить на наружной грани торцевого или продольного
ребра плиты.
2.1. Приемка
плит - по ГОСТ 13015.1-81 и настоящему
стандарту.
2.2. Плиты принимают по данным
входного, операционного и приемочного контроля, в том числе:
по результатам периодических
испытаний - по показателям прочности, жесткости и трещиностойкости плит,
морозостойкости бетона, а также по водонепроницаемости бетона плит,
предназначенных для эксплуатации в условиях воздействия агрессивной
газообразной среды;
по результатам приемо-сдаточных
испытаний - по показателям прочности бетона (классу бетона по прочности на
сжатие, передаточной и отпускной прочности), средней плотности легкого бетона,
соответствия арматурных и закладных изделий рабочим чертежам, прочности сварных
соединений, точности геометрических параметров, толщины защитного слоя бетона
до арматуры, ширины раскрытия технологических трещин и категории бетонной
поверхности.
2.3. Испытания плит по
прочности, жесткости и трещиностойкости проводят нагружением перед началом
массового изготовления плит и в дальнейшем при изменении технологии их
изготовления, вида и качества применяемых материалов.
2.4.
Требования к документу о качестве плит, поставляемых потребителю, - по ГОСТ 13015.3-81.
Дополнительно в документе о качестве
плит, предназначенных для эксплуатации в газообразных средах с агрессивной
степенью воздействия, должна быть приведена марка бетона по водонепроницаемости
(если этот показатель оговорен в заказе на изготовление плит).
3.1. Испытание
плит и оценку их прочности, жесткости и трещиностойкости следует производить в
соответствии с требованиями ГОСТ 8829-85 и рабочих чертежей
на эти плиты.
Значения контрольных нагрузок,
контрольных прогибов и относительных прогибов приведены:
в табл. 5 - для плит, предназначенных
для эксплуатации в газообразных средах с неагрессивной степенью воздействия;
в табл. 6 - для плит, предназначенных
для эксплуатации в газообразных средах со слабо- и среднеагрессивной степенями
воздействия;
в обязательном приложении - для
плит с напрягаемой арматурной сталью класса А-IIIв.
3.2. Прочность
бетона плит следует определять по ГОСТ 10180-90 на серии образцов,
изготовленных из бетонной смеси рабочего состава и хранившихся в условиях,
установленных ГОСТ
18105-86.
При испытании плит
неразрушающими методами фактическую передаточную и отпускную прочность бетона
на сжатие следует определять ультразвуковым методом по ГОСТ 17624-87
или приборами механического действия по ГОСТ
22690-88, а также другими методами, предусмотренными стандартами на методы
испытания бетона.
3.3.
Морозостойкость бетона следует определять по ГОСТ 10060-87 на серии образцов, изготовленных из бетонной
смеси рабочего состава.
3.4.
Водонепроницаемость бетона плит, предназначенных для эксплуатации в
газообразных средах с агрессивной степенью воздействия, следует определять по ГОСТ 12730.0-78 и ГОСТ 12730.5-84 на серии образцов,
изготовленных из бетонной смеси рабочего состава.
3.5. Объем
межзерновых пустот в уплотненной смеси легкого бетона следует определять по ГОСТ 10181.0-81 и ГОСТ 10181.3-81.
3.6. Среднюю
плотность легкого бетона следует определять по ГОСТ 12730.0-78 и ГОСТ 12730.1-78 на серии образцов,
изготовленных из бетонной смеси рабочего состава.
3.7. Методы
контроля и испытаний сварных арматурных и закладных изделий - по ГОСТ 10922-90 и ГОСТ 23858-79.
3.8. Силу
натяжения арматуры, контролируемую по окончании натяжения, следует измерять по ГОСТ 22362-77.
3.9. Размеры и
отклонения от прямолинейности, плоскостности и равенства диагоналей
поверхностей плит, ширину раскрытия технологических трещин, качество бетонных
поверхностей и внешний вид плит следует проверять методами, установленными ГОСТ 13015.0-83, ГОСТ 13015.1-81 - ГОСТ 13015.3-81, ГОСТ 13015.4-84.
3.10.
Положение арматурных и закладных изделий, а также толщину защитного слоя бетона
до арматуры следует определять по ГОСТ 17625-83 и ГОСТ 22904-78.
4.1.
Транспортировать и хранить плиты следует в соответствии с требованиями ГОСТ 13015.4-84 и настоящего
стандарта.
4.2. Плиты следует
транспортировать и хранить в горизонтальном положении в штабелях.
4.3. Высота штабеля плит не
должна превышать 2,5 м.
4.4. Подкладки под плитами и
прокладки между ними в штабеле следует располагать по торцам продольных ребер в
местах установки опорных закладных изделий.
4.5. При транспортировании плиты
следует укладывать на транспортные средства продольной осью по направлению
движения транспорта.
Таблица 5
|
Марка плиты
|
Контрольные
равномерно распределенные нагрузки для оценки прочности плит, Па (кгс×м2), при
|
Контрольные
равномерно распределенные нагрузки Рпр,
Па (кгс/м2), контрольные прогибы fк, см, относительные прогибы для оценки жесткости и
трещиностойкости плит при возрасте бетона к моменту испытания, сут
|
|
14
|
28
|
100
|
|
С = 1,40
|
С = 1,6
|
Рпр
|
fк
|

|
Рпр
|
fк
|

|
Рпр
|
fк
|

|
|
П1-1АтV
|
9220
(940)
|
10890
(1110)
|
5030
(513)
|
0,83
|
0,51
|
5100
(520)
|
0,83
|
0,50
|
4900
(500)
|
0,84
|
0,47
|
|
П1-2АтV
|
13340
(1360)
|
15600
(1590)
|
7680
(783)
|
1,28
|
0,66
|
7680
(783)
|
1,26
|
0,63
|
7350
(750)
|
1,25
|
0,58
|
|
П1-3АтV
|
17600
(1796)
|
20500
(2089)
|
10450
(1066)
|
1,56
|
0,76
|
10330
(1053)
|
1,52
|
0,72
|
9900
(1010)
|
1,50
|
0,66
|
|
П1-4АтV
|
22400
(2284)
|
25950
(2646)
|
13820
(1409)
|
1,99
|
0,93
|
13600
(1387)
|
1,93
|
0,85
|
12750
(1300)
|
1,82
|
0,74
|
|
П1-5АтV
|
28160
(2872)
|
32540
(3318)
|
17880
(1823)
|
2,3
|
1,04
|
17450
(1780)
|
2,2
|
0,94
|
16180
(1650)
|
2,10
|
0,81
|
|
П1-6АтV
|
33900
(3460)
|
39130
(3990)
|
22440
(2288)
|
2,94
|
1,27
|
21580
(2201)
|
2,75
|
1,12
|
19610
(2000)
|
2,51
|
0,87
|
|
П1-7АтV
|
43150
(4400)
|
49670
(5065)
|
28840
(2941)
|
3,73
|
1,51
|
27470
(2301)
|
3,47
|
1,31
|
24810
(2530)
|
3,11
|
1,00
|
|
П1-1АтVЛ
|
9500
(970)
|
11150
(1137)
|
5420
(553)
|
1,00
|
0,59
|
5420
(553)
|
1,0
|
0,58
|
5190
(530)
|
1,0
|
0,55
|
|
П1-2АтVЛ
|
13630
(1390)
|
15860
(1617)
|
8120
(828)
|
1,55
|
0,79
|
8040
(820)
|
1,53
|
0,76
|
7650
(780)
|
1,51
|
0,71
|
|
П1-3АтVЛ
|
17890
(1824)
|
20950
(2136)
|
11200
(1140)
|
1,90
|
0,94
|
10980
(1120)
|
1,85
|
0,90
|
10290
(1050)
|
1,76
|
0,81
|
|
П1-4АтVЛ
|
22860
(2331)
|
26400
(2692)
|
14600
(1489)
|
2,39
|
1,12
|
14180
(1446)
|
2,31
|
1,09
|
13140
(1340)
|
2,12
|
0,92
|
|
П1-5АтVЛ
|
27970
(2852)
|
32200
(3288)
|
17650
(1800)
|
2,62
|
1,22
|
17130
(1747)
|
2,50
|
1,14
|
16180
(1650)
|
2,30
|
0,99
|
|
П1-6АтVЛ
|
32900
(3356)
|
37900
(3864)
|
21900
(2234)
|
3,23
|
1,42
|
21240
(2166)
|
3,06
|
1,27
|
19120
(1950)
|
2,72
|
1,00
|
|
П2-1АтV
П2-1АтV-1
П2-1АтV-2
П2-1АтV-3
|
9220
(940)
|
10890
(1110)
|
5030
(513)
|
0,83
|
0,51
|
5100
(520)
|
0,83
|
0,50
|
4900
(500)
|
0,84
|
0,47
|
|
П2-2АтV
|
13340
(1360)
|
15600
(1590)
|
7680
(783)
|
1,28
|
0,66
|
7680
(783)
|
1,26
|
0,63
|
7350
(750)
|
1,25
|
0,58
|
|
П2-3АтV
|
17600
(1796)
|
20500
(2089)
|
10450
(1066)
|
1,56
|
0,76
|
10330
(1053)
|
1,52
|
0,72
|
9900
(1010)
|
1,50
|
0,66
|
|
П2-4АтV
|
22400
(2284)
|
25950
(2646)
|
13820
(1409)
|
1,99
|
0,93
|
13600
(1387)
|
1,93
|
0,85
|
12750
(1300)
|
1,82
|
0,74
|
|
П2-5АтV
|
28160
(2872)
|
32540
(3318)
|
17880
(1823)
|
2,3
|
1,04
|
17450
(1780)
|
2,2
|
0,94
|
16180
(1650)
|
2,10
|
0,81
|
|
П2-6АтV
|
33900
(3460)
|
39130
(3990)
|
22440
(2288)
|
2,94
|
1,27
|
21580
(2201)
|
2,75
|
1,12
|
19610
(2000)
|
2,51
|
0,87
|
|
П2-7АтV
|
43150
(4400)
|
49670
(5065)
|
28840
(2941)
|
3,73
|
1,51
|
27470
(2801)
|
3,47
|
1,31
|
24810
(2530)
|
3,11
|
1,00
|
|
П2-8АтV
|
45900
(4686)
|
52900
(5391)
|
30500
(3106)
|
3,57
|
1,54
|
29200
(2980)
|
3,40
|
1,32
|
26770
(2730)
|
3,26
|
1,01
|
|
П2-1АтVЛ
П2-1АтVЛ-1
П2-1АтVЛ-2
П2-1АтVЛ-3
|
9500
(970)
|
11150
(1137)
|
5420
(553)
|
1,00
|
0,59
|
5420
(553)
|
1,00
|
0,58
|
5190
(530)
|
1,0
|
0,55
|
|
П2-2АтVЛ
|
13630
(1390)
|
15860
(1617)
|
8120
(828)
|
1,55
|
0,79
|
8040
(820)
|
1,53
|
0,76
|
7650
(780)
|
1,51
|
0,71
|
|
П2-3АтVЛ
|
17890
(1824)
|
20950
(2136)
|
11200
(1140)
|
1,90
|
0,94
|
10980
(1120)
|
1,85
|
0,90
|
10290
(1050)
|
1,76
|
0,81
|
|
П2-4АтVЛ
|
22860
(2331)
|
26400
(2692)
|
14600
(1489)
|
2,39
|
1,12
|
14180
(1446)
|
2,31
|
1,09
|
13140
(1340)
|
2,12
|
0,92
|
|
П2-5АтVЛ
|
27970
(2852)
|
32200
(3288)
|
17650
(1800)
|
2,62
|
1,22
|
17130
(1747)
|
2,50
|
1,14
|
16180
(1650)
|
2,30
|
0,99
|
|
П2-6АтVЛ
|
32900
(3356)
|
37900
(3864)
|
21900
(2234)
|
3,23
|
1,42
|
21240
(2166)
|
3,06
|
1,27
|
19120
(1950)
|
2,72
|
1,00
|
|
П3-1АтV
|
18010
(1836)
|
21000
(2141)
|
10930
(1115)
|
1,51
|
0,93
|
10840
(1105)
|
1,50
|
0,91
|
10020
(1022)
|
1,45
|
0,87
|
|
П3-2АтV
|
23470
(2393)
|
27240
(2778)
|
14650
(1494)
|
1,78
|
1,06
|
14350
(1463)
|
1,73
|
1,02
|
13280
(1354)
|
1,65
|
0,95
|
|
П3-3АтV
|
28200
(2876)
|
32660
(3330)
|
17860
(1821)
|
1,85
|
1,09
|
17440
(1778)
|
1,79
|
1,03
|
16090
(1641)
|
1,69
|
0,95
|
|
П3-4АтV
|
34210
(3488)
|
39510
(4029)
|
22290
(2273)
|
2,04
|
1,17
|
21570
(2200)
|
1,94
|
1,08
|
19660
(2005)
|
1,80
|
0,96
|
|
П3-5АтV
|
44340
(4521)
|
51090
(5210)
|
29630
(3021)
|
2,68
|
1,36
|
28180
(2894)
|
2,52
|
1,19
|
25690
(2620)
|
2,30
|
0,94
|
|
П3-бАтV
|
48560
(4952)
|
55930
(5703)
|
33126
(3378)
|
3,18
|
1,53
|
31590
(3221)
|
3,00
|
1,33
|
28210
(2877)
|
2,69
|
1,01
|
|
П3-1АтVЛ
|
17750
(1810)
|
20610
(2102)
|
11140
(1136)
|
1,65
|
1,05
|
11040
(1126)
|
1,63
|
1,02
|
10020
(1022)
|
1,54
|
0,96
|
|
П3-2АтVЛ
|
22840
(2329)
|
25780
(2629)
|
14650
(1494)
|
1,81
|
1,11
|
14350
(1463)
|
1,75
|
1,07
|
13050
(1331)
|
1,64
|
0,98
|
|
П3-3АтVЛ
|
27800
(2835)
|
32100
(3273)
|
18060
(1842)
|
1,87
|
1,13
|
17540
(1789)
|
1,80
|
1,07
|
16000
(1632)
|
1,66
|
0,96
|
|
П3-4АтVЛ
|
32030
(3266)
|
36930
(3766)
|
21150
(2157)
|
2,07
|
1,20
|
20440
(2084)
|
1,97
|
1,12
|
18520
(1889)
|
1,80
|
0,97
|
|
П3-5АтVЛ
|
39480
(4026)
|
45450
(4635)
|
26630
(2715)
|
2,67
|
1,37
|
25600
(2610)
|
2,52
|
1,22
|
22960
(2341)
|
2,27
|
0,96
|
|
П1-1АтIVС
|
9430
(962)
|
11630
(1186)
|
5620
(573)
|
1,29
|
0,72
|
5550
(566)
|
1,29
|
0,71
|
5290
(540)
|
1,29
|
0,69
|
|
П1-2АтIVС
|
12930
(1318)
|
15780
(1609)
|
8040
(820)
|
1,53
|
0,80
|
7970
(713)
|
1,51
|
0,78
|
7450
(760)
|
1,48
|
0,74
|
|
П1-3АтIVС
|
16430
(1675)
|
19920
(2031)
|
10450
(1066)
|
1,84
|
0,94
|
10260
(1046)
|
1,81
|
0,90
|
9610
(980)
|
1,74
|
0,83
|
|
П1-4АтIVС
|
20550
(2096)
|
24800
(2530)
|
13470
(1374)
|
2,07
|
1,05
|
13170
(1343)
|
2,0
|
0,99
|
11470
(1170)
|
1,9
|
0,9
|
|
П1-5АтIVС
|
25320
(2582)
|
30460
(3106)
|
18440
(1880)
|
2,28
|
1,10
|
17850
(1820)
|
2,16
|
1,00
|
15100
(1540)
|
1,97
|
0,85
|
|
П1-6АтIVС
|
32630
(3327)
|
39130
(3990)
|
23110
(2357)
|
2,68
|
1,28
|
22190
(2263)
|
2,51
|
1,14
|
18830
(1920)
|
2,25
|
0,93
|
|
П1-7АтIVС
|
35170
(3586)
|
42140
(1297)
|
24250
(2473)
|
2,47
|
1,09
|
23200
(2366)
|
2,31
|
0,92
|
21180
(2160)
|
2,12
|
0,67
|
|
П1-1АтIVСЛ
|
9090
(927)
|
11720
(1195)
|
5940
(606)
|
1,41
|
0,79
|
5820
(593)
|
1,39
|
0,77
|
5490
(560)
|
1,37
|
0,73
|
|
П1-2AтIVСЛ
|
13230
(1349)
|
16040
(1636)
|
8460
(863)
|
1,73
|
0,93
|
8320
(848)
|
1,71
|
0,91
|
7740
(790)
|
1,66
|
0,85
|
|
П1-3AтIVСЛ
|
16730
(1706)
|
20190
(2059)
|
10980
(1120)
|
2,13
|
1,11
|
10790
(1100)
|
2,08
|
1,07
|
9900
(1010)
|
1,97
|
0,98
|
|
П1-4AтIVСЛ
|
20860
(2127)
|
25090
(2558)
|
13980
(1426)
|
2,20
|
1,12
|
13590
(1386)
|
2,11
|
1,05
|
12450
(1270)
|
1,96
|
0,94
|
|
П1-5AтIVСЛ
|
24190
(2467)
|
29040
(2961)
|
16740
(1707)
|
2,43
|
1,21
|
16080
(1640)
|
2,29
|
1,12
|
14510
(1480)
|
2,06
|
0,95
|
|
П1-6АтIVСЛ
|
33090
(3374)
|
39580
(4036)
|
23560
(2402)
|
3,37
|
1,37
|
22600
(2306)
|
2,84
|
1,20
|
20000
(2040)
|
2,40
|
0,88
|
|
П2-1АтIVС
П2-1АтIVС-1
П2-1АтIVС-2
П2-1AтIVС-3
|
9430
(962)
|
11630
(1186)
|
5620
(573)
|
1,29
|
0,72
|
5550
(566)
|
1,29
|
0,71
|
5290
(540)
|
1,29
|
0,69
|
|
П2-2АтIVС
|
12930
(1318)
|
15780
(1609)
|
8040
(820)
|
1,53
|
0,80
|
7970
(813)
|
1,51
|
0,78
|
7450
(760)
|
1,48
|
0,74
|
|
П2-3АтIVС
|
16430
(1675)
|
19920
(2031)
|
10450
(1066)
|
1,84
|
0,94
|
10260
(1046)
|
1,81
|
0,90
|
9610
(980)
|
1,74
|
0,83
|
|
П2-4АтIVС
|
20550
(2096)
|
24800
(2530)
|
13470
(1374)
|
2,07
|
1,05
|
13170
(1343)
|
2,0
|
0,99
|
12170
(1240)
|
1,9
|
0,9
|
|
П2-5АтIVС
|
25320
(2582)
|
30460
(3106)
|
18440
(1880)
|
2,28
|
1,10
|
17850
(1820)
|
2,16
|
1,00
|
15100
(1540)
|
1,97
|
0,85
|
|
П2-6АтIVС
|
32630
(3327)
|
39130
(3990)
|
23110
(2357)
|
2,68
|
1,28
|
22190
(2263)
|
1,51
|
1,14
|
18830
(1920)
|
2,25
|
0,93
|
|
П2-7АтIVС
|
35170
(3586)
|
42140
(4297)
|
24250
(2473)
|
2,47
|
1,09
|
23200
(2366)
|
2,31
|
0,92
|
21180
(2160)
|
2,12
|
0,67
|
|
П2-8АтIVC
|
43750
(4461)
|
52310
(5334)
|
31830
(3246)
|
3,55
|
1,52
|
30000
(3060)
|
3,38
|
1,29
|
26480
(2700)
|
3,0
|
0,92
|
|
П2-1АтIVСЛ
П2-1АтIVСЛ-1
П2-1АтIVСЛ-2
П2-1АтIVСЛ-3
|
9090
(927)
|
11720
(1195)
|
5940
(606)
|
1,41
|
0,79
|
5820
(593)
|
1,39
|
0,77
|
5490
(560)
|
1,37
|
0,73
|
|
П2-2АтIVСЛ
|
13230
(1349)
|
16040
(1636)
|
8460
(863)
|
1,73
|
0,93
|
8320
(848)
|
1,71
|
0,91
|
7740
(790)
|
1,66
|
0,85
|
|
П2-3AтIVСЛ
|
16730
(1706)
|
20190
(2059)
|
10980
(1120)
|
2,13
|
1,11
|
10790
(1100)
|
2,08
|
1,07
|
9900
(1010)
|
1,97
|
0,98
|
|
П2-4АтIVСЛ
|
20860
(2127)
|
25090
(2558)
|
13980
(1426)
|
2,20
|
1,12
|
13590
(1386)
|
2,11
|
1,05
|
12450
(1270)
|
1,96
|
0,94
|
|
П2-5АтIVСЛ
|
24190
(2467)
|
29040
(2961)
|
16740
(1707)
|
2,43
|
1,21
|
16080
(1640)
|
2,29
|
1,12
|
14510
(1480)
|
2,06
|
0,95
|
|
П2-6АтIVСЛ
|
33090
(3374)
|
39580
(4036)
|
23560
(2402)
|
3,37
|
1,37
|
22600
(2306)
|
2,84
|
1,20
|
20000
(2040)
|
2,40
|
0,88
|
|
П3-1АтIVС
|
17080
(1742)
|
20790
(2120)
|
10930
(1115)
|
1,44
|
0,92
|
10840
(1105)
|
1,42
|
0,9
|
9910
(1011)
|
1,36
|
0,85
|
|
П3-2АтIVС
|
21060
(2148)
|
25520
(2602)
|
13930
(1421)
|
1,71
|
1,05
|
13620
(1389)
|
1,66
|
1,01
|
12380
(1262)
|
1,56
|
0,93
|
|
П3-3АтIVС
|
28850
(2942)
|
34740
(3543)
|
19710
(2010)
|
1,97
|
1,16
|
19250
(1963)
|
1,88
|
1,08
|
17180
(1752)
|
1,74
|
0,96
|
|
П3-4АтIVС
|
33600
(3426)
|
40360
(4116)
|
23110
(2357)
|
2,03
|
1,19
|
22290
(2273)
|
1,92
|
1,10
|
20100
(2050)
|
1,77
|
0,97
|
|
П3-5АтIVС
|
37500
(3824)
|
44990
(4588)
|
26420
(2694)
|
2,19
|
1,26
|
25230
(2578)
|
2,05
|
1,14
|
22520
(2296)
|
1,85
|
0,97
|
|
П3-6АтIVC
|
47970
(4892)
|
57400
(5853)
|
35090
(3578)
|
3,11
|
1,57
|
33130
(3378)
|
2,87
|
1,35
|
28980
(2955)
|
2,52
|
1,01
|
|
П3-1АтIVСЛ
|
16960
(1729)
|
20530
(2093)
|
11350
(1157)
|
1,61
|
1,05
|
11140
(1136)
|
1,58
|
1,03
|
9970
(1017)
|
1,47
|
0,95
|
|
П3-2АтIVСЛ
|
21020
(2143)
|
25340
(2584)
|
13420
(1368)
|
1,73
|
1,11
|
13000
(1326)
|
1,67
|
1,06
|
12480
(1273)
|
1,53
|
0,96
|
|
П3-3АтIVСЛ
|
32870
(3352)
|
32870
(3352)
|
19190
(1957)
|
1,98
|
1,19
|
18370
(1873)
|
1,87
|
1,11
|
16410
(1673)
|
1,69
|
0,97
|
|
П3-4АтIVСЛ
|
31560
(3218)
|
37820
(3857)
|
22080
(2252)
|
2,07
|
1,23
|
21260
(2168)
|
1,96
|
1,13
|
18980
(1936)
|
1,77
|
0,97
|
|
П3-5АтIVСЛ
|
35370
(3607)
|
42350
(4318)
|
25280
(2578)
|
2,29
|
1,31
|
24150
(2463)
|
2,15
|
1,19
|
21340
(2176)
|
1,91
|
0,97
|
|
П3-6АтIVСЛ
|
42270
(4310)
|
50520
(5152)
|
31070
(3168)
|
3,01
|
1,56
|
29310
(2989)
|
2,80
|
1,36
|
25590
(2610)
|
2,43
|
1,01
|
Таблица 6
|
Марка плиты
|
Контрольные
равномерно распределенные нагрузки для оценки прочности плит, Па (кгс/м2),
при
|
Контрольные
равномерно распределенные нагрузки Рпр,
Па (кгс/м2), контрольные прогибы fк, см, относительные прогибы для оценки жесткости и
трещиностойкости плит при возрасте бетона к моменту испытания, сут.
|
|
14
|
28
|
100
|
|
С = 1,4
|
С = 1,6
|
Рпр
|
fк
|

|
Рпр
|
fк
|

|
Рпр
|
fк
|

|
|
П1-1АтVСК
|
7400
(755)
|
8810
(898)
|
3900
(400)
|
0,34
|
0,22
|
3900
(400)
|
0,32
|
0,20
|
3820
(390)
|
0,32
|
0,17
|
|
П1-2АтVСК
|
10700
(1091)
|
12600
(1282)
|
5980
(610)
|
0,50
|
0,24
|
5980
(610)
|
0,49
|
0,23
|
5780
(590)
|
0,47
|
0,17
|
|
П1-3АтVСК
|
13500
(1376)
|
15780
(1609)
|
7970
(813)
|
0,69
|
0,30
|
7900
(807)
|
0,65
|
0,25
|
7450
(760)
|
0,62
|
0,18
|
|
П1-4АтVСК
|
17800
(1813)
|
20700
(2108)
|
10860
(1107)
|
0,88
|
0,36
|
10650
(1086)
|
0,82
|
0,29
|
10000
(1020)
|
0,82
|
0,18
|
|
П1-5АтVСК
|
22230
(2267)
|
25750
(2626)
|
13990
(1427)
|
1,41
|
0,41
|
13590
(1386)
|
1,32
|
0,31
|
12650
(1290)
|
1,23
|
0,14
|
|
П1-6АтVСК
|
26350
(2687)
|
30500
(3106)
|
17400
(1733)
|
1,50
|
0,48
|
16400
(1673)
|
1,31
|
0,36
|
15100
(1540)
|
1,12
|
0,17
|
|
П1-7АтVСК
|
28320
(2888)
|
32700
(3337)
|
18900
(1926)
|
1,96
|
0,53
|
18000
(1840)
|
1,73
|
0,37
|
16280
(1660)
|
1,35
|
0,14
|
|
П1-1АтVСКЛ
|
7860
(802)
|
9270
(945)
|
4380
(447)
|
0,50
|
0,31
|
4380
(447)
|
0,49
|
0,29
|
4210
(430)
|
0,47
|
0,26
|
|
П1-2АтVСКЛ
|
10900
(1112)
|
12660
(1291)
|
6340
(647)
|
0,71
|
0,37
|
6280
(640)
|
0,68
|
0,33
|
5980
(610)
|
0,65
|
0,28
|
|
П1-3АтVСКЛ
|
13800
(1407)
|
16000
(1636)
|
8370
(853)
|
0,93
|
0,42
|
8240
(840)
|
0,89
|
0,38
|
7750
(790)
|
0,84
|
0,30
|
|
П1-4АтVСКЛ
|
17600
(1793)
|
20400
(2076)
|
10900
(1113)
|
1,16
|
0,49
|
10720
(1093)
|
1,11
|
0,43
|
10000
(1020)
|
1,04
|
0,33
|
|
П1-5АтVСКЛ
|
21980
(2241)
|
25500
(2596)
|
14250
(1453)
|
1,51
|
0,54
|
13800
(1406)
|
1,38
|
0,43
|
12650
(1290)
|
1,21
|
0,21
|
|
П2-1АтVCK
П2-1АтVCK-1
П2-1АтVCK-2
П2-1АтVCK-3
|
7400
(755)
|
8800
(898)
|
3900
(400)
|
0,34
|
0,22
|
3900
(400)
|
0,32
|
0,20
|
3820
(390)
|
0,32
|
0,17
|
|
П2-2АтVCK
|
10700
(1091)
|
12600
(1282)
|
5980
(610)
|
0,50
|
0,24
|
5980
(610)
|
0,49
|
0,23
|
5780
(590)
|
0,47
|
0,17
|
|
П2-3АтVCK
|
13500
(1376)
|
15780
(1609)
|
7970
(813)
|
0,69
|
0,30
|
7900
(807)
|
0,65
|
0,25
|
7450
(760)
|
0,62
|
0,18
|
|
П2-4АтVCK
|
17800
(1813)
|
20700
(2108)
|
10860
(1107)
|
0,88
|
0,36
|
10650
(1086)
|
0,82
|
0,29
|
10000
(1020)
|
0,82
|
0,18
|
|
П2-5АтVCK
|
22230
(2267)
|
25750
(2626)
|
13990
(1427)
|
1,41
|
0,41
|
13590
(1386)
|
1,32
|
0,31
|
12650
(1290)
|
1,23
|
0,14
|
|
П2-6АтVCK
|
26350
(2687)
|
30500
(3106)
|
17400
(1733)
|
1,50
|
0,48
|
16400
(1673)
|
1,31
|
0,36
|
15100
(1540)
|
1,12
|
0,17
|
|
П2-7АтVСК
|
28320
(2888)
|
22300
(2273)
|
18900
(1926)
|
1,29
|
0,53
|
18000
(1840)
|
1,73
|
0,37
|
16280
(1660)
|
1,35
|
0,14
|
|
П2-8АтVСК
|
33900
(3460)
|
39130
(3990)
|
22300
(2273)
|
2,23
|
0,72
|
21380
(2180)
|
2,16
|
0,55
|
19610
(2000)
|
1,99
|
0,30
|
|
П2-1АтVСКЛ
П2-1АтVСКЛ-1
П2-1АтVСКЛ-2
П2-1АтVСКЛ-3
|
7860
(802)
|
9270
(945)
|
4380
(447)
|
0,50
|
0,31
|
4380
(447)
|
0,49
|
0,29
|
4210
(430)
|
0,47
|
0,26
|
|
П2-2АтVСКЛ
|
10800
(1112)
|
12660
(1291)
|
6340
(647)
|
0,71
|
0,37
|
6280
(640)
|
0,68
|
0,33
|
5980
(610)
|
0,65
|
0,28
|
|
П2-3АтVСКЛ
|
13800
(1407)
|
16000
(1636)
|
8370
(853)
|
0,93
|
0,42
|
8240
(840)
|
0,89
|
0,38
|
7750
(790)
|
0,84
|
0,30
|
|
П2-4АтVСКЛ
|
17600
(1793)
|
20400
(2076)
|
10900
(1113)
|
1,16
|
0,49
|
10720
(1093)
|
1,11
|
0,43
|
10000
(1020)
|
1,04
|
0,33
|
|
П2-5АтVCKЛ
|
21980
(2241)
|
25500
(2596)
|
14250
(1453)
|
1,51
|
0,54
|
13800
(1406)
|
1,38
|
0,43
|
12650
(1290)
|
1,21
|
0,21
|
|
П3-1АтVCK
|
13120
(1338)
|
15420
(1572)
|
7740
(789)
|
0,61
|
0,41
|
7630
(778)
|
0,59
|
0,39
|
7110
(725)
|
0,57
|
0,35
|
|
П3-2АтVCK
|
18750
(1912)
|
21850
(2228)
|
11550
(1178)
|
0,88
|
0,54
|
11350
(1157)
|
0,84
|
0,50
|
10460
(1067)
|
0,80
|
0,44
|
|
П3-3АтVCK
|
25150
(2565)
|
29170
(2975)
|
15900
(1621)
|
1,19
|
0,69
|
15470
(1578)
|
1,13
|
0,63
|
14280
(1456)
|
1,06
|
0,55
|
|
П3-4АтVCK
|
32410
(3305)
|
37460
(3820)
|
21050
(2147)
|
1,63
|
0,89
|
20330
(2073)
|
1,54
|
0,80
|
18590
(1896)
|
1,43
|
0,68
|
|
П3-5АтVCK
|
38860
(3963)
|
44840
(4572)
|
25800
(2631)
|
2,14
|
1,05
|
24870
(2536)
|
2,00
|
0,90
|
22440
(2288)
|
1,83
|
0,68
|
|
П3-1АтVСКЛ
|
13280
(1354)
|
15500
(1581)
|
8260
(842)
|
0,78
|
0,51
|
8050
(821)
|
0,74
|
0,48
|
7350
(750)
|
0,70
|
0,43
|
|
П3-2АтVСКЛ
|
18510
(1887)
|
21480
(2190)
|
11770
(1200)
|
1,07
|
0,66
|
11450
(1168)
|
1,02
|
0,62
|
10470
(1068)
|
0,96
|
0,55
|
|
П3-3АтVСКЛ
|
24810
(2530)
|
28680
(2925)
|
15990
(1631)
|
1,43
|
0,84
|
15550
(1586)
|
1,36
|
0,79
|
14220
(1450)
|
1,26
|
0,7
|
|
П3-4АтVСКЛ
|
31900
(3253)
|
36790
(3752)
|
21050
(2147)
|
1,96
|
1,11
|
20330
(2073)
|
1,86
|
1,02
|
18450
(1881)
|
1,70
|
0,88
|
|
П1-1АIV
|
7360
(751)
|
9190
(937)
|
4250
(433)
|
0,42
|
0,24
|
4250
(443)
|
0,40
|
0,20
|
4020
(410)
|
0,39
|
0,15
|
|
П1-2АIV
|
10230
(1043)
|
12600
(1283)
|
6210
(633)
|
0,57
|
0,28
|
6140
(626)
|
0,54
|
0,24
|
5780
(590)
|
0,51
|
0,18
|
|
П1-3АIV
|
13720
(1399)
|
16720
(1705)
|
8720
(889)
|
0,71
|
0,32
|
8560
(873)
|
0,67
|
0,28
|
7940
(810)
|
0,64
|
0,22
|
|
П1-4АIV
|
17220
(1756)
|
20860
(2127)
|
11200
(1140)
|
0,94
|
0,38
|
10900
(1113)
|
0,88
|
0,32
|
10100
(1030)
|
0,82
|
0,24
|
|
П1-5АIV
|
21190
(2161)
|
25600
(2607)
|
14300
(1451)
|
1,22
|
0,46
|
13820
(1409)
|
1,11
|
0,37
|
12550
(1280)
|
0,99
|
0,23
|
|
П1-6АIV
|
27380
(2792)
|
32900
(3356)
|
18690
(1906)
|
1,74
|
0,58
|
17910
(1826)
|
1,62
|
0,45
|
16370
(1670)
|
1,48
|
0,24
|
|
П1-7АIV
|
31190
(3181)
|
37400
(3817)
|
21440
(2186)
|
2,01
|
0,82
|
20530
(2093)
|
1,87
|
0,67
|
17650
(1800)
|
1,71
|
0,44
|
|
П1-1АIVЛ
|
7840
(799)
|
9650
(984)
|
4830
(493)
|
0,59
|
0,32
|
4710
(480)
|
0,56
|
0,28
|
4410
(450)
|
0,52
|
0,22
|
|
П1-2АIVЛ
|
10220
(1042)
|
12500
(1272)
|
6470
(660)
|
0,75
|
0,37
|
6340
(646)
|
0,71
|
0,33
|
5880
(600)
|
0,67
|
0,26
|
|
П1-3АIVЛ
|
14190
(1447)
|
17180
(1752)
|
9020
(920)
|
0,94
|
0,47
|
8800
(900)
|
0,90
|
0,43
|
8330
(850)
|
0,87
|
0,34
|
|
П1-4АIVЛ
|
17370
(1771)
|
20950
(2136)
|
11400
(1166)
|
1,24
|
0,52
|
11180
(1140)
|
1,18
|
0,47
|
10290
(1050)
|
1,09
|
0,37
|
|
П1-5АIVЛ
|
21500
(2192)
|
25840
(2635)
|
14500
(1479)
|
1,60
|
0,67
|
13950
(1422)
|
1,51
|
0,58
|
12840
(1310)
|
1,38
|
0,44
|
|
П1-6АIVЛ
|
25800
(2629)
|
30920
(3153)
|
18170
(1853)
|
2,36
|
0,82
|
17400
(1773)
|
2,20
|
0,67
|
15490
(1580)
|
1,96
|
0,41
|
|
П2-1AIV
П2-1АIV-1
П2-1АIV-2
П2-1АIV-3
|
7360
(751)
|
9190
(937)
|
4250
(433)
|
0,42
|
0,24
|
4250
(443)
|
0,40
|
0,20
|
4020
(410)
|
0,39
|
0,15
|
|
П2-2АIV
|
10230
(1043)
|
12600
(1283)
|
6210
(633)
|
0,57
|
0,28
|
6140
(626)
|
0,54
|
0,24
|
5780
(590)
|
0,51
|
0,18
|
|
П2-3AIV
|
13720
(1389)
|
16720
(1705)
|
8720
(889)
|
0,71
|
0,32
|
8560
(873)
|
0,67
|
0,28
|
7940
(810)
|
0,64
|
0,22
|
|
П2-4АIV
|
17220
(1756)
|
20860
(2127)
|
11200
(1140)
|
0,94
|
0,38
|
10900
(1113)
|
0,88
|
0,32
|
10100
(1030)
|
0,82
|
0,24
|
|
П2-5АIV
|
21190
(2161)
|
25600
(2607)
|
14300
(1451)
|
1,22
|
0,46
|
13820
(1409)
|
1,11
|
0,37
|
12550
(1280)
|
0,99
|
0,23
|
|
П2-6АIV
|
27380
(2792)
|
32900
(3356)
|
18690
(1906)
|
1,74
|
0,58
|
17910
(1826)
|
1,62
|
0,45
|
16370
(1670)
|
1,48
|
0,24
|
|
П2-7АIV
|
31190
(3180)
|
37400
(3817)
|
21440
(2186)
|
2,01
|
0,82
|
20530
(2093)
|
1,87
|
0,67
|
17650
(1800)
|
1,71
|
0,44
|
|
П2-1АIVЛ
П2-1АIVЛ-1
П2-1АIVЛ-2
П2-1АIV-3
|
7840
(799)
|
9650
(984)
|
4830
(493)
|
0,59
|
0,32
|
4710
(480)
|
0,56
|
0,28
|
4410
(450)
|
0,52
|
0,22
|
|
П2-2АIVЛ
|
10220
(1042)
|
12500
(1272)
|
6470
(660)
|
0,75
|
0,37
|
6340
(646)
|
0,71
|
0,33
|
5880
(600)
|
0,67
|
0,26
|
|
П2-3АIVЛ
|
14190
(1447)
|
17180
(1752)
|
9020
(920)
|
0,94
|
0,47
|
8800
(900)
|
0,90
|
0,43
|
8330
(850)
|
0,87
|
0,34
|
|
П2-4АIVЛ
|
17370
(1771)
|
20950
(2136)
|
11400
(1166)
|
1,24
|
0,52
|
11180
(1140)
|
1,18
|
0,47
|
10290
(1050)
|
1,09
|
0,37
|
|
П2-5АIVЛ
|
21500
(2192)
|
25840
(2635)
|
14500
(1479)
|
1,60
|
0,67
|
13950
(1422)
|
1,51
|
0,58
|
12840
(1310)
|
1,38
|
0,44
|
|
П2-6АIVЛ
|
25800
(2629)
|
30920
(3153)
|
18170
(1853)
|
2,36
|
0,82
|
17400
(1773)
|
2,20
|
0,67
|
15490
(1580)
|
1,96
|
0,41
|
|
П3-1АIV
|
14540
(1483)
|
17780
(1813)
|
9180
(936)
|
0,70
|
0,47
|
8970
(915)
|
0,67
|
0,44
|
8350
(851)
|
0,64
|
0,40
|
|
П3-2АIV
|
19700
(2009)
|
23900
(2437)
|
13000
(1326)
|
1,05
|
0,65
|
12590
(1284)
|
1,00
|
0,60
|
11530
(1176)
|
0,95
|
0,53
|
|
П3-3АIV
|
26800
(2733)
|
32310
(3295)
|
17960
(1831)
|
1,43
|
0,84
|
17440
(1778)
|
1,36
|
0,78
|
15920
(1623)
|
1,27
|
0,69
|
|
П3-4AIV
|
31870
(3250)
|
38320
(3908)
|
21880
(2231)
|
1,72
|
0,96
|
21050
(2147)
|
1,62
|
0,88
|
19040
(1942)
|
1,49
|
0,75
|
|
П3-5АIV
|
36610
(3733)
|
43930
(4480)
|
25800
(2631)
|
1,98
|
1,09
|
24660
(2515)
|
1,84
|
0,96
|
21970
(2240)
|
1,66
|
0,77
|
|
П3-1АIVЛ
|
14860
(1515)
|
18040
(1840)
|
9810
(1000)
|
0,90
|
0,60
|
9490
(968)
|
0,86
|
0,57
|
8680
(885)
|
0,80
|
0,51
|
|
П3-2АIVЛ
|
20070
(2047)
|
24220
(2470)
|
13620
(1389)
|
1,32
|
0,82
|
13210
(1347)
|
1,26
|
0,77
|
11910
(1214)
|
1,16
|
0,69
|
|
П3-3АIVЛ
|
26470
(2699)
|
31800
(3243)
|
18160
(1852)
|
1,71
|
1,04
|
17540
(1789)
|
1,63
|
0,98
|
15850
(1616)
|
1,49
|
0,87
|
|
П3-4АIVЛ
|
31420
(3204)
|
37670
(3841)
|
21990
(2242)
|
2,06
|
1,22
|
21150
(2157)
|
1,94
|
1,12
|
18910
(1928)
|
1,75
|
0,96
|
Обязательное
1. Основные параметры плит
приведены:
в табл. 7 - для плит, предназначенных
для эксплуатации в неагрессивной среде.
в табл. 8 - для плит, предназначенных
для эксплуатации в газообразных средах со слабо- и среднеагрессивной степенями
воздействия.
2. Значения контрольных
нагрузок, контрольных прогибов и относительных прогибов для оценки прочности,
жесткости и трещиностойкости плит приведены:
в табл. 9 - для плит, предназначенных
для эксплуатации в газообразных средах с неагрессивной степенью воздействия;
в табл. 10 - для плит, предназначенных для эксплуатации в
газообразных средах со слабо- и среднеагрессивной степенями воздействия.
Таблица 7
|
Класс
напрягаемой арматуры
|
Марка плиты
|
Равномерно
распределенная нагрузка на плиту при коэффициенте надежности по нагрузке
|
Напрягаемая
арматура
|
Класс бетона по
прочности на сжатие
|
Передаточная
прочность бетона, МПа
|
Предварительное
напряжение в арматуре до обжатия бетона
|
Расход
материалов
|
|

|

|
в крайнем ребре
|
в среднем ребре
|
МПа
|
кгс/см2
|
Бетон, м3
|
Сталь, кг
|
|
Па
|
кгс/м2
|
Па
|
кгс/м2
|
|
А-IIIв
|
П1-1AIIIв
|
5000
|
510
|
6080
|
620
|
1Ø16
|
2Ø16
|
В22,5
|
16
|
290
|
3000
|
1,54
|
115,5
|
|
П1-2АIIIв
|
6670
|
680
|
8040
|
820
|
1Ø18
|
2Ø18
|
130,0
|
|
П1-3АIIIв
|
8530
|
870
|
10300
|
1050
|
1Ø20
|
2Ø20
|
В27,5
|
19
|
143,8
|
|
П1-4АIIIв
|
10590
|
1080
|
12750
|
1300
|
1Ø22
|
2Ø22
|
161,3
|
|
П1-5АIIIв
|
14020
|
1430
|
16870
|
1720
|
1Ø25
|
2Ø25
|
В30
|
21
|
180,9
|
|
П1-6АIIIв
|
15890
|
1620
|
19120
|
1950
|
2Ø20
|
4Ø20
|
390
|
4000
|
228,5
|
|
П1-7АIIIв
|
19610
|
2000
|
23530
|
2400
|
2Ø22
|
4Ø22
|
252,5
|
|
П1-1АIIIвЛ
|
5490
|
560
|
6570
|
670
|
1Ø16
|
2Ø16
|
В22,5
|
16
|
290
|
3000
|
115,5
|
|
П1-2AIIIвЛ
|
7060
|
720
|
8530
|
870
|
1Ø18
|
2Ø18
|
130,0
|
|
П1-3АIIIвЛ
|
8920
|
910
|
10690
|
1090
|
1Ø20
|
2Ø20
|
В27,5
|
19
|
143,8
|
|
П1-4АIIIвЛ
|
10880
|
1110
|
13140
|
1340
|
1Ø22
|
2Ø22
|
161,3
|
|
П1-5АIIIвЛ
|
14320
|
1460
|
17260
|
1760
|
1Ø25
|
2Ø25
|
В30
|
21
|
180,9
|
|
П1-6АIIIвЛ
|
16280
|
1660
|
19610
|
2000
|
2Ø20
|
4Ø20
|
390
|
4000
|
228,5
|
|
П1-7AIIIвЛ
|
20000
|
2040
|
24020
|
2450
|
2Ø22
|
4Ø22
|
252,5
|
|
П2-1АIIIв
|
5000
|
510
|
6080
|
620
|
1Ø16
|
-
|
В22,5
|
16
|
290
|
3000
|
0,76
|
56,4
|
|
П2-1АIIIв-1
|
0,84
|
78,1
|
|
П2-1АIIIв-2
|
5000
|
510
|
6080
|
620
|
1Ø16
|
-
|
0,83
|
78,9
|
|
П2-1АIIIв-3
|
0,79
|
86,4
|
|
П2-2АIIIв
|
6670
|
680
|
8040
|
820
|
1Ø18
|
-
|
0,76
|
63,2
|
|
П2-3АIIIв
|
8530
|
870
|
10300
|
1050
|
1Ø20
|
-
|
В27,5
|
19
|
70,1
|
|
П2-4AIIIв
|
10590
|
1080
|
12750
|
1300
|
1Ø22
|
-
|
78,1
|
|
П2-5АIIIв
|
14020
|
1430
|
16870
|
1720
|
1Ø25
|
-
|
В30
|
21
|
87,9
|
|
П2-6AIIIв
|
15890
|
1620
|
19120
|
1950
|
2Ø20
|
390
|
4000
|
108,9
|
|
П2-7АIIIв
|
19610
|
2000
|
23530
|
2400
|
2Ø22
|
120,9
|
|
П2-8АIIIв
|
26080
|
2660
|
31880
|
3200
|
2Ø25
|
-
|
В40
|
28
|
148,9
|
|
П2-1АIIIвЛ
|
5490
|
560
|
6570
|
670
|
1Ø16
|
-
|
В22,5
|
16
|
290
|
3000
|
56,4
|
|
П2-1АIIIвЛ-1
|
0,84
|
78,1
|
|
П2-1АIIIвЛ-2
|
0,83
|
78,9
|
|
П2-1АIIIвЛ-3
|
0,79
|
86,4
|
|
П2-2АIIIвЛ
|
7060
|
720
|
8530
|
870
|
1Ø18
|
|
63,2
|
|
П2-3АIIIвЛ
|
8920
|
910
|
10690
|
1090
|
1Ø20
|
-
|
В27,5
|
19
|
0,76
|
70,1
|
|
П2-4АIIIвЛ
|
10880
|
1110
|
13140
|
1340
|
1Ø22
|
78,1
|
|
П2-5АIIIвЛ
|
14320
|
1460
|
17260
|
1760
|
1Ø25
|
В30
|
21
|
87,4
|
|
П2-6АIIIвЛ
|
16280
|
1660
|
19610
|
2000
|
2Ø20
|
390
|
4000
|
108,9
|
|
П2-7АIIIвЛ
|
20000
|
2040
|
24020
|
2450
|
2Ø22
|
120,9
|
|
П3-1AIIIв
|
5590
|
570
|
6760
|
690
|
1Ø14
|
-
|
В22,5
|
16
|
290
|
3000
|
0,58
|
58,2
|
|
П3-2АIIIв
|
9120
|
930
|
10980
|
1120
|
1Ø16
|
340
|
3500
|
62,4
|
|
П3-3АIIIв
|
11670
|
1190
|
14020
|
1430
|
1Ø18
|
-
|
В27,5
|
19
|
67,2
|
|
П3-4AIIIн
|
15390
|
1570
|
18530
|
1890
|
1Ø20
|
-
|
В30
|
21
|
390
|
4000
|
72,4
|
|
П3-5АIIIв
|
18240
|
1860
|
21870
|
2230
|
1Ø22
|
84,7
|
|
П3-бAIIIв
|
22750
|
2320
|
27360
|
2790
|
1Ø25
|
450
|
46000
|
94,5
|
|
П3-1АIIIвЛ
|
5980
|
610
|
7160
|
730
|
1Ø14
|
-
|
В22,5
|
16
|
290
|
3000
|
58,2
|
|
П3-2AIIIвЛ
|
8330
|
850
|
10000
|
1020
|
1Ø16
|
340
|
3500
|
62,4
|
|
П3-3АIIIвЛ
|
11770
|
1200
|
14120
|
1440
|
1Ø18
|
-
|
В27,5
|
19
|
410
|
4200
|
67,2
|
|
П3-4АIIIвЛ
|
14810
|
1510
|
17850
|
1820
|
1Ø20
|
-
|
В30
|
21
|
450
|
4600
|
72,4
|
|
П3-5АIIIвЛ
|
16870
|
1720
|
20300
|
2070
|
1Ø22
|
84,7
|
|
П3-6АIIIвЛ
|
21080
|
2150
|
25300
|
2580
|
1Ø25
|
94,5
|
Таблица 8
|
Класс напрягаемой арматуры
|
Марка плиты
|
Равномерно
распределенная нагрузка на плиту при коэффициенте надежности по нагрузке
|
Напрягаемая
арматура
|
Класс бетона по
прочности на сжатие
|
Передаточная
прочность бетона, МПа
|
Предварительное
напряжение в арматуре до обжатия бетона
|
Расход
материалов
|
|

|

|
в крайнем ребре
|
в среднем ребре
|
МПа
|
кгс/см2
|
Бетон, м3
|
Сталь, кг
|
|
Па
|
кгс/м2
|
Па
|
кгс/м2
|
|
А-IIIв
|
П1-1AIIIв
|
5000
|
510
|
6080
|
620
|
1Ø16
|
2Ø16
|
В22,5
|
16
|
450
|
4600
|
1,54
|
115,5
|
|
П1-2АIIIв
|
6860
|
700
|
8230
|
840
|
1Ø18
|
2Ø18
|
В30
|
21
|
130,0
|
|
П1-3АIIIв
|
8630
|
880
|
10390
|
1060
|
1Ø20
|
2Ø20
|
143,8
|
|
П1-4АIIIв
|
10690
|
1090
|
12840
|
1310
|
1Ø22
|
2Ø22
|
161,3
|
|
П1-5АIIIв
|
14020
|
1430
|
16860
|
1720
|
1Ø25
|
2Ø25
|
180,9
|
|
П1-6АIIIв
|
15880
|
1620
|
19120
|
1950
|
2Ø20
|
4Ø20
|
228,5
|
|
П1-7АIIIв
|
19610
|
2000
|
23530
|
2400
|
2Ø22
|
4Ø22
|
В40
|
28
|
252,5
|
|
П1-1АIIIвЛ
|
5390
|
550
|
6570
|
670
|
1Ø16
|
2Ø16
|
В22,5
|
16
|
115,5
|
|
П1-2AIIIвЛ
|
7150
|
730
|
8630
|
1880
|
1Ø18
|
2Ø18
|
В30
|
21
|
130,0
|
|
П1-3АIIIвЛ
|
8920
|
910
|
10780
|
1100
|
1Ø20
|
2Ø20
|
143,8
|
|
П1-4АIIIвЛ
|
10980
|
1120
|
13230
|
1350
|
1Ø22
|
2Ø22
|
161,3
|
|
П1-5АIIIвЛ
|
14310
|
1460
|
17260
|
1760
|
1Ø25
|
2Ø25
|
180,9
|
|
П1-6АIIIвЛ
|
16280
|
1660
|
19610
|
2000
|
2Ø20
|
4Ø20
|
228,5
|
|
П2-1АIIIв
|
5000
|
510
|
6080
|
620
|
1Ø16
|
-
|
В22,5
|
16
|
0,76
|
56,4
|
|
П2-1АIIIв-1
|
0,84
|
78,1
|
|
П2-1АIIIв-2
|
0,83
|
78,9
|
|
П2-1АIIIв-3
|
0,79
|
86,4
|
|
П2-2АIIIв
|
6860
|
700
|
8230
|
840
|
1Ø18
|
-
|
0,76
|
63,2
|
|
П2-3АIIIв
|
8630
|
880
|
10390
|
1060
|
1Ø20
|
-
|
В30
|
21
|
70,1
|
|
П2-4AIIIв
|
10690
|
1090
|
12840
|
1310
|
1Ø22
|
-
|
78,1
|
|
П2-5АIIIв
|
14020
|
1430
|
16860
|
1720
|
1Ø25
|
-
|
87,9
|
|
П2-6АIIIв
|
15880
|
1620
|
19120
|
1950
|
2Ø20
|
108,9
|
|
П2-7АIIIв
|
19610
|
2000
|
23530
|
2400
|
2Ø22
|
В40
|
28
|
120,9
|
|
П2-1АIIIвЛ
|
5390
|
550
|
6570
|
670
|
1Ø16
|
-
|
В22,5
|
16
|
56,4
|
|
П2-1АIIIвЛ-1
|
0,84
|
78,1
|
|
П2-1АIIIВл-2
|
0,83
|
78,9
|
|
П2-1АIIIвЛ-3
|
0,79
|
86,4
|
|
П2-2AIIIвЛ
|
7150
|
730
|
8630
|
880
|
1Ø18
|
0,76
|
63,2
|
|
П2-3АIIIвЛ
|
8920
|
910
|
10780
|
1100
|
1Ø20
|
-
|
В30
|
21
|
70,1
|
|
П2-4АIIIвЛ
|
10980
|
1120
|
13230
|
1350
|
1Ø22
|
78,1
|
|
П2-5АIIIвЛ
|
14310
|
1460
|
17260
|
1760
|
1Ø25
|
-
|
87,9
|
|
П2-6АIIIвЛ
|
16280
|
1660
|
19610
|
2000
|
2Ø20
|
108,9
|
|
П3-1AIIIв
|
4120
|
420
|
5000
|
510
|
1Ø14
|
-
|
В22,5
|
16
|
0,58
|
58,2
|
|
П3-2АIIIв
|
8740
|
800
|
8730
|
890
|
1Ø16
|
-
|
В27,5
|
19
|
62,4
|
|
П3-3АIIIв
|
11080
|
1130
|
13340
|
1360
|
1Ø18
|
-
|
В30
|
21
|
67,2
|
|
П3-4AIIIв
|
15400
|
1570
|
18530
|
1890
|
1Ø20
|
-
|
72,4
|
|
П3-5АIIIв
|
17650
|
1800
|
21180
|
2160
|
1Ø22
|
84,7
|
|
П3-6AIIIв
|
22750
|
2320
|
27360
|
2700
|
1Ø25
|
94,5
|
|
П3-1АIIIвЛ
|
4610
|
470
|
5590
|
570
|
1Ø14
|
-
|
В22,5
|
16
|
58,2
|
|
П3-2AIIIвЛ
|
7550
|
770
|
9120
|
930
|
1Ø16
|
В27,5
|
19
|
62,4
|
|
П3-3AIIIвЛ
|
11470
|
1170
|
13820
|
1410
|
1Ø18
|
-
|
В30
|
21
|
67,2
|
|
П3-4АIIIвЛ
|
14800
|
1510
|
17850
|
1820
|
1Ø20
|
-
|
72,4
|
|
П3-6АIIIвЛ
|
16770
|
1710
|
20200
|
2060
|
1Ø22
|
84,7
|
Таблица 9
|
Марка плиты
|
Контрольные
равномерно распределенные нагрузки для оценки прочности плит, Па (кгс/м2),
при
|
Контрольные
равномерно распределенные нагрузки Рпр,
Па (кгс/м2), контрольные прогибы fк, см, относительные прогибы для оценки жесткости и
трещиностойкости плит при возрасте бетона к моменту испытания, сут.
|
|
14
|
28
|
100
|
|
С = 1,25
|
С = 1,6
|
Рпр
|
fк
|

|
Рпр
|
fк
|

|
Рпр
|
fк
|

|
|
П1-1АIIIв
|
8110
(827)
|
11070
(1129)
|
5290
(540)
|
0,74
|
0,45
|
5290
(540)
|
0,73
|
0,44
|
5000
(510)
|
0,74
|
0,42
|
|
П1-2АIIIв
|
10610
(1082)
|
14270
(1455)
|
7190
(733)
|
0,99
|
0,54
|
7120
(726)
|
0,97
|
0,52
|
6670
(680)
|
0,94
|
0,47
|
|
П1-3АIIIв
|
13400
(1367)
|
17850
(1820)
|
9350
(953)
|
1,16
|
0,61
|
9150
(933)
|
1,12
|
0,57
|
8530
(870)
|
1,07
|
0,52
|
|
П1-4АIIIв
|
16490
(1682)
|
21800
(2223)
|
12190
(1243)
|
1,46
|
0,74
|
11600
(1183)
|
1,38
|
0,68
|
10580
(1080)
|
1,30
|
0,60
|
|
П1-5АIIIв
|
21640
(2207)
|
28390
(2895)
|
16450
(1677)
|
1,77
|
0,89
|
15780
(1609)
|
1,67
|
0,81
|
14020
(1430)
|
1,51
|
0,69
|
|
П1-6АIIIв
|
24440
(2492)
|
31970
(3260)
|
18850
(1922)
|
2,04
|
0,96
|
17960
(1832)
|
1,92
|
0,97
|
15890
(1620)
|
1,98
|
0,55
|
|
П1-7АIIIв
|
30030
(3062)
|
39130
(3990)
|
24140
(2462)
|
2,53
|
1,11
|
22770
(2322)
|
2,33
|
0,91
|
19620
(2000)
|
2,05
|
0,60
|
|
П1-1АIIIвЛ
|
8730
(890)
|
11720
(1195)
|
5940
(606)
|
0,95
|
0,56
|
5880
(600)
|
0,94
|
0,54
|
5490
(560)
|
0,91
|
0,51
|
|
П1-2АIIIвЛ
|
11080
(1130)
|
14730
(1502)
|
7870
(803)
|
1,24
|
0,67
|
7740
(789)
|
1,20
|
0,65
|
7060
(720)
|
1,14
|
0,58
|
|
П1-3АIIIвЛ
|
13880
(1415)
|
18300
(1867)
|
10090
(1029)
|
1,43
|
0,76
|
9820
(1001)
|
1,37
|
0,72
|
8920
(910)
|
1,28
|
0,65
|
|
П1-4АIIIвЛ
|
16820
(1715)
|
22080
(2251)
|
12800
(1305)
|
1,78
|
0,93
|
12280
(1252)
|
1,67
|
0,87
|
10890
(1110)
|
1,52
|
0,76
|
|
П1-5АIIIвЛ
|
21970
(2240)
|
28670
(2923)
|
16980
(1732)
|
2,15
|
1,18
|
16390
(1671)
|
2,02
|
1,08
|
14320
(1460)
|
1,80
|
0,93
|
|
П1-6АIIIвЛ
|
24900
(2540)
|
32430
(3307)
|
19400
(1979)
|
2,33
|
1,18
|
18840
(1921)
|
2,18
|
1,05
|
16280
(1660)
|
1,95
|
0,83
|
|
П1-7АIIIвЛ
|
30500
(3110)
|
39580
(4036)
|
24450
(2493)
|
3,07
|
1,45
|
22920
(2337)
|
2,86
|
1,24
|
20010
(2040)
|
2,48
|
0,89
|
|
П2-1АIIIв
П2-1АIIIв-1
П2-1АIIIв-2
П2-1АIIIв-3
|
8110
(827)
|
11070
(1129)
|
5290
(540)
|
0,74
|
0,45
|
5290
(540)
|
0,73
|
0,44
|
5000
(510)
|
0,74
|
0,42
|
|
П2-2АIIIв
|
10610
(1082)
|
14270
(1455)
|
7190
(733)
|
0,99
|
0,54
|
7120
(726)
|
0,97
|
0,52
|
6670
(680)
|
0,94
|
0,47
|
|
П2-3АIIIв
|
13400
(1367)
|
17850
(1820)
|
9350
(953)
|
1,16
|
0,61
|
9150
(933)
|
1,12
|
0,57
|
8530
(870)
|
1,07
|
0,52
|
|
П2-4АIIIв
|
16490
(1682)
|
21800
(2223)
|
12190
(1243)
|
1,46
|
0,74
|
11600
(1183)
|
1,38
|
0,68
|
10590
(1080)
|
1,30
|
0,60
|
|
П2-5АIIIв
|
21640
(2207)
|
28390
(2895)
|
16450
(1677)
|
1,77
|
0,89
|
15780
(1609)
|
1,67
|
0,81
|
14020
(1430)
|
1,51
|
0,69
|
|
П2-6АIIIв
|
24440
(2492)
|
31970
(3260)
|
18850
(1922)
|
2,04
|
0,96
|
17960
(1832)
|
1,92
|
0,97
|
15890
(1620)
|
1,98
|
0,55
|
|
П2-7АIIIв
|
30030
(3062)
|
39130
(3990)
|
24140
(2462)
|
2,53
|
1,11
|
22770
(2322)
|
2,33
|
0,91
|
19620
(2000)
|
2,05
|
0,60
|
|
П2-8АIIIв
|
39890
(4067)
|
51740
(5276)
|
32750
(3340)
|
3,27
|
1,52
|
32750
(3340)
|
3,37
|
1,47
|
30530
(3113)
|
3,09
|
1,22
|
|
П2-1АIIIвЛ
П2-1АIIIвЛ-1
П2-1АIIIвЛ-2
П2-1АIIIв-Л-3
|
8730
(890)
|
11720
(1195)
|
5940
(606)
|
0,95
|
0,56
|
5880
(600)
|
0,94
|
0,54
|
5490
(560)
|
0,91
|
0,51
|
|
П2-2АIIIвЛ
|
11080
(1130)
|
14730
(1502)
|
7870
(803)
|
1,24
|
0,67
|
7740
(789)
|
1,20
|
0,65
|
7060
(720)
|
1,14
|
0,58
|
|
П2-3АIIIвЛ
|
13880
(1415)
|
18300
(1867)
|
10090
(1029)
|
1,43
|
0,76
|
9820
(1001)
|
1,37
|
0,72
|
8920
(910)
|
1,28
|
0,65
|
|
П2-4AIIIвЛ
|
16820
(1715)
|
22080
(2251)
|
12800
(1305)
|
1,78
|
0,93
|
12280
(1252)
|
1,67
|
0,87
|
10890
(1110)
|
1,52
|
0,76
|
|
П2-5АIIIвЛ
|
21970
(2240)
|
28670
(2923)
|
16980
(1732)
|
2,15
|
1,18
|
16390
(1671)
|
2,02
|
1,08
|
14320
(1460)
|
1,80
|
0,93
|
|
П2-6АIIIвЛ
|
24900
(2540)
|
32430
(3307)
|
19400
(1979)
|
2,33
|
1,18
|
18840
(1921)
|
2,18
|
1,05
|
16280
(1660)
|
1,95
|
0,83
|
|
П2-7АIIIвЛ
|
30500
(3110)
|
39580
(4036)
|
24450
(2493)
|
3,07
|
1,45
|
22920
(2337)
|
2,86
|
1,24
|
20010
(2040)
|
2,48
|
0,89
|
|
П3-1AIIIв
|
14030
(1431)
|
18790
(1916)
|
981
(1000)
|
1,29
|
0,85
|
9700
(989)
|
1,28
|
0,83
|
8420
(859)
|
1,24
|
0,81
|
|
П3-2АIIIв
|
19280
(1966)
|
25500
(2600)
|
14030
(1431)
|
1,68
|
1,03
|
13620
(1389)
|
1,63
|
0,99
|
12370
(1261)
|
1,53
|
0,91
|
|
П3-3АIIIв
|
23060
(2351)
|
30330
(3093)
|
17020
(1736)
|
1,77
|
1,08
|
16510
(1684)
|
1,70
|
1,02
|
14890
(1518)
|
1,58
|
0,92
|
|
П3-4АIIIв
|
28760
(2933)
|
37650
(3839)
|
21470
(2189)
|
1,90
|
1,13
|
20740
(2115)
|
1,80
|
1,05
|
18690
(1906)
|
1,66
|
0,93
|
|
П3-5АIIIв
|
32920
(3357)
|
14520
(1481)
|
25180
(2568)
|
2,13
|
1,25
|
24150
(2463)
|
2,00
|
1,13
|
21470
(2189)
|
1,81
|
0,97
|
|
П3-6АIIIв
|
39720
(4050)
|
51660
(5268)
|
31480
(3210)
|
2,55
|
1,13
|
29720
(3031)
|
2,35
|
1,13
|
25990
(2650)
|
2,10
|
0,86
|
|
П3-1AIIIвЛ
|
14420
(1470)
|
19090
(1947)
|
10520
(1073)
|
1,52
|
1,01
|
10330
(1053)
|
1,49
|
0,99
|
8770
(894)
|
1,39
|
0,92
|
|
П3-2АIIIвЛ
|
18340
(1870)
|
24110
(2459)
|
13620
(1389)
|
1,63
|
1,06
|
13210
(1347)
|
1,57
|
1,02
|
11850
(1208)
|
1,46
|
0,93
|
|
П3-3АIIIвЛ
|
23020
(2347)
|
30110
(3070)
|
17440
(1778)
|
1,85
|
1,15
|
16820
(1715)
|
1,76
|
1,08
|
14960
(1526)
|
1,60
|
0,96
|
|
П3-4АIIIвЛ
|
28760
(2933)
|
37650
(3839)
|
21470
(2189)
|
1,90
|
1,13
|
20740
(2115)
|
1,80
|
1,05
|
18690
(1906)
|
1,66
|
0,93
|
|
П3-5АIIIвЛ
|
30750
(3136)
|
40010
(4080)
|
23840
(2431)
|
2,14
|
1,27
|
22810
(2326)
|
2,01
|
1,16
|
20120
(2052)
|
1,79
|
0,97
|
|
П3-6АIIIвЛ
|
36760
(3748)
|
40700
(4864)
|
29310
(2989)
|
2,72
|
1,47
|
27760
(2631)
|
2,52
|
1,28
|
24120
(2460)
|
2,19
|
0,97
|
Таблица 10
|
Марка плиты
|
Контрольные
равномерно распределенные нагрузки для оценки прочности плит, Па (кгс/×м2), при
|
Контрольные
равномерно распределенные нагрузки Рпр,
Па (кгс/м2), контрольные прогибы fк, см, относительные прогибы для оценки жесткости и
трещиностойкости плит при возрасте бетона к моменту испытания, сут.
|
|
14
|
28
|
100
|
|
С = 1,25
|
С = 1,6
|
Рпр
|
fк
|

|
Рпр
|
fк
|

|
Рпр
|
fк
|

|
|
П1-1АIIIв
|
8110
(827)
|
11070
(1129)
|
5350
(546)
|
0,48
|
0,25
|
5290
(540)
|
0,45
|
0,21
|
5000
(510)
|
0,43
|
0,16
|
|
П1-2АIIIв
|
10900
(1112)
|
14650
(1494)
|
7380
(753)
|
0,57
|
0,28
|
7250
(739)
|
0,54
|
0,24
|
6860
(700)
|
0,50
|
0,19
|
|
П1-3АIIIв
|
13550
(1382)
|
18030
(1839)
|
9530
(972)
|
0,74
|
0,34
|
9490
(968)
|
0,70
|
0,27
|
8630
(880)
|
0,64
|
0,19
|
|
П1-4АIIIв
|
16640
(1697)
|
21980
(2242)
|
12200
(1243)
|
0,98
|
0,37
|
11800
(1203)
|
0,9
|
0,29
|
10690
(1090)
|
0,81
|
0,18
|
|
П1-5AIIIв
|
21640
(2207)
|
28390
(2895)
|
16440
(1676)
|
1,55
|
0,53
|
15720
(1603)
|
1,38
|
0,38
|
14020
(1430)
|
1,34
|
0,17
|
|
П1-6АIIIв
|
24440
(2492)
|
31970
(3260)
|
18700
(1907)
|
1,91
|
0,73
|
18070
(1843)
|
1,77
|
0,56
|
15890
(1620)
|
1,59
|
0,31
|
|
П1-7АIIIв
|
30030
(3062)
|
39130
(3990)
|
23340
(2380)
|
2,25
|
0,87
|
22160
(2260)
|
2,08
|
0,68
|
19600
(2000)
|
1,85
|
0,40
|
|
П1-1АIIIвЛ
|
8730
(890)
|
11720
(1195)
|
5970
(609)
|
0,68
|
0,35
|
5840
(596)
|
0,64
|
0,32
|
5490
(560)
|
0,60
|
0,25
|
|
П1-2АIIIвЛ
|
11230
(1145)
|
14920
(1521)
|
6850
(699)
|
0,81
|
0,40
|
7700
(785)
|
0,77
|
0,37
|
7160
(730)
|
0,72
|
0,30
|
|
П1-3АIIIвЛ
|
13880
(1415)
|
18300
(1867)
|
9900
(1010)
|
1,00
|
0,48
|
9640
(983)
|
0,96
|
0,41
|
8920
(910)
|
0,88
|
0,31
|
|
П1-4АIIIвЛ
|
16960
(1730)
|
22260
(2270)
|
12550
(1280)
|
1,29
|
0,53
|
12160
(1240)
|
1,20
|
0,46
|
10980
(1120)
|
1,08
|
0,34
|
|
П1-5AIIIвЛ
|
21970
(2240)
|
28670
(2923)
|
16970
(1730)
|
1,92
|
0,70
|
16180
(1650)
|
1,63
|
0,57
|
14320
(1460)
|
1,3
|
0,33
|
|
П1-6АIIIвЛ
|
25060
(2555)
|
32620
(3326)
|
19380
(1976)
|
2,44
|
1,00
|
18600
(1897)
|
2,28
|
0,83
|
16380
(1670)
|
2,01
|
0,55
|
|
П2-1АIIIв
|
8110
(827)
|
11070
(1129)
|
5350
(546)
|
0,48
|
0,25
|
5290
(540)
|
0,45
|
0,21
|
5000
(510)
|
0,43
|
0,16
|
|
П2-1АIIIв-1
|
|
П2-1АIIIв-2
|
|
П2-1АIIIв-3
|
|
П2-2АIIIв
|
10900
(1112)
|
14650
(1494)
|
7380
(753)
|
0,57
|
0,28
|
7250
(739)
|
0,54
|
0,24
|
6860
(700)
|
0,50
|
0,19
|
|
П2-3АIIIв
|
13550
(1382)
|
18030
(1839)
|
9530
(972)
|
0,74
|
0,34
|
9490
(968)
|
0,70
|
0,27
|
8630
(880)
|
0,64
|
0,19
|
|
П2-4АIIIв
|
16640
(16970
|
21980
(2242)
|
12200
(1243)
|
0,98
|
0,37
|
11800
(1203)
|
0,9
|
0,29
|
10690
(1090)
|
0,81
|
0,18
|
|
П2-5AIIIв
|
21640
(2207)
|
28390
(2895)
|
16440
(1676)
|
1,55
|
0,53
|
15720
(1603)
|
1,38
|
0,38
|
14020
(1430)
|
1,34
|
0,17
|
|
П2-6AIIIв
|
24440
(2492)
|
31970
(3260)
|
18700
(1907)
|
1,91
|
0,73
|
18070
(1843)
|
1,77
|
0,56
|
15890
(1620)
|
1,59
|
0,31
|
|
П2-7АIIIв
|
30030
(3062)
|
39130
(3990)
|
23340
(2380)
|
2,25
|
0,87
|
22160
(2260)
|
2,08
|
0,68
|
19600
(2000)
|
1,85
|
0,40
|
|
П2-1АIIIвЛ
|
8730
(890)
|
11720
(1195)
|
5970
(609)
|
0,68
|
0,35
|
5840
(596)
|
0,64
|
0,32
|
5490
(560)
|
0,60
|
0,25
|
|
П2-1АIIIвЛ-1
П2-1АIIIвЛ-2
П2-1АIIIвЛ-3
|
8730
(890)
|
11720
(1195)
|
5970
(609)
|
0,68
|
0,35
|
5840
(596)
|
0,64
|
0,32
|
5490
(560)
|
0,60
|
0,25
|
|
П2-2АIIIвЛ
|
11230
(1145)
|
14920
(1521)
|
6850
(699)
|
0,81
|
0,40
|
7700
(785)
|
0,77
|
0,37
|
7160
(730)
|
0,72
|
0,30
|
|
П2-3АIIIвЛ
|
13880
(14415)
|
18300
(1867)
|
9900
(1010)
|
1,00
|
0,48
|
9640
(983)
|
0,96
|
0,41
|
8920
(910)
|
0,88
|
0,31
|
|
П2-4АIIIвЛ
|
17960
(1730)
|
22260
(2270)
|
12550
(1280)
|
1,29
|
0,53
|
12160
(1240)
|
1,20
|
0,46
|
10980
(1120)
|
1,08
|
0,34
|
|
П2-5АIIIвЛ
|
21970
(2240)
|
28670
(2923)
|
16970
(1730)
|
1,92
|
0,70
|
16180
(1650)
|
1,63
|
0,57
|
14320
(1460)
|
1,30
|
0,33
|
|
П2-6АIIIвЛ
|
25060
(2555)
|
32620
(3326)
|
19380
(1976)
|
2,44
|
1,00
|
18600
(1897)
|
2,28
|
0,83
|
16380
(1670)
|
2,01
|
0,55
|
|
П3-1АIIIв
|
12110
(1235)
|
16030
(1635)
|
8460
(863)
|
0,62
|
0,47
|
8260
(842)
|
0,67
|
0,44
|
7580
(773)
|
0,64
|
0,40
|
|
П3-2АIIIв
|
16920
(1725)
|
22480
(2292)
|
12070
(1231)
|
0,98
|
0,62
|
11770
(1200)
|
0,94
|
0,57
|
10790
(1100)
|
0,89
|
0,51
|
|
П3-3АIIIв
|
22830
(2328)
|
30050
(3064)
|
16610
(1694)
|
1,32
|
0,79
|
16100
(1642)
|
1,25
|
0,73
|
14740
(1503)
|
1,18
|
0,65
|
|
П3-4АIIIв
|
27950
(2850)
|
36600
(3732)
|
20950
(2136)
|
1,65
|
0,97
|
20120
(2052)
|
1,55
|
0,88
|
18140
(1850)
|
1,43
|
0,77
|
|
П3-5АIIIв
|
31990
(3262)
|
41780
(4260)
|
24460
(2494)
|
1,88
|
1,05
|
23430
(2389)
|
1,75
|
0,93
|
20840
(2125)
|
1,58
|
0,75
|
|
П3-6АIIIв
|
38570
(3933)
|
50200
(5119)
|
30550
(3115)
|
2,44
|
1,26
|
28900
(2947)
|
.2,25
|
1,07
|
25230
(2573)
|
1,98
|
0,79
|
|
П3-1AIIIвЛ
|
12440
(1269)
|
16570
(1690)
|
8980
(916)
|
0,88
|
0,59
|
8780
(895)
|
0,84
|
0,56
|
7970
(807)
|
0,78
|
0,5
|
|
П3-2АIIIвЛ
|
16800
(1713)
|
22150
(2259)
|
12390
(1263)
|
1,18
|
0,75
|
11970
(1221)
|
1,12
|
0,71
|
10830
(1104)
|
1,03
|
0,63
|
|
П3-3АIIIвЛ
|
22720
(2317)
|
29730
(3032)
|
16930
(1726)
|
1,59
|
0,99
|
16410
(1673)
|
1,52
|
0,93
|
14770
(1506)
|
1,39
|
0,83
|
|
П3-4AIIIвЛ
|
27670
(2822)
|
36700
(3678)
|
21050
(2147)
|
1,97
|
1,20
|
20230
(2053)
|
1,86
|
1,12
|
18070
(1843)
|
1,68
|
0,98
|
|
П3-5АIIIвЛ
|
30680
(3128)
|
39910
(4070)
|
23840
(2431)
|
2,13
|
1,26
|
22700
(2315)
|
2,00
|
1,16
|
20070
(2047)
|
1,78
|
0,97
|
ИНФОРМАЦИОННЫЕ
ДАННЫЕ
1. РАЗРАБОТАН
И ВНЕСЕН Центральным научно-исследовательским и проектно-экспериментальным
институтом промышленных зданий и сооружений (ЦНИИпромзданий) Госстроя СССР.
РАЗРАБОТЧИКИ
А.
А. Музыко (руководитель темы); Э. Н.
Кодыш, канд. техн. наук; И. Б.
Баранова; В. И. Пименова; Г. И. Бердичевский, д-р техн. наук; А. Е. Кузьмичев, канд. техн. наук; В. И. Деньщиков; В. П. Ковтунов, канд.
техн. наук; В. И. Чернобаев, канд.
техн. наук.
2. УТВЕРЖДЕН
И ВВЕДЕН В ДЕЙСТВИЕ Постановлением Государственного строительного комитета
СССР от 11.05.87 № 91.
3. ВЗАМЕН ГОСТ 21506-76 (в части плит высотой
300 мм).
4. ССЫЛОЧНЫЕ НОРМАТИВНО-ТЕХНИЧЕСКИЕ ДОКУМЕНТЫ
5. Переиздание. Октябрь 1991 г.
СОДЕРЖАНИЕ
|