
ГОСУДАРСТВЕННЫЙ
СТАНДАРТ СОЮЗА ССР
СТОЙКИ ЖЕЛЕЗОБЕТОННЫЕ
ЦЕНТРИФУГИРОВАННЫЕ КОЛЬЦЕВОГО СЕЧЕНИЯ
ДЛЯ ПРОИЗВОДСТВЕННЫХ
ЗДАНИЙ И ИНЖЕНЕРНЫХ СООРУЖЕНИЙ
ТЕХНИЧЕСКИЕ УСЛОВИЯ
ГОСТ 23444-79
ГОСУДАРСТВЕННЫЙ КОМИТЕТ СССР
ПО ДЕЛАМ СТРОИТЕЛЬСТВА
Москва
РАЗРАБОТАН
Государственным комитетом СССР по делам
строительства
Министерством высшего и среднего
специального образования Белорусской ССР
Министерством высшего и среднего
специального образования Украинской ССР
ИСПОЛНИТЕЛИ
Р. А. Гершанок (руководитель
темы); К. М. Финкельштейн; М. П. Бабушкин; Л. Н. Зикеев,
канд. техн. наук; Г. И. Бердичевский, д-р техн. наук; В. А. Клевцов,
канд. техн. наук; Т. М. Пецельд, канд. техн. наук; В. А. Тарасов;
В. М. Баташев, канд. техн, наук; П. М. Зубко
ВНЕСЕН Государственным комитетом СССР по
делам строительства
Начальник отдела В.
А. Алексеев
УТВЕРЖДЕН И ВВЕДЕН В ДЕЙСТВИЕ
Постановлением Государственного комитета СССР по делам строительства от 29
декабря 1978 г. № 276
ГОСУДАРСТВЕННЫЙ
СТАНДАРТ СОЮЗА ССР
|
СТОЙКИ
ЖЕЛЕЗОБЕТОННЫЕ ЦЕНТРИФУГИРОВАННЫЕ
КОЛЬЦЕВОГО СЕЧЕНИЯ ДЛЯ ПРОИЗВОДСТВЕННЫХ
ЗДАНИЙ И ИНЖЕНЕРНЫХ СООРУЖЕНИЙ
Технические условия
Centrifugated reinforced concrete posts of annular section
for industrial buildings and structures. Specifications
|
ГОСТ
23444-79
|
Постановлением Государственного комитета
СССР по делам строительства от 29 декабря 1978 г. № 276 срок введения
установлен
с 01.01. 1980 г.
Несоблюдение
стандарта преследуется по закону
Настоящий
стандарт распространяется на железобетонные стойки кольцевого сечения,
изготовляемые методом центрифугирования из тяжелого бетона и предназначаемые
для использования в качестве колонн производственных зданий без мостовых кранов
промышленных и сельскохозяйственных предприятий и стоек инженерных сооружений,
эксплуатируемых в неагрессивных и агрессивных газовых средах.
Требования
настоящего стандарта распространяются также на стойки, предназначаемые для
использования в зданиях и сооружениях с расчетной сейсмичностью 7, 8 и 9
баллов.
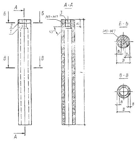
1.1. Форма, марки
и размеры стоек должны соответствовать указанным на чертеже,
в табл. 1 и в обязательном приложении 1 к настоящему стандарту.
1.2. Стойки в
соответствии с ГОСТ
23009-78 обозначаются марками. Для стоек, применяемых в условиях
воздействия агрессивных газовых сред, в марке приводится обозначение степени
плотности бетона:
при слабо- и
среднеагрессивной степенях воздействия - П;
при
сильноагрессивной степени воздействия - О.

1 - оголовок стойки; 2 - закладное
изделие; 3 - отверстие (технологическое) в оголовке стойки
Таблица 1
мм
|
Наружный диаметр D
|
Толщина стенки В
|
Длина стойки L
|
Длина оголовка h
|
Толщина стенки оголовка
В1
|
|
минимальная
|
максимальная
|
|
300
|
50, 60
|
3600
|
6000
|
400
|
100
|
|
400
|
50
60
70
80
|
9600
|
125
|
|
500
|
12600
|
175
|
|
600
|
60
70
80
100
|
4200
|
15600
|
225
|
|
700
|
4800
|
17400
|
250
|
|
800
|
60, 70, 80, 100, 120
|
5400
|
19200
|
600
|
300
|
|
1000
|
80, 100, 120
|
6000
|
375
|
Примечание. Длина стоек должна быть кратной 600 мм.
Пример условного обозначения (марки) стойки
диаметром 400 мм, длиной 3,6 м, со стенкой толщиной 50 мм, армированной
каркасом марки К2а.4.36 (см. п. 1.3), изготовляемой из
бетона марки М500 и применяемой в газовой среде неагрессивной степени
воздействия:
C4.36.5-K2a.M5 ГОСТ 23444-79
То же, диаметром
500 мм, длиной 4,2 м, со стенкой толщиной 70 мм, армированной каркасом марки
К2.3.42, изготовляемой из бетона марки М400 и применяемой в газовой среде
слабо- или среднеагрессивной степени воздействия:
С5.42.7-К2.М4-П
ГОСТ 23444-79
1.3. Арматурные каркасы обозначаются марками, состоящими из
буквенно-цифровых групп:
|
Х
|
Х.
|
Х.
|
Х
|
|
|
|
|
|
|
|
|
|
|
Вид изделия - каркас (К)
|
|
|
|
|
|
|
|
|
|
Условное число, обозначающее диаметр и
количество стержней продольной (рабочей) арматуры стойки
|
|
|
|
|
|
|
|
|
|
Наружный диаметр стойки в дециметрах
|
|
|
|
|
|
|
|
|
|
Длина стойки в дециметрах
|
Пример условного обозначения (марки) каркаса
с продольной (рабочей) арматурой Æ14AIII для стойки
диаметром 400 мм, длиной 3,6 м:
К2.4.36 ГОСТ
23444-79
То же, каркаса,
предназначенного для армирования стоек со стенкой толщиной 50 мм:
К2а.4.36 ГОСТ
23444-79
2. ТЕХНИЧЕСКИЕ ТРЕБОВАНИЯ
2.1.1.
Материалы, применяемые для приготовления бетона, должны обеспечивать выполнение
технических требований, установленных настоящим стандартом, и удовлетворять
требованиям действующих стандартов или технических условий на эти материалы.
2.1.2. Для изготовления
стоек следует применять тяжелый бетон марок по прочности на сжатие М300, М400,
М500, М600, М700 и М800.
Требуемая марка
бетона устанавливается в проекте конкретного здания или сооружения и
указывается в заказах на изготовление стоек.
2.1.3. Морозостойкость
и водонепроницаемость бетона должны соответствовать установленным в проекте
здания или сооружения и указанным в заказах на изготовление стоек.
2.1.4. Бетон, а
также материалы для приготовления бетона стоек, предназначенных для работы в
условиях воздействия агрессивной среды, должны удовлетворять требованиям,
приведенным в главе СНиП II-28-73.
Толщина стенок
стоек, предназначаемых для работы в условиях воздействия слабо- и
среднеагрессивной газовых сред, должна быть не менее 60 мм, а в условиях
воздействия сильноагрессивной газовой среды - не менее 80 мм.
2.1.5. Поставка
стоек потребителю должна производиться после достижения бетоном отпускной
прочности, которая назначается и согласовывается в соответствии с ГОСТ
13015-75. При этом величина отпускной прочности бетона должна быть не менее 60%
проектной марки бетона по прочности на сжатие.
2.2. Арматура
2.2.1. В
качестве продольной арматуры стоек следует применять стержневую арматуру класса
AIII по ГОСТ 5.1459-72, а поперечной
арматуры (спирали) - гладкую арматурную проволоку класса B-I по ГОСТ
6727-53.
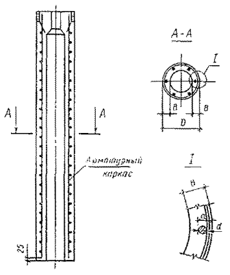
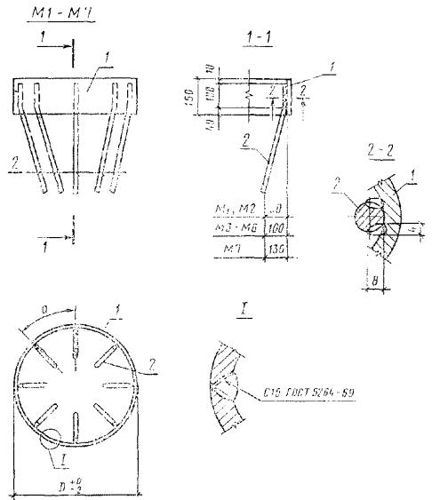
2.3. Арматурные и закладные изделия
2.3.1. Стойки
должны армироваться пространственными каркасами в соответствии с обязательным приложением 2 к настоящему
стандарту.
2.3.2.
Пространственные каркасы стоек должны изготовляться из продольных арматурных
стержней и навиваемой на них проволочной арматуры (спирали), которая
приваривается к продольным стержням контактной точечной сваркой.
2.3.3. Спираль
следует приваривать к продольным стержням в каждом третьем пересечении или в
каждом пересечении через два витка на третий.
На расстоянии
0,5 м от концов каркаса спираль должна быть приварена в каждом пересечении с
продольными стержнями.
2.3.4. Сварные
арматурные и закладные изделия должны удовлетворять требованиям ГОСТ 10922-75.
2.3.5.
Арматурные каркасы следует изготовлять на навивочно-сварочных станках.
Допускается изготовление арматурных каркасов на специализированных стендах с
обязательной контактной точечной сваркой пересечений продольной и поперечной
арматуры.
2.3.6.
Соединение стержней продольной арматуры допускается только при помощи стыковой
контактной сварки.
2.3.7. Все
сварные соединения должны удовлетворять требованиям ГОСТ 14098-68, ГОСТ
10922-75 и СН 393-78.
2.3.8. Открытые
поверхности закладных изделий стоек, предназначаемых для эксплуатации в
неагрессивной среде, должны иметь лакокрасочное покрытие, а закладных изделий,
предназначаемых для работы в условиях воздействия агрессивной газовой среды -
комбинированное (лакокрасочное по металлическому подслою) покрытие.
Покрытие следует
наносить на поверхности закладных изделий, очищенные от наплывов бетона.
Техническая
характеристика покрытий и толщина металлического подслоя должны соответствовать
приведенной в главе СНиП II-28-73.
2.4. Требования к изготовлению стоек
2.4.1. Стойки
следует изготовлять на технологических линиях, оснащенных ременными или
роликовыми центрифугами.
Технологические
требования к изготовлению стоек приведены в рекомендуемом приложении 3 к настоящему
стандарту.
2.4.2. Для
обеспечения проектной толщины защитного слоя бетона к арматурному каркасу
должны быть прикреплены пластмассовые фиксаторы (допускается применение
бетонных фиксаторов).
Фиксаторы должны
устанавливаться в количестве 3 шт. под углом 120° друг к другу по периметру
каркаса, а по длине - не реже чем через 2 м.
2.4.3. Стойки в
оголовках должны иметь закладные изделия для крапления опирающихся на них
строительных конструкций. Закладные изделия оголовков должны соответствовать
указанным в обязательном приложении
2 к настоящему стандарту.
2.4.4. Стойки, в
зависимости от их применения, могут иметь дополнительные закладные изделия или
отверстия для крепления стенового ограждения, коммуникаций и т. д. В этих
случаях в составе рабочих чертежей конкретных объектов должны разрабатываться
рабочие чертежи стоек и дополнительных закладных изделий.
2.4.5.
Технологические отверстия в оголовках стоек должны быть заделаны на
заводе-изготовителе бетонными заглушками высотой не менее 150 мм для
предотвращения попадания влаги во внутреннюю полость стойки.
2.5. Точность изготовления стоек
2.5.1.
Отклонения фактических размеров стоек от номинальных не должны превышать, мм:
а) по длине
стойки при номинальной длине
от 3600 до 7800.................................................... ±8
св. 7800 "
15600.................................................... ±10
" 15600................................................................... ±15
б) по наружному
диаметру................................. ±5
в) по толщине
стенки.......................................... +5;
-3
2.5.2.
Отклонение от прямолинейности стойки по длине образующей цилиндра, равной 2 м,
не должно превышать 2 мм.
Непрямолинейность
по длине стойки не должна превышать при ее номинальной длине, мм:
от 3600 до 7800.................................................... 8
св. 7800 "
15600.................................................... 13
" 15600................................................................... 20
2.5.3.
Отклонения от проектного положения стальных закладных изделий оголовка стоек не
должны превышать, мм:
вдоль образующей
от торцевой грани............... 10
относительно
боковой поверхности.................. 3
2.5.4. Толщина
наружного защитного слоя бетона должна быть, мм, не менее:
20 мм - для
стоек со стенкой толщиной 60 мм и более;
15 мм - для
стоек со стенкой толщиной 50 мм.
2.5.5.
Отклонение от проектной толщины защитного слоя бетона до поперечной арматуры не
должно превышать +5 мм.
2.6. Качество поверхностей и внешний вид стоек
2.6.1. Размеры
раковин, местных наплывов и впадин на боковой поверхности стоек и их торцах, а
также околов на торцах не должны превышать указанных в табл. 2.
Таблица 2
|
Поверхность
|
Предельно допускаемые
размеры, мм
|
|
раковин
|
местных наплывов
(высота) и впадин (глубина)
|
околов бетона
|
|
диаметр
|
глубина
|
глубина
|
|
Боковая наружная
|
10
|
5
|
2
|
-
|
|
Торцевая
|
8
|
3
|
2
|
10
|
Шероховатость
допускается не более чем на 5% боковой наружной поверхности стоек.
Открытые
воздушные поры не допускаются.
2.6.2. Обвалы
бетона с внутренней поверхности с обнажением арматуры не допускаются.
2.6.3. Трещины в
стойках не допускаются, за исключением усадочных, ширина которых не должна
превышать 0,05 мм, а количество - одной на 1 м длины стойки. Стойки не должны
иметь щелей и наплывов по линиям разъема полуформ.
2.6.4. Околы,
раковины, местные наплывы и впадины, а также шероховатость и открытые воздушные
поры на наружных поверхностях стоек, аттестуемых по высшей категории качества,
не допускаются.
3.1. Стойки
должны быть приняты техническим контролем предприятия-изготовителя.
Результаты
приемочного контроля и испытаний должны быть записаны в журналах ОТК, или
заводской лаборатории.
3.2. Приемка
стоек должна производиться партиями. В состав партии входят стойки,
изготовленные предприятием в течение не более одних суток по одной технологии,
из материалов одного вида и качества.
Объем партии
устанавливается по согласованию предприятия-изготовителя с потребителем.
3.3. Для
контроля качества стоек от каждой партии отбирают образцы в количестве 10%, но
не менее 3 шт.
Отобранные
образцы подвергают поштучному осмотру и обмеру с проверкой соответствия их всем
требованиям настоящего стандарта.
3.4. Оценку
качества стоек проверяемой партии по результатам осмотра и измерений отобранных
образцов производят в соответствии с требованиями ГОСТ 13015-75 и настоящего
стандарта.
3.5. Показатели
физико-механических свойств бетона и другие показатели, которые не могут быть
проверены на готовых стойках, следует определять по журналам операционного
контроля или путем контроля и испытаний в соответствии с требованиями,
приведенными в разд. 4
настоящего стандарта.
3.6. Текущий
приемочный контроль стоек должен производиться в соответствии с ГОСТ 8829-77.
3.7. Испытания
бетона на морозостойкость и водонепроницаемость следует проводить при освоении
производства стоек и изменении вида материалов, применяемых для приготовления
бетона. Кроме того, следует проводить периодические испытания не реже:
на
морозостойкость - одного раза в шесть месяцев;
на
водонепроницаемость - одного раза в три месяца.
3.8. Потребитель
имеет право производить контрольную проверку качества стоек на строительной
площадке, применяя для этой цели правила отбора образцов и методы испытаний,
предусмотренные настоящим стандартом.
4. МЕТОДЫ КОНТРОЛЯ И ИСПЫТАНИЙ
4.1. Прочность
бетона на сжатие следует определять по ГОСТ 10180-78 на образцах-кубах,
изготовленных вибрированием из той же бетонной смеси, что и стойки, и
подвергнутых термообработке вместе со стойками. Прочность центрифугированного
бетона по результатам испытаний вибрированных кубов принимается с коэффициентом
перехода, величина которого определяется для каждого предприятия-изготовителя.
Отпускную
прочность бетона следует определять неразрушающими методами по ГОСТ 17624-78,
ГОСТ 21243-75, ГОСТ 22690.0-77 - ГОСТ-22690.4-77.
4.2. Контроль и
оценку прочности и однородности бетона следует производить по ГОСТ 18105-72 или
по ГОСТ 21217-75.
4.3.
Морозостойкость бетона следует определять в соответствии с требованиями ГОСТ
10060-76.
4.4. Контроль
марки бетона по водонепроницаемости следует производить по величине
коэффициента фильтрации КФ, определяемой по ГОСТ 19426-74.
При отсутствии
соответствующего оборудования допускается определять марку бетона по
водонепроницаемости по ГОСТ 12730.5-78.
Величины
коэффициента фильтрации КФ, соответствующие маркам бетона по
водонепроницаемости, следует принимать по главе СНиП II-21-75.
4.5.
Водопоглощение бетона следует определять по ГОСТ 12730.3-78.
4.6. Объемную массу
(плотность) бетона следует определять по ГОСТ 12730.1-78.
Допускается
определять объемную массу бетона по ГОСТ 17623-78.
4.7. Размеры и
непрямолинейность стоек, положение стальных закладных изделий, а также качество
поверхностей и внешний вид стоек проверяют в соответствии с ГОСТ 13015-75 и
настоящего стандарта.
4.7.1. Толщину
стенок на конце стойки измеряют штангенциркулем или металлической линейкой в
четырех местах по двум взаимно перпендикулярным диаметрам.
4.7.2. Наружный
диаметр стойки проверяют в двух сечениях путем измерения его в двух взаимно
перпендикулярных плоскостях.
4.7.3. Положение
закладных изделий определяют с помощью металлической рулетки.
4.8. Толщину
защитного слоя бетона и положение арматуры в бетоне стойки следует определять
неразрушающими методами по ГОСТ 17625-72 или ГОСТ 22904-78.
При отсутствии
необходимых приборов допускается вырубка борозд и обнажение арматуры стойки с
последующей заделкой борозд.
4.9. Ширину трещин
следует измерять при помощи микроскопа с измерительной шкалой или измерительной
лупы с ценой деления 0,05 мм.
5.1. На боковой
поверхности каждой стоики должны быть четко нанесены несмываемой краской по
трафарету или с помощью резиновых штампов следующие маркировочные знаки:
а) товарный знак
предприятия-изготовителя или его краткое наименование;
б) марка стойки;
в) дата
изготовления стойки;
г) отпускной вес
стойки в тс;
д) штамп
технического контроля с указанием номера контролера;
е)
государственный Знак качества (для стоек, аттестованных на высшую категорию
качества).
5.2. Каждая
партия стоек должна сопровождаться документом установленной формы, в котором
должны быть указаны:
а) наименование и
адрес предприятия-изготовителя:
б) номер и дата
выдачи документа;
в) номер партии;
г) марки стоек;
д) количество
стоек в партии;
е) проектная
марка бетона по прочности на сжатие и отпускная прочность бетона в процентах от
проектной марки по прочности на сжатие;
ж) марка бетона
по морозостойкости и водонепроницаемости;
з) обозначение
настоящего стандарта.
5.3. Стойки
должны храниться в горизонтальном положении в штабелях рассортированными по
маркам.
Штабель по высоте
должен иметь не более 5 рядов стоек при диаметре стоек до 600 мм и не более 3
рядов - при диаметре стоек 700, 800 и 1000 мм.
5.4. Стойки в
штабелях должны быть уложены на деревянные прокладки, расположенные одна над
другой по вертикали на расстоянии от концов стойки, равном 0,2 длины стойки.
Толщина прокладок
должна быть не менее 40 мм, ширина - не менее 100 мм. На концах прокладок
должны быть ограничительные бруски, препятствующие скатыванию стоек.
5.5. Для
обеспечения безопасной работы обслуживающего персонала при складировании стоек
и погрузке, ширина проходов между штабелями должна быть не менее 1,0 м, а
расстояние между торцами стоек двух соседних штабелей - не менее 0,5 м.
5.6.
Внутрицеховая транспортировка стоек производится краном при помощи траверс со
строповкой их в двух точках на расстоянии 0,2 длины стойки от концов.
5.7. Стойки к
месту складирования вывозят на тележках, конструкция которых должна
обеспечивать плавность перевозки и исключать резкие толчки и удары.
5.8. Погрузку
стоек на транспортные средства и их выгрузку производят, соблюдая меры предосторожности,
исключающие возможность их повреждения. При перевозке стоек автомобильным
транспортом необходимо осуществлять специальные меры к предохранению их от
ударов, сотрясений, сильных перекосов, вибраций.
При перевозке
стоек железнодорожным транспортом следует применять специальные
поворотно-скользящие приспособления - турникеты, имеющие подвижную и
неподвижную опоры, позволяющие уменьшать влияние продольных и поперечных
усилий. При использовании турникетов и других приспособлений для перевозок
должна быть обеспечена устойчивость конструкции путем установки дополнительных
стяжек.
5.9. Для
перевозки стоек по железной дороге должны применяться схемы погрузки стоек,
согласованные с МПС в установленном порядке.
5.10. При
погрузке и разгрузке стоек не допускаются:
а) применение
тросов или цепей с выступами или узлами;
б) перемещение
стоек по земле волоком;
в) разгрузка
стоек со свободным их падением;
г) свободное
(без торможения) перекатывание стоек по наклонной плоскости;
д) перемещение
стоек без катков или прокладок.
Тросы или цепи,
применяемые при транспортных работах, должны обеспечивать их свободный выход и
не заклиниваться стойками.
6.1.
Изготовитель должен гарантировать соответствие поставляемых стоек требованиям
настоящего стандарта при соблюдении потребителем правил транспортирования,
условий применения и хранения, установленных стандартом.
6.2. При
отгрузке стоек, прочность бетона которых на сжатие ниже его проектной марки,
изготовитель обязан гарантировать, что прочность бетона достигнет проектной
марки в возрасте 28 суток или в возрасте, установленном проектом здания или
сооружения.
ПРИЛОЖЕНИЕ 1
Обязательное
1. В таблице
приведены номенклатура и основные размеры стоек, объем бетона и расход стали.
Приведенный в
таблице расход стали включает арматуру и закладное изделие оголовка стоек.
Расход стали на другие закладные изделия, предусматриваемые при проектировании
конкретных объектов должен быть учтен дополнительно.
2. В марках
стоек, приведенных в таблице, марка бетона по прочности на сжатие условно
опущена.
Требуемая марка
бетона устанавливается в рабочих чертежах конкретных объектов строительства в
пределах, указанных в разд.
2 настоящего стандарта.
3. Объем бетона,
расход стали и вес стоек даны справочно.
Номенклатура
стоек
|
Марка стойки
|
Основные размеры, мм
|
Расход материалов
|
Вес стойки, тс
|
|
Диаметр
|
Длина
|
Толщина стенки
|
Бетон, м2
|
Сталь, кгс
|
|
1
|
2
|
3
|
4
|
5
|
6
|
7
|
|
С3.36.5-К1а
С3.36.5-К2а
С3.36.5-К3а
С3.36.5-К4а
|
300
|
3600
|
50
|
0,15
|
32
40
49
58
|
0,4
|
|
С3.36.6-К1
С3.36.6-К2
С3.36.6-К3
С3.36.6-К4
С3.36.6-К5
|
300
|
3000
|
60
|
0,17
|
32
40
49
58
71
|
0,4
|
|
C3.42.5-К1a
С3.42.5-К2а
С3.42.5-К3а
C3.42.5-К4a
|
300
|
4200
|
50
|
0,18
|
35
45
56
66
|
0,5
|
|
С3.42.6-К1
С3.42.6-К2
С3.42.6-К3
С3.42.6-К4
С3.42.6-К5
|
300
|
4200
|
60
|
0,20
|
36
45
56
66
81
|
0,5
|
|
С3.48.5-К1а
С3.48.5-К2а
С3.48.5-К3а
С3.48.5-К4а
|
300
|
4800
|
50
|
0,20
|
39
50
62
73
|
0,5
|
|
С3.48.6-К1
С3.48.6-К2
С3.48.6-К3
С3.48.6-К4
С3.48.6-К5
|
300
|
4800
|
60
|
0,23
|
39
50
62
73
91
|
0,6
|
|
С3.54.5-К1а
С3.54.5-К2а
С3.54.5-К3а
С3.54.5-К4а
|
300
|
5400
|
50
|
0,22
|
43
55
69
82
|
0,6
|
|
С3.54.6-К1
С3.54.6-К2
С3.54.6-К3
С3.54.6-К4
С3.54.6-К5
|
300
|
5400
|
60
|
0,25
|
43
55
69
82
101
|
0,6
|
|
С3.60.5-К1а
С3.60.5-К2а
С3.60.5-К3а
С3.60.5-К4а
|
300
|
6000
|
50
|
0,25
|
47
60
75
89
|
0,6
|
|
С3.60.6-К1
С3.60.6-К2
С3.60.6-К3
С3.60.6-К4
С3.60.6-К5
|
300
|
6000
|
60
|
0,28
|
47
60
75
89
111
|
0,7
|
|
С4.36.5-К1а
С4.36.5-К2а
С4.36.5-К3а
С4.36.5-К4а
|
400
|
3600
|
50
|
0,22
|
45
54
63
79
|
0,6
|
|
С4.36.6-К1
С4.36.6-К2
С4.36.6-К3
С4.36.6-К4
С4.36.6-К5
|
400
|
3600
|
60
|
0,24
|
45
54
63
79
97
|
0,6
|
|
С4.36.7-К1
С4.36.7-К2
C4.36.7-K3
С4.36.7-К4
С4.36.7-К5
|
400
|
3600
|
70
|
0,27
|
45
54
63
79
97
|
0,7
|
|
С4.36.8-К1
С4.36.8-К2
С4.36.8-К3
С4.36.8-К4
С4.36.8-К5
|
400
|
3600
|
80
|
0,30
|
45
54
63
79
97
|
0,8
|
|
С4.42.5-К1а
С4.42.5-К2а
C4.42.5-K3a
С4.42.5-К4а
|
400
|
4200
|
50
|
0,25
|
50
60
70
88
|
0,6
|
|
С4.42.6-К1
С4.42.6-К2
С4.42.6-К3
С4.42.6-К4
С4.42.6-К5
|
400
|
4200
|
60
|
0,27
|
50
60
70
88
109
|
0,7
|
|
С4.42.7-К1
С4.42.7-К2
С4.42.7-К3
С4.42.7-К4
С4.42.7-К5
|
400
|
4200
|
70
|
0,32
|
50
60
70
88
109
|
0,8
|
|
С4.42.8-К1
С4.42.8-К2
С4.42.8-К3
С4.42.8-К4
С4.42.8-К5
|
400
|
4200
|
80
|
0,35
|
50
60
70
88
109
|
0,9
|
|
С4.48.5-К1а
С4.48.5-К2а
С4.48.5-К3а
С4.48.5-К4а
|
400
|
4800
|
50
|
0,28
|
55
67
78
99
|
0,7
|
|
С4.48.6-К1
С4.48.6-К2
С4.48.6-К3
С4.48.6-К4
С4.48.6-К5
|
400
|
4800
|
60
|
0,31
|
55
67
78
99
122
|
0,8
|
|
С4.48.7-К1
С4.48.7-К2
С4.48.7-К3
С4.48.7-К4
С4.48.7-К5
|
400
|
4800
|
70
|
0,36
|
55
67
78
99
122
|
0,9
|
|
С4.48.8-К1
С4.48.8-К2
С4.48.8-К3
С4.48.8-К4
С4.48.8-К5
|
400
|
4800
|
80
|
0,40
|
55
67
78
99
122
|
1,0
|
|
С4.54.5-К1а
С4.54.5-К2а
С4.54.5-К3а
С4.54.5-К4а
|
400
|
5400
|
50
|
0,32
|
60
73
88
105
|
0,8
|
|
С4.54.6-К1
С4.54.6-К2
С4.54.6-К3
С4.54.6-К4
С4.54.6-К5
|
400
|
5400
|
60
|
0,35
|
60
73
85
108
134
|
0,9
|
|
С4.54.7-К1
С4.54.7-К2
С4.54.7-К3
С4.54.7-К4
С4.54.7-К5
|
400
|
5400
|
70
|
0,40
|
60
73
85
108
134
|
1,0
|
|
С4.54.8-К1
С4.54.8-К2
С4.54.8-К3
С4.54.8-К4
С4.54.8-К5
|
400
|
5400
|
80
|
0,44
|
60
73
85
108
134
|
1,1
|
|
С4.60.5-К1а
С4.60.5-К2а
С4.60.5-К3а
С4.60.5-К4а
|
400
|
6000
|
50
|
0,35
|
65
80
93
119
|
0,9
|
|
С4.60.6-К1
С4.60.6-К2
С4.60.6-К3
С4.60.6-К4
С4.60.6-К5
|
400
|
6000
|
60
|
0,39
|
65
80
93
119
148
|
1,0
|
|
С4.60.7-К1
С4.60.7-К2
С4.60.7-К3
С4.60.7-К4
С4.60.7-К5
|
400
|
6000
|
70
|
0,45
|
65
80
93
119
148
|
1,1
|
|
С4.60.8-К1
С4.60.8-К2
С4.60.8-К3
С4.60.8-К4
С4.60.8-К5
|
400
|
6000
|
80
|
0,49
|
65
80
93
119
148
|
1,2
|
|
С4.66.5-К1а
С4.66.5-К2а
С4.66.5-К3а
С4.66.5-К4а
|
400
|
6600
|
50
|
0,38
|
70
86
100
128
|
1,0
|
|
С4.66.6-К1
С4.66.6-К2
С4.66.6-К3
С4.66.6-К4
С4.66.6-К5
|
400
|
6600
|
60
|
0,43
|
70
86
100
128
160
|
1,1
|
|
С4.66.7-К1
С4.66.7-К2
С4.66.7-К3
С4.66.7-К4
С4.66.7-К5
|
400
|
6600
|
70
|
0,49
|
70
86
100
128
160
|
1,2
|
|
С4.66.8-К1
С4.66.8-К2
С4.66.8-К3
С4.66.8-К4
С4.66.8-К5
|
400
|
6600
|
80
|
0,54
|
70
86
100
128
160
|
1,4
|
|
C4.72.5-K1a
С4.72.5-К2а
C4.72.5-K3a
C4.72.5-К4a
|
400
|
7200
|
50
|
0,42
|
75
94
108
138
|
1,1
|
|
С4.72.6-К1
С4.72.6-К2
С4.72.6-К3
С4.72.6-К4
С4.72.6-К5
|
400
|
7200
|
60
|
0,46
|
75
94
108
138
173
|
1,2
|
|
С4.72.7-К1
С4.72.7-К2
С4.72.7-К3
С4.72.7-К4
С4.72.7-К5
|
400
|
7200
|
70
|
0,54
|
75
94
108
138
173
|
1,4
|
|
С4.72.8-К1
С4.72.8-К2
С4.72.8-К3
С4.72.8-К4
С4.72.8-К5
|
400
|
7200
|
80
|
0,58
|
75
94
108
138
173
|
1,5
|
|
С4.78.5-К1а
С4.78.5-К2а
С4.78.5-К3а
С4.78.5-К4а
|
400
|
7800
|
50
|
0,45
|
79
99
116
149
|
1,1
|
|
С4.78.6-К1
С4.78.6-К2
С4.78.6-К3
С4.78.6-К4
С4.78.6-К5
|
400
|
7800
|
60
|
0,50
|
79
99
116
149
187
|
1,3
|
|
С4.78.7-К1
С4.78.7-К2
С4.78.7-К3
С4.78.7-К4
С4.78.7-К5
|
400
|
7800
|
70
|
0,58
|
79
99
116
149
187
|
1,5
|
|
С4.78.8-К1
С4.78.8-К2
С4.78.8-К3
С4.78.8-К4
С4.78.8-К5
|
400
|
7800
|
80
|
0,64
|
79
99
116
149
187
|
1,5
|
|
С4.84.5-К1а
С4.84.5-К2а
С4.84.5-К3а
С4.84.5-К4а
|
400
|
8400
|
50
|
0,48
|
85
106
123
158
|
1,2
|
|
С4.84.6-К1
С4.84.6-К2
С4.84.6-К3
С4.84.6-К4
С4.84.6-К5
|
400
|
8400
|
60
|
0,54
|
85
106
123
158
199
|
1,4
|
|
С4.84.7-К1
С4.84.7-К2
С4.84.7-К3
С4.84.7-К4
С4.84.7-К5
|
400
|
8400
|
70
|
0,62
|
85
106
123
158
199
|
1,6
|
|
С4.84.8-К1
С4.84.8-К2
С4.84.8-К3
С4.84.8-К4
С4.84.8-К5
|
400
|
8400
|
80
|
0,68
|
85
106
123
158
199
|
1,7
|
|
С4.90.5-К1а
С4.90.5-К2а
С4.90.5-К3а
С4.90.5-К4а
|
400
|
9000
|
50
|
0,52
|
90
112
131
169
|
1,3
|
|
С4.90.6-К1
С4.90.6-К2
С4.90.6-К3
С4.90.6-К4
С4.90.6-К5
|
400
|
9000
|
60
|
0,58
|
90
112
131
169
212
|
1,5
|
|
С4.90.7-К1
С4.90.7-К2
С4.90.7-К3
С4.90.7-К4
С4.90.7-К5
|
400
|
9000
|
70
|
0,66
|
90
112
131
169
212
|
1,7
|
|
С4.90.8-К1
С4.90.8-К2
С4.90.8-К3
С4.90.8-К4
С4.90.8-К5
|
400
|
9000
|
80
|
0,73
|
90
112
131
169
212
|
1,8
|
|
С4.96.5-К1а
С4.9б.5-К2а
C4.96.5-K3a
С4.96.5-К4а
|
400
|
9600
|
50
|
0,55
|
95
119
138
178
|
1,4
|
|
С4.96.6-К1
С4.96.6-К2
С4.96.6-К3
С4.96.6-К4
С4.96.6-К5
|
400
|
9600
|
60
|
0,62
|
95
119
138
178
223
|
1,6
|
|
С4.96.7-К1
С4.96.7-К2
С4.96.7-К3
С4.96.7-К4
С4.96.7-К5
|
400
|
9600
|
70
|
0,71
|
95
119
138
178
223
|
1,8
|
|
С4.96.8-К1
С4.96.8-К2
С4.96.8-К3
С4.96.8-К4
С4.96.8-К5
|
400
|
9600
|
80
|
0,78
|
95
119
138
178
223
|
2,0
|
|
С5.36.5-К1а
С5.36.5-К2а
С5.36.5-К3а
С5.36.5-К4а
|
500
|
3600
|
50
|
0,30
|
51
60
69
85
|
0,8
|
|
С5.36.6-К1
С5.36.6-К2
С5.36.6-К3
С5.36.6-К4
С5.36.6-К5
|
500
|
3600
|
60
|
0,34
|
51
60
69
85
103
|
0,9
|
|
С5.36.7-К1
С5.36.7-К2
С5.36.7-К3
С5.36.7-К4
С5.36.7-К5
С5.36.7-К6
|
500
|
3600
|
70
|
0,38
|
51
60
69
85
103
129
|
1,0
|
|
С5.36.8-К1
С5.36.8-К2
С5.36.8-К3
С5.36.8-К4
С5.36.8-К5
С5.36.8-К6
|
500
|
3600
|
80
|
0,41
|
51
60
69
85
103
129
|
1,0
|
|
С5.42.5-К1а
С5.42.5-К2а
С5.42.5-К3а
C5.42.5-K4a
|
500
|
4200
|
50
|
0,35
|
56
67
77
95
|
0,9
|
|
С5.42.6-К1
С5.42.6-К2
С5.42.6-К3
С5.42.6-К4
С5.42.6-К5
|
500
|
4200
|
60
|
0,39
|
56
67
77
95
115
|
1,0
|
|
С5.42.7-К1
С5.42.7-К2
С5.42.7-К3
С5.42.7-К4
С5.42.7-К5
С5.42.7-К6
|
500
|
4200
|
70
|
0,43
|
56
67
77
95
115
144
|
1,1
|
|
С5.42.8-К1
С5.42.8-К2
С5.42.8-К3
С5.42.8-К4
С5.42.8-К5
С5.42.8-К6
|
500
|
4200
|
80
|
0,48
|
56
67
77
95
115
144
|
1,2
|
|
С5.48.5-К1а
С5.48.5-К2а
C5.48.5-К3a
С5.48.5-К4а
|
500
|
4800
|
50
|
0,39
|
61
73
84
105
|
1,0
|
|
С5.48.6-К1
С5.48.6-К2
С5.48.6-К3
С5.48.6-К4
С5.48.6-К5
|
500
|
4800
|
60
|
0,44
|
61
73
84
105
129
|
1,1
|
|
С5.48.7-К1
С5.48.7-К2
С5.48.7-К3
С5.48.7-К4
С5.48.7-К5
С5.48.7-К6
|
500
|
4800
|
70
|
0,49
|
61
73
84
105
129
162
|
1,2
|
|
С5.48.8-К1
С5.48.8-К2
С5.48.8-К3
С5.48.8-К4
С5.48.8-К5
C5.48.8-K6
|
500
|
4800
|
80
|
0,54
|
61
73
84
105
129
162
|
1,4
|
|
С5.54.5-К1а
С5.54.5-К2а
C5.54.5-K3a
С5.54.5-К4а
|
500
|
5400
|
50
|
0,43
|
66
80
92
115
|
1,1
|
|
С5.54.6-К1
С5.54.6-К2
С5.54.6-К3
С5.54.6-К4
С5.54.6-К5
|
500
|
5400
|
60
|
0,49
|
66
80
92
115
141
|
1,2
|
|
С5.54.7-К1
С5.54.7-К2
С5.54.7-К3
С5.54.7-К4
С5.54.7-К5
С5.54.7-К6
|
500
|
5400
|
70
|
0,55
|
66
80
92
115
141
177
|
1,4
|
|
С5.54.8-К1
С5.54.8-К2
С5.54.8-К3
С5.54.8-К4
С5.54.8-К5
С5.54.8-К6
|
500
|
5400
|
80
|
0,60
|
66
80
92
115
141
177
|
1,5
|
|
С5.60.5-К1а
С5.60.5-К2а
С5.60.5-К3а
С5.60.5-К4а
|
500
|
6000
|
50
|
0,47
|
71
87
100
125
|
1,2
|
|
С5.60.6-К1
С5.60.6-К2
С5.60.6-К3
С5.60.6-К4
С5.60.6-К5
|
500
|
6000
|
60
|
0,53
|
71
87
100
125
155
|
1,3
|
|
С5.60.7-К1
С5.60.7-К2
С5.60.7-К3
С5.60.7-К4
С5.60.7-К5
С5.60.7-К6
|
500
|
6000
|
70
|
0,60
|
71
87
100
125
155
195
|
1,5
|
|
С5.60.8-К1
С5.60.8-К2
С5.60.8-К3
С5.60.8-К4
С5.60.8-К5
С5.60.8-К6
|
500
|
6000
|
80
|
0,66
|
71
87
100
125
155
195
|
1,7
|
|
С5.66.5-К1а
С5.66.5-К2а
С5.66.5-К3а
С5.66.5-К4а
|
500
|
6600
|
50
|
0,51
|
77
93
107
135
|
1,3
|
|
С5.66.6-К1
С5.66.6-К2
С5.66.6-К3
С5.66.6-К4
С5.66.6-К5
|
500
|
6600
|
60
|
0,58
|
77
93
107
135
167
|
1,5
|
|
С5.66.7-К1
С5.66.7-К2
С5.66.7-К3
С5.66.7-К4
С5.66.7-К5
С5.66.7-К6
|
500
|
6600
|
70
|
0,66
|
77
93
107
135
167
211
|
1,7
|
|
С5.66.8-К1
С5.66.8-К2
С5.66.8-К3
С5.66.8-К4
С5.66.8-К5
С5.66.8-К6
|
500
|
6600
|
80
|
0,73
|
77
93
107
135
167
211
|
1,8
|
|
С5.72.5-К1а
С5.72.5-К2а
С5.72.5-К3а
С5.72.5-К4а
|
500
|
7200
|
50
|
0,56
|
82
100
115
145
|
1,4
|
|
С5.72.6-К1
С5.72.6-К2
С5.72.6-К3
С5.72.6-К4
С5.72.6-К5
|
500
|
7200
|
60
|
0,63
|
82
100
115
145
180
|
1,6
|
|
С5.72.7-К1
С5.72.7-К2
С5.72.7-К3
С5.72.7-К4
С5.72.7-К5
C5.72.7-K6
|
500
|
7200
|
70
|
0,72
|
82
100
115
145
180
228
|
1,8
|
|
С5.72.8-К1
С5.72.8-К2
С5.72.8-К3
С5.72.8-К4
С5.72.8-К5
С5.72.8-К6
|
500
|
7200
|
80
|
0,79
|
82
100
115
145
180
228
|
2,0
|
|
С5.78.5-К1а
С5.78.5-К2а
C5.78.5-K3a
С5.78.5-K4a
|
500
|
7800
|
50
|
0,60
|
87
107
124
156
|
1,5
|
|
С5.78.6-К1
С5.78.6-К2
С5.78.6-К3
С5.78.6-К4
С5.78.6-К5
|
500
|
7800
|
60
|
0,68
|
87
107
124
156
194
|
1,7
|
|
С5.78.7-К1
С5.78.7-К2
С5.78.7-К3
С5.78.7-К4
С5.78.7-К5
С5.78.7-К6
|
500
|
7800
|
70
|
0,78
|
87
107
124
156
194
245
|
2,0
|
|
С5.78.8-К1
С5.78.8-К2
С5.78.8-К3
С5.78.8-К4
С5.78.8-К5
С5.78.8-К6
|
500
|
7800
|
80
|
0,85
|
87
107
124
156
194
245
|
2,1
|
|
С5.84.5-К1а
С5.84.5-К2а
С5.84.5-К3а
С5.84.5-К4а
|
500
|
8400
|
50
|
0,64
|
92
114
130
166
|
1,6
|
|
С5.84.6-К1
С5.84.6-К2
С5.84.6-К3
С5.84.6-К4
С5.84.6-К5
|
500
|
8400
|
60
|
0,73
|
92
114
130
166
206
|
1,8
|
|
С5.84.7-К1
С5.84.7-К2
С5.84.7-К3
С5.84.7-К4
С5.84.7-К5
С5.84.7-К6
|
500
|
8400
|
70
|
0,83
|
92
114
130
166
206
261
|
2,1
|
|
С5.84.8-К1
С5.84.8-К2
С5.84.8-К3
С5.84.8-К4
С5.84.8-К5
С5.84.8-К6
|
500
|
8400
|
80
|
0,92
|
92
114
130
166
206
261
|
2,3
|
|
С5.90.5-К1а
С5.90.5-К2а
С5.90.5-К3а
С5.90.5-К4а
|
500
|
9000
|
50
|
0,68
|
97
120
138
176
|
1,7
|
|
С5.90.6-К1
С5.90.6-К2
С5.90.6-К3
С5.90.6-К4
С5.90.6-К5
|
500
|
9000
|
60
|
0,77
|
97
120
138
176
220
|
1,9
|
|
С5.90.7-К1
С5.90.7-К2
С5.90.7-К3
С5.90.7-К4
С5.90.7-К5
С5.90.7-К6
|
500
|
9000
|
70
|
0,89
|
97
120
138
176
220
279
|
2,2
|
|
С5.90.8-К1
С5.90.8-К2
С5.90.8-К3
С5.90.8-К4
С5.90.8-К5
С5.90.8-К6
|
500
|
9000
|
80
|
0,98
|
97
120
130
176
220
279
|
2,5
|
|
С5.96.5-К1а
С5.96.5-К2а
С5.96.5-К3а
С5.96.5-К4а
|
500
|
9600
|
50
|
0,72
|
102
127
146
186
|
1,8
|
|
С5.96.6-К1
С5.96.6-К2
С5.96.6-К3
С5.96.6-К4
С5.96.6-К5
|
500
|
9600
|
60
|
0,82
|
102
127
146
186
231
|
2,1
|
|
С5.96.7-К1
С5.96.7-К2
С5.96.7-К3
С5.96.7-К4
С5.96.7-К5
С5.96.7-К6
|
500
|
9600
|
70
|
0,95
|
102
127
146
186
231
295
|
2,4
|
|
С5.96.8-К1
С5.96.8-К2
С5.96.8-К3
С5.96.8-К4
С6.96.8-К5
С5.96.8-К6
|
500
|
9600
|
80
|
1,04
|
102
127
146
186
231
296
|
2,6
|
|
С5.102.5-К1а
С5.102.5-К2а
C5.102.5-K3a
С5.102.5-К4а
|
500
|
10200
|
50
|
0,77
|
108
134
154
196
|
1,9
|
|
С5.102.6-К1
С5.102.6-К2
С5.102.6-К3
С5.102.6-К4
С5.102.6-К5
|
500
|
10200
|
60
|
0,87
|
108
134
154
196
245
|
2,2
|
|
С5.102.7-К1
С5.102.7-К2
С5.102.7-К3
С5.102.7-К4
С5.102.7-К5
С5.102.7-К6
|
500
|
10200
|
70
|
1,02
|
108
134
154
196
245
312
|
2,5
|
|
C5.102.8-K1
C5.102.8-K2
С5.102.8-К3
С5.102.8-К4
С5.102.8-К5
С5.102.8-К6
|
500
|
10200
|
80
|
1,11
|
108
134
154
196
245
312
|
2,8
|
|
С5.108.5-К1а
С5.108.5-К2а
С5.108.5-К3а
С5.108.5-К4а
|
500
|
10800
|
50
|
0,81
|
112
140
161
207
|
2,1
|
|
С5.108.6-К1
С5.108.6-К2
С5.108.6-К3
С5.108.6-К4
С5.108.6-К5
|
500
|
10800
|
60
|
0,92
|
112
140
161
207
258
|
2,3
|
|
С5.108.7-К1
С5.108.7-К2
С5.108.7-К3
С5.108.7-К4
С5.108.7-К5
С5.108.7-К6
|
500
|
10800
|
70
|
1,06
|
112
140
161
207
258
329
|
2,7
|
|
С5.108.8-К1
С5.108.8-К2
С5.108.8-К3
С5.108.8-К4
С5.108.8-К5
С5.108.8-К6
|
500
|
10800
|
80
|
1,18
|
112
140
161
207
258
329
|
3,0
|
|
С5.114.5-К1а
С5.114.5-К2а
С5.114.5-К3а
С5.114.5-К4а
|
500
|
11400
|
50
|
0,85
|
117
147
169
216
|
2,1
|
|
C5.114.6-K1
C5.114.6-K2
C5.114.6-K3
С5.114.6-К4
С5.114.6-К5
|
500
|
11400
|
60
|
0,97
|
117
147
169
216
271
|
2,4
|
|
C5.114.7-K1
C5.114.7-K2
C5.114.7-K3
С5.114.7-К4
С5.114.7-К5
С5.114.7-К6
|
510
|
11400
|
70
|
1,12
|
117
147
169
217
271
345
|
2,8
|
|
С5.114.8-К1
С5.114.8-К2
С5.114.8-К3
С5.114.8-К4
C5.114.8-K5
С5.114.8-К6
|
500
|
11400
|
80
|
1,24
|
117
147
169
216
271
345
|
3,1
|
|
С5.120.5-К1а
С5.120.5-К2а
С5.120.5-К3а
С5.120.5-К4а
|
500
|
12000
|
50
|
0,89
|
123
153
177
227
|
2,2
|
|
С5.120.6-К1
С5.120.6-К2
С5.120.6-К3
С5.120.6-К4
C5.120.6-K5
|
500
|
12000
|
60
|
1,01
|
123
153
177
227
286
|
2,5
|
|
С5.120.7-К1
С5.120.7-К2
С5.120.7-К3
С5.120.7-К4
С5.120.7-К5
С5.120.7-К6
|
500
|
12000
|
70
|
1,17
|
123
153
177
227
286
362
|
2,9
|
|
С5.120.8-К1
С5.120.8-К2
С5.120.8-К3
С5.120.8-К4
С5.120.8-К5
С5.120.8-К6
|
500
|
12000
|
80
|
1,30
|
123
153
177
227
286
362
|
3,2
|
|
С5.126.5-К1а
С5.126.5-К2а
C5.126.5-K3a
С5.126.5-К4а
|
500
|
12600
|
50
|
0,93
|
128
160
185
237
|
2,3
|
|
С5.126.6-К1
С5.126.6-К2
С5.126.6-К3
С5.126.6-К4
С5.126.6-К5
|
500
|
12600
|
60
|
1,06
|
128
160
185
237
298
|
2,7
|
|
С5.126.7-К1
С5.126.7-К2
С5.126.7-К3
С5.126.7-К4
С5.126.7-К5
С5.126.7-К6
|
500
|
12600
|
70
|
1,23
|
128
160
185
237
298
379
|
3,1
|
|
С5.126.8-К1
С5.126.8-К2
С5.126.8-К3
С5.126.8-К4
С5.126.8-К5
С5.126.8-К6
|
500
|
12600
|
80
|
1,37
|
128
160
185
237
298
379
|
3,4
|
|
С6.42.6-К1
С6.42.6-К2
С6.42.6-К3
С6.42.6-К4
С6.42.6-К5
|
600
|
4200
|
60
|
0,51
|
68
81
94
116
142
|
1,3
|
|
С6.42.7-К1
С6.42.7-К2
С6.42.7-К3
С6.42.7-К4
С6.42.7-К5
С6.42.7-К6
С6.42.7-К7
|
600
|
4200
|
70
|
0,56
|
68
81
94
116
142
178
211
|
1,4
|
|
С6.42.8-К1
С6.42.8-К2
С6.42.8-К3
С6.42.8-К4
С6.42.8-К5
С6.42.8-К6
С6.42.8-К7
|
600
|
4200
|
80
|
0,61
|
68
81
94
116
142
178
211
|
1,5
|
|
С6.42.10-К1
С6.42.10-К2
С6.42.10-К3
С6.42.10-К4
С6.42.10-К5
С6.42.10-К6
С6.42.10-К7
|
600
|
4200
|
100
|
0,71
|
68
81
94
116
142
178
211
|
1,8
|
|
С6.48.6-К1
С6.48.6-К2
С6.48.6-К3
С6.48.6-К4
С6.48.6-К5
|
600
|
4800
|
60
|
0,57
|
75
90
104
130
160
|
1,4
|
|
С6.48.7-К1
С6.48.7-К2
С6.48.7-К3
С6.48.7-К4
С6.45.7-К5
С6.48.7-К6
С6.48.7-К7
|
600
|
4800
|
70
|
0,63
|
75
90
104
130
160
200
238
|
1,6
|
|
С6.48.8-К1
С6.48.8-К2
С6.48.8-К3
С6.48.8-К4
С6.48.8-К5
С6.48.8-К6
С6.48.8-К7
|
600
|
4800
|
80
|
0,69
|
75
90
104
130
16D
200
238
|
1,7
|
|
С6.48.10-К1
С6.48.10-К2
С6.48.10-К3
С6.48.10-К4
С6.48.10-К5
С6.48.10-К6
С6.48.10-К7
|
600
|
4800
|
100
|
0,80
|
75
90
104
130
160
200
238
|
2,0
|
|
С6.54.6-К1
С6.54.6-К2
С6.54.6-К3
С6.54.6-К4
С6.54.6-К5
|
600
|
5400
|
60
|
0,63
|
81
99
113
142
175
|
1,6
|
|
С6.54.7-К1
С6.54.7-К2
С6.54.7-К3
С6.54.7-К4
С6.54.7-К5
С6.54.7-К6
С6.54.7-К7
|
600
|
5400
|
70
|
0,70
|
81
99
113
142
175
220
262
|
1,8
|
|
С6.54.8-К1
С6.54.8-К2
С6.54.8-К3
С6.54.8-К4
С6.54.8-К5
С6.54.8-К6
С6.54.8-К7
|
600
|
5400
|
80
|
0,77
|
81
99
113
142
175
220
262
|
1,9
|
|
С6.54.10-К1
С6.54.10-К2
С6.54.10-К3
С6.54.10-К4
С6.54.10-К5
С6.54.10-К6
С6.54.10-К7
|
600
|
5400
|
100
|
0,89
|
81
99
113
142
175
220
262
|
2,2
|
|
С6.60.6-К1
С6.60.6-К2
С6.60.6-К3
С6.60.6-К4
С6.60.6-К5
|
600
|
6000
|
60
|
0,69
|
88
107
123
155
192
|
1,7
|
|
С6.60.7-К1
С6.60.7-К2
С6.60.7-К3
С6.60.7-К4
С6.60.7-К5
С6.60.7-К6
С6.60.7-К7
|
600
|
6000
|
70
|
0,77
|
88
107
123
155
192
242
289
|
1,9
|
|
С6.60.8-К1
С6.60.8-К2
С6.60.8-К3
С6.60.8-К4
С6.60.8-К5
С6.60.8-К6
С6.60.8-К7
|
600
|
6000
|
80
|
0,85
|
88
107
123
155
192
242
289
|
2,1
|
|
С6.60.10-К1
С6.60.10-К2
С6.60.10-К3
С6.60.10-К4
С6.60.10-К5
С6.60.10-К6
С6.60.10-К7
|
600
|
6000
|
100
|
0,99
|
88
107
123
155
192
242
289
|
2,5
|
|
С6.66.6-К1
С6.66.6-К2
С6.66.6-К3
С6.66.6-К4
С6.66.6-К5
|
600
|
6600
|
60
|
0,75
|
94
115
134
167
209
|
1,9
|
|
С6.66.7-К1
С6.66.7-К2
С6.66.7-К3
С6.66.7-К4
С6.66.7-К5
С6.66.7-К6
С6.66.7-К7
|
600
|
6600
|
70
|
0,84
|
94
115
134
167
209
263
315
|
2,1
|
|
С6.66.8-К1
С6.66.8-К2
С6.66.8-К3
С6.66.8-К4
С6.66.8-К5
С6.66.8-К6
С6.66.8-К7
|
600
|
6600
|
80
|
0,93
|
94
115
134
167
209
263
315
|
2,3
|
|
С6.66.10-К1
С6.66.10-К2
С6.66.10-К3
С6.66.10-К4
С6.66.10-К5
С6.66.10-К6
С6.66.10-К7
|
600
|
6600
|
100
|
1,08
|
94
115
134
167
209
263
315
|
2,7
|
|
С6.72.6-К1
С6.72.6-К2
С6.72.6-К3
С6.72.6-К4
С6.72.6-К5
|
600
|
7200
|
60
|
0,81
|
100
123
142
180
224
|
2,0
|
|
С6.72.7-К1
С6.72.7-К2
С6.72.7-К3
С6.72.7-К4
С6.72.7-К5
С6.72.7-К6
С6.72.7-К7
|
600
|
7200
|
70
|
0,91
|
100
123
142
180
224
283
339
|
2,3
|
|
С6.72.8-К1
С6.72.8-К2
С6.72.8-К3
С6.72.8-К4
С6.72.8-К5
С6.72.8-К6
С6.72.8-К7
|
600
|
7200
|
80
|
1,0
|
100
123
142
180
224
283
339
|
2,5
|
|
С6.72.10-К1
С6.72.10-К2
С6.72.10-К3
С6.72.10-К4
С6.72.10-К5
С6.72.10-К6
С6.72.10-К7
|
600
|
7200
|
100
|
1,18
|
100
123
142
180
224
283
339
|
3,0
|
|
С6.78.6-К1
С6.78.6-К2
С6.78.6-К3
С6.78.6-К4
С6.78.6-К5
|
600
|
7800
|
60
|
0,87
|
107
131
152
193
241
|
2,2
|
|
С6.78.7-К1
С6.78.7-К2
С6.78.7-К3
С6.78.7-К4
С6.78.7-К5
С6.78.7-К6
С6.78.7-К7
|
600
|
7800
|
70
|
0,98
|
107
131
152
193
241
305
365
|
2,5
|
|
С6.78.8-К1
С6.78.8-К2
С6.78.3-К3
С6.78.8-К4
С6.78.8-К5
С6.78.8-К6
С6.78.8-К7
|
600
|
7800
|
80
|
1,08
|
107
131
152
193
241
305
365
|
2,7
|
|
C6.78.10-K1
С6.78.10-К2
C6.78.10-К3
С6.78.10-К4
С6.78.10-К5
С6.78.10-К6
С6.78.10-К7
|
600
|
7800
|
100
|
1,27
|
107
131
152
193
241
305
365
|
3,2
|
|
С6.84.6-К1
С6.84.6-К2
С6.84.6-К3
С6.84.6-К4
С6.84.6-К5
|
600
|
8400
|
60
|
0,93
|
113
140
161
205
256
|
2,3
|
|
С6.84.7-К1
С6.84.7-К2
С6.84.7-К3
С6.84.7-К4
С6.84.7-К5
С6.84.7-К6
С6.84.7-К7
|
600
|
8400
|
70
|
1,05
|
113
140
161
205
256
324
389
|
2,6
|
|
С6.84.8-К1
С6.84.8-К2
С6.84.8-К3
С6.84.8-К4
С6.84.8-К5
С6.84.8-К6
С6.84.8-К7
|
600
|
8400
|
80
|
1,16
|
113
140
161
205
256
324
389
|
2,9
|
|
С6.84.10-К1
С6.84.10-К2
С6.84.10-К3
С6.84.10-К4
С6.84.10-К5
С6.84.10-К6
С6.84.10-К7
|
600
|
8400
|
100
|
1,37
|
113
140
161
205
256
324
389
|
3,4
|
|
С6.90.6-К1
С6.90.6-К2
С6.90.6-К3
С6.90.6-К4
С6.90.6-К5
|
600
|
9000
|
60
|
1,0
|
119
148
171
219
273
|
2,5
|
|
С6.90.7-К1
С6.90.7-К2
С6.90.7-К3
С6.90.7-К4
С6.90.7-К5
С6.90.7-К6
С6.90.7-К7
|
600
|
9000
|
70
|
1,12
|
119
148
171
219
273
346
415
|
2,8
|
|
С6.90.8-К1
С6.90.8-К2
С6.90.8-К3
С6.90.8-К4
С6.90.8-К5
С6.90.8-К6
С6.90.8-К7
|
600
|
9000
|
80
|
1,24
|
119
148
171
219
273
346
415
|
3,1
|
|
С6.90.10-К1
С6.90.10-К2
С6.90.10-К3
С6.90.10-К4
С6.90.10-К5
С6.90.10-К6
С6.90.10-К7
|
600
|
9000
|
100
|
1,46
|
119
148
171
219
273
346
415
|
3,7
|
|
С6.96.6-К1
С6.96.6-К2
С6.96.6-К3
С6.96.6-K4
С6.96.6-K5
|
600
|
9600
|
60
|
1,06
|
126
156
181
231
290
|
2,7
|
|
C6.96.7-K1
C6.96.7-K2
C6.96.7-K3
C6.96.7-K4
C6.96.7-K5
C6.96.7-K6
С6.96.7-К7
|
600
|
9600
|
70
|
1,19
|
126
156
181
231
290
368
442
|
3,0
|
|
С6.96.8-К1
С6.96.8-К2
С6.96.8-К3
С6.96.8-К4
С6.96.8-К5
С6.96.8-К6
С6.96.8-К7
|
600
|
9600
|
80
|
1,33
|
126
156
181
231
290
368
442
|
3,3
|
|
С6.96.10-К1
С6.96.10-К2
С6.96.10-К3
С6.96.10-К4
С6.96.10-К5
С6.96.10-К6
С6.96.10-К7
|
600
|
9600
|
100
|
1,55
|
126
156
181
231
290
368
442
|
3,9
|
|
С6.102.6-К1
С6.102.6-К2
С6.102.6-К3
С6.102.6-К4
С6.102.6-К5
|
600
|
10200
|
60
|
1,12
|
132
165
190
244
305
|
2,8
|
|
С6.102.7-К1
С6.102.7-К2
С6.102.7-К3
С6.102.7-К4
С6.102.7-К5
С6.102.7-К6
C6.I02.7-K7
|
600
|
10200
|
70
|
1,26
|
132
165
190
244
305
387
466
|
3,2
|
|
С6.102.8-К1
С6.102.8-К2
С6.102.8-К3
С6.102.8-К4
С6.102.8-К5
С6.102.8-К6
С6.102.8-К7
|
600
|
10200
|
80
|
1,41
|
132
165
190
244
305
387
466
|
3,5
|
|
С6.102.10-К1
С6.102.10-К2
С6.102.10-К3
С6.102.10-К4
С6.102.10-К5
С6.102.10-К6
С6.102.10-К7
|
600
|
10200
|
100
|
1,65
|
132
165
190
244
305
387
466
|
4,1
|
|
С6.108.6-К1
С6.108.6-К2
С6.108.6-К3
С6.108.6-К4
С6.108.6-К5
|
600
|
10800
|
60
|
1,18
|
139
173
200
257
322
|
3,0
|
|
С6.108.7-К1
С6.108.7-К2
Сб.108.7-К3
С6.108.7-К4
С6.108.7-К5
С6.108.7-К6
С6.108.7-К7
|
600
|
10800
|
70
|
1,33
|
139
173
200
257
322
409
492
|
3,3
|
|
С6.108.8-К1
С6.108.8-К2
С6.108.8-К3
С6.108.8-К4
С6.108.8-К5
С6.108.8-К6
С6.108.8-К7
|
600
|
10800
|
80
|
1,49
|
139
173
200
257
322
409
492
|
3,7
|
|
С6.108.10-К1
С6.108.10-К2
С6.108.10-К3
С6.108.10-К4
С6.108.10-К5
С6.108.10-К6
С6.108.10-К7
|
600
|
10800
|
100
|
1,74
|
139
173
200
257
322
409
492
|
4,4
|
|
С6.114.6-К1
С6.114.6-К2
С6.114.6-К3
С6.114.6-К4
С6.114.6-К5
|
600
|
11400
|
60
|
1,24
|
145
182
209
269
337
|
3,1
|
|
С6.114.7-К1
С6.114.7-К2
С6.114.7-К3
С6.114.7-К4
С6.114.7-К5
С6.114.7-К6
С6.114.7-К7
|
600
|
11400
|
70
|
1,40
|
145
182
209
269
337
428
515
|
3,5
|
|
С6.114.8-К1
С6.114.8-К2
С6.114.8-К3
С6.114.8-К4
С6.114.8-К5
С6.114.8-К6
С6.114.8-К7
|
600
|
11400
|
80
|
1,56
|
145
182
209
269
337
428
515
|
3,9
|
|
С6.114.10-К1
С6.114.10-К2
С6.114.10-К3
С6.114.10-К4
С6.114.10-К5
С6.114.10-К6
С6.114.10-К7
|
600
|
11400
|
100
|
1,84
|
145
182
209
269
337
428
515
|
4,6
|
|
С6.120.6-К1
С6.120.6-К2
С6.120.6-К3
С6.120.6-К4
С6.120.6-К5
|
600
|
12000
|
60
|
1,30
|
152
190
220
281
353
|
3,3
|
|
С6.120.7-К1
С6.120.7-К2
С6.120.7-К3
С6.120.7-К4
С6.120.7-К5
С6.120.7-К6
С6.120.7-К7
|
600
|
12000
|
70
|
1,47
|
152
190
220
281
353
450
542
|
3,7
|
|
С6.120.8-К1
С6.120.8-К2
С6.120.8-К3
С6.120.8-К4
С6.120.8-К5
С6.120.8-К6
С6.120.8-К7
|
600
|
12000
|
80
|
1,64
|
152
190
220
281
353
450
542
|
4,1
|
|
С6.120.10-К1
С6.120.10-К2
С6.120.10-К3
С6.120.10-К4
С6.120.10-К5
С6.120.10-К6
С6.120.10-К7
|
600
|
12000
|
100
|
1,93
|
152
190
220
281
353
450
542
|
4,8
|
|
С6.126.6-К1
С6.126.6-К2
С6.126.6-К3
С6.126.6-К4
C6.126.6-K5
|
600
|
12600
|
60
|
1,36
|
158
198
229
295
370
|
3,4
|
|
С6.126.7-К1
С6.126.7-К2
С6.126.7-К3
С6.126.7-К4
С6.126.7-К5
С6.126.7-К6
С6.126.7-К7
|
600
|
12600
|
70
|
1,54
|
158
198
229
295
370
471
568
|
3,9
|
|
С6.126.8-К1
С6.126.8-К2
С6.126.8-К3
С6.126.8-К4
С6.126.8-К5
С6.126.8-К6
С6.126.8-К7
|
600
|
12600
|
80
|
1,72
|
158
198
229
295
370
471
568
|
4,3
|
|
С6.126.10-К1
С6.126.10-К2
С6.126.10-К3
С6.126.10-К4
С6.126.10-К5
С6.126.10-К6
С6.126.10-К7
|
600
|
12600
|
100
|
2,03
|
158
198
229
295
370
471
568
|
5,1
|
|
С6.132.6-К1
С6.132.6-К2
С6.132.6-К3
С6.132.6-К4
С6.132.6-К5
|
600
|
13200
|
60
|
1,42
|
164
206
238
307
385
|
3,6
|
|
С6.132.7-К1
С6.132.7-К2
С6.132.7-К3
С6.132.7-К4
С6.132.7-К5
С6.132.7-К6
С6.132.7-К7
|
600
|
13200
|
70
|
1,61
|
164
206
238
307
385
491
592
|
4,0
|
|
С6.132.8-К1
С6.132.8-К2
С6.132.8-К3
С6.132.8-К4
С6.132.8-К5
С6.132.8-К6
С6.132.8-К7
|
600
|
13200
|
80
|
1,80
|
164
206
238
307
385
491
592
|
4,5
|
|
С6.132.10-К1
С6.132.10-К2
С6.132.10-К3
С6.132.10-К4
С6.132.10-К5
С6.132.10-К6
С6.132.10-К7
|
600
|
13200
|
100
|
2,12
|
164
206
238
307
385
491
592
|
5,3
|
|
С6.138.6-К1
С6.138.6-К2
С6.138.6-К3
С6.138.6-К4
С6.138.6-К5
|
600
|
13800
|
60
|
1,48
|
171
215
248
320
402
|
3,7
|
|
С6.138.7-К1
С6.138.7-К2
С6.138.7-К3
С6.138.7-К4
С6.138.7-К5
С6.138.7-К6
С6.138.7-К7
|
600
|
13800
|
70
|
1,68
|
171
215
248
320
402
513
619
|
4,2
|
|
C6.138.8-K1
С6.138.8-К2
С6.138.8-К3
С6.138.8-К4
С6.138.8-К5
С6.138.8-К6
C6.138.8-K7
|
600
|
13800
|
80
|
1,88
|
171
215
248
320
402
513
619
|
4,7
|
|
С6.138.10-К1
С6.138.10-К2
С6.138.10-К3
C6.138.10-К4
С6.138.10-К5
С6.138.10-К6
С6.138.10-К7
|
600
|
13800
|
100
|
2,21
|
171
215
248
320
402
513
619
|
5,5
|
|
С6.144.6-К2
С6.144.6-К3
С6.144.6-К4
С6.144.6-К5
|
600
|
14400
|
60
|
1,54
|
223
257
331
418
|
3,9
|
|
С6.144.7-К2
С6.144.7-К3
С6.144.7-К4
С6.144.7-К5
Сб.144.7-К6
С6.144.7-К7
|
600
|
14400
|
70
|
1,75
|
223
257
331
418
532
642
|
4,4
|
|
С6.144.8-К2
С6.144.8-К3
С6.144.8-К4
С6.144.8-К5
С6.144.8-К6
С6.144.8-К7
|
600
|
14400
|
80
|
1,94
|
223
257
331
418
532
642
|
4,9
|
|
С6.144.10-К2
С6.144.10-К3
С6.144.10-К4
С6.144.10-К5
С6.144.10-К6
С6.144.10-К7
|
600
|
14400
|
100
|
2,30
|
223
257
331
418
532
642
|
5,8
|
|
C6.150.6-K2
С6.150.6-К3
С6.150.6-К4
С6.150.6-К5
|
600
|
15000
|
60
|
1,60
|
231
267
345
435
|
4,0
|
|
С6.150.7-К2
С6.150.7-К3
С6.150.7-К4
С6.150.7-К5
С6.150.7-К6
С6.150.7-К7
|
600
|
15000
|
70
|
1,82
|
231
267
345
435
554
669
|
4,6
|
|
С6.150.8-К2
С6.150.8-К3
С6.150.8-К4
С6.150.8-К5
С6.150.8-К6
С6.150.8-К7
|
600
|
15000
|
80
|
2,04
|
231
267
345
435
554
669
|
5,1
|
|
С6.150.10-К3
С6.150.10-К4
С6.150.10-К5
С6150.10-К6
С6.150.10-К7
|
600
|
15000
|
100
|
2,40
|
267
345
435
554
669
|
6,0
|
|
С6.156.6-К2
С6.156.6-К3
С6.156.6-К4
С6.156.6-К5
|
600
|
15600
|
60
|
1,66
|
240
278
358
452
|
4,2
|
|
С6.156.7-К2
С6.156.7-К3
С6.156.7-К4
С6.156.7-К5
С6.156.7-К6
С6.156.7-К7
|
600
|
15600
|
70
|
1,89
|
240
278
358
452
576
695
|
4,7
|
|
С6.156.8-К2
С6.156.8-К3
С6.156.8-К4
С6.156.8-К5
С6.156.8-К6
С6.156.8-К7
|
600
|
15600
|
80
|
2,11
|
240
278
358
452
576
695
|
5,3
|
|
С6.156.10-К3
С6.156.10-К4
С6.156.10-К5
С6.156.10-К6
С6.156.10-К7
|
600
|
15600
|
100
|
2,49
|
278
358
452
576
695
|
6,2
|
|
С7.48.6-К1
С7.48.6-К2
С7.48.6-К3
С7.48.6-К4
С7.48.6-К5
|
700
|
4800
|
60
|
0,71
|
81
96
110
136
166
|
1,8
|
|
С7.48.7-К1
С7.48.7-К2
С7.48.7-К3
С7.48.7-К4
С7.48.7-К5
С7.48.7-К6
С7.48.7-К7
|
700
|
4800
|
70
|
0,79
|
81
96
110
136
166
207
245
|
2,0
|
|
С7.48.8-К1
С7.48.8-К2
С7.48.8-К3
С7.48.8-К4
С7.48.8-К5
С7.48.8-К6
С7.48.8-К7
|
700
|
4800
|
80
|
0,89
|
81
96
110
136
166
207
245
|
2,2
|
|
С7.48.10-К1
С7.48.10-К2
С7.48.10-К3
С7.48.10-К4
С7.48.10-К5
С7.48.10-К6
С7.48.10-К7
|
700
|
4800
|
100
|
1,00
|
81
96
110
136
166
207
245
|
2,5
|
|
С7.54.6-К1
С7.54.6-К2
С7.54.6-К3
С7.54.6-К4
С7.54.6-К5
|
700
|
5400
|
60
|
0,78
|
88
105
120
148
181
|
2,0
|
|
С7.54.7-К1
С7.54.7-К2
С7.54.7-К3
С7.54.7-К4
С7.54.7-К5
С7.54.7-К6
С7.54.7-К7
|
700
|
5400
|
70
|
0,87
|
88
105
120
148
181
228
270
|
2,2
|
|
С7.54.8-К1
С7.54.8-К2
С7.54.8-К3
С7.54.8-К4
С7.54.8-К5
С7.54.8-К6
С7.54.8-К7
|
700
|
5400
|
80
|
0,96
|
88
105
120
148
181
228
270
|
2,4
|
|
С7.54.10-К1
С7.54.10-К2
С7.54.10-К3
С7.54.10-К4
С7.54.10-К5
С7.54.10-К6
С7.54.10-К7
|
700
|
5400
|
100
|
1,11
|
88
105
120
148
181
228
270
|
2,8
|
|
С7.60.6-К1
С7.60.6-К2
С7.60.6-К3
С7.60.6-К4
С7.60.6-К5
|
700
|
6000
|
60
|
0,85
|
94
113
130
161
198
|
2,1
|
|
С7.60.7-К1
С7.60.7-К2
С7.60.7-К3
С7.60.7-К4
С7.60.7-К5
С7.60.7-К6
С7.60.7-К7
|
700
|
6000
|
60
|
0,96
|
94
113
130
161
198
250
297
|
2,4
|
|
С7.60.8-К1
С7.60.8-К2
С7.60.8-К3
С7.60.8-К4
С7.60.8-К5
С7.60.8-К6
С7.60.8-К7
|
700
|
6000
|
70
|
1,05
|
94
113
130
161
198
250
297
|
2,6
|
|
С7.60.10-К1
С7.60.10-К2
С7.60.10-К3
С7.60.10-К4
С7.60.10-К5
С7.60.10-К6
С7.60.10-К7
|
700
|
6000
|
100
|
1,22
|
94
113
130
161
198
250
297
|
3,1
|
|
С7.66.6-К1
С7.66.6-К2
С7.66.6-К3
С7.66.6-К4
С7.66.6-К5
|
700
|
6600
|
60
|
0,92
|
101
122
140
174
215
|
2,3
|
|
С7.66.7-К1
С7.66.7-К2
С7.66.7-К3
С7.66.7-К4
С7.66.7-К5
С7.66.7-К6
С7.66.7-К7
|
700
|
6600
|
70
|
1,04
|
101
122
140
174
215
271
322
|
2,6
|
|
С7.66.8-К1
С7.66.8-К2
С7.66.8-К3
С7.66.8-К4
С7.66.8-К5
С7.66.8-К6
С7.66.8-К7
|
700
|
6600
|
80
|
1,15
|
101
122
140
174
215
271
322
|
2,9
|
|
С7.66.10-К1
С7.66.10-К2
С7.66.10-К3
С7.66.10-К4
С7.66.10-К5
С7.66.10-К6
С7.66.10-К7
|
700
|
6600
|
100
|
1,34
|
101
122
140
174
215
271
322
|
3,3
|
|
С7.72.6-К1
С7.72.6-К2
С7.72.6-К3
С7.72.6-К4
С7.72.6-К5
|
700
|
7200
|
60
|
0,99
|
107
130
149
187
231
|
2,5
|
|
С7.72.7-К1
С7.72.7-К2
С7.72.7-К3
С7.72.7-К4
С7.72.7-К5
С7.72.7-К6
С7.72.7-К7
|
700
|
7200
|
70
|
1,12
|
107
130
149
187
231
291
347
|
2,8
|
|
С7.72.8-К1
С7.72.8-К2
С7.72.8-К3
С7.72.8-К4
С7.72.8-К5
С7.72.8-К6
С7.72.8-К7
|
700
|
7200
|
80
|
1,24
|
107
130
149
187
231
291
347
|
3,1
|
|
С7.72.10-К1
С7.72.10-К2
С7.72.10-К3
С7.72.10-К4
С7.72.10-К5
С7.72.10-К6
С7.72.10-К7
|
700
|
7200
|
100
|
1,45
|
107
130
149
187
231
291
347
|
3,6
|
|
С7.78.6-К1
С7.78.6-К2
С7.78.6-К3
С7.78.6-К4
С7.78.6-K5
|
700
|
7800
|
60
|
1,06
|
114
139
159
200
248
|
2,7
|
|
С7.78.7-К1
С7.78.7-К2
С7.78.7-К3
С7.78.7-К4
С7.78.7-К5
С7.78.7-К6
С7.78.7-К7
|
700
|
7800
|
70
|
1,20
|
114
139
159
200
248
313
374
|
3,0
|
|
С7.78.8-К1
С7.78.8-К2
С7.78.8-К3
С7.78.8-К4
С7.78.8-К5
С7.78.8-К6
С7.78.8-К7
|
700
|
7800
|
80
|
1,34
|
114
139
159
200
248
313
374
|
3,4
|
|
С7.78.10-К1
С7.78.10-К2
С7.78.10-К3
С7.78.10-К4
С7.78.10-К5
С7.78.10-К6
С7.78.10-К7
|
700
|
7800
|
100
|
1,56
|
114
139
159
200
248
313
374
|
3,9
|
|
С7.84.6-К1
С7.84.6-К2
С7.84.6-К3
С7.84.6-К4
С7.84.6-К5
|
700
|
8400
|
60
|
1,12
|
121
147
169
213
263
|
2,8
|
|
С7.84.7-К1
С7.84.7-К2
С7.84.7-К3
С7.84.7-К4
С7.84.7-К5
С7.84.7-К6
С7.84.7-К7
|
700
|
8400
|
70
|
1,29
|
121
147
169
2J3
263
333
398
|
3,2
|
|
С7.84.8-К1
С7.84.8-К2
С7.84.8-К3
С7.84.8-К4
С7.84.8-К5
С7.84.8-К6
С7.84.8-К7
|
700
|
8400
|
80
|
1,43
|
121
147
169
213
263
333
398
|
3,6
|
|
С7.84.10-К1
С7.84.10-К2
С7.84.10-К3
С7.84.10-К4
С7.84.10-К5
С7.84.10-К6
С7.84.10-К7
|
700
|
8400
|
100
|
1,68
|
121
147
169
213
263
333
398
|
4,2
|
|
С7.90.6-К1
С7.90.6-К2
С7.90.6-К3
С7.90.6-К4
С7.90.6-К5
|
700
|
9000
|
60
|
1,19
|
127
156
178
226
280
|
3,0
|
|
С7.90.7-К1
С7.90.7-К2
С7.90.7-К3
С7.90.7-К4
С7.90.7-К5
С7.90.7-К6
С7.90.7-К7
|
700
|
9000
|
70
|
1,37
|
127
156
178
226
280
355
424
|
3,4
|
|
С7.90.8-К1
С7.90.8-К2
С7.90.8-К3
С7.90.8-К4
С7.90.8-К5
С7.90.8-К6
С7.90.8-К7
|
700
|
9000
|
80
|
1,52
|
127
156
178
226
280
355
424
|
3,8
|
|
С7.90.10-К1
С7.90.10-К2
С7.90.10-К3
C7.90.10-K4
С7.90.10-К5
С7.90.10-К6
C7.90.10-K7
|
700
|
9000
|
100
|
1,79
|
127
156
178
226
280
355
424
|
4,5
|
|
С7.96.6-К1
С7.96.6-К2
С7.96.6-К3
С7.96.6-К4
С7.96.6-К5
|
700
|
9600
|
60
|
1,26
|
134
164
189
239
297
|
3,2
|
|
С7.96.7-К1
С7.96.7-К2
С7.96.7-К3
С7.96.7-К4
С7.96.7-К5
С7.96.7-К6
С7.96.7-К7
|
700
|
9600
|
70
|
1,45
|
134
164
189
239
297
377
451
|
3,6
|
|
С7.96.8-К1
С7.96.8-К2
С7.96.8-К3
С7.96.8-К4
С7.96.8-К5
С7.96.8-К6
С7.96.8-К7
|
700
|
9600
|
80
|
1,62
|
134
164
189
239
297
377
451
|
4,0
|
|
С7.96.10-К1
С7.96.10-К2
С7.96.10-К3
С7.96.10-К4
C7.96.10-K5
С7.96.10-К6
С7.96.10-К7
|
700
|
9600
|
100
|
1,90
|
134
164
189
239
297
377
451
|
4,8
|
|
С7.102.6-К1
С7.102.6-К2
С7.102.6-К3
С7.102.6-К4
C7.102.6-К5
|
700
|
10200
|
60
|
1,33
|
140
173
198
251
313
|
3,3
|
|
С7.102.7-К1
С7.102.7-К2
С7.102.7-К3
С7.102.7-К4
С7.102.7-К5
С7.102.7-К6
С7.102.7-К7
|
700
|
10200
|
70
|
1,54
|
140
173
198
251
313
397
476
|
3,9
|
|
С7.102.8-К1
С7.102.8-К2
С7.102.8-К3
С7.102.8-К4
С7.102.8-К5
С7.102.8-К6
С7.102.8-К7
|
700
|
10200
|
80
|
1,71
|
140
173
198
251
313
397
476
|
4,3
|
|
С7.102.10-К1
С7.102.10-К2
С7.102.10-К3
С7.102.10-К4
С7.102.10-К5
С7.102.10-К6
С7.102.10-К7
|
700
|
10200
|
100
|
2,02
|
140
173
198
251
313
397
476
|
5,1
|
|
С7.108.6-К1
С7.108.6-К2
С7.108.6-К3
С7.108.6-К4
С7.108.6-К5
|
700
|
10800
|
60
|
1,4
|
147
181
208
265
330
|
3,5
|
|
С7.108.7-К1
С7.108.7-К2
С7.108.7-К3
С7.108.7-К4
С7.108.7-К5
С7.108.7-К6
С7.108.7-К7
|
700
|
10800
|
70
|
1,6
|
147
181
208
265
330
419
502
|
4,0
|
|
С7.108.8-К1
С7.108.8-К2
С7.108.8-К3
С7.108.8-К4
С7.108.8-К5
С7.108.8-К6
С7.108.8-К7
|
700
|
10800
|
80
|
1,8
|
147
181
208
265
330
419
502
|
4,5
|
|
С7.108.10-К1
С7.108.10-К2
С7.108.10-К3
С7.108.10-К4
С7.108.10-К5
С7.108.10-К6
C7.108.10-K7
|
700
|
10800
|
100
|
2,2
|
147
181
208
265
330
419
502
|
5,5
|
|
С7.114.6-К1
С7.114.6-К2
С7.114.6-К3
С7.114.6-К4
С7.114.6-К5
|
700
|
11400
|
60
|
1,47
|
154
190
218
277
346
|
3,7
|
|
C7.114.7-K1
С7.114.7-К2
С7.114.7-К3
С7.114.7-К4
С7.114.7-К5
С7.114.7-К6
С7.114.7-К7
|
700
|
11400
|
70
|
1,70
|
154
190
218
277
346
439
526
|
4,3
|
|
С7.114.8-К1
С7.114.8-К2
С7.114.8-К3
С7.114.8-К4
С7.114.8-К5
С7.114.8-К6
С7.114.8-К7
|
700
|
11400
|
80
|
1,90
|
154
190
218
277
346
439
526
|
4,8
|
|
С7.114.10-К1
С7.114.10-К2
С7.114.10-К3
С7.114.10-К4
С7.114.10-К5
С7.114.10-К6
С7.114.10-К7
|
700
|
11400
|
100
|
2,24
|
154
190
218
277
346
439
526
|
5,6
|
|
С7.120.6-К1
С7.120.6-К2
С7.120.6-К3
С7.120.6-К4
С7.120.6-К5
|
700
|
12000
|
60
|
1,54
|
160
198
228
290
362
|
3,9
|
|
С7.120.7-К1
С7.120.7-К2
С7.120.7-К3
С7.120.7-К4
С7.120.7-К5
С7.120.7-К6
С7.120.7-К7
|
700
|
12000
|
70
|
1,79
|
160
198
228
290
362
461
553
|
4,5
|
|
С7.120.8-К1
С7.120.8-К2
С7.120.8-К3
С7.120.8-К4
С7.120.8-К5
С7.120.8-К6
С7.120.8-К7
|
700
|
12000
|
80
|
1,99
|
160
198
228
290
362
461
553
|
5,0
|
|
С7.120.10-К1
С7.120.10-К2
С7.120.10-К3
C7.120.10-K4
С7.120.10-К5
С7.120.10-К6
С7.120.10-К7
|
700
|
12000
|
100
|
2,36
|
160
198
228
290
362
461
553
|
5,9
|
|
С7.126.6-К1
С7.126.6-К2
С7.126.6-К3
С7.126.6-К4
С7.126.6-К5
|
700
|
12600
|
60
|
1,61
|
167
207
238
304
379
|
4,0
|
|
С7.126.7-К1
С7.126.7-К2
С7.126.7-К3
С7.126.7-К4
С7.126.7-К5
С7.126.7-К6
С7.126.7-К7
|
700
|
12600
|
70
|
1,87
|
167
207
238
304
379
483
579
|
4,7
|
|
С7.126.8-К1
C7.126.8-K2
С7.126.8-К3
С7.126.8-К4
С7.126.8-К5
С7.126.8-К6
С7.126.8-К7
|
700
|
12600
|
80
|
2,09
|
167
207
238
304
379
483
579
|
5,2
|
|
С7.126.10-К1
С7.126.10-К2
С7.126.10-К3
С7.126.10-К4
С7.126.10-К5
С7.126.10-К6
С7.126.10-К7
|
700
|
12600
|
100
|
2,47
|
167
207
238
304
379
483
579
|
6,2
|
|
C7.132.6-K1
С7.132.6-К2
С7.132.6-К3
С7.132.6-К4
С7.132.6-К5
|
700
|
13200
|
60
|
1,68
|
173
215
247
316
394
|
4,2
|
|
С7.132.7-К1
С7.132.7-К2
С7.132.7-К3
С7.132.7-К4
С7.132.7-К5
С7.132.7-К6
С7.132.7-К7
|
700
|
1 3200
|
70
|
1 ,95
|
173
215
247
316
394
503
604
|
4,9
|
|
С7.132.8-К1
С7.132.8-К2
С7.132.8-К3
С7.132.8-К4
С7.132.8-К5
С7.132.8-К6
С7.132.8-К7
|
700
|
13200
|
80
|
2,28
|
173
215
247
316
394
503
604
|
5,7
|
|
С7.132.10-К1
С7.132.10-К2
С7.132.10-К3
С7.132.10-К4
С7.132.10-К5
С7.132.10-К6
С7.132.10-К7
|
700
|
13200
|
100
|
2,58
|
173
215
247
316
394
503
604
|
6,5
|
|
С7.138.6-К1
С7.138.6-К2
С7.138.6-К3
С7.138.6-К4
С7.138.6-К5
|
700
|
13800
|
60
|
1,75
|
180
224
258
329
412
|
4,4
|
|
С7.138.7-К1
С7.138.7-К2
C7.138.7-K3
С7.138.7-К4
С7.138.7-К5
С7.138.7-К6
С7.138.7-К7
|
700
|
13800
|
70
|
2,04
|
180
224
258
329
412
525
631
|
5,1
|
|
С7.138.8-К1
С7.138.8-К2
С7.138.8-К3
С7.138.8-К4
С7.138.8-К5
С7.138.8-К6
С7.138.8-К7
|
700
|
13800
|
80
|
2,28
|
180
224
258
329
412
525
631
|
5,7
|
|
С7.138.10-К2
С7.138.10-К3
С7.138.10-К4
С7.138.10-К5
С7.138.10-К6
С7.138.10-К7
|
700
|
13800
|
100
|
2,69
|
224
258
329
412
525
631
|
6,7
|
|
С7.144.6-К1
С7.144.6-К2
С7.144.6-К3
С7.144.6-К4
С7.144.6-К5
|
700
|
14400
|
60
|
1,81
|
187
232
267
341
427
|
4,5
|
|
С7.144.7-К1
С7.144.7-К2
С7.144.7-К3
C7.144.7-K4
С7.144.7-К5
С7.144.7-К6
С7.144.7-К7
|
700
|
14400
|
70
|
2,12
|
187
232
267
341
427
545
654
|
5,3
|
|
С7.144.8-К1
С7.144.8-К2
С7.144.8-К3
С7.144.8-К4
С7.144.8-К5
С7.144.8-К6
С7.144.8-К7
|
700
|
14400
|
80
|
2,37
|
187
232
267
341
427
545
654
|
5,9
|
|
С7.144.10-К2
С7.144.10-К3
C7.144.10-K4
С7.144.10-К5
С7.144.10-К6
С7.144.10-К7
|
700
|
14400
|
100
|
2,81
|
232
267
341
427
545
654
|
7,0
|
|
С7.150.6-К2
С7.150.6-К3
С7.150.6-К4
С7.150.6-К5
|
700
|
15000
|
60
|
1,88
|
241
276
354
444
|
4,7
|
|
С7.150.7-К2
С7.150.7-К3
С7.150.7-К4
С7.150.7-К5
С7.150.7-К6
С7.150.7-К7
|
700
|
15000
|
70
|
2,20
|
241
276
354
444
567
681
|
5,5
|
|
С7.150.8-К2
С7.150.8-К3
С7.150.8-К4
С7.150.8-К5
С7.150.8-К6
С7.150.8-К7
|
700
|
15000
|
80
|
2,46
|
241
276
354
444
567
681
|
6,2
|
|
С7.150.10-К2
С7.150.10-К3
С7.150.10-К4
С7.150.10-К5
С7.150.10-К6
С7.150.10-К7
|
700
|
15000
|
100
|
2,92
|
241
276
354
444
567
681
|
7,3
|
|
С7.156.6-К2
С7.156.6-К3
С7.156.6-К4
С7.156.6-К5
|
700
|
15600
|
60
|
1,95
|
249
287
367
461
|
4,9
|
|
С7.156.7-К2
С7.156.7-К3
С7.156.7-К4
С7.156.7-К5
С7.156.7-К6
С7.156.7-К7
|
700
|
15000
|
70
|
2,28
|
249
287
367
461
589
708
|
5,7
|
|
С7.156.8-К2
С7.156.8-К3
С7.156.8-К4
С7.156.8-К5
С7.156.8-К6
С7.156.8-К7
|
700
|
15600
|
80
|
2,56
|
249
287
367
461
589
708
|
6,4
|
|
С7.156.10-К3
С7.156.10-К4
С7.156.10-К5
С7.156.10-К6
С7.156.10-К7
|
700
|
15600
|
100
|
3,03
|
287
367
461
589
708
|
7,6
|
|
С7.162.6-К2
С7.162.6-К3
С7.162.6-К4
С7.162.6-К5
|
700
|
16200
|
60
|
2,02
|
258
296
380
477
|
5,1
|
|
С7.162.7-К2
С7.162.7-К3
С7.162.7-К4
С7.162.7-К5
С7.162.7-К6
С7.162.7-К7
|
700
|
16200
|
70
|
2,37
|
258
296
380
477
608
731
|
5,9
|
|
С7.162.8-К2
С7.162.8-К3
С7.162.8-К4
С7.162.8-К5
С7.162.8-К6
С7.162.8-К7
|
700
|
16200
|
80
|
2,65
|
258
296
380
477
608
731
|
6,6
|
|
С7.162.10-К3
С7.162.10-К4
С7.162.10-К5
С7.162.10-К6
С7.162.10-К7
|
700
|
16200
|
100
|
3,15
|
296
380
477
608
731
|
7,9
|
|
С7.168.6-К3
С7.168.6-К4
С7.168.6-К5
|
700
|
16800
|
60
|
2,09
|
306
393
494
|
5,2
|
|
С7.168.7-К3
С7.168.7-К4
С7.168.7-К5
С7.168.7-К6
С7.168.7-К7
|
700
|
16800
|
70
|
2,45
|
306
393
494
630
757
|
6,1
|
|
С7.168.8-К3
С7.168.8-К4
С7.168.8-К5
С7.168.8-К6
С7.168.8-К7
|
700
|
16800
|
80
|
2,75
|
306
393
494
630
757
|
6,9
|
|
С7.168.10-К3
С7.168.10-К4
С7.168.10-К5
С7.168.10-К6
С7.168.10-К7
|
700
|
16800
|
100
|
3,28
|
306
393
494
630
757
|
S,2
|
|
С7.174.6-К3
С7.174.6-К4
С7.174.6-К5
|
700
|
17400
|
60
|
2,16
|
315
405
509
|
5,4
|
|
С7.174.7-К3
С7.174.7-К4
С7.174.7-К5
С7.174.7-К6
С7.174.7-К7
|
700
|
17400
|
70
|
2,53
|
315
405
509
650
781
|
6,3
|
|
С7.174.8-К3
С7.174.8-К4
С7.174.8-К5
С7.174.8-К6
С7.174.8-К7
|
700
|
17400
|
80
|
2,84
|
315
405
509
650
781
|
7,1
|
|
С7.174.10-К3
С7.174.10-К4
С7.174.10-К5
С7.174.10-К6
С7.174.10-К7
|
700
|
17400
|
100
|
3,41
|
315
405
509
650
781
|
8,5
|
|
С8.54.6-К1
С8.54.6-К2
С8.54.6-К3
С8.54.6-К4
С8.54.6-К5
|
800
|
5400
|
60
|
0,95
|
122
149
181
195
242
|
2,4
|
|
С8.54.7-К1
С8.54.7-К2
С8.54.7-К3
С8.54.7-К4
С8.54.7-К5
|
800
|
5400
|
70
|
1,05
|
122
149
181
195
242
|
2,6
|
|
С8.54.8-К1
С8.54.8-К2
С8.54.8-К3
С8.54.8-К4
С8.54.8-К5
С8.54.8-К6
С8.54.8-К7
|
800
|
5400
|
80
|
1,16
|
122
149
181
195
242
307
342
|
2,9
|
|
С8.54.10-К1
С8.54.10-К2
С8.54.10-К3
С8.54.10-К4
С8.54.10-К5
С8.54.10-К6
С8.54.10-К7
С8.54.10-К8
|
800
|
5400
|
100
|
1,34
|
122
149
181
195
242
307
342
410
|
3,4
|
|
С8.54.12-К6
С8.54.12-К7
С8.54.12-К8
|
800
|
5400
|
120
|
1,52
|
307
342
410
|
3,8
|
|
С8.60.6-К1
С8.60.6-К2
С8.60.6-К3
С8.60.6-К4
С8.60.6-К5
|
800
|
6000
|
60
|
1,04
|
132
162
197
212
265
|
2,6
|
|
С8.60.7-К1
С8.60.7-К2
С8.60.7-К3
С8.60.7-К4
С8.60.7-К5
|
800
|
6000
|
70
|
1,15
|
132
162
197
212
265
|
2,9
|
|
С8.60.8-К1
С8.60.8-К2
С8.60.8-К3
С8.60.8-К4
С8.60.8-К5
С8.60.8-К6
С8.60.8-К7
|
800
|
6000
|
80
|
1,27
|
132
162
197
212
265
336
477
|
3,2
|
|
С8.60.10-К1
С8.60.10-К2
С8.60.10-К3
С8.60.10-К4
С8.60.10-К5
С8.60.10-К6
С8.60.10-К7
С8.60.10-К8
|
800
|
6000
|
100
|
1,47
|
132
162
197
212
265
336
377
452
|
3,7
|
|
C8.60.12-K6
С8.60.12-К7
С8.60.12-К8
|
800
|
6000
|
120
|
1,67
|
336
377
452
|
4,2
|
|
С8.66.6-К1
С8.66.6-К2
С8.66.6-К3
С8.66.6-К4
С8.66.6-К5
|
800
|
6600
|
60
|
1,12
|
141
175
214
229
287
|
2,8
|
|
С8.66.7-К1
С8.66.7-К2
С8.66.7-К3
С8.66.7-К4
С8.66.7-К5
|
800
|
6600
|
70
|
1,25
|
141
175
214
229
287
|
3,1
|
|
С8.66.8-К1
С8.66.8-К2
С8.66.8-К3
С8.66.8-К4
С8.66.8-К5
С8.66.8-К6
С8.66.8-К7
|
800
|
6600
|
80
|
1,38
|
141
175
214
229
287
366
410
|
3,5
|
|
С8.66.10-К1
С8.66.10-К2
С8.66.10-К3
С8.66.10-К4
C8.66.10-K5
С8.66.10-К6
С8.66.10-К7
С8.66.10-К8
|
800
|
6600
|
100
|
1,60
|
141
175
214
229
287
366
410
494
|
4,0
|
|
С8.66.12-К6
С8.66.12-К7
С8.66.12-К8
|
800
|
6600
|
120
|
1,83
|
366
410
494
|
4,6
|
|
С8.72.6-К1
С8.72.6-К2
С8.72.6-К3
С8.72.6-К4
С8.72.6-К5
|
800
|
7200
|
60
|
1,20
|
152
188
231
246
310
|
3,0
|
|
С8.72.7-К1
С8.72.7-К2
С8.72.7-К3
С8.72.7-К4
С8.72.7-К5
|
800
|
7200
|
70
|
1,34
|
152
188
231
246
310
|
3,4
|
|
С8.72.8-К1
С8.72.8-К2
С8.72.8-К3
С8.72.8-К4
С8.72.8-К5
С8.72.8-К6
С8.72.8-К7
|
800
|
7200
|
80
|
1,49
|
152
188
231
246
310
395
441
|
3,7
|
|
С8.72.10-К1
С8.72.10-К2
С8.72.10-К3
С8.72.10-К4
С8.72.10-К5
С8.72.10-К6
С8.72.10-К7
С8.72.10-К8
|
800
|
7200
|
100
|
1,74
|
152
188
231
246
310
395
441
530
|
4,41
|
|
С8.72.12-К6
С8.72.12-К7
С8.72.12-К8
|
800
|
7200
|
120
|
1,98
|
395
441
530
|
5,0
|
|
С8.78.6-К1
С8.78.6-К2
С8.78.6-К3
С8.78.6-К4
С8.78.6-К5
|
800
|
7800
|
60
|
1,28
|
161
201
247
264
332
|
3,2
|
|
С8.78.7-К1
С8.78.7-К2
С8.78.7-К3
С8.78.7-К4
С8.78.7-К5
|
800
|
7800
|
70
|
1,44
|
161
201
247
264
332
|
3,6
|
|
С8.78.8-К1
С8.78.8-К2
С8.78.8-К3
С8.78.8-К4
С8.78.8-К5
С8.78.8-К6
С8.78.8-К7
|
800
|
7800
|
80
|
1,60
|
161
201
247
264
332
423
476
|
4,0
|
|
С8.78.10-К1
С8.78.10-К2
С8.78.10-К3
С8.78.10-К4
С8.78.10-К5
С8.78.10-К6
С8.78.10-К7
С8.78.10-К8
|
800
|
7800
|
100
|
1,87
|
161
201
247
264
332
423
476
572
|
4,7
|
|
С8.78.12-К6
С8.78.12-К7
С8.78.12-К8
|
800
|
7800
|
120
|
2,14
|
423
476
572
|
5,4
|
|
С8.84.6-К1
С8.84.6-К2
С8.84.6-К3
С8.84.6-К4
С8.84.6-К5
|
800
|
8400
|
60
|
1,37
|
171
214
263
281
354
|
3,4
|
|
С8.84.7-К1
С8.84.7-К2
С8.84.7-К3
С8.84.7-К4
С8.84.7-К5
|
800
|
8400
|
70
|
1,53
|
171
214
263
281
354
|
3,8
|
|
С8.84.8-К1
С8.84.8-К2
С8.84.8-К3
С8.84.8-К4
С8.84.8-К5
С8.84.8-К6
С8.84.8-К7
|
800
|
8400
|
80
|
1,70
|
171
214
263
281
354
452
506
|
4,3
|
|
С8.84.10-К1
С8.84.10-К2
С8.84.10-К3
С8.84.10-К4
С8.84.10-К5
С8.84.10-К6
С8.84.10-К7
С8.84.10-К8
|
800
|
8400
|
100
|
2,00
|
171
214
263
281
354
452
506
611
|
5,0
|
|
С8.84.12-К6
С8.84.12-К7
С8.84.12-К8
|
800
|
8400
|
120
|
2,29
|
452
506
611
|
5,7
|
|
С8.90.6-К1
С8.90.6-К2
С8.90.6-К3
С8.90.6-К4
С8.96.6-К5
|
800
|
9000
|
60
|
1,45
|
182
226
280
297
377
|
3,6
|
|
С8.90.7-К1
С8.90.7-К2
С8.90.7-К3
С8.90.7-К4
С8.90.7-К5
|
800
|
9000
|
70
|
1,63
|
182
226
280
297
377
|
4,1
|
|
С8.90.8-К1
С8.90.8-К2
С8.90.8-К3
С8.90.8-К4
С8.90.8-К5
С8.90.8-К6
С8.90.8-К7
|
800
|
9000
|
80
|
1,81
|
182
226
280
297
377
481
541
|
4,5
|
|
С8.90.10-К1
С8.90.10-К2
С8.90.10-К3
С8.90.10-К4
С8.90.10-К5
С8.90.10-К6
С8.90.10-К7
С8.90.10-К8
|
800
|
9000
|
100
|
2,13
|
182
226
280
297
377
481
541
651
|
5,3
|
|
С8.90.12-К6
С8.90.12-К7
С8.90.12-К8
|
800
|
9000
|
120
|
2,45
|
481
541
651
|
6,1
|
|
С8.96.6-К1
С8.96.6-К2
С8.96.6-К3
С8.96.6-К4
С8.96.6-К5
|
800
|
9600
|
60
|
1,53
|
192
240
296
316
399
|
3,8
|
|
С8.96.7-К1
С8.96.7-К2
С8.96.7-К3
С8.96.7-К4
С8.96.7-К5
|
800
|
9600
|
70
|
1,73
|
192
240
296
316
399
|
4,3
|
|
С8.96.8-К1
С8.96.8-К2
С8.96.8-К3
С8.96.8-К4
С8.96.8-К5
С8.96.8-К6
С8.96.8-К7
|
800
|
9600
|
80
|
1,92
|
192
240
296
316
399
511
575
|
4,8
|
|
С8.96.10-К1
С8.96.10-К2
С8.96.10-К3
С8.96.10-К4
С8.96.10-К5
С8.96.10-К6
С8.96.10-К7
С8.96.10-К8
|
800
|
9600
|
100
|
2,26
|
192
240
296
316
399
511
575
693
|
5,7
|
|
С8.96.12-К6
С8.96.12-К7
С8.96.12-К8
|
800
|
9600
|
120
|
2,60
|
511
575
693
|
6,5
|
|
С8.102.6-К1
С8.102.6-К2
С8.102.6-К3
С8.102.6-К4
С8.102.6-К5
|
800
|
10200
|
60
|
1,62
|
201
253
313
333
421
|
4,1
|
|
С8.102.7-К1
С8.102.7-К2
С8.102.7-К3
С8.102.7-К4
С8.102.7-К5
|
800
|
10200
|
70
|
1,82
|
201
253
313
333
421
|
4,6
|
|
С8.102.8-К1
С8.102.8-К2
С8.102.8-К3
С8.102.8-К4
С8.102.8-К5
С8.102.8-К6
С8.102.8-К7
|
800
|
10200
|
80
|
2,03
|
201
253
313
333
421
540
606
|
5,1
|
|
С8.102.10-К1
С8.102.10-К2
С8.102.10-К3
С8.102.10-К4
С8.102.10-К5
С8.102.10-К6
С8.102.10-К7
С8.102.10-К8
|
800
|
10200
|
100
|
2,40
|
201
253
313
333
421
540
606
732
|
6,0
|
|
С8.102.12-К6
С8.102.12-К7
С8.102.12-К8
|
800
|
10200
|
120
|
2,76
|
540
606
732
|
6,9
|
|
С8.108-6-К1
С8.108.6-К2
С8.108.6-К3
С8.108.6-К4
С8.108.6-К5
|
800
|
10800
|
60
|
1,70
|
211
266
330
350
444
|
4,3
|
|
С8.108.7-К1
С8.108.7-К2
С8.108.7-К3
С8.108.7-К4
С8.108.7-К5
|
800
|
10800
|
70
|
1,92
|
211
266
330
350
444
|
4,8
|
|
С8.108.8-К1
С8.108.8-К2
С8.108.8-К3
С8.108.8-К4
С8.108.8-К5
С8.108.8-К6
С8.108.8-К7
|
800
|
10800
|
80
|
2,14
|
211
266
330
350
444
568
640
|
5,4
|
|
С8.108.10-К1
С8.108.10-К2
С8.108.10-К3
С8.108.10-К4
С8.108.10-К5
С8.108.10-К6
С8.108.10-К7
С8.108.10-К8
|
800
|
10800
|
100
|
2,53
|
211
266
330
350
444
568
640
773
|
6,3
|
|
С8.108.12-К6
C8.108.12-K7
С8.108.12-К8
|
800
|
10800
|
120
|
2,91
|
568
640
773
|
7,3
|
|
С8.114.6-К1
С8.114.6-К2
С8.114.6-К3
С8.114.6-К4
С8.114.6-К5
|
800
|
11400
|
60
|
1,78
|
221
279
346
368
466
|
4,5
|
|
С8.114.7-К1
С8.114.7-К2
С8.114.7-К3
С8.114.7-К4
С8.114.7-К5
|
800
|
11400
|
70
|
2,01
|
221
279
346
368
466
|
5,0
|
|
С8.114.8-К1
С8.114.8-К2
С8.114.8-К3
С8.114.8-К4
С8.114.8-К5
С8.114.8-К6
С8.114.8-К7
|
800
|
11400
|
80
|
2,25
|
221
279
346
368
466
597
671
|
5,6
|
|
С8.114.10-К1
С8.114.10-К2
С8.114.10-К3
С8.114.10-К4
С8.114.10-К5
С8.114.10-К6
С8.114.10-К7
С8.114.10-К8
|
800
|
11400
|
100
|
2,66
|
221
279
346
368
466
597
671
811
|
6,7
|
|
С8.114.12-К6
С8.114.12-К7
С8.114.12-К8
|
800
|
11400
|
120
|
3,06
|
597
671
811
|
7,7
|
|
С8.120.6-К1
С8.120.6-К2
С8.120.6-К3
С8.120.6-К4
С8.120.6-К5
|
800
|
12000
|
60
|
1,87
|
231
293
363
386
489
|
4,7
|
|
С8.120.7-К1
С8.120.7-К2
С8.120.7-К3
С8.120.7-К4
С8.120-7-К5
|
800
|
12000
|
70
|
2,11
|
231
293
363
386
489
|
5,3
|
|
С8.120.8-К1
С8.120.8-К2
С8.120.8-К3
С8.120.8-К4
С8.120.8-К5
С8.120.8-К6
С8.120.8-К7
|
800
|
12000
|
80
|
2,36
|
231
293
363
386
489
626
705
|
5,9
|
|
С8.120.10-К1
С8.120.10-К2
С8.120.10-К3
С8.120.10-К4
С8.120.10-К5
С8.120.10-К6
С8.120.10-К7
С8.120.10-К8
|
800
|
12000
|
100
|
2,79
|
231
293
363
386
489
626
705
851
|
7,0
|
|
С8.120.12-К6
С8.120.12-К7
С8.120.12-К8
|
800
|
12000
|
120
|
3,22
|
626
705
851
|
8,0
|
|
C8.126.6-K1
С8.126.6-К2
С8.126.6-К3
С8.126.6-К4
С8.126.6-К5
|
800
|
12600
|
60
|
1,95
|
241
306
380
403
511
|
4,9
|
|
С8.126.7-К1
С8.126.7-К2
С8.126.7-К3
С8.126.7-К4
С8.126.7-К5
|
800
|
12600
|
70
|
2,21
|
241
306
380
403
511
|
5,5
|
|
С8.126.8-К1
С8.126.8-К2
С8.126.8-К3
С8.126.8-К4
С8.126.8-К5
С8.126.8-К6
С8.126.8-К7
|
800
|
12600
|
80
|
2,48
|
241
306
380
403
511
655
740
|
6,2
|
|
С8.126.10-К1
С8.126.10-К2
С8.126.10-К3
С8.126.10-К4
С8.126.10-К5
С8.126.10-К6
С8.126.10-К7
С8.126.10-К8
|
800
|
12600
|
100
|
2,92
|
241
306
380
403
511
655
740
894
|
7,3
|
|
С8.126.12-К6
С8.126.12-К7
С8.126.12-К8
|
800
|
12600
|
120
|
3,4
|
655
740
894
|
8,5
|
|
С8.132.6-К1
С8.132.6-К2
С8.132.6-К3
С8.132.6-К4
С8.132.6-К5
|
800
|
13200
|
60
|
2,03
|
251
310
396
419
534
|
5,1
|
|
C8.132.7-K1
C8.132.7-K2
C8.132.7-K3
C8.132.7-K4
C8.132.7-K5
|
800
|
13200
|
70
|
2,30
|
251
319
396
419
534
|
5,8
|
|
C8.132.8-K1
C8.132.8-K2
C8.132.8-K3
C8.132.8-K4
C8.132.8-K5
C8.132.8-K6
C8.132.8-K7
|
800
|
13200
|
80
|
2,58
|
251
319
396
419
534
684
771
|
6,5
|
|
C8.132.10-K1
C8.132.10-K2
C8.132.10-K3
C8.132.10-K4
C8.132.10-K5
C8.132.10-K6
C8.132.10-K7
C8.132.10-K8
|
800
|
13200
|
100
|
3,06
|
251
319
396
419
534
684
771
930
|
7,7
|
|
C8.132.12-K6
C8.132.12-K7
C8.132.12-K8
|
800
|
13200
|
120
|
3,53
|
684
771
930
|
8,8
|
|
C8.138.6-K1
C8.138.6-K2
C8.138.6-K3
C8.138.6-K4
C8.138.6-K5
|
800
|
13800
|
60
|
2,12
|
261
331
413
437
556
|
5,3
|
|
C8.138.7-K1
C8.138.7-K2
С8.138.7-К3
С8.138.7-К4
С8.138.7-К5
|
800
|
13800
|
70
|
2,40
|
261
331
413
437
556
|
6,9
|
|
С8.138.8-К1
С8.138.8-К2
С8.138.8-К3
С8.138.8-К4.
С8.138.8-К5
С8.138.8-К6.
С8.138.8-К7
|
800
|
13800
|
80
|
2,68
|
261
331
413
437
556
714
805
|
6,7
|
|
С8.138.10-К1
С8.138.10-К2
С8.138.10-К3
С8.138.10-К4
С8.138.10-К5
С8.138.10-К6
С8.138.10-К7
С8.138.10-К8
|
800
|
13800
|
100
|
3,19
|
261
331
413
437
556
714
805
973
|
8,9
|
|
С8.138.12-К6
С8.138.12-К7
С8.138.12-К8
|
800
|
13800
|
120
|
3,69
|
714
805
973
|
9,2
|
|
С8.144.6-К1
С8.144.6-К2
С8.144.6-К3
С8.144.6-К4
С8.144.6-К5
|
800
|
14400
|
60
|
2,2
|
271
344
429
454
578
|
5,5
|
|
С8.144.7-К1
С8.144.7-К2
С8.144.7-К3
С8.144.7-К4
С8.144.7-К5
|
800
|
14400
|
70
|
2,49
|
271
344
429
454
578
|
6,2
|
|
С8.144.8-К1
С8.144.8-К2
С8.144.8-К3
С8.144.8-К4
С8.144.8-К5
С8.144.8-К6
С8.144.8-К7
|
800
|
14400
|
80
|
2,79
|
271
344
429
454
578
742
836
|
7,0
|
|
С8.144.10-К1
С8.144.10-К2
С8.144.10-К3
С8.144.10-К4
С8.144.10-К5
С8.144.10-К6
С8.144.10-К7
С8.144.10-К8
|
800
|
14400
|
100
|
3,32
|
271
344
429
454
578
742
836
1011
|
8,3
|
|
С8.144.12-К6
С8.144.12-К7
С8.144.12-К8
|
800
|
14400
|
120
|
3,84
|
742
836
1011
|
9,6
|
|
С8.150.6-К1
С8.160.6-К2
С8.150.6-К3
С8.150.6-К4
С8.150.6-К5
|
800
|
15000
|
60
|
2,28
|
281
357
446
471
601
|
5,7
|
|
С8.150.7-К1
С8.150.7-К2
С8.150.7-К3
С8.150.7-К4
С8.150.7-К5
|
800
|
15000
|
70
|
2,59
|
281
357
446
471
601
|
6,5
|
|
С8.150.8-К1
С8.150.8-К2
С8.150.8-К3
С8.150.8-К4
С8.150.8-К5
С8.150.8-К6
С8.150.8-К7
|
800
|
15000
|
80
|
2,90
|
281
357
446
471
601
771
870
|
7,3
|
|
С8.150.10-К1
С8.150.10-К2
С8.150.10-К3
С8.150.10-К4
С8.150.10-К5
С8.150.10-К6
С8.150.10-К7
С8.150.10-К8
|
800
|
15000
|
100
|
3,45
|
281
357
446
471
601
771
870
1053
|
8,6
|
|
С8.150.12-К6
С8.150.12-К7
С8.150.12-К8
|
800
|
15000
|
120
|
4,0
|
771
870
1053
|
10,0
|
|
С8.156.6-К2
С8.156.6-К3
С8.156.6-К4
С8.156.6-К5
|
800
|
15600
|
60
|
2,36
|
370
462
489
623
|
5,9
|
|
С8.156.7-К2
С8.156.7-К3
С8.156.7-К4
С8.156.7-К5
|
800
|
15600
|
70
|
2,69
|
370
462
489
623
|
6,7
|
|
С8.156.8-К2
С8.156.8-К3
С8.156.8-К4
С8.156.8-К5
С8.156.8-К6
С8.156.8-К7
|
800
|
15600
|
80
|
3,01
|
370
462
489
623
801
904
|
7,5
|
|
С8.156.10-К2
С8.156.10-К3
С8.156.10-К4
С8.156.10-К5
С8.156.10-К6
С8.156.10-К7
С8.156.10-К8
|
800
|
15600
|
100
|
3,58
|
370
462
489
623
801
904
1095
|
9,0
|
|
С8.156.12-К6
С8.156.12-К7
С8.156.12-К8
|
800
|
15600
|
120
|
4,15
|
801
904
1095
|
10,4
|
|
С8.162.6-К2
С8.162.6-К3
С8.162.6-К4
С8.162.6-К5
|
800
|
16200
|
60
|
2,45
|
383
479
506
646
|
6,1
|
|
С8.162.7-К2
С8.162.7-К3
С8.162.7-К4
С8.162.7-К5
|
800
|
16200
|
70
|
2,78
|
383
479
506
646
|
7,0
|
|
С8.162.8-К2
С8.162.8-К3
С8.162.8-К4
С8.162.8-К5
С8.162.8-К6
С8.162.8-К7
|
800
|
16200
|
80
|
3,12
|
383
479
506
646
830
935
|
7,8
|
|
С8.162.10-К2
С8.162.10-К3
С8.162.10-К4
С8.162.10-К5
С8.162.10-К6
С8.162.10-К7
С8.162.10-К8
|
800
|
16200
|
100
|
3,72
|
383
479
506
646
830
935
1134
|
9,3
|
|
С8.162.12-К6
С8.162.12-К7
С8.162.12-К8
|
800
|
16200
|
120
|
4,31
|
830
935
1134
|
10,8
|
|
С8.168.6-К2
С8.168.6-К3
С8.168.6-К4
С8.168.6-К5
|
800
|
16800
|
60
|
2,53
|
396
496
523
668
|
6,3
|
|
С8.168.7-К2
С8.168.7-К3
С8.168.7-К4
С8.168.7-К5
|
800
|
16800
|
70
|
2,88
|
396
496
523
668
|
7,2
|
|
С8.168.8-К2
С8.168.8-К3
С8.168.8-К4
С8.168.8-К5
С8.168.8-К6
С8.168.8-К7
|
800
|
16800
|
80
|
3,23
|
396
496
523
668
858
970
|
8,1
|
|
С8.168.10-К2
С8.168.10-К3
С8.168.10-К4
С8.168.10-К5
С8.168.10-К6
С8.168.10-К7
С8.168.10-K8
|
800
|
16800
|
100
|
3,85
|
396
496
523
668
858
970
1177
|
9,6
|
|
С8.168.12-К6
С8.168.12-К7
С8.168.12-К8
|
800
|
16800
|
120
|
4,46
|
858
970
1177
|
11,2
|
|
С8.174.6-К2
С8.174.6-К3
С8.174.6-К4
С8.174.6-К5
|
800
|
17400
|
60
|
2,61
|
410
512
541
690
|
6,5
|
|
С8.174.7-К2
С8.174.7-К3
С8.174.7-К4
С8.174.7-К5
|
800
|
17400
|
70
|
2,97
|
410
512
541
690
|
7,4
|
|
С8.174.8-К2
С8.174.8-К3
С8.174.8-К4
С8.174.8-К5
С8.174.8-К6
С8.174.8-К7
|
800
|
17400
|
80
|
3,34
|
410
512
541
690
888
1001
|
8,4
|
|
С8.174.10-К2
С8.174.10-К3
С8.174.10-К4
С8.174.10-К5
С8.174.10-К6
С8.174.10-К7
С8.174.10-К8
|
800
|
17400
|
100
|
3,98
|
410
512
541
690
888
1001
1212
|
10,0
|
|
С8.174.12-К6
С8.174.12-К7
С8.174.12-К8
|
800
|
17400
|
120
|
4,62
|
888
1001
1212
|
11,5
|
|
С8.180.6-К3
С8.180.6-К4
С8.180.6-К5
|
800
|
18000
|
60
|
2,70
|
529
558
712
|
6,8
|
|
С8.180.7-К3
С8.180.7-К4
С8.180.7-К5
|
800
|
18000
|
70
|
3,07
|
529
558
712
|
7,7
|
|
С8.180.8-К3
С8.180.8-К4
С8.180.8-К5
С8.180.8-К6
С8.180.8-К7
|
800
|
18000
|
80
|
3,45
|
529
558
712
916
1035
|
8,6
|
|
С8.180.10-К3
С8.180.10-К4
С8.180.10-К5
С8.180.10-К6
С8.180.10-К7
С8.180.10-К8
|
800
|
18000
|
100
|
4,11
|
529
558
712
916
1035
1252
|
10,3
|
|
С8.180.12-К6
С8.180.12-К7
С8.180.12-К8
|
800
|
18000
|
120
|
4,77
|
916
1035
1252
|
11,9
|
|
С8.186.6-К3
С8.186.6-К4
С8.186.6-К5
|
800
|
18600
|
60
|
2,8
|
546
575
735
|
7,0
|
|
С8.186.7-К3
С8.186.7-К4
С8.186.7-К5
|
800
|
18600
|
70
|
3,2
|
546
575
735
|
7,9
|
|
С8.186.8-К3
С8.186.8-К4
С8.186.8-К5
С8.186.8-К6
С8.186.8-К7
|
800
|
18600
|
80
|
3,6
|
546
575
735
945
1069
|
8,9
|
|
С8.186.10-К3
С8.186.10-К4
С8.186.10-К5
С8.186.10-К6
С8.186.10-К7
С8.186.10-К8
|
800
|
18600
|
100
|
4,2
|
546
575
735
945
1069
1294
|
10,6
|
|
С8.186.12-К6
C8.186.12-К7
C8.186.12-K8
|
800
|
18600
|
120
|
4,9
|
945
1069
1294
|
12,3
|
|
C8.192.6-K3
C8.192.6-K4
C8.192.6-K5
|
800
|
19200
|
60
|
2,9
|
562
592
757
|
7,2
|
|
C8.192.7-K3
C8.192.7-K4
C8.192.7-K5
|
800
|
19200
|
70
|
3,3
|
562
592
757
|
8,2
|
|
C8.192.8-K3
C8.192.8-K4
C8.192.8-K5
C8.192.8-K6
C8.192.8-K7
|
800
|
19200
|
80
|
3,7
|
562
592
757
974
1100
|
9,2
|
|
С8.192.10-К3
C8.192.10-K4
C8.192.10-K5
C8.192.10-K6
C8.192.10-K7
C8.192.10-K8
|
800
|
19200
|
100
|
4,1
|
562
592
757
974
1100
1332
|
11,0
|
|
С8.192.12-К6
C8.192.12-K7
C8.192.12-K8
|
800
|
19200
|
120
|
5,1
|
974
1100
1332
|
12,7
|
|
C10.60.8-K1
C10.60.8-K2
C10.60.8-K3
C10.60.8-K4
C10.60.8-K5
C10.60.8-K6
|
1000
|
6000
|
80
|
1,77
|
176
211
253
312
393
472
|
4,4
|
|
C10.60.10-K1
C10.60.10-K2
C10.60.10-K3
C10.60.10-K4
C10.60.10-K5
C10.60.10-K6
C10.60.10-K7
|
1000
|
6000
|
100
|
2,03
|
176
211
253
312
393
472
565
|
5,1
|
|
C10.60.12-K1
C10.60.12-K2
C10.60.12-K3
С10.60.12-К4
C10.60.12-K5
C10.60.12-K6
C10.60.12-K7
|
1000
|
6000
|
120
|
2,19
|
176
211
253
312
393
472
565
|
5,7
|
|
C10.66.8-K1
C10.66.8-K2
C10.66.8-K3
C10.66.8-K4
C10.66.8-K5
C10.66.8-K6
|
1000
|
6600
|
80
|
1,91
|
189
228
274
339
428
515
|
4,8
|
|
C10.66.10-K1
С10.66.10-К2
C10.66.10-K3
С10.66.10-K4
C10.66.10-K5
C10.66.10-K6
С10.66.10-К7
|
1000
|
6300
|
100
|
2,20
|
189
228
274
339
428
515
617
|
5,5
|
|
С10.66.12-К1
С10.66.12-К2
С10.66.12-К3
С10.66.12-К4
С10.66.12-К5
С10.66.12-К6
С10.66.12-К7
|
1000
|
6600
|
120
|
2,49
|
189
228
274
339
428
515
617
|
6,2
|
|
C10.72.8-K1
С10.72.8-К2
С10.72.8-К3
С10.72.8-К4
С10.72.8-К5
С10.72.8-К6
|
1000
|
7200
|
80
|
2,05
|
203
245
293
363
459
554
|
5,1
|
|
С10.72.10-К1
С10.72.10-К2
С10.72.10-К3
С10.72.10-К4
С10.72.10-К5
С10.72.10-К6
С10.72.10-К7
|
1000
|
7200
|
100
|
2,37
|
203
245
293
363
459
554
664
|
5,9
|
|
С10.72.12-К1
С10.72.12-К2
С10.72.12-К3
С10.72.12-К4
С10.72.12-К5
С10.72.12-К6
С10.72.12-К7
|
1000
|
7200
|
120
|
2,69
|
203
245
293
36,3
459
554
664
|
6,7
|
|
С10.78.8-К1
С10.78.8-К2
С10.73.8-К3
С10.78.8-К4
С10.78.8-К5
С10.78.8-К6
|
1000
|
7800
|
80
|
2,18
|
216
262
315
391
494
597
|
5,5
|
|
С10.78.10-К1
С10.78.10-К2
C10.78.10.K3
С10.78.10-К4
С10.78.10-К5
С10.78.10-К6
С10.78.10-К7
|
1000
|
7800
|
100
|
2,54
|
216
262
315
391
494
597
717
|
6,4
|
|
С10.78.12-К1
С10.78.12-К2
C10.78.12-К3
С10.78.12-К4
С10.78.12-К5
С10.78.12-К6
С10.78.12-К7
|
1000
|
7800
|
120
|
2,89
|
216
262
315
391
494
597
717
|
7,2
|
|
С10.84.8-К1
С10.84.8-К2
С10.84.8-К3
С10.84.8-К4
С10.84.8-К5
С10.84.8-К6
|
1000
|
8400
|
80
|
2,32
|
229
279
334
415
526
636
|
5,8
|
|
С10.84.10-К1
С10.84.10-К2
С10.84.10-К3
С10.84.10-К4
С10.84.10-К5
С10.84.10-К6
С10.84.10-К7
|
1000
|
8400
|
100
|
2,71
|
229
279
334
415
526
636
764
|
6,8
|
|
С10.84.12-К1
С10.84.12-К2
С10.84.12-К3
С10.84.12-К4
С10.84.12-К5
С10.84.12-К6
С10.84.12-К7
|
1000
|
8400
|
120
|
3,09
|
229
279
334
415
526
636
764
|
7,7
|
|
С10.90.8-К1
С10.90.8-К2
С10.90.8-К3
С10.90.8-К4
С10.90.8-К5
С10.90.8-К6
|
1000
|
9000
|
80
|
2,46
|
243
296
355
442
560
678
|
6,2
|
|
С10.90.10-К1
С10.90.10-К2
С10.90.10-К3
С10.90.10-К4
С10.90.10-К5
С10.90.10-К6
С10.90.10-К7
|
1000
|
9000
|
100
|
2,88
|
243
296
355
442
560
678
816
|
7,2
|
|
С10.90.12-К1
С10.90.12-К2
С10.90.12-К3
С10.90.12-К4
С10.90.12-К5
С10.90.12-К6
С10.90.12-К7
|
1000
|
9000
|
120
|
3,29
|
243
296
355
442
560
678
816
|
8,2
|
|
С10.96.8-К1
C10.96.8-K2
С10.96.8-К3
С10.96.8-К4
С10.96.8-К5
С10.96.8-К6
|
1000
|
9600
|
80
|
2,60
|
256
313
376
469
595
721
|
6,5
|
|
С10.96.10-К1
С10.96.10-К2
С10.96.10-К3
С10.96.10-К4
С10.96.10-К5
С10.96.10-К6
С10.96.10-К7
|
1000
|
9600
|
100
|
3,05
|
256
313
376
469
595
721
868
|
7,6
|
|
С10.96.12-К1
С10.96.12-К2
С10.96.12-К3
С10.96.12-К4
С10.96.12-К5
С10.96.12-К6
С10.96.12-К7
|
1000
|
9600
|
120
|
3,49
|
256
313
376
469
595
721
868
|
8,7
|
|
С10.102.8-К1
С10.102.8-К2
С10.102.8-К3
C10.102.8-K4
С10.102.8-К5
С10.102.8-К6
|
1000
|
10200
|
80
|
2,74
|
270
330
395
494
627
760
|
6,9
|
|
С10.102.10-К1
С10.102.10-К2
С10.102.10-К3
С10.102.10-К4
С10.102.10-К5
С10.102.10-К6
С10.102.10-К7
|
1000
|
10200
|
100
|
3,22
|
270
330
395
494
627
760
915
|
8,1
|
|
С10.102.12-К1
С10.102.12-К2
С10.102.12-К3
С10.102.12-К4
С10.102.12-К5
С10.102.12-К6
С10.102.12-К7
|
1000
|
10200
|
120
|
3,69
|
270
330
395
494
627
760
915
|
9,2
|
|
С10.108.8-К1
С10.108.8-К2
С10.108.8-К3
С10.108.8-К4
C10.108.8-K5
С10.108.8-К6
|
1000
|
10800
|
80
|
2,88
|
283
347
416
521
661
803
|
7,2
|
|
C10.108.10-K1
С10.108.10-К2
С10.108.10-К3
С10.108.10-К4
С10.108.10-К5
С10.108.10-К6
С10.108.10-К7
|
1000
|
10800
|
100
|
3,39
|
283
347
416
521
661
803
967
|
8,5
|
|
С10.108.12-К1
С10.108.12-К2
С10.108.12-К3
С10.108.12-К4
C10.108.12-K5
C10.108.12-K6
C10.108.12-K7
|
1000
|
10800
|
120
|
3,89
|
283
347
416
521
661
803
967
|
9,7
|
|
С10.114.8-К1
С10.114.8-К2
С10.114.8-К3
С10.114.8-К4
С10.114.8-К5
С10.114.8-К6
|
1000
|
11400
|
80
|
3,02
|
307
364
436
545
693
842
|
7,6
|
|
C10.114.10-K1
C10.114.10-K2
C10.114.10-K3
C10.114.10-K4
C10.114.10-K5
C10.114.10-K6
C10.114.10-K7
|
1000
|
11400
|
100
|
3,56
|
297
364
436
545
693
842
1014
|
8,9
|
|
C10.114.12-K1
C10.114.12-K2
C10.114.12-K3
C10.114.12-K4
C10.114.12-K5
C10.114.12-K6
C10.114.12-K7
|
1000
|
11400
|
120
|
4,09
|
297
364
433
545
693
842
1014
|
10,2
|
|
C10.120.8-K1
C10.120.8-K2
C10.120.8-K3
C10.120.8-K4
C10.120.8-K5
C10.120.8-K6
|
1000
|
12000
|
80
|
3,16
|
310
381
457
572
728
884
|
7,9
|
|
C10.120.10-K1
C10.120.10-K2
C10.120.10-K3
C10.120.10-K4
C10.120.10-K5
С10.120.10-K6
C10.120.10-K7
|
1000
|
12000
|
100
|
3,73
|
310
381
457
572
728
884
1067
|
9,3
|
|
C10.120.12-K1
C10.120.12-K2
C10.120.12-K3
C10.120.12-K4
C10.120.12-K5
C10.120.12-K6
C10.120.12-K7
|
1000
|
12000
|
120
|
4,29
|
310
381
457
572
728
884
1067
|
10,7
|
|
С10.126.8-К1
С10.126.8-К2
С10.126.8-К3
С10.126.8-К4
С10.126.8-К5
С10.126.8-K6
|
1000
|
12600
|
80
|
3,30
|
323
398
478
600
763
927
|
8,3
|
|
С10.126.10-К1
C10.126.10-K2
С10.126.10-К3
С10.126.10-К4
С10.126.10-К5
С10.126.10-К6
С10.126.10-К7
|
1000
|
12600
|
100
|
3,90
|
323
398
478
600
763
927
1119
|
9,8
|
|
С10.126.12-К1
С10.126.12-К2
С10.126.12-К3
С10.126.12-К4
С10.126.12-К5
С10.126.12-К6
С10.126.12-К7
|
1000
|
12600
|
120
|
4,49
|
323
398
478
600
763
927
1119
|
4,2
|
|
С10.132.8-К1
C10.132.8-K2
С10.132.8-К3
С10.132.8-К4
С10.132.8-К5
С10.132.8-К6
|
1000
|
13200
|
80
|
3,44
|
336
414
497
624
794
966
|
8,6
|
|
С10.132.10-К1
С10.132.10-К2
С10.132.10-К3
С10.132.10-К4
С10.132.10-К5
С10.132.10-К6
С10.132.10-К7
|
1000
|
13200
|
100
|
4,07
|
336
414
497
624
794
966
1166
|
10,2
|
|
С10.132.12-К1
С10.132.12-К2
С10.132.12-К3
С10.132.12-К4
С10.132.12-К5
С10.132.12-К6
С10.132.12-К7
|
1000
|
13200
|
120
|
4,69
|
336
414
497
624
794
966
1166
|
11,7
|
|
С10.138.8-К1
С10.138.8-К2
С10.138.8-К3
С10.138.8-К4
С10.138.8-К5
С10.138.8-К6
|
1000
|
13800
|
80
|
3,58
|
350
431
518
651
829
1009
|
9,0
|
|
С10.138.10-К1
С10.138.10-К2
С10.138.10-К3
С10.138.10-К4
С10.138.10-К5
С10.138.10-К6
С10.138.10-К7
|
1000
|
13800
|
100
|
4,24
|
350
431
518
651
829
1009
1218
|
10,6
|
|
С10.138.12-К1
С10.138.12-К2
С10.138.12-К3
С10.138.12-К4
С10.138.12-К5
С10.138.12-К6
С10.138.12-К7
|
1000
|
13800
|
120
|
4,89
|
350
431
518
651
829
1009
1218
|
12,2
|
|
C10.144.8-K1
С10.144.8-К2
С10.144.8-К3
С10.144.8-К4
С10.144.8-К5
С10.144.8-К6
|
1000
|
14400
|
80
|
3,71
|
363
448
540
678
865
1052
|
9,3
|
|
С10.144.10-К1
C10.144.10-K2
C10.144.10-K3
C10.144.10-K4
C10.144.10-K5
С10.144.10-K6
C10.144.10-K7
|
1000
|
14400
|
100
|
4,41
|
363
448
540
678
865
1052
1270
|
11,0
|
|
C10.144.12-K1
C10.144.12-K2
C10.144.12-K3
C10.144.12-K4
C10.144.12-K5
C10.144.12-K6
C10.144.12-K7
|
1000
|
14400
|
120
|
5,09
|
363
448
540
678
865
1052
1270
|
12,7
|
|
C10.150.8-K1
C10.150.8-K2
C10.150.8-K3
C10.150.8-K4
C10.150.8-K5
C10.150.8-K6
|
1000
|
15000
|
80
|
3,85
|
377
465
558
703
895
1090
|
9,6
|
|
C10.150.10-K1
C10.150.10-K2
C10.150.10-K3
C10.150.40-K4
C10.150.10-K5
C10.150.10-K6
C10.150.10-K7
|
1000
|
15000
|
100
|
4,58
|
377
465
558
703
895
1090
1317
|
11,5
|
|
С10.150.12-К1
С10.150.12-К2
С10.150.12-К3
С10.150.12-К4
С10.150-12-К5
С10.150.12-К6
С10.150.12-К7
|
1000
|
15000
|
120
|
5,29
|
377
465
558
703
895
1090
1317
|
13,2
|
|
С10.156.8-К1
C10.156.8-K2
С10.156.8-К3
С10.156.8-К4
C10.156.8-K5
С10.156.8-K6
|
1000
|
15600
|
80
|
3,99
|
390
482
578
727
927
1129
|
10,0
|
|
С10.156.10-К1
С10.156.10-К2
С10.156.10-К3
С10.156.10-К4
С10.156.10-K5
С10.156.10-К6
С10.156.10-К7
|
1000
|
15600
|
100
|
4,75
|
390
482
578
727
927
1129
1365
|
11,9
|
|
С10.156.12-К1
С10.156.12-К2
С10.156.12-К3
С10.156.12-К4
С10.156.12-К5
С10.156.12-К6
С10.156.12-К7
|
1000
|
15600
|
120
|
5,49
|
390
482
578
727
927
1129
1365
|
13,7
|
|
С10.162.8-К1
С10.162.8-К2
С10.162.8-К3
С10.162.8-К4
С10.162.8-К5
С10.162.8-К6
|
1000
|
16200
|
80
|
4,13
|
404
500
599
754
962
1172
|
10,3
|
|
С10.162.10-К1
С10.162.10-К2
C10.162.10-K3
С10.162.10-К4
С10.162.10-К5
С10.162.10-К6
С10.162.10-К7
|
1000
|
16200
|
100
|
4,92
|
404
500
599
754
962
1172
1416
|
12,3
|
|
С10.162.12-К1
С10.162.12-К2
С10.162.12-К3
С10.162.12-К4
С10.162.12-К5
С10.162.12-К6
С10.162.12-К7
|
1000
|
16200
|
120
|
5,69
|
404
500
599
754
962
1172
1416
|
14,2
|
|
С10.168.8-К1
С10.168.8-К2
С10.168.8-К3
С10.168.8-К4
C10.168.8-K5
С10.168.8-К6
|
1000
|
16800
|
80
|
4,27
|
417
517
620
782
997
1215
|
10,7
|
|
С10.168.10-К1
С10.168.10-К2
С10.168.10-К3
С10.168.10-К4
С10.168.10-К5
С10.168.10-К6
С10.168.10-К7
|
1000
|
16800
|
100
|
5,09
|
417
517
620
782
997
1215
1469
|
12,7
|
|
С10.168.12-К1
С10.168.12-К2
С10.168.12-К3
С10.168.12-К4
С10.168.12-К5
С10.168.12-К6
С10.168.12-К7
|
1000
|
16800
|
120
|
5,89
|
417
517
620
782
997
1215
1469
|
14,7
|
|
С10.174.8-К1
С10.174.8-К2
С10.174.8-К3
С10.174.8-К4
С10.174.8-К5
С10.174.8-К6
|
1000
|
17400
|
80
|
4,41
|
431
533
639
805
1028
1253
|
11,0
|
|
C10.174.10-K1
С10.174.10-К2
С10.174.10-К3
С10.174.10-К4
С10.174.10-К5
С10.174.10-К6
С10.174.10-К7
|
1000
|
17400
|
100
|
5,26
|
431
533
639
805
1028
1253
1516
|
13,2
|
|
С10.174.12-К1
С10.174.12-К2
С10.174.12-К3
С10.174.12-К4
С10.174.12-К5
С10.174.12-К6
С10.174.12-К7
|
1000
|
17400
|
120
|
6,09
|
431
533
639
805
1028
1253
1516
|
15,2
|
|
С10.180.8-К2
С10.180.8-К3
С10.180.8-К4
С10.180.8-К5
С10.180.8-К6
|
1000
|
18000
|
80
|
4,55
|
550
660
833
1063
1296
|
11,4
|
|
С10.180.10-К2
С10.180.10-К3
C10.180.10-K4
C10.180.10-K5
С10.180.10-К6
С10.180.10-К7
|
1000
|
18000
|
100
|
5,43
|
550
660
833
1033
1296
1568
|
13,6
|
|
С10.180.12-К2
С10.180.12-К3
С10.180.12-К4
С10.180.12-К5
С10.180.12-К6
С10.180.12-К7
|
1000
|
18000
|
120
|
6,29
|
550
660
833
1063
1296
1568
|
15,7
|
|
С10.186.8-К2
С10.186.8-К3
С10.186.8-К4
C10.186.8-K5
C10.186.8-K6
|
1000
|
18600
|
80
|
4,69
|
567
681
860
1098
1339
|
11,7
|
|
С10.186.10-К2
С10.186.10-К3
С10.186.10-К4
С10.186.10-К5
С10.186.10-К6
С10.186.10-К7
|
1000
|
18600
|
100
|
5,60
|
567
681
860
1098
1339
1620
|
14,0
|
|
С10.186.12-К2
С10.186.12-К3
С10.186.12-К4
С10.186.12-К5
С10.186.12-К6
С10.186.12-K7
|
1000
|
18600
|
120
|
6,49
|
567
681
860
1098
1339
1620
|
16,2
|
|
С10.192.8-К2
С10.192.8-К3
С10.192.8-К4
С10.192.8-К5
С10.192.8-К6
|
1000
|
19200
|
80
|
4,83
|
584
700
884
1130
1378
|
12,1
|
|
С10.192.10-К2
С10.192.10-К3
С10.192.10-К4
С10.192.10-К5
С10.192.10-К6
С10.192.10-К7
|
1000
|
19200
|
100
|
5,77
|
584
700
884
1130
1378
1667
|
14,4
|
|
С10.192.12-К2
С10.192.12-К3
С10.192.12-К4
С10.192.12-К5
С10.192.12-К6
С10.192.12-К7
|
1000
|
19200
|
120
|
6,69
|
584
700
884
1130
1378
1667
|
16,7
|
ПРИЛОЖЕНИЕ 2
Обязательное
1. Схема
армирования стоек и размеры привязок арматурных каркасов приведены на черт. 1 и в табл. 1.
2. Арматурные
каркасы стоек и их основные размеры приведены на черт. 2
и в табл. 2.
3. Спецификация
арматуры и выборка стали на один каркас приведены в табл.
4 и 5.

Черт. 1
Таблица 1
мм
|
Толщина стенки В, мм
|
Размер привязки
арматурных каркасов а
|
|
при диаметре продольной
арматуры d£16 мм
|
при диаметре продольной
арматуры d³18 мм
|
|
50
|
35
|
-
|
|
60
|
40
|
-
|
|
70-120
|
40
|
50
|

Черт. 2
Основные размеры арматурных
каркасов
Таблица 2
|
Диаметр стойки D, мм
|
Толщина стенки В, мм
|
Тип
|
Размеры каркаса, мм
|
Количество стержней
|
|
D1
|
A
|
F
|
C
|
|
300
|
50
|
К1а-К3а
|
230
|
400
|
950
|
90
|
8
|
|
К4а
|
70
|
10
|
|
60
|
К1-К3
|
220
|
85
|
8
|
|
К4, К5
|
70
|
10
|
|
400
|
50
|
К1a, К 2а
|
330
|
400
|
1550
|
130
|
8
|
|
К3а, К4а
|
65
|
16
|
|
60, 70, 80
|
K1, K2
|
320
|
125
|
8
|
|
К3-К5
|
65
|
16
|
|
500
|
50
|
К1a, K2a
|
430
|
400
|
1550
|
170
|
8
|
|
К3а, К4а
|
85
|
16
|
|
60, 70, 80
|
K1 , K2
|
420
|
165
|
8
|
|
К3-К5
|
85
|
16
|
|
70, 80
|
К6
|
400
|
80
|
16
|
|
600
|
60, 70, 80, 100
|
K1, K2
|
520
|
400
|
1550
|
165
|
10
|
|
К3-К 5
|
80
|
20
|
|
70, 80, 100
|
К6, К7
|
500
|
80
|
20
|
|
700
|
60, 70, 80, 100
|
K1 , K2
|
620
|
600
|
1550
|
195
|
10
|
|
К3-К5
|
95
|
20
|
|
70, 80, 100
|
К6, К7
|
600
|
95
|
20
|
|
800
|
60, 70, 80, 100
|
К1-К3
|
720
|
600
|
1550
|
140
|
16
|
|
К4, К5
|
70
|
32
|
|
80, 100, 120
|
К6, К7
|
700
|
70
|
32
|
|
100, 120
|
К8
|
|
1000
|
80, 100, 120
|
K1, K2
|
900
|
600
|
1550
|
180
|
16
|
|
К3-К5
|
90
|
32
|
|
К6, К7
|
70
|
40
|

Сварку
производить электродами типа Э42А-Ф
Черт. 3
Таблица 3
Спецификация стали на одно
арматурное изделие
|
Марка закладного
изделия
|
Диаметр закладного
изделия D, мм
|
Сталь прокатная марки
ВСт3кп2 по ГОСТ 380-71*
|
Сталь класса A-III по ГОСТ 5.1459-72*
|
Расстояние между
анкерами а, мм
|
Вес закладного изделия,
кгс,
|
|
Поз. 1
|
Поз. 2
|
|
d, мм
|
Длина, мм
|
Вес, кгс
|
Диаметр, мм
|
Длина, мм
|
Количество
|
Общая длина, м
|
Вес, кгс
|
|
М1
|
300
|
-150´8
|
940
|
8,6
|
12AIII
|
340
|
6
|
2,0
|
1,8
|
150
|
10,4
|
|
М2
|
400
|
1255
|
11,5
|
340
|
6
|
2,0
|
1,8
|
200
|
13,3
|
|
М3
|
500
|
1565
|
14,5
|
420
|
8
|
3,4
|
3,0
|
190
|
17,5
|
|
М4
|
600
|
1880
|
17,4
|
420
|
8
|
3,4
|
3,0
|
230
|
20,4
|
|
М5
|
700
|
2195
|
20,4
|
460
|
10
|
4,6
|
4,1
|
215
|
24,5
|
|
М6
|
800
|
2510
|
23,4
|
460
|
12
|
5,5
|
4,9
|
205
|
28,3
|
|
М7
|
1000
|
3135
|
29,3
|
460
|
16
|
7,3
|
6,6
|
195
|
35,9
|
Спецификация
арматуры и выборка стали на один каркас
Таблица 4
|
Размеры стоек, мм
|
Марка каркаса
|
Длина каркаса L1, мм
|
Арматурные изделия
|
Закладные изделия
|
Всего, кгс
|
|
Арматурная сталь по ГОСТ
5.1459-72*
|
Арматурная сталь по ГОСТ
6727-53*
|
Итого
|
Марка закладного изделия
|
Сталь арматурная по ГОСТ
5.1459-12 класса A-III диаметром 12 мм
|
Сталь прокатная по ГОСТ 380-71
класса ВСт3кп2 толщиной 8 мм
|
Итого, кгс
|
|
Диаметр
|
Длина
|
Класс A-III
|
Класс В-2
|
|
Поз. 1
|
Поз. 3
|
|
Диаметр, мм
|
Длина, м
|
Количество
|
Общая длина, м
|
Вес, кгс
|
Диаметр, мм
|
Общая длина, м
|
Вес, кгс
|
|
1
|
2
|
3
|
4
|
5
|
6
|
7
|
8
|
9
|
10
|
11
|
12
|
13
|
14
|
15
|
16
|
17
|
18
|
|
300
|
3600
|
K1a.3.36
|
3575
|
10AIII
|
3550
|
8
|
28,4
|
17,5
|
4ВI
|
42,7
|
4,2
|
21,7
|
M1
|
1,8
|
8,6
|
10,4
|
32
|
|
К2а.3.36
|
12AIII
|
25,5
|
29,7
|
40
|
|
K3a.3.36
|
14AIII
|
34,4
|
38,6
|
49
|
|
К4а.3.36
|
14AIII
|
10
|
35,5
|
42,9
|
47,1
|
58
|
|
К1.3.36
|
10AIII
|
8
|
28,4
|
17,5
|
21,7
|
32
|
|
К2.3.36
|
12AIII
|
25,5
|
29,7
|
40
|
|
К3.3.36
|
14AIII
|
34,4
|
38,6
|
49
|
|
К4.3.36
|
14AIII
|
10
|
35,5
|
42,9
|
47,1
|
58
|
|
К5.3.36
|
16AIII
|
56,0
|
60,2
|
71
|
|
4200
|
K1a.3.42
|
4175
|
10AIII
|
4150
|
8
|
33,2
|
20,5
|
4BI
|
49,4
|
4,9
|
25,4
|
М1
|
1,8
|
8,6
|
10,4
|
36
|
|
К2а.3.42
|
12AIII
|
29,5
|
34,4
|
45
|
|
К3а.3.42
|
14AIII
|
40,1
|
45,0
|
56
|
|
К4а.3.42
|
14AIII
|
10
|
41,5
|
50,1
|
55,0
|
66
|
|
K1.3.42
|
10AIII
|
8
|
33,2
|
20,5
|
25,4
|
36
|
|
K2.3.42
|
12AIII
|
29,5
|
34,4
|
45
|
|
К3.3.42
|
14AIII
|
40,1
|
45,0
|
56
|
|
К4.3.42
|
14AIII
|
10
|
41,5
|
50,1
|
55,0
|
66
|
|
К5.3.42
|
16AIII
|
65,5
|
70,4
|
81
|
|
4800
|
K1a.3.48
|
4775
|
10AIII
|
4750
|
8
|
38,0
|
23,4
|
4BI
|
56,1
|
|
28,9
|
M1
|
1,8
|
8,6
|
10,4
|
39
|
|
K2a.3.48
|
12AIII
|
33,7
|
39,2
|
50
|
|
К3а.3.48
|
14AIII
|
45,9
|
51,4
|
62
|
|
К4а.3.48
|
14AIII
|
10
|
47,5
|
57,4
|
62,9
|
73
|
|
К1.3.48
|
10АII
|
8
|
38,0
|
23,4
|
28,9
|
39
|
|
К2.3.48
|
12AIII
|
33,7
|
39,2
|
50
|
|
К3.3.48
|
14AIII
|
45,9
|
51,4
|
62
|
|
К4.3.48
|
14AIII
|
10
|
47,5
|
57,4
|
62,9
|
73
|
|
К5.3.48
|
16AIII
|
75,0
|
80,5
|
91
|
|
5400
|
K1a.3.54
|
5375
|
10AIII
|
5350
|
8
|
42,8
|
26,4
|
4BI
|
62,8
|
6,2
|
32,6
|
M1
|
1,8
|
8,6
|
10,4
|
43
|
|
K2a.3.54
|
12АIII
|
38,0
|
44,2
|
55
|
|
К3а.3.54
|
14АIII
|
51,7
|
57,9
|
69
|
|
K4a.3.54
|
14AIII
|
10
|
53,5
|
64,6
|
70,8
|
82
|
|
K1.3.54
|
10АIII
|
8
|
42,8
|
26,4
|
32,6
|
43
|
|
K2.3.54
|
12AIII
|
38,0
|
44,2
|
55
|
|
К3.3.54
|
14AIII
|
51,7
|
57,9
|
69
|
|
К4.3.54
|
14AIII
|
10
|
53,5
|
64,6
|
70,8
|
82
|
|
К5.3.54
|
16AIII
|
84,4
|
90,6
|
101
|
|
6000
|
K1a.3.60
|
5975
|
10АIII
|
5950
|
8
|
47,6
|
29,4
|
4BI
|
69,5
|
6,9
|
36,3
|
M1
|
1,8
|
8,6
|
10,4
|
47
|
|
К2а.3.60
|
12AIII
|
42,3
|
49,2
|
60
|
|
К3а.3.60
|
14АIII
|
57,5
|
64,4
|
75
|
|
К4а.3.60
|
14АIII
|
10
|
59,5
|
71,9
|
78,8
|
89
|
|
К1.3.60
|
10АIII
|
8
|
47,6
|
29,4
|
36,3
|
47
|
|
К2.3.60
|
12АIII
|
42,3
|
49,2
|
60
|
|
К3.3.60
|
14АIII
|
57,5
|
64,4
|
75
|
|
К4.3.60
|
14АIII
|
10
|
59,5
|
71,9
|
78,8
|
89
|
|
K5.3.60
|
16АIII
|
93,9
|
100,8
|
111
|
Спецификация
арматуры и выборка стали на один каркас
Таблица 5
|
Размеры стоек, мм
|
Марка каркаса
|
Длина каркаса 11, мм
|
Арматурные изделия
|
Закладные изделия
|
Всего, кгс
|
|
Арматурная сталь по ГОСТ 5.1459-72*
|
Арматурная сталь по ГОСТ 6727-53*
|
Итого, кгс
|
Марка закладного изделия
|
Сталь арматурная по ГОСТ 5.1459-72 класса А-III диаметром 12 мм
|
Сталь прокатная по ГОСТ 380-71 класса ВСт3кп2 толщиной 8
мм
|
Итого, кгс
|
|
Диаметр
|
Длина
|
Класс А-III
|
Итого
|
Класс В-I
|
|
Поз. 1
|
Поз. 2
|
Поз. 3
|
|
Диаметр, мм
|
Длина, мм
|
Количество
|
Общая длина, м
|
Вес, кгс
|
Диаметр, мм
|
Длина, мм
|
Количество
|
Общая длина, мм
|
Вес, кгс
|
Диаметр, мм
|
Общая длина, м
|
Вес, кгс
|
|
1
|
2
|
3
|
4
|
5
|
6
|
7
|
8
|
9
|
10
|
11
|
12
|
13
|
14
|
15
|
16
|
17
|
18
|
19
|
20
|
21
|
22
|
23
|
24
|
|
400
|
3600
|
K1а.4.36
|
3575
|
12АIII
|
3550
|
8
|
28,4
|
25,2
|
-
|
-
|
-
|
-
|
-
|
25,2
|
4B1
|
64,5
|
6,3
|
31,5
|
М2
|
1,8
|
11,5
|
13,3
|
45
|
|
К2а.4.36
|
14АIII
|
34,3
|
-
|
-
|
-
|
-
|
-
|
34,4
|
40,7
|
54
|
|
К3а.4.36
|
12АIII
|
25,2
|
12АIII
|
2600
|
8
|
20,8
|
18,5
|
43,7
|
50,0
|
63
|
|
К4а.4.36
|
14АIII
|
34,3
|
14АIII
|
25,1
|
59,4
|
65,7
|
79
|
|
К1.4.36
|
12АIII
|
25,2
|
-
|
-
|
-
|
-
|
-
|
25,2
|
31,5
|
45
|
|
К2.4.36
|
14АIII
|
34,3
|
-
|
-
|
-
|
-
|
-
|
34,4
|
40,7
|
54
|
|
К3.4.36
|
12АIII
|
25,2
|
12АIII
|
2600
|
8
|
20,8
|
18,5
|
43,7
|
50,0
|
63
|
|
К4.4.36
|
14АIII
|
34,3
|
14АIII
|
25,1
|
59,4
|
65,7
|
79
|
|
К5.4.36
|
16АIII
|
44,8
|
16АIII
|
32,8
|
77,6
|
83,9
|
97
|
|
4200
|
K1а.4.42
|
4175
|
12АIII
|
4150
|
8
|
33,2
|
29,5
|
-
|
-
|
-
|
-
|
-
|
29,5
|
4B1
|
71,6
|
7,0
|
36,5
|
М2
|
1,8
|
11,5
|
13,3
|
50
|
|
K2а.4.42
|
14АIII
|
40,1
|
-
|
-
|
-
|
-
|
-
|
40,1
|
47,1
|
60
|
|
К3а.4.42
|
12АIII
|
29,5
|
12АIII
|
2900
|
8
|
23,2
|
18,5
|
50,1
|
57,1
|
70
|
|
К4а.4.42
|
14АIII
|
40,1
|
14АIII
|
25,1
|
68,1
|
75,1
|
88
|
|
К1.4.42
|
12АIII
|
29,5
|
-
|
-
|
-
|
-
|
-
|
29,5
|
36,5
|
50
|
|
К2.4.42
|
14АIII
|
40,1
|
-
|
-
|
-
|
-
|
-
|
40,1
|
47,1
|
60
|
|
К3.4.42
|
12АIII
|
29,5
|
12АIII
|
2900
|
8
|
23,2
|
18,5
|
50,1
|
57,1
|
70
|
|
К4.4.42
|
14АIII
|
40,1
|
14АIII
|
25,1
|
68,1
|
75,1
|
88
|
|
К5.4.42
|
16АIII
|
52,4
|
16АIII
|
32,8
|
89,0
|
96,0
|
109
|
|
4800
|
K1а.4.48
|
4775
|
12АIII
|
4750
|
8
|
38,0
|
33,7
|
-
|
-
|
-
|
-
|
-
|
33,7
|
4B1
|
78,8
|
7,7
|
41,4
|
М2
|
1,8
|
11,5
|
13,3
|
55
|
|
K2а.4.48
|
14АIII
|
45,9
|
-
|
-
|
-
|
-
|
-
|
45,9
|
53,6
|
67
|
|
К3а.4.48
|
12АIII
|
33,7
|
12АIII
|
3300
|
8
|
26,4
|
23,4
|
57,1
|
64,8
|
78
|
|
К4а.4.48
|
14АIII
|
45,9
|
14АIII
|
31,9
|
77,8
|
85,5
|
99
|
|
К1.4.48
|
12АIII
|
33,7
|
-
|
-
|
-
|
-
|
-
|
33,7
|
41,4
|
55
|
|
K2.4.48
|
14АIII
|
45,9
|
-
|
-
|
-
|
-
|
-
|
45,9
|
53,6
|
67
|
|
К3.4.48
|
12АIII
|
33,7
|
12АIII
|
3300
|
8
|
26,4
|
23,4
|
57,1
|
64,8
|
78
|
|
K4.4.48
|
14АIII
|
45,9
|
14АIII
|
31,9
|
77,8
|
85,5
|
99
|
|
К5.4.48
|
16АIII
|
60,0
|
16АIII
|
41,7
|
101,7
|
109,4
|
123
|
|
5400
|
K1а.4.54
|
5375
|
12АIII
|
5350
|
8
|
42,8
|
38,0
|
-
|
-
|
-
|
-
|
-
|
38,0
|
4В1
|
85,9
|
8,4
|
46,4
|
М2
|
1,8
|
11,5
|
13,3
|
60
|
|
К2а.4.54
|
14АIII
|
51,7
|
-
|
-
|
-
|
-
|
-
|
51,7
|
60,1
|
73
|
|
К3а.4.54
|
12АIII
|
33,0
|
12АIII
|
3600
|
8
|
28,8
|
25,6
|
63,6
|
72,0
|
85
|
|
К4а.4.54
|
14АIII
|
51,7
|
14АIII
|
34,8
|
86,5
|
94,9
|
108
|
|
K1.4.54
|
12АIII
|
38,0
|
-
|
-
|
-
|
-
|
-
|
38,0
|
46,4
|
60
|
|
К2.4.54
|
14АIII
|
51,7
|
-
|
-
|
-
|
-
|
-
|
51,7
|
60,1
|
73
|
|
К3.4.54
|
12АIII
|
38,0
|
12АIII
|
3600
|
8
|
28,8
|
25,6
|
63,6
|
72,0
|
85
|
|
К4.4.54
|
14АIII
|
51,7
|
14АIII
|
34,8
|
86,5
|
46,4
|
108
|
|
К5.4.54
|
16АIII
|
67,5
|
16АIII
|
45,4
|
112,9
|
121,3
|
134
|
|
6000
|
К1а.4.60
|
5975
|
12АIII
|
5950
|
8
|
47,6
|
42,3
|
-
|
-
|
-
|
-
|
-
|
42,3
|
4B1
|
93,1
|
9,2
|
51,5
|
М2
|
1,8
|
11,5
|
13,3
|
65
|
|
K2а.4.60
|
14АIII
|
57,5
|
-
|
-
|
-
|
-
|
-
|
57,5
|
66,7
|
80
|
|
К3а.4.60
|
12АIII
|
42,3
|
12АIII
|
4000
|
8
|
32,0
|
28,4
|
70,7
|
80,1
|
93
|
|
К4а.4.60
|
14АIII
|
57,5
|
14АIII
|
38,7
|
96,2
|
105,4
|
119
|
|
K1.4.60
|
12АIII
|
42,3
|
-
|
-
|
-
|
-
|
-
|
42,3
|
51,5
|
65
|
|
K2.4.60
|
14АIII
|
57,5
|
-
|
-
|
-
|
-
|
-
|
57,5
|
66,7
|
80
|
|
К3.4.60
|
12АIII
|
42,3
|
12АIII
|
4000
|
8
|
32,0
|
28,4
|
70,7
|
80,1
|
93
|
|
К4.4.60
|
14АIII
|
57,5
|
14АIII
|
38,7
|
96,2
|
105,4
|
119
|
|
К5.4.60
|
16АIII
|
75,1
|
16АIII
|
50,5
|
125,6
|
134,8
|
148
|
|
6600
|
K1а.4.66
|
6575
|
12АIII
|
6550
|
8
|
52,4
|
46,5
|
-
|
-
|
-
|
-
|
-
|
46,5
|
4В1
|
100,2
|
9,8
|
56,3
|
М2
|
1,8
|
11,5
|
13,3
|
70
|
|
K2а.4.66
|
14АIII
|
63,3
|
-
|
-
|
-
|
-
|
-
|
63,3
|
73,1
|
86
|
|
К3а.4.66
|
12АIII
|
46,5
|
12АIII
|
4300
|
8
|
34,4
|
30,7
|
77,2
|
87,0
|
100
|
|
К4а.4.66
|
14АIII
|
63,3
|
14АIII
|
41,7
|
105,0
|
114,8
|
128
|
|
K1.4.66
|
12АIII
|
46,5
|
-
|
-
|
-
|
-
|
-
|
46,5
|
56,3
|
70
|
|
К2.4.66
|
14АIII
|
63,3
|
-
|
-
|
-
|
-
|
-
|
63,3
|
73,1
|
86
|
|
К3.4.66
|
12АIII
|
46,5
|
12АIII
|
4300
|
8
|
34,4
|
30,7
|
77,2
|
87,0
|
100
|
|
К4.4.66
|
14АIII
|
63,3
|
14АIII
|
41 ,7
|
105,0
|
114,8
|
128
|
|
К5.4.66
|
16АIII
|
82,6
|
16АIII
|
54,2
|
136,8
|
146,3
|
160
|
|
7200
|
K1а.4.72
|
7175
|
12АIII
|
7150
|
8
|
57,2
|
50,8
|
-
|
-
|
-
|
-
|
-
|
50,8
|
4В1
|
107,3
|
10,5
|
61,3
|
М2
|
1,8
|
11,5
|
13,3
|
75
|
|
K2а.4.72
|
14АIII
|
69,2
|
-
|
-
|
-
|
-
|
-
|
69,2
|
79,7
|
94
|
|
К3а.4.72
|
12АIII
|
50,8
|
12АIII
|
4700
|
8
|
37,6
|
33,4
|
84,2
|
94,7
|
108
|
|
К4а.4.72
|
14АIII
|
69,2
|
14АIII
|
45,4
|
114,2
|
125,1
|
138
|
|
К1.4.72
|
12АIII
|
50,8
|
-
|
-
|
-
|
-
|
-
|
50,8
|
61,3
|
75
|
|
К2.4.72
|
14АIII
|
69,2
|
-
|
-
|
-
|
-
|
-
|
69,2
|
79,7
|
94
|
|
К3.4.72
|
12АIII
|
50,8
|
12АIII
|
4700
|
8
|
37,6
|
33,4
|
84,2
|
94,7
|
108
|
|
К4.4.72
|
14АIII
|
69,2
|
14АIII
|
45,4
|
114,2
|
125,1
|
138
|
|
К5.4.72
|
16АIII
|
90,2
|
16АIII
|
59,3
|
162,1
|
160,0
|
173
|
|
7800
|
K1а.4.78
|
7775
|
12АIII
|
7750
|
8
|
62,0
|
55,0
|
-
|
-
|
-
|
-
|
-
|
55,0
|
4В1
|
114,5
|
11,2
|
66,2
|
М2
|
1,8
|
11,5
|
13,3
|
79
|
|
К2а.4.78
|
14АIII
|
74,9
|
-
|
-
|
-
|
-
|
-
|
74,9
|
86,1
|
99
|
|
К3а.4.78
|
12АIII
|
55,0
|
12АIII
|
5100
|
8
|
40,8
|
36,3
|
91,3
|
102,5
|
116
|
|
К4а.4.78
|
14АIII
|
74,9
|
14АIII
|
49,3
|
124,2
|
135,4
|
149
|
|
К1.4.78
|
12АIII
|
55,0
|
-
|
-
|
-
|
-
|
-
|
55,0
|
66,2
|
79
|
|
К2.4.78
|
14АIII
|
74,9
|
-
|
-
|
-
|
-
|
-
|
74,9
|
86,1
|
99
|
|
К3.4.78
|
12АIII
|
55,0
|
12АIII
|
5100
|
8
|
40,8
|
36,3
|
91,3
|
102,5
|
116
|
|
К4.4.78
|
14АIII
|
74,9
|
14АIII
|
49,3
|
124,2
|
135,4
|
149
|
|
K5.4.78
|
16АIII
|
97,8
|
16АIII
|
64,3
|
162,1
|
173,3
|
187
|
|
8400
|
К1а.4.84
|
8375
|
12АIII
|
8350
|
8
|
66,8
|
59,4
|
-
|
-
|
-
|
-
|
-
|
59,4
|
4B1
|
121,6
|
12,0
|
71,4
|
М2
|
1,8
|
11,5
|
13,3
|
85
|
|
K2а.4.84
|
14АIII
|
80,8
|
-
|
-
|
-
|
-
|
-
|
80,8
|
92,8
|
106
|
|
К3а.4.84
|
12АIII
|
59,4
|
12АIII
|
5400
|
8
|
43,2
|
38,4
|
97,8
|
109,8
|
123
|
|
К4а.4.84
|
14АIII
|
80,8
|
14АIII
|
52.2
|
133,0
|
145,0
|
158
|
|
K1.4.84
|
12АIII
|
59,4
|
-
|
-
|
-
|
-
|
-
|
59,4
|
71,4
|
85
|
|
K2.4.84
|
14АIII
|
80,8
|
-
|
-
|
-
|
-
|
-
|
80,8
|
92,8
|
105
|
|
К3.4.84
|
12АIII
|
59,4
|
12АIII
|
5400
|
8
|
43,2
|
38,4
|
97,8
|
109,8
|
123
|
|
К4.4.84
|
14АIII
|
80,8
|
14АIII
|
52,2
|
133,0
|
145,0
|
158
|
|
К5.4.84
|
16АIII
|
105,5
|
16АIII
|
68,1
|
173,6
|
185,6
|
199
|
|
9000
|
К1а. 4.90
|
8975
|
12АIII
|
8950
|
8
|
71,6
|
63,7
|
-
|
-
|
-
|
-
|
-
|
63,7
|
4B1
|
128,8
|
12,6
|
76,3
|
М2
|
1,8
|
11,5
|
13,3
|
90
|
|
K2а.4.90
|
14АIII
|
86,6
|
-
|
-
|
-
|
-
|
-
|
86,6
|
99,2
|
112
|
|
К3а.4.90
|
12АIII
|
63,7
|
12АIII
|
5800
|
8
|
45,4
|
41,2
|
104,9
|
117,5
|
131
|
|
К4а.4.90
|
14АIII
|
86,6
|
14АIII
|
56,0
|
42,6
|
155,2
|
169
|
|
K1.4.90
|
12АIII
|
63,7
|
-
|
-
|
-
|
|
-
|
63,7
|
76,3
|
90
|
|
К2.4.90
|
14АIII
|
86,6
|
-
|
-
|
-
|
|
-
|
86,6
|
99,2
|
112
|
|
К3.4.90
|
12АIII
|
63,7
|
12АIII
|
5800
|
8
|
46,4
|
41,2
|
104,9
|
117,5
|
131
|
|
К4.4.90
|
14АIII
|
86,6
|
14АIII
|
56,0
|
42,6
|
155,2
|
169
|
|
К5.4.90
|
16АIII
|
113,1
|
16АIII
|
73,1
|
186,2
|
198,8
|
212
|
|
9500
|
K1а.4.96
|
9575
|
12АIII
|
9550
|
8
|
76,4
|
67,9
|
-
|
-
|
-
|
-
|
-
|
67,9
|
4B1
|
135,9
|
13,5
|
81,4
|
М2
|
1,8
|
11,5
|
13,3
|
95
|
|
К2а.4.96
|
14АIII
|
92,5
|
-
|
-
|
-
|
-
|
-
|
92,5
|
106,0
|
119
|
|
К3а.4.96
|
12АIII
|
67,9
|
12АIII
|
6100
|
8
|
48,8
|
43,4
|
11,3
|
121,8
|
138
|
|
К4а.4.96
|
14АIII
|
92,5
|
14АIII
|
59,0
|
151,5
|
165,0
|
178
|
|
K1.4.96
|
12АIII
|
67,9
|
-
|
-
|
-
|
-
|
-
|
67,9
|
81,4
|
95
|
|
K2.4.96
|
14АIII
|
92,5
|
-
|
-
|
-
|
-
|
-
|
92,5
|
105,0
|
119
|
|
К3.4.96
|
12АIII
|
67,9
|
12АIII
|
6100
|
8
|
48,8
|
43,4
|
111,3
|
124,8
|
138
|
|
К4.4.96
|
14АIII
|
92,5
|
14АIII
|
59,0
|
151,5
|
165,0
|
178
|
|
К5.4.96
|
16АIII
|
120,5
|
16АIII
|
77,0
|
197,5
|
24,0
|
223
|
|
500
|
3600
|
K1а.5.36
|
3575
|
12АIII
|
3550
|
8
|
28,4
|
25,2
|
-
|
-
|
-
|
-
|
-
|
25,3
|
4ВI
|
81,7
|
8,0
|
33,3
|
М3
|
3,0
|
14,5
|
17,5
|
51
|
|
К2а.5.36
|
14АIII
|
34,4
|
-
|
-
|
-
|
-
|
-
|
34,4
|
42,4
|
60
|
|
К3а.5.36
|
12АIII
|
25,2
|
12АIII
|
2600
|
8
|
20,8
|
18,5
|
43,7
|
51,7
|
69
|
|
К4а.5.36
|
14АIII
|
34,4
|
14АIII
|
25,1
|
59,4
|
67,4
|
85
|
|
K1.5.36
|
12АIII
|
25,2
|
-
|
-
|
-
|
-
|
-
|
25,3
|
33,3
|
М3
|
3,0
|
14,5
|
17,5
|
51
|
|
К2.5.36
|
14АIII
|
34,4
|
-
|
-
|
-
|
-
|
-
|
34,4
|
42,4
|
60
|
|
К3.5.36
|
12АIII
|
25,2
|
12АIII
|
2600
|
8
|
20,8
|
18,5
|
43,7
|
51,7
|
69
|
|
К4.5.36
|
14АIII
|
34,4
|
14АIII
|
25,1
|
59,4
|
67,4
|
85
|
|
К5.5.36
|
16АIII
|
44,8
|
16АIII
|
32,8
|
77,6
|
85,6
|
103
|
|
К6.5.36
|
18АIII
|
56,8
|
18АIII
|
41,6
|
98,4
|
5ВI
|
12,6
|
111,0
|
129
|
|
4200
|
K1а.5.42
|
4175
|
12АIII
|
4150
|
8
|
33,2
|
29,5
|
-
|
-
|
-
|
-
|
-
|
29,5
|
4ВI
|
90,7
|
8,9
|
38,4
|
М3
|
3,0
|
14,5
|
17,5
|
56
|
|
K2а.5.42
|
14АIII
|
40,1
|
-
|
-
|
-
|
-
|
-
|
40,1
|
49,0
|
67
|
|
К3а.5.42
|
12АIII
|
29,5
|
12АIII
|
2900
|
8
|
23,2
|
20,6
|
50,1
|
59,0
|
77
|
|
К4а.5.42
|
14АIII
|
40,1
|
14АIII
|
28,0
|
68,1
|
77,0
|
95
|
|
K1.5.42
|
12АIII
|
29,5
|
-
|
-
|
-
|
-
|
-
|
29,5
|
38,4
|
М3
|
3,0
|
14,5
|
17,5
|
56
|
|
К2.5.42
|
14АIII
|
40,1
|
-
|
-
|
-
|
-
|
-
|
40,1
|
49,0
|
67
|
|
К3.5.42
|
12АIII
|
29,5
|
12АIII
|
2900
|
8
|
23,2
|
20,6
|
50,1
|
59,0
|
77
|
|
К4.5.42
|
14АIII
|
40,1
|
14АIII
|
28,0
|
68,1
|
77,0
|
95
|
|
К5.5.42
|
16АIII
|
52,4
|
16АIII
|
36,6
|
89,0
|
97,9
|
115
|
|
К6.5.42
|
18АIII
|
66,4
|
18АIII
|
46,4
|
112,8
|
4ВI
|
14,0
|
126,8
|
144
|
|
4800
|
K1а.5.48
|
4775
|
12АIII
|
4750
|
8
|
38,0
|
33,7
|
-
|
-
|
-
|
-
|
-
|
33,7
|
4ВI
|
99,7
|
9,8
|
43,5
|
М3
|
3,0
|
14,5
|
17,5
|
61
|
|
K2а.5.48
|
14АIII
|
45,9
|
-
|
-
|
-
|
-
|
-
|
45,9
|
55,7
|
733
|
|
К3а.5.48
|
12АIII
|
33,7
|
12АIII
|
3300
|
8
|
26,4
|
23,4
|
57,1
|
66,9
|
84
|
|
К4а.5.48
|
14АIII
|
45,9
|
14АIII
|
31,9
|
77,8
|
87,6
|
105
|
|
К1.5.48
|
12АIII
|
33,7
|
-
|
-
|
-
|
-
|
-
|
33,7
|
43,5
|
61
|
|
К2.5.48
|
14АIII
|
45,9
|
-
|
-
|
-
|
-
|
-
|
45,9
|
55,7
|
73
|
|
К3.5.48
|
12АIII
|
33,7
|
12АIII
|
3300
|
8
|
26,4
|
23,4
|
57,1
|
66,9
|
84
|
|
К4.5.48
|
14АIII
|
45,9
|
14АIII
|
31,9
|
77,8
|
87,6
|
105
|
|
К5.5.48
|
16АIII
|
60,0
|
16АIII
|
41,9
|
101,7
|
111,5
|
129
|
|
К6.5.48
|
18АIII
|
76,0
|
18АIII
|
52,8
|
128,8
|
5ВI
|
15,4
|
144,2
|
162
|
|
5400
|
К1а.5.54
|
5375
|
12АIII
|
5350
|
8
|
42,8
|
38,0
|
-
|
-
|
-
|
-
|
-
|
38,0
|
4BI
|
108,7
|
10,7
|
48,7
|
М3
|
3,0
|
14,5
|
17,5
|
66
|
|
К2а.5.54
|
14АIII
|
51,7
|
-
|
-
|
-
|
-
|
-
|
51,7
|
62,7
|
80
|
|
К3а.5.54
|
12АIII
|
38,0
|
12АIII
|
3600
|
8
|
28,8
|
25,6
|
63,7
|
74,3
|
92
|
|
К4а.5.54
|
14АIII
|
51,7
|
14АIII
|
34,8
|
86,5
|
97,2
|
115
|
|
К1.5.54
|
12АIII
|
38,0
|
-
|
-
|
-
|
-
|
-
|
38,0
|
48,7
|
66
|
|
К2.5.54
|
14АIII
|
51,7
|
-
|
-
|
-
|
-
|
-
|
51,7
|
62,4
|
80
|
|
К3.5.54
|
12АIII
|
38,0
|
12АIII
|
3600
|
8
|
28,8
|
25,6
|
63,7
|
74,3
|
92
|
|
К4.5.54
|
14АIII
|
51,7
|
14АIII
|
34,8
|
86,5
|
97,2
|
115
|
|
К5.5.54
|
16АIII
|
67,5
|
16АIII
|
45,4
|
112,9
|
123,6
|
141
|
|
К6.5.54
|
18АIII
|
85,6
|
18АIII
|
57,6
|
143,2
|
5BI
|
16,7
|
159,9
|
177
|
|
6000
|
К1а.5.60
|
5975
|
12АIII
|
5950
|
8
|
47,6
|
42,3
|
-
|
-
|
-
|
-
|
-
|
42,3
|
4BI
|
117,7
|
11,5
|
53,8
|
M3
|
3,0
|
14,5
|
17,5
|
71
|
|
K2а.5.60
|
14АIII
|
57,5
|
-
|
-
|
-
|
-
|
-
|
57,5
|
69,0
|
87
|
|
К3а.5.60
|
12АIII
|
42,3
|
12АIII
|
4000
|
8
|
32,0
|
23,4
|
70,7
|
82,2
|
100
|
|
К4а.5.60
|
14АIII
|
57,5
|
14АIII
|
38,7
|
96,2
|
107,7
|
125
|
|
К1.5.60
|
12АIII
|
42,3
|
-
|
-
|
-
|
-
|
-
|
42,3
|
53,8
|
71
|
|
К2.5.60
|
14АIII
|
57,5
|
-
|
-
|
-
|
-
|
-
|
57,5
|
69,0
|
87
|
|
К3.5.60
|
12АIII
|
42,3
|
12АIII
|
4000
|
8
|
32,0
|
28,4
|
70,7
|
82,2
|
100
|
|
K4.5.60
|
14АIII
|
57,5
|
14АIII
|
38,7
|
96,2
|
107,7
|
125
|
|
K5.5.60
|
16АIII
|
75,1
|
16АIII
|
50,5
|
125,6
|
137,1
|
155
|
|
K6.5.60
|
18АIII
|
95,2
|
18АIII
|
64,0
|
159,2
|
5BI
|
18,1
|
177,3
|
195
|
|
6600
|
К1а.5.66
|
6575
|
12АIII
|
6550
|
8
|
52,4
|
46,5
|
-
|
-
|
-
|
-
|
-
|
46,5
|
4BI
|
126,7
|
12,4
|
58,9
|
М3
|
3,0
|
14,5
|
17,5
|
77
|
|
K2а.5.66
|
14АIII
|
63,3
|
-
|
-
|
-
|
-
|
-
|
63,3
|
75,7
|
93
|
|
К3а.5.66
|
12АIII
|
46,5
|
12АIII
|
4300
|
8
|
34,4
|
30,6
|
77,1
|
89,5
|
107
|
|
К4а.5.66
|
14АIII
|
63,3
|
14АIII
|
41,6
|
104,9
|
117,3
|
135
|
|
К1.5.66
|
12АIII
|
46,5
|
-
|
-
|
-
|
-
|
-
|
46,5
|
58,9
|
77
|
|
К2.5.66
|
14АIII
|
63,3
|
-
|
-
|
-
|
-
|
-
|
63,3
|
75,7
|
93
|
|
К3.5.65
|
12АIII
|
46,5
|
12АIII
|
4300
|
8
|
34,4
|
30,6
|
77,1
|
89,5
|
107
|
|
К4.5.66
|
14АIII
|
63,3
|
14АIII
|
41,6
|
104,9
|
117,3
|
135
|
|
К5.5.66
|
16АIII
|
82,0
|
16АIII
|
54,2
|
136,8
|
149,2
|
167
|
|
К6.5.66
|
18АIII
|
104,8
|
18АIII
|
68,8
|
173,6
|
5BI
|
19,5
|
193,1
|
211
|
|
7200
|
K1а.5.72
|
7175
|
12АIII
|
7150
|
8
|
57,2
|
50,8
|
-
|
-
|
-
|
-
|
-
|
50,8
|
4ВI
|
135,7
|
13,3
|
64,1
|
M3
|
3,0
|
14,5
|
17,5
|
82
|
|
K2а.5.72
|
14АIII
|
69,2
|
-
|
-
|
-
|
-
|
-
|
69,2
|
82,4
|
100
|
|
К3а.5.72
|
12АIII
|
50,8
|
12АIII
|
4700
|
8
|
37,6
|
33,4
|
84,2
|
97,5
|
115
|
|
К4а.5.72
|
14АIII
|
59,2
|
14АIII
|
45,4
|
114,6
|
127,9
|
145
|
|
K1.5.72
|
12АIII
|
7150
|
8
|
57,2
|
50,8
|
-
|
-
|
-
|
-
|
-
|
50,8
|
4ВI
|
135,7
|
13,3
|
64,1
|
82
|
|
К2.5.72
|
14АIII
|
69,2
|
-
|
-
|
-
|
-
|
-
|
69,2
|
82,4
|
100
|
|
К3.5.72
|
12АIII
|
50,8
|
12АIII
|
4700
|
8
|
37,6
|
33,4
|
84,2
|
97,5
|
115
|
|
К4.5.72
|
14АIII
|
69,2
|
14АIII
|
45,4
|
114,6
|
127,9
|
145
|
|
К5.5.72
|
16АIII
|
90,2
|
16АIII
|
59,3
|
149,5
|
162,8
|
180
|
|
К6.5.72
|
18АIII
|
114,4
|
18АIII
|
75,2
|
189,6
|
5BI
|
20,9
|
210,5
|
228
|
|
7800
|
K1а.5.78
|
7775
|
12АIII
|
7750
|
8
|
62,0
|
55,0
|
-
|
-
|
-
|
-
|
-
|
55,0
|
4BI
|
144,7
|
14,2
|
69,2
|
M3
|
3,0
|
14,0
|
17,5
|
87
|
|
K2а.5.78
|
14АIII
|
74,9
|
-
|
-
|
-
|
-
|
-
|
74,9
|
89,1
|
107
|
|
К3а.5.78
|
12АIII
|
55,0
|
12АIII
|
5700
|
8
|
10,8
|
36,3
|
91,3
|
105,5
|
124
|
|
К4а.5.78
|
14АIII
|
74,9
|
14АIII
|
5100
|
49,3
|
124,3
|
138,5
|
156
|
|
К1.5.78
|
12АIII
|
7750
|
8
|
62,0
|
55,0
|
-
|
-
|
-
|
-
|
-
|
55,0
|
4BI
|
144,7
|
14,2
|
69,2
|
87
|
|
К2.5.78
|
14АIII
|
74,9
|
-
|
-
|
-
|
-
|
-
|
74,9
|
89,1
|
107
|
|
К3.5.78
|
12АIII
|
55,0
|
12АIII
|
5700
|
8
|
40,8
|
36,3
|
91,3
|
105,5
|
124
|
|
К4.5.78
|
14АIII
|
74,9
|
14АIII
|
5100
|
49,3
|
124,3
|
138,5
|
156
|
|
К5.5.78
|
16АIII
|
97,8
|
16АIII
|
64,3
|
162,1
|
176,3
|
194
|
|
К6.5.78
|
18АIII
|
124,0
|
18АIII
|
81,6
|
205,6
|
5ВI
|
22,3
|
227,9
|
245
|
|
8400
|
K1а.5.84
|
8375
|
12АIII
|
8350
|
8
|
66,8
|
59,4
|
-
|
-
|
-
|
-
|
-
|
59,4
|
4BI
|
153,7
|
15,1
|
74,5
|
M3
|
3,0
|
14,5
|
17,5
|
92
|
|
K2а.5.84
|
14АIII
|
80,8
|
-
|
-
|
-
|
-
|
-
|
80,8
|
95,9
|
114
|
|
К3а.5.84
|
12АIII
|
59,4
|
12АIII
|
5400
|
8
|
43,2
|
38,4
|
97,8
|
112,9
|
130
|
|
К4а.5.84
|
14АIII
|
80,8
|
14АIII
|
52,2
|
33,0
|
148,1
|
166
|
|
К1.5.84
|
12АIII
|
59,4
|
-
|
-
|
-
|
-
|
-
|
59,4
|
74,5
|
92
|
|
К2.5.84
|
14АIII
|
80,8
|
-
|
-
|
-
|
-
|
-
|
80,8
|
95,9
|
14
|
|
К3.5.84
|
12АIII
|
59,4
|
12АIII
|
5400
|
8
|
43,2
|
38,4
|
97,8
|
12,9
|
130
|
|
К4.5.84
|
14АIII
|
80,8
|
14АIII
|
52,2
|
33,0
|
48,1
|
166
|
|
К5.5.84
|
16АIII
|
105,5
|
16АIII
|
68,1
|
73,6
|
88,7
|
206
|
|
К6.5.84
|
18АIII
|
133,6
|
18АIII
|
85,4 2
|
20,0
|
5BI
|
23,7
|
243,7
|
261
|
|
9000
|
K1а.5.90
|
8975
|
12АIII
|
8950
|
8
|
71,6
|
63,7
|
-
|
-
|
-
|
-
|
-
|
63,7
|
4ВI
|
162,7
|
16,0
|
79,7
|
M3
|
3,0
|
14,5
|
17,5
|
97
|
|
K2а.5.90
|
14АIII
|
86,6
|
-
|
-
|
-
|
-
|
-
|
86,6
|
102,6
|
120
|
|
К3а.5.90
|
12АIII
|
63,7
|
12АIII
|
5800
|
8
|
46,4
|
41,2
|
104,9
|
120,9
|
138
|
|
К4а.5.90
|
14АIII
|
86,6
|
14АIII
|
56,0
|
142,6
|
158,6
|
176
|
|
К1.5.90
|
12АIII
|
63,7
|
-
|
-
|
-
|
-
|
-
|
63,7
|
79,7
|
97
|
|
К2.5.90
|
14АIII
|
86,6
|
-
|
-
|
-
|
-
|
-
|
85,6
|
102,6
|
120
|
|
К3.5.90
|
12АIII
|
63,7
|
12АIII
|
5800
|
8
|
46,4
|
41,2
|
104,9
|
120,9
|
138
|
|
K4.5.90
|
14АIII
|
86,6
|
14АIII
|
56,0
|
142,6
|
158,6
|
176
|
|
К5.5.90
|
16АIII
|
113,1
|
16АIII
|
73,1
|
186,2
|
202,2
|
220
|
|
К6.5.90
|
18АIII
|
143,2
|
18АIII
|
92,8
|
236,0
|
5BI
|
25,0
|
261,0
|
279
|
|
9600
|
K1а.5.96
|
9575
|
12АIII
|
9550
|
8
|
76,4
|
67,9
|
-
|
-
|
-
|
-
|
-
|
67,9
|
4BI
|
171,7
|
16,8
|
84,7
|
M3
|
3,0
|
14,5
|
17,5
|
102
|
|
К2а.5.96
|
14АIII
|
92,5
|
-
|
-
|
-
|
-
|
-
|
92,5
|
109,3
|
127
|
|
К3а.5.96
|
12АIII
|
67,9
|
12АIII
|
6100
|
8
|
48,8
|
43,4
|
111,3
|
128,1
|
146
|
|
К4а.5.96
|
14АIII
|
92,5
|
14АIII
|
59,0
|
151,5
|
168,3
|
186
|
|
K1.5.96
|
12АIII
|
67,9
|
-
|
-
|
-
|
-
|
-
|
67,9
|
84,7
|
102
|
|
K2.5.96
|
14АIII
|
92,5
|
-
|
-
|
-
|
-
|
-
|
92,5
|
109,3
|
127
|
|
К3.5.96
|
12АIII
|
67,9
|
12АIII
|
6100
|
8
|
48,8
|
43,4
|
111,3
|
128,1
|
146
|
|
К4.5.96
|
14АIII
|
92,5
|
14АIII
|
59,0
|
151,5
|
168,3
|
186
|
|
К5.5.96
|
16АIII
|
120,5
|
16АIII
|
77,0
|
197,5
|
213,3
|
231
|
|
К6.5.96
|
18АIII
|
152,8
|
18АIII
|
97,6
|
250,4
|
5BI
|
26,4
|
276,8
|
295
|
|
10200
|
К1а.5.102
|
10175
|
12АIII
|
10150
|
8
|
81,2
|
72,2
|
-
|
-
|
-
|
-
|
-
|
72,2
|
4ВI
|
180,7
|
17,7
|
89,9
|
M3
|
3,0
|
14,5
|
17,5
|
108
|
|
К2а.5.102
|
14АIII
|
98,0
|
-
|
-
|
-
|
-
|
-
|
98,0
|
115,7
|
134
|
|
К3а.5.102
|
12АIII
|
72,2
|
12АIII
|
6500
|
8
|
52,0
|
46,2
|
118,4
|
136,1
|
154
|
|
К4а.5.102
|
14АIII
|
98,0
|
14АIII
|
62,8
|
160,8
|
178,5
|
196
|
|
K1.5.102
|
12АIII
|
72,2
|
-
|
-
|
-
|
-
|
-
|
72,2
|
89,9
|
108
|
|
K2.5.102
|
14АIII
|
98,0
|
-
|
-
|
-
|
-
|
-
|
98,0
|
115,7
|
134
|
|
К3.5.102
|
12АIII
|
72,2
|
12АIII
|
6500
|
8
|
52,0
|
46,2
|
118,4
|
136,1
|
154
|
|
К4.5.102
|
14АIII
|
98,0
|
14АIII
|
62,8
|
160,8
|
178,5
|
196
|
|
К5.5.102
|
16АIII
|
128,1
|
16АIII
|
82,0
|
210,1
|
227,8
|
245
|
|
К6.5.102
|
18АIII
|
162,1
|
18АIII
|
104,0
|
266,4
|
5ВI
|
27,8
|
294,2
|
312
|
|
10800
|
К1а.5.108
|
10775
|
12АIII
|
10750
|
8
|
86,0
|
76,4
|
-
|
-
|
-
|
-
|
-
|
76,4
|
4BI
|
189,7
|
18,6
|
95,0
|
M3
|
3,0
|
14,5
|
17,5
|
112
|
|
К2а.5.108
|
14АIII
|
104,0
|
-
|
-
|
-
|
-
|
-
|
104,0
|
122,6
|
140
|
|
K3а.5.108
|
12АIII
|
76,4
|
12АIII
|
6900
|
8
|
55,2
|
49,2
|
125,6
|
144,2
|
162
|
|
К4а.5.108
|
14АIII
|
104,0
|
14АIII
|
67,0
|
171,0
|
189,6
|
207
|
|
K1.5.108
|
12АIII
|
76,4
|
-
|
-
|
-
|
-
|
-
|
76,4
|
95,0
|
112
|
|
K2.5.108
|
14АIII
|
104,0
|
-
|
-
|
-
|
-
|
-
|
104,0
|
122,6
|
140
|
|
К3.5.108
|
12АIII
|
76,4
|
12АIII
|
6900
|
8
|
55,2
|
49,2
|
125,6
|
144,2
|
162
|
|
К4.5.108
|
14АIII
|
104,0
|
14АIII
|
67,0
|
171,0
|
189,6
|
207
|
|
К5.5.108
|
16АIII
|
135,2
|
16АIII
|
87,0
|
222,2
|
240,8
|
258
|
|
К6.5.108
|
18АIII
|
172,0
|
18АIII
|
110,4
|
282,4
|
5BI
|
29,2
|
311,6
|
329
|
|
11400
|
К1а.5.114
|
11375
|
12АIII
|
11350
|
8
|
90,8
|
80,6
|
-
|
-
|
-
|
-
|
-
|
80,6
|
4BI
|
198,7
|
19,5
|
100,1
|
M3
|
3,0
|
14,5
|
17,5
|
117
|
|
К2а.5.114
|
14АIII
|
110,0
|
-
|
-
|
-
|
-
|
-
|
110,0
|
129,5
|
147
|
|
К3а.5.114
|
12АIII
|
80,6
|
12АIII
|
7200
|
8
|
57,6
|
51,4
|
132,0
|
151,5
|
169
|
|
К4а.5.114
|
14АIII
|
110,0
|
14АIII
|
69,5
|
179,5
|
199,0
|
216
|
|
K1.5.114
|
12АIII
|
80,6
|
-
|
-
|
-
|
-
|
-
|
80,6
|
100,1
|
117
|
|
K2.5.114
|
14АIII
|
110,0
|
-
|
-
|
-
|
-
|
-
|
110,0
|
129,5
|
147
|
|
К3.5.114
|
12АIII
|
80,6
|
12АIII
|
7200
|
8
|
57,6
|
51,4
|
132,0
|
151,5
|
169
|
|
К4.5.114
|
14АIII
|
110,0
|
14АIII
|
69,5
|
179,5
|
199,0
|
216
|
|
К5.5.114
|
16АIII
|
143,0
|
16АIII
|
91,0
|
234,0
|
253,5
|
271
|
|
К6.5.114
|
18АIII
|
181,6
|
18АIII
|
115,2
|
296,8
|
5BI
|
30,6
|
327,4
|
345
|
|
12000
|
K1а.5.120
|
11975
|
12АIII
|
11950
|
8
|
95,6
|
85,0
|
-
|
-
|
-
|
-
|
-
|
85,0
|
4BI
|
207,7
|
20,6
|
105,6
|
M3
|
3,0
|
14,5
|
17,5
|
123
|
|
K2а.5.120
|
14АIII
|
115,5
|
-
|
-
|
-
|
-
|
-
|
115,0
|
136,1
|
153
|
|
К3а.5.120
|
12АIII
|
85,0
|
12АIII
|
7600
|
8
|
60,8
|
54,0
|
139,0
|
159,6
|
177
|
|
К4а.5.120
|
14АIII
|
115,5
|
14АIII
|
73,5
|
189,0
|
209,6
|
227
|
|
К1.5.120
|
12АIII
|
85,0
|
-
|
-
|
-
|
-
|
-
|
85,0
|
105,6
|
123
|
|
К2.5.120
|
14АIII
12АIII
|
115,5
|
-
|
-
|
-
|
-
|
-
|
115,0
|
136,1
|
153
|
|
К3.5.120
|
85,0
|
12АIII
|
7600
|
8
|
60,8
|
54,0
|
139,0
|
159,6
|
177
|
|
К4.5.120
|
14АIII
|
115,5
|
14АIII
|
73,5
|
189,0
|
209,6
|
227
|
|
К5.5.120
|
16АIII
|
152,2
|
16АIII
|
96,0
|
248,2
|
268,8
|
286
|
|
К6.5.120
|
18АIII
|
191,2
|
18АIII
|
121,6
|
312,8
|
5BI
|
32,0
|
344,8
|
362
|
|
12600
|
K1а.5.126
|
12575
|
12АIII
|
12550
|
8
|
100,4
|
89,2
|
-
|
-
|
-
|
-
|
-
|
89,2
|
4BI
|
216,7
|
21,5
|
110,7
|
М3
|
3,0
|
14,5
|
17,5
|
128
|
|
K2а.5.126
|
14АIII
|
121,3
|
-
|
-
|
-
|
-
|
-
|
121,3
|
142,8
|
160
|
|
К3а.5.126
|
12АIII
|
89,2
|
12АIII
|
8000
|
8
|
64,0
|
56,8
|
146,0
|
167,5
|
185
|
|
К4а.5.126
|
14АIII
|
121,3
|
14АIII
|
77,3
|
198,6
|
210,1
|
237
|
|
К1.5.126
|
12АIII
|
89,3
|
-
|
-
|
-
|
-
|
-
|
89,2
|
110,7
|
194
|
|
К2.5.126
|
14АIII
|
121,3
|
-
|
-
|
-
|
-
|
-
|
121,3
|
142,8
|
160
|
|
К3.5.126
|
12АIII
|
89,2
|
12АIII
|
8000
|
8
|
64,0
|
56,8
|
146,0
|
167,5
|
185
|
|
К4.5.126
|
14АIII
|
121,3
|
14АIII
|
77,3
|
198,6
|
210,1
|
237
|
|
К5.5.126
|
16АIII
|
158,4
|
16АIII
|
101,0
|
259,4
|
280,9
|
298
|
|
К6.5.126
|
18АIII
|
200,8
|
18АIII
|
128,0
|
328,8
|
5ВI
|
33,4
|
362,2
|
379
|
|
600
|
4200
|
К1.6.42
|
4175
|
12АIII
|
4150
|
10
|
41,5
|
36,9
|
-
|
-
|
-
|
-
|
-
|
36,9
|
4BI
|
108,10
|
10,7
|
47,6
|
M4
|
3,0
|
17,4
|
20,4
|
68
|
|
К2.6.42
|
14АIII
|
50,2
|
-
|
-
|
-
|
-
|
-
|
50,2
|
60,9
|
81
|
|
К3.6.42
|
12АIII
|
36,9
|
12АIII
|
2900
|
10
|
29,0
|
25,7
|
62,6
|
73,3
|
94
|
|
К4.6.42
|
14АIII
|
50,2
|
14АIII
|
35,0
|
85,2
|
45,9
|
116
|
|
К5.6.42
|
16АIII
|
65,5
|
16АIII
|
45,7
|
111,2
|
121,9
|
142
|
|
К6.6.42
|
18АIII
|
83,0
|
18АIII
|
58,0
|
141,0
|
5ВI
|
16,7
|
157,7
|
178
|
|
К7.6.42
|
20АIII
|
102,5
|
20АIII
|
71,5
|
174,0
|
190,7
|
211
|
|
4800
|
К1.6.48
|
4775
|
12АIII
|
4750
|
10
|
47,5
|
42,3
|
-
|
-
|
-
|
-
|
-
|
42,3
|
4BI
|
118,90
|
11,8
|
54,1
|
M4
|
3,0
|
17,4
|
20,4
|
75
|
|
К2.6.48
|
14АIII
|
57,4
|
-
|
-
|
-
|
-
|
-
|
57,4
|
69,2
|
90
|
|
К3.6.48
|
12АIII
|
42,3
|
12АIII
|
3300
|
10
|
33,0
|
29,2
|
71,5
|
83,3
|
104
|
|
К4.6.48
|
14АIII
|
57,4
|
14АIII
|
40,1
|
97,5
|
109,3
|
130
|
|
К5.6.48
|
16АIII
|
75,0
|
16АIII
|
52,0
|
127,0
|
138,8
|
160
|
|
К6.6.48
|
18АIII
|
95,0
|
18АIII
|
66,0
|
161,0
|
5ВI
|
18,3
|
179,3
|
200
|
|
К7.6.48
|
20АIII
|
117,2
|
20АIII
|
81,8
|
199,0
|
217,3
|
238
|
|
5400
|
К1.6.54
|
5375
|
12АIII
|
6350
|
10
|
53,5
|
47,5
|
-
|
-
|
-
|
-
|
-
|
47,5
|
4BI
|
129,7
|
12,8
|
60,3
|
M4
|
3,0
|
17,4
|
20,4
|
81
|
|
К2.6.54
|
14АIII
|
64,6
|
-
|
-
|
-
|
-
|
-
|
64,6
|
77,4
|
98
|
|
К3.6.54
|
12АIII
|
47,5
|
12АIII
|
3600
|
10
|
36,0
|
32,0
|
79,5
|
92,3
|
113
|
|
К4.6.54
|
14АIII
|
64,6
|
14АIII
|
43,6
|
108,2
|
121,0
|
142
|
|
К5.6.54
|
16АIII
|
84,2
|
16АIII
|
57,1
|
141,3
|
154,1
|
175
|
|
К6.6.54
|
18АIII
|
107,0
|
18АIII
|
72,0
|
179,0
|
5ВI
|
129,7
|
20,0
|
199,11
|
220
|
|
К7.6.54
|
20АIII
|
132,0
|
20АIII
|
89,0
|
221,0
|
241,0
|
262
|
|
6000
|
К1.6.60
|
5975
|
12АIII
|
5950
|
10
|
59,5
|
52,8
|
-
|
-
|
-
|
-
|
-
|
52,8
|
4BI
|
140,5
|
13,9
|
66,7
|
M4
|
3,0
|
17,4
|
20,4
|
87
|
|
К2.6.60
|
14АIII
|
71,9
|
-
|
-
|
-
|
-
|
-
|
71,9
|
85,8
|
107
|
|
К3.6.60
|
12АIII
|
52,8
|
12АIII
|
4000
|
10
|
40,0
|
35,6
|
88,4
|
102,3
|
123
|
|
К4.6.60
|
14АIII
|
71,9
|
14АIII
|
48,3
|
120,2
|
34,1
|
155
|
|
К5.6.60
|
16АIII
|
94,0
|
16АIII
|
63,0
|
157,0
|
170,9
|
191
|
|
К6.6.60
|
18АIII
|
119,0
|
18АIII
|
80,0
|
199,0
|
5ВI
|
140,5
|
21,6
|
220,6
|
241
|
|
К7.6.60
|
20АIII
|
147,0
|
20АIII
|
99,0
|
246,0
|
267,6
|
288
|
|
6600
|
К1.6.66
|
6575
|
12АIII
|
6550
|
10
|
65,5
|
58,2
|
-
|
-
|
-
|
-
|
-
|
58,2
|
4BI
|
151,3
|
15,0
|
73,2
|
M4
|
3,0
|
17,4
|
20,4
|
94
|
|
К2.6.66
|
14АIII
|
79,1
|
-
|
-
|
-
|
-
|
-
|
79,1
|
94,1
|
115
|
|
К3.6.66
|
12АIII
|
58,2
|
12АIII
|
4400
|
10
|
44,0
|
39,2
|
97,4
|
112,4
|
133
|
|
К4.6.66
|
14АIII
|
79,1
|
14АIII
|
52,2
|
131,3
|
146,3
|
167
|
|
К5.6.66
|
16АIII
|
103,2
|
16АIII
|
69,6
|
172,8
|
187,8
|
208
|
|
К6.6.66
|
18АIII
|
131,0
|
18АIII
|
88,0
|
219,0
|
5ВI
|
151,3
|
23,3
|
241,3
|
262
|
|
К7.6.66
|
20АIII
|
162,0
|
20АIII
|
108,1
|
270,1
|
293,4
|
314
|
|
7200
|
К1.6.72
|
7175
|
12АIII
|
7150
|
10
|
71,5
|
63,5
|
-
|
-
|
-
|
-
|
-
|
63,5
|
4ВI
|
162,10
|
16,1
|
79,6
|
M4
|
3,0
|
17,4
|
20,4
|
100
|
|
К2.6.72
|
14АIII
|
86,5
|
-
|
-
|
-
|
-
|
-
|
86,5
|
102,6
|
123
|
|
К3.6.72
|
12АIII
|
63,5
|
12АIII
|
4700
|
10
|
47,0
|
41,7
|
105,2
|
121,3
|
142
|
|
К4.6.72
|
14АIII
|
86,5
|
14АIII
|
56,8
|
143,3
|
159,4
|
180
|
|
К5.6.72
|
16АIII
|
113,0
|
16АIII
|
74,0
|
187,0
|
203,1
|
224
|
|
К6.6.72
|
18АIII
|
143,0
|
18АIII
|
94,0
|
237,0
|
5ВI
|
25,0
|
262,0
|
283
|
|
К7.6.72
|
20АIII
|
176,8
|
20АIII
|
116,2
|
293,0
|
318
|
339
|
|
7800
|
К1.6.78
|
7775
|
12АIII
|
7750
|
10
|
77,5
|
69,0
|
-
|
-
|
-
|
-
|
-
|
69,0
|
4ВI
|
172,90
|
17,1
|
86,1
|
M4
|
3,0
|
17,4
|
20,4
|
107
|
|
К2.6.78
|
14АIII
|
93,5
|
-
|
-
|
-
|
-
|
-
|
93,5
|
110,6
|
131
|
|
К3.6.78
|
12АIII
|
69,0
|
12АIII
|
5100
|
10
|
51,0
|
45,2
|
114,2
|
131,3
|
152
|
|
К4.6.78
|
14АIII
|
93,5
|
14АIII
|
61,8
|
155,3
|
172,4
|
193
|
|
К5.6.78
|
16АIII
|
122,2
|
16АIII
|
80,6
|
202,8
|
219,9
|
241
|
|
К6.6.78
|
18АIII
|
155,0
|
18АIII
|
102,0
|
257,0
|
5ВI
|
26,6
|
283,6
|
305
|
|
К7.6.78
|
20АIII
|
191,0
|
20АIII
|
126,9
|
317,9
|
344,5
|
365
|
|
8400
|
К1.6.84
|
8375
|
12АIII
|
8350
|
10
|
83,5
|
74,3
|
-
|
-
|
-
|
-
|
-
|
74,3
|
4ВI
|
183,7
|
18,2
|
92,5
|
M4
|
3,0
|
17,4
|
20,4
|
113
|
|
К2.6.84
|
14АIII
|
101,0
|
-
|
-
|
-
|
-
|
-
|
101,0
|
119,2
|
140
|
|
К3.6.84
|
12АIII
|
74,3
|
12АIII
|
5100
|
10
|
54,0
|
48,0
|
122,3
|
140,5
|
161
|
|
К4.6.84
|
14АIII
|
101,0
|
14АIII
|
65,2
|
166,2
|
184,4
|
205
|
|
К5.6.84
|
16АIII
|
132,0
|
16АIII
|
85,0
|
217,0
|
235,2
|
256
|
|
К6.6.84
|
18АIII
|
167,0
|
18АIII
|
108,0
|
275,0
|
5ВI
|
28,3
|
303,3
|
324
|
|
К7.6.84
|
20АIII
|
206,0
|
20АIII
|
133,9
|
339,9
|
368,2
|
389
|
|
9000
|
К1.6.90
|
8975
|
12АIII
|
8950
|
10
|
89,5
|
79,5
|
-
|
-
|
-
|
-
|
-
|
79,5
|
4ВI
|
194,5
|
9,2
|
98,7
|
M4
|
3,0
|
17,4
|
20,4
|
119
|
|
К2.6.80
|
14АIII
|
108,2
|
-
|
-
|
-
|
-
|
-
|
108,2
|
127,4
|
148
|
|
К3.6.90
|
12АIII
|
79,5
|
12АIII
|
5800
|
10
|
58,0
|
51,6
|
131,1
|
150,3
|
171
|
|
К4.6.90
|
14АIII
|
108,2
|
14АIII
|
70,6
|
178,8
|
198,0
|
219
|
|
К5.6.90
|
16АIII
|
141,2
|
16АIII
|
91,7
|
232,9
|
252,1
|
273
|
|
К6.6.90
|
18АIII
|
179,0
|
18АIII
|
116,0
|
295,0
|
5ВI
|
30,0
|
325,0
|
346
|
|
К7.6.90
|
20АIII
|
221,0
|
20АIII
|
143,0
|
364,0
|
394,0
|
415
|
|
9600
|
К1.6.96
|
9575
|
12АIII
|
9550
|
10
|
95,5
|
85,0
|
-
|
-
|
-
|
-
|
-
|
85,0
|
4ВI
|
205,3
|
20,3
|
105,3
|
M4
|
3,0
|
17,4
|
20,4
|
126
|
|
К2.6.96
|
14АIII
|
115,5
|
-
|
-
|
-
|
-
|
-
|
115,5
|
135,5
|
156
|
|
К3.6.96
|
12АIII
|
85,0
|
12АIII
|
6200
|
10
|
62,0
|
55,3
|
140,3
|
60,6
|
181
|
|
К4.6.96
|
14АIII
|
115,5
|
14АIII
|
75,0
|
90,5
|
210,8
|
231
|
|
К5.6.96
|
16АIII
|
150,7
|
16АIII
|
97,9
|
248,6
|
268,9
|
290
|
|
К6.6.96
|
18АIII
|
191,0
|
18АIII
|
124,0
|
315,0
|
5ВI
|
31,6
|
346,6
|
368
|
|
К7.6.96
|
20АIII
|
235,8
|
20АIII
|
153,4
|
389,2
|
420,8
|
442
|
|
10200
|
К1.6.102
|
10175
|
12АIII
|
10150
|
10
|
101,5
|
90,3
|
-
|
-
|
-
|
-
|
-
|
90,3
|
4ВI
|
216,1
|
21,4
|
111,7
|
М4
|
3,0
|
17,4
|
20,4
|
132
|
|
К2.6.102
|
14АIII
|
122,9
|
-
|
-
|
-
|
-
|
-
|
122,9
|
144,3
|
165
|
|
К3.6.102
|
12АIII
|
90,3
|
12АIII
|
6500
|
10
|
65,0
|
57,71
|
148,0
|
169,4
|
190
|
|
К4.6.102
|
14АIII
|
122,9
|
14АIII
|
78,62
|
201,5
|
222,9
|
244
|
|
К5.6.102
|
16АIII
|
160,5
|
16АIII
|
102,5
|
363,0
|
284,4
|
305
|
|
К6.6.102
|
18АIII
|
203,0
|
18АIII
|
130,0
|
333,0
|
5ВI
|
33,3
|
366,3
|
387
|
|
К7.6.102
|
20АIII
|
251,6
|
20АIII
|
160,5
|
412,0
|
445,3
|
466
|
|
10800
|
К1.6.108
|
10775
|
12АIII
|
10750
|
10
|
107,5
|
95,6
|
-
|
-
|
-
|
-
|
-
|
95,6
|
4ВI
|
226,9
|
22,5
|
18,1
|
M4
|
3,0
|
17,4
|
20,4
|
139
|
|
К2.6.108
|
14АIII
|
130,0
|
-
|
-
|
-
|
-
|
-
|
130,0
|
152,5
|
173
|
|
К3.6.108
|
12АIII
|
95,6
|
12АIII
|
6900
|
10
|
69,0
|
61,5
|
157,1
|
179,6
|
200
|
|
K4.6.108
|
14АIII
|
130,0
|
14АIII
|
83,8
|
213,8
|
236,3
|
257
|
|
К5.6.108
|
16АIII
|
169,8
|
16АIII
|
109,0
|
278,8
|
301,3
|
322
|
|
К6.6.108
|
18АIII
|
215,0
|
18АIII
|
138,0
|
353,0
|
5ВI
|
35,0
|
388,0
|
409
|
|
К7.6.108
|
20АIII
|
266,0
|
20АIII
|
170,0
|
436,0
|
471,0
|
492
|
|
11400
|
К1.6.114
|
11375
|
12АIII
|
11350
|
10
|
113,5
|
101,0
|
-
|
-
|
-
|
-
|
-
|
101,0
|
4ВI
|
237,7
|
23,6
|
121,6
|
M2
|
3,0
|
17,4
|
20,4
|
145
|
|
К2.6.114
|
14АIII
|
137,5
|
-
|
-
|
-
|
-
|
-
|
137,5
|
161,1
|
182
|
|
К3.6.114
|
12АIII
|
101,0
|
12АIII
|
7200
|
10
|
72,0
|
64,2
|
165,2
|
188,8
|
209
|
|
К4.6.114
|
14АIII
|
137,5
|
14АIII
|
87,0
|
224,5
|
248,1
|
269
|
|
К5.6.114
|
16АIII
|
179,4
|
16АIII
|
113,6
|
293,0
|
316,6
|
337
|
|
К6.6.114
|
18АIII
|
227,0
|
18АIII
|
144,0
|
371,0
|
5ВI
|
36,6
|
407,6
|
428
|
|
К7.6.114
|
20АIII
|
280,5
|
20АIII
|
177,5
|
458,0
|
494,6
|
515
|
|
12000
|
К1.6.120
|
11975
|
12АIII
|
11950
|
10
|
119,5
|
106,3
|
-
|
-
|
-
|
-
|
-
|
106,3
|
4ВI
|
278,5
|
24,6
|
130,9
|
M4
|
3,0
|
17,4
|
20,4
|
152
|
|
К2.6.120
|
14АIII
|
144,5
|
-
|
-
|
-
|
-
|
-
|
144,5
|
169,1
|
190
|
|
К3.6.120
|
12АIII
|
106,3
|
12АIII
|
7600
|
10
|
76,0
|
67,8
|
174,1
|
198,7
|
220
|
|
К4.6.120
|
14АIII
|
144,5
|
14АIII
|
91,7
|
236,2
|
260,8
|
281
|
|
К5.6.120
|
16АIII
|
189,5
|
16АIII
|
119,6
|
308,1
|
332,7
|
353
|
|
К6.6.120
|
18АIII
|
239,0
|
18АIII
|
152,0
|
391,0
|
5ВI
|
38,2
|
429,2
|
450
|
|
К7.6.120
|
20АIII
|
295,5
|
20АIII
|
188,0
|
483,6
|
521,8
|
542
|
|
12600
|
К1.6.126
|
12575
|
12АIII
|
12550
|
10
|
125,5
|
111,8
|
-
|
-
|
-
|
-
|
-
|
111,8
|
4ВI
|
259,3
|
25,7
|
137,5
|
M4
|
3,0
|
17,4
|
20,4
|
158
|
|
К2.6.126
|
14АIII
|
151,8
|
-
|
-
|
-
|
-
|
-
|
151,8
|
177,5
|
198
|
|
К3.6.126
|
12АIII
|
111,8
|
12АIII
|
8000
|
10
|
80,0
|
71,2
|
183,0
|
208,7
|
229
|
|
К4.6.126
|
14АIII
|
151,8
|
14АIII
|
96,8
|
248,6
|
274,3
|
295
|
|
К5.6.126
|
16АIII
|
198,0
|
16АIII
|
126,0
|
324,0
|
349,7
|
370
|
|
К6.6.126
|
18АIII
|
251,0
|
18АIII
|
160,0
|
411,0
|
5ВI
|
39,8
|
450,8
|
471
|
|
К7.6.126
|
20АIII
|
310,0
|
20АIII
|
197,5
|
507,5
|
547,3
|
568
|
|
13200
|
К1.6.132
|
13175
|
12АIII
|
13150
|
10
|
131,5
|
117,1
|
-
|
-
|
-
|
-
|
-
|
117,1
|
4ВI
|
270,1
|
26,8
|
143,9
|
М4
|
3,0
|
17,4
|
20,4
|
164
|
|
К2.6.132
|
14АIII
|
159,0
|
-
|
-
|
-
|
-
|
-
|
159,0
|
185,8
|
206
|
|
К3.6.132
|
12АIII
|
117,1
|
12АIII
|
8300
|
10
|
83,0
|
73,9
|
191,0
|
217,8
|
238
|
|
К4.6.132
|
14АIII
|
159,0
|
14АIII
|
100,3
|
259,3
|
286,1
|
307
|
|
К5.6.132
|
16АIII
|
207,5
|
16АIII
|
130,5
|
338,0
|
364,8
|
385
|
|
К6.6.132
|
18АIII
|
263,0
|
18АIII
|
166,0
|
429,0
|
5ВI
|
41,6
|
470,6
|
491
|
|
K7.6.I32
|
20АIII
|
325,0
|
20АIII
|
205,0
|
530,0
|
571,6
|
592
|
|
13800
|
К1.6.138
|
13775
|
12АIII
|
13750
|
10
|
137,5
|
122,4
|
-
|
-
|
-
|
-
|
-
|
122,4
|
4ВI
|
280,9
|
27,8
|
150,2
|
М4
|
3,0
|
17,4
|
20,4
|
171
|
|
К2.6.138
|
14АIII
|
166,3
|
-
|
-
|
-
|
-
|
-
|
166,3
|
194,1
|
215
|
|
К3.6.138
|
12АIII
|
122,4
|
12АIII
|
8700
|
10
|
87,0
|
77,6
|
200,0
|
227,8
|
248
|
|
К4.6.138
|
14АIII
|
166,3
|
14АIII
|
105,5
|
271,8
|
299,6
|
320
|
|
К5.6.138
|
16АIII
|
231,0
|
16АIII
|
123,0
|
354,0
|
381,8
|
402
|
|
К6.6.138
|
18АIII
|
275,0
|
18АIII
|
174,0
|
449,0
|
5ВI
|
43,3
|
492,3
|
513
|
|
К7.6.138
|
20АIII
|
339,5
|
20АIII
|
215,5
|
556,0
|
598,3
|
619
|
|
14400
|
К2.6.144
|
14375
|
14АIII
|
14350
|
10
|
143,5
|
173,5
|
-
|
-
|
-
|
-
|
-
|
173,5
|
4ВI
|
291,7
|
28,8
|
202,3
|
М4
|
3,0
|
17,4
|
20,4
|
223
|
|
К3.6.144
|
12АIII
|
127,8
|
12АIII
|
9000
|
10
|
90,0
|
80,2
|
208,0
|
236,8
|
257
|
|
К4.6.144
|
14АIII
|
173,5
|
14АIII
|
108,5
|
282,0
|
310,8
|
331
|
|
К5.6.144
|
16АIII
|
240,6
|
16АIII
|
127,6
|
368,2
|
397,0
|
418
|
|
К6.6.144
|
18АIII
|
287,0
|
18АIII
|
180,0
|
467,0
|
5ВI
|
44,8
|
511,8
|
532
|
|
К7.6.144
|
20АIII
|
354,2
|
20АIII
|
222,1
|
576,3
|
621,1
|
642
|
|
15000
|
К2.6.150
|
14975
|
14АIII
|
14950
|
10
|
149,5
|
180,5
|
-
|
-
|
-
|
-
|
-
|
180,5
|
4ВI
|
302,5
|
30,0
|
210,5
|
М4
|
3,0
|
17,4
|
20,4
|
231
|
|
К3.6.150
|
12АIII
|
133,0
|
12АIII
|
9400
|
10
|
94,0
|
83,3
|
216,3
|
246,3
|
267
|
|
К4.6.150
|
14АIII
|
180,5
|
14АIII
|
113,5
|
294,0
|
321,0
|
345
|
|
К5.6.150
|
16АIII
|
251,0
|
16АIII
|
133,2
|
384,2
|
414,2
|
435
|
|
К6.6.150
|
18АIII
|
299,0
|
18АIII
|
188,0
|
487,0
|
5ВI
|
46,6
|
533,6
|
554
|
|
К7.6.150
|
20АIII
|
359,0
|
20АIII
|
232,0
|
601,0
|
647,6
|
669
|
|
15600
|
К2.6.156
|
15575
|
14АIII
|
15550
|
10
|
155,5
|
188,0
|
-
|
-
|
-
|
-
|
-
|
188,0
|
4ВI
|
313,3
|
31,0
|
219,0
|
М4
|
3,0
|
17,4
|
20,4
|
240
|
|
К3.6.156
|
12АIII
|
138,5
|
12АIII
|
9800
|
10
|
98,0
|
87,0
|
225,5
|
256,5
|
278
|
|
К4.6.156
|
14АIII
|
188,0
|
14АIII
|
118,0
|
306,0
|
337,0
|
358
|
|
К5.6.156
|
16АIII
|
245,0
|
16АIII
|
155,0
|
100,0
|
431,0
|
452
|
|
К6.6.156
|
18АIII
|
311,0
|
18АIII
|
196,0
|
507,0
|
5ВI
|
48,2
|
555,2
|
576
|
|
К7.6.156
|
20АIII
|
368,0
|
20АIII
|
258,0
|
626,0
|
674,2
|
695
|
|
700
|
4800
|
К1.7.48
|
4775
|
12АIII
|
4750
|
10
|
47,5
|
42,3
|
-
|
-
|
-
|
-
|
-
|
42,3
|
4ВI
|
141,9
|
14,0
|
56,3
|
М5
|
4,1
|
20,4
|
24,5
|
81
|
|
К2.7.48
|
14АIII
|
57,4
|
-
|
-
|
-
|
-
|
-
|
57,4
|
71,4
|
96
|
|
К3.7.48
|
12АIII
|
42,3
|
12АIII
|
3300
|
10
|
33,0
|
29,2
|
71,5
|
85,5
|
110
|
|
К4.7.48
|
14АIII
|
57,4
|
14АIII
|
40,1
|
97,5
|
111,5
|
136
|
|
К5.7.48
|
16АIII
|
75,0
|
16АIII
|
52,0
|
127,0
|
141,0
|
166
|
|
К6.7.48
|
18АIII
|
95,0
|
18АIII
|
66,0
|
161,0
|
5ВI
|
21,8
|
182,8
|
207
|
|
К7.7.48
|
20АIII
|
117,2
|
20АIII
|
81,8
|
199,0
|
220,8
|
245
|
|
5400
|
К1.7.54
|
5375
|
12АIII
|
5350
|
10
|
53,5
|
47,5
|
-
|
-
|
-
|
-
|
-
|
47,5
|
4ВI
|
154,5
|
15,5
|
63,0
|
М5
|
4,1
|
20,4
|
24,5
|
88
|
|
К2.7.54
|
14АIII
|
64,6
|
-
|
-
|
-
|
-
|
-
|
64,6
|
80,1
|
105
|
|
К3.7.54
|
12АIII
|
47,5
|
12АIII
|
3600
|
10
|
36,0
|
32,0
|
79,5
|
95,0
|
120
|
|
К4.7.54
|
14АIII
|
64,6
|
14АIII
|
43,6
|
108,2
|
123,7
|
148
|
|
К5.7.54
|
16АIII
|
84,2
|
16АIII
|
57,1
|
141,3
|
156,8
|
181
|
|
К6.7.54
|
18АIII
|
107,0
|
18АIII
|
72,0
|
179,0
|
5ВI
|
23,8
|
202,8
|
228
|
|
К7.7.54
|
20АIII
|
132,0
|
20АIII
|
89,0
|
221,0
|
244,8
|
270
|
|
6000
|
К1.7.60
|
5975
|
12АIII
|
59,50
|
10
|
59,5
|
52,8
|
-
|
-
|
-
|
-
|
-
|
52,8
|
4ВI
|
167,1
|
16,5
|
69,3
|
М5
|
4,1
|
20,4
|
24,5
|
94
|
|
К2.7.60
|
14АIII
|
71,9
|
-
|
-
|
-
|
-
|
-
|
71,9
|
88,4
|
113
|
|
К3.7.60
|
12АIII
|
52,8
|
12АIII
|
4000
|
10
|
40,0
|
35,6
|
88,4
|
104,9
|
130
|
|
К4.7.60
|
14АIII
|
71,9
|
14АIII
|
48,3
|
120,2
|
136,7
|
161
|
|
К5.7.60
|
16АIII
|
94,0
|
16АIII
|
63,0
|
157,0
|
173,5
|
198
|
|
К6.7.60
|
18АIII
|
119,0
|
18АIII
|
80,0
|
199,0
|
5ВI
|
25,8
|
224,8
|
250
|
|
К7.7.60
|
20АIII
|
147,0
|
20АIII
|
99,0
|
246,0
|
271,8
|
297
|
|
6600
|
К1.7.66
|
6575
|
12АIII
|
6550
|
10
|
65,5
|
58,2
|
-
|
-
|
-
|
-
|
-
|
58,2
|
4ВI
|
179,7
|
17,8
|
76
|
M5
|
4,1
|
20,4
|
24,5
|
101
|
|
К2.7.66
|
14АIII
|
79,1
|
-
|
-
|
-
|
-
|
-
|
79,1
|
96,9
|
122
|
|
К3.7.66
|
12АIII
|
58,2
|
12АIII
|
4400
|
10
|
44,0
|
39,2
|
97,4
|
115,2
|
140
|
|
K4.7.66
|
14АIII
|
79,1
|
14АIII
|
52,2
|
131,3
|
149,1
|
174
|
|
К5.7,66
|
16АIII
|
103,2
|
16АIII
|
69,6
|
172,8
|
190,6
|
215
|
|
К6.7.66
|
18АIII
|
131,0
|
18АIII
|
88,0
|
219,0
|
5ВI
|
27,6
|
246,6
|
271
|
|
К7.7.66
|
20АIII
|
162,0
|
20АIII
|
108,1
|
270,1
|
297,7
|
322
|
|
7200
|
К1.7.72
|
7175
|
12АIII
|
7150
|
10
|
71,5
|
63,5
|
-
|
-
|
-
|
-
|
-
|
63,5
|
4ВI
|
192,3
|
19,0
|
82,5
|
M5
|
4,1
|
20,4
|
24,5
|
107
|
|
К2.7.72
|
14АIII
|
86,5
|
-
|
-
|
-
|
-
|
-
|
86,5
|
105,5
|
130
|
|
К3.7.72
|
12АIII
|
63,5
|
12АIII
|
-
|
-
|
-
|
41,7
|
105,2
|
124,2
|
149
|
|
К4.7.72
|
14AIII
|
86,5
|
14АIII
|
4700
|
10
|
47,0
|
56,8
|
143,3
|
162,3
|
187
|
|
К5.7.72
|
16AIII
|
113,0
|
16АIII
|
74,0
|
187,0
|
206,0
|
231
|
|
К6.7.72
|
18АIII
|
143,0
|
18АIII
|
94,0
|
237,0
|
5ВI
|
29,6
|
266,6
|
291
|
|
К7.7.72
|
20АIII
|
176,8
|
20АIII
|
116,2
|
293,0
|
322,6
|
347
|
|
7800
|
К1.7.78
|
7775
|
12АIII
|
7750
|
10
|
77,5
|
69,0
|
-
|
-
|
-
|
-
|
-
|
69,0
|
4ВI
|
204,9
|
20,3
|
89,3
|
M5
|
4,1
|
20,4
|
24,5
|
114
|
|
К2.7.78
|
14AIII
|
93,5
|
-
|
-
|
-
|
-
|
-
|
93,5
|
13,8
|
138
|
|
К3.7.78
|
12АIII
|
69,0
|
12АIII
|
5100
|
10
|
51,0
|
45,2
|
114,2
|
134,5
|
159
|
|
К4.7.78
|
14АIII
|
93,5
|
14АIII
|
61,8
|
155,3
|
175,6
|
200
|
|
К5.7.78
|
16АIII
|
122,2
|
16АIII
|
80,6
|
202,8
|
223,1
|
248
|
|
К6.7.78
|
18АIII
|
155,0
|
18АIII
|
102,0
|
257,0
|
5ВI
|
31,6
|
288,6
|
313
|
|
К7.7.78
|
20АIII
|
191,0
|
20АIII
|
126,9
|
317,9
|
349,5
|
374
|
|
8400
|
К1.7.84
|
8375
|
12АIII
|
8350
|
10
|
83,5
|
74,3
|
-
|
-
|
-
|
-
|
-
|
74,3
|
4ВI
|
217,5
|
21,6
|
95,9
|
М5
|
4,1
|
20,4
|
24,5
|
121
|
|
К2.7.84
|
14AIII
|
101,0
|
-
|
-
|
-
|
-
|
-
|
101,0
|
122,6
|
147
|
|
К3.7.84
|
12АIII
|
74,3
|
12АIII
|
5400
|
10
|
54,0
|
48,0
|
122,3
|
143,9
|
169
|
|
К4.7.84
|
14АIII
|
101,0
|
14АIII
|
65,2
|
166,2
|
187,8
|
213
|
|
К5.7.84
|
16АIII
|
132,0
|
16АIII
|
85,02
|
217,0
|
238,6
|
263
|
|
К6.7.84
|
18АIII
|
167,0
|
18АIII
|
108,0
|
275,0
|
5ВI
|
33,5
|
308,5
|
333
|
|
К7.7.84
|
20АIII
|
206,0
|
20АIII
|
133,9
|
339,9
|
373,4
|
398
|
|
9000
|
K1.7.90
|
8975
|
12АIII
|
8950
|
10
|
89,5
|
79,5
|
-
|
-
|
-
|
-
|
-
|
79,5
|
4ВI
|
230,1
|
22,8
|
102,3
|
M5
|
4,1
|
20,4
|
24,5
|
127
|
|
К2.7.90
|
14АIII
|
108,2
|
-
|
-
|
-
|
-
|
-
|
108,2
|
131,0
|
156
|
|
К3.7.90
|
12АIII
|
79,5
|
12АIII
|
5800
|
10
|
58,0
|
51„6
|
131,1
|
153,9
|
178
|
|
К4.7.90
|
14АIII
|
108,2
|
14АIII
|
70,6
|
178,8
|
201,6
|
226
|
|
К5.7.90
|
16АIII
|
141,2
|
16АIII
|
91,7
|
232,9
|
255,7
|
280
|
|
К6.7.90
|
18АIII
|
179,0
|
18АIII
|
116,0
|
295,0
|
5ВI
|
35,4
|
330,4
|
355
|
|
К7.7.90
|
20АIII
|
221,0
|
20АIII
|
143,0
|
364,0
|
399,4
|
424
|
|
9600
|
К1.7.96
|
9575
|
12АIII
|
9550
|
10
|
95,5
|
85,0
|
-
|
-
|
-
|
-
|
-
|
85,0
|
4ВI
|
242,7
|
24,0
|
109,0
|
M5
|
4,1
|
20,4
|
24,5
|
134
|
|
К2.7.96
|
14АIII
|
15.5
|
-
|
-
|
-
|
-
|
-
|
115,5
|
139,5
|
134
|
|
К3.7.96
|
12АIII
|
85,0
|
12АIII
|
6200
|
10
|
62,0
|
55,3
|
140,3
|
164,3
|
189
|
|
К4.7.96
|
14АIII
|
115.5
|
14АIII
|
75,0
|
190,5
|
214,5
|
239
|
|
К5.7.96
|
16АIII
|
150,7
|
16АIII
|
97,9
|
248,6
|
272,6
|
297
|
|
К6.7.96
|
18АIII
|
191,0
|
18АIII
|
124,0
|
315,0
|
5ВI
|
37,4
|
352,4
|
377
|
|
К7.7.96
|
20АIII
|
235,8
|
20АIII
|
153,4
|
389,2
|
426,6
|
451
|
|
10200
|
К1.7.102
|
10175
|
12АIII
|
10150
|
10
|
101,5
|
90,3
|
-
|
-
|
-
|
-
|
-
|
90,3
|
4ВI
|
255,3
|
25,2
|
115,5
|
M5
|
4,1
|
20,4
|
24,5
|
140
|
|
К2.7.102
|
14АIII
|
122,9
|
-
|
-
|
-
|
-
|
-
|
122,9
|
148,1
|
173
|
|
К3.7.102
|
12АIII
|
90,3
|
12АIII
|
6500
|
10
|
65,0
|
57,7
|
148,0
|
173,2
|
198
|
|
К4.7.102
|
14АIII
|
122,9
|
14АIII
|
78,6
|
201,5
|
226,7
|
251
|
|
К5.7.102
|
16АIII
|
160,5
|
16АIII
|
102,5
|
263,0
|
288,2
|
313
|
|
К6.7.102
|
18АIII
|
203,0
|
18АIII
|
130,0
|
333,0
|
5ВI
|
39,3
|
372,3
|
397
|
|
К7.7.102
|
20АIII
|
251,5
|
20АIII
|
160,5
|
412,0
|
451,3
|
476
|
|
10800
|
К1.7.108
|
10775
|
12АIII
|
10750
|
10
|
107,5
|
95,6
|
-
|
-
|
-
|
-
|
-
|
95,6
|
4ВI
|
267,9
|
26,5
|
122,1
|
M5
|
4,1
|
20,4
|
24,5
|
147
|
|
К2.7.108
|
14АIII
|
130,0
|
-
|
-
|
-
|
-
|
-
|
130,0
|
156,5
|
181
|
|
К3.7.108
|
12АIII
|
95,6
|
12АIII
|
6900
|
10
|
69,0
|
61,51
|
157,1
|
183,6
|
208
|
|
К4.7.108
|
14АIII
|
130,0
|
14АIII
|
83,82
|
213,8
|
240,3
|
265
|
|
K5.7.I08
|
16АIII
|
169,8
|
16АIII
|
109,0
|
278,8
|
305,3
|
330
|
|
К6.7.108
|
18АIII
|
215,0
|
18АIII
|
138,0
|
353,0
|
5ВI
|
41,2
|
394,2
|
419
|
|
К7.7.108
|
20АIII
|
266,0
|
20АIII
|
170,0
|
436,0
|
477,2
|
502
|
|
11400
|
К1.7.114
|
11375
|
12АIII
|
11350
|
10
|
113,5
|
101,0
|
-
|
-
|
-
|
-
|
-
|
101,0
|
4ВI
|
280,5
|
27,8
|
129,0
|
М5
|
4,1
|
20,4
|
24,5
|
154
|
|
К2.7.114
|
14АIII
|
137,5
|
-
|
-
|
-
|
-
|
-
|
137,0
|
165,3
|
190
|
|
К3.7.114
|
12АIII
|
101,0
|
12АIII
|
7200
|
10
|
72,0
|
64,2
|
165,2
|
193,0
|
218
|
|
К4.7.114
|
14АIII
|
137,5
|
14АIII
|
87,0
|
224,5
|
252,3
|
277
|
|
К5.7.114
|
16АIII
|
179,4
|
16АIII
|
113,6
|
293,0
|
320,8
|
346
|
|
К6.7.114
|
18АIII
|
227,0
|
18АIII
|
144,0
|
371,0
|
5ВI
|
43,1
|
414,1
|
439
|
|
К7.7.114
|
20АIII
|
280,5
|
20АIII
|
177,5
|
458,0
|
501,0
|
526
|
|
12000
|
К1.7.120
|
11975
|
12АIII
|
11950
|
10
|
119,5
|
106,3
|
-
|
-
|
-
|
-
|
-
|
106,3
|
4ВI
|
293,1
|
29,0
|
135,3
|
М5
|
4,1
|
20,4
|
24,5
|
160
|
|
К2.7.120
|
14АIII
|
144,5
|
-
|
-
|
-
|
-
|
-
|
144,5
|
173,5
|
198
|
|
К3.7.120
|
12АIII
|
105,3
|
12АIII
|
7600
|
10
|
76,0
|
67,8
|
174,1
|
203,0
|
228
|
|
К4.7.120
|
14АIII
|
144,5
|
14АIII
|
91,7
|
236,2
|
265,2
|
290
|
|
К5.7.120
|
16АIII
|
188,5
|
16АIII
|
119,6
|
308,1
|
337,0
|
362
|
|
К6.7.120
|
18АIII
|
239,0
|
18АIII
|
152,0
|
391,0
|
5ВI
|
45,1
|
436,0
|
461
|
|
К7.7.120
|
20АIII
|
295,5
|
20АIII
|
188,0
|
483,3
|
528,4
|
553
|
|
12600
|
К1.7.126
|
12575
|
12АIII
|
12550
|
10
|
125,5
|
111,8
|
-
|
-
|
-
|
-
|
-
|
111,8
|
4ВI
|
305,7
|
30,2
|
142,0
|
М5
|
4,1
|
20,4
|
24,5
|
167
|
|
К2.7.126
|
14АIII
|
151,8
|
-
|
-
|
-
|
-
|
-
|
151,8
|
182,0
|
207
|
|
К3.7.126
|
12АIII
|
111,8
|
12АIII
|
8000
|
10
|
80,0
|
71,2
|
183,0
|
213,0
|
238
|
|
К4.7.126
|
14АIII
|
151,8
|
14АIII
|
96,8
|
248,6
|
279,0
|
304
|
|
К5.7.126
|
16АIII
|
198,0
|
16АIII
|
126,0
|
126,0
|
353,0
|
379
|
|
К6.7.126
|
18АIII
|
251,0
|
18АIII
|
160,0
|
411,0
|
5ВI
|
47,1
|
458,0
|
483
|
|
К7.7.126
|
20АIII
|
310,0
|
20АIII
|
197,5
|
507,5
|
554,6
|
579
|
|
13200
|
К1.7.132
|
13175
|
12АIII
|
13150
|
10
|
131,5
|
117,1
|
-
|
-
|
-
|
-
|
-
|
117,1
|
4ВI
|
318,3
|
31,5
|
148,6
|
М5
|
4,1
|
20,4
|
24,5
|
173
|
|
К2.7.132
|
14АIII
|
159,0
|
-
|
-
|
-
|
-
|
-
|
159,0
|
190,5
|
215
|
|
К3.7.132
|
12АIII
|
117,1
|
12АIII
|
8300
|
10
|
83,0
|
73,9
|
191,0
|
333,5
|
247
|
|
К4.7.132
|
14АIII
|
159,0
|
14АIII
|
100,3
|
259,3
|
291,0
|
316
|
|
К5.7.132
|
16АIII
|
207,5
|
16АIII
|
130,5
|
338,0
|
369,5
|
394
|
|
К6.7.132
|
18АIII
|
263,0
|
18АIII
|
166,0
|
429,0
|
5ВI
|
49,1
|
478,0
|
503
|
|
К7.7.132
|
20АIII
|
325,0
|
20АIII
|
205,0
|
530,0
|
579,0
|
604
|
|
13800
|
К1.7.138
|
13775
|
12АIII
|
13750
|
10
|
137,5
|
122,4
|
-
|
-
|
-
|
-
|
-
|
122,4
|
4ВI
|
330,9
|
32,8
|
155,2
|
М5
|
4,1
|
20,4
|
24,5
|
180
|
|
К2.7.138
|
14АIII
|
166,3
|
-
|
-
|
-
|
-
|
-
|
166,3
|
199,0
|
224
|
|
К3.7.138
|
12АIII
|
122,4
|
2АIII
|
8700
|
10
|
87,0
|
77,6
|
200,0
|
232,8
|
258
|
|
К4.7.138
|
14АIII
|
166,3
|
14АIII
|
105,5
|
271,8
|
304,6
|
329
|
|
К5.7.138
|
231,0
|
16АIII
|
123,0
|
354,0
|
386,8
|
412
|
|
К6.7.138
|
18АIII
|
275,0
|
18АIII
|
174,0
|
449,0
|
5ВI
|
51,0
|
500,0
|
525
|
|
К7.7.138
|
20АIII
|
339,5
|
20АIII
|
215,5
|
555,0
|
606,1
|
631
|
|
14400
|
К1.7.144
|
14375
|
12АIII
|
14350
|
10
|
143,5
|
127,8
|
-
|
-
|
-
|
-
|
-
|
127,8
|
4ВI
|
343,5
|
34,0
|
161,8
|
M5
|
4,1
|
20,4
|
24,5
|
187
|
|
К2.7.144
|
14АIII
|
173,5
|
-
|
-
|
-
|
-
|
-
|
173,5
|
207,5
|
232
|
|
К3.7.144
|
12АIII
|
127,8
|
12АIII
|
9000
|
10
|
90,0
|
80,2
|
208,0
|
242,0
|
267
|
|
К4.7.144
|
173,5
|
14АIII
|
108,5
|
282,0
|
316,0
|
341
|
|
Ко.7.144
|
16АIII
|
240,6
|
16АIII
|
127,6
|
368,2
|
402,2
|
427
|
|
К6.7.144
|
18АIII
|
287,0
|
18АIII
|
180,0
|
467,0
|
5ВI
|
52,8
|
519,8
|
545
|
|
К7.7.144
|
20АIII
|
354,2
|
20АIII
|
222,1
|
576,3
|
629,1
|
654
|
|
15000
|
К2.7.150
|
14975
|
14АIII
|
14950
|
10
|
149,5
|
180,5
|
-
|
-
|
-
|
-
|
-
|
180,5
|
4ВI
|
356,1
|
35,3
|
215,8
|
M5
|
4,1
|
20,4
|
24,5
|
241
|
|
К3.7.150
|
12АIII
|
133,0
|
12АIII
|
9400
|
10
|
94,0
|
83,3
|
216,3
|
251,6
|
276
|
|
К4.7.150
|
14АIII
|
180,5
|
14АIII
|
113,5
|
294,0
|
329,3
|
354
|
|
К5.7.150
|
16АIII
|
251,0
|
16АIII
|
133,2
|
384,2
|
419,5
|
444
|
|
К6.7.150
|
18АIII
|
299,0
|
18АIII
|
188,0
|
487,0
|
5ВI
|
54,8
|
541,8
|
567
|
|
К7.7.150
|
20АIII
|
369,0
|
20АIII
|
232,0
|
601,0
|
655,8
|
681
|
|
15600
|
К2.7.156
|
15575
|
14АIII
|
15550
|
10
|
155,5
|
188,0
|
-
|
-
|
-
|
-
|
-
|
188,0
|
4ВI
|
368,7
|
36,6
|
224,6
|
M5
|
4,1
|
20,4
|
24,5
|
249
|
|
К3.7.156
|
12АIII
|
138,5
|
12АIII
|
9800
|
10
|
98,0
|
87,0
|
225,5
|
262,1
|
287
|
|
К4.7.156
|
14АIII
|
188,0
|
14АIII
|
118,0
|
306,0
|
342,6
|
367
|
|
К5.7.156
|
16АIII
|
245,0
|
16АIII
|
155,0
|
400,0
|
136,6
|
461
|
|
К6.7.156
|
18АIII
|
311,0
|
18АIII
|
196,0
|
507,0
|
5ВI
|
56,8
|
563,8
|
589
|
|
К7.7.156
|
20АIII
|
368,0
|
20АIII
|
258,0
|
626,0
|
682,8
|
708
|
|
16200
|
К2.7.162
|
16175
|
14АIII
|
16150
|
10
|
161,5
|
195,1
|
-
|
10100
|
10
|
-
|
-
|
195,1
|
4BI
|
381,3
|
37,8
|
232,9
|
М5
|
4,1
|
20,4
|
24,5
|
258
|
|
К3.7.162
|
12АIII
|
143,4
|
12АIII
|
101,0
|
89,7
|
233,1
|
270,9
|
296
|
|
К4.7.162
|
14АIII
|
195,1
|
14АIII
|
122,0
|
317,1
|
354,8
|
380
|
|
К5.7.162
|
16АIII
|
254,8
|
16АIII
|
159,4
|
414,2
|
452,0
|
477
|
|
К6.7.162
|
18АIII
|
323,0
|
18АIII
|
202,0
|
525,0
|
5BI
|
58,8
|
583,8
|
608
|
|
К7.7.162
|
20АIII
|
398,3
|
20АIII
|
249,1
|
647,4
|
706,2
|
731
|
|
16800
|
К3.7.168
|
16775
|
12АIII
|
16750
|
10
|
167,5
|
148,7
|
12АIII
|
10500
|
10
|
105,0
|
93,2
|
241,9
|
4BI
|
393,9
|
39,0
|
280,9
|
М5
|
4,1
|
20,4
|
24,5
|
306
|
|
К4.7.168
|
14АIII
|
202,3
|
14АIII
|
126,8
|
329,1
|
368,1
|
393
|
|
К5.7.168
|
16АIII
|
264,3
|
16АIII
|
155,7
|
430,0
|
469,0
|
494
|
|
К6.7.168
|
18АIII
|
335,0
|
18АIII
|
210,0
|
545,0
|
5BI
|
60,6
|
605,6
|
630
|
|
К7.7.168
|
20АIII
|
413,1
|
20АIII
|
258,9
|
672,0
|
732,6
|
757
|
|
17400
|
К3.7.174
|
17375
|
12АIII
|
17350
|
10
|
173,5
|
154,1
|
12АIII
|
10800
|
10
|
108,0
|
95,9
|
250,0
|
4BI
|
406,5
|
40,2
|
290,2
|
М5
|
4,1
|
20,4
|
24,5
|
315
|
|
К4.7.174
|
14АIII
|
209,6
|
14АIII
|
130,5
|
340,1
|
380,3
|
405
|
|
К5.7.174
|
16АIII
|
273,8
|
16АIII
|
170,4
|
443,8
|
484,0
|
509
|
|
К6.7.174
|
18АIII
|
347,0
|
18АIII
|
216,0
|
563,0
|
5BI
|
62,6
|
625,6
|
650
|
|
К7.7.174
|
20АIII
|
427,9
|
20АIII
|
266,3
|
694,2
|
756,8
|
781
|
|
800
|
5400
|
К1.8.54
|
5375
|
12АIII
|
5350
|
16
|
85,6
|
76,1
|
-
|
-
|
-
|
-
|
-
|
76,1
|
4ВI
|
177,3
|
17,4
|
93,5
|
М6
|
4,9
|
23,4
|
28,3
|
122
|
|
К2.8.54
|
14АIII
|
103,6
|
-
|
-
|
-
|
-
|
-
|
103,6
|
121,0
|
149
|
|
К3.8.54
|
16АIII
|
135,0
|
-
|
-
|
-
|
-
|
-
|
135,0
|
152,4
|
181
|
|
К4.8.54
|
14АIII
|
103,6
|
12АIII
|
3200
|
16
|
51,2
|
45,5
|
149,1
|
166,5
|
195
|
|
К5.8.54
|
16АIII
|
135,0
|
14АIII
|
61,7
|
196,7
|
214,1
|
242
|
|
К6.8.54
|
18АIII
|
171,2
|
16АIII
|
80,7
|
251,9
|
5ВI
|
177,3
|
27,3
|
279,2
|
307
|
|
К7.8.54
|
18АIII
|
171,2
|
18АIII
|
3600
|
16
|
57,6
|
115,2
|
286,4
|
313,7
|
342
|
|
К8.8.54
|
20АIII
|
211,8
|
20АIII
|
142,3
|
354,1
|
381,4
|
410
|
|
6000
|
К1.8.60
|
5975
|
12АIII
|
5950
|
16
|
95,2
|
84,6
|
-
|
-
|
-
|
-
|
-
|
84,6
|
4ВI
|
191,7
|
18,8
|
103,4
|
М6
|
4,9
|
23,4
|
28,3
|
132
|
|
К2.8.60
|
14АIII
|
115,0
|
-
|
-
|
-
|
-
|
-
|
115,0
|
133,8
|
162
|
|
К3.8.60
|
16АIII
|
150,0
|
-
|
-
|
-
|
-
|
-
|
150,0
|
168,8
|
197
|
|
K4.8.60
|
14АIII
|
115,0
|
12АIII
|
3500
|
16
|
56,0
|
49,7
|
164,7
|
183,5
|
212
|
|
К5.8.60
|
16АIII
|
150,0
|
14АIII
|
67,6
|
217,6
|
236,4
|
265
|
|
К6.8.60
|
18АIII
|
190,4
|
16АIII
|
88,4
|
278,8
|
5ВI
|
191,7
|
29,5
|
308,3
|
336
|
|
К7.8.60
|
18АIII
|
190,4
|
18АIII
|
4000
|
64,0
|
128,0
|
318,4
|
347,9
|
377
|
|
К8.8.60
|
20АIII
|
235,0
|
20АIII
|
159,2
|
394,2
|
423,7
|
452
|
|
6600
|
К1.8.66
|
6575
|
12АIII
|
6550
|
16
|
104,8
|
93,0
|
-
|
-
|
-
|
-
|
-
|
93,0
|
4ВI
|
206,1
|
20,2
|
113,2
|
М6
|
4,9
|
23,4
|
28,3
|
141
|
|
К2.8.66
|
14АIII
|
126,8
|
-
|
-
|
-
|
-
|
-
|
126,8
|
147,0
|
175
|
|
К3.8.66
|
16АIII
|
165,5
|
-
|
-
|
-
|
-
|
-
|
165,5
|
185,7
|
214
|
|
К4.8.66
|
14АIII
|
126,8
|
12АIII
|
3800
|
16
|
60,8
|
54,0
|
180,8
|
201,0
|
229
|
|
К5.8.66
|
16АIII
|
165,5
|
14АIII
|
73,5
|
239,0
|
259,2
|
287
|
|
К6.8.66
|
18АIII
|
209,6
|
16АIII
|
96,0
|
305,6
|
5ВI
|
206,1
|
31,8
|
337,4
|
366
|
|
К7.8.66
|
18АIII
|
209,6
|
18АIII
|
4400
|
70,4
|
140,8
|
350,4
|
382,2
|
410
|
|
К8.8.66
|
20АIII
|
260,5
|
20АIII
|
173,5
|
434,0
|
465,8
|
494
|
|
7200
|
К1.8.72
|
7175
|
12АIII
|
7150
|
16
|
114,4
|
102,0
|
-
|
-
|
-
|
-
|
-
|
102,0
|
4ВI
|
220,5
|
21,6
|
123,6
|
М6
|
4,9
|
23,4
|
28,3
|
152
|
|
К2.8.72
|
14АIII
|
138,2
|
-
|
-
|
-
|
-
|
-
|
138,2
|
159,8
|
188
|
|
К3.8.72
|
16АIII
|
180,8
|
-
|
-
|
-
|
-
|
-
|
180,8
|
202,4
|
231
|
|
К4.8.72
|
14АIII
|
138,2
|
12АIII
|
4100
|
16
|
65,6
|
58,4
|
196,6
|
217,6
|
246
|
|
К5.8.72
|
16АIII
|
180,8
|
14АIII
|
79,3
|
260,1
|
281,7
|
310
|
|
К6.8.72
|
18АIII
|
228,8
|
16АIII
|
103,7
|
332,5
|
5ВI
|
220,5
|
34,0
|
366,5
|
395
|
|
К7.8.72
|
18АIII
|
228,8
|
18АIII
|
4700
|
75,2
|
150,4
|
379,2
|
413,2
|
441
|
|
К8.8.72
|
20АIII
|
282,0
|
20АIII
|
186,0
|
468,0
|
502,0
|
530
|
|
7800
|
К1.8.78
|
7775
|
12АIII
|
7750
|
16
|
124,0
|
110,2
|
-
|
-
|
-
|
-
|
-
|
110,2
|
4ВI
|
234,9
|
23,0
|
133,2
|
М6
|
4,9
|
23,4
|
28,3
|
161
|
|
К2.8.78
|
14АIII
|
150,0
|
-
|
-
|
-
|
-
|
-
|
150,0
|
173,0
|
201
|
|
К3.8.78
|
16АIII
|
195,5
|
-
|
-
|
-
|
-
|
-
|
195,5
|
218,5
|
247
|
|
К4.8.78
|
14АIII
|
150,0
|
12АIII
|
4400
|
16
|
70,4
|
62,5
|
212,5
|
235,5
|
264
|
|
К5.8.78
|
16АIII
|
195,5
|
14АIII
|
85,0
|
280,5
|
303,5
|
332
|
|
К6.8.78
|
18АIII
|
248,0
|
16АIII
|
111,0
|
359,0
|
5ВI
|
234,9
|
36,2
|
395,2
|
423
|
|
К7.8.78
|
19АIII
|
248,0
|
18АIII
|
81,6
|
163,2
|
411,2
|
447,4
|
476
|
|
К8.8.78
|
20АIII
|
306,0
|
20АIII
|
202,0
|
508,0
|
544,2
|
572
|
|
8400
|
K1.8.84.
|
8375
|
12АIII
|
8350
|
16
|
133,6
|
118,8
|
-
|
-
|
-
|
-
|
-
|
118,8
|
4ВI
|
249,3
|
24,4
|
143,2
|
М6
|
4,9
|
23,4
|
28,3
|
171
|
|
К2.8.84
|
14АIII
|
161,5
|
-
|
-
|
-
|
-
|
-
|
161,5
|
185,9
|
214
|
|
К3.8.84
|
16АIII
|
210,8
|
-
|
-
|
-
|
-
|
-
|
210,8
|
235,2
|
263
|
|
К4.8.84
|
14АIII
|
161,5
|
12АIII
|
4700
|
16
|
75,2
|
66,8
|
228,3
|
252,2
|
281
|
|
К5.8.84
|
16АIII
|
210,8
|
14АIII
|
91,0
|
301,8
|
326,2
|
354
|
|
К6.8.84
|
18АIII
|
267,2
|
16АIII
|
118,5
|
385,7
|
5ВI
|
249,3
|
38,4
|
424,1
|
452
|
|
К7.8.84
|
18АIII
|
267,2
|
18АIII
|
5400
|
86,4
|
172,8
|
440,0
|
478,4
|
506
|
|
К8.8.84
|
20АIII
|
330,0
|
20АIII
|
214,0
|
544,0
|
582,4
|
611
|
|
9000
|
К1.8.90
|
8975
|
12АIII
|
8950
|
16
|
143,2
|
127,5
|
-
|
-
|
-
|
-
|
-
|
127,5
|
4ВI
|
263,7
|
25,8
|
153,3
|
М6
|
4,9
|
23,4
|
28,3
|
182
|
|
К2.8.90
|
14АIII
|
172,0
|
-
|
-
|
-
|
-
|
-
|
172,0
|
197,8
|
226
|
|
К3.8.90
|
16АIII
|
226,0
|
-
|
-
|
-
|
-
|
-
|
226,0
|
251,8
|
280
|
|
К4.8.90
|
14АIII
|
172,0
|
12АIII
|
5000
|
16
|
80,0
|
71,2
|
243,2
|
269,0
|
297
|
|
К5.8.90
|
16АIII
|
226,0
|
14АIII
|
96,6
|
322,6
|
348,4
|
377
|
|
К6.8.90
|
18АIII
|
286,4
|
16АIII
|
126,2
|
412,6
|
5ВI
|
263,7
|
40,5
|
453,1
|
481
|
|
К7.8.90
|
18АIII
|
286,4
|
18АIII
|
5800
|
92,8
|
185,6
|
472,0
|
512,5
|
541
|
|
К8.8.90
|
20АIII
|
350,0
|
20АIII
|
232,5
|
582,5
|
623,0
|
651
|
|
9600
|
К1.8.96
|
9575
|
12АIII
|
9550
|
16
|
152,8
|
136,0
|
-
|
-
|
-
|
-
|
-
|
136,0
|
4BI
|
278,1
|
27,2
|
163,2
|
М6
|
4,9
|
23,4
|
28,3
|
192
|
|
K2.8.96
|
14АIII
|
184,8
|
-
|
-
|
-
|
-
|
-
|
184,8
|
212,0
|
240
|
|
К3.8.96
|
16АIII
|
240,8
|
-
|
-
|
-
|
-
|
-
|
240,8
|
268,0
|
296
|
|
К4.8.96
|
14АIII
|
184,8
|
12АIII
|
5300
|
16
|
84,8
|
75,5
|
260,3
|
287,5
|
316
|
|
К5.8.96
|
16АIII
|
240,8
|
14АIII
|
102,5
|
343,3
|
370,5
|
399
|
|
К6.8.96
|
18АIII
|
305,6
|
16АIII
|
134,0
|
439,6
|
5BI
|
278,1
|
42,9
|
482,5
|
511
|
|
К7.8.96
|
18АIII
|
305,6
|
18АIII
|
6200
|
99,2
|
198,4
|
504,0
|
546,9
|
575
|
|
К8.8.96
|
20АIII
|
377,0
|
20АIII
|
245,0
|
622,0
|
664,9
|
693
|
|
10200
|
К1.8.102
|
10175
|
12АIII
|
10150
|
16
|
162,4
|
144,4
|
-
|
-
|
-
|
-
|
-
|
144,0
|
4ВI
|
292,5
|
28,7
|
173,1
|
М6
|
4,9
|
23,4
|
28,3
|
201
|
|
К2.8.102
|
14АIII
|
196,1
|
-
|
-
|
-
|
-
|
-
|
196,1
|
224,8
|
253
|
|
К3.8.102
|
16АIII
|
256,0
|
-
|
-
|
-
|
-
|
-
|
256,0
|
284,7
|
313
|
|
К4.8.102
|
14АIII
|
196,1
|
12АIII
|
5600
|
16
|
89,6
|
79,6
|
275,7
|
304,4
|
333
|
|
К5.8.102
|
16АIII
|
256,0
|
14АIII
|
108,2
|
364,2
|
392,9
|
421
|
|
К6.8.102
|
18АIII
|
324,8
|
16АIII
|
141,5
|
466,3
|
5ВI
|
292,5
|
45,1
|
511,4
|
540
|
|
К7.8.102
|
15АIII
|
324,8
|
18АIII
|
6500
|
104,0
|
208,0
|
532,8
|
577,4
|
606
|
|
К8.8.102
|
20АIII
|
401,0
|
20АIII
|
257,0
|
658,0
|
703,1
|
732
|
|
10800
|
К1.8.108
|
10775
|
12АIII
|
10750
|
16
|
172,0
|
153,0
|
-
|
-
|
-
|
-
|
-
|
153,0
|
4ВI
|
306,9
|
30,1
|
183,1
|
М6
|
4,9
|
23,4
|
28,3
|
211
|
|
К2.8.108
|
14АIII
|
208,0
|
-
|
-
|
-
|
-
|
-
|
208,0
|
238,1
|
266
|
|
К3.8.108
|
16АIII
|
271,5
|
-
|
-
|
-
|
-
|
-
|
271,5
|
301,6
|
330
|
|
К4.8.108
|
14АIII
|
208,0
|
12АIII
|
5900
|
16
|
94,4
|
83,9
|
291,9
|
322,0
|
350
|
|
К5.8.108
|
16АIII
|
271,5
|
14АIII
|
114,2
|
385,7
|
415,8
|
444
|
|
К6.8.108
|
18АIII
|
344,0
|
16АIII
|
149,0
|
493,0
|
5ВI
|
306,9
|
47,3
|
540,3
|
568
|
|
К7.8.108
|
18АIII
|
344,0
|
18АIII
|
6900
|
110,4
|
220,8
|
564,0
|
611,9
|
640
|
|
К8.8.108
|
20АIII
|
425,0
|
20АIII
|
272,5
|
697,5
|
744,8
|
773
|
|
11400
|
К1.8.114
|
11375
|
12АIII
|
11350
|
16
|
181,6
|
161,5
|
-
|
-
|
-
|
-
|
-
|
161,5
|
4ВI
|
321,3
|
31,6
|
193,1
|
M6
|
4,9
|
23,4
|
28,3
|
221
|
|
К2.8.114
|
14АIII
|
219,5
|
-
|
-
|
-
|
-
|
-
|
219,5
|
251,1
|
279
|
|
К3.8.114
|
16АIII
|
286,5
|
-
|
-
|
-
|
-
|
-
|
286,5
|
318,1
|
346
|
|
К4.8.114
|
14АIII
|
219,8
|
12АIII
|
6200
|
16
|
99,2
|
88,2
|
308,0
|
339,6
|
368
|
|
К5.8.114
|
16АIII
|
286,5
|
14АIII
|
120,0
|
406,5
|
438,1
|
466
|
|
К6.8.114
|
18АIII
|
363,2
|
16АIII
|
156,5
|
519,7
|
5ВI
|
321,3
|
49,5
|
569,2
|
597
|
|
К7.8.114
|
18АIII
|
363,2
|
18АIII
|
7200
|
115,2
|
230,4
|
593,6
|
643,1
|
671
|
|
К8.8.114
|
20АIII
|
447,5
|
20АIII
|
285,5
|
733,0
|
782,5
|
811
|
|
12000
|
К1.8.120
|
11975
|
12АIII
|
11950
|
16
|
191,2
|
170,0
|
-
|
-
|
-
|
-
|
-
|
170,0
|
4ВI
|
335,7
|
33,0
|
203,0
|
M6
|
4,9
|
23,4
|
28,3
|
231
|
|
К2.8.120
|
14АIII
|
231,0
|
-
|
-
|
-
|
-
|
-
|
231,8
|
264,8
|
293
|
|
К3.8.120
|
16АIII
|
302,0
|
-
|
-
|
-
|
-
|
-
|
302,0
|
335,0
|
363
|
|
К4.8.120
|
14АIII
|
231,8
|
12АIII
|
6500
|
16
|
104,0
|
92,5
|
324,3
|
357,3
|
386
|
|
К5.8.120
|
16АIII
|
302,0
|
14АIII
|
125,9
|
427,9
|
460,9
|
489
|
|
К6.8.120
|
18АIII
|
382,4
|
16АIII
|
164,1
|
546,5
|
5ВI
|
335,7
|
51,6
|
598,1
|
626
|
|
К7.8.120
|
18АIII
|
382,4
|
18АIII
|
7600
|
121,6
|
243,2
|
625,6
|
677,2
|
705
|
|
К8.8.120
|
20АIII
|
473,0
|
20АIII
|
298,5
|
771,5
|
823,1
|
851
|
|
12600
|
К1.8.126
|
12575
|
12АIII
|
12550
|
16
|
200,8
|
178,3
|
-
|
-
|
-
|
-
|
-
|
178,3
|
4ВI
|
350,1
|
34,6
|
212,9
|
M6
|
4,9
|
23,4
|
28,3
|
241
|
|
К2.8.126
|
14АIII
|
243,0
|
-
|
-
|
-
|
-
|
-
|
243,0
|
277,6
|
306
|
|
К3.8.126
|
16АIII
|
317,0
|
-
|
-
|
-
|
-
|
-
|
317,0
|
351,6
|
380
|
|
К4.8.126
|
14АIII
|
243,0
|
12АIII
|
6800
|
16
|
108,8
|
96,8
|
339,8
|
374,4
|
403
|
|
К5.8.126
|
16АIII
|
317,0
|
14АIII
|
131,2
|
448,2
|
482,8
|
511
|
|
К6.8.126
|
18АIII
|
401,6
|
16АIII
|
171,5
|
573,1
|
5ВI
|
350,1
|
53,8
|
626,9
|
655
|
|
К7.8.126
|
18АIII
|
401,6
|
18АIII
|
8000
|
128,0
|
256,0
|
657,6
|
711,4
|
740
|
|
К8.8.126
|
20АIII
|
495,8
|
20АIII
|
316,2
|
812,0
|
865,8
|
894
|
|
13200
|
К1.8.132
|
13175
|
12АIII
|
13150
|
16
|
210,4
|
187,2
|
-
|
-
|
-
|
-
|
-
|
187,2
|
4ВI
|
364,5
|
36,2
|
223,4
|
М6
|
4,9
|
23,4
|
28,3
|
251
|
|
К2.8.132
|
14АIII
|
254,5
|
-
|
-
|
-
|
-
|
-
|
254,5
|
390,7
|
319
|
|
К3.8.132
|
16АIII
|
332,2
|
-
|
-
|
-
|
-
|
-
|
332,2
|
368,4
|
396
|
|
К4.8.132
|
14АIII
|
254,5
|
12АIII
|
7100
|
16
|
113,6
|
101,0
|
355,5
|
391,7
|
419
|
|
К5.8.132
|
16АIII
|
332,2
|
14АIII
|
137,3
|
469,5
|
505,7
|
534
|
|
К6.8.132
|
18АIII
|
420,8
|
16АIII
|
179,3
|
600,1
|
5ВI
|
364,5
|
56,1
|
656,2
|
684
|
|
К7.8.132
|
18АIII
|
420,8
|
18АIII
|
8300
|
132,8
|
265,6
|
686,4
|
742,5
|
771
|
|
К8.8.132
|
20АIII
|
520,0
|
20АIII
|
326,0
|
846,0
|
902,1
|
930
|
|
13800
|
К1.8.138
|
13775
|
12АIII
|
13750
|
16
|
220,0
|
195,0
|
-
|
-
|
-
|
-
|
-
|
195,8
|
4ВI
|
378,9
|
37,5
|
233,3
|
М6
|
4,9
|
23,4
|
28,3
|
261
|
|
К2.8.138
|
14АIII
|
266,0
|
-
|
-
|
-
|
-
|
-
|
266,0
|
303,5
|
331
|
|
К3.8.138
|
16АIII
|
347,0
|
-
|
-
|
-
|
-
|
-
|
347,2
|
384,7
|
413
|
|
К4.8.138
|
14АIII
|
266,0
|
12АIII
|
7400
|
|
118,4
|
105,2
|
371,2
|
408,7
|
437
|
|
К5.8.138
|
16АIII
|
347,0
|
14АIII
|
143,2
|
490,4
|
527,9
|
556
|
|
К6.8.138
|
18АIII
|
440,0
|
16АIII
|
187,0
|
627,0
|
5ВI
|
378,9
|
58,4
|
685,4
|
714
|
|
К7.8.138
|
18АIII
|
440,0
|
18АIII
|
8700
|
133,2
|
278,4
|
718,0
|
776,8
|
805
|
|
К8.8.138
|
20АIII
|
544,0
|
20АIII
|
342,0
|
886,0
|
944,4
|
973
|
|
14400
|
K1.2.144
|
14375
|
12АIII
|
14350
|
16
|
229,6
|
204,0
|
-
|
-
|
-
|
-
|
-
|
204,0
|
4ВI
|
393,3
|
38,5
|
242,5
|
М6
|
4,9
|
23,4
|
28,3
|
271
|
|
К2.8.144
|
14АIII
|
277,8
|
-
|
-
|
-
|
-
|
-
|
277,8
|
316,3
|
344
|
|
К3.8.144
|
16АIII
|
362,0
|
-
|
-
|
-
|
-
|
-
|
362,0
|
400,5
|
429
|
|
К4.8.144
|
14АIII
|
277,8
|
12АIII
|
7700
|
16
|
123,2
|
109,8
|
387,6
|
426,1
|
454
|
|
К5.8.144
|
16АIII
|
362,0
|
14АIII
|
149,0
|
511,0
|
549,5
|
578
|
|
K6.8.144
|
18АIII
|
459,2
|
16АIII
|
194,5
|
653,7
|
5ВI
|
393,3
|
60,5
|
714,2
|
742
|
|
К7.8.144
|
18АIII
|
459,2
|
18АIII
|
9000
|
144,0
|
288,0
|
747,2
|
807,7
|
836
|
|
К8.8.144
|
20АIII
|
566,0
|
20АIII
|
356,5
|
922,5
|
983,0
|
1011
|
|
15000
|
К1.8.150
|
14975
|
12АIII
|
14950
|
16
|
239,2
|
212,5
|
-
|
-
|
-
|
-
|
-
|
212,5
|
4ВI
|
407,7
|
39,9
|
252,4
|
М6
|
4,9
|
23,4
|
98,3
|
281
|
|
К2.8.150
|
14АIII
|
289,1
|
-
|
-
|
-
|
-
|
-
|
289,1
|
329,0
|
357
|
|
К3.8.150
|
16АIII
|
378,0
|
-
|
-
|
-
|
-
|
-
|
378,0
|
417,9
|
446
|
|
К4.8.150
|
14АIII
|
289,1
|
12АIII
|
8000
|
16
|
128,0
|
113,8
|
402,9
|
442,8
|
471
|
|
К5.8.150
|
16АIII
|
378,0
|
14АIII
|
155,0
|
533,0
|
572,9
|
601
|
|
К6.8.150
|
18АIII
|
478,4
|
16АIII
|
202,0
|
680,4
|
5ВI
|
407,7
|
62,8
|
743,2
|
771
|
|
К7.8.150
|
18АIII
|
478,4
|
18АIII
|
9400
|
150,4
|
300,8
|
779,2
|
742,0
|
870
|
|
К8.8.150
|
20АIII
|
590,0
|
20АIII
|
372,0
|
962,0
|
1024,8
|
1053
|
|
15600
|
К2.8.156
|
15575
|
14АIII
|
15550
|
16
|
248,8
|
301,0
|
-
|
-
|
-
|
-
|
-
|
301,0
|
4ВI
|
422,1
|
41,3
|
342,3
|
М6
|
4,9
|
23,4
|
28,3
|
370
|
|
К3.8.156
|
16АIII
|
393,0
|
-
|
-
|
-
|
-
|
-
|
393,0
|
434,4
|
462
|
|
К4.8.156
|
14АIII
|
301,0
|
12АIII
|
8300
|
16
|
132,8
|
118,1
|
419,1
|
460,4
|
489
|
|
К5.8.156
|
16АIII
|
393,0
|
14АIII
|
160,5
|
553,5
|
594,8
|
623
|
|
К6.8.156
|
18АIII
|
497,6
|
16АIII
|
209,8
|
707,4
|
5ВI
|
422,1
|
65,0
|
772,4
|
801
|
|
К7.8.156
|
18АIII
|
497,6
|
18АIII
|
9800
|
156,8
|
313,6
|
811,2
|
876,2
|
904
|
|
К8.8.156
|
20АIII
|
615,0
|
20АIII
|
386,5
|
1001,2
|
1066,5
|
1095
|
|
16200
|
К2.8.162
|
16175
|
14АIII
|
16150
|
16
|
258,4
|
312,5
|
-
|
-
|
-
|
-
|
-
|
312,5
|
4ВI
|
436,5
|
42,7
|
355,2
|
М6
|
4,9
|
23,4
|
28,3
|
383
|
|
К3.8.162
|
16АIII
|
408,5
|
-
|
-
|
-
|
-
|
-
|
408,5
|
451,2
|
479
|
|
К4.8.162
|
14АIII
|
312,5
|
12АIII
|
8600
|
16
|
137,6
|
122,5
|
435,0
|
477,7
|
506
|
|
К5.8.162
|
16АIII
|
408,5
|
14АIII
|
166,5
|
575,0
|
617,7
|
646
|
|
К6.8.162
|
18АIII
|
516,8
|
16АIII
|
217,5
|
734,3
|
5ВI
|
436,
|
67,2
|
801,5
|
830
|
|
К7.8.162
|
18АIII
|
516,8
|
18АIII
|
10100
|
161,6
|
323,2
|
840,0
|
907,2
|
935
|
|
К8.8.162
|
20АIII
|
638,0
|
20АIII
|
401,0
|
1039,0
|
1106,2
|
1134
|
|
16800
|
К2.8.168
|
16775
|
14АIII
|
16750
|
16
|
268,0
|
324,0
|
-
|
-
|
-
|
-
|
-
|
324,0
|
4ВI
|
450,9
|
44,2
|
368,2
|
М6
|
4,9
|
23,4
|
28,3
|
396
|
|
К3.8.168
|
16АIII
|
424,0
|
-
|
-
|
-
|
-
|
-
|
424,0
|
468,2
|
496
|
|
К4.8.168
|
14АIII
|
324,0
|
12АIII
|
8900
|
16
|
142,4
|
126,8
|
450,8
|
495,0
|
523
|
|
К5.8.168
|
16АIII
|
424,0
|
14АIII
|
172,2
|
596,2
|
640,4
|
668
|
|
К6.8.168
|
18АIII
|
536,0
|
16АIII
|
224,5
|
760,5
|
5ВI
|
450,9
|
69,4
|
829,9
|
858
|
|
K7.8.168
|
18АIII
|
536,0
|
18АIII
|
10500
|
168,0
|
336,0
|
872,0
|
941,4
|
970
|
|
К8.8.168
|
20АIII
|
662,0
|
20АIII
|
417,0
|
1079,0
|
1148,4
|
1177
|
|
17400
|
К2.8.174
|
17375
|
14АIII
|
17350
|
16
|
277,6
|
335,8
|
-
|
-
|
-
|
-
|
-
|
335,8
|
4ВI
|
465,3
|
45,6
|
381,4
|
M6
|
4,9
|
23,4
|
28,3
|
410
|
|
К3.8.174
|
16АIII
|
438,0
|
-
|
-
|
-
|
-
|
-
|
438,0
|
483,6
|
512
|
|
К4.8.174
|
14АIII
|
335,8
|
12АIII
|
9200
|
16
|
147,2
|
131,0
|
466,8
|
512,4
|
541
|
|
К5.8.174
|
16АIII
|
438,0
|
14АIII
|
178,0
|
616,0
|
661,6
|
690
|
|
К6.8.174
|
18АIII
|
555,2
|
16АIII
|
232,5
|
787,7
|
5ВI
|
465,3
|
71,6
|
859,3
|
888
|
|
К7.8.174
|
18АIII
|
555,2
|
18АIII
|
10800
|
172,8
|
345,6
|
900,8
|
972,4
|
1001
|
|
К8.8.174
|
20АIII
|
685,0
|
20АIII
|
426,2
|
1111,2
|
1183,8
|
1212
|
|
18000
|
К3.8.180
|
17975
|
16АIII
|
17950
|
16
|
287,2
|
453,2
|
-
|
-
|
-
|
-
|
-
|
453,2
|
4ВI
|
497,7
|
47,5
|
501,0
|
M6
|
4,9
|
23,4
|
28,3
|
529
|
|
К4.8.180
|
14АIII
|
346,9
|
12АIII
|
9500
|
16
|
152,0
|
135,0
|
481,9
|
529,4
|
558
|
|
К5.8.180
|
16АIII
|
453,2
|
14АIII
|
183,6
|
636,8
|
684,3
|
712
|
|
К6.8.180
|
18АIII
|
574,4
|
16АIII
|
240,0
|
814,4
|
5ВI
|
497,7
|
73,9
|
888,3
|
916
|
|
К7.8.180
|
18АIII
|
574,4
|
18АIII
|
11200
|
179,2
|
358,4
|
932,8
|
1006,7
|
1035
|
|
К8.8.180
|
20АIII
|
710,0
|
20АIII
|
440,0
|
1150,0
|
1223,9
|
1252
|
|
18600
|
К3.8.186
|
18575
|
16АIII
|
18550
|
16
|
296,8
|
468,4
|
-
|
-
|
-
|
-
|
-
|
468,4
|
4ВI
|
494,1
|
48,9
|
517,3
|
M6
|
4,9
|
23,4
|
28,3
|
546
|
|
К4.8.186
|
14АIII
|
358,5
|
12АIII
|
9800
|
16
|
156,8
|
139,2
|
497,7
|
546,6
|
575
|
|
К5.8.186
|
16АIII
|
468,4
|
14АIII
|
189,4
|
657,8
|
706,7
|
735
|
|
К6.8.186
|
18АIII
|
593,6
|
16АIII
|
247,4
|
841,0
|
5ВI
|
494,1
|
76,1
|
917,1
|
945
|
|
К7.8.186
|
18АIII
|
593,6
|
18АIII
|
11600
|
185,6
|
371,2
|
964,0
|
1040,9
|
1069
|
|
К8.8.186
|
20АIII
|
734,0
|
20АIII
|
455,6
|
1189,6
|
1265,7
|
1294
|
|
19200
|
К3.8.192
|
19175
|
16АIII
|
19150
|
16
|
306,4
|
483,5
|
-
|
-
|
-
|
-
|
-
|
483,5
|
4ВI
|
508,5
|
50,3
|
533,8
|
M6
|
4,9
|
23,4
|
28,3
|
562
|
|
К4.8.192
|
14АIII
|
370,1
|
12АIII
|
10100
|
16
|
161,6
|
143,5
|
513,6
|
563,9
|
592
|
|
К5.8.192
|
16АIII
|
483,5
|
14АIII
|
195,2
|
678,7
|
729,0
|
757
|
|
К6.8.192
|
18АIII
|
612,8
|
16АIII
|
255,0
|
867,8
|
5ВI
|
78,3
|
946,1
|
974
|
|
К7.8.192
|
18АIII
|
612,8
|
18АIII
|
11900
|
190,4
|
380,8
|
993,6
|
1071,9
|
1100
|
|
К8.8.192
|
20АIII
|
756,0
|
20АIII
|
469,1
|
1225,1
|
1303,4
|
1332
|
|
1000
|
6000
|
К1.10.60
|
5975
|
14АIII
|
5950
|
16
|
95,2
|
115,0
|
-
|
-
|
-
|
-
|
-
|
115,0
|
4ВI
|
248,0
|
24,6
|
139,6
|
M7
|
6,6
|
29,3
|
35,9
|
176
|
|
К2.10.60
|
16АIII
|
150,2
|
-
|
-
|
-
|
-
|
-
|
150,2
|
174,8
|
211
|
|
К3.10.60
|
14АIII
|
115,0
|
14АIII
|
4000
|
16
|
64,0
|
77,3
|
192,3
|
216,9
|
253
|
|
К4.10.60
|
16АIII
|
150,2
|
16АIII
|
101,0
|
251,2
|
275,8
|
312
|
|
К5.10.60
|
18АIII
|
190,4
|
18АIII
|
128,0
|
318,4
|
5ВI
|
38,2
|
336,6
|
393
|
|
К6.10.60
|
18АIII
|
20
|
119,0
|
238,0
|
18АIII
|
20
|
80,0
|
160,0
|
398,0
|
436,2
|
472
|
|
К7.10.60
|
20АIII
|
294,0
|
20АIII
|
196,7
|
490,7
|
528,9
|
565
|
|
6600
|
К1.10.66
|
6575
|
14АIII
|
6550
|
16
|
104,8
|
126,6
|
-
|
-
|
-
|
-
|
-
|
126,6
|
4ВI
|
266,2
|
26,4
|
153,0
|
M7
|
6,6
|
29,3
|
35,9
|
189
|
|
К2.10.66
|
16АIII
|
165,4
|
-
|
-
|
-
|
-
|
-
|
165,4
|
191,8
|
228
|
|
К3.10.66
|
14АIII
|
126,6
|
14АIII
|
4400
|
16
|
70,4
|
85,0
|
211,6
|
238,0
|
274
|
|
К4.10.66
|
16АIII
|
165,4
|
16АIII
|
111,1
|
276,5
|
302,9
|
339
|
|
К5.10.66
|
18АIII
|
209,6
|
18АIII
|
140,8
|
350,4
|
5ВI
|
41,0
|
391,4
|
428
|
|
К6.10.66
|
18АIII
|
20
|
131,0
|
262,0
|
18АIII
|
20
|
88,0
|
176,0
|
438,0
|
479,0
|
515
|
|
К7.10.66
|
20АIII
|
324,0
|
20АIII
|
216,0
|
540,0
|
581,0
|
617
|
|
7200
|
К1.10.72
|
7175
|
14АIII
|
7150
|
16
|
114,4
|
138,2
|
-
|
-
|
-
|
-
|
-
|
138,2
|
4ВI
|
284,4
|
28,2
|
166,4
|
M7
|
6,6
|
29,3
|
35,9
|
203
|
|
К2.10.72
|
16АIII
|
180,5
|
-
|
-
|
-
|
-
|
-
|
180,5
|
208,7
|
245
|
|
К3.10.72
|
14АIII
|
138,2
|
14АIII
|
4700
|
16
|
75,2
|
90,8
|
229,0
|
257,2
|
293
|
|
К4.10.7.2
|
16АIII
|
180,5
|
16АIII
|
118,7
|
299,2
|
327,4
|
363
|
|
К5.10.72
|
18АIII
|
228,8
|
18АIII
|
150,4
|
379,2
|
5ВI
|
43,8
|
423,0
|
459
|
|
К6.10.72
|
18АIII
|
20
|
143,0
|
286,0
|
18АIII
|
20
|
94,0
|
188,0
|
474,0
|
517,8
|
554
|
|
К7.10.72
|
20АIII
|
353,8
|
20АIII
|
230,6
|
584,4
|
628,2
|
664
|
|
7800
|
К1.10.78
|
7775
|
14АIII
|
7750
|
16
|
24,0
|
149,8
|
-
|
-
|
-
|
-
|
-
|
149,8
|
4ВI
|
302,6
|
30,0
|
179,8
|
М7
|
6,6
|
29,3
|
35,9
|
216
|
|
К2.10.78
|
16АIII
|
195,7
|
-
|
-
|
-
|
-
|
-
|
195,7
|
225,7
|
262
|
|
К3.10.78
|
14АIII
|
149,8
|
14АIII
|
5100
|
16
|
81,6
|
98,6
|
248,4
|
278,4
|
315
|
|
К4.10.78
|
16АIII
|
195,7
|
16АIII
|
128,7
|
324,4
|
354,4
|
391
|
|
К5.10.78
|
18АIII
|
248,0
|
18АIII
|
163,2
|
411,2
|
5ВI
|
46,6
|
457,8
|
494
|
|
К6.10.78
|
18АIII
|
20
|
155,0
|
310,0
|
18АIII
|
20
|
102,0
|
204,0
|
514,0
|
560,6
|
597
|
|
К7.10.78
|
20АIII
|
382,2
|
20АIII
|
251,6
|
633,8
|
680,4
|
717
|
|
8400
|
К1.10.84
|
8375
|
14АIII
|
8350
|
16
|
133,6
|
161,4
|
-
|
-
|
-
|
-
|
-
|
161,4
|
4ВI
|
320,8
|
31,8
|
193,2
|
М7
|
6,6
|
29,3
|
35,9
|
229
|
|
К2.10.84
|
16АIII
|
210,8
|
-
|
-
|
-
|
-
|
-
|
210,8
|
242,6
|
279
|
|
К3.10.84
|
14АIII
|
161,4
|
14АIII
|
5400
|
16
|
86,4
|
104,4
|
265,8
|
297,6
|
334
|
|
К4.10.84
|
16АIII
18АIII
|
210,8
|
16АIII
|
136,4
|
347,2
|
379,0
|
415
|
|
К5.10.84
|
267,2
|
18АIII
|
172,8
|
440,0
|
5ВI
|
49,4
|
489,4
|
526
|
|
К6.10.84
|
18АIII
|
20
|
167,0
|
334,0
|
18АIII
|
20
|
108,0
|
216,0
|
550,0
|
599,4
|
636
|
|
К7.10.84
|
20АIII
|
412,0
|
20АIII
|
266,2
|
678,2
|
727,6
|
764
|
|
9000
|
К1.10.90
|
8975
|
14АIII
|
8950
|
16
|
143,2
|
173,0
|
-
|
-
|
-
|
-
|
-
|
173,0
|
4ВI
|
339,0
|
33,6
|
206,6
|
М7
|
6,6
|
29,3
|
35,9
|
243
|
|
К2.10.90
|
16АIII
|
226,0
|
-
|
-
|
-
|
-
|
-
|
226,0
|
259,6
|
296
|
|
К3.10.90
|
14АIII
|
173,0
|
14АIII
|
5800
|
16
|
92,8
|
112,1
|
285,1
|
318,7
|
355
|
|
К4.10.90
|
16АIII
|
226,0
|
16АIII
|
146,4
|
372,4
|
406,0
|
442
|
|
К5.10.90
|
18АIII
|
286,4
|
18АIII
|
185,6
|
472,0
|
5ВI
|
52,2
|
524,2
|
560
|
|
К6.10.90
|
18АIII
|
20
|
179,0
|
358,0
|
18АIII
|
20
|
116,0
|
232,0
|
590,0
|
642,2
|
678
|
|
К7.10.90
|
20АIII
|
442,0
|
20АIII
|
285,5
|
727,5
|
779,7
|
816
|
|
9600
|
К1.10.96
|
9575
|
14АIII
|
9550
|
16
|
152,8
|
184,6
|
-
|
-
|
-
|
-
|
-
|
184,6
|
4ВI
|
357,2
|
35,4
|
220,0
|
М7
|
6,6
|
29,3
|
35,9
|
256
|
|
К2.10.96
|
16АIII
|
241,1
|
-
|
-
|
-
|
-
|
-
|
241,1
|
276,5
|
313
|
|
К3.10.96
|
14АIII
|
184,6
|
14АIII
|
6200
|
16
|
99,2
|
119,8
|
304,4
|
339,8
|
376
|
|
К4.10.96
|
16АIII
|
241,1
|
16АIII
|
156,5
|
397,6
|
433,0
|
469
|
|
К5.10.96
|
18АIII
|
305,6
|
18АIII
|
198,4
|
504,0
|
5ВI
|
55,0
|
559,0
|
595
|
|
K6.I0.96
|
18АIII
|
20
|
191,0
|
382,0
|
18АIII
|
20
|
124,0
|
248,0
|
630,0
|
685,0
|
721
|
|
К7.10.96
|
20АIII
|
472,0
|
20АIII
|
304,8
|
776,8
|
831,8
|
868
|
|
10200
|
К1.10.102
|
10175
|
14АIII
|
10150
|
16
|
162,4
|
196,2
|
-
|
-
|
-
|
-
|
-
|
196,2
|
4ВI
|
375,
|
37,2
|
233,4
|
М7
|
6,6
|
29,3
|
35,9
|
270
|
|
К2.10.102
|
16АIII
|
256,3
|
-
|
-
|
-
|
-
|
-
|
256,3
|
293,4
|
330
|
|
К3.10.102
|
14АIII
|
196,2
|
14АIII
|
6500
|
16
|
104,0
|
125,6
|
321,8
|
359,0
|
395
|
|
К4.10.102
|
16АIII
|
256,3
|
16АIII
|
164,1
|
420,4
|
457,6
|
494
|
|
К5.10.102
|
18АIII
|
324,8
|
18АIII
|
208,0
|
532,8
|
5ВI
|
57,8
|
590,6
|
627
|
|
К6.10.102
|
18АIII
|
20
|
203,0
|
406,0
|
18АIII
|
20
|
130,0
|
260,0
|
666,0
|
723,8
|
760
|
|
К7.10.102
|
20АIII
|
501,0
|
20АIII
|
320,1
|
821,1
|
878,9
|
915
|
|
10800
|
К1.10.108
|
10775
|
14АIII
|
10750
|
16
|
172,0
|
207,8
|
-
|
-
|
-
|
-
|
-
|
207,8
|
4ВI
|
393,6
|
39,0
|
246,8
|
М7
|
6,6
|
29,3
|
35,9
|
283
|
|
К2.10.108
|
16АIII
|
271,4
|
-
|
-
|
-
|
-
|
-
|
271,4
|
310,4
|
347
|
|
К3.10.108
|
14АIII
|
207,8
|
14АIII
|
6900
|
16
|
110,4
|
133,3
|
341,1
|
380,1
|
416
|
|
К4.10.108
|
16АIII
|
271,4
|
16АIII
|
174,2
|
445,5
|
484,6
|
521
|
|
К5.10.108
|
18АIII
|
344,0
|
18АIII
|
220,8
|
564,8
|
5ВI
|
60,6
|
625,4
|
661
|
|
К6.10.108
|
18АIII
|
20
|
215,0
|
430,0
|
18АIII
|
20
|
138,0
|
276,0
|
706,0
|
766,6
|
803
|
|
К7.10.108
|
20АIII
|
531,0
|
20АIII
|
339,5
|
870,5
|
831,1
|
967
|
|
11400
|
К1.10.114
|
11375
|
14АIII
|
11350
|
16
|
181,6
|
219,8
|
-
|
-
|
-
|
-
|
-
|
219,8
|
4ВI
|
411,8
|
40,8
|
260,6
|
М7
|
6,6
|
29,3
|
35,9
|
297
|
|
К2.10.114
|
16АIII
|
286,5
|
-
|
-
|
-
|
-
|
-
|
286,5
|
327,3
|
364
|
|
К3.10.114
|
14АIII
|
219,8
|
14АIII
|
7200
|
16
|
115,2
|
128,7
|
358,5
|
399,3
|
436
|
|
К4.10.114
|
16АIII
|
286,5
|
16АIII
|
181,9
|
468,4
|
509,2
|
545
|
|
К5.10.114
|
18АIII
|
363,2
|
18АIII
|
230,4
|
593,6
|
5ВI
|
63,4
|
657,0
|
693
|
|
К6.10.114
|
18АIII
|
20
|
227,0
|
454,0
|
18АIII
|
20
|
144,0
|
288,0
|
742,0
|
805,4
|
842
|
|
К7.10.114
|
20АIII
|
560,0
|
20АIII
|
355,0
|
915,0
|
978,4
|
1014
|
|
12000
|
К1.10.120
|
11975
|
14АIII
|
11950
|
16
|
191,2
|
231,0
|
-
|
-
|
-
|
-
|
-
|
231,0
|
4ВI
|
430,0
|
42,6
|
273,6
|
М7
|
6,6
|
29,3
|
35,9
|
310
|
|
К2.10.120
|
16АIII
|
301,7
|
-
|
-
|
-
|
-
|
-
|
301,7
|
344,3
|
381
|
|
К3.10.120
|
14АIII
|
231,0
|
14АIII
|
7600
|
16
|
121,6
|
146,9
|
377,9
|
420,5
|
457
|
|
К4.10.120
|
16АIII
|
301,7
|
16АIII
|
191,9
|
493,6
|
536,2
|
572
|
|
К5.10.120
|
18АIII
|
382,4
|
18АIII
|
243,2
|
625,6
|
5ВI
|
66,2
|
691,8
|
728
|
|
К6.10.120
|
18АIII
|
20
|
239,0
|
478,0
|
18АIII
|
20
|
152,0
|
304,0
|
782,0
|
848,2
|
884
|
|
К7.10.120
|
20АIII
|
591,0
|
20АIII
|
373,2
|
964,2
|
030,4
|
1067
|
|
12600
|
К1.10.126
|
12575
|
14АIII
|
12550
|
16
|
201,0
|
242,8
|
-
|
-
|
-
|
-
|
-
|
242,8
|
4ВI
|
448,2
|
44,4
|
287,2
|
М7
|
6,6
|
29,3
|
35,9
|
323
|
|
К2.10.126
|
16АIII
|
317,2
|
-
|
-
|
-
|
-
|
-
|
317,2
|
361,6
|
398
|
|
К3.10.126
|
14АIII
|
242,8
|
14АIII
|
8000
|
16
|
128,0
|
154,6
|
397,4
|
441,8
|
478
|
|
К4.10.126
|
16АIII
|
317,2
|
16АIII
|
202,0
|
519,2
|
563,6
|
600
|
|
К5.10.126
|
18АIII
|
402,0
|
18АIII
|
256,0
|
658,0
|
5ВI
|
69,0
|
727,0
|
763
|
|
К6.10.126
|
18АIII
|
20
|
251,0
|
502,0
|
18АIII
|
20
|
160,0
|
320,0
|
822,0
|
891,0
|
927
|
|
К7.10.126
|
20АIII
|
620,0
|
20АIII
|
393,5
|
1013,5
|
1082,5
|
1119
|
|
13200
|
К1.10.132
|
13175
|
14АIII
|
13150
|
16
|
210,2
|
253,9
|
-
|
-
|
-
|
-
|
-
|
253,9
|
4ВI
|
466
|
46,2
|
300,1
|
М7
|
6,6
|
29,3
|
35,9
|
336
|
|
К2.10.132
|
16АIII
|
331,7
|
-
|
-
|
-
|
-
|
-
|
331,7
|
377,9
|
414
|
|
К3.10.132
|
14АIII
|
253,9
|
14АIII
|
8300
|
16
|
132,8
|
160,7
|
414,6
|
460,8
|
497
|
|
К4.10.132
|
16АIII
|
331,7
|
16АIII
|
209,9
|
541,6
|
587,8
|
624
|
|
К5.10.132
|
18АIII
|
420,4
|
18АIII
|
265,6
|
686,4
|
5ВI
|
71,8
|
758,2
|
794
|
|
К6.10.132
|
18АIII
|
20
|
263,0
|
526,0
|
18АIII
|
20
|
166,0
|
332,0
|
858,0
|
929,8
|
966
|
|
К7.10.132
|
20АIII
|
648,6
|
20АIII
|
409,3
|
1057,9
|
1129,7
|
1166
|
|
13800
|
К1.10.138
|
13775
|
14АIII
|
13750
|
16
|
220,0
|
265,8
|
-
|
-
|
-
|
-
|
-
|
265,8
|
4ВI
|
484,6
|
48,0
|
313,8
|
М7
|
6,6
|
29,3
|
35,9
|
350
|
|
К2.10.138
|
16АIII
|
347,2
|
-
|
-
|
-
|
-
|
-
|
347,2
|
395,2
|
431
|
|
К3.10.138
|
14АIII
|
265,8
|
14АIII
|
8700
|
16
|
139,2
|
168,0
|
433,8
|
481,8
|
518
|
|
К4.10.138
|
16АIII
|
347,2
|
16АIII
|
219,5
|
566,7
|
614,7
|
651
|
|
К5.10.138
|
18АIII
|
440,0
|
18АIII
|
278,4
|
718,4
|
5ВI
|
74,6
|
793,6
|
829
|
|
К6.10.138
|
18АIII
|
20
|
275,0
|
550,0
|
18АIII
|
20
|
174,0
|
348,0
|
898,0
|
972,6
|
1009
|
|
К7.10.138
|
20АIII
|
680,0
|
20АIII
|
427,2
|
1107,2
|
1181,8
|
1218
|
|
14400
|
К1.10.144
|
14375
|
14АIII
|
14350
|
16
|
229,6
|
277,4
|
-
|
-
|
-
|
-
|
-
|
277,4
|
4ВI
|
502,8
|
49,8
|
327,2
|
М7
|
6,6
|
29,3
|
35,9
|
363
|
|
К2.10.144
|
16АIII
|
362,3
|
-
|
-
|
-
|
-
|
-
|
362,3
|
412,1
|
448
|
|
К3.10.144
|
14АIII
|
277,4
|
14АIII
|
9100
|
16
|
145,6
|
176,2
|
453,6
|
503,4
|
540
|
|
К4.10.144
|
16АIII
|
362,3
|
16АIII
|
229,7
|
592,0
|
641,8
|
678
|
|
К5.10.144
|
18АIII
|
469,2
|
18АIII
|
291,2
|
750,2
|
827,6
|
865
|
|
К6.10.144
|
18АIII
|
20
|
287,0
|
574,0
|
18АIII
|
20
|
182,0
|
364,0
|
938,0
|
5ВI
|
77,4
|
1015,4
|
1052
|
|
К7.10.144
|
20АIII
|
708,5
|
20АIII
|
448,1
|
1156,6
|
1234,0
|
1270
|
|
15000
|
K1.10.150
|
14975
|
14АIII
|
14950
|
16
|
239,2
|
289,0
|
-
|
-
|
-
|
-
|
-
|
289,0
|
4ВI
|
521,0
|
51,6
|
340,6
|
М7
|
6,6
|
29,3
|
35,9
|
377
|
|
K2.10.150
|
16АIII
|
377,5
|
-
|
-
|
-
|
-
|
-
|
377,5
|
429,1
|
465
|
|
К3.10.150
|
14АIII
|
289,0
|
14АIII
|
9400
|
16
|
150,4
|
181,6
|
470,6
|
522,2
|
558
|
|
К4.10.150
|
16АIII
|
377,5
|
16АIII
|
237,5
|
615,0
|
666,6
|
793
|
|
K5.10.150
|
18АIII
|
478,4
|
18АIII
|
300,8
|
779,2
|
5ВI
|
80,0
|
859,2
|
895
|
|
К6.10.150
|
18АIII
|
20
|
299,0
|
598,0
|
18АIII
|
20
|
188,0
|
376,0
|
974,0
|
1054,0
|
1090
|
|
К7.10.150
|
20АIII
|
738,0
|
20АIII
|
462,9
|
1200,9
|
1280,9
|
1317
|
|
15600
|
К1.10.156
|
15575
|
14АIII
|
15550
|
16
|
248,8
|
300,8
|
-
|
-
|
-
|
-
|
-
|
300,8
|
4ВI
|
539,2
|
53,4
|
354,2
|
М7
|
6,6
|
29,3
|
35,9
|
390
|
|
К2.10.156
|
16АIII
|
392,2
|
-
|
-
|
-
|
-
|
-
|
392,2
|
445,6
|
482
|
|
К3.10.156
|
14АIII
|
300,8
|
14АIII
|
9700
|
16
|
155,2
|
187,7
|
488,5
|
541,9
|
578
|
|
К4.10.156
|
16АIII
|
392,2
|
16АIII
|
244,8
|
637,0
|
690,4
|
727
|
|
К5.10.156
|
18АIII
|
497,6
|
18АIII
|
310,4
|
808,0
|
5ВI
|
83,0
|
891,0
|
927
|
|
К6.10.156
|
18АIII
|
20
|
311,0
|
622,0
|
18АIII
|
20
|
194,0
|
388,0
|
1010,0
|
1093,0
|
1129
|
|
К7.10.156
|
20АIII
|
766,0
|
20АIII
|
479,3
|
1245,3
|
1328,3
|
1365
|
|
16200
|
К1.10.162
|
16175
|
14АIII
|
16150
|
16
|
258,4
|
312,5
|
-
|
-
|
-
|
-
|
-
|
312,5
|
4ВI
|
557,4
|
55,2
|
367,7
|
М7
|
6,6
|
29,3
|
35,9
|
404
|
|
К2.10.162
|
16АIII
|
408,5
|
-
|
-
|
-
|
-
|
-
|
408,5
|
463,7
|
500
|
|
К3.10.162
|
14АIII
|
312,5
|
14АIII
|
10100
|
16
|
161,6
|
195,0
|
507,5
|
562,7
|
599
|
|
K4.10.162
|
16АIII
|
408,5
|
16АIII
|
254,5
|
663,0
|
718,2
|
754
|
|
К5.10.162
|
18АIII
|
516,8
|
18АIII
|
323,2
|
840,0
|
5ВI
|
85,6
|
925,6
|
962
|
|
К6.10.162
|
18АIII
|
20
|
323,0
|
646,0
|
10АIII
|
20
|
202,0
|
404,0
|
1050,0
|
1135,6
|
1172
|
|
K7.10.162
|
20АIII
|
796,0
|
20АIII
|
498,6
|
1294,6
|
1380,2
|
1416
|
|
16800
|
К1.10.168
|
16775
|
14АIII
|
16750
|
16
|
268,0
|
324,0
|
-
|
-
|
-
|
-
|
-
|
324,0
|
4ВI
|
575,6
|
57,0
|
381,0
|
М7
|
6,6
|
29,3
|
35,9
|
417
|
|
К2.10.168
|
16АIII
|
424,0
|
-
|
-
|
-
|
-
|
-
|
424,0
|
481,0
|
517
|
|
К3.10.168
|
14АIII
|
324,0
|
14АIII
|
10500
|
16
|
168,0
|
203,0
|
527,0
|
584,0
|
620
|
|
К4.10.168
|
16АIII
|
424,0
|
16АIII
|
265,0
|
689,0
|
746,0
|
782
|
|
К5.10.168
|
18АIII
|
536,0
|
18АIII
|
336,0
|
872,0
|
5ВI
|
88,8
|
960,8
|
997
|
|
К6.10.168
|
18АIII
|
20
|
335,0
|
670,0
|
18АIII
|
20
|
210,0
|
420,0
|
1090,0
|
1178,8
|
1215
|
|
К7.10.168
|
20АIII
|
828,0
|
20АIII
|
516,0
|
1344,0
|
1432,8
|
1469
|
|
17400
|
К1.10.174
|
17375
|
14АIII
|
17350
|
16
|
277,6
|
335,8
|
-
|
-
|
-
|
-
|
-
|
335,8
|
4ВI
|
593,8
|
58,8
|
394,6
|
М7
|
6,6
|
29,3
|
35,9
|
431
|
|
К2.10.174
|
16АIII
|
438,0
|
-
|
-
|
-
|
-
|
-
|
438,0
|
486,6
|
533
|
|
К3.10.174
|
14АIII
|
335,8
|
14АIII
|
10800
|
16
|
172,8
|
208,5
|
544,3
|
603,1
|
639
|
|
К4.10.174
|
16АIII
|
438,0
|
16АIII
|
272,0
|
710,0
|
768,8
|
805
|
|
К5.10.174
|
18АIII
|
555,2
|
18АIII
|
345,6
|
900,8
|
5ВI
|
91,2
|
992,0
|
1028
|
|
К6.10.174
|
18АIII
|
20
|
347,0
|
694,0
|
18АIII
|
20
|
216,0
|
432,0
|
1126,0
|
1217,2
|
1253
|
|
К7.10.174
|
20АIII
|
856,0
|
20АIII
|
532,4
|
1388,4
|
1479,6
|
1516
|
|
18000
|
К2.10.180
|
17975
|
16АIII
|
17950
|
16
|
287,2
|
453,2
|
-
|
-
|
-
|
-
|
-
|
453,2
|
4ВI
|
612,0
|
60,6
|
513,8
|
М7
|
6,6
|
29,3
|
35,9
|
550
|
|
К3.10.180
|
14АIII
|
346,9
|
14АIII
|
11200
|
16
|
179,2
|
216,5
|
563,4
|
624,0
|
660
|
|
К4.10.180
|
16АIII
|
453,2
|
16АIII
|
282,8
|
736,0
|
796,6
|
833
|
|
K5.10.180
|
18АIII
|
574,4
|
18АIII
|
358,4
|
932,8
|
5ВI
|
4,2
|
1027,0
|
1063
|
|
К6.10.180
|
18АIII
|
20
|
359,0
|
718,0
|
18АIII
|
20
|
224,0
|
448,0
|
1166,0
|
1260,2
|
1296
|
|
К7.10.180
|
20АIII
|
885,0
|
20АIII
|
552,7
|
1437,7
|
1531,8
|
1568
|
|
18600
|
К2.10.186
|
18575
|
16АIII
|
18550
|
16
|
296,8
|
468,4
|
-
|
-
|
-
|
-
|
-
|
468,4
|
4ВI
|
630,2
|
62,4
|
530,8
|
М7
|
6,6
|
29,3
|
35,9
|
567
|
|
К3.10.186
|
14АIII
|
358,5
|
14АIII
|
11600
|
16
|
185,6
|
224,2
|
582,7
|
645,1
|
681
|
|
К4.10.186
|
16АIII
|
468,4
|
16АIII
|
293,0
|
761,4
|
823,8
|
860
|
|
К5.10.186
|
18АIII
|
593,6
|
18АIII
|
371,2
|
964,8
|
5ВI
|
97,2
|
1062,0
|
1098
|
|
К6.10.186
|
18АIII
|
20
|
371,0
|
742,0
|
18АIII
|
20
|
232,0
|
464,0
|
1206,0
|
1303,2
|
1339
|
|
К7.10.186
|
20АIII
|
916,0
|
20АIII
|
571,0
|
1487,0
|
1584,2
|
1620
|
|
19200
|
К2.10.192
|
19175
|
16АIII
|
19150
|
16
|
306,4
|
483,5
|
-
|
-
|
-
|
-
|
-
|
483,5
|
4ВI
|
648,4
|
64,0
|
547,5
|
М7
|
6,6
|
29,3
|
35,9
|
584
|
|
К3.10.192
|
14АIII
|
370,1
|
14АIII
|
11900
|
160
|
190,4
|
230,0
|
600,1
|
664,1
|
700
|
|
К4.10.192
|
16АIII
|
483,5
|
16АIII
|
300,0
|
783,5
|
847,5
|
884
|
|
К5.10.192
|
18АIII
|
612,8
|
18АIII
|
380,8
|
993,6
|
5ВI
|
99,8
|
1093,4
|
1130
|
|
К6.10.192
|
18АIII
|
20
|
383,0
|
766,0
|
18АIII
|
20
|
238,0
|
476,0
|
242,0
|
1341,8
|
1378
|
|
K7.10.192
|
20АIII
|
945,0
|
20АIII
|
586,41
|
531,4
|
1631,2
|
1667
|
ПРИЛОЖЕНИЕ 3
Рекомендуемое
1. Количество
бетонной смеси, укладываемой в форму для изготовления стойки, определяется как
объем бетона стойки (указанный в приложении
1), увеличенный на 6-8% за счет объема шлама, отходящего при центрифугировании.
Объем бетона, затрачиваемый на изготовление стойки, уточняется при изготовлении
опытных стоек путем замера фактического количества отходящего шлама.
2. Тепловая
обработка стоек может производиться путем пропарки в безнапорных пропарочных
камерах путем непосредственного заполнения паром внутренней полости
свежеотформованной стойки или с помощью индукционного прогрева стоек в камерах
с соленоидной обмоткой по их внутренней поверхности.
3. Режимы
термообработки стоек устанавливаются заводами-изготовителями и должны
обеспечивать соблюдение следующих условий:
выдержка
свежеотформованной стойки при температуре 15-30°С не должна быть менее 2 ч;
подъем
температуры в камере должен осуществляться со скоростью не более 20°С/ч;
изотермический
прогрев при температуре 70-80°С должен производиться в течение 4-6 ч;
равномерное
охлаждение стойки после термообработки до температуры внутри цеха должно
осуществляться со скоростью не более 20°С/ч.
Для обеспечения
равномерного остывания бетона стоек после изотермического прогрева пропарочные
камеры следует оборудовать системой принудительного охлаждения. При отсутствии
такой системы допускается охлаждать стойки в камере не снимая крышек.
СОДЕРЖАНИЕ
|