Бесплатная библиотека стандартов и нормативов www.docload.ru

Все документы, размещенные на этом сайте, не являются их официальным изданием и предназначены исключительно для ознакомительных целей.
Электронные копии этих документов могут распространяться без всяких ограничений. Вы можете размещать информацию с этого сайта на любом другом сайте.
Это некоммерческий сайт и здесь не продаются документы. Вы можете скачать их абсолютно бесплатно!
Содержимое сайта не нарушает чьих-либо авторских прав! Человек имеет право на информацию!

 

ГОСУДАРСТВЕННЫЙ СТАНДАРТ СОЮЗА ССР

МАТЕРИАЛЫ И ИЗДЕЛИЯ

СТРОИТЕЛЬНЫЕ ПОЛИМЕРНЫЕ ОТДЕЛОЧНЫЕ

НА ОСНОВЕ ПОЛИВИНИЛХЛОРИДА

МЕТОД САНИТАРНО-ХИМИЧЕСКОЙ ОЦЕНКИ

ГОСТ 26150-84

ГОСУДАРСТВЕННЫЙ КОМИТЕТ СССР ПО ДЕЛАМ СТРОИТЕЛЬСТВА

Москва

РАЗРАБОТАН Министерством промышленности строительных материалов СССР

Министерством здравоохранения СССР

ИСПОЛНИТЕЛИ

В.В. Мальцев, канд. хим. наук (руководитель темы); Г.А. Кудрявцева, канд. хим. наук; А.Д. Сугробкин; Л.Е. Холодкова; Л.Т. Шпанова; В.А. Ефремова; Е.В. Угарова; К.И. Станкевич, д-р мед. наук; И.А. Егорова; И.В. Планкина; М.П. Кораблин

ВНЕСЕН Министерством промышленности строительных материалов СССР

Зам. министра В.Я. Сидоров

УТВЕРЖДЕН И ВВЕДЕН В ДЕЙСТВИЕ Постановлением Государственного комитета СССР по делам строительства от 23 декабря 1983 г. № 332

ГОСУДАРСТВЕННЫЙ СТАНДАРТ СОЮЗА ССР

МАТЕРИАЛЫ И ИЗДЕЛИЯ СТРОИТЕЛЬНЫЕ

ПОЛИМЕРНЫЕ ОТДЕЛОЧНЫЕ НА ОСНОВЕ

ПОЛИВИНИЛХЛОРИДА

Метод санитарно-химической оценки

 Decorative polymer building materials and products

on the basis of PVC. Method of sanitary-chemical estimation

ГОСТ 26150-84

Постановлением Государственного комитета СССР по делам строительства от 23 декабря 1983 г. № 332 срок введения установлен

с 01.01.85

Настоящий стандарт распространяется на полимерные строительные отделочные материалы и изделия (далее - материалы) на основе поливинилхлорида, применяемые для внутренней отделки помещений жилых, общественных и производственных зданий, средств транспорта и устанавливает газохроматографический метод санитарно-технической оценки материалов в условиях, моделирующих особенности их эксплуатации (воздухообмен, температура, отношение поверхности анализируемого материала к объему помещения).

Применение метода должно предусматриваться в стандартах и технических условиях, устанавливающих технические требования к полимерным материалам на основе поливинилхлорида.

1. ОБЩИЕ ТРЕБОВАНИЯ

1.1. Сущность метода заключается в газохроматографическом анализе идентифицированных химических веществ, выделяющихся из материала на основе поливинилхлорида.

1.2. Количество образцов и порядок отбора образцов устанавливают стандартами или техническими условиями на конкретные материалы. Если этими документами не установлено число образцов, то от каждой партии материала отбирают не менее пяти образцов. Каждый образец материала площадью 0,04 м2 завертывают в алюминиевую фольгу.

Образцы должны сопровождаться документом, в котором указывают:

наименование и адрес предприятия-изготовителя;

наименование материала, тип и условное обозначение;

обозначение нормативно-технической документации;

номер партии и дату изготовления;

рецептуру в процентах по массе с указанием нормативно-технических документов каждого компонента и способ изготовления материала с указанием технологических режимов переработки. При изготовлении многослойных материалов приводят рецептуры и способ изготовления каждого из слоев.

1.3. Анализ санитарно-химических свойств проводят не ранее 2 мес. после изготовления материала.

1.4. Анализ материалов проводят при температурах (22±5)°С и (40±2) °С.

1.5. Чувствительность метода при диапазоне измеряемых концентраций 0,01-0,6 мг/м3 составляет: для низкокипящих веществ 0,01 мкг, а для пластификаторов 0,1 мкг в пробе.

2. АППАРАТУРА, МАТЕРИАЛЫ И РЕАКТИВЫ

2.1. Аппаратура

2.1.1. Газовый хроматограф любого типа, снабженный пламенно-ионизационным детектором.

2.1.2. Аналитические колонки из стекла или нержавеющей стали, длиной 2 м, внутренним диаметром 3-4 мм, из комплекта хроматографа.

2.1.3. Микро шприцы вместимостью 1; 10 мкл из комплекта хроматографа.

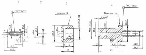
2.1.4. Патрон-концентратор для отбора проб низкокипящих веществ, представляющий собой трубку длиной (130±3) мм с внутренним диаметром (6,0±0,5) мм из нержавеющей стали (рисунки 1, 2).

1 - игла; 2 - прокладка алюминиевая; 3 - накидная гайка; 4 - штуцер;

5 - корпус патрона-концентратора

Рисунок 1

Материал алюминий

Рисунок 2

(Измененная редакция. Изм. № 1)

2.1.5. Пенный расходомер из комплекта хроматографа.

2.1.6. Медицинские инъекционные шприцы типа "Рекорд" вместимостью от 1 до 10 мл.

(Измененная редакция. Изм. № 1)

2.1.7. Мерные колбы вместимостью от 25 до 100 мл, исполнение 2, 1-й класс по ГОСТ 1770-74.

2.1.8. Стеклянный стакан вместимостью 250 мл, тип В или Н по ГОСТ 25336-82.

2.1.9. Выпарительная чашка № 6 по ГОСТ 9147-80.

2.1.10. Стаканчики для взвешивания, тип СВ по ГОСТ 25336-82.

2.1.11. Газовый кран-дозатор из комплекта хроматографов типа «Цвет-100» или «ЛХМ-8МД.

(Измененная редакция. Изм. № 1)

2.1.12. Сосуд вместимостью 0,5 л из стекла.

2.1.13. Патрон-концентратор из трубки длиной 10 см, наружным диаметром 5 мм, из стекла ТС по ГОСТ 21400-75.

2.1.14. Игольчатый вентиль тонкой регулировки расхода газа.

2.1.15. Ловушка из трубки длиной 30 см, наружным диаметром 2 см, из стекла ТС по ГОСТ 21400-75.

2.1.16. Ловушка из трубки длиной 1 м, внутренним диаметром 3 мм, из нержавеющей стали.

2.1.17. Лабораторные весы по ГОСТ 24104-88, тип ВЛА-200, класс точности 2.

(Измененная редакция. Изм. № 1)

2.1.18. Набор сит с сетками размером ячеек 0,16-0,20 мм по ГОСТ 6613-86.

(Измененная редакция. Изм. № 1)

2.1.19. Двухстрелочный секундомер СД Спр-1.

(Измененная редакция. Изм. № 1)

2.1.20. Термостат для парафиновой заливки ТВЗ-25.

2.1.21. Электропечь сопротивления, обеспечивающая температуру (250±2) °С.

2.1.22. Сушильный шкаф, обеспечивающий температуру 50-350°С.

(Измененная редакция. Изм. № 1)

2.1.23. Трансформатор напряжения ЛАТР-1 по ГОСТ 23625-79.

2.1.24. Измерительная лупа типа ЛИ-3 или ЛИ-4.

(Измененная редакция. Изм. № 1)

2.1.25. Измерительная линейка с пределом измерений 300 мм по ГОСТ 427-75.

2.1.26. Пипетка вместимостью 2 мл, исполнение 4, 1-й класс, по ГОСТ 29228-91.

(Измененная редакция. Изм. № 1)

2.2. Материалы и реактивы

2.2.1. Хроматографический сорбент для анализа низкокипящих веществ: 10% FFAP на хроматроне N-AW  с размером зерен 0,125-0,160; 0,160-0,200 мм или 10% 1,2,3 - три (b - цианэтокси) пропана +5% три (n - третбутилфенил) фосфата на динохроме H.

(Измененная редакция. Изм. № 1)

2.2.2. Динохром Н, с размерами зерен 0,16-0,20 мм.

2.2.3. Три (n-третбутилфенил) фосфат для хроматографии.

2.2.4. Хроматографический сорбент для анализа пластификаторов:

3 или 5% SE-30 на хроматоне N-AW, с размерами зерен 0,125-0,160; 0,160-0,200; 0,200-0,250 мм, или 3 или 5% OV-1 на хроматоне N-AW, с размерами зерен 0,125-0,160; 0,160-0,200; 0,200-0,250 мм.

2.2.5. Силипор 075 с размерами зерен 0,16-0,20; 0,20-0,25 мм.

2.2.6. Цеолит СаА.

2.2.7. Набор индивидуальных веществ-эталонов для хроматографии х.ч.: гексен-1, гептен-1, октен-1, октен-2 (цис- и трансизомеры), 2-этилгексен, винил хлористый; метилен хлористый, хлороформ, трихлорэтилен, гексил хлористый, м - ксилол, о - ксилол, хлорбензол, бензол, толуол, этилбензол, кумол, мезитилен, псевдокумол, анизол, циклогексанон, дибутилфталат, диоктилфталат, 2-этилгексиловый спирт, н -гексан, четыреххлористый углерод.

2.2.8. Трихлорэтилфосфат.

2.2.9. Хлористый метилен ос. ч. по ГОСТ 14261-77.

2.2.10. Метилэтилкетон для хроматографии х.ч.

2.2.11. Соляная кислота по ГОСТ 3118-77.

2.2.12. Электролитический водород по ГОСТ 3022-80.

2.2.13. Сжатый воздух.

2.2.14. Газообразный азот по ГОСТ 9293-74.

2.2.15. Газообразный азот ос.ч. по ГОСТ 9293-74.

2.2.16. Сорбент для патрона-концентратора по 2.1.4 30%SE–30 на динохроме H с размером зерен 0,250-0,315 мм.

(Измененная редакция. Изм. № 1)

2.2.17. Дистиллированная вода по ГОСТ 6709-72.

2.2.18. Этиловый ректификованный спирт по ГОСТ 5962-67.

2.2.19. Индикаторная универсальная бумага.

2.2.20. Алюминиевая фольга для упаковки по ГОСТ 745-79.

2.2.21. Силикатный клей.

2.2.22. Хлороформ марки х.ч.

(Введен дополнительно. Изм. № 1)

3. ПОДГОТОВКА К АНАЛИЗУ

3.1. Подготовка образцов

3.1.1. Из каждого отобранного по п. 1.2 образца вырезают по одному образцу, площадь которого рассчитывают в соответствии с обязательным приложением 1.

(Измененная редакция. Изм. № 1)

3.1.2. Анализируемые образцы с тыльной стороны и с торцов с помощью силикатного клея обклеивают алюминиевой фольгой. Перед приклеиванием алюминиевую фольгу протирают этиловым спиртом и высушивают при температуре 240-250°С в течение 1 ч.

3.2. Подготовка хроматографического сорбента и аналитической колонки для анализа низкокипящих веществ

3.2.1. Подготовка хроматографического сорбента

Твердый носитель динохром Н рассеивают на ситах и отбирают фракцию 0,16-0,20 мм. Затем берут 70 мл носителя, помещают в стеклянный стакан, вместимостью 250 мл, и вносят в него столько концентрированной соляной кислоты, чтобы жидкость полностью покрыла весь носитель. Содержимое стакана осторожно время от времени перемешивают. Продолжительностью обработки - 2 ч. Затем кислоту сливают. Носитель промывают дистиллированной водой с помощью многократной декантации до рН-7 по универсальной индикаторной бумаге. После этого носитель высушивают при температуре (100±5)° С в течение 3 ч. На лабораторных весах взвешивают следующие компоненты:

приготовленный носитель;

три (n-третбутилфенил) фосфат - 5% от веса носителя;

1,2,3-три (-цианэтокси) пропан - 10% от веса носителя.

В любой чистой лабораторной посуде растворяют три (-третбутилфенил) фосфат и 1,2,3-три ( -цианэтокси) пропан в хлористом метилене, взятом в полуторакратном объеме к массе носителя.

Носитель помещают в выпарительную чашку, заливают приготовленным раствором таким образом, чтобы смочить весь носитель, и перемешивают осторожным встряхиванием через 15-20 мин в течение 2 ч. Приготовленный сорбент высушивают 3 ч при температуре (50±5)° С. Полученный сорбент следует хранить в герметически закрытой посуде при температуре (22±5)° С

3.2.2. Подготовка аналитических колонок

Чистые колонки заполняют приготовленным сорбентом в соответствии с инструкцией, прилагаемой к хроматографу.

Заполненные колонки помещают в термостат хроматографа без подключения к детектору и кондиционируют в потоке газа-носителя при температуре (125±2)° С до тех пор, пока не будет достигнута постоянная нулевая линия. Скорость азота - 30 см3/мин.

3.2.3. Подготовка патрона-концентратора

Носитель динохром H рассеивают на сите, отбирают фракцию (0,160-0,200) мм в количестве 70 см3 и взвешивают. Силоксановый каучук SE-30 в количестве 30% от массы носителя вносят в любую чистую лабораторную посуду и заливают двукратным объемом хлороформа. Носитель помещают в выпарительную чашку, заливают приготовленным выше раствором таким образом, чтобы весь носитель был смочен. Перемешивают смесь осторожным встряхиванием через каждые 15-20 мин до полного удаления хлороформа. Приготовленный сорбент сушат в сушильном шкафу в течение не менее 3 ч при температуре (100±2)°С. Сорбент хранят в плотно закрытой посуде при комнатной температуре.

Патроны-концентраторы заполняют готовым сорбентом в количестве 0,7 - 1,0 г и продувают азотом «ос.ч.» со скоростью 30 см3/мин при температуре 270 - 275 °С в течение (6,0±0,1) ч. Затем подачу азота прекращают, патроны-концентраторы охлаждают до комнатной температуры и плотно закрывают заглушками.

(Введен дополнительно. Изм. № 1)

3.3. Подготовка патрона-концентратора и аналитических колонок для анализа пластификаторов.

3.3.1. Подготовка патрона-концентратора

Патрон-концентратор заполняют силипором 075 в количестве 0,2-0,3 г и продувают азотом со скоростью 30 см3/мин при температуре 300-310°С в течение 4 ч. Затем подачу азота прекращают, патрон-концентратор охлаждают до температуры (22±5)°С и герметично закрывают заглушками.

3.3.2. Подготовка аналитических колонок

Чистые колонки заполняют сорбентом в соответствии с п.2.2.4 по инструкции, прилагаемой к хроматографу. Колонки продувают без присоединения к детектору азотом со скоростью 30 см3/мин при температуре (220±2)°С до тех пор, пока не будет достигнута постоянная нулевая линия.

3.4. Монтаж, наладку и вывод хроматографа на рабочий режим производят в соответствии с инструкцией, прилагаемой к хроматографу.

3.5. Отбор проб для анализа при температуре (22±5)°С

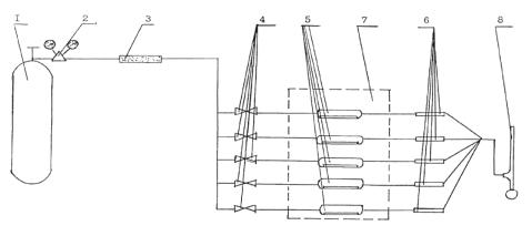
3.5.1. Собирают установку (рисунок 3). Образцы помещают в сосуд 5. Затем из баллона 1 с помощью редуктора 2 и игольчатого вентиля 4 через сосуд 5 продувают азот ос.ч, который дополнительно очищают в стеклянной ловушке с цеолитом 3. Скорость потока азота рассчитывают в соответствии с приложением 1. Время продувки образцов - 24 ч при температуре (22±5)°С. Во время продувки патрон-концентратор не присоединяют. Допускается использование климатических камер.

1 - баллон со сжатым газом; 2 - редуктор; 3 - ловушка с цеолитом;

- игольчатые вентили; 5 - продувочные камеры; 6 - патроны-концентраторы; 7 - термостат; 8 - пенный расходомер

Рисунок 3. Схема установки для моделирования условий эксплуатации и отбора проб летучих веществ, выделяющихся из полимерных материалов

(Измененная редакция. Изм. № 1)

3.5.2. Отбор проб для анализа низкокипящих веществ

Отбор пробы низкокипящих веществ проводят в патрон-концентратор, заполненный сорбентом, приготовленным по 3.2.3. Перед каждым отбором пробы проводят контроль чистоты патрона-концентратора. Для этого один конец патрона-концентратора присоединяют к крану-дозатору хроматографа, другой с помощью иглы вводят в испаритель хроматографа, прогревают (15±1) мин при температуре (200±5)°С, затем, переключая кран-дозатор в положение «анализ», пробу вводят в хроматограф. При контроле пики на хроматографе должны отсутствовать. Чистый патрон-концентратор присоединяют к выходу продувочной камеры и отбирают не менее 500 см3 газа. Патрон-концентратор с отобранной пробой плотно закрывают заглушками. При выполнении всех условий отбора пробы сорбция низкокипящих веществ составляет 99%.

(Измененная редакция. Изм. № 1)

3.5.3. Отбор пробы для анализа пластификаторов

3.5.3.1. Для отбора пробы пластификаторов после выдержки при температуре (22±5)° С сосуд 7 соединяют с патроном-концентратором, заполненным силипором 075.

Через патрон-концентратор 10 пропускают 600 мл парогазовой смеси со скоростью 15 мл/мин, после чего патрон-концентратор 10 отсоединяют от сосуда 7, герметично закрывают заглушками.

3.5.3.2. Содержимое из патрона-концентратора осторожно переносят в бюкс. В бюкс пипеткой вносят 2 мл метилэтилкетона. Содержимое осторожно взбалтывают, плотно закрывают бюкс и выдерживают при температуре (22±5)°С в течение 3 ч.

3.6. Отбор проб для анализа при температуре (40±2)°С проводят аналогично указанному в п.3.5.

4. ПРОВЕДЕНИЕ АНАЛИЗА

4.1. Анализ низкокипящих веществ

4.1.1. Условия анализа

Температура термостата колонок при изотермическом режиме (100±2)°С или при программировании температуры 75-110°С со скоростью 3°С/мин, испарителя (160±2)°С, электропечи для подогрева петли-концентратора (200±5)°С.

Объемный расход газа-носителя (азота) - 30, водорода - 30, воздуха - 300 см3/мин.

Скорость диаграммной ленты - 10 мм/мин.

Чувствительность измерения хроматографа - (20-50)х10-12 А.

Продолжительность анализа - 40 мин.

4.1.2. С патрона-концентратора с отобранной пробой в соответствии с 3.5.2 снимают заглушки и присоединяют к крану-дозатору хроматографа, помещают в электропечь, нагретую до температуры (200±5)°С, и выдерживают при этой температуре (15±1) мин. После чего кран-дозатор переводят в положение «анализ» и выдувают газом-носителем десорбированные вещества пробы в аналитическую колонку.

По окончании анализа кран-дозатор переводят в положение «отбор пробы», снимают электропечь, извлекают иглу патрона-концентратора из испарителя и охлаждают его на воздухе. Перед отбором следующей пробы проверяют чистоту патрона-концентратора по 3.5.2.

(Измененная редакция. Изм. № 1)

4.2. Анализ пластификаторов

4.2.1. Условия анализа

Температура термостата колонок при изотермическом режиме (200±2)°С, испарителя хроматографа - (250±2) °С, объемный расход газа-носителя (азота) - 30, водорода - 30, воздуха - 300 см3/мин.

Скорость диаграммной ленты - 10 мм/мин.

4.2.2. Полученный раствор в соответствии с п.3.5.3.2 микрошприцем вводят в испаритель хроматографа.

4.3. Результат разделения регистрируется самописцем прибора в виде хроматограмм (см. справочное приложение 2). Высота пиков не должна превышать диапазона шкалы регистрирующего прибора, а высота наименьших пиков должна быть достаточной для расчета, что достигается подбором соответствующей чувствительности прибора.

4.4. Анализ низкокипящих веществ и пластификаторов при температуре (40±2)°С проводят аналогично испытаниям при температуре (22±5)°С в соответствии с п.4.1-4.3.

5. ОБРАБОТКА РЕЗУЛЬТАТОВ АНАЛИЗА НИЗКОКИПЯЩИХ ВЕЩЕСТВ И ЛАСТИФИКАТОРОВ

5.1. Идентификация низкокипящих веществ и пластификаторов

5.1.1. Идентификацию низкокипящих веществ проводят сравнением логарифмических индексов удерживания (Ii) разделенных хроматографических пиков с индексами (Iст), полученными для смеси веществ-эталонов в условиях анализа (п. 4.1).

Идентификацию пластификаторов проводят по относительным объемам удерживания (Vуд).

Хроматографические индексы удерживания определяют отдельно для каждого прибора. Типовые хроматограммы низкокипящих веществ и пластификаторов с хроматографическими индексами удерживания приведены в справочных приложениях 3, 4.

5.2. Определение концентрации низкокипящих веществ и пластификаторов

5.2.1. Определение концентрации низкокипящих веществ и пластификаторов проводят методом абсолютной калибровки. Для этого готовят растворы веществ-эталонов. Навеску вещества-эталона, взвешенную с погрешностью до 0,0002 г, растворяют в мерной колбе вместимостью 50 см3 таким образом, чтобы концентрация его не превышала 1х10-3 мг/см3. Для бензола, хлорсодержащих веществ в качестве растворителя применяют н - гексан, для углеводородов - хлористый метилен или четыреххлористый углерод, для пластификаторов - метилэтилкетон.

5.2.2. Калибровку хроматографа проводят в условиях анализа (п.п. 4.1, 4.2). С помощью микро шприца вместимостью 1,0 мкл в хроматограф последовательно вводят определенные дозы растворов веществ-эталонов: 0,1; 0,2; 0,3 и т.д. до 1,0 мкл. При каждом вводе измеряют площадь пика.

5.2.3. Строят калибровочный график зависимости площадей пиков от количества веществ-эталонов. По этим графикам определяют количество вещества т, мг, в пробе.

Площадь пика Sп , мм2, рассчитывают по формуле

                                                                                                       (1)

где h - высота пика, мм;

b - ширина пика, измеренная на половине высоты пика, мм.

5.3. Расчет концентрации низкокипящих веществ и пластификаторов

5.3.1. Концентрации низкокипящих веществ и пластификаторов определяют для каждого из пяти испытуемых образцов при температуре (22±5)°С и (40±2)°С соответственно.

5.3.2. Концентрации низкокипящих веществ С, мг/м3, рассчитывают по формуле

,                                                                                    (2)

где т - количество вещества в пробе, определенное по калибровочному графику, мг;

106 - коэффициент пересчета объема пробы низкокипящих веществ, м3;

0,95 - коэффициент сорбции + десорбции низкокипящих веществ с сорбента, измеренный с отклонением среднего результата ± 4,75%;

5 - коэффициент насыщенности (приложение 1);

Vo - объем пробы, отобранной для анализа, приведенный к нормальным условиям по формуле, см3

,                                                                               (3)

где t - температура, при которой был выдержан образец, °С;

Р - барометрическое давление в помещении в момент отбора пробы, Па;

Vt - объем пробы, отобранной для анализа, см3

(Измененная редакция. Изм. № 1)

5.3.3. Концентрацию пластификаторов С, мг/м3, рассчитывают по формуле

,                                                                                      (4)

где т - количество вещества в пробе, найденное по калибровочному графику, мг;

Vпр - объем жидкой пробы, вводимой в хроматограф, мкл;

Vp - объем полученного раствора, см3;

5 и 106 - коэффициенты пересчета;

Кэ - коэффициент экстракции пластификаторов растворителем с силипора:

0,81±0,04 – для дибутилфталата;

0,94±0,05 – для диоктилфталата;

Vo - объем пробы, отобранной для анализа, приведенный к нормальным условиям по п.5.3.1, см3.

(Измененная редакция. Изм. № 1)

5.3.4. Требования к погрешности измерений

За результат измерения концентраций низкокипящих веществ и пластификаторов принимают среднеарифметическое пяти параллельных измерений, выполненных на пяти образцах полимерного материала.

Пределы относительной погрешности между измерениями допускаются ±15%. Погрешность измерений рассчитывают с доверительной вероятностью Р=0,95.

Если предел погрешности превышает 15%, измерения повторяют на других образцах, приготовленных по 3.1.1.

(Введен дополнительно. Изм. № 1)

5.4. Полученные концентрации химических веществ для каждой температуры (22±5)° С и (40±2) °С сравнивают с их предельно допустимыми концентрациями (ПДК) для атмосферного воздуха. При совместном присутствии в воздухе нескольких химических веществ, обладающих усилением действия (приложение 4), рассчитывают суммарный показатель () по формуле

,                                                   (5)

где Сi - полученная концентрация веществ первой, второй или третьей группы, обладающих усилением действия;

(ПДКi) - предельно допустимые концентрации для атмосферного воздуха.

(Измененная редакция. Изм. № 1)

5.5. Результаты анализа оформляются протоколом, в котором должны быть указаны:

наименование предприятия-изготовителя;

наименование материала, тип и условное обозначение;

номер партии и дата изготовления;

марка хроматографа;

размеры хроматографической колонки;

тип хроматографического сорбента (неподвижная жидкая фаза, ее процентное содержание, твердый носитель);

дата испытания;

обозначение настоящего стандарта;

концентрации идентифицированных низкокипящих веществ и пластификаторов;

концентрации выделяющихся химических веществ и суммарный показатель;

организация, должность и фамилия лиц, проводивших анализ.

Приложение 1

Обязательное

Расчет площади образца и скорости потока особо чистого азота для продувки образца вависимости от условий эксплуатации материала

Площадь образца рассчитывают по формуле

,                                                                                             (1)

где S - площадь образца, см2;

Н - отношение поверхности материала к объему помещения в реальных условиях эксплуатации, м23;

V - объем сосуда, см3

10-2 - коэффициент пересчета, учитывающий метрические соотношения площади и объема;

5 - коэффициент, учитывающий пятикратное увеличение насыщенности материала в продувочной камере, которое позволяет увеличить воспроизводимость результатов анализа. Зависимость концентраций веществ С от насыщенности N в интервале изменения последней от 0 до 5 прямо пропорциональна.

Скорость потока особо чистого азота вычисляют по формуле

,                                                                                                      (2)

где - скорость потока азота, см3/мин;

 - воздухообмен в реальных условиях эксплуатации, ч-1;

V - объем сосуда, см3;

60 - коэффициент пересчета.

(Измененная редакция. Изм. № 1)

Приложение 2

Справочное

Хроматограмма низкокипящих веществ, выделяющихся из поливинилхлоридных материалов

1 - гексен-1; 2 - четыреххлористый углерод; 3 - 2-этилгексен; 4 - хлороформ; 5 - бензол; 6, 7, 9, 10 - не идентифицированы; 8 - толуол; 11 - этилбензол; 12 - мезитилен.

Черт.1

Хроматограмма пластификаторов, выделяющихся из поливинилхлоридных материалов

1 - метилэтилкетон; 2 - дибутилфталат.

Черт.2

Приложение 3

Справочное

Типовая хроматограмма смеси веществ-эталонов

1 - винил хлористый; 2 - гексен-1; 3 - углерод четыреххлористый; 4 - метилен хлористый; 5 - хлороформ; 6 - трихлорэтилен; 7 - бензол; 8 - толуол; 9 - гексил хлористый; 10 - этилбензол; 11 - м-ксилол; 12 - о-ксилол; 13 - кумол; 14 - мезитилен; 15 - псевдокумол; 16 - анизол; 17 - циклогексанон.

Черт.1

Типовая хроматограмма смеси пластификаторов

1 - метилэтилкетон; 2 - трихлорэтилфосфат; 3 - дибутилфталат;

4 - диоктилфталат.

Черт.2

Приложение 4

Справочное

Логарифмические индексы удерживания для низкокипящих веществ

Таблица 1

Вещество

Логарифмический индекс удерживания, Iст

 

изотермический

программирование

1. Винил хлористый

553,94

547,38

2. Гексен-1

652,35

665,00

3. Четыреххлористый углерод*

820,76

816,44

4. Метилен хлористый*

848,74

827,78

5. Хлороформ*

913,40

903,47

6. Трихлорэтилен*

922,00

912,00

7. Бензол**

929,10

920,00

8. Толуол**

1023,40

1024,40

9. Гексил хлористый*

1029,80

1028,62

10. Этилбензол**

1103,30

1112,00

11. М-ксилол**

1116,00

1126,13

12. О-ксилол**

1145,90

1157,16

13. Кумол**

1156,26

1167,40

14. Мезитилен**

1209,42

1221,15

15. Псевдокумол**

1241,50

1253,37

16. Анизол

1268,10

1277,93

17. Циклогексанон

1295,79

1307,84

________________

* Вещества первой группы, обладающие усилением действия.

** Вещества второй группы, обладающие усилением действия.

Объемы удерживания для пластификаторов

Таблица 2

Вещество

Объем удерживания Vуд , мин

1. Дибутилфталат*

17,8

2. Диоктилфталат*

22,3

3. Трихлорэтилфосфат

14,3

________________

* Вещества третьей группы, обладающие усилением действия.

СОДЕРЖАНИЕ

 




Rambler's Top100 Яндекс цитирования
  Copyright © 2008-2026, www.docload.ru