Бесплатная библиотека стандартов и нормативов www.docload.ru

Все документы, размещенные на этом сайте, не являются их официальным изданием и предназначены исключительно для ознакомительных целей.
Электронные копии этих документов могут распространяться без всяких ограничений. Вы можете размещать информацию с этого сайта на любом другом сайте.
Это некоммерческий сайт и здесь не продаются документы. Вы можете скачать их абсолютно бесплатно!
Содержимое сайта не нарушает чьих-либо авторских прав! Человек имеет право на информацию!

 

ГОСУДАРСТВЕННЫЙ СТАНДАРТ СОЮЗА ССР

ЕДИНАЯ СИСТЕМА ЗАЩИТЫ ОТ КОРРОЗИИ И СТАРЕНИЯ

МАТЕРИАЛЫ ГЕРМЕТИЗИРУЮЩИЕ

МЕТОДЫ ИСПЫТАНИЙ

ГОСТ 9.507-88

ГОСУДАРСТВЕННЫЙ КОМИТЕТ СССР ПО СТАНДАРТАМ
Москва

ГОСУДАРСТВЕННЫЙ СТАНДАРТ СОЮЗА ССР

Единая система защиты от коррозии и старения

МАТЕРИАЛЫ ГЕРМЕТИЗИРУЮЩИЕ

Методы испытаний

Unified system of corrosion and ageing protection.
Hermetic materials.
Test methods

ГОСТ
9.507-88

Дата введения 01.01.89

Несоблюдение стандарта преследуется по закону

Настоящий стандарт устанавливает методы испытаний герметизирующих материалов: полимерных пленок, бумаги и ткани, имеющих пароводонепроницаемые покрытия, герметизирующих составов (герметики, замазки), применяемые при консервации изделий по ГОСТ 9.014-78 на длительное хранение в различных климатических районах.

Перечень исследуемых свойств для каждого вида герметизирующего материала приведен в приложении 1.

Стандарт не распространяется на листовые металлические материалы.

1. МЕТОД ОПРЕДЕЛЕНИЯ ПРОНИЦАЕМОСТИ К ПАРАМ ВОДЫ

1.1. Сущность метода заключается в определении количества паров воды, проникающих через 1 м2 поверхности материала за 24 ч при определенной температуре и относительной влажности.

1.2. Метод применяется для испытания полимерных пленок, бумаги и ткани с пароводонепроницаемыми покрытиями.

1.3. Отбор проб и образцов

1.3.1. Отбор проб бумаги - по ГОСТ 8047-78.

1.3.2. Отбор проб полимерных пленок - по ГОСТ 11107-85.

1.3.3. Образцы для испытания бумаги и полимерных пленок вырезают из листов пробы.

1.3.4. Отбор образцов тканей - по ГОСТ 413-75.

1.3.5. Образцы или пробы из несвариваемых материалов должны иметь форму круга, диаметр которого должен быть на 8 мм меньше наружного диаметра отбортовки стеклянного стакана или равен наружному диаметру стального кольца для металлического стакана.

1.3.6. Образцы свариваемой полимерной пленки должны иметь форму полоски размером (200 × 110) мм.

1.3.7. Количество образцов или проб для испытания должно быть не менее трех.

1.4. Аппаратура, материалы и реактивы

Эксикаторы - по ГОСТ 25336-82.

Камера тепла или термостат, обеспечивающие поддержание температуры (60 ± 2) °С и относительной влажности воздуха (95 ± 5) %.

Устройства или машины для сварки полимерных пленок.

Весы лабораторные - по ГОСТ 24104-80 с погрешностью взвешивания не более 0,0001 г.

Термограф - по ГОСТ 6416-75.

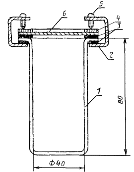
Стаканы стеклянные с внутренним диаметром 40 мм, высотой 80 мм и отогнутыми под прямым углом плоскозашлифованными бортами шириной 8 мм (черт. 1) - для испытаний при температуре (20 ± 2) °С.

Стаканы металлические с внутренним диаметром 40 мм, высотой 80 мм (черт. 2) - для испытаний при температурах (40 ± 2) °С и (60 ± 2) °С.

1 - стеклянный стакан; 2 - дистиллированная вода; 3 - парафин; 4 - образец или проба

Черт. 1

1 - корпус металлического стакана; 2 - патрон из фольги; 3 - силикагель; 4 - резиновая прокладка; 5 - образец или проба; 6 - металлическое кольцо; 7 - втулка

Черт. 2

Допускается применение стеклянных стаканов с внутренним диаметром 40 мм, высотой 80 мм с зажимами в виде струбцин (черт. 3) с отогнутыми под прямым углом плоскозашлифованными бортами шириной 8 мм (черт. 3) - для испытаний при температурах (40 ± 2) °С и (60 ± 2) °С.

1 - стеклянный стакан; 2 - скоба; 3 - резиновые прокладки; 4 - алюминиевое кольцо; 5 - прижимной винт; 6 - образец

Черт. 3

Силикагель мелкопористый (гранулированный) - по ГОСТ 3956-76.

Вода дистиллированная - по ГОСТ 6709-72.

Парафин рафинированный кристаллический - по ГОСТ 23683-79.

Бумага фильтровальная - по ГОСТ 12026-76.

1.5. Подготовка к испытаниям

1.5.1. Перед испытаниями образцы или пробы, подготовленные по пп. 1.3.4, 1.3.5, кондиционируют по ГОСТ 13523-78, режим 3.

Образцы или пробы материалов, содержащие летучие компоненты (перхлорвиниловые и поливинилхлоридные пленки, комбинированные пленочные материалы, бумага и ткани с пароводонепроницаемыми покрытиями) перед кондиционированием выдерживаются в вытяжном шкафу при температуре (30 ± 5) °С в течение 2 - 5 сут.

После кондиционирования на круглых образцах для стеклянных стаканов с помощью кольцевого шаблона наносят концентрическую окружность диаметром 40 мм.

1.5.2. Силикагель просеивают на сите с размером ячейки (2 × 2) мм и регенерируют до постоянной массы при температуре (170 ± 10) °С.

1.5.3. Полоски свариваемой полимерной пленки складывают пополам в продольном направлении и сваривают в виде пакетиков с двух боковых сторон так, чтобы внутренние границы сварных швов находились на расстоянии 10 мм от краев, закладывают в них по (50 ± 0,0002) г высушенного до постоянной массы силикагеля и заваривают последний шов с торцевой стороны на расстоянии 10 мм от края.

Края пакетика обрезают точно по внешней границе сварных швов и измеряют по взаимно перпендикулярным направлениям (между внутренними границами швов и сгибом) с погрешностью ±0,5 мм.

1.5.4. Круглые образцы или пробы накладывают на борта стеклянных стаканов, предварительно заполненные 25 см3 дистиллированной воды, и закрепляют по краям расплавленным парафином с помощью кисти так, чтобы внутренняя граница парафина проходила по линии концентрической окружности.

1.5.5. Круглые образцы или пробы располагают между резиновой прокладкой и стальным кольцом металлических стаканов после закладки в них (или в штампованные патроны из алюминиевой фольги) по 40 г, взвешенного с погрешностью ±0,0002 г, высушенного до постоянной массы силикагеля и плотно зажимают втулкой.

1.5.6. При закреплении образцов в стаканах пароводонепроницаемое покрытие должно располагаться: для стеклянных стаканов - с внутренней стороны, для металлических - с наружной.

1.6. Проведение испытаний

1.6.1. Испытания проводят при температурах (20 ± 2) °С, (40 ± 2) °С и (60 ± 2) °С.

Температура испытания зависит от назначения герметизирующего материала и устанавливается в соответствии с технической документацией на материал конкретного вида.

1.6.2. Для проведения испытаний при температуре (20 ± 2) °С пакетики, подготовленные по п. 1.5.3, помещают на металлических подставках с редкой сеткой в эксикаторы, предварительно заполненные на 1/3 объема дистиллированной водой (не допускается соприкосновение пакетиков друг с другом и с водой);

стеклянные стаканы, подготовленные по п. 1.5.4, помещают в эксикаторы, заполненные высушенным до постоянной массы силикагелем из расчета 80 г на каждый стакан; эксикаторы закрывают крышками.

1.6.3. Для проведения испытаний при повышенных температурах пакетики, подготовленные по п. 1.5.3, и металлические стаканы, подготовленные по п. 1.5.5, размещают на металлических подставках в камере тепла после установления в ней заданной температуры (40 ± 2) °С или (60 ± 2) °С и относительной влажности воздуха (95 ± 5) %.

1.6.4. Продолжительность испытаний в эксикаторе - 8 сут.

Первое взвешивание стеклянных стаканов с образцами и пробами проводят через 1 сут, второе - в конце испытаний, затем стаканы разгерметизируют и навески силикагеля взвешивают.

1.6.5. Продолжительность испытаний в камере тепла - 24 ч. Первое взвешивание металлических стаканов с образцами и пробами проводят через 8 ч, второе - в конце испытания, после чего стаканы разгерметизируют и навески силикагеля взвешивают.

После окончания испытаний пакетики разгерметизируют и навески силикагеля взвешивают.

1.7. Обработка результатов

1.7.1. Проницаемость материалов к парам воды (Пt) в г/м2·сут рассчитывают по формулам:

для свариваемых полимерных пленок

                                                        (1)

                                                    (2)

где 0,5·106 и 1,2·107  - коэффициенты пересчета в соответствии с применяемой размерностью;

Р1 и Р2  - масса навески силикагеля и стаканчика с образцами соответственно после первого и второго взвешивания, г;

а и b  - соответственно длина и ширина пакетика, мм;

τ   - продолжительность испытаний, сут в формуле (1) или ч в формуле (2).

для остальных материалов

                                                              (3)

                                                        (4)

где 4·106 и 9,6·107 - коэффициенты для пересчета в соответствии с принятой размерностью;

da - диаметр активной поверхности образца по внутреннему контуру парафина, мм;

dвн - внутренний диаметр металлического стакана, мм;

τ - продолжительность испытания, сут в формуле (3) или ч в формуле (4).

1.7.2. При отклонении температуры испытания больше чем на ±2 °С от требуемых температур (20, 40, 60) °С или значениях относительной влажности в камере тепла менее 95 %, проводят пересчет значений проницаемости к парам воды на требуемые температуры и влажности R ≈ 100 % по формуле

                                                    (5)

где Пt(тр)    -  проницаемость к парам воды, приведенная к требуемой температуре и влажности, R = 100 %, г/м2·сут;

Пt     -  средняя проницаемость к парам воды при температуре испытания, г/м2·сут;

t     -  средняя температура испытания в камере тепла или в комнате (по результатам записей термографа);

Еt и Еt(тр)   - упругости насыщения водяного пара при температуре испытания и требуемой температуре, мм рт. ст.;

Rоп   - относительная влажность воздуха в камере, %.

1.7.3. При обработке результатов испытаний используют метод математической обработки результатов (математической статистики) с доверительной вероятностью 0,95.

1.7.4. Протокол испытаний должен содержать следующие данные:

характеристика испытываемого материала;

организация-разработчик испытываемого материала;

число испытываемых образцов или проб;

условия испытания;

количественные данные по результатам испытаний;

заключение о результатах испытаний.

1.7.5. По полученным значениям проницаемости к парам воды исследуемого материала в соответствии с приложением 2 определяются допустимые сроки защиты изделий с использованием консервации по варианту временной защиты ВЗ-10 по ГОСТ 9.014-78.

2. МЕТОД ОПРЕДЕЛЕНИЯ ПРОНИЦАЕМОСТИ К ИНЕРТНЫМ ГАЗАМ

2.1. Сущность метода заключается в определении объема газа, проникающего через единицу площади поверхности материала за единицу времени при заданных температуре и давлении.

2.2. Метод применяется для испытаний полимерных пленок, тканей с пароводонепроницаемыми покрытиями.

2.2.1. В технически обоснованных случаях допускается проведение испытаний другими методами.

2.3. Отбор проб и образцов

2.3.1. Отбор проб и образцов - по пп. 1.3.2 - 1.3.4.

2.3.2. Образцы или пробы для испытаний должны иметь форму круга диаметром 90 мм.

2.3.3. Количество образцов и проб для испытаний - по п. 1.3.7.

2.4. Аппаратура, материалы и реактивы

Газовый хроматограф с детектором по теплопроводности типа ЛХМ, «Цвет» и т.п.

Вакуумный сушильный шкаф с давлением не более 0,02 атм.

Эксикатор - по ГОСТ 25336-82.

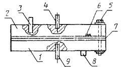
Диффузионная ячейка (черт. 4) из сплава типа 30ХГСНА, состоящая из двух камер в виде дисков (черт. 5), внутренняя поверхность которых имеет проточку в виде архимедовой спирали глубиной 1,5 мм и шириной 3 мм. Высота стенок камер между витками 0,3 - 0,5 мм. Расстояние между началом проточки (центр диска) и ее концом - 80 мм. Камеры снабжены кольцевыми резиновыми уплотнителями круглого сечения, проложенными по прямоугольному пазу диаметром 80 мм, глубиной 3,5 мм и шириной 4 мм.

1 - нижняя камера; 2 - верхняя камера; 3 - входной штуцер верхней камеры; 4 - выходной штуцер верхней камеры; 5 - сжимной болт; 6 - паз уплотнительного кольца; 7 - образец или проба; 8 - входной штуцер нижней камеры; 9 - выходной штуцер нижней камеры

Черт. 4

Черт. 5

В местах начала спиральной проточки и при ее подходе к уплотнению имеются штуцера для подвода газа. Камеры ячейки соединяются болтами. Трубки медные с внутренним диаметром 1 - 2 мм.

Трубки стеклянные с внутренним диаметром 1 - 5 мм, оканчивающиеся капилляром.

Источник газа-носителя (отличного от исследуемого).

Источник исследуемого газа.

Трехходовой газовый кран с проходным сечением 0,5 - 4,0 мм.

Кальций хлористый - по ТУ 6-09-4711-81.

2.5. Подготовка к испытаниям

2.5.1. Установку для испытания собирают в соответствии со схемой (черт. 6), для чего разделительные колонки хроматографа заменяют короткими отрезками медной трубки.

1 - блок подготовки газов хроматографа; 2 - кран-дозатор; 3 - образец или проба; 4 - капилляр; 5 - диффузионная ячейка; 6 - трехходовой газовый кран

Черт. 6

2.5.2. Диффузионную ячейку размещают в термостате колонок. Штуцер верхней камеры соединяют со штуцером дозирующих петель крана-дозатора хроматографа, что обеспечивает возможность не выключать дозатор при замене образцов или дозирующей петли при тарировке.

Один из штуцеров нижней камеры соединяют с выходом трехходового крана, позволяющего последовательно продувать нижнюю камеру ячейки газом-носителем и исследуемым газом.

Второй штуцер этой камеры соединяют с капилляром, опущенным в воду на глубину 30 - 50 мм.

Все соединения выполняются медными трубками диаметром 1 - 2 мм.

2.5.3. Перед проведением испытания все поверхности образцов, камер ячейки должны быть очищены и обезжирены этиловым спиртом.

2.5.4. Образцы или пробы кондиционируют в вакуумном сушильном шкафу при давлении не более 0,02 атм и заданной температуре в течение 1,5 - 2 ч.

2.5.5. Подготовка хроматографа к испытаниям проводится в соответствии с технической документацией.

2.6. Проведение испытаний

2.6.1. Испытания проводят при температуре, установленной в технической документации на материал конкретного вида.

2.6.2. Образцы или пробы материалов, подготовленные по пп. 2.5.3, 2.5.4, помещают между камерами диффузионной ячейки, которые соединяют болтами.

2.6.3. Скорость потока газа-носителя в верхней камере ячейки должна быть равна скорости потока исследуемого газа в линии хроматографа и находиться в пределах 5 - 10 см3/мин.

2.6.4. Скорость потоков газа-носителя и исследуемого газа в нижней камере ячейки устанавливают такой, чтобы обеспечивалось равномерное выделение пузырьков газа из отверстия капилляра.

2.6.5. Перед включением детектора при открытой диффузионной ячейке следует убедиться, что переключатель крана-дозатора находится в положении, обеспечивающем поступление газа-носителя в детектор.

2.6.6. Температуру испытания задают установкой температуры термостата колонок хроматографа.

2.6.7. Газ-носитель пропускают через обе камеры диффузионной ячейки до установления стабильной нулевой линии самописца в диапазоне максимальной чувствительности детектора.

В случае отсутствия стабильной нулевой линии самописца надо проверить герметичность ячейки на отсутствие сквозных повреждений образца.

2.6.8. Исследуемый газ пропускают через нижнюю камеру ячейки и на ленте прибора-самописца проводят запись кривой стационарного диффузионного потока, проходящего через герметизирующий материал. Вид получаемой кривой приведен на черт. 7.

2.6.9. Тарировку детектора хроматографа проводят при тех же параметрах работы прибора (изменять можно только коэффициент усиления выходного сигнала), вводя в него поочередно с помощью дозирующих петель различные объемы исследуемого газа и получая на ленте прибора-самописца кривые отклика детектора (черт. 8).

2.7. Обработка результатов

2.7.1. С помощью электронного интегратора определяют площадь под тарировочными кривыми (черт. 8) в относительных единицах, а также площадь, ограниченную отрезком стационарного участка кинетической кривой на любом выбранном интервале времени (черт. 7 - ∆S).

2.7.2. Строят тарировочный график зависимости площади под кривой сигнала детектора от объема газа, прошедшего через детектор (черт. 9).

Кривая процесса установления стационарного диффузионного потока

Черт. 7

Тарировочные кривые

1 - 0,5 см3, 2 - 1,0 см3, 3 - 2,0 см3 введенного в детектор газа

Черт. 8

Тарировочный график детектора

Черт. 9

2.7.3. Вычисляют коэффициент тарировки детектора как котангенс угла наклона тарировочного графика.

2.7.4. Проницаемость к инертным газам материала (Пт.р) в г/м2·сут вычисляют по формуле

                                                            (6)

где ∆S - площадь кривой (черт. 7);

A   - площадь поверхности образца, участвующая в массопереносе, равная 5·10-3 м2;

K   - коэффициент тарировки детектора;

a   = βдифкал; βдиф и βкал - задаваемые коэффициенты ослабления выходного сигнала детектора соответственно при записи кривой проницаемости и при тарировке;

∆τ  - выбранный интервал времени, сут.

2.7.5. При обработке результатов испытаний используют метод математической обработки результатов (математической статистики) с доверительной вероятностью 0,95.

2.7.6. Протокол испытания - по п. 1.7.4 с учетом требовании п. 2.7.4.

2.7.7. По полученным значениям проницаемости к инертным газам герметизирующего материала в соответствии с приложением 2 определяется допустимый срок защиты изделий при консервации по варианту временной защиты ВЗ-16 по ГОСТ 9.014-78 с использованием азота.

3. МЕТОД ОПРЕДЕЛЕНИЯ ПРОНИЦАЕМОСТИ К ЛЕТУЧИМ ИНГИБИТОРАМ

3.1. Сущность метода заключается в определении количества паров ингибитора, проникающих через 1 м2 поверхности герметизирующих материалов за 1 сут при заданной температуре.

3.2. Метод применяется для испытаний полимерных пленок, бумаги и ткани с пароводонепроницаемыми покрытиями.

3.3. Отбор проб и образцов

3.3.1. Отбор проб и образцов - по пп. 1.3.2 - 1.3.5.

3.3.2. Образцы свариваемых полимерных пленок должны иметь форму полоски размером (110 × 240) мм, образцы для стаканчиков - по пп. 1.3.5, 1.5.3.

3.3.3. Количество образцов для испытания - п. 1.3.7.

3.4. Аппаратура, материалы и реактивы

Стаканы стеклянные и металлические, сварочное устройство, весы лабораторные, термограф, парафин - по п. 1.4.

Камера тепла или термостат, обеспечивающие поддержание температуры до (50 ± 2) °С.

Бюксы стеклянные - по ГОСТ 23932-79.

Марля - по ГОСТ 11109-74 или ткань миткалевая - по ГОСТ 7138-83.

Летучий ингибитор коррозии: раствор ингибитора (жидкая фаза), ингибированные носители (линасиль, линапон, противокоррозионная бумага), таблетированный ингибитор.

3.5. Подготовка к испытаниям

3.5.1. Определяют содержание летучего ингибитора в линасиле, противокоррозионной бумаге или другом ингибированном материале в соответствии с технической документацией на материал конкретного вида.

3.5.2. Взвешивают требуемое количество линасиля, таблетированного ингибитора или противокоррозионной бумаги (в форме полоски шириной 60 мм соответствующей длины) из расчета введения в стакан 4 г, в пакетик 10 г ингибитора.

При использовании ингибитора в жидкой фазе берут по 2 см3 в бюксы и взвешивают.

3.5.3. Массу навески линасиля, противокоррозионной бумаги рассчитывают по формуле

Р1 = 102x4,0Б0-1,                                                            (7)

где x4,0 - требуемое количество вводимого ингибитора, г;

Б0 - содержание ингибитора в линасиле, противокоррозионной бумаге, %.

3.5.4. В пакеты помещают в марлевых мешочках навески линасиля (таблетированного ингибитора), закрепленные на проволочных каркасах (черт. 10), или свернутую спиралью противокоррозионную бумагу, после чего заваривают последний шов с торцевой стороны пакета на расстоянии 10 мм от края.

3.5.5. В стаканы на проволочных подставках помещают бюксы с раствором ингибитора или закрепленные марлевые мешочки с навеской линасиля (таблетированного ингибитора) (черт. 11) или вкладывают свернутую спиралью полоску противокоррозионной бумаги, после чего герметично закрепляют в соответствии с пп. 1.5.4, 1.5.5 (без введения в стакан воды или силикагеля).

3.5.6. Время между операциями взвешивания навесок ингибированных материалов и герметизации их в пакеты (стаканы) не должно превышать 15 мин.

3.6. Проведение испытаний

3.6.1. Для проведения испытания при температуре (20 ± 2) °С пакеты, подготовленные по п. 3.5.4, подвешивают на каркасах, а стеклянные стаканы, подготовленные по п. 3.5.5, помещают на стеллажах в отапливаемом помещении около термографа.

1 - пакет; 2 - каркас; 3 - мешочек с навеской линасиля; 4 - крючок

Черт. 10

1 - стеклянный стакан; 2 - подставка; 3 - бюкс; 4 - летучий ингибитор коррозии (жидкая фаза); 5 - образец или проба; 6 - парафин; 7 - мешочек с навеской линасиля

Черт. 11

3.6.2. Для проведения испытаний при температурах (30 ± 2) °С и (40 ± 2) °С пакеты и металлические стаканы подвешивают или размещают в соответствии с требованиями п. 3.6.1 в камере тепла и после установления в ней температуры испытания и относительной влажности воздуха (55 ± 5) %.

3.6.3. Продолжительность испытания - 14 сут при температуре испытания (20 ± 2) °С и 8 ч при температурах (30 ± 2) °С и (40 ± 2) °С.

3.6.4. По окончании испытаний стеклянные и металлические стаканы и пакеты разгерметизируют, извлекают бюксы с раствором ингибитора, мешочки с линасилем, таблетированным ингибитором, противокоррозионную бумагу и взвешивают.

3.7. Обработка результатов

3.7.1. Проницаемость материалов к парам летучих ингибиторов (Пи) вычисляют по формулам:

Для свариваемых полимерных пленок

                                       (8)

                                       (9)

где 0,5·106 и 1,2·107 - коэффициенты для пересчета в соответствии с принятой размерностью;

Р1 и Р2   - масса навески ингибированного материала или раствора ингибитора до и после испытания, г;

a и b  - соответственно длина и ширина пакета, определяемые в соответствии с п. 1.5.3, мм;

τ  - продолжительность испытания, сут в формуле (8) или ч в формуле (9), для остальных материалов

;                                             (10)

                                         (11)

где 4·106 и 9,6·107 - коэффициенты для пересчета в соответствии с принятой размерностью;

dа - диаметр активной поверхности образца материала по внутреннему диаметру парафина, мм;

dвн - внутренний диаметр металлического стакана, мм;

τ    - продолжительность испытания, сут в формуле (10) или ч в формуле (11).

3.7.2. При отклонении температуры испытания от значений по п. 3.6.3, рассчитывают среднюю температуру опыта по данным записей термографа, которая указывается в полученных результатах испытания.

3.7.3. При обработке результатов испытаний используют метод математической обработки результатов (математической статистики) с доверительной вероятностью 0,95.

3.7.4. Протокол испытания - по п. 1.7.4 с учетом требований п. 3.7.1.

3.7.5. По полученным значениям проницаемости к летучим ингибиторам в соответствии с приложением 2 определяются допустимые сроки защиты изделий с использованием консервации по варианту ВЗ-14, ВЗ-15 по ГОСТ 9.014-78.

4. МЕТОД ОПРЕДЕЛЕНИЯ ВОДОПРОНИЦАЕМОСТИ

4.1. Сущность метода заключается в определении времени начала сквозного проникновения воды через испытываемый материал.

4.2. Метод применяется для испытаний герметизирующих составов, бумаги и ткани с пароводонепроницаемыми покрытиями.

4.3. Отбор проб и образцов - по пп. 1.3.1 - 1.3.4.

4.3.1. Образцы или пробы для испытаний бумаги и тканей должны иметь форму круга диаметром 150 мм.

4.3.2. Образцами для испытания герметизирующих составов служат вырезанные из марли кружки диаметром 150 мм с нанесенным на них слоем герметизирующего состава толщиной 1,5 - 2 мм.

4.3.3. Количество образцов для испытания - по п. 1.3.7.

4.4. Аппаратура и реактивы

Стаканы химические стеклянные - по ГОСТ 23932-79 с диаметром 80 - 90 мм.

Шпатель.

Вода дистиллированная - по ГОСТ 6709-72.

Скрепки.

Марля - по ГОСТ 11109-74.

4.5. Подготовка к испытаниям

4.5.1. На вырезанные из марли кружки шпателем равномерно наносят слой герметизирующего состава.

Необходимое количество герметизирующего состава (G) в г вычисляют по формуле

G = 35,4·γ,                                                                (12)

где γ - объемная масса герметизирующего состава, г/см3.

4.5.2. Образцы или пробы сворачивают в виде конусообразного кулька и помещают в химические стаканы.

Слой герметизирующего состава, пароводонепроницаемое покрытие бумаги и тканей должны находиться на внутренней стороне кулька.

4.5.3. Углы образцов или проб, при необходимости, закрепляют скрепками (черт. 12).

1 - стеклянный стакан; 2 - образец; 3 - дистиллированная вода; 4 - скрепка

Черт. 12

4.6. Проведение испытаний

4.6.1. В образцы или пробы, подготовленные по пп. 4.5.2 и 4.5.3, наливают по 100 см3 дистиллированной воды.

4.6.2. Испытания проводят при температуре (20 ± 2) °С.

4.6.3. Продолжительность испытания бумаги и тканей не более 15 сут, герметизирующих составов - 7 сут.

4.6.4. Осмотр образцов проводят ежедневно.

4.6.5. Не допускается доливать воду в образцы во время испытания.

4.7. Обработка результатов

4.7.1. Водопроницаемость материалов оценивается визуально по появлению увлажненных участков или капель воды на наружной поверхности образцов или проб.

4.7.2. Критерием оценки водопроницаемости материалов является время (τв) в сут до появления воды на наружной поверхности одного из образцов.

4.7.3. Протокол испытаний - по п. 1.7.4 с учетом требований пп. 4.7.1, 4.7.2.

5. МЕТОД ОПРЕДЕЛЕНИЯ ВЛАГОСТОЙКОСТИ

5.1. Сущность метода заключается в определении изменения прочности на разрыв бумаги во влажном состоянии после одностороннего воздействия воды в течение определенного времени в заданных условиях испытания.

5.2. Метод применяется для испытания бумаги с пароводонепроницаемыми покрытиями.

5.3. Отбор образцов - по ГОСТ 8047-78.

5.3.1. Форма образцов для испытания приведена на черт. 13.

Образец для испытания

Черт. 13

Размер образцов (170 × 200) мм.

Для каждого исследуемого материала изготавливают один образец.

5.4. Аппаратура, материалы и реактивы

Разрывная машина, отвечающая требованиям ГОСТ 13525.1-79.

Вода дистиллированная - по ГОСТ 6709-72.

Скрепки.

Бумага фильтровальная - по ГОСТ 12026-76.

5.5. Подготовка к испытаниям

5.5.1. Перед испытаниями необходимо определить предел прочности при растяжении бумаги по ГОСТ 13525.1-79.

5.5.2. Образцы сгибают по периметру в виде коробочки (по пунктирным линиям) и скрепляют в углах скрепками (черт. 14)

Черт. 14

5.5.3. Слой пароводонепроницаемого покрытия должен находиться на внутренней стороне коробочки.

5.6. Проведение испытаний

5.6.1. В образцы, подготовленные по пп. 5.3.1, 5.5.1 - 5.5.3, наливают 100 см3 дистиллированной воды.

5.6.2. Испытания проводят при температуре (20 ± 2) °С.

5.6.3. Продолжительность испытаний - 10 сут.

5.6.4. Не допускается доливать воду во время испытания.

5.6.5. По окончании испытания воду из коробочек выливают, из днища вырезают полоску шириной 120 мм и длиной 200 мм, промокают фильтровальной бумагой для удаления избыточной влаги и испытывают по ГОСТ 13525.1-79.

Продолжительность указанных операций не должна превышать 30 мин.

5.7. Обработка результатов

5.7.1. Критерием влагостойкости материала является значение относительного изменения предела прочности при растяжении (X) в % или коэффициент сохранения свойств (K), которые вычисляют по формуле

                                                       (13)

                                                                  (14)

где σВ0, σВ1 - средние арифметические значения предела прочности при растяжении материала до и после испытания, (кгс/мм2) МПа.

5.7.2. Протокол испытаний - по п. 1.7.4 с учетом требований п. 5.7.1.

6. МЕТОДЫ ИСПЫТАНИЙ НА ВОЗДЕЙСТВИЕ НИЗКИХ ТЕМПЕРАТУР

6.1. Установлены два метода испытаний:

Метод 1 - Определение способности герметизирующего состава выдерживать заданную температуру.

Метод 2 - Определение предельной температуры хладостойкости. Метод применяют для испытаний полимерных пленок, бумаги и ткани, имеющих пароводонепроницаемые покрытия.

6.2. Метод 1

Сущность метода заключается в определении изменения состояния герметизирующего состава под действием заданной температуры.

6.2.1. Отбор образцов

6.2.1.1. Форма образцов герметизирующего состава соответствует форме наконечника шприца полуцилиндрической формы диаметром 15 мм.

6.2.1.2. Количество образцов для испытаний - по п. 1.3.7.

6.2.2. Аппаратура и материалы

Камера холодильная или низкотемпературный шкаф, обеспечивающие получение, поддержание и регулирование температуры до минус (100 ± 2) °С

Лупа 10× увеличения.

Пластинки стальные размером (100 × 100) мм, толщиной (1 - 3) мм, окрашенные эмалями, предназначенными для окрашивания наружных поверхностей изделий.

Куски ткани, имеющие пароводонепроницаемые покрытия, размером (80 × 80) мм.

Клей типа КТ или 88Н.

Шприц с наконечником полуцилиндрической формы диаметром 15 мм.

6.2.3. Подготовка к испытаниям

6.2.3.1. Куски ткани наклеивают на металлические пластинки клеем КД или 88Н; при этом ширина клеевого слоя по периметру должна быть 20 мм.

6.2.3.2. С помощью шприца выдавливают герметизирующий состав в виде валика полуцилиндрической формы, накладывают и слегка прижимают к периметру приклеенного материала так, чтобы половина его основания находилась на металлической пластинке.

6.2.4. Проведение испытаний

6.2.4.1. Образцы герметизирующих составов подвешивают в вертикальном положении в камере холода после установления в ней температуры минус 40 °С.

Не допускается соприкосновение образцов друг с другом и со стенками камеры.

6.2.4.2. Продолжительность испытаний 7 сут.

6.2.4.3. По окончании испытаний проводят визуальный осмотр с целью определения состояния образцов.

6.2.5. Обработка результатов

6.2.5.1. Образцы считаются выдержавшими испытание, если при их осмотре не обнаружено дефектов (растрескивание, отслоение, от поверхности металла или ткани) и обеспечена удовлетворительная адгезия (при отрыве валиков на поверхности металлической пластинки остаются следы герметизирующего состава и они частично разрушаются).

6.2.5.2. Герметизирующий состав выбраковывают, если хотя бы один из образцов не удовлетворяет требованиям п. 6.2.5.1.

6.2.5.3. Протокол результатов испытаний - по п. 1.7.4 с учетом требований п. 6.2.5.1.

6.3. Метод 2

Сущность метода заключается в определении максимальной отрицательной температуры, при которой образцы или пробы герметизирующих материалов не разрушаются под действием ударной нагрузки.

6.3.1. Отбор проб и образцов - по пп. 1.3.1 - 1.3.4.

6.3.1.1. Образцы или пробы для испытания бумаги, ткани и полимерных пленок должны иметь форму полоски размером (150 × 55) мм.

6.3.1.2. Количество образцов для испытания - по п. 1.3.7.

6.3.2. Аппаратура и материалы

Камера холодильная или низкотемпературный шкаф, обеспечивающие получение, поддержание и регулирование температуры до минус (100 ± 2) °С.

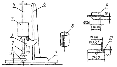
Копер лабораторный (устройство и принцип действия приведены в приложении 3).

Устройство или машина для сварки полимерных пленок.

Лупа 10× увеличения.

Валик металлический цилиндрической формы диаметром 40 мм и длиной не менее 60 мм.

6.3.3. Подготовка к испытаниям

6.3.3.1. Образцы или пробы, подготовленные по п. 6.3.1.1, плотно обертывают вокруг металлического валика и линией отмечают границу нахлеста; снимают с валика и закрепляют по всей длине нахлеста; бумагу склеивают, ткани сшивают, полимерные пленки сваривают.

6.3.3.2. Образцы помещают в холодильную камеру или низкотемпературный шкаф после установления там заданной температуры; лабораторный копер устанавливают там же.

6.3.4. Проведение испытаний

6.3.4.1. Образцы выдерживают в холодильной камере не менее 30 мин, после чего их последовательно помешают в кольцевой паз подставки лабораторного копра и подвергают торцевому смятию падающим грузом.

При использовании низкотемпературного шкафа привод к копру для срабатывания груза выводят наружу.

6.3.4.2. Начальная температура испытания соответствует температуре, рекомендованной для материала конкретного вида.

6.3.4.3. Образец считается выдержавшим испытания, если на его поверхности нет разрушений; тогда температура последующего испытания устанавливается на 5 °С ниже предыдущей; снижение температуры проводят до момента обнаружения разрушений хотя бы на одном образце.

6.3.4.4. Образец считается не выдержавшим испытания, если после торцевого смятия на его поверхности имеются разрушения в виде выкрашивания отдельных участков, сквозных трещин, расслоений и др.; тогда температура последующего испытания устанавливается на 5 °С выше предыдущей; повышение температуры проводят до момента, когда все образцы выдержат испытания.

6.3.5. Обработка результатов

6.3.5.1. Температуру хладостойкости (tх) в °С герметизирующего материала определяют на последнем этапе испытаний:

если образцы или пробы не разрушаются, за хладостойкость принимается температура последнего этапа испытания;

если образцы или пробы разрушаются, за хладостойкость принимается температура на 5 °С выше температуры последнего этапа испытаний.

6.3.5.2. Протокол испытаний - по п. 1.7.4 с учетом требовании п. 6.3.5.1.

7. МЕТОД ОПРЕДЕЛЕНИЯ СТОЙКОСТИ К ДЕЙСТВИЮ СПЕЦИАЛЬНЫХ СРЕД

7.1. Сущность метода заключается в определении стабильности значений характерных показателей свойств материалов при действии на них специальных сред: топлив, масел, смазок, жидких рабочих тел и специальных охлаждающих жидкостей.

7.2. Метод нормальных испытаний применяется для полимерных пленок, бумаги и ткани с пароводонепроницаемыми покрытиями.

7.3. Отбор проб и образцов - по пп. 1.3.2 - 1.3.4.

7.3.1. Образцы или пробы должны иметь форму прямоугольника размером, обеспечивающим возможность изготовления требуемого количества образцов для определения значений характерных показателей.

7.3.2. Количество образцов или проб должно соответствовать числу проверяемых специальных сред.

7.4. Аппаратура, материалы и реактивы

Бумага фильтровальная - по ГОСТ 12026-76.

Каркасы с рамками, установленными под углом 45°, для закрепления образцов или проб.

Специальные среды: топлива, масла, смазки, жидкие рабочие тела, специальные охлаждающие жидкости.

7.5. Подготовка к испытаниям

7.5.1. Устанавливают перечень характерных показателей свойств материалов и определяют их значение.

7.5.2. Образцы или пробы материалов натягивают на рамки каркаса с помощью ниток так, чтобы пароводонепроницаемое покрытие находилось сверху.

7.6. Проведение испытаний

7.6.1. Испытания проводят при температуре (20 ± 2) °С в отдельном помещении или в вытяжном шкафу.

7.6.2. Продолжительность испытаний тканей и бумаги - 14 сут, полимерных пленок - 28 сут.

7.6.3. Верхнюю поверхность образцов или проб материалов ежедневно с помощью тампона смачивают специальными средами для испытания.

7.6.4. Каждые 2 сут проводят осмотр состояния образцов и проб с целью определения начала появления и характера разрушений (вспучивание, расслоение и др.).

7.6.5. По окончании испытаний образцы или пробы материалов промывают растворителями, инертными к пароводонепроницаемым покрытиям материалов, просушивают фильтровальной бумагой и используют для определения значений характерных показателей свойств.

7.7. Обработка результатов

7.7.1. Изменение значения характерных показателей свойств материалов определяют по коэффициентам сохранения в соответствии с требованиями п. 5.7, при этом для показателей, значения которых в технической документации на разработку материалов ограничены сверху, берется обратная величина.

7.7.2. Показатель стойкости материала к воздействию каждой среды (Kгсмj) вычисляют по формуле

                                                         (15)

где n    - количество определяемых характерных показателей;

Kij  - коэффициент сохранения, учитывающий степень изменения i-го показателя после воздействия j-ой специальной среды.

7.7.3. При обработке результатов испытаний используют метод математической обработки (математической статистики) с доверительной вероятностью 0,95.

7.7.4. Протокол испытаний - по п. 1.7.4 с учетом требований п. 7.7.2.

8. МЕТОД ОПРЕДЕЛЕНИЯ СОПРОТИВЛЕНИЯ ПРОКАЛЫВАНИЮ

8.1. Сущность метода заключается в определении прочности материала в натянутом состоянии под действием вдавливания в него наконечника конусной формы.

8.2. Метод применяется для испытаний полимерных пленок, бумаги и ткани с пароводонепроницаемыми покрытиями.

8.3. Отбор проб и образцов - по пп. 1.3.1 - 1.3.4.

8.3.1. Образцы или пробы для испытаний должны иметь форму круга диаметром 110 мм.

8.3.2. Количество образцов для испытания - по п. 1.3.7.

8.4. Аппаратура

Машина разрывная, отвечающая требованиям ГОСТ 13525.1-79 и ГОСТ 14236-81, в комплекте с приспособлением для испытания на сжатие.

Устройство для испытания материалов на прокалывание (черт. 15). Внутренний диаметр опоры должен быть равен (20 ± 1) мм; диаметры стержня наконечника и торца конуса наконечника должны быть соответственно равны (10 ± 0,1) мм и (3 ± 0,05) мм; угол конусности должен быть равен 15°.

8.5. Подготовка к испытаниям

8.5.1. На торец стакана накладывают образец или пробу исследуемого материала и закрепляют его с помощью стяжной ленты.

8.5.2. Приспособление для испытания на сжатие с закрепленным на нем стаканом устройства устанавливают в разрывную машину и выводят ползун в верхнее положение до упора.

1 - приспособление для испытания на сжатие; 2 - стакан; 3 - опора; 4 - наконечник; 5 - образец или проба; 6 - стяжная лента

Черт. 15

8.5.3. Наконечник устройства закрепляют в верхней части подвижной рамки приспособления с помощью штифта.

8.5.4. Опускают и закрепляют с помощью штифта подвижную рамку приспособления в ползуне.

8.5.5. Проводят балансировку системы силоизмерителя с установкой ведущей стрелки циферблата на «нуль».

8.6. Проведение испытаний

8.6.1. Испытания проводят при температуре (20 ± 2) °С и относительной влажности (50 ± 5) %.

8.6.2. Включают разрывную машину со скоростью передвижения ползуна 50 мм/мин и вдавливают наконечник устройства в испытуемый материал до момента его сквозного прокалывания.

8.7. Обработка результатов

8.7.1. Показателем, характеризующим сопротивление материала прокалыванию, является максимальное усилие при вдавливании наконечника конусной формы в материал до его разрушения.

8.7.2. Среднее арифметическое значение сопротивления прокалыванию (Pпр) в кгс вычисляют по формуле

                                                                (16)

где n     - число испытанных образцов или проб;

Pпрi  - максимальное разрушающее усилие для i-го образца, кгс.

8.7.3. При обработке результатов испытаний используют метод математической обработки (математической статистики) с доверительной вероятностью 0,95.

8.7.4. Протокол испытаний - по п. 1.7.4 с учетом требований п. 8.7.1.

9. МЕТОД ОПРЕДЕЛЕНИЯ ТЕМПЕРАТУРЫ СПОЛЗАНИЯ ГЕРМЕТИЗИРУЮЩИХ СОСТАВОВ

9.1. Сущность метода заключается в определении температуры, соответствующей моменту сползания герметизирующего состава с вертикальной поверхности.

9.2. Отбор образцов

9.2.1. Образцы для испытания изготавливают из герметизирующих составов, отвечающих технической документации на состав конкретного вида.

9.2.2. Образцы должны иметь форму прямой прямоугольной призмы размером (20 × 15 × 10) мм.

9.2.3. Количество образцов для испытания - по п. 1.3.7.

9.3. Аппаратура и материалы

Камера тепла или термостат, обеспечивающие поддержание температуры до (150 ± 2) °С.

Термометр - по ГОСТ 2823-73.

Пластинки стальные размером (100 × 100) мм толщиной 1 - 3 мм, покрытые эмалями для окрашивания наружных поверхностей изделий.

9.4. Подготовка к испытаниям

9.4.1. Образцы прикрепляют к стальной пластине боковыми гранями, имеющими площадь 200 мм2 (черт. 16), путем легкого нажатия на них руками. Верхние грани образцов должны находиться на одной линии.

9.5. Проведение испытаний

9.5.1. Подготовленные по п. 9.4.1 образцы подвешивают к камере тепла или термостате в вертикальном положении.

9.5.2. Испытания начинают при температуре (20 ± 2) °С с постепенным повышением температуры в камере со скоростью (1 - 2) °С/мин.

Требуемая скорость повышения температуры в камере предварительно устанавливается регулировкой с помощью электрических приборов, обеспечивающих изменение подаваемого на нагревательные элементы камеры или термостата напряжения или тока.

1 - образец; 2 - металлическая пластина

Черт. 16

9.6. Обработка результатов

9.6.1. Критерием оценки является минимальная температура tсп в °С, при которой начинается сползание одного из образцов от исходного положения.

9.6.2. Протокол испытаний - по п. 1.7.4 с учетом требований п. 9.6.

10. МЕТОД ОПРЕДЕЛЕНИЯ ЛИПКОСТИ

10.1. Сущность метода заключается в определении скорости расслоения склеенных между собой участков полимерной липкой ленты под действием статической нагрузки.

10.2. Отбор образцов

Заготовками для образцов служат полоски полимерных лент с липким слоем длиной 400 мм и шириной 25 мм в количестве не менее трех.

10.3. Аппаратура и материалы

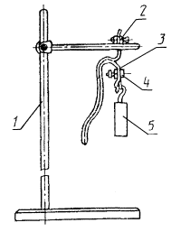
Приспособление для испытаний (черт. 17).

Валик стальной обрезиненный диаметром 40 - 50 мм, массой не менее 5 кг.

Груз (масса груза с нижним зажимом 300 г).

Секундомер - по ГОСТ 5072-79.

Полоски бумаги длиной 50 мм и шириной 25 мм.

10.4. Подготовка к испытаниям

10.4.1. На концы образцов (с липкой их стороны) накладывают полоски бумаги.

10.4.2. Образцы перегибают пополам липкой стороной внутрь и прокатывают обрезиненным валиком не менее пяти раз.

Не допускается появление воздушных пузырей между склеенными частями образца.

10.4.3. На расстоянии 100 мм от места сгиба склеенного образца наносят метку, после чего из середины образца (вдоль) вырезают полоску шириной 15 мм и длиной 100 мм.

10.5. Проведение испытаний

10.5.1. Одни конец полоски закрепляют в верхнем зажиме приспособления.

10.5.2. На свободном конце полоски закрепляют нижний зажим с грузом.

10.5.3. Отсчет времени расслоения склеенного участка начинают с момента подхода линии расслоения к нанесенной метке и заканчивают при полном расслоении полоски.

10.5.4. Испытания проводят при температуре (20 ± 2) °С. Допускается проведение испытания при других условиях в зависимости от назначения испытываемого материала.

1 -штатив; 2 - верхний зажим; 3 - образец; 4 - нижний зажим; 5 - груз

Черт. 17

10.6. Обработка результатов

10.6.1. Критерием оценки липкости ленты является скорость расслоения (υр) в мм/сек склеенной полоски, рассчитанная по формуле

υр = 100/τр,                                                             (17)

где τр - среднее арифметическое значение времени расслоения полоски длиной 100 мм, с.

10.6.2. Протокол испытаний - по п. 1.7.4 с учетом требовании п. 10.6.1.

11. МЕТОД ОПРЕДЕЛЕНИЯ СПОСОБНОСТИ К СКЛЕИВАНИЮ

11.1. Сущность метода заключается в определении прочности различных клеевых соединений материалов под действием разрывной нагрузки при сдвиге и расслоении.

11.2. Метод применяется для испытаний полимерных пленок, бумаги и ткани с пароводонепроницаемыми покрытиями.

11.3. Отбор проб и образцов - по пп. 1.3.1 - 1.3.4.

11.3.1. Образцами или пробами для испытания служат полоски материала длиной 150 мм (при испытании на сдвиг) и 120 мм (при испытании на расслоение), склеенные между собой или приклеенные к различным материалам (металл, дерево и др.) с величиной нахлеста 25 мм.

11.3.2. Количество образцов для испытания - не менее пяти.

11.4. Аппаратура и материалы

Разрывная машина, отвечающая требованиям ГОСТ 13525.1-79.

Пластинки стальные размером (80 × 80) мм, толщиной 1 - 3 мм, покрытые эмалями для окрашивания наружных поверхностей изделий.

Марки клея, рекомендованные в, технической документации на герметизирующий материал конкретного вида или выбранные с учетом свойств испытываемых материалов.

11.5. Подготовка к испытаниям

11.5.1. Проводят склеивание образцов по п. 11.3.1. Режим устанавливают в соответствии с технической документацией на склеивание.

11.5.2. На образцах наносят метки на расстоянии 100 мм от торца приклеенного участка (при испытании на сдвиг - черт. 18) и на расстоянии 50 мм от внутренней границы склеенного участка (при испытании на расслоение - черт. 19).

11.6. Проведение испытаний

11.6.1. При испытании на сдвиг образцы закрепляют в захваты машины так, чтобы торец верхнего зажима заходил выше границы приклеенного образца, а торец нижнего захвата - по метке на образце, и растягивают.

11.6.2. При испытании на расслоение образцы закрепляют в захваты так, чтобы их торцы совпадали с метками на образцах, и растягивают.

11.6.3. Испытания проводят при температуре (20 ± 2) °С и относительной влажности (50 ± 5) %.

11.6.4. При разрушении материала, из которого изготовлен образец, испытания на сдвиг повторяют, используя при этом новые образцы с меньшими величинами нахлеста приклеенного участка.

1 - образцы или пробы; 2 - металлическая пластина; 3 - слой клея

Черт. 18

1 - образцы или пробы; 2 - направление нагрузки при испытании; 3 - слой клея

Черт. 19

11.7. Обработка результатов

11.7.1. Предел прочности клеевого соединения образца на сдвиг (σсдв) в МПа (кгс/см2) рассчитывают по формуле

                                                             (18)

где Pс  - максимальная нагрузка при сдвиге, кгс;

a и b  - соответственно ширина полоски материала и величина нахлеста, см.

11.7.2. Удельное усилие расслаивания клеевого соединения образца (σр) в кгс/см рассчитывают по формуле

σр = Pр/b,                                                             (19)

где Pр   - максимальная нагрузка при расслоении склеенных материалов, кгс;

b     - ширина образца, см.

11.7.3. Протокол результатов испытаний - по п. 1.7.4 с учетом требований пп. 11.7.1, 11.7.2.

12. МЕТОД ОПРЕДЕЛЕНИЯ СТОЙКОСТИ К СТАРЕНИЮ

12.1. Испытания материалов на стойкость к старению проводят по ГОСТ 9.708-83 (метод 2). В технически обоснованных случаях допускается применение других методов (по режиму и продолжительности тепло-светового воздействия), если это предусмотрено в технической документации на материал конкретного вида или по согласованию с заказчиком.

12.2. Метод применяется для испытания полимерных пленок, бумаги и ткани, имеющих пароводонепроницаемое покрытие.

12.3. Стойкость материалов к старению оценивают по величине изменения характерных показателей свойств после воздействия повышенной температуры и светового облучения.

12.4. Количество и наименование характерных показателей свойств устанавливают в зависимости от назначения материалов с учетом требований приложения 4.

12.5. Изменение значения характерных показателей определяют с помощью коэффициентов сохранения свойств, аналогично требованиям п. 5.7, при этом для показателей, требуемые значения для которых ограничены сверху, берется обратная величина.

12.6. Показатель стойкости материалов к старению (Kс0) вычисляют по формуле

                                                                 (20)

где n    - количество характерных показателей;

Kсi  - коэффициент сохранения свойств, учитывающий степень изменения i-го показателя после старения.

12.7. При обработке результатов испытаний используют метод математической обработки (математической статистики) с доверительной вероятностью 0,95.

12.8. Протокол испытаний - по 1.7.4 с учетом требований пп. 12.5; 12.6.

13. КОМПЛЕКСНАЯ ОЦЕНКА ЗАЩИТНЫХ СВОЙСТВ МАТЕРИАЛОВ

13.1. Сущность метода комплексной оценки заключается в определении значения средней взвешенной степени отклонения характерных показателей от требуемых значений, регламентированных в технической документации на материал конкретного вида.

13.2. За критерий принимают показатель комплексной оценки () свойств материала, определяемый по выбраковочным показателям (указывается в технической документации на разработку), который рассчитывают по формуле

                                                        (21)

где ωi  - весомость i-го показателя по его значимости;

Ki  - относительный коэффициент, характеризующий степень отклонения i-го показателя от требуемого значения;

n   - число выбраковочных показателей.

13.3. Значения весомостей определяют по данным экспертного опроса специалистов (приложение 5) при условии

                                                            (22)

Для герметизирующих материалов всеклиматического исполнения значения весомостей принимают одинаковыми

ωi = 1/n,

где n - количество выбраковочных показателей.

13.4. Относительные коэффициенты Ki показателей свойств определяют как отношение величины i-го показателя, полученного при испытании к его требуемому значению, указанному в технической документации на материал конкретного вида. Для показателей, требуемые значения которых ограничены сверху, берется обратная величина.

При этом обобщенный относительный коэффициент по прочностным показателям (Kпр) (разрывная нагрузка, раздирающая нагрузка, сопротивление прокалыванию, устойчивость к многократному изгибу) определяют как среднее арифметическое из относительных коэффициентов отдельных показателей и рассчитывают по формуле

                                                        (23)

где n1     - количество определяемых прочностных показателей;

Ki(пр)    - относительный коэффициент i-го прочностного показателя.

Обобщенный относительный коэффициент стойкости материалов к старению (Kс) рассчитывают по формуле

Kс = Kс0/Kс(тр),                                                          (24)

где Kс0  - показатель стойкости материала к старению, определяемый по формуле (21);

Kс(тр)  - допускаемое изменение значения характерного показателя материала после старения в соответствии с технической документацией на материал конкретного вида.

Обобщенный относительный коэффициент по показателю стойкости материалов к действию специальных сред (K'гсм) рассчитывают по формуле

                                                     (25)

где Kгсмj  - показатель стойкости материалов к воздействию специальных сред, определяемый по п. 8.7;

m    - количество проверяемых специальных сред;

N  - допускаемое изменение характерных показателей свойств материала после воздействия специальных сред, % (указывается в технической документации на материал конкретного вида).

13.5. При проведении комплексной оценки принимают следующие условия и ограничения:

максимальное значение относительных коэффициентов Ki ограничивают вверху - Ki(max) = 2;

образец считают выдержавшим испытание, если показатель ;

образец выбраковывается независимо от значения показателя , если хотя бы один из относительных коэффициентов Ki < Ki(пр) = 0,9.


ПРИЛОЖЕНИЕ 1

Справочное

Перечень исследуемых свойств материалов

Наименование материала

Проницаемость к парам воды

Проницаемость к инертным газам (азоту)

Проницаемость к летучим ингибиторам

Водопроницаемость

Влагостойкость

Стойкость к воздействию низких температур

Стойкость к действию специальных сред

Сопротивление прокалыванию

Температура сползания

Липкость

Способность к склеиванию

Устойчивость к воздействию плесневых грибов ГОСТ 9.049-75 (метод А) ГОСТ 9.802-84

Стойкость к старению по ГОСТ 9.708-83

Горючесть по ГОСТ 21793-76

Прочность при растяжении по ГОСТ 14236-81, ГОСТ 17316-71, ГОСТ 13525.1-79

Прочность при раздирании по ГОСТ 17922-72, ГОСТ 17074-71

Устойчивость к многократному изгибу по ГОСТ 8978-75

Способность к свариваемости по ГОСТ 16971-71

Жесткость по ГОСТ 8971-78

1. Бумага с пароводонепроницаемым покрытием

+

-

+

+

+

+

+

+

-

-

+

+

+

+

+

-

-

-

+

2. Ткани с пароводонепроницаемым покрытием

+

+

+

+

-

+

+

+

-

-

+

+

+

+

+

+

+

+

+

3. Полимерные пленки

+

+

+

-

-

+

+

+

-

+*

+

+

+

+

+

+

+

+

+

4. Герметизирующие составы

-

-

-

+

-

+

-

-

+

-

-

-

-

+

-

-

-

-

-

Примечание. * - испытанию подвергаются только полимерные липкие ленты;

Знак «+» - означает, что материал подвергается данному испытанию;

Знак «-» - означает, что материал не подвергается данному испытанию.


ПРИЛОЖЕНИЕ 2

Справочное

ПРОГНОЗИРОВАНИЕ СРОКОВ ЗАЩИТЫ ИЗДЕЛИЙ ПРИ ХРАНЕНИИ

1. Прогнозирование сроков защиты изделий при хранении с использованием герметизирующих материалов, применяемых при консервации изделий по вариантам временной защиты по ГОСТ 9.014-78, проводится с помощью формул прогнозирования в зависимости от значений проницаемости герметизирующих материалов к парам воды, инертным газам (азоту), летучим ингибиторам.

2. Прогнозирование сроков защиты может проводиться с помощью расчетов на ЭВМ или по номограммам (черт. 20 - 22).

3. В таблице приведены параметры, их обозначения и единицы измерения, используемые в формулах прогнозирования.

Параметры для формул прогнозирования

Наименование параметра

Обозначение параметра

Единица измерения

Относительная влажность воздуха в чехле, соответственно в начале и конце i-го расчетного интервала

Rbi-1, Rbi

%

Средние значения относительной влажности воздуха на i-ом расчетном интервале

Ri

%

Средние значения температуры атмосферного воздуха на i-ом расчетном интервале

ti

°С

Коэффициент линейной характеристики адсорбционного равновесия адсорбента

m

-

Расчетный i-ый интервал времени

τi

сут

Норма закладки адсорбента

q

кг/м2

Проницаемость герметизирующего материала реальной толщины к парам воды при R = 100 % и температуре ti

Пti

г/м2·сут

Количество внесенного сухого адсорбента

g0

кг

Площадь поверхности чехла

F

м2

Концентрация азота в чехле, соответственно в начале и конце i-го расчетного интервала

ci-1, ci

%

Внутренний объем чехла

V

м3

Постоянная проницаемости герметизирующего материала реальной толщины к азоту при температуре ti

PAti

г/м2·сут·мм рт. ст.

Норма закладки летучего ингибитора

mи

г/м3

Количество внесенного летучего ингибитора

Kи0

г

Количество ингибитора, проникшего через герметизирующий материал чехла в атмосферу в конце i-го расчетного интервала

Gиi

г

Относительное количество ингибитора, проникшего из чехла в атмосферу в начале и конце i-го расчетного интервала

ri-1, ri

%

Формулы прогнозирования (28 - 30) позволяют определить показатели изменения защитных сред в замкнутых объемах (чехлах) при хранении изделий в различных климатических районах.

Для варианта временной защиты ВЗ-10 по ГОСТ 9.014-78 (статическое осушение воздуха)

.                                              (28)

Для варианта временной зашиты ВЗ-16 по ГОСТ 9.014-78 (инертные атмосферы)

.                                            (29)

Для вариантов временной защиты ВЗ-14 и ВЗ-15 по ГОСТ 9.014-78 (летучие ингибиторы)

                                          (30)

При расчетах принимаются следующие условия и ограничения:

расчетные интервалы времени ∆τij = const = 30 сут;

среднемесячные температуры ti и относительной влажности ri воздуха для конкретных условий хранения - на основании статистических данных метеорологических станций;

значения величин состояния защитных сред в начале первого расчетного интервала (i = 1); Bbi = 0; C0 = 99,9; r = 0;

значения показателей проницаемости герметизирующих материалов к парам; воды, инертным газам, летучим ингибиторам для каждого расчетного интервала времени определяют в соответствии с требованиями настоящего стандарта.

Предельно допустимые значения показателей состояния защитных сред, применяемых при расчетах, равны: Rвн = 60 %; Cn ≥ 96 %; rn ≤ 95 %.

5. Формулы прогнозирования могут использоваться для разработки алгоритма и составления программы для ЭВМ.

6. Определение допустимых сроков защиты изделий при хранении с использованием герметизирующих материалов может проводиться с помощью номограмм (черт. 20 - 22).

Приведенные номограммы составлены для условий хранения 1.2 по ГОСТ 15150-69.

Номограмма (черт. 20) устанавливает зависимость сроков защиты изделий от проницаемости к парам воды герметизирующих материалов, используемых при консервации по варианту временной защиты ВЗ-10 по ГОСТ 9.014-78 при различных нормах закладки силикагеля.

Номограмма (черт. 21) устанавливает зависимость сроков защиты изделий от проницаемости к инертным газам (азоту) герметизирующих материалов, используемых при консервации по варианту временной защиты ВЗ-10 по ГОСТ 9.014-78.

Номограмма (черт. 21) устанавливает зависимость сроков защиты изделий от проницаемости к летучим ингибиторам герметизирующих материалов, используемых при консервации по вариантам защиты ВЗ-14 и ВЗ-15 по ГОСТ 9.014-78.

Зависимость сроков защиты изделий при консервации по варианту защиты ВЗ-10 по ГОСТ 9.014-78

1, 2, 3, 4 - номограммы для норм закладки силикагеля: 1 - 0,5 кг/м2; 2 - 1,0 кг/м2 (t = 15 °С); 3 - 1,0 кг/м2 (t = 15 °С); 4 - 2,0 кг/м2

Черт. 20

Зависимость сроков защиты изделий при консервации по варианту защиты ВЗ-16 по ГОСТ 9.014-78

1, 2, 3, 4, 5, 6 - номограммы в зависимости от температур: 1 - 20 °С; 2 - 15 °С; 3 - 10 °С; 4 - 5 °С; 5 - 0 °C; 6 - минус 5 °С

Черт. 21

Зависимость сроков защиты изделий при консервации по вариантам защиты ВЗ-14, ВЗ-15 по ГОСТ 9.014-78

1, 2, 3, 4 - номограммы в зависимости от температур: 1 - 15 °С; 2 - 10 °С; 3 - 5 °С; 4 - 0 °С

Черт. 22

ПРИЛОЖЕНИЕ 3

Обязательное

ТРЕБОВАНИЯ К УСТРОЙСТВУ И ПРИНЦИП ДЕЙСТВИЯ ЛАБОРАТОРНОГО КОПРА

1. Схема лабораторного копра приведена на черт. 23.

2. Устройство лабораторного копра должно отвечать следующим требованиям:

диаметр ударника 2 должен быть равен (60 ± 1) мм;

масса подвижных частей (шток, груз, ударник) должна составлять (6000 ± 20) г;

при нижнем положении штока ударник должен находиться от плоскости подставки на расстоянии (15 ± 1) мм;

поворот копира должен обеспечивать перемещение подвижных частей вверх на 65 мм;

внутренний и наружный диаметры кольцевого паза подставки должны быть соответственно равны 39,5 и 44 мм;

глубина паза - 5 мм;

диаметр верхней и нижней окружности конуса ударника должны быть соответственно равны 30 мм и 20 мм, высота - 10 мм.

3. Груз копра неподвижно закрепляют на штоке, который должен свободно перемещаться в опорах стойки в вертикальном положении.

Нижнее положение подвижных частей ограничивают упором груза в нижнюю опору.

При проворачивании копира по часовой стрелке он скользит по нижней поверхности груза и поднимает все подвижные части вверх. Падение их вниз происходит после соскакивания носка копира с нижней поверхности груза.

1 - подставка; 2 - ударник; 3 - копир; 4 - груз; 5 - шток; 6 - стойка; 7 - плита; 8 - образец или проба; 9 - конус ударника; 10 - подставка

Черт. 23

ПРИЛОЖЕНИЕ 4

Рекомендуемое

Характерные показатели герметизирующих материалов, проверяемые после определения стойкости к старению

Наименование герметизирующего материала и его назначение

Характерные показатели

Водопроницаемость

Проницаемость к парам воды

Проницаемость к летучим ингибиторам

Проницаемость к инертным газам

Разрывная нагрузка

Раздирающая нагрузка

Сопротивление прокалыванию

Относительное удлинение

Морозостойкость

Жесткость

ПОЛИМЕРНЫЕ ПЛЕНКИ УНИВЕРСАЛЬНОГО НАЗНАЧЕНИЯ

-

+

+

+

+

-

-

+

+

-

применяемые при консервации с использованием:

 

 

 

 

 

 

 

 

 

 

статического (динамического) осушения воздуха

-

+

-

-

+

-

-

+

+

-

летучих ингибиторов

-

-

+

-

+

-

-

+

+

-

инертных атмосфер

-

-

-

+

+

-

-

+

+

-

ТКАНИ С ПАРОВОДОНЕПРОНИЦАЕМЫМИ ПОКРЫТИЯМИ

 

 

 

 

 

 

 

 

 

 

применяемые при консервации с использованием:

 

 

 

 

 

 

 

 

 

 

статического (динамического) осушения воздуха

-

+

-

-

 

+

-

-

+

+

применяемые при консервации отдельных частей изделий с использованием статического осушения воздуха

+

+

-

-

 

+

-

-

+

+

БУМАГА С ПАРОВОДОНЕПРОНИЦАЕМЫМИ ПОКРЫТИЯМИ

 

 

 

 

 

 

 

 

 

 

при консервации с использованием статического осушения воздуха

+

+

-

-

+

-

+

-

-

-

Примечание. Знак «+» означает, что герметизирующий материал подвергается данному испытанию.

Знак «-» означает, что герметизирующий материал не подвергается данному испытанию.

ПРИЛОЖЕНИЕ 5

Рекомендуемое

Значение весомостей показателей свойств полимерных пленок и тканей с пароводонепроницаемыми покрытиями, используемыми для создания герметичных объемов, при хранении изделий на открытых площадках в различных климатических районах

Наименование показателя

Значение весомостей (ωi)

Климатические районы по ГОСТ 15350-80

Умеренный климат

Холодный климат

Теплый влажный климат

Жаркий сухой климат

1. Проницаемость к парам и газам

0,185

0,120

0,255

0,125/0,260*

2. Прочностные показатели

0,175

0,190

0,145

0,180/0,165

3. Морозостойкость

0,150

0,240

0,055

0,070/0,045

4. Стойкость к старению

0,130

0,100

0,200

0,270/0,230

5. Грибостойкость

0,080

0,055

0,130

0,080/0,045

6. Свариваемость пленок, способность к склеиванию тканей

0,150

0,145

0,140

0,155/0,150

7. Жесткость

0,130

0,150

0,075

0,120/0,105

* В знаменателе указаны весомости для полимерных пленок, применяемых для консервации с использованием статического осушения воздуха; в знаменателе - при использовании летучих ингибиторов и инертных атмосфер.

ПРИЛОЖЕНИЕ 6

Справочное

ПРИМЕР РАСЧЕТА МАКСИМАЛЬНЫХ АБСОЛЮТНЫХ И ОТНОСИТЕЛЬНЫХ ОШИБОК ПРИ ОПРЕДЕЛЕНИИ ПРОНИЦАЕМОСТИ К ПАРАМ ВОДЫ

1. Пример приведем для определения максимальных абсолютных и относительных ошибок при обработке данных по испытаниям пленочного герметизирующего материала на проницаемость к парам воды при температуре (20 ± 2) °С.

2. Исходными данными при испытаниях являются:

t = (20 ± 2) °С;

da = (0,040 ± 0,001) м;

τ = (10 ± 0,042) с;

P1 - Р2 = ∆P = (0,0384 ± 0,0004) г.

3. Подставляя исходные данные в расчетную формулу (3) получаем

.

Абсолютные погрешности измеряемых параметров будут равны:

εp1 = ±0,0002 г;                                     εda = ±0,001 м;

εp2 = ±0,0002 г;                                     ετ = ±0,042 с;

εP = ±0,0004 г.

Относительные погрешности измеряемых параметров:

δP = ±0,0004/0,0384 = ±0,0104 = ±1,04 %;

δda = ±0,001/0,40 = ±0,025 = ±2,5 %;

δτ = ±0,042/10 = ±0,0042 = ±0,42 %.

4. Расчетная формула (3) представляется в виде функции

                                                             (41)

5. Рассчитываем частные дифференциалы

                                                      (42)

                         (43)

                                  (44)

6. Рассчитывают дифференциал натурального логарифма функции

                                 (45)

7. Рассчитывают значения максимальных погрешностей

(εПt) = ±(79,6·0,0004 + 153,0·0,001 + 0,307·0,042) = ±(0,0318 + 0,153 + 0,0129) = ±0,1977 ≈ ±0,2 г/м2;

(δПt) = ±(1,04 + 2·2,5 + 0,42) = ±6,46 ≈ 6,5 %;

Пt = 3,06 ± 0,2 ≈ 3,1 ± 0,2 г/м2 сут.

8. Практически при определении систематических ошибок рассчитывают одну из максимальных ошибок функции и вычисляют вторую ошибку из уравнения

у)пр = y(δу)пр.                                                           (46)

ИНФОРМАЦИОННЫЕ ДАННЫЕ

1. РАЗРАБОТАН И ВНЕСЕН Государственным комитетом СССР по стандартам

ИСПОЛНИТЕЛИ

Н.П. Борисов, канд. хим. наук; В.В. Малунов, канд. техн. наук; В.А. Печенков, канд. техн. наук (руководители темы); Л.Н. Кондратова; Г.Д. Рыбаков, канд. техн. наук; А.Н. Бабенко

2. УТВЕРЖДЕН И ВВЕДЕН В ДЕЙСТВИЕ Постановлением Государственного комитета СССР по стандартам от 19.02.88 № 288

3. ВЗАМЕН ГОСТ 9.038-74

4. ССЫЛОЧНЫЕ НОРМАТИВНО-ТЕХНИЧЕСКИЕ ДОКУМЕНТЫ

Обозначение НТД, на который дана ссылка

Номер пункта, подпункта, перечисления, приложения

ГОСТ 413-75

1.3.4

ГОСТ 2823-73

9.3

ГОСТ 3956-76

1.4

ГОСТ ТУ 6-09-4711-81

2.4

ГОСТ 5072-79

10.3

ГОСТ 6416-75

1.4

ГОСТ 6709-72

1.4, 4.4, 5.4

ГОСТ 7138-83

3.4

ГОСТ 8047-78

1.3.1

ГОСТ 8971-78

Приложение 1

ГОСТ 8978-75

Приложение 1

ГОСТ 11107-85

1.3.2

ГОСТ 11109-74

3.4, 4.4

ГОСТ 12026-76

1.4, 5.4, 7.4

ГОСТ 13523-78

1.5.1

ГОСТ 13525.1-79

5.4, 5.5.1, 8.4, 11.4

ГОСТ 14236-81

8.4 Приложение 1

ГОСТ 15150-69

Приложение 2

ГОСТ 16350-80

Приложение 5

ГОСТ 16971-71

Приложение 1

ГОСТ 17074-71

Приложение 1

ГОСТ 17316-71

Приложение 1

ГОСТ 17922-72

Приложение 1

ГОСТ 21793-76

Приложение 1

ГОСТ 23683-79

1.4

ГОСТ 23932-79

3.4, 4.4

ГОСТ 24104-80

1.4

ГОСТ 25336-82

1.4, 2.3.3

ГОСТ 9.014-78

Вводная часть, 1.7.5, 2.7.7, 3.7.5, Приложение 2

ГОСТ 9.049-75

Приложение 1

ГОСТ 9.708-83

1.2.1, Приложение 1

ГОСТ 9.802-84

Приложение 1

СОДЕРЖАНИЕ

1. Метод определения проницаемости к парам воды.. 1

2. Метод определения проницаемости к инертным газам.. 5

3. Метод определения проницаемости к летучим ингибиторам.. 9

4. Метод определения водопроницаемости. 12

5. Метод определения влагостойкости. 13

6. Методы испытаний на воздействие низких температур. 14

7. Метод определения стойкости к действию специальных сред. 16

8. Метод определения сопротивления прокалыванию.. 17

9. Метод определения температуры сползания герметизирующих составов. 19

10. Метод определения липкости. 20

11. Метод определения способности к склеиванию.. 21

12. Метод определения стойкости к старению.. 22

13. Комплексная оценка защитных свойств материалов. 23

Приложение 1. Перечень исследуемых свойств материалов. 25

Приложение 2. Прогнозирование сроков защиты изделий при хранении. 26

Приложение 3. Требования к устройству и принцип действия лабораторного копра. 29

Приложение 4. Характерные показатели герметизирующих материалов, проверяемые после определения стойкости к старению.. 30

Приложение 5. Значение весомостей показателей свойств полимерных пленок и тканей с пароводонепроницаемыми покрытиями, используемыми для создания герметичных объемов, при хранении изделий на открытых площадках в различных климатических районах. 31

Приложение 6. Пример расчета максимальных абсолютных и относительных ошибок при определении проницаемости к парам воды.. 31

 




Rambler's Top100 Яндекс цитирования
  Copyright © 2008-2026, www.docload.ru