Бесплатная библиотека стандартов и нормативов www.docload.ru

Все документы, размещенные на этом сайте, не являются их официальным изданием и предназначены исключительно для ознакомительных целей.
Электронные копии этих документов могут распространяться без всяких ограничений. Вы можете размещать информацию с этого сайта на любом другом сайте.
Это некоммерческий сайт и здесь не продаются документы. Вы можете скачать их абсолютно бесплатно!
Содержимое сайта не нарушает чьих-либо авторских прав! Человек имеет право на информацию!

 

ГОСТ 9853.3-96

МЕЖГОСУДАРСТВЕННЫЙ СТАНДАРТ

ТИТАН ГУБЧАТЫЙ

Методы определения углерода

МЕЖГОСУДАРСТВЕННЫЙ совет по стандартизации, метрологии и сертификации

Минск

СОДЕРЖАНИЕ

Предисловие

1. РАЗРАБОТАН Межгосударственным техническим комитетом по стандартизации МТК 105, Украинским научно-исследовательским и проектным институтом титана

ВНЕСЕН Государственным комитетом Украины по стандартизации, метрологии и сертификации

2. ПРИНЯТ Межгосударственным Советом по стандартизации, метрологии и сертификации (протокол № 9 от 12 апреля 1996 г.)

За принятие проголосовали:

Наименование государства

Наименование национального органа по стандартизации

Азербайджанская Республика

Азгосстандарт

Республика Беларусь

Госстандарт Беларуси

Республика Казахстан

Госстандарт Республики Казахстан

Российская Федерация

Госстандарт России

Туркменистан

Главная государственная инспекция Туркменистана

Украина

Госстандарт Украины

3. Постановлением Государственного комитета Российской Федерации по стандартизации и метрологии от 19 октября 1999 г. № 353-ст межгосударственный стандарт ГОСТ 9853.3-96 введен в действие непосредственно в качестве государственного стандарта Российской Федерации с 1 июля 2000 г.

4. ВЗАМЕН ГОСТ 9853.3-86

ГОСТ 9853.3-96

МЕЖГОСУДАРСТВЕННЫЙ СТАНДАРТ

ТИТАН ГУБЧАТЫЙ

Методы определения углерода

Sponge titanium.

Methods for determination of carbon

Дата введения 2000-07-01

1. Область применения

Настоящий стандарт устанавливает методы определения углерода в губчатом титане по ГОСТ 17746: хроматографический метод (при массовой доле углерода от 0,001 % до 0,15 %), газообъемный метод (при массовой доле углерода от 0,01 % до 0,15 %), кулонометрический метод (при массовой доле углерода от 0,003 % до 0,2 %) и метод индукционного нагрева (при массовой доле углерода от 0,003 % до 0,2 %).

Хроматографический метод определения углерода в губчатом титане основан на сжигании титана в токе кислорода с последующей очисткой образующейся газовой смеси от мешающих примесей и хроматографическом разделении диоксида углерода и кислорода с помощью твердого сорбента. Для измерения количества диоксида углерода используют детектор, регистрирующий теплопроводность анализируемой смеси и инертного газа, в сочетании с самопишущим потенциометром.

Газообъемный метод основан на сжигании навески титана в токе кислорода при температуре 1523 - 1573 К с последующим поглощением образовавшегося диоксида углерода раствором гидроксида калия. Содержание углерода определяют по разности между первоначальным объемом и объемом газов, полученным после поглощения диоксида углерода раствором гидроксида калия.

Кулонометрический метод основан на сжигании навески титана в токе кислорода с образованием диоксида углерода, содержание которого определяют кулонометрическим методом.

Метод индукционного нагрева основан на сжигании навески титана в токе кислорода с образованием диоксида углерода, содержание которого определяют с помощью датчика, поглощающего излучение в инфракрасной области спектра.

2. Нормативные ссылки

В настоящем стандарте использованы ссылки на следующие стандарты:

ГОСТ 8.315-97 Государственная система обеспечения единства измерений. Стандартные образцы. Основные положения, порядок разработки, аттестации, утверждения, регистрации и применения

ГОСТ 450-77 Кальций хлористый технический. Технические условия

ГОСТ 859-78 Медь. Марки

ГОСТ 3776-78 Хрома (VI) оксид. Технические условия

ГОСТ 4140-74 Стронций хлористый 6-водный. Технические условия

ГОСТ 4199-76 Натрий тетраборнокислый 10-водный. Технические условия

ГОСТ 4204-77 Кислота серная. Технические условия

ГОСТ 4207-75 Калий железистосинеродистый 3-водный. Технические условия

ГОСТ 4232-74 Калий йодистый. Технические условия

ГОСТ 4233-77 Натрий хлористый. Технические условия

ГОСТ 4234-77 Калий хлористый. Технические условия

ГОСТ 4470-79 Марганца (IV) окись. Технические условия

ГОСТ 5583-78 (ИСО 2046-73) Кислород газообразный технический и медицинский. Технические условия

ГОСТ 8074-82 Микроскопы инструментальные. Типы, основные параметры и размеры. Технические требования

ГОСТ 9147-80 Посуда и оборудование лабораторные фарфоровые. Технические условия

ГОСТ 9293-74 (ИСО 2435-73) Азот газообразный и жидкий. Технические условия

ГОСТ 10727-91 Нити стеклянные однонаправленные. Технические условия

ГОСТ 13045-81 Ротаметры. Общие технические условия

ГОСТ 16539-79 Меди (II) оксид. Технические условия

ГОСТ 17746-96 Титан губчатый. Технические условия

ГОСТ 18143-72 Проволока из высоколегированной коррозионно-стойкой и жаростойкой стали. Технические условия

ГОСТ 18300-87 Спирт этиловый ректификованный технический. Технические условия

ГОСТ 20490-75 Калий марганцовокислый. Технические условия

ГОСТ 23780-96 Титан губчатый. Методы отбора и подготовки проб

ГОСТ 24363-80 Калия гидроокись. Технические условия

ГОСТ 25086-87 Цветные металлы и их сплавы. Общие требования к методам анализа

3. Общие требования

3.1. Общие требования к методам анализа - по ГОСТ 25086.

3.2. Отбор и подготовку проб проводят по ГОСТ 23780.

3.3. Массовую долю углерода определяют по двум навескам.

4. Хроматографический метод

4.1. Средства измерений и вспомогательные устройства

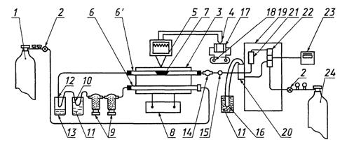
Установка для определения содержания углерода (рисунок 1) состоит из следующих элементов: баллона с кислородом 1, снабженного редукционным вентилем; дросселя 2; электропечи сопротивления 3, обеспечивающей температуру не ниже 1573 К; термопары платино-платинородиевой 4; потенциометра электронного 5 типа КСП-4, обеспечивающего регулирование заданных температур с точностью ±5 %; трубок фарфоровых неглазурованных 6 и 6 длиной 750 мм, внутренним диаметром 18 - 20 мм (концы трубок должны выступать из печи не менее чем на 160 мм с каждой стороны и перед применением трубки должны быть прокалены при температуре 1573 К по всей длине); лодочек фарфоровых 7 (перед применением лодочки должны быть прокалены в токе кислорода при температуре 1573 К в течение часа, прокаленные лодочки хранят в эксикаторе, шлиф крышки эксикатора не смазывают смазкой); трансформатора 8 типа РНО-250-5; склянок Тищенко 9, заполненных ангидроном и аскаритом; трубки U-образной кварцевой 10, заполненной цеолитом 5А; стакана фарфорового 11; трубки U-образной металлической 12; термоса 13; хлоркальциевой трубки 14, заполненной йодидом калия с ватой; крана трехходового 15; концентратора 16, заполненного цеолитом 5А; электропечи трубчатой 17 типа МА-С, обеспечивающей температуру не ниже 800 К; автотрансформатора лабораторного 18 типа ЛАТР 1М; хроматографа 19 (порог чувствительности детектора по теплопроводности не превышает 1·10-4 мг/см3 при использовании в качестве газа-носителя гелия, 1·10-3 мг/см3 - при использовании азота), включающего: кран-дозатор 20, колонку хроматографическую 21, потенциометр самопишущий 23 и катарометр 22; баллона с гелием 24, снабженного редукционным вентилем.

Рисунок 1

Микроскоп отсчетный типа МПБ-2 по ГОСТ 8074.

Секундомер, класс 3, цена деления секундной шкалы 0,2 с по действующему нормативному документу.

Крючок из жаростойкой низкоуглеродистой проволоки по ГОСТ 18143 длиной 600 мм, диаметром 3 - 5 мм.

Трубка поливинилхлоридная по действующему нормативному документу.

Трубка вакуумная по действующему нормативному документу.

Кислород газообразный по ГОСТ 5583.

Гелий газообразный очищенный марки Б по действующему нормативному документу.

Калия йодид (калий йодистый) по ГОСТ 4232.

Магния перхлорат (ангидрон) по действующему нормативному документу.

Аскарит по действующему нормативному документу.

Азот жидкий по ГОСТ 9293.

Цеолит типа 5А (СаА).

Этанол (спирт этиловый) ректификованный технический по ГОСТ 18300.

Полисорб-1 (фракции 0,25 - 0,5 мм) по действующему нормативному документу.

Плавень - оксид меди порошкообразный по ГОСТ 16539.

Оксид меди предварительно прокаливают в токе кислорода при температуре 1073 К в течение 6 ч. В качестве плавней можно применять и другие материалы, обеспечивающие максимальное извлечение углерода из анализируемой пробы. Массовая доля углерода в плавне не должна превышать 0,002 %; допускается сжигание пробы без плавня при условии полного извлечения углерода.

Государственные стандартные образцы по ГОСТ 8.315.

4.2. Порядок подготовки к проведению измерений

4.2.1 Пробу очищают от возможных загрязнений. Для этого ее промывают этанолом из расчета 10 см3 на 1 г анализируемой пробы, затем высушивают до полного удаления этанола. При необходимости очищенную анализируемую пробу хранят в стеклянной таре.

4.2.2. Перед началом работы установку приводят в рабочее состояние: хроматографическую колонку 21 длиной 3 м заполняют полисорбом-1; концентратор 16 (U-образная трубка длиной 180 мм, внутренним диаметром 3 мм) заполняют цеолитом 5А (в количестве 0,3 - 0,4 г); фарфоровую трубку 6, служащую для очистки кислорода, заполняют кварцевой насадкой; склянки Тищенко 9 заполняют соответственно перхлоратом магния и аскаритом; U-образную трубку 10 заполняют цеолитом 5А и помещают в сосуд 11 со льдом; U-образную трубку 12 помещают в сосуд 13 над жидким азотом; хлоркальциевую трубку 14 заполняют йодидом калия с ватой.

Затем все части установки плотно соединяют друг с другом встык с помощью вакуумных или поливинилхлоридных трубок.

Подключение хроматографа и электропечей к сети и выход их на рабочий режим выполняют при параметрах: температура сжигания 1523 - 1573 К; температура концентрирования 273 К; температура десорбции 753 К; температура хроматографического разделения 373 К; ток моста детектора (для хроматографа «Цвет-4») 250 мкА; расход кислорода и гелия (смесь) - 60 см3/мин.

После того как установка собрана, проверяют ее на герметичность.

4.2.3. Для проведения контрольного опыта кран-дозатор 20 устанавливают в положение 1. С помощью трехходового крана 15 соединяют концентратор 16 с аналитической частью установки. Затем погружают концентратор в сосуд со льдом 11. Подготовленную лодочку с плавнем помещают в наиболее нагретую часть трубки и концентрируют диоксид углерода в течение 10 мин.

После концентрирования отсоединяют концентратор от аналитической части установки и устанавливают его в печь 17, нагретую до температуры 753 К. Кран-дозатор переключают в положение 2. Включают потенциометр 23.

После регистрации пиков остаточного кислорода и диоксида углерода потенциометр выключают.

4.3. Порядок проведения измерений

Кран-дозатор устанавливают в положение 1. С помощью трехходового крана соединяют аналитическую часть установки с концентратором, затем погружают концентратор в сосуд со льдом.

На дне лодочки помещают навеску титана массой 0,5 - 1,0 г, покрывают слоем плавня - оксида меди в отношении 1:4 и устанавливают в наиболее нагретую часть фарфоровой трубки. (Сжигание титана можно проводить и без плавня, но в таком случае необходимо проводить процесс при температуре выше 1573 К).

Далее анализ проводят в том же порядке, как указано в 4.2.3.

4.4 Обработка результатов измерений

Массовую долю углерода X, %, вычисляют по формуле:

,

(1)

где S1 - площадь пика, соответствующая содержанию диоксида углерода в анализируемой пробе, мм2;

S2 - площадь пика, соответствующая содержанию диоксида углерода в контрольном опыте, мм2;

т - массовая доля углерода в стандартном образце, %;

т1 - масса навески стандартного образца, г;

S3 - площадь пика, соответствующая содержанию диоксида углерода в стандартном образце, мм2;

т2 - масса навески анализируемой пробы, г.

4.5 Допустимая погрешность измерений

4.5.1. Расхождение между результатами измерений и результатами анализа (при доверительной вероятности Р = 0,95) не должно превышать значений, указанных в таблице 1.

Таблица 1

Массовая доля углерода

Допускаемое расхождение между результатами параллельных измерений

Допускаемое расхождение между результатами анализа

Предел погрешности измерений Δ

От 0,0010 до 0,0030 включ.

0,0005

0,0010

0,0008

Св. 0,003 » 0,006 »

0,001

0,002

0,002

 » 0,006 » 0,010 »

0,002

0,003

0,002

 » 0,010 » 0,020 »

0,003

0,004

0,003

 » 0,020 » 0,030 »

0,004

0,005

0,004

 » 0,030 » 0,040 »

0,005

0,006

0,005

 » 0,040 » 0,050 »

0,007

0,008

0,006

 » 0,050 » 0,150 »

0,014

0,020

0,016

4.5.2. Контроль точности результатов анализа проводят по стандартному образцу в соответствии с ГОСТ 25086.

Допускается проводить контроль точности результатов анализа по методу добавок в соответствии с ГОСТ 25086.

5. Газообъемный метод

5.1. Средства измерений и вспомогательные устройства

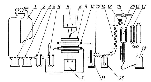
Установка для определения содержания углерода (рисунок 2) состоит из баллона с кислородом 1, снабженного редукционным вентилем; склянки Тищенко 2, содержащей раствор перманганата калия массовой концентрации 40 г/дм3 в растворе гидроксида калия массовой концентрации 400 г/дм3; склянки Тищенко 3, содержащей серную кислоту; U-образной трубки 4, заполненной в первой половине (по ходу кислорода) натронной известью, а во второй - хлоридом кальция; U-образной трубки 5, наполненной на 2/3 аскаритом и на 1/3 хлоридом кальция; электропечи 6 с силитовыми нагревателями и регулятором напряжения 7; термопары платино-платинородиевой 8; терморегулятора 9; трубки фарфоровой неглазурованной длиной 750 мм, внутренним диаметром 18 - 20 мм (концы трубки должны выступать из печи на менее чем на 160 мм с каждой стороны и перед применением трубки должны быть прокалены при температуре 1573 К по всей длине); склянки 11, содержащей хромовую смесь; трубки 12, заполненной стеклянной ватой; склянки 13, содержащей раствор йодида калия массовой концентрации 100 г/дм3; газоанализатора ГОУ, включающего змеевиковый холодильник 14, трехходовой кран 15, соединяющий газоизмерительную бюретку 16 с холодильником и поглотительным сосудом 17; одноходового крана 18, соединяющего газоизмерительную бюретку с атмосферой.

Рисунок 2

Сосуд для поглощения диоксида углерода снабжен затворными клапанами-поплавками, которые закрывают поглотитель при его наполнении раствором щелочи. Поглотитель соединен с цилиндрическим сосудом, в который при наполнении поглотителя газовой смесью перекачивается раствор щелочи. Для перекачивания газовой смеси служит уравнительная склянка 19 вместимостью 600 - 700 см3, заполненная раствором хлорида натрия.

Газоизмерительная бюретка-эвдиометр 20 со шкалой до 0,25 % углерода представляет собой узкий цилиндрический сосуд, расширенный в верхней части, вместимостью 250 см3. Бюретка имеет двойные стенки, пространство между которыми заполняют водой, благодаря чему среда почти не влияет на температуру газа в бюретке. В верхней части бюретки укреплен термометр для измерения температуры газов, здесь же находится пустотелый поплавок, который при наполнении бюретки поднимается и запирает верхнее отверстие. К узкой части бюретки прикреплена подвижная шкала для измерения объема газов. Деление шкалы соответствует непосредственно содержанию углерода в 1 г исследуемого вещества. Бюретки калибруются при температуре 289 К и давлении 1·10-5 Па, поэтому для иных условий вводят поправку на температуру и атмосферное давление. Таблица поправочных коэффициентов дана в инструкции по эксплуатации эвдиометра. Газоизмерительную бюретку необходимо промывать хромовой смесью 1 - 2 раза в месяц.

Лодочки фарфоровые № 2 по ГОСТ 9147 перед применением прокаливают в токе кислорода при температуре 1573 К в течение 1 ч. Прокаленные лодочки хранят в эксикаторе. Шлифы крышки эксикатора не должны смазываться.

Крючок из жаростойкой низкоуглеродистой проволоки по ГОСТ 18143 диаметром 3 - 5 мм, длиной 600 мм.

Кальция хлорид плавленый по ГОСТ 450.

Этанол (спирт этиловый) ректификованный технический по ГОСТ 18300.

Хрома (IV) оксид (ангидрид хромовый) по ГОСТ 3776.

Известь натронная.

Аскарит по действующему нормативному документу.

Кислород газообразный по ГОСТ 5583.

Хромовая смесь: 85 г оксида хрома (VI) растворяют в 120 см3 дистиллированной воды, к раствору приливают небольшими порциями при размешивании 500 см3 концентрированной серной кислоты; раствор хранят в закрытой склянке.

Калия гидроксид по ГОСТ 24363, раствор массовой концентрации 400 г/дм3.

Калия перманганат (калий марганцовокислый) по ГОСТ 20490, раствор массовой концентрации 40 г/дм3: 20 г перманганата калия растворяют в 500 см3 раствора гидроксида калия.

Метиловый оранжевый по действующему нормативному документу, раствор массовой концентрации 1 г/дм3.

Кислота серная по ГОСТ 4204.

Натрия хлорид (натрий хлористый) по ГОСТ 4233, раствор массовой концентрации 260 г/дм3: 260 г хлористого натрия растворяют в 1000 см3 воды с добавлением 5 см3 серной кислоты и 2 - 3 капель раствора метилового оранжевого.

Калия йодид (калий йодистый) по ГОСТ 4232, раствор массовой концентрации 160 г/дм3.

Плавень - оксид меди порошкообразный по ГОСТ 16539. Оксид меди предварительно необходимо прокалить в токе кислорода при температуре 1073 К в течение 6 ч.

В качестве плавней можно применять и другие материалы, обеспечивающие максимальное извлечение углерода из анализируемой пробы. Массовая доля углерода в плавне не должна превышать 0,002 %; допускается сжигание пробы без плавня при условии полного извлечения углерода.

Государственные стандартные образцы по ГОСТ 8.315.

5.2. Порядок подготовки к проведению измерений

5.2.1. Пробу очищают от возможных загрязнений. Для этого ее промывают этанолом в объеме 10 см3 на 1 г анализируемой пробы, затем высушивают до полного удаления этанола. При необходимости очищенную анализируемую пробу хранят в стеклянной таре.

5.2.2. Готовят установку к работе следующим образом. Концы фарфоровой трубки закрывают резиновыми пробками со вставленными в них стеклянными трубками. Чтобы резиновая пробка на выходе газов из печи не обгорела, внутреннюю торцевую поверхность пробки закрывают асбестовой прокладкой.

Поглотительный сосуд наполняют раствором гидроксида калия, а в уравнительную склянку наливают 400 - 450 см3 раствора хлорида натрия.

Изменение красной окраски метилового оранжевого на желтую указывает на проникновение в бюретку раствора щелочи из поглотительного сосуда. В этом случае жидкость в бюретке необходимо заменить свежей. После каждого заполнения уравнительной склянки свежей жидкостью рекомендуется провести одно - два предварительных сжигания навесок титана для насыщения жидкости диоксидом углерода, в противном случае при определении содержания углерода после наполнения уравнительной склянки свежей жидкостью новые результаты могут быть заниженными.

Один конец фарфоровой трубки соединяют резиновым шлангом через очистительные склянки с баллоном, содержащим кислород, а второй - с аппаратом ГОУ. После этого установку проверяют на герметичность при рабочей температуре печи. Для этого центральный трехходовый кран 15 ставят в положение, разъединяющее бюретку, поглотительный сосуд и холодильник. Открыв кран 18, поднимают уравнительную склянку, при этом бюретка наполняется жидкостью. Как только жидкость заполнит бюретку, кран 18 закрывают, а центральный кран 15 ставят в положение, при котором бюретка соединяется с поглотительным сосудом.

Опустив уравнительную склянку, дают жидкости стечь из бюретки в уравнительную склянку. При этом уровень раствора щелочи в поглотительном сосуде повышается, поднимая поплавок. Как только поплавок закроет выход из поглотительного сосуда, центральный кран 15 и кран 18 ставят в положение, при котором бюретка соединяется с поглотительным сосудом.

Опустив уравнительную склянку, дают жидкости стечь из бюретки в уравнительную склянку. При этом уровень раствора щелочи в поглотительном сосуде повышается, поднимая поплавок. Как только поплавок закроет выход из поглотительного сосуда, центральный кран 15 и кран 18 ставят в положение, при котором бюретка соединяется с атмосферой. Поднимая уравнительную склянку, наполняют бюретку жидкостью до верхнего предела. Когда бюретка заполнится жидкостью, кран 18 закрывают, а уравнительную склянку опускают. Если аппарат герметичен, то поглотительный сосуд остается заполненным щелочью, а уровень жидкости в газоизмерительной бюретке должен остаться без изменения. Если же жидкость в газоизмерительной бюретке опускается, то это свидетельствует о том, что аппарат не герметичен. Его следует разобрать, протереть краны, смазать их вазелином и снова проверить аппарат на герметичность.

Для контроля работы установки перед началом работы и через каждые 2 - 3 ч во время работы сжигают 2 - 3 навески титана с известным содержанием углерода, близким к содержанию углерода в испытываемой пробе.

5.3. Порядок проведения измерений

5.3.1 На дно лодочки помещают навеску титана массой 1 г, покрывают слоем плавня - оксида меди в отношении 1:4 и лодочку размещают в наиболее нагретой части фарфоровой трубки. Трубку закрывают пробкой, соединяя, таким образом, печь с кислородным баллоном. Затем пропускают предварительно очищенный кислород со скоростью 4 - 5 пузырьков в секунду. Краном 15 на некоторое время разъединяют холодильник и эвдиометр, чтобы начало сжигания проходило под некоторым давлением кислорода. Кран 15 ставят в положение, при котором газовая смесь поступает в газоизмерительную бюретку. Уравнительную склянку ставят на подставку, находящуюся в верхней части газоанализатора. В таком положении оставляют уравнительную склянку до тех пор, пока кислород и продукты сгорания не вытеснят жидкость из верхней части эвдиометра. После этого уравнительную склянку ставят в нижнее положение, оставляют до тех пор, пока уровень жидкости в измерительной бюретке не опустится примерно до нуля, после чего разъединяют пробку с фарфоровой трубкой и вынимают из трубки лодочку. При этом уровень жидкости устанавливается в эвдиометре на нулевом делении шкалы, а уровень в уравнительной склянке должен быть на одной горизонтали с уровнем жидкости в бюретке. Затем, меняя положение крана 15, газовую смесь (диоксид углерода + кислород) из газоизмерительной бюретки переводят в поглотитель, следя за тем, чтобы в верхней части бюретки не осталось пузырьков газа. Из поглотителя остаток снова перекачивают в бюретку. Эту операцию повторяют дважды. Затем устанавливают кран 15 в положение полного разъединения газоизмерительной бюретки с поглотителем и измеряют объем газа в бюретке. Для этого жидкость в уравнительной склянке и измерительной бюретке устанавливают на одном уровне, выдерживают в течение 1 мин, чтобы стекла жидкость, оставшаяся на стенках бюретки, после чего, уравняв точно мениски по шкале измерительной бюретки, определяют объем поглощенного диоксида углерода, пропорциональный содержанию углерода в анализируемом материале, фиксируя соответствующее деление шкалы. Одновременно фиксируют температуру.

5.3.2 Контрольный опыт проводят через все стадии анализа. Для этого в лодочку помещают плавень - оксид меди в количестве, предусмотренном в 5.3.1, и далее поступают в соответствии с 5.3.1.

После выполнения анализа бюретку освобождают от газа и готовят аппарат для следующего анализа по 5.2.2.

5.4. Обработка результатов измерений

Массовую долю углерода X, %, вычисляют по формуле:

,

(2)

где А - отсчет по шкале эвдиометра после сжигания пробы, %;

В - отсчет по шкале эвдиометра после сжигания контрольного опыта, %;

К - поправочный коэффициент на температуру и давление;

т - масса навески анализируемой пробы, г.

5.5. Допустимая погрешность измерений

5.5.1. Расхождение между результатами измерений и результатами анализа (при доверительной вероятности Р = 0,95) не должно превышать значений, указанных в 4.5.1.

5.5.2. Контроль точности результатов анализа проводят по стандартному образцу в соответствии с ГОСТ 25086.

6. Кулонометрический метод

6.1. Средства измерений и вспомогательные устройства

Анализатор типа АН-7560.

Печь трубчатая типа УС-7077.

Ротаметр по ГОСТ 13045.

Лодочки фарфоровые № 2 по ГОСТ 9147. Перед применением лодочки прокаливают в токе кислорода при рабочей температуре в течение 1 ч и хранят в эксикаторе. Шлиф крышки эксикатора не должен покрываться смазывающим веществом.

Крючок из жаростойкой низкоуглеродистой проволоки по ГОСТ 18143 диаметром 3 - 5 мм, длиной 600 мм.

Трубка огнеупорная муллито-кремнеземистая, рекомендуемая фирмой-изготовителем анализатора.

Стекловата по ГОСТ 10727.

Ткань Петрянова типа ФПП-25-3.

Аскарит по действующему нормативному документу.

Плавень - оксид меди порошкообразный по ГОСТ 16539. Оксид меди предварительно прокаливают в токе кислорода при температуре 1073 К в течение 6 ч. В качестве плавня допускается применение и других материалов, обеспечивающих полное извлечение углерода из анализируемой пробы. Допускается сжигание пробы без плавня при условии полного извлечения углерода.

Кислород газообразный по ГОСТ 5583.

Этанол (спирт этиловый) ректификованный технический по ГОСТ 18300.

Калия хлорид (калий хлористый) по ГОСТ 4234.

Калия железоцианид (калий железосинеродистый) по ГОСТ 4207.

Натрия тетраборат (натрий тетраборнокислый) по ГОСТ 4199.

Стронция хлорид (стронций хлористый) 6-водный по ГОСТ 4140.

Марганца (IV) оксид по ГОСТ 4470.

Государственные стандартные образцы по ГОСТ 8.315.

Поглотительный раствор: 50 г хлорида калия и 50 г хлорида стронция растворяют в 1000 см3 воды и перемешивают.

Вспомогательный раствор: 50 г хлорида калия, 50 г железоцианида калия и 1 г тетрабората натрия растворяют в 1000 см3 воды и перемешивают.

6.2. Порядок подготовки к проведению измерений

6.2.1. Пробу очищают от возможных загрязнений. Для этого ее промывают этанолом в объеме 10 см3 на 1 г анализируемой пробы, затем высушивают до полного удаления этанола. При необходимости очищенную анализируемую пробу хранят в стеклянной таре.

6.2.2. Подготовку анализатора АН-7560 к работе осуществляют в соответствии с инструкцией, изложенной в паспорте.

Нагревают печь до 1473-1573 К.

Проводят соединение элементов газового тракта и подают кислород в систему. Устанавливают расход кислорода 0,6 - 0,7 дм3/мин.

Проверяют герметичность соединений газового тракта прибора путем пережатия резиновой трубки, соединяющей дроссель с сосудом датчика. Опускание поплавка ротаметра до упора свидетельствует о герметичности системы.

После проверки герметичности системы включают анализатор АН-7560. В течение 30 - 40 мин происходит автоматическое установление рН поглотительного раствора до значения рН 10,5.

Для градуировки анализатора АН-7560 используют государственные стандартные образцы, близкие по химическому составу к анализируемой пробе и аттестованные в соответствии с ГОСТ 8.315.

В процессе градуировки учитывают показания, полученные в результате проведения контрольного опыта.

6.3. Порядок проведения измерений

6.3.1. Навеску титана массой 0,5 г (при массовой доле углерода до 0,1 %) или 0,25 г (при массовой доле углерода свыше 0,1 %) помещают в фарфоровую лодочку слоем и покрывают равномерным слоем оксида меди в отношении 1:2 по массе. Анализируемую пробу и оксид меди взвешивают на лабораторных весах с погрешностью взвешивания не более 0,001 г.

Лодочку с навеской титана и плавнем помещают в рабочую зону трубки, которую быстро закрывают металлическим затвором, нажимают на кнопку «сброс» и устанавливают показание индикаторного цифрового табло на «нуль». Сжигают навеску титана с плавнем при температуре 1473 - 1573 К. В процессе сжигания навески титана с плавнем на цифровом табло осуществляется непрерывный отсчет показаний. Допускается проведение анализа без применения плавня (при разногласии в оценке качества анализ проводят с применением плавня).

Анализ считают законченным, если цифровые показания табло не изменяются в течение 1 мин или изменяются на значение холостого счета прибора.

6.3.2. Контрольный опыт проводят через все стадии анализа. Для этого в лодочку помещают плавень (оксид меди) в количестве, предусмотренном в 4.3, и далее поступают в соответствии с 6.3.1.

При неустойчивом значении контрольного опыта его повторяют в течение смены один-два раза. Среднее значение результата контрольного опыта не должно превышать значений допускаемых расхождений для анализируемой пробы, приведенных в таблице 2.

6.4. Обработка результатов измерений

Массовую долю углерода X, %, вычисляют по формуле:

,

(3)

где т1 - масса навески, по которой отградуирован прибор, г;

А - показание цифрового табло прибора, полученное в результате сжигания навески титана, %;

Ах - среднее арифметическое значение показаний цифрового табло прибора, полученное в результате сжигания плавня при проведении контрольных опытов, %;

т - масса анализируемой навески пробы, г.

При использовании анализатора в комплекте с автоматическими весами формула приобретает вид:

Х = А - Ах,

(4)

6.5. Допустимая погрешность измерений

6.5.1. Расхождение между результатами измерений и результатами анализа (при доверительной вероятности Р = 0,95) не должно превышать значений, указанных в таблице 2.

Таблица 2

Массовая доля углерода

Допускаемое расхождение результатов параллельных измерений

Допускаемое расхождение результатов анализа

Предел погрешности измерений Δ

От 0.003 до 0,010 включ.

0,002

0,003

0,002

Св. 0,010 » 0,030 »

0,003

0,005

0,004

 » 0,030 » 0,080 »

0,005

0,008

0,006

 » 0,080 » 0,200 »

0,020

0,030

0,024

6.5.2. Контроль точности результатов анализа проводят по стандартному образцу в соответствии с ГОСТ 25086.

Допускается проводить контроль точности результатов анализа по методу добавок в соответствии с ГОСТ 25086.

7. Метод индукционного нагрева

7.1. Средства измерений и вспомогательные устройства

Прибор-анализатор, оснащенный печью индукционного нагрева, печью каталитического дожигания оксида углерода до диоксида углерода и ИК датчиком (IR-12 «LECO») или аналогичными.

Тигли, рекомендуемые фирмой-изготовителем прибора, или аналогичные тигли из кварца или оксида циркония высотой 25 мм и наружным диаметром 25 мм.

Медь металлическая (стружка толщиной не более 0,5 мм) по ГОСТ 859.

Этанол (спирт этиловый) ректификованный технический по ГОСТ 18300.

Государственные стандартные образцы по ГОСТ 8.315.

7.2. Порядок подготовки к проведению измерений

7.2.1 Анализируемую пробу в виде стружки или компактного образца очищают от возможных загрязнений. Для этого пробу промывают этанолом из расчета 10 см3 этанола на 1 г пробы и сушат при температуре, не превышающей 313 К, до полного удаления этанола. При необходимости очищенные пробы хранят в стеклянной таре.

7.2.2. Медную стружку перед использованием очищают указанным в 7.2.1 способом. При необходимости медную стружку хранят в стеклянной таре.

7.2.3. Тигли перед использованием обжигают в муфельной печи при 1273 К в течение 4 ч. Все операции с прокаленными тиглями осуществляют только с использованием чистого пинцета.

7.2.4. Подготовку к работе и включение анализатора выполняют согласно инструкции по эксплуатации.

В качестве рабочего газа используют кислород.

7.3. Порядок проведения измерений

7.3.1. Устанавливают переключатель «Function Select» на приборе в положение «Calibrate». Компенсатор веса устанавливают на деление «1,0 Low».

Отбирают навеску медной стружки массой 1 г, нажатием кнопки «Enter» вводят показания весов в расчетное устройство анализатора.

Помещают стружку на дно тигля, а тигель внутрь кварцевого реактора в центральной зоне индуктора. Сжигают навеску меди, после чего регулятором «Blank Ajust» устанавливают на табло нули. Для уточнения настройки прибора повторяют контрольный опыт.

7.3.2. Градуировку прибора проводят по стандартным образцам, близким по химическому составу и содержанию углерода к анализируемым образцам и аттестованным в соответствии с ГОСТ 8.315.

Отбирают навеску стандартного образца массой 1,0 г и нажатием кнопки «Enter» вводят показания весов в расчетное устройство анализатора. Пробу переводят в тигель, покрывают равномерным слоем медной стружки, взятой в отношении 1:1 к навеске стандартного образца.

Затем тигель накрывают крышкой и помещают внутрь кварцевого реактора в центральной зоне индуктора. Сжигают пробу и проводят регулировку прибора до появления на табло значения, соответствующего аттестованному содержанию углерода в стандартном образце. Для уточнения градуировки сжигают навеску стандартного образца еще раз.

7.3.3. Устанавливают переключатель «Function Select» в положение «Operate». Отбирают навеску анализируемого образца 1,0 г, нажатием кнопки «Enter» вводят показания весов в расчетное устройство анализатора. Пробу переводят в керамический тигель, покрывают равномерным слоем медной стружки, взятой в отношении 1:1 к пробе.

Накрывают тигель крышкой и помещают внутрь кварцевого реактора в центральной зоне индуктора. Сжигают анализируемую пробу и регистрируют результат анализа в процентах на табло.

7.4. Обработка результатов измерений

Обработка результатов измерений производится прибором автоматически. Результат анализа в процентах высвечивается на табло.

7.5. Допустимая погрешность измерений

7.5.1 Расхождение между результатами измерений и результатами анализа (при доверительной вероятности Р = 0,95) не должно превышать значений, указанных в таблице 3.

Таблица 3

Массовая доля углерода

Допускаемое расхождение между результатами параллельных измерений

Допускаемое расхождение между результатами анализа

Предел погрешности измерений А

От 0,0030 до 0,0100 включ.

0,0010

0,0015

0,0012

Св. 0,0100 » 0,0300 »

0,0020

0,0030

0,0024

 » 0,030 » 0,080 »

0,006

0,009

0,000

 » 0,080 » 0,200 »

0,014

0,020

0,016

7.5.2. Контроль точности результатов анализа проводят по стандартному образцу в соответствии с ГОСТ 25086.

8. Требования к квалификации

К выполнению анализа допускается химик-аналитик квалификации не ниже 4-го разряда.

Ключевые слова: титан губчатый, определение углерода, хроматографический метод, газообъемный метод, кулонометрический метод, метод индукционного нагрева

 




Rambler's Top100 Яндекс цитирования
  Copyright © 2008-2026, www.docload.ru