Бесплатная библиотека стандартов и нормативов www.docload.ru

Все документы, размещенные на этом сайте, не являются их официальным изданием и предназначены исключительно для ознакомительных целей.
Электронные копии этих документов могут распространяться без всяких ограничений. Вы можете размещать информацию с этого сайта на любом другом сайте.
Это некоммерческий сайт и здесь не продаются документы. Вы можете скачать их абсолютно бесплатно!
Содержимое сайта не нарушает чьих-либо авторских прав! Человек имеет право на информацию!

 

Министерство связи Российской Федерации

Государственный специализированный проектный институт радио и телевидения

ВЕДОМСТВЕННЫЕ СТРОИТЕЛЬНЫЕ НОРМЫ

ИНСТРУКЦИЯ

по проектированию молниезащиты радиообъектов

ВСН 1-93

МИНСВЯЗИ РОССИИ

москВа 1993 г.

Министерство связи Российской Федерации

Государственный специализированный проектный институт радио и телевидения

ВЕДОМСТВЕННЫЕ
строительные нормы

ИНСТРУКЦИЯ
по проектированию молниезащиты радиообъектов

УТВЕРЖДЕНЫ

Приказом Минсвязи России

от 15 июля 1993 г. № 168

Москва 1993 г.

ПРЕДИСЛОВИЕ

Инструкция по проектированию молниезащиты радиообъектов разработана Государственным специализированным проектным институтом радио и телевидения (ГСПИ РТВ) Министерства связи РФ.

Разработка выполнена на основании инструкции по проектированию молниезащиты радиообъектов ВСН-1-77 (Москва, 1978 г.) и требований действующей нормативной документации (перечень нормативной документации приведен в инструкции).

Настоящая инструкция охватывает обширный круг вопросов проектирования молниезащиты радиообъектов. В ней приводятся указания по проектированию молниезащиты передающих и приемных радиостанций, радиотелевизионных передающих станций, радиорелейных станций, станций спутниковой связи, телевизионных антенных систем коллективного приема телевидения и антенн прямого индивидуального приема телевидения со спутников.

Являясь в основном руководством для проектировщиков, инструкция может быть использована эксплуатационным персоналом радиообъектов при разработке систем молниезащиты или мероприятий, улучшающих молниезащиту существующих радиоустановок, а также строительно-монтажными организациями при строительстве радиообъектов.

Министерство связи России

Ведомственные строительные нормы

ВСН-1-93

 

Минсвязи России

Взамен ВСН-1-77

Инструкция по проектирования молниезащиты радиообъектов

Минсвязи СССР

 

1. Общие положения

1.1. Настоящая инструкция регламентирует мероприятия по проектированию и устройству молниезащиты радиотехнических зданий и сооружений следующих радиообъектов:

- передающих радиостанций;

- приемных радиостанций;

- радиотелевизионных передающих станций;

- радиорелейных станций;

- земных станций спутниковой связи;

- антенн систем коллективного приема телевидения;

- индивидуальных антенн прямого приема программ телевидения со спутников связи.

1.2. Настоящая инструкция не распространяется на действующие и строящиеся радиообъекты, проекты молниезащиты которых были выполнены в соответствии с "Инструкцией по проектированию молниезащиты радиообъектов" - ВСН-1-77 до введения в действие настоящей Инструкции.

1.3. При разработке проектов молниезащиты зданий и сооружений должны быть учтены, помимо требований настоящей Инструкции, требования к выполнению молниезащиты других действующих норм, правил, инструкций и государственных стандартов.

Внесена Государственным специализированным проектным институтом радио и телевидения (ГСПИ РТВ) Министерства связи России

Утверждена Приказом Министерства связи России от 15.07.93 № 168

Срок введения в действие

с 01.01.94

1.4. Настоящая Инструкция составлена в соответствии с "Инструкцией по устройству молниезащиты зданий и сооружений" - РД 34.21.122-87 и дополняет ее в части проектирования молниезащиты радиообъектов.

Основные определения и термины настоящей Инструкции приняты в соответствии с РД 34.21.122-87.

1.5. Антенно-мачтовые сооружения радиообъектов должны быть оборудованы устройствами молниезащиты независимо от величины среднегодовой продолжительности гроз.

1.6. Технические здания радиообъектов, в которых устанавливается радиотехническое оборудование, относятся к III категории устройств молниезащиты по классификации зданий и сооружений, принятой в РД 34.21.122-87.

1.7. Защита от заноса высокого потенциала в защищаемые сооружения по антенным фидерам должна выполняться в соответствии с настоящей Инструкцией, по воздушным линиям электропередачи - в соответствии с ПУЭ, по воздушным линиям проводного вещания и воздушным линиям проводной связи - по соответствующим нормативным документам.

1.8. Проект молниезащиты является составной частью проекта здания или сооружения.

1.9. Молниезащитные устройства должны выполняться в процессе строительства здания или сооружения в соответствии с действующими требованиями и комплексным графиком производства строительно-монтажных работ.

Приемка устройств молниезащиты должна выполняться в соответствии с требованиями РД 34.21.122-87 к ПУЭ.

1.10. Для зданий и сооружений с постоянным обслуживающим персоналом конструктивное выполнение молниеприемников и молниеотводов принимается по РД 34.21.122-87, а расчет и устройство заземлений - по ПУЭ.

Для сооружений и объектов, работающих без постоянного обслуживания - антенно-мачтовые сооружения, промежуточные радиорелейные станции с автономными источниками электропитания (ТЭГи, турбоальтернаторы и др.) величина сопротивления молниезащитного заземлителя, независимо от величины удельного сопротивления грунта, не нормируется.

В этом случае устройство заземлителей следует выполнять по РД 34.21.122-87.

2. Молниезащита передающих и приемных радиоцентров

Технические здания и выделенное оборудование мощных передатчиков

2.1. Защита от прямых ударов молнии технических зданий, относимых, в соответствии с п. 1.6, по устройству молниезащиты к III категории, должна выполняться в соответствии с требованиями главы 2 РД 34.21.122-87.

2.2. Если в соответствии с требованиями РД 34.21.122-87 необходимо на здании выполнить молниеприемную сетку для имеющих наружный экран зданий, то молниеприемная сетка должна быть электрически соединена с экраном здания. Молниеприемная сетка должна быть присоединена к экрану здания в каждом своем узле, а каждый токоотвод не менее чем в двух местах.

2.3. Установки выделенного оборудования мощных передатчиков должны быть защищены от прямых ударов молнии.

Защита выделенного оборудования может быть выполнена путем установки:

- молниеотводов на кровле, карнизе или наружной стене технического здания, около которого располагается выделенное оборудование;

- молниеотводов, устанавливаемых на камерах токоограничивающих реакторов или на металлоконструкциях ошиновки выделенного оборудования;

- отдельностоящих молниеотводов.

Как правило используется комбинация вышеперечисленных способов защиты.

2.4. Конструктивное выполнение устройств молниезащиты и контуров заземления, а также величина сопротивления заземляющего устройства техздания и выделенного оборудования должны соответствовать требованиям РД 34.21.122-87 и ПУЭ.

Независимо от расстояния по магистралям заземления между молниеотводом и радиотехническим выделенным оборудованием вентильные разрядники на выводах радиотехнического выделенного оборудования не устанавливаются.

На выводах высокого и низкого напряжения ездовых трансформаторов передатчиков при расстоянии по магистралям заземления менее 15 м должны быть установлены вентильные разрядники. Расстояние по ошиновке между выводами силовых трансформаторов и разрядников должно быть не более 5 м.

Молниезащита антенно-мачтовых сооружений

Общие положения

2.5. Молниезащите подлежат антенные сооружения, состоящие из антенных опор, антенн и фидерных линий с учетом их вводов в техническое здание.

2.6. Защита антенно-мачтовых сооружений от прямых ударов молнии осуществляется путем заземления антенных опор и антенно-фидерных устройств.

2.7. В качестве заземлителей для молниезащиты рекомендуется использовать естественные заземлители:

2.7.1. Высокочастотный заземлитель антенны.

2.7.2. Металлические сваи, на которых устанавливаются башни или мачты и закрепляются оттяжки.

2.7.3. Заземлители дистанционно управляемых шлейфов настройки, антенных переключателей, экранов концентрических фидеров и т.п., выполненные по технологическим требованиям или по требованиям техники безопасности.

2.7.4. При невозможности использования естественных заземлителей пп. 2.7.1, 2.7.2 и 2.7.3 выполняют искусственные заземлители: каждый токоотвод молниеприемника должен быть присоединен к специально установленному заземлителю.

2.8. Для выравнивания высоких потенциалов, возникающих при ударе молнии, следует соединять между собой близко расположенные (£ 40 м) молниезащитные заземлители антенных сооружений и заземлители электроустановок технического здания.

2.9. Молниезащите подлежит каждая металлическая и железобетонная антенная опора и каждая металлическая оконечная фидерная опора, независимо от их числа на территории радиообъекта.

Деревянные и асбестоцементные мачты и их оттяжки, секционированные изоляторами, а также деревянные и асбестоцементные фидерные опоры молниезащите не подлежат.

2.10. У антенных опор (металлических и железобетонных мачт) заземлению подлежит ствол мачты, а также оттяжки у каждого анкера. Все оттяжки у общего анкера присоединяются к одному заземлителю.

Для мачт, имеющих секционированные изоляторами оттяжки, заземляться должны только нижние участки оттяжек, закрепленные на анкерах.

2.11. Антенны и фидеры заземляются в точке, имеющей нулевой потенциал по напряжению высокой частоты. Если технология работы антенно-фидерных устройств не допускает из заземления, то на входе антенны и вводе ее фидеров в техническое здание необходимо установить грозоразрядники.

Воздушный зазор грозоразрядника рассчитывается на 1,3 пикового амплитудного напряжения в месте установки грозоразрядника при 100-процентной модуляции передатчика. Конструкция грозоразрядника определяется проектом.

Передающие радиостанции

Связные радиостанции и радиовещательные станции коротких волн

2.12. Для молниезащиты антенн, составленных из шунтовых вибраторов (антенны типа ВГДШ, ВГДШП) необходимо заземлить средние точки шунтов (рис. 1).

2.13. Молниезащиту антенн с апериодическим рефлектором (СГД-РА, ВГД-РА, ВГДШП-РА) следует выполнять соединением леерных тросов и проводов апериодического рефлектора с заземленными антенными опорами или при подвеске антенн на деревянных опорах, с искусственными заземлителями.

2.14. Для молниезащиты антенн с поглощающей линией (РГД, СГД-РАД) используется заземление короткозамкнутого конца поглощающей линии.

2.15. Для молниезащиты логопериодических антенн (типа ЛПН, ЛПВ) используется заземление короткозамкнутого конца распределительной линии.

2.16. Молниезащиту антенны, работающей на фиксированных частотах, следует осуществлять при помощи короткозамкнутого четвертьволнового отрезка фидера с заземлением средней точки короткозамыкателя. Молниезащиту можно также выполнить заземлением средней точки короткозамыкателя в шлейфах настройки главного фидера (в том числе и при работе в диапазоне частот) и в шлейфах настройки рефлектора синфазных антенн типа СГД-Р и СГД-РН.

2.17. При выполнении молниезащиты с помощью грозоразрядников (п. 2.11) последние устанавливаются у ввода фидера в техническое здание на наружной стене и заземляется путем присоединения к заземлителю (рис. 2 и 3).

Радиовещательные станции средних и длинных волн

2.18. В качестве заземлителя для СВ-ДВ антенн используется высокочастотный заземлитель антенны.

2.19. Молниезащита неизолированных в основании антенн-мачт и антенн-башен (антенны шунтового и верхнего питания, АРРТЗ, АРРТЗ-2) должна осуществляться электрическим соединением опоры с высокочастотным заземлителем антенн. Соединение выполняется медной шиной. Пример выполнения такого заземления показан на рис. 4.

2.20. Молниезащиту изолированных в основании антенных опор, антенн-мачт и антенн-башен (нижнего питания, АРРТ, АРД, АРРТ-Д), установленных на опорных изоляторах, нужно осуществлять при помощи грозоразрядника с воздушным зазором, один полюс которого присоединяется к опоре, а другой - к высокочастотному заземлителю (рис. 5). Конструкция грозоразрядника определяется проектом.

2.21. Для заземления оттяжек мачт (п. 2.19, 2.20) должны сооружаться отдельные вертикальные заземлители, которые следует соединить с высокочастотным заземлителем антенны, в соответствии с радиотехнической частью проекта.

2.22. Молниезащиту проволочных антенн (Г-, Т-образных, зонтичных и длинноволновых с развитой горизонтальной частью) нужно осуществлять при помощи грозоразрядника, один полюс которого подключается к узлу питания антенны, а другой - к высокочастотному заземлителю антенн. Пример показан на рис. 6. Конструкция грозоразрядника определяется проектом.

Молниезащита неизолированных в основании опор для подвески проволочных антенн (Г- и Т-образных, зонтичных и длинноволновых с развитой горизонтальной частью) должна осуществляться путем соединения опоры с искусственным заземлителем, который следует соединить с высокочастотным заземлителем, в соответствии с радиотехнической частью проекта (рис. 7).

2.23. Для стекания статических зарядов с антенн, настраиваемых отрезками длинных линий (шлейфами), следует предусматривать присоединение короткозамкнутого конца шлейфа к системе высокочастотного заземления антенн.

2.24. Экран концентрического фидера должен присоединяться к высокочастотному заземлению у каждой фидерной опоры.

2.25. Армированные оттяжечные изоляторы должны быть защищены грозоразрядниками с дугогасящими устройствами, в соответствии с проектом.

Приемные радиостанции и пункты технического контроля

2.26. Молниезащита антенн с поглощающими сопротивлениями (БС, АБВ и др.) должна осуществляться путем заземления поглощающего сопротивления, в соответствии с проектом.

2.27. Для снижения вероятности перегорания сопротивления в антеннах БС при возникающих атмосферных перенапряжениях следует применять сопротивления, рассчитанные на мощность не менее 10 Вт.

2.28. Молниезащиту антенн, составленных из шунтовых вибраторов (ВГДШ), нужно выполнять путем заземления средних точек шунтов.

2.29. Во избежание заносов высоких потенциалов в техническое здание на оконечных фидерных опорах в каждом полюсе фидера должны быть установлены грозоразрядник, дросель для стекания зарядов и разделительный конденсатор. Первые выводы разрядника и дроселя подключаются к фидеру, а вторые заземляются. У каждой оконечной опоры предусматривается заземлитель, в соответствии с проектом.

Радиостанции систем подвижной связи

2.30. Для молниезащиты антенн, состоящих из симметричных вибраторов, необходимо заземлять средние точки шунтов или соответствующих им точки симметрирующих устройств.

2.31. Антенны, отдельные элементы которой не имеют контактов с опорой, подлежат молниезащите с помощью грозоразрядников.

2.32. Для молниезащиты логопериодических антенн используется заземление короткозамкнутого конца распределительной линии.

2.33. Молниезащиту антенн, работающих на фиксированных частотах, следует осуществлять с помощью короткозамкнутого четвертьволнового отрезка фидера с заземлением короткозамыкателя.

2.34. При установке антенн на крышах зданий и сооружений шина заземления должна быть соединена с контуром заземления здания.

3. Молниезащита мощных радиотелевизионных передающих станций, располагаемых в железобетонных башнях

3.1. Железобетонные башни, в которых размещаются радиотелевизионные передающие станции, должны иметь устройство молниезащиты независимо от числа часов грозовой деятельности.

3.2. В качестве молниеприемника могут служить выступающие металлические части в верхней части башни: металлоконструкции антенн, флагшток, ограждения площадок и т.д.

3.3. В качестве токоотводов может быть использована металлическая арматура ж/б ствола башни с соблюдением требований РД 34.21.122-87. При невозможности использования арматуры, с внутренней стороны ствола башни должны быть выполнены специальные токоотводы (не менее трех).

3.4. На верхней площадке башни с относом от ствола и выступающих конструкций не менее, чем на 2 м должна быть установлена станция автоматической регистрации грозовой деятельности (АРГД):

Блок-регистратор этой станции должен устанавливаться в зале передатчиков.

3.5. На кровлях верхней и нижней обстроек башни должны быть уложены молниеприемные сетки. Устройство сеток должно выполняться в соответствии с требованиями РД 34.21.122-87.

3.6. По каждому этажу башни или не более, чем через каждые 9 м по ее высоте, должны быть проложены металлические пояса (полосы) для выравнивания потенциалов на отдельных уровнях. К этим поясам должны быть присоединены все токоотводы, металлические конструкции и металлические корпуса оборудования, установленного внутри башни.

В качестве металлических поясов можно использовать поэтажные контуры защитного заземления электроустановок.

3.7. Для защиты от вторичных воздействий токов молнии необходимо предусматривать установку вентильных разрядников на шинах 6-10 кВ РУ-6-10 кВ и на шинах 0,4 кВ трансформаторных подстанций, встроенных в башню.

В случае расположения РУ-6-10 кВ вне башни вентильные разрядники 6-10 кВ должны быть установлены на вводах в трансформаторы встроенных трансформаторных подстанций. При этом расстояние по ошиновке от вводов 6-10 кВ трансформаторов до вентильных разрядников должно быть не более 5 м.

3.8. В целях выравнивания потенциала в нижней обстройке башни под покрытием пола первого этажа (подвала) необходимо разместить сварную металлическую сетку из стальной круглой стали Æ ³ 10 мм, с ячейкой 2,0 ´ 2,0 м. Соединения сетки - сварные. Сетка должна быть присоединена к внутреннему контуру заземления не менее, чем в 4-х местах.

3.9. Для заземляющих устройств молниезащиты должен быть предусмотрен совмещенный с защитным контуром заземлитель с сопротивлением растеканию тока промышленной частоты в соответствии с требованиями ПУЭ.

4. Молниезащита мощных радиотелевизионных передающих станций, расположенных в отдельном здании с отдельностоящей башней или мачтой

4.1. Молниезащите подлежит антенная опора (башня или мачта) с расположенными на ней телевизионными, радиорелейными и другими антеннами.

Заземлению подлежат также оттяжки мачт у каждого анкера.

4.2. Для выравнивания, возникающих при ударе молнии высоких потенциалов, молниезащитный заземлитель опоры должен электрически соединяться с заземлителем электроустановок технического здания.

4.3. Количество и конструкция заземлителей должны соответствовать требованиям РД 34.21.122-87.

4.4. Защита от наведения и заноса высокого потенциала по кабелям, прокладываемым по антенной опоре, производится в соответствии с разделом 8.

4.5. Металлические корпуса радиотехнического и электротехнического оборудования, устанавливаемого на антенной опоре и на фидерном мостике, должны быть присоединены к опоре и к фидерному мостику.

5. Молниезащита радиорелейных станций

5.1. Мероприятия по молниезащите радиорелейных станций должны предусматриваться в зависимости от взаимного расположения антенных опор и технических зданий.

Различают:

а) станции с техническим зданием, вписанным в основание металлической башни;

б) станции, располагаемые в железобетонных башнях;

в) станции с техническим зданием (кабиной), располагаемой на металлической башне;

г) станции с разнесенными опорами и техническим зданием.

5.2. Защита радиорелейных станций от прямых ударов молнии должна осуществляться путем заземления антенных опор и их оттяжек у каждого анкера. Устройство заземлителей должно соответствовать требованиям РД 34.21.122-87.

5.3. Молниезащита станций по п. 5.1 (а, б, в) должна выполняться в соответствии с требованиями раздела 3 данной инструкции.

5.4. Молниезащита технического здания и антенной опоры по п. 5.1 (г) должна выполняться в соответствии с требованиями раздела 4 данной инструкции.

5.5. Молниеприемником и токоотводом металлической опоры является ее ствол.

5.6. Защита от наведения и заноса высокого потенциала по волноводам и кабелям, прокладываемым от антенн до радиотехнического оборудования, устанавливаемого в техническом здании, производится в соответствии с разделом 8.

5.7. Для выравнивания, возникающих при ударе молнии высоких потенциалов, молниезащитный заземлитель опоры и, по возможности, заземлители оттяжек должны электрически соединяться с заземлителем электроустановок технического здания.

6. Молниезащита земных станций спутниковой связи

Общие положения

6.1. Мероприятия по молниезащите земных станций спутниковой связи должны предусматриваться в зависимости от взаимного расположения технического здания и опорного устройства антенны.

Различают:

а) станции с разнесенной опорой и техническим зданием;

б) станции с антенной опорой, являющейся частью технического здания.

Станции с разнесенной антенной опорой и техническим зданием

6.2. Молниезащита должна выполняться аналогично молниезащите радиорелейных станций с разнесенной радиорелейной опорой и техническим зданием (см. раздел 5 данной инструкции).

Станция с антенной опорой, являющейся частью технического здания

6.3. Молниезащита станций должна выполняться в соответствии с требованиями раздела 3 данной инструкции.

7. Молниезащита телевизионных антенн систем коллективного приема телевидения (СКПТ), антенн прямого индивидуального приема телевидения (АППТ) со спутников, крупных систем коллективного приема телевидения (КСКПТ) и систем кабельного телевидения (СКТВ)

Общие положения

7.1. Молниезащите подлежат:

- антенны СКПТ и АППТ, расположенные в районах с грозовой деятельностью 20 и более грозовых часов в год;

- антенны КСКПТ и СКТВ независимо от величины среднегодовой продолжительности гроз.

Молниезащита СКПТ к АППТ

7.2. Антенны, установленные на зданиях, которые в соответствии с РД 34.21.122-87 оборудуются молниезащитой, должны быть не менее, чем в двух местах электрически соединены с устройством молниезащиты.

7.3. Антенны, устанавливаемые на зданиях, которые по РД 34.21.122-87 не оборудуются молниезащитой, должны быть оборудованы устройством молниезащиты. Не оборудуются устройством молниезащиты антенны, входящие в зону молниезащиты какого-либо сооружения (высотного здания, дымовой трубы и т.д.). Антенны, установленные на сгораемых зданиях (V степени огнестойкости) независимо от того, входят они в зону молниезащиты какого-либо сооружения, должны быть оборудованы устройством молниезащиты.

7.4. Антенны, установленные на зданиях, имеющих контур заземления любого назначения должны присоединяться к нему, или оборудоваться устройством молниезащиты.

7.5. Молниезащита антенн СКПТ и АППТ осуществляется путем заземления их опор.

7.6. Для нескольких антенн, подлежащих молниезащите, установленных на одном здании и удаленных друг от друга не более, чем на 20 м, можно использовать общий заземлитель.

7.7. При наличии металлической кровли, последнюю можно использовать в качестве дополнительного объединяющего антенны токоотвода.

7.8. Использование водопроводных магистралей и других металлических трубопроводов в качестве заземлителей молниезащиты не допускается.

Присоединение их к специальному заземлителю молниезащиты возможно в качестве дополнительного мероприятия для снижения сопротивления растеканию тока.

Молниезащита КСКПТ СКТВ

7.9. Каждая антенна КСКПТ или СКТВ должна быть оборудована устройством молниезащиты на всей территории Российской Федерации, независимо от числа часов грозовой деятельности.

7.10. Молниезащита антенн КСКПТ или СКТВ выполняется в соответствии с пп. 7.3¸7.8.

7.11. Каждый воздушно-кабельный переход КСКПТ или СКТВ должен быть оборудован устройством молниезащиты на всей территории Российской Федерации, независимо от числа часов грозовой деятельности.

7.12. Молниезащита однопролетного воздушно-кабельного перехода длиной до 250 м должна выполняться путем заземления трубостойки и стального каната на обоих концах воздушно-кабельного перехода аналогично требований пунктов 7.2¸7.8.

7.13. Молниезащита стального каната производится путем заземления трубостоек.

7.14. Молниезащита многопролетного воздушно-кабельного перехода должна выполняться по индивидуальному проекту в зависимости от вида и конфигурации кабельной сети и от местных условий.

8. Защита от наведения и заноса высокого потенциала в техническое здание

8.1. Для защиты от наведения и заноса высокого потенциала по кабелям и волноводам, прокладываемым от антенн до радиотехнического оборудования, установленного в техническом здании, необходимо обеспечить электрический контакт волновода или металлической оболочки кабеля (броня, внешний проводник коаксиального кабеля и т.д.) с металлоконструкциями опоры и фидерного моста в месте ввода в техническое здание, в местах подключения к антенне на опоре и в распаячных коробках светильников СОМ, установленных на опоре.

8.2. При применении кабелей без металлической оболочки они должны прокладываться в металлических трубах.

Заземление труб выполняется аналогично п. 8.1.

8.3. Для защиты от заноса высоких потенциалов в техническое здание и другие сооружения по соединительным кабелям, проложенным в земляных траншеях должны выполняться следующие мероприятия, в зависимости от типа соединительных кабелей:

а) при применении кабелей с металлической броней, проложенных в земляных траншеях длиной более 20 ... 25 м, броня и металлическая оболочка кабелей (при ее наличии) должны иметь электрический контакт с металлоконструкциями опор с одного конца и с заземлителем сооружения - с другого;

б) при применении небронированных кабелей (как в пластмассовой, так и в металлической оболочках), они должны укладываться в металлические трубы длиной 20 ... 25 м;

в) при длине участка, проложенного в земляной траншее, менее указанного в пункте "а" или при прокладке кабелей в грунтах с плохой проводимостью (r ³ 500 ом×м) следует, в дополнение к перечисленным в пункте "а" мероприятиям по заземлению кабелей, устанавливать разрядники на вводах кабелей в сооружение. Длина кабельного участка от точки ввода в сооружение до места установки разрядников должна быть не более 10 м. Заземление разрядников должно присоединяться к контуру заземления сооружения.

9. Меры безопасности

9.1. При возведении в грозовой период высоких неметаллических зданий и сооружений, подлежащих молниезащите (здания высотой более 30 м, железобетонные башни и т.д.), необходимо предусматривать, начиная с высоты 20 м, временные молниезащитные устройства, обеспечивающие безопасность людей и сохранность сооружений от воздействия прямых ударов молнии во время строительства.

Для выполнения временных устройств молниезащиты могут быть использованы любые конструкции (уголки, стержни, стальные тросы и т.п.), легко закрепляемые к верхней части сооружения по его контуру. Молниеприемники присоединяются к молниезащитному контуру свободно спускающимися вдоль сооружения токоотводами. По мере строительства сооружения молниеприемники с токоотводами следует переносить на его верхнюю часть.

При этом допускаются болтовые соединения между отдельными элементами молниезащитного устройства.

После окончания строительства временные молниезащитные сооружения заменяются постоянными.

9.2. При сооружении металлических антенных опор основания металлоконструкций опор необходимо присоединить к молниезащитному заземлению в самом начале строительства.

10. Техническая документация по молниезащите

10.1. Выполнение устройств молниезащиты должно осуществляться по проекту, который является составной частью проекта радиообъекта.

10.2. Проектирование молниезащиты радиообъекта должно выполняться в том количестве стадий, в котором выполняется проект радиообъекта.

11. РИСУНКИ

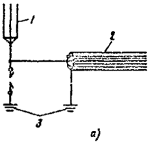
Рис. 1. Молниезащита антенн типа ВГДШ

1 - токоотвод; 2 - электроды заземления d ³ 6 мм

Рис. 2. Схема включения грозоразрядников

1 - арматура ввода; 2 - наружный фидер; 3 - грозоразрядник; 4 - заземлитель

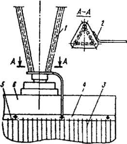
Рис. 3. Установка грозоразрядников у фидерного ввода в техздание

1 - грозоразрядники; 2 - токоотвод (к наружному контуру заземления); 3 - фидерный ввод, 4 - искровой промежуток

Рис. 4. Молниезащита мачты, неизолированной в основании

1 - мачта; 2 - соединение шины заземления с мачтой сваркой латунью; 3 - лучи ВЧ заземлителя (проволока медная); 4 - шина ВЧ заземления (медная); 5 - соединение лучей ВЧ заземлителя с шиной ВЧ заземления сваркой латунью; 6 - фундамент

Рис. 5. Молниезащита мачты, изолированной в основании

1 - мачта; 2 - соединение мачты с грозоразрядником сваркой латунью; 3 - грозоразрядник шаровой; 4 - искровой промежуток; 5 - стойка; 6 - лучи ВЧ заземлителя (проволока медная); 7 - шина ВЧ заземления (медная); 8 - фундамент; 9 - соединение сваркой лучей ВЧ заземлителя с шиной ВЧ заземления; 10 - изолятор опорный

Рис. 6. Молниезащита проволочных антенн

а - грозоразрядник установлен на опоре снижения;

1 - снижение; 2 - фидер к техзданию; 3 - заземлитель

Рис. 7. Молниезащита неизолированной в основании опоры проволочных антенн

1 - опора; 2 - башмак опоры; 3 - соединение шины заземления с башмаком опоры сваркой латунью; 4 - электрод; 5 - шина молниезащитного заземления; 6 - провода ВЧ заземления; 7 - шина ВЧ заземления антенны; 8 - соединение сваркой проводов ВЧ заземления с шиной молниезащитного заземления

12. Перечень нормативной документации

1. Правила устройств электроустановок (ПУЭ). Издание шестое, Москва, Энергоатомиздат, 1985 г.

2. Инструкция по устройству молниезащиты зданий и сооружений (РД 34.21.122-87), Москва, 1988 г.

3. Строительные нормы и правила. Электротехнические устройства (СНиП 3.05.06-85), Москва, 1986 г.

4. Правила техники безопасности при эксплуатации электроустановок потребителей, Москва, Энергоатомиздат, 1989 г.

5. Инструкция по проектированию электроустановок предприятий и сооружений электросвязи, проводного вещания, радиовещания и телевидения (ВСН 332-88), Москва, 1988 г.

6. Сборник нормативных документов по крупным системам коллективного приема телевидения, Москва, 1989 г.

Приложение

ПЕРЕЧЕНЬ СОКРАЩЕНИЙ, ПРИНЯТЫХ В ТЕКСТЕ ИНСТРУКЦИИ

АПЗ                            - однопроводная антенна бегущей волны на диапазон СВ, ДВ;

АППТ                         - антенна прямого индивидуального приема телевидения со спутников;

АРД                            - передающая антенна с расширенным диапазоном частот;

АРРТ                          - передающая антенна с регулируемым распределением тока;

АРРТ-Д                      - передающая антенна с регулируемым распределением тока и двойным экраном;

АРРТЗ-АРРТЗ-2       - передающая антенна с регулируемым распределением тока и заземленным основанием;

ВС                              - приемная антенна бегущей волны с активным сопротивлением связи;

ВГД-РА                     - горизонтальный диапазонный вибратор с апериодическим рефлектором;

ВГДШ                        - передающая антенна, имеющая горизонтальный диапазонный вибратор с шунтом;

ВГДШ-П                   - передающая антенна, имеющая горизонтальный диапазонный шунтовой плоский вибратор;

ВГДШ-П-РА             - передающая антенна, имеющая горизонтальный диапазонный шунтовой плоский вибратор с апериодическим рефлектором;

КСКТГ                       - крупная система коллективного приема телевидения;

ЛПВ                           - вертикальная логопериодическая антенна;

ЛПН                           - наклонная логопериодическая антенна;

РГД                            - двойная ромбическая горизонтальная антенна;

СГД-Р                        - передающая синфазная горизонтальная диапазонная антенна с рефлектором и попарным питанием этажей;

СГД-РА                     - передающая синфазная горизонтальная диапазонная антенна с апериодическим рефлектором;

СГД-РАД                  - передающая синфазная горизонтальная диапазонная антенна с активным диапазонным рефлектором;

СГД-РН                     - передающая синфазная горизонтальная диапазонная антенна с настраивающимся рефлектором;

СКПТ                         - система коллективного приема телевидения;

СКТВ                         - система кабельного телевидения

СОДЕРЖАНИЕ

ПРЕДИСЛОВИЕ. 1

1. Общие положения. 2

2. Молниезащита передающих и приемных радиоцентров. 3

3. Молниезащита мощных радиотелевизионных передающих станций, располагаемых в железобетонных башнях. 5

4. Молниезащита мощных радиотелевизионных передающих станций, расположенных в отдельном здании с отдельностоящей башней или мачтой. 6

5. Молниезащита радиорелейных станций. 6

6. Молниезащита земных станций спутниковой связи. 7

7. Молниезащита телевизионных антенн систем коллективного приема телевидения (СКПТ), антенн прямого индивидуального приема телевидения (АППТ) со спутников, крупных систем коллективного приема телевидения (КСКПТ) и систем кабельного телевидения (СКТВ) 7

8. Защита от наведения и заноса высокого потенциала в техническое здание. 8

9. Меры безопасности. 8

10. Техническая документация по молниезащите. 9

11. Рисунки. 9

12. Перечень нормативной документации. 11

Приложение Перечень сокращений, принятых в тексте инструкции. 12

 




Rambler's Top100 Яндекс цитирования
  Copyright © 2008-2026, www.docload.ru