Бесплатная библиотека стандартов и нормативов www.docload.ru

Все документы, размещенные на этом сайте, не являются их официальным изданием и предназначены исключительно для ознакомительных целей.
Электронные копии этих документов могут распространяться без всяких ограничений. Вы можете размещать информацию с этого сайта на любом другом сайте.
Это некоммерческий сайт и здесь не продаются документы. Вы можете скачать их абсолютно бесплатно!
Содержимое сайта не нарушает чьих-либо авторских прав! Человек имеет право на информацию!

 

МИНИСТЕРСТВО СВЯЗИ СССР

ГЛАВНОЕ УПРАВЛЕНИЕ
ПО СТРОИТЕЛЬСТВУ СООРУЖЕНИЙ СВЯЗИ

Утверждено

Министерством связи СССР

приказом от 30.11.84 № 424

РУКОВОДСТВО
ПО СТРОИТЕЛЬСТВУ ЛИНЕЙНЫХ СООРУЖЕНИЙ
МАГИСТРАЛЬНЫХ И ВНУТРИЗОНОВЫХ
КАБЕЛЬНЫХ ЛИНИЙ СВЯЗИ

МОСКВА «РАДИО И СВЯЗЬ» 1986

Руководство по строительству линейных сооружений магистральных и внутризоновых кабельных линий связи/М-во связи СССР. - М.: Радио и связь, 1986.

Приводятся основные требования по организации и технологии строительства линейных сооружений магистральных и внутризоновых кабельных линий связи. Рассматриваются вопросы по прокладке и монтажу кабелей, их защите от коррозии и электромагнитных влияний, испытанию герметичности и содержанию под постоянным избыточным давлением, электрическим измерениям, составлению исполнительной документации и сдачи построенных сооружений в эксплуатацию.

Для проектных, строительных и эксплуатационных организаций Министерства связи СССР.

ПРЕДИСЛОВИЕ

Настоящее «Руководство по строительству линейных сооружений магистральных и внутризоновых кабельных линий связи» разработано на основе ВСН-600-81 («Инструкции по монтажу сооружений и устройств связи, радиовещания и телевидения», утвержденной приказом министра связи СССР № 479 от 31 декабря 1981 г. и согласованной с Госстроем СССР 26.08.81 г. № ДП-45-40-1). Руководство разработано взамен действующих «Указаний по строительству междугородных кабельных линий связи» («Связь», 1972).

В Руководстве учтены современный уровень развития техники связи, новые типы кабелей связи, линейного оборудования и технологии их монтажа, опыт строительных организаций по механизации и индустриализации строительно-монтажных работ, технологические требования, изложенные в отдельных инструкциях, технических указаниях, рекомендациях и других инструктивных документах. В тех случаях, когда некоторые положения действующих в настоящее время отдельных инструктивных документов (которые до их переработки не отменяются) не будут соответствовать требованиям Руководства, при производстве работ следует выполнять требования последнего. Данное руководство является обязательным для строительных, проектных и эксплуатационных организаций Министерства связи СССР.

Работы по строительству кабельной телефонной канализации для прокладки магистральных и внутризоновых кабелей должны выполняться в соответствии с «Общей инструкцией по строительству линейных сооружений ГТС» («Связь», 1978).

Руководство разработано Специализированным конструкторско-технологическим бюро строительной техники связи (ССКТБ) Министерства связи СССР при участии специалистов ЦНИИС, института Гипросвязь и треста Межгорсвязьстрой.

Разделы 1 - 6 составлены Д. А. Бароном (ССКТБ); 7 - А. Д. Исаевичем и В. Д. Маловым (Гипросвязь); 8 - 15 - Д. А. Бароном (ССКТБ); 16 - А. Ю. Цымом и А. С. Воронцовым (ЦНИИС); 17 - Г. И. Инюшиным (ЦНИИС); 18 - К. К. Никольским (ЦНИИС); 19, 20 - Л. Д. Разумовым (ЦНИИС); 21 - Г. М. Воронковым (ССКТБ); 22, 23 и приложения - Д. А. Бароном (ССКТБ). Подраздел «Прокладка кабелей в районах вечной мерзлоты» написан А. Д. Исаевичем (Гипросвязь).

Вопросы механизации работ в разд. 2, 4, 5 и 6 изложены А. П. Рыбаковым (трест Межгорсвязьстрой).

Руководство рассмотрено экспертной комиссией Министерства связи СССР в следующем составе: Максимов В. И. (председатель), Качур И. Я., Лускинович Н. В., Левинов К. Г., Белов С. И., Беляков И. А., Стукалин Ю. А., Клауз Г. А., Барон Д. А., Каневский Ю. Г.

Рассмотрение полученных замечаний по первой редакции и подготовка заключения с конкретными рекомендациями выполнено рабочей группой комиссии в составе: Мижерицкий Г. С., Каневский Ю. Г., Барон Д. А., Блушинская Р. Е. (ССКТБ), Фадеев А. А. (ГУМТС), Атрищенко А. М. (ГУКС), Суслович В. Б., Чернилевский Л. С. (ГРСС), Фролов П. А, Инюшин Г. И. (ЦНИИС), Сарнов Л. И. (Гипросвязь), Савин А. А., Пронченко Б. С., Рыбаков А. П. (МГСС).

РАЗДЕЛ 1

ОБЩИЕ ПОЛОЖЕНИЯ

ОБЩИЕ УКАЗАНИЯ

1.1. Требования настоящего Руководства должны соблюдаться при производстве и приемке работ по строительству линейных сооружений магистральных и внутризоновых кабельных линий связи.

1.2. При производстве работ должны соблюдаться требования, предусмотренные Государственными стандартами (ГОСТ), Ведомственными строительными нормами Министерства связи СССР (ВСН), техническими условиями (ТУ) и технической документацией предприятий-поставщиков применяемых изделий (кабелей, оборудования, приборов и т.д.), а также другими ведомственными документами.

1.3. Обеспечение безопасных условий труда, пожаровзрывобезопасности и охраны окружающей среды при производстве работ должно осуществляться с соблюдением требований Системы стандартов безопасности труда, нормативных документов Госгортехнадзора СССР и ведомственных нормативных документов по этим вопросам, в том числе: «Правил техники безопасности при работах на кабельных линиях связи и проводного вещания» («Связь», 1979); «Временных рекомендаций по предотвращению попадания газа в помещения ввода кабелей предприятий связи» (Министерство связи СССР, 1978); «Правил устройства электроустановок».

1.4. Строительство линейных сооружений кабельных линий технологической связи, прокладываемых вдоль продуктопроводов, должно осуществляться в соответствии с требованиями СНиП III-42-80 «Магистральные трубопроводы».

ОСНОВНЫЕ ОПРЕДЕЛЕНИЯ

1.5. Единая автоматизированная сеть связи (ЕАСС) представляет собой комплекс взаимодействующих технических средств связи, образующих первичную сеть типовых каналов передачи и типовых групповых трактов и построенные на ее базе вторичные сети, предназначенные для удовлетворения потребностей предприятий, организаций и населения страны в передаче информации.

1.6. Первичная сеть ЕАСС представляет собой совокупность сетевых узлов, сетевых станций и линий передачи и в зависимости от охватываемой территории обслуживания состоит из местной, внутризоновой, зоновой и магистральной первичных сетей.

Местная первичная сеть представляет собой часть первичной сети ЕАСС, ограниченную территорией города или сельского района.

Внутризоновая первичная сеть - это часть первичной сети ЕАСС, обеспечивающая соединение между собой типовых групповых трактов и типовых каналов передачи разных местных первичных сетей данной зоны (обычно совпадающей с административными границами области).

Зоновая первичная сеть - совокупность внутризоновой первичной и местных первичных сетей ЕАСС одной зоны.

Магистральная первичная сеть представляет собой часть первичной сети ЕАСС, соединяющую между собой типовые групповые тракты, а также типовые каналы передачи разных внутризоновых первичных сетей на всей территории страны.

1.7. Линия передачи первичной сети ЕАСС представляет собой совокупность физических цепей, линейных трактов системы передачи ЕАСС, имеющих общие среду распространения, линейные сооружения и устройства их обслуживания.

Линиям передачи присваивается название в зависимости от первичной сети, к которой они принадлежат (например, магистральная, внутризоновая, местная) и от среды распространения (например, радиорелейная, кабельная).

1.8. Система передачи ЕАСС представляет собой совокупность технических средств, обеспечивающих образование линейного тракта, типовых групповых трактов и каналов передачи первичной сети ЕАСС, состоящих из станций системы передачи и среды распространения сигналов электросвязи.

1.9. Линия связи представляет собой совокупность систем передачи ЕАСС, имеющих общие среду распространения, линейные сооружения и устройства их обслуживания.

Линии связи присваивается название в зависимости от первичной сети, к которой она принадлежит (например, магистральная, внутризоновая, местная) и от среды распространения (например, кабельная, радиорелейная).

1.10. Линейно-кабельные сооружения линии связи представляют собой комплекс технических средств, образующих среду распространения, состоящей из кабеля, по одной или двум парам проводов которого создается физическая цепь, предназначенная для передачи сигналов электросвязи.

1.11. К линейно-кабельным сооружениям относятся: кабель, соединительные, разветвительные, изолирующие, газонепроницаемые и другие муфты, вводные и оконечные устройства, оборудование для содержания кабеля под постоянным избыточным воздушным (газовым) давлением, устройства защиты от коррозии и электромагнитных влияний, оградительные и сигнальные знаки, замерные столбики, контрольно-измерительные пункты (КИП), цистерны (контейнеры) необслуживаемых усилительных пунктов (НУП), необслуживаемых регенерационных пунктов (НРП), наземные сооружения НУП (НРП), кабельная канализация (в том числе смотровые устройства), специальные устройства для укрепления и защиты трассы в зоне влияния мерзлотных явлений, в барханных подвижных песках, на крутых склонах, берегоукрепительные сооружения, водоотводы и другие противоэрозионные средства.

1.12. Элементарный кабельный участок представляет собой среду распространения, к которой относятся: кабель, муфты, соединители (разъемы) и гибкие соединительные кабели, включенные между двумя последовательными (смежными) усилительными (регенерационными) пунктами.

1.13. Элементарный усилительный (регенерационный) участок представляет собой элементарный кабельный участок (см. п. 1.12) вместе со следующим аналоговым (регенерационным) усилителем.

1.14. Комплекс, состоящий из аппаратуры систем передачи, оборудования электропитания и электроснабжения, средств технической эксплуатации, а также гражданских сооружений для их размещения, сосредоточенный в одном населенном (географическом) пункте, принято называть пунктом кабельной линии связи.

На кабельных линиях связи, в зависимости от схемы организации связи, организуются следующие виды пунктов: оконечные (ОП), транзитные (ТрП), обслуживаемые питающие усилительные (ОУП), необслуживаемые дистанционно питаемые усилительные (регенерационные) (НУП, НРП), территориальный сетевой узел (ТСУ), сетевые узлы переключения (СУП), сетевые узлы выделения (СУВ), полуобслуживаемые усилительные (ПОУП), сетевая станция.

КЛАССИФИКАЦИЯ

1.15. По своему назначению кабельные линии связи (КЛС) первичной и вторичных сетей ЕАСС подразделяются на:

а) магистральные кабельные линии связи (МКЛС), прокладываемые между сетевыми узлами первого класса;

б) внутризоновые кабельные линии связи (ВКЛС), прокладываемые между сетевыми узлами второго класса;

в) местные кабельные линии связи, прокладываемые между сетевыми узлами третьего класса в пределах города (ГКЛС) или сельского района (СКЛС);

г) магистральные (МСКЛС), внутризоновые (ВСКЛС) и местные соединительные кабельные линии, прокладываемые между сетевыми узлами и сетевыми станциями соответственно магистральной, внутризоновых и местных первичных сетей;

д) кабельные соединительные линии, прокладываемые между объектами проводных средств связи специального назначения и объектами других ведомств, а также к радиоцентрам, телецентрам и т.д.

1.16. В зависимости от типа кабелей МКЛС и ВКЛС подразделяются на коаксиальные и симметричные.

1.17. Организация связи на кабельных линиях связи может осуществляться по двум системам:

а) однокабельной, при которой оба направления передачи совмещены в одном кабеле;

б) двухкабельной, при которой каждое направление передачи занимает отдельный кабель.

1.18. По условиям прокладки и эксплуатации кабельные линии подразделяются на: подземные в грунте; подземные в кабельной канализации; подземные в коллекторах, тоннелях метрополитена; подводные; морские; подвесные.

ОСНОВНЫЕ ТРЕБОВАНИЯ К КАБЕЛЬНЫМ ЛИНИЯМ СВЯЗИ

1.19. К кабельным линиям связи магистральной и внутризоновой сетей предъявляются следующие основные требования: а) обеспечение надежной бесперебойной связи, отсутствие отказов и искажений; б) стабильность электрических параметров; в) защищенность цепей от взаимных и внешних помех; г) надежная защита от ударов молнии и всех видов коррозии; д) удобство эксплуатационного обслуживания; е) экономичность системы связи.

РАЗДЕЛ 2

ОРГАНИЗАЦИЯ И ПРОВЕДЕНИЕ ПОДГОТОВИТЕЛЬНЫХ РАБОТ

ОБЩИЕ УКАЗАНИЯ

2.1. В процессе подготовки к строительству линейных сооружений магистральных и внутризоновых кабельных линий связи должны быть выполнены следующие основные мероприятия:

а) изучена проектно-сметная документация (ПСД);

б) изучены трассы и условия производства работ в натуре;

в) уточнены данные, приведенные в проекте организации строительства (ПОС) и, при необходимости, согласованы с заказчиком (проектной организацией) соответствующие изменения;

г) составлены проект производства работ (ППР) и графики их выполнения;

д) определены потребности в рабочей силе (по профессиям) укомплектованы объекты инженерно-техническими специалистами;

е) определены потребности и подготовлены механизмы, автотранспорт и измерительная аппаратура;

ж) материально-техническое обеспечение (инструменты, материалы, в том числе горюче-смазочные материалы (ГСМ), нетиповые конструкции, монтажные детали, вводно-кабельное оборудование, цистерны НУП и контейнеры и т.д.);

з) организованы и размещены на трассе строительно-монтажные подразделения.

2.2. За шесть месяцев до начала планируемого года заказчик обязан передать подрядной строительной организации утвержденную к производству проектно-сметную документацию. Эта документация должна быть тщательно изучена персоналом, которому будет поручено руководство строительно-монтажными работами.

Состав проектной документации определяется Ведомственными нормами технологического проектирования (ВНТП), утвержденными в установленном порядке, а также эталонами, устанавливающими состав, содержание и оформление документации.

2.3. До начала строительства административно-технический персонал должен ознакомиться с трассой в натуре. При этом особое внимание должно быть обращено на сложные участки: речные переходы, пересечения железнодорожных, автомобильных и трамвайных путей, трубопроводов, прокладку кабеля по мостам, дамбам, в тоннелях, заболоченных местах, на скальных и гористых участках, в населенных пунктах и т.д.

2.4. В процессе ознакомления с трассой необходимо уточнить:

а) наличие и расположение вблизи трассы магистрали предприятий, изготовляющих строительные материалы (кирпичные заводы, заводы железобетонных изделий, песчаные карьеры, гравийные разработки и т.д.);

б) возможность получения с указанных предприятий необходимых материалов для строительства;

в) пункты возможного размещения жилых и бытовых фургонов, кабельных площадок, строительных и прорабских участков, складов, стоянок транспорта и механизмов, мест хранения горюче-смазочных материалов;

г) возможность обеспечения работающих и их семей основными культурно-бытовыми условиями и медицинским обслуживанием (наличие на небольшом удалении питьевой воды, предприятий торговли и питания, школы, медпункта и т.д.);

д) расположение ближайших к трассе нефтебаз и возможность обеспечения механизированных колонн и автотранспорта требуемыми горючесмазочными материалами;

е) состояние дорог;

ж) возможность использования специальных машин и механизмов при работе и передвижении на участках пересечения и сближения с линиями электропередачи любого напряжения, кабелями связи, электрическими кабелями, продуктопроводами, воздушными линиями связи (ВЛС) и т.д.;

з) необходимость и возможность использования в качестве транспортных средств вертолетной техники;

и) возможность, при необходимости, организации вахтового способа организации строительства.

2.5. Строительная организация обязана после получения проектно-сметной документации в месячный срок рассмотреть ее и на основании ознакомления с трассой в натуре сообщить свои замечаниями предложения заказчику и проектной организации, которые обязаны не позднее чем за четыре месяца до начала планируемого года принять решения по замечаниям и предложениям подрядчика, сообщить ему об этом и откорректировать ПСД.

ПРОЕКТ ОРГАНИЗАЦИИ СТРОИТЕЛЬСТВА

2.6. Организация и проведение подготовительных работ должны осуществляться в соответствии с утвержденным пусковым комплексом, графиком материально-технического обеспечения и проектом организации строительства (ПОС), разработанным проектной организацией и являющимся неотъемлемой частью проекта (рабочего проекта).

2.7. Проект организации строительства линейных сооружений МКЛС (ВКЛС) разрабатывается проектной организацией и, как правило, содержит:

а) краткие положения технологической части проекта (системы передачи, типы кабелей, протяженность трассы, расположение ОП, ОУП, НУП, конструкции НУП, контейнеров и т.д.);

б) характеристику местности, грунтов, дорог, водных преград по усилительным участкам в виде таблицы по форме 2.1;

в) данные о глубине прокладки кабеля;

г) метеорологические сведения по трассе (время перехода температуры воздуха и грунта от положительных температур к отрицательным и обратно; минимальные и максимальные значения температуры воздуха; максимальная глубина промерзания грунта, время промерзания, величина снежного покрова, время начала его образования и схода);

д) рекомендации, определяющие период времени выполнения работ по прокладке кабеля в талых грунтах, число рабочих дней в году;

е) характеристику проектируемых кабелей и их количество по участкам;

ж) проектируемый объем основных работ и способы их производства по форме 2.2;

з) ведомость потребного количества мехколонн, механизмов и машин по форме 2.3;

и) ведомость поставки оборудования, основных материалов и кабельных изделий по форме 2.4;

к) схему расстановки мехколонн и развозки кабеля по трассе (рис. 2.1);

л) расчет потребности рабочей силы;

м) календарный план строительства.

Форма 2.1

Характеристика местности по трассе строительства

Показатель

Всего

В том числе по участкам

ОУП-1 - ОУП-2

ОУП-2 - ОУП-3

ОУП-3 - ОУП-4

Протяженность трассы, км

 

 

 

 

Местность, км:

 

 

 

 

открытая

 

 

 

 

населенная

 

 

 

 

пересеченная

 

 

 

 

лесистая

 

 

 

 

заболоченная

 

 

 

 

Грунты, км:

 

 

 

 

I группы

 

 

 

 

II группы

 

 

 

 

III группы

 

 

 

 

IV группы и выше

 

 

 

 

Дороги вдоль трассы, км:

 

 

 

 

автомобильные

 

 

 

 

грейдерные

 

 

 

 

бездорожье

 

 

 

 

Переходы через реки, шт.:

 

 

 

 

судоходные

 

 

 

 

сплавные

 

 

 

 

несудоходные

 

 

 

 

Форма 2.2

Ведомость основных работ и способов их производства

Показатель

Всего

В том числе по участкам

ОУП-1 - ОУП-2

ОУП-2 - ОУП-3

ОУП-3 - ОУП-4

Протяженность трассы, км

 

 

 

 

Прокладка кабеля, км:

 

 

 

 

кабелеукладчиком

 

 

 

 

в отрытую траншею

 

 

 

 

в канализацию

 

 

 

 

кабелеукладчиком на тросах через болота

 

 

 

 

Устройство переходов методом горизонтального бурения через железные и автомобильные дороги, шт.

 

 

 

 

Устройство переходов через реки, шт.

 

 

 

 

Разработка траншей, км:

 

 

 

 

экскаваторами

 

 

 

 

вручную

 

 

 

 

взрывным способом

 

 

 

 

Монтаж муфт, шт.

 

 

 

 

Другие работы

 

 

 

 

Форма 2.3

Ведомость основных механизмов и машин

Показатель

Количество единиц в колоннах для

прокладки кабеля

устройства грозозащиты

производства буровзрывных работ

строительства НУП

монтажа кабеля

устройства просек

Механизированные колонны, колонна

 

 

 

 

 

 

Кабелеукладчики, шт.:

 

 

 

 

 

 

КУ-120

 

 

 

 

 

 

КУК-4

 

 

 

 

 

 

Трактор Т-130Б, шт.

 

 

 

 

 

 

Бульдозер Д-355А, шт.

 

 

 

 

 

 

Тросоукладчик НТУ, шт.

 

 

 

 

 

 

Пропорщик грунта ПГ-1В, шт.

 

 

 

 

 

 

Автомобиль ГАЗ-66, шт.

 

 

 

 

 

 

Форма 2.4

Ведомость оборудования, основных материалов и кабельных изделий

Оборудование и материалы

Тип, марка, емкость, сечение

Единица измерения

Количество по участкам и пунктам

магистральных линий

соединительных линий

Всего

ОП-1 - ОУП-2

ОУП-2 - ОУП-3

ОУП-3 - ОУП-4

Итого

ОП-1

ОУП-2

Итого

 

 

 

 

 

 

 

 

 

 

 

Рис. 2.1. Схема расстановки мехколонн и развозки кабеля по трассе.

РАЗРАБОТКА ПРОЕКТА ПРОИЗВОДСТВА РАБОТ

2.8. На основе изучения проектной документации, ознакомления с трассой КЛС непосредственно на местности, согласования с заказчиком объема строительно-монтажных работ должен быть составлен проект производства работ (ППР).

2.9. Исходными данными для разработки НИР служат:

а) проектно-сметная документация (в том числе ПОС);

б) директивный график или другой документ, определяющий сроки строительства;

в) сведения о сроках и порядке поставки основных материалов (в том числе кабельных изделий), контейнеров, цистерн НУП, оборудования, о намечаемых к использованию строительных машин и механизмов, а также о рабочих кадрах по основным профессиям;

г) технологические карты.

2.10. В состав ППР должны быть включены:

а) календарный план-график (или сетевой график) производства работ (форма 2.5);

б) график материально-технического обеспечения (форма 2.6);

в) расчет и график потребности в рабочих кадрах (формы 2.7 и 2.8);

г) график потребности в строительных машинах (форма 2.9)

д) расчет потребности в автотранспорте (форма 2.10);

е) схема трассы;

ж) схема развозки кабеля (см. рис. 2.1);

з) мероприятия по повышению эффективности использования машин и механизмов, повышению производительности труда и снижению себестоимости работ;

и) мероприятия по организации работ методом бригадного подряда и другими прогрессивными формами;

к) мероприятиями по безопасному ведению работ;

л) график смены бригад при вахтовом способе организации строительства;

м) ведомость комплектации объекта измерительными приборами;

н) ведомость обеспечения подразделений жилыми и бытовыми фургонами;

о) схемы операционного контроля качества;

п) перечень требуемых актов освидетельствования скрытых работ;

р) пояснительная записка, содержащая обоснования и расчеты по основным данным, приведенным в ППР.

В зависимости от объема работ, типа кабеля и системы передачи, климатических и геологических условий местности (районы вечной мерзлоты, сложный рельеф, скальные грунты и т.д.), наличия особо сложных препятствий (водные преграды, тоннели и т.д.) ППР могут содержать и другие документы.


Форма 2.5

Календарный план-график производства работ по строительству линейных сооружений КЛС на 198__ г. (с условным примером заполнения)

Наименование работ

Количество

Трудоемкость, чел.-день

Исполнители

График выполнения по месяцам

на единицу измерения

на весь объем

Январь

Февраль

Март

Апрель

Май

Июнь

Июль

Август

Сентябрь

Октябрь

Ноябрь

Декабрь

Прокладка кабеля кабелеукладчиком, км

800

4,3

3440

Мехколонна № 1; группа разбивки трассы; бригады по подготовке кабеля

-

-

-

120

140

140

140

140

120

-

-

-

Разработка траншей вручную, км

100

230

23000

Бригада мастера т. _________

-

-

-

10

20

20

20

20

10

-

-

-

Прокладка кабеля вручную, км

200

15 3

3060

То же

-

-

-

20

40

40

40

40

20

-

-

-

Рытье котлованов, шт.

1000

2,0

2000

Бригады монтажно-измерительных колонн (МИК)

-

-

-

50

159

162

162

165

140

-

-

-

Монтаж прямых муфт, шт.

1850

1,6

2960

Бригады по внутришаговому монтажу

-

-

-

100

300

300

300

300

300

250

-

-

Монтаж оконечных устройств, пункт

25

8,8

220

Бригады по отработке усилительных участков

-

-

-

4

4

4

4

4

4

1

-

-

Накачка и проверка шагов, секций, км. каб.

1000

0,2

200

Бригада по внутришаговому монтажу

-

-

-

50

150

150

150

150

150

200

-

-

Симметрирование - монтаж симметрирующих муфт, ус. уч./муфт

50/150

7,7

1140

Бригады по отработке участков

-

-

-

-

6/18

8/24

8/24

8/24

10/30

10/30

-

-

Комплекс контрольных измерений, каб. уч.

50

10,4

520

То же

-

-

-

-

6

88

8

8

10

10

-

-

Испытание герметичности смонтированных участков, каб. уч.

50

5,6

280

- » -

-

-

-

-

2

7

8

8

10

10

5

-

Итого

 

 

 

 

 

 

 

 

 

 

 

 

 

 

 

 

Прочие работы (» 10 %)

 

 

 

 

 

 

 

 

 

 

 

 

 

 

 

 

Всего

 

 

 

 

 

 

 

 

 

 

 

 

 

 

 

 


Форма 2.6

График материально-технического обеспечения

Материал, оборудование

Единица измерения

Необходимое количество

Обеспечивается

по проекту

на год

в том числе на кварталы

наличием

фондами

всего

в том числе на кварталы

I

II

III

IV

I

II

III

IV

 

 

 

 

 

 

 

 

 

 

 

 

 

 

Форма 2.7

Примерный расчет потребности в рабочих кадрах по основным профессиям (с условным примером заполнения)

I. Исходные данные

Длина трассы

500 км

Тип кабеля

МКС-4×4×1,2

Система передачи

К-60П

Строительная длина кабеля

500 м

Уровень механизации (прокладка кабелеукладчиком)

80 %

Характер грунтов

II группа

Число усилительных кабельных участков

(500 : 20×2) = 50

Начало работ:

 

прокладка

1/IV 19___ г.

монтаж

15/IV 19___ г.

Окончание работ:

 

прокладка

1/X 19___ г.

монтаж

1/XI 19___ г.

Число рабочих дней

150

II. Определение трудоемкости

Наименование работ

Количество

Трудоемкость на единицу, чел./день

Трудоемкость, чел.-день

всего

в том числе для

измерителей

спайщиков

подсобных рабочих

Прокладка кабеля кабелеукладчиком, км

800

4,3

3440

150

350

2940

Рытье траншей вручную в грунте II группы, км

100

230

23000

-

-

23000

Прокладка кабеля вручную, км

200

15,3

3060

150

300

2610

Рытье котлованов, шт.

1000

2,0

2000

-

-

2400

Монтаж прямых муфт, шт.

1850

1,6

2960

300

2660

-

Монтаж стыковых муфт, шт.

150

7,7

1155

245

910

-

Установка столбиков, шт.

1100

0,8

880

 

440

410

Монтаж оконечных устройств, пункт

25

8,8

220

20

200

-

Накачка шагов и полушагов, км./каб.

1000

0,2

200

-

200

-

Накачка участков, ус. уч.

50

5,6

280

-

280

-

Комплекс контрольных измерений, ус. уч.

50

10,4

520

520

-

-

Итого

 

 

38115

1385

5340

31390

Прочие работы: погрузочные, устройство переходов через железные дороги, шоссе, реки, выполнение мероприятий по защите, устранение повреждений, восстановление покровов и т.д. (» 10 %)

 

 

3800

180

530

3140

Всего

 

 

41915

1555

5870

34530

III. Потребность в рабочей силе (средняя численность)

Подсобные рабочие

34530 чел.-день : 150 дней = 230 чел.

Измерители

1500 чел.-день : 150 дней = 10 чел.

Спайщики

5870 чел.-день : 150 дней = 39 - 40 чел.


Форма 2.8

График потребности в рабочих кадрах (с условным примером заполнения)

Наименование работ

Количество

Трудоемкость, чел./день

Продолжительность работ, дн.

Численность рабочих

I квартал

II квартал

Всего

в том числе для

Всего

в том числе

Всего

в том числе

измерителей

спайщиков-кабельщиков

разнорабочих

измерителей

спайщиков-кабельщиков

разнорабочих

измерителей

спайщиков-кабельщиков

разнорабочих

Прокладка кабеля кабелеукладчиком, км

800

3440

150

350

2940

150

-

-

-

-

13

1

2

15

Монтаж симметрирующих муфт, шт.

150

1140

230

910

-

120

-

-

-

-

10

2

8

-

Форма 2.9

График потребности в строительных машинах (с условным примером заполнения)

Наименование работ

Количество

Наименование механизмов

Выработка за смену

Число машино-смен на весь объем работ

Число рабочих дней

Потребность механизмов

Всего

В том числе по месяцам

январь

февраль

март

апрель

май

Прокладка кабеля кабелеукладчиком, км

800

Механизированная колонна, в том числе: кабелеукладчик КУ-120, трактор, бульдозер

6,8

117

150

1

-

-

-

1

1

Разработка траншей, км

100

Экскаватор

 

 

 

 

 

 

 

 

 


Форма 2.10

Примерный расчет потребности в автотранспорте

I. Исходные данные

Длина трассы

Тип кабеля

Строительная длина кабеля

Среднее расстояние перевозки рабочих

Уровень механизации

Состояние и характеристика дорог

Норма среднесуточного пробега

II. Потребность в автомашинах для перевозки на трассу рабочих, инструментов, монтажных материалов, измерительных приборов

Наименование работ

Единица измерения

Количество

Трудоемкость, чел./день

Продолжительность работ, дни

Средняя численность рабочих, чел

Потребность в автомашинах

Период работ

Всего

в том числе

ГАЗ

МАЗ

ЗИЛ

 

 

 

 

 

 

 

 

 

 

 

III. Потребность в автомашинах для перевозки кабеля, цистерн НУП, железобетонных, изделий и других материалов

Наименование материалов

Единица измерения

Количество

Масса единицы

Общая масса

Среднее расстояние перевозок

Число рейсов в смену

Число дней работы

Потребность в машинах

Всего

в том числе

ГАЗ

МАЗ

ЗИЛ

 

 

 

 

 

 

 

 

 

 

 

 

IV. Потребность в автомашинах для прочих нужд (указать число и марки машин)

Выделение машин для:

субподрядчиков

хозяйственных нужд (доставка ГСМ, дров, продуктов и т.д.)

руководства и контроля за качеством работ.

V. Итого потребность в автотранспорте

Марка машин

Потребность в машинах

Всего

в том числе по месяцам

январь

февраль

март

апрель

...

 

 

 

 

 

 

 

2.11. В ППР должны быть приведены следующие основные технико-экономические показатели: себестоимость строительно-монтажных работ, стоимость основных фондов и оборотных средств, используемых для строительства данного объекта, продолжительность строительства, трудоемкость строительно-монтажных работ, выработка, затраты труда на единицу строительной продукции (например, на 1 км КЛС) и др.

При определении средней выработки, потребности в рабочей силе и продолжительности работ следует учитывать фактически достигнутые в данной строительной организации показатели производительности труда, а также неучтенные работы до 10 % к общему объему работ по объекту (участку).

2.12. ППР должен быть разработан с учетом:

а) комплексного выполнения всех работ и обеспечения их завершения в установленные сроки по этапам, участкам, направлениям и по объекту в целом;

б) комплексной механизации работ и максимального использования строительных механизмов и машин;

в) концентрации механизмов, машин, рабочей силы и материальных ресурсов на пусковых объектах (очередях, комплексах);

г) применения поточных методов строительства, совмещения строительных процессов, внедрения бригадного подряда. При определении исходных пунктов, от которых планируется начало работ механизированных (кабелеукладочных, буровзрывных, по устройству просек, строительству НУП и др.) колонн и прокладка кабеля вручную, следует руководствоваться соображениями быстрейшего задействования законченных строительством участков и ввода их в эксплуатацию. Кроме того, должны быть приняты во внимание климатические условия, состояние дорог, условия местности, готовность смежных сооружений (например, зданий ОУП, строящихся мостов, по которым предстоит прокладка кабеля и т.д.);

д) круглогодичного или максимального удлиненного времени производства работ. При определении периодов и сроков выполнения работ следует учитывать приливы и отливы, ледоходы и ледоставы, разливы рек, спуски воды из водоемов и каналов для чистки, профилактику плотин и т.д. Если трасса запроектирована по участкам, занимаемым под посевы сельскохозяйственных культур, необходимо по возможности сократить потравы;

е) выполнения технологии производства строительно-монтажных работ, предусмотренной настоящим Руководством и другими действующими инструктивными документами;

ж) соблюдения правил техники безопасности, охраны труда и производственной санитарии;

з) обеспечения высокого качества строительства.

2.13. ППР, как правило, разрабатывается генподрядной и субподрядной организациями. По заказам строительно-монтажных организаций, за счет последних, разработка ППР может быть также заказана проектной или проектно-конструкторской (технологической) организации (например, ССКТБ). При разработке следует руководствоваться рекомендациями по составлению ППР (ССКТБ, 1982).

2.14. ППР по строительству линейных сооружений должен быть увязан со сроками поставки кабельных изделий, НУП, контейнеров, вводного оборудования, оконечных устройств, арматуры, основных материалов, с общим графиком строительства КЛС как в части использования механизмов, транспорта и рабочей силы, так и в части согласования сроков постройки других сооружений, от которых зависит комплексное скончание всех работ (например, готовность технических зданий, установка металлоконструкций и т.д.).

ППР должен быть также увязан с графиком выпуска дополнительной проектной документации, если таковая не может быть полностью передана строительно-монтажной организации до начала работ (например, мероприятий по защите кабеля после измерений потенциалов, по второй и последующим очередям строительства и т.д.).

2.15. При разработке ППР необходимо согласовать сроки выполнения работ специализированными субподрядными организациями (например, по подводно-техническим работам, восстановлению уличных покровов, буровзрывным работам и т.д.).

2.16. ППР по реконструкции действующей КЛС и ее умощнению должен быть согласован с соответствующей эксплуатационной организацией.

2.17. ППР утверждается главным инженером генеральной подрядной строительно-монтажной организации, а по субподрядным работам - главными инженерами этих организаций по согласованию с генеральной подрядной строительно-монтажной организацией.

2.18. Утвержденный проект производства работ должен быть передан на строительный участок (площадку) за два месяца до начала работ.

2.19. Утверждению проекта производства работ должно предшествовать рассмотрение его техническим (технико-экономическим) советом строительной организации.

ПОДГОТОВКА МЕХАНИЗМОВ

2.20. При определении потребности в механизмах следует исходить из объема механизированных работ, предусмотренных проектом, с уточнениями, произведенными в результате обследования трассы в натуре, в том числе:

а) расчистка леса, устройство просек, корчевка пней;

б) подготовка (планировка) трассы бульдозерами;

в) рытье траншей траншеекопателями, экскаваторами;

г) разработка скального или мерзлого грунта компрессорами;

д) засыпка траншей траншеезасыпщиками, бульдозерами;

е) работы по рекультивации;

ж) погрузка и разгрузка автокранами кабеля, цистерн НУП, контейнеров, наземных сооружений НУП, пустых барабанов, оборудования, бетонных колодцев и перекрытий;

з) накачка кабеля компрессорами;

и) транспортировка кабеля кабельными тележками и размотка с кабельных тележек;

к) горизонтальное бурение (продавливание) грунта гидробурами на переходах под железными дорогами и шоссе;

л) прокладка кабеля и защитных проводов кабелеукладчиками;

м) прокладка кабеля кабелеукладчиками через реки;

н) прокладка кабеля якорными лебедками через болота;

о) строительство НУП.

2.21. Состав механизированных колонн и их оснащение определяются объемом работ и условиями их выполнения.

Количество тяговых механизмов определяется в зависимости от характеристики грунта, запроектированной глубины прокладки кабеля и рельефа местности.

Количество механизированных колонн для прокладки кабеля и определение их исходных пунктов должно быть увязано с объемом работ, условиями местности по трассе, сроками поставки кабеля и заданным сроком окончания строительства.

Количество и состав других механизмов (компрессоров, буровых установок и т.д.) определяется с учетом их производительности и объема работ.

Если по трассе работ имеется значительное количество скальных грунтов, бетонных и асфальтовых покрытий или ожидается разработка мерзлых грунтов, компрессорные установки должны быть укомплектованы соответствующим запасом отбойных молотков, пик и шлангов высокого давления.

2.22. Комплектование подразделений средствами механизации должно осуществляться с расчетом их экономически целесообразного использования. При этом должны учитываться конкретные природные условия и период производства работ.

2.23. Особое внимание при составлении плана механизации работ следует уделять расчету потребности горючесмазочных материалов для механизмов. При этом необходимо учесть потребность в специальных сортах ГСМ (например, веретенное масло для гидробуров, бензин 1-го сорта и т.д.), а также количество и возможности получения ГСМ по пунктам трассы.

2.24. После определения состава механизмов и пунктов их отгрузки необходимо установить потребность в железнодорожных вагонах и заблаговременно дать заявку на таковые.

2.25. Направляемые на трассу работ механизмы до отправки должны быть тщательно проверены, приведены в исправное состояние, укомплектованы инструментами, приспособлениями и запасными частями, необходимыми для их нормальной эксплуатации.

2.26. Учитывая непрерывное перемещение механизированной колонны вдоль трассы по мере прокладки кабеля, подготавливать специальную стоянку для механизмов, как правило, не требуется. В составе колонн должны быть передвижные ремонтные мастерские. Если работа колонны на данной трассе планируется более чем на один строительный сезон, должна быть учтена потребность в стоянке для механизмов с учетом их подготовки к следующему строительному сезону. В этом случае должно быть при необходимости предусмотрено строительство временных сооружений с размещением базы для ремонта и обслуживания машин и механизмов.

Табель комплектации механизированных колонн, применяемых на строительстве линейных сооружений КЛС, приведен в табл. 2.1.


Таблица 2.1

Табель комплектации механизированных колонн, применяемых для строительства КЛС

Машины и механизмы

Тип, марка

Прокладка кабеля в грунтах до III категории

Прокладка защитного провода в грунтах до III категории бестраншейным методом

Прокладка кабеля в мерзлых грунтах с промерзанием

Прокладка кабеля на заболоченных трассах бестраншейным способом

бестраншейным способом механизированной колонной на базе

в открытую траншею

до 0,3 м

свыше 0,3 м

бестраншейным способом механизированной колонной на базе

в открытую траншею с ручной разработкой грунта

тракторов Т-130

КНВ-1

тракторов Т-130

бульдозеров Д-355А многократной пропоркой

1

2

3

4

5

6

7

8

9

10

Строительные машины и механизмы

Трактор:

 

 

 

 

 

 

 

 

 

обычный

Т-130

6

-

-

3

7

-

-

-

болотоходный

Т-130Б

-

-

-

-

-

-

-

9

Т-130БГ

1

-

-

-

1

1

-

1

трелевочный

ТТ-4

-

-

-

-

-

-

-

-

Бульдозер-рыхлитель

Д-355А («Комацу»)

-

-

-

-

-

2

-

-

Бульдозер:

 

 

 

 

 

 

 

 

 

обычный

Д-493А

1

-

1

1

1

-

1

-

болотоходный

Д-694

-

1

-

-

-

1

-

1

спецоборудованный

МК-21

-

1

-

-

-

-

-

-

Корчеватель

Д-513А

-

-

-

-

-

-

-

1

Экскаватор:

 

 

 

 

 

 

 

 

 

обычный

ЭО-2621

-

-

-

-

-

-

-

-

ЭО-3322Б

-

-

-

-

-

-

-

-

траншейный

ЭТЦ-165

-

-

1

-

-

-

-

-

роторный

ЭТР-134

-

-

-

-

1

-

-

-

Машина баровая

ДГП-3УМ

-

-

-

-

1

-

-

-

Кран тракторный

ТК-53М

1

-

-

-

1

1

-

1

Автокран:

 

 

 

 

 

 

 

 

 

6,5 тс

КС-2461К

1

1

1

1

1

1

1

1

10 тс

КС-3562Б

1

1

1

1

1

1

1

1

16 тс

КС-4561

-

-

-

-

-

-

-

-

Автотранспортные средства

Автомобиль

ЗИЛ-131 (ЗИЛ-157)

1

1

2

1

1

1

1

2

КРАЗ-255Б

1

-

-

-

1

1

-

-

МАЗ-7310

-

-

-

-

-

1

-

-

ГАЗ-66

1

-

-

-

-

1

-

-

ГАЗ-52-05

1

-

1

1

1

-

1

1

УАЗ-452Д

1

1

1

1

1

1

1

1

Гусеничный транспортер

ГАЗ-71 (ГТ-СМ)

1

-

-

-

-

-

-

1

ГТТ

-

-

-

-

-

-

-

1

Автомобиль самосвал

ЗИЛ-ММЗ-555

-

-

-

-

-

-

-

-

Автобус для перевозки людей

ВМ-2001

1

-

1

-

1

1

1

-

Автомобильная ремонтная мастерская

ПРМ-1

1

-

-

-

-

1

-

1

Прицеп-тяжеловоз

4М3АП-5212

-

-

-

-

-

1

-

-

Топливозаправщик

АЦММ-4-157К

1

-

-

-

1

1

-

1

Автоприцеп:

 

 

 

 

 

 

 

 

 

для ГСМ

А3Д3-9650

1

1

1

1

1

1

1

1

хозяйственный

2ПН-4

1

1

1

-

1

1

1

1

Цистерна для воды

ЦВ-1,2

1

1

1

1

1

1

1

1

Специальные машины и механизмы для прокладки кабеля

Кабелеукладчик:

 

 

 

 

 

 

 

 

 

вибрационный

КНВ-1

-

1

-

-

-

-

-

-

колесный

КУ-120

1

-

-

-

1

-

-

-

КУК-4Д

1

-

-

-

1

-

-

-

КУК-5М

1

-

-

-

-

1

-

-

болотный

КУБ-3Б

-

-

-

-

-

-

-

-

КУБ-6М

-

-

-

-

-

-

-

1

Тросоукладчик

НТУ-3М

-

-

-

1

-

-

-

-

Пропорщик:

 

 

 

 

 

 

 

 

 

грунта

ПГ-1В

1

-

-

-

-

-

-

-

мерзлых грунтов

ПГМ-1

-

-

-

-

1

-

-

-

Траншеезасыпщик

ТЗ-2В

1

-

-

-

-

-

-

-

Машина для прокола грунта

КМ-170

-

-

-

-

-

-

-

-

Гидробур (вместо КМ-170)

БГ-3М

-

-

-

-

-

-

-

-

Транспортер:

 

 

 

 

 

 

 

 

 

кабельный

ККТ-4(ККТ-7)

-

-

2

-

-

-

2

-

для НУП

TTK-1 (ТТК-2Б)

-

-

-

-

-

-

-

-

Волокуша

КМ-151БМ

-

-

-

-

-

-

-

1

Лыжи для автокрана

КМ-150М

-

-

-

-

-

-

-

1

Лебедка тяговая

ЛТ-30

-

1

-

-

-

-

-

-

Средства малой механизации

Водомаслогрейка

ММ-61

-

-

-

-

1

1

1

-

Компрессор

ЗИФ-55 (ПК-10)

-

-

-

-

-

-

4

-

Перфоратор

ПР-30

-

-

-

-

-

-

-

-

Пневмобетонолом

ИП-4607

-

-

-

-

-

-

-

-

Молоток отбойный

МО

-

-

-

-

-

-

16

-

Агрегат сварочный

АДД-311

1

1

1

1

2

2

2

1

Бензопила

Урал

-

-

-

-

-

-

-

-

Газосварочный аппарат

ГВН-0,68

1

-

1

-

1

1

1

1

Электростанция передвижная

ЭСД-30

-

-

-

-

-

1

-

-

Агрегат для устройства заземления

АУЗ

-

-

-

-

-

-

-

-

Фургоны

Фургон:

 

 

 

 

 

 

 

 

 

жилой

ФХ-18Ш

6

2

2

1

-

-

-

6

жилой для северных районов

ФХ-18ШС

-

-

-

-

6

3

6

-

сушилка

ФХ-20Б

1

1

1

-

1

1

1

1

склад

ФХ-23

1

1

1

1

1

1

1

1

кухня (столовая)

ФХ-24

1

1

1

-

1

1

1

1

прорабская

ФХ-25

1

1

1

-

1

1

1

1

баня

ФХ-38

1

1

1

-

1

1

1

1

Продолжение табл. 2.1

Машины и механизмы

Тип, марка

Прокладка кабеля на заболоченных трассах с наличием валунов и скальных грунтов бестраншейным способом с применением буровзрывных работ

Прокладка кабеля

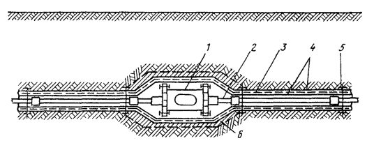
Строительство НУП

Вырубка и разработка просек

Устройство скрытых переходов

в скальных грунтах

в грунтах до III категории

в скальных и мерзлых грунтах

бестраншейным способом в грунтах IV - VI категорий механизированной колонной на базе бульдозера Д-355А с многократной пропоркой

в открытую траншею с

применением буровзрывных работ

ручной разработкой грунта

1

2

11

12

13

14

15

16

17

18

Строительные машины и механизмы

Трактор:

 

 

 

 

 

 

 

 

 

обычный

Т-130

-

-

-

-

-

-

-

-

болотоходный

Т-130Б

9

-

-

-

-

-

-

-

Т-130БГ

1

1

-

-

-

-

-

-

трелевочный

ТТ-4

-

-

-

-

-

-

1

-

Бульдозер-рыхлитель

Д-355А («Комацу»)

-

2

-

-

-

-

-

-

Бульдозер:

 

 

 

 

 

 

 

 

 

обычный

Д-493А

-

-

1

1

1

1

1

1

болотоходный

Д-694

2

1

-

-

-

-

-

-

спецоборудованный

МК-21

-

-

-

-

-

-

-

-

Корчеватель

Д-513А

2

-

1

1

-

-

1

-

Экскаватор:

 

 

 

 

 

 

 

 

 

обычный

ЭО-2621

-

-

-

-

-

-

-

1

ЭО-3322Б

-

-

2

1

1

1

-

-

траншейный

ЭТЦ-165

-

-

-

-

1

-

-

-

роторный

ЭТР-134

-

-

-

-

-

-

-

-

Машина баровая

ДГП-3УМ

-

-

-

-

-

1

-

-

Кран тракторный

ТК-53М

1

1

-

-

-

-

-

-

Автокран:

 

 

 

 

 

 

 

 

 

6,5 тс

КС-2461К

1

1

1

1

-

-

-

-

10 тс

КС-3562Б

1

1

1

1

-

-

-

-

16 тс

КС-4561

-

-

-

-

1

1

-

-

Автотранспортные средства

Автомобиль

ЗИЛ-131 (ЗИЛ-157)

2

1

1

1

-

-

-

-

КРАЗ-255Б

-

1

-

-

-

-

-

-

МАЗ-7310

-

1

-

-

-

-

-

-

ГАЗ-66

-

1

1

1

-

-

1

-

ГАЗ-52-05

1

-

1

1

1

1

-

1

УАЗ-452Д

1

1

1

1

1

1

-

-

Гусеничный транспортер

ГАЗ-71 (ГТ-СМ)

1

-

-

-

-

-

-

-

ГТТ

1

-

-

-

-

-

-

-

Автомобиль самосвал

ЗИЛ-ММЗ-555

-

-

-

-

1

1

-

-

Автобус для перевозки людей

ВМ-2001

-

1

-

1

-

-

-

-

Автомобильная ремонтная мастерская

ПРМ-1

1

1

-

-

-

-

-

-

Прицеп-тяжеловоз

4М3АП-5212

-

1

-

-

-

-

-

-

Топливозаправщик

АЦММ-4-157К

1

1

-

-

-

-

-

-

Автоприцеп:

 

 

 

 

 

 

 

 

 

для ГСМ

А3Д3-9650

1

1

1

1

1

1

-

-

хозяйственный

2ПН-4

1

1

1

1

1

1

1

1

Цистерна для воды

ЦВ-1,2

1

1

1

1

1

1

1

1

Специальные машины и механизмы для прокладки кабеля

Кабелеукладчик:

 

 

 

 

 

 

 

 

 

вибрационный

КНВ-1

-

-

-

-

-

-

-

-

колесный

КУ-120

-

-

-

-

-

-

-

-

КУК-4Д

-

-

-

-

-

-

-

-

КУК-5М

-

1

-

-

-

-

-

-

болотный

КУБ-3Б

1

-

-

-

-

-

-

-

КУБ-6М

1

-

-

-

-

-

-

-

Тросоукладчик

НТУ-3М

-

-

-

-

-

-

-

-

Пропорщик:

 

 

 

 

 

 

 

 

 

грунта

ПГ-1В

-

-

-

-

-

-

-

-

мерзлых грунтов

ПГМ-1

-

-

-

-

-

-

-

-

Траншеезасыпщик

ТЗ-2В

-

-

-

-

-

-

-

-

Машина для прокола грунта

КМ-170

-

-

-

-

-

-

-

1

Гидробур (вместо КМ-170)

БГ-3М

-

-

-

-

-

-

-

1

Транспортер:

 

 

 

 

 

 

 

 

 

кабельный

ККТ-4(ККТ-7)

-

-

2

2

-

-

-

-

для НУП

TTK-1 (ТТК-2Б)

-

-

-

-

1

1

-

-

Волокуша

КМ-151БМ

1

-

-

-

-

-

-

-

Лыжи для автокрана

КМ-150М

1

-

-

-

-

-

-

-

Лебедка тяговая

ЛТ-30

-

-

-

-

-

-

-

-

Средства малой механизации

Водомаслогрейка

ММ-61

-

-

-

-

-

1

-

-

Компрессор

ЗИФ-55 (ПК-10)

8

-

8

1

-

2

-

-

Перфоратор

ПР-30

16

-

16

-

-

-

-

-

Пневмобетонолом

ИП-4607

-

-

-

5

-

2

-

-

Молоток отбойный

МО

-

-

-

16

-

8

-

-

Агрегат сварочный

АДД-311

1

1

1

1

1

1

-

1

Бензопила

Урал

-

-

-

-

-

-

5

-

Газосварочный аппарат

ГВН-0,68

1

1

1

1

1

1

1

-

Электростанция передвижная

ЭСД-30

-

-

-

-

-

-

-

-

Агрегат для устройства заземления

АУЗ

-

-

-

-

1

-

-

-

Фургоны

Фургон:

 

 

 

 

 

 

 

 

 

жилой

ФХ-18Ш

6

3

2

6

1

-

1

l

жилой для северных районов

ФХ-18ШС

-

-

-

-

-

1

-

-

сушилка

ФХ-20Б

1

1

1

1

1

-

1

-

склад

ФХ-23

1

1

1

1

1

1

-

1

кухня (столовая)

ФХ-24

1

1

1

1

1

1

-

-

прорабская

ФХ-25

1

1

1

1

1

1

-

-

баня

ФХ-38

1

1

1

1

1

1

-

-

Примечания: 1. Указанные марки машин в случае отсутствия могут быть заменены аналогичными по механическим данным.

2. Кабелеукладчики и кабелеукладочные ножи подбираются в зависимости от условий производства работ, количества и типа кабелей.

3. Тяговая лебедка ЛТ-30 применяется для прокладки кабелей на отдельных речных переходах и заболоченных участках, где использование кабелеукладчика КНВ-1 невозможно.

4. При отсутствии автомобиля МАЗ-7310 используется автомобиль КРАЗ-255Б.


ПОДГОТОВКА АВТОТРАНСПОРТА

2.27. При определении потребности в автотранспорте и горючесмазочных материалах должны быть учтены:

а) транспортировка барабанов с кабелем от станции разгрузки до кабельных площадок и от последних на трассу работ, а также вывозка пустых барабанов;

б) транспортировка цистерн (контейнеров) НУП, НРП от станций разгрузки до кабельных площадок и развозка их по трассе;

в) перевозка пупиновских ящиков, чугунных муфт, замерных столбиков, сборных железобетонных колодцев и перекрытий, асбоцементных труб, люков и т.д. от станции разгрузки до приобъектных складов и развозка их по трассе;

г) перевозка местных материалов (кирпича, песка, гравия) на трассу или к местам изготовления бетонных изделий и перевозка последних к месту работ;

д) перевозка рабочей силы;

е) периодическая передислокация (буксировка вагончиков и т.д.);

ж) обслуживание автотранспортом субподрядчиков;

з) вывозка земли, оставшейся после работ в городах;

и) доставка ГСМ, дров, продуктов и т.д.;

к) пусконаладочные и измерительные работы;

л) выезды на трассу для осуществления руководства и технического надзора.

2.28. Потребность в автотранспорте определяется исходя из массы основных грузов, средних расстояний перевозок, грузоподъемности автомашин и установленных норм пробега.

2.29. По каждому из перечисленных выше видов перевозок должен быть составлен отдельный расчет необходимого числа машин. При этом для перевозки рабочей силы потребность в транспорте определяется в соответствии с принятой технологией и организацией труда.

2.30. При определении потребного для перевозки кабеля числа автомашин и их грузоподъемности необходимо учитывать массу одного барабана с кабелем, а также габаритные соотношения кузова и барабанов. Для перевозки НУП должны быть учтены нуповозы.

2.31. При расчете должно быть учтено состояние дорог, по которым будет производиться массовая перевозка грузов, а также состояние и грузоподъемность искусственных сооружений. Если известно, что на строительстве могут быть длительное время неудовлетворительное состояние дорог, снежные заносы, сильно пересеченная местность и т.д., то должна быть определена потребность в машинах с повышенной проходимостью.

2.32. Для трудных дорожных условий должны быть запланированы тракторы с соответствующими прицепами для грузов (тележки, сани, волокуши и т.п.).

2.33. Численность автомашин определяется с учетом установленных основных показателей работы автотранспорта: коэффициента технической готовности, коэффициента использования и пр.

2.34. Перевозка людей должна производиться специально оборудованными для этой цели автомашинами (автобусами) в соответствии с установленными правилами. В осенний и зимний периоды на автомашинах для перевозки людей и измерительных приборов устанавливаются закрытые кузовы (деревянные или брезентовые), защищающие от атмосферных осадков и ветра.

2.35. Если автотранспорт направляется за пределы того административного центра, где он постоянно находится, то необходимо своевременно снять с учета Госавтоинспекции направляемые машины и выслать к новому месту работы все документы, требующиеся для постановки на учет на новом месте.

2.36. Направляемые на строительство КЛС автотранспортные средства должны быть заблаговременно приведены в исправное состояние, укомплектованы запасными частями и необходимыми инструментами.

2.37. В пунктах, куда направляется автотранспорт, необходимо провести подготовительные работы, обеспечивающие его нормальную разгрузку, транспортировку и стоянку. Кроме того, должны быть подготовлены горючесмазочные материалы для транспортировки машин от пунктов их выгрузки с железнодорожных платформ до места стоянки, а также для первоочередных работ. Примерный расчет потребности в автотранспорте приведен в форме 2.10.

При подготовке автотранспорта и погрузочно-разгрузочных средств следует руководствоваться пп. 4.15 - 4.28.

МАТЕРИАЛЬНО-ТЕХНИЧЕСКОЕ ОБЕСПЕЧЕНИЕ

2.38. Материально-техническое обеспечение строительства линейных сооружений является одним из основных мероприятий, обеспечивающих своевременное и качественное выполнение работ.

2.39. Материально-техническое обеспечение заключается в: определении потребности; составлении заявок; составлении разнарядок; подготовке складов, площадок, тары; контроле за реализацией фондов; отгрузке материалов на трассу; контроле за выполнением плана снабжения; разгрузке материалов и их хранении.

2.40. Потребность в материалах определяется по объему работ, который устанавливается заказчиком в зависимости от утвержденного государственного плана финансирования по данному объекту на планируемый год. Если в течение года, на который составляется план, предполагается окончание строительства всех линейных сооружений, потребность в материалах определяется полным объемом работ согласно проекту (ПОС).

2.41. После определения потребности в материалах, инструментах, приборах, оборудовании и уточнения их наличия (при переходящих работах) составляются заявки. В заявки должны быть включены также материалы, не учтенные проектом, например: ГСМ для механизмов и автотранспорта, цемент и арматура для замерных столбиков, сборные железобетонные колодцы и перекрытия, источники тока для измерительных приборов, тяговые канаты и запасные части для механизмов и т.д. При составлении заявок следует пользоваться перечнями, приведенными в приложениях 1 и 2.

2.42. При составлении разнарядок необходимо учитывать следующее:

а) тяжеловесные грузы должны направляться на станции железных дорог и водных путей, находящихся в непосредственной близости от трассы магистрали. К таким грузам относятся: кабель, пупиновские ящики, асбоцементные трубы, чугунные муфты, люки, замерные столбики, кирпич, цемент, сборные железобетонные колодцы и перекрытия, цистерны НУП, контейнеры;

б) остальные материалы направляются на центральные склады строительной организации и доставляются к месту работы по мере надобности.

2.43. Разнарядка на магистральные кабели дается в соответствии с имеющейся в проекте схемой развозки кабеля по трассе.

2.44. Чугунные (пластмассовые и другие) защитные муфты, пупиновские ящики, замерные столбики должны отгружаться в пункты, расположенные через 100 - 150 км друг от друга. В этих пунктах должны обеспечиваться возможность хранения и нормальная транспортировка указанного груза на трассу работ. Очередность отгрузки должна соответствовать плану организации работ.

2.45. Особое внимание должно быть обращено на обеспечение горючесмазочными материалами. Фонды на ГСМ должны быть правильно распределены по административным центрам и соответствовать графику производства работ.

2.46. При отгрузке материалов следует строго соблюдать комплектность, особенно при отгрузке специальных кабелей (для речных переходов, соединительных кабелей, прокладываемых в общей траншее с магистральными, и т.д.).

2.47. Исходя из плана организации работ, наличия материалов и фондов составляется график материально-технического обеспечения (см. форму 2.6).

ПОДГОТОВКА ИЗМЕРИТЕЛЬНОЙ АППАРАТУРЫ

2.48. Состав измерительной аппаратуры определяется в зависимости от типа и марок кабелей и запроектированных систем передачи.

2.49. Для проверки электрической длины смонтированных усилительных участков коаксиального кабеля должно быть предусмотрено устройство типа ИД-КС-А.

2.50. Кроме основной измерительной аппаратуры для работ на любых типах кабелей, необходимо предусмотреть: нагрузочные сопротивления, переключатели схем скрещивания, симметрирующие трансформаторы, переменные симметрирующие контуры, измерительные шнуры и пр.

2.51. Количество измерительных приборов определяется в зависимости от трудоемкости измерительных работ и заданных сроков их выполнения.

2.52. Питание аппаратуры может производиться непосредственно от источников переменного тока или от аккумуляторных батарей с использованием преобразователей напряжения. Для зарядки аккумуляторов должны быть предусмотрены выпрямительные устройства или специальные зарядные агрегаты.

2.53. Измерительные приборы, источники электропитания и электростанции, как правило, должны быть установлены и смонтированы в специально оборудованных автомашинах или автофургонах.

2.54. Для записей результатов всех электрических измерений и испытаний кабеля необходимо определить потребность в соответствующих бланках технической документации, которые должны быть заблаговременно заказаны и отправлены на трассу работ вместе с измерительной аппаратурой (формы бланков приведены в соответствующих разделах данного Руководства).

2.55. При подготовке измерительной аппаратуры следует учитывать требования, изложенные в разделах 16 и 17 данного Руководства.

ОБЕСПЕЧЕНИЕ НЕТИПОВЫМИ КОНСТРУКЦИЯМИ

2.56. Нетиповые конструкции применяются:

а) при прокладке кабелей по мостам, плотинам, дамбам, тоннелям и другим сооружениям железных и автомобильных дорог для крепления кабеля и арматуры (муфт, пупиновских ящиков защитных устройств);

б) для прокладки и крепления магистральных и соединительных кабелей при вводе их в помещения ввода кабелей, кросс, линейно-аппаратный цех и т.д.);

в) при оборудовании оградительных сигнальных знаков на кабельных переходах через судоходные и сплавные реки.

2.57. Нетиповые конструкции должны быть заблаговременно заказаны строительными организациями, чтобы их отсутствие не нарушало графика и технологии производства работ.

2.58. На все нетиповые изделия заказчиком (проектной организацией) должны быть даны соответствующие конструктивные чертежи.

ОПРЕДЕЛЕНИЕ ПОТРЕБНОСТИ В РАБОЧИХ КАДРАХ

2.59. В соответствии с утвержденным объемом работ, уровнем их механизации и установленными сроками окончания строительства определяется потребность в рабочих кадрах.

Потребность в рабочих кадрах рассчитывается для следующих профессий: монтажник связи - спайщик, монтажник связи - кабельщик, трубоукладчик, машинист (экскаватора, автокрана, трактора и т.д.), подсобный рабочий. Кроме того, следует учитывать потребность в измерителях - симметрировщиках (инженер, техник).

2.60. Потребность в монтажниках связи - спайщиках зависит от емкости и конструкции кабеля, размеров строительных длин и т.д. Трудоемкость спаечных работ определяется числом муфт и нормой времени на их монтаж. Кроме того, учитываются монтаж оконечных устройств, проверка кабеля на кабельных площадках, проверка герметичности участков, а также время для электроизмерений, установки замерных столбиков и других работ.

Основным фактором, определяющим потребность в монтажниках связи - спайщиках, должен быть темп прокладки кабеля, так как монтаж кабеля должен производиться вслед за его прокладкой.

2.61. Потребность в измерителях и симметрировщиках зависит от конструкции кабеля, схемы симметрирования и других технических условий, определяющих объем измерительных работ. Практически трудоемкость этих работ определяется числом подлежащих монтажу симметрирующих, конденсаторных, пупиновских, стыковых и других муфт, а также нормой времени на их монтаж. Кроме того, должны быть учтены работы измерителей при проверке кабеля на кабельных площадках, измерении шагов, секции и контрольных измерениях смонтированных участков.

2.62. Потребность в рабочих кадрах для строительства кабельной канализации и колодцев определяется объемом работ и нормами времени на их выполнение.

2.63. Число подсобных рабочих зависит в основном от уровня механизации трудоемких работ. При этом учитываются: категории грунтов; объем работ по рытью траншей, прокладке кабеля вручную, рытью котлованов; подсобные работы в мехколонне; устройство переходов через железные и автомобильные дороги; погрузочно-разгрузочные работы; работы на речных переходах и т.д.

2.64. Число машинистов (трактористов, крановщиков, мотористов, водителей автомашин и других специалистов), обслуживающих транспорт и механизмы, определяется в зависимости от численности последних.

2.65. Численность рабочей силы должна быть определена с учетом технологической последовательности выполнения работ таким образом, чтобы в основной период строительства обеспечивалась загрузка рабочих. Примерный расчет потребности в рабочей силе по основным профессиям приведен в форме 2.7.

2.66. В соответствии с установленной потребностью в рабочей силе составляется план подготовки и обеспечения ею строительства.

ДИСЛОКАЦИЯ ОРГАНОВ УПРАВЛЕНИЯ СТРОИТЕЛЬСТВОМ

2.67. Для более оперативного руководства работами и контроля за их выполнением органы управления строительством должны дислоцироваться по возможности посередине соответствующего участка трассы.

При выборе места дислокации следует учитывать: близость к району основных работ; возможность регулярной связи с вышестоящей инстанцией, заказчиком, проектной организацией и подведомственными подразделениями; близость железнодорожной станции, порта или пристани; возможность аренды жилых, конторских и складских помещений, площадок для стоянки транспорта; наличие электроэнергии; близость культурно-бытовых и медицинских (по возможности) учреждений.

2.68. В полевых условиях прорабские участки должны размещаться в специальных передвижных фургонах, оборудованных для: жилья рабочих, столовой, кухни, культурно-бытового обслуживания, складирования монтажных материалов, корректировки технической документации, хранения инструментов, измерительной аппаратуры и т.д.

РАЗДЕЛ 3

ОСНОВНЫЕ ПОЛОЖЕНИЯ ПО ТЕХНОЛОГИИ И ОРГАНИЗАЦИИ СТРОИТЕЛЬНО-МОНТАЖНЫХ РАБОТ

ОБЩИЕ УКАЗАНИЯ

3.1. Работы по строительству линейных сооружений КЛС должны производиться, как правило, в следующей технологической последовательности:

1. Прокладка кабеля:

а) проверка кабеля, арматуры и оборудования, поступивших от поставщиков;

б) разбивка трассы с уточнением и обозначением на местности указанных в рабочей документации мест пересечения трубопроводов, канализационных сетей, кабелей (связи, силовых и радиофикация) и других подземных сооружений;

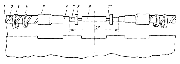
в) вырубка просек, корчевание пней, планировка трассы;

г) вывозка на трассу труб, кирпича, песка и других материалов;

д) устройство трубопроводов на пересечениях с автомобильными и железными дорогами, установка конструкций для прокладки кабеля на мостах, в тоннелях и т.д.;

е) прокладка кабеля через водные преграды с выполнением подводно-технических работ; установка сигнальных знаков на пересечении судоходных и сплавных рек; укрепление береговых участков трассы (согласно проекту);

ж) прокладка кабеля и защитных проводов кабелеукладчиком (с одновременной вывозкой кабеля, проводов); прокладка кабеля на речных переходах кабелеукладочной мехколонной или при помощи тяговой лебедки; установка замерных столбиков на углах поворота трассы, пересечениях с другими подземными и наземными сооружениями;

з) рытье траншей, устройство кабельной канализации и прокладка кабеля и защитных проводов на участках, где невозможна или нецелесообразна в связи с малым объемом) прокладка кабелеукладчиком.

Примечание. На участках, где заранее известно, что использовать кабелеукладчик невозможно, разработку траншей следует производить независимо от периода работы кабелеукладочной колонны. Однако в случаях, когда грунты вдоль трассы непрерывно изменяются, целесообразно сначала проложить максимальное количество кабеля кабелеукладчиком, а на пропущенных отрезках трассы организовать разработку траншей.

и) защита кабеля от механических повреждений кирпичом и плитами в местах, где это предусмотрено проектом;

к) прокладка защитных проводов (если их трасса не совпадает с трассой кабеля), устройство линейно-защитных заземлений, искровых промежутков для защиты от грозы, влияния ЛЭП, и т.д.;

л) фиксация трассы проложенного кабеля, защитных проводов, трубопроводов на пересечениях с другими подземными сооружениями;

м) засыпка траншей, рекультивация земель (согласно проекту) и планировка трассы;

н) проверка проложенного кабеля и сдача его в монтаж;

о) защита кабельной трассы от эрозии грунта, выдувания и песчаных заносов в барханных песках (согласно рабочей документации проекта).

2. Монтаж и измерения:

а) приемка проложенного кабеля в монтаж;

б) рытье котлованов для монтажа муфт;

в) монтаж прямых муфт;

г) оборудование вводов и монтаж оконечных устройств (см. п. 15.15);

д) измерения связей и асимметрии, составление монтажных ведомостей (для низкочастотных кабелей);

е) монтаж симметрирующих и конденсаторных муфт низкочастотных кабелей.

Примечание. При монтаже низкочастотных кабелей емкостью более 19 четверок за один-два дня до монтажа конденсаторных муфт следует произвести измерения связей и асимметрии в полушагах и составить монтажную ведомость для конденсаторной муфты.

ж) электрическая проверка и испытание герметичности смонтированных шагов (секций);

з) монтаж прямых пупиновских или стыковых муфт;

и) монтаж стыковых (симметрирующих) муфт на высокочастотных симметричных кабелях и пупиновских муфт на низкочастотных кабелях по результатам измерений защищенности (переходного затухания);

к) проверка электрических характеристик кабеля (контрольные измерения) на смонтированных усилительных (регенерационных) участках;

л) испытание герметичности кабеля и установка его под постоянное избыточное воздушное давление.

3.2. Строительство НУП должно осуществляться вне зависимости от состояния работ по прокладке кабеля. Место установки НУП должно строго соответствовать рабочим чертежам. Работы следует выполнять комплексной бригадой; ввод в цистерну линейных кабелей (от изолирующих муфт), кабелей АРУ и заземлений, оборудование заземлений и установка протекторной защиты цистерн должны выполняться одновременно.

После выполнения наружных работ должны быть зафиксированы замерными столбиками и на рабочих чертежах все подземные устройства (блоки термодатчиков - БТД, протекторы, контуры заземлений и т.п.), произведена засыпка траншей и котлованов и сделана планировка площадки.

3.3. Устройство контрольно-измерительных пунктов должно производиться одновременно с монтажом муфт.

3.4. Установка и монтаж протекторов для защиты кабеля от коррозии на участках с агрессивными грунтами должны производиться одновременно с монтажом кабеля.

3.5. Работы по монтажу защитных устройств (катодных станций, поляризованных дренажей и т.д.) должны производиться после завершения монтажа кабеля в соответствии с рабочей документацией, разработанной проектной организацией.

3.6. После монтажа муфты должны быть сделаны замеры расстояний (привязка к имеющимся вблизи постоянным ориентирам-зданиям, опорам ВЛС, ЛЭП и т.д.), необходимых для фиксации в исполнительной документации ее расположения. Затем производится засыпка котлована с одновременной установкой замерного столбика или столбика КИП и подключением к нему выводных проводов.

ОРГАНИЗАЦИЯ ПРОИЗВОДСТВЕННЫХ ПОДРАЗДЕЛЕНИЙ

3.7. Для осуществления работ по строительству линейных сооружений КЛС в специализированной строительно-монтажной организации (СМУ, ПМК, и т.д.) должны быть организованы производственные подразделения: звенья, бригады, колонны, участки.

3.8. К числу основных следует отнести следующие производственные подразделения:

а) бригада (звено) по приемке, проверке и подготовке кабеля (оборудования, арматуры) на кабельных площадках;

б) звено по разбивке трассы прокладки кабеля и защитных проводов, фиксации их положения после прокладки;

в) механизированная колонна (бригада) по устройству просек;

г) бригада по выполнению сложных переходов и нетиповых работ: прокладка трубопроводов на пересечениях с автомобильными и железными дорогами и другими сооружениями;

д) механизированная колонна по прокладке кабеля и защитных проводов кабелеукладчиками (проводоукладчиками);

е) бригада по разработке траншей и прокладке кабеля (защитных проводов) вручную;

ж) бригада по строительству кабельной канализации;

з) звено по проверке и сдаче проложенного кабеля в монтаж;

и) бригада по строительству НУП;

к) бригада по выполнению прочих работ (организуется по мере необходимости);

л) участок (колонна) по монтажно-измерительным работам.

3.9. Производственные подразделения, выполняющие работы, связанные с прокладкой кабеля и защитных проводов (в том числе устройство просек, разработка траншей, строительство кабельной канализации и т.д.), входят в состав прорабского участка по прокладке кабеля. Производственные подразделения, выполняющие работы по монтажу кабеля, оконечных устройств, оборудования для содержания кабеля под избыточным давлением, симметрированию, изменениям, входят в состав монтажно-измерительного прорабского участка.

При небольших объемах работ (кабель малой емкости, вводно-кабельные оконечные устройства в НУП смонтированы на заводе, отсутствие сложных участков и пересечений) все производственные подразделения могут входить в состав одного прорабского участка.

3.10. Число участков, колонн, бригад, звеньев, их численный и профессиональный состав определяются в каждом конкретном случае составом и объемом работ (в зависимости от типа кабеля, системы передачи, конструкции НУП, условий местности и т.д.), а также установленными сроками их выполнения.

ОБЯЗАННОСТИ И СОСТАВ ПРОИЗВОДСТВЕННЫХ ПОДРАЗДЕЛЕНИЙ

Бригада (звено) по проверке и подготовке кабеля и оборудования

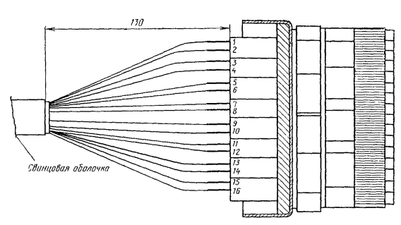
3.11. Бригада (звено) организуется из монтажников связи-спайщиков, измерителя и подсобных рабочих. В обязанности бригады входит:

а) приемка барабанов с кабелем, оборудования, арматуры, цистерн (контейнеров) НУП, поступающих для строительства объекта, их размещение и учет;

б) проверка внешнего вида кабеля и оборудования;

в) проверка герметичности кабеля и при необходимости впайка вентилей;

г) устранение выявленных незначительных дефектов (запайка концов, укрепление барабанов и т.д.). При обнаружении значительных заводских дефектов массового характера - составление дефектных актов для предъявления рекламаций;

д) группирование строительных длин кабеля и составление укладочных ведомостей по усилительным участкам.

При выполнении перечисленных работ следует руководствоваться требованиями разд. 4.

3.12. Численность бригады и ее состав по профессиям определяется в зависимости от объема работ (числа барабанов, состава измерений, темпов прокладки кабеля и т.д.). Если предполагается организовать прокладку кабеля механизированными колоннами одновременно из двух или более пунктов, число бригад следует соответственно увеличить.

3.13. Работы бригады должны быть организованы заблаговременно, чтобы к началу прокладки на площадке был запас проверенного и подготовленного к вывозке на трассу кабеля.

Звено по разбивке трассы и ее фиксации

3.14. До начала работ по рытью траншей, устройству просек, строительству кабельной канализации, прокладке кабеля и защитных проводов звено под руководством техника (мастера, прораба) должно произвести разбивку трассы, определить места установки пупиновских ящиков, смотровых устройств и т.д. Кроме того, должны быть отмечены места пересечения и сближения с другими подземными сооружениями, зафиксированными в рабочих чертежах или выявленными в процессе работ.

Особое внимание следует уделить местам пересечения с нефте- и газопроводами, водоводами, силовыми кабелями и кабелями связи; при этом должны быть сделаны шурфы, чтобы точно определить места расположения этих сооружений.

3.15. В процессе строительства линейных сооружений на планшетах рабочих чертежей должно быть зафиксировано расположение всех подземных сооружений (кабеля, муфт) до засыпки траншей и котлованов с привязкой к постоянным ориентирам или специально установленным замерным столбикам. На звено возлагаются также работы по нанесению на замерные столбики постоянной нумерации муфт и других знаков.

3.16. В состав звена должен входить чертежник и один-два подсобных рабочих. Звено должно быть оснащено мерной лентой, вешками, а в отдельных случаях и кабелеискателем.

3.17. При выполнении работ звено должно руководствоваться требованиями разд. 6 и 22.

Механизированная колонна (бригада) по устройству просек

3.18. При значительном объеме работ по вырубке просек и подготовке трассы в лесистой местности должны быть организованы специальные механизированные подразделения, оснащенные соответствующими техническими средствами (электро- или бензопилами, кусторезами, трелевочными тракторами, корчевателями, бульдозерами и т.д.; см. разд. 2).

3.19. Работы по вырубке и расчистке просек должны быть произведены заблаговременно, т.е. до подхода к данному участку подразделения по прокладке кабеля. С целью наиболее эффективного использования механизмов, транспорта и рабочей силы подготовку трассы в лесистой местности целесообразно производить в зимний период года.

Бригада по выполнению сложных переходов и нетиповых работ

3.20. Бригада создается для осуществления переходов через железные и автомобильные дороги, прокладки кабеля по мостам, в тоннелях, через оросительные каналы и небольшие реки, где кабелеукладчик не может быть использован, прокладки труб на пересечениях с силовыми кабелями, продуктопроводами и т.д.

Бригада должна быть оснащена механизмами для бурения (продавливания) горизонтальных скважин, лесоматериалом или инвентарными приспособлениями для крепления котлованов, насосом для откачки воды, трубами, манжетами для их стыкования, ГСМ, шлангами и т.д. (см. разд. 2).

3.21. Перед прокладкой кабеля по трассе, пересеченной большим количеством горных рек (ручьев), должны быть организованы специальные подразделения по подготовке трассы на этих пересечениях (прокладка металлических труб, устройство подпорных стенок, отвод русла согласно рабочей документации), а в необходимых случаях и прокладка кабеля.

3.22. По мере удаления подразделений от места дислокации прорабского участка они должны быть обеспечены средствами для создания необходимых бытовых условий (жилой фургон, постельные принадлежности и т.д.).

3.23. Состав бригады определяется объемом и характером работ, а также числом используемых механизмов.

Механизированная колонна по прокладке кабеля

3.24. Механизированная кабелеукладочная колонна является одним из основных производственных подразделений, осуществляющих строительство линейных сооружений КЛС. Силами и средствами колонн обычно прокладывается 70 - 90 % всего кабеля на объекте.

На колонну возлагается выполнение следующих работ: подготовка трассы перед прокладкой (планировка, срезка крутых спусков на пересечении рек и оврагов); вывозка барабанов с кабелем (проводом) на трассу; прокладка кабеля и защитных проводов; планировка трассы после прокладки кабеля; прокладка кабеля через несудоходные реки кабелеукладчиком; установка замерных столбиков (на поворотах, переходах через дороги и реки, на пересечениях с другими подземными сооружениями на прямолинейных участках трассы, см. разд. 22) и временных знаков на стыках строительных длин; вывозка пустых барабанов на кабельную площадку; участие в составлении картограммы глубины заложения кабеля.

3.25. В отдельных случаях, при небольших объемах работ, на колонну возлагается вырубка отдельно растущих деревьев, мелколесья, кустарников (в соответствии с имеющимися в проекте согласованиями с лесовладельцами).

3.26. Прокладка защитных проводов, как правило, должна производиться колонной одновременно с прокладкой кабеля. Если защитные провода по проекту прокладываются на удалении от трассы кабеля (например, между кабелем и опушкой леса), то в составе мехколонны должно быть организовано соответствующее подразделение, оснащенное проводоукладчиком, тяговыми тракторами и т.д.

3.27. Для подготовки трассы на участках с наличием скальных пород, каменистых и мерзлых грунтов (их разрыхление, частичная выемка), чередующихся с мягкими грунтами, а также для прокладки кабеля на этих участках, должны быть организованы специальные мехколонны, оснащенные пропорщиками и другими механизмами для разрыхления грунта (компрессоры, отбойные молотки и т.д.). При значительной протяженности таких участков должны привлекаться специализированные организации для буровзрывных работ.

При небольших объемах таких работ (кроме буровзрывных) подразделения для их выполнения могут быть организованы в составе основной механизированной кабелеукладочной колонны. При этом осуществляется только подготовка трассы (пропорка, рыхление), а прокладка кабеля производится основной колонной по мере приближения к этим участкам.

3.28. Руководитель (прораб) механизированной колонны или лицо, им уполномоченное, получает кабель на кабельных площадках в соответствии со схемой развозки кабеля по трассе. Очередность вывозки должна соответствовать укладочной ведомости. Получение кабеля учитывается в специальной ведомости, ведущейся в двух экземплярах. В этой ведомости указываются дата получения, номера барабанов, состояние кабеля и барабанов. Аналогично ведется учет сдачи мехколонной пустых барабанов.

Одновременно с кабелем передается протокол испытаний строительной длины кабеля (см. форму 4.2).

3.29. Качество выполняемых механизированной колонной работ должно фиксироваться в актах на скрытые работы.

Проложенный кабель механизированная колонна обязана сдать в монтаж. Проверка кабеля после прокладки и подготовки его к сдаче выполняется специальным звеном. Сдача кабеля в монтаж должна оформляться соответствующим актом.

3.30. При выполнении работ мехколонной следует руководствоваться требованиями разд. 6.

Бригада по разработке траншей и прокладке кабеля (проводов) вручную

3.31. Бригада организуется для выполнения работ по прокладке кабеля вручную в городах, населенных пунктах, на участках со сплошными скальными породами и мерзлыми грунтами и в других местах, где невозможно применить механизмы для разработки траншей (экскаваторы).

При значительных объемах ручных работ, а также при расположении таких участков на большом удалении друг от друга, следует организовать две-три бригады. При этом следует учитывать необходимость максимальной механизации работ по разрыхлению грунта (компрессоры, отбойные молотки).

Численный состав бригады, ее оснащение механизмами, инструментом и транспортом определяются объемом работ, сроками их выполнения и нормами выработки.

Бригада по строительству кабельной канализации

3.32. Бригада организуется для прокладки (докладки) трубопроводов, строительства колодцев (смотровых устройств) и протяжки кабеля в каналы построенной и существующей кабельной канализации.

При наличии в данном городе (населенном пункте) специализированной организации (ее прорабского участка) по строительству кабельной канализации для городской телефонной сети, запроектированные работы следует поручить этой организации.

При небольших объемах работ строительство канализации и протяжка кабеля могут быть поручены бригаде по прокладке кабеля вручную (см. п. 3.31).

При строительстве кабельной канализации и протяжке в ней магистральных и внутризоновых кабелей следует руководствоваться «Общей инструкцией по строительству линейных сооружений ГТС» («Связь», 1978).

Звено по проверке и сдаче в монтаж проложенного кабеля

3.33. Звено организуется для проверки строительных длин кабеля после прокладки, устранения выявленных повреждений (нарушение герметичности, пониженное сопротивление изоляции шланговых покровов и т.д.) и сдачи кабеля в монтаж.

В состав звена должен входить техник-измеритель, один - два монтажника связи-спайщика 3- и 4-го разрядов и при необходимости несколько подсобных рабочих. Техник-измеритель, возглавляющий звено, непосредственно выполняет все измерения и испытания, необходимые для подготовки и сдачи кабеля в монтаж.

Звено входит в состав прорабского участка (колонны) по прокладке кабеля и несет ответственность за качественную проверку электрического состояния и герметичности строительных длин кабеля и сдачу его по усилительным участкам подразделению, выполняющему монтажно-измерительные работы.

Бригада по строительству НУП

3.34. Бригада организуется для выполнения комплекса работ по строительству НУП: разработки котлована; укладки фундаментных блоков; установки цистерны, контейнеров; монтажа наземной части; устройству заземлений; монтажу протекторной защиты; прокладки кабелей и ввода их в цистерну от изолирующей муфты, блока АРУ, контура заземлений; фиксации мест расположения подземных устройств и установки столбиков; засыпки котлована и траншей, обваловки, планировки площадки.

3.35. Одновременно с перечисленными работами целесообразно организовать монтаж оконечных устройств, установку оборудования для содержания кабеля под избыточным давлением, монтаж изолирующей (соединительной) муфты, монтаж устройств АРУ. Эти работы должны выполняться звеном по монтажу оконечных устройств, входящим в состав участка (колонны) по монтажно-измерительным работам.

3.36. Бригада должна быть оснащена механизмами согласно разд. 2 и при выполнении работ руководствоваться требованиями разд. 15 и 21.

Бригада по выполнению прочих работ

3.37. Бригада организуется для выполнения следующих вспомогательных, специальных и непредвиденных работ:

а) погрузо-разгрузочных работ при поступлении на железнодорожные станции (причалы) барабанов с кабелем, бетонных изделий, цистерн НУП, контейнеров оборудования, арматуры, при транспортировке местных материалов (песок, гравий), отгрузке пустых барабанов и т.д.;

б) устройству лежневок на заболоченных участках трассы;

в) противоэрозионных работ;

г) работ по заявкам субподрядных организаций (например, при выполнении подводно-технических работ на речных переходах, буровзрывных работ, замощении уличных покровов и т.д.);

д) хозяйственных работ по устройству складов, навесов, разгрузочных платформ, оборудованию кабельных площадок, стоянок для транспорта, временных жилых поселков для производственных подразделений (установка фургонов, палаток) и т.д.

МОНТАЖНО-ИЗМЕРИТЕЛЬНЫЙ УЧАСТОК

3.38. Монтажно-измерительный участок (колонна) организуется для выполнения всего комплекса работ по монтажу, симметрированию, электрическим измерениям кабеля, монтажу оконечных устройств и оборудования для содержания кабеля под избыточным давлением, испытаниям герметичности смонтированного кабеля, монтажу устройств АРУ, установке, монтажу и наладке устройств защиты от коррозии, а также по составлению исполнительной документации по перечисленным работам.

3.39. В составе монтажно-измерительного участка организуются следующие подразделения:

а) звено по приемке проложенных строительных длин кабеля в монтаже. Перед приемкой кабеля в монтаж звену должны быть переданы укладочные ведомости, протоколы испытаний строительных длин кабеля, заводские паспорта и ведомости группирования. Звено несет ответственность за электрическое состояние и герметичность принятого в монтаж кабеля. В зависимости от типа кабеля и объема его испытаний звено может состоять из измерителя и одного - двух монтажников связи - спайщиков;

б) бригада по внутришаговому (внутрисекционному) монтажу, состоящая из монтажников связи - спайщиков, измерителей - симметрировщиков (на низкочастотных кабелях) и подсобных рабочих. Бригада комплектуется в зависимости от объема работ из нескольких звеньев. Каждое звено состоит из двух спайщиков (разных разрядов). За каждым звеном закрепляется определенное число шагов или секций, на монтаже которых работа других звеньев не допускается.

На бригаду возлагается: рытье и засыпка котлованов, монтаж прямых, симметрирующих и конденсаторных муфт, монтаж КИП, монтаж стыковых муфт или пупиновских ящиков, в которых жилы соединяются напрямую, установка замерных столбиков у смонтированных муфт, электрическая проверка шагов (секций), испытание герметичности смонтированного шага (секции) и оформление всей технической документации на выполненные работы;

в) бригада по наращиванию шагов и отработке усилительных участков комплектуется из измерителей - симметрировщиков, спайщиков и подсобных рабочих.

На бригаду возлагаются: приемка смонтированных шагов (секций) и соответствующей исполнительной документации (протоколы прозвонки, измерений, испытаний герметичности); монтаж оконечных устройств, монтаж устройств АРУ, монтаж пупиновских ящиков и стыковых муфт по результатам измерений переходного затухания (защищенности); концентрированное симметрирование; монтаж стыковых муфт на коаксиальном кабеле; установка замерных столбиков около смонтированных муфт; контрольные электрические измерения и испытания герметичности по усилительным (регенерационным) участкам; составление исполнительной документации;

г) бригада для выполнения работ по защите кабеля от коррозии. В ее обязанности входит: установка и монтаж протекторов, измерения потенциалов, монтаж и наладка катодных станций, поляризованных электродренажей и т.д.;

д) звено по составлению исполнительной технической документации по монтажно-измерительным работам, представляемой при сдаче линейных сооружений в эксплуатацию (см. разд. 22). Звено состоит из техника и одного - двух чертежников.

Примечание. При небольших объемах работ составление исполнительной технической документации может быть поручено звену по разбивке трассы и фиксации.

3.40. До начала работ подразделения монтажно-измерительного участка должны быть обеспечены необходимой измерительной аппаратурой, инструментом, материалами, бланками технической документации. При выполнении работ они должны строго соблюдать требования настоящего Руководства.

ОСНОВНЫЕ ОБЯЗАННОСТИ ДОЛЖНОСТНЫХ ЛИЦ ПРОРАБСКОГО УЧАСТКА

3.41. Прорабский участок возглавляется старшим производителем работ (или производителем работ), который руководит всеми производственными подразделениями участка, организует их работу, контролирует и обеспечивает своевременное и качественное выполнение работ.

3.42. Старший производитель работ (или производитель работ) несет ответственность за организацию всего комплекса работ, их качество, соответствие проекту и техническим требованиям, а также за выполнение плана и правил техники безопасности.

3.43. Права и обязанности производителя работ, мастера и бригадира определены «Положением о производителе работ, мастере и бригадире в строительстве».

3.44. На производителя работ возлагаются: обеспечение выполнения планов строительно-монтажных работ и ввода в действие в установленные сроки объектов строительства; применение передовых методов строительства; обеспечение высокого качества строительно-монтажных работ; выполнение заданий по повышению производительности труда рабочих и снижению себестоимости работ; выявление и использование имеющихся резервов производства. Для этого производитель работ обязан:

а) своевременно изучить проектно-сметную документацию;

б) составлять или участвовать в составлении проектов производства работ, месячных планов и графиков;

в) своевременно составлять заявки на требующиеся материалы, конструкции, механизмы, транспорт, оборудование, инструменты, спецодежду и приспособления, необходимые для выполнения работ;

г) получать материалы, складировать их, обеспечивать их охрану, а также правильное и экономное расходование;

д) осуществлять строительство сооружений в соответствии с проектной документацией, контролировать качество работ;

е) максимально внедрять механизацию работ, передовые методы труда, правильно использовать строительные машины, приспособления, транспортные средства;

ж) устанавливать задания подчиненным мастерам;

з) не допускать простоев и нерационального использования работников, строго контролировать правильность и своевременность составления мастерами и прорабами нарядов рабочим и правильность приемки выполненных работ;

и) принимать участие в разработке и осуществлении организационно-технических мероприятий по снижению стоимости строительства;

к) обеспечивать ведение журналов производства работ в подчиненных подразделениях;

л) обеспечивать составление актов на скрытые работы;

м) обеспечивать соблюдение правил техники безопасности и охраны труда;

н) вести первичный учет и представлять установленную отчетность.

3.45. Для руководства и непосредственной организации строительного производства на участках работ назначается мастер.

На мастера возлагается обеспечение: выполнение планов строительно-монтажных работ в установленные сроки и в строгом соответствии с проектом производства работ, рабочей документацией и техническими условиями на производство и приемку строительно-монтажных работ; повышения производительности труда рабочих и снижения себестоимости работ.

Мастер обязан:

а) своевременно изучить рабочую документацию проекта, подготовить фронт работ, совместно с бригадирами правильно укомплектовать бригады рабочими, подготовить и выдать наряды, разъяснить условия производства работ и оплаты труда;

б) правильно использовать рабочих по профессиям и квалификации, обеспечить выполнение норм выработки;

в) строго соблюдать принятые в ППР технологию и последовательность производства работ;

г) изучать и широко внедрять в производство передовые методы труда, механизацию работ;

д) не допускать брака в работе, требовать от бригадиров и рабочих высокого качества работ, а при необходимости - исправления или переделки неудовлетворительно выполненных работ;

обеспечивать правильное и экономное расходование материалов и инструментов, соблюдение чистоты и порядка на рабочих местах;

е) принимать от бригад и рабочих выполненные ими работы с обмером их в натуре и проверкой качества в соответствии с требованиями технических условий, своевременно закрывать наряды и участвовать в сдаче работ заказчику;

ж) обеспечивать высокую производительность и трудовую дисциплину, строгое выполнение всеми рабочими правил техники безопасности и охраны труда;

з) вести журнал производства работ;

и) вести первичный учет, своевременно оформлять техническую документацию (составление актов на скрытые работы, протоколов измерений, нарядов и т.д.).

3.46. Непосредственным руководителем бригады является бригадир, назначаемый из числа наиболее квалифицированных рабочих, пользующийся авторитетом у членов бригады и обладающий организаторскими способностями. На бригадира возлагается обеспечение: выполнения бригадой порученных работ в установленные сроки; высокого качества работ; экономного расходования материалов; выполнение бригадой норм выработки.

Бригадир обязан:

а), принимать участие в укомплектовании бригады рабочими для заданного объема работ с учетом числа рабочих, профессии, квалификации и освоения смежных профессий;

б) тщательно изучать рабочую документацию, получать наряд, ознакамливать с ним рабочих бригады, распределять между рабочими задания, разъяснять порядок производства работ и размер оплаты труда, обеспечивать рабочих материалами, инструментами, приспособлениями и инвентарем;

в) обеспечивать правильное использование рабочих по специальности и квалификации, выполнение рабочими норм выработки при высоком качестве работ, инструктировать рабочих и личным примером помогать освоению рабочими передовых методов труда, способствовать освоению рабочими смежных профессий, требовать доброкачественного выполнения работ и исправления допущенных дефектов в работе, обеспечивать бережное отношение к материалам, инструментам, приспособлениям и инвентарю;

г) сдавать мастеру выполненные бригадой работы;

д) обеспечивать высокую трудовую дисциплину в бригаде, выполнение правил охраны труда и техники безопасности.

В процессе производства работ бригадир должен руководствоваться указаниями мастера или прораба.

3.47. На руководителя (прораба) механизированной колонны возлагается: обеспечение выполнения заданного плана работ; организация правильной эксплуатации средств механизации и транспорта; руководство работами по техническому обслуживанию, ремонту и подготовке строительных машин, механизмов и транспорта к эксплуатации.

Руководитель мехколонны обязан:

а) изучать и знать правила технической эксплуатации машин и механизмов, а также их устройство;

б) составлять планы-графики технического обслуживания и ремонта строительной техники и транспортных средств;

в) систематически лично проверять техническое состояние машин и механизмов, обеспечивать своевременное проведение технических осмотров и испытаний средств повышенной опасности, подъемных кранов, компрессоров, стропов; немедленно устранять выявленные неисправности;

г) следить за соблюдением правил техники безопасности, охраны труда и осуществлением мер пожарной безопасности;

д) принимать меры к своевременному получению запасных частей и ГСМ;

е) вести первичный учет работы машин и механизмов, расхода ГСМ и своевременно представлять установленную отчетность.

3.48. Руководитель мехколонны несет ответственность за: выполнение правил производства работ; глубину укладки кабеля и защитных проводов, а также за их сохранность в процессе прокладки и сдачу в монтаж; соблюдение предусмотренных рабочей документацией условий и трассы прокладки кабеля и защитных проводов; установку замерных столбиков; ведение исполнительной укладочной ведомости и составление актов на скрытые работы; выполнение норм выработки; соблюдение правил по технике безопасности.

3.49. Руководитель механизированной колонны обязан выполнять указания начальника участка или производителя работ, на территории которого ведется прокладка кабеля.

ОСНОВНЫЕ ОБЯЗАННОСТИ ЗАКАЗЧИКОВ И ПОДРЯДНЫХ ОРГАНИЗАЦИЙ

3.50. Основным документом, определяющим взаимоотношения между заказчиком и подрядчиком и их обязанности, является подписанный ими договор, составленный на основе действующих «Правил о договорах подряда на капитальное строительство».

3.51. Заказчиками строительства кабельных линий связи являются назначенные министерством специальные дирекции строительства или другие организации, на которые возлагаются обязанности заказчиков строительства.

На заказчика возлагается:

а) составление и представление в установленном порядке на утверждение согласованных с генеральным подрядчиком годовых наборов работ и внутрипостроечных титульных списков строительства, предусматривающих первоочередное выделение капиталовложений на пусковые и важнейшие объекты;

б) заключение в установленные сроки договоров с подрядными организациями на выполнение работ;

в) составление и согласование с проектной организацией и генеральным подрядчиком календарного графика разработки и выдачи проектно-сметной документации и осуществление контроля за выполнением этого графика;

г) приемка от проектной организации в установленном объеме проектно-сметной документации и ее проверка. Рабочая документация и сметы, передаваемые согласно графику (см. п. 3.51, в) подрядным организациям, должны иметь отметку заказчика на каждом чертеже (экземпляре) о принятии их к производству;

д) согласование смет с подрядчиком в соответствии с «Инструкцией о порядке разработки, согласования и утверждения проектно-сметной документации на строительство...» (СН-202-81*);

е) составление заявок и разнарядок на оборудование и специальные материалы, их оплата, комплектация;

ж) своевременное обеспечение подрядчика оборудованием и специальными материалами, обеспечение которыми возложено на заказчика; до передачи подрядчику оборудования в монтаж заказчик обязан проверить его на соответствие требованиям стандартов или технических условий и в случае выявления заводских дефектов (в том числе скрытых) вызвать представителей поставщика для составления дефектного акта, предъявления в установленном порядке рекламаций и принять меры по приведению оборудования в исправное состояние.

Передача оборудования подрядчику осуществляется по акту на приобъектном складе комплектно, в полной исправности и в установленные договором (особыми условиями) сроки;

з) закрепление границ участков, установление межевых знаков, разбивка базисных линий и установка основных реперов, а также разбивка основных (продольных и поперечных) осей сооружений;

и) обеспечение подрядчика разрешениями соответствующих органов на:

право застройки с предъявлением актов об отводе участков;

право производства работ в местах общего пользования, в полосе отвода железных дорог, а также на вскрытие дорожных покрытий;

вскрытие мест нахождения подземных кабельных, водопроводных, нефтегазовых, канализационных и других коммуникаций;

вырубку леса с оформлением лесопорубочных билетов, а также отдельных деревьев в городах и населенных пунктах;

к) переселение лиц, проживающих в зданиях, подлежащих сносу, и выплата компенсаций (потрав);

л) осуществление контроля и технического надзора за соответствием объема и качества выполненных работ проектам, сметам и рабочей документации, а также техническим условиям на производство и приемку строительно-монтажных работ;

м) приемка и оплата в установленные сроки счетов подрядчиков за выполненные строительно-монтажные работы в соответствии с правилами финансирования строительства;

н) участие в составлении актов на скрытые работы;

о) подготовка для приемной комиссии всей документации по законченным объектам для сдачи их в эксплуатацию, в том числе исполнительной технической документации, подготовляемой подрядчиком;

п) рассмотрение предложений строительных организаций, направленных на улучшение проектных решений, и выдача разрешений на внедрение таких предложений;

р) приемка от строительных организаций законченных строительных сооружений и сдача их в эксплуатацию.

Примечание. Заказчик обязан принимать от подрядчика законченный объект или пусковой комплекс, строительство которого выполнено в соответствии с проектом, рабочей документацией и техническими условиями. Дополнительные, работы, не предусмотренные проектом, не могут задерживать приемку и сдачу законченного объекта.

3.52. Заказчик обязан передать подрядчику:

проекты, сметы, единичные расценки, каталоги и калькуляция сметных цен на материалы и другие ресурсы;

типовые проекты со сметами, рабочую документацию на строительные и монтажные работы комплектно по объему в целом не позднее сроков, установленных директивными указаниями;

заводские спецификации, технические условия, паспорта, актов испытаний и измерений и другие документы заводов-изготовителей.

3.53. Заказчик обеспечивает подрядчика проектно-сметной документацией в установленном количестве экземпляров.

3.54. Для осуществления систематического технического надзора за строительством заказчик назначает своих ответственных представителей. О выделении представителей заказчик сообщает строительной организации официальным документом, в котором определяет объекты или участки надзора для каждого представителя и их основные полномочия.

3.55. На представителей заказчика на трассе возлагается:

а) контроль за качеством работ, соблюдением проектных решений и действующих технических правил;

б) подписание актов на скрытые работы;

в) согласование отдельных отступлений от проекта с санкции проектной организации;

г) подписание актов на дополнительные или непредвиденные работы;

д) подписание промежуточных актов приемки выполненных работ или месячных объемных ведомостей;

е) участие в проверке и составлении дефектных актов на выявленные в процессе строительства заводские дефекты и нарушения требований стандартов и ТУ в кабеле или оборудовании для предъявления рекламаций поставщикам. По дефектам, выявленным в оборудовании, рекламации поставщикам оформляются и представляются заказчиком;

ж) согласование и оформление совместно с владельцем документов, определяющих объем потрав;

з) подписание протоколов контрольных электрических измерений кабеля и испытаний исправности (герметичности) их оболочки.

3.56. Подрядчиками строительства магистральных и внутризоновых кабельных линий являются специализированные (по видам работ) тресты Министерства связи СССР и министерств связи союзных республик, осуществляющие выполнение работ через входящие в состав треста специализированные строительно-монтажные управления, передвижные механизированные колонны, участки или другие организации. На подрядчика возлагается:

а) согласование с заказчиком наборов работ и внутрипостроечных титульных списков;

б) выполнение строительно-монтажных работ в соответствии с утвержденными проектами, действующими правилами, инструкциями и настоящим Руководством в сроки, установленные договором;

в) обеспечение строительства материалами для выполнения строительно-монтажных работ, за исключением материалов, снабжение которыми возлагается на заказчика;

г) предъявление заказчику выполненных работ для освидетельствования и составления соответствующих актов на скрытые работы;

д) ведение работ на высоком техническом уровне, с использованием в процессе строительства наиболее передовых методов и средств производства работ;

е) обеспечение высокого качества работ.

3.57. Оборудование, переданное заказчиком подрядчику, находится на ответственном хранении у подрядчика до подписания акта рабочей приемочной комиссией о передаче заказчику для комплексного опробования и сдачи в эксплуатацию.

Подрядчик обязан принять все меры к обеспечению сохранности вверенного ему заказчиком имущества и несет ответственность за утрату или повреждение этого имущества.

3.58. Субподрядные организации несут ответственность за сохранность переданного им оборудования до сдачи его заказчику для комплексного опробования.

РАЗДЕЛ 4

КАБЕЛЬНЫЕ ПЛОЩАДКИ. ПРОВЕРКА И ПОДГОТОВКА КАБЕЛЯ И ЛИНЕЙНО-КАБЕЛЬНЫХ ИЗДЕЛИЙ. ПОГРУЗОЧНО-РАЗГРУЗОЧНЫЕ И ТРАНСПОРТНЫЕ РАБОТЫ

РАЗМЕЩЕНИЕ И ПОДГОТОВКА КАБЕЛЬНЫХ ПЛОЩАДОК НА ТРАССЕ

4.1. На основании изучения трассы в натуре и с учетом расположения ближайших железнодорожных станций (разъездов, портов, пристаней) уточняются намеченные проектом пункты разгрузки кабеля, цистерн и деталей наземной части НУП (НРП), арматуры, а также площадки для их сосредоточения и хранения на трассе - кабельные площадки.

При этом должно быть учтено наличие:

а) надлежащих условий для разгрузки поступающих крупногабаритных грузов - разгрузочных средств, эстакад, платформ;

б) свободных и пригодных для временного хранения площадей;

в) дорог и их состояние от пунктов разгрузки до кабельных площадок и от последних до трассы работ с учетом возможности подъезда в любое время года.

Упаковка, маркировка, транспортирование и хранение кабеля должны соответствовать требованиям ГОСТ 18690.

4.2. Кабельные площадки следует выбирать в непосредственной близости к трассе, чтобы избежать простоев мехколонны из-за несвоевременной подвозки кабеля. Местность, выбранная для кабельной площадки, должна быть ровной, сухой и незатапливаемой.

4.3. Место расположения кабельных площадок должно быть согласовано с местными органами власти или с предприятиями и организациями, на территории которых предполагается организовать площадку.

4.4. Размеры площадок следует рассчитывать на размещение максимального количества грузов, направляемых в данный пункт.

4.5. Барабаны с кабелем, цистерны НУП (НРП), арматура должны быть размещены на площадке таким образом, чтобы имелась возможность без перекатки барабанов или перемещения других изделий производить электрические измерения и испытания герметичности, а именно:

а) барабаны устанавливать попарно в ряд, внутренними концами кабеля в разные стороны (если эти концы выведены сквозь щеку барабана);

б) между каждой парой барабанов в ряду должны быть проходы шириной не менее 2 м, необходимые для доступа к барабанам и их выкатки;

в) каждые два ряда должны быть разделены проходами, достаточными для проезда транспорта и погрузо-разгрузочных работ (рис. 4.1);

г) кабели разных марок необходимо размещать на площадке в разных рядах.

4.6. На площадке следует предусмотреть место для производства работ по ремонту кабеля.

4.7. Для отвода воды с площадки должны быть сделаны водостоки. Через водостоки в необходимых местах должен быть сделан настил для проезда транспорта.

В зимнее время с проходов, барабанов и арматуры необходимо удалять снег. Нельзя допускать вмерзания барабанов, цистерн НУП и арматуры в грунт или лед.

4.8. Поврежденные барабаны и кабель необходимо размещать на площадке отдельно.

Рис. 4.1. Расположение барабанов на кабельной площадке.

4.9. Арматуру необходимо хранить под навесами отдельно по типам и маркам с обеспечением свободного доступа к ним для проверки и погрузки.

4.10. Пустые барабаны должны складироваться в специально отведенном месте.

4.11. На кабельных площадках должны иметься противопожарные средства и организована охрана.

ПРИЕМКА КАБЕЛЯ И ЛИНЕЙНО-КАБЕЛЬНЫХ ИЗДЕЛИЙ НА РАЗГРУЗОЧНЫХ ПУНКТАХ

4.12. Для своевременной приемки и разгрузки поступающих грузов и их хранения необходимо:

а) подготовить кабельные площадки, автотранспорт и средства разгрузки;

б) подготовить документы на право получения поступающих грузов;

в) сообщить письменно администрации железнодорожных станций и портов об ожидаемых грузах, адрес и номера телефонов строительного участка, по которым должны быть даны извещения о поступлении грузов;

г) согласовать места подачи вагонов и возможность временного хранения грузов (до вывозки на кабельные площадки).

4.13. Перед приемкой кабеля, цистерн НУП, арматуры на железнодорожных или водных разгрузочных пунктах необходимо произвести тщательный внешний осмотр принимаемых грузов, сверить с накладными число мест, соответствие маркировки и упаковки действующим стандартам и правилам. На все обнаруженные дефекты для предъявления иска составляется коммерческий акт с участием эксперта.

4.14. Разгрузка вагонов должна выполняться в сроки, установленные транспортными правилами. Если сразу вывозить поступающие грузы на постоянные площадки невозможно, следует организовать временные площадки хранения в непосредственной близости от пунктов разгрузки.

ПОГРУЗОЧНО-РАЗГРУЗОЧНЫЕ И ТРАНСПОРТНЫЕ РАБОТЫ

4.15. Для выполнения погрузочно-разгрузочных работ на кабельных площадках и на трассах с благоприятными дорожными условиями как правило, должны использоваться автомобильные краны типа КС-2561К, КС-3562Б и КС-4561.

4.16. Для работы в лесисто-болотистой местности и при бездорожье следует использовать тракторный кран типа ТК-53М.

4.17. Для выполнения погрузочно-разгрузочных работ и транспортировки грузов на небольшие расстояния в условиях бездорожья, где проезд автомашин с грузом и автокраном невозможен, следует использовать тракторный погрузчик типа НТП-4,5.

4.18. Для транспортировки кабеля, цистерн НУП, горючего и других материалов на трассах с благоприятными дорожными условиями, как правило, следует использовать автомобили марок ЗИЛ-131, МАЗ-7310, ГАЗ-52-05.

4.19. Для перевозки грузов по плохим дорогам и частично по бездорожью следует использовать грузовые автомобили высокой проходимости: ЗИЛ-157; КРАЗ-255Г, УРАЛ-375, ГАЗ-71 (ГТ-СМ), ГТТ.

4.20. Для перевозки сыпучих материалов (песка, земли, щебня, гравия и растворов), как правило, должны использоваться автомобили - самосвалы типа ЗИЛ-ММЗ-555.

4.21. Для перевозки людей следует использовать специально оборудованные для этой цели в соответствии с существующими техническими требованиями автомобили повышенной проходимости ГАЗ-66, ГАЗ-66-01 с системой регулирования давления в шинах и ГАЗ-66-02 с тяговой лебедкой.

4.22. Для оперативного руководства участком, а также доставки мелких грузов и обеспечения бытовых нужд механизированные колонны, как правило, комплектуются автомобилем типа УАЗ-452Д.

4.23. Для транспортировки барабанов с кабелем, а при необходимости и размотки кабеля в траншею следует использовать прицепные кабельные транспортеры типа ККТ-7 грузоподъемностью 7 т.

4.24. Для перевозки легких грузов по бездорожью следует использовать тягачи-вездеходы.

4.25. Для перевозки тракторов и экскаваторов следует использовать прицепы тяжеловозы типа МАЗ-5208.

4.26. Для перевозки кабельных барабанов по бездорожью могут быть использованы специальные металлические волокуши КМ-151 Б. Для предотвращения наезда на трактор при движении под уклон дышло волокуши должно быть жестким. Ширина волокуши должна быть равна ширине трактора, который будет ее буксировать.

4.27. По болотам грузы, как правило, должны перевозиться зимой. При перевозке грузов по болотам летом транспортные средства не следует повторно направлять по сформировавшейся ранее колее.

4.28. На трассах, проходящих по сильно пересеченной местности, при отсутствии дорог и проездов могут применяться средства воздушного транспорта в соответствии с решениями, принятыми в проекте.

4.29. При отсутствии на кабельных площадках подъемных кранов допускается использовать специально сооруженные аппарели или передвижные деревянные платформы (рис. 4.2). Аппарели могут быть односторонними (рис. 4.3) и двусторонними (рис. 4.4).

Тип аппарели определяется в каждом отдельном случае в зависимости от размеров и конфигурации кабельной площадки, типа автомашин, количества барабанов, погружаемых на одну машину, и т.д. Односторонние аппарели применяются при:

а) использовании машин с неоткрывающимися боковыми бортами;

б) транспортировке в кузове машины только одного барабана вследствие его большой массы;

в) отсутствии на кабельной площадке достаточного места для оборудования двусторонней аппарели.

Во всех других случаях применяются двусторонние аппарели. В слабых грунтах аппарели должны быть укреплены соответствующими стойками и распорами (рис. 4.5). Дно аппарелей и подъезды к ним должны быть засыпаны песком и замощены щебнем.

4.30. При отсутствии крана в единичных случаях разгрузка может выполняться путем осторожного скатывания барабана по передвижной деревянной платформе.

4.31. Свободное скатывание или сбрасывание груза с платформ или автомашин на землю категорически воспрещается.

4.32. Погрузка и перевозка неисправных барабанов с кабелем не разрешается. В этих случаях кабель должен быть перемотан на исправный барабан.

4.33. Барабаны с кабелем, как правило, перекатывать не разрешается. В исключительных случаях допускается перекатка обшитых барабанов на расстояние до 50 м. При этом перекатывать барабаны следует только в направлении, указанном стрелкой на щеке барабана.

4.34. Пол кузова автомашин следует усилить настилом из досок толщиной 50 мм, которые располагаются перпендикулярно основным доскам пола.

4.35. В кузове автомашины со стороны, противоположной вкатыванию барабана, следует установить постоянный упор высотой 30 - 40 см в виде треугольника. Длина упора должна быть на 30 см больше ширины перевозимых барабанов (рис. 4.6).

Рис. 4.2. Передвижная деревянная платформа для разгрузки и погрузки кабеля

Рис. 4.3. Аппарель односторонняя

Рис. 4.4. Аппарель двусторонняя

Рис. 4.5. Крепление стенок аппарели

4.36. Перед погрузкой барабанов с кабелем массой более 1 т при помощи аппарелей и передвижных платформ необходимо под раму кузова автомашины, со стороны вкатывания, установить деревянные упоры из бревен диаметром не менее 15 см, опирающихся на земле на твердые прокладки.

Рис. 4.6. Укрепление барабана на автомашине:

1 - упор постоянный; 2 - продольные брусья; 3 - упор съемный

4.37. После погрузки и установки в кузове машины барабан укрепляют съемным упором, который по конструкции и размерам аналогичен постоянному упору. Съемный и постоянный упоры скрепляют продольными брусьями с помощью строительных скоб.

При перевозке в автомашине (автоприцепе) нескольких барабанов каждый из них должен быть укреплен постоянным и съемным упорами, скрепленными продольными брусьями при помощи скоб. Постоянные упоры могут быть общими для нескольких барабанов (рис. 4.7).

4.38. Если погрузка и разгрузка ведутся с помощью крана и при этом все барабаны однотипны, кузова автомашин оборудуются постоянными рамами-«колодцами» из бревен толщиной 15 - 25 см, срубленных в замок и скрепленных строительными скобами. Размеры таких рам должны соответствовать размерам перевозимых барабанов.

4.39. При транспортировке кабелей кабельными транспортерами (тележками) погрузка барабанов производится имеющимися на транспортерах лебедками. После подъема барабана должны быть установлены упорные штанги, на которые приходится основная масса барабана.

Транспортировка барабанов без упорных штанг (на одной оси) не допускается.

Рис. 4.7. Крепление двух барабанов на автомашине.

4.40. Кабельные транспортеры, а также двуосные кабельные тележки (рис. 4.8), оборудованные для перевозки кабеля (кабелевозы), могут буксироваться автомашинами или тракторами. В зависимости от типа машин, массы барабанов и состояния дорог определяется возможность организации поездов для перевозки кабеля, состоящих из нескольких транспортеров или прицепов. При полном бездорожье должны применяться волокуши (рис. 4.9).

Рис. 4.8. Транспортировка кабеля на кабельной тележке.

Рис. 4.9. Транспортировка кабеля по бездорожью на волокуше.

4.41. Транспортировка барабанов с кабелем в горизонтальном положении (на щеке) воспрещается. Обшивка барабанов при транспортировке кабеля должна быть исправной, концы кабеля должны быть укреплены и соответственно защищены.

4.42. Развозка барабанов с кабелем и пупиновских ящиков по трассе должна производиться в точном соответствии с укладочной ведомостью (если прокладка производится с предварительным подбором строительных длин и пупиновских ящиков).

Количество барабанов с кабелем, вывозимых с кабельных площадок на трассу, должно соответствовать количеству кабеля, напеченному к прокладке по графику производства работ.

4.43. Транспортировка цистерн НУП должна осуществляться нуповозами или автомашинами (прицепами), специально для этого оборудованными.

ПРОВЕРКА КАБЕЛЯ, ОБОРУДОВАНИЯ, АРМАТУРЫ (ВХОДНОЙ КОНТРОЛЬ)

4.44. Все барабаны с кабелем, цистерны НУП, пупиновские ящики, удлинители, оконечные устройства и другие линейно-кабельные изделия по мере поступления на кабельную площадку от поставщиков (или от заказчика) должны быть зарегистрированы в специальных ведомостях (форма 4.1) с указанием наименования, марки, заводского номера, даты поступления, номера транспортного документа (накладной, акта).

По мере вывозки с площадки на трассу кабеля, цистерн (контейнеров) НУП, пупиновских ящиков, удлинителей, оконечных устройств в ведомостях следует указывать, на какой участок (пункт) они отправлены.

4.45. Строительные длины кабеля, цистерны и контейнеры НУП (НРП), пупиновские ящики, удлинители, оконечные устройства, оборудование для содержания кабеля под избыточным воздушным давлением, вводные шкафы (ВКШ) по мере поступления от поставщиков на кабельные площадки (приобъектные склады строительной организации) или на склады заказчика (дирекции строительства или организации, осуществляющей ее функции) должны быть подвергнуты входному контролю по комплектности и качеству.

4.46. Входной контроль строительных длин кабеля, цистерн НУП, конструкций, арматуры и других линейно-кабельных изделий должен осуществляться строительными организациями (табл. 4.1), а входной контроль оборудования - заказчиком (см. п. 3.51, ж).

4.47. Внешний вид, электрические характеристики и требования по герметичности кабеля и оборудования должны соответствовать нормам и стандартам (техническим условиям) для данного вида продукции. Состав, объем и технология измерений и испытаний кабеля и оборудования при осуществлении входного контроля должны соответствовать требованиям настоящего Руководства.

Кабель и оборудование (арматура, устройства, конструкции), не соответствующие нормам и требованиям стандартов (техническим условиям) и данному Руководству, прокладке и монтажу не подлежат.


Форма 4.1

Ведомость (журнал) учета строительных длин кабеля (цистерн НУП, устройств), поступивших на кабельную площадку _____________________

№ п.п.

Дата поступления

Номер транспортного документа (накладной)

Марка кабеля (тип устройства, изделия)

Завод-изготовитель

Заводской номер (барабана, цистерны НУП и др.)

Длина кабеля, м

Тип барабана

Группа по волновому сопротивлению КП или по рабочей емкости

Отправлен на трассу

Примечание

Дата

Усилительный участок (НУП)

Номер по укладочной ведомости

 

 

 

 

 

 

 

 

 

 

 

 

 


Таблица 4.1

Состав испытаний кабеля, цистерн НУП, арматуры на кабельных площадках

Тип кабеля, изделия

Состав испытаний

Все типы кабелей

Внешний осмотр: комплектное, исправность цистерн НУП, конструкций арматуры, барабанов, обшивки, болтов, втулок, верхних витков и концов кабеля. Состояние защитных покровов на концах кабеля* и цистерн НУП, наличие заводских паспортов

Симметричные ВЧ и НЧ кабели в металлической оболочке, поступившие под избыточным давлением

Проверка герметичности оболочки

То же, при поступлении кабеля без избыточного давления

Измерение электрического сопротивления изоляции жил; проверка целости жил и экранов; проверка герметичности оболочки

Коаксиальные кабели, поступившие под избыточным давлением

Проверка герметичности оболочки; испытание напряжением изоляции коаксиальных пар (КП)

То же, без избыточного давления

Измерение электрического сопротивления изоляции токопроводящих элементов; испытания напряжением КП; проверка целости проводников (экранов); проверка герметичности оболочки

Коаксиальные кабели типа ВКПА

Измерение электрического сопротивления изоляции и испытание напряжением изоляции КП; проверка целости проводников

Симметричные и коаксиальные кабели при наличии вмятин, пережимов, трещин и т.д., а также строительные длины кабелей, подлежащие прокладке через реки, болота и другие труднодоступные места

Измерение электрического сопротивления изоляции и испытание напряжением изоляции проводников; проверка целости проводников (жил) и экранов; проверка герметичности оболочки

Симметричный кабели без металлических оболочек типа ЗКП, ЗКВ

Измерение электрического сопротивления изоляции и испытание напряжением изоляции жил; проверка целости жил и экрана

Кабели всех типов, бронированные, со шланговыми защитными покровами

Измерение электрического сопротивления изоляции между металлической оболочкой (экраном) и броней (кроме испытаний, указанных выше)

Ящики (катушки) индуктивности, удлинители, поступившие под избыточным давлением

Проверка герметичности

То же, поступившие без избыточного давления

Измерение электрического сопротивления изоляции; проверка целости цепи (отсутствие обрыва); проверка герметичности

* При проверке состояния и качества защитных покровов на концах кабеля (0,5 - 0,6 м) следует проверить сплошность и толщину битумного покрова, наложенного на оболочку, степень прилипаемости бумажных или пластмассовых лент к оболочке, отсутствие на оболочке следов коррозии, соответствие фактического числа лент (бумажных, пластмассовые) требованиям стандарта, ТУ.

4.48. Результаты входного контроля должны фиксироваться в протоколах по формам 4.2 и 4.3. В случае выявления значительных дефектов, снижающих качество и надежность линейных сооружений, должен быть составлен акт с участием представителей подрядчика, заказчика и других заинтересованных организаций. При этом следует руководствоваться Инструкциями о порядке приемки продукции производственно-технического назначения и товаров народного потребления по количеству и качеству, утвержденными постановлениями Госарбитража СССР от 15.06.65 № II-6 и от 25.04.66 № II-7 (с изменениями и дополнениями, внесенными постановлениями Госарбитража СССР от 29.12.73 № 81, 14.11.74 № 98 и 23.07.75 № 115).

4.49. Если при внешнем осмотре установлена неисправность барабана или обшивки, то последнюю снимают, проверяют крепеж концов кабеля, наличие вмятин, пережимов, «гармошек» и состояние защитного покрова кабеля.

При осмотре пупиновских ящиков и удлинителей проверяют исправность чугунного корпуса, наличие болтов, гаек, состояние вводных отверстий, качество покраски и т.д.

4.50. Во время внешнего осмотра барабанов проверяют наличие заводских паспортов, обычно укрепляемых заводом на внутренней стороне щеки. Все паспорта должны быть собраны и после прокладки кабеля переданы монтажной бригаде вместе с укладочной ведомостью и ведомостью группирования строительных длин.

В тех случаях, когда заводские паспорта поступают в управление строительством отдельно от барабанов, они должны быть немедленно направлены на соответствующую кабельную площадку.

Форма 4.2

Объект __________________________________

ОУП ________________ ОУП ______________

Участок _________________________________

ПРОТОКОЛ

испытания строительной длины кабеля

Заводской номер барабана ______________      Группа ___________________________

Марка кабеля _________________________      Минимальное переходное затухание А0

Завод-изготовитель ____________________      __________________________________

Длина, м _____________________________      Место хранения ____________________

I. Внешний осмотр

Состояние барабана ________________________________________________________

Состояние обшивки ________________________________________________________

Состояние концов __________________________________________________________

Наличие вентиля ___________________________________________________________

Состояние защитных покровов типа Б, Бл на концах _____________________________

Наличие паспорта __________________________________________________________

__________________________________________________________________________

Осмотр производил _________________________________________________________

«___» _____________ 198 __ г.

II. Испытание герметичности на складе

Первичная проверка

Накачка

Контроль 1

Контроль 2

Заключение

Дата

t, °С

Давление, кгс/см2

Дата

t, °С

Давление, кгс/см2

Дата

t, °С

Давление, кгс/см2

Дата

t, °С

Давление, кгс/см2

 

 

 

 

 

 

 

 

 

 

 

 

 

 

 

 

 

 

 

 

 

 

 

 

 

 

Испытания производились манометром № _______ с ценой деления ________ кгс/см2.

Испытания производил __________________.

III. Электрическая проверка

Номер пары

Сопротивление изоляции, МОм

Проверка на сообщение и обрыв

Электрическая прочность

Примечание

напряжение, кВ

результат измерения

 

 

 

 

 

 

 

 

 

 

 

 

 

 

 

 

 

 

Сопротивление изоляции между оболочкой и броней __________ МОм.

Измерения производились приборами (тип, номер) ______________________________

Измерение производил ______________________________ (______________________)

«___» ______________ 198 __ г.

IV. Данные приема и передачи

«___» ______________ 198 __ г. строительную длину кабеля под воздушным давлением ______ кгс/см2 для вывозки на трассу (участок)

Сдал ___________________ (__________)    Принял __________________ (__________)

V. Справка

Строительная длина кабеля с барабана № ________ проложена ____________________

_______________________________ «___» ______________ 198 __ г. на участке ______

         (вручную или кабелеукладчиком)

шаг _____________________ длина № _______________ кабель № _________________.

Прораб ____________________ (___________________).

«___» ______________ 198 __ г.

VI. Проверка на трассе

После прокладки

Перед монтажом

Дата

Давление, кгс/см2

Подпись

Дата

Давление, кгс/см2

Подпись

 

 

 

 

 

 

 

 

 

 

 

 

 

 

 

 

 

 

VII. Сдача в монтаж

«___» ______________ 198 __ г. строительная длина под воздушным давлением _____

кгс/см2 в монтаж _______________________.

                                                  (сдана, не сдана)

Сдал ___________________ (__________)    Принял _________________ (__________)

Форма 4.3

Объект __________________________________

ОУП ________________ ОУП ______________

Участок _________________________________

ПРОТОКОЛ

испытания пупиновского ящика, удлинителя

1. Пупиновский ящик, удлинитель № __________________________________________

2. Тип _____________________________________________________________________

3. Завод-изготовитель _______________________________________________________

4. Место хранения __________________________________________________________

I. Испытание герметичности на складе

Первичная проверка

Накачка

Контроль 1

Контроль 2

Заключение

Дата

t, °С

Давление, кгс/см2

Дата

t, °С

Давление, кгс/см2

Дата

t, °С

Давление, кгс/см2

Дата

t, °С

Давление, кгс/см2

 

 

 

 

 

 

 

 

 

 

 

 

 

 

 

 

 

 

 

 

 

 

 

 

 

 

 

 

 

 

 

 

 

 

 

 

 

 

 

Испытания производились манометром № ________ с ценой деления _______ кгс/см2.

Испытания производил __________________.

II. Электрическая проверка

Номер катушки

Измерение изоляции, МОм

Проверка на сообщение и обрыв

Заключение об электрическом состоянии пупиновского ящика, удлинителя

Примечание

 

 

 

 

 

 

 

 

 

 

Измерения производились приборами _________________________________________

                                                                                                                         (тип, номер)

Измерение производил ______________________________ (______________________)

«___» ______________ 198 __ г.

III. Данные приема и передачи

«___» ______________ 198 __ г. пупиновский ящик (удлинитель)

под избыточным давлением _______________ кгс/см2 для вывозки на трассу (участок)

Сдал __________________ (__________)      Принял __________________ (__________)

IV. Проверка герметичности на трассе

1. Дата проверки ___________________________________________________________

2. Избыточное давление перед монтажом ________________________________ кгс/см2

3. Заключение ______________________________________________________________

Испытание производил ______________________________ (______________________).

Примечание. Если избыточное давление перед монтажом ниже указанного в разд. III данного протокола, проводятся повторные испытания герметичности.

V. Повторные испытания

Первичная проверка

Накачка

Контроль 1

Контроль 2

Заключение

Дата

t, °С

Давление, кгс/см2

Дата

t, °С

Давление, кгс/см2

Дата

t, °С

Давление, кгс/см2

Дата

t, °С

Давление, кгс/см2

 

 

 

 

 

 

 

 

 

 

 

 

 

 

 

 

 

 

 

 

 

 

 

 

 

 

 

 

 

 

 

 

 

 

 

 

 

 

 

Испытания производились манометром № _______ с ценой деления ________ кгс/см2.

Испытания производил ____________________________ (_______________________).

4.51. При проверке низкочастотных (нч) кабелей на площадке следует обращать внимание на наличие данных о симметрировании строительной длины на заводе, на что указывает надпись на барабане «Симметрирован». Ведомость симметрирования должна быть приложена к протоколу электрических испытаний; в случае отсутствия ведомости для ее составления, необходимо на кабельной площадке произвести прозвонку жил кабеля.

4.52. После электрических испытаний кабель в металлической оболочке (за исключением кабелей типа ВКПАП и ЗКА) должен быть установлен под внутреннее избыточное воздушное давление.

4.53. Вывозить барабаны с кабелем, оборудование и различные устройства на трассу, осуществлять их прокладку, установку и монтаж без протоколов испытаний не разрешается.

РЕМОНТ КАБЕЛЯ

4.54. При выявлении в кабеле многочисленных заводских дефектов необходимо вызвать на площадку хранения представителя предприятия-поставщика для составления совместного акта и предъявления рекламации. В случае неявки представителя завода акт составляется с участием представителя инспекции по качеству, а при отсутствии в данном пункте соответствующей инспекций или неявке его - с участием компетентного представителя другой организации (управления связи, эксплуатационного предприятия).

4.55. Если при внешнем осмотре или в процессе испытаний в строительных длинах кабеля обнаруживаются незначительные неисправности (повреждена обшивка, ослаблены болты, наличие вмятин, дефекты в заделке концов и т.д.), они должны быть устранены. Одновременно заводу-поставщику следует сообщить о выявленных заводских дефектах.

4.56. Ремонт барабанов (тары) должен производиться по возможности без перемотки кабеля. При ремонте следует соблюдать осторожность, чтобы не допустить повреждения кабеля.

Если барабан поврежден настолько, что ремонт его не обеспечивает безопасности перевозки и размотки, кабель должен быть перемотан на исправный барабан, причем на щеке последнего в укладочной ведомости и в протоколе испытаний строительной длины делается отметка «Перемотан». При этом следует иметь в виду, что конец А остается в нижнем повиве барабана.

4.57. При ремонте кабеля необходимо, в первую очередь, привести к норме сопротивление изоляции, потом устранить обрыв или сообщение (если таковые обнаружены) и только после этого исправлять оболочку. В процессе ремонта должны быть приняты меры, обеспечивающие предохранение кабеля от проникновения атмосферной влаги через отверстия в оболочке. Для этого барабан до полного окончания ремонта должен находиться под навесом или накрыт толью, клеенкой и т.д.

4.58. При обнаружении какого-либо повреждения в строительной длине (вызвавшего нарушение электрических норм всех или отдельных жил), которое не может быть выявлено при внешнем осмотре, на кабельной площадке производятся измерения (с обоих концов кабеля) для определения места повреждения.

Если устранить повреждение путем вскрытия только оболочки невозможно, поврежденный участок кабеля должен быть вырезан, а оставшиеся отрезки кабеля проверены путем измерений. Потом проверяют герметичность оболочки и оба конца наматывают на один барабан; на барабане и в протоколе испытаний указывают количество кусков кабеля и длину каждого из них.

4.59. Места нарушения герметичности оболочки кабеля определяются при помощи индикаторного газа и течеискателей, а также путем перемотки кабеля и проверки его в водяной ванне. В воде кабель должен быть все время под внутренним избыточным давлением.

4.60. Восстановление нормальной величины сопротивления изоляции выводов в пупиновских ящиках и удлинителях производится путем просушки выводов горячим воздухом от пламени паяльной лампы. Пупиновские ящики, имеющие пониженное сопротивление изоляции внутри ящика, как правило, должны ремонтироваться на заводе или в мастерской.

ГРУППИРОВАНИЕ КАБЕЛЕЙ И ПУПИНОВСКИХ ЯЩИКОВ

4.61. Строительные длины кабелей в пределах усилительного участка перед прокладкой подлежат группировке по следующим параметрам:

все типы кабелей - по конструктивным данным и размерам строительных длин;

симметричные высокочастотные кабели - по величине переходного затухания на ближнем конце и средним значениям рабочей емкости;

коаксиальные кабели - по волновому сопротивлению коаксиальных пар.

4.62. При группировании строительных длин кабелей должны выполняться следующие требования:

а) в пределах одного усилительного участка должны быть проложены кабели, изготовленные одним заводом, имеющие одинаковые: материал и диаметр жил, материал изоляции, расцветку жил и элементов, скрутку, число четверок и пар. Защитные покровы шлангового типа должны быть однородными (полиэтилен или поливинилхлорид и т. д,).

Коаксиальные кабели, кроме того, следует группировать таким образом, чтобы на секции между двумя смежными питающими пунктами, как правило, были проложены кабели, изготовленные по одинаковым техническим условиям (стандартам) и имеющие одинаковые электрические характеристики. В случаях, когда предприятие-поставщик не изготавливает кабели данного типа необходимых марок (например: с проволочной броней для прокладки на речных переходах и в зоне больших растягивающих нагрузок; с повышенным экранирующим действием для прокладки в зонах влияния ЛЭП и электрифицированных ж. д.; со специальными защитными покровами для защиты от коррозии и т.д.), допускается прокладка в соответствии с проектом кабелей, изготовленных зарубежными и отечественными заводами, по разным техническим условиям, при этом не менее чем на 75 % усилительных участках данной секции должен быть проложен кабель одного завода, а на остальных участках - другого завода.

Коаксиальные кабели отечественных заводов, изготовленные по одинаковым техническим условиям (стандартам) и с одинаковым типом изоляции симметричных цепей, допускается прокладывать в любом сочетании числа усилительных участков в пределах секции;

б) группирование по размерам длин должно учитывать: расстояние между НУП или НРП (НУП - ОУП); подбор одинаковых длин при двухкабельной системе передачи; соблюдение шагов пупинизации; расстояние между смотровыми устройствами кабельной канализации; особенности трассы - пересечения рек, водоемов, оврагов, дорог и других препятствий.

Короткомерные длины кабелей, а также строительные длины коаксиальных кабелей I и V групп следует прокладывать ближе к середине усилительного участка.

Отклонение от принятой в проекте длины шага пупинизации низкочастотных МСКЛС и ВСКЛС в процессе группирования не должно превышать 0,5 %.

В коаксиальных кабелях отклонение от принятой в проекте длины шага пупинизации симметричных пар не должно превышать 3 %; допускается на секции ОУП - ОУП в 10 % шагов увеличение и в 25 % шагов уменьшение длины шага до 100 м; в 5 % шагов допускается уменьшение до 400 м.

Если длина шага меньше номинальной, следует параллельно включить конденсаторы, электрическая емкость которых равна электрической емкости недостающей до номинальной длины шага.

Укороченные более чем на 100 м шаги пупинизации должны размещаться на одной трети, находящейся в середине секции ОУП - ОУП. На каждой трети секции ОУП - ОУП, прилегающей к ОУП, допускается установка не на стыках строительных длин не более двух катушек индуктивности;

в) переходное затухание на ближнем конце трех - пяти строительных длин симметричного высокочастотного кабеля, прилегающих к усилительному пункту, должно быть не менее 65,1 дБ.

Примечание. В кабелях типа МКС и других на щеке барабана ставится знак: > 65 дБ, что облегчает подбор строительных длин, прокладываемых на подходах к НУП (ОУП).

г) среднее значение рабочей емкости строительных длин высокочастотных симметричных кабелей, подлежащих вводу в усилительный пункт (НУП, ОУП), не должно отличаться от номинального, а средние значения рабочей емкости смежных длин не должны отличаться друг от друга более чем на 0,2 нФ/км.

Примечание. На щеке барабанов кабелей МКС, а также в протоколе заводских испытаний указывают номер группы по среднему значению рабочей емкости, что облегчает группирование по данному параметру. Необходимо стремиться к тому, чтобы максимальное количество длин с одинаковыми номерами групп были проложены одна за другой.

д) разность концевых значений волнового сопротивления на стыке каждой коаксиальной пары типа 2,6/9,4 не должна превышать 0,45 Ом, типа 1,2/4,6 - 1,2 Ом, типа ВКПАП-2,1/9,7 - 2,4 Ом, типа ВКПАП-10 и БВКПАП-10 - 1,6 Ом.

Конец кабеля, подлежащий вводу в усилительный пункт, должен иметь волновое сопротивление любой коаксиальной пары типа 2,6/9,4 в пределах 75 ± 0,35 Ом, типа 1,2/4,6 и 2,1/9,7 (кабель ВКПА) - 75 ± 0,6 Ом.

Группирование строительных длин кабеля производится по концевым значениям волнового сопротивления, указанным в заводских паспортах, и фиксируется в ведомости по форме 4.4.

Примечание. Группирование облегчается наличием на барабанах надписей, указывающих номера групп. Номер группы указывается дробью: в числителе- для конца А, в знаменателе - для конца Б, например: II/III, IV/V. В комбинированных кабелях типа КМ-8/6 номера групп обозначаются римскими цифрами для пар 2,6/9,4 и арабскими - для пар 1,2/4,6, например, . Если значения волновых сопротивлений конца строительной длины отличаются друг от друга на величину, большую, чем предусмотрено в группе, то рядом с цифрой ставится знак «0», например: .

В табл. 4.2 приведены средние значения волнового сопротивления коаксиальных пар в строительных длинах кабелей КМ-8/6, КМ-4 и МКТ-4, а в табл. 4.3 - концевые значения волнового сопротивления строительных длин кабеля типа ВКПА при группировании их на заводе.


Форма 4.4

Объект ______________________________________

ОУП - ОУП __________________________________

Участок ______________________________________

_____________________________________________

ВЕДОМОСТЬ

группирования строительных длин коаксиального кабеля типа ________________ (с условным примером заполнения)

Порядковый номер очередности прокладки

Заводской номер барабана

Длина кабеля, м

Волновое сопротивление коаксиальных пар, Ом

2,5\9,4

Конец

I

II

III

IV

V

VI

VII

VIII

zcp

Номер группы

1

2

3

4

5

6

7

8

9

10

11

12

13

14

1

123

602

А

74,95

75,15

75,10

75,15

75,10

74,90

74,95

75,10

75,05

III

Б

75,25

74,90

75,10

75,10

75,15

75,15

74,95

75,20

75,10

III - 0

2

145

600

А

75,40

75,25

75,40

75,25

75,15

75,20

75,15

75,20

75,25

IV

Б

 

 

 

 

 

 

 

 

 

 

... 10

139

598

А

 

 

 

 

 

 

 

 

 

 

Б

 

 

 

 

 

 

 

 

 

 

Итого

5950

 

Продолжение

Порядковый номер очередности прокладки

Заводской номер барабана

Длина кабеля, м

Волновое сопротивление коаксиальных пар, Ом

Максимальная разность волнового сопротивления, Ом, на стыке пар

1,2/4,6

Конец

1

2

3

4

5

6

zcp

Номер группы

2,6/9,4

1,2/4,6

1

2

3

15

16

17

18

19

20

21

22

23

24

25

1

123

602

А

74,90

74,10

75,95

75,15

75,10

75,10

75,05

3

0,35

0,8

Б

74,95

75,10

75,15

75,10

75,20

75,10

75,10

3

2

145

600

А

74,60

74,50

74,55

74,50

74,40

74,45

74,50

2

Б

 

 

 

 

 

 

 

 

... 10

139

598

А

 

 

 

 

 

 

 

 

Б

 

 

 

 

 

 

 

 

Итого

5950

 

Составил _____________________ (______________)

Проверил _____________________ (______________)

«___» ______________ 198 __ г.


4.63. При прокладке коаксиального кабеля в кабельной канализации строительные длины должны соответствовать длинам пролетов между колодцами. Если строительная длина предусматривается для прокладки между несколькими колодцами, а в каждом колодце устраивается соединительная муфта, в колодцах следует сращивать смежные концы разрезанного кабеля; при этом подбора волновых сопротивлений пар не требуется.

Если в колодце соединяются концы разных строительных длин с неизвестными величинами волнового сопротивления, эти величины должны быть определены путем измерений.

В отдельных случаях допускается группирование строительных длин по возможным максимальным величинам волнового сопротивления, которые ориентировочно могут быть определены для любой точки любой коаксиальной пары по формуле

где ZA и ZБ - измеренные значения волнового сопротивления коаксиальной пары по концам строительной длины (заводские данные), Ом; Рmax - максимальное значение неоднородности данной пары, ‰.

Аналогично следует поступать, если необходимо делать кабельные вставки. При этом разность волновых сопротивлений, соединяемых в колодце или на вставке коаксиальных пар, не должна превышать значений, указанных в п. 4.62, д.

Таблица 4.2

Номера групп строительных длин коаксиальных кабелей по средним значениям волнового сопротивления

Номер группы

Среднее значение волнового сопротивления, Ом, для коаксиальной пары

2,6/9,4 в кабеле KM-8/6

2,6/9,4 в кабеле КМ-4

1,2/4,6 в кабелях KM-8/6 и МКТ-4

I

74,50 - 74,70

74,35 - 74,65

75,50 - 74,10

II

74,71 - 74 90

74,66 - 74,90

74,11 - 74,70

III

74,91 - 75,10

74,91 - 75,15

74,71 - 75,30

IV

75,11 - 75,30

75,16 - 75,40

75,31 - 75,90

V

75,31 - 75,50

75,41 - 75,65

75,91 - 76,50

Таблица 4.3

Номера групп кабеля типа ВКПА по значениям волнового сопротивления

Номер группы

I

II

III

IV

V

Волновое сопротивление, Ом

72,0 - 73,2

73,21 - 74,4

7,41 - 75,6

75,61 - 76,8

76,81 - 78,0

4.64. Пупиновские ящики в пределах одного низкочастотного усилительного участка для каждого кабеля должны быть по возможности одинакового типа и одного и того же завода.

Пупиновские ящики группируются по средним значениям индуктивности катушек. Группирование пупиновских ящиков при их установке производится таким образом, чтобы рядом находилось по возможности большее число ящиков одинаковой группы. Не допускается расположение рядом ящиков не смежных групп.

4.65. Пупиновские ящики группируются таким образом, чтобы на шагах пупинизации кабеля с наименьшей рабочей емкостью устанавливались ящики с наименьшей индуктивностью, а на шагах пупинизации кабеля с наибольшей рабочей емкостью - ящики с наибольшей индуктивностью.

4.66. На основании проведенного группирования должны быть составлены укладочные ведомости, в соответствии с которыми производится прокладка кабеля и установка пупиновских ящиков (форма 4.5).


Форма 4.5

Укладочная ведомость

Объект _______________________________________

ОУП - ОУП ___________________________________

Участок ______________________________________

Кабель № _____________________________________                                                                Дата ______________________________________

Марка кабеля

Номер барабана

Длина кабеля на барабане, м

Завод-изготовитель

Группа по волновому сопротивлению коаксиальных пар или по рабочей емкости

Минимальное значение переходного затухания на ближнем конце

Избыточное давление, кгс/см

Дата вывозки на трассу (прокладки)

Примечание

до прокладки

после прокладки

 

 

 

 

 

 

 

 

 

 

Составил ____________________________________

Проверил ____________________________________


РАЗДЕЛ 5

ЗЕМЛЯНЫЕ РАБОТЫ. УСТРОЙСТВО ПРОСЕК

ОБЩИЕ УКАЗАНИЯ

5.1. При производстве земляных работ следует выполнять требования «Правил охраны линий связи», утвержденных постановлением Совета Министров СССР от 22.07.69 № 567, «Условий производства работ в пределах охранных зон и просек на трассах линий связи и радиофикации», утвержденных приказом Министерства связи СССР от 9.04.70 № 245 и согласованных с Госстроем СССР 20.03.70, а также другими документами, приведенными в списке литературы.

5.2. При строительстве линейных сооружений КЛС земляные работы, как правило, должны выполняться механизированным способом. Разработка грунта вручную допускается в случае, когда применение механизмов по местным условиям невозможно или экономически нецелесообразно из-за небольшого объема работ.

Необходимость разработки траншей и котлованов в скальных, твердых или мерзлых грунтах взрывным способом определяется проектом. При этом в рабочей документации должны быть указаны метод, технология и объем буровзрывных работ, согласованные на стадии разработки проекта с территориальной специализированной организацией.

Выполнение буровзрывных работ должно производиться субподрядными специализированными организациями.

5.3. До начала земляных работ в населенных пунктах заказчик обязан оформить в Исполкоме Совета народных депутатов разрешение на выполнение предусмотренных проектом работ и передать его подрядчику. Подрядчик обязан на основании разрешения получить ордер на производство работ.

Для выполнения работ за пределами населенного пункта заказчик должен получить в отделе районного архитектора справку об отсутствии изменений в подземных коммуникациях к моменту начала земляных работ и передать ее подрядчику. Подрядчик обязан уведомить землепользователей о дне начала земляных работ.

5.4. Производство земляных работ в непосредственной близости от действующих подземных сооружений (кабели электрические и связи, трубопроводы и т.д.), а также от наземных сооружений (при пересечении с железными и автомобильными дорогами) допускается только при наличии письменного разрешения организации, эксплуатирующей эти сооружения, и в присутствии ее представителя. Производство работ в таких местах должно быть обусловлено и согласовано в процессе проектирования.

5.5. Строительная организация обязана не позднее чем за пять суток до начала земляных работ в местах сближения с другими подземными сооружениями официально (письменно) уведомить о предстоящих работах, а за сутки вызвать к месту работ представителей заинтересованных организаций для уточнения местоположения принадлежащих им сооружений и согласования мер, исключающих повреждения или нарушения действия этих сооружений.

До прибытия вызванных представителей производство земляных работ запрещается.

5.6. Рабочая документация проекта, разрешение на производство земляных работ в местах сближения с другими сооружениями и копия документа, извещающего о времени их проведения с указанием адреса, должны находиться на месте производства работ.

5.7. Земляные работы в зоне расположения электрокабелей, газонефтебензопроводов, аммиакопроводов, кабелей связи должны выполняться под непосредственным руководством производителя работ или мастера. Пользоваться в этих случаях ударными инструментами разрешается только для вскрытия дорожных покрытий.

5.8. На участках сближения и пересечения с газопроводами и электрокабелями высокого и низкого напряжения, а также с другими подземными сооружениями прораб или мастер обязан предварительно проинструктировать всех рабочих об условиях производства работ, уточнить с ними по чертежам и в натуре места сближения, обозначив границы, в которых работы следует выполнять с особой осторожностью и где не допускается применение ломов, кирок, отбойных молотков и т.д.

5.9. При рытье траншей и котлованов вблизи существующих подземных сооружений предварительное шурфование является обязательным. Для обнаружения и точного определения расположения подземных сооружений, пересекающих проектируемую трассу, должны быть вырыты шурфы длиной 1 м по оси будущей траншеи. Если подземные сооружения проходят параллельно проектируемой трассе, шурфы должны быть вырыты перпендикулярно к ее оси. Длина шурфа должна превышать ширину проектируемой траншеи на 0,3 м с каждой стороны.

В процессе шурфования должны быть также определены границы использования землеройных механизмов и установлены соответствующие ограждающие знаки. Шурфование должно производиться в присутствии представителя организации, эксплуатирующей подземные сооружения, с которыми трасса КЛС имеет сближение или пересечение (см. пп. 5.4 и 5.5).

5.10. В местах обнаружения подземных коммуникаций, не обозначенных в рабочих чертежах проекта, земляные работы должны быть немедленно прекращены и одновременно приняты меры защиты этих сооружений от возможных повреждений и вызваны представители организаций, их эксплуатирующих.

5.11. При случайном повреждении какого-либо подземного сооружения производитель работ (мастер) обязан немедленно прекратить работы, принять меры, обеспечивающие безопасность работающих, и сообщить о случившемся своему руководителю и в аварийную службу эксплуатирующей организации.

5.12. При обнаружении газа в траншеях или котлованах работы в них должны быть немедленно прекращены, а люди выведены из опасной зоны. Работы могут быть продолжены только после прекращения поступления газа.

5.13. В населенных пунктах участки производства земляных работ должны быть ограждены. При разрытии улиц (тротуаров) через траншеи следует устанавливать временные транспортные и пешеходные мостики.

5.14. Участки трассы кабеля или трубопровода при пересечении оврагов, холмов, водоемов, на склонах в необходимых случаях должны быть укреплены дерном, плетневыми стенками или другими способами, предусмотренными проектом.

5.15. Все поврежденные при разработке траншей сооружения - кюветы, водоспуски, арыки, каналы, насыпи, усовершенствованные покрытия, ограждения должны быть восстановлены. На пахотных землях должна быть произведена рекультивация плодородного слоя грунта. Объем и условия выполнения работ по рекультивации определяются проектной документацией.

ПЛАНИРОВКА И ПОДГОТОВКА ТРАССЫ

5.16. При подготовке трассы с нее должны быть убраны валуны, камни и другие предметы, которые могут сползти или скатиться вниз. Мелкие и средние камни и валуны убирают бульдозером, который продольными или поперечными ходами перемещает их, в зависимости от конкретных условий и рельефа, в стороны или под уклон.

5.17. Крупные валуны и камни следует убирать с помощью корчевателей-собирателей или обвязывать тросом и отбуксировывать бульдозером (трактором). Если крупные валуны заглублены в грунт, их следует предварительно подкопать.

5.18. Особое внимание при удалении с трассы крупных камней и валунов следует обратить на очистку полосы, охватывающей будущую траншею и отвал, чтобы при обратной засыпке не повредить проложенный кабель (муфты).

5.19. Для планировки трассы, расчистки ее от мелких насаждений, засыпки траншей и котлованов следует применять бульдозеры типа Д-493А, Д-694.

5.20. Для срезания небольших возвышенностей и засыпки пониженных мест и впадин отвал бульдозера необходимо установить на уровне опорной поверхности гусениц.

При перемещении бульдозер срезает часть грунта и передвигает его в следующую за бугром впадину (рис. 5.1). Планировку следует выполнять за несколько проходов бульдозера, двигающегося вдоль трассы.

Рис. 5.1. Планировка трассы бульдозером.

5.21. При устройстве съездов на крутых спусках необходимо срезать грунт на косогоре бульдозером и, перемещая его вниз и в стороны, образовать уклон не более 30°.

РЫТЬЕ ТРАНШЕЙ И КОТЛОВАНОВ

5.22. На участках трассы, где использование бестраншейных кабелеукладчиков по условиям местности невозможно, для прокладки кабеля должны быть вырыты траншеи (рис. 5.2). Как правило, рытье траншей и котлованов должно производиться землеройными механизмами.

5.23. Выравнивание строительных площадок, засыпку котлованов и при необходимости обваловку следует производить бульдозером типа Д-493А.

5.24. Разработку траншей в грунтах I - III групп следует выполнять цепными экскаваторами типа ЭТЦ-165 или одноковшовыми экскаваторами типа ЭО-2621.

5.25. Рытье котлованов на глубину до 2 м в грунтах I - III групп, как правило, производится одноковшовым экскаватором типа ЭО-2627, а на глубину до 4 м - ЭО-3322Б.

Рис. 5.2. Траншея для прокладки кабеля

Рис. 5.3. Защита действующих сооружений при рытье траншей

5.26. Для разработки верхних слежавшихся грунтов IV группы, скальных и мерзлых грунтов следует использовать отбойные молотки и бетоноломы.

5.27. При производстве земляных работ должны быть приняты необходимые меры для предотвращения возможных повреждений существующих наземных и подземных сооружений. Трубопроводы и кабели, попадающие в зону траншей и котлованов, на время работ при необходимости должны быть заключены в короба, закреплены подвеской (рис. 5.3) или надежно защищены другим способом.

5.28. Верхнее покрытие вскрываемых мостовых и тротуаров следует разбирать: при асфальтовом или бетонном покрытии - на ширину, большую ширины траншей на 0,1 м с каждой стороны, а при булыжном или кирпичном покрытии - на 0,2 м с каждой стороны.

5.29. Ширина траншей, разрабатываемых землеройными механизмами, определяется размерами рабочего органа (ковша, фрезы).

Ширина траншей по верху при ручном способе разработки должна соответствовать данным, приведенным в табл. 5.1.

5.30. При разработке в отвал грунт следует складывать:

а) у котлованов глубиной до 1,2 м и у траншей на расстоянии не менее 0,5 м от бровки (в населенных пунктах - со стороны проезжей части улиц);

б) у котлованов глубиной более 1,2 м на расстоянии не менее 1 м от бровки.

При рытье котлованов допускается выбрасывать грунт на две стороны.

Таблица 5.1

Ширина траншей при ручном способе разработки

Глубина траншеи, м

Ширина траншеи по верху, м

без креплений

с креплением

при количестве кабелей

1

2

3

4

1

2

3

4

0,5

0,35

0,35

0,40

0,40

-

-

-

-

0,6 - 0,7

0,35

0,40

0,45

0,45

-

-

-

-

0,9

0,40

0,40

0,45

0,50

-

-

-

-

1,0

0,45

0,45

0,50

0,55

0,55

0,55

0,60

0,65

1,2

0,50

0 50

0,55

0,60

0,60

0,60

0,65

0,70

Примечания: 1. Ширина траншей по низу должна быть на 0,1 м меньше ширины траншей по верху.

2. Ширина траншей в скальных и мерзлых грунтах при предварительном рыхлении взрывным способом определяется принятой технологией буровзрывных работ.

5.31. Разработка траншей в мерзлых грунтах без предварительного рыхления допускается одноковшовыми экскаваторами с ковшом емкостью до 0,5 м3 при толщине мерзлого слоя до 0,25 м. При глубине промерзания более 0,25 м следует производить предварительное рыхление грунта на всю глубину промерзания с удалением разрыхленного грунта одноковшовым экскаватором либо разрабатывать траншеи на полную глубину роторными экскаваторами в соответствии с их техническими характеристиками. Рекомендуется применение роторного экскаватора типа ЭТР-134, баровой машины типа ДГП-3УМ или цепного траншейного экскаватора типа ЭТЦ-208А.

5.32. Для предотвращения деформации профиля вырытой траншеи (осыпка грунта, заполнение снегом, размыв ливневыми водами), а также смерзания отвала грунта, темпы земляных работ и прокладки кабеля должны быть, как правило, одинаковыми. Разработка траншей в задел не рекомендуется (за исключением траншей в скальных грунтах в летнее время).

5.33. На склонах оврагов, крутых подъемах и спусках от 30 до 45° должна быть вырыта зигзагообразная («змейкой») траншея с максимальным отклонением от осевой прямой линии 1,5 м на длине 5 м (рис. 5.4). При уклонах от 30 до 45° прокладывается кабель с обычной броней, а при уклонах свыше 45° - с проволочной броней.

Рис. 5.4. Зигзагообразная траншея при уклоне 30 - 45°.

КРЕПЛЕНИЕ СТЕН ТРАНШЕЙ И КОТЛОВАНОВ

5.34. Разработка траншей и котлованов с вертикальными стенками без крепления в грунтах естественной влажности может производиться на глубине не более: 1 м - в насыпных, песчаных и гравелистых грунтах; 1,25 м - в супесчаных и суглинистых грунтах; 1,5 м - в глинистых грунтах и 2 м - в особо плотных грунтах.

При превышении указанных глубин рытье траншей и котлованов допускается только при условии крепления вертикальных стенок (рис. 5.5) или при устройстве откосов допустимой крутизны.

Рис. 5.5. Крепление стенок траншей:

а - горизонтальное; б - вертикальное

Рис. 5.6. Определение крутизны откоса

Примечание. Угол откоса a измеряется в градусах, а крутизна откосов определяется как отношение глубины разработки Н к проекции откоса А на горизонтальную плоскость (рис. 5.6). Допустимые углы a и крутизна откосов траншей и котлованов приведены в табл. 5.2.

5.35. Рытье траншей и котлованов в мерзлых грунтах всех пород, за исключением сухого песчаного, можно вести с вертикальными стенками без креплений на всю глубину их промерзания. При углублении ниже уровня промерзания должно производиться крепление.

5.36. Траншеи и котлованы в сухих песчаных грунтах независимо от степени промерзания следует разрабатывать с обеспечением откосов установленной крутизны или же с устройством креплений вертикальных стенок.

5.37. Рытье траншей и котлованов в отогретых (размороженных) грунтах следует производить также с обеспечением необходимой крутизны откосов или с устройством креплений в тех случаях (местах), когда глубина отогретого участка превышает размеры, указанные в п. 5.34.

Таблица 5.2

Максимально допустимая крутизна откосов траншей и котлованов

Грунт

Крутизна откосов при глубине выемок, м (рис. 5.6)

До 1,5

от 1,5 до 3

от 3 до 5

угол a между направлением откоса и горизонталью, °

отношение высоты откоса H к его заложению A

угол a между направлением откоса и горизонталью, °

отношение высоты откоса H к его заложению A

угол a между направлением откоса и горизонталью, °

отношение высоты откоса H к его заложению A

Насыпной естественной влажности

76

1 : 0,25

45

1 : 1,00

38

1 : 1,25

Песчаный и гравийный влажный, но не насыщенный

63

1 : 0,50

45

1 : 1,00

45

1 : 1,00

Глинистый естественной влажности:

 

 

 

 

 

 

супесь

76

1 : 0,25

56

1 : 0,67

50

1 : 0,85

суглинок

90

1 : 0,00

63

1 : 0,50

53

1 : 0,75

глина

90

1 : 0,00

76

1 : 0,25

63

1 : 0,50

Лесовидный сухой

90

1 : 0,00

63

1 : 0,50

63

1 : 0,50

Примечание. При глубине выемки свыше 5 м крутизна откоса устанавливается расчетным путем.

5.38. На пересечениях с железнодорожными и трамвайными путями стенки траншей и котлованов следует обязательно крепить.

5.39. Необходимость и объем крепления стен траншей и котлованов определяется проектно-сметной документацией.

ЗАСЫПКА ТРАНШЕЙ И КОТЛОВАНОВ

5.40. Перед засыпкой траншей и котлованов все подземные сооружения (кабель, трубы, муфты и т.д.) должны быть зафиксированы на планшетах рабочих чертежей проекта с «привязкой» к постоянным ориентирам.

5.41. Засыпка траншей, как правило, должна производиться бульдозерами или специальными траншеезасыпщиками.

5.42. На городских участках траншеи необходимо засыпать с послойным (толщиной не более 20 см) трамбованием. На улицах и пересечениях дорог с усовершенствованными покрытиями места разрытий необходимо засыпать песчаным грунтом с послойным трамбованием и поливкой водой.

Оставшаяся после засыпки земля в городах и крупных населенных пунктах должна вывозиться в специально отведенные места.

5.43. Траншеи, имеющие крепление стенок, засыпаются после снятия крепления. Если разборка крепления невозможна (опасна), последние могут быть оставлены частично или полностью в траншее и засыпаны.

5.44. После прокладки кабеля (трубопровода) на загородных участках трассы над траншеей или щелью от ножа кабелеукладчика должен быть образован холмик из оставшегося или взрыхленного грунта для компенсации после его усадки.

РЕКУЛЬТИВАЦИЯ ЗЕМЕЛЬ

5.45. Техническая рекультивация земель при строительстве линейных сооружений КЛС заключается в снятии плодородного слоя почвы до начала строительных работ, транспортировке его к месту временного хранения и нанесения его на восстанавливаемые земли после окончания строительных работ.

5.46. Рекультивация земель, нарушенных при строительстве, должна производиться в полном соответствии с проектом.

5.47. В проекте рекультивации земель в соответствии с условиями предоставления земельных участков в пользование и с учетом местных природно-климатических особенностей должны быть определены:

границы угодий по трассе кабельной линии связи, в которых необходимо проведение рекультивации;

толщина снимаемого плодородного слоя почвы по каждому участку, подлежащему рекультивации;

ширина зоны рекультивации в пределах полосы отвода;

место расположения отвала для временного хранения снятого плодородного слоя почвы;

способы снятия, транспортировки и нанесения плодородного слоя почвы и восстановления ее плодородия;

допустимое превышение нанесенного плодородного слоя почвы над уровнем ненарушенных земель.

5.48. Работы по снятию, транспортировке, организации хранения и нанесению плодородного слоя почвы производятся силами строительной организации; восстановление плодородия почв (внесение удобрений, вспашка, боронование посева, известкование и т.д.) производится землепользователями, которым передаются (возвращаются) эти земли, за счет средств, предусмотренных сметой на рекультивацию.

5.49. Снятие, транспортировка и нанесение плодородного слоя почвы должно производиться, как правило, до наступления устойчивых отрицательных температур. При необходимости производства работ в зимний период плодородный слой почвы должен быть снят и складирован до его промерзания. В исключительных случаях по согласованию с землепользователями и органами, осуществляющими государственный контроль за использованием земель, допускается снятие плодородного слоя почвы в мерзлом состоянии.

5.50. Для снятия с предварительным рыхлением плодородного слоя почвы в зимнее время могут применяться роторные траншейные экскаваторы или бульдозеры (типа ДЗ-27С). Глубина погружения ротора и других рабочих органов механизма рыхления не должна превышать толщины плодородного слоя почву.

5.51. При снятии, транспортировке, складировании и хранении плодородного слоя почвы следует принимать меры, исключающие ухудшение его качества (смешивание с подстилающими породами, загрязнение жидкостями, мусором и т.д.), а также предотвращающие размыв и выдувание. При необходимости хранения плодородного слоя почвы в отвале более трех месяцев поверхность отвала должна быть засеяна быстрорастущими травами.

5.52. Места для отвала плодородного слоя почвы не должны затопляться водой и должны быть расчищены от мусора.

5.53. Перед укладкой плодородного слоя почвы составляется акт о готовности поверхности с участием землеустроительных органов государственного контроля за использованием земель и землепользователя.

5.54. При прокладке кабелей (защитных проводов) ножевыми кабелеукладчиками на всю глубину прокладки, рекультивация земель не производится.

5.55. На участках трассы, где прокладка кабеля (защитных проводов) проектируется в предварительно разработанные механизированным или (при необходимости) ручным способом траншеи, проектом должны быть предусмотрены работы по снятию, транспортировке, хранению и нанесению плодородного слоя почвы.

5.56. Снятие плодородного слоя почвы должно производиться с полосы, равной ширине траншеи по верху плюс удвоенная ширина бермы, а также с мест возможного загрязнения и порчи. Размеры принимаются в зависимости от типа механизма, способа разработки траншеи, глубины и числа прокладываемых кабелей (защитных проводов). Размещение полосы рекультивации относительно оси траншеи, место расположения вынутого из траншеи грунта и плодородного слоя почвы и другие данные должны быть приведены в рабочей документации проекта (рис. 5.7).

5.57. Снятие и перемещение плодородного слоя почвы следует, как правило, производить бульдозером вдоль оси траншеи с выездом к полосе отвала под углом 45°. Полоса отвала снятого плодородного слоя почвы должна быть параллельна оси траншеи.

При невозможности использования механизмов снятие и перемещение плодородного слоя почвы производится вручную.

5.58. Работы по рекультивации земель на площадках строительства НУП (НРП) должны производиться в такой последовательности:

снятие плодородного слоя почвы и его складирование в соответствии с проектом рекультивации;

вывозка лишнего минерального грунта в места, согласованные с органами, предоставляющими земельные участки в пользование;

приведение отвалов минерального грунта в состояние, пригодное для дальнейшего использования в сельском или лесном хозяйстве по проекту рекультивации в соответствии с условиями отвода земель.

Рис. 5.7. Схема строительной полосы для рекультивации при рытье траншей вручную (а) и экскаватором (б):

1 - минимальная полоса, с которой снимается плодородный слой почвы (указывается в проекте); 2 - отвал плодородного слоя почвы; 3 - отвал минерального грунта из траншеи; 4 - траншея; 5 - кабель (защитный провод)

5.59. Срезка и перемещение плодородного слоя почвы в пределах площадки производится бульдозерами. Направление разработки и перемещение в отвал, а также последующее нанесение плодородного слоя почвы из отвала определяется проектом.

5.60. Рельеф спланированной поверхности после нанесения плодородного слоя почвы должен обеспечивать нормальную эксплуатацию машин при выполнении сельскохозяйственных и лесохозяйственных работ.

5.61. Приведение земельных участков в пригодное состояние должно производиться в процессе выполнения строительных работ, а при невозможности этого - не позднее чем в течение года после завершения строительства.

5.62. Контроль за правильностью выполнения работ по рекультивации земель осуществляется органами государственного контроля за использованием земель в соответствии с Положением, утвержденным Советом Министров СССР от 14 мая 1970 г. № 325.

5.63. Передача землепользователям рекультивированных земель оформляется актом в установленном порядке при участии представителей, землепользователей, органов, осуществляющих контроль за использованием земель и строительной организации.

ПРОТИВОЭРОЗИОННЫЕ МЕРОПРИЯТИЯ

5.64. Для защиты трассы от размыва и обнажения кабелей, проводов и муфт следует осуществлять отвод стоков поверхностных вод, укреплять размываемые берега, овраги и промоины в местах пересечения их с КЛС.

Овраги и промоины, расположенные в стороне от трассы КЛС, но могущие со временем приблизиться к ней, также должны быть укреплены.

5.65. В качестве одного из наиболее простых способов укрепления пологих склонов, нарушенных при разработке траншей и прокладке кабеля, следует применять посев многолетних трав.

5.66. Укрепление склонов посадкой кустарника и деревьев следует применять там, где имеются подходящие для их роста почвы и климатические условия, а также соответствующий посадочный материал. Данный вид укрепления целесообразно применять главным образом для защиты нарушенных при производстве работ берегов от поверхностных вод.

5.67. В местах, где имеется возможность для укрепления поверхности траншей, на склонах необходимо применять сплошную одерновку плашмя (рис. 5.8).

5.68. Для предохранения откосов от размывающего воздействия текущих вод используются хворостяные укрепления в виде хворостяных выстилок, фашинной кладки и тюфяков. Хворост закрепляется жердями или прутяными канатами через 0,5-1,0 м, прибиваемыми к грунту кольями-вилками или двойными спицами длиной не менее 0,6 м.

5.69. На кабельных переходах через водные препятствия для защиты береговых откосов от размыва течением и волнами могут применяться бетонные и железобетонные покрытия. Эти покрытия могут выполняться из монолитных армированных бетонных плит, сборных бетонных и железобетонных тюфяков и блоков. Целесообразность применения бетонных и железобетонных покрытий определяется проектом.

5.70. При пересечении подземными кабелями крутых склонов-промоин, оросительных каналов и кюветов следует устраивать в местах пересечения глиняные или каменные перемычки, предотвращающие распространение воды по траншее и проток ее вдоль кабеля.

Рис. 5.8. Укрепление поверхности траншей сплошной одерновкой плашмя.

5.71. При прокладке кабеля в барханных песках в условиях их подвижности в соответствии с проектом должны проводиться мероприятия по защите кабельной трассы от выдувания и песчаных заносов. Наиболее надежными из мероприятий по закреплению песков является закрепление подвижных песков механической защитой (устилочной или стоячей) с последующей посадкой леса.

Устилочная защита заключается в посадке длинностебельных трав. Посадку производят в тех районах, где скорость ветра достигает не более 18 м/с, число ветренных дней невелико и когда нарушена первоначальная стабильность песков. В подобных случаях защита применяется на ширину 3 - 4 м более поврежденной полосы.

Стоячая механическая защита (полускрытые щиты высотой 0,5 м и толщиной 0,05 м или высокорядные щиты высотой 1 м и толщиной 0,05 м) устраивается из местных материалов, например из камыша, полыни, саксаула, клетками 3×3 м на ширину 25 - 50 м по обе стороны от трассы с посадкой в клетках саженцев местных древесно-кустарниковых пород и одновременным посевом семян этих пород (рис. 5.9).

Рис. 5.9. Механическая стоячая защита

5.72. Конкретные противоэрозионные мероприятия, в зависимости от условий местности, должны быть определены проектно-сметной документацией.

УСТРОЙСТВО ПРОСЕК

5.73. Работы по валке леса, корчевке пней и срезке кустарника в местах, не подверженных активным эрозийным процессам, должна осуществляться на ширину полосы, установленной проектом. B местах, подверженных эрозии, и на крутых склонах необходимо сохранять растительно-корневой слой и пни спиленных деревьев.

5.74. Валку леса в полосе строительства необходимо производить, соблюдая «Правила по технике безопасности на лесозаготовках и просечке леса», раздел «Требования техники безопасности при работах в горных условиях» (утверждены 9.06.59 ЦК профсоюза лесной, бумажной и деревообрабатывающей промышленности), а также соблюдая общие действующие правила рубки и заготовки деловой древесины и правила лесоповала, принятые в районе строительства.

5.75. Валка деревьев при ветре силой более 6 баллов, в дождь, при густом тумане (видимость 60 м и менее), грозе и гололеде запрещается.

5.76. Вырубку лесных просек в строевом лесу, как правило, выполняют цепными пилами с бензиновым двигателем «Дружба-4» или «Урал».

5.77. Валку отдельных деревьев и корчевку пней следует производить бульдозером типа Д-493А или корчевателем Д-513А. Деревья диаметром 15 - 20 см следует валить в два приема (рис. 5.10): поднять отвал бульдозера на 850 - 900 мм, установить его на наименьший угол резания и первым заходом бульдозера свалить дерево; опустить отвал бульдозера до уровня земли и вторым заходом, сдвигая под корень поваленное дерево, выкорчевать его.

При валке деревьев диаметром более 30 см следует вначале подрезать корни дерева (со стороны валки) корчевателем типа Д-513А (рис. 5.11) или бульдозером типа Д-493А (рис. 5.12). При этом отвал бульдозера необходимо заглубить на 15-20 см в землю.

Рис. 5.10. Валка бульдозером деревьев диаметром 15 - 20 мм:

а - нож поднят на максимальную высоту (850 - 900 мм); б - нож установлен на уровне поверхности земли.

5.78. У деревьев с мощной корневой системой корни следует подрезать с трех сторон (рис. 5.13). Дерево необходимо валить со стороны подрезанных корней в той же последовательности, как описано выше.

Рис. 5.11. Подрезка корней корчевателем

Рис. 5.12. Подрезка корней бульдозером

5.79. При валке мотопилами должна соблюдаться следующая технология работ: подлежащее валке дерево подрубить топором или подпилить пилой со стороны, в которую оно должно быть повалено, а затем спилить с противоположной стороны ствола. Подсобные рабочие должны подпирать дерево багром со стороны, противоположной его падению, а спиленные деревья укладывать вершинами в сторону волока. Обрубка сучьев и подготовка леса к трелевке должна производиться непосредственно вслед за валкой леса.

Рис. 5.13. Валка бульдозером деревьев диаметром более 30 см с предварительной подрезкой корней с трех сторон

Рис. 5.14. Корчевка бульдозером пней диаметром более 20 см:

а - нож упирается в пень; б - нож опущен под корни пня

5.80. При корчевке бульдозером пней диаметром до 20 см нож отвала следует заглублять на 15 - 20 см в землю и перемещением бульдозера выдергивать пни вместе с растительным слоем. При корчевке более крупных пней отвал бульдозера следует упереть в пень на высоте 10 - 15 см над землей и поступательным движением бульдозера выворачивать пень (рис. 5.14).

Затем бульдозер необходимо переместить назад, отвал заглубить на 15 - 20 см под корень пня и перемещением бульдозера вперед при одновременном подъеме отвала окончательно удалить из земли пень вместе с корнями.

У пней диаметром более 40 см следует предварительно подрезать корни, как при валке деревьев.

5.81. Для удаления мелкого леса при диаметре стволов до 12 см и кустарника отвал бульдозера следует заглубить в растительный слой на 15 - 20 см. Затем перемещением бульдозера на малой скорости срезать растительность и удалить ее за пределы трассы (рис. 5.15).

Рис. 5.15. Расчистка бульдозером трассы (площадки) от кустарника и мелколесья.

5.82. Валка деревьев в горных условиях производится:

а) на уклонах до 15° - в зависимости от способа транспортирования деревьев;

б) на уклонах более 15° - вершиной к подошве уклона, начиная валку от подошвы уклона вверх.

5.83. Сваленные деревья, выкорчеванные пни и срезанные кустарники необходимо удалить за пределы трассы для дальнейшего использования или уничтожения (по согласованию с лесовладельцами).

РАЗДЕЛ 6

ПРОКЛАДКА ПОДЗЕМНЫХ КАБЕЛЕЙ

ОБЩИЕ УКАЗАНИЯ

6.1. Прокладка кабелей в грунте, как правило, должна осуществляться кабелеукладочными механизмами. Прокладка кабеля вручную допускается только на участках, где использование кабелеукладчиков невозможно (наличие подземных сооружений, стесненные условия, скальные грунты и т.д.), а также в случаях, когда использование механизированной колонны экономически нецелесообразно ввиду небольшого объема работ и необходимости перевозки механизмов колонны на значительное расстояние.

6.2. Глубина прокладки кабеля определяется в каждом конкретном случае проектом и не должна отклоняться от принятой в проекте величины более чем на ± 10 см.

Глубина прокладки подземных бронированных кабелей в грунтах I - IV групп должна быть не менее:

1,2 м для коаксиальных кабелей с парами типа 2,6/9,4 и 2,1/9,7;

0,9 м для симметричных и коаксиальных кабелей с парами типа 1,2/4,6.

Глубина прокладки подземных бронированных и небронированных кабелей в грунтах V группы и выше, а также в грунтах IV группы, разрабатываемых взрывным способом или отбойными молотками, должна быть не менее:

0,4 м при выходе скалы на поверхность для всех типов кабелей (глубина траншеи 0,5 м);

0,6 м при наличии над скальной породой поверхностного почвенного слоя различной мощности для всех типов кабелей (глубина траншеи 0,7 м); при этом заглубление в скальную породу должно быть не более 0,4 м (глубина траншеи в скале 0,5 м).

6.3. В процессе механизированной прокладки должен производиться непрерывный контроль за глубиной заложения; при этом рабочий нож должен постоянно находиться на заданной глубине.

В грунтах, где щель непосредственно после прокладки кабеля остается открытой, контроль глубины заложения следует производить через 40 - 50 м при помощи специальной деревянной планки с нанесенными по ней мерными отметками. Проверка глубины заложения кабеля при помощи лопаты категорически запрещается.

6.4. При отклонении от запроектированной глубины более чем на 10 см (в сторону уменьшения) колонна должна быть немедленно остановлена; прокладка кабеля может быть продолжена только после установления причин, вызвавших выглубление ножа, и их устранения (очистка от корней, удаление посторонних предметов, необходимость замены ножа, большое натяжение кабеля и др.).

6.5. Прокладка кабеля в открытые траншеи должна производиться только после проверки их глубины и составления акта на скрытые работы с участием представителя, осуществляющего технический надзор.

6.6. В скальных грунтах перед прокладкой кабеля дно траншеи должно быть очищено от острых выступов, камня и крупного щебня; под кабелем и над ним должен быть уложен защитный слой толщиной 10 см мягкого (разрыхленного) грунта или песка.

6.7. Радиус изгиба кабеля при его прокладке должен быть не менее допустимого стандартом или техническими условиями на данный тип кабеля.

6.8. Непосредственно перед размоткой необходимо измерить избыточное воздушное давление в кабеле, величина которого должна соответствовать данным, зафиксированным при проверке кабеля перед вывозкой на трассу.

Строительные длины кабеля, в которых величина избыточного воздушного давления непосредственно перед размоткой ниже ранее зафиксированной, прокладке не подлежат до проведения повторного испытания герметичности оболочки и устранения причины, вызвавшей утечку воздуха. Испытание герметичности должно производиться в соответствии с требованиями разд. 17.

6.9. В пределах усилительного участка (соединительной линии, кабельной вставки в воздушную линию связи) строительные длины магистральных и внутризоновых симметричных кабелей должны прокладываться концами А в одну сторону и концами Б в противоположную, т.е. на стыке должны быть концы А и Б. Для коаксиальных кабелей это требование относится к участку ОУП - ОУП.

6.10. В процессе прокладки кабеля должны быть приняты меры, исключающие нарушение его механических и электрических характеристик.

При размотке с барабанов кабеля нельзя допускать его резких изгибов и переломов из-за слипания или смерзания витков, неправильной заводской намотки, резкого изменения скорости вращения барабана и т.д. При этом барабан с кабелем должен равномерно вращаться от усилия рук рабочих или от специально предназначенных для этой цели автоматических устройств.

6.11. На стыке строительных длин концы кабелей должны перекрывать друг друга на следующую величину (м):

Кабели симметричные типа МКСБ, МКБ, ТЗБ, ТЗСБ                                                                                                                                     1,25

То же с пластмассовыми оболочками типа ЗКП, ЗКВ                                                                                                                                     2,8

Кабели в алюминиевых и стальных оболочках и коаксиальные кабели марок

КМБ, КМБл-4, МКТСБ-4                                                                                                                                     1,8

Кабели коаксиальные типов КМБ-8/6 и КМК-8/6                                                                                                                                     3,0

Кабели коаксиальные типа ВКПА                                                                                                                                     2,0

Кабели симметричные и коаксиальные с круглой проволочной броней (кроме КМК-8/6 и морских)                                                                                                                                     1,8

6.12. Для максимального совмещения муфт в одном котловане при прокладке двух кабелей необходимо подбирать барабаны с кабелями примерно одинаковой длины.

Если разница в длинах кабеля не позволяет размещать две муфты в одном котловане, то в каждом отдельном случае необходимо определить целесообразность обрезки одного из концов кабеля или разноса муфт в разные котлованы. Если, например, при прокладке кабеля 4×4 разница в длинах составляет до 8,5 м, а при прокладке кабеля 7×4 - до 6,0 м, то такие концы следует отрезать и муфты располагать в одном котловане, а если более 8,5 и 6 м, то муфты разносить в разные котлованы.

Аналогично следует поступать при прокладке кабелей других типов (сопоставляя стоимость отрезаемого кабеля со стоимостью разработки дополнительного котлована).

6.13. По мере прокладки кабеля на поворотах трассы, пересечениях с другими сооружениями, переходах через руки, а также на стыках строительных длин должны быть установлены замерные столбики или другие (временные) знаки с нанесением на них соответствующих надписей (номер муфты, направление поворота и т.д.) согласно «Правилам технической эксплуатации линейных сооружений КЛС» («Связь», 1976).

6.14. Температура окружающей среды, при которой допускается транспортировка, хранение, прокладка и монтаж кабелей связи, должна соответствовать требованиям, приведенным в ГОСТ (ТУ) на данный тип кабеля. При необходимости прокладки кабеля при температуре ниже предусмотренной ГОСТ и ТУ должен производиться прогрев кабеля.

РАЗБИВКА ТРАССЫ

6.15. Разбивка трассы КЛС должна производиться заказчиком в соответствии с проектом. В исключительных случаях отступление от проекта допускается только по согласованию с заказчиком и проектной организацией, разработавшей рабочую документацию. Новое решение должно быть официально (письменно, графически) отражено в рабочей документации или изложено в виде акта, письма, протокола и т.д.

6.16. Трасса линии между смежными углами поворота должна быть прямолинейной (контролируется визуально). На участках, где прокладка кабеля запроектирована вдоль железной или автомобильной дороги, имеющей плавный поворот (без явно выраженного угла), трасса кабельной линии должна быть разбита параллельно дороге; при этом следует строго сохранять одинаковым расстояние от оси дороги до оси КЛС.

При незначительных препятствиях (на загородных участках), не получивших отражения в рабочей документации (холм, небольшой водоем, группа деревьев) необходимо выбрать наикратчайший путь обхода, строго фиксируя углы поворота и сохраняя прямолинейность трассы.

6.17. Особое внимание при разбивке трассы должно быть обращено на участки сближения и места пересечений с другими подземными сооружениями, которые следует отмечать знаками с соответствующими предупредительными надписями: «Кабель», «Газопровод» и т.д.

При разбивке трассы на таких участках обязательно присутствие представителей организаций, эксплуатирующих эти сооружения. Для уточнения местонахождения подземных сооружений в местах сближения следует применять специальные приборы (кабелеискатели и т.д.), а в необходимых случаях должно быть сделано шурфование.

Таблица 6.1

Минимальное расстояние от КЛС до других подземных наземных сооружений

Объект сближения, характеристика габарита

Минимальное расстояние в свету, м

по горизонтали

по вертикали (при пересечении)

Мосты магистральных автомобильных и железных дорог общегосударственного и республиканского значений через:

 

 

внутренние водные пути, судоходные реки, каналы и водохранилища

1000

-

сплавные реки

300

-

несудоходные и несплавные реки

50 - 100

-

Мосты автомобильных и железных дорог областного и местного значений через:

 

 

судоходные реки и каналы

200

-

остальные реки

50 - 100

-

Автомобильные и железные дороги

5 от края подошвы насыпи

1 ниже полотна автодороги или подошвы рельса и 0,8 ниже дна кювета1

Кабельная канализация (от трубопровода и колодца)

0,25

0,1

Городская канализация

0,5

0,25/0,15

Газопроводы:

 

 

высокого давления (до, 5,5 МПа), нефтепроводы и трубопроводы на загородной трассе

10

0,5/0,15

с давлением от 5 кПа до 1,2 МПа на городской трассе при сближении и пересечении с кабелем

1

0,5/0,15

то же, с давлением от 0,6 до 1,2 МПа при сближении или пересечении с кабельной канализацией

3

0,15

то же, с давлением от 0,3 до 0,6 МПа

2

0,15

то же с давлением от 5 кПа до 0,3 МПа

1,5

0,15

То же, с давлением 5 кПа

1

0,15

с давлением 5 кПа, проложенные по стенам зданий

1

-

Водопроводы разводящей сети диаметром:

 

 

до 300 мм при сближении и пересечении с кабелем

0,5

0,25/0,15

то же, при сближении и пересечении с кабельной канализацией

0,5

0,15

свыше 300 мм при сближении и пересечении с кабелем

1

0,25/0,15

то же, при сближении и пересечении с кабельной канализацией

1

0,15

Теплосети

1

0,25/0,15

Коллекторы общие для подземных сетей

0,5

-

Здания в городах и поселках городского типа (от красной линии), не менее

0,6

-

Бортовой камень улицы

1,5

-

Стены или опоры тоннелей и путепроводов (на уровне или ниже основания)

0,5

-

Насыпи или бровки каналов (от подошвы насыпи или бровки канала)

1

-

Оросительные каналы (от бровки канала)

1,5

-

Стволы деревьев в городах

1,5

-

Кабели силовые напряжением до 220 кВ

0,52

0,53

Опоры (подземная часть) ВЛ переменного тока напряжением 750 кВ или ближайшие электроды их заземлителей при удельном сопротивлении земли, Ом·м:

 

 

до 100

154

-

от 101 до 500

254

-

от 501 до 1000

404

-

свыше 1000

504

-

Опоры (подземная часть) ВЛ напряжением 110 - 500 кВ или ближайшие электроды их заземлителей при удельном сопротивлении земли, Ом·м:

 

 

до 100

155

-

от 101 до 500

255

-

от 501 до 1000

405

-

свыше 1000

505

-

Расстояние от ближайшего провода ВЛ переменного тока напряжением 750 кВ (его проекции на горизонтальную плоскость) до подземного кабеля ЛС (кабельной канализации) при удельном сопротивлении земли, Ом·м:

 

 

до 500

30

-

от 501 до 1000

40

-

свыше 1000

50

-

Расстояние от проводов ВЛ напряжением 400-500 кВ до вершины кабельной опоры ЛС (при пересечении)

20

-

Опоры ВЛ напряжением от 1 до 35 кВ или ближайшие электроды их заземлителей при удельном сопротивлении r, Ом·м:

 

 

до 100

-

от 101 до 500

105

-

от 501 до 1000

115

-

свыше 1000

-

Заземлители деревянных опор или незаземленные железобетонные опоры ВЛ с неизолированными проводами напряжением до 1 кВ при пересечении с подземным или подвесным кабелем ЛС:

 

 

в населенной местности

36

-

в ненаселенной местности

106

-

Опоры незаземленные деревянные ВЛ с неизолированными проводами напряжением до 1 кВ при пересечении с подземным или подвесным кабелем:

 

 

в населенной местности

2

-

в ненаселенной местности

5

-

в стесненных условиях

17

-

Расстояние от основания кабельной опоры ЛС до ближайшего рельса электрифицированной ж. д. (перпендикулярно к полотну ж. д.) при угле пересечения (в плане) подземного кабеля ЛС с осью полотна дороги:

 

 

90°

20

-

85°

30

-

80°

40

-

75°

50

-

Опоры контактных сетей наземного электротранспорта напряжением от 1 до 35 кВ при пересечении с подземным кабелем ЛС при удельном сопротивлении земли r, Ом·м:

 

 

до 100

-

от 101 до 500

10

-

от 501 до 1000

11

-

свыше 1000

-

Опоры контактных сетей наземного электротранспорта напряжением до 1 кВ при пересечении с подземным кабелем ЛС (для всех значений r) в местности:

 

 

населенной

3

-

ненаселенной

10

-

Расстояние от места пересечения подземного кабеля ЛС с электрифицированной железной дорогой до стрелок, крестовин и мест присоединения отсасывающих кабелей

10

-

То же, при пересечении трамвайных путей

3

-

Расстояние от опор контактных сетей при пересечении электрифицированных железных дорог до колодцев кабельной канализации

15

-

Трамвайные пути

2 от ближайшего рельса

1 ниже подошвы рельса1

Кабели связи

0,58

0,25/0,15

Кабели радиотрансляционных сетей:

 

 

I класса

1,0

0,5/0,25

II класса

0,5

0,5/0,25

Заземлители молниеотводов воздушных линий связи

25

-

Опоры, подпоры, оттяжки воздушных линий связи в местности:

 

 

населенной

1

-

ненаселенной

по расчету

-

1 При защите кабеля в кювете кирпичом, бетонными плитами и т.д. это расстояние может быть уменьшено до 0,5 м.

2 При сближении низкочастотных кабелей связи с силовыми кабелями, напряжением до 10 кВ допускается 0,25 м при условии защиты кабелей (прокладка в трубах, установка несгораемых перегородок и т.д.).

3 При пересечении с силовыми кабелями напряжением до 35 кВ в стесненных условиях допускается 0,15 м при условии разделения кабелей на всем участке пересечения плюс 1 м в каждую сторону плитами или трубами из бетона или другого равнопрочного материала; при этом кабель связи должен быть расположен выше силового кабеля.

4 При прокладке кабеля в стальной трубе или покрытии его швеллером на длине, равной расстоянию между крайними проводами ВЛ плюс 15 м с каждой стороны от крайних проводов, допускается уменьшение этих расстояний до 10 м.

5 При прокладке кабеля в стальной трубе или покрытии его швеллером на длине, равной расстоянию между крайними проводами ВЛ плюс 10 м с каждой стороны от крайних проводов, допускается уменьшение этих расстояний до 5 м.

6 Эти расстояния могут быть уменьшены соответственно до 2 и 5 м при прокладке кабеля в стальной трубе или покрытии его швеллером или угловой сталью по длине в обе стороны относительно опоры не менее 3 м в населенной местности и 9 м в ненаселенной местности.

7 При этом кабель должен быть проложен в стальной трубе или покрыт швеллером или угловой сталью в обе стороны от опоры на длине не менее 3 м.

8 Норма дана для кабелей ЛС и кабельной канализации.

Примечания: 1. В числителе указаны расстояния при прокладке кабелей непосредственно в грунте, в знаменателе - в трубах, а при отсутствии дроби - для обоих случаев.

2. Кабели и кабельная канализация прокладываются: выше канализационных и водопроводных сетей; выше или ниже действующих кабелей связи, силовых кабелей, газопроводов, нефтепроводов и теплосетей.

6.18. При механизированной разработке траншей, а также при бестраншейной прокладке кабеля (механизмами с расклинивающими грунт ножами) на загородных участках линия трассы должна отмечаться вехами, расстояние между которыми определяется пределами видимости. В населенных пунктах расстояние между вехами должно быть 40 - 50 м. При разработке траншей вручную линия разбивки должна отмечаться шнуром.

6.19. В лесистой местности предварительно должна производиться разбивка просеки, здесь осевую линию трассы обозначают вехами, устанавливаемыми в пределах видимости. Затем следует вырубить просеку по визирной линии, после чего она вырубается на всю ширину в соответствии с проектом.

6.20. В процессе разбивки трассы следует определить места (большие бугры и выемки, крутые берега рек или спуски в овраги), где требуется планировка местности перед прокладкой кабеля.

6.21. Если трасса КЛС запроектирована на местности, занятой посевами, необходимо перед прокладкой оформить разрешение землепользователей на производство работ в соответствии с согласованиями, обусловленными в проектной документации.

6.22. При прокладке кабеля в гористой местности, по крутым склонам, через овраги, на крутых берегах рек первоначально следует произвести разбивку осевой линии, а затем двух боковых, параллельных осевой, ограничивающих ширину изгибов зигзагообразной траншеи (см. рис. 5.4).

6.23. Расстояние от прокладываемого магистрального или внутризонового кабеля до других подземных и наземных сооружений при сближении и пересечении с последними определяются проектом и должно соответствовать нормам, приведенным в табл. 6.1.

ПРОКЛАДКА КАБЕЛЯ КАБЕЛЕУКЛАДЧИКАМИ

6.24. До начала работы кабелеукладочной колонны трасса, в необходимых случаях, должна быть спланирована бульдозером (срезка бугров, засыпка выемок, образование плавных спусков на пересечении оврагов и водоемов) для обеспечения равномерной глубины заложения кабеля.

6.25. В грунтах I - III групп на загородных участках трассы, а также в других местах, где это возможно, прокладка кабеля должна осуществляться кабелеукладчиками (рис. 6.1). В грунтах значительной плотности, где могут иметь место выглубления ножа, а также при наличии по трассе каменистых включений, корней деревьев и других препятствий должна производиться предварительная пропорка грунта. Пропорка производится специальным прицепным пропорщиком типа ПГ-1В (рис. 6.2), ножевым кабелеукладчиком (без кабеля в кассете), или другим пригодным для этой цели механизмом.

Рис. 6.1. Прокладка кабеля ножевым кабелеукладчиком:

1 - передний нож-рыхлитель; 2 - барабаны; 3 - кабель; 4 - корпус кабелеукладчика, 5 - кассета; 6 - ролики в кассете; 7 - нож рабочий.

Рис. 6.2. Пропорщик грунта типа ПГ-1В.

6.26. В грунтах IV группы допускается прокладка кабеля кабелеукладчиками с расклинивающими ножами при условии проведения предварительной многократной пропорки грунта на проектную глубину. В грунтах IV и V групп, разрыхленных взрывным способом, также допускается прокладка бронированных кабелей кабелеукладчиками с расклинивающими ножами, при этом должна быть произведена многократная пропорка трассы; в местах выглубления пропорочного ножа необходимо выполнить дополнительное рыхление.

6.27. Для прокладки в сухих грунтах симметричных кабелей всех марок емкостью до 4×4, небронированных кабелей в алюминиевой и стальной оболочках емкостью 7×4, а также однокоаксиального кабеля типа ВКПАП рекомендуется использовать легкий колесный кабелеукладчик типа КУ-120В.

6.28. Бронированные кабели емкостью 7×4 и более, а также коаксиальные кабели типа КМ-4 и МКТ-4 следует прокладывать универсальным тяжелым кабелеукладчиком типа КУК-4Б, предназначенным для прокладки кабелей, намотанных на барабаны до № 24 включительно.

6.29. Прокладка комбинированного коаксиального кабеля типа КМ-8/6 должна производиться специальным трехосным кабелеукладчиком типа КУК-ЗБ (рис. 6.3), конструкция которого позволяет установку барабанов до № 26 включительно.

Рис. 6.3. Кабелеукладчик типа КУК-ЗБ.

6.30. Для прокладки кабелей по заболоченной местности, где невозможно использование колесных кабелеукладчиков, следует применять специальные болотные кабелеукладчики с пониженным удельным давлением на грунт типа КУБ-6 и КУБ-3 (рис. 6.4).

Рис. 6.4. Прокладка кабеля через болота.

6.31. При механизированной прокладке кабеля в стесненных условиях, на участках небольшой протяженности, в населенных пунктах или в лесу следует применять навесной вибрационный кабелеукладчик типа КНВ (рис. 6.5). Кабелеукладчик предназначен для прокладки двух симметричных или малогабаритных коаксиальных кабелей с наружным диаметром до 40 мм на глубину 0,9-1,2 м.

Рис. 6.5. Кабелеукладчик навесной вибрационный типа КНВ

6.32. В зависимости от условий местности и типа прокладываемого кабеля кабелеукладчики оснащаются кабелеукладочными ножами.

Для прокладки кабеля в грунтах I - III групп, как правило, используются ножи типа НКП-1Д (рис. 6.6).

Для прокладки кабеля в каменистых, скальных и мерзлых грунтах следует использовать нож типа НКП-3Д (рис. 6.7).

Для рыхления мерзлого и каменистого грунтов на глубину 0,5-0,9 м следует использовать специальный пропорочный нож НП-2 (рис. 6.8), который может быть установлен на пропорщике грунта ПГ-1В или на любом кабелеукладчике вместо кабелеукладочного ножа.

Рис. 6.6. Нож кабелеукладочный типа НКП-1Д

Рис. 6.7. Нож кабелеукладочный типа НКП-3Д

Рис. 6.8. Нож пропорочный типа НП-2

6.33. Тяговыми средствами, как правило, служат гусеничные тракторы класса Т-100МЗ, Т-100МБ, Т-130Б или специальные лебедки. Количество тяговых механизмов должно быть рассчитано на обеспечение равномерного продвижения кабелеукладчика и соответствовать данным табл. 2.1.

6.34. Перед началом работ необходимо с особой тщательностью проверить: исправность всех узлов кабелеукладчика, соответствие типа ножа проектной глубине, прокладки и радиусу изгиба кабеля, отсутствие задиров и острых сварных швов на крышке кассеты.

6.35. Сцепка тракторов, как правило, осуществляется стальным канатом диаметром 36 - 40 мм. Расстояние между тракторами должно быть не менее 5,0 м.

При прокладке кабеля на труднопроходимых заболоченных участках необходимо увеличить расстояние между тракторами до 10 м.

6.36. Закрепление стального каната следует производить двойными морскими узлами (рис. 6.9).

Для предотвращения работы рамы тракторов на разрыв силовая нагрузка должна приходиться на канаты, пропущенные под тракторами. Таким образом, нагружаются только прицепные устройства (форкопы) и их пальцы.

Для предотвращения наезда тракторов на канат его необходимо подвешивать при помощи специальных скоб к передним крюкам трактора (рис. 6.9).

Для уменьшения повреждения канатов в местах перегибов у пальцев сцепных устройств на пальцы необходимо устанавливать ролики, имеющие по наружной поверхности канавку, соответствующую диаметру каната (рис. 6.9).


Рис. 6.9. Схема закрепления стального каната двойными морскими узлами при сцепке тяговых механизмов и кабелеукладчика:

1 - канат диаметром 36 - 40 мм; 2 - ролик форкопа; 3 - петля крюка.


6.37. В обычных условиях следует применять сцепку тракторов «цепочкой», а при работе на заболоченных участках - «елкой».

Сцепка «елкой» делается для того, чтобы часть тракторов, следующих за головными, двигалась по неразрыхленному грунту, что обеспечивает лучшее сцепление тракторов с грунтом и необходимое тяговое усилие.

6.38. Перед началом движения кабелеукладчика для заглубления ножа и установки его в рабочее положение следует выкопать приямок на проектную глубину прокладки кабеля. Концы кабеля заправляются в кассету только после заглубления рабочего органа (ножа).

6.39. Во избежание повторения операций по заглублению ножа кабелеукладчика и заправке кабеля в кассету прокладку последующих строительных длин кабеля следует производить путем соединения конца каждой очередной длины кабеля на барабане с концом проложенной длины (рис. 6.10).

Для этого на стыке строительных длин концы кабелей следует скрепить внахлест (см. п. 6.11) смоляной лентой. При этом особо тщательно должен быть замотан конец кабеля с вентилем.

Рис. 6.10. Соединение концов кабеля на стыке строительных длин.

6.40. При необходимости выглубление рабочего органа должно производиться после остановки кабелеукладчика, отрывки траншеи над проложенным кабелем на длине 1,5-2 м и извлечения кабеля из кассеты. Раскопку траншеи следует производить осторожно во избежание повреждения кабеля.

6.41. Барабаны с поврежденным отверстием (втулкой), предназначенным для стальной оси, на которой вращается барабан, устанавливать на кабелеукладчик не разрешается.

6.42. Барабан с кабелем должен быть погружен на кабелеукладчик таким образом, чтобы верхний конец кабеля входил в кассету с верха барабана (рис. 6.11).

Рис. 6.11. Заправка конца кабеля в кассету кабелеукладчика:

1 - барабан; 2 - кабель; 3 - кассета; 4 - ножевая балка; 5 - нож

6.43. После заправки кабеля в кассету ножа кабелеукладчика должна быть создана слабина кабеля (между барабаном и входом в кассету) во избежание повреждения кабеля в начальный момент движения кабелеукладчика.

6.44. В процессе движения кабелеукладчика необходимо обеспечить равномерное вращение барабанов, исключающее резкие рывки и торможение.

6.45. Для обеспечения прямолинейности прокладки кабеля по размеченной трассе тракторист головного трактора должен зрительно совмещать визир на тракторе с вехами, установленными на трассе.

6.46. При прокладке кабелей кабелеукладчиком в непосредственной близости или на пересечении с другими подземными сооружениями (трубопроводы, кабели) должны быть приняты меры, исключающие повреждения этих сооружений (см. п. 6.17).

6.47. Засыпка траншеи после прокладки кабеля ножевым кабелеукладчиком, как правило, производится прицепным траншеезасыпщиком, который присоединяется непосредственно к кабелеукладчику или к отдельно выделенному трактору. Для засыпки траншеи в каменистых грунтах следует использовать бульдозер, так как наличие крупных камней затрудняет работу прицепного засыпщика. После засыпки траншеи (щели) над ней должен быть образован холмик высотой 500 и шириной 600 - 1000 мм.

СОВМЕСТНАЯ ПРОКЛАДКА КАБЕЛЯ И ЗАЩИТНЫХ ПРОВОДОВ

6.48. Прокладка защитных проводов должна производиться в соответствии с разд. 19 настоящего Руководства и рабочей документацией проекта. Как правило, защитные провода следует прокладывать одновременно с прокладкой кабеля или непосредственно после прокладки кабеля.

6.49. Прокладку одного защитного провода непосредственно над кабелем на глубину 0,4 - 0,6 м следует производить одновременно с прокладкой кабеля. Для этого на крышках кассет кабелепрокладочных ножей установлены специальные трубки, через которые защитный провод подается в траншею. В верхней части трубки имеется раструб, предохраняющий защитный провод от резких перегибов и повреждений.

Для обеспечения заданной глубины прокладки защитного провода на боковых стенках кассет должны быть приварены специальные открылки, которые, частично обрушивая стенки траншеи, обеспечивают присыпку кабеля и создают грунтовую подушку для защитного провода.

Барабан с проводом в этом случае устанавливается непосредственно на кабелеукладчик вместо одного из барабанов с кабелем или на кабельный транспортер, сцепленный с кабелеукладчиком.

6.50. Для прокладки нескольких защитных проводов следует использовать навесной проводоукладчик, который предназначен для прокладки одного-трех проводов на глубину до 0,6 м в грунтах I - III групп.

6.51. Для прокладки защитного провода в стороне от кабеля на глубину 0,9 - 1,2 м следует использовать прицепной пропорщик грунта, оборудованный устройствами для размещения на нем барабанов с проводом.

РАЗМОТКА И ПРОКЛАДКА КАБЕЛЯ В ТРАНШЕЮ

6.52. Размотка кабеля, как правило, должна производиться с барабана, установленного на кабельном транспортере. При размотке с барабана строительную длину кабеля вначале укладывают на бровку траншеи, а потом постепенно опускают на дно траншеи.

6.53. Если кабельный транспортер не может проехать по трассе или в траншее имеются препятствия, сквозь которые должен быть протянут кабель, барабан устанавливают на кабельный транспортер или на козлы-домкраты и по мере размотки кабель вручную переносят вдоль трассы и укладывают на дно траншеи.

6.54. При переноске кабеля следует следить, чтобы он не волочился по земле и чтобы не было больших перегибов. На каждого рабочего должен приходиться участок кабеля, масса которого не превышает 35 кг.

6.55. При укладке кабеля в траншею необходимо следить за тем, чтобы он лежал свободно, плотно прилегал ко дну, а радиусы изгибов на поворотах трассы соответствовали требованиям п. 6.7.

6.56. Если при прокладке низкочастотного кабеля пупиновский ящик из-за препятствия (водоем, дорога и т.п.) нельзя установить в конце строительной длины, для соблюдения установленного шага пупинизации кабель следует уложить петлей с таким расчетом, чтобы муфта или пупиновский ящик были установлены до препятствия (рис. 6.12).

Рис. 6.12. Укладка кабеля петлей:

d - не менее 40 наружных диаметров кабеля, l - в зависимости от длины петли

Рис. 6.13. Защита кабеля кирпичом

6.57. В отдельных случаях, в соответствии с рабочей документацией, в городах или на территории промышленных предприятий, где может иметь место разработка грунта по трассе после прокладки кабеля, последний должен быть защищен слоем кирпича или бетонными плитами. При этом кабель должен быть предварительно присыпан слоем мягкого грунта толщиной порядка 10 см (рис. 6.13).

УСТРОЙСТВО ПЕРЕХОДОВ ЧЕРЕЗ АВТОМОБИЛЬНЫЕ И ЖЕЛЕЗНЫЕ ДОРОГИ

6.58. На пересечении магистральных автомобильных и железных дорог (а также улиц с усовершенствованными покрытиями) кабели должны быть затянуты в асбоцементные безнапорные или пластмассовые трубы, проложенные закрытым (горизонтальным проколом, бурением, продавливанием) или открытым способом. Прокладка труб, как правило, должна производиться до начала прокладки кабеля в районе пересечения.

6.59. Трубы на переходах через железнодорожные ветки и дороги местного значения, при согласии их владельцев прокладываются в открытые траншеи.

6.60. На пересечении с электрифицированными железными дорогами, кроме подземных линий метрополитена, кабели должны быть уложены в асбоцементные трубы с покрытием из битума или асфальта или в другие неметаллические трубы.

6.61. Концы проложенных труб должны располагаться на расстоянии не менее 1 м от подошвы насыпи или от полевой бровки кювета (рис. 6.14). Концы труб непосредственно после прокладки должны быть закрыты деревянными, бетонными или пластмассовыми пробками.

Рис. 6.14. Прокладка трубопровода под железной дорогой

6.62. При пересечении постоянных грунтовых непрофилированных дорог, в том числе съездов с автомобильных дорог, кабели допускается прокладывать без труб с покрытием их кирпичом или железобетонными плитами. На пересечениях с полевыми (летними) дорогами покрытие кабелей не производится.

На пересечении дорог местного значения с грунтовым или булыжным покрытием допускается прокладка кабеля кабелеукладчиком непосредственно в грунт, с последующей укладкой рядом с кабелем резервной трубы и восстановлением дорожного полотна.

6.63. При входе в трубу и выходе из нее на другом конце пересечения на длине 5 - 7 см кабель следует плотно обмотать кабельной лентой или пряжей во избежание крутых изгибов у краев трубы вследствие возможной осадки грунта.

В местах входа кабеля в трубу и выхода из нее грунт должен быть плотно подбит под кабель.

Зазоры между обмотанным кабелем и трубой следует тщательно заделать замазкой.

6.64. Устройство горизонтальных скважин диаметром до 250 мм, как правило, осуществляется гидравлическим буром БГ-3М (рис. 6.15), обычно входящим в состав комплексной машины КМ-170, смонтированной на базе автомашины ЗИЛ-157, или другими подобными механизмами.

Рис. 6.15. Бестраншейная прокладка трубопровода при помощи гидравлического бура типа БГ-3М

6.65. Работы то устройству горизонтальных скважин должны производиться, как правило, в летнее время. В зимний период работы ведутся под промерзшим грунтом.

6.66. Для выполнения работ и установки гидравлического бура необходимо отрыть рабочий котлован прямоугольной формы длиной 2200 мм и шириной 1600 мм.

Дно котлована должно располагаться на 500 мм ниже оси прокладываемых трубопроводов (определяется проектом).

Крепление стен котлована необходимо производить с помощью инвентарных щитов или отдельных досок толщиной 40 мм и стоек из крепежного леса, забиваемых по углам котлована.

Стойки следует забивать в грунт дна котлована на глубину 500 мм.

На дне котлована необходимо устроить настил из обрезных досок толщиной 40 - 50 мм, который должен опираться на три поперечных бруса размером 150×100 мм.

6.67. Гидравлический бур должен быть установлен строго горизонтально (по уровню).

Для получения правильного направления скважины необходимо натянуть шнур по требуемому направлению и установить пресс таким образом, чтобы отвес, опущенный со шнура, совпадал с центром расстояния между цилиндрами. Опорные плиты должны устанавливаться параллельно и вертикально.

С помощью гидравлического блока цилиндров и насоса высокого давления в грунт заталкивается первая стальная штанга с навинченным стальным конусообразным наконечником. По мере продавливания штанги навинчиваются друг на друга до выхода штанги с наконечником на противоположной стороне перехода.

6.68. Для отыскания места выхода конца штанги с наконечником на другой (приемной) стороне пересекаемого сооружения перпендикулярно оси скважины должна быть отрыта траншея длиной 1,5 - 2 м. После выхода штанги на приемной стороне отрывается котлован для затягивания в скважину труб.

6.69. Первоначальный прокол осуществляется с наконечником диаметром 70 мм. При значительном отклонении первого прокола от заданного направления следует произвести другой прокол на расстоянии 0,5 - 0,7 м от первого.

6.70. После выхода конца первой штанги в траншею, наконечник следует отвинтить и вместо него навинтить расширитель (обычно диаметрам 130 мм). Затем штангу с расширителем протягивают в обратном направлении, при этом в грунте образуется скважина (канал).

В зависимости от группы грунта и нужного диаметра скважины расширитель следует протягивать 2 - 3 раза, причем диаметр расширителя можно постепенно увеличивать (130; 170; 210; 250 мм), проталкивая и втягивая разборную штангу в правом и обратном направлении.

6.71. В приготовленную скважину асбестоцементные трубы следует затягивать постепенно с одновременной заделкой стыков.

6.72. Для прокладки труб диаметром до 250 мм в песчаных, супесчаных, суглинистых и глинистых грунтах можно пользоваться реверсивными пневматическими пробойниками типа ИП-4603 или ИП-4605. Сжатый воздух к пневматическим пробойникам, как правило, подается от передвижных компрессорных станций типа ПК-10, ЗИФ-55.

6.73. Для ввода пневматического пробойника в грунт необходимо отрыть два котлована: рабочий котлован прямоугольной формы, длиной 2 м и шириной 1 м; приемный котлован прямоугольной формы длиной 2 м и шириной 1,5 м.

Глубина рабочего котлована должна соответствовать глубине заложения скважины, а глубина приемного котлована должна быть на 0,5 м больше глубины рабочего.

6.74. Чтобы избежать существенного отклонения скважины от заданного направления, пневматический пробойник необходимо тщательно сориентировать в заданном направлении, с помощью простейших приспособлений: уровня, отвеса и шнура, натянутого на колышках над осью скважины (рис. 6.16).

Рис. 6.16. Ориентирование пневмопробойника по оси будущей скважины:

1, 6 - крайние колышки; 2 - промежуточный колышек; 3 - шнур; 4 - отвес; 5 - пневмопробойник

6.75. Многоканальные скрытые переходы, как правило, осуществляются методом продавливания (рис. 6.17) стальной трубы с помощью гидравлических установок типа КМ-1200 или способом горизонтального бурения скважины (рис. 6.18) с одновременной подачей в нее трубы с помощью установки типа УГБ.

6.76. Для выполнения работ установкой типа КМ-1200 необходимо отрыть два котлована: а) рабочий, прямоугольной формы длиной 12 м и шириной 4 м; дно котлована должно быть на 0,5- 0,6 м ниже продавливаемой трубы; б) приемный, размером 4×4 м.

В противоположной направлению продавливания части рабочего котлована необходимо соорудить прочную упорную стенку из деревянных брусьев; боковые стенки котлована закрепить досками. На дно котлована вплотную к стене следует установить упорную металлическую плиту и гидродомкраты.

Рис. 6.17. Прокладка труб методом продавливания:

1 - труба-патрон; 2 - направляющая рама; 3 - сменные нажимные элементы; 4 - гидродомкрат; 5 - упорная стенка; 6 - насосная станция для привода гидродомкрата; 7 - подъемный кран

Рис. 6.18. Схема работы установки горизонтального бурения (УГБ):

1 - режущая головка; 2 - прокладываемая труба-патрон; 3 - роликовые опоры; 4 - шнековый транспортер; 5 - сцепное устройство; 6 - силовая установка; 7 - тяговая лебедка; 8 - трубоукладчик; 9 - система блоков; 10 - якорное устройство

6.77. На поверхности вблизи рабочего котлована следует расположить насос высокого давления с приводом, сварочный агрегат, автомобильный кран типа КС-2561К, запасные упорные плиты и сменные нажимные элементы - патрубки.

6.78. Подготовленную для продавливания секцию трубы 1 необходимо опустить краном 7 в котлован и установить на направляющей раме 2 (см. рис. 6.17).

Для передачи усилий от домкратов на трубу необходимо использовать сменные нажимные элементы 3 длиной 0,8; 1,6 и 2,4 м. Первоначально следует установить малый нажимной элемент длиной 0,8 м. По окончании первого цикла необходимо установить средний элемент длиной 1,6 м и по окончании второго цикла - длиной 2,4 м. Затем элементы необходимо соединить друг с другом и продолжить вдавливание первой секции трубы до тех пор, пока она почти полностью не войдет в грунт. После этого нажимные элементы следует убрать и уложить на направляющую раму вторую секцию трубы, сварить ее с первой и продолжить вдавливание в той же последовательности.

Грунт из трубы следует удалять механизированным или ручным способом. Подъем грунта из котлована, как правило, осуществляется с помощью крана

После выхода конца первой секции трубы в приемный котлован проходка прекращается, а установка демонтируется.

ОСНОВНЫЕ ОСОБЕННОСТИ ПРОКЛАДКИ КАБЕЛЯ В КАБЕЛЬНОЙ КАНАЛИЗАЦИИ

6.79. Строительные длины кабелей, предназначенные для прокладки в кабельной канализации, должны быть предварительно распределены по пролетам с учетом расстояний между смотровыми устройствами, запасов, необходимых для выкладки кабелей по форме колодцев, отходов на измерения и монтаж муфт.

При этом должны быть соблюдены требования о группировании (пп. 4.61 - 4.66).

6.80. Допускается затягивание кабеля одной строительной длиной через несколько пролетов кабельной канализации, если тяговое усилие не превышает допустимой величины, указанной в ГОСТ (ТУ) на данный тип кабеля В этих случаях в промежуточных колодцах должен быть оставлен запас кабеля для выкладки по форме колодца.

Кабели проходящие через смотровые устройства с однотипной конструкцией блока труб с обеих сторон, как правило, должны занимать каналы с одинаковой нумерацией.

6.81. При двухкабельной системе высокочастотные кабели в стальной и свинцовой оболочках, а также кабели типа ЗКП, ЗКВ встречных направлений передачи должны прокладываться в разных каналах кабельной канализации. Допускается, как исключение, совмещать указанные кабели в одном канале на протяжении не более 1 км.

Высокочастотные симметричные кабели в алюминиевой оболочке встречных направлений передачи допускается прокладывать в одном канале независимо от протяженности.

6.82. Кабели с коаксиальными парами типа 2,6/9,4 (КМ-4, КМ-8/6) должны прокладываться только в свободном канале. Кабели с коаксиальными парами 1,2/4,6 и 2,1/9,7 допускается прокладывать в одном отдельном канале, но не более трех кабелей.

6.83. Прокладка в одном канале магистральных кабелей первичной сети ЕАСС совместно с кабелями внутризоновых и местных сетей связи, а также радиотрансляционных сетей не допускается.

6.84. До затягивания кабеля в свободный канал следует проверить проходимость последнего пробным цилиндром.

6.85. При затягивании кабелей в свинцовой оболочке в каналы кабельной канализации оболочка должна смазываться техническим вазелином; смазка техническим вазелином шланговых пластмассовых покровов, а также кабелей, прокладываемых в пластмассовых трубах, не допускается.

6.86. В колодцах кабельной канализации, тоннелях, коллекторах и шахтах кабели в свинцовой оболочке должны укладываться на специальных консолях с применением прокладок из бризола, толи, гидроизола или отрезка полиэтиленовой оболочки.

6.87. После затягивания кабеля в кабельную канализацию необходимо измерить внутреннее избыточное давление, величина которого должна соответствовать данным, зафиксированным при проверке перед протяжкой.

6.88. Отверстия каналов с кабелем в колодцах кабельной канализации должны быть тщательно заделаны смоляной паклей и замазкой.

6.89. В колодцах кабельной канализации кабели с дистанционным питанием должны быть окрашены в красный цвет по всей окружности шириной 20 - 25 см при входе и выходе из канала колодца, а также около каждой муфты на расстоянии 15 - 20 см. Непосредственно у кабельных муфт на кабелях, по которым передается дистанционное питание, должны быть подвешены бирки с надписями: «Опасно», «Высокое напряжение». В проходных колодцах, где на таких кабелях нет муфт, аналогичные бирки следует подвешивать в средней части колодца.

ПРОКЛАДКА КАБЕЛЕЙ ПО МОСТАМ

6.90. Способ прокладки кабелей по мостам определяется проектом. До начала прокладки и монтажа кабеля по мосту необходимо составить проект производства работ, в котором предусмотреть:

а) перечень и сроки подготовки (изготовления) необходимых приспособлений, материалов, деталей, механизмов и их доставку к месту работ; б) последовательность и способ выполнения предусмотренных проектом работ по монтажу устройств для прокладки и монтажа кабеля (установка кронштейнов, прокладка труб или желобов; оборудование смотровых устройств); в) места установки барабанов с кабелями, механизмов, машин; г) меры, обеспечивающие безопасность труда работающих, а также движения по мосту.

6.91. Работы по прокладке кабеля по мосту должны выполняться в присутствии представителя организации, эксплуатирующей мостовые сооружения и под непосредственным руководством производителя работ или мастера.

6.92. По окончании работ по прокладке и монтажу кабеля все временные сооружения, установленные на мосту (и в непосредственной близости от него) для прокладки кабеля, должны быть убраны; места, где выполнялись работы, следует очистить и привести в надлежащий порядок.

ПОДВЕСКА КАБЕЛЕЙ

6.93. Воздушные линии, предназначенные для подвески кабелей, должны соответствовать требованиям, изложенным в «Правилах по строительству воздушных линий связи» и «Общей инструкции по строительству линейных сооружений ГТС».

6.94. Кабель должен подвешиваться на стальном оцинкованном канате при помощи подвесов из листовой оцинкованной стали. Стальной канат для подвески кабеля на оконечных опорах должен быть укреплен при помощи струбцин, специальных клемм или оконечной вязкой с заделкой отдельных жил стального каната вязочной проволокой.

На промежуточных опорах стальной канат должен быть укреплен при помощи чугунных или стальных столбовых консолей. На угловых опорах при подвеске кабеля, со стороны внешнего угла стальной канат должен быть закреплен двумя консолями, а при подвеске кабеля со стороны внутреннего угла - одной консолью на сквозных болтах или двумя оконечными вязками.

6.95. Кабели с вмонтированным (встроенным) стальным канатом должны подвешиваться при помощи специальных консолей, предназначенных для крепления кабеля за вмонтированный в него канат. Консоли на опорах должны быть установлены на расстоянии 350 мм от нижнего крюка или траверсы.

6.96. Устройство сростков стального каната в пролете не допускается.

6.97. Подвесы для крепления кабеля к тросу должны быть расположены на расстоянии 350 мм друг от друга.

6.98. На опорах кабель под консолями должен быть выложен с запасом в виде дуги.

6.99. Стыки строительных длин кабеля должны быть расположены таким образом, чтобы муфта находилась на расстоянии 0,5 - 0,7 м от опоры.

6.100. Подвеска кабеля типа ВКПАП-2,1/9,7 должна производиться в соответствии с требованиями, изложенными во «Временных технических указаниях по прокладке, подвеске, монтажу, электрическим измерениям и эксплуатации однокоаксиального кабеля типа ВКПА», утвержденных Министерством связи СССР в декабре 1975 г. (ЦНИИС, 1976).

ОСОБЕННОСТИ ПРОКЛАДКИ КАБЕЛЕЙ С ПОКРОВАМИ ШЛАНГОВОГО ТИПА

6.101. Прокладка кабелей с наружными и подброневыми пластмассовыми шлангами может производиться ножевыми кабелеукладчиками, рабочие органы которых обеспечивают сохранность защитного шланга от механических повреждений (задиров, царапин, проколов), а также в предварительно открытую траншею.

6.102. При прокладке кабелей с пластмассовыми шланговыми покровами по заболоченным участкам, в лесистой местности, плотных грунтах, где возможен неравномерный ход кабелеукладчика, необходимо особо тщательно вести контроль за синхронностью размотки кабеля и обеспечением его слабины перед входом в кассету.

6.103. Для исключения повреждения шланговых покровов лопатами при откопке котлованов для монтажа соединительных муфт перекрытие концов строительных длин кабеля должно быть обмотано по всей длине слоем ленты из стеклоткани или другого материала, не вызывающего загрязнения внутренней поверхности кассеты (обмотка кабельной битуминизированной лентой не допускается).

Обмотку следует начинать с конца длины, подлежащей прокладке, с некоторым послаблением плотности обмотки в направлении к барабану (рис. 6.19).

Рис. 6.19. Обмотка кабеля с наружным пластмассовым шлангом на стыке строительных длин

6.104. Для прокладки кабелей с защитными изолирующими покровами шлангового типа должны быть использованы кабеленаправляющие кассеты, в которых:

а) входной раструб имеет округлость по контуру, а высота его над уровнем грунта - не менее 800 мм (рис. 6.20, а);

б) в месте выхода кабеля участок кассеты усилен по периметру приваркой пластин и имеет округленную форму (рис. 6.20, б).

в) зазор между торцом разделительного ребра крышки и поверхностью кассеты не превышает 5 мм по всей длине (рис. 6.20, в);

г) криволинейная поверхность кассеты по всей длине, в том числе в месте выхода кабеля, имеет изгиб не менее допустимого радиуса изгиба кабеля;

д) внутренняя поверхность тщательно очищена от сварных швов, заусенцев, острых кромок и других выступов, могущих повредить шланг.

Рис. 6.20. Кассета для прокладки кабеля с наружным пластмассовым покровом шлангового типа.

6.105. Кассета, выполненная с учетом перечисленных в п. 6.104 требований, должна применяться только для прокладки кабелей с наружными пластмассовыми покровами шлангового типа во избежание ее загрязнения битумными компаундами.

6.106. При прокладке кабеля следует периодически осматривать внутреннюю часть кассеты и по мере необходимости очищать ее.

6.107. При прокладке кабеля в открытые траншеи должны соблюдаться меры предосторожности во избежание повреждений шланга, возникающих в результате взаимодействия его с твердыми включениями грунта, асфальтового или бетонного покрытий и т.д. Волочение кабеля по поверхности грунта (асфальта, бетона) не допускается.

6.108. При рытье траншей вручную грунт следует выбрасывать на одну сторону, а крупные твердые включения и дорожные покрытия (камни, щебень, булыжники, куски асфальта) складывать на другой стороне так, чтобы они не мешали прокладке и было предотвращено их падение на проложенный кабель.

6.109. В грунте, используемом для засыпки первого слоя, предохраняющего проложенный кабель, не должно быть камней, смерзшихся комьев и твердых включений, которые могут повредить наружный шланг.

6.110. Прокладка кабеля через автомобильные и железные дороги должна (производиться в асбоцементных трубах; участок кабеля около концов труб следует обмотать кабельной лентой слоем толщиной не менее 3 мм таким образом, чтобы часть обмотанного кабеля заходила в трубу.

6.111. Для распределения растягивающей нагрузки на оболочку кабеля и шланг при протяжке необходимо в месте захвата кабеля металлическим чулком снять с конца отрезок шланга длиной, соответствующей 1/3 длины чулка.

6.112. Для предохранения от повреждений наружного шланга затягиваемого кабеля об острые кромки колодца следует использовать направляющие устройства с гладкими поверхностями. На входе кабеля в колодец необходимо обеспечивать постоянную слабину. В местах поворотов кабеля следует применять колена.

6.113. Для уменьшения сопротивления трения во время затягивания кабеля в каналы кабельной канализации полиэтиленовый шланг рекомендуется постоянно смачивать водой. Применение для смазки полиэтиленового шланга вазелина и других технических масел запрещается.

6.114. Допускается «транзитная» протяжка кабеля в каналы кабельной канализации через несколько смежных пролетов. При протяжке следует предварительно тщательно очистить каналы от остатков грунта и цемента, проверить проходимость каналов пробным цилиндром и непрерывно контролировать состояние протягиваемого кабеля в промежуточных колодцах.

6.115. Кабели в стальной гофрированной, алюминиевой и свинцовой оболочках с наружными шланговыми покровами, а также кабели типа ЗКП, ЗКВ могут прокладываться в кабельной канализации при условии, что растягивающие усилия и радиусы изгибов в процессе выполнения работ не будут превышать допустимых.

ОСОБЕННОСТИ ПРОИЗВОДСТВА РАБОТ В ГОРНЫХ УСЛОВИЯХ

6.116. Работы в горных условиях следует производить в благоприятное время года, когда возможность появления селевых потоков, обвалов, снежных лавин, оползней и заносов наименее вероятна. Как правило, эти сроки должны быть указаны в проекте.

6.117. До начала основных работ по строительству линейных сооружений в горных условиях должны быть выполнены следующие основные подготовительные работы:

а) предварительная разбивка трассы, уточнение наиболее сложных ее участков, мест расположения площадок для средств якорения механизмов и погрузочно-разгрузочных работ;

б) расчистка отведенной полосы строительства от древесной растительности;

в) удаление со строительной полосы нависших валунов и камней;

г) противообвальные и противооползневые мероприятия, предусмотренные проектом;

д) планировка полосы строительства, срезка крутых продольных склонов, устройство площадок для средств якорения механизмов, погрузки и разгрузки барабанов и других материалов, для сооружения переходов через крупные реки, ущелья;

е) устройство, при необходимости, предусмотренных проектом временных дорог и подъездов.

6.118. В процессе производства работ должно быть установлено тщательное наблюдение за состоянием поверхности крутых склонов, особенно при таянии снега, после дождей и заморозков, так как опасность оползания грунта и отрыва камней в этот период наиболее велика.

6.119. На период производства работ должны быть организованы службы безопасности и оповещения, медицинского обслуживания, связь с ближайшей метеорологической станцией и регулярное получение от нее прогноза погоды.

6.120. В случаях, если уровень воды в реках (ручьях) поднимается и обнаруживаются признаки образования селевых потоков, обвалов и камнепадов, работы в опасных местах должны быть прекращены, люди удалены, машины, механизмы и другое имущество перемещены в безопасные места.

6.121. Все работающие должны быть обеспечены защитными касками и при уклонах более 20° - объемными металлическими подковами с шипами (раками), одеваемыми на подошвы обуви для уменьшения скольжения, а также страховочными поясами.

6.122. На труднодоступных участках в горах при движении и особенно во время работы машины и механизмов для обеспечения безопасности следует применять удерживающие приспособления - подвижные якоря (бульдозеры, трактора и т.д.). Для якорения стальные тросы (диаметром 26 - 28 мм) должны крепиться к балкам ходовой части машины, механизма.

6.123. При использовании в качестве якоря бульдозера, последний следует устанавливать отвалом в сторону уклона; отвал бульдозера заглубить в грунт для увеличения стопорящего усилия.

6.124. При работе на спусках подвижной якорь всегда должен располагаться в хвосте по ходу движения рабочих механизмов. При крутизне уклона более 22° в качестве подвижного якоря и буксира необходимо использовать не менее двух бульдозеров.

6.125. Длина стального каната для якорения должна позволять якорящему механизму, располагаться на горизонтальной площадке или на более пологом участке косогора. При работе канат следует располагать так, чтобы экскаватор не задевал его ковшом.

6.126. При перемещении якорящих тракторов (бульдозеров) ковш экскаватора следует заякорить в грунт и начинать работу вновь только после установки трактора на тормоза (заглубления отвала бульдозера в грунт).

6.127. Землеройные и транспортные машины на гусеничном и пневмоколесном ходу могут работать на косогорах с поперечной крутизной не более 8° (после предварительной планировки трассы). Работа этих машин на участках с поперечным уклоном более 8° допускается только после предварительного выполнения соответствующих мероприятий, предусмотренных проектом (устройство временных дорог, площадок для разъездов и т.д.).

6.128. На продольных уклонах более 30° работа экскаваторов (одноковшовых и роторных) даже при заякоривании не допускается.

6.129. На участках трассы с продольными уклонами до 15° траншеи в сухих грунтах I - IV группы следует разрабатывать траншейными экскаваторами (роторными, цепными). Участки трассы с грунтом V группы и выше (твердые и скальные) подлежат предварительному рыхлению.

6.130. На участках с продольным уклоном более 15° в сухих грунтах I - IV группы, а также в разрыхленных скальных грунтах, мокрых грунтах, на переходах через мелкие реки, болота, овраги, траншеи следует разрабатывать одноковшовыми экскаваторами.

При разработке траншей на продольных уклонах более 15° необходимо применять удерживающие (якорные) приспособления, а в скальных и мокрых грунтах на продольных уклонах более 10° необходимо предварительно проверять устойчивость экскаватора на скольжение.

6.131. В табл. 6.2 приведены данные о предельной крутизне уклона, при котором начинается сдвиг экскаватора , а также значения предельной крутизны с коэффициентом запаса устойчивости 1,5aпр в зависимости от вида грунта.

Таблица 6.2

Предельная крутизна уклона трассы в зависимости от вида грунта

Вид грунта

Угол крутизны, °

предельный (номинальный)

с коэффициентом запаса 1,5aпр

Суглинок, глина увлажненная

16,5

11

Суглинки и глины сухие

21

14

Песчаные и гравелистые

20 - 22

13 - 15

Скальный плотный

24

16

Скальный разрыхленный (взорванный)

26,5

18

6.132. При рытье траншей экскаваторами без заякоривания (анкеровки) наибольшие продольные уклоны для обеспечения безопасности не должны превышать aпр. На уклонах более aпр необходимо производить анкеровку (при помощи бульдозера, трактора, лебедки и т.д.).

6.133. Разработка траншей на уклонах, меньших aпр, одноковшовыми экскаваторами может производиться снизу вверх или сверху вниз по склону.

6.134. На склонах более aпр для обеспечения устойчивости разработка грунта одноковшовыми экскаваторами допускается при прямой лопате только снизу вверх по склону, а при обратной лопате - только сверху вниз по склону.

6.135. Работа роторных экскаваторов во всех случаях должна производиться в направлении сверху вниз по склону (рис. 6.21). При этом ротор используется как якорь, а экскаватор может работать на склонах равных aпр, без анкеровки.

Рис. 6.21. Направление движения роторного экскаватора при работе на уклоне.

6.136. Засыпку траншеи при крутизне спуска от 8 до 30° следует производить универсальными бульдозерами с поворотной лопатой продольными ходами при установке отвала под углом к продольной оси бульдозера.

На склонах более 30° и в условиях, где применение механизмов невозможно, засыпка траншей и котлованов производится вручную.

6.137. На горных дорогах запрещается буксировка на гибкой сцепке. При буксировке на жесткой сцепке длина ее должна обеспечивать расстояние между транспортными средствами не более 4 м. Буксировка в период гололедицы запрещается.

6.138. Барабаны и оборудование, погруженные на автомобили, кроме упоров, должны укрепляться стальными канатами.

6.139. В горных условиях погрузка и выгрузка барабанов, цистерн НУП и других грузов должны производиться только на горизонтальных участках трассы.

6.140. Во время погрузки и выгрузки кабеля, оборудования и материалов автомобиль должен быть надежно заторможен и под его колеса должны быть подложены специальные подкладки-башмаки. Использовать в качестве упора доски или камни запрещается.

6.141. Во избежание сползания и опрокидывания бульдозеров при движении на спусках и косогорах не разрешается высоко поднимать отвал и делать резкие повороты, а при работе на полунасыпи не следует приближаться к бровке ближе 1 м.

Не разрешается выдвигать нож отвала на край откоса, так как при потере упора, каким является отвал, машина может сползти под откос или опрокинуться.

6.142. При работе механизмов в горах необходимо учитывать влияние уклонов на уровень жидкости в тех или иных сосудах: на положение уровня смазки в картерах двигателей, уровня бензина и дизельного топлива в баках и др. На уклонах машины всегда следует располагать так, чтобы приемные части масляных насосов не освобождались от масла в связи с изменением уровня и могли нормально обеспечивать смазку двигателя.

6.143. При работе в горных условиях запрещается перемещение грузов на стреле подъемного крана, так как колебания груза могут вызвать опрокидывание крана.

6.144. Прокладка кабеля в горных условиях на уклонах крутизной до 10° производится так же, как на равнинной местности. На склонах крутизной более 10° прокладка должна производиться, как правило, вручную.

6.145. При прокладке кабеля ручным способом вдоль склона и на подъемах крутизной до 15° все рабочие должны находиться по одну сторону траншеи и лицом к ней, с таким расчетом, чтобы на каждого из них приходился участок укладываемого кабеля массой не более 35 кг, а при крутизне склона более 15° - не свыше 20 кг.

6.146. На спусках и подъемах крутизной до 15° работы по прокладке кабеля можно производить без удерживающих средств. При крутизне более 15° все работы по прокладке должны производиться с применением удерживающих средств.

6.147. При прокладке кабеля в траншею находиться в ней работающим запрещается; на крутых склонах следует предусматривать заякоривание кабеля в траншее, для чего конец прокладываемой строительной длины кабеля с надетым на него стальным кабельным чулком закрепляется тросом диаметром 9 - 11 мм за дерево, бульдозер и т.д.

6.148. При прокладке кабеля под кюветом дороги со стороны обрыва должно быть оборудовано временное ограждение. При этом, а также при прокладке кабеля в оползневой зоне, на крутых склонах и при переходах через горные реки необходимо пользоваться предохранительными поясами со страховочной веревкой, закрепленной за устойчивое основание. При производстве работ в выемках следует пользоваться защитными касками.

ОСОБЕННОСТИ ПРОИЗВОДСТВА РАБОТ В РАЙОНАХ ВЕЧНОЙ МЕРЗЛОТЫ

6.149. Грунты всех видов относятся к мерзлым, если имеют отрицательную температуру и содержат в своем составе лед.

Грунты относятся к вечномерзлым, если находятся в мерзлом состоянии в течение многих лет (от трех и более).

Вечномерзлые грунты по степени цементации их льдом подразделяются на твердомерзлые, пластичномерзлые и сыпучемерзлые.

6.150. Поверхностный слой грунта, подверженный промерзанию зимой и оттаиванию летом, называют сезонно-мерзлым или деятельным слоем.

6.151. Кабели связи, прокладываемые в деятельном слое, подвергаются воздействию мерзлотно-грунтовых явлений. Наиболее характерными из них являются пучение грунта, морозобойные трещины, просадка грунта в местах термокарста, оползни.

6.152. Мерзлотно-грунтовые условия с точки зрения воздействия их на кабель разделяются на неопасные, опасные и особо опасные.

Неопасными считаются условия при отсутствии или незначительном действии неравномерного пучения, отсутствии морозобойных трещин или когда их глубина не превышает 1,2 м для грунтов I - III категории и 0,6 м для грунтов IV категории и выше, а ширина по поверхности земли - не более 5 см, а также при отсутствии других мерзлотных явлений.

Опасными считаются условия на участках с пучинистыми явлениями, когда имеются морозобойные трещины глубиной до 2 м и шириной по поверхности земли от 5 до 10 см.

К особо опасным относятся условия на участках с наличием морозобойных трещин глубиной более 2 м, шириной на поверхности земли более 10 см и неравномерным пучением грунтов, а также на участках, где наблюдаются просадка грунтов или оползневые явления.

6.153. Прокладка магистральных и внутризоновых кабелей связи в районах распространения вечной мерзлоты может производиться в вечномерзлую толщу грунта либо в оттаявший вечномерзлый грунт. Прокладку кабелей допускается производить с применением на отдельных участках трассы разных способов.

6.154. Тип и марка кабеля, глубина и способ его прокладки, а также мероприятия по защите от воздействия на него мерзлотных деформаций определяются проектом в зависимости от мерзлотно-грунтовых условий по трассе прокладки кабеля.

6.155. В качестве основного мероприятия по защите кабелей от воздействия на них мерзлотных явлений на участках с опасными и особо опасными условиями считается применение кабелей с броней из круглых проволок.

6.156. В качестве дополнительных мероприятий по защите кабелей связи от воздействия на них мерзлотно-грунтовых явлений, помимо выбора соответствующего типа защитного покрова кабелей и прокладки их на определенную глубину, являются:

а) обваловка трассы проложенного кабеля. Грунт для обваловки следует брать из мест, удаленных от оси трассы кабеля не менее чем на 5 м. Высота обваловки должна быть не менее 0,6 м, ширина обваловки по верху выбирается в зависимости от мощности деятельного слоя и высоты обваловки в пределах 1,5 - 3,0 м с откосами крутизной 1 : 1,5 (рис. 6.22). Канава, образуемая при выборке грунта для обваловки вдоль трассы, используется, как правило, для отвода грунтовых надмерзлотных вод с участков трассы и осушения ее или как мерзлотный пояс для предотвращения попадания вод на трассу;

Рис. 6.22. Обваловка трассы проложенных кабелей:

1 - обваловка; 2 - поверхность грунта; 3 - канава, образуемая вдоль трассы после обваловки; 4 - верхняя граница вечной мерзлоты после обваловки; 5 - верхняя граница вечной мерзлоты до обваловки; 6 - кабели связи

б) на участках, где морозобойные трещины достигают глубины 1,2 - 2,0 м и ширины 5 - 10 см, в качестве меры защиты кабеля с ленточной броней от повреждений вместо обваловки может применяться одно из следующих мероприятий: засыпка траншей с кабелем сухим песчаным или гравийно-галечным грунтом; устройство канав глубиной до 0,7 м (с обеих сторон трассы на расстоянии 2 - 3 м от ее оси) с обеспечением отвода воды из них; посев вдоль кабельной трассы трав и посадка кустарников; снегозадержание;

в) уменьшение интенсивности морозного пучения грунта и предотвращение образования бугров пучения путем сооружения противофильтрационных мерзлотных поясов, препятствующих поступлению грунтовых вод на трассу. Мерзлотные пояса располагаются на расстоянии 20 - 40 м от трассы (рис. 6.23) и сооружаются с помощью бульдозеров;

Рис. 6.23. Схема устройства мерзлотного противофильтрационного пояса:

1 - направление потока межмерзлотных грунтовых вод; 2 - граница промерзания до устройства пояса; 3 - граница промерзания после устройства пояса; 4 - поверхность водоупора; Св - ширина канавы вверху; Сн - ширина канавы внизу; hуп - глубина залегания водоупора

г) применение безмуфтового гибкого соединения брони при монтаже кабелей с броней из круглых стальных проволок (по типу соединения брони речных кабелей);

д) применение стяжных защитных муфт типа МЗ при монтаже кабелей с ленточной броней*;

е) применение пленочных материалов и пластичных (консистентных) смазок** для уменьшения воздействия пучения и морозобойных трещин на кабели и соединительные муфты.

* Стяжная защитная муфта обеспечивает разгрузку соединительной (свинцовой) муфты от растягивающих усилий.

** В качестве пластичных применяются смазки типов БАМ-3 и БАМ-4 (ТУ 38-101682-77), ГОИ-54п (ГОСТ 3276-74), ЦИАТИМ-201.

Корпус защитной муфты и прилегающие к ней кабели в пределах котлована обматывают полиэтиленовой пленкой, наносят поверх пленки слой пластичной смазки, не затвердевающей при отрицательной температуре, и снова обматывают полиэтиленовой пленкой. Пленку на кабеле закрепляют бандажом из медной проволоки Æ 0,9 - 1,2 мм. Заключенная между двумя покровами полиэтиленовой пленки пластичная смазка предотвращает смерзание муфты и прилегающих к ней кабелей с грунтом. Перед засыпкой муфт в котловане часть грунта, необходимого для покрытия муфты со всех сторон слоем 3 - 5 см, перемешивают с пластичной смазкой (смесь делается 1 : 1 по объему), затем смесью покрывают муфту и котлован засыпают обычным грунтом (рис. 6.24).

Устройство защитного покрова из пленочных материалов с пластичной смазкой на кабелях может применяться также при прокладке их в местах образования морозобойных трещин, проникающих ниже глубины прокладки кабелей. Эти места должны быть указаны в проекте.

Рис. 6.24. Схема защиты соединительной муфты:

1 - защитная муфта; 2 - кабель; 3 - пластичная смазка; 4 - полиэтиленовая пленка; 5 - крепление пленки; 6 - смесь грунта с пластичной массой

6.157. На переходах через автомобильные и железные дороги кабели прокладывают в трубах с выводом их по обе стороны от подошвы насыпи или полевой бровки кювета на длину не менее 1 м. На участках с опасными и особо опасными условиями над концами труб необходимо устраивать обваловку из местного грунта шириной m (рис. 6.25). Ширина обваловки по каждому переходу должна быть указана в рабочих чертежах проекта.

Рис. 6.25. Устройство обваловки над концами труб в местах пересечения дороги:

1 - поверхность вечномерзлых грунтов; 2 - кабель; 3 - труба; 4 - верхняя граница вечной мерзлоты до обваловки; 5 - насыпь дороги; 6 - верхняя граница вечной мерзлоты после обваловки; 7 - обваловка над концами труб

6.158. Переходы кабеля с одной глубины прокладки на другую следует осуществлять плавно с уклоном не более 1 : 10.

6.159. Ввод кабелей в здание с ленточным фундаментом производится через блок канализации, закладываемый в фундамент на глубине прокладки кабелей. Для предупреждения повреждений кабелей от мерзлотных деформаций грунта на подходах к месту ввода и в местах пересечения фундамента следует устраивать около здания подсыпку из грунта или шлака.

Ввод кабелей в здание с ленточным фундаментом может производиться также через блок канализации, закладываемый в стену, при условии устройства приямка с внешней стороны здания в месте ввода, заполняемого сухим песком или гравийно-галечным грунтом. Приямок должен иметь длину вдоль кабеля до 2 м, ширину около 1 м и глубину на 0,5 м большую, чем глубина прокладки кабеля по трассе (рис. 6.26). Кабели на подходе к месту ввода в здание должны укладываться без натяжения, со слабиной.

Ввод кабеля в здание со свайным фундаментом может производиться путем вывода подземного кабеля на дневную поверхность грунта продуваемого подполья и далее через перекрытие (рис. 6.27).

Изгиб кабеля и вся его вертикальная часть, вплоть до дневной поверхности грунта, обматывается двумя слоями полиэтиленовой пленки, между которыми наносится пластичная смазка.

Высота и ширина подсыпки из шлака, расположение и размеры приямка для песка должны быть указаны в рабочих чертежах проекта.

Рис. 6.26. Ввод кабелей связи в здание через приямок

Рис. 6.27. Вывод подземного кабеля связи на дневную поверхность:

1 - кабель; 2 - пластичная смазка; 3 - полиэтиленовые пленки; 4 - крепление пленки на кабеле; 5 - дневная поверхность грунта

6.160. Кабели, прокладываемые в районах вечной мерзлоты, необходимо защищать от всех видов коррозии, ударов молнии и электромагнитных влияний линий электропередачи высокого напряжения и других источников влияний в соответствии с положениями, изложенными в разд. 18 - 20.

6.161. На участках залегания грунтов, подверженных пучению, замерные столбики и контрольно-измерительные пункты (КИП) должны быть снабжены анкерными устройствами в виде лежней или удлиненных железобетонных приставок. Вокруг столбиков и КИП целесообразно укладывать слой грунта, торфа или мха в виде насыпи (обваловки), что должно быть предусмотрено рабочей документацией проекта.

ОРГАНИЗАЦИЯ И МЕХАНИЗАЦИЯ РАБОТ В РАЙОНАХ ВЕЧНОЙ МЕРЗЛОТЫ

6.162. Прокладку кабелей связи в районах вечной мерзлоты следует производить, как правило, в летне-осенний период, когда глубина оттаивания деятельного слоя достигает глубины прокладки кабеля. В исключительных случаях кабель прокладывают с заглублением в вечномерзлую толщу грунта.

6.163. Период выполнения строительных работ определяется по кривой оттаивания и замерзания грунта в районе прокладки кабеля и должен быть указан в ПОС.

Небольшая продолжительность строительного сезона требует максимальной механизации всех работ по прокладке кабеля и организации их выполнения в самые короткие сроки.

Для прокладки кабелей в районах вечной мерзлоты должны применяться механизмы, как правило, обладающие высокой проходимостью.

6.164. В период подготовки трассы для прокладки кабелей должен быть осуществлен отвод ливневых и других поверхностных вод, а также проведены мероприятия по возможному сохранению растительного и почвенного покровов, а также деревьев и кустарников. При подготовке трассы для прокладки кабелей может производиться рубка отдельных деревьев и кустарников только в границах, необходимых для прохода механизмов.

В процессе строительства необходимо стремиться к минимальному нарушению дернового, мохового или снегового покрова по трассе прокладки кабелей.

Планировка грунта на трассе строительства кабельной линии производится только в случае крайней необходимости, так как нарушение растительного покрова вследствие планировочных работ может вызвать нежелательные изменения теплового режима вечномерзлых грунтов.

6.165. Прокладка кабелей кабелеукладчиком должна предшествовать предварительная пропорка трассы на всю глубину прокладки. При этом выполняется рыхление сезонно-мерзлых и вечномерзлых грунтов и очистка трассы строительства от валунов, обломков скальных пород и т.д. Предварительную пропорку следует осуществлять тракторными рыхлителями.

Прокладка кабелей в мерзлых и вечномерзлых грунтах в состоянии их полного промерзания должна осуществляться, как правило, в открытую траншею.

6.166. При выполнении работ в районах вечной мерзлоты следует также руководствоваться «Техническими указаниями по проектированию, строительству и эксплуатации кабельных линий связи в районах вечной мерзлоты», утвержденными Министерством связи СССР 27.05.81 г.

ПРОВЕРКА КАБЕЛЯ ПОСЛЕ ПРОКЛАДКИ

6.167. Все строительные длины кабеля, проложенные между пунктами его оконечной разделки (усилительный участок, соединительная линия и т.д.), должны быть после прокладки проверены и сданы подразделению, осуществляющему монтажно-измерительные работы.

6.168. До предъявления кабеля к сдаче в монтаж на стыках строительных длин должны быть отрыты котлованы (шурфы), позволяющие проверить состояние кабеля после прокладки. При этом должны быть приняты меры, исключающие повреждения концов кабеля лопатами (см. п. 8.28). По окончании проверки концы кабелей должны быть присыпаны грунтом на 30 - 50 см.

6.169. Выявленные неисправные длины кабеля должны быть немедленно отремонтированы. Порядок сдачи и приемки кабеля в монтаж изложен в разд. 8 (пп. 8.21 - 8.25).

РАЗДЕЛ 7

ПРОКЛАДКА КАБЕЛЕЙ НА ПЕРЕХОДАХ ЧЕРЕЗ РЕКИ И ВОДОЕМЫ

ОБЩИЕ УКАЗАНИЯ

7.1. При прокладке магистральных кабельных линий первичной сети на переходах через внутренние водные пути - судоходные и сплавные реки, каналы и водохранилища - осуществляется резервирование кабельного перехода путем прокладки кабелей по двум створам - верхнему и нижнему, расположенным на расстоянии не менее 300 м друг от друга.

Необходимость резервирования кабелей других назначений определяется проектом. При наличии на трассе мостов автомобильных дорог общегосударственного и республиканского значения допускается прокладка одного из кабелей по мосту.

7.2. При прокладке кабелей по двум створам в каждый из них включается по 50 % связей.

7.3. На переходах через внутренние водные пути прокладываются кабели, бронированные круглыми стальными оцинкованными проволоками. На переходах через другие водные преграды тип кабеля определяется проектом. В воде, агрессивной по отношению к металлической оболочке кабелей, прокладываются кабели, имеющие полиэтиленовое шланговое покрытие. По мостам автомобильных дорог прокладываются кабели с полиэтиленовым шланговым покрытием поверх металлической оболочки или брони в асбоцементных или полиэтиленовых трубах.

7.4. Все кабельные переходы должны быть согласованы проектной организацией с:

Бассейновыми управлениями водных путей (управлениями каналов) Министерства речного флота РСФСР или иной организации, эксплуатирующей водные пути;

Бассейновыми управлениями по охране и воспроизводству рыбных запасов и регулированию рыболовства Министерства рыбного хозяйства СССР;

Бассейновыми территориальными управлениями по регулированию использования и охране вод Министерства мелиорации и водного хозяйства СССР;

отделами городского архитектора Исполкома местного Совета народных депутатов, если кабельный переход расположен в городе или поселке городского типа;

организациями, эксплуатирующими мосты, если кабель прокладывается по мостам;

землепользователями (на подходе к переходу) и владельцами вблизи расположенных подводных сооружений-дюкеров, водозаборов, кабелей и т.д.

7.5. На внутренних водных путях, входящих в Единую глубоководную систему (ЕГС) Европейской части РСФСР, на всех судоходных и сплавных реках, а также на реках глубиной менее 3 м, не используемых для судоходства и сплава, кабели первичной сети связи прокладываются с заглублением в дно реки.

На озерах и водохранилищах за пределами судового хода, а также на несудоходных и несплавных реках глубиной более 3 м при отсутствии особых требований согласовывающих организаций о заглублении и благоприятных гидрологических условиях (отсутствии резких колебаний уровня воды, донного льда, заторов, зажоров и т.д.) кабели связи прокладывают без заглубления в дно.

7.6. Прокладка кабелей связи на переходах через водные преграды без заглубления их в дно во всех случаях особо согласовывается с организациями, регулирующими судоходство и сплав леса и органами эксплуатации кабельных линий связи.

7.7. Все кабели магистральной сети связи должны быть заглублены в дно ниже границы размыва донных отложений по всей длине перехода с учетом требований согласовывающих организаций.

Заглубление кабелей в дно осушительных (оросительных) каналов и арыков является обязательным и должно быть не менее 1 м.

7.8. При прокладке кабелей на размываемых берегах с уклоном более 30° рытье траншеи на подъемах и спусках должно производиться вручную зигзагообразно («змейкой») с отклонением от оси направления прокладки на 1,5 м на участке длиной 5 м.

При прокладке кабеля на крутых берегах и в скальных грунтах вырубают штробу. Кабель в скальных грунтах прокладывают на песчаной подушке толщиной верхнего и нижнего слоя не менее 15 см.

Способ укрепления кабеля на откосе определяется проектом.

7.9. Не рекомендуется допускать расхождение в длинах кабелей верхнего и нижнего створов перехода. При невозможности выполнения этого требования допускается следующее отклонение в створах длин кабелей по затуханию: симметричного кабеля - не более 1,74 дБ; коаксиального - в пределах допуска на отклонение проектной длины усилительного участка от номинальной.

7.10. Охранная зона кабельного перехода через водную преграду располагается на 100 м выше по течению от верхнего створа и в 100 м ниже нижнего створа перехода.

7.11. Охранная зона строящегося кабельного перехода ограждается на судоходных водных путях информационными запрещающими знаками судоходной обстановки «Подводный переход». Эти знаки оборудуются в соответствии с требованиями ГОСТ 20339-79 «Знаки информационные внутренних водных путей» и освещаются в ночное время огнями в соответствии с ГОСТ 13311-74 «Огни навигационные. Основные параметры».

Знаки судоходной обстановки устанавливаются в соответствии с требованиями действующих «Правил плавания по внутренним водным путям РСФСР», введенных в действие с 15.03.1985 г. приказом Минречфлота РСФСР № 100 от 28.08.1984 г.

Места установки знаков судоходной обстановки «Подводный переход» определяются проектом по согласованию с представителями службы пути Бассейнового управления водных путей и Судоходной инспекцией.

7.12. Все работы (как подводные, так и надводные) проводятся в соответствии с нормативными документами по технике безопасности. При выполнении работ обязательно применение специальных приспособлений и техники, обеспечивающих безопасность работающих.

ПОДГОТОВИТЕЛЬНЫЕ РАБОТЫ

7.13. При подготовке к строительству кабельного перехода через водные преграды необходимо:

изучить проектную документацию, технические условия и согласования;

обследовать створы перехода и подходов к нему, а также уточнить на месте перехода конкретные условия и способы производства работ;

заключить (при необходимости) с субподрядными подводно-техническими (водолазными) организациями договор (заказ-наряд) на выполнение работ, требующих применения водолазного труда;

обеспечить субподрядные организации проектной документацией;

составить план, график и проект производства работ;

укомплектовать объект рабочей силой, механизмами, кабелем, материалами, измерительной аппаратурой и необходимыми приспособлениями;

подготовить строительные площадки, жилье, временные здания и сооружения и др.;

подготовить кабели для прокладки на переходе, включая все его испытания, проверку и электроизмерения (см. разд. 4).

7.14. Перед началом работ необходимо произвести разбивку трассы кабельного перехода с учетом реперов, установленных на переходе в процессе проектирования.

Ось перехода следует закрепить на берегах хорошо видимыми с воды знаками - створными знаками, щитами, вешками или щелевыми створами (рис. 7.1).

При выполнении работ в ночное время створные знаки должны освещаться огнями, как правило, желтого цвета в отличие от огней судоходной обстановки (красный, зеленый, белый).

Трассу кабельного перехода при необходимости дополнительно ограничить рабочими реперами, устанавливаемыми на берегу вне рабочей зоны (рис. 7.1).

Рис. 7.1. Типы реперов, водомерных постов и створных знаков:

а - репер деревянный; б - репер из металлической трубы; в - водомерный пост свайный; г - водомерный пост реечный, д - створный знак

7.15. Если береговых знаков недостаточно для ориентировки на воде (например, при большой ширине реки или водохранилища), то в створе кабельного перехода должны устанавливаться дополнительные вехи или буи, имеющие раскраску, отличную от раскраски знаков судоходной обстановки (рис. 7.2).

Места установки этих вех или буев должны быть заблаговременно согласованы со службой безопасности судовождения.

Рис. 7.2. Временные буи для ориентировки створа перехода:

а - пробковый шар или бочка, б - деревянный брус; в - отрезок бревна, г - отрезок вехи;

1 - якорь «кошка», 2 - камень массой 25 - 60 кг; 3 - кусок рельса 4 - кусок якорной цепи

7.16. Вблизи кабельного перехода за пределами границ земляных работ следует установить реечный или свайный водомерный пост, отметку «нуля» которого необходимо привязывать нивелировкой к высотной съемке трассы прокладываемого кабеля в системе, принятой проектом для перехода (рис. 7.3).

Рис. 7.3. Схема разбивки трассы подводного перехода и закрепления створа реперами и створными знаками:

1 - информационные запрещающие знаки «Подводный переход» 2 - створные знаки на период строительства; 3 - репер постоянный; 4 - репер рабочий, 5 - водомерный пост; 6 - место для складирования вынутого грунта из траншеи

7.17. На всех кабельных переходах до начала работ по разработке подводной траншеи необходимо выполнить промеры ширины и глубины пересекаемой водной преграды строго в заданном проектом створе.

Точность промеров ± 10 см. Результаты промеров наносят на проектный продольный профиль перехода.

7.18. Перед разработкой подводной траншеи или прокладкой кабеля через водные преграды шириной более 25 м и глубиной более 1 м кабелеукладчиками необходимо произвести водолазное обследование трассы кабельного перехода с целью выявления и удаления предметов, могущих помешать прокладке кабелей (корчей, топляков, камней-одинцов, затонувших судов, взрывоопасных предметов и др.).

7.19. Ширина полосы обследования водолазом трассы кабельного перехода зависит от механизмов, применяемых при разработке траншеи, характера грунтов русла водоема, интенсивности судоходства, сплава леса и других факторов, она является величиной переменной и определяется проектом.

Границы обследуемой полосы дна реки необходимо закрепить буями (рис. 7.4).

Водолазное обследование трассы прокладки кабеля по дну водоема следует производить как до начала разработки траншеи, так и после прокладки кабеля до обратной его засыпки с целью недопущения его перехлестов, колышек и т.д.

Рис. 7.4. Схема обследования водолазом поверхности дна реки:

1 - створные знаки; 2 - репер рабочий; 3 - пограничный буй; 4 - граница траншеи; 5 - перемещение водолаза; 6 - ходовой трос для ориентировки водолаза; 7 - водолазный бот; 8 - зона обследования (до 5 м); 9 - рабочая группа створов

7.20. Результаты водолазного обследования и контрольных промеров необходимо оформлять актом, составляемым с привлечением органов эксплуатации, технадзора, генподрядчика, а в необходимых случаях, проектной организации.

СПОСОБЫ ПРОКЛАДКИ И ЗАГЛУБЛЕНИЯ КАБЕЛЕЙ

7.21. Кабели связи на переходах через водные преграды могут прокладываться бестраншейным способом и путем укладки кабеля в предварительно разработанные подводные траншеи.

Способ прокладки кабелей зависит от инженерно-геологических условий строительства, гидрологических особенностей пересекаемой водной преграды, профиля берегов, глубины заложения кабеля в дно, технических возможностей строительной организации и определяется проектом.

7.22. Кабели связи через водные преграды шириной до 300 м, глубиной до 6 м со скоростью течения до 1,5 м/с при плавном рельефе дна, сложенного из несвязных грунтов не выше IV группы и не засоренного валунами и топляками, с заглублением кабеля до 1,2 м могут быть проложены бестраншейным способом при помощи прицепных ножевых кабелеукладчиков после проведения водолазного обследования.

При этом симметричные кабели на переходах могут прокладываться кабелеукладчиками с удлиненными ножами с заглублением в грунт на 1,8 - 2 м.

7.23. Прокладка кабелей на переходах через судоходные реки и водохранилища шириной до 700 - 750 м, глубиной до 25 м при плавном рельефе дна, сложенного из несвязных грунтов не выше IV группы и не засоренного валунами и топляками, с заглублением кабеля до 2 - 2,2 м может быть осуществлена с помощью гидравлических кабелеукладчиков.

7.24. Прокладка и заглубление кабелей с помощью кабелеукладчиков должны постоянно контролироваться представителями технадзора органов эксплуатации.

При необходимости величину фактического заглубления кабеля в дно водоема можно определить путем контрольных размывов грунта гидромониторами и промеров от горизонта воды, отметка которого известна, до кабеля.

ПРОКЛАДКА КАБЕЛЯ ЧЕРЕЗ ВОДНЫЕ ПРЕГРАДЫ НОЖЕВЫМ КАБЕЛЕУКЛАДЧИКОМ

7.25. Перед прокладкой кабеля кабелеукладчиком необходимо произвести двух - трехразовую пропорку дна реки в створе перехода пропорщиком.

Прогон пропорщика осуществляется с помощью двух тросов и тракторных лебедок, установленных на противоположных берегах, или протаскиванием тракторами.

7.26. Через реки глубиной до 0,8 м с пологими берегами и плотным невязким дном кабели прокладываются механизированной колонной так же, как и на всем протяжении трассы.

На реках глубиной от 0,8 до 6 м кабелеукладчик протаскивается через водную преграду тракторной лебедкой или колонной тракторов.

7.27. На реках с илистым дном при слое ила более 0,4 м прокладка кабеля ножевым кабелеукладчиком не допускается.

7.28. Способ прокладки кабелей и разработки траншей на кабельных переходах через горные реки зависит от гидрологических особенностей реки и инженерно-геологического строения ее русла и определяется проектом.

Разработка траншей может быть выполнена средствами гидромеханизации с применением водолазного труда, экскаваторами и бульдозерами или «насухо» путем поочередного перекрытия русла и отвода воды.

7.29. Прокладка кабелей ножевыми кабелеукладчиками на переходах вблизи существующих подводных сооружений (кабелей, дюкеров, водозаборов) допускается на расстоянии не менее 30 м от них.

Не разрешается прокладка кабелей связи ножевыми кабелеукладчиками на расстоянии ближе 100 м от переходов через водные преграды силовых кабелей.

7.30. При прокладке кабеля ножевым кабелеукладчиком должна быть обеспечена необходимая слабина на входе его в кассету ножа.

7.31. Работы по прокладке кабеля ножевыми кабелеукладчиками через водоемы должны выполняться в такой последовательности:

подготовительные работы;

срезка береговых откосов крутизной не более 20° (планировка) бульдозером или экскаватором на ширину 3 - 4 м для обеспечения плавного спуска кабелеукладчика с берегов и выхода его из воды;

двух - трехкратный проход пропорщика;

отмыв гидромониторами обнаруженных препятствий и удаление их с трассы,

проверка герметичности оболочки кабеля избыточным давлением, испытание постоянным током, прозвонка жил;

погрузка кабеля на кабелеукладчик и прокладка его кабелеукладчиком, протаскиваемым на тросах тракторами или тракторными лебедками;

монтаж муфт кабеля;

водолазное обследование трассы кабельного перехода до и после прокладки кабеля через водную преграду.

ПРЕДВАРИТЕЛЬНАЯ РАЗРАБОТКА ПОДВОДНЫХ ТРАНШЕЙ

7.32. При невозможности бестраншейной прокладки кабелей кабелеукладчиками кабели на переходах через водные преграды прокладываются в предварительно разработанные подводные траншеи.

7.33. На судоходных реках и водохранилищах подводные траншеи для прокладки кабелей разрабатываются техническими средствами специализированных субподрядных организаций («Подводречстроя», «Укрречстроя» и др.).

На несудоходных реках подводные траншеи в русле при глубине до 0,8 м можно разрабатывать экскаваторами.

При больших глубинах экскаваторы необходимо устанавливать на понтонах, перемещаемых по створу перехода с помощью тросов лебедками.

7.34. Разработанные на полную глубину до проектных отметок подводные траншеи должны приниматься по акту комиссией в составе представителей: органов эксплуатации или технадзора, генподрядчика, технического участка пути или района гидросооружений (на судоходных реках или каналах) и организации, выполняющей подводно-технические работы.

Приемка траншеи производится путем промеров дна траншеи по оси кабельного перехода от горизонта воды, отметка которого известна (принимается по данным водомерного поста, оборудованного на переходе).

Акт приемки готовой траншеи является единственным документом, разрешающим прокладку кабелей на переходе.

ПРОКЛАДКА КАБЕЛЯ С ПЛАВСРЕДСТВ ИЛИ ВРУЧНУЮ В ГОТОВЫЕ ТРАНШЕИ

7.35. Работа по устройству подводного перехода кабеля выполняется в такой последовательности:

разбивка трассы кабельного перехода с установкой створных знаков по оси створа;

установка знаков судоходной обстановки, ограждающих подводный переход на судоходных и сплавных водных преградах;

промер глубин и водолазное обследование дна трассы перехода методом обхода по ходовому тросу;

разработка подводных траншей;

разработка прибрежных (приурезных) и береговых траншей;

обследование и подчистка дна траншей, разработанных земснарядами, грейферными кранами и другими механизмами; разравнивание дна траншей, разработанных в скальных грунтах; подсыпка на скальный грунт песчаных постелей;

проверка соответствия фактических отметок дна разработанной траншеи проектным;

расшивка барабанов с кабелем, проведение комплекса испытаний его и погрузка барабанов с кабелем на плавсредства;

прокладка кабеля в подводную траншею с выводом его концов на берега не менее чем на 30 - 50 м;

проведение комплекса испытаний проложенного кабеля, монтаж русловых муфт, если ширина водной преграды больше строительной длины кабеля;

засыпка подводных и береговых траншей до проектных отметок, а на участках трассы, где кабель засыпается каменистым или скальным грунтом, кабель предварительно должен быть защищен слоем песка толщиной 15 - 20 см, а при больших скоростях течения - мешками с песком;

при необходимости выполняется укрепление берегов с целью их защиты от размыва и повреждения проложенных кабелей;

восстанавливаются поврежденные откосы и растительность.

7.36. Прокладка кабеля при глубине водной преграды до 0,5 м производится вручную, а при большей глубине - со специально оборудованных плавсредств (понтонов и барж-площадок), на которых устанавливаются для размотки барабаны с кабелем или укладывается «восьмерками» смотанный кабель. При этом кабель прокладывается в траншею вручную с опущенного за борт лотка.

7.37. На реках шириной до 200 м со скоростью течения до 1 м/с и глубиной до 6 м кабели следует прокладывать с плавплощадки, передвигающейся вдоль трассы по натянутому тросу (рис. 7.5).

Для этого через водоем прокладывают стальной трос, один конец которого крепят к анкеру на берегу, а другой - к барабану носовой лебедки, установленной на плавсредстве. При наличии течения в 100 м выше створа перехода на противоположном берегу оборудуется еще один анкер и трос от него подается на лебедку, установленную на корме плавсредства. При этом перемещение плавсредства точно по створу прокладки кабеля осуществляется путем одновременного выбирания троса носовой лебедкой и стравливания троса кормовой лебедки.

Рис. 7.5. Схема прокладки кабеля с баржи, перемещаемой по натяжному тросу:

1 - трехсвайный куст; 2 - натяжные тросы; 3 - баржа с кабелем; 4 - лебедки; 5 - становой якорь; 6 - дно водоема; 7 - дно траншеи.

7.38. На водных преградах шириной 200 - 400 м плавплощадка, с которой прокладывается кабель, передвигается в створе перехода папильонированием (рис. 7.6), а при скоростях течения свыше 2 м/с способом маятника. При этом обязательна установка на площадке специальных кабельных рабочих тормозов (аварийных зажимов), препятствующих самопроизвольному стравливанию (сматыванию) кабеля с барабана или «восьмерки».

Рис. 7.6. Схема прокладки кабеля с плавсредств, перемещаемых способом папильонирования:

1 - первая пара якорей; 2 - плавучие площадки с лебедками; 3 - становой якорь; 4 - понтон с кабелем; 5 - вторая пара якорей; 6 - третья пара якорей; 7 - дно водоема; 8 - дно траншеи; 9 - укладываемый кабель

7.39. На судоходных реках и водохранилищах шириной более 400 м кабель прокладывается с плавсредств, ведомых буксирным теплоходом (рис. 7.7).

Рис. 7.7. Схема прокладки кабеля с баржи, перемещаемой буксиром:

1 - кабель; 2 - баржа с кабелем; 3 - буксир; 4 - створ перехода; 5 - створные вехи; 6 - дно водоема; 7 - дно траншеи

7.40. Прокладка кабеля со льда производится при достижении льдом необходимой прочности, позволяющей использовать гусеничные и колесные машины.

Прорезь во льду (майна) устраивается ледорезными (ледофрезерными) машинами; ширина майны не более 0,3 м, длина 20 м. Между прорезями во льду оставляются нетронутые перемычки шириной 0,5 - 0,7 м.

Кабель вдоль прорезей раскатывается по кабельным роликам, раскладываемым через 3 - 5 м, или с использованием саней-лыж. Возможна также установка кабельного барабана на домкратах в кузове автомобиля. Кабель раскатывают путем тяжения его лебедкой или автомобилем.

7.41. Раскатанный вдоль прорези кабель укладывают сразу по всей длине перехода, последовательно разрушая оставленные перемычки.

При наличии сильного течения снос кабеля со створа предупреждают с помощью кольев, заглубленных в дно на 10 - 15 см, а при большой глубине водоема - оттяжек.

Укладку кабеля непосредственно в разработанную траншею производят водолазы, спускающиеся после спуска кабеля в прорезь.

7.42. Перед укладкой кабеля в подводные траншеи в зимнее время при температуре воздуха ниже допустимой для данного типа кабеля последний должен быть прогрет.

7.43. Не разрешается протаскивать кабель по грунту волоком.

7.44. При устройстве кабельных переходов через реки, берега которых облицованы гранитом, кабели должны быть проложены в трубах.

Отверстия труб должны располагаться на 1 м ниже нижней кромки ледового покрова при минимальном зимнем горизонте воды или на 1 м ниже минимального многолетнего меженного уровня.

После прокладки кабеля поврежденные набережные восстанавливаются.

7.45. При ширине перехода большей чем строительная длина кабеля, расположение муфт на подводном кабеле выбирается так, чтобы они, по возможности, оказались вне судового хода и на небольших глубинах. Монтаж муфт производится в соответствии с разд. 14.

7.46. После прокладки кабеля в подводные траншеи производится:

водолазное обследование проложенных кабелей с целью обнаружения и недопущения их взаимных перехлестов;

промеры глубин с целью установления фактических отметок заложения кабеля и соответствия их проектным;

измерение характеристик кабеля постоянным током и проверка его герметичности избыточным давлением;

фиксация проложенных кабелей и соединительных муфт по береговым ориентирам;

составление акта, разрешающего засыпку траншей с проложенными кабелями (см. п. 6.71);

засыпка траншей;

составление исполнительной документации (согласно протоколам и актам).

ЗАСЫПКА ПОДВОДНЫХ ТРАНШЕЙ

7.47. Засыпка подводных траншей с проложенными кабелями на переходах, выполняемых субподрядными организациями с применением специальных технических средств, осуществляется по технологии указанных организаций.

7.48. Засыпка траншей с проложенными кабелями на переходах, устраиваемых без привлечения субподрядных организаций, специальных технических средств и применения водолазного труда, осуществляется в зависимости от способа производства работ, принятого рабочей документацией.

7.49. При обратной засыпке траншей каменистым или скальным грунтом поверх кабеля укладывают мешки с песком для защиты кабеля от повреждения (вмятин оболочки) острыми гранями.

УКРЕПЛЕНИЕ ПОДВОДНЫХ КАБЕЛЕЙ В БЕРЕГАХ

7.50. Укрепление подводных кабелей на крутых (более 30°) береговых откосах производится путем укладки их от уреза воды при минимальном горизонте воды в зигзагообразную траншею длиной до 50 м с отклонением от оси направления прокладки на 1,5 м по длине 5 м («змейкой»).

7.51. При необходимости может устраиваться дополнительное укрепление кабелей путем укладки их на берегу в траншею, отрытую в виде «восьмерки». По внутренней стенке «восьмерки» могут быть установлены заподлицо деревянные или железобетонные столбы высотой не менее 1,6 м, диаметром 0,2 м с углублением в дно траншеи на 0,8 м.

7.52. На переходах через водоемы с каменистым или скалистым дном зигзагообразная прокладка кабелей не практикуется. Способы укрепления кабелей на таких переходах определяются проектом.

7.53. При опасности размыва или переформирования берегов, могущих вызвать оголение или повреждение проложенных на переходе кабелей, проектом предусматриваются берегоукрепительные работы.

БЕРЕГОУКРЕПИТЕЛЬНЫЕ РАБОТЫ

7.54. Крепление береговых откосов над проложенными кабелями связи выполняется:

монолитными и сборными железобетонными плитами. Монолитные железобетонные плиты укладывают «насухо» при минимальных горизонтах воды, защищая откосы от размыва волной высотой до 1,2 - 2 м (на открытых участках водохранилищ) при толщине льда до 1 м;

каменной наброской (мощением), бетонными блоками и тетраэдрами при высоких скоростных воздействиях потока на откосы, неравномерных осадках грунтов основания и высоте волны более 2 м.

Каменная наброска выполняется при высоте подводного откоса 2 - 6 м, высоте волны 0,7 - 2 м, уклоне поверхности откоса 1 : 1,25; 1 : 2,5; 1 : 3 и 1 : 4, толщине льда до 1 м и различных грунтах, слагающих основание откоса (от песчаных до глинистых);

вертикальными стенками из железобетонного шпунта для крепления откосов судоходных каналов в грунтах, допускающих погружение шпунта над глубоко проложенными в урезах кабелями.

Тюфячными покрытиями из бетонных и железобетонных блоков, асфальтобетонных матов, гибких и хворостяных тюфячков при креплениях откосов и дна от размыва течением, а также откосов в пучинистых грунтах.

7.55. Для защиты дна и откосов на кабельных переходах через горные реки с течением до 5 м/с могут быть применены шарнирно соединенные бетонные блоки с размерами в плане от 0,5×0,5 до 1×1 м толщиной 15 - 30 см.

7.56. Работы по берегоукреплению производятся в соответствии с требованиями гл. 1 СНиП III-1-76 и гл. 45 СНиП III-45-76, а также гл. XIX «Технических указаний по производству и приемке работ при возведении морских и речных портовых сооружений».

ОГРАЖДЕНИЕ ПОДВОДНЫХ КАБЕЛЬНЫХ ПЕРЕХОДОВ

7.57. Зона выполнения подводных кабельных переходов ограждается на судоходных водных путях запрещающими знаками судоходной обстановки - «Подводный переход».

Знаки «Подводный переход» (створные столбы) устанавливаются в 100 м выше и ниже по течению от места расположения перехода на обоих берегах.

Знаки должны быть хорошо видны с судов. Диск знака должен иметь диаметр не менее 1,2 м и быть окрашен в соответствии с ГОСТ 20339-79 (перечеркнутый якорь). В темное время суток знаки должны освещаться по ГОСТ 13311 желтыми проблесковыми огнями, расположенными на дисках.

7.58. На судоходных каналах по согласованию с Районом гидросооружений допускается установка одного запрещающего знака по оси перехода, освещаемого в ночное время двумя вертикально расположенными на диске огнями желтого цвета.

7.59. На набережных стенках, облицованных гранитом и бетонными блоками, створные знаки устанавливаются непосредственно на стенках, в местах, недоступных для посторонних лиц.

Для освещения знаков проводка должна быть скрытой (в стальных трубах).

РАЗДЕЛ 8

ОБЩИЕ ТРЕБОВАНИЯ К МОНТАЖУ КАБЕЛЕЙ

ОБЩИЕ УКАЗАНИЯ

8.1. Требования настоящего раздела должны соблюдаться при монтаже муфт в процессе строительства новых и реконструкции действующих линейных сооружений магистральных и внутризоновых кабельных линий связи.

8.2. Монтаж кабельных муфт (соединение строительных длин, шагов, секций) должен производиться, как правило, сразу же после прокладки (протяжки, подвески) кабеля, что обеспечивает выполнение работ в соответствии с установленной технологической последовательностью.

8.3. Монтажные подразделения должны быть оснащены необходимыми механизмами, транспортными средствами, измерительными приборами, приспособлениями и соответствующим инструментом, обеспечены монтажными материалами, а при работе в полевых условиях - фургонами для жилья и бытовых нужд.

8.4. Температура окружающей среды, при которой осуществляется монтаж кабеля, должна соответствовать нормам, обусловленным в ГОСТ (ТУ) на данный тип кабеля. В необходимых случаях палатка или колодец должны обогреваться паяльными лампами, а концы кабеля перед выкладкой и разделкой - прогреты.

8.5. Радиус изгиба кабелей при выкладке их в котловане (колодце), разделке концов и монтаже, как правило, должен соответствовать табл. 8.1.

Таблица 8.1

Радиусы изгиба кабелей

Тип кабеля

Минимальный радиус изгиба, мм

симметричных кабелей

коаксиальных кабелей

1×4×1,2

4×4×1,2

7×4×1,2

КМ-8/6

-

-

-

1000

КМ-4

-

-

-

800

КМА-4

-

-

-

800

КМЭ-4

-

-

-

800

МКТС-4

-

-

-

700

МКТА-4

-

-

-

700

ВКПА-2,1/9,7

-

-

-

350

МКСАШп

210

330

405

-

МКСАБпШп

375

525

600

-

МКСАКпШп

-

615

750

-

МКСАБп

-

525

600

-

МКССтШп

-

375

420

-

ЗКАШп, ЗКАБп

270

-

-

-

Примечание. Допустимый радиус изгиба низкочастотных кабелей в алюминиевой оболочке типа ТЗА, ТЗПА определяется по соотношению между минимально допустимым радиусом изгиба и диаметром кабеля по алюминиевой оболочке: для кабелей диаметром до 30 мм это соотношение должно быть не менее 15, а свыше 30 мм - не менее 20. Для кабелей в свинцовой оболочке типа ТЗ, ТДС это соотношение должно быть не менее 12,5.

В исключительных случаях допускается отклонение от этих значений, но при этом минимальный радиус изгиба должен быть не менее допустимого по ГОСТ и ТУ для данного типа кабеля.

8.6. В особо неустойчивых грунтах (болото, трясина) муфты, пупиновские ящики и удлинители должны устанавливаться на сваях или железобетонных плитах, количество и размеры которых определяются проектом.

В отдельных случаях по разрешению организации, эксплуатирующей автомобильную дорогу, допускается выноска муфт на ее обочину или откос дороги.

8.7. При выполнении монтажно-спаечных работ должны применяться припои:

а) ПОССу-30-2 для залуживания и пайки свинцовых муфт, пупиновских ящиков, удлинителей, бандажей на броне кабеля, вводных трубок боксов, кабельных ящиков, корпуса ОГКМ и т.д.;

б) ПОССу-40-2 для пайки симметричных жил, контактных штифтов, экранных лент кабелей;

в) ПОССу-61-0,5 для пайки коаксиальных пар.

Форма 8.1

(Составляется в двух экземплярах)

экз. № ______

ПАСПОРТ

на монтаж прямой муфты № _______

Объект _____________________________    Завод ________________________________

Участок ____________________________                                                                            _____________________________________

Кабель № ___________________________    Дата монтажа «____» ___________ 198__ г.

Марка кабеля _______________________

Четверки №№ _______________________ соединены по оператору _________________

Данные с мерных лент

Место расположения ленты

Сторона А, конец кабеля _______

Сторона Б, конец кабеля _______

Под оболочкой

 

 

Поверх коаксиальных пар:

 

 

2,6/9,4

 

 

1,2/4,6

 

 

Фамилия и подпись монтажника ______________________________ (______________)

Форма 8.2

(Составляется в двух экземплярах)

экз. № ______

ПАСПОРТ

на монтаж сложной (стыковой) муфты

Объект _____________________________    Измеритель ___________________________

Усилительный участок _______________     Монтажник ___________________________

Кабель № ___________________________    Дата монтажа «____» ___________ 198__ г.

Муфта № ___________________________

Расцветка четверок и жил

Расцветка четверки

Жилы

1

2

3

4

6

6

7

1

2

3

4

 

 

 

 

 

 

 

 

 

 

 

 

 

Внутричетверочные комбинации

Номер четверки со стороны

Оператор

Параметры контура

Схема контура

Примечание

А

Б

включение между жилами

сопротивление, Ом

число резисторов

емкость, пФ

число конденсаторов

 

 

 

 

 

 

 

 

 

 

Межчетверочные комбинации

№ п.п.

Включение контура между смежными парами

Параметры контура

Схема контура

Примечание

номер четверки и жилы

номер четверки и жилы

сопротивление, Ом

число резисторов

емкость, пФ

число конденсаторов

 

 

 

 

 

 

 

 

 

Данные с мерных лент: со стороны А _______________; со стороны Б _______________

Измеритель ________________ (подпись)    Монтажник __________________ (подпись)

Форма 8.3

(Составляется в двух экземплярах)

экз. № ______

ПАСПОРТ

на монтаж пупиновской муфты

Объект _____________________________    Измеритель ___________________________

Усилительный участок _______________     Монтажник ___________________________

____________________________________    Заводской номер муфты ________________

Кабель № ___________________________    Дата монтажа «____» ___________ 198__ г.

Муфта № ___________________________

Расцветка элементов кабеля

Счетные четверки (пары) в повивах

Жилы в четверке (паре)

Примечание

центральная

1

2

3

1

2

3

4

 

 

 

 

 

 

 

 

 

Данные монтажа

Номер четверки со стороны

Номер пупиновской катушки

Оператор

Параметры контура противосвязи

Схема контура

Примечание

А

Б

включение между жилами

сопротивление, Ом

число резисторов

емкость, пФ

число конденсаторов

 

 

 

 

 

 

 

 

 

 

 

Данные с мерных лент: со стороны А _______________; со стороны Б _______________

Измеритель ________________ (подпись)   Монтажник __________________ (подпись)

8.8. В качестве флюсов при монтажно-спаечных работах должны применяться:

а) бескислотная паста типа ПБК-26М для залуживания стальной брони (приложение 3);

б) стеарин (стеариновая кислота) для пайки свинцовых муфт;

в) спиртовой раствор канифоли ФКСп для пайки медных токопроводящих элементов кабеля, контактных штифтов, медных экранных лент и т.д. (приложение 4).

8.9. Для изоляции сростков жил с пластмассовой изоляцией должны применяться полиэтиленовые гильзы, для жил с бумажной изоляцией - бумажные или полиэтиленовые гильзы, на симметричных парах коаксиальных кабелей - полиэтиленовые гильзы.

Допускается изоляция сростков симметричных жил со сплошной полиэтиленовой изоляцией путем обмотки их пластмассовыми лентами, покрытыми полиизобутиленовым компаундом. В этих случаях предпочтительно изолировать сростки токопроводящих элементов термоусаживаемыми трубками (гильзами).

8.10. На каждую смонтированную муфту (пупиновский ящик, удлинитель) должен быть составлен паспорт по установленной форме (ф. 8.1 - 8.3) в двух экземплярах, первый из которых следует вложить в муфту, а второй приобщить к исполнительной технической документации (см. п. 8.68).

8.11. Защитные чугунные (пластмассовые и другие) муфты, корпуса пупиновских ящиков и удлинителей должны быть залиты массой холодного отверждения или битумной массой (МБ-70/60; МБ-90/75; битум № 4), разогретой до температуры 130 - 140 °С и остуженной перед заливкой до температуры:

а) 75 - 80 °С на кабелях с полиэтиленовыми шланговыми покровами и одночетверочных кабелях всех типов;

б) 90 °С на кабелях с полистирольной и полиэтиленовой изоляцией (емкостью 4×4 и более);

в) 110 - 120 °С на всех других кабелях.

8.12. Контроль качества работ по монтажу муфт должен осуществляться непосредственно исполнителем (самоконтроль), руководителями монтажного подразделения (мастером, прорабом), представителями технадзора (заказчика, эксплуатационной организации).

8.13. Применяемые спайщиком инструмент и монтажные детали, должны быть чистыми и просушены над пламенем паяльной лампы (газовой горелки). Руки спайщика должны быть тщательно вымыты и насухо вытерты.

ПОДГОТОВИТЕЛЬНЫЕ МЕРОПРИЯТИЯ

8.14. Подготовительные мероприятия по организации и проведению монтажных работ должны быть направлены на обеспечение их выполнения в установленный срок при высоком качестве.

8.15. Для выполнения полного комплекса работ по монтажу, симметрированию и электрическим измерениям магистральной или внутризоновой кабельной линии должны быть организованы монтажно-измерительные колонны (МИК).

В зависимости от типа кабеля и трудоемкости монтажных работ МИК создаются для участков трассы протяженностью 180 - 300 км.

8.16. Монтажно-измерительная колонна должна быть укомплектована инженерами (техниками)-измерителями, мастерами, линейными механиками, спайщиками, подсобными рабочими, механизаторами шоферами и обслуживающим персоналом. Число ИТР и рабочих определяется объемом работ и сроками их выполнения. Возглавляется МИК старшим прорабом или прорабом.

8.17. На монтажно-измерительную колонну возлагается:

а) приемка в монтаж проложенных строительных длин кабеля;

б) рытье и последующая засыпка котлованов;

в) монтаж муфт всех назначений;

г) оборудование КИП (в местах, предусмотренных проектом);

д) установка замерных столбиков около муфт;

е) монтаж оконечных устройств и устройств АРУ;

ж) симметрирование и электрические измерения кабеля в процессе монтажа и на смонтированных усилительных участках;

з) испытания герметичности, монтаж оборудования для содержания кабеля под постоянным избыточным давлением и постановка смонтированного кабеля под постоянное избыточное газовое давление;

и) монтаж устройств для защиты кабеля от всех видов коррозии, опасных и мешающих влияний, ударов молнии; участие в проводимой заказчиком наладке установленного оборудования:

к) систематический контроль за качеством строительно-монтажных работ;

л) материально-технический и производственный учет и отчетность (в том числе ведение журнала производства работ, составление актов на скрытые работы, отчет о расходе материалов и т.д.);

м) составление исполнительной документации по монтажно-измерительным работам;

н) участие в сдаче выполненных работ рабочим комиссиям и построенных линейных сооружений в эксплуатацию.

8.18. Монтажно-измерительная колонна должна быть оснащена:

а) механизмами для земляных работ;

б) автотранспортом, оборудованным для перевозки людей, а также вывозки на трассу монтажных материалов, инструмента, палаток, монтажных козел и т.д.;

в) передвижными измерительными автофургонами;

г) насосами для откачки воды из котлованов (колодцев);

д) оборудованием для накачки кабеля сжатым воздухом;

е) инструментом и монтажными материалами;

ж) передвижными фургонами для жилья, складов и культурно-бытового обслуживания личного состава колонны;

з) оборудованием и приспособлениями по технике безопасности и противопожарной защите.

8.19. До начала монтажно-измерительных работ на кабельной линии руководители монтажных подразделений и непосредственные исполнители-прорабы, мастера, измерители-симметрировщики, кабельщики-спайщики - должны ознакомиться и изучить следующие документы, которыми надлежит руководствоваться в процессе производства работ:

а) план-график работ с указанием сроков их начала и окончания;

б) схему трассы кабельной линии с указанием нумерации усилительных пунктов и расстояний между ними;

в) схему прокладки строительных длин кабеля по усилительным участкам с указанием их длины, нумерации муфт, марок фактически проложенных кабелей, мест оборудования КИП;

г) схему расположения кабелей в траншее (при прокладке нескольких кабелей) и принятый порядок их нумерации; схему расположения кабелей, проложенных в каналах кабельной канализации, с указанием номеров колодцев, где должны быть смонтированы муфты;

д) схему пупинизации и симметрирования низкочастотных кабелей (цепей) с указанием номеров четверок (пар), подлежащих пупинизации, номинальной длины шага пупинизации, мест расположения катушек (ящиков) индуктивности (фактических длин шагов пупинизации), величины индуктивности катушек, количества точек симметрирования, номеров четверок, на которых должны быть образованы искусственные цепи, мест и типов подлежащих установке удлинителей;

е) чертежи поперечных разрезов подлежащих монтажу кабелей с указанием принятой нумерации токопроводящих элементов (четверок, пар), расцветки контрольных и счетных элементов в повивах, расцветки и нумерации жил в четверках;

ж) схему распайки кабелей в разветвительных муфтах и оконечных устройствах;

з) технологические документы (технологические карты, карты трудовых процессов и т.д.) по монтажно-измерительным работам, подлежащим выполнению на данной кабельной линии;

и) правила техники безопасности.

8.20. Каждому монтажно-измерительному подразделению до начала работ должны быть переданы:

а) журнал производства работ*;

б) единые и местные нормы времени и расценки;

в) нормы расхода материалов;

г) бланки технического учета, протоколов измерений и испытаний.

* Кроме того, на прорабском участке должен вестись «Общий журнал работ».

Непосредственно перед выездом на трассу линии для выполнения монтажных работ кабельщик-спайщик должен иметь:

а) данные о месте расположения концов кабеля, подлежащих сращиванию (номер муфты);

б) данные о величинах избыточного давления воздуха в сращиваемых отрезках кабеля, зафиксированные при последней проверке;

в) данные о сопротивлении изоляции изолирующих покровов в подлежащих сращиванию отрезках кабеля (в случаях, когда эти измерения осуществляются спайщиками);

г) бланки паспорта с указанием назначения муфты (прямая, стыковая и т.д.); схемы соединения жил в муфте; сведения о необходимости оборудования КИП, установки катушки индуктивности, разрядника и др.;

д) технологическую карту и карту трудового процесса монтажа муфты на кабеле данного типа;

е) комплект инструмента, материалов, приспособлений.

ПРИЕМКА ПРОЛОЖЕННОГО КАБЕЛЯ В МОНТАЖ

8.21. Строительные длины кабеля, проложенные в грунт или протянутые в каналах кабельной канализации, подлежат приемке в монтаж. Сдача кабеля в монтаж производится руководителем подразделения, осуществляющего прокладку, или лицом им уполномоченным.

8.22. Как правило, сдача кабеля в монтаж должна производиться после прокладки его на всем усилительном участке. В отдельных случаях допускается приемка группы строительных длин по мере их прокладки и подготовки, например на крупных речных переходах, городских участках с кабельной канализацией.

Форма 8.4

АКТ

приемки в монтаж строительных длин кабеля № ____, проложенного на усилительном участке магистрали _______________________

Дата предъявления «____» ___________ 198__ г.

I. Данные проверки

Дата

Номера строительных длин по укладочной ведомости

Длина по укладочной ведомости, м

Глубина прокладки кабеля на стыке, м

Размер перекрытия концов, м

Давление, кгс/см2

Испытательное напряжение, кВ

Сопротивление изоляции, МОм

Прозвонка жил и проводов

Заключение

по данным протокола

фактически при

первом контроле

втором контроле

 

 

 

 

 

 

 

 

 

 

 

 

 

II. Выводы

Строительные длины кабеля в количестве __________ шт. считать готовыми к монтажу

Строительные длины №№ ____________________________________________________

к монтажу не готовы и должны быть предъявлены повторно к сдаче в монтаж до _____

___________________________________________________________________________

________________ 19 ___ г.

Сдал: представитель СМУ _____________________ (________________)

Принял: представитель СМУ ___________________ (________________)

«____» ___________ 198__ г.

III. Повторная проверка

Дата повторного предъявления «____» ___________ 198__ г.

Дата

Номера строительных длин по укладочной ведомости

Длина по укладочной ведомости, м

Глубина прокладки кабеля на стыке, м

Размер перекрытия концов, м

Давление, кгс/см2

Испытательное напряжение, кВ

Сопротивление изоляции, МОм

Прозвонка жил и проводов

Заключение

по данным протокола

фактически

 

 

 

 

 

 

 

 

 

 

 

 

Строительные длины кабеля №№ _____________________________________________

на участке _________________ в количестве __________ длин в том числе признанные

готовыми к монтажу согласно данным раздела I, принять в монтаж.

Укладочные ведомости на __________ листах получены.

Замерные столбики в количестве _______ шт. получены.

Сдал: представитель СМУ _____________________ (________________)

Принял: представитель СМУ ___________________ (________________)

«____» ___________ 198__ г.

8.23. Одновременно с предъявлением в монтаж кабеля монтажному подразделению должны быть переданы:

а) укладочные ведомости, составленные по форме 4.5 с указанием величин избыточного давления, сопротивления изоляции шланговых покровов в каждой строительной длине и разбивкой по шагам пупинизации;

б) протоколы измерений и испытаний строительных длин по форме 4.2;

в) заводские паспорта (протоколы, сертификаты) на строительные длины кабеля.

8.24. При приемке кабеля в монтаж подлежит проверке:

а) соответствие длин усилительных участков проектным;

б) соблюдение номинальных длин шагов пупинизации;

в) герметичность оболочки;

г) электрическое сопротивление изоляции шланговых покровов;

д) электрическая прочность и электрическое сопротивление изоляции, а также целость всех жил (проводников) и экранов;

е) глубина заложения кабеля в местах стыка строительных длин;

ж) достаточность перекрытия концов кабелей в месте стыка строительных длин;

з) правильность расположения кабелей в траншее;

и) соблюдение требований по группированию строительных длин;

к) наличие и правильность временной нумерации муфт (на стыках длин).

Строительные длины, не соответствующие перечисленным требованиям, подлежат повторной приемке.

8.25. Приемка кабеля в монтаж оформляется актом по форме 8.4. Акт составляется в четырех экземплярах (по два для каждой стороны).

НУМЕРАЦИЯ УСИЛИТЕЛЬНЫХ (РЕГЕНЕРАЦИОННЫХ) ПУНКТОВ КОНЦОВ КАБЕЛЯ, ШАГОВ ПУПИНИЗАЦИИ, КАБЕЛЕЙ В ТРАНШЕЕ, МУФТ, ПАР И ЧЕТВЕРОК КАБЕЛЯ

8.26. В процессе выполнения монтажных работ должен соблюдаться следующий единый порядок нумерации отдельных элементов кабельной линии:

а) нумерация обслуживаемых усилительных (регенерационных) пунктов (ОУП, ОРП, ОП, ПП) - от административного центра высшего значения (пункта А) к административному центру низшего значения (пункт Б) для радиальных кабельных линий и по движению часовой стрелки для кольцевых линий; на линиях, соединяющих административные центры примерно одинакового значения - с севера на юг и с запада на восток; для линий связи вдоль продуктопроводов (газопроводов, нефтепроводов и т.д.) - по ходу продукта в трубопроводе;

б) нумерацию необслуживаемых усилительных (регенерационных) пунктов (НУП, НРП) следует вести внутри каждого участка ОУП - ОУП (ОРП - ОРП) в возрастающем порядке и записывать дробным числом; при этом в числителе указывается очередной (порядковый) номер НУП, НРП, а в знаменателе - низший порядковый номер ОУП (рис. 8.1). Нумерация усилительных пунктов должна быть указана в проектной документации;

Рис. 8.1. Порядок нумерации:

а - ОУП и НУП; б - муфт на высокочастотном кабеле; в - муфт на низкочастотном кабеле; г - шагов и муфт на комбинированном симметричном кабеле; д - стыковых и прямых муфт на коаксиальном кабеле; е - дополнительных муфт

в) стороной А (в любой точке кабельной линии следует считать усилительный пункт низшего порядкового номера, а стороной Б - высшего;

г) концы кабелей в котловане (колодце) следует именовать: конец стороны A (A1, A2, А3) - входящий кабель, а конец стороны Б (Б1, Б2, Б3) - исходящий кабель (рис. 8.2);

Рис. 8.2. Обозначение концов кабеля в котловане

д) концы кабелей при их разделке на оконечные устройства в ОУП (НУП, ОП) разделяются на входящие - А (A1, А2, А3 и т.д.) и исходящие - Б (Б1, Б2, Б3 и т.д.);

е) концом А строительной длины кабеля следует именовать тот, у которого жилы в звездной четверке расположены по часовой стрелке в следующем порядке: красная - зеленая - желтая - синяя; на конце Б данной строительной длины жилы соответственно располагаются (по часовой стрелке); красная - синяя - желтая - зеленая.

Примечание. Следует строго разграничивать два понятия: конец А (или Б) и конец стороны А (или Б); при этом не имеет значения, где находится данный конец кабеля: на барабане - вверху или внизу, проложен в сторону центра или периферии и т.д. В зависимости от порядка намотки кабеля на барабан или направления размотки кабеля при прокладке это может быть либо конец А, либо конец Б.

ж) в четверке звездной скрутки красная и желтая жилы соответственно нумеруются первой и второй, а синяя и зеленая третьей и четвертой; красная и желтая жилы образуют первую пару (данной четверки), а синяя и зеленая жилы - вторую пару;

з) счет повивов в кабеле, как правило, должен вестись от центра к оболочке, счет четверок и пар в сердечнике кабеля, как правило, следует вести сквозной от центра к периферии; в каждом повиве имеется одна контрольная счетная четверка (группа), отличающаяся по расцветке от всех остальных, и рядом с ней четверка (группа), указывающая направление счета. В симметричных кабелях на концах А счет следует вести по часовой стрелке, на концах Б - против часовой стрелки (рис. 8.3);

Рис. 8.3. Порядок нумерации элементов в симметричном кабеле

и) счет кабелей в траншее (при прокладке нескольких кабелей) следует вести слева направо, если смотреть в направлении возрастающих номеров усилительных пунктов;

к) счет шагов пупинизации и счет муфт внутри шага следует вести в том же направлении, что и усилительных пунктов.

8.27. На магистральных и внутризоновых кабельных линиях связи при выполнении монтажно-измерительных работ следует руководствоваться следующей нумерацией (счетом) четверок и пар:

а) в высокочастотных симметричных кабелях с кордельно-полистирольной изоляцией жил типа МКС, МКСА, МКССт емкостью 4×4×1,2 красная четверка считается первой, зеленая - второй, синяя - третьей и желтая - четвертой. В кабелях этого типа емкостью 7×4×1,2 счетная четверка - красная, а направляющая - зеленая; остальные четверки в повиве должны иметь различную цветку;

б) в низкочастотных кабелях типа ТЗ, ТЗА, ТДС следует руководствоваться п. 8.26, з;

в) в коаксиальном кабеле типа КМ-4, КМА-4 желтая (центральная) звездная четверка считается первой, красная - второй, зеленая (синяя) - третьей, белая - четвертой, коричневая (черная) пятой. Первая коаксиальная пара расположена между красной и зеленой (синей) четверками, вторая - между белой и коричневой (черной), третья - между зеленой (синей) и белой, четвертая - между коричневой (черной) и красной (рис. 8.4);

Рис. 8.4. Нумерация элементов в кабеле КМ-4

г) в малогабаритном коаксиальном кабеле типа МКТС-4, МКТА-4: в отличие от общепринятой системы центральная пара считается 5-й, красно-белая пара - 1-й, зелено-белая - 2-й, сине-белые - 3-й и 4-й; первая коаксиальная пара расположена между 1-й и 2-й симметричными парами, вторая пара - между 2-й и 3-й и далее по часовой стрелке (рис. 8.5);

Рис. 8.5. Нумерация элементов в кабеле МКТ-4

д) в коаксиальном кабеле типа КМ-8/6 первая и вторая пары расположены в центре (обычная звездная четверка); в первом повиве расположены шесть коаксиальных пар 1,2/4,6 и шесть одиночных жил следующих расцветок: 1-я - красная; 2-я - зеленая, остальные синие; первая коаксиальная пара 1,2/4,6 расположена между 1- и 2-й жилами, вторая пара - между 2- и 3-й жилами, остальные пары - по часовой стрелке; во втором (верхнем) повиве расположены восемь коаксиальных пар 2,6/9,4 и восемь симметричных пар, причем красно-белая пара считается третьей, зелено-белая - четвертой, а остальные сине-белые - с пятой по десятую; первая коаксиальная пара 2,6/9,4 расположена между 3- и 4-й симметричными парами, вторая - между 4- и 5-й, а остальные - по окружности верхнего повива (рис. 8.6).

Рис. 8.6. Нумерация элементов в кабеле КМ-8/6

РЫТЬЕ КОТЛОВАНОВ И ПОДГОТОВКА РАБОЧЕГО МЕСТА

8.28. Для выполнения работ по монтажу муфты, укладки ее после монтажа и выкладки запаса кабеля на случай вскрытия в процессе эксплуатации должен быть вырыт котлован.

При разработке котлованов должны быть приняты меры, исключающие повреждение концов кабеля (особенно пластмассовых шланговых покровов), для чего необходимо:

а) рытье котлована на полную глубину производить в стороне от оси трассы кабельной линии (рис. 8.7);

б) непосредственно над кабелем снимать грунт с особой осторожностью, не допуская применения ударных инструментов и резких заглублений лопаты.

Рис. 8.7. Расположение котлована при откопке кабеля

8.29. Как правило, котлован следует располагать так, чтобы его продольная ось была смещена в сторону поля от оси трассы кабельной линии на 300- 500 мм. При необходимости монтажа в одном котловане двух и более муфт котлованы могут быть вырыты таким образом, чтобы муфты располагались по обе стороны от оси трассы. Для спуска в котлован в грунте должны быть сделаны ступеньки на торцевой стороне котлована; вход в котлован должен быть расположен на стороне, противоположной направлению ветра.

8.30. Формы котлованов показаны на рис. 8.8, а их размеры должны соответствовать табл. 8.2. Глубина котлованов должна быть на 110 см больше проектной глубины заложения кабеля.

Рис. 8.8. Форма и размеры котлованов для монтажа муфт:

а - при выкладке запаса кабеля в одну сторону от оси трассы; б - при выкладке кабеля в обе стороны

Таблица 8.2

Размеры котлованов для монтажа муфт, м (по дну)

Число муфт, тип кабеля

При выкладке кабеля на одну сторону от оси трассы (рис. 8.8, а)

При выкладке кабеля по обе стороны от оси трассы (рис. 8.8, б)

а

б

в

г

д

объем грунта

а

б

в

г

д

объем грунта

На симметричном кабеле:

 

 

 

 

 

 

 

 

 

 

 

 

одна

1,6

1,4

0,3

0,3

0,45

2,42 h*

-

-

-

-

-

-

две

2,2

1,5

0,35

0,3

0,4

3,51 h

1,6

1,5

0,35

0,3

0,75

2,61 h

три

2,2

1,7

0,35

0,3

0,4

3,95 h

1,6

1,7

0,35

0,3

0,85

2,93 h

четыре

2,2

1,9

0,35

0,35

0,4

4,39 h

1,6

1,9

0,35

0,35

0,95

3,29 h

Одна на коаксиальном кабеле:

 

 

 

 

 

 

 

 

 

 

 

 

КМБ-8/6

3,2

2,5

0,3

0,3

0,45

8,2 h

-

-

-

-

-

-

КМБ-4

3,0

1,5

0,3

0,3

0,45

4,68 h

-

-

-

-

-

-

КМА-4

3,0

1,5

0,3

0,3

0,45

4,68 h

-

-

-

-

-

-

МКТ-4

2,2

1,5

0,35

0,3

0 4

3,51 h

-

-

-

-

-

-

МКТА-

3,0

1,5

0,3

0,3

0,45

4,68 h

-

-

-

-

-

-

ВКПА

1,0

1,0

0,3

0,2

0,3

1.15 h

-

-

-

-

-

-

8.31. Стенки котлована должны иметь откосы, а в слабых грунтах должны быть укреплены досками или заранее подготовленными щитами в соответствии с разд. 5 настоящего Руководства. В сыром грунте со значительным поступлением воды в одном из углов котлована (ближе ко входу) следует выкопать приямок глубиной 0,4 - 0,6 м для сбора и отлива (откачки) воды во время монтажа.

8.32. Перед началом работ в колодце кабельной канализации необходимо:

установить оградительный знак;

при помощи газоанализатора проверить, нет ли в колодце взрывоопасных и других вредных газов и провентилировать его;

при наличии воды откачать ее и просушить колодец (особенно потолок);

установить лестницу;

оборудовать освещение.

8.33. До разделки концов кабеля над местом монтажа (котлованом, колодцем) должна быть установлена специальная палатка. Вход в палатку должен быть вдоль трассы линии со стороны, противоположной направлению ветра. Края палатки по всему периметру (кроме входа) следует прижать к поверхности грунта. Спаечный инструмент и монтажные детали должны быть расположены внутри палатки (колодца) на клеенке.

ПРОВЕРКА КАБЕЛЯ ПЕРЕД МОНТАЖОМ

8.34. Непосредственно перед подготовкой концов кабелей к монтажу следует проверить величину избыточного давления воздуха в подлежащих сращиванию отрезках кабелей (строительных длинах, шагах, секциям), а также измерить сопротивление изоляции защитных изолирующих покровов. Если давление соответствует ранее зафиксированным данным, а сопротивление изоляции находится в пределах нормы, концы кабеля подготавливают к монтажу. Если хотя бы в одном из кабелей величина давления или сопротивление изоляции не соответствуют необходимым требованиям, вскрытие концов для монтажа не производится до устранения выявленных недостатков.

8.35. В качестве заземления при измерениях сопротивления изоляции защитных покровов сращиваемых отрезков кабеля используется забитый в землю стальной стержень любого профиля длиной 0,5 - 0,7 м.

Способ устранения повреждений на шланге изложен в разд. 12.

8.36. Если в процессе приемки кабеля в монтаж были проведены электрические измерения элементов сердечника кабеля, повторные измерения непосредственно перед монтажом не производят. В противном случае должна быть сделана проверка целости жил и экрана (прозвонка), измерено электрическое сопротивление изоляции, а в коаксиальных парах и электрическая прочность.

Схема прозвонки кабеля показана на рис. 8.9. Электрические измерения должны соответствовать требованиям разд. 16 настоящего Руководства. Результаты прозвонки и измерений должны быть зафиксированы в протоколах по установленным формам.

Рис. 8.9. Схема прозвонки элементов кабеля

8.37. Если в процессе прозвонки и измерений хотя бы в одном из кабелей проверяемые параметры окажутся не соответствующими необходимым требованиям, монтаж муфты не производится до устранения выявленных недостатков.

ПОДГОТОВКА И РАЗДЕЛКА КОНЦОВ КАБЕЛЯ

8.38. Выложить кабели на дне котлована (рис. 8.10) так, чтобы сращиваемые концы перекрывали друг друга в соответствии с размерами, приведенными в табл. 8.3.

Рис. 8.10. Расположение муфт в котловане:

а - в одну сторону от оси трассы; б - в обе стороны

Расстояние от оси трассы кабеля до продольной оси муфты при одном кабеле должно быть не менее приведенного в табл. 8.3. При расположении в одном котловане нескольких муфт выкладку концов всех кабелей следует произвести до начала монтажа, при этом вторая и последующие муфты должны быть смещены в направлении от оси трассы на 20 - 30 см одна от другой. Как правило, муфты должны быть расположены в шахматном порядке, их поперечные оси следует сдвинуть относительно друг друга примерно на 1,2 длины защитной чугунной (пластмассовой) муфты (см. рис. 8.10, а).

При выкладке следует соблюдать минимально допустимый радиус изгиба кабеля (см. п. 8.5).

Таблица 8.3

Размеры перекрытия и выкладки концов кабелей в котлованах

Тип кабеля

Емкость

Метод монтажа

Размер перекрытия концов кабелей после выкладки, мм, для муфты

Минимальное расстояние от оси трассы линии до продольной оси муфты

прямой

симметрирующей (стыковой

МКС

1×4

Пайка

160

190

350

4×4

260

350

400

7×4

300

МКСА

1×4

Клеевой

200

200

350

Опрессование

500

500

Пайка

160

190

4×4

Клеевой

220

280

400

Опрессование

300

400

Пайка

220

310

7×4

Клеевой

300

400

400

Пайка

300

300

МКССт

4×4

Пайка

300

400

7×4

300

400

ЗКП, ЗКВ

1×4

Сварка

400

400

350

Заливка компаундом

3000

3000

1400

ЗКПА

1×4

Клеевой

200

200

350

Опрессование

260

500

ТЗ, ТЗА

До 7×4

Пайка

300

300

350

14×4 более

400

400

400

ВКПА

-

Опрессование

400

-

400

МКТС-4

-

Пайка

300

-

700

МКТА-4

-

Клеевой

400

-

700

КМ-4

-

Пайка

1100

1100

709

КМА-4

-

Клеевой

1100

1100

750

КМ-8/6

-

Пайка

1700

1700

1400

8.39. В месте, где намечается середина муфты, на каждый конец кабеля наложить бандаж из шпагата (или обрезков кабельных жил); при этом расстояние от бандажа до конца кабеля должно быть на 10 - 15 см больше половины длины муфты.

8.40. На дно котлована установить монтажный станок или монтажные козлы; расстояние между козлами должно быть на 2 - 3 см больше длины защитной муфты. Концы кабелей уложить на монтажный станок или козлы таким образом, чтобы сделанные на них отметки середины сростка совпадали (рис. 8.11), и временно закрепить их. В колодцах кабельной канализации концы кабелей укладывают на консоли и, при необходимости прикрепляют к ним.

Рис. 8.11. Укладка концов кабеля на монтажные козлы

Таблица 8.4

Размеры разделки концов кабелей в свинцовой оболочке

Тип кабеля

Назначение муфты

Размеры разделки, мм (рис. 8.12)

Расстояние между местами среза оболочек (рис. 8.12, д)

а - от середины сростка до обреза наружного покрова

б - от обреза наружного покрова до обреза бреши

в - от обреза брови до обреза оболочки

г - от обреза оболочки до середины сростка

МКС-1×4

Прямая и стыковая

135

25

55

55

110

МКС-4×4

Прямая

160

25

55

80

160

Стыковая

210

25

65

120

240

МКС-7×4

Прямая

195

30

70

95

190

Стыковая

230

30

80

120

240

МКТС-4

Прямая

180

25

60

95

190

КМ-4

Прямая и стыковая

350

30

70

250

500

КМ-8/6

Прямая и стыковая

390

50

90

250

500

Рис. 8.12. Размеры разделки концов кабеля в свинцовой оболочке:

1 - жилы; 2 - оболочка; 3 - стальные ленты брони; 4 - пряжа


Таблица 8.5

Размеры разделки концов кабеля в алюминиевой оболочке при монтаже клеевым методом или пайкой

Марка кабеля

Метод сращивания оболочки

Способ восстановления защитного покрова

Назначение муфты

Конец кабеля со стороны

Размеры разделки, мм (рис. 8.13)

Расстояние между местами среза оболочек, мм

Тип защитной чугунной муфты

а - от середины сростка до бандажа на пряже защитного покрова или обреза наружного шланга

от бандажа на пряже защитного покрова или от обреза наружного шланга до места обреза

д - от обреза шланга до обреза оболочки

е - от обреза оболочки до середины сростка

пряжи (б)

брони (в)

подброневого покрова или шланга (г)

КМАШп-4

Клеевой

Комбинированный

Прямая и пупиновская

А и Б

330

-

-

-

80

250

500

Не устанавливается

А

730

400

400

400

80

250

500

МЧ-85

Б

1030

700

700

700

80

250

500

КМАБп-4 МКТАШп-4

Прямая

А и Б

175

-

-

-

80

95

190

Не устанавливается

МКТАБп-4

А

605

430

430

430

80

95

190

МЧ-65

Б

805

630

630

630

80

95

190

МКСАШп-1×4×1,2

Клеевой

Холодный и горячий

Прямая и симметрирующая

А и Б

115

-

-

-

60

55

110

МЧ-35*

Пайка

115

-

-

-

60

55

110

МКСАБпШп-1×4×1,2

Клеевой

Холодный

175

-

25

60

60

55

110

МЧ-35**

Горячий

155

 

25

40

60

55

110

Пайка

Холодный и горячий

170

-

25

55

60

55

110

МКСАШп-4×4×1,2

Клеевой

Прямая

150

-

-

-

70

80

160

МЧ-50*

Симметрирующая

190

-

-

-

70

120

240

Пайка

Прямая

235

-

-

-

155

80

160

Симметрирующая

290

-

-

-

170

120

240

МКСАБп-4×4×1,2

Клеевой

Холодный

Прямая

215

5

30

65

70

80

160

МЧ-50

Горячий

235

5

30

85

70

80

160

Холодный

Симметрирующая

255

5

30

65

70

120

240

МЧ-65

Горячий

275

5

30

85

70

120

240

Пайка

Холодный и горячий

Прямая

240

5

30

85

75

80

160

МЧ-50

Симметрирующая

295

5

30

100

75

120

240

МЧ-50***

МКСАБпШп-4×4×1,2

Клеевой

Холодный

Прямая

210

-

25

60

70

80

160

МЧ-50

Горячий

190

-

25

40

70

80

160

МЧ-65

Холодный

Симметрирующая

250

-

25

60

70

120

240

Горячий

230

-

25

40

70

120

240

МЧ-75

Пайка

Холодный и горячий

Прямая

195

-

25

40

75

80

160

МЧ-50***

Симметрирующая

235

-

25

40

75

120

240

МЧ-65****

МКСАШп-7×4×1,2

Клеевой

Прямая

175

-

-

-

80

95

190

МЧ-50

Симметрирующая

200

-

-

-

80

120

240

МЧ-75

МКСАБп-7×4×1,2

Холодный

Прямая

240

5

30

65

80

95

190

МЧ-65

Горячий

265

5

30

90

80

95

190

Холодный

Симметрирующая

265

5

30

65

80

120

240

МЧ-75

Горячий

290

5

30

90

80

120

240

МКСАШпБп-7×4×1,2

Холодный

Прямая

235

-

25

60

80

95

190

МЧ-65

Горячий

215

-

25

40

80

95

190

МЧ-75

Холодный

Симметрирующая

260

-

25

60

80

120

240

Горячий

240

-

25

40

80

120

240

МЧ-85

ЗКАШп-1×4×1,2

Холодный

Прямая и симметрирующая

145

-

-

-

60

85

170

МЧ-35

Горячий и ТУТ

145

-

-

-

60

85

170

Не устанавливается

ЗКАБп-1×4×1,2

235

5

30

90

60

85

170

МЧ-50

Холодный

210

5

30

65

60

85

170

* При горячем способе восстановления изолирующих покровов чугунная муфта не устанавливается.

** При горячем способе устанавливается муфта МЧ-50.

*** При горячем способе устанавливается муфта МЧ-65.

**** При горячем способе устанавливается муфта МЧ-75.


Рис. 8.13. Разделка концов кабеля в алюминиевой оболочке при монтаже клеевым способом или пайкой:

1 - наружный покров (пряжа или полиэтилен); 2 - броня; 3 - полиэтиленовый шланг; 4- алюминиевая оболочка; 5 - поясная изоляция; 6 - жилы

Рис. 8.14. Разделка концов кабеля в алюминиевой оболочке при монтаже муфт методом опрессования:

а - бронированного (МКСАБпШп); б - без брони (МКСАШп)

8.41. Размеры разделки концов кабеля в зависимости от марки кабеля, типа муфты, метода сращивания оболочки и способа восстановления изолирующего защитного покрова приведены в табл. 8.4 - 8.8 и рис. 8.12 - 8.16.


Таблица 8.6

Размеры разделки концов кабеля для сращивания алюминиевой оболочки методом опрессования

Марка кабеля

Назначение муфты

Способ восстановления защитного покрова

Конец кабеля со стороны

Размеры, мм

Тип чугунной муфты

а - от середины сростка до обреза наружного покрова

б - от обреза наружного покрова до обреза брони

в - от обреза брони до обреза подброневого шланга

г - от обреза шланга (по оболочке) до обреза оболочки

д - от обреза оболочки до середины сростка

между обрезами оболочек

между обрезами наружного покрова

е - до расширения оболочки

е1 - после расширения оболочки

ж - до расширения оболочки

ж1 - после расширения оболочки

МКСАШп-1×4×1,2

Прямая

Горячий и холодный

А

230

-

-

175

55

110

110

385

375

Не устанавливается

Б

155

-

-

100

55

То же, с выводом КИП

Холодный

А

230

-

-

175

55

110

110

385

375

МЧ-50

Б

155

-

-

100

55

Симметрирующая

Горячий и холодный

А и Б

185

-

-

100

85

170

170

370

360

МЧ-50

МКСАБпШп-1×4×1,2

Прямая

А

245

Броня не обрезается

90

100

55

110

110

440

430

Не устанавливается

Б

195

25

15

100

55

То же, с выводом КИП

Холодный

А

245

25

15

100

55

110

110

440

430

МЧ-65

Б

195

25

15

100

55

Симметрирующая

А

275

25

15

100

85

170

170

500

490

МЧ-65

Б

225

25

15

100

85

МКСАШп-4×4×1,2

Прямая

Холодный и горячий

А и Б

180

-

-

105

75

150

170

360

360

МЧ-50*

Симметрирующая

А и Б

280

-

-

105

175

350

370

560

560

МЧ-65**

МКСАБп-4×4×1,2

Прямая

Холодный

А

345

25

140

105

75

150

170

565

565

МЧ-65

Б

220

25

15

105

75

Горячий

А

345

25

140

105

75

150

170

600

600

МЧ-65

Б

255

25

50

105

75

Симметрирующая

Холодный

А и Б

320

25

15

105

175

350

370

640

640

МЧ-75

Горячий

А и Б

355

25

50

105

175

350

370

710

710

МКСАБпШп-4×4×1,2

Прямая

Холодный и горячий

А

345

25

140

105

75

150

170

565

565

МЧ-65**

Б

220

25

15

105

75

Симметрирующая

А и Б

320

25

15

105

175

350

370

640

640

МЧ-75

ЗКАШп-1×4×1,2

Прямая

Горячий

А

230

-

-

180

50

100

110

380

380

Не устанавливается

Б

150

-

-

100

50

Симметрирующая

А и Б

150

-

-

100

50

100

110

300

300

* При горячем способе восстановления изолирующих покровов устанавливается муфта МЧ-65.

** При горячем способе восстановления изолирующих покровов устанавливается муфта МЧ-75.


Таблица 8.7

Размеры разделки концов кабеля в стальной оболочке

Марка кабеля

Тип муфты

Размеры, мм (рис. 8.15)

Тип чугунной муфты

а

б

в

МКССтШп-4×4×1,2

Прямая

140

60

80

МЧ-50

Симметрирующая

180

60

120

МЧ-65

МКССтШп-7×4×1,2

Прямая

165

65

100

МЧ-65

Симметрирующая

190

65

125

МЧ-75

Рис. 8.15. Разделка концов кабеля в стальной гофрированной оболочке:

1 - полиэтиленовый шланг; 2 - стальная оболочка; 3 - проволоки бандажа для перепайки оболочки и экрана; 4 - алюминиевые ленты экрана; 5 - экранные проволоки; 6 - поясная изоляция; 7 - жилы

Таблица 8.8

Размеры разделки концов кабеля МКСАСтпШп-4×4×1,2

Способ сращивания алюминиевой оболочки

Назначение муфты

Размеры, мм (рис. 8.16)

а

б

в

г

Горячая пайка

Прямая

160

310

340

390

Симметрирующая

240

390

420

470

Клеевой

Прямая

160

300

330

380

Симметрирующая

240

380

410

460

8.42. Уложенные на козлы концы сращиваемых кабелей выровнять и нанести на них отметки среза наружного покрова. Эти и последующие отметки должны строго соответствовать размерам, приведенным в таблицах разделки концов.

Рис. 8.16. Разделка концов кабеля в алюминиевой оболочке и стальной гофрированной броне МКСАСтпШп-4×4×1,2:

1 - шланг; 2 - стальная гофрированная броня; 3 - шланг; 4 - алюминиевая оболочка; 5 - поясная изоляция; 6 - жилы

8.43. На расстоянии 5 - 10 мм от указанных отметок в направлении от середины сростка поверх покрова из пряжи наложить бандаж из четырех туго натянутых витков стальной отожженной проволоки диаметром 1 мм (допускается использование отходов жил кабеля). Концы проволок скрутить и отогнуть. Согласно отметкам наружный покров обрезать и удалить с концов кабеля.

Если поверх брони в кабеле с наружным покровом из пряжи имеются пластикатовые ленты, их следует смотать в рулончики и прикрепить к кабелю.

8.44. На наружный полиэтиленовый покров шлангового типа бронированных и небронированных кабелей бандаж не накладывается.

Удаление полиэтиленового шланга должно производиться путем кольцевого и продольного надрезов, сделанных при помощи разогретой стальной пластинки.

8.45. При наличии в кабеле с наружным полиэтиленовым шлангом наложенных поверх брони пластиковых лент, последние в процессе разделки концов следует подогреть пламенем паяльной лампы, размотать и удалить по линии обреза наружного шланга.

8.46. На стальную ленточную броню нанести отметки мест среза. На расстоянии 15 - 20 мм от отметок в сторону от середины сростка стальную броню зачистить до блеска и залудить припоем ПОССу-30-2, использовав в качестве флюса безкислотную пасту ПБК-26М. Применение в качестве флюса соляной кислоты запрещается. Залуживание должно охватить обе стальные ленты не менее чем на одну треть длины окружности кабеля с ленточной броней и не менее 50 % проволок кабеля с проволочной броней.

8.47. На залуженные места брони наложить бандаж из четырех туго натянутых витков медной луженой проволоки диаметром 1 - 1,2 мм; концы проволок скрутить, но не обрезать, так как они должны быть использованы для перепайки брони сращиваемых кабелей.

Перепайка брони сращиваемых кабелей с изолирующими покровами шлангового типа должна производиться изолированным проводом марки ПСП (ПРППМ), зачищенные и залуженные концы которого следует подложить под бандаж на броне и пропаять вместе с ним.

8.48. В муфтах, где предусмотрено устройство контрольно-измерительных пунктов (КИП), на конце кабеля стороны А под бандаж следует подложить зачищенный и залуженный конец выводного провода (рис. 8.17). При двухкабельной системе и наружном покрове из пряжи аналогично следует подложить под бандаж выводной провод на кабеле № 1 со стороны Б, причем противоположный конец этого провода должен быть припаян к бандажу на кабеле № 2 также со стороны Б; на кабеле № 2 со стороны А выводной провод не припаивается.

На кабелях с наружными изолирующими покровами шлангового типа (при двухкабельной системе) перепайка брони разных кабелей не производится и выводной проводник припаивается на каждом кабеле со стороны А.

Бандаж и конец выводного провода по всей залуженной поверхности брони припаять припоем ПОССу-30-2 с использованием пасты ПБК-26М.

Рис. 8.17. Устройство бандажа на броне кабеля и припайка провода КИП:

1 - наружный покров; 2 - бандаж; 3 - броня; 4 - подушка; 5 - оболочка

8.49. На расстоянии 8 - 10 мм от бандажа, в соответствии с размерами разделки концов кабеля, стальные ленты брони надрезать напильником, обломать и удалить; заусенцы удалить напильником.

8.50. Удалить подброневые покровы из бумажных лент или пряжи на расстоянии 3 - 5 мм от обреза брони. В кабелях с защитными покровами типа Бл (Б2л), находящихся в подброневом покрове, пластикатовые ленты следует слегка подогреть пламенем паяльной лампы, размотать, свернуть в рулончики и прикрепить временно к кабелю для последующего использования при восстановлении защитных покровов над сростком.

Освобожденную от стальной брони и подброневых покровов оболочку кабеля слегка прогреть пламенем паяльной лампы, ветошью, смоченной бензином, очистить от битума, промыть и протереть насухо; очистку оболочки металлическими предметами (ножом, ножовочным полотном и т.д.) производить запрещается.

Примечание. При удалении защитных (изолирующих) покровов в процессе разделки концов кабеля монтажник-спайщик обязав обратить внимание на качество наложения покровов: сплошность битумного состава, его прилипаемость (бумажные или пластмассовые ленты должны отрываться с некоторым усилием), вязкость (состав не должен быть хрупким и отламываться). При выявлении таких дефектов монтажник должен сообщить об этом руководителю монтажных работ, не приступая к монтажу муфты.

При разделке концов кабеля для сращивания алюминиевое оболочки методом горячей пайки подброневые покровы (битуминизированная бумага) на участке от обреза брони до обреза внутреннего шланга (наложенного по оболочке) следует удалять только после окончания всех горячих процессов (припайка бандажа на броне, залуживание оболочки, запайка свинцовой муфты), т.е. непосредственно перед восстановлением защитных покровов.

8.51. При разделке концов кабелей в свинцовой оболочке в соответствии с размерами, приведенными в табл. 8.7, нанести на оболочку сращиваемых кабелей места ее обреза, тщательно зачистить ее на расстоянии 15 - 25 мм от отметки и залудить припоем ПОССу-30-2.

8.52. По отметкам среза свинцовой оболочки сделать круговой надрез и от него к концу кабеля - два продольных надреза с расстоянием между ними 5 - 6 мм. Надрезанную полоску свинца удалить плоскогубцами (рис. 8.18), свинцовую оболочку раздвинуть и удалить с конца кабеля. Удаление свинцовой оболочки путем стаскивания ее с сердечника кабеля не рекомендуется.

Рис. 8.18. Удаление свинцовой оболочки

8.53. При разделке концов кабелей в алюминиевой оболочке на участке от обреза полиэтиленового шланга, наложенного на оболочку, до отметки места обреза оболочки следует напильником удалить выступающую часть сварного шва и зачистить поверхность всей оболочки.

8.54. Для удаления алюминиевой оболочки по ранее сделанной отметке сделать круговой надрез напильником или специальным устройством-труборезом; чтобы избежать повреждений поясной изоляции, надрез должен быть несквозным. В месте надреза алюминиевую оболочку слегка перегнуть до отделения от сердечника и аккуратно, продольно-круговыми движениями, стянуть с конца кабеля. С торца оболочки, при необходимости, осторожно удалить заусенцы.

При сращивании оболочки клеевым методом или горячей пайкой удаление оболочки рекомендуется производить после ее залуживания.

8.55. При разделке концов кабеля в стальной гофрированной оболочке необходимо:

а) надрезать и удалить полиэтиленовый шланг способом, изложенным в п. 8.44;

б) стальную оболочку очистить от битума ветошью, смоченной в бензине, и протереть ее сухой ветошью;

в) надвинуть на концы кабелей детали для восстановления изолирующего покрова и предварительно облуженные свинцовые детали (для прямой - свинцовую цилиндрическую муфту, для симметрирующей - конуса и цилиндр);

г) в месте удаления стальной гофрированной оболочки (см. табл. 8.7, рис. 8.15) по вершине гофра сделать напильником круговой надрез;

д) на длине 40 - 45 мм от надреза в сторону кабеля зачистить стальной щеткой поверхность оболочки, защищенную поверхность протереть ветошью, смоченной в бензине, и просушить;

е) в месте обреза полиэтиленового шланга намотать два-три слоя стеклоленты с захватом шланга на 10 - 15 мм.

8.56. Залудить концы стальной оболочки, для чего:

а) ранее зачищенную поверхность оболочки с помощью кисти покрыть паяльной пастой марки ПМКН-40 слоем толщиной 0,5 - 1,0 мм (см. приложение 5);

б) поверхность, покрытую пастой, равномерно прогреть пламенем паяльной лампы до воспламенения пасты и изменения ее цвета до коричневого;

в) прекратить нагрев и сразу же (не давая оболочке остыть) без нажима снять шлак флюса мягкой хлопчатобумажной тканью с залуженной поверхности;

г) повторить работы, изложенные в настоящем пункте.

Примечание. Обратить особое внимание на качественное залуживание сварного шва и нижней части оболочки.

8.57. В месте надреза оболочки кабель слегка перегнуть в разных плоскостях до отделения оболочки, после чего аккуратно стянуть ее с сердечника путем осторожного вращения в направлении наложения пластмассовой ленты таким образом, чтобы не повредить находящийся под ней алюминиевый экран.

Если оболочка не стягивается, ее следует надрезать в нескольких местах и удалять частями. Место среза стальной оболочки аккуратно зачистить от неровностей и заусенцев. Края среза должны быть не острыми. При обработке среза оболочки необходимо следить за тем, чтобы заусенцы и опилки не попали под оболочку кабеля.

8.58. Удалить с поверхности экрана пластмассовую ленту, обрезав ее заподлицо со срезом стальной оболочки.

8.59. На расстоянии 10 мм от среза оболочки обрезать алюминиевые ленты экрана и удалить их с концов кабеля. Расположенную под экранными лентами медную проволоку отогнуть в направлении от сростка.

8.60. Выступающие из-под стальной оболочки концы экранных лент залудить на 1/3 окружности припоем ЦОП-40 при помощи молоткового паяльника (способом натирания) (см. приложение 6).

8.61. У обреза алюминиевого экрана наложить бандаж из ниток на бумажные ленты поясной изоляции, оборвать ее около бандажа и удалить.

8.62. Разделку концов кабеля в алюминиевой оболочке и стальной гофрированной броне типа МКСАСтпШп в зависимости от метода сращивания оболочки следует производить по размерам, приведенным в табл. 8.8 (рис. 8.16).

8.63. После удаления наружного полиэтиленового шланга очистить стальную гофрированную броню от битума ветошью, смоченной в бензине, и протереть насухо. Нанести отметки среза брони и трехгранным напильником сделать кольцевой надрез.

8.64. Залудить гофрированную стальную броню, для чего:

а) в местах среза наружного полиэтиленового шланга обмотать последний двумя-тремя слоями стеклоленты с захватом брони на 5 - 10 мм и шланга на 30 - 40 мм;

б) два-три ближайших к срезу брони гофра тщательно зачистить стальной щеткой, протереть ветошью, смоченной в бензине, и просушить;

в) залудить зачищенный участок брони при помощи пасты ПМКН-40 не менее чем на 1/3 окружности по технологии, изложенной в п. 8.56.

8.65. На залуженную поверхность брони наложить бандаж из трех-четырех витков медной луженой проволоки, предварительно подложив под него оголенные концы проводов типа ПСП для перепайки брони, а при необходимости и для вывода КИП; припаять бандаж и концы проводов к залуженной части брони припоем ПОССу-30-2; удалить стеклоленту с торцов среза наружного шланга (см. п. 8.64, а).

8.66. В месте надреза стальной брони кабель слегка перегнуть в разных плоскостях до отделения брони, после чего осторожно стянуть ее с конца кабеля.

8.67. Наложить бандаж из ниток на бумажные ленты поясной изоляции, размотать ленты и оборвать их около бандажа.

8.68. В процессе разделки концов кабеля спайщик должен зафиксировать данные с мерных лент сращиваемых кабелей. Данные следует записать в паспорт на монтаж муфты (пупиновского ящика). Кроме того отрезки мерной ленты с пометками «сторона А», «сторона Б» должны быть переданы руководителю монтажных работ вместе со вторым экземпляром паспорта на смонтированную муфту (см. п. 8.10).

8.69. По окончании подготовительных работ и разделки концов кабеля спайщик обязан убрать из котлована (колодца) отходы пряжи, брони, свинца, куски кабеля, подброневые покровы, использованную ветошь, тщательно вымыть руки и насухо вытереть их перед сращиванием сердечника кабеля. Отходы свинца, меди, куски кабеля подлежат сдаче на склад строительного участка.

Примечание. Требования по технологии сращивания сердечника коаксиальных кабелей изложены в разд. 9, симметричных кабелей (в том числе установка пупиновских ящиков, удлинителей) - в разд. 10, а монтаж металлических оболочек - в разд. 11.

ПЕРЕПАЙКА БРОНИ, УСТАНОВКА И ЗАЛИВКА ЗАЩИТНОЙ МУФТЫ

8.70. На кабелях без изолирующих шланговых покровов перед перепайкой брони сращиваемых отрезков кабеля муфту и оголенную часть оболочки покрыть слоем разогретой битумно-резиновой мастики, обмотать сросток слоем стеклоленты с перекрытием 30 %, затем вновь наложить слой мастики и стеклоленты.

8.71. Ранее оставленные для перепайки брони концы медных проволок (см. п. 8.47) выровнять, уложить вдоль сростка (примерно около его середины) скрутить тремя-четырьмя витками между собой и пропаять припоем ПОССу-30-2.

8.72. Для защиты смонтированной муфты от механических повреждений устанавливается защитная муфта, для чего необходимо:

а) защитную (чугунную) муфту разобрать и протереть насухо;

б) в местах установки накладок намотать на кабель смоляную ленту таким образом, чтобы кабель плотно лежал в шейках муфты, но не пережимался накладками при затяжке их болтами;

в) нижний полукорпус чугунной муфты уложить на дно котлована в том месте, где должна быть расположена смонтированная муфта; предварительно следует сделать в грунте дна небольшое углубление таким образом, чтобы шейки муфты находились на уровне дна котлована. Смонтированную свинцовую (алюминиевую) муфту осторожно снять с козел и уложить в нижний полукорпус муфты так, чтобы свинцовая (алюминиевая) муфта не касалась чугунной;

г) установить накладки и верхний полукорпус чугунной муфты и скрепить их болтами с нижним полу корпусом;

д) вокруг защитной муфты, а также под кабель в местах выхода его из-под накладок подтрамбовать мягкий грунт, чтобы муфта плотно лежала на грунте;

е) залить через отверстие в верхнем полукорпусе муфты массу в соответствии с п. 8.11; по мере остывания и усадки подливать массу до тех пор, пока полость муфты будет заполнена до краев; закрыть заливное отверстие крышкой:

ж) болты, гайки и места выхода кабеля из горловины муфты покрыть горячей битумной массой;

з) при температуре окружающей среды 0 °С и ниже чугунную муфту следует подогреть пламенем паяльной лампы.

8.73. В сильно заболоченных местах, а также при большом поступлении воды в котлован, когда откачку ее организовать практически невозможно, монтаж муфты допускается производить на перекладинах, опирающихся на края котлована, либо на козлах, установленных на настиле из досок толщиной 40 - 50 мм или на заранее подготовленных для этой цели деревянных щитах. В таких условиях необходимо:

а) увеличить ширину котлована с таким расчетом, чтобы была возможность уложить муфту и дополнительный по сравнению с нормой запас кабеля;

б) с особой тщательностью проверить герметичность муфты местным избыточным воздушным давлением;

в) установку и заливку защитной муфты производить на поверхности грунта или на перекладинах, опирающихся на края котлована;

г) опустить муфту на дно котлована и проверить правильность ее укладки (осмотром или прощупыванием); обратить внимание на наличие воздушных пузырей на поверхности воды в котловане;

д) сращивание шагов (секций) между собой производить только после повторной проверки герметичности через двое-трое суток после укладки муфт и засыпки котлованов.

УСТАНОВКА ЗАМЕРНОГО СТОЛБИКА И ЗАСЫПКА КОТЛОВАНА

8.74. Наметить место установки замерного столбика (путем установки временной вешки, лопаты или устройства шурфа около котлована с размером расстояния до места установки), которое должно быть на расстоянии 10 см от оси трассы против муфты на кабеле № 1 (рис. 8.19). Муфта на кабеле № 2 «привязывается» к замерному столбику, если она находится на расстоянии не более 100 м от муфты на кабеле № 1.

Рис. 8.19. Место установки замерного столбика в котловане

8.75. Присыпать котлован на 0,5 - 0,7 м. В грунтах с каменистыми включениями или при наличии крупных смерзшихся комков предварительно присыпать муфту и кабель мягким грунтом на 15 - 20 см. В местах оборудования КИП затянуть в канал столбика выводные провода. Утрамбовать грунт, особенно около места установки столбика. Удалить вешку, установить замерный столбик так, чтобы он выступал над поверхностью земли на 0,5 м. Засыпать котлован, плотно утрамбовав грунт. Остаток грунта уложить над котлованом горкой.

8.76. Нанести на столбик временный номер, соответствующий записанному в паспорт.

8.77. В населенных пунктах и других местах, где по местным условиям установить замерный столбик невозможно, сделать «привязку» муфты к двум-трем постоянным ориентирам (зданиям, опорам линий связи и т.д.). Схему расположения муфты нанести на обратной стороне второго экземпляра паспорта, подлежащего передаче руководителю монтажных работ.

ОСОБЕННОСТИ МОНТАЖА КАБЕЛЕЙ В КОЛОДЦАХ КАБЕЛЬНОЙ КАНАЛИЗАЦИИ

8.78. В колодцах кабельной канализации муфты размещают на консолях, укрепленных на кронштейнах (рис. 8.20). Выкладка концов сращиваемых кабелей должна производиться в соответствии с профилем стен колодца и местом на консолях, где должна быть расположена муфта. Номера мест должны быть указаны в рабочих чертежах проекта.

Рис. 8.20. Расположение муфт в колодце кабельной канализации

8.79. Расстояние по вертикали между продольной осью муфты и соседним кабелем (муфтой) должно быть не менее 200 мм, между нижней муфтой и дном колодца или верхней муфтой и потолком - не менее 300 мм.

8.80. В колодцах кабельной канализации на кабелях должны быть установлены нумерационные кольца, на которых указывают условный номер кабельной линии и номер кабеля.

На кабелях, по которым передается дистанционное электропитание аппаратуры, на нумерационном кольце следует также нанести зигзагообразную стрелку, закрашенную красной влагостойкой краской. Стрелка может быть нанесена непосредственно на верхней части муфты.

8.81. Нумерационные кольца изготавливаются из обрезков рольного свинца (свинцовой оболочки) или пластмассы шириной 30 мм и устанавливают на кабеле стороны А в 100 мм от муфты. Высота цифр - 8 - 10 мм.

Для кабелей с пластикатовой оболочкой нумерационные кольца могут быть изготовлены из обрезков пластикатовой оболочки; номер следует нанести несмываемой краской.

РАЗДЕЛ 9

МОНТАЖ КОАКСИАЛЬНЫХ КАБЕЛЕЙ

ОБЩИЕ УКАЗАНИЯ

9.1. Требования настоящего раздела должны соблюдаться при монтаже кабелей с коаксиальными парами.

9.2. Все подготовительные работы, в том числе проверка сращиваемых кабелей перед монтажом, подготовка рабочего места, разделка защитных покровов, а также перепайка брони, установка и заливка защитной муфты, засыпка котлованов, установка замерных столбиков должны осуществляться в соответствии с требованиями, изложенными в разд. 8, а сращивание металлических оболочек и восстановление изолирующих защитных покровов - соответственно в разд. 11 и 12 настоящего Руководства.

9.3. При монтаже коаксиальных кабелей должны соблюдаться требования стандартов (технических условий) на данный тип кабеля в части испытаний, минимально допустимых радиусов изгиба, температурных режимов и т.д.

9.4. При монтаже кабелей с коаксиальными парами пользоваться ножовкой допускается только при обрезании лишней длины концов кабеля (до их разделки), а напильником - при удалении брони. Свинцовую оболочку следует обрезать ножом, алюминиевую - труборезом, жилы - кусачками, внешние проводники и экранные ленты - специальными обрезами.

При этом должно быть исключено попадание металлических опилок и обрезков внутрь сростка.

МОНТАЖ КАБЕЛЯ ТИПА КМ-4

9.5. Для монтажа кабеля с коаксиальными парами 2,6/9,4, кроме обычных, должны применяться комплекты специальных инструментов типа МКИ-2 и монтажных деталей типа КМД-2, изготавливаемых по ТУ 45-81 (табл. 9.1, 9.2, рис. 9.1 - 9.11).

9.6. Разделать концы сращиваемых кабелей (до удаления оболочки включительно) в соответствии с требованиями разд. 8 (табл. 8.4, 8.5, рис. 8.12, 8.13).

Таблица 9.1

Перечень специального инструмента для монтажа коаксиальных пар типа 2,6/9,4

Наименование

Номер рисунка

Назначение

Шаблон с калибром

9.1, 9.2

Для разделки коаксиальных пар

Сжимы универсальные

9.3

Для закрепления обжимных колец

Обрезы № 1

9.4

Для среза стальных лент экрана

Обрезы № 2

9.5

Для среза внешнего проводника

Вилка

9.6

Для удаления полиэтиленовых шайб

Установщик шайб

9.7

Для установки фторопластовых шайб

Пинцет монтажный

-

То же

Вкладыш распорный

9.8

Для выкладки коаксиальных пар перед сращиванием

Диск распорный

9.9

Для стабилизации положения коаксиальных пар в процессе сращивания

Паяльник фигурный

9.10

Для залуживания и пайки деталей при сращивании внутреннего и внешнего проводников

Кусачки боковые КИР-1

-

Для среза внутреннего проводника

Таблица 9.2

Перечень специальных деталей для монтажа коаксиальных пар типа 2,6/9,4 (см. рис. 9.11)

Наименование

Количество, шт., на

Назначение

одну пару

четыре пары

восемь пар

Кольцо обжимное:

 

 

 

 

№ 1 (малое, внутренний Æ 12 мм)

4

16

32

Для обжима коаксиальных пар и медных муфт

№ 2 (большое, внутренний Æ 13 мм)

2

8

16

Для обжима стальных муфт

Шайба фторопластовая

8

32

64

Для замены полиэтиленовых шайб

Гильза разрезная медная

1

4

8

Для сращивания внутреннего проводника

Муфта:

 

 

 

 

медная (из двух полумуфт)

1

4

8

Для сращивания внешнего проводника

стальная (из двух полумуфт)

1

4

8

Для сращивания экрана

полиэтиленовая (из двух полумуфт)

1

4

8

Для изоляции сростка коаксиальной пары

Кольцо нумерационное

1

4

8

Для нумерации коаксиальных пар

9.7. Наложить около обреза оболочки бандаж из пяти-шести витков капроновой нити на поясную изоляцию, размотать бумажные ленты и оборвать их в 5 - 7 мм от бандажа; при этом следует удерживать рукой сердечник кабеля, не допуская раскручивания бумажных лент коаксиальных пар.

Зафиксировать в паспорте данные с мерных лент.

9.8. На каждую коаксиальную пару надвинуть по одному малому (№ 11) обжимному кольцу, после чего концы коаксиальных пар следует сплющить, чтобы избежать раскручивания стальных лент экрана.

9.9. Расположить сращиваемые концы кабелей так, чтобы одноименные коаксиальные пары и звездные четверки находились друг против друга.

При небольших углах несовпадения коаксиальных пар (до 90°) концы кабелей следует развернуть до совпадения. Если угол несовпадения больше, один из концов кабеля допускается разделать на новом месте, смещенном от первоначальной разделки на расстояние, зависящее от угла несовпадения.

Рис. 9.1. Шаблон с калибром для разделки коаксиальных пар 2,6/9,4:

1 - шаблон; 2 - калибр

Рис. 9.2. Калибр для коаксиальных пар 2,6/9,4

Рис. 9.3. Сжимы универсальные

Рис. 9.4. Обрезы № 1

Рис. 9.5. Обрезы № 2

Рис. 9.6. Вилка

Рис. 9.7. Установщик шайб:

1 - направляющая; 2 - ограничитель; 3 - кнопка; 4 - пружина; 5 - ручка

Рис. 9.8. Вкладыш распорный

Рис. 9.9. Диск распорный

Рис. 9.10. Паяльник фигурный

9.10. Сдвинуть нитки, навитые поверх симметричных четверок, к обрезу поясной изоляции, затянуть их и закрепить; отогнуть четверки в сторону и прикрепить к кабелю.

9.11. Установить распорный вкладыш так, чтобы торец его находился на расстоянии 195 мм от обреза оболочки (рис. 9.12). Обжать руками коаксиальные пары на вкладыше, чтобы обеспечить параллельность осей и создать прямолинейный участок, необходимый при сращивании.

Рис 9.11. Детали для монтажа коаксиальных пар 2,6/9,4:

а - кольцо медное обжимное № 1 (малое); б - кольцо медное обжимное № 2 (большое); в - шайба фторопластовая; г - гильза разрезная; д - кольцо нумерационное, е - муфта медная; ж - муфта стальная; з - муфта полиэтиленовая

Рис. 9.12. Установка обжимных колец № 1 и распорного вкладыша:

1 - оболочка кабеля, 2 - звездные четверки; 3 - шаблон; 4 - калибр; 5 - коаксиальная пара; 6 - распорный вкладыш; 7 - кольцо обжимное № 1

9.12. Удерживая коаксиальные пары на вкладыше, сдвинуть ранее надетые кольца (см. п. 9.8) до упора в торец вкладыша и обжать их универсальными сжимами (см. рис. 9.3) (меньшим отверстием); при этом последние должны быть расположены перпендикулярно коаксиальной паре.

9.13. Вынуть распорный вкладыш. На конце кабеля стороны А на первую и вторую коаксиальные пары надвинуть по одной полиэтиленовой изолирующей полумуфте с выступом, а на третью и четвертую - полумуфты без выступа. На конце кабеля стороны Б на первую и вторую пары надвинуть полумуфты без выступа, а на третью и четвертую с выступом.

9.14. Установить распорные диски (см. рис. 9.9) на расстоянии 130 мм от места обреза оболочки (рис. 9.13).

9.15. На расстоянии 100 мм от установленных колец обрезать лишнюю длину коаксиальных пар (рис. 9.13).

Рис. 9.13. Установка распорного диска:

1 - полиэтиленовые полумуфты; 2 - распорный диск; 3 - кольцо обжимное

9.16. Размотать и оборвать около кольца бумажные ленты изоляции коаксиальных пар. Установить по шаблону на экранных лентах коаксиальной пары обрезы № 1 так, чтобы сторона обрезов, обращенная к концу пары, находилась на расстоянии 12 мм от закрепленного кольца. Размотать стальные ленты и оборвать (обрезать) их по плоскости обрезов.

9.17. Установить по шаблону на внешнем проводнике коаксиальной пары обрезы № 2 так, чтобы острая кромка обрезов была обращена к концу пары и находилась на расстоянии 32 мм от кольца.

Плоскогубцами «утиный нос» раздвинуть шов внешнего проводника, надорвать его у режущей кромки обрезов в обе стороны на 2 - 3 мм и оборвать внешний проводник поворотом плоскогубцев вокруг оси коаксиальной пары (рис. 9.14).

Рис. 9.14. Обрезка внешнего проводника коаксиальной пары:

1 - распорный диск; 2 - обжимное кольцо; 3 - обрезы; 4 - режущая кромка обрезов; 5 - место захвата внешнего проводника

9.18. Ввести внутрь коаксиальной пары калибр шаблона до упора его в место среза внешнего проводника (рис. 9.15). Обрезать внутренний проводник боковыми кусачками, установив их плоской частью губок вплотную к торцу калибра; при этом торец среза не должен иметь клиновидной формы.

Аналогично разделать остальные коаксиальные пары сращиваемых концов. Разделанная коаксиальная пара показана на рис. 9.16.

Рис. 9.15. Обрезка внутреннего проводника с применением калибра:

1 - изоляция; 2 - кольцо обжимное; 3 - экранные ленты; 4 - внешний проводник, 5 - калибр; 6 - шаблон; 7 - внутренний проводник

9.19. Проверить шаблоном правильность разделки коаксиальных пар сращиваемых кабелей: торцы внутренних проводников должны соприкасаться друг с другом, а расстояние между местами среза внешних проводников должно быть 40 мм.

Рис. 9.16. Разделка коаксиальной пары типа 2,6/9,4:

1 - изоляция; 2 - экранные ленты; 3 - внешний проводник; 4 - внутренний проводник; 5 - шаблон

9.20. Из каждой коаксиальной пары специальной вилкой (см. рис. 9.6) удалить по порядку три-четыре полиэтиленовые шайбы (на длине 95 мм от места среза внешнего проводника). Для этого концы стержней вилки нагреть в пламени паяльной лампы до красного цвета и осторожно ввести вилку внутрь коаксиальной пары до упора хомутика вилки в шайбу. Вилка должна оставаться в неподвижном состоянии 2 - 3 мин. Остывшую вилку с наколотой полиэтиленовой шайбой вынуть из коаксиальной пары и очистить. Аналогично удалить остальные шайбы данной пары. Во избежание расплавления полиэтиленовых шайб и осадки их на внутренней поверхности коаксиальной пары следует не перегревать хомутик вилки. Для ускорения процесса удаления шайб рекомендуется пользоваться несколькими вилками попеременно.

9.21. Взамен удаленных полиэтиленовых шайб с помощью установщика шайб (рис. 9.7) установить внутрь коаксиальных пар три-четыре фторопластовые шайбы в последовательности, показанной на рис. 9.17, для чего:

а) сдвинуть ограничитель установщика шайб до упора в торец ручки (рис. 9.17, а);

б) ввести установщик в коаксиальную пару до упора в полиэтиленовую шайбу (рис. 9.17, б);

в) совместить одну из дистанционных меток с местом среза внешнего проводника, вращая установщик вокруг оси (рис. 9.17, в);

г) поворачивая ограничитель, установить его так, чтобы кнопка ограничителя оказалась над гранью с дистанционной меткой, совпавшей с местом среза внешнего проводника (рис. 9.17, г);

д) сдвинуть ограничитель до упора в место среза внешнего проводника (рис. 9.17, д);

е) извлечь установщик из коаксиальной пары и, поочередно продвигая ограничитель до момента фиксации, установить три (четыре) фторопластовые шайбы (рис. 9.17, е); фиксация ограничителя происходит в момент совпадения его торца с установочной меткой грани.

Рис. 9.17. Последовательность установки фторопластовых шайб:

1 - ручка; 2 - кнопка; 3 - ограничитель; 4 - дистанционная метка грани; 5 - установочные метки грани; 6 - шайба полиэтиленовая; 7 - установочная метка первой фторопластовой шайбы; 8 - установочная метка второй фторопластовой шайбы; 9 - установочная метка третьей фторопластовой шайбы

9.22. Облудить при помощи фигурного паяльника (рис. 9.10) припоем ПОССу-61-0,5 с применением флюса ФКСп края внешних проводников по всей окружности на длине 15 мм от обреза и внутренних проводников на длине 15 мм от их торца.

9.23. Проверить отсутствие на залуженных участках наплывов припоя и при необходимости удалить излишки припоя.

9.24. На каждую коаксиальную пару сращиваемых кабелей надвинуть по два обжимных кольца, сначала большего (№ 2), а затем меньшего диаметра (№ 1). На внутренние проводники одного из концов сращиваемых кабелей надвинуть по одной медной разрезной гильзе (рис. 9.11, г).

9.25. Подготовленные концы сращиваемой коаксиальной пары свести встык и на внутренний проводник надвинуть медную разрезную гильзу по шаблону таким образом, чтобы середина гильзы совпадала со стыком внутренних проводников (рис. 9.18). Гильзу зафиксировать боковыми кусачками и тщательно пропаять припоем ПОССу-61-0,5 фигурным паяльником (с применением флюса ФКСп). Остатки флюса удалить чистой тканью, смоченной в бензине.

Рис. 9.18. Сращивание внутреннего проводника:

1 - изоляция; 2 - кольцо обжимное малое; 3 - экран; 4 - внешний проводник; 5 - внутренний проводник; 6 - гильза разрезная; 7 - кольцо обжимное большое; 8 - шаблон

9.26. На концы внешних проводников, предварительно смазанные раствором канифоли, установить медные полумуфты (рис. 9.11, е) так, чтобы продольный шов внешнего проводника находился вне отверстий на шейках полумуфт и не совпадал со стыком полумуфт.

Внутренние поверхности шеек полумуфт должны быть хорошо залужены и не должны иметь наплывов припоя.

Медные полумуфты должны быть установлены на коаксиальные пары таким образом, чтобы продольные стыки полумуфт одной коаксиальной пары по отношению к продольным стыкам соседних пар были смещены на 90° (рис. 9.19).

На шейки медных полумуфт надвинуть ранее надетые обжимные кольца № 1 (малые), установить их строго по шаблону, проследить за тем, чтобы шейки плотно прилегали к внешнему проводнику, а продольный стык не имел перекосов и больших зазоров.

Универсальными сжимами (меньшим отверстием) закрепить кольца на шейках муфты.

Рис. 9.19. Взаимное расположение продольных стыков медных и стальных муфт:

1 - медные полумуфты; 2 - стальные полумуфты

9.27. Припаять полумуфты к внешним проводникам по всей окружности припоем ПОССу-61-0,5 с применением флюса ФКСп фигурным паяльником; остатки флюса удалить чистой тканью, смоченной в бензине (рис. 9.20).

Рис. 9.20. Сращивание внешнего проводника:

1- изоляция; 2 - экран; 3 - внешний проводник; 4 - медная муфта; 5 - кольцо обжимное малое

9.28. Установить стальную разрезную муфту (рис. 9.11, ж), состоящую из двух полумуфт, таким образом, чтобы шейки их опирались на стальные ленты экрана, а продольный стык был смещен относительно стыка на медных полумуфтах данной коаксиальной пары на 90° (см. рис. 9.19). Ранее надвинутые большие (№ 2) медные обжимные кольца сдвинуть на шейки стальной муфты и закрепить универсальными сжимами (рис. 9.21).

Общий вид сростка коаксиальной пары в разрезе показан на рис. 9.22.

Рис. 9.21. Восстановление экрана:

1 - изоляция; 2 - экранные ленты; 3 - кольцо обжимное, большое; 4 - муфта стальная; 5 - шаблон

Рис. 9.22. Общий вид сростка коаксиальной пары типа 2,6/9,4:

1 - изоляция; 2 - кольцо обжимное № 1; 3 - экран, 4 - внешний проводник; 5 - место пайки медных полумуфт; 6 - внутренний проводник; 7 - шайба фторопластовая; 8 - муфта медная; 9 - муфта стальная; 10 - гильза разрезная; 11 - кольцо обжимное № 2

9.29. Удалить распорные диски, не меняя положения коаксиальных пар. Сдвинуть полиэтиленовые полумуфты на сросток коаксиальной пары. Допускается восстановление поясной изоляции коаксиальных пар путем обмотки сростков лентами из кабельной бумаги и закрепления концов лент нитками.

Аналогично срастить остальные коаксиальные пары (рис. 9.23).

Рис. 9.23. Расположение сростков коаксиальных пар в муфте (звездные четверки не показаны):

1 - оболочка; 2 - бандаж на поясной изоляции; 3 - коаксиальные пары; 4 - кольца нумерационные; 5 - кольцо обжимное; 6 - муфта стальная; 7 - муфта полиэтиленовая

9.30. На каждой коаксиальной паре со стороны А установить нумерационное кольцо.

9.31. Сростки звездных четверок должны располагаться: четных - на расстоянии 140 мм от обреза оболочки кабеля стороны А, нечетных - на расстоянии 140 мм от обреза оболочки кабеля стороны Б. Сращивание жил и их изоляция производятся в соответствии с разд. 10. При этом жилы следует сращивать со слабиной 2 - 3 см (рис. 9.24). Эмалированные жилы центральной четверки сращиваются в последнюю очередь; при этом жилы с бумажной изоляцией следует изолировать в соответствии с требованиями п. 10.47 (рис. 9.25), а жилы с полиэтиленовой изоляцией - обычными полиэтиленовыми гильзами.

Рис. 9.24. Монтаж звездных четверок

Рис. 9.25. Сращивание центральной эмалированной четверки

9.32. Смонтированные звездные четверки следует укладывать между коаксиальными парами со сдвигом через одну коаксиальную пару, например красную четверку на месте коричневой и т.д.

Расположение сростков коаксиальных пар и звездных четверок в муфте показано на рис. 9.26.

Рис. 9.26. Расположение смонтированных звездных четверок в муфте

9.33. При монтаже стыковых муфт (на стыке шагов пупинизации) разделка концов кабеля и размеры свинцовой муфты должны быть такими же, как при монтаже прямой муфты.

9.34. В стыковых муфтах в первую пару центральной четверки должна быть включена катушка индуктивности типа ТЧ-1001 ЯЭО.475.002 ТУ (100 МГн), для чего необходимо:

а) перед установкой катушки проверить отсутствие обрыва и четко установить начало и конец обмоток, считая их соответственно «входом» и «выходом». За «вход» катушки следует принять концы проводников, имеющие в местах их выхода утолщение (рис. 9.27), два других выводных проводника следует считать «выходом». «Вход» катушки должен быть включен в жилы стороны А, «выход» - в жилы стороны Б;

б) обмотать катушку сухой кабельной бумагой, выпустив из-под нее выводные проводники, уложить ее между коаксиальными парами на расстоянии 160 мм от места среза оболочки кабеля стороны А. Концы катушки вывести между коаксиальными парами, между которыми выведена центральная четверка;

в) срастить выводные проводники «входа» катушки с жилами первой пары центральной четверки кабеля стороны А, а проводники «выхода» соответственно с первой парой кабеля стороны Б. При этом выводной проводник катушки красного цвета следует соединить с жилой, имеющей изоляцию красного цвета;

г) изолировать сростки выводных проводников катушек с жилами кабеля в соответствии с п. 10.47; срастить и изолировать жилы второй пары центральной четверки на расстоянии 280 мм от места среза оболочки кабеля стороны А; уложить сростки между коаксиальными парами.

Рис. 9.27. Схема включения катушки индуктивности в цепь УСС

9.35. Установка и монтаж катушки индуктивности показаны на рис. 9.28. Для компенсации недостающей физической длины кабеля до нормальной длины шага пупинизации разрешается включать в пупинизируемую пару конденсаторы, емкость которых определяется по формуле Ск = 32 l, где Ск - емкость компенсирующего конденсатора, пФ; l - недостающая длина, м. Конденсатор следует включать параллельно «входу» или «выходу» катушки индуктивности со стороны укороченного шага.

Рис. 9.28. Установка и монтаж катушки индуктивности:

1 - оболочка; 2 - коаксиальная пара; 3 - жилы первой пары центральной четверки; 4 - жилы второй пары центральной четверки; 5 - полиэтиленовая тупиковая гильза; 6, 9- выводные проводники катушки индуктивности; 7 - полиэтиленовая муфта; 8 - катушка индуктивности

9.36. Обмотать смонтированный сросток сердечника кабеля двумя слоями стеклоленты или кабельной бумаги шириной 40 мм с перекрытием 30 - 50 %; между слоями ленты уложить первый экземпляр паспорта. Обмотку следует производить без обжатия сростка, сохраняя форму и расположение коаксиальных пар.

9.37. Монтаж металлической оболочки и восстановление изолирующего защитного покрова выполнить согласно требованиям разд. 11 и 12 настоящего Руководства.

МОНТАЖ МАЛОГАБАРИТНОГО КОАКСИАЛЬНОГО КАБЕЛЯ ТИПА МКТ-4

9.38. Для монтажа кабеля с коаксиальными парами типа 1,2/4,6, кроме обычных, должны применяться комплекты специальных инструментов типа МКИ-1 и монтажных деталей типа КМД-1, изготавливаемых по ТУ 45-81 (табл. 9.3, 9.4, рис. 9.29 - 9.31).

9.39. Выкладку в котловане (колодце), разделку и подготовку концов сращиваемых кабелей (до удаления оболочки включительно) выполнить в соответствии с требованиями, изложенными в разд. 8.

9.40. Надвинуть на концы кабеля детали для монтажа металлической оболочки и восстановления защитных покровов, предварительно обмотав чистой кабельной бумагой наружный покров из кабельной (синтетической) пряжи.

При монтаже кабеля в свинцовой оболочке типа МКТС-4 на один из концов надвинуть свинцовую цилиндрическую муфту размером 45×220 (см. рис. 11.1, а и табл. 11.2).

При монтаже кабеля в алюминиевой оболочке типа МКТА-4 на кабель стороны А надвинуть отрезок ТУТ 40/20, полиэтиленовый конус (см. рис. 12.3) и свинцовый конус (см. рис. 11.1, в), а на кабель стороны Б - отрезок ТУТ 40/20, полиэтиленовый конус (см. рис. 12.3), свинцовый конус (см. рис. 11.1, e), свинцовый цилиндр (см. рис. 11.1, г) и ТУТ 80/40.

Для муфты без КИП используются два полиэтиленовых конуса (25 - 30)×53 (см. рис. 12.3); для муфты с выводом КИП - один полиэтиленовый конус (25 - 30)×53 и один полиэтиленовый конус с отводом (25 - 30)×53 (см. рис. 12.4), устанавливаемый на кабель стороны Б.

Таблица 9.3

Перечень специального инструмента для монтажа коаксиальных пар типа 1,2/4,6

Наименование

Номер рисунка

Назначение

Вкладыш распорный

9.29, а

Для выкладки коаксиальных пар перед сращиванием

Диск распорный (2 шт.)

9.29, б

Для стабилизации положения коаксиальных пар в процессе сращивания

Обрезы:

 

 

№ 3 (Æ =5,5 мм)

9.29, в

Для обрезки стальных лент экрана

№ 4 (Æ = 5 мм)

9.29, в

Для обрезки внешнего проводника

Сжимы:

 

 

№ 1 (Æ = 7,8 мм)

9.29, г

Для обжима колец № 3

№ 2 (Æ = 9 мм)

9.29, г

Для обжима колец № 4

Паяльник фигурный

9.29, д

Для залуживания и пайки деталей при сращивании внутреннего и внешнего проводников

Кусачки боковые КИР-1

-

Для обрезки внутреннего проводника

Пинцет монтажный

-

Для установки мелких деталей

Шаблон

9.30

Для разделки коаксиальных пар

Таблица 9.4

Перечень специальных деталей для монтажа коаксиальных пар типа 1,2/4,6 (рис. 9.31)

Наименование

Количество, шт.

Назначение

на одну пару

на четыре пары

на шесть пар

Втулка опорная

2

8

12

Для создания опоры при обжиме колец на медных и стальных муфтах

Трубка полиэтиленовая

2

8

12

Для создания опоры под баллонной изоляцией и внешним проводником

Кольцо обжимное:

 

 

 

 

№ 3 (малое)

2

8

12

Для обжима медных муфт

№ 4 (большое)

2

8

12

Для обжима стальных муфт

Гильза разрезная медная

1

4

6

Для сращивания внутреннего проводника

Шайба фторопластовая

2

8

12

Для создания опоры под медной муфтой

Муфта:

 

 

 

 

медная (из двух полумуфт)

1

4

6

Для сращивания внешнего проводника

стальная из двух полумуфт)

 

4

6

Для сращивания экрана

полиэтиленовая (из двух полумуфт)

1

 

6

Для изоляции сростка коаксиальной пары типа 1, 2, 4, 6 кабеля КМ-8/6

Рис. 9.29. Инструменты и приспособления для монтажа малогабаритного коаксиального кабеля типа МКТ-4:

а - распорный вкладыш; б - распорный диск; в - обрезы (№ 3 - d = 5,5 мм для экрана; № 4 - d = 5,0 мм для внешнего проводника); г - сжимы (№ 1 - d = 7,8 mm для малых колец; № 2 - d = 9,0 мм для больших колец); д - паяльник фигурный

Рис. 9.30. Шаблон для разделки коаксиальных пар типа 1,2/4,6

9.41. Около места среза оболочки наложить бандаж из ниток на ленты поясной изоляции, размотать и оборвать их на расстоянии 5 - 7 мм от бандажа.

9.42. Расположить сращиваемые концы кабелей так, чтобы одноименные коаксиальные и симметричные пары находились друг против друга. В противном случае необходимо развернуть сращиваемые кабели.

9.43. Симметричные пары и контрольную жилу отогнуть в сторону и временно прикрепить к кабелю.

9.44. Коаксиальные пары на выходе из-под оболочки осторожно раздвинуть на 8 - 10°, расположить между ними распорный вкладыш (рис. 9.29, а) и обжать их вдоль желобов на вкладыше для обеспечения параллельности осей коаксиальных пар и создания прямолинейного участка. Для сохранения постоянного расстояния между коаксиальными парами в процессе монтажа удалить распорный вкладыш и установить на расстоянии 35 мм от места среза оболочки распорный диск (рис. 9.29, б).

Рис. 9.31. Детали для монтажа коаксиальных пар типа 1,2/4,6:

а - втулка опорная медная; б - трубка полиэтиленовая опорная; в - кольцо обжимное № 3 (малое); г - кольцо обжимное № 4 (большое); д - шайба фторопластовая; е - гильза разрезная; ж - муфта медная; з - муфта стальная; и - муфта полиэтиленовая; к - кольцо нумерационное

9.45. При разделке коаксиальных пар следует пользоваться шаблоном (рис. 9.30).

Размотать изолирующие (пластикатовые) ленты с коаксиальных пар, смотать их в рулончики и временно прикрепить к оболочке кабеля. Размотать экранные ленты и на расстоянии 60 мм от торца оболочки обрезать при помощи обрезов № 3 (рис. 9.29, б).

9.46. На расстоянии 15 мм от места среза стальных экранных лент (75 мм от торца оболочки) при помощи обрезов № 4 (рис. 9.29, б), обрезать внешние проводники коаксиальных пар.

9.47. На расстоянии 5 мм от места среза внешних проводников осторожно надрезать по шаблону полиэтиленовую баллонную изоляцию и удалить ее с внутренних проводников.

9.48. Излишки внутреннего проводника обрезать на расстоянии 20 мм от места среза внешнего проводника. Обрезанный торец внутреннего проводника должен быть строго перпендикулярным и не иметь клиновидной формы, для чего боковые кусачки следует устанавливать плоской стороной к месту среза внешнего проводника.

9.49. На внешние проводники вместе с концами экранных лент коаксиальных пар надвинуть до упора (примерно на 10 мм) луженые опорные втулки (рис. 9.31, а).

9.50. На внутренние проводники одеть полиэтиленовые трубки (рис. 9.31, б) и надвинуть их до упора в пережим баллонной изоляции. Дальнейшее продвигание полиэтиленовой трубки под баллонную изоляцию на глубину 20 мм производится плоскогубцами в момент припайки опорной втулки к внешнему проводнику.

9.51. Торцы опорных втулок на 1/3 длины окружности припаять к внешнему проводнику и экранным лентам трубчатым припоем ПОССу-61-0,5. Предварительно места пайки необходимо протереть чистой тканью, смоченной в бензине Б-70. Пайку следует вести быстро, избегая перегрева и деформации изоляции коаксиальной пары.

Примечание. Трубчатый припой может быть заменен прутковым той же марки и флюсом ФКСП (канифолью, разведенной в спирте). Залуживание стальных лент экрана в месте пайки производится при помощи пасты ПБК-26М. Остатки пасты должны быть удалены тканью, смоченной в бензине Б-70.

9.52. На разделанные концы коаксиальных пар сращиваемых кабелей надвинуть по одному большому обжимному кольцу (№ 4) и одному малому (№ 3) (рис. 9.31, в, г).

9.53. На внутренние проводники коаксиальных пар обоих концов кабеля надвинуть до упора по одной фторопластовой шайбе (рис. 9.31, д).

9.54. Концы внутренних проводников коаксиальных пар на длине 10 мм от их торца залудить при помощи фигурного паяльника припоем ПОССу-61-0,5 с применением флюса ФКСп, место облуживания не должно иметь просветов и наплывов. Проверить правильность разделки всех коаксиальных пар по шаблону.

Разделка коаксиальной пары, подготовленной к сращиванию, показана на рис. 9.32.

9.55. Укрепить сращиваемые концы кабеля таким образом, чтобы они были расположены горизонтально, а расстояние между местами среза оболочек составляло 190 мм. При этом внутренние проводники одноименных коаксиальных пар должны быть расположены строго встык; наличие просветов или прогибов не допускается.

9.56. На внутренние проводники одного из концов кабеля надвинуть медные разрезные гильзы (рис. 9.31, е).

9.57. Установить разрезные гильзы так, чтобы их середина совпадала со стыком внутренних проводников, а продольный разрез был сверху. Закрепить положение гильз путем обжатия их по краям плоскогубцами. Проверить по шаблону правильность установки гильз и опорных втулок.

9.58. При помощи торцевого паяльника и припоя ПОССу-61-0,5 пропаять внутренний проводник по продольному разрезу гильзы, не допуская наплывов и подтеков. Место пайки протереть чистой тканью, смоченной в бензине, затем вытереть насухо (рис. 9.33).

Рис. 9.32. Разделка коаксиальных пар типа 1,2/4,6 и установка опорных втулок:

1 - оболочка; 2 - шаблон; 3 - поясная изоляция; 4 - ленты изоляции коаксиальной пары; 5 - экран; 6 - диск распорный; 7 - втулка опорная; 8 - внешний проводник; 9 - трубка полиэтиленовая опорная; 10 - внутренний проводник

Рис. 9.33. Сращивание внутреннего проводника коаксиальной пары типа 1,2/4,6:

1 - шаблон; 2 - экран; 3 - кольцо обжимное большое (№ 4); 4 - кольцо обжимное малое (№ 3); 5 - втулка опорная; 6 - внешний проводник; 7 - трубка полиэтиленовая опорная; 8 - шайба фторопластовая; 9 - гильза разрезная; 10 - внутренний проводник

9.59. Ранее надвинутые на внутренние проводники фторопластовые шайбы сдвинуть к краям разрезных гильз.

9.60. Установить на сросток две медные полумуфты (рис. 9.31, ж) так, чтобы их шейки охватывали расположенные по обе стороны сростка опорные втулки со стороны меньшего диаметра. Продольные зазоры медных полумуфт должны быть минимальными и не иметь перекосов. Стыки медных полумуфт коаксиальной пары должны быть смещены относительно стыков полумуфт смежной пары под углом 90° (см. рис. 9.19).

Сдвинуть на шейки медных полумуфт малые (№ 3) медные кольца (рис. 9.31, а) и закрепить их сжимами № 1 (рис. 9.29, г).

9.61. Место стыка торцов медных полумуфт с опорными втулками пропаять припоем ПОССу-61-0,5 не менее чем на 1/3 длины окружности с захватом обеих полумуфт примерно на одинаковой длине (середина паяного шва должна совпадать с зазором между полумуфтами). Место пайки протереть чистой тканью, смоченной в бензине.

9.62. Установить на сросток стальные полумуфты (рис. 9.31, з) таким образом, чтобы их шейки плотно прилегали к опорным втулкам со стороны их большего диаметра. Продольные зазоры между стальными полумуфтами должны быть минимальными, не иметь перекосов и сдвинуты относительно стыков медных полумуфт данной коаксиальной пары под углом 90°, а следовательно, и относительно стыков стальных полумуфт смежных пар (см. рис. 9.19).

На шейки стальных полумуфт надвинуть большие (№ 4) медные обжимные кольца и закрепить их сжимами № 2 (рис. 9.29, г); при этом образующиеся вытяжки от медных колец не должны касаться смежных коаксиальных пар.

9.63. После восстановления экранов на всех коаксиальных парах распорные диски удалить. Общий вид смонтированной коаксиальной пары типа 1,2/4,6 показан на рис. 9.34.

Рис. 9.34. Общий вид смонтированной коаксиальной пары типа 1,2/4,6:

1 - ленты изоляции, 2 - экран; 3 - втулка опорная; 4 - кольцо обжимное большое (№ 4); 5 - муфта стальная, 6 - кольцо обжимное малое (№ 3); 7 - внешний проводник; 8 - трубка полиэтиленовая опорная, 9 - внутренний проводник; 10 - гильза разрезная; 11 - муфта медная; 12 - шайба фторопластовая

9.64. Восстановить изоляцию коаксиальных пар путем обмотки их с 50 % перекрытием ранее смотанными пластикатовыми лентами. Концы лент закрепить бандажом из ниток.

9.65. Сращивание симметричных пар произвести с распределением их скрутки по длине сростка со слабиной 2 - 3 см. Центральную пару и контрольную жилу срастить в первую очередь и расположить между сростками коаксиальных пар. Скрутка, пропайка и изоляция симметричных пар и контрольной жилы должны производиться так же, как в кабеле симметричной конструкции (разд. 10). Вместо групповых колец на расстоянии 10 - 15 мм от концов гильз на жилы наложить бандаж из трех-четырех витков капроновой нитки.

9.66. Сростки симметричных пар расположить между коаксиальными парами со сдвигом через одну коаксиальную пару: красную пару уложить на место зеленой, зеленую на место синей и т.д.

9.67. Обмотать сросток двумя-тремя слоями кабельной бумаги шириной 40 мм с перекрытием не менее 30 %. Между первым и вторым слоями бумаги вложить первый экземпляр паспорта, заполненный простым карандашом и подписанный монтажником. Второй экземпляр паспорта сдать руководителю монтажных работ.

Положение смонтированных коаксиальных пар типа 1,2/4,6 показано на рис. 9.35.

Рис. 9.35. Положение смонтированных коаксиальных пар 1,2/4,6 в кабеле МКТ-4:

1 - оболочка; 2 - поясная изоляция; 3 - изолирующая лента; 4 - экран; 5 - кольцо обжимное большое (№ 4); 6 - муфта стальная; 7 - пара, обмотанная изолирующей лентой

9.68. Монтаж металлической оболочки и восстановление защитных покровов производится в соответствии с требованиями, изложенными соответственно в разд. 11 и 12 настоящего Руководства.

ОСОБЕННОСТИ МОНТАЖА МАЛОГАБАРИТНОГО КОАКСИАЛЬНОГО КАБЕЛЯ С ИЗОЛИРУЮЩИМИ ВТУЛКАМИ

9.69. При разделке концов кабеля вместо работ, изложенных в п. 9.45, необходимо: а) на расстоянии 30 мм от места среза свинцовой оболочки наложить бандаж из ниток на бумажную изоляцию коаксиальных пар; б) бумажные ленты изоляции коаксиальных пар размотать и оборвать на расстоянии 5 - 7 мм от нитяного бандажа.

9.70. Медные и стальные ленты экрана размотать и обрезать на расстоянии 60 мм от свинцовой оболочки. На внешние проводники, с захватом концов экранных лент, надвинуть до упора опорные втулки.

9.71. Вместо операций, изложенных в п. 9.47, выполнить следующие работы:

а) размотать и обрезать на расстоянии 5 мм от места среза внешнего проводника пластмассовую ленту;

б) с внутренних проводников коаксиальных пар на вскрытом участке удалить изолирующие втулки, кроме одной;

в) на внутренние проводники надвинуть полиэтиленовые трубки (рис. 9.31, б), но длиной 10 мм; трубку вставить в оставленную на внутреннем проводнике изолирующую втулку и вместе с ней задвинуть под внешний проводник так, чтобы трубка выступала из-под него на 5 мм.

9.72. Сращивание внутреннего и внешнего проводников и восстановление экранов коаксиальных пар выполнить так же, как на кабеле с баллонной изоляцией (пп. 9.52 - 9.63).

9.73. Восстановить изоляцию коаксиальных пар путем обмотки их пластмассовой лентой шириной 25 мм с 50 % перекрытием и захватом бумажной изоляции на 10 мм. Концы лент закрепить бандажом из ниток.

9.74. Все остальные работы выполнить так же, как на кабеле с баллонной изоляцией коаксиальных пар (пп. 9.65 - 9.67).

МОНТАЖ КОМБИНИРОВАННОГО КОАКСИАЛЬНОГО КАБЕЛЯ ТИПА КМ-8/6

9.75. Для сращивания коаксиальных пар типа 2,6/9,4 и 1,2/4,6 должны применяться монтажные детали, инструменты и приспособления, используемые при монтаже кабелей КМ-4 и МКТ-4 (см. табл. 9.1 - 9.4), кроме распорного диска и распорного вкладыша, конструкция которых отличается.

9.76. Разделку концов сращиваемых кабелей выполнить в соответствии с требованиями раздела 8 (см. табл. 8.4 и рис. 8.12). При этом после удаления брони наложить бандаж из двух витков медной проволоки диаметром 0,9 - 1,2 мм на подушку (подброневой покров) на расстоянии 5 мм от места среза брони. На расстоянии 10 мм от места среза брони подброневые покровы обрезать и удалить.

Пластикатовые ленты кабеля с покровами типа Бл, наложенные поверх свинцовой оболочки, не обрезая смотать в рулончики и прикрепить к кабелю около бандажа на броне.

5.77. После удаления свинцовой оболочки и наложения около места ее среза нитяного бандажа на поясную изоляцию, наложить на концы кабелей временные бандажи из одного-двух витков проволоки или ниток; вытащить из-под этих бандажей концы бумажных лент поясной изоляции кабеля и размотать их на длине 210 - 250 мм.

Затем поочередно высвободить из-под бандажа коаксиальные пары 2,6/9,4, надвинуть на них по одному обжимному кольцу и сплющить концы, не допуская размотки бумажных лент изоляции и стальных лент экрана. На расстоянии 8 - 10 мм от места среза свинцовой оболочки поясную изоляцию кабеля оборвать и удалить.

9.78. Зафиксировать данные с мерных лент (см. п. 8.68).

9.79. Обмотать концы кабелей бумагой (поверх пропитанной меловым раствором пряжи). Надвинуть на один из концов конус и цилиндр свинцовой муфты, на другой - свинцовый конус.

9.80. Отогнуть симметричные пары и временно прикрепить их к кабелю.

9.81. Выправить коаксиальные пары для придания им прямолинейности. Установить малые (№ 1) обжимные кольца на расстоянии 200 мм от места среза свинцовой оболочки (рис. 9.36) и закрепить их, обжав универсальными сжимами (меньшим отверстием).

Рис. 9.36. Установка обжимных колец на коаксиальных парах типа 2,6/9,4 кабеля КМ-8/6:

1 - оболочка; 2 - симметричные элементы; 3 - коаксиальная пара типа 2,6/9,4; 4 - кольца обжимные малые (№ 1); 5 - бандаж на поясной изоляции повива с малогабаритными парами

9.82. Наложить бандаж из ниток на конце повива с малогабаритными коаксиальными парами.

9.83. Вставить распорный вкладыш (рис. 9.37, а) под коаксиальные пары 2,6/9,4, пропустив через отверстие в центре вкладыша повив из малогабаритных коаксиальных пар типа 1,2/4,6. Установить распорный вкладыш так, чтобы торец его конусообразной части находился на расстоянии 80 мм от места среза оболочки и руками осторожно обжать коаксиальные пары, придав им форму поверхности вкладыша. Рекомендуется производить обжим одновременно двух противоположных пар, например первой и пятой, третьей и седьмой и т.д.

Обрезать коаксиальные пары 2,6/9,4 на расстоянии 100 мм от установленных обжимных колец (рис. 9.38).

Рис. 9.37. Распорный вкладыш (а) и распорный диск (б)

Рис. 9.38. Выкладка коаксиальных пар типа 2,6/9,4 по распорному вкладышу:

1 - оболочка; 2 - симметричные элементы; 3 - коаксиальные пары типа 2,6/9,4; 4 - кольца обжимные; 5 - распорный вкладыш; 6 - повив из малогабаритных пар

9.84. Коаксиальные пары должны сращиваться напрямую, т.е. первая с первой, вторая со второй и т.д. Оси одноименных коаксиальных пар должны совпадать.

В случае несовпадения коаксиальных пар их повивы следует развернуть навстречу друг другу до совпадения, плотно прижимая пары к распорному конусу. Разворот должен быть сделан таким образом, чтобы каждая коаксиальная пара от выхода из-под оболочки до середины сростка была прямолинейной в вертикальной плоскости.

9.85. Разделку коаксиальных пар 2,6/9,4 выполнить по шаблону (см. рис. 9.1) так же, как на кабеле КМ-4. При этом расстояние от торца внутреннего проводника до обжимного кольца должно быть равным 52 мм (см. рис. 9.16), а до обреза оболочки - 250 мм (рис. 9.39). Заменить полиэтиленовые шайбы фторопластовыми в соответствии с пп. 9.20 - 9.21.

9.86. Удалить распорный вкладыш.

9.87. Снять с повива малогабаритных пар типа 1,2/4,6 ранее наложенный бандаж из ниток и на длине примерно 100 мм от конца размотать поясную изоляцию повива. Разобрать коаксиальные пары согласно принятому счету (см. п. 8.27, д) и конец первой коаксиальной пары обмотать спирально несколькими витками красной одиночной жилой, конец второй пары - зеленой одиночной жилой и т.д.

Размотать полностью бумажную поясную изоляцию повива и оборвать ее около обреза свинцовой оболочки.

9.88. Коаксиальные пары 1,2/4,6 должны сращиваться напрямую, т.е. первая с первой, вторая со второй и т.д. Одноименные пары должны находиться на одной продольной оси. В случае несовпадения повивы следует развернуть навстречу друг другу до совпадения.

9.89. Вывести коаксиальные пары 1,2/4,6 вместе с намотанными на них одиночными жилами в промежутки между коаксиальными парами 2,6/9,4 и осторожно отогнуть их в сторону. Радиус изгиба должен быть не менее 90 мм. На соединяемых кабелях малогабаритные пары следует выводить между одноименными парами 2,6/9,4, например если на конце стороны А первая коаксиальная пара 11,2/4,6 выведена между пятой и шестой парами 2,6/9,4, то и на конце стороны Б первая малогабаритная, пара должна быть расположена между пятой и шестой парами 2,6/9,4.

Внутри повива не допускается пересечение коаксиальных пар.

9.90. Вывести из центрального повива звездную четверку между коаксиальными парами 2,6/9,4 (между которыми не выведены малогабаритные пары) и отогнуть ее временно в сторону.

Конец кабеля, подготовленный к сращиванию пар 2,6/9,4, показан на рис. 9.39.

Рис. 9.39. Конец кабеля КМ-8/6, подготовленный к сращиванию коаксиальных пар типа 2,6/9,4

9.91. Установить между коаксиальными парами 2,6/9,4 сращиваемых кабелей распорные диски (см. рис. 9.37, б). Свести концы кабелей так, чтобы торцы внутренних проводников одноименных коаксиальных пар 2,6/9,4 соприкасались друг с другом, проверить правильность разделки и тщательно закрепить на монтажных козлах сращиваемые концы кабелей.

9.92. Срастить коаксиальные пары 2,6/9,4 в соответствии с требованиями, изложенными в пп. 9.22 - 9.30. Не обжимая коаксиальных пар и не меняя их положения, вынуть распорные диски.

9.93. Выложить коаксиальные пары 1,2/4,6. Для этого на коаксиальные пары 2,6/9,4, между которыми выходит данная малогабаритная пара, на расстоянии 105 - 110 мм от места среза свинцовой оболочки уложить деревянную палочку диаметром порядка 15 мм и по ней изогнуть пару. Коаксиальную пару от места изгиба до конца выпрямить.

9.94. Надвинуть на каждую пару 1,2/4,6 по одному обжимному малому (№ 3) кольцу (рис. 9.31, в). Установить эти кольца на расстоянии 200 мм от места, среза свинцовой оболочки и обжать их сжимами № 1. Обрезать излишек длины пар 1,2/4,6, оставив 70 мм от обжимных колец. Размотать лавсановые или поливинилхлоридные ленты изоляции пар и обрезать их около установленных колец.

9.95. Разделать коаксиальные пары 1,2/4,6 так, как это показано на рис. 9.32, и подготовить их к сращиванию, для чего:

а) обрезать по шаблону при помощи обрезов № 3 стальные ленты экрана на расстоянии 15 мм от установленного кольца:

б) выполнить работы, изложенные в пп. 9.46 - 9.54; при этом кроме указанных в п. 9.52 обжимных колец предварительно надвинуть полиэтиленовые полумуфты для изоляции сростков коаксиальных пар 1,2/4,6, показанные на рис. 9.31, и.

9.96. Концы внутренних проводников сращиваемых кабелей свести встык. Наличие просветов на стыке или изгибов от излишней длины проводника не допускается. Расстояние между обрезами внешних проводников должно быть 40 мм.

9.97. Выполнить работы по сращиванию коаксиальных пар 1,2/4,6 согласно пп. 9.55 - 9.63. Сдвинуть на сростки пар полиэтиленовые полумуфты.

9.98. В соответствии с расцветкой симметричных пар и принятой нумерацией (см. п. 9.27, д) на каждой коаксиальной паре типа 2,6/9,4 со стороны А на расстоянии 20 - 25 мм от полиэтиленовой муфты установить нумерационное кольцо. На малогабаритных парах нумерационные кольца (уменьшенных размеров) установить на стороне Б.

9.99. Звездная четверка, пары и одиночные, жилы должны сращиваться напрямую, т.е. цвет в цвет. Сначала следует срастить звездную четверку, затем одиночные жилы и после - симметричные пары. Сростки жил звездной четверки следует расположить на середине, без слабины. Симметричные пары и одиночные жилы следует сращивать на расстоянии 150 мм от обреза оболочки со слабиной по отношению к смонтированным коаксиальным парам типа 1,2/4,6, равной 50 мм. Расположение сростков симметричных пар и одиночных жил следует чередовать, например если сросток первой пары (жилы) размещен на стороне А, то в следующем промежутке сросток пары (жилы) следует разместить на стороне Б.

9.100. Для сращивания звездной четверки необходимо:

а) сдвинуть к корешку сростка нитки, которыми обмотана четверка, и затянуть их;

б) при наличии в звездной четверке экрана из металлизированной бумаги смотать ее в рулончики к корешку сростка и временно прикрепить;

в) надвинуть на четверки групповые кольца, а на жилы изолирующие гильзы;

г) наметить на полиэтиленовой изоляции место скрутки нагретой металлической пластинкой и от меток до конца жил удалить изоляцию; скрутить оголенные жилы и на расстоянии 30 мм от начала скрутки откусить. Пропаять скрутки припоем ПОССу-40-2 на расстоянии 15 мм от конца, отогнуть скрутки, надвинуть на них изолирующие гильзы; сдвинуть к сростку четверки групповые кольца;

д) обмотать четверку с перекрытием ранее снятой лентой металлизированной бумаги. Для контакта экранов на расстоянии трех витков нижнюю ленту перевернуть металлизированной стороной вверх. Между слоями ленты в месте контакта намотать спирально три витка медной проволоки диаметром до 0,9 мм. Концы проволоки скрутить. Закрепить обмотку из экранных лент бандажами из ниток;

е) уложить смонтированный сросток четверки между коаксиальными парами.

9.101. Симметричные пары и одиночные жилы срастить так же, как четверку. Вместо групповых колец на расстоянии 10 мм от конца гильз на пары наложить бандаж из ниток. Сростки симметричных пар и одиночных жил уложить между коаксиальными парами со сдвигом на одну пару.

9.102. Установку и включение катушки индуктивности в центральную четверку стыковых муфт выполнить в соответствии с пп. 9.34 - 9.35.

9.103. Обмотать смонтированный сердечник кабеля тремя-четырьмя слоями ленты из кабельной бумаги с захватом свинцовой оболочки на 10 мм. Уложить первый экземпляр паспорта на смонтированный сросток под последний слой кабельной бумаги.

ОСОБЕННОСТИ МОНТАЖА КАБЕЛЯ ТИПА КМ-8/6 ЗАРУБЕЖНОГО ПРОИЗВОДСТВА ФИРМЫ KWO

9.104. При монтаже кабеля КМ-8/6 производства фирмы KWO следует руководствоваться следующими дополнениями и изменениями к ранее изложенным пунктам:

а) п. 9.94 - вместо лавсановых и поливинилхлоридных лент изоляции коаксиальных пар 1,2/4,6 удалить бумажные ленты изоляции;

б) п. 9.95, а - вместе со стальными лентами экрана обрезать также медные ленты экрана;

в) при разделке и монтаже коаксиальных пар 1,2/4,6 с пластмассовыми втулками следует руководствоваться п. 9.71;

г) при сращивании эмалированных жил центральной четверки следует руководствоваться п. 10.47.

МОНТАЖ ОДНОКОАКСИАЛЬНОГО КАБЕЛЯ ТИПА ВКПАП-2,1/9,7

9.105. Для монтажа кабеля, кроме обычных, должны применяться специальные монтажные детали, материалы, инструменты и приспособления, приведенные в табл. 9.5 и на рис. 9.40, 9.41.

9.106. Размеры котлована для монтажа, выкладка кабелей в котлованах и размеры перекрытия концов должны соответствовать табл. 8.2, 8.3. Радиус изгиба кабеля должен быть не менее 350 мм.

Рис. 9.40. Приспособления для монтажа кабеля ВКА:

а - пресс ручной штоковый; б - буравчик; в - бородок; г - щетка стальная круглая

Рис. 9.41. Детали для монтажа кабеля типа ВКПА:

а - втулка стальная опорная; б - гильза медная разрезная; в - трубка алюминиевая; г - трубка полиэтиленовая

Таблица 9.6

Перечень специальных инструментов, приспособлений, деталей и материалов, необходимых для монтажа кабеля ВКПА

Наименование

Номер рисунка

Назначение

Пресс ручной:

 

 

гидравлический, механический или винтовой с усилием не менее 50 кН с пуансоном и матрицей

-

Для опрессования алюминиевой соединительной трубки на внешнем проводнике кабеля

штоковый

9.40, а

Для выпрессования разогретого полиэтилена при восстановлении изоляции

Пресс-форма

-

Для формирования сростка при восстановлении изоляции

Монтажный станок

-

Для закрепления концов кабеля и пресс-формы

Буравчик

9.40, б

Для извлечения пористой полиэтиленовой изоляции из концов кабеля

Бородок

9.40, в

Для введения стальных опорных втулок под внешний проводник

Щетка стальная:

 

 

плоская

-

Для зачистки внешнего алюминиевого проводника

круглая

9.40, г

Для зачистки внутренней поверхности алюминиевой соединительной трубки

Термометр ртутный на 300 °С

-

Для контроля температуры нагрева штокового пресса и пресс-формы

Лента резиновая шириной 25 - 30 мм, толщиной 1 - 2 мм или бинт резиновый медицинский

-

Для осадки полиэтиленовой трубки при сварке ее с полиэтиленовым шлангом кабеля

втулка стальная опорная

9.41, а

Для создания опоры при опрессовании алюминиевой трубки

Гильза медная

9.41, б

Для сращивания внутренних проводников

Трубка:

 

 

алюминиевая соединительная

9.41, в

Для сращивания внешних проводников

полиэтиленовая

9.41, г

Для восстановления полиэтиленового шланга

Композиция полиэтилена в гранулах марок 153-01К, 153-02К, 153-04К, 102-01K, 102-02К, 102-04К

-

Для восстановления изоляции

Паста кварцевазелиновая ПКВ (см. приложение 7)

-

Для смазывания контактирующих поверхностей внешнего проводника и алюминиевой трубки при опрессовании

Компаунд липкий ЛПК (см. приложение 8)

-

Для внутреннего противокоррозионного покрытия

Лента полиэтиленовая, стабилизированная толщиной 0,1 - 0,25 мм, шириной 10 и 20 мм

-

Для внутреннего противокоррозионного покрытия шириной 10 мм; для сварки полиэтиленовой трубки со шлангом шириной 20 мм

Стеклолента ЭЛСБ толщиной 0,2 мм, шириной 20 мм

-

Для сварки полиэтиленовой трубки со шлангом

Трубки термоусаживаемые 20/10 длиной 350 мм и 450 мм с подклеивающим слоем

-

Для восстановления полиэтиленового шланга (взамен трубки полиэтиленовой, полиэтиленовой ленты, стеклоткани, резиновой ленты и т.д.)

9.107. После выкладки кабелей в котловане (колодце) отметить середину сростка. Обрезать концы кабелей по сделанной отметке и очистить их от загрязнений.

9.108. Надрезать и удалить полиэтиленовый шланг на кабеле стороны А на расстоянии 130 мм от конца, а на стороне Б - 60 мм (рис. 9.42, а). Очистить алюминиевый внешний проводник от битумного состава ветошью, смоченной бензином.

Рис. 9.42. Этапы монтажа кабеля типа ВКПАШп:

а - разделка концов; б - сращивание внутреннего проводника; в - восстановление изоляции; г - сращивание внешнего проводника (оболочки)

1 - полиэтиленовый шланг; 2 - внешний проводник; 3 - внутренний проводник; 4 - трубка алюминиевая; 5 - гильза медная разрезная; 6 - трубка полиэтиленовая

9.109. Надрезать по окружности внешние проводники сращиваемых кабелей на расстоянии 15 мм от конца. Отделить надрезанные участки, отгибая их от оси кабеля, и удалить.

9.110. Надрезать по окружности пористую полиэтиленовую изоляцию около торца внешнего проводника и удалить надрезанные участки изоляции с концов кабелей. При надрезании полиэтиленового шланга и пористой полиэтиленовой изоляции не допускать сквозных (до металла) надрезов во избежание повреждений внешнего и внутреннего проводников.

9.111. Удалить с помощью буравчика (см. рис. 9.40, б) пористую полиэтиленовую изоляцию из-под внешних проводников на длине 30 - 35 мм от их обреза.

9.112. Ввести под внешние проводники, пользуясь бородком (см. рис. 9.40, в) и молотком, стальные опорные втулки (рис. 9.41, а) до совпадения их торцов с местами среза внешних проводников.

9.113. Залудить концы внутренних проводников на длине15 мм припоем ПОССу-61-0,5.

9.114. Зачистить стальной плоской щеткой наружную поверхность внешнего проводника конца кабеля со стороны А на длине 30 - 35 мм от места среза. Смазать зачищенную поверхность кварцевазелиновой пастой и зачистить вторично, не удаляя пасту.

9.115. Зачистить стальной круглой щеткой (см. рис. 9.40, г) внутреннюю поверхность алюминиевой соединительной трубки (см. рис. 9.41) на длине 35 - 40 мм с обоих концов. Смазать зачищенные поверхности кварцевазелиновой пастой и зачистить вторично, не удаляя пасту.

9.116. Надвинуть на конец кабеля стороны А алюминиевую соединительную трубку (см. рис. 9.40, в), а на конец Б - полиэтиленовую трубку (см. рис. 9.41).

9.117. Уложить на монтажный станок сращиваемые концы кабелей (рис. 9.42, а). Надвинуть на внутренний проводник одного из концов медную гильзу (рис. 9.41, б). Закрепить концы кабелей так, чтобы торцы внутренних проводников плотно соприкасались.

9.118. Сдвинуть медную гильзу так, чтобы ее середина находилась на стыке внутренних проводников (рис. 9.42, б). При этом продольный разрез гильзы должен быть расположен сверху. Обжать гильзу пассатижами. Пропаять гильзу по продольному разрезу припоем ПОССу-61-0,5 Наплывы и подтеки припоя не допускаются. Протереть место пайки чистой тканью, смоченной бензином, и просушить.

9.119. Отвернуть верхнюю гайку штокового пресса (рис. 9.40, а). Вынуть шток из цилиндра. Засыпать полиэтилен в гранулах в. цилиндр пресса. Гранулы должны быть чистыми и сухими. Ввести шток с поршнем в цилиндр пресса, уплотнить гранулы и завернуть верхнюю гайку пресса.

9.120. Установить штоковый пресс в вертикальное положение, заглубив штырь в грунт. Умеренным пламенем паяльной лампы, равномерно перемещая его по поверхности пресса, вести обогрев до расплавления полиэтилена (260 - 270 °С). Контроль за температурой обогрева следует вести ртутным термометром со шкалой до 300 °С либо по следующим признакам: а) из сопла пресса выступает расплавленный полиэтилен; б) выступивший расплавленный полиэтилен прозрачен и может быть вытянут в тонкую нить.

9.121. Установить и закрепить нижнюю половину пресс-формы на монтажном станке. Разместить сросток во вкладыше так, чтобы центр сростка находился посередине пресс-формы. Вложить нижнюю половину вкладыша в пресс-форму. Проверить положение концов кабелей и закрепить их так, чтобы они были натянуты и прямолинейны. Установить верхние половины вкладыша и пресс-формы, затянуть барашки откидных болтов.

9.122. Умеренным пламенем паяльной лампы разогреть пресс-форму приблизительно до 60 °С. Соединить разогретый штоковый пресс с пресс-формой (предварительно срезав выступивший из сопла расплавленный полиэтилен). Равномерно, без перерыва вращая вороток по часовой стрелке, выдавливать расплавленный полиэтилен в пресс-форму до тех пор, пока усилие, необходимое для вращения воротка, резко увеличится.

Выдержать пресс, соединенный с заполненной полиэтиленом пресс-формой, около 3 мин. Разъединить пресс и пресс-форму. Выдавить из пресса остатки полиэтилена (в случае необходимости подогреть пресс).

9.123. Отвернуть барашки болтов, снять верхнюю половину пресс-формы. Охладить нижнюю половину пресс-формы с вкладышем до 40 - 50 °С. Разрезать и удалить полоски полиэтилена из литниковых пазов вкладыша. Разъединить верхнюю и нижнюю половины вкладыша и снять их со сростка. Срезать со сростка остатки полиэтилена от литников (рис. 9.42, в).

9.124. Проверить качество сростка, который не должен иметь раковин и пузырей, а также содержать посторонние включения. Медная гильза и внутренний проводник не должны просматриваться. При наличии указанных дефектов сросток должен быть переделан.

Примечание. После монтажа четырех-шести муфт, а также в случае обнаружения на сростках посторонних включений, требуется чистка пресса. При этом внутреннюю поверхность цилиндра, гайку и шток очищают пучками медной проволоки, протирают чистой тканью, смоченной бензином, и хорошо просушивают.

9.125. Зачистить стальной плоской щеткой наружную поверхность внешнего проводника кабеля со стороны Б на длине 30 - 35 мм от места среза. Смазать защищенную поверхность кварцевазелиновой пастой и зачистить повторно, не удаляя пасту.

9.126. Установить алюминиевую соединительную трубку так, чтобы расстояние от торца трубки до места среза полиэтиленового шланга кабеля Б было равно 15 мм.

9.127. Спрессовать алюминиевую трубку (рис. 9.42, г) в соответствии с требованиями, изложенными в разд. 11.

9.128. Восстановление полиэтиленового шланга должно производиться либо сваркой полиэтиленовой трубки (рис. 9.41, б) со шлангом под слоем стеклоленты (с предварительным нанесением на сросток и оголенные участки внешнего проводника противокоррозионного покрытия из ЛПК и полиэтиленовых лент), либо при помощи термоусаживаемых трубок (ТУТ). Эти работы должны выполняться в соответствии с требованиями, изложенными в разд. 12.

ОСОБЕННОСТИ МОНТАЖА МУФТ НА ПОДВЕСНОМ КАБЕЛЕ МАРКИ ВКПАШпТ

9.129. Монтаж муфт на подвесном кабеле марки ВКПАШпТ должен производиться так же, как на подземном кабеле марки ВКПАШп с учетом следующих особенностей:

а) при группировании кабеля строительные длины следует подбирать таким образом, чтобы их концы, как правило, стыковались против опор;

б) монтаж муфт должен производиться на монтажных козлах, установленных против опоры на земле, после чего их поднимают вместе с кабелем и закрепляют на опорах (рис. 9.43);

в) на стыке кабеля марки ВКПАШпТ, подвешенного на опорах, с кабелем марки ВКПАШп, проложенного в земле, соединительная муфта должна быть расположена в котловане.

Некоторые требования по монтажу подвесных кабелей, связанные с технологией их прокладки, изложены в разд. 6.

Технология монтажа кабеля марки ВКПАКпШп (с круглой проволочной броней) изложена в разд. 14.

Рис. 9.43. Укрепление смонтированной муфты на подвесном кабеле марки ВКПАШпТ:

1 - канат; 2 - стяжка; 3 - опора; 4 - кабель; 5 - муфта; 6 - провод заземления

РАЗДЕЛ 10

МОНТАЖ СИММЕТРИЧНЫХ КАБЕЛЕЙ

ОБЩИЕ УКАЗАНИЯ

10.1. Требования настоящего раздела должны соблюдаться при сращивании сердечника (токопроводящих элементов, экранов) высокочастотных и низкочастотных кабелей симметричной конструкции в прямых, симметрирующих, конденсаторных муфтах, установке и монтаже ящиков индуктивности и удлинителей.

10.2. Все подготовительные работы: разработка котлована, установка палатки, проверка кабеля перед монтажом и разделка концов должны выполняться согласно требованиям, изложенным в разд. 8 настоящего Руководства.

10.3. При монтаже симметричных кабелей должны соблюдаться требования стандартов (технических условий) на данный тип кабеля в части испытаний, температурных режимов, минимально допустимых радиусов изгиба и т.д.

10.4. До начала монтажа сердечника на разделанные и подготовленные концы сращиваемых отрезков кабеля (строительных длин, шагов, секций) должны быть надвинуты соответствующие монтажные детали (свинцовые муфты и конусы, алюминиевые трубки, термоусаживаемые или полиэтиленовые детали для восстановления изолирующих покровов), не имеющие продольных разрезов.

10.5. Предварительно, до установки монтажных деталей на сращиваемые концы, все помятости на свинцовых деталях должны быть тщательно выпрямлены, концы зачищены металлической щеткой до блеска, внутренняя и наружная поверхности всех деталей хорошо очищены и просушены. Для предохранения от загрязнения внутренней поверхности монтажных деталей конец кабеля (особенно с наружным покровом из пряжи, покрытой меловым раствором) перед установкой на него деталей следует обмотать бумагой.

МОНТАЖ КАБЕЛЯ В ПРЯМЫХ МУФТАХ

10.6. После разделки концов на расстоянии 2 - 5 мм от места среза оболочки на поясную изоляцию сердечника кабеля наложить бандаж из суровых или синтетических ниток. Бумажные ленты поясной изоляции размотать, обрезать около бандажа из ниток (8 - 10 мм от места среза оболочки), смотать в рулончики и сохранить в сухом виде для использования при упаковке сростка.

10.7. Освобожденные от поясной изоляции четверки и пары разобрать по повивам. Разбор производить начиная с верхнего повива. Определить по заранее заданной расцветке счетную четверку (пару), разделить повив (в многочетверочных кабелях) на два пучка, отогнуть их и прикрепить нитками к кабелю (рис. 10.1). Аналогично разобрать все последующие повивы, кроме центрального. На каждый повив около места среза оболочки поверх поясной изоляции наложить бандаж из ниток.

При отгибании четверок и пар следует избегать крутых изгибов, чтобы не повредить изоляцию жил.

Рис. 10.1. Разборка четверок и пар по повивам

10.8. До начала сращивания элементов сердечника следует проверить расстояние между местами среза оболочки и тщательно прикрепить к монтажным козлам концы кабелей.

10.9. Сращивание жил следует начинать с центрального повива (четверки). Если в центральном повиве имеются эмалированные жилы, их следует вывести во внешний повив и сращивать в последнюю очередь.

10.10. Сращивание жил симметричных кабелей должно производиться следующим образом:

а) выбрать четверки (пары) с одинаковым порядковым номером в сращиваемых концах кабеля, уложить рядом, выровнять и определить место скрутки жил; при этом места скрутки жил соседних четверок должны быть сдвинуты относительно друг друга вдоль оси сростка так, чтобы они равномерно распределялись по всей его длине (см. рис. 10.4);

б) сдвинуть нитки, навитые спирально, поверх четверки, к месту среза поясной изоляции, затянуть их и завязать;

в) надвинуть на четверки обоих концов кабеля по одному групповому кольцу (рис. 10.2, а), на счетную четверку надвинуть по два кольца. Допускается замена групповых колец бандажом из ниток;

г) раздвинуть жилы сращиваемой четверки или пары одного из концов кабеля и надвинуть на каждую из них по одной изолирующей гильзе (рис. 10.2, а);

д) выбрать жилы с одинаковой расцветкой изоляции в обоих концах кабеля, придать им положение, которое они должны будут занимать после скрутки, положить их крест-накрест и сделать два полных оборота с захватом бумажной изоляции (рис. 10.2, б). Изолирующие ленты и кордель раскрутить и оборвать около скрутки;

Примечание. В кабелях с полистирольной и полиэтиленовой изоляцией жил захват изоляции при скрутке не производится.

е) скрутить жилы между собой, как показано на рис. 10.2, в, обрезать их на расстоянии 15 - 30 мм от начала скрутки, концы скрутки на расстоянии 10 - 15 мм смочить раствором канифоли и пропаять припоем ПОССу-40-0,5 в стаканчиковом паяльнике (рис. 10.2, г) Аналогично срастить остальные жилы четверки; при этом все скрутки должны быть расположены на одной оси. Внешним осмотром проверить качество пайки: пространство между жилами в местах скрутки должно быть заполнено припоем, пайка должна быть гладкой;

ж) отогнуть скрутку в сторону, противоположную надвинутой гильзе, сдвинуть гильзу на скрутку таким образом, чтобы расстояние от концов гильзы до оголенных жил было не менее 10 мм. Групповые кольца придвинуть с обеих сторон к сростку четверки (рис. 10.3). Аналогично срастить остальные четверки кабеля.

Общий вид сростка сердечника в прямой муфте до восстановления поясной изоляции показан на рис. 10.4.

Рис. 10.2. Сращивание жил четверки

Рис. 10.3. Законченный монтажом сросток четверки

Рис. 10.4. Размещение сростков четверок в муфте

10.11. После сращивания всех жил и тщательной проверки качества монтажа сросток кабеля с бумажной изоляцией жил должен быть просушен потоком горячего воздуха от паяльной лампы установленной под сростком.

10.12. Обмотать сросток двумя-тремя слоями из кабельной бумаги или синтетического материала с 50 %-ным перекрытием. Между слоями упаковки сростка уложить первый экземпляр заполненного паспорта, составленного в двух экземплярах по форме 8.1. Второй экземпляр паспорта должен быть сдан руководителю монтажных работ для приобщения к исполнительной документации. Паспорт заполняется простым карандашом.

Упакованный сросток сердечника кабеля перед установкой и запайкой муфты показан на рис. 10.5.

Рис. 10.5. Упаковка сростка муфты

Примечание. Если в многочетверочном кабеле между повивами имеется поясная изоляция, то после сращивания каждого повива она должна быть также восстановлена путем обмотки бумажными лентами. При этом сросток следует просушивать после сращивания четверок (пар) каждого повива.

10.13. Перепайку брони, оборудование КИП (в местах предусмотренных проектом), установку замерного столбика и засыпку котлована выполнить согласно требованиям разд. 8, а сращивание металлической оболочки и восстановление защитных покровов - согласно разд. 11 и 12.

МОНТАЖ СИММЕТРИРУЮЩИХ МУФТ

10.14. Разделка и подготовка концов кабеля, сращивание жил (скрутка, пропайка, изолирование) в симметрирующей муфте должно производиться так же, как в прямой муфте. При этом жилы соединяются не напрямую (т.е. цвет в цвет), а по результатам предварительных измерений и соответственно заданным схемам скрещивания - операторам (табл. 10.1).

Ведомость соединения жил в муфте должна быть составлена измерителем-симметрировщиком и выдана спайщику до начала монтажа.

Таблица 10.1

Соединение жил в муфте по операторам симметрирования

Номер оператора

Условное обозначение

Соединение жил

по номерам

по расцветке

схема

сторона А

сторона Б

сторона А

сторона Б

сторона А

сторона Б

1

1

1

Красная

Красная

2

2

Желтая

Желтая

3

3

Синяя

Синяя

4

4

Зеленая

Зеленая

2

х..

Г

2

Красная

Желтая

2

1

Желтая

Красная

3

3

Синяя

Синяя

4

4

Зеленая

Зеленая

3

хх.

1

2

Красная

Желтая

2

1

Желтая

Красная

3

4

Синяя

Зеленая

4

3

Зеленая

Синяя

4

.х.

1

1

Красная

Красная

2

2

Желтая

Желтая

3

4

Синяя

Зеленая

4

3

Зеленая

Синяя

5

..х

1

3

Красная

Синяя

2

4

Желтая

Зеленая

3

1

Синяя

Красная

4

2

Зеленая

Желтая

6

х.х

1

4

Красная

Зеленая

2

3

Желтая

Синяя

3

1

Синяя

Красная

4

2

Зеленая

Желтая

7

xxx

1

4

Красная

Зеленая

2

3

Желтая

Синяя

3

2

Синяя

Желтая

4

1

Зеленая

Красная

8

.xx

1

3

Красная

Синяя

2

4

Желтая

Зеленая

3

2

Синяя

Желтая

4

1

Зеленая

Красная

10.15. Для монтажа симметрирующих муфт должны применяться свинцовые муфты, показанные на рис. 11.1. При этом если по нормам трудоемкости или по практическому опыту известно, что в течение одного рабочего дня закончить монтаж невозможно, следует применять муфты с отрезными конусами или с продольным разрезом, чтобы на время перерыва муфта была запаяна.

10.16. При соединении четверок (пар) по заданным операторам скрещивания необходимо строго следить, чтобы отбор жил для сращивания начинался с конца стороны А, в противном случае эффект симметрирования не будет достигнут.

10.17. В процессе монтажа симметрирующей муфты спайщик обязан после сращивания каждой четверки или экранированной пары записать в паспорт на монтируемую муфту фактически выполненный им оператор скрещивания (форма 8.2). Паспорт составляется в двух экземплярах, из которых первый следует уложить в муфту (при упаковке сростка), а второй сдать руководителю монтажных работ.

10.18. После сращивания всех жил, но до запайки муфты следует произвести проверку правильности соединения путем прозвонки. Результаты прозвонки должны быть зафиксированы в протоколе по форме 22.7. По результатам прозвонки определяется фактически выполненный оператор, его соответствие заданному, а также результирующий оператор, если на прозваниваемом отрезке имеется несколько муфт, в которых производилось скрещивание.

10.19. Запайка муфты, заливка защитной муфты, установка замерного столбика (фиксация места расположения муфты) и засыпка котлована должны производиться так же, как при монтаже прямой муфты.

МОНТАЖ КОНДЕНСАТОРНЫХ МУФТ НА НИЗКОЧАСТОТНОМ КАБЕЛЕ

10.20. Сращивание жил в конденсаторных муфтах низкочастотных кабелей производится либо напрямую (т.е. цвет в цвет), либо со скрещиванием по операторам, выбранным симметрировщиком на основании результатов измерений емкостных связей и емкостной асимметрии в полушагах симметрирования (см. табл. 10.1) с подключением, при необходимости, конденсаторов типа КТИ.

10.21. До установки симметрирующих конденсаторов в муфту следует проверить их электрическое сопротивление изоляции и электрическую прочность; эти характеристики должны соответствовать требованиям ГОСТ.

10.22. В зависимости от электрических параметров кабеля симметрировщиком могут быть заданы спайщику следующие схемы включения конденсаторов в четверку:

а) между жилами разных пар в четверке по схеме рис. 10.6, а;

б) между жилами и оболочкой кабеля («на землю») (рис. 10.6, б). Емкость конденсаторов, подлежащих включению, определяется симметрировщиком. Счет (нумерация) жил, между которыми включаются конденсаторы, должен вестись на кабеле стороны А.

10.23. В процессе подбора необходимых емкостей конденсаторы предварительно подключают холодной скруткой к временно соединенным жилам и только после измерений результатов симметрирования припаивают к скрутке жил напостоянно.

Рис. 10.6. Схема включения конденсаторов:

а - между жилами; б - между жилами и оболочкой («на землю»)

10.24. При включении конденсаторов между жилами внутри четверки по схеме рис. 10.6, а каждый вывод конденсатора следует пропустить сквозь изолирующую гильзу той жилы, к которой он должен быть подключен. Конец выводного проводника необходимо зачистить, навить на скрутку заподлицо с ней (излишнюю длину удалить) и пропаять в стаканчиковом паяльнике как обычную скрутку.

10.25. При включении конденсаторов по схеме рис. 10.6, б один вывод конденсатора следует припаять к жиле, а второй - к оболочке (т.е. «на землю»). Вторые выводы конденсаторов, включаемых между жилами и оболочкой, следует собрать вместе и группами по несколько штук припаять к «земляной шине», которая представляет собой отрезок медной залуженной проволоки диаметром 1,2 мм.

Концы этой проволоки должны быть намотаны двумя-тремя витками на оболочку на расстоянии 5 - 8 мм от места ее среза и припаяны к ней.

На кабеле в алюминиевой оболочке концы проволоки следует поместить между свинцовым конусом и свинцовым цилиндром сборной муфты (см. рис. 8.19, в).

10.26. Упаковка конденсаторной муфты должна выполняться следующим образом. Собранный и уложенный сросток сердечника до укладки конденсаторов обмотать двумя слоями кабельной бумаги. Все включенные конденсаторы уложить рядами вокруг сростка и перевязать нитками.

Общий вид сростка конденсаторной муфты показан на рис. 10.7.

Рис. 10.7. Конденсаторная муфта

10.27. Обмотать сросток двумя слоями ленты из кабельной бумаги, между которыми уложить заполненный первый экземпляр паспорта сложной муфты (форма 8.2). Второй экземпляр паспорта сдать руководителю монтажных работ.

10.28. До запайки муфты должна быть сделана прозвонка смонтированного шага и заполнен протокол прозвонки (форма 22.7).

10.29. Сращивание металлической оболочки, установка и заливка защитной муфты, фиксация места ее расположения, установка замерного столбика и засыпка котлована производятся так же, как при монтаже прямой муфты.

СРАЩИВАНИЕ НИЗКОЧАСТОТНЫХ ЭКРАНИРОВАННЫХ ПАР И ЧЕТВЕРОК

10.30. Сращивание низкочастотных экранированных пар (четверок) должно осуществляться таким образом, чтобы на всем протяжении цепи между оконечными устройствами сохранялась электрическая непрерывность экрана.

10.31. На расстоянии 2 - 4 мм от места среза оболочки кабеля наложить бандаж из ниток на внешний слой бумаги, которым покрыт экран. Затем поочередно размотать и отогнуть внешний слой бумаги, экранные ленты и внутренний слой бумаги.

10.32. Сращивание жил экранированных пар выполнить в соответствии с требованиями, изложенными в п. 10.10 (для неэкранированных групп).

10.33. Сросток экранированной пары (четверки) поверх изолирующих гильз плотно обмотать лентой из кабельной бумаги.

10.34. Ранее размотанную ленту металлизированной бумаги плотно намотать на сросток; при намотке экранной ленты необходимо следить, чтобы витки ложились с перекрытием и без просветов между витками.

В месте сростка экранов обоих концов кабеля, на расстоянии не менее трех витков, ленты должны быть намотаны так, чтобы был обеспечен плотный контакт между ними, для чего нижнюю ленту следует перевернуть металлизированной стороной вверх.

10.35. Между нижним и верхним слоями металлизированных лент в месте контакта следует плотно намотать три-четыре витка медной луженой проволоки диаметром 0,7 - 0,9 мм. Концы проволоки скрутить и вывести из-под витков экранных лент.

10.36. При наличии в экране медной проволоки концы ее следует использовать для намотки двух-трех витков между нижним и верхним слоями металлизированной бумаги (взамен проволоки, предусмотренной в п. 10.35), затем скрутить, пропаять и вывести из-под витков экранных лент. Сросток экрана закрепить бандажом из ниток.

10.37. Симметрирующие конденсаторы при сращивании экранированных пар (четверок) следует подключать одним выводным проводником к жиле так, как это изложено в п. 10.24; конденсатор прикрепить ниткой поверх изоляции данной пары так, чтобы он находился на расстоянии 30 мм от конца гильзы. Затем обмотать пару вместе с конденсатором ранее снятой лентой кабельной бумаги. Второй вывод конденсатора выпустить между витками обмотки. Ранее размотанные экранные ленты намотать поверх кабельной бумаги так, как это изложено в п. 10.34; свободный вывод от конденсатора припаять к концу медной или экранной проволоки (рис. 10.8), выпущенный из-под экранных лент (см. п. 10.35 - 10.36).

Рис. 10.8. Включение конденсаторов в экранированные четверки низкочастотного» кабеля:

1 - жила; 2 - изолирующая гильза; 3 - конденсатор; 4 - кабельная бумага; 5 - концы проволок от бандажа, наложенного между экранными лентами; 6 - экранные ленты

ОСОБЕННОСТИ МОНТАЖА ВЫСОКОЧАСТОТНЫХ СИММЕТРИЧНЫХ КАБЕЛЕЙ

10.38. Все подготовительные работы перед монтажом высокочастотных кабелей симметричной конструкции (подготовка котлована, проверка кабеля перед монтажом, выкладка концов, их разделка, сращивание, изоляция жил и т.д.), производятся так же, как при монтаже низкочастотных кабелей. Скрутка жил с пластмассовой изоляцией производится без захвата последней. Размеры разделки должны соответствовать табл. 8.4 - 8.8.

10.39. При монтаже высокочастотных кабелей особое внимание должно быть обращено на максимально возможное сохранение конструкции четверок в муфте (расположение жил в четверках, шаг скрутки четверок). Жилы в четверках после сращивания и пропайки не должны иметь слабины; около концов полиэтиленовых гильз жилы четверок должны быть скреплены групповыми кольцами или бандажом из ниток.

10.40. Для прямых муфт рекомендуется применение цилиндрических муфт, а для стыковых (симметрирующих) - с отрезными (переходными) конусами.

10.41. В прямых муфтах жилы первой пары всех четверок скрещиваются, т.е. соединяются по оператору х..

10.42. Упаковку сростка кабелей с пластмассовой изоляцией выполнить тремя слоями ленты из кабельной бумаги шириной 40 мм с 50 %-ным перекрытием и с захватом оболочки на 3 - 5 мм; под верхний слой бумаги уложить паспорт (форма 8.1).

10.43. Монтаж стыковых (симметрирующих) муфт должен производиться только после проверки герметичности и электрических характеристик всех секций усилительного участка и их соответствия установленным нормам.

Результаты проверки зафиксировать в протоколах по установленным формам (см. разд. 16, 17).

10.44. Монтаж всех стыковых муфт в пределах одного усилительного участка должен производиться одновременно разными бригадами спайщиков; сращивание жил и включение контуров противосвязи должно производиться по указаниям симметрировщика.

10.45. Монтаж сердечника высокочастотного симметричного кабеля в стыковой муфте должен производиться в следующей технологической последовательности:

а) укрепить на монтажных козлах сращиваемые концы кабелей таким образом, чтобы расстояние между обрезами оболочки соответствовало норме; соединить оболочки сращиваемых кабелей временной перемычкой из медной проволоки диаметром 1,2 мм;

б) соединить временно жилы всех четверок напрямую (оператор ...); включить аппарат служебной связи в заданную пару и установить связь в обе стороны. Получить от симметрировщика указание о номере четверки, подлежащей симметрированию;

в) разъединить жилы симметрируемой четверки и надвинуть на них изолирующие полиэтиленовые гильзы размером 5,5×6,5×50 мм; специальным нагретым съемником или ножом оплавить изоляцию и снять ее с концов жил;

г) подключить концы жил симметрируемой четверки стороны А и стороны Б в соответствующие клеммы переключателя операторов; оболочку кабеля соединить с клеммой «Земля». По указаниям симметрировщика изменять положения переключателя операторов для подбора оптимальной схемы соединения жил данной четверки;

д) отключить концы жил от переключателя и скрутить их по оператору, сообщенному симметрировщиком; излишек длины скрутки удалить;

е) подготовить выводные проводники для включения контуров противосвязи из провода марки ПМВГ-0,75 длиной по 100 и 250 мм для каждой жилы; снять изоляцию с одного конца каждого провода на расстоянии 40 мм;

ж) навить на каждую скрутку жил по два выводных проводника того же цвета, что и цвет изоляции жилы кабеля со стороны А, предварительно пропустив конец проводника длиной 250 мм через гильзу; выводные проводники обрезать заподлицо с концом скрутки жил (рис. 10.9); пропаять скрутки в стаканчиковом паяльнике, отогнуть, надвинуть гильзы, сдвинуть групповые кольца к концам гильз или скрепить четверки бандажом из ниток; прикрепить нитками выводные проводники к четверке, как показано на рис. 10.10. Аналогичные работы выполнить на остальных четверках кабеля;

Рис. 10.9. Включение выводных проводников в жилу

Рис. 10.10. Выводные проводники после сращивания жил четверки

з) обмотать сросток тремя слоями ленты из кабельной бумаги шириной 40 мм; концы выводных проводников вывести пучком от каждой четверки между витками бумаги, расположив их в шахматном порядке вдоль сростка с расстоянием между ними 40 мм (рис. 10.11); перевязать сросток нитками на середине и у мест срезов оболочки; написать на упаковке сростка около пучков выводных проводников номера четверок простым карандашом; на расстоянии 35 мм от места выхода из-под бумажных лент упаковки выводные проводники обрезать; концы очистить от изоляции на расстоянии 15 мм;

Рис. 10.11. Сросток муфты с выводными проводниками

и) включить в переменный симметрирующий контур заданные симметрировщиком концы выводных проводников; манипулируя по указанию симметрировщика курбелями переменного контура, определить емкость конденсатора и сопротивление резистора для постоянного контура; зачистить концы выводов конденсатора и резистора, составить постоянный контур (рис. 10.12). Отключить переменный контур и скруткой подключить вместо него постоянный; получить от симметрировщика подтверждение правильности подбора и включения постоянного контура;

к) отключить временно подключенный контур; скрутку между конденсатором и резистором пропаять припоем ПОССу-40-2, отогнуть в сторону конденсатора и надвинуть изолирующую гильзу (см. рис. 10.12);

Рис. 10.12. Контур (R - резистор, С - конденсатор)

л) на выводные проводники сростка надвинуть изолирующие гильзы, подключить к ним постоянный контур противосвязи и пропаять скрутки в стаканчиковом паяльнике припоем ПОССу-40-2. Сдвинуть на скрутки изолирующие гильзы. Аналогично подключить контуры во все указанные симметрировщиком жилы;

м) осторожно, во избежание надлома выводов у основания конденсаторов, уложить контуры вдоль сростка; каждый контур отдельно прикрепить нитками к сростку (рис. 10.13);

Рис. 10.13. Общий вид сростка после включения и укладки элементов симметрирования

н) обмотать сросток вместе с контурами тремя слоями кабельной бумаги шириной 40 мм с 50 %-ным перекрытием и захватом оболочки на 3 - 5 мм. Под последний слой бумаги уложить паспорт, заполненный простым карандашом (форма 8.2). Наложить бандажи из ниток на середине сростка и у мест среза оболочки; удалить перемычку между оболочками сращиваемых кабелей (п. 10.45, а).

10.46. Сращивание металлической оболочки и восстановление защитных покровов выполнить согласно требованиям разд. 11 и 12.

СРАЩИВАНИЕ ЭМАЛИРОВАННЫХ ЖИЛ

10.47. Сращивание эмалированных жил должно быть выполнено таким образом, чтобы в случае проникновения в муфту влаги изоляция эмалированной жилы оставалась исправной. Для этого необходимо:

а) на расстоянии 15 - 20 мм от конца скрутки жил (до их скручивания) тщательно очистить жилы от эмали;

б) подготовить полиэтиленовую тупиковую гильзу диаметром 6 - 7 мм и длиной 60 - 70 мм, заполненную кабельной массой МКС-6;

в) скрутить жилы, как показано на рис. 10.14, образовав в верхней части скрутки пробку из бумажной или полиэтиленовой ленты, пропаять скрутку в стаканчиковом паяльнике припоем ПОССу-40-2 (предварительно смазав ее флюсом ФКСП) и в горячем состоянии опустить в тупиковую гильзу; при этом пробка должна плотно закупорить гильзу;

г) обмотать каждую гильзу несколькими слоями кабельной бумаги, скрепить обмотку ниткой и при упаковке сростка уложить так, чтобы она располагалась под углом 30 - 45° к горизонтальной оси муфты отверстием вверх.

Рис. 10.14. Изоляция сростка эмалированных жил

УСТАНОВКА И МОНТАЖ ПУПИНОВСКИХ ЯЩИКОВ

10.48. Установка пупиновских ящиков в котловане должна производиться со смещением от оси трассы кабеля на 0,5 - 0,6 м. Корпус ящика должен быть опущен ниже дна котлована таким образом, чтобы фланцы крышки корпуса находились выше уровня прокладки кабеля на 5 - 10 см.

В болотистых и слабых грунтах пупиновские ящики должны устанавливаться на железобетонных плитах или сваях, что определяется проектом.

10.49. В пределах усилительного участка все пупиновские ящики должны устанавливаться в одном направлении, т.е. стороной «вход» к станции А, а стороной «выход» - к станции Б.

10.50. До включения кабеля в пупиновский ящик на смонтированном шаге должны быть произведены следующие испытания и измерения: герметичность оболочки; сопротивление изоляции защитного шланга; прозвонка жил; электрическое сопротивление изоляции; емкостные связи и емкостная асимметрия.

10.51. До распайки швов на металлической внутренней коробке пупиновского ящика следует проверить его герметичность в соответствии с разд. 17 настоящего Руководства.

10.52. Снять крышку корпуса ящика, распаять швы внутренней коробки, убедиться в правильности установки ящика по надписям на монтажной плате («вход», «выход»); проверить соответствие расцветок выводных проводников пупиновских катушек расцветкам и номерам, указанным в паспорте; сделать прозвонку и измерения сопротивления изоляции катушек.

До устранения выявленных недостатков монтаж пупиновского ящика не допускается.

10.53. При диаметре оболочки кабеля меньше диаметра горловины внутренней коробки в местах ввода кабеля в горловину на оболочку следует намотать необходимое количество слоев из полосок свинца шириной 20 - 25 мм.

10.54. Разделку концов кабеля и подготовку их к монтажу произвести так же, как при монтаже других муфт. Размеры разделки концов должны соответствовать размерам пупиновского ящика. Накладываемые на броню кабеля бандажи должны находиться под крышкой металлического корпуса ящика.

10.55. Номера четверок (пар) кабеля, подлежащих пупинизации, определяются проектом. Если часть четверок кабеля не подлежит пупинизации, сращивание и изоляция их жил в коробке должна осуществляться так же, как при монтаже обычной муфты, при этом жилы соединяются напрямую или по заданным операторам.

10.56. При монтаже пупиновских ящиков сращивание жил кабеля с выводами катушек индуктивности может производиться либо напрямую (т.е. цвет в цвет) на входе и выходе пупиновского ящика (прямая пупиновская муфта), либо на входе напрямую, а на выходе по операторам скрещивания, указанным симметрировщиком на основании результатов измерений в процессе симметрирования (стыковая пупиновская муфта).

10.57. Сращивание жил кабеля с выводными проводниками катушек индуктивности произвести в соответствии с п. 10.10. Концы выводных проводников при сращивании с жилами кабеля не должны натягиваться; насколько позволяет их длина и место, они должны выкладываться с запасом (рис. 10.15).

Рис. 10.15. Сращивание жил в пупиновском ящике

10.58. Если по результатам измерений кроме скрещивания должны быть включены элементы противосвязи, сращивание их со скрутками жил и выводных проводников следует произвести так же, как при монтаже конденсаторной муфты. Схема включения элементов противосвязи и их параметры определяются симметрировщиком.

10.59. Для защиты от соприкосновения с металлической крышкой коробки сросток следует закрыть листом кабельной бумаги.

10.60. В процессе монтажа прямой или стыковой пупиновской муфт спайщиком должен быть заполнен паспорт по установленному образцу (форма 8.3). В паспорт должны быть вписаны только те данные (операторы, элементы противосвязи и т.п.), которые приняты симметрировщиком окончательно.

Первый экземпляр паспорта, а также заводской протокол испытаний пупиновского ящика должны быть вложены в коробку перед запайкой швов последней.

10.61. До начала запайки швов следует распаять и вывернуть имеющиеся в верхней части коробки болты (пробки).

10.62. Перед установкой крышки коробки следует тщательно проверить и хорошо залудить края крышки и коробки. Внутренние стенки коробки протереть сухой ветошью и просушить. Запайка швов крышки производится припоем ПОССу-30-2.

10.63. После запайки и остывания швов завинтить и запаять один болт, а через отверстие для второго создать в коробке избыточное давление воздуха (не более 40 - 45 кПа) и мыльным раствором проверить герметичность швов. Затем завинтить и запаять второй болт.

10.64. Установить крышку корпуса ящика и закрепить ее болтами. Под фланцами кабель обмотать просмоленной кабельной лентой таким образом, чтобы он плотно лежал во вводном отверстии. При затяжке болтов на фланцах следует следить, чтобы кабель не был пережат.

10.65. Пространство между крышкой внутренней коробки и крышкой корпуса ящика залить разогретой битумной массой.

10.66. Доливку массы по мере ее усадки, покрытие всех болтов массой, установку замерного столбика или фиксацию места расположения муфты и засыпку котлована выполнить как при монтаже других муфт.

УСТАНОВКА И МОНТАЖ УДЛИНИТЕЛЕЙ

10.67. Места установки удлинителей должны определяться в процессе составления укладочных ведомостей и разбивки усилительного участка на полушаги и шаги пупинизации.

10.68. Удлинительные элементы (сопротивления и конденсаторы) собирают по схемам, приведенным на рис. 10.16 и размещают в коробках, заключенных в металлические ящики аналогично катушкам индуктивности. Количество удлинительных комплектов определяется числом четверок (пар) в кабеле, подлежащих пупинизации.

Рис. 10.16. Схемы удлинителей для:

а - одной четверки; б - одной пары

10.69. Как правило, удлинитель должен устанавливаться вместо соединительной муфты. Если в шаге или полушаге, который должен быть дополнен удлинителем, проложена только одна строительная длина, то удлинитель следует устанавливать в одном котловане с пупиновским ящиком.

При наличии в кабеле пупинизированных и непупинизированных четверок (пар) удлинители следует включать только в те четверки (пары), которые подлежат пупинизации.

10.70. Установку ящика с удлинителями в котловане или колодце, проверку ящика на герметичность, распайку, монтаж, запайку и заливку следует выполнять так же, как при монтаже пупиновских ящиков (пп. 10.48, 10.50 - 10.56).

10.71. В отличие от пупиновских ящиков, ящики с удлинителями не имеют обозначений «Вход» и «Выход» и могут устанавливаться в любом направлении.

При монтаже удлинителя должен быть заполнен паспорт по форме, принятой для монтажа пупиновской муфты (форма 8.3).

РАЗДЕЛ 11

МОНТАЖ МЕТАЛЛИЧЕСКИХ ОБОЛОЧЕК КАБЕЛЕЙ

ОБЩИЕ УКАЗАНИЯ

11.1. Требования настоящего раздела должны соблюдаться при монтаже (сращивании) свинцовых, алюминиевых и стальных оболочек магистральных и внутризоновых кабелей связи. Все другие работы по монтажу этих кабелей, в том числе подготовка и разделка концов, сращивание элементов сердечника, испытание герметичности муфт, восстановление защитных покровов, установка и заливка защитных (чугунных, пластмассовых) муфт и т.д. должны выполняться согласно требованиям соответствующих разделов данного Руководства.

11.2. При температуре воздуха + 5 °С и ниже монтажные работы должны производиться в палатке (колодце), обогреваемой паяльными лампами; концы кабеля перед выкладкой и разделкой, а также полиэтиленовые детали для монтажа должны быть предварительно прогреты над пламенем паяльной лампы.

11.3. При монтаже кабелей в свинцовой, алюминиевой и стальной оболочках с пластмассовыми, шланговыми и ленточными защитными изолирующими покровами, необходимо:

а) для сохранения механических свойств и электрических характеристик пластмассовых элементов кабеля (полистирольной или полиэтиленовой изоляции токопроводящих проводников, изолирующих шланговых и ленточных покровов и т.д.) все горячие процессы (залуживание, пайка) выполнять при минимально необходимом нагреве и в возможно короткий срок; места пайки (залуживания) в предусмотренных технологией монтажа случаях необходимо охлаждать;

б) для обеспечения возможности периодического контроля состояния электрического сопротивления изоляции защитных (изолирующих) покровов, перепайку брони и оболочки (муфты) не производить;

в) на стыке кабеля в алюминиевой или стальной оболочке с кабелем в свинцовой оболочке без шланговых изолирующих покровов устанавливать изолирующую муфту.

11.4. Для монтажа металлических оболочек магистральных и внутризоновых кабелей связи, как правило, должны применяться свинцовые муфты следующих типов:

а) муфта цилиндрическая типа МС (рис. 11.1, а);

б) муфта цилиндрическая с конусным окончанием типа МСк (рис. 11.1, б);

в) муфта цилиндрическая типа МС в комплекте с двумя конусами (рис. 11.1, в, г).

Размеры муфт и их типы в зависимости от способа монтажа и типа кабеля приведены в табл. 11.1 - 11.4.

Рис. 11.1. Свинцовые цилиндрические муфты

Таблица 11.1

Размеры цилиндрических свинцовых муфт типа МС (рис. 11.1, а)

Типоразмер муфты

Размеры, мм

D

L

d

27×150

27

150

2,0

30×210

30

210

 

37×190

37

190

 

45×220

45

220

3,0

45×270

45

270

 

65×360

65

360

 

65×520

65

520

 

70×270

70

270

 

82×530

82

530

 

125×440

125

440

3,5

Таблица 11.2

Размеры цилиндрических свинцовых муфт с конусным окончанием типа МСк (рис. 11.1, б)

Типоразмер муфты

Размеры, мм

D

L

l

d

d

65×380

65

380

30

55

3,0

70×540

70

540

40

55

82×400

82

400

40

55

Таблица 11.3

Размеры свинцовых конусов (рис. 11.1, в)

Типоразмер конуса

Размеры, мм

d

D

l1

l2

L

d

13×25×20

13

25

20

15

40

2,0

15×25×20

15

25

20

15

40

20×35×25

20

35

25

15

50

20×43×25

20

43

25

15

50

21×43×25

21

43

25

15

55

3,0

23×43×10

23

43

10

15

50

25×68×25

25

68

25

15

50

2,5

29×68×10

29

68

10

15

50

33,4×63×30

33,4

63

30

25

70

3,0

50×120×20

50

120

20

35

90

3,5

11.5. Муфты, показанные на рис. 11.1, а, б, должны применяться во всех случаях, когда имеется возможность надвинуть свинцовую муфту на один из концов сращиваемых кабелей до начала монтажа сердечника кабеля.

11.6. Муфты цилиндрические в комплекте с двумя конусами (рис. 11.1, в, г) обычно применяются при монтаже симметрирующих (стыковых) муфт высокочастотных кабелей в случаях, когда требуется многократная распайка, при сращивании алюминиевых оболочек клеевым способом, а также при монтаже кабелей большой емкости, когда диаметр сростка сердечника в 3 - 4 раза превышает диаметр кабеля по оболочке (например, на кабеле КМ-8/6).

Таблица 11.4

Марки и размеры муфт для монтажа высокочастотных кабелей

Тип кабеля

Способ монтажа оболочки

Назначение муфты

Марка муфты (типоразмер муфты и конуса)

МКС-1×4×1,2

Пайка

Прямая и стыковая

МС 27×150

МКСА-1×4×1,2

Клеевой

МС 27×150; К 13×25×20

A-1×4×1,2

МС 30×210; К 15×25×20

МКС-4×4×1,2

Пайка

Прямая

МС 37×190

МКСА-4×4×1,2

Прямая и стыковая

МС 45×270; К 20×43×25

МКСАС-4×4×1,2

МКСА-4×4×1,2

Клеевой

Прямая

МС 37×190; К 20×35×25

Стыковая

МС 45×270; К 20×43×25

МКССт-4×4×1,2

Пайка

Прямая

МС 37×190

Стыковая

МС 45×270; К 23×43×10

МКС-7×4×1,2

Прямая

МС 45×220

Стыковая

МС 70×270; К 25×68×25

МКССт-7×4×1,2

Прямая

МС 45×220

Стыковая

МС 70×270; К 29×68×10

МКСА-7×4×1,2

Клеевой

Прямая

МС 45×220; К 25×43×25

 

Стыковая

МС 70×270; К 25×68×25

МКТС-4

Пайка

Прямая

МС 45×220

МКТА-4

Клеевой

МС 45×220; К 21×43×25

КМ-4

Пайка

МСк 65×380

Пупиновская

МСк 82×400

Прямая и пупиновская

МСк 70×540*

КМА-4

Клеевой

Прямая

МС 65×360; К 33,4×63×30

Пупиновская

МСк 82×400; К 33,4×63×30

Прямая

МС 65×520; К 33,4×63×30*

Пупиновская

МС 82×530; К 33,4×63×30*

КМ-8/6

Пайка

Прямая и пупиновская

МС 125×440; К 50×120×20

* При монтаже кабеля, предназначенного для систем передачи в диапазоне 60 МГц.

11.7. В отдельных случаях могут применяться нетиповые свинцовые муфты:

а) с одним продольным швом (рис. 11.1, д), когда надвинуть цилиндрическую муфту на конец кабеля невозможно (например, на кабелях с проволочной броней, с экранными проволоками и т.д.), а также при необходимости перемонтажа муфты с конусным окончанием без демонтажа элементов сердечника кабеля;

б) с поперечным швом (рис. 11.1, е), когда цилиндрическую бесшовную муфту надвинуть на один конец кабеля не представляется возможным.

11.8. При монтаже кабелей в алюминиевой оболочке методом опрессования используются алюминиевые детали, типы и размеры которых приведены ниже (см. табл. 11.5 и рис. 11.14).

МОНТАЖ СВИНЦОВЫХ ОБОЛОЧЕК

11.9. Подготовку и разделку концов кабеля (до удаления свинцовой оболочки включительно) выполнить в соответствии с разд. 8, а монтаж сердечника - в соответствии с разд. 9 и 10.

11.10. Свинцовую цилиндрическую муфту, ранее надвинутую на один из концов сращиваемых кабелей, сдвинуть на упакованный сросток таким образом, чтобы ее поперечная ось совпала с серединой сростка. Деревянным молотком при необходимости произвести подгонку конусов, которые должны плотно прилегать к свинцовой оболочке.

11.11. Для монтажа оболочки на симметрирующих муфтах тип свинцовой муфты следует определить в зависимости от типа кабеля и объема работ по его симметрированию. Если по нормам трудоемкости или по практическому опыту известно, что в течение одного рабочего дня закончить монтаж сердечника и муфты невозможно, необходимо применять свинцовые муфты с конусами (рис. 11.1, г), чтобы на время перерыва в работе муфта была запаяна, т.е. предохранена от проникновения влаги. При этом свинцовые конусы до монтажа сердечника должны быть напостоянно припаяны к оболочке кабеля, а свинцовый цилиндр на время перерыва временно припаян к конусам.

11.12. Если монтаж симметрирующей муфты может быть выполнен в течение одного рабочего дня, допускается использование цилиндрической муфты без конусов и с конусным окончанием.

11.13. Свинцовую муфту с продольным швом устанавливают после упаковки сростка. Очищенную и тщательно просушенную муфту необходимо раздвинуть по продольному шву, установить на сросток, сжать и закрепить временным проволочным хомутиком. Края продольного шва должны перекрывать друг друга на 8 - 15 мм. Продольный шов следует расположить со смещением относительно горизонтальной плоскости на 45° вверх. Чтобы при запайке продольного шва расплавленный припой и стеарин не попадали внутрь муфты на сросток, нахлест свинца должен быть сверху вниз. Конусы муфты должны быть подогнаны по диаметру кабеля, до ее установки на сросток, а после установки плотно прилегать к оболочке.

11.14. При монтаже коаксиальных кабелей тип свинцовой муфты определяется по табл. 11.4.

11.15. Для залуживания швов и пайки свинцовых муфт (ящиков индуктивности, удлинителей, корпусов муфт АРУ и т.д.) должен применяться припой ПОССу-30-2; в качестве флюса используется стеарин. Паяльная гладилка для равномерного распределения припоя по шву должна состоять из плотной ткани без ворса, сложенной в 12 - 16 слоев (например, поплин).

Перед залуживанием место пайки следует обработать (покрыть тонким слоем) расплавленным стеарином.

11.16. Запайка муфт должна производиться в два этапа: сначала залуживание швов, потом их запайка. При запайке разрезной муфты сначала следует запаять продольный (поперечный) шов, потом конусы и после проверки герметичности швов местным давлением (см. разд. 17) запаять контрольное отверстие. Для придания свинцовой муфте стабильного положения до запайки первого конуса второй конец муфты следует временно припаять к свинцовой оболочке кабеля.

11.17. В процессе пайки и после ее завершения нельзя шевелить муфту и кабель до остывания паяных швов. Непосредственно после пайки горячий шов следует остудить стеарином, что исключает образование трещин.

11.18. Запайку муфт на кабеле с полистирольной или полиэтиленовой изоляцией токопроводящих элементов во избежание ее оплавления следует вести при минимально допустимом нагреве кабеля и конусов муфты, для чего необходимо:

а) нагрев вести узким пламенем горелки (паяльной лампы), направляя его на разогреваемый припой и место его укладки;

б) запайку вести максимально быстро.

11.19. Запаянные швы должны быть гладкими, не иметь трещин, раковин, посторонних включений и шероховатостей,

Качество запайки конусов в нижней их части должно контролироваться спайщиком при помощи вогнутого или обычного зеркала.

11.20. После остывания муфты должна быть проверена ее герметичность в соответствии с требованиями разд. 17.

11.21. Перед запайкой контрольного отверстия всю поверхность муфты следует прогреть.

11.22. В местах оборудования КИП после запайки муфты к ее середине должен быть припаян залуженный конец выводного провода, который укладывается в сторону Б для подключения к клеммному щитку. Общий вид запаянной муфты показан на рис. 11.2.

Рис. 11.2. Общий вид запаянной муфты с выводами к КИП от оболочки и брони

ОСОБЕННОСТИ МОНТАЖА СВИНЦОВОЙ МУФТЫ НА КАБЕЛЕ ТИПА КМ-8/6

11.23. После упаковки сростка сердечника (см. п. 9.103) установить конусы свинцовой муфты с помощью приспособления для центровки (рис. 11.3) так, чтобы расстояние от обреза брони до конуса составляло 55 мм (в кабеле без брони конец конуса с меньшим диаметром должен быть на расстоянии 290 мм от середины сростка или 35 мм от обреза оболочки). Зачеканить деревянным молотком конусы так, чтобы они плотно прилегали к оболочке кабеля, не допуская вмятин на оболочке и конусах.

Рис. 11.3. Приспособление для центровки конусов свинцовой муфты на кабеле КМ-8/6

11.24. Спаять стыки конусов с оболочкой кабеля припоем ПОССу-30-2; снять приспособление для центровки. Надвинуть свинцовый цилиндр на конусы так, чтобы расстояние от края цилиндра до начала конусной части с обеих сторон было одинаковым. Спаять цилиндр с конусами припоем ПОССу-30-2. Охладить и очистить места спайки стеарином, протереть муфту и оболочку кабеля ветошью, смоченной бензином. Проверить герметичность муфты. Общий вид смонтированной муфты показан на рис. 11.4.

Рис. 11.4. Общий вид муфты на кабеле КМ-8/6

11.25. Перепайку брони, установку и заливку защитной муфты типа МЧК-70, установку замерного столбика и засыпку котлована выполнить в соответствии с требованиями разд. 8.

МОНТАЖ АЛЮМИНИЕВЫХ ОБОЛОЧЕК

11.26. Монтаж алюминиевых оболочек должен производиться одним из следующих методов: склеиванием, опрессованием, горячей пайкой.

Примечание. Метод горячей пайки рекомендуется использовать только при выполнении ремонтных работ.

11.27. Подготовку и разделку концов кабеля (до удаления оболочки включительно) выполнить в соответствии с требованиями разд. 8.

11.28. На расстоянии 2 - 3 мм от обреза оболочки на поясную изоляцию сердечника наложить бандаж из ниток; временно закрепить поясную изоляцию на конце кабеля нитками (до окончания работ по расширению оболочки, запрессовке опорных втулок, установке свинцовых конусов или трубок - изоляцию не удалять).

11.29. В процессе подготовки к монтажу сращиваемых концов кабеля необходимо:

а) металлические и пластмассовые детали (конусы, цилиндры, трубки) тщательно протереть снаружи и внутри ветошью, смоченной бензином; конусы (трубки) внутри зачистить и протереть ветошью;

б) припаять к свинцовому цилиндру корпус вентиля для проверки герметичности смонтированной муфты;

11.30. До начала монтажа сердечника в зависимости от метода монтажа оболочки и способа восстановления изолирующих покровов при подготовке концов кабеля к монтажу на них должны быть надвинуты соответствующие детали (свинцовые, алюминиевые или полиэтиленовые муфты, конусы, термоусаживаемые трубки и т.д.).

Примечание. На кабеле с наружным джутовым покровом концы кабеля предварительно обмотать бумагой, чтобы сохранить чистоту внутренних поверхностей устанавливаемых деталей.

Монтаж алюминиевой оболочки клеевым методом

11.31. Для сращивания оболочки клеевым методом, кроме обычных, применяются следующие приспособления и материалы:

а) обжим винтовой (рис. 11.5);

б) кожух металлический для обогрева клеевых швов (рис. 11.6);

в) клей ВК-9 (см. приложение 9);

г) баночка и лопатка для компонентов клея;

д) стальная пластинка для надреза полиэтиленовой оболочки;

е) термометр для контроля температуры прогрева клеевых швов.

Рис. 11.5. Ручной (винтовой) обжим

Рис. 11.6. Кожух металлический:

а - расположение концов кабеля в кожухе; б - в процессе прогрева швов

1 - кожух; 2 - клеевой шов; 3 - обмотка из стеклоткани; 4 - термометр

11.32. Сращивание оболочки должно осуществляться при помощи свинцовой муфты, состоящей из цилиндра и двух конусов или трубок (рис. 11.1, г). Размеры свинцовых муфт для сращивания алюминиевых оболочек клеевым методом должны соответствовать приведенным в табл. 11.4. При использовании вместо конусов свинцовых трубок их длина, внутренний диаметр и толщина стенок должны быть такие же, как и конусов для данного типа кабеля.

11.33. Перекрытие концов кабеля после их выкладки в котловане (колодце) должно соответствовать табл. 8.3.

11.34. В соответствии с табл. 8.5 разделать концы сращиваемых кабелей, не обрезая алюминиевую оболочку. Место среза полиэтиленового шланга, наложенного на оболочку, обмотать двумя - четырьмя слоями стеклоленты.

11.35. На расстоянии 20 мм от места среза алюминиевой оболочки последнюю зачистить стальной щеткой, залудить 1/3 длины окружности припоем ЦОП и нанести поверх него слой припоя ПОССу-30-2 (залуживание выполнить по технологии, изложенной в п. 11.75).

11.36. По ранее сделанной отметке сделать круговой надрез на алюминиевой оболочке и тщательно протереть ее марлевым тампоном, смоченным в бензине.

11.37. Приготовить клей ВК-9, для чего содержащиеся в двух упаковках (тубах) компоненты выдавить в пластмассовую или стеклянную баночку и перемешивать пластмассовой (стеклянной, металлической) лопаточкой в течение 3 - 5 мин. Готовность клея проверяется визуально при поднятии лопаточки с клеем на высоту 8 - 10 см над баночкой, струя должна быть однородной, без сгустков. Приготовленный клей должен быть использован в течение не более 1 ч.

11.38. Надвинуть свинцовый конус (трубку) на алюминиевую оболочку до упора узкой его части в обрез полиэтиленового шланга.

11.39. На залуженный участок алюминиевой оболочки наложить бандаж из двух-трех витков медной луженой проволоки диаметром 0,9 - 1,2 мм и припаять его при помощи паяльника припоем ПОССу-40-2 без применения флюса. Концы проволок бандажа длиной 50 - 70 мм оставить для перепайки конуса со свинцовым цилиндром.

Примечание. При использовании вместо конусов трубок припайку бандажа произвести после их приклеивания к оболочке.

11.40. Сдвинуть свинцовый конус к бандажу и на расстоянии 10 мм (в кабеле КМА-4 на расстоянии 15 мм) от места среза полиэтиленового шланга лопаточкой на алюминиевую оболочку нанести клей слоем 1 - 1,5 мм по всей окружности на длине 20 мм (в кабеле КМА-4 на длине 25 - 30 мм); сдвинуть конус так, чтобы конец его узкой части находился на расстоянии 10 - 15 мм от места среза полиэтиленового шланга; несколько раз провернуть конус вокруг кабеля.

11.41. Специальным обжимным, устройством (см. рис. 11.5) обжать конус (трубку). После снятия обжимного устройства на торец конуса нанести слой клея и наложить бандаж из одного слоя марли шириной 15 - 20 мм. Поверх марли нанести второй слой клея. Аналогично подготовить второй конец кабеля.

Полиэтиленовый шланг от места его среза до места среза брони, а также наружный шланг обмотать двумя-тремя слоями стеклоленты (см. рис. 11.6, а). Длина намотки должна быть такой, чтобы при прогревании клеевых швов обмотка стеклоленты выходила за пределы кожуха.

11.42. Концы сращиваемых кабелей с приклеенными конусами поместить в металлический кожух и направленным на него пламенем паяльной лампы прогреть клеевые швы в течение 50 - 60 мин при температуре 60 - 80 °С.

Пламя паяльной лампы следует периодически перемещать вдоль и вокруг кожуха (рис. 11.6, б). Контроль температуры должен осуществляться термометром, укрепленным на кожухе таким образом, чтобы конец его находился внутри кожуха, а шкала снаружи.

Отвердение клея контролируется визуально; по окончании прогрева клеевой шов должен быть твердым. При недостаточном отвердении прогрев следует продолжить.

Общий вид конца кабеля с приклеенным конусом показан на рис. 11.7.

Рис. 11.7. Конец кабеля перед монтажом сердечника при использовании конуса (а) или трубки (б):

1 - джут; 2 - бандаж на броне; 3 - полиэтиленовый шланг по оболочке; 4 - алюминиевая оболочка; 5 - клеевой шов; 6 - свинцовый конус; 7 - бандаж на оболочке; 8 - наружный полиэтиленовый шланг; 9 - свинцовая трубка

Примечание. Учитывая, что непосредственно после прогрева клеевые швы еще недостаточно прочны, все последующие работы должны производиться с особой осторожностью, чтобы не повредить шов.

11.43. Снять металлический кожух. В месте надреза алюминиевую оболочку перегибать до надлома по всей окружности и аккуратно стянуть с конца кабеля. У места среза оболочки наложить бандаж из ниток на поясную изоляцию и удалить ее с конца кабеля.

11.44. Монтаж и упаковку сростка выполнить в соответствии с требованиями разд. 9 и 10. При этом перед пайкой свинцового цилиндра к конусам клеевые швы следует временно обмотать двумя-тремя слоями стеклоленты, а концы проводов от бандажа на алюминиевой оболочке уложить между конусом (трубкой) и цилиндром (см. рис. 11.7). Общий вид муфты (в разрезе), смонтированной клеевым методом, показан на рис. 11.8.

Рис. 11.8. Вид муфты (в разрезе), смонтированной клеевым методом при помощи свинцовых конусов (а) или свинцовой трубки (б):

1 - клеевой шов; 2 - свинцовый конус; 3 - пайка; 4 - провода перепайки оболочки и муфты; 5 - свинцовый цилиндр; 6 - трубка

Монтаж алюминиевой оболочки методом опрессования

11.45. Для сращивания алюминиевой оболочки методом опрессования*, кроме обычных, применяются следующие приспособления, инструмент и материалы:

а) монтажный станок;

б) труборез;

в) устройство для расширения оболочки и запрессовки опорных втулок (рис. 11.9);

г) проходной пуансон для расширения оболочки (рис. 11.10);

д) пресс ручной гидравлический с пуансоном и матрицей;

е) щетки стальные;

ж) паста кварцевазелиновая ПКВ (см. приложение 7);

з) детали для сращивания оболочки (рис. 11.11 и табл. 11.5).

* Монтаж кабеля типа-ВКПАП-2,1/9,7 методом опрессования изложен в разд. 9.

Рис. 11.9. Устройство для расширения оболочки и запрессовки опорных втулок

Рис. 11.10. Проходной пуансон для расширения оболочки

Рис. 11.11. Детали для монтажа кабеля методом опрессования:

а - опорная втулка; б - алюминиевая трубка для прямых муфт; в - переходная трубка для симметрирующих муфт на кабеле МКСА (для кабеля ЗКПА используется алюминиевая переходная трубка без свинцового конуса); г - свинцовый цилиндр

11.46. В зависимости от типа кабеля и способа восстановления изолирующих покровов разделать концы сращиваемых длин согласно размерам, приведенным в табл. 8.6 (см. рис. 8.11). При монтаже кабелей марок МКСАБпШп-1×4 или ЗКАБп-1×4×1,2 бронеленты на конце кабеля со стороны А не обрезать, а смотать в рулончики до обреза наружного полиэтиленового шланга, предварительно надвинув на этот конец детали для восстановления изолирующих покровов.

Размеры разделки кабелей при использовании ТУТ приведены в разд. 12.

11.47. В зависимости от способа восстановления изолирующих покровов надвинуть на концы сращиваемых кабелей соответствующие детали (полиэтиленовые, термоусаживаемые).

Таблица 11.5

Размеры металлических деталей для сращивания алюминиевой оболочки методом опрессования

Тип кабеля

Размеры, мм (рис. 11.11)

опорная втулка

трубка алюминиевая

d1

d2

l

d1

d2

l

МКСА-4×4

20

23

35

26

30

230

МКСА-1×4

10

12,7

35

15

18

170

ЗКА-1×4

12,5

15,6

35

19

22

190

13,5*

16,3

35

20*

24*

190

ВКПА

8

10

35

13

16

90

Продолжение табл. 11.5

Тип кабеля

Размеры, мм (рис. 11.11)

трубка переходная

цилиндр свинцовый

d1

d2

d3

d4

l1

l2

l3

d1

d2

l

МКСА-4×4

26,5

29,5

40

44

70

40

90

46

49

260

МКСА-1×4

16,5

18

21

25

60

40

80

26

30

90

ЗКА-1×4

19,5

23

-

-

60

-

-

26

30

90

-

-

-

-

-

-

-

-

-

-

ВКПА

-

-

-

-

-

-

-

-

-

-

* При применении алюминиевой трубки-муфты типоразмера 24×2.

11.48. Установить монтажный станок и закрепить на нем устройство для расширения алюминиевой оболочки и запрессовки опорных втулок; подающий винт устройства вывести в крайнее положение.

11.49. Надвинуть на сердечник кабеля проходной пуансон для расширения оболочки (см. рис. 11.10).

11.50. Конец кабеля заложить в устройство таким образом, чтобы срез полиэтиленового шланга упирался во внешний торец губок держателя; закрепить конец кабеля в держателе, стянув губки винтом. Вставить пуансон в гнездо корпуса устройства, смазать рабочую часть пуансона вазелином.

11.51. Вращением подающего винта запрессовать проходной пуансон под оболочку кабеля. Подающий винт устройства вывернуть вместе с пуансоном.

11.52. Освободить кабель из губок держателя, снять с сердечника пуансон и на его место надвинуть стальную опорную втулку (см. рис. 11.11, а) и толкатель. Ввести толкатель в гнездо головки расширительного устройства и запрессовать опорную втулку под расширенную часть оболочки путем вращения подающего винта (рис. 11.12).

Рис. 11.12. Конец кабеля после запрессовки опорной втулки:

1 - шланг; 2 - расширенная часть оболочки; 3 - опорная втулка

11.53. При запрессовании проходных пуансонов и опорной втулки недопустим их перекос, так как это может вызвать повреждение сердечника, прорез или разрыв оболочки в месте запрессовки.

В случае, когда это по каким-либо причинам все же имеет место, необходимо заново разделать конец кабеля.

11.54. Аналогично подготовить второй конец сращиваемых кабелей.

Примечание. При расширении оболочки и запрессовке опорной втулки оболочка укорачивается примерно на 5 мм на кабеле емкостью 1×4 и до 10 мм на кабеле 4×4 и более. Поэтому перед монтажом сердечника сращиваемые концы кабеля должны быть установлены таким образом, чтобы расстояние между местами среза оболочки (расширенной) соответствовало данным табл. 8.6. Соответственно расстояние от середины сростка до места среза наружного покрова (брони, внутреннего шланга) на, смонтированной муфте будет на 10 - 20 мм меньше, чем на разделанном конце кабеля до монтажа.

11.55. Зачистить металлической круглой щеткой внутреннюю поверхность соединительной алюминиевой трубки (рис. 11.11, б) на длине 30 - 40 мм с обоих концов. Зачищенную поверхность смазать кварцевазелиновой пастой и вторично зачистить щеткой под слоем пасты. Аналогично зачистить плоской стальной щеткой наружную поверхность расширенной части оболочки на кабеле со стороны А.

Примечание. При необходимости устройства КИП к алюминиевой трубке должен быть предварительно (в мастерских, на базе) припаян выводной проводник.

11.56. Надвинуть алюминиевую трубку на оболочку конца кабеля со стороны А. Удалить поясную изоляцию.

11.57. Смонтировать сердечник кабеля; при этом учесть примечание к п. 11.54; восстановление поясной изоляции выполнить четырьмя слоями полиэтиленовой ленты (рис. 11.13, а).

11.58. Зачистить наружную поверхность расширенной части оболочки на кабеле со стороны Б так же, как на кабеле со стороны А (п. 11.55).

11.59. Надвинуть на упакованный сросток алюминиевую трубку так, чтобы концы ее симметрично закрывали расширенные части оболочки сращиваемых кабелей (рис. 11.13, б).

11.60. Установить на один из концов алюминиевой трубки матрицу и пуансон гидравлического пресса так, чтобы их края со стороны кабеля совпадали с концом трубки. Произвести опрессование; пуансон и матрица должны сомкнуться.

Аналогично спрессовать второй конец трубки.

Образовавшиеся при опрессовании на концах трубки заусенцы осторожно удалить при помощи кусачек и напильника.

Общий вид сростка после опрессования показан на рис. 11.13, в.

Не допускается:

применять алюминиевые трубки, пуансоны и матрицы, размеры которых не соответствуют данному типу кабеля;

производить опрессование без тщательной зачистки и смазки кварцевазелиновой пастой спрессовываемых поверхностей.

Рис. 11.13. Основные этапы монтажа прямой муфты методом опрессования:

а - смонтированный сердечник; б - установка алюминиевой трубки над сростком; в - вид муфты после опрессования

11.61. Удалить с поверхности сростка остатки кварцевазелиновой пасты и протереть ее чистой ветошью, смоченной в бензине.

11.62. Восстановление защитных покровов выполнить согласно разд. 12.

11.63. При монтаже кабелей марок МКСАБпШп-1×4×1,2 или ЗКАБп-1×4×1,2 обмотать сросток ранее смотанными в рулончики бронелентами (см. п. 11.46) с тем же шагом и перекрытием, что и на кабеле; концы бронелент очистить от битума, залудить и закрепить на броне со стороны Б бандажом из трех-четырех витков медной луженой проволоки. Стык бронелент и бандаж пропаять припоем ПОССу-30-2.

Особенности монтажа алюминиевой оболочки методом опрессования в симметрирующих муфтах

11.64. Разделку концов кабеля (см. табл. 8.6), расширение оболочки, запрессовку опорных втулок произвести так же, как при монтаже прямых муфт.

11.65. Для монтажа оболочки применяются переходные свинцово-алюминиевые трубки (рис. 11.11, в) и свинцовый цилиндр.

На кабеле ЗКАШп-1×4×1,2 и МКСАШп-1×4×1,2 вместо переходной свинцово-алюминиевой трубки допускается применение алюминиевой трубки, конец которой, обращенный к сростку, следует предварительно залудить припоями ЦОП и ПОССу-30-2 на длине 30 мм.

11.66. Зачистить концы алюминиевых переходных трубок и расширенную часть оболочки с использованием кварцевазелиновой пасты согласно п. 11.55. Залудить концы свинцовой части переходных трубок и свинцового цилиндра.

11.67. Надвинуть на один из концов кабеля свинцовый цилиндр и переходную трубку, а на другой конец переходную трубку.

11.68. Проверить размеры разделки концов кабеля и закрепить их таким образом, чтобы расстояния между обрезами оболочки соответствовали табл. 8.6.

11.69. Выполнить монтаж сердечника кабеля в соответствии с требованиями разд. 10.

11.70. Надвинуть переходные трубки таким образом, чтобы их алюминиевые концы перекрывали расширенную часть алюминиевой оболочки.

11.71. Спрессовать алюминиевые переходные трубки с алюминиевой оболочкой кабеля так, как это изложено в п. 11.60.

11.72. Надвинуть на сросток свинцовый цилиндр таким образом, чтобы его концы симметрично перекрывали концы свинцовых конусов переходных трубок, а в кабелях ЗКА-1×4×1,2 и МКСА-1×4×1,2-залуженные концы алюминиевых переходных трубок.

Спайку цилиндра с переходными конусами выполнить припоем ПОССу-30-2.

11.73. Испытание герметичности смонтированной муфты, восстановление изолирующих покровов, установку и заливку защитной чугунной муфты, установку замерного столбика выполнить согласно требованиям данного Руководства.

Общий вид смонтированной симметрирующей муфты показан на рис. 11.14.

Рис. 11.14. Общий вид симметрирующей муфты, смонтированной методом опрессования при помощи переходной трубки со свинцовым конусом (а) и без свинцового конуса (б):

1 - алюминиевая оболочка; 2 - опорная втулка; 3 - переходная алюминиево-свинцовая трубка; 4 - свинцовый цилиндр; 5 - сросток сердечника; 6 - пайка; 7 - переходная алюминиевая трубка; 8 - место опрессования

Монтаж алюминиевой оболочки методом горячей пайки

11.74. Для сращивания алюминиевой оболочки методом горячей пайки, кроме обычных приспособлений и материалов, должны быть подготовлены:

а) охладитель (рис. 11.15) с диаметром отверстия, соответствующим диаметру сращиваемой алюминиевой оболочки;

б) щетки стальные (с кордной лентой): одна для зачистки оболочки и вторая для ее обслуживания;

в) цинково-оловянный припой ЦОП;

г) материалы для восстановления изолирующих покровов (разд. 12).

Рис. 11.15. Охладитель

11.75. После разделки концов кабеля залудить алюминиевую оболочку, для чего:

а) сердечник кабеля поверх поясной изоляции обмотать двумя слоями стеклоленты;

б) поверхность оболочки зачистить напильником, затем стальной щеткой, протереть ветошью, смоченной бензином (Б-70 или неэтилированным А-72) и вновь протереть сухой тканью;

в) при залуживании оболочки необходимо обратить особое внимание на чистоту обрабатываемой поверхности. Чтобы расплавленный битум не подтекал в зону залуживания, конец кабеля следует обрабатывать в наклонном положении. Залуживание производится без применения флюса; стальные щетки перед использованием должны быть тщательно очищены от загрязнений, промыты в бензине и просушены; щетки, предназначенные для залуживания, не должны использоваться для зачистки оболочки; щетки для зачистки не должны применяться для залуживания;

г) на стальную щетку (предназначенную только для залуживания оболочки) нанести 5 - 7 г припоя ЦОП, разогретого до состояния текучести;

д) прогреть пламенем паяльной лампы (рис. 11.16, а) или горелки алюминиевую оболочку до температуры плавления припоя и, натирая стальной щеткой с припоем ЦОП, залудить оболочку по всей окружности на расстоянии 40 - 50 мм от ее среза; припой должен покрыть оболочку ровным, гладким и блестящим слоем,

е) на горячую поверхность залуженной оболочки путем натирания нанести прутком тонкий слой припоя ПОССу-30-2;

ж) длительность всего процесса залуживания должна быть минимальной и не превышать 1 мин;

з) немедленно после нанесения припоя ПОССу-30-2 на оболочку кабеля вблизи места среза полиэтиленового шланга установить охладитель (рис. 11.16, б);

и) после остывания оболочки снять охладитель и удалить стеклоленту с сердечника.

Аналогично подготовить второй конец кабеля.

11.76. Удаление поясной изоляции, монтаж сердечника, упаковка сростка, запайка свинцовой муфты, испытание герметичности, установка защитной чугунной муфты и другие работы должны выполняться так же, как на кабеле в свинцовой оболочке с учетом следующего:

а) перед надвиганием на конец кабеля бесшовной свинцовой муфты на ее концах следует сделать несколько треугольных вырезов, что облегчает образование конусов и сохраняет залуженные поверхности оболочки и муфты в процессе формирования конуса;

б) упаковку сростка выполнить увеличенным количеством слоев кабельной бумаги (6 - 8 слоев);

в) пайку муфты производить без применения флюса - сухой гладилкой;

г) сразу же после окончания пайки на оголенную оболочку необходимо установить охладитель (рис. 11.16, в).

Рис. 11.16. Монтаж кабеля в алюминиевой оболочке методом горячей пайки:

а - залуживание оболочки; б - установка охладителя, в - смонтированная муфта

МОНТАЖ СТАЛЬНЫХ ГОФРИРОВАННЫХ ОБОЛОЧЕК

11.77. Для монтажа муфт на кабеле в стальной гофрированной оболочке необходимо подготовить:

а) припой ЦОП для залуживания алюминиевого экрана;

б) паяльную пасту марки ПМКН-40 для залуживания стальной оболочки;

в) детали и материалы для восстановления защитных изолирующих покровов.

11.78. Разделать концы сращиваемых кабелей по размерам, приведенным в табл. 8.7 (см. рис. 8.15) и пп. 8.55 - 8.61.

11.79. Смонтировать сердечник кабеля и упаковать сросток в соответствии с требованиями разд. 10.

11.80. Ранее отогнутые концы экранных проволок сращиваемых отрезков кабеля скрутить около середины сростка и пропаять припоем ПОССу-40-2 (рис. 11.17).

Рис. 11.17. Перепайка экранных проволок и стальной оболочки с экранными лентами:

1 - шланг; 2 - оболочка; 3 - бандаж на оболочке, 4 - припайка бандажных проволок к экрану, 5 - скрутка экранных проволок

11.81. Поверх сростка с 30 %-ным перекрытием намотать ранее снятые с концов кабеля алюминиевые ленты экрана; концы лент залудить припоем ЦОП-40 и припаять к залуженным концам экрана, выступающего из-под стальной оболочки.

11.82. Произвести перепайку стальной оболочки с экраном, для чего:

а) на одном из концов стальной оболочки на крайней от среза впадине гофра наложить бандаж из двух витков медной луженой проволоки диаметром 0,9 - 1,2 мм и пропаять его припоем ПОССу-30-2;

б) концы проволок от бандажа проложить вдоль сростка по восстановленному экрану и припаять к нему в середине сростка после предварительного залуживания места припайки припоем ЦОП-40 (рис. 11.17).

Соединение стальной оболочки с экраном можно произвести также путем пропайки скрученных концов экранных проволок с оболочкой, подложив их под бандаж, накладываемый на крайней от места среза впадине гофра (рис. 11.18, позиция 7).

11.83. Надвинуть на сросток свинцовую муфту, произвести подбивку конусов и припаять к ранее залуженной стальной оболочке при помощи припоя ПОССу-30-2 без применения флюса. Общий вид смонтированной муфты показан на рис. 11.19, а.

Рис. 11.18. Спайка экранных проволок со стальной оболочкой:

1 - шланг; 2 - стальная оболочка; 3 - пластмассовая лента; 4 - экранные ленты; 5 - экранная проволока; 6 - поясная изоляция; 7 - спайка экранных проволок с оболочкой; 8 - восстановление экрана; 9 - упаковка сростка; 10 - залуженный участок оболочки

11.84. При монтаже симметрирующей муфты свинцовые конуса должны быть припаяны к залуженной оболочке до монтажа сердечника, а после монтажа последнего и восстановления экрана на сросток надвинуть свинцовый цилиндр и припаять его к свинцовым конусам (рис. 11.19, б).

Рис. 11.19. Общий вид прямой (а) и симметрирующей (б) муфт, смонтированных на кабеле в стальной гофрированной оболочке:

1 - шланг; 2 - оболочка; 3 - пайка; 4 - свинцовая муфта; 5 - экранные ленты; 6 - поясная изоляция на сростке; 7 - скрутка экранных проволок; 8 - перепайка оболочки с экраном; 9 - свинцовый конус; 10 - бандаж на стальной оболочке

11.85. Удалить временно наложенные стеклоленты в местах среза полиэтиленового шланга.

11.86. Проверить герметичность муфты местным давлением в соответствии с требованиями разд. 17.

11.87. Восстановить изолирующие покровы согласно требованиям разд. 12.

ОСОБЕННОСТИ МОНТАЖА КАБЕЛЯ В АЛЮМИНИЕВОЙ ОБОЛОЧКЕ И СТАЛЬНОЙ ГОФРИРОВАННОЙ БРОНЕ ТИПА МКСАСтпШп

11.88. В зависимости от способа сращивания оболочки разделать концы кабеля по размерам, приведенным в табл. 8.8 (см. рис. 8.16 и пп. 8.62 - 8.67).

11.89. Монтаж сердечника кабеля, сращивание алюминиевой оболочки и восстановление защитных покровов выполнить так же, как на кабеле с ленточной броней.

ЗАДЕЛКА КОНЦОВ КАБЕЛЕЙ В МЕТАЛЛИЧЕСКИХ ОБОЛОЧКАХ

11.90. После вскрытия кабеля для измерений и испытаний на кабельной площадке или в процессе выполнения строительно-монтажных работ концы кабеля должны быть тщательно заделаны. При этом заделка металлических оболочек должна быть герметичной и обеспечивать установку кабеля под избыточное давление. Наружные изолирующие покровы кабеля после вскрытия концов должны быть восстановлены таким образом, чтобы исключалось соприкосновение оголенных оболочек (брони) с окружающей средой (грунтом, водой).

11.91. Токопроводящие элементы кабеля при заделке концов, как правило, должны быть изолированы друг от друга, а также от оболочки (экрана), что обеспечивает проведение электрических измерений. Для этого концы кабеля должны быть разделаны «на пирамиду».

11.92. Для герметизации концов следует применять свинцовые колпаки, припаиваемые к оболочке после ее предварительного облуживания. Концы кабеля в алюминиевой оболочке могут быть также заделаны при помощи свинцовых колпаков, приклеиваемых к оболочке по технологии, изложенной в пп. 11.37, 11.40 - 11.42.

11.93. Восстановление наружных изолирующих покровов на концах кабеля должно производиться при помощи пластмассовых колпаков, сращиваемых со шланговым покровом одним из способов, изложенным в разд. 12.

11.94. Заделку концов кабелей в алюминиевой оболочке следует выполнять в следующей последовательности:

а) разделать конец кобеля согласно рис. 11.20;

б) обмотать оголенную часть сердечника кабеля с захватом оболочки на 10 - 15 мм кабельной бумагой и закрепить ее нитками;

в) стальной щеткой зачистить алюминиевую оболочку, протереть ее ветошью, смоченной бензином, и просушить;

г) расположить кабель вертикально (концом вверх), облудить оболочку на расстоянии 50 - 60 мм припоем ЦОП, поверх которого нанести слой припоя ПОССу-30-2;

д) зачистить края свинцового колпака, облудить его, надвинуть на конец кабеля и припаять к залуженной части оболочки; при необходимости предварительно впаять в колпак вентиль;

е) очистить наружный пластмассовый шланг ветошью, смоченной в бензине, и протереть насухо; аналогично очистить открытый конец пластмассового колпака внутри и снаружи;

ж) надвинуть пластмассовый колпак на конец кабеля таким образом, чтобы он перекрывал наружный шланг на 15 - 20 мм;

з) приварку полиэтиленового колпака к полиэтиленовому шлангу произвести при помощи полиэтиленовой ленты, прогретой пламенем паяльной лампы или горелки через стеклоленту; приварку поливинилхлоридного колпака к поливинилхлоридному шлангу произвести при помощи медных нагревательных вкладышей.

Наиболее удобными и надежными являются колпаки из термоусаживаемого материала или колпаки из полиэтилена, концы которых на стыке со шлангом кабеля герметизируются пояском из термоусаживаемой трубки (рис. 11.20, г).

Рис. 11.20. Заделка концов кабелей в алюминиевой и стальной оболочке с покровами типа:

а - АШп; б - АБп; в - АБпШп; г - СтШп; д - АСтпШп

1 - шланг; 2 - колпак из ТУТ или полиэтилена; 3 - алюминиевая оболочка; 4 - свинцовый колпак; 5 - жилы; 6 - пряжа; 7 - броня; 8 - шланг под броней; 9 - поясок из термоусаживаемой трубки (используется при полиэтиленовом колпаке); 10 - стальная оболочка; 11 - стальная броня

11.95. При заделке концов кабеля в алюминиевой оболочке при помощи свинцовых колпаков и клея ВК-9 вместо операций, изложенных в пп. 11.94, г, д, следует приклеить свинцовый колпак к оболочке и прогреть клеевой шов.

11.96. Заделку концов кабеля в стальной гофрированной оболочке следует выполнять в такой последовательности:

а) на длине 80 - 100 мм от конца кабеля удалить полиэтиленовый шланг, после чего стальную оболочку промыть бензином и протереть насухо;

б) разделать конец кабеля «на пирамиду»;

в) обмотать оголенную часть сердечника кабеля с захватом оболочки на 10 - 15 мм кабельной бумагой и закрепить ее нитками;

г) зачистить стальной щеткой оболочку на длине 50 - 60 мм и залудить ее с помощью паяльной пасты ПМКН-40 (см. п. 8.56); в процессе прогрева и залуживания кабель должен быть расположен вертикально (концом вверх);

д) выполнить работы, изложенные в п. 11.94, д - з.

11.97. В тех случаях, когда разделывать токопроводящие элементы кабеля «на пирамиду» нет необходимости, заделку концов кабеля в алюминиевой или стальной оболочке следует производить следующим образом:

а) удалить наружный покров кабеля на длине 60 - 90 мм;

б) на длине 40 - 50 мм от конца стальной щеткой тщательно зачистить поверхность оболочки и залудить ее (алюминиевую - с помощью ЦОП и ПОССу-30-2; стальную - с помощью пасты ПМКН-40);

в) кабель расположить вертикально (концом вверх) и при помощи деревянного молотка и деревянного стержня углубить жилы внутрь оболочки на 5 - 6 мм;

г) сделать по краю оболочки несколько надрезов (через 8 - 10 мм) вдоль оси кабеля длиной 6 - 8 мм и зачеканить конец молотком;

д) запаять конец кабеля припоем ПОССу-30-2; при необходимости в конец кабеля впаять вентиль;

е) выполнить работы, изложенные в п. 11.94, е - з.

РАЗДЕЛ 12

ВОССТАНОВЛЕНИЕ ЗАЩИТНЫХ ИЗОЛИРУЮЩИХ ПОКРОВОВ НА КАБЕЛЯХ В МЕТАЛЛИЧЕСКОЙ ОБОЛОЧКЕ

ОБЩИЕ УКАЗАНИЯ

12.1. Восстановление защитных изолирующих пластмассовых покровов шлангового типа на кабелях в металлических оболочках (алюминиевых, стальных, свинцовых) должно производиться одним из следующих способов:

а) термоусаживаемыми деталями или последними в комбинации с полиэтиленовыми деталями;

б) полиэтиленовыми деталями, свариваемыми с полиэтиленовыми защитными покровами кабеля и между собой наплавлением полиэтиленовой ленты, прогретой под слоем стеклоленты (горячий способ);

в) многослойной обмоткой сростка пластмассовыми лентами с промазкой последних липким полиизобутиленовым компаундом (ЛПК) и лентами из стеклоткани, пропитанными массой Б-1 или битумно-резиновой мастикой (МБР) (холодный способ).

12.2. Способ восстановления изолирующего защитного покрова для того или иного типа кабеля определяется соответствующей технической документацией, утвержденной в установленном порядке (инструкциями, технологическими картами, рекомендациями и т.д.).

При наличии нескольких способов выбор одного из них для применения на конкретной строящейся кабельной линии определяется строительной организацией (с учетом наличия возможностей обеспечения необходимых материалов и деталей).

ВОССТАНОВЛЕНИЕ ИЗОЛИРУЮЩИХ ПОКРОВОВ ПРИ ПОМОЩИ ТЕРМОУСАЖИВАЕМЫХ ТРУБОК (ТУТ)

12.3. При восстановлении защитных изолирующих покровов при помощи термоусаживаемых трубок (ТУТ) и деталей (ТУД) должны выполняться следующие основные требования:

а) обеспечение оптимального обжатия термоусаживаемыми деталями защитного изолирующего шлангового покрова, оболочки кабеля и металлической муфты, т.е. обеспечение требуемого соотношения между размерами ТУД (внутренними диаметрами, длиной) до и после усадки и наружными диаметрами защищаемых кабелей (покровов, оболочек, муфт);

б) обеспечение требуемой величины перекрытия шлангового покрова кабеля усаженными ТУТ, а при двухслойном наложении ТУТ - перекрытия торца нижележащего слоя;

в) применение подклеивающего слоя (см. приложение 10).

12.4. Внутренние диаметры ТУТ, применяемых для восстановления защитных изолирующих покровов, вне зависимости от их коэффициентов радиальной усадки K1 (отношение внутреннего диаметра до усадки, т.е. в состоянии поставки, к диаметру после полной усадки) должны соответствовать следующим соотношениям: D1 > d3/0,8; D2 £ d2/1,2, где D1 - внутренний диаметр ТУТ до усадки; D2 - то же, после полной усадки; d3 - наружный диаметр муфты; d2 - наружный диаметр изолирующего шланга.

Примечание. Диаметр ТУТ после полной усадки D2 должен быть меньше диаметра металлической оболочки кабеля или быть равным ему; в случае невыполнения этого требования на оболочку следует нанести дополнительное покрытие из липких полиэтиленовых лент.

12.5. Минимальное значение коэффициента радиальной усадки ТУТ, используемых для восстановления изолирующих покровов, должно удовлетворять следующему соотношению K1 ³ 1,5 (d3/d2).

12.6. Длина ТУТ должна обеспечивать перекрытие защитного шланга, а при двухслойном наложении ТУТ - перекрытие конца нижней трубки.

Минимальные величины перекрытия защитного изолирующего покрова отрезком ТУТ после его усадки lперекр (расстояние между торцом шланга и концом ТУТ), а также величины перекрытия конца нижнего отрезка ТУТ верхним отрезком после их усадки при двухслойном наложении ТУТ, должны соответствовать табл. 12.1.

Таблица 12.1

Минимальные значения величины перекрытия ТУТ

Наружный диаметр кабеля по шлангу, мм

Величина перекрытия шланга отрезком ТУТ, мм

Величина перекрытия нижней ТУТ верхней, мм

Наружный диаметр кабеля по шлангу, мм

Величина перекрытия шланга отрезком ТУТ, мм

Величина перекрытия нижней ТУТ верхней, мм

10 - 15

45

40

45 - 55

70

40

15 - 20

50

40

55 - 70

75

45

20 - 25

55

40

70 - 80

80

50

25 - 35

60

40

80 - 100

85

50

35 - 45

65

40

 

 

 

Примечание. Обычно продольная усадка ТУТ составляет не более 30 %, т.е. коэффициент продольной усадки К2 = 0,7.

12.7. Длина ТУТ L1, пригодных для восстановления изолирующих покровов, должна удовлетворять соотношению  где l1 - расстояние между местами среза шланга; lперекр - значение величины перекрытия (табл. 12.1); K2 - коэффициент продольной усадки.

12.8. До начала работ, по монтажу кабеля с использованием ТУТ следует проверить длину, внутренний диаметр, сплошность подклеивающего слоя, отсутствие порезов, отверстий, раковин, наплывов и т.п.; в каждой партии ТУТ должны быть выборочно проверены фактические значения коэффициентов радиальной и продольной усадки на отрезках длиной 100 мм.

Размеры ТУТ для восстановления защитных изолирующих покровов шлангового типа при монтаже муфт приведены в табл. 12.2.

Таблица 12.2

Размеры ТУТ для восстановления защитных изолирующих шланговых покровов при монтаже муфт на кабелях в алюминиевой и стальной гофрированной оболочках

Марка кабеля

Способ монтажа металлической оболочки

Тип муфты

Размеры ТУТ, мм

первой (нижней)

второй

диаметр

длина

диаметр

длина

КМАШп-4

Клеевой

Прямая

110/55

450

-

-

КМАБп-4

Стыковая

110/55

500

-

-

ВКПАШп

Опрессование

Прямая

20/10

360

20/10

460

24/8

 

30/15

 

 

 

24/8

 

МКСАШп-7×4×1,2

Опрессование

Прямая

40/20

650

50/25

750

54/18

54/18

Клеевой

65/22

590

65/22

690

МКСАШп-4×4×1,2

Опрессование

Прямая

40/20

590

40/20

690

42/14

42/14

Стыковая

54/18

825

65/22

925

Клеевой

Прямая

54/18

510

54/18

610

Стыковая

54/18

610

65/22

710

МКСАШп-1×4×1,2

Опрессование

Прямая

20/10

595

30/15

695

24/8

24/8

Стыковая

42/14

590

42/14

690

Клеевой

Прямая и стыковая

42/14

410

42/14

510

МКССтШп-7×4×1,2

Пайка

Прямая

54/18

560

54/18

660

60/30

560

 

 

МКССтШп-4×4×1,2

Пайка

Прямая

40/20

550

40/20

650

54/18

 

54/18

 

Стыковая

65/22

600

65/22

700

ЗКАШп-1×4×1,2

Опрессование

Прямая

30/15

525

30/15

625

42/14

42/14

 

Стыковая

42/14

650

42/14

750

Клеевой

Прямая и стыковая

42/14

490

42/14

590

Примечание. В числителе указан диаметр ТУТ до усадки, в знаменателе - после усадки.

12.9. Восстановление защитных изолирующих покровов при монтаже муфт следует производить либо непосредственно термоусаживаемыми трубками (одной или двумя - в зависимости от типа кабеля, конструкции ТУТ и т.д.), либо в комбинации ТУТ с пластмассовыми деталями, предназначенными для этой цели; в последнем случае отрезки ТУТ должны использоваться для герметизации, стыков пластмассового изолирующего шланга кабеля с пластмассовыми деталями, а также последних между собой.

12.10. Для восстановления изолирующих шланговых покровов при помощи ТУТ, внутренняя поверхность которых в заводских условиях покрыта подклеивающим слоем, необходимо:

а) очистить от загрязнений пластмассовые шланги кабелей (предварительно выложенных по котловану или колодцу и разделанных в соответствии с размерами для данного типа кабеля) на длине 0,8 - 1 м от торца, протереть их чистой ветошью, смоченной бензином или ацетоном;

б) до начала сращивания элементов сердечника надвинуть на концы кабеля ТУТ, а при комбинированном способе и полиэтиленовые детали;

Примечание. При необходимости пряжу наружного покрова и бронеленты следует размотать на расстоянии, необходимом для временного размещения на концах сращиваемых кабелей указанных выше деталей с последующим (после монтажа сростка) восстановлением бронелент и пряжи и закреплением их проволочным бандажом.

в) зачистить шкуркой или наждачным полотном пластмассовые шланги на длине 150 - 200 мм от их торцов;

г) протереть ветошью, смоченной бензином или ацетоном, смонтированную металлическую муфту, оголенные участки металлической оболочки и зачищенные участки шлангов;

д) прогреть муфту, оголенные участки оболочки и прилегающие участки шланга на расстоянии 80 - 100 мм от его торца слабым пламенем паяльной лампы до 50 - 60 °С;

е) надвинуть на сросток ТУТ, расположив ее симметрично относительно середины сростка (рис. 12.1, а);

ж) произвести усадку ТУТ, для чего направить пламя горелки или паяльной лампы на середину ТУТ и, равномерно прогревая ее по окружности, перемещать пламя от середины сростка к одному из ее концов, обеспечивая полную усадку ТУТ (рис. 12.1, б). Аналогично выполнить усадку второй половины ТУТ (рис. 12.1, в);

з) проверить качество усадки трубки внешним осмотром. При правильной усадке ТУТ должна плотно прилегать к кабелю, оболочке (дополнительному покрытию) и металлической муфте по всей длине. Под трубкой не должно быть воздушных включений. Из-под трубки с обоих концов должен выступать подклеивающий слой пояском шириной 1 - 2 мм;

и) обмотать сросток с захватом шланга на 25 - 30 мм и 50 %-ным перекрытием одним слоем стеклоленты, пропитанной битумным компаундом или битумом (рис. 12.1, е). Концы лент закрепить бандажом из проволок или капроновых ниток.

Примечание. При расположении муфты в колодце кабельной канализации и в помещении для ввода кабелей обмотка стеклолентой не производится.

Рис. 12.1. Восстановление изолирующих шланговых покровов при помощи ТУТ:

a - установка ТУТ над сростком; б - усадка ТУТ на одном из концов; в - усадка ТУТ на другой стороне; г - двухслойное наложение ТУТ; д - использование укороченных отрезков ТУТ; е - обмотка сростка стеклолентой:

1 - шланг; 2 - ТУТ; 3 - подклеивающий слой, 4 - оболочка кабеля; 5 - муфта; 6 - верхняя TУT; 7 - укороченная ТУТ; 8 - стеклолента

12.11. При двухслойном наложении ТУТ (с подклеивающим слоем), после выполнения работ, изложенных в пп. 12.10, а - и, и остывания сростка до 50 - 60 °С необходимо:

а) протереть чистой ветошью, смоченной бензином или ацетоном, первую (нижнюю) ТУТ и участки полиэтиленового шланга, прилегающие к ней на длине 80 - 100 мм от торца ТУТ с обеих сторон последней; при этом пояски подклеивающего слоя, выступившие из-под торцов усаженной трубки, должны быть сохранены;

б) надвинуть на сросток вторую ТУТ, расположив ее симметрично таким образом, чтобы перекрытие торцов первой трубки было с обеих сторон одинаковым;

в) произвести усадку второй ТУТ и проверить качество ее усадки согласно п. 12.10, з, и рис. 12.1, г, При этом, если к моменту усадки второй трубки первая трубка и прилегающие к ее торцам участки шланга остынут до температуры ниже 50 °С, их следует подогреть;

г) выполнить работы согласно п. 12.10, к (рис. 12.1, е).

12.12. Вместо второй ТУТ допускается использование двух укороченных отрезков ТУТ, устанавливаемых симметрично над концами первой ТУТ; при этом должно быть обеспечено требуемое перекрытие (рис. 12.1, д).

12.13. При необходимости вскрытия смонтированной муфты (для устранения повреждения на одной из пар кабеля или для производства измерений) без полного демонтажа элементов сердечника кабеля восстановление изолирующих покровов производится при помощи специально предназначенных для этой цели термоусаживаемых муфт с продольным разрезом.

Усадка ТУТ должна производиться от середины к краям (рис. 12.2).

Рис. 12.2. Термоусаживаемая трубка с продольным разрезом и замком

12.14. При восстановлении изолирующих шланговых покровов термоусаживаемыми трубками (деталями), не имеющими подклеивающего слоя, необходимо применить клей-расплав типа ГИПК 14-16, для чего:

а) освободить часть блока клей-расплава от защитной пленки и отделить от него необходимое количество клея для пяти - шести муфт;

б) нагреть клей-расплав в металлической посуде до 80 - 90 °С;

в) обезжирить бензином с помощью протирочного материала муфту и прилегающие участки шланга на длине 80 - 100 мм;

г) прогреть муфту и прилегающие участки шланга слабым открытым пламенем газовой горелки или паяльной лампы до 50 - 60 °С,

д) нанести кистью из натуральной щетины сплошным равномерным слоем клей ГИПК 14-16 на участки шланга с обеих сторон муфты, на оголенные участки оболочки и металлическую муфту;

Примечание. Длина участка шланга, покрываемого клеем ГИПК 14-16, должна быть равна половине разности между длиной ТУТ и расстоянием между обрезами шланга.

е) надвинуть на сросток ТУТ таким образом, чтобы ее середина совпадала с серединой сростка;

ж) усадить ТУТ с помощью газовой горелки или паяльной лампы. Проверить качество усадки (см. п. 12.10, з).

12.15. При двухслойном наложении ТУТ нанести кистью сплошным равномерным слоем клей-расплав ГИПК 14-16 на участки шланга с обеих сторон усаженной ТУТ (на расстоянии, равном половине разницы длин второй и первой ТУТ) и на усаженную ТУТ. Установить и усадить вторую ТУТ. Проверить качество усадки (см. п. 12.10, з).

12.16. При использовании для подклеивающего слоя клея-расплава ГИПК 14-16 в виде ленты (а не в виде блока), необходимо:

а) обезжирить бензином с помощью протирочного материала муфту, оголенные участки оболочки и прилегающие участки шланга на длине 80 - 100 мм;

б) намотать ленточный клей ГИПК 14-16 с 30 %-ным перекрытием и небольшим натяжением так, чтобы при намотке не образовывались пузыри и складки на участках, длина которых указана в п. 12.14, д;

в) надвинуть на сросток ТУТ и усадить ее с помощью газовой горелки или паяльной лампы. Проверить качество усадки;

г) при двухслойном наложении ТУТ намотать второй слой ленточного клея ГИПК 14-16 аналогично первому на длине, указанной в п. 12.15;

д) надвинуть на первую ТУТ, покрытую клеем, вторую ТУТ, усадить ее и проверить качество усадки.

Примечание. Клей-расплав ГИПК 14-16 в виде ленты может быть использован так же, как и клей-расплав в виде блоков путем его плавления и нанесения с помощью кисти.

ВОССТАНОВЛЕНИЕ ИЗОЛИРУЮЩИХ ПОКРОВОВ ПРИ ПОМОЩИ ТУТ И ПОЛИЭТИЛЕНОВЫХ ДЕТАЛЕЙ - КОМБИНИРОВАННЫЙ СПОСОБ

12.17. Для восстановления изолирующих покровов комбинированным способом должны применяться полиэтиленовые детали, конструкции и размеры которых приведены в табл. 12.3 и на рис. 12.3 - 12.7.


Таблица 12.3

Полиэтиленовые детали для восстановления изолирующих покровов комбинированным способом при монтаже муфт на кабелях в металлических оболочках

Марка кабеля для муфты

Условное обозначение комплекта

Тип кон уса

Номер рисунка

Размеры, мм

прямой

стыковой

конуса

трубы (рис. 12.6)

d1

D1

d2

L

D2

D1

D2

L

ЗКАШп,

ЗКАШп,

М3кп17/36

I

12.3

17

36

20

150

44

45

52

120

ЗКАБп-1×4×1,2

ЗКАБп-1×4×1,2

М3кп17/36-1

II

12.4

МКСАШа, МКСАБп, МКССтШп-4×4×1,2

-

М6кп22/43

I

12.3

22

43

29

161

52

53

60

190

М6кп22/43-1

II

12.4

МКСАБпШп-4×4×1,2

-

М6кп33/43

I

12.3

33

43

34

196

52

53

60

190

М6кп33/43-2

II

12.4

МКСАШп, МКСАБп-7×4×1,2

МКСАШп, МКСАБп, МКССтШп-4×4×1,2

М6кп25/53

I

12.3

25

53

30

158

62

63

70

300

М6кп25/53-1

II

12.4

МКСАБпШп - МКССтШп-7×4×1,2

МКСАБпШп-4×4×1,2

М6кп33/53

I

12.3

33

53

38

166

62

63

70

300

М6кп33/53-1

II

12.4

М6кп33/53-2

II

12.4

-

МКСАБпШп-7×4×1,2

М6кп35/73

I

12.3

35

73

40

178

83

84

92

270

КМАШп-4, КМАБп-4

-

М7кп35/73

I

12.3

35

73

40

178

83

84

92

270

М7кп35/73

III

12.5

-

КМАШп-4, КМАБп-4

М7кп35/90

I

12.3

35

90

40

192

100

102

111

260

-

МКСАШп, МКСАБп, МКССтШп-7×4×1,2

М6кп27/77

I

12.3

27

77

35

177

87

88

96

170

МКТАБп-4

-

М8кп25/53

I

12.3

25

53

30

158

62

63

70

300

М8кп25/53-1

II

12.4

Примечание. Комплекты М3кп, М6кп, М7кп и М8кп по требованию заказчика могут поставляться без полиэтиленовой трубы; при этом условное обозначение комплектов при заказе должно быть: М3кн, М6кн, М7кн и М8кн («кн» - комплект неполный).


Рис. 12.3. Конус полиэтиленовый для восстановления покровов комбинированным способом

Рис. 12.4. Конус полиэтиленовый с выводом для КИП

Рис. 12.5. Конус полиэтиленовый с выводом для КИП для кабеля типа КМА-4

Рис. 12.6. Труба полиэтиленовая

Рис. 12.7. Полумуфты полиэтиленовые

12.18. Восстановление защитных изолирующих покровов шлангового типа при помощи ТУТ и полиэтиленовых (пластмассовых) деталей (комбинированный способ) должно производиться следующим образом:

а) выполнить работы, изложенные в п. 12.10, а;

б) до сращивания сердечника надвинуть на концы кабеля ТУТ и пластмассовые детали;

в) зачистить шкуркой или наждачным полотном пластмассовые шланги на длине 150 - 200 мм от их торцов, а также участки пластмассовых деталей, на которых предстоит усадках ТУТ;

г) выполнить работы, изложенные в п. 12.10, г;

д) нагреть в металлической емкости клей-расплав ГИПК 14-16 до 80 - 90 °С;

е) прогреть металлическую муфту и оголенные участки металлической оболочки слабым открытым пламенем паяльной лампы до 50 - 60 °С;

ж) нанести кистью сплошной равномерный слой клея-расплава ГИПК 14-16 на оголенные участки оболочки, конуса металлической муфты с захватом ее цилиндрической части на расстоянии, равном длине цилиндрической части полиэтиленового конуса (рис. 12.8, а);

з) надвинуть полиэтиленовые конуса на металлическую муфту до упора (рис. 12.8, б);

и) прогреть полиэтиленовый конус и прилегающий к нему участок полиэтиленового шланга слабым пламенем паяльной лампы до 50 - 60 °С;

к) надвинуть на конус укороченный отрезок ТУТ таким образом, чтобы ее конец упирался в расширяющуюся часть конуса, а середина совпадала с торцом узкой части полиэтиленового конуса, т.е. чтобы перекрытие отрезком ТУТ шланга кабеля и полиэтиленового конуса было примерно одинаковым. Аналогично установить укороченный отрезок ТУТ на другом конце сростка;

л) произвести усадку ТУТ с обоих концов сростка и проверить качество усадки согласно п. 12.10, з (рис. 12.8, в);

м) надвинуть на сросток основную ТУТ таким образом, чтобы концы ее перекрывали полиэтиленовые конуса согласно табл. 12.1.

Произвести усадку основной ТУТ и проверить качество усадки согласно п. 12.10, ж, з (рис. 12.8, г);

н) выполнить работы, предусмотренные п. 12.10, и рис. 12.1, е.

Рис. 12.8. Восстановление изолирующих покровов комбинированным способом при помощи пластмассовых деталей и ТУТ:

а - нанесение компаунда; б - установка полиэтиленового конуса; в - установка и усадка укороченной ТУТ; г - усадка основной ТУТ:

1 -шланг; 2 - металлическая оболочка; 3 - металлическая муфта; 4 - конус полиэтиленовый; 5 - укороченный отрезок ТУТ; 6 - основная ТУТ

12.19. Вместо полиэтиленовых конусов могут быть использованы полиэтиленовые полумуфты (рис. 12.7). Над стыком полумуфт между собой, а также полумуфт со шлангом кабеля усаживаются отрезки ТУТ (рис. 12.9) с учетом требований, изложенных в п. 12.6.

Рис. 12.9. Восстановление изолирующих покровов комбинированным способом при помощи полиэтиленовых полумуфт и ТУТ:

1 - шланг; 2, 6 - ТУТ; 3, 4 - оболочка и муфта, покрытые компаундом; 5 - полиэтиленовые полумуфты

ОСОБЕННОСТИ УСТАНОВКИ КИП ПРИ ИСПОЛЬЗОВАНИИ ТУТ

12.20. Восстановление защитного изолирующего покрова при помощи ТУТ на муфте с выводом КИП должно производиться следующим образом:

а) при разделке кабеля до монтажа сростка надвинуть на сращиваемые концы полиэтиленовые конуса с патрубком для вывода КИП (см. рис. 12.4, 12.5);

б) снять с провода типа ГПП изоляцию на длине 200 - 350 мм (в зависимости от марки монтируемого кабеля) от конца. Надвинуть на жилу провода медную гильзу (наружный диаметр 4 мм, внутренний 3 мм; длина 20 мм) и, подогревая паяльником, ввести ее на половину длины под изоляцию провода (рис. 12.10, а);

в) протереть чистой ветошью, смоченной бензином или ацетоном, оболочку провода на длине 200 - 300 мм; надвинуть на провод отрезок ТУТ 12/6 длиной 100 - 150 мм;

г) ввести жилу провода в патрубок полиэтиленового конуса и, прогревая паяльником установленную на жиле медную гильзу, продвинуть провод вместе с гильзой до упора места среза изоляции в торец патрубка (рис. 12.10, б);

д) надвинуть конус на смонтированную муфту с нанесенным на нее компаундом (см. п. 12.15, ж) до упора (рис. 12.10, в);

е) зачистить конец жилы, закрепить его бандажом из двух-трех витков медной проволоки диаметром 0,9 мм и припаять к середине металлической муфты (рис. 12.10, в).

Примечание. Во избежание прокола ТУТ концы проволок бандажа должны быть припаяны.

ж) обезжирить выводной провод на длине 100 мм от торца патрубка, а также последний и прогреть их до 50 - 60 °С. Надвинуть на патрубок отрезок ТУТ на половину длины последнего и усадить его согласно п. 12.10, ж;

з) выполнить работы по установке и усадке укороченных ТУТ на стыке шланга кабеля и узкой части конуса (см. пп. 12.13, к, 12.10, ж), а также установке и усадке основной ТУТ (см. п. 12.10, ж, з), обмотать сросток стеклолентой (см. п. 12.10, и).

Рис. 12.10. Устройство вывода КИП с использованием ТУТ:

а - заготовка выводного провода; б - установка конуса; в - общий вид:

1 - ТУТ на выводном проводе; 2 - провод; 3 - медная гильза; 4 - жила провода; 5 - залуженный конец жилы; 6 - патрубок конуса; 7 - конус; 8 - кабель; 9 - муфта металлическая, покрытая битумным компаундом; 10 - ТУТ, усаженная на выводном проводе; 11 - место установки ТУТ на кабеле и конусе; 12 - бандаж и припайка выводного провода

ВОССТАНОВЛЕНИЕ ИЗОЛИРУЮЩИХ ПОКРОВОВ ПРИ ПОМОЩИ МНОГОСЛОЙНОЙ ОБМОТКИ СРОСТКА ПЛАСТМАССОВЫМИ ЛЕНТАМИ С ПРОМАЗКОЙ КОМПАУНДОМ ЛПК (ХОЛОДНЫЙ СПОСОБ)

12.21. Восстановление защитных изолирующих покровов типа Шп (кабели МКСАШп, ЗКАШп, ТЗПАШп, МКССтШп, МКСГШп) холодным способом при монтаже муфт должно производиться следующим образом (рис. 12.11):

а) провод для вывода КИП в местах, где это предусмотрено проектом, ранее припаянный к свинцовой (алюминиевой) муфте, расположить перпендикулярно к продольной оси кабеля;

б) на сросток (муфту и оголенную часть металлической оболочки) с захватом шланга по 30 - 40 мм с каждой стороны нанести три чередующихся слоя ЛПК и полиэтиленовой ленты шириной 25 - 30 мм с 30 %-ным перекрытием; в месте припайки провода для КИП нанесение ЛПК и намотка ленты выполняются с захватом изоляции провода на высоту 25 - 30 мм;

в) обмотать сросток полиэтиленовой лентой без промазки ЛПК с 50 %-ным перекрытием, концы лент прикрепить к шлангу бандажом из ниток или приваркой; уложить провод КИП вдоль сростка в сторону пункта Б и прикрепить к кабелю бандажом из ниток на расстоянии 60 - 70 мм от места среза шланга;

г) нанести на сросток сплошной слой разогретой до 60 °С битумно-резиновой мастики (МБР), поверх которой намотать с 50 %-ным перекрытием полиэтиленовую ленту; эту операцию выполнить еще раз;

д) поверх ленты нанести третий слой МБР и обмотать сросток лентой из стеклоткани с 30 %-ным перекрытием; концы стеклоленты закрепить бандажом из ниток.

Примечание. Вместо слоев МБР, чередующихся с полиэтиленовыми лентами и стеклотканью, допускается применение двух слоев стеклоленты, обильно пропитанной массой Б-1 или Б-2.

Рис. 12.11. Восстановление защитных изолирующих покровов типа Шп (МКСАШп, ЗКПАШп, ТЗПАШп, МКССтШп и др.) холодным способом:

1 - чугунная муфта; 2 - смоляная лента; 3 - шланг; 4 - обмотка из полиэтиленовых лент и ЛПК; 5 - обмотка из лент и МБР; 6 - свинцовая муфта; 7 - припайка провода КИП; 8 - битумная масса

12.22. Восстановление защитных изолирующих покровов типа Бп (кабели типа МКСАБп, ЗКАБп, ТЗПАБп и др.) холодным способом производится так же, как покров типа Шп (п. 12.21) с учетом следующего (рис. 12.12):

а) наложение ЛПК и обмотка сростка полиэтиленовыми лентами должно производиться между местами среза брони;

б) наложение мастики МБР и обмотка сростка лентами из полиэтилена и стеклоткани должно производиться с захватом джутового покрова по 30 - 40 мм с каждой стороны. При этом провод вывода к КИП от брони предварительно следует уложить в сторону А вдоль оси кабеля, а провода для перепайки брони сращиваемых длин установить вертикально и после наложения МБР и стеклоленты уложить вдоль сростка в направлении к его середине; концы их скрутить на середине сростка и пропаять.

Рис. 12.12. Восстановление защитных изолирующих покровов типа Бп (МКСАБп, ЗКАБп, ТЗПАБп и др.) холодным способом:

1 - пряжа; 2 - смоляная лента; 3 - броня; 4 - перепайка брони и вывода КИП; 5 - полиэтиленовый шланг; 6 - оболочка; 7 - свинцовая муфта; 8 - обмотка из полиэтиленовых лент и ЛПК; 9 - обмотка из лент и МБР; 10 - битумная масса; 11 - припайка провода КИП от оболочки

12.23. Восстановление защитных изолирующих покровов типа БпШп (кабели типа МКСАБпШп, МКСБпШп, ТЗПАБпШп и др.) холодным способом должно производиться следующим образом (рис. 12.13):

а) провода для КИП и перепайки брони расположить вертикально;

б) наложение ЛПК и полиэтиленовых лент выполнить, как изложено в п. 12.21, б, в, с захватом наружного шланга по 30 - 40 мм с каждой стороны; провод для вывода к КИП от оболочки (муфты) уложить вдоль сростка, в сторону пункта Б, а от брони - в сторону А и прикрепить к кабелю бандажом из ниток на расстоянии 60 - 70 мм от места среза шланга;

в) провода перепайки брони уложить вдоль сростка в направлении к его середине, их концы скрутить и пропаять; место спайки изолировать наложением трех чередующихся слоев ЛПК и полиэтиленовых лент с захватом изоляции проводов на 30 - 40 мм;

г) выполнить работы, предусмотренные п. 12.21, г, д.

Рис. 12.13. Восстановление защитных изолирующих покровов типа БпШп (кабели типа МКСАБпШп; МКСБпШп; ТЗПАБпШп и др.) холодным способом:

1 - наружный шланг; 2 - смоляная лента; 3 - чугунная муфта; 4 - броня; 5 - перепайка брони и вывода КИП; 6 - внутренний полиэтиленовый шланг; 7 - оболочка; 8 - металлическая муфта; 9 - обмотка из лент и ЛПК; 10 - обмотка из лент и МБР; 11 - битумная масса; 12 - припайка провода к КИП от оболочки

ВОССТАНОВЛЕНИЕ ИЗОЛИРУЮЩИХ ПОКРОВОВ ПРИ ПОМОЩИ ПОЛИЭТИЛЕНОВЫХ ДЕТАЛЕЙ (ГОРЯЧИЙ СПОСОБ)

12.24. Восстановление защитных изолирующих покровов шлангового типа горячим способом должно осуществляться при помощи полиэтиленовых деталей конструкция и размеры которых приведены на рис. 12.6, 12.14, 12.15 и табл. 12.4.

Рис. 12.14. Конус полиэтиленовый для муфт без вывода к КИП

Рис. 12.15. Конус полиэтиленовый с патрубком для вывода КИП

12.25. Восстановление покровов типа Шп (кабели типа МКСАШп, ЗКАШп, МКССтШп, ТЗПАШп и др.) горячим способом должно производиться следующим образом:

а) провод к КИП, пропущенный сквозь полиэтиленовый конус, припаять к середине свинцовой (алюминиевой) муфты в местах, где проектом предусмотрено устройство КИП;

б) установить провод к КИП в месте припайки его к муфте в вертикальное положение и на сросток, отступив на 5 - 7 мм от места среза полиэтиленового шланга с каждой стороны, нанести три чередующихся слоя компаунда ЛПК и полиэтиленовой ленты шириной 25 - 30 мм с 35 %-ным перекрытием. В месте припайки провода КИП нанесение ЛПК и намотка ленты выполняются с захватом изоляции провода на высоту 25 - 30 мм;

в) обмотать сросток четвертым слоем ленты без промазки компаундом; обмотку вести с 50 %-ным перекрытием витков ленты;

г) на расстоянии 30 - 50 мм от места среза тщательно обезжирить шланг ветошью, смоченной бензином, протереть насухо и слегка зачистить ножом, удалив глянцевую поверхность (сделать ее шероховатой);

д) установить на сросток подлежащие сварке полиэтиленовые детали (конуса и трубку или полумуфту), надвинутые на сращиваемые концы кабеля перед монтажом сердечника; концы конусы должны перекрывать шланг на 20 - 30 мм;

е) в местах сочленения полиэтиленовых деталей с полиэтиленовым шлангом и между собой плотно намотать два слоя стеклоленты с 50 %-ным перекрытием;

ж) открытым пламенем паяльной лампы через стеклоленту равномерно прогревать места сварки до тех пор, пока сквозь стеклоленту не выступит расплавленная полиэтиленовая масса и при этом лента потемнеет; после остывания стеклоленту осторожно размотать и осмотреть места сварки;

Примечание. При приварке полиэтиленовых конусов с впрессованными проводами для КИП (ПСП, ПРППМ) на провод в месте стыка его с наружной поверхностью конуса надвинуть полиэтиленовую гильзу, обмотать ее полиэтиленовой или стеклолентой с захватом провода на расстоянии 30 - 40 мм (для предохранения провода от повреждения пламенем).

з) на места сварки намотать шесть-восемь слоев полиэтиленовой ленты с захватом свариваемых поверхностей на 10 - 15 мм. На полиэтиленовую ленту намотать два слоя стеклоленты с 50 %-ным перекрытием;

и) прогреть места сварки в соответствии с п. 12.25, ж, при выявлении дефектов произвести дополнительную сварку через стеклоленту;

к) проверить герметичность полиэтиленовой муфты местным избыточным давлением воздуха, нагнетаемого через полиэтиленовую гильзу, приваренную к поверхности муфты; после покрытия муфты и сварных швов мыльным раствором гильзу удалить, а место прокола заварить при помощи полиэтиленовой ленты, прогреваемой через стеклоленту. После проверки герметичности смыть мыльный раствор и протереть муфту насухо;

л) выводной провод КИП (от оболочки) уложить вдоль сростка в сторону Б и прикрепить бандажом к кабелю;

м) обмотать сросток одним слоем смоляной ленты.


Таблица 12.4

Полиэтиленовые детали для восстановления изолирующих покровов кабелей в металлической оболочке при монтаже муфт

Марка кабеля для муфты

Условное обозначение комплекта

Номер рисунка

Размеры, мм

прямой

стыковой

конуса

трубки (рис. 12.6)

d1

d2

D1

D2

L1

L2

L

D1

D2

L

ВКПАШп-2,1/9,7

-

М4

-

-

-

-

-

-

-

-

18

23

215

ЗКАШп,

ЗКАШп,

М3 19/44

12.14

19

21

42

44

10

15

55

44

49

400

ЗКАБп-1×4×1,2

ЗКАБп-1×4×1,2

М3 19/44-1

12.15

МКСАШп-1×4×1,2

МКСАШп-1×4×1,2

М6 1-6/44

12.14

16

18

42

44

10

15

55

44

49

350

М6 16/44-1

12.15

МКСАБпШп-1×4×1,2

МКСАБпШп-1×4×1,2

М6 26/44

12.14

26

28

42

44

10

15

55

44

49

350

М6 26/44-2

12.15

МКСАШп-4×4×1,2

-

М6 26/52

12.14

26

28

48

52

15

15

70

52

57

310

М6 26/52-1

12.15

-

МКСАШп-4×4×1,2

М6 26/70

12.14

26

28

66

70

15

15

70

70

75

500

МКСАБп-4×4×1,2

-

М6 22/52

12.14

22

24

48

52

15

15

70

52

57

310

М6 22/52-1

12.15

-

МКСАБп-4×4×1,2

М6 22/70

12.14

22

24

66

70

15

15

70

70

75

500

МКСАБпШп-4×4×1,2

-

М6 34/52

12.14

34

36

48

52

15

15

70

52

57

500

М6 34/52-2

12.15

-

МКСАБпШп-4×4×1,2

М6 34/70

12.14

34

36

66

70

15

15

70

70

75

600

МКСАШп-7×4×1,2

-

М6 30/70

12.14

30

32

66

70

15

15

70

70

75

280

М6 30/70-1

12.15

-

МКСАШп-7×4×1,2

М6 30/85

12.14

30

32

81

85

15

15

70

85

90

330

МКСАБп-7×4×1,2

-

М6 28/70

12.14

28

30

66

70

15

15

70

70

75

310

М6 28/70-1

12.15

-

МКСАБп-7×4×1,2

М6 28/85

12.14

28

30

81

85

15

15

70

85

90

330

МКСАБпШп-7×4×1,2

-

М6 38/70

12.14

38

40

66

70

15

15

70

70

75

360

М6 38/70-2

12.15

-

МКСАБпШп-7×4×1,2

М6 38/85

12.14

38

40

81

85

15

15

70

85

90

410

МКССтШп-4×4×1,2

-

M6 29/52

12.14

29

31

48

52

15

15

70

52

57

230

М6 29/52-1

12.15

 

МКССтШп-4×4×1,2

М6 29/70

12.14

29

31

66

70

15

15

70

70

75

310

МКССтШп-7×4×1,2

 

М6 34/70

12.14

34

36

66

70

15

15

70

70

75

600

М6 34/70-1

12.15

-

МКССтШп-7×4×1,2

М6 34/85

12.14

34

36

81

85

15

15

70

85

90

330


12.26. Восстановление защитных изолирующих покровов типа Бп (кабели типа МКСАБп/ЗКАБп, ТЗПАБп и др.) горячим способом должно производиться так же, как покровов типа Шп (см. п. 12.25) с учетом следующего:

а) в качестве полиэтиленовой муфты используются полиэтиленовые конусы с продольным разрезом и полиэтиленовая трубка. Конусы устанавливаются на места сварки после сращивания сердечника, наложения ЛПК на сросток и обмотки его полиэтиленовыми лентами, а трубка надвигается на один из сращиваемых концов кабеля до монтажа сердечника и сдвигается на конусы перед сваркой;

б) после испытания герметичности полиэтиленовой муфты (см. п. 12.25, к) произвести скрутку и перепайку проводов от бандажей на броне; провод к КИП (от оболочки) уложить вдоль сростка в сторону Б, а от брони - в сторону А и прикрепить бандажом к кабелю; обмотать сросток смоляной лентой с захватом джута на 30 - 40 мм с каждой стороны.

12.27. Восстановление защитных изолирующих покровов типа БпШп (кабели типа МКСАБпШп, МКСБпШп, ТЗПАБпШп и др.) горячим способом должно производиться следующим образом:

а) провода для перепайки брони, а в местах, где это предусмотрено проектом, и провода (запрессованные в полиэтиленовые конуса) для вывода к КИП, расположить вертикально;

б) выполнить работы, предусмотренные п. 12.21, б, в; при этом на сросток нанести слой ЛПК, отступив от места среза наружного шланга на 5 - 7 мм с каждой стороны, а полиэтиленовые ленты намотать вплотную к местам среза наружного шланга; ЛПК не должен попасть на шланг; конец четвертого слоя полиэтиленовой ленты (без промазки ЛПК) закрепить на конце наружного шланга;

в) провода перепайки брони уложить вдоль сростка, концы их скрутить и пропаять, место спайки изолировать чередующимися тремя слоями ЛПК и полиэтиленовых лент с захватом изоляции проводов на 30 - 40 мм;

г) выполнить работы, изложенные в п. 12.25, г - к, имея в виду приварку конусов полиэтиленовой муфты к наружному шлангу кабеля и трубке; провод к КИП от брони уложить вдоль сростка в сторону А, а провод от оболочки (металлической муфты) - в сторону Б и прикрепить их бандажом к кабелю на расстоянии 30 - 40 мм от узкой части конуса;

д) удалить со сростка остатки мыльного раствора, просушить его и обмотать слоем смоляной ленты; концы ленты закрепить.

Восстановление изолирующих покровов при помощи полиэтиленовых деталей (горячим способом) показано на рис. 12.16 - 12.20.

Рис. 12.16. Восстановление защитных изолирующих покровов типа Шп горячим способом:

1 - наружный шланг; 2 - место сварки полиэтиленовых деталей между собой и со шлангом; 3 - оболочка; 4 - полиэтиленовый конус; 5 - полиэтиленовая труба; 6 - слой ЛПК из полиэтиленовых лент; 7 - металлическая муфта

Рис. 12.17. Восстановление защитных изолирующих покровов типа Бп горячим способом:

1 - пряжа; 2 - броня; 3 - шланг; 4 - провод перепайки брони; 5 - место сварки полиэтиленовых деталей между собой и со шлангом; 6 - оболочка; 7 - конус полиэтиленовый; 8 - труба полиэтиленовая; 9 - слой ЛПК и лент; 10 - металлическая муфта; 11 - муфта чугунная

Рис. 12.18. Восстановление защитных изолирующих покровов типа БпШп горячим способом:

1 - наружный шланг; 2 - место сварки шланга и полиэтиленовых деталей; 3 - конус полиэтиленовый 4 - броня; 5 - внутренний шланг; 6 - оболочка; 7 - труба полиэтиленовая; 8 - слой ЛПК и лент; 9 - муфта металлическая; 10 - провод перепайки брони; 11 - муфта чугунная

Рис. 12.19. Восстановление защитных изолирующих покровов типа БпШп горячим способом с устройством КИП:

1 - наружный шланг; 2 - конус полиэтиленовый с отводом; 3 - броня; 4 - провод к КИП от брони; 5 - место сварки полиэтиленовых деталей между собой, со шлангом кабеля и проводом к КИП; 6 - труба полиэтиленовая; 7 - муфта металлическая; 8 - провод перепайки брони; 9 - слой ЛПК и лент; 10 - муфта чугунная; 11 - припайка провода к КИП от оболочки

Рис. 12.20. Восстановление защитных изолирующих покровов горячим способом при помощи полиэтиленовых полумуфт:

1 - шланг; 2 - место сварки шланга с полиэтиленовыми деталями; 3 - оболочка; 4 - слой ЛПК и лент; 5 - полумуфта; 6 - муфта металлическая; 7 - кольцо опорное стальное

12.28. При восстановлении изолирующих покровов горячим способом в случаях непоставки промышленностью полиэтиленовых конусов с отводами для КИП на муфтах, где проектом предусмотрено оборудование последних, допускается восстановление изолирующих покровов холодным способом.

РЕМОНТ ПЛАСТМАССОВЫХ ШЛАНГОВЫХ ПОКРОВОВ

12.29. Приведенные ниже методы ремонта защитных покровов шлангового типа могут применяться при устранении повреждений на проложенных в грунте или в кабельной канализации (колодцах) кабелях, а также при выявлении повреждений до прокладки на кабельных площадках.

12.30. Повреждения шланга могут быть условно разбиты на:

а) точечные - сквозные отверстия (проколы, порезы и т.д.) размером по диаметру или по диагонали до 10 мм;

б) оголенные участки - сдиры, пропуски и наслоения при наложении шланга, длинные порезы, пережимы и т.д.

12.31. Для ремонта шлангов применяют:

а) термоусаживаемые цилиндрические трубки (для случаев, когда повреждение находится в непосредственной близости от конца кабеля) и ТУТ с продольным замком;

б) многослойное наложение на поврежденный участок шланга компаунда ЛПК, чередующегося полиэтиленовыми лентами (холодный способ);

в) наложение на поврежденное место отрезка пластмассовой накладки и приварка ее к шлангу под слоем стеклоленты.

12.32. Холодный способ и трубки ТУТ могут применяться для ремонта любых повреждений, а сварка под слоем стеклоленты - в основном при повреждениях, указанных в п. 12.30, а.

12.33. При ремонте шланга холодным способом необходимо:

а) очистить от загрязнений место повреждения и шланг на расстоянии 60 - 80 мм по обе стороны от места повреждения (ремонтируемый участок);

б) обрезать шланг на расстоянии 2 - 3 мм вокруг места повреждения;

в) смыть бензином подклеивающий слой с оболочки до полного его удаления, затем промыть бензином ремонтируемый участок и просушить в течение 10 - 15 мин;

г) заполнить место повреждения слоем ЛПК;

д) нанести первый слой ЛПК на шланг по обе стороны от повреждения на расстоянии 40 - 50 мм;

е) обмотать нанесенный ЛПК одним слоем полиэтиленовой ленты с 30 %-ным перекрытием;

ж) нанести еще два слоя ЛПК и обмотать лентами с захватом шланга на 10 мм больше относительно предыдущего слоя ленты;

з) обмотать ремонтируемый участок двумя слоями стеклоленты, пропитанный битумной массой Б-1. Допускается пропитка ленты массой МКБ или битумом № 4.

12.34. При ремонте шланга сваркой через стеклоленту необходимо:

а) вырезать прямоугольную накладку из шланга размером на 5 - 10 мм больше поврежденного участка в каждую сторону;

б) промыть накладку бензином и просушить в течение 10 - 15 мин;

в) очистить от загрязнений место повреждения и шланг на расстоянии 20 - 30 мм по обе стороны от места повреждения (ремонтируемый участок);

г) выполнить работы, изложенные в п. 12.33, б, в;

д) зачистить ножом ремонтируемый участок и внутреннюю поверхность накладки;

е) наложить накладку на место повреждения; обмотать накладку с захватом шланга кабеля по 20 мм в обе стороны двумя слоями стеклоленты с 50 %-ным перекрытием;

ж) прогреть пламенем паяльной лампы или газовой горелки места сварки. Прогрев вести слабым пламенем до тех пор, пока через стеклоленту не выступит расплавленный полиэтилен (стеклолента при этом потемнеет);

з) после охлаждения ремонтируемого участка до порядка 50 - 60 °С осторожно размотать стеклоленту;

и) проверить качество приварки накладки к шлангу: она не должна отделяться от шланга по всему периметру; на накладке и шланге не должно быть трещин, прожогов и т.д.

12.35. Ремонт шланга при помощи ТУТ следует производить по технологии, применяемой при восстановлении изолирующих покровов шлангового типа при монтаже муфт (см. пп. 12.10, 12.11). После усадки ТУТ ремонтируемый участок следует обмотать двумя слоями стеклоленты, пропитанной битумной массой Б-1.

12.36. Для ремонта внутреннего полиэтиленового шланга (подушки) бронированного кабеля необходимо:

а) разрезать наружный покров и броню примерно на середине ремонтируемого участка, размотать и отогнуть их в стороны; очистить шланг от битума бензином и уточнить место и размеры повреждения;

б) в зависимости от размеров повреждения и выбранного метода ремонта определить расстояние между местами среза наружного покрова и брони, наложить на них проволочные бандажи, броню залудить и пропаять, оставив концы проволок для последующей перепайки брони, как это делается при монтаже муфт;

в) выполнить работы по ремонту шланга одним из изложенных выше методов;

г) перепаять между собой концы проволок от бандажей на броне;

д) восстановление наружного защитного покрова выполнить так же, как при монтаже муфт.

12.37. Контроль качества ремонта осуществляется визуально в процессе его выполнения (в том числе самоконтроль), а также последующими измерениями электрического сопротивления изоляции шланговых покровов.

12.38. В местах ремонта шланга чугунные муфты не устанавливают.

12.39. Место выполненного ремонта должно быть зафиксировано в исполнительной документации (на строительных длинах до прокладки указывается расстояние от конца А, а на проложенном кабеле - расстояние до ближайших постоянных ориентиров, ближайшей муфты, угла поворота и т.д.).

Раздел 13

МОНТАЖ КАБЕЛЕЙ В ПЛАСТМАССОВОЙ ОБОЛОЧКЕ

ОБЩИЕ УКАЗАНИЯ

13.1. Сращивание пластмассовых оболочек должно производиться одним из следующих способов:

а) термоусаживаемыми деталями или термоусаживаемыми деталями в комбинации с полиэтиленовыми деталями;

б) полиэтиленовыми деталями, сваренными с оболочкой кабеля и между собой путем наплавления полиэтиленовой ленты и прогрева ее под слоем стеклоткани;

в) опрессованием сростка вместе с оболочкой разогретым до вязко-текучего состояния полиэтиленом;

г) заливкой сростка вместе с прилегающей к нему частью оболочки пластифицированным битумным компаундом или специальной мастикой (для кабелей типов ЗКП, ЗКВ).

13.2. Пластмассовые детали и специальные материалы для монтажа кабелей в пластмассовых оболочках (ЛПК, полиэтиленовые ленты) должны храниться при температуре от - 5 до + 40 °С и не подвергаться прямому воздействию солнечных лучей.

13.3. Монтаж кабелей с пластмассовыми оболочками при температуре окружающей среды ниже - 5 °С следует производить в палатке (колодце), обогреваемой паяльными лампами; концы кабеля и пластмассовые монтажные детали также следует прогреть над пламенем паяльной лампы и тщательно протереть насухо.

МОНТАЖ КАБЕЛЕЙ ТИПА ЗКП, ЗКВ-1×4×1,2 ПРИ ПОМОЩИ ТУТ

Монтаж прямых муфт

13.4. Разделка и подготовка концов кабеля должна производиться по размерам, приведенным на рис. 13.1, для чего:

а) выложить концы по дну котлована и наметить середину сростка;

б) наложить бандаж на покров из кабельной пряжи бронированного кабеля; кабельную пряжу, бронеленты и ленты подброневой подушки смотать и временно закрепить около бандажа; наружную оболочка очистить от битума ветошью, смоченной бензином;

Примечание. В зависимости от количества ТУТ и их длины, указанное на рис. 13.1 расстояние от середины сростка до бандажа на кабельной пряже может быть соответственно изменено. Это расстояние определяется общей длиной деталей, надвигаемых на конец кабеля перед сращиванием жил.

в) сделать кольцевой и продольный надрезы наружной оболочки и удалить ее с концов кабеля;

г) медные или алюминиевые ленты экрана надрезать на уровне полиэтиленовой оболочки и удалить; допускается также экранные ленты не обрезать, а свернуть в рулончики, временно прикрепить к кабелю и использовать при восстановлении экрана;

Медные экранные проволоки, расположенные под алюминиевыми экранными лентами, отогнуть в сторону для последующей их перепайки (см. п. 13.9, б);

д) на расстоянии 50 мм от среза наружной оболочки сделать кольцевой надрез заполнения и от него к концу кабеля два продольных надреза на расстоянии 5 мм на глубину примерно 1,5 мм. Образовавшуюся полоску с торца захватить плоскогубцами и отделить от сердечника кабеля по всей длине продольного надреза; удалить оставшуюся часть заполнения. В случае сваривания заполнения с изоляцией жил от кольцевого надреза сделать четыре продольных надреза по винтовой линии, соответствующей шагу скрутки жил и проходящей по промежутку между ними; разрезать сердечник кабеля около торца на длине 20 - 25 мм вдоль продольных надрезов на четыре сектора, захватить их концы плоскогубцами и разъединить на всю длину продольных надрезов, т.е. до кольцевого надреза; отделить от изоляции жил полоски заполнения и обрезать их в месте кольцевого надреза;

е) на одном из концов кабеля на расстоянии 35 мм от кольцевого надреза заполнения сделать кольцевой надрез изоляции жил красной и желтой (натуральной) расцветок (первая пара) и на расстоянии 15 мм - синей и зеленой расцветок (вторая пара). На другом конце кабеля изоляцию жил первой пары надрезать на расстоянии 15 мм, а второй пары - на расстоянии 35 мм. Надрезанные участки изоляции жил удалить;

ж) на концы сращиваемых кабелей надвинуть ТУТ (одну или две), а при комбинированном способе надвинуть полиэтиленовые или поливинилхлоридные детали; при восстановлении изоляции жил при помощи термоусаживаемых трубок надвинуть их на жилы с изоляцией длиной 35 мм.

Рис. 13.1. Разделка концов кабеля типов ЗКПБ, ЗКВБ-1×4×1,2 при монтаже прямой муфты:

1 - пряжа; 2 - бандаж на пряже; 3 - броня; 4 - полиэтиленовая оболочка; 5 - участок удаления полиэтиленовой оболочки для припайки экранных лент; 6 - экран; 7 - заполнение; 8 - изоляция жил; 9 - жилы

13.5. Сращивание жил выполнить следующим образом:

а) установить концы сращиваемых кабелей и закрепить их так, чтобы расстояние между местами среза полиэтиленового заполнения было 63 - 65 мм; при этом жилы с изоляцией длиной 35 мм должны располагаться против жил с изоляцией длиной 15 мм;

б) скрутить одноименные жилы (одинаковой расцветки) у среза изоляции длиной 35 мм (рис. 13.2, а), обрезать скрутку на расстоянии 11 - 13 мм и припаять припоем ПОССу-40-2 в стаканчиковом паяльнике; прижать скрутку к жиле, расположив ее между срезами изоляции.

Примечание. При восстановлении изоляции жил согласно п. 13.7 с целью облегчения процесса обмотки скруток полиэтиленовыми лентами рекомендуется сначала соединить только одну - две жилы, а остальные скручивать по мере восстановления изоляции.

13.6. При восстановлении изоляции жил при помощи термоусаживаемых трубок (гильз) необходимо:

а) надвинуть на скрутку термоусаживаемую трубку с предварительно расположенной в ней полиэтиленовой гильзой; допускается применение термоусаживаемых гильз (без полиэтиленовых), если они специально предназначены для этой цели;

б) раздвинуть жилы на расстоянии 5 - 8 мм от оси кабеля;

в) направить небольшое пламя паяльной лампы или газовой горелки на середину ТУТ и, равномерно прогревая ее по окружности, передвигать пламя к одному из концов трубки до полной усадки; затем аналогично произвести усадку ТУТ от середины к другому концу.

13.7. При восстановлении изоляции жил при помощи ЛПК и полиэтиленовых лент (толщиной 0,1 и шириной 10 мм) необходимо (см. примечание к п. 13.5, б):

а) зачистить острым ножом полиэтиленовую изоляцию жил на длине 10 - 13 мм от скрутки для придания ей шероховатости;

б) раздвинуть жилы на расстоянии 5 - 8 мм от оси кабеля;

в) на скрутку жил и зачищенный участок полиэтиленовой изоляции на длине 10 мм нанести тонкий слой ЛПК; обмотать скрутку с захватом изоляции на 10 - 13 мм полиэтиленовой лентой шириной 10 и длиной 450 мм с 50 %-ным перекрытием; в процессе намотки на ленту также наносить тонкий слой ЛПК; каждый последующий слой ленты должен перекрыть предыдущий слой на 2 - 3 мм; конец ленты закрепить ниткой (рис. 13.2, б).

13.8 После восстановления изоляции всех жил уплотнить сросток путем плотной обмотки его полиэтиленовой лентой шириной 10 мм и длиной 700 мм с 30 %-ным перекрытием и захватом заполнения на 5-7 мм с каждой стороны (рис. 13.2, в). Конец ленты закрепить.

Рис. 13.2. Скрутка и изоляция жил:

а - скрутка жил; б - изоляция жил при помощи ЛПК и лент; в - обмотка сростка полиэтиленовыми лентами

13.9. Восстановление экрана произвести следующим образом:

а) на длине 10 мм с обоих концов сростка удалить полиэтиленовую оболочку, очистить экран от битумной массы ветошью, смоченной бензином;

б) на обоих концах сростка у места среза полиэтиленовой оболочки верхнюю экранную ленту залудить; ранее отогнутые медные экранные проволоки (см. п. 13.4, г) сращиваемых длин скрутить и пропаять;

в) обмотать сросток отрезком экранной ленты с 30 %-ным перекрытием, концы лент закрепить и припаять к экрану, выступающему из-под обреза полиэтиленовой оболочки.

Восстановление экрана можно также произвести путем обмотки сростка ранее смотанными в рулончики экранными лентами с 30 %-ным перекрытием; концы ленты закрепить и пропаять.

Медные ленты и проволоки залуживать и пропаивать припоем ПОССу-40-2 с применением в качестве флюса ФКСп (спиртового раствора канифоли). Алюминиевые ленты залуживать и пропаивать цинково-оловянным припоем ЦОП.

13.10. Для восстановления заполнения поверх восстановленного экрана нанести тонкий слой ЛПК, обмотать сросток несколькими слоями полиэтиленовой ленты шириной 20 - 25 мм с 30 %-ным перекрытием и с захватом оболочки на 8 - 10 мм.

13.11. На оболочку кабеля по обе стороны от сростка на расстоянии 15 - 20 мм от места ее среза наложить пояски из расплава ГИПК 14-16 (в виде ленты). Ширина поясков для кабелей диаметром до 25 мм должна быть примерно 20 мм, а для кабелей диаметром более 25 мм - 40 мм; толщина слоя 0,7 - 1 мм. Поясок подслоя следует накладывать на предварительно нагретую оболочку кабеля до 60 - 70 °С.

13.12. Надвинуть на сросток ТУТ таким образом, чтобы ее концы симметрично перекрывали пояски из расплава ГИПК 14-16 на 30 - 40 мм (в зависимости от расстояния между местами среза и длины трубки, с учетом продольной усадки).

13.13. Умеренным пламенем паяльной лампы произвести усадку ТУТ путем постепенного перемещения пламени вокруг сростка и от середины трубки к одному из ее концов. После усадки одной половины трубки аналогично усадить вторую половину. Особенно тщательно следует прогревать трубку в местах наложения на оболочку поясков из ГИПК 14-16.

13.14. При двухслойном использовании ТУТ необходимо:

а) около концов усаженной первой (нижней) ТУТ наложить на оболочку кабеля пояски из ГИПК 14-16, как указано в п. 13.11;

б) надвинуть на сросток вторую трубку так, чтобы ее концы симметрично перекрывали пояски на 30 - 40 мм;

в) произвести усадку второй трубки, как указано в п. 13.13. Этапы монтажа кабеля при помощи ТУТ показаны на рис. 13.3.

Рис. 13.3. Этапы монтажа кабеля при помощи ТУТ:

а - сросток сердечника с намотанными на оболочку поясками из ленточного расплава ГИПК 14-16 и надвинутой ТУТ; б, в - поочередная усадка ТУТ от середины сростка; г - усадка второго слоя ТУТ:

1 - оболочка кабеля; 2 - поясок; 3 - ТУТ; 4 - сросток сердечника

13.15. При сращивании пластмассовых оболочек кабеля одной ТУТ для повышения продольной герметизации сростка (стыка оболочки с концами ТУТ) рекомендуется применение укороченных отрезков ТУТ (рис. 13.4). При этом должны соблюдаться требования о перекрытии концов нижележащей трубки или поясков из ГИПК 14-16.

Рис. 13.4. Наложение укороченных отрезков ТУТ:

1 - оболочка кабеля; 2 - укороченная ТУТ; 3 - поясок; 4 - основная ТУТ; 5 - подклеивающий слой; 6 - сросток сердечника

13.16. При использовании ТУТ в комбинации с пластмассовыми муфтами сращивание пластмассовой оболочки должно производиться следующим образом:

а) перед монтажом сростка оболочки сращиваемых кабелей и концы пластмассовых муфт с внешней стороны слегка зашкурить наждачным полотном и обезжирить бензином или ацетоном;

б) до сращивания токопроводящих элементов сердечника на концы кабеля надвинуть отрезки ТУТ и отдельные части пластмассовой муфты, обезжиренные с внутренней стороны ацетоном или бензином;

в) надвинуть на сросток пластмассовые части муфты; для фиксации отдельных частей муфты между собой и с оболочкой кабеля, на стыки следует намотать два - три слоя полиэтиленовой ленты, предварительно обезжиренной бензином или ацетоном;

г) на расстоянии 2 - 5 мм от намотанных лент на оболочку кабеля и муфту наложить пояски из расплава ГИПК (ленточного типа);

д) надвинуть на стыки отрезки ТУТ, установив их симметрично относительно поясков и с перекрытием последних;

е) произвести усадку ТУТ сначала на одном конце сростка, затем на стыке отдельных частей муфты (если она состоит из двух частей) и затем на другом конце сростка.

Общий вид муфты, смонтированной комбинированным способом, показан на рис. 13.5.

Рис. 13.5. Комбинированный способ монтажа муфты при помощи полиэтиленовых (пластмассовых) деталей и ТУТ:

1 - оболочка кабеля; 2 - ТУТ; 3 - поясок; 4 - конус полиэтиленовый; 5 - подклеивающий слой; 6 - трубка полиэтиленовая; 7 - сросток сердечника

13.17. Восстановление брони и наружного защитного покрова производится в такой последовательности:

а) по всей длине оголенной части кабеля и муфты восстановить подброневую подушку путем намотки снятой при разделке концов кабеля и смотанной в рулончики бутиминизированной бумаги; концы бумажных лент закрепить нитками или шпагатом;

б) поверх подушки туго наложить ранее снятые бронеленты в таком же порядке, как они были наложены до их снятия; излишнюю длину лент обрезать, концы зачистить, залудить, соединить внахлест или кровельным швом и пропаять;

в) поверх брони наложить покров из пряжи с перекрытием концов на 30 - 40 мм и закреплением места перекрытия проволокой или шпагатом; готовый сросток покрыть слоем разогретой битумной массы (МКБ, битум № 4).

Монтаж симметрирующих муфт

13.18. Разделку и подготовку концов сращиваемых кабелей выполнить так же, как при монтаже прямых муфт (см. п. 13.4).

13.19. Сращивание жил производится по заданному оператору. В случаях, когда в муфте должны быть включены элементы противосвязи, к скруткам жил следует припаять концы выводных проводников согласно п. 10.45.

13.20. Восстановление изоляции жил выполнить путем обмотки скруток жил кабеля и припаянных к ним концов выводных проводников полиэтиленовой лентой с промазкой ЛПК (см. п. 13.7).

13.21. После восстановления изоляции всех жил уплотнить сросток путем обмотки его полиэтиленовой лентой шириной 10 мм с 30 %-ным перекрытием и захватом заполнения на 5 - 7 мм с каждой стороны; при этом концы выводных проводников должны быть выведены из-под намотанных лент наружу и рассредоточены в разных местах сростка.

13.22. После подбора (в процессе симметрирования) элементов противосвязи соединить последние с выводными проводниками и между собой, пропаять и места соединений изолировать полиэтиленовыми лентами с промазкой компаундом ЛПК. Концы выводных проводников должны быть как можно короче. Элементы контуров из разных ветвей следует расположить по возможности дальше друг от друга и закрепить нитками к сростку. Неиспользованный выводной проводник следует обрезать, расположив оставшийся конец таким образом, чтобы он не касался других частей контура.

13.23. Обмотать сросток с уложенными контурами полиэтиленовой лентой (без ЛПК) шириной 10 - 15 мм; концы ленты закрепить.

13.24. Восстановление заполнения, экрана, наружной оболочки, брони и наружного покрова выполнить так же, как при монтаже прямой муфты.

МОНТАЖ КАБЕЛЕЙ ТИПА ЗКП, ЗКВ-1×4×1,2 БИТУМНЫМИ КОМПАУНДАМИ

13.25. Для монтажа муфт, кроме обычных, должны быть подготовлены следующие приспособления, детали и материалы:

а) перфоратор (рис. 13.6) для проделывания отверстий в экранных бронелентах;

б) чайник стальной сварной для нагревания битумного компаунда;

в) муфта полиэтиленовая (рис. 13.7) для размещения сростка сердечника;

г) гильзы полиэтиленовые тупиковые для изоляции скруток жил;

д) лента поливинилхлоридная толщиной 0,1 - 0,3 мм для скрепления кабелей;

е) компаунд битумный для герметизации сростка (состав и способ приготовления приведены в приложении 11);

ж) болт М3 с гайкой и пружинной шайбой для соединения экранных и бронелент;

з) кронштейн трубчатый или проволочный подвес для крепления муфты в колодце телефонной канализации или на воздушной линии.

Рис. 13.6. Перфоратор:

1 - матрица; 2 - пуансон

Рис. 13.7. Полиэтиленовая муфта и тупиковая гильза

Рис. 13.8. Расположение кабелей и муфт в котловане:

1 - кабель; 2 - муфта (штриховой линией показано расположение чугунной муфты)

13.26. После проверки электрического состояния сращиваемых кабелей, выкладки их по дну котлована (рис. 13.8) и закрепления на монтажных козлах произвести разделку концов по размерам, указанным на рис. 13.9, для чего:

а) наложить бандаж на покров из пряжи, обрезать его и удалить с конца кабеля;

б) надпилить бронеленты, размотать их и удалить с конца кабеля; размотать и удалить бумажные ленты подброневой подушки;

в) бронеленты, оставленные у среза наружного покрова из пряжи распрямить, удалить с них битум и зачистить напильником;

г) сделать кольцевой и продольный разрезы оболочки и удалить ее;

д) размотать и тщательно очистить экранные ленты от битума при помощи ветоши, смоченной в бензине, предварительно подогревая их над пламенем паяльной лампы; экранные ленты и экранные проволоки (в кабелях с алюминиевым экраном) смотать в рулончики и временно закрепить у места среза оболочки;

е) удалить находящееся под экраном полиэтиленовое заполнение; в случаях, когда заполнение сварено с полиэтиленовой изоляцией жил, сделать на нем четыре разреза ножом между жилами, отогнуть жилы в разные стороны, обрезать полиэтиленовый кордель, слегка подогреть разрезанные на полоски части сердечника и отделить заполнение от изоляции жил при помощи плоскогубцев;

ж) удалить полиэтиленовую изоляцию жил.

Рис. 13.9. Разделка концов кабеля ЗКП, ЗКВ(Б)-1×4×1,2 при монтаже муфт битумными компаундами:

1 - джут; 2 - бандаж; 3 - бронеленты; 4 - наружная оболочка; 5 - экранная проволока; 6 - экранные ленты; 7 - заполнение; 8 - полиэтиленовая изоляция; 9 - токопроводящие жилы

13.27. Сращиваемые кабели сложить вместе и скрепить проволочным бандажом, расположив его выше бандажей, установленных ранее на наружном покрове каждого кабеля.

13.28. Перфоратором сделать в бронелентах отверстия (по одному в каждой ленте), сложить ленты вместе и скрепить их болтом с гайкой, под которую подложить пружинную шайбу; скрепленные бронеленты обмотать вокруг кабелей.

13.29. Скрутить жилы сращиваемых кабелей напрямую (т.е. цвет в цвет) или по заданным операторам на длине 30 мм, укоротить скрутку бокорезами до 25 мм.

13.30. Экранные ленты, ранее смотанные в рулончики, сложить вместе и обмотать ими оба кабеля у места среза оболочки двумя - тремя витками; излишки лент удалить.

Для соединения экранных лент перфоратором сделать в них отверстие диаметром 3 - 4 мм и скрепить болтом с гайкой и пружинной шайбой. Медные экранные ленты залудить, сложить кровельным швом, пропаять и пригнуть к сростку. Экранные проволоки намотать поверх экранных лент двумя - тремя оборотами и скрутить вместе на длине 20 мм; излишки проволок обрезать.

13.31. В том случае, когда в муфте предусматривается заземление экрана, провод ПСП-1×1,8 или ПРППМ уложить в паз между сращиваемыми кабелями; концы этих проводов освободить от изоляции на 100 - 120 мм, залудить, обмотать ими экранные ленты и скрутить с экранными проволоками.

13.32. Скрутки жил и скрутки экранных проволок пропаять в стаканчиковом паяльнике.

13.33. На скрутки жил надвинуть полиэтиленовые тупиковые гильзы таким образом, чтобы конец гильзы перекрывал изоляцию жил на 20 - 25 мм.

13.34. Обмотать кабели пятью - восемью витками поливинилхлоридной ленты таким образом, чтобы после погружения сростка в полиэтиленовую муфту концы тупиковых гильз находились на расстоянии 10 - 15 мм от дна муфты, а обмотка ПВХ лент располагалась на уровне верхней части муфты (см. рис. 13.10, поз. 4). Концы лент закрепить путем приварки или бандажом из ниток. Аналогичную намотку ПВХ лент сделать над местом соединения экранных лент.

Между кабелями (примерно между верхней и нижней обмотками из ПВХ лент) вставить вкладыш (из обреза оболочки) для образования зазора между кабелями.

13.35. Полиэтиленовую муфту временно установить вертикально в рыхлый грунт или в трубчатый кронштейн (при монтаже муфты в колодце телефонной канализации.

Залить муфту на 2/3 ее высоты битумным компаундом, температура которого должна составлять: для Б-1 и Б-2 - 80 °С, для МБМ-1 - 70 °С и для БР-20 - 90 °С.

Не допускается перегревать компаунд, так как это может привести к повреждению изоляции жил кабеля и оболочки.

13.36. Погрузить смонтированный сросток в муфту с компаундом таким образом, чтобы верх муфты был на уровне верхней обмотки из ПВХ лент.

13.37. На бронированный кабель нанести слой разогретого битумного компаунда на участке от бандажа на покрове из пряжи до верхней обмотки из ПВХ лент. Общий вид муфты показан на рис. 13.10.

Рис. 13.10. Общий вид муфты (в разрезе):

1 - бандаж; 2 - бронеленты; 3 - болт с гайкой и шайбой на броне; 4 - ПВХ ленты; 5 - кабель; 6 - муфта полиэтиленовая; 7 - компаунд битумный; 8 - вкладыш; 9 - экранные проволоки; 10 - болт с гайкой на экранных лентах; 11 - заполнение кабеля; 12 - жилы; 13 - гильзы (штриховой линией показан участок, подлежащий покрытию битумным компаундом - на бронированном кабеле)

Рис. 13.11. Размещение муфты в колодце:

1 - кронштейн; 2 - консоль; 3 - кабель; 4 - муфта полиэтиленовая; 5 - кронштейн трубчатый

13.38. Не ожидая охлаждения компаунда, установить муфту в котловане, для чего в его дне сделать углубление на 0,75 высоты муфты; выкладку кабеля выполнить согласно рис. 13.8; пространство между стенками углубления и муфтой, а также между дном котлована и кабелем на выходе его из муфты необходимо заполнить рыхлым грунтом и утрамбовать.

В колодце кабельной канализации муфта располагается в трубчатом кронштейне или в проволочном подвесе (рис. 13.11), укрепленном на проложенном кабеле или на металлическом стержне, уложенном на консоли.

13.39. В случаях, предусмотренных проектом, муфты на бронированных кабелях типа ЗКПБ, ЗКВБ должны быть защищены чугунными муфтами, расположенными горизонтально. Для этого: смонтированную муфту после остывания битумного компаунда уложить в чугунную муфту; свободное отверстие заделать деревянной пробкой, уплотненной просмоленной паклей; с другой стороны зазоры между кабелями и шейкой чугунной муфты также заделать просмоленной паклей; через люк заполнить внутреннюю полость муфты цементным раствором.

13.40. При монтаже симметрирующих муфт концы выводных проводников скрутить с токопроводящими жилами кабеля, пропаять и изолировать тупиковыми гильзами. К противоположным концам выводных проводников в процессе симметрирования временно подключить переменный контур, а после подбора - постоянный контур противосвязи. После монтажа сердечника сросток заключить в полиэтиленовую муфту с компаундом.

МОНТАЖ КАБЕЛЕЙ В ОБОЛОЧКАХ ИЗ РАЗНОРОДНЫХ МАТЕРИАЛОВ

13.41. Монтаж кабелей в оболочках из разнородных материалов должен производиться термоусаживаемыми трубками или специальными металлопластмассовыми манжетами типа МПК (манжета переходная кабельная) (рис. 13.12, а).

13.42. Монтаж кабелей в оболочках из разнородных материалов при помощи термоусаживаемых трубок (деталей) осуществляется так же, как на кабелях в однородных оболочках (см. пп. 13.4 - 13.24).

Рис. 13.12. Сращивание разнородных оболочек:

а - металлопластмассовая манжета с припаянным свинцовым конусом; б - смонтированная муфта:

1 - свинцовая оболочка; 2 - свинцовая муфта; 3 - сросток сердечника кабеля; 4 - свинцовый конус; 5 - стальная трубка; 6 - слой полиэтилена; 7 - полиэтиленовая оболочка кабеля; 8 - место сварки полиэтилена; 9 - защитный покров из компаунда ЛПК и лент; 10 - поливинилхлоридная оболочка

13.43. Для монтажа муфт на стыке кабеля в полиэтиленовой оболочке с кабелем в свинцовой оболочке допускается применение переходных манжет типа МПК-ПС. После монтажа сердечника и восстановления экрана ранее надвинутая на конец кабеля манжета устанавливается в нужное положение и ее полиэтиленовый слой сваривается с полиэтиленовой оболочкой при помощи полиэтиленовых лент, прогретых пламенем паяльной лампы сквозь стеклоленту. Затем на сросток надвигается свинцовая муфта, концы которой припоем ПОССу-30-2 припаиваются к стальной трубке переходной манжеты с одной стороны и к свинцовой оболочке с другой. Чтобы предохранить полиэтиленовое покрытие манжеты от оплавления на время пайки, его следует обмотать стеклотканью.

13.44. Для монтажа муфт на стыке кабеля в поливинилхлоридной оболочке с кабелем в свинцовой оболочке должны применяться переходные манжеты типа МПК-ВС. При этом поливинилхлоридный слой манжеты сращивают с поливинилхлоридной оболочкой кабеля при помощи ТУТ, а свинцовую муфту припаивают к свинцовой оболочке и к стальной трубке манжеты.

13.45. На стыке кабелей в стальной оболочке с кабелями в пластмассовой оболочке используется такая же переходная манжета, как на стыке кабелей в оболочках из свинца и пластмассы. Общий вид муфты, смонтированной на кабелях в разнородных оболочках, показан на рис. 13.12, б.

ЗАДЕЛКА КОНЦОВ КАБЕЛЕЙ В ПЛАСТМАССОВОЙ ОБОЛОЧКЕ

13.46. После вскрытия кабеля для измерений и испытаний на кабельной площадке или в процессе прокладки и монтажа концы кабеля должны быть герметично заделаны.

13.47. Заделка концов кабелей в пластмассовой оболочке должна производиться при помощи:

а) термоусаживаемых колпаков;

б) полиэтиленовых или поливинилхлоридных колпаков;

в) полиэтиленовых колпаков, заполненных битумным компаундом.

13.48. Заделка концов при помощи термоусаживаемых колпаков производится в такой последовательности:

а) разделать конец кабеля в соответствии с рис. 13.13; при этом жилы должны быть обрезаны таким образом, чтобы между ними, экранными лентами и бронепокровами не было электрического контакта;

б) наружную полиэтиленовую или поливинилхлоридную оболочку тщательно очистить от подброневых покровов и битума ветошью, смоченной бензином, и протереть насухо;

в) установить конец в вертикальное или наклонное положение (торцом вверх, чтобы при нагреве на оболочку не стекал битум) и надвинуть на него термоусаживаемый колпак;

г) слабым пламенем паяльной лампы или горелки, начав сверху, прогревать колпак, постепенно перемещая пламя по окружности и в направлении открытого конца до полной усадки колпака (рис. 13.14).

Рис. 13.13. Заделка конца кабеля в пластмассовой оболочке при помощи пластмассового колпака, привариваемого к оболочке

Рис. 13.14. Заделка конца кабеля при помощи термоусаживаемого колпака

13.49. Заделка концов кабеля при помощи полиэтиленовых колпаков должна производиться следующим образом:

а) выполнить работы, изложенные в п. 13.48, а, б;

б) установить конец в вертикальное (наклонное) положение торцом вверх и надвинуть на него полиэтиленовый колпак таким образом, чтобы он перекрывал наружную оболочку на 40 - 50 мм; на месте стыка колпака и полиэтиленовой оболочки намотать с небольшим натяжением полиэтиленовую ленту шириной 20 мм, толщиной 0,1 - 0,15 мм с захватом оболочки и колпака на 20 - 25 мм; толщина намотки 1,5 - 2 мм;

в) поверх полиэтиленовой ленты плотно намотать три слоя стеклоленты шириной 20 мм с 50 %-ным перекрытием; конец стеклоленты закрепить проволочным бандажом;

г) умеренным пламенем паяльной лампы или газовой горелки прогреть место обмотки до потемнения стеклоленты и появления между ее витками расплавленного полиэтилена;

д) после охлаждения места сварки (через 12 - 15 мин) стеклоленту удалить и проверить качество сварки.

13.50. Заделка концов кабеля с наружной ПВХ оболочкой при помощи поливинилхлоридных колпаков должна производиться следующим образом:

а) выполнить работы, изложенные в п. 13.48, а, б;

б) установить кабель в наклонное положение (торцом вверх) и надвинуть на него поливинилхлоридный колпак таким образом, чтобы он перекрывал наружную оболочку на 40 - 50 мм;

в) около торца колпака на поливинилхлоридную оболочку наложить один - полтора витка медной или алюминиевой ленты (от экрана кабеля); лента должна заходить под край колпака на 4 - 5 мм; между торцом колпака и оболочкой установить (задвинуть) медные вкладыши так, чтобы наружный край вкладышей находился на экранной ленте, наложенной на оболочку;

г) поверх колпака над вкладышами наложить с натяжением бандаж из 10 - 12 витков резиновой (медицинской) ленты шириной 20 - 25 мм и толщиной 1 - 1,5 мм; конец ленты закрепить проволочным бандажом;

д) пламенем паяльной лампы или газовой горелки прогревать поочередно концы вкладышей до их произвольного выхода из-под колпака; через 2 - 3 мин бандаж снять и экранную ленту удалить.

13.51. Заделка концов кабеля с наружной полиэтиленовой или поливинилхлоридной оболочкой может производиться при помощи пластмассового колпака и короткого отрезка ТУТ, усаживаемого на стыке открытого конца колпака и наружной оболочки.

13.52. Заделка концов при помощи муфты, заполненной битумным компаундом, производится, как правило, после прокладки кабеля, для чего:

а) выполнить работы, изложенные в п. 13.48, а, б;

б) установить полиэтиленовый колпак в вертикальное положение и заполнить его разогретым битумным компаундом;

в) поместить разделанный конец кабеля в колпак с компаундом;

После остывания компаунда уложить колпак в котловане в горизонтальное положение и присыпать его грунтом.

РАЗДЕЛ 14

МОНТАЖ КАБЕЛЕЙ НА ПЕРЕХОДАХ ЧЕРЕЗ РЕКИ И ВОДОЕМЫ

ОБЩИЕ УКАЗАНИЯ

14.1. Требования настоящего раздела должны соблюдаться при монтаже кабелей с проволочной броней, проложенных через реки, водоемы, глубокие (более 2 м) водонасыщенные болота, в районах распространения вечномерзлых грунтов, на уклонах более 45° и других местах с повышенной растягивающей нагрузкой на кабель.

14.2. В зависимости от способа прокладки кабеля, времени выполнения работ, глубины водного бассейна, его гидрологической характеристики и других местных условий монтаж муфт на подводной части трассы должен производиться одним из следующих способов:

а) на плавучем средстве после прокладки одной из сращиваемых длин в подводную траншею; при этом нижний конец прокладываемой длины под воду не опускается и сращивается с началом следующей длины. Смонтированная муфта опускается под воду одновременно с началом прокладки следующей длины кабеля;

б) на плавучем средстве после прокладки обоих сращиваемых отрезков кабеля; при этом подлежащие сращиванию концы должны быть зафиксированы буями;

в) на плавучем средстве путем сращивания нескольких строительных длин кабеля и намотки их вместе с муфтами на специальный барабан большого диаметра, с которого производится прокладка кабеля в подводную траншею;

г) на льду после прокладки сращиваемых строительных длин кабеля вдоль проруби;

д) на льду после прокладки одной из подлежащих сращиванию строительных длин в подводную траншею; при этом нижний конец прокладываемой длины под воду не опускают и сращивают с началом (верхним концом) следующей длины. Смонтированную муфту опускают под воду по мере прокладки следующей строительной длины.

14.3. Муфту, смонтированную на плавучем средстве или на льду, следует опускать на дно водоема (в подводную траншею) с особой осторожностью, по наклонным стержням, на стропах со свободным захватом.

14.4. Укладка муфты в подводную траншею (на дно водоема, в подводный котлован) должна производиться с выкладкой запаса кабеля против течения.

14.5. Сращивание сердечника и оболочки подводного кабеля должно производиться в соответствии с требованиями для подземного кабеля данного типа.

14.6. При прокладке на переходах через водные преграды двух кабелей (основного и резервного - по разным створам) в каждый из них должно быть включено примерно 50 % связей. Распределение пар по створам определяется проектом.

14.7. При прокладке кабелей через водные преграды следует обратить особое внимание на проверку электрических характеристик и герметичности оболочки строительных длин, подлежащих прокладке в подводной части, затопляемой пойме и других труднодоступных местах.

14.8. Стык подводного кабеля с подземным должен быть расположен не ближе 30 м от уреза воды. Монтаж стыковой (разветвительной) муфты и ее защита должна осуществляться в соответствии с требованиями по монтажу муфт на подземных кабелях.

14.9. Сращивание подводного кабеля с подземным должно производиться не ранее, чем через 48 ч после окончания всех работ на подводном кабеле (замыв траншей, укрепление берегов, монтаж защитных устройств), а также после электрических измерений постоянным током и испытаний герметичности.

Данное требование должно соблюдаться также при монтаже кабелей, проложенных через водные преграды, но не имеющих проволочной брони (с ленточной или стальной гофрированной броней, в алюминиевой или стальной гофрированной оболочке и т.д.).

14.10. Сращивание проволочной брони кабелей должно производиться одним из следующих способов: а) безмуфтовым соединением проволок; б) при помощи стяжных защитных муфт; в) при помощи стальных втулок.

БЕЗМУФТОВОЕ СОЕДИНЕНИЕ ПРОВОЛОЧНОЙ БРОНИ

14.11. Безмуфтовое соединение проволочной брони допускается только в случаях, когда соотношение диаметров муфты (свинцовой, алюминиевой) и кабеля по оболочке находится в пределах до 2,5.

14.12. Сращиваемые концы кабеля уложить на монтажные козлы. Для более устойчивого положения кабеля в процессе монтажа каждый конец следует уложить на двое козел. Первые козлы высотой 50 - 60 см расположить ближе к муфте; вторые, высотой 25 - 30 см, установить на расстоянии 70 - 80 см от первых. Каждый кабель прикрепить к козлам, на которые он уложен; при этом концы кабелей должны оставаться свободными и перекрывать друг друга на 1500 - 1800 мм (рис. 14.1).

Рис. 14.1. Укладка концов кабеля на монтажные козлы

14.13. Определить середину сростка, от которой в обе стороны отмерить расстояние на 35 - 40 мм больше половины длины свинцовой муфты и сделать соответствующие отметки.

14.14. По наружному покрову около отметок на каждом конце наложить плотный бандаж из 10 - 12 витков линейной стальной оцинкованной проволоки диаметром 3 мм. Расстояние между бандажами должно быть 1000 - 1200 мм (рис. 14.2).

Наложение бандажа произвести при помощи специальной клетневки, изготовленной из твердой породы дерева - граб, клен, береза (рис. 14.3).

Рис. 14.2. Наложение бандажей на концы кабеля с проволочной броней

Рис. 14.3. Клетневка для наложения бандажей

14.15. Для наложения бандажа следует зарядить клетневку бандажной проволокой длиной 2 - 2,5 м так, как это показано на рис. 14.4. Конец проволоки А закрепить за монтажные козлы и от места закрепления до места наложения бандажа сделать 1,5 - 2 спиралеобразных витка; затем наложить бандаж.

Наложение бандажа следует вести в направлении от середины сростка, т.е. к концу А бандажной проволоки, чтобы накладываемыми витками закрепить этот конец (рис. 14.5, а). После того, как будет сделано пять - шесть витков, конец А бандажной проволоки следует от козел открепить, не ослабляя натяжения клетневки, и уложить параллельно оси кабеля (рис. 14.5, б). Витки намотки должны плотно прилегать друг к другу; при этом по мере необходимости следует ослаблять большую петлю бандажной проволоки.

После наложения необходимого числа витков, не ослабляя натяжения, конец проволоки А скрутить с концом Б; длина скрутки должна быть 40 - 50 мм (три - четыре витка). Излишнюю длину бандажных проволок надпилить и обломать. Скрутку затянуть более плотно плоскогубцами и загнуть в направлении от середины сростка. Аналогично подготовить второй конец кабеля.

Рис. 14.4. Клетневка с заправленной в нее бандажной проволокой

Рис. 14.5. Наложение бандажа при помощи клетневки (а) и положение нижнего конца бандажной проволоки (б)

14.16. С обоих концов кабеля отделить пряжу, смотать ее в рулончики и укрепить около бандажей (рис. 14.6).

14.17. На расстоянии 50 мм от ранее наложенных бандажей на броневые проволоки наложить еще один бандаж из восьми - десяти витков проволоки диаметром 3 мм (рис. 14.6).

Рис. 14.6. Размотка наружной пряжи и наложение бандажа на броневые проволоки

14.18. С каждого конца кабеля снять поочередно (по одной) все проволоки брони, выпрямить их (путем натяжения и вращения вокруг своей оси в направлении, обратном тому, по которому она была навита на кабеле), отогнуть в сторону и временно закрепить (рис. 14.7).

14.19. С обоих концов кабеля снять подброневой слой пряжи и бумаги: смотать их в рулончики и временно укрепить (рис. 14.7).

Рис. 14.7. Разделка концов кабеля с проволочной броней и запайка свинцовой муфты

14.20. Очистить оболочку кабеля, разделать и подготовить концы к сращиванию, смонтировать сердечник кабеля, его оболочку и восстановить изолирующие покровы в соответствии с требованиями по монтажу подземных кабелей. До начала монтажа под каждый конец кабеля непосредственно около конусов будущей муфты установить дополнительно монтажные козлы высотой 50 - 60 см.

Размеры и форма сростка должны соответствовать внутренней полости муфты. После запайки (опрессования) муфты в ней не должно быть пустот; при необходимости сросток сердечника следует дополнительно плотно обмотать миткалевой лентой.

14.21. Качество запайки муфты должно быть тщательно проверено внешним осмотром, а герметичность - местным давлением.

14.22. На кабеле без изолирующих шланговых покровов оголенную часть оболочки и муфту покрыть слоем горячей битумной массы (битум № 3), поверх которой восстановить ранее снятые подброневые покровы. Пряжу следует уложить равномерно, без заметных бугров или пропусков. Около конусов муфты пряжу необходимо уложить таким образом, чтобы по возможности сгладить линию изгиба, т.е. сделать более плавный переход от кабеля к муфте (рис. 14.8).

Рис. 14.8. Устройство подброневой подушки

14.23. Ранее отогнутые проволоки брони вновь выпрямить и уложить вдоль кабеля и муфты по их окружности. Каждую проволоку одной из сторон сростка уложить между двумя смежными проволоками противоположной стороны. Интервалы между уложенными проволоками должны быть примерно одинаковыми.

По обеим сторонам сростка проволоки брони прочно закрепить двумя временными бандажами (рис. 14.9). Концы броневых проволок временно закрепить двумя - тремя витками проволоки диаметром 1 - 1,5 мм.

Рис. 14.9. Укладка проволок брони по бокам сростка и скрепление их временными бандажами

14.24. На середине сростка, поверх проволок брони, при помощи клетневки наложить бандаж из линейной оцинкованной проволоки диаметром 3 мм. Длина бандажа должна быть 80 - 100 мм (рис. 14.10). Концы броневых проволок освободить от временного крепления.

Рис. 14.10. Укладка проволок вокруг сростка и наложение среднего бандажа

14.25. Одну из броневых проволок перегнуть у самого края среднего бандажа и уложить поверх него вдоль сростка. Аналогично загнуть и уложить рядом лежащую проволоку противоположного конца. Затем две проволоки пропустить (по одной с каждой стороны), т.е. оставить в том положении, в котором они были до намотки среднего бандажа. Следующие две проволоки по одной с каждой стороны также загнуть у самого края среднего бандажа и уложить в противоположные стороны вдоль сростка, затем две проволоки вновь пропустить и т.д. Таким образом, уложить вокруг сростка все проволоки брони (рис. 14.11).

Рис. 14.11. Укладка проволок поверх среднего бандажа

14.26. Закрепить концы всех проволок брони двумя - тремя витками проволоки диаметром 1 - 1,5 мм. Проверить правильность укладки проволок брони, устранить нахлесты, изгибы и т.д. С помощью молотка броневые проволоки по возможности прижать к сростку. На время укладки броневых проволок их следует укрепить временным бандажом на середине сростка.

14.27. Наложить на сросток боковые бандажи из проволоки диаметром 3 мм. Обмотку начать на одной из сторон при помощи клетневки на расстоянии 200 - 250 мм от центра сростка и вести ее в направлении середины. Конец А бандажной проволоки временно закрепить примерно около середины сростка. После того, как намотано пять - шесть витков, конец А бандажной проволоки открепить, выпрямить и уложить вдоль сростка в паз между броневыми проволоками. После наложения 12 - 15 витков несколько броневых проволок необходимо загнуть под углом 90° у самого начала намотки бокового бандажа и при помощи молотка уплотнить наложенные витки. Продолжать намотку до тех пор, пока длина бокового бандажа будет равна 150 - 170 мм. После этого конец А бандажной проволоки скрутить с концом Б и скрутку длиной 4 - 6 см загнуть вдоль сростка в направлении намотки витков бандажа.

Аналогично наложить боковой бандаж на другой стороне сростка.

14.28. Концы броневых проволок загнуть у самого края боковых бандажей и с помощью молотка плотно прижать. На расстоянии 30 мм от изгиба броневые проволоки надпилить и обломить (рис. 14.12).

Рис. 14.12. Наложение боковых бандажей и заделка концов броневых проволок

14.29. По обеим сторонам сростка при помощи клетневки наложить на броню кабеля бандажа из стальной оцинкованной проволоки диаметром 3 мм и длиной 150 - 170 мм. В процессе намотки временно наложенные бандажи удалить.

14.30 Сросток на участке между бандажами по наружному покрову обильно покрыть горячей битумной массой. Ранее смотанный слой пряжи наружного покрова кабеля плотно намотать на сросток; концы пряжи закрепить оцинкованной проволокой диаметром 1 - 1,5 мм (рис. 14.13). Покрыть сросток вместе с бандажами на наружном покрове горячей битумной массой (битум № 3).

Рис. 14.13. Вид сростка после наложения защитного покрова

МОНТАЖ КАБЕЛЕЙ С ПРОВОЛОЧНОЙ БРОНЕЙ ПРИ ПОМОЩИ СТЯЖНЫХ ЗАЩИТНЫХ МУФТ

14.31. Для сращивания проволочной брони данным способом должны быть подготовлены следующие специальные детали: кольцо (рис. 14.14, а), прижим (рис. 14.14, б), конус (рис. 14.14, в), стяжной болт с гайками и шайбами (рис. 14.14, г) защитная муфта (рис. 14.14, д).

Рис. 14.14. Детали стяжной муфты для кабеля КМК-8/6:

а - кольцо; б - прижим; в - конус; г - стяжной болт с гайками и шайбами; д - защитная муфта

14.32. Размеры деталей определяются в зависимости от типа кабеля, способа сращивания оболочки и размера смонтированной муфты (свинцовой, алюминиевой).

МОНТАЖ КАБЕЛЯ МАРКИ КМК-8/6 ПРИ ПОМОЩИ СТЯЖНЫХ ЗАЩИТНЫХ МУФТ

14.33. Размеры деталей стяжной защитной муфты для сращивания проволок брони кабеля марки КМК-8/6 приведены на рис. 14.14.

14.34. Уложить на монтажные козлы сращиваемые кабели с перекрытием концов не менее 700 мм и прикрепить их.

14.35. Наметить середину сростка на каждом конце путем наложения бандажа из одного - двух витков шпагата или проволоки.

14.36. На расстоянии 350 мм от середины сростка поверх наружного покрова сращиваемых концов кабеля наложить с помощью клетневки (см. рис. 14.3 - 14.5) бандаж из стальной оцинкованной проволоки диаметром 3 мм. Длина бандажа 80 мм, длина проволоки для зарядки клетневки 7 м.

14.37. Снять с концов кабеля пряжу наружного покрова и обрезать ее около бандажей (рис. 14.15).

Рис. 14.15. Разделка концов кабеля КМК-8/6

14.38. Надеть на каждый конец кабеля детали стальной стяжной муфты для крепления проволок брони в такой последовательности: кольцо, прижим и конус (рис. 14.16, а).

14.39. Отделить от кабеля проволоки брони, протереть ветошью, смоченной бензином, отогнуть в сторону и временно закрепить (рис. 14.16, б).

14.40. Наложить на подброневой покров бандаж из двух витков проволоки диаметром 1 - 1,5 мм на расстоянии 15 - 20 мм от изгиба проволок брони.

14.41. Снять с концов кабеля слои кабельной пряжи и крепированной бумаги подброневого покрова и обрезать их у наложенного бандажа.

14.42. Очистить свинцовую оболочку от битума и промыть ее ветошью, смоченной бензином.

14.43. Намотать четыре - пять витков стеклоленты на торец подброневого покрова.

14.44. Сделать круговой надрез свинцовой оболочки на расстоянии 95 мм от бандажа на наружном покрове. Снять свинцовую оболочку, надвинуть на один из концов кабеля свинцовый цилиндр и свинцовый конус, а на другой конец свинцовый конус. Смонтировать сердечник кабеля, заполнить паспорт, запаять свинцовую муфту, проверить ее герметичность в соответствии с требованиями разд. 9, 11 и 17.

Рис. 14.16. Монтаж стяжной муфты:

а - установка деталей стяжки; б - загиб проволок и установка деталей свинцовой муфты; в - заделка проволок брони:

1 - кольцо; 2 - прижим; 3 - конус; 4 - свинцовый цилиндр; 5 - свинцовый конус; 6 - стяжной болт

14.45. Отогнуть проволоки брони и обмотать бандаж (ранее сделанный на наружном покрове) кабельной лентой так, чтобы диаметр кабеля в этом месте был равен внутреннему диаметру конуса.

14.46. Вставить стяжные болты в отверстия конусов и надвинуть оба конуса на обмотанные кабельной лентой участки кабеля. Подтянуть конуса гайками до упоров на стяжных болтах.

14.47. Выложить проволоки брони через прорези конусов вдоль кабеля. Проволоки должны плотно прилегать к конусу, для чего во время укладки их следует пристукивать молотком через алюминиевый стержень диаметром 20 и длиной порядка 200 мм.

14.48. Закрепить концы проволок, выложенных вдоль конуса и кабеля, временным бандажом.

14.49. Установить прижим над проволоками брони и с помощью гаек плотно прижать его к конусу. Гайки завинчивать торцовым ключом (рис. 14.16, в).

14.50. Снять временный бандаж, проволоки брони отогнуть к прижиму и закрепить их с помощью кольца и гаек. Излишнюю длину проволок брони надпилить и обломить.

14.51. Намотать на кабель просмоленную кабельную ленту в местах расположения шеек стальной защитной муфты. Ленту наматывать с таким расчетом, чтобы кабель плотно лежал в шейках муфты.

14.52. Уложить смонтированную муфту в нижнюю половину стальной защитной муфты, установить ее верхнюю половину и скрепить их болтами.

14.53. Залить защитную муфту битумной массой, доливая ее по мере усадки. Положение муфты в разрезе показано на рис. 14.17, а муфты после установки кожуха - на рис. 14.18.

14.54. Смонтированную муфту осторожно, не допуская крутых изгибов кабеля, опустить в подводную траншею (котлован).

Рис. 14.17. Положение муфты после стяжки (в разрезе)

Рис. 14.18. Общий вид муфты после установки кожуха

МОНТАЖ КАБЕЛЕЙ С ПРОВОЛОЧНОЙ БРОНЕЙ ПРИ ПОМОЩИ СТАЛЬНЫХ ВТУЛОК

14.55. Для сращивания (закрепления) проволочной брони должны применяться две стальные втулки, конфигурация и размеры которых, в зависимости от типа кабеля, подлежащего монтажу, показаны на рис. 14.19.

Рис. 14.19. Нижняя (а) и верхняя (б) стальные втулки

14.56. До разделки концов кабеля надвинуть на один из них обе стальные втулки. Для восстановления наружного покрова шлангового типа при помощи полиэтиленовых деталей или ТУТ надвинуть их на кабель до разделки концов.

14.57. Проволочную броню закрепить по обеим сторонам сростка одним или несколькими бандажами из стальной оцинкованной проволоки диаметром 3 мм, накладываемыми при помощи клетневки.

14.58. В процессе разделки концов стальные проволоки брони поочередно отделить от кабеля, выпрямить путем вращения каждой из них вокруг своей оси в направлении, обратном тому, по которому она навита на кабель.

Выпрямленные проволоки отогнуть около бандажа в сторону, противоположную середине сростка, и прикрепить к кабелю временным бандажом (см. рис. 14.7).

14.59. Монтаж сердечника кабеля, сращивание оболочки и испытание герметичности муфты выполнять так же, как при монтаже подземного кабеля.

14.60. Восстановление подброневых покровов выполнить в соответствии с конструкцией монтируемого кабеля (обмотка муфты и оголенной части кабеля ранее снятыми покровами, кабельной лентой, полиэтиленовой муфтой, ТУТ и т.д.). При этом следует сделать по возможности плавный переход от кабеля к муфте около конусов (см. рис. 14.8).

14.61. Снять временные бандажи, удерживающие концы проволок брони. Уложить проволоки брони по окружности вдоль кабеля и муфты таким образом, чтобы каждая проволока одного конца кабеля располагалась между двумя смежными проволоками другого конца.

В процессе укладки проволок их концы относительно друг друга следует фиксировать путем перевязки тонкой проволокой. После укладки всех проволок вплотную друг к другу их необходимо закрепить по краям сростка временными свободными бандажами из стальной проволоки диаметром 1 - 1,5 мм.

14.62. Надвинуть на сросток поверх проволок брони стальную соединительную втулку меньшего диаметра (см. рис. 14.19, а), установив ее по центру сростка.

14.63. Перегнуть одну из проволок брони у самого края стальной втулки, уложить ее вдоль сростка, плотно прижав к поверхности втулки медным молотком; при этом между торцом втулки и местом перегиба проволоки брони не должно быть зазора. Таким же образом перегнуть проволоку брони другого конца кабеля и уложить ее вдоль сростка рядом с первой отогнутой проволокой. Затем перегнуть проволоку с первого конца кабеля, расположенную рядом с ранее отогнутой проволокой, и уложить ее вдоль кабеля рядом с проволокой второго конца. Аналогично поочередно перегнуть и уложить все проволоки брони.

14.64. Надвинуть на сросток поверх первой стальной втулки с уложенными на нее проволоками вторую (верхнюю) стальную втулку большего диаметра (см. рис. 14.19, б).

14.65. Отогнуть на 90° относительно продольной оси кабеля все проволоки брони около края верхней стальной втулки, надпилить их заподлицо с верхней поверхностью втулки и обломать. Зачистить напильником заусенцы.

Последовательность закрепления проволок брони при помощи стальных втулок показана на рис. 14.20.

Рис. 14.20. Укладка и закрепление проволок брони при помощи стальных втулок

14.66. Разделка концов кабелей марок КМКпШп-4 и КМАКпШп-4 при сращивании проволочной брони с помощью стальных втулок показана на рис. 14.21 и 14.22, а общий вид смонтированных муфт на этих кабелях (в разрезе) - на рис. 14.23 и 14.24.

Рис. 14.21. Разделка концов кабеля марки КМКпШп для монтажа при помощи стальных втулок:

1 - наружный шланг; 2 - бандаж; 3 - проволоки брони; 4 - подброневая подушка; 5 - внутренний полиэтиленовый шланг; 6 - свинцовая оболочка; 7 - поясная изоляция

Рис. 14.22. Разделка концов кабеля марки КМАКпШп-4 для монтажа при помощи стальных втулок:

1 - наружный шланг; 2 - проволоки брони; 3 - подушка; 4 - внутренний шланг; 5 - алюминиевая оболочка; 6 - поясная изоляция

Рис. 14.23. Общий вид муфты в разрезе, смонтированной на кабеле КМКпШп-4:

1 - наружный шланг; 2 - кабельная лента; 3 - ТУТ 120×36×650; 4 - проволоки брони; 5 - подушка; 6 - бандаж поверх проволок брони; 7 - внутренний шланг; 8 - ТУТ 90×36×150; 9- свинцовая оболочка; 10 - свинцовая муфта; 11 - ТУТ 90×36×725; 12 - стальные втулки

Рис. 14.24. Общий вид муфты в разрезе, смонтированной на кабеле КМАКпШп-4:

1 - наружный шланг; 2 - кабельная лента; 3 - ТУТ 120×36×650; 4 - проволоки брони; 5 - годика; 6 - бандаж поверх проволок брони; 7 - внутренний шланг; 8 - алюминиевая оболочка; 9 - свинцовый конус; 10 - свинцовый цилиндр; 11 - стальные втулки

МОНТАЖ МУФТ НА КАБЕЛЕ МАРКИ ВКПАПкШп

14.67. Для монтажа, кроме обычных (см. разд. 9 «Монтаж однокоаксиального кабеля типа ВКПАП») должны применяться детали и приспособления, показанные на рис. 14.19; 14.25 - 14.27.

14.68. Разделку сращиваемых концов кабеля произвести в соответствии с размерами, показанными на рис. 14.28.

14.69. Надвинуть на оба конца по конусу (рис. 14.25), на один из концов надвинуть полиэтиленовую трубу (рис. 14.26) и две стальные соединительные втулки (рис. 14.19).

14.70. Наложить бандаж из пяти - шести витков круглой стальной оцинкованной проволоки диаметром 2 - 2,5 мм около обреза наружного полиэтиленового шланга.

14.71. Выпрямить проволоки брони, перегнуть их у бандажа, уложить вокруг кабеля вдоль его оси и закрепить временным бандажом.

14.72. Срастить сердечник кабеля (до внешнего проводника включительно) в соответствии с требованиями, изложенными в разд. 9.

14.73. Обмотать сросток с захватом на 5 - 10 мм внутренней полиэтиленовой оболочки полиэтиленовой лентой с липким слоем; всего намотать три-четыре слоя с 50 %-ным перекрытием.

Рис. 14.25. Конус полиэтиленовый для монтажа муфты на кабеле ВКПАПкШп

Рис. 14.26. Трубка полиэтиленовая с двумя патрубками для монтажа кабеля ВКПАПкШп

Рис. 14.27. Трубка полиэтиленовая с продольным разрезом для монтажа кабеля ВКПАПкШп

Рис. 14.28. Разделка концов кабеля ВКПАПкШп:

1 - наружный шланг; 2 - битум; 3 - проволоки брони; 4 - внутренний шланг; 5 - битум; 6 - внешний проводник; 7 - внутренний проводник

14.74. Надвинуть на сросток полиэтиленовую трубку с продольным разрезом (рис. 14.27) и произвести сварку ее с внутренней полиэтиленовой оболочкой в соответствии с технологией, изложенной в разд. 12.

14.75. Заварить продольный разрез полиэтиленовой трубки путем ее обмотки двумя - тремя слоями полиэтиленовой ленты и прогрева пламенем паяльной лампы (газовой горелки) через стеклоленту.

14.76. Сделать, при необходимости, в середине сростка по полиэтиленовой трубке подмотку из полиэтиленовой ленты шириной 70 мм до диаметра 30 мм таким образом, чтобы малая стальная втулка плотно прилегала к сростку.

14.77. Закрепить проволочную броню при помощи стальных втулок (рис. 14.20) в соответствии с технологией, изложенной в пп. 14.61 - 14.65.

14.78. Для восстановления наружного полиэтиленового шланга надвинуть на сросток трубку и два конуса (рис. 14.25, 14.26).

14.79. Зачистить свариваемые участки оболочки и полиэтиленовых деталей и произвести сварку по технологии, изложенной в разд. 12. Сначала сварить трубку с конусами, а потом последние с наружной оболочкой.

14.80. Залить готовую муфту битумной массой, разогретой до 100 °С. После естественного охлаждения муфты до 40 - 50 °С очистить края полиэтиленовых патрубков от битумной массы ветошью, смоченной бензином. Вырезать из полиэтилена два кружка диаметром 25 мм (по диаметру патрубков) и приварить их при помощи разогретой стальной пластинки к торцам патрубков.

ОСОБЕННОСТИ МОНТАЖА МУФТ НА СТЫКЕ КАБЕЛЕЙ МАРОК ВКПАПкШп И ВКПАП

14.81. Разделку концов сращиваемых кабелей выполнить по размерам, показанным на рис. 14.29. Для удаления проволок брони наложить около места их обреза временный бандаж из трех-четырех витков мягкой стальной проволоки диаметром 1,5 - 2 мм; концы проволок бандажа скрутить. На расстоянии 5 - 7 мм от бандажа в сторону середины сростка надпилить проволоки брони и обломить их; удалить заусенцы и снять временный бандаж.

Рис. 14.29. Разделка концов на стыке кабелей ВКПАП и ВКПАПкШп:

1 - наружный шланг; 2 - внешний проводник; 3 - внутренний проводник; 4 - внутренний шланг; 5 - проволоки брони

14.82. Сращивание внутреннего и внешнего проводников и восстановление изоляции коаксиальной пары выполнить в соответствии с требованиями, изложенными в разд. 9 «Монтаж однокоаксиального кабеля ВКПАП».

14.83. Восстановление внутреннего полиэтиленового шланга кабеля ВКПАПкШп и наружного шланга кабеля ВКПАП выполнить при помощи полиэтиленовой трубки (без продольного разреза), надвинув ее на конец кабеля ВКПАП до сращивания внутреннего проводника.

14.84. Изолировать оголенные концы броневых проволок кабеля ВКПАПкШп, для чего:

а) зачистить ножом наружную полиэтиленовую оболочку на длине 20 - 25 мм от места ее среза и внутреннюю, полиэтиленовую оболочку на расстоянии 20 - 25 мм от места среза проволок брони;

б) обмотать оголенную часть проволок брони с захватом на 10 - 15 мм наружной и внутренней оболочек полиэтиленовой лентой в три-четыре слоя с 50 %-ным перекрытием;

в) поверх полиэтиленовой ленты намотать два - три слоя стеклоленты;

г) произвести сварку слоев полиэтиленовых лент с оболочками кабеля путем прогрева свариваемых поверхностей пламенем паяльной лампы.

РАЗДЕЛ 15

ОБОРУДОВАНИЕ ВВОДОВ КАБЕЛЕЙ И МОНТАЖ ОКОНЕЧНЫХ УСТРОЙСТВ. РАЗНЫЕ МОНТАЖНЫЕ РАБОТЫ

ОБЩИЕ УКАЗАНИЯ

15.1. Требования настоящего раздела должны соблюдаться при выполнении и приемке работ по оборудованию вводов магистральных и внутризоновых кабельных линий связи в помещения обслуживаемых и необслуживаемых усилительных пунктов (ОП, ОУП, НУП, НРП), междугородные телефонные станции, узлы связи, а также по монтажу оконечных кабельных устройств.

15.2. Место и способ ввода кабелей в помещение, номера занимаемых кабелями каналов трубопровода вводного блока и вводных патрубков подземных цистерн НУП, трасса прокладки кабелей непосредственно на подходе к месту ввода и внутри помещений, а также тип и расположение линейно-кабельного оборудования и оконечных устройств (ВКШ, ВКС, каркасы для разветвительных муфт, боксов, ОГКМ, УОК, ПГМС, ГМС и т.д.) должны определяться рабочей документацией проекта.

Типовые рабочие чертежи должны иметь привязку к данному (строящемуся) объекту.

15.3. Длина труб вводного блока должна обеспечивать доступ к их внешним концам без нарушения отмостки здания, обваловки, дренажей, водоотводных кюветов и других сооружений. Трубы вводного блока в здание должны быть проложены с уклоном 5 - 10° от здания.

15.4. Каналы вводного блока (свободные и занятые кабелями) во вновь построенных СУ, ОУП, ОП, МТС, АТС с целью предотвращения попадания газа в указанные здания должны быть заделаны со стороны помещения ввода кабелей герметизирующими устройствами типа ГУЗК, а со стороны станционного колодца (коллектора) - специальными пробками, паклей и технической замазкой.

При вводе кабелей в действующие предприятия связи герметизации подлежат каналы, занятые предусматриваемыми проектом кабелями, а также все каналы, которые предусмотрено докладывать в существующий вводный блок.

При герметизации ввода следует руководствоваться «Временными рекомендациями по предотвращению попадания газа в помещение ввода кабелей предприятий связи» (Министерство связи СССР, 1978) и «Руководство по герметизации вводов кабелей в предприятия связи» (Министерство связи СССР, ССКТБ, 1986).

Способ герметизации вводных устройств в здания обслуживаемых усилительных пунктов, станций и узлов связи определяется рабочей документацией проекта в зависимости от местных условий.

15.5. Места вводов кабелей в подземные НУП (цистерны, контейнеры) должны быть загерметизированы путем пайки, заделки и т.д.

15.6. Металлоконструкции, предназначенные для укладки кабеля и муфт внутри помещений ввода кабелей - кронштейны, консоли, каркасы для разветвительных муфт, металлические воздушные желоба (кабельросты) - должны быть окрашены в серый или черный цвет нитроэмалевой или масляной краской.

15.7. Внутри помещений бронированные кабели с наружным джутовым покровом на расстоянии 150 - 200 мм от вводного блока должны быть освобождены от кабельной пряжи и брони. В отдельных случаях, по согласованию с заказчиком, для защиты кабеля от механических повреждений броня может не удаляться; при этом джут во всех случаях подлежит снятию.

Заделку концов защитных покровов следует выполнять проволочными бандажами так же, как при монтаже муфт.

15.8. При вводе в помещение оболочки и брони всех кабелей следует перепаять между собой и заземлить. При необходимости систематического контроля за состоянием изолирующих шланговых покровов соединение оболочек и брони между собой и с заземлением должно осуществляться через разъемы (КИП).

15.9. При вводе кабелей в алюминиевой оболочке от разветвительной, изолирующей, газонепроницаемой или соединительной муфты до оконечных устройств (бокса, ОГКМ, УОК и т.п.) должны применяться кабели в свинцовых оболочках, что должно быть указано в рабочей документации проекта.

15.10. До начала работ по монтажу оконечных устройств отрезки вводных (в том числе распределительных) кабелей, боксы, газонепроницаемые, изолирующие муфты должны быть проверены на герметичность, а также на соответствие их электрических характеристик по постоянному току установленным нормам.

15.11. Высокочастотные симметричные кабели с высоким и низким уровнем передачи должны быть уложены в отдельные пакеты на расстоянии не менее 50 мм.

15.12. Счет пар на боксах, установленных на концах усилительных участков кабеля, должен быть одинаковым, поэтому сращивание жил в разветвительной или газонепроницаемой муфте на одном из концов (ОУП, НУП) производится напрямую (цвет в цвет), а на другом конце - по результатам предварительной прозвонки.

15.13. После монтажа оконечного устройства все проводники отрезка вводного кабеля до его сращивания с линией (в соединительной, разветвительной или газонепроницаемой-изолирующей муфте) должны быть подвергнуты проверке на обрыв и сообщения, а также на соответствие сопротивления и электрической прочности изоляции установленным нормам.

15.14. Внутренняя полость боксов должна быть залита кабельной массой типа МКС. Заливка боксов, заряженных кабелями с бумажной изоляцией жил, должна производиться массой, разогретой до 110 - 120 °С, а кабелями с полиэтиленовой или полистирольной изоляцией - до 60 °С.

15.15. Одновременно с монтажом оконечных устройств должны выполняться работы по установке и монтажу оборудования для содержания кабелей под постоянным воздушным избыточным давлением (УСКД, АУСКИД, КСУ, газонепроницаемых муфт), а также по вводу кабелей и монтажу устройств АРУ, вводу кабелей заземлений и другие работы.

ВВОД КАБЕЛЕЙ В ЗДАНИЯ ОУП

15.16. Работы по оборудованию вводов кабелей в здания обслуживаемых усилительных пунктов (ОУП, ОП, МТС) должны осуществляться в такой последовательности:

а) подготовка каналов вводного блока, предназначенных для протягивания в них кабелей;

б) разметка в соответствии с рабочими чертежами мест установки линейно-кабельного оборудования; разметка на стенах, полу, потолке мест установки и крепления металлических конструкций, отверстий в стенах или потолках под воздушные или другие желоба для укладки кабелей;

в) пробивка отверстий для крепления металлических конструкций, оборудования и т.д.;

г) установка креплений на цементный раствор, гипс или алебастр; подштукатурка поверхности вокруг установленных креплений;

д) подгонка желобов по месту, установка и крепление металлических конструкций, оборудования;

е) окраска металлоконструкций;

ж) ввод, удаление защитных покровов и раскладка магистральных (линейных) кабелей;

з) зарядка и установка боксов симметричных кабелей или муфт ОГКМ коаксиальных кабелей; раскладка распределительных кабелей;

и) сращивание вводных или распределительных кабелей с линейным кабелем: монтаж разветвительных, соединительных или газонепроницаемых изолирующих муфт;

к) крепление и маркировка проложенных кабелей и муфт;

л) прозвонка, измерения и испытания кабелей;

м) установка и монтаж КИП.

15.17. При вводе кабелей с изолирующими покровами шлангового типа (Шп, П) последние должны быть сохранены до изолирующих муфт; заземление оболочки и брони должно производиться через КИП.

Примерный вариант оборудования ввода кабелей и их расположение внутри здания показаны на рис. 15.1.

Рис. 15.1. Ввод кабелей в здание ОУП (ОП, МТС):

1 - вводный блок; 2 - магистральный (внутризоновый) кабель; 3 - газонепроницаемые муфты; 4 - воздуховод; 5 - УСКД; 6 - панель КИП; 7 - каркас для разветвительных муфт; 8 - отверстие из шахты в ЛАЦ; 9 - распределительные кабели; 10 - разветвительные муфты; 11 - консоли

ВВОД КАБЕЛЕЙ В ЦИСТЕРНЫ НУП

15.18. До начала работ по вводу кабелей в НУП должны быть выполнены следующие работы:

а) закончено строительство НУП (установка цистерны, монтаж наземной части);

б) проложены магистральные кабели, подлежащие вводу в НУП, а также соединительные кабели устройства АРУ, кабели (провода, шины) от заземляющих устройств, протекторов, КИП и т.д.

Примечание. Засыпка траншей и котлованов, планировка площадки, обваловка, отмостка, одерновка и другие земляные работы должны выполняться после окончания работ по вводу кабелей.

в) установлены металлоконструкции (кронштейны, воздушные желоба, каркасы) и вводно-кабельное оборудование внутри НУП (ВКШ и т.д.).

15.19. Работы по оборудованию ввода должны выполняться в такой последовательности:

а) рытье котлованов и траншей для прокладки кабелей на подходе к НУП и монтажа изолирующих муфт, термоблоков АРУ и т.д.;

б) укладка кабелей в траншеи;

в) разделка концов кабелей для ввода их в цистерну; одновременно на концы кабелей следует надвинуть муфты МИС;

г) ввод кабелей и монтаж вводных патронов;

д) укрепление кабелей на подходе к вводным патронам;

е) проверка оборудования и оконечных устройств вместе со стабкабелями перед подключением к ним кабелей (боксов, УОК, КАЕ, ГМС блоков и муфт АРУ и т.д.);

ж) укладка и крепление кабелей внутри цистерны;

з) монтаж соединительных или разветвительных муфт на стыке магистральных кабелей со стабкабелями от УОК, КАЕ, включение симметричных кабелей в ГМС, установленных на ВКШ; распайка гибких симметричных кабелей на вводных гребенках;

и) монтаж термоблоков АРУ в котлованах;

к) включение соединительных кабелей от блоков АРУ в устройства АРУ внутри цистерны (муфта АРУ, бокс, разветвительная муфта на кабеле 7×4, ГМС и т.д.) с одновременным симметрированием (при необходимости); установка щитков и подключение проводов КИП, протекторной защиты и заземляющих устройств; монтаж устройств служебной связи и сигнализации;

л) монтаж оборудования для содержания кабелей под постоянным избыточным воздушным давлением;

м) измерения и испытания смонтированных оконечных устройств с вводными кабелями перед монтажом муфты МИС; измерения сопротивления заземлений и защитных потенциалов;

н) монтаж МИС;

о) установка замерных столбиков, засыпка траншей и котлованов, планировка площадки, обваловка, одерновка и т.д.

15.20. Дно траншей и проложенные в них кабели на подходе к НУП без обваловки (при низком уровне грунтовых вод) должны находиться на уровне вводных патронов цистерны (рис. 15.2, а).

При высоком уровне грунтовых вод и строительстве НУП с обваловкой (полузаглубленный НУП) прокладка кабеля на под ходе к вводным патронам цистерны должна быть сделана так, как показано на рис. 15.2, б.

Рис. 15.2. Ввод кабелей в НУП:

а - заглубленный; б - полузаглубленный (с обваловкой):

1 - кабель; 2 - угловая сталь 50×50×5; 3 - проволочные хомуты

15.21. Разделка концов кабеля для ввода в цистерну НУП показана на рис. 15.3; при этом длина оголенной части оболочки должна определяться рабочими чертежами в зависимости от типа кабеля, системы передачи и расположения оборудования, оконечных устройств и устройств АРУ.

Рис. 15.3. Разделка конца кабеля для ввода в цистерну НУП:

1 - наружный покров; 2 - бандаж; 3 - броня; 4 - оболочка

15.22. Перед вводом кабеля в цистерну необходимо:

а) надвинуть на кабель изолирующую муфту МИС (если ее установка предусмотрена проектом), предварительно обмотав конец кабеля (до места установки муфты) бумагой или защитив внутреннюю поверхность муфты временной (на время надвигания) трубкой из жести или прессшпана;

б) снять защитный кожух;

в) патрубки, фланцы, втулки вводного патрона тщательно очистить ветошью, смоченной в бензине;

г) надвинуть на наружный покров конца кабеля защитный кожух;

д) залудить припоем ПОССу-30-2 края втулки вводного патрона, используя в качестве флюса пасту ПБК-26М;

е) подготовить и надвинуть на оболочку кабеля свинцовые прокладки для уплотнения зазора между оболочкой и втулкой вводного патрона.

15.23. Монтаж вводного устройства выполнить в соответствии с рис. 15.4, для чего:

а) ввести разделанный конец кабеля в отверстие вводного патрона; при этом место обреза защитных покровов должно находиться под фланцами защитного кожуха;

б) обмотать кабель в месте выхода из вводного устройства смоляной лентой таким образом, чтобы обеспечить плотную его посадку во фланце кожуха;

в) установить между оболочкой кабеля и втулкой вводного патрона свинцовые прокладки;

г) опаять припоем ПОССу-30-2 по окружности втулку вводного патрона с оболочкой кабеля;

д) надвинуть защитный кожух и скрепить его болтами с фланцами вводного патрона;

е) залить внутреннюю полость вводного устройства через отверстие в защитном кожухе, разогретом до 80 - 85 °С битумом № 4; закрыть отверстие пробкой.

Рис. 15.4. Монтаж вводного патрона:

1 - кабель с наружным покровом, 2 - защитный кожух; 3 - втулка стальная, 4 - битумная масса, 5 - оболочка кабеля, 6 - пайка, 7 - свинцовый конус; 8 - ребро жесткости; 9 - торцевая стенка, 10 - сварка, 11 - свинцовые прокладки

15.24. Втулки свободных от кабелей вводных патронов должны быть закрыты свинцовыми пробками и герметично запаяны.

15.25. Защиту кабеля от механических повреждений на подходе к цистерне выполнить в соответствии с рабочей документацией проекта.

15.26. Засыпка траншей (котлована) в непосредственной близости к вводным устройствам (3 - 5 м) должна производиться послойно с трамбовкой грунта через 20 - 30 см.

15.27. Ввод кабеля типа ВРГ-660 1×16 (без металлической оболочки) от заземляющих устройств выполняется в соответствии с п. 15.23 со следующими изменениями и дополнениями:

а) перед вводом в цистерну на кабель, кроме защитного кожуха, надвинуть свинцовую трубку длиной 320 мм и диаметром 25 мм с двумя впаянными свинцовыми патрубками;

б) установить указанную трубку на кабеле с таким расчетом, чтобы 1/3 ее длины входила во вводный патрон, а остальная часть находилась под защитным кожухом; для обеспечения плотной посадки концы трубки зачеканить; залить через один из свинцовых патрубков внутреннюю полость трубки разогретой массой МБР; после заливки и усадки мастики патрубки укоротить, концы их зачеканить и запаять;

в) надвинуть на конец кабеля (поверх свинцовой трубки) кольцо из свинца толщиной 1,2 - 1,5 мм и длиной 60 - 70 мм; внутренний диаметр кольца должен быть на 1 мм больше наружного диаметра втулки вводного патрона;

г) ввести конец кабеля в отверстие вводного патрона, уплотнить зазор между свинцовой трубкой и втулкой вводного патрона свинцовой прокладкой; надвинуть на втулку вводного патрона свинцовое кольцо, зачеканить его по концам и припаять припоем ПОССу-30-2 к втулке и свинцовой трубке;

д) обмотать кабель в месте выхода его из вводного устройства смоляной лентой, надвинуть защитный кожух, скрепить его с вводным патроном, залить полость кожуха битумом № 4.

ВВОД ЛИНЕЙНЫХ КАБЕЛЕЙ В КОНТЕЙНЕРЫ НУП И НРП

15.28. В необслуживаемых усилительных или регенерационных пунктах, в которых аппаратура систем передачи и оконечные вводно-кабельные устройства расположены в контейнере (кроме стабкабелей), работы по оборудованию вводов сводятся к монтажу соединительной (газонепроницаемой, разветвительной) муфты на стыке линейного кабеля со стабкабелем контейнера.

15.29. В зависимости от системы передачи и конструкции контейнеров последние могут устанавливаться непосредственно в грунт, в колодцах кабельной канализации или укреплены на опоре. Место и способ установки контейнера определяются рабочей документацией проекта.

15.30. До монтажа соединительной муфты следует проверить исправность стабкабеля с оконечными устройствами, а также герметичность контейнера.

15.31. Монтаж соединительной муфты должен производиться только после установки и закрепления контейнера в постоянное положение.

15.32. После установки корпус контейнера должен быть заземлен. Конструкция заземляющего устройства, величина сопротивления защитного заземления и марка соединительного кабеля определяются проектом.

15.33. Необслуживаемый усилительный пункт системы передачи К-60П-4, применяемый на симметричных одночетверочных высокочастотных кабелях типа ЗКП, ЗКА, МКС, МКСА, состоит из подземного винипластового стакана, в котором размещается усилительная аппаратура, и наземного металлического корпуса, где размещаются вводно-кабельные устройства. В нижней части наземного корпуса имеются вводные патрубки, через которые из НУП выводятся концы одночетверочных стабкабелей. Внутри корпуса концы стабкабелей заканчиваются газонепроницаемыми разъемами, с помощью которых осуществляется соединение со станционными устройствами. Вводные патрубки со стабкабелями тщательно загерметизированы для предохранения НУП от проникновения в него влаги. Включение НУП в линию производится путем монтажа соединительных муфт на стыке стабкабелей с линейными кабелями.

Общий вид НУП системы передачи К-60П-4 в разрезе показан на рис. 15.5.

Рис. 15.5. Необслуживаемый усилительный пункт со стабкабелями для системы передачи К-60П-4:

1 - корпус; 2 - защитный бетонный (кирпичный) колодец; 3 - люк; 4 - обваловка; 5 - несущая плита; 6 - отмостка; 7 - вводные стальные трубы; 8 - асбоцементная труба; 9 - стабкабель; 10 - соединительная муфта; 11 - линейный кабель

15.34. Необслуживаемый усилительный пункт системы передачи К-300 (рис. 15.6), применяемый на коаксиальном кабеле типа МКТ-4, состоит из стального вертикального цилиндрического корпуса с приваренным дном и плотно закрывающейся крышкой. Через патрубки в корпусе выведены концы стабкабелей типа МКТ-4 длиной 3 - 4 м. Внутри корпуса вводный кабель разделан на распределительные кабели, концы которых заканчиваются коаксиальными и симметричными разъемами, с помощью которых линия соединяется со станционными устройствами.

Внешние концы стабкабелей после установки НУП соединяются с линейным кабелем через газонепроницаемую муфту типа КГС (см. пп. 15.101 - 15.123).

Рис. 15.6. Необслуживаемый усилительный пункт со стабкабелями для системы передачи К-300:

1 - наземная часть; 2 - щиток КПП; 3 - контейнер; 4 - штырь заземления; 5 - отмостка; 6 - стабкабель; 7 - бетонная плита; 8 - муфта КГС; 9 - линейный кабель; 10 - блок термодатчиков

15.35. Контейнеры необслуживаемых регенерационных пунктов типа НРП-К2 (рис. 15.7) системы передачи ИКМ-120 должны устанавливаться в отдельных специально построенных колодцах кабельной канализации типа ККС-5; допускается установка в нишах и технических подвалах зданий. В состав НРП-К2 входит герметичная вводная муфта с четырьмя стабкабелями (рис. 15.8). В качестве стабкабеля применяется кабель марки ЗКАШп-1×4×1,2.

Рис. 15.7. Контейнер НРП-К2 со стабкабелями для системы ИКМ-120


Рис. 15.8. Герметичная вводная муфта со стабкабелями для НРП-К2 и НРП-02 системы ИКМ-120.


15.36. До установки колодца в углах котлована должны быть заглублены вертикальные электроды для оборудования заземляющего устройства. В качестве электродов следует использовать некондиционные трубы диаметром 48 мм, угловую сталь 50×50×5 мм длиной 2,5 м. Соединение электронов между собой производится стальной полосой 40×4 мм.

15.37. Контейнер в колодец следует опускать с помощью крана. Металлический канат должен крепиться к рым-болту и двум лапам со стороны муфты ввода так, чтобы при опускании контейнера стабкабели были направлены вверх, обеспечивая свободный проход контейнера через горловину колодца. Радиус изгиба стабкабелей должен быть не менее 410 мм.

15.38. Во время опускания контейнера людям находиться в колодце запрещается.

15.39. Включение НРП в одночетверочную кабельную линию должно осуществляться путем монтажа соединительных муфт на стыке стабкабелей НРП с линейными кабелями.

Включение НРП-К2 в кабельную линию с применением многопарного кабеля (например, МКС-4×4×1,2) должно осуществляться путем монтажа четырех разветвительных муфт на стыке стабкабелей с линейными кабелями. При этом в зависимости от количества предусмотренных данным проектом (очередью) систем ИКМ-120 стабкабели НРП впаиваются в разветвительную муфту. Остальные четверки линейного кабеля (не используемые для системы ИКМ-120 по данному проекту) в разветвительной муфте должны быть соединены с отрезками одночетверочных кабелей, при помощи которых эти четверки в данном пункте спрямляются или используются для других систем передачи. По мере увеличения количества систем ИКМ-120 стабкабели НРП сращиваются с одночетверочными кабелями, выведенными из разветвительной муфты без ее демонтажа и нарушения действующих связей.

15.40. Контейнеры НРП-02 системы ИКМ-120, как правило, должны устанавливаться на железобетонной опоре прямоугольного сечения (рис. 15.9). Крепление корпуса к опоре должно производиться при помощи специального комплекта монтажных деталей, поставляемых предприятием-изготовителем вместе с контейнером НРП-02. В состав НРП-02 входит герметичная вводная муфта с четырьмя стабкабелями марки ЗКПБ-1×4×1,2 (см. рис. 15.8), при помощи которых контейнер включается в кабельную линию.

Рис. 15.9. Контейнер НРП-02 для системы НКМ-120, установление на железобетонной опоре

15.41. Контейнеры НРП-Г8 для системы ИКМ-120 заглубляют в грунт примерно на 2/3 высоты корпуса и устанавливают на железобетонной плите (рис. 15.10). В состав НРП-Г8 входят четыре вводно-кабельные устройства (УВК) со стабкабелями (рис. 15.11), предназначенные для герметизации концов линейных кабелей и подключения к кабелю линейных регенераторов внутри контейнера при помощи полуразъемов и шнуров.

Включение НРП-Г8 в кабельную линию должно осуществляться путем монтажа четырех соединительных муфт на стыке стабкабелей с линейными кабелями. В качестве стабкабеля применяется кабель марки МКСАБпШп-4×4×1,2.

Рис. 15.10. Контейнер НРП-Г8 со стабкабелями для системы ИКМ-120


Рис. 15.11. Устройство вводно-кабельное (УВК) для НРП-Г8 системы ИКМ-120:

1 - вентиль, 2 - защитный хомут, 3 - битумная масса; 4 - изолирующая прокладка, 5 - корпус УВК; 6 - розетка, 7 - вилка закорачивающая; 8 - воздуховод


15.42. Контейнеры необслуживаемых регенерационных пунктов типа НРПГ-2 (рис. 15.12) для системы передачи ИКМ-480 заглубляют в грунт примерно на 2/3 высоты корпуса, устанавливают на железобетонной плите и крепят к ней при помощи четырех стальных канатов. В состав НРПГ-2 входят два оконечных кабельных устройства (УОК) (рис. 15.13) со стабкабелями типа МКТА-4, при помощи которых в соединительных муфтах осуществляется включение контейнера в кабельную линию.

Рис. 15.12. Контейнер НРПГ-2 с оконечными кабельными устройствами (УОК) для системы ИКМ-480

Рис. 15.13. Устройство оконечное кабельное со стабкабелями для НРПГ-2 системы ИКМ-480

МОНТАЖ ОКОНЕЧНЫХ ГАЗОНЕПРОНИЦАЕМЫХ КОАКСИАЛЬНЫХ МУФТ ОГКМ И ОГКМ-С

15.43. До начала монтажа кабель и муфта должны быть подвергнуты электрическим измерениям и испытанию на герметичность; сопротивление изоляции между штырем и гильзой или втулкой в муфте должно быть не менее 10000 МОм при 20 ± 5 °С и относительной влажности воздуха до 80 %.

Электрическая прочность изоляции между внутренним и внешним проводниками кабеля, а также между штырем и гильзой или втулкой муфты должна быть испытана напряжением не менее 4000 В постоянного тока в течение 2 мин.

15.44. Для монтажа муфт используются те же инструменты, что и при монтаже соединительных муфт на кабелях с коаксиальными парами типа 2,6/9,4 и 1,2/4,6.

15.45. Разделка конца кабеля КРК для монтажа муфты ОГКМ производится в следующем порядке (рис. 15.14):

а) на расстоянии 100 мм от конца кабеля сделать круговой надрез свинцовой оболочки и осторожно ее удалить;

б) у места среза оболочки на поясную изоляцию наложить бандаж из пяти - шести витков ниток; поясную изоляцию около бандажа оборвать и удалить;

в) размотать и на расстоянии 10 мм от места среза свинцовой оболочки обрезать стальные ленты экрана;

г) на расстоянии 35 мм от места среза свинцовой оболочки закрепить внешний проводник обрезами № 2. Плоскогубцами «утиный нос» раздвинуть продольный шов и затем поворотом плоскогубцев вокруг оси кабеля обрезать внешний проводник у режущей кромки обрезов;

д) внутренний проводник обрезать на расстоянии 15 мм от конца внешнего проводника боковыми кусачками таким образом, чтобы торец среза не имел клиновидной формы;

е) при помощи специальной вилки и установщика шайб удалить из кабеля три - четыре полиэтиленовых шайбы и установить вместо них три фторопластовых (см. пп. 9.20, 9.21).

Рис. 15.14. Разделка кабеля КРК для монтажа ОГКМ

15.46. Монтаж муфты ОП<М на кабеле КРК должен производиться в такой последовательности:

а) разобрать муфту ОГКМ (рис. 15.15), для чего отвинтить гильзу 12 и гайки 5 и 7, вынуть узел «штепсель» 10 вместе со втулкой 6 и резиновым кольцом 4;

Рис. 15.15. Муфта ОГКМ:

1 - корпус, 2 - втулка; 3 - гайки для крепления муфты; 4 - кольцо резиновое, 5 - гайка фасонная, 6 - втулка, 7 - контргайка, 8 - кольцо резиновое; 9 - место подпайки перемычки; 10 - узел «штепсель» (штырь для внутреннего проводника), 11 - кольцо пружинное; 12 - гильза

б) надвинуть корпус 1 муфты на разделенный конец кабеля КРК (рис. 15.16);

Рис. 15.16. Корпус муфты ОГКМ, надвинутый на разделанный конец кабеля КРК

в) вставить втулку 6 и резиновое кольцо 4 в корпус муфты таким образом, чтобы выступы на втулках были обращены к кольцу 4, расположенному между втулками;

г) надвинуть узел «штепсель» на конец кабеля таким образом, чтобы внутренний проводник вошел до упора в гнездо штыря штепселя, а внешний проводник - во втулку штепселя (рис. 15.17);

Рис. 15.17. Положение узла «штепсель» во время пайки

д) штырь штепселя, используя имеющееся в последнем отверстие (большое), припаять к внутреннему проводнику кабеля, а втулку штепселя - к внешнему проводнику. Пайку производить припоем ПОССу-61-05;

е) корпус муфты 1 со втулкой 6 и резиновым кольцом 4 надвинуть на втулку штепселя;

ж) вставить в фасонную гайку 5 резиновое кольцо (прокладку) 8, навернуть гайку на корпус муфты до отказа (рис. 15.18);

Рис. 15.18. Сочленение втулки штепселя с корпусом муфты и закрепление их фасонной гайкой

з) припаять корпус муфты к свинцовой оболочке кабеля.

Общий вид смонтированной муфты показан на рис. 15.19.

Рис. 15.19. Общий вид смонтированной муфты ОГКМ

15.47. В процессе пайки необходимо применять мокрую ткань или ветошь для отвода тепла от муфты; пайку следует вести осторожно, не допуская перегрева муфты и повреждения резиновых прокладок, обеспечивающих герметичность на стыках отдельных частей муфты.

15.48. После окончания монтажа муфта вместе с кабелем подлежит проверке на соответствие установленным нормам по сопротивлению и электрической прочности изоляции, а также на герметичность.

15.49. Перепайка перемычки между линейной и станционной частями муфты ОГКМ (между узлом «штепсель» и штепсельным гнездом) должна производиться после настройки аппаратуры на линии для повышения надежности контакта; для этого необходимо:

а) до начала работ снять с кабеля напряжение дистанционного питания;

б) подготовить медный луженый проводник из проволоки диаметром 1,0 мм и длиной 100 мм;

в) открыть окно на соединительной гильзе;

г) вложить проводник в пазы штыря и гнезда и припаять его припоем ПОССу-61-0,5; излишек проводника удалить;

д) закрыть окно и установить пломбу.

15.50. Монтаж малогабаритных муфт типа ОГКМ-С на распределительном кабеле КТС следует выполнять по технологии, изложенной в пп. 15.46 - 15.49. Разделка конца кабеля КТС показана на рис. 15.20. В процессе залуживания внешнего проводника под баллонную изоляцию следует задвинуть опорную полиэтиленовую трубку (см. п. 9.47).

Рис. 15.20. Разделка конца кабеля КТС:

1 - оболочка; 2 - поясная изоляция; 3 - экранные ленты; 4 - внешний проводник; 5 - баллонная изоляция; 6 - внутренний проводник

МОНТАЖ ПЕРЕХОДНОЙ ГАЗОНЕПРОНИЦАЕМОЙ СОЕДИНИТЕЛЬНОЙ МУФТЫ (ПГМС)

15.51. Муфта ПГМС должна устанавливаться на стыке распределительного кабеля МКСГ и станционных однопарных кабелей КМС-2; противоположный конец кабеля МКСГ включается в разветвительную муфту коаксиального кабеля для вывода симметричных пар, а концы кабелей КМС-2 в ЛАЦ ОУП (ОП) подключаются к плате стойки служебной связи аппаратуры К-3600 (К-1920П) или к вводной плате стойки VKD аппаратуры VLT-1920.

15.52. На кабеле КМ-8/6 к муфте ПГМС подключается 14 кабелей КМС-2 (в том числе один резервный), а на кабеле КМ-4 - 10 кабелей.

При монтаже муфты ПГМС распайка симметричных пар кабеля МКСГ-7×4 с линейной стороны и кабелей КМС-2 со станционной стороны должна производиться таким образом, чтобы каждый кабель КМС-2 соединялся с одной из пар кабеля МКСГ; при этом жила «а» (первая) линейного кабеля должна соединяться с жилой «а» станционного кабеля КМС-2.

При подключении к муфте ПГМС 14 кабелей КМС-2 следует устанавливать уплотнительную шайбу с 17 отверстиями, а при подключении 10 кабелей - шайбу с 13 отверстиями.

15.53. До начала монтажа муфты распределительный и станционный кабели должны быть подвергнуты измерениям и испытаниям на соответствие их параметров установленным нормам.

15.54. Зачистить места паек свинцовых элементов муфты и остальные детали; при протирке резиновой шайбы бензин не применять.

Жилы станционной стороны муфты обрезать на длине 75 мм от заливочного компаунда и залудить их концы припоем ПОССу-61-0,5 на длине 10 мм.

15.55. Подготовить отрезки кабелей КМС-2 длиной, указанной в проекте (в зависимости от места расположения ПГМС). Протянуть кабели сквозь упорную, уплотнительную и нажимную шайбы на длину около 200 мм. Шайбы скрепить винтами М5×25.

15.56. На расстоянии 50 мм от конца каждого кабеля КМС-2 осторожно надрезать оболочку и снять ее. Сдвинуть экран к месту среза оболочки и обрезать его ножницами. На расстоянии 5 мм от места среза оболочки надрезать и снять поясную полиэтиленовую изоляцию. На расстоянии 20 мм от места среза оболочки осторожно надрезать полиэтиленовую изоляцию жил и удалить ее. Залудить концы жил на длине 5 - 7 мм припоем ПОССу-61-0,5 (рис. 15.21).

Рис. 15.21. Разделка кабеля КМС-2:

1 - место остановки нажимной шайбы; 2 - оболочка, 3 - экран (обрезан); 4 - поясная полиэтиленовая изоляция, 5 - полиэтиленовая изоляция жил; 6 - жилы

15.57. Ослабить стяжные винты, установить кабели КМС-2 в шайбах таким образом, чтобы расстояние от места среза оболочки каждого кабеля до нажимной шайбы составляло 40 мм; подтянуть стяжные винты. Связать кабели КМС-2 в жгут и надвинуть на жгут цилиндр.

15.58. Надвинуть на каждую жилу станционной стороны муфты по две полиэтиленовое гильзы размером 1,3×2,2×25 мм и одну гильзу размером 4×5×50 мм.

15.59. Соединить с помощью разрезной медной луженой гильзы жилы кабеля КМС-2 с расположенными по диагонали жилами четверки муфты ГМС; при этом жилу кабеля КМС-2 вставлять в гильзу петлей, слегка обжимая гильзу бокорезами (рис. 15.22). Пропаять сросток жил припоем ПОССу-61-0,5; при этом конец жилы кабеля КМС-2 припаять к внешней стороне гильзы (рис. 15.22).

Рис. 15.22. Сращивание жилы кабеля КМС-2 в разрезной гильзе:

1 - жила кабеля КМС-2, 2 - медная разрезная гильза; 3 - жила муфты ГМС

15.60. После соединения всех жил надвинуть на каждый сросток полиэтиленовую гильзу 4×5×50 мм. Гильзы каждой четверки зафиксировать бандажом из ниток со стороны муфты ГМС. Упаковать сросток муфты двумя - тремя слоями кабельной бумаги и закрепить ее нитками.

15.61. Надвинуть на сросток цилиндр таким образом, чтобы один его торец был заподлицо с упорной шайбой, а другой вошел внутрь свинцового корпуса муфты ГМС. Скрепить цилиндр с упорной шайбой с помощью трех центрирующих винтов М4×8.

15.62. Запаять припоем ПОССу-30-2 цилиндр с муфтой ГМС с помощью газовой горелки. Во избежание перегрева резиновой уплотнительной шайбы и муфты ГМС при пайке охлаждать цилиндр и корпус муфты ГМС мокрой тканью или ветошью.

15.63. Сжать резиновую уплотнительную шайбу между упорной и нажимной шайбами путем завинчивания до упора винтов М5×25.

15.64. Монтаж линейной стороны муфты ПГМС выполнить согласно пп. 15.124 - 15.129. В процессе монтажа произвести маркировку кабелей КМС-2 с помощью нумерационных бирок, укрепленных на конце жгута. Надписи на бирках должны соответствовать нумерации пар линейного кабеля.

15.65. Подключение кабелей КМС-2 к платам стойки служебной связи или стойки УКД выполнить согласно рабочим чертежам проекта.

15.66. Электрические измерения симметричных пар кабеля на смонтированных участках должны производиться с вводных плат или с концов кабелей КМС-2. Общий вид муфты ПГМС показан на рис. 15.23.

Рис. 15.23. Общий вид смонтированной муфты ПГМС:

1 - кабель МКСГ-7×4; 2 - свинцовый конус; 3 - муфта ГМС-7; 4 - пайка; 5, 6 - гильзы полиэтиленовые изолирующие, 7 - цилиндр латунный; 8 - кабель КМС-2, 9 - шайба нажимная; 10 - шайба резиновая; 11 - винт центрирующий, 12 - шайба упорная

МОНТАЖ ОКОНЕЧНОГО КАБЕЛЬНОГО УСТРОЙСТВА (УОК)

15.67. До начала работ по установке и монтажу устройство УОК (рис. 15.24) должно быть проверено на соответствие техническим условиям по следующим параметрам:

а) внешний вид, маркировка;

б) наличие избыточного давления;

в) электрическое сопротивление изоляции (при отсутствии избыточного давления);

г) электрическая прочность изоляции.

Результаты проверки по перечисленным показателям должны быть указаны в виде справки в протоколе формы 17.3, составляемом заказчиком при проведении входного контроля и переданном строительной организации вместе с УОК. Устройства, не выдержавшие проверку, установке не подлежат.

Рис. 15.24. Устройство оконечное кабельное (УОК) для кабеля КМ-8/6 и для кабеля КМ-4 (в числителе даны размеры для УОК кабеля КМ-8/6, в знаменателе - для кабеля КМ-4)

15.68. При внешнем осмотре следует обратить внимание на наличие на корпусе номера чертежа*, а на всех разъемах - заглушек; на корпусе УОК должен быть установлен защитный цилиндр; устройство не должно иметь вмятин, трещин и других механических повреждений. В паспорте должна быть указана величина избыточного давления и температура в момент упаковки.

Комплектность УОК должна соответствовать заводскому сертификату.

* Для кабеля КМ-8/6 - РХ3.609.004 и РХ3.609.004.01, для кабеля КМ-4 - РХ3.609.005 и РХ3.609.005.01.

15.69. Наличие избыточного давления проверяется манометром, а электрические измерения - в соответствии с требованиями разд. 16.

15.70. Устройство, выполненное по чертежу РХ3.609.004, предназначено для установки на конце А кабеля КМ-8/6, а по чертежу РХ3.609.004.01 - на конце Б. На конце А кабеля КМ-4 соответственно устанавливается УОК, выполненное по чертежу РХ3.609.005, а на конце Б - по чертежу РХ3.609.005.01.

Визуально указанные устройства для концов А и Б следует различать по направлениям нумерации разъемов, что дополнительно указывается стрелкой, нанесенной на плате УОК (рис. 15.25 и 15.26).

Рис. 15.25. Нумерация разъемов УОК для кабеля КМ-8/6:

а - на конце кабеля А (РХ3.609.004); б - на конце кабеля Б (РХ3.609.004.01)

Рис. 15.26. Нумерация разъемов УОК для кабеля КМ-4:

а - на конце кабеля А (РХ3.609.005); б - на конце кабеля Б (РХ3.609.005.01)

15.71. Распайка симметричных цепей и одиночных жил кабеля. КМ-8/6 и звездных четверок кабеля КМ-4 на разъемы должна соответствовать табл. 15.1 и рис. 15.27.

Рис. 15.27. Нумерация контактов вилки 2РМГ разъема симметричных цепей в УОК кабелей КМ-8/6 и КМ-4

Таблица 15.1

Распайка симметричных цепей и одиночных жил кабеля на разъемы

Номер контакта вилки

Номера жил кабеля

КМ-8/6

КМ-1

вилка

вилка

1

2

3

1

2

3

1

-

7a

2

-

3

10а

6a

10а

4

10б

10б

5

-

-

-

-

-

6

-

-

-

-

-

7

6a

8

9

7a

-

10

-

15.72. Длина магистральных кабелей, введенных в цистерну НУП, должна составлять 1200 мм вне зависимости от положения коаксиальных пар на концах кабеля.

15.73. Сращивание магистрального кабеля со стабкабелем УОК должно производиться в прямой соединительной муфте в соответствии с требованиями разд. 9.

15.74. Расположение УОК и места установки соединительных муфт определяются рабочими чертежами проекта. Крепление соединительной муфты должно производиться при помощи хомутов и стяжек, входящих в комплект поставки цистерны; УОК крепится к кронштейну, причем хомут крепления поставляется вместе с УОК, а болт крепления - в комплекте цистерны НУП.

15.75. Подключение кабеля к оборудованию для содержания под постоянным избыточным давлением должно производиться путем впайки конца медной трубки воздуховода в конус соединительной муфты с линейной стороны.

15.76. Измерение электрических параметров смонтированного кабеля (усилительного участка, секции) после установки УОК и монтажа соединительной муфты должно производиться с разъемов УОК при помощи коаксиальных разъемов-переходников и переходных шнуров, входящих в комплект поставки УОК

15.77. После проведения электрических измерений на свободных коаксиальных и симметричных разъемах должны быть установлены металлические заглушки. Общий вид УОК со стабкабелем показан на рис. 15.28, а положение УОК и соединительной муфты в НУП - на рис. 15.29.

Рис. 15.28. Общий вид УОК со стабкабелем КМ-8/6:

1 - вентиль; 2 - стабкабель; 3 - корпус; 4 - коаксиальная пара 2,6/9,4; 5 - коаксиальная пара 1,2/4,6; 6 - симметричные пары; 7 - герметизирующий компаунд; 8 - коаксиальный разъем; 9 - симметричный разъем; 10 - кронштейн для крепления

Рис. 15.29. Положение УОК и соединительной муфты в НУП:

1 - цистерна; 2 - линейный кабель; 3 - стяжка; 4 - хомут; 5 - соединительная муфта; 6 - стабкабель; 7 - УОК

МОНТАЖ ВВОДНО-КАБЕЛЬНОГО УСТРОЙСТВА (МУФТЫ КАЕ) НА КАБЕЛЕ КМ-4

15.78. Ввод магистральных кабелей в цистерну должен выполняться в соответствии с рабочими чертежами проекта. Длина кабеля внутри цистерны должна быть порядка 1,2 м; при этом положение коаксиальных пар на конце кабеля не регламентируется и может быть любым. Монтаж вводного патрона цистерны производится согласно рис. 15.4.

15.79. До начала работ по установке и монтажу муфты КАЕ следует подвергнуть внешнему осмотру, проверке на герметичность, целость жил (прозвонка) и соответствие электрического сопротивления и электрической прочности изоляции установленным нормам.

Результаты проверки должны быть зафиксированы в виде справки в протоколе формы 17.4, составляемом заказчиком при проведении входного контроля и передаваемом строительной организации вместе с муфтой КАЕ.

Выявленные при проверке дефекты должны быть устранены в соответствии с рекомендациями, изложенными в инструкции поставщика (входит в комплект поставки). Муфты, в которых дефекты согласно инструкции поставщика не могут быть устранены, установке не подлежат.

15.80. Развозка муфт КАЕ к местам установки должна производиться только в заводской упаковке, исключающей их повреждение при транспортировке.

15.81. Непосредственно перед установкой вынуть муфту из транспортного ящика, путем внешнего осмотра убедиться в отсутствии механических повреждений, проверить наличие избыточного воздушного давления. В случае отсутствия избыточного давления произвести испытание герметичности муфты в соответствии с разд. 17

15.82. При установке муфты следует соблюдать особую осторожность, не допуская радиуса изгиба стабкабелей менее 450 мм, сохраняя в чистоте и исправности внутреннюю поверхность фланца муфты и предохраняя от повреждений гибкие кабели станционной стороны.

15.83. Опустить муфту* в цистерну НУП стабкабелями вперед с одновременной выкладкой их на металлоконструкциях. При спуске муфта КАЕ должна находиться в таком положении, чтобы после ее установки заливочные пробки на корпусе были направлены к крышке контейнера.

Корпус муфты перед ее креплением к контейнеру временно положить на поперечину каркаса.

* Спуск муфты в цистерну должен выполняться с участием не менее трех человек.

15.84. Ослабить (поочередно) и отвинтить гайки крепления крышки контейнера, осторожно, избегая повреждения внутренней поверхности фланца крышки, снять ее и положить на пол внутренней поверхностью вверх (или поставить в вертикальное положение).

15.85. Снять с фланца торцевой части контейнера заглушку (болты крепления использовать для установки на контейнере муфты КАЕ). В крепежные отверстия фланца торцевой части контейнера, расположенные по диагонали, ввернуть два направляющих винта M10×35 (из комплекта принадлежностей контейнера) на глубину 8 мм.

15.86. Тщательно протереть поверхности сопряжения фланцев контейнера и муфты КАЕ. На фланце муфты КАЕ закрепить прокладку из герметика, слегка прижимая ее к поверхности фланца.

Ввести гибкие станционные кабеля муфты КАЕ внутрь контейнера через отверстие на торцевой части фланца, после чего состыковать муфту КАЕ с контейнером. Скрепить болтами фланцы КАЕ и контейнера. Направляющие винты вывинтить и установить вместо них болты.

Закрепить муфту КАЕ на контейнере, завинчивая поочередно болты до упора (рис. 15.30).

Рис. 15.30. Положение устройства КАЕ и соединительной муфты в НУП:

1 - линейный кабель; 2 - соединительная муфта; 3 - контейнер; 4 - стабкабель КМ-4; 5 - устройство КАЕ

15.87. Закрепить контейнер на каркасе, стабкабели муфты КАЕ выложить на металлоконструкциях цистерны и закрепить.

15.88. Сращивание стабкабелей муфты КАЕ с введенными в цистерну магистральными кабелями произвести путем монтажа прямой соединительной муфты (см. разд. 9) следующим образом:

а) наметив середину соединительной муфты, разделать концы сращиваемых кабелей;

б) смонтировать коаксиальные пары напрямую, без учета их нумерации; при этом сростки их временно не изолировать;

в) срастить симметричные четверки напрямую, без учета их нумерации в стабкабелях КАЕ; сращивание жил выполнить цвет в цвет; изолирующие гильзы на сростки жил временно не надвигать;

г) прозвонить коаксиальные пары и жилы симметричных четверок стабкабелей от концов гибких станционных кабелей муфты КАЕ до смонтированной соединительной муфты (коаксиальные пары проверяют по внешнему проводнику) с одновременной установкой на концах гибких кабелей нумерационных бирок (согласно нумерации коаксиальных и симметричных пар магистрального кабеля);

д) изолировать сростки коаксиальных и симметричных пар, упаковать сросток муфты, заполнить и уложить паспорт и запаять свинцовую муфту.

15.89. Закрепить разъемы гибких коаксиальных кабелей муфты КАЕ на соответствующих местах контейнера согласно нумерации на бирках по результатам прозвонки (см. п. 15.88, г) и нумерации на раме, для чего:

а) снять целлулоидные «окошки» с рамы контейнера, проложить гибкие коаксиальные кабели между стенкой контейнера и рамой;

б) ослабить винты крепления разъемов, установить разъемы так, чтобы штифты фланца проходили в отверстие рамы (рис. 15.31);

в) затянуть винты крепления и установить целлулоидные «окошки».

Рис. 15.31. Крепление разъема муфты КАЕ на раме внутри контейнера:

1 - коаксиальный разъем: 2 - винт крепления; 3 - рама; 4 - гибкий кабель; 5 - фланец

15.90. Распаять гибкие симметричные однопарные провода муфты КАЕ на выводные колодки контейнера согласно проекту, для чего:

а) снять колпачок-экран (красного цвета) вводной колодки и, ослабив винт устройства крепления провода, ввести провод в отверстие (снизу);

б) припаять жилу а провода (красную) к верхнему штифту колодки, жилу б (белую) - к среднему, а экран - к нижнему штифту;

в) закрепить провод, подтянув винт, после чего установить и закрепить ранее снятый колпачок - экран;

15.91. Подключить провода заземления муфты к раме контейнера.

15.92. Произвести электрические измерения кабеля вместе со смонтированной муфтой КАЕ и соединительной муфтой. Подключение измерительных приборов к разъемам коаксиальных пар и колодкам симметричных четверок производится при помощи переходных устройств и измерительных шнуров, входящих в комплект поставки.

Примечание. Внешний проводник коаксиальной, пары при креплении разъема на раме контейнера заземляется, поэтому измерения электрической прочности изоляции между экранами коаксиальных пар следует производить при снятых с рамы разъемах.

15.93. Закрыть крышку контейнера, обратив внимание на правильность установки герметизирующей прокладки.

15.94. Соединить воздуховодами кабель и контейнер с оборудованием для содержания их под постоянным воздушным избыточным давлением в соответствии с требованиями разд. 17.

МОНТАЖ БОКСОВ

15.95. Для распайки магистральных, внутризоновых и соединительных симметричных кабелей, а также симметричных элементов комбинированных коаксиальных кабелей в качестве оконечных устройств должны применяться боксы типов: БМ (БММ) 1-1, 1-2, 2-1, 2-2, 2-3, БМВ (БМВМ) 2-1.

Каждый из перечисленных боксов комплектуется соответствующим количеством плинтов типа ПН-10 на десять пар гнезд для низкочастотных кабелей или ПЭ-6 на шесть пар гнезд для экранированных и высокочастотных кабелей.

15.96. До распайки кабеля следует проверить состояние изоляции бокса: при температуре окружающего воздуха 15 - 35 °С и относительной влажности 60 ± 15 % электрическое сопротивление изоляции между каждым гнездом плинта и другими гнездами, соединенными между собой и с экраном плинта, должно быть не менее 50000 МОм.

15.97. Включение (распайку) кабелей в боксе следует производить до его установки на место и до включения распределительного или вводного кабеля соответственно в разветвительную или газонепроницаемую муфту.

15.98. Вводные и распределительные кабели небольшой длины укладывают после монтажа и установки бокса; если вводные или распределительные кабели имеют значительную протяженность (например, когда разветвительные или газонепроницаемые муфты размещены в шахте, а оконечные устройства в ЛАЦ), сначала необходимо произвести их временную раскладку, затем включить в боксы и после установки последних уложить и закрепить.

15.99. Монтаж и установку следует начинать с верхнего бокса вертикального ряда, если кабели подаются сверху, и с нижнего бокса, если кабели подходят снизу.

15.100. Для монтажа бокса необходимо:

а) снять заднюю крышку и тщательно очистить внутреннюю часть бокса; при необходимости просушить;

б) конец кабеля на длине 300 - 450 мм освободить от свинцовой оболочки и ввести его через вводную трубку в бокс таким образом, чтобы внутри бокса обрез оболочки выступал на 5 - 10 мм;

в) при наличии в кабеле экрана присоединить его к предназначенному для этого штифту на плинте;

г) у места среза свинцовой оболочки закрепить бандажом из ниток поясную изоляцию и удалить ее с конца кабеля; разобрать четверки (пары), насколько это необходимо для распайки жил. Концы жил освободить от изоляции; бумажную изоляцию закрепить бандажом из ниток. Жилы зачистить, залудить и припаять с небольшой слабиной к штифтам припоем ПОССу-40-0,5. Счет пар при включении в боксы должен быть показан в рабочих чертежах проекта;

д) проверить (прозвонкой) правильность распайки жил;

е) припаять вводную трубку к оболочке кабеля припоем ПОССу-30-2;

ж) установить заднюю крышку, вывинтить пробки из заливочных отверстий, залить внутреннюю полость бокса массой МКС через одно из отверстий; второе отверстие при этом должно быть открытым. По мере усадки производить доливку массы. Закрыть заливные отверстия пробками;

з) установить бокс и закрепить его болтами. При необходимости поправить укладку кабеля, перегоняя слабину в направлении разветвительной или газонепроницаемой муфты.

МОНТАЖ КОАКСИАЛЬНЫХ ГАЗОНЕПРОНИЦАЕМЫХ СОЕДИНИТЕЛЬНЫХ МУФТ (КГС)

15.101. Муфта КГС (рис. 15.32) должна устанавливаться на стыке линейного кабеля типа МКТС-4 (МКТА-4) с вводным стабкабелем марки МКТСШв-4, поставляемом промышленностью в смонтированном виде вместе с корпусом НУП (см. рис. 15.6).

Рис. 15.32. Муфта коаксиальная газонепроницаемая соединительная КГС:

1 - жила; 2 - стержень внутреннего проводника; 3 - шайба фторопластовая; 4 - трубка внешнего проводника; 5 - свинцовый цилиндр; 6 - пазы на внутренней поверхности свинцового цилиндра; 7, 8 - компаунд ПДИ-ЗАК; 9 - пазы на стержне

15.102. Для монтажа муфты КГС используются инструменты и приспособления, применяемые при монтаже малогабаритного коаксиального кабеля типа МКТ-4, кроме шаблона и диска (рис. 15.33), а также специальные детали: втулка латунная переходная (рис. 15.34, а), шайба фторопластовая (рис. 15.34, б), втулка полиэтиленовая (рис. 15.34, в), конус свинцовый (рис. 15.34, г), втулка опорная медная (см. рис. 9.31, а); трубка полиэтиленовая для создания опоры под внешним проводником (см. рис. 9.31, б), гильза полиэтиленовая 85×4×5 мм для изоляции симметричной жилы.

Рис. 15.33. Диск

Рис. 15.34. Детали для монтажа муфты КГС:

а - втулка латунная переходная; б - шайба фторопластовая; в - втулка полиэтиленовая; г - конус свинцовый

15.103. Муфта располагается в котловане на расстоянии 2 м от НУП. До разделки сращиваемые концы кабелей следует выложить в котловане с перекрытием не менее 200 мм. Расстояние между продольной осью трассы и осью муфты должно быть не менее 0,7 м. В случаях, когда коаксиальные пары кабелей имеют взаимное расположение, неудобное для монтажа, допускается уменьшение этого расстояния до 0,6 м.

15.104. Одновременно с выкладкой в котловане вводного и линейного кабелей, от НУП до муфты ГКС должен быть проложен кабель-воздуховод (типа МКС-1×4 или другой, предусмотренный рабочими чертежами проекта).

15.105. Отметить середину муфты путем наложения бандажей на концы вводного и линейного кабелей. Разделать концы кабелей по размерам, указанным на рис. 15.35. Залуживание брони, наложение на нее проволочного бандажа, его перепайку вместе с проводом для КИП выполнить так же, как при монтаже обычных муфт.

Рис. 15.35. Разделка концов кабелей для монтажа муфты КГС:

1 - наружный покров; 2 - броня; 3 - оболочка; 4 - поясная изоляция; 5 - жилы; 6 - шланг

15.106. На конец линейного кабеля и конец стабкабеля контейнера НУП надвинуть предварительно зачищенные и залуженные по концам свинцовые конуса.

15.107. Разделать и подготовить коаксиальные пары по размерам, указанным на рис. 15.36. Для придания коаксиальным парам необходимой формы и стабильного положения в процессе монтажа использовать распорный вкладыш (см. рис. 9.29, а) и распорный диск (см. рис. 15.33).

Рис. 15.36. Разделка коаксиальных пар для монтажа муфты КГС:

1 - наружный покров; 2 - броня; 3 - оболочка; 4 - поясная изоляция кабеля; 5 - изоляция коаксиальной пары; 6 - экранные ленты; 7 - внешний проводник; 8 - баллонная изоляция; 9 - внутренний проводник (условно показана только одна коаксиальная пара)

15.108. На экранные ленты коаксиальных пар надвинуть с заходом на 10 мм медные опорные втулки (см. рис. 9.31, а). На внутренние проводники надвинуть полиэтиленовые трубки (см. рис. 9.31, б) до упора их в пережим баллонной изоляции. Дальнейшее продвижение полиэтиленовой опорной трубки под баллонную изоляцию и внешний проводник на глубину 20 мм произвести плоскогубцами в процессе припайки опорной втулки.

15.109. Торцы втулки на 1/3 длины окружности припаять трубчатым припоем ПОССу-61-0,5 к внешнему проводнику и экранным лентам. Место припайки предварительно протереть чистой тканью, смоченной в бензине. Пайку произвести, по возможности, быстро, избегая перегрева. В качестве флюса при припайке втулки к стальным лентам экрана использовать пасту ПБК-26м. После пайки остатки флюса удалить тканью, смоченной в бензине.

15.110. Залудить внутренние проводники припоем ПОССу-61-0,5.

15.111. На коаксиальные пары кабеля надвинуть латунные луженые переходные втулки (рис. 15.34, а). На внутренние проводники коаксиальных пар цилиндра муфты КГС надвинуть по одной фторопластовой шайбе (рис. 15.34, б), установив ее в 2 - 3 мм от торца внешнего проводника.

15.112. Все внутренние проводники линейного и вводного кабелей задвинуть до упора в отверстия внутренних проводников цилиндра КГС, сохраняя при этом соединение одноименных пар.

15.113. Пропаять припоем ПОССу-61-0,5 внутренние проводники на стыке кабелей и цилиндра КГС. Пайку вести торцовым паяльником, по парам, начиная с линейной стороны, сначала нижнюю, потом верхнюю пару. Место пайки протереть тканью, смоченной в бензине, а затем протереть насухо.

15.114. Установить фторопластовые шайбы в 2 - 3 мм от торца внутреннего проводника коаксиальной пары цилиндра муфты КГС.

15.115. Надвинуть латунную переходную втулку (рис. 15.34, а) стороной с диаметром 7,5 мм на опорную втулку (на участок диаметром 7,1 мм). При этом переходная втулка должна быть надвинута на внешний проводник цилиндра КГС на 5 мм.

Припаять концы переходной втулки к внешнему проводнику цилиндра и к опорной втулке припоем ПОССу-61-0,5 на 1/3 длины окружности. Места пайки протереть тканью, смоченной бензином, а затем протереть насухо.

15.116. После окончания пайки всех пар удалить распорный диск. Установить на смонтированные сростки коаксиальных пар полиэтиленовые втулки с продольным разрезом (рис. 15.34, в) таким образом, чтобы торцы втулок с меньшим диаметром находились около нитяного бандажа на поясной изоляции коаксиальных пар.

15.117. Сращивание симметричных пар произвести со слабиной. Центральную пару и контрольную жилу срастить в первую очередь и расположить посередине сростка между коаксиальными парами. Контрольную жилу кабелей срастить с центральной жилой цилиндра КГС.

Для сращивания симметричных жил необходимо:

а) на каждую жилу кабелей надвинуть полиэтиленовую гильзу 60×5×6 мм;

б) отметить место скрутки, горячим ножом оплавить полиэтиленовую изоляцию и удалить ее с концов жил;

в) скрутить жилы на длине 30 мм, пропаять на длине 10 мм, отогнуть скрутку и надвинуть на нее изолирующую гильзу; на расстоянии 10 - 15 мм от концов гильз наложить на жилы бандаж из трех - четырех витков ниток;

г) сростки жил расположить между коаксиальными парами со сдвигом через одну коаксиальную пару.

15.118. Кабель-воздуховод впаять в свинцовый конус (рис. 15.34, г) с линейной стороны муфты КГС. В противоположный конец этого кабеля, подлежащий вводу в наземную часть НУП, должен быть впаян вентиль (см. п. 15.123).

15.119. Упаковать сростки с обеих сторон цилиндра КГС двумя - тремя слоями кабельной бумаги. Между слоями бумаги на станционной стороне уложить первый экземпляр паспорта.

15.120. Свинцовый конус с впаянным в него кабелем-воздуховодом сдвинуть на упакованный сросток до упора. Деревянным молотком подогнать конус и припаять его припоем ПОССу-30-2 к оболочке кабеля и цилиндру КГС. Аналогично припаять конус станционной стороны КГС. Проверить герметичность муфты путем подачи избыточного давления через вентиль в кабеле-воздуховоде. Общий вид смонтированной муфты КГС показан на рис. 15.37.

Рис. 15.37. Общий вид смонтированной муфты КГС на кабеле МКТ-4

15.121. На станционной стороне муфты наложить защитные покровы, для чего:

а) чистой ветошью, смоченной в бензине, протереть поливинилхлоридный шланг стабкабеля на длине 30 - 40 мм от места его обреза, оголенную часть свинцовой оболочки и место припайки конуса;

б) на зачищенную поверхность нанести поочередно три слоя ЛПК и полиэтиленовых лент. Поверх третьего слоя ленты намотать еще один слой ленты без ЛПК;

в) поверх полиэтиленовой ленты нанести два слоя разогретой массы МБР, чередующиеся полиэтиленовыми лентами; поверх второго слоя полиэтиленовой ленты нанести слой МБР и наложить с 50 %-ным перекрытием слой стеклоленты шириной 30 - 40 мм.

15.122. Установку и заливку чугунной муфты МЧ-85, а также засыпку котлована выполнить так же, как при монтаже обычной муфты.

15.123. Конец кабеля воздуховода с впаянным вентилем вывести через горловину чугунной муфты и завести в наземную часть НУП.

МОНТАЖ ГАЗОНЕПРОНИЦАЕМЫХ МУФТ ТИПА ГМС

15.124. В месте установки муфты укрепить кабели в положении, удобном для монтажа. На концы кабелей надвинуть свинцовые конусы муфты, предварительно тщательно протертые ветошью, смоченной бензином. Концы конусов и муфты (места пайки) зачистить металлической щеткой до блеска.

15.125. На расстоянии 150 - 200 мм от конца кабеля сделать круговой надрез оболочки, после чего ее осторожно снять. На расстоянии 5 мм от места среза оболочки наложить бандаж из пяти - шести витков ниток поверх поясной изоляции и оборвать ее около бандажа.

15.126. Установить и закрепить муфту таким образом, чтобы расстояние между краем ее свинцового цилиндра и местом среза оболочки кабеля составляло 90 мм для кабеля емкостью 1×4 и 4×4 и 100 мм для кабеля емкостью 7×4.

15.127. Срастить жилы кабеля с проводниками муфты, для чего:

а) сдвинуть нитки, навитые на четверки, к корешку сростка и затянуть их; надвинуть на каждую четверку по одному групповому кольцу; отогнуть четверки к свинцовой оболочке, не допуская при этом крутых изгибов во избежание повреждения изоляции;

б) на каждую жилу поочередно надвинуть изолирующие гильзы 50×4×5 и 50×5,5×6,5 (одна гильза в другую) на время скрутки и пропайки жил;

в) скрутить поочередно жилы на длине 30 мм, конец скрутки на длине 10 - 15 мм пропаять припоем ПОССу-40-0,5;

г) отогнуть скрутку в сторону муфты, сдвинуть верхнюю гильзу на скрутку;

д) после сращивания всех жил четверки к гильзам вплотную продвинуть групповое кольцо.

Аналогично срастить остальные четверки.*

* В необходимых случаях для сохранения одинаковой нумерации жил на боксах с обеих сторон данного усилительного участка жилы в муфте следует соединить не напрямую, а по результатам прозвонки смонтированного кабеля.

15.128. После сращивания всех жил и тщательной проверки качества монтажа просушить сросток горячим воздухом, обмотать тремя - четырьмя слоями бумаги, уложить заполненный паспорт. Аналогично срастить другую сторону муфты.

15.129. Ранее надетые на концы кабеля свинцовые конуса сдвинуть на сросток до упора в бортик свинцового цилиндра муфты. Спаять припоем ПОССу-30-2 сначала муфту с конусом, а потом конус с оболочкой. Во время пайки следует охлаждать муфту мокрой тканью. Монтаж газонепроницаемой муфты типа ГМС показан на рис. 15.38.

Рис. 15.38. Монтаж муфты типа ГМС:

1 - кабель; 2 - конус свинцовый; 3 - жилы кабеля; 4 - бандаж на поясной изоляции; 5 - кольцо групповое; 6 - гильза 60×5,5×6,5 мм; 7 - гильза 50×4×5 мм; 8 - скрутка жил; 9 - цилиндр муфты ГМС

МОНТАЖ ИЗОЛИРУЮЩИХ МУФТ

15.130. Места установки изолирующих муфт должны определяться проектом.

15.131. В зависимости от назначения, условий производства работ, типа кабеля и т.п. в качестве изолирующих допускается применение муфт заводского изготовления типа МИС, ГМСИ, МКИР, а также устройство изолирующих муфт непосредственно на линии.

15.132. При установке изолирующих муфт на подходе к цистерне НУП (перед вводом кабеля) выводы проводов КИП (от оболочки, брони) должны припаиваться с линейной стороны муфты, а на стыке строительных длин - с обеих сторон от муфты.

Монтаж муфт типа МИС

15.133. На кабелях симметричной конструкции должны устанавливаться изолирующие муфты типа МИСс, а на коаксиальных кабелях типа МИСк. При этом на кабеле типа КМ-8/6 муфты типа МИСк используются только как изолирующие, а на других кабелях (симметричных и коаксиальных) - как изолирующие, а также как изолирующие - соединительные.

15.134. Для монтажа муфт типа МИС (рис. 15.39) на кабелях в свинцовой оболочке на подходе к цистерне НУП (без разреза сердечника), необходимо:

а) наметить точно место расположения муфт;

Рис. 15.39. Муфта изолирующая типа МИС:

1 - свинец; 2 - изолирующий компаунд

б) подготовить котлован для монтажа;

в) выложить кабель по дну котлована; муфты на кабелях со сторон А и Б располагают в одном котловане (при этом выкладка может быть произведена в одну или разные стороны относительно оси трассы); при выкладке двух муфт на одну сторону они должны быть смещены вдоль трассы относительно друг друга таким образом, чтобы расстояние между их краями было примерно равно половине длины чугунной муфты;

г) очистить муфту ветошью, смоченной бензином, залудить края муфты припоем ПОССу-30-2, обмотать кабель до места расположения муфты кабельной бумагой и продвинуть ее до места установки;

д) разделать кабель согласно табл. 15.2 (рис. 15.40); при этом наложение бандажа на наружный покров из пряжи, ее удаление, залуживание бронелент, наложение бандажа, его припайка и удаление брони выполнить так же, как при разделке кабеля для монтажа соединительных муфт. Под бандаж на броне со стороны линии подложить конец провода для КИП, длина которого должна быть достаточной для подключения противоположного конца на щитке КИП в наземной части НУП (или на столбике). Перепайку брони между концами ее среза, а также с оболочкой не производить. Подброневые покровы удалить заподлицо с местами среза брони, очистить свинцовую оболочку ветошью, смоченной в бензине;

Таблица 15.2

Разделка кабеля в свинцовой оболочке при монтаже изолирующих муфт типа МИС на вводе в НУП

Марка кабеля

Наружный диаметр кабеля, мм

Муфта МИС

Расстояние между местами среза, мм (рис. 15.40)

Тип чугунной муфты

Тип

Внутренний диаметр, мм

Длина, мм

оболочки

брони

наружного покрова

КМБл-8,6

56

МИСк-3

65

360

10

480

580

МЧ-75

КМБл-4

42

МИСк-1

45

260

10

360

420

МЧ-65

МКТСБ-4

33

МИСк-1

45

260

10

350

400

МЧ-65

МКСБ-7×4

39

МИСк-2

45

260

10

350

400

МЧ-65

МКСБ-4×4

34

МИСк-2

45

260

10

350

400

МЧ-65

Рис. 15.40. Разделка кабеля для монтажа изолирующей муфты:

1 - наружный покров; 2 - броня; 3 - оболочка; 4 - изолирующий промежуток на оболочке

е) на свинцовой оболочке посередине между местами среза брони сделать два кольцевых надреза на расстоянии 10 мм друг от друга, а между ними - продольный надрез. Удалить вырезанную свинцовую полоску оболочки. Место выреза оболочки обмотать полиэтиленовой лентой с захватом оболочки на 15 - 20 мм с каждой стороны (рис. 15.41). Заполнить паспорт на монтаж муфты и закрепить его нитками поверх намотки из полиэтиленовых лент;

Рис. 15.41. Обмотка изолирующего промежутка полиэтиленовыми лентами

ж) надвинуть на место монтажа изолирующую муфту; при помощи деревянного молотка придать краям ее свинцовых цилиндров форму конуса, плотно прилегающего к оболочке. Запаять припоем ПОССу-30-2 места стыка муфты с оболочкой;

з) припаять конец провода для КИП к свинцовому цилиндру муфты с линейной стороны. Длина провода должна быть достаточной для подключения его противоположного конца к щитку КИП в наземной части НУП;

н) проверить герметичность муфты местным давлением путем подачи сжатого воздуха через вентиль, впаянный в конец вводного кабеля;

к) установку и заливку чугунной муфты выполнить так же, как при монтаже соединительных муфт (см. разд. 8);

л) при монтаже изолирующих муфт на кабеле с изолирующими защитными покровами последние должны быть восстановлены одним из способов, изложенным в разд. 12.

При использовании для восстановления изолирующих покровов ТУТ или полиэтиленовых деталей их следует надвинуть на конец кабеля до монтажа МИС.

Общий вид муфты (в разрезе) до наложения изолирующих покровов показан на рис. 15.42.

Рис. 15.42. Муфта МИС, смонтированная на подходе к НУП (без нарушения сердечника кабеля):

1 - наружный покров; 2 - броня; 3 - оболочка; 4 - пайка; 5 - муфта; 6 - изолирующий промежуток; 7 - вывод к КИП

15.135. При монтаже изолирующих муфт типа МИС на стыке двух кабелей*, когда муфта является одновременно соединительной, необходимо:

а) выполнить работы, изложенные в п. 15.134, а - г;

б) разделать концы кабелей по размерам, приведенным в табл. 15.3, выполнив работы по залуживанию брони, наложению и припайке бандажа, подпайке провода КИП (от брони) так же, как при монтаже соединительных муфт.

* На стыке кабелей с оболочками из разнородных материалов, при соединении линейного кабеля с вводным, при выделении участков защиты и т.п.

Таблица 15.3

Разделка концов кабеля при монтаже изолирующих соединительных муфт типа МИС (на стыке строительных длин)

Тип кабеля

Тип изолирующей муфты

Расстояние между местами среза, мм

Тип чугунной муфты

оболочки

внутреннего шланга

брони

наружного покрова

КМБл-4

МИСк-3

500

-

640

700

МЧ.75

КМА-4

МИСк-3

500

660

660

660

МЧ-85

МКТС-4

МИСк-1

190

-

350

400

МЧ-65

МКТА-4

МИСк-1

190

370

480

530

МЧ-75

МКС-7×4

МИСс-3

200

-

370

420

МЧ-65

МКС-4×4

МИСс-2

160

-

370

420

МЧ-65

М КС-1×4

МИСс-1

110

-

320

370

МЧ-50

МКСАШп-7×4

МИСс-3

190

-

-

390

МЧ-65

МКСАШп-4×4

МИСс-2

160

-

-

370

МЧ-65

МКСАШп-1×4

МИСс-1

110

-

-

310

МЧ-50

МКСАБп, МКСАШпБп-7×4

МИСс-3

190

390

460

510

МЧ-75

МКСАШпБп-4×4

МКСс-2

160

370

440

490

МЧ-75

МКССтШп-7×4

МИСс-3

190

-

-

390

МЧ-65

МКССтШп-4×4

МИСс-2

160

-

-

370

МЧ-65

ЗКАШп-1×4

МИСс-1

170

-

-

310

МЧ-50

ЗКАШпБп-1×4

МИСс-1

170

310

380

430

МЧ-65

Примечание. При монтаже изолирующих соединительных муфт типа МИС на кабеле в алюминиевой оболочке при помощи клея ВК-9, наружный диаметр широкой стороны свинцового конуса должен быть на 1 - 2 мм меньше внутреннего диаметра свинцового цилиндра муфты МИС.

в) на кабеле в алюминиевой оболочке приклеить свинцовые конусы (см. примечание к табл. 15.3), залудить алюминиевую оболочку у места ее среза, наложить на залуженный участок бандаж для перепайки оболочки со свинцовым цилиндром муфты МИС;*

г) на кабеле в стальной гофрированной оболочке залудить последнюю пастой ПМКН-40 (см. разд. 11) в местах припайки свинцовых цилиндров МИС к оболочке;

д) смонтировать сердечник кабеля и упаковать сросток так же, как при монтаже соединительной муфты на кабеле такого типа; между слоями поясной изоляции уложить первый экземпляр паспорта;

е) надвинуть на сросток муфту МИС, подогнать края свинцовых цилиндров муфты МИС к оболочке или к свинцовым конусам, приклеенным к алюминиевой (свинцовой) оболочке;

ж) припаять концы цилиндров МИС припоем ПОССу-30-2, одновременно припаять провод КИП (от оболочки);

з) восстановить изолирующие покровы в соответствии с разд. 12;

и) установить и залить защитную чугунную муфту.

* На стыке кабеля в алюминиевой оболочке с кабелем в свинцовой оболочке на последней рекомендуется припаять свинцовый конус, что облегчает, при необходимости, демонтаж муфты.

Общий вид изолирующей муфты (в разрезе), смонтированной на стыке двух кабелей в свинцовой или стальной оболочке, показан на рис. 15.43, а в алюминиевой оболочке - на рис. 15.44.

Рис. 15.43. Муфта МИС, смонтированная на стыке кабелей в свинцовой или стальной оболочке

Рис. 15.44. Муфта МИС, смонтированная на стыке кабелей в алюминиевой оболочке:

1 - наружный покров; 2 - броня; 3 - полиэтиленовый шланг; 4 - оболочка; 5 - клеевой шов; 6 - свинцовый конус; 7 - муфта МИС; 8 - сросток сердечника

Особенности монтажа изолирующих муфт на стыке кабелей типа КМ-8/6

15.136. При необходимости установки изолирующей муфты на стыке строительных длин (отрезков, участков) кабеля КМ-8/6 следует смонтировать две муфты: сначала изолирующую типа МИСк-3 (без разрезания сердечника кабеля) и рядом с ней обычную соединительную.

15.137. Для монтажа изолирующей и соединительной муфт отрыть котлован согласно рис. 15.45 и выложить соответственно концы кабелей.

Рис. 15.45. Расположение в котловане соединительной (1) и изолирующей (2) муфт на кабеле КМ-8/6

15.138. Если в данном месте подлежат сращиванию кабель без изолирующих покровов с кабелем, имеющим изолирующие покровы, муфта МИС и детали для восстановления покровов над ней (ТУТ, полиэтиленовые и другие) должны быть надвинуты на конец кабеля с изолирующими покровами.

Монтаж изолирующих муфт типа ГМСИ

15.139. Монтаж газонепроницаемых изолирующих муфт типа ГМСИ (рис. 15.46), устанавливаемых на симметричных кабелях емкостью 7×4, 4×4 и 1×4, должен производиться так же, как при монтаже муфт типа ГМС (см. пп. 15.124 - 15.129).

Рис. 15.46. Изолирующая муфта типа ГМСИ

15.140. Муфты типа ГМСИ следует устанавливать в непосредственной близости к оборудованию для содержания кабелей под постоянным избыточным давлением с учетом, что линейная сторона этих муфт должна быть соединена воздуховодом с указанным оборудованием.

Монтаж изолирующих муфт при помощи клея ВК-9

15.141. Муфты этого типа оборудуются на стыке строительных длин высокочастотных симметричных кабелей типов МКСА - МКСА, МКСА - МКС, МКС - МКС емкостью 7×4, 4×4 и 1×4 в местах, где согласно проекту должны быть установлены изолирующие (газопроницаемые) муфты.

15.142. Изолирующие промежутки образуются путем намотки стеклоленты, пропитанной клеем ВК-9, между оболочкой кабеля и свинцовыми конусами соединительной муфты, монтируемой методом склеивания. При этом перепайка оболочек со свинцовой муфтой в этом случае не производится.

15.143. Для монтажа используются те же детали и приспособления, что и при монтаже кабелей в алюминиевой оболочке методом склеивания (см. разд. 11); при этом внутренний диаметр шейки свинцового конуса должен быть на 1 мм больше, т.е. для кабеля емкостью 7×4 - 26 мм, 4×4 - 21 мм и 1×4 - 14 мм.

15.144. Для монтажа муфты необходимо:

а) разделать концы кабелей согласно рис. 15.47;

Рис. 15.47. Разделка концов кабелей типа МКС при монтаже изолирующих муфт при помощи клея ВК-9:

а - МКС и МКСА емкостью 1×4; б - то же, емкостью 4×4; в - то же, емкостью 7×4

б) отступив от места среза полиэтиленового шланга на 10 мм (на кабеле типа МКСА), залудить алюминиевую оболочку на одну треть окружности сплавом ЦОП-40 и затем припоем ПОССу-30-2. На залуженное место наложить бандаж из медной луженой проволоки, подложить под него конец провода для КИП и пропаять;

в) на оболочку кабеля в месте установки свинцового конуса нанести слой клея ВК-9, на который плотно наложить три слоя стеклоленты с промазкой каждого слоя клеем; верхний слой стеклоленты покрыть клеем;

г) на стеклоленту надвинуть свинцовый конус таким образом, чтобы его шейка плотно прилегала к обмотке без последующего обжатия. На торец конуса и прилегающую к нему оболочку наложить слой клея; обмотать его одним слоем стеклоленты и закрепить бандажом из ниток; на стеклоленту наложить слой клея;

д) прогреть клеевые швы так же, как при монтаже соединительных муфт клеем ВК-9 (разд. 11);

е) монтаж сердечника кабеля, упаковку сростка, припайку свинцового цилиндра к приклеенным конусам, устройство вывода КИП от брони, восстановление изолирующих покровов «холодным» способом, установку и заливку чугунной муфты битумной массой выполнить так же, как при монтаже соединительных муфт клеевым способом.

Общий вид смонтированной муфты на стыке кабелей МКСА - МКС и МКСА - МКСА показан на рис. 15.48.

Рис. 15.48. Общий вид изолирующих муфт, смонтированных при помощи клея ВК-9 на стыке кабелей МКСА - МКС (а) и МКСА - МКСА (б):

1 - стеклолента, пропитанная клеем; 2 - кабель МКСА; 3 - вывод провода КИП; 4 - полиэтиленовый шланг; 5 - оболочка; 6 - клеевой шов; 7 - свинцовый конус; 8 - пайка; 9 - свинцовый цилиндр; 10 - восстановленный изолирующий покров; 11 - кабель МКС

15.145. При монтаже изолирующей муфты на стыке кабелей МКС - МКС после припайки свинцового цилиндра к приклеенным конусам уложить ее в чугунную муфту и залить битумной массой.

15.146. Изложенный в пп. 15.141 - 15.145 способ монтажа изолирующих муфт при помощи клея ВК-9 может быть также применен на симметричных кабелях типа ТЗ, ТЗА, ТДС, ЗКА и других с соответствующими размерами разделки концов и деталей свинцовой муфты.

Шунтирование изолирующих муфт конденсаторами

15.147. Устанавливаемые на симметричных высокочастотных кабельных линиях изолирующие муфты должны быть зашунтированы:

а) на кабелях в свинцовых оболочках:

на вводах кабелей в цистерны НУП и контейнеры НРП, установленные в грунтах с удельным сопротивлением грунта менее 100 Ом·м;

на концах выделенных участков, на которых кабели подлежат электрохимической защите от коррозии;

б) на кабелях в алюминиевой и стальной гофрированной оболочках:

во всех случаях на вводах кабелей в цистерны НУП и контейнеры НРП (вне зависимости от величины удельного сопротивления грунта);

на стыках этих кабелей с кабелями в свинцовых оболочках.

15.148. Шунтирование должно производиться конденсатором типа КБГ-МН-2 емкостью 0,5 мкФ, рассчитанным на рабочее напряжение 1500 В.

Примечание. Допускается использование двух параллельно включенных конденсаторов по 0,25 мкФ.

15.149. Конденсатор должен быть помещен в полиэтиленовую трубку-муфту, один конец которой заварен. Длина трубки 230 мм, внутренний диаметр 50 - 55 мм, толщина стенки 4 мм.

15.150. Для подключения конденсатора к муфте необходимо:

а) припаять к свинцовым цилиндрам муфты МИСс на расстоянии 30 мм от изолирующего пояска (промежутка) или непосредственно к оболочке (в зависимости от типа изолирующей муфты) по одному выводному проводнику длиной 350 мм и сечением не менее 4 мм для подключения конденсатора (кроме выводных проводников для КИП);

б) восстановить изолирующий покров муфты и оголенной оболочки кабеля «холодным» способом (см. разд. 12), выпустив указанные в п. 15.150, а проводники между слоями изолирующих покровов;

в) уложить муфту в защитную чугунную муфту, выпустив проводники для подключения конденсатора через заливочное отверстие в защитной муфте. Залить муфту битумной массой (битум № 4); между корпусом муфты и крышкой заливочного отверстия уложить прокладку из пластмассы толщиной не менее наружного диаметра выводных проводников, с прорезями для последних; закрепить крышку заливочного отверстия и уложить муфту на дно котлована;

г) концы выводных проводников припаять к выводам конденсатора; установить полиэтиленовую трубку-муфту вертикально вплотную к середине чугунной муфты и закрепить ее рыхлым грунтом; залить трубку-муфту разогретым до 80 °С пластифицированным битумным компаундом; погрузить конденсатор с припаянными проводниками в трубку-муфту таким образом, чтобы расстояние от дна до конденсатора было 10 - 20 мм.

МОНТАЖ РАЗВЕТВИТЕЛЬНЫХ МУФТ

15.151. Разветвительные муфты (рис. 15.49) должны устанавливаться в случаях, когда емкость линейного кабеля необходимо распределить на несколько направлений.

На кабелях междугородной связи разветвительные муфты следует устанавливать в шахтах, кроссах, НУП и других местах, где линейная сторона кабеля распаивается на несколько распределительных кабелей, каждый из которых подлежит включению в разные оконечные устройства (боксы, ОГКМ, блоки термосопротивлений АРУ и т.д.). Кроме того, разветвительные муфты должны устанавливаться на переходах через реки и водоемы, где подземный кабель подлежит распайке на два подводных кабеля: основной и резервный.

Рис. 15.49. Двухпалая (а) и четырехпалая (б) разветвительные муфты:

1 - корпус; 2 - крышка; 3 - пальцы

15.152. На кабелях в металлических оболочках должны применяться разветвительные муфты, изготовленные из свинца.

15.153. При монтаже разветвительной муфты необходимо:

а) подготовить концы магистрального (основного) и распределительных кабелей в соответствии с требованиями разд. 8;

б) надвинуть на конец магистрального кабеля корпус разветвительной муфты, а на распределительные кабели - ее крышку. Концы распределительных кабелей должны входить в пальцы так, чтобы металлическая оболочка доходила до края крышки;

в) разделить четверки и пары магистрального кабеля по разветвлениям в соответствии с проектом включения в оконечные устройства, распределения по створам подводных кабелей и т.д.;

г) срастить коаксиальные пары и жилы симметричных кабелей так же как при монтаже прямых муфт.

Незадействованные жилы (пары) распределительных кабелей (или подводных магистральных кабелей разных створов) должны быть оставлены такой длины, чтобы при необходимости их можно было срастить с любыми жилами (парами) магистрального кабеля. Концы неиспользованных элементов следует изолировать;

Примечание. До запайки разветвительной муфты должна быть произведена прозвонка; при этом для сохранения одинаковой нумерации жил на боксах с обеих сторон усилительного участка жилы могут быть соединены не напрямую, а по результатам прозвонки.

д) упаковать сросток тремя - четырьмя слоями кабельной бумаги, уложив между ними паспорт и схему соединения пар кабелей; закрепить упаковку сростка нитками;

е) надвинуть на сросток корпус и крышку муфты. Сначала спаять пальцы крышки с оболочкой распределительных кабелей, затем крышку с корпусом муфты и после этого корпус муфты с оболочкой магистрального кабеля;

ж) проверить герметичность муфты местным давлением.

15.154. Восстановление изолирующих покровов и защита муфт, установленных в грунте, от механических повреждений должны производиться так же, как при монтаже прямых муфт.

МОНТАЖ ЛИНЕЙНЫХ УСТРОЙСТВ АВТОМАТИЧЕСКОГО РЕГУЛИРОВАНИЯ УСИЛЕНИЯ (АРУ)

Устройства АРУ для систем передачи К-3600 и К-1920П

15.155. Изложенные ниже требования по монтажу устройств грунтовой АРУ на НУП систем передачи К-3600 и К-1920П распространяются на магистральные коаксиальные кабели типа КМ-4 и КМ-8/6.

15.156. Автоматическая регулировка усиления по температуре грунта должна применяться в системах передач К-3600 (аппаратура К-3600, К-24Р и ПСС) и К-1920П (аппаратура К-1920П, К-24Р и ПСС).

15.157. В качестве БТД (блоков термодатчиков) для указанных выше систем передачи должны использоваться следующие унифицированные однотипные блоки: РЕ2.149.006 для аппаратуры К-3600, К-1920П; РЕ2.149.007 для аппаратуры К-24Р и ПСС (объединенный БТД); 2Г2.149.015 для аппаратуры К-24Р. Все типы БТД имеют единую конструкцию (рис. 15.50) и отличаются схемой.

Рис. 15.50. Блок термодатчиков для грунтовой АРУ систем передачи К-3600, К-1920П и К-24Р:

1 - стрипсы; 2 - крышка; 3 - пластмассовый корпус

15.158. В зависимости от назначения НУП (основной, регулируемый, корректируемый и другие) на магистральных линиях с кабелем КМ-4 установка БТД должна производиться в соответствии с табл. 15.4, а на линиях с кабелем КМ-8/6-в соответствии с табл. 15.5.

Назначение НУП и устанавливаемые в нем БТД на строящихся линиях должны быть указаны в рабочих чертежах проекта.

15.159. Ввод в цистерну НУП цепей АРУ от каждого БТД должен быть сделан отдельным соединительным кабелем ТЗБ-4×4× ×0,9. В цистерне НУП соединительный кабель должен заканчиваться муфтой грунтовой АРУ (рис. 15.51).

Таблица 15.4

Установка БТД на НУП при магистральном кабеле КМ-4

Система передачи

Тип БТД для НУП

основного

регулирующего, без аппаратуры ПСС

регулирующего, с аппаратурой ПСС и корректируемого

К-3600

2Г2.149.015*

1. РЕ2.149.006

1. РЕ2.149.006

2. 2Г2.149.015

2. РЕ2.149.007

К-1920П

2Г2.149.015

1. РЕ2.149.006

1. РЕ2.149.006

2. 2Г2.149.015

2. РЕ2.149.007

* В случае установки в НУП аппаратуры К-24Р.

Таблица 15.5

Установка БТД на НУП при магистральном кабеле КМ-8/6

Система передачи

Тип БТД для НУП

основного

регулирующего, без аппаратуры ПСС

регулируемого, с аппаратурой ПСС и корректируемого

К-3600

2Г2.149.015*

1. РЕ2.149.006

1. РЕ2.149.006

2. РЕ2.149.006

2. РЕ2.149.006

3. 2Г2.149.015*

3. РЕ2.149.007

К-1920П

2Г2.149.015

1. РЕ2.149.006

1. РЕ2.149.006

2. РЕ2.149.007

2. РЕ2.149.007

* В случае установки в НУП аппаратуры К-24Р.

Рис. 15.51. Муфта АРУ:

1 - кожух; 2 - колодка; 3 - гайка; 4 - шайба; 5 - скоба для крепления

15.160. Общая длина соединительного кабеля (от БТД до муфты АРУ) должна быть:

для систем К-3600 и К-1920П - 11,5 м (для корректирующего НУП системы К-3600 на кабеле КМ-8/6 - 12,5 м);

для системы К-24Р (К-24Р и ПСС) – 10 м.

15.161. При прокладке магистрального кабеля в трубопроводе телефонной канализации (коллекторе) соединительные кабели АРУ должны быть проложены также в канализации на уровне прокладки магистрального кабеля. При этом длина соединительного кабеля для систем передачи К-3600, К-1920П допускается в необходимых случаях в пределах 5,25 м, а для системы К-24Р (К-24Ри ПСС) - 5,15 м.

15.162. По мере поступления БТД от предприятия-изготовителя заказчик должен проверить их исправность (входной контроль) путем измерений электрического сопротивления датчиков и результаты проверки зафиксировать в протоколе по форме 15.1. Перед проведением измерений БТД должны находиться в помещении, где производятся измерения, в течение не менее двух часов.

Измерения должны производиться: в БТД РЕ2.149.006 и РЕ2.149.007 с контактов 1 - 2, 3 - 4, 5 - 6, 7 - 8, 11 - 12, 13 - 14 и 15 - 16; в БТД 2Г2.149.015 с контактов 1 - 3 и 11 - 13.

Блоки термодатчиков считаются исправными, если отклонение измеренных величин сопротивлений датчиков от их среднего значения не превышает для БТД РЕ2.149.006 - 3 %, БТД РЕ2.149.007 и БТД 2Г2.149.015 - 10 %.

Примечание. Для оценки исправности цепей термодатчиков системы К-24Р следует произвести измерения не менее трех БТД.

Значения сопротивлений термодатчиков в зависимости от температуры окружающей среды приведены в табл. 15.6.

Форма 15.1

ПРОТОКОЛ

определения разброса сопротивлений термодатчиков на НУП

Организация ________________________    Участок _____________________________

Магистраль _________________________    НУП ________________________________

Контакты муфты АРУ

БТД РЕ2.149.003 системы K-3600 (К-1920П)

БТД РЕ2.149.000 системы К.1020Р

БТД РЕ2.149.007 или БТД 2Г2.149 015 системы К-24Р и ПСС (К-24Р)

Ri, Ом

d Ri, %

Ri, Ом

d Ri, %

Ri, Ом

d Ri, %

1 - 2

 

 

 

 

 

 

3 - 4

 

 

 

 

 

 

5 - 6

 

 

 

 

 

 

7 - 8

 

 

 

 

 

 

9 - 10

 

 

 

 

 

 

11 - 12

 

 

 

 

 

 

13 - 14

 

 

 

 

 

 

15 - 16

 

 

 

 

 

 

, где n - число однотипных БТД; .

Норма: БТД РЕ2.149.006 d Ri = 3 % БТД РЕ2.149.007 и БТД 2Г2.149.015 d Ri = 10 %.

Измерения производили:

Представитель заказчика ______________________________________ (_____________)

Представитель строительной организации _______________________ (_____________)

Дата измерений: «____» ___________ 198__ г.

Таблица 15.6

Значения сопротивлений термодатчиков в зависимости от окружающей температуры

Тип БТД

Сопротивление термодатчиков, Ом, при t, °C

18

19

20

21

22

23

24

25

РЕ2.149.006

208

201

194

188

183

172

167

162

РЕ2.149.007 (цепи ПСС)

122

118

114

111

108

105

102

99

РЕ2.149.007 (цепи К-24Р)

52

49

47

45

43

41

39

37

2Г2.149.015

15.163. Протоколы проверки заказчиком БТД, параметры которых соответствуют нормам, должны быть переданы строительной организации вместе с термоблоками. В проверке БТД может принять участие представитель строительной организации, что следует указать в протоколе. В случае выявления дефектов заказчик должен предъявить рекламацию предприятию-поставщику в установленном порядке.

15.164. Блоки термодатчиков должны быть уложены в грунте на проектную глубину прокладки магистрального кабеля (1,2 ± 0,1 м) по трассе линии в сторону станции А.

Перед вводом соединительных кабелей в цистерну удалить с их концов защитные покровы. Номера вводных патронов, в которые должны быть введены соединительные кабели, а также места расположения муфт грунтовой АРУ внутри цистерны, определяются рабочими чертежами проекта.

15.165. Для монтажа, соединительного кабеля с БТД необходимо:

а) разделать конец кабеля согласно рис. 15.52;

Рис. 15.52. Разделка конца кабеля для монтажа БТД:

1 - наружный покров; 2 - броня; 3 - оболочка; 4 - поясная изоляция; 5 - жилы

б) надвинуть на конец кабеля свинцовый цилиндр (рис. 15.53, а), предварительно обмотав кабель бумагой;

Рис. 15.53. Свинцовый корпус для БТД:

а - цилиндр; б - стакан

в) залудить жилы кабеля припоем ПОССу-61-0,5 на длине 10 мм.

Надвинуть на четверки групповые кольца, а на жилы - изолирующие гильзы 2,5×3,5×15 мм;

г) припаять концы жил кабеля к контактам БТД согласно табл. 15.7.

Надвинуть гильзы на места паек, сдвинуть групповые кольца. Обмотать БТД и место припайки к нему жил кабеля с захватом оболочки тремя - четырьмя слоями кабельной бумаги. Между слоями бумаги уложить паспорт (форма 15.2);.

Таблица 15.7

Распайка жил кабеля на контакты БТД

Номер четверки кабеля

Номер пары кабеля

Номер контакта монтажной гребенки БТД

PE2.149.006

РЕ2.149.007

2Г2.149.015

1

1

1 - 2

1 - 2

 

2

3 - 4

3 - 4

 

2

3

5 - 6

5 - 6

 

4

7 - 8

7 - 8

 

3

5

9 - 10

9 - 10

 

6

11 - 12

11 - 12

 

4

7

13 - 14

13 - 14

1 - 3

8

15 - 16

15 - 16

11 - 13

Примечание. Расцветка четверок: 1 - красная; 2 - зеленая; 3 - синяя; 4 - желтая. Расцветка жил в парах: 1, 3, 5, 7 - красная - желтая; 2, 4, 6, 8 - зеленая - синяя.

Форма 15.2

Экз. № 1

(вкладывается спайщиком в термоблок)

ПАСПОРТ

на монтаж термоблока

                                                                            направления _________________________

Объект _____________________________    Строительная организация _____________

НУП _______________________________                                                                            _____________________________________

Тип блока __________________________     Дата монтажа ________________________

                                                                            Спайщик (___________________________)

                                                                                                                                                 (подпись)

Линия отреза

Экз. № 2

(хранится в документации)

ПАСПОРТ

на монтаж термоблока

                                                                            направления _________________________

Объект _____________________________    Строительная организация _____________

НУП _______________________________                                                                            _____________________________________

Тип блока __________________________     Дата монтажа ________________________

                                                                            Спайщик (___________________________)

                                                                                                                                                 (подпись)

Первый экземпляр паспорта вложен в блок.

                                                                       Подпись спайщика ____________________

д) поместить БТД в свинцовый стакан (рис. 15.53, б). Сдвинуть ранее надетый на конец кабеля свинцовый цилиндр так, чтобы стакан входил в него на 10 - 15 мм. Зачеканить конус цилиндра таким образом, чтобы конец его плотно прилегал к оболочке. Спаять свинцовый цилиндр со стаканом, а затем с оболочкой кабеля (рис. 15.54).

е) уложить смонтированный свинцовый корпус БТД в чугунную муфту МЧ-65 и залить ее битумной массой, температура которой должна быть не выше 100 - 110 °С.

Примечание. При установке БТД в телефонной канализации чугунная муфта не устанавливается; свинцовый корпус следует покрыть слоем мастики МБР и обмотать стеклолентой с 30 %-ным перекрытием.

Рис. 15.54. Общий вид смонтированного БТД (в разрезе):

1 - кабель; 2 - цилиндр; 3 - стакан; 4 - жилы кабеля; 5 - изолирующие гильзы; 6 - групповые кольца; 7 - выводные проводники; 8 - стрипсы; 9 - крышка; 10 - корпус; 11 - чугунная муфта; 12 - битумная масса; 13 - пробка деревянная

15.166. Для монтажа соединительного кабеля с муфтой АРУ необходимо:

а) в соответствии с рабочими чертежами проекта уточнить место расположения муфты АРУ для данной аппаратуры;

б) уложить кабель по металлоконструкциям от вводного патрона до места расположения муфты АРУ; удалить излишнюю длину кабеля и снять свинцовую оболочку на расстоянии 150 мм от его конца;

в) надвинуть на конец кабеля кожух муфты АРУ;

г) у обреза свинцовой оболочки наложить бандаж из ниток на поясную изоляцию и оборвать ее около бандажа; надвинуть на каждую жилу поверх изоляции гильзу 5×5,5×50 мм; залудить контактные проволоки колодки муфты АРУ и концы жил кабеля припоем ПОССу-61-0,5 на длине 10 мм;

д) закрепить временно муфту; припаять жилы кабеля к контактам муфты АРУ согласно табл. 15.8. Нумерация контактов показана на рис. 15.55. Надвинуть на места паек изолирующие жилы;

е) обмотать сросток с захватом оболочки кабеля двумя - тремя слоями кабельной бумаги и укрепить их нитками; между слоями бумаги уложить паспорт;

ж) надвинуть на сросток кожух муфты; при этом свинцовая оболочка кабеля должна входить внутрь кожуха на 10 - 15 мм. Припаять патрубок кожуха к оболочке кабеля и расширенную часть кожуха к колодке муфты; кромки кожуха и колодки должны быть предварительно тщательно зачищены и залужены.

Таблица 15.8

Распайка жил кабеля в муфте АРУ

Номер четверки

Номер пары

Номер контакта муфты АРУ

1

1

1 - 2

2

3 - 4

2

3

5 - 6

4

7 - 8

3

5

9 - 10

6

11 - 12

4

7

13 - 14

8

15 - 16

Рис. 15.55. Распайка кабеля в муфте АРУ

15.167. Закрепить муфту АРУ на металлоконструкциях цистерны НУП при помощи скобы и гайки.

15.168. После завершения работ по монтажу БТД и муфты АРУ, засыпки траншеи и котлованов произвести проверку характеристик устройств АРУ. Проверка производится с муфт АРУ. Характеристики должны соответствовать данным табл. 15.9 и зафиксированы в протоколе. В дополнение к данной проверке следует произвести сравнение средних величин сопротивлений (Rcp) однотипных термодатчиков в пределах секции ОУП - ОУП. Допустимый разброс Rcp на НУП не должен превышать 20 Ом для летнего периода времени и 30 Ом для зимнего. На НУП с резко отличающимися значениями Rcp необходимо проверить правильность закопки или заменить БТД.

Сопротивление изоляции между парами смонтированного кабеля АРУ, измеренное на контактах муфты АРУ, должно быть не менее 100 МОм.

Таблица 15.9

Значения величин сопротивления термодатчиков в зависимости от температуры грунта

Тип БТД

Сопротивление БТД, Ом, при температуре грунта, °С

- 15

- 10

- 5

0

5

10

15

20

23

30

35

РЕ2.149.006

613

523

446

380

323

273

231

194

162

135

116

РЕ2.149.007 (цепи ПСС)

335

292

252

215

184

153

133

114

99

86

76

2Г2.149.015 РЕ2.149.007 (цепи К-24Р)

302

225

168

128

98

76

60

47

37

30

24

Устройства АРУ для системы передачи К-60П

15.169. Изложенные ниже требования по монтажу устройств грунтовой АРУ на НУП системы передачи К-60П распространяются на внутризоновые симметричные высокочастотные кабели с кордельно-полистирольной изоляцией типа МКС.

15.170. В качестве соединительного кабеля между БТД и муфтой АРУ (боксом, муфтой ГМС) должен прокладываться кабель того же типа, что проложен на линии. Если на линии проложен кабель в алюминиевой или стальной гофрированной оболочке, для АРУ следует применять кабель в свинцовой оболочке.

15.171. Длина соединительного кабеля (от БТД до муфты АРУ) не должна превышать 10 м (определяется проектом). Глубина заложения БТД должна быть такой же, как проектная глубина прокладки линейного кабеля.

15.172. До начала работ соединительный кабель, БТД и муфта АРУ должны быть проверены на соответствие их электрических характеристик установленным нормам.

15.173. Для монтажа соединительного кабеля с БТД необходимо:

а) разделать конец кабеля согласно рис. 15.56. На расстоянии 510 мм от конца наложить бандаж на наружный покров кабеля. Смотать пряжу в рулончики (не обрезая) и временно прикрепить. На расстоянии 490 мм от конца наложить временный бандаж из медной проволоки на бронеленты, размотать их, не обрезая, и временно укрепить. Удалить подброневой покров. Очистить свинцовую оболочку. На расстоянии 375 мм от конца удалить свинцовую оболочку;

Рис. 15.56. Разделка кабеля для монтажа БТД системы передачи К-60П:

1 - пряжа, 2 - бронеленты; 3 - оболочка, 4 - жилы

б) на расстоянии 10 мм от места среза оболочки наложить бандаж из ниток на поясную изоляцию и оборвать ее около бандажа. Каждую четверку обмотать лентой из кабельной бумаги шириной 15 - 20 мм, которую на конце закрепить нитками;

в) надвинуть каркас на разделанный конец кабеля так, чтобы расстояние между концом патрубка и бандажом на наружном покрове было 55 мм, а плата с установленными на ней термодатчиками находилась в горизонтальном положении. При этом автотрансформаторы должны быть расположены по четыре сверху и снизу;

г) припаять патрубок каркаса к свинцовой оболочке припоем ПОССу-30-2;

д) уложить четверки так, чтобы красная и зеленая расположились вдоль верхнего ряда, а желтая и синяя - вдоль нижнего; снять бумажные ленты с четверок; расположить и обрезать жилы по стрипсам. Удалить изоляцию с жил на длине 10 мм, обмотать каждую пару полиэтиленовой лентой с 50 %-ным перекрытием, залудить концы и припаять к стрипсам припоем ПОССу-61-0,5;

е) измерить характеристики кабеля с включенными термодатчиками, которые должны соответствовать установленным нормам;

ж) обмотать каркас с припаянными жилами двумя слоями кабельной бумаги с 50 %-ным перекрытием; между слоями уложить паспорт (форма 15.2), обмотку закрепить нитками;

з) надвинуть на каркас стакан термоблока и спаять его с крышкой припоем ПОССу-30-2 (рис. 15.57). Проверить герметичность стального корпуса термоблока, для чего: впаять вентиль в конец кабеля, накачать кабель вместе с термоблоком осушенным воздухом и опустить блок в воду на 5 мин (или покрыть мыльной пеной). При отсутствии пузырьков блок считается герметичным;

и) покрыть стальной корпус термоблока и оголенную часть кабеля двумя слоями битумно-резиновой мастики, чередующимися с обмоткой полиэтиленовой пленкой. Поверх второго слоя пленки наложить третий слой мастики. Обмотать кабель ранее размотанными бронелентами с захватом патрубка крышки корпуса; излишек лент обрезать и концы их закрепить над патрубком проволочным бандажом; восстановить наружный покров из пряжи и также закрепить его бандажом.

Рис. 15.57. Монтаж БТД системы передачи К-60П:

1 - соединительный кабель; 2 - припайка патрубка; 3 - крышка с патрубком; 4 - каркас для крепления платы с термодатчиками; 5 - термодатчик; 6 - стальной стакан

15.174. Отрыть траншею на расстоянии 7,7 м от НУП по трассе линейного кабеля, и уложить рядом с ним соединительный кабель с термоблоком.

15.175. Разделать конец кабеля, закрепив наружный покров и броню проволочными бандажами, удалить подброневые покровы, очистить свинцовую оболочку и ввести кабель в цистерну через указанный в рабочих чертежах вводный патрон. Заделать вводный патрон так же, как при вводе магистрального кабеля. Температура массы при заливке защитного кожуха не должна превышать 80 - 85 °С.

15.176. Засыпать ранее отрытую траншею с уложенными кабелями и термоблоком.

15.177. Для монтажа соединительного кабеля с муфтой АРУ необходимо:

а) выполнить работы, изложенные в п. 15.166, а - г;

б) надвинуть на контактные проволоки колодки медные гильзы с продольным разрезом размером 3×4×20 мм;

в) подготовить из провода марки МГШДЛ-0,35 четырех расцветок, соответствующих расцветке жил кабеля, отрезки длиной 80 мм (по четыре куска каждой расцветки); зачистить каждый отрезок с одной стороны на 30, а с другой - на 15 мм. Конец, оголенный от изоляции на 30 мм, залудить и приложить к жиле первой пары соединительного кабеля (расцветка должна быть одинаковой). Свести встык жилу кабеля и приложенный к ней выводной провод с контактным проводом колодки муфты, надвинуть на место стыка медную разрезную гильзу и обжать ее по краям; пропаять сросток трубчатым припоем ПОССу-61-0,5. Надвинуть на сросток изолирующую полиэтиленовую гильзу до упора в гильзу колодки (рис. 15.58). Аналогично распаять остальные жилы соединительного кабеля;

Рис. 15.58. Вывод провода МГШДЛ-0,35 для включения элементов симметрирования в муфте АРУ:

1 - жила кабеля; 2 - провод МГШДЛ-0,35; 3 - гильза полиэтиленовая; 4 - гильза медная разрезная; 5 - контактный провод муфты АРУ; 6-гильза колодки муфты АРУ

г) измерить переходное затухание между цепями на ближнем конце, которое должно быть не менее 82,5 дБ; при необходимости произвести симметрирование согласно разд. 16. Контуры элементов симметрирования припаять к выводным проводникам, уложить и укрепить нитками отдельно каждый конденсатор и резистор. Обмотать сросток двумя слоями кабельной бумаги, между которыми уложить паспорт; обмотку закрепить нитками. Измерить переходное затухание и результаты зафиксировать в протоколе;

д) выполнить работы, изложенные в пп. 15.166, ж и 15.167;

е) проверить электрические характеристики кабеля вместе с БТД и муфтой АРУ.

МОНТАЖ КАБЕЛЯ ТИПА МКСЭБв

15.178. После выкладки сращиваемых концов кабеля наметить середину сростка. Разделку концов выполнить в соответствии с рис. 15.59 по размерам, приведенным в табл. 15.10.

Рис. 15.59. Разделка конца кабеля МКСЭБв:

1 - пряжа; 2 - пластикатовые ленты, 3 - броня; 4 - бандаж; 5 - подброневая подушка, 6 - алюминиевые ленты, 7 - алюминиевые проволоки экрана; 8 - битум, 9 - пластиковые ленты; 10 - бумажные ленты, 11 - битум, 12 - свинцовая оболочка; 13 - поясная изоляция; 14 - жилы

Таблица 15.10

Размеры разделки концов специального экранированного кабеля типа МКСЭБв

Емкость кабеля

Назначение муфты

Расстояние между мостами среза, мм (рис. 15.59)

Тип чугунной муфты

наружного покрова

брони

подброневого покрова

пластикатовых лент

свинцовых

4×4×1,2

Прямая

380

330

260

240

160

МЧ-50

Стыковая

480

430

360

340

240

МЧ-65

7×4×1,2

Прямая

440

390

300

300

190

МЧ-65

Стыковая

510

460

390

370

240

МЧ-75

15.179. Наложить на наружный покров из пряжи бандаж из стальной или медной проволоки, обрезать пряжу и удалить ее с конца кабеля. Пластикатовые ленты, расположенные под пряжей, смотать в рулончики к месту среза пряжи и временно закрепить ниткой.

15.180. На расстоянии 25 мм от места среза наружного покрова отметить место среза брони; очистить ее, залудить, наложить бандаж из медной луженой проволоки диаметром 1,2 мм и припаять его к броне с захватом обеих лент обычным способом (см. разд. 8). Концы проволок бандажа не обрезать, а скрутить и в последующем использовать для перепайки. В муфтах, где это предусмотрено проектом, под бандаж подложить и припаять конец провода для вывода к КИП. Обрезать и удалить броню.

15.181. Наложить на бумажные ленты подброневого покрова бандаж из медной проволоки на расстоянии 30 - 35 mm от места среза брони. Оборвать около бандажа подброневой покров и алюминиевую ленту.

15.182. Концы экранных алюминиевых проволок поочередно отделить, протереть ветошью, смоченной бензином, и отогнуть (см. рис. 15.59).

15.183. На расстоянии 10 мм от места среза подброневого покрова обрезать и удалить пластикатовые и бумажные ленты, находящиеся под экранными проволоками. Очистить от битума, промыть ветошью, смоченной бензином, и протереть насухо свинцовую оболочку.

15.184. Удаление свинцовой оболочки, наложение бандажа из ниток на поясную изоляцию, монтаж и упаковку сердечника, и запайку свинцовой муфты с продольным разрезом выполнить обычным способом (см. разд. 8).

15.185. Отметить середину свинцовой муфты. Уложить вдоль муфты одну из алюминиевых проволок и на ней отметить место среза, которое должно быть на расстоянии 5 мм от середины муфты. Аналогично подготовить остальные проволоки экрана, не обрезая их.

15.186. От места отметки (в сторону среза брони) зачистить ножом или напильником алюминиевые проволоки на длине 40 - 50 мм. Зачищенный участок проволоки нагреть, пламенем паяльной лампы до 180 - 200 °С (определяется опытным путем). Одновременно нагревая пруток ЦОП и натирая им зачищенный участок проволоки, залудить ее по всему периметру на длине 35 - 40 мм. Не давая остыть проволоке, на залуженный участок наложить слой припоя ПОССу-30-2. Аналогично залудить остальные проволоки экрана. Обрезать проволоки согласно сделанным отметкам.

15.187. Разделить алюминиевые проволоки на одной из сторон сростка на две равные группы и уложить их продольно с двух боков муфты по окружности, без перехлестов, оставив открытым продольный шов свинцовой муфты.

Уложенные проволоки закрепить бандажом из двух-трех витков медной луженой проволоки диаметром 0,9 - 1,2 мм. Первый виток уложить на расстоянии 5 мм от конца экранных проволок, а остальные - в сторону конуса с расстоянием между витками 1 - 2 мм (рис. 15.60). Аналогично уложить и закрепить экранные проволоки с другой стороны.

Рис. 15.60. Укладка экранных проволок и закрепление их бандажом

15.188. Перепаять алюминиевые проволоки со свинцовой муфтой припоем ПОССу-30-2 таким образом, чтобы над концами проволок образовался слой припоя шириной 40 - 45 мм и толщиной 1,5 - 2 мм. Перепайку следует вести без применения стеарина.

15.189. Восстановить под броневой покров путем наложения на сросток между бандажами на броне двух слоев компаунда ЛПК и полиэтиленовых лент, поверх которых нанести два слоя МБР также с чередованием обмоткой из пластмассовых лент с 50 %-ным перекрытием.

15.190. Уложить вдоль сростка концы проволок от бандажей на броне, скрутить их примерно на середине сростка и пропаять.

15.191. Восстановить наружный покров путем тугой обмотки сростка, ранее смотанными в рулончики пластикатовыми лентами; концы лент закрепить нитками. Поверх пластикатовых лент с захватом джута намотать слой стеклоленты с 50 %-ным перекрытием. Уложить сросток в чугунную муфту и залить ее битумной массой.

ОСОБЕННОСТИ МОНТАЖА КАБЕЛЯ ТИПА КМЭБл-4

15.192. Разделать концы сращиваемых кабелей согласно рис. 15.61.

Расположенную под свинцовой оболочкой алюминиевую оболочку обрезать на расстоянии 3 - 5 мм от места среза свинца.

Рис. 15.61. Разделка концов кабеля типа КМЭБл-4:

1 - пряжа; 2 - бандаж; 3 - броня; 4 - битумный состав; 5 - пластикатовые ленты; 6 - свинцовая оболочка; 7 - алюминиевая оболочка (экран); 8 - поясная изоляция

15.193. Сращивание сердечника кабеля и свинцовой оболочки выполнить так же, как при монтаже кабеля марки КМБл(Г)-4. Восстановление экрана над сростком сердечника не производится.

15.194. Восстановление защитных покровов выполнить путем наложения на сросток трех слоев битумно-резиновой мастики, чередующихся с обмоткой пластмассовыми лентами. Затем сросток обмотать слоем стеклоленты и защитить чугунной муфтой МЧ-75.

ОСОБЕННОСТИ МОНТАЖА КАБЕЛЕЙ ТИПА МКСАСБпШп И МКСАСБП-4×4×1,2

15.195. Разделать концы сращиваемых кабелей согласно размерам, показанным на рис. 15.62. Алюминиевый экран, расположенный под свинцовой оболочкой, обрезать на расстоянии 3 - 5 мм от обреза свинца.

Рис. 15.62. Разделка концов кабеля типов МКСАСБпШп (а) и МКСАСБп (б):

1 - наружный шланг; 2 - броня; 3 - внутренний шланг; 4 - свинцовая оболочка; 5 - алюминиевая оболочка (экран); 6 - сердечник кабеля; 7 - пряжа

15.196. Сращивание сердечника кабеля и свинцовой оболочки выполнить так же, как при монтаже кабеля марки МКСБ(Г)-4×4×1,2; при этом соединение алюминиевого экрана смежных строительных длин в муфте не производится.

15.197. Восстановление изолирующих покровов выполнить в соответствии с требованиями разд. 12.

РАЗДЕЛ 16

ЭЛЕКТРИЧЕСКИЕ ИЗМЕРЕНИЯ И СИММЕТРИРОВАНИЕ КАБЕЛЕЙ

ОБЩИЕ УКАЗАНИЯ

16.1. В процессе строительства должны производиться технологические и приемо-сдаточные электрические измерения и испытания. Технологические измерения должны производиться на элементах кабельной арматуры, строительных длинах кабеля, шагах пупинизации и секциях симметрирования. Приемо-сдаточные измерения должны производиться на смонтированных усилительных участках кабеля в присутствии представителя эксплуатации и быть оформлены двусторонними протоколами (формы 16.1 - 16.8).

Электрические характеристики линейно-кабельных сооружений должны соответствовать в заданных объемах измерений установленным нормам, изложенным в отраслевом стандарте (ОСТ) и в отдельных указаниях МС СССР.

16.2. При проведении технологических измерений элементов кабельной арматуры и строительных длин следует руководствоваться нормами электрических характеристик, указанными в технических условиях и стандартах на данный элемент линейно-кабельных сооружений.

При проведении технологических измерений на шагах симметрирования, на шагах пупинизации и секциях симметрирования и проведении приемо-сдаточных измерений необходимо руководствоваться «Инструкцией по монтажу сооружений и устройств связи, радиовещания и телевидения ВСН-600-81» и изменением № 1 к этой инструкции, нормами ОСТ на смонтированные усилительные участки, ТУ, а также руководствами и инструкциями, утвержденными или согласованными организациями Министерства связи СССР.

К технологическим относятся также измерения, проводимые с целью определения расстояния до места повреждения кабеля. Эти измерения следует проводить в соответствии с требованиями «Руководства по электрическим измерениям линий магистральной и зоновой сетей связи» («Связь», 1973).

16.3. Применяемые измерительные приборы должны обеспечивать точность измерений, при которых основная погрешность не превышает значений, приведенных в табл. 16.1.

16.4. Приборы, применяемые при электрических измерениях, должны быть проверены в соответствии с действующим положением о государственной и внутриведомственной поверке средств измерений (ГОСТ 8002-71 «Государственная система обеспечения единства измерений. Организация и порядок проведения поверки, ревизии и экспертизы средств измерений», «Положение о ведомственном надзоре за измерительной техникой на междугородной сети МС СССР»).

Форма 16.1a

ПРОТОКОЛ

электрических измерений постоянным током симметричного кабеля

Объект ______________________________     Прибор типа _______________ № ______

Усилительный (регенерационный) участок    Дата измерения ______________________

_____________________________________    Температура грунта __________________

Участок измерений (между муфтами) ____

_____________________________________

Длина кабеля _________________________

Кабель № ____________________________

Марка кабеля _________________________

Номер четверки

Номер цепи

Номер жилы

Электрическое сопротивление изоляции, МОм

Электрическое сопротивление цепи

Асимметрия жил, Ом

Испытательное напряжение в течение 2 мин, В, между

Ом

Ом/км

жилой и пучком жил

пучком жил и оболочкой

I

1

1

 

 

 

 

 

 

2

 

 

 

 

 

 

2

3

 

 

 

 

 

 

4

 

 

 

 

 

 

II

3

1

 

 

 

 

 

 

2

 

 

 

 

 

 

4

3

 

 

 

 

 

 

4

 

 

 

 

 

 

 

 

 

 

 

 

 

 

VII

13

1

 

 

 

 

 

 

2

 

 

 

 

 

 

14

3

 

 

 

 

 

 

4

 

 

 

 

 

 

Электрическое сопротивление изоляции полиэтиленового защитного шланга кабеля между:

оболочкой и броней ____________________ МОм ________________________ МОм·км

оболочкой и землей ____________________ МОм ________________________ МОм·км

броней и землей _______________________ МОм ________________________ МОм·км

Измерения проводил представитель подрядчика __________________ (_____________)

Проверил представитель заказчика _____________________________ (_____________)


Форма 16.1б

ПРОТОКОЛ

электрических измерений постоянным током коаксиального кабеля типа КМ-4 (КМ-4-60)

Тип и номер прибора _______________________________________            Объект ______________________________________________

Температура грунта ____________ °С                                                               Участок ОУП - ОУП (ОРП - ОРП) ________________________

Дата измерения «____» ___________ 19 ___ г.                                                                                                                                Усилительный (регенерационный) участок ___________________

                                                                                                                                Участок измерений (между муфтами) ______________________

                                                                                                                                Марка кабеля _________________________________________

                                                                                                                                Завод-изготовитель кабеля _______________________________

                                                                                                                           Длина кабеля __________________________________________

Характеристика

Коаксиальные пары (КП) типа 2,6/9,4 (2,6/9,5)

I

II

III

IV

Электрическое сопротивление изоляции между внутренним и внешним проводниками коаксиальной пары, МОм·км

 

 

 

 

Испытательное напряжение между внутренним и внешним проводниками коаксиальной пары, В

 

 

 

 

Испытательное напряжение между внешним проводником коаксиальной пары и всеми другими внешними проводниками коаксиальных пар, соединенных между собой и заземленной металлической оболочкой, В

 

 

 

 

Окончание формы 16.1б

Характеристика

Звездные четверки (ЗЧ) и жилы в этих ЗЧ

I

II

III

IV

V

1

2

3

4

1

2

3

4

1

2

3

4

1

2

3

4

1

2

3

4

Электрическое сопротивление изоляции каждой жилы относительно других жил, соединенных с внешними проводниками коаксиальных пар и заземленной металлической оболочкой до монтажа УОК, УВК и с разъемов устройства КАЕ, смонтированного с кабелем, МОм·км

 

 

 

 

 

 

 

 

 

 

 

 

 

 

 

 

 

 

 

 

То же, после монтажа УОК, УВК, МОм:

 

 

 

 

 

 

 

 

 

 

 

 

 

*

 

 

 

 

 

 

при относительной влажности воздуха не более 80 %

 

 

 

 

 

 

 

 

 

 

-

 

 

 

 

 

 

 

 

 

при относительной влажности более 80 %

 

 

 

 

 

 

 

 

 

 

 

 

 

 

 

 

 

 

 

 

Испытательное напряжение между каждой жилой (кроме цепи с дополнительной индуктивностью) и всеми другими жилами, соединенными внешними проводниками коаксиальных пар и заземленной металлической оболочкой, В

 

 

 

 

 

 

 

 

 

 

 

 

 

 

 

 

 

 

 

 

Электрическое сопротивление изоляции полиэтиленового защитного шланга кабеля между:

оболочкой и броней ____________________ МОм ________________________ МОм·км

оболочкой и землей ____________________ МОм ________________________ МОм·км

броней и землей _______________________ МОм ________________________ МОм·км

Измерения проводил представитель подрядчика __________________ (_____________)

Проверил представитель заказчика ______________________________ (_____________)

Форма 16.1в

ПРОТОКОЛ

электрических измерений постоянным током комбинированного коаксиального кабеля типа КМ-8/6 (КМ-8/6-60)

Тип и номер прибора _______________________________________            Объект ______________________________________________

Температура грунта ____________ °С                                                               Участок ОУП - ОУП (ОРП - ОРП) ________________________

Дата измерения «____» ___________ 19 ___ г.                                                 Усилительный (регенерационный) участок ___________________

                                                                                                                                Участок измерений (между муфтами) ______________________

                                                                                                                                Марка кабеля _________________________________________

                                                                                                                                Завод-изготовитель кабеля ______________________________

                                                                                                                           Длина кабеля _________________________________________

Характеристика

Коаксиальные пары (КП) типа 2,6/9,4 (2,6/9,5)

2,6/9,4 (2,6/9,5)

1,2/4,6

I

II

III

IV

V

VI

VII

VIII

1

2

3

4

5

6

Электрическое сопротивление изоляции между внутренним и внешним проводниками коаксиальной пары МОм·км

 

 

 

 

 

 

 

 

 

 

 

 

 

 

Испытательное напряжение между внутренним и внешним проводниками коаксиальной пары, В

 

 

 

 

 

 

 

 

 

 

 

 

 

 

Испытательное напряжение между внешним проводником коаксиальной пары и всеми другими внешними проводниками коаксиальных пар, соединенных между собой и заземленной металлической оболочкой, В

 

 

 

 

 

 

 

 

 

 

 

 

 

 

Окончание формы 16.1в

Характеристика

Симметричные пары (СП) и жилы в этих СП

Отдельные жилы

1

2

3

4

5

6

7

8

9

10

1

2

1

2

1

2

1

2

1

2

1

2

1

2

1

2

1

2

1

2

1

2

3

4

5

6

Электрическое сопротивление изоляции каждой жилы относительно других жил, соединенных с внешними проводниками коаксиальных пар и заземленной металлической оболочкой, до монтажа УОК, МОм·км

 

 

 

 

 

 

 

 

 

 

 

/

 

 

 

 

 

 

 

 

 

 

 

 

 

 

То же, после монтажа УОК, МОм, не менее:

 

 

 

 

 

 

 

 

 

 

 

 

 

 

 

 

 

 

 

 

 

 

 

 

 

 

при относительной влажности воздуха не более 80 %

 

 

 

 

 

 

 

 

 

 

 

 

 

 

 

 

 

 

 

 

 

 

 

 

 

 

при относительной влажности воздуха более 80 %

 

 

 

 

 

 

 

 

 

 

 

 

 

 

 

 

 

 

 

 

 

 

 

 

 

 

Испытательное напряжение между каждой жилой (кроме цепи с дополнительной индуктивностью) и всеми другими жилами, соединенными с внешними проводниками коаксиальных пар и заземленной металлической оболочкой. В:

 

 

 

 

 

 

 

 

 

 

 

 

 

 

 

 

 

 

 

 

 

 

 

 

 

 

в четверке, паре и отдельной жиле кабеля КМ-8/6-60

 

 

 

 

 

 

 

 

 

 

 

 

 

 

 

 

 

 

 

 

 

 

 

 

 

 

в четверке кабеля КМ-8/6

 

 

 

 

 

 

 

 

 

 

 

 

 

 

 

 

 

 

 

 

 

 

 

 

 

 

в паре и отдельной жиле кабеля КМ-8/6

 

 

 

 

 

 

 

 

 

 

 

 

 

 

 

 

 

 

 

 

 

 

 

 

 

 

Защитные покровы

Электрическое сопротивление изоляции полиэтиленового защитного шланга кабеля, не менее, МОм·км:

между металлической оболочкой и землей (для кабеля без брони) _____________________________________________________________

между металлической оболочкой и броней _________________________________________________________________________________

между броней и землей _________________________________________________________________________________________________

Примечания: 1 Нормы пп. 1 - 3: в числителе для коаксиальных пар типа 2,6/9,4 (2,6/9,5), а в знаменателе - 1,2/4,6.

2. При наличии в кабеле избыточного давления воздуха испытательное напряжение повышается на 100 В для коаксиальных пар и на 15 В для отдельных жил и жил симметричных пар на каждые 0,01 МПа (0,1 гкс/см2) избыточного давления.

3. Для кабелей, проложенных в высокогорных районах испытательное напряжение уменьшается на 50 В на каждые 500 м высоты.

Измерения проводил представитель подрядчика                                      Проверил представитель заказчика

_________________________________________________________                                                                                                                         ____________________________________________________________

                                                     (должность, ф. и. о.)                                                                                                                     (должность, ф. и. о.)

Форма 16.1г

ПРОТОКОЛ

электрических измерений постоянным током малогабаритного коаксиального кабеля типа МКТ-4

Тип и номер прибора ______________________________________              Объект ______________________________________________

Температура грунта ____________ °С                                                               Участок ОУП - ОУП (ОРП - ОРП) ________________________

Дата измерения «____» ___________ 19 ___ г.                                                                                                                                Усилительный (регенерационный) участок ___________________

                                                                                                                                Участок измерений (между муфтами) ______________________

                                                                                                                                Марка кабеля _________________________________________

                                                                                                                                Завод-изготовитель кабеля _______________________________

                                                                                                                           Длина кабеля _________________________________________

Характеристика

Коаксиальные пары

1

2

3

4

Электрическое сопротивление изоляции между внутренним и внешним проводниками коаксиальной пары, МОм·км

 

 

 

 

Испытательное напряжение между внутренним и внешним проводниками коаксиальной пары, В

 

 

 

 

Испытательное напряжение между внешним проводником коаксиальной пары и всеми другими внешними проводниками коаксиальных пар, соединенных между собой и заземленной металлической оболочкой, В

 

 

 

 

Окончание формы 16.1г

Характеристика

Звездные четверки (ЗЧ) и жилы в этих ЗЧ

I

II

III

IV

V

1

2

1

2

1

2

1

2

1

2

Электрическое сопротивление изоляции каждой жилы относительно других жил, соединенных с внешними проводниками коаксиальных пар и заземленной металлической оболочкой, до монтажа УВК, МОм·км

 

 

 

 

 

 

 

 

 

 

То же, после монтажа УВК, МОм:

 

 

 

 

 

 

 

 

 

 

а) при относительной влажности, воздуха не более 80/о

 

 

 

 

 

 

 

 

 

 

б) при относительной влажности воздуха более 80 %

 

 

 

 

 

 

 

 

 

 

Испытательное напряжение между каждой жилой и всеми другими жилами, соединенными с внешними проводниками коаксиальных пар и заземленной металлической оболочкой, В

 

 

 

 

 

 

 

 

 

 

Электрическое сопротивление изоляции между контрольной жилой и соединенными между собой внешними проводниками коаксиальных пар и заземленной оболочкой, МОм:

 

 

 

 

 

 

 

 

 

 

после монтажа УВК при относительной влажности воздуха не более 80 %

 

 

 

 

 

 

 

 

 

 

после монтажа УВК при относительной влажности воздуха более 80 %

 

 

 

 

 

 

 

 

 

 

Испытательное напряжение между контрольной жилой и соединенными вместе внешними проводниками коаксиальных пар н заземленной металлической оболочкой, В

 

 

 

 

 

 

 

 

 

 

Электрическое сопротивление изоляции полиэтиленового защитного шланга кабеля между:

оболочкой и броней ____________________ МОм ________________________ МОм·км

оболочкой и землей ____________________ МОм ________________________ МОм·км

броней и землей _______________________ МОм ________________________ МОм·км

Измерения проводил представитель подрядчика __________________ (_____________)

Проверил представитель заказчика ______________________________ (_____________)

Форма 16.1д

ПРОТОКОЛ

электрических измерений постоянным током однокоаксиального кабеля типа ВКПА (БВКПА)

Тип и номер прибора _______________________________________            Объект ______________________________________________

Температура грунта ____________ °С                                                               Участок ОУП - ОУП (ОРП - ОРП) ________________________

Дата измерения «____» ___________ 19 ___ г.                                                                                                                                Усилительный (регенерационный) участок ___________________

                                                                                                                                Участок измерений (между муфтами) ______________________

                                                                                                                                Марка кабеля _________________________________________

                                                                                                                                Завод-изготовитель кабеля _______________________________

                                                                                                                           Длина кабеля _________________________________________

Характеристика

Результаты измерения

Электрическое сопротивление изоляции между внутренним и внешним проводниками коаксиальной пары, МОм·км

 

Испытательное напряжение между внутренним и внешним проводниками коаксиальной пары, В

 

Испытательное напряжение между внешним проводником коаксиальной пары и всеми другими внешними проводниками коаксиальных пар, соединенных между собой и заземленной металлической оболочкой, В

 

Измерения проводил представитель подрядчика __________________ (_____________)

Проверил представитель заказчика ______________________________ (_____________)


Таблица 16.1

Нормы основных погрешностей измерительных приборов

Характеристика

Погрешность

Характеристика погрешности

Электрическое сопротивление проводников постоянному току

± 0,5 %

Относительная

Омическая асимметрия цепей

± 0,5 %

Приведенная к половине сопротивления шлейфа

Электрическое сопротивление изоляции

± 2,5 %

Приведенная к длине рабочей части шкалы

Испытательное напряжение изоляции

3,0 %

Относительная

Электрическая емкость цепи, измеренная:

 

 

мостом переменного тока

± 1% + 0,5 нФ

Относительная

методами непосредственной оценки

± 3 %

Приведенная к верхнему пределу шкалы

Собственное затухание симметричной цепи

± 1,0 дБ

Абсолютная

Переходное затухание, защищенность

± 2,0 дБ

Абсолютная

Входное, характеристическое сопротивление симметричной цепи:

 

 

по модулю

± 3 %

Относительная

по углу

± 5°

Абсолютная

Коэффициент отражения от неоднородностей коаксиальных пар при измерении прибором:

 

 

УИП-КС

± 20 %

Относительная

Р5-14

± 10 %

Относительная

* В настоящее время наряду с термином «затухание» в литературе внедряется стандартизированный термин «ослабление».

16.5. Измерительные приборы должны использоваться в строгом соответствии с эксплуатационными инструкциями и описаниями, прилагаемыми к каждому прибору.

16.6. При измерениях переменным током необходимо устранить влияние генератора на приемник (индикатор). При измерении симметричных цепей экраны измерительных шнуров должны быть надежно соединены с металлической оболочкой (экраном) кабеля и корпусом прибора. При измерении коаксиальных пар экраны измерительных шнуров должны быть надежно соединены с внешним проводником коаксиальной пары и корпусом прибора. Корпуса измерительных приборов должны быть надежно соединены с заземлением. Проводники, используемые для соединения экранов и заземления корпусов, должны иметь сечение не менее 1 мм2 и минимально возможную длину.

16.7. При измерениях переходного затухания, защищенности, а также собственного затухания (симметричных пар) переходное затухание между цепями высокого и низкого уровня измерительного комплекта должно быть на 20 дБ выше, чем наибольшее нормируемое значение измеряемой величины.

16.8. При измерениях методом сравнения переходного затухания, защищенности и собственного затухания симметричных пар необходимо нагружать измеряемые цепи на согласованные нагрузки.

16.9. При измерениях на кабельных линиях необходимо учитывать температуру среды (грунта на глубине прокладки кабеля, воздуха в канале кабельной канализации, воздуха для кабелей типа ВКПАП, БВКПАП, подвешенных на опорах). При неравенстве температур среды на концах измеряемого отрезка кабеля для расчета принимается их среднее арифметическое значение.

Измеренные значения сопротивления цепи и сопротивления изоляции проводников с бумажной или кордельно-бумажной изоляцией должны быть приведены к длине 1 км и к температуре + 20 °С.

Сопротивление цепи постоянному току при 20 °С рассчитывается по формуле  Ом, где Rt - измеренное значение сопротивления при температуре среды t; aR » 0,004 - температурный коэффициент сопротивления для проводов из меди и алюминия.

Электрическое сопротивление бумажной и кордельно-бумажной изоляции при 20 °С рассчитывается по этой же формуле; температурный коэффициент сопротивления изоляции принимается равным - 0,06.

16.10. При испытаниях напряжением изоляции кабельных линий связи, находящихся под избыточным воздушным давлением, испытательное напряжение необходимо повысить в симметричных кабелях на 60 В, в коаксиальных кабелях: для коаксиальных пар - на 100 В, а для симметричных пар и контрольной жилы - на 15 В на каждые 10 кПа (0,1 кгс/см2) избыточного давления.

16.11. Для симметричных и коаксиальных кабелей, проложенных в высокогорных районах, испытательное напряжение должно быть снижено на 30 и 50 В соответственно на каждые 500 м высоты (над уровнем моря).

СОСТАВ И ОБЪЕМ ЭЛЕКТРИЧЕСКИХ ИЗМЕРЕНИЙ

16.12. Электрические измерения должны производиться с помощью постоянного и переменного тока.

С помощью постоянного тока следует измерять следующие параметры кабелей: электрическое сопротивление изоляции проводников Rиз, электрическое сопротивление цепей Rшл, омическую асимметрию цепей (разность сопротивлений проводников) Rа, электрическое сопротивление изоляции пластмассовых защитных шлангов Rиз.ш, а также проводить испытание изоляции напряжением Uисп.

С помощью переменного тока следует измерять: собственное затухание цепей al, характеристическое сопротивление цепей с дополнительной индуктивностью Zси, переходное затухание между цепями на ближнем конце А0, защищенность цепей на дальнем конце Азl, емкостные связи и асимметрию k и е, коэффициент отражения коаксиальных пар р.

Примечания: 1. В соответствии с протоколом, утвержденным ГУМТС Министерства связи СССР 25.04.84 г. и новой редакцией таблицы 3.22 ВСН-600-81 (см. Изменение № 1, утвержденное приказом Министерства связи СССР от 8.02.85 г. № 88), измерение коэффициентов отражения от неоднородностей волнового сопротивления коаксиальных пар строительными организациями не производятся и в составе исполнительной документации протоколы измерений этого параметра приемочным комиссиям не представляются.

Измерения коэффициентов отражения, при необходимости, производятся эксплуатационными организациями на смонтированных усилительных (регенерационных) участках, имеющих дополнительные муфты, кабельные вставки или пересекающих водные преграды. Измеренные значения должны соответствовать ОСТ 45.01.

Изложенные в данном разделе указания по измерениям коэффициентов отражения (допустимые погрешности при измерениях, типы приборов, объем измерений, номограммы и т.д.) предназначены для эксплуатационных организаций, осуществляющих эти измерения.

2. Омическая асимметрия и электрическое сопротивление шлейфа жил симметричных высокочастотных кабелей измеряются только на соединительных линиях ГТС и СТС.

3. Собственное затухание цепей измеряется только на соединительных линиях ГТС.


Форма 16.2

ПРОТОКОЛ

электрических измерений переходного затухания на ближнем конце со стороны ____________

Объект _______________________________________________               Прибор типа ____________________________________________

Усилительный (регенерационный) участок ____________________        Дата измерения _________________________________________

Длина кабеля ___________________________________________            Спектр измерений _______________________________________

Кабель № _____________________________________________

Номер пары

1

2

3

4

5

6

7

8

9

10

11

12

13

14

1

-

 

 

 

 

 

 

 

 

 

 

 

 

 

2

 

-

 

 

 

 

 

 

 

 

 

 

 

 

3

 

 

-

 

 

 

 

 

 

 

 

 

 

 

4

 

 

 

-

 

 

 

 

 

 

 

 

 

 

5

 

 

 

 

-

 

 

 

 

 

 

 

 

 

6

 

 

 

 

 

-

 

 

 

 

 

 

 

 

7

 

 

 

 

 

 

-

 

 

 

 

 

 

 

8

 

 

 

 

 

 

 

-

 

 

 

 

 

 

9

 

 

 

 

 

 

 

 

-

 

 

 

 

 

10

 

 

 

 

 

 

 

 

 

-

 

 

 

 

11

 

 

 

 

 

 

 

 

 

 

-

 

 

 

12

 

 

 

 

 

 

 

 

 

 

 

-

 

 

13

 

 

 

 

 

 

 

 

 

 

 

 

-

 

14

 

 

 

 

 

 

 

 

 

 

 

 

 

-

 

Переходное затухание, дБ

Количество комбинаций пар

Процент комбинаций пар

по норме

фактически

по норме

фактически

 

 

 

 

 

Примечание. В протокол внесены минимальные значения.

Измерения проводил представитель подрядчика                                        Проверил представитель заказчика

_____________________ (___________________)                                                                                                                           _____________________ (___________________)

Форма 16.3

ПРОТОКОЛ

электрических измерений защищенности цепей на дальнем конце

Объект _______________________________________________               Прибор типа ____________________________________________

Усилительный (регенерационный) участок ____________________        Дата измерения _________________________________________

Длина кабеля __________________________________________              Спектр измерения ________________________________________

Кабель № _____________________________________________

Номер пары

1

2

3

4

5

6

7

8

9

10

11

12

13

14

1

-

 

 

 

 

 

 

 

 

 

 

 

 

 

2

 

-

 

 

 

 

 

 

 

 

 

 

 

 

3

 

 

-

 

 

 

 

 

 

 

 

 

 

 

4

 

 

 

-

 

 

 

 

 

 

 

 

 

 

5

 

 

 

 

-

 

 

 

 

 

 

 

 

 

6

 

 

 

 

 

-

 

 

 

 

 

 

 

 

7

 

 

 

 

 

 

-

 

 

 

 

 

 

 

8

 

 

 

 

 

 

 

-

 

 

 

 

 

 

9

 

 

 

 

 

 

 

 

-

 

 

 

 

 

10

 

 

 

 

 

 

 

 

 

-

 

 

 

 

11

 

 

 

 

 

 

 

 

 

 

-

 

 

 

12

 

 

 

 

 

 

 

 

 

 

 

-

 

 

13

 

 

 

 

 

 

 

 

 

 

 

 

-

 

14

 

 

 

 

 

 

 

 

 

 

 

 

 

-

 

Переходное затухание, дБ

Количество комбинаций пар

Процент комбинаций пар

по норме

фактически

по норме

фактически

 

 

 

 

 

Примечание. В протокол внесены минимальные величины защищенности.

Измерения проводил представитель подрядчика                                        Проверил представитель заказчика

_____________________ (___________________)                                                                                                                           _____________________ (___________________)

Форма 16.4

ВЕДОМОСТЬ

симметрирования четверок путем скрещивания

Объект _______________________________________________               Прибор типа _________________________________ № ________

Усилительный участок ___________________________________            Дата симметрирования ____________________________ 19 ___ г.

Кабель № _____________________________________________                                                                                                                           Симметрировщик ________________________________________

Шаг пупинизации (симметрирования) _________________________

Муфта _________________________________________________

Сторона А

Сторона Б

Результаты

Сторона Б

вычисленные

измеренные

Номер четверки

Схема соединения

Номер четверки

Номер четверки

 

 

 

 

 

 

 

 

 

 

 

 

 

 

 

 

 

 

 

 

 

 

 

 

 

 

 

 

 

 

 

 

 

 

 

 

 

 

 

 

 

 

 

 

 

 

 

 

 

 

 

 

 

 

 

 

 

 

 

 

 

 

 

 

 

 

 

 

 

 

 

 

 

 

 

 

 

 

 

 

 

 

 

 

 

 

 

 

 

 

 

 

 

 

 

 

 

 

 

 

 

 

 

 

 

 

 

 

 

 

 

 

 

 

 

 

 

 

 

 

 

 

 

 

 

 

Измерения проводил представитель подрядчика                                        Проверил представитель заказчика

_____________________ (___________________)                                                                                                                           _____________________ (___________________)

Форма 16.5

ВЕДОМОСТЬ

симметрирования четверок путем скрещивания при выравнивании рабочих емкостей

Объект _______________________________________________               Прибор типа ______________________________ № ___________

Усилительный участок ___________________________________            Дата симметрирования ____________________________ 19 ___ г.

Кабель № _____________________________________________                                                                                                                           Симметрировщик ________________________________________

Шаг пупинизации (симметрирования) ________________________

Муфта ________________________________________________

Сторона А

Сторона Б

Результаты

Сторона Б

вычисленные

измеренные

Номер четверки

Схема соединения

Номер четверки

Номер четверки

 

 

 

 

 

 

 

 

 

 

 

 

 

 

 

 

 

 

 

 

 

 

 

 

 

 

 

 

 

 

 

 

 

 

 

 

 

 

 

 

 

 

 

 

 

 

 

 

 

 

 

 

 

 

 

 

 

 

 

 

 

 

 

 

 

 

 

 

 

 

 

 

 

 

 

 

 

 

 

 

 

 

 

 

 

 

 

 

 

 

 

 

 

 

 

 

 

 

 

 

 

 

 

 

 

 

 

 

 

 

 

 

 

 

 

 

 

 

 

 

 

 

 

 

 

 

Измерения проводил представитель подрядчика                                        Проверил представитель заказчика

_____________________ (___________________)                                                                                                                           _____________________ (___________________)

Форма 16.6

ПРОТОКОЛ

электрических измерений характеристического сопротивления Zc симметричных цепей с дополнительной индуктивностью со стороны ОУП ______________

Объект _______________________________________________               Тип и номер прибора _____________________________________

Участок ОУП - ОУП (ОРП - ОРП) _________________________              Дата измерения _________________________________ 19 ___ г.

Длина кабеля __________________________________________

Марка кабеля __________________________________________

Завод-изготовитель кабеля ________________________________

Номер цепи

Zc, Ом, на частоте, кГц

 

 

 

 

 

 

 

 

 

 

 

 

 

 

 

 

 

 

 

 

 

 

 

 

 

 

 

 

 

 

 

 

 

 

 

 

 

 

 

 

 

 

 

 

 

 

 

 

 

 

 

 

 

 

 

 

 

 

 

 

 

 

 

 

 

 

 

 

 

 

 

 

 

 

 

 

 

 

 

 

 

 

 

 

 

 

 

 

 

 

 

 

 

 

 

 

 

 

 

 

 

 

 

 

 

 

 

 

 

 

 

 

 

 

 

 

 

 

 

Измерения проводил представитель подрядчика                                        Проверил представитель заказчика

_____________________ (___________________)                                                                                                                           _____________________ (___________________)


Форма 16.7

Протокол

электрических измерений переходного затухания на ближнем конце между цепями в кабелях типа КМ-4 (КМ-4-60), используемых 8 диапазоне 10 - 110 кГц (система К-24Р) или в диапазоне 20 - 600 кГц (первичная ЦСП)

Тип прибора _______________ № _______        Объект ____________________________

Дата измерения ______________ 19 ____ г.      Участок ОУП - ОУП (ОРП - ОРП) ____

                                                                                __________________________________

                                                                                Марка кабеля ______________________

                                                                                Завод-изготовитель кабеля ___________

                                                                                __________________________________

                                                                            Длина участка ______________________

Усилительный (регенерационный) участок

Измерение со стороны усилительного пункта

Номера цепей

Минимальные значения переходного затухания, дБ, в диапазонах частот

10 - 110 кГц

20 - 500 кГц

 

 

 

 

 

Измерения проводил представитель подрядчика __________________ (____________)

Проверил представитель заказчика _____________________________ (____________)

Форма 16.8

Протокол

измерения электрической длины смонтированных участков коаксиальных кабелей

Тип прибора _______________ № _______        Объект ___________________________

Дата измерения ______________ 19 ____ г.      Участок ОУП - ОУП _______________

                                                                                Марка кабеля ______________________

                                                                                Завод-изготовитель кабеля __________

                                                                            __________________________________

Усилительный (регенерационный) участок

Измерение со стороны усилительного (регенерационного) участка

Номера коаксиальных пар

Электрическая длина коаксиальной пары на смонтированном участке, м

Среднее значение электрической длины смонтированного участка кабеля, м

 

 

 

 

 

Измерения проводил представитель подрядчика __________________ (____________)

Проверил представитель заказчика _____________________________ (____________)

Таблица 16.2

Элементы линейных сооружений, подвергающиеся электрическим измерениям и испытаниям

Объект измерений

Характеристика измеряемая

постоянным током

переменным током

Строительные длины симметричных кабелей, поступившие под избыточным давлением и соответствующие нормам паспорта перед прокладкой

Rиз.ш между металлической оболочкой (экраном) и броней (при наличии брони)

 

То же, при отсутствии давления

То же, и Rиз жил

 

Строительные длины коаксиальных кабелей, поступившие под избыточным давлением перед прокладкой

Rиз.ш и Uисп

 

Строительные длины коаксиальных кабелей, поступившие без избыточного давления, а также симметричных и коаксиальных кабелей, подлежащих прокладке через реки, болота, в занятых каналах кабельной канализации и других труднодоступных местах; строительные длины с вмятинами, пережимами, трещинами, обломанными концами

Rиз.ш, Uисп, Rиз, целость проводников жил и экранов

 

Строительные длины кабелей после прокладки (перед монтажом)

То же, в том числе Rиз.ш между оболочкой (экраном, броней) и землей; в кабеле ВКПА - между внешним проводником и землей*

k и е в низкочастотных кабелях (типа ТЗ, ТДС и ТЗА) в процессе симметрирования

Смонтированные шаги, секции

То же

То же

Смонтированные усилительные (регенерационные) участки ВЧ симметричных кабелей

То же, и Rшл и Ra на линиях ГТС

Азl

То же, НЧ кабелей

Те же, но без Rшл и Ra

Защищенность цепей на ближнем и дальнем концах; характеристическое сопротивление цепей с дополнительной индуктивностью (Аз0, Aзl, Zc)

Смонтированные усилительные (регенерационные) участки коаксиальных кабелей

То же

A0 - между двумя симметричными цепями в кабелях типа КМ(А)-4 (КМ(А)-4-60) в диапазоне частот 10 - 110 кГц (система передачи К-24Р) или в диапазоне частот 20 - 600 кГц (первичная ЦСП со скоростью передачи 2,048 Мбит/с); электрическая длина участка кабеля (l)

Участки ОУП - ОУП (ОРП - ОРП) коаксиальных кабелей

 

Zc - симметричной цепи с дополнительной индуктивностью в диапазоне частот 0,3 - 3,0 кГц (участковая служебная связь систем передачи К-1920П, VLT-1920, К-3600 и ИКМ-1920)

* Испытания изоляции напряжением (Uисп) симметричных кабелей производятся только в строительных длинах, проложенных в скальном грунте или в каналах кабельной канализации, занятых ранее проложенными кабелями. В шагах, секциях и на смонтированных усилительных (регенерационных) участках испытание изоляции напряжением производится вне зависимости от условий прокладки кабеля. Если избыточное воздушное давление, измеренное в проложенных в грунте строительных длинах симметричных высокочастотных кабелей, перед монтажом кабеля не снизилось, допускается не проводить контроль электрического сопротивления изоляции жил и проверку целости жил и экранов.

Таблица 16.3

Объемы измерений и испытаний электрических характеристик симметричных кабелей

Вид измерений, испытания

Объем измерений, испытаний

Измерения, испытания постоянным током

Электрическое сопротивление изоляции проводников Rиз

Между каждой жилой и всеми остальными жилами, соединенными с металлической оболочкой (экраном)

Электрическое сопротивление изоляции шлангов Rиз.ш

Между броней и землей, оболочкой (экраном) и броней, оболочкой и землей

Электрическое сопротивление цепи Rшл

Все цепи кабелей на соединительных линиях ГТС и СТС

Омическая асимметрия цепи

То же

Испытательное напряжение Uисп для:

 

ВЧ кабелей и неэкранированных однородных НЧ кабелей

Между пучком жил и металлической оболочкой. Между каждой жилой и всеми остальными жилами, соединенными с металлической оболочкой

неоднородных экранированных НЧ кабелей

Между пучком неэкранированных жил и металлической оболочкой. Между каждой неэкранированной жилой и всеми остальными неэкранированными жилами, соединенными с металлической оболочкой. Между каждой жилой экранированных пар и остальными жилами экранированных пар соединенных с экранами и с заземленной металлической оболочкой

Измерения переменным током

Переходное затухание на ближнем конце* А0 НЧ кабелей на частоте 800 Гц между неэкранированными парами, на частоте 5 кГц между неэкранированными и экранированными парами и между экранированными парами

Между основными и искусственными цепями каждой четверки и смежные четверок одного и того же повива (без перемены мест) с двух сторон участка**

Защищенность пар на дальнем конце Азl:

 

НЧ кабелей (на частоте 0,8 или 5 кГц)

В комбинациях основных и искусственных цепей каждой четверки и смежных четверок одного и того же повива (без перемены мест) с одной стороны участка

ВЧ кабелей (наименьшее значение в диапазоне частот)

Во всех комбинациях всех взаимовлияющих пар с одной стороны участка

Рабочая емкость цепи*** НЧ кабеля на шаге пупинизации (симметрирования)

Пары, используемые при однополосной двухпроводной схеме организации связи

Модуль характеристического сопротивления |Zc| пар НЧ кабелей (на частоте 0,8 кГц для неэкранированных и 5 кГц для экранированных пар)

Все пары с дополнительной индуктивностью с двух сторон участка

Частотная зависимость модуля характеристического сопротивления |Zc (f)|

На одной паре с наибольшим отклонением модуля характеристического сопротивления от номинального

пары НЧ кабеля

на частотах 0,3; 0,5; 0,8; 1; 2; 2,4; 3 и 3,5 кГц для неэкранированных пар, на частотах 0,1; 0,4; 0,8; 1; 2; 5; 7; 8; 10 кГц для экранированных пар с катушками индуктивности 12 мГн и 13 кГц с катушками 7,65 мГн с двух сторон участка

* Переходное затухание на ближнем конце связано с нормируемым значением защищенности цепи на ближнем конце Aз0 соотношением Аз0 = A0 - al, где al - собственное затухание цепи, подверженной влиянию.

** На усилительных участках с постоянными ответвлениями измерения переходного затухания (защищенности) следует производить во всех сочетаниях точек высокого (выходы каналов НЧ) и низкого (входы каналов НЧ) уровня в соответствии с конкретной схемой организации связи.

*** Измерение рабочей емкости можно заменить измерением отклонения рабочей емкости шага от среднего значения.

Таблица 16.4

Объемы измерений и испытаний электрических характеристик коаксиальных кабелей

Вид измерений, испытаний

Объем измерений, испытаний

Измерения, испытания постоянным током

Целость проводников и жил

Все проводники коаксиальных пар и жилы симметричных пар, звездных четверок и отдельные жилы

Электрическое сопротивление изоляции проводников и жил Rиз

Между внутренним и внешним проводниками коаксиальных пар

Между каждой жилой и другими жилами, соединенными с внешними проводниками коаксиальных пар и заземленной металлической оболочкой

Между контрольной жилой и соединенными между собой внешними проводниками коаксиальных пар и заземленной металлической оболочкой (в кабелях типов МКТС-4 и МКТА-4)

Электрическое сопротивление изоляции полиэтиленового защитного шланга кабеля Rшл

Между металлической оболочкой и землей (для кабеля без брони)

Между металлической оболочкой и броней

Между броней и землей

Между внешним алюминиевым проводником и землей (в кабелях подземного варианта типа ВКПАП, БВКПАП)

Испытательное напряжение Uисп

Между внутренним и внешним проводниками всех коаксиальных пар

Между каждым внешним проводником коаксиальной пары и всеми другими внешними проводниками коаксиальных пар, соединенными между собой и заземленной оболочкой

Между каждой жилой и другими жилами, соединенными с внешними проводниками коаксиальных пар и заземленной металлической оболочкой

Между контрольной жилой и соединенными между собой внешними проводниками коаксиальных пар и заземленной металлической оболочкой (в кабелях типов МКТ-4 и МКТА-4)

Измерения, испытания переменным током

Коэффициент отражения коаксиальных пар р

Все коаксиальные пары, как правило, с двух сторон усилительных (регенерационных) участков, имеющих дополнительные муфты, кабельные вставки или пересекающих водные преграды

Среднеквадратическое значение из трех наибольших коэффициентов отражения рср.кв

(Выполняется эксплуатационными организациями. См. примечание 1 к п. 16.12)

То же

Переходное затухание на ближнем конце А0

Между двумя симметричными цепями в кабелях типа КМ(А)-4 (КМ(А)-4-60) в диапазоне частот 10 - 110 кГц (система передачи К-24Р) или в диапазоне частот 20 - 600 кГц (первичная ЦСП со скоростью передачи 2,048 Мбит/с) без их перемены мест с двух сторон участка

Электрическая длина участка кабеля l

Все коаксиальные пары с одной стороны участка (у кабеля чипа КМ-8/6 измеряются пары типа 2,6/9,4)

Характеристическое сопротивление симметричной цепи с дополнительной индуктивностью Zc

Симметричная цепь с дополнительной индуктивностью в диапазоне частот 0,3 - 3,0 кГц (участковая служебная связь систем передачи К-1920П, VLT-1920, K-3600 и ИКМ-1920) с двух сторон участка ОУП - ОУП (ОРП - ОРП)

16.13. Измерения переменным током следует производить после измерений постоянным током и только в том случае, если характеристики, измеренные постоянным током, соответствуют нормам.

Кроме того должны быть измерены: потенциалы (токи) в оболочке (броне) кабеля, сопротивления заземлений, режимы работы защитных устройств (катодных станций, электрических дренажей, протекторов).

16.14. В процессе строительства (реконструкции) электрическим измерениям и испытаниям должны подвергаться элементы линейных сооружений, приведенные в табл. 16.2.

16.15. Измерения и испытания электрических характеристик должны производиться в объемах, указанных в табл. 16.3 (для элементов линейно-кабельных сооружений с симметричными кабелями) и в табл. 16.4 (то же, с коаксиальными кабелями).

СИММЕТРИРОВАНИЕ ВЫСОКОЧАСТОТНЫХ КАБЕЛЕЙ

16.16. Концентрированное симметрирование (повышение до требуемых норм значений защищенности цепей на дальнем конце) следует проводить на усилительных участках после монтажа оконечных устройств НУП, монтажа секций симметрирования, электрических измерений секций и проверки их герметичности.

Строительные длины на усилительных участках, подлежащих симметрированию, должны быть подобраны по паспортным значениям рабочих емкостей и переходных затуханий на ближнем конце в соответствии с указаниями, приведенными в разд. 4.

Во всех равноотстоящих муфтах (кроме симметрирующих) строительные длины должны монтироваться по оператору систематического скрещивания х..

16.17. Симметрирование должно проводиться специализированной бригадой во главе с измерителем-симметрировщиком в соответствии с требованиями «Руководства по симметрированию кабелей связи» (Связьиздат, 1959) и «Руководства по симметрированию кабелей связи в широком диапазоне частот» («Связь», 1965).

16.18. В случае необходимости повышение переходного затухания на ближнем конце проводится в трех муфтах, расположенных на расстояниях 0 - 400, 400 - 800 и 800 - 1300 м от НУП. Повышение переходного затухания во внутричетверочных комбинациях следует проводить методом скрещивания и включением контуров противосвязи, а в межчетверочных комбинациях - включением контуров противосвязи. При выборе наилучшей схемы соединения жил в четверке следует опробовать только сочетания основных операторов скрещивания ... и х... Схемы контуров противосвязи и способы подключения их к жилам кабеля показаны на рис. 16.1. Контур противосвязи следует включать в той муфте, где его подключение наиболее эффективно. При симметрировании на ближнем конце не следует использовать конденсаторы емкостью более 30 пФ и резисторы менее 30 кОм. Для контуров противосвязи следует использовать резисторы типа МЛТ-0,5 и конденсаторы типа КТИ-1.

Рис. 16.1. Схемы контуров противосвязи:

а - с включением конденсатора, б - двухполюсник RC; в - сложный контур

16.19. В случае если симметрирование по приведенной выше методике не позволило достичь установленной нормы, следует провести компенсацию частотных характеристик комплексных связей (ХКС) на ближнем конце в соответствии с требованиями «Руководства по симметрированию кабелей связи в широком диапазоне частот» («Связь», 1965).

16.20. При симметрировании по комплексным связям необходимо измерить частотные характеристики кабелей связи прибором ИКС-600 во всех комбинациях пар, где переходное затухание на ближнем конце ниже нормы, рассчитать схемы контуров противосвязи, вычислить места их подключения, а затем включить контуры противосвязи в ближайших к определенным местам муфтах.

16.21. Повышение защищенности цепей на дальнем конце следует проводить скрещиванием жил четверок в трех симметрирующих муфтах (равноотстоящих друг от друга и от концов усилительного участка) и концентрированным симметрированием - включение контуров противосвязи в тех симметрирующих муфтах, где их подключение наиболее эффективно.

16.22. Симметрирование кабеля на дальнем конце необходимо проводить в такой последовательности: организовать рабочие места для оператора, обслуживающего генератор, и симметрировщика-измерителя в НУП и для спайщиков в трех симметрирующих муфтах, разделать кабели в муфтах и организовать служебную связь, определить для всех четверок наилучшие сочетания операторов скрещивания, обеспечивающие (вместе с контурами противосвязи) максимальную защищенность внутричетверочных комбинаций, выполнить монтаж муфт по найденным операторам скрещивания, провести концентрированное симметрирование межчетверочных комбинаций взаимовлияющих пар, выполнить концентрированное симметрирование внутричетверочных комбинаций, припаять контуры противосвязи и закончить монтаж симметрирующих муфт, выполнить в объеме приемо-сдаточных испытаний электрические измерения и испытания усилительного участка и оформить техническую документацию.

16.23. При симметрировании скрещиванием выбор наилучшего сочетания операторов следует проводить в два этапа: на первом выбрать для каждой из трех муфт один из двух основных операторов ... или х.., на втором - в муфтах с основным оператором ... пробовать дополнительные хх., ..х и ххх, а в муфтах с оператором х.. - .х., х.х и .хх. Если эта методика не позволила получить требуемые нормы, следует проанализировать все сочетания из операторов ..., х.., ..х и х.х в каждой из трех муфт. Наилучшим сочетанием операторов скрещивания является такое сочетание, при котором достигается наибольшая защищенность цепей данной четверки (с учетом прибавки защищенности за счет включения контура противосвязи) и достаточно подавляется эффект перестановки.

16.24. При концентрированном симметрировании для каждой из межчетверочных комбинаций необходимо определить муфту или сочетание двух муфт, включение контуров противосвязи в которую (которые) позволяет получить наибольшее значение защищенности. Определение наиболее эффективной точки включения контуров противосвязи следует выполнять в такой последовательности: третья муфта (от индикатора), вторая, первая, затем сочетание муфт третьей и первой, третьей и второй, второй и первой.

16.25. При концентрированном симметрировании кабеля на дальнем конце следует применять схемы контуров противосвязей и способы их подключения, показанные на рис. 16.1.

16.26. Если симметрирование по приведенной выше методике не позволило достигнуть установленных норм, следует провести компенсацию частотных характеристик комплексных связей на дальнем конце в соответствии с требованиями «Руководства по симметрированию кабелей связи в широком диапазоне частот» («Связь», 1965).

16.27. При симметрировании по комплексным связям необходимо измерить частотные характеристики прибором ИКС-600, измерить реакции на поочередное включение «пробных конденсаторов» в трех муфтах, рассчитать контуры противосвязи и вычислить места их подключений, подключить контуры противосвязи и скорректировать значения емкостей и сопротивлений, измеряя частотную зависимость модуля ХКС или защищенности цепи на дальнем конце.

Таблица 16.5

Перечень приборов, агрегатов и приспособлений для симметрирования высокочастотных кабелей

Прибор, приспособление

Назначение

Визуальный измеритель затухания ВИЗ-630 (ВИЗ-2Б)

Измерение частотных характеристик переходного затухания и защищенности

Измеритель комплексных связей ИКС-600

Измерение частотных характеристик комплексных связей на ближнем и дальнем концах

Комплект приспособлений спайщика КПС:

Организация рабочего места спайшика-симметрировщика

- контур RC

Определение значений емкостей и сопротивлений контуров противосвязи

переключатель операторов малогабаритной ПОМ

Образование сочетаний схем скрещивания по операторам

аппарат служебной связи АСС

Организация служебной связи в процессе симметрирования

касса резисторов и конденсаторов с таблицей эквивалентных значений при параллельном соединении резисторов и последовательном соединении конденсаторов

Синтез контуров противосвязи из имеющихся номиналов резисторов и конденсаторов

Агрегат бензоэлектрический АБ-0,5-0/230 (АБ-1-0/230)

Электропитание измерительных приборов, освещение в УП

Аккумуляторные батареи 5НКН

Электропитание измерительных приборов, освещение в котлованах симметрирующих муфт

Преобразователь напряжения ПН-1-12/220

Электропитание измерительных приборов от аккумуляторов

Выпрямитель селеновый ВСА-6А (ВСА-6М)

Зарядка аккумуляторов

16.28. При симметрировании высокочастотных кабелей следует применять приборы, устройства, агрегаты и приспособления, указанные в табл. 16.5.

СИММЕТРИРОВАНИЕ НИЗКОЧАСТОТНЫХ КАБЕЛЕЙ

16.29. Симметрирование низкочастотных кабелей следует проводить в соответствии с требованиями «Руководства по симметрированию кабелей связи» («Связьиздат», 1959).

16.30. Симметрирование следует проводить в три этапа: 1) внутри шагов симметрирования (пупинизации); 2) при последовательном соединении (наращивании) шагов между собой; 3) на смонтированном усилительном участке.

16.31. Длину шага симметрирования S следует определять в зависимости от величины емкостных связей в строительных длинах по формуле , где a - коэффициент затухания основной цепи на частоте 0,8 кГц, дБ/км; n = k1стр.дл/k1ш.с - коэффициент эффективности внутришагового симметрирования; k1стр.дл - среднее значение коэффициента емкостной связи на строительной длине, k1ш.с - допустимое среднее значение емкостной связи на шаге симметрирования. Вычисленное значение шага корректируется до ближайшего значения, кратного двум, четырем или восьми номинальным строительным длинам. В пупинизированном кабеле шаг симметрирования принимается равным шагу пупинизации.

16.32. Внутришаговое симметрирование внутричетверочных комбинаций следует осуществлять по результатам измерения емкостных связей k1-3 и асимметрии е1-3 прибором ИЕА. Операторы скрещивания следует определять по специальной таблице (см. «Руководство по симметрированию кабелей связи», «Связьиздат», 1959) в зависимости от величины и знаков связей и асимметрий соединяемых отрезков кабеля. Вначале соединяют друг с другом строительные длины, затем пары и четверки длин. При соединении между собой полушагов следует также проводить компенсацию емкостных связей и асимметрий путем включения симметрирующих конденсаторов. Допустимые значения параметров влияния на шагах симметрирования приведены в табл. 16.6.

16.33. При организации однополосной двухпроводной системы передачи на пупинизированном кабеле в процессе внутришагового симметрирования внутричетверочных комбинаций (а затем и при наращивании шагов) необходимо проводить выравнивание рабочих емкостей и сопротивлений проводов основных и искусственных цепей. Это выравнивание следует проводить подбором четверок при соединении полушагов (при монтаже конденсаторных муфт), а при наращивании шагов - подбором четверок и включением дополнительных конденсаторов в стыковых муфтах при выравнивании следует руководствоваться нормами табл. 16.6.

16.34. Внутришаговое симметрирование межчетверочных комбинаций цепей следует проводить способом смешивания четверок в кабелях с числом четверок более четырех и включением симметрирующих конденсаторов в конденсаторных муфтах в кабелях емкостью 3×3 и 4×4.

Таблица 16.6

Допустимые значения параметров влияния на шагах симметрирования

Параметр

Допустимое значение параметра

среднее

максимальное

Емкостные связи, пФ, между:

 

 

основными, основными и искусственной цепями четверки k1-3

10

20

искусственными цепями четверок k4

30

SO

основными цепями одной четверки и искусственной цепью другой смежной четверки k5-8

20

60

основными цепями смежных четверок k9-12

10

30

Емкостная асимметрия, пФ:

 

 

основных цепей е1,2

100

300

искусственной цепи е3

130

400

Омическая асимметрия, Ом:

 

 

основных цепей Ra1,2

-

0,01

искусственной цепи R3

-

0,05

Относительное отклонение рабочих емкостей основных и искусственных цепей от средних значений на шаге пупинизации d1-3, %

 

1,5

16.35. Симметрирующие конденсаторы необходимо подключать к строго определенным жилам четверок.

16.36. Внутришаговое симметрирование следует осуществлять по одно-, трех- или семиточечной схеме. Схема симметрирования должна быть задана проектом в зависимости от требуемой эффективности внутришагового симметрирования с учетом того, что скрещивание в одной точке позволяет уменьшить связи и асимметрии на 30 %, в трех точках - в 2, а в семи - в 3 раза.

16.37. Наращивание шагов симметрирования следует проводить от концов усилительного участка к середине, производя выбор оптимальной схемы скрещивания четверок в точке соединения на основании измерения переходного затухания между цепями на ближнем конце. Среднюю муфту усилительного участка монтируют с оптимальным оператором скрещивания, определяемым на основании измерения защищенности цепей на дальнем конце. Концентрированное симметрирование цепей на дальнем конце также следует проводить в одной из муфт вблизи середины усилительного участка.

16.38. При концентрированном симметрировании коротких усилительных участков (затухание менее 20 дБ) включение контуров противосвязи необходимо проводить с одновременным контролем величин защищенности цепи и значений переходных затуханий на ближних концах.

16.39. Симметрирование экранированных пар следует осуществлять путем уменьшения емкостной асимметрии за счет скрещивания жил в средней муфте шага симметрирования (пупинизации). Остаточная асимметрия на шаге не должна превышать 10 пФ. Омическая асимметрия жил экранированной пары на шаге не должна превышать 0,1 Ом. При больших значениях асимметрии следует проводить выравнивание сопротивлений жил при наращивании шагов.

16.40. Симметрирование ответвлений, цепи которых постоянно соединены с цепями основного (магистрального) кабеля, следует проводить совместно с прилегающим усилительным участком магистрального кабеля. При этом на каждом ответвлении должно быть целое число шагов симметрирования (пупинизации), а наращивание шагов следует проводить от конца ответвленной линии к точке соединения с магистральным кабелем. Измерения переходных затуханий на смонтированном усилительном участке с постоянными ответвлениями производятся во всех сочетаниях точек высокого (выхода каналов НЧ) и низкого (входы каналов НЧ) уровней в соответствии с конкретной схемой организации связи.

16.41. Ответвления, цепи которых могут временно соединяться с цепями магистрального кабеля, следует симметрировать отдельно от магистрального кабеля. Электрические характеристики цепей таких ответвлений должны отвечать требованиям, предъявляемым к смонтированным усилительным участкам, вне зависимости от длины временно присоединяемого отрезка кабеля. На временно присоединяемых ответвлениях измерения характеристического сопротивления непупинизированных цепей не производятся.

16.42. При симметрировании низкочастотных кабелей следует применять приборы, указанные в табл. 16.7.

Таблица 16.7

Перечень приборов для симметрирования низкочастотных кабелей

Прибор, приспособление

Назначение

Измеритель емкостной асимметрии ТТ-3151 (фирмы «Орион», ВНР)

Измерение емкостных связей k1-3 и асимметрии e1-3 при внутришаговом симметрировании

Блок-схема переключений

Измерение емкостных связей k4-12 при внутришаговом симметрировании

Переносный кабельный прибор ПКП-4

Измерение рабочей емкости цепи при выравнивании емкостей

Комплект для измерения переходного затухания КИПЗ-300

Измерение переходного затухания на ближнем и защищенности на дальнем конце при наращивании шагов и концентрированном симметрировании усилительного участка

Комплект приспособлений спайщика при симметрировании КПС (ПОМ, RC, АСС)

Выбор операторов скрещивания, определение элементов контуров противосвязи, организация служебной связи при симметрировании

ОПРЕДЕЛЕНИЕ ТРАССЫ И ГЛУБИНЫ ПРОКЛАДКИ КАБЕЛЯ

16.43 Определение трассы и глубины прокладки кабеля производится кабелеискателем КИ-4П (КИ-3), который состоит из генератора низкой частоты с заземлителем, приемного устройства и искателя с магнитной антенной. Генератор с помощью заземлителя подключается к цепи: металлическая оболочка кабеля - земля. Измеритель продвигается вдоль кабеля и отмечает трассу по максимальному отклонению стрелки индикатора приемного устройства или по максимальному уровню звука в головных телефонах. Глубина прокладки измеряется в плоскости, перпендикулярной к кабелю, по максимальному отклонению стрелки индикатора (максимальному уровню звука) при повороте магнитной антенны искателя на 45°.

НОРМЫ ЭЛЕКТРИЧЕСКИХ ПАРАМЕТРОВ СИММЕТРИЧНЫХ КАБЕЛЕЙ

16.44. Электрические параметры симметричных кабелей на смонтированных усилительных участках при постоянном токе должны соответствовать нормам, указанным в табл. 16.8.

16.45. Номинальные значения электрического сопротивления катушек индуктивности постоянному току Rкат приведены в табл. 16.9.

16.46. Типовые частотные зависимости номинальных значений характеристического сопротивления Zc пар с дополнительной индуктивностью приведены в табл. 16.10.

16.47. Типовые частотные зависимости номинальных значений характеристического сопротивления Zc экранированных пар с дополнительной индуктивностью приведены в табл. 16.11.

16.48. Нормы защищенности и переходного затухания между цепями низкочастотных кабелей приведены в табл. 16.12.

16.49. Нормы электрических параметров симметричных высокочастотных кабелей при переменном токе приведены в табл. 16.13.

ЭЛЕКТРИЧЕСКИЕ ИЗМЕРЕНИЯ И ИСПЫТАНИЯ КОАКСИАЛЬНЫХ КАБЕЛЕЙ

16.50. Электрические измерения и испытания коаксиальных кабелей в процессе строительства должны производиться перед прокладкой на кабельных площадках, после прокладки на смонтированных секциях и смонтированных усилительных (регенерационных) участках в объеме, указанном в табл. 16.4 (с учетом примечания 1 к п. 16.12).

16.51. Для электрических измерений и испытаний коаксиальных кабелей следует применять приборы и устройства, приведенные в табл. 16.14.

Таблица 16.8

Нормы электрических параметров симметричных кабелей на усилительном участке (при постоянном токе)

Параметры

Норма

Электрическое сопротивление изоляции между каждой жилой и остальными жилами, соединенными с заземленной металлической оболочкой (экраном) при + 20 °С, МОм·км, не менее

10000

Электрическое сопротивление изоляции полиэтиленового защитного шланга кабеля, МОм км, между:

 

оболочкой (экраном) и землей (для кабеля без брони)

5

оболочкой и броней

5

броней и землей

5

Электрическое сопротивление изоляции поливинилхлоридного защитного шланга кабеля 1×4×1,2 между экраном и землей, кОм·км, не менее

50

Электрическое сопротивление шлейфа жил рабочей пары при + 20 °С, Ом·км, не более, высокочастотных кабелей

46/d2

Разность электрических сопротивлений жил в рабочей паре высокочастотных кабелей, Ом, не более

Испытательное напряжение низкочастотных кабелей, В, между:

 

всеми жилами, соединенными в пучок, и заземленной металлической оболочкой для неэкранированных однородные кабелей и неэкранированных жил неоднородных кабелей

1800

каждой жилой и остальными жилами, соединенными в пучок, заземленной металлической оболочкой для жил диаметром:

 

0,8 и 0,9 мм

700

1,2 и 1,4 мм

1000

каждой жилой и остальными жилами экранированных пар, соединенными в пучок, экранами и заземленной металлической оболочкой для жил диаметром:

 

0,8 и 0,9 мм

1000

1,2 и 1,4 мм

1800

Испытательное напряжение высокочастотных кабелей, В, между:

 

всеми жилами четверок, соединенными в пучок, и заземленной металлической оболочкой (экраном)

2000

каждой жилой и остальными жилами четверок, соединенными в пучок, и заземленной металлической оболочкой

1500

Примечания. 1. Испытания электрической прочности изоляции пупинизированных цепей не проводят.

2. d - диаметр жилы, мм.

3. При наличии в кабелях давления воздуха (азота) испытательные напряжения повышаются на 60 В на каждые 0,01МПа (0,1 кгс/см2) избыточного давления.

4. Нормы, указанные в п. 2 табл. 16.8, уточняются отдельными решениями Министерства связи СССР.

5. Для кабелей, проложенных в высокогорных районах, испытательное напряжение уменьшается на 30 В на каждые 500 м высоты.

6. Электрическое сопротивление шлейфа пупинизированной пары следует вычислять по формуле , где Rизм - измеренное сопротивление шлейфа на усилительном участке, n - число катушек индуктивности, Rкат - номинальное электрическое сопротивление катушки, l - длина усилительного участка, км.

Таблица 16.9

Номинальные значения электрического сопротивления катушек индуктивности постоянному току (Rкат)

Индуктивность катушки, мГн

Марки катушек

Электрическое сопротивление постоянному току, Ом

Индуктивность катушки, мГн

Марки катушек

Электрическое сопротивление постоянному току, Ом

140

ТЧ-1403

5,1

12

ВЧ-0123

1,4

100

ТЧ-1001

6,8

7,65

ВЧ-0675м

2,3

70

ТЧ-0703-1

3,0

140/56

КИ-11456

8,3/4,15

56

ТЧ-0563-1

7,0

100/70

КИ-11070

6,8/3,4

Таблица 16.10

Типовые частотные зависимости номинальных значений характеристического сопротивления пар с дополнительной индуктивностью

№ п.п.

Диаметр жил, мм

Индуктивность катушки, мГн, цепи

Шаг пупинизации, км

Характеристическое сопротивление |Zс|, Ом, на частотах, кГц

основной

искусственной

0,3

0,5

0,8

1,0

2,0

2,4

3,0

3,5

1

0,9

140

-

1,7

1640

1600

1590

1600

1910

2180

3280

-

-

56

1,7

835

790

775

785

870

925

1010

-

2

1,2

100

-

1,7

1490

1485

1490

1495

1605

1715

1925

-

-

70

1,7

775

775

780

795

955

1070

1315

-

3

1,4

140

-

1,7

1520

1525

1550

1570

1860

2125

3220

-

-

56

1,7

760

755

760

770

850

905

1070

-

4

0,9

70

-

1,7

1325

1230

1200

1205

1270

1315

1425

1575

5

1,2

70

-

1,7

1170

1155

1150

1150

1230

1280

1400

1565

6

0,9

100

-

1,2

1735

1680

1680

1700

1785

1860

2020

2230

7

1,2

100

-

1,2

1625

1615

1620

1630

1735

1815

1990

2220

Примечание. Отклонения от номинальных величин должны быть не более: для двухпроводных пар (цепей) (пп. 1 - 7) ± 5 %; для четырехпроводных пар (цепей ) (пп. 1 - 3) ± 9 %.

Таблица 16.11

Типовые частотные зависимости номинальных значений характеристического сопротивления экранированных пар с дополнительной индуктивностью

Диаметр жил, мм

Индуктивность катушки, мГн

Шаг пупинизации, км

|Zс|, Ом, на частотах, кГц

0,1

0,4

0,8

1

2

5

7

8

10

13

1,4

12

1,7

1080

640

525

495

485

520

590

655

975

-

1,4

7,65

1,7

1070

545

445

430

405

410

440

440

450

800

Примечание. Отклонения от номинальных величин должны быть не более ± 9 %.

Таблица 16.12

Нормы защищенности и переходного затухания между цепями низкочастотных кабелей

Измеряемая характеристика

Норма, дБ, не менее

Защищенность цепей (основных и искусственных), оборудованных универсальными тональными усилителями, на ближнем и дальнем концах на частоте 800 Гц при схеме организации связи:

 

двухпроводной

61

четырехпроводной

65

Защищенность экранированных цепей, оборудованных усилителями вещания, на ближнем и дальнем концах на частоте 5 кГц

85

Переходное затухание на ближнем конце, соответствующее требуемой защищенности, с учетом усиления усилителей:

 

а) при двухпроводной схеме между:

 

непупинизированными цепями

77,5

пупинизированными цепями

81

неэкранированной и экранированной цепями

98

экранированными цепями

113

б) при четырехпроводной схеме между:

 

непупинизированными цепями

89

неэкранированной и экранированной цепями

102,5

Таблица 16.13

Нормы электрических параметров симметричных высокочастотных кабелей при переменном токе на смонтированном участке

Параметр

Количество комбинаций взаимного влияния

Норма для

100 % значений

90 % значений

65% значений

Распределение значений защищенности цепей на дальнем конце, дБ, не менее, для кабеля емкостью:

 

 

 

 

4×4

56

71

74

78

7×4

182

73

75

78

1×4

2

71

76

-

Примечания: 1. При определении фактического распределения значений защищенности цепей за 100 % комбинаций в кабеле 1×4 принимается количество комбинаций взаимного влияния в кабеле одного направления передачи на участке ОУП - ОУП.

2. В протоколы записываются и статистическому анализу подвергаются наименьшие значения защищенности в эффективно передаваемом диапазоне частот линейного тракта.

Таблица 16.14

Перечень приборов и устройств для электрических измерений и испытаний коаксиальных кабелей

Измеряемая характеристика

Приборы, устройства для измерений и испытаний

Электрическое сопротивление изоляции коаксиальных пар, жил симметричных пар, четверок, отдельных жил, полиэтиленового шланга

Прибор кабельный переносный ПКП-4 и другие, удовлетворяющие требованиям п. 16.3

Испытание изоляции коаксиальных пар, жил симметричных пар, четверок и отдельных жил испытательным напряжением

Источники напряжения постоянного тока П4110, ТИУ, КОП и другие, удовлетворяющие требованиям п. 16.3

Коэффициент отражения коаксиальных пар

Измеритель неоднородностей кабелей типа Р5-14 или универсальный импульсный прибор УИП-КС

Переходное затухание на ближнем конце между двумя симметричными цепями в кабеле КМ-4 в диапазонах 10 - 110 кГц (система К-24Р) и 20 - 600 кГц (первичная ЦСП)

Визуальный измеритель затухания ВИЗ-600, ВИЗ-2Б или визуальный измеритель комплексных связей ИКС-600

Электрическая длина усилительного (регенерационного) участка кабеля

Устройство для измерения длины кабеля ИД-КС-А или мерные ленты

Характеристическое сопротивление симметричной цепи с дополнительной индуктивностью в диапазоне частот 0,3 - 3,0 кГц

Измерительный пульт ЕТ-40 «Электроника» ВНР или мост типа «Тесла» 12XL020

Таблица 16.15

Величины испытательного напряжения

Объект испытания напряжением

Напряжение постоянного тока, В, для испытания

строительной длины

смонтированных

на кабельных площадках

после прокладки

секций

усилительных (регенерационных) участков

Коаксиальные пары типа 2,6/9,4 (2,6/9,5)

Между внутренним и внешним проводниками коаксиальной пары

3400

3200

3100

3000

Между внешним проводником коаксиальной пары и всеми другими внешними проводниками коаксиальных пар, соединенными между собой и заземленной металлической оболочкой

400

350

300

300

Коаксиальные пары типа 1,2/4,6

Между внутренним и внешним проводниками коаксиальной пары

2600

2400

2200

2000

Между внешним проводником коаксиальной пары и всеми другими внешними проводниками коаксиальных пар, соединенными с заземленной металлической оболочкой

-

-

-

200

Коаксиальная пара типа 2,1/9,7

Между внутренним и внешним проводниками коаксиальной пары

3800

3600

3300

3000

Отдельные симметричные пары, пары звездных четверок и отдельные жилы в коаксиальных кабелях

Между каждой жилой диаметром 0,9 мм и другими жилами, соединенными с внешними проводниками коаксиальных пар и заземленной металлической оболочкой:

 

 

 

 

а) жилы в бумажной изоляции

800

750

700

700

б) жилы в полиэтиленовой изоляции:

 

 

 

 

в четверке кабеля КМ-4 (КМ-4-60), а также в четверке, в паре и отдельной жиле кабеля КМ-8/6-60

1300

1250

1200

1200

в четверке кабеля КМ-8/6

900

850

800

800

в паре и отдельной жиле кабеля КМ-8/6

1100

1050

1000

1000

Между каждой жилой диаметром 0,7 мм и другими жилами, соединенными с внешними проводниками коаксиальных пар и заземленной металлической оболочкой

600

600

500

500

Между контрольной жилой в кабеле МКТ-4 и соединенными между собой внешними проводниками коаксиальных пар и заземленной металлической оболочкой

350

350

300

300

Примечания: 1. При испытаниях изоляции коаксиальных кабелей, находящихся под избыточным воздушным давлением или проложенных в высокогорных районах, испытательное напряжение необходимо соответственно повысить или снизить на величины, указанные в пп. 16.10 и 18.11.

2. Испытание изоляции жил пупинизированной цепи испытательным напряжением не производится.

16.52. Смонтированные секции коаксиальных кабелей, подлежащие электрическим измерениям и испытаниям, должны иметь длину, равную примерно 2 км при длинах усилительного или регенерационного участков 6 км и примерно 1,5 км при длинах усилительного или регенерационного участков 3 км. Для системы передачи К-10800 длина секции соответствует длине усилительного участка.

16.53. При применении на смонтированных усилительных (регенерационных) участках в качестве оконечных устройств УОК и УВК до их монтажа должно производиться измерение электрического сопротивления изоляции каждой жилы относительно всех других жил, соединенных с внешними проводниками коаксиальных пар и заземленной металлической оболочкой.

16.54. Электрическое сопротивление изоляции необходимо измерять при напряжении измерительной батареи от 100 до 500 В.

16.55. Испытание изоляции коаксиальных пар, внешних проводников коаксиальных пар, а также жил звездных четверок симметричных пар и отдельных жил в кабелях, не находящихся под избыточным воздушным давлением, должно производиться в течение 2 мин испытательным напряжением постоянного тока, приведенным в табл. 16.15.

16.56. Результаты электрических измерений и испытаний коаксиальных кабелей постоянным током на смонтированном усилительном (регенерационном) участке, включая и измерения сопротивления изоляции жил симметричных пар, четверок и отдельных жил до монтажа оконечных устройств (УОК, УВК), должны оформляться протоколами по установленным формам.

16.57. Измерения коэффициентов отражения на смонтированных усилительных (регенерационных) участках, имеющих дополнительные муфты, кабельные вставки или пересекающих водные преграды, выполняются эксплуатационными организациями на каждой коаксиальной паре этих участков, как правило, с двух сторон участка импульсами длительностью:

400 нс - для систем БК-960 (с одной стороны), К-420 и К-120;

100 (120) нс - для систем К-1920П, VLT-1920 и ИКМ-480;

50 (60) нс - для систем К-3600, ИКМ-1920;

10 нс - для системы К-10800. Допускается производить измерения с одной стороны участка импульсом длительностью 50 (60) нс для системы передачи К-10800 и 100 (200) нс для систем передачи К-3600 и ИКМ-1920.

При измерении прибором УИП-КС на конце каждой измеряемой коаксиальной пары должен подключаться нагрузочный контур с установленным сопротивлением 75 Ом или резистор типа МЛТ значением 75 ± 4 Ом. Это делать не обязательно (при измерении прибором Р5-14), если измеряемая коаксиальная пара имеет длину более 1000 м.

Входные сопротивления приборов и волновые сопротивления концов измеряемых коаксиальных пар должны быть согласованы при помощи балансного (нагрузочного) контура. Согласование на входе считается достигнутым, если амплитуда отраженного импульса в начале импульсной характеристики, по крайней мере, не превышает амплитуд отраженных импульсов от неоднородностей измеряемой коаксиальной пары. Изображения на экранах электронно-лучевых трубок (ЭЛТ) приборов УИП-КС и Р5-14 должны иметь максимальный размер, но не превышать вверх и вниз от средней линии масштабной сетки соответственно двух (20 мм) и трех (30 мм) делений.

По результатам оценки импульсных характеристик каждой измеряемой коаксиальной пары на смонтированном усилительном (регенерационном) участке определяются три наибольших коэффициента отражения (p1, р2, р3). Из них определяется максимальный коэффициент отражения (рmax) и рассчитывается (за исключением кабелей типа ВКПАП (БВКПАП) среднеквадратическое значение коэффициента отражения (рср.кв) по формуле  или по номограммам рис. 16.2 и 16.3.

16.58. Измерение переходного затухания на ближнем конце между двумя симметричными цепями в кабелях типа КМ(А)-4 (KM(A)-4-60) должно первоначально производиться между третьей и девятой парами (без перемены мест) с обеих сторон усилительного (регенерационного) участка в диапазоне частот 10 - 110 кГц (система К-24Р) или в диапазоне 20 - 600 кГц (первичная ЦСП).

Если при этом переходное затухание между указанными парами не соответствует норме, то путем измерений вместо девятой пары выбирается другая, обеспечивающая норму переходного затухания по отношению к третьей паре.

Результаты измерения переходного затухания на ближнем конце должны оформляться протоколом (форма 16.7).

16.59. Измерение характеристического сопротивления симметричной цепи с дополнительной индуктивностью должно производиться с обеих сторон каждого участка ОУП - ОУП (ОРП - ОРП) на частотах, приведенных в табл. 16.18. Отклонение модуля характеристического сопротивления цепи от номинальных значений (см. табл. 16.18) должно быть не более ± 15 %.

Результаты измерения характеристического сопротивления симметричной цепи с дополнительной индуктивностью в диапазоне частот 0,3 - 3,0 кГц должны оформляться протоколом (форма 16.6).

16.60. За электрическую длину усилительного (регенерационного) участка кабеля при измерении устройством ИД-КС-А принимают среднее значение длины, полученное по результатам измерения всех коаксиальных пар (в кабеле КМ-8/6 только пар типа 2,6/9,4).

Результаты измерения электрической длины кабеля должны оформляться протоколом (форма 16.8).

При отсутствии устройства ИД-КС-А длину кабеля необходимо определять по данным мерных лент, по которым первоначально определяют длину проложенных строительных длин кабеля и затем путем суммирования фактических значений отдельных строительных длин определяют длину смонтированного усилительного (регенерационного) участка.

16.61. Электрические параметры при постоянном и переменном токах коаксиальных кабелей на смонтированных усилительных (регенерационных) участках должны удовлетворять нормам, приведенным соответственно в табл. 16.16 и 16.17.

16.62. Типовая частотная зависимость номинальных значений характеристического сопротивления |Zc| рабочей пары с дополнительной индуктивностью 100 мГн (диаметр жил 0,9 мм) в коаксиальном кабеле приведена в табл. 16.18.

Рис. 16.2. Номограмма для определения среднеквадратических значений коэффициента отражения  до 8,7 ‰ (1,3 Ом)

16.3. Номограмма для определения среднеквадратических значений коэффициента отражения  до 16 ‰ (2,4 Ом)

Таблица 16.16

Нормы электрических параметров при постоянном токе коаксиальных кабелей на смонтированных усилительных (регенерационных) участках

Параметр

Объект нормирования

Норма

Коаксиальные пары типа 2,6/9,4 (2,6/9,5)

Электрическое сопротивление изоляции МОм·км, не менее

Между внутренним и внешним проводниками коаксиальной пары

10000

Коаксиальные пары типа 1,2/4,6

Электрическое сопротивление изоляции, МОм·км, не менее

Между внутренним и внешним проводниками коаксиальной пары

10000

Коаксиальная пара типа 2,1/9,7

Электрическое сопротивление изоляции, МОм·км, не менее

Между внутренним и внешним проводниками коаксиальной пары

10000

Между внешним алюминиевым проводником кабеля и землей (для кабеля, проложенного в земле)

5

Отдельные симметричные пары, пары звездных четверок и отдельные жилы в коаксиальных кабелях

Электрическое сопротивление изоляции при + 20 °С, МОм·км, не менее

Между каждой жилой и другими жилами, соединенными с внешними проводниками коаксиальных пар и заземленной металлической оболочкой, до монтажа оконечных кабельных устройств (УОК), устройств вводно-кабельных (УВК) и с разъемов устройства КАЕ, смонтированного с кабелем, МОм·км:

 

 

а) жилой в бумажной изоляции

3000

 

б) жилой в полиэтиленовой изоляции

5000

 

То же, после монтажа УОК и УВК, МОм:

 

 

а) при относительной влажности воздуха не более 80 %

500

 

б) при относительной влажности воздуха более 80 %

2,5

Контрольная жила в кабелях типов МКТС-4 и МКТА-4

Электрическое сопротивление изоляции, МОм, не менее

Между контрольной жилой и соединенными между собой внешними проводниками коаксиальных пар и заземленной металлической оболочкой, МОм:

 

а) после монтажа УВК при относительной влажности воздуха не более 80 %

10

б) после монтажа УВК при относительной влажности воздуха более 80 %

2,5

Защитные покровы

Электрическое сопротивление изоляции полиэтиленового защитного шланга кабеля, МОм·км, не менее

Между металлической оболочкой и землей (для кабеля брони)

5

Между металлической оболочкой и броней

5

Между броней и землей

5

Примечания: 1. Нормы испытательного напряжения изоляции коаксиальных пар, внешних проводников коаксиальных пар, а также жил звездных четверок, симметричных пар и отдельных жил в коаксиальных кабелях приведены в табл. 16.15.

2. Нормы электрического сопротивления изоляции защитного шланга, указанные в табл. 16.16 уточняются отдельными решениями Министерства связи СССР.

Таблица 16.17

Нормы электрических параметров при переменном токе коаксиальных кабелей на смонтированных усилительных (регенерационных) участках

Параметр

Объект нормирования

Норма

Отдельные симметричные пары, пары звездных четверок в коаксиальных кабелях

Переходное затухание на ближнем конце, не менее, дБ

а) Между двумя симметричными парами в кабелях типа КМ-4, используемых для системы К-24Р в диапазоне частот 10 - 110 кГц

78

б) Между двумя симметричными парами в кабелях типа КМ-4, используемых для первичных ЦСП со скоростью передачи 2,048 Мбит/с в диапазоне частот 20 - 600 кГц

65

Номинальное значение характеристического сопротивления симметричной пары с дополнительной индуктивностью в диапазоне частот 0,3 - 3,0 кГц

На участке ОУП - ОУП (ОРП - ОРП)

Типовые характеристики приведены в табл. 16.18.

Примечания. 1. Норма п. а) относится к участкам длиной 6 и 3 км, а п. б) - длиной 3 км.

2. Норма п. а) для участка длиной 1,5 км должна быть не менее 82 дБ.

Таблица 16.18

Типовая частотная зависимость номинальных значений характеристического сопротивления рабочей пары с дополнительной индуктивностью 100 мГн (диаметр жил 0,9 мм) в коаксиальном кабеле

f, кГц

|Zc|, Ом, при шаге, м

f, кГц

|Zc|, Ом, при шаге, м

f, кГц

|Zc|, Ом, при шаге, м

f, кГц

|Zc|, Ом, при шаге, м

1000

1200

1000

1200

1000

1200

1000

1200

0,3

1760

1650

1,0

1745

1605

1,7

1800

1675

2,4

1905

1795

0,4

1740

1615

1,1

1/-50

1610

1,8

1810

1685

2,5

1925

1820

0,5

1735

1595

1,2

1755

1620

1,9

1825

1700

2,6

1950

1845

0,6

1730

1585

1,3

1765

1630

2,0

1840

1715

2,7

1975

1875

0,7

1730

1585

1,4

1770

1640

2,1

1855

1735

2,8

2000

1905

0,8

1740

1590

1,5

1780

1650

2,2

1870

1755

2,9

2025

1940

0,9

1740

1595

1,6

1790

1660

2,3

1885

1770

3,0

2055

1975

РАЗДЕЛ 17

ИСПЫТАНИЕ ГЕРМЕТИЧНОСТИ КАБЕЛЕЙ И ПОСТАНОВКА ИХ ПОД ПОСТОЯННОЕ ИЗБЫТОЧНОЕ ВОЗДУШНОЕ ДАВЛЕНИЕ

ОБЩИЕ УКАЗАНИЯ

17.1. Строительные длины кабеля с металлическими оболочками, находящиеся на барабанах и после их прокладки, а также смонтированные секции и усилительные (регенерационные) участки магистральной и внутризоновой сетей, соединительных линий этих сетей, соединительных линий, прокладываемых между радиоцентрами и радиообъектами, должны содержаться под избыточным давлением воздуха.

17.2. Для проверки герметичности оболочки кабеля, муфт, контейнеров, оконечных кабельных устройств и оборудования для содержания кабелей под постоянным избыточным воздушным давлением используются:

а) компрессорные установки с блоком сушки, баллоны емкостью 40, 12 и 5 л на рабочее давление 15 МПа (150 кгс/см2) с редуктором и осушительным устройством, полевые установки для ввода индикаторного газа и воздуха в кабель (ПУВИГ), ручные насосы с осушительным устройством для нагнетания воздуха;

б) манометры показывающие (ГОСТ 2405-80 и ГОСТ 8625-77) для контрольных измерений при оценке герметичности кабеля, контейнеров, устройств и элементов оборудования;

в) манометры образцовые (ГОСТ 6531-72) для проверки исправности показывающих манометров;

г) регенерационные установки для восстановления осушающих свойств силикагеля;

д) передвижные компрессорные станции для зарядки баллонов высокого давления;

е) комплекты оборудования (КО) для точного определения места негерметичности металлической оболочки кабеля;

ж) зарядные углекислотные станции для переливания хладона из транспортных баллонов в баллоны емкостью 5 л.

17.3. В процессе строительства линий связи проверке на герметичность должны подвергаться:

а) кабели на барабанах в складских пунктах, строительные длины кабеля до и после прокладки и непосредственно перед сращиванием, отрезки кабелей после затяжки в каналы кабельной канализации, смонтированные отрезки кабеля в канализации протяженностью до 0,5 км, смонтированные секции, усилительные (регенерационные) участки с оконечными кабельными устройствами;

б) оконечные кабельные устройства, газонепроницаемые и изолирующие муфты перед монтажом;

в) соединительные, разветвительные, изолирующие, газонепроницаемые и другие муфты после их монтажа;

г) пупиновские ящики и удлинители на складском пункте до и после монтажа;

д) контейнеры для систем передачи до и после монтажа;

е) оборудование и устройства для содержания кабеля и контейнеров под постоянным избыточным воздушным давлением;

ж) воздуховоды после монтажа.

Если непосредственно после окончания монтажа усилительного (регенерационного) участка кабель не может быть включен в оконечные кабельные устройства, то проверка герметичности кабеля на смонтированном участке должна производиться без оконечных устройств.

17.4. При устройстве НУП (НРП) систем передачи К-10800, К-5400, К-3600, К1920П, ИКМ-480 и ИКМ-1920 в унифицированных контейнерах оборудование для содержания кабельных линий связи под постоянным избыточным воздушным давлением должно размещаться в наземной части НУП (НРП).

17.5. Подачу воздуха и измерение избыточного давления в кабелях следует производить через предварительно припаянный вентиль. В цистерне НУП вентиль впаивают в конус соединительной муфты. Металлическая оболочка кабеля или муфта в месте пайки вентиля должна быть зачищена до блеска и залужена припоем. Для установки вентиля делается отверстие диаметром 8 мм. Нижнюю часть вентиля залуживают и тщательно припаивают к металлической оболочке.

При пайке из вентиля необходимо вынуть золотник, так как резиновая прокладка на нем при нагревании может повредиться. Вентили типа ЛК с необрезиненным корпусом изготовляют по ГОСТ 8107-75.

17.6. Воздух в кабель подается с помощью компрессорных установок из баллонов с воздухом, а в отдельных случаях (для отдельных строительных длин и муфт) с помощью ручных насосов с осушительными устройствами. При этом переносные осушительные устройства должны располагаться вертикально. Давление воздуха, подаваемого в кабель, и его влажность следует контролировать в течение всего времени нагнетания.

17.7. Воздух, нагнетаемый в кабель через осушительное устройство, не должен содержать более 0,3 г влаги, на 1 м3 (относительная влажность 2 % при температуре 18 °С). Степень влажности воздуха контролируется индикатором влажности.

17.8. Чтобы правильно оценить герметичность оболочки кабеля, необходимо проверить герметичность заделки концов кабеля.

17.9. Временное подключение манометра к вентилю для измерения избыточного давления осуществляется с помощью резинового шланга, на одном конце которого постоянно закреплен на штуцере манометр, а на другом - устройство для измерения избыточного давления в кабелях ИДК (АХП2.959.002), изготавливаемого на предприятиях Главсвязьстроя (рис. 17.1) или клапан быстросъемный для автонасоса (рис. 17.2).

Повторные измерения давления при проверке герметичности следует производить одним и тем же манометром.

Рис. 17.1. Устройство для измерения избыточного давления в кабелях ИДК

Рис. 17.2. Клапан быстросъемный для автонасоса

17.10. Измеренные значения избыточного давления, температуры и атмосферного давления должны фиксироваться в протоколе.

17.11. Степень герметичности кабеля и оборудования определяется путем сравнения показаний манометра в начале испытаний и по истечении контрольного срока. При проверке местным (кратковременным) давлением признаком герметичности является отсутствие воздушных пузырей на испытуемой поверхности, покрытой мыльным раствором или залитой слоем воды.

17.12. Герметичность кабеля оценивается после выравнивания давления вдоль кабеля. Давление считается выровненным, если его значения в кабеле, измеренные по концам испытываемого участка длиной до 5 км, равны, а для участков длиной свыше 5 км не отличаются друг от друга более чем на 0,002 МПа (0,02 кгс/см2).

17.13. При сравнении показаний манометра в начале испытаний и по истечении контрольного срока необходимо учитывать изменения атмосферного давления и температуры окружающей среды (воздуха, грунта) во время измерений давления в кабеле и вносить соответствующую поправку. Температуру окружающего воздуха следует измерять термометром с ценой деления не более 0,5 °С, а атмосферное давление - барометром с ценой деления не более 1 мм рт. ст.

Величину изменения давления в кабеле (муфте, контейнере и т.д.), МПа (кгс/см2), определяют по формуле

где  и  - избыточное манометрическое давление в начале и конце испытаний, МПа (кгс/см2);  и  - атмосферное давление (барометрическое) в начале и конце испытаний, МПа (кгс/см2); Тн и Тк - температура окружающего воздуха, грунта в начале и конце испытаний, К (по шкале Кельвина, равная tн + 273 и tк + 273, где tн и tк в градусах Цельсия). При расчете необходимо учесть, что 1 мм рт. ст. = 0,136·10-3 МПа (1,36·10-3 кгс/см2).

Все вычисления выполняются с точностью до четвертого знака после запятой при измерении давления в мегапаскалях и до третьего знака при измерении в килограмм-сила на сантиметр, квадратный.

17.14. Если в результате проверки установлена негерметичность оболочки проложенного кабеля, в нем следует поддерживать избыточное давление периодической подкачкой воздуха до проведения ремонта, чтобы не допустить попадания влаги в кабель.

17.15. Во всех случаях, когда кабель в строительных длинах или смонтированных секциях и участках, а также в оконечных кабельных устройствах оказался без избыточного давления, нагнетание воздуха допускается только после измерений электрического сопротивления изоляции и соответствия ее установленным нормам. До нормы электрическое сопротивление изоляции может быть доведено путем продувки кабеля сухим воздухом.

17.16. Смонтированные секции или отдельные части участков в процессе монтажа усилительных (регенерационных) участков должны содержаться под избыточным давлением 0,08 - 0,1 МПа (0,8 - 1 кгс/см2).

17.17. Места негерметичности в оболочке кабеля при строительстве линий следует обнаруживать с помощью хладона 22, изготовляемого по ГОСТ 8502-73. Указания о порядке обнаружения и устранения негерметичности даны в подразделе «Определение мест негерметичности кабеля в процессе строительства».

17.18. Протоколы и акты испытания герметичности строительных длин кабеля, секций, пупиновских ящиков, оконечных кабельных устройств, смонтированных усилительных (регенерационных) участков с оконечными устройствами, контейнеров и оборудования для содержания кабелей под избыточным воздушным давлением должны входить в состав исполнительной документации.

17.19. Монтаж устройств и оборудования для содержания кабеля под избыточным воздушным давлением должен осуществляться лицами, прошедшими производственное обучение и сдавшими в соответствующем объеме экзамены по технике безопасности.

При организации и выполнении работ следует руководствоваться указаниями по технике безопасности, изложенными в «Правилах устройства и безопасной эксплуатации сосудов, работающих под давлением» («Металлургия», 1972).

Таблица 17.1

Нормы для оценки герметичности кабелей, оконечных устройств и контейнеров

Объект испытаний

Испытательное давление, МПа (кгс/см2)

Контрольный срок, ч

Норма герметичности (допустимое снижение давления), МПа (кгс/см), не более

Строительные длины кабеля:

 

 

 

поступившие под давлением

0,05 - 0,11

24

0

(0,5 - 1,1)

поступившие без давления, с давлением менее 0,05 МПа (0,5 кгс/см2) или без вентилей после пайки последних и накачки кабелей

0,08 - 0,1

24

0

(0,8 - 1)

 

 

подлежащие прокладке на речных

0,15 - 0,2

48

0

переходах, в болотах и других труднодоступных местах

(1,5 - 2)

 

 

после прокладки (перед монтажом)

0,05 - 0,11

24

0

(0,5 - 1,1)

оказавшиеся с пониженным давлением

0,08 - 0,1

48

0

(0,8 - 1)

Пупиновские ящики, удлинители:

 

 

 

до монтажа

0,05 (0,5)

4

0

после монтажа

0,05 (0,5)

0,2 - 0,3

Отсутствие воздушных пузырьков при смачивании мыльным раствором

Муфты:

 

 

 

смонтированные (кроме пупиновских ящиков, удлинителей)

0,08 - 0,1

0,2 - 0,3

Отсутствие воздушных пузырьков при смачивании мыльным раствором

(0,8 - 1)

изолирующие типа МИС до монтажа

0,2

24

0

(2)

газонепроницаемые типа ГМС, ГМСИ до монтажа

0,2

3

0

(2)

то же, типа КГС до монтажа

0,2 (2)

24

0

оконечные типа ОГКМ до монтажа

0,2 - 0,3

0,05

Отсутствие воздушных пузырьков при смачивании мыльным раствором

(2 - 3)

 

то же, после монтажа (с отрезком кабеля)

0,1

48

0

(1)

оконечные типа КАЕ со стабкабелем*

0,15

24

0,004

(1,5)

(0,04)

Устройства:

 

 

 

оконечные кабельные УОК со стабкабелем

0,075

0,25

Отсутствие воздушных пузырьков при погружении в воду

(0,75)

ввода кабелей в контейнеры ИКМ-480

0,075

0,25

 

(0,75)

 

оконечные, смонтированные с отрезками вводных кабелей

0,08 - 0,1

48

0,005

(0,8 - 1)

(0,05)

Вводные кабели с оконечными устройствами НУПК-60П-4

0,08 - 0,1

1

0

(0,8 - 1)

Смонтированные секции коаксиального кабеля длиной:

0,08 - 0,1

48

0

(0,8 - 1)

1,5 км при длине усилительного (регенерационного) участка 3 км;

 

 

 

2 км при длине усилительного участка 6 км

 

 

 

Смонтированные секции или кабели соединительные длиной до 6 км:

 

 

 

с пупиновскими ящиками

0,045 (0,45)

48

0

без пупиновских ящиков

0,08 - 0,1 (0,8 - 1)

48

0

Смонтированные усилительные участки:

 

 

 

с пупиновскими ящиками

0,045 (0,45)

240

0,005 (0,05)

без пупиновских ящиков

0,05 - 0,06 (0,5 - 0,6)

240

0,005 (0,05)

Контейнеры НУП системы передачи:

 

 

 

К-3600, К-1920П, К-24Р, СС и ТМ**

0,02 + 0,002

120

0,002 (0,02)

(0,2 + 0,02)

VLT-1920 с муфтой АДЕ до монтажа и после монтажа муфты КАЕ

0,1

48

0,004

(1)

(0,04)

ИКМ-30

0,07 (0,7)

24

0

Устройство коммутации воздуховодов

0,07 - 0,08

0,3

0,005

(0,7 - 0,8)

 

(0,05)

* Испытание проводится, если муфты КАЕ поступили под избыточным давлением менее 0,05 МПа (0,5 кгс/см ).

** Испытание проводится, если контейнеры поступили под давлением менее 0,005 МПа (0,05 кгс/см).

НОРМЫ ГЕРМЕТИЧНОСТИ

17.20. Герметичность кабелей, муфт, оконечных устройств и контейнеров оценивается в соответствии с нормами, приведенными в табл. 17.1, а оборудования для содержания кабелей под постоянным избыточным воздушным давлением - в табл. 17.2.

ИСПЫТАНИЕ ГЕРМЕТИЧНОСТИ ОБОЛОЧКИ КАБЕЛЯ В СТРОИТЕЛЬНЫХ ДЛИНАХ

17.21. Кабели, поступающие на складские пункты от заводов-поставщиков должны находиться под избыточным давлением в пределах 0,05 - 0,11 МПа (0,5 - 1,1 кгс/см2). В заводском паспорте должно быть указано избыточное давление.

Таблица 17.2

Нормы для оценки герметичности оборудования для содержания кабеля под давлением

Объект испытаний

Верхний предел измерений манометра, МПа (кгс/см2)

Испытательное давление, МПа (кгс/см2)

Контрольный срок, ч

Норма герметичности (допустимое снижение давления), не более, МПа (кгс/см2)

УСКД-1М:

 

 

 

 

верхняя ступень

25 (950)

14 + 1 (140 + 10)

3

0,5 (5)

на выходе установки

0,16 (1,6)

0 05 + 0,002 (0,5 + 0,02)

3

0*

АУСКИД-1 (АУСКИД):

 

 

 

 

верхняя ступень

25 (250)

10 + 1 (100 + 10)

1

1 (10)

дозирующее устройство

0,6 (6)

0,2 - 0,23 (2 - 2,3)

1

0,01 (0,1)

на выходе установки

0,16 (1,6)

0,05 + 0,002 (0,5 + 0,02)

1

0**

АКОУ:

 

 

 

 

верхняя ступень

25 (250)

10 + 1 (100 + 10)

3

1 (10)

дозирующее устройство

0,6 (6)

0,15 - 0,2 (1,5 - 2)

1

0,01 (0,1)

на выходе установки

0,16 (1,6)

0,05 + 0,002 (0,5 + 0,02)

3

0*

РУ-6ДМ

0,16 (1,6)

0,1 (1)

0,3

0,005 (0,05)

УПК-2М

0,16 (1,6)

0,05 (0,5)

0,3

0,002 (0,02)

ПУВИГ

25 (250)

10 + 1 (100 + 10)

0,5

1 (10)

ВКП-1

0,16 (1,6)

0,1 + 0,02 (1 + 0,2)

0,5

0

Осушительное устройство (не смонтированное)

0,16 (1,6)

0,1 (1)

1

0,015 (0,15)

* Допускается повышение давления до 0,06 МПа (0,6 кгс/см2).

** Допускается повышение давления до 0,065 МПа (0,65 кгс/см).

17.22. Кабели, поступившие на площадку с давлением не менее 0,05 МПа (0,5 кгс/см2), но ниже указанного в паспорте более чем на 0,002 МПа (0,02 кгс/см2) или без указанной в паспорте величины, должны проверяться на герметичность при имеющемся в кабеле давлении. Кабели считаются герметичными, если в течение одних суток давление не изменится.

17.23. Кабели, поступившие на площадку с давлением ниже 0,05 МПа (0,5 кгс/см2) или без вентиля, но под давлением, также должны быть испытаны на герметичность. В последнем случае в кабели необходимо впаять вентили. Давление в кабелях должно быть доведено до 0,08 - 0,1 МПа (0,8-1 кгс/см2). Кабели считаются герметичными, если давление после выравнивания в течение суток не изменяется.

17.24. Кабели, поступившие на площадку без избыточного давления должны быть накачаны воздухом и испытаны на герметичность согласно указаниям п. 17.23. Кабели, не выдержавшие испытания на герметичность по пп. 17.22 - 17.23, подлежат испытаниям предусмотренным ГОСТ 24641-81 «Оболочки кабельные свинцовые и алюминиевые. Технические условия», с целью предъявления рекламаций заводу-поставщику.

Согласно ГОСТ 24641-81 испытание герметичности металлических оболочек кабелей производится сухим инертным газом или воздухом под избыточным давлением не менее 0,3 MПa (3 кгс/см2) и не более 0,5 МПа (5 кгс/см2). Газ и воздух под давлением должен вводиться до тех пор, пока манометр, установленный на другом конце кабеля, не покажет указанное давление.

Кабель считается герметичным, если на его конце при неизменной температуре давление после выравнивания остается постоянным в течение 3 ч.

17.25. Кабели, выдержавшие испытание по пп. 17.22 - 17.24, допускаются к прокладке. Непосредственно перед прокладкой кабеля необходимо измерить давление в нем и результаты измерения записать в протокол. Давление в кабеле должно соответствовать значению, зафиксированному при предыдущем испытании с учетом влияния температурных изменений.

К прокладке допускаются кабели, находящиеся под избыточным давлением 0,05 - 0,1 МПа (0,5 - 1 кгс/см2).

17.26. Контроль за возможным нарушением герметичности оболочки кабеля в процессе прокладки следует производить путем проведения измерений давления в кабеле не менее чем через 24 ч после прокладки. Для доступа к концам кабеля (при механизированной прокладке) должны быть вырыты шурфы. При ручной прокладке кабеля испытание герметичности проводится до полной засыпки траншеи. В случае длительного перерыва между окончанием прокладки кабеля и началом его монтажа вентили следует обмотать смоляной лентой.

17.27. Методы испытаний кабелей, прокладываемых на речных переходах, аналогичны методам испытания подземных кабелей. Однако кабели для речных переходов перед прокладкой должны быть испытаны давлением 0,15 - 0,2 МПа (1,5 - 2 кгс/см) в течение не менее 48 ч.

17.28. Для обеспечения контроля за герметичностью оболочки кабеля при прокладке на речных переходах на одном или обоих его концах должны быть подключены манометры. В процессе прокладки подводный кабель должен находиться под давлением 0,1 - 0,12 МПа (1 - 1,2 кгс/см2). После окончания прокладки манометры отсоединяют не раньше, чем через сутки.

17.29. Проложенные длины кабеля перед монтажом необходимо снова проверить на герметичность. Давление в кабеле должно соответствовать полученному при измерении после прокладки с учетом влияния температурных изменений.

В тех случаях, когда кабели перед монтажом оказываются под давлением, меньшим чем после прокладки, следует произвести испытания их герметичности давлением 0,08 - 0,1 МПа (0,8 - 1 кгс/см2). Давление в кабелях не должно уменьшаться в течение двух суток. Если кабели перед монтажом оказываются без избыточного давления, то до испытания на герметичность необходимо проверить у них сопротивление изоляции. Кабели, выдержавшие испытания на герметичность, допускаются к монтажу.

17.30. Результаты испытаний должны быть зафиксированы в протоколе по форме 4.2.

ИСПЫТАНИЕ ГЕРМЕТИЧНОСТИ СОЕДИНИТЕЛЬНЫХ МУФТ, ПУПИНОВСКИХ ЯЩИКОВ И УДЛИНИТЕЛЕЙ

17.31. Каждая смонтированная свинцовая муфта после запайки должна быть проверена на герметичность. В муфту нагнетают сухой воздух под давлением 0,08 - 0,1 МПа (0,8 - 1 кгс/см2) в течение 10 - 20 мин через предварительно впаянный вентиль (или свинцовую трубку).

Герметичность муфты и места пайки после создания избыточного давления в ней проверяют смачиванием их мыльным раствором. Отсутствие воздушных пузырьков указывает на исправность муфты и герметичность запайки. После проверки герметичности муфты вентиль выпаивают, отверстие, в которое он был впаян, тщательно запаивают.

17.32. На складские пункты пупиновские ящики и удлинители поставляются под давлением с впаянными вентилями.

Герметичность пупиновских ящиков и удлинителей должна быть проверена на складском пункте в течение четырех часов (контрольный срок) под заводским давлением или после нагнетания сухого воздуха до давления 0,05 МПа (0,5 кгс/см2). Пупиновский ящик или удлинитель считается герметичным, если по истечении контрольного срока давление в нем не понизилось (с учетом влияния температурных изменений).

17.33. Пупиновские ящики и удлинители, выдержавшие испытание на герметичность, следует хранить под избыточным давлением и в таком виде подавать на трассу. Герметичность ящика перед монтажом проверяют вновь.

17.34. Пупиновские ящики и удлинители после монтажа должны быть проверены на герметичность путем создания местного давления величиной 0,05 МПа (0,5 кгс/см2) в течение 10 - 20 мин и смачивания мыльным раствором мест пайки.

17.55. Результаты испытаний должны быть зафиксированы в протоколе по форме 4.3.

ИСПЫТАНИЕ ГЕРМЕТИЧНОСТИ ОБОЛОЧЕК КАБЕЛЕЙ В СЕКЦИЯХ И НА СМОНТИРОВАННЫХ УСИЛИТЕЛЬНЫХ (РЕГЕНЕРАЦИОННЫХ) УЧАСТКАХ

17.36. Герметичность оболочек кабелей в смонтированных секциях испытывается давлением 0,08 - 0,1 МПа (0,8 - 1 кгс/см2). Смонтированные секции считаются герметичными, если за время не менее 48 ч после накачки и выравнивания давление не изменилось. При оценке герметичности кабель может быть оставлен на повторный срок испытания.

17.37. Герметичность оболочки смонтированных усилительных (регенерационных) участков кабеля испытывается давлением 0,05 - 0,06 МПа (0,5 - 0,6 кгс/см2), а пупинизированных кабелей с установленными пупиновскими ящиками - давлением 0,045 МПа (0,45 кгс/см2). Давление в кабеле измеряется с обоих концов усилительного (регенерационного) участка. Смонтированные усилительные (регенерационные) участки кабеля с оконечными устройствами считаются герметичными, если в течение 10 суток давление снизится не более чем на 0,005 МПа (0,05 кгс/см2).

17.38. Испытание герметичности оболочки кабеля на смонтированном усилительном (регенерационном) участке и постановку его под постоянное давление производят после выполнения монтажа оконечных устройств. Усилительные (регенерационные) участки, на которых не смонтированы оконечные устройства и оборудование для постановки кабеля под давлением, должны иметь на обоих концах кабеля вентили.

17.39. Воздух в кабель следует нагнетать под давлением 0,1 МПа (1,0 кгс/см2) с двух концов усилительного (регенерационного) участка и с одного конца смонтированной секции (без пупиновских ящиков), а в кабели с пупиновскими ящиками - под давлением 0,045 МПа (0,45 кгс/см2).

17.40. Продолжительность нагнетания воздуха зависит от типа кабеля. При изменении длины кабеля между точками нагнетания воздуха необходимое время нагнетания изменяется пропорционально квадрату изменения длины накачиваемого участка (длина накачиваемого участка - это половина расстояния между точками нагнетания, а при нагнетании кабеля с одной стороны - вся длина участка). Ориентировочные значения времени нагнетания воздуха в кабель приведены в табл. 17.3.

17.41. Нагнетание воздуха с одного конца кабеля следует прекращать, как только давление на дальнем конце достигнет 0,025 - 0,03 МПа (0,25 - 0,3 кгс/см2). Отсутствие давления на дальнем конце по истечении времени, указанного в табл. 17.3, свидетельствует о наличии мест негерметичности в оболочке кабеля.

Таблица 17.3

Ориентировочное время нагнетания воздуха в кабель

Тип кабеля

Длина кабеля, км

Время нагнетания воздуха* в кабель, ч

Тип кабеля

Длина кабеля, км

Время нагнетания воздуха* в кабель, ч

с двух сторон

с одной стороны

с двух сторон

с одной стороны

KM-8/6

6

4,6

18,4

МКТ-4

6

16,3

65,0

3

1,2

4,6

2

0,5

2,0

2

1,80

7,2

КМ-4

6

9,2

37,0

МКС-4×4×1,2

20

45,4

182,0

3

2,3

9,2

5

2,80

11,2

2

1,0

4,0

МКС-7×4×1,2

20

24,80

100,0

1,5

0,6

2,3

5

1,60

6,2

* При начальном давлении, указанном в п. 17.39.

17.42. После окончания нагнетания воздуха в кабель вентили должны быть закрыты и проверены на герметичность, а кабель оставлен для выравнивания в нем давления. Давление считается выровненным, если его значения на концах участка кабеля длиной более 5 км, не отличаются друг от друга более чем на 0,002 МПа (0,02 кгс/см2). Если разница в значениях давления превышает эту величину, то измерения давления должны быть повторены для секций и усилительных (регенерационных) участков не менее чем через 4 - 6 ч. При этом если давление в соответствующих точках сохраняется, процесс выравнивания можно считать законченным и кабель испытывают на герметичность.

Ориентировочно срок выравнивания давления при нагнетании воздуха в кабель составляет:

для смонтированных секций усилительных (регенерационных) участков коаксиального кабеля и регенерационных участков симметричного кабеля 24 ч;

для усилительных участков симметричного кабеля 48 ч.

17.43. Если в указанный срок давление не выравнивается и систематически понижается, необходимо принять меры по обнаружению мест негерметичности.

17.44. Результаты испытания герметичности кабеля в секциях должны быть зафиксированы в протоколе по форме 17.1, а на смонтированном участке - оформлены актом по форме 17.2.


Форма 17.1

ПРОТОКОЛ

испытания герметичности металлической оболочки кабеля и смонтированных муфт на секции

Усилительный (регенерационный) участок ________________________________________ кабель № _______________________________

№ п.п.

Участок накачки (секция)

Длина, м

Число муфт на проверяемом участке

Накачка

Контроль 1

Контроль 2

Номера манометров

Заключение о герметичности кабеля

Подпись

Дата накачки

Давление, кгс/см2

Дата контроля

Давление, кгс/см2

Дата контроля

Давление, кгс/см2

1

 

 

 

 

 

 

 

 

 

 

 

 

2

 

 

 

 

 

 

 

 

 

 

 

 

3

 

 

 

 

 

 

 

 

 

 

 

 

4

 

 

 

 

 

 

 

 

 

 

 

 

Руководитель работ по монтажу кабеля ______________________________________

                                                                                                                      (подпись, ф. и. о.)


Форма 17.2

АКТ

проверки герметичности кабеля

«____» ___________ 19___ г.

Объект __________________________________ Участок ОУП (ОРП, НУП, НРП) - НУП (ОУП, ОРП, НРП) __________________________________________________________

Мы, нижеподписавшиеся, представитель рабочей комиссии _____________________

и представитель СМУ ______________ треста __________________________________

составили настоящий акт в том, что кабель с оконечными устройствами на усилительном (регенерационном) участке был поставлен под избыточное давление и опломбирован для испытания герметичности металлической оболочки. Результаты первичных измерений, произведенных «____» ___________ 19___ г., даны в табл. 1.

Таблица 1

Измерения со стороны

Номер кабеля

Измеренное давление, кгс/см2

Номер манометра

Шкала до, кгс/см2

Цена деления, кгс/см

Подписи представителей СМУ и комиссии

 

 

 

 

 

 

 

 

 

 

 

 

 

 

 

 

 

 

 

 

 

 

 

 

 

 

 

 

 

Результаты вторичных измерений, произведенных «____» ___________ 19___ г., т.е. через __________________ суток, даны в табл. 2.

Таблица 2

Измерения со стороны

Номер кабеля

Измеренное давление, кгс/см2

Номер манометра

Шкала до, кгс/см2

Цена деления, кгс/см

Подписи представителей СМУ и комиссии

 

 

 

 

 

 

 

 

 

 

 

 

 

 

 

 

 

 

 

 

 

 

 

 

 

 

 

 

 

 

На основании существующих норм кабель с оконечными устройствами на участке __________________ считать герметичным и установленным под избыточное давление.

Представитель рабочей комиссии _________________________

                                                                                         (подпись, ф. и. о.)

Представитель СМУ ____________________________________

                                                                    (подпись, ф. и. о.)

ИСПЫТАНИЕ ГЕРМЕТИЧНОСТИ ВВОДНЫХ ОКОНЕЧНЫХ УСТРОЙСТВ

17.45. К оконечным устройствам относятся:

а) газонепроницаемые муфты симметричные ГМС и ПГМС для симметричных кабелей;

б) газонепроницаемые муфты коаксиальные соединительные типа КГС для коаксиальных кабелей МКТ-4;

в) оконечные газонепроницаемые коаксиальные муфты ОГКМ и ОГКМ-С;

г) устройства оконечные кабельные УОК и КАЕ со стабкабелями.

17.46. В НУП и ОУП для монтажа следует поставлять оконечные устройства, проверенные на герметичность в условиях мастерских и удовлетворяющие требованиям действующих технических условий.

17.47. Герметичность смонтированной муфты ГМС испытывают под избыточным давлением 0,08 - 0,1 МПа (0,8 - 1 кгс/см2) в течение 10 - 20 мин. Вначале проверяют герметичность швов с линейной стороны и продольную герметичность муфты, для чего воздух в кабель подают через имеющийся в муфте воздуховод. Предварительно в конусе муфты со станционной стороны делают прокол диаметром не менее 1 мм. На проверяемые швы и прокол наносят мыльный раствор.

Для проверки герметичности швов со станционной стороны в выполненный ранее прокол в конус впаять вентиль и через него в кабель подать воздух. На проверяемые швы нанести мыльный раствор. Отсутствие пузырьков воздуха указывает на герметичность муфты и места запайки. После проверки герметичности муфты вентиль выпаять, а отверстие, в которое он был впаян, тщательно запаять.

17.48. Герметичность смонтированной муфты ПГМС испытывают под избыточным давлением 0,08 - 0,1 МПа (0,8 - 1 кгс/см2) в течение 10 - 20 мин. Воздух в кабель подают через вентиль, впаянный на его конце. Предварительно в газонепроницаемой муфте со станционной стороны на расстоянии 12 - 15 мм от шва пайки делают прокол диаметром не менее 1 мм.

На шов с линейной стороны и прокол наносят мыльный раствор. Отсутствие пузырьков воздуха указывает на герметичность муфты и места запайки. После проверки герметичности муфты прокол следует запаять.

Форма 17.3

ПРОТОКОЛ

проверки УОК

Заводской № ______________ № чертежа _____________ Дата выпуска ____________

I. Внешний осмотр

__________________________________________________________________________

(комплектность, отсутствие дефектов и т.д.)

__________________________________________________________________________

__________________________________________________________________________

II. Проверка герметичности

Измерения

Дата

Температура, °С

Давление воздуха в УОК, кгс/см

Атмосферное давление, мм рт. ст.

Заводские (по паспорту)

 

 

 

 

Во время проверки

 

 

 

 

Результаты проверки: УОК __________________________________________________

                                                                                   (герметично, негерметично, утечка воздуха)

III. Прозвонка УОК (между концами стабкабеля и разъемами)

а) коаксиальных пар

Номер коаксиальной пары

I

II

III

IV

V

VI

VII

VIII

1

2

3

4

5

6

Номер разъема

 

 

 

 

 

 

 

 

 

 

 

 

 

 

б) симметричных пар кабеля КМ-8/6

Номер вилки 2РМГ УОК

Номер жилы кабеля фактический (по документации) при прозвонке с контактов вилки

1

2

3

4

5

6

7

8

9

10

1

(8а)

(8б)

(9а)

(9б)

(5ж)

(6ж)

(5а)

(5б)

(4a)

(4б)

2

(1ж)

(2ж)

(3ж)

(4ж)

(-)

(-)

(1a)

(1б)

(3а)

(3б)

3

(2а)

(2б)

(10а)

(10б)

(-)

(-)

(6a)

(6б)

(7а)

(7б)

в) звездных четверок кабеля КМ-4

Номер вилки 2РМГ УОК

Номер жилы кабеля фактический (по документации) при прозвонке с контактов вилки

1

2

3

4

5

6

7

8

9

10

1

(-)

(-)

(6а)

(6б)

(-)

(-)

(5a)

(5б)

(-)

(-)

2

(7а)

(7б)

(8а)

(8б)

(-)

(-)

(1a)

(1б)

(3а)

(3б)

3

(2а)

(2б)

(10а)

(10б)

(-)

(-)

(4a)

(4б)

(9а)

(9б)

IV. Электрические измерения постоянным током (в нормальных климатических условиях)

Параметры

Норма

Результаты измерений [соответствуют норме; если не соответствует, указать величину и номер пары (жилы)]

Электрическое сопротивление изоляции между внутренним и внешним проводниками коаксиальных пар, МОм, не менее

50000

 

Электрическое сопротивление каждой жилы относительно всех других жил, соединенных с экранами и оболочкой, МОм, не менее

1000

 

Испытательное напряжение, В, между:

 

 

внутренним и внешним проводниками коаксиальных пар (в течение 2 мин):

 

 

2,6/9,4

3700

 

1,2/4,6

2800

 

каждой жилой и всеми другими жилами, соединенными с внешними проводниками и оболочкой (в течение 1 мин)

1200

 

Заключение: УОК ___________________ предъявленным требованиям соответствует (не соответствует).

Испытания проводил _______________________________________________________

                                                                                                     (подпись, ф. и. о.)

СПРАВКА

УОК заводской номер _____________ номер чертежа ____________ перед монтажом

проверен, соответствует требованиям и установлен на кабеле стороны _____________ в НУП ________________.

Представитель строительно-монтажной организации ____________________________

                                                                                                                               (подпись, ф. и. о.)

Форма 17.4

ПРОТОКОЛ

проверки муфты КАЕ при входном контроле

Заводской № __________________________     Дата выпуска ______________________

                                                                                Дата проверки _____________________

I. Внешний осмотр

__________________________________________________________________________

(комплектность, отсутствие дефектов и т.д.)

__________________________________________________________________________

__________________________________________________________________________

II. Проверка давления в муфте ___________ кгс/см2 (норма не менее 0,5 кгс/см2).

III. Проверка герметичности

Испытание

Давление воздуха в муфте, кгс/см2

Температура окружающей среды

Атмосферное давление

Расчетная величина, снижения давления за 24 ч, кгс/см2

Этап

Дата

Время

°С

К

мм рт. ст.

кгс/см2

Начало

 

 

 

 

 

 

 

 

Конец

 

 

 

 

 

 

 

 

Избыточное давление воздуха в муфте при испытании составляет 1,5 кг; см2. Допустимая величина снижения давления не более 0,04 кгс/см2 за 24 ч.

IV. Проверка коаксиальных пар и жил звездных четверок на обрыв (прозвонка)

Результаты прозвонки ______________________________________________________

                                                                                      (обрывы имеются или отсутствуют)

V. Электрические измерения постоянным током (в нормальных климатических условиях)

Параметры

Норма

Результаты измерений соответствуют норме; если не соответствует, указать величину и номер пары (жилы)

Электрическое сопротивление изоляции между внутренним и внешним проводниками коаксиальной пары, МОм, не менее

10000

 

Испытательное напряжение постоянного тока в течение 2 мин, В, между:

 

 

внутренним и внешним проводниками коаксиальной пары

3700

 

экранами коаксиальных пар

700

 

Электрическое сопротивление изоляции каждой жилы относительно других жил, соединенных с экранами и свинцовой оболочкой, МОм, не менее

10000

 

Испытательное напряжение постоянного тока в течение 2 мин, В:

 

 

каждой жилы относительно других жил

1200

 

каждой жилы относительно всех соединенных экранов

700

 

Заключение: муфта КАЕ _____________ предъявленным требованиям соответствует (не соответствует).

Испытания проводил _______________________________________________________

                                                                                                     (подпись, ф. и. о.)

СПРАВКА

Муфта КАЕ заводской номер __________ номер чертежа _________ перед монтажом

проверена, соответствует требованиям и установлена в НУП ____________________.

Представитель строительно-монтажной организации ____________________________

                                                                                                                                        (подпись, ф. и. о.)

17.49. Смонтированную муфту КГС после запайки проверяют на герметичность по методике, изложенной в п. 17.47. Воздух в муфту с линейной стороны следует подать через кабель-воздуховод.

17.50. Для проверки герметичности смонтированной муфты ОГКМ в кабель со стороны открытого конца впаивают вентиль, и кабель с муфтой ставят под давление 0,1 МПа (1 кгс/см2). Муфта считается герметичной, если в течение 48 ч давление не изменяется.

17.51. Смонтированные оконечные устройства с отрезками вводных кабелей проверяют на герметичность давлением 0,08-0,1 МПа (0,8-1 кгс/см2). Они считаются герметичными, если в течение 48 ч снижение давления не превышает 0,005 МПа (0,05 кгс/см2).

17.52. Устройство оконечное кабельное типа УОК со стабкабелем заполняют сухим воздухом под давлением 0,075 МПа (0,75 кгс/см2). В защитное кольцо заливают воду до уровня 15 - 20 мм над разъемами. Если в течение 15 мин не наблюдается выход пузырьков воздуха, УОК считается герметичным.

После проверки герметичности УОК разъемы осушают путем обдува их сухим воздухом.

17.53. Результаты проверки УОК фиксируют в протоколе по форме 17.3.

17.54. Муфту КАЕ, поступившую на склад от завода, считают герметичной, если измеренное в каждом стабкабеле давление будет не менее 0,05 МПа (0,5 кгс/см2).

Муфта КАЕ, находящаяся под избыточным давлением ниже 0,05 МПа (0,5 кгс/см2), испытывается на герметичность под избыточным давлением 0,15 МПа (1,5 кгс/см2) в течение 24 ч. Муфта считается герметичной, если за контрольный срок (24 ч) уменьшение давления, подсчитанное по формуле, приведенной в п. 17.13, не будет превышать 0,004 МПа (0,04 кгс/см2).

17.55. Результаты внешнего осмотра и проверки муфты КАЕ фиксируются в протоколе по форме 17.4.

ИСПЫТАНИЕ ГЕРМЕТИЧНОСТИ КОНТЕЙНЕРОВ

17.56. Контейнеры НУП К-3600, К-1920П, ТМ, ТМ с К-24 и СС, поступающие на склад от завода-изготовителя, должны находиться под избыточным воздушным давлением. Наличие избыточного давления воздуха в контейнере проверяется путем подключения к вентилю манометра МТИ на 0,06 МПа (0,6 кгс/см2).

Контейнер считается герметичным, если измеренное давление будет не менее 0,005 МПа (0,05 кгс/см2).

17.57. Контейнеры, поступившие с давлением менее 0,005 МПа (0,05 кгс/см2) или без избыточного давления, испытываются на герметичность.

Контейнер заполняется сухим воздухом до давления 0,02 ± 0,002 МПа (0,2 ± 0,02 кгс/см2). Отключить источник воздуха и убедиться в отсутствии утечки воздуха в штуцерных соединениях, конце шланга и вентиле путем нанесения на них мыльного раствора.

Выдержать контейнер в окружающей среде не менее 8 ч, измерить и зафиксировать значения избыточного давления воздуха в контейнере, температуры окружающего воздуха и атмосферного давления. Через пять суток повторно измерить и зафиксировать избыточное давление, температуру и атмосферное давление. Рассчитать величину изменения давления при испытании герметичности по формуле, приведенной в п. 17.13.

Контейнер считается герметичным, если за контрольный срок (пять суток) уменьшение давления, подсчитанное по формуле, не будет превышать 0,002 МПа (0,02 кгс/см2). Если герметичность контейнера ниже указанной нормы, необходимо определить место негерметичности путем нанесения на швы и соединения мыльного раствора и, если возможно, устранить негерметичность.

17.58. Результаты внешнего осмотра и испытания герметичности контейнеров должны быть зафиксированы в протоколе по форме 17.5.

17.59. Контейнер VLU-1920 должен быть испытан на герметичность на складе. Для этого подать сухой воздух в контейнер через тройник, который подключить к среднему штуцеру воздуховода муфты КАЕ. На остальных штуцерах должны быть заглушки. К одному из выходов тройника при помощи гибкого шланга подключить манометр типа МТИ на 0,16 МПа (1,6 кгс/см2) класса точности 1,0.

Контейнер необходимо заполнить сухим воздухом до давления 0,1 МПа (1 кгс/см2). Отключить источник воздуха и убедиться в отсутствии его утечки. Выдержать контейнер в окружающей среде не менее 8 ч, измерить и зафиксировать значения избыточного давления воздуха в контейнере, температуру и атмосферное давление.

Через двое суток после начала испытаний повторно снять показания на манометре, термометре и барометре.

Рассчитать величину изменения давления при испытании герметичности по формуле, приведенной в п. 17.13. Контейнер считается герметичным, если за контрольный срок (двое суток) уменьшение давления, подсчитанное по формуле, не будет превышать 0,004 МПа (0,04 кгс/см2).

17.60. Результаты внешнего осмотра и испытания герметичности контейнеров должны быть зафиксированы в протоколе по форме 17.5.

17.61. Контейнер VLU-1920, установленный в цистерне со смонтированной муфтой КАЕ, должен быть испытан на герметичность по методике п. 17.59.

Форма 17.5

ПРОТОКОЛ

проверки герметичности контейнера систем передачи К-1920П, К-3600 и VLT-1920 (предназначенных для установки в цистерне) при входном контроле

Марка контейнера _____________________      Заводской номер ___________________

Дата выпуска _________________________      Дата проверки _____________________

I. Внешний осмотр

__________________________________________________________________________

(комплектность, отсутствие дефектов и т.д.)

II. Проверка избыточного давления в контейнере ___________ кгс/см2 (норма не менее 0,05 кгс/см).

III. Испытание герметичности

Испытание

Давление воздуха в контейнере, кгс/см2

Температура окружающей среды

Атмосферное давление

Расчетная величина, снижения давления за испытательный срок, кгс/см2

Этап

Дата

Время

°С

К

мм рт. ст.

кгс/см2

Начало

 

 

 

 

 

 

 

 

Конец

 

 

 

 

 

 

 

 

Допустимая величина снижения давления, не более:

0,02 кгс/см2 за пять суток для контейнеров системы передачи К-1920П и K-3600 и 0,04 кгс/см2 за двое суток для контейнеров VLT-1920.

Заключение: _________________________________________________________

__________________________________________________________________________

Испытания проводили: ___________________________________________________

                                             ____________________________________________________

                                                                                               (подписи, ф. и. о.)

Форма 17.6

ПРОТОКОЛ

испытания герметичности контейнеров VLU-1920 с установленной муфтой КАЕ в цистерне

Заводские номера: контейнера ___________________ муфты КАЕ _________________

Объект ______________________________ Номер НУП __________________________

Испытание

Давление воздуха в контейнере, кгс/см2

Температура окружающей среды

Атмосферное давление

Расчетная величина, снижения давления за двое суток, кгс/см2

Этап

Дата

Время

°С

К

мм рт. ст.

кгс/см2

Начало

 

 

 

 

 

 

 

 

Конец

 

 

 

 

 

 

 

 

Допустимая величина снижения давления не более 0,04 кгс/см2 за двое суток.

Заключение: контейнер считать герметичным, негерметичным (ненужное зачеркнуть).

Испытания проводили:

Представитель СМУ ________________________________________________________

                                                                                                  (подпись, ф. и. о.)

Представитель заказчика ____________________________________________________

                                                                                            (подпись, ф. и. о.)

Форма 17.7

ПРОТОКОЛ

проверки герметичности контейнера ИКМ-30

«____» ___________ 19___ г.

Настоящий протокол составлен представителями кабельного цеха ______________

__________________________________________________________________________

(наименование организации, должность, фамилия, инициалы)

с одной стороны и монтажной организацией ___________________________________

__________________________________________________________________________

(наименование организации, должность, фамилия, инициалы)

с другой стороны с целью определения герметичности контейнера типа ____________ № ____________

Дата и время первого измерения ______________________________________________

Показание манометра, кгс/см2 ________________________________________________

Дата и время второго измерения ______________________________________________

Показание манометра, кгс/см2 ________________________________________________

Измерения производились манометром № ______________________________________

Цена деления ______________________________________________________________

Заключение. На основании существующих норм контейнер считать герметичным, негерметичным (ненужное зачеркнуть).

Представитель подрядчика __________________________________________________

                                                                                                    (подпись, ф. и. о.)

Представитель заказчика ____________________________________________________

                                                                                                    (подпись, ф. и. о.)

17.62. Результаты испытаний герметичности контейнера VLU-1920, установленного в цистерне с муфтой КАЕ, должны быть зафиксированы в протоколе по форме 17.6.

17.63. Контейнеры ИКМ-30, сдаваемые в эксплуатацию, должны быть испытаны на герметичность избыточным воздушным давлением 0,07 МПа (0,7 кгс/см2). Контейнер считается герметичным, если за контрольный срок (24 ч) не наблюдается снижения давления.

17.64. Результаты проверки герметичности контейнера ИКМ-30 должны быть зафиксированы в протоколе по форме 17.7.

ПРОВЕРКА РАБОТОСПОСОБНОСТИ ОБОРУДОВАНИЯ ДЛЯ СОДЕРЖАНИЯ КАБЕЛЕЙ И КОНТЕЙНЕРОВ ПОД ИЗБЫТОЧНЫМ ДАВЛЕНИЕМ

17.65. В установке содержания кабеля под давлением-УСКД-1М необходимо проверить:

герметичность установки;

давление на выходе установки;

срабатывание обратного клапана установки;

цвет силикагеля в индикаторе влажности;

подачу сигнала об аварийном расходе воздуха;

подачу сигнала о необходимости замены баллона.

17.66. Герметичность и давление на выходе установки содержания кабеля под давлением УСКД-1М проверить в следующем порядке:

закрыть заглушками штуцеры «Вход в кабель»;

открыть вентиль на баллоне и заполнить установку воздухом подавления 14 ± 1 МПа (140 ± 10 кгс/см2);

закрыть вентиль на баллоне и через 5 мин зафиксировать показания манометра на 25 МПа (250 кгс/см2) и манометра на 0,16 МПа (1,6 кгс/см2).

Установка считается герметичной, если в течение трех часов снижение давления воздуха по манометру на 25 МПа (250 кгс/см2) не превысит 0,5 МПа (5 кгс/см2), а по манометру 0,16 МПа (1,6 кгс/см2) давление будет не более 0,06 МПа (0,6 кгс/см2).

17.67. Срабатывание обратного клапана проверить в следующем порядке:

наполнить установку воздухом;

закрыть вентиль на баллоне;

выпустить воздух из установки, открыв один из выходов, до давления 1 - 2,5 МПа (10 - 25 кгс/см2), наблюдая по манометру на 25 МПа (250 кгс/см2);

закрыть выход воздуха из установки;

отсоединить воздуховод от осушительной камеры высокого давления, предварительно выпустив из него воздух;

нанести мыльный раствор на свободный штуцер осушительной камеры высокого давления и убедиться в отсутствии утечки воздуха при давлении в установке 1 - 2,5 МПа (10 - 25 кгс/см2).

17.68. Цвет силикагеля в индикаторе влажности проверить визуально; он должен быть темно-синим или синим. При посветлении силикагеля необходимо снять заглушку с одного из штуцеров «Вход в кабель» и выпускать воздух из установки в течение 10 - 15 мин до потемнения цвета силикагеля.

17.69. Подачу сигнала об аварийном расходе воздуха проверить в следующем порядке:

заполнить установку воздухом;

подключить омметр (или другой индикатор-звонок, лампочку) к штырям 3 и 4 разъема. Стрелка омметра должна показать обрыв цепи;

снять заглушку с одного из штуцеров «Вход в кабель». Стрелка должна показать наличие цепи не позднее чем через 2 мин после того, как поплавок сигнализатора расхода перекроет отверстие в штоке;

подключить омметр к штырям 5 и 4 разъема. Стрелка омметра должна показать наличие цепи;

подключить омметр поочередно к штырям 3 - 6 и 5 - 6 разъема. В обоих случаях стрелка омметра должна показать обрыв цепи.

17.70. Подачу сигнала о необходимости замены баллона проверить в следующем порядке:

заполнить установку воздухом;

подключить омметр к штырям 9 и 10 разъема (стрелка омметра должна показать обрыв цепи);

закрыть вентиль баллона;

снять заглушку со штуцера «Вход в кабель». Стрелка омметра должна показать наличие цепи, когда манометр на 25 МПа (250 кгс/см2) покажет давление 4 ± 1 МПа (40 ± 10 кгс/см2);

подключить омметр к штырям 8 и 9 разъема. Стрелка омметра должна показать наличие цепи;

подключить омметр поочередно к штырям 7, 10 и 7, 8 разъема. В обоих случаях стрелка омметра должна показать обрыв цепи.

17.71. Результаты внешнего осмотра и проверки УСКД-1М должны быть зафиксированы в протоколе по форме 17.8.

Форма 17.8

ПРОТОКОЛ

проверки УСКД-1М при входном контроле и приемке в эксплуатацию

Заводской № __________________________ выпуска 19 ____ г.

Установлена на объекте ________________ Номер усилительного (регенерационного)

пункта ________________________________

Дата проверки: при входном контроле ______________________________________

                                 при приемке в эксплуатацию ________________________________

I. Внешний осмотр

а) при входном контроле __________________________________________________

                                                                                      (комплектность, отсутствие дефектов и т.д.)

__________________________________________________________________________

б) при приемке в эксплуатацию ____________________________________________

__________________________________________________________________________

II. Проверка

Что проверяется

Норма

При входном контроле

При приемке в эксплуатацию

Герметичность установки:

 

 

 

давление в верхней ступени, кгс/см2

140 + 10*

 

 

давление на выходе, кгс/см2

0,5 + 0,02*

 

 

время испытаний, ч

3

 

 

снижение давления в верхней ступени, кгс/см2, не более

5

 

 

давление на выходе, кгс см2

0,6

 

 

Давление на выходе установки при закрытых вентилях, кгс/см2

0,48 - 0,6

 

 

Срабатывание обратного клапана, кгс/см2

10 - 25

 

 

Цвет силикагеля в индикаторе влажности

темно-синий

 

 

Сигнализация об аварийном расходе воздуха

срабатывает

 

 

Сигнализация о замене баллона, кгс/см2

40 ± 10

 

 

* Записывается спустя 5 мин после накачки.

III. Заключение по проверке УСКД-1М:

а) при входном контроле __________________________________________________

б) при приемке в эксплуатацию ____________________________________________

Проверку проводили:

при входном контроле  ____________________________________________________

                                                                                                          (подпись, ф. и. о)

                                             ____________________________________________________

                                                                                                          (подпись, ф. и. о)

при приемке в эксплуатацию:

Представитель СМУ ________________________________________________________

                                                                                                          (подпись, ф. и. о)

Представитель заказчика ____________________________________________________

                                                                                                          (подпись, ф. и. о)

17.72. В автоматической установке для содержания кабелей связи под избыточным газовым давлением АУСКИД-1 (АУСКИД) необходимо проверить: герметичность установки и давление на выходе установки; работу обратного клапана и сигнализации о понижении давления воздуха в баллоне; регистрацию доз и замыкание электрических контактов сигнальной системы.

17.73. Герметичность и давление на выходе АУСКИД-1 ,(АУСКИД) проверить в следующем порядке:

присоединить к входному штуцеру установки вентиль 1Д4.463.019 с трубопроводом 1Д4.471.071, взятым из комплекта ЗИП;

присоединить к указанному вентилю при помощи трубопровода 1Д4.471.078 баллон с давлением воздуха 10 ± 1 МПа (100 ± 10 кгс/см2);

закрыть все вентили установки;

установить в штуцер «Контроль» манометр на 0,6 МПа (6 кгс/см2);

открыть вентиль баллона;

открыть дополнительный вентиль на несколько минут и закрыть его, после чего отсоединить от него баллон, предварительно закрыв его вентиль;

открутить слегка заглушку штуцера «В атмосферу» и быстро заглушить его при наполнении резервуара дозирующего устройства. Манометр на 0,6 МПа (6 кгс/см2) покажет давление 0,22 - 0,23 МПа (2,2 - 2,3 кгс/см2);

по истечении 5 мин зафиксировать показания трех манометров.

Установка считается герметичной, если в течение одного часа снижение давления воздуха не превысит 1 МПа (10 кгс/см2) на входе установки, а в дозирующем устройстве 0,01 МПа (0,1 кгс/см2). На выходе установки давление должно быть не более 0,065 MПa (0,65 кгс/см2).

17.74. Работу обратного клапана и сигнализации о понижении давления воздуха в баллоне проверить в следующем порядке:

закрыть все вентили установки;

открыть на несколько минут вентиль баллона и закрыть его;

подсоединить к контактам 4 и 5 разъема «Сигнал» омметр;

открыть вентиль «Шунт» и слегка открутить заглушку штуцера «В атмосферу» для выхода воздуха;

зафиксировать по манометру «Давление в баллоне» значения давления воздуха, при которых замкнутся контакты 4 и 5 разъема «Сигнал» и закроется обратный клапан (стрелка манометра установится). Замыкание контактов должно быть при понижении давления воздуха в баллоне до 4 ± 1 МПа (40 ± 10 кгс/см2) и прекращение поступления воздуха в установку при падении давления воздуха в баллоне до 2,5 - 1 МПа (25 - 10 кгс/см2).

17.75. Работу дозирующего устройства проверить в следующем порядке:

перекрыть вентили выхода;

открыть вентиль баллона и снять заглушку со штуцера «В атмосферу»;

при этом должно начать работу дозирующее устройство, на что будет указывать периодический выход воздуха через открытый штуцер установки;

при наполнении резервуара дозирующего устройства (воздух через штуцер не выходит) счетчик должен увеличить свое показание на единицу, а контакты 1 и 2 разъема «Сигнал» должны быть замкнуты в течение не более 15 с, что проверяется при помощи омметра.

17.76. Результаты внешнего осмотра и проверки АУСКИД-1 (АУСКИД) должны быть зафиксированы в протоколе по форме 17.9.

Форма 17.9

ПРОТОКОЛ

проверки АУСКИД-1 (АУСКИД) при входном контроле и приемке в эксплуатацию

Заводской № __________________________ выпуска 19 ____ г.

Установлена на объекте ________________ Номер усилительного (регенерационного)

пункта _______________________________

Дата проверки: при входном контроле ______________________________________

                                 при приемке в эксплуатацию ________________________________

I. Внешний осмотр

а) при входном контроле __________________________________________________

                                                                                      (комплектность, отсутствие дефектов и т.д.)

__________________________________________________________________________

б) при приемке в эксплуатацию ____________________________________________

__________________________________________________________________________

II. Проверка

Что проверяется

Норма

При входном контроле

При приемке в эксплуатацию

Герметичность установки:

 

 

 

а) давление, кгс/см2:

 

 

 

в верхней ступени

100 ± 10*

 

 

в дозирующем устройстве

2,0 - 2,3*

 

 

на выходе установки

0,5 ± 0,02*

 

 

б) снижение давления, кгс/см2, не более

 

 

 

в верхней ступени

10

 

 

в дозирующем устройстве

0,1

 

 

на выходе установки

0,65

 

 

Давление на выходе установки при закрытых вентилях, кгс/см2

0,48 - 0,65

 

 

Регистрация доз и замыкание контактов (да, нет)

Да

 

 

Сигнализация о понижении давления в баллоне, кгс/см2, не более

40 ± 10

 

 

Срабатывание обратного клапана, кгс/см2

25 - 10

 

 

* Записывается спустя 5 мин после накачки.

III. Заключение по проверке АУСКИД-1 (АУСКИД):

а) при входном контроле __________________________________________________

б) при приемке в эксплуатацию ____________________________________________

Проверку проводили:

при входном контроле  ____________________________________________________

                                                                                                          (подпись, ф. и. о)

                                             ____________________________________________________

                                                                                                          (подпись, ф. и. о)

при приемке в эксплуатацию:

Представитель СМУ ________________________________________________________

                                                                                                          (подпись, ф. и. о)

Представитель заказчика ____________________________________________________

                                                                                                          (подпись, ф. и. о)

17.77. В распределительном устройстве РУ-6ДМ необходимо проверить: герметичность устройства; прохождение воздуха через устройство; давление воздуха на выходе устройства; величину давления, при которой срабатывает датчик-реле давления.

17.78. Герметичность РУ-6ДМ проверить в следующем порядке:

к одному из штуцеров, предназначенных для подключения к кабелям, подключить манометр типа МТИ с верхним пределом 0,1 МПа (1 кгс/см2);

все вентили устройства полностью открыть, а штуцеры вентилей закрыть заглушками;

подключить к штуцеру «Из кабеля» источник воздуха и установить давление 0,1 МПа (1,0 кгс/см2);

закрыть вентиль, к штуцеру которого подключен источник воздуха, отключить источник воздуха, закрыть штуцер вентиля заглушкой и снова открыть вентиль;

по манометру зафиксировать давление воздуха в устройстве.

Устройство считается герметичным, если в течение 20 мин снижение давления воздуха не превысит 0,005 МПа (0,05 кгс/см2).

17.79. Прохождение воздуха через устройство проверить в следующем порядке:

подключить источник воздуха к одному из двух штуцеров устройства, предназначенных для подключения к кабелям;

подать воздух под давлением 0,05 МПа (0,5 кгс/см2);

открыть вентиль на воздуховоде, к которому подключен источник воздуха, остальные вентили на устройстве закрыть;

поочередно открыть и закрыть вентили, фиксируя прохождение

воздуха через проверяемый штуцер;

подключить источник воздуха к штуцеру второго вентиля, предназначенного для подключения кабеля, и проверить прохождение воздуха через первый штуцер.

17.80. Давление воздуха на выходе устройства проверить в следующем порядке:

подключить источник воздуха к устройству и подать воздух под давлением 0,05 МПа (0,5 кгс/см2);

к штуцеру одного из вентилей, предназначенных для подключения контейнеров НУП, подключить манометр и открыть вентиль. Давление на манометре должно быть 0,01 МПа (0,1 кгс/см).

17.81. Величину давления, при которой срабатывает датчик-реле давления, проверить в следующем порядке:

подключить источник воздуха к устройству и подать воздух под давлением 0,05 МПа (0,5 кгс/см2);

к штуцеру одного из вентилей подключить манометр и открыть вентиль;

подключить омметр к контактам 1 и 2 разъема. Цепь должна быть замкнута;

плавно открыть один из вентилей, предназначенных для подключения контейнеров НУП, и выпустить воздух в атмосферу;

зафиксировать давление по манометру; в момент размыкания цепи оно должно составлять 0,04 ± 0,002 МПа (0,4 ± 0,02 кгс/см2).

17.82. Результаты внешнего осмотра и проверки РУ-6ДМ должны быть зафиксированы в протоколе по форме 17.10.

Форма 17.10

ПРОТОКОЛ

проверки РУ-6ДМ при входном контроле и приемке в эксплуатацию

Заводской № __________________________ выпуска 19 ____ г.

Установлена на объекте ________________ Номер усилительного (регенерационного)

пункта _______________________________

Дата проверки: при входном контроле ______________________________________

                                 при приемке в эксплуатацию ________________________________

I. Внешний осмотр

а) при входном контроле __________________________________________________

                                                                                      (комплектность, отсутствие дефектов и т.д.)

__________________________________________________________________________

б) при приемке в эксплуатацию ____________________________________________

__________________________________________________________________________

II. Проверка

Что проверяется

Норма

При входном контроле

При приемке в эксплуатацию

Герметичность устройства:

 

 

 

испытательное давление, кгс/см2

1,0

 

 

время испытания, мин

20

 

 

снижение давления, кгс/см2, не более

0,05

 

 

Давление на выходе устройства, кгс/см2

0,1

 

 

Срабатывание датчика-реле давления, кгс/см2

0,4 ± 0,02

 

 

Прохождение воздуха (да, нет)

Да

 

 

Электрическое сопротивление изоляции электрических цепей, МОм, не менее

100

 

 

III. Заключение по проверке АУСКИД-1 (АУСКИД):

а) при входном контроле __________________________________________________

б) при приемке в эксплуатацию ____________________________________________

Проверку проводили:

при входном контроле  ____________________________________________________

                                                                                                          (подпись, ф. и. о)

                                             ____________________________________________________

                                                                                                          (подпись, ф. и. о)

при приемке в эксплуатацию:

Представитель СМУ ________________________________________________________

                                                                                                          (подпись, ф. и. о)

Представитель заказчика ____________________________________________________

                                                                                                          (подпись, ф. и. о)

17.83. В устройстве пневматической коммутации УПК-2М необходимо проверить: герметичность устройства; прохождение воздуха через устройство; работу клапана устройства; величину давления, при которой срабатывает датчик-реле давления.

17.84. Герметичность устройства пневматической коммутации УПК-2М проверить в следующем порядке:

к одному из штуцеров, предназначенных для подключения к кабелям, подключить источник воздуха;

остальные вентили устройства полностью открыть, а штуцеры вентилей закрыть заглушками;

установить в устройстве давление 0,1 МПа (1 кгс/см2);

закрыть вентиль, к штуцеру которого подключен источник воздуха, отключить источник воздуха, закрыть штуцер вентиля заглушкой и снова открыть вентиль;

по манометру зафиксировать давление воздуха в устройстве;

устройство считается герметичным, если в течение 20 мин снижение давления воздуха не превысит 0,002 МПа (0,02 кгс/см2).

17.85. Прохождение воздуха через устройство проверить по методике, изложенной в п. 17.79.

17.86. Работу клапана устройства проверить путем нажатия на клапан, при этом из штуцера должен выходить воздух.

17.87. Величину давления, при которой срабатывает датчик-реле давления, проверить в следующем порядке:

подключить источник воздуха к устройству и подать воздух под давлением 0,05 МПа (0,5 кгс/см2);

подключить к контактам 1 и 2 разъема на устройстве омметр; при этом цепь должна быть разомкнута, а к контактам 2 - 3 замкнута;

плавно открыть один из вентилей и выпустить воздух в атмосферу;

зафиксировать давление по манометру в момент замыкания цепи (контакты 1 - 2) и размыкание цепи (контакты 2 - 3); оно должно составлять 0,04 ± 0,002 МПа (0,4 ± 0,02 кгс/см2).

17.88. Результаты внешнего осмотра и проверки УПК-2М должны быть зафиксированы в протоколе по форме 17.11.

Форма 17.11

ПРОТОКОЛ

проверки УПК-2М при входном контроле и приемке в эксплуатацию

Заводской № __________________________ выпуска 19 ____ г.

Установлена на объекте ________________ Номер усилительного (регенерационного)

пункта ________________________________

Дата проверки: при входном контроле ______________________________________

                                 при приемке в эксплуатацию ________________________________

I. Внешний осмотр

а) при входном контроле __________________________________________________

                                                                                      (комплектность, отсутствие дефектов и т.д.)

__________________________________________________________________________

б) при приемке в эксплуатацию ____________________________________________

__________________________________________________________________________

II. Проверка

Что проверяется

Норма

При входном контроле

При приемке в эксплуатацию

Герметичность устройства:

 

 

 

испытательное давление, кгс/см2

1,0

 

 

время испытания, мин

20

 

 

снижение давления, кгс/см2, не более

0,02

 

 

Срабатывание датчика-реле давления, кгс/см2

0,4 ± 0,02

 

 

Прохождение воздуха (да, нет)

Да

 

 

Электрическое сопротивление изоляции электрических цепей, МОм, не менее

100

 

 

III. Заключение по проверке УПК-2М:

а) при входном контроле __________________________________________________

б) при приемке в эксплуатацию ____________________________________________

Проверку проводили:

при входном контроле  ____________________________________________________

                                                                                                          (подпись, ф. и. о)

                                             ____________________________________________________

                                                                                                          (подпись, ф. и. о)

при приемке в эксплуатацию:

Представитель СМУ ________________________________________________________

                                                                                                          (подпись, ф. и. о)

Представитель заказчика ____________________________________________________

                                                                                                          (подпись, ф. и. о)

МОНТАЖ ОБОРУДОВАНИЯ ДЛЯ СОДЕРЖАНИЯ КАБЕЛЯ ПОД ИЗБЫТОЧНЫМ ДАВЛЕНИЕМ

17.89. Монтажу подлежит только исправное оборудование, проверенное в соответствии с пп. 17.65 - 17.88 настоящего Руководства, при наличии протоколов испытания.

Монтаж установки для содержания кабеля под давлением УСКД-1М

17.90. В ОП (ОУП ПОУП, ОРП) в соответствии с рабочими чертежами установить УСКД-1М на стене при помощи четырех анкерных болтов. Болты в комплект установки не входят.

17.91. При монтаже установку необходимо выставить по уровню, закрепить и заземлить.

17.92. Слева на расстоянии 400 мм от установки установить хомут для крепления баллона.

17.93. Перед установкой баллона его следует наполнить сжатым воздухом до давления 14 ± 1 МПа (140 ± 10 кгс/см2). Баллон имеет мембранный вентиль ВВ-1. Такие баллоны не должны обмениваться на заводах-наполнителях на баллоны, имеющие вентили другой конструкции.

17.94. Баллон с воздухом установить на основание и закрепить стяжным хомутом.

17.95. Воздуховод для подключения баллона к установке продуть, согнуть и сделать кольцевой виток так, чтобы после подключения кольцо находилось между баллоном и установкой. Креплений воздуховода к стене помещения не производить. Под накидную гайку, подсоединяемую к штуцеру вентиля баллона, необходимо установить одну или две (по необходимости) прокладки.

17.96. Закрыть выходы воздуха из установки и открыть вентиль баллона. Манометр на 0,16 МПа (1,6 кгс/см2) покажет давление на выходе установки 0,05 ± 0,002 МПа (0,5 ± 0,02 кгс/см2).

17.97. Проверить герметичность мест соединения воздуховода с установкой и с вентилем баллона путем нанесения мыльного раствора.

17.98. Выложить воздуховоды к кабелям в пакет. На конец воздуховода, идущего к установке, надеть гайку 3т8.930.003 и ниппель 3т8.652.002 (входят в комплект монтажных частей). Развальцевать воздуховод при помощи развальцовочного устройства (рис. 17.3) и продуть его. С одного конца воздуховод подпаять к кабелю, а с другого подключить к штуцеру вентиля установки. Аналогичным образом подключить и другие воздуховоды. Проверить герметичность мест соединения воздуховодов путем нанесения мыльного раствора. Свободные штуцеры установки «Вход в кабели» закрыть заглушками.

Рис. 17.3. Развальцовочное устройство

17.99. Подключить установку к системе телесигнализации, для чего конец кабеля сигнализации распаять на розетку 2РМ22КУН10Г1В1 (входит в комплект инструмента и принадлежностей) по схеме, указанной в рабочих чертежах.

Монтаж автоматической установки для содержания кабелей связи под избыточным газовым давлением АУСКИД-1 (АУСКИД)

17.100. В ОП (ОУП, ПОУП, ОРП) в соответствии с рабочими чертежами установить кронштейн и хомут, которые входят в комплект монтажных частей установки. Крепежные детали кронштейна и хомута предусмотрены для установки их в каменных или железобетонных стенах.

17.101. Закрепить установку к кронштейну при помощи крепежных деталей, входящих в комплект монтажных частей, и заземлить.

17.102. Требования по наполнению баллонов сжатым воздухом и подсоединению к установке аналогичны требованиям, указанным в пп. 17.93 - 17.95.

17.103. Монтаж воздуховодов (трубопроводов), соединяющих установку с кабелями, произвести в следующем порядке:

закрыть на лицевой панели установки все вентили;

подсоединить воздуховоды к выходным штуцерам установки;

соединить воздуховоды рукавами и закрепить хомутиками;

открыть вентиль баллона;

открыть вентиль «Шунт» и один из вентилей подачи воздуха в кабель;

продуть воздуховоды и вентиль закрыть.

17.104. Таким же образом поочередно продуть и остальные воздуховоды.

17.105. Концы воздуховодов подпаять к штуцеру кабелей, которые должны находиться под избыточным воздушным давлением. Перед пайкой необходимо открыть вентиль, соответствующий данному кабелю, а также снять заглушку со штуцера «В атмосферу». При этом воздух из кабеля будет выходить наружу, что позволит провести качественную пайку.

17.106. Открыть вентиль баллона и все вентили к кабелям; при этом воздух через шунтирующее устройство будет подаваться в кабели. Проверить герметичность пайки воздуховодов путем нанесения мыльного раствора.

17.107. Подключить установку к системе телесигнализации, для чего провода о повреждении кабеля (о работе дозирующего устройства) подпаять к контактам 1 и 2 вставки ШР20У5ЭШ10 и провода о понижении давления воздуха в баллоне - к контактам 4 - 5.

17.108. Включение АУСКИД в систему электропитания необходимо производить в следующем порядке: взять из комплекта монтажных частей вставку ШР20У5ЭШ10; подпаять к вставке два провода; вторые концы подводящих проводов подсоединить к сети питания; сочленить вставку с колодкой «Сеть» на панели установки.

При включении установки в сеть переменного тока напряжением 220 В подпаять провода к контактам 1 и 5 вставки, а при включении в сеть постоянного тока напряжением 27 В - к контактам 3 и 4 вставки.

Монтаж распределительного устройства РУ-6ДМ

17.109. Закрепить устройство к каркасу НУП при помощи винтов, гаек и шайб, входящих в комплект монтажных частей, и заземлить.

17.110. Выложить воздуховоды, в качестве которых использовать медные трубки М6×1-М3 ГОСТ 617-72. Подключить воздуховоды к устройству и к контейнерам, как указано в п. 17.98.

17.111. Подключить устройство к системе телесигнализации, для чего конец кабеля сигнализации распаять на розетку 2РМ14КУН4Г1В1 (входит в комплект инструмента и принадлежностей) по схеме, указанной в рабочих чертежах.

Монтаж устройства пневматической коммутации УПК-2М

17.112. Для размещения в цистерне НУП двух УПК-2М (система передачи VLT-1920) на каркасе необходимо установить одну дополнительную планку и просверлить десять дополнительных отверстий. Эскиз доработки каркаса приведен на рис. 17.4.

Рис. 17.4. Эскиз доработки каркаса для размещения УПК-2М:

1 - планка 40×540 (лист); 2 - болт М10×25; 3 - гайка М10; 4, 5 - шайбы.

Примечание. При установке УПК-2М на каркасе между устройством и планкой поз. 1 проложить шайбы d = 9 им, D - 16мм, S = 4 мм.

17.113. Закрепить устройство к каркасу НУП при помощи винтов М8×16 (в комплект поставки не входят) и заземлить.

17.114. Подключить воздуховоды к устройству и кабелям, а также распаять кабель сигнализации по схеме, указанной в рабочих чертежах.

Монтаж компрессорно-сигнальной установки КСУ

17.115. Монтаж, подготовка к работе и испытание КСУ должны производиться согласно указаниям, изложенным в «Руководстве по содержанию кабельных линий ГТС под избыточным воздушным давлением» («Радио и связь», 1982).

ОПРЕДЕЛЕНИЕ МЕСТ НЕГЕРМЕТИЧНОСТИ КАБЕЛЯ В ПРОЦЕССЕ СТРОИТЕЛЬСТВА

Общие положения

17.116. Место негерметичности оболочки кабеля определяют в два этапа: сначала определяют район негерметичности, а затем уточняют место негерметичности.

17.117. Район негерметичности оболочки кабеля определяют манометрическим методом или по расходу воздуха, подаваемого с обоих концов участка кабеля, при установившемся режиме давления в кабеле.

Режим давления в кабеле устанавливается в течение нескольких суток в зависимости от типа и длины кабеля. Установившийся режим давления в кабеле характеризуется тем, что расход воздуха, подаваемого от установки, и распределение давления воздуха в кабеле постоянны.

17.118. Место негерметичности оболочки кабеля уточняют с помощью индикаторного газа хладона-22 и галоидного течеискателя.

17.119. До начала проведения работ по определению района негерметичности оболочки кабеля необходимо убедиться в герметичности оконечного кабельного устройства, газонепроницаемой муфты, воздуховодов и оболочки кабеля в помещении ввода кабелей с помощью мыльного раствора или небольшого количества индикаторного газа хладона-22.

Определение района негерметичности оболочки кабеля манометрическим методом

17.120. Для определения района негерметичности оболочки на кабеле устанавливают несколько вентилей и измеряют давление по длине кабеля. По результатам измерения давления, при установившемся режиме, на миллиметровой бумаге в координатах (давление, длина кабеля) строят кривую распределения давления. Минимальное значение давления на кривой укажет вероятный район негерметичности оболочки кабеля.

17.121. При односторонней подаче воздуха в кабеле измерить давление в трех измерительных пунктах (в пункте, где расположен источник воздуха P1, в муфте - Р2, расположенной примерно посредине негерметичного кабеля, и на дальнем конце кабеля - Р3) н построить кривую распределения (рис. 17.5, а). Все измерения необходимо проводить одним манометром по возможности без потерь воздуха. Замерить давление воздуха в кабеле через сутки, обеспечивая подачу воздуха в кабель под тем же давлением.

Рис. 17.5 Кривая распределения давления воздуха по длине кабеля при постоянной подаче воздуха с одного конца и наличии повреждения оболочки:

а - одного повреждения; б - то же двух; в - то же одного, но при Р2 = Р3

17.122. Через точки P1 и Р2, соответствующие давлению воздуха в измерительных пунктах 1 и 2, провести прямую. Через точку Р3 провести прямую, параллельную оси абсцисс, до пересечения с ранее построенной прямой. Точка пересечения прямых укажет на район негерметичности оболочки кабеля (рис. 17.5, а).

17.123. Если давление в измерительном пункте 3 равно нулю, то район негерметичности оболочки кабеля укажет точка пересечения прямой, проведенной через точки P1 и Р2, с осью абсцисс.

17.124. Если давление воздуха в измерительных пунктах 2 и 3 одинаково, то для определения района негерметичности оболочки кабеля необходимо: через точки Р3 и Р2 провести прямую (рис. 17.5, б); на половине расстояния между пунктами 1 и 2 впаять вентиль (пункт 4) и измерить давление воздуха Р4, значение которого нанести на график; через точки P1 и Р4 провести прямую до пересечения с прямой, проведенной через точки P3 и Р2. Точка пересечения прямых укажет район повреждения оболочки кабеля.

17.125. Если место негерметичности не обнаружено, то в ближайшую муфту в районе негерметичности необходимо впаять вентиль (пункт 4) и измерить давление воздуха Р4, которое нанести на ранее построенный график.

Если точка Р4 будет находиться на кривой распределения давления, то в кабеле имеется только одна негерметичность. В противном случае следует предположить, что между пунктами 1 и 4, а также пунктами 3 и 4 находится, по крайней мере, по одной негерметичности.

17.126. Чтобы определить места этих негерметичностей, в муфту кабеля следует впаять вентиль (пункт 5), находящийся примерно посредине между пунктами 2 и 4. Через точки P4 и Р5 провести прямую до пересечения с ранее построенными прямыми (рис. 17.5, в). Точки пересечения прямых укажут два района негерметичности оболочки кабеля.

17.127. Район негерметичности оболочки кабеля при односторонней подаче воздуха можно определить также аналитически, при условии размещения источника воздуха в пункте, на котором медленнее снижается давление (на рис. 17.5, а это пункт 1). Измерительный пункт 2 оборудуется в муфте на кабеле приблизительно на середине участка.

Расстояние (км) до места негерметичности от пункта 1 определяется по формуле , где P1, Р2, Р3 - избыточное давление воздуха в кабеле в пунктах 1, 2 и 3 при установившемся режиме, МПа (кгс/см2); l1-2 - расстояние между измерительными пунктами 1, 2 км.

Определение района негерметичности методом расхода воздуха

17.128. На смонтированных усилительных участках кабель при наличии УСКД-1М или переносных подкачивающих устройств, обеспечивающих стабильное давление на входе в кабель, район негерметичности можно определить по расходу воздуха, подаваемого с обоих концов участка кабеля (с пунктов А и Б) с помощью ротаметров ВКП-1.

17.129. К источнику воздуха подключить ВКП-1, отметить высоту подъема поплавка в делениях шкалы ротаметрической трубки и ждать наступления установившегося режима.

17.130. На пунктах А и Б определить расход воздуха в условленных делениях шкалы ротаметра по верхней грани поплавка. Зафиксировать давление воздуха на входе в негерметичный кабель по манометру на 0,16 МПа (1,6 кгс/см2), температуру окружающего воздуха и атмосферное давление.

17.131. Перевести показания ротаметра с условных делений шкалы на расход по графику Qгр, приведенному в заводском паспорте на ротаметр.

17.132. Определить поправочный коэффициент, учитывающий изменение температуры и атмосферного давления в пунктах А и Б, по формуле

где Рт, tт - атмосферное давление (мм рт. ст.) и температура (°С), при которых проводилась тарировка ротаметра (по паспорту); РА(Б), tА(Б) - атмосферное давление (мм рт. ст.) и температура (°С) в пункте измерения А (Б);  - избыточное давление воздуха на входе в кабель, кгс/см2. При измерении расхода, воздуха одним и тем же ротаметром  и .

17.133. Действительные расходы воздуха (л/ч) определяют по формуле ; .

17.134. Расстояние от пункта А до места негерметичности оболочки кабеля (м) определяют по формуле , где L - длина кабеля между пунктами А и Б, м.

Место негерметичности оболочки кабеля будет находиться на расстоянии не более ± 500 м от рассчитанной точки.

17.135. На смонтированных усилительных участках кабеля при наличии АУСКИД-1 (АУСКИД) район негерметичности можно определить по расходу воздуха, подаваемого с обоих концов участка кабеля (с пунктов А и Б) для компенсации возникшей утечки.

17.136. На установках, расположенных по концам поврежденного кабеля, необходимо перекрыть вентили к герметичным кабелям и вентиль «Дроссель» (вентиль «Шунт» закрыт).

Для определения расстояния до места повреждения оболочки кабеля необходимо фиксировать данные контроля за работой дозирующего устройства на пунктах А и Б (дата, время, величины давления, при которых срабатывает дозирующее устройство).

17.137. Отсчет времени и показания счетчика следует производить сразу же после срабатывания дозирующего устройства.

17.138. К определению места повреждения оболочки кабеля следует приступить после того, как за период установившегося режима с обоих пунктов в кабель будет подано не менее 100 доз.

17.139. Установившимся режимом подачи воздуха в кабель следует считать режим, при котором время ввода одной дозы воздуха в кабель на обоих пунктах сохраняется постоянным при двух измерениях (отсчетах). Время ввода одной дозы воздуха в кабель определяется как отношение времени отсчета к количеству доз воздуха, поступившего в кабель.

Для определения установившегося режима в кабеле снятие показаний счетчиков производят на ОУП 3 - 4 раза, а на НУП - не реже одного раза в сутки.

17.140. Расстояние (км) до места повреждения оболочки кабеля от пункта А (lA) или Б (lБ) определяется по формулам

где  и  - число доз воздуха (равное разности показаний счетчика), поданных в поврежденный кабель соответственно с пунктов А и Б в течение установившегося режима за одинаковое время t1;  и  - приведенный объем воздуха (л); подаваемого установкой в поврежденный кабель соответственно в пунктах А и Б; L - длина кабельного участка (км).

Так как практически отсчет показаний счетчиков производится в пунктах А и Б в разное время, а в формулах число доз необходимо учитывать за одинаковое время (например, за время t1), то для одного из пунктов следует произвести пересчет числа доз.

Если за период установившегося режима в кабель с пункта А за время t1 подано nA доз, а с пункта Б, за время t2 - nБ доз, то приняв для расчета число доз на пункте А , число доз воздуха, поступившего в кабель с пункта Б за время t1, необходимо рассчитывать по формуле

Приведенные величины объемов доз воздуха (л), подаваемого в поврежденный кабель на пункте А () и на пункте Б (), определяются с учетом фактических величин пределов срабатывания дозирующего устройства (P1 и Р2) и температуры окружающего воздуха в помещении (tА° и tБ°), где находятся установки. Например, для установки на пункте А расчет ведется по формуле

где 3,6 (3,0) - геометрический объем резервуара дозирующего устройства в АУСКИД-1 (АУСКИД), л; P1 и Р2 - величины давления нижнего и верхнего пределов срабатывания дозирующего устройства на пункте А, кгс/см2; 293 - температура по абсолютной шкале, к которой приводятся объемы доз на пунктах А и Б, К; tА° - температура в помещении пункта А с учетом знака, °С.

Если величины давления при нескольких срабатываниях отличаются на 0,02 - 0,04 кгс/см2, то для расчета в формуле следует брать из них среднеарифметическую величину.

Место повреждения оболочки кабеля, определенное по формулам, может находиться на расстоянии не более ± 500 м от рассчитанной точки.

17.141. После определения места повреждения оболочки кабеля ранее перекрытые вентили к герметичным кабелям и вентиль «Дроссель» на обоих установках необходимо полностью открыть.

При необходимости подачи до 40 л/мин воздуха в кабели нужно открыть вентиль «Шунт».

Определение места негерметичности оболочки кабеля

17.142. Наиболее распространенным методом определения места негерметичности оболочки кабеля является метод с использованием индикаторного газа «Хладон-22». В районе негерметичности в кабель вводят под давлением «Хладон-22».

Наибольшая концентрация индикаторного газа бывает непосредственно в месте выхода его из кабеля. Обнаружение индикаторного газа производится с помощью галоидного течеискателя (ГТИ-3 или БГТИ-5).

17.143. Для определения места негерметичности оболочки кабеля с использованием индикаторного газа хладон-22 следует:

а) в грунте на длине поврежденного участка над кабелем сделать шурфы диаметром 1,5 - 2 см, глубиной 30 см с интервалом 1,5 - 2 м;

б) обследовать трассу кабеля на поврежденном участке прибором ГТИ-3 или БГТИ-5 с целью установления величины естественного «фона», создаваемого в почве посторонними галоидосодержащими веществами, путем отбора проб воздуха в шурфах. Поверхность почвы, загрязненную галоидосодержащими испарениями, отметить и по возможности удалить. Правила пользования приборами изложены в инструкциях по их эксплуатации;

в) определить муфту, ближайшую к месту повреждения, для ввода хладона в кабель, демонтировать чугунную муфту, удалить битум и впаять в свинцовую муфту вентиль. Через вентиль выпустить из кабеля воздух в течение 10 мин для снижения избыточного давления в кабеле;

г) подготовить ПУВИГ для ввода газа хладон-22 в кабель согласно инструкции по эксплуатации ПУВИГ. Установить ПУВИГ у котлована с подветренной стороны;

д) нагнетать в кабель смесь осушенного воздуха и хладона-22. В качестве смесительной камеры может быть использована свинцовая перчатка с впаянным вентилем, к которому подключается манометр. Один «палец» перчатки соединить с источником воздуха, второй «палец» подсоединить к ПУВИГ, а муфтовую часть перчатки соединить с вентилем, впаянным в муфту;

е) подать в перчатку осушенный воздух под давлением 0,08 МПа (0,8 кгс/см2), после чего подать хладон-22 до установления в перчатке давления 0,085 МПа (0,85 кгс/см2). Затем прекратить подачу хладона-22. После снижения давления в перчатке до 0,08 МПа (0,8 кгс/см2) снова подать хладон-22. Подачу смеси хладона с воздухом в кабель производить в течение примерно 30 мин;

ж) отключить от кабеля шланг, закрыть вентиль и проверить его герметичность. Закопать котлован на половину высоты, чтобы при утечке в месте ввода хладона можно было обнаружить его течеискателем.

Для ускорения прохождения хладона по кабелю в течение всего периода отыскания места негерметичности кабель подпитывают воздухом из баллонов или компрессоров, установленных по концам усилительного участка или в промежуточных точках (на границах района негерметичности), под давлением 0,05 - 0,10 МПа (0,5 - 1,0 кгс/см2).

17.144. Время прохождения хладона через почву к поверхности земли зависит от структуры почвы в данном месте. При песчаных почвах индикаторный газ проходит легко, а при тяжелых, например, глине, очень медленно.

17.145. К отысканию места выхода хладона на поверхность земли при песчаных грунтах следует приступить через 12 - 15 ч после введения его в кабель, а при тяжелых грунтах - через сутки.

17.146. При отсутствии внешних признаков появления хладона на поверхности земли или незначительном количестве выходящего хладона, легко рассеиваемого воздушным потоком, наличие хладона определяют в шурфах, где происходит его скапливание. Насадку щупа течеискателя подносят к шурфу и держат его над ним в течение 10 - 15 с.

17.147. Над местом течи хладон распространяется на площади до 10 м2. Максимальная концентрация наблюдается непосредственно над местом повреждения.

17.148. При необнаружении места выхода хладона отыскание утечки повторяют в течение пяти - десяти суток (через одни - трое суток). Если в течение десяти суток место утечки не найдено, то необходимо вновь уточнить район повреждения, ввести новую порцию хладона в кабель и повторить работы по отысканию течи.

17.149. После обнаружения места выхода хладона необходимо откопать кабель. Определить место выхода хладона из кабеля с помощью мыльного раствора, заливки воды в котлован с кабелем так, чтобы вода была на 3 - 5 см выше кабеля, или прибора (ГТИ-3 или БГТИ-5), а в помещении - с помощью мыльного раствора или прибора при небольших концентрациях индикаторного газа.

17.150. При очень высокой концентрации хладона в помещении, колодце или котловане, определяемой течеискателем или по окраске пламени паяльной лампы в голубой цвет, вскрытие и ремонт кабеля можно производить только после хорошего проветривания места работы.

17.151. После устранения негерметичности оболочки кабеля и проверки герметичности запаянных мест кабель необходимо вновь установить под воздушное давление.

УСТРОЙСТВА И ПРИБОРЫ, ИСПОЛЬЗУЕМЫЕ ПРИ ИСПЫТАНИИ ГЕРМЕТИЧНОСТИ ЛИНЕЙНО-КАБЕЛЬНЫХ СООРУЖЕНИЙ В ПРОЦЕССЕ СТРОИТЕЛЬСТВА

Полевая нагнетательно-осушительная установка ПНОУ-3

17.152. Установка ПНОУ-3 предназначена для осушки и нагнетания воздуха в кабели при работах на линии. Основные технические характеристики установки следующие:

Производительность, л/мин                                                          10

Степень осушки воздуха, г/м3                                                        0,3

Давление на выходе, МПа (кгс/см2)                                              0,02 - 0,12 (0,2 - 1,2)

Рабочий интервал температур, °С                                                - 10 - + 50

Масса, кг                                                                                          42

Габаритные размеры, мм:

основание с кожухом                                                                 580×510×300

чемодан с приборами                                                                340×500×130

Установка ПНОУ-3 изготавливается по техническим условиям ТУ 45-76 8д2.950.001 ТУ.

Установка компрессорная УК

17.153. Установка предназначена для сушки и нагнетания воздуха при проверке герметичности муфт, оконечных устройств и контейнеров. Основные технические характеристики установки:

Производительность, л/мин                                                          20

Давление на выходе, МПа (кгс/см2)                                              0,03 - 0,10 (0,3 - 1,0)

Электропитание:

напряжение, В                                                                            220 ± 10 %

частота, Гц                                                                                  50

Потребляемая мощность, кВт                                                        0,2

Габаритные размеры, мм                                                               450×450×530

Масса, кг                                                                                          40

Установка компрессорная изготавливается по техническим условиям 1Д2.963.000 ТУ.

Баллоны

17.154. Баллоны высокого давления являются наиболее приемлемыми источниками сжатого воздуха как экономичные и простые в эксплуатации.

Размеры, емкость и масса баллонов приведены в табл. 17.4.

Таблица 17.4

Размеры, емкость и масса баллонов, рассчитанных на давление 15 МПа (150 кгс/см2)

Емкость, л

Диаметр корпуса, мм

Толщина стенки, мм

Длина корпуса, мм

Масса, кг

5

140

3,1

460

5,8

10

830

10,2

20

219

5,2

730

28,5

25

890

34,5

40

1350

51,5

Примечание. Масса баллонов указана без вентилей, колпаков, колец и башмаков, общая масса которых составляет 8 - 10 кг.

17.155. Баллоны изготавливаются по ГОСТ 949-73 и в зависимости от содержащегося в них газа должны иметь окраску и надписи, указанные в табл. 17.5.

Таблица 17.5

Характеристика баллонов высокого давления

Цвет окраски баллона

Текст надписи

Цвет надписи

Цвет полосы

Материал корпуса вентиля

Черный

Азот

Желтый

Коричневый

ü

Латунь

Сжатый воздух

Белый

-

ý

Голубой

Кислород

Черный

-

þ

Алюминиевый или светло-серый

Хладон (с указанием номера)

Черный

-

Сталь или латунь

У всех перечисленных баллонов правое направление резьбы бокового штуцера.

17.156. Количество сжатого воздуха, находящегося в баллоне, определяется произведением емкости баллона на величину избыточного давления. Например, объем воздуха (V2) в баллоне емкостью 40 л (V1) при избыточном давлении (P1) 15 МПа (150 кгс/см2) и атмосферном давлении (P2) 0,1 МПа (1 кгс/см2) определяют следующим образом:  или

Наполнение баллонов воздухом производится заводами-наполнителями или передвижными компрессорными установками, например, 8Г-33У или АКС-8М.

17.157. Баллоны, находящиеся в эксплуатации, должны подвергаться периодическому освидетельствованию не реже, чем через каждые пять лет.

Эксплуатация, транспортирование, хранение, ремонт и техническое освидетельствование баллонов должны производиться согласно «Правилам устройства и безопасной эксплуатации сосудов, работающих под давлением» (см. п. 17.19).

Установка для ручной накачки кабеля КЛ-67М

17.158. Установка используется при небольших объемах работ, когда применение компрессорных установок или баллонов высокого давления нецелесообразно. Установка состоит из автомобильного насоса, осушительного баллона, индикатора влажности и манометра. Размер чемодана 285×215×120 мм, масса 8 кг.

Редукторы

17.159. Редукторы предназначены для снижения давления воздуха, поступающего из компрессорной установки или баллона, до необходимой величины и автоматического поддержания его постоянным в заданных пределах.

В стационарных и полевых условиях для понижения давления воздуха в баллонах применяют двухкамерные редукторы марки ДКД-8, изготовляемые по техническим условиям 26.05.235-70.

Основные технические характеристики редуктора ДКД-8:

Рабочее давление, МПа (кгс/см2):

минимальное                                                                                 0,05 (0,5)

максимальное                                                                               0,8 (8)

Наибольшее давление на входе в редуктор, МПа (кгс/см2)          20 (200)

Пропускная способность при нормальных условиях, м/ч, и давлении:

0,05 МПа (0,5 кгс/см2)                                                                  3

0,8 МПа (8 кгс/см2)                                                                       25

17.160. Кислородные редукторы могут быть использованы для воздуха при условии окраски их корпусов в цвет, одинаковый с цветом баллонов (см. табл. 17.5).

Осушительное устройство

17.161. Осушительное устройство используется для осушки воздуха, подаваемого в кабель, муфты, оконечные устройства и контейнеры, и визуального контроля за его влажностью по изменению окраски силикагеля-индикатора. Наблюдение за цветом силикагеля ведут через окошко-вырез в металлическом чехле. Относительная влажность осушенного воздуха соответствует: до 8 % (сухая среда) темно-синему цвету, до 20 % - серому. Изменение темно-синего цвета на более светлый на входе индикатора свидетельствует о повышенной влажности.

17.162. Осушительное устройство состоит из осушительной камеры (металлического цилиндра), заполненный техническим силикагелем, и индикатора влажности, заполненного силикагелем-индикатором.

17.163. Наиболее распространенным и эффективным осушающим веществом, используемым при кабельных работах, является технический силикагель марок: КСМГ - крупный, мелкопористый, гранулированный; КСМК - крупный, мелкопористый, кусковой, изготовляемый по ГОСТ 3956-76. Силикагель поставляется в полиэтиленовых мешках по ГОСТ 17811-78. Перед использованием силикагель необходимо высушить. Силикагель-индикатор изготавливается по ГОСТ 8984-75.

Манометры

17.164. Для измерения избыточного давления воздуха в кабелях, контейнерах и других устройствах при оценке их герметичности и определении негерметичности оболочки кабеля должны применяться манометры для точных измерений типа МТИ, изготовляемые по техническим условиям ТУ 25-05-1481-77.

Для проверки рабочих манометров используются манометры пружинные образцовые типа МО, изготовляемые по техническим условиям ТУ 25-05-1664-74. Поверка манометров должна производиться не реже 1 раза в год, а дополнительная проверка рабочих манометров не реже 1 раза в шесть месяцев.

17.165. Давление, измеряемое манометрами, не должно превосходить величины, соответствующей 3/4 шкалы при постоянной и 2/3 шкалы при переменной нагрузках.

Основные технические характеристики манометров, используемых при строительстве и эксплуатации кабельных линий связи, и область их применения приведены в табл. 17.6.

Таблица 17.6

Основные технические характеристики манометров и область их применения

Наименование и тип

Верхний предел измерений, МПа (кгс/см)

Класс точности

Область применения

Манометры для точных измерений:

 

 

 

 

МТИ 1218

0,06 (0,6)

0,6

 

Для измерения избыточного давления воздуха в контейнерах, устанавливаемых в цистерне (систем передачи К-1920П и К-3600

0,10 (1,0)

0,6

 

Для измерения избыточного давления воздуха в кабеле при определении района негерметичности

0,16 (1,6)

1,0

ü

Для измерения избыточного давления воздуха в кабеле и в контейнерах системы передачи VLT-1920

0,25 (2,5)

ý

МТИ 1511

0,60 (6,0)

þ

Манометры пружинные образцовые:

 

 

 

 

МО 11202

0,16 (1,6)

0,4

ü

Для проверки рабочих манометров

0,6 (6,0)

ý

МО 11203

25 (250)

þ

Примечания. 1. На манометрах типа МО шкала имеет 250 условных единиц.

2. Манометры, указанные в таблице, имеют диаметр 160 мм.

Регенерационная установка РУ

17.166. Установка предназначена для восстановления осушающих способностей силикагеля, находящегося в осушительных камерах.

Стационарная регенерационная установка состоит из сушильного шкафа СНОЛ-35.35.35/3, установки компрессорной УК, работающей в режиме всасывания, и отстойника. Регенерационная установка изготавливается по техническим условиям 1Д2.989.000 ТУ.

Разрежение в системе «компрессор - отстойник - осушительные камеры» должно быть не менее - 0,05 МПа (0,5 кгс/см2) и контролируется с помощью вакуумметра. Время регенерации составляет 8 - 10 ч.

Основные технические характеристики сушильного шкафа и отстойника приведены в табл. 17.7.

Таблица 17.7

Основные технические характеристики сушильного шкафа и отстойника

Характеристика

Сушильный шкаф

Отстойник

Напряжение источника тока, В

220 ± 10 %

-

Частота, Гц

50

-

Потребляемая мощность, кВт

2,0

-

Габаритные размеры, мм:

 

 

длина

625

150

ширина

660

140

высота

760

480

Масса, кг

110

3

17.167. При отсутствии РУ осушающие свойства силикагеля могут быть восстановлены в обычном термошкафу. Для этого увлажненный силикагель высыпают на противень слоем до 10 мм и держат в шкафу при температуре 200 - 210 °С в течение 3 - 4 ч. Затем после понижения температуры в шкафу и остывания силикагеля до 80 - 90 °С его засыпают в осушительные камеры. Осушительные камеры должны храниться и транспортироваться с закрытыми штуцерами.

Воздушный контрольный прибор ВКП-1

17.168. Прибор предназначен для определения района нарушения герметичности оболочки по величине расхода воздуха, поступающего в кабель для восполнения аварийной утечки. Расход воздуха учитывается при помощи ротаметров. Основные технические характеристики прибора:

Диапазон измерения расхода воздуха, см3/мин                             10 - 4200

Погрешность показаний количества расхода воздуха, %             не более ± 2

Точность определения места повреждения

(исчисленная от длины измеряемого участка), %                         ± 2,5

Работоспособность прибора при t, °С                                            - 20 - + 50

Габаритные размеры, мм                                                                 405×130×285

Масса, кг                                                                                            12

Галоидные течеискатели

17.169. Галоидные течеискатели ГТИ-3 и БГТИ-5 (батарейный) предназначены для обнаружения мест утечки галоидосодержащих газов (хладона-22).

Наличие примеси хладона-22 регистрируется стрелочным прибором и акустическим индикатором. Приборы состоят из выносного щупа и измерительного блока. К прибору БГТИ-5 в отдельной упаковке придается зарядное устройство. Для питания ГТИ-3 требуется бензоэлектрический агрегат АБ-1-0-230 мощностью 1 кВт, а БГТИ-5 - батарея из восьми аккумуляторов типа СЦ-25.

Течеискатель БГТИ-5 изготавливается по техническим условиям ТУ 4-75 ЕХ2.882.000 ТУ. Его основные технические характеристики:

Чувствительность к утечке хладона, г/год                                               1,5

Количество диапазонов чувствительности усилителя                           3

Отклонение стрелки от нуля до конца шкалы при токе входного сигнала, мкА:

положение «1»                                                                                       1

положение «10»                                                                                     10

положение «100»                                                                                   100

Рабочий интервал температур, °С, при аккумуляторах:

КНГК-10Д                                                                                              + 5 - + 35

СЦ-25                                                                                                      - 10 + 40

Относительная влажность рабочей среды, %                                         до 80 при 20 ± 5 °С

Габаритные размеры, мм:

прибора                                                                                                   126×287×286

выносного щупа                                                                                     175×135×50

ящика с имуществом                                                                             75×275×290

Масса прибора, кг                                                                                      9

в том числе:

измерительного блока                                                                          2,5

блока питания                                                                                        6,5

Масса выносного щупа, кг                                                                         0,65

Масса зарядного устройства, кг                                                                4

Масса ящика с имуществом, кг                                                                 4

Комплект оборудования для точного определения места негерметичности оболочки кабеля КО

17.170. Комплект оборудования КО предназначен для точного определения места негерметичности оболочки кабеля непосредственно на трассе с помощью индикаторного газа хладон-22. Комплект оборудования изготавливается по техническим условиям ТУ 1Д2.700.000.С и поставляется в составе, приведенном в табл. 17.8.

17.171. Установка ПУВИГ выполнена в виде ящика с двумя откидными крышками. На передней и штуцер. Внутри ПУВИГ помещаются осушительная камера и баллон емкостью 5 панели установлено три манометра, индикатор влажности, регулятор давления, вентиль л с хладоном-22. При необходимости нагнетания в кабель воздуха баллон с хладоном заменяют на баллон с воздухом емкостью 5 л. Установка ПУВИГ имеет тройник, к которому можно подключить баллон с воздухом емкостью 40 л и давлением до 15 МПа (150 кгс/см2) при помощи гибкого шланга, имеющегося в КО. Габаритные размеры ПУВИГ: длина - 700 мм, ширина - 390 мм, высота - 400 мм. Масса 40 кг.

Таблица 17.8

Состав оборудования комплекта КО

Наименование

Количество, шт.

Назначение

Полевая установка для ввода индикаторного газа ПУВИГ

1

Для ввода индикаторного газа и нагнетания осушенного воздуха в кабель

Галоидный течеискатель БГТИ-5

1

Для точного определения места негерметичности

Кабелеискатель в составе ГКИ и ИП-7 или ГИС и ИП-8

1

Для определения трассы прокладки кабеля

Манометры типа МО на 0,16; 0,6 и 25 МПа (1,6; 6,0 и 250 кгс/см2)

3

Для проверки рабочих манометров

Баллон высокого давления на 15 МПа (150 кгс см2) емкостью 5 л

2

Для хладона-22 и с сжатого воздуха

Передвижные компрессорные станции

17.172. Для наполнения воздухом баллонов высокого давления применяются компрессорные станции высокого давления типа 8Г-33У, смонтированные на автомобиле, типа АКС-8М, смонтированные на автоприцепе, или другие имеющиеся в распоряжении станции.

Компрессорная станция состоит из следующих основных узлов: а) компрессоров высокого давления производительностью 90 м3/ч; б) двигателя типа ЯАЗ-204 мощностью 60 л. с.; в) холодильников для охлаждения сжатого воздуха; г) ресиверов для сжатого воздуха; д) узла осушки воздуха; е) системы регенерации увлажненного алюмогеля; ж) комплекта шлангов высокого давления.

Габаритные размеры установки 8Г-33У: длина - 6684 мм, ширина - 2395 мм, высота - 3305 мм. Масса 3250 кг. Полная масса станции с автомашиной 9400 кг.

Зарядная станция типа ЗС

17.173. Зарядная углекислотная станция типа ЗС предназначена для перекачивания жидкого индикаторного газа (хладона) из транспортных баллонов в баллоны емкостью 5 л. Кроме того, она может использоваться для зарядки сжатым воздухом баллонов емкостью 5 л до давления 15 МПа (150 кгс/см2).

Она представляет собой переносную компрессорную станцию, состоящую из трех самостоятельных узлов: а) собственно станции; б) весов, упакованных в футляр; в) стойки для транспортных баллонов.

17.174. При отсутствии ЗС переливание индикаторного газа производить в следующем порядке:

положить баллон емкостью 5 л на весы;

транспортный баллон разместить наклонно вентилем вниз на высоте 400 - 500 мм от баллона, лежащего на весах;

соединить баллоны медной трубкой (ГОСТ 617-72) или резиновым шлангом (ГОСТ 10362-76), на концах которой должны быть соответствующие накидные гайки. Резиновый шланг должен быть рассчитан на рабочее давление не менее 2 МПа (20 кгс/см2);

контроль заполнения баллона индикаторным газом производить путем взвешивания баллона. На каждый литр вместимости баллона следует наполнять не более 1 кг жидкого хладона-22;

по окончании переливания индикаторного газа закрыть вначале вентиль на транспортном баллоне и после выдержки в течение нескольких минут, необходимой для отекания хладона из соединительной трубки (шланга), закрыть вентиль на пятилитровом баллоне.

РАЗДЕЛ 18

ЗАЩИТА ПОДЗЕМНЫХ МЕТАЛЛИЧЕСКИХ СООРУЖЕНИЙ СВЯЗИ ОТ КОРРОЗИИ

ОБЩИЕ УКАЗАНИЯ

18.1. Защита от коррозии вновь строящихся, действующих и реконструируемых сооружений связи должна осуществляться в строгом соответствии с рабочей документацией проекта. Изменение строительно-монтажной организацией проектных решений без ведома и санкции на это проектной организации запрещается.

18.2. Устройство всех видов электромеханической защиты, предусмотренных рабочей документацией проекта, а также наладка, контрольные измерения и включение их в работу, должно осуществляться строительной организацией до сдачи подземных металлических сооружений связи в эксплуатацию.

18.3. Если в процессе строительства подземных металлических сооружений связи выявилась ранее не предусмотренная проектом необходимость защиты их от коррозии или в процессе наладки защитных устройств, предусмотренных проектом, выявилась недостаточная эффективность защиты от коррозии, то дополнительное проектирование и строительство устройств защиты следует считать отдельным этапом работ, за исключением случаев, когда внесение изменений в проект и их реализация строителями могут быть выполнены до предъявления сооружений к сдаче в эксплуатацию и не ведет к срыву установленных сроков сдачи построенного объекта в эксплуатацию.

18.4. Если разработка рабочей документации на защиту выполняется после прокладки и монтажа кабеля, устройство защиты осуществляется и принимается отдельным этапом.

18.5. При выполнении работ по защите подземных металлических сооружений связи от коррозии необходимо:

а) в процессе сращивания строительных длин кабеля в местах, предусмотренных проектом, оборудовать контрольно-измерительные пункты (КИП);

б) после завершения монтажа кабеля, проложенного в зоне действия блуждающих токов, измерить разность потенциалов подземных металлических сооружений связи и рельсов по отношению к земле, а на участках пересечения подземного металлического сооружения связи с другими подземными металлическими сооружениями (трубопроводами, силовыми кабелями и рельсами - соответственно разность потенциалов «сооружение связи - другое подземное сооружение» или «сооружение связи - рельсы».

Примечание. Разность потенциалов «сооружение связи - рельсы» должна измеряться только при необходимости оборудования электродренажной защиты.

18.6. Создаваемые устройствами защиты катодные (защитные) потенциалы на подземных металлических сооружениях связи по абсолютной величине должны соответствовать проектным данным и быть не менее значений, указанных в табл. 18.1, и не более значений, указанных в табл. 18.2.

Таблица 18.1

Минимальные значения защитных потенциалов

Металл сооружения

Потенциал по отношению к неполяризующемуся электроду, В

Среда

водородному

медно-сульфатному

Сталь

- 0,55

- 0,85

Любая

Свинец

- 0,20

- 0,50

Кислая

- 0,42

- 0,72

Щелочная

Алюминии

- 0,55

- 0,85

Любая

Таблица 18.2

Максимальные значения защитных потенциалов

Металл сооружения

Наличие и состояние защитного покрытия

Потенциал по отношению к неполяризующемуся электроду, В

Среда

водородному

медно-сульфатному

Сталь

С защитным покрытием

- 0,80

- 1,10

Любая

Без защитного покрытия

Не ограничивается

Не ограничивается

Любая

Свинец

С защитным покрытием

- 0,80

- 1,10

Кислая

Без защитного покрытия

- 1,00

- 1,30

Щелочная

Алюминий

С частично поврежденным покрытием

- 1,08

- 1,38

Любая

Примечание. Величины минимального и максимального защитных потенциалов свинцовых оболочек кабелей связи должны быть равны соответственно - 0,7 и - 1,3 В по отношению к медно-сульфатному электроду сравнения в любой среде.

18.7. Одновременно с регулировкой режима работы защитных устройств на подземных сооружениях связи должны быть измерены потенциалы на других, расположенных рядом, подземных металлических сооружениях.

18.8. Установленные на подземных металлических сооружениях связи защитные устройства не должны оказывать на соседние подземные металлические сооружения вредного влияния, при котором уменьшается минимальная или увеличивается максимальная абсолютная величина защитного потенциала на соседних сооружениях (имеющих катодную поляризацию), а также не должны вызывать появления опасности электрохимической коррозии на соседних сооружениях, ранее не требовавших защиты от нее.

18.9. Если при осуществлении катодной защиты нельзя избежать вредного влияния на соседние подземные металлические сооружения, должны приниматься другие меры, рекомендуемые проектной организацией, устраняющие вредное влияние (совместная защита, установка защитных устройств на соседнем сооружении, изменение режима работы защитных устройств на влияющем сооружении и т.д.).

18.10. Временное заземление (анодное), используемое при пробном включении защитного устройства, должно располагаться на расстоянии, указанном в проекте для постоянного заземления.

18.11. После окончания всех предусмотренных проектом работ по результатам контрольных измерений потенциалов на подземных металлических сооружениях связи, а также на соседних подземных металлических сооружениях при наличии последних должен быть составлен акт об эффективности работы защитных устройств, представляемый в числе других исполнительных документов приемочной комиссии.

18.12. Устройства защиты от коррозии подземных металлических сооружений связи должны быть сданы в эксплуатацию строительно-монтажной организацией в составе всех работ, выполненных при строительстве объекта, предъявляемого k сдаче.

МОНТАЖ КИП

18.13. Контрольно-измерительные пункты (КИП-1 и КИП-2) на сооружениях связи оборудуют в соответствии с проектом.

18.14. Контрольно-измерительные пункты оборудуют на месте их установки одновременно с монтажом кабельной линии связи в такой последовательности:

подключают соединительные провода к сооружению связи (оболочке, броне кабеля, заземлению и протектору);

маркируют соединительные провода и клеммы на щитке;

подключают соединительные провода к клеммному щитку;

заливают нижнее отверстие канала КИП битумом;

устанавливают столбик КИП, укладывают соединительные провода в траншею и последнюю засыпают.

18.15. Оболочки и брони кабелей соединять с клеммным щитком КИП изолированными проводами.

При монтаже клеммного щитка соединительные провода припаивают к наконечникам на лицевой стороне панели без применения кислоты.

При креплении клеммного щитка в нише КИП предусматривать запас соединительных проводов на случай снятия щитка для профилактики и ремонта.

Нижнюю часть отверстия продольного канала столбика КИП залить битумом БН-IV; перед заливкой отверстие закупорить сухой ветошью.

18.16. Соединительные провода от КИП подключать к сооружениям связи в соответствии с руководствами и инструкциями по монтажу этих сооружений.

18.17. На бронированных кабелях с защитными покровами типа Б, Бл и Б2л перепайка оболочки и брони в соединительных муфтах не производится. Выводы к клеммному щитку КИП от оболочки и брони кабелей должны производиться отдельными проводниками.

При прокладке в одной траншее нескольких кабелей перепайка их оболочек и броневых покровов в муфтах также не производится. Соединение их, при необходимости, осуществляется в КИП.

18.18. На небронированных кабелях с защитными покровами типа Шп соединительный проводник припаивают к соединительной муфте каждого кабеля, где предусмотрено устройство КИП, и выводят через шейку защитной муфты и канал столбика к клеммному щитку КИП-2 (рис. 18.11).

Рис. 18.1. Схема соединений в КИП для небронированных кабелей с защитными покровами типа Шп:

1 - щиток КИП-2; 2 - наружный шланг; 3 - оболочка кабеля; 4 - соединительная муфта

Рис. 18.2. Схема соединений в КИП для бронированных кабелей с защитными покровами типа Бп, БпШп:

1 - щиток КИП-2; 2 - пряжа или наружный шланг; 3 - броня; 4 - шланг; 5 - оболочка; 6 - соединительная муфта

На бронированных кабелях с защитными покровами типа Бп, БпШп выводные проводники должны быть припаяны к соединительной муфте и броне раздельно (рис. 18.2).

При монтаже соединительных выводных проводников следует обратить внимание на сохранность изоляции, особенно в местах вывода через шейку защитной муфты и при вводе в канал столбика.

18.19. При необходимости проведения периодических измерений величин блуждающих токов, протекающих по оболочкам и броне, в местах, предусмотренных проектом, на расстоянии 1 м от соединительной муфты (в сторону А) оборудуют дополнительный вывод проводников от оболочки и брони к клеммному щитку КИП-2.

При устройстве дополнительного вывода на кабеле вскрывают защитные покровы (пряжа и броня) и закрепляют их проволочными бандажами так же, как при разделке кабеля для монтажа муфт; под бандаж на броне подкладывают залуженный конец выводного проводника. Оболочку тщательно очищают и к ней припаивают выводной проводник.

При прокладке в одной траншее нескольких кабелей от каждого из них выводят проводники, которые подключают к соответствующим клеммам щитка КИП (рис. 18.3).

Рис. 18.3. Схема соединений в КИП для бронированных кабелей с защитными покровами типа Б, Бл, Б2л с устройством дополнительного вывода:

1 - щиток КИП-2; 2 - пряжа; 3 - броня; 4 - оболочка; 5 - соединительная муфта

После подпайки выводных проводников восстанавливают защитные покровы путем покрытия оголенных участков оболочки и брони горячим битумом и обмотки кабельной лентой или стеклотканью. Затем устанавливают защитную муфту и заливают битумом.

18.20. Столбик КИП устанавливают по окончании монтажа на расстоянии 0,1 м от оси трассы клеммным щитком в сторону кабеля. При установке столбика должна предусматриваться укладка около него соединительных проводов во избежание их натяжения и обрыва, а также для запаса при проведении возможного ремонта КИП.

Соединительные провода укладывают в траншее на уровне низа подземной части столбика КИП. Крутые изгибы проводов не допускаются.

Рис. 18.4. Схема соединений в КИП при установке изолирующих муфт на бронированных кабелях с защитными покрытиями типа Б, Бл, Б2л:

1 - щиток КИП-2; 2 - пряжа; 3 - броня; 4 - оболочка; 5 - изолирующая муфта; 6 - изолирующие ленты

18.21. Схемы соединений при монтаже КИП, устанавливаемых на изолирующих муфтах при прокладке двух кабелей в одной траншее, приведены на рис. 18.4 и 18.5.

При стыковании кабелей с защитными покровами типа Б, Бл и Б2л выводные проводники от оболочек и брони всех кабелей на каждой стороне изолирующей муфты подпаивают раздельно и подключают к соответствующим клеммам щитка КИП-2 (рис. 18.4).

При стыковании кабелей с различной конструкцией защитных покровов (Б, Бл, Б2л и Бп, БпШп) выводные проводники от оболочек и брони кабелей припаивают к изолирующей муфте и подключают к клеммам щитков КИП-2 в соответствии с рис. 18.5.

При этом до разработки щитка КИП с необходимым в данном случае количеством клемм для каждой из сторон изолирующей муфты оборудуют КИП-2.

К клемме «Земля» КИП-2 подключают заземление, необходимость установки которого определяется проектом. Монтаж КИП при установке их около изолирующих муфт производится так же, как и при монтаже у прямых соединительных муфт.

Рис. 18.5. Схема соединений в КИП при установке изолирующих муфт между бронированным кабелем с покровами типа Б, Бл или Б2л и бронированным кабелем с покровами типа Бп или БпШп:

1 - щиток КИП-2; 2 - пряжа; 3 - броня; 4 - оболочка; 5 - изолирующая муфта; 6 - внутренний шланг (по оболочке); 7 - пряжа (Бп) или наружный шланг (БпШп)

18.22. При оборудовании КИП на участках одновременной защиты кабелей связи от коррозии, ударов молнии и электромагнитных влияний следует руководствоваться требованиями, изложенными в разд. 19.

18.23. Столбик с клеммным щитком КИП должен быть установлен на расстоянии 0,1 м от оси трассы кабельной линии в сторону поля. Ниша, в которой расположен клеммный щиток, должна быть обращена в сторону кабеля.

18.24. В местах оборудования КИП фиксационный замерный столбик не устанавливают. Номер муфты наносят на столбик КИП.

МОНТАЖ ИЗОЛИРУЮЩИХ МУФТ

18.25. Изолирующие муфты на кабелях связи устанавливают: на стыках кабелей с разнородными металлическими оболочками; на вводах кабелей со шланговыми изолирующими покровами в НУП, ОУП, НРП и МТС; на стыках кабелей без изолирующих покровов с кабелями, имеющими шланговые изолирующие покровы; на каждом участке кабельной линии, защищаемом протекторами или катодными установками; на пересечении водных преград (при необходимости) по обоим концам перехода в незатопляемых местах; при вводе кабелей в тоннели метрополитена; на участках сближений и пересечений с рельсами электрифицированного транспорта; для изоляции цистерн НУП от вводимых в них кабелей.

Места установки изолирующих муфт должны быть указаны в проекте.

18.26. Смонтированные изолирующие муфты подлежат проверке на сопротивление изоляции (изолирующего пояска) и герметичность и должны соответствовать установленным требованиям.

18.27. Технология изготовления и монтажа изолирующих муфт определяется их типом. Муфты типа МИ изготавливают непосредственно на магистрали; муфты типов ГМСИ и МИС изготавливают в заводских условиях, а на месте установки только монтируют.

ПЕРЕПАЙКА ОБОЛОЧЕК И БРОНИ КАБЕЛЕЙ СВЯЗИ

18.28. Для проведения электрических измерений, осуществления совместной защиты и устранения возможного влияния защищенных кабелей связи на соседние незащищенные, все кабели связи, проложенные в одной канализации или траншее, перепаивают между собой.

18.29. Перепайку оболочек кабелей осуществляют:

на магистральных, внутризоновых и других кабелях, проложенных в кабельной канализации - в шахте телефонной станции, во всех шкафных и разветвительных колодцах, в колодцах и подземных коробках при пересечении кабеля с рельсами электрифицированной железной дороги, в тех колодцах, где устанавливаются изолирующие муфты, а также через два-три колодца (или подземные коробки) на участках, где нет ответвлений;

на магистральных, внутризоновых и других кабелях, проложенных непосредственно в земле - в местах расположения КИП и изолирующих муфт, а также в местах подключения защитных устройств (дренажей, катодных установок и пр.) и перемычек при осуществлении совместной защиты.

18.30. В кабелях со свинцовыми оболочками, а также с защитными покровами шлангового типа соединение оболочки с броней должно производиться только через КИП.

18.31. Перепайка голых свинцовых оболочек кабелей, прокладываемых в кабельной канализации, производится свинцовой лентой шириной 20 - 40 мм, толщиной 1 - 2,5 мм или медной проволокой диаметром 1,5 - 2 мм. Свинцовая лента и медная проволока должны иметь небольшой запас длины между двумя соседними пайками (рис. 18.6).

Рис. 18.6. Поперечная спайка свинцовых оболочек кабелей, прокладываемых в кабельной канализации:

1 - свинцовая полоса; 2 - кабель; 3 - места спайки

18.32. Соединение между собой оболочек и бронепокровов нескольких кабелей, проложенных в грунте (в одной траншее), осуществляется только в КИП.

МОНТАЖ И УСТАНОВКА ПРОТЕКТОРОВ

18.33. Протекторы, применяемые для защиты подземных металлических сооружений связи от почвенной коррозии и электрокоррозии, могут быть комплектными, поставляемыми в упакованном виде совместно с активатором, и некомплектными. Типы и размеры магниевых протекторов приведены в табл. 18.3 и 18.4.

Для некомплектных (неупакованных) протекторов, изготовляемых на заводе или в мастерской, активаторы приготавливают на месте или заблаговременно. Состав активатора для магниевых протекторов приведен в табл. 18.5.

Таблица 18.3

Типы и размеры магниевых протекторов

Тип анода

Размеры мм

Масса кг

Рабочая поверхность, м2

условный диаметр

длина

ПМ5

95

500

5

0,16

ПМ10

123

600

10

0,23

ПМ20

181

610

20

0,35

Таблица 18.4

Типы и размеры комплектных магниевых протекторов

Тип комплектного протектора

Размеры, мм

Масса кг

диаметр

длина

ПМ5У

165

580

16

ПМ10У

200

700

30

ПМ20У

270

710

60

Таблица 18.5

Состав активатора

Компоненты

Содержание, %

Гранулированный сернокислый натрий

25

Сернокислый кальций (строительный гипс)

25

Бентонитовая глина

50

18.34. Протекторы могут устанавливаться с любой стороны защищаемого кабеля связи. Места установки протекторов определяются проектом.

При параллельной прокладке нескольких кабелей протекторные установки следует располагать с той стороны защищаемого кабеля, где достигается максимальное удаление их от других подземных металлических сооружений.

Расстояние между протекторной установкой и защищаемым сооружением связи должно быть: для одиночных протекторов - не менее 3 м, а для групповых протекторных установок - не менее 6 м. Расстояние между отдельными протекторами в группе должно быть не менее 3 м.

18.35. При защите сооружений связи, проложенных непосредственно в земле, протекторы устанавливают в специально отрываемых шурфах, а при защите сооружений, проложенных в кабельной канализации, - вблизи телефонного колодца в местах, удобных для их эксплуатации.

18.36. К монтажным работам, связанным с установкой протекторов в грунте, относится:

рытье шурфов и траншей для установки протекторов и рытье траншей для прокладки соединительных проводов;

установка протекторов;

припайка соединительных проводов к оболочке кабеля, изоляция мест пайки и засыпка шурфов и траншей;

установка и монтаж КИП для протекторов.

18.37. Соединительный провод, идущий от протектора к сооружению связи, укладывают в траншею глубиной 70 см и шириной 25 см.

18.38. При установке неупакованного протектора в шурфе или траншее на дно предварительно укладывают заполнитель слоем толщиной 40 - 55 мм. После этого устанавливают протектор, вокруг которого укладывают заполнитель.

18.39. При установке протектора в яме для равномерного распределения заполнителя вокруг протектора заполнитель укладывают в специальную форму из листовой стали в виде цилиндра диаметром 160 - 180 мм. Для удобства эта форма делается разъемной и с двумя ручками.

После укладки в форму заполнителя яму засыпают землей до верхнего торца формы, землю трамбуют, а форму извлекают из земли.

18.40. При установке упакованных протекторов отрывают шурф диаметром, превышающим диаметр протектора на 50 мм. После установки в шурфе протектор засыпают грунтом, который периодически уплотняют, а затем заливают водой.

18.41. При подключении протекторов через КИП-2 провода, идущие от протекторов, подключают к клеммам 1 - 4, а от цистерны - к клемме 5 (рис. 18.7, а, б).

Рис. 18.7. Схема протекторной защиты НУП (а) и подключение протекторов к клеммному щитку (б):

1 - 4 - протекторы, 5 - цистерна; 6 - изолирующая муфта; 7 - кабели связи

18.42. В состав монтажных работ, связанных с установкой протекторов для защиты цистерн НУП, кроме указанных в п. 18.36, входят также установка щитка на стене в наземной части НУП и подсоединение к нему проводов, идущих от протекторов и корпуса НУП.

18.43. Количество и места установки протекторов для защиты цистерн НУП определяются проектом.

18.44. Протекторы для защиты НУП устанавливают в грунт на глубину 1,5 м от поверхности земли до верхнего торца протектора. Если промерзание грунта превышает 1,4 м, то глубина закопки соответственно увеличивается.

18.45. Соединительный провод от щитка КИП подключают к специальному болту, который приварен к горловине цистерны.

18.46. При оборудовании поляризованных протекторных установок их вентильные элементы (германиевые или кремниевые диоды) устанавливают на клеммном щитке КИП в соответствии с рабочей документацией проекта. Положительный полюс вентильного элемента подключают к клемме «Сооружения связи», а отрицательный - к клемме «Протектор».

18.47. Монтаж КИП и подключение к ним проводов от протекторов и защищаемого сооружения производят согласно пп. 18.19 и 18.20.

18.48. Места установки протекторов отмечают на чертеже трассы кабеля. Сведения о протекторной защите заносят в форму 18.1.


Форма 18.1

Объект _________________________________________

ОУП - __________________ ОУП - _________________

Участок НУП - НУП _____________________________

НУП № ________________________________________

Между муфтами № ______________ № _____________

Сведения о протекторной защите

Место установки протектора

Дата установки

Материал и марка протектора

Состав заполнителя

Средняя глубина закопки протектора, м

Расстояние от протектора до защищаемого сооружения, м

Удельное сопротивление грунта r, Ом·м

Потенциал сооружения относительно медно-сульфатного электрода, В

Примечание

до включения протектора

после включения протектора

 

 

 

 

 

 

 

 

 

 

Составил __________________________________________________      Проверил __________________________________________________

                                                                             (подпись)                                                                             (подпись)

«____» ___________ 19___ г.


МОНТАЖ КАТОДНЫХ УСТАНОВОК

18.49. Место включения катодной установки указывается в рабочей документации проекта и при необходимости уточняется проектной организацией при пробном включении по результатам измерений разности потенциалов подземного металлического сооружения связи относительно земли в районе запроектированного места включения. Одновременно (при необходимости) должны быть уточнены места расположения анодного и защитного заземлений.

18.50. К проведению монтажных работ приступают после уточнения мест подключения катодной станции и расположения анодного заземления.

18.51. Монтажные работы проводят в такой последовательности: устанавливают катодную станцию; подводят питание к выпрямителю катодной станции; устраивают анодное заземление; прокладывают и монтируют дренажные кабели; устанавливают неполяризующий электрод сравнения долговременного действия (при оборудовании автоматических катодных установок).

18.52. В зависимости от конкретных условий и типа катодной станции она может быть оборудована на наружной стене здания, деревянных, железобетонных или асбоцементных столбиках, железобетонной опоре или в специальном шкафу, устанавливаемом на фундаменте.

18.53. К катодным станциям должен быть обеспечен свободный доступ для обслуживающего персонала. Катодные станции крепят к наружной стене зданий на высоте 1 - 1,5 м от поверхности земли до нижнего основания кожуха катодной станции. На стенах кирпичных зданий катодную станцию крепят на предварительно устанавливаемых шпильках, а на деревянных крепление производят шурупами.

18.54. Опоры для катодных станций должны устанавливаться в незатопляемых водой местах, а при расположении вблизи шоссейных дорог - на небольшом расстоянии от проезжей части (5 - 10 м от насыпи, полевой бровки кювета и т.д.). Конструкции опор для установки катодных станций показаны на рис. 18.8.

Рис. 18.8. Деревянная (а), асбоцементная (б) и железобетонная (в) опоры для катодных станций и электрических дренажей:

1 - отверстия для крепления; 2 - асбоцементная труба; 3 - расстояния между отверстиями крепления дренажного ящика

18.55. Питание от сети переменного тока может быть подведено к выпрямителю катодной станции в зависимости от места его расположения путем: сооружения воздушной столбовой линии; прокладки подземного бронированного кабеля; прокладки изолированных проводов в стальных трубах или на изоляторах при расположении катодной станции на стенах зданий (в соответствии с действующими правилами и нормами). Тип проводки и сечение проводов должны соответствовать проекту.

18.56. Анодные заземления для катодных установок, включая глубинные, оборудуют на запроектированной площадке в соответствии с расчетом и рабочими документами, приведенными в проекте.

18.57. Работы по устройству анодного заземления производят в такой последовательности: подготавливают шурфы и траншеи для установки заземлителей и укладывают соединительные полосы; устанавливают заземлители (электроды); сваривают отдельные заземлители в контур и гидроизолируют места сварки; засыпают шурфы и траншеи.

18.58. Сопротивление растеканию смонтированного анодного заземления не должно быть больше величины, указанной в проекте.

18.59. Одновременно с устройством анодного заземления должно быть оборудовано защитное заземление. При этом к защитному заземлению присоединяют каркас и металлический шкаф катодной станции. Величина сопротивления защитного заземления должна соответствовать требованиям действующих правил по технике безопасности при эксплуатации электротехнических установок.

18.60. Дренажный кабель от минусового зажима выпрямителя катодной станции до защищаемых кабелей связи следует прокладывать в соответствии с указаниями разд. 6. Положительный зажим выпрямителя катодной станции соединяют с заземлением в соответствии с рабочей документацией проекта.

18.61. Положительный и отрицательный зажимы катодной станции при защите кабелей связи, проложенных непосредственно в земле, с анодным заземлением и с защищаемыми кабелями связи соединяют путем прокладки в земле кабелей со шланговыми покровами или бронированных кабелей.

Конец дренажного кабеля от минусового зажима катодной установки должен присоединяться к защищаемому кабелю связи в соответствии с рабочей документацией проекта.

18.62. На концы дренажных кабелей, подключаемых к положительному и отрицательному зажимам выпрямителя катодной станции, напаивают специальные наконечники.

Конец кабеля от положительного зажима катодной станции припаивают к анодному заземлению, причем место пайки тщательно изолируют.

Концы дренажных кабелей, подходящих к катодной станции, должны быть защищены от механических повреждений угловой сталью, некондиционными газовыми трубами, которые верхней частью входят в патрубок кожуха катодной станции. Нижние концы должны быть углублены в землю не менее чем на 40 - 50 см,

18.63. Тип дренажных кабелей и сечение жил указывают в проекте. Применение кабелей иного типа или сечения должно быть согласовано с проектной организацией. Сведения о катодных установках заносятся в форму 18.2.


Форма 18.2

Объект _________________________________________

ОУП - __________________ ОУП - _________________

Участок НУП - НУП _____________________________

Место установки _________________________________

Сведения о катодной установке

Дата записи

Заводской номер катодной установки

Тип катодной установки

Напряжение переменного тока на зажимах катодной установки, В

Напряжение постоянного тока на зажимах катодной установки, В, когда защищаемый кабель

Ток, потребляемый катодной установкой, А

Тип заземления

Расстояние от катодной установки до заземления, м

Сопротивление заземления, Ом

Время оборудования и включения катодной установки

Наименование, дата и номер документа, по которому катодная установка принята в эксплуатацию

выключен

включен

 

 

 

 

 

 

 

 

 

 

 

 

Составил __________________________________________________      Проверил __________________________________________________

                                                                             (подпись)                                                                                                                                           (подпись)

«____» ___________ 19___ г.


МОНТАЖ ЭЛЕКТРОДРЕНАЖНЫХ УСТАНОВОК

18.64. Место включения электродренажного устройства (прямого, поляризованного, автоматического, усиленного) указывается в рабочей документации проекта и при необходимости уточняется проектной организацией при пробном включении по результатам измерений разности потенциалов защищаемого сооружения связи относительно земли в районе запроектированного места включения дренажной установки. Электродренажное устройство может быть расположено на стене здания или на специальной опоре (см. рис. 18.8).

18.65. Для защиты места соединения дренажного кабеля с проводом, идущим от рельсового пути (средней точки путевого дросселя), служат чугунные соединительные муфты типа МЧ. Марка муфты определяется при проектировании. Монтаж чугунных муфт должен осуществляться в соответствии с действующими инструкциями и руководствами.

18.66. Дренажные кабели в городах следует прокладывать в соответствии с указаниями разд. 6.

18.67. От места установки дренажа до защищаемых кабелей, отсасывающих пунктов или средних точек путевых дросселей дренажные кабели прокладывают непосредственно в земле.

18.68. Подключение дренажного проводника к рельсам осуществляют организации, эксплуатирующие трамвай и электрифицированные железные дороги.

18.69. К отсасывающему пункту на рельсовой сети трамвая дренажный кабель подключают в настенном коробе или в кабельном ящике, в который заведены кабели, идущие от тяговой подстанции трамвая и от рельсов. При отсутствии коробов и кабельных ящиков дренажный проводник присоединяют к минусовому фидеру у концевой муфты.

Присоединять установки дренажной защиты к сборке линий тяговых подстанций трамвая допускается только в тех случаях, когда подключение дренажа к отсасывающему пункту не обеспечивает поддержание защитного потенциала на подземном сооружении связи.

На электрифицированных железных дорогах дренажный кабель подключают к отсасывающему пункту, тяговому рельсу или к средней точке путевого дросселя. К средней точке «а» путевого дросселя дренажный кабель присоединяют под клемму питания или под специальный зажим в зависимости от конструкции соединений в дросселе (рис. 18.9). Дренажный кабель может быть подключен к точке «а» или в точках 1 и 2 дросселя.

Дренажные кабели разрешается присоединять не в каждом, а через два на третий дроссельном пункте.

Рис. 18.9. Схема подключения кабеля к средней точке путевого дросселя

18.70. Подключение дренажного кабеля к оболочке и броне междугородного кабеля показано на рис. 18.10. Подключение дренажного кабеля производится в такой последовательности:

на наружный слой кабельной пряжи защищаемого кабеля накладывают бандажи на расстоянии 150 - 300 мм друг от друга (рис. 18.10. а);

кабельную пряжу между бандажами срезают и удаляют (рис. 18.10, б);

ленты или проволоки брони на расстоянии 10 - 15 мм от обоих бандажей тщательно зачищают на длине 25 - 30 мм и облуживают. Затем отдельные проволоки или ленты брони перепаивают между собой путем наложения бандажа (четыре-пять витков) из двух медных проволок поперечным сечением 2 - 2,5 мм2; внутренние концы медных проволок оставляют свободными на длину 100 - 150 мм (рис. 18.10, в);

броню между внутренними бандажами срезают ножовкой-бронерезкой, подушку из кабельной пряжи и кабельную бумагу удаляют (рис. 18.10, г);

к свинцовой оболочке кабеля припаивают свинцовую полосу необходимого поперечного сечения, к которой припаивают проводники от бандажа и жилы перемычки (рис. 18.10, г);

место соединения брони и свинцовой оболочки защищаемого кабеля и жил перемычки изолируют битумом марки БН-IV (рис. 18.10, д), а затем помещают в чугунную муфту типа МО.

Площадь контакта в месте присоединения (в квадратных миллиметрах) численно должна быть не менее величины максимального тока дренирования (в амперах).

Рис. 18.10. Подключение дренажного кабеля к бронированному кабелю:

1 - кабель; 2 - наружный бандаж; 3 - ленты брони; 4 - внутренний бандаж с пропайкой оловом; 5 - дренажный кабель; 6 - место спайки свинцовой полосы, концов от внутреннего бандажа и жил; 7 - свинцовая полоса; 8 - изоляционный слой

18.71. В качестве дренажных кабелей целесообразно использовать кабели с наружными защитными покровами шлангового типа. При использовании кабелей с защитными покровами типа Б, Бл и Б2л должны применяться меры по защите их от коррозии.

18.72. Тип дренажных кабелей и сечение жил указываются в проекте. Применение кабелей иного типа или сечения должно быть согласовано с проектной организацией. Сведения о дренажных установках заносятся в форму 18.3.


Форма 18.3

Объект _________________________________________

ОУП - __________________ ОУП - _________________

Участок НУП - НУП _____________________________

Место установки _________________________________

Сведения о дренажной установке

Дата записи

Заводской номер дренажа

Разность потенциалов между кабелем и рельсами в точке присоединения дренажа

Тип дренажа

Место присоединения дренажного кабеля к

Ток, проходящий при дренаже, А

Расстояние, м, от дренажного шкафа до места присоединения к

Время установки дренажа

Наименование, дата и номер документа, по которому катодная установка принята в эксплуатацию

защищаемому кабелю

рельсовой сети

минимальный

максимальный

защищаемому кабелю

рельсовой сети

 

 

 

 

 

 

 

 

 

 

 

 

Составил __________________________________________________      Проверил __________________________________________________

                                                                             (подпись)                                                                                                                                           (подпись)

«____» ___________ 19___ г.


МОНТАЖ ТОКООТВОДОВ

18.73. Токоотводы оборудуются на подземных кабелях связи в соответствии с рабочей документацией проекта.

18.74. В состав монтажных работ, связанных с оборудованием токоотвода, входят: устройство заземления, установка КИП, установка вентильного блока, прокладка и монтаж дренажных кабелей.

18.75. Заземления для токоотводов оборудуются в соответствии с проектом, причем состав и порядок выполнения работ аналогичны описанному в п. 18.57.

18.76. При устройстве токоотводов применяется КИП-1. Расположение КИП определяется проектом, а монтаж их осуществляется в соответствии с пп. 18.14 - 18.24. К клемме «Оболочка» подключают заземление токоотвода, а к клемме «Муфта» - проводник от защищаемого кабеля.

При устройстве поляризованного токоотвода между клеммами КИП включают вентильный элемент на величину дренируемого тока. Если вентильный элемент не устанавливают, между клеммами КИП ставят перемычку. Тип вентиля указывается в рабочей документации.

18.77. Тип и сечение дренажных кабелей должны соответствовать проекту. Прокладка их производится в траншее такой же глубины, как и у защищаемого кабеля.

Дренажные кабели подключают к защищаемому кабелю согласно п. 18.70, а к заземлению токоотвода - путем пайки.

МОНТАЖ СОВМЕСТНОЙ ЗАЩИТЫ

18.78. После окончательного выбора мест установки дренажных устройств или катодных станций, а также перемычек между совместно защищаемыми сооружениями приступают к монтажу совместной защиты.

18.79. В состав работ по устройству совместной защиты подземных сооружений связи от коррозии входит:

рытье траншей для прокладки дренажных кабелей (проводов) и перемычек между совместно защищаемыми сооружениями;

прокладка и подключение дренажных кабелей (проводов) и перемычек к защищаемым сооружениям;

установка и подключение защитных устройств и блоков совместной защиты;

оборудование заземлений;

подача электропитания к катодным станциям;

включение предохранителей, резисторов, разрядников и вентильных элементов в перемычки.

18.80. Прокладку подземных дренажных кабелей (проводов) и перемычек следует выполнять в соответствии с разд. 6.

18.81. Подключение дренажного кабеля или перемычки к совместно защищаемым сооружениям осуществляется в соответствии с действующими правилами и нормами по монтажу этих сооружений.

18.82. Монтаж катодных установок при совместной защите производить аналогично изложенному в пп. 18.49 - 18.63, а монтаж дренажных установок при совместной защите - аналогично изложенному в пп. 18.64 - 18.72.

Блоки совместной защиты размещать рядом с устройствами защиты или на специальных железобетонных опорах.

18.83. В случае необходимости допускается установка регулировочного реостата, включаемого в перемычку, в кожухе катодной станции.

Предохранители, вентильные элементы и резисторы, включаемые в перемычки между совместно защищаемыми сооружениями, могут быть размещены в специальном кожухе или КИП, оборудуемых на сооружениях связи.

18.84. Подключение перемычек между кабелем связи и совместно защищаемым сооружением должно выполняться в местах расположения соединительных муфт на кабелях связи.

УТОЧНЕНИЕ МЕСТ ВКЛЮЧЕНИЯ УСТАНОВОК ЭЛЕКТРОХИМИЧЕСКОЙ ЗАЩИТЫ

Общие положения

18.85. На подземных кабелях связи, находящихся в эксплуатации, защитные устройства должны монтироваться и включаться в точном соответствии с проектом защиты.

Для вновь прокладываемых кабелей связи места включения защитных устройств намечаются проектом защиты этих сооружений, а затем в случае необходимости уточняются после прокладки кабелей путем пробных включений.

Уточнение места включения электродренажной установки

18.86. Место включения электродренажного устройства (прямого, поляризованного, усиленного, автоматического усиленного) уточняется по результатам измерений потенциала сооружения и рельсов относительно земли в районе запроектированного места включения дренажной установки.

18.87. Пробное включение электрических дренажей на кабельных линиях связи и источниках блуждающих токов производится:

для прямых дренажей - в местах, где среднее измеренное значение потенциала кабеля связи по отношению к земле и рельсам является всегда положительным и по возможности должно быть максимальным;

для поляризованных дренажей - в местах, где среднее измеренное значение положительного потенциала кабеля связи должно быть по возможности максимальным;

для усиленных (автоматических усиленных) дренажей - в местах, где среднее измеренное значение положительного потенциала кабеля связи должно быть максимальным и имеется возможность подключения электроэнергии;

на трамвайных сетях - к рельсам, отсасывающему пункту, отрицательной шине тяговой подстанции;

на электрифицированных железных дорогах при двухниточных рельсовых цепях - к средним точкам путевых дросселей не чаще, чем через три рельсовые цепи (через два дроссельных стыка на третий), а при однониточных рельсовых цепях - к тяговой нити или к отрицательным шинам тяговых подстанций.

18.88. С целью уменьшения затрат на дренажные кабели места включения дренажа на кабелях связи и рельсах должны находиться по возможности ближе друг к другу.

Если места предполагаемого включения на кабелях связи и рельсах, удовлетворяющие вышеуказанным требованиям, находятся на значительном расстоянии друг от друга, то необходимо пробное включение осуществлять в других местах на кабелях связи и рельсах, расположенных ближе друг к другу.

18.89. При пробном включении дренажа определяют зону защиты на кабеле связи, ток в цепи и сопротивление реостата дренажа.

18.90. Протяженность зоны защиты дренажом и параметры дренажной защиты определяются на основании измерений потенциала кабеля связи относительно земли и тока в цепи дренажа при определенном сопротивлении дренажа. Схемы пробного включения дренажа показаны на рис. 18.11.

Для пробного включения используется дренаж, предусмотренный проектом, а в качестве дренажного кабеля - такой изолированный проводник, площадь поперечного сечения которого по меди (алюминию) равна или близка площади сечения запроектированного дренажного кабеля.

Рис. 18.11. Схемы пробного включения электрического дренажа на междугородном бронированном кабеле, проложенном в земле (а) и на голом освинцованном кабеле, проложенном в кабельной канализации (б):

1 - дренаж; 2 - электрод сравнения; 3 - кабель; 4 - дренажные кабели

18.91. Ток в цепи дренажа и сопротивление реостата дренажа, необходимые для полной защиты кабеля связи, определяют в такой последовательности:

включают дренаж;

при помощи реостата дренажа устанавливают такую величину тока, при которой отрицательный потенциал на всей длине кабеля связи, подлежащей защите, будет не менее (по абсолютной величине) значения минимального защитного потенциала и не более максимально допустимого потенциала. Ток в цепи дренажа измеряют переносным амперметром (с нулем посередине шкалы), включаемым параллельно рубильнику или предохранителю, которые при измерении тока выключают;

измеряют разность потенциалов «кабель связи - земля» на всем протяжении защищаемого участка. Если окажется, что анодная зона полностью не ликвидирована, то при помощи реостата увеличивают величину тока в цепи дренажа, но не более предельно допустимого значения для данного дренажа и дренажного кабеля, а затем вновь измеряют разность потенциала «кабель связи - земля». Ток в цепи дренажа увеличивают до тех пор, пока во всех точках защищаемого участка кабель связи не приобретет катодного состояния, причем отрицательный потенциал на нем будет не менее (по абсолютной величине) значения минимального защитного потенциала и не более максимально допустимого потенциала (см. табл. 18.1 и 18.2).

18.92. Режимы работы усиленного и автоматического усиленного дренажей регулируют соответственно путем изменения выходного напряжения и величины поддерживаемого защитного потенциала на кабелях связи в точке дренирования.

18.93. После выбора режима работы дренажа измеряют разности потенциалов на соседних подземных металлических сооружениях (если они имеются). После включения дренажной установки коррозионное состояние этих подземных сооружений не должно ухудшаться.

Указанные измерения проводят при включенном и выключенном дренажном устройстве. Результаты измерений оформляют специальным актом, который подписывается также представителями организаций, в ведении которых находятся соседние подземные сооружения. Все измерения потенциалов проводят в соответствии с пп. 18.108 - 18.117.

18.94. Если при пробном включении дренажа в любом режиме его работы (т.е. при любом токе в цепи дренажной установки, не превышающем предельно допустимого значения для данной системы дренажа) протяженность зоны защиты окажется меньше протяженности анодной зоны (т.е. останутся участки, где не достигнуто значение минимального защитного потенциала), то дренаж включают в другом месте - справа или слева в зависимости от того, в какой стороне остается больший участок анодной (незащищенной) зоны.

Если при изменении места включения дренажа анодная зона полностью не ликвидируется, то по согласованию с проектирующей организацией и при ее участии намечают дополнительные мероприятия по ликвидации оставшихся анодных зон: включение второй дренажной установки, включение дополнительной катодной установки, протекторов и т.д.

18.95. После уточнения места включения дренажной установки и определения параметров защиты приступают к монтажу установки.

Уточнение места включения катодной установки

18.96. Место включения катодной или автоматической катодной установки уточняется по результатам измерения потенциала кабеля связи относительно земли в районе запроектированного места включения.

18.97. Пробное включение катодной установки производится в том месте, где средний положительный потенциал на кабеле связи имеет максимальную величину (при влиянии блуждающих токов), или в середине зоны, подлежащей защите (при действии почвенной коррозии).

Схема пробного включения катодной установки при защите голых свинцовых кабелей, проложенных в кабельной канализации, приведена на рис. 18.12. Аналогично производится уточнение места включения катодной установки при защите бронированных кабелей. Для пробного включения катодной установки используют катодную станцию, предусмотренную проектом.

Временное заземление оборудуют из стальных труб, уголков или кусков рельсов, причем расстояние от заземлителя до кабеля связи должно соответствовать проекту. В качестве дренажных кабелей может быть использован любой изолированный проводник, рассчитанный на предполагаемую величину тока в цепи защиты.

Рис. 18.12. Схема пробного включения катодной установки при защите голых свинцовых кабелей связи, проложенных в кабельной канализации:

1 - катодная станция; 2 - электрод сравнения; 3 - защищаемые кабели; 4 - дренажные кабели; 5-анодное заземление

18.98. При пробном включении катодной установки определяют протяженность зоны защиты и величину защитного тока, необходимого для полной защиты. Величину защитного тока определяют в такой последовательности:

оборудуют и включают временную катодную установку;

устанавливают такую величину тока в цепи катодной станции, при которой отрицательный потенциал на кабеле связи в зоне действия катодной станции будет не менее (по абсолютной величине) значения минимального защитного потенциала и не более максимально допустимого защитного потенциала. Ток в цепи катодной станции измеряют при помощи амперметра, установленного на самой катодной станции, либо при помощи переносного амперметра;

измеряют потенциалы кабеля связи на всем протяжении зоны, подлежащей защите. Если окажется, что зона, подлежащая защите, имеет потенциал меньше минимального защитного (по абсолютной величине), то осуществляется ряд мероприятий, направленных на обеспечение полной защиты (увеличение тока, изменение места размещения анодного заземления и др.).

При этом на всем участке кабеля связи, подлежащем защите, абсолютная величина потенциала должна быть не менее значения минимального защитного и не более максимально допустимого защитного потенциала (см. табл. 18.1 и 18.2).

18.99. Если при пробном включении катодной установки и любом режиме ее работы протяженность защищенной зоны окажется меньше протяженности зоны, подлежащей защите, т.е. с одной из сторон остался незащищенный участок, то точка включения катодной установки и временное заземление переносят в сторону незащищенного участка, и вновь производят работы, предусмотренные в п. 18.98.

Если при любом режиме работы катодной станции не удается обеспечить защиту зоны, предусмотренную проектом, то по согласованию с проектной организацией и при ее участии намечают дополнительные мероприятия: включение двух катодных станций вместо одной, замена запроектированной станции на станцию большей мощности или дополнительное включение других защитных устройств.

18.100. Режим работы автоматической катодной станции регулируют путем изменения величины поддерживаемого защитного потенциала на кабелях связи в месте защиты.

После выбора режима работы катодной установки измеряют потенциал соседних металлических сооружений (если они имеются). После включения катодной установки коррозионное состояние этих подземных сооружений не должно ухудшаться.

Измерения проводят при выключенной и включенной катодной станции. Результаты измерений оформляют актом, который подписывается также представителями организаций, в ведении которых находятся соседние подземные сооружения.

18.101. После уточнения места включения катодной установки и определения защитного тока приступают к монтажным работам.

Уточнение мест включения электрических перемычек

18.102. Места включения перемычек при осуществлении совместной защиты намечают в проекте и уточняют при пробных включениях.

Пробные включения перемычек при совместной защите от электрокоррозии производят на кабелях связи в местах с максимальными положительными потенциалами по отношению к земле. При этом необходимо одновременно произвести измерение разности потенциалов между кабелями связи и подземным сооружением, с которым осуществляется совместная защита, а также измерение потенциала подземного сооружения по отношению к земле. Перемычки подключают к той точке на соседнем подземном сооружении, в которой имеется сравнительно большой отрицательный потенциал по отношению к земле и которая расположена на сравнительно небольшом расстоянии от точки включения перемычки на кабеле связи.

Если две точки (на кабеле связи и соседнем сооружении), удовлетворяющие вышеуказанным требованиям, находятся на значительном расстоянии друг от друга, необходимо перемычку включить в других точках, расположенных ближе друг к другу, потенциалы которых по отношению к земле наиболее соответствуют вышеуказанному требованию.

В случае, когда после оборудования перемычек анодная зона на кабеле связи снимается неполностью или возникающий отрицательный потенциал по абсолютному значению меньше защитного потенциала, необходимо провести совместно или в отдельности следующие мероприятия:

установить перемычки с увеличенным поперечным сечением (меньшего сопротивления);

увеличить отрицательный потенциал на подземном сооружении, с которым осуществляется совместная защита, путем соответствующего регулирования защитных устройств на этом сооружении;

увеличить число перемычек, устанавливая дополнительные перемычки в тех местах, где оставшиеся положительные потенциалы на кабеле связи имеют максимальную величину.

При пробных включениях определяют величину защитного тока в перемычке, при которой достигается защита от коррозии.

18.103. В результате пробного включения перемычек добиваются такого же расположения и режима работы устройств защиты, при которых обеспечивается совместная защита кабеля связи и соседнего подземного сооружения.

ОПРЕДЕЛЕНИЕ НАЛИЧИЯ БЛУЖДАЮЩИХ ТОКОВ В ЗЕМЛЕ

18.104. Наличие блуждающих токов в земле рекомендуется определять по результатам измерений разности потенциалов между проложенными в данном районе подземными металлическими сооружениями и землей.

18.105. При отсутствии подземных металлических сооружений блуждающие токи в земле на трассе проектируемого подземного металлического сооружения связи целесообразно определять путем измерения разности потенциалов между двумя точками земли через каждые 1000 м по двум взаимно перпендикулярным направлениям при разносе измерительных электродов на 100 - 200 м (рис. 18.13).

Рис. 18.13 Схема определения наличия блуждающих токов в земле.

18.106. При проведении измерений в обоих приведенных выше случаях следует использовать вольтметры с нулем посередине шкалы, имеющие внутреннее сопротивление не менее 20 000 Ом на 1 В шкалы, с пределами измерений 75 - 0 - 75 мВ; 0,5 - 0 - 0,5 ,В; 1,0 - 0 - 1,0 В или с другими близкими к указанным пределами

Контакт измерительных проводников с землей осуществляется при помощи неполяризующихся медно-сульфатных электродов латунных, медных или стальных электродов.

Показания вольтметра рекомендуется отмечать через каждые 5 - 10 с в течение 10 - 15 мин при измерении по каждому из направлений.

18.107. Если измеряемая разность потенциалов изменяется по величине и знаку или только по величине, то это указывает на наличие в земле блуждающих токов электрифицированного транспорта. Если измеряемая разность потенциалов имеет устойчивый характер, то это указывает на наличие в земле токов почвенного происхождения, либо токов от линий передач постоянного тока или установок дистанционного питания усилителей, работающих по системе «провод - земля», если таковые имеются в данном районе.

При наличии в обследуемом районе установок дистанционного питания или линий передачи энергии постоянного тока системы «провод-земля» необходимо выяснить места расположения рабочих заземлений этих установок.

ИЗМЕРЕНИЕ РАЗНОСТИ ПОТЕНЦИАЛОВ ПОДЗЕМНОГО СООРУЖЕНИЯ СВЯЗИ ОТНОСИТЕЛЬНО ЗЕМЛИ

18.108. Разность потенциалов «подземное сооружение связи - земля» измеряется с целью выявления опасности коррозионного разрушения подземных металлических сооружений связи, а также для определения эффективности действия применяемой электрохимической защиты.

18.109. Измерение разности потенциалов между подземными металлическими сооружениями связи и землей производится контактным методом с применением (по возможности) самопишущих и интегрирующих приборов. Допускается производить измерения показывающими приборами с входным сопротивлением не менее 20000 Ом на 1 В шкалы.

18.110. При измерении разностей потенциалов между подземным металлическим сооружением связи и землей следует применять только неполяризующиеся электроды сравнения.

18.111. Под разностью потенциалов подземного сооружения относительно земли понимается: разность потенциалов между кабелем связи (броня и оболочка перепаяны) и землей, между броней и землей, между оболочкой и землей, между корпусом НУП и землей и т.д.

18.112. Измерения разности потенциалов подземного кабеля связи относительно земли могут быть (рис. 18.14) выполнены в колодцах, КИП или в специально отрываемых шурфах.

При этих измерениях положительную клемму прибора подключают к кабелю, а отрицательную - к электроду сравнения. Если стрелка прибора отклоняется влево, потенциал сооружения имеет отрицательное значение, если вправо - положительное.

При использовании медно-сульфатного неполяризующегося электрода сравнения величина разности потенциалов между сооружением и землей может быть определена по формуле , где Uизм - измеренная величина потенциала, В; Uc - стационарный потенциал металла в грунте (без внешней поляризации), В. Среднее значение Uc может быть принято: для стали - 0,55 В, для свинца - 0,48 В, для алюминия - 0,7 В.

18.113. При необходимости измерения разности потенциалов кабеля относительно земли на участках между контрольно-измерительными пунктами используется метод выноса заземляющего электрода. Этот метод заключается в том, что в контрольно-измерительном пункте (колодце или шурфе) измерительный прибор подключают к кабелю, а электрод сравнения располагают или на поверхности земли над кабелем при измерениях на кабелях, проложенных в траншеях (рис. 18.15, а), или в свободном канале при измерениях на кабелях, проложенных в канализации (рис. 18.15, б), Электрод сравнения располагают в тех местах, где необходимо определить потенциал. Расстояние от точки подключения прибора к кабелю до точки выноса электрода сравнения не должно превышать 250 м.

Рис. 18.14. Схема измерения разности потенциалов кабеля относительно земли в колодце (а), в контрольно-измерительном пункте (б) и в турфе (в):

1 - штанга со свинцовым электродом; 2 - кабель; 3 - неполяризующийся электрод; 4 - штанга с зубчатым электродом

Рис. 18.15. Схема измерения разности потенциалов кабелей относительно земли по методу выноса электрода, проложенных в грунте (а) и в канализации (б)

1 - контрольно-измерительных пункт, 2 - электрод сравнения; 3 - кабель; 4 - катушка с проводом, 5 - свободный канал; 6 - электрод со свинцовым наконечником

18.114. При измерениях электроды сравнения устанавливают на дно колодца в случае измерений на кабелях, проложенных в канализации, и на поверхности земли над кабелем при измерениях на кабелях, проложенных непосредственно в земле.

Примечание. Если дно колодца (или земля), с которым осуществляется контакт через электрод сравнения, сухое, то перед измерением его необходимо увлажнить.

18.115. В зонах отсутствия блуждающих токов время измерения в каждой точке может быть ограничено 3 - 5 мин. Отсчеты должны производиться через каждые 15 - 20 с.

В зонах влияния блуждающих токов трамвая отсчеты необходимо производить через 10 - 20 с в течение 5 - 10 мин, а при частом движении вагонов - через каждые 5 - 10 с.

В зонах влияния блуждающих токов электрифицированных железных дорог отсчеты необходимо производить через каждые 10 с в течение 10 - 15 мин.

Необходимо, чтобы за период измерений мимо пункта наблюдения прошло не менее, чем по два электропоезда (трамвая) в разных направлениях.

При необходимости выполнения длительных измерений разностей потенциалов оболочек кабелей связи относительно земли целесообразно применять регистрирующие приборы типов Н-373, Н-39, Н-399 и др.

18.116. Результаты измерений разностей потенциалов оформляются в виде протоколов по форме 18.4.

18.117. При измерении разности потенциалов между камерой НУП и землей положительный зажим прибора присоединяют к камере НУП (или к выводу от нее на специальный щиток), а отрицательный - к электроду сравнения. Электрод сравнения устанавливают в землю вблизи НУП.

Протокол измерений эффективности защиты должен заполняться по форме 18.5.

Форма 18.4

Объект _______________________________

ОУП - ____________ ОУП - _____________

Участок НУП- _________ НУП - _________

ПРОТОКОЛ

измерения потенциалов на оболочках кабеля

Марка кабеля ______________________________________________________________

Номер колодца или контрольно-измерительного пункта __________________________

Дата _______________ 19 ___ г.

Адрес пункта измерения _____________________________________________________

Время измерения: начало _________________________ конец _____________________

Интервал между отсчетами, с _________________________________________________

Тип и номер прибора ________________________________________________________

Тип электрода ______________________________________________________________

I. Результаты измерения потенциалов, В

__________________________________________________________________________

__________________________________________________________________________

__________________________________________________________________________

__________________________________________________________________________

Измерение проводил ________________________________________________________

                                                                                                       (подпись)

II. Обработка измерений

Потенциал

Число измерений

Сумма измеренных величин одного знака, В

Максимальная величина, В

Минимальная величина, В

Средняя величина, В

Положительный

 

 

 

 

 

Отрицательный

 

 

 

 

 

Обработку выполнил _______________________________________________________

                                                                                                          (подпись)

Форма 18.5

ПРОТОКОЛ

электрических измерений (проверки) эффективности протекторной защиты металлической цистерны НУП

Объект _____________________________    Марка протекторов ___________________

Участок ОУП- ________ ОУП- _________    Количество протекторов _______________

НУП № ____________________________      ____________________________________

Тип цистерны _______________________    Дата проверки «___» __________ 19 ____ г.

Сопротивление растеканию тока цистерны. Ом

Сопротивление растеканию тока протекторов (группы), Ом

Потенциал протектора относительно земли (медно-сульфатного электрода сравнения), В

Потенциал цистерна - земля (медно-сульфатный электрод сравнения), В

Сила тока в цепи защиты (протекторы - цистерна), мА

№ 1

№ 2

№ 3

№ 4

 

 

 

до включения протекторов

после включения протекторов

 

 

 

 

 

 

 

 

 

 

 

 

Измерения проводил представитель СМУ                    Представитель заказчика

___________________________________        ___________________________________

                                   (подпись)                                                                                  (подпись)

ИЗМЕРЕНИЕ РАЗНОСТИ ПОТЕНЦИАЛОВ МЕЖДУ СООРУЖЕНИЕМ СВЯЗИ И РЕЛЬСАМИ ЭЛЕКТРИФИЦИРОВАННОГО ТРАНСПОРТА

18.118. Разность потенциалов между сооружением связи и рельсами измеряют в колодцах, контрольно-измерительных пунктах или шурфах, отрываемых на расстоянии 10 - 30 м от рельс, на участках пересечений и сближений сооружений связи с рельсами для определения наиболее рациональных мест подключения электродренажной защиты.

18.119. Как правило, измерение разности потенциалов «сооружение связи - рельс» производят одновременно с измерением разности потенциалов сооружения связи относительно земли на тех участках, где положительные потенциалы сооружения связи по отношению к земле максимальны, а также на участках пересечения сооружений связи с рельсами.

18.120. Необходимо, чтобы за период измерений мимо пункта наблюдений прошло не менее, чем по два электропоезда (трамвая) в разных направлениях.

18.121. Схема измерения разности потенциалов между кабелем и рельсами на участке пересечения показана на рис. 18.16.

Рис. 18.16. Схема измерения разности потенциалов между кабелем и рельсами на участке пересечения:

1 - колодец или КИП; 2 - кабель; 3 - рельсовые пути

ИЗМЕРЕНИЕ РАЗНОСТИ ПОТЕНЦИАЛОВ МЕЖДУ ПОДЗЕМНЫМ СООРУЖЕНИЕМ СВЯЗИ И СОСЕДНИМ ПОДЗЕМНЫМ МЕТАЛЛИЧЕСКИМ СООРУЖЕНИЕМ

18.122. Измерение разности потенциалов между подземными сооружениями связи и другими подземными металлическими сооружениями (трубопроводами, силовыми кабелями и т.д.) производят в колодцах, контрольно-измерительных пунктах или шурфах, в местах пересечений и наибольших сближений между ними (рис. 18.17). На основе этих измерений устанавливают возможность осуществления совместной защиты.

При проведении измерений на силовых кабелях следует пользоваться оборудованными на них контрольно-измерительными пунктами и соблюдать действующие правила по технике безопасности.

Измерения должны проводиться в присутствии представителей организаций, в ведении которых находятся соседние подземные металлические сооружения.

Рис. 18.17. Схема измерения разности потенциалов между кабелем и соседним сооружением в колодцах:

1 - трубопровод, 2 - кабель, 3 - электрод со стальным наконечником; 4 - электрод со свинцовым наконечником

18.123. Измерения разности потенциалов «подземное сооружение связи - соседнее сооружение» целесообразно проводить одновременно с измерением разности потенциалов сооружения связи относительно земли.

18.124. Для создания контакта с подземными металлическими сооружениями, проложенными в канализации, используют электроды из того же металла, из которого сделано само сооружение.

ИЗМЕРЕНИЕ СОПРОТИВЛЕНИЯ ИЗОЛЯЦИИ МЕТАЛЛИЧЕСКИХ ОБОЛОЧЕК И БРОНИ КАБЕЛЕЙ СВЯЗИ

18.125 Измерение величины сопротивления изоляции металлических оболочек кабелей связи (свинцовых, алюминиевых и стальных) и брони рекомендуется проводить только для тех типов кабелей, которые имеют специальные изолирующие покровы шлангового или ленточного типов, обладающие высокими диэлектрическими свойствами.

18.126. Измерение величины сопротивления изоляции защитного покрова оболочек кабелей связи и брони, имеющих специальный защитный покров, следует проводить на постоянном токе на длине усилительного или выделенного участка с обоих его концов при помощи кабельных приборов типа ПКП, мостов типов КП-50, Р-334 и других или приборами MOM-3, M-4100.

Перед началом измерений каждый обследуемый участок должен быть изолирован по концам. Броня и оболочка кабеля на обследуемом участке не должны соединяться между собой и со специально устраиваемыми заземлениями, НУП, аппаратурой и другими устройствами.

Сопротивление изоляции оболочек бронированных кабелей следует измерять по отношению к их броне. Сопротивление изоляции оболочек кабелей без брони, а также сопротивление изоляции брони должны измеряться по отношению к заземлителю, расположенному на расстоянии 700 - 1000 м в направлении, перпендикулярном трассе кабеля. При таком расстоянии измеренные значения величины сопротивления изоляции наиболее точны. В случае уменьшения расстояния по отношению к заземлителю точность измерения снижается.

ОПРЕДЕЛЕНИЕ МЕСТ ПОВРЕЖДЕНИЯ ЗАЩИТНЫХ ПОКРОВОВ

18.127. Места повреждения наружных шланговых защитных покровов могут быть определены специальными приборами - искателями мест повреждения изоляции типа ИМПИ.

РАЗДЕЛ 19

ЗАЩИТА КАБЕЛЕЙ ОТ ВЛИЯНИЯ ЛИНИИ ВЫСОКОГО НАПРЯЖЕНИЯ И АТМОСФЕРНОГО ЭЛЕКТРИЧЕСТВА

ОБЩИЕ УКАЗАНИЯ

19.1. Кабельные линии в случаях, когда это необходимо, оборудуют защитой от опасного и мешающего влияний линий высокого напряжения (высоковольтных линий (ВЛ), электрифицированных железных дорог и грозовых разрядов). Необходимость защиты и защитные мероприятия устанавливаются проектом.

19.2. Мероприятия по защите от опасных и мешающих влияний ВЛ и электрифицированных железных дорог предусматриваются в тех случаях, когда кратковременно или длительно индуктируемые продольные ЭДС в жилах кабеля на участке сближения с влияющей линией превышают допустимые значения, что определяется расчетом при проектировании.

19.3. Для защиты кабелей связи от влияния ВЛ и электрических железных дорог используют: кабели с повышенным и высоким экранирующим действием металлических покровов; разрядники для защиты от кратковременного влияния ВЛ; экранирующие, хорошо проводящие заземленные тросы; редукционные трансформаторы; защитные фильтры в цепях дистанционного питания и др.

19.4. Защищенность кабеля от влияния ВЛ и электрических железных дорог характеризуется коэффициентом защитного действия (КЗД) металлических покровов, равным отношению ЭДС, индуктируемой в жилах кабеля, к ЭДС, индуктируемой в его металлических покровах. Коэффициент защитного действия хорошо заземленной оболочки называют идеальным, в остальных случаях - реальным. Наилучшим экранирующим действием металлических покровов обладают кабели в алюминиевой оболочке и с бронепокровом из стали с высокой магнитной проницаемостью. Защитное действие металлических покровов достигается за счет их заземления. Расстояние между заземлителями и требуемые величины их сопротивлений растеканию на участках сближения с ВЛ и электрифицированными железными дорогами определяются проектом.

19.5. Минимальное допустимое расстояние между кабельной линией и ВЛ на участках параллельного или косого сближения определяется проектом. При этом должны соблюдаться следующие строительные нормы, установление которых связано с защитными мерами от возможного влияния ВЛ.

При пересечении кабельной линии с ВЛ напряжением до 1000 В необходимо, чтобы:

расстояние по горизонтали от основания кабельной опоры (при переходе кабельной линии на воздушную) до проекции ближайшего провода ВЛ на горизонтальную плоскость было не менее высоты опоры ВЛ;

расстояние от кабеля до заземляющего контура опоры ВЛ или до железобетонной опоры было не менее 3 м в населенной местности и 10 м в ненаселенной; это расстояние может быть уменьшено до 2 и 5 м соответственно при прокладке кабеля в стальной трубе или покрытии его швеллером или уголковой сталью по длине в обе стороны относительно опоры не менее 3 м для населенной местности и 9 м для ненаселенной;

расстояние от подземного кабеля до незаземленной деревянной опоры ВЛ было в населенной местности не менее 2 м, в стесненных условиях - не менее 1 м, в ненаселенной местности - не менее 5 м. При этом защита кабеля от ударов молнии, осуществляемая с помощью троса, прокладываемого между кабелем и опорой, путем размещения кабеля в стальной трубе, покрытия его швеллером или уголковой сталью по длине в обе стороны относительно опоры на расстоянии 3 м, обязательна.

При пересечении кабельной линии с ВЛ напряжением выше 1000 В расстояние от кабеля до заземлителя и подземной части опоры ВЛ должно быть не менее величин, приведенных в табл. 19.1.

Таблица 19.1

Расстояние от кабеля до заземлителя и подземной части опоры ВЛ

Удельное сопротивление земли, rз, Ом·м

Наименьшее расстояние, м, от кабеля до заземлителя и подземной части опоры ВЛ при напряжении ВЛ, кВ

До 35

110 - 500

750

До 100

10

15

101 - 500

10

25

25

501 - 1000

11

35

40

Более 1000

50

50

Примечания: 1. В случае прокладки кабеля с целью экранирования в стальной трубе или под швеллером на длине, равной расстоянию между крайними проводами ВЛ плюс по 10 м с каждой стороны, допускается уменьшение указанных расстояний до 5 м. В этом случае при пересечении с ВЛ напряжением 110 кВ и выше металлические покровы кабеля соединяют со швеллером или трубой на обоих концах.

2. Расстояния, указанные для ВЛ напряжением до 35 кВ, определены условиями грозозащиты кабеля.

19.6. Расстояние между кабельной линией и параллельно расположенным ближайшим рельсом электрифицированной железной дороги должно быть не менее 10 м, а между кабелем и рельсом неэлектрифицированной железной дороги - 5м.

При пересечении кабеля с электрифицированной железной дорогой или линией трамвая расстояние между кабелем и подошвой рельса должно быть не менее 1 м.

При пересечении кабельной линии (кабельной вставки) с контактными сетями электрифицированной железной дороги угол пересечения (в плане) должен быть близким к 90°, но не менее 45°. В зависимости от величины угла пересечения (в плане) расстояния по горизонтали от основания кабельной опоры кабельной вставки до ближайшего рельса электрифицированной железной дороги переменного тока должны соответствовать указанным в табл. 19.2.

Таблица 19.2

Расстояние от кабельной опоры до ближайшего рельса электрифицированной железной дороги

Угол пересечения (в плане) подземного кабеля с рельсами эл. ж. д., °

90

75

60

45

Расстояние от кабельной опоры до ближайшего рельса эл. ж. д. переменного тока (по перпендикуляру к полотну железной дороги), м

20

50

80

100

19.7. Защита кабелей от грозовых разрядов осуществляется в соответствии с действующим «Руководством по защите подземных кабелей связи от ударов молнии».

19.8. Мероприятия по защите от грозовых разрядов предусматриваются в случаях:

если вероятная расчетная плотность повреждений (вероятное число опасных ударов молнии в кабель) превышает допустимую (табл. 19.3);

если существующий кабель подвергался повреждениям от ударов молнии (защите подлежат участки протяженностью не менее 100 м в каждую сторону от места повреждения);

при прокладке кабеля вдоль опушки леса;

если вблизи кабеля (на расстоянии a £ 1,5 h) расположены отдельные деревья, опоры воздушных линий связи, радиофикации и электропередачи высотой h > 6 м); в районах с высоким удельным сопротивлением земли и в районах вечной мерзлоты (расстояние а в соответствии с проектом может быть увеличено).

Защита симметричных одночетверочных и однокоаксиальных кабелей ВКПА предусматривается: в районах с повышенной грозодеятельностью и высоким удельным сопротивлением земли, где отсутствуют ранее проложенные аналогичные кабели; в районах, где существующие одночетверочные и однокоаксиальные кабели подвергались повреждениям от ударов молнии чаще установленной нормы; в местах сближения с отдельно стоящими деревьями и опорами линий электропередачи и связи.

Таблица 19.3

Допустимое расчетное число опасных ударов молнии на 100 км трассы в год

Тип кабеля

Допустимое расчетное число опасных ударов молнии на 100 км трассы в год

в горных районах и районах со скальным грунтом при удельном сопротивлении свыше 500 Ом·м и в районах вечной мерзлоты

в остальных районах

Симметричные одночетверочные и однокоаксиальные

0,2

0,3

Симметричные четырех- и семичетверочные

0,1

0,2

Многопарные коаксиальные

0,1

0,2

Подходы к НУП длиной 1 км (при длине участка 20 км)

0,05*)

-

Кабели зоновой связи

0,3

0,5

* Для районов со скальный грунтом при грозодеятельности свыше 80 ч в год, в районах вечной мерзлоты при грозодеятельности свыше 20 ч в год.

19.9. К основным мерам защиты подземных кабелей от повреждений ударами молнии относятся:

применение грозостойких кабелей (тип кабеля определяется проектом);

прокладка параллельно кабелю подземных металлических хорошо заземленных проводов (тросов);

включение малогабаритных разрядников между жилами и оболочкой (в специальных муфтах);

использование воздушной линии, проходящей параллельно кабелю и оборудованной искровыми разрядниками с вынесенными заземлениями.

19.10. Защите от ударов молнии не подлежат независимо от условий прокладки и удельного сопротивления земли:

кабели в металлической оболочке без наружного шлангового покрова или группа таких кабелей, проложенных в одной траншее, если сопротивление постоянному току металлических покровов кабеля (или группы кабелей) не превышает Rм.п = 0,2 Ом/км (за исключением защиты от заземленных опор ВЛ напряжением 35 кВ и выше); для участков со скальным грунтом и в районах вечной мерзлоты указанное значение Rм.п в соответствии с проектом может быть уменьшено;

кабели, проложенные в населенных пунктах с густой сетью подземных коммуникаций или проводов воздушных линий связи, радиофикации и электроснабжения (за исключением защиты от заземленных опор ВЛ напряжением 35 кВ и выше);

кабели, проложенные вдоль полотна железной дороги или подземного трубопровода на расстоянии не более 10 м от них (за исключением защиты от опор ВЛ, ЛС (PC) и автоблокировки).

19.11. Защита кабелей, проложенных на антенном поле радиостанций, обязательна вне зависимости от удельного сопротивления грунта и продолжительности гроз. Защиту осуществляют с помощью двух тросов ПС-70 или двух биметаллических проводов диаметром 4 мм, прокладываемых на расстоянии 0,8 м друг от друга. Тросы прокладывают на глубине 0,4 м симметрично относительно кабеля.

19.12. В случае расположения отдельных деревьев, опор (подпор, оттяжек) ЛС или ЛЭП высотой h > 6 м на расстоянии a £ 1,5 h от трассы кабеля, между последним и деревом или опорой необходимо проложить шину, трос или провода сечением 12 мм2 по меди или 70 мм2 по стали. Для районов вечной мерзлоты или грунтов с высоким удельным сопротивлением расстояние а в соответствии с проектом может быть увеличено.

Схемы прокладки защитных проводов (тросов) с целью перехвата токов молнии показаны на рис. 19.1. Сопротивления заземлений должны быть не более значений, указанных в табл. 20.4.

Рис. 19.1. Схемы для перехвата токов молнии, попавших в дерево, с помощью защитного троса, проложенного в земле между кабелем и деревом:

а - расстояние от центра дерева до кабеля, b - расстояние от оси, проходящей параллельно кабелю через дерево, до заземления, h1 - глубина заложения кабеля; h2 - глубина заложения защитного троса (0,4 м £ h1 < h; b ³ 2 м, если а ³ 10 м; b ³ 5 м, если 5 < а < 10 м; b ³ 10 м, если а £ 5 м)

19.13. При невозможности проложить между деревом (опорой) и кабелем защитный трос (провод) рекомендуется на отдельно стоящем дереве (опоре) оборудовать молниеотвод. Молниеотвод должен выступать над верхней точкой дерева на 10 - 15 см. Выполняют его из стального оцинкованного провода диаметром 4 мм. На высоте 3 - 4 м от поверхности земли молниеотвод должен быть соединен с высоковольтным кабелем или проводом в шланге (толщина шланга не менее 4 мм). Другой конец соединительного кабеля (провода) подключают к заземлению, расположенному (рис. 19.2) на расстоянии 25 - 30 м от защищаемого кабеля (в районах вечной мерзлоты и грунтов с высоким удельным сопротивлением это расстояние в соответствии с проектом может быть увеличено). Соединительный провод в шланге прокладывают на глубине не менее 0,5 м.

Сопротивление заземления молниеотвода не должно превышать значений, указанных в табл. 20.3.

Рис. 19.2. Устройство молниеотвода на дереве:

1 - защищаемый кабель, 2 - молниеотвод; 3 - дополнительная опора; 4 - соединительный кабель (провод); 5 - токоотводный спуск; 6 - заземлитель, 7 - лежень

19.14. Одновременная защита от ударов молнии, электромагнитных влияний и коррозии осуществляется в соответствии с «Рекомендациями по одновременной защите кабелей связи от коррозии, ударов молнии и электромагнитных влияний» («Радио и связь», 1983).

19.15. Защита кабелей связи с покровами типа Б, Бл, Б2л от ударов молнии при необходимости одновременной защиты от электрохимической коррозии осуществляется обычным образом, однако все соединения оболочки с бронепокровом выполняют только через КИП. При этом в перемычки между оболочкой и броней включают регулировочные элементы (резисторы), величина которых выбирается в процессе наладки защиты от коррозии и находится в пределах 0,5 - 5,0 Ом. Мощность резистора не менее 2 Вт, он шунтируется разрядником Р-35 или Р-63 (рис. 19.3).

Рис. 19.3. Схема соединений кабеля, имеющего покровы типов Б, Бл, Б2л, устройством электрохимической защиты ЗУ при однокабельной (а) и двухкабельной системе (б):

7 - клеммный щиток КИП-2; 2 - регулировочное сопротивление; 3 - разрядник; 4 - соединительная муфта; 5 - металлическая оболочка; 6 - пряжа; 7 - бронепокров; 8 - подушка; 9 - чугунная муфта

19.16. Одновременная защита от ударов молнии и коррозии кабелей с изолирующими покровами типа Шп должна осуществляться протекторными установками. Линейно-защитные заземления в этом случае подключаются к кабелю в КИП-2 через разрядник Р-63 или Р-35 (рис. 19.4).

Рис. 19.4. Схема соединений кабелей типов МКСАШп и МКССтШп с линейно-защитным заземлением (ЛЗЗ) и групповой протекторной установкой (ГПУ):

1 - клеммный щиток КИП-2; 2 - разрядник; 3 - соединительная муфта; 4 - металлическая оболочка; 5 - полиэтиленовый шланг; 6 - чугунная муфта

19.17. Защита кабелей связи с внешними изолирующими покровами от ударов молнии и электромагнитных влияний при необходимости одновременной защиты от электрохимической коррозии осуществляется обычным порядком, однако в качестве линейно-защитных заземлений используются групповые протекторные установки, если они требуются по условиям защиты от коррозии. Если протекторные установки не требуются, то допускается прямое заземление металлических покровов.

19.18. Одновременная защита от ударов молнии, электромагнитных влияний и электрокоррозии блуждающими токами осуществляется следующим образом:

при защите от коррозии катодными установками, последние размещают вдоль трассы в соответствии с расчетом или по результатам пробных включений;

при защите от коррозии электродренажными установками никаких специальных требований к устройствам защиты от влияния ЛЭП или электрифицированных железных дорог не предъявляют. Защита осуществляется обычным порядком.

ПРОКЛАДКА И СРАЩИВАНИЕ ЗАЩИТНЫХ ПРОВОДОВ

19.19. Количество защитных проводов (тросов), их тип и способ прокладки определяются проектом.

19.20. Основным типом защитного провода от влияния ВЛ и электрифицированных железных дорог является медный провод марки М-50 сечением 50 мм2.

19.21. Так как указанные в п. 19.20 провода одновременно защищают кабель и от ударов молнии, то условия их прокладки должны быть такими же, как и при прокладке грозозащитных проводов (тросов) типа ПС-70 (п. 19.24).

19.22. Сращивание медных проводов М-50 или других аналогичных производится с помощью медных овальных соединителей и клещей (п. 19.30).

19.23. Основным типом защитного провода от ударов молнии является ПС-70 сечением 70 мм2, состоящий из отдельных стальных оцинкованных проволок диаметром 1,8 мм. Наружный диаметр троса ПС-70 равен 9,4 мм. Тросы ПС-70 могут быть заменены стальными оцинкованными проводами меньшего диаметра или проводами (тросами) ПС-25, а также биметаллическими проводами диаметром 3 - 4 мм в соответствии с табл. 19.4.

Таблица 19.4

Эквивалентное количество защитных проводов и тросов ПС-25

Количество тросов ПС-70

Эквивалентное количество защитных проводов и тросов

биметаллических диаметром 4 мм

стальных оцинкованных диаметром, мм:

ПС-25

6

5

4

1

1

2/2

2/2

3/3

2/2

2

2

2/3

3/3

3/4

3/4

Примечание. В числителе указано количество проводов при прокладке кабеля по открытой местности и отсутствии отдельно стоящих деревьев, опор ЛЭП или ЛС; в знаменателе - при прокладке кабеля по открытой местности или вдоль опушки леса при наличии опор ЛЭП или ЛС.

19.24. Тросы, прокладывают на глубине (0,4 - 0,5) hк, где hк - глубина заколки кабеля. Расстояния от троса до кабеля и между тросами определяются в проекте исходя из конкретных условий прокладки.

При защите одним тросом на открытой местности его прокладывают над кабелем. При защите кабелей на открытой местности двумя тросами последние прокладывают симметрично по обе стороны от защищаемых кабелей на расстоянии, определяемом проектом. При защите кабелей, проложенных вдоль опушки леса, трос прокладывают на расстоянии 2 - 5 м от кабеля в сторону леса.

Допускается отклонение от принятых в проекте расстояний между тросом и кабелем и между тросами в пределах ± 15 %.

В случае прокладки одного троса над кабелем допускается отклонение в пределах до ± 0,25 м от вертикальной плоскости, проходящей через ось кабеля.

19.25. При прокладке вдоль опушки леса двух кабелей при расстоянии между ними 1,2 - 2,5 м следует соблюдать следующие правила:

1) если трос один, то его прокладывают на расстоянии 2 - 5 м от кабеля, ближайшего к лесу;

2) если два троса, то один прокладывают между кабелями, а другой - между лесом и кабелями на расстоянии 2 - 5 м от кабеля, ближайшего к лесу;

3) если три троса, то два прокладывают со стороны леса, а один - посередине между кабелями.

19.26. В скальных грунтах на открытой местности защиту осуществляют с помощью двух тросов ПС-70, прокладываемых симметрично по обе стороны от защищаемого кабеля на расстоянии, определяемом проектом. Глубина прокладки - не более 0,3 - 0,4 м. На дне траншеи, в которую укладывают трос, необходимо предварительно оборудовать песчаную подушку толщиной 5 - 10 см.

19.27. Тросы с металлическими покровами защищаемого кабеля не перепаивают и не соединяют.

19.28. Заземлители по концам защитных тросов, как правило, не оборудуют. Концы тросов отводят от кабеля на расстояние 15 м при удельном сопротивлении земли rз до 100 Ом·м, 30 м при rз от 101 до 500 Ом·м, 50 м при rз от 501 до 1000 Ом·м и 100 м при rз > 1000 Ом·м. Если трос в сторону отвести нельзя, то следует заземлить его на специальное заземление с импульсным сопротивлением растеканию не более 10 Ом. Заземление должно быть расположено не далее 5 м от кабеля.

19.29. При высоких удельных сопротивлениях земли, если переходное сопротивление троса по отношению к земле велико, следует оборудовать дополнительные заземления, к которым подключают грозозащитный трос. Сопротивления заземлений не должны превышать величин, указанных в табл. 20.4.

Грозозащитные тросы требуют оборудования дополнительных заземлений, если переходное сопротивление троса по отношению к земле превышает величины, указанные в табл. 19.5.

Таблица 19.5

Переходное сопротивление троса по отношению к земле

Удельное сопротивление земли, Ом·м

До 100

100 - 500

500 - 1000

1000 - 2000

2000 - 5000

Переходное сопротивление троса, Ом·м

250

1250

2500

5000

12500

19.30. Строительные длины стальных проводов (тросов) сращивают с помощью овальных соединителей и клещей (рис. 19.5, 19.6). Концы биметаллических проводов соединяют при помощи медных трубок.

Рис. 19.5. Схема сращивания проводов (тросов) ПС-70 с помощью овальных соединителей:

а - овальный соединитель; б - сросток после обжатия

Рис. 19.6. Клещи типа МИ-31 для обжатия овальных соединителей:

1 - корпус; 2 - вкладыш; 3 - нажимной винт; 4 - регулировочный винт

19.31. Монтаж проводов ПС-70 производят в следующем порядке:

а) берут пару вкладышей, имеющих одинаковые порядковые номера:

б) вкладыши устанавливают в соответствующие гнезда клещей, причем порядковые номера, выбитые на вкладышах, обязательно должны находиться на одной стороне;

в) по окончании установки вкладыши закрепляют винтами;

г) устанавливают упорный болт так, чтобы при упоре верхнего рычага клещей в болт между вкладышами оставалось расстояние 0,5 мм;

д) соединяемые провода вставляют в соединитель с противоположных сторон так, чтобы концы проводов вышли из зажима на длину 15 - 20 мм;

е) обжатие соединителя начинают с одного выпущенного конца провода, затем последовательно следует передвигаться к концу другого провода по рискам, нанесенным на поверхности зажима;

ж) при обжатии соединитель следует устанавливать в нижнем вкладыше перпендикулярно рычагам клещей;

з) при каждом обжиме после соприкосновения рычага с упорным болтом клещи в указанном положении выдерживают в течение 1 мин, после чего следует отжать винт и приступить к выполнению следующего обжима;

и) место сращивания строительных длин изолируют битумом.

19.32. При проведении работ на муфтах в котлованах нарушение целости троса не допускается.

УСТАНОВКА И МОНТАЖ РЕДУКЦИОННЫХ ТРАНСФОРМАТОРОВ

19.33. Редукционные трансформаторы (РТ) предназначены для защиты цепей симметричных и однокоаксиальных кабелей от перенапряжений при опасном влиянии электрических железных дорог переменного тока и ВЛ.

19.34. При включении РТ на участке сближения с влияющей линией достигается снижение наведенного напряжения в жилах кабеля за счет компенсирующего действия, создаваемого током, протекающим по первичной обмотке РТ.

19.35. Марки кабелей защищаемых линий связи в зависимости от типа РТ приведены в табл. 19.6, а габариты и масса РТ - в табл. 19.7.

Таблица 19.6

Марки кабелей защищаемых линий связи в зависимости от типа РТ

Тип РТ

Марка кабеля РТ

Длина кабеля РТ*, м

Типы защищаемых кабелей

ОСГР-1×4/8-80УXЛ1

ЗКАШп-1×4×1,2

101,5

ЗКВ, ЗКП, ЗКАШп, МКСАШп, КСПП

ОСГР-4×4/8-80УХЛ1

МКСАШп-4×4×1,2

105

МКСАБпШп, МКСАБп, МКСАШп, МКСБпШп, МКСБл, МКСБп

ОСГР-1/8-80УХЛ1

ВКПАП-1

180,5

ВКПАП-1, ВКПАПт-1

* Длина кабеля РТ равна длине обмотки редукционного трансформатора.

Таблица 19.7

Габариты и масса РТ

Тип РТ

Габаритные размеры, мм

Масса, кг

Примечание

ОСГР-1×4/8-80УXЛ1

1190×1020×550

520

На два кабеля

ОСГР-4×4/8-80УХЛ1

1190×990×650

700

На один кабель

ОСГР-1/8-80УХЛ1

1070×900×560

475

На один кабель

19.36. Место установки РТ определяется проектом. Если требуется установка одного РТ на усилительном участке, то его располагают примерно посередине участка, если два, то по концам, при трех и более - равномерно на длине усилительного участка. В зависимости от местных условий конкретное место установки РТ в процессе строительства может быть перенесено на одну - две строительные длины кабеля в ту или другую сторону от расчетного, но в пределах одного и того же усилительного участка.

На магистрали с кабелем емкостью 4×4 в каждом пункте устанавливают по два РТ типа ОСГР-4×4 (по одному на каждый кабель), а с кабелем емкостью 1×4 на оба кабеля при двухкабельной системе устанавливается один РТ типа ОСГР-1×4.

19.37. Редукционные трансформаторы устанавливают в земле так, чтобы вводные патрубки трансформатора находились на глубине прокладки кабеля. При этом верхняя часть контейнера должна быть выше на 0,25 м максимального уровня грунтовых вод. Если оба условия одновременно обеспечить нельзя, то трансформатор устанавливают так, чтобы соблюдалось второе условие.

19.38. Работу по установке и монтажу РТ производят в следующем порядке:

1) намечают конкретные места установки РТ в соответствии с проектом. При этом минимальное расстояние от корпуса РТ (со стороны вводных патрубков) до оси кабельной линии допускается 1 м; РТ устанавливают в месте стыка строительных длин.

На строящейся магистрали редукционные трансформаторы целесообразно включать до симметрирования кабелей на усилительных участках. При включении их в действующую линию необходимо в точке включения сохранить операторы скрещивания, имеющиеся в этой муфте;

2) роют котлован для установки РТ. Размеры котлована определяют в каждом конкретном случае исходя из установочных размеров РТ и требований СНиП III-8-76;

3) размещают редукционный трансформатор в котловане (рис. 19.7);

Рис. 19.7. Расположение редукционных трансформаторов:

1 - котлован для установки РТ; 2 - редукционные трансформаторы; 3 - защищаемые кабели; 4 - котлован для соединительной муфты

4) роют котлован в месте стыка строительных длин кабеля, демонтируют соединительные муфты, если РТ включается в действующую линию, или если муфты были смонтированы до начала проведения работ по установке РТ, и откапывают магистральный кабель от места стыка строительных длин до котлована РТ (участок MN на рис. 19.8);

Рис. 19.8. Монтаж редукционных трансформаторов:

1 - котлован для РТ; 2 - редукционные трансформаторы; 3 - защищаемые кабели, 4 - дополнительные кабели, 5 - переносной заземлитель; 6 - клемма заземления

5) роют траншею на участке от котлована РТ до магистрального кабеля (участок KN на рис. 19.8);

6) вытаскивают магистральные кабели на участке MN и укладывают их в траншею на участке KN;

7) прокладывают дополнительные кабели на участке KNM с соблюдением допустимого минимального радиуса изгиба (рис. 19.8);

8) заземляют кожух РТ с помощью переносного заземлителя (сопротивление растеканию заземлителя должно быть не более 20 Ом);

9) снимают крышку РТ;

10) вывертывают заглушки проходных отверстий сальника;

11) через сальники вводят поочередно концы кабелей, предварительно сняв бронепокров (в случае бронированных кабелей) с части вводимого в РТ кабеля и надев на него защитный кожух, который входит в комплект РТ и соединяется с корпусом РТ при помощи болтов. При этом необходимо иметь в виду, что на трансформаторе кабель намотан аналогично намотке на барабан. Внешний конец кабеля обозначается концом А, а внутренний - концом Б. На конце А жилы звездной скрутки каждой четверки располагаются по часовой стрелке: красная, зеленая, желтая, синяя, а на конце Б жилы располагаются в том же порядке, но против часовой стрелки. Поэтому при установке РТ конец Б соединяемого кабеля подключают к концу А трансформатора, а конец А кабеля - к концу Б трансформатора;

12) разделывают и подготавливают к монтажу соединяемые концы кабелей;

13) соединяют концы магистральных кабелей и кабелей РТ прямыми соединительными муфтами внутри РТ;

14) выбирают лишнюю длину кабеля через сальники, после чего последние уплотняют;

15) закрепляют защитный кожух. Вводимые кабели закрепляют с помощью уголков 50×50 аналогично вводу кабеля в цистерну НУП (см. разд. 16);

16) крепят бронепокров к патрубку защитного кожуха с помощью бандажа;

17) укладывают кабели внутри бака РТ, закрывают бак крышкой и затягивают болты. Необходимо следить, чтобы не было перекоса крышки;

18) отключают переносной защитный заземлитель;

19) против центра РТ в сторону поля на расстоянии 0,5 м от края корпуса РТ устанавливают замерный столбик. Если на этом расстоянии замерный столбик установить нельзя, то делают выноску замерного столбика, которую фиксируют в исполнительной документации. Кроме этого должно быть не менее двух привязок к постоянным ориентирам;

20) смонтированный усилительный участок вместе с РТ должен удовлетворять нормам ОСТ 45.1-76 по всем электрическим параметрам.

19.39. Для защиты корпуса РТ от коррозии применяют битумно-полимерное или битумно-минеральное покрытие в соответствии с ГОСТ 9.015-74 (см. п. 3.2.14).

Перед нанесением защитных покрытий необходимо поверхность очистить от ржавчины и промыть бензином.

Если удельное сопротивление грунта меньше 20 Ом·м, необходимо применить дополнительную защиту в виде протектора, подключенного через щиток КИП к болту заземления РТ. В этом случае вместо замерного столбика устанавливают столбик КИП (рис. 19.9). Установка протекторов и контроль эффективности их действия осуществляются в соответствии с указаниями, изложенными в разделе 16.

На кабелях с наружным защитным покровом типа Бп защищать корпус РГ от коррозии не требуется, так как он будет защищен одновременно с защитой бронепокрова.

Рис. 19.9. Схема включения протектора для защиты корпуса РТ от коррозии:

1 - редукционные трансформаторы, 2 - болт заземления; 3 - щиток КИП; 4 - протекторы.

19.40. Для обеспечения защитного действия редукционных трансформаторов по концам защищаемого участка оборудуют заземляющие устройства, которые подключают к металлическим покровам кабеля через щиток КИП-2. Сопротивления растеканию заземляющих устройств определяются проектом. В качестве заземляющих устройств для РТ могут быть использованы защитные заземления на НУП при условии, что их сопротивления растеканию удовлетворяют определенным проектом значениям.

19.41. Подключать промежуточные заземления, а также соединять металлические оболочки с бронепокровом (на кабелях с наружным защитным покровом типа Бп) на участках, где установлены РТ, допускается только на щитке КИП-2 через разрядник Р-76.

19.42. Симметрирование кабелей производят после установки и монтажа РТ.

19.43. После монтажа РТ и проверки электрических параметров цепей на смонтированном усилительном участке проверяют сопротивление изоляции экрана или металлической оболочки кабеля по отношению к земле, а также целостность экрана или металлической оболочки на защищаемом участке с помощью прибора типа ПКП. Экран и металлическая оболочка на всем протяжении защищаемого участка должны быть непрерывны и однородны.

На участках сближения кабеля с электрифицированной железной дорогой переменного тока эти измерения проводят до включения электротяги. Если РТ устанавливают на линии связи, подверженной влиянию электрифицированной железной дороги, то измерения проводят в периоды отсутствия электропоездов на участке сближения по договоренности с управлением железной дороги.

19.44. На участках сближения кабеля с ЛЭП для проверки исправности РТ необходимо провести измерения тока, протекающего по оболочке защищаемого кабеля, по схеме, изображенной на рис. 19.10. Для этого на НУП с одной стороны защищаемого участка следует сначала подключить между оболочкой кабеля и землей источник напряжения 220 В частотой 50 Гц (например, бензоагрегат АБ-1) и амперметр, затем отсоединить от оболочки заземление и включить напряжение. При этом необходимо пользоваться защитными изолирующими средствами, применяемыми при работах на электроустановках напряжением до 1000 В. Результаты измерения тока передают организации, которая будет эксплуатировать кабельную линию. Эти данные послужат в процессе эксплуатации основанием для оценки исправного действия РТ (ток в процессе эксплуатации не должен изменяться более, чем на 20 %).

Рис. 19.10. Схема измерения тока после монтажа РТ:

1 - жилы кабеля, 2 - оболочка; 3 - редукционный трансформатор, 4 - защищаемый участок кабеля

19.45. Все работы по установке и монтажу РТ на участках сближения с электрифицированными железными дорогами переменного тока необходимо проводить до включения электротяги. При этом необходимо соблюдать общие требования по безопасности, изложенные в «Правилах техники безопасности при работах на кабельных линиях связи и проводного вещания».

19.46. Если работы проводят на действующем кабеле, и в жилах последнего длительно индуктируется повышенная ЭДС, или кабель прокладывают вдоль действующей электрифицированной железной дороги переменного тока, то необходимо соблюдать следующие дополнительные требования.

Демонтаж соединительных муфт на действующих магистральных кабелях, откопка магистральных кабелей от места стыка строительных длин до котлована РТ, укладка магистральных кабелей к РТ, соединение концов магистральных кабелей и кабелей РТ прямыми соединительными муфтами внутри РТ, соединение дополнительных и магистральных кабелей в котловане (п. 19.38) осуществляют с обязательным соблюдением требований техники безопасности, изложенных в разд. 16 и «Инструкции по строительству и ремонту кабельных линий связи, на жилах которых индуктируется напряжение 400 В частотой 50 Гц». Установки РТ проводят в следующем порядке:

1) откапывают котлован для РТ (котлован А), подготавливают РТ, откапывают траншею от указанного котлована до магистральных кабелей;

2) роют котлован в месте нахождения соединительных муфт на магистральных кабелях (котлован Б);

3) откапывают магистральные кабели;

4) оборудуют временные заземления в котлованах Б и А;

5) отключают магистральные кабели на боксах по концам усилительного участка, демонтируют соединительные муфты, если работы проводят на действующем кабеле, или муфты были смонтированы до начала работ по установке РТ, укладывают магистральные кабели в траншею до РТ;

6) укладывают дополнительные кабели и подключают их к РТ;

7) соединяют концы магистральных кабелей с кабелями РТ,

8) соединяют дополнительные кабели и магистральные д котловане Б;

9) выполняют все заключительные работы по монтажу, отключению временных заземлений и т.д.

19.47. При проведении монтажа РТ следует пользоваться индикаторами напряжения: сначала высоковольтным (ИВН), затем низковольтным (ИНН).

19.48. Проверка сопротивления изоляции экрана или металлической оболочки кабеля по отношению к земле, а также целостности экрана или металлической оболочки после установки и монтажа РТ в условиях влияния электрифицированной железной дороги переменного тока должна производиться с соблюдением мер, обеспечивающих защиту персонала от поражения электрическим током в случае внезапного появления индуктированного высокого напряжения при проведении измерений. Эти меры должны соблюдаться независимо от договоренности с управлением железной дороги (п. 19.43).

Перед подключением измерительного прибора к металлической оболочке (экрану.) должно быть проверено отсутствие напряжения на оболочке (экране) с помощью индикатора напряжения.

УСТРОЙСТВО ИСКРОВЫХ ПРОМЕЖУТКОВ

19.49. При прокладке кабелей вдоль существующих воздушных линий связи на расстоянии не более 1,5 h, где h - высота опор линии, последние могут быть использованы для защиты кабеля от ударов молнии. На опорах этих линий оборудуют искровые промежутки величиной 20 - 30 мм с выносными заземлителями (рис. 19.11 и 19.12). Искровые промежутки устраивают через интервалы, определяемые проектом.

Рис. 19.11. Схема защиты подземного кабеля от ударов молнии путем использования существующей воздушной линии связи, проходящей вдоль трассы кабеля

Рис. 19.12. Схема устройства выносного заземления при оборудовании искровых промежутков на опоре линии связи:

а - при использовании в качестве заземлителя оттяжки; б - при оборудовании заземлителя около опоры

19.50. На линии траверсного профиля искровые промежутки оборудуются на всех проводах верхней траверсы между отогнутым концом рессоры и штырями изоляторов, соединенными с токоотводным проводом (рис. 19.13) или между концом рессоры и токоотводным проводом, проложенным на скосе траверсы.

Устройство рессоры для искровых промежутков показано на рис. 19.14.


Рис. 19.13. Устройство искровых промежутков на верхней траверсе:

а - между концами рессор и штырями изоляторов; б - между концами рессор и токоотводным проводом, проложенным на скосе траверсы


Рис. 19.14. Устройство рессоры для оборудования искровых промежутков:

а - между рессорой и штырями изоляторов; б - между рессорой и токоотводным проводом

19.51. На линиях крюкового профиля искровые промежутки оборудуют на трех верхних проводах так, как показано на рис. 19.15.

Рис. 19.15. Устройство прямых (а) и угловых (б) промежутков на опорах крюкового профиля:

1 - скоба. 2 - токопроводный спуск; 3 - искровой промежуток

19.52. Искровой промежуток соединяют с заземлителем любым из трех способов, указываемых в проекте:

высоковольтным кабелем на напряжение не менее 35 кВ (рис. 19.16);

Рис. 19.16. Соединение искровых промежутков с заземлением при помощи высоковольтного кабеля:

1 - защищаемый кабель связи; 2 - соединительный высоковольтный кабель; 3 - токоотводный провод; 4 - заземление

двумя стальными проводами диаметром 4 мм, заключенными в полиэтиленовый шланг толщиной не менее 4 мм;

двумя стальными проводами диаметром 4 - 5 мм, подвешенными между воздушной линией и дополнительной опорой. В этом случае провода можно располагать под траверсами (см. рис. 19.12) или на скосе вершины опоры (рис. 19.17).

Рис. 19.17. Устройство на вершине основной опоры выноса стальных проводов к дополнительной опоре (1 - заземляющие провода)

Дополнительная опора и заземлитель (контур заземления) должны находиться от защищаемого кабеля на расстоянии не менее 25 - 30 м (на участках с высоким удельным сопротивлением грунта и в районах вечной мерзлоты это расстояние в соответствии с проектом может быть увеличено).

Вдоль дополнительной опоры оборудуют токоотводный спуск, выполняемый стальным проводом диаметром 4 - 5 мм и подсоединяемый к заземлителю. Токоотводный спуск на дополнительной опоре должен иметь разрыв 20 - 30 мм на высоте 1,5 ± 0,2 м от земли. Для укрепления дополнительной опоры может быть оборудована металлическая оттяжка, используемая одновременно в качестве токоотводного спуска.

19.53. Если дополнительная опора не может быть установлена по ту же сторону от кабеля, что и опора существующей линии связи, то заземление оборудуют по другую -сторону от кабеля с обязательным соблюдением указанного выше расстояния между заземлителем и кабелем.

19.54. Если опора существующей воздушной линии связи имеет металлическую оттяжку, то ее заменяют на деревянную подпору.

19.55. Если на опоре существующей воздушной линии связи оборудован молниеотвод, то заземление молниеотвода переносят на указанное расстояние от кабеля путем установления дополнительной опоры. При этом если заземлитель выполнен в виде проволоки, то последняя должна быть направлена в противоположную от кабеля сторону.

19.56. Сопротивления заземлений искровых промежутков не должны превышать значений, указанных в табл. 20.3.

19.57. Если по каким-либо причинам установить дополнительную опору невозможно (пахотные земли, стесненные условия), то может быть применена сконтуровка опор перехватывающей шиной или проводом ПС-70 так, как показано на рис. 19.18. Заземление для искровых промежутков выполняется в данном случае в виде провода, проложенного в противоположную от кабеля сторону внутри охватывающего опору ВЛС контура. Сопротивление заземления охватывающего контура не должно превышать значений, указанных в табл. 20.4.

Рис. 19.18. Схема защиты кабеля от ударов молнии без устройства дополнительной опоры:

1 - защищаемый кабель; 2 - защитный перехватывающий контур (трос ПС-70) или стальная шина сечением не менее 70 мм2; 3 - токоотводный спуск; 4 - заземление для искровых промежутков; 5 - заземление

РАЗДЕЛ 20

УСТРОЙСТВО ЗАЗЕМЛЕНИЙ

ОБЩИЕ УКАЗАНИЯ

20.1. Места оборудования заземлений, их сопротивления, количество и размещение заземлителей в контуре заземляющего устройства определяются проектом.

20.2. Назначение, количество и места расположения заземляющих устройств на усилительных пунктах кабельных магистралей с дистанционным питанием приведены в табл. 20.1.


Таблица 20.1

Назначение, количество и места расположения заземляющих устройств на усилительных пунктах кабельных магистралей с дистанционным питанием

Пункт магистрали

Схема дистанционного питания УП

Наименование заземляющего устройства

Число заземляющих устройств

Назначение заземляющего устройства

Расположение заземляющего устройства

Сечение соединительного провода, мм2

медного

стального

ОУП

«Провод - земля» с заземленным плюсом источника тока

Рабочее

1

Для подключения: полюса электропитающей установки; экранов аппаратуры и станционных кабелей; контактов блокирующих устройств

Не далее 20 м от станции и не ближе 20 м от кабелей и заземлителей защитного и измерительного заземлений

16

25

Защитное

1

Для подключения: нейтрали обмоток трансформаторов силовых трансформаторных подстанций; металлических частей силового, стативного и коммутаторного оборудования; металлических труб водопровода, центрального отопления и других металлических конструкций внутри здания; металлических оболочек кабелей; элементов схем защиты, молниеотводов; установок для содержания кабелей под давлением

Не далее 20 м от станции

16

25

Измерительное

1

Для измерения сопротивления растеканию рабочего и защитного заземляющих устройств

Не ближе 40 м от кабелей и 20 м от заземлителей рабочего и защитного заземлений

4 - 6

10

«Провод - земля» с заземленным минусом источника тока

Рабоче-защитное

1

Такое же, как для рабочего и защитного заземляющих устройств при дистанционном питании по схеме «провод - земля» с заземленным плюсом источника тока

Не далее 20 м от станции и 20 м от междугородных кабелей

16

25

Измерительное

2

Для измерения сопротивления растеканию рабоче-защитного заземляющего устройства

Не ближе 40 м от кабелей и 20 м от заземлителей рабоче-защитного заземления

4 - 6

10

«Провод - провод»

Защитное

1

Такое же, как для рабоче-защитного заземляющего устройства

Не далее 20 м от станции

16

25

Измерительное

2

Для измерения сопротивления растеканию защитного заземляющего устройства

Не ближе 40 м от кабелей и 20 м от заземлителей защитного заземления

4 - 6

10

НУП, в котором заканчивается цепь ДП по схеме Провод-земля»

«Провод - земля»

Рабочее

1

Для подключения: цепи ДП; экранов аппаратуры и станционных кабелей; контактов блокирующих устроила

От кабелей и металлического корпуса НУП не ближе, чем на расстояниях, указанных в табл. 20.2

16

25

Защитное

1

Для подключения: разрядников; металлических корпусов НУП; бронепокрова и металлических оболочек кабелей; каркасов стоек; установок для содержания кабелей под давлением

Не далее 10 - 15 м от металлического корпуса НУП и не ближе 20 м от заземлителей рабочего заземления

16

25

НУП, в котором заканчивается цепь ДП по схеме «Провод - земля»

«Провод-земля»

Линейно-защитное

1

Для заземления бронепокрова и металлических оболочек кабеля

3 - 5 м от кабеля

16

25

НУП или НРП, в котором не заканчивается цепь ДП по схеме «Провод - земля»

Любая

Защитное

1

Для подключения: экранов аппаратуры и станционных кабелей; разрядников; элементов схем защиты; бронепокрова и металлических оболочек кабелей; каркасов стоек; металлических корпусов НУП (НРП); установок для содержания кабелей под давлением

Не далее 10 - 15 м от металлического корпуса НУП (НРП)

16

25

Линейно-защитное

1

Для заземления бронепокрова и металлических оболочек кабелей

3 - 5 м от кабеля

16

25


20.3. Контур рабоче-защитного заземляющего устройства при наличии цепей дистанционного питания должен иметь по условиям техники безопасности два самостоятельных ввода в здание (до щитка заземления).

20.4. Металлическую оболочку и бронепокров кабелей использовать в качестве заземлителей не допускается.

20.5. Минимально допустимые расстояния между заземлителями рабочего заземляющего устройства НУП и кабелем или другим подземным металлическим сооружением приведены в табл. 20.2.

Таблица 20.2

Минимально допустимые расстояния между заземлителями рабочего заземляющего устройства и кабелем

Рабочий ток дистанционного питания, А

0,25

0,5

1,0

1,5

2,0

3,0

Минимально допустимое расстояние, м

15

20

30

40

60

100

20.6. В месте установки НУП, в котором оканчивается полусекция дистанционного питания по схеме «провод - земля» с последовательным включением питающих устройств НУП, оборудуют два обособленных заземляющих устройства: рабочее и защитное (или линейно-защитное).

При расположении НУП в грунтах с удельным сопротивлением менее 20 Ом·м оборудуют отдельное линейно-защитное заземление, а в качестве защитного используют анодные электроды (протекторы), устанавливаемые для защиты металлической цистерны НУП от почвенной коррозии; общее сопротивление растеканию анодных электродов должно быть не более 10 Ом.

Если установленных протекторов (4 шт.) недостаточно для обеспечения требуемого сопротивления защитного заземления, то размещают дополнительные протекторы типа ПМ-10У или ПМ-20У на расстоянии не менее 3 м от НУП и установленных ранее протекторов. При этом клемму защитного заземления аппаратуры соединяют с металлической цистерной НУП кабелем НРГ-660 сечением 1×16 мм2; жилу кабеля НРГ припаивают к вводному патрону.

20.7. Линейно-защитные заземления оборудуют на вводах в НУП (НРП), ОУП (ОРП) и ОП, а также вдоль кабелей, имеющих наружный изолирующий шланг для обеспечения достаточного реального коэффициента защитного действия металлических покровов.

При удельном сопротивлении земли выше 20 Ом·м и отсутствии необходимости защиты металлического корпуса НУП от почвенной коррозии, когда анодные электроды не устанавливают, а также для неметаллических корпусов НУП (НРП) оборудуют только одно объединенное защитное заземление.

20.8. Нейтраль обмоток трансформаторов силовой трансформаторной подстанции и собственной электростанции, питающей оборудование усилительного пункта, должна быть присоединена к защитному или рабоче-защитному заземлению. При этом заземляющее устройство УП или ОП и трансформаторной подстанции может быть общим, если последняя расположена на территории УП или ОП.

Сопротивление заземляющего устройства, к которому присоединены нейтрали обмоток генераторов и трансформаторов, при удельном сопротивлении грунта до 100 Ом·м не должно быть более 2 Ом для электроустановок напряжением 660/380 В, 4 Ом для электроустановок напряжением 380/220 В и 8 Ом - для электроустановок напряжением 220/127 В.

При удельном сопротивлении грунта более 100 Ом·м допускается повышать величину сопротивления заземляющего устройства, но не более, чем в 10 раз и не более указанных ниже значений.

Указанные величины сопротивлений должны быть обеспечены с учетом использования естественных заземлителей (проложенные под землей металлические трубы, металлические конструкции, арматура зданий и др., за исключением трубопроводов горючих и взрывоопасных смесей, канализации центрального отопления и бытового водопровода, расположенных вне здания предприятия связи).

НОРМЫ СОПРОТИВЛЕНИЯ ЗАЗЕМЛЯЮЩИХ УСТРОЙСТВ

20.9. Сопротивление рабочих или рабоче-защитных заземляющих устройств ЛАЦ и ОУП, питающих дистанционно НУП по схеме «провод - земля», определяется проектом. Эти сопротивления должны быть не более значений, указанных в п. 20.8.

20.10. Сопротивление рабочего заземляющего устройства для НУП, питаемых дистанционно по схеме «провод - земля», должно быть не более 10 Ом для грунтов с удельным сопротивлением до 100 Ом·м и не более 30 Ом для грунтов с удельным сопротивлением более 100 Ом·м. При этом падение напряжения, создаваемое токами дистанционного питания на сопротивлении заземляющего устройства, должно быть не более 12 В для грунтов с удельным сопротивлением до 100 Ом·м и не более 36 В для грунтов с удельным сопротивлением более 100 Ом·м.

20.11. Сопротивление защитных заземляющих устройств промежуточных пунктов, не имеющих электропитающих установок, должно быть не более 10 Ом для грунтов с удельным сопротивлением до 100 Ом·м и не более 30 Ом для грунтов с удельным сопротивлением более 100 Ом·м.

20.12. Сопротивления заземляющих устройств искровых разрядников, устанавливаемых на проводах воздушных линий связи для защиты подземных кабелей от ударов молнии, тросов и металлических оболочек кабелей, подвешенных на опорах воздушных линий, молниеотводов с вынесенными заземлителями, должны быть не более значений, указанных в табл. 20.3.

Таблица 20.3

Сопротивление заземляющих устройств для искровых разрядников

Удельное сопротивление грунта, Ом·м

До 100

101 - 300

301 - 500

501 - 1000

Свыше 1000

Сопротивление заземляющего устройства, Ом, не более

20

30

35

45

55

20.13. Сопротивления линейно-защитных заземляющих устройств для металлических оболочек кабелей, защитных проводов (тросов) или шин, проложенных в грунте при защите кабеля от ударов молнии, должны быть не более значений, указанных в табл. 20.4.

Таблица 20.4

Сопротивление линейно-защитных заземляющих устройств для металлических оболочек кабелей, защитных проводов или шин, проложенных в грунте

Удельное сопротивление грунта, Ом·м

До 100

101 - 300

301 - 500

501 - 1000

Свыше 1000

Сопротивление заземляющего устройства, Ом, не более

10

20

30

50

60

Сопротивления линейно-защитных заземляющих устройств для оболочек кабелей, оборудуемых на НУП (НРП), при защите кабелей от ударов молнии должны быть не более значений, указанных в табл. 20.5.

Таблица 20.5

Сопротивление линейно-защитных заземляющих устройств для оболочек кабелей, оборудуемых на НУП (НРП)

Удельное сопротивление грунта, Ом·м

До 100

101 - 500

501 - 1000

Свыше 1000

Сопротивление заземляющего устройства, Ом, не более

10

20

30

50

ОБОРУДОВАНИЕ ЗАЗЕМЛЯЮЩИХ УСТРОЙСТВ

Многоэлектродные заземлители

20.14. Контуры заземляющих устройств могут быть однорядными, замкнутыми, многорядными, в виде прямой или креста. Примеры однорядных контуров показаны на рис. 20.1. Номограммы для расчета сопротивления растеканию однорядных замкнутых контуров, составленных из заземлителей из угловой стали 50×50×5 мм длиной 2,5 м (верхний конец стержней углубленна 0,5 - 0,7 м) приведены на рис. 20.2.

Примеры многорядных контуров показаны на рис. 20.3, а номограмма сопротивления растеканию - на рис. 20.4.

Расположение заземлителей в ряд, в форме креста и круга показано на рис. 20.5.

Рис. 20.1. Однорядные контуры заземления прямоугольной конфигурации (n - число электродов в контуре, L - общая длина контура)

Рис. 20.2. Номограммы сопротивления растеканию однорядных замкнутых контуров прямоугольной конфигурации без обработки грунта солью и учета коэффициента промерзания:

а - при удельном сопротивлении грунта r до 1000 Ом·м; б - при удельном сопротивлении грунта r до 200 Ом·м (n - число электродов в контуре)


Рис. 20.3. Многорядные контуры заземления прямоугольной конфигурации (n - число электродов в ряду; L - общая длина контура; П - число электродов в контуре)


Рис. 20.4. Номограмма сопротивления растеканию многорядных замкнутых контуров прямоугольной конфигурации без обработки грунта солью и учета коэффициента промерзания (п - число электродов в контуре)

Рис. 20.5. Расположение электродов заземления:

а - в ряд; б - в форме креста; в - в форме круга (l - длина одиночного электрода)

20.15. В качестве заземлителей (электродов) допускается использовать угловую сталь 50×50 мм и некондиционные трубы диаметром 2 - 2,5 дюйма. Допускается прутковая сталь диаметром 15 - 16 мм, забиваемая на глубину 5 - 6 м.

20.16. Устройство заземления из одной трубы показано на рис. 20.6. Перед вбиванием электродов заземляющего устройства в грунт к каждому из них должна быть приварена или припаяна стальная проволока диаметром 4 - 5 мм Приварка или припайка проволоки к трубке (уголку) может производиться следующим образом: на расстоянии 50 и 80 мм от края в трубе или поле уголка просверливают сквозные отверстия, наружную поверхность трубы (уголка) на длине примерно 30 мм по обе стороны верхнего отверстия очищают и залуживают, конец проволоки на длине 100 см залуживают и пропускают через верхнее отверстие в трубе (уголке) на длину 50 см; залуженной частью проволоки делают пять оборотов вокруг трубы (уголка) по обе стороны верхнего отверстия, верхний конец проволоки закрепляют хомутом из проволоки диаметром 2 мм, а нижний конец пропускают через нижнее отверстие и загибают; место соединения проволоки с трубой тщательно приваривают или пропаивают и покрывают асфальтовым лаком или каким-либо другим кислотоупорным составом.

Рис. 20.6. Устройство заземления из одной трубы:

1 - труба стальная; 2 - конец трубы смят; 3 - проволока стальная диаметром 4 - 5 мм; 4 - хомутик из перевязочной проволоки диаметром 2 мм; 5 - витки пропаять.

Рис. 20.7. Стальной вкладыш для забивки труб:

1 - труба; 2 - вкладыш

20.17. Чтобы не повредить края трубы при забивке в грунт, в верхний конец ее вставляют стальной вкладыш с головкой, которая опирается своими заплечиками на срез трубы (см. рис 20.7). Нижний конец трубы, забиваемый в грунт, предварительно сплющивают, как показано на рис. 20.6.

20.18. Перед забивкой электродов в грунт для каждого из них копают яму глубиной 0,8 м. Электрод забивают в центре ямы так, чтобы верхний конец возвышался над уровнем дна ямы на 10 см.

20.19. Для соединения электродов между ними прорывают траншею шириной 20 - 30 см и глубиной 0,5 - 0,7м, на дно которой укладывают соединительные провода или шины. В качестве соединительных могут быть использованы стальные шины сечением 40×4, 30×4, 25×4. Шины укладывают на ребро и приваривают к уголковым или трубчатым электродам. Вместо стальных шин можно применять стальные провода ПС-70 или биметаллические сталемедные провода диаметром 4 - 6 мм.

20.20. Соединение электродов из уголков с помощью стальной шины показано на рис. 20.8, а, с помощью проводов - на рис. 20.8, б. Соединение трубчатых заземлителей проводами показано на рис. 20.9. Если количество соединительных проводников превышают два, то их свивают между собой с шагом скрутки 0,1 - 0,25 м.

Рис. 20.8. Заземления для защиты кабелей от ударов молнии:

а - соединение с заземлением провода ПС-70 или шины для защитных контуров, б - соединение с заземлением проводов для искровых промежутков:

1 - хомутик из перевязочной проволоки, 2 - стальная проволока диаметром 4 - 5 мм, 3 - витки пропаять

Рис. 20.9. Соединение трубчатых электродов проводами:

1 - проволока стальная диаметром 4 - 5 мм, 2 - проволока перевязочная диаметром 2 мм, 3 - восемь витков пропаять

20.21. При устройстве рабочих заземлений во всех грунтах, а защитных - в агрессивных, соединительные провода на всем протяжении до выхода на поверхность изолируют от земли двухслойным покрытием асфальтового лака. После выполнения указанных работ траншею засыпают землей.

20.22. Заземлители для искровых промежутков рекомендуется соединять с токоотводным проводом двумя проводами диаметром 4 - 5 мм (см. рис. 20.8, б).

20.23. В процессе выполнения строительных работ число электродов в контуре может уточняться по результатам измерений сопротивления растеканию тока при последовательном наращивании устанавливаемых электродов. При этом число электродов, необходимое для обеспечения нормы сопротивления заземления, может отличаться от проектируемого как в сторону увеличения, так и в сторону уменьшения.

20.24. Конфигурацию контура определяют исходя из количества электродов и местных условий.

Заземлители в местах с высоким удельным сопротивлением грунта

20.25. В местах с высоким удельным сопротивлением грунта рекомендуется обрабатывать грунт солью, что позволяет снизить сопротивление растеканию тока заземлителя в 2,5 - 8 раз.

Примерная конструкция котлована при обработке грунта солью показана на рис. 20.10. Работа проводится в следующем порядке. В месте, где должен быть забит электрод, вырывают котлован глубиной 2,5 м, диаметром 0,8 - 1,0 м и сечением 1×1 м. В котлован укладывают поочередно слои грунта и вдвое тоньше слои соли. Соль смачивают водой и утрамбовывают. Для обработки следует применять соли, не увеличивающие коррозию стали: нитрат натрия и гидрат окиси кальция, не следует применять хлористый натрий, хлористый кальций, купоросы и т.д. Траншею для соединительной полосы солью не обрабатывают.

20.26. Снижения сопротивления растеканию можно добиться путем установки стержневого электрода в котлован с насыпным грунтом. С этой целью для каждого электрода делают котлован радиусом 1,5 - 2,5 м и глубиной, равной длине забиваемого стержня плюс 0,8 м (рис. 20.11). После установки электрода (уголка, трубы) котлован заполняют грунтом с небольшим удельным сопротивлением и грунт утрамбовывают. При устройстве многоэлектродного контура электроды соединяют после неполной засыпки котлована.

В качестве грунта заполнителя может быть применен любой грунт, имеющий удельное сопротивление в 5 - 10 раз меньше удельного сопротивления основного грунта. Например, если заземление устраивают в песчаном или каменистом грунте, то заполнителями могут быть глина, торф, чернозем, суглинок, шлак, коксовая мелочь и т.д.

20.27. В скальных и других грунтах, где рытье отдельных котлованов практически невозможно, рекомендуется путем применения взрывных работ делать один общий котлован для всего контура заземления. Размеры котлована зависят от количества электродов. Наиболее целесообразно в таких случаях оборудовать многорядовые контуры.

Котлованы засыпают мягким привозным грунтом с обработкой всего контура солью из расчета 8 кг на 1 м3 грунта.

Рис. 20.10. Конструкция котлована при обработке грунта солью для установки заземлителя из угловой стали

Рис. 20.11. Устройство заземлителя в грунте с высоким удельным сопротивлением:

1 - провод ПР или ПРЖ сечением 6 - 10 мм2; 2 - заземлитель; 3 - насыпной грунт; 4 - основной грунт

20.28. В местах с большим удельным сопротивлением допускается оборудование выносных заземлителей, экономическая целесообразность и возможность строительства которых определяются проектом.

Заглубленные и глубинные заземлители

20.29. Заглубленные (от 3 до 10 м) и глубинные (свыше 10 м) заземлители оборудуют в тех случаях, когда посредством многоэлектродного заземления не удается добиться требуемой величины сопротивления растеканию или оборудование многоэлектродного заземления слишком дорого.

20.30. Заглубленные заземлители длиной до 10 м целесообразно выполнять из прутка диаметром 10 - 20 мм и погружать в землю путем ввертывания с помощью переносных вращательных станков, например, электродрели с редуктором, двигателя от пилы «Дружба» и др. Для облегчения ввертывания заземлителя конец прутка заостряют (рис. 20.12).

Рис. 20.12. Нижний конец прутка для ввертывания заглубленного заземлителя

20.31. Глубинные заземлители длиной от 10 до 15 м выполняют секционными. Длина каждой секции от 1,5 до 2,5 м.

Работу начинают с забивки первого электрода, затем к нему присоединяют второй и т.д. Для забивки используют вибромолот, например типа ВМ-2. Секции соединяют либо путем сварки (рис. 20.13) в случае электродов из уголков, либо свинчивания, если в качестве электрода используется пруток. В последнем случае на секциях заземлителей заранее нарезают резьбу.

При сочленении секций для обеспечения их надежного электрического контакта внутрь высверленного отверстия закладывают свинец. При забивке заземлителя свинец растекается по поверхности, обеспечивая механическое и электрическое соединения. В этом случае наиболее целесообразно применять пруток диаметром 18-20 мм. На верхний конец секции надевают съемный боек, предохраняющий торец прутка от расплющивания.

Рис. 20.13. Сварка секций глубинного заземлителя с помощью отрезка уголка:

1 - заостренный конец; 2 - отрезок уголка

Рис. 20.14. Устройство заземлителя в скальном или каменистом грунте с использованием скважины и обсадной трубы:

1 - каменистый или скальный грунт; 2 - скважина; 3 - груз; 4 - стальная полоса 40×4 мм2; 5 - обсадная труба

20.32. В каменистых и скальных грунтах устройство глубинных заземлителей возможно лишь после предварительного бурения скважины, в которую устанавливается обсадная труба длиной примерно 3 м.

Заземлитель выполняют из стальной полосы сечением 40×4 мм2, которую опускают в скважину под действием груза в виде удлиненной болванки массой 40 - 50 кг, укрепленной на конце полосы (рис. 20.14). Саму скважину заполняют тонкодисперсной смесью глины и соли. Влажность смеси доводят до такой степени, при которой еще не теряется свойство сыпучести.

Для бурения скважин применяют бурильные агрегаты СБУ-150-ЗИФ, СБУ-300-ЗИФ (на автомашинах), УТБ-50, АВБ-ТМ-100, БТС-50, БТС-100, БТС-150 (на тракторах), станок ударно-канатного бурения БУ-20М и др.

Заземлители в районах вечной мерзлоты

20.33. Основные решения по оборудованию заземлителей в местах с вечномерзлым грунтом принимаются проектной организацией после проведения предпроектных изысканий.

20.34. При оборудовании заземлителей в первую очередь следует, если это возможно, использовать естественные заземлители. В качестве естественных заземлителей могут служить: существующие обсадные и водоподъемные трубы скважин, проложенные в земле водопроводные трубы и другие металлические непокрытые изоляцией подземные сооружения (за исключением трубопроводов горючих жидкостей, а также взрывчатых газов), железобетонные фундаменты сооружений, металлические неизолированные оболочки кабелей, металлические ограды, имеющие надежное соединение с землей и т.д. Сопротивление их во многих случаях достаточно мало из-за больших линейных размеров.

20.35. В районах с вечномерзлыми грунтами рекомендуется оборудовать выносные заземлители. Выносное заземление устраивают при наличии вблизи заземляемого объекта водоема, рудной жилы, таликов в тонкодисперсных отложениях и других мест с грунтом, имеющим значительно меньшее сопротивление, чем в месте установки объекта.

Длина соединительного провода до выносного защитного заземления не должна превышать 25 - 30 м, а при оборудовании рабочего заземления - 500 - 800 м.

20.36. В качестве электродов при устройстве выносного заземления используют:

листы железа с минимальной площадью 0,75 м2 и толщиной 5 мм;

сетку размером 5×5 и 10×10 м, сваренную из стальных полос 40×4 мм с размером ячейки 40×40 см;

стержни, выполненные из профильной стали или труб длиной 1,5 - 2 м с минимальной площадью сечением 0,75 м2 и толщиной стенок 4 мм.

20.37. В непромерзающих водоемах оборудуют заземлители согласно рис. 20.15. Заземлитель не рекомендуется располагать непосредственно у берега водоема.

20.38. При отсутствии близкорасположенных естественных водоемов для оборудования выносного заземления можно вырыть искусственный водоем глубиной не менее 2 м. Размеры водоема определяются условиями его промерзания. Зимой на поверхности водоема рекомендуется делать снегозадержание.

20.39. При невозможности оборудовать выносное заземление в мощных мёрзлых грунтах тонко- и среднедисперсных пород следует устанавливать глубинные (трубчатые) заземлители при соответствующей обработке грунта. Устройство глубинного трубчатого заземлителя показано на рис. 20.16. Оптимальная длина рабочей части заземлителя 15 - 20 м, диаметр трубы от 3/4" до 5". Трубы малого диаметра (до l") соединяют в параллельные плети и сваривают по длине в четырех - пяти местах. Для повышения эффективности заземлителя трубу в нижней части на длине 5 м необходимо перфорировать (20 - 25 отверстий диаметром 0,8 - 1,5 см на погонный метр трубы).

Рис. 20.15. Листовой (а) и стержневой (б) заземлители на дне водоема:

1 - заземлитель; 2 - заземляющий проводник; 3 - груз; 4 - дно водоема

Рис. 20.16. Глубинный трубчатый заземлитель в мерзлом грунте:

1 - обсадная труба; 2 - труба-насадка для заливки раствора; 3 - теплоизолятор; 4 - полоса для вывода заземлителя; 5 - тонкодисперсный грунт; 6 - тело заземлителя - труба с перфорацией; 7 - пеновоздушная подушка; 8 - талые породы; 9 - мерзлые грунты

Рис. 20.17. Крепление стальной полосы горизонтального заземлителя к грунту:

1 - стальная полоса; 2 - металлическая скоба; 3 - насыпной тонкодисперсный грунт

Внутрь заземлителя для постоянной эксплуатации вставляют трубу-насадку длиной 2 - 3 м, которая в нижней части должна иметь теплоизоляцию (несколько слоев полиэтиленовой пленки, кабельный пластикат), предохраняющую от интенсивного промерзания грунта в верхней части скважины.

Через трубу-насадку внутрь заземлителя заливают горячий раствор соли (25 - 40 кг на трубу) для оттаивания ледяных пропластков между фракциями породы в нижней части скважины. Нельзя заливать горячий раствор в пространство между стенкой скважины и перфорированной трубой, так как в этом случае возможны обвалы стенок скважины. В зависимости от категории мерзлого грунта и мощности ледяных включений и пустот в нижней части скважины требуется от 100 до 150 л горячего раствора соли.

Пространство между стенками скважины и телом заземлителя заполняют смесью горячего солевого раствора (10 - 15 %) с просеянными тонкодисперсными породами (гумусированные грунты, мелкий песок, суглинки, глина). Во избежание резкого увеличения сопротивления заземлителя перемешивание смеси и заполнение пространства между трубой и грунтом следует производить при положительной температуре. Влажность смеси доводят до такой степени, при которой еще не теряется свойство сыпучести (должна образоваться творожистая масса, исключающая возможность прилипания к стенкам скважин).

Верхнюю часть скважины (1,5 - 2 м от поверхности земли) засыпают без заполнения грунта сухими тонкодисперсными породами.

Для глубинного заземлителя скважину бурят на глубину, превышающую рабочую длину заземлителя на 1,5 - 2 м. При механическом бурении с обсадными трубами в сыпучемерзлых грунтах трубы извлекают только после засыпки тела заземлителя на 1/2 длины. Допускается в верхней части скважины оставлять обсадную трубу на длине примерно 3 - 5 м от поверхности земли. Во избежание образования каверн и пустот в скважине должна производиться утрамбовка грунта (при заполнении скважины).

20.40. При мощных мерзлых горизонтах грубодисперсных пород и слабом снеговом покрове удовлетворительные результаты могут быть получены при установке глубинных заземлителей длиной 20 - 100 м в скважины, пробуренные через толщи мерзлого грунта до талого грунта.

Оборудование таких глубинных заземлителей допускается выполнять без солевой обработки грунта.

При бурении скважины необходимо периодически контролировать сопротивление растеканию опущенного в забой бурового снаряда, которое приблизительно равно сопротивлению заземлителя, установленного в скважине. При снижении сопротивления до заданной величины бурение можно прекратить.

Для бурения скважин применяют бурильные агрегаты, указанные в п. 20.32.

20.41. При необходимости следует оборудовать несколько глубинных заземлителей, соединяя их стальной полосой сечением не менее 40×4 мм2 или стальным прутком диаметром 12 мм, привариваемым к электродам на глубине 0,8 - 1 м.

Наиболее благоприятное время производства работ по оборудованию заземлителей - сентябрь и первая половина октября (до появления первых морозов).

20.42. С целью предотвращения интенсивного промерзания грунта площадку для оборудования заземлителей следует покрывать сверху искусственным теплоизолирующим материалом: древесными опилками, шлаком толщиной 0,5 - 0,6 м; поливинилхлоридной пленкой толщиной 0,08 - 0,1 мм; водовоздушной пеной толщиной 1 м, которая создается, например, эмульгатором «Волгонат» и позволяет уменьшить глубину промерзания грунта в 2,5 раза.

Работы по утеплению площадки для установки заземлителей следует проводить в сентябре - октябре, до первых морозов.

20.43. В качестве заземления при защите от ударов молнии в ранне-весенний период следует оборудовать протяженные горизонтальные заземлители в виде стальной полосы толщиной не менее 3 - 4 мм с площадью поперечного сечения не менее 80 мм2 и длиной 80 - 100 м.

Полосу длиной не менее 50 м укладывают в траншею глубиной 0,1 - 0,3 м в деятельном слое и засыпают смесью тонкодисперсного грунта с солью (10 - 12 кг на 50 м траншеи). Остальную часть полосы укладывают на поверхность земли, очищенную от растений, и крепят металлическими скосами (костылями) к грунту, а сверху засыпают слоем тонкодисперсного грунта толщиной до 5 см (рис. 20.17).

Ввод кабелей от заземляющих устройств в НУП

20.44. Контур объединенного защитного или линейно-защитного заземления подключается кабелем ВРГ (НРГ)-660 сечением 1×16 мм2 к щитку КИП в наземной части НУП.

Схемы ввода кабелей от заземляющих устройств в НУП систем передачи К-3600 и К-1920П приведены на рис. 20.18 и 20.19.

Схемы ввода в НУП К-60П приведены на рис. 20.20.

В схеме рис. 20.20, а к клеммам 1, 2, 3, 4 щитка КИП-2 подключают металлические оболочки, перепаянные с бронепокровом. В схеме рис. 20.20, б к клеммам щитка КИП-1 подключают объединенное заземление и металлическую цистерну НУП. В схеме рис. 20.20, в к клеммам 2 и 3 щитков КИП-2 подключают металлические оболочки, а к клеммам 1 и 4 - бронеленты. В случае ввода кабелей без бронепокрова в НУП устанавливают два щитка КИП-2 вместо трех и металлические оболочки подключают к одному щитку КИП к клеммам 1 - 4. В схеме рис. 20.20, г к клеммам 2 и 3 щитков КИП-2 подключают металлические оболочки, а к клеммам 1 и 4 - бронепокров. В случае ввода в НУП кабелей без бронепокрова в последнем должны быть установлены один щиток КИП-2 и один щиток КИП-1; при этом к клеммам 1 - 4 КИП-2 подключают металлические оболочки, а к одной из клемм КИП-1 - защитное заземление.

Рабочее заземление оборудуют только для НУП, в котором заканчивается полусекция дистанционного питания.

Рис. 20.18. Схема ввода заземляющих устройств в НУП систем передачи К-3600 и К-1920П с использованием кабеля без изолирующего покрова при удельном сопротивлении земли r <20 Ом·м (а) и r >20 Ом·м (б):

1 - наземная часть; 2 - цистерна; 3 - щиток КИП-2; 4 - линейно-защитное заземление; 5 - объединенное защитное заземление; 6 - кабель ВРГ (НРГ)-660 сечением 1×16; 7 - болт заземления; 8 - изолирующая муфта типа МИСк2 для кабеля КМ-4 или МИСк-3 для кабеля КМ-8/6; 9 - два кабеля ПРППМ-1×2×1,2; 10 - магистральные кабели; 11 - восемь кабелей ПРППМ 1×2×1,2

Рис. 20.19. Схема ввода заземляющих устройств в НУП систем передачи К-3600 и К-1920П с использованием кабеля в изолирующем защитном покрове при удельном сопротивлении земли r <20 Ом·м (а) и r >20 Ом·м (б):

1 - надземная часть; 2 - цистерна; 3 - щиток КИП; 4 - линейно-защитное заземление; 5 - объединенное защитное заземление; 6 - кабель ВРГ (НРГ)-660 сечением 1×16; 7 - четыре кабеля ПРППМ-1×2×1,2; 8 - восемь кабелей ПРППМ-1×2×1,2; 9 - болт заземления; 10 - изолирующая муфта МИСк-2 или МИСк-3; 11 - магистральные кабели (к клеммам 2 и 3 щитков КИП-2 подключаются металлические оболочки кабелей, к клеммам 1 и 4 - бронеленты кабелей)

Рис. 20.20. Схемы ввода заземляющих устройств в НУП системы передачи К-60П:

а - кабели без изолирующих покровов, удельное сопротивление земли r < 20 Ом·м; б - кабели без изолирующих покровов, удельное сопротивление земли r > 20 Ом·м; в - кабели с изолирующими покровами, удельное сопротивление земли r < 20 Ом·м; г - кабели с изолирующими покровами, удельное сопротивление земли r > 20 Ом·м:

1 - наземная часть; 2 - цистерна; 3 - щиток КИП-2; 4 - щиток КИП-1; 5 - линейно-защитное заземление; 5 - место приварки защитного заземления; 6 - объединенное защитное заземление; 7 - рабочее заземление; 8 - изолирующие муфты; 9 - один кабель ВРГ (НРГ)-660 сечением 1×16; 10 - два кабеля ВРГ (HPD-660 сечением 1×16; 11 - восемь кабелей ПРППМ-1×2×1,2; 12 - четыре кабеля ПРППМ-1×2×1,2; 13 - магистральные кабели

20.45. Контур рабочего заземления (в системах передачи с дистанционным питанием по схеме «провод-земля» подключают к клемме «Рабочее заземление» ВКШ-1 или боксового щита (каркаса) двумя кабелями ВРГ (НРГ)-660 сечением 1×16 мм2, которые прокладывают от двух различных точек контура. В НУП оба кабеля ВРГ (НРГ) подключают параллельно к клемме «Рабочее заземление», расположенной в верхней части ВКШ-1 или боксового каркаса при помощи наконечников.

20.46. Кабель ВРГ (НРГ) подключают к контуру заземления путем припайки к соединительной шине между электродами или к самому электроду с обязательной изоляцией места соединения с помощью битумной массы.

Щиток КИП соединяют кабелем ВРГ (НРГ)-660 сечением 1×16 мм2 с болтом, приваренным к горловине цистерны.

20.47. Кабели рабочего заземления вводят в цистерну НУП через патрубок (вводный патрон), как показано на рис. 20.21. При этом необходимо предварительно на вводимый конец кабеля одеть свинцовую оболочку кабеля МКСБ-4×4×1,2 по длине вводного патрубка и залить битумно-резиновой мастикой. После затвердения мастики монтируют во вводном патроне аналогично кабелю МКСБ-4×4×1,2.

Рис. 20.21. Ввод кабеля рабочего заземления в цистерну НУП:

1 - вводимый кабель ВРГ (НРГ)-660 сечением 1×16; 2 - свинцовая трубка; 3 - вводной патрон; 4 - свинцовые кольца толщиной 1,2 - 1,5 мм; 5 - свинцовый конус; 6 - битумно-резиновая мастика; 7 -смоляная лента; 8 - кабельная масса; 9 - цистерна; 10 - фланец; 11 - хомут

20.48. В цистерне НУП проводка рабочего и защитного заземлений должна иметь различную расцветку: синий цвет - рабочее заземление; желтый цвет - защитное заземление.

РАЗДЕЛ 21

СТРОИТЕЛЬСТВО НУП И НРП

ОБЩИЕ УКАЗАНИЯ

21.1. На магистральных кабельных линиях связи (с симметричными и коаксиальными кабелями) применяются НУП, устанавливаемые между ОУП. Тип, конструкция и место установки НУП определяются проектом в зависимости от типа кабеля, системы передачи и уровня грунтовых вод.

21.2. Необслуживаемый усилительный пункт состоит из наземной и подземной части. Наземная часть представляет собой металлическую будку размером 1800×1800×2400, изготавливаемую в заводских условиях и отправляемую на трассу в собранном или разобранном виде. Наземная часть НУП может также состоять из пяти железобетонных панелей, монтируемых на месте установки. Все конструкции при сборке наземной части из панелей соединяются электросваркой.

Подземная часть в зависимости от типа кабеля и системы передачи может представлять одностенную цистерну или контейнер соответствующих размеров. Примеры установки НУП в зависимости от типа кабеля и оборудования приведены на рис. 21.1 - 21.3.

Рис. 21.1. Подземный заглубленный НУП для кабелей 4×4 с использованием аппаратуры типа К-60П при: низком (а), высоком (б) уровне грунтовых вод и песчаной подушке при низком уровне грунтовых вод (в):

1 - цистерна; 2 - наземная часть; 3 - фундаментные блоки Ф-1; 4 - песчаная подушка; 5 - насыпной грунт; 6 - лестница; 7 - расчетный уровень грунтовых вод

Рис. 21.2. Подземный, регулирующий и корректирующий НУП на кабеле КМБ-8/6:

1 - цистерна; 2 - наземная часть; 3 - фундаментные блоки Ф-1; 4 - петля монтажная; 5 - стальная труба Æ 75 мм l = 1500 мм для ввода проводов защиты; 6 - расчетный уровень грунтовых вод

Рис. 21.3. Подземный НУП на кабелях МКСБ, КМБ-4 и КМБ-8/6 (см. обозначения на рис. 21.2)

21.3. Основанием под цистерну или контейнер может служить комплект железобетонных фундаментных блоков Ф-1. Цистерна может устанавливаться также на дренирующий грунт без фундамента.

21.4. Засыпка пазух вокруг цистерны должна осуществляться слоями по 20 - 30 см с трамбованием. Особенно хорошо должен быть утрамбован грунт под уголками или под асбестоцементными трубами, по которым осуществляется ввод кабеля в НУП. Вокруг НУП устраивают обваловку, одерновку и благоустраивают территорию.

ОРГАНИЗАЦИЯ РАБОТ

21.5. Строительство НУП подразделяется на подготовительный и основной периоды работ.

21.6. В подготовительный период выполняются работы по уточнению мест строительства НУП. Производится заготовка и комплектация всех необходимых изделий и конструкций, перевозка цистерн, сборного железобетона, материалов, конструкций.

21.7. В основной период выполняются работы по строительству НУП в соответствии с графиком ППР на строительство кабельной магистрали связи в следующем порядке:

а) привязка и разбивка места для установки НУП в соответствии с проектом;

б) рытье котлована под цистерну с рекультивацией грунта;

в) укладка фундаментных блоков (в варианте с фундаментом);

г) установка и закрепление цистерны НУП;

д) засыпка котлована. Устройство специальных слоев и обсыпки (в варианте без фундамента);

е) установка и закрепление уголков и асбоцементных труб для ввода кабелей;

ж) установка и закрепление наземной части НУП, устройство пола, укладка ступеней;

з) благоустройство территории, одерновка откосов.

21.8. Колонна по строительству НУП может быть самостоятельной единицей, подчиненной руководству участка строительства кабельной магистрали, и может находиться в составе механизированной колонны по прокладке кабеля. В первом случае колонна полностью оснащается всем необходимым для строительства; во втором случае при подходе мехколонны к месту строительства НУП из ее состава выделяется часть механизмов (бульдозер, автокран, электросварочный агрегат, автомашина) и специалистов для рытья котлована и строительства НУП.

21.9. Самостоятельно работающая колонна по строительству НУП представляет собой комплексную бригаду, работающую по бригадному подряду, и состоящую из шести - семи рабочих следующих профессий: автокрановщик, экскаваторщик, бульдозерист, шоферы, монтажники конструкций, электросварщик, кабельщик-спайщик. Для сокращения численного состава бригады целесообразно использовать специалистов, владеющих смежными профессиями.

21.10. В составе колонны должны быть следующие машины и механизмы: автомашины для перевозки цистерны, фундаментных блоков, тяжей, наземной части НУП и других материалов; автомашины-самосвалы для перевозки грунта; автомашина для перевозки личного состава; автокран; бульдозер; экскаватор; сварочный агрегат. Колонна или бригада по строительству НУП должна быть обеспечена жилищно-бытовыми передвижными вагончиками и культурно-бытовым и хозяйственным инвентарем.

21.11. В зависимости от организации и условий производства работ на объекте строительство НУП может осуществляться до или после прокладки магистрального кабеля.

ПРИВЯЗКА И РАЗБИВКА МЕСТА ДЛЯ УСТАНОВКИ НУП

21.12. Привязка НУП заключается в уточнении места его установки. При этом особое внимание должно быть обращено на места возможных пересечений и сближений с другими подземными сооружениями и коммуникациями, ориентирование НУП относительно трассы кабеля, подъездных дорог, уровня грунтовых и паводковых вод, соответствие группы грунта проектной, сохранение зеленых насаждений и удобства эксплуатации сооружений.

21.13. Разбивку места для установки НУП должен, как правило, выполнять производитель работ с помощью рулетки, разбивочного шнура, колышков и вешек. По контуру котлована (с учетом откосов и глубины), ограниченному шнуром, лопатой необходимо четко наметить размеры котлована, вынести с помощью нивелира на временный репер отметку дна котлована и ознакомить с разбивочными ориентирами машиниста экскаватора.

21.14. По стройгенплану (в составе ППР на строительство НУП) разбивают места для складирования конструкций, цистерн, материалов, грунта, извлекаемого из котлована, место ввода кабеля, подъездные пути, места для отдыха, стоянки автомашин и механизмов. Определяется способ отвода паводковых вод.

21.15. Перенос места строительства НУП без ведома проектной организации запрещается. В случае обнаружения отклонения фактических условий строительства от проектных должен быть вызван представитель проектной организации.

РЫТЬЕ КОТЛОВАНОВ ПОД ЦИСТЕРНУ

21.16. Размеры котлована в плане определяются размерами подземной части НУП (рис. 21.4). Глубина заложения подземной части НУП зависит от уровня грунтовых вод и определяется проектом.

Рис. 21.4. Размеры котлованов для НУП при полном заглублении цистерны длиной 4000 мм (а) и 2400 мм (б)

21.17. Рытье котлована под НУП на глубину до 3 м в грунтах до III группы целесообразно выполнять экскаватором типа ЭО-2621А с ковшом объемом 0,25 м3 при работе обратной лопатой. При рытье котлована глубиной до 4 м и под удлиненные цистерны (4 - 4,95 м) целесообразно применять экскаватор ЭО-3311Г с ковшом объемом 0,4 м3 на пневмоколесном ходу. Для работы на мягких грунтах целесообразно использовать экскаватор Э-304Г (Э-304Б) с ковшом объемом 0,4 м3, имеющий уширенно-удлиненный гусеничный ход, прямую и обратную лопаты, драглайн, грейфер и кран. В грунтах скальной породы котлованы разрабатывают с применением отбойных молотков и взрывным способом с выбросом грунта в отвал соответствующим экскаватором.

21.18. Котлован для установки цистерн НУП должен быть защищен от стока поверхностных вод путем: устройства водоотводной канавы с нагорной стороны выемки; планировки территории; устройства специальной земляной дамбы; размещения отвала грунта с нагорной стороны выемки.

21.19. Для работы сварщика в котловане необходимо вдоль цистерны от фундаментного блока до подошвы откоса оставлять проход не менее 0,5 м. Ширина котлована по низу при этом составит не менее 3600 мм.

21.20. Стенка котлована, где осуществляется ввод кабеля, должна быть максимально приближена к торцу цистерны, чтобы ввод кабеля осуществлялся на материковом грунте. Уголок, подкладываемый под кабель, должен опираться одним концом на хомут и патрубок цистерны, а другим лежать на твердом основании.

У противоположной торцевой стены котлована у основания откоса должен быть проход для сварщика и монтажников шириной не менее 0,5 м. Откосы должны иметь допустимую крутизну.

21.21. Если основание котлована подлежит уплотнению, при разработке должен быть сделан недобор грунта на 0,25 - 0,6 м Величину недобора следует уточнять опытным уплотнением на месте работ.

УКЛАДКА ФУНДАМЕНТНЫХ БЛОКОВ

21.22. Фундаментом для цистерны НУП служат железобетонные блоки Ф-1 массой 2850 кг каждый, которые укладываются на песчаную подушку толщиной 50 мм. Блоки Ф-1 служат основанием для сооружения НУП и удерживающей силой от всплытия цистерны в период весенне-осенних паводков. Для укороченной цистерны НУП (2,4 м) основанием служат три блока Ф-1, а для удлиненной (4 м) - четыре блока Ф-1. Общая высота от подошвы Ф-1 до горловины цистерны НУП составляет 3860 м.

21.23. Для укладки фундаментных блоков в котлован применяются автомобильные краны соответствующей грузоподъемности с учетом вылета стрелы и высоты подъема крюка. Наиболее удобным для выполнения этой работы является автокран СМК-110, который одновременно может быть использован для разгрузки железнодорожных вагонов с конструкциями НУП и на монтаже сооружения НУП.

21.24. Перемещение, установка и работа машин вблизи котлована с неукрепленными откосами разрешается только за пределами призмы обрушения грунта на расстоянии, установленном проектом производства работ.

При отсутствии соответствующих указаний в проекте производства работ допустимое расстояние по горизонтали от основания откоса выемки до ближайших опор машин следует принимать по табл. 21.1.

Таблица 21.1

Расстояние по горизонтали от основания откоса выемки до ближайшей опоры машины, м

Глубина выемки, м

Грунт

песчаный

супесчаный

суглинистый

глинистый

1,0

1,5

1,25

1,00

1,00

2,0

3,0

2,40

2,00

1,50

3,0

4,0

3,60

3 25

1,75

4,0

5,0

4,40

4,00

3,00

5,0

6,0

5,30

4,75

3,50

21.25. Фундаментные блоки скрепляют между собой металлическими тяжами (диаметром 20 мм ст. A-III), продетыми в подъемные петли цистерны и приварены к ним (рис. 21.5).

Рис. 21.5 Схемы крепления цистерн НУП к фундаментным блокам Ф-1:

1 - цистерна; 2 - фундаментные блоки Ф-1; 3 - тяжи; 4 - хомуты; 5 - монтажные петли; 6 - петли на цистерне

21.26. Работы по рытью котлована и монтажу конструкций должны выполняться в соответствии с требованиями СНиП II-4-80 «Техника безопасности в строительстве», «Правил техники безопасности при работах на кабельных линиях связи и проводного вещания», «Правил устройства и безопасной эксплуатации грузоподъемных кранов».

УСТАНОВКА И ЗАКРЕПЛЕНИЕ ЦИСТЕРНЫ НУП

21.27. Перед установкой цистерны НУП на фундамент необходимо:

проверить правильность установки блоков Ф-1, засыпать грунтом пазухи до верха блоков и оформить акт на скрытые работы по устройству фундамента;

произвести внешний осмотр цистерны, восстановить поврежденную гидроизоляцию;

проверить укомплектованность цистерны НУП (крышки люка, лестницы, кронштейны, болты и т.д.).

21.28. В грунте, насыщенном грунтовыми водами, необходимо работы по монтажу фундаментов и цистерны производить при непрерывном водоотливе сразу после окончания рытья котлована на проектную глубину. Также без перерыва во времени произвести тщательную засыпку котлована с послойным трамбованием грунта.

21.29. Цистерна НУП должна быть закреплена на фундаменте при помощи металлических хомутов, охватывающих нижние подъемные петли на цистерне и тяжи на фундаментных блоках. Сварку всех закрепляющих цистерну узлов с фундаментом необходимо производить с помощью электродов Э-42.

21.30. При всех вариантах установки цистерны НУП на трассе ее горловина должна быть выше верхнего уровня паводковых вод не менее чем на 250 мм над уровнем земли и не менее 100 мм над уровнем пола наземной части.

21.31. На установку цистерны должен быть составлен акт на скрытые работы.

ЗАСЫПКА КОТЛОВАНА

21.32. Засыпка подземной части НУП производится в присутствии представителя заказчика после оформления актов на скрытые работы. Засыпка котлована должна производиться слоями толщиной 15 - 20 см с трамбованием. Особенно тщательно трамбовать грунт необходимо при установке цистерн НУП в сырых местах, а также под металлическими уголками или трубами для ввода кабелей.

21.33. Вводы кабелей в подземную часть НУП необходимо выполнять одновременно с засыпкой котлована. Кабели связи на вводе укладывают на металлические уголки 75×75×7, которые одним концом закрепляют хомутами на патрубках цистерны НУП, а другим опираются на материковый грунт дна траншеи (рис. 21.6). Уголки и хомуты из полосовой стали 30×4 изготавливаются в мастерских строительных организаций и поставляются на трассу в комплекте.

Рис. 21.6. Ввод кабеля в подземную часть НУП:

1 - цистерна; 2 - патрубок цистерны; 3 - уголок; 4 - хомут из полосовой стали 30×4; 5 - кабель; 6 - стягивающий болт; 7 - материковый грунт

21.34. Засыпка вводных кабелей должна производиться с большой осторожностью, чтобы не допустить их повреждений. Тщательно должна быть засыпана и уплотнена траншея на подходе кабеля к НУП для исключения возможности поступления воды по траншее под цистерну НУП.

21.35. При выполнении работ в зимний период запрещается производить засыпку мерзлым грунтом. Одерновку и посев многолетних трав произвести после оттаивания грунта, проверив предварительно состояние котлована вокруг цистерны.

21.36. Уклон откоса обваловки НУП принят 1 : 1 при насыпи из мелкого камня. При глинистых, суглинистых и песчаных грунтах уклон откоса обваловки принимать 1 : 1,25. Обваловка производится местным грунтом с последующим одернением.

СТРОИТЕЛЬСТВО НУП С УСТАНОВКОЙ ЦИСТЕРНЫ НА ГРУНТ БЕЗ ФУНДАМЕНТА

21.37. Данный вариант строительства НУП осуществляется на основании привязки типового проекта к условиям местности.

21.38. Привязка типового проекта НУП к местным условиям заключается в том, что в зависимости от природных условий, группы грунта и уровня грунтовых вод выбирается один из следующих вариантов установки цистерны: заглубленный (рис. 21.7); полузаглубленный (рис. 21.8) или наземный (рис. 21.9).

При строительстве НУП без фундамента особые требования предъявляются к площадке строительства. Она должна быть горизонтальной, грунт должен быть сухим, непросадочным и однородным. Уровень грунтовых вод должен быть не менее 1 м от дна цистерны.

При строительстве в районах горных выработок, вечной мерзлоты и на просадочных грунтах в проектных решениях должны учитываться дополнительные меры, обеспечивающие устойчивость цистерны.

Рис. 21.7. Заглубленный вариант установки цистерны НУП без фундамента при низком уровне грунтовых вод:

1 - цистерна; 2 - наземная часть; 3 - кронштейн; 4 - максимальный уровень грунтовых вод; 5 - взрыхленный грунт h = 30 см

Рис. 21.8. Полузаглубленный вариант установки цистерны НУП без фундамента при среднем уровне грунтовых вод:

1 - цистерна; 2 - наземная часть; 3 - асбестоцементные трубы Æ 612 мм; 4 - кронштейн; 5 - максимальный уровень грунтовых вод; 6 - взрыхленный грунт h = 30 см; 7 - металлическая труба Æ 75 мм и l = 1500 мм

Рис. 21.9. Наземный вариант установки цистерны НУП без фундамента при высоком уровне грунтовых вод (см. обозначения к рис. 21.8)

21.39. Во всех трех вариантах установки цистерны как основание под цистерну, так и ее засыпка выполняются из однотипных слоев грунта.

21.40. Профилированное основание под цистерну должно выполняться вручную с помощью шаблона-сегмента, передвигаемого по направляющим из деревянных брусков. Основание устраивается из слоя взрыхленного грунта толщиной 30 см под всей цистерной по длине и по периметру цистерны.

21.41. Цистерну засыпают четырьмя специальными слоями:

нижний слой толщиной 800 мм (по 400 мм в обе стороны от оси цистерны) из щебня или гальки с послойным уплотнением;

средний слой толщиной 500 мм насыпается послойно (15 - 20 см)и уплотняется;

верхний слой состоит из неуплотненного насыпного грунта;

затем укладывают дерн или насыпают растительный грунт толщиной 15 см и сеют многолетние травы с развитой корневой системой.

21.42. При высоком уровне грунтовых вод нижний слой толщиной 500 мм устраивается из послойно уплотненного грунта. Остальные слои насыпаются по приведенной выше схеме. Уплотнение маловлажных грунтов должно вестись с поливкой водой.

21.43. Для обеспечения плотного прилегания грунта к поверхности цистерны засыпку следует устраивать из однородного грунта: песка, супесей, легких и средних суглинков.

21.44. При использовании для засыпки тяжелых суглинков и глин необходимо комья в грунте, используемом для уплотненного слоя, предварительно размельчать.

21.45. При наличии на площадках илистых грунтов или мощного слоя растительного грунта необходимо насыпь возводить из привозного грунта.

21.46. Для отвода поверхностных вод от сооружения по контуру засыпки устраивают водоотводной лоток глубиной до 0,3 м со сбросом в пониженную часть окружающей местности. Откосы лотка должны отстоять от границы засыпки на 0,8 - 1 м.

УСТАНОВКА И ЗАКРЕПЛЕНИЕ НАЗЕМНОЙ ЧАСТИ НУП

21.47. Перед установкой наземной части НУП должна быть проверена укомплектованность ее кронштейнами, болтами и другими деталями.

21.48. Наземная часть НУП монтируется после засыпки пазухи котлована до уровня земли. Установка наземной части НУП производится автокраном. Монтаж наземной части НУП из отдельных металлических панелей может производиться вручную.

21.49. Внутри наземной части НУП устраивают деревянный щитовой пол из щитов, уложенных на хорошо утрамбованную глинобитную подготовку Защитный слой грунта над цистерной должен быть не менее 790 мм.

21.50. После выполнения всех монтажных работ в НУП следует благоустроить прилегающую к нему территорию.

ЗАЩИТНЫЕ КОЛОДЦЫ ДЛЯ НУП

21.51. Для ограждения металлического корпуса НУП К-60П-4 (кабель 1×4) от механических повреждений предусматривается устройство защитного колодца.

Защитный колодец для НУП может быть выполнен из кирпича (рис 21.10, а) или железобетона (рис. 21.10, б).

Рис. 21.10. Кирпичный (а) и железобетонный (б) защитный колодец на НУП аппаратуры К-60-4:

1 - наземная часть; 2 - винипластовый стакан; 3 - асбестоцементная труба Æ 325 мм и l = 1400 мм; 4 - бетонная подушка М100; 5 - металлическая труба Æ 25 мм и l = 350 мм; 6 - защитный уголок 75×75×7; 7 - кабель; 8 - железобетонные бруски Б-24; 9 - отмостка; 10 - монтажная петля; 11 - скрутка из арматурной стали Æ 6 мм; 12 - кирпичный колодец; 13 - железобетонное кольцо; 14 - люк; 15 - лапки; 16 - железобетонный пояс; 17 - уплотненный насыпной грунт.

21.52. Защитный колодец для металлического корпуса НУП возводят из красного кирпича М-75, толщина стен 250 мм. Основанием для кирпичных стен служат сборные брусковые железобетонные перемычки. В кладку по верху колодца вмуровывают лапки из угловой стали 75×75 длиной 100 мм, к которым приваривают чугунный люк легкого типа с помощью электродов Э-42. Толщина шва при этом должна быть 6 мм. По контуру люк армируют тремя прутками из арматурной стали диаметром 6 мм, соединяемыми через 150 мм поперечными стержнями из арматурной стали того же диаметра. Конструкцию заполняют бетонным раствором М200.

21.53. Защитный колодец снаружи оштукатуривают, дважды обмазывают горячим битумом и на всю высоту устраивают обваловку из уплотненного грунта, поверх которого укладывают одерновку или растительный слой толщиной 15 см. Затем сеют многолетние травы и устраивают обмостку в нижней части обваловки. На внутренней поверхности колодца заделывают швы.

21.54. Защитный колодец из сборного железобетонного кольца устраивают по тому же принципу, что и кирпичный. Основанием также служат сборные брусковые перемычки. Наружные стенки и сборные железобетонные бруски, соприкасающиеся с землей, обмазывают битумом.

21.55. Корпус НУП крепится к основанию фундамента арматурной сталью диаметром 6 мм (рис. 21.10, а, в, узел А). После окончания монтажных работ защитный колодец закрывают плитой перекрытия и вокруг него устраивают обваловку из местного грунта и отмостку.

21.56. Контейнер НУП системы К-300 устанавливают на железобетонную плиту. Крышка контейнера должна быть выше верхнего уровня паводковых вод и находиться не менее 250 мм от уровня земли. Корпус контейнера НУП закрепляют на фундаменте стяжкой из арматурной стали диаметром 6 мм (рис. 21.11, узел А).

Рис. 21.11. Подземный НУП для кабеля МКТС с аппаратурой уплотнения К-300:

1 - контейнер; 2 - наземная часть; 3 - железобетонная опорная плита; 4 - столбчатый фундамент; 5 - петля монтажная; 6 - монтажная петля контейнера; 7 - подъемная петля опорной плиты; 8 - скрутка из арматурной стали Æ 6 мм

21.57. Для защиты контейнера от внешних воздействий над ним устанавливают наземную металлическую будку, изготовленную из тонколистовой стали (стены, перекрытия). Все металлические части НУП должны быть защищены от коррозии.

21.58. Наземную металлическую часть НУП устанавливают на сборный железобетонный столбчатый фундамент.

21.59. Полы в наземной части НУП изготавливают из деревянных щитов ЦП-1, уложенных на утрамбованное глинобитное основание.

21.60. Перед входом в НУП укладывают на песчаную подушку железобетонные плиты.

РАЗДЕЛ 22

СОСТАВЛЕНИЕ ИСПОЛНИТЕЛЬНОЙ ДОКУМЕНТАЦИИ

ОБЩИЕ УКАЗАНИЯ

22.1. Состав, объем и формы исполнительной технической документации должны соответствовать требованиям, изложенным в данном Руководстве, а также другим утвержденным Министерством связи СССР документам по составлению исполнительной документации.

22.2. Исполнительная документация составляется подрядной организацией и представляется ею заказчику для проверки рабочими комиссиями готовности к сдаче в эксплуатацию законченных строительством (реконструкцией) линейных сооружений магистральных и внутризоновых КЛС.

22.3. Исполнительная документация должна быть подписана главным инженером организации, выполнявшей строительно-монтажные работы, а также лицами, ответственными за достоверность приведенных в документах данных (соответствие откорректированных чертежей выполненным работам в натуре, результаты измерений и испытаний), - старшим прорабом, прорабом, измерителем и др.

22.4. Результаты электрических измерений, испытаний и прозвонок должны фиксироваться в протоколах (ведомостях) по установленным формам. Кроме результатов измерений в протоколах должны быть указаны: участок (объект, пункт) измерений, длина измеряемого участка, тип и номер кабеля, тип оборудования (устройства), дата измерений, температура окружающей среды, тип и номер измерительного прибора.

22.5. Исполнительная техническая документация по строительству кабельной канализации и проложенным в ней кабелям должна составляться в соответствии с требованиями, изложенными в «Руководстве по составлению исполнительной документации, предъявляемой строительно-монтажными организациями комиссиям по приемке в эксплуатацию законченных строительством линейных сооружений городских телефонных сетей» (ССКТБ, 1980).

22.6. Исполнительная техническая документация представляется в одном экземпляре.

СОСТАВ ИСПОЛНИТЕЛЬНОЙ ДОКУМЕНТАЦИИ

22.7. Исполнительная техническая документация по линейным сооружениям должна представляться рабочим комиссиям в следующем составе: паспорт трассы, электрический паспорт, монтажная документация, рабочая документация.

22.8. В состав паспорта трассы должны входить:

а) титульный лист (формы 22.1 - 22.3);

Форма 22.1

Исполнительная документация по линейно-кабельным сооружениям

_______________________________________________________________

_______________________________________________________________

АКТЫ НА СКРЫТЫЕ РАБОТЫ

Объект ____________________________________________________________________

ОУП - ______________________________      ОУП - ______________________________

Участок НУП (НРП) - _________________     НУП (НРП) - ________________________

___________________________________________________________________________

___________________________________________________________________________

                                               Главный инженер СМУ ______________________________

                                               Начальник участка __________________________________

«___» ______________ 19 ___ г.

Форма 22.2

ПАСПОРТ

трассы кабельной линии связи

Объект ____________________________________________________________________

ОУП - ______________________________      ОУП - ______________________________

Тип кабеля ________________________________________________________________

Длина трассы ______________________________________________________________

Длина кабеля ______________________________________________________________

в том числе в грунте ______________________________________________________

в кабельной канализации __________________________________________________

под водой _______________________________________________________________

Марки кабеля: _______________ км ______________ км

                          _______________ км ______________ км

Год прокладки __________________ 19 ___ г.

                                               Главный инженер СМУ ______________________________

                                               Начальник участка __________________________________

«___» ______________ 19 ___ г.

Форма 22.3

Состав исполнительной технической документации

Объект ____________________________________________________________________

ОУП - ______________________________      ОУП - ______________________________

Участок НУП (НРП) - _________________     НУП (НРП) - ________________________

№ п.п.

Наименование документов

Номера страниц

 

1. Паспорт трассы

 

1

 

 

2

 

 

3

 

 

4

 

 

 

 

 

 

 

 

… 12

 

 

 

 

 

Составил ___________________

«___» ______________ 19 ___ г.

б) откорректированная строительно-монтажной организацией в соответствии с фактическим исполнением рабочая документация проекта (чертежи трассы прокладки кабеля, кабельной канализации), переходов через реки (водоемы), шоссейные и железные дороги, вводных и оконечных устройств, установки и монтажа оборудования для содержания кабеля (контейнеров) под постоянным избыточным давлением, защиты кабеля (цистерн НУП) от коррозии, ударов молнии и внешних электромагнитных влияний, устройств АРУ, заземляющих устройств, строительства НУП (НРП) и другая в объеме, полученном от заказчика, с нанесенными на чертежах муфтами, замерными столбиками, КИП и т.д.;

в) картограмма глубины заложения кабеля в грунте (рис. 22.1);

Рис. 22.1. Картограмма глубины заложения кабеля в грунте

г) схема размещения строительных длин и смонтированных муфт на усилительном участке (рис. 22.2).

Рис. 22.2. Схема расположения строительных длин и смонтированных муфт на усилительном участке

22.9. В состав электрического паспорта по симметричным К-ЛС должны входить:

а) титульные листы (формы 22.1, 22.3, 22.4);

Форма 22.4

Электрический паспорт линейных сооружений КЛС

Объект ____________________________________________________________________

ОУП - ______________________________      ОУП - ______________________________

Участок: НУП (НРП) - ________________      НУП (НРП) - ________________________

Длина трассы ______________________________________________________________

Длина кабеля _______________________________________________________________

Тип кабеля _________________________________________________________________

Кабель № __________________________________________________________________

___________________________________________________________________________

___________________________________________________________________________

Дата составления паспорта «___» ______________ 19 ___ г.

                                               Главный инженер СМУ ______________________________

                                               Начальник участка __________________________________

«___» ______________ 19 ___ г.

б) протокол электрических измерений постоянным током (см. форму 16.1, а);

в) протокол электрических измерений переходного затухания на ближнем конце (см. форму 16.2);

г) протокол электрических измерений защищенности цепей на дальнем конце (см. форму 16.3);

д) ведомость симметрирования четверок скрещиванием (см форму 16.4);

е) ведомость симметрирования четверок скрещиванием при выравнивании рабочих емкостей (см. форму 16.5);

ж) протоколы измерений характеристического сопротивления цепей с дополнительной индуктивностью, в том числе частотной зависимости (см. форму 16.6);

з) протокол измерений потенциалов на оболочке кабеля (форма 18.4), если проектом предусмотрены работы по защите от коррозии;

и) протокол проверки эффективности протекторной защиты цистерны НУП (см. форму 18.5).

22.10. В состав электрического паспорта по коаксиальным КЛС должны входить:

а) титульные листы (формы 22.1, 22.3, 22.4);

б) протокол электрических измерений постоянным током (см. формы 16.1 б - д);

в) протокол электрических измерений переходного затухания на ближнем конце между симметричными цепями кабелей типа КМ-4 (КМ-4-60) (см. форму 16.7);

г) протокол измерений характеристического сопротивления симметричной цепи с дополнительной индуктивностью (см. форму 16.6);

д) протокол измерения электрической длины смонтированных усилительных участков (см. форму 16.8);

е) протоколы измерений потенциалов (см. форму 18.4) на оболочке кабеля, если проектом предусмотрены работы по защите от коррозии;

ж) протоколы проверки эффективности протекторной защиты цистерн НУП (см. форму 18.5).

22.11. В состав монтажной документации должны входить:

а) титульные листы (формы 22.5 и 22.3);

б) паспорта на монтаж муфт (см. формы 8.1 - 8.3);

Форма 22.5

Монтажная документация линейных сооружений КЛС

Объект ____________________________________________________________________

ОУП - ______________________________      ОУП - ______________________________

Участок: НУП (НРП) - ________________      НУП (НРП) - ________________________

Тип кабеля _________________________________________________________________

Кабель № __________________________________________________________________

___________________________________________________________________________

___________________________________________________________________________

Дата составления паспорта «___» ______________ 19 ___ г.

                                               Главный инженер СМУ ______________________________

                                               Начальник участка __________________________________

«___» ______________ 19 ___ г.

в) протоколы прозвонки кабеля на усилительном участке (формы 22.6, а - в);

г) акты проверки герметичности кабеля на смонтированном усилительном участке (см. форму 17.2);

д) протоколы испытаний герметичности и работоспособности оборудования, контейнеров, устройств пневматической коммутации, оконечных устройств (УОК, КАЕ) (см. формы 17.3 - 17.11);

е) двусторонние акты на дополнительные и накладные муфты с обоснованием причин, вызвавших их монтаж;

ж) сведения о смонтированных катодных и электродренажных установках и протекторной защите (см. формы 18.1 - 18.3).

22.12. В состав рабочей документации входят:

а) титульные листы (формы 22.7 и 22.3);

б) заводские протоколы измерений строительных длин кабеля;

в) протоколы испытаний строительных длин кабеля и пупиновских ящиков (в процессе строительства) (см. формы 4.2 и 4.3);

г) ведомости группирования строительных длин (см. форму 4.4);

д) укладочные ведомости (см. форму 4.5);

е) заводские, паспорта на оборудование (ВКШ, УСКД-1М, АУСКИД, УОК, УПК-2М, РУ-6М, контейнеры, цистерны НУП, катодные и дренажные установки и др.);

ж) ведомость замеров глубины заложения кабеля (форма 22.8);

з) акты на скрытые работы (формы 22.9 - 22.16);

и) ведомость определения физической длины смонтированного кабеля (форма 22.17).

Форма 22.6а

ПРОТОКОЛ

прозвонки симметричного кабеля

Объект ______________________________    Тип (марка) кабеля ___________________

ОУП - ___________ ОУП - ______________   Кабель № ___________________________

Усилительный участок _________________   Дата «____» _________________ 19 ___ г.

между _______________________________

I. Расцветка четверок и жил

Счетные четверки (пары) в повивах

Жилы в четверке (паре)

Примечание

центральном

1

2

3

1

2

8

22

1

2

3

4

 

 

 

 

 

 

 

 

 

 

II. Данные прозвонки

Номера четверок и пар со стороны

Нумерация жил

Схема соединения

Примечание

А

Б

1

2

3

4

 

 

 

 

 

 

 

 

 

 

 

 

 

 

 

 

 

 

 

 

 

Измеритель __________________________    Спайщик ___________________________

Форма 22.6б

ПРОТОКОЛ

прозвонки коаксиального кабеля типа КМ-4, МКТ-4

Объект ______________________________    Тип (марка) кабеля ___________________

ОУП - ___________ ОУП - ______________   Кабель № ___________________________

Усилительный участок _________________   Дата «____» _________________ 19 ___ г.

между _______________________________

Номера четверок (пар) со стороны

Нумерация жил

Схема соединения

Номеpa коаксиальных пар со стороны

А

Б

1

2

3

4

А

Б

1

 

 

 

 

 

I (1)

 

2

 

 

 

 

 

II (2)

 

3

 

 

 

 

 

III (3)

 

4

 

 

 

 

 

IV (4)

 

5

 

 

 

 

 

-

 

Измеритель __________________________    Спайщик ___________________________

Форма 22.6в

ПРОТОКОЛ

прозвонки коаксиального кабеля типа КМ-8/6

Объект ______________________________    Тип (марка) кабеля ___________________

ОУП - ___________ ОУП - ______________   Кабель № ___________________________

Усилительный участок _________________   Дата «____» _________________ 19 ___ г.

между _______________________________

Коаксиальные пары 2,6/9,4

А

I

II

III

IV

V

VI

VII

VIII

Б

 

 

 

 

 

 

 

 

Коаксиальные пары 1, 2, 4, 6

А

1

2

3

4

5

6

Б

 

 

 

 

 

 

Симметричные пары и жилы

А

Схема соединения

Б

А

Б

пары

жилы

жилы

пары

жилы

1

1

 

 

1

 

2

 

2

3

 

 

2

 

4

 

3

1

 

 

3

 

2

 

4

1

 

 

4

 

2

 

5

1

 

 

5

 

2

 

6

1

 

 

6

 

2

 

7

2

 

 

 

 

2

 

8

1

 

 

 

 

2

 

9

1

 

 

 

 

2

 

10

1

 

 

 

 

2

 

Измеритель __________________________    Спайщик ___________________________

Форма 22.7

Рабочая документация линейных сооружений КЛС

Объект ____________________________________________________________________

ОУП - ______________________________      ОУП - ______________________________

Участок: НУП (НРП) - ________________      НУП (НРП) - ________________________

Тип кабеля _________________________________________________________________

Кабель № __________________________________________________________________

___________________________________________________________________________

___________________________________________________________________________

Дата составления паспорта «___» ______________ 19 ___ г.

                                               Главный инженер СМУ ______________________________

                                               Начальник участка __________________________________

«___» ______________ 19 ___ г.

Форма 22.8

(с примером заполнения)

ВЕДОМОСТЬ

замеров глубины заложения кабеля в грунте на участке НУП (НРП) - _________

НУП (НРП) - ________________

Тип прибора __________________________   Объект _____________________________

Номер прибора ________________________  Глубина по проекту ________________ м

Дата замера

Порядковый номер замера

Номер строительной длины по укладочной ведомости

Между муфтами

Номер планшета рабочих чертежей

Расстояние, м, от

Фактическая глубина, м

Метод проверки

начала строительной длины (муфты)

предыдущего места замера

25.06.85

8

2

M-l - M-2

3

100

100

1,22

Кабелеискателем

- » -

9

2

- » -

3

200

100

1,20

- » -

10

2

- » -

4

300

100

1,10

Кабелеискателем и шурфованием

- » -

11

2

- » -

4

240

50

1,20

Кабелеискателем

- » -

12

2

-

4

260

10

1,15

- » -

13

2

- » -

4

270

10

1,13

- » -

14

2

- » -

4

290

10

1,10

- » -

15

2

- » -

4

310

20

1,15

- » -

16

9

- » -

4

320

10

1,20

- » -

17

9

- » -

4

350

30

1,20

- » -

18

2

- » -

4

450

100

1,25

Представитель заказчика (______________)

Представитель СМУ- (_________________)                     «___» ______________ 19 ___ г.

Форма 22.9

АКТ

на скрытые работы по прокладке кабелей связи и защитных проводов

Объект ______________________________    Дата _______________________________

Участок _____________________________

Мы, нижеподписавшиеся, представитель заказчика ______________ и представитель СМУ- _______________ произвели освидетельствование выполненных работ по прокладке кабелей и защитных проводов и установили:

1. Проложены кабель марки _______________ производства завода ______________

от ___________________ до __________________ протяженностью ______________ км

и кабель марки ___________________ от ___________________ до _________________

протяженностью ______________ км. Всего _________________ км.

2. Способ прокладки ______________________________________________________

                                                                                                    (кабелеукладчиком, вручную)

3. Глубина прокладки по проекту __________ м, фактически, не менее _________ м.

4. Шаги пупинизации находятся в пределах ________________________________ м.

5. Перекрытие концов на стыке строительных длин _________________________ м.

6. Выполнены переходы через дороги местного значения* ______________________

___________________________________________________________________________

___________________________________________________________________________

(указать способ прокладки кабеля на переходе: кабелеукладчиком, вручную, количество труб и т.д. по каждому переходу)

7. Выполнены переходы через малые реки и ручьи* ____________________________

___________________________________________________________________________

8. Произведена защита кабеля кирпичом (железобетонными плитами) на участке ___________________ общей протяженностью ______________ м.

9. Выполнены работы по устройству постели (из привозного песка, мягкого грунта) на участке ___________________ в объеме ______________________________________

___________________________________________________________________________

___________________________________________________________________________

10. Кабель проложен «змейкой» на крутых склонах ____________________________

___________________________________________________________________________

11. Проложены защитные провода марки _________________ от ________________ до _____________ общей протяженностью _____________ км на глубину ___________

12. Сращивание защитных проводов выполнено способом ______________________

13. Установлены замерные столбики на углах, переходах, концах защитных проводов ____________________ в количестве ____________________ шт.

Работы выполнены в период с ____________________ до _________________ в соответствии с рабочей документацией проекта и действующими правилами.

Оценка качества работ: по прокладке кабеля _________________________________

по прокладке проводов ______________________________________________________

                                                        Представитель заказчика ________________________

                                                   Представитель СМУ ____________________________

* На переходы через железные и автомобильные дороги, а также на переходы через крупные или сложные водные преграды, на которые выданы отдельные рабочие чертежи, акты на скрытые работы должны составляться по специальным формам 22.11 и 22.12.

Форма 22.10

АКТ на скрытые работы по монтажу муфт

Объект ______________________________    Кабель № __________________________

Участок _____________________________    Дата _______________________________

Тип кабеля ___________________________

Мы, нижеподписавшиеся, представитель заказчика ____________________________ и представитель СМУ- ______________________________________________________.

произвели освидетельствование выполненных работ по монтажу муфт и установили:

1. Общие данные

Номер муфты

Назначение муфты

Марка кабеля

Способ монтажа оболочки

Способ сращивания проволочной брони

Способ восстановления изолирующего покрова

Тип защитной муфты

1

Прямая

КМБл-4

Пайка

-

-

МЧ-65

2

Прямая

-

-

3

Стыковая

-

-

МЧ-75

6

Прямая

КМКл

Стяжная муфта

-

-

7

Прямая

КМАБп-4

Клеевой

-

ТУТ

МЧ-85

8

Прямая

9

Стыковая

2. Запас кабеля при выкладке в котловане, не менее ____________________________

3. Все защитные муфты залиты битумной массой ______________________________

4. КИП оборудованы на муфтах № __________________________________________

5. Замерные столбики установлены на всех муфтах кабеля № 1 ___________ шт. и на муфтах № _____________ кабеля № 2.

6. Номера дополнительных муфт ____________________________________________

7. Номера накладных муфт _________________________________________________

8. Газонепроницаемые (изолирующие) муфты типа ________________ установлены:

___________________________________________________________________________

9. Засыпка котлованов выполнена ___________________________________________

10.______________________________________________________________________

11. Монтажные работы выполнены в соответствии с действующими правилами

___________________________________________________________________________

12. Оценка качества монтажных работ _______________________________________

                                                        Представитель заказчика ________________________

                                                   Представитель СМУ ____________________________

Форма 22.11

АКТ

на скрытые работы по устройству переходов через автомобильные и железные дороги

Объект ______________________________    Дата _______________________________

Участок _____________________________

Мы, нижеподписавшиеся, представитель заказчика ____________________________

и представитель СМУ- _______________________________________________________

произвели освидетельствование работ по устройству переходов и установили:

1. Общие данные

Место перехода, номер чертежа

Пересекаемое сооружение

Характеристика труб

Способ выполнения работ

Примечание

материал

диаметр

длина

число каналов

 

 

 

 

 

 

 

 

 

 

 

 

 

 

 

 

 

 

 

 

 

 

 

 

 

 

 

 

 

 

 

 

 

 

 

 

 

 

 

 

2. Проверка проходимости каналов _________________________________________

3. Покрытие труб битумной массой на пересечениях электрифицированных дорог

___________________________________________________________________________

4. Способ заделки стыков труб _____________________________________________

5. Заделка концов труб ____________________________________________________

6. Установка столбиков около концов труб ___________________________________

7. Восстановление откосов, кюветов _________________________________________

___________________________________________________________________________

8. ______________________________________________________________________

9. ______________________________________________________________________

Работы выполнены в соответствии с рабочей документацией проекта и действующими правилами ___________________________________________________

                                                        Оценка выполненных работ (_____________________)

                                                        Представитель заказчика ________________________

                                                   Представитель СМУ ____________________________

Форма 22.12

АКТ

на скрытые работы по устройству перехода через водную преграду

Объект ______________________________    Дата _______________________________

Участок _____________________________

Тип преграды ________________________

Мы, нижеподписавшиеся, представители заказчика ____________________________ и представители _________________________________ произвели освидетельствование выполненных работ по устройству кабельного перехода через ______________________ и установили:

1. Общие данные

Показатель

Верхний створ

Нижний створ

по проекту

фактически

по проекту

фактически

Марка кабеля

 

 

 

 

Расстояние между разветвительными муфтами, м

 

 

 

 

Способ разработки траншеи:

 

 

 

 

в береговой (пойменной) части

 

 

 

 

в русле (подводной части)

 

 

 

 

Способ рыхления скального грунта:

 

 

 

 

в береговой части

 

 

 

 

в подводной части

 

 

 

 

Способ прокладки кабеля:

 

 

 

 

в береговой части

 

 

 

 

в подводной части

 

 

 

 

Минимальная глубина траншеи, м:

 

 

 

 

в береговой части

 

 

 

 

в подводной части

 

 

 

 

Минимальная глубина прокладки кабелеукладчиком, м

 

 

 

 

Способ засыпки траншей:

 

 

 

 

в береговой части

 

 

 

 

в подводной части

 

 

 

 

Количество смонтированных муфт

 

 

 

 

Способ сращивания брони

 

 

 

 

Способ восстановления шланга

 

 

 

 

Электрические измерения кабеля

См. протоколы от

Испытание герметичности оболочки

См. протоколы от

Период производства работ:

 

 

 

 

а) водолазное обследование:

 

 

 

 

до начала работ

 

 

 

 

после окончания работ

 

 

 

 

б) прокладка кабеля кабелеукладчиком

 

 

 

 

в) разработка подводных траншей

 

 

 

 

г) прокладка кабеля в подводную траншею

 

 

 

 

д) монтаж муфт

 

 

 

 

е) замыв грунта

 

 

 

 

2. Кабель уложен «змейкой» на склоне _______________________________ берега на

                                                                                                                    (левого, правого)

протяжение _____________ м

3. Глубина заложения кабеля во всех контрольных точках (местах проверки) соответствует проекту _______________________________________________________

___________________________________________________________________________

(если не соответствует - указать, на сколько отклоняется и на каком участке)

4. ______________________________________________________________________

5. ______________________________________________________________________

6. ______________________________________________________________________

Работы выполнены в соответствии с проектом и действующими правилами _______

___________________________________________________________________________

Оценка выполненных работ ________________________________________________

                   Представитель заказчика (________________________________)

                   Представитель генподрядчика (____________________________)

              Представитель субподрядчика (____________________________)

Форма 22.13

АКТ

на скрытые работы по строительству НУП

Объект ______________________________

НУП (НРП) __________________________

Дата ________________________________

Мы, нижеподписавшиеся, представитель заказчика ____________________________ и представитель СМУ ___________________________ произвели освидетельствование выполненных работ по строительству НУП (НРП) № ________________ и установили:

1. Место установки НУП соответствует рабочим чертежа проекта ________________

2. Основание под цистерну (контейнер, корпус) выполнено из ___________________

3. Анкеровка цистерны выполнена посредством анкеров и тяжей из ______________

4. Гидроизоляция (противокоррозионное покрытие) повреждений не имеет

5. Анкера, тяжи, хомуты, закладные детали защищены от коррозии ______________

___________________________________________________________________________

(указать способ)

6. ______________________________________________________________________

7. ______________________________________________________________________

8. ______________________________________________________________________

Все работы выполнены в соответствии с рабочей документацией проекта и действующими правилами ___________________________________________________

Оценка выполненных работ ________________________________________________

                                                        Представитель заказчика ________________________

                                                   Представитель СМУ ____________________________

Форма 22.14

АКТ

на скрытые работы по устройству заземлений

Объект ___________________________________________________________________

Место оборудования заземления _____________________________________________

Дата _____________________________________________________________________

Мы, нижеподписавшиеся, представитель заказчика ___________________________

и представитель СМУ- ___________________________ произвели освидетельствование выполненных работ по устройству заземлений и установили:

I. Общие данные

Показатель

Назначение заземления

Рабочее

Защитное

Линейно-защитное

1. Материал электродов

 

 

 

2 . Число электродов, шт.

 

 

 

3. Длина электродов, м

 

 

 

4. Материал шин

 

 

 

5. Длина шин, м

 

 

 

6. Марка соединительного кабеля (провода)

 

 

 

7. Длина соединительного кабеля, м

 

 

 

8. Глубина забивки электродов, м

 

 

 

9. Глубина прокладки шин, м

 

 

 

10. Способ соединения электродов

 

 

 

11. Дата устройства заземления

 

 

 

II. Измерение электрического сопротивления заземления

1. Дата измерения ________________________________________________________

2. Тип и номер прибора ___________________________________________________

3. Группа и состояние грунта _______________________________________________

4. Сопротивление заземления, Ом ___________________________________________

III. Качество и. оценка выполненных, работ

1. Работы выполнены в соответствии с рабочей документацией проекта и действующими правилами ___________________________________________________

2. Оценка выполненных работ ______________________________________________

                                                        Представитель заказчика ________________________

                                                   Представитель СМУ ____________________________

Форма 22.15

АКТ

на скрытые работы по строительству кабельной канализации - прокладке трубопроводов

Объект _______________________________

Участок ______________________________

Номер (шифр) населенного пункта _______   Дата _______________________________

Мы, нижеподписавшиеся, представитель заказчика ____________________________

____________________________________________________________ и представители

___________________________________________________________________________

(генподрядчика, субподрядчика)

произвели освидетельствование работ по прокладке (докладке) трубопроводов кабельной канализации согласно рабочим чертежам

№ __________________ по ул. ___________________ от колодца № ________________

(дом № _________) до колодца № (дом № _________) и установили:

1. Общие данные (с примером заполнения)

Между колодцами

Длина пролета

Характеристика труб

Число каналов

Число стыков

Примечание

Материал

Длина, м

Внутренний диаметр, мм

№ 5 - № 6

108

Асбоцемент

3

100

16

35

 

№ 6 - № 7

99

- » -

3

100

16

32

 

2. Способ соединения стыков труб ____________________________________________

__________________________________________________________________________

3. Глубина заложения подошвы блока _________________________________________

4. Промежутки между трубами засыпаны ______________________________________

5. Наличие и достаточность уклонов трубопровода ______________________________

6. Качество заделки стыков труб ______________________________________________

7. Проходимость каналов ____________________________________________________

Работы выполнены в соответствии с проектом и действующими правилами.

Оценка выполненных работ _______________________________________________

                                                        Представитель заказчика ________________________

                                                   Представитель СМУ ____________________________

Форма 22.16

АКТ

на скрытые работы по строительству кабельной канализации - смотровых устройств (колодцев)

Объект _______________________________

Участок ______________________________

Наименование (шифр) населенного пункта _____________________________________

Дата _________________________________

Мы, нижеподписавшиеся, представитель заказчика ____________________________

____________________________________________________________ и представители

___________________________________________________________________________

(генподрядчика, субподрядчика)

произвели освидетельствование работ по строительству колодцев кабельной канализации по ул. __________________________________________________________ согласно рабочим чертежам проекта № ____________________________ и установили:

1. Общие данные (с примером заполнения)

№ п.п.

Номер колодца по проекту

Тип колодца

Материал

Период строительства

Примечание

 

 

 

 

 

 

 

 

 

 

 

 

 

 

 

 

 

 

2. Глубина котлованов для колодцев ___________________________________________

___________________________________________________________________________

3. Гидроизоляция колодцев выполнена _________________________________________

___________________________________________________________________________

4. Засыпка котлована выполнена с послойным уплотнением _______________________

___________________________________________________________________________

5. _________________________________________________________________________

6. _________________________________________________________________________

Работы выполнены в соответствии с рабочей документацией проекта _____________

___________________________________________________________________________

Оценка выполненных работ ________________________________________________

                                                        Представитель заказчика ________________________

                                                   Представитель СМУ ____________________________

Форма 22.17

(с примером заполнения)

ВЕДОМОСТЬ

определения физической длины кабеля

Объект ____________________________________________________________________

Участок ___________________________________________________________________

Кабель № __________________________________________________________________

Тип кабеля _________________________________________________________________

 

Номер муфты или НУП

Сторона

Данные на мерной ленте при ее расположении в кабеле

Средняя длина кабеля по данным мерных лент, м

Номер строительной длины по укладочной ведомости

Длина по паспорту

Примечание

под оболочкой

поверх коаксиальных пар

2,6/9,4

1,2/4,6

НУП-2/5

Б

240

 

 

580

1

593

 

1

А

6040

 

 

Б

40

 

 

604

2

605

 

2

А

6080

 

 

Б

50

 

 

600

3

601

 

3

А

6050

 

 

Б

10

 

 

602

4

604

 

4

А

6030

 

 

Б

120

 

 

595

5

598

 

А

6080

 

 

5

Б

30

 

 

598

6

600

 

А

6010

 

 

6

Б

170

 

 

588

7

599

 

А

6050

 

 

8

Б

40

 

 

596

8

598

 

А

6000

 

 

9

Б

100

 

 

592

9

594

 

А

6020

 

 

592

9

594

 

Б

20

 

 

500

10

601

 

НУП-3/5

А

5020

 

 

Итого

5856

-

5993

 

Составил (_____________________)

Проверил (_____________________)

«___» ______________ 19 ___ г.

КОРРЕКТИРОВКА РАБОЧЕЙ ДОКУМЕНТАЦИИ ПРОЕКТА

22.13. Все рабочие чертежи на строительство линейных сооружений КЛС должны быть откорректированы в соответствии с фактическим выполнением работ и с нанесением всех элементов сооружений, не указанных в чертежах: муфт, пупиновских ящиков, замерных столбиков и т.д.

22.14. В случаях, когда работы выполнены в полном соответствии с рабочими чертежами (при отсутствии изменений и дополнительных элементов, например расположение вводных устройств в УП или НУП, расшивка кабеля на боксах и т.д.), строительная организация должна сделать на этих чертежах (планшетах, листах) соответствующую надпись, заверенную производителем работ.

22.15. Корректировка рабочих чертежей, т.е. фиксация трассы проложенного кабеля и защитных проводов, мест расположения муфт и других элементов линейных сооружений, должна осуществляться в процессе выполнения работ до засыпки траншей и котлованов. Предварительная (черновая) корректировка должна быть сделана простым карандашом на экземпляре рабочих чертежей, используемом непосредственно исполнителями при разбивке трассы и выполнении других работ.

22.16. После завершения строительно-монтажных работ данные корректировки переносят тушью на чистый экземпляр рабочих чертежей. При корректировке рабочих чертежей следует соблюдать принятые в них условные обозначения.

22.17. Все подземные сооружения (кабель, муфты, защитные провода, трубы и т.д.) должны иметь привязки к постоянным ориентирам или замерным столбикам. В качестве постоянных ориентиров следует использовать шоссейные и железные дороги, здания, мосты, опоры воздушных линий связи и ЛЭП и другие долговременные сооружения. Как правило, муфты и углы поворотов трассы должны иметь не менее двух привязок (продольную и поперечную), позволяющих определять место их расположения.

22.18. На всем протяжении трасса проложенного кабеля должна быть подвергнута тщательному продольному промеру. Кроме того, на прямолинейных участках трассы должны быть сделаны поперечные привязки: в загородных условиях через 100 мин населенных пунктах через 20 м, а также около каждой муфты и вершины угла поворота.

Для промеров расстояний между отдельными элементами подземных сооружений, а также между последними и постоянными наземными ориентирами должны применяться стальные мерные ленты. Погрешность промеров не должна превышать 1 %.

22.19 При осуществлении продольных замеров в процессе предварительной (черновой) корректировки рабочих чертежей непосредственно после прокладки кабеля (до его монтажа) следует обратить особое внимание на соблюдение принятых в проекте шагов пупинизации.

22.20. Продольные замеры должны производиться после каждой муфты, каждого поворота трассы (вершины угла) с новым отсчетом. Так, если на загородной трассе между муфтами 1 и 2 расстояние составляет 475 м, то от муфты 1 следует сделать четыре продольных замера по 100 м. Затем на чертеже указать расстояние до муфты 2 (75 м). От муфты 2 вновь следует сделать продольные замеры через 100 м и т д. Против каждого из продольных замеров нужно сделать поперечный замер до оси дороги.

22.21. Если в одной траншее прокладывается несколько кабелей, то трасса их на чертежах наносится только одной линией и на ней указываются муфты, смонтированные на всех кабелях. В нижней части чертежа дается схема расположения всех кабелей (каждый отдельной линией) с указанием расположения муфт на каждом из них (рис. 22.3).

Рис. 22.3. Пример корректировки планшета рабочих чертежей

22.22. На загородных участках трассы и в населенных пунктах при прокладке кабелей в грунте против каждой муфты и около вершины угла поворота трассы, на переходах через водные преграды (вблизи выхода кабеля из воды на береговую часть), на концах труб при пересечении автомобильных и железных дорог, продуктопроводов, водопровода и канализации (только в загородной части), воздушных и кабельных линий электропередачи и связи, в точках подключения шин линейно-защитных заземлений, на концах защитных проводов и около блоков термодатчиков, должны быть установлены замерные столбики (рис. 22.4).

Столбик устанавливается на расстоянии 0,1 м от оси трассы кабеля в сторону поля против середины муфты на кабеле № 1 или против вершины угла поворота.

В местах оборудования КИП замерный столбик не устанавливается, привязка муфты производится к столбику КИП.

Рис. 22.4. Замерный столбик

22.23. При прокладке нескольких кабелей в одной траншее и расположении муфт в разных местах замерные столбики около муфт (кроме кабеля № 1) устанавливаются, если расстояние до ближайшего столбика более 100 м. При расстоянии до 100 м муфта «привязывается» к ближайшему столбику.

22.24 На прямолинейных участках трассы, при строительных длинах более 400 м, через каждые 250 - 300 м должны быть установлены дополнительные (направляющие) замерные столбики.

22.25. Если трасса проходит по пахотным землям, по требованию землепользователей замерные столбики должны устанавливаться по границе пашни; при этом расстояние от муфты (угла поворота) должно быть указано на исполнительном чертеже.

22.26. Номера муфт в смотровых устройствах кабельной канализации должны быть «привязаны» к номерам этих устройств.

22.27. Нанесенный на столбик номер муфты или знак (перехода, поворота, направления и т.д.) должен быть, как правило, обращен к дороге, вдоль которой проложен кабель. При отсутствии дороги столбики следует устанавливать слева от кабеля, если смотреть в сторону возрастания номеров. При этом знак наносится на стороне, обращенной к кабелю. (В этих случаях выкладка запаса и муфты должны также находиться слева от кабеля).

СОСТАВЛЕНИЕ КАРТОГРАММЫ ГЛУБИНЫ ЗАЛЕГАНИЯ КАБЕЛЯ

22.28. Составление картограммы предусматривает усиление контроля за глубиной прокладки кабеля в процессе строительства КЛС, а также фиксацию фактической глубины залегания кабеля (см. пп. 6.3 - 6.5).

22.29. После прокладки кабеля должны быть составлены картограммы глубины его залегания на основании замеров, произведенных при помощи кабелеискателя. Замеры должны производиться представителями технадзора и строительной организации через 100 - 200 м. На сложных участках трассы (горные условия, каменистые грунты, пересеченная местность) замеры следует производить через 50 м, а на открытой равнинной местности при грунтах I - II группы - через 250 - 300 м. Результаты замеров фиксируются в ведомости по форме 22.8.

22.30. Картограммы глубины залегания кабеля должны составляться строительной организацией на основании ведомости замеров одновременно с фиксацией трассы и муфт на каждый усилительный (регенерационный) участок (НУП - НУП, НРП - НРП) на миллиметровой бумаге в продольном масштабе 1 : 5000 (1 см = 50 м) и поперечном масштабе 1 : 10 (1 см = 10 см).

22.31. При выявлении глубины залегания менее допустимой замеры следует производить чаще с целью более точного определения границы участка, где заглубление кабеля отклоняется от нормы. На этих участках замеры глубины следует наносить на картограмму в масштабе 1 : 2000.

22.32. До начала и в процессе выполнения замеров необходимо определить и периодически контролировать погрешность кабелеискателя путем контрольных шурфований и сопоставления показаний прибора с фактической глубиной. При шурфований следует руководствоваться требованиями п. 8.28 (рис. 8.7).

22.33. Глубина прокладки кабелей считается нормальной, если по результатам контрольных замеров она отклоняется в сторону уменьшения от проектной не более чем на 10 см (в скальном грунте глубина залегания кабеля должна быть не менее 0,4 м).

22.34. В случаях, когда прокладка кабеля механизированным способом (кабелеукладчиком) запроектирована на глубину 1 - 1,2 м, но должна осуществляться с помощью ножа, предназначенного для глубины прокладки 1,2 м, заглубление проложенного кабеля считается нормальным, если по данным замеров оно не менее 1 м.

22.35. На участках трассы, где согласно картограмме глубина залегания кабеля менее допустимой, необходимость выполнения работ по доуглублению определяется заказчиком и подрядчиком в зависимости от степени отклонения от допустимой глубины, группы грунта, характера местности (лес, пашня, болото), интенсивности движения и вероятности повреждения кабеля в процессе эксплуатации. В случае разногласий между заказчиком и подрядчиком окончательное решение принимается вышестоящими организациями.

22.36. Ответственность за своевременное и правильное составление ведомости замеров и картограммы глубины залегания кабеля в равной степени несут представители технадзора (эксплуатационной организации) и строительной организации.

22.37. Картограммы глубины залегания кабеля являются неотъемлемой частью исполнительной технической документации и предъявляются вместе с актами на скрытые работы при сдаче линейных сооружений в эксплуатацию.

22.38. Вместо контроля глубины залегания кабеля при помощи мерной ленты и кабелеискателя, а также составления картограммы может использоваться установленный на кабелеукладчике (или на прицепе) специальный механизм, позволяющий фиксировать (записывать) фактическую глубину заложения кабеля.

КОМПЛЕКТАЦИЯ ИСПОЛНИТЕЛЬНОЙ ДОКУМЕНТАЦИИ

22.39. Исполнительная документация по линейным сооружениям магистральных и внутризоновых КЛС, должна, как правило, комплектоваться по участках ОУП - ОУП (ОРП - ОРП).

В тех случаях, когда в соответствии с проектом эксплуатационное обслуживание построенной КЛС должно осуществляться двумя ТЦУМС (ОПТУС) и граница обслуживания расположена не на ОУП или ОРП (например, на НУП, речном переходе и т.п.), исполнительная документация должна комплектоваться раздельно для каждого ТЦУМС (ОПТУС) с учетом границы обслуживания.

22.40. Паспорт трассы комплектуется из выданных заказчиком и откорректированных строительной организацией рабочих чертежей. В папку с чертежами прокладки кабеля на загородных участках (перед ситуационной схемой трассы ОУП - ОУП) следует вложить (подшить) титульные листы: «Исполнительная документация» (форма 22.1), «Паспорт трассы» (форма 22.2), «Состав документов» (форма 22.3).

В отдельную папку следует сброшюровать (подшить) картограммы глубины заложения кабеля, составленные по усилительным (регенерационным) участкам (ОУП-НУП, НУП-НУП), расположив их в порядке возрастания нумерации НУП (муфт).

22.41. Электрический паспорт комплектуется из протоколов электрических измерений (испытаний) по усилительным (регенерационным) участкам основной системы передачи (ОУП - НУП; НУП - НУП) в соответствии с требованиями пп. 22.9 - 22.10. Перед протоколами измерений помещают титульный лист «Электрический паспорт» (форма 22.4) на данный усилительный участок.

Электрические паспорта всех усилительных участков секции ОУП - ОУП укладываются в одну общую папку в порядке возрастания нумерации НУП.

При большом количестве усилительных участков и, следовательно, документов (например, при системе передачи К-3600) электрические паспорта могут быть уложены в две - три папки (например, часть I - ОУП-1 НУП-20/1); часть II - НУП-20/1 - НУП-40/1 и т.д.); в каждой из папок должен быть титульный лист «Электрический паспорт» (форма 22.4) с указанием участков измерений.

22.42. Монтажная документация комплектуется по усилительным участкам основной системы передачи (ОУП - НУП, НУП - НУП) в соответствии с составом и в последовательности, изложенными в п. 22.11. При этом паспорта на монтаж муфт, акты на дополнительные или накладные муфты должны быть подшиты (сброшюрованы) в такой последовательности, как они расположены в натуре и показаны на схеме (см. рис. 22.2), т.е. в порядке возрастания номеров.

Монтажная документация на все усилительные участки секции ОУП - ОУП укладывается в одну общую папку в порядке возрастания нумерации НУП. При большом объеме документов они могут быть уложены в две - три папки. В этих случаях на обложках каждой папки должна быть соответствующая надпись, например: «Монтажная документация по линейным сооружениям на участке ОУП-1 НУП-15/1».

22.43. Рабочая документация комплектуется по усилительным участкам (ОУП - НУП, НУП - НУП) в соответствии с составом и в последовательности, изложенными в п. 22.12.

При этом заводские паспорта электрических измерений и испытаний строительных длин кабеля (сертификаты) и протоколы испытаний строительных длин кабеля в процессе строительства (форма 4.2) должны быть подшиты в такой последовательности, как эти длины вписаны в укладочные ведомости, ведомости группирования строительных длин и фактически проложены на трассе.

Рабочая документация на все усилительные участки секции ОУП - ОУП укладывается в одну общую или в несколько папок в порядке возрастания нумерации НУП (муфт).

22.44. В отдельных случаях, по согласованию с эксплуатационной организацией, осуществляющей (по поручению заказчика) технический надзор за строительством, допускаются частичные изменения приведенных выше требований по комплектации исполнительной документации, например сосредоточение всех документов по протекторным, катодным, электродренажным установкам, измерениям потенциалов и другим материалам защиты в одной папке на участок ОУП - ОУП; то же по испытаниям герметичности оболочки, паспортам на монтаж прямых муфт и др.

22.45. На кабельных линиях связи небольшой протяженности, соединительных линиях, при каблировании воздушных линий связи, на речных переходах и подходах к узлам связи в городах, кабельных вставках на пересечениях с ЛЭП, электрический паспорт, монтажная и рабочая документации могут быть скомплектованы в одной папке.

РАЗДЕЛ 23

ПРИЕМКА В ЭКСПЛУАТАЦИЮ ЛИНЕЙНО-КАБЕЛЬНЫХ СООРУЖЕНИЙ

ОБЩИЕ УКАЗАНИЯ

23.1. Приемка в эксплуатацию законченных строительством (реконструкцией) линейных сооружений магистральных и внутризоновых кабельных линий связи должна осуществляться в соответствии с требованиями главы СНиП III-3-81 «Приемка в эксплуатацию законченных строительством объектов. Основные положения», «Инструкции по монтажу сооружений и устройств связи, радиовещания и телевидения-ВСН-600-81», а также в соответствии с руководствами и программами приемки, утвержденными Министерством связи СССР.

23.2. Приемке в эксплуатацию подлежат объекты в целом или их отдельные очереди (пусковые комплексы), на которых организованы каналы связи, осуществлена передача программ радиовещания, газетных полос и т.д.

23.3. Законченные строительством в соответствии с проектом и подготовленные к эксплуатации линейные сооружения принимаются в эксплуатацию государственными приемочными комиссиями, назначаемыми в установленном порядке.

23.4. До предъявления к приемке в эксплуатацию линейные сооружения должны быть проверены и приняты рабочими комиссиями, назначаемыми заказчиком. Рабочие комиссии устанавливают готовность сооружений к приемке в эксплуатацию.

23.5. Предъявление линейных сооружений к освидетельствованию и приемке рабочим комиссиям производится генподрядчиком, а к приемке в эксплуатацию государственными приемочными комиссиями - заказчиком.

23.6. В тех случаях, когда заказчиком объекта является организация, которая не будет осуществлять эксплуатацию КЛС после ее ввода в действие (например, выделенная дирекция строительства), предъявление объекта государственной приемочной комиссии производится заказчиком с участием назначенной эксплуатационной организации.

23.7. С момента подписания акта рабочей комиссией заказчик несет ответственность за сохранность сооружений, принятых от генерального подрядчика рабочими комиссиями. В случаях, указанных в п. 23.6, эту ответственность несет назначенная эксплуатационная организация.

23.8. Дополнительные работы, не предусмотренные в проекте и рабочей документации, не являются причиной для задержки приемки законченных строительством сооружений.

23.9. Приемка в эксплуатацию сооружения (очереди, пускового комплекта), на котором применена вновь осваиваемая технология, должна производиться независимо от достижения нормативных показателей, при условии, что все работы выполнены в соответствии с проектом.

23.10. В отдельных случаях (например, несвоевременная поставка заказчиком технологического оборудования, отсутствие, по вине заказчика, энергоснабжения и т.д.) законченные строительством линейно-кабельные сооружения на участке ОУП - ОУП (ОП - ОУП) должны приниматься на ответственное хранение и техническое обслуживание эксплуатационной организацией по акту рабочей комиссии, назначенной заказчиком и эксплуатационной организацией.

На ответственное хранение и техническое обслуживание могут быть переданы линейно-кабельные сооружения при условии их соответствия проекту и действующим требованиям, наличии исполнительной технической документации, составленной в установленном объеме (согласно разд. 22) и установки кабеля под избыточное воздушное давление (если это предусмотрено проектом).

23.11. Строительно-монтажные работы, выполненные с отступлениями от проекта, не согласованными с заказчиком и проектной организацией, а также с отступлениями от требований нормативно-технической документации, могут быть приняты лишь при условии, что указанные отступления не снижают надежность и срок службы сооружения.

В случаях неприемки работ (сооружений) рабочая комиссия должна составить обоснованное заключение с указанием причин отказа от приемки и представить его органу, назначившему комиссию.

23.12. Эксплуатация построенных сооружений, не принятых государственной приемочной комиссией, не допускается.

23.13. Строительные и монтажные организации несут ответственность за выполнение строительных и монтажных работ в соответствии с проектом и в установленные сроки, надлежащее качество этих работ, своевременное устранение недоделок, выявленных в процессе приемки, а также своевременный ввод в действие объектов.

ПРОМЕЖУТОЧНОЕ ОСВИДЕТЕЛЬСТВОВАНИЕ РАБОТ

23.14. Для осуществления технического надзора за строительством, промежуточного освидетельствования объема и качества выполненных работ, актирования в процессе строительства скрытых работ дирекция строительства или другая организация, выполняющая обязанности заказчика, приказом (распоряжением) назначает своих ответственных представителей и ставит об этом в известность строительную организацию - подрядчика.

В качестве представителей заказчика дирекцией строительства (заказчиком) могут быть назначены специалисты, выделенные эксплуатационными организациями.

23.15. Представитель заказчика обязан в процессе строительства освидетельствовать в натуре следующие работы:

а) разбивку трассы, ее соответствие рабочим чертежам;

б) проверку кабеля на кабельной площадке, группирование строительных длин;

в) прокладку кабеля;

г) устройство переходов через водные преграды, автомобильные и железные дороги;

д) устройство кабельной канализации;

е) строительство НУП (НРП);

ж) монтаж муфт, пупиновских ящиков, удлинителей;

з) оборудование вводов и монтаж оконечных устройств;

и) испытание герметичности оболочки кабеля, монтаж и наладку оборудования для содержания кабеля под постоянным избыточным давлением;

к) устройство защиты кабелей и НУП от всех видов коррозии, ударов молнии и других опасных влияний, наладку катодных станций, и дренажных установок;

л) устройство заземлений;

м) симметрирование и электрические измерения;

н) составление исполнительной технической документации.

23.16. Выявленные в процессе строительства и промежуточного освидетельствования дефекты строительно-монтажная организация должна устранять немедленно или в сроки, согласованные с представителем заказчика (технадзора).

23.17. Представитель заказчика обязан контролировать точное соблюдение проектных решений и при необходимости согласовывать на месте (в процессе работ) незначительные отступления от проекта, вызванные местными условиями и не влияющими на качество работ и надежность сооружения.

Если эти отступления существенно изменяют принципы принятого проектного решения или удорожают строительство и при этом заказчик согласен с этими отступлениями, он должен согласовать их с проектной организацией до начала выполнения работ.

23.18. Представитель заказчика должен контролировать качество применяемых на строительстве материалов, кабеля, оборудования, принимать участие в их проверке подрядчиком и составлении актов-рекламаций.

СОСТАВЛЕНИЕ АКТОВ НА СКРЫТЫЕ РАБОТЫ

23.19. Все работы, по мере выполнения скрываемые последующими работами и конструкциями, подлежат приемке заказчиком (его официальным представителем) с составлением актов освидетельствования по формам, приведенным в разд. 22. Для приемки таких работ подрядчик (строительная организация) обязан вызвать представителя заказчика. В случае неявки представителя заказчика в указанный подрядчиком срок подрядчик составляет односторонний акт.

Вскрытие работ в этом случае по требованию заказчика производится за его счет.

Акты освидетельствования скрытых работ и акты промежуточной приемки ответственных конструкций (установка мачт для вантовых кабельных переходов через водные преграды, установка конструкций на мостах, в патернах и тоннелях для прокладки кабелей и т.д.) передаются подрядчиком рабочим комиссиям.

23.20. При освидетельствовании скрытых работ и составлении актов должны быть проверены и отражены следующие основные показатели качества исполнения:

а) при прокладке подземного кабеля - глубина, устройство постели (если оно предусмотрено проектом), защита кирпичом (плитами), достаточность перекрытия концов строительных длин для монтажа, наличие «змейки» на крутых склонах и берегах рек;

б) при прокладке защитных проводов - материал и диаметр (сечение) проводов, их число, глубина укладки, правильность расположения относительно кабеля, способ и качество сращивания;

в) при переходах через водоемы - глубина подводной траншеи (до прокладки кабеля), правильность прокладки кабелей, наличие запаса кабеля для монтажа, засыпка траншеи, глубина прокладки в береговой зоне, глубина прокладки кабеля кабелеукладчиком;

г) при переходах через автомобильные и железные дороги - глубина заложения труб, длина и качество труб, способ и качество заделки стыков, проходимость каналов, герметизация свободных и занятых каналов, покрытие труб битумной массой на пересечениях электрифицированных ж. д.;

д) при строительстве кабельной канализации - глубина траншей, наличие и достаточность уклонов трубопроводов, расположение труб и стыков, способ и качество заделки стыков, проходимость каналов, глубина котлованов для колодцев, гидроизоляция;

е) при монтаже муфт - глубина и правильность укладки кабеля и муфт в котлованах, достаточность запаса, качество сращивания сердечника кабеля, способ и качество монтажа оболочек и защитных покровов, наличие защитных чугунных муфт, качество их заливки массой;

ж) при защите от коррозии - количество и марка протекторов (глубина их установки, состав заполнителя, марка дренажного кабеля и глубина его прокладки, тип и количество КИП, марка выводных проводников КИП;

з) при устройстве заземляющих устройств - тип (контур, протяженное, глубинное), материал (уголок, труба, стержень), размеры и количество электродов (заземлителей), их качество, глубина заглубления, глубина траншеи для соединительных шин, материал и сечение соединительных шин (проводов), способ и качество соединения электродов и шин, обработка грунта (солью, коксовой мелочью и т.д.);

и) при строительстве необслуживаемых усилительных пунктов - глубина котлована, тип фундамента (основания), состояние гидроизоляционного слоя цистерн, способ и качество крепления цистерн к фундаменту, правильность засыпки котлована, качество сварки закладных деталей, гидроизоляция наружных железобетонных панелей надземной части (при обваловке).

23.21. Техническими документами, характеризующими электрическое состояние смонтированной кабельной линии, являются протоколы электрических измерений и испытаний (в том числе симметрирования) , выполненные в присутствии (при участии) представителя заказчика, подписанные им и имеющие силу актов на скрытые работы.

ОРГАНИЗАЦИЯ И ПОРЯДОК РАБОТЫ РАБОЧИХ КОМИССИЙ

23.22. Рабочие комиссии по освидетельствованию и приемке законченных строительством линейно-кабельных сооружений назначаются приказом заказчика не позднее, чем в пятидневный срок после получения от генерального подрядчика письменного извещения о готовности объекта (пускового комплекса, сооружений, очереди) к сдаче.

23.23. В состав рабочих комиссий включаются представители заказчика (председатель комиссии), генерального подрядчика, субподрядных организаций, эксплуатационной организации, органов государственного санитарного и пожарного надзора, проектной организации, технической инспекции труда совета профсоюза, профсоюзной организации заказчика или эксплуатационной организации.

23.24. Рабочими комиссиями принимаются для предъявления государственной приемочной комиссии отдельные законченные строительством части сооружений по мере их готовности;

а) участки ОУП - ОУП (ОРП - ОРП) магистральных и внутризоновых кабельных линий связи;

б) соединительные кабельные линии различного назначения;

в) переходы через крупные водные преграды (судоходные, сплавные);

г) построенная или реконструированная кабельная канализация (со смотровыми устройствами) в городах.

В случае эксплуатационного обслуживания участка ОУП - ОУП (ОРП - ОРП) двумя предприятиями допускается приемка законченных строительством сооружений по участкам в пределах границ обслуживания.

23.25. Одновременно с предъявлением построенных сооружений к приемке генеральный подрядчик представляет рабочей комиссии исполнительную техническую документацию в составе и объеме предусмотренном разд. 22.

Кроме того, генеральный подрядчик представляет рабочей комиссии список субподрядных организаций, принимавших участие в строительстве, с указанием выполненных ими работ.

23.26. Порядок и продолжительность работы рабочей комиссии устанавливается заказчиком по согласованию с генподрядчиком в зависимости от протяженности линии. Однако сроки ее работы должны исходить из расчета: не более 12 км трассы в день для коаксиальных и 20 км - для симметричных кабелей.

При значительной протяженности трассы КЛС и сжатых сроках приемки заказчиком могут быть организованы две рабочие комиссии (для приемки сооружений на разных участках).

23.27. Рабочая комиссия рассматривает и утверждает согласованный с генподрядчиком календарный план-график своей работы в соответствии с технической программой приемки (табл. 23.1), намечает состав и объем выборочных проверок, испытаний и измерений, при необходимости создает подкомиссии для освидетельствования отдельных видов работ и элементов принимаемых сооружений (например, по прокладке кабеля, монтажу муфт, строительству НУП, электрическим измерениям, фиксации трассы и т.д.).

23.28. В обязанности рабочей комиссии входит:

а) ознакомление с проектно-сметной документацией;

б) проверка исполнительной технической документации;

в) освидетельствование выполненных работ и проведение при необходимости выборочных контрольных измерений в соответствии с технической программой приемки;

г) проверка соответствия выполненных работ проекту и требованиям действующей нормативно-технической документации;

д) оценка качества выполненных работ (см. пп. 23.41 - 23.43);

е) проверка готовности линейно-кабельных сооружений к эксплуатации;

ж) составление акта рабочей комиссии о приемке от генподрядчика сооружения и его готовности для предъявления государственной приемочной комиссии.

23.29. При рассмотрении исполнительной технической документации следует проверить:

а) правильность привязки трассы кабельной линии, муфт, подъемных устройств защиты, заземлений, блоков термодатчиков АРУ к замерным столбикам и постоянным ориентирам;

б) правильность нумерации муфт, и надписей на замерных столбиках или опознавательных знаках;

в) соответствие натуре откорректированных чертежей трассы, речных переходов, пересечений с другими сооружениями и т.д.;

г) соответствие схемы монтажа муфт (соединения цепей в муфтах) протоколам прозвонки;

д) соответствие рабочим чертежам схемы включения элементов кабеля в оконечные устройства и правильность их расположения.

23.30. Акты рабочей комиссии должны составляться по форме 23.1 в шести экземплярах (три - заказчику, два - генподрядчику и один - эксплуатационной организации) и подписываться председателем и всеми членами комиссии.

23.31. Акты и протоколы рабочей комиссии, а также вся исполнительная техническая документация, представленная генподрядчиком, передаются заказчику для последующего предъявления государственной приемочной комиссии.

ГОСУДАРСТВЕННЫЕ ПРИЕМОЧНЫЕ КОМИССИИ

23.32. Государственные приемочные комиссии назначаются органом, утвердившим проект строительства объекта и сводный сметно-финансовый расчет. При сметной стоимости строительства объекта 3 млн. руб. и выше государственная комиссия назначается Министерством связи СССР.

23.33. Государственные приемочные комиссии назначаются непозднее чем за три месяца до установленного срока ввода объекта (очереди, пускового комплекса) в эксплуатацию. Председатель государственной приемочной комиссии должен своевременно организовать подготовку к приемке (изучение документации и объекта, подбор необходимых материалов для приемки и т.д.). Комиссия должна приступить к приемке в пятидневный срок после получения извещения от заказчика о готовности объекта к сдаче.

Таблица 23.1

Техническая программа приемки построенных (реконструированных) линейных сооружений магистральных и внутризоновых кабельных линий связи

Наименование проверяемых работ, сооружений, документов, характеристик

Объем проверок

Состав и методы проверок

Примечание

Проектно-сметная документация

По усмотрению комиссии

Рассматривается рабочая документация проекта. При необходимости производятся выписки для проверки выполнения работ в натуре

 

Исполнительная техническая документация

По усмотрению комиссии

Проверяется: представленная генподрядчиком исполнительная документация, ее состав, содержание, качество и соответствие требованиям СНиП и разд. 22 «Руководства по строительству линейных сооружений магистральных и внутризоновых кабельных линий связи» (в дальнейшем Руководства). Анализируются характеристики электрических измерений и испытаний, их соответствие нормам

 

Трасса кабельной линии: внешний осмотр

100 % трассы (в том числе 5 - 10 % пешком)

Проверяется; соответствие трассы рабочей документации; наличие и достаточность замерных столбиков; устройство КИП; качество засыпки траншей, котлованов, расчистки и планировки трассы, а также очистки просек

Внешний осмотр должен быть произведен, как правило, до образования снежного покрова

проверка глубины прокладки кабеля и защитных проводов

Три-пять точек при длине усилительного участка до 10 км, пять-десять точек при длине до 20 км

Проверяется кабелеискателем, а при необходимости уточнения - шурфованием*. При обнаружении заглубления менее допустимого проверка производится в объеме, необходимом для определения и фиксации границ недостаточного заглубления

Частота проверок определяется комиссией в зависимости от условий трассы

фиксация подземных элементов линейных сооружений

Пять точек на усилительном участке

Проверяется наличие и правильность привязок конструктивных элементов (кабеля, муфт, проводов защиты и т.д.) к постоянным ориентирам или замерным столбикам

При обнаружении привязок с погрешностью более 1 % проводится проверка удвоенного количества точек

пересечения автомобильных и железных дорог

Один-два перехода на участке ОУП-ОУП

Проверяется соответствие рабочим чертежам: глубины заложения труб, их количество и длины; расстояния от концов труб до границы насыпи или бровки кювета; заделка концов занятых и свободных каналов; восстановления нарушенных сооружений; выкладки кабеля на выходе из труб; наличия замерных столбиков

 

пересечения проложенного кабеля с другими подземными коммуникациями

10 %, но не менее одного пересечения

Проверяется: глубина залегания кабеля; соответствие расстояния по вертикали между пересекаемыми сооружениями установленным нормам; наличие предусмотренной проектом защиты кабеля от механических повреждений

Проверяется только в местах, не имеющих твердых покрытий (асфальта, бетона и т.д.)

пересечение водных преград

Все переходы внешним осмотром; глубина залегания кабеля проверяется выборочно по усмотрению комиссии

Проверяется соответствие рабочим чертежам; заглубления кабеля в берегах и подводной части; планировки крутых берегов (до прокладки); укрепления берегов; наличия замерных столбиков и оградительных створных знаков, осветительных устройств; расположения разветвительных или прямых муфт на стыке с подводным кабелем; глубины залегания кабеля у уреза воды

На судоходных реках проверка глубины залегания кабеля в подводной части производится с участием представителя технического участка речного пароходства

Кабельная канализация, в том числе смотровые устройства

100 % протяженности трассы, все смотровые устройства (внешний осмотр); 10 % из числа свободных каналов, но не менее одного канала

Проверяется: состояние трассы; восстановление уличных покровов; соблюдение уклонов трубопроводов; глубина укладки труб; количество каналов и выборочно их проходимости; заделка концов занятых и свободных каналов; оборудование смотровых устройств ершами, кронштейнами, консолями, приспособлениями для запора; выкладка кабеля и муфт; соответствие типов смотровых устройств рабочей документации; протяжка кабелей в каналы, предусмотренные рабочими чертежами

Глубина заложения трубопровода проверяется выборочно на незамощенных участках трассы

Строительство НУП (НРП)

Внешний осмотр всех пунктов

Проверяется: соответствие места установки рабочим чертежам проекта; отклонения по вертикали и горизонтали; сопряжение узлов наземной части; качество обваловки и одерновки; заделка вводных труб; качество отделки наземной части; планировка площадки; наличие замерных столбиков; плотность люка; наличие лестницы и защитных средств

 

Заземляющие устройства

100 % внешним осмотром; вскрытие - по усмотрению комиссии одного-двух контуров на участке ОУП - ОУП

Проверяется: соответствие места расположения рабочим чертежам; выборочно глубина прокладки и качество соединения стальных шин и вводного кабеля; наличие замерных столбиков

 

Оборудование вводов и монтаж оконечных устройств в ОУП (ОП) и НУП (НРП)

100 % пунктов внешним осмотром; вскрытие вводных патронов и концов труб на одном-двух пунктах по усмотрению комиссии на участке ОУП-ОУП

Проверяется: соответствие рабочим чертежам; герметизация вводного блока в ОУП (ОП); заделка вводных патронов в НУП; выкладка кабелей по металлоконструкциям: расположение и крепление оборудования и устройств; качество монтажа (без вскрытия); монтаж цепей сигнализации и телеуправления

 

Монтажные работы: проверка состояния кабеля и муфт в котловане (колодце) без демонтажа муфт

1 % от общего количества муфт

Проверяется: глубина залегания муфт и кабеля в котловане; выкладка кабеля; правильность расположения замерного столбика; монтаж защитной чугунной муфты (выборочно)

Проверка производится путем вскрытия котлована

то же, с демонтажем свинцовой муфты

По усмотрению комиссии вскрытие одной муфты на участке ОУП-ОУП

То же, и качество заливки защитной муфты залуживания и пайки бандажей на броне, выводных проводников КИП, клеевых швов или запайки свинцовой муфты (внешний вид), упаковки сростка, скрутки и пропайки жил и проводников, расположение прорезей на внешних проводниках и экранах коаксиальных пар, соответствие схемы соединения жил, наличие и правильность заполнения паспорта, и т.д.

 

Испытание герметичности и установка кабеля под постоянное избыточное давление:

 

 

 

осмотр оборудования для содержания кабеля под давлением

В каждом пункте

Проверяется: соответствие установленного оборудования рабочим чертежам; качество установки, крепления и монтажа оборудования и воздуховодов; протоколы испытаний герметичности и работоспособности оборудования, произведенных заказчиком при входном контроле

 

проверка герметичности кабелей

Все кабели

Анализ протоколов испытаний и сопоставление данных с установленными нормами

 

Защитные устройства линейных сооружений:

 

 

 

осмотр катодных и электродренажных установок, токоотводов, электрических перемычек

100 % установок и выборочно токоотводов и перемычек

Проверяется: внешнее состояние оборудования, качество установки, крепления и монтажа, соответствие рабочим чертежам и обоснованность измерений

Эффективность защиты определяется по потенциалам на кабеле после включения устройств защиты

протекторные установки и КИП

100 % НУП и 3 - 10 % общего числа точек на кабеле по усмотрению комиссии

Анализируются протоколы проверки эффективности защиты кабеля и цистерн НУП; выборочные измерения потенциалов (до и после подключения протекторов), см. форму 18.5

Проверка качества монтажа КИП производится при проверке качества монтажа муфт; Качество установки протекторов определяется внешним осмотром при выборочном вскрытии (шурфовании)

устройство искровых промежутков

3 - 5 %

Проверяется соответствие мест оборудования искровых промежутков рабочим чертежам и качество монтажа

 

сращивание концов защитных проводов

3 - 5 % стыков по усмотрению комиссии

Проверяется качество сращивания (пайки, сварки)

Проверка правильности прокладки проводов производится при проверке трассы кабеля (п. 3)

Электрические измерения

По усмотрению комиссии 5 - 10 % общего количества усилительных (регенерационных участков)

Анализируются представленные протоколы измерений и испытаний. Проверяются соответствия измеренных значений установленным нормам и выборочно отдельные параметры

 

* При шурфовании под глубиной прокладки кабеля следует понимать расстояние от дна траншеи (щели) до естественной поверхности грунта или от последней до кабеля плюс его наружный диаметр. Если трасса проходит вдоль склона, за глубину принимается среднеарифметическая величина верхней и нижней бровок траншеи

Форма 23.1

АКТ

рабочей комиссии о готовности законченных строительством линейных сооружений КЛС для предъявления государственной приемочной комиссии

Гор _______________________________                          «___» ______________ 19 ___ г.

Рабочая комиссия, назначенная _____________________________________________

___________________________________________________________________________

(наименование организации-заказчика (застройщика), назначившей рабочую комиссию)

решением от «___» ______________ 19 ___ г. в составе:

председателя-представителя заказчика (застройщика) ____________________________

___________________________________________________________________________

(ф. и. о., должность)

членов комиссии-представителей:

генерального подрядчика __________________________________________________

                                                                                                          (ф. и. о., должность)

субподрядных организаций ________________________________________________

эксплуатационной организации _____________________________________________

генерального проектировщика ______________________________________________

органов государственного санитарного надзора _______________________________

___________________________________________________________________________

органов государственного пожарного надзора ________________________________

технической инспекции труда совета профсоюзов _____________________________

профсоюзной организации заказчика или эксплуатационной организации _________ руководствуясь правилами, изложенными в гл. СНиП III-3-81, а также разд. 23 «Руководства по строительству линейных сооружений магистральных и внутризоновых кабельных линии связи», установила:

1. Генеральным подрядчиком _______________________________________________

___________________________________________________________________________

(указать наименование и ведомственную подчиненность)

предъявлено к приемке в эксплуатацию законченные строительством _______________

___________________________________________________________ входящие в состав

                                                   (наименование сооружений)

___________________________________________________________________________

(наименование объекта)

2. Строительство осуществлялось генеральным подрядчиком, выполнившим

___________________________________________________________________________

(указать виды работ)

и его субподрядными организациями __________________________________________

___________________________________________________________________________

(указать наименование организаций, их ведомственную подчиненность)

выполнившими _____________________________________________________________

                                                                                            (указать виды работ)

3. Проектно-сметная документация на строительство разработана проектными организациями _____________________________________________________________

___________________________________________________________________________

(указать наименование проектных организаций и их ведомственную подчиненность)

4. Строительство осуществлялось по проекту _________________________________

___________________________________________________________________________

(указать № проекта, № серии (по типовым проектам)

5. Проектно-сметная документация утверждена _______________________________

___________________________________________________________________________

(наименование органа, утвердившего проектно-сметную документацию на объект в целом)

«___» ______________ 19 ___ г. приказом (распоряжением) № _____________________

6. Строительно-монтажные работы осуществлены в сроки: начало работ _______________________________ окончание работ _____________________________

                           (месяц, год)                                                                                            (месяц, год)

7. Рабочей комиссии представлена документация в объеме, предусмотренном СНиП III-3-81 и разд. 22 «Руководства по строительству линейных сооружений магистральных и внутризоновых кабельных линий связи», перечисленная в приложении к настоящему акту.

8. Предъявленные сооружения имеют следующие показатели: ___________________

___________________________________________________________________________

(указать мощность, производительность, производственную площадь,

___________________________________________________________________________

протяженность, вместимость и т.д.)

9. Технологические и архитектурно-строительные решения по предъявляемому зданию, сооружению характеризуются следующими данными: _____________________

___________________________________________________________________________

(указать кратко технические характеристики по основным материалам и конструкциям,

___________________________________________________________________________

инженерному и технологическому оборудованию)

10. Оборудование установлено в количестве согласно актам о его приемке после индивидуального испытания и комплексного опробования рабочими комиссиями. Перечень указанных актов приведен в приложении к настоящему акту.

Всего по проекту предусмотрена установка ___________ единиц оборудования. Фактически установлено _____________ единиц оборудования.

11. Мероприятия по охране труда, обеспечению взрывобезопасности, пожаробезопасности, охране окружающей природной среды и антисейсмические мероприятия, предусмотренные проектом ______________________________________

12. Имеющиеся дефекты и недоделки должны быть устранены в сроки, указанные в приложении к настоящему акту.

13. Сметная стоимость по утвержденной проектно-сметной документации:

всего ____________ тыс. руб., в том числе строительно-монтажных работ ____________ тыс. руб., оборудования, инструмента и инвентаря ___________ тыс. руб.

14. На основании осмотра предъявленных сооружении в натуре и ознакомления с проектной и исполнительной документацией в соответствии с «Инструкцией по оценке качества строительно-монтажных работ» (СН-378-77) и разд. 23 «Руководства по строительству линейных сооружений магистральных и внутризоновых кабельных линий связи» устанавливаются следующие оценки качества выполненных строительно-монтажных работ:

прокладка кабеля (в том числе защитные мероприятия, пересечения, установка столбиков, планировка и т.д. _________________________________________________

строительство НУП (НРП) _________________________________________________

строительство кабельной канализации _______________________________________

переходы через сложные водные преграды (судоходные, сплавные и горные реки) ___________________________________________________________________________

монтажные работы ________________________________________________________

электрические параметры __________________________________________________

общая оценка работ по линейным сооружениям _______________________________

Решение рабочей комиссии

___________________________________________________________________________

(наименование здания, сооружения)

считать принятым от генерального подрядчика и готовым для предъявления государственной приемочной комиссии,

Приложение к акту

1.

2.

3.

4.

и т.д.

Председатель рабочей комиссии ___________________________________________

                                                                                                                            (подпись)

члены комиссии _________________________________________________________

                                                                                  протяженность, вместимость и т.д.)

Сдали (представители генерального                Приняли (представители заказчика

подрядчика и субподрядных организаций)     (застройщика))

____________________________________      ____________________________________

                              (подписи)                                                                                  (подписи)

23.34. При предъявлении законченной строительством КЛС к приемке в эксплуатацию заказчик представляет государственной приемочной комиссии всю исполнительную техническую документацию, полученную рабочими комиссиями от генподрядчика и, кроме того, дополнительно:

а) акты рабочих комиссий по приемке линейных сооружений от генподрядчика;

б) утвержденную проектно-сметную документацию и справку об основных технико-экономических показателях принимаемых сооружений;

л) справку об устранении дефектов и недоделок, выявленных рабочими комиссиями;

г) справку о подготовленности объекта, его очереди или пускового комплекса к эксплуатации;

д) ведомости и паспорта на установленное оборудование, а также ведомости на запасное имущество, передаваемые эксплуатационной организации;

е) список проектных организаций, участвовавших в проектировании объекта;

ж) документы об отводе земельных участков, геодезической разбивке и геологии, генеральные планы участков с нанесенными изменениями против проекта;

з) справку о соответствии вводимых в действие мощностей и фактической стоимости строительства объекта (его очереди, пускового комплекса) утвержденному проекту, а также о продолжительности строительства в сопоставлении с действующими нормативами.

23.35. В обязанности государственных приемочных комиссий входит:

а) проверка готовности объекта к приемке в эксплуатацию (в том числе проверка устранения недоделок, выявленных рабочей комиссией);

б) проверка наличия и содержания актов рабочих комиссий;

в) проверка представленных заказчиком справок о вводимых мощностях и фактической стоимости строительства в сопоставлении с утвержденной проектно-сметной документацией;

г) оценка качества строительно-монтажных работ и законченного строительства объекта в целом;

д) составление акта приемки объекта в эксплуатацию (по установленной форме, см. СНиП III-3-81).

23.36. Государственная приемочная комиссия при необходимости организует специализированные подкомиссии для приемки отдельных сооружений и работ.

23.37. Для проверки качества принимаемых сооружений государственная приемочная комиссия в необходимых случаях назначает дополнительные испытания и измерения в выборочном порядке согласно технической программе приемки.

28.38. Приемка в эксплуатацию объекта государственной приемочной комиссией должна быть закончена в срок, установленный органом, назначившим комиссию.

23.39. Датой ввода объекта в эксплуатацию считается дата подписания акта государственной приемочной комиссией.

23.40. Акт приемки объекта в эксплуатацию утверждается органом, назначившим государственную приемочную комиссию, в месячный срок после его представления.

ОЦЕНКА КАЧЕСТВА СТРОИТЕЛЬНОМОНТАЖНЫХ РАБОТ

23.41. Оценка качества выполненных строительно-монтажных работ дается по следующим основным элементам линейных сооружений КЛС:

а) кабелю (в том числе соответствие трассы и глубины залегания кабеля и защитных проводов рабочей документации проекта, строительство кабельной канализации, пересечения автомобильных и железных дорог, установка замерных столбиков, засыпка траншей и планировка трассы и т.п.);

б) НУП (НРП);

в) монтажным работам (в том числе монтаж муфт, устройств АРУ, оборудование вводов и монтаж оконечных устройств, герметичность кабеля, ,монтаж оборудования защиты кабеля и содержания кабеля под избыточным давлением);

г) переходам через водные преграды;

д) электрическим параметрам кабеля. Кроме того, дается общая оценка по линейным сооружениям.

23.42. При оценке качества выполненных работ следует, как правило, руководствоваться следующими критериями:

а) оценка «отлично» дается, если работы выполнены в соответствии с проектом и техническими показателями, превосходящими нормативные. При этом оценка «отлично» дается в случаях, когда значения фактически достигнутых величин (показателей) выше (лучше) нормативных хотя бы по одному из нормируемых параметров, а все остальные параметры (требования) соответствуют норме, и при условии, что все работы выполнены в соответствии с рабочей документацией проекта;

б) оценка «хорошо» дается, если все работы выполнены в соответствии с проектом и нормативными документами и при устранении выявленных незначительных недоделок в период работа рабочей комиссии или в установленные ею сроки до начала работы госкомиссии;

в) оценка «удовлетворительно» дается, если все основные работы выполнены в соответствии с проектом и нормативными документами при наличии на отдельных участках незначительных дефектов (недоделок), не влияющих на эксплуатационную надежность сооружения и не требующих значительных затрат на их устранение.

23.43. Определение общей (комплексной) оценки качества по нескольким конструктивным элементам, видам работ, сооружениям (например: усилительные участки; прокладка кабеля; НУП) производится по формуле:

где К - средневзвешенная комплексная оценка; П1, П2, П3 - число показателей (участков, видов работ, сооружений), качество которых соответственно оценено баллами 5, 4 и 3. При этом дробная оценка округляется до ближайшей по значению целой.

ПРИЛОЖЕНИЕ 1

ПРИМЕРНЫЙ ПЕРЕЧЕНЬ ИНСТРУМЕНТОВ, ПРИСПОСОБЛЕНИЙ И УСТРОЙСТВ, ПРИМЕНЯЕМЫХ ПРИ СТРОИТЕЛЬСТВЕ ЛИНЕЙНО-КАБЕЛЬНЫХ СООРУЖЕНИЙ

Наименование

ГОСТ, ТУ, чертеж

Назначение

Аппарат служебной связи АСС-2

-

Организация связи между НУП и котлованами

Аптечка индивидуальная

ГОСТ 23267-78

Оказание первой помощи

Баллон с силикагелем

Черт. М-133-00 ОМЗ треста МТС

Осушка воздуха

Элементы прямоугольные марганцево-кислые (1,5 В)

ГОСТ 3316-81

Электропитание микротелефонной трубки

Батарея аккумуляторная, 6 В

-

Освещение котлована, колодца

Бачок для воды, 10 л

ГОСТ 20558-82 -

Обеспечение питьевой водой

Ведро оцинкованное

ГОСТ 20558-82

Опускание паяльной лампы в колодец, удаление воды из котлована или колодца

Ведро заливочное с носиком и крышкой

-

Разогрев и заливка масс

Вентилятор со шлангом ВППК-5

ТУ 45-77 7д2.964.002 ТУ

Вентиляция колодцев

Воронка заправочная

ГОСТ 20558

Заправка паяльной лампы бензином

Газоанализатор ПГФ-2М1

ГОСТ 7018-75

Проверка загазованности колодцев

Горелка газовая с баллонами ЭГ-1

ТУ 45-76 СБ2 977.000 ТУ

Спаечные работы

Зеркало вогнутое

-

Проверка качества пайки муфт

Знаки предупредительные

ГОСТ 12.4026-76

Предупреждение об опасности при выполнении работ

Игла для чистки форсунок паяльных ламп

-

Чистка форсунок паяльных ламп

Канистра стальная на 20 и 3 л

ГОСТ 5105-76

Перевозка и хранение бензина

Клеенка резино-тканевая

ГОСТ 3251-80

Раскладка инструмента

Клещи строительные

ГОСТ 14184-69

Расшивка барабанов, крепление стен котлованов и траншей

Ключ гаечный раздвижной

ГОСТ 7275-75

Монтаж защитных муфт, установка оборудования

Ключи гаечные 16/18, 22/25, 28/32

ГОСТ 10112-80

То же

Коврик резиновый

ГОСТ 4997-75

Техника безопасности при электроизмерениях и испытаниях

Козлы:

 

 

монтажные

Чертеж изготовителя

Укладка концов кабеля при монтаже для установки палатки

разборные

То же

 

Козлы-домкраты с осью для барабана

То же

Размотка кабеля с барабана

Колено кабельное

ТУ 45-79 АХШИ4200000 ТУ

Протяжка кабеля в канализацию

Комплект монтажных инструментов

 

 

МКИ-1

ТУ 45-81 АХП0407000 ТУ

Монтаж кабеля типа МКТ-4

МКИ-2

То же, кабеля типа КМ-4

МКИ-3

То же, кабеля типа КМ-8/6

Компрессор переносной

-

Нагнетание воздуха в кабель

Контейнер-ларь

Черт. М 44-00 ОМЗ МТС

Хранение инструмента

Кувалда кузнечная

ГОСТ 11401-75

Установка и выемка ножевых пальцев кабелеукладчика

Кусачки торцовые

ГОСТ 7282-75

Разделка и монтаж кабеля

Кусачки боковые

ТУ 45 346-72

Монтаж кабеля

Лампа паяльная на 0,5 - 1,0 и 2 л

ТУ 45343-72

Спаечные работы, разогревание массы

Лом стальной

ГОСТ 1405-72

Рыхление грунта

Лопата стальная строительная копальная остроконечная

ГОСТ 3620-76

Разработка грунта

Лопата подборочная

ГОСТ 3620-76

Разработка грунта

Лопатка деревянная или стеклянная

-

Нанесение клея или компаунда

Манометр показывающий с диаметром корпуса 100 мм, верхним пределом измерений 1,6 и ценой деления 0,02 кгс/см2 типа МТИ, модель 1218

ГОСТ 8625-77 и 2405-80, ТУ 2505-1481-77

Измерение давления воздуха в кабеле, контейнерах

То же, с пределом измерений 4 и ценой деления 0,05 кгс/см2 типа МТИ, модель 1511

То же

То же

Манометр образцовый с пределом измерений 1,6 и ценой деления 6 кгс/см2 типа МО, модель 1202

ГОСТ 6521-72, ТУ 2505-1664-74

Проверка исправности рабочих манометров

Машина комплексная КМ-170 в составе:

Черт. БГ-3-00

Устройство переходов через железные и автомобильные дороги; откачка воды из котлована

пресса гидравлического

 

БГ-3М

 

насоса водоотливного

 

Метр складной

РСТ 149-76

Разметка разделки концов кабеля

Молоток слесарный

ГОСТ 2310-77

Разные работы

Молоток деревянный

Черт. изготовителя

Формовка конусов свинцовых муфт

Напильник трехгранный

ГОСТ 1465-80

Надрезка брони кабеля

Напильник плоский 300 мм

ГОСТ 1465-80

Зачистка брони кабеля

Насос автомобильный, ручной

ТУ 37.055.296-78

Подкачка баллонов кабелеукладчика

Насос диафрагмовый со шлангом

-

Откачка воды из котлована, колодца

Нож кабельный

-

Снятие оболочки кабеля

Нож монтерский

ТУ 36 1950-76

Разделка и монтаж кабеля

Обжим винтовой

ТУ 45.1449-77

Монтаж кабеля клеевым способом

Ограждения-барьеры

Черт. изготовителя Д-7-00

Ограждение рабочего котлована колодца

Отвертка универсальная

-

Разные работы

Очки защитные

ГОСТ 12.4.001-80

Защита глаз при выполнении работ (размотка кабеля, разогревание и заливка массы и др.)

Палатка брезентовая монтерская ПМБ-2, ПМБ-3

ТУ 45.116-80

Защита рабочего места в котловане от атмосферных осадков

То же, колодезная ПБК-2

ТУ 45.115-74

То же, при работе в колодце

Пассатижи

ГОСТ 17438-72, ГОСТ 5547-75

Разделка концов и монтаж кабеля

Паяльник универсальный

ТУ 45.521-72

Спаечные работы

Паяльник электрический

 

То же

Паяльник стаканчиковый

Черт. изготовителя

Пропайка скрутки жил

Перчатки резиновые диэлектрические

ТУ 38.105.977-76

Защита от электротока

Пила поперечная

ГОСТ 979-70

Устройство креплений котлованов и траншей

Плоскогубцы

ГОСТ 7236.-73

Монтажные работы

То же, с удлиненными губками

ГОСТ 17440-72

То же

Полотно ножовочное по металлу

ГОСТ 6645-68

Обрезка концов кабеля

Противень металлический

Черт. изготовителя

Сбор отходов припоя, массы

Пояс спасательный с веревкой

ГОСТ 5718-77

Извлечение пострадавшего из колодца

Рулетка измерительная металлическая 20 - 50 м

ГОСТ 11900-66

Для промеров при выполнении работ и составлении исполнительной документации

Рукавицы брезентовые

ГОСТ 12.2.010-75

Защита рук при выполнении работ

Светильник переносной со шнуром, защитной сеткой и лампой 12 В/100 Вт

ГОСТ 7110-69

Освещение рабочего места

Станок ножовочный

ГОСТ 17270-71

Обрезка концов кабеля

Сумка монтерская

Черт. изготовителя

Хранение и переноска инструмента

Табурет складной

То же

Оборудование рабочего места в котловане, колодце

Термометр со шкалой 0 - 300 °С

ГОСТ 2045-71

Измерение температуры нагревания массы

Топор строительный

ГОСТ 1399-73

Крепление стен траншей и котлованов, расшивка барабанов с кабелем

Трансформатор понижающий 220 (127) 12 В

ГОСТ 1983-77Е

Освещение колодцев от электросети

Трафарет букв, цифр и знаков

Чертеж изготовителя

Нанесение надписей на столбиках

Трубка микротелефонная МГ-1

РГО 384.403

Проверка целости жил и прозвонка кабеля

Уровень строительный с рейкой УС2-700

ГОСТ 9416-76

Установка гидропресса, фундаментов, цистерн, наземной части НУП

Установка нагнетательная КЛ-67

Черт. ОМЗ МГСС

Нагнетание воздуха в кабель

Установка комплексная передвижная АКМ-4 в составе:

АХП2.968.000 ТУ

Откачка воды, вентиляция колодца, освещение рабочего места

а) насоса водоотливного ППН НДМ-4, «ГНОМ10-10» «Лягушка»

-

 

б) вентилятора ВППК-5

ТУ 45-77, 7д2.964.002 ТУ

 

в) трансформатора понижающего 220 (127) 12 В

ГОСТ 1983-77Е

 

Фонарь электрический аккумуляторный ЭФ-3

ТУ 45-78 6e2.424.000 ТУ

Освещение рабочего места

Фонарь электрический сигнальный красный

ГОСТ 23529-79

Обозначение места работ в ночное время

ПРИЛОЖЕНИЕ 2

ПРИМЕРНЫЙ ПЕРЕЧЕНЬ МАТЕРИАЛОВ И АРМАТУРЫ, ПРИМЕНЯЕМЫХ ПРИ СТРОИТЕЛЬСТВЕ ЛИНЕЙНО-КАБЕЛЬНЫХ СООРУЖЕНИЙ

Наименование материалов

Тип, марка

ГОСТ, ТУ

Основное назначение

Арматура герметизирующих устройств

АГУ

ТУ 45-81

Для герметизации вводов кабелей предприятий связи

Азот газообразный и жидкий

-

АХПО.215.000 ТУ ГОСТ 9293-74

Для ремонта полиэтиленовых оболочек кабеля

Баллоны стальные малого и среднего объема для газов на Р £ 20 МПа (200 кгс/см2)

-

ГОСТ 249-73

Для заполнения азотом, сжатым воздухом, хладоном

Барабаны кабельные

-

ГОСТ 5151-79Е

Для намотки, размотки, транспортировки и хранения кабелей

Батареи сухие

Разные

ГОСТ 12333-74

Для электропитания приборов, переговорного устройства

Бензин

Б-70

ГОСТ 1012-72

Для заливки паяльных ламп

Белила цинковые

 

ГОСТ 202-76

Для нанесения надписей по трафарету

Битумы нефтяные изоляционные

№ 4

ГОСТ 9812-74

Для гидроизоляционных работ, заливки латунных крышек ящиков индуктивности

Бланки технической документации

Формы исполнительной документации

В соответствии с разд. 22 настоящего Руководства

Для фиксации результатов испытаний, измерений и монтажа

Боксы кабельные телефонные

БМ2-3

ГОСТ 23052-78

Для включения симметричных кабелей и установки на вводных кабельных стойках, или в шкафах кабелей междугородных типа ШКМ

БМ1-2

 

БМ2-2

 

 

БМ1-1

 

 

БМ2-1

 

 

БМВ1-2

 

Для включения симметричных кабелей и установки в шкафах вводов типа ВКШ-1

Бризол

 

ГОСТ 17176-71

Для обмотки стыка при стыковании асбоцементных труб монтажным способом

Бумага масштабно-координатная

-

ГОСТ 334-73

Для составления исполнительной документации

Бумага чертежная

-

ГОСТ 597-73

То же

Бумага чертежная прозрачная

-

ГОСТ 20363-74

- » -

Бумага кабельная

-

ГОСТ 645-79

Для упаковки сростков кабеля

Вазелин технический

ВТВ-1

ТУ 38.101.180-76

Для смазки кабеля при затяжке в канализацию

Вентиль для пневматических камер и шин постоянного давления

Р-5

ГОСТ 8107-75Е

Для накачки кабеля при испытании на герметичность

Ветошь обтирочная

-

ГОСТ 5354-79

Для протирки муфт и инструментов во время монтажа

Воздух сжатый (см. баллоны стальные)

-

-

Для испытания герметичности оболочки кабелей

Вставки медно-алюминиевые

«Купаль»

-

Для сращивания медных проводов с алюминиевыми жилами

Втулка опорная стальная

-

Черт. Л42-35-00 ЦНИИС

Для восстановления алюминиевой оболочки кабеля методом опрессования

Гидроизол

-

ГОСТ 7415-74

Для обмотки стыка при стыковании асбоцементных труб монтажным способом

Гильзы бумажные

-

ТУ 45-79 АХШИ 29.00000 ТУ

Для изоляции скруток кабельных жил

Гильзы полиэтиленовые и кольца групповые

-

ТУ 451444-77

То же

Канифоль

-

ГОСТ 19113-73

Для пайки медных жил в качестве флюса

Катушки индуктивности

КИ

ЯЭО.005.080 ТУ

Для монтажа пупинизируемых цепей

Кислота соляная травленая

-

ГОСТ 857-78

Для залуживания стальной брони

Кислота стеариновая техническая

Стеарин

ГОСТ 6484-64

Для охлаждения свинцовых оболочек кабелей при запайке муфт или концов

Кирпич и камни керамические

М-75

ГОСТ 530-80

Для строительства смотровых устройств

Клей

ВК-9

Изготовление по рецептуре«Сборника руководств по приготовлению материалов, не поставляемых в централизованном порядке»

Для восстановления алюминиевых оболочек кабелей

Комплект монтажных деталей

 

ТУ 45-81АХПО.107.001 ТУ

 

 

КМД-1

Для кабеля МКТ-4

 

КМД-2

Для кабеля КМ-4

 

КМД-3

Для кабеля КМ-8/6

Комплект деталей и материалов для монтажа муфт

 

ТУ 16-538 309-77

 

M1

 

Для монтажа муфт ВЧ кабеля типа ЗКП

 

М1кп

 

Комплект полный для монтажа муфт ВЧ кабеля типа ЗКП (В) комбинированным способом

 

М2

 

Комплект для монтажа муфт одночетверочных кабелей типа КСПП с номинальным диаметром жилы 0,9 и 1,2 мм

 

М3

 

Комплект для монтажа муфт ВЧ кабеля типа ЗКА

 

М3кп

 

Комплект полный для монтажа муфт ВЧ кабеля типа ЗКА комбинированным способом

 

М4

 

Комплект для монтажа муфт коаксиального кабеля типа ВКПА

 

М5

 

Комплект для монтажа муфт НЧ кабеля с пористой полиэтиленовой изоляцией в алюминиевой оболочке типа ТЗПА

 

М6

 

Комплект для монтажа муфт ВЧ кабеля с кордельно-полистирольной изоляцией в алюминиевой или стальной оболочках типа МКС

«

М6кп

 

Комплект полный для монтажа муфт ВЧ кабеля с кордельно-полистирольной изоляцией в алюминиевой или стальной оболочке типа МКС комбинированным способом

Компаунд полиизобутиленовый липкий

ЛПК

Изготовление по рецептуре «Сборника руководств по приготовлению материалов, не поставляемых в централизованном порядке»

Для восстановления алюминиевых оболочек кабеля, а также стальных гофрированных

Компаунд

КБ-ТУТ

То же

Для нанесения подслоя на термоусаживаемые трубки для кабелей в алюминиевой и стальной гофрированной оболочках

Компаунд на основе битумно-резиновой мастики

МБР-К

- » -

Для восстановления холодным способом защитных покровов кабелей с металлической оболочкой и полиэтиленовым шлангом

Консоли

-

ГОСТ 8850-80

Для установки на кронштейнах в шахтах и колодцах

Конденсаторы симметрирующие

КТИ

ГОСТ 23860-79Е

Для симметрирования кабеля

Кронштейны кабельные в сборе с болтами

КК

ГОСТ 8487-80

Для оборудования смотровых устройств

Лак битумный БТ-577

-

ГОСТ 5631-79

Для нумерации замерных столбиков

Лента стеклотканевая

ЭСЛБ

ГОСТ 5937-81

Для восстановления изолирующих покровов и пластмассовых оболочек

Лента полиэтиленовая

-

ГОСТ 10354-82

Для монтажа кабелей с полиэтиленовой оболочкой

Лента полиэтиленовая липким слоем

 

ГОСТ 20477-75

Для изоляции стальной и алюминиевой оболочек

Лента из поливинилхлоридного пластика

-

ГОСТ 17617-72

Для монтажа кабелей с поливинилхлоридной оболочкой

Лента изоляционная

-

ГОСТ 5937-81

Для изоляции стыков электрокабелей

Люки чугунные с крышками

-

ГОСТ 8591-76

Для строительства телефонных колодцев

Масса кабельная прошпарочная

МКП

ТУ 38.101.329-78

Для прошпарки бумажных гильз, колец

Масса кабельная заливочная светлая

МКС

ТУ 38.101.329-78

Для заливки боксов, оконечных муфт

Масса кабельная заливочная

МКС-6

ТУ 38.101.328-78

Для заливки газонепроницаемых муфт

Масса заливочная битумная МБ 70/60

МКБ

ГОСТ 6997-77

Для заливки чугунных муфт

Масса кабельная битумная

МБ 70/60

ГОСТ 6997-77

Для заливки чугунных муфт

Мастика битумно-резиновая

МБР

ГОСТ 15836-79

Для восстановления изолирующих покровов при монтаже кабеля типа МКСА

Манжеты стальные

-

ТУ 45.1455-77

Для стыкования асбоцементных труб

Муфты полиэтиленовые

МПТ

ТУ 45-76 АХП0.447 00 ТУ

То же

Муфты свинцовые соединительные

МС, МСк

ТУ 1461-78

Для монтажа кабелей со свинцовыми и алюминиевыми оболочками

Муфты разветвительные ПРКМ

-

ТУ 45-74 2д0.634.000 ТУ

Для установки в местах разветвления кабеля

Муфты полиэтиленовые

-

ТУ 45.1477-80

Для монтажа кабелей с полиэтиленовой оболочкой

Муфты газонепроницаемые

ГМС

ТУ-677-72

Для установки симметричных кабелей под давление

Муфты оконечные, газонепроницаемые коаксиальные

ОГКМ

-

То же, коаксиальных кабелей

Муфты изолирующие

МИ

ТУ 45-76 3a4.232.000 ТУ

Для изоляции оболочки одной части кабеля от другой

Муфты газонепроницаемые изолирующие

ГМСИ

ТУ 45-677-72

То же, при одновременной установке кабелей под давлением

Муфты чугунные

МЧ

ГОСТ 7764-75

Для защиты свинцовых муфт от механических повреждений

Муфты газонепроницаемые

КГС И КГСП

ТУ 45 1368-74

Для стыка кабелей МКТ-4 и МКТСБ-4; МКТСБ-4 и МКТСШв-4

Муфты изолирующие соединительные газопроницаемые

МИСс

ТУ 45-76 3a4.232.000 ТУ

Для симметричных кабелей типа МКС

 

МИСт

 

Для кабелей типа ТЗ

 

МИСк

 

Для кабелей коаксиальных типа КМ

Мыло хозяйственное

-

МРТУ 18/233-80

Для мытья рук и образования мыльной пены при проверке герметичности оболочки и муфт

Нитки суровые или капроновые

№ 9

ГОСТ 14961-77

Для перевязки жил и сростков муфт при монтаже кабеля

Паста паяльная

ПМКН-40

Изготовление по рецептуре «Сборника руководства по приготовлению материалов, не поставляемых в централизованном порядке»

Для залуживания стальных гофрированных оболочек кабелей

Паста

ПБК-26М

То же

Для использования в качестве флюса при залуживании стальных бронелент всех типов кабелей связи и припайки опорных втулок к экранным лентам на кабеле МКТСБ-4

Паста кварцевазелиновая

ПКВ

ТУ 36-513-Г-69

Для зачистки алюминиевой оболочки при опрессовании

Пластификатор

ПХ-12

ГОСТ 8728-77Е

Для монтажа кабеля с поливинилхлоридной оболочкой

Плинты кабельные телефонные

ПМ

ГОСТ 23025-78

Для распайки кабелей

Полимер этилена с винилацетатом

Сэвилен

ТУ 6-05-1636-73

Для намотки на полиэтиленовый шланг кабеля под термоусаживаемую трубку

Пробки деревянные

-

Каталог ОТСС, 1971, стр. 77

Для закрытия свободных каналов трубопровода

Провод стальной

ПС-70

ТУ 14-4-661-75

Для защиты кабеля от ударов молнии

Провод

ПРВПМ-2×2×1,2

МРТУ 16.505.755-75

Для устройства КИП

Припой

ПОССу-30-2

ГОСТ 21931-76

Для запайки свинцовых муфт

Припой

ПОССу-40-2

ГОСТ 219-31-76

Для спайки медных жил

Припой

ПОССу-61-0,5

ГОСТ 21931-76

Для спайки коаксиальных пар

Проволока стальная диаметром 1 - 2,5 мм

-

ГОСТ 1668-73

Для устройства бандажей на джуте

Проволока медная диаметром 1,2 мм

-

ГОСТ 2112-79

Для перепайки стальной брони

Проволока биметаллическая

БСМ-1

ГОСТ 3822-79

Для защиты кабеля от ударов молнии

Протекторы магниевые

ПМ-5У

ТУ 48 10-2874

Для защиты кабеля от коррозии

ПМ-10У

ПМ-20У

ПМ-20У

Резисторы

МЛТ

ГОСТ 7113-77

Для симметрирования кабеля

Силикагель технический

-

ГОСТ 3956-76

Для осушки воздуха, поступающего в кабель

Силикагель индикаторный

-

ГОСТ 8984-75

Для контроля за состоянием влажности воздуха

Спирт этиловый технический

-

ГОСТ 17299-78

Для разведения канифоли и очистки контактов перед пайкой

Сплав цинково-оловянный

ЦОП-40

Изготовление по рецептуре «Сборника руководств по приготовлению материалов, не поставляемых в централизованном порядке»

Для залуживания алюминиевой оболочки

Столбики замерные кабельные

СБ-1

ТУ-45-1404-81

Для фиксации муфт и трассы кабеля

Трубы асбоцементные

-

ГОСТ 1839-80

Для устройства кабельных трубопроводов

Трубы полиэтиленовые

-

ГОСТ 18599-73

То же

Трубка алюминиевая соединительная

-

ГОСТ 18482-79 Черт Л 42-36-00 ЦНИПС

Для восстановления алюминиевой оболочки кабеля методом опрессования

Удлинители

БУ БУЭ

ЯЭО 467-000-ТУ

Для дополнения шагов и полушагов пупинизированных кабелей

Хладон

Ф-22

ГОСТ 8502-73

Для обнаружения мест негерметичности оболочек

Цемент

200 - 600

ГОСТ 10178-76

Для строительства трубопроводов, колодцев и изготовления железобетонных изделий

Ящики индуктивности (пупиновские)

ЯИЧ

ЯЭО 005 068 ТУ

Для установки на пупинизируемых кабельных линиях

ПРИЛОЖЕНИЕ 3

СОСТАВ И СПОСОБ ПРИГОТОВЛЕНИЯ БЕСКИСЛОТНОЙ ПАСТЫ (ФЛЮСА) ПБК-26М

Паста ПБК-26М предназначена для использования в качестве флюса при залуживании стальных бронелент кабелей связи, а также для припайки опорных втулок к экранным лентам малогабаритных коаксиальных пар 1,2/4,6 в кабелях типа МКТ-4 и КМ-8/6 при монтаже муфт.

1. Состав пасты в весовых частях:

Вазелин медицинский ГОСТ 3582-52                                                               480

Диэтиламин солянокислый (ГОСТ 13279-67)                                                  25

Канифоль сосновая, марок А, В (ГОСТ 19113-73)                                           450

Глицерин (ГОСТ 6824-54)                                                                                  25

Триэтаноламин (ТУ 6-02-916-74)                                                                      20

2. Для приготовления пасты необходимо подготовить: весы, емкость из нержавеющей стали с крышкой для смешивания компонентов, ступка для измельчения канифоли, сито с отверстием не более 0,8 мм для просеивания канифоли, вытяжной шкаф, тубы.

3. Способ приготовления пасты:

а) загрузить расчетное количество вазелина в емкость, предназначенную для приготовления пасты;

б) ввести в емкость расчетное количество диэтиламина, перемешать смесь в течение 7 - 10 мин со скоростью 40 - 50 об/мин;

в) ввести в емкость тремя - пятью порциями расчетное количество канифоли, просеянной через сито; после введения последней порции канифоли перемешивать смесь в течение 7 - 10 мин;

г) ввести в емкость расчетное количество глицерина и перемешивать смесь в течение 7 - 10 мин;

д) ввести в смесь расчетное количество триэтаноламина, после чего перемешивать смесь 20 мин;

е) степень готовности пасты определяется по однородности цвета и отсутствию сгустков и комков.

Флюсующие свойства пасты следует проверить путем опытного залуживания брони кабеля. Качество флюса оценивается по растекаемости припоя - расплавленный припой должен быстро и хорошо смачивать место залуживания, смазанное пастой.

Расфасовку пасты в тубы следует производить не позднее двух дней после ее приготовления.

4. Согласно технике безопасности приготовление пасты ПБК-26М необходимо производить в помещении, оборудованном вытяжным устройством, а при просеивании канифоли необходимо пользоваться респиратором.

ПРИЛОЖЕНИЕ 4

СОСТАВ И СПОСОБ ПРИГОТОВЛЕНИЯ НИЗКОТЕМПЕРАТУРНЫХ ФЛЮСОВ ДЛЯ ПАЙКИ (ОСТ4.Г0.033.200)

1. Химический состав

Марка флюса

Составляющие

Стандарт, ТУ

Содержание, %

Внешний вид

ФКСп

Канифоль сосновая А или Б

ГОСТ 19113-73

10 - 60

Жидкость светло-коричневого цвета

Спирт этиловый технический

ГОСТ 17299-78

90 - 40

ФКЭт

Канифоль сосновая А или Б

ГОСТ 19113-73

10 - 60

То же

Этилацетат

-

90 - 40

 

2. Способ приготовления: растертую канифоль растворить в этиловом спирте или этилацетате и перемешать.

Примечание. Флюс марки ФКЭт следует применять для пайки проводников, имеющих изоляцию в виде трубок и изделий с повышенным требованием по сопротивлению изоляции, а также для пайки проводников с изоляцией.

ПРИЛОЖЕНИЕ 5

СОСТАВ И СПОСОБ ПРИГОТОВЛЕНИЯ ПАЯЛЬНОЙ ПАСТЫ ПМКН-40

1. Состав пасты (в весовых частях):

Порошок оловянный марки ПО-1 (ГОСТ 9723-73)                                          310

Порошок свинцовый марки ПС-1 (ГОСТ 16138-70)                                        470

Глицерин сырой (сорт первый, второй) (ГОСТ 6823-54)                                170

Аммоний хлористый, чистый (ГОСТ 3773-72)                                                6

Кислота бензойная, чистая для анализов (ГОСТ 10521-72)                            6

Спирт поливиниловый марки ПВС 5/3 (ГОСТ 10779-69)                               4

Вода дистиллированная (ГОСТ 6709-72)                                                          34

2. Приготовление пасты:

а) отвесить исходные материалы;

б) поместить в сосуд поливиниловый спирт и при постоянном помешивании залить соответствующим количеством дистиллированной воды;

в) полученный раствор нагреть на водяной бане. Сосуд с раствором не должен касаться воды;

г) влить полученный раствор в сосуд с глицерином и тщательно перемешать;

д) порошки олова, свинца, аммония хлористого и бензойной кислоты ссыпать вместе и перемешать до получения однородной смеси;

е) влить раствор глицерина с поливиниловым спиртом в смесь порошков и тщательно перемешать до получения однородной массы;

ж) разложить приготовленную пасту в тару с герметично закрывающейся крышкой. Паста готова к использованию через 24 ч после приготовления,

Примечание. Перед использованием пасту следует перемешать.

3. Срок хранения пасты при температуре от - 40 до + 40 °С - 12 месяцев со дня изготовления.

4. Все работы по приготовлению пасты должны производиться в помещении, оборудованном вытяжной вентиляцией. При работе с открытым пламенем необходимо соблюдать правила пожарной безопасности.

ПРИЛОЖЕНИЕ 6

СОСТАВ И СПОСОБ ПРИГОТОВЛЕНИЯ ПРИПОЯ ЦОП-40

1. Припой цинково-оловянный марки ЦОП-40 состоит из следующих компонентов (в весовых частях): цинк марки Ц-1 или Ц-2 - 40 и олово марки О-1 или О-2 - 60.

2. Для приготовления припоя необходимо:

а) тщательно очистить тигли (графитовые или фарфоровые);

б) отвесить олово и цинк в необходимых пропорциях;

Примечание. Следует приготовлять припой в количестве не менее 1 кг, так как при малых количествах припоя может произойти изменение состава за счет продуктов окисления.

в) нагреть олово примерно до 150 °С в термостате или другом нагревательном приборе; контроль температуры осуществлять техническим термометром до 500 °С;

г) поместить в тигель цинк и расплавить его в муфельной вертикальной печи;

д) ввести в расплавленный цинк, нагретый до 450 °С, отдельными порциями олово, нагретое до 150 °С. Тщательно перемешивать сплав после каждой добавки олова графитовой или фарфоровой мешалкой (стержнем);

е) после расплавления металлов сплав тщательно перемешать до получения однородного состава и рафинировать порошкообразной канифолью (марки А, В) из расчета 0,015 % по весу от массы припоя, находящегося в тигле)

ж) дать сплаву отстояться, снять шлак и разлить расплавленный припой в алюминиевые угольники.

3. Во избежание разбрызгивания и газонасыщения металла не допускается загружать в расплавленный металл материалы, покрытые влагой, а также применять холодные материалы и приспособления. Работы должны производиться в спецодежде и защитных очках.

ПРИЛОЖЕНИЕ 7

СОСТАВ И СПОСОБ ПРИГОТОВЛЕНИЯ КВАРЦЕВАЗЕЛИНОВОЙ ПАСТЫ ПКВ

1. Состав пасты (в весовых частях): вазелин медицинский ГОСТ 3582-52 - 100, кварц молотый пылевидный марки КП-2 ГОСТ 9077-59 - 100.

2. Способ приготовления:

а) отвесить исходные материалы;

б) загрузить отвешенные в необходимом количестве вазелин и кварц в сосуд и тщательно перемешать до получения однородной массы; однородность пасты проверяется по равномерности распределения кварцевой пыли в вазелине путем нанесения ее тонким равномерным слоем на обрезок оконного стекла и осмотром в проходящем свете; распределение песчинок по всему полю должно быть равномерным, в противном случае следует продолжить перемешивание до получения однородной пасты;

в) после приготовления паста готова к использованию;

г) разложить пасту в тару с герметично закрываемой крышкой.

3. Срок хранения пасты в закрытых сухих помещениях при температуре не выше 40 °С - не более 12 месяцев со дня приготовления.

4. Приготовление пасты должно производиться в закрытых сухих помещениях, оборудованных вытяжной вентиляцией.

ПРИЛОЖЕНИЕ 8

СОСТАВ И СПОСОБ ПРИГОТОВЛЕНИЯ ЛИПКОГО ПОЛИИЗОБУТИЛЕНОВОГО КОМПАУНДА ЛПК

1. Состав ЛПК (в весовых частях): полиизобутилен марки П-20 - 240, полиизобутилен марки П-85 - 20, бензин Б-70 - 160.

2. Способ приготовления:

а) нарезать полиизобутилен марки П-20 кусочками по 5 г, а П-85 - массой до 1 г;

б) отвесить исходные материалы;

в) загрузить в разные емкости нарезанные в необходимой пропорции П - 20 и П-85;

г) разлить бензин: в сосуд с полиизобутиленом П-20 - 118 в. ч., а в сосуд с П-85 - 42 в. ч.; плотно закрыть сосуды крышкой (пробкой) или завязать полиэтиленовой пленкой и поставить в вытяжной шкаф;

д) в течение трех - четырех дней 2 раза ежедневно тщательно перемешивать содержимое обоих сосудов;

е) полностью растворенный (без комков) полиизобутилен марок П-20 и П-85 соединить вместе и тщательно перемешать до получения однородной массы; поставить смешанную массу в плотно закрытой емкости в вытяжной шкаф на одни сутки;

ж) готовый компаунд должен быть однородным по цвету, не иметь комков и сгустков.

Примечание. При использовании компаунда, хранящегося более одного месяца, необходимо взвесить емкость с компаундом и сравнить вес с весом брутто, указанным на этикетке. В случае разницы масс необходимо долить в емкость бензин в таком количестве, чтобы масса емкости с компаундом стала равна массе, указанной на этикетке. Затем поставить содержимое в плотно закрытой емкости в вытяжной шкаф на двое суток. На вторые сутки 2 - 3 раза тщательно перемешать содержимое емкости.

3. Компаунд расфасовывать в тару с герметично закрываемой крышкой.

4. Приготовление ЛПК следует производить в вытяжном шкафу или в помещении, оборудованном вытяжной вентиляцией.

5. При работе с бензином следует соблюдать правила пожарной безопасности.

ПРИЛОЖЕНИЕ 9

УКАЗАНИЯ ПО ХРАНЕНИЮ И ИСПОЛЬЗОВАНИЮ КЛЕЯ ВК-9

1. Компоненты клея хранить в сухом прохладном месте.

2. Срок хранения компонентов клея - три месяца с момента их изготовления.

3. По истечении срока хранения компонентов необходима предварительная проверка клея на «жизнеспособность» и склеивающую способность на опытном образце муфты (при разрыве образца последний должен разрушаться по свинцу). Под жизнеспособностью клея понимается время от момента его приготовления - смешивания всех компонентов - в течение которого клеющая способность его не ухудшается.

4. Смешивание компонентов клея необходимо производить на месте потребления непосредственно перед применением вследствие его ограниченной жизнеспособности. Следует при этом иметь в виду, что при температуре от 0 до - 5 °С увеличивается жизнеспособность клея до 30 ч, а при температуре выше + 21 °С она уменьшается.

5. Нельзя допускать на поверхности склеиваемых изделий масляных и других загрязнений.

6. Прогрев клеевых швов следует вести через металлический кожух в установленном режиме до полного затвердения; просушка клеевых швов открытым пламенем запрещена.

7. В процессе запайки свинцовой и установки чугунной муфты необходимо соблюдать особую осторожность, не допуская на места соединения механических нагрузок, так как клеевой шов к этому времени еще не достигает полной прочности, а также в связи с опасностью надлома свинцового конуса.

ПРИЛОЖЕНИЕ 10

СПОСОБ ПРИГОТОВЛЕНИЯ КОМПАУНДА КБ-ТУТ И НАНЕСЕНИЕ ЕГО НА ТЕРМОУСАЖИВАЕМЫЕ ТРУБКИ

1. Назначение - нанесение подслоя на термоусаживаемые трубки (ТУТ), используемые для восстановления защитных покровов при монтаже кабелей.

2. Состав компаунда (в весовых частях):

бензин Б-70 (растворитель ГОСТ 1012-72) - 100, битумно-резиновая мастика БР-20 ПИ-3-02-68 - 60, полидиен марки Б (ТУ 38-103-35-70) - 4.

3. Оборудование и приспособления:

а) емкость металлическая для приготовления компаунда;

б) весы;

в) пробки (резиновые, корковые, деревянные) под размеры ТУТ;

г) лопатка, шпатель для перемешивания компаунда;

д) емкость металлическая с герметично закрываемой крышкой для хранения компаунда;

е) материал протирочный.

4) Способ приготовления:

а) загрузить расчетное количество бензина и полидиена в емкость для приготовления;

б) ввести в приготовленную смесь расчетное количество мастики БР-20, нарезанной кусочками по 5 - 7 г;

в) перемешивать смесь в течение 5 - 10 мин и закрыть емкость крышкой.

Периодически, через 20 - 30 мин перемешивать массу для ускорения растворения мастики;

Примечание. Для приготовления 1 - 1,5 кг компаунда при периодическом перемешивании требуется 5 - 6 ч, а без перемешивания - 20 - 30 ч.

г) готовый компаунд должен быть однородным по цвету и консистенции, не иметь сгустков и комков;

д) слить приготовленный компаунд в герметично закрываемую металлическую емкость для хранения. Емкость с компаундом должна быть снабжена этикеткой, на которой указывается: наименование компаунда, дата изготовления, вес брутто.

5. Компаунд должен храниться в металлической и герметично закрытой емкости при температуре не выше + 25 °С, вдали от нагревательных приборов (не менее 1 м). Срок хранения компаунда не более пяти суток.

При использовании компаунда, хранящегося более пяти суток, необходимо взвесить емкость с компаундом и сравнить массу с весом брутто, указанным на этикетке. В случае разницы необходимо долить в емкость бензин до массы, указанной на этикетке, и тщательно перемешать. Закрыть емкость герметичной крышкой.

6. Нанесение компаунда на ТУТ:

а) обезжирить ТУТ бензином, для чего закрыв пробкой трубку на одном конце, залить в нее бензин и вылить его через 20 - 30 с или поместить ТУТ в эмалированный или стеклянный сосуд с бензином на 1 - 2 мин. Выдержать ТУТ на воздухе в вертикальном положении не менее 30 мин до полного испарения бензина;

б) перемешать компаунд до получения однородной массы, предварительно проверив массу компаунда (брутто), которая должна соответствовать надписи на этикетке;

в) залить компаунд в ТУТ, с одного конца закрытую пробкой, выдержать 20 - 30 с, вылить компаунд, удалить пробку и положить ТУТ горизонтально до улетучивания бензина из компаунда (2 - 4 ч); ускорить процесс сушки можно путем обдува ТУТ подогретым воздухом;

г) проверить качество нанесения подслоя внешним осмотром и в случае обнаружения мест, не покрытых компаундом, повторить работы, изложенные в п. 6в;

д) уложить ТУТ в коробки или упаковать в пленку из полимерных материалов и в таком виде хранить или доставлять к месту использования. Хранить ТУТ на расстоянии не менее 1 м от нагревательных приборов, не допуская механических повреждений и воздействия прямых солнечных лучей.

7. Техника безопасности:

а) все работы по приготовлению и нанесению компаунда на ТУТ должны выполняться в помещении, оборудованном приточно-вытяжной вентиляцией;

б) к приготовлению и нанесению компаунда допускаются лица, ознакомленные с правилами работы с легковоспламеняющимися веществами;

в) при работе с компаундом необходимо строго соблюдать правила противопожарной безопасности: в помещении запрещается курить и пользоваться. электронагревательными приборами с открытыми спиралями или открытым пламенем (горелки, паяльные лампы, спички и т.д.). При возникновении пожара использовать песок, асбестовую кошму, углекислый огнетушитель.

ПРИЛОЖЕНИЕ 11

СОСТАВ И СПОСОБ ПРИГОТОВЛЕНИЯ БИТУМНЫХ КОМПАУНДОВ МАРОК Б-1 И Б-2.

1. Составы компаундов:

Марка компаунда

Компоненты (в весовых частях)

Масса МБ-70

Диоктилсебацинат

Б-1

100

3,0 - 3,5

Б-2

100

9,5

2. Приготовление компаундов:

а) загрузить расчетное количество битумной массы МБ-70 в емкость, предназначенную для приготовления компаунда;

б) расплавить массу МБ-70, нагревая ее до 230 ± 5 °С; прогревать массу далее при этой температуре до исчезновения пены;

в) ввести расчетное количество диоктилсебацината, смесь перемешать и прогреть при температуре 130 ± 5 °С при периодическом перемешивании в течение 20 - 30 мин;

г) проверить готовность компаунда. Компаунд считают готовым, если на его поверхности отсутствуют пена и муаровые разводы. Поверхность готового компаунда должна быть однородной и блестящей;

Примечание. В случае наличия указанных признаков неготовности необходимо продолжить прогревание компаунда при 130 ± 5 °С и периодическом перемешивании до получения однородной, блестящей поверхности.

д) все работы по приготовлению заливочного компаунда необходимо производить в помещении, оборудованном вытяжным устройством;

е) при приготовлении и применении компаунда необходимо пользоваться брезентовыми рукавицами и предохранительными очками;

ж) при работе с электронагревательными приборами, газовыми горелками и растворителями соблюдать правила пожарной безопасности.

СПИСОК ЛИТЕРАТУРЫ

1. Правила охраны линий связи. Условия производства работ в пределах охранных зон и просек на трассах линий связи и радиофикации. -М.: Связь, 1970. - 16 с.

2. Инструкция по обеспечению сохранности междугородных кабельных линий связи. -М.: Минсвязи СССР, 1979. - 63 с.

3. Инструкция по монтажу сооружений и устройств связи, радиовещания и телевидения. Ведомственные строительные нормы. ВСН-600-81 - М.: Радио и связь, 1985. - 288 с.

4. Правила техники безопасности при работах на кабельных линиях связи и проводного вещания. - М.: Связь, 1979. - 160 с.

5. Мероприятия по обеспечению безопасности и сохранности газонефтепроводов при прокладке линий связи в охранных зонах трубопроводов. - М.: Мингазпром СССР, 1983. - 4 с.

6. Инструкция по производству строительных работ в охранных зонах магистральных трубопроводов Мингазпрома СССР. ВСН-51-1-80. - М.; Мингазпром СССР, 1982. - 23 с.

7. Инструкция по производству строительных работ в охранных зонах магистральных трубопроводов Миннефтепрома. ВСН-31-81. - М.: Миннефтепром СССР, 1981. - 13 с.

8. Правила охраны магистральных трубопроводов. - М.: Мингазпром СССР, 1982. - 23 с.

9. ОСТ 45.01-76. Линии кабельные междугородной и внутризоновой связи и соединительные линии ГТС. Нормы электрические на смонтированные усилительные участки. - М.: Связь, 1977. - 16 с.

10. ОСТ 45.07-77. Линии передачи кабельные. Нормы электрические на смонтированные регенерационные участки вторичной цифровой системы передачи. - М.: Связь, 1978. - 8 с.

11. Руководство по проектированию и защите от коррозии подземных металлических сооружений связи. - М.: Связь, 1978. - 216 с.

12. Руководство по защите подземных кабелей связи от ударов молнии. - М.: Связь, 1975. - 64 с.

13. Рекомендации по одновременной защите кабелей связи от коррозии, ударов молнии и электромагнитных влияний. - М.: Радио и связь, 1983. - 12с.

14. Временное руководство по содержанию кабелей дальней связи под газовым давлением. - М.: Связь, 1969. - 128 с.

15. Справочник строителя кабельных сооружений/Д. А. Барон, Б. И. Гершман, И. И. Гроднев и др.: - М.: Связь, 1979. - 704 с.

16. Общая инструкция по строительству линейных сооружений ГТС.-М.: Связь, 1978. - 432 с.

17. Технические указания по проектированию, строительству и эксплуатации кабельных линий связи в районах вечной мерзлоты. - М.: Мин-во связи СССР, 1981. - 83 с.

18. Инструкция по прогреву кабелей связи для прокладки их при отрицательных температурах. - М.: КОНИИС, 1984. - 56 с.

19. Руководство по симметрированию кабелей связи. - М.: Связьиздат, 1959. - 84 с.

20. Руководство по симметрированию кабелей связи в широком диапазоне частот. - М.: Связь, 1965. - 61 с.

21. Строительство и монтаж сооружений связи/Под ред. В. И. Максимова и В. С. Ромбро. - М.: Радио и связь, 1981. - 320 с.

22. Ведомственные нормы технологического проектирования. Проводные средства связи. Линейно-кабельные сооружения. ВНТП-116-80. - М.: Радио и связь, 1982. - 48 с.

23. СНиП III-3-81, Приемка в эксплуатацию законченных строительством объектов. Основные положения. -М.: Стройиздат, 1981. - 46 с.

24. Руководство по приемке в эксплуатацию линейных сооружений проводной связи и проводного вещания. - М.: Радио и связь, 1985. - 48 с.

СОДЕРЖАНИЕ

Предисловие. 1

Раздел 1 Общие положения. 2

Общие указания. 2

Основные определения. 2

Классификация. 3

Основные требования к кабельным линиям связи. 4

Раздел 2 Организация и проведение подготовительных работ. 4

Общие указания. 4

Проект организации строительства. 5

Разработка проекта производства работ. 7

Подготовка механизмов. 13

Подготовка автотранспорта. 19

Материально-техническое обеспечение. 20

Подготовка измерительной аппаратуры.. 20

Обеспечение нетиповыми конструкциями. 21

Определение потребности в рабочих кадрах. 21

Дислокация органов управления строительством.. 22

Раздел 3 Основные положения по технологии и организации строительно-монтажных работ. 22

Общие указания. 22

Организация производственных подразделений. 23

Обязанности и состав производственных подразделений. 24

Бригада (звено) по проверке и подготовке кабеля и оборудования. 24

Звено по разбивке трассы и ее фиксации. 24

Механизированная колонна (бригада) по устройству просек. 25

Бригада по выполнению сложных переходов и нетиповых работ. 25

Механизированная колонна по прокладке кабеля. 25

Бригада по разработке траншей и прокладке кабеля (проводов) вручную.. 26

Бригада по строительству кабельной канализации. 26

Звено по проверке и сдаче в монтаж проложенного кабеля. 27

Бригада по строительству НУП.. 27

Бригада по выполнению прочих работ. 27

Монтажно-измерительный участок. 27

Основные обязанности должностных лиц прорабского участка. 28

Основные обязанности заказчиков и подрядных организаций. 30

Раздел 4 Кабельные площадки. Проверка и подготовка кабеля и линейно-кабельных изделий. Погрузочно-разгрузочные и транспортные работы.. 32

Размещение и подготовка кабельных площадок на трассе. 32

Приемка кабеля и линейно-кабельных изделий на разгрузочных пунктах. 33

Погрузочно-разгрузочные и транспортные работы.. 34

Проверка кабеля, оборудования, арматуры (входной контроль) 37

Ремонт кабеля. 43

Группирование кабелей и пупиновских ящиков. 44

Раздел 5 Земляные работы. Устройство просек. 49

Общие указания. 49

Планировка и подготовка трассы.. 50

Рытье траншей и котлованов. 51

Крепление стен траншей и котлованов. 52

Засыпка траншей и котлованов. 54

Рекультивация земель. 54

Противоэрозионные мероприятия. 56

Устройство просек. 57

Раздел 6 Прокладка подземных кабелей. 60

Общие указания. 60

Разбивка трассы.. 61

Прокладка кабеля кабелеукладчиками. 65

Совместная прокладка кабеля и защитных проводов. 71

Размотка и прокладка кабеля в траншею.. 71

Устройство переходов через автомобильные и железные дороги. 72

Основные особенности прокладки кабеля в кабельной канализации. 75

Прокладка кабелей по мостам.. 76

Подвеска кабелей. 76

Особенности прокладки кабелей с покровами шлангового типа. 77

Особенности производства работ в горных условиях. 79

Особенности производства работ в районах вечной мерзлоты.. 81

Организация и механизация работ в районах вечной мерзлоты.. 85

Проверка кабеля после прокладки. 86

Раздел 7 Прокладка кабелей на переходах через реки и водоемы.. 86

Общие указания. 86

Подготовительные работы.. 87

Способы прокладки и заглубления кабелей. 90

Прокладка кабеля через водные преграды ножевым кабелеукладчиком.. 90

Предварительная разработка подводных траншей. 91

Прокладка кабеля с плавсредств или вручную в готовые траншеи. 91

Засыпка подводных траншей. 94

Укрепление подводных кабелей в берегах. 94

Берегоукрепительные работы.. 94

Ограждение подводных кабельных переходов. 94

Раздел 8 Общие требования к монтажу кабелей. 95

Общие указания. 95

Подготовительные мероприятия. 98

Приемка проложенного кабеля в монтаж.. 99

Нумерация усилительных (регенерационных) пунктов концов кабеля, шагов пупинизации, кабелей в траншее, муфт, пар и четверок кабеля. 101

Рытье котлованов и подготовка рабочего места. 104

Проверка кабеля перед монтажом.. 105

Подготовка и разделка концов кабеля. 106

Перепайка брони, установка и заливка защитной муфты.. 116

Установка замерного столбика и засыпка котлована. 117

Особенности монтажа кабелей в колодцах кабельной канализации. 117

Раздел 9 Монтаж коаксиальных кабелей. 118

Общие указания. 118

Монтаж кабеля типа км-4. 118

Монтаж малогабаритного коаксиального кабеля типа мкт-4. 129

Особенности монтажа малогабаритного коаксиального кабеля с изолирующими втулками. 134

Монтаж комбинированного коаксиального кабеля типа км-8/6. 134

Особенности монтажа кабеля типа км-8/6 зарубежного производства фирмы kwo.. 138

Монтаж однокоаксиального кабеля типа вкпап-2,1/9,7. 138

Особенности монтажа муфт на подвесном кабеле марки ВКПАШпТ. 141

Раздел 10 Монтаж симметричных кабелей. 142

Общие указания. 142

Монтаж кабеля в прямых муфтах. 142

Монтаж симметрирующих муфт. 144

Монтаж конденсаторных муфт на низкочастотном кабеле. 145

Сращивание низкочастотных экранированных пар и четверок. 146

Особенности монтажа высокочастотных симметричных кабелей. 147

Сращивание эмалированных жил. 149

Установка и монтаж пупиновских ящиков. 150

Установка и монтаж удлинителей. 152

Раздел 11 Монтаж металлических оболочек кабелей. 152

Общие указания. 152

Монтаж свинцовых оболочек. 155

Особенности монтажа свинцовой муфты на кабеле типа км-8/6. 156

Монтаж алюминиевых оболочек. 157

Монтаж алюминиевой оболочки клеевым методом.. 157

Монтаж алюминиевой оболочки методом опрессования. 159

Особенности монтажа алюминиевой оболочки методом опрессования в симметрирующих муфтах. 162

Монтаж алюминиевой оболочки методом горячей пайки. 163

Монтаж стальных гофрированных оболочек. 165

Особенности монтажа кабеля в алюминиевой оболочке и стальной гофрированной броне типа МКСАСтпШп. 166

Заделка концов кабелей в металлических оболочках. 166

Раздел 12 Восстановление защитных изолирующих покровов на кабелях в металлической оболочке. 168

Общие указания. 168

Восстановление изолирующих покровов при помощи термоусаживаемых трубок (тут) 168

Восстановление изолирующих покровов при помощи тут и полиэтиленовых деталей - комбинированный способ. 172

Особенности установки кип при использовании тут. 176

Восстановление изолирующих покровов при помощи многослойной обмотки сростка пластмассовыми лентами с промазкой компаундом лпк (холодный способ) 177

Восстановление изолирующих покровов при помощи полиэтиленовых деталей (горячий способ) 178

Ремонт пластмассовых шланговых покровов. 183

Раздел 13 Монтаж кабелей в пластмассовой оболочке. 184

Общие указания. 184

Монтаж кабелей типа ЗКП, ЗКВ-1×4×1,2 при помощи ТУТ. 184

Монтаж прямых муфт. 184

Монтаж симметрирующих муфт. 189

Монтаж кабелей типа ЗКП, ЗКВ-1×4×1,2 битумными компаундами. 189

Монтаж кабелей в оболочках из разнородных материалов. 193

Заделка концов кабелей в пластмассовой оболочке. 194

Раздел 14 Монтаж кабелей на переходах через реки и водоемы.. 195

Общие указания. 195

Безмуфтовое соединение проволочной брони. 196

Монтаж кабелей с проволочной броней при помощи стяжных защитных муфт. 201

Монтаж кабеля марки кмк-8/6 при помощи стяжных защитных муфт. 201

Монтаж кабелей с проволочной броней при помощи стальных втулок. 203

Монтаж муфт на кабеле марки ВКПАПкШп. 206

Особенности монтажа муфт на стыке кабелей марок ВКПАПкШп и ВКПАП.. 207

Раздел 15 Оборудование вводов кабелей и монтаж оконечных устройств. Разные монтажные работы.. 208

Общие указания. 208

Ввод кабелей в здания оуп.. 209

Ввод кабелей в цистерны нуп.. 210

Ввод линейных кабелей в контейнеры нуп и нрп.. 212

Монтаж оконечных газонепроницаемых коаксиальных муфт огкм и огкм-с.. 219

Монтаж переходной газонепроницаемой соединительной муфты (пгмс) 222

Монтаж оконечного кабельного устройства (уок) 224

Монтаж вводно-кабельного устройства (муфты кае) на кабеле км-4. 226

Монтаж боксов. 229

Монтаж коаксиальных газонепроницаемых соединительных муфт (кгс) 230

Монтаж газонепроницаемых муфт типа гмс.. 233

Монтаж изолирующих муфт. 234

Монтаж муфт типа МИС.. 234

Особенности монтажа изолирующих муфт на стыке кабелей типа КМ-8/6. 237

Монтаж изолирующих муфт типа ГМСИ.. 237

Монтаж изолирующих муфт при помощи клея ВК-9. 238

Шунтирование изолирующих муфт конденсаторами. 239

Монтаж разветвительных муфт. 240

Монтаж линейных устройств автоматического регулирования усиления (ару) 241

Устройства АРУ для систем передачи К-3600 и К-1920П.. 241

Устройства АРУ для системы передачи К-60П.. 247

Монтаж кабеля типа МКСЭБв. 249

Особенности монтажа кабеля типа КМЭБл-4. 250

Особенности монтажа кабелей типа МКСАСБпШп и МКСАСБП-4×4×1,2. 251

Раздел 16 Электрические измерения и симметрирование кабелей. 251

Общие указания. 251

Состав и объем электрических измерений. 258

Симметрирование высокочастотных кабелей. 265

Симметрирование низкочастотных кабелей. 267

Определение трассы и глубины прокладки кабеля. 269

Нормы электрических параметров симметричных кабелей. 269

Электрические измерения и испытания коаксиальных кабелей. 269

Раздел 17 Испытание герметичности кабелей и постановка их под постоянное избыточное воздушное давление. 277

Общие указания. 277

Нормы герметичности. 281

Испытание герметичности оболочки кабеля в строительных длинах. 281

Испытание герметичности соединительных муфт, пупиновских ящиков и удлинителей. 282

Испытание герметичности оболочек кабелей в секциях и на смонтированных усилительных (регенерационных) участках. 283

Испытание герметичности вводных оконечных устройств. 286

Испытание герметичности контейнеров. 289

Проверка работоспособности оборудования для содержания кабелей и контейнеров под избыточным давлением.. 292

Монтаж оборудования для содержания кабеля под избыточным давлением.. 298

Монтаж установки для содержания кабеля под давлением УСКД-1М.. 298

Монтаж автоматической установки для содержания кабелей связи под избыточным газовым давлением АУСКИД-1 (АУСКИД) 299

Монтаж распределительного устройства РУ-6ДМ.. 299

Монтаж устройства пневматической коммутации УПК-2М.. 299

Монтаж компрессорно-сигнальной установки КСУ.. 300

Определение мест негерметичности кабеля в процессе строительства. 300

Общие положения. 300

Определение района негерметичности оболочки кабеля манометрическим методом.. 300

Определение района негерметичности методом расхода воздуха. 301

Определение места негерметичности оболочки кабеля. 303

Устройства и приборы, используемые при испытании герметичности линейно-кабельных сооружений в процессе строительства. 304

Полевая нагнетательно-осушительная установка ПНОУ-3. 304

Установка компрессорная УК.. 304

Баллоны.. 305

Установка для ручной накачки кабеля КЛ-67М.. 305

Редукторы.. 305

Осушительное устройство. 306

Манометры.. 306

Регенерационная установка РУ.. 307

Воздушный контрольный прибор ВКП-1. 307

Галоидные течеискатели. 307

Комплект оборудования для точного определения места негерметичности оболочки кабеля КО.. 308

Передвижные компрессорные станции. 308

Зарядная станция типа ЗС.. 309

Раздел 18 Защита подземных металлических сооружений связи от коррозии. 309

Общие указания. 309

Монтаж кип.. 310

Монтаж изолирующих муфт. 313

Перепайка оболочек и брони кабелей связи. 314

Монтаж и установка протекторов. 314

Монтаж катодных установок. 318

Монтаж электродренажных установок. 321

Монтаж токоотводов. 324

Монтаж совместной защиты.. 324

Уточнение мест включения установок электрохимической защиты.. 324

Общие положения. 324

Уточнение места включения электродренажной установки. 325

Уточнение места включения катодной установки. 326

Уточнение мест включения электрических перемычек. 328

Определение наличия блуждающих токов в земле. 328

Измерение разности потенциалов подземного сооружения связи относительно земли. 329

Измерение разности потенциалов между сооружением связи и рельсами электрифицированного транспорта. 332

Измерение разности потенциалов между подземным сооружением связи и соседним подземным металлическим сооружением.. 332

Измерение сопротивления изоляции металлических оболочек и брони кабелей связи. 333

Определение мест повреждения защитных покровов. 333

Раздел 19 Защита кабелей от влияния линии высокого напряжения и атмосферного электричества. 333

Общие указания. 333

Прокладка и сращивание защитных проводов. 338

Установка и монтаж редукционных трансформаторов. 340

Устройство искровых промежутков. 344

Раздел 20 Устройство заземлений. 349

Общие указания. 349

Нормы сопротивления заземляющих устройств. 352

Оборудование заземляющих устройств. 353

Многоэлектродные заземлители. 353

Заземлители в местах с высоким удельным сопротивлением грунта. 358

Заглубленные и глубинные заземлители. 359

Заземлители в районах вечной мерзлоты.. 361

Ввод кабелей от заземляющих устройств в НУП.. 363

Раздел 21 Строительство нуп и нрп.. 365

Общие указания. 365

Организация работ. 367

Привязка и разбивка места для установки нуп.. 368

Рытье котлованов под цистерну. 368

Укладка фундаментных блоков. 369

Установка и закрепление цистерны нуп.. 370

Засыпка котлована. 370

Строительство нуп с установкой цистерны на грунт без фундамента. 371

Установка и закрепление наземной части нуп.. 373

Защитные колодцы для нуп.. 373

Раздел 22 Составление исполнительной документации. 375

Общие указания. 375

Состав исполнительной документации. 375

Корректировка рабочей документации проекта. 386

Составление картограммы глубины залегания кабеля. 389

Комплектация исполнительной документации. 389

Раздел 23 Приемка в эксплуатацию линейно-кабельных сооружений. 390

Общие указания. 390

Промежуточное освидетельствование работ. 392

Составление актов на скрытые работы.. 392

Организация и порядок работы рабочих комиссий. 393

Государственные приемочные комиссии. 394

Оценка качества строительномонтажных работ. 399

Приложение 1 Примерный перечень инструментов, приспособлений и устройств, применяемых при строительстве линейно-кабельных сооружений. 400

Приложение 2 Примерный перечень материалов и арматуры, применяемых при строительстве линейно-кабельных сооружений. 402

Приложение 3 Состав и способ приготовления бескислотной пасты (флюса) пбк-26м.. 406

Приложение 4 Состав и способ приготовления низкотемпературных флюсов для пайки (ост4.г0.033.200) 407

Приложение 5 Состав и способ приготовления паяльной пасты пмкн-40. 407

Приложение 6 Состав и способ приготовления припоя цоп-40. 408

Приложение 7 Состав и способ приготовления кварцевазелиновой пасты пкв.. 408

Приложение 8 Состав и способ приготовления липкого полиизобутиленового компаунда лпк.. 408

Приложение 9 Указания по хранению и использованию клея вк-9. 409

Приложение 10 Способ приготовления компаунда кб-тут и нанесение его на термоусаживаемые трубки. 409

Приложение 11 Состав и способ приготовления битумных компаундов марок б-1 и б-2. 411

Список литературы.. 411

 




Rambler's Top100 Яндекс цитирования
  Copyright © 2008-2026, www.docload.ru