Бесплатная библиотека стандартов и нормативов www.docload.ru

Все документы, размещенные на этом сайте, не являются их официальным изданием и предназначены исключительно для ознакомительных целей.
Электронные копии этих документов могут распространяться без всяких ограничений. Вы можете размещать информацию с этого сайта на любом другом сайте.
Это некоммерческий сайт и здесь не продаются документы. Вы можете скачать их абсолютно бесплатно!
Содержимое сайта не нарушает чьих-либо авторских прав! Человек имеет право на информацию!

 

МИНИСТЕРСТВО АВТОМОБИЛЬНЫХ ДОРОГ РСФСР

Согласована

Министерством

речного флота РСФСР

"14" августа 1987 г.

Государственной инспекцией

по маломерным судам РСФСР

"20" апреля 1987 г.

Утверждена

Министерством

автомобильных дорог РСФСР

"1" октября 1987 г.

ИНСТРУКЦИЯ ПО РЕМОНТУ,
СОДЕРЖАНИЮ И ЭКСПЛУАТАЦИИ
ПАРОМНЫХ ПЕРЕПРАВ
И НАПЛАВНЫХ МОСТОВ

ВСН 50-87

МИНАВТОДОР РСФСР

МОСКВА "ТРАНСПОРТ" 1988

Инструкция разработана впервые на основе научно-исследовательских работ ГипродорНИИ и СоюздорНИИ, а также передового опыта дорожных хозяйств Минавтодора РСФСР, эксплуатирующих наплавные мосты и паромные переправы.

Содержит основные положения по организации ремонта, содержания и эксплуатации переправ, классификацию работ по видам ремонта, требования к переправам и организации их работы, обеспечивающие безопасность плавания плавсредств, безопасность перевозок автомобильным транспортом, рекомендации по организации движения на переправах и подходах к ним, а также другие вопросы организации работы переправ. Подготовлена канд. техн. наук Н. Н. Петровым, раздел 5 - совместно с канд. техн. наук Б.Б. Анохиным и инж. В.Г. Чурарем, приложения 1 и 10 - совместно с инж. В.Г. Чурарем. В проведении исследований принимали участие канд. техн. наук В.М. Еремин, инженеры В.О. Машкин, Л.М. Максименко, Т.Н. Смирнова, Л.К. Семенова.

Зав. редакцией В.Г. Пешков

Редактор В.П. Виденеев

Выпущено по заказу Министерства автомобильных дорог РСФСР.

Министерство автомобильных дорог РСФСР

Ведомственные строительные нормы

ВСН 50-87

Инструкция по ремонту, содержанию и эксплуатации паромных переправ и наплавных мостов

Вводятся впервые

1. ОБЩИЕ ПОЛОЖЕНИЯ

1.1. Настоящая Инструкция предназначена для инженерно-технического и обслуживающего персонала, занятого эксплуатацией паромных переправ и наплавных мостов.

1.2. Действие Инструкции распространяется на ремонт, содержание и эксплуатацию паромных переправ и наплавных мостов дорожными хозяйствами Минавтодора РСФСР на общей сети автомобильных дорог РСФСР.

1.3. Паромные переправы и наплавные мосты являются одним из важных элементов автомобильных дорог общего пользования - составной части транспортной системы страны, от надежной работы которой зависит обеспечение бесперебойных перевозок народнохозяйственных грузов и пассажиров по автомобильным дорогам.

1.4. Основные термины и понятия:

переправа (паромная переправа и (или) наплавной мост) - пересечение автомобильной дорогой водотока с использованием для пропуска транспорта парома или наплавного моста;

паромная переправа - переправа, в которой для перевоза автомобилей используется подвижное (плавающее) устройство (судно) - паром;

наплавной мост - переправа, в которой проезд автомобилей осуществляется по мосту на плавучих опорах или по установленным в ленту плавсредствам;

плавсредства переправ - все плавающие (самоходные, несамоходные, стоечные) средства или суда;

береговая часть переправы - причалы, эстакады и подходы к ним.

Внесена

Государственным дорожным проектно-изыскательским и научно-исследовательским институтом ГипродорНИИ

Утверждена Министерством автомобильных дорог РСФСР

1 октября 1987 г.

Срок введения

1 апреля 1989 г.

1.5. Статус паромных переправ и наплавных мостов, режим их работы, порядок и вопросы оплаты перевозки автотранспорта и пассажиров, а также горючих, опасных грузов и спецтранспорта определяются эксплуатирующими организациями и согласовываются с областными (районными) исполкомами Советов народных депутатов, а на внутренних водных путях, включенных в перечень, объявляемый Минречфлотом РСФСР, и сплавных путях - и с органами, регулирующими судоходство и сплав соответственно.

1.6. Паромные переправы и наплавные мосты должны иметь пропускную способность, обеспечивающую установленную для них расчетную интенсивность движения на данной автомобильной дороге, обеспечивать пропуск расчетных нагрузок, безопасные условия пересечения водной преграды транспортными средствами и пассажирами (пешеходами), безопасность движения автомобилей на переправах и подходах к ним. Работа паромных переправ и наплавных мостов не должна создавать препятствий и опасности для судоходства на внутренних судоходных путях.

1.7. Паромные переправы и наплавные мосты должны оборудоваться на береговой части служебными помещениями и павильонами для ожидания пассажиров; плавсредства переправ должны иметь аварийно-спасательное имущество и противопожарное оборудование; подходы к переправе должны оборудоваться средствами регулирования движения, в темное время суток переправы должны быть освещены.

1.8. На внутренних судоходных путях паромные переправы и наплавные мосты должны быть обозначены навигационными знаками и огнями в соответствии с требованиями ГОСТ 26600-85 "Знаки и огни навигационные внутренних водных путей". Типы, размеры, цвет и расположение навигационных знаков и огней должны быть согласованы с органами, регулирующими судоходство.

Плавсредства должны нести огни и знаки и подавать звуковые сигналы в соответствии с Правилами плавания по внутренним водным путям РСФСР.

1.9. Плавсредства паромных переправ и наплавных мостов должны отвечать техническим требованиям, иметь документацию, регистрироваться, проходить освидетельствование на годность к плаванию, эксплуатироваться в соответствии с требованиями нормативно-технических документов Минречфлота РСФСР, Речного Регистра РСФСР или ГИМС РСФСР по поднадзорности плавсредств.

1.10. На каждую переправу должны быть разработаны с учетом ее конструктивных особенностей и местных условий перевозок правила пользования переправой, регламентирующие порядок погрузки, выгрузки автотранспорта и пассажиров, поведение водителей и пассажиров на переправе и т. д., а также схемы загрузки паромов автомобилями. Транспаранты и плакаты с правилами должны быть установлены перед въездом на переправу.

1.11. В задачи эксплуатации паромных переправ и наплавных мостов входят: определение состава переправы, отвечающего требуемой пропускной способности; организация работы переправы с установлением режима работы в течение суток; укомплектование переправы штатами, подготовка кадров и повышение их квалификации, решение вопросов оплаты труда и материального стимулирования; регистрация и периодические технические освидетельствования плавсредств переправ на годность к плаванию; ведение судовой документации на плавсредствах и технической документации на переправу; поддержание установленного режима эксплуатации навигационных знаков; обеспечение беспрепятственного и безопасного пропуска судов на судоходных реках; организация и регулирование движения автотранспорта на переправах и подходах к ним; руководство погрузкой и выгрузкой автомобилей, посадкой и высадкой пассажиров; контроль за весовыми параметрами пропускаемых по переправе нагрузок.

1.12. Основные задачи текущего ремонта и содержания паромных переправ и наплавных мостов: следить за чистотой грузовой палубы паромов, площадок для пассажиров, конструкций и проезжей части наплавных мостов, состоянием водоотвода, исправным состоянием причальных устройств, креплений буксиров к паромам, швартовых устройств, аппарелей, разводных устройств наплавных мостов, переходных пролетов и трапов, навигационных знаков; производить регулярный осмотр конструкций, выявлять в них дефекты, исправлять мелкие повреждения и регулировать элементы сопряжений; следить за отсутствием течи в плавучих опорах, паромах и буксирах, а при ее появлении откачивать воду и принимать меры по ликвидации течи, проветривать в сухую погоду внутренние помещения паромов и плавучих опор; вести ежедневные наблюдения за якорными закреплениями плавучих опор, креплениями канатов паромных переправ, подтягивать канаты якорей и т. д.; проводить ремонт и замену отдельных поврежденных и изношенных элементов конструкций, которые не требуют прекращения работы переправы и привлечения специализированных организаций; регулировать высотное положение причалов; производить при необходимости подкраску отдельных элементов и надводной части плавсредств.

1.13. При ремонте (среднем и капитальном) паромных переправ и наплавных мостов выполняются работы, требующие прекращения эксплуатации переправы в целом или ремонтируемых технических средств в составе переправы, использования стационарного специального оборудования или привлечения для выполнения работ специализированных предприятий и организаций. К таким работам относятся: сложный ремонт главных двигателей буксирных катеров и теплоходов, а также самоходных паромов; ремонт, замена и усиление обшивки и элементов набора корпуса плавсредств переправ; окраска конструкций и плавсредств, антисептирование деревянных конструкций и элементов; усиление и замена конструкций пролетных строений, переходных пролетов и аппарелей, причалов и их элементов и т. д.

2. ТИПЫ И КОНСТРУКЦИИ НАПЛАВНЫХ МОСТОВ И ПАРОМНЫХ ПЕРЕПРАВ. ВЫБОР И НАЗНАЧЕНИЕ СОСТАВА ПЕРЕПРАВЫ

2.1. В состав паромной переправы (рис. 1) входят: перевозной паром 2 (самоходный или несамоходный), буксир 3 (для несамоходного парома), одна или несколько пар пристаней 1, подходы к переправе 4, а также места зимнего отстоя (хранения) плавсредств. При устройстве нескольких ниток переправы указанный состав обязателен для каждой из них.

2.2. Возможно применение различных схем организации паромных переправ. На канатных переправах (рис. 2) движение парома осуществляется по тросу, натянутому поперек реки. Перемещение парома по тросу может осуществляться вручную (рис. 2, а), с помощью лебедок при фиксированном прикреплении парома к тросу (рис. 2, б), буксировкой катером под бортом (рис. 2, в), с использованием силы течения реки (паром-самолет) (рис. 2, г). Возможно применение парома-самолета при продольном расположении троса (рис. 2, д), низовой конец которого закреплен на пароме, а верховой - на якоре на расстоянии 1,5-2 ширины реки вверх по течению. На бесканатных переправах используются самоходные или несамоходные буксируемые (толкаемые) паромы. Схемы движения самоходных и несамоходных буксируемых паромов зависят от способа погрузки-выгрузки автомобилей (рис. 3, 4) и местных условий.

Рис. 1. Основные части паромной автодорожной переправы:

1 - пристань; 2 - перевозной паром; 3 - толкающий буксир; 4 - подход к переправе

Рис. 2. Схемы канатных паромных переправ:

1 - причал; 2 - паром; 3 - трос (канат); 4 - лебедки; 5 - блок; 6 - якорь; 7 - лодки (поплавки); 8 - буксирный катер

2.3. Назначение схемы организации паромной переправы определяется местными условиями и имеющимися техническими средствами. При этом следует учитывать следующее.

Канатные переправы (см. рис. 2) при расположении троса над водой в натянутом состоянии и паромы-самолеты с продольным расположением троса не должны применяться на судоходных путях и не рекомендуется применять на реках шириной свыше 100 м. На судоходных путях и на реках шириной свыше 100 м трос должен иметь провис в воду, обеспечивающий требуемую глубину судового хода, или быть опущен на дно реки, а на несудоходных путях натянутый трос должен находиться на такой высоте над водой, чтобы не препятствовать проходу плавсредств, эксплуатируемых (используемых) на этом водном пути. Применение канатных переправ на реках шириной свыше 400-600 м нецелесообразно.

Рис. 3. Схемы движения самоходных паромов:

а - "восьмеркой" с погрузкой-выгрузкой через оба борта; б - "семеркой" с погрузкой-выгрузкой через оба борта; в - по кругу с погрузкой-выгрузкой через один борт; г - "семеркой" с погрузкой-выгрузкой через носовую оконечность парома; д - по z-образной траектории с продольной погрузкой-выгрузкой через обе оконечности парома

Применение паромов на ручной тяге не рекомендуется. Как исключение, применение паромов на ручной тяге может быть допущено при малой грузоподъемности паромов (до 30 т), низкой интенсивности движения на переправе (не более 200 авт/сут) и ширине реки до 100 м.

Предпочтение следует отдавать способу перемещения парома по тросу буксирным катером, расположенным под бортом парома снизу по течению (см. рис. 2, в).

Применение паромов-самолетов, (см. рис. 2, г и д) при скоростях течения воды свыше 1 м/с возможно в течение всего периода работы паромной переправы.

Самоходные и несамоходные буксируемые (толкаемые) паромы (см. рис. 3, 4) рекомендуется применять на реках шириной свыше 100 м и при достаточных глубинах воды в течение всего периода работы переправы.

Рис. 4. Схемы движения несамоходных буксируемых (толкаемых) паромов:

а - "восьмеркой" с погрузкой-выгрузкой через оба борта; б - "семеркой" с погрузкой-выгрузкой через оба борта; в - по кругу с погрузкой-выгрузкой через один борт; г - "семеркой" с погрузкой-выгрузкой через носовую оконечность парома; д - по прямой с продольной погрузкой-выгрузкой через обе оконечности парома и расположением буксира под бортом

Таблица 1

Тип парома

Марка или номер проекта

Завод-изготовитель

Класс судна

Мощность двигателя, кВт/л.с.

Грузоподъемность, т

Площадь грузовой палубы, м

Способ погрузки-выгрузки

Скорость хода, км/ч

Стоимость, тыс. руб.

Несамоходный

ПР-25

-

-

-

25

69,3

Продольный

-

6,6

»

ПР-40

-

-

-

40

108,8

»

-

-

»

21550-90-3

ССРЗ
г. Астрахань

Р

-

60

146,29

»

-

20,7

»

608-К

То же

0

-

80

225,25

»

-

-

Самоходный (баржа-площадка)

СП-40

Жатайский СРЗ

-

66/90

40

72,0

Через носовую аппарель

-

109,0

Самоходный

СП-60

-

-

-

60

180,0

Через борт

-

-

»

Д-057

Чистопольский ССРЗ, Островская ремонтно-эксплуатационная база

Р

66/90

60

204,0

носовые аппарели

12,0

93,0

»

Р-144

Волгоградский ССРЗ

0

2´ (287/390)

120

420,0

Через борт

21,6

813,0

Самоходный (теплоход-площадка)

СП-414

Жигаловская судоверфь

Р

165/225

600

530,0

То же, с аппарелями

18,5

-

Самоходный

СП-1000

Жатайский СРЗ

Р

300/408

1000

675,0

Продольный с аппарелями

19,5

-

Таблица 2

Тип понтона

Вид понтона

Размеры понтона, м

Масса понтона, т

Грузоподъемность наибольшая в составе парома, т

Тип обвода крайнего понтона

Длина

Ширина

Высота по борту

НЖМ-56

Кормовой

9,0

2,6

1,35

4,0

12,0

Транец

Средний

9,0

2,6

1,35

3,7

12,0

-

Носовой

9,0

2,6

1,35

4,0

12,0

Санообразный

КС

-

7,2

3,6

1,8

7,0

26,0

Транец

КС-У

-

7,2

3,6

1,8

7,2

26,0

»

КС-З

-

7,2

3,6

1,8

5,9

27,0

»

ТМП

Средний

4,94

2,4

1,05

1,04

8,9

Транец

Носовой

5,97

2,4

1,05

1,13

8,75

Однообразный

ТМП

Средний

4,94

2,4

1,15

1,0

8,0

Транец

Носовой

5,97

2,4

1,15

1,05

8,0

Санообразный

ЛПП

Средний

4,37

2,2

0,92

0,57

6,5

Транец

Носовой

5,1

2,2

0,92

0,61

6,5

Санообразный

Проект № 817

Средний

6,42

3,19

1,56

5,27

12,0

Транец

Крайний

6,24

3,16

1,65

4,04

10,6

Санообразный

Понтон-аппарель

6,26

3,14

1,54

4,11

10,5

-

2.4. В качестве перевозных паромов могут применяться:

самоходные и несамоходные паромы серийного заводского изготовления, выпускаемые судостроительными и судоремонтными предприятиями (табл. 1);

переоборудованные речные суда - бункерные баржи, баржи-площадки и т. п., обустройство которых должно обеспечивать безопасную погрузку, выгрузку, маневрирование на грузовой палубе и перевозку автомобилей. Применение списанных судов запрещается;

паромы, собранные на базе понтонов и имущества парков разборных наплавных мостов, унифицированных конструкций по проекту № 817, строительных понтонов (табл. 2), а также паромы из имущества разборных мостов-лент;

паромы, построенные не судостроительными и не судоремонтными предприятиями, но в соответствии с требованиями Речного Регистра РСФСР или ГИМС РСФСР в зависимости от поднадзорности. Применение паромов, не отвечающих указанным требованиям, не допускается.

2.5. Для буксировки несамоходных паромов могут использоваться речные буксиры (толкачи), буксирные катера (табл. 3).

2.6. Назначение состава переправы (выбор типа парома и определение количества ниток переправы) производится на основе расчета ее пропускной способности, которая должна отвечать расчетной (перспективной) интенсивности движения по дороге и составу транспортного потока, и разработки проекта переправы.

Расчет пропускной способности одной нитки паромной переправы выполняется по методике, приведенной в прил. 1.

Перспективная расчетная суточная интенсивность движения и состав транспортного потока для переправ, эксплуатирующихся длительный срок, определяются на пятый год, считая с года ввода паромной переправы в эксплуатацию. По истечении этого срока производят увеличение мощностей переправы в расчете на следующие 5 лет с одновременным выполнением капитального ремонта плавсредств переправы и их последующей передислокацией на другие переправы в пределах одного хозяйства или между хозяйствами. Для краткосрочных переправ расчетная интенсивность и состав транспортного потока определяются исходя из целей организации переправы и срока ее службы.

Для выбора требуемого типа парома промышленного изготовления рекомендуется пользоваться таблицами пропускной способности одной нитки переправы с самоходными (табл. 4) и несамоходными буксируемыми (табл. 5) паромами, определенной по рекомендуемой методике (см. прил. 1) в расчетных автомобилях. Даны значения часовой и суточной (из расчета 18-часовой работы переправы в течение суток) приведенной пропускной способности. Определение приведенной расчетной интенсивности движения (в расчетных автомобилях), по которой выбирается тип парома, осуществляется по указаниям п. 4 прил. 1, а сравнение приведенной расчетной интенсивности движения и пропускной способности - в соответствии с указаниями п. 13 прил. 1.

Таблица 3

Тип судна

№ проекта

Класс судна

Мощность двигателя, кВт/л.с.

Сила тяги, кН/тс

Скорость хода, км/ч

Стоимость (нормативная), тыс. руб.

Толкач

878

Р

110/150

13,7/1,4

-

-

»

Р-96

Р

110/150

13,3/1,36

-

63

»

911-в

Р

220/300

29,4/3,0

-

180

»

Р103

О лед

220/300

36,6/3,73

-

135

»

908

Р

330/450

46,8/4,77

-

215

Катер буксирный

БМК-130

Р

73/100

-

-

-

Катер

1606

О

173/235

-

-

-

Таблица 4

Марка парома

Грузоподъемность, т

Площадь грузовой палубы, м

Скорость хода, м/мин

Пропускная способность одной нитки переправы с самоходным паромом (в расчетных автомобилях); в числителе - часовая, авт/ч, в знаменателе - суточная, авт/сут, при работе переправы 18 ч/сут, при ширине зеркала воды, м

50

100

150

200

500

1000

1500

2000

3000

СП-40

40

72,0

198

43

547

42

527

40

510

39

494

34

426

28

352

24

304

21

263

16

207

СП-60

60

180,0

198

82

1012

78

984

76

959

74

938

66

835

57

719

50

636

45

562

36

456

Д-057

60

204,0

200

90

1131

87

1103

85

1078

84

1055

75

944

65

816

57

723

52

652

44

150

Р-144

120

420,0

360

118

1483

115

1454

114

1445

113

1431

109

1372

103

1289

97

1219

91

1151

82

1035

СП-414

600

530,0

308

111

1394

110

1383

109

1372

108

1362

104

1311

94

1190

94

1184

90

1135

81

1027

СП-1000

1000

675

325

161

1032

160

2019

159

1998

157

1984

151

1906

143

1799

135

1702

128

1610

115

1453

Таблица 5

Мерка или номер проекта парома

Грузоподъемность, т

Площадь грузовой палубы, м

Мощность буксира (принятая), кВт/л.с.

Скорость хода парома, м/мин

Пропускная способность одной нитки переправы с несамоходным буксируемым по тросу или под бортом паромом (а расчетных автомобилях), в числителе - часовая, авт/ч; в знаменателе - суточная, авт/сут, при работе переправы 18 ч/сут, при ширине зеркала воды, м

50

100

150

200

500

1000

1500

2000

3000

ПР-15

25

69,3

73/100

80

76

953

66

832

58

735

52

658

32

404

20

246

12

153

11

138

8

96

ПР-40

40

108,8

73/100

80

99

1251

88

1110

79

998

72

906

46

514

29

367

21

267

17

210

12

147

21550-90-3

60

146,29

73/100

80

115

1149

104

1307

94

1190

87

1092

58

731

37

471

28

148

22

276

15

195

608-К

80

225,25

110/150

114

141

1774

133

1673

125

1582

119

1501

91

1146

65

822

51

642

42

526

31

386

Спаренный 2´(21550-90-3)

2´60 = 120

2´146,29 = 292,6

110/150

114

153

1928

146

1835

139

1749

133

1673

105

1322

78

979

62

778

51

645

38

481

Спаренный 2´(608-К)

2´80 = 160

2´225,25 = 450,5

110/150

114

170

2143

164

2066

158

1995

153

1930

128

1610

100

1260

82

1036

70

880

54

676

Рис. 5. Основные части наплавных мостов:

а - на отдельных плавучих опорах; в - мостов-лент

При ширине зеркала воды, отличной от приведенных в табл. 4 и 5, значения пропускной способности определяются интерполяцией между ближайшими табличными значениями.

При использовании паромов индивидуального изготовления, а также применения самоходных и несамоходных паромов в иных условиях (способ буксировки, мощность буксира, количество часов работы в сутки и т. д.) пропускная способность определяется расчётом по методике прил. 1.

Если одна нитка переправы не обеспечивает требуемую пропускную способность, то устраивают две и более ниток переправы.

2.7. Наплавной мост, как правило, состоит (рис. 5) из береговых 1, переходных 2 и речной 3 частей и имеет поперечное 6 и продольные 5 закрепления, подходы к мосту 7 и места зимнего отстоя (хранения) плавсредств и конструкций.

Речная часть - собственно наплавной мост, которым перекрывается глубоководная часть водотока. При наличии на реке судоходства и лесосплава речная часть должна иметь выводное звено, удалением которого из моста осуществляется открытие судового хода. Паромы моста, смежные с выводным звеном, называются пропускными.

Береговые части моста, как правило, представляют собой эстакады на жестких опорах, которые сооружаются на участках с недостаточной для работы плавучих опор глубиной воды. При недостаточности плавсредств возможно проложение береговых эстакад в русло на большие глубины. Береговые части моста могут отсутствовать при опирании аппарелей 4 с моста непосредственно на грунт или покрытие подхода за урезом воды (см. рис. 5, б).

Рис. 6. Системы наплавных мостов (пунктиром показан профиль моста при проходе сосредоточенной временной нагрузки):

1 - плавучие опоры; 2 - переходные пролеты; 3 - шарнирные соединения; 4 - ограничительная жесткая опора (f - зазор между опорой и пролетным строением); 5 - одноконсольная переходная часть

Переходные части представляют собой качающиеся пролетные строения (в том числе опирающиеся на плавучую опору), которые обеспечивают плавный переход транспортных средств с береговых частей на оседающую под воздействием временной нагрузки речную часть.

Поперечное закрепление моста может осуществляться якорями или за трос, закрепленный за берега реки (см. рис. 5). Они удерживают мост от сноса его течением или боковым ветром. Продольное закрепление предназначено для предупреждения смещения речной части в сторону одного из берегов при продольном ветре или торможении транспортных средств на мосту и выполняется путем закрепления тросами концов речной части за берега.

2.8. Могут применяться следующие системы наплавных мостов (рис. 6): разрезная на отдельных плавучих опорах (рис. 6, а); шарнирно-консольная система из паромов на отдельных плавучих опорах (рис. 6, б); неразрезная система (рис. 6, в); мост-лента из барж с нецентральным опиранием пролетных строений на опоры (рис. 6, г); мост-лента шарнирной системы (рис. 6, д); мост-лента неразрезной системы из понтонов (см. рис. 5, б).

2.9. Выбор системы наплавного моста определяется имеющимися в распоряжении дорожного хозяйства техническими средствами и материалами, а также местными условиями на переправе. При этом следует учитывать следующее.

Разрезная система на отдельных плавучих опорах предъявляет повышенные требования к плавучим опорам по грузоподъемности, так как каждая опора воспринимает практически весь вес проходящей по мосту единичной нагрузки. Из-за возникающих при движении нагрузки значительных углов перелома продольного профиля и продольных уклонов пролетов снижаются скорости движения, повышается динамическое воздействие на мост. Мосты разрезной системы более трудоемки в наводке и обладают наименьшей живучестью при повреждении плавучих опор. По этим причинам более предпочтительным является применение шарнирно-консольных и неразрезных систем.

Мосты-ленты из барж и понтонов современных понтонно-мостовых парков характеризуются хорошими условиями движения по ним автотранспорта, простотой конструкции моста, его наводки и разводки для пропуска судов, обладают достаточно высокой живучестью и могут применяться на тех реках, где возможна доставка барж по воде к месту перехода, а мостов-лент из понтонов - практически без ограничений. В мостах-лентах из барж в зависимости от ширины реки и наличия плавсредств могут применяться различные схемы установки барж (рис. 7).

2.10. Наводка наплавных мостов при организации переправы или ее восстановлении после зимы осуществляется в зависимости от системы моста:

для мостов разрезных систем - последовательной попролетной сборкой с выведением в линию моста по одной плавучей опоре с установкой одного пролетного строения;

для мостов шарнирно-консольной, неразрезной систем, мостов-лент из барж или понтонов - попаромная наводка, при которой участки речной части (паромы) собирают у берега, а затем на плаву вводят в линию моста (рис. 8) или разворотом, когда мост целиком собирается у берега, а затем разворачивается поперек реки.

Рис. 7. Схемы установки барж в наплавных автодорожных мостах-лентах:

а - поперечная; б - продольно-поперечная; в - уступом в разные стороны; г - уступом в одну сторону; д - продольная; 1 - переходный пролет (трап); 2 - сцепные устройства между баржами; 3 - якорные закрепления

2.11. Разводка наплавных мостов (удаление выводного звена из линии моста) для пропуска судов и лесосплава осуществляется одним из следующих способов:

вывод выводного звена (разводной части) из линии моста и смещение его в сторону производятся катерами, лебедками, установленными на выводном звене, на пропускных паромах или на берегу, регулированием натяжения якорных тросов (рис. 9, а, в). При использовании этого способа разводки необходимо предусмотреть дополнительную длину тросов для их опускания в воду, обеспечивающего требуемую глубину судового хода;

поворот выводного звена (разводной части) вокруг куста свай, шарнира из линии моста вдоль берега производится катером, лебедкой или движителем, установленным непосредственно на концевом понтоне выводного звена (рис. 9, в).

Рис. 8. Попаромная наводка наплавного моста:

1 - паром перед заброской якорей; 2 - паром, спускающийся в линию моста на якорных тросах; 3 - катер, заводящий низовой якорь; 4 - паром в линии моста; 5 - береговая часть

Рис. 9. Схемы разводки наплавных мостов:

а - выводом и смещением в сторону выводного звена лебедками; б - то же, катерами; в - разворотом выводного звена вдоль берега; 1 - лебедки; 2 - выводное звено; 3 - якоря; 4 - катера; 5 - свайный куст

При достаточной поперечной жесткости конструкции выводного звена его поперечное закрепление может осуществляться на пропускных паромах. В этом случае якорное или иное поперечное закрепление пропускных паромов должно быть рассчитано с учетом удержания выводного звена.

2.12. В качестве плавсредств для изготовления плавучих опор Мостов на отдельных плавучих опорах могут применяться понтоны из имущества наплавных разборных мостов, унифицированных конструкций по проекту № 817, строительные понтоны (см. табл. 2), а также понтоны и плашкоуты из дерева, металла или железобетона индивидуального изготовления, выполненные на основании проектов и отвечающие требованиям по грузоподъемности, остойчивости и прочности, суда (бункерные баржи, баржи-площадки и т. п.) речного флота.

Для устройства мостов-лент могут применяться имущество современных понтонно-мостовых парков, унифицированные конструкции по проекту № 817 и суда (бункерные баржи, баржи-площадки и т. п.) речного флота.

Использование в наплавных мостах списанных судов речного флота не рекомендуется.

2.13. Назначение генеральных размеров и конструкции наплавных мостов (габарит, покрытие, жесткость пролетных строений) должно выполняться с учетом достигаемой за счет этих параметров пропускной способности моста, которая должна отвечать расчетной (перспективной) интенсивности движения по дороге, с разработкой проекта моста.

Расчет пропускной способности наплавных мостов выполняется по методике, приведенной в прил. 2.

Перспективная расчетная суточная интенсивность движения для наплавных мостов, эксплуатирующихся длительный период, определяется на десятый год, считая с года ввода моста в эксплуатацию. По истечении указанного срока одновременно с заменой или капитальным ремонтом плавсредств наплавного моста целесообразно осуществлять и реконструкцию моста с увеличением его пропускной способности в расчете на следующий десятилетний период. Высвободившиеся плавсредства (после капитального ремонта) могут передаваться для использования на других объектах. Для временных наплавных мостов, устраиваемых на период строительства, ремонта или восстановления капитальных мостов, расчетная интенсивность движения определяется исходя из целей устройства переправы и срока ее эксплуатации.

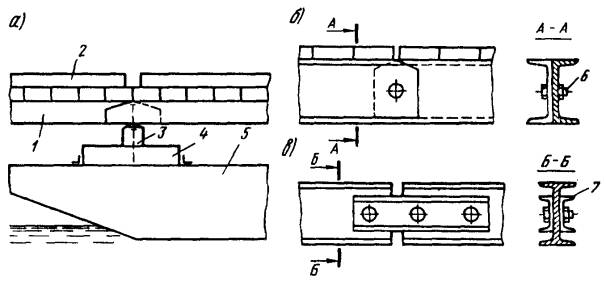
Рис. 10. Шарнирные стыки прогонов:

1 - прогон; 2 - колесоотбой; 3 - лежень; 4 - подкладки, закрепленные уголками от сдвига; 5 - оконечность корпуса баржи; 6 - шарнирный болт; 7 - накладки

2.14. В наплавных мостах на отдельных плавучих опорах и перевозных паромах, устраиваемых на понтонах, а также для переходных пролетов мостов-лент из судов речного флота, для переходных и береговых частей наплавных мостов различных систем, причальных устройств паромных переправ могут применяться:

типовые пролетные строения, запроектированные для мостов на жестких опорах для той же величины расчетного пролета; в целях уменьшения веса пролетных строений и более полного использования грузоподъемности плавучих опор предпочтительнее применение металлических или деревянных конструкций;

пролетные строения из местных материалов (прокат, дерево) индивидуального, изготовления; применяемые конструкции должны быть запроектированы в соответствии с действующими нормами (СНиП 2.05.03-84 "Мосты и трубы");

инвентарное имущество разборных наплавных мостов и понтонных парков.

2.15. Прогоны (балки) пролетных строений в мостах разрезных систем концевые прогоны паромов в мостах шарнирно-консольных систем (см. рис. 6, а и б), прогоны подъемных пролетных строений береговых частей наплавных мостов и причальных устройств паромных переправ, прогоны переходных частей наплавных мостов должны быть соединены шарнирными стыками. Рекомендуется применение простейших конструкций, обеспечивающих их технологичность и простоту сборки и разборки моста:

простое шарнирное опирание деревянных прогонов на общий лежень (рис. 10, а) в мостах разрезных систем;

соединение прогонов из швеллеров шарнирным болтом (рис. 10, б), а прогонов из двутавров - накладками из швеллеров (рис. 10, в); верхняя часть прогонов срезается (см. рис. 10, б), чтобы при их повороте не происходило отрыва настила;

Рис. 11. Устанавливаемые на колесоотбоях шарнирные соединения:

1 - гибкий ригель; 2 - прокладки; 3 - колесоотбой; 4 - хомут или болт крепления стыкового замка; 5 - швеллер; 6 - шарнирный болт; 7 - помочный брус; 8 - прогон

при большом числе прогонов в деревянных пролетных строениях достаточно устройство шарниров только на крайних прогонах, при этом включение в работу остальных прогонов осуществляется установкой помочных брусьев на всю ширину пролетного строения; вместо шарниров на крайних прогонах могут применяться шарнирные соединения в виде гибких ригелей (рис. 11, д) или накладного шарнира из швеллеров (рис. 11, б), устанавливаемых на колесоотбойный брус.

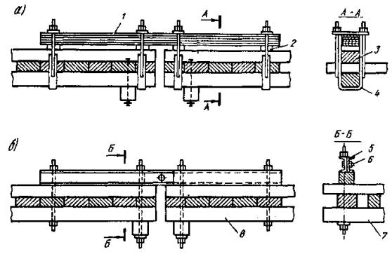
2.16. Прогоны (балки) пролетных строений в наплавных мостах неразрезных и шарнирно-консольных систем, в перевозных паромах на отдельных плавучих опорах должны быть соединены жесткими стыками. Рекомендуется применять следующие простейшие конструкции жестких стыков прогонов:

внахлестку (рис. 12, а, б), в котором концы уложенных в переплет прогонов обжимаются парными помочными брусьями; в качестве одного или обоих помочных брусьев могут использоваться стрингеры понтонов (рис. 12, б) или палубного набора барж;

соединение прогонов из швеллеров при помощи двух стяжных болтов (рис. 12, в); соединение прогонов из двутавров при помощи накладок из швеллеров (рис. 12, г) или фланцевым стыком (рис. 12, д).

Рис. 12. Жесткие стыки прогонов:

1 - стяжной болт; 2 - упоры от сдвига; 3 - помочный брус; 4 - болт; 5 - накладка; 6 - бортовая обвязка понтона

2.17. Пролетные строения наплавных мостов и перевозных паромов на отдельных плавучих опорах должны быть соединены с плавучими опорами, а прогоны между собой в пакеты поперечными связями для исключения сдвижки пролетного строения и опрокидывания прогонов при поперечных ударах подвижной нагрузки. Конструкции соединений и связей должны быть проверены расчетом.

2.18. При использовании для наплавных мостов и перевозных паромов судов речного флота необходимы устройство съездов с переходных пролетов на палубу барж-площадок, переходных мостиков между баржами (рис. 13) и обстройка бункерных и трюмных барж (рис. 14). Съезды и обстройка барж изготавливаются из местных материалов. Их конструкции должны быть рассчитаны в соответствии с действующими нормами. Могут использоваться и инвентарные конструкции. Палубы барж-площадок, не обеспечивающие проезд подвижной нагрузки непосредственно по палубе, должны быть усилены.

Рис. 13. Типы съездов с переходных пролетов на палубу баржи-площадки:

а - из местных материалов (вид сбоку и в плане); б - съезд из семиметровых погрузочных мостков; 1 - переходный пролет; 2 - контур снятой надстройки; 3 - деревянный съезд; 4 - съезд на клеточных опорах; 5 - деревянный трап; 6 - лежень мостков; 7 - прогон погрузочных мостков

Рис. 14. Обстройка трюмных барж для использования в наплавных мостах-лентах:

а - обстройка бункерной баржи; б - концевая трюмная баржа; 1 - переходный пролет; 2 - продольные лежни на подкладках; 3 - уширенная опора переходного пролета

2.19. Проезжая часть наплавных мостов и перевозных паромов может устраиваться в виде двойных дощатых настилов (рабочий поперечный настил по прогонам с защитным верхним продольным настилом или двойной дощатый продольный настил по поперечинам) или дерево-плиты по прогонам с защитным асфальтобетонным покрытием.

Усиление палубы барж-площадок может выполняться устройством двойных дощатых настилов или деревоплиты с асфальтобетонным покрытием с выполнением необходимых расчетов.

Если прочность палубы допускает движение подвижной нагрузки непосредственно по палубе, то рекомендуется устраивать защитное деревянное или асфальтобетонное покрытие. При соответствующих обоснованиях может быть допущена организация движения непосредственно по металлической палубе при обязательном устройстве искусственной шероховатости путем приварки обрезков арматуры диаметром 10-12 мм с шагом 15-20 см по всей ширине габарита проезжей части.

2.20. Понтоны в составе плавучей опоры или моста-ленты должны быть соединены между собой при помощи сцепных устройств, обеспечивающих восприятие изгибающих моментов в плавучей опоре или мосту-ленте. В понтонах индивидуального изготовления целесообразно использование простейших устройств в виде вертикальных проушин с горизонтальным выдвижным штырем или стяжным болтом, сцепы типа дверной петли с вертикальным соединительным штырем, а также конструкций сцепных устройств, применяемых в понтонах заводского изготовления.

2.21. Соединение судов в наплавные мосты осуществляется устройством не менее двух по ширине моста шарнирных соединений, которые должны обеспечивать одновременную осадку судов под нагрузкой. Шарнирные соединения могут выполняться в виде:

вертикальных проушин, привариваемых к палубе и транцу барж и соединяемых штырем или шарнирным болтом;

консольных балок, устанавливаемых на каждой барже и подклиниваемых на смежной после ввода судна в линию моста, что обеспечивает одновременную осадку; продольные усилия в таких соединениях воспринимаются тросовыми или цепными счалками по концевым кнехтам барж;

выдвижных балок в коробчатых обоймах, привариваемых к палубе и соединенных с набором корпуса; продольные усилия воспринимаются счалками по кнехтам или непосредственно балками при их фиксации в коробчатых обоймах закладными штырями;

поворотной коромыслообразной балки (рис. 15) в обоймах из уголков, привариваемых (прикрепляемых) к палубе и набору корпуса, и фиксируемой в обоймах - на одной барже постоянным шарнирным болтом, на смежной с ней - закладными штырями.

Рис. 15. Шарнирное соединение судов в виде поворотной балки:

1 - уголки обойм; 2 - фиксирующие штыри; 3 - ось вращения; 4 - коромыслообразная балка; 5 - штырь для фиксации балки в поднятом состоянии

Эти же конструкции могут применяться для закрепления выводных звеньев в линии моста, в том числе в мостах на отдельных плавучих опорах при установке этих соединений на пролетных строениях вне габарита проезжей части.

2.22. Для наплавных мостов должен быть выполнен расчет продольного и поперечного закреплений, включающий определение усилий, воспринимаемых закреплениями моста, выбор числа и веса якорей и диаметра канатов (тросов) или калибра цепей. Для канатных паромных переправ должны быть выполнены определение усилий и подбор диаметра каната. Методика расчета закреплений наплавных мостов приведена в прил. 3. Данные, необходимые для подбора канатов, тросов, цепей и якорей, принимаются по действующим ГОСТам.

2.23. Причальные устройства паромных переправ, береговые и переходные части наплавных мостов должны обеспечивать возможность безопасной погрузки-выгрузки или проезда автомобилей во всем диапазоне изменения уровней воды в реке в течение всего времени функционирования переправы в году. Диапазон изменения уровней воды за время функционирования переправы определяется по графикам колебаний уровней воды в створе переправы.

2.24. Рекомендуется применять конструкции причальных устройств (береговых частей) с одним или несколькими установленными друг за другом подъемными пролетами. Такие конструкции имеют наибольший диапазон изменений уровня обслуживания. Требуемая длина причала (береговой части) (рис. 16) может быть определена по формуле:

,                                                    (1)

где h - возвышение верха настила проезжей части у берега над наивысшим горизонтом воды; D - диапазон изменения уровня обслуживания; H - возвышение грузовой палубы парома над горизонтом воды при отсутствии на нем нагрузки (для береговых частей наплавных мостов - строительная высота пролета береговой части с необходимым запасом над уровнем воды); d - осадка парома под нагрузкой, равная разности осадки парома, загруженного и порожнем (для наплавных мостов d = 0); [i] - наибольший допустимый уклон на причале (береговой части), принимаемый с учетом конструкции и состояния покрытия, условий въезда, но не более 10 %.

2.25. На паромных переправах целесообразно предусматривать опирание концевого подъемного пролета причального устройства на плавучую опору (по типу переходных частей наплавных мостов), что позволяет компенсировать незначительные (до 1,5-1,0 м) колебания уровня воды и осадки плавсредств под нагрузкой.

Требуемая длина переходной части (концевого пролета причального устройства) (рис. 16, б) может быть определена по формуле:

,                                                         (2)

где D1 - диапазон изменения уровня, обеспечиваемый переходной частью; d - осадка конца речной части (парома) под нагрузкой; [i] - допустимая величина уклона (см. п. 2.24).

2.26. Конструкции опор и пролетных строений причальных устройств, береговых и переходных частей, а также приспособлений и механизмов для подъема пролетов должны быть запроектированы в соответствии с действующими нормами под пропускаемые нагрузки (если последние отличаются от нормативных по СНиП 2.05.03-84).

Рис. 16. Схема к расчету необходимой длины береговых и переходных частей:

а - однопролетной (причальное устройство) береговой; б - многопролетной береговой с переходной частью

Таблица 6

Показатель

№ проекта дебаркадера

78

879

904

47

47Б

20

506*

Длина, м

35

35

35

35

35

45

62,7

Ширина, м

9,6

9,6

9,6

9,6

9,6

12,0

15,0

Водоизмещение, т

372

323

334

384

360

637

533,5

Грузоподъемность, т

30

30

30

30

30

100

-

Средняя осадка, м

1,17

1,14

1,17

1,14

1,14

1,20

0,64

Класс

"Р"

"Р"

"Р"

"Р"

"Р"

"Р"

"Р"

* Дебаркадер специального назначения для паромной переправы.

Рис. 17. Схемы перемещающихся причалов:

а - треугольный на лежнях; б - треугольный на наклонной эстакаде; в - катучий; 1 - брусья; 2 - колесоотбой; 3 - лежень; 4 - аппарель; 5 - треугольный мостик; 6 - наклонная эстакада; 7 - каток

2.27. Для опирания концевых пролетов причальных устройств паромных переправ в качестве плавучих опор, а также в качестве самостоятельных причалов паромных переправ могут использоваться дебаркадеры речного флота, основные характеристики которых приведены в табл. 6.

2.28. На реках с пологими берегами при небольших колебаниях уровня воды возможно применение причальных устройств из местных материалов, изменение уровня обслуживания которых осуществляется путем перемещения причала в направлении, нормальном урезу воды, по наклонной направляющей или по дну (рис. 17).

2.29. При значительных диапазонах изменения уровня воды на паромных переправах в целях упрощения конструкций причальных устройств возможно применение нескольких (двух и более) пар пристаней на разные уровни воды.

2.30. При устройстве причалов паромных переправ необходимо обеспечивать удобство и безопасные условия подхода и отхода парома. Глубины воды у причалов должны быть не менее чем на 25 см больше максимальной осадки парома под загрузкой с учетом крена и дифферента при наинизших уровнях обслуживания.

3. ЭКСПЛУАТАЦИЯ ПЛАВСРЕДСТВ ПАРОМНЫХ ПЕРЕПРАВ И НАПЛАВНЫХ МОСТОВ

3.1. Плавсредства паромных переправ и наплавных мостов (паромы, буксиры, дебаркадеры, брандвахты и т. д.) подлежат техническому надзору Речного Регистра РСФСР или Государственной инспекции по маломерным судам РСФСР.

3.1.1. Техническому надзору Речного Регистра РСФСР подлежат нижеуказанные суда внутреннего и смешанного плавания, как строящиеся, так и эксплуатируемые, принадлежащие государственным предприятиям, кооперативным и другим общественным организациям: самоходные суда с главными механизмами мощностью 55 кВт (75 л.с.) и более; несамоходные суда валовой вместимостью 80 регистровых тонн и более (Устав Речного Регистра РСФСР. М., 1987 г.).

3.1.2. В соответствии с постановлением СМ РСФСР от 13.02.85 № 65 техническому надзору Государственной инспекции по маломерным судам (ГИМС) РСФСР подлежат суда, принадлежащие предприятиям, учреждениям и организациям - самоходные с главным двигателем мощностью менее 55 кВт (75 л.с.) и несамоходные валовой вместимостью менее 80 регистровых тонн.

3.2. До начала постройки плавсредств переправ, подлежащих надзору Речного Регистра или ГИМС РСФСР, должна быть представлена по поднадзорности на рассмотрение и согласование документация в объеме, определенном соответствующими документами Речного Регистра или ГИМС, а при переоборудовании, модернизации, капитальном или восстановительном ремонте судов для использования в составе паромных переправ и наплавных мостов (до их производства) Речному Регистру или ГИМС должна быть представлена на рассмотрение техническая документация по тем частям корпуса, механизмов и оборудования судна, которые подлежат ремонту, модернизации, переоборудованию или восстановлению. При изменении характеристик прочности и остойчивости судна после его переоборудования должны быть представлены соответствующие расчеты.

3.3. Плавсредства паромных переправ и наплавных мостов подлежат регистрации (учету).

3.3.1. В соответствии с Уставом внутреннего водного транспорта Союза ССР (ст. 26), эксплуатируемые на внутренних судоходных путях самоходные суда с главными двигателями мощностью не менее 55 кВт (75 л. с.) и несамоходные суда валовой вместимостью не менее 80 регистровых тонн подлежат внесению в судовой реестр бассейновых судоходных инспекций Министерства речного флота РСФСР (приписке). Приписка судов осуществляется в соответствии с Положением, утверждаемым Министерством речного флота РСФСР.

3.3.2. Регистрации государственными инспекциями по маломерным судам автономных республик, краев и областей, гг. Москвы и Ленинграда подлежат суда, принадлежащие предприятиям и организациям, самоходные с главными двигателями мощностью менее 55 кВт (75 л.с.) и несамоходные валовой вместимостью менее 80 регистровых тонн на всей территории РСФСР. Регистрация и учет осуществляются в соответствии с Инструкцией о порядке регистрации и учета судов поднадзорных Государственной инспекции по маломерным судам РСФСР.

3.4. Плавсредства паромных переправ и наплавных мостов, поднадзорные Речному Регистру РСФСР, должны проходить освидетельствования в органах Речного Регистра. Производятся следующие виды освидетельствований (Правила классификации и постройки судов внутреннего плавания. Речной Регистр РСФСР, т. I. М., 1984):

3.4.1. Первоначальное освидетельствование, производимое после окончания постройки судна, капитального ремонта или переоборудования, вызвавших изменение основных элементов, типа и назначения судна, а также судов, ранее находившихся под надзором других квалификационных органов. При первоначальном освидетельствовании судну присваивается класс, выдаются судовые документы Речного Регистра, а судну, предъявляемому первые, Речной Регистр присваивает регистровый номер.

3.4.2. Очередное освидетельствование имеет целью установление технического состояния основных элементов судна, оборудования, устройств, систем и снабжения и предъявление требований, направленных на обеспечение безопасности плавания судна в соответствии с его назначением и классом. Она приурочивается, как правило, к среднему или капитальному ремонту судна. Периодичность очередных освидетельствований некоторых типов судов применительно к используемым в паромных переправах и наплавных мостов приведена в табл. 7, в которой меньшие сроки указаны для судов, эксплуатирующихся половину и более амортизационного срока.

Таблица 7

Типы судов

Периодичность освидетельствования, год

Самоходные сухогрузные (трюмные открытые, трюмные закрытые, автомобилевозы) грузоподъемностью, т:

 

>700

7-4

£700

6-4

Буксирные теплоходы и дизель-электроходы (ледоколы, для толкания составов и т. д.) с частотой вращения коленчатых валов двигателей, об/мин:

 

<1000

6-4

³1000

4

Дебаркадеры, брандвахты, причалы и понтоны:

 

металлические

6-4

железобетонные

8-5

Несамоходные сухогрузные (трюмные открытые, трюмные закрытые, тентовые, площадки, автомобилевозы и т.д.) грузоподъемностью, т:

 

>1000

8-5

300-100

6-4

<300

5-3

Якорницы, катера

4

3.4.3. Ежегодное освидетельствование проводится в период между очередными и имеет целью контрольную проверку технического состояния основных элементов судна, оборудования, устройств, систем снабжения и продления срока действия судовых документов Речного Регистра. По усмотрению инспекции каждое второе ежегодное освидетельствование самоходных (сухогрузных) судов грузоподъемностью менее 2000 т, вспомогательных судов, дебаркадеров, брандвахт, понтонов может не проводиться, если эти суда при последнем освидетельствовании имели годное техническое состояние.

3.4.4. Внеочередное освидетельствование проводится: после повреждений основных элементов судна, устранения повреждений; по заявке владельца в случае появления дефектов, вызывающих сомнение в безопасности плавания; при изменении назначения судна и в других случаях, предусмотренных правилами классификации и постройки судов внутреннего плавания.

3.5. При осуществлении надзорной деятельности Речной Регистр выдает соответствующие документы, перечень и форма которых определяются требованиями Правил Регистра.

3.6. Плавсредства паромных переправ и наплавных мостов, поднадзорные ГИМС РСФСР, должны проходить освидетельствования в органах ГИМС в соответствии с Инструкцией по техническому надзору за судами, поднадзорными Государственной инспекции по маломерным судам РСФСР.

3.7. Все суда (плавсредства) паромных переправ и наплавных мостов по своему оборудованию, снабжению, техническому состоянию и укомплектованию должны отвечать требованиям и нормам Правил Речного Регистра РСФСР, Правил технической эксплуатации речного транспорта и Правил плавания по внутренним водным путям РСФСР и должны быть окрашены в соответствии с Правилами окраски судов Минречфлота РСФСР.

3.8. Каждое плавсредство до начала эксплуатации после зимовки или ремонта осматривается комиссией, утвержденной приказом по автодору, которая проверяет: наличие на судне судовой документации; наличие разрешения Речного Регистра РСФСР или ГИМС РСФСР на допуск судна к плаванию; укомплектованность судна экипажем согласно штатному расписанию; соответствие требованиям Правил Речного Регистра РСФСР и Правил технической эксплуатации речного транспорта состояния корпуса и надстроек, судовых механизмов и устройств, средств сигнализации и связи, навигационного, противопожарного и аварийно-спасательного оборудования и снабжения;

оформляет результаты осмотра актом приемки судна в эксплуатацию.

3.9. На всех самоходных судах (самоходных паромах и буксирах) должны иметься следующие судовые документы: судовое свидетельство (судовой билет для судов, поднадзорных ГИМС РСФСР); документы Речного Регистра РСФСР на годность к плаванию или соответствующие документы ГИМС РСФСР; судовая роль (список лиц судового экипажа); вахтенный и машинный журналы, а на судах, где работа ведется с совмещением профессий, - единый вахтенный журнал; разрешение на эксплуатацию УКВ-радиостанции (в соответствии с действующими положениями); санитарный журнал (книгу); пожарное свидетельство.

Помимо перечисленной, на самоходных судах должна иметься следующая документация: паспорт судна; штатное расписание; расписание вахт, в котором указывается персональное распределение членов экипажа по вахтам; единая книга осмотров судна; расписание общесудовых тревог (применительно к Наставлению по борьбе за живучесть судов Минречфлота РСФСР); расписание по заведованию, в котором все элементы корпуса и надстройки, механизмы, системы, устройства, запасные детали, инвентарь и оборудование в целях улучшения содержания судна распределяют между членами судового экипажа; дипломы и свидетельства на право занятия должностей членами судового экипажа; санитарные книжки или заключения лечебно-профилактического учреждения о допуске к работе членов судового экипажа; информация капитану (шкиперу) об остойчивости и непотопляемости судна; инструкция о порядке загрузки-выгрузки парома, информация о допустимых осевой нагрузке и массе переправляемых транспортных средств, о схеме загрузки парома автотранспортом; инструкция капитану о порядке перевозки организованных групп рабочих и пассажиров; акт об испытаниях спасательных средств на пригодность их к действию; акт о противопожарном состоянии судна, выдаваемый инспекцией пожарной охраны или комиссией дорожного хозяйства, утвержденной приказом по автодору, с привлечением необходимых специалистов; график несения вахт экипажем судна, утвержденный приказом по дорожному хозяйству; откорректированные навигационные карты района плавания; акт приемки судна в эксплуатацию (см. п. 3.10); Правила плавания по внутренним водным путям РСФСР; местные правила плавания; Правила технической эксплуатации речного транспорта; правила ведения переговоров по УКВ радиосвязи на ВВП РСФСР (для судов, их имеющих).

3.10. Единая книга осмотров судна и вахтенный журнал должны быть пронумерованы, прошнурованы, скреплены печатью и подписью руководителя дорожного хозяйства.

В целях обеспечения сохранности судовых и прочих документов все они должны быть вписаны в инвентарную книгу, а при передаче судна (плавсредства) от одного капитана (шкипера) другому - весь перечень документов должен быть указан в приемно-передаточном акте. Все судовые и прочие документы во время навигации должны храниться на судне и предъявляться по первому требованию органов надзора за безопасностью плавания.

На несамоходных судах (несамоходных паромах, используемых баржах и т. д.) должна иметься вся перечисленная документация, за исключением вахтенного, машинного и радиожурналов. Документы несамоходных паромов могут храниться на буксирах, постоянно работающих с этими паромами, а несамоходных плавсредств наплавных мостов - у начальника переправы (мостового мастера, бригадира) и находиться постоянно в служебном помещении у моста.

3.11. Все плавсредства паромных переправ и наплавных мостов, на которых могут находиться люди (пассажиры, члены судовых экипажей, рабочие переправы) должны быть оснащены спасательными средствами: шлюпками, приборами, нагрудниками или жилетами, кругами. Все спасательные средства должны быть исправными, окрашены по табелю. Окраски, в соответствии с установленными нормами размещены на береговых и плавучих сооружениях и плавсредствах, периодически испытываться на пригодность к действию.

Нормы снабжения плавсредств спасательными средствами, действующие по состоянию на 01.01.87, приведены в прил. 4 (извлечения из Правил Речного Регистра РСФСР, т. 3. М., 1985).

Наплавные мосты обеспечиваются спасательными кругами из расчета 1 спасательный круг на 5 м длины моста с каждой его стороны. У трапа или сходни для посадки и высадки пассажиров должен находиться наготове спасательный круг с бросательным концом.

3.12. Для устранения повреждений, возникающих в процессе эксплуатации плавсредств наплавных мостов и паромных переправ (трещины, пробоины и т. п.) и угрожающих безопасности плавания, сохранности плавсредств и перевозимых грузов, автомобилей и пассажиров, сохранения плавучести плавсредств до завершения рейса и отправки плавсредств на ремонт, все плавсредства должны иметь аварийное снабжение материалами и инструментами по действующим на 01.01.87 нормам, установленным Правилами Речного Регистра РСФСР (т. 3. М., 1985) и приведенным в прил. 5.

3.13. Противопожарные средства должны находиться на плавсредствах в количествах, предусмотренных Правилами Речного Регистра РСФСР, быть исправными и располагаться в соответствии с требованиями Правил. Исправность противопожарных средств необходимо периодически проверять. Нормы пожарного снабжения плавсредств, действующие по состоянию на 01.01.87, приведены в прил. 6 (извлечения из Правил Речного Регистра РСФСР, т. 3. М., 1985).

3.14. На плавсредствах паромных переправ и наплавных мостов должно иметься навигационное снабжение согласно действующим на 01.01.87 нормам, установленным Правилами Речного Регистра РСФСР (т. 3. М., 1985) и приведенным в прил. 7.

3.15. Наплавные мосты и паромные переправы должны быть обозначены навигационными знаками и огнями, предназначенными для обеспечения сохранности сооружений и создания безопасных условий плавания судов. Правила установки знаков, их номенклатура, назначение, вид и окраска сигнальных щитов, цвет, режим и дальность видимости огней должны соответствовать требованиям ГОСТ 2660-85 "Знаки и огни навигационные внутренних водных путей". Расстановка знаков согласовывается с органами, регулирующими судоходство.

Навигационные огни должны действовать от захода до восхода солнца.

3.15.1. Наплавные мосты должны иметь (рис. 18):

когда они разведены для пропуска судов, на правобережной русловой части - два красных огня на верхнем и нижнем по течению углах пролета, на левобережной - два зеленых огня в тех же местах; на выводном звене (отведенном) на конце, выдающемся в сторону судового хода, устанавливается огонь (огни) при отводе к правому берегу - красный, к левому - зеленый;

на сведенном мосту по всей его длине должны быть установлены белые огни на высоте не менее 2 м над верхней гранью моста через каждые 50 м, но не менее трех огней.

Огни должны быть видимы по горизонту на 360° на расстоянии не менее 4 км.

Рис. 18. Расстановка навигационных огней на наплавных мостах:

а - при отводе разводной части к правому берегу; б - то же, к левому; в - на сведенном мосту; 1 - красные огни; 2 - зеленые огни; 3 - белые огни

3.15.2. Канат паромной переправы в соответствии с Правилами плавания по внутренним водным путям РСФСР (правило 30.8) должен быть освещен с обеих берегов фонарями, прикрытыми сверху защитными козырьками. Канат парома-самолета (см. рис. 2, д) должен быть обозначен днем флажками, ночью - белыми круговыми огнями через каждые 50 м.

3.15.3. При использовании плавучих и эстакадных причалов, выступающих в сторону судового хода, на них при длине менее 50 м должен быть установлен один белый круговой огонь, а при длине свыше 50 м - белые круговые огни через каждые 50 м.

При использовании в качестве причалов дебаркадеров на них должны быть установлены: один белый круговой огонь на мачте и один белый огонь на стенке надстройки, видимый со стороны судового хода (правило 30.7).

3.15.4. На расстоянии 1 км вверх и вниз по течению от паромных переправ должен быть установлен знак "Пересечение судового хода", приведенный на рис. 19, а. Размер щита знака от 60´60 см до 250´250 см в зависимости от условий его видимости. Ночью в месте установки знака должен действовать желтый проблесковый огонь. На расстоянии 1 км вверх и вниз по течению от наплавных мостов при сложных условиях движения судов и ограниченной видимости может устанавливаться знак "Внимание" (рис. 19, б).

3.15.5. На наплавных мостах для регулирования пропуска судов должна быть установлена семафорная (светофорная) сигнализация.

Должны применяться следующие сигналы семафора:

запрещение прохода судов снизу и сверху при сведенном мосте вывешивается на семафорной мачте днем в виде двух красных треугольников, ночью - двух красных огней, расположенных на одной вертикали;

Рис. 19. Вид навигационных знаков:

а - "Пересечение судового хода"; б - "Внимание". Цвета полей знаков: 1 - черный; 2 - красный; 3 - белый

разрешение прохода судам сверху (запрещение прохода снизу): днем в виде черного прямоугольника с расположенным под ним красным треугольником, ночью - зеленого огня с расположенным под ним красным;

разрешение прохода судам снизу (запрещение прохода сверху): днем в виде красного треугольника с расположенным под ним черным прямоугольником, ночью - красного огня с расположенным под ним зеленым.

Могут применяться два типоразмера знаков семафора: треугольник высотой 60 см, основанием 45 см, прямоугольник высотой 60 см, основанием 50 см или треугольник высотой 110 см, основанием 90 см, прямоугольник 100´100 см, в зависимости от условий видимости семафора. Светофоры должны применяться двухцветные: зеленый огонь вверху, красный - внизу. Разрешение прохода судам обозначается горящим зеленым огнем, запрещение прохода - горящим красным.

3.16. Изготовление, установка и эксплуатация навигационных знаков и огней в соответствии с требованиями Устава внутреннего водного транспорта Союза ССР осуществляются дорожными хозяйствами, эксплуатирующими паромные переправы и наплавные мосты.

3.17. Суда паромных переправ должны нести в соответствии с Правилами плавания по внутренним водным путям РСФСР следующие огни.

3.17.1. Одиночное судно с механическим двигателем на ходу должно нести (правило 27.1): топовый огонь; судно длиной 50 м и более может нести второй топовый огонь; при этом один из них должен быть расположен впереди и ниже другого; бортовые огни; три кормовых огня, расположенные треугольником основанием вниз; на судне шириной 5 м и менее - один кормовой огонь в диаметральной плоскости.

3.17.2. Самоходный паром на ходу, кроме огней, предписанных для одиночного судна (п. 3.17.1), должен нести желтый проблесковый круговой огонь (правило 27.2).

3.17.3. Судно с механическим двигателем, занятое толканием (буксир-толкач бесканатной переправы), должно нести (правило 28.1): три топовых огня, расположенные треугольником основанием вниз; верхний из них должен быть расположен в диаметральной плоскости; бортовые огни; три кормовых огня, расположенные треугольником основанием вниз и над ними буксировочный огонь, а судно шириной 5 м и менее - только один буксировочный огонь.

3.17.4. Судно с механическим двигателем, занятое буксировкой на тросе (буксир бесканатной переправы), должно нести (правило 29.1): два топовых огня, расположенных по вертикали; бортовые огни; один кормовой огонь, расположенный в диаметральной плоскости судна, и буксировочный огонь над ним.

3.17.5. При буксировке под бортом несамоходного судна (правило 29.6) буксирующее судно (на бесканатных переправах) должно нести такие же огни, как одиночное судно с механическим двигателем на ходу (см. п. 3.17.1).

3.17.6. Толкаемые суда (паромы бесканатных переправ) должны нести (правило 28.3): одиночное - один топовый огонь на носовой части; в составе - по одному топовому огню на носовой части каждого переднего судна.

3.17.7. Самоходные паромы, буксировщики-толкачи и толкаемые несамоходные паромы на стоянке должны нести огни и знаки в соответствии с Правилами плавания по ВВП РСФСР как самоходные или несамоходные суда (единичные или в составе) соответствующих размеров (правила 31.1, 31.3, 30.3, 30.5).

3.17.8. Несамоходные суда во время их буксировки на тросе, под бортом, а также на стоянке (паромы бесканатных переправ) должны нести (правило 30.1): одиночное судно длиной менее 50 м - один белый круговой огонь (при буксировке под бортом этот огонь может быть заменен на топовый); одиночное судно длиной 50 м и более - по одному белому круговому огню на носовой и кормовой части (при буксировке под бортом эти огни могут быть заменены на топовый и кормовой соответственно); в составе - по одному белому круговому огню на носовой части каждого судна и на кормовой части каждого последнего судна.

3.17.9. Паром канатной переправы, паром-самолет с продольным тросом на стоянке и во время движения от берега к берегу должны нести белый круговой огонь (правило 30.8).

3.17.10. Буксир, ошвартованный к парому и перемещающий его по тросу (при движении и стоянке во время погрузки-выгрузки парома) или работающий на разводке наплавного моста без отсоединения выводного звена от моста, должен нести один белый круговой огонь (правило 31.1. (01): поскольку такое судно не может считаться судном "на ходу").

3.18. Конструкция сигнально-отличительных огней, их технические характеристики и требования к их установке на судах должны соответствовать Правилам Речного Регистра РСФСР (т. 3. М., 1985).

3.19. Эксплуатация судов (плавсредств) переправ должна осуществляться в соответствии с Правилами технической эксплуатации речного транспорта.

3.20. В соответствии с Правилами плавания во всех пунктах, кроме областных и краевых центров, разводка наплавных мостов для пропуска судов, составов и плотов должна производиться силами дорожного хозяйства в любое время суток при приближении к мостам судов и подаче последними одного продолжительного звука (сигнала) на расстоянии не менее 1 км. В областных и краевых центрах разводка наплавных мостов и пропуск судов осуществляются по специальному расписанию.

Регулирование пропуска судов через наплавные мосты осуществляется силами дорожного хозяйства с помощью семафорной (светофорной) сигнализации (см. п. 3.15.5).

3.21. В соответствии с Правилами плавания на канатных паромных переправах при подходе судна паром должен своевременно освободить судовой ход и не начинать движение от берега или причала при приближении судов.

На переправах с расположением каната (троса) над водой (см. п. 2.3) последний должен быть опущен на дно реки или под воду с обеспечением требуемых глубин судового хода или отведен к одному из берегов.

3.22. На бесканатных паромных переправах с самоходными или буксируемыми (толкаемыми) паромами экипажи судов должны в полном объеме выполнять Правила плавания по внутренним водным путям РСФСР и местные Правила плавания. Якоря, тросы, отданные с дебаркадеров и причалов паромных переправ, плавучих опор наплавных мостов и прочих плавсредств, не должны создавать опасности для проходящих судов.

3.23. Все плавсредства паромных переправ и наплавных мостов должны быть окрашены в соответствии со схемами окраски, регламентируемыми Правилами окраски судов Минречфлота РСФСР и приведенными в прил. 8.

3.24. Все аварийные случаи (столкновения, пробоины, навалы на причальные сооружения, затопления и т. д.) с судами (самоходными и несамоходными паромами и буксирами) паромных переправ и наплавных мостов должны расследоваться в соответствии с Инструкцией о классификации, порядке расследования, рассмотрения и учета транспортных аварийных случаев на внутренних судоходных путях РСФСР, утверждаемой Министерством речного флота РСФСР. Аварийные случаи с судами переправ на внутренних водных путях за пределами перечня внутренних судоходных путей расследуются применительно к указанной Инструкции.

3.25. Эксплуатация плавсредств переправ и переправ в целом должна отвечать требованиям законодательства СССР и РСФСР по охране окружающей среды, а также нормативно-технических документов Минречфлота РСФСР по предотвращению загрязнений водоемов судами речного флота на внутренних водных путях.

3.26. При эксплуатации плавсредств переправ и выполнении на них работ (палубных, ремонтных и т. д.) обязательны для исполнения Правила безопасности труда на судах речного флота и Правила техники безопасности на судах речного флота при выполнении палубных работ Минречфлота РСФСР.

3.27. На самоходные и несамоходные суда переправ распространяются действия Санитарных правил для судов внутреннего плавания СССР, утверждаемых Министерством здравоохранения СССР.

4. ОРГАНИЗАЦИЯ РАБОТЫ ПАРОМНЫХ ПЕРЕПРАВ И НАПЛАВНЫХ МОСТОВ. ОБЕСПЕЧЕНИЕ БЕЗОПАСНОСТИ ПЕРЕВОЗОК АВТОТРАНСПОРТА И ПАССАЖИРОВ

4.1. Режим (график) работы паромных переправ и наплавных мостов в течение суток и в течение года определяется эксплуатирующими дорожными хозяйствами, исходя из интенсивности движения, характера грузов, их значения для хозяйства региона, межхозяйственных связей региона, возможности обеспечения этих связей по объездным дорогам в случае закрытия движения по переправе, обслуживаемых пассажиропотоков и других факторов и согласовывается (утверждается) местными (районными, областными) исполкомами Советов народных депутатов и органами, регулирующими судоходство и сплав (см. п. 1.5).

4.2. В течение суток должна быть обеспечена возможность круглосуточного функционирования переправы. При этом в соответствии с установленным для данной переправы, графиком работы в целях повышения безопасности перевозок пропуск транспорта общего пользования, ведомственного и индивидуального рекомендуется осуществлять в светлое время суток: с 5 до 23 ч (18-часовой режим работы) или с 6 до 22 ч (16-часовой режим работы). В ночное время при этом режиме работы должна предусматриваться перевозка автомобилей милиции, скорой медицинской помощи, пожарной охраны, ГАИ, комитета госбезопасности и др. при выполнении ими неотложных служебных заданий.

При интенсивном движении по дороге может быть предусмотрен круглосуточный график работы переправы.

В суточном графике работы переправы должны быть предусмотрены перерывы для отдыха и приема пищи обслуживающим персоналом, а при невозможности перерывов - скользящий график отдыха и приема пищи с осуществлением соответствующих подмен лиц обслуживающего персонала.

4.3. В течение года могут быть предусмотрены следующие графики работы паромных переправ и наплавных мостов:

по чистой воде (с момента полного очищения водотока ото льда после весеннего ледохода до появления на реке шуги и льда осенью), если допустимо закрытие движения по дороге на весь осенне-зимний или на периоды ледохода и ледостава до переключения движения на ледовые переправы; если имеющиеся на переправе плавсредства в соответствии с требованиями Правил технической эксплуатации речного транспорта (Минречфлот РСФСР) запрещено эксплуатировать в ледовых условиях;

с ледохода до ледостава (с момента вскрытия реки до образования прочного ледового покрова), если закрытие движения по дороге недопустимо, возможна организация ледовой переправы в зимний период и имеющиеся на переправе плавсредства в соответствии с требованиями Правил технической эксплуатации речного транспорта пригодны для эксплуатации в ледовых условиях;

круглый год, если закрытие движения по дороге недопустимо, организация ледовой переправы в зимний период из-за недостаточной мощности ледового покрова невозможна и имеющиеся на переправе плавсредства пригодны для эксплуатации в ледовых условиях.

Эксплуатация наплавных мостов в условиях ледохода не допускается.

4.4. Штаты паромных переправ и наплавных мостов определяются эксплуатирующей организацией исходя из состава и схем переправ, технических характеристик применяемых средств, режимов (графиков) их работы и утверждаются в установленном порядке.

На каждое должностное лицо штата паромных переправ и наплавных мостов в автодоре (автомобильной дороге) должны быть разработаны и утверждены в установленном порядке должностные инструкции на основании приведенных в прил. 9 примерных должностных обязанностей с учетом специфики выполнения требований настоящей Инструкции в местных условиях.

4.5. В автодоре из состава лаборатории или отдела мостов выделяется инженерно-технический работник, курирующий работу всех паромных переправ и наплавных мостов, в обязанности которого входят: контроль за штатным расписанием на переправах, правильной организацией работы переправ; ведение учета происшествий на переправах, технического состояния плавсредств и конструкций; организация своевременного ремонта технических средств и постановки плавсредств на заводские ремонты; контроль за ведением технической, судовой и административной документации, снабжением переправ материалами, запчастями и инвентарем и другими вопросами эксплуатации, содержания и ремонта наплавных мостов и паромных переправ, регламентируемыми настоящей Инструкцией.

В Астраханьавтодоре вопросы эксплуатации, содержания и ремонта паромных переправ находятся в ведении отдела паромных переправ.

В штате ДРСУ при наличии на балансе 3 и более переправ должен быть мастер хозяйства паромных переправ и наплавных мостов, должностные обязанности которого приведены в прил. 9.

При наличии на балансе ДРСУ одной-двух переправ обязанности мастера выполняются одним из начальников переправ.

4.6. На паромной переправе должен быть следующий штат берегового обслуживающего персонала: начальник переправы - 1 чел.; сменный механик - в каждой смене по 1 чел.; слесарь - 1 чел.; сварщик - 1 чел.; плотник (при использовании деревянных конструкций) - 1 чел.; рабочий - 1 чел.; техник - 1 чел.

В обязанности лиц берегового обслуживающего персонала (слесарь, сварщик, плотник, рабочий) входят выполнение работ по текущему ремонту плавсредств и конструкций, производимому в процессе эксплуатации переправы, техническое обслуживание резервных плавсредств и конструкций, регулирование причальных устройств и другие работы под непосредственным руководством сменного механика. В обязанности техника входит ведение технической, судовой и административной документации на переправе.

По усмотрению руководства автодора (ДРСУ) вместо указанного персонала рабочих на каждой переправе может быть образована укрупненная бригада рабочих, обслуживающих несколько или все переправы ДРСУ.

Плавсредства паромных переправ должны быть укомплектованы штатным составом, обеспечивающим несение вахт; управление судном и механизмами; необходимый объем наблюдений; контроль за безопасностью пассажиров, размещением и креплением автомобилей; выполнение швартовых операций и т. д., и исходя из технических характеристик судна и паспортных данных о численности экипажа на вахте.

Рекомендуется устанавливать бригадный (посменный) метод работы. При этом плавсредства переправ должны быть укомплектованы следующим минимальным штатным составом на каждую смену, если по техническим характеристикам и типу судна не требуется больший штат:

самоходные паромы: капитан (капитан-дублер в других сменах); механик (механик-дублер в других сменах); матросы-мотористы (дорожные рабочие) - 2 ÷ 4 чел. в зависимости от грузоподъемности, способа погрузки-выгрузки парома и паспортных заводских данных о численности экипажа судна на вахте;

буксирные теплоходы: капитан (капитан-дублер в других сменах); механик (механик-дублер в других сменах);

буксирные катера (типа БМК-130): старшина-моторист;

несамоходные паромы: шкипер (сменный шкипер в других сменах); матросы (дорожные рабочие) - на паромах грузоподъемностью до 80 т - 2 чел., от 80 до 300 т - 3 чел., свыше 300 т - 4 чел.

Командный состав плавсредств должен в соответствии с Уставом внутреннего водного транспорта иметь дипломы, выдаваемые в соответствии с Положением о дипломировании командного состава судов, эксплуатируемых на внутренних водных путях, утверждаемом Минречфлотом РСФСР, а рядовой состав - квалифицированные свидетельства.

Число смен для обеспечения работы переправы по установленным суточным и годовым графикам определяется исходя из баланса рабочего времени с учетом отпусков и выходных. При круглогодичной работе переправы требуется 4,75 смен указанного штата плавсредств.

Графики работы вахт и продолжительности смен должны устанавливаться исходя из того, что основная обязанность штата плавсредств - обеспечение перевозок на переправе, а выполнение ремонтных и профилактических работ на плавсредствах возлагается на береговую службу, и должны соответствовать Положению о времени труда и отдыха плавающего состава судов речного флота.

Должностные обязанности начальника переправы, сменного механика, капитана (капитана-дублера), механика (механика-дублера), старшины-моториста, шкипера (сменного шкипера) и матроса-моториста приведены в прил. 9.

4.7. В штат наплавных мостов должны входить: начальник переправы - 1 чел.; техник - 1 чел.; сигнальщик - 1 чел. в каждую смену; постовые дорожные рабочие, число которых в смену определяется исходя из конструкции наплавного моста, способа его разводки, удаленности шлагбаумов от замковых (шарнирных) соединений выводного звена с наплавной частью и т. д. Для наиболее рациональной схемы разводки наплавного моста поворотом выводного звена при его поперечном закреплении за пропускные паромы необходимы 2-3 постовых рабочих в каждую смену; при использовании для разводки буксирных катеров (теплоходов) штат каждого работающего буксира назначается в соответствии с п. 4.6.

Один из постовых дорожных рабочих в смене назначается старшим (бригадиром), в обязанности которого входит решение в отсутствие начальника переправы вопросов, связанных с организацией эксплуатации наплавного моста. Должностные обязанности постового дорожного рабочего приведены в прил. 9.

В обязанности техника входит ведение технической, судовой (при использовании буксирных катеров или теплоходов) и административной документации на наплавном мосту; в обязанности сигнальщика входит своевременная смена сигналов семафора (светофора) в соответствии с п. 3.20 настоящей Инструкции при пропуске судов через наплавные мосты.

4.8. Обслуживающий персонал паромных переправ и наплавных мостов обязан обеспечить безаварийную и бесперебойную работу переправы в соответствии с утвержденными графиками их работы, их исправное техническое состояние, сохранность имущества, инвентаря, инструментов и материалов на переправе, правильную эксплуатацию, своевременное техническое обслуживание, ремонт и содержание всех конструкций, машин, механизмов и устройств переправы.

4.9. При организации работы на переправе должно быть обеспечено безусловное выполнение следующих основных типовых правил, регламентирующих погрузку-выгрузку и проезд автомобилей, повозок и скота, посадку и высадку пассажиров (см. пп. 4.10 и 4.11).

4.10. На паромных переправах:

4.10.1. На берегах у каждого из причалов должно быть оборудовано помещение для ожидания пассажиров. При использовании в качестве причалов дебаркадеров это помещение может быть выделено из числа помещений дебаркадеров.

4.10.2. Разгрузка и загрузка парома могут производиться только после полной остановки, швартовки парома, подачи на причал трапов или аппарелей и сходен для пассажиров и открытия шлагбаумов.

4.10.3. Разгрузка парома должна осуществляться в следующем порядке: сначала высаживаются пассажиры, затем выгоняется (выгружается) скот, выезжают повозки и последними - автомобили.

4.10.4. Загрузка парома производится в обратном порядке: вначале въезжают автомобили, затем повозки, потом загоняется (грузится) скот. Посадка пассажиров разрешается только после окончания загрузки автомобилей, повозок и скота и закрытия шлагбаумов.

4.10.5. Запрещаются въезд на паром, нахождение на нем и выезд автомобилей, автобусов и повозок с людьми, кроме водителя, а также посадка людей на автомобили, автобусы и повозки, находящиеся на пароме. После въезда на паром двигатели автомобилей должны быть выключены. Включение двигателей разрешается только в момент выезда автомобиля с парома после окончания высадки пассажиров, выгрузки скота и выезда повозок. Автомобили на пароме должны быть заторможены стояночным тормозом. Запрещается оставлять автомобили с дизельными двигателями с включенной передачей. Под колеса автомобилей, расположенных у въезда и выезда с парома, должны подкладываться деревянные или сварные металлические клинья или должны быть предусмотрены конструкции подъемных ограждений, обеспечивающих удержание автомобиля от падения в воду при его случайной подвижке.

4.10.6. При размещении автомобилей на пароме должна соблюдаться разработанная на каждый паром схема загрузки, запрещается создавать крен или дифферент парома под нагрузкой.

4.10.7. Рейсовые автобусы, а также автомобили пожарной охраны, скорой медицинской помощи, милиции, ГАИ, Комитета госбезопасности, аварийных служб при выполнении ими неотложных служебных заданий должны пропускаться на паром без очереди, а при отсутствии транспорта для полной загрузки парома - перевозиться незамедлительно.

4.10.8. Провоз автомобилей с взрывоопасными, горючими, ядовитыми веществами и другими опасными грузами должен осуществляться в индивидуальном порядке. Нахождение на пароме при их перевозке пассажиров, других автомобилей, повозок и скота категорически запрещается.

4.10.9. Категорически запрещается перевозка на паромах автомобилей, весовые параметры которых превышают допустимые для конструкции парома, при погрузке которых образуются опасный крен и дифферент. При перевозке гусеничных машин необходимо укладывать на палубу защитный деревянный колейный настил под гусеницы.

4.10.10. Посадка и высадка пассажиров должны быть организованы так, чтобы не допускать их скопления и сутолоки. При посадке и высадке пассажиров около трапов должен находиться шкипер или матрос парома. На пароме пассажиры должны находиться на специально выделенной площадке, отгороженной от грузовой палубы и имеющей надежные поручни. Курение и нахождение в нетрезвом состоянии на пароме запрещаются. Пассажирам запрещается перевозить вещи, которые могут загрязнить или повредить паром, заряженные и расчехленные ружья, огнеопасные, взрывчатые и ядовитые вещества.

4.10.11. Животные (скот), перевозимые на пароме, должны быть привязаны к барьерам, а при массовой перевозке - помещаться в специально устраиваемые загоны.

4.11. На наплавных мостах:

4.11.1. На обоих берегах у въезда на мост должны быть оборудованы павильоны для ожидания пассажиров и пешеходов во время разводок моста.

4.11.2. Движение по мосту разрешается только после полного его сведения, закрытия всех замков и закреплений, установки пешеходных трапов или других элементов сопряжений и открытия шлагбаумов.

4.11.3. Запрещается проезд по мосту рейсовых автобусов, а также автобусов и автомобилей, перевозящих группы людей. Пассажиры должны быть высажены перед въездом на мост.

4.11.4. Движение автомобилей и повозок по мосту разрешается только со скоростью и дистанцией, указанными на знаках, устанавливаемых перед въездами на мост. Запрещается пропуск по мосту нагрузок, превышающих допустимые для конструкции моста.

4.11.5. Движение пешеходов по мосту разрешается только по тротуарам, имеющим по обе стороны надежные поручни и отгороженным от проезжей части колесоотбойным брусом.

4.11.6. Пропуск по мосту автомобилей с взрывоопасными, горючими, ядовитыми веществами и другими опасными грузами должен осуществляться в индивидуальном порядке. Нахождение на мосту при их пропуске пешеходов, других автомобилей, повозок и скота категорически запрещается.

4.11.7. Рейсовые автобусы, а также автомобили пожарной охраны, скорой медицинской помощи, милиции, ГАИ, Комитета госбезопасности и аварийных служб при выполнении ими неотложных служебных заданий пропускаются по наплавному мосту без очереди.

4.12. На каждой переправе эксплуатирующей организацией (мастером, начальником переправы) должны быть разработаны Правила пользования переправой, в которых с учетом местных условий должны быть полностью отражены требования типовых правил (см. пп. 4.10 и 4.11). Плакаты с Правилами пользования переправой должны быть установлены на причалах паромных переправ, пассажирских площадках паромов, у въездов на наплавные мосты. Также перед причалами и въездами на наплавные мосты должны быть установлены транспаранты, напоминающие о необходимости высадить пассажиров.

Таблица 8

Марки автомобилей

Весовые характеристики

в незагруженном состоянии

в загруженном состоянии

масса, кг

на одну ось, кг

масса, кг

на одну ось, кг

ГАЗ-52-03, ГАЗ-52-04, ГАЗ-66-02, САЗ-3504, САЗ-3503, Фургон ГЗСА-891

3470

2140

5800

3945

ГАЗ-53А, ГАЗ-САЗ 53Б, ЗИЛ-157КД

5540

3140

8690

6010

ЗИЛ-130-76, ЗИЛ-ММЗ-555, ЗИЛ-ММЗ-554М

ЗИЛ-ММЗ-4502, ЗИЛ-131, п/прицеп

КАЗ-608+ЦКТБА475

6460

3560

11865

8485

Урал-375-Д Урал-4320

8020

4190

13245

9225

Урал-375Н, Урал-377Н, МАЗ-5335, КамАЗ-55102, МАЗ-5549, КамАЗ-35320

8480

4980

15630

11130

МАЗ-53352

7450

4200

16000

10000

ЗИЛ-133Г2, ЗИЛ133ГЯ, КамАЗ-53212, Магирус 290Д26К (Татра)

8200

4600

19000

14000

КамАЗ-А35511, КрАЗ-255Б1, КрАЗ-260

12775

6580

22000

15380

КрАЗ-257-Б1, КрАЗ-256Б1

10850

6920

23015

18465

Магирус 290Д26L

7565

5043

26000

20000

МАЗ-504А + МАЗ-35245, МАЗ-500А + МАЗ-886, МАЗ-500А + 2(МАЗ-886)

17070

5700

26800

10000

КрАЗ-256Б1 + ГКБ-6527, КрАЗ-258 + С652

15350

10260

46700

9500

МАЗ-3537 + ЧМЗАП-5208; КрАЗ-2556 + ЧМЗАП-5208

22110

7400

70700

18400

МАЗ-537А + ЧМЗАП-5212А

37500

9000

97400

18600

4.13. Контроль за весовыми параметрами перевозимых (пропускаемых) нагрузок (в соответствии с пп. 4.10.9 и 4.11.4) должен осуществляться лицами обслуживающего персонала переправ в рамках их должностных обязанностей (прил. 10). Контроль ведется визуально по маркам автомобилей и наличию груза, а при необходимости по документам (накладным и пр.), в которых указывается масса груза. Для контроля рекомендуется пользоваться табл. 8.

4.14. При организации работы паромных переправ целесообразно обеспечивать оптимальный, с точки зрения обеспечения минимальных народнохозяйственных потерь из-за простоев автотранспорта, режим работы парома в течение смены. Это достигается правильным выбором времени ожидания парома при неполной загрузке, которое зависит от интенсивности движения по дороге, ширины реки, типа (вместимости) парома и скорости его движения. Рекомендуемые оптимальные режимы работы парома в течение смены приведены в прил. 10.

4.15. На паромных переправах и наплавных мостах должны быть обеспечены безопасность и удобство проезда автомобилей по переправе. Это достигается, помимо соблюдения указаний пп. 4.10 и 4.11, выполнением следующих мероприятий по организации работы переправы и требований к конструкциям паромов, причалов и пролетных строений наплавных мостов (см. пп. 4.16, 4.17).

4.16. На паромных переправах:

4.16.1. Проезжая часть причалов и грузовая палуба паромов должны быть ограждены колесоотбоями высотой не менее 0,6 м для железобетонных и металлических конструкций и 0,25 м для деревянных конструкций.

4.16.2. Не используемые в момент загрузки и выгрузки парома въезды должны быть обозначены натянутым тросом с сигнальными флажками или щитками размером 400´400 мм с нанесенными по диагонали красными и белыми чередующимися полосами шириной 50 мм, а в темное время суток - световозвращающими приспособлениями красного цвета, расположенными через 1 м. После окончания загрузки на использовавшийся въезд устанавливается такое же обозначение.

4.16.3. Необходимо своевременно осуществлять регулирование положения причальных устройств с тем, чтобы обеспечить наименьший перепад отметок проезжей части причала и грузовой палубы парома. Между причалом и паромом должны быть положены переходные трапы, мостики или аппарели, обеспечивающие плавность въезда.

4.16.4. При использовании спаренных паромов швы между ними в пределах грузовой палубы должны быть перекрыты щитами или трапами.

4.16.5. Причалы, борта или транцы парома, используемые для причаливания, должны быть оборудованы мягкими кранцами, резиновыми или пружинными амортизаторами. На несамоходных паромах с продольной погрузкой-выгрузкой целесообразно применение пружинных амортизаторов, объединенных с металлическим защитным фартуком, предохраняющим транец парома от повреждений при ударах о причал. Эти мероприятия снижают динамические воздействия при причаливании на находящиеся на пароме автомобили.

4.17. На наплавных мостах:

4.17.1. Проезжая часть мостов должна быть ограждена колесоотбоями высотой не менее 0,6 м при металлических и железобетонных пролетных строениях и 0,25 м - при деревянных.

4.17.2. Стыки между различными частями наплавного моста (береговыми, переходными и т. д.) должны быть перекрыты переходными щитами.

4.18. Лица обслуживающего персонала паромных переправ и наплавных мостов при выполнении ими своих служебных обязанностей по организации работы переправы должны быть внимательны и предупредительны к пассажирам и водителям. Все лица обслуживающего персонала должны обеспечиваться единой формой одежды. Работники переправ, связанные с организацией погрузки-выгрузки и пропуска автотранспорта и регулированием движения на переправе, должны иметь нарукавные красные повязки и флажки или жезлы.

5. ОРГАНИЗАЦИЯ ДВИЖЕНИЯ НА ПОДХОДАХ К ПЕРЕПРАВАМ

5.1. На подходах к паромным переправам по условиям движения автомобилей следует выделять две характерные зоны. В первой зоне, находящейся в непосредственной близости к переправе, происходят накопление транспортных средств, ожидающих переправу через водную преграду, а также высадка и посадка пассажиров. Во второй зоне происходит рассасывание плотного транспортного потока. При этом движение автомобилей характеризуется неустойчивыми режимами: значительными колебаниями скоростей движения, ускорениями и торможением вплоть до остановок, большим количеством обгонов и высокой аварийностью, связанной с выездами автомобилей на встречную полосу и несоблюдением дистанции.

5.2. В первой зоне в непосредственной близости причала следует предусматривать устройство накопительных полос для автомобилей, ожидающих переправу, и посадочных полос для посадки и высадки пассажиров.

5.2.1. Протяженность накопительных полос зависит от интенсивности движения автомобилей и величины водной преграды. Длину полос следует назначать по табл. 9.

Таблица 9

Интенсивность движения, авт/сут

Длина накопительной полосы L, м, при ширине реки в месте переправы, м

до 100

100-300

300-500

500-700

700-900 и более

400

35

45

50

60

70

800

45

50

60

70

80

1200

50

60

70

80

90

1600

60

70

80

90

105

2000

80

90

100

120

140

2400

100

120

140

160

180

3000

160

180

200

220

240

5.2.2. Размеры посадочных полос следует назначать с учетом вместимости парома, типов автомобилей, а также доли автомобилей, пользующихся полосой. Рекомендуемые длины полос приведены в табл. 10.

Таблица 10

Вместимость парома, шт. авт.

Требуемое число мест на посадочной полосе, шт.

Длина посадочной полосы Lпп, м, при составе транспортного потока соответственно автопоездов, грузовых и легковых автомобилей, %

10, 30, 60

10, 60, 30

До 15

5

50

60

15-24

6

60

70

25-44

7

70

80

45-54

8

80

95

55 и более

9

95

110

5.2.3. Посадочные полосы рекомендуется располагать в 10-20 м от причала на горизонтальных участках или на участках с продольным уклоном не более 40 %. Ширину посадочной полосы принимают равной ширине основных полос движения. На всей длине они должны иметь твердое покрытие. Для удобства пассажиров следует предусматривать устройство посадочных площадок (тротуаров) шириной 1,5-2,0 м и длиной, равной длинам посадочной и накопительной полос. Посадочные площадки должны быть приподняты на 0,2 м над покрытием и ограждены от него бордюрами.

5.3. Для обеспечения безопасности движения в зоне переправ следует разрабатывать схемы организации движения с учетом пп. 5,1-5,2 и конкретных условий. Принципиальная схема организации движения в зоне паромной переправы представлена на рис. 20.

При разработке схемы организации движения на подходах к паромным переправам необходимо обеспечить плавное снижение скоростей движения до 20 км/ч путем последовательной установки знаков 3.24 "Ограничение максимальной скорости" и знака 3.20 "Обгон запрещен".

Для предупреждения водителей о наличии переправы следует устанавливать знак 1.9 "Разводной мост".

В зоне накопительной полосы следует предусматривать установку информационно-указательных знаков 5.8.3 "Начало полосы", 5.8.7 "Направление движения по полосам" и 5.9 "Полоса для транспортных средств общего пользования". За 10-20 м до причала необходима установка знака 2.5 "Движение без остановки запрещено". В зоне причала следует предусматривать установку схемы загрузки парома, а также шлагбаума и светофоров. В зоне посадочных полос следует устанавливать информационные плакаты с надписью "Место для посадки пассажиров" и "Место высадки пассажиров".

рис. 20. Принципиальная схема организации движения в зоне накопительных и посадочных полос:

1 - паром; 2 - причал; 3 - тротуар для пассажиров, посадочная площадка для пассажиров; 4 - основная полоса движения к паромной переправе; 5 - накопительная полоса; 6 - информационный плакат с надписью "Левая полоса для приоритетного проезда"; 7 - дорожный знак 5.8.3; 8 - обочина; 9 - посадочная полоса; 10 - основная полоса движения от паромной переправы; 11 - информационный плакат с надписью "Место для посадки пассажиров". Разметка дорожная по ГОСТ 13508-74: а - 1.11; б - 1.12 и 1.21; в - 1.5; г - 1.8; д - 1.1

5.4. Во второй зоне для улучшения условий движения следует предусматривать устройство дополнительных полос для рассасывания плотного транспортного потока. Рекомендуемые длины дополнительных полос и расстояние от переправы до их начала приведены в табл. 11.

Таблица 11

Вместимость парома, шт. авт.

Расстояние от переправы до начала дополнительной полосы, м

Длина дополнительной полосы LОП, м, при интенсивности встречного потока, авт/ч

60

80

150

200

300

10-19

420

-

220

260

-

-

20-29

520

320

350

400

450

-

30-39

630

370

430

500

580

650

40-49

740

400

490

590

680

750

50-59

850

-

620

730

820

860

60-70

950

-

850

950

1050

1150

Примечание. При промежуточных значениях интенсивности встречного потока длина дополнительной полосы определяется интерполяцией между смежными табличными значениями и округляется с точностью до 5-10 м.

Рис. 21. Принципиальная схема организации движения на участках с дополнительной полосой для обгона:

1 - полоса движения к паромной переправе; 2 - обочина; 3 - дорожный знак 5.8.5; 4 - дополнительная полоса движения от паромной переправы; 5 - дорожный знак 5.8.3 с изображением знака 4.7, ограничивающего минимальную скорость движения по средней полосе 60 км/ч; 6 - основная полоса движения от паромной переправы. Разметка дорожная по ГОСТ 13508-74: а - 1.1; б - 1.6; в - 1.11; г - 11.5

5.5. Ширину дополнительных полос следует назначать равной ширине основных полос движения. Принципиальная схема организации движения на участках с дополнительной полосой представлена на рис. 21.

5.6. На наплавных однопутных мостах с организацией челночного движения автотранспорта следует предусматривать устройство дополнительных полос для рассасывания групп автомобилей, одновременно пропускаемых по мосту в одном направлении. Длины дополнительных полос и расстояния от моста до их начала определяются по данным табл. 11. При этом вместо вместимости парома принимается число автомобилей, одновременно пропускаемых в одном направлении, определяемое по формуле (9) прил. 2. Схема организации движения на этих участках аналогична приведенной на рис. 21.

5.7. На подходах ко всем наплавным мостам следует предусматривать устройство на расстоянии 10-20 м от моста площадок (тротуаров) для посадки и высадки пассажиров шириной 1,5-2,0 м и длиной 20-30 м. Посадочные площадки должны быть приподняты на 0,2 м над покрытием и ограждены от него бордюрами.

5.8. При наличии регулярного рейсового автобусного движения по мостам следует устраивать заездные карманы для посадки и высадки пассажиров.

5.9. Обследование дорожных условий на подходах к переправам показало, что они, как правило, характеризуются наличием кривых в плане малого радиуса и значительными продольными уклонами. Для предотвращения образования групп автомобилей высокой плотности рекомендуется при капитальном ремонте выполнять работы по спрямлению таких участков с доведением радиусов кривых до 300 м и более и уполаживанием продольных уклонов до 40 %о.

5.10. Устанавливаемые знаки должны отвечать ГОСТ 10807-78 "Знаки дорожные", выполняемая разметка - ГОСТ 13508-74 Разметка дорожная", а их применение соответствовать ГОСТ 23457-86 «Технические средства организации дорожного движения». Схемы организации движения утверждаются руководителем дорожной организации и заблаговременно согласовываться с органами Госавтоинспекции.

6. ЭКСПЛУАТАЦИЯ ПЕРЕПРАВ В ЗИМНИХ И ДРУГИХ НЕБЛАГОПРИЯТНЫХ МЕТЕОРОЛОГИЧЕСКИХ УСЛОВИЯХ

6.1. При эксплуатации паромных переправ и наплавных мостов особое внимание необходимо уделять обеспечению безопасности работы и предупреждению повреждений плавсредств и конструкций переправ в осенне-зимний период, в условиях ледохода и в других неблагоприятных метеорологических условиях.

6.2. С приближением холодов необходимо установить постоянное наблюдение за режимом реки. Для этого в 5-6 км выше по течению от переправы организуют постоянный наблюдательный пост в составе 2-3 чел., обеспеченный связью с переправой (телефон, рация, сигнализация). Наблюдательный пост организуется также и в весенний период перед началом ледохода в тех случаях, когда переправа эксплуатируется (см. п. 4.3) круглый год.

6.3. В задачи наблюдательного поста входят наблюдение и своевременное оповещение обслуживающего персонала переправы о состоянии и всех изменениях гидрологического и ледового режима реки: о колебаниях уровня, появления сала и шуги, образовании ледяного покрова, подвижках льда, о движении ледяных полей и отдельных больших льдин и т. д.

6.4. На всех переправах независимо от установленного режима их работы в течение года необходимо проводить своевременную подготовку переправ к эксплуатации в осенний или осенне-зимний период, которая заключается:

в создании достаточного запаса необходимых инструментов и материалов (лопаты, пешни, ломы, тросы, доски, бревна, анкера, песок, солома, хворост и т. д.), проверке исправности инструмента, размещении и складировании инструментов и материалов на переправе;

в подготовке акваторий затонов для зимнего отстоя паромов и наплавных мостов, в которую входят промер глубин и выполнение необходимых дноуглубительных работ, ремонт причальных свай и ледорезов, защищающих место отстоя плавсредств;

в своевременном заключении договоров с организациями Минречфлота РСФСР об аренде ледокольных судов или о выполнении необходимых ледокольных работ, а при наличии на балансе автодора (ДРСУ) собственных ледокольных судов - в их своевременной подготовке к работе и размещении на переправах;

в заблаговременном размещении на переправах, эксплуатируемых в условиях ледохода и круглый год, дополнительных (резервных) буксирных теплоходов или катеров из расчета один резервный буксир на каждый работающий несамоходный паром; два буксира на каждый паром (баржу) речной части наплавного моста;

в определении необходимых размеров майн для работы переправ в зимних условиях и рациональных способов их устройства;

в обеспечении всех лиц обслуживающего персонала переправ теплой одеждой (телогрейки, ватные брюки, шапки, валенки с галошами, теплые рукавицы), а также плащами и резиновыми сапогами.

6.5. При появлении на реке шуги необходимо систематически очищать борта и днище паромов, буксиров, плавучих опор и пристаней, якорные цепи и канаты от намерзающего льда. Борта, цепи и канаты очищаются лопатами, скребками и пешнями, а днище - протаскиванием под ним стального троса. Рекомендуется также использовать механизированные способы очистки (механические щетки, электроподогрев и т. п.). Для предохранения якорных канатов и тросов плавучих опор и пристаней от перерезания льдом на них надевают отрезки металлических труб или сколоченные из трех досок деревянные короба.

6.6. Если в соответствии с п. 4.3 предусмотрена круглогодичная работа переплавы, то в районе переправы устраивается и поддерживается весь зимний период майна. Размер майны должны обеспечивать: безопасное маневрирование у причалов и перемещение паромов, возможность разборки наплавного моста, отвода всех плавсредств наплавных мостов и паромных переправ в затон, или безопасное место отстоя.

Разработку майн следует начинать во время ледостава, не допуская образования мощного ледяного покрова. Для разработки и поддержания майн следует применять ледокольные суда или суда усиленного ледового класса, а также специальные инженерные устройства.

6.7. Причальные устройства паромных переправ и береговые части наплавных мостов защищают от возможного повреждения льдинами ограждениями (бонами), расположенными с верховой стороны, а при необходимости и с низовой. Боны устраивают из одиночных или спаренных бревен и надежно закрепляют анкерами или якорями, так как срыв бонов может повлечь за собой разрушение причала или береговой части.

Лед вокруг свай причальных устройств и береговых частей окалывают, и лунки утепляют соломой, хворостом, снегом и пр. Бортовую обшивку плавучих опор наплавных мостов необходимо защищать от повреждения случайными льдинами специальной защитной рубашкой, примеры конструкций которой приведены на рис. 22.

Рис. 22. Способы защиты бортовой обшивки судов от повреждений льдом и плывущими предметами:

1 - кронштейны; 2 - лист d = 2 мм; 3 - брус 15´25, лежащий без закрепления

6.8. Эксплуатация зимой и в условиях ледохода канатных паромных переправ разрешается только при перемещении парома буксирным катером или теплоходом. При этом конструкция закрепления на пароме троса должна обеспечивать возможность его быстрой отдачи при необходимости избежать столкновения с льдинами или затирания парома льдом.

6.9. Наплавные мосты на весь период ледохода и паводка, начиная с первых подвижек льда, разбирают и ставят в затоны или наименее опасные участки реки (обычно места с противоположной стороны прижимного берега). Места отстоя наплавных мостов предохраняют специальными ледорезами и ограждениями (бонами).

6.10. При работе паромных переправ и наплавных мостов в майнах зимой, а также паромных переправ в условиях ледохода необходимо очищать акваторию майны и зону у причалов от битого льда.

6.11. Работа плавсредств паромных переправ и наплавных мостов, не имеющих специального подкрепления корпуса и соответствующего класса Речного Регистра РСФСР или Регистра СССР, в ледовых условиях категорически запрещается.

6.12. Под неблагоприятными метеорологическими условиями понимаются: условия ограниченной видимости, когда вследствие тумана, снегопада, дождя или других явлений визуальная видимость составляет менее 1 км; штормовые условия (ветер, волнения), при которых высота волны превышает допустимую (проектную) для эксплуатируемого судна в соответствии с его классом.

6.13. При ограниченной (менее 1 км) видимости движение разрешается только судам переправ, оборудованным исправно действующими радиолокаторами, компасом и УКВ радиостанцией. Движение оборудованных судов переправ в условиях ограниченной видимости должно осуществляться в строгом соответствии с требованиями Правил плавания по внутренним водным путям РСФСР и местных правил плавания. При этом на посту управления судном должны находиться не менее двух лиц командного состава судоводительской специальности, один из которых капитан.

Перевозка горючих, взрывчатых и ядовитых веществ и автомобилей с этими веществами не разрешается.

6.14. Вопрос об эксплуатации наплавных мостов в условиях ограниченной видимости решается совместно с местными исполкомами Советов народных депутатов и органами, регулирующими судоходство. При этом должны быть определены порядок движения судов в районе наплавного моста при ограниченной видимости и порядок разводок мостов для пропуска судов, должна быть налажена УКВ радиосвязь с диспетчерской службой движения судов и судами.

6.15. Работа переправ в штормовых условиях (см. п. 6.12) запрещается. При получении штормового предупреждения или при появлении признаков приближающегося шторма начальник переправы (в его отсутствие - сменный механик или бригадир) и капитаны (шкиперы) судов должны принять меры к своевременному прекращению работы переправы, разгрузке паромов, разводке наплавных мостов, отводу плавсредств к безопасному месту отстоя, надежной ошвартовке или постановке плавсредств на якорь, усилению, при необходимости, закреплений наплавных мостов.

6.16. Как исключение, может производиться работа переправ в целом и плавсредств в ледовых, штормовых условиях и при ограниченной видимости в случаях спасения людей, оказания помощи пострадавшим, проведении работ по ликвидации аварий или последствий стихийных бедствий. Проведение таких работ может осуществляться по решению исполнительных комитетов областных (районных) Советов народных депутатов, а в экстренных случаях - по распоряжению начальника переправы. В вахтенных журналах судов должны быть сделаны записи: по каким причинам, на какие работы, в каких условиях и по чьему распоряжению используются суда переправ.

6.17. При выполнении работ, указанных в п. 6.16, необходимо соблюдать следующие меры предосторожности.

6.17.1. В штормовых условиях: на палубах должны быть натянуты штормовые леера; иллюминаторы и люки должны быть задраены; перевозимые на паромах грузы должны быть закреплены: дверцы кабин со стороны водителя следует держать открытыми; водителям на время переезда должны выдаваться спасательные жилеты; обслуживающий персонал плавсредств паромных переправ и постовые рабочие должны быть в спасательных жилетах и поясах с заплечными лямками, а также застраховаться предохранительным концом; все средства откачки воды и аварийные инструменты и материалы должны быть приведены в состояние полной готовности.

6.17.2. При работе в ледовых условиях: штат плавсредств и берегового обслуживающего персонала переправ должен быть увеличим вдвое по сравнению с установленным; средства откачки воды и аварийные инструменты и материалы должны быть приведены в состояние полной готовности, аварийное снабжение плавсредств, не имеющих специального подкрепления корпуса, должно быть увеличено вдвое по сравнению с нормами; каждые 2 ч проводить осмотр отсеков для выявления водотечности и повреждений обшивки.

6.18. При эксплуатации переправ в зимних условиях необходимо производить регулярную очистку проезжей части и тротуаров наплавных мостов, причалов и переходных пролетов, грузовой палубы и площадок для пассажиров паромов от снега и льда.

Для уменьшения скользкости на подходах и причалах при необходимости производить посыпку проезжей части и тротуаров песком. Применение хлоридов, рассолов, соли и других химических веществ для борьбы со скользкостью запрещается.

7. РЕМОНТ И СОДЕРЖАНИЕ ПАРОМНЫХ ПЕРЕПРАВ И НАПЛАВНЫХ МОСТОВ

7.1. Ремонт и содержание паромных переправ и наплавных мостов представляют собой комплекс работ, направленных на поддержание и улучшение первоначальных эксплуатационных качеств как переправ в целом, так и их отдельных элементов и сооружений.

7.2. Работы по ремонту и содержанию наплавных мостов и паромных переправ разделяются на следующие виды: содержание, текущий ремонт, средний ремонт, капитальный ремонт. Задачи текущего ремонта и содержания, среднего и капитального ремонта приведены в пп. 1.11 и 1.12.

7.3. Работы по содержанию и текущему ремонту паромных переправ и наплавных мостов назначаются на основании ежедневных осмотров конструкций, устройств и механизмов переправ, проводимых должностными лицами обслуживающего персонала в соответствии с их должностными обязанностями.

7.4. Средний и капитальный ремонт переправ или их конкретных участков назначают на основании ежегодных осмотров, проводимых комиссиями ДРСУ совместно с должностными лицами обслуживающего персонала переправ.

7.5. В процессе содержания паромных переправ и наплавных мостов выполняются следующие виды работ:

7.5.1. Ежедневный осмотр всех конструкций, сопряжений, механизмов и устройств для разводки, подъема переходных пролетов и причалов, креплений буксиров, швартовых устройств, навигационных знаков, плавсредств и их внутренних помещений, а также ежесменные осмотры должностными лицами обслуживающего персонала вверенных им частей, конструкций и плавсредств с выявлением дефектов, повреждений и водотечности плавсредств.

7.5.2. Постоянное наблюдение за состоянием якорных и других закреплений наплавных мостов, плавучих причалов, направляющих тросов, креплений паромов к тросам и буксиров к паромам; подтягивание якорных тросов и тросов закреплений.

7.5.3. Регулярная очистка от грязи проезжей части и тротуаров наплавных мостов, грузовых палуб и площадок для пассажиров паромов, причалов, переходных пролетов и конструкций пролетных строений, наблюдение за состоянием отвода воды с конструкций.

7.5.4. Проветривание в сухую погоду внутренних помещений плавсредств, откачка появляющейся воды.

7.5.5. Смазка направляющих роликов и блоков тросов для перемещения паромов и разводки наплавных мостов.

7.5.6. Техническое обслуживание двигателей, рулевых устройств, и механизмов буксирных катеров и теплоходов, а также лебедок, механизмов для разводки наплавных мостов, подъема переходных пролетов.

7.5.7. Подтягивание болтовых соединений, подбивка скоб деревянных конструкций, регулировка элементов сопряжений.

7.5.8. Регулирование высотного положения причалов и переходных пролетов, разводка, сводка, сезонная разборка и наводка наплавных мостов.

7.5.9. Уход за надстройками плавсредств, спасательными средствами, навигационными знаками, семафором и средствами регулирования движением, павильонами и помещениями для ожидания пассажиров.

7.6. При текущем ремонте паромных переправ и наплавных мостов выполняются следующие виды работ, не требующие прекращения работы переправы в целом или отдельных технических средств в составе переправы и привлечения для выполнения работ сторонних специализированных организаций.

7.6.1. Локальный ремонт и восстановление элементов искусственной шероховатости металлических покрытий, замена отдельных досок настилов и ямочный ремонт асфальтобетонных покрытий проезжей части и тротуаров наплавных мостов, переходных пролетов и причалов, грузовой палубы и площадок для пассажиров паромов.

7.6.2. Устранение просадок в местах сопряжения переходных пролетов с подходами.

7.6.3. Ремонт и замена отдельных секций или участков перил, ограждений, колесоотбойных брусьев на наплавных мостах, паромах, причалах и подходах (в зоне ожидания автотранспорта), шлагбаумов перед въездом на переправу.

7.6.4. Ремонт и замена швартовых цепей, якорных и направляющих тросов и тросов закреплений, а также креплений тросов к плавучим опорам, паромам и берегам, креплений буксиров к паромам.

7.6.5. Ремонт, исправление и замена такелажа, сигнальных (семафорных) мачт, навигационных знаков и огней.

7.6.6. Мелкий ремонт двигателей буксирных теплоходов и катеров, лебедок, пожарных и осушительных насосов.

7.6.7. Исправление локальных повреждений обшивки плавсредств, устранение их незначительной течи, мелкие ремонтные работы во внутренних помещениях плавсредств, ремонт локальных повреждений надстроек, отдельных узлов и систем плавсредств, зачистка, шпаклевка и подкраска отдельных элементов и участков надстроек и надводного борта плавсредств.

7.6.8. Ремонт причалов, сопряжений и переходных трапов.

7.6.9. Замена обшивки свайных опор переходных частей и причалов, ледорезов.

7.6.10. Очистка от гнили, устранение повреждений, антисептирование и окраска отдельных деревянных элементов пролетных строений наплавных мостов, паромов на отдельных плавучих опорах, переходных пролетов и причалов.

7.6.11. Устранение отдельных раковин и трещин, локальное восстановление защитного слоя железобетонных элементов пролетных строений и причалов, надводной части железобетонных понтонов и дебаркадеров.

7.6.12. Замена отдельных поперечин, простых прогонов, замена или правка отдельных связей.

7.7. При среднем и капитальном ремонтах паромных переправ и наплавных мостов выполняются работы, при которых требуется прекращение эксплуатации переправы в целом или ремонтируемых технических средств и конструкций в составе переправы при невозможности их замены на время ремонта. Выполнение работ среднего и капитального ремонтов следует приурочивать к сезонным перерывам в работе переправ или к замене плавсредств и конструкций при необходимости увеличения пропускной способности переправы (см. пп. 2.6 и 2.13).

7.8. При среднем ремонте паромных переправ и наплавных мостов выполняются следующие виды работ.

7.8.1. Полная замена настила или устройство нового асфальтобетонного покрытия на проезжей части и тротуарах наплавных мостов; переходных пролетов и привалов, на грузовой палубе и площадках для пассажиров паромов.

7.8.2. Полная замена перил, ограждений и колесоотбойных брусьев на наплавных мостах, паромах, причалах и переходных пролетах, подходах в зоне ожидания автотранспорта, восстановление тротуаров на наплавных мостах, сопряжений переходных пролетов с насыпями подходов, балочной клетки.

7.8.3. Сплошная окраска металлических конструкций, корпусов и надстроек плавсредств, полное антисептирование и окраска деревянных конструкций, устройство или полное восстановление защитных покрытий, устранение многочисленных раковин и трещин на бетонных и железобетонных конструкциях.

7.8.4. Ремонт, замена и усиление части обшивки и отдельных элементов набора корпуса плавсредств, ремонт и заделка многочисленных повреждений корпуса железобетонных понтонов и дебаркадеров.

7.8.5. Сложный ремонт главных двигателей, устройств и систем буксирных теплоходов и катеров, самоходных паромов.

7.8.6. Восстановление поврежденных элементов балок пролетных строений, замена связей и опорных частей.

7.8.7. Усиление или замена отдельных элементов пролетных строений, опор, переходных пролетов, аппарелей, причалов.

7.8.8. Восстановление объединения сборных элементов и элементов опор.

7.9. При капитальном ремонте паромных переправ и наплавных мостов выполняются следующие виды работ:

7.9.1. Замена конструкций проезжей части наплавных мостов и грузовых палуб паромов.

7.9.2. Уширение проезжей части и тротуаров наплавных мостов с заменой или повышением грузоподъемности плавучих опор.

7.9.3. Усиление конструкций проезжей части наплавных мостов и грузовых палуб паромов, несущих элементов пролетных строений, опор и причалов.

7.9.4. Полная или частичная замена отдельных дефектных пролетных строений и опор.

7.9.5. Устройство железобетонной или металлической рубашки или пояса вокруг тела опор или фундаментов, обшивка опор железобетонными плитами, частичная перекладка или усиление тела опор и фундаментов.

7.9.6. Восстановительный ремонт или замена главных двигателей, устройств и систем буксирных теплоходов и катеров, самоходных паромов.

7.9.7. Полный ремонт или замена значительной части обшивки и набора корпуса плавсредств.

7.9.8. Устройство специального ледового подкрепления корпуса плавсредств наплавных мостов и паромных переправ.

7.9.9. Переоборудование плавсредств с изменением их назначения.

7.10. Выполнение всех ремонтных работ среднего и капитального ремонта должно производиться на основе разработанной специализированными организациями (проектными конторами и проектно-сметными бюро автодорог, проектными институтами Минавтодора РСФСР, конструкторскими бюро Минречфлота РСФСР в зависимости от ремонтируемых конструкций) проектно сметной документации.

7.11. Для выполнения среднего и капитального ремонта плавсредств (пп. 7.8.4, 7.8.5, 7.9.1, 7.9.2, 7.9.6-7.9.9) рекомендуется обращаться в специализированные судостроительные или судоремонтные предприятия. Выполнение ремонтных работ и разрабатываемая на них техническая документация должны отвечать требованиям Правил Речного Регистра и быть согласованы с его территориальными органами.

7.12. В процессе эксплуатации в конструкциях паромных переправ и наплавных мостов возникают различные дефекты и повреждения, вызываемые воздействием пропускаемых нагрузок, плывущими по реке предметами и льдинами и другими силовыми факторами.

Перечень наиболее часто встречающихся дефектов и их классификация по видам ремонта в соответствии с перечнем работ текущего, среднего и капитального ремонта (пп. 7.6, 7.8, 7.9) приведены в табл. 12.

7.13. При появлении дефектов, приведенных в табл. 12, эксплуатация переправ запрещается, и они подлежат немедленному устранению. При устранении таких дефектов в рамках текущего ремонта движение по переправе должно быть остановлено, а при выполнении работ в рамках среднего и капитального ремонта поврежденные средства и конструкции должны быть выведены из состава переправы и заменены на исправные.

Таблица 12

Характерные дефекты конструкций наплавных мостов и паромных переправ и их классификация по видам ремонта

Наименование дефекта

Причина образования

Виды ремонта по устранению дефекта

Повреждения и износ досок деревянного настила проезжей части и грузовых палуб

Воздействие автотранспорта

Текущий, средний

Нарушение сварных швов металлических листов настила

То же

То же

Образование выбоин и разрушение, покрытия на подходах

"

"

Повреждения перил, ограждений и колесоотбойных брусьев

Наезды автомобилей

"

Разрушение конструкций грузовых палуб и проезжей части на палубах барж-площадок мостов

Воздействие автотранспорта; пропуск нагрузок, превышающих допустимые

Средний, капитальный

Повреждения сопряжений причалов и береговых пролетов с насыпями подходов

Воздействие автотранспорта; пропуск нагрузок, превышающих допустимые

Средний, капитальный

Повреждения переходных трапов, аппарелей

То же

Текущий, средний

Повреждения поперечных связей пролетных строений

Воздействие автотранспорта; пропуск нагрузок, превышающих допустимые; навал и удары судов

То же

Повреждения деревянных прогонов и металлических балок пролетных строений наплавных мостов, паромов и переходных пролетов

То же

Текущий, средний, капитальный

Повреждения креплений прогонов к понтонам

"

Текущий, средний

Повреждения ферм жесткости понтонов плавучих опор

"

Средний, капитальный

Деформации транцев и защитных фартуков паромов

Удары парома о причал при причаливании

То же

Повреждения и разрушение свай причалов

То же

"

Деформации корпусов паромов, понтонов и буксиров

Навалы и удары льдин, судов и плавучих предметов

"

Раскрытие сварных швов обшивки, трещины и пробоины в бортах и днище

То же

Текущий, средний, капитальный

Разрыв тросов продольных и поперечных закреплений мостов, направляющих тросов паромов, повреждения крепления тросов к паромам, мостам, выдергивание мертвяков

"

Текущий

Поломки замков закрепления выводных звеньев наплавных мостов

"

"

Загнивание деревянных конструкций проезжей части и пролетных строений

Плохое состояние водоотвода, грязь, влияние среды

Текущий, средний

Поломки двигателей и лебедок

Появляются в процессе работ

Текущий, средний капитальный

Выход из строя электропроводки и электрооборудования

То же

Текущий, средний

Износ и поломки механизмов подъема аппарелей

"

То же

Коррозия и истирание бортов и днища плавсредств

"

Средний, капитальный

Обрывы швартовых цепей

"

Текущий

Примечание. Виды ремонтов, производимых при устранении дефектов, приведены по степени тяжести и объема повреждений.

Все выполненные ремонтные работы должны быть отмечены в карточке учета ремонтов переправы, рекомендуемая форма которой приведена в табл. 13. Карточка должна находиться у начальника переправы.

7.14. Все повреждения обшивки плавсредств паромных переправ и наплавных мостов, связанные с образованием течи, представляют угрозу для безопасной эксплуатации переправы и требуют проведения аварийных работ по их немедленному устранению.

7.15. При проведении аварийных работ необходимо:

7.15.1. Незамедлительно установить характер и объем повреждений и течи.

7.15.2. Привести в действие средства откачки воды.

7.15.3. Если имеющихся средств откачки воды недостаточно для удаления поступающей воды, следует немедленно завести с наружной стороны обшивки на пробоину, трещину мягкий пластырь.

7.15.4. На наплавных мостах следует немедленно перекрыть въезды на мост и освободить проезжую часть и тротуары от находящихся на них автомобилей и пешеходов. На паромных переправах - отвести паром к ближайшему причалу, высадить пассажиров и выгрузить с парома автомобили, повозки, грузы, животных, а если это по каким-либо причинам невозможно, то отвести паром к берегу на мелководье (отсоединив на канатных переправах паром от направляющего троса) и при невозможности сохранения плавучести, посадить его на отмель.

7.15.5. В целях обеспечения плавучести поврежденного плавсредства для безопасной его доставки к месту выполнения ремонтных работ необходимо с помощью временных мероприятий ликвидировать течь.

Таблица 13

Карточка учета ремонтов переправы

                        ДРСУ. Автомобильная дорога                                          

Км                  Нас. пункт                                      Река                              

Река

Причал, берег, пролет

Паром, плавучие опоры

Буксир

Схема речной части

Ширина, м

Тип

№ проекта

№ проекта

 

Глубина, м

Грузоподъемность, т

Грузоподъемность, т

Мощность двигателя, кВт, л.с.

 

Скорость течения, м/с

Материал

Главные размеры, м Размеры грузовой палубы

Водоизмещение, т

 

 

Дата осмотра

Заключение по осмотру, перечень обнаруженных дефектов

Время, вид и объем ремонтных работ

Заключение по послеремонтному осмотру

Причалы и береговые пролеты

Паромы и плавучие опоры

Пролетные строения

Буксир и др. вспомогательные сооружения

7.16. В качестве временных мер для ликвидации течи могут быть рекомендованы следующие:

7.16.1. При повреждении деревянных обшивок - накладки из досок, плотно нашиваемые на поврежденные участки на шпаклевке, битумной мастике и т. п. На бортовую обшивку накладки нашиваются снаружи, если возможно открепить плавсредство и вывести поврежденный участок из воды, или изнутри. На пробоины в днище накладки нашиваются изнутри. Раскрывшиеся пазы между досками обшивки, трещины в досках, через которые просачивается вода, временно могут быть законопачены изнутри смольной паклей, пропитанной дегтем или битумом.

7.16.2. При повреждениях металлической обшивки выбор временных мер для ликвидации течи зависит от характера и размера повреждений. Мелкие единичные пробоины можно заделывать деревянными пробками из неколющейся от ударов древесины. Пробки забивают до прекращения течи и обрезают так, чтобы они выступали с обеих сторон не менее чем по 10 см. Большое количество мелких пробоин разрешается заделывать бетоном с жидким стеклом или быстротвердеющим бетоном. Жидкое стекло добавляют в бетон в количестве 50-100 % от объема воды, требуемой для приготовления раствора. Трещины в обшивке зачеканиваются свинцом или завариваются. Сварные швы накладываются участками по 2-3 см. Трещины предварительно обрабатываются с тем, чтобы избежать их дальнейшего раскрытия в длину, для чего оба конца трещины рассверливаются сверлом малого диаметра.

Пробоины в обшивке могут заделываться при помощи стальных пластин, привариваемых газовой сваркой. Края пробоины предварительно обрезают и обрабатывают так, чтобы обеспечить плотное прилегание накладки к обшивке. Сварной шов накладывают в шахматном порядке участками по 2-3 см. Пробоины могут также заделываться и изнутри плавсредства тампонированием ее быстротвердеющим бетоном, ветошью или парусиной, пропитанной дегтем или битумом. Раствор, ветошь или парусина после укладки на пробоину должны быть плотно прижаты к обшивке металлической пластиной или деревянным щитом, закрепленными за элементы набора корпуса.

7.17. Поврежденные конструкции сопряжений, аппарелей, переходных трапов, подъема переходных пролетов, шарнирных и жестких соединений прогонов, замковых соединений, креплений тросов и буксиров, якорных и швартовых цепей и тросов при ремонте восстанавливаются до первоначального состояния. Как временная мера, для поддержания функционирования этих конструкций на время вывода переправы из эксплуатации для выполнения ремонта допускается их замена счалками из цепей или тросов.

7.18. Ремонт конструкций пролетных строений, жестких опор береговых частей и причалов, проезжей части, тротуаров, ограждений, сопряжений с насыпями подходов и т. п. производится в соответствии с указаниями Технических правил ремонта и содержания автомобильных дорог, Рекомендаций по содержанию и ремонту металлических пролетных строений автодорожных мостов, Рекомендаций по ремонту железобетонных мостов (конструктивные и технологические решения) и других нормативных документов Минавтодора РСФСР по ремонту искусственных сооружений.

7.19. При выполнении всех видов работ на переправах необходимо соблюдать требования Правил техники безопасности при строительстве, ремонте и содержании автомобильных дорог, Правил техники безопасности на судах речного флота при выполнении палубных работ и Правил безопасности труда на судах речного флота, а также указаний, содержащихся в настоящей Инструкции.

7.20. Содержание и ремонт подходов к паромным переправам и наплавным мостам осуществляются силами ДРСУ (Автодора) без привлечения штата обслуживающего персонала переправ. Работы по содержанию и ремонту подходов выполняются в соответствии с Техническими правилами ремонта и содержания автомобильных дорог.

ПРИЛОЖЕНИЕ 1

МЕТОДИКА ОПРЕДЕЛЕНИЯ ПРОПУСКНОЙ СПОСОБНОСТИ ПАРОМНЫХ ПЕРЕПРАВ

1. Исходными данными для расчета пропускной способности паромной переправы являются:

суточная расчетная интенсивность движения Nсут, авт./сут;

состав транспортного потока;

ширина зеркала в месте переправы (расстояние между причалами) Lр, м;

тип парома и способ его перемещения;

мощность буксирного катера;

размер (площадь) грузовой палубы для размещения автомобилей S, м2;

количество часов работы переправы в сутки h, ч.

2. За расчетную интенсивность движения принимается среднегодовая суточная интенсивность движения Nсут (авт./сут), вычисленная на пятый год с начала ввода паромной переправы в эксплуатацию.

В качестве расчетной часовой интенсивности движения принимается величина:

Nч = 0,1Nсут.                                                               (1)

3. Состав транспортного потока (по группам автомобилей) определяется в процентах от всего потока. Деление автомобилей по группам приведено в табл. 1.

4. Расчет пропускной способности паромной переправы выполняется для приведенной к первой группе автомобилей расчетной интенсивности:

;                                       (2)

,                                       (3)

где P1, P2, …, Р7 - доля автомобилей каждой группы в составе потока, %;

М1, М2, ..., М7 - коэффициенты приведения автомобилей к расчетной группе (табл. 1).

5. Для принятого типа парома определяют его вместимость в расчетных автомобилях (первой группы) по формуле:

nпр = 0,09S,                                                        (4)

где nпр - вместимость парома в расчетных автомобилях; S - площадь грузовой палубы, м2.

6. Определяют продолжительность загрузки и разгрузки парома принятого типа по формулам (табл. 2) в зависимости от приведенной вместимости парома nпр.

Таблица 1

Группа автомобилей

I

II

III

IV

V

VI

VII

Площадь, занимаемая автомобилем, м2

До 12

13-16

16-20

20-26

27-32

35-42

46-51

Коэффициент приведения

1,0

1,36

1,68

2,14

2,64

3,55

4,45

Характерные для каждой из групп автомобили

Все модификации автомобилей марки ВАЗ, "Москвич" и ЗAЗ

Легковые ГАЗ-24, микроавтобусы РАФ и грузовые малотоннажные ЕрАЗ и УАЗ

Грузовые автомобили ГАЗ и автосамосвалы на базе ЗИЛ-130

Грузовые КамАЗ, МАЗ, Урал и автосамосвалы на их базе, а также автобусы типа ПАЗ

Грузовые ЗИЛ-133Г1, КрАЗ-257-Б1-255Б, автобусы ЛАЗ-695Н-697Н, 4202 и ЛиАЗ-677

Автобусы Икарус-250, -255, ЛиАЗ-699Н, автопоезда МАЗ-504А-5205А, КамАЗ-5410-5205А, ЗИЛ-130-ГКБ-817

Автопоезда МАЗ-53352-8350, КамАЗ-5320-8350, МАЗ-516Б-ГКБ-8350

7. Для парома принятого типа (табл. 3) определяют продолжительность причаливания и отчаливания.

8. Определяют значения коэффициента удлинения пути парома.

При расстоянии между причалами Lр £ 1200 м значение Куд определяют для принятого типа парома и принятой схемы его движения по формулам, приведенным в табл. 4.

При расстоянии между причалами Lр > 1200 м для указанных в табл. 4 схем движения принимают Куд = 1,0.

Для сложных схем движения паромов, не подходящих под указанные в табл. 4, расстояния между причалами (путь парома) Lр определяют путем нанесения траектории движения парома на карту района плавания и измерения ее фактической длины, принимая при этом Куд = 1,0.

Таблица 2

Тип парома

Способ погрузки-выгрузки

ТЗ, мин

ТР, мин

Самоходный

Через оконечности судна

0,23 + 0,20ппр

0,20 + 0,12ппр

²

Через борт

1,65 + 0,13ппр

вместимостью не более ппр = 20 авт.

 

 

 

Несамоходный (буксируемый, толкаемый) из барж и самоходный вместимостью свыше ппр = 20 авт.

Через борт

Буксируемый катером по тросу или под бортом

Через оконечности судна

0,23 + 0,18 ппр

0,20 + 0,10 ппр

Самоходные и несамоходные толкаемые

Через носовую оконечность

Таблица 3

Тип парома

Способ буксировки

Тпр, мин

Тотч., мин

Самоходный

-

1,4

1,1

Несамоходный

Катером по тросу

1,2

0,8

²

Катером-толкачом

1,6

1,7

Таблица 4

Тип парома

Способ погрузки-выгрузки

Схема движения

КУД

Несамоходный

Продольный через оконечности

по тросу

1,2

То же

по прямой (рис. 4, д)

1,2

Через два борта

"восьмеркой" (рис. 4, а)

4,03LP-0,19

То же

"семеркой" (рис. 4, б)

3,23LP-0,16

Через один борт

по кругу (рис. 4, в)

4,03LP-0,19

Через носовую оконечность

"семеркой" (рис. 4, г)

3,23LP-0,16

Самоходный

Через оба борта

"восьмеркой" (рис. 3, а)

3,23LP-0,16

"

"семеркой" (рис. 3, б)

2,52LP-0,13

Через один борт

по кругу (рис. 3, в)

3,23LP-0,16

Через носовую оконечность

"семеркой" (рис. 3, г)

2,52LP-0,13

Продольный через оконечности

по z-образной траектории (рис. 3, д)

2,52LP-0,13

Таблица 5

Тип парома

nб, м/мин

Тип парома

nб, м/мин

Самоходные:

 

Буксируемые катером

 

речные

198

по тросу мощностью:

 

озерные

266

29-59 кВт (40-80 л.с.)

44

морские

336

59-96 кВт (80-130 л.с.)

80

Буксируемые катером-толкачом мощностью:

 

96-118 кВт (130-160 л.с.)

114

96-118 кВт (130-160 л.с.)

58

118-147 кВт (160-200 л.с.)

143

118-147 кВт (160-200 л.с.)

85

147-177 кВт (200-240 л.с.)

175

9. Для принятого типа парома в зависимости от мощности буксира определяют скорость движения парома vб, м/мин, по данным табл. 5.

При использовании других способов перемещения парома скорость его движения определяют на основании замеров.

10. Определяют время, потребное на преодоление водной преграды:

,                                                             (5)

где ТП - время на преодоление водной преграды, мин; КУД - коэффициент удлинения пути парома (см. п. 8); LР - расстояние между причалами, м; vб - скорость движения парома, м/мин.

11. Для расчетной среднегодовой суточной интенсивности движения Nсут, авт./сут (см. п. 2), по данным табл. 6 определяют величину коэффициента загрузки парома.

Таблица 6

Расчетная среднегодовая суточная интенсивность движения Nсут авт./сут

Коэффициент загрузки z

200-1000

0,65

1000-2200

0,70

2200-3600

0,75

12. Определяют для принятых условий расчетную пропускную способность паромной переправы (в приведенных к первой группе автомобилях):

суточную:

;                                    (6)

максимальную часовую:

.                                        (7)

13. При  и  принятый тип парома обеспечивает требуемую пропускную способность переправы.

При  принятый тип парома не обеспечивает пропуск транспортного потока расчетной среднегодовой суточной интенсивности движения по автомобильной дороге. В этом случае принимают паром большей вместимости и определяют пропускную способность паромной переправы для нового типа парома. При соответствующем технико-экономическом обосновании может быть принято два или несколько паромов в составе одной паромной переправы.

При , но , вопрос о принятии типа парома или назначения парома большей вместимости решается на основе технико-экономического обоснования с учетом простоев автомобилей в течение рассасывания очереди, образующейся при пропуске пиковых перевозок.

Пример расчета. I. Исходные данные:

расчетная суточная интенсивность движения NСУТ = 310 авт./сут;

состав транспортного потока: легковые автомобили - Р1 = 30 %; грузовые - Р3 = 55 %; грузовые тяжелые и автобусы - Р5 = 5 %; автопоезда - Р7 = 10 %;

ширина зеркала воды в месте переправы LР = 600 м;

тип парома - самоходный речной СП-60; схема движения - "восьмеркой" (см. рис. 3, а);

площадь грузовой палубы S = 180 м2;

количество часов работы переправы в сутки h = 18 ч.

II. Расчет.

1. По формуле (1) определяем расчетную часовую интенсивность движения NЧ = 0,1Nсут = 0,1×310 = 31 авт/ч.

2. По табл. 1 определяем значения коэффициентов приведения автомобилей к расчетной группе: легковых M1 = 1,0; грузовых М3 = 1,68; грузовых тяжелых и автобусов М5 = 2,64; автопоездов М7 = 4,45.

3. По формулам (2) и (3) определяем приведенные значения суточной и часовой расчетной интенсивности движения:

 авт./сут;

 авт./сут.

4. По формуле (4) определяем вместимость парома в расчетных автомобилях пПР = 0,09×S = 0,09×180 = 16,2 авт.

5. По формулам табл. 2 для самоходных паромов вместимостью менее пПР = 20 авт. с погрузкой-выгрузкой через борт определяем время на загрузку и разгрузку парома:

Т3 =  =  = 100,733 = 5,4 мин;

Тр = 1,65 + 0,13 nпр = 1,65 + 0,13×16,2 = 3,756 мин.

6. По табл. 3 определяем время причаливания и отчаливания парома: ТПР = 1,4 мин; ТОТЧ = 1,1 мин.

7. По формуле табл. 4, соответствующей схеме движения самоходного парома "восьмеркой", определяем значение коэффициента удлинения пути парома:

Куд = 3,23×LР-0,16 = 3,23×600-0,16 = 1,16.

8. По табл. 5 определяем скорость движения парома nб = 198 м/мин.

9. По формуле (5) определяем время, потребное на преодоление водной преграды Тп = КудLР/nб = 1,16×600/198 = 3,51 мин.

10. По табл. 6 при Nсут = 310 авт./сут определяем значение коэффициента загрузки парома z = 0,65.

11. По формулам (6) и (7) определяем суточную и годовую пропускную способность паромной переправы в расчетных автомобилях:

 = 749,6 авт./сут;

 = 64 авт./ч.

III. Вывод.

По результатам расчетов  = 749,6 авт./сут >  = 558,3 авт./сут,  = 64 авт/ч >  = 55,8 авт/ч.

Таким образом (см. п. 13 методики), можно сделать вывод, что принятый для условий примера тип парома обеспечивает требуемую пропускную способность паромной переправы.

ПРИЛОЖЕНИЕ 2

МЕТОДИКА ОПРЕДЕЛЕНИЯ ПРОПУСКНОЙ СПОСОБНОСТИ НАПЛАВНЫХ МОСТОВ

1. Исходными данными для расчета пропускной способности наплавного моста являются:

суточная интенсивность (расчетная) движения на дороге Nсут, авт./сут;

расстояние между шлагбаумами Lм, м;

величины пролетов для мостов на отдельных опорах l, м;

габарит проезжей части моста Г, м;

тип и состояние покрытия на мосту;

геометрические характеристики сечения пролетных строений и плавучих опор;

интенсивность судоходства на пересекаемой реке, Nсуд, суд/сут;

время, затрачиваемое на разводку моста для пропуска одного судна tР, мин;

количество часов работы моста в сутки h, ч.

2. За расчетную интенсивность движения принимается среднегодовая суточная интенсивность движения Nсут (авт./сут), рассчитанная на десятый год с начала ввода наплавного моста в эксплуатацию.

Расчетная часовая интенсивность движения определяется по формуле:

NЧ = 0,1NСУТ,                                                            (1)

где NЧ в авт./ч, NСУТ в авт./сут.

3. Назначается допускаемая (максимальная) скорость движения автомобилей на мосту. За расчетное значение допускаемой скорости nдоп (км/ч) принимается минимальное из определяемых значений по следующим критериям:

а) по обеспечению максимальной пропускной способности одной полосы движения vдоп = 30 км/ч;

б) в зависимости от типа и состояния покрытия на мосту по табл. 1.

Таблица 1

Покрытие

Новое

Отремонтированное

Неотремонтированное, объем повреждений, % площади

Менее 15

Более 15

Асфальтобетонное

50

40-50

20-35

10-20

Деревянное

25

20-25

8-10

5-6

в) в зависимости от ширины проезжей части по табл. 2.

Таблица 2

Ширина проезжей части, м

8

7,5

7,25

7

6,75

6,5

6-6,5

5,5-6

vДОП, км/ч

50

45

40

35

30

25

20

10

г) из расчета конструкции наплавного моста на прочность с учетом динамического воздействия подвижной нагрузки (критическая скорость), составляющая, как правило, не более 15-20 км/ч; если расчет наплавного моста на динамическое воздействие подвижной нагрузки не выполняется, то следует принимать значение vДОП = 10 км/ч.

4. Определяется расчетное расстояние LP (м) между автомобилями в колонне. Принимается большое значение из определенных исходя:

а) из условий торможения при внезапном падении груза из кузова автомобиля, идущего впереди:

,                                               (2)

где vДОП - принятое значение допускаемой скорости, км/ч (см. п. 3);

б) из расчета конструкций наплавного моста на прочность:

,                                                   (3)

где b - коэффициент, учитывающий жесткостные характеристики моста.

Для мостов на отдельных плавучих опорах значение коэффициента b, м-1, определяется по формуле:

,                                                    (4)

где F0 - расчетная площадь плавучей опоры по ватерлинии (средняя в пределах диапазона осадок), м2; g - плотность воды, т/м3; Е - модуль упругости материала пролетного строения, т/м2; I1 - момент инерции одной балки, м4; п - число балок в сечении; Кa - коэффициент, учитывающий снижение изгибной жесткости за счет стыков; принимается Кa = 0,5 для деревянных пролетных строений и Кa = 0,7 для металлических; l - длина пролета, м.

Для мостов-лент значение b определяется по формуле:

,                                                   (5)

где B0 - расчетная ширина моста по ватерлинии (средняя в пределах диапазона осадок), м; Iср - момент инерции продольного набора плавсредств моста-ленты, м4; Кa = 0,8 для мостов-лент из барж; Кa = 0,6 для мостов-лент из понтонов (типа ПМП).

5. Расчетная часовая пропускная способность для наплавных мостов с двусторонним движением транспорта (в двух направлениях) и для однопутных мостов с движением в одном направлении:

,                                            (6)

где Р - расчетная пропускная способность наплавного моста, авт/ч; А - число после движения, принимается А = 2 для двустороннего движения и А = 1 для одностороннего; nдоп - допускается скорость движения (см. п. 3), км/ч; LР - расчетное расстояние между автомобилями в потоке (см. п. 4) м; hР - относительное время перерывов в движении на разводку наплавного моста для пропуска судов:

,                                                         (7)

NСУД - интенсивность судоходства на пересекаемой реке, суд./сут; tР - время, затрачиваемое на разводку моста для пропуска одного судна, мин, определяется при разработке проекта моста или на основании фотохронометража разводок эксплуатируемых мостов; при отсутствии данных и для ориентировочных расчетов можно принимать tР = 15 мин; h - количество часов работы наплавного моста в сутки, ч.

6. Расчетная часовая пропускная способность наплавного моста с однопутным двусторонним (челночным) движением:

,                                         (8)

где РЧ - расчетная часовая пропускная способность, авт/ч; vДОП - допускаемая скорость движения (см. п. 3), км/ч; Lр - расчетное расстояние между автомобилями в потоке (см. п. 4), м; LМ - расстояние между шлагбаумами, м; hР - относительное время перерывов в движении на разводку наплавного моста для пропуска судов, определяемое по формуле (7); М - количество автомобилей, одновременно пропускаемых в одном направлении:

,                                                        (9)

NЧ - расчетная часовая интенсивность движения по дороге, определяемая по формуле (1), авт/ч; tР - время, затрачиваемое на разводку моста для пропуска одного судна, мин; КЭ - коэффициент, определяемый по табл. 3 в зависимости от количества автомобилей, одновременно пропускаемых в одном направлении М, и допускаемой скорости движения vДОП.

Таблица 3

Кол-во автомобилей, одновременно пропускаемых в одном направлении, М, авт

Допускаемая скорость nдоп, км/ч

10

20

25

30

40

5

1,40

1,40

1,30

1,25

1,20

10

1,75

1,75

1,65

1,53

1,41

20

2,10

2,10

1,94

1,80

1,62

60

2,41

2,41

2,20

2,05

1,81

7. Расчетная суточная пропускная способность наплавного моста

,                                                        (10)

где РСУТ - расчетная суточная пропускная способность моста, авт./сут; Р - расчетная часовая пропускная способность моста, авт/ч; h - количество часов работы наплавного моста в сутки, ч;

8. При Рсут>Nсут и РЧ>NЧ принятый наплавной мост обеспечивает требуемую пропускную способность.

При Рсут<Nсут принятая конструкция и габариты наплавного моста не обеспечивают требуемую пропускную способность. В этом случае необходимо на основе технико-экономического обоснования рассмотреть вопрос о принятии моста, обеспечивающего большую пропускную способность. Как один из вариантов, может быть рассмотрено устройство второй нитки моста.

При Рсут>Nсут, но РЧ<NЧ мост, пропуская суточную интенсивность движения на дороге, не справляется с пиковыми интенсивностями в течение суток. В этом случае вопрос о назначении моста с большей пропускной способностью должен решаться на основе технико-экономического расчета, сопоставляющего, капитальные вложения с потерями в народном хозяйстве от простоев автотранспорта за счет недостаточной пропускной способности при пиковых интенсивностях движения.

Пример расчета. I. Исходные данные: расчетная суточная интенсивность движения Nсут = 470 авт./сут; расстояние между шлагбаумами LM = 161,47 м; величины пролетов l = 6,5 (мост на отдельных плавучих опорах; габарит проезжей части моста Г = 5,5 м, движение одностороннее, челночное); покрытие на мосту - двойной дощатый настил, отремонтированное; балки пролетного строения - двутавр № 50; количество балок в сечении п = 11; размер плавучей опоры по ватерлинии 13´3,2 м; интенсивность судоходства NСУД = 70 суд/сут; время, затрачиваемое на разводку моста для пропуска одного судна, tn = 15 мин; количество часов работы моста в сутки, h = 24 ч.

II. Расчет. 1. По формуле (1) определяем расчетную часовую интенсивность движения NЧ = 0,1×NСУТ = 0,1×470 = 47 авт/ч.

2. Определяем допускаемую скорость движения по мосту:

из условия обеспечения максимальной пропускной способности одной полосы движения vдоп = 30 км/ч;

в зависимости от типа и состояния покрытия проезжей части (см. табл. 1) nдоп = 20-25 км/ч;

в зависимости от габарита проезжей части моста (см. табл. 2) vдоп = 10 км/ч;

поскольку расчет конструкции моста на прочность не выполнялся, то принимаем значение vдоп = 10 км/ч.

Для дальнейшего расчета принимаем наименьшее из определенных значений допускаемой скорости движения по мосту vдоп = 10 км/ч.

3. Определяем расчетное расстояние между автомобилями:

а) из условия торможения при внезапном падении груза из кузова автомобиля, идущего впереди,

 м;

б) из расчета конструкции наплавного моста на прочность.

Имея значения F0 = 13,0´3,2 = 41,6 м2 (площадь плавучей опоры по ватерлинии), g = 1,0 т/м3 (плотность воды), I1 = 3,9120×10-4 м4 (момент инерции одной балки), Е = 2,1×107 т/м2 (модуль упругости материала балки), Кa = 0,7 (коэффициент, учитывающий снижение изгибной жесткости за счет стыков для металлических пролетных строений), п = 11 (число балок в сечении), l = 6,5 м (величина пролета), по формуле (4) определяем значение коэффициента b, учитывающего жесткостные характеристики моста.

 м-1.

По формуле (3) определяем расчетное расстояние между автомобилями:

 м.

Для дальнейшего расчета принимаем большее из определенных значений расчетное расстояние между автомобилями L = 23,10 м.

4. Определяем часовую пропускную способность моста.

По формуле (7) находим относительное время перерывов движения на разводку моста для пропуска судов:

.

По формуле (9) определяем количество одновременно пропускаемых автомобилей в одном направлении:

 авт.

По табл. 3 для значений М = 6 и vдоп = 10 км/ч находим интерполяцией значение коэффициента Кэ = 1,47.

По формуле (8) определяем часовую пропускную способность наплавного моста с однопутным движением:

 авт/ч.

5. По формуле (10) определяем суточную пропускную способность наплавного моста:

Рсут = 24×35,6 = 854,4 » 855 авт./сут.

III. Вывод. По результатам расчетов:

Рсут = 855 авт./сут > Nсут = 470 авт./сут;

Рч = 36 авт/ч < Nч = 47 авт/ч.

Таким образом (см. п. 8 Методики), для условий примера принятая конструкция наплавного моста обеспечивает пропуск транспортного потока с расчетной суточной интенсивностью движения, но не обеспечивает пиковых часовых перевозок. Поэтому необходимо оценить потери в народном хозяйстве от простоев автотранспорта при пиковых интенсивностях движения в течение суток и определить целесообразность устройства наплавного моста, конструкция и параметры которого обеспечивают пропуск пиковых интенсивностей.

ПРИЛОЖЕНИЕ 3

РАСЧЕТ ЗАКРЕПЛЕНИЙ НАПЛАВНЫХ МОСТОВ

1. Расчет закреплений наплавных мостов производят на следующие сочетания нагрузок.

1.1. Продольные закрепления концов речной части за береговые якоря рассчитывают на восприятие половины тормозного усилия или половины продольного давления ветра на конструкции речной части (для каждого берега). Передача этих усилий на берега через конструкции пролетных строений переходных и береговых частей недопустима, если они не проверены расчетом на продольно-поперечный изгиб.

1.2. Верховое поперечное закрепление рассчитывают на восприятие горизонтального расчетного давления воды на плавучие опоры при наибольшей осадке от собственного веса моста и временной нагрузки на нем, которое суммируется с верховым давлением ветра на конструкции моста и транспортные средства на нем или с половиной горизонтальной нагрузки от поперечных ударов подвижного состава.

1.3. Низовое поперечное закрепление рассчитывают на разность давления воды на плавучие опоры и низового ветра, которые определяются при отсутствии на мосту временной нагрузки.

2. Расчетные значения горизонтальных усилий от торможения и поперечных ударов подвижного состава определяют в соответствии со СНиП 2.05.03-84.

3. Приходящееся на один трос усилие от ветрового давления определяют по формуле:

R1 = wåfiKci,                                                           (1)

где w - нормативная интенсивность поперечной ветровой нагрузки, принимаемая не менее 0,342 кПа (35 кгс/м2); fi - площадь парусных поверхностей пролетного строения, надводных частей опор и подвижного состава, м2; Ксi - их коэффициенты сплошности.

4. Расчетное поперечное усилие от давления воды на одну плавучую опору:

,                                                      (2)

где C0 - коэффициент сопротивления, зависящий от формы и соотношения размеров плавучей опоры и определяемый по табл. 1; Сl - коэффициент сопротивления, вызываемого образованием в пролетах волн, расходящихся от носовых обводов, определяется в зависимости от соотношения длины пролета моста и ширины плавучей опоры В:

l/B

1,0-1,1

1,5-2,0

2,5-3,0

Более 4

Сl

0,8

1,0

1,2

1,0

Сh - коэффициент сопротивления, учитывающий влияние мелководья; определяется по табл. 2 ; r - плотность воды, кг/м3; n - скорость течения, м/с; p - площадь подводного сечения плавучей опоры плоскостью, перпендикулярной течению воды, м2.

ТАБЛИЦА 1

Характеристика обводов

L

Схема плавсредства

С0

носовых

кормовых

Вертикальный транец

<3

1,25

>4,5

1,0

Санообразные a = 40-45°

>4,5

0,5

Санообразные

a = 20-25°

Вертикальный

транец

<3

0,6

>4,5

0,42

Санообразные a = 20-25°

>4,5

0,38

Лыжеобразные

>4,5

0,32

Утюгообразные

>4,5

0,29

Ложкообразные

>4,5

0,26

V-образные

Ложкообразные

>4,5

0,23

Лагом (бортом) к течению

-

0,9

5. Подбор якорного закрепления производится по величинам горизонтального сдвигающего усилия Rв (рис. 23) и выдергивающей вертикальной силы n’.

Горизонтальное сдвигающее усилие определяется по формулам (см. пп. 1.1 и 1.2):

для верхнего крепления:

Rв = R + R/cosa,                                               (3)

где a - угол между якорным тросом и направлением течения;

для низового закрепления:

Rн = R + R.                                                    (4)

Вертикальная выдергивающая сила определяется по формуле:

,                                               (5)

где L’ - длина якорного каната (см. рис. 23), м; р - погонный вес троса (цепи) в воде; для пеньковых и синтетических канатов р = 0,1.

Рис. 23. Расчетная схема якорного закрепления

Таблица 2

Вид переправы

H/t

Значения Сh при скорости течения или движения парома относительно воды, м/с

0,5

1,0

1,5

2,0

2,5

3,0

Паромы и мосты на отдельных плавучих опорах

2

-

1,6

1,65

2,25

3,3

4,5

1,35

3,5

5,0

8,0

11,0

12,8

4

-

1,05

1,07

1,3

1,75

2,7

1,15

1,35

1,5

2,0

2,7

3,3

6

-

1,0

1,02

1,05

1,12

1,25

1,1

1,2

1,4

1,7

2,0

2,2

8

-

1,0

1,0

1,0

1,01

1,05

1,1

1,15

1,2

1,3

1,35

1,45

Паромы-ленты и мосты-ленты

3

-

1,9

2,9

4,6

7,0

10,0

10,0

27,0

43,0

50,0

65,0

6

-

1,1

1,1

1,15

1,25

1,35

1,75

2,0

2,5

9,0

10,0

9

-

1,01

1,03

1,05

1,08

1,1

1,35

1,8

2,8

5,0

-

Примечания. 1. H - средняя глубина воды на участке; t - наибольшая осадка центра плавучих опор. 2. В числителе приведены значения Сh для паромов, в знаменателе - для мостов. 3. При наибольшем размере парома по ватерлинии, превышающем 0,1 ширины реки, значение коэффициента определяется линейной интерполяцией между значениями для моста и парома.

6. Якоря подбирают таким образом, чтобы вес его был не менее вертикальной выдергивающей силы, а горизонтальная сила - не менее 1,5 горизонтального сдвигающего усилия. Горизонтальная держащая сила определяется умножением веса якоря на коэффициенты, приведенные в табл. 3.

Таблица 3

Грунт дна

Коэффициент (число весов якоря) для якорей

Матросова

Холла

Адмиралтейских

Песчаный

4-8

2,0-2,7

2,7-3,3

Гравелистый, галечниковый

2,7-4,7

2,0-2,7

2,0-5,3

Илистый

7,3-11,5

1,3-2,0

1,3-2,7

Каменистый

6-12

2-4

2,0-5,3

Глинистый

3,3-6,0

6-9

7-10

Растительный

4-8

3-5

4-6

Среднее значение для всех грунтов

4,0-7,3

2,0-2,7

2-4

Примечание. Большее значение коэффициентов принимается для крупнозернистых (кроме валунных) и плотных грунтов дна.

7. Подбор якорных тросов (цепей) производят по наибольшему усилию, возникающему у плавучей опоры (см. рис. 1) и определяемому по формуле:

,                                                      (6)

где v’’ - вертикальная составляющая усилия:

,                                                       (7)

Канаты, тросы или цепи подбирают по усилиям, приведенным в соответствующих ГОСТах, со следующими запасами по прочности: канаты и тросы - 3; цепи без распорок - 2; с распорками - 1,5. Длину якорных тросов (цепей) следует принимать не менее 8-10 наибольших глубин на закрепляемом участке.

8. При использовании закреплений косыми оттяжками к берегам усилие Т увеличивается делением на косинус угла между оттяжкой и перпендикуляром к оси моста.

9. При закреплении моста за поперечный трос, натянутый между берегами, усилие в нем определяют по формуле:

,                                               (8)

где åRв - сумма усилий, действующих на плавучие опоры речной части; LM - длина речной (закрепляемой) части; LТ - расстояние между береговыми закреплениями троса; fr - стрелка прогиба троса в горизонтальном направлении; р - погонный вес троса; fв - вертикальная стрелка провиса троса.

10. Канаты (тросы) паромных переправ подбирают по усилию:

,                                                 (9)

где Rв - усилие, требующееся для удержания парома, определяется как для плавучей опоры моста (см. пп. 3, 4, 5).

Канат паромной переправы подбирают с тройным запасом по прочности.

Пример расчета. I. Исходные данные. Требуется подобрать верховое якорное закрепление в линии наплавного моста баржи-площадки при следующих условиях: полная длина баржи L0 = 66 м; длина баржи по ватерлинии L = 60 м; высота борта h = 2 м; осадка порожнем tП = 0,3 м; наибольшая осадка t = 0,4 м; средняя скорость течения v = 1,5 м/с; средняя глубина воды Нср = 5 м; наибольшая глубина на длине баржи Н = 8 м; дно реки - песчаное; удельное ветровое давление w = 0,35 кПа = 350 Н/м.

II. Расчет. I. Определяем усилие ветрового давления на борт баржи под нагрузкой по формуле (1):

R1 = wfKc = wL0(h-t)Kc = 350×66(2,0-0,4)×0,1 = 36960×Н = 36,96 кН.

2. Определяем усилие от давления воды.

Подводная площадь сечения судна:

p = L×t = 60×0,4 = 24,0 м2.

Коэффициент сопротивления C0 = 0,9 (см. табл. 1) для расположения судна лагом к течению. Для отношения L0/L = 66/60 = 1,1 находим значение Сl = 0,8.

По табл. 2 для отношения Нср/t = 5/0,4 = 12,5 находим значение коэффициента для мостов-лент Сh = 1,8.

При плотности воды р = 1000 кг/м3 по формуле (2) находим искомое усилие:

R2 = 0,9×0,8×1,8×24 = 34992Н = 34,992 кН.

3. По формуле (3) находим общее верховое расчетное сдвигающее усилие:

Rв = 36,96 + 34,992 = 71,952 кН.

4. Принимаем для закрепления два якоря Холла. По табл. 3 для песчаных грунтов находим значение коэффициента горизонтальной держащей силы, равное 2,7 весам якоря. Тогда с учетом 1,5 запаса находим необходимый вес якоря:

Р =  = 19,99 кН.

Следовательно, для закрепления баржи необходимо два якоря Холла массой по 2250 кг каждый. Вес якоря 22,07 кН обеспечивает его надежную работу, так как больше требуемого по расчету (Р = 19,99 кН).

5. Принимаем якорные цепи без распорок калибра 16 мм с разрывным усилием 96 кН, массой 5,64 кг/м. Длина цепи (см. п. 7) должна быть L = 10×Н = 10×8 = 80 м.

6. Учитывая уменьшение веса цепи в воде на 1/8, по формуле (5) находим вертикальную выдергивающую силу:

 кH,

что допустимо меньше принятого веса якорей (22,07 кН).

7. Определяем усилие в цепи у баржи. По формуле (7) находим вертикальную составляющую от веса цепи:

 кН.

Тогда по формуле (6) общее усилие в цепи:

 кН.

Запас прочности цепи 96/3645 = 2,63, что больше 2 (см. п. 7) и допустимо.

III. Вывод. Таким образом, для закрепления баржи в линии моста при условиях примера достаточно двух якорей Холла массой 2250 кг и якорных цепей без распорок калибром 16 мм.

ПРИЛОЖЕНИЕ 4

НОРМЫ СНАБЖЕНИЯ СУДОВ ПЕРЕПРАВ СПАСАТЕЛЬНЫМИ СРЕДСТВАМИ (ИЗВЛЕЧЕНИЯ ИЗ ПРАВИЛ КЛАССИФИКАЦИИ И ПОСТРОЙКИ СУДОВ ВНУТРЕННЕГО ПЛАВАНИЯ)1

1 Речной Регистр РСФСР. Т. 3. М.: Транспорт, 1985. 301 с.

1. Нормы снабжения судов спасательными средствами зависят от размеров, назначения судна и разряда района плавания.

2. Деление водных бассейнов на разряды Л", "Р", "О" и "М" приведено в Правилах Речного Регистра РСФСР по следующим признакам:

в бассейнах разрядов "Л", "Р" и "О" волны 1 %-ной обеспеченности высотой соответственно 0,6; 1,2 и 2 м имеют суммарную повторяемость (обеспеченность) не более 4 % навигационного времени;

в бассейнах разряда "М" волны 3 %-ной обеспеченности высотой 3 м имеют суммарную повторяемость (обеспеченность) не более 4 % навигационного времени.

3. В бассейнах разрядов "Л", "Р", "О" и "М" суда соответствующих разрядам классов допускаются к плаванию при волнах высотой соответственно 0,6; 1,2; 2 и 3 м. Класс судна, эксплуатирующегося постоянно в бассейне данного разряда, должен быть не ниже соответствующего разряда этого бассейна.

4. Нормы снабжения различных типов судов спасательными средствами приведены в табл. 1-3.

5. Самоходные паромы, эксплуатируемые на переправах рек и каналов разрядов "Л" и "Р", допускается снабжать на каждые 5 м габаритной длины парома одним спасательным кругом. При этом прочие спасательные средства, предусмотренные табл. 1, не требуются.

6. Несамоходные паромы, эксплуатируемые на переправах рек и каналов разрядов "Л" и "Р", следует снабжать на каждые 5 м габаритной длины парома одним спасательным кругом. Паромы, эксплуатируемые в бассейнах разрядов "М" и "О", следует снабжать по нормам табл. 1.

7. На дебаркадерах, брандвахтах и плавучих причалах длиной 30 м и менее должно быть по 2 спасательных круга на каждой палубе, а длиной более 30 м - по 4. Один из кругов, расположенных на главной палубе, должен быть со спасательным линем. Корпуса дебаркадеров и причальных понтонов по всему периметру вблизи ватерлинии должны быть обнесены спасательным леером.

Таблица 1

Разряд района плавания судна

Длина судна, м

Общее количество пассажиров и членов экипажа, обеспечиваемых спасательными средствами, %

Кол-во спасательных кругов, шт.

 

на каждой палубе, куда разрешен доступ пассажирам

в том числе

 

с самозажигающимся буйком

со спасательным линем

шлюпками

приборами

жилетами или нагрудниками

 

"М"

£10

-

-

100

1

-

-

 

11-20

-

50

100

2

1

1

 

21-60

15

35

100

4

2

2

 

"О"

>60

15

35

100

6

2

2

 

£10

-

-

100

1

-

-

 

11-20

-

25

100

2

-

1

 

21-60

7,5

17,5

100

4

1

1

 

>60

7,5

17,5

100

6

1

1

 

"Р"

£10

-

-

100

1

-

-

 

11-30

-

20

30

2

-

1

 

31-60

7,5

17,5

30

4

-

1

 

>60

7,5

17,5

30

6

1

1

 

"Л"

£10

-

-

100

1

-

-

 

11-30

-

20

30

2

-

-

 

>30

-

15

30

4

-

-

 

Примечание. На судах класса "Л " длиной более 30 м следует устанавливать спасательную шлюпку вместимостью 7 чел.

Таблица 2

Разряд района плавания судна

Длина судна, м

Общее количество пассажиров и членов экипажа, обеспечиваемых спасательными средствами, %

Число спасательных кругов, шт.

 

Всего

В том числе

 

с самозажигающимся буйком

со спасательным линем

шлюпками

приборами

жилетами или нагрудниками

 

"М"

30

-

100

100

2

1

1

 

30

100

-

100

4

1

2

 

"О"

30

-

100

100

2

-

1

 

30

100

-

100

4

-

1

 

"Р"

60

-

50

100

2

-

1

 

60

50

-

100

4

-

1

 

"Л"

60

-

-

100

2

-

-

 

60

-

-

100

4

-

-

 

Таблица 3

Разряд района плавания судна

Длина судна, м

Кол-во членов экипажа, обеспечиваемых спасательными средствами, %

Число спасательных кругов, шт.

Всего

В том числе

шлюпками

приборами

жилетами или нагрудниками

с самозажигающимся буйком

со спасательным линем

"М"

30

-

100

100

2

1

1

30

100

-

100

4

1

1

"О"

30

-

100

100

2

-

1

30

100

-

100

4

-

1

"Р"

Любая

-

-

100

2

-

-

"Л"

"

-

-

100

2

-

-

ПРИЛОЖЕНИЕ 5

НОРМЫ АВАРИЙНОГО СНАБЖЕНИЯ ПЛАВСРЕДСТВ (ИЗВЛЕЧЕНИЯ ИЗ ПРАВИЛ КЛАССИФИКАЦИИ И ПОСТРОЙКИ СУДОВ ВНУТРЕННЕГО ПЛАВАНИЯ)1

1 Речной регистр РСФСР. Т. 3. М.: Транспорт, 1985. 301 с.

1. В части аварийного снабжения суда в зависимости от типа, класса и длины корпуса подразделяются на восемь групп:

I - самоходные суда классов "М" и "О" с длиной корпуса более 90 м;

II - самоходные суда классов "М" и "О" с длиной корпуса от 40 до 90 м включительно;

III - самоходные суда классов "М" и "О" с длиной корпуса до 40 м включительно и классов "Р" и "Л" с длиной корпуса более 70 м;

IV - самоходные суда классов "Р" и "Л" с длиной корпуса от 30 до 70 м включительно;

V - самоходные суда классов "Р" и "Л" с длиной корпуса от 15 до 30 м включительно;

VI - несамоходные суда классов "М" и "О";

VII - несамоходные суда классов "Р" и "Л" с длиной корпуса от 20 м и более;

VIII - несамоходные стоечные суда (дебаркадеры, брандвахты, понтоны и т. п.).

2. Нормы аварийного снабжения по группам судов приведены в табл. 1.

3. На самоходных судах классов Т" и "Л" длиной корпуса менее 15 м, а также несамоходных судах с командой классов "Р" и "Л" длиной корпуса менее 20 м по решению судовладельца в зависимости от района плавания и назначения судна допускается не иметь аварийного снабжения за исключением слесарного и такелажного инструмента.

4. Буксирные суда, работающие с несамоходными судами без судовых команд, следует доукомплектовывать дополнительным аварийным снабжением из расчета: с одним судном - до норм одного несамоходного судна, а с двумя и более судами - до норм двух комплектов снабжения для несамоходных судов соответствующих групп.

Таблица 1

Наименование

Число предметов снабжения по группам

I

II

III

IV

V

VI

VII

VIII

Пластырь мягкий, облегченный 3,0´3,0 м, шт.

1

-

-

-

-

-

-

-

Пластырь шпигованный 2,0´2,0 м, шт.

-

1

-

-

-

-

-

-

Пластырь парусиновый или учебный, шт.

-

-

1

-

-

1

-

-

Оборудование пластыря, комплект

1

1

1

-

-

1

-

-

Мат шпигованный, 0,4´0,5 м, шт.

2

2

1

1

-

-

-

-

Парусина полульняная СКПВ, м2

-

-

-

4

4

-

2

2

Комплект такелажного инструмента в сумке

1

1

1

1

1

1

1

1

Цемент быстротвердеющий марки не ниже 400, кг

100

75

50

75

50

100

50

100

Песок строительный, кг

150

100

75

100

75

150

75

150

Стекло жидкое, кг

5

4

2,5

4

2,5

5

2,5

5

Эпоксидная смола в комплекте с отвердителем, кг

5

5

5

2

2

5

2

5

Брус сосновый, 150´150´4000 мм, шт.

4

4

4

-

-

-

-

-

Брус сосновый, 100´100´2000 мм, шт.

2

2

2

2

2

6

2

4

Доска сосновая, 50´200´4000 мм, шт.

4

2

-

-

-

2

-

-

Доска сосновая, 50´200´2000 мм, шт.

2

2

2

2

-

2

2

2

Доска сосновая, 20´150´2000 мм, шт.

-

-

2

2

2

2

2

2

Клин березовый, 60´200´400 мм, шт.

4

4

2

-

-

4

2

2

Клин сосновый, 30´200´200 мм, шт.

8

8

8

6

4

6

6

4

Клин сосновый, 50´150´200 мм, шт.

2

2

2

-

-

2

-

-

Пробка сосновая для судов с бортовыми иллюминаторами, шт.

2

2

1

1

1

2

1

4

Пробка сосновая, 10´30´150 мм, шт.

4

4

2

2

2

2

2

2

Войлок технический, грубошерстный, S = 10 мм, м2

1,5

1,5

1,0

1,0

0,6

1,0

0,6

0,6

Резина листовая S = 5 мм, м2

0,5

0,5

0,5

0,25

0,25

0,25

0,25

0,25

Пакля смоляная ленточная, кг

20

15

10

5

3

10

5

5

Проволока стальная, низкоуглеродистая Æ 3 мм, моток

1

0,5

0,5

-

-

0,5

-

-

Скоба строительная 0,12 мм, шт. дл. 300 мм, шт.

4

2

2

-

-

2

-

-

Гвозди строительные 3´7 мм, кг

3

2

2

1

1

2

1

1

Гвозди строительные 6´150 мм, кг

4

3

2

2

1

2

2

2

Болт с шестигранной головкой М16´400, шт.

4

2

-

-

-

2

-

-

Болт с шестигранной головкой М16´260, шт.

2

2

4

4

2

2

2

2

Шестигранная гайка М16, шт.

8

6

6

6

4

6

4

4

Шайба под гайку М16, шт.

16

12

12

12

8

12

8

8

Сурик железный густотертый, кг

5,0

2,5

2

1

-

2,5

1

1

Жир технический, кг

5,0

2,5

2

1

-

2,5

2

1

Пила поперечная, двухручная по дереву l = 1200 мм, шт.

1

1

1

1

1

1

1

1

Пила-ножовка поперечная по дереву l = 615 мм, шт.

1

1

1

1

1

1

1

1

Топор строительный, шт.

1

1

1

1

1

1

1

1

Топорище для топора, запасное, шт.

1

1

1

1

1

1

1

1

Кувалда кузнечная тупоносая, массой 5 кг, шт.

1

1

1

1

1

1

1

1

Лопата подборная ЛП, шт.

2

2

2

1

1

1

1

1

Совок для песка, шт.

1

1

1

1

1

1

1

1

Ведро оцинкованное, конусное со штертом, шт.

2

2

2

2

1

1

1

1

Упор раздвижной, металлический длиной 1,7 м, шт.

2

2

2

-

-

1

-

-

Струбцина аварийная, шт.

1

1

-

-

-

1

-

-

Фонарь ручной, аккумуляторный, взрывозащищенный, шт.

1

1

1

1

-

1

-

-

Тара непроницаемая для цемента вместимостью 50 кг, шт.

Определяет проектант или судовладелец

Банки вместимостью 5 кг для хранения сурика, жидкого стекла и технического жира, шт.

То же

Ящик для хранения инвентаря и снабжения, шт.

"

Багор с рогом (на суда с деревянными надстройками), шт.

2

2

2

2

1

1

1

1

Журнал учета аварийного снабжения, шт.

1

1

1

1

1

1

1

1

ПРИЛОЖЕНИЕ 6

НОРМЫ ПОЖАРНОГО СНАБЖЕНИЯ СУДОВ ПЕРЕПРАВ (ИЗВЛЕЧЕНИЯ ИЗ ПРАВИЛ КЛАССИФИКАЦИИ И ПОСТРОЙКИ СУДОВ ВНУТРЕННЕГО ПЛАВАНИЯ)1

1 Речной Регистр РСФСР. Т. 3. М.: Транспорт, 1985. 301 с.

1. Суда внутреннего плавания должны быть укомплектованы пожарным снаряжением и инвентарем по нормам, приведенным в табл. 1.

2. Все предметы пожарного снабжения должны быть размещены так, чтобы был обеспечен к ним легкий доступ, и поддерживаться в таком состоянии, чтобы в любое время они были готовы к действию.

3. Металлические ящики с песком необходимо устанавливать в котельных помещениях (с фронтовой стороны котлов), в районе фонарей и малярной, а также у мест приема и раздачи топлива.

В машинных и насосных помещениях установка ящиков с песком не допускается. В этих помещениях должны быть установлены ящики с пропитанными содой древесными опилками. Вместо одного ящика с песком или опилками может быть допущен один переносной пенный или поршневой огнетушитель.

4. Покрывала для тушения пламени должны быть достаточно плотными и прочными; изготовлены из асбестовой ткани толщиной 3,5 мм, снабженной облицовкой из материала, пропитанного огнезащитным составом или чистого плотного войлока, пропитанного огнезащитным составом; иметь размеры 1,5´2 м и храниться в специальных футлярах, изготовленных из тонкого железного листа, или же в шкафчиках с легко открывающимися дверцами или крышками.

5. Комплекты пожарного инструмента должны удовлетворять следующим требованиям:

один комплект должен содержать топор пожарный, лом пожарный, багор пожарный;

весь пожарный инструмент должен быть размещен и укреплен на штатных металлических щитах в легкодоступных местах. Щиты и инструмент должны быть окрашены в красный цвет.

6. На пожарных ведрах должна быть пеньковая веревка достаточной длины. Их следует хранить на открытых палубах в суппортах. Ведра должны быть окрашены в красный цвет и иметь надпись "Пожарные".

7. Комплект снаряжения для пожарных должен содержать: пожарный шлем, обеспечивающий эффективную защиту от удара; защитную одежду из материала, способного защитить кожу от теплоты, излучаемой при пожаре, от ожогов и пара; наружная поверхность защитной одежды должна быть водостойкой; ботинки и перчатки из неэлектропроводного материала; переносной аккумуляторный фонарь безопасной конструкции, рассчитанный на горение не менее 3 ч; пожарный топор с ручкой из дерева твердых пород, а ручки, изготовленные из другого материала, должны быть покрыты изоляцией, не проводящей электричество; дыхательный аппарат типа, одобренного органами пожарной охраны и санитарного надзора.

8. Снабжение судов переносными огнетушителями в зависимости от назначения помещений следует принимать по нормам, приведенным в табл. 2.

9. Пожарный инвентарь судов длиной до 20 м должен соответствовать нормам, приведенным в табл. 3, и удовлетворять требованиям, изложенным в пп. 2-6 настоящего приложения.

Таблица 1

Тип судна

Покрывала для тушения пламени, шт.

Инструмент пожарный, комплект

Ведро пожарное, шт.

Снаряжение для пожарных, комплект

Пассажирские суда, длиной, м:

 

 

 

 

30

1

1

4

-

30-65

1

2

8

-

65-100

2

4

12

2

100

3

6

15

3

Нефтеналивные суда и суда для перевозки автотранспорта с топливом в баках с воспламеняющимися жидкостями в таре, м

 

 

 

 

30

2

1

2

-

30-65

3

1

4

2

65-100

4

2

4

2

100

4

2

4

3

Прочие суда, м:

 

 

 

 

30

1

1

2

-

30-65

1

1

4

-

65-100

2

2

4

2

100

2

2

4

2

Таблица 2

Помещения судна

Вид огнетушителя

Число огнетушителей на одно помещение

Посты управления

Углекислотный или порошковый

1

Помещения с электро- и радиооборудованием

То же

1

Машинные отделения с главными или вспомогательными двигателями, работающими на жидком топливе

Пенный или порошковый

На судах с мощностью до 110 кВт допускается 1 огнетушитель

Котельные отделения с главными или вспомогательными котлами, работающими на жидком топливе

То же

1 на каждый котел

Камбузы с оборудованием, работающем на жидком топливе

²

1

Камбузы с оборудованием, работающем на электричестве или газе

Углекислотный или порошковый

1

Кладовые для хранения легковоспламеняющихся и горючих материалов

Пенный или порошковый

1

Помещения с электрогенераторами суммарной мощностью, более 200 кВт

Порошковый или углекислотный

1 дополнительно к снабжению соответствующего помещения

Помещения с электрическими распределительными щитами

То же

2; при размещении распределительного щита в МО дополнительно 1 огнетушитель к снабжению МО

Грузовые насосные помещения и станции раздачи топлива

Пенный или порошковый

1

Жилые и служебные помещения

То же

2 для каждой группы с общим коридором

Изолированные помещения, отапливаемые или охлаждаемые с оборудованием всех типов, которые применяются в качестве топлива, твердое или жидкое топливо или сжиженный газ

Пенный или порошковый

1

Открытие палубы на пассажирских судах

То же

По 1 на каждой палубе длиной до 20 м или 2 огнетушителя на каждой палубе длиной более 20 м

Открытые палубы на остальных судах, за исключением наливных судов

²

По 1 для судов длиной до 20 м и по 2 огнетушителя для судов длиной более 20 м

Таблица 3

Наименование

Нормы пожарного снабжения судов

Огнетушители ручные, переносные:

 

порошковые или пенные

1 огнетушитель в машинном помещении, 1 огнетушитель в камбузе, работающем на газе, жидком или твердом топливе

порошковые или углекислотные

1 в помещении, где расположено оборудование для управления судном

Металлический ящик с песком или сухими опилками, пропитанными содой

1 у мест приема и раздачи топлива

Покрывала (кошма, асбест)

1 в машинном помещении

Ведра

2 на судно

Пожарный инструмент

1 комплект на судно

ПРИЛОЖЕНИЕ 7

НОРМЫ НАВИГАЦИОННОГО ОБОРУДОВАНИЯ И СНАБЖЕНИЯ СУДОВ ПЕРЕПРАВ (ИЗВЛЕЧЕНИЯ ИЗ ПРАВИЛ КЛАССИФИКАЦИИ И ПОСТРОЙКИ СУДОВ ВНУТРЕННЕГО ПЛАВАНИЯ)1

1 Речной Регистр РСФСР. Т. 3. М.: Транспорт, 1985. 301 с.

1. Для определения норм оборудования и снабжения навигационными приборами, инструментом и пособиями суда подразделяют на 5 категорий:

I - пассажирские суда длиной более 20 м;

II - самоходные грузовые, буксирные, промысловые, служебно-вспомогательные суда (ледоколы, разъездные катера) длиной более 20 м;

III - несамоходные суда;

IV - самоходные суда технического флота (самоходные краны, дноуглубительные снаряды, грунтоотводные шаланды) длиной более 20 м;

V - самоходные суда всех типов и назначений длиной до 20 м включительно.

2. Навигационное оборудование и снабжение судов следует принимать по нормам, приведенным в табл. 1, в зависимости от класса и категории судна.

Таблица 1

Наименование

Класс и категория судна

"М"

"О"

"P"

"Л"

I и II

III

IV

V

I и II

III

IV

V

I

II

III

IV

V

I и II

III

IV

V

Главный магнитный компас с пеленгатором

1

-

-

-

-

-

-

-

-

-

-

-

-

-

-

-

-

Путевой магнитный компас с компасной лупой

1

-

1

1

1

-

-

-

1*

-

-

-

-

-

-

-

-

Лаг

1**

-

-

-

-

-

-

-

-

-

-

-

-

-

-

-

-

Судовые часы

2

-

2

1

1

-

1

1

1

1

-

1

1

1

-

1

1

Барометр-анероид

1

-

1

1

1

-

1

1

-

-

-

-

-

-

-

-

-

Секундомер

1

-

1

1

1

-

-

1

1*

1*

-

-

-

-

-

-

-

Анемометр

1

-

1

1

1

-

-

1

1*

1*

-

-

-

-

-

-

-

Бинокль призменный для наблюдения в любое время суток

2

1

2

2

2

-

1

1

2

2

-

1

-

2

-

-

-

Ручной лот с лотлинем

1

-

1

1

1

-

1

1

1*

1*

-

-

-

-

-

-

-

Наметки (футштоки)

2

2

2

2

2

2

2

2

2

2

2

2

2

2

2

2

2

Кренометр

1

1

1

1

1

-

1

1

1

1

-

1

1

1

-

1

1

Термометр для измерения температуры наружного воздуха

1

-

1

1

1

-

1

1

1

1

-

1

1

1

-

1

1

Транспортир

1

-

1

1

1**

-

-

-

-

-

-

-

-

-

-

-

-

Параллельная линейка

1

-

1

1

1**

-

-

-

-

-

-

-

-

-

-

-

-

Циркуль-измеритель

1

-

1

1

1**

-

-

-

-

-

-

-

-

-

-

-

-

Карты района плавания (комплект)

1

-

1

1

1**

-

-

-

-

-

-

-

-

-

-

-

-

Грузики для карт

4

-

4

4

4**

-

-

-

-

-

-

-

-

-

-

-

-

Лоции района плавания

1

-

1

1

1**

-

-

-

-

-

-

-

-

-

-

-

-

Лупа

1

-

1

1

1**

-

-

-

-

-

-

-

-

-

-

-

-

Примечания. 1. Суда на подводных крыльях и воздушной подушке допускается не снабжать лагами. 2. Суда на подводных крыльях и воздушной подушке допускается снабжать одной наметкой (футштоком). 3. На судах, оборудованных эхолотом, допускается иметь одну наметку (футшток). 4. Суда III категории следует снабжать приборами, инструментом и пособиями только при наличии на них постоянной команды. 5. Нормы навигационного оборудования и снабжения, обозначенные сносками, относятся: * - только к судам, плавающим в озерах и водохранилищах разряда "P"; ** - только к судам, выходящим в прибрежные морские районы.

ПРИЛОЖЕНИЕ 8

СХЕМЫ ОКРАСКИ ПЛАВСРЕДСТВ ПАРОМНЫХ ПЕРЕПРАВ И НАПЛАВНЫХ МОСТОВ

1. Все плавсредства паромных переправ и наплавных мостов должны быть окрашены в зависимости от их назначения в соответствии с Правилами окраски судов Министерства речного флота РСФСР, на основании извлечений из которых дано настоящее приложение.

Номера схем окраски основных наружных поверхностей плавсредств приведены в табл. 1, а прочих наружных поверхностей - в табл. 2. Номера схем окраски в зависимости от материала окрашиваемой поверхности даны в трех горизонтальных строках: в первой - для стали и дерева, во второй - для алюминиевых сплавов, в третьей - для стеклопластика. Номера основных схем окраски и наименования основных цветов даны первыми, следующие за ними по порядку номера схем окраски даны, как заменяющие.

2. Детали устройств, конструкций и оборудования, не приведенные в табл. 1, 2, должны окрашиваться в цвета тех поверхностей, на которых они установлены или вблизи которых расположены.

3. Все данные по схемам окраски, рекомендуемым в табл. 1 и 2, приведены в табл. 3.

4. При перекраске старых покрытий должны применяться материалы, которые были использованы для нанесения последнего слоя этих покрытий, а при отсутствии таких материалов - в сочетаниях, приведенных в табл. 4.

5. Периодичность окраски приведена в табл. 5.

Таблица 1

Окрашиваемая поверхность

Цвет и номера схем окраски различных плавсредств

Паромы самоходные

Паромы несамоходные

Буксиры

Ледоколы

Понтоны для причаливания паромов

Дебаркадеры и брандвахты

Днище и борт на 200 мм ниже ватерлинии порожнем (в том числе дейдвудные трубы, рули и выступающие части корпуса)

Не регламентируется

1,2

1

I

I

I

I

Пояс переменной ватерлинии и другие поверхности корпуса в районе переменной ватерлинии, включая 200 мм ниже ватерлинии порожнем

Красный, красно-коричневый

Красно-коричневый, красный

Красно-коричневый, красный

Красный, красно-коричневый

Красно-коричневый, красный

Красно-коричневый, красный

13, 12, 15, 16

15, 16, 13, 12

13, 16, 15, 12

13, 12, 15, 16

13, 16, 15, 12

13, 16, 15, 12

Надводный борт выше пояса переменной ватерлинии. Обносы снизу (кроме района жилых помещений), фальшборт на главной палубе снаружи. Упоры для толкания

Светло-серый, шаровый, черный (для судов грузоподъемностью менее 300 т)

Красно-коричневый, черный

Черный, красно-коричневый

Светло-серый, шаровый, черный

Светло-серый, шаровый, черный, красно-коричневый

Светло-серый, шаровый, черный

 

20, 21, 22, 23

24, 23, 21, 22, 25

21, 23, 22, 24, 25

20, 21, 22, 23

20, 21, 22, 23, 24, 25

20, 21, 22, 23, 25

Стены надстроек и рубок, световые фонари, входные тамбуры, кожуха дымовых труб (кроме паровых буксирных судов и судов технич. флота), фальшборт надстроек снаружи и внутри, леерное ограждение, козырек фальшборта на главной палубе. Шлюпбалки. Вентиляционные головки высотой более 200 мм Стойки, тетива трапов снаружи

Белый, палевый, слоновая кость

Бежевый, охра

Бежевый, охра, палевый

Белый

Бежевый, охра, палевый

Салатный, фисташковый

20, 21, 22

21, 22

21, 22

20, 21, 22

21, 22

21, 22

38, 39, 40

-

-

38, 39, 40

-

-

Палубы главные (деревянные из стеклопластика и малоходовые участки металлических труб, не имеющих специальных покрытий), комингсы и крышки входных люков. Фундаменты под палубные механизмы, кильблоки. Вентиляционные головки и мелкие детали высотой 50-150 мм на стенках надстроек, ограждениях и других вертикальных поверхностях, ступени трапов

Красно-коричневый

Красно-коричневый

Красно-коричневый

Красно-коричневый

Красно-коричневый

Красно-коричневый, светло-серый, шаровый

33, 25

33, 25

33, 25

33, 25

33, 25

33, 21, 22, 20

Палубы надстроек (деревянные, из стеклопластика и малоходовые участки металлических палуб; не имеющих специальных покрытий) и другие поверхности, приведенные в п. 5 (расположенные на палубах надстроек)

Светло-серый, шаровый

Светло-серый, шаровый

Светло-серый, шаровый

Светло-серый, шаровый

Светло-серый, шаровый

Светло-серый, шаровый

20, 21, 22

20, 21, 22

20, 21, 22

20, 21, 22

20, 21, 22

20, 21, 22

Привальный брус

Светло-серый, шаровый, черный

Красно-коричневый, черный

Черный, красно-коричневый

Светло-серый, шаровый, черный

Светло-серый, шаровый, красно-коричневый

Светло-серый, шаровый, черный

20, 21, 22, 23

24, 23, 21, 22, 25

21, 22, 23, 24, 25

20, 21, 22. 23

20, 21, 22, 24, 25

24, 23, 21, 22, 25

Таблица 2

Окрашиваемая поверхность

Цвет и номера схем окраски

Полоса шириной 50-100 мм на надворном борту наносится вверх от грузовой ватерлинии (транспортные, сухогрузные, наливные, буксирные пожарные суда и служебно-разъездные при темном корпусе)

Белый

47

Полоса шириной 150 мм (наносится вниз от линии главной палубы) на черном надводном борту судов смешанного плавания при высоте надводного борта более 2 м

Белый

47

Палуба под деревянным настилом

Не регламентируется

35

43

Настил палубный снизу, привальный брус (деревянные):
поверхность, прилегающая к стали

Не регламентируется

35

поверхность, прилегающая к легким сплавам

Не регламентируется

43

Надводный борт под привальным брусом

Не регламентируется

36

3

Обносы снизу в районе жилых помещений

Не регламентируется

Белый

20, 21, 22

Якоря:
суда с белым надводным бортом

Белый

20, 21, 22

прочие суда

Черный

21, 22, 23

Якорные цепи

Черный

21, 22, 23

Якорные клюзы:

суда с белым подводным бортом:

со стороны палубы

Цвет палубы 20, 21, 22

со стороны борта

Белый

20, 21, 22

прочие суда

Черный

21, 22, 23

Фальшборт на главной палубе (внутри)

Белый, палевый, слоновая кость

20, 21, 22

38, 39, 40

Комингсы и крышки грузовых трюмов

Светло-серый, шаровый

20, 21, 22

Палубные механизмы. Фундаменты под палубные механизмы на судах наливного флота I категории

Светло-серый, шаровый

20, 21, 22

Грузовые устройства на палубах

Бежевый, слоновая кость, палевый, светло-серый

21, 22, 20

Буксирные дуги

Желтый и черный (перемежающиеся полосы шириной 200-250 мм)

21, 22

Кнехты, киповые планки, утки, тросовые вьюшки и другие швартовые и буксирные устройства

Светло-серый, черный

20, 21, 23

Подволоки открытых палуб

Белый

20, 21, 22, 27

38, 39, 40

Окрашиваемая поверхность

Цвет и номера схем окраски

Мачты, флагштоки, клотики

Белый, палевый, слоновая кость

20, 21, 22

38, 39, 40

Кожухи дымовых труб и дымоходов на судах технического флота и буксирных паровых

Черный

34, 22, 23

Крыши дебаркадеров, брандвахт, плавучих мастерских

Темно-зеленый, светло-серый

21, 22, 20

Пиллерсы, наличники, рамы и двери дебаркадеров, брандвахт (на остальных судах - в цвет надстройки)

Белый

20, 21, 22, 27

Планшири (фальшбортов и т. д.) и поручни деревянные, окрашиваемые

Красно-коричневый, слоновая кость, палевый

24, 21, 22

Круги спасательные и другие спасательные средства

Красно-оранжевый

21

39

45

Таблица 3

№ схемы

Материал окрашиваемой поверхности

Грунтовки и краски

Число слоев

Цвет покрытия

1

Сталь, дерево

Краска ЭКЖС-40

4

Красно-коричневый

2

Сталь

Краска ЭКЖС-40

Краска ХВ-53 (ХВ-79)

4

1-2

"

3

Легкие сплавы

Грунтовка ВЛ-02 (ВЛ-08, ВЛ-023)

1

 

Краска ХС-720А

3

Алюминиевый

12

Сталь

Грунтовка ВЛ-023

1

 

Краска ХС-747

4

 

Краска ХВ-142

2

Красный

13

"

Краска ЭКЖС-40

3

 

Краска ЭПКК-67

2

"

15

"

Грунтовка № 81

1

 

Грунтовка № 83

2

Красно-коричневый

16*

"

Краска ЭКЖС-40

2

 

Краска ЭВК-8 (ЭВК-14)

2

"

20

Сталь, дерево

Грунтовка ФЛ-03к (ФЛ-03кк)

1

 

Эмаль ПФ-167 (ГФ-156)

2

Белый, светло-серый

21

То же

Грунтовка ФЛ-03к (ФЛ-03кк)

1

Белый, светло-серый, слоновая кость, фисташковый, салатный, зеленый, желтый, красно-оранжевый, бежевый, серо-голубой, черный, красный

Эмаль ПФ-115

1

22

Сталь, дерево

Грунтовка № 71

1

Белый, светло-серый, серо-голубой, черный, слоновая кость, палевый, бежевый, салатный, фисташковый, красный, зеленый, охра, желтый, шаровый

Краски масляные

2

23

Сталь

Грунтовка ФЛ-03к (ФЛ-03кк)

1

 

Эмаль МС-17

2

Черный

24

Сталь, дерево

Грунтовка ФЛ-03к (№ 71)

3

Красно-коричневый

25

Сталь

Грунтовка ВЛ-023 (№ 71)

3

Красно-коричневый, черный, алюминиевый

Краска ВК-8 (ЭВК-14, ЭВК-17, ЭВК-13, ЭВК-11)

2

 

27

Сталь, дерево

Грунтовка ФЛ-03к (ФЛ-03кк, ГФ-020)

2

 

Краска ВА-17

3

Белый, палевый, бежевый

33

Сталь, дерево

Грунтовка ФЛ-03к (ФЛ-03кк, № 83, № 71)

2

Красно-коричневый

34

Сталь

Лак № 177

3

Черный

35

Сталь, дерево

Грунтовка № 83 (ФЛ-03к)

2

Красно-коричневый

36

Сталь

Грунтовка № 83

3

 

38

Легкие сплавы

Грунтовка ВЛ-02 (ВЛ-08, ВЛ-023)

1

 

Грунтовка ФЛ-03ж

1

 

Эмаль ПФ-167

2

Белый, светло-серый

39

То же

Грунтовка ВЛ-02 (ВЛ-08, ВЛ-023)

1

Белый, слоновая кость, светло-серый, серо-голубой, красный, зеленый, красно-оранжевый, бежевый, желтый

Грунтовка ФЛ-03

Эмаль ПФ-115

1

40

²

Грунтовка ВЛ-02 (ВЛ-08, ВЛ-023)

1

Белый, слоновая кость, палевый, бежевый, светло-серый, серо-голубой, шаровый, охра, красный, зеленый, желтый

Грунтовка ФЛ-03ж

Краски масляные

1

43

Сталь оцинкованная, дерево и легкие сплавы

Грунтовка ФЛ-03ж

2

Желтый

44

Стеклопластик

Эмаль ПФ-167 (ГФ-156)

3

Белый, светло-серый

45

То же

Эмаль ПФ-115

3

Белый, бежевый, слоновая кость, светло-серый, серо-голубой, красно-оранжевый

47

Окрашенная поверхность

Эмаль ПФ-115

Краски масляные

2

Белый, черный, голубой, красный, желтый

* Схема окраски применяется только при судоремонте.

Таблица 4

Лакокрасочный материал старого покрытия

Наносимый лакокрасочный материал

Пояс переменной ватерлинии

Грунтовка № 81

Краска ЭПКК-67

Краска ЭПКК-67

Грунтовка № 81, № 83, краски ЭВК-8, ЭВК-14

Грунтовка № 83

Краски ЭПКК-67, ЭВК-8, ЭВК-14

Краска ЭПКК-67, грунтовка № 83

Поверхности, расположенные выше пояса переменной ватерлинии

Эмали ПФ-167, ПФ-115, ГФ-156

Эмали ПФ-167, ПФ-115, ГФ-156

Краски масляные

Эмали ПФ-167, ГФ-156, ПФ-115

Краски масляные, краски ВЛ-17

Краски масляные

Эмаль МС-17

Грунтовки ФЛ-03к, ФЛ-03кк, № 83, № 71

Краски ЭВК-8, ЭВК-14, краски масляные

Грунтовки ФЛ-03к, ФЛ-03кк, № 83, № 71, краски ЭВК-8, ЭВК-14, краски масляные

Эмаль ГФ-820, краска на лаке № 170 с алюминиевой пудрой, краска ЭВК-11

Эмаль ГФ-820, краска на лаке № 170 с алюминиевой пудрой, краска ЭВК-11

Лак № 177

Краска масляная № 101

Таблица 5

Основные наружные поверхности

Время до очередной окраски судов, годы

Подводная часть корпуса водоизмещающих судов

3-4

Пояс переменной ватерлинии

1

Надводный борт корпуса

1

Надстройки и рубки

1-2

Палубы

1

Палубные механизмы и устройства

1-2

ПРИЛОЖЕНИЕ 9

ПРИМЕРНЫЕ ДОЛЖНОСТНЫЕ ОБЯЗАННОСТИ ЛИЦ ОБСЛУЖИВАЮЩЕГО ПЕРСОНАЛА ПАРОМНЫХ ПЕРЕПРАВ И НАПЛАВНЫХ МОСТОВ

1. Мастер хозяйства паромных переправ и наплавных мостов ДРСУ

1.1. Мастер хозяйства паромных переправ и наплавных мостов является материально-ответственным лицом и единоначальником вверенного ему участка и обеспечивает надежную работу всех паромных переправ и наплавных мостов дорожного управления. Он назначается, перемешается и освобождается от занимаемой должности приказом начальника ДРСУ.

На должность мастера паромных переправ и наплавных мостов назначаются лица, имеющие специальное образование (техника-механика или судоводителя со стажем работы на речном флоте при наличии в ДРСУ паромных переправ, инженера-строителя или техника-строителя при наличии в ДРСУ наплавных мостов). Рабочее место мастера находится в конторе ДРСУ. В своей работе мастер хозяйства паромных переправ и наплавных мостов руководствуется законодательством СССР и РСФСР, настоящей Инструкцией и другими документами Минавтодора РСФСР, упомянутыми в Инструкции нормативными документами Минречфлота РСФСР и ГИМС РСФСР.

Мастер контролирует техническое состояние и сохранность всех плавсредств и сооружений на вверенном ему участке (суда, паромы, причалы, наплавные мосты, подходы к переправам со знаками, аншлагами, освещением и средствами регулирования, знаки навигационной обстановки на переправе и т. д.), своевременность ремонта, чистоту и порядок на всех объектах и организует работу по их надлежащему обеспечению. Мастер несет ответственность за выполнение возложенных на него обязанностей в соответствии с действующими положениями.

1.2. На мастера хозяйства паромных переправ и наплавных мостов возлагаются следующие обязанности.

1.2.1. Иметь на каждой паромной переправе и наплавном мосту утвержденное в установленном порядке штатное расписание, а также контролировать наличие и правильность ведения судовой и организационной документации на плавсредства и необходимой технической документации.

1.2.2. В целях безопасности эксплуатации переправы организовывать на переправах регулярные промеры глубин акватории, занятой движением и маневрированием паромов и буксиров, перемещением плавучих опор мостов, а при обнаружении отмели докладывать начальнику ДРСУ для принятия необходимых мер.

1.2.3. На любое происшествие на переправе составлять акт и незамедлительно докладывать письменно начальнику ДРСУ, а также обеспечивать проведение их расследования в установленном порядке.

1.2.4 Вести учет технического состояния плавсредств, конструкций и т. д. для своевременного предъявления их контролирующим организациям, постановки их на профилактический и заводской ремонт, своевременного выполнения работ по текущему ремонту и содержанию. Своевременно составлять график ремонта плавсредств и конструкций совместно с начальниками переправ и представлять его начальнику ДРСУ для утверждения. Ежегодно составлять совместно с начальником каждой переправы необходимые заявки на материалы, запчасти, такелаж, инструменты и инвентарь.

1.2.5. При заводском ремонте плавсредств участвовать в его подготовке, установке на завод, контролировать ход ремонта и участвовать в приемке плавсредств после ремонта.

1.2.6. Осуществлять регистрацию (приписку) плавсредств, предъявлять их для освидетельствования в соответствующие контролирующие органы.

1.2.7. Своевременно составлять акты на списание плавсредств.

1.2.8. Принимать активное участие в разработке мероприятий, направленных на безаварийную работу переправ, постоянно проводить организационно-воспитательную работу с обслуживающим персоналом переправ.

1.2.9. Участвовать в подборе специалистов для работы на вверенном ему участке. Проводить технический инструктаж с вновь принятыми на работу лицами, своевременно проводить инструктаж по технике безопасности, обеспечивать все переправы необходимыми должностными инструкциями. Организовывать работу по повышению квалификации лиц обслуживающего персонала.

1.2.10. Действенно реагировать на все предложения лиц обслуживающего персонала переправ, а также замечания и указания контролирующих организаций, направленных на улучшение работы вверенного участка.

1.3. Мастеру хозяйства паромных переправ и наплавных мостов в административном и оперативном порядке подчиняются все работники переправ вверенного ему участка. В выполнении возложенных на него функций мастеру предоставляются следующие права.

1.3.1. Утверждать табель учета отработанного обслуживающим персоналом времени (месячные табели).

1.3.2. Не допускать к работе на плавсредствах специалистов, не прошедших спецмедкомиссию, а также лиц, дипломы которых не соответствуют мощности судна и которые не прошли очередную проверку знаний в судоходной инспекции, и направлять их в распоряжение отдела кадров дорожного управления.

1.3.3. Своим распоряжением (письменным или устным) не допускать в эксплуатацию плавсредства, имеющие аварийное состояние, не прошедшие освидетельствование инспекцией Речного Регистра или судоходной инспекцией, а также неукомплектованные штатами, необходимым спасательным, аварийным, навигационным и противопожарным оборудованием и инвентарем.

1.3.4. Ходатайствовать перед начальником ДРСУ о наказании провинившихся лиц обслуживающего персонала вверенного участка вплоть до их увольнения и о поощрении отличившихся работников переправ.

1.3.5. Запрещать производство переделок плавсредств и других конструкций без наличия технической документации, согласованной с соответствующими контролирующими организациями.

1.3.6. Немедленно отстранять от работы лиц, действия которых угрожают безопасности эксплуатации переправ вверенного ему участка.

1.3.7. При необходимости для устранения аварийных ситуаций привлекать к авральным работам всех работников вверенного участка в сверхурочное время в соответствии с действующим законодательством.

2. Начальник переправы (паромной переправы, наплавного моста)

2.1. Начальник переправы отвечает за весь комплекс сооружений вверенной ему переправы и является материально-ответственным лицом. Ему подчиняется весь обслуживающий персонал переправы.

2.2. Начальник переправы назначается приказом начальника ДРСУ. Перед назначением на должность начальник переправы должен пройти инструктаж и ознакомиться со своими должностными обязанностями.

2.3. Начальник переправы обязан:

2.3.1. Осуществлять постоянный технический надзор за переправой, следить за поддержанием ее в чистоте, обеспечением безопасности эксплуатации переправы в рамках выполнения настоящей Инструкции.

2.3.2. Контролировать наличие и правильность ведения предусмотренной Инструкцией и другими нормативными документами технической, судовой и административной документации на переправе.

2.3.3. Своевременно организовывать и проводить необходимые ремонтные и профилактические работы, обеспечивать переправу необходимыми материалами и инструментом для проведения ремонтных работ.

2.3.4. Незамедлительно информировать письменно начальника ДРСУ и мастера хозяйства паромных переправ и наплавных мостов о повреждениях и неисправностях, угрожающих безопасности работы переправы и принимать меры по их устранению.

2.3.5. Проводить своевременную подготовку и обеспечивать бесперебойную и безопасную работу переправы в осенне-зимний период.

2.3.6. Периодически проверять знание должностных инструкций подчиненными ему работниками, проводить с ними техническую учебу и необходимые инструктажи по технике безопасности.

2.3.7. Проводить занятия и учебные тревоги в объеме требований Наставления по борьбе за живучесть судов Минречфлота РСФСР не реже 1 раза в месяц.

2.3.8. Решать вопросы начала и прекращения работы переправы в ледовых, штормовых условиях и при ограниченной видимости (см. разд. 6).

2.4. Начальнику переправы при выполнении возложенных на него обязанностей предоставляются следующие права:

2.4.1. Отстранять от работы лиц, не прошедших медкомиссию, инструктаж по технике безопасности, не прошедших проверку знаний, а также лиц, действия которых угрожают безопасности эксплуатации переправы, находящихся в нетрезвом или болезненном состоянии.

2.4.2. Ходатайствовать перед мастером или начальником ДРСУ о наказании провинившихся лиц обслуживающего персонала и представлять к поощрению отличившихся в выполнении производственных заданий работников.

2.4.3. Привлекать подчиненных ему работников переправы к работе в сверхурочное время для выполнения авральных и аварийных работ в соответствии с порядком, установленным КЗОТом.

2.4.4. Останавливать работу переправы, если возникшие условия работы и техническое состояние плавсредств и конструкций не обеспечивает безопасности эксплуатации.

2.5. Начальник переправы несет ответственность за невыполнение возложенных на него обязанностей в соответствии с действующими положениями.

3. Сменный механик паромной переправы

3.1. Сменный механик паромной переправы является лицом, ответственным за техническое состояние и исправную работу всех механизмов, агрегатов и конструкций плавсредств и береговой части паромной переправы в течение всей смены.

3.2. Сменный механик назначается на должность приказом начальника ДРСУ. Административно он подчиняется начальнику переправы и является его заместителем, выполняя в отсутствие начальника его обязанности.

3.3. Сменному механику подчиняются рабочие берегового обслуживающего персонала переправы (см. п. 4.6 Инструкции) и механики судов, а при выполнении им функций начальника переправы - весь штат обслуживающего персонала.

3.4.1. Вести регулярное в течение смены наблюдение и контроль за работой конструкций, устройств, механизмов паромной переправы, своевременно выявлять возникающие неисправности и нештатный режим их работы.

3.4.2. Своевременно устранять неисправности и повреждения, организуя работу таким образом, чтобы не останавливать эксплуатацию переправы, а если это невозможно, то обеспечивать выполнение ремонта с наименьшими перерывами в работе переправы.

3.4.3. При обнаружении неисправностей и повреждений, угрожающих безопасной эксплуатации переправы, незамедлительно принимать меры к прекращению работы, сообщать о случившемся начальнику переправы и при невозможности выполнения работ собственными силами определять потребность в рабочей силе, материалах и оборудовании.

3.4.4. Осуществлять техническую эксплуатацию конструкций, устройств и механизмов в соответствии с технической документацией на них.

3.4.5. Обеспечивать правильное хранение и рациональное использование запасных частей, приборов, инструментов, топлива, масел и материалов.

3.4.6. Составлять графики профилактических работ и ремонтные ведомости.

4. Капитан (буксирного теплохода, самоходного парома)

4.1. Капитан (капитан-дублер в других сменах) является единоначальником и руководителем экипажа вверенного ему судна и несет полную ответственность за выполнение работ на переправе, организацию и безопасность плавания, сохранность судна, жизнь находящихся на судне и буксируемом пароме людей, сохранность перевозимых автомобилей, техническое состояние и содержание судна.

4.2. На должность капитана (капитана-дублера) назначаются лица, имеющие дипломы (свидетельства) на управление судами мощностью не менее той, которую имеет, вверенное капитану судно, а также справку или отметки судоходной инспекции в дипломе о прохождении очередной проверки знаний. Назначение на должность капитана (капитана-дублера) производится приказом начальника ДРСУ.

4.3. В своей работе капитан (капитан-дублер) должен руководствоваться настоящей Инструкцией и упомянутыми в ней нормативными документами Минречфлота РСФСР и ГИМС РСФСР.

4.4. Капитан (капитан-дублер) обязан:

4.4.1. Принимать все необходимые меры по обеспечению бесперебойной работы судна на переправе, безаварийного плавания судна, безопасности судоходства, соблюдать требования действующего законодательства, настоящей Инструкции и упомянутых в ней нормативных документов Минречфлота РСФСР и ГИМС РСФСР, приказов и распоряжений по Автодору и ДРСУ, касающихся эксплуатации судна и производственной деятельности.

4.4.2. Иметь на судне, вести и обеспечивать сохранность судовой и прочей документации. Обеспечивать соблюдение должной трудовой дисциплины и организацию судовой службы.

4.4.3. Обеспечивать правильную техническую эксплуатацию судна. Совместно с механиком своевременно составлять ремонтные ведомости, следить за соблюдением графика ремонта и технического обслуживания, вести наблюдения за сроками и качеством ремонта, выполняемого сторонними организациями.

4.4.4. Если техническое состояние судна делает невозможным его работу в составе переправы или не обеспечивает безопасность эксплуатации переправы, незамедлительно прекратить работу, сообщить об этом начальнику переправы и принять все возможные меры к восстановлению работоспособности судна.

4.4.5. Выполнять мероприятия по обеспечению живучести судна применительно к требованиям Наставления по борьбе за живучесть судов Минречфлота РСФСР.

4.4.6. Выполнять указания и требования органов надзора за безопасностью плавания судов, своевременно предъявлять судно к освидетельствованию.

4.4.7. Обеспечивать соблюдение правил техники безопасности, пожарной безопасности и санитарных правил.

4.4.8. Осуществлять контроль за правильной погрузкой и выгрузкой, размещением на грузовой палубе автомобилей, посадкой и высадкой пассажиров.

4.4.9. Следить за опрятным видом и чистотой судна, правильностью окраски и нанесения надписей на судне.

4.4.10. Не допускать работы судна в неблагоприятных метеорологических условиях, когда не обеспечивается безопасность плавания (недостаточная видимость; волнение, превышающее допустимое для данного типа судна; ледовые условия для судов, не имеющих ледового усиления корпуса и т. д.), за исключением работ, связанных с ликвидацией последствий аварий и стихийных бедствий, со спасением людей, оказанием помощи пострадавшим и т. п.

4.5. Перед началом смены капитан (капитан-дублер) обязан осуществить осмотр судна и удостовериться: в отсутствии водотечности корпуса, палуб и герметичности люковых закрытий; в исправности балластно-осушительной, противопожарной и санитарной систем, якорного, рулевого и шлюпочного устройства; в исправности УКВ-радиостанции, навигационных приборов и средств сигнализации; исправности сигнальных огней; наличии в достаточном количестве топлива и масла.

4.6. Во время рейса капитан (капитан-дублер) обязан: осуществлять управление судном, принимать все меры по обеспечению безопасности плавания судна (состава) и его безаварийного плавания; при возникновении опасности для судна (состава), а также при падении человека за борт объявлять тревогу и принимать все меры для ликвидации опасности; строго соблюдать Правила плавания по внутренним водным путям РСФСР.

4.7. Капитан (капитан-дублер) в административном отношении подчинен начальнику переправы, а в его отсутствие - сменному механику.

4.8. Капитану (капитану-дублеру) подчинены члены экипажа (механик, матросы) судна, а также экипаж буксируемого несамоходного парома.

4.9. Капитан (капитан-дублер) несет полную ответственность за невыполнение возложенных на него обязанностей в соответствии с действующими положениями.

5. Механик (буксирного теплохода, самоходного парома)

5.1. Механик (механик-дублер в других сменах) ведает судовыми двигателями и всеми механизмами, обеспечивает бесперебойное и безаварийное управление ими в течение всей смены.

5.2. На должность механика (механика-дублера) назначаются лица, имеющие специальное образование и диплом (свидетельство) о работе на судах данной мощности.

Назначение на должность механика (механика-дублера) осуществляется приказом начальника ДРСУ.

5.3. В своей работе механик (механик-дублер) должен руководствоваться настоящей Инструкцией и упомянутыми в ней нормативными документами Минречфлота РСФСР и ГИМС РСФСР, технической документацией на эксплуатируемые двигатели и механизмы, а также приказами и распоряжениями по автодору и ДРСУ, касающимися эксплуатации судов и производственной деятельности.

5.4. Механик (механик-дублер) обязан:

5.4.1. Осуществлять управление и эксплуатацию судовых двигателей и механизмов с соблюдением инструкций, руководств, обеспечивая уменьшение фактических износов деталей и узлов и продление межремонтных сроков двигателей, механизмов и судна в целом.

5.4.2. Своевременно выявлять и принимать с привлечением берегового штата меры к устранению неисправностей двигателей и механизмов, организуя их ремонт по возможности без вывода судна из эксплуатации, а в случае обнаружения неисправностей, которые требуют прекращения работы судна на переправе, немедленно сообщать капитану о необходимости остановки работы, а также начальнику переправы и сменному, механику (через капитана или лично) об остановке работы и необходимости устранения обнаруженных повреждений.

5.4.3. Осуществлять контроль за выполнением ремонтов, выполняемых силами ДРСУ, а также контролировать и проверять качество работ, выполняемых на судне сторонними организациями.

5.4.4. Вести судовую техническую документацию и машинный журнал.

5.4.5. Обеспечивать своевременное получение, правильное хранение и использование запасных частей, инструмента, топлива, масел и материалов.

5.4.6. Составлять ремонтные ведомости на зимний ремонт.

5.5. Механик (механик-дублер) в административном отношении подчинен капитану (капитану-дублеру) и сменному механику переправы.

5.6. Механик (механик-дублер) несет полную ответственность за невыполнение возложенных на него обязанностей в соответствии с действующими положениями.

6. Старшина-моторист буксирного катера

6.1. Старшина-моторист осуществляет самостоятельное управление и техническое обслуживание (во время перерывов в работе и зимнего отстоя) буксирного катера и несет ответственность за безаварийное плавание, работу и техническое состояние катера:

6.2. На должность старшины-моториста назначаются лица, имеющие соответствующие свидетельства, а также справки или отметки об очередной проверке знаний. Назначение на должность старшины-моториста буксирного катера производится приказом начальника ДГСУ.

6.3. Старшина-моторист буксирного катера должен знать и руководствоваться в работе Правилами плавания и Правилами технической эксплуатации судов, знать устройство и обслуживание судна, двигателя, рулевого и якорного устройств, специальную лоцию и условия плавания в районе переправы, настоящую Инструкцию.

6.4. Старшина-моторист обязан:

6.4.1. Обеспечивать своевременное и качественное выполнение работы на переправе.

6.4.2. Содержать буксирный катер в технически исправном состоянии.

6.4.3. Соблюдать правила техники безопасности, пожарной безопасности и санитарные правила.

6.4.4. Устранять с привлечением берегового штата переправы все обнаруженные на буксирном катере повреждения и неисправности по возможности без вывода катера из эксплуатации, а если это невозможно, то в кратчайшие сроки.

6.4.5. Совместно с начальником переправы или сменным механиком составлять ремонтные ведомости.

6.4.6. Вести вахтенный журнал, прочую судовую документацию, инвентарную и материальную отчетность.

6.5. Старшина-моторист буксирного катера в административном отношении подчиняется начальнику переправы, а также бригадиру мостовых дорожных рабочих в части выполнения режима работы парома и производства разволок наплавного моста.

6.6. Старшина-моторист несет полную ответственность за невыполнение возложенных на него обязанностей в соответствии с действующими положениями.

7. Шкипер несамоходного парома

7.1. Шкипер (сменный шкипер в других сменах) является единоначальником и руководителем вверенного ему парома и несет ответственность за техническое состояние парома, выполнение производственного плана и безопасность перевоза пассажиров, машин и грузов.

7.2. На должность шкипера (сменного шкипера) назначаются лица, имеющие свидетельства или удостоверения, выдаваемые после соответствующего обучения судовладельцем (автодором, ДРСУ) или учебными заведениями в соответствии с положениями, утверждаемыми Минречфлотом РСФСР. Назначение на должность шкипера (сменного шкипера) осуществляется приказом начальника ДРСУ по согласованию с начальником переправы.

7.3. Шкипер (сменный шкипер) несамоходного парома в работе должен руководствоваться настоящей Инструкцией и упомянутыми в ней нормативными документами Минречфлота РСФСР и ГИМС РСФСР, а также приказами и распоряжениями по Автодору и ДРСУ, касающимися эксплуатации паромов и работы переправ.

7.4. Шкипер (сменный шкипер) обязан:

7.4.1. Обеспечивать бесперебойную и безаварийную работу вверенного ему парома в соответствии с утвержденным производственным заданием (планом) и графиком работы переправы.

7.4.2. Знать конструкцию парома, постоянно следить за состоянием корпуса, не допуская водотечности парома, а при появлении течи немедленно принимать меры к откачке поступающей в корпус воды и устранению водотечности.

7.4.3. Обеспечивать сохранность парома в хорошем техническом состоянии, следить за чистотой парома, его внешним видом. Обеспечивать проведение с привлечением берегового штата технических уходов за корпусом, устройствами, механизмами и системами в соответствии с существующими инструкциями.

7.4.4. Следить за исправностью аппарелей и трапов, подаваемых на причал, и за их креплением, а также за креплением троса к парому и парома к буксиру.

7.4.5. Иметь в небольшом количестве спасательный, противопожарный и аварийный инвентарь и материалы, содержать его в исправном состоянии и постоянной готовности к использованию.

7.4.6. Знать и уметь пользоваться способами ликвидации повреждений корпуса, систематически проводить с командой парома занятия и учебные тревоги в соответствии с требованиями Наставления по борьбе за живучесть судов Минречфлота РСФСР.

7.4.7. Соблюдать правила противопожарной безопасности, обеспечивать безопасные методы проведения работ на пароме, соблюдать санитарные правила.

7.4.8. Иметь, вести и содержать в надлежащем порядке все судовые документы, выполнять требования органов надзора за безопасностью плавания судов, своевременно предъявлять паром к освидетельствованию органами Речного Регистра или ГИМС РСФСР.

7.4.9. Перед началом смены производить осмотр парома, проверять наличие и исправность спасательного, противопожарного и аварийного инвентаря и материалов, работу всех устройств, механизмов и систем, организуя немедленное устранение всех выявленных в них дефектов.

7.4.10. Принимать меры по обеспечению безопасности плавания, вести во время отхода и движения парома постоянное наблюдение за судоходной обстановкой, немедленно информировать капитана буксирного теплохода о приближающихся судах, обеспечивая их безопасный пропуск.

7.4.11. Обеспечивать посадку-высадку пассажиров, погрузку-выгрузку автомобилей, повозок и скота в соответствии с требованиями настоящей Инструкции (разд. 4), размещение пассажиров, автомобилей, повозок и скота согласно схеме загрузки парома. Следить за правильным креплением и установкой автомобилей на грузовой палубе, соблюдением пассажирами правил проезда на пароме. Особое внимание уделять правильному провозу горючих и опасных грузов. Контролировать весовые параметры автомобилей, не допуская заезда на паром нагрузок, превышающих допустимые для конструкции парома.

7.4.12. Во время погрузки и выгрузки находиться у аппарелей (трапов), поданных на причал, и следить за их исправностью.

7.5. Шкиперу (сменному шкиперу) запрещается уход с парома при посадке-высадке пассажиров, погрузке-выгрузке автомобилей, повозок и скота, а также во время движения парома.

7.6. Шкипер (сменный шкипер) в административном отношении подчиняется начальнику переправы, а при буксировке парома буксирным теплоходом - капитану буксировщика.

7.7. Шкиперу (сменному шкиперу) подчинена команда (матросы) парома.

7.8. Шкипер (сменный шкипер) несет полную ответственность за невыполнение возложенных на него обязанностей в соответствии с действующими положениями.

8. Матрос парома

8.1. Матрос несамоходного парома подчиняется шкиперу (сменному шкиперу), а матрос-моторист самоходного парома - капитану (капитану-дублеру) и обязан выполнять все их служебные распоряжения.

8.2. Назначение на должность матроса осуществляется приказом начальника ДРСУ по согласованию с начальником переправы.

8.3. Матрос (матрос-маторист) обязан:

8.3.1. Выполнять все судовые работы по уборке, оборудованию и вооружению судна, а также мелкий ремонт под непосредственным руководством шкипера (сменного шкипера) или капитана (капитана-дублера), механика (механика-дублера).

8.3.2. Убирать и мыть грузовые палубы, площадки для пассажиров и судовые помещения.

8.3.3. Следить за безопасностью расположения на пароме перевозимых автомобилей, повозок и скота, за выполнением пассажирами правил проезда на пароме и их местонахождением в строго отведенных для этого местах.

8.3.4. Следить за сохранностью инвентаря, такелажа, спасательного, противопожарного и аварийного инвентаря и материалов, закрепленных за ним устройств и механизмов парома.

8.3.5. При подходах к причалам и отходах от них проводить швартовку парома.

8.3.6. При погрузке-разгрузке парома по указаниям шкипера или капитана осуществлять регулирование маневрами автомобилей и повозок по грузовой палубе и указывать им места стоянки.

8.3.7. Переносить полученный для парома инвентарь и материалы.

8.3.8. Знать конструкцию парома и уметь выполнять работы по заделке пробоин и устранению водотечности.

8.3.9. Во время движения парома вести наблюдение за окружающей обстановкой, своевременно докладывая шкиперу или капитану о приближающихся судах.

9. Постовой дорожный рабочий наплавного моста

9.1. Постовой дорожный рабочий наплавного моста является должностным лицом, осуществляющим все работы по текущему ремонту, содержанию и эксплуатации наплавного моста и отвечает за его исправное техническое состояние, своевременную разводку и безопасный пропуск судов, безопасное и безаварийное движение автотранспорта и пешеходов по наплавному мосту.

9.2. На должность постового дорожного рабочего наплавного моста назначаются лица, прошедшие обучение, организуемое в ДРСУ, и инструктаж по технике безопасности. Назначение на должность постового дорожного рабочего осуществляется приказом начальника ДРСУ по согласованию с начальником переправы.

9.3. Постовой дорожный рабочий наплавного моста обязан:

9.3.1. Знать конструкцию моста и его основные технические характеристики: длину, габарит, грузоподъемность, допустимую скорость движения и минимальную дистанцию между автомобилями.

9.3.2. Знать конструкции плавсредств, используемых в составе наплавного моста, их грузоподъемность и уметь выполнять работы по заделке пробоин и устранению водотечности.

9.3.3. Иметь в необходимом количестве спасательный, противопожарный и аварийный инвентарь и материалы, содержать его в исправном состоянии и постоянной готовности к использованию.

9.3.4. Знать схему разводки наплавного моста, работу всех средств разводки, замковых соединений, закреплений и т. д. и уметь быстро осуществлять все необходимые операции по разводке моста.

9.3.5. Знать расположение, правила использования и уметь пользоваться средствами регулирования движения по мосту (шлагбаумы, светофоры) и семафором для судов.

9.3.6. Содержать все конструкции наплавного моста в исправном техническом состоянии, следить за чистотой проезжей части и конструкций, выполнять все работы по текущему ремонту и содержанию моста, предусмотренные настоящей Инструкцией, а также распоряжения начальника переправы и старшего смены (бригадира).

9.3.7. Знать правила пропуска судов через наплавные мосты, осуществлять разводку моста и пропуск судов в соответствии с требованиями Правил плавания по внутренним водным путям РСФСР и настоящей Инструкции.

9.3.8. Осуществлять контроль за весовыми параметрами пропускаемых по мосту нагрузок, не допуская превышения грузоподъемности моста, за правильным проездом по мосту.

9.4. Постовой дорожный рабочий наплавного моста, назначаемый приказом начальника ДРСУ старшим по смене (бригадиром), кроме перечисленного выше, обязан:

9.4.1. Перед началом смены производить осмотр конструкций наплавного моста, проверять отсутствие водотечности плавучих опор, наличие и исправность спасательного, противопожарного и аварийного инвентаря и материалов, работу всех механизмов, систем и средств разводки, исправность и работу средств регулирования движения, навигационных огней и семафора, организуя немедленное устранение всех выявленных дефектов.

9.4.2. Распределять постовых рабочих своей смены по операциям, осуществляемым при разводке моста, выдавать им задания по выполнению работ на мосту.

9.4.3. Осуществлять общее руководство разводкой моста, подавать необходимые команды сигнальщику, капитану буксирного теплохода или старшине-мотористу буксирного катера, другим рабочим, обеспечивая при этом быструю и своевременную разводку моста и безопасный пропуск судов.

9.4.4. При обнаружении неисправностей или повреждений, угрожающих безопасной эксплуатации наплавного моста, немедленно закрыть движение по мосту, сообщить о случившемся начальнику переправы или в ДРСУ и принять все меры по устранению неисправностей.

9.5. В административном отношении постовой дорожный рабочий наплавного моста подчиняется начальнику переправы.

ПРИЛОЖЕНИЕ 10

Рекомендуемые оптимальные режимы работы паромных переправ

Интенсивность движения, авт/сут

При ширине реки в месте переправы, м

Паром несамоходный ПР-25

200-400

50-100

100-200

200-300

300-500

500-1000

1000-1500

1500-2000

2000-3000

Работа с ограниченным временем ожидания

Непрерывная работа без ожидания полной или частичной загрузки

Использование парома нецелесообразно

Тож = 15 мин

Тож = 10 мин

Тож = 7 мин

Тож = 4 мин

400-600

50-100

100-150

150-200

200-300

300-500

500-1500

1500-2000

2000-3000

Работа с ограниченным временем ожидания

Непрерывная работа без ожидания загрузки

Использование парома нецелесообразно

Тож = 11 мин

Тож = 6 мин

Тож = 3 мин

600-800

50-100

100-150

150-200

200-250

250-500

500-1500

1500-2000

2000-3000

Работа с ограниченным временем ожидания Тож = 5

Непрерывная работа без ожидания загрузки

Использование парома нецелесообразно

800-1000

50-100

100-150

150-200

200-250

250-500

500-1500

1500-2000

2000-3000

Непрерывная работа без ожидания загрузки

Использование парома нецелесообразно

1000-1200

50-80

80-150

150-200

200-250

250-500

500-1500

1500-2000

2000-3000

Непрерывная работа без ожидания загрузки

Использование парома нецелесообразно

Паром несамоходный ПР-40

200-400

50-150

150-200

200-300

300-500

500-1000

1000-1200

1200-2000

2000-3000

Работа с ограниченным временем ожидания

Непрерывная работа без ожидания загрузки

Использование парома нецелесообразно

Тож = 16 мин

Тож = 11 мин

Тож = 8 мин

Тож = 5 мин

400-600

50-150

150-200

200-300

300-500

500-700

700-1200

1200-2000

2000-3000

Работа с ограниченным временем ожидания загрузки

Непрерывная работа без ожидания загрузки

Использование парома нецелесообразно

Тож = 9 мин

Тож = 5 мин

600-800

50-100

100-150

150-200

200-300

300-700

700-1200

1200-2000

2000-3000

Работа с ограниченным временем ожидания

Непрерывная работа без ожидания загрузки

Использование парома нецелесообразно

Тож = 7 мин

Тож = 5 мин

Тож = 5 мин

800-1200

50-100

100-150

150-200

200-250

250-300

300-1200

1200-2000

2000-3000

Тож = 5 мин

Непрерывная работа без ожидания загрузки

Использование парома нецелесообразно

1200-1600

50-80

80-150

150-200

200-250

250-300

300-1200

1200-2000

2000-3000

Непрерывная работа без ожидания загрузки

Использование парома нецелесообразно

Паром несамоходный 21550

200-400

50-150

150-200

200-300

300-500

500-1000

1000-1500

1500-2000

2000-3000

Работа с ограниченным временем ожидания

Непрерывная работа без ожидания загрузки

Использование парома нецелесообразно

Тож = 17 мин

Тож = 14 мин

Тож = 10 мин

Тож = 8 мин

Тож = 5 мин

400-600

50-150

150-200

200-300

300-500

500-1000

1000-1300

1300-2000

2000-3000

Работа с ограниченным временем ожидания

Непрерывная работа без ожидания загрузки

Использование парома нецелесообразно

Тож = 13 мин

Тож = 9 мин

Тож = 6 мин

600-800

50-100

100-150

150-200

200-300

300-500

500-1000

1000-2000

2000-3000

Работа с ограниченным временем ожидания

Непрерывная работа без ожидания загрузки

Использование парома нецелесообразно

Тож = 11 мин

Тож = 11 мин

Тож = 9 мин

Тож = 6 мин

800-1200

50-100

100-150

150-200

200-300

300-350

350-1000

1000-2000

2000-3000

Работа с ограниченным временем ожидания

Непрерывная работа без ожидания загрузки

Использование парома нецелесообразно

Тож = 6 мин

Тож = 5 мин

1200-1600

50-100

100-150

150-180

180-300

300-350

350-1000

1000-2000

2000-3000

Работа с ограниченным временем ожидания Тож = 5 мин

Непрерывная работа без ожидания загрузки

Использование парома нецелесообразно

Паром несамоходный 608К

400-600

50-150

150-200

200-300

300-500

500-1000

1000-1500

1500-2000

2000-3000

Работа с ограниченным временем ожидания загрузки

Непрерывная работа без ожидания загрузки

Тож = 18 мин

Тож = 18 мин

Тож = 15 мин

Тож = 10 мин

Тож = 7 мин

600-800

50-150

150-200

200-300

300-500

500-1000

1000-1400

1400-2000

2000-3000

Работа с ограниченным временем ожидания

Непрерывная работа без ожидания загрузки

Использование парома нецелесообразно

Тож = 16 мин

Тож = 14 мин

Тож = 10 мин

Тож = 7 мин

800-1200

50-100

100-150

150-200

200-300

300-500

500-1000

1000-2000

2000-3000

Работа с ограниченным временем ожидания загрузки

Непрерывная работа без ожидания загрузки

Использование парома нецелесообразно

Тож = 14 мин

Тож = 12 мин

Тож = 10 мин

Тож = 7 мин

Тож = 5 мин

1200-1600

50-100

100-150

150-200

200-300

300-500

500-1000

1000-2000

2000-3000

Работа с ограниченным временем ожидания

Непрерывная работа без ожидания загрузки

Использование парома нецелесообразно

Тож = 7 мин

Тож = 7 мин

1600-2000

50-100

100-150

150-200

200-300

300-500

500-1000

1000-2000

2000-3000

Непрерывная работа без ожидания загрузки

Использование парома нецелесообразно

Спаренный несамоходный паром 2´21550

400-600

50-150

150-200

200-300

300-500

500-1000

1000-1500

1500-2000

2000-3000

Работа с ограниченным временем ожидания загрузки

Непрерывная работа без ожидания загрузки

Тож = 18 мин

Тож = 18 мин

Тож = 15 мин

Тож = 12 мин

Тож = 8 мин

Тож = 8 мин

600-800

50-150

150-200

200-300

300-500

500-1000

1000-1500

1500-1800

1800-3000

Работа с ограниченным временем ожидания

Непрерывная работа без ожидания загрузки

Использование парома нецелесообразно

Тож = 18 мин

Тож = 18 мин

Тож = 15 мин

Тож = 12 мин

Тож = 8 мин

800-1200

50-200

200-300

300-500

500-700

700-1000

1000-1300

1300-2000

2000-3000

Работа с ограниченным временем ожидания

Непрерывная работа без ожидания загрузки

Использование парома нецелесообразно

Тож = 16 мин

Тож = 12 мин

Тож = 8 мин

Тож = 8 мин

1200-1600

50-150

150-200

200-300

300-500

500-1000

1000-1300

1300-2000

2000-3000

Работа с ограниченным временем ожидания

Непрерывная работа без ожидания загрузки

Использование парома нецелесообразно

Тож = 10 мин

Тож = 8 мин

1600-2000

50-100

100-150

150-200

200-300

300-400

400-1300

1300-2000

2000-3000

Работа с ограниченным временем ожидания

Непрерывная работа без ожидания загрузки

Использование парома нецелесообразно

Тож = 8 мин

Тож = 5 мин

Спаренный несамоходный паром 2´608К

800-1200

50-150

150-200

200-300

300-500

500-1000

1000-1500

1500-2000

2000-3000

Работа с ограниченным временем ожидания

Непрерывная работа без ожидания загрузки

Тож = 20 мин

Тож = 20 мин

Тож = 18 мин

Тож = 18 мин

Тож = 14 мин

Тож = 10 мин

1200-1600

50-150

150-200

200-300

300-500

500-1000

1000-1400

1400-2000

2000-3000

Работа с ограниченным временем ожидания

Непрерывная работа без ожидания загрузки

Использование парома нецелесообразно

Тож = 20 мин

Тож = 18 мин

Тож = 14 мин

Тож = 14 мин

Тож = 10 мин

2000-2500

50-100

100-150

150-200

200-300

300-500

500-900

900-2000

2000-3000

Работа с ограниченным временем ожидания

Непрерывная работа без ожидания загрузки

Использование парома нецелесообразно

Тож = 10 мин

Тож = 10 мин

2500-3000

50-80

80-150

150-200

200-300

300-500

500-900

900-2000

2000-3000

Непрерывная работа без ожидания загрузки

Использование парома нецелесообразно

Паром самоходный СП-40

200-400

50-100

100-150

150-200

200-300

300-500

500-1000

1000-2000

2000-3000

Работа с ограниченным временем ожидания

Непрерывная работа без ожидания загрузки

Использование парома нецелесообразно

Тож = 14 мин

Тож = 8 мин

Тож = 5 мин

Тож = 3 мин

400-600

50-100

100-150

150-200

200-300

300-500

500-1500

1500-2000

2000-3000

Работа с ограниченным временем ожидания

Непрерывная работа без ожидания загрузки

Использование парома нецелесообразно

Тож = 9 мин

Тож = 5 мин

600-700

50-100

100-150

150-200

200-250

250-500

500-1500

1500-2000

2000-3000

Работа с ограниченным временем ожидания Тож = 5 мин

Непрерывная работа без ожидания загрузки

Использование парома нецелесообразно

700-800

50-80

80-150

150-200

200-250

250-500

500-1500

1500-2000

2000-3000

Непрерывная работа без ожидания загрузки

Использование парома нецелесообразно

 

50-80

80-150

150-200

200-250

250-500

500-1500

1500-2000

2000-3000

1000-1200

Использование парома нецелесообразно

Паром самоходный СП-60

400-600

50-150

150-200

200-300

300-500

500-1000

1000-1500

1500-2000

2000-3000

Работа с ограниченным временем ожидания

Непрерывная работа парома без ожидания загрузки

Тож = 17 мин

Тож = 12 мин

Тож = 8 мин

Тож = 5 мин

Тож = 3 мин

600-800

50-150

150-200

200-300

300-500

500-1000

1000-1500

1500-2000

2000-3000

Работа с ограниченным временем ожидания

Непрерывная работа без ожидания загрузки

Использование парома нецелесообразно

Тож = 13 мин

Тож = 9 мин

Тож = 6 мин

800-1000

50-200

200-300

300-500

500-1000

1000-1500

1500-2000

2000-2500

2500-3000

Работа с ограниченным временем ожидания Тож = 6 мин

Непрерывная работа без ожидания загрузки

Использование парома нецелесообразно

1000-1200

50-100

100-150

150-200

200-300

300-400

400-1500

1500-2000

2000-3000

Непрерывная работа без ожидания загрузки

Использование парома нецелесообразно

1200-1400

50-100

100-150

150-200

200-300

300-400

400-1500

1500-2000

2000-3000

Непрерывная работа без ожидания загрузки

Использование парома нецелесообразно

Паром самоходный Д-057

400-600

50-150

150-200

200-300

300-500

500-1000

1000-1500

1500-2000

2000-3000

Работа с ограниченным временем ожидания

Непрерывная работа без ожидания загрузки

Тож = 16 мин

Тож = 11 мин

Тож = 7 мин

Тож = 5 мин

Тож = 5 мин

600-800

50-100

150-200

200-300

300-500

500-1000

1000-1500

1500-1700

1700-3000

Работа с ограниченным временем ожидания

Непрерывная работа без ожидания загрузки

Использование парома нецелесообразно

Тож = 13 мин

Тож = 9 мин

Тож = 7 мин

Тож = 5 мин

800-1000

50-100

100-150

150-200

200-300

300-500

500-1000

1000-1200

1200-3000

Работа с ограниченным временем ожидания

Непрерывная работа без ожидания загрузки

Использование парома нецелесообразно

Тож = 7 мин

Тож = 5 мин

Тож = 5 мин

1000-1200

50-100

100-150

150-200

200-300

300-500

500-900

900-2000

2000-3000

Работа с ограниченным временем ожидания Тож = 5 мин

Непрерывная работа без ожидания загрузки

Использование парома нецелесообразно

1200-1500

50-100

100-130

130-200

200-300

300-500

500-900

900-2000

2000-3000

Непрерывная работа без ожидания загрузки

Использование парома нецелесообразно

Паром самоходный Р-144

800-1000

50-150

150-200

200-300

300-500

500-1000

1000-1500

1500-2000

2000-3000

Работа с ограниченным временем ожидания

Тож = 20 мин

Тож = 20 мин

Тож = 20 мин

Тож = 16 мин

Тож = 13 мин

Тож = 13 мин

Тож = 10 мин

Тож = 10 мин

1000-1200

50-150

150-200

200-300

300-500

500-1000

1000-1500

1500-1800

1800-3000

Работа с ограниченным временем ожидания

Непрерывная работа без ожидания загрузки

Тож = 18 мин

Тож = 18 мин

Тож = 16 мин

Тож = 13 мин

Тож = 13 мин

Тож = 10 мин

Тож = 8 мин

1200-1400

50-150

150-200

200-400

400-600

600-900

900-1500

1500-2000

2000-3000

Работа с ограниченным временем ожидания

Непрерывная работа без ожидания загрузки

Использование парома нецелесообразно

Тож = 13 мин

Тож = 10 мин

1400-1800

50-100

100-150

150-200

200-300

300-400

400-600

600-2000

2000-3000

Работа с ограниченным временем ожидания

Непрерывная работа без ожидания загрузки

Использование парома нецелесообразно

Тож = 10 мин

1800-2000

50-100

100-150

150-200

200-300

300-400

400-600

600-2000

2000-3000

Непрерывная работа без ожидания загрузки

Использование парома нецелесообразно

Паром самоходный СП-414

800-1000

50-150

150-200

200-300

300-500

500-1000

1000-1500

1500-2000

2000-3000

Работа парома с ограниченным временем ожидания

Тож = 25 мин

Тож = 22 мин

Тож = 22 мин

Тож = 19 мин

Тож = 14 мин

Тож = 14 мин

Тож = 10 мин

Тож = 10 мин

1000-1200

50-150

150-200

200-300

300-500

500-1000

1000-1500

1500-2000

2500-3000

Работа парома с ограниченным временем ожидания

Непрерывная работа без ожидания загрузки

Тож = 20 мин

Тож = 20 мин

Тож = 18 мин

Тож = 18 мин

Тож = 14 мин

Тож = 10 мин

Тож = 10 мин

1200-1600

50-150

150-200

200-300

300-500

500-1000

1000-1200

1200-2500

2500-3000

Работа с ограниченным временем ожидания

Непрерывная работа без ожидания загрузки

Использование парома нецелесообразно

Тож = 7 мин

Тож = 7 мин

1600-1800

50-100

100-150

150-200

200-300

300-500

500-1000

1000-2000

2000-3000

Непрерывная работа без ожидания загрузки

Использование парома нецелесообразно

1800-2000

50-100

100-150

150-200

200-300

300-500

500-1000

1000-2000

2000-3000

Непрерывная работа без ожидания загрузки

Использование парома нецелесообразно

Паром самоходный СП-1000

800-1000

50-150

150-200

200-300

300-500

500-1000

1000-1500

1500-2000

2000-3000

Работа с ограниченным временем ожидания

Тож = 30 мин

Тож = 30 мин

Тож = 25 мин

Тож = 25 мин

Тож = 25 мин

Тож = 20 мин

Тож = 20 мин

Тож = 20 мин

1000-1200

50-150

150-200

200-300

300-500

500-1000

1000-1500

1500-2000

2000-3000

Работа с ограниченным временем ожидания

Тож = 30 мин

Тож = 30 мин

Тож = 25 мин

Тож = 25 мин

Тож = 25 мин

Тож = 20 мин

Тож = 20 мин

Тож = 20 мин

1200-1600

50-150

150-290

200-300

300-500

500-1000

1000-1500

1500-2000

2000-3000

Работа с ограниченным временем ожидания

Непрерывная работа без ожидания загрузки

Тож = 30 мин

Тож = 25 мин

Тож = 25 мин

Тож = 20 мин

Тож = 20 мин

Тож = 10 мин

1600-2000

50-150

150-200

200-300

300-500

500-1000

1000-1500

1500-2000

2000-3000

Работа с ограниченным временем ожидания

Непрерывная работа без ожидания загрузки

Тож = 22 мин

Тож = 18 мин

Тож = 18 мин

Тож = 10 мин

Тож = 10 мин

Тож = 10 мин

2000-2800

50-150

150-200

200-300

300-400

400-1000

1000-1500

1500-2000

2000-3000

Непрерывная работа без ожидания загрузки

Использование парома нецелесообразно

СПИСОК РЕКОМЕНДУЕМОЙ ЛИТЕРАТУРЫ

Инструкция о порядке регистрации и учета судов, поднадзорных Государственной инспекции по маломерным судам РСФСР. М.: 1986. 15 с.

Инструкция по учету потерь народного хозяйства от дорожно-транспортных происшествий при проектировании автомобильных дорог. ВСН 3-81/Минавтодор РСФСР. М.: Транспорт, 1982. 54 с.

Инструкция по техническому надзору за судами, поднадзорными Государственной инспекции по маломерным судам РСФСР. М.: 1986. 28 с.

Охрана окружающей среды на речном транспорте. Сборник нормативных документов. Л.: Транспорт, 1985. 248 с.

Положение об эксплуатации барж без команд/Минречфлот РСФСР. М.: Транспорт, 1970. 24 с.

Правила безопасности труда на судах речного флота/Минречфлот РСФСР. М.: Транспорт. 1976. 191 с.

Правила дорожного движения. М.: Транспорт, 1987. 48 с.

Правила классификации и постройки судов внутреннего плавания. Т. 1/Речной Регистр РСФСР. М.: Транспорт, 1984. 360 с.

Правила классификации и постройки судов внутреннего плавания. Т. 2/Речной Регистр РСФСР. М.: Транспорт, 1984. 253 с.

Правила классификации и постройки судов внутреннего плавания. Т. 3/Речной Регистр РСФСР. М.: Транспорт, 1984. 301 с.

Правила классификации и постройки судов внутреннего плавания. Т. 5/Речной Регистр РСФСР. М.: Транспорт, 1985. 327 с.

Правила окраски судов Министерства речного флота РСФСР. М.: Транспорт, 1972. 78 с.

Правила плавания по внутренним водным путям РСФСР/Минречфлот РСФСР. М.: Транспорт, 1984. 80 с.

Правила по предотвращению загрязнений с судов (Конструкция и оборудование)/Речной Регистр РСФСР. М.: Транспорт, 1984. 54 с.

Правила техники безопасности на судах речного флота при выполнении палубных работ/Минречфлот РСФСР. М.: Транспорт. 1967. 97 с.

Правила техники безопасности при строительстве, ремонте и содержании автомобильных дорог. М.: Транспорт, 1978. 175 с.

Правила технической эксплуатации речного транспорта/Минречфлот РСФСР, М.: Транспорт, 1974. 80 с.

Руководство по оценке пропускной способности автомобильных дорог/Минавтодор РСФСР. М.: Транспорт, 1982. 88 с.

Рекомендации по ремонту железобетонных мостов (Конструктивные и технологические решения)/ГипродорНИИ. М.: 1985. 44 с.

Рекомендации по ремонту поверхностных дефектов железобетонных мостов/ГипродорНИИ. М.: 1975. 31 с.

Рекомендации по содержанию и ремонту металлических пролетных строении автодорожных мостов/ГипродорНИИ. М.: 1983. 129 с.

Санитарные правила для судов внутреннего плавания СССР. М.: Транспорт, 1979. 96 с.

СНиП 2.05.02-85. Автомобильные дороги/Госстрой СССР - М.: ЦИТП Госстроя СССР, 1986. - 56 с.

СНиП 2.05.03-84. Мосты и трубы/Госстрой СССР. М.: ЦИТП Госстроя СССР, 1985. 200 с.

Справочник по серийным транспортным судам. Т. 2. М.: Транспорт, 1964. 225 с.

Справочник по серийным транспортным судам. Т. 3. М.: Транспорт, 1964. 244 с.

Справочник по серийным транспортным судам. Т. 5. М.: Транспорт, 1967. 184 с.

Технические правила ремонта и содержания автомобильных дорог. ВСН 24-75/Минавтодор РСФСР. М.: Транспорт, 1976. 264 с.

Указания по определению экономической эффективности капитальных вложений в строительство и реконструкцию автомобильных дорог. ВСН 21-83/Минавтодор РСФСР. М.: Транспорт, 1985. 125 с.

Указания по обеспечению безопасности дорожного движения на автомобильных дорогах. ВСН 25-86/Минавтодор РСФСР. М.: Транспорт, 1988. 183 с.

Устав внутреннего водного транспорта Союза ССР/Минречфлот РСФСР. М.: Транспорт, 1985. 128 с.

Устав о дисциплине работников речного транспорта СССР/Минречфлот РСФСР. М.: Транспорт, 1986. 28 с.

Устав службы на судах Министерства речного флота РСФСР/Минречфлот РСФСР. М.: Транспорт, 1983. 144 с.

СОДЕРЖАНИЕ

1. Общие положения. 1

2. Типы и конструкции наплавных мостов и паромных переправ. Выбор и назначение состава переправы.. 3

3. Эксплуатация плавсредств паромных переправ и наплавных мостов. 17

4. Организация работы паромных переправ и наплавных мостов. Обеспечение безопасности перевозок автотранспорта и пассажиров. 23

5. Организация движения на подходах к переправам.. 28

6. Эксплуатация переправ в зимних и других неблагоприятных метеорологических условиях. 31

7. Ремонт и содержание паромных переправ и наплавных мостов. 33

Приложение 1 Методика определения пропускной способности паромных переправ. 38

Приложение 2 Методика определения пропускной способности наплавных мостов. 42

Приложение 3 Расчет закреплений наплавных мостов. 45

Приложение 4 Нормы снабжения судов переправ спасательными средствами (извлечения из правил классификации и постройки судов внутреннего плавания) 49

Приложение 5 Нормы аварийного снабжения плавсредств (извлечения из правил классификации и постройки судов внутреннего плавания) 51

Приложение 6 Нормы пожарного снабжения судов переправ (извлечения из правил классификации и постройки судов внутреннего плавания) 53

Приложение 7 Нормы навигационного оборудования и снабжения судов переправ (извлечения из правил классификации и постройки судов внутреннего плавания) 55

Приложение 8 Схемы окраски плавсредств паромных переправ и наплавных мостов. 56

Приложение 9 Примерные должностные обязанности лиц обслуживающего персонала паромных переправ и наплавных мостов. 60

Приложение 10 Рекомендуемые оптимальные режимы работы паромных переправ. 67

Список рекомендуемой литературы.. 72

 




Rambler's Top100 Яндекс цитирования
  Copyright © 2008-2026, www.docload.ru