|
|
ВЕДОМСТВЕННЫЕ СТРОИТЕЛЬНЫЕ НОРМЫ ПРОЕКТИРОВАНИЕ, СТРОИТЕЛЬСТВО И СОДЕРЖАНИЕ ВСН
137-89 МИНИСТЕРСТВО ТРАНСПОРТНОГО СТРОИТЕЛЬСТВА СССР МОСКВА 1991 РАЗРАБОТАНЫ Омским филиалом Союздорнии и СибАДИ им.
В. В. Куйбышева при участии Ленанефтегазгеологии, Гипротюменнефтегаза,
Союздорпроекта, Института мерзлотоведения СО АН СССР, СибНИИГиМа с учетом
предложений Киевского филиала Союздорпроекта, Якутдортранса, Северотрубопроводстроя
и Ямбургспецгазстроя, Северовостокзолотодорстроя, Киевского филиала
ВНИИПКтехоргнефтегазстроя, Главтранспроекта. Исполнители: канд. техн. наук Н. К. Ланецкий (Омский
филиал Союздорнии), канд. техн. наук Н. М. Тупицын (СибАДИ), инженеры П. Г.
Кузнецов, А. П. Казаков, Т. А. Мельникова, кандидаты технических наук Б. И.
Попов, А. С. Плоцкий, (Омский филиал Союздорнии), канд. техн. наук В. С.
Косенков (СибАДИ), инженеры Е. В. Батиевский, С. Н. Внуков
(Ленанефтегазгеология), инж. Е. В. Константинов (Якутдортранс), при участии
инженера Г. Я. Томаса, канд. техн. наук В. Р. Майера (Гипротюменнефтегаз),
канд. геогр. наук Л. И. Файко (СибНИИГиМ), канд. техн. наук А. Г. Дерюгина (Институт мерзлотоведения СО АН СССР),
канд. техн. наук В. Д. Браславского (Союздорпроект), канд. техн. наук П. А.
Вислобицкого (Киевский филиал ВНИИПКтехоргнефтегазстрой), инженеров М. А.
Евтушенко, А. А. Кожухова и Н. В. Сахненко (Северовостокзолотодорстрой). ВНЕСЕНЫ Союздорнии и Омским филиалом Союздорнии. ПОДГОТОВЛЕНЫ к утверждению Главным
научно-техническим управлением Минтрансстроя. С введением в действие ВСН 137-89 утрачивают силу
ВСН 137-77. СОГЛАСОВАНЫ с Госстроем СССР 20
февраля 1989 г. № 8-247.
1. ОБЩИЕ ПОЛОЖЕНИЯ1.1. Настоящие нормы распространяются на
проектирование, строительство и содержание строящихся и реконструируемых зимних
автомобильных дорог на территории Сибири и Северо-Востока СССР, где выделяется
четыре основных района со специфическими природными условиями. Краткая
географическая характеристика районов и основные климатические показатели
зимнего периода на указанной территории приведены в обязательном приложении 1. Настоящие нормы
можно использовать также при проектировании и строительстве зимних
автомобильных дорог на европейской части СССР с устойчивым и продолжительным
зимним периодом, корректируя на местах отдельные положения норм в соответствии
с природно-климатическими особенностями района строительства.
1.2. К зимним
автомобильным дорогам - автозимникам
- относятся сезонные дороги с полотном и дорожной одеждой из снега, льда и
мерзлого грунта. 1.3. Автозимники подразделяются следующим образом: а) по продолжительности эксплуатации: регулярные, возобновляемые каждую зиму в течение ряда лет по
одной и той же трассе; временные, используемые в течение одного или двух зимних
сезонов; разового пользования, служащие для разового пропуска колонн автомобилей; б) по расположению на местности: сухопутные, прокладываемые по суше; ледовые, прокладываемые по льду рек, озер, водохранилищ или
морей; ледяные переправы через водотоки на сухопутных автозимниках и
автомобильных дорогах постоянного действия; в) по продолжительности использования сезона: обычные, предназначенные для эксплуатации только в период с
устойчивыми отрицательными температур рами воздуха; автозимники с продленными
сроками эксплуатации, обеспечивающие
проезд в течение зимнего и части (или всего) летнего периодов года. 1.4. Регулярные и временные автозимники в
зависимости от расчетной годовой грузонапряженности или расчетной интенсивности
движения делятся на три категории: I - с перспективной (на 3 - 5 лет)
грузонапряженностью свыше 100 тыс. т нетто в год или с расчетной интенсивностью
движения, приведенной к автомобилю грузоподъемностью 5 т, свыше 500 авт/сут; II - с перспективной грузонапряженностью от 50 до 100
тыс. т. нетто в год или с расчетной интенсивностью движения от 150 до 500
авт/сут; III - с перспективной грузонапряженностью до 50 тыс. т.
нетто в год или с расчетной интенсивностью движения до 150 авт/сут. 1.5. Автозимники надлежит проектировать с учетом
типов транспортных средств и организации перевозок во времени по мере изменения
несущей способности полотна автозимника. При обосновании проектных решений необходимо
учитывать, что автозимники должны отвечать следующим требованиям: сооружаться быстрыми темпами из местных строительных
материалов при максимальной механизации работ; выдерживать расчетные нагрузки всех видов
транспортных средств (колесные, гусеничные, санные поезда) и обеспечивать их
проезд с расчетными скоростями в течение требуемого срока эксплуатации; легко восстанавливаться после разрушения от
воздействия транспортных средств и природных факторов. 2. ОСНОВНЫЕ ТЕХНИЧЕСКИЕ НОРМЫ И ТРАНСПОРТНО-ЭКСПЛУАТАЦИОННЫЕ ПОКАЗАТЕЛИ2.1. Расчетные скорости движения автомобилей при
проектировании элементов плана, продольного и поперечного профилей регулярных и
временных автозимников следует принимать по табл. 1. Для временных автозимников при технико-экономическом
обосновании допускается уменьшать расчетные скорости движения против соответствующих значений, приведенных в табл. 1,
но не более чем на 20 %. Таблица 1
Примечания: 1. Для расчета элементов плана и продольного
профиля приведены максимальные возможные скорости движения одиночных
автомобилей исходя из безопасности движения при коэффициенте сцепления
колес с покрытием автозимника φ > 0,2. 2. К трудным участкам пересеченной
местности относится рельеф, прорезанный часто чередующимися глубокими долинами
с разницей отметок долин и водоразделов свыше 50 м на расстоянии не более 0,5
км, с боковыми глубокими балками и оврагами. К трудным участкам горной
местности относятся участки перевалов через горные хребты и участки горных
ущелий со сложными, сильно изрезанными или недостаточно устойчивыми склонами. 2.2. Расчетные скорости движения для автозимников разового
пользования не нормируются. Элементы плана, продольного и поперечного профилей
таких автозимников назначают из условия обеспечения при минимальных объемах
работ и стоимости строительства безопасного пропуска автомобилей на пределе их
технических возможностей. 2.3. При возможном переводе в перспективе
регулярного сухопутного автозимника в автомобильную дорогу постоянного типа во
избежание бросовых работ план и продольный профиль автозимника в местах
производства земляных работ и строительства искусственных сооружений
капитального типа следует проектировать в соответствии с расчетными скоростями
движения по перспективной автомобильной дороге согласно СНиП 2.05.02-85. 2.4. Основные параметры поперечного профиля
регулярных и временных автозимников в зависимости от их категории следует
принимать по табл.
2. Таблица 2
Примечания: 1. Ширина полосы движения b0 дана для расчетного автомобиля шириной d = 2,75 м. Если d > 2,75 м, то значение b0 следует устанавливать по формуле b0 = d + 1,5. 2. Ширину обочин на
участках автозимника, где предусматривается интенсивное движение гусеничного
транспорта и санных поездов, следует принимать не менее 4 м. 2.5. На сильнопересеченной и в горной местности
регулярные автозимники III категории и временные автозимники II - III категорий допускается проектировать с одной
полосой движения шириной 4,5 м при ширине полотна не менее 6 м. В этих случаях
необходимо предусматривать устройство разъездов длиной не менее 50 м и шириной
не менее 8 м. Расстояние между разъездами устанавливают в горной местности в
пределах видимости встречного автомобиля, а на равнинной и пересеченной
местности - через 400 - 500 м. При назначении элементов плана и продольного профиля
в качестве основных параметров следует принимать: продольные уклоны - не более 40 %о; радиусы кривых в плане - не менее 500 м; расстояние видимости поверхности дороги - не менее
200 м; радиусы вертикальных выпуклых кривых - не менее 5000
м и вертикальных вогнутых кривых - не менее 2000 м. 2.7. В тех случаях, когда по условиям местности
выполнение требований п. 2.6 не представляется возможным или вызывает
существенное увеличение объемов работ и стоимости строительства автозимника,
при проектировании допускается снижать нормы на основе технико-экономического
сопоставления вариантов по стоимости строительства, затратам на ремонт и
содержание, себестоимости перевозок, степени безопасности движения и изменениям
производственных условии обслуживаемых автозимником хозяйств. При этом
предельно допустимые нормы надлежит принимать по табл. 3, исходя из расчетных
скоростей движения по категориям автозимников (см. табл. 1). 2.8. При проектировании автозимников, рассчитанных
на движение автопоездов, наибольшие продольные уклоны imax следует принимать в зависимости от колесной формулы
транспортного средства (табл. 4). 2.9. Переломы проектной линии в продольном профиле
при алгебраической разности уклонов 20 %о и более на
автозимниках I категории, 30 %о и более на
автозимниках II и III категорий следует сопрягать вертикальными кривыми,
обеспечивающими плавность движения, а также видимость дороги и встречных
автомобилей. Наименьшие радиусы вертикальных кривых принимают по табл. 3. Таблица 3
Таблица 4
2.10. При совпадении наибольших продольных уклонов с
кривыми радиусом 50 м и менее необходимо предусматривать уменьшение продольных
уклонов на величину Δi по сравнению с
нормативными (см. табл. 3) согласно табл. 5. Таблица 5
2.11. При радиусах кривых в плане менее 350 м
следует предусматривать уширение проезжей части с внутренней: стороны за счет
обочин таким образом, чтобы ширина последних на кривых была не менее 1 м - для
автозимников I - II категорий и не менее 0,75 м - III категории. Полное уширение двухполосной проезжей части
автозимников на закруглениях следует принимать по табл. 6. Для однополосных дорог
приведенные в табл.
6 значения уменьшают в два раза. Таблица 6
При ширине обочин, недостаточной для уширения
проезжей части с соблюдением указанных требований, следует предусматривать
соответствующее уширение полотна автозимника. Уширение проезжей части начинают
на прямой и постепенно увеличивают пропорционально расстоянию от начала
переходной кривой, чтобы у начала круговой кривой оно достигало величины,
указанной в табл.
6. В горной местности в виде исключения допускается
уширять проезжую часть автозимников частично с внешней стороны закругления. Целесообразность применения кривых с уширением
проезжей части более чем на 2 м следует обосновывать в проекте сопоставлением с
вариантами увеличения радиусов кривых в плане, при которых не требуется
устройство таких уширений. 2.12. Поперечные уклоны проезжей части и виражи на
автозимниках обычно не предусматривают. На участках, где автозимники устраивают в выемках
или насыпях из минеральных грунтов, следует предусматривать проезжую часть с
двускатным профилем с поперечными уклонами 20 - 30 %о, а на кривых в плане с радиусом 1000 м и менее - с
односкатным поперечным профилем (вираж). Поперечный уклон проезжей части на
виражах принимают до 40 %о. 2.13. На автозимниках на сильнопересеченной и в
горной местности при затяжных продольных уклонах 60 %о и более следует через
каждые 2 км предусматривать места для остановки автомобилей - участки с
уменьшенными продольными уклонами (20 %о и менее) или горизонтальные площадки
длиной не менее 50 м. 2.14. На подходах к мостам длиной более 6 м на
расстоянии не менее 20 м в обе стороны от них назначают такие же элементы плана
(прямая или кривая), какие и на самом мосту. 2.15. Ширина просеки определяется шириной полотна
автозимника. Для обеспечения видимости на кривых ширину просеки с
внутренней стороны кривой увеличивают по расчету. Целесообразность решений по
обеспечению видимости должна подтверждаться сопоставлением с вариантами, в
которых предусматриваются увеличенные радиусы кривых. В районах распространения вечномерзлых грунтов
следует избегать излишнего уширения просеки. 2.16. Автозимники проектируют в два этапа. На первом
этапе составляют технико-экономический расчет (ТЭР), на втором - разрабатывают
проектно-сметную документацию. Технико-экономический расчет имеет целью обосновать
хозяйственную необходимость и экономическую целесообразность строительства
автозимника и предусматривает сбор и изучение литературных, фондовых материалов
в проектных, строительных и эксплуатационных организациях, в организациях
гидрометеослужбы и геологических управлениях: а) топографических карт, планов и данных съемок
местности в районе строительства; б) сведений о природно-климатических условиях -
режиме снежного покрова, продолжительности функционирования санного пути, частоте
и интенсивности метелей; об изменении температуры воздуха; о режиме рек (сроки
ледостава и ледохода, толщина льде, наличие наледей, торосов, полыней и пр.); о
почвенно-грунтовых условиях, болотах, марях, термокарстовых и наледных
процессах; в) материалов, отражающих опыт строительства и
эксплуатации автозимников, автомобильных и железных, дорог и районе
проектирования или в других, аналогичных по природным условиям районах; г) сведений о месторождениях и наличии строительных
материалов, ресурсах рабочей силы и механизмов для строительства автозимников. При технико-экономических расчетах выявляют
структуру грузов и пункты их концентрации; устанавливают оптимальное
направление трассы, категорию автозимника и его основные параметры, расчетный
тип подвижного, состава, конструкцию автозимника и продолжительность его
эксплуатации; определяют затраты и стоимость строительства. При этом в
необходимых объемах проводят комплекс инженерных (топографо-геодезических,
инженерно-геологических и гидрометеорологических) изысканий и обследований,
достаточных для выбора рекомендуемого варианта трассы автозимника и определения
расчетной стоимости его строительства. Экономическую целесообразность строительства,
реконструкции или продления сроков службы автозимника определяют в соответствии
с обязательным приложением 2. 2.17. После рассмотрения и утверждения материалов
ТЭР автозимник проектируют в одну стадию, разрабатывая рабочий проект на основе
материалов ТЭР, типовых и применяемых в районе строительства проектов. Состав рабочего проекта определяется в каждом
конкретном случае заданием на проектирование автозимника согласно
рекомендуемому приложению 3. 3. ИЗЫСКАНИЯ3.1. При инженерных изысканиях автозимников
целесообразно широко использовать аэрофотосъемку и аэровизуальные наблюдения.
Для обеспечения работы изыскательских партий на территории, удаленной от
экономически развитых и обжитых районов, в условиях сурового климата, при
отсутствии путей сообщения слезет предусматривать применение санно-тракторных
поездов, вездеходов и вертолетов. 3.2. Объем и сроки проведения изыскательских paбот следует корректировать в зависимости от
сложности топографических, мерзлотно-грунтовых и геологических условий с учетом
освоенности района изысканий (в том числе и наличия дорог). Предварительно необходимо провести аэрофотосъемку
местности в направлении прокладки трассы, оконтурить участки со сложными
мерзлотно-грунтовыми условиями и опасные в отношении развития селей, лавин,
наледей, обвалов, солифлюкции, термокарста и т.д. и наметить трассу на карте в
обход опасных участков. 3.3. Инженерные изыскания предусматривают выполнение
в сокращенном объеме топографических, мерзлотно-грунтовых и инженерно-геологических
работ, а также гидрометеорологических обследований, необходимых для уточнения
вариантов трассы, определения основных объемов работ и составления рабочего
проекта, в котором дается окончательный вариант прокладки трассы с детализацией
особо сложных участков. 3.4. При трассировании автозимников по суше
необходимо учитывать, что прокладка трассы: в пересеченной местности требует выполнения
значительных объемов земляных работ; в залесенной местности повышает стоимость
строительства из-за рубки просеки и корчевки пней, но уменьшает до минимума
затраты на зимнее содержание и борьбу со снежными заносами; на открытой равнинной местности, болотах и марях
возможна длинными прямыми участками с незначительными продольными уклонами при
малом объеме земляных работ, но при условии принятия, мер против снежных
заносов; по косогорам наименее выгодна, так как связана с
увеличением объема земляных работ, количества углов поворота и пересечений
тальвегов, с возможностью оползней и снежных заносов. Наиболее целесообразный вариант трассирования в
каждом конкретном случае выбирают на основе технико-экономического расчета с
учетом продолжительности использования автозимника, его категории, характера
метелевой деятельности, наличия или потенциальной возможности возникновения
наледей, оползней и т.д. При обосновании варианта трассы регулярного
автозимника следует учитывать возможность его перехода в перспективе в
автомобильную дорогу круглогодичного действия с минимальным количеством
бросовых участков трассы. 3.5. Автозимники по льду рек и озер (морей) можно
прокладывать длинными прямыми и горизонтальными участками при минимальных
объемах работ, однако продолжительность эксплуатации таких автозимников меньше,
чем сухопутных. При трассировании ледовых автозимников необходимо
тщательно проверить состояние и толщину ледяного покрова. Если река непригодна
под автозимник из-за резкой извилистости русла, наличия наледей, многослойного
льда, крупных камней и порогов в русле, пропарин и торосов, необходимо
исследовать возможность прокладки трассы в пойме реки. 3.6. На плесах реки автозимник рекомендуется
трассировать вблизи фарватера (место наибольших глубин), где ледяной покров
более ровный и устойчивый. Если фарватер подходит вплотную к обрывистым
берегам, где возможны снежные заносы и обвалы, трассу необходимо прокладывать в
стороне от фарватера. Следует избегать прокладки трассы по линии резкого
изменения глубины реки. 3.7. Автозимник следует трассировать по протокам
реки, если они совпадают с направлением трассы, а устройство автозимника не
вызовет образования речных наледей. 3.8. Трассу автозимника по льду крупных озер
(например, Байкала) и морей следует предусматривать в удалении от берега.
Наиболее опасны участки ледяного покрова в районах выступающих мысов, а также
участки нагромождения торосов и образования сугробов, где, как правило,
встречаются пропарины и нерпичьи отдушины. 3.9. Трассу автозимника по возможности следует
проектировать на снегонезаносимых участках. Эти участки устанавливают на основе
наблюдений, проводимых в период изысканий, а также сведений, получаемых от
населения. Наиболее благоприятными с точки зрения
снегонезаносимости являются залесенные участки местности, подветренные стороны
снегосборных бассейнов (ровные поля или безлесные склоны возвышенности), нижние
и верхние части подветренных и нижние части наветренных склонов возвышенностей. 3.10. Автозимники на снегозаносимых участках
трассируют в каждом конкретном случае на основе анализа материалов изысканий с
учетом рельефа местности, направления господствующих ветров и их скорости,
мощности снежного покрова и объемов переносимого при метелях снега. Трассу автозимника на снегозаносимых участках
следует по возможности совмещать с направлением господствующих ветров или
располагать под углом к ним не более 30°. Если трасса автозимника проходит
через пониженные места (ложбины, глубокие балки и овраги, котловины и т.д.), то
следует предусматривать обход их с подветренной стороны или пересечение по
кратчайшему расстоянию. 3.11. Располагать трассу автозимника на подветренных
склонах косогоров не рекомендуется, предпочтение следует отдавать
водораздельным ходам и наветренным склонам косогоров. В широких долинах трасса должна находиться не менее
чем в 50 м от подошвы ближайшей возвышенности с наветренной стороны и не менее
чем в 60 м - с подветренной. 3.12. Следует предусматривать, как правило, обход
участков местности, в пределах которых наблюдается развитие наледей или
прогнозом установлена потенциальная возможность их возникновения в процессе
строительства и эксплуатации автозимника. Благоприятными для трассирования автозимника по
инженерно-геологическим условиям являются: равнинные участки высоких речных
террас и водоразделов; склоны антиклинальных долин и дренированные склоны
речных долин с падением пластов вглубь склона; склоны и террасы южной
экспозиции, где отсутствуют вечномерзлые грунты и надмерзлотные воды; водотоки
с глубокими узкими руслами, заросшими растительностью. Неблагоприятными являются склоны северной экспозиции
с неглубоким залеганием вечномерзлых грунтов и наличием надмерзлотных вод,
места с выходом подземных вод, сильнозаболоченные склоны, водотоки с
распластанными руслами и малыми глубинами. 3.13. Появление наледей в результате строительства
автозимников возможно: при пересечении практически всех водотоков в горной
местности; на участках водотоков с перекатами, порогами,
островами, конусами выносов, распластанными галечниковыми руслами; на устьевых участках рек и их притоков; на склонах северной экспозиции и на участках
местности при наличии грунтового потока, движущегося в замкнутом контуре по
водоупорному слою. 3.14. Пересечение трассой наледных водотоков следует
предусматривать в местах наибольшей их концентрации, назначая дополнительные
меры по их утеплению. При обходе наледного участка трассу автозимника
рекомендуется размещать выше места выхода наледных источников или ниже
наледного поля на расстоянии не менее 20 м от его границы. 3.15. На участках действующих и прогнозируемых
наледей производят инструментальную съемку в масштабе 1 : 2000 - 1 : 5000.
Съемкой охватывают наледь и прилегающие к ней участки местности на расстоянии
до 100 м; на плане отражают геоморфологические особенности и взаимное
расположение наледи и трассы. Гидрогеологические обследования целесообразно
выполнять в конце зимы и весной (на участках действующих наледей) или в начале
зимы, когда могут быть получены необходимые данные об осенне-зимних расходах
вод, подрусловых и грунтовых водах и др. В описании наледи указывают: место образования, гидрогеологические, геоморфологические
и мерзлотно-грунтовые особенности; вид растительного покрова и деформаций деревьев; геометрическую форму, размеры и объем наледи; место выхода, расход и скорость воды в источнике,
питающем наледь, а также температуру воды в месте выхода на поверхность; время появления наледи, характер ее развития, период
максимального развития и исчезновения (по опросу жителей или наблюдениям); вероятные причины возникновения наледи, степень
угрозы автозимнику, и его сооружениям, рекомендуемые противоналедные мероприятия. 3.18. При прокладке трассы автозимника в гольцовых,
резко расчлененных горных зонах с повышенными снегозапасами и интенсивной
метелевой деятельностью необходимо учитывать возможность образования лавин.
Наиболее лавиноопасными являются глубоко врезанные долины рек и подветренные
склоны крутизной от 25 до 55 °. При выборе строительных площадок и трассировании
автозимников следует также учитывать возможность горных обвалов и схода селей,
очаги развития которых обычно совпадают с границами лавиноопасных зон. Строительство автозимника в пределах лавинных и
селевых конусов выноса не рекомендуется. 3.17. Границы лавиноопасных зон устанавливают по
геоморфологическим и геоботаническим признакам: а) наличию лавинных каналов стока - узких
крутостенных врезов, служащих путями транспортировки обвального снега. Склоны
врезов имеют на выходах коренных пород следы лавинной шлифовки, а на вогнутых
поворотах лавинных логов обычно наблюдаются следы боковой лавинной эрозии:
расширение поперечного сечения лотка, уничтожение древесной и кустарниковой
растительности и дернины на значительную высоту над тальвегом; б) наличию бугров и гряд обломочного материала в
долинах конусов выноса лавин. В отличие от конусов выноса, создаваемых
временными горными ручьями, на конусах выноса лавин не наблюдается сортировки
материалов. На поверхности лавинного конуса зачастую располагаются глыбы горной
породы. За пределами конусов выноса лавин, как правило, образуются лавинные
бугры из мелкого обломочного материала и гряды высотой до 2 м, параллельные
телу лавины. Гряды часто наложены на конусы выноса, поэтому последние имеют
сложный микрорельеф, состоящий из системы радиально расходящихся гряд; в) резкому изменению видового состава леса, наличию
следов прохождения лавин на стволах деревьев, изменению видового состава
растительности о долинах. В лесной зоне на лавинных каналах стока полностью
уничтожаются хвойные породы и появляется угнетенная лавиновыносливая
растительность. Лавиноопасные участки следует обследовать весной и
летом. До начала работ необходимо собрать все сведения о случаях схода лавин в
обследуемом районе. Если имеются материалы аэрофотосъемки района, то необходимо
изучить фотоснимки и по ним составить предварительную картосхему лавин. 3.18. В сложных условиях необходимо выполнять
изыскания нескольких вариантов трассы, чтобы выбрать экономически и технически,
целесообразное решение. Вариант прокладки трассы автозимника считается
рациональным при полном или частичном обходе скально-обвальных, селевых и
лавиноопасных участков, а также участков с развитием карста, с оврагами,
неустойчивых косогоров с оползневыми склонами. 3.19. Выбор перехода через водоток является
ответственным элементом работ при трассировании автозимников. В процессе
изысканий устанавливают устойчивость русла и берегов, режимы и расходы
водотока, время и характер ледостава, наличие теплых течений и ключей,
возможность образования наледей и т.д. В соответствии с данными обследования решают вопрос
об устройстве моста или переправы по льду. 3.20. Мосты целесообразно сооружать в следующих
случаях: при неблагоприятном осеннем режиме водотока для
проезда без моста; при отсутствии на реке устойчивого ледяного покрова
(многослойный тонкий лед); при резких и значительных колебаниях уровня воды в
реке, особенно в зимний период; при резком загрублении русла в устойчивых берегах. В остальных случаях предусматривают устройство
ледовых переправ. 3.21. Место расположения ледовой переправы
определяют с учетом: возможности пересечения водотока по кратчайшему
пути; возможности устройства подходов к переправе с
минимальным объемом земляных работ; сопряжения льда с берегом (лед лежит на воде, а не
на береговых камнях и не имеет под собой воздушной прослойки); равномерности толщины льда по всей переправе; отсутствия теплых течений, ослабляющих лед, а также
полыней, пропарин и крупных торосов; возможности устройства дублирующей переправы на
близком расстоянии от основной. 3.22. По материалам изысканий составляют рабочий
проект на строительство автозимника с широким использованием типовых и ранее
разработанных экономичных проектов на аналогичные объекты в соответствии с
рекомендуемым приложением 3. 4. ПРОЕКТИРОВАНИЕСухопутные автозимники14.1. Техническое состояние сухопутного автозимника
во многом зависит от правильного выбора конструкции с учетом местных природных
условий и требований, предъявляемых к автозимнику по прочности, устойчивости и
безопасности движения. Сухопутные автозимники проектируют с учетом рельефа
местности, вида подстилающего основания, состояния грунтов основания и
характера метелевой деятельности в районе строительства. 4.2. Сухопутные автозимники на участках с прочными
грунтовыми основаниями проектируют в соответствии с поперечными профилями,
приведенными на рис.
1. Для выравнивания оснований, сложенных скальными и щебенистыми
грунтами, на регулярных автозимниках I - III категорий и временных автозимниках I - II категории
следует предусматривать устройство выравнивающего слоя из гравия или щебня. Конструкции типов 1 и 2 назначают на
снегонезаносимой местности в корытообразном поперечном профиле и устраивают
методом постепенного наращивания снежного полотна по мере выпадения снега в
течение зимы. Рис. 1. Поперечные профили автозимников на прочных
грунтовых основаниях: 1 - снежный покров; 2 - уплотненный снег на
обочинах; 3 - уплотненный или оледененный снег на проезжей части; 4 -
выравнивающий слой из гравия, щебня или песка; 5 - спланированное основание На открытой местности корытообразный поперечный
профиль автозимника подвержен снежным заносам. При объемах снегопереноса до 150
м3/м автозимники с поперечным профилем типов 3 и 4 в сочетании с
проведением мер по снегозащите (например, прокладка траншей в придорожной
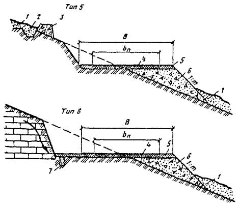
полосе) почти полностью предотвращают опасность снежных заносов дороги. 4.3. На косогорных участках местности регулярные
автозимники проектируют в полунасыпи-полувыемке в соответствии с поперечными
профилями типов 5 и 6 (рис. 2). При этом поперечный профиль типа 6
следует предусматривать на участках возможного выхода грунтовых вод на
поверхность и образования наледей. Рис. 2. Поперечные профили автозимников на
косогорах: 1 - снежный покров; 2 - нагорная
канава; 3 - нагорный валик; 4 - уплотненный или оледененный снег на проезжей
части; 5 - уплотненный снег на обочинах; 6 - грунтовая насыпь на косогоре; 7 -
утепленный лоток для отвода грунтовых вод; - - направление движения грунтового потока На временных автозимниках, устраиваемых на
косогорных участках, допускается для выравнивания косогоров, вместо земляных
работ, укладка клеток из жердей или бревен с последующей засыпкой их снегом и
поливом водой. 4.4. При прохождении трассы по заболоченным поймам и
долинам рек конструкции автозимников назначают в соответствии с поперечными
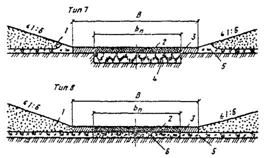
профилями типов 7 и 8 (рис. 3). Рис. 3. Поперечные профили автозимников,
прокладываемых по заболоченным поймам и долинам рек: 1 - снежный покров; 2 -
уплотненный или оледененный снег на проезжей части; 3 - уплотненный снег на
обочинах; 4 - лед; 5 - мохорастительный покров; 6 - перемешанный с
мохорастительным покровом грунт, спланированный и уплотненный Поперечный профиль типа 7 назначают на участках, в
основании которых отсутствует подземный лед. При этом целесообразно
предусматривать в проектах удаление мохорастительного покрова, заполнение
корыта дороги водой с последующим ее замораживанием для создания ровного и
прочного основания. Во избежание развития термокарстовых и
термоэрозионных процессов в зоне вечной мерзлоты, при залегании в основании
подземных льдов близко от поверхности, мохорастительный покров и кочки не
удаляют, а тщательно рыхлят и перемешивают с грунтом на полосе проезжей части,
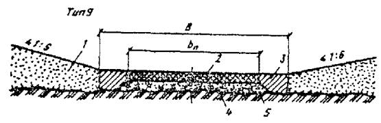
планируют и уплотняют (тип 8, рис. 3). 4.5. На марях, бугристых вечномерзлых торфяниках и
других участках со сложными мерзлотно-грунтовыми условиями (залегание сильно
льдистых грунтов и подземных льдов на глубине до 2 м от поверхности)
запрещается нарушать мохорастительный покров и автозимники проектируют с
поперечным профилем типа 9 (рис. 4). Для получения ровного основания при
минимальном нарушении естественных условий предусматривают устройство
выравнивающего слоя толщиной не менее 15 см из гравия или песка. Рис. 4. Поперечный профиль автозимника на марях и
бугристых вечномерзлых торфяниках: 1 - снежный покров; 2 -
уплотненный или оледененный снег на проезжей части; 3 - уплотненный снег на
обочинах; 4 - выравнивающий слой из гравия или песка; 5 - спланированное
мерзлое основание 4.6. При прохождении трассы по промерзающим болотам
конструкции автозимников принимают в соответствии с поперечными профилями типов
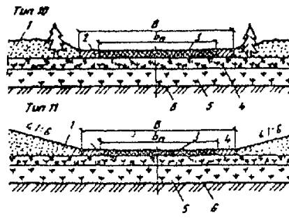
10 и 11 (рис.
5). Поперечный профиль типа 10 назначают в занесенной
местности или на снегонезаносимых участках, а профиль типа 11 - в
снегозаносимой открытой местности при объемах снегопереноса до 150 м3/м,
предусматривая дополнительные меры по защите дороги от снежных заносов. Участки незамерзающих болот, топи выклинивания и
проточные топи с циркулирующими потоками болотных вод следует обходить. При
невозможности обхода таких участков следует предусматривать устройство
земляного полотна по типу плавающей насыпи из минеральных грунтов. В основании
плавающей насыпи допускается укладывать прослойки из геотекстиля. Рис. 5. Поперечные профили автозимников на
промерзающих болотах: 1 - снежный покров; 2 -
уплотненный снег на обочинах; 3 - уплотненный или оледененный снег на проезжей
части; 4 - промерзший слой болота; 5 - талый слой болота; 6 - минеральное дно
болота 4.7. Несущая способность автозимников на болотах и
марях определяется толщиной промерзшего слоя болота (табл. 7), которая нарастает в
течение зимы. Данные табл. 7 используют при составлении графика
движения автомобилей (см. справочное приложение 5) по мере
промерзания болот или при разработке мероприятий по ускорению промораживания
болот до глубин, обеспечивающих требуемую для расчетного типа автомобиля
несущую способность автозимника. 4.8. На отдельных
участках местности (объем снегопереноса свыше 200 м3/м), а также при
пересечении оврагов, балок и на участках с резкими переломам и продольного
профиля следует, проектировать снежные насыпи обтекаемого профиля (рис. 6). Плотность
снега в теле насыпи должна быть не менее 0,5 г/см3 в нижних слоях и
0,55 г/см3 - в верхних. Таблица 7
Примечания: 1. Толщина промерзшего слоя приведена для
эксплуатации автозимника при средней (за 3 сут) температуре воздуха до минус 5
°С. При средней температуре минус 10 °С и ниже данные таблицы следует уменьшать
на 10 %. 2. Для пропуска
гусеничных машин при прочих равных условиях (масса машины, температура воздуха)
требуемая толщина промерзшего слоя болота может быть снижена на 20 % по
сравнению с данными таблицы. Высоту снежной насыпи H (м), обеспечивающую снегонезаносимость дороги,
определяют расчетом: Н = hсн + Δh где hсн - средняя из
наибольших декадных высот снежного покрова за зиму согласно СНиП 2.01.01-82 или
климатическим справочникам; Δh - возвышение насыпи над снежным покровом,
принимаемое не менее 0,3 м. 4.9. На выбор конструкции сухопутного автозимника
влияют рельеф местности, вид и состояние грунтов основания и характер метелевой
деятельности в районе строительства. Рис. 6. Поперечный профиль автозимника в насыпи из
снега: 1 - снежный покров толщиной hсн; 2 - насыпь из уплотненного снега; 3 - оледененный слой снега на
проезжей части; Н - высота насыпи При проектировании автозимников в I районе (см.
обязательное приложение
1) будут преобладать поперечные профили типов 1 - 4, во II - типов
10 и 11. Для III района наиболее распространенными являются поперечные профили
типов 9 и 12, для IV - типов 5 и 6. Ледовые автозимники и переправы4.10. Ледовые автозимники проектируют в соответствии
с поперечным профилем, приведенным на рис. 7. Рис. 7. Поперечный профиль автозимника на ледяном
покрове рек и озер (морей): 1 - снежный покров; 2 -
уплотненный слой снега толщиной 3 - 5 см на полотне; 3 - ледяной покров; 4 -
вода; 5 - дно водоема При интенсивности движения свыше 150 авт/сут на
ледовых автозимниках, прокладываемых по льду крупных рек, озер и морей, между
полосами движения следует предусматривать не расчищаемую от снега
разделительную полосу, ширину которой устанавливают согласно табл. 8 с
учетом допустимых нагрузок на автозимник. 4.11. Несущая
способность ледовых автозимников непостоянна во времени и определяется толщиной
естественного ледяного покрова (см. табл. 8), которая
нарастает в течение зимнего периода. Данные табл. 8 используют для составления графика
движения автомобилей с учетом их грузоподъемности (см. справочное приложение 5)
по мере нарастания ледяного покрова, а также при разработке мероприятий по его
усилению. 4.12. Усиление ледяного покрова предусматривают, как
правило, только на отдельных участках небольшой протяженности (пропарины,
торосы, многослойный тонкий лед, широкие сквозные трещины), руководствуясь
рекомендациями пп. 4.14 - 4.20. На ледовых переправах
для более раннего начала эксплуатации сухопутного автозимника предусматривают, как правило, усиление
ледяного покрова: послойным намораживанием льда; устройством деревянных настилов или дереволедяных
элементов. Способ усиления ледовой переправы выбирают в каждом
конкретном случае в зависимости от климатических условий периода строительства,
толщины и состояния ледяного покрова, режима, реки, наличия материалов и
механизмов, директивных сроков ввода автозимника в эксплуатацию, интенсивности
и вида обращающихся нагрузок в соответствии с поперечными профилями,
приведенными на рис.
8 - 12. Таблица 8
Примечания: 1. Значения приведены для льда на рекax и озерах с пресной водой, прочность которого выше,
чем льда, содержащего соли. Для льда морских заливов допустимая нагрузка должна
быть ниже на 20 %. 2. Допустимая нагрузка
определена для ровного без трещин прозрачного слоистого льда, намерзшего с
нижних слоев. Для льда с вертикальными трубочками или с сухими несквозными
трещинами шириной до 3 см допустимая нагрузка должна быть снижена на 20 - 30 %. 3. При частых
оттепелях, а также для льда, имеющего мокрые сквозные трещины шириной до 5 см,
допустимые нагрузки принимают вдвое меньшими против норм, приведенных в
таблице. Рис. 8. Усиление ледовых переправ деревянным настилом: 1 - снежный покров; 2 -
колесопроводы, d > 22 см; 3 - поперечины, d > 18 см; 4 -
стойки, d > 20 см; 5 - естественный ледяной покров; 6 - вода ВНИМАНИЕ! В этом месте в оригинале
документа изданий 1991, 2000 г. пропущен текст. стилом предусматривают при интенсивном движении
тяжелого автотранспорта на реках с быстрым течением и медленным нарастанием
льда: а) на поперечинах, укладываемых на лед через каждые
0,8 - 1,0 м (см. рис. 8, тип 14). Такое усиление переправ возможно
на всех реках, однако требует значительного расхода материалов.
Грузоподъемность ледовой переправы, усиленной лежневым настилом, может быть
ориентировочно определена по табл. 9; Рис. 9. Конструкция "плавающей"
дереволедяной переправы: 1 - валик из снега; 2 - намороженный слой льда; 3 -
снежно-ледяное полотно; 4 - продольные лежни, d > 20 см, 5 - сланевый настил из тонкомерной древесины; 6 - колесоотбой, d > 22 см; 7 - проволочная скрутка Ø 8 мм;
8 - естественный ледяной покров; 9 - вода Рис. 10. Усиление ледовой переправы клеефанерным
дорожным покрытием: 1 - плита основного пути; 2 - поперечно уложенные
плиты; 3 - монтажные стыки Рис. 11. Усиление ледяного покрова методом
послойного намораживания льда: 1 - притрамбованный снег; 2 - жерди; 3 - намораживаемые слои; 4 - валик
из снега; 5 - естественный ледяной покров; 6 - вода Рис. 12. Поперечный профиль ледовой переправы,
усиленной дождеванием: 1 - снежный покров; 2 -
намораживаемый слой льда; 3 - естественный ледяной покров; 4 - вода б) на поперечинах, укладываемых на лед через каждые
4 - 5 м и опирающихся на вмороженные в лед стойки (см. рис. 8, тип 15). Преимуществом
этого способа является то, что несущая способность естественного льда
увеличивается примерно в 1,6 - 1,7 раза, а влияние слоистости льда на
грузоподъемность переправы уменьшается. Этот способ не следует применять на
реках глубиной более 4 м и при резких и значительных колебаниях уровня воды; Таблица 9
в) в виде "плавающей" дереволедяной
переправы (см. рис.
9, тип 16). Такое усиление ледовой переправы возможно при
значительной глубине реки (более 4 м), резком колебании уровня воды и позволяет
увеличить несущую способность естественного льда примерно в 1,5 раза. 4.15. При отсутствии местных материалов для усиления
ледовых переправ можно применять инвентарные деревянные или клеефанерные
сборно-разборные дорожные покрытия (см. рис. 10, тип 17). Такие
дорожные покрытия особенно эффективны на ледовых автозимниках для перекрытия
широких сквозных трещин во льду. Грузоподъемность ледяного покрова, усиленного
сборно-разборным покрытием, может быть ориентировочно принята по табл. 9. 4.16. Ледовые переправы с одной полосой движения
усиливают, как правило, деревянными настилами. При интенсивности движения свыше
200 авт/сут и незначительной протяженности переправы следует предусматривать
две полосы движения. Если переправы усиливают настилом по типам 14 и 17
(см. рис. 8
и 10),
то полосы движения проектируют раздельно, на расстоянии не менее 50 м друг от
друга. При устройстве настила по типам 15 и 16 (см. рис. 8 и 9) полосы движения
обычно не разделяют. 4.17. Древесину, использованную для усиления ледовых
переправ (см. рис.
7 - 10), следует перед ледоходом извлекать из тела переправы, чтобы
не допустить загрязнения водоема. 4.18. Усиление ледовых переправ с использованием
древесины требует значительного расхода ценных материалов (лес, металл),
связано с большой трудоемкостью при строительстве и извлечении древесины из
тела переправы и характеризуется относительно малым повышением несущей
способности естественного льда (см. табл. 8 и 9).
Поэтому усиление ледовых переправ с использованием древесины следует
максимально ограничивать, ориентируясь на широкое применение способа
намораживания льда, как наиболее технически и экономически целесообразного и
экологически чистого. 4.19. Усиление ледовых переправ и ледовых автозимников
послойным намораживанием льда рекомендуется на реках с медленным течением воды,
при достаточно большой толщине естественного ледяного покрова и при устойчивых
отрицательных температурах воздуха (ниже минус 10 °C) в период строительства. Переправы усиливают двумя способами: послойным розливом воды по льду и ее промораживанием
(см. рис. 11,
типы 18 и 19); дождеванием в морозном воздухе (см. рис. 12,
тип 20). При послойном розливе воды по бокам намеченной
полосы необходимо устраивать валики из снега или укладывать деревянные жерди
(типы 18 и 19). При дождевании такие работы не требуются (тип 20). Основу
метода дождевания составляет перенос теплообмена с поверхности намораживания в
объем капельного факела, возникающего из струи воды, рассеиваемой дождевальной
установкой в морозном воздухе. Выпадающая на поверхность водоледяная смесь
растет в высоту, не растекаясь и не деформируясь до окончательного смерзания. 4.20. При определении
грузоподъемности ледовых переправ, усиленных намораживанием слоя льда, общая
толщина hл (см) ледяного
слоя (см. табл. 8) принимается hл = hест + 0,7hн, где hест и hн - толщина соответственно естественного и
искусственно намороженного слоев льда, см. 4.21. Сопряжение берега и ледовой переправы
проектируют в соответствии с рис. 13. Простейший съезд с берега на лед (см. рис. 13,
а) устраивают при наличии прочного льда, который лежит на воде и прочно
опирается на берег. В остальных случаях устраивают свайные съезды с берега на
лед (см. рис.
13, б). На крутых съездах и при невозможности выполнения
земляных работ по их уположению целесообразно намораживать съезд дальнеструйным
дождеванием (см. рис. 13, в). При этом достаточное сцепление
ледяного полотна с берегом достигается намораживанием слоя льда толщиной не
менее 0,5 м на береговую зону 10´30 м. Рис. 13. Конструкции сопряжения берега и ледяного
покрова на переправах: а - простейший съезд с берега на
лед; б - свайный съезд; в - съезд, намороженный способом дождевания; 1 -
настил; 2 - лед с вмороженным хворостом; 3 - вода; 4 - естественный ледяной
покров; 5 - стойки; 6 - намороженный слой льда 4.22. При проектировании ледовых переправ,
предназначенных для пропуска сверхтяжелых нагрузок (общей массой 100 т и более),
следует применять индивидуальные решения с учетом толщины естественного льда, способа их усиления и схемы распределения
нагрузки по осям транспортного средства. Усиление таких переправ ведут
послойным намораживанием льда или ледяных стоек с помощью двухфазных сифонов, а
грузоподъемность определяют расчетом на ЭВМ по специальным программам. Автозимники с продленными сроками эксплуатации4.23. Основной принцип проектирования сухопутных
автозимников с продленными на весенне-летний период сроками эксплуатации -
сохранение тела насыпи и основания в мерзлом состоянии в течение установленного
срока эксплуатации путем применения в конструкциях естественных или
искусственных теплоизоляторов. При проектировании автозимников небольшой
протяженности конструкции назначают с учетом местных природных условий,
директивного срока эксплуатации и наличия местных материалов в соответствии с
поперечными профилями, приведенными на рис. 14 - 17. 4.24. Конструкция
сухопутного автозимника, предназначенного для эксплуатации в зимний период и в
начале весенне-летнего периода при интенсивности движения до 150 авт/сут,
состоит из мерзлого основания и теплоизолирующего полотна из смеси снега со
льдом или мхом, мохоторфом, опилками (см. рис. 14. тип 21). По
условиям обеспечения водонепроницаемости, достаточной прочности и
незначительной интенсивности таяния плотность теплоизолирующего полотна должна
быть не менее 0,65 г/см3 в верхних и не менее 0,55 г/см3 в
нижних слоях. 4.25. Для пропуска тяжелых нагрузок и высокой
интенсивности движения на автозимниках I - II категорий
следует предусматривать конструкции типов 22 - 24 (см. рис. 14) с отсыпкой земляного
полотна из минеральных грунтов. Земляное полотно предназначено воспринимать нагрузки
от проходящих транспортных средств. Его отсыпают на ширину согласно табл. 2 и
высотой не менее 0,5 м с откосами 1 : 1,5 (тип 22) или 1 : 3 (типы 23 - 24) из
крупнообломочных, щебенистых, гравийно-песчаных или песчаных грунтов (см. рис. 14). Рис. 14. Поперечные профили автозимников с
продленными сроками эксплуатации: 1 - снежный покров; 2 - уплотненный слой снега на
полотне дороги; 3 - естественный мохорастительный покров, 4 - теплоизолирующее
полотно из снега со мхом; 5 - мерзлое грунтовое основание; 6 - земляное
полотно; 7 - полотно из уплотненного снега; 8 - слой теплоизоляции или
хворостяная выстилка Плотность снега в теплоизолирующем полотне (тип 22)
должна быть не менее 0,6 г/см3. В основании автозимников, проектируемых в I дорожно-климатической зоне, следует полностью
сохранять мохорастительный покров, а на участках с сильнольдистыми грунтами
(мари) и подземными льдами дополнительно предусматривать в основании земляного
полотна слой теплоизоляции из мха, торфа или хворостяную выстилку толщиной 15 -
20 см (тип 24 на рис. 14). Рис. 15. Поперечный профиль автозимника для
круглогодичной эксплуатации: 1 - земляное полотно из минерального грунта; 2 -
слой теплоизоляции из торфа, мха, опилок и т.п.; 3 - снежно-ледяное ядро; 4 -
естественный мохорастительный покров; 5 - мерзлое грунтовое основание Рис. 16. Поперечные профили автозимников на болотах: 1 - дорожное покрытие из смеси
снега со льдом или моховым очесом; 2 - промороженное торфяное основание; 3 -
земляное полотно; 4 - теплоизолирующее полотно из смеси снега с моховым очесом;
5 - боковые водоотводные канавы; 6 - талый слой болота 4.26. При проектировании сухопутных регулярных
автозимников I - III категорий, предназначенных для эксплуатации в I дорожно-климатической зоне в течение всего теплого
периода года, а также при возможности перевода в перспективе автозимника в
постоянную автомобильную дорогу целесообразно предусматривать, конструкцию типа
25 (см. рис.
15). Общая высота конструкции на участках, проходящих по открытой
местности, должна обеспечивать снегонезаносимость дороги. Рис. 17. Поперечные профили насыпей на промороженных
торфяных основаниях (левая часть - состояние конструкции в период
строительства, правая - в процессе эксплуатации на конец теплых периодов): 1 - промороженный слой торфяной
залежи; 2 - намороженная торфяная плита; 3 - боковые призмы из торфа; 4 -
насыпь из минерального грунта; 5 - талые слои торфяной плиты; 6 - боковой
резерв; 7 - талый слой торфяной залежи; 8 - мерзлые слои торфяной плиты; 9 -
минеральное дно болота Конструкция типа 25 включает мерзлое естественное
основание, снежно-ледяное ядро, перекрытое слоем теплоизоляции, и земляное
полотно высотой не менее 0,6 м из песчаных, гравийных или крупнообломочных
грунтов. Для устройства слоя теплоизоляции могут применяться
мох, торф, отходы древесины (опилки, щепа), а также искусственные
теплоизоляторы. В качестве искусственных теплоизоляционных материалов можно
использовать: пеностиролы ПС-1, ПС-4, ПС-5, ПС-18, ПС-254, ПСБСГ и ПСБ-М-40; синтетические
быстротвердеющие пены (БТП) на основе карбамидных смол; пенополиуретан,
создаваемый агрегатом "Пена-9"; теплоизоляционные плиты из
торфополимеров (ТУ 39-0148463-026-85). Толщину снежно-ледяного ядра назначают исходя из
условия обеспечения общей высоты насыпи, но не менее 0,8 - 1 м. Толщину насыпного слоя hнас минерального грунта и толщину слоя теплоизоляции рассчитывают из условия
недопущения оттаивания снежно-ледяного ядра. Ориентировочно высоту земляного
полотна из минерального грунта hнас и толщину слоя
теплоизоляции из торфа hт можно определить по
графику (рис.
18) при известной для района строительства средней температуре
воздуха tв за наиболее теплое лето. При использовании в качестве тепло изоляторов
пенопластов высота насыпи hнас над мерзлым ядром в
конструкции типа 25 (см. рис. 15) ориентировочно принимается по табл. 10. 4.27. Конструкцию типа 25 (см. рис. 15)
допускается применять на временных сухопутных автозимниках I - II категорий. При
этом высоту земляного полотна из минерального грунта и толщину слоя
теплоизоляции определяют из условия допущения протаивания снежно-ледяного ядра
за срок службы автозимника. Рис. 18. Определение высоты насыпи hнас из песчаных грунтов
или толщины слоя теплоизоляции hт из торфа Таблица 10
4.28. Для обеспечения проезда в течение 1,5 - 2 мес.
теплого периода года на заболоченных участках местности назначают конструкцию
автозимника типа 26 (см. рис. 16), а для обеспечения, проезда в течение
всего теплого периода года - конструкцию типа 27 (см. рис. 16). При проектировании автозимников в I
дорожно-климатической зоне и в северных районах (севернее 56 ° с.ш.) II
дорожно-климатической зоны (см. обязательное приложение 1) толщину
теплоизолирующего полотна hт.п назначают согласно табл. 11. Таблица 11
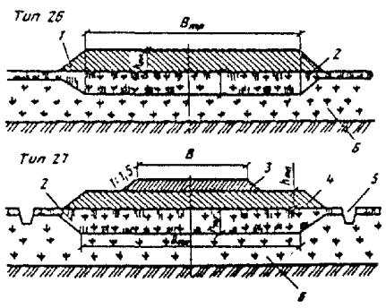
4.30. Конструкция типа
27 (см. рис. 16) состоит из мерзлого торфяного основания,
теплоизолирующего полотна из смеси снега с моховым очесом и земляного полотна.
Земляное полотно устраивают высотой но менее 0,7 м с откосами 1 : 1,5. Для
отсыпки земляного полотна допускается использовать все виды минеральных грунтов
или торфопесчаные смеси оптимального состава (например, 1 м3 песка
влажностью 8 % + 1,4 м3 торфа влажностью до 90,0 %). Для обеспечения проезда в течение всего теплого
периода года толщина теплоизолирующего полотна при высоте земляного полотна 0,7
м должна быть не менее 1 м, а плотность смеси в полотне - не менее 0,6 г/см3. Водоотводные канавы проектируют глубиной до 1,5 м,
шириной понизу 1 м и устраивают на расстоянии 3 м от края полосы
промораживания. 4.31. Промороженное торфяное основание в
конструкциях типов 26 и 27 (см. рис. 16) обеспечивает общую несущую способность
автозимников, поэтому требуемые толщина hтp и ширина Втр промороженного слоя болота
(мерзлого основания) в зависимости от принятой расчетной нагрузки должны быть
не менее величин, указанных в табл. 12. Таблица 12
При промерзании болот на всю глубину, например на
марях в I дорожно-климатической
зоне, hтр и Втр в конструкциях типов 26 и 27 не
нормируются. При этом ширина теплоизолирующего полотна определяется шириной
полотна автозимника по табл. 2. 4.32. При прохождении
трассы через обширные по площади сезонно-промерзающие торфяные болота земляное
полотно регулярных автозимников I - II категорий, которые подлежат в перспективе переводу
в постоянные автомобильные дороги, следует проектировать с обеспечением
промораживания грунтов в основании. При этом насыпи на болотах I типа
проектируют применительно к поперечному профилю типа 28, а на болотах II и III
типов - применительно к поперечным профилям типа 29 и 30 (см. рис. 17). Дороги на промороженных основаниях предусматривают,
как правило, при глубине болот более 1,5 м в протяженности участков более 1 км
в северных районах со среднегодовыми температурами воздуха ниже 0 °С. Не
рекомендуется проектировать дороги на промороженных основаниях на участках
топей выклинивания и проточных топей с циркулирующими потоками болотных вод. Торфяная часть насыпи должна иметь серповидный
профиль с крутизной откосов 1 : 2. Толщина намораживаемой плиты по оси дороги
должна быть на 0,3 м больше, чем по бровкам. Расчет параметров земляного полотна на промороженных
основаниях выполняют согласно обязательному приложению 6. 4.33. Мероприятия, направленные на продление сроков
эксплуатации сухопутных автозимников и перевод их в постоянные автомобильные
дороги, включают: а) более ранний ввод в эксплуатацию ледовых переправ
путем усиления ледяного покрова; б) устройство водопропускных сооружений (трубы,
мосты) в местах пересечения автозимника с ручьями, оврагами или балками; в) возведение земляного полотна с использованием
минеральных грунтов на особо сложных участках (переходы через болота и мари,
подходы к водопропускным сооружениям и т.п.); г) возведение земляного полотна на косогорах, на
наледных участках и на участках, где предусмотрено смягчение продольного
профиля; д) досылку земляного полотна на всем протяжении до
проектных отметок. Мероприятия, направленные на продление сроков
эксплуатации автозимников и последующий перевод их в постоянные автомобильные
дороги, должны обеспечиваться при минимальных затратах, эффективность которых
определяют согласно обязательному приложению 2. Водоотводные устройства4.34. На автозимниках, предназначенных для
эксплуатации только в период с устойчивыми отрицательными температурами
воздуха, не предусматривают устройства поперечных уклонов проезжей части и
водоотводных сооружений. Лишь на косогорах для отвода поверхностных и грунтовых
вод следует проектировать нагорные канавы или нагорные валики из грунта, а
также лотки для предупреждения размыва земляного полотна в летний период и
образования наледей в зимний. 4.35. На автозимниках с продленными на
весенне-летний период сроками эксплуатации предусматривают проезжую часть с
двускатным поперечным профилем. Поперечный уклон грунтовых покрытий принимают
30 - 40 %о. В зависимости от рельефа, гидрологических,
гидрогеологических и мерзлотно-грунтовых условий поверхностные и грунтовые воды
от дорожного полотна отводят с помощью следующих сооружений: боковых водоотводных канав, лотков или боковых
резервов; нагорных грунтовых валиков и нагорных канав; поперечных водоотводных канав. Места размещения водоотводных сооружений, их
конструкции и размеры назначают согласно указаниям ВСН
84-89 "Изыскания, проектирование и строительство автомобильных дорог в
районах распространения вечной мерзлоты" (М., 1990). 4.36. При проектировании регулярных автозимников I - III категорий
особенно подлежащих в перспективе переводу в постоянные дороги, на периодически
действующих и постоянных водотоках, на пересечении оврагов и балок следует
предусматривать водопропускные сооружения капитального типа: сборные железобетонные круглые и прямоугольные трубы
из унифицированных элементов, бетонные трубы, металлические гофрированные
трубы; малые мосты на свайных опорах с использованием
унифицированных сборных пролетных строений длиной 6, 9, 12, 15 и 18 м. При проектировании и строительстве водопропускных
сооружений необходимо руководствоваться СНиП
2.05.03-84, СНиП III-43-75, ВСН
84-89, "Инструкцией по проектированию и постройке металлических
гофрированных водопропускных труб" ВСН
176-78 (ЦНИИС. М., 1979) и Дополнением № 1 к ВСН
176-78. 4.37. Бровка земляного полотна на подходах к малым
мостам и трубам должна возвышаться над расчетным горизонтом воду при
безнапорном режиме работы сооружения не менее чем на 0,5 м. Вероятность превышения паводка при проектировании
насыпи на подходах к мостам следует принимать 2 % а на подходах к трубам - 3 %. 4.38. При пропуске расчетных паводков трубы должны
работать, как правило, в безнапорном режиме. В I дорожно-климатической зоне при назначении отверстий
труб аккумуляцию воды перед сооружением не учитывают, чтобы не вызывать
деградации вечномерзлых грунтов. 4.39. На участках действующих и прогнозируемых
наледей на водотоках следует предусматривать: а) преимущественно высокие свайно-эстакадные мосты,
полностью перекрывающие наледный лог; б) мосты с любыми конструкциями фундаментов и опор,
но с увеличенными подмостовыми габаритами для пропуска наледей; в) мосты со спрямленными углубленными руслами или
мосты совместно с утепленными лотками; г) железобетонные трубы с отверстием не менее 1,5 м
или металлические гофрированные трубы диаметром не менее 2 м. При проектировании труб и мостов на наледных
участках следует руководствоваться указаниями ВСН
84-89 "Руководством по проектированию искусственных сооружений
автомобильных дорог на водотоках с наледями" Минавтодора РСФСР (М.:
Транспорт, 1978). 4.40. На регулярных автозимниках III категории и
временных автозимниках всех категорий проектируют мосты деревянные, как
правило, с широким использованием дереволедяных элементов для устройства
верхнего строения и сопряжений мостов с подходами к ним. Целесообразно
предусматривать возможность быстрой разборки верхнего строения моста перед
ледоходом. На регулярных автозимниках и временных автозимниках I - II категорий мосты
проектируют на свайных, рамно-лежневых и ряжевых опорах; на временных
автозимниках III категории через малые
водотоки допускается устройство деревянных мостов на лежнях. Здания и обстановка пути4.41. В проектах автозимников следует
предусматривать строительство комплексов зданий и сооружений для организации
служб по строительству, содержанию и ремонту автозимников, обслуживанию
грузовых и пассажирских перевозок и для служб Государственной автомобильной
инспекции (ГАИ). Проектирование необходимых комплексов зданий и
сооружений и привязку их к автозимнику производят одновременно с прокладкой
трассы. 4.42. К зданиям и сооружениям дорожной службы
относятся: комплексы управления дорог; комплексы зданий и сооружений основного
(дорожный участок, ремонтно-строительное управление) и низового
(дорожно-ремонтный пункт, прорабский участок) звеньев дорожной службы; жилые
дома для рабочих и, служащих; производственные базы; пункты обслуживания мостов
и переправ. К зданиям и сооружениям автотранспортной службы
относятся: комплексы автомобильных станций, гаражи, перецепные пункты,
ремонтные и автозаправочные станции, общежития, столовые, дома для отдыха
водителей и пассажиров. Расходы на строительство и сооружение комплексов
зданий и сооружений дорожной службы несут дорожные организации, а на
строительство и содержание комплексов зданий и сооружений для нужд
автотранспортной службы и службы ГАИ - автотранспортные организации. 4.43. Здания и сооружения автотранспортной службы
проектируют и привязывают на основе экономических изысканий с учетом
интенсивности движения, расположения грузообразующих пунктов, местных природных
условий, потребностей в том или ином
виде грузовых и пассажирских перевозок и обслуживания участников движения. Подразделения автотранспортной службы в зависимости
от развертывания всех служб или только их части делят на три категории: 1 - пункт обслуживания подвижного состава, гараж,
диспетчерский пункт с селекторной, телефонной связью или рацией,
автозаправочная станция, дома для отдыха водителей и пассажиров, столовая на 30
- 50 посадочных мест; 2 - диспетчерский пункт с селекторной, телефонной
связью или рацией, дом для отдыха водителей и пассажиров, автозаправочный
пункт, столовая или буфет, пункт мелкого ремонта и осмотра подвижного состава; 3 - дома для кратковременного отдыха водителей и
пассажиров на 15 - 20 мест. 4.44. Здания и сооружения дорожной службы следует
проектировать на основе заданий, учитывающих организационную структуру службы
ремонта и содержания дорог (линейная, территориальная,
линейно-территориальная), наличие основных и низовых звеньев дорожной службы. Наиболее целесообразной в условиях Севера является
организация службы ремонта и содержания по линейной схеме: дорожный участок
(ДУ), дорожно-ремонтный пункт (ДРП), дистанция линейного мастера (ЛМ). 4.45. Здания и сооружения дорожной и
автотранспортной служб следует располагать у населенных пунктов, на единых для
всего комплекса или близко расположенных площадках, непосредственно примыкающих
к полосе отвода автозимника, и предусматривать общие энерго- и водоснабжение,
отопление, канализацию, связь, ремонтную базу и пр. При этом следует учитывать
возможность кооперирования с близко расположенными предприятиями в части
организации медицинского обслуживания, пожарной охраны, общественного питания,
благоустройства прилегающих территорий и пр. Расстояние между комплексами зданий и сооружений
дорожной и автотранспортной служб принимают ориентировочно в соответствии с табл. 13. Таблица 13
Примечания: 1. Меньшие расстояния принимают для сухопутных
регулярных автозимников, большие - для временных. 2. Для ледовых
автозимников расстояния между комплексами основных звеньев дорожной службы
(дорожный участок или дорожное ремонтно-строительное управление) принимают 450
- 500 км. 4.46. Здания (дистанцию) линейных мастеров следует
размещать вблизи крупных водотоков, перевальных участков, наледных и
снегозаносимых участков или на участках с большими объемами летних ремонтных
работ. Комплекс зданий линейного мастера является транспортным пунктом 3-й
категории. 4.47. Автозимники прокладывают, как правило, в
малонаселенных районах, поэтому жилую площадь зданий определяют из условия
обеспечения ею всего постоянного состава рабочих и служащих, занятых в дорожной
и автотранспортной службах, и предусматривают необходимые по местным условиям
надворные постройки. 4.48. Жилые и служебные здания на регулярных
автозимниках следует проектировать постоянного типа или сборно-разборные. На временных автозимниках предусматривают устройство
разборных или передвижных зданий. Допускается для сооружения служебных
помещений (навесы, гаражи-стоянки, автозаправочные станции и др.) широко
использовать снег и лед. 4.49. На автозимниках, прокладываемых по ледяному
покрову крупных рек, озер и морей, следует предусматривать передвижные здания,
широко применяя для их изготовления пенопласты и другие легкие и прочные
материалы. Здания располагают с подветренной стороны дороги на расстоянии 200 -
300 м от нее. 4.50. На автозимниках
устанавливают такие же дорожные знаки, какие и на дорогах постоянного действия.
Количество знаков должно быть достаточным для надежного ориентирования
водителей. В проекте автозимника следует разработать схему расстановки дорожных
знаков и указателей в соответствии с ГОСТ 23457-86 и ГОСТ 10807-78*. 4.51. Автозимник в открытой снегозаносимой местности
обозначают по обе стороны проезжей части на расстоянии 50 - 70 см от бровки
хорошо заметными на снегу вехами через каждые 50 - 100 м на прямых участках и
через 20 - 30 м - на кривых. 4.52. На ледовых переправах дополнительно
устанавливают дорожные знаки, определяющие грузоподъемность переправы и условия
ее эксплуатации (часы работы, скорость движения автомобилей и дистанция между
ними). 5. СТРОИТЕЛЬСТВООрганизация строительства5.1. Автозимники строят согласно утвержденным
рабочим проектам, составленным на основании экономических и инженерных
изысканий и содержащим указания по организации и технологии производства
строительных работ (сроки начала и окончания каждого вида работ, расчеты
потребности в рабочих, машинах и механизмах и т.д.). Строительство автозимников, как правило, включает
два этапа. На первом этапе выполняют подготовительные работы, на втором (зимой)
- устраивают снежное (снежно-ледяное) полотно на сухопутных автозимниках или
подготавливают ледяную поверхность на автозимниках, прокладываемых по льду рек,
озер и морей. 5.2. Автозимники строят механизированными колоннами
(отрядами), укомплектованными высокопроизводительными машинами и механизмами.
Колонны целесообразно комплектовать машинами в северном исполнении, а их работу
организовывать в две смены или круглосуточно с учетом местных природных условий
и объемов работ. 5.3. Механизированные колонны комплектуют отдельно
для выполнения сосредоточенных и линейных работ. Сосредоточенные работы по
трассе следует начинать в сроки, обеспечивающие их окончание до подхода к
участку сосредоточенных работ механизированных колонн, выполняющих линейные
работы. 5.4. Механизированные колонны (отряды) разбивают на
специализированные бригады по видам работ с учетом их объемов. В зависимости от
конструкции автозимника, принятой технологии и сроков строительства, а также от
состава машин в бригадах последние могут быть разделены на специализированные
звенья, работающие в тесном контакте друг с другом. 5.5. На первом этапе строительства сухопутных
автозимников (подготовительные работы) в составе механизированных колонн могут
быть организованы бригады: по очистке дорожной полосы от леса, кустарника и
камней; по производству земляных работ на косогорах, переходах через реки и по
планировке грунтового основания; по сооружению мостов, труб и по заготовке
материалов для усиления ледовых переправ; по строительству линейных зданий. При строительстве ледовых автозимников создают
бригады: по определению качества ледяного покрова и вешению автозимника;
расчистке снега, устройству дорожного полотна, обустройству автозимника
дорожными знаками; строительству линейных зданий. 5.6. На втором этапе строительства автозимников
(ежегодные работы) в начале зимы комплектуют бригады: по планировке грунтового
основания (если оно было разрушено в летний период); по устройству снежного
(снежно-ледяного) полотна; по устройству ледовых переправ и противоналедных
сооружений; по обустройству автозимника дорожными знаками и ориентирующими
вехами. Эти бригады впоследствии выполняют ремонт и
содержание автозимника. Если дорожный участок (строительное управление)
обслуживает одновременно и дороги постоянного действия, то часть машин
используется для их содержания. 5.7. При комплектовании механизированных колонн и
бригад следует: подобрать основные (ведущие) машины, с помощью
которых можно выполнить основные объемы работ, а затем вспомогательные машины
или приспособления для производства прочих работ, входящих в технологический
процесс; увязать по производительности выработку основных и
вспомогательных машин в расчете на комплексную механизацию всех процессов по
строительству автозимников. 5.8. При выборе типов и марок машин для устройства
снежного (снежно-ледяного) полотна необходимо учитывать: техническую возможность и экономическую
целесообразность применения тех или иных средств механизации в конкретных
природно-климатических условиях, при определенных конструкциях автозимника,
характеристиках снега, степени трудности его обработки и температурном режиме; степень простоты, надежности машин и возможность
обеспечения их работы при низких отрицательных температурах воздуха, а также
необходимые условия для нормальной работы обслуживающего персонала; возможность нормальной загрузки выбранных средств
механизации в течение всего срока производства работ. 5.9. Количество механизированных отрядов и бригад и
их состав устанавливают в каждом конкретном случае в зависимости от объемов
работ, протяженности автозимника и директивного срока ввода его в эксплуатацию. Для укрупненных расчетов при разработке проекта
организации и технологии работ потребность в трудозатратах и механизмах
определяют согласно действующим нормативам или ориентировочно по рекомендуемому
приложению
7. 5.10. Для создания необходимых бытовых условий
личному составу механизированные отряды обеспечиваются передвижными помещениями
для отдыха, приготовления пищи, средствами связи (рация) и средствами
передвижения - машинами высокой проходимости. Механизированные колонны обеспечиваются санными
прицепами с необходимым количеством горючих и смазочных материалов, запасными
частями и оборудованием для ремонта машин и механизмов, а также средствами
освещения. Строительство сухопутных автозимников5.11. На первом этапе
строительства сухопутных автозимников выполняют следующие работы: а) обозначают трассу в соответствии с проектом; б) расчищают полосу автозимника от леса, кустарника
и крупных камней; в) планируют грунтовое основание, выполняют земляные
работы на косогорных участках, на съездах на берега рек и выездах с них и на
участках, где требуется уменьшить продольные уклоны; г) сооружают мосты, трубы и противоналедные
сооружения; д) строят линейные здания; е) подготавливают грунтовые карьеры для работы в
зимних условиях; ж) заготовляют дорожные знаки, вехи, материалы для
усиления ледовых переправ. 5.12. Расчистку полосы автозимника от леса и кустарника
выполняет отряд, укомплектованный бульдозерами, двухотвальным тракторным
агрегатом, универсальным тракторным агрегатом с лебедкой,
корчевателями-собирателями и бензомоторными пилами. 5.13. Полосу автозимника расчищают от леса только в
границах, установленных проектом, как правило, способом валки деревьев. Лес
рекомендуется валить преимущественно в светлое время суток. Лес, не представляющий ценности как строительный
материал, валят с корнями с помощью бульдозеров на мощных тракторах (96 кВт и
более). Лес, представляющий ценность как строительный материал, валят с помощью
бензомоторных пил, разделывают и доставляют на склады. Пни следует корчевать на ширину полотна автозимника,
используя бульдозеры и корчеватели. В зимнее время для удаления пней большой толщины
целесообразно применять взрывной способ, привлекая к этим работам
специализированные подразделения. На участках, где автозимник устраивают в снежных
насыпях, отсыпают выравнивающий слой из минеральных грунтов или где к началу
эксплуатации автозимника формируется мощный (20 см и более) естественный
снежный покров, пни не корчуют, а деревья спиливают в уровень с землей. 5.14. Земляные работы на автозимниках являются, как
правило, сосредоточенными и выполняются на косогорных участках, на съездах на
берега рек и выездах с них, на участках марей и болот, а также на тех участках,
где требуется уменьшить продольные уклоны. При производстве земляных работ на вечномерзлых
грунтах рекомендуются следующие способы организации работ: послойная разработка грунта бульдозерами по мере его
оттаивания; рыхление грунта взрывами на выброс или прицепными
либо навесными рыхлителями и удаление взрыхленной породы бульдозерами. При устройстве автозимников на участках со скальными
основаниями или с валунами производят: буровзрывные работы; удаление валунов, находящихся на поверхности; грубую планировку с удалением взрыхленной породы и
снятие мохорастительного покрова бульдозерами; устройство выравнивающего слоя из минеральных
грунтов на регулярных автозимниках или из оледененного снега на временных. На временных автозимниках, устраиваемых на
косогорах, для выравнивания косогоров вместо земляных работ допускается укладка
клеток из жердей или бревен с последующей засыпкой их снегом и поливкой водой. 5.15. Время производства работ по подготовке
грунтового основания увязывают со степенью влажности грунта основания. В районах с относительной влажностью грунта до 0,8 Wт
(влажности на границе текучести) земляные работы выполняют бульдозерами в
летний период. При более высокой влажности грунта расчистку просеки следует
вести поздней осенью или зимой, а земляные работы и планировку основания -
весной, по мере оттаивания грунта. 5.16. Основной объем работ по подготовке грунтового
основания выполняет дорожный отряд, укомплектованный бульдозерами, прицепными
или навесными рыхлителями, тяжелыми автогрейдерами, буровзрывным оборудованием
и автомобилями-самосвалами. За механизированной колонной движется бригада
рабочих, которая устраняет неровности пути, заделывает ямы, образовавшиеся при
удалении пней и валунов, устраивает на отдельных участках выравнивающий слой из
грунта, уширяет разъезды и устанавливает дорожные знаки. 5.17. На автозимниках, прокладываемых по
заболоченным поймам и долинам рек, где нет угрозы развития термокарстовых
процессов, подготовка грунтового основания включает удаление мохорастительного
покрова в пределах проезжей части (см. рис. 3. тип 7). Эту работу
выполняют бульдозером последовательными проходами вдоль оси дороги. После естественного
заполнения корыта водой и ее замерзания создается ровное и прочное основание. 5.18. На бугристых вечномерзлых торфяниках, в
кочкарниковой тундре с полигонально-жильным рельефом и близким залеганием от
поверхности сильнольдистых грунтов и подземных льдов удалять мохорастительный
покров запрещается. На таких участках при подготовке основания выполняют
проминку трассы продольными проходами вездеходной гусеничной техники. Для получения ровного основания допускается рыхление
мохорастительного покрова и перемешивание его с грунтом деятельного слоя с
последующей планировкой и уплотнением слоя гладилками, прицепными волокушами
или отвалом бульдозера за три-четыре прохода трактора по одному следу (см. рис. 3,
тип 8). 5.19. Подготовка
основания автозимников на болотах (см. рис. 5) производится с
учетом повышения несущей способности торфяных грунтов при их промерзании в
целях максимального промораживания дорожной полосы в кратчайшие сроки. Для ускорения промерзания болот необходимо: проминать мохорастительный покров, чтобы прорвать
верхнюю корку болот и выжать воду на поверхность; систематически расчищать снежный покров в начале
зимнего периода с последующим переходом к его уплотнению. Для проминки (уплотнения) мохорастительного покрова
на болотах рекомендуется использовать тракторы болотной модификации или
гусеничные тягачи типа БТ-361, ГАЗ-47, АТЛ, ГТТ, а для расчистки снега - типа
БАТ, бульдозеры на тракторах с уширенными гусеницами или прицепные
снегоочистительные угольники. 5.20. Болота следует
проминать, как правило, после первых заморозков, т.е. практически по талому
торфяному слою. Эффективная проминка и беспрепятственный проход машин по болоту
обеспечиваются, если удельное давление на грунт превышает допустимое (табл. 14) не более чем на 25 %. Средние значения давления отдельных типов гусеничных
машин, рекомендуемых для проминки болот, приведены в табл. 15. Таблица 14
5.21. В местах развития больших природных наледей
сооружают трубы и мосты с увеличенными отверстиями, предусматривая свободный
пропуск наледи в течение всего зимнего периода. Отверстие моста должно
превышать на 0,3 - 0,5 м максимальную мощность наледи, определяемую по данным
изысканий или расчетом в соответствии с «Руководством по проектированию
искусственных сооружений автомобильных дорог на водотоках с наледями». 5.22. На переходах через овраги устраивают
снежно-ледяные насыпи. При невозможности уплотнения снега в насыпи (глубокие
узкие овраги) их усиливают деревянным настилом или при наличии вблизи водоема
нагораживают методом дождевания воды, доставляемой автомобильным транспортом. Таблица 15
x) Масса машин в заправленном состоянии плюс масса груза. 5.23. При строительстве сухопутных автозимников в
осенне-зимний период (второй этап) сооружают снежное или снежно-ледяное
полотно, ледовые переправы и устанавливают дорожные знаки и ориентирующие вехи
(см. пп. 4.50
- 4.52). 5.24. В зависимости от природно-климатических
условий, принятой конструкции автозимника и времени производства работ
рекомендуются следующие методы устройства снежного (снежно-ледяного) полотна
автозимников: постепенное наращивание снежного полотна в течение
зимы на подготовленном грунтовом основании; устройство снежных насыпей в начале зимы с
последующим регулярным уплотнением в течение зимы свежевыпавшего снега; прокладка временных автозимников по снежной целине
без подготовки грунтового основания. При толщине снежного покрова до 10 см последний
уплотняется под действием движения автомобилей с одновременной планировкой
снежного полотна автогрейдером или волокушами-гладилками. Слой снега толщиной более 10 см следует уплотнять
прицепными катками на пневматических шинах массой 10 - 15 т, пригруженными
трейлерами, многополозными санями или волокушами-гладилками из труб за 1 проход
по одному следу по всей ширине полотна автозимника. Доуплотнение снежного
полотна происходит под действием движения автомобилей. Снег слоями толщиной более 25 см уплотняют после
предварительного рыхления и перемешивания его ребристыми металлическими
катками, навешиваемыми на трактор. При послойном наращивании снежного полотна в течение
зимы плотность снега в слое должна быть не менее 0,6 г/см3 для
автозимников I - II категорий и не менее 0,55 г/см3 -
III категории. Для предупреждения образования на полотне ям,
выбоин, колей, ухабов и подобных деформаций толщину уплотненного полотна на
автозимниках, запроектированных по типам I - II (см. рис. 1 - 5), обычно ограничивают
30 см. При недостаточной толщине естественного снежного
покрова для накопления снега на месте будущей насыпи устраивают траншеи,
снежные стенки или валы высотой, равной проектной высоте насыпи. Для устройства
снежных стенок и валов используют бульдозеры, двухотвальные тракторные
снегоочистители или прицепные угольники. После накопления в теле насыпи слоя
снега толщиной 40 - 50 см его рыхлят ребристыми металлическими катками,
планируют опущенным отвалом бульдозера и уплотняют катками на пневматических
шинах за 2 - 3 прохода по одному следу. Снежные насыпи возводят послойно. Плотность снега в
верхнем слое насыпи должна составлять не менее 0,6 г/см3, а в нижних
- не менее 0,5 г/см3. плотность снега до 0,45 г/см3 достигается
уплотнением его опущенным отвалом бульдозера; плотность снега до 0,55 г/см3 (при
температуре воздуха, до минус 10 °С) и до 0,5 г/см3 (при температуре
ниже минус 10 °С) достигается уплотнением его катками; плотность снега более 0,6 г/см3
достигается дополнительным поливом полотна водой после уплотнения; количество
воды зависит от требуемой плотности, снега (табл. 16). Таблица 16
5.28. Для получения высокой плотности и прочности
снежного полотна необходимо регулировать удельное давление в пневматических
шинах катков таким образом, чтобы оно в процессе уплотнения было близким к
прочности снега в начале уплотнения (табл. 17). 5.29. При устройстве снежно-ледяной одежды слой
снега поливают водой на ширину проезжей части через 12 - 14 ч после уплотнения;
расход воды - 2 - 4 л на 1 м2 покрытия. Для полива могут быть
использованы вакуум-цистерны, смонтированные на автомобилях и оборудованные
устройствами для забора и слива воды, автополивщики, поливомоечные машины или
цистерны, установленные на тракторных санях. Таблица 17
Примечание. В таблице даны значения предела прочности при
сжатии взрыхленного и перемешанного снега с выдержкой в течение 2 ч при
температуре от минус 5 до минус 20 °С. При выдерживании до 4 ч предел прочности
возрастает в 1,3 - 1,4 раза, до 6 ч - в 1,4 - 1,6 раза. 5.30. Для получения необходимой прочности
уплотненного снега требуется некоторое время для его смерзания. Движение
автомобилей допускается, если снежное полотно плотностью 0,5 г/см3 и
более выдержано при температуре воздуха: минус 10 °С - не менее 24 ч; ниже минус 10 °С - не менее 15 ч. 5.31. При строительстве временных автозимников на
снежной целине целесообразно использовать специальные фрезерно-вибрационные
снегоуплотняющие машины (см. рекомендуемое приложение 8), выполняющие за
1 проход рыхление и перемешивание снега, прогрев снежной массы и
виброуплотнение. Для обеспечения оптимального режима уплотнения снега
фрезерно-вибрационными машинами их параметры нужно регулировать в каждом
конкретном случае в зависимости от состояния уплотняемого снега (начальная
плотность, толщина слоя, температура воздуха и снега) по результатам пробного
уплотнения. Строительство ледовых автозимников5.32. Автозимники по льду рек, озер и морей строят
при устойчивом ледяном покрове и сравнительно спокойном течении воды, при
отсутствии торосов или малом количестве мелких и средних торосов высотой до 1
м, при отсутствии наледных полей и полыней или возможности их обхода. Уклоны съездов на берега рек и выездов с них не
должны превышать 90 %о. 5.33. На первом этапе строительства ледовых
автозимников выполняют следующие подготовительные paботы: земляные работы на съездах на берега рек, озер и
морей и выездах с них; спрямление и углубление русел на наледных участках; строительство линейных зданий; заготовку материалов и подготовку оборудования для
усиления ледяного покрова; заготовку дорожных знаков и вех для обустройства
автозимника. 5.34. Второй этап строительства ледовых автозимников
начинается после ледостава, когда лед может выдержать нагрузку от
дорожно-строительных машин, и включает следующие работы: определение толщины льда и глубины водотока замерами
по предварительно намеченной трассе и окончательная прокладка трассы на
местности; подготовку поверхности льда для движения транспорта
(очистка от снега, расчистка наплывов льда и торосов); усиление слабого ледяного покрова; обустройство автозимника дорожными знаками и
ориентирующими вехами. Перед началом строительства производят визуальную
оценку состояния поверхности ледяного покрова путем специального обследования,
например облет трассы на вертолете. 5.35. На перекатах русло углубляют для
предотвращения образования крупных наледей. Работы по углублению и выравниванию русла выполняют
в конце осени перед ледоставом специальными машинами, бульдозерами или
навесными дноуглубительными снарядами на мощных тракторах с уширенными
гусеницами. В качестве навесных снарядов можно использовать
корчеватели-собиратели, у которых отверстия между зубьями закрывают перфорированными
стальными листами. Отдельные крупные валуны удаляют взрывным способом. Толщину льда замеряют в лунках, пробуриваемых через
каждые 50 - 100 м по трассе автозимника. В журнале промеров отмечают толщину
льда и его структуру, глубину водоема, а также расчетную допустимую величину
нагрузки для данного участка ледяного покрова, руководствуясь данными табл. 8. Для определения толщины льда по трассе целесообразно
использовать радиолокационные толщиномеры льда типа "Зимник" и
Плужник". Толщиномер льда "Зимник" (опытный образец Рижского
Краснознаменного института инженеров гражданской авиации) устанавливается на автомобиле
УАЗ-469 и предназначается для маршрутного непрерывного измерения толщины льда,
обеспечивая при скорости движения автомобиля 40 км/ч точность замеров +
3 см. Толщиномер обеспечен двумя стрелочными индикаторами, отградуированными в
сантиметрах, самописцем непрерывного измерения толщины льда и звуковым
пороговым индикатором на случай наезда автомобиля на опасно тонкий лед. Если прогнозируемая нагрузка на лед выше допустимой
расчетной (см. табл.
8), то обход опасного участка предусматривают по пойме или по берегу
реки. Если это невозможно, то намечают мероприятия по усилению ледяного
покрова. При трассировании ледового автозимника следует через
каждые 15 - 20 км предусматривать выход автозимника на сушу, не прибегая к
искусственному искривлению трассы, а используя места спрямления излучин рек.
Участки автозимника, проходящие по суше, могут быть использованы для
вынужденных остановок автомобилей, кратковременного отдыха водителей или
временного складирования строительных материалов. Такие участки особенно важны
в начальный период эксплуатации; по мере роста толщины льда в зимний период
число таких выходов может быть сокращено. 5.38. Группа обследования выделяет на трассе
автозимника участки, характерные по состоянию поверхности льда и сложности
строительных работ: I - с ровной поверхностью и наличием торосов от
шугового льда высотой до 15 см; строительные работы - преимущественно
снегоочистка; II - со значительным количеством торосов высотой до
30 см; строительные работы - снегоочистка с планировкой льда; III - с торосами от льда осеннего ледохода высотой
более 30 см при хаотическом их нагромождении; строительные работы -
преимущественно планировка торосов; IV - с недостаточной для пропуска расчетных нагрузок
толщиной; строительные работы - усиление льда. 5.39. Подготовка поверхности льда под автозимник
осуществляется механизированным отрядом, оснащенным машинами и механизмами для
расчистки снега, удаления (срезки) наплывов льда и торосов, усиления ледяного
покрова. Строительные и транспортные машины должны быть преимущественно на
гусеничном ходу и иметь небольшую массу. Ледяной покров следует очищать от снега, наплывов и торосов на ширину не менее 12 м
сквозным проходом отряда. Для расчистки снега следует использовать легкие
бульдозеры, двухотвальные автомобильные, тракторные и легкие роторные
снегоочистители, а также прицепные снегоочистительные приспособления. Для
предохранения льда от морозного растрескивания, механического износа, а также
для обеспечения лучшего сцепления колес с покрытием автозимника необходимо
оставлять на проезжей части слой уплотненного снега толщиной до 5 см. Замыкающие машины в отряде следует оборудовать
приспособлениями для разравнивания снежных валов, которым придают уклон не
круче 1 : 6 (см. рис. 7). Все выбоины после расчистки следует залить водой и
заморозить. 5.41. Ледяной покров на участках с толщиной льда,
недостаточной для движения автомобилей с заданными нагрузками, усиливают,
обеспечивая естественное промораживание его или намораживание дополнительного
слоя льда (послойным розливом воды по льду или дальнеструйным дождеванием в
морозном воздухе). На отельных небольших участках со слабым ледяным покровом
(висячий, слоистый лед, широкие трещины) следует устраивать деревянные настилы
(мостики), полностью перекрывающие слабый участок не менее чем 2 м с каждой
стороны. 5.42. Километровые столбы, дорожные знаки и вехи,
обозначающие полосу автозимника, устанавливают сразу после прохода отряда в еще
не затвердевшие снежные валы или в скважины, пробуренные в грунте. на всех машинах и механизмах радиатор и картер
должны быть защищены броневыми листами; машины должны иметь фары переднего и заднего освещения
и фару кругового обзора; к каждой машине должен быть прикреплен буксирный
трос необходимого диаметра длиной не менее 25 м; кабины должны быть оборудованы аварийными люками; дистанция между работающими машинами должна быть не
менее 50 м; не следует допускать длительных остановок машин на
льду (табл.
18); неисправные машины необходимо сразу отбуксировать на берег. 5.44. Ледовые переправы устраивают в такой
технологической последовательности: а) подготовительные работы на переправе: восстановление перехода на местности согласно
проекту; земляные работы по устройству подходов к реке; очистка поймы реки по трассе перехода от крупных
камней, мешающих движению транспортных средств, засыпка углублений; б) остальные операции те же, что и при устройстве
автозимника на ледяном покрове, и выполняются в том же порядке (см. пп. 5.37 - 5.41). Подготовительные работы на переправе проводят в
летне-осенний период, остальные операции по устройству ледяной переправы -
после того, как толщина льда станет достаточной для пропуска строительных машин
и механизмов. Таблица 18
х) Коэффициент запаса прочности представляет собой отношение расчетной
нагрузки на ледяной покров к фактической. Усиление ледовых переправ производят с учетом
требований пп.
4.13 - 4.20. Перед началом работ по усилению переправ рекомендуется
с намеченной для переправы полосы льда удалять снег на ширину не менее 30 м.
При усилении ровного льда методом дождевания снег можно не расчищать, но при
этом следует увеличить долю воды в водоледяной смеси, что достигается
установкой насадка увеличенного диаметра на ствол дождевального агрегата. 5.45. Усиление переправ послойным намораживанием
(см. рис. 11,
типы 18, 19) выполняют в такой последовательности: по обеим сторонам намеченной полосы движения
устраивают валики из снега высотой 20 - 30 см или укладывают деревянные жерди; пространство между валиками или жердями заливают с
помощью мотопомпы водой послойно (2 - 5 см) по мере замерзания. Если на месте строительства переправы имеются
хворост, мелкие сучья, ветки, то пространство между валиками заполняют ими, а
потом послойно разливают воду и замораживают. Для ускорения намораживания в
отдельных случаях пространство между валиками сначала заполняют колотым льдом,
а затем заливают водой. Время намораживания слоя необходимой толщины можно ориентировочно
определить, используя данные табл. 19. 5.46. Усиление переправ методом дождевания воды в
морозном воздухе (см. рис. 12) наиболее эффективно при температуре
воздуха ниже минус 15 °С и скорости ветра до 5 м/с. Для дождевания
используются намораживающие агрегаты типа "Град", созданные на базе
широко применяемых насосов и насосных станций СНП 50/80, СНП 75/100 (см.
рекомендуемое приложение 8). Лед, получаемый методом дождевания, имеет
мелкокристаллическую структуру и более медленно разрушается под действием
солнечной радиации весной. Для эффективного образования такого льда доля воды в
выпадающей водоледяной смеси должна составлять примерно 45 %. Такая смесь на
полотне переправы не растекается и быстро замерзает. Режим намораживания льда назначают в зависимости от
температуры воздуха и скорости ветра (табл. 19) и регулируют высотой
падения капель, степенью их измельчения и скоростью смещения факела в объеме
воздуха. Таблица 19
5.47. Намораживание ледовых переправ выполняют в
такой последовательности: определяют толщину естественного льда и глубину
водотока замерами по намеченной оси переправы; подготавливают поверхность естественного льда к
намораживанию дополнительных слоев льда; намораживают послойно лед до толщины, обеспечивающей
требуемую грузоподъемность переправы. 5.48. На ледовых переправах толщину естественного
льда и глубину водотока замеряют через каждые 10 - 15 м в трех точках (по оси и
по краям полосы) при ширине реки до 100 м; при большей ширине реки и однородном
ледяном покрове расстояние между лунками может быть увеличено до 20 - 50 м.
Толщину льда на крупных реках, озерах и морях при достаточной ее начальной
величине целесообразно замерять с помощью радиолокационных толщиномеров типа
"Зимник" (см. п. 5.36). Результаты замеров толщин льда и глубин водоема
заносят в "Паспорт ледяной переправы" (см. рекомендуемое приложение 9).
Одновременно устанавливают требуемую толщину намораживаемого льда на отдельных
участках переправы с учетом величины расчетных нагрузок (см. справочное приложение 5)
и грузоподъемности (несущей способности) ледяного покрова (пп. 4.11
и 4.20). 5.49. При подготовке поверхности льда для
намораживания руководствуются следующим: наличие на льду снежного покрова высотой до 15 см и
торосов высотой до 25 см практически не влияет на процесс намораживания льда; дождевание на снежный покров высотой 15 - 25 см и
торосы высотой 25 - 40 см следует производить при содержании в водоледяной
смеси воды 55 % и более; при толщине снежного покрова более 25 см и высоте
торосов более 40 см следует предусматривать подготовку поверхности льда
согласно п.
5.40. 5.50. На подготовленной поверхности льда по оси
переправы устанавливают контрольные маркированные вехи через каждые 15 - 20 м
высотой, превышающей проектную толщину намораживаемого слоя льда. На каждой
вехе вкруговую яркой краской наносят риски на высоте, равной проектной толщине
намораживаемого слоя льда. 5.51. Режим работы намораживающего агрегата типа
"Град" назначают с учетом несущей способности естественного льда и
направления ветра в период намораживания (рис. 19): если лед не выдерживает веса агрегата (с буксиром),
то намораживание следует начинать с берега; после замерзания водоледяной смеси
агрегат перемещают на искусственный лед и продолжают намораживание следующего
участка (см. рис.
19, а); при толщине естественного льда, достаточной для
безопасной работы агрегата, намораживание ведут, перемещая его по оси переправы
(см. рис. 19,
б) или вдоль ее бровки на расстояние 5 - 10 м от нее (см. рис. 19,
в), чтобы исключить влияние встречного направления струи ветра. При работе на тонком льду намораживающие агрегаты
следует устанавливать на деревянные щиты размером 4 ´ 0,6 ´ 0,05 м, которые
располагают вдоль оси агрегата по одному под каждую опору (колесо). Рис. 19. Намораживание ледовых переправ методом
дождевания: а - с берега; б - при движении
агрегата по оси переправы; в - то же, вдоль переправы; 5.52. Расстояние между стоянками (позициями) агрегата
выбирают таким образом, чтобы обеспечить перекрытие намораживаемых зон не менее
чем на 5 м. На каждой стоянке агрегата для забора воды
пробуривают лунки размером на 10 - 15 см больше диаметра всасывающего патрубка
(сосуна). 5.53. Количество намораживаемых слоев назначают с
учетом общего объема намораживаемого льда, количества намораживающих агрегатов
и времени полного замерзания слоев водоледяной смеси заданной толщины. Обычно
эффективнее наморозить несколько тонких слоев, чем один толстый. Нанесение очередного слоя производят только после
полного замерзания предыдущего. Время замерзания слоя водоледяной смеси
ориентировочно назначают по табл. 20. 5.54. Толщина первого намораживаемого слоя не должна
превышать половины толщины естественного льда. Толщину контролируют по вехам,
установленным по оси переправы, а в промежутках - определяют визуально. 5.55. Качественное сцепление ледовой переправы с
берегом достигается намораживанием слоя льда толщиной не менее 0,5 м на
береговую зону по площади 10 ´ 30 м; при этом одновременно уполаживают съезды на
переправу. Таблица 20
Режим дождевания (напор, скорость смещения факела,
угол наклона ствола дождевателя) назначают в каждом конкретном случае с учетом
температуры воздуха, скорости ветра, крупности частиц смеси и дальности их
полета. Режим должен быть таким, чтобы получился монолит с содержанием песка не
менее 30 % (по объему), а излишек воды выпадал в виде фирна с подветренной
стороны за пределами проезжей части. В результате дождевания гидропульпы на поверхности
ледовой переправы формируется монолит из зерен льда и песчаных частиц,
равномерно распределенных по объему слоя износа, т.е. создается слой,
обладающий абразивными свойствами и обеспечивающий высокую шероховатость
коэффициент сцепления) поверхности ездового полотна в течение всего срока
службы переправы. 5.57. При усилении ледовой переправы деревянным
настилом (см. рис.
8, тип 14) его, как правило, укладывают на выровненный слой снега
толщиной около 15 см. Поперечины лежневого настила выравнивают подбивкой снега
с последующей поливкой его водой. Стыки отельных лежней устраивают вразбежку
над разными поперечинами. 5.58. Усиление ледовой переправы деревянным настилом
на стойках (см. рис.
8, тип 15) выполняет бригада,
оснащенная ручными или легкими механическими бурами, мотопилами и мотопомпами. В местах установки стоек пробуривают лунки
диаметром, несколько большим диаметра стоек. Стойки пускают в лунки до
соприкосновения с дном реки и хорошо заклинивают льдом или уплотненным снегом.
Примерно через сутки стойки прочно смерзаются с ледяным покровом. Затем их
спиливают заподлицо со льдом и укладывают на них поперечины, которые засыпают
смесью снега со льдом и замораживают. На поперечины укладывают и закрепляют
колесопроводы из бревен диаметром 20 - 22 см и отборные брусья. 5.59. "Плавающие" дереволедяные переправы
(см. рис. 9)
устраивают следующим образом. На ледяной покров укладывают продольные лежни,
связывая их проволочными скрутками. В пространстве между лежнями послойно
намораживают лед, затем на лежни укладывают сплошной деревянный настил из
тонкомерной древесины диаметром 12 - 14 см, который связывают проволокой после
укладки отбойных брусьев. Настил засыпают слоем снега толщиной 15 - 20 см,
поливают водой и промораживают. 5.60. При усилении ледовых переправ клеефанерными
сборно-разборными дорожными покрытиями (см. рис. 10) на выровненный слой
снега толщиной около 10 см укладывают поперечные плиты, на них - плиты
основного пути. После скрепления и обжатия плит основного пути снег поливают
водой на ширину переправы и промораживают. 5.61. При устройстве ледовых переправ и ледовых
автозимников для более быстрого замораживания полыней применяют забрасываемые
ветками перехваты в виде протянутых поперек реки жердей, соединенных
проволокой, или тросов, закрепленных за колья, вмороженные в лед. Перехваты,
уменьшая скорость течения воды, способствуют более быстрому образованию
ледяного покрова: при температуре от минус 20 до минус 25 °С полынья замерзает
в течение недели. Достаточно простой и эффективный способ
замораживания полыньи - заполнение ее колотым льдом. Строительство автозимников с продленными сроками эксплуатации5.62. Подготовку грунтового основания автозимников с
продленными сроками эксплуатации (см. рис. 14, типы 21 - 24)
выполняют таким образом, чтобы полностью сохранить мохорастительный покров.
Если мохорастительный покров был удален (например, при смягчении продольных
уклонов), то впоследствии его следует восстановить на ширину дорожного полотна
и уплотнить гусеницами трактора, особенно тщательно на участках с
сильнольдистыми грунтами и подземным льдом. Теплоизолирующее полотно устраивают бульдозерами
путем продольной надвижки с двух сторон смеси снега со мхом (тип 21 на рис. 14)
или только снега (тип 22 на рис. 14). Смесь снега со мхом разравнивают и
уплотняют бульдозерами до норм, предусмотренных п. 4.24. 5.63. При строительстве автозимников,
предназначенных для эксплуатации в течение всего теплого периода года (см. рис. 15),
снежное (снежно-ледяное) ядро устраивают после промораживания грунтов основания
так же, как и снежные насыпи (см. пп. 5.26 - 5.28) . После возведения снежно-ледяного ядра устраивают
теплоизолирующий слой из торфа. Торф доставляют на дорогу автомобилями и
распределяют в валы. Затем бульдозером разравнивают по откосам и поверхности
снежно-ледяного ядра и уплотняют. Теплоизолирующие слои из быстротвердеющих пен
устраивают с помощью пеногенераторов. При использовании в качестве
теплоизолятора пенопласта их укладывают вручную. 5.64. Торф для устройства теплоизолирующих слоев
заготавливают в карьерах на болотах I типа. В районах сплошной мерзлоты мохорастительный покров или торф для
теплоизолирующих слоев заготавливают заблаговременно ранней весной путем
послойной разработки бульдозерами с перемещением в валы и призмы для
просушивания. 5.65. Строительство автозимников с продленными
сроками эксплуатации на болотах (см. рис. 16, типы 26 и 27)
включает: подготовительные работы; устройство дорожного покрытия (тип 26) или
теплоизолирующего полотна и водоотводных канав (тип 27); сооружение земляного полотна (тип 27). 5.66. Подготовительные работы, выполняемые в
плановом порядке в целях получения требуемой глубины промерзания болота по
трассе автозимника, включают: уплотнение поверхности болота; расчистку полосы
болота от снега, мохового слоя, кустарника; систематическую очистку полосы от
выпадающего снега в период промораживания основания. Способы выполнения подготовительных работ те же, что и при строительстве обычных
автозимников на болотах (см. пп. 5.19 и 5.20). 5.67. К устройству дорожного покрытия или
теплоизолирующего полотна (см. рис. 16, типы 26 и 27) приступают после того, как
болото промерзнет на расчетную глубину (см. табл. 12). Теплоизолирующее полотно отсыпают бульдозерами путем
двусторонней поперечной надвижки снега с моховым очесом. Теплоизолирующее
полотно толщиной 0,5 - 0,6 м отсыпают сразу на полную высоту, при большей
толщине его возводят слоями по 0,4 - 0,5 м с обязательным уплотнением каждого
слоя. Надвинутый снег с очесом разравнивают бульдозерами
(с одновременным уплотнением гусеницами трактора) и выдерживают для смерзания в
течение суток. Затем приступают к уплотнению смеси с помощью прицепных катков
на пневматических шинах. Количество проходов катка по одному следу определяется
производственным заданием до получения требуемой плотности снега (см. пп. 4.29,
4.30). Поверхность теплоизолирующего полотна после
уплотнения планируют автогрейдером и дополнительно уплотняют катком на
пневматических шинах массой 20 - 25 т за 2 прохода по одному следу. 5.68. Водоотводные (водосборные) канавы прокладывают
с двух сторон автозимника на расстоянии 3 м от подошвы теплоизолирующего
полотна с помощью экскаваторов, роторных канавокопателей или многоковшовых
экскаваторов. Земляное полотно отсыпают обычными способами,
применяемыми при возведении в зимнее время насыпей из грунтов сосредоточенных резервов. 5.69. Автозимники с продленными сроками эксплуатации
на болотах строит механизированный отряд, укомплектованный с таким расчетом,
чтобы закончить устройство теплоизолирующего полотна и земляного полотна к
моменту перехода среднесуточных температур воздуха весной через 0 °С. Усредненные данные потребности в машинах и
механизмах при строительстве автозимников на болотах приведены в рекомендуемом приложении 7. 5.70. Технологическая последовательность рабочих
процессов при сооружении земляного полотна на промороженных основаниях (см. рис. 17,
типы 28 - 30) такова: подготовительные работы; намораживание торфяной плиты; отсыпка насыпи из минеральных грунтов. Технологический процесс сооружения земляного полотна
разделяют на три этапа. На первом (осенне-зимний период) выполняют
подготовительные работы и намораживают торфяную плиту; на втором (предвесенний
период) отсыпают земляное полотно из минеральных грунтов на часть высоты и
устраивают боковые теплоизолирующие призмы из торфа; на третьем (летний период)
досыпают земляное полотно из минеральных грунтов до проектной высоты. 5.71. Комплекс подготовительных работ включает
проминку поверхности болот гусеничными машинами повышенной проходимости,
расчистку дорожной полосы от снега и древесной растительности бульдозерами,
систематическую очистку полосы от выпадающего снега в период промораживания
торфяного основания на заданную глубину. Подготовительные работы выполняют согласно пп. 5.19,
5.20. 5.72. Торфяную плиту устраивают после промерзания
основания на глубину, обеспечивающую безопасное движение машин и механизмов.
Способ производства работ назначают с учетом типа болот. 5.73. При строительстве на болотах I - II типов (см.
рис. 17,
тип 28) плиту намораживают обычно в два слоя из торфа боковых резервов,
поочередно разрабатывая их экскаваторами-драглайнами. При этом экскаватором,
передвигающимся вдоль траншеи, за один проход разрабатывают первый слой торфа,
заготавливая и перемещая в вал требуемое его количество для устройства слоя на
всю ширину плиты. Торф в валах выдерживают 2 - 3 сут для снижения его
влажности. Затем разравнивают вал, перемещая торф под углом к оси дороги
бульдозерами. Торф уплотняют гусеничными тракторами за 5 - 6
проходов по одному следу, доводя плотность скелета торфа в насыпи до ρсх
> 0,16 г/см3. Второму слою торфяной плиты придают серповидный
профиль (см. п.
4.32) и дополнительно уплотняют поперечными проходами трактора по
откосам и телу плиты. Потребность в машинах для устройства 1 км торфяной
плиты на болотах I и II типов из боковых резервов приведена в табл. 21. 5.75. При устройстве торфяной плиты на болотах II и
III типов (см. рис.
17, типы 29, 30) торф заготавливают в карьерах, закладываемых на
болотах I типа, и транспортируют на дорогу автомобилями. Подвозимый торф разгружают равномерно на всю ширину
плиты, разравнивают бульдозерами слоями по 0,5 - 0,6 м и уплотняют гусеничным
трактором. Каждый последующий слой торфяной плиты устраивают
после полного промерзания предыдущего. Последнему слою придают серповидный
профиль (см. п. 5.74). После устройства торфяной плиты и промерзания ее
сверху на 10 - 15 см торфяную насыпь дополнительно уплотняют катками на
пневматических шинах массой 20 - 25 т за 2 - 3 прохода по одному следу на
ширину минеральной части насыпи понизу. Таблица 21
Таблица 22
Потребность в машинах для устройства 1 км торфяной
плиты на болотах II и III типов приведена
в табл. 22.
Таблица 23
5.76.
Продолжительность технологических перерывов для промораживания торфяных слоев
насыпи различной толщины устанавливают ориентировочно по табл. 23. Для использования машин в период технологических
перерывов при промораживании слоев торфа работы ведут одновременно на
нескольких участках. 5.77. Возведение земляного полотна автозимников с
продленными сроками эксплуатации должно соответствовать требованиям
"Руководства по сооружению земляного полотна автомобильных дорог"
Минтрансстроя СССР (М.: Транспорт, 1982) и указаниям ВСН
84-89. Контроль качества строительства и ввод автозимников в эксплуатацию5.78. Для обеспечения качества работ по
строительству автозимников контролируют: производство подготовительных работ; операции по возведению снежного (снежно-ледяного)
полотна; прочность полотна автозимника перед вводом его в
эксплуатацию (полевой контроль); производство земляных работ на сухопутных
автозимниках. При строительстве сухопутных автозимников на первом
этапе (см. п.
5.11) следует проверять: ширину просеки, качество работ по корчевке и срезке
пней и планировке грунтового основания, особенно в районах с малоснежной зимой; положение полотна автозимника в плане (путем
измерения отдельных углов поворота и прямых между ними), особенно автозимников,
подлежащих в перспективе переводу в постоянные автомобильные дороги; правильность продольного и поперечного профилей и
соответствие их проекту (продольный профиль проверяют нивелированием на сложных
участках трассы и там, где выполняются земляные работы); соответствие всех параметров конструктивных
элементов труб, мостов и линейных зданий проектным, качество их сооружения и
готовность к нормальной эксплуатации. 5.79. В процессе возведения снежного
(снежно-ледяного) полотна автозимника (второй этап строительства) проводят
систематический контроль за плотностью снега и толщиной конструктивных слоев
при устройстве снежных насыпей. Плотность снега определяют весовым методом с помощью
стандартных плотномеров-снегомеров или металлических режущих колец,
взвешиваемых на технических весах. Для контроля берут не менее трех проб (по
оси и в 1,5 м от кромок проезжей части) через каждые 250 - 300 м снежного
полотна при устройстве его методом постепенного наращивания и через каждые 100
м - при устройстве снежных насыпей. Замеренные значения плотности снега должны
соответствовать требованиям пп. 4.8, 5.25 и 5.26. 5.80. Перед вводом в эксплуатацию построенного
сухопутного автозимника определяют пригодность конструкции снежного или
снежно-ледяного полотна с учетом несущей способности мерзлого грунтового
основания для пропуска расчетных нагрузок. Полевой контроль прочности снежного
(снежно-ледяного) полотна проводят при его толщине более 10 см, особенно
тщательно на участках со снежными насыпями. При этом: замеряют толщину снежного (снежно-ледяного) полотна
(покрытия); определяют с помощью ударника-зонда Союздорнии (рис. 20)
количество ударов гири, необходимое для полного погружения его наконечника в
верхний и нижний (соприкасающийся с грунтом) слои снежного полотна; находят по номограмме (рис. 21) допустимую удельную
нагрузку на полотно с учетом интенсивности движения автомобилей. Допустимую удельную нагрузку на снежное
(снежно-ледяное) полотно определяют по номограмме (см. рис. 21) следующим образом: вычисляют значение m, равное отношению количества ударов ударника-зонда
для верхнего слоя Nв к количеству ударов для нижнего слоя Nн, а также отношение r/Hп (где r - радиус круга,
равновеликого отпечатку колеса расчетного автомобиля (см. справочное
приложение
5); Hп - толщина снежного полотна (покрытия)); из точки по вычисленному значению r/Hп проводят вертикаль до
пересечения с кривой, соответствующей рассчитанному значению m. Точку пересечения сносят горизонтальной линией на левую часть номограммы
до пересечения с соответствующим лучом Nв; из полученной точки опускают вертикаль на одну из
горизонтальных осей (в зависимости от расчетной интенсивности движения) и
устанавливают значение допустимой удельной нагрузки на снежное полотно. Если определенные по номограмме удельные нагрузки
меньше расчетных более чем на 10 %, необходимо усилить полотно автозимника,
например, оледенением его верхнего слоя (см. п. 5.27). При этом необходимо
регулировать движение, пропуская на первом этапе (в период формирования
снежного полотна) более легкие автомобили и в меньшем количестве. 5.81. При строительстве автозимников на болотах
контролируют качество расчистки и подготовки торфяных оснований, процесс
промерзания торфяных оснований, толщину и плотность теплоизолирующего полотна,
а также качество возведения насыпей из минеральных грунтов. Рис. 20. Ударник-зонд Союздорнии: 1 - фиксирующая шайба; 2 -
стальной стержень; 3 - гиря; 4 - упорная шайба Контроль за ходом промерзания торфяных оснований
осуществляют бурением мерзлого торфа (с помощью ручных ледобуров, мотобуров или
бензопил "Дружба") и замером его толщины через каждые 100 м на
болотах I типа и через 50 м на
болотах II - III типов. Рис. 21. Номограмма для определения допустимого
давления Р на снежное полотно: Р1 - при интенсивности
движения свыше 500 авт/сут; Р2 - до 500 авт/сут; P3 - до 100 авт/сут; Р4 -
для единичных автомобилей; m = 0,6 Nв/ Nн Ход промерзания торфяных слоев насыпи при сооружении
земляного полотна на промороженных основаниях (см. рис. 17, типы 28 - 30)
контролируют бурением слоев через каждые 100 м по оси дороги. Замеры глубины
промерзания проводят через определенный расчетом интервал времени после начала
промораживания слоя (см. п. 5.76). 5.82. При строительстве автозимников на ледяном
покрове следует контролировать качество выполнения земляных работ на береговых
съездах и выездах, спрямления и углубления русел, сооружения линейных зданий,
подготовки поверхности льда для движения транспорта, усиления слабого ледяного
покрова. 5.83. Перед вводом в эксплуатацию ледовых
автозимников определяют ориентировочно по номограмме (рис. 22) время (в сутках), в
течение которого может быть получена необходимая толщина льда, достаточная для
пропуска расчетных нагрузок при естественном промораживании. Рис. 22. Номограмма для определения времени
промерзания Т расчищенного от снега ледяного покрова на реках с быстрым (а) и
медленным (б) течением при средних (за период промерзания) температурах воздуха
(цифры на кривых) Для пользования номограммой необходимо иметь
следующие исходные данные: минимальные значения толщин льда h1, замеренные в период строительства автозимника (см. п. 5.36); значения толщин льда h2, которые достаточны для пропуска расчетных нагрузок (определяемые
согласно требованиям п. 4.11); значения средних температур воздуха (за расчетный
период промерзания льда), которые устанавливают по данным прогнозов
метеослужбы. На горизонтальной оси левой или правой стороны
номограммы (см. рис. 22) откладывают значения h1, h2 и проводят вертикальные прямые до пересечения с
соответствующей кривой средних температур воздуха. Точки пересечения проецируют
на ось ординат, по которой и определяют необходимое время промерзания ледяного
покрова. Окончательное время открытия движения по ледовому
автозимнику устанавливают после контрольных замеров толщин льда на наиболее
опасных участках трассы (контрольным бурением или с помощью радиолокационных
толщиномеров типа "Зимник"); замеры проводят через интервал времени
Т, определенный расчетом. 5.84. Открытие движения по автозимнику разрешается
после составления акта о приемке в эксплуатацию рабочей комиссией законченного
строительством автозимника, в котором должны быть отражены соответствие выполненных
работ проекту, общая оценка качества работ, готовность дорожной и
автотранспортной служб к нормальному функционированию, условия эксплуатации
автозимника (допустимые нагрузки и интенсивность движения). Состав рабочей комиссии, форму акта приемки в
эксплуатацию автозимника назначает заказчик применительно к конкретным
условиям, руководствуясь общими положениями "Правил приемки в эксплуатацию
законченных строительством автомобильных дорог" Минтрансстроя СССР (М.:
Транспорт, 1983). 6. СОДЕРЖАНИЕ И РЕМОНТОсновные виды деформаций снежного и ледяного полотна6.1. Деформации снежного и ледяного полотна по
форме, характеру и происхождению делят на следующие группы: истирание (срез); выбивание, выкрашивание, разрушение материала
полотна (выбоины); образование колей и ухабов; сквозное разрушение одежды (проломы); оледенение полос наката; образование трещин на дороге; появление наледных образований на проезжей части. Примерная классификация деформаций и разрушений
снежного и ледяного полотна и причины их возникновения приведены в табл. 24. Таблица 24
6.2. Состояние снежного и ледяного полотна
автозимников контролируют путем визуальных наблюдений с отметкой в специальном
журнале мест разрушений, вида деформаций и намечаемых мероприятий по их
устранению. Проводят также проверочные проездки на автомобиле с регистрацией
скорости движения и оценкой удобств и безопасности движения по участкам
автозимника. Состояние автозимника оценивают в баллах согласно табл. 25. Таблица 25
Содержание и ремонт проезжей части6.3. Содержание проезжей части включает: устранение деформаций и разрушений, возникающих на
полотне автозимника в процессе его эксплуатации: проведение мероприятий по уменьшению
снегозаносимости дороги и ликвидации снежных заносов; выполнение мероприятий по предупреждению выхода
наледных вод на проезжую часть и ликвидации наледи. 6.4. Деформации истирания, выбивания, выкрашивания и
раздавливания материала полотна (см. табл. 24) устраняют регулярно,
не допуская образования глубоких выбоин и колей (более 5 см), с помощью
прицепных угольников, автогрейдеров или фрезерно-вибрационных машин. При
использовании фрезерно-вибрационных машин рыхление и уплотнение снега на
деформированных участках производят только на глубину верхнего слоя - до 15 см. Колеи, ухабы, просадки (проломы), отдельные глубокие
ямы и выбоины, которые трудно ликвидировать прицепными угольниками и
автогрейдерами, заделывают снегом и тщательно уплотняют (желательно с поливкой
водой). 6.5. Для обеспечения безопасности движения следует
поддерживать коэффициент сцепления шин с дорогой φ > 0,20. При
образовании скользкой ледяной корки на уплотненном слое снега по поверхности
проезжей части рассыпают материалы (песок, мелкий гравий, топливный
шлак, мелкодробленый каменный материал), повышающие коэффициент сцепления шин с
дорогой. Однако эта операция требует значительных затрат времени
и средств и не может быть выполнена на всем протяжении автозимника, поэтому
необходимо временно ограничить скорость движения автомобилей. Снег по мере
выпадания немедленно уплотняют, что позволяет закрыть ледяную корку и снять
ограничения скорости движения. Каменные материалы рассыпают пескоразбрасывателями
на подъемах и спусках, кривых малого радиуса, участках с плохой видимостью и в
других местах, где особенно часто требуется экстренное торможение. 6.6. Для повышения безопасности движения и снижения
затрат на обеспечение требуемой степени шероховатости покрытия в течение всего
срока службы автозимника целесообразно перед вводом его в эксплуатацию наносить
шероховатый слой износа путем дождевания в морозном воздухе гидропульпы (см. п. 5.56)
на крутых спусках и подъемах, на кривых малого радиуса, на участках пересечений
и примыканий дорог, на участках с недостаточной видимостью и т.п. При этом
гидропульпу можно доставлять с близлежащих водоемов утепленными, специально
оборудованными (сосун, мотопомпа, дождеватель) автоцистернами. 6.7. К мероприятиям, уменьшающим заносимость
автозимника снегом и улучшающим его эксплуатационные качества, относятся: систематическое уплотнение на полотне свежевыпавшего
снега и метелевых отложений небольшой толщины; уширение полотна автозимника; перетрассирование отдельных, нерационально
запроектированных участков; создание, надлежащее содержание и правильная
эксплуатация снегозащитных ограждений в соответствии с пп. 6.17 - 6.21. Снегоочистку на автозимниках следует максимально
ограничивать, применяя во всех случаях, когда это возможно, уплотнение снега на
полотне. В тех случаях когда необходимость в снегоочистке возникает, применяют
те же способы и машины, что и при очистке постоянных автомобильных дорог от
снега. Свежевыпавший снег и метелевые отложения на полотне
автозимника уплотняются проезжающими автомобилями, либо для этих целей
применяют снегоуплотняющие машины; при этом постепенно увеличивается высота
снежного полотна, уменьшается его снегозаносимость, улучшается ровность
проезжей части и снижается скользкость полос наката. 8.8. Основные деформации ледяного покрова (трещины,
проломы, разрывы льда) возникают обычно в результате неправильной эксплуатации
ледовых, автозимников и переправ. В процессе эксплуатации автозимников на
ледяном покрове необходимо систематически оценивать грузоподъемность льда в
соответствии с табл.
8 и регулировать движение. Рис. 23. Зависимость критической скорости волны от
глубины водоема Нв при различной толщине льда hл, м (цифры на кривых) Для предупреждения деформаций ледяного полотна (см. табл. 24)
необходимо: не допускать пропуска нагрузок, превышающих
расчетные для данной толщины льда; при толщине льда, соответствующей расчетным
нагрузкам, ограничивать скорость движения транспортных средств до 15 - 20 км/ч,
не допуская образования подледной волны с критической скоростью (рис. 23),
совпадающей со скоростью движения транспортных средств; устанавливать скорость движения на ледовых
переправах через малые реки глубиной до 4 м, а также на всех переправах длиной
до 200 м - до 10 км/ч, при глубине водоема до 6 м - до 15 км/ч, а на более
глубоких - до 20 км/ч; выдерживать дистанции между движущимися автомобилями
и тракторами или расстояние между осями переправ не менее установленных норм
(см. табл. 8);
не допускать обгона автомобилей на близком расстоянии; не допускать стоянки транспортных средств на льду,
если он не имеет запаса прочности; если лед имеет запас прочности, допустимую
продолжительность стоянки транспортных средств на льду принимать ориентировочно
по табл. 18
или рассчитывать согласно п. 6.9; своевременно перемещать путевые здания на новые
места после каждой интенсивной метели, если у зданий образуются мощные снежные
сугробы, а также через интервалы времени, установленные расчетом согласно п. 6.9; систематически следить за чистотой льда и снега на
полосе движения, у путевых зданий, а также на специально оборудованных для
стоянки автомобилей площадках: загрязнение льда и снега ведет к ослаблению
ледяного покрова и его подтаиванию под влиянием солнечной радиации.
где ν и β - коэффициенты, учитывающие изменение упругих
и вязких свойств льда по толщине ледяного покрова (рис. 24); Qд и Qф - допустимая и фактическая нагрузка (масса
автомобиля) на ледяной покров, определяемая по табл. 8, т; ε - коэффициент; при недопущении развития в ледяном
покрове радиальных и концентрических трещин ε = 1, при допущении в ледяном покрове мокрых
сквозных трещин ε = 2. Рис. 24. Графики для определения коэффициентов
ν и β 6.10. Трещины, образующиеся на ледяном покрове,
необходимо немедленно заделывать. Хорошо видимые, несквозные трещины небольшой ширины
(до 2 см) заливают водой; сквозные широкие трещины сначала заполняют колотым
льдом, уплотненным снегом, а затем заливают водой. Трещины длиной 2 - 3 м и
шириной до 10 - 15 см могут быть заморожены без прекращения движения, но при
этом следует увеличить дистанцию между движущимися транспортными средствами до
70 - 100 м. При образовании сетки трещин, сквозных трещин длиной
более 2 - 3 м и шириной свыше 15 см и промоин движение по полосе наката следует
временно закрыть и перенести на запасную полосу, а трещины заделать. На температурных швах (становых трещинах) сооружают
настилы из прогонов и лежней, шарнирно скрепленных между собой. 6.11. При эксплуатации ледовых переправ для пропуска
сверхтяжелых грузов (80 т и более) необходимо периодически проверять
грузоподъемность ледяного покрова путем протаскивания блоков различной массы. Такие испытания следует сочетать с замером прогибов
ледяного покрова с помощью высокоточного нивелира, устанавливаемого на
расстоянии не менее 100 м от груза. Если ледяной покров полностью
восстанавливается после испытания на заданную грузоподъемность, то переправа
считается принятой. При остаточных пластических деформациях более 5 % толщины
льда испытания следует прервать и усилить ледяной покров. Масса блоков для
испытания ледяного покрова должна превышать расчетную массу транспортируемых
грузов на 10 %. Результаты испытаний оформляют актом согласно рекомендуемому приложению 10. 6.12. Особенно тщательно необходимо контролировать
состояние ледяного покрова и устанавливать допустимые нагрузки на него согласно
табл. 8
в весенний период. Для продления срока службы ледовых переправ
рекомендуется не допускать образования келейности, регулируя движение и
используя ночные заморозки для исправления проезжей части. 6.13. Перед подвижкой льда деревянный настил с
ледовой переправы должен быть снят. При этом настил освобождают ото льда,
демонтируют колесоотбойные брусья и колесопроводы по секциям. Освобожденные элементы вытаскивают на берег с
помощью тракторных лебедок и укладывают в штабеля по элементам (колесопроводы,
колесоотбойные брусья поперечины и т.д.) на летнее хранение. 6.14. На автозимниках с продленными сроками
эксплуатации служба ремонта и содержания в теплый период года должна выполнять
следующие мероприятия: профилировать поверхность полотна регулярно и
тщательно, поддерживая выпуклое очертание поперечного профиля земляного
полотна; проводить ремонт и устранять деформации и разрушения,
возникающие на дорожном покрытии и земляном полотне в процессе эксплуатации; укреплять ненадежные участки и ликвидировать размывы
полотна дороги; не допускать скопления воды на проезжей части и
систематически отводить поверхностные воды за пределы дорожного полотна; засыпать проезжую часть дороги опилками, порубочными
остатками, шлаком и т.п. на подъемах и спусках, а также на других слабых
участках, где наблюдается интенсивное оттаивание теплоизолирующего полотна; своевременно подготавливать к пропуску паводков
водопропускные сооружения (мосты, трубы) и контролировать их работу в течение
всего теплого периода года. 6.15. Профилирование и утюжку полотна дороги
осуществляют автогрейдерами, угольниками и волокушами, обеспечивая удаление или
уплотнение рыхлого снега, воды, скопившейся в колеях. Колеи и выбоины, которые невозможно устранить
утюжкой и профилировкой, следует засыпать грунтом, предусматривая его
уплотнение проходящим транспортом. 6.16. В местах образования размывов полотна дороги
рекомендуется устраивать деревянные сланевые настилы или лотки для пропуска
поверхностных вод. Защита от снежных заносовКонструкции переносных щитов, правила их установки и
эксплуатации на автозимниках те же, что и на дорогах постоянного действия. 6.18. Снегозадерживающие траншеи прокладывают в
начале зимы проходами машин по снегу или снятием мохорастительного покрова и
укладкой его в валики. Траншеи в снегу с одновременным созданием снежного
валика (снежной стенки) устраивают при толщине снежного покрова до 40 см риджорно-отвальными
снегопахами, более 40 см - бульдозерами или двухотвальными тракторными
снегоочистителями. Если по некоторым причинам (малая толщина снежного
или мохорастительного покрова) нельзя создать достаточно глубокие траншеи,
рекомендуется их прокладку сочетать с установкой простейших снегозадерживающих
устройств, например щитов высотой 1,0 - 1,5 м с просветностью около 50 %. 6.19. Траншеи прокладывают вдоль снегозаносимых
участков параллельно дороге независимо от преобладающего направления метелевых
ветров. Эффективность снегозадерживающих траншей возрастает
с увеличением их глубины и высоты валов. Траншеи, проложенные по мелкому
снежному покрову, плохо защищают от снега, но являются основой для формирования
глубоких траншей при повторной их прокладке после заносов. 6.20. Количество прокладываемых траншей зависит от
объема снегопереноса на данном участке дороги и ориентировочно назначается по табл. 26. 6.21. После заноса траншеи на половину глубины следует
закладывать новую траншею. Порядок возобновления траншей устанавливают с учетом
объема и направления снегопереноса; при этом новую траншею необходимо
располагать на расстоянии не менее 15 м и не более 60 м от дороги. Расстояние между траншеями принимают от 10 до 20 м:
чем больше глубина траншеи и высота снежных валов, тем значительнее должно быть
расстояние между ними. Таблица 26
Примечания: 1. Траншеи устраивают вдоль дороги со стороны
господствующих ветров или распределяют равномерно в зависимости от
снегопереноса с правой и левой сторон дороги. 2. Если толщина снежного
покрова небольшая и траншеи получаются неглубокие (менее 1 м), то количество
одновременно устраиваемых траншей должно быть в 2 раза больше требуемого по
таблице. Борьба с наледями и лавинами6.22. Для борьбы с наледями на автозимниках
применяют: активизацию наледного процесса на безопасном
расстоянии от полотна дороги; задержание наледи и недопущение выхода наледных вод
на полотно дороги; тепловую мелиорацию наледных участков. 6.23. Активизацию наледного процесса на безопасном
расстоянии от полотна дороги осуществляют с помощью грунтовых мерзлотных поясов
простейшего типа и наледных поясов. 6.24. Грунтовый мерзлотный пояс закладывают
перпендикулярно грунтовому потоку в заболоченных логах с неглубоким залеганием
водоупорного слоя. Пояс представляет собой расчищенную полосу шириной 12 - 15 м
и глубиной 0,8 м. Расчистку ведут бульдозером, укладывая мохорастительный
покров и грунт валом по низовой кромке пояса. При необходимости устраивают несколько мерзлотных
поясов с расстоянием между ними 20 - 30 м. Лес и кустарник вырубают между
поясами, а также выше верхнего пояса шириной 20 - 30 м. С наступлением
устойчивых морозов выпадающий снег систематически убирают с полотна мерзлотного
пояса и укладывают на вал из грунта и мохорастительного покрова. Весной, после
оттаивания наледи, полотно мерзлотного пояса изолируют настилкой из хвойного
лапника толщиной 0,3 - 0,5 м, опилок или мха толщиной 0,2 - 0,3 м. Изолирующий
настил убирают осенью перед наступлением устойчивых морозов. 6.25. Наледные пояса применяет для активизации
наледного процесса в удалении от полотна автозимников на малых водотоках.
Наледный пояс представляет собой расчищенный, спланированный и мощенный камнем
участок русла, располагаемый не менее чем в 100 м от полотна дороги. Ширину
пояса выбирают таким образом, чтобы водный поток распластывался слоем толщиной
до 2 см, а его длину принимают не менее 20 м. В пределах наледного пояса водный
поток должен охлаждаться до 0 °С и ниже. 6.26. Наледь у полотна дороги задерживают временными
заборами, представляющими собой заграждение из инвентарных щитов размером 2 х 2
или 2 х 1 м, низкосортного леса или горбыля, укрепленных на заранее
расставленных кольях. Перед началом эксплуатации заборы с обеих сторон обсыпают
снегом, который для повышения водонепроницаемости пропитывают водой. Если на наледном участке имеется водозабор, то для
задержания наледи можно использовать ледяные валы, намораживаемые дождеванием. 6.27. Тепловую мелиорацию наледных участков проводят
при выходе наледных вод непосредственно у полотна дороги или у искусственных
сооружений. При этом утепляют русло водотоков в пределах мостовых переходов,
подпруживают водоток, утепляют каптирующие, водоотводящие канавы и лотки и
прилегающие к ним территории, устраивают насыпи и накапливают снег траншеями или
щитами в придорожной полосе. 6.28. Утепляют русло инвентарными деревянными щитами
из горбылей и досок или накатом из тонкомерного низкосортного леса с
последующей укладкой слоя мха или опилок. Толщину слоя утеплителя принимают
ориентировочно по табл. 27 в зависимости от вида грунта в ложе
ручья. Таблица 27
Русла утепляют следующим образом. Вдоль спрямленного
и углубленного русла по обеим сторонам укладывают тонкомерный круглый лес или
жерди по 5 - 6 штук в ряд. На этом основании перед наступлением устойчивых
морозов размещают деревянные щиты размером 2 х 1,5 м. Мох для утепления
заготавливают в стороне от наледного участка, на расстоянии не менее 0,5 км от
дороги. Весной, с наступлением положительных температур,
слой утеплителя (мох, опилки) снимают и складируют до следующей зимы, щиты
укладывают в штабель. 6.29. Подпруживание водотоков рекомендуется
применять на малых и средних водотоках с явно выраженным руслом реки. Для
подпруживания водотока ниже мостового перехода (наледного участка) устраивают
водонепроницаемую перемычку с водопропускным лотком в ее верхней части. 6.30. Для защиты автозимников от снежных лавин
применяют, как правило, следующие мероприятия: сброс лавин минометным
обстрелом; сброс лавин подпиливанием снежных карнизов тросом; предупреждение
снегонакопления в лавиносборах путем устройства на водоразделах каменных стенок
и установки деревянных щитов; предупреждение схода лавин со склонов установкой
надолб на склонах и в логах. 6.31. Искусственный вызов схода лавин целесообразен
лишь в местах выхода лотковых лавин из эрозионного вреза. Единовременное
накопление снега в таких лавиносборах меньше, чем в других, поэтому можно
несколько раз за зиму постепенно разгружать склон от снега и расчищать дорогу. Сброс лавин путем подпиливания снежных карнизов
тросом допускается лишь в тех случаях, когда есть возможность проникнуть на
безопасные поверхности водоразделов (плато). Организация дорожной службы6.32. Дорожная служба
выполняет следующие работы по содержанию автозимника: ежегодно в осенне-зимний период устраивает снежное
(снежно-ледяное) полотно на сухопутных автозимниках или подготавливает
поверхность льда на ледовых автозимниках; систематически устраняет повреждения и деформации
снежного и ледяного полотна, возникающие в процессе эксплуатации автозимника; ведет борьбу со снежными заносами; осуществляет противоналедные и противолавинные
мероприятия; поддерживает в исправном состоянии элементы
обстановки пути и искусственные сооружения; выполняет мероприятия по продлению сроков
эксплуатации автозимников; в летний период устраняет размывы грунтового
основания паводковыми водами; выравнивает основание автозимника; уширяет
просеки и уничтожает подрост на полосе автозимника; ремонтирует мосты и трубы,
линейные здания, противоналедные и противолавинные сооружения; осуществляет
перетрассировку трудных участков автозимника, а также отсыпает земляное полотно
из минеральных грунтов на подходах к мостам, на переходах через болота и т.п. 6.33. В условиях Севера на автозимниках большой
протяженности целесообразно предусматривать организационную структуру службы
ремонта и содержания по линейному принципу. Основной линейной, производственной, технической и хозяйственной
единицей дорожной службы является дорожный участок (ДУ) или дорожное
ремонтно-строительное управление (ДРСУ). Автозимники, обслуживаемые ДУ и ДРСУ, должны быть
разделены на участки длиной по 120 - 170 км и распределены между подчиненными
ДУ или ДРСУ низовыми звеньями - дорожно-ремонтными пунктами (ДРП) или
прорабскими участками (ПУ) (см. табл. 13). На обслуживаемом ДРП или ПУ участке
автозимника размещаются дистанции линейных мастеров. Вместе с приданными им от
ДРП или ПУ средствами механизации их располагают на наиболее тяжелых и
ответственных участках трассы (ледовые переправы большой протяженности,
перевальные участки горных дорог, снегозаносимые и наледные участки, лавино- и
селеопасные участки, участки с большими объемами земляных работ и т.д.), где
требуется проведение систематических наблюдений за состоянием участков,
принятие экстренных мер по обеспечению проезда, регулирование движения
транспортных средств по грузоподъемности, оказание помощи проезжающим
автомобилям дежурными буксирующими средствами и т.д. 6.34. За ДУ и ДРП (ДРСУ и ПУ) закрепляют
соответствующие дорожные и транспортные машины, а на территории ДРП размещают
постоянную бригаду рабочих для выполнения работ по ремонту и содержанию
автозимника. Количество и номенклатуру дорожных машин,
автомобилей, оборудования и приспособлений для ДУ и ДРП определяют в
зависимости от расположения автозимника на местности, его категории, способа
строительства и содержания (см. рекомендуемое приложение 11).
Целесообразно комплектовать звенья дорожной службы машинами в северном
исполнении. 6.35. Для обеспечения нормальной и безопасной
эксплуатации автозимника при составлении транспортной службой графика перевозок
должны быть заранее учтены и увязаны между собой несущая способность снежных и
ледяных участков дороги (твердость уплотненного снега, толщина льда на реках и
озерах, глубина промерзания болот) и режим перевозок (состав потока и
интенсивность движения). 6.36. Для организации движения по автозимникам,
проложенным в горной местности, при наличии угрозы снежных обвалов, заносов и
гололедицы необходимо предусматривать: обязательное обеспечение подразделений дорожной
службы средствами двусторонней связи (селекторная, телефонная или радиосвязь); Установку дополнительных предупреждающих дорожных
знаков, а также через каждые 10 - 15 м вех, обозначающих ширину полотна
автозимника; наличие на трудных участках горных перевалов
дежурных тягачей для буксировки машин; выделение проводников для сопровождения
автомобильных колонн на участках с односторонним движением, а также в опасных
местах, где возможен сход лавин и пр. В тундровых районах, где часто наблюдаются сильные
метели и пурга (например, на Чукотке), предусматривают установку вех через
каждые 15 - 20 м на прямых и кривых, обозначающих ширину полотна автозимника и
ориентирующих водителя в условиях пониженной видимости. 6.37. Для регулирования движения на переправах
(особенно в начальный и конечный периоды эксплуатации) через крупные водотоки
организуются посты, в задачу которых входит: контроль за грузоподъемностью переправы и
определение условий движения (масса транспортных единиц, скорость движения и
дистанции между ними); контроль за состоянием проезжей части и устранение
повреждений на ней. В весенний период движение по ледовым переправам
закрывают: а) при появлении колей, заполненных талой водой; б) образовании сквозных трещин шириной более 10 см; в) разрушении льда у съездов; г) уменьшении толщины льда и снижении
грузоподъемности переправы до 5 т. Закрытие переправы оформляют соответствующей записью
в "Паспорте ледяной переправы", a на съездах
устанавливают запрещающие движение знаки и ограждения. 6.38. При организации движения на автозимниках, прокладываемых
по ледяному покрову крупных рек и озер, необходимо предусматривать передвижение
транспортных средств в колоннах по 5 - 6 машин, одна из которых должна быть с
двумя ведущими мостами. Машины следует оснащать трапами для переезда трещин во
льду. При плохой видимости (туман, сильный снегопад,
метель) движение по автозимнику запрещается. 6.39. В весенний период движение по автозимникам
допускается только в ночные и предрассветные часы, т.е. в наиболее холодное
время суток, а ремонт проезжей части следует осуществлять в дневные часы. На наиболее трудных для движения участках надлежит
предусматривать расстановку дежурных машин для буксировки автомобилей. 6.40. После закрытия движения по автозимнику
дорожная служба выполняет следующие работы: собирает для летнего хранения и ремонта дорожные
знаки и снегозадерживающие щиты; принимает меры по сохранению мостов и труб при
наличии угрозы разрушения их паводковыми водами; перебрасывает дорожно-строительные машины на
объекты, на которых ведутся летние работы, или в пункты ремонта и хранения; ремонтирует и подготавливает машины к следующему
сезону; проводит летние ремонтные работы согласно п. 6.32; уточняет график перевозок на следующий сезон с
учетом накопленного опыта эксплуатации автозимника. 6.41. На всех комплексах дорожной и автотранспортной
служб следует иметь информационные табло со схемой автозимника, на которой
указаны трудные участки трассы, условия движения и меры по обеспечению
безопасности при осуществлении грузоперевозок, часы работы переправ,
грузоподъемность переправ, пункты отдыха водителей и столовые, сеть
автозаправочных и ремонтных пунктов. Такая информация должна постоянно
обновляться. 7. ОХРАНА ОКРУЖАЮЩЕЙ СРЕДЫ7.1. При проектировании, строительстве и
эксплуатации автозимников следует руководствоваться Земельным кодексом и Водным
кадастром РСФСР и Указом Президиума Верховного Совета СССР "Об усилении
охраны природы в районах Крайнего Севера и морских районах, прилегающих к
Северному побережью СССР" от 6 декабря 1984 г. № 306-р. План мероприятий по охране природы и рациональному
использованию природных ресурсов должен предусматривать: обеспечение
сохранности древесных насаждений и растительности; сохранение водоемов и
недопущение их засорения; рациональное использование территории строительства и
естественных ресурсов; обеспечение санитарного состояния территории и
строящихся объектов; рекультивацию нарушенных техногенным воздействием
территорий. 7.2. Трассирование автозимников и выбор мест под
размещение производственных баз, карьеров и резервов грунта, площадок для
комплексов зданий и сооружений дорожной и транспортной служб следует
осуществлять с учетом сохранения путей миграции и мест жизнеобитания (пастбища,
озера, места токования) диких животных и птиц, а для рыбы - мест нереста и
жировок (питания). Принятый вариант прокладки трассы в таких местах
дополнительно согласовывают с управлением охотничье-промыслового хозяйства при
крайисполкомах (облисполкомах). При трассировании следует избегать прокладки
автозимников: по местности, занятой основными кормами диких
животных и птиц, например по прирусловым осинникам и тальникам; на берегозащитных полосах шириной 300 м вдоль рек,
вокруг озер и водоемов; на полосе леса шириной 2 км, граничащей с тундрой; в лесах, расположенных на склонах оврагов, балок, а
также на легко размываемых и выветриваемых грунтах; на лесных участках площадью до 100 га, расположенных
среди безлесных пространств. 7.3. Временные базы строительных и эксплуатационных
подразделений, карьеры грунта следует располагать на территориях с повышенной
устойчивостью к техногенным воздействиям, например на участках выходов на
поверхность скальных и крупнообломочных пород, на ровных дренированных
участках, местных возвышениях или относительно пологих склонах, сложенных
малопросадочными грунтами. 7.4. При выборе площадок для размещения комплексов
зданий и сооружений дорожной и автотранспортной служб необходимо учитывать
внешние признаки возможного проявления неблагоприятных криогенных процессов. Не
следует выбирать участки, примыкающие к оврагам, особенно к их вершинам или
отверткам, а также участки с широким распространением бугров, гряд пучения и
бугристых торфяников. 7.5. Строительную площадку необходимо выравнивать в
начале зимы после промерзания грунта основания и при необходимости подсыпать
грунтом, что обеспечит проезд транспорта и строительных машин без нарушения
мохорастительного покрова. 7.6. В тундре и лесотундре запрещается какое-либо
техногенное воздействие на солифлюкционные
склоны крутизной более 3°, сложенные просадочными и сильнопросадочными
грунтами. 7.7. В целях максимального снижения техногенного
воздействия на прилегающую территорию, конструкции автозимников, технология
строительства и сроки производства работ должны соответствовать требованиям
настоящих норм. Если техногенного воздействия не удается избежать,
то следует предусматривать: для предупреждения термоэрозии на склонах -
сохранение естественного мохорастительного покрова, засыпку вершины оврага
торфом, крупнообломочным грунтом и устройство надлежащего водоотвода; для предупреждения термокарста - засыпку воронок и
западин минеральным грунтом и укрытие этих участков слоем торфа. 7.8. На заболоченных и заозеренных территориях
водопропускные сооружения следует проектировать с учетом минимальных нарушений
естественных уровней грунтовых и поверхностных вод. 7.9. Следует ограничивать использование древесины
для усиления ледяного покрова на переправах, чтобы не допускать загрязнения
рек, ориентируясь на широкое применение намораживания льда методом розлива воды
или дождевания. 7.10. При проектировании мостовых переходов через
реки, а также труб на малых водотоках для предотвращения растепления
вечномерзлых грунтов необходимо предусматривать меры, исключающие возможность
застоя воды и других нарушений бытового режима водотока. Водопропускные
сооружения должны работать в безнапорном режиме, а при назначении отверстий
труб и мостов не следует допускать аккумуляции воды перед сооружением. Как правило, надлежит избегать перекрытия рек, проток,
ручьев дамбами без предварительного устройства водопропускных сооружений, а
также не допускать заметных размывов русел в местах мостовых переходов. 7.11. Места стоянки, обслуживания и заправки
дорожно-строительных машин, автозаправочные станции должны располагаться в
пределах отведенных и оборудованных территорий. Необходимо принимать меры
против загрязнения местности, и особенно водоемов, горючесмазочными материалами
и другими производственными отходами. 7.12. Карьеры, резервы и другие временно отведенные
территории после окончания работ должны быть рекультивированы. При этом
необходимо разобрать все временные сооружения, убрать мусор, в том числе
остатки лесоповала, выровнять поверхность и распределить на обнаженных участках
дерново-моховой покров или плодородный слой почвы, посеять траву или провести
биологическое закрепление почвенного слоя (гидропосев, посадка леса,
кустарника). 7.13. На ледовых автозимниках следует максимально
ограничивать перевозку токсичных и ядовитых материалов, предусматривая дополнительные
меры по предупреждению попадания их в водоем. Горючесмазочные, токсичные и ядовитые материалы
надлежит перевозить в емкостях с повышенной герметичностью. Допустимая нагрузка
на ледяной покров при их перевозке должна быть вдвое ниже по сравнению с
обычными грузами. 7.14. Перед закрытием ледовых автозимников следует
очищать трассу от грязи, хлама, древесины, вывозить эти отходы на берег для
захоронения в отведенных местах или для утилизации. 8. ОСНОВНЫЕ ПОЛОЖЕНИЯ ПО ТЕХНИКЕ БЕЗОПАСНОСТИ8.1. При строительстве и содержании автозимников
следует руководствоваться правилами по технике безопасности, изложенными в СНиП III-4-80,
"Правилах техники безопасности при строительстве, ремонте и содержании
автомобильных дорог" Минтрансстроя, Минавтодора РСФСР (М.: Транспорт,
1977), ГОСТ
12.3.033-84, а также учитывать дополнительные требования настоящих норм. 8.2. Режим труда и отдыха дорожников целесообразно
устанавливать в соответствии с "Рекомендациями по обеспечению безопасности
при производстве строительно-монтажных работ в условиях северной зоны
страны" (М.: Стройиздат, 1976). Непосредственными исполнителями мероприятий по
охране труда и ответственными за их исполнение являются производители работ,
дорожные мастера и линейные механики. 8.3. Применяемые механизмы, машины и оборудование
должны соответствовать характеру выполняемой работы, находиться в исправном
состоянии и быть готовыми к работе в зимних условиях. Машины для работы в зимних условиях должны иметь
утепленные кабины, устройства для обогрева смотровых стекол, утепленные капоты,
устройства для дистанционного запуска двигателей, усиленное осветительное
оборудование и устройства, повышающие проходимость машин по снегу. 8.4. При эксплуатации машин и механизмов при низких
температурах воздуха следует ограничивать нагрузку, учитывая повышенную
хрупкость металла в этих условиях. Целесообразно использовать машины и
механизмы в северном исполнении. 8.5. При рыхлении мерзлого грунта взрывами
необходимо соблюдать действующие правила по технике безопасности при проведении
буровзрывных работ в строительстве. Радиус опасной зоны устанавливается для
людей не менее 200 м, для механизмов - не менее 100 м. 8.6. Дорожно-строительные работы на болотах, озерах
и реках разрешается начинать после промерзания их на глубину, обеспечивающую
безопасный пропуск строительных машин; грузоподъемность промерзшего слоя болота
и ледяного покрова устанавливают в соответствии с данными табл. 7 и
8. Не разрешается передвижение и работа строительных
машин без предварительного обследования участков болот и ледяного покрова. Машины и механизмы, предназначенные для работы на
ледяном покрове, должны быть дополнительно оборудованы согласно требованиям п. 5.43. 8.7. Работы по подготовке полосы отвода и основания
на болотах, а также ледяного покрова следует выполнять под непосредственным
наблюдением дорожного мастера. 8.8. Запрещается трелевка леса (например, для
усиления ледяного покрова) на продольном уклоне крутизной более 14 ° зимой и в
дождливую погоду летом, а также на уклоне более 22 ° - в сухую погоду летом. 8.9. Работу землеройных машин на глинистых грунтах в
дождливую погоду следует прекращать. Работа бульдозера допускается на подъемах крутизной
не более 25 °, на спусках - не более 30 ° и на косогорах с поперечным уклоном
не более 25 °. 8.10. При отсыпке теплоизоляционных материалов (мох,
торф и т.п.) на откосы насыпей рекомендуется применять автомобили с боковой
разгрузкой. Не допускаются движение и остановка транспортных средств в пределах
призмы обрушения грунта. 8.11. При монтаже труб и мостов с использованием
железобетонных элементов особого внимания к правилам техники безопасности
требуют погрузочно-разгрузочные работы, транспортирование, монтаж элементов и
электросварка стыковых соединений. К такелажным работам допускаются лица не моложе 18
лет, имеющие удостоверение такелажника и прошедшие обязательное обучение по
технике безопасности. Перед началом работ необходимо проверить исправность
грузовых тросов, цепей и крюков. 8.12. Проведение работ в непосредственной близости
от действующих газо- и нефтепроводов, линий электропередач и подземных
коммуникаций оформляют письменным нарядом-допуском, в котором указывают
дополнительные мероприятия по технике безопасности согласно СНиП III-4-80. Во время грозы работы вблизи трубопроводов, линий
электропередач, штабелей труб и других металлоконструкций запрещаются. 8.13. На участках автозимников, подверженных снежным
заносам, следует устанавливать вехи через каждые 10 - 15 м, обозначающие ширину
полотна. 8.14. При подготовке и намораживании ледовых
переправ необходимо выполнять следующие требования: обслуживающий персонал должен работать в
спасательных жилетах; рядом с намораживающим агрегатом типа
"Град" следует оборудовать переносной пост с комплектом спасательных
средств (спасательный круг, багор, веревка длиной 15 - 20 м); запрещается транспортировка агрегата с
незакрепленным всасывающим патрубком; запрещается дождевание на расстоянии менее 200 м от
линии электропередач; запрещается подъезжать к агрегату на тракторах и
автомашинах, создавая дополнительную нагрузку на лед; буксировать агрегат по тонкому льду следует на
гибкой сцепке длиной 25 - 30 м на скорости не более 10 км/ч. Приложение 1
Обязательное
ОСНОВНЫЕ КЛИМАТИЧЕСКИЕ ПОКАЗАТЕЛИ ЗИМНЕГО ПЕРИОДА СИБИРИ И СЕВЕРО-ВОСТОКА СССРНа территории Сибири и Северо-Востока СССР
выделяется четыре основных района (см. рисунок) со специфическими особенностями
в части назначения конструкций и методов строительства автозимников: I - центральная часть Восточной Сибири
(преобладающая часть Красноярского кр. и Якутской АССР между 55 - 70 ° с.ш. и
87 - 137 ° в.д.) - лесистая, с вечномерзлыми грунтами, слабыми метелями, объемы
снегопереноса до 75 м3/м; снежный покров держится продолжительное
время (180 - 220 дн.) и имеет среднюю высоту 20 - 30 см на востоке и 40 - 70 см
- на западе района; продолжительность ледостава колеблется от 170 до 210 дн.;
на территории района распространены наледи, преимущественно речные и ключевые; II - центральная часть Западной Сибири
(преобладающая часть Тюменской обл. южнее 65 ° с.ш., западная часть
Красноярского кр. (до Енисея) и Томская обл.) - лесистая, заболоченная; объемы
снегопереноса до 150 м3/м; снежный покров держится 180 - 220 дн и
имеет среднюю высоту 40 - 70 см; продолжительность ледостава на реках
колеблется от 160 до 190 дн; при нарушении строительством естественных условий
возможно появление грунтовых и речных наледей; III - северная тундровая и лесотундровая часть Сибири
(северная часть Тюменской обл. и Красноярского кр. севернее 65 ° с.ш. северная
часть Якутской АССР севернее 69 ° с.ш. и Магаданской обл. (Чукотка)) -
открытая, с сильными и очень сильными метелями; объемы снегопереноса более 300
м3/м, а в отдельных районах - до 1000 м3/м и более;
снежный покров высотой 30 - 40 см держится более 220 дн; продолжительность
ледостава на реках колеблется от 200 до 220 дн; распространены речные наледи;
при нарушении строительством естественных условий возможно развитие
термокарстовых процессов; IV - горные районы, где природно-климатические условия
зависят от высоты и экспозиции хребтов; распространены наледи всех типов
(речные, ключевые, грунтовые). Для выполнения экономических и технических расчетов
при проектировании и строительстве автозимников следует руководствоваться
данными СНиП
2.01.01-82 и климатических справочников и устанавливать: средние даты наступления устойчивого морозного
периода, которые могут служить для определения сроков прекращения земляных
работ, начала проведения мероприятий по ускорению промораживания болот и т.д.; средние даты образования устойчивого снежного
покрова, определяющие начало строительства снежного полотна и эксплуатации
сухопутных автозимников; средние из наибольших декадных высот снежного
покрова, которые могут быть использованы при определении высоты
снегонезаносимой насыпи, назначении способа строительства и выборе
снегоуплотняющих снарядов, особенно при строительстве автозимников на снежной
целине; средние даты замерзания рек и их вскрытия,
позволяющие судить о сроках эксплуатации ледовых автозимников и ледовых
переправ, начале работ по усилению ледовых переправ, а также о сроках
подготовки к пропуску паводковых вод; среднемесячные температуры воздуха за зимний и
летний периоды, необходимые для выполнения инженерных расчетов.
Карта районирования территории Сибири и
Северо-востока СССР Приложение 2Обязательное ТЕХНИКО-ЭКОНОМИЧЕСКОЕ ОБОСНОВАНИЕ СТРОИТЕЛЬСТВА АВТОЗИМНИКОВ И ПРОДЛЕНИЯ СРОКОВ ИХ СЛУЖБЫ1. Планирование затрат на строительство и
реконструкцию автозимников должно быть обосновано экономическим сравнением
возможных вариантов обеспечения объема перевозок. Один и тот же грузооборот
между двумя опорными пунктами может быть выполнен воздушным, водным и
автомобильным транспортом по автозимнику и постоянной автомобильной дороге или
смешанным транспортом в разные периоды года, например летом - водным, зимой -
воздушным, автомобильным. 2. При разработке технико-экономических расчетов
(ТЭР) необходимо дать обоснование целесообразности строительства автозимника
или эффективности капиталовложений в реконструкцию существующего автозимника.
При этом следует руководствоваться положениями ВСН
21-83 с учетом рекомендаций пп. 3 - 18 настоящего приложения. Во всех случаях технико-экономическое обоснование
проводят с учетом суммы строительных, дорожно-эксплуатационных и
эксплуатационно-транспортных затрат. Наилучшим проектным решением будет вариант
обеспечения перевозок с наименьшими суммарными приведенными затратами. 4. Суммарные приведенные затраты С при сравнении
автозимника и постоянной автомобильной дороги определяют по формуле
где К - затраты на строительство; П - затраты на приобретение
подвижного состава; Б - затраты на строительство
складов; Дt - годовые расходы на ремонт и содержание
автозимника или автомобильной дороги; E0 - коэффициент приведения разновременных затрат; Е0
= 0,08; t - расчетный период суммирования
затрат; Тt - годовые транспортные расходы; Рt - прочие эксплуатационные расходы. 5. Затраты на строительство автозимника, как и
постоянной автомобильной дороги, устанавливают сметно-финансовыми расчетами или
по укрупненным показателям стоимости аналогичных объектов для зоны
проектирования. 6. Затраты на приобретение подвижного состава П
определяют по формуле
где В - продолжительность эксплуатации
автозимника или автомобильной дороги за год, сут, N0 - среднесуточная
интенсивность движения по автозимнику или по автомобильной дороге за исходный
год, авт/сут; L - протяженность
трассы по рассматриваемым вариантам, км; См - средняя стоимость
автомобиля, руб.; b - количество смен
работы автомобиля за период эксплуатации автозимника или автомобильной дороги в
год; Vср - средняя скорость
движения автомобиля, км/ч. 7. Грузы в район действия автозимника или постоянной
дороги обычно завозят водным путем или по железной дороге. Для хранения грузов
необходимо строительство складов. Ориентировочные затраты на строительство складов Б
(тыс. руб.) при доставке грузов по водному пути определяют по формулам: для постоянной автомобильной дороги
для автозимников
где q - стоимость строительства склада на 1 т, руб.; Q - годовой объем
перевозок, тыс. т. mн - продолжительность навигации, мес; nэ - продолжительность работы автозимника, мес Если автозимник или постоянная дорога прокладывается
от железнодорожной станции до места потребления грузов, то склады устраивают
только для грузов, транспортируемых по автозимнику. Ориентировочные затраты на
их сооружение определяют по формуле
8. Дорожно-эксплуатационные расходы на постоянную
автомобильную дорогу включают ежегодные расходы на содержание штата и средств
производства, летнее содержание дороги и ее сооружений, текущий ремонт и зимнее
содержание. Для автозимника эти расходы состоят из затрат на содержание штата и
средств производства, расходов на ежегодное восстановление автозимника и на
зимнее содержание. 9. Транспортные расходы Т (тыс. руб.) составляют
значительную долю общей суммы затрат и определяются по формуле T = QLS, где S - себестоимость перевозок 1 т груза на 1 км, руб. 10. В состав прочих эксплуатационных расходов P (тыс. руб.) для постоянной автомобильной дороги
входят затраты, связанные с хранением грузов на складах, с доставкой их водным
путем в зону действия дороги:
где βхр -
стоимость хранения 1 т грузов в год, руб. В состав прочих эксплуатационных расходов для
автозимника входят затраты на хранение грузов на складах и расходы, связанные с
доставкой воздушным транспортом отдельных срочных грузов в период прекращения
движения по автозимнику:
где a - время от окончания навигации до начала работы
автозимника, мес; Sa - себестоимость 1 т×км авиаперевозок, руб.; Qa - объем авиаперевозок, тыс. т; La - расстояние авиаперевозок, км. 11. Варианты строительства сравнивают сопоставлением
срока окупаемости t или коэффициента
эффективности E по формулам:
где К1, К2 - затраты на строительство по
1-му и 3-му вариантам; С1, С2 - годовая себестоимость продукции по 1-му и
2-му вариантам. Для транспортного строительства в малообжитых
северных районах нормативное значение коэффициента экономической эффективности
Ен = 0,1. Этому нормативному значению Ен соответствует
нормативный срок окупаемости капитальных затрат tн = 10 лет. 12. При обосновании экономической целесообразности
продления срока службы автозимника можно исходить из следующих положений: а) годовой объем перевозок для автозимника
постоянен, мероприятия по продлению сроков службы автозимника не снижают
скорости движения автомобилей, т.е. транспортные расходы по вариантам равны и
из расчетов исключаются; б) суммарные годовые затраты для автозимника с
продленным сроком службы равны затратам для обычного автозимника или меньше их. Следовательно, дополнительные ежегодные затраты на
проведение мероприятий по продлению срока службы автозимника по сравнению с
обычными автозимниками, должны компенсироваться за счет ожидаемой экономии: Дп < Д0 + Э, где Дп, Д0 -
экономически целесообразные годовые затраты на строительство, содержание и
ремонт 1 км соответственно автозимника с продленными сроками службы и обычного
автозимника; Э - возможная экономия (объем дополнительных затрат)
в результате продления сроков службы автозимника. 13. Экономия средств в результате продления срока
службы автозимника возможна за счет уменьшения: капиталовложений в подвижной состав и в создание
базы по его обслуживанию; затрат на строительство складов и хранение грузов; объема перевозок срочных грузов воздушным
транспортом. 14. Годовой объем экономии средств за счет
уменьшения капиталовложений в подвижной состав и в создание базы по его
обслуживанию, отнесенный к 1 км автозимника, ΔП0 (тыс. руб./км)
может быть определен по формуле
где См’ - средняя
стоимость автомобиля, отнесенная к году его службы, руб.; Сб - затраты на один
автомобиль по созданию базы обслуживания, отнесенные к одному году службы базы,
руб.; Г - средняя грузоподъемность
подвижного состава, т; γ1, γ2
- коэффициенты, учитывающие пробег и грузоподъемность автомобилей; δ - коэффициент, учитывающий
относительное удлинение срока службы автозимника в календарном году; δ = nп/nо; nп, nо - период эксплуатации
автозимника соответственно с продленным сроком службы и обычного, мес. 15. Годовой объем экономии средств ΔБ0
(тыс. руб./км) за счет уменьшения капиталовложений в строительство складов,
отнесенный к 1 км автозимника, может быть определен ориентировочно по формуле
где β1 - стоимость
строительства склада вместимостью 1 тыс. т груза, отнесенная к одному году
службы склада, тыс. руб.; a1 - параметр; a1 = 12 - при доставке груза в район действия автозимника водным путем, a1 = 6 - по железной дороге. 16. Годовой объем экономии средств ΔА0 (тыс. руб./км) за счет уменьшения
объема авиаперевозок (переключения части перевозок срочных грузов на
автозимник), отнесенный к 1 км автозимника, может быть с достаточной степенью
точности подсчитан по формуле
где Qa’ - месячный объем авиаперевозок срочных грузов за периоды с момента
окончания навигации до начала работы автозимника и с момента окончания работы
автозимника до начала навигации, тыс. т. 17. Экономически целесообразные годовые затраты на
строительство, содержание и ремонт 1 км автозимника с продленными сроками
службы в окончательном виде можно записать:
18. Обычно мероприятия по продлению сроков службы
автозимника выполняют не на всем его протяжении, а только на отдельных
участках, определяющих время открытия сквозного движения по автозимнику.
Например, на сухопутных автозимниках такими участками являются ледовые
переправы или участки со слабыми грунтовыми основаниями (болота, мари). В таких
случаях годовые экономически целесообразные затраты Дп’
на выполнение мероприятий по продлению срока эксплуатации 1 км ледовой
переправы или перехода через болота составят: Дп’ = ДпL / Lпер, где Lпер - протяженность ледовых переправ или пересекаемых болот на автозимнике,
км. Приложение 3
Рекомендуемое СОСТАВ РАБОЧЕГО ПРОЕКТА НА СТРОИТЕЛЬСТВО АВТОЗИМНИКА1. Рабочий проект регулярного сухопутного
автозимника включает: а) пояснительную записку с материалами
технико-экономических расчетов (ТЭР) с обоснованием проектных решений,
описанием топографических, почвенно-грунтовых и климатических особенностей
района строительства, с фотоснимками отдельных сложных мест и отдельных
мерзлотных явлений, с приложением документов о согласовании и других справочных
и обосновывающих материалов; б) топографическую карту района в масштабе 1 :
200000 с нанесением на ней трассы автозимника с существующих путей сообщения; в) план трассы в масштабе 1 : 20000 или 1 : 50000 с
разбивкой пикетажа и кривых, нанесением наледных полей, оползней, обвалов,
снегозаносимых участков и участков, на которых возможно развитие термокарстовых
процессов, а также с указанием размещения путевых зданий; г) планы в горизонталях сложных участков в масштабе
1 : 5000; д) сокращенные продольные профили, составленные на
основе барометрического нивелирования или измерения местности уклономером, в
масштабе: горизонтальный - 1 : 10000, вертикальный - 1 : 1000; е) продольные профили трудных участков, где
проводилось геометрическое нивелирование, в масштабе: горизонтальный - 1 :
5000, вертикальный - 1 : 500; ж) почвенно-грунтовые профили на участках проведения
земляных работ, на заболоченных участках с указанием вида грунта, глубины
залегания вечномерзлых грунтов, типа болот и их глубины; з) поперечные профили полотна автозимника с
привязкой к пикетажу автозимника; и) чертежи мостов, ледяных переправ, противоналедных
и других защитных сооружений; к) проекты путевых зданий; л) ведомости: рубки леса и корчевки пней; земляных работ на косогорных участках, на подходах к
искусственным сооружениям и на участках, где предусмотрено смягчение
продольного профиля; планировки грунтового основания; сооружения мостов, труб и ледовых переправ; устройства противоналедных и других защитных
сооружений; строительства путевых зданий, организации связи; проведения мероприятий по ускорению промораживания
болот и марей; проведения мероприятий по продлению срока служба
автозимника; реперов; установки дорожных знаков и оградительных
приспособлений; м) план организации работ и рекомендации по их
технологии для первого и второго этапов строительства с приложением сводных
ведомостей объемов работ, графиков дальности возки основных строительных
материалов, сводных ведомостей потребности в рабочей силе, основных
стройматериалах, механизмах и транспорте; н) сметную документацию (сводная смета на строительство и ежегодные затраты на
восстановление автозимника; сметы на отдельные виды работ и каталог единичных
расценок). 2. Рабочий проект временного сухопутного автозимника
включает: а) краткую пояснительную записку, отражающую
экономическое значение и категорию автозимника, природно-климатические
особенности района строительства с обоснованием трассы автозимника и основных
технических решений; б) топографическую карту района в масштабе 1 :
200000 с нанесением на ней трассы автозимника, существующих путей сообщения,
мест расположения искусственных сооружений и путевых зданий; в) продольные профили сложных участков, если их не
удалось обойти, в масштабе: горизонтальный - 1 : 5000, вертикальный - 1 : 500; г) поперечные профили полотна автозимника; д) эскизные чертежи труб, временных мостов, ледовых
переправ, путевых зданий, противоналедных сооружений; е) ведомости зданий, дорожных знаков и оградительных
приспособлений; ж) ведомости объемов работ и потребности в
материалах и основных ресурсах для строительства автозимника; з) сметную документацию. 3. Рабочий проект ледового автозимника включает: а) пояснительную записку с описанием района трассы,
режима рек и водоемов, а также прочих данных, характеризующих трассу
автозимника; обоснование принятых проектных решений; б) схематический план рек или водоемов в масштабе 1
: 200000 с нанесением на нем трассы автозимника, объездов, путевых зданий,
наледных полей, водомерных постов и пр.; в) поперечные профили реки в характерных местах; г) планы перекатов реки с указанием глубин, данных
по геологическому строению дна, скорости течения и расходов; д) эскизные проекты зданий; е) ведомости зданий, дорожных знаков и оградительных
приспособлений; ж) предложения по организации работ с приложением
ведомостей объемов работ, потребности в материалах и основных ресурсах для
строительства автозимника; з) сметную документацию. Приложение 4Справочное ТИПЫ БОЛОТБолото - это избыточно увлажненный в течение большей
части года участок земной поверхности, сложенный торфяными грунтами,
представляющими собой органоминеральную массу, содержащую более 60 % по массе
растительных остатков и отличающуюся высокой сжимаемостью и низкой плотностью. Следует различать три типа болот: I - заполненные болотными грунтами, прочность
которых в природном состоянии обеспечивает возможность возведения насыпи
высотой до 3 м без бокового выдавливания слабого грунта. Плотность скелета
торфяных грунтов в залежи ρск > 0,10 г/см3,
влажность - менее 800 %, сопротивление сдвигу (по крыльчатке) Скр >
10 кПа; II - содержащие в пределах болотной толщи хотя бы
один слой, который может выдавливаться при некоторой интенсивности возведения
насыпи высотой до 3 м. Плотность скелета торфяных грунтов в залежи изменяется
от 0,07 до 0,1 г/см3, влажность - от 800 до 1200 %, сопротивление
сдвигу - от 5 до 10 кПа; III - содержащие в пределах болотной залежи слои,
которые при сооружении насыпи высотой до 3 м выдавливаются независимо от
интенсивности ее возведения. Плотность скелета торфяных грунтов в залежи -
менее 0,05 г/см3, влажность - более 1200 %, сопротивление сдвигу -
менее 5 кПа. Мари - торфяные болота, подстилаемые слоем вечной
мерзлоты. Глубина марей редко превышает 1 м. В зависимости от вида болотного
грунта мари можно относить к I типу болот. Приложение 5
Справочное ХАРАКТЕРИСТИКА ТРАНСПОРТНЫХ СРЕДСТВ
Приложение 6
Обязательное РАСЧЕТ НАСЫПИ НА ПРОМОРОЖЕННОМ ОСНОВАНИИ1. Прочность и устойчивость насыпи на промороженном
основании (см. рис.
17 настоящих норм) обеспечиваются при соблюдении следующих условий: Hн > (hвоз + hп.в + S0 + Sт); (1) (Hпр + Hн) > Hдmin; (2) Bн > (Bгрн + 2bб) > Bус; (3)
(hгр + Hн + Hпр) > Hуп; (4) hотсв < hд; hпрсв > (hгр + Hн + Hпр - hотсн); (5)
(hгр + Hн + Hпр - hотсв - hотсн) > hmin; (6) где Н - толщина намораживаемой плиты из
торфа, м; hвоз - требуемое
возвышение торфяной плиты над расчетным уровнем воды на болоте, м; hвоз > 0,2 м; hп.в - расчетная
толщина слоя поверхностных или длительно (более 30 сут) стоящих вод на болоте,
м; S0 - осадка талых слоев
торфяной залежи под действием веса насыпи и подвижной нагрузки, м; Sт - осадка (сжатие)
намороженного слоя торфа при максимальном оттаивании его в период
строительства, м; Sт < 0,16 м; Hпр - толщина
промороженного слоя торфяной залежи из условия обеспечения безопасности работ,
м; принимается по табл. 1 настоящего приложения; Hдmin - минимальная толщина мерзлого основания из условия
обеспечения деформативной устойчивости в период строительства и стабилизации
основания после осадок, м (см. табл. 1 настоящего приложения); Bн - требуемая ширина
мерзлой плиты в период строительства, м; Bгрн - ширина минеральной части насыпи понизу, м; bб - ширина берм, м; bб > 2 м; Bус - минимальная ширина
плиты, при которой обеспечивается устойчивость конструкции в период протекания
осадки, м; для болот I типа Bус > 20 м, II - III типов - В > 24 м; hгр - толщина минеральной части насыпи под обочиной, м; Hуп - высота насыпи, при
которой исключаются недопустимые упругие деформации, м; при глубине болота до 2
м Hуп > 1,5 м, до 4 м - Hуп > 2 м; до 6 м - Hуп > 2,5 м; hотсв - глубина оттаивания намороженной торфяной плиты сверху, м; hд - допустимая глубина
оттаивания намороженной торфяной плиты сверху из условия обеспечения требуемой
прочности конструкции в процессе эксплуатации, м; hд < 0,4 м; hпрсв - глубина промерзания дорожной конструкции сверху, м; hотсн - величина оттаивания мерзлой торфяной плиты снизу, м; обычно hотсн < 0,15 м; hmin - минимальная (предельная) толщина мерзлой торфяной
плиты из условия обеспечения прочности и устойчивости конструкции в
период ее эксплуатации, м; на болотах I типа hmin > 0,4 м, II типа - hmin > 0,5 м, III типа - hmin > 0,6 м. Таблица 1
2. Верхняя часть насыпи из минерального грунта
должна не только воспринимать нагрузки, но и обеспечивать благоприятный
тепловой режим мерзлого основания: не допускать оттаивания торфяной плиты на
величину более hд в летний период и обеспечивать холодозарядку плиты
в зимний период. Поэтому толщину минеральной части насыпи hгр определяют теплотехническим расчетом, руководствуясь рекомендациями пп. 4 - 7 настоящего
приложения. В первом приближении минимальную толщину слоя грунта
назначают с учетом вида грунта и среднегодовой температуры воздуха по табл. 2
настоящего приложения. При этом общая высота насыпи (hгр + hвоз + hп.в) должна обеспечивать
снегонезаносимость дороги. Таблица 2
3. Осадку талого
слоя торфяной залежи S0 определяют с учетом
распределяющего действия намороженной торфяной плиты по формуле где Р - удельная нагрузка на талое торфяное основание, кПа; n - коэффициент,
определяемый по рис.
1 настоящего приложения в зависимости от относительной толщины слоя
торфа ε.
НТ - мощность торфяной
залежи (глубина болота), м; Рис. 1. График для определения коэффициента n в зависимости от ε Еср - средний модуль деформации
сжимаемых (талых) слоев торфяной залежи, кПа; Нi и Еi - мощность, м, и модуль
деформации, кПа, i-го слоя слабой толщи; Е0 - модуль деформации,
соответствующий осадке торфа за одни сутки, кПа; Тст - расчетное время
достижения стабилизации торфа, сут; принимают ориентировочно в зависимости от
глубины болота по табл. 3 настоящего приложения; m - коэффициент, учитывающий
интенсивность накопления деформаций во времени; принимают в зависимости от
плотности скелета торфа ρск по табл. 4 настоящего приложения. Таблица 3
Таблица 4
Удельную нагрузку Р на талое торфяное основание
определяют по формуле где Вгрв и Вгрн
- ширина земляного полотна (минеральной части) соответственно поверху и понизу,
м; g - ускорение
свободного падения, м/с2; g = 9,81 м/с2; ρгр - плотность
минерального грунта в насыпи, т/м3; ρт - плотность
торфа, т/м3; ρт = 1 т/м3; аi - относительная осадка i-го слоя торфа толщиной Hi; ориентировочно принимается в зависимости от
сопротивления торфа сдвигу Cкpi по крыльчатке (табл. 5
настоящего приложения). Таблица 5
4. Для выполнения
теплотехнических расчетов необходимо установить: расчетные климатические характеристики района
проектирования согласно п. 5 настоящего приложения; расчетные теплотехнические характеристики слоев
земляного полотка с учетом влажности и плотности материалов согласно СНиП II-3-79*; для
наиболее часто встречающихся строительных материалов теплофизические
характеристики приведены в табл. 6 настоящего приложения. 5. К основным
климатическим характеристикам района относится: приведенная температура воздуха: средняя за каждый
месяц tпрi; средняя за летний (tп.л) и зимний (tп.з) периоды года; продолжительность периодов с положительной (τл)
и отрицательной (τз) температурами воздуха. Значения tпрi (°C) определяют по формуле где tвi - среднемесячная
температура воздуха, °С; принимается по климатическим справочникам или СНиП 2.01.01-82; ΔtRi - поправка к
среднемесячной температуре воздуха за счет солнечной радиации, °С; КA - коэффициент, зависящий от альбедо А
(отражательной способности) грунтовых поверхностей (табл. 8 настоящего приложения); Qci - среднемесячная
суммарная величина солнечной радиации, Вт/(см2×мес); принимается по табл. 7 настоящего приложения; α - коэффициент теплообмена
на поверхности, Вт/(м2 . °С); α = 23,2 Вт/( м2 .
°С). Таблица 6
Таблица 7
Таблица 8
Значения tп.л или tп.з определяют по формуле где h - число календарных месяцев в теплом или холодном
сезоне года; Ал(з) , Bл(з) - коэффициенты, вычисляемые по формулам: tпр.с, tпр.(n+1)
- среднемесячные приведенные температуры воздуха (по модулю) для месяцев,
приходящихся на конец и начало соответственно зимнего (при определении tп.л) или летнего (при определении tп.з) периода. Продолжительность летнего или зимнего периода τл
и τз (ч) рассчитывают по формуле τл(з)
= 730[Aл(з) + (n-1) + Bл(з)] 6. Расчет глубины оттаивания земляного полотна и
торфяной плиты выполняют в следующем порядке: а) устанавливают продолжительность теплого периода
года τл и среднюю за этот период приведенную температуру τп.л,
используя формулы
(14) и (12); б) определяют для принятой конструкции и вида грунта
земляного полотна расчетные значения коэффициентов теплопроводности и объемную
теплоемкость материала в талом состоянии по табл. 6 настоящего приложения; в) вычисляют значения S, μ, Кг: где t0 - температура
льдообразования, °С; принимается по СНиП 2.02.04-88; г) по известным значениям μ и КГ,
используя график на рис. 2 настоящего приложения, находят глубину
оттаивания однородного массива минерального грунта h по оси дороги; Рис. 2. Номограмма для определения глубины оттаивания
(промерзания) грунта при малых (а) и больших (б) значениях КГ д) приняв по табл. 2 настоящего приложения
значения hгр, определяют глубину оттаивания намороженной
торфяной плиты сверху: где f - коэффициент
эквивалентного приведения (по условиям оттаивания-промерзания) глубины
оттаивания торфяной насыпи Если Если принять hгр = h - f hд, (17) а затем проверить насыпь на снегонезаносимость. 7. Расчет глубины промерзания земляного полотна
выполняют в следующем порядке: а) устанавливают продолжительность холодного периода
года τз и среднюю за этот период приведенную температуру tп.з, используя соответственно формулы (14) и (12); б) определяют для грунта земляного полотна значения
коэффициента теплопроводности λм и объемную теплоемкость См
по табл. 6
настоящего приложения; в) вычисляют значения S, μ, Кг:
г) по известным значениям μ и КГ,
используя график рис. 2 настоящего приложения, находят глубину
промерзания однородного массива минерального грунта h, а затем вычисляют глубину промерзания торфяной
плиты сверху:
Если Примеры
расчета Пример 1. Требуется
запроектировать в районе г. Сургута (62 ° с.ш., среднегодовая температура
воздуха минус 3,3 °С) автозимник I категории для круглогодичной эксплуатации.
Конструкция автозимника - тип 28 (см. рис. 17 настоящих
норм). Автозимник пересекает болото I типа глубиной Нт = 4 м.
Показатели торфяных грунтов по глубине болота: до 2 м - влажность торфа 700 %, плотность скелета
ρск1 = 0,13 г/см3, сопротивление сдвигу по
крыльчатке Скр1 = 15 кПа; от 2 до 4 м - влажность 800 %, ρск2
= 0,1 г/см3, Скр2 = 10 кПа. Параметры автозимника назначают предварительно
согласно рекомендациям, изложенным в пп. 1 - 2 настоящего приложения: ширина земляного полотна В = 12 м; для отсыпки
насыпи используется супесь легкая (W =17 %, ρгр = 1,8 т/м3); при среднегодовой температуре воздуха минус 3,3 °С
согласно табл.
2 настоящего приложения толщина слоя грунта из супеси легкой
ориентировочно hгр = 1,1 м; тогда Вгрн = B + 2mhгр = 12 + 2 . l,5 . 1,1 = 15,3 м. Толщину промороженного слоя торфяной залежи Нпр
= 0,4 м назначают по табл. 1 настоящего приложения из условия обеспечения
безопасности производства работ. Болото не обводнено, hп.в = 0, hвоз = 0,3 м. При определении толщины намораживаемой плиты (Нн
значения S0 и Sт принимают
ориентировочно: So = Согласно условию (1) настоящего
приложения толщина намороженной плиты Нн = 0,3 + 0 + 1,1 + 0,16 = 1,56 м. При такой толщине плиты условие (2) будет удовлетворено:
1,56 + 0,4 = 1,96 > Ндmin = 1,0 м (см. табл. 1 настоящего приложения). Ширину намораживаемой плиты Bн определяют из условия (3) при bб = 2 м: Bн = 15,3 + 2 . 2 ≈ 20 м = Bус. Для принятых параметров земляного полотна условие (4)
настоящего приложения будет удовлетворено: 1,1 + 0,4 + 1,56 = 3,06 > Hуп = 2,0 м. Расчет осадки талого слоя торфяной залежи So проводят по формуле (7), предварительно
установив значения коэффициента n, удельной
нагрузки P и осредненного модуля
деформации Eср а) при б) по формуле (10) настоящего приложения
в) при
Подставив в формулу (7) значения n, P и Eср определяют осадку слоя торфяной залежи
Среднемесячные значения температуры воздуха для г.
Сургута солнечной радиации Qс, а также
среднемесячные приведенные температуры воздуха tпрi, рассчитанные по формуле (11) настоящего
приложения, приведены в табл. 9 настоящего приложения. При расчете tпрi принято: α = 23,2 Вт/(м2 . °С); КА = 0,5 при А = 25 %. Таблица 9
По данным табл. 9 определяют средние
приведенные температуры воздуха за летний (tп.л) и за зимний (tп.з) периоды по формуле (12),
предварительно установив по формулам (13) настоящего приложения коэффициенты
Ал(з) и Bл(з):
По формуле (14) определяют
продолжительность периодов τл и τз
соответственно с положительными (tп.л) и отрицательными (tп.з) температурами: τл
= 730[0,9 + (5 - 1) + 0,9] = 4234 ч; τз
= 730[0,1 + (7 - 1) + 0,1] = 4526 ч. Проверка: τл + τз = 24 . 365 = 8760 ч = 4234
+ 4526 = 8760 ч. Теплофизические характеристики грунтов приняты по табл. 6
настоящего приложения: супесь легкая - λт = 1,72 Вт/(м . °С); Ст = 2595 кДж/(м3 . °С); Q = 68650 кДж/м3; λм = 1,86 Вт/(м . °С); См = 2009 кДж/(м3
. °C); уплотненный торф - λт = 0,52 Вт/(м . °С); λм = 0,81 Вт/(м . °С). По формулам (15) вычисляют
значения S, μ, КГ:
По номограмме рис. 2 настоящего приложения при
μ = 13,5 м-1 и КГ = 18,0 находят величину
протаивания однородного массива супеси легкой h по оси дороги: h = 3,0 м. Зная, что hгр = 1,1 м, определяют
глубину оттаивания намороженной торфяной плиты сверху по формуле (16):
hгр = h - fhд = 3,0 - 4 . 0,4 = l,4 м. Для проверки условия (5) производят расчет
глубины промерзания конструкции, предварительно вычислив S, μ, КГ:
По номограмме на рис. 2 настоящего приложения при
μ = 12,5 м-1 и Кг = 20 находят глубину промерзания
массива из супеси h = 3,4 м и вычисляют глубину промерзания торфяной плиты под
слоем грунта hгр = 1,4 м:
Величина В связи с тем, что толщина слоя минерального грунта
по теплотехническому расчету hгр = 1,4 м больше, чем
была принята предварительно (hгр = 1,1 м), необходимо
уточнить параметры автозимника: ширина насыпи понизу Bгрн = 12,0 + 2 . 1,5
. 1,4 = 16,2 м; ширина намораживаемой плиты Вн = Bгрн + 2bб + 2mHн = 16,2 + 2 . 2 + 2 . 1
. 1,56 = 23 м. Уточнение величины осадки S0: при
Толщина намораживаемой плиты согласно условию (1)
составит Hн = 0,3 + 0 + 0,75 + 0,16 = 1,21 м. Окончательно
конструктивные параметры автозимника (см. рис. 17, тип 28 настоящих норм)
приняты: В = 12,0 м; Bгрн = 18,2 м; Hпр = 0,4 м; Hн = 1,21 м; Bн = 23,0 м; hгр = 1,4 м; S0 = 0,75 м; Sт = 0,16 м;
При этих
параметрах условия
(1) - (6) выполняются, и расчет считается законченным. Пример 2. Требуется
запроектировать автозимник в районе г. Сургута (климатические данные те же, что
и в примере 1)
для круглогодичной эксплуатации. Конструкция автозимника - тип 25 (см. рис. 15
настоящих норм). Земляное полотно отсыпают из песка мелкозернистого: влажность
10 %; λт = 1,51 Вт/(м . °С); Ст =
2009 кДж/(м3 . °С); Q = 60278 кДж/м3; слой теплоизоляции устраивают из торфа.
Требуется определить толщину слоя из минерального грунта (hгр) и слоя теплоизоляции (hт) при условии, что
оттаивание снежно-ледяного ядра в процессе эксплуатации автозимника не
допускается. Расчет глубины оттаивания земляного полотна и слоя
теплоизоляции выполняют в следующем порядке: а) устанавливают продолжительность теплого периода
года τл = 4234 ч и среднюю за этот период приведенную
температуру tп.л = 14 °С (см. пример 1); б) вычисляют значения S, μ, КГ:
в) по номограмме рис. 2 настоящего приложения при
μ = 15,4 м-1 и КГ = 17,1 находят глубину протаивания
однородного массива мелкозернистого песка: h = 2,9 м; г) при известном значении h = 2,9 м, задавшись высотой земляного полотна hгр, например hгр = 1,0 м, определяют толщину слоя теплоизоляции из
торфа
или наоборот, задавшись толщиной слоя теплоизоляции, например hт = 0,3 м, находят толщину насыпного слоя из минерального грунта: hгр = h - fhт = 2,9 - 3,9 . 0,3 = 1,73 м. Приложение 7Рекомендуемое ЗАТРАТЫ ТРУДА И МАТЕРИАЛОВ ПРИ СТРОИТЕЛЬСТВЕ И СОДЕРЖАНИИ АВТОЗИМНИКОВ
Приложение 8Рекомендуемое ОСНОВНЫЕ ДАННЫЕ О СПЕЦИАЛЬНЫХ СНЕГОУПЛОТНЯЮЩИХ МАШИНАХ И НАМОРАЖИВАЮЩИХ АГРЕГАТАХ1. Термовибрационная
машина СТМ-2 Красноярского филиала ВНИИстройдормаша, полуприцепная,
состоит из зубовой фрезы, расположенной в тепловой камере, и виброплиты.
Буксировка осуществляется трелевочным тягачом ТТ-4. Толщина уплотненного слоя
снега определяется проходимостью тягача. При обработке слоя снега толщиной 0,7
м и средней плотностью 0,3 г/см3 образуется покрытие дороги толщиной
0,25 - 0,3 м и плотностью до 0,7 г/см3. Техническая характеристика СТМ-2 Ширина обрабатываемой полосы, м 2,8 Линейная производительность, км/ч 1,5 Транспортная скорость, км/м 10
- 16 Мощность двигателя, кВт 132 Количество зубьев фрезы 140 Расположение зубьев По
четырехзаходной винтовой линии Диаметр резания, м 0,8 Скорость вращения, об/мин 400 Угол резания, град 30 Фрезерование Встречное
сплошное Максимальная глубина фрезерования,
м 0,45 Управление подъемом и опусканием Гидравлическое Привод фрезы Механический
Тепловая производительность
оборудования, кДж/ч Около 10,5 .
106 Вид топлива ДА
(дизельное арктическое), керосин расход воздуха, м3/ч До
10000 Длина тепловой камеры, м 1,7 Удельное статическое давление, МПа
0,02 Вместимость баков, кг 1500 Расход топлива, кг/ч До
250 Длина без тягача, м 8,5 Ширина, м 3,25 Высота, м 3,3 Масса в незаправленном состоянии,
кг 9500 2. Термоволокуша
представляет собой простейший прицепной термический агрегат для увлажнения
снега в естественном состоянии. Работает в комплекте с дорожной фрезой ДС-74А,
катками ДУ-16, ДУ-39А. Максимальный расход горючего 0,052 кг/м3,
глубина растепления снега 0,05 м, скорость движения - 2,2 км/ч.
Производительность термоволокуши при растеплении снега на 5 см составляет
5500 м2/ч. 3. Ребристый
каток - навесное на трактор оборудование для перемешивания снега. Под действием собственной силы тяжести и сил инерции
ребро погружается в нижние слои снега и при движении трактора поднимает их
вверх, перемешивая снег, в результате формируется однородная по структуре,
температуре и плотности смесь. Рекомендуемая скорость движения машин с
перемешивающими орудиями от 1,5 до 2,2 м/с. При перемешивании снега
ребристыми катками производится его предварительное уплотнение. Плотность снега
увеличивается на 50 - 60 % после 2 - 3 проходов ребристого катка по одному
следу. 4. Намораживающие
агрегаты разработаны на базе распространенных в народном хозяйстве
насосов и автономных насосных станций, на которых монтируют навесные дождевальные
агрегаты (механизмы поворота и стволы). По окончании работ по намораживанию
переправ агрегаты демонтируют, и базовые машины могут работать по целевому
назначению. Для получения водоледяной смеси с оптимальным
соотношением льда и воды при различных температурах воздуха (скорость ветра не
более 2 м/с) рекомендуется использовать штатные насадки диаметром, приведенным
в табл. 1
настоящего приложения. Таблица 1
Технические характеристики намораживающих агрегатов
приведены в табл.
2 настоящего приложения. Таблица 2
Приложение 9Рекомендуемое ПАСПОРТ ЛЕДОВОЙ ПЕРЕПРАВЫчерез реку на автомобильной дороге (автозимнике) ___________________________________ км _____________ Основание для постройки переправы. Указываются приказ или
распоряжение ведомства или облисполкома (райисполкома); необходимая
грузоподъемность; срок готовности переправы; число полос движения; метод
строительства и усиления переправы; перспективы изменения грузоподъемности;
состав комиссии по приемке переправы в эксплуатацию. Сведения о переправе. Указывается дата ледостава, динамика нарастания
льда; особенности формирования ледяного покрова у правого и левого берегов
(торосы); состояние съездов, необходимость и объем земляных работ. Конструкции и методы усиления съездов на лед. Приводятся мероприятия по усилению
съездов (подсыпка грунта, намораживание льда); даются расчетные значения
усиливающих элементов, количество свай, толщина и площадь намораживаемого слоя
льда и т.п. Состав подразделения по устройству переправы. Перечисляются состав
персонала, занятого на сооружении переправы; используемые машины и агрегаты. Замеры на
переправе. Приводятся данные
замеров глубины реки, толщины естественного и намороженного слоев льда,
допустимые нагрузки на ледяной покров. Замеры проводят через 10 - 20 м по оси
переправы и результаты заносят в таблицу (рекомендуется прилагать схему
поперечного сечения переправы).
Примечание. В местах резкого изменения глубины замеры делать
через 3 - 5 м.
Приложение 10Рекомендуемое АКТ КОНТРОЛЬНОЙ ПРОВЕРКИ ГРУЗОПОДЪЕМНОСТИ ЛЕДОВОЙ ПЕРЕПРАВЫ
Приложение 11Рекомендуемое ТЕХНИЧЕСКОЕ ОСНАЩЕНИЕ ДОРОЖНО-РЕМОНТНЫХ ПОДРАЗДЕЛЕНИЙ
Примечание. Цифрами указано минимально положенное количество
машин и механизмов для ДУ и ДРП. Знаком (+) отмечены машины и механизмы,
используемые при строительстве автозимников на втором этапе (устройство снежного
полотна, подготовка ледяного покрова) и при их содержании. Потребность в этих
машинах определяется в каждом конкретном случае в зависимости от
природно-климатических условий, протяженности автозимника и требуемых сроков
ввода его в эксплуатацию. СОДЕРЖАНИЕ | |||||||||||||||||||||||||||||||||||||||||||||||||||||||||||||||||||||||||||||||||||||||||||||||||||||||||||||||||||||||||||||||||||||||||||||||||||||||||||||||||||||||||||||||||||||||||||||||||||||||||||||||||||||||||||||||||||||||||||||||||||||||||||||||||||||||||||||||||||||||||||||||||||||||||||||||||||||||||||||||||||||||||||||||||||||||||||||||||||||||||||||||||||||||||||||||||||||||||||||||||||||||||||||||||||||||||||||||||||||||||||||||||||||||||||||||||||||||||||||||||||||||||||||||||||||||||||||||||||||||||||||||||||||||||||||||||||||||||||||||||||||||||||||||||||||||||||||||||||||||||||||||||||||||||||||||||||||||||||||||||||||||||||||||||||||||||||||||||||||||||||||||||||||||||||||||||||||||||||||||||||||||||||||||||||||||||||||||||||||||||||||||||||||||||||||||||||||||||||||||||||||||||||||||||||||||||||||||||||||||||||||||||||||||||||||||||||||||||||||||||||||||||||||||||||||||||||||||||||||||||||||||||||||||||||||||||||||||||||||||||||||||||||||||||||||||||||||||||||||||
|
|
|
|