Бесплатная библиотека стандартов и нормативов www.docload.ru

Все документы, размещенные на этом сайте, не являются их официальным изданием и предназначены исключительно для ознакомительных целей.
Электронные копии этих документов могут распространяться без всяких ограничений. Вы можете размещать информацию с этого сайта на любом другом сайте.
Это некоммерческий сайт и здесь не продаются документы. Вы можете скачать их абсолютно бесплатно!
Содержимое сайта не нарушает чьих-либо авторских прав! Человек имеет право на информацию!

 

ПОСОБИЕ К "ИНСТРУКЦИИ ПО УСТРОЙСТВУ МОЛНИЕЗАЩИТЫ ЗДАНИЙ И СООРУЖЕНИЙ"
(РД 34.21.122-87)

Содержание

 

Настоящее пособие ставит задачей пояснить и конкретизировать основные положения РД 34.21.122-87, а также ознакомить специалистов, занятых разработкой и проектированием молниезащиты различных объектов, с существующими представлениями о развитии молнии и ее параметрах, определяющих опасные воздействия на человека и материальные ценности. Приводятся примеры исполнения молниезащиты зданий и сооружений различных категорий в соответствии с требованиями РД 34.21.122-87.

1. КРАТКИЕ СВЕДЕНИЯ О РАЗРЯДАХ МОЛНИИ И ИХ ПАРАМЕТРАХ

Молния представляет собой электрический разряд длиной в несколько километров, развивающийся между грозовым облаком и землей или каким-либо наземным сооружением.

Разряд молнии начинается с развития лидера - слабо светящегося канала с током в несколько сотен ампер. По направлению движения лидера - от облака вниз или от наземного сооружения вверх - молнии разделяются на нисходящие и восходящие. Данные о нисходящих молниях накапливались продолжительное время в нескольких регионах земного шара. Сведения о восходящих молниях появились лишь в последние десятилетия, когда начались систематические наблюдения за грозопоражаемостью очень высоких сооружений, например Останкинской телевизионной башни.

Лидер нисходящей молнии возникает под действием процессов в грозовом облаке, и его появление не зависит от наличия на поверхности земли каких-либо сооружений. По мере продвижения лидера к земле с наземных объектов могут возбуждаться направленные к облаку встречные лидеры. Соприкосновение одного из них с нисходящим лидером (или касание последнего поверхности земли) определяет место удара молнии в землю или какой-либо объект.

Восходящие лидеры возбуждаются с высоких заземленных сооружений, у вершин которых электрическое поле во время грозы резко усиливается. Сам факт появления и устойчивого развития восходящего лидера определяет место поражения. На равнинной местности восходящие молнии поражают объекты высотой более 150 м, а в горных районах возбуждаются с остроконечных элементов рельефа и сооружений меньшей высоты и потому наблюдаются чаще.

Рассмотрим сначала процесс развития и параметры нисходящей молнии. После установления сквозного лидерного канала следует главная стадия разряда - быстрая нейтрализация зарядов лидера, сопровождающаяся ярким свечением и нарастанием тока от единиц до сотен килоампер. При этом происходит интенсивный разогрев канала (до десятков тысяч кельвин) и его ударное расширение, воспринимаемое на слух как раскат грома. Ток главной стадии состоит из одного или нескольких последовательных импульсов, наложенных на непрерывную составляющую. Большинство импульсов тока имеет отрицательную полярность. Первый импульс при общей длительности в несколько сотен микросекунд имеет длину фронта от 3 до 20 мкс; пиковое значение тока (амплитуда) варьируется в широких пределах: в 50 % случаев (средний ток) превышает 30, а в 1-2 % случаев 100 ка. Примерно в 70 % нисходящих отрицательных молний за первым импульсом наблюдаются последующие с меньшими амплитудами и длиной фронта: средние значения соответственно 12 ка и 0,6 мкс. При этом крутизна (скорость нарастания) тока на фронте последующих импульсов выше, чем для первого импульса.

Ток непрерывной составляющей нисходящей молнии варьируется от единиц до сотен ампер и существует на протяжении всей вспышки, продолжающейся в среднем 0,2 с, а в редких случаях 1-1,5 с.

Заряд, переносимый в течение всей вспышки молнии, колеблется от единиц до сотен кулон, из которых на долю отдельных импульсов приходится 5-15, а на непрерывную составляющую 10-20 Кл.

Нисходящие молнии с положительными импульсами тока наблюдаются примерно в 10 % случаев. Часть из них имеет форму, аналогичную форме отрицательных импульсов. Кроме того, зарегистрированы положительные импульсы с существенно большими параметрами: длительностью около 1000 мкс, длиной фронта около 100 мкс и переносимым зарядом в среднем 35 Кл. Для них характерны вариации амплитуд тока в очень широких пределах: при среднем токе 35 ка в 1-2 % случаев возможно появление амплитуд свыше 500 ка.

Накопленные фактические данные о параметрах нисходящих молний не позволяют судить об их различиях в разных географических регионах. Поэтому для всей территории СССР их вероятностные характеристики приняты одинаковыми.

Восходящая молния развивается следующим образом. После того как восходящий лидер достиг грозового облака, начинается процесс разряда, сопровождающийся примерно в 80 % случаев токами отрицательной полярности. Наблюдаются токи двух типов: первый - непрерывный безымпульсный до нескольких сотен ампер и длительностью в десятые доли секунды, переносящий заряд 2-20 Кл; второй характеризуется наложением на длительную безымпульсную составляющую коротких импульсов, амплитуда которых в среднем составляет 10-12 ка и лишь в 5 % случаев превышает 30 ка, а переносимый заряд достигает 40 Кл. Эти импульсы сходны с последующими импульсами главной стадии нисходящей отрицательной молнии.

В горной местности восходящие молнии характеризуются более длительными непрерывными токами и большими переносимыми зарядами, чем на равнине. В то же время вариации импульсных составляющих тока в горах и на равнине отличаются мало. На сегодняшний день не выявлена связь между токами восходящей молнии и высотой сооружений, с которых они возбуждаются. Поэтому параметры восходящих молний и их вариации оцениваются как одинаковые для любых географических регионов и высот объектов.

В РД 34.21.122-87 данные о параметрах токов молнии учтены в требованиях к конструкциям и размерам средств молниезащиты. Например, минимально допустимые расстояния от молниеотводов и их заземлителей до объектов I категории (пп. 2.3-2.51) определены из условия поражения молниеотводов нисходящими молниями с амплитудой и крутизной фронта тока в пределах соответственно 100 ка и 50 ка/мм. Этому условию соответствует не менее 99 % случаев поражения нисходящими молниями.

__________

1 Здесь и далее пункты РД 34.21.122-87.

2. ХАРАКТЕРИСТИКИ ГРОЗОВОЙ ДЕЯТЕЛЬНОСТИ

Об интенсивности грозовой деятельности в различных географических пунктах можно судить по данным разветвленной сети метеорологических станций о повторяемости и продолжительности гроз, регистрируемых в днях и часах за год по слышимому грому в начале и конце грозы. Однако более важной и информативной характеристикой для оценки возможного числа поражений объектов молнией является плотность ударов нисходящих молний на единицу земной поверхности.

Плотность ударов молнии в землю сильно колеблется по регионам земного шара и зависит от геологических, климатических и других факторов. При общей тенденции роста этого значения от полюсов к экватору оно, например, резко сокращается в пустынях и возрастает в регионах с интенсивными процессами испарения. Особенно велико влияние рельефа в горной местности, где грозовые фронты преимущественно распространяются по узким коридорам, поэтому в пределах небольшой площади возможны резкие колебания плотности разрядов в землю.

В целом по территории земного шара плотность ударов молнии варьируется практически от нуля в приполярных областях до 20-30 разрядов на 1 км2 земли за год во влажных тропических зонах. Для одного и того же региона возможны вариации от года к году, поэтому для достоверной оценки плотности разрядов в землю необходимо многолетнее усреднение.

В настоящее время, ограниченное количество пунктов земного шара оборудовано счетчиками молний, и для небольших территорий возможны непосредственные оценки плотности разрядов в землю. В массовых масштабах (например, для всей территории СССР) регистрация числа ударов молнии в землю пока невыполнима из-за трудоемкости и недостатка надежной аппаратуры.

Однако для географических пунктов, в которых установлены счетчики молний и ведутся метеорологические наблюдения за грозами, обнаружена корреляционная связь между плотностью разрядов в землю и повторяемостью или продолжительностью гроз, хотя каждый из перечисленных параметров подвержен разбросу от года к году или от грозы к грозе. В РД 34.21.122-87 эта корреляционная зависимость, представленная в приложении 2, распространена на всю территорию СССР и связывает чисто ударов нисходящей молнии в 1 км2 земной поверхности с конкретной продолжительностью гроз в часах. Данные метеорологических станций о продолжительности гроз усреднены за период с 1936 по 1978 г. и в виде линий, характеризующихся постоянным числом часов с грозой в год, нанесены на географическую карту СССР (рис. 3 РД 34.21.122-87); при этом продолжительность грозы для любого пункта задается в интервале между двумя ближайшими к нему линиями. Для некоторых областей СССР на базе инструментальных исследований составлены региональные карты продолжительности гроз, эти карты также рекомендованы к использованию (см. приложение 2 РД 34.21.122-87)

Таким косвенным путем (через данные о продолжительности гроз) удается ввести районирование территории СССР по плотности ударов молнии в землю.

3. КОЛИЧЕСТВО ПОРАЖЕНИЙ МОЛНИЕЙ НАЗЕМНЫХ СООРУЖЕНИЙ

Согласно требованиям табл. 1 РД 34.21.122-87 для ряда объектов ожидаемое количество поражений молнией является показателем, определяющим необходимость выполнения молниезащиты и ее надежность. Поэтому нужно располагать способом оценки этого значения еще на стадии проектирования объекта. Желательно, чтобы этот способ учитывал известные характеристики грозовой деятельности и другие сведения о молнии.

При подсчете числа поражений нисходящими молниями используется следующее представление: возвышающийся объект принимает на себя разряды, которые в его отсутствие поразили бы поверхность земли определенной площади (так называемую поверхность стягивания). Эта площадь имеет форму круга для сосредоточенного объекта (вертикальной трубы или башни) и форму прямоугольника для протяженного объекта, например, воздушной линии электропередачи. Число поражений объекта равно произведению площади стягивания на плотность разрядов молнии в месте его расположения. Например, для сосредоточенного объекта

где R0 - радиус стягивания; n - среднегодовое число ударов молнии в 1 км2 земной поверхности. Для протяженного объекта длиной l

Имеющаяся статистика поражений объектов разной высоты в местностях с разной продолжительностью гроз позволила ориентировочно определить связь между радиусом стягивания R0 и высотой объекта h. Несмотря на значительный разброс, в среднем можно принять R0 = 3h.

Приведенные соотношения положены в основу формул расчета ожидаемого количества поражений молнией сосредоточенных объектов и объектов с заданными габаритами в приложении 2 РД 34.21.122-87. Грозопоражаемость объектов ставится в прямую зависимость от плотности разрядов молнии в землю и соответственно от региональной продолжительности гроз в соответствии с данными приложения 2. Можно предположить, что вероятность поражения объекта растет, например, с ростом амплитуды тока молнии, и зависит от других параметров разряда. Однако имеющаяся статистика поражений получена способами (фотографированием ударов молнии, регистрацией специальными счетчиками), не позволяющими выделить влияние других факторов, кроме интенсивности грозовой деятельности.

Оценим теперь по формулам приложения 2, как часто возможны поражения молнией объектов разных размеров и формы. Например, при средней продолжительности гроз 40-60 ч в год в сосредоточенный объект высотой 50 м (например, дымовую трубу) можно ожидать не более одного поражения за 3-4 года, а в здание высотой 20 м и размерами в плане 100×100 м (типичное по габаритам для многих видов производства) - не более одного поражения за 5 лет. Таким образом, при умеренных размерах зданий и сооружений (высоте в пределах 20-50 м, длине и ширине примерно 100 м) поражение молнией является редким событием. Для небольших строений (с габаритами примерно 10 м) ожидаемое количество поражений молнией редко превышает 0,02 за год, а это значит, что за весь срок их службы может произойти не более одного удара молнии. По этой причине согласно РД 34.21.122-87 для некоторых небольших строений (даже при низкой огнестойкости) выполнение молниезащиты вообще не предусматривается или существенно упрощается.

Для сосредоточенных объектов число поражений нисходящими молниями растет в квадратичной зависимости от высоты и в районах с умеренной продолжительностью гроз при высоте объектов около 150 м составляет 1-2 ударов за год. С сосредоточенных объектов большей высоты возбуждаются восходящие молнии, количество которых также пропорционально квадрату высоты. Такое представление о поражаемости высоких объектов подтверждают наблюдения, проводимые на Останкинской телевизионной башне высотой 540 м: ежегодно в нее происходит около 30 ударов молнии и более 90 % из них приходится на восходящие разряды, число поражений нисходящими молниями сохраняется на уровне одного-двух в год. Таким образом, для сосредоточенных объектов высотой более 150 м количество поражений нисходящими молниями мало зависит от высоты.

4. ОПАСНЫЕ ВОЗДЕЙСТВИЯ МОЛНИИ

В перечне основных терминов (приложение 1 РД 34.21.122-87) перечислены возможные виды воздействия молнии на различные наземные объекты. В настоящем параграфе сведения об опасных воздействиях молнии изложены более подробно.

Воздействия молнии принято подразделять на две основные группы: первичные, вызванные прямым ударом молнии, и вторичные, индуцированные близкими ее разрядами или занесенные в объект протяженными металлическими коммуникациями. Опасность прямого удара и вторичных воздействий молнии для зданий и сооружений и находящихся в них людей или животных определяется, с одной стороны, параметрами разряда молнии, а с другой - технологическими и конструктивными характеристиками объекта (наличием вэрыво- или пожароопасных зон, огнестойкостью строительных конструкций, видом вводимых коммуникаций, их расположением внутри объекта и т.д.).

Прямой удар молнии вызывает следующие воздействия на объект:

электрические, связанные с поражением людей или животных электрическим током и появлением перенапряжений на пораженных элементах. Перенапряжение пропорционально амплитуде и крутизне тока молнии, индуктивности конструкций и сопротивлению заземлителей, по которым ток молнии отводится в землю. Даже при выполнении молниезащиты прямые удары молнии с большими токами и крутизной могут привести к перенапряжениям в несколько мегавольт. При отсутствии молниезащиты пути растекания тока молнии неконтролируемы и ее удар может создать опасность поражения током, опасные напряжения шага и прикосновения, перекрытия на другие объекты;

термические, связанные с резким выделением теплоты при прямом контакте канала молнии с содержимым объекта и при протекании через объект тока молнии. Выделяемая в канале молнии энергия определяется переносимым зарядом, длительностью вспышки и амплитудой тока молнии; и 95 % случаев разрядов молнии эта энергия (в расчете на сопротивление 1 Ом) превышает 5,5 Дж, она на два-три порядка превышает минимальную энергию воспламенения большинства газо-, паро- и пылевоздушных смесей, используемых в промышленности. Следовательно, в таких средах контакт с каналом молнии всегда создает опасность воспламенения (а в некоторых случаях взрыва), то же относится к случаям проплавления каналом молнии корпусов взрывоопасных наружных установок. При протекании тока молнии по тонким проводникам создается опасность их расплавления и разрыва;

механические, обусловленные ударной волной, распространяющейся от канала молнии, и электродинамическими силами, действующими на проводники с токами молнии. Это воздействие может быть причиной, например, сплющивания тонких металлических трубок. Контакт с каналом молнии может вызвать резкое паро- или газообразование в некоторых материалах с последующим механическим разрушением, например, расщеплением древесины или образованием трещин в бетоне.

Вторичные проявления молнии связаны с действием на объект электромагнитного поля близких разрядов. Обычно это поле рассматривают в виде двух составляющих: первая обусловлена перемещением зарядов в лидере и канале молнии, вторая - изменением тока молнии во времени. Эти составляющие иногда называют электростатической и электромагнитной индукцией.

Электростатическая индукция проявляется в виде перенапряжения, возникающего на металлических конструкциях объекта и зависящего от тока молнии, расстояния до места удара и сопротивления заземлителя. При отсутствии надлежащего заземлителя перенапряжение может достигать сотен киловольт и создавать опасность поражения людей и перекрытий между разными частями объекта.

Электромагнитная индукция связана с образованием в металлических контурах ЭДС, пропорциональной крутизне тока молнии и площади, охватываемой контуром. Протяженные коммуникации в современных производственных зданиях могут образовывать контуры, охватывающие большую площадь, в которых возможно наведение ЭДС в несколько десятков киловольт. В местах сближения протяженных металлических конструкций, в разрывах незамкнутых контуров создается опасность перекрытий и искрений с возможным рассеянием энергии около десятых долей джоуля.

Еще одним видом опасного воздействия молнии является занос высокого потенциала по вводимым в объект коммуникациям (проводам воздушных линий электропередачи, кабелям, трубопроводам). Он представляет собой перенапряжение, возникающее на коммуникации при прямых и близких ударах молнии и распространяющееся в виде набегающей на объект волны. Опасность создается за счет возможных перекрытий с коммуникации на заземленные части объекта. Подземные коммуникации также представляют опасность, так как могут принять на себя часть растекающихся в земле токов молнии и занести их в объект.

5. КЛАССИФИКАЦИЯ ЗАЩИЩАЕМЫХ ОБЪЕКТОВ

Тяжесть последствий удара молнии зависит прежде всего от взрыво-, пожароопасности здания или сооружения при термических воздействиях молнии, а также искрениях и перекрытиях, вызванных другими видами воздействий. Например, в производствах, постоянно связанных с открытым огнем, процессами горения, применением несгораемых материалов и конструкций, протекание тока молнии не представляет большой опасности. Напротив, наличие внутри объекта взрывоопасной среды создаст угрозу разрушений, человеческих жертв, больших материальных ущербов.

При таком разнообразии технологических условий предъявлять одинаковые требования к молниезащите всех объектов означало бы или вкладывать в ее выполнение чрезмерные ресурсы, или мириться с неизбежностью значительных ущербов, вызванных молнией. Поэтому в РД 34.21.122-87 принят дифференцированный подход к выполнению молниезащиты различных объектов, в связи, с чем в табл. 1 этой Инструкции здания и сооружения разделены на три категории, отличающиеся по тяжести возможных последствий поражения молнией.

К I категории отнесены производственные помещения, в которых в нормальных технологических режимах могут находиться и образовываться взрывоопасные концентрации газов, паров, пылей, волокон. Любое поражение молнией, вызывая взрыв, создает повышенную опасность разрушений и жертв не только для данного объекта, но и для близрасположенных.

Во II категорию попадают производственные здания и сооружения, в которых появление взрывоопасной концентрации происходит в результате нарушения нормального технологического режима, а также наружные установки, содержащие взрывоопасные жидкости и газы. Для этих объектов удар молнии создает опасность взрыва только при совпадении с технологической аварией или срабатыванием дыхательных или аварийных клапанов на наружных установках. Благодаря умеренной продолжительности гроз на территории СССР вероятность совпадения этих событий достаточно мала.

К III категории отнесены объекты, последствия, поражения которых связаны с меньшим материальным ущербом, чем при взрывоопасной среде. Сюда входят здания и сооружения с пожароопасными помещениями или строительными конструкциями низкой огнестойкости, причем для них требования к молниезащите ужесточаются с увеличением вероятности поражения объекта (ожидаемого количества поражений молнией). Кроме того, к III категории отнесены объекты, поражение которых представляет опасность электрического воздействия на людей и животных: большие общественные здания, животноводческие строения, высокие сооружения типа труб, башен, монументов. Наконец, к III категории отнесены мелкие строения в сельской местности, где чаще всего используются сгораемые конструкции. Согласно статистическим данным на эти объекты приходится значительная доля пожаров, вызванных грозой. Из-за небольшой стоимости этих строений их молниезащита выполняется упрощенными способами, не требующими значительных материальных затрат (п. 2.30).

6. СРЕДСТВА И СПОСОБЫ МОЛНИЕЗАЩИТЫ

Требования к выполнению всего комплекса мероприятий по молниезащите объектов I, II и III категорий и конструкциям молниеотводов изложены в 2 и 3 РД 34.21.122-87. Настоящий раздел пособия поясняет основные положения этих требований.

Молниезащита представляет собой комплекс мероприятий, направленных на предотвращение прямого удара молнии в объект или на устранение опасных последствий, связанных с прямым ударом; к этому комплексу относятся также средства защиты, предохраняющие объект от вторичных воздействий молнии и заноса высокого потенциала.

Средством защиты от прямых ударов молнии служит молниеотвод - устройство, рассчитанное на непосредственный контакт с каналом молнии и отводящее ее ток в землю.

Молниеотводы разделяются на отдельно стоящие, обеспечивающие растекание тока молнии, минуя объект, и установленные на самом объекте; растекание тока происходит по контролируемым путям так, что обеспечивается низкая вероятность поражения людей (животных), взрыва или пожара.

Установка отдельно стоящих молниеотводов исключает возможность термического воздействия на объект при поражении молниеотвода; для объектов с постоянной взрывоопасностью, отнесенных к I категории, принят этот способ защиты, обеспечивающий минимальное количество опасных воздействий при грозе. Для объектов II и III категорий, характеризующихся меньшим риском взрыва или пожара, в равной мере допустимо использование отдельно стоящих молниеотводов и установленных на защищаемом объекте.

Молниеотвод состоит из следующих элементов: молниеприемника, опоры, токоотвода и заземлителя. Однако на практике они могут образовывать единую конструкцию, например, металлическая мачта или ферма здания представляет собой молниеприемник, опору и токоотвод одновременно.

По типу молниеприемника молниеотводы разделяются на стержневые (вертикальные), тросовые (горизонтальные протяженные) и сетки, состоящие из продольных и поперечных горизонтальных электродов, соединенных в местах пересечений. Стержневые и тросовые молниеотводы могут быть как отдельно стоящие, так и установленные на объекте; молниеприемные сетки непосредственно укладываются на неметаллическую кровлю защищаемых зданий и сооружений. Однако укладка сеток рациональна лишь на зданиях с горизонтальными крышами, где равновероятно поражение молнией любого их участка. При больших уклонах крыши наиболее вероятны удары молнии вблизи ее конька, и в этих случаях укладка сетки по всей поверхности кровли приведет к неоправданным затратам металла; более экономична установка стержневых или тросовых молниеприемников, в зону защиты которых входит весь объект. По этой причине в п. 2.11 укладка молниеприемной сетки допускается на неметаллических кровлях с уклоном не более 1:8. Иногда укладка сетки поверх кровли неудобна из-за ее конструктивных элементов (например, волнистой поверхности покрытия). В этих случаях допускается укладывать сетку под утеплителем или гидроизоляцией, при условии, что они выполнены из несгораемых или трудносгораемых материалов и их пробой при разряде молнии не приведет к загоранию кровли (п. 2.11).

При выборе средств защиты от прямых ударов молнии, типов молниеотводов необходимо учитывать экономические соображения, технологические и конструктивные особенности объектов. Во всех возможных случаях близрасположенные высокие сооружения необходимо использовать как отдельно стоящие молниеотводы, а конструктивные элементы зданий и сооружений, например металлическую кровлю, фермы, металлические и железобетонные колонны и фундаменты, - как молниеприемники, токоотводы и заземлители. Эти положения учтены в пп. 1.6, 1.8, 2.11, 2.12, 2.25. Защита от термических воздействий прямого удара молний осуществляется путем надлежащего выбора сечений молниеприемников и токоотводов (табл. 3), толщины корпусов наружных установок (п. 2.15), расплавление и проплавление которых не может произойти при указанных выше параметрах тока молнии, переносимого заряда и температуры в канале.

Защита от механических разрушений различных строительных конструкций при прямых ударах молнии осуществляется: бетона - армированием и обеспечением надежных контактов в местах соединения с арматурой (п. 2.12); неметаллических выступающих частей и покрытий зданий - применением материалов, не содержащих влаги или газогенерирующих веществ.

Защита от перекрытий на защищаемый объект при поражении отдельно стоящих молниеотводов достигается надлежащим выбором, конструкций заземлителей и изоляционных расстояний между молниеотводом и объектом (пп. 2.2 - 2.5). Защита от перекрытий внутри здания при протекании по нему тока молнии обеспечивается надлежащим выбором количества токоотводов, проложенных к заземлителям кратчайшими путями (п. 2.11). Защита от напряжений прикосновения и шага (пп. 2.12, 2.13) обеспечивается путем прокладки токоотводов в малодоступных для людей местах и равномерного размещения заземлителей по территории объекта.

Защита от вторичных воздействий молнии обеспечивается следующими мероприятиями. От электростатической индукции и заноса высокого потенциала - ограничением перенапряжений, наведенных на оборудовании, металлических конструкциях и вводимых коммуникациях, путем их присоединения к заземлителям определенных конструкций; от электромагнитной индукции - ограничением площади незамкнутых контуров внутри зданий путем наложения перемычек в местах сближения металлических коммуникаций. Для исключения искрения в местах соединений протяженных металлических коммуникаций обеспечиваются низкие переходные сопротивления - не более 0,03 Ом, например, во фланцевых соединениях трубопроводов этому требованию соответствует затяжка шести болтов на каждый фланец (п. 2.7).

7. ЗАЩИТНОЕ ДЕЙСТВИЕ И ЗОНЫ ЗАЩИТЫ МОЛНИЕОТВОДОВ

Ниже поясняется подход к определению зон защиты молниеотводов, построение которых осуществляется по формулам приложения 3 РД 34.21.122-87.

Защитное действие молниеотвода основано на "свойстве молнии с большей вероятностью поражать более высокие и хорошо заземленные предметы по сравнению с расположенными рядом объектами меньшей высоты. Поэтому на молниеотвод, возвышающийся над защищаемым объектом, возлагается функция перехвата молний, которые в отсутствие молниеотвода поразили бы объект. Количественно защитное действие молниеотвода определяется через вероятность прорыва - отношение числа ударов молнии в защищенный объект (числа прорывов) к общему числу ударов в молниеотвод и объект.

Существует несколько способов оценки вероятности прорыва, основанных на разных физических представлениях о процессах поражения молнией. В РД 34.21.122-87 использованы результаты расчетов по вероятностной методике, связывающей вероятность поражения молниеотвода и объекта с разбросом траекторий нисходящей молнии без учета вариаций ее токов.

Согласно принятой расчетной модели невозможно создать идеальную защиту от прямых ударов молнии, полностью исключающую прорывы на защищаемый объект. Однако на практике осуществимо взаимное расположение объекта и молниеотвода, обеспечивающее низкую вероятность прорыва, например 0,1 и 0,01, что соответствует уменьшению числа поражений объекта примерно в 10 и 100 раз по сравнению с объектом, где отсутствует молниеотвод. Для большинства современных объектов при таких уровнях защиты обеспечивается малое количество прорывов за весь срок их службы.

Выше рассматривалось производственное здание высотой 20 м и размерами в плане 100×100 м, расположенное в местности с продолжительностью гроз 40-60 ч в год; если это здание защищено молниеотводами с вероятностью прорыва 0,1, в него можно ожидать не более одного прорыва за 50 лет. При этом не все прорывы в равной степени опасны для защищаемого объекта, например воспламенения возможны при больших токах или переносимых зарядах, которые встречаются не в каждом разряде молнии. Следовательно, на данный объект можно ожидать одно опасное воздействие за срок, заведомо превышающий 50 лет или для большинства промышленных объектов II и III категорий не более одного опасного воздействия за все время их существования. При вероятности прорыва 0,01 в то же здание можно ожидать не более одного прорыва за 500 лет - период, намного превышающий срок службы любого промышленного объекта. Такой высокий уровень защиты оправдан только для объектов I категории, представляющих постоянную угрозу взрыва.

Выполняя серию расчетов вероятности прорыва в окрестности молниеотвода, можно построить поверхность, являющуюся геометрическим местом положения вершин защищаемых объектов, для которых вероятность прорыва - постоянное значение. Эта поверхность является внешней границей пространства, называемого зоной защиты молниеотвода; для одиночного стрежневого молниеотвода эта граница - боковая поверхность кругового конуса, для одиночного троса - двускатная плоская поверхность.

Обычно зону защиты обозначают по максимальной вероятности прорыва, соответствующей ее внешней границе, хотя в глубине зоны вероятность прорыва существенно уменьшается.

Расчетный метод позволяет построить для стержневых и тросовых молниеотводов зону защиты с произвольным значением вероятности прорыва, т.е. для любого молниеотвода (одиночного или двойного) можно построить произвольное количество зон защиты. Однако для большинства народнохозяйственных зданий достаточный уровень защиты можно обеспечить, пользуясь двумя зонами, с вероятностью прорыва 0,1 и 0,01.

В терминах теории надежности вероятность прорыва - это параметр, характеризующий отказ молниеотвода как защитного устройства. При таком подходе двум принятым зонам защиты соответствует степень надежности 0,9 и 0,99. Такая оценка надежности справедлива при расположении объекта вблизи границы зоны защиты, например объекта в виде кольца, соосного со стержневым молниеотводом. У реальных же объектов (обычных зданий) на границе зоны защиты, как правило, расположены лишь верхние элементы, а большая часть объекта помещается в глубине зоны. Оценка надежности зоны защиты по ее внешней границе приводит к чрезмерно заниженным значениям. Поэтому, чтобы учесть существующее на практике взаимное расположение молниеотводов и объектов, зонам защиты А и Б приписана в РД 34.21.122-87 ориентировочная степень надежности 0,995 и 0,95 соответственно.

Рис. 1. Номограммы для определения высоты одиночных (а) и двойных равной высоты (б) молниеотводов в зоне А

Расчетный метод вероятности прорыва разработан только для нисходящих молний, преимущественно поражающих объекты высотой до 150 м. Поэтому в РД 34.21.122 - 87 формулы для построения зон защиты одиночных и многократных стержневых и тросовых молниеотводов ограничены высотой 150 м. На сегодняшний день объем фактических данных о поражаемости нисходящими молниями объектов большей высоты очень мал и в основном относится к Останкинской телевизионной башне (540 м). На основании фоторегистраций можно утверждать, что нисходящие молнии прорываются более чем на 200 м ниже ее вершины и поражают землю на расстоянии около 200 м от основания башни. Если рассматривать Останкинскую телевизионную башню как стержневой молниеотвод, можно заключить, что относительные размеры зон защиты молниеотводов высотой более 150 м редко сокращаются с увеличением высоты молниеотводов. С учетом ограниченности фактических данных о поражаемости сверхвысоких объектов в РД 34.21.122 - 87 включены формулы для построения зон защиты только для стержневых молниеотводов высотой более 150 м.

Рис. 2. Номограммы для определения высоты одиночных (а) и двойных равной высоты (б) молниеотводов в зоне Б

Метод расчета зон защиты от поражений восходящими молниями пока не разработан. Однако по данным наблюдений известно, что восходящие разряды возбуждаются с остроконечных предметов вблизи вершины высоких сооружений и затрудняют развитие других разрядов с более низких уровней. Поэтому для таких высоких объектов, как железобетонные дымовые трубы или башни, предусматривается, прежде всего, защита от механических разрушений бетона при возбуждении восходящих молний, которая осуществляется путем установки стержневых или кольцевых молниеприемников, обеспечивающих максимально возможное по конструктивным соображениям превышение над вершиной объекта (п. 2.31).

В этом пособии приведены номограммы для определения высот стержневых С и трассовых Т одиночных и двойных молниеотводов, обеспечивающих зоны защиты А и Б (рис. 1 и 2). Использование этих номограмм, построенных в соответствии с расчетными формулами и обозначениями приложения 3 РД 34.21.122-87, позволяет сократить объем вычислений и упростить выбор средств молниезащиты при проектировании.

8. ПОДХОД К НОРМИРОВАНИЮ ЗАЗЕМЛИТЕЛЕЙ МОЛНИЕЗАЩИТЫ

Ниже пояснен принятый в РД 34.21.122-87 подход к выбору заземлителей молниезащиты зданий и сооружений.

Одним из эффективных способов ограничения грозовых перенапряжений в цепи молниеотвода, а также на металлических конструкциях и оборудовании объекта является обеспечение низких сопротивлений заземлителей. Поэтому при выборе молниезащиты нормированию подлежит сопротивление заземлителя или другие его характеристики, связанные с сопротивлением.

До недавнего времени для заземлителей молниезащиты нормировалось импульсное сопротивление растеканию токов молнии: его максимально допустимое значение было принято равным 10 Ом для зданий и сооружений I и II категорий и 20 Ом для зданий и сооружений III категории. При этом допускалось увеличение импульсного сопротивления до 40 Ом в грунтах с удельным сопротивлением более 500 Ом×м при одновременном удалении молниеотводов от объектов I категории на расстояние, гарантирующее от пробоя по воздуху и в земле. Для наружных установок максимально допустимое импульсное сопротивление заземлителей было принято равным 50 Ом.

Импульсное сопротивление заземлителя является количественной характеристикой сложных физических процессов при растекании в земле токов молнии. Его значение отличается от сопротивления заземлителя при растекании токов промышленной частоты и зависит от нескольких параметров тока молнии (амплитуды, крутизны, длины фронта), варьирующихся в широких пределах. С увеличением тока молнии импульсное сопротивление заземлителя падает, причем в возможном интервале распределения токов молнии (от единиц до сотен килоампер) его значение может уменьшаться в 2-5 раз.

При проектировании заземлителя нельзя предсказать значения токов молнии, которые будут через него растекаться, а следовательно, невозможно оценить наперед соответствующие значения импульсных сопротивлений. В этих условиях нормирование заземлителей по их импульсному сопротивлению имеет очевидные неудобства. Разумнее выбрать конкретные конструкции заземлителей по следующему условию. Импульсные сопротивления заземлителей во всем возможном диапазоне токов молнии не должны превышать указанных максимально допустимых значений.

Такое нормирование было принято в пп. 2.2, 2.13, 2.26, табл. 2: для ряда типовых конструкций были подсчитаны импульсные сопротивления при колебаниях токов молнии от 5 до 100 ка и по результатам расчетов проведен отбор заземлителей, удовлетворяющих принятому условию.

В настоящее время распространенными и рекомендуемыми (РД 34.21.122-87, п. 1.8) конструкциями заземлителей являются железобетонные фундаменты. К ним предъявляется дополнительное требование - исключение механических разрушений бетона при растекании через фундамент токов молнии. Железобетонные конструкции выдерживают большие плотности растекающихся по арматуре токов молнии, что связано с кратковременностью этого растекания. Единичные железобетонные фундаменты (сваи длиной не менее 5 или подножники длиной не менее 2 м) способны без разрушения выдерживать токи молнии до 100 ка, по этому условию в табл. 2 РД 34.21.122-87 заданы допустимые размеры единичных железобетонных заземлителей. Для фундаментов больших размеров с соответственно большей поверхностью арматуры опасная для разрушения бетона плотность тока маловероятна при любых возможных токах молнии.

Нормирование параметров заземлителей по их типовым конструкциям имеет ряд достоинств: оно соответствует принятой в строительной практике унификации железобетонных фундаментов с учетом их повсеместного использования в качестве естественных заземлителей при выборе молниезащиты не требуется выполнять расчеты импульсных сопротивлений заземлителей, что сокращает объем проектных работ.

9. ПРИМЕРЫ ИСПОЛНЕНИЯ МОЛНИЕЗАЩИТЫ РАЗЛИЧНЫХ ОБЪЕКТОВ1 (РИС. 3-10)

1 Разработаны ВНИПИ Тяжпромэпсктропроект, институтом Гипротрубопровод и ГИАП.

Рис. 3. Молниезащита здания I категории отдельно стоящим двойным стержневым молниеотводом (r = 300 Ом×м, Sв£4 м, Sз£6 м):
1 - граница зоны защиты; 2 - заземлители-подножники фундамента; 3 - зона защиты на отметке 8,0 м

Рис. 4. Молниезащита здания I категории отдельно стоящим тросовым молниеотводом (& = 300 Ом×м, S0£4 м, Sз£6 м, Sв1³3,5 м):

1 - трос; 2 - граница зоны защиты; 3 - ввод подземного трубопровода; 4 - граница распространения взрывоопасной концентрации; 5 - соединения арматуры, выполняемые сваркой; 6 - железобетонный фундамент; 7 - закладные элементы для присоединения оборудования; 8 - заземляющий проводник из стали 4×40 мм; 9 - заземлители - железобетонные подножники; 10 - граница зоны защиты на отметке 10,8 м

Рис 5. Молниезащита здания II категории сеткой, уложенной на кровлю под изоляцию:
1 - молниеприемная сетка; 2 - гидроизоляция здания; 3 - опора здания; 4 - стальная перемычка; 5 - арматура колонны; 6 – заземлители - железобетонные фундаменты; 7 - закладная деталь; 8 - опора эстакады; 9 - технологическая эстакада

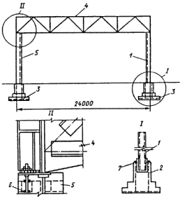
Рис. 6. Молниезащита здания II категории с металлическими фермами (в качестве токоотводов и заземлителей использована арматура железобетонных колонн и фундаментов):

1 - арматура колонны; 2 - арматура фундамента; 3 - заземлитель; 4 - стальная ферма; 5 - железобетонная колонна; 6 - анкерные болты, привариваемые к арматуре; 7 - закладная деталь

Рис. 7. План цеха компрессии азотоводородной смеси (относится к взрывоопасным с зоной класса В-1а):
Условные обозначения: D - стержневой молниеотвод (№ 1-6); -.-.-.‑ токоотводящая металлическая полоса; О - газоотводные трубы для отвода в атмосферу газов невзрывоопасной концентрации; · - то же взрывоопасной концентрации

Рис. 8. Молниезащита металлического резервуара вместимостью 20 тыс. м3 со сферической крышей:
1 - дыхательный клапан; 2 - область выброса газов взрывоопасной концентрации; 3 - граница зоны защиты; 4 - зона защиты на высоте hx = 23,7м; 5 ‑ то же на высоте hx=22,76 м

Рис. 9. Молниезащита металлического резервуара вместимостью 20 тыс. м3 со сферической крышей и понтоном:

1 - клапан аварийного выброса газов; 2, 3 ‑ то же, что на рис. 8; 4 ‑ понтон; 5 - зона защиты на высоте hх = 23 м; 6 ‑ гибкий кабель

Рис. 10. Молниезащита сельского дома тросовым молниеотводом, установленным на крыше:

1 - тросовый молниеприемник; 2 - ввод воздушной линии электропередачи (ВЛ) и заземление крюков ВЛ на стене; 3 - токоотвод; 4 – заземлитель

Требования настоящей Инструкции обязательны для выполнения всеми министерствами, и ведомствами.

Инструкция устанавливает необходимый комплекс мероприятий и устройств, предназначенных для обеспечения безопасности людей (сельскохозяйственных животных), предохранения зданий, сооружений, оборудования и материалов от взрывов, пожаров и разрушений, возможных при воздействиях молнии. Инструкция должна соблюдаться при разработке проектов зданий и сооружений. Инструкция не распространяется на проектирование и устройство молниезащиты линий электропередачи, электрической части электростанций и подстанций, контактных сетей, радио- и телевизионных антенн, телеграфных, телефонных и радиотрансляционных линий, а также зданий и вооружений, эксплуатация которых связана с применением, производством или хранением пороха и взрывчатых веществ.

Настоящая Инструкция регламентирует мероприятия по молниезащите, выполняемые при строительстве, и не исключает использования дополнительных средств молниезащиты внутри здания и сооружения при проведении реконструкции или установке дополнительного технологического или электрического оборудования

При разработке проектов зданий и сооружений помимо требований Инструкции должны быть учтены требования к выполнению молниезащиты других действующих норм, правил, инструкций и государственных стандартов




Rambler's Top100 Яндекс цитирования
  Copyright © 2008-2026, www.docload.ru