|
|
ГОСТ 22584-96 МЕЖГОСУДАРСТВЕННЫЙ
СТАНДАРТ ТАЛИ ЭЛЕКТРИЧЕСКИЕ КАНАТНЫЕ ОБЩИЕ ТЕХНИЧЕСКИЕ УСЛОВИЯ МЕЖГОСУДАРСТВЕННЫЙ СОВЕТ Минск Предисловие 1. РАЗРАБОТАН Техническим комитетом
по стандартизации России ТК 289 «Краны грузоподъемные» и Техническим комитетом
по стандартизации Украины ТК 16 «Краны, подъемные устройства и соответствующее
оборудование» ВНЕСЕН Госстандартом России 2. ПРИНЯТ Межгосударственным
Советом по стандартизации, метрологии и сертификации (протокол № 10 от 4
октября 1996 г.). За принятие
проголосовали:
3. Постановлением Государственного
комитета Российской Федерации по стандартизации, метрологии и сертификации от
26 марта 1997 г. № 105 межгосударственный стандарт ГОСТ 22584-96 введен в
действие непосредственно в качестве государственного стандарта Российской
Федерации с 1 января 1998 г. 4. ВЗАМЕН ГОСТ 22584-88 СОДЕРЖАНИЕ ГОСТ 22584-96 МЕЖГОСУДАРСТВЕННЫЙ СТАНДАРТ ТАЛИ ЭЛЕКТРИЧЕСКИЕ КАНАТНЫЕ Общие технические условия Rope electric hoists. Дата введения
1998-01-01 1 ОБЛАСТЬ ПРИМЕНЕНИЯНастоящий стандарт
распространяется на электрические канатные стационарные и передвижные тали
общего назначения (далее - тали) грузоподъемностью от 0,1 до 80 т, групп
классификации (режима) работы 1М-5М ГОСТ
25835, климатических исполнений У и ТУ, категорий 2 и 3 ГОСТ
15150, при напряжении переменного тока 380 В частотой 50 Гц,
предназначенные для подъема, опускания и горизонтального перемещения груза по
подвесному пути. Стандарт не распространяется
на тали, предназначенные для работ во взрывоопасных и пожароопасных средах, в
помещениях, насыщенных парами кислот, щелочей и других веществ в концентрациях,
приводящих к коррозии поверхностей металла и разрушающих изоляцию
электропроводки или создающих недостаточно надежные условия заземления тали. Требования стандарта
являются обязательными, кроме 3.6, 3.7. 2 НОРМАТИВНЫЕ ССЫЛКИВ настоящем стандарте
использованы ссылки на следующие стандарты: ГОСТ 9.014-78 (СТ
СЭВ 992-78) ЕСЗС. Временная противокоррозионная защита изделий. Общие
требования ГОСТ 9.032-74 ЕСЗКС. Покрытия лакокрасочные. Группы, технические требования и
обозначения ГОСТ 9.104-79 ЕСЗКС. Покрытия лакокрасочные. Группы условий эксплуатации ГОСТ 9.303-84 ЕСЗКС. Покрытия металлические и неметаллические неорганические. Общие
требования к выбору ГОСТ
9.402-80
(СТ СЭВ 5732-86) ЕСЗКС. Покрытия лакокрасочные. Подготовка металлических
поверхностей перед окрашиванием ГОСТ 12.2.003-91 ССБТ. Оборудование
производственное. Общие требования безопасности ГОСТ 12.2.007.0-75 ССБТ. Изделия электротехнические. Общие
требования безопасности ГОСТ
12.4.026-76
ССБТ. Цвета сигнальные и знаки безопасности ГОСТ
1033-79
Смазка солидол жировой. Технические условия ГОСТ
1957-73
Смазка консталин. Технические условия ГОСТ
2492-84 (СТ
СЭВ 4448-83) Выключатели (переключатели) силовые кнопочные и посты управления
кнопочные. Общие технические условия ГОСТ
2991-85
Ящики дощатые неразборные для грузов массой до 500 кг. Общие технические
условия ГОСТ
3242-79
Соединения сварные. Методы контроля качества ГОСТ 6996-66 (СТ СЭВ 3521-82 - СТ СЭВ 3524-82, СТ СЭВ 6732-89) Сварные соединения.
Методы определения механических свойств ГОСТ 7512-82 Контроль неразрушающий. Соединения сварные. Радиографический метод ГОСТ
8239-89 (СТ
СЭВ 2209-80) Двутавры стальные горячекатаные. Сортамент ГОСТ 10198-91 Ящики деревянные для грузов массой св. 200 до 20000 кг. Общие
технические условия ГОСТ
12971-67
Таблички прямоугольные для машин и приборов. Размеры ГОСТ 14192-96 Маркировка грузов ГОСТ 14254-96 Степени защиты, обеспечиваемые оболочками (код IP) ГОСТ 15150-69 (СТ СЭВ 458-77, СТ СЭВ 460-77, СТ СЭВ 991-78, СТ СЭВ 6136-87) Машины,
приборы и другие технические изделия. Исполнения для различных климатических
районов. Категории, условия эксплуатации, хранения и транспортирования в части
воздействия климатических факторов внешней среды ГОСТ 19425-74 Балки двутавровые и швеллеры стальные специальные. Сортамент ГОСТ
23706-93
(МЭК 51-6-84) Приборы аналоговые показывающие электроизмерительные прямого
действия и вспомогательные части к ним. Часть 6. Особые требования к омметрам
(приборам для измерения полного сопротивления) и приборам для измерения
активной проводимости ГОСТ 25835-83 Краны грузоподъемные. Классификация механизмов по режимам работы 3 ОСНОВНЫЕ ПАРАМЕТРЫ И РАЗМЕРЫ3.1 Основные параметры и размеры
талей должны соответствовать конструкторской документации на конкретные тали. 3.2 Номинальные значения
основных параметров талей назначаются из следующих рядов: грузоподъемность, т: [0,1];
0,125; 0,16; 0,2; [0,25]; 0,32; 0,4; [0,5]; 0,63; 0,8; [1,0]; 1,25; 1,6; [2,0];
2,5; [3,2]; 4,0; [5,0]; 6,3; [8,0]; [10,0]; [12,5]; 16,0; [20,0]; 25,0; 32,0;
40,0; 50,0; 63,0; 80,0; скорость, м/с: 0,01; 0,0125;
0,016; [0,02]; 0,025; [0,032]; 0,04; 0,05; [0,063]; 0,08; 0,1; [0,125]; 0,16;
[0,2]; [0,25]; [0,32]; 0,4; [0,5]; 0,63; 0,8; диапазон подъема, м: 3,2;
4,0; 5,0; [6,3]; 8,0; 9,0; 10,0; 11,2; [12,5]; 14,0; 16,0; 18,0; [20,0]; 22,4;
25,0; 28,0; [32,0]; 36,0; 40,0; 50,0; 63,0; 71,0; 80,0. Примечания 1 Значения в скобках предпочтительны. 2 Скорости даны при частоте тока 50 Гц. 3.2.1 Допускаемое отклонение
скорости подъема и передвижения груза не должно превышать 15% номинального
значения. 3.2.2 Допускаемое превышение
диапазона подъема груза не должно быть более 5% номинального значения. 3.3 Нижнее значение температуры
окружающего воздуха: для эксплуатации в рабочем
состоянии талей климатических исполнений У2 и У3 по ГОСТ
15150 - минус 40°С; для эксплуатации в рабочем
состоянии талей климатических исполнений ТУ2 и ТУ3 по ГОСТ
15150 - минус 20°С. 3.4 Напряжение в цепи
управления талями должно быть не более 380 В. 3.5 По заказу потребителя
допускается изготовлять тали с другими значениями напряжения и частоты тока. 3.6 Параметры подвесных путей
приведены в приложении
А. 3.7 Рекомендуемая схема
условного обозначения талей приведена в приложении Б. 4 ОБЩИЕ ТЕХНИЧЕСКИЕ ТРЕБОВАНИЯТали должны изготавливаться
в. соответствии с требованиями настоящего стандарта, национальных «Правил
устройства и безопасной эксплуатации грузоподъемных кранов», «Правил устройства
электроустановок» (ПУЭ) и по технической документации,
утвержденной в установленном порядке. 4.1 Характеристики (свойства)4.1.1 Требования надежности Ресурс талей должен быть в
пределах нормы времени работы механизмов по ГОСТ
25835 соответствующей группы классификации (режима) работы. 4.1.2 Лакокрасочные покрытия
наружных поверхностей талей должны удовлетворять V классу, внутренних - VI
классу ГОСТ
9.032, а по условиям эксплуатации - группе У2 ГОСТ
9.104 для талей климатических исполнений У2, ТУ2, У3 и ТУ3. 4.1.3 Конструктивные
требования 4.1.3.1 Несущие детали и узлы
должны изготавливаться из сталей с механическими свойствами, химическим
составом, ударной вязкостью и свариваемостью (для сварных узлов),
обеспечивающими работоспособность талей в диапазоне рабочих температур и в
заданной группе классификации (режима) работы, а также других материалов,
обеспечивающих необходимую прочность, надежность и долговечность в работе. 4.1.3.2 Допускается применять все
промышленные способы сварки при условии обеспечения свойств сварных соединений
в соответствии с требованиями «Правил устройства и безопасной эксплуатации
грузоподъемных кранов». Сварные швы должны
удовлетворять требованиям «Правил устройства и безопасной эксплуатации
грузоподъемных кранов» и нормативно-технической документации на сварку. 4.1.3.3 Отливки из стали и
чугуна должны удовлетворять требованиям «Правил устройства и безопасной
эксплуатации грузоподъемных кранов» и нормативно-технической документации на
отливки. Отливки для корпусов и
крышек редукторов, канатного барабана и его фланцев должны быть подвергнуты
старению. 4.1.3.4 Таль в сборе должна
быть окрашена в желтый сигнальный цвет, а внутренние поверхности крышек шкафов
электрооборудования - в красный сигнальный цвет по ГОСТ
12.4.026. Панели и внутренние полости
корпусов шкафов электрооборудования должны быть окрашены в белый цвет или цвет
«слоновой кости». На кожухе крюковой подвески
в соответствии с ГОСТ
12.4.026 должны быть нанесены по желтому фону две черные полосы и
цифрами указана грузоподъемность тали. Грузовой крюк должен быть окрашен в
черный цвет. По согласованию с
потребителем допускается окраска тали в другие цвета, в том числе поставка в
загрунтованном виде. 4.1.3.5 Внутренние необработанные
поверхности литых чугунных и стальных корпусов и крышек редукторов должны быть
окрашены маслостойкой краской и соответствовать по внешнему виду VI классу ГОСТ
9.032, условиям эксплуатации - 6/1 ГОСТ
9.032. 4.1.3.6 Все механически
обработанные, но не подлежащие окраске поверхности тали, кроме рабочих
поверхностей тормозов, должны быть покрыты консервационными смазками по ГОСТ 1033, ГОСТ
1957, обеспечивающими выполнение требований 4.3.1. 4.1.3.7 Поверхности тали,
подлежащие окраске, должны быть загрунтованы, а неровные наружные поверхности
литых деталей зашпатлеваны. Подготовка металлических поверхностей к окраске -
по ГОСТ
9.402. 4.1.3.8 Стопорение гайки крепления
крюка талей грузоподъемностью менее 5 т должно быть выполнено планкой или
штифтом. Применение шплинтов и стопорных болтов не допускается. 4.1.3.9 Крепежные изделия
должны иметь покрытия по ГОСТ
9.303. 4.2 МаркировкаК каждой тали должна быть
прикреплена табличка по ГОСТ 12971,
содержащая: - наименование или товарный
знак предприятия-изготовителя; - условное обозначение; - номинальную
грузоподъемность; - группу классификации
(режима) работы; - диапазон подъема; - рабочее напряжение тока; - месяц и год выпуска; - порядковый номер по системе
нумерации предприятия-изготовителя. 4.3 Упаковка4.3.1 Консервация талей - по
категории условий хранения и транспортирования ОЖ ГОСТ
9.014. 4.3.2 Каждая таль должна
быть упакована в деревянный ящик по ГОСТ
2991 или ГОСТ
10198 или специальную многооборотную тару. При отсутствии
канатоукладчика способ упаковки тали должен исключать возможность расслабления
намотки каната. При транспортировании таль
должна быть закреплена внутри ящика. 4.3.3 Прилагаемая к тали
документация должна быть упакована в водонепроницаемый материал и уложена в
ящик с талью. 4.3.4 Маркировка
транспортной тары - по ГОСТ
14192. 5 ТРЕБОВАНИЯ БЕЗОПАСНОСТИ5.1 Конструкция тали должна
обеспечивать безопасность при ее эксплуатации и техническом обслуживании в
соответствии с требованиями национальных «Правил устройства и безопасной эксплуатации
грузоподъемных кранов» и ГОСТ
12.2.003. 5.2 Требования
электробезопасности должны соответствовать ГОСТ
12.2.007.0. 5.3 При использовании
напряжения в цепи управления свыше 42 В для обеспечения защитного заземления
таль должна иметь клемму с заземляющим контактом, а кабель питания тали должен
иметь заземляющую жилу. 5.4 Кнопочный пост
управления должен соответствовать требованиям ГОСТ 2492 и классу II по степени защиты от поражения
электрическим током по ГОСТ
12.2.007.0. 5.5 Электротали должны
подключаться к электрическим сетям, проектирование и монтаж которых осуществлен
в соответствии с требованиями ПУЭ. 5.6 Оболочки тали, в которых
заключены электроаппараты, клеммные наборы, а также вводы кабелей, должны иметь
степень защиты не ниже IP42, пост управления - не ниже
IP30 по ГОСТ
14254. 5.7 Сопротивление изоляции
проводов электрических цепей относительно корпуса тали должно быть не менее 0,5
МОм. Изоляция электрической цепи
талей должна выдерживать без пробоя и перекрытия испытание повышенным
напряжением переменного тока промышленной частоты. Сопротивление цепей
заземления любой точки тали относительно двутавра пути не должно быть более 4
Ом. 5.8 Передвижные тали должны
быть оборудованы буферами, взаимодействующими с упорами на пути. 5.9 Эквивалентный уровень звука
тали не должен превышать 80 дБА. 6 ПРАВИЛА ПРИЕМКИ6.1 Для проверки
соответствия талей требованиям настоящего стандарта, национальных «Правил
устройства и безопасной эксплуатации грузоподъемных кранов» и
нормативно-технической документации предприятие-изготовитель должно проводить
приемо-сдаточные и периодические испытания. 6.2 Приемо-сдаточным
испытаниям должна подвергаться каждая таль. Объем и методика проведения
испытаний устанавливаются техническими условиями на конкретные тали. 6.3 Периодическим испытаниям
должны подвергаться тали, прошедшие приемо-сдаточные испытания. Программа и
методика периодических испытаний должны быть разработаны головной организацией
по краностроению или согласованы с ней. 7 МЕТОДЫ КОНТРОЛЯ7.1 Основные параметры и
размеры талей (3.1) следует проверять в
соответствии с требованиями конструкторской документации на конкретные тали. 7.2 Соответствие материалов
(4.1.3.1) требованиям стандартов должно
подтверждаться сертификатом предприятия - поставщика металла. При отсутствии
сертификата качество металла должно быть подтверждено данными лабораторных
проверок. 7.3 Качество сварных
соединений (4.1.3.2) следует проверять
в соответствии с требованиями ГОСТ
3242, ГОСТ
6996, ГОСТ
7512 и «Правилами устройства и безопасной эксплуатации
грузоподъемных кранов». 7.4 Качество покрытий
поверхностей (4.1.2, 4.1.3.5) следует проверять внешним осмотром. 7.5 Сопротивление изоляции
проводов электрических цепей относительно корпуса тали (5.7) следует измерять мегомметром при напряжении 1000 В. Прочность изоляции
электрических цепей следует проверять при испытательном напряжении 1000 В,
переменном токе и частоте 50 Гц и течение одной минуты. Сопротивление изоляции
проводов электрических цепей и контроль прочности изоляции допускается измерять
мегомметром при напряжении 2500 В в течение одной минуты. Сопротивление цепей
заземления измеряют омметром класса не ниже 2,5 по ГОСТ 23706. 7.6 Уровень звука (5.9) определяют на расстоянии 5 м от наружного
контура тали раздельно для механизма подъема и механизма передвижения при
установившемся режиме работы тали на подвесном пути с нагрузкой, равной 0,75
номинальной грузоподъемности. Рекомендуемая методика определения эквивалентного
уровня звука талей указана в приложении В. 7.7 При проведении
приемо-сдаточных испытаний груз поднимают на высоту 200 мм и выдерживают в
течение 3 мин, при этом не должно наблюдаться опускание груза. 7.8 Для проверки работы
механизма подъема, тормоза и устройств безопасности груз поднимают двукратно на
высоту не менее 4 м, за исключением талей высотой подъема 3,2 м, с остановками
при каждом подъеме и спуске не менее пяти раз. При наличии двух тормозов на
механизме подъема проверку их действия осуществляют как совместно, так и
раздельно. Если один из тормозов
является грузоупорным, то при его испытаниях выбег груза при спуске не должен
превышать 800 мм. Для передвижных талей проверяют
проходимость тали по пути. 7.9 Работу тормозов и
устройств безопасности проверяют не менее трех раз. 7.10 При проведении
сертификационных испытаний выполнение требований разделов 4 и 5
обязательно, кроме 4.1.1 и 4.3. 8 ТРАНСПОРТИРОВАНИЕ И ХРАНЕНИЕ8.1 Транспортирование талей
должно проводиться в упакованном виде в открытых и крытых транспортных
средствах в соответствии с «Правилами перевозки грузов», действующими на
транспорте каждого вида. Условия транспортирования в
открытых транспортных средствах - ОЖ1, в крытых - ОЖ2 по ГОСТ
15150. 8.2 Условия хранения талей -
ОЖ4 по ГОСТ
15150. Суммарный срок транспортирования и хранения без
переконсервации - 12 мес. 9 УКАЗАНИЯ ПО ЭКСПЛУАТАЦИИ9.1 До пуска в работу таль
должна быть подвергнута техническому освидетельствованию в соответствии с
требованиями национальных «Правил устройства и безопасной эксплуатации
грузоподъемных кранов». 9.2 Эксплуатацию талей
необходимо осуществлять в соответствии с национальными «Правилами устройства и
безопасной эксплуатации грузоподъемных кранов» и требованиями руководства по
эксплуатации на конкретную таль. 10 ГАРАНТИИ ИЗГОТОВИТЕЛЯ10.1 Изготовитель
гарантирует соответствие тали требованиям настоящего стандарта при соблюдении
потребителем условий эксплуатации, транспортирования и хранения. 10.2 Гарантийный срок
эксплуатации талей со дня их ввода в эксплуатацию - 24 мес, но не более 30 мес
со дня отгрузки, для талей, предназначенных для экспорта, - 12 мес, но не более
24 мес с момента проследования их через государственную границу. Указанный срок не
распространяется на грузовые канаты. ПРИЛОЖЕНИЕ А
|
|
Грузоподъемность, т |
Диапазон |
Минимальный радиус поворота, м |
Номер двутавра пути по ГОСТ 19425 |
|
0,25 |
6,3 |
0,5 |
16-24 (ГОСТ 8239) 24 М |
|
0,5 |
6,3; 12,5; 20 |
1,0 |
|
|
1,0 |
6,3; 12,5 |
1,0 |
24М; 30М; 36M |
|
20 |
1,5 |
||
|
32 |
2,5 |
||
|
2,0 |
6,3; 12,5 |
1,25 |
|
|
20 |
1,5 |
||
|
32 |
2,5 |
||
|
3,2 |
6,3; 12,5 |
1,5 |
30М; 36M; 45М |
|
20 |
2,0 |
||
|
32 |
2,5 |
||
|
5,0 |
6,3; 12,5 |
2,0 |
|
|
20 |
2,5 |
||
|
32 |
3,5 |
||
|
8,0 |
6,3; 12,5 |
2,5 |
|
|
20 |
3,0 |
||
|
32 |
4,0 |

1 - сокращенное наименование
изделия (таль электрическая);
2 - грузоподъемность (первая
цифра - целое число тонн, последующие - десятые и сотые доли тонны, запятая
опускается);
3 - исполнение тали:
1 - стационарное опорное;
2 - стационарное подвесное;
3 - передвижное с неприводным
механизмом передвижения;
4 - передвижное с ручным
приводом механизма передвижения;
5 - передвижное с
электрическим приводом механизма передвижения;
4 - условное обозначение
диапазона подъема:
1 - до
6,3 м; 2 - св. 6,3
до 12,5 м;
3 -
св. 12,5 до 20 м; 4 - св. 20 до
32 м;
5 - св. 32 до
50 м; 6 - св. 50 до 80 м;
5 - обозначение числа
скоростей механизма подъема:
1 - односкоростное
исполнение;
2 - двухскоростное
исполнение;
3 - исполнение с регулируемой
скоростью;
6 - дополнительные данные,
касающиеся исполнения механизма подъема;
7 - обозначение числа
скоростей механизма передвижения:
1 - односкоростное
исполнение;
2 - двухскоростное исполнение;
3 - исполнение с регулируемой
скоростью;
8 - трасса подвесного пути:
П - пути прямые;
Р - пути, имеющие радиусные
участки;
9 - условное обозначение
наличия тормоза на механизме передвижения:
О - тормоз отсутствует;
Т - тормоз имеется;
10 - дополнительные данные,
касающиеся исполнения механизма передвижения;
11 - обозначение настоящего
стандарта.
Пример
условного обозначения тали грузоподъемностью 5 т, передвижной с электрическим приводом
механизма передвижения, диапазоном подъема 12,5 м, с односкоростными
механизмами подъема и передвижения, для подвесных путей, имеющих радиусные
участки, без тормоза на механизме передвижения:
Таль электрическая ТЭ 500-521O-IPOO
ГОСТ 22584-96
B.1
Эквивалентный уровень звука при приемо-сдаточных испытаниях определяют в
условиях обычных цеховых производственных помещений шумомером на расстоянии 5 м
от наружного контура тали.
При определении уровня звука
шумомером расположение испытуемой тали по отношению к отражающим предметам
должно быть таким, чтобы расстояние от точек измерения (от микрофона) до
отражающих поверхностей (стен, перегородок, стоящих рядом колонн, станков и
т.д.), а также талей, находящихся на одном или соседних подвесных путях, и
других предметов было не менее 1 м, а до углов помещения - не менее 2 м.
В.2 Уровень звука измеряют:
- у механизма подъема при
подъеме и опускании груза, равного 0,75 номинального; при этом таль должна
находиться под опорой подвесного пути;
- у механизма передвижения
при перемещении тали по подвесному пути с грузом, равным 0,75 номинального, на
расстоянии не менее 2 м в обе стороны.
Уровень звука у механизма
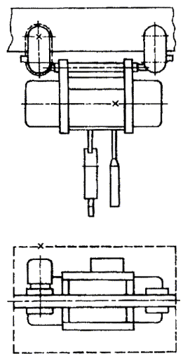
подъема измеряют со стороны окна корпуса в точке, указанной на рисунке B.1.
При измерении звука у
механизма передвижения микрофон шумомера следует поместить над точкой,
указанной на рисунке B.1.
С целью ускорения процесса измерения
допускается микрофон удерживать рукой над указанной точкой при движении тали по
подвесному пути.
Микрофон шумомера должен быть
ориентирован в направлении источника шума.
В.3 Эквивалентный уровень
звука тали LАэкв с учетом продолжительности включений механизмов в
децибелах определяют по формуле
,
где ПВп - продолжительность
включения механизма подъема, %;
ПВт - продолжительность включения
механизма передвижения, %;
La.п - эквивалентный уровень звука механизма подъема,
дБА, определяют по формуле
,
La.т
- эквивалентный уровень звука механизма передвижения, дБА, определяют по
формуле
,
где fп- доля числа отсчетов в данном
интервале уровней звука в общем числе отсчетов для механизма подъема;
fт - то же, для механизма
передвижения;
Lп - среднее арифметическое
значение уровней звука в данном интервале измеренных значений для механизма
подъема, дБа;
Lт - то же, для механизма
передвижения.

Рисунок B.1
Общее число измерений уровней
звука каждого механизма равняется числу интервалов, умноженному на 10, то есть
на каждый полученный интервал до 10 измерений.
Разница между верхней и нижней
границами каждого интервала составляет 5 дБА.
В.4 Если уровень звукового
давления общего шума Lобщ, включающий в себя шум тали Lт и помех Lп, превышает уровень помех на
10 дБ и более, то помехи можно не учитывать.
Если это превышение меньше 10
дБ, то для учета помех необходимо из уровня звукового давления общего шума
вычесть поправку DL,
приведенную в таблице В.1.
|
Разность между уровнем
звука общего шума и уровнем помех (Lобщ-Lп), дБА |
Поправка DL, дБА |
|
3 |
3 |
|
От 4 до 5 |
2 |
|
» 6 » 8 |
1 |
|
» 9 » 10 |
0,5 |
Уровень шума тали в этом
случае
.
Если разность меньше 3 дБ или
уровень помех сильно колеблется, то проведение измерений не допустимо.
В.5 Допускается измерять шум при
динамических испытаниях на испытательном участке подвесного пути в
производственных условиях с грузом, равным 1,1 номинального. Расчетное значение
уровня звука L0,75 в этом случае определяется по формуле
,
где L1,1 - фактическое значение
уровня звука на испытательном участке подвесного пути при грузе, равном 1,1
номинального, дБA;
DLотр - поправка на увеличение
звука за счет отраженных звуковых волн дБA;
DLнагр - поправка на увеличение звука
за счет нагрузки, дБА.
В.6 Фактическое значение
уровня звука L1,1 измеряют непосредственно на испытательном участке
подвесного пути на расстоянии 5 м от контура испытуемого механизма в точках,
указанных на рисунке B.1, при нагрузке тали, равной 1,1
номинальной.
В.7 Для определения поправки
на увеличение уровня звука за счет отраженных от ограждающих конструкций
производственного участка звуковых волн (DLотр) отбирается таль базового
исполнения с уровнем звука не более 80 дБА при работе с грузом, равным
0,75 номинального.
В.8 У отобранной тали
измеряют уровень звука в помещении на испытательном участке подвесного пути при
подъеме и перемещении груза, равного 0,75 номинального, при отсутствии
посторонних источников шума.
Разность между результатами
измерений уровня звука в свободном пространстве и на испытательном участке
подвесного пути при грузе, равном 0,75 номинального, принимается за поправку DLотр.
У этой же тали в помещении на
испытательном участке подвесного пути проводится измерение уровня звука при
нагрузке, равной 1,1 номинальной. Разность между результатами измерений уровня
звука при грузе, равном 1,1 и 0,75 номинального, принимается за поправку DLнагр.
В.9 Третье значение поправки L1,1
определяется
исходя из разности измеренного шума тали и помех по таблице В.1.
Значение этой поправки
определяется для тали при ее испытании с грузом, равным 1,1 номинального.
В.10 Измерение уровня помех
проводится дважды: до и после измерения шума тали с минимально возможным
интервалом по времени.
В.11 Если в процессе
измерения шума талей произойдет изменение уровня помех (т.е. будут получены
разные значения уровня помех до и после измерения шума тали), изменяющее
значение поправки DL1,1, то результаты измерения
шума тали считаются недействительными и измерения должны быть повторены.
В.12 В случае периодических
колебаний стрелки шумомера в качестве измеряемого значения следует принимать
среднее значение показаний.
В.13 Результаты измерения
окончательно подсчитывают по формуле, приведенной в В.4 или В.5, и
округляют до ±1 дБА.
Ключевые слова: тали
электрические канатные стационарные и передвижные, подъем, опускание,
горизонтальное перемещение груза, маркировка, упаковка, методы контроля,
транспортирование, хранение, гарантии
|
|
|
|