Бесплатная библиотека стандартов и нормативов www.docload.ru

Все документы, размещенные на этом сайте, не являются их официальным изданием и предназначены исключительно для ознакомительных целей.
Электронные копии этих документов могут распространяться без всяких ограничений. Вы можете размещать информацию с этого сайта на любом другом сайте.
Это некоммерческий сайт и здесь не продаются документы. Вы можете скачать их абсолютно бесплатно!
Содержимое сайта не нарушает чьих-либо авторских прав! Человек имеет право на информацию!

 

КОМПЛЕКС АРХИТЕКТУРЫ, СТРОИТЕЛЬСТВА, РАЗВИТИЯ И РЕКОНСТРУКЦИИ ГОРОДА

ТЕХНИЧЕСКИЙ РЕГЛАМЕНТ

операционного контроля качества строительно-монтажных работ и специальных работ при возведении зданий и сооружений

02. УСТРОЙСТВО ОСНОВАНИЙ И ФУНДАМЕНТОВ

ТР 94.02-99

МОСКВА-2000

Технический регламент операционного контроля качества разработан по 12 видам строительно-монтажных работ, каждый из которых издан отдельным томом:

1. Производство земляных работ (ТР 94.01-99)

2. Устройство оснований и возведение фундаментов (ТР 94.02-99)

3.1. Монтаж сборных бетонных и железобетонных конструкций при возведении подземной части зданий (ТР 94.03.1-99)

3.2. Монтаж сборных железобетонных конструкций при возведении надземной части зданий (ТР 94.03.2-99)

4. Строительство кирпичных зданий (ТР 4.04-99)

5. Монтаж санитарно-технических систем (ТР 94.05-99)

6. Производство отделочных работ (ТР 94.06-99)

7. Устройство кровель (ТР 94.07-99)

8. Устройство гидроизоляции подземной части зданий (ТР 94.08-99)

9. Теплоизоляция стыковых соединений элементов наружных стеновых панелей (ТР 94.09-99)

10. Герметизация стыков наружных ограждающих конструкций (ТР 94.10-99)

11. Производство малярных и обойных работ (ТР 94.11-99)

12. Благоустройство территорий у строящихся зданий (ТР 94.12-99)

Технический регламент разработан ГУП "НИИМосстрой" (тома ТР 94.02-99, ТР 94.05-99 ... ТР 94.12-99)

- Белоусов Е.Д., д.т.н., профессор, директор; тел. (095) 147-40-02

- Белавин Ф.С., к.т.н., зам. директора по научной работе; тел (095) 147-40-03

- совместно с ПКТИ Промстроя: (тома ТР 94.01-99), ТР 94.03.1-99, ТР 94.03.2-99 и ТР 94.04-99)

Едличка С.Ю., к.т.и., генеральный директор; тел. (095) 214-33-28

Шахпаронов В.В., к.т.н., зам. Генерального директора по научной части; тел. (095) 214-48-00

Ярымов Ю.А. гл. инженер проекта тел. (095) 214-36-49

- с участием ГУ "Мосстройлицензия"

Емельянов Ю. П., руководитель ГУ.

Технический регламент согласован с АО ХК "Главмосстрой", ОАО "Мосинжстрой", ГУ "Мосстройлицензия", ГУП "Мосстройсертификация" и утвержден Управлением экономической, научно-технической и промышленной политики в строительной отрасли.

Том 02 "Устройство основания и возведение фундаментов (ТР 94.02-99) разработан лабораторией оснований и фундаментов ГУП "НИИМосстрой"»:

- Трушков В. А., к.т.н., зав. лабораторией; тел. (095) 143-58-56

СОДЕРЖАНИЕ

1. Общая часть. 2

2. Контроль качества грунтовых оснований для фундаментов. 2

2.1. Общие положения. 2

2.2. Контролируемые параметры и средства контроля. 3

2.3. Регламент операционного контроля качества. 5

2.4. Обязательные организационно-технологические правила. 6

3. Контроль качества фундаментов из железобетонных сборных элементов. 8

3.1. Общие положения. 8

3.2. Контролируемые параметры и средства контроля. 8

3.3. Регламент операционного контроля. 10

3.4. Обязательные организационно-технологические правила. 11

4. Контроль качества возведения фундаментов из забивных и буронабивных свай. 11

4.1. Общие положения. 11

4.2. Контролируемые параметры и средства контроля. 12

4.3. Регламент операционного контроля. 14

4.4. Обязательные организационно-технологические правила. 15

5. Контроль качества плитных монолитных фундаментов. 16

5.1. Общие положения. 16

5.2. Контролируемые параметры и средства контроля. 16

5.3. Регламент операционного контроля. 19

5.4. Обязательные организационно-технологические правила. 20

 

Правительство Москвы

Комплекс архитектуры, строительства, развития и реконструкции города

Технический регламент операционного контроля качества строительно-монтажных и специальных работ при возведении зданий и сооружений

02. Устройство оснований и фундаментов

ТР 94.02-99

1. ОБЩАЯ ЧАСТЬ

1.1. Технический регламент устанавливает проведение операционного контроля качества на устройство грунтового основания, сборных ленточных фундаментов, плитных фундаментов, свайных фундаментов из забивных и буронабивных свай для нового строительства, реконструкции и ремонта жилых и общественных зданий, возводимых в Комплексе архитектуры, строительства, развития и реконструкции города.

1.2. Регламент предназначен для производственного персонала строек, осуществляющего операционный самоконтроль качества конструкций нулевого цикла, специалистов и специальных служб, привлекаемых со стороны, органов Госархстройнадзора, технического надзора заказчика и других городских структур, осуществляющих функции контроля (надзора) за качеством устройства оснований и фундаментов.

1.3. Регламент составлен в соответствии с требованиями к качеству оснований и фундаментов, предъявляемыми СНиП 2.02.01-83 "Основания зданий и сооружений", СНиП 3.02.01-87 "Земляные сооружения, основания и фундаменты", СНиП 2.02.03-85* "Свайные фундаменты", СНиП 3.01.01-85* "Организация строительного производства", СНиП 2.03.01-84* "Бетонные и железобетонные конструкции", СНиП 3.01.03-84 "Геодезические работы в строительстве", СНиП III-4-80* "Техника безопасности в строительстве", ГОСТ 5686-94 "Грунты. Методы полевых испытаний сваями", а также "Правил организации подготовки и производства строительных работ в г. Москве" (утверждены Правительством Москвы Постановлением №207 от 17.03.98г.).

Разработан: НИИМосстроем

Утвержден:

Начальник Управления экономической, научно-технической и промышленной политики в строительной отрасли

А. И. Воронин

Дата введения в действие:

"30" июня 2000 г.

2. КОНТРОЛЬ КАЧЕСТВА ГРУНТОВЫХ ОСНОВАНИЙ ДЛЯ ФУНДАМЕНТОВ

2.1. Общие положения

2.1.1. Технический регламент операционного контроля качества грунтового основания составлен ГУП "НИИМосстрой" с целью обеспечения нормативного уровня устройства грунтового основания и повышения надежности возводимых объектов в московском строительном комплексе.

Регламент разработан в соответствии с Распоряжением Правительства г. Москвы от 12.11.97г. № 1088-РП "О повышении качества и экологической надежности материалов и конструкций в городском строительстве".

2.1.2. Регламент распространяется на устройство грунтового основания для фундаментов жилых и общественных зданий, разработку котлованов и траншей, устройство обратных засыпок, а также геодезические работы при устройстве земляных сооружений для нового строительства зданий и сооружений.

2.1.3. Регламент предназначен для производственного персонала строек (прорабов, мастеров, бригадиров), осуществляющего операционный самоконтроль качества грунтового основания, специалистов и специальных служб строительных организаций или привлекаемых со стороны для проведения ведомственного контроля качества, органов Госархстройнадзора, выполняющих инспекционные проверки, а также инженерно-технических работников при осуществлении технического надзора заказчика за качеством работ.

2.1.4. В соответствии с видами работ, перечисленными в п.1, по каждому из них приводятся:

- контролируемые параметры и средства контроля, включающие величины предельных отклонений, метод и объём контроля и средства измерений;

- регламент операционного контроля, осуществляемого в процессе производственного контроля с перечнем контролируемых операций при входном, операционном и приёмочном контроле качества устройства грунтового основания.

- обязательные организационно-технологические правила, составленные на основе нормативных требований по строительному производству.

2.1.5. При организации и проведении контроля необходимо:

- проверять надёжность закрепления разбивочных знаков, определяющих положение осей сооружений в плане, реперов, а также обноски и перенесение на неё осей зданий и сооружений;

- учитывать места расположения в котлованах, траншеях и вблизи них эксплуатируемых коммуникаций и проверить выполнение мер по обеспечению сохранности действующих коммуникаций и находящихся вблизи зданий и сооружений.

2.1.6. Производство земляных работ и контроль качества устройства грунтового основания должен сопровождаться систематическим и своевременным испытанием грунтов в требуемом объёме на соответствующих технологических этапах с определением физико-механических характеристик грунта.

2.2. Контролируемые параметры и средства контроля

№№ п.п.

Параметры

Величина предельных отклонений

Метод и объем контроля

Средства измерения

1.

Гранулометрический состав грунта, предназначенного для устройства грунтовых оснований в виде насыпей, уплотняемых самоходными виброкатками Q=7 т.с.

Должен соответствовать проекту. Выход за пределы диапазона, установленного проектом, допускается не более чем в 20% определений.

Измерительный и регистрационный по указанию проекта.

Набор крупных сит с размерами отверстий от 125 до 20 мм; набор мелких сит с размерами отверстий от 10 до 1 мм.

2.

Содержание в грунте, предназначенного для устройства грунтовых оснований:

 

 

 

а) древесины, волокнистых материалов, гниющих или легко сжигаемого строительного мусора.

Не допускается

Ежемесячный, визуальный.

Весовой метод; до и после прокаливания.

б) растворимых солей в случае применения засоленных грунтов.

Количество не должно превышать указанного в проекте

Измерительный по указаниям проекта, но не реже, чем одно определение на 10 тыс. м3 грунта.

Лабораторные исследования (водная вытяжка)

3.

Содержание мёрзлых комьев в грунтовых насыпях (кроме гидротехнических) от общего объёма отсыпаемого грунта при устройстве оснований:

Не должно превышать, %

Визуальный, периодический (устанавливается в ППР).

Набор крупных сит с размерами отверстий от 125 до 20 мм.

а) для грунтовых оснований, уплотняемых укаткой;

20

 

 

б) то же, уплотняемых трамбованием;

30

 

 

в) то же, возводимых без уплотнения;

50

 

 

г) для грунтовых подушек.

15

 

 

4.

Размер твёрдых включений, в т.ч. мёрзлых комьев в уплотняемых слоях грунтового основания.

Не должен превышать 2/3 толщины уплотнённого слоя, но не более 15 см для грунтовых подушек.

Визуальный, периодический (устанавливается в ППР).

Набор крупных сит с размерами отверстий от 125 до 20 мм.

5.

Наличие снега и льда в грунтовых основаниях.

Не допускается

Визуальный, периодический (устанавливается в ППР).

 

6.

Температура грунта, отсыпаемого и уплотняемого при отрицательной температуре воздуха.

Должна обеспечивать сохранение немёрзлого или пластичного состояния грунта до конца его уплотнения.

Измерительный, периодический (устанавливается в ППР).

Лабораторный термометр ГОСТ 215-87.

7.

Средняя по принимаемому участку плотность сухого грунта для грунтовых оснований под фундаменты.

Не ниже проектной. Допускаются значения плотности сухого грунта ниже проектных не более чем в 10% определений и в 20% при зимней.

Измерительный согласно ГОСТ 5180-84 и ГОСТ 22733-77 по указаниям проекта, а при их отсутствии ежемесячно, но не реже чем одно определение на 300 м3 насыпи.

Метод режущего кольца, пикнометрический метод, методом взвешивания в воде, метод взвешивания в нейтральной жидкости, прибор СоюздорНИИ.

8.

Степень влажности при устройстве грунтовых оснований, выполняемых с уплотнённой укаткой.

Оптимальная, но не более 0,85. В случае наличия более 0,85 в отдельных измерениях их объём не должен превышать 20% определений.

По указаниям проекта, но не менее 1-го определения на 300м3 насыпи.

Прибор стандартного уплотнения согласно ГОСТ 22733-77.


2.3. Регламент операционного контроля качества инженерно-геологических условий строительной площадки и свойств грунтов основания

Вид контроля (стадия)

Входной

Операционный

Приемочный

Контролируемые операции

Геоморфологические и геологические условия строительной территории

Форма рельефа, наличие оврагов, заболоченных участков, оползневых склонов, затопление участка в период паводка

Геологическое строение, особенности напластования, мощность слоев грунта на отдельных площадках и всей территории строительства

Глубина сезонного промерзания грунтов, прогноз возможных изменений природных условий, вероятные проявления геологических процессов

Сведения о имеющихся зданиях и сооружениях на площадке строительства

Наличие материалов изысканий, выполненных ранее на соседних предприятиях

Состав инженерных изысканий в соответствии с СНиП 11-02-96.

Инженерно-геологические разрезы по линиям и колонкам геологических выработок с указанием напластования слоев грунта.

Классификация и оценка свойств грунтов рассматриваемой стройплощадки.

Механические характеристики грунтов по результатам полевых и лабораторных исследований.

Нормативные и расчётные характеристики грунтов.

Оценка естественных оснований по данным механических характеристик грунтов.

Содержание, объём и точность инженерных изысканий в соответствии с СНиП.

Топографический план участка строительства с нанесением геологических выработок, линий геолого-литологических разрезов.

Разрезы колонок и геологических выработок с указанием напластования, мощности и абсолютных отметок слоев грунта.

Встроенные и установившиеся уровни грунтовых вод, их колебания, агрессивность к бетону и стали.

Показатели сопротивления сдвигу, сжимаемости и водопроницаемости.

Данные о деформативных и прочностных свойствах грунтов всех слоев массива площадки строительства.

Объем контроля

Сплошной

Сплошной и выборочный

Сплошной

Метод контроля

Визуальный

Инструментальный

Визуальный

Инструментальный и опытным путем

Инструментальный и опытным путем

Освидет. горнопроход. работ

 

 

 

Привлекаемые спец-ы

Инженер-геолог

Инженер-геолог, буровой мастер

Инженер-геолог, буровой мастер

Операции, контр. геотехлабораторией

 

 

 

 

 

 

 

 

+

+

+

 

 

 

 

+

+

+


2.4. Обязательные организационно-технологические правила

2.4.1. При использовании грунтов в качестве оснований должны применяться методы строительных работ, не допускающие ухудшения природных свойств грунтов и качества подготовленного основания вследствие замачивания, размыва грунтовыми и поверхностными водами, повреждения механизмами и транспортными средствами, промерзания и выветривания.

Перерыв между окончанием разработки котлована и устройством фундамента, как правило, не допускается. При вынужденных перерывах должны быть приняты меры к сохранению природных свойств грунта. Зачистка дна котлована непосредственно перед устройством фундамента. Переборы грунта основания ниже проектных отметок не допускаются. Случайные переборы в отдельных местах должны быть заполнены местным грунтом или песком и доведены до проектной плотности.

В отдельных случаях места переборов заполняются гравием или тощим бетоном. Способ заполнения переборов грунта следует согласовывать с проектной организацией.

2.4.2. До устройства фундаментов должны быть выполнены работы по отводу поверхностных и грунтовых вод из котлована и подкрановых путей.

2.4.3. Открытый водоотлив из котлована может быть применен в разнообразных грунтовых условиях и при различной глубине, но при обязательном соблюдении требований п. 2.4.2.

2.4.4. При устройстве дренажей должны выполняться требования к составу, размерам и свойствам дренирующих материалов, а также к соблюдению заданных уклонов дренажей.

2.4.5. Законченный и подготовленный для устройства фундаментов котлован должен быть освидетельствован и принят по акту (форма ИГАСН-а № 6) представителем Мосгоргеотреста и авторского надзора. Должны быть установлены реперы и закреплены оси здания.

2.4.6. К работам по устройству песчаной, бетонной или иной подготовки разрешается приступать только после доработки недобора грунта и при наличии акта о приемке котлованов с грунтовым основанием, подготовленным в соответствии с требованиями п. 4.5.

2.4.7. Доработка недобора грунта (6-7 см), оставшегося на принятом по акту основании сверх проектных отметок, производится непосредственно перед устройством подготовки. При устройстве подготовки повреждение грунтового основания недопустимо. Песчаная, гравийная или щебеночная подготовка должна быть выполнена в соответствии с проектом и уплотнена.

2.4.8. Бетонирование бетонной подготовки производится по захваткам в соответствии с проектом производства работ.

2.4.9. Уплотнение уложенной в подготовку бетонной смеси следует производить поверхностными вибраторами типа ИВ-91 с последующим выравниванием поверхности подготовки виброрейками или рейками-правилами по маячным рейкам.

2.4.10. Если проектом предусмотрено устройство по бетонной подготовке цементно-песчаной стяжки, последняя устраивается путем выравнивания цементно-песчаного раствора рейками-правилами по маячным рейкам.

2.4.11. Гидроизоляция с прижимной плитой устраивается согласно проекту в соответствии с требованиями СНиП II-26-76 "Кровли".

2.4.12. Поверхности бетонной подготовки и прижимной плиты следует сразу же после окончания схватывания цемента (в жаркую погоду через 6-8 часов после укладки бетона, а в прохладную - через 12-24 часа) очистить от цементной пленки. При этом не должны допускаться повреждения бетона, прочность которого должна быть в переделах:

- при обработке воздушной или водяной струёй - 2-3 кг/см2;

- при обработке механизмами, снабженными металлическими щетками 15-25 кг/см2.

2.4.13. При выполнении бетонных работ должен быть обеспечен уход за уложенным бетоном, предотвращающий его пересыхание и растрескивание, а также повреждение неокрепшего бетона дождем. Ходить и ездить по неокрепшему бетону запрещается.

2.4.14. Работы по подготовке грунтового основания и по производству бетонных работ в зимних условиях должны производиться с соблюдением требований соответствующих СНиПов.

2.4.15. Для того, чтобы уменьшить глубину промерзания грунтов и предупредить промерзание грунтовых оснований, следует:

- участки строительной площадки, на которой зимой должны быть вырыты котлованы или сделана срезка, своевременно предохранять от промерзания посредством вспашки на глубину 30-35 см. Вспаханный слой грунта боронуют на глубину 10-15 см. При этом глубина промерзания грунта к концу зимы составляет не более 1 м. Способ целесообразен при производстве земляных работ в первой трети зимы;

- перелопатить грунт экскаватором на глубину возможного промерзания, но не более 1,5 м;

- дно котлованов, для устройства грунтового основания сооружений в зимних условиях либо открытых ранее и оставленных на зиму, утеплить по одному из способов, указанных в таблице 1. В ней даны указания по защите от промерзания оснований и фундаментов жилых и культурно-бытовых зданий в период строительства.

2.4.16. Разработку мерзлых грунтов при устройстве грунтового основания в зависимости от глубины промерзания следует выполнять:

- при глубине промерзания до 0,25 м - экскаватором;

- при глубине промерзания до 0,35 м - землеройной фрезерной машиной ЗФМ-2300А.

2.4.17. Пазухи между стенами техподполья (подвала) и откосами котлована следует засыпать талым грунтом.

2.4.18. Засыпку под полы следует производить талым грунтом с немедленным уплотнением.

2.4.19. В зимних условиях устраивать фундаменты на естественном основании, включая подготовку под них, следует немедленно вслед за отрывкой котлована, зачисткой грунтового основания, не допуская его промерзания.

Рекомендуемые способы утепления грунтов оснований фундаментов от промерзания в зимний период

Способ утепления

Схема

1. Утепление грунта вспашкой на глубину не менее 35 см с последующим боронованием на глубину 10-15 см (применяется осенью для предохранения грунта от промерзания в случае, когда рытье котлована планируется на зимний период времени).

2. Укрытие поверхности грунта утепляющими материалами - опилками, матами, соломой и др., толщиной слоя не менее 10 см (применяется осенью для предохранения грунта от промерзания, если рытье котлованов планируется на зимний период времени)

3. Утепление снегозадержанием - установка снегозадерживающих щитов, устройств валов из снега толщиной не менее 80 см (применяется для приостановки дальнейшего промерзания грунта)

4. Утепление котлована с фундаментами слоем разрыхленного грунта минимальной влажности, если подвал с таким утеплением оставляют на всю зиму, то перекрытия должны быть смонтированы, а проемы закрыты (рекомендуется применять в тех случаях, когда грунт из технического подполья не удаляется).

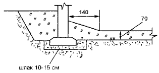
5. Утепление котлована с фундаментами слоем сухого котельного шлака (если подвал с таким утеплением оставляют на всю зиму, то перекрытия должны быть смонтированы, а проемы - закрыты)

6. Утепление подошвы фундаментных блоков слоем котельного шлака толщиной 10 см, укладываемого вместо песчаной подготовки, а внутренней поверхности фундаментов - шлаком или золой ТЭЦ (применяется аналогично п.5)

3. КОНТРОЛЬ КАЧЕСТВА ФУНДАМЕНТОВ ИЗ ЖЕЛЕЗОБЕТОННЫХ СБОРНЫХ ЭЛЕМЕНТОВ

3.1. Общие положения

3.1.1. Технический Регламент операционного контроля качества фундаментов из сборных железобетонных элементов составлен с целью обеспечения нормативного уровня устройства ленточных фундаментов и повышения надёжности возводимых объектов в московском строительном комплексе.

3.1.2. Регламент распространяется на устройство сборных ленточных фундаментов жилых и общественных зданий, а также геодезические работы при монтаже фундаментных блоков для нового строительства, реконструкции и ремонта зданий и сооружений.

3.1.3. Регламент предназначен для производственного персонала строек (прорабов, мастеров, бригадиров), осуществляющего операционный самоконтроль качества монтажа конструкций нулевого цикла, специалистов и специальных служб строительных организаций или привлекаемых со стороны для проведения ведомственного контроля качества, органов Госархстройнадзора, выполняющих инспекционные проверки, а также инженерно-технических работников при осуществлении технического надзора заказчика за качеством работ.

3.1.4. В соответствии с видами работ, перечисленными в п. 1, по каждому из них приводится:

- контролируемые параметры и средства контроля, включающие величины предельных отклонений, метод и объём контроля и средства измерений;

- регламент операционного контроля, осуществляемого в процессе производственного контроля с перечнем контролируемых операций при входном, операционном и приёмочном контроле качества фундаментов из железобетонных сборных элементов;

- обязательные организационно-технологические правила, составленные на основе нормативных требований по строительному производству.

3.1.5. При организации и проведении контроля необходимо:

- проверять надёжность закрепления разбивочных знаков, определяющих положение осей сооружений в плане, реперов, а также обноски и перенесение на неё осей зданий и сооружений;

- учитывать места расположения в котлованах, траншеях и вблизи них эксплуатируемых коммуникаций и проверить выполнение мер по обеспечению сохранности действующих коммуникаций и находящихся вблизи зданий и сооружений.

3.1.6. Производство монтажа сборных железобетонных элементов и контроль качества устройства фундаментов из них должно сопровождаться систематической, своевременной инструментальной проверкой правильности угловых и маячных блоков относительно разбивочных осей и отметок на каждой захватке. После этого последовательно укладываются промежуточные блоки на соответствующих технологических этапах.

3.2. Контролируемые параметры и средства контроля

№№ п.п.

Параметры

Величина предельных отклонений

Метод и объем контроля

Средства измерения

1.

Величина отклонения смонтированных фундаментных подушек относительно разбивочных осей.

Не должна превышать ± 10 мм.

Измерительный в соответствии с требованиями СНиП 3.01.03-84 "Геодезические работы в строительстве"

Приборы оптические: Теодолиты, нивелиры;

Рулетки от 1 м до 50 м.

2.

Отклонение в отметках вертикальных верхних опорных поверхностей фундаментных подушек.

Не должна превышать ± 10 мм.

Измерительный в соответствии с требованиями СНиП 3.01.03-84 "Геодезические работы в строительстве"

Приборы оптические: Теодолиты, нивелиры;

Рулетки от 1 м до 50 м.

3.

Величина отклонения смонтированных фундаментных блоков относительно разбивочных осей.

Не должна превышать ± 10 мм.

Измерительный в соответствии с требованиями СНиП 3.01.03-84 "Геодезические работы в строительстве"

Приборы оптические: Теодолиты, нивелиры;

Рулетки от 1 м до 50 м.

4.

Отклонение в отметках вертикальных верхних опорных поверхностей фундаментных блоков.

Не должна превышать ± 10 мм.

Измерительный в соответствии с требованиями СНиП 3.01.03-84 "Геодезические работы в строительстве"

Приборы оптические: Теодолиты, нивелиры;

Рулетки от 1 м до 50 м.


3.3. Регламент операционного контроля качества

Вид контроля (стадия)

Входной

Операционный

Приемочный

 

Выверка по нивелиру отметок дна котлована в соответствии с проектом.

Проверка расположения разбивочных осей здания.

Основные геометрические размеры фундаментных плит по ГОСТ 13580-85 и блоков стен подвала по ГОСТ 13579-78 *.

Установление класса бетона по прочности плит ленточных фундаментов и фундаментных блоков стен подвала

Определение модуля крупности песка и марки раствора для выравнивающих слоев.

Контроль качества цементно-песчаного раствора для заполнения горизонтальных и вертикальных швов фундаментных блоков.

Установка маячных блоков в углах здания и на пересечении разбивочных осей.

Совмещение осевых рисок маячных блоков с рисками разбивочных осей по двум направлениям.

Выверка положений маячных блоков в плане и по высоте.

Монтаж фундаментных блоков на выровненный до проектной отметки слой песка.

Монтаж рядовых блоков с ориентацией низа блоков по обрезу нижних их рядов, а верха - по разбивочным осям.

Монтаж сборных элементов наружных стен, ниже уровня грунта, - выравнивать по внутренней стороне стены, выше - по наружной

Заполнение раствором вертикальных горизонтальных швов между фундаментными блоками с расшивкой с 2 сторон

Инструментальная выверка правильности фундаментных блоков относительно разбивочных осей и отметок.

Контроль за последовательностью монтажа промежуточных сборных элементов фундаментов в направлении "на кран".

Монтаж фундаментных блоков входов на захватке.

Геодезический контроль монтажа сборных ж\б эл-тов с соблюдением геодезической схемы соосности.

Предельное отклонение фундаментных блоков относительно разбивочных осей здания.

Отклонение отметок верхних опорных поверхностей полносборных ленточных фундаментов

Объем контроля

Сплошной

Сплошной и выборочный

Сплошной

Метод контроля

Визуальный

Инструментальный

Визуальный

Инструментальный

Инструментальный

Освидет. СМР

 

Акт на строительно-монтажные работы

Акт на строительно-монтажные работы

Привлекаемые спец-ы

Инженер-геолог

Инженер-геолог, прораб, мастер

Инженер-геолог, прораб, мастер

Операции, контр. строит. лабораторией

 

 

 

 

 

 

 

 

 

 

 

 

 

 

 

 

 

 

 


3.4. Обязательные организационно-технологические правила

3.4.1. По окончании земляных работ перед устройством ленточных фундаментов необходимо тщательно проверить расположение осей зданий и вынести их на строительную обноску, устанавливаемую на расстоянии не менее трёх метров от бровки котлована.

3.4.2. Основание под фундаменты должно быть тщательно выверено по нивелиру в соответствии с проектными отметками.

3.4.3. Для разбивки фундамента рекомендуется применять инвентарную трубчатую обноску. Положение осей здания фиксируется струнами из стальной проволоки, натягиваемыми по осям на обноске, и переносится на дно котлована с помощью отвесов, опускаемых с натянутых струн.

3.4.4. Фундаментные блоки следует укладывать на тщательно выровненное песчаное основание или песчаную подушку толщиной не менее 5 см. Не допускается укладывать блоки фундамента на насыпной слой грунта.

Случайные переборы грунта в отдельных местах должны быть заполнены тем же грунтом (разрабатываемым в выемке) или песком и доведены до естественной плотности.

В отдельных случаях места переборов заполняются тощим бетоном. При этом способ заполнения переборов грунта следует согласовать с проектной организацией.

3.4.5. Монтаж крупногабаритных деталей подземной части домов следует производить с транспортных средств. Для мелких элементов допускается устройство приобъектного склада.

3.4.6. Монтаж фундаментных блоков выполняется по захваткам. На каждой захватке монтаж надлежит начинать с укладки угловых и маячных блоков, расположенных по крайним осям секций, производя тщательную инструментальную выверку правильности их положения относительно разбивочных осей и отметок. После этого последовательно укладываются промежуточные блоки, монтаж которых производится вдоль поперечных фундаментных лент в направлении "на кран". Промежуточные блоки устанавливаются по шнуру, натянутому между маячными блоками, по которому определяется положение монтируемых блоков в плане и по вертикали. В последнюю очередь на захватке укладывают фундаментные блоки входов.

В процессе монтажа разрывы между фундаментными блоками заполняют в соответствии с проектом (шириной до 70 мм - песком с послойным уплотнением, а более 70 мм - бетоном марки 200).

3.4.7. При монтаже фундаментных блоков должен осуществляться постоянный геодезический контроль за правильностью монтажа и соблюдением геодезической схемы соосности основных конструкций подземных частей здания.

Величина отклонения смонтированных фундаментных блоков от проектного положения не должна превышать следующих допусков:

- смещение фундаментных блоков относительно разбивочных осей ± 10 мм.

- отклонение в отметках верхних опорных поверхностей фундаментных блоков ± 10 мм,

3.4.8. Приёмка фундаментов здания производится представителями заказчика, проектной и строительной организацией и оформляется соответствующим актом.

3.4.9. После окончания устройства фундамента производят обратную засыпку и уплотнение грунта под полы техподполья (подвала).

4. КОНТРОЛЬ КАЧЕСТВА ВОЗВЕДЕНИЯ ФУНДАМЕНТОВ ИЗ ЗАБИВНЫХ И БУРОНАБИВНЫХ СВАЙ

4.1. Общие положения

4.1.1. Технический Регламент операционного контроля качества фундаментов из забивных и буронабивных свай составлен с целью обеспечения нормативного уровня устройства свайных фундаментов и повышения надежности возводимых объектов в московском строительном комплексе.

4.1.2. Регламент распространяется на устройство фундаментов из забивных и буронабивных свай жилых и общественных зданий, а также геодезические работы при устройстве свайных фундаментов для нового строительства, реконструкции и ремонта зданий и сооружений.

4.1.3. Регламент предназначен для производственного контроля строек (прорабов, мастеров, бригадиров), осуществляющего операционный самоконтроль качества устройства конструкций нулевого цикла, специалистов и специальных служб строительных организаций или привлекаемых со стороны для проведения ведомственного контроля качества, органов Госархстройнадзора, выполняющих инспекционные проверки, а также инженерно-технических работников при осуществлении технического надзора заказчика за качеством работ.

4.1.4. В соответствии с видами работ, перечисленными в п. 1. по каждому из них приводится:

- контролируемые параметры и средства контроля, включающие величины предельных отклонений, метод и объем контроля и средства измерений;

- Регламент операционного контроля, осуществляемого в процессе производственного контроля с перечнем контролируемых операций при входном, операционном и приемочном контроле качества фундаментов из забивных и буронабивных свай;

- обязательные организационно-технологические правила, составленные на основе нормативных требований по производству свайных работ.

4.1.5. При организации и проведении контроля необходимо:

- проверять надежность закрепления разбивочных знаков, определяющих положение осей сооружений в плане, реперов, а также обноски и перенесение на нее осей зданий и сооружений;

- учитывать места расположения в котлованах, траншеях и вблизи них эксплуатируемых коммуникаций и проверить выполнение мер по обеспечению сохранности действующих коммуникаций и находящихся вблизи зданий и сооружений.

4.1.6. Производство работ, связанных с изготовлением, транспортировкой, бурением скважин и заливкой их бетоном с установлением арматурных каркасов и контроль качества устройства фундаментов, должно сопровождаться систематической своевременной инструментальной проверкой правильности расположения забивных и буронабивных свай относительно разбивочных осей и отметок на каждой захватке, после этого последовательно производится устройство свай на соответствующих технологических этапах.

4.2. Контролируемые параметры и средства контроля

№№ п.п.

Параметры

Величина предельных отклонений

Метод и объем контроля

Средства измерения

1.

Величина отклонения погруженных забивных свай относительно разбивочных осей диаметром до 0,5м

Не должна превышать при однорядном расположении:

- поперек оси свайного ряда - 0,2 Д;

- вдоль оси свайною ряда -0,3 Д

для кустов и лент при расположении свай в 2 и 3 ряда:

- для крайних свай поперек оси свайного ряда -0,2 Д;

- для остальных свай - 0,3 Д

при сплошном свайном поле:

- для крайних свай -0,2 Д

- для средних свай -0,4 Д

для одиночных свай - 5 см,

где Д - размер меньшей стороны сечения забивной сваи. При отклонении свай от проектного положения, расстояния в свету от сваи до края ростверка должно быть не менее 5 см. Отклонение оси сваи от вертикали не должно превышать 1 см на 1 м длины сваи

Измерительный в соответствии с требованиями СНиП 3.01.03-84 "Геодезические работы в строительстве"

Приборы оптические: теодолиты, нивелиры; рулетки от 1 м до 50 м

2.

Отклонение в отметках вертикальных верхних опорных поверхностей из забивных свай

Не должна превышать 10 мм

Измерительный в соответствии с требованиями СНиП 3.01.03-84 "Геодезические работы в строительстве"

Приборы оптические: теодолиты, нивелиры; рулетки от 1 м до 50 м

3.

Величина отклонения изготовленных буронабивных свай относительно разбивочных осей

Не должна превышать при однорядном расположении:

- поперек оси свайного ряда - 0,2 Д;

- вдоль оси свайного ряда - 0,3 Д

для кустов и лент при расположении свай в 2 и 3 ряда:

- для крайних свай поперек оси свайного ряда - 0,2 Д;

- для остальных свай - 0,3 Д.

при сплошном свайном поле:

- для крайних свай - 0,2 Д

- для средних свай - 0,4 Д

для одиночных свай - 5 см,

где Д - размер меньшей стороны сечения забивной сваи. При отклонении свай от проектного положения, расстояния в свету от сваи до края ростверка должно быть не менее 5 см. Отклонение оси сваи от вертикали не должно превышать 1 см на 1 м длины сваи.

Измерительный в соответствии с требованиями СНиП 3.01.03-84 "Геодезические работы в строительстве"

Приборы оптические: теодолиты, нивелиры; рулетки от 1 м до 50 м

4.

Отклонение в отметках вертикальных верхних опорных поверхностей буронабивных свай

Не должна превышать 10 мм

Измерительный в соответствии с требованиями СНиП 3.01.03-84 "Геодезические работы в строительстве"

Приборы оптические: теодолиты, нивелиры; рулетки от 1 м до 50 м

5.

Контроль за несущей способностью забивных свай

Производится до расчетного отказа

В соотв. с требов. проекта согласно ГОСТ 5686-94, СНиП 2.02.3-85* "Свайные фундаменты"

Отказомер конструкции НИИМосстроя

6.

Контроль за несущей способностью буронабивных свай

Осуществляется статическими испытаниями при достижении условной стабилизации грунта 0,1 мм за последние 2 часа наблюдения

Согласно ГОСТ 5686-94 "Методы полевых испытаний грунтов сваями"

Прогибомеры Аистова и Максимова, контрольный манометр 0-500 кгс/см2

7.

Контроль достижения сваями несущего слоя грунта с повышенными расчетными нагрузками

Проверка выполняется импульсным методом, основанном на измерении времени прохождения прямого и отраженного импульса по арматуре сваи

Не должна превышать ± 10 мм

ТР 81-98 "Технические рекомендации по определению глубины погружения свай в грунт импульсным методом"

Малый измеритель неоднородностей линий Р5-12

8.

Устройство монолитного железобетонного ростверка

Не должна превышать ± 10 мм

В соответствии с требованиями СНиП 2.03.01-84 "Бетонные и железобетонные конструкции", а также рабочих чертежей, ППР СНиП 3.01.03-84 "Геодезические работы в строительстве"

СНиП 3.01.03-84 "Геодезические работы в строительстве"


4.3. Регламент операционного контроля качества

Вид контроля (стадия)

Входной

Операционный

Приемочный

Контролируемые операции

Выверка по нивелиру отметок дна котлована в соответствии с проектом

Проверка расположения разбивочных осей здания и рядов свай

Основные геометрические размеры забивных свай по ГОСТ 19804.2-79 и ГОСТ 19804.4-78 и буронабивных свай согласно рабочим чертежам

Определение крупности песка и марки раствора для выравнивающих слоев

Контроль качества бетонной смеси для заполнения скважин буронабивных свай и изготовления ростверков, освидетельствование комиссией качества арматурного каркаса

Забивка металлических штырей в грунт на пересечении свайных осей

Погружение забивных свай согласно выполненной разбивке свайного поля, тоже для бурения скважин с заполнением их бетоном с установкой арматурных каркасов бур. наб. свай

Устройство монолитного железобетонного ростверка, срубка свай и заделка их голов в ростверк

Планировка основания под монолитный ростверк по проектным отметкам

Сборка инвентарных щитов разборно-переставной опалубки ростверка для забивных и буронабивных свай

Армирование ростверка укрупненными арматурными каркасами и сетками заводского изготовления для забивных и буронабивных свай

Проверка правильности установки опалубки и арматуры до начала работ по бетонированию ростверка. Подача бетонной смеси в опалубку

Инструментальная выверка правильности расположения забивных и буронабивных свай относительно разбивочных осей и отметок

Контроль качества изготовления монолитного ж/б ростверка с проверкой величины раскрытия трещин согласно ГОСТ 6629-90

Установление класса бетона по прочности, марки по морозостойкости, по водонепроницаемости и по средней плотности ж/б забивных, буронабивных свай и ростверков. Динамические и статические испытания свай по ГОСТ 5686-94

Объем контроля

Сплошной

Сплошной

Сплошной

Метод контроля

Визуальный Инструментальный

Инструментальный

Инструментальный

Освидет. СМР

 

Акт на строительно-монтажные работы

Акт на строительно-монтажные работы

Привлекаемые спец-ы

Инженер-геодезист

Инженер-геодезист, прораб, мастер

Инженер-геодезист, прораб, мастер

Операции, контр. строит. лабораторией

 

+

+

 

 

+


4.4. Обязательные организационно-технологические правила

4.4.1. По окончании земляных работ перед устройством фундаментов из забивных и буронабивных свай необходимо тщательно проверить расположение разбивочных осей свайного поля и вынести их на строительную обноску, устанавливаемую на расстоянии не менее трех метров от бровки котлована.

4.4.2. Основание свайного ростверка должно быть тщательно выверено по нивелиру в соответствии с проектными отметками.

4.4.3. Для разбивки осей свайного поля рекомендуется применять инвентарную трубчатую обноску. Положение разбивочных осей свай фиксируется струнами из стальной проволоки натягиваемыми по осям на обноске, переносится на дно котлована с помощью отвесов, опускаемых с натянутых струн. Вне пределов осадок грунта устанавливаются временные реперы.

4.4.4. Производство свайных работ при устройстве фундаментов домов разрешается только после корректировки проекта свайного фундамента на основании результатов пробной забивки и испытания свай согласно ГОСТ 5686-94. Забивку свай рекомендуется производить с применением самоходных полноповоротных установок на базе экскаватора или кранов с гидравлическими или дизельными молотами. Устройство буронабивных свай рекомендуется выполнять с применением установок СО-2, СО-200, БСО-1,7, БСО-1 К, "Касагранда С-40", оборудованной непрерывным перемещающимся пустотелым шнеком.

4.4.5. В зоне работ сваебойного агрегата должно быть необходимое количество свай, уложенных в местах, предусмотренных проектом производства работ. При этом должна быть обеспечена возможность подъема и установки свай на место забивки без перетаскивания их волоком и без дополнительного перемещения сваебойного агрегата.

4.4.6. Бурение скважин для устройства буронабивных свай начинается с правильности центровки и вертикальности направляющей мачты буровой машины. Не допускается отклонение от проектного центра, превышающее 4% от диаметра сваи. До начала бурения очередной скважины на строительную площадку должна быть завезена бетонная смесь в количестве 120% от проектного объема одной сваи и освидетельствованный арматурный каркас.

4.4.7. До погружения каждой забивной сваи должна быть разметка на метры от острия к голове несмываемой краской. Для последующего контроля длины каждой сваи глубина ее погружения в грунт и абсолютная отметка поверхности грунта у сваи должны быть занесены в журнал забивки свай.

4.4.8. Бурение каждой последующей скважины допускается на расстоянии не менее 3 диаметров от центра предыдущей свежезабетонированной скважины. Бурение скважины на меньшем расстоянии допускается не ранее, чем через 24 часа после завершения бетонирования.

Состав бетонной смеси, ее приготовление должны соответствовать требованиям СНиП 2.03.01-84, ГОСТ 7473-85 и ГОСТ 10181-81. Подбор состава бетонной смеси должен отвечать требованиям проекта.

Для свай квадратного и прямоугольного сечения применяются круглые в плане стальные наголовники, позволяющие повернуть вокруг вертикальной оси установленную для забивки сваю. Перед началом забивки копровая стрела и свая должны быть приведены в вертикальное положение с соблюдением соосности сваи и молота.

4.4.9. Арматурный каркас для изготовления буронабивных свай должен быть освидетельствован комиссией с составлением акта. Не допускается установка каркасов, изготовленных с отклонением от проекта. Арматурный каркас при изготовлении буронабивных свай вводится в забетонированную скважину непосредственно после окончания бетонирования и зачистки устья скважины. Максимально допустимый промежуток времени между окончанием бетонирования и погружением арматурного каркаса зависит от подвижности бетонной смеси, проектной глубины погружения арматурного каркаса и его жесткости.

4.4.10. Погружение арматурного каркаса в забетонированную скважину осуществляется под действием собственного веса; для содействия погружению может быть использован вибропогружатель. Для обеспечения гарантированной толщины защитного слоя бетона арматурный каркас снабжается фиксаторами.

4.4.11. Приемка свайных фундаментов производится представителями заказчика, проектной и строительной организациями и оформляется соответствующим актом.

5. КОНТРОЛЬ КАЧЕСТВА ПЛИТНЫХ МОНОЛИТНЫХ ФУНДАМЕНТОВ

5.1. Общие положения

5.1.1. Технический Регламент операционного контроля качества штатных монолитных фундаментов составлен ГУП "НИИМосстрой" с целью обеспечения нормативного уровня устройства фундаментов и повышения надежности возводимых объектов в московском строительном комплексе.

Регламент разработан в соответствии с Распоряжением Правительства г. Москвы от 12.11.97 г. № 1088-РП "О повышении качества и экологической надежности материалов и конструкций в городском строительстве".

5.1.2. Регламент распространяется на устройство штатных монолитных фундаментов жилых и общественных зданий, а также геодезические работы при возведении монолитных бетонных и железобетонных фундаментов для нового строительства, реконструкции и ремонта зданий и сооружений.

5.1.3. Регламент предназначен для производственного персонала строек (прорабов, мастеров, бригадиров), осуществляющего операционный самоконтроль качества монтажа конструкций нулевого цикла, специалистов и специальных служб строительных организаций или привлекаемых со стороны для проведения ведомственного контроля качества, органов Госархстройнадзора, выполняющих инспекционные проверки, а также инженерно-технических работников при осуществлении технического надзора заказчика за качеством работ.

5.1.4. В соответствии с видами работ, перечисленными в п.1, по каждому из них приводится:

- контролируемые параметры и средства контроля, включающие величины предельных отклонений, метод и объем контроля и средства измерений;

- регламент операционного контроля, осуществляемого в процессе производственного контроля с перечнем контролируемых операций при входном, операционном и приемочном контроле качества штатных монолитных фундаментов.

- обязательные организационно-технологические правила, составленные на основе нормативных требований по строительному производству.

5.1.5. При организации и проведении контроля необходимо:

- проверять надежность закрепления разбивочных знаков, определяющих положение осей сооружений в плане, реперов, а также обноски и перенесение на нее осей зданий и сооружений;

- учитывать места расположения в котлованах, траншеях и вблизи них эксплуатируемых коммуникаций и проверить выполнение мер по обеспечению сохранности действующих коммуникаций и находящихся вблизи зданий и сооружений.

5.1.6. Производство работ, связанных с изготовлением опалубки, ее установки и закрепления, установки арматурных изделий и установки фиксаторов для обеспечения заданной толщины защитного слоя бетона, бетонирование и контроль качества монолитных бетонных фундаментов должен сопровождаться систематической своевременной инструментальной проверкой правильности расположения плитного монолитного фундамента относительно разбивочных осей и отметок на каждой захватке, после этого последовательно производится устройство плитного монолитного фундамента на соответствующих технологических этапах.

5.1.7. Организации, ответственные за учет, соблюдение, надзор и контроль за реализацией настоящего Регламента:

- проектная организация;

- заказчик (застройщик, инвестор);

- строительные организации;

- инспекция Государственного архитектурно-строительного надзора г. Москвы (ИГАСН);

- ГУП "Мосстройсертификация";

- Объединение административно-технических инспекций Правительства г. Москвы (ОАТИ).

5.2. Контролируемые параметры и средства контроля

№№ п.п.

Параметры

Величина предельных отклонений

Метод и объем контроля

Средства измерения

1.

Точность изготовления опалубки плитного фундамента

По рабочим чертежам и ТУ

Технический осмотр.

 

2.

Точность установки опалубки плитного фундамента.

- По вертикали не должна превышать 5 мм на 1 м высоты;

- смещение осей опалубки от проектного положения - 10 мм;

- местные неровности при проверке 2-х метровой рейкой - 3 мм

Измерительный в соответствии с требованиями СНиП 3.02.01-87

Приборы оптические: Теодолиты, нивелиры;

Рулетки: 1¸50 м.

3.

Смещение арматурных стержней в арматурных каркасах и сетках

Не должна превышать 0,25 диаметра стержня, но не более 0,2 наибольшего диаметра стержня.

Измерительный в соответствии с требованиями СНиП 3.02.01-87

Приборы оптические: Теодолиты, нивелиры;

Рулетки: 1¸50 м.

4.

Величина защитного слоя нижней арматуры.

При наличии бетонной подготовки -35 мм. При отсутствии бетонной подготовки - 70 мм.

Измерительный в соответствии с требованиями СНиП 3.01.03-84 "Геодезические работы в строительстве"

Приборы оптические: Теодолиты, нивелиры;

Рулетки: 1¸50 м.

5.

Отклонение от проектной толщины бетонного защитного слоя.

Не должна превышать

- при толщине защитного слоя 15 мм и менее - 3 мм;

- при толщине защитного слоя более 15 мм - 5 мм.

Измерительный в соответствии с требованиями СНиП 3.01.03-84 "Геодезические работы в строительстве"

Приборы оптические: Теодолиты, нивелиры;

Рулетки: 1¸50 м.

6.

Стыковые сварные соединения арматуры.

В соответствии с проектом и ГОСТ 14098-68 "Соединения сварные арматуры железобетонных изделий и конструкций"

Технический осмотр. Измерительный в соответствии с ГОСТ 14098-68.

Гидравлическая разрывная машина. Радиоизотопная установка.

7.

Контроль качества сварных соединений арматуры.

По рабочим чертежам и ГОСТ 10922-75 "Арматура и закладные детали сварные для железобетонных конструкций. Технические требования".

Технический осмотр. Измерительный в соответствии с ГОСТ 10922-75

Рулетки 1м, штангенциркуль, гидравлич. разрывная машина, радиоизотопн. и рентгенографическая установки.

8.

Укладка бетона после перерыва,

Допускается после приобретения уложенным ранее бетоном прочности R ³ 50 кгс/см2: Толщина укладываемого слоя не более 1,25l раб. части глубинного вибратора.

Технический осмотр в соответствии с проектом и требованиями СНиП 2.03.01-84 "Бетонные и железобетонные конструкции"

Молоток Физделя, Гидравлический молоток "Хаммера-Шмидта" модели Р или ND.

9.

Уплотнение бетонной смеси.

Толщина укладываемого слоя не более 1,25l раб. части глубинного вибратора.

Технический осмотр в соответствии с проектом и требованиями СНиП 2.03.01-84 "Бетонные и ж/б конструкции"

Рулетки 1м, металлические штыри, арматурные стержни.

10.

Продолжительность вибрирования

Достаточность уплотнения - появление цементного молока на поверхности, прекращение оседания бетонной смеси.

Визуальный, технический.

 

11.

Качество бетона в процессе укладки и после бетонирования.

По рабочим чертежам и ТР, ВСН и ТУ.

В соответствии с СНиП 2.03.01-84, ГОСТ 18105

Контрольные бетонные кубы и призмочки в соотв. с ГОСТом.

12.

Прочность бетона фундаментн. плиты

Не ниже проектной, но не менее 200 кг/см2

В соответст. с требованиями СНиП 2.03.01-84

Контрольные бетонные кубы и призмочки в соответствии с действующим ГОСТом


5.3. Регламент операционного контроля качества монолитной фундаментной плиты

Вид контроля (стадия)

Входной

Операционный

Приемочный

Контролируемые операции

Выверка по нивелиру отметок дна котлована в соответствии с проектом

Выверка по нивелиру отметок дна котлована в соответствии с проектом

Основные геометрические размеры монолитной фундаментной плиты согласно рабочих чертежей

Определение модуля крупности песка раствора и марки раствора для выравнивающих слоев и бетонной подготовки

Контроль качества бетонной смеси, арматурных изделий и опалубочных щитов

Устройство монолитной фундаментной железобетонной плиты

Доработка недобора грунта, устройство бетонной подготовки монолитной фундаментной плиты

Сборка инвентарных щитов разборно-переставной опалубки фундаментной плиты

Армирование фундаментной плиты укрупненными арматурными каркасами сетками заводского изготовления

Проверка правильности установки опалубки арматуры до начала работ по бетонированию фундаментной плиты

Инструментальная выверка правильности расположения фундамента относительно разбивочных осей и отметок

Контроль качества изготовления монолитной ж\б плиты с проверкой величины раскрытия трещин согласно ГОСТ 6629-90

Установление класса бетона по прочности, марки по морозостойкости, по водонепроницаемости по средней плотности фундаментной монолитной железобетонной плиты

Объем контроля

Сплошной

Сплошной

Сплошной

Метод контроля

Визуальный

Инструментальный

Визуальный

Инструментальный

Инструментальный

Освидет. СМР

Акт на скрытые виды и строительные работы

Акт на строительно-монтажные работы

Акт на строительно-монтажные работы

Привлекаемые спец-ы

Инженер-геодезист

Инженер-геодезист, прораб, мастер

Инженер-геодезист, прораб- мастер

Операции, контр. строит. лабораторией

 

 

+

 

 

 

+


5.4. Обязательные организационно-технологические правила

5.4.1. По окончании земляных работ перед устройством плитного монолитного железобетонного фундамента необходимо тщательно проверить расположение основных осей здания и вынести их на строительную обноску, устанавливаемую на расстоянии не менее трех метров от бровки котлована.

5.4.2. Основание под фундамент должно быть тщательно выверено по нивелиру в соответствии с проектными отметками.

5.4.3. Для разбивки фундамента рекомендуется применять инвентарную трубчатую обноску. Положение осей здания фиксируется струнами из стальной проволоки, натягиваемыми по осям на обноске, и переносится на дно котлована с помощью отвесов, опускаемых с натянутых струн.

5.4.4. К работам по устройству бетонной подготовки разрешается приступать после доработки недобора грунта и при наличии акта о приеме котлована. Бетонирование бетонной подготовки производится по захваткам в соответствии с ППР.

5.4.5. Наружная опалубка плитного фундамента устанавливается из инвентарных деревянных щитов или в виде стенок и бетонных блоков стен подвала. Опалубка должна быть плотной и не допускать при бетонировании утечки цементного молока.

5.4.6. При выполнении работ по армированию плиты монтаж арматуры следует выполнять укрупненными или пространственными элементами согласно ППР. Порядок установки арматуры указывается в технологической схеме бетонирования фундаментной плиты. Установка арматуры должна опережать бетонирование на 1 захватку.

5.4.7. Для нижней арматуры монолитной фундаментной плиты толщина защитного слоя должна быть не менее;

при наличии бетонной подготовки - 35 мм;

при ее отсутствии - 70 мм.

5.4.8. Отклонение от проектной толщины бетонного защитного слоя не должны превышать:

при "б" з.с. = 15 мм и менее - 3 мм;

при "б" з.с. > 15 мм - 5 мм.

5.4.9. Армирование плиты на бетонной подготовке производят по разбивочным осям каркасов, затем укладывают бетонные прокладки для образования защитного слоя, по прокладкам устанавливают унифицированные сетки, затем по ней производится установка каркасов, сварка их между собой и приварка их к нижней сетке. На каркасы укладывают унифицированные сетки верхней арматуры с приваркой ее к стержням каркасов.

5.4.10 Крестовые пересечения стержней арматуры, смонтированных поштучно в местах их пересечения, следует скреплять вязальной проволокой, а при диаметре свыше 25 мм их скрепление выполняется сваркой.

5.4.11. Бетонирование плиты следует производить непрерывным способом в пределах отдельных захваток, по границам которых устанавливаются рабочие швы. Схема бетонирования плиты устанавливается проектом производства работ и рабочими чертежами.

5.4.12. Бетонную смесь следует доставлять автобетоновозами СБ-113, автобетоносмесителями СБ-92, СБ-69, СБ-1036Б, автосамосвалами. Бетонирование плиты с помощью автобетононасосов "Вибау", "Штеттер" и "Томсон" должно производиться в соответствии с требованием нормативных документов.

5.4.13. Бетонную смесь фундаментной плиты уплотняют внутренними вибраторами ИВ-19, ИВ-19А, ИВ-47, ИВ-78, ИВ-59, ВП-1, ВП-3 и поверхностными вибраторами ИВ-91.

5.4.14. Толщина укладываемого слоя бетонной смеси должна быть на 5-10 см меньше длины рабочей части вибратора.

5.4.15. Проверка подвижности бетонной смеси должна производиться у места ее приготовления и укладки не реже 2-х раз в смену.

5.4.16. Качество бетона в процессе укладки и после окончания бетонирования должно контролироваться в соответствии с требованиями СНиП 2.02.01-84, ГОСТ 18105-72 и др. нормативными документами.

5.4.17. Прочность бетона и плиты определяется испытанием на сжатие контрольных бетонных кубов и призмочек в соответствии с требованиями ГОСТов.

5.4.18. Способы бетонирования фундаментных плит в зимних условиях должны обеспечивать получение в заданные сроки бетона проектной прочности, морозостойкости, водонепроницаемости, средней плотности, а также сохранение монолитности фундамента.




Rambler's Top100 Яндекс цитирования
  Copyright © 2008-2026, www.docload.ru