Бесплатная библиотека стандартов и нормативов www.docload.ru

Все документы, размещенные на этом сайте, не являются их официальным изданием и предназначены исключительно для ознакомительных целей.
Электронные копии этих документов могут распространяться без всяких ограничений. Вы можете размещать информацию с этого сайта на любом другом сайте.
Это некоммерческий сайт и здесь не продаются документы. Вы можете скачать их абсолютно бесплатно!
Содержимое сайта не нарушает чьих-либо авторских прав! Человек имеет право на информацию!

 

ГОСУДАРСТВЕННЫЙ СТАНДАРТ СОЮЗА ССР

ЦЕПИ ЯКОРНЫЕ С РАСПОРКАМИ

ОБЩИЕ ТЕХНИЧЕСКИЕ УСЛОВИЯ

ГОСТ 228-79
(СТ СЭВ 713-83)

ИПК ИЗДАТЕЛЬСТВО СТАНДАРТОВ

Москва

ГОСУДАРСТВЕННЫЙ СТАНДАРТ СОЮЗА ССР

ЦЕПИ ЯКОРНЫЕ С РАСПОРКАМИ

Общие технические условия

Stud-link anchor chains. General specifications

ГОСТ
228-79

(СТ СЭВ 713-83)

Дата введения 01.01.82

Настоящий стандарт распространяется на якорные цепи с распорками, предназначенные для эксплуатации в любых климатических условиях в якорных устройствах кораблей, судов и плавучих средств.

Стандарт не распространяется на якорные цепи, применяемые на полупогружных плавучих буровых установках.

(Измененная редакция, Изм. № 1, 2).

1. КЛАССИФИКАЦИЯ

1.1. Якорные цепи в зависимости от конструкции должны изготовляться двух исполнений в соответствии со структурными схемами исполнений якорных цепей.

(Измененная редакция, Изм. № 2).

1.2. (Исключен, Изм. № 2).

1.3. Якорные цепи должны изготовляться трех типов (категорий):

1 - нормальной прочности - сварные и кованые из стали категории 1а, калибров от 11 до 73 мм;

2 - повышенной прочности - сварные и кованые из стали категории 2а, калибров от 12,5 до 162 мм, литые из стали категории 26, калибров от 40 до 152 мм;

3 - особо высокой прочности - сварные и кованые из стали категории 3а, калибров от 20,5 до 152 мм, литые из стали категории 36, калибров от 40 до 152 мм.

(Измененная редакция, Изм. № 1).

СТРУКТУРНЫЕ СХЕМЫ ИСПОЛНЕНИЙ ЯКОРНЫХ ЦЕПЕЙ

1.4, 1.5. (Исключены, Изм. № 1).

1.6. Устанавливают следующую структуру условного обозначения якорных цепей:

Пример условного обозначения якорной цепи калибра 50 мм, типа (категории) 2, литой, из стали категории 2б, исполнения 1, длиной 250 мм:

Цепь якорная 50-2/26-1-250 ГОСТ 228-79

(Измененная редакция, Изм. № 1, 2).

1.6.1. Устанавливают следующую структуру условного обозначения сборочных единиц и деталей якорных цепей:

Пример условного обозначения общего звена калибра 50 мм, литого, повышенной прочности:

Звено общее 50-2/2б ГОСТ 228-79

То же, концевой скобы исполнения А, калибра 50 мм, кованой, особо высокой прочности:

Скоба концевая А 50-3/За ГОСТ 228-79

(Введен дополнительно, Изм. № 1; измененная редакция, Изм. № 2).

1.7. Основные термины и определения приведены в приложении 1.

2. ОСНОВНЫЕ ПАРАМЕТРЫ И РАЗМЕРЫ

2.1. Основные параметры якорных цепей должны соответствовать указанным в табл. 2.

(Измененная редакция, Изм. № 2).

Таблица 2*

Основные параметры якорных цепей

Калибр, мм

Нагрузка для типа (категории) цепи, кН, не менее

Теоретическая масса 1 м промежуточной смычки, кг

1

2

3

пробная

разрушающая

пробная

разрушающая

пробная

разрушающая

11

36

51

 

 

-

-

3,2

12,5

46

66

66

92

-

-

3,7

14

58

82

82

116

-

-

4,3

16

76

107

107

150

-

-

5,6

17,5

89

127

127

179

-

-

6,8

19

105

150

150

211

-

-

8,0

20,5

123

175

175

244

244

349

9,3

22

140

200

200

280

280

401

10,7

24

167

237

237

332

332

476

12,7

26

194

278

278

389

389

556

14,7

28

225

321

321

449

449

642

16,5

30

257

368

368

514

514

735

19,6

32

291

417

417

583

583

833

22,4

34

328

468

468

655

655

937

24,6

36

366

523

523

732

732

1050

28,4

38

406

581

581

812

812

1160

31,6

40

448

640

640

896

896

1280

34,5

42

492

703

703

981

981

1400

38,6

44

538

769

769

1080

1080

1540

42,2

46

585

837

837

1170

1170

1680

45,5

48

635

908

908

1270

1270

1810

49,8

50

686

981

981

1370

1370

1960

54,0

52

739

060

1060

1480

1480

2110

59,1

54

794

1140

1140

1590

1590

2270

62,5

56

851

1220

1220

1710

1710

2430

67,5

58

909

1290

1290

1810

1810

2600

72,8

60

969

1380

1380

1940

1940

2770

77,1

62

1030

1470

1470

2060

2060

2940

82,6

64

1100

1560

1560

2190

2190

3130

88,0

66

1160

1660

1660

2310

2310

3300

93,0

68

1230

1750

1750

2450

2450

3500

97,0

70

1290

1840

1840

2580

2580

3690

103,0

73

1390

1990

1990

2790

2790

3990

113,0

76

-

-

2150

3010

3010

4300

123

78

-

-

2260

3160

3160

4500

130

81

-

-

2410

3380

3380

4820

145

84

-

-

2580

3610

3610

5160

154

87

-

-

2750

3850

3850

5500

163

90

-

-

2920

4090

4090

5840

175

92

-

-

3040

4260

4260

6080

182

95

-

-

3230

4510

4510

6440

193

97

-

-

3340

4680

4680

6690

201

100

-

-

3530

4940

4940

7060

215

102

-

-

3660

5120

5120

7320

224

105

-

-

3850

5390

5390

7700

238

107

-

-

3980

5570

5570

7960

246

111

-

-

4250

5940

5940

8480

262

114

-

-

4440

6230

6230

8890

271

117

-

-

4650

6510

6510

9300

280

120

-

-

4850

6810

6810

9720

294

122

-

-

5000

7000

7000

9990

302

124

-

-

5140

7200

7200

10280

308

127

-

-

5350

7490

7490

10710

330

130

-

-

5570

7800

7800

11140

352

132

-

-

5720

8000

8000

11420

368

137

-

-

6080

8510

8510

12160

400

142

-

-

6450

9030

9030

12910

431

147

-

-

6840

9560

9560

13660

458

152

-

-

7220

10100

10100

14430

487

157

-

-

7600

10640

-

-

520

162

-

-

7990

11170

-

-

555

* Табл. 1 и 3 исключены.

2.2. Основные размеры деталей и сборочных единиц якорных цепей должны соответствовать указанным в приложении 2.

3. ТЕХНИЧЕСКИЕ ТРЕБОВАНИЯ

3.1. Общие технические требования к якорным цепям

3.1.1. Якорные цепи должны изготовляться в соответствии с требованиями настоящего стандарта по рабочим чертежам, утвержденным в установленном порядке.

3.1.2. Длина якорных цепей должна устанавливаться по согласованию с потребителем.

3.1.3. Промежуточные смычки должны иметь длину 25+2,5 м и состоять из нечетного числа звеньев.

3.1.4. В якорных, коренных и промежуточных смычках могут быть монтажные сварные и литосварные звенья. Конструкцию монтажных звеньев и технические требования к ним следует устанавливать в отраслевой нормативно-технической документации (НТД).

(Измененная редакция, Изм. № 2).

3.1.5. В сварных якорных цепях якорная и коренная смычки, а также соединительные звенья могут быть литыми.

3.1.6. Качество материала, применяемого для изготовления цепей, должно быть таким, чтобы готовая цепь соответствовала требованиям настоящего стандарта.

Механические свойства, результаты испытаний на изгиб и ударный изгиб образцов, изготовленных из готовой цепи (для сварных звеньев - из несварной ветви звена), должны соответствовать указанным в табл. 4.

(Измененная редакция, Изм. № 2).

3.1.7. Предельные отклонения длин участков промежуточных смычек и цепей без распорок, состоящих из пяти общих звеньев, не должны быть более + 2,5 % от номинальных длин этих участков, равных 5 l - 8 d, где l - номинальная длина звена, d - калибр якорной цепи.

3.1.8. Предельные отклонения калибров якорной цепи от номинальных значений не должны превышать:

± 1,0 мм - калибров до 40 мм включ.

± 2,0 мм       »           от 42 до 84 мм включ.

± 3,0 мм       »           от 87 до 122 мм включ.

± 4,0 мм       »           от 124 мм и более.

(Измененная редакция, Изм. № 1).

3.1.9. Площадь сечения звена по его продольной оси должна быть не менее номинальной.

Таблица 4

Механические свойства образцов цепей

Категория цепи

Метод изготовления

Вид термической обработки

Временное сопротивление при разрыве, МПа

Относительное сужение при разрыве, %

Относительное удлинение при разрыве, %

Работа удара KV, Дж

Температура испытаний на ударный изгиб, °С

Диаметр оправки при испытании на изгиб на 180°, мм

не менее

1

Контактная сварка

Нормализация

300 - 400

-

30

-

-

d

400 - 490

-

25

-

-

d

2

Контактная сварка, штамповка, литье

Нормализация, нормализация и отпуск, закалка и отпуск

490 - 690

-

22

47

0

3d

3

Контактная сварка, штамповка, литье

690

40

17

60

0

-

Примечания:

1. При испытании на ударный изгиб образцов, изготовленных из сварных соединений общих звеньев категории 3, работа удара должна быть не менее 50 Дж при 0 °С.

2. При изготовлении цепи литьем относительное сужение при разрыве должно быть не менее 33 %.

3. Испытания на растяжение, изгиб и ударный изгиб образцов, изготовленных из готовых цепей категорий 1 и 2, проводят по требованию Регистра СССР.

Площадь сечения принимают равной площади круга с диаметром, равным среднему диаметру общего звена.

(Измененная редакция, Изм. № 2).

3.1.10. Предельные отклонения длины и ширины общих звеньев не должны превышать ± 2,5 % от номинальных значений этих размеров.

3.1.11. На поверхности деталей и сборочных единиц якорных цепей не допускаются трещины, ситовидная пористость, плены и расслоения.

3.1.12. В местах сварки не должно быть непроваров, расслоений, пор, раковин и трещин.

(Измененная редакция, Изм. № 2).

3.1.13. Штырь вертлюга, не нагруженного растягивающей нагрузкой, должен свободно вращаться в его звене.

3.1.14. Штифты концевой скобы и соединительного звена должны быть оцинкованы.

3.1.15. Каждая изготовленная партия сборочных единиц якорных цепей должна иметь сертификат по форме, согласованной с Регистром СССР.

3.1.16. Полный срок службы цепей должен быть не менее 15 лет при условии соблюдения правил эксплуатации.

Назначенный срок службы цепей до очередного освидетельствования Регистром СССР - четыре года.

Предельным состоянием цепей следует считать уменьшение среднего диаметра общего звена в наиболее изношенной части на 10 % номинального значения и более.

(Измененная редакция, Изм. № 2).

3.2. Дополнительные технические требования к сварным сборочным единицам якорных цепей

3.2.1. Сварные сборочные единицы калибров до 19 мм должны изготовляться контактной электросваркой методом оплавления или сопротивления, св. 19 мм - методом оплавления.

3.2.2. Смещение в стыке сварных звеньев не должно превышать, мм:

для цепей калибров 9 - 12,5              0,7

              - » -             14 - 26                1,0

              - » -             28 - 40                1,5

              - » -             42 - 62                2,0

              - » -             64 - 81                2,5

              - » -             84 - 102              3,5

              - » -         более 102               4,0

(Измененная редакция, Изм. № 1).

3.2.3. Высота утолщения звена по наружной стороне после обрезки грата не должна превышать, мм:

для цепей калибров 9 - 12,5              0,7

              - » -             14 - 26                1,0

              - » -             28 - 40                1,5

              - » -             42 - 62                2,5

              - » -             64 - 81                3,0

              - » -             84 - 107              3,5

(Измененная редакция, Изм. № 1, 2).

3.2.4. Глубина местных пригаров, как следствие касания электродов сварочной машины, не должна превышать 0,7 мм.

3.3. Дополнительные технические требования к литым и литосварным сборочным единицам.

3.3.1. Смещение звена в плоскости разъема не должно превышать:

для цепей калибров 44 - 50               1,5

              - » -             52 - 73                2,5

              - » -             76 - 107              3,5

              - » -             111 - 152            4,0

(Измененная редакция, Изм. № 1).

3.3.2. Литые сборочные единицы должны быть очищены от пригара. Литники, швы, заусенцы и другие неровности от формовки и заливки должны быть удалены, а места их расположения на отливках зачищены.

3.3.3. На литых сборочных единицах не допускаются без заварки литейные пороки, превышающие по глубине и протяженности 5 % диаметра или толщины тела, а также раковины, расположенные в одном сечении, если их суммарная глубина и протяженность превышает 5 % диаметра или толщины тела.

3.4. Сборочные единицы и детали якорных цепей подвергают термической обработке в соответствии с табл. 4. Режим термической обработки устанавливает изготовитель в зависимости от химического состава стали и калибра цепи.

Термическую обработку сварных цепей категории 1 и 2 можно не производить, если они изготовлены из термически обработанного проката или в процессе изготовления подверглись нагреву до температуры нормализации.

(Введен дополнительно, Изм. № 2).

4. ПРАВИЛА ПРИЕМКИ

4.1. Общие требования

4.1.1. Для проверки качества якорных цепей на соответствие требованиям настоящего стандарта предприятие-изготовитель должно производить приемо-сдаточные испытания сборочных единиц.

4.1.2. При приемо-сдаточных испытаниях следует проводить:

- испытание материала цепей;

- испытания разрушающей нагрузкой;

- испытание пробной нагрузкой;

- проверку внешнего вида, подвижности соединений;

- проверку размеров.

(Измененная редакция, Изм. № 1, 2).

4.1.3. Сборочные единицы должны предъявляться к приемке партиями.

4.1.3.1. Партия промежуточных смычек должна состоять не более чем из четырех смычек одного калибра и категории прочности.

Партией сварных якорных цепей, не разделенных на смычки, считают каждую отдельную цепь.

Партией сварных якорных цепей, изготовляемых короткими отрезками, считают не более 50 м этих цепей.

4.1.3.2. Партия соединительных звеньев, концевых звеньев, концевых скоб, вертлюгов и вертлюг-скоб должна состоять не более чем из 50 одноименных сборочных единиц одного калибра и категории прочности.

(Измененная редакция, Изм. № 2).

4.1.3.3. Каждая партия сборочных единиц должна изготовляться из металла одной плавки и термически обрабатываться в одной садке или в одной проходной печи.

4.1.3.4. Допускается включение в партию сборочных единиц, изготовленных из материала разных плавок, близких по химическому составу и механическим свойствам и прошедших термическую обработку в разных садках по одному режиму.

4.1.4. Правила приемки монтажных звеньев в якорных, коренных и промежуточных смычках устанавливают в отраслевой НТД.

4.2. Испытание материала готовой цепи

4.1.3.4, 4.1.4, 4.2. (Измененная редакция, № 2).

4.2.1. (Исключен, Изм. № 2).

4.2.2. Для цепей 3-й и 2-й категорий прочности, если последние не подвергают термической обработке, должны проводиться испытания на растяжение и ударный изгиб на образцах согласно п. 3.1.6.

4.2.2.1. От каждой партии промежуточных смычек и сборочных единиц отбирают следующее число образцов: один образец для испытания на растяжение и один комплект образцов для испытания на ударный изгиб.

Примечание. От каждой партии сварных промежуточных смычек 3-й категории дополнительно отбирают один комплект образцов из сварного соединения для испытаний на ударный изгиб.

4.2.2, 4.2.2.1. (Измененная редакция, Изм. № 2).

4.2.2.2. (Исключен, Изм. № 2).

4.2.3. Результаты испытаний образцов при проверке механических свойств материала должны удовлетворять требованиям табл. 4.

4.2.4. При неудовлетворительных результатах испытаний механических свойств материала должны быть проведены повторные испытания удвоенного количества образцов.

Допускается при неудовлетворительных результатах повторных испытаний партию изделий совместно с образцами подвергнуть повторной термообработке.

4.3. Испытания разрушающей нагрузкой

4.3.1. От каждой партии сборочных единиц должно быть отобрано следующее минимальное количество образцов для испытаний разрушающей нагрузкой:

- соединительные звенья, вертлюг-скобы, вертлюги - по 1 шт.;

- промежуточные смычки, якорные цепи, не разделенные на смычки, цепи, изготовляемые короткими отрезками, - по одному отрезку цепи, состоящему не менее чем из трех общих звеньев.

Примечание. Для испытаний разрушающей нагрузкой сварных промежуточных смычек, не подвергнутых термической обработке, образцы следует отбирать от каждой смычки.

(Измененная редакция, Изм. № 1).

4.3.2. Концевые скобы, концевые и увеличенные звенья испытаниям разрушающей нагрузкой не подвергают.

4.3.3. Образцы, состоящие из общих звеньев, должны быть взяты от готовой партии изделий или изготовлены отдельно непосредственно после изготовления партии, по той же технологии.

В образце литой цепи должно быть не менее чем по одному звену из металла каждой плавки, из которой изготовлена цепь.

4.3.4. Разрушающая нагрузка образцов должна соответствовать указанной в табл. 2.

Для цепей калибров 90 мм и более в случае недостаточной мощности цепепробной установки допускается испытания разрушающей нагрузкой заменять по согласованию с Регистром СССР испытаниями на растяжение, ударный изгиб и контроль микроструктуры образцов, изготовленных из звеньев цепи.

(Измененная редакция, Изм. № 2).

4.3.5. При неудовлетворительных результатах испытаний образцов разрушающей нагрузкой должны быть проведены повторные испытания двух образцов, взятых от той же партии.

При неудовлетворительных результатах повторных испытаний партию изделий совместно с образцами допускается подвергать повторной термообработке, после чего должны быть проведены испытания образцов разрушающей нагрузкой.

Результаты испытаний разрушающей нагрузкой после повторной термической обработки являются окончательными и распространяются на всю партию.

Допускается при неудовлетворительных результатах испытаний литой смычки испытывать оставшиеся в партии смычки индивидуально путем отбора от каждой из них трехзвенных образцов.

(Измененная редакция, Изм. № 1).

4.3.6. Образцы, не разрушившиеся при испытании разрушающей нагрузкой, использовать в якорных цепях не допускается.

4.4. Испытания пробной нагрузкой

4.4.1. Каждая сборочная единица якорных цепей должна быть испытана пробной нагрузкой, указанной в табл. 2.

4.4.2. Испытания сборочных единиц якорных цепей пробной нагрузкой должны проводиться после получения удовлетворительных результатов испытаний разрушающей нагрузкой.

4.5. Проверка внешнего вида, подвижности соединений и размеров

4.5.1. Все сборочные единицы якорных цепей после испытаний пробной нагрузкой должны быть подвергнуты внешнему осмотру и проверке подвижности соединений на соответствие требованиям пп. 3.1.11 - 3.1.14.

4.5.2. На каждой промежуточной смычке или участке длиной 25 м якорной цепи, не разделенной на смычки, должны быть проверены размеры не менее чем 20 звеньев на соответствие требованиям пп. 3.1.8 и 3.1.10.

Промежуточную смычку или участок цепи, не разделенной на смычки, считают принятыми, если не менее 95 % проверенных звеньев соответствуют заданным размерам, а отклонения размеров остальных проверенных звеньев не превышают ± 3 % от номинальных значений.

4.5.3. На каждой промежуточной смычке или участке якорной цепи длиной 25 м, не разделенной на смычки, должна быть проверена длина 10 пятизвенных участков цепи на соответствие требованиям п. 3.1.7.

Промежуточную смычку или участок якорной цепи длиной 25 м, не разделенной на смычки, считают принятыми, если не менее 9 проверенных участков соответствуют заданным размерам.

При неудовлетворительных результатах проверки длины пятизвенных участков должно быть произведено повторное измерение 20 участков.

Промежуточную смычку или участок цепи длиной 25 м, не разделенной на смычки, считают принятыми после повторных измерений, если не менее 18 проверенных участков соответствуют заданным размерам.

4.6. В случае несоответствия сборочных единиц якорных цепей требованиям пп. 4.4 и 4.5 допускается замена или исправление сборочных единиц по технологии предприятия-изготовителя.

4.7. (Исключен, Изм. № 2).

4.8. Результаты приемо-сдаточных испытаний сборочных единиц цепей должны быть указаны в сертификате.

4.9. (Исключен, Изм. № 2).

5. МЕТОДЫ ИСПЫТАНИЙ

5.1. (Исключен, Изм. № 2).

5.2. Методы испытания на растяжение образцов, вырезанных из общих звеньев, - по ГОСТ 1497.

5.3. Методы испытаний на ударный изгиб - по ГОСТ 9454.

(Измененная редакция, Изм. № 1).

5.3.1. Работу удара определяют по результатам испытаний комплекта, состоящего из трех образцов типов 11 - 13 по ГОСТ 9454; принимают ее среднее значение. При этом на одном образце допускается снижение работы удара до 30 % относительно установленной нормы.

(Измененная редакция, Изм. № 2).

5.3.2. Надрез в образцах, вырезанных из сварной части общих звеньев, должен проходить по линии сварного стыка.

5.4. Образцы для проверки механических свойств материала должны термически обрабатываться в одной садке или последовательно в одной проходной печи с партией сборочных единиц, от которых они взяты, а также с образцами для испытаний разрушающей нагрузкой.

5.5. Испытания якорных цепей разрушающей и пробной нагрузками должны проводиться в цепепробных установках, обеспечивающих равномерное и постепенное увеличение нагрузки.

5.5.1. Сборочные единицы одного и того же калибра и категории прочности могут испытываться одновременно по несколько штук, последовательно соединенных друг с другом.

5.5.2. При испытании разрушающей нагрузкой допускается не доводить образцы до разрушения, прекращая их испытания при нагрузке, превышающей указанную в табл. 2.

5.6. Проверка внешнего вида сборочных единиц якорных цепей должна проводиться визуально.

5.7. Калибр якорных цепей должен измеряться на продольной оси общего звена.

5.8. При измерении длины пятизвенных участков и промежуточных смычек цепи должны быть растянуты нагрузкой, равной в долях от пробной:

для цепей категории прочности 1 - 0,1              0,2

              - » -                                  2 - 0,05             0,1

              - » -                                  3 - 0,02             0,05

5.9. (Исключен, Изм. № 2).

5.10. Методы испытаний на изгиб - по ГОСТ 14019.

(Введен дополнительно, Изм. № 2).

6. МАРКИРОВКА, УПАКОВКА, ТРАНСПОРТИРОВАНИЕ И ХРАНЕНИЕ

6.1. На крайних звеньях промежуточных смычек (на их обоих концах), а также на соединительных и концевых звеньях, вертлюгах, вертлюг-скобах и концевых скобах должны быть отлиты, наплавлены или выбиты знаки маркировки и клейма.

6.2. Знаки маркировки и клейма предприятия-изготовителя:

- товарный знак предприятия-изготовителя;

- порядковый номер сборочной единицы согласно системе нумерации предприятия-изготовителя;

- клеймо технического контроля;

- клеймо Регистра СССР или заказчика;

- год испытания (две последние цифры);

- калибр и тип (категория) цепи.

6.3. Знаки маркировки и клейма предприятия-изготовителя и органа надзора или заказчика должны наноситься на противоположных сторонах сборочных единиц в соответствии с приложением 3.

На цепях калибра 12,5 мм и менее допускается вместо нанесения маркировки прикреплять бирки с указанием данных согласно требованиям п. 6.2.

6.4. Сборочные единицы якорных цепей после приемо-сдаточных испытаний и клеймения должны быть покрыты одним слоем каменно-угольного лака марки А по ГОСТ 1709.

Обработанные поверхности соединительных звеньев должны быть смазаны смазкой по ГОСТ 9.014 или ГОСТ 4366.

6.5. По согласованию с заказчиком окраску смычек допускается не производить.

6.6. Упаковка сборочных единиц якорных цепей не производится.

6.7. Цепи следует транспортировать без тары пакетами (связками) по ГОСТ 24597.

Обвязку пакетов (связок) следует производить проволокой по ГОСТ 3282 или другими средствами крепления, обеспечивающими прочность пакета при механизированной его погрузке и разгрузке.

Средства крепления - по ГОСТ 21650.

Масса брутто пакетов (связок) - по ГОСТ 24597, но не более 7 т.

Допускается упаковывать сборочные единицы якорных цепей в дощатые плотные ящики типов II и III по ГОСТ 2991 и типов I, III и V по ГОСТ 10198. Масса брутто ящиков должна быть не более 3 т.

(Измененная редакция, Изм. № 2).

6.8. Транспортировать цепи следует транспортом любого вида в соответствии с правилами перевозки грузов, действующими на транспорте каждого вида.

6.9. Маркировка тары при транспортировании цепей в ящиках должна соответствовать ГОСТ 14192.

6.10. Хранение цепей - по группе условий хранения Ж1 ГОСТ 15150.

6.11. Каждая изготовленная партия сборочных единиц якорных цепей должна иметь сертификат по форме, согласованной с Регистром СССР.

6.8 - 6.11. (Введены дополнительно, Изм. № 2).

7. ГАРАНТИИ ИЗГОТОВИТЕЛЯ

7.1. Изготовитель должен гарантировать соответствие якорных цепей требованиям настоящего стандарта при соблюдении правил эксплуатации якорных устройств, а также условий транспортирования и хранения, установленных стандартом.

Гарантийный срок эксплуатации - 24 мес со дня ввода цепей в эксплуатацию.

(Измененная редакция, Изм. № 1).

ПРИЛОЖЕНИЕ 1

Справочное

ОСНОВНЫЕ ТЕРМИНЫ И ОПРЕДЕЛЕНИЯ

1. Цепь якорная - часть якорного устройства, предназначенного для крепления якоря к корпусу судна.

(Измененная редакция, Изм. № 2).

2. Смычка - участок якорной цепи, служащий для выполнения определенной функции.

3. Смычка коренная - смычка, служащая для присоединения якорной цепи к устройству для се крепления и отдачи.

4. Смычка якорная - смычка, служащая для присоединения якорной цепи к якорю.

5. Смычка промежуточная - отрезок круглозвенной цепи длиной 25+2,5 м, располагаемый в промежутке между коренной и якорной смычками.

6. Калибр якорной цепи - номинальный диаметр сечения общего звена в месте соединения с другим звеном, измеряемый по продольной оси цепи.

7. Звено общее - звено промежуточной смычки.

Применяют:

звенья общие сварные с распорками;

звенья общие литые с распорками.

(Измененная редакция, Изм. № 1, 2).

8. Звено увеличенное - общее звено большего калибра, предназначенное для присоединения концевого звена и вертлюга к общему звену.

(Измененная редакция, Изм. № 2).

9. Звено соединительное - разъемное звено, предназначенное для соединения смычек между собой.

10. Звено концевое - звено круглозвенной цепи без распорки, предназначенное для соединения коренной смычки с устройством для крепления и отдачи якоря и для присоединения концевой скобы в якорной смычке.

11. Скоба концевая - сборочная единица якорной цепи, предназначенная для присоединения якорной смычки к якорю.

12. Вертлюг - сборочная единица якорной смычки, устраняющая закручивание цепи при подъеме и опускании якоря.

13. Нагрузка пробная - растягивающее усилие, которому должны подвергаться все смычки, а также остальные детали и сборочные единицы якорных цепей при приемо-сдаточных испытаниях с целью проверки прочности.

14. Нагрузка разрушающая - максимальное растягивающее усилие, воспринимаемое деталью или сборочной единицей якорной цепи при испытании на разрыв.

15. Средний диаметр общего звена - среднее значение двух взаимно перпендикулярных диаметров сечения звена плоскостью, перпендикулярной образующей внешнего контура звена в любом его месте.

16. Звено монтажное - звено сварное или литосварное для присоединения концевого звена и вертлюгов к общему звену и общих звеньев между собой.

15, 16. (Введены дополнительно, Изм. № 2).

ПРИЛОЖЕНИЕ 2

Обязательное

ОСНОВНЫЕ РАЗМЕРЫ ДЕТАЛЕЙ И СБОРОЧНЫХ ЕДИНИЦ ЯКОРНЫХ ЦЕПЕЙ

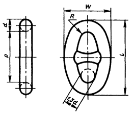
Звено общее с распоркой

d - калибр цепи; l = 6 d; р = 4 d; w » 3,6 d; R = 0,65 d

Черт. 1

Таблица 1

Размеры, мм

d

l

p

w

R

Теоретическая масса, кг

11

66

44

40

7

0,12

12,5

75

50

45

8

0,18

14

84

56

50

9

0,25

16

96

64

58

10

0,35

17,5

105

70

63

11

0,48

19

114

76

68

12

0,61

20,5

123

82

74

13

0,76

22

132

88

79

14

0,92

24

144

96

86

16

1,22

26

156

104

94

17

1,53

28

168

112

101

18

1,85

30

180

120

108

20

2,35

32

192

128

115

21

2,85

34

204

136

122

22

3,39

36

216

144

130

23

4,09

38

228

152

137

25

4,81

40

240

160

144

26

5,52

42

252

168

151

27

6,48

44

264

176

158

29

7,43

46

276

184

166

30

8,39

48

288

192

173

31

9,55

50

300

200

180

33

10,8

52

312

208

187

34

12,3

54

324

216

194

35

13,5

56

336

224

202

36

15,1

58

348

232

209

38

16,9

60

360

240

216

39

18,5

62

372

248

223

40

20,5

64

384

256

230

42

22,5

66

396

264

238

43

24,5

68

408

272

245

44

26,5

70

420

280

252

46

28,9

73

438

292

263

47

33,0

76

456

304

274

49

37,2

78

468

312

281

51

40,5

81

486

324

292

53

46,9

84

504

336

302

55

51,8

87

522

348

313

57

56,8

90

540

360

324

59

63,1

92

552

368

331

60

67,1

95

570

380

342

62

73,4

97

582

388

349

63

78,1

100

600

400

360

65

86,0

102

612

408

367

66

91,6

105

630

420

378

68

100

107

642

428

385

70

106

111

666

444

400

72

116

114

684

456

410

74

125

117

702

468

421

76

133

120

720

480

432

78

142

122

732

488

439

79

147

124

744

496

446

81

153

127

762

508

457

83

168

130

780

520

468

85

183

132

792

528

475

86

194

137

822

548

493

89

219

142

852

568

511

92

245

147

882

588

529

96

270

152

912

608

547

99

296

157

942

628

565

102

328

162

972

648

583

105

362

167*

1002

668

601

109

372

173*

1038

692

623

112

406

178*

1068

712

641

116

444

* Размеры увеличенных звеньев.

Примечание. Увеличенным звеном для цепи данного калибра является общее звено большего калибра, причем размеры увеличенного звена должны составлять » 1,1 размеров общего звена.

Концевое звено

d - калибр цепи; d - калибр концевого звена; d2 » 1,2 d; р2 » 4,8 d; w2 » 4,3 d; l2 » 7,2 d

Черт. 3**

** Черт. 2 исключен.

Таблица 3

Размеры, мм

d

d2

l2

p2

w2

Теоретическая масса, кг

9

11

65

43

39

0,11

10

12,5

72

48

43

0,15

11

14

84

56

50

0,25

12,5

16

96

64

58

0,35

14

17,5

105

70

63

0,48

16

19

114

76

68

0,61

17,5

20,5

123

82

74

0,76

19

22

132

88

79

0,92

20,5

24

144

96

86

1,22

22

26

156

104

94

1,53

24

28

168

112

101

1,85

26

32

192

128

115

2,85

28

34

204

136

122

3,39

30

36

216

144

130

4,09

32

38

228

152

137

4,81

34

40

240

160

144

5,52

36

44

264

176

158

7,43

38

46

276

184

166

8,39

40

48

288

192

173

9,55

42

50

300

200

180

10,8

44

52

312

208

187

12,3

46

56

336

224

202

15,1

48

58

348

232

209

16,9

50

60

360

240

216

18,5

52

62

372

248

223

10,5

54

64

384

256

230

22,5

56

68

408

272

245

26,5

58

70

420

280

252

28,9

60

73

438

292

263

33,0

62

73

438

292

263

33,0

64

76

456

304

274

37,2

66

81

486

324

292

46,9

68

81

486

324

292

46,9

70

84

504

336

302

51,8

73

87

522

348

313

56,8

76

92

552

368

331

67,1

78

95

570

380

342

73,4

81

97

582

388

349

78,1

84

100

600

400

360

86,0

87

105

630

420

378

100

90

107

642

428

385

106

92

111

666

444

400

116

95

114

684

456

410

125

97

117

702

468

421

133

100

120

720

480

432

142

102

122

732

486

439

147

105

127

762

508

457

168

107

130

780

520

468

183

111

132

792

528

475

194

114

137

822

548

493

219

117

142

852

568

511

245

120

147

882

588

529

270

122

147

882

588

529

270

124

152

912

608

547

296

127

152

912

608

547

296

130

157

942

628

565

328

132

162

972

648

583

362

137

165

990

680

594

396

142

170

1020

680

612

465

147

180

1080

720

648

517

152

185

1110

740

666

587

157

188

1128

752

677

629

162

194

1164

776

698

687

* Табл. 2 исключена.

Соединительное звено

d - калибр цепи; d3 - калибр соединительного звена; d3 = d; l3 = 6 d; р3 = 4 d; w3 » 4,2 d; К » 1,52 d; R2 » 0,67 d; R3 » 1,83 d

Черт. 4

Таблица 4

Размеры, мм

d = d3

l3

p3

w3

h1

K, не более

R2

R1

Теоретическая масса, кг

11

66

44

46

4

17

7

20

0,28

12,5

75

50

53

19

8

23

0,36

14

84

56

59

6

21

9

26

0,45

16

96

64

67

24

11

29

0,55

17,5

105

70

74

27

12

32

0,70

19

114

76

80

29

13

35

0,90

20,5

123

82

86

31

14

38

1,10

22

132

88

92

33

15

40

1,40

24

144

96

101

36

16

44

1,80

26

156

104

109

40

17,5

48

2,30

28

168

112

118

43

19

51

2,80

30

180

120

126

8

46

20

55

3,50

32

192

128

134

49

21,5

59

4,20

34

204

136

143

52

23

62

5,00

36

216

144

151

55

24

66

6,00

38

228

152

160

58

25

70

7,00

40

240

160

168

61

27

73

8,00

42

252

168

176

64

28

77

9,50

44

264

176

185

10

67

29

81

11,0

46

276

184

193

70

31

84

12,5

48

288

192

202

73

32

88

14,0

50

300

200

210

76

34

92

17,0

52

312

208

218

79

35

95

19,0

54

324

216

227

82

36

99

21,0

56

336

224

235

85

38

102

23,0

58

348

232

244

12

88

39

106

25,0

60

360

240

252

91

40

110

27,5

62

372

248

260

94

42

113

30,0

64

384

256

269

97

43

117

33,0

66

396

264

277

100

44

121

36,0

68

408

272

286

103

46

124

39,0

70

420

280

294

106

47

128

42,0

73

438

292

307

16

111

49

134

48,0

76

456

304

319

115

51

139

54,0

78

468

312

328

119

52

143

59,0

81

486

324

340

123

54

148

65,0

84

504

336

353

128

57

154

73,0

87

522

348

365

20

132

58

159

81,0

90

540

360

378

137

60

165

91,0

92

552

368

386

140

62

168

98,0

95

570

380

399

144

64

174

105

97

582

388

407

147

65

178

113

100

600

400

420

152

67

183

125

102

612

408

428

155

68

187

133

105

630

420

441

25

160

70

192

145

107

642

428

449

163

72

196

157

114

684

456

479

173

76

208

185

117

702

468

491

178

78

214

200

120

720

480

504

182

80

220

215

122

732

488

512

32

185

82

223

226

124

744

496

521

188

83

227

237

127

762

508

533

193

85

232

253

130

780

520

546

198

87

238

275

132

792

528

554

201

88

242

290

137

822

548

575

208

92

251

320

142

852

568

596

216

95

260

360

147

882

588

617

223

98

269

295

152

912

608

638

231

102

278

430

157

942

628

659

239

105

287

468

162

972

648

680

246

109

296

508

Скоба концевая

d - калибр цепи; d4 » 1,4 d = m1; l4 » 8,7 d; w4 » 5,2 d; a1 » 0,9 d; f1 » 3,1 d; g1 » 0,2 d; p4 » l4 - (d4 + a1 + e1) = 4,6 d; e1 » 1,8 d

Черт. 5


Таблица 5

Размеры, мм

d

d4

l4

p4

w4

a1

e1

e2

f1

g1

h1

m1

m2

Теоретическая масса, кг

Номин.

Пред. откл.

Номин.

Пред. откл.

Номин.

Пред. откл.

Номин.

Пред. откл.

9

12,5

78

41,5

47

8

16

+0,4 +0,1

 

- 0,1 - 0,4

28

2

2

12,5

+0,4 +0,1

 

- 0,1 - 0,4

0,15

10

14

87

46

52

9

18

 

31

2

14

 

0,35

11

15,5

96

51

57

10

20

20

34

2

4

15,5

15,5

0,55

12,5

17,5

109

58

65

11

22

22

39

2,5

17,5

17,5

0,85

14

19,5

122

65

73

12,5

25

25

44

3

6

19,5

19,5

1,20

16

22,5

139

73

83

14,5

29

29

50

3

22,5

22,5

1,60

17,5

24,5

152

81

91

15,5

31

31

54

3,5

24,5

24,5

2,10

19

26,5

165

87,5

99

17

34

+0,5 +0,2

34

- 0,2 - 0,5

59

4

26,5

+0,5 +0,2

26,5

- 0,2 - 0,5

2,60

20,5

28,5

178

94

107

18,5

37

37

64

4

28,5

28,5

3,40

22

31

191

101

114

20

39

39

68

4,5

31

31

4,50

24

34

209

110

125

22

43

43

74

5

34

34

5,40

26

37

226

120

135

23

46

46

81

5

37

37

6,40

28

39

244

129

146

25

51

51

87

5,5

39

39

7,50

30

42

261

138

156

27

54

54

93

6

8

42

42

9,00

32

45

278

147

166

29

57

57

99

6,5

45

45

10,5

34

48

296

156

176

30

62

62

105

7

48

48

12,0

36

50

313

166

187

32

65

+0,6 +0,3

65

- 0,3 - 0,6

112

7

50

+ 0,6 +0,3

50

- 0,3 - 0,6

16,0

38

53

331

175

198

34

69

69

118

7,5

53

53

20,0

40

56

348

181

208

36

72

72

124

8

56

56

24,0

42

59

365

193

218

38

75

75

130

8,5

59

59

28,0

44

62

383

202

229

40

79

79

136

9

10

62

62

32,0

46

64

400

212

239

41

83

83

143

9

64

64

36,0

48

67

418

221

250

43

87

87

149

9,5

67

67

42,0

50

70

435

230

260

45

90

90

155

10

70

70

47,0

52

73

452

239

270

47

93

+0,8 +0,4

93

- 0,4 - 0,8

161

10,5

73

+0,8 +0,4

73

- 0,4 - 0,8

53,0

54

76

470

248

281

49

97

97

167

11

76

76

59,0

56

78

487

258

291

50

101

101

174

11

78

78

65,0

58

81

505

267

302

52

105

105

180

11,5

12

81

81

72,0

60

84

522

276

312

54

108

108

186

12

84

84

79

62

87

539

285

322

56

111

111

192

12,5

87

87

86,0

64

90

557

294

333

58

115

115

198

13

90

90

94,0

66

92

574

304

343

59

119

119

205

13

92

92

103

68

95

592

313

354

61

123

123

211

13,5

95

95

113

70

98

609

322

364

63

126

126

217

14

98

98

126

73

102

635

336

380

66

131

131

226

14,5

16

102

102

145

76

106

661

350

395

68

137

+1,0 +0,5

137

- 0,5 - 1,0

236

15

106

+1,0 +0,5

106

- 0,5 - 1,0

165

78

109

678

359

406

70

140

140

242

15,5

109

109

180

81

113

705

373

421

73

146

146

251

16

113

113

200

84

118

731

386

437

76

151

151

260

17

118

118

220

87

122

757

400

452

78

157

157

270

17,5

20

122

122

240

90

126

783

414

468

81

162

162

279

18

126

126

262

92

129

800

422

478

83

166

166

285

18,5

129

129

279

95

133

827

437

494

86

171

171

295

19

133

133

308

97

136

844

446

504

87

175

175

301

19,5

136

136

331

100

140

870

460

520

90

180

180

310

20

140

140

365

102

143

887

468

530

91

184

184

316

20,5

143

143

388

105

147

914

483

546

95

189

189

326

21

25

147

147

421

107

150

931

492

556

96

193

193

332

21,5

150

150

445

111

155

966

511

577

100

200

+1,2 +0,6

200

- 0,6 - 1,2

344

22

155

+1,2 +0,6

155

- 0,6 - 1,2

495

114

160

992

524

593

103

205

205

353

23

160

160

534

117

164

1018

538

608

105

211

211

363

23,5

164

164

573

120

168

1044

552

624

108

216

216

372

24

168

168

612

122

171

1061

560

634

110

220

220

378

24,5

32

171

171

638

124

174

1079

570

645

112

223

223

384

25

174

 

660

127

178

1105

584

660

114

229

229

394

25,5

178

178

695

130

182

1134

598

676

117

234

234

403

26

182

182

726

132

185

1148

606

686

119

238

238

409

26,5

185

185

752

137

192

1192

630

712

123

247

247

425

27,5

192

192

815

142

199

1235

652

738

128

256

256

440

28,5

199

199

880

147

206

1279

676

764

132

265

265

458

29,5

206

206

945

152

213

1322

698

790

137

274

274

471

30,5

213

213

1110

157

220

1366

722

816

141

283

283

487

31,5

220

220

1178

162

227

1409

745

842

146

292

292

502

32,5

227

227

1248

Примечание. На размеры е1, е2, m1, m2 допускаются предельные отклонения  по ГОСТ 25346 при условии соблюдения зазоров в соединении скобы и штыря аналогично посадке  по ГОСТ 25347.

(Измененная редакция, Изм. № 2).


Вертлюг

d - калибр цепи; d5 » 1,1 d; d6 » 1,4 d = m1; d7 » 1,2 d; d8 » 2,0 d; h3 » 6,3 d; h4 » 6,5 d; h5 » 3,4 d; l5 » 9,7 d; P5 » 7,4 d; w5 » 4,7 d; R4 » 0,8 d

Черт. 6

(Измененная редакция, Изм. № 2).

Таблица 6

Размеры, мм

d

d5

d6

d7

d8

h3

h4

h5

p5

w5

l5

R4

Теоретическая масса, кг

9

10

13

11

18

57

59

31

67

42

88

7

0,9

10

11

14

12

20

63

65

34

74

47

97

8

1,0

11

12

15

13

22

69

72

37

81

52

106

9

1,2

12,5

14

17,5

15

25

79

82

43

93

59

122

10

1,4

14

16

19,5

17

28

88

92

48

104

66

137

11

1,6

16

17,5

22,5

19,5

32

101

105

54

118

75

155

13

1,8

17,5

19

24,5

21

35

110

115

60

130

82

170

14

2,0

19

21

26,5

23

38

120

125

65

141

89

185

15

2,2

20,5

23

28,5

25

41

129

134

70

152

96

200

16

2,8

22

24

31

26,5

44

139

144

75

163

103

17

3,5

24

26

34

29

48

151

157

82

178

113

233

19

4,9

26

29

37

31,5

52

164

170

88

192

122

252

21

6,4

28

31

39

33,5

56

176

183

95

207

132

272

22

8,1

30

33

42

36

60

189

197

102

222

141

291

24

11,9

32

35

45

38,5

64

202

210

109

237

150

310

25

14,6

34

37

48

41

68

214

223

116

252

160

330

27

18,0

36

40

50

43

72

227

236

122

266

169

349

28

23,0

38

42

53

46

76

239

249

130

281

179

369

30

26,0

40

44

56

48

80

252

262

136

296

188

388

31

30,0

42

46

59

50

84

265

275

143

311

197

407

33

35,0

44

48

62

53

88

277

288

150

326

207

427

35

41,5

46

51

64

55

92

290

301

157

340

216

446

36

48,0

48

53

67

57,5

96

302

314

163

355

226

466

37

55,0

50

55

70

60

100

315

328

170

370

235

485

39

63,0

52

57

73

62,5

104

328

341

177

385

244

504

41

71,0

54

60

76

65

108

340

354

184

400

254

524

42

79,0

56

62

78

67

112

353

367

190

414

263

543

44

87,0

58

64

81

69,5

116

365

380

197

429

273

562

45

95,0

60

66

84

72

120

378

393

204

444

282

582

47

103

62

68

87

74,5

124

391

406

211

459

291

601

48

111

64

70

90

77

128

403

419

218

474

301

621

50

119

66

73

92

79

132

416

432

224

488

310

640

51

128

68

75

95

81,5

136

428

445

231

503

320

660

53

138

70

77

98

84

140

441

459

238

518

329

679

55

149

73

80

102

87,5

146

460

478

248

540

343

708

57

162

76

84

106

91

152

479

498

258

562

357

737

59

182

78

86

109

93,5

156

491

511

265

577

367

757

61

197

81

89

113

97

162

510

531

275

599

381

786

63

218

84

92

118

100

168

529

550

286

622

395

815

66

233

87

96

122

104,5

174

548

570

296

644

409

844

68

250

90

99

126

108

180

567

590

306

666

423

873

70

270

92

102

129

110,5

184

580

603

313

681

432

892

72

285

95

105

133

114

190

599

622

323

703

447

922

74

297

97

107

136

116,5

194

611

635

330

718

456

941

76

317

100

110

140

120

200

630

655

340

740

470

970

78

350

102

113

143

122,5

204

643

668

347

755

479

989

80

374

105

116

147

126

210

661

688

357

777

494

1019

82

410

107

118

150

128,5

214

674

701

364

792

503

1038

84

436

111

122

155

133

222

699

727

377

821

522

1077

86

484

114

125

160

137

228

718

747

388

844

536

1106

89

524

117

129

164

140,5

234

737

766

398

866

550

1135

91

563

120

132

168

144

240

756

786

408

888

564

1164

93

609

122

134

171

147,5

244

768

799

415

903

573

1183

95

633

124

137

174

149

248

781

812

422

918

583

1203

97

665

127

140

178

152,5

254

800

832

432

940

597

1232

99

704

130

143

182

156

260

819

852

442

962

611

1261

101

745

132

145

185

158,5

264

832

865

449

977

620

1280

103

780

137

150

192

164,5

274

863

897

466

1014

644

1329

107

840

142

156

199

170

284

895

930

483

1051

667

1377

110

905

147

162

206

176,5

294

926

963

500

1088

691

1426

115

965

152

167

213

182

304

958

996

517

1125

714

1474

119

1130

157

173

220

188

314

989

1028

534

1162

738

1523

126

1195

162

178

227

194

324

1021

1061

551

1199

761

1571

130

1260

Вертлюг-скоба

d - калибр цепи.

Черт. 8*

Таблица 8*

d

h8

l8

w8

d

h8

l8

w8

14

48

232

72

44

150

708

229

16

55

262

83

46

155

751

239

17,5

60

286

91

50

170

830

260

19

65

327

99

54

185

876

281

20,5

70

348

106

58

197

940

302

22

75

369

114

62

210

1012

322

26

88

422

135

68

230

1100

354

28

95

473

146

73

248

1184

380

32

110

518

166

78

265

1250

406

34

115

558

176

81

275

1311

421

38

130

614

198

87

295

1405

452

40

135

654

208

92

312

1482

478

* Чертеж 7 и таблица 7. (Исключены, Изм. № 2).

ПРИЛОЖЕНИЕ 3

Справочное

МАРКИРОВКА ЯКОРНЫХ ЦЕПЕЙ

Наименование изделия

Расположение знаков маркировки предприятия-изготовителя

Расположение клейм Регистра СССР или заказчика

Звено общее с распоркой

Звено общее без распорки

Звено соединительное

Звено концевое

Скоба концевая

Вертлюг

Вертлюг-скоба

А - товарный знак предприятия-изготовителя.

Б - порядковый номер изделия.

В - клеймо технического контроля.

Г - год испытания.

Д - клеймо Регистра СССР или заказчика.

Примечание. Калибр и тип (категория) маркируют цифрами в соответствии с п. 1.3 настоящего стандарта рядом с товарным знаком А.

Например: 19А1, 62А2, 81А3.

(Измененная редакция, Изм. № 2).

ИНФОРМАЦИОННЫЕ ДАННЫЕ

1. РАЗРАБОТАН И ВНЕСЕН Министерством угольной промышленности СССР

РАЗРАБОТЧИКИ

O. K. Гвоздев; А. В. Иляхин, канд. техн. наук; А. П. Пименов, канд. техн. наук; В. Ф. Семин

2. УТВЕРЖДЕН И ВВЕДЕН В ДЕЙСТВИЕ постановлением Государственного комитета СССР по стандартам от 14.12.79 № 1979

3. Срок проверки 1991 г., периодичность проверки - 3 года

4. Стандарт полностью соответствует СТ СЭВ 713-83

5. ВЗАМЕН ГОСТ 228-65, ГОСТ 6345-65, ГОСТ 6346-65, ГОСТ 6348-71

6. ССЫЛОЧНЫЕ НОРМАТИВНО-ТЕХНИЧЕСКИЕ ДОКУМЕНТЫ

Обозначение НТД, на который дана ссылка

Номер пункта, приложения

ГОСТ 9.014-78

6.4

ГОСТ 1497-84

5.2

ГОСТ 1709-75

6.4

ГОСТ 2991-85

6.7

ГОСТ 3282-74

6.7

ГОСТ 4366-76

6.4

ГОСТ 9454-78

5.3, 5.3.1

ГОСТ 10198-91

6.7

ГОСТ 14019-80

5.10

ГОСТ 14192-77

6.9

ГОСТ 15150-69

6.10

ГОСТ 21650-76

6.7

ГОСТ 24597-81

6.7

ГОСТ 25346-89

Приложение 2

ГОСТ 25347-82

Приложение 2

7. Постановлением Госстандарта от 24.06.88 № 2322 снято ограничение срока действия

8. ПЕРЕИЗДАНИЕ (май 1997 г.) с Изменениями № 1, 2, утвержденными в августе 1984 г., июне 1988 г. (ИУС 12-84, 10-88)

СОДЕРЖАНИЕ

1. Классификация. 1

2. Основные параметры и размеры.. 2

3. Технические требования. 3

3.1. Общие технические требования к якорным цепям.. 3

3.2. Дополнительные технические требования к сварным сборочным единицам якорных цепей. 5

4. Правила приемки. 5

4.1. Общие требования. 5

4.2. Испытание материала готовой цепи. 6

4.3. Испытания разрушающей нагрузкой. 6

4.4. Испытания пробной нагрузкой. 7

4.5. Проверка внешнего вида, подвижности соединений и размеров. 7

5. Методы испытаний. 8

6. Маркировка, упаковка, транспортирование и хранение. 8

7. Гарантии изготовителя. 9

Приложение 1 Основные термины и определения. 9

Приложение 2 Основные размеры деталей и сборочных единиц якорных цепей. 10

Приложение 3 Маркировка якорных цепей. 19

 




Rambler's Top100 Яндекс цитирования
  Copyright © 2008-2026, www.docload.ru