Бесплатная библиотека стандартов и нормативов www.docload.ru

Все документы, размещенные на этом сайте, не являются их официальным изданием и предназначены исключительно для ознакомительных целей.
Электронные копии этих документов могут распространяться без всяких ограничений. Вы можете размещать информацию с этого сайта на любом другом сайте.
Это некоммерческий сайт и здесь не продаются документы. Вы можете скачать их абсолютно бесплатно!
Содержимое сайта не нарушает чьих-либо авторских прав! Человек имеет право на информацию!

 

ГОСТ 12840-80

МЕЖГОСУДАРСТВЕННЫЙ СТАНДАРТ

ЗАМКИ ПРЕДОХРАНИТЕЛЬНЫЕ
ДЛЯ ОДНОРОГИХ КРЮКОВ

ТИПЫ И РАЗМЕРЫ

ИПК ИЗДАТЕЛЬСТВО СТАНДАРТОВ

Москва

МЕЖГОСУДАРСТВЕННЫЙ СТАНДАРТ

ЗАМКИ ПРЕДОХРАНИТЕЛЬНЫЕ ДЛЯ ОДНОРОГИХ КРЮКОВ

Типы и размеры

Safely locks for single hooks.
Type and dimensions

ГОСТ
12840-80

Дата введения 01.01.81

1. Настоящий стандарт распространяется на предохранительные замки для однорогих кованых и штампованных крюков климатического исполнения У по ГОСТ 15150, применяемых в грузоподъемных машинах общего назначения.

Стандарт не распространяется на предохранительные замки для крюков, предназначенных для работы во взрывоопасной среде, а также для грузоподъемных машин специального назначения.

2. Предохранительные замки должны быть изготовлены следующих типов:

1 - замки пружинного замыкания;

2 - замки, замыкающиеся под действием собственной массы.

3. Присоединительные размеры замка типа 1 к крюку по ГОСТ 6627 (исполнение 2) должны соответствовать указанным на черт. 1 и в табл. 1.

Таблица 1

мм

Номер замка

Координаты центра отверстия

Диаметр отверстия крюка d

Н14

Н±1

Н1±1

1

26

9

4

2

28

3

31

10

4

35

12

5

5

38

6

42

15

6

7

48

8

56

18

8

9

60

21

10

65

11

78

25

10

12

82

28

13

92

32

12

14

105

35

Примечание. Номера замков соответствуют номерам крюков по ГОСТ 6627.

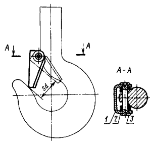
1 - защелка; 2 - пружина; 3 - штифт

Черт. 1

Примечание. Чертеж не определяет конструкцию замка.

Пример условного обозначения предохранительного замка номер 7 типа 1:

Замок 7-1 ГОСТ 12840-80

4. Присоединительные размеры замка типа 2 к крюку в случае сверления его хвостовика должны соответствовать указанным на черт. 2 и в табл. 2.

1 - скоба; 2 - штифт

Черт. 2

Примечание. Чертеж не определяет конструкцию замка.

Таблица 2

мм

Номер замка

Координаты центра отверстия Н

Диаметр отверстия крюка d. H14

Номер замка

Координаты центра отверстия Н

Диаметр отверстия крюка d. H14

Номин.

Пред. откл.

Номин.

Пред. откл.

1

25

±1,0

3

14

105

±1,5

10

2

26

15

120

3

30

16

130

4

32

17

150

12

5

38

4

18

165

6

42

19

190

7

48

20

210

16

8

55

6

21

240

9

60

22

260

10

75

8

23

300

20

11

80

24

330

12

85

25

370

13

95

26

410

Примечание. Номера замков соответствуют номерам крюков по ГОСТ 6627.

Пример условного обозначения предохранительного замка номер 7 типа 2:

Замок 7-2 ГОСТ 12840-80

Примеры конструкций предохранительных замков приведены в приложении.

ПРИЛОЖЕНИЕ

Рекомендуемое

КОНСТРУКЦИИ ПРЕДОХРАНИТЕЛЬНЫХ ЗАМКОВ ДЛЯ ОДНОРОГИХ КРЮКОВ

1. Пример конструкции и размеры предохранительных замков типа 1 приведены на черт. 1-3 и в табл. 1-3.

1 - защелка; 2 - пружина; 3 - штифт

Черт. 1

Таблица 1

Номер замка

Sa, мм

Масса, г

Дет. 1

Дет. 2

Дет. 3 по ГОСТ 10774-80

1

12

13

1-1/1

1-1/2

4h11´25

2

14

16

2-1/1

3

16

18

3-1/1

4h11´30

4

19

31

4-1/1

4-1/2

5h11´36

5

21

35

5-1/1

6

23

45

6-1/1

6-1/2

6h11´36

7

27

49

7-1/1

8

30

81

8-1/1

8-1/2

8h11´45

9

33

87

9-1/1

8h11´50

10

37

104

10-1/1

11

41

183

11-1/1

11-1/2

10h11´55

12

47

205

12-1/1

10h11´60

13

51

294

13-1/1

14-1/2

12h11´70

14

62

321

14-1/2

(Измененная редакция, Изм. № 2).

1.1. Конструкция и размеры защелки указаны на черт. 2 и в табл. 2.

Деталь 1. Защелка

Черт. 2

Пример условного обозначения защелки для замка номер 7 типа 1:

Защелка 7-1/1 ГОСТ 12840-80

Таблица 2

мм

Обозначение

b+1

d

H14

L

l1

l2

l3

l4

l5

l6

S

r

r1

Масса, г

1-1/1

18

4

26

8

6

18

37

4

7

1,5

1,5-3,0

4

10,5

2-1/1

28

13,0

3-1/1

22

31

22

41

15,0

4-1/1

24

5

35

10

8

24

48

5

9

2,0

2,0-4,0

 

26,0

5-1/1

38

29,0

6-1/1

28

6

43

12

10

28

54

6

6

36,5

7-1/1

48

41,0

8-1/1

35

8

58

16

12

35

69

8

11

8,0

63,0

9-1/1

40

40

74

67,0

10-1/1

62

84,0

11-1/1

45

10

75

20

15

45

87

10

14

3,0

3,0-5?0

10

152,0

12-1/1

50

78

50

92

167,0

13-1/1

60

12

92

24

60

110

12

16

12

235,5

14-1/1

102

262,0

Пример условного обозначения защелки для замка номер 7 типа 1:

Защелка 7-1/1 ГОСТ 12840-80

1.2. Материал защелки - листовая сталь но ГОСТ 19903 и ГОСТ 19904.

1.3. Отклонение от соосности отверстий защелки - не более 0,25 мм.

1.4. Конструкция и размеры пружины указаны на черт. 3 и в табл. 3.

Деталь 2. Пружина

Черт. 3

Таблица 3

Размеры в мм

Обозначение

D1

d

H0

b

+1

l

±1

l1

+2

t

Масса, г

1-1/2

7

0,8

22

9

8

18

2

0,6

4-1/2

8

25

12

25

0,8

6-1/2

9

1,0

32

12

10

32

3

1,4

8-1/2

11

39

20

12

45

1,7

11-1/2

13

1,2

50

25

14

50

4

3,1

14-1/2

15

60

35

16

3,7

Пример условного обозначения защелки для замка номер 7 типа 1:

Пружина 6-1/2 ГОСТ 12840-80

1.5. Материал пружины - стальная углеродистая пружинная проволока 1-го класса нормальной точности по ГОСТ 9389.

2. Пример конструкции и размеры предохранительных замков типа 2 приведены на черт. 4-6 и в табл. 4-6.

* Размер для справок.

1 - скоба; 2 - штифт

Черт. 4

Таблица 4

Номер замка

Sа

Sb

Масса, кг, не более

Дет. 1

Дет. 2

Заклепка по ГОСТ 10299, ГОСТ 10304

Штифт

мм

по ГОСТ 10774

по черт. 6

1

13

2

0,03

1-2/1

-

3h11´30

-

2

15

2-2/1

3

16

3-2/1

3´36.00

-

4

20

5

0,04

4-2/1

5

22

5-2/1

6

24

0,08

6-2/1

-

4h11´40

7

28

7

0,09

7-2/1

8

30

0,22

8-2/1

6h11´55

9

34

0,24

9-2/1

10

38

0,28

10-2/1

11

42

0,46

11-2/1

8h11´70

12

45

10

0,52

12-2/1

8h11´80

13

50

0,58

13-2/1

14

60

15

1,06

14-2/1

10h11´90

15

66

1,20

15-2/1

10h11´100

16

73

1,23

16-2/1

17

75

2,37

17-2/1

12h11´120

18

90

20

2,63

18-2/1

19

100

2,97

19-2/1

12h11´140

20

110

5,61

20-2/1

16h11´160

21

120

6,59

21-2/1

16h11´180

22

130

22

7,16

22-2/1

16h11´200

23

150

12,31

23-2/1

-

23-2/2

24

170

25

13,61

24-2/1

24-2/2

25

190

35

15,07

25-2/1

25-2/2

26

200

40

16,50

26-2/1

26-2/2

Примечание. Номера замков соответствуют номерам крюков по ГОСТ 6627.

(Измененная редакция, Изм. № 2).

2.1. Конструкция и размеры скобы указаны на черт. 5 и в табл. 5.

Деталь 1. Скоба

Черт. 5

Таблица 5

мм

Обозначение

L

l

B

D

d

H14

r

±2,0

r1

±2,0

r2

h

h1

К

не

более

S

Масса, кг

не более

Н16

1-2/1

48

22

17

4

3

8

9

3

7

3

2

2

0,02

2-2/1

52

23

0,03

3-2/1

55

27

20

11

4-2/1

65

22

6

10

12

9

3

0,04

5-2/1

70

32

6-2/1

80

36

28

4

15

4

10

5

0,08

7-2/1

95

40

0,09

8-2/1

105

48

34

10

6

14

18

6

16

8

3

5

0,21

9-2/1

115

51

38

20

0,23

10-2/1

130

65

0,27

11-2/1

140

68

45

12

8

20

24

8

20

9

6

0,43

12-2/1

160

72

50

26

0,49

13-2/1

180

83

58

30

0.55

14-2/1

200

87

62

16

10

24

32

10

26

12

4

8

1,01

15-2/1

230

102

70

36

1,14

16-2/1

250

112

72

40

1,17

17-2/1

290

135

90

20

12

30

48

12

32

15

5

10

2,26

18-2/1

330

140

92

50

2,27

19-2/1

370

165

105

55

2,85

20-2/1

410

185

120

26

16

40

63

16

42

20

6

12

5,38

21-2/1

470

215

135

70

6,32

22-2/1

520

235

150

80

6,86

23-2/1

600

270

175

32

20

50

90

20

52

24

8

16

11,78

24-2/1

670

295

195

95

13,06

25-2/1

750

330

220

40

110

60

32

23,00

26-2/1

800

370

230

115

25,00

Пример условного обозначения скобы для замка номер 7 типа 2:

Скоба - 7-2/1 ГОСТ 12840-80

Примечание. Допускается увеличение диаметра D на 20 % по сравнению с указанным в таблице.

(Измененная редакция, Изм. № 1).

2.2. Косынка должна быть приварена по контуру прилегания электродами типа Э-42 по ГОСТ 9467.

2.3. Допускается цельноштампованный вариант изготовления скобы (штамповку скобы и косынки производить одновременно из круга), а также изготовление скобы методом точного литья.

2.4. Допускается изготовлять скобу без разъема и из нескольких частей с заваркой стыков электродами типа Э-42 по ГОСТ 9467.

2.5. Допускается увеличивать размер l до полного перекрытия зева крюка.

2.6. Отклонение от соосности отверстий - не более 0,25 мм.

2.7. Отклонение от перпендикулярности осей отверстий относительно плоскости симметрии скобы - не более 1,0 мм.

2.8. Материал скобы - горячекатаная круглая сталь по ГОСТ 2590 или калиброванная круглая сталь по ГОСТ 7417.

2.9. Материал косынки - сталь листовая по ГОСТ 19903 и ГОСТ 19904.

2.10. Конструкция и размеры штифтов для замков номеров 23-26 указаны на черт. 6 и в табл. 6.

Деталь 2. Штифт

Черт. 6

Обозначение

L, мм

Масса, кг

23-2/2

230

0,53

24-2/2

240

0,55

25-2/2

265

0,61

26-2/2

275

0,63

Пример условного обозначения штифта для замка номер 23 типа 2:

Штифт 23-2/2 ГОСТ 12840-80

2.11. Штифты должны быть изготовлены из стали марки 45 по ГОСТ 1050 без покрытия.

По требованию потребителя должно производиться антикоррозионное покрытие штифтов.

(Измененная редакция, Изм. № 1).

2.12. Допускается заменять штифты заклепками по ГОСТ 10299 и ГОСТ 10304.

2.13. При необходимости полного перекрытия зева крюка без потерь проходного размера и при наличии свободного места на хвостовой части крюка на крюках типа А по ГОСТ 6627 допускается укреплять замки при помощи хомута.

3. Предельные отклонения размеров, не указанные на чертежах, должны быть: охватывающих - по Н14; охватываемых - h14; прочих - по ±.

(Измененная редакция. Изм. № 1).

4. Предельные отклонения масс, указанных в табл. 1-6 - не более 10 %.

ИНФОРМАЦИОННЫЕ ДАННЫЕ

1. РАЗРАБОТАН И ВНЕСЕН Министерством тяжелого машиностроения СССР

РАЗРАБОТЧИКИ

А.С. Липатов, Н.И. Ивашков, Н.М. Колпаков

2. УТВЕРЖДЕН И ВВЕДЕН В ДЕЙСТВИЕ Постановлением Государственного комитета СССР по стандартам от 31.01.80 № 491

3. ВЗАМЕН ГОСТ 12840-73

4. ССЫЛОЧНЫЕ НОРМАТИВНО-ТЕХНИЧЕСКИЕ ДОКУМЕНТЫ

Обозначение НТД, на который дана ссылка

Номер пункта, приложения

ГОСТ 1050-88

Приложение (п. 2.11)

ГОСТ 2590-88

Приложение (п. 2.8)

ГОСТ 6627-74

3, приложение (пп. 2, 2.13)

ГОСТ 7417-75

Приложение (п. 2.8)

ГОСТ 9389-75

Приложение (п. 1.5)

ГОСТ 9467-75

Приложение (пп. 2.2, 2.4)

ГОСТ 10299-80

Приложение (пп. 2, 2.12)

ГОСТ 10304-80

Приложение (пп. 2, 2.12)

ГОСТ 10774-80 ГОСТ 15150-69

Приложение (пп. 2, 2.1)

ГОСТ 19903-74

Приложение (пп. 1.2, 2.9)

ГОСТ 19904-90

Приложение (пп. 1.2, 2.9)

5. Снято ограничение срока действия Постановлением Госстандарта от 25.07.90 № 2262

6. ПЕРЕИЗДАНИЕ (декабрь 1998 г.) с Изменениями № 1, 2, утвержденными в марте 1982 г., июле 1990 г. (ИУС 7-82, 11-90)




Rambler's Top100 Яндекс цитирования
  Copyright © 2008-2026, www.docload.ru