Бесплатная библиотека стандартов и нормативов www.docload.ru

Все документы, размещенные на этом сайте, не являются их официальным изданием и предназначены исключительно для ознакомительных целей.
Электронные копии этих документов могут распространяться без всяких ограничений. Вы можете размещать информацию с этого сайта на любом другом сайте.
Это некоммерческий сайт и здесь не продаются документы. Вы можете скачать их абсолютно бесплатно!
Содержимое сайта не нарушает чьих-либо авторских прав! Человек имеет право на информацию!

 

ГОСУДАРСТВЕННЫЙ СТАНДАРТ СОЮЗА ССР

КРЮКИ ПЛАСТИНЧАТЫЕ
ОДНОРОГИЕ И ДВУРОГИЕ

Технические условия

ГОСТ 6619-75

ГОСУДАРСТВЕННЫЙ КОМИТЕТ СССР ПО СТАНДАРТАМ

Москва

ГОСУДАРСТВЕННЫЙ СТАНДАРТ СОЮЗА ССР

КРЮКИ ПЛАСТИНЧАТЫЕ ОДНОРОГИЕ И ДВУРОГИЕ

Технические условия

Single and double herned lamellar hooks.
Specifications

ГОСТ
6619-75

Взамен
ГОСТ 6619-65

Постановлением Государственного комитета стандартов Совета Министров СССР от 14 ноября 1975 г. № 3140 срок введения установлен

с 01.01.77

Несоблюдение стандарта преследуется по закону

Настоящий стандарт распространяется на однорогие и двурогие пластинчатые крюки, применяемые в грузоподъемных машинах и механизмах.

Стандарт не распространяется на крюки судовых грузоподъемных устройств, в том числе плавучих кранов, находящихся под техническим надзором Морского Регистра СССР.

Требования настоящего стандарта являются обязательными.

(Измененная редакция, Изм. № 1).

1. ТИПЫ. ОСНОВНЫЕ ПАРАМЕТРЫ И РАЗМЕРЫ

1.1. Пластинчатые крюки должны изготовляться следующих типов:

1 - однорогие грузоподъемностью от 40 до 315 т включительно, предназначенные для литейных кранов;

2 - двурогие грузоподъемностью от 80 до 320 т включительно, предназначенные для кранов общего назначения.

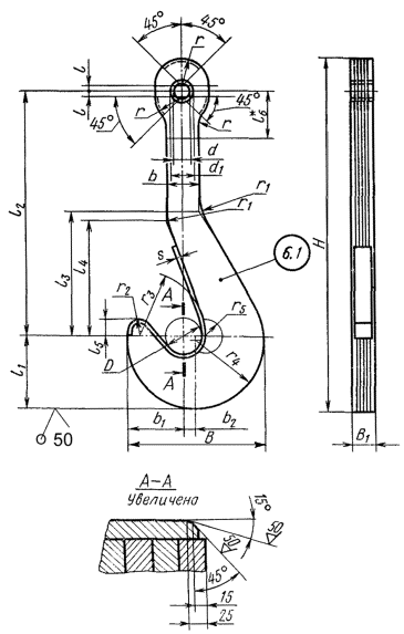
1.2. Основные параметры и размеры крюков типа 1 должны соответствовать указанным на черт. 1 и в табл. 1; типа 2 - на черт. 2 и в табл. 2.

(Измененная редакция, Изм. № 1).

1.3. (Исключен, Изм. № 1).

Тип 1

Черт. 1

(Измененная редакция, Изм. № 1).

Примечания:

1. Количество и толщина пластин, диаметр заклепок и их количество, размеры и конструкция вкладышей стандартом не устанавливаются.

2. Допускаемое отклонение размера B1 не должно превышать суммы допускаемых отклонений толщин пластин более чем на 3 мм.

3. Длину втулки в проушине крюка уточнить по фактической величине размера B1.

4. l6 = 1,5d1 (расстояние от оси проушины до границы расположения заклепок).

(Измененная редакция, Изм. № 1).


Таблица 1

Размеры в мм

Номер крюка

D

Н

В

B1

S

d

d1

b

b1

b2

l

l1

l2

l3

l4

l6

r

r1

r2

r3

r4

r5

Масса крюка, кг, не более

1

250

2400

850

140

30

125

150

180

345

80

30

440

1750

800

730

125

180

800

85

365

425

120

950

2

280

2710

1070

160

140

170

220

430

105

40

560

1900

980

880

140

210

1000

100

500

535

1600

3

350

3115

1200

160

190

280

460

140

615

2200

1000

900

175

260

120

600

150

1970

4

390

3360

1360

180

190

230

300

515

165

50

710

2300

1250

1100

190

300

1100

600

680

2800

5

400

3515

1420

190

195

235

310

535

175

735

2420

1310

1140

195

310

1140

130

610

710

3300

6

420

3745

1500

200

200

240

320

560

190

775

2600

1400

1200

200

320

1200

140

630

750

4020

7

430

4135

1700

220

260

400

600

250

60

925

2800

1500

1300

210

350

1300

150

670

850

4960

8

450

4435

1880

240

280

450

670

270

975

3000

1600

1400

225

400

1360

180

700

940

6100

9

470

4620

1900

240

250

300

700

250

70

1000

3150

1650

1450

230

1400

200

730

950

7470

10

4935

2060

260

310

475

750

280

75

1070

3350

1750

1550

235

440

1500

220

1030

8700

11

500

5200

2180

250

280

340

520

800

290

80

1150

3500

1850

1650

250

470

1550

250

750

1090

10220

12

530

5485

2370

300

360

560

860

325

85

1220

3650

1950

1750

270

530

1700

 

775

1185

11900

13

560

5685

2500

275

320

380

580

925

90

1300

3750

2060

1900

280

545

1800

270

825

1250

14300

14

700

6080

2720

300

350

420

630

1060

300

100

1400

4000

2120

1950

360

580

1900

300

900

1360

17700


Пример условного обозначения крюка номер 5 типа 1:

Крюк 5-1 ГОСТ 6619-75

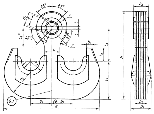
Тип 2

Черт. 2

(Измененная редакция, Изм. № 1).

Примечания:

1. Количество и толщина пластин, диаметр заклепок и их количество, размеры и конструкция вкладышей стандартом не устанавливаются.

2. Допускаемое отклонение размера b4 не должно превышать суммы допускаемых отклонений толщин пластин более чем на 3 мм.

3. Длину втулки в проушине крюка уточнить по фактической величине размера b4.

4. l4 = 1,5d1 (линия ограничения заклепок).

(Измененная редакция, Изм. № 1).


Таблица 2

Размеры в мм

Номер крюка

В

B1

Н

b

b1

b2

b3

b4

d

d1

l

l1

l2

l3

r

r1

r2

r3

Масса крюка, кг, не более

1

1250

270

1170

200

275

80

170

150

150

170

20

500

180

450

200

125

175

350

1060

2

1300

1300

160

180

550

200

500

230

375

1230

3

1400

300

1410

230

315

100

200

180

180

200

600

 

540

250

150

200

385

1680

4

1500

320

1545

250

350

120

220

200

200

220

30

670

200

575

270

175

225

400

2150

5

1800

1830

300

400

150

220

250

820

250

665

315

200

250

500

3170

6

2000

345

2080

350

450

170

245

225

250

280

900

300

800

350

225

275

550

4200

7

2250

360

2330

400

475

180

260

240

300

350

50

1030

350

850

400

650

5600

Пример условного обозначения крюка номер 5 типа 2:

Крюк 5-2 ГОСТ 6619-75


2. ТЕХНИЧЕСКИЕ ТРЕБОВАНИЯ

2.1. Пластинчатые крюки должны изготовляться в соответствии с требованиями настоящего стандарта по рабочим чертежам, утвержденным в установленном порядке.

2.2. Детали крюков (кроме втулок) должны быть изготовлены из материалов, выбранных в соответствии с РД 24.090.52-90.

Втулки должны быть изготовлены из стали марок 40, 45 по ГОСТ 1050-88; 40Х и 40ХН по ГОСТ 4543-71.

(Измененная редакция, Изм. № 1).

2.3. Отклонение вертикальной оси пластин от направления продольных волокон проката не должно быть более 20°.

(Измененная редакция, Изм. № 1).

2.4. Толщина пластин крюка должна быть не менее 20 и не более 60 мм. В случае применения пластин разной толщины их следует расположить симметрично относительно средней пластины крюка.

2.5. Поверхности пластин должны быть чистыми, без заусенцев, острых углов, плен, волосовин, трещин.

Примечание. Допускается обработку крюка по контуру не производить, если пластины вырезаны автоматической газовой резкой по точному копиру, соответствующему исполнительным размерам крюка.

2.6. Заклепки должны быть расположены на поверхности крюка ниже условной линии, проходящей на расстоянии l6 от оси проушины (черт. 1) - для крюков типа 1, и на расстоянии l4 (черт. 2) - для крюков типа 2.

Расположение заклепок в зоне радиуса r5 (черт. 1) для крюков типа 1 и на расстоянии менее 60 мм от края пластин - для крюков обоих типов не допускается.

Склепка пластин должна быть выполнена до сварки.

(Измененная редакция, Изм. № 1).

2.7. Перед склепкой каждая из пластин должна быть отрихтована.

2.8. Сварку пластин в местах, указанных на черт. 1 и 2 пунктиром, (за исключением пунктиров в зоне установки вкладышей - черт. 2) проводить согласно РД 24.090.52-90.

Типы и конструктивные элементы швов сварных соединений по ГОСТ 5264-80.

(Измененная редакция, Изм. № 1).

2.9. Втулка в отверстие проушины крюка должна быть запрессована.

2.10. Отклонение оси отверстия проушины и поверхности зева в месте расположения вкладыша от перпендикулярности по отношению к плоскости наружной пластины крюка должно быть не более 0,5 мм на 100 мм толщины крюка.

(Измененная редакция, Изм. № 1).

2.11. (Исключен, Изм. № 1).

2.12. (Исключен, Изм. № 1).

2.13. Крюк должен быть окрашен в черный цвет. Внешний вид поверхности покрытия должен соответствовать IV классу по ГОСТ 9.032-74.

2.14. Срок службы крюков до списания - 8 лет.

2.15. Грузоподъемность крюков должна соответствовать величинам, указанным в обязательном приложении.

3. ТРЕБОВАНИЯ БЕЗОПАСНОСТИ

3.1. (Исключен, Изм. № 1).

3.2. (Исключен, Изм. № 1).

3.3. По требованию потребителя крюки типа 2 должны быть оснащены предохранительными замками.

(Измененная редакция, Изм. № 1).

4. ПРАВИЛА ПРИЕМКИ

4.1. Для проверки соответствия крюков требованиям настоящего стандарта предприятие-изготовитель должно проводить приемосдаточные испытания.

(Измененная редакция, Изм. № 1).

4.2. При приемосдаточных испытаниях каждый крюк проверяется на соответствие требованиям пп. 1.2, 2.4-2.7 и 2.10. Кроме того, каждый крюк должен быть испытан на прочность статической нагрузкой, превышающей его номинальную грузоподъемность на 25 %.

Соответствие требованиям п. 2.2 должно быть подтверждено сертификатами на металл.

(Измененная редакция, Изм. № 1).

4.3. Требования пп. 2.3 и 2.9 должны быть обеспечены технологией изготовителя и проверке при испытаниях не подлежат.

(Введен дополнительно, Изм. № 1).

5. МЕТОДЫ ИСПЫТАНИЙ

5.1. Проверку размеров крюков (пп. 1.2, 2.4, 2.6 и 2.10) следует проводить измерительным инструментом.

(Измененная редакция, Изм. № 1).

5.1а. Проверку качества поверхности пластин (п. 2.5) следует проводить визуально и одним из методов неразрушающего контроля по ГОСТ 18353-79.

(Введен дополнительно, Изм. № 1).

5.2. Контроль качества швов сварных соединений (п. 2.8) следует проводить внешним осмотром по ГОСТ 3242-79.

5.3. Испытание крюка на прочность статической нагрузкой (п. 4.2) следует проводить в течение 10 мин. После снятия нагрузки на крюке не должно быть трещин, надрывов и остаточных деформаций. Отсутствие трещин и надрывов проверяют визуально - оптическим методом с помощью лупы, имеющей увеличение не менее четырехкратного. Отсутствие остаточных деформаций следует определять до и после испытаний измерением расстояния между двумя отметками, нанесенными кернером на носике и на стержне крюка.

(Измененная редакция, Изм. № 1).

5.4. Допускается совмещать испытание крюков на прочность с испытанием грузоподъемных механизмов, для которых они предназначены, при соблюдении требований п. 5.3.

5.5. Проверку крюков на соответствие внешнего вида поверхности покрытия (п. 2.13) следует проводить внешним осмотром.

6. МАРКИРОВКА, УПАКОВКА, ТРАНСПОРТИРОВАНИЕ И ХРАНЕНИЕ

6.1. На каждом крюке должны быть нанесены:

наименование или товарный знак предприятия-изготовителя;

грузоподъемность и порядковый номер крюка по системе нумерации предприятия-изготовителя;

год и месяц выпуска;

обозначение настоящего стандарта.

6.2. Обработанное отверстие в проушине крюка должно быть покрыто тонким слоем антикоррозионной смазки по ГОСТ 1033-79, или ГОСТ 1957-73 и зашито досками по ГОСТ 24454-80.

(Измененная редакция, Изм. № 1).

6.3. Хранение крюков - по группе условий хранения Ж1 ГОСТ 15150-69.

6.4. Крюки транспортируют неупакованными в открытых и крытых транспортных средствах в соответствии с правилами перевозки грузов, действующими на транспорте данного вида. Допускается транспортирование в контейнерах. Условия транспортирования в открытых транспортных средствах ОЖЗ, в крытых транспортных средствах - ОЖ4 по ГОСТ 15150-69.

(Измененная редакция, Изм. № 1).

6.5. Каждый крюк или партия крюков должны сопровождаться документом, устанавливающим соответствие крюков требованиям настоящего стандарта и содержащим:

тип и номер крюка по табл. 1 и 2;

наименование или товарный знак предприятия-изготовителя;

число крюков в партии;

год и месяц выпуска;

сертификаты материалов;

результаты проверок и испытаний;

обозначение настоящего стандарта.

(Измененная редакция, Изм. № 1).

7. ГАРАНТИИ ИЗГОТОВИТЕЛЯ

7.1. Изготовитель должен гарантировать соответствие крюков требованиям настоящего стандарта при соблюдении потребителем условий хранения и эксплуатации, установленных настоящим стандартом и «Правилами устройства и безопасной эксплуатации грузоподъемных кранов Госгортехнадзора СССР», утвержденных 30 декабря 1969 г.

7.2. Гарантийный срок - 24 месяца со дня ввода крюка в эксплуатацию.

ПРИЛОЖЕНИЕ
Обязательное

НАИБОЛЬШАЯ ГРУЗОПОДЪЕМНОСТЬ КРЮКОВ ТИПА 1

Номер крюка

Для механизмов групп режима работы 5М и 6М по ГОСТ 25835-83

1

40

2

50

3

70

4

90

5

100

6

115

7

140

8

160

9

180

10

200

11

225

12

250

13

280

14

315

НАИБОЛЬШАЯ ГРУЗОПОДЪЕМНОСТЬ КРЮКОВ ТИПА 2

Номер крюка

Для механизмов групп режима работы по ГОСТ 25835-83

до 4М

5М и 6М

1

80

63

2

100

80

3

125

100

4

160

125

5

200

160

6

250

200

7

320

250

(Измененная редакция, Изм. № 1).

СОДЕРЖАНИЕ

 




Rambler's Top100 Яндекс цитирования
  Copyright © 2008-2026, www.docload.ru