|
|
ГОСТ 8.570-2000 МЕЖГОСУДАРСТВЕННЫЙ СТАНДАРТ Государственная система
обеспечения РЕЗЕРВУАРЫ СТАЛЬНЫЕ Методика поверки МЕЖГОСУДАРСТВЕННЫЙ СОВЕТ ПО
СТАНДАРТИЗАЦИИ, Минск Предисловие 1 РАЗРАБОТАН Государственным
научным метрологическим центром - Всероссийским научно-исследовательским
институтом расходометрии (ГНМЦ - ВНИИР) Госстандарта России ВНЕСЕН Госстандартом России 2 ПРИНЯТ Межгосударственным
Советом по стандартизации, метрологии и сертификации (протокол № 17 от 22 июня
2000 г.) За принятие проголосовали:
3 В стандарте полностью
учтены требования международной рекомендации МОЗМ Р-71 4 Постановлением Государственного комитета
Российской Федерации по стандартизации и метрологии от 23 апреля 2001 г. №
185-ст межгосударственный стандарт ГОСТ 8.570-2000 введен в действие
непосредственно в качестве государственного стандарта Российской Федерации с 1
января 2002 г. 5 ВЗАМЕН МИ 1823-87 СОДЕРЖАНИЕ ГОСТ 8.570-2000 МЕЖГОСУДАРСТВЕННЫЙ
СТАНДАРТ Государственная система
обеспечения единства измерений РЕЗЕРВУАРЫ СТАЛЬНЫЕ
ВЕРТИКАЛЬНЫЕ ЦИЛИНДРИЧЕСКИЕ Методика поверки State system for ensuring the uniformity of measurements. Дата введения 2002-01-01 1 Область примененияНастоящий стандарт
распространяется на стальные вертикальные цилиндрические резервуары (далее -
резервуары) номинальной вместимостью от 100 до 50000 м3,
предназначенные для проведения государственных учетных и торговых операций с
нефтью и нефтепродуктами и их хранения, а также взаимных расчетов между
поставщиком и потребителем, и устанавливает методику первичной и периодической
поверок. 2 Нормативные ссылкиВ настоящем стандарте
использованы ссылки на следующие стандарты: ГОСТ
12.0.004-90 Система стандартов безопасности труда. Организация обучения
безопасности труда. Общие положения ГОСТ
12.1.005-88 Система стандартов безопасности труда. Общие
санитарно-гигиенические требования к воздуху рабочей зоны ГОСТ 12.1.011-781)
Система стандартов безопасности труда. Смеси взрывоопасные. Классификация и
методы испытаний 1) На территории Российской Федерации действуют ГОСТ Р 51330.2-99, ГОСТ Р 51330.5-99, ГОСТ Р 51330.11-99, ГОСТ Р 51330.19-99. ГОСТ 12.4.099-80 Комбинезоны
женские для защиты от нетоксичной пыли, механических воздействий и общих
производственных загрязнений. Технические условия ГОСТ 12.4.100-80 Комбинезоны
мужские для защиты от нетоксичной пыли, механических воздействий и общих
производственных загрязнений. Технические условия ГОСТ 12.4.131-83 Халаты
женские. Технические условия ГОСТ 12.4.132-83 Халаты
мужские. Технические условия ГОСТ 166-89 (ИСО 3599-76).
Штангенциркули. Технические условия ГОСТ 427-75
Линейки измерительные металлические. Технические условия ГОСТ
2405-88 Манометры, вакуумметры, мановакуумметры, напоромеры, тягомеры и
тягонапоромеры. Общие технические условия ГОСТ 2517-85 Нефть и
нефтепродукты. Методы отбора проб ГОСТ 2874- 822)
Вода питьевая. Гигиенические требования и контроль за качеством 2) На территории Российской Федерации действует ГОСТ Р 51232-98. ГОСТ 3900-85 Нефть и нефтепродукты.
Методы определения плотности ГОСТ 7502-98
Рулетки измерительные металлические. Технические условия ГОСТ 8509-93
Уголки стальные горячекатаные равнополочные. Сортамент ГОСТ 10528-90 Нивелиры. Общие
технические условия ГОСТ 10529-96 Теодолиты. Общие
технические условия ГОСТ 13837-79 Динамометры
общего назначения. Технические условия ГОСТ 18481-81 Ареометры и
цилиндры стеклянные. Общие технические условия ГОСТ
28498-90 Термометры жидкостные стеклянные. Общие технические требования.
Методы испытаний 3 ОпределенияВ настоящем стандарте
применяются следующие термины с соответствующими определениями: 3.1 поверка резервуара:
Совокупность операций, выполняемых организациями национальной (государственной)
метрологической службы или аккредитованными на право поверки метрологическими
службами юридических лиц с целью определения вместимости и градуировки
резервуара, составления и утверждения градуировочной таблицы. Градуировочная таблица -
зависимость вместимости от уровня наполнения резервуара при нормированном
значении температуры. Таблицу прилагают к свидетельству о поверке резервуара и
применяют для определения объема жидкости в нем. 3.2 резервуар
вертикальный стальной: Стальной сосуд в виде стоящего цилиндра с днищем,
стационарный с кровлей или плавающей крышей, применяемый для хранения и
измерений объема жидкостей. 3.3 плавающее покрытие:
Плавающая крыша (или понтон), находящаяся внутри резервуара на поверхности
жидкости, предназначенная для сокращения потерь ее от испарения и исключения
возможности возникновения взрыва и пожара. 3.4 градуировка
резервуара: Операция по установлению зависимости вместимости резервуара от
уровня его наполнения, выполняемая организациями национальной (государственной)
метрологической службы или аккредитованными на право поверки метрологическими
службами юридических лиц при выпуске из производства, после ремонта и при эксплуатации. 3.5 вместимость
резервуара: Внутренний объем резервуара, который может быть наполнен
жидкостью до определенного уровня. 3.6 номинальная
вместимость резервуара: Вместимость резервуара, соответствующая
максимальному уровню наполнения его, установленная нормативным документом на
вертикальный резервуар конкретного типа. 3.7 действительная
(фактическая) вместимость резервуара: Вместимость резервуара, установленная
при его поверке. 3.8 дозовая вместимость
резервуара: Объем жидкости в резервуаре, соответствующий уровню налитых в
него доз жидкости. 3.9 посантиметровая
вместимость резервуара: Объем жидкости в резервуаре, соответствующий уровню
налитых в него доз жидкости, приходящихся на 1 см высоты наполнения. 3.10 коэффициент
вместимости: Вместимость приходящаяся на 1 мм высоты наполнения. 3.11 точка касания днища
грузом рулетки: Точка на днище резервуара или на опорной плите (при
наличии), которой касается груз измерительной рулетки при измерении базовой
высоты резервуара и от которой проводят измерение уровня нефти и нефтепродуктов
и воды при эксплуатации резервуара. Она является исходной точкой при
составлении градуировочной таблицы резервуара. 3.12 базовая высота
резервуара: Расстояние по вертикали от точки касания днища грузом рулетки
до верхнего края измерительного люка или до риски направляющей планки
измерительного люка 3.13 уровень жидкости
(высота наполнения): Расстояние по вертикали между свободной поверхностью
жидкости, находящейся в резервуаре, и плоскостью, принятой за начало отсчета. 3.14 исходный уровень:
Уровень жидкости в резервуаре, отсчитываемый с уровня, соответствующего высоте
«мертвой» полости. 3.15 «мертвая» полость
резервуара: Нижняя часть резервуара, из которой нельзя выбрать жидкость,
используя приемно-раздаточный патрубок. 3.16 «мертвый» остаток:
Объем жидкости, находящейся в «мертвой» полости резервуара. 3.17 поверочная жидкость:
Жидкость, применяемая при поверке резервуара объемным методом. В качестве
поверочной жидкости применяют: воду по ГОСТ
2874, нефть и светлые нефтепродукты (далее - нефтепродукты). Параметры поверочной
жидкости должны соответствовать требованиям 5.3.2.4, 5.3.2.5. 3.18 жидкость при
хранении: Жидкость, для хранения которой предназначен поверяемый резервуар. 3.19 степень наклона
резервуара: Величина h, выражаемая через тангенс
угла наклона, рассчитываемая по формуле h = tg b, где b - угол наклона резервуара в градусах. 3.20 геометрический метод
поверки резервуара: Метод поверки резервуара, заключающийся в определении
вместимости резервуара по результатам измерений его геометрических параметров. 3.21 объемный
динамический метод поверки резервуара: Метод поверки, заключающийся в
определении вместимости резервуара путем непрерывного наполнения его поверочной
жидкостью и одновременных измерениях уровня, объема и температуры поверочной
жидкости для каждого изменения уровня на 1 см (10 мм). 3.22 объемный статический
метод поверки резервуара: Метод поверки, заключающийся в определении
вместимости резервуара путем наполнения его отдельными дозами поверочной
жидкости и одновременных измерениях уровня, объема и температуры поверочной
жидкости для каждого изменения уровня в пределах от 10 до 40 мм. 3.23 государственные
учетная и торговая операции, взаимные расчеты между поставщиком и потребителем:
Операции, проводимые между поставщиком и потребителем, заключающиеся в
определении объема или массы нефти и нефтепродуктов для последующих учетных
операций, а также при арбитраже. 3.24 учет нефти и
нефтепродуктов при хранении: Операция, проводимая на предприятии, во время
технологического процесса, заключающаяся в определении объема и массы нефти и
нефтепродуктов для последующих учетных операций. 4 Требования к выбору метода поверки4.1 Поверку резервуара
проводят геометрическим или объемным (динамическим или статическим) методом.
Допускается комбинация геометрического и объемного (статического или
динамического) методов поверки, динамического и статического при объемном
методе поверки. 4.2 При геометрическом
методе поверки резервуара вместимость первого пояса определяют по результатам
измерений длины наружной окружности, толщины стенки и высоты первого пояса.
Вместимости вышестоящих поясов определяют по результатам измерений радиальных
отклонений образующих от вертикали, толщин стенок и их высот. 4.3 При объемном методе
поверки резервуара вместимость определяют путем непосредственных измерений уровня
поверочной жидкости, поступившей в резервуар, с одновременными измерениями ее
температуры и объема, соответствующих измеренному уровню. 5 Технические требования5.1 Требования к погрешности измерений параметров резервуаров5.1.1 Пределы допускаемой погрешности
измерений параметров резервуара приведены в таблице 1 - при геометрическом
методе поверки; таблице
2 - при объемном методе поверки. Таблица 1
Таблица 2
5.1.2 При соблюдении указанных
в таблицах 1
и 2
пределов допускаемой погрешности измерений погрешность определения вместимости
резервуара должна находиться в пределах: при геометрическом методе: ± 0,2 % - для резервуаров номинальной
вместимостью от 100 до 3000 м3; ± 0,15 % - » » » » 4000 м3; ± 0,1 % - » » » » от
5000 до 50000 м3; при объемном методе - ± 0,2 %. 5.1.3 Значение погрешности
измерения вместимости резервуара приводят на титульном листе градуировочной
таблицы. 5.2 Требования по применению основных и вспомогательных средств поверки5.2.1 При поверке
резервуаров геометрическим методом применяют следующие средства поверки: 5.2.1.1 Рулетки
измерительные 2-го класса точности с верхними пределами измерений 10; 20 и 30 м
по ГОСТ 7502. 5.2.1.2 Рулетки
измерительные с грузом 2-го класса точности с верхними пределами измерений 10 и
20 м по ГОСТ 7502. 5.2.1.3 Линейка
измерительная металлическая с диапазоном измерений 0-500 мм по ГОСТ
427. 5.2.1.4 Толщиномер
ультразвуковой с диапазоном измерений 0,6-30 мм и пределами допускаемой
погрешности ± 0,1 мм по [1]. 5.2.1.5 Динамометр с
диапазоном измерений 0-100 Н по ГОСТ 13837. 5.2.1.6 Термометр с ценой
деления 1 °С по ГОСТ
28498. 5.2.1.7 Ареометр с ценой
деления 0,5 кг/м3 по ГОСТ 18481. 5.2.1.8 Нивелир с рейкой по ГОСТ 10528. 5.2.1.9 Теодолит оптический
с ценой деления микроскопа 2" (угловые секунды) по ГОСТ 10529. 5.2.1.10 Штангенциркуль с
диапазоном измерений 0-125 мм по ГОСТ 166. 5.2.1.11 Скоба (рисунок А.1). 5.2.1.12 Магнитный держатель
(рисунок А.2). 5.2.1.13 Отвес с грузом
каретки (рисунок
А.2). 5.2.1.14 Каретка
измерительная (рисунок А.3 или рисунок А.4). 5.2.1.15 Приспособление для
подвески каретки (рисунок А.2 или рисунок А.5, или рисунок А.6). 5.2.1.16 Упорный угольник 90°. 5.2.1.17 Анемометр чашечный
типа МС-13 с диапазоном измерений от 1 до 20 м/с. 5.2.1.18 Вспомогательное
оборудование: чертилка, мел, шпатель, щетки (металлические), микрокалькулятор. 5.2.2 При поверке резервуара
объемным методом с применением эталонных уровнемера и счетчика жидкости (рисунок А.7)
применяют следующие средства поверки: 5.2.2.1 Эталонный уровнемер
(далее - уровнемер) с диапазоном измерений 0-12, 0-20 м и пределами допускаемой
погрешности ± 1 мм по [2]. 5.2.2.2 Эталонный счетчик
жидкости (далее - счетчик жидкости) с пределами допускаемой погрешности ± 0,05; ± 0,10; ± 0,15 %,
номинальным расходом, обеспечивающим поверку резервуара в течение 6 - 48 ч по [3]. 5.2.2.3 Термометр с ценой
деления 0,1 °С по ГОСТ
28498. 5.2.2.4 Манометр класса
точности 0,4 по ГОСТ
2405. 5.2.2.5 Рулетка
измерительная с грузом 2-го класса точности с верхним пределом измерений 10 м
или 20 м по ГОСТ 7502. 5.2.2.6 Ареометр с ценой
деления 0,5 кг/м3 по ГОСТ 18481. 5.2.2.7 Секундомер с
пределами допускаемой погрешности ± 1 мс (± 0,001 с) по [4]. 5.2.2.8 Вспомогательное
оборудование: - насос, снабженный линиями
всасывания и нагнетания, кранами (вентилями), регулятором расхода (дросселем),
фильтром; - расширитель струи (рисунок А.8); воронкогаситель (рисунок А.9). Примечание - Расширитель струи и воронкогаситель устанавливают только на резервуарах, предназначенных для размещения нефтепродуктов. 5.2.3
При применении эталонной установки ее метрологические характеристики должны
соответствовать требованиям таблицы 2. 5.2.4 Основные средства
поверки резервуаров должны быть поверены в установленном порядке. 5.2.5 Допускается применение
других вновь разработанных или находящихся в эксплуатации средств поверки [в
том числе эталонных (образцовых) установок], удовлетворяющих по точности и
пределам измерений требованиям настоящего стандарта. 5.3 Требования к условиям поверкиПри поверке соблюдают
следующие условия: 5.3.1 При геометрическом
методе 5.3.1.1 Температура
окружающего воздуха (20 ± 15) °С. 5.3.1.2 Скорость ветра - не
более 10 м/с. 5.3.1.3 Состояние погоды -
без осадков. 5.3.1.4 Резервуар при
поверке может быть порожним или в нем может находиться жидкость до
произвольного уровня. 5.3.1.5 При наличии жидкости
в резервуаре при его поверке допускается использовать результаты измерений
вместимости «мертвой» полости, полученные ранее. В этом случае вместимость резервуара
должна быть определена, начиная с исходного уровня или с уровня,
соответствующего всплытию плавающего покрытия, до уровня, соответствующего
полной вместимости резервуара. 5.3.2 При объемном методе
поверки 5.3.2.1 Температура
окружающего воздуха и поверочной жидкости - от плюс 5 до плюс 35 °С. Примечание - При применении установки температура окружающего воздуха допускается от минус 15 до плюс 35 °С; нижний предел температуры поверочной жидкости допускается до минус 5 °С - при применении бензина, до плюс 2 °С - при применении дизельного топлива; верхний предел температуры бензина не должен превышать плюс 25 °С. 2 °С - при применении в качестве поверочной
жидкости воды; 0,5 °С - при применении в качестве поверочной
жидкости нефти и нефтепродуктов. 5.3.2.3 При невыполнении
требований по 5.3.2.2 вводят температурные поправки на
объем, измеренный через каждое изменение температуры поверочной жидкости на 2
или 0,5 °С. 5.3.2.6 Исключают
возможность попадания воздуха в измерительную систему, собранную для поверки
резервуара (рисунок
А.7). 5.3.2.7 Процесс определения
вместимости резервуара при его поверке должен идти непрерывно (без перерывов,
приводящих к изменению объема и уровня поверочной жидкости в резервуаре),
начиная с уровня, равного нулю, до уровня, соответствующего полной вместимости
резервуара или уровня определенной дозы. 5.3.2.8 Скорость наполнения
резервуара в процессе поверки не должна превышать 0,3 мм/с. 5.3.2.9 Отбор жидкости при
поверке резервуара может быть осуществлен из: а) приемного резервуара; б) технологического
трубопровода (при применении в качестве поверочной жидкости нефти и нефтепродуктов); в) водопровода (при
применении воды). В случаях перечислений б) и
в) подача поверочной жидкости в поверяемый резервуар может быть осуществлена
без насоса (рисунок
А.7). 5.3.3 Резервуар устанавливают
на твердом не изменяющем своего положения фундаменте. При заглубленной
установке и возможности попадания в приямок грунтовых вод сдвиг резервуара
предотвращают дополнительными креплениями. 5.3.4 Резервуар освобождают
и очищают от остатков нефти и нефтепродукта. 6 Требования к организации проведения поверки6.1 Резервуары подлежат
поверке организациями национальной (государственной) метрологической службы или
аккредитованными на право поверки метрологическими службами юридических лиц. 6.2 Устанавливают следующие
виды поверок резервуара: - первичная - проводят после
строительства и гидравлических испытаний резервуара перед вводом в
эксплуатацию; - периодическая - проводят
по истечении срока действия градуировочной таблицы, после капитального ремонта
и при внесении в резервуар конструктивных изменений, влияющих на его
вместимость. 7 Требования к квалификации поверителей и требования безопасностиПримечание - В Российской Федерации физическое лицо проходит курсы повышения квалификации в ГНМЦ - ВНИИР, другом ГНМЦ или Академии стандартизации, метрологии и сертификации по программе ГНМЦ - ВНИИР. 7.2 К поверке резервуара
допускаются лица, изучившие техническую документацию на резервуар и его
конструкцию, средства поверки резервуара и прошедшие обучение по 7.1 и
инструктаж по безопасности труда в соответствии с ГОСТ
12.0.004. 7.3 Лица, выполняющие
измерения при поверке резервуара, должны быть одеты в спецодежду. 7.3.1 При геометрическом
методе поверки: - женщины - в комбинезон по
ГОСТ 12.4.099; - мужчины - в комбинезон по
ГОСТ 12.4.100. 7.3.2 При объемном методе
поверки: - женщины - в халат по ГОСТ
12.4.131; - мужчины - в халат по ГОСТ
12.4.132. 7.4 Перед началом поверки
резервуара проверяют: - исправность лестниц и
перил резервуара; - наличие заземления
резервуара, насоса и установки при объемном методе поверки. 7.5 На резервуарах, не
имеющих ограждений в виде перил по всей окружности крыши, работы проводят с
предохранительным поясом, прикрепленным к надежно установленным элементам металлических
конструкций крыши резервуара. 7.6 Базовую высоту
резервуара или уровень поверочной жидкости в нем измеряют через измерительный
люк. Избыточное давление в газовом пространстве резервуара должно быть равно
нулю. После измерения крышку измерительного люка плотно закрывают. 7.7 Каретку перемещают по
стенке резервуара плавно, без ударов о стенку. 7.8 Поверитель, проводящий
отсчеты по линейке, не должен стоять под кареткой во время движения ее по
стенке. 7.9 Средства, применяемые
при поверке резервуара объемным методом, должны быть во взрывозащищенном
исполнении для группы взрывоопасных смесей категории IIB-T3 по ГОСТ
12.1.011 и предназначены для эксплуатации на открытом воздухе. 7.10 Содержание вредных
паров и газов в воздухе вблизи и внутри1) резервуара на высоте 2000
мм не должно превышать санитарных норм, установленных ГОСТ
12.1.005. 1) Если проводят измерения внутренних параметров резервуара. 7.11 Для освещения в темное
время суток применяют светильники во взрывозащищенном исполнении. 8 Подготовка к проведению поверки8.1 При подготовке
резервуара к поверке проводят следующие работы: 8.1.1 Проверяют на месте
соответствие конструкции и внутренних деталей резервуара технической
документации на него. 8.1.2 Проверяют состояние
наружной поверхности стенки резервуара (на отсутствие деформаций стенки,
загрязнений, брызг металлов, наплывов, заусенцев; на наличие необходимых
арматуры и оборудования; исправность лестниц и перил) для возможности
проведения наружных измерений. 8.1.3 Проверяют состояние
отмостки резервуара (отсутствие трещин и целостность). 8.2 Перед поверкой резервуара
объемным методом, кроме того, проводят следующие работы: 8.2.1 Проводят сборку
измерительной системы по схеме, показанной на рисунке А.7. 8.2.2 Устанавливают на
поверяемом резервуаре уровнемер и измеритель температуры. 8.2.3 Поверочную жидкость
при поверке резервуара (см. рисунок А.7) подают в счетчик жидкости 6
следующими способами: а) из приемного резервуара 13
с помощью насоса 11; б) из технологического
трубопровода 17 (при применении в качестве поверочной жидкости нефти и
нефтепродуктов) или водопровода 17 (при применении воды). 8.2.4 Наполняют
измерительную систему поверочной жидкостью, удаляют из нее воздух и испытывают
ее на герметичность под рабочим давлением. При этом вентиль 20 закрывают
и трехходовый кран 5 переводят в положение «Измерение». Измерительную систему
считают герметичной, если по истечении 15 мин после наполнения ее поверочной
жидкостью и создания рабочего давления при визуальном осмотре не обнаруживают в
местах соединений, уплотнений и на поверхности труб и арматуры наличия течи
(каплепадений) и влаги. 8.2.5
Измеряют расход поверочной жидкости в последовательности (см. рисунок А.7): - переводят трехходовой кран
5 в положение «Циркуляция»; - открывают вентиль 15; - включают насос 11
или открывают вентиль 16 и одновременно фиксируют показания счетчика
жидкости 6 и секундомера; - после того, как стрелка
указателя счетчика жидкости 6 делает не менее одного оборота (ролик
счетного механизма поворачивается на один оборот) или число импульсов,
зарегистрированное счетчиком импульсов, составит не менее 1000 импульсов,
выключают секундомер и одновременно фиксируют показание счетчика жидкости; - выключают насос 11
или закрывают вентиль 16. 8.2.6 Расход поверочной
жидкости Q, дм3/с, вычисляют по формулам: - для счетчиков жидкости с
непосредственным отсчетом объема жидкости в дм3: - для счетчиков жидкости с
импульсным выходным сигналом в импульсах: где qi,
Ni - показания счетчиков
жидкости, соответствующие концу отсчета времени, дм3, имп.,
соответственно; qi-1,
Ni-1 - показания счетчиков жидкости, соответствующие
началу отсчета времени, дм3, имп., соответственно; t - время, определяемое по секундомеру, с; К - коэффициент
преобразования счетчика, имп./дм3; определяют по шкале счетного
механизма конкретного счетчика. 8.2.7 Расход поверочной
жидкости, рассчитанный по формулам (1) или (2), должен находиться в
пределах поверенного диапазона измерений счетчика жидкости по 5.3.2.5.
Если это условие не выполняется, то с помощью дросселя 10 (рисунок А.7)
изменяют расход поверочной жидкости, проходящей через счетчик жидкости 6. 8.2.8 Измерения величин при
поверке резервуара должны быть проведены группой лиц, включающей не менее трех
поверителей, прошедших курсы повышения квалификации в соответствии с 7.1. 9 Проведение поверки резервуара9.1 Проведение поверки резервуара геометрическим методом9.1.1
Измерения длины окружности первого пояса 9.1.1.1
Длину окружности Lн измеряют на высоте, равной 3/4 высоты первого пояса. При наличии
деталей, мешающих измерениям, допускается уменьшать высоту до 300 мм. 9.1.1.2 Перед измерением
длины окружности на высоте, указанной в 9.1.1.1, через каждые 5 м
наносят горизонтальные отметки на стенке резервуара. 9.1.1.3 По нанесенным
отметкам рулетку прикладывают к стенке резервуара. 9.1.1.4 Начальную точку
измерений длины окружности выбирают на стенке резервуара и отмечают двумя
взаимно перпендикулярными штрихами при помощи чертилки, толщина лезвия которой
не более 0,5 мм. 9.1.1.5 Начало ленты рулетки
укладывают нижней кромкой по горизонтальному штриху и начальную отметку шкалы
рулетки совмещают с вертикальным штрихом начальной точки измерений на стенке
резервуара. 9.1.1.6 При измерениях лента
рулетки должна быть натянута, плотно прилегать к стенке резервуара, не
перекручиваться и лежать нижней кромкой на горизонтальных штрихах. 9.1.1.7 Натяжение рулетки
осуществляют при помощи динамометра усилием 100 Н (~ 10 кгс) для рулетки длиной
30 м и усилием 50 Н (~ 5 кгс) для рулеток длиной 10 м и 20 м. 9.1.1.8 После создания
необходимого натяжения против конечной отметки шкалы рулетки на стене
резервуара отмечают вертикальный штрих, а по нижней кромке ленты -
горизонтальный. 9.1.1.9 Последующие укладки
рулетки проводят в том же порядке. 9.1.1.10 При измерениях
следят, чтобы начало шкалы рулетки совпало с конечным штрихом предыдущей
укладки. 9.1.1.11 Длину окружности Lн измеряют не менее двух раз. 9.1.1.12 Начальную точку
второго измерения смещают по горизонтали от начала первого не менее чем на 500
мм. 9.1.1.13 Относительное
расхождение между результатами двух измерений длины окружности dLн, %, рассчитываемое по
формуле
должно находиться в пределах
± 0,01 %. 9.1.1.14 При расхождении,
превышающем указанное в 9.1.1.13, измерения следует повторять до
получения двух последовательных измерений, удовлетворяющих условию 9.1.1.13. 9.1.1.15 Результаты двух
измерений величины Lн, удовлетворяющих условию 9.1.1.13,
в миллиметрах вносят в протокол, форма которого приведена в приложении Б. 9.1.1.16 При измерениях
длины окружности резервуара учитывают поправки на ее увеличение при наложении
рулетки на вертикальные сварные соединения, накладки и другие выступающие
детали во всех случаях, если между лентой рулетки и стенкой резервуара имеется
зазор. 9.1.1.17 Поправку на длину
окружности первого пояса резервуара при наложении рулетки на вертикальные
сварные соединения, накладки и другие выступающие детали (далее - поправку на
обход) определяют при помощи металлических скоб длиной 600 - 1000 мм (рисунок А.1). Выступающую часть на высоте
измерений длины окружности первого пояса перекрывают скобой и на стенке
резервуара у обоих концов скобы наносят штрихи. Затем, плотно прижимая ленту
рулетки к стенке резервуара, измеряют длину дуги, находящуюся между этими
штрихами. Скобу переносят на свободное
от выступающих деталей место на том же уровне первого пояса, отмечают штрихами
и измеряют расстояние между ними рулеткой, плотно прижимая ленту рулетки к
стенке резервуара. Разность между результатами первого и второго измерений
длины дуги - значение поправки на обход, которое учитывают при вычислении длины
окружности первого пояса. Значение поправок на обход в
миллиметрах вносят в протокол, форма которого приведена в приложении Б. 9.1.2
Измерения радиальных отклонений образующих резервуара от вертикали 9.1.2.1 Радиальные
отклонения образующих резервуара (далее - радиальные отклонения) измеряют с
применением измерительной каретки с отвесом (рисунок А.2) или измерительной
каретки с теодолитом (рисунок А.4). Примечание - При скорости ветра более 5 м/с для выполнения измерений радиальных отклонений применяют измерительную каретку с теодолитом. 9.1.2.2
Окружность первого пояса резервуара, измеренную по 9.1.1, разбивают на равные части
(наносят вертикальные отметки на стенке первого пояса), начиная с образующей
резервуара, находящейся в плоскости, проходящей через продольные оси
измерительного люка и резервуара, с соблюдением следующих условий (разбивку
можно проводить и по кровле резервуара): - число разбивок должно быть
четным; - общее число разбивок для
резервуаров вместимостью до 10000 м3 должно быть не менее 24, от
10000 до 30000 м3 - не менее 36, от 30000 до 50000 м3 -
не менее 48; - при наличии мест явно
выраженных деформаций разбивку проводят так, чтобы образующие резервуара
проходили через отметки разбивки и эти места. Все отметки разбивки
пронумеровывают по часовой стрелке в соответствии с рисунком А.10. 9.1.2.3
При определении радиальных отклонений поясов резервуара с применением
измерительной каретки с отвесом измеряют расстояние а от стенки
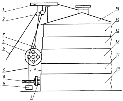
резервуара до нити отвеса 6, проходящей через отметки разбивки (рисунок А.2). Для установки измерительной
каретки (далее - каретки) на резервуаре у края резервуара на штанге 1 с
некоторым возвышением над кровлей крепят блок 2, через который
перекидывают тяговый канат 5 для подъема каретки 3. Нить отвеса 6
закрепляют на штанге. Отвес и блок для подъема каретки вместе со штангой должны
свободно перемещаться по кровле резервуара. Для перехода от одной
отметки разбивки к другой каретку опускают, а штангу со всей оснасткой
передвигают по кровле резервуара. Расстояние от стенки резервуара до нити а
отвеса отсчитывают по линейке 8. Линейку устанавливают в середине высоты
первого пояса при помощи магнитного держателя 7 перпендикулярно к стенке
резервуара, поочередно для каждой отметки разбивки. Отсчеты по линейке снимают
при передвижении каретки вверх вдоль образующей резервуара, проходящей через
отметки разбивки. Измерения вдоль каждой
образующей резервуара начинают с отметки разбивки под номером один первого
пояса. На каждом следующем поясе измерения проводят в трех сечениях: среднем,
находящемся в середине пояса, в нижнем и верхнем, расположенных на расстоянии
50 - 100 мм от горизонтального сварного шва. На верхнем поясе - в двух
сечениях: нижнем и среднем. Отсчеты
по линейке снимают с погрешностью в пределах ± 1 мм в момент, когда
каретка установлена в намеченной точке при неподвижном отвесе. Результаты измерений
расстояния а в миллиметрах вносят в протокол, форма которого приведена в
приложении
Б. Примечание - При определении радиальных отклонений образующих резервуаров с трубой орошения применяют для подвески каретки приспособление, показанное на рисунке А.5, а для резервуаров с плавающей крышей - приспособление, показанное на рисунке А.6. 9.1.2.4
При определении радиальных отклонений с применением каретки с теодолитом (рисунок А.4) измеряют расстояние а
от стенки резервуара до визирной линии 6 теодолита 8,
направленной перпендикулярно к линейке 2, укрепленной на оси каретки 1. При этом теодолит 8
устанавливают над геодезической точкой на расстоянии от стенки резервуара,
обеспечивающем удобное наведение зрительной трубы, но не менее 10 м от
измеряемой образующей резервуара. Для исключения смещения
каретки при ее движении по стенке резервуара струну 4 с грузом 7
закрепляют магнитным держателем 5. Измерения начинают с
установки каретки на 3/4 высоты первого пояса, далее перемещают каретку вверх в
порядке, указанном в 9.1.2.3. Теодолит устанавливают над
геодезической точкой, настраивают и приводят в рабочее положение в соответствии
с инструкцией завода-изготовителя и наводят вертикальную нить сетки зрительной
трубы на штрих шкалы, кратный 1 см, примерно в середине линейки. Конец шкалы
линейки должен находиться у оси каретки. Отсчеты снимают по шкале
линейки при последовательной установке каретки в точках измерений и
зафиксированном положении горизонтального круга теодолита. Результаты измерений
расстояния а в миллиметрах вносят в протокол, форма которого приведена в
приложении
Б. 9.1.2.5
При наличии ребер жесткости, расположенных по внешней поверхности резервуара,
расстояние а от стенки резервуара до нити отвеса измеряют в соответствии
с 9.1.2.3 или 9.1.2.4 в двух сечениях поясов
резервуара в зависимости от места расположения ребер жесткости: - если ребро жесткости
находится в середине (или ближе к середине) пояса, то измерения величины а
проводят в сечениях, находящихся выше или ниже ребра жесткости на расстоянии
1/4 - 1/5 высоты пояса; - если ребро жесткости
находится ближе к верхнему или нижнему сварным швам, то измерения величины а
проводят в среднем сечении пояса и в сечении, находящемся выше или ниже
сварного шва на расстоянии 50 - 100 мм. 9.1.2.6 При невозможности
измерений величины а по 9.1.2 поверку резервуара проводят объемным
методом. 9.1.3
Определение степени наклона резервуара 9.1.3.1 Степень наклона
резервуара h определяют по результатам
измерений расстояний от стенки резервуара до нити отвеса в среднем сечении
верхнего пояса и на 3/4 высоты первого пояса с применением каретки с отвесом
или каретки с теодолитом в соответствии с 9.1.2.3 или 9.1.2.4,
9.1.2.5.
Степень наклона может быть определена по результатам измерений расстояния а
от стенки резервуара до нити отвеса в сечении на 3/4 высоты первого пояса с
применением отвеса (рисунок А.11). 9.1.3.2
Измерения расстояния а от стенки резервуара до нити отвеса с применением
отвеса (рисунок А.11) проводят в последовательности: - окружность первого пояса
резервуара разбивают на равные части в соответствии с 9.1.2.2; - устанавливают линейку с
магнитным держателем 7 левее точки разбивки на 3/4 высоты первого пояса.
При этом нулевая отметка линейки должна находиться у стенки резервуара; - опускают груз на нити
отвеса 6 с кровли резервуара; - перемещают нить до линейки
и верхний конец нити закрепляют на перилах; - измеряют расстояние а
от нити отвеса до стенки резервуара; - для перехода от одной
отметки разбивки к другой верхний конец нити освобождают и передвигают ее по
кровле резервуара до линейки, установленной в другой отметке разбивки с помощью
магнитного держателя. Измерения начинают с отметок
разбивки, находящихся ближе к предполагаемому направлению наклона резервуара. 9.1.3.3 Результаты измерений
по 9.1.3.2
вносят в протокол, форма которого приведена в приложении Б. 9.1.4 Измерения плотности
жидкости 9.1.4.1 Плотность жидкости,
находящейся в резервуаре при его поверке, rж.г. измеряют по ГОСТ 3900 в
объединенной пробе жидкости, составленной из точечных проб, отобранных из
резервуара в соответствии с ГОСТ 2517. 9.1.4.2 Результат измерения
величины rж.г. вносят в протокол, форма
которого приведена в приложении Б. 9.1.5 Измерения уровня
жидкости 9.1.5.1 Уровень жидкости,
находящейся в резервуаре при его поверке, Нг измеряют при помощи
измерительной рулетки с грузом или уровнемера. 9.1.5.2 Результат измерения
величины Нг вносят в протокол, форма которого приведена в приложении Б. 9.1.6 Измерения высоты
поясов и толщины стенок 9.1.6.1 Высоту поясов hн измеряют с наружной стороны
резервуара при помощи измерительной рулетки с грузом и упорного угольника. 9.1.6.2 Для резервуаров без
лестниц измерения проводят, поднимая рулетку с грузом от упорного угольника 90° (рисунок А.12) 1,
находящегося у нижнего края пояса, до упорного угольника 90° 2, находящегося у верхнего края
пояса, считывая разницу в показаниях рулетки относительно неподвижной отметки. 9.1.6.3 Высотой i-го
пояса считают расстояние hi, в пределах которого
внутренний радиус пояса ri
имеет постоянное значение (рисунок А.13). Значение hi получают вычитанием из значения hнi
значений нахлестов, принятых по технической документации. 9.1.6.4 Толщины стенок
поясов d измеряют два раза с помощью
ультразвукового толщиномера с погрешностью в пределах ± 0,1 мм. Расхождение между результатами двух
измерений должно находиться в пределах ± 0,2 мм, или его принимают
равным указанному в технической документации. 9.1.6.5 Толщину слоя
покраски резервуара dс.к. определяют измерениями
толщины скола краски штангенциркулем с погрешностью не более ± 0,1 мм. 9.1.6.6 Результаты измерений
величин hн, d, dс.к. вносят в протокол, форма
которого приведена в приложении Б. 9.1.7 Определение объемов
внутренних деталей 9.1.7.1 Объемы внутренних
деталей, находящихся в резервуаре, и опор плавающего покрытия определяют по
данным технической документации или по данным измерений геометрических
параметров внутренних деталей с указанием их расположения по высоте от днища
резервуара. Результаты измерений вносят в протокол, форма которого приведена в приложении Б. 9.1.7.2 Внутренние детали
сложной геометрической формы могут быть заменены эквивалентными по объему и
расположению или расчленены на более простые. Об этом делают запись в
протоколе, форма которого приведена в приложении Б. 9.1.8 Измерения вместимости
«мертвой» полости 9.1.8.1 Высоту «мертвой»
полости hм .измеряют
рулеткой по стенке резервуара от днища
резервуара до нижней точки приемно-раздаточного патрубка. 9.1.8.2
Для определения объема неровностей днища (DVдн)0 проводят
следующие измерения: - размечают на днище точки
пересечения восьми концентрических окружностей (I, II,..., VIII) с восемью
радиусами (0-1, 0-2, 0-3, ..., 0-8) и точку касания днища грузом рулетки (рисунок А.14
- при отсутствии центральной трубы или рисунок А.15 - при наличии
центральной трубы). Положение восьми радиусов находят делением внутреннего
периметра резервуара по первому поясу на уровне днища на 8 равных частей,
начиная с плоскости, проходящей через центр резервуара и точку касания днища
грузом рулетки, а положение восьми концентрических окружностей определяют
делением внутреннего радиуса первого пояса R на 8 частей путем
откладывания от центра днища (при наличии центральной трубы с учетом радиуса r0) радиусов, равных 0,35R;
0,5R; 0,61R; 0,71R; 0,79R;
0,86R; 0,93R; R; - устанавливают нивелир в
центре днища резервуара (при отсутствии центральной трубы) или последовательно
в двух противоположных точках, не лежащих на отмеченных радиусах и отстоящих от
стенки резервуара не более 1000 мм (при наличии центральной трубы); - снимают отсчеты по рейке,
устанавливаемой последовательно в измерительных точках (bji), и в точке касания днища грузом рулетки (bл). При наличии центральной
трубы отсчеты снимают по рейке с двух точек установки нивелира и дополнительно
в точках, образованных пересечением радиусов с образующей центральной трубы. Примечание - Для резервуаров вместимостью менее 2000 м3 неровностью днища пренебрегают, за исходный уровень в этом случае принимают плоскость днища. 9.1.8.3 Результаты измерений
величин bji, bл вносят в протокол, форма
которого приведена в приложении Б. 9.1.9. Измерения координаты
точки отсчета значений уровня жидкости или базовой высоты 9.1.9.1 Измеряют рулеткой
расстояние между внешними образующими резервуара и измерительного люка (рисунок А.16). 9.1.9.2 Измеряют
штангенциркулем наружный dн и внутренний dвн диаметры измерительного
люка и расстояние между точкой измерений на планке и внутренней стенкой
измерительного люка l2. 9.1.9.3 Результаты измерений
величин l1, dн, dвн, l2 вносят в протокол, форма
которого приведена в приложении Б. 9.1.10
Измерения базовой высоты резервуара 9.1.10.1 Базовую высоту
резервуара Hб измеряют рулеткой с грузом не менее двух раз.
Расхождение между результатами двух измерений не должно превышать 2 мм. Значение базовой высоты
наносят на табличке, прикрепленной к измерительному люку. 9.1.10.2 Результаты
измерений базовой высоты Hб вносят в протокол, форма
которого приведена в приложении Б. Результаты измерений базовой
высоты, вместимости «мертвой» полости и степени наклона резервуара оформляют
актами, формы которых приведены в приложении Л. 9.1.11 Определение массы и
размеров плавающего покрытия 9.1.11.1 Массу тп,
диаметры плавающего покрытия Dп и отверстий D1, D2, ... берут по
исполнительной документации. 9.1.11.2
Расстояние от днища резервуара до нижней части плавающего покрытия hп измеряют рулеткой по
образующей резервуара, находящейся в плоскости, проходящей через продольные оси
измерительного люка и резервуара. 9.1.11.3 Значения величин тп,
Dп, D1, D2,... и результаты измерений hп вносят в протокол, форма
которого приведена в приложении Б. 9.2 Проведение поверки резервуара объемным методома) высоты «мертвой» полости hм.в соответствии с 9.1.8.1; б) расстояния по вертикали
от точки касания днища грузом рулетки до визирной линии нивелира bл в соответствии с 9.1.8.2; в) расстояния по вертикали
от точки, образованной в результате пересечения восьмой окружности и первого
радиуса, до визирной линии нивелира b8.1 в соответствии с 9.1.8.2; г) степени наклона
резервуара h в соответствии с 9.1.3; д) базовой высоты резервуара
Hб в соответствии с 9.1.10. 9.2.1.2 Результаты измерений
величин hм.п., bл, b8.1, h, Hб вносят в протокол, форма
которого приведена в приложении В. 9.2.2
Измерения вместимости резервуара в пределах «мертвой» полости 9.2.2.2
При измерениях вместимости «мертвой» полости выполняют операции в следующей
последовательности (см. рисунок А.7): а) открывают вентиль 20,
соединяющий линию, предназначенную для подачи поверочной жидкости в поверяемый
резервуар 3; б) устанавливают указатели
шкал приборов (при необходимости) на нулевую отметку; в) переводят трехходовый
кран 5 в положение «Измерение»; г) включают насос 11
или открывают вентиль 16; д) подают из приемного
резервуара 13 или из технологического трубопровода (водопровода) 17
через счетчик жидкости 6 поверочную жидкость в поверяемый резервуар 3,
наполняя его дозой жидкости до появления на дисплее уровнемера 2
значения 30 мм; е) снимают показания
манометра 7 (р1); ж) снимают показания термометра
(измерителя температуры) 4 [(Tт)1]; з) выключают насос 11
или закрывают вентиль 16 и снимают показания счетчика жидкости 6 [q1(N1)]. Примечание - При превышении точки касания днища грузом рулетки над контуром днища наполняют поверяемый резервуар начальной дозой до нулевой отметки. 9.2.2.3
После выполнения операции по 9.2.2.2 поверяемый резервуар
наливают второй, третьей и последующей дозами поверочной жидкости. Снимают
показания после налива каждой дозы: счетчика жидкости qj(Nj); манометра рj; уровнемера Hj; измерителей температуры 4
и 1, установленных на линии нагнетания и резервуаре, - (Тт)j, (Тр)j соответственно. 9.2.2.4
При достижении уровня поверочной жидкости в резервуаре 3 до уровня,
соответствующего высоте «мертвой» полости Hм. отбирают пробу из резервуара переносным пробоотборником по ГОСТ 2517.
В случае применения в качестве поверочной жидкости нефтепродукта измеряют его
плотность в лаборатории в соответствии с ГОСТ 3900. 9.2.2.5 Значение плотности
поверочной жидкости используют для определения коэффициента объемного
расширения ее, необходимого при расчете температурной поправки на
посантиметровую вместимость резервуара. 9.2.3 Измерения вместимости
поверяемого резервуара выше «мертвой» полости 9.2.3.1
При достижении уровня поверочной жидкости в поверяемом резервуаре 3,
соответствующего высоте «мертвой» полости, значение расхода поверочной жидкости
устанавливают равным значению номинального расхода в соответствии с показаниями
счетчика жидкости в следующей последовательности (см. рисунок А.7): - закрывают вентиль 20; - переводят трехходовой кран 5
в положение «Циркуляция»; - в соответствии с 8.2.5 фиксируют
показания счетчика жидкости 6 и секундомера и вычисляют расход
поверочной жидкости по формуле (1) или (2); - с помощью дросселя 10
изменяют расход поверочной жидкости до номинального расхода счетчика жидкости. 9.2.3.2 После наполнения
поверяемого резервуара дозами поверочной жидкости в пределах «мертвой» полости
измерения вместимости резервуара осуществляют статическим или динамическим
методами до уровня, соответствующего полной вместимости резервуара. 9.2.3.3 При статическом
методе поверки в соответствии с 9.2.2.2, 9.2.2.3 в резервуар наливают
дозы поверочной жидкости, соответствующие изменению уровня на 100 мм. 9.2.3.5 Расход поверочной
жидкости, установленный по 9.2.2.1, 9.2.3.1, не должен
изменяться более чем на 2 % в процессе поверки резервуара. 9.2.4 При применении
эталонной установки по 5.2.3 выполнение операций, изложенных в 9.2.2-9.2.3,
проводят в соответствии с нормативным документом на установку. 9.2.5
При невозможности измерений средней температуры поверочной жидкости (далее -
жидкости) в резервуаре после поступления в него каждой дозы ее с помощью
измерителя температуры допускается определять среднюю температуру по
результатам измерений температур жидкости в точечных пробах (Тр)i, отобранных по ГОСТ 2517 после наполнения первого, второго и
последующего вышестоящего поясов. 9.2.5.1 Измерения
температуры жидкости в пробоотборнике проводят в последовательности: - термометр погружают в
жидкость, находящуюся в пробоотборнике, на глубину, указанную в техническом
паспорте на данный термометр; - выдерживают термометр в
пробе от 1 до 3 мин до принятия столбиком ртути постоянного положения; - не вынимая термометр из
жидкости, температуру отсчитывают по нему с погрешностью в пределах ± 0,1 °С. 9.2.6 Измерения базовой
высоты резервуара 9.2.6.1 Базовую высоту Hб измеряют в соответствии с 9.1.10. 9.2.6.2 Значение базовой
высоты не должно отличаться от ее значения, измеренного по 9.2.1,
более чем на 0,1 %. 9.2.7 Измерения
максимального уровня жидкости в резервуаре 9.2.7.1 Максимальный уровень
поверочной жидкости в резервуаре Hpmax,
соответствующий полной вместимости резервуара, измеряют после прекращения
подачи доз поверочной жидкости в резервуар и выдержки в течение от 10 до 15
мин. 9.2.7.2 Измерения
максимального уровня проводят измерительной рулеткой с грузом через измерительный
люк не менее двух раз. Расхождение между результатами двух измерений не должно
превышать 1 мм. 9.2.7.3 За действительное
значение максимального уровня принимают среднее арифметическое значение двух
измерений, округленное до 1 мм. 9.2.8 Результаты измерений
величин qj(Nj), pj, r0, Hj, (Тт)j (Тр)i,
Hpmax, Hб по 9.2.2-9.2.7 вносят в протокол,
форма которого приведена в приложении В. 10 Обработка результатов измерений10.1 Обработка результатов измерений при поверке резервуара геометрическим методом10.1.1 Обработку результатов
измерений при поверке проводят в соответствии с приложением Г. 10.1.2 Результаты вычислений
вносят в журнал, форма которого приведена в приложении Д. 10.2 Обработка результатов измерений при поверке резервуара объемным методом10.2.1 Обработку результатов
измерений при поверке проводят в соответствии с приложением Е. 10.2.2 Результаты вычислений
вносят в журнал, форма которого приведена в приложении Ж. 10.3 Составление градуировочной таблицы10.3.1 Составление
градуировочной таблицы при поверке резервуара геометрическим методом 10.3.1.1 Градуировочную
таблицу составляют, используя формулу (Г.53) приложения Г, с шагом DHн = 1 см, начиная с исходного
уровня (уровня, соответствующего высоте «мертвой» полости Hм.п.) и до максимального уровня Hmax, рассчитываемого по формуле
где h - степень наклона резервуара, рассчитываемая
по формуле
(Г.15) или (Г.16) - (Г.20) приложения Г; Hб - базовая высота резервуара, рассчитываемая
по формуле
(Г.43) приложения Г, мм; hi - высота i-го пояса, мм; fл - высота точки касания
днища грузом рулетки; n -
число поясов резервуара; l0 - координата точки отсчета значений уровня жидкости
или базовой высоты, вычисляемая по формуле (Г.28) или (Г.29)
приложения
Г, мм; j - угол между направлением
наклона резервуара и плоскостью, проходящей через центры резервуара и
измерительного люка, вычисляемый по формуле (Г.22) приложения Г. 10.3.1.2 При вычислении
величин Vцi, DVгi,
Vв.д., Vвсп, входящих в формулу (Г.53)
приложения
Г, проводят линейную интерполяцию в пределах пояса (или участка) по
формулам:
где
При изменении плотности
хранимой жидкости линейную интерполяцию проводят по формуле (8) на участке от Нп
до (Нвсп×К1), при этом К1
- поправочный коэффициент, учитывающий изменение плотности хранимой
жидкости, вычисляют по формуле
где rп(rж.х) - плотность жидкости,
принятая при поверке резервуара (при хранении); Dr = rп - r, где r - плотность жидкости, находящейся в резервуаре;
10.3.1.3 В пределах каждого
пояса вычисляют коэффициент вместимости, равный вместимости, приходящейся на 1
мм высоты наполнения. 10.3.1.4 При необходимости
составляют градуировочную таблицу в пределах уровня, соответствующего высоте
«мертвой» полости Нм. или уровня, соответствующего высоте
всплытия плавающего покрытия Нвсп, используя формулы (Г.34) -
(Г.37), (Г.40) приложения Г; (7), (8). При
этом коэффициент вместимости вычисляют в пределах каждого изменения уровня
жидкости в резервуаре на 1 см. 10.3.1.5 Корректировку
градуировочной таблицы в соответствии с 9.1.10.3 проводят
умножением вместимости «мертвой» полости и вместимости резервуара выше
«мертвой» полости на поправочные коэффициенты К2, К3,
рассчитываемые по формулам:
где DVм.и Dh рассчитывают по формулам: DVм.= (Vм.п.)п - (Vм.п.)к; (13) Dh = hп - hк, (14) где (Vм.п.)п, hп - вместимость
«мертвой» полости и степень наклона резервуара соответственно, установленные
при поверке резервуара; (Vм.п.)к, hк - вместимость «мертвой»
полости и степень наклона резервуара соответственно, установленные при
ежегодных измерениях базовой высоты резервуара. Корректировку объема
неровностей днища, вычисляемого в соответствии с Г.5.7
приложения
Г, проводят умножением их объема, установленного при поверке
резервуара, на поправочный коэффициент К4, вычисляемый по формуле
где D(DVдн) рассчитывают по формуле D(DVдн) = (DVдн)п - (DVдн)к. 10.3.2 Составление
градуировочной таблицы при объемном методе поверки 10.3.2.1 Градуировочную
таблицу составляют, суммируя последовательно (начиная с точки касания днища
грузом рулетки) вместимости резервуара, приходящиеся на 1 см высоты наполнения
и рассчитываемые по формуле где V0 - объем жидкости до
точки касания днища грузом рулетки; Vk, Vk-1 - дозовые
вместимости резервуара при наливе в него k и (k - 1) доз, соответствующие уровням Hk, H(k-1), вычисляемые по формуле (Е.12)
или формулам
(Е.13), (Е.14) приложения Е и т.д. 10.3.2.2 В формуле (16)
вместимости Vk, Vk-1 выражены
в кубических метрах, а уровни Hk, H(k-1)
- в миллиметрах. 10.3.2.3 Градуировочную
таблицу составляют до максимального уровня Hpmax, соответствующего полной
вместимости резервуара. 10.3.2.4 Результаты расчетов
при составлении градуировочной таблицы вносят в журнал, форма которого
приведена в приложении
Ж (таблица
Ж.3). 10.3.3 При составлении
градуировочной таблицы значения вместимости резервуара в дециметрах кубических
округляют до целого числа. 10.3.4 Определяют
коэффициент вместимости qi
по следующим формулам: - при геометрическом методе
поверки в пределах каждого пояса по формуле
где Vi - вместимость i-го пояса, вычисляемая по
формуле
hi - высота i-го
пояса, мм, DVгi
- поправка к вместимости резервуара за счет гидростатического давления жидкости
при наполнении i-го пояса, вычисляемая по формуле (Г.51), Vцi - вместимость i-го
пояса резервуара недеформированного от гидростатического давления, вычисляемая
по формуле
(Г.50); - при объемном методе
поверки в пределах каждого шага (изменения уровня наполнения резервуара на 1
см) по формуле
где Vi, Vi-1 - вместимости резервуара, соответствующие уровням Hi, Hi-1 и вычисляемые по формуле (16). 10.3.5 Значения
посантиметровой вместимости резервуара, указанные в градуировочных таблицах,
соответствуют температуре 20°С. 10.3.6 Порядок расчета при
составлении градуировочной таблицы 10.3.6.1 Обработка
результатов поверки может быть проведена ручным способом или с использованием
ЭВМ. 10.3.6.2 Результаты
измерений оформляют протоколом поверки. 10.3.6.3 Протокол поверки
является входным документом при расчете градуировочной таблицы на ЭВМ. 10.3.6.4 Требования к
машинному алгоритму обработки результатов измерений: - вместимость резервуара,
приходящуюся на 1 см высоты наполнения, вычисляют последовательным
суммированием значений вместимостей, приходящихся на 1 мм высоты наполнения; - последовательно суммируя
значения вместимостей каждого наполнения на 1 мм, вычисляют вместимость
резервуара с интервалом 1 см. 11 Оформление результатов поверки11.1 Результаты поверки
резервуара оформляют свидетельством о поверке по форме, установленной
национальной (государственной) метрологической службой. На табличку, прикрепленную к
измерительному люку, наносят данные в соответствии с И.14
приложения
И. 11.2 К свидетельству о
поверке прилагают: а) градуировочную таблицу; б) протокол поверки
(оригинал прикладывается к первому экземпляру градуировочной таблицы); в) эскиз резервуара; д) журнал обработки результатов
измерений при поверке. 11.3 Форма титульного листа
градуировочной таблицы и форма градуировочной таблицы приведены в приложении К.
Форма протокола поверки резервуара геометрическим методом приведена в приложении Б,
объемном методе поверки - в приложении В. Формы актов измерений базовой
высоты резервуара, определения вместимости «мертвой» полости резервуара и
измерений степени наклона резервуара, составляемые при ежегодных измерениях
базовой высоты резервуара, приведены в приложении Л. Протокол поверки, титульный
лист и последнюю страницу градуировочной таблицы подписывают поверители.
Подписи поверителей заверяют оттисками поверительного клейма, печати (штампа). 11.4 Градуировочные таблицы
на резервуары утверждает руководитель организации национальной
(государственной) метрологической службы или руководитель аккредитованной на
право поверки метрологической службы юридического лица. 11.5 Типовые программы
расчета градуировочных таблиц на ЭВМ по настоящему стандарту разработаны в ГНМЦ
- ВНИИР и ВНИИМС. Программы, разработанные другими организациями, подлежат экспертизе,
аттестации и утверждению в ГНМЦ - ВНИИР или ВНИИМС. ПРИЛОЖЕНИЕ А
| |||||||||||||||||||||||||||||||||||||||||||||||||||||||||||||||||||||||||||||||||||||||||||||||||||||||||||||||||||||||||||||||||||||||||||||||||||||||||||||||||||||||||||||||||||||||||||||||||||||||||||||||||||||||||||||||||||||||||||||||||||||||||||||||||||||||||||||||||||||||||||||||||||||||||||||||||||||||||||||||||||||||||||||||||||||||||||||||||||||||||||||||||||||||||||||||||||||||||||||||||||||||||||||||||||||||||||||||||||||||||||||||||||||||||||||||||||||||||||||||||||||||||||||||||||||||||||||||||||||||||||||||||||||||||||||||||||||||||||||||||||||||||||||||||||||||||||||||||||||||||||||||||||||||||||||||||||||||||||||||||||||||||||||||||||||||||||||||||||||||||||||||||||||||||||||||||||||||||||||||||||||||||||||||||||||||||||||||||||||||||||||||||||||||||||||||||||||||||||||||||||||||||||||||||||||||||||||||||||||||||||||||||||||||||||||||||||||||||||||||||||||||||||||||||||||||||||||||||||||||||||||||||||||||||||||||||||||||||||||||||||||||||||||||||||||||||||||||||||||||
|
Код документа |
Регистрационный номер |
Дата |
Основание для проведения поверки |
||
|
число |
месяц |
год |
|||
|
|
|
|
|
|
|
Продолжение таблицы Б.1
|
Место приведения поверки |
Средство измерения |
|
|
|
Окончание таблицы Б.1
|
Резервуар |
|||
|
Тип |
Номер |
Назначение |
Погрешность определения вместимости резервуара, % |
|
|
|
|
|
Таблица Б.2 - Условия проведения измерений
|
Температура воздуха, °С |
Скорость ветра, м/с |
Загазованность, мг/м3 |
|
|
|
|
Таблица Б.3 - Длина окружности
первого пояса В
миллиметрах
|
Номер измерения |
Длина окружности |
Поправка на обход накладок |
|
1 |
|
|
|
2 |
|
|
Таблица Б.4 - Радиальные отклонения образующих резервуара от
вертикали
|
Номер пояса |
Радиальное отклонение образующей резервуара от вертикали для образующей резервуара |
|||||||||||||||
|
1 |
2 |
3 |
4 |
5 |
6 |
7 |
8 |
9 |
10 |
11 |
12 |
… |
… |
… |
т |
|
|
I |
|
|
|
|
|
|
|
|
|
|
|
|
|
|
|
|
|
II |
|
|
|
|
|
|
|
|
|
|
|
|
|
|
|
|
|
III |
|
|
|
|
|
|
|
|
|
|
|
|
|
|
|
|
|
IV |
|
|
|
|
|
|
|
|
|
|
|
|
|
|
|
|
|
V |
|
|
|
|
|
|
|
|
|
|
|
|
|
|
|
|
|
VI |
|
|
|
|
|
|
|
|
|
|
|
|
|
|
|
|
|
VII |
|
|
|
|
|
|
|
|
|
|
|
|
|
|
|
|
|
VIII |
|
|
|
|
|
|
|
|
|
|
|
|
|
|
|
|
|
IX |
|
|
|
|
|
|
|
|
|
|
|
|
|
|
|
|
|
X |
|
|
|
|
|
|
|
|
|
|
|
|
|
|
|
|
|
XI |
|
|
|
|
|
|
|
|
|
|
|
|
|
|
|
|
|
XII |
|
|
|
|
|
|
|
|
|
|
|
|
|
|
|
|
Таблица Б.5 - Параметры поверочной жидкости (нефти или
нефтепродукта)
|
Плотность жидкости при поверке рж.г, кг/м3 |
Уровень жидкости при поверке Нг, мм |
Плотность хранимой жидкости рж.х, кг/м3 |
|
1 |
2 |
3 |
|
|
|
|
|
Примечание - За значение плотности рж.х (графа 3) принимают значение плотности жидкости при хранении. |
||
Таблица Б.6 - Параметры поясов резервуара
|
Номер пояса |
Высота пояса hнi, мм |
Толщина пояса di, мм |
Толщина слоя краски dс.к, мм |
Высота нахлеста hнx, мм |
Схема нахлеста (+; -; 0) |
|
1 |
2 |
3 |
4 |
5 |
6 |
|
I |
|
|
|
|
|
|
II |
|
|
|
|
|
|
III |
|
|
|
|
|
|
IV |
|
|
|
|
|
|
V |
|
|
|
|
|
|
VI |
|
|
|
|
|
|
VII |
|
|
|
|
|
|
VIII |
|
|
|
|
|
|
IX |
|
|
|
|
|
|
X |
|
|
|
|
|
|
XI |
|
|
|
|
|
|
XII |
|
|
|
|
|
|
Примечание - В графе 6 указывают знак «+», если
текущий пояс включает в себя предшествующий; знак «-», если текущий пояс
включается в предшествующий; при сварке встык указывают «0». |
|||||
Таблица Б.7 - Внутренние детали
цилиндрической формы В
миллиметрах
|
Диаметр |
Длина цилиндра |
Высота от днища |
|
|
нижняя граница |
верхняя граница |
||
|
|
|
|
|
|
|
|
|
|
Таблица Б.8 - Внутренние детали
прочей формы
|
Объем, м3 |
Высота от днища, мм |
|
|
нижняя граница |
верхняя граница |
|
|
|
|
|
|
|
|
|
Таблица Б.9 - Параметры «мертвой»
полости
|
Высота hм.п, мм |
Вместимость Vм.п, м3 |
|
1 |
2 |
|
|
|
|
Примечание - Графу 2 заполняют только при определении вместимости «мертвой» полости объемным методом. |
|
Таблица Б.10 - Неровности днища В
миллиметрах
|
Номер радиуса |
Номер измерения |
Отсчет по рейке при установлении ее в точках концентрической окружности |
||||||||
|
0 |
I |
II |
III |
IV |
V |
VI |
VII |
VIII |
||
|
1 |
2 |
3 |
4 |
5 |
6 |
7 |
8 |
9 |
10 |
11 |
|
1 |
1 |
|
|
|
|
|
|
|
|
|
|
2 |
|
|
|
|
|
|
|
|
|
|
|
2 |
1 |
|
|
|
|
|
|
|
|
|
|
2 |
|
|
|
|
|
|
|
|
|
|
|
3 |
1 |
|
|
|
|
|
|
|
|
|
|
2 |
|
|
|
|
|
|
|
|
|
|
|
4 |
1 |
|
|
|
|
|
|
|
|
|
|
2 |
|
|
|
|
|
|
|
|
|
|
|
5 |
1 |
|
|
|
|
|
|
|
|
|
|
2 |
|
|
|
|
|
|
|
|
|
|
|
6 |
1 |
|
|
|
|
|
|
|
|
|
|
2 |
|
|
|
|
|
|
|
|
|
|
|
7 |
1 |
|
|
|
|
|
|
|
|
|
|
2 |
|
|
|
|
|
|
|
|
|
|
|
8 |
1 |
|
|
|
|
|
|
|
|
|
|
2 |
|
|
|
|
|
|
|
|
|
|
|
Примечания 1 Четные номера строк (графа 2) заполняют
только при наличии центральной трубы. 2 При наличии центральной трубы вносят (графа 3) показания рейки, устанавливаемой в точках пересечения радиусов и образующих центральной трубы. |
||||||||||
Таблица Б.11 - Высота превышения точки касания днища грузом
рулетки и
диаметр центральной трубы В
миллиметрах
|
Отсчет по рейке в точке касания днища грузом рулетки |
Диаметр центральной трубы |
|
|
1-е измерение |
2-е измерение |
|
|
|
|
|
Таблица Б.12 - Координата точки
измерений уровня жидкости и базовой высоты резервуара В
миллиметрах
|
l1 |
L2 |
dн |
dвн |
|
|
|
|
|
Таблица Б.13 - Базовая высота
резервуара В
миллиметрах
|
1-е измерение |
2-е измерение |
|
|
|
Таблица Б.14 - Степень наклона
резервуара В
миллиметрах
|
Номер образующей резервуара |
Пояс |
|
|
первый |
верхний (последний) |
|
|
1 |
2 |
3 |
|
kj |
|
|
|
kj+1 |
|
|
|
kj+2 |
|
|
|
kj+3 |
|
|
|
kj+4 |
|
|
|
kj+5 |
|
|
|
kj+6 |
|
|
|
kj+7 |
|
|
|
kj+8 |
|
|
|
kj+9 |
|
|
|
kj+10 |
|
|
|
kj+11 |
|
|
|
kj+12 |
|
|
|
kj+13 |
|
|
|
kj+14 |
|
|
|
kj+15 |
|
|
|
kj+16 |
|
|
|
Примечание - Значение kj (графа 1) равно числу разметок, выполняемых до начала измерений. |
||
Таблица Б.15 - Плавающее покрытие
|
Масса mп , кг |
Внешний диаметр понтона Dп, мм |
Диаметр внутреннего отверстия, мм |
Расстояние от днища резервуара hп, мм |
Уровень жидкости в момент всплытия плавающего покрытия Hвсп, мм |
Объем жидкости в момент всплытия плавающего покрытия Vвсп, мм3 |
||
|
D1 |
D2 |
D3 |
|||||
|
1 |
2 |
3 |
4 |
5 |
6 |
7 |
8 |
|
|
|
|
|
|
|
|
|
|
Примечание - Графы 7 и 8 заполняют только при объемном методе |
|||||||
Должности Подписи
и оттиски Инициалы, фамилии
поверительного клейма,
печатей
(штампов)
ПРОТОКОЛ
поверки
резервуара объемным методом
Таблица B.1 - Общие данные
|
Код документа |
Регистрационный номер |
Дата |
Основание для проведения поверки |
||
|
число |
месяц |
год |
|||
|
|
|
|
|
|
|
Продолжение таблицы В.1
|
Место проведения поверки |
Средства поверки |
|
|
|
Окончание таблицы В.1
|
Тип резервуара |
Номер резервуара |
Погрешность определения вместимости резервуара, % |
|
|
|
|
Таблица В.2 - Условия проведения
измерений
|
Температура воздуха, °С |
Скорость ветра, м/с |
Загазованность, мг/м3 |
|
|
|
|
Таблица В.3 - Величины, измеряемые в
«мертвой» полости
В
миллиметрах
|
Номер измерения |
Высота «мертвой» полости hм.п |
Отсчет по рейке в точке |
|
|
касания днища грузом рулетки bл |
пересечения 1-го радиуса и 8-й окружности b8.1 |
||
|
1 |
|
|
|
|
2 |
|
|
|
Таблица В.4 - Параметры (начальные)
поверочной жидкости
|
Наименование поверочной жидкости |
Температура, °С |
Плотность r0, кг/м3 |
Коэффициент сжимаемости g, 1/МПа |
|
|
в резервуаре (ТР)0 |
в счетчике жидкости (ТТ)0 |
|||
|
1 |
2 |
3 |
4 |
5 |
|
|
|
|
|
|
|
Примечания 1 (ТР)0, (ТТ)0
(графы 2, 3) - температуры поверочной жидкости, измеренные в момент отбора
пробы в соответствии с 9.2.2.4 настоящего стандарта. 2 Значение g (графа 5) для воды принимают равным 49 1/МПа, для нефти - по [5], для нефтепродуктов - по [6]. |
||||
Таблица В.5 - Степень наклона
резервуара
В
миллиметрах
|
Номер образующей резервуара |
Пояс |
|
|
первый |
верхний (последний) |
|
|
1 |
2 |
3 |
|
kj |
|
|
|
kj+1 |
|
|
|
kj+2 |
|
|
|
kj+3 |
|
|
|
kj+4 |
|
|
|
kj+5 |
|
|
|
kj+6 |
|
|
|
kj+7 |
|
|
|
kj+8 |
|
|
|
kj+9 |
|
|
|
kj+10 |
|
|
|
kj+11 |
|
|
|
kj+12 |
|
|
|
kj+13 |
|
|
|
kj+14 |
|
|
Таблица В.6 - Текущие значения
параметров поверочной жидкости
|
Номер измерения |
Объем дозы (DVc)j, дм3, или показание счетчика жидкости qj, дм3 (N j, имп.) |
Уровень Н j, мм |
Температура жидкости, °С |
Избыточное давление в счетчике жидкости r j, МПа |
|
|
в резервуаре (ТР)j |
в счетчике жидкости (ТТ)j |
||||
|
1 |
|
|
|
|
|
|
2 |
|
|
|
|
|
|
3 |
|
|
|
|
|
|
4 |
|
|
|
|
|
|
5 |
|
|
|
|
|
|
6 |
|
|
|
|
|
|
7 |
|
|
|
|
|
|
. |
|
|
|
|
|
|
. |
|
|
|
|
|
|
. |
|
|
|
|
|
|
. |
|
|
|
|
|
|
. |
|
|
|
|
|
Таблица В.7 - Базовая высота
резервуара
В миллиметрах
|
Базовая высота резервуара до определения вместимости резервуара |
Базовая высота резервуара после определения вместимости резервуара |
||
|
|
|
|
|
|
|
|
|
|
Таблица В.8 - Максимальный уровень
жидкости
В миллиметрах
|
Показание измерительной
рулетки с грузом Нp max |
Показание Нy max |
|
|
1-е измерение |
2-е измерение |
|
|
|
|
|
Таблица В.9 - Параметры коэффициента
преобразования счетчика жидкости
|
Коэффициент |
|
|
К0, имп/дм3 |
А, имп × с/дм3 |
|
|
|
Должности Подписи
и оттиски Инициалы, фамилии
поверительного клейма,
печатей
(штампов)
Г.1 Вычисление длины
внутренней окружности и высоты первого пояса
Г.1.1 Длину наружной
окружности первого пояса Lн вычисляют по формуле 1)
(Г.1)
где Lн1, L н2 - результаты двух
измерений длины окружности первого пояса;
Dlобхj
- поправка на обход j-й выступающей детали;
n1 - число выступающих деталей.
1) Все расчеты проводят до 8-й значащей цифры, затем результат округляют для длин до целого числа миллиметров, для объемов - до целого числа тысячных долей метра кубического. Во всех формулах значения линейных размеров указывают в миллиметрах, объемы - в метрах кубических, массу - в килограммах, температуру - в градусах Цельсия, плотность - в килограммах на метр кубический.
Г.1.2 Длину внутренней
окружности первого пояса Lвн вычисляют по формуле
Lвн = Lн - 2p × (d1 + dс.к) (Г.2)
где d1 - толщина стенки первого
пояса;
dс.к - толщина слоя краски.
Г.1.3
Если при поверке в резервуаре находится жидкость, то длину внутренней окружности первого пояса,
недеформированного от действия гидростатического давления жидкости, Lвн.ц вычисляют по формуле
Lвн.ц = Lвн - 2p × Drг, (Г.3)
где p
= 3,1415926 (здесь и далее везде);
Drг - увеличение радиуса первого
пояса, вызванное гидростатическим давлением жидкости, вычисляемое по формуле
(Г.4)
где g -
ускорение свободного падения, равное 9,8066 м/с2;
rж.г
- плотность жидкости, находящейся в резервуаре при поверке;
Нг - высота наполнения
резервуара при поверке;
h1 - высота первого пояса;
Е - модуль упругости
материала, Па (для стали Е = 2,1 × 1011 Па).
Примечание - Значение Drг учитывают, если Нг ³ 3000 мм, при 0 < Нг < 3000 мм принимают Drг =0.
Г.1.4 Внутреннюю высоту
первого пояса h1 вычисляют по формуле
h1 = hн1 - hнх, (Г.5)
где hн1 - наружная высота первого
пояса;
hнх - высота нахлеста.
Г.1.5 Результаты вычислений
величин Lн, Lвн, Lвн.ц, h1, вносят в журнал, форма
которого приведена в приложении Д.
Г.2 Вычисление длин
внутренних окружностей и высот вышележащих поясов
Г.2.1 Вычисление средних
радиальных отклонений образующих резервуара от вертикали
Г.2.1.1 Средние расстояния от
стенки резервуара до нити отвеса вычисляют по формулам:
для первого пояса
(Г.6)
для верхнего пояса
(Г.7)
для остальных поясов
(Г.8)
где а - расстояние от
стенки резервуара до нити отвеса;
i -
номер пояса (1, ... , п);
k
- номер
образующей резервуара (1, 2, 3, ..., т);
н, с, в - обозначения
сечений: нижнего, среднего, верхнего соответственно.
Г.2.1.2 Средние радиальные
отклонения образующих резервуара DRс.рi
вычисляют по формуле
DRс.рi = aс.рi - aс.р1, (Г.9)
где i -
номер пояса.
Г.2.2 Длину внутренних
окружностей Lвнi вышестоящих поясов вычисляют
по формуле
Lвнi
= Lн - 2p × (d1 + dс.к - DRс.рi), (Г.10)
где di -
толщина стенки i-го пояса;
dс.к - толщина слоя краски.
Г.2.3 При наличии жидкости в
резервуаре в момент его поверки длину внутренних окружностей вышестоящих поясов,
недеформированных от действия гидростатического давления жидкости, Lвн.цi,
вычисляют по формуле
Lвн.цi
= Lвнi
- 2p × Drгi, (Г.11)
где Drгi - увеличение радиуса i-го
пояса, вычисляемое по формуле
![]()
где Hг - по Г.1.3;
хi - расстояние от днища
резервуара до середины i-го пояса, рассчитываемое по
формуле
![]()
где hl -
высота наполненного l-го промежуточного пояса;
hi - высота наполненного
i-го пояса.
Примечание - При хi ³ Hг Drгi = 0.
Г.2.4 Если i-й
пояс резервуара в соответствии с 9.1.2.5 настоящего стандарта имеет ребро
жесткости, то значение величины Drгi, входящей в формулу (Г.3)
или (Г.11),
умножают на 0,4.
Г.2.5 Внутреннюю высоту
вышестоящих поясов hi, вычисляют по формуле
hi = hнi - 2 × hнхi, (Г.12)
где hнi
- наружная высота i-го пояса;
hнхi
- высота нахлеста i-го пояса.
Г.2.6 Результаты вычислений aс.рi,
DRс.рi,
Lвнi, Lвн.цi вносят в таблицу Д.1 приложения Д.
Г.3 Вычисление степени
наклона резервуара
Г.3.1 Вычисление разности
расстояний от стенки резервуара до нити отвеса DSk для верхнего и первого поясов на каждой образующей
проводят по формуле
где k =
1,2, 3, ..., т;
п - число поясов.
Результаты вычислений заносят
в таблицу Д.1
приложения
Д.
Г.3.2 Строят график (рисунок А.10
приложения
А) функции DSk относительно линии, проведенной параллельно оси
абсцисс на расстоянии l, рассчитываемом по формуле
Г.3.3 Если кривая,
соединяющая точки графика функции DSk относительно прямой l, образует примерно общую
синусоиду с периодом, равным отрезку 1 - т (кривая С на рисунке А.10
приложения
А), то резервуар стоит наклонно, если нет (кривая В) -
резервуар стоит вертикально.
Г.3.4 Степень наклона
резервуара h вычисляют по формуле
где А -
амплитуда синусоиды. Ее значение определяют по графику DSk (рисунок А.10 приложения А);
hp - расстояние между точками
измерений а (расстояний от стенки резервуара до нити отвеса) на верхнем
и первом поясах, вычисляемое по формуле
![]()
где hn - высота верхнего пояса.
Г.3.5 Определение степени
наклона резервуара при измерениях расстояний от стенки резервуара до нити
отвеса с применением отвеса (рисунок А.11 приложения А)
Г.3.5.1 Степень наклона
резервуара h1 при телескопическом расположении
поясов вычисляют по формуле
где amax - максимальное значение показания линейки;
d1, d2, d3,...,
dn-1 - толщины стенок первого,
второго, ..., (п - 1)-го (предпоследнего) поясов;
dу -
толщина уголка;
п - число поясов.
Г.3.5.2 Степени наклона
резервуара при ступенчатом расположении поясов:
- если первый пояс включает
в себя второй, а верхний (последний) пояс включен в предпоследний, то h2
вычисляют по формуле
(Г.17)
- если первый пояс включает
в себя второй пояс, а предпоследний пояс включен в верхний, то h3
вычисляют по формуле
(Г.18)
- если первый пояс включен во
второй пояс, а верхний пояс включен в предпоследний, то h4
вычисляют по формуле
(Г.19)
- если первый пояс включен
во второй пояс, а предпоследний пояс включен в верхний пояс, то h5
вычисляют по формуле
(Г.20)
где (hp)1 - расстояние между точкой измерений аmax
и верхним краем цилиндрической части резервуара, вычисляемое по формуле
![]()
Г.3.6 Результаты вычислений h
по формуле
(Г.15) или формулам (Г.16) - (Г.20) вносят в журнал, форма
которого приведена в приложении Д.
Г.4 Вычисление угла
направления наклона резервуара
Г.4.1 В соответствии с рисунком А.10
приложения А
определяют число полных разбивок N, находящихся между
направлением наклона резервуара и плоскостью, проходящей через центры
резервуара и измерительного люка.
Г.4.2 Длину дуги разбивки, в
пределах которой находится направление наклона резервуара, разбивают на равное
число разбивок n, вычисляемое по формуле
(Г.21)
где т - число разбивок периметра
резервуара.
Г.4.3 Измеряют расстояния
и
от стенки резервуара
до нити отвеса, проходящей через разбивки по Г.4.2, в сечениях первого и
верхнего (последнего) поясов резервуара в соответствии с 9.1.2.3
или 9.1.2.4,
9.1.2.5
настоящего стандарта.
Г.4.4 По результатам
измерений в соответствии с Г.4.3 устанавливают точное направление наклона
резервуара и определяют число разбивок п2, соответствующих 1°,
от точки разбивки N до направления наклона
резервуара.
Г.4.5 Угол j
в градусах между направлением наклона резервуара и плоскостью, проходящей через
центры резервуара и измерительного люка, вычисляют по формуле
где т - число
разбивок периметра резервуара.
Г.4.6 Результат расчета
величины j вносят в журнал, форма
которого приведена в приложении Д.
Г.5 Вычисление вместимости
«мертвой» полости
Г.5.1 Объем неровностей днища
при отсутствии
центральной трубы рассчитывают по формуле
(Г.23)
где f1, f2, f3, …, f8 - расстояния по вертикали
между концентрическими окружностями неровностей днища, вычисляемые по формуле
где bj - отсчет по рейке, установленной
по периметру j-й концентрической окружности;
bj-1 - отсчет по рейке,
установленной по периметру (j-1)-й вышележащей
концентрической окружности.
Г.5.2 При наличии центральной
трубы внутри резервуара величины bj и bj-1 вычисляют по формулам:
(Г.25)
где
,
,
,
- показания рейки, устанавливаемой во взаимно
противоположных точках j-й, (j-1)-й
концентрических окружностей.
Объем неровностей днища
при наличии
центральной трубы вычисляют по формуле

![]()
где r0 - радиус центральной трубы;
Lвн - длина внутренней
окружности первого пояса;
f1, f2, f3, …, f8 - расстояния по вертикали
между концентрическими окружностями неровностей днища. Величины f2, f3, …, f8 вычисляют по формуле (Г.24),
а величину f1 вычисляют по формуле
![]()
где b0,i
- показание рейки, установленной по стенке центральной трубы в i-ю
точку окружности, образованную в стыке центральной трубы и неровностей днища.
Г.5.3 Высоту превышения точки
касания днища грузом рулетки с учетом наклона резервуара fл (рисунок А.17 приложения А)
вычисляют по формуле
где h
- степень наклона резервуара;
j - угол между направлением наклона резервуара
и плоскостью, проходящей через центры резервуара и измерительного люка;
Hб - базовая высота резервуара;
b8.1 - показание рейки, установленной в точке пересечения
8-й окружности (окружности стенки резервуара) и 1-го радиуса;
bл - показание рейки в точке
касания днища грузом рулетки;
l0 - координата точки отсчета значений уровня жидкости
или базовой высоты (рисунок А.16 приложения А),
значение ее:
- при ступенчатом
расположении поясов резервуара
определяют по формуле
где dн, dвн - наружный и внутренний
диаметры измерительного люка;
- при телескопическом
расположении поясов
определяют по формуле
где di
- толщина стенки i-го пояса.
Г.5.4 Уровень жидкости в
резервуаре, соответствующий высоте «мертвой» полости Hм.п вычисляют по формуле
где hм.п - высота «мертвой» полости,
измеренная в соответствии с 9.1.8.1 настоящего стандарта;
fл - высота точки
касания днища грузом рулетки, вычисляемая по формуле (Г.27).
Г.5.5 Уровень жидкости в
резервуаре, соответствующий вместимости днища Н0 (рисунок А.19
приложения
А) вычисляют по формуле
где Lвн - внутренняя длина
окружности первого пояса резервуара.
Г.5.6 Уровень жидкости в
резервуаре
от точки касания
днища грузом рулетки до уровня Н0 (рисунок А.19 приложения А)
вычисляют по формуле
где Н0, fл - величины, вычисляемые по формулам (Г.31)
и (Г.27)
Г.5.7
Неровности днища могут находиться в пределах «мертвой» полости (рисунок А.17 приложения А) или вне ее (рисунок А.18
приложения
А).
Г.5.7.1 Высоту неровностей
днищам f0 вычисляют по формуле
где (DVдн)0 - объем неровностей днища,
вычисляемый по формуле (Г.23) или (Г.26);
Lвн - длина внутренней окружности первого пояса
резервуара, вычисляемая по формуле (Г.2).
Г.5.7.2 Объем неровностей
днища DV0, соответствующий уровню
при расположении
измерительного люка ближе к опущенному (из-за наклона резервуара) краю кровли
резервуара (рисунок
А.19 приложения А) вычисляют по формуле
Г.5.7.3 Объем неровностей
днища
при уровне выше
уровня
вычисляют по формуле
![]()
Г.5.7.4 Объем неровностей
днища DVл при высоте, равной высоте
точки касания днища грузом рулетки fл, при расположении
измерительного люка ближе к поднятому краю кровли резервуара вычисляют по
формуле
(Г.36)
Г.5.7.5 Объем неровностей
днища
при уровне выше точки
касания днища грузом рулетки вычисляют по формуле
![]()
Г.5.7.6 Величины l,
n1, n2, х,
z, R, входящие в формулы (Г.34) - (Г.37),
вычисляют по формулам:

(Г.38)
(Г.39)
где f0 - высота неровностей днища,
вычисляемая по формуле (Г.33);
fл - высота точки
касания днища грузом рулетки, вычисляемая по формуле (Г.27);
Lвн - внутренняя длина окружности первого пояса
резервуара, вычисляемая по формуле (Г.2);
- уровень жидкости в резервуаре,
отсчитываемый от точки касания днища грузом рулетки до уровня Н0,
вычисляемый по формуле (Г.32);
h - степень наклона
резервуара, вычисляемая по формуле (Г.15) или по формулам (Г.16) - (Г.20);
H - уровень жидкости в резервуаре, отсчитываемый от точки касания днища
грузом рулетки.
Примечание - Формулы (Г.35) и (Г.37) применяют при определении посантиметровой вместимости «мертвой» полости при наличии в ней неровностей днища.
Г.5.8 Вместимость «мертвой»
полости Vм.п вычисляют по формуле
где (Vм.п)1 - вместимость
«мертвой» полости при уровне H, равном уровню H0 (рисунок А.19 приложения А);
(Vм.п)2 - вместимость
«мертвой» полости при уровне H выше уровня H0;
DVдн - объем неровностей днища;
- объем внутренних деталей, находящихся в
«мертвой» полости.
Г.5.8.1 Вместимость (Vм.п)1 вычисляют по
формуле
(Г.41)
где Lвн - длина внутренней
окружности первого пояса, вычисляемая по формуле (Г.2);
h - степень наклона резервуара, вычисляемая по формуле (Г.15)
или по формулам
(Г.16) - (Г.20).
Г.5.8.2 Вместимость (Vм.п)2 вычисляют по
формуле
(Г.42)
где Н - уровень, отсчитываемый от точки
касания днища грузом рулетки.
Г.5.9 Результаты вычислений
по формуле
(Г.23) или по формулам (Г.26), (Г.27), (Г.30) - (Г.33)
вносят в журнал, форма которого приведена в приложении Д.
Г.5.10 Вычисление базовой
высоты и исходного уровня
Г.5.10.1 Базовую высоту Нб
вычисляют по формуле
Г.5.10.2 Исходный уровень Ни
вычисляют по формуле
Г.5.10.3 Результаты
вычислений Нб, Ни вносят в журнал, форма
которого приведена в приложении Д.
Г.6 Вычисление объема
жидкости, вытесненной плавающим покрытием
Г.6.1 Объем жидкости,
вытесненной плавающим покрытием, Vп вычисляют по формуле
Г.6.2 Результат вычисления
величины Vп вносят в журнал, форма которого приведена в приложении Д.
Г.6.3 Объем жидкости,
вытесненной плавающим покрытием, соответствующий дополнительной нагрузке на
плавающее покрытие (например, от снега на плавающую крышу), определяют по
формуле
где Dhд - глубина дополнительного погружения плавающего покрытия
за счет дополнительной нагрузки;
Dп - диаметр плавающего
покрытия;
D1, D2,... - диаметры
отверстий в плавающем покрытии;
Примечания
1 Значение величины Dhд определяют при эксплуатации резервуара по результатам измерений расстояния по вертикали между меткой, нанесенной на внутренней стенке резервуара до нагружения плавающего покрытия дополнительной нагрузкой, и точкой измерения на плавающем покрытии после нагружения его дополнительной нагрузкой.
2 Результат вычисления величины Vпд по формуле (Г.46) учитывают при измерениях объема жидкости в поверяемом резервуаре при его эксплуатации.
Г.7 Вычисление объема
жидкости от исходного уровня до уровня, соответствующего всплытию плавающего
покрытия
Г.7.1 Уровень жидкости,
соответствующий расстоянию от днища резервуара до нижней части плавающего
покрытия с учетом степени наклона резервуара Hп вычисляют по формуле
(Г.47)
где hп - расстояние от днища
резервуара до нижней части плавающего покрытия, измеренное в соответствии с 9.1.11.2
настоящего стандарта.
Г.7.2 Уровень жидкости,
соответствующий высоте всплытия плавающего покрытия от днища резервуара, Hвсп вычисляют по формуле
(Г.48)
где Vп - объем жидкости,
вытесненной плавающим покрытием, вычисляемый по формуле (Г.45);
Vопор - объем опор плавающего
покрытия;
Dп, D1, D2,... - диаметры
плавающего покрытия и отверстий.
Г.7.3 Объем жидкости от
исходного уровня до уровня, соответствующего всплытию плавающего покрытия, Vвсп вычисляют по формуле
(Г.49)
Г.7.4 Результат вычисления
величины Vвсп вносят в журнал, форма которого приведена в приложении Д.
Г.8 Вычисление вместимости
поясов резервуара
Г.8.1 Вместимость i-го
недеформированного от гидростатического давления пояса резервуара Vцi
вычисляют по формуле
где Lвн.цi
- длина внутренней окружности i-го пояса, вычисляемая по формуле (Г.10);
hi - высота i-го пояса, вычисляемая по формулам (Г.5) и (Г.12);
h - степень наклона
резервуара.
Г.8.2 Результаты вычислений
вместимости Vцi вносят в таблицу Д.1 приложения Д.
Г.9 Вычисление поправки к
вместимости
Г.9.1 Поправку к вместимости
резервуара за счет гидростатического давления жидкости DVгi
при наполнении i-го пояса вычисляют по формуле
где h1, d1 - высота и толщина стенки
первого пояса;
hl, dl
- высота и толщина l-го вышестоящего пояса;
i -
номер наполненного пояса;
А2 - постоянный коэффициент для
поверяемого резервуара, вычисляемый по формуле
(Г.52)
где g - ускорение свободного
падения, м/с2 (g = 9,8066 м/с2);
rж.х - плотность хранимой
жидкости;
Lвн.ц - длина внутренней
окружности первого пояса, вычисляемая по формуле (Г.3);
Е - модуль упругости
материала, Па, (для стали Е = 2,1 × 1011 Па).
Г.9.2 Все пояса резервуара
разбивают на участки высотой, равной примерно 1 м. В этом случае индекс i
означает номер участка.
Г.9.3 При наличии ребер
жесткости по 9.1.2.5 настоящего стандарта поправку к
вместимости резервуара вычисляют по формуле (Г.51) с учетом
замедления деформации участка пояса с ребром жесткости.
Г.9.4 Результаты вычислений DVгi
для уровней наполнения от 3 м заносят в таблицу Д.3 приложения Д.
Г.10 Вычисление вместимости
резервуара
Г.10.1 Вместимость
резервуара, соответствующую уровню жидкости H, VH
вычисляют по формуле
где п - число
наполненных поясов резервуара;
Vв.д - объем внутренних деталей,
находящихся в резервуаре от уровня Hвсп до Н.
Примечание - Вместимость последнего частично наполненного пояса вычисляют по фактической высоте его наполнения.
|
ЖУРНАЛ Д.1 Вычисление длины наружной окружности первого пояса Lн = ... мм. Д.2 Вычисление длины внутренней окружности первого пояса: Lвн = ... мм; Lвн.ц = ... мм. Д.3 Вычисление длин внутренних окружностей вышестоящих поясов Таблица Д.1
Д.4 Вычисление степени наклона резервуара h = ... Д.5 Вычисление угла направления наклона резервуара j = ... Д.6 Вычисление базовой высоты Нб = ... мм. Д.7 Вычисление исходного уровня Ни = ... мм. Д.8 Вычисление вместимости «мертвой» полости Таблица
Д.2
Нм.п = ... мм; (DVдн)0 = ... м3; Н0 = ... мм; fл = ... мм; f0 = ... мм; Д.9 Вычисление объема жидкости, вытесненной плавающим покрытием Д.9.1 Масса плавающего покрытия тп = ... кг Д.9.2 Объем жидкости, вытесненной плавающим покрытием Vп = ... м3 Д.9.3 Вычисление объема жидкости от исходного уровня, соответствующего
всплытию плавающего покрытия Vвсп = ... м3 Д.10 Вычисление поправки к вместимости пояса резервуара за счет
гидростатического давления жидкости Таблица
Д.3
Д.11 Составление градуировочной таблицы Таблица
Д.4
Вычисления провел ____________ __________________________ подпись инициалы, фамилия «____» _________________ _______ г. |
||||||||||||||||||||||||||||||||||||||||||||||||||||||||||||||||||||||||||||||||||||||||||||||||||||||||||||||||||||||||||||||||||||||||||||||||||||||||||||||||||||||||||||||||||||||||||||||||||||||||||||||||||||||||||||
Е.1 Вычисление уровня
поверочной жидкости, соответствующего высоте «мертвой» полости
E.1.1
Уровень поверочной жидкости в резервуаре, соответствующий высоте «мертвой»
полости, Нм.п вычисляют по формуле (Г.30) приложения Г.
Е.2 Вычисление высоты точки
касания днища грузом рулетки
Е.2.1 Высоту точки касания
днища грузом рулетки с учетом степени наклона резервуара fл вычисляют по формуле (Г.27)
приложения
Г.
Е.3 Вычисление базовой высоты
и исходного уровня
Е.3.1 Базовую высоту
резервуара Нб вычисляют по формуле (Г.43) приложения Г.
Е.3.2 Исходную высоту Ни
вычисляют по формуле
(Г.44) приложения Г.
Е.4 Вычисление степени наклона
резервуара
Е.4.1 Степень наклона
резервуара h вычисляют по формуле (Г.15)
или по формулам
(Г.16) - (Г.20) приложения Г.
Е.5 Результаты вычислений Нм.п,
fл, Нб, Ни, h
вносят в журнал, форма которого приведена в приложении Ж.
Е.6 Вычисление максимального
уровня поверочной жидкости в резервуаре
Е.6.1 Максимальный уровень
поверочной жидкости (далее - жидкости), измеренный измерительной рулеткой с
грузом, Нp max вычисляют по формуле
(E.1)
где (Нp max)1, (Нp max)2
- результаты двух измерений максимального уровня, мм.
Е.7 Вычисление разности
максимальных уровней жидкости в резервуаре
Е.7.1 Разность максимальных
уровней жидкости в резервуаре, измеренных в конце его поверки уровнемером и
измерительной рулеткой с грузом, DH
вычисляют по формуле
где Нp.max, Ну.max - максимальные уровни
жидкости, измеренные измерительной рулеткой с грузом и уровнемером, мм.
Е.7.2 Значение величины DH, вычисленной по формуле (Е.2), может быть
больше или меньше нуля.
Е.8 Вычисление средней
температуры жидкости в резервуаре
Е.8.1 Среднюю температуру
жидкости в резервуаре при поступлении в него j-й дозы (Тр)j
вычисляют по формуле
(E.3)
где
,
,
- температуры
жидкости, измеренные в точечных пробах, отобранных из резервуара после
поступления в него j-й дозы, в соответствии с 9.2.5 настоящего стандарта.
Е.9 Вычисление плотности
жидкости в резервуаре
Е.9.1 Плотность жидкости в
резервуаре после поступления в него j-й дозы rj вычисляют по формуле
где bj-1 - коэффициент объемного
расширения жидкости, 1/°С. Его значение принимают для
воды равным 200 × 10-6 1/°С,
для нефти - по [5], для нефтепродуктов определяют в соответствии с
[6]
по формуле
(Тр)j,
(Тр)j-1 - средние температуры
жидкости в резервуаре, измеренные после поступления в него j-й и
(j-1)-й доз жидкости, °С.
Е.10 Вычисление объемов доз
жидкости
Е.10.1 Объем j-й
дозы жидкости, прошедший через счетчик жидкости, (DVc)j
вычисляют по формуле для счетчиков жидкости:
- с непосредственным отсчетом
объема жидкости, дм3
- с импульсным выходным
сигналом, имп.
где qj, qj-1 - показания счетчика
жидкости, дм3;
Nj, Nj-1 - показания счетчика
жидкости, имп.;
К - коэффициент
преобразования счетчика жидкости, имп./дм3.
Е.10.2 Объем налитой в
резервуар j-й жидкости (DVp)j,
м3, соответствующий изменению уровня жидкости в резервуаре на:
- 10 мм - при динамическом
методе поверки;
- 30 мм (в пределах «мертвой»
полости) и 100 мм - при статическом методе поверки, вычисляют по формуле
где (DVc)j - объем j-й
дозы, вычисленный по формуле (Е.6) или (Е.7);
bj - коэффициент объемного
расширения жидкости, 1/°С. Его значение определяют в
соответствии с формуле (Е.5);
(Tp)j
- температура жидкости в резервуаре после поступления в него j-й
дозы, °С;
(Tт)j
- температура j-й дозы жидкости в трубопроводе, °С;
g - коэффициент сжимаемости жидкости, 1/МПа.
Его значение принимают для воды равным 49 × 10-5 1/МПа, для
нефти - по [5],
для нефтепродуктов - по [6];
рj - избыточное давление жидкости в счетчике жидкости, МПа;
rj - плотность жидкости,
вычисляемая по формуле (Е.4), кг/м3;
g - ускорение свободного падения, м/с2;
Нj - уровень жидкости в резервуаре, м.
E.10.3
Объем налитой в резервуар начальной дозы жидкости, соответствующий объему
«мертвого» остатка, вычисляют по формуле
где (DVc)0 - объем
начальной дозы жидкости, вычисленный по формуле (Е.6) или (Е.7)
по показаниям счетчика жидкости q1, q0 в дм3
или N1, N0 в имп.;
(Tp)0 - температура жидкости в резервуаре,
измеренная в первой пробе ее, отобранной из резервуара, в соответствии с 9.2.3.4
настоящего стандарта, °С;
(TT)0 - температура жидкости в трубопроводе,
измеренная в момент отбора первой пробы, °С.
Е.10.4 Результаты вычислений
по формулам
(Е.8), (Е.9) вносят в журнал, форма которого приведена
в приложении
Ж.
Е.11
Вычисление температур жидкости в резервуаре по результатам измерений температур
доз жидкости
E.11.1
Дозы жидкости: (DVc)0, (DVc)1, (DVc)2, …, (DVc)n, суммарный объем которых
соответствует уровню жидкости в «мертвой» полости резервуара, имеют одинаковую
температуру, равную температуре (Tp)0,
измеренной в соответствии с 9.2.2.4 настоящего стандарта, °С.
E.11.2
Температуры жидкости в резервуаре в пределах объема суммарной дозы жидкости,
соответствующего уровню жидкости в первом поясе, вычисляют по формулам:
где (Tp)0 - температура жидкости, измеренная в
соответствии с 9.2.2.4 настоящего стандарта, °С;
(Tp)n+1, (Tp)n+2, …, (Tp)m-1 - температуры жидкости в резервуаре
при поступлении в него (DVp)n+1, (DVp)n+2, …, (DVp)m-1
доз;
DТ1 - среднее температурное изменение, приходящееся на
каждую дозу жидкости в пределах уровня жидкости в «мертвой» полости до уровня
ее в первом поясе, °С, вычисляемое по формуле
![]()
где (Tp)m - температура жидкости в резервуаре при поступлении в
него дозы (DVp)m,
°С.
E.11.3
Температуры жидкости в резервуаре в пределах суммарных доз, соответствующих
уровням жидкости в первом и втором поясах, вычисляют по формулам:
![]()
где (Tp)m+1,
(Tp)m+2,
…, (Tp)l-1 - температуры жидкости в
резервуаре при поступлении в него (DVp)m+1, (DVp)m+2,
…, (DVp)l-1 доз;
![]()
где (Tp)m,
(Tp)l - температуры жидкости в резервуаре,
измеренные при поступлении в него доз (DVp)m, (DVp)l.
E.11.4 Результаты
вычислений по формулам (Е.10), (Е.11) вносят в журнал, форма
которого приведена в приложении Ж.
E.12 Если
выполняются условия:
а) при применении воды

![]()
б) при применении нефти и
нефтепродуктов

![]()
то объемы доз вычисляют по формулам (Е.8),
(Е.9)
без поправок на температуру и давление.
Е.13 Вычисление дозовой
вместимости резервуара
Е.13.1 Дозовую вместимость
резервуара при поступлении в него k доз жидкости Vk, м3, вычисляют по формуле
где k - число налитых в резервуар доз жидкости;
j - номер налитой дозы, выбирают из ряда 0, 1, 2, ..., k;
(DVp)j - объем j-й дозы, вычисляемый по формуле (Е.8)
или (Е.9),
м3;
(Tp)k
- температура жидкости в резервуаре при наливе в него k доз, °С;
(Tp)j - температура жидкости в резервуаре при наливе в него
j-й дозы, °С;
bj - коэффициент объемного
расширения жидкости, 1/°С. Его значение определяют по
формуле (Е.5);
a - коэффициент линейного
расширения материала резервуара, 1/°С.
Его значение для стали
принимают равным 12,5 × 10-6 1/°С.
E.13.1.1
Значение k в формуле (Е.12) принимают:
k = 0 - при наливе дозы (DVp)0, объем которой соответствует уровню Н,
рассчитываемому, как указано ниже:
Н = DH + 1 см (при DH
> 0) или Н = 0 (при DH
< 0), где DH
вычисляют по формуле
(Е.2);
k = 1 - при наливе дозы (DVp)1;
k = 2 - при наливе дозы (DVp)2
и т.д. до максимального
уровня, соответствующего полной вместимости резервуара.
Е.13.1.2 Объемы доз (DVp)1, (DVp)2, ..., (DVp)n в пределах «мертвой» полости
соответствуют изменению уровня жидкости в резервуаре не более чем на 30 мм.
E.13.2
При невозможности измерения средней температуры жидкости в резервуаре после
налива в него каждой дозы дозовые вместимости вычисляют при наполнении:
- первого пояса (V1)k
по формуле
![]()
где (Vм.п)0 - объем жидкости
в «мертвой» полости резервуара, вычисляемый по формуле
![]()
где (DVp)j - объем j-й
дозы жидкости, налитой в резервуар, вычисляемый по формулам (Е.8), (Е.9);
температуры (Tp)j, принимающие при j,
равных n + 1, n
+ 2, ..., m - 1, соответственно значения (Tp)n+1, (Tp)n+2, …, (Tp)m-1, вычисляют по формуле (Е.10).
Значения k принимают равными n + 1, n
+ 2, ..., т;
- второго пояса (V2)k
по формуле
![]()
где V1 -
вместимость первого пояса, вычисляемая по формуле (Е.13) при значении k
= т.
Температуры: (Tp)m+1, (Tp)m+2, …, (Tp)l-1 вычисляют по формуле (Е.11).
Значения k принимают
равными т + 1, т + 2, т + 3, ..., l;
- третьего и других
вышестоящих поясов дозовые вместимости резервуара вычисляют аналогично по
методике, изложенной выше.
Е.13.3 Температурные поправки
не учитывают в формулах (Е.12), (Е.13) и (Е.14),
если выполняются условия при:
- применении воды
![]()
![]()
- применении нефти и
нефтепродуктов
![]()
![]()
E.13.4 Результаты
вычислений по формулам (Е.12) - (Е.14) вносят в журнал, форма
которого приведена в приложении Ж.
|
ЖУРНАЛ Ж.1 Вычисление высоты «мертвой» полости Нм.п = ... мм. Ж.2 Вычисление высоты превышения точки касания днища грузом рулетки
над контуром днища fл = ... мм. Ж.3 Вычисление базовой высоты резервуара Нб = ... мм. Ж.4 Вычисление исходной высоты Ни = ... мм. Ж.5 Вычисление степени наклона резервуара h = ... . Ж.6 Вычисление максимального уровня Нр max = ... мм. Ж.7 Вычисление разности максимальных уровней DН = ... мм. Ж.8 Вычисление температур жидкости в резервуаре Таблица Ж.1 В
градусах Цельсия
Ж.9 Вычисление дозовой вместимости Таблица
Ж.2
Ж.10 Составление градуировочной таблицы Таблица
Ж.3
Вычисления провел ____________ __________________________ подпись инициалы, фамилия «____» _________________ _______ г. |
|||||||||||||||||||||||||||||||||||||||||||||||||||||||||||||||||||||||||||||||||||||||||||||
И.1 Резервуары изготавливают
в соответствии с требованиями, изложенными ниже, по рабочим чертежам,
утвержденным в установленном порядке.
И.2 Новые типы резервуаров,
предназначенные для проведения государственных учетных и торговых операций с
нефтью и нефтепродуктами и их хранения, а также взаимных расчетов между
поставщиком и потребителем, должны подвергаться обязательным испытаниям для
целей утверждения типа.
И.3 Резервуары подразделяют:
по вместимости - от 100 до
50000 м3;
по форме - вертикальные,
цилиндрические;
по расположению - наземные,
подземные;
по принципу действия -
открытые, закрытые;
по значению внутреннего
избыточного давления - низкого давления, повышенного давления;
по наличию теплоизоляции -
без теплоизоляции, с теплоизоляцией;
по условиям применения -
используемые с подогревом, без подогрева.
И.4 Резервуары и их
оборудование изготавливают из металла, обладающего достаточной устойчивостью к
физическому и химическому воздействиям рабочей жидкости и окружающей среды.
Резервуары должны быть рассчитаны на избыточные внутренние давления в газовом
пространстве:
низкое - до 0,002 МПа,
повышенное - до 0,069 МПа и вакуум - 0,001 МПа.
И.5 Резервуары с плавающей
крышей или понтоном изготавливают такими, чтобы плавающая крыша (понтон) могла
без препятствий принимать положение, соответствующее уровню жидкости.
Существенное искажение результатов измерений уровня и объема жидкости (кроме
зоны наплыва) не допускается. Плавающую крышу (понтон) в нижнем положении
устанавливают на опорах. Верхнее положение плавающей крыши (понтона) определяют
ограничителями, расположенными на расстоянии не менее 400 мм от верхнего края
резервуара.
И.6 Резервуар должен иметь
дополнительный люк-лаз для обслуживания понтона.
И.7 Плавающая крыша (понтон)
должна иметь измерительный люк для измерений уровня жидкости и отбора проб и
направляющие для исключения ее вращения.
И.8 Резервуар после
строительства подлежит первичной поверке, а при внесении в резервуар
конструктивных изменений, влияющих на его вместимость, и капитального ремонта -
периодической поверке.
И.9 При эксплуатации
обеспечивают полное наполнение и полное опорожнение резервуара без образования
воздушных мешков.
И.10 Трубы для подвода и
отвода жидкости из резервуара изготавливают так, чтобы при измерениях уровня
жидкости была исключена возможность притока или выхода жидкости произвольным
образом.
И.11 Резервуары могут быть
оснащены стационарно встроенными элементами: змеевиками, пеноотводами,
мешалками, уровнемерами, стационарными пробоотборниками, измерителями
(датчиками) температуры и плотности, массомерами и другими устройствами.
И.12 Резервуары изолируют
после их поверки.
И.13 Для ручных измерений
уровня жидкости резервуар должен иметь измерительный люк с направляющей
планкой, изготовленной из бронзы или латуни. При этом планка должна иметь риску
для отсчета при измерениях уровня жидкости и базовой высоты резервуара.
И.14
К измерительному люку прикрепляют табличку, на которую наносят:
- номер резервуара;
- значение базовой высоты;
- номер свидетельства о
поверке, после которого через вертикальную или горизонтальную черту указывают
две последние цифры года проведения поверки;
- сокращенное название организации,
выдавшей свидетельство о поверке;
- надпись «с понтоном» (при
наличии понтона в резервуаре);
- оттиск поверительного
клейма.
Табличку изготавливают из
металла, устойчивого к воздействию паров нефти и нефтепродуктов, атмосферных
осадков, и крепят таким образом, чтобы ее невозможно быть снять без разрушения
поверительного клейма. Устанавливают табличку после первичной поверки и меняют
после каждой периодической поверки резервуара.
И.15 Базовую высоту
резервуара измеряют ежегодно. Ее значение не должно изменяться более чем на ±
0,1 %.
И.16 Пределы допускаемой
относительной погрешности измерений уровня жидкости в резервуаре: ±
0,1 %.
И.17 Резервуары подлежат
первичной и периодической поверкам. Межповерочный интервал для всех типов
вертикальных резервуаров должен быть не более 5 лет.
K.1 Форма титульного листа
градуировочной таблицы
|
УТВЕРЖДАЮ ГРАДУИРОВОЧНАЯ ТАБЛИЦА _________________ № ___________________ тип Организация______________________________________________________________ Погрешность определения
вместимости______________________________________ Участок ниже Нм.п
= ... мм для государственных учетных и торговых операций с нефтью и
нефтепродуктами, взаимных расчетов между поставщиком и потребителем не
используется. Программа
расчета градуировочной таблицы на ПЭВМ утверждена ГНМЦ - ВНИИР «____» ___________ г. Срок очередной
поверки__________________________________ Поверители ________________________ подпись ________________________ должность, инициалы, фамилия ________________________ подпись ________________________ должность, инициалы, фамилия ________________________ подпись ________________________ должность, инициалы, фамилия |
К.2 Форма градуировочной
таблицы
Организация______________________________________________________________
Резервуар
№______________________________________________________________
Таблица K.1 -
Посантиметровая вместимость ... пояса резервуара
Лист …
|
Уровень наполнения, см |
Вместимость, м3 |
Уровень наполнения, см |
Вместимость, м3 |
|
(Нм.п - fл) |
|
|
|
|
(Нм.п - fл)+1 |
|
|
|
|
(Нм.п - fл)+2 |
|
|
|
|
… |
|
|
|
|
… |
|
|
|
|
… |
|
|
|
|
|
|
|
|
|
… |
|
|
|
|
|
|
|
|
Таблица К.2 - Средняя вместимость ... пояса резервуара в пределах
вместимости, приходящейся на 1 см высоты наполнения
|
Уровень наполнения, мм |
Вместимость, м3 |
Уровень наполнения, мм |
Вместимость, м3 |
Уровень наполнения, мм |
Вместимость, м3 |
|
1 |
|
4 |
|
7 |
|
|
2 |
|
5 |
|
8 |
|
|
3 |
|
6 |
|
9 |
|
Л.1 Форма акта измерений
базовой высоты резервуара
|
СОГЛАСОВАНО УТВЕРЖДАЮ Руководитель
органа Государственной Руководитель
предприятия - владельца метрологической службы резервуара
(директор, гл. инженер) АКТ Составлен в том, что
комиссия, назначенная приказом по _______________________ наименование ____________________________________,
в составе председателя________________ предприятия - владельца
резервуара ____________________________________
и членов:____________________________ инициалы,
фамилия инициалы,
фамилии провела по ГОСТ________
контрольные измерения базовой высоты резервуара ____ *) ________________________________________________________
№______________ тип резервуара, номинальная
вместимость при температуре окружающего
воздуха _______________ °С. Результаты измерений
представлены в таблице 1. * Указывают при заполнении. Таблица 1 В
миллиметрах
Относительное
изменение базовой высоты резервуара dб, %, вычисляют по формуле Вывод - требуется (не
требуется) корректировка градуировочной таблицы. Председатель
комиссии __________ __________________ подпись инициалы, фамилия Члены: __________ __________________ подпись инициалы, фамилия __________ __________________ подпись инициалы, фамилия __________ __________________ подпись инициалы, фамилия |
|||||||||||
Л.2 Форма акта определения
вместимости «мертвой» полости резервуара
|
СОГЛАСОВАНО УТВЕРЖДАЮ Руководитель
органа Государственной Руководитель
предприятия - владельца метрологической службы резервуара
(директор, гл. инженер) АКТ Составлен в том, что
комиссия, назначенная приказом по _______________________ наименование ____________________________________,
в составе председателя________________ предприятия - владельца
резервуара ____________________________________
и членов:____________________________ инициалы,
фамилия инициалы,
фамилии провела по ГОСТ______ контрольное определение вместимости «мертвой»
полости *) резервуара
_______________________________________________ №______________ тип резервуара, номинальная
вместимость при температуре окружающего
воздуха _______________ °С. Вместимость «мертвой»
полости определена геометрическим (объемным) методом. Л.2.1 Результаты измерений
(геометрический метод): а) высоты «мертвой» полости
hм.п = ... мм; б) диаметра центральной
трубы (при наличии) d0 = ... мм; в) высоты
превышения точки касания днища грузом рулетки над контуром днища fл
= ... мм; г) неровностей днища
представлены в таблице 1. *) Указывают при заполнении. Таблица
1 В
миллиметрах
Председатель
комиссии __________ __________________ подпись инициалы, фамилия Члены: __________ __________________ подпись инициалы, фамилия __________ __________________ подпись инициалы, фамилия __________ __________________ подпись инициалы, фамилия |
||||||||||||||||||||||||||||||||||||||||||||||||||||||||||||||||||||||||||||||||||||||||||||||||||||||||||||||||||||||||||||||||||||||||||||||||||||||||||||||||||||||||||||||||||||||||||||||||||||||||||||||||||
Л.3 Форма акта измерений
степени наклона резервуара
|
СОГЛАСОВАНО УТВЕРЖДАЮ Руководитель
органа Государственной Руководитель
предприятия - владельца метрологической службы резервуара
(директор, гл. инженер) АКТ Составлен в том, что
комиссия, назначенная приказом по _______________________ наименование ____________________________________,
в составе председателя________________ предприятия - владельца
резервуара ____________________________________
и членов:____________________________ инициалы,
фамилия инициалы,
фамилии провела по ГОСТ_______
контрольные измерения степени наклона резервуара ____ __________________*)_____________________________________
№______________ тип резервуара, номинальная
вместимость при температуре окружающего
воздуха _______________ °С. Результаты измерений
представлены в таблице 1. * Указывают при заполнении. Таблица 1 В
миллиметрах
h = ... j = ... Председатель
комиссии __________ __________________ подпись инициалы, фамилия Члены: __________ __________________ подпись инициалы, фамилия __________ __________________ подпись инициалы, фамилия |
||||||||
1 ТУ
257761.007-87 Толщиномер ультразвуковой УТ-93П
2 РД
50-388-83 Методические указания. Уровнемеры жидкости образцовые. Методы и
средства поверки
4 ТУ
25-1819.0021-90 Секундомеры
6 РД
153-39-011-97 Инструкция по учету нефтепродуктов на магистральных
нефтепродуктопроводах
Ключевые слова: вместимость, резервуар, уровнемер, счетчик, наклон,
жидкость, погрешность, уровень, градуировка, поверка, температура, плотность,
влага, всплытие, наполнение, опорожнение, операция, количество, давление,
сжимаемость, диапазон
|
|
|
|