Бесплатная библиотека стандартов и нормативов www.docload.ru

Все документы, размещенные на этом сайте, не являются их официальным изданием и предназначены исключительно для ознакомительных целей.
Электронные копии этих документов могут распространяться без всяких ограничений. Вы можете размещать информацию с этого сайта на любом другом сайте.
Это некоммерческий сайт и здесь не продаются документы. Вы можете скачать их абсолютно бесплатно!
Содержимое сайта не нарушает чьих-либо авторских прав! Человек имеет право на информацию!

 

КОРПОРАЦИЯ «ТРАНССТРОЙ»

СТП 005-97

СТАНДАРТ ПРЕДПРИЯТИЯ

ТЕХНОЛОГИЯ МОНТАЖНОЙ СВАРКИ
СТАЛЬНЫХ КОНСТРУКЦИЙ МОСТОВ

г. Москва

1997

ПРЕДИСЛОВИЕ

1. РАЗРАБОТАН Научно-исследовательским центром "Мосты" ОАО ЦНИИС (инж. А.В. Кручинкин, канд. техн. наук А.С. Платонов, канд. техн. наук В.Г. Гребенчук, инж. Н.И. Подберезный) с участием Научно-исследовательского института мостов Петербургского государственного университета путей сообщения (кандидаты техн. наук А.В. Вронский, В.С. Агеев, докт. техн. наук А.К. Гурвич) и Института электросварки им. Е.О. Патона (кандидат техн. наук А.Н. Пащин, инж. В.М. Зиль)

ВНЕСЕН Научно-техническим центром Корпорации "Трансстрой"

2. ПРИНЯТ И ВВЕДЕН В ДЕЙСТВИЕ Корпорацией "Трансстрой" распоряжением от 28.07.97 № МО-177

3. СОГЛАСОВАН специализированными фирмами "Мостострой", "Транспроект" Корпорации "Трансстрой", Главным управлением пути Министерства путей сообщения РФ, Федеральной автомобильно-дорожной службой РФ

4. ВВЕДЕН ВПЕРВЫЕ

СОДЕРЖАНИЕ

1. Область применения. 2

2. Нормативные ссылки. 2

3. Общие указания. 3

4. Типы сварных монтажных соединений в конструкциях мостов. способы сварки. 5

5. Требования к сварочным материалам и оборудованию.. 9

6. Подготовка монтажных соединений под сварку. 12

Обработка и зачистка кромок. 12

Сборка конструкций под сварку. 12

Подогрев кромок перед сваркой. 17

7. Технология сварки монтажных соединений. 17

Общие требования. 17

Автоматическая, полуавтоматическая и ручная сварка стыковых швов в нижнем положении. 19

Механизированная электродуговая сварка вертикальных стыков с принудительным формированием шва порошковой самозащитной проволокой. 22

Технология сборки и сварки цельносварных стыков. 24

Технология выполнения комбинированных фрикционно-сварных стыков. 28

Сборка и сварка ортотропных плит. 29

Ручная, полуавтоматическая и автоматическая сварка угловых, тавровых и нахлесточных соединений. 30

8. Требования к качеству сварки и сварных соединений. Контроль качества. 31

Требования к качеству сварных соединений. 31

Система обеспечения качества сборочно-сварочных работ. 32

Организация неразрушающего контроля качества швов. 33

Входной контроль. 35

Пооперационный контроль. 37

Приемочный контроль. 37

9. Исправление дефектных участков швов и правка деформированных конструкций. 38

Исправление дефектных швов. 38

Правка деформированных конструкций. 39

10. Механическая обработка сварных соединений. 43

11. Приемка сварных мостовых конструкций. 47

12. Обеспечение безопасности труда. 49

Приложение А Примерное содержание ППСР и инструкции по сварке мостовых конструкций. 52

Приложение Б Перечень и формы исполнительной документации на производство монтажно-сварочных работ при строительстве мостов. 53

Приложение В Типы и условные обозначения на чертежах КМ и КМД швов сварных монтажных соединений в соответствии с ГОСТ 2.312, ГОСТ 8713, ГОСТ 5264 и ГОСТ 16098. 56

Приложение Г Проверка качества сварочных материалов. 57

Приложение Д Оборудование, оснастка и инструмент для монтажной сварки мостов и контроля качества сварных соединений. 58

Приложение Е Таблица перевода твердости металла. 61

Приложение Ж Методика оценки отношения коэффициентов прозрачности. 62

Приложение И Методы и объемы испытаний контрольных сварных соединений. 63

Приложение К Способы прозвучивания и чувствительности оценки при контроле стыковых соединений листов толщиной d = 10 - 20 мм. 67

Приложение Л Способы прозвучивания и чувствительности оценки при контроле стыковых соединений листов d = 21 - 50 мм.. 68

Приложение М Способы прозвучивания и чувствительности оценки при контроле стыковых соединений двухлистовых пакетов толщиной dS = 30-80 мм.. 69

Приложение Н Средства измерений и контроля. 69

Приложение П Библиография. 77

СТП 005-97

СТАНДАРТ ПРЕДПРИЯТИЯ

Технология монтажной сварки
стальных конструкций мостов

Введен впервые

Утвержден и введен в действие распоряжением Корпорации
"Трансстрой" от 28.07.97 № МО-177

Дата введения 1998-01-01

1. ОБЛАСТЬ ПРИМЕНЕНИЯ

Требования настоящего стандарта необходимо соблюдать при проектировании, монтаже, реконструкции, ремонте и приемке стальных конструкций мостов, имеющих сварные монтажные соединения.

Стандарт распространяется на монтажную сварку конструкций автомобильно-дорожных, городских, совмещенных и пешеходных мостов (включая путепроводы, виадуки, эстакады), сооружаемых в любых климатических зонах, а также в районах с расчетной сейсмичностью до 9 баллов включительно.

Понятие "стальные конструкции мостов" включает в себя пролетные строения (в том числе разводных мостов), опоры, пилоны, элементы реконструкции и усиления существующих мостов, элементы объединения железобетонных плит с металлоконструкциями сталежелезобетонных мостов, вспомогательные конструкции мостового полотна и смотровых приспособлений, привариваемые к основным несущим элементам.

Стандарт распространяется на конструкции из низколегированных сталей для мостостроения марок 15ХСНД и 10ХСНД по ГОСТ 6713 с требованиями к ним по СНиП 2.05.03-84*, марок 15ХСНДА и 10ХСНДА 2-й и 3-й категорий, 1-го и 2-го классов по ТУ 14-1-5120-92. Кроме того, по согласованию со специализированными научно-исследовательскими организациями, стандарт распространяется на сварные конструкции из сталей марок 15ХСНД, 10ХСНД, 09Г2СД (09Г2С) по ГОСТ 19281.

При монтажной сварке мостовых конструкций, изготовленных из сталей других марок, не указанных в данном стандарте, в том числе с пределом текучести 450 МПа и выше, наряду с требованиями настоящих норм надлежит выполнять указания специальных ТУ в составе проекта КМ, разрабатываемых специализированными научно-исследовательскими организациями.

2. НОРМАТИВНЫЕ ССЫЛКИ

В настоящем стандарте использованы ссылки на следующие нормативные документы:

ГОСТ 8.001-80. Испытания средств измерений.

ГОСТ 12.1.005-76. Воздух рабочей зоны.

ГОСТ 12.1.013-78. ССБТ. Строительство. Электробезопасность. Общие требования.

ГОСТ 12.3.003-86. Работы электросварочные. Общие требования безопасности.

ГОСТ 495-77. Медь. Лист и полоса.

ГОСТ 859-78. Медь. Марки.

ГОСТ 2246-70*. Проволока сварочная.

ГОСТ 2601-84. Сварка металлов. Термины и определения.

ГОСТ 2789-73. Шероховатость поверхности. Параметры, характеристики, обозначения.

ГОСТ 3242-79. Соединения сварные. Методы контроля качества.

ГОСТ 5264-80*. Ручная дуговая сварка.

ГОСТ 6613-73. Сетки металлические.

ГОСТ 6713-91. Сталь для мостостроения.

ГОСТ 6996-66**. Сварные соединения. Методы определения механических свойств.

ГОСТ 8713-79*. Сварка под флюсом.

ГОСТ 9087-69. Флюсы сварочные.

ГОСТ 9466-75. Электроды для ручной дуговой сварки. Общие требования.

ГОСТ 9467-75. Электроды для ручной дуговой сварки. Типы.

ГОСТ 11533-75. Автоматическая и полуавтоматическая сварки под флюсом. Соединения под острыми и тупыми углами.

ГОСТ 11534-75. Ручная дуговая сварка. Соединения под острыми и тупыми углами.

ГОСТ 11969-66. Обозначения основных положений сварки плавлением.

ГОСТ 14771-76. Дуговая сварка в защитном газе.

ГОСТ 14776-79. Дуговая сварка. Соединения сварные точечные.

ГОСТ 14782-86. Контроль неразрушающий. Соединения сварные. Методы ультразвуковые.

ГОСТ 15150-69. Правила хранения электродов.

ГОСТ 19281-89. Прокат из стали повышенной прочности.

ГОСТ 23518-79. Дуговая сварка в защитном газе. Соединения под острыми и тупыми углами.

ГОСТ 30489 (EN473:1992)-97. Квалификация и сертификация персонала в области неразрушающего контроля. Общие принципы.

ОСТ 32100-87. Ультразвуковой контроль швов сварных соединений мостов, локомотивов и вагонов.

СНиП II-23-81*. Стальные конструкции. Нормы проектирования.

СНиП III-4-80*. Техника безопасности в строительстве.

СНиП III-18-75. Металлические конструкции. Правила производства и приемки работ при изготовлении и монтаже металлоконструкций. Разделы 1 и 9.

СНиП 2.05.03-84*. Мосты и трубы. Нормы проектирования.

СНиП 3.01.01-85. Организация строительного производства.

СНиП 3.01.04-87. Приемка в эксплуатацию законченных строительством объектов. Основные положения.

СНиП 3.03.01-87. Несущие и ограждающие конструкции. Правила производства и приемки работ.

СНиП 3.06.04-91. Мосты и трубы. Правила производства и приемки работ.

СНиП 3.06.07-86. Мосты и трубы. Правила обследований и испытаний.

3. ОБЩИЕ УКАЗАНИЯ

3.1. Основанием для выполнения сварки на монтаже несущих стальных мостовых конструкций служат рабочие чертежи КМ, деталировочные заводские чертежи КМД и проект производства сварочных работ (ППСР).

Проект производства сварочных работ является составной частью (или разделом) проекта производства работ (ППР) на монтаж стальных конструкций или общего ППР на строительство моста и разрабатывается подрядной строительной организацией или по ее заказу специализированной проектной организацией. Указанные организации должны иметь соответствующие лицензии.

На основании ППСР, при необходимости, разрабатываются местные инструкции или технологические карты по сборке и сварке монтажных соединений для ИТР и рабочих (приложение А).

Конструкторско-технологическая документация на стадии разработки КМ и ППСР на пролетные строения больших и внеклассных мостов сложной конструкции, а также на конструкции узлов вращения и привода механизмов разводных пролетных строений до передачи ее в производство должна, по требованию заказчика, пройти экспертизу в специализированном научно-исследовательском институте, занимающемся вопросами сварки мостов.

Документация, выдаваемая в производство, должна иметь штампы и подписи главного инженера группы заказчика "Утверждаю к производству работ" и главного инженера мостостроительной организации "Согласовано к производству работ".

3.2. В чертежах КМ должны быть указаны: типы и размеры сварных монтажных швов, способы сварки, участки сварных швов с полным проплавлением толщины деталей, места и способы механической обработки монтажных соединений, а также схемы расположения растянутых зон в конструкциях. Проект производства сварочных работ должен разрабатываться с соблюдением указаний документации КМ по сварке. Отступления, вызываемые технологической необходимостью, следует согласовывать с разработчиком КМ.

3.3. Отступления от согласованной и утвержденной проектной документации, вызванные уточнением условий производства работ, допускаются по согласованию с заказчиком и проектной организацией с внесением соответствующих изменений в рабочие чертежи КМ и ППСР.

В случаях применения сварочных материалов, сталей и технологических решений по сборке и сварке, не указанных в настоящем СТП, требуется согласование с организацией, ответственной за разработку СТП, или составление местной инструкции по производству сварочных работ с участием специализированной научно-исследовательской организации.

3.4. Сварные монтажные соединения несущих конструкций мостов должны выполняться специализированными мостостроительными организациями, имеющими лицензию на производство указанных работ, соответствующие оборудование, оснастку, средства контроля, специально подготовленные кадры ИТР и рабочих, а также организованную приемку монтажных работ независимой организацией по контролю качества монтажа конструкций, имеющей лицензию, аккредитованной при региональном органе Госархстройнадзора, либо работающей по договору с проектной организацией или заказчиком по авторскому надзору.

Руководство сварочными работами осуществляет специалист (главный сварщик), имеющий соответствующее образование и практический опыт работы по сварке, прошедший аттестацию не ниже, чем по 3-му уровню в соответствии с Правилами аттестации сварщиков и специалистов.

Линейные инженерно-технические работники монтажно-сварочного участка также должны пройти аттестацию не ниже, чем по 2-му уровню.

Руководитель сварочных работ (главный сварщик) подчиняется непосредственно главному инженеру мостостроительной организации и работает в соответствии с должностной инструкцией, определяющей его обязанности и права.

3.5. К сварке монтажных соединений стальных мостов допускаются сварщики: достигшие 18-летнего возраста; прошедшие теоретическое и практическое обучение и выдержавшие экзамен; сварившие контрольные образцы для ультразвукового контроля и механических испытаний с положительными результатами этих испытаний; получившие удостоверение сварщика на определенный вид сварки; прошедшие аттестацию в соответствии с Правилами аттестации.

Экзамены должны приниматься комиссией по аттестации в составе: главного сварщика или главного инженера организации, готовящей сварщиков; руководителя сварочных работ; преподавателя по сварке, проводившего обучение; инженера по технике безопасности организации, ведущей сварочные работы. В удостоверении обученного сварщика должна быть запись, к каким способам сварки он допущен.

К неразрушающему контролю качества допускаются специалисты, аттестованные в установленном порядке не ниже 2-го уровня квалификации по ультразвуковой дефектоскопии сварных конструкций.

Наряду с выполнением сварных соединений сварщики должны обладать знаниями и практическими навыками для выполнения следующих сопутствующих работ: производить операции по подготовке соединений под сварку (зачищать кромки, закреплять подкладки, выводные планки, элементы фиксации положения кромок); качественно выполнять электроприхватки; определять внешние дефекты сварных швов наружным осмотром, обмерами и оценивать качество швов; знать и выполнять правила безопасности труда, производственной санитарии и пожарной безопасности.

3.6. Стальные конструкции, полученные с завода-изготовителя на монтаж, должны быть освидетельствованы и приняты с составлением актов (рапортичек) представителем организации, осуществляющей монтаж и сварку. При приемке необходимо установить: соответствие конструкций заказу и требованиям проекта; комплектность поставки согласно заводским комплектовочным ведомостям (листам готовых элементов); наличие на элементах клейм ОТК завода-изготовителя и заводской инспекции по качеству и маркировки в соответствии с монтажно-маркировочной схемой; отсутствие в элементах трещин, деформаций, повреждений. Конструкции, имеющие вышеперечисленные дефекты, подлежат комиссионному освидетельствованию с составлением акта. В комиссию должны входить представители мостостроительной организации, заказчика, завода-изготовителя, а при более серьезных дефектах, способных отрицательно влиять на несущую способность конструкции, также представители проектной и научно-исследовательской организаций. При приемке следует руководствоваться действующими нормами на заводское изготовление мостовых конструкций.

Комиссия обязана выявить причины возникновения дефектов, принять решение о способах исправления их (или замене конструкций новыми), указать организацию, которая должна устранять отмеченные недостатки. Дефекты заводских сварных соединений устраняются заводом-изготовителем.

Акт освидетельствования высылается организации-разработчику документации КМ.

Исправление дефектных участков швов и правку деформированных конструкций надлежит выполнять по указаниям раздела 9 настоящего СТП.

3.7. Технические службы мостостроительной организации (главный инженер, руководитель сварочных работ, ИТР технического отдела, лаборатории и монтажного участка) несут полную ответственность за качество производимых монтажно-сварочных работ и соблюдение требований рабочей документации и действующих норм. Указанные службы должны организовать и постоянно осуществлять: входной контроль рабочей документации, конструкций, сварочных материалов; операционный контроль технологии монтажа и сварки; приемочный контроль законченных отдельных конструктивных элементов и объекта в целом.

Службы контроля должны иметь в своем распоряжении средства проверки качества сварных соединений, геодезический и измерительный инструмент и другие технические средства, обеспечивающие необходимую достоверность и полноту контроля качества.

На больших и сложных мостовых сооружениях необходима организация научно-технического сопровождения сварочных работ силами специализированных научно-исследовательских институтов.

3.8. Применение сварных монтажных соединений в железнодорожных мостах должно быть согласовано с МПС Российской Федерации на стадии разработки чертежей КМ.

3.9. Производство монтажно-сварочных работ должно сопровождаться составлением исполнительной документации, перечень которой приведен в приложении Б.

4. ТИПЫ СВАРНЫХ МОНТАЖНЫХ СОЕДИНЕНИЙ В КОНСТРУКЦИЯХ МОСТОВ. СПОСОБЫ СВАРКИ

4.1. Для сварных монтажных соединений мостовых конструкций допускается применять следующие способы электродуговой сварки:

- автоматическую под флюсом сплошной проволокой с металлохимической присадкой на подкладках;

- автоматическую и полуавтоматическую под флюсом сплошной проволокой, в том числе по ручной подварке корня шва;

- механизированную самозащитной порошковой проволокой (вертикальных швов);

- полуавтоматическую сплошной и порошковой проволокой в среде защитных газов;

- ручную.

Типы монтажных соединений и способы сварки должны соответствовать требованиям: ГОСТ 8713, ГОСТ 11533, ГОСТ 5264, ГОСТ 11534, ГОСТ 14771, ГОСТ 25318.

Для сложных конструкций и новых технологий, кроме того, надлежит руководствоваться инструкциями по технологии монтажной сварки, разрабатываемыми специализированными научно-исследовательскими институтами.

Условные обозначения сварных монтажных соединений в соответствии с вышеуказанными стандартами приведены в приложении В настоящего СТП.

4.2. По взаимному положению свариваемых элементов различают стыковые, угловые, тавровые и нахлесточные соединения (рис. 1, ГОСТ 2601). По расположению в пространстве на момент сварки швы могут быть в нижнем, горизонтальном, вертикальном и потолочном положениях (рис. 2, ГОСТ 11969).

Независимо от пространственного положения и типа шва монтажные сварные соединения в мостах должны обеспечивать передачу всех расчетных усилий, действующих в соединяемых элементах. Прочность сварных соединений при статических испытаниях должна быть не ниже прочности основного металла; показатели ударной вязкости, относительного удлинения и твердости по металлу шва и по линии сплавления должны отвечать требованиям, приведенным в разделе 5 настоящего СТП.

Рис. 1. Типы сварных монтажных соединений:

а - стыковые, односторонние и двусторонние; б - угловое; в - тавровое;

г - нахлесточное

Рис. 2. Пространственное положение швов при монтажной сварке:

а - нижнее; б - горизонтальное; в - вертикальное; г - потолочное

4.3. При проектировании сварных конструкций предпочтение следует отдавать стыковым соединениям (С), выполняемым механизированными способами. Угловые (У), тавровые (Т) и нахлесточные (Н) соединения, если они необходимы на монтаже, должны выполняться преимущественно в нижнем положении и тоже механизированными способами. Следует избегать протяженной потолочной, горизонтальной и вертикальной ручной дуговой сварки узлов и конструкций.

Стыковые односторонние соединения в нижнем положении (рис. 1,а слева) должны выполняться автоматической сваркой с применением различных типов подкладок с обратным формированием корня шва.

Стыковые соединения с двусторонними швами (рис. 1,а справа) допускаются в конструкциях, которые в процессе сборки и сварки могут быть перекантованы, или в местах, требующих сплошного проплавления в вертикальном или горизонтальном положениях (стыки ребер со вставками, соединения ребер опорных диафрагм с продольными ребрами и т.д.).

Для стыковых односторонних или двусторонних соединений поясов балок при соответствующем обосновании допускается полуавтоматическая или ручная сварка взамен автоматической.

Форму подготовки кромок, тип соединения, пространственное положение шва и способ сварки следует указывать в чертежах КМ. При последующей разработке ППСР форма подготовки кромок должна уточняться в соответствии с назначаемой технологией сварки.

При проектировании стыковых сварных соединений горизонтальных листов с изменением их толщины в зоне стыка необходимо с нижней стороны, где устанавливаются формирующие съемные подкладки, предусматривать горизонтальную площадку шириной не менее 70 мм.

При изменении в зоне сварного стыка ширины листа следует оставлять прямолинейные площадки по кромкам на длину 100-150 мм в каждую сторону от шва для установки выводных планок или выводные планки со стороны уширения делать с соответствующими скосами.

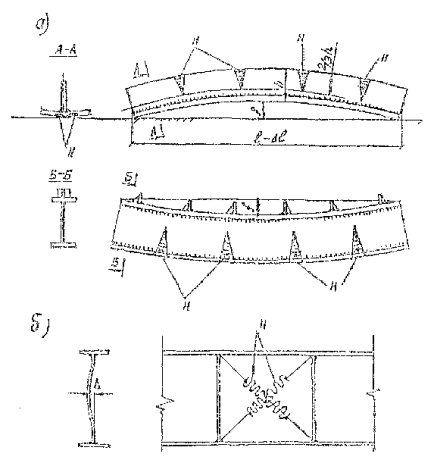
4.4. Сварку на монтаже мостов применяют главным образом для соединения основных несущих конструкций стальных пролетных строений сплошностенчатых двутавровых и L-образных балок, составных и цельноперевозимых блоков коробчатых сечений, настильных листов ортотропных плит, ребристых плит (рис. 3).

Конструкция монтажных соединений должна обеспечивать беспрепятственное выполнение сварки на всей длине шва.

4.5. Монтажные стыки двутавровых, L-образных и коробчатых сплошностенчатых балок могут быть цельносварными (рис. 4) и комбинированными фрикционно-сварными (рис. 5). На выбор типа стыка в определенной степени влияет способ монтажа пролетных строений. При сборке пролетных строений на берегу с последующим перемещением их на опоры предпочтение отдается цельносварным стыкам; при навесной полунавесной и уравновешенно-навесной сборке целесообразно применение комбинированных стыков.

В комбинированных фрикционно-сварных стыках главных балок стыковые сварные соединения верхнего пояса рекомендуется проектировать без вставки, т.е. "совмещенными", с расположением стыковых швов поясов в одном сечении с осью симметрии болтового соединения стенки. Величина требуемого зазора в соединении верхнего пояса обеспечивается, как правило, при заводском изготовлении.

Рис. 3. Схемы поперечных сечений стальных пролетных строений

со сварными монтажными стыками:

а - балочное; б - коробчатое из цельноперевозимых коробок полной заводской готовности; в - коробчатое, собираемое на монтаже из L-образных балок; 1 - продольные сварные стыки; 2 - ортотропные плиты; 3 - фрикционно-болтовые стыки поперечных балок ортотропных плит; 4 - главные двутавровые балки; 5 - целноперевозимые коробки; 6 - L-образные элементы; 7 - ребристые нижние плиты; 8 - вертикальные сварные стыки поперечных ребер; 9 - стыки поясов ребер; 10 - вставки

Рис. 4. Конструкция цельносварного стыка главных балок (а)

и подготовка его к сварке (б):

1 - вставка стенки; 2 - вставки ребер; 3 - вставка верхнего пояса; l - длина вставки; принимается в зависимости от ширины и толщины пояса; b - 400-600 мм, в зависимости от марки сварочного трактора

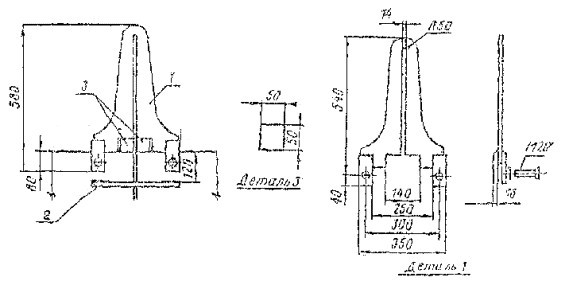
Рис. 5. Конструкция комбинированного фрикционного сварного стыка:

а - стык в сборе; б - начальная стадия сборки; в - вариант стыка; узел А - технологическое отверстие у нижнего пояса; узел В - технологическое отверстие у верхнего пояса

Допускается в отдельных случаях проектировать монтажные блоки главных балок с прирезаемым на монтаже припуском длины верхнего пояса на одном из торцов блока. Прирезка припуска выполняется в этом случае без дополнительного монтажа блока.

В зоне стыкового шва верхнего пояса в стенках стыкуемых блоков необходимо предусматривать скругленные вырезы высотой и шириной не менее 50 мм для пропуска формирующих подкладок (рис. 5, узел В), или симметричные вырезы по рис. 5,б.

В зоне стыкового шва нижнего пояса в стенке необходимо предусматривать технологическое отверстие для пропуска удлинительной приставки сварочного автомата высотой не менее 140 мм от верхней плоскости пояса. Боковые кромки отверстия очерчивают по полуокружности радиусом 60 мм с центром, отнесенным от оси стыкового шва на 70-75 мм, находящимся на высоте 80 мм от верхней плоскости поясного листа. Торец обрыва стенки должен находиться на расстоянии 55 мм от оси шва для беспрепятственного прохода удлинительной приставки, а после заварки роспуска и зачистки границ плавного перехода стенки к металлу пояса - на расстоянии не менее 50 мм от границы стыкового шва пояса (рис. 5, узел А).

Допускается конструкция сварного стыка верхнего пояса со вставкой (см. Руководство по выполнению сварных соединений металлических пролетных строений мостов).

4.6. Поперечные и продольные стыки нижних ребристых плит и стыки примыкания нижних плит к поясам главных балок выполняют автоматической односторонней сваркой встык на подкладках с обратным формированием корня шва.

Вертикальные стыки стенок главных балок сваривают механизированным способом. Продольные и поперечные ребра нижних ребристых плит сваривают, как правило, механизированным способом или ручной дуговой сваркой.

Все угловые швы, в том числе проектные роспуски, по нижним ребристым плитам выполняют полуавтоматической или ручной дуговой сваркой (рис. 6).

4.7. Продольные и поперечные стыковые швы настильного листа ортотропных плит, а также стыки примыкания к поясам главных балок выполняют автоматической сваркой на подкладках различного типа с обратным формированием корня шва.

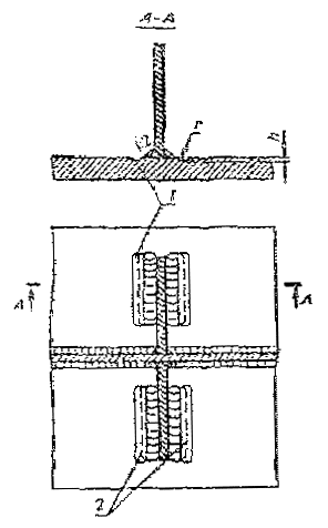
Рис. 6. Цельносварной стык ребристой плиты:

1 - вставка; 2 - ребро продольное; 3 - лист плиты; 4-7 - последовательность сварки

Стыки продольных ребер ортотропных плит допускается выполнять по рис. 7 (сеч. А-А) без приварки прокладки. В случаях, если проектное расстояние между торцами продольных ребер соседних плит превышает 100 мм, для обеспечения устойчивости листа настила в районе стыка при действии монтажных и расчетных нагрузок следует приваривать вставку между стыковыми накладками продольных ребер к нижней плоскости листа настила.

4.8. Элементы связей с узловыми фасонками можно объединять на высокопрочных болтах или ручной дуговой сваркой.

В соединениях домкратных балок и опорных диафрагм с главными балками предпочтение следует отдавать фрикционным соединениям на высокопрочных болтах.

5. ТРЕБОВАНИЯ К СВАРОЧНЫМ МАТЕРИАЛАМ И ОБОРУДОВАНИЮ

5.1. Для сварных монтажных соединений в мостовых конструкциях надлежит применять сварочные материалы, перечень которых приведен в табл. 1. Сварочные материалы следует выбирать с учетом класса прочности и марки применяемой стали, способа сварки и типа сварного соединения. Проверку качества сварочных материалов производят в соответствии с приложением Г.

Рис. 7. Болтосварные стыки ортотропных плит между собой и с главными

балками:

1 - накладка; 2 - прокладка; 3 - ребро; 4 - настильный лист

Применение других сварочных материалов, в том числе зарубежных допускается только после проверки их качества по сертификатам и проведения комплексных испытаний контрольных сварных соединений в соответствии с требованиями разделов 7 и 8 настоящих норм. Испытания должны проводиться в специализированных лабораториях, занимающихся вопросами технологии сварки. Применение зарубежных сварочных материалов после их испытаний должно быть согласовано с заказчиком и проектной организацией.

5.2. Качество сплошной холоднотянутой сварочной проволоки должно соответствовать требованиям ГОСТ 2246. Поверхность проволоки перед намоткой в кассеты необходимо очищать от ржавчины, жиров, технологической смазки и других загрязнений посредством пропуска через специальные устройства. При наличии смазки проволоку перед очисткой рекомендуется прокалить в печи при температуре 150-200 °С в течение 1,5-2 ч.

Таблица 1

Сварочные материалы

Способ сварки

Типы сварных соединений и швов

Вид сварочного материала

Рекомендуемые марки материалов для сварки сталей с пределом текучести, МПа (кгс/мм2)

330 (34)

390 (40)

Автоматическая и полуавтоматическая под флюсом

Стыковые соединения при сварке на флюсовой подушке, на различных типах подкладок и по ручной подварке

Сварочная проволока

Св-10Г2; Св-10НМА

Св-10Г2; Св-10НМА; Св-10ГН

Флюс

АН-47, АН-43, смесь АН-47 (50 %) + АН-348А (50 %)

АН-47, АН-43, АНК-561, 48АНК-54; смесь АН-47 (70 %) + АН-348А (30 %)

Стыковые швы при сварке с металлохимической присадкой (МХП) на различных типах подкладок

Сварочная проволока основная

Св-10Г2; Св-10НМА; Св-10ГН

Св-10НМА, Св-10ГНДТА

Сварочная проволока для МХП

Св-08Г2С, Св-10НМА, Св-10Г2, dэл= 1,2-2 мм

Св-10НМА, Св-08Г2С, dэл =1,2-2 мм

Флюс

АН-47, АН-43, смесь АН-47 (50 %) + АН-348А (50 %)

АН-47, АН-43. 48АНК-54, АНК-561, смесь АН-47 (70 %) + АН-348А (30 %)

Угловые швы катетом до 7 мм включ.

Сварочная проволока

Св-08А

Св-08А

 

Флюс

АН-348АМ, АНЦ-1М

АН-348АМ, АНЦ-1М

Угловые швы катетом 8 мм и больше

Сварочная проволока

Св-08ГА

Св-08ГА

 

Флюс

АН-348АС, ОСЦ-45, АНЦ-1М

АН-348АМ, ОСЦ-45, АНЦ-1М

Механизированная с принудительным формированием шва

Стыковые вертикальные швы

Порошковая самозащитная сварочная проволока

ППАН-19Н, ППАН-19С, ППАН-32, dэл= 2,4-3 mm

ППАН-19Н, ППАН-19С, ППАН-32, dэл= 2,4-3 мм

Ручная дуговая сварка

Стыковые швы и электроприхватки в них

Электроды

тип

Э-50А

Э-50А

марка

УОНИ-13/55

УОНИ-13/55

Угловые швы и электроприхватки в них

Электроды:

тип

Э-46А

Э-50А

марка

УОНИ-13/55К

УОНИ-13/55К

Примечания.

1. Применение других сварочных материалов, как отечественного, так и зарубежного производства, допускается после проведения комплексных испытаний в специализированной лаборатории, занимающейся вопросами сварки мостовых конструкций.

2. Пригодность сочетаний флюса и сварочной проволоки должна проверяться перед началом сварочных работ на технологических пробах.

Для автоматической сварки стыковых соединений рекомендуется применять сварочную проволоку диаметром 4 мм. Для автоматической сварки нижних поясов в комбинированных фрикционно-сварных стыках главных балок диаметр проволоки принимают равным 3 мм. Для автоматической сварки угловых швов в положении "в угол" и полуавтоматической сварки любых соединений рекомендуется проволока диаметром от 1,2 до 2 мм.

Очищенную и намотанную в кассеты сварочную проволоку необходимо хранить в сухом помещении при положительной температуре. Корпуса кассет окрашивают в различные цвета в зависимости от марки проволоки, а на видимой стороне корпуса кассеты делают соответствующие надписи несмываемой краской. Проволока, намотанная в кассеты, не должна иметь резких перегибов.

5.3. В качестве металлохимических присадок (МХП) следует применять стальную крупку, приготовленную из сварочной проволоки соответствующей марки по ГОСТ 2246 диаметром 1-2 мм, смешанную с химическими добавками.

Приготовление и применение МХП производят по инструкциям, разрабатываемым специализированными научно-исследовательскими институтами, занимающимися вопросами сварки.

5.4. Флюсы должны поставляться по ГОСТ 9087 или техническим условиям заводов-изготовителей, храниться в упаковке поставщика в сухом отапливаемом помещении. В сертификате на флюс должен быть указан гарантийный срок хранения. Если флюс хранится свыше указанного срока, необходимо проверить его технологические свойства при сварке на оптимальном режиме. Не допускаются засорения флюса окалиной, шлаком и прочими инородными включениями. При наличии во флюсе пыли она должна отсеиваться через сетки № 04 или № 05 (ГОСТ 6613, размер стороны квадратной ячейки не более 0,5 мм).

Перед употреблением флюсы прокаливают по режимам, указанным в сертификатах или ТУ заводов-изготовителей. Для плавленых флюсов температура прокалки, как правило, составляет 350-400 °С, время прокалки 2 ч с постоянным перемешиванием. После прокалки флюсы хранят в сушильных шкафах при температуре 80-100 °С. На рабочее место флюс следует подавать в закрытой таре в количестве, необходимом для работы в течение 4 ч.

5.5. Для механизированной однопроходной сварки вертикальных стыков с принудительным формированием шва следует применять преимущественно самозащитную порошковую проволоку диаметром 2,4-3 мм.

Порошковая проволока должна поставляться в металлических контейнерах (бочках), снабженных бирками завода-поставщика. Проволока без бирок, или покрытая ржавчиной, имеющая загрязнения и дефекты в виде надрывов, раскрытий, резких перегибов, к сварке не допускается.

Порошковую проволоку следует хранить на деревянных стеллажах в сухом отапливаемом помещении при температуре не ниже 15 °С. Непосредственно перед сваркой ее необходимо прокалить при температуре 200-230 °С (соломенно-желтый цвет побежалости) в течение 1-2 ч.

Количество прокаленной и намотанной в кассеты порошковой проволоки на рабочем месте сварщика не должно превышать односменной потребности. При хранении в сушильных шкафах срок годности проволоки не ограничивается.

5.6. Электроды для ручной дуговой сварки и электроприхваток мостовых конструкций должны соответствовать по типам и маркам ГОСТ 9466, ГОСТ 9467 и табл. 1 настоящего СТП. Электроды надлежит хранить в отапливаемых помещениях по группе 1Л ГОСТ 15150. Прокалку их следует выполнять на режимах, указанных в сертификатах. Сразу же после извлечения из прокалочной печи электроды помещают в резервную печь, имеющую температуру 80-100 °С, откуда их используют для сварки. Электроды, не используемые в течение 4 ч после извлечения из резервной печи, прокаливают вновь, но не более трех раз. На рабочем месте прокаленные электроды следует хранить в специальных пеналах.

5.7. При выборе источников питания сварочной дуги и оборудования для производства сварочных работ необходимо руководствоваться, в первую очередь, обеспечением стабильных режимов сварки с заданными параметрами, гарантирующими высокое качество сварных соединений. К участкам сборки и сварки должны быть подведены отдельные линии питания электроэнергией со стабильной частотой тока 50 Гц и стабильным напряжением 380 В ±5 %.

Отклонения от установленного режима сварки не должны превышать: по силе тока ±5 %, по напряжению на дуге ±2 В, по скорости сварки ±10 %.

Для всех способов сварки, приведенных в п. 4.1, должны применяться источники питания дуги постоянного тока (выпрямители или преобразователи) и обратная полярность (плюс на электроде). Сварочные автоматы и полуавтоматы следует подбирать в зависимости от способов сварки, типов сварных соединений и конкретных условий производства сварочных работ.

Сечение сварочного кабеля при его длине не более 30 м следует назначать в зависимости от силы сварочного тока:

Сварочный ток, А                          240      300  400    600    800    1000

Площадь сечения кабеля, мм2          35        50    70      95      150    170

Плотность тока в сварочных кабелях не должна превышать 7-8 А/мм2.

Обратный провод должен быть того же сечения, что и прямой. В стационарных условиях допускается обратный провод выполнять в виде шин.

5.8. Установленное сварочное оборудование должно иметь приборы для контроля режимов сварки (амперметры, вольтметры), проверенные и принятые лабораторией государственного надзора. Работникам ОТК надлежит иметь контрольные приборы для выборочной проверки режимов сварки.

Технические характеристики рекомендуемого для монтажной сварки оборудования приведены в приложении Д.

При односторонней автоматической сварке монтажных стыковых соединений для направления движения сварочного автомата (трактора) необходимо применять специальные устройства, обеспечивающие соосность электродной проволоки и стыка по всей его длине.

6. ПОДГОТОВКА МОНТАЖНЫХ СОЕДИНЕНИЙ ПОД СВАРКУ

Обработка и зачистка кромок

6.1. Кромки под монтажную сварку должны обрабатываться, как правило, на мостовых заводах при изготовлении конструкций в соответствии с требованиями чертежей КМ, ГОСТ 8713, ГОСТ 11533, ГОСТ 5264, ГОСТ 11534, СНиП III-18-75 и настоящего СТП. Заводы должны обеспечивать точность изготовления конструкций, необходимую и достаточную для беспрепятственной сборки их с применением традиционно применяемых средств монтажа: сборочных пробок и болтов, скоб, струбцин, стяжек, распорок и других приспособлений.

Применение роспусков (недоваров) заводских швов с целью облегчения взаимного совмещения стыкуемых деталей должно быть оговорено в чертежах КМ. Роспуски, назначаемые заводом-изготовителем, необходимо согласовывать с организацией-разработчиком чертежей КМ.

Припуски сварных отправочных марок по длине и ширине с целью подрезки и подгонки их на монтаже следует оговаривать в чертежах КМ.

6.2. Качество обработки подрезаемых на монтаже кромок должно соответствовать требованиям ГОСТ 8713, ГОСТ 5264 и СНиП III-18-75, табл. 40.

В сварных соединениях с обеспечением сплошного проплавления требования к кромкам предъявляются только по условиям точности сборки элементов и соблюдения геометрии разделки. После подрезки или разделки кромок газокислородной резкой переносными газорезательными машинами или вручную требуется зачистка поверхности только от окалины и грата без снятия основного металла.

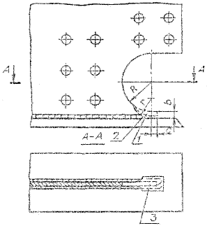
6.3. Проплавляемые при сварке поверхности и прилегающие к ним зоны металла шириной не менее 20 мм, а также кромки листов в местах примыкания выводных планок перед сборкой-сваркой должны быть очищены до чистого металла от ржавчины, окалины, заводской грунтовки, масляных загрязнений с удалением также конденсационной влаги (рис. 8).

Сборка конструкций под сварку

6.4. Подлежащие сварке кромки листов должны быть прямолинейными. Вертикальное смещение стыкуемых кромок из плоскости соединения (депланация D1) не должно превышать 10 % толщины металла, но не более 2 мм (рис. 9,а) - для соединений, выполняемых двусторонней сваркой, и не более 1 мм - для соединений, выполняемых односторонней сваркой. Устранение депланации производят в процессе сборки соединения под сварку при помощи скоб и клиньев, домкратов и других приспособлений, а также термической и термомеханической правкой.

Рис. 8. Зачистка кромок и поверхности металла перед сваркой соединений:

а - стыковых; б - тавровых; в - угловых; г - нахлесточных; 1 - зоны зачистки

Рис. 9. Допуски при сборке соединений под сварку:

а - стыковое; б - стыковое с V-образной разделкой кромок; в - стыковое под сварку с металлохимической присадкой; г - угловое, тавровое, нахлесточное; D - уступ по торцам кромок; b - зазор; р - притупление; 1 - прихватка; 2 - металлохимическая присадка; 3 - подкладка

Уступы D2 (рис. 9,а) в плоскости соединения по торцам листов для свободных кромок, например, поясов двутавровых и коробчатых балок без примыкания к ним ребристых или ортотропных плит не должны превышать 3 мм - для поясов шириной до 400 мм и D £ 4 мм - для поясов шириной более 400 мм.

Уступы D2 (рис. 9,а) кромок по торцам листов в соединениях, входящих в замкнутый контур, например, поясов балок и коробок, примыкающих встык к ребристым и ортотропным плитам не должны превышать 2 мм.

6.5. Зазоры в стыковых соединениях при ручной дуговой сварке должны быть 4-6 мм (рис. 9,б).

При сборке стыковых соединений под автоматическую сварку под флюсом с МХП рекомендуется зазор 8 мм с допуском ±2 мм (рис. 9,в).

Допуски на сборку угловых, тавровых и нахлесточных соединений приведены на рис. 9,г.

6.6. В стыковых односторонних соединениях, выполняемых на различных типах подкладок, зазор между подкладкой и плоскостью свариваемых листов не должен превышать 0,5 мм. Подкладки рекомендуется прижимать к свариваемым листам струбцинами, домкратами и другими приспособлениями, не требующими приварки их. Использовать привариваемые скобы с клиньями для крепления подкладок не рекомендуется.

6.7. Для обеспечения требуемого качества сварных соединений элементы должны быть собраны с допусками, не превышающими указанных в пп. 6.4-6.6 и на рис. 9. В комбинированных стыках сборку соединений под сварку выполняют с помощью проектных высокопрочных болтов. В стыках, не определяющих геометрию конструкции, при необходимости выведения проектного зазора в стыке или ликвидации уступов допускается использовать разность диаметров болтов и отверстий, которая, например, для болтов М22 может быть 25-22 = 3 мм или 28-22 = 6 мм. В этом случае точное совмещение отверстий сборочными пробками исключается, или эти пробки протачивают до диаметра болта. В узлах, где фрикционные болтовые соединения определяют геометрию пролетного строения в плане и профиле, сборочные пробки допускается удалять до начала сварки при условии установки всех болтов и затяжки их на усилие, равное 70-80 % расчетного.

В цельносварных стыках при их сборке пользуются струбцинами, домкратами, стяжками, распорками и, в порядке исключения, приварными скобами или упорами с клиньями. Скобы и упоры приваривают, к элементам пролетного строения односторонними угловыми швами катетом не более 6 мм. Впоследствии приспособления удаляют газокислородной резкой без углубления в основной металл с тщательной зачисткой мест приварки абразивным инструментом заподлицо с поверхностью металла или с заглублением в него не более 0,5 мм.

6.8. Закрепление собранных и выверенных конструкций в проектном положении производится большей частью посредством электроприхваток. В последующем при сварке прихватки должны полностью проплавляться.

Размеры прихваток должны быть:

- для стыковых соединений, выполняемых ручной дуговой сваркой, - толщина 3-4 мм, ширина 6-8 мм, длина 40-80 мм;

- для стыковых соединений, выполняемых автоматической сваркой, - толщина 4-8 мм, ширина 8-10 мм, длина 50-100 мм;

- для угловых, тавровых и нахлесточных соединений - катет не более 50 % катета углового шва, но не более 4 мм, длина 50-80 мм.

Расстояния между прихватками принимают 250-300 мм для металла толщиной до 20 мм и 300-400 мм для проката большей толщины. Крайние прихватки следует располагать на расстоянии не менее 100 и не более 200 мм от концов деталей с обеих сторон. При необходимости более прочного закрепления собираемых элементов допускается увеличение длины и количества прихваток.

При сборке стыковых соединений под сварку с металлохимической присадкой прихватки следует ставить после заполнения зазора присадкой на половину толщины листа при ее значении до 16 мм включительно и на высоту 8 мм при толщине листа 20-40 мм.

К металлу прихваточных швов предъявляются такие же требования, как и к металлу основных швов. Прихватки выполняются вручную: в стыковых соединениях электродами типа Э50А, в угловых, тавровых и нахлесточных соединениях - Э42А. Диаметр электродов 4 мм, ток постоянный обратной полярности (минус на изделии).

6.9. При сборке под автоматическую и полуавтоматическую сварку по концам соединений к свариваемым элементам необходимо прикреплять выводные планки.

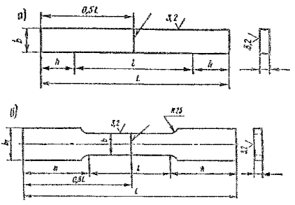
В стыковых соединениях с разделкой кромок, а также в угловых, тавровых и нахлесточных соединениях следует применять разъемные (сборные) выводные планки (рис. 10, а, б, в). Тип разделки кромок на свариваемых листах и выводных планках должен быть одинаковым.

При автоматической сварке стыковых соединений с металлохимической присадкой для свариваемого металла толщиной до 16 мм рекомендуется применять цельные с зазором выводные планки (рис. 10,г).

Приварку выводных планок к свариваемым деталям производят по одной (верхней) плоскости и двум торцевым кромкам. Сварка ручная, электродами типа Э42А, Э50А. Допуски на точность установки планок такие же, как для свариваемых деталей.

Выводные планки должны изготавливаться и поставляться заводом-изготовителем мостовых металлоконструкций из стали марок, примененных в основных конструкциях. После сварки и контроля качества соединения планки удаляют газокислородной резкой с последующей зачисткой кромок абразивным инструментом. Не допускается отбивать планки ударами кувалды или отламывать посредством механических усилий.

При сварке двухлистовых пакетов, если ширина листов в пакете одинакова, выводные планки имеют вышеприведенные размеры и привариваются к каждому листу пакета в отдельности.

Если верхний лист пакета имеет меньшую ширину, то обычные планки приваривают только к нижнему, более широкому листу, а к верхнему приваривают наклонные бортовые планки из листа толщиной 12 мм, повторяющие профиль разделки кромок. Бортовые планки приваривают с обеих сторон горизонтальными и вертикальными швами, причем со стороны сварки швы зачищают заподлицо с основным металлом. Длина бортовых планок может быть меньше ширины свеса нижнего листа, но не менее 100 мм для автоматической и 50 мм для ручной сварки (рис. 10,е).

Если верхний лист пакета имеет большую ширину, чем нижний, то обычные планки приваривают к верхнему листу, а бортовые наклонные из листа толщиной 12 мм - к нижнему по вышеприведенной технологии (рис. 10,д).

По окончании сварки оба типа планок удаляют газокислородной резкой с последующей зачисткой металла.


Рис. 10. Выводные планки:

а, б, в - разъемные (сборные) для стыковых тавровых и угловых соединений; г - цельные с зазором для сварки с металлохимической присадкой при толщине свариваемых листов до 16 мм; д, е - для двухлистовых пакетов


Подогрев кромок перед сваркой

6.10. Монтажную сварку мостовых конструкций из низколегированных сталей допускается производить при температуре окружающего воздуха не ниже минус 20 °С.

6.11. Предварительный подогрев металла в зонах сварки выполняют для просушки кромок и формирующих подкладок для сталей всех марок и толщин независимо от температуры воздуха и погодных условий. Температуру предварительного подогрева принимают 100-110 °С, ширину зоны нагрева - до 100 мм в обе стороны от оси шва.

Предварительный подогрев производят перед постановкой прихваток, приваркой выводных планок, проходом первого (корневого) шва, при возобновлении сварки после перерыва, перед наложением очередного шва при многопроходной сварке, если температура металла шва предыдущего слоя опустилась ниже 100 °С.

Предварительный подогрев кромок в стыках длиной до 1 м производят сразу по всей длине. Для стыков большей длины рекомендуется подогрев одновременно со сваркой с опережением на 1 м.

Предварительный подогрев при стыковой сварке с МХП выполняется до засыпки присадки в разделку. При использовании медно-стеклотканевых подкладок должны быть приняты меры по сохранению стекловолокна от оплавления.

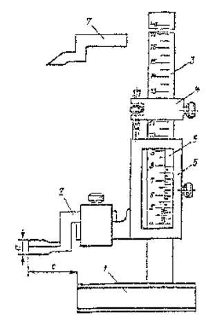
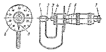
6.12. Для предварительного подогрева зон сварки рекомендуется использовать газокислородные горелки. Температуру подогрева контролируют приборами (см. Приложение Д).

6.13. Для защиты зон сварки от прямого попадания атмосферных осадков необходимо пользоваться легкими переносными укрытиями. Соединения, сваренные при отрицательной температуре, рекомендуется накрывать после сварки утеплителем из различных теплоизоляционных материалов.

7. ТЕХНОЛОГИЯ СВАРКИ МОНТАЖНЫХ СОЕДИНЕНИЙ

Общие требования

7.1. Монтажную сварку надлежит выполнять в соответствии с утвержденным технологическим процессом, устанавливающим последовательность сборо-сварочных операций на конкретном объекте, применяемую оснастку, инструмент, оборудование, сварочные материалы, режим сварки и порядок наложения швов, операции по контролю качества.

Основными устанавливаемыми и контролируемыми параметрами режима сварки являются:

сила сварочного тока Iсв, А;

напряжение дуги Uд, В;

скорость сварки Vcв, м/ч.

Дополнительные параметры:

скорость подачи электродной проволоки Vэл, м/ч;

диаметр электродной проволоки dэл, мм;

вылет электродной проволоки i, мм.

Сварку мостовых конструкций производят постоянным током обратной полярности (минус на изделии).

7.2. При расчете и назначении режимов необходимо соблюдать следующие условия (рис. 11):

а) коэффициент формы провара должен составлять: е/h ³ 1,2 для стыковых и угловых швов; e1/h1 ³ 1,4 - для корневого прохода, выполненного автоматической сваркой под флюсом при сварке листов толщиной 20-40 мм, при этом проплавление должно быть симметричным для обеих кромок;

б) в угловых швах должна быть обеспечена расчетная высота сечения по металлу шва tf=bfKf и по металлу границы сплавления tz = pzKf, где Kf - наименьший из катетов углового шва, принимаемый по катету вписанного треугольника; bf и bz - коэффициенты расчетных сечений угловых швов, принимаемые по табл. 80 СНиП 2.05.03-84*

в) оптимальным следует считать угловой шов с прямолинейной поверхностью в поперечном сечении и с плавными переходами к основному металлу по зонам сплавления. Допускается выпуклость или вогнутость угловых швов до 30 % их катетов, но не более 3 мм, при этом вогнутость не должна приводить к уменьшению значения катета Kf, установленного при проектировании. Допускаемые отклонения катетов угловых швов, замеряемых катетомерами, должны быть в пределах по табл. 2.

Рис. 11. Геометрические параметры подготовки кромок и поперечного сечения

шва:

h - глубина проплавления; р - притупление; е - ширина шва; g, g1 - высота усиления; Кf - катеты угловых швов; b - зазор

7.3. Режимы сварки и применяемые сварочные материалы должны обеспечивать получение сварных соединений со следующими механическим свойствами:

а) минимальные значения предела текучести и временного сопротивления не должны быть ниже их значений для основного металла по соответствующим ГОСТ или ТУ;

б) максимальные значения твердости металла шва и околошовной зоны должны быть не выше 350 единиц по Виккерсу (приложение Е);

в) минимальное значение относительного удлинения металла шва стыковых соединений на образцах d5 должно быть не менее 16 %;

Таблица 2

Допускаемые отклонения катетов

Характеристики углового шва

Предельные отклонения катета, мм, при сварке

автоматической под флюсом (АФ); полуавтоматической под флюсом (МФ) ГОСТ 8713

ручной электродуговой ГОСТ 5264

Номинальный размер катета углового шва в угловых, тавровых и нахлесточных соединениях, мм:

До 5 включ.

+1

+1; -0,5

Св. 5 до 8 включ.:

+2

+2; -1

Св. 8 до 12 включ.

+2,5

+2,5; -1,5

Свыше 12

+3

+3; -2

Допускаемая выпуклость и вогнутость углового шва

До 30 % катета £ 3 мм

До 30 % катета £ 3 мм

г) угол статического изгиба сварного соединения с поперечным стыком должен быть не менее 80°;

д) минимальные значения ударной вязкости на образцах KCU (Менаже) при расчетной отрицательной температуре, принимаемой по указаниям СНиП 2.05.03-84, пп. 1.39 и 4.1, для стыковых соединений должны быть не менее 30 Дж/см2, если иное не указано в проектной документации.

7.4. При расчете и назначении режимов сварки следует учитывать марки стали, толщины проката и параметры разделки кромок.

7.5. При сварке на монтаже конструкций из сталей, соответствующих по прочности мостовым сталям, но не входящих в табл. 47 СНиП 2.05.03-84, ГОСТ 6713 и ТУ 14-1-5120-92 допускается использовать режимы, разработанные для мостовых сталей, но после проверки в соответствии с ГОСТ 6996 по показателям механических свойств. При этом должны быть проведены следующие испытания:

а) на статическое растяжение стыкового сварного соединения - 3 образца; металла шва стыкового, углового и таврового соединений - по 3 образца;

б) на ударный изгиб металла шва стыкового соединения и околошовной зоны по линии сплавления - по 6 образцов;

в) на статический изгиб стыкового соединения - 3 образца;

г) на твердость по алмазной пирамиде (Виккерсу) всех соединений из низколегированных сталей - не менее чем в четырех точках как металла шва, так и околошовной зоны - 1 образец.

7.6. Если в сварном соединении используются стали различных классов прочности, то следует применять способ сварки, сварочные материалы и режимы сварки, предусмотренные для стали более низкого класса прочности.

7.7. Сварка конструкций должна производиться после приемки операций сборки. Перед сваркой соединение должно быть очищено от шлака на прихватках, пыли и других загрязнений, появившихся уже после подготовки кромок под сварку (см. раздел 6). При наличии в соединении пересекаемых заваренных на заводе или на монтаже стыковых швов усиление их в местах пересечения должно быть удалено заподлицо с основным металлом на длину не менее 40 мм в каждую сторону.

При сварке многопроходных швов каждый последующий слой должен накладываться после тщательной очистки шлака предыдущего слоя.

При обрыве дуги в процессе наложения шва кратер и прилегающий к нему участок шва длиной 30-50 мм должны быть очищены от шлака и переварены при новом зажигании дуги. Не допускается зажигание дуги на основном металле и вывод кратера на него.

Начинать и заканчивать сварку следует на выводных планках, которые удаляются только после контроля качества сварного шва.

7.8. По окончании сварки металл шва и прилегающие к нему участки очищают от шлака и брызг, шов осматривают и сразу же устраняют все видимые дефекты.

Номер каждого выполненного стыка по маркировочной схеме и дату сварки заносят в журнал сварочных работ с росписями сварщика и руководителя работ.

7.9. Элементы, свариваемые на монтаже двусторонними швами с перекантовкой, допускается перекантовывать только после остывания шва первого прохода до температуры не выше 200 °С с принятием мер против динамических нагрузок.

7.10. Направление оси электродной проволоки при сварке стыковых соединений должно быть по оси симметрии зазора. При многопроходной сварке с V-образными скосами кромок это требование относится лишь к сварке первых слоев. Последующее заполнение разделки кромок следует производить, как правило, со смещением электродной проволоки влево и вправо от оси стыка так, чтобы каждый последующий слой шва перекрывал предыдущий на 1/3 его ширины.

Автоматическая, полуавтоматическая и ручная сварка стыковых швов в нижнем положении

7.11. При автоматической под флюсом и ручной сварке стыковых соединений с односторонними швами следует применять съемные (несплавляющиеся) подкладки, обеспечивающие формирование обратной стороны шва без последующей его подварки и, как правило, без механической обработки.

Рекомендуются подкладки: флюсо-медные, медные со стеклотканью, керамические, комбинированные стекло-стальные и стекло-медные.

Для медных подкладок следует применять листовую или полосовую медь марок M1, М1р, М2, М2р, М3, М3р (ГОСТ 859 и ГОСТ 495). Толщина медных подкладок должна быть: 12-16 мм для сварки на токе до 600 А и ручной сварки; 18-20 мм для сварки корневого прохода при силе тока более 600 А. Ширину формирующей канавки в подкладке принимают: 12-15 мм для ручной сварки; 15-20 мм для сварки на токе до 600 А; 24-26 мм при токе свыше 800 А; глубину канавки - 1-2 мм. Длину медных подкладок для коротких швов (до 1 м) принимают равной длине шва плюс 200-250 мм на выводные планки. Для протяженных швов длину каждой пластины принимают 400-800 мм. Медные подкладки укладывают в стальную обойму или прикрепляют к стальной полосе винтами впотай (рис. 12,а).

Сохранность медных подкладок от ожогов электрической дугой рекомендуется обеспечивать подсыпкой в канавку измельченного флюса толщиной 1 мм или стеклотканевыми прокладками.

Рис. 12. Схемы сборки стыковых соединений под одностороннюю автоматическую сварку:

а и б - по ручной подварке шва; в и г - с применением МХП; 1 - элементы свариваемых конструкций; 2 - формирующая подкладка

7.12. Рекомендуемые (ориентировочные) режимы односторонней автоматической сварки под флюсом с металлохимической присадкой (МХП) на съемных подкладках стыковых соединений из сталей 15ХСНД и 10ХСНД (ГОСТ 6713), 09Г2СД, 15ХСНД, 10ХСНД (ГОСТ 19281), 15ХСНДА и 10ХСНДА (ТУ 14-1-5120-92) приведены в табл. 3.

Режимы односторонней автоматической сварки под флюсом стыковых соединений со стандартной V-образной разделкой кромок по ручной сварке или на подкладках конструкций из вышеперечисленных сталей приведены в табл. 4. При этом ориентировочное число проходов составляет:

Толщина листа, мм                             12         14        16      20      25        32         40

Число проходов при диаметре

сварочной проволоки 3 мм                3-4        4-5      4-6     7-8     8-12    12-18    19-27

То же, 4 мм                                          2-3        3-4      4-5     4-7     7-10    10-15    16-23

В целях уменьшения объема наплавленного металла и снижения сварочных деформаций в стыковых соединениях двухлистовых (пакетных) поясов рекомендуется полу V-образная разделка с общим углом раскрытия 42° ±2°.

7.13. Режимы и технологию сварки стыков двухлистовых пакетов с "совмещенными" или "раздельными" сварными швами следует принимать по специальной инструкции, разрабатываемой научно-исследовательским институтом, занимающимся вопросами сварки мостов.

Для электроприхваток, выполняемых ручной дуговой сваркой, следует применять электроды типа Э50А, ток постоянный обратной полярности (минус на изделии).

7.14. Ручную стыковую сварку монтажных соединений применяют, как правило, для швов небольшой протяженности (до 1 м) в нижнем, вертикальном, горизонтальном и потолочном положениях.

Для ручной дуговой сварки рекомендуется применять электроды диаметром 4 мм. Электроды диаметром 5 мм допускаются для сварки стыковых соединений листов толщиной 32-40 мм в нижнем положении.

Ручную сварку мостовых конструкций должны выполнять сварщики высокой квалификации - не ниже 5 разряда (2-го уровня по Правилам аттестации) по режимам, приведенным в табл. 5.

Таблица 3

Рекомендуемые режимы односторонней автоматической сварки под флюсом с МПХ сталей 15ХСНД и 10ХСНД ГОСТ 6713, 09Г2СД, 15ХСНД и 10ХСНД ГОСТ 19281, 15ХСНДА и 10ХСНДА ТУ 14-1-5120-92

при диаметре электродной проволоки dэл = 4 мм

Форма поперечного сечения

Толщина листа S, мм

Наименование слоя шва

Параметры режима

подготовительных кромок

сварного шва

Сила сварочного тока Iсв, А

Напряжение дуги UД, В

Скорость сварки Vсв м/ч

12-16

1-й с МХП

740-850

36-38

17-19

2-й без МХП

500-600

37-42

17-19

25-40

1-й с МХП

750-820

36-38

17-19

2-й с МХП

720-780

36-38

17-19

промежуточный без МХП

550-600

36-38

17-19

облицовочный без МХП

550-600

37-41

17-19

Примечание. Режимы сварки и параметры подготовки кромок являются справочными и уточняются при сварке технологических проб перед началом сварочных работ на мосту. Технологические пробы надлежит варить с применением оборудования и сварочных материалов, которые будут в дальнейшем применяться на объекте.

Таблица 4

Режимы односторонней автоматической сварки под флюсом в стандартную V-образную разделку кромок на подкладках и по ручной сварке

Наименование слоя шва

Диаметр сварочной проволоки d, мм

Параметры режима сварки сталей

по ГОСТ 6713 и ГОСТ 19281

по ТУ 14-1-5120-92

Iсв, А

UД, В

Vсв, м/ч

Iсв, А

UД, В

Vсв, м/ч

Корневой с МХП по зазору 5 мм ±1 мм. Высота засыпки МХП 6-7 мм

3

560-590

32-34

23-25

560-590

32-34

23-25

4

560-590

30-32

23-25

560-590

30-32

23-25

Второй проход по ручной подварке без МХП

3

550-600

30-32

21-25

550-570

30-32

21-25

4

550-600

30-32

21-25

550-570

30-32

21-25

Промежуточные без МХП

3

550-600

32-34

21-25

550-570

32-34

21-25

4

650-700

34-36

21-25

550-570

32-34

21-25

Облицовочный без МХП

3

500-550

34-35

21-25

500-550

34-36

21-25

4

550-650

36-38

21-25

500-550

35-38

21-25

Примечания: 1. При сварке в одном соединении сталей 15ХСНД и 10ХСНД по ГОСТ 6713 со сталями 15ХСНДА и 10ХСНДА по ТУ 14-1-5120-92 режимы следует принимать для сталей по ТУ 14-1-5120-92.

2. Разделка кромок должна соответствовать требованиям ГОСТ 8713 при зазоре b = 5 мм ±1 мм.

Таблица 5

Режимы ручной электродуговой сварки при напряжений дуги 22-28 В

Тип электрода

Марка электрода

Режим прокалки

Рекомендуемая сила тока, А при положении шва

температура, °С

время, мин.

нижнем

вертикальном и горизонтальном

потолочном

Диаметр электрода, мм

3

4

5

3

4

3

4

Э42А

УОНИ-13/45

350

60

80-110

130-150

170-200

70-100

130-140

70-100

130-140

Э46А

УОНИ-13/55К

350

60

80-110

120-160

170-200

70-100

120-140

70-100

120-140

Э50А

УОНИ-13/55

350

60

80-110

130-160

180-200

70-100

130-140

70-100

130-140

Число проходов при сварке стыковых соединений с V-образной разделкой кромок зависит от толщины свариваемых листов, величины зазора, пространственного положения и может быть принято в следующих пределах.

Толщина листов, мм            12        14        16      20        25         32         40

Число проходов (слоев)      5-6      5-7      6-9     8-12    10-17    13-20    17-25

Механизированная электродуговая сварка вертикальных стыков с принудительным формированием шва порошковой самозащитной проволокой

7.15. Указания настоящего и следующего за ним подразделов СТП относятся к механизированной стыковой сварке вертикальных стенок основных несущих конструкций - балок и коробок - сплошностенчатых пролетных строений, если проектом предусмотрены цельносварные стыки (см. рис. 4), а также к сварке вертикальных стыков ребер жесткости нижних ребристых плит (см. рис. 6).

7.16. Для механизированной сварки вертикальных стыков главных балок должны применяться аппараты безрельсового или рельсового типа марок А-1150У, АД-333, АД-1381М с принудительным формированием металла шва медными охлаждаемыми ползунами. Допускается применение других типов автоматов для вертикальной сварки, в том числе зарубежных, обеспечивающих надлежащее качество сварных соединений.

Листы толщиной до 20 мм сваривают, как правило, без скоса кромок аппаратами безрельсового типа. В листах толщиной 22-28 мм выполняют V-образную, а толщиной более 28 мм - Х-образную разделку кромок с углом раскрытия разделки 40°±5° без притупления. Для листов с разделкой кромок применяют аппараты рельсового типа, у которых формирование обратной стороны шва осуществляется не ползуном, а медной охлаждаемой подкладкой, устанавливаемой на всю высоту свариваемых листов (рис. 13,а). При Х-образной разделке кромок стык сваривается в 2 прохода, причем при первом проходе обратная сторона шва формируется медной трубкой диаметром 8-10 мм, по которой циркулирует охлаждающая вода (рис. 13,б).

В качестве направляющего рельса используют уголок 45x5 или 50x5 мм.

Рис. 13. Форма подготовки кромок для сварки вертикальных швов:

1 - медный ползун; 2 - медная охлаждаемая трубка

7.17. Для механизированной вертикальной сварки стыков ребер жесткости используют малогабаритный аппарат марки А-681М с принудительным формированием шва или другие типы малогабаритных аппаратов, обеспечивающих требуемое качество сварочных работ.

7.18. Питание дуги при сварке вышеперечисленными аппаратами осуществляют от выпрямителей ВДУ-505, ВДУ-506, ВДУ-601 и других источников питания с жесткой внешней характеристикой. Источники питания должны обеспечивать стабильность заданных режимов сварки в соответствии с требованиями п. 5.8 настоящих норм.

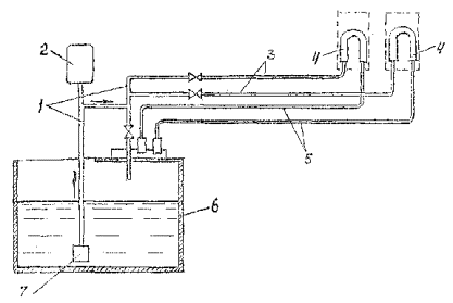
7.19. Охлаждение формирующих ползунов или подкладок осуществляют посредством замкнутой системы охлаждения (рис. 14), состоящей из бака емкостью 0,5-1 м3, водяного насоса производительностью 30-40 л/мин при напоре 25-60 м (типа "Кама", "Малыш" и др.) и двух шлангов - напорного и сливного. При сварке зимой вода в баке должна постоянно подогреваться или бак должен заполняться незамерзающей жидкостью (антифризом).

7.20. Требования к самозащитной порошковой проволоке для механизированной сварки вертикальных стыков приведены в разделе 5 настоящей инструкции.

Ориентировочный расход проволоки на 1 м шва составляет:

Толщина свариваемых листов, мм         14-16      20      25        30         40

Расход проволоки, кг/м                           2,5          3        3,8       4,6        6

Рис. 14. Схема охлаждения формирующих ползунов:

1 - трубы диаметром 3/4"; 2 - насос; 3 - подводящие шланги; 4 - ползуны; 5 - отводящие шланги; 6 - бак с водой; 7 - клапан

7.21. Сварку вертикальных стыков с принудительным формированием шва порошковой самозащитной проволокой надлежит выполнять постоянным током обратной полярности (минус на изделии).

Ориентировочные режимы вертикальной автоматической сварки листа толщиной 12-40 мм без разделки кромок приведены в табл. 6.

При правильно подобранном режиме и хорошо отлаженном сварочном процессе дуга возбуждается и горит спокойно, без чрезмерного разбрызгивания наплавляемого металла. Наплавленный металл должен быть покрыт равномерным тонким слоем шлака, который после охлаждения шва без труда удаляется. В шве не должно быть пор, трещин, шлаковых включений.

7.22. Механизированная вертикальная сварка (рис. 15) должна быть тщательно подготовлена с тем, чтобы процесс ее не прерывался на всю высоту шва. В случае вынужденной технологической остановки требуется удаление (выплавка) кратера шва. Для этого отключают подачу проволоки, перемещение аппарата и источник питания, снимают формирующие ползуны и поднимают аппарат вверх по стыку на 400-500 мм. Шлак и натеки металла удаляют, поверхность шва зачищают, затем устанавливают аппарат на стык таким образом, чтобы ползуны располагались ниже торца заваренного участка шва на 5-6 мм. Выступающую часть шва выплавляют до уровня верхней кромки переднего ползуна, затем включают перемещение аппарата (рис. 16). Во избежание появления пор при возобновлении сварочного процесса в зону дуги рекомендуется подавать углекислый газ в течение 30-40 с до установления стабильного процесса сварки.

Таблица 6

Режимы вертикальной автоматической сварки

Параметры режима

Оптимальные значения параметров режима

Допустимые значения параметров режима

Сила сварочного тока Iсв, А

420-450

400-500

Напряжение дуги Ud, В

29-30

28-32

Вылет электрода l, мм

38-40

28-45

Диаметр сварочной проволоки, dэл мм

3

3

Марки сварочной проволоки

ППАН-19Н; ППАН-19С

ППАН-32

Примечания: 1. После возбуждения дуги, во избежание появления пор в начале шва, рекомендуется в плавильное пространство вводить дополнительную защиту углекислым газом до установления стабильного процесса сварки (35-40 с).

2. Листы толщиной до 28 мм допускается сваривать аппаратами безрельсового типа с обеспечением колебания электрода по глубине.

Места остановок сварочного процесса контролируют внешним осмотром и, при необходимости, ультразвуком. Участки с обнаруженными недопустимыми дефектами удаляют, зачищают, подваривают вручную и контролирую повторно.

Технология сборки и сварки цельносварных стыков

7.23. При выполнении цельносварных стыков главных балок на монтажной площадке, подмостях, промежуточных опорах (в зависимости от способа монтажа пролетных строений) рекомендуется следующий порядок производства работ:

- установка блоков главных балок (коробок) на сборочные опоры с учетом эпюры строительного подъема, обратного выгиба на величину сварочных деформаций и выверкой проектного положения их в плане и профиле;

- подготовка под сварку нижнего пояса, включающая в себя (рис. 17): точное совмещение листов смежных блоков с обеспечением технологического зазора, зачистку кромок и околошовных зон металла (см. п. 4.3), приварку выводных планок (см. п. 4.9), установку и поджатие к стыку несплавляющейся подкладки;

Рис. 15. Схема электродугового процесса сварки вертикальных швов самозащитной порошковой проволокой с принудительным формированием металла шва:

1 - мундштук; 2 - проволока; 3 - шлаковый слой; 4 - металлическая ванна; 5 - шлаковая корка; 6 - формирующие ползуны; 7 - свариваемые элементы

Рис. 16. Схема возобновления сварочного процесса после вынужденной остановки:

а - положение ползуна перед началом продолжения сварка; б - выплавка кратера конца шва при неподвижных ползунах; в - окончание выплавки кратера, включение перемещения аппарата со сварочной скоростью

- сварка нижнего пояса автоматом по технологии, приведенной в разделе 7 настоящего СТП;

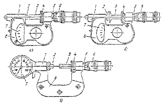
- сборка с подгонкой по месту вертикальной вставки стыка стенки (рис. 18) с обеспечением технологических зазоров. Для листов толщиной до 22 мм без разделки кромок зазоры внизу стыка должны быть по 12-13 мм, вверху по 14-15 мм. Для листов большей толщины с разделкой кромок зазоры в монтажных стыках устанавливают по 7+2-1 мм;

Рис. 17. Технология сборки блоков и автоматической сварки нижнего пояса:

1 - монтажный домкрат; 2 - прижимной домкрат; 3 - металлическая обойма; 4 - несплавляющаяся подкладка; 5 - сварочный автомат; 6 - выводные планки; 7 - монтажная клетка; 8 - направляющий швеллер; 9 - сварной шов

Рис. 18. Сборка вертикального стыкового соединения под механизированную дуговую сварку с принудительным формированием металла шва:

1 - упор; 2 - клин; 3 - прокладка; 4 - свариваемые листы; 5 - сборочная скоба

- зачистка свариваемых кромок и прилегающих к ним зон металла;

- устранение депланации стыкуемых деталей по плоскости стенки и фиксация их положения посредством скоб (не менее 6 шт.), привариваемых к стыкуемым деталям с обратной стороны стыка (со стороны заднего ползуна аппарата, рис. 19). Депланация кромок свыше 1 мм не допускается. На концевых участках (сверху и снизу) протяженностью не менее 450 мм она должна быть нулевой;

- прихватка вставки к нижнему поясу в двух-трех местах с длиной швов по 70-80 мм с обеих сторон;

- приварка выводных планок и установка технологических площадок для выхода сварочного аппарата (рис. 20);

- приемка подготовленных под сварку соединений руководителем сварочных работ;

Рис. 19. Конструкция сборочных скоб:

1 - свариваемые листы; 2 - сборочные скобы

Рис. 20. Элементы, обеспечивающие технологический процесс сварки:

1 - технологическая площадка для выхода сварочного аппарата за пределы свариваемых листов; 2 - сборочная скоба; 3 - выводные планки

- поочередная сварка вертикальных швов. При равных зазорах очередность любая, при неравных первым сваривается стык с большим зазором;

- контроль качества вертикальных швов внешним осмотром и ультразвуком. Устранение выявленных дефектов;

- удаление вспомогательных приспособлений (скоб, планок, площадок) без повреждения основного металла, зачистка сварных швов от шлака, брызг, натеков металла, снятие усиления швов в местах постановки продольных ребер, подготовка и контроль макрошлифов по торцам обоих швов;

- сборка с подгонкой по месту вставки верхнего пояса с обеспечением технологических зазоров и проектной разделки кромок;

- подготовка под сварку соединений верхнего пояса, включающая прихватку вставки к стенке с обеих сторон, зачистку кромок, приварку выводных планок, установку, закрепление и поджатие к стыкам несплавляющихся подкладок;

- сварка верхнего пояса автоматом по технологии, приведенной в разделе 7 настоящего СТП;

- сборка с подгонкой и сварка стыковых швов вставок горизонтальных ребер жесткости с последующей заваркой всех роспусков и угловых поясных швов в последовательности, приведенной на рис. 21.

Рис. 21. Последовательность наложения сварных швов в цельносварном стыке главных балок:

1-17 - порядок сварки; 18 - монтажные прихватки; 19 - заводские швы

7.24 Если конструкция сварочного аппарата не позволяет начать сварку вертикальных стыков непосредственно с нижнего пояса балки, производится ручная сварка нижних участков швов на высоту не менее 150 мм с подготовленной заранее Х-образной разделкой кромок под ручную сварку (рис. 22):

S, мм       12         14      16        18        20        22      25      28      32

D, мм       3,5        4,0     4,5       5,0       6,0       6,5     7,5     8,0     9,0

Причем сварку означенного участка на втором шве допускается выполнять только после механизированной сварки первого шва на полную высоту.

При наличии на монтажном участке малогабаритного аппарата рельсового типа А-681М его можно использовать для сварки указанных нижних участков швов вместо сварки вручную.

7.25. Технология выполнения на монтаже цельносварных стыков нижних ребристых плит (см. рис. 6) со сваркой ребер малогабаритным рельсовым полуавтоматом А-681М аналогична технологии сварки стыков главных балок с учетом нижеприведенных особенностей:

- при сварке ребер из листа толщиной S до 16 мм без разделки кромок зазоры устанавливают равными  мм. При большей толщине - в стыках с V-образной или Х-образной разделкой кромок зазоры устанавливают равными  мм;

- при сборке стыков без разделки кромок торцы стыкуемых элементов рекомендуется приварить вручную к настильному листу ребристой плиты для предотвращения затекания шлака под ребра и вставку и, следовательно, непровара в начале швов;

- процесс сварки начинается непосредственно на листе плиты при вылете электрода 50-55 мм, поэтому в начальный период сварки в течение 35-40 с напряжение дуги должно быть установлено выше номинального на 2-3 В. Во избежание образования пор в начале шва в течение этого периода в зону горения дуги необходимо подавать дополнительную защиту углекислым газом.

Рис. 22. Начало сварки вертикальных стыков:

а - элемент подготовки и сборки под ручную сварку; б - подготовка под автоматическую сварку

7.26. При сборке и сварке цельносварных стыков необходимо предусматривать предварительные выгибы, переломы, сдвиги, развалы в стыкуемых элементах для компенсации сварочных деформаций, влияющих на окончательные размеры и форму конструкций. Величины их устанавливают для конкретных конструкций при сварке первых блоков. При сборке и сварке блоков большой длины (более 10 м) необходимо учитывать также их деформации и взаимные смещения в стыках от воздействия солнечной радиации.

В конструкциях с цельносварными стыками технологические отверстия нельзя располагать ближе, чем на 150-200 мм от монтажного шва.

Технология выполнения комбинированных фрикционно-сварных стыков

7.27. Сборку и сварку комбинированных стыков (см. рис. 5) основных несущих конструкций сплошностенчатых пролетных строений (балок, коробок, L-образных элементов) при навесном и полунавесном монтаже рекомендуется производить в следующей последовательности:

- монтажный блок устанавливают краном и фиксируют в проектном положении калиброванными пробками и высокопрочными болтами по стыковым накладкам стенок и накладкам продольных ребер (в том числе дополнительных, устанавливаемых для обеспечения устойчивости стенок на стадии монтажа) с одновременной выверкой зазоров и взаимного положения свариваемых верхнего и нижнего поясов в плоскости и из плоскости листов. Число пробок и болтов принимают по проекту производства работ. Болты затягивают гайковертами на усилие, равное 70-80 % от проектного после чего производят геодезический контроль проектного положения монтируемого блока;

- блок отстропляют от крана и обстраивают подмостями для безопасного и качественного производства сварочных работ на нижнем и верхнем поясах;

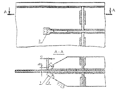
- сваривают нижний и верхний пояса. Для сварки стыка нижнего пояса используют сварочный автомат с удлинителем (рис. 23) для прохода через технологическое окно в стенке;

- выполняют заварку роспусков поясных швов вблизи технологических отверстий в стенках, подрезают ручной газокислородной резкой концы стенки в технологическом отверстии у нижнего пояса и зачищают их абразивным инструментом с плавным переходом к основному металлу. Расстояние от края сварного шва пояса до плавного перехода должно быть 50-60 мм;

Рис. 23. Сварочный трактор типа АДФ-1002 с удлинителем

- устанавливают прокладки в технологические окна и накладки, перекрывающие их, заменяют монтажные пробки высокопрочными болтами и производят натяжение всех высокопрочных болтов комбинированного стыка на расчетное усилие с контролем тарированными динамометрическими ключами;

- демонтируют дополнительные ребра жесткости на стенке балки.

Сборка и сварка ортотропных плит

7.28. Укрупнительную сборку и сварку монтажных блоков ортотропных и ребристых плит следует производить на специально оборудованных стендах, обслуживаемых монтажными кранами грузоподъемностью, достаточной для подъемки и перемещения укрупненных блоков.

Стенды, как правило, оборудуют навесами. В холодное время года их превращают в закрытые отапливаемые помещения, где поддерживается температура воздуха не ниже 0 °С. При небольших объемах работ по укрупнению плит стенды закрывают переносными укрытиями-тепляками.

7.29 Сборку укрупненных блоков плит производят на высокопрочных болтах и монтажных пробках, устанавливаемых в стыках поперечных балок, с соблюдением заданных в проекте поперечных уклонов мостового полотна и обеспечением в продольных стыках настильных листов требуемых по технологии сварки зазоров.

7.30. Продольные кромки стыков, свариваемых на укрупнении, должны обрабатываться полностью на заводе-изготовителе конструкций.

Продольные кромки плит в соединениях их с главными балками и поперечные кромки ортотропных и ребристых плит могут обрабатываться на заводе или иметь припуски на последующую подрезку при их установке в пролетное строение. Этот вопрос должен быть решен на стадии разработки чертежей КМ и ППСР. Номинальный размер припусков 50 мм.

7.31. При сварке продольных швов на съемных подкладках для установки их в узлах пересечения с поперечными балками в стенках последних должны быть предусмотрены проемы (вырезы), ширина которых с каждой стороны назначается не менее 50 мм, а высота h = S + 40 мм, где S - наибольшая толщина свариваемого листа. Эти же проемы служат для свободного прохода копирующего приспособления при подрезке припусков по продольным кромкам.

7.32. Сварку укрупненных блоков плит следует выполнять по указаниям раздела 6 и пп. 7.11, 7.12 настоящего СТП. Выводные планки обязательны с обеих сторон. Все продольные швы каждого блока проваривают в одном направлении.

7.33. При монтаже пролетного строения, в том числе с использованием укрупненных блоков ортотропных плит, прирезку кромок с технологическими припусками по продольным и поперечным стыкам следует выполнять, как правило, переносными газорезательными машинами по копиру или разметке. По согласованию с организациями, разработавшими чертежи КМ и ППСР допускается ручная подрезка припусков на непротяженных участках с последующей зачисткой кромок абразивным инструментом.

7.34. Последовательность монтажной сварки стыковых швов настильных листов ортотропных плит должна быть указана в проекте производства сварочных работ (ППСР). В первую очередь проваривают поперечные стыки смежных плит, а затем продольные швы объединения плит с главными балками пролетного строения в определенной последовательности.

При сварке поперечных стыков выводные планки приваривают только по свободным кромкам консольных ортотропных плит; на продольных стыках - только в начале и конце монтируемого пролетного строения.

В поперечных стыках консольных плит направление сварки принимают от главной балки к свободной кромке плиты; в продольных - от смонтированной части пролетного строения к свободному краю, не доводя шов до края плиты на 800-1000 мм. В случае применения ручной сварки направление ее сохраняется с применением обратно-ступенчатого способа.

Автоматическую сварку поперечных стыков начинают (а в средних укрупненных плитах и заканчивают) на пересечении осей продольного и поперечного стыковых швов. В этих случаях в начале и конце шва (в зоне продольного стыка) производится корректировка профиля подготовки свариваемых кромок посредством ручной прирезки или, наоборот, подварки с последующей зачисткой абразивным инструментом.

По окончании сварки продольных и поперечных стыков ортотропных плит производится сварка предусмотренных проектом роспусков угловых швов в ребрах и дотяжка высокопрочных болтов до проектного усилия в комбинированных стыках.

7.35. Продольные стыки нижних ребристых плит с поясами главных балок допускается варить по рис. 24, если на то есть указание в проекте КМ. При разной толщине листов пояса и плиты завод-изготовитель производит механическую обработку кромки более толстого листа с обеспечением плавного перехода не круче 1:4.

Рис. 24. Вариант продольного стыка нижней ребристой плиты

Ручная, полуавтоматическая и автоматическая сварка угловых, тавровых и нахлесточных соединений

7.36. Ручную дуговую сварку угловых швов любых катетов в разных постранственных положениях - нижнем, вертикальном, горизонтальном и потолочном (см. рис. 2) - допускается применять на монтаже мостов без каких-либо ограничений при обеспечении требуемого качества сварных соединений. Ограничения могут быть по протяженности швов, поскольку при больших объемах ручная сварка становится экономически невыгодной из-за малой производительности.

Основные объемы ручной сварки приходятся на заварку роспусков (заводских недоваров угловых швов) и приварку вставок продольных ребер жесткости к стенкам (см. рис. 4 и 21).

7.37. Ручную сварку мостовых конструкций надлежит выполнять электродами, указанными в табл. 1, постоянным током обратной полярности на режимах, рекомендованных в табл. 6. Число проходов зависит от толщины свариваемого металла и проектного катета шва. По форме угловых швов и глубине проплавления должны соблюдаться требования п. 7.2. б, в и табл. 2 настоящего СТП.

Для более эффективной защиты расплавленного металла от окисления и разбрызгивания ручную сварку рекомендуется производить на короткой дуге, равной 2-2,5 мм методом опирания электрода. Длину сварочных проводов (прямого и обратного) следует принимать до 30 м и во всяком случае не более 50 м. Сечение проводов принимают по п. 5.8.

Подготовку соединения под сварку производят по указаниям раздела 6 настоящего СТП.

7.38. При ручной сварке в нижнем положении "в угол" катет шва, выполняемого за один проход, должен быть оптимально 6 мм и во всяком случае не более 8 мм, во избежание подрезов на вертикальном листе и наплывов с несплавлениями на горизонтальном. При сварке соединений с катетами 8-20 мм число проходов можно принять следующим:

Катет шва, мм           3          10      12      14      16    18    20

Число проходов        1-2      2        2-3     3-4     5      5-6   5-6

7.39. Ручную сварку швов в вертикальном положении выполняют короткой дугой, электродами диаметром 3-4 мм, снизу вверх, как правило, за один проход, формируя проектное сечение шва и проплавление кромок соответствующими колебаниями конца электрода. Катет вертикальных швов, свариваемых за один проход, следует принимать не более 10 м.

7.40. Ручную сварку угловых швов в потолочном положении предусматривают, как правило, для катетов не более 6 мм. Сварку производят короткой дугой (опертым электродом) с незначительными колебаниями конца электрода. Качественное выполнение потолочных швов в значительной степени зависит от квалификации сварщика. Потолочную сварку следует поручать сварщикам 5-го - 6-го разряда.

7.41. Полуавтоматическую и автоматическую сварку под флюсом угловых швов в тавровых и нахлесточных соединениях взамен ручной выполняют при большой протяженности швов и больших объемах работ по данным соединениям. Указанные способы сварки приемлемы только для угловых швов в нижнем положении с катетами не более 8 мм. Рекомендуемые режимы полуавтоматической и автоматической сварки под флюсом угловых швов приведены в табл. 7. Диаметр сварочной проволоки dэл = 2 мм, марки проволоки принимают по табл. 1. Вылет электрода l = 35-40 мм. Электроприхватки выполняют ручной сваркой электродами типов Э42А, Э46А, Э50А.

8. ТРЕБОВАНИЯ К КАЧЕСТВУ СВАРКИ И СВАРНЫХ СОЕДИНЕНИЙ. КОНТРОЛЬ КАЧЕСТВА

Требования к качеству сварных соединений

8.1. Швы сварных соединений, выполненные на укрупнении и монтаже, подлежат контролю по всей длине. Снижение объемов контроля не допускается.

Отклонения размеров сечения швов от проектных не должны превышать величин, указанных в ГОСТ 8713, ГОСТ 11533, ГОСТ 5264, ГОСТ 11534, ГОСТ 14776, ГОСТ 23518.

Таблица 7

Рекомендуемые режимы полуавтоматической и автоматической сварки под флюсом угловых швов

Форма поперечного сечения

Катет шва Kf1, мм; толщина листа, мм

Способ сварки

Параметры режима

подготовленных кромок

сварного шва

Сила тока Icв, А

Напряжение дуги Uд, В

Скорость сварки Vсв, м/ч

К6

Автоматическая и полуавтоматическая

250-300

26-28

26-27

К7

350-400

28-30

23-26

К8

400-450

30-34

23-26

10-32

Полуавтоматическая

Первый шов (I)

250-300

23-28

26-27

Второй шов (II)

300-500

30-34

23-27

10; 12

Полуавтоматическая

Первый проход

350-400

30-34

23-27

16

Полуавтоматическая

Последующие проходы

250-300

30-34

23-27

В сварных соединениях, обозначенных в проектной документации как "нестандартные", в связи с применением специальных технологий сварки допускаются отклонения размеров сечения швов от параметров, предусмотренных в вышеуказанных стандартах, но в пределах допусков, указанных в чертежах КМ и ППСР.

8.2. Швы сварных соединений должны удовлетворять следующим требованиям:

- иметь гладкую или равномерно чешуйчатую поверхность с плавным переходом к основному металлу;

- в многопроходных швах облицовочные валики должны перекрывать друг друга на 1/3 ширины, а глубина межваликовых впадин не должна превышать 0,5 мм;

- кратеры по концам швов должны быть выведены на выводные планки, а кратеры в местах остановки сварки в середине шва должны быть переварены;

- швы не должны иметь видимых прожогов, сужений, перерывов, наплывов, недопустимых по величине подрезов, несплавлений по кромкам и непроваров в корне шва;

- металл шва должен быть плотным по всей длине;

- металл шва и околошовная зона не должны иметь трещин и непроваров любой ориентации и длины; скоплений и цепочек пор и шлаковых включений любого размера и количества; одиночных шлаковых включений и пор, превышающих по размеру и количеству на участке 400 мм или расстоянию между соседними дефектами допустимые пределы, указанные в табл. 8.

8.3. При несоблюдении хотя бы одного требования, приведенного в п. 8.2 и табл. 8 сварные швы подлежат ремонту и повторному контролю.

Система обеспечения качества сборочно-сварочных работ

8.4. Контроль качества на всех стадиях сборочно-сварочных работ осуществляют под руководством главного инженера мостостроительной организации специалисты служб главного сварщика и строительной лаборатории, а также производители работ и мастера монтажного участка в соответствии со своими должностными инструкциями.

Таблица 8

Недопустимые дефекты сварных соединений

Место расположения и тип дефекта

Характеристики недопустимых дефектов

1. Поверхностные:

1.1. Трещины, непровары, несплавления, прожоги

Любого размера и ориентации

1.2. Поры и шлаковые включения

Любого размера и местоположения

1.3. Наплывы

Любого размера и местоположения

1.4. Подрезы вдоль и поперек усилия

Без исправлений не допускаются.

Подрезы глубиной до 1 мм на металле толщиной до 20 мм и глубиной не более 3 % на металле толщиной более 20 мм, а также местные подрезы длиной до 20 % длины шва при глубине подреза более 6 % толщины металла разрешается исправлять зачисткой без предварительной заварки подреза.

2. Внутренние:

2.1. Трещины, непровары, несплавления

Любых размеров и ориентации

2.2. Скопление или цепочка пор или/и шлаковых включений в количестве более 3-х

Любые, в пределах чувствительности методов неразрушающего контроля

2.3. Одиночные поры или шлаковые включения

1. Пора или шлаковое включение размером более 1 мм для металла толщиной до 25 мм и более 4 % толщины для металла толщиной более 25 мм;

2. Любые поры или/и шлаковые, включения, в пределах чувствительности методов неразрушающего контроля, допустимые по размерам, при расстоянии между ними менее 45 мм;

3. Любые поры или/и шлаковые включения, в пределах чувствительности методов неразрушающего контроля, допустимые по размерам и расстоянию между ними, если общее число дефектов превышает 4 (четыре) на участке шва длиной 400 мм.

Примечание. При оценке допустимости одиночных внутренних дефектов типа пор или/и шлаковых включений в сварном шве двухлистового пакета за толщину металла принимают толщину входящего в пакет листа, в котором обнаружен оцениваемый дефект.

Службы контроля комплектуются подготовленными дипломированными специалистами и оснащаются необходимым оборудованием, приборами, средствами измерения. Специалисты до начала работ должны тщательно изучить рабочую и нормативную документацию.

Авторский и технический надзор за качеством сборочно-сварочных работ осуществляют заказчик и проектная организация, а также организация, выполняющая научно-техническое сопровождение сварочных работ.

Для выполнения специальных способов контроля качества сварки могут привлекаться специализированные организации, имеющие на это лицензию.

8.5. Основными задачами контроля качества сборочно-сварочных работ являются:

- обеспечение соблюдения технологии сборочно-сварочных работ и требований нормативной документации;

- своевременное предупреждение и выявление дефектов;

- повышение ответственности непосредственных исполнителей за качество выполняемых работ.

Для выполнения всех требований по обеспечению качества сварных монтажных соединений в строительной организации должен проводиться трехступенчатый контроль качества: входной, пооперационный и приемочный.

Результаты контроля фиксируются в исполнительной документации (журналах и актах), составленной по утвержденным формам. В этих документах должны быть отражены результаты наблюдений на всех стадиях входного, пооперационного контроля, контроля готовых монтажных соединений и контроля конструкции в целом.

Исполнительной документацией по качеству сварных конструкций являются: журналы монтажных работ, постановки высокопрочных болтов, сварочных работ; проект производства сварочных работ или технологическая инструкция по монтажной сварке; заключения по результатам неразрушающих методов контроля швов (ультразвуковой, магнитопорошковый, проникающим излучением) с указанием всех обнаруженных дефектов (допустимых и недопустимых); протоколы испытаний технологических проб; протоколы аттестации сварщиков монтажной организации; акты проверки соблюдения технологии монтажной сварки; материалы по выявлению причин появления дефектов швов и т.п.

8.6. Для создания сквозной системы контроля за качеством сборочно-сварочных работ строительная организация разрабатывает маркировочную схему, в которой присваивается наименование и порядковый номер каждому сварному шву, выполненному на монтаже, а также наименование, порядковый номер швам и плитам, прошедшим укрупнительную сборку. Марки швов и элементов, принятые в маркировочной схеме, едины для записи во всей исполнительной документации. Маркировочную схему разрабатывают на каждое пролетное строение и прикладывают к исполнительной документации.

Укрупненным монтажным блокам одного типа, многократно повторяющимся в пролетном строении, после укрупнения присваивают марку, содержащую в себе тип плит, из которых блок укрупнен, и порядковый номер в ряду блоков этого типа. Маркировку укрупненных блоков наносят несмываемой краской на крайнее поперечное ребро у его правого конца. При установке укрупненного блока, имеющего порядковый номер, в пролетное строение на маркировочной схеме в месте установки этого блока ставят его порядковый номер. Плиты, не требующие укрупнения, или однократно устанавливаемые в пролетном строении маркируют по маркам заводских блоков без присвоения порядкового номера.

Организация неразрушающего контроля качества швов

8.7. Приемочный контроль качества сварных швов неразрушающими методами контроля рекомендуется выполнять специалистами лаборатории (подразделения) контроля качества строительной организации.

Лаборатория контроля качества (далее ЛКК) подчиняется непосредственно главному инженеру строительно-монтажной организации и в своей деятельности должна быть независима от руководства участков, осуществляющих сборочно-сварочные работы.

ЛКК организуется и действует на основании "Положения о ЛКК, утвержденного главным инженером предприятия. В "Положении о ЛКК" должны быть, в частности, оговорены;

- задачи и функции ЛКК;

- права, обязанности, функции, ответственность работников ЛКК;

- перечень закрепленных за ЛКК методов контроля;

- перечень нормативной документации, которой руководствуется ЛКК в своей деятельности;

- порядок эксплуатации, поверки (калибровки) и хранения средств неразрушающего контроля и другого оборудования ЛКК;

- порядок оформления результатов контроля и передачи результатов контроля для выработки решений об устранении выявленных дефектов;

- порядок ведения и хранения архива результатов контроля;

- порядок представления ведомостей (заявок) на ультразвуковой и радиографический контроль сварных швов.

Администрация предприятия должна выделить для ЛКК соответствующее помещение для хранения, ревизии и текущего ремонта измерительного инструмента, дефектоскопов и преобразователей, проведения подготовительных к контролю работ, оформления документации. Персоналу ЛКК должна выдаваться спецодежда.

Помещение ЛКК должно быть оборудовано:

- проводкой сети переменного тока;

- стабилизатором питающего напряжения;

- шиной заземления;

- шкафами для повседневной и рабочей одежды и обуви;

- стеллажами и шкафами для размещения и хранения измерительного инструмента, аппаратуры, образцов, запасных частей, документации.

Помещение должно быть оснащено:

- ультразвуковыми дефектоскопами и, при необходимости, рентгено- и гаммаграфической аппаратурой;

- комплектами стандартных образцов;

- вспомогательными приспособлениями для сканирования сварных соединений и измерения характеристик выявленных дефектов;

- специальной справочной литературой и технической документацией;

- электроизмерительной и радиотехнической аппаратурой, запасными частями и комплектующими изделиями для текущего ремонта и проверке дефектоскопов;

- слесарным и радиомонтажным инструментом;

- емкостями для приготовления и хранения контактирующей жидкости;

- тележками для установки и транспортировки дефектоскопической аппаратуры;

- канцелярскими принадлежностями;

- обтирочным материалом и контактирующими жидкостями.

Необходимое в ЛКК число дефектоскопов обуславливается количеством бригад, функционирующих в ЛКК:

Число бригад                   1      2          3      4        5

Число дефектоскопов    2      3          5      6        8

При наличии в подразделении более пяти дефектоскопов рекомендуется организовать участок текущего ремонта дефектоскопов и преобразователей.

8.8. Для выполнения контроля качества сварных монтажных соединений свариваемые конструкции обстраивают подмостями, обеспечивающими удобное взаимное расположение контролера (дефектоскописта), аппаратуры и контролируемого участка соединения, защиту его от атмосферных осадков. При температуре воздуха ниже +5 °С оборудуют тепляки. Вблизи места контроля не должно быть ослепляющих источников света (сварочной дуги, газорезки); экран дефектоскопа должен быть защищен от прямого попадания на него солнечного света или источника искусственного освещения. Контроль качества сварных соединений не должен проводиться одновременно с работами, загрязняющими воздух и вызывающими вибрацию конструкции.

Требования работников лаборатории контроля качества по созданию условий, необходимых для обеспечения надежности контроля, являются обязательными для исполнения.

8.9. Соединения, представляемые на контроль, должны быть обработаны в объемах и методами, предусмотренными проектной документацией, очищены от брызг металла, отслаивающейся окалины, краски, грязи и пыли по всей длине контролируемых участков в зонах, ширина которых оговорена в технологических картах (но не менее 200 мм).

В сварных соединениях не должно быть поверхностных дефектов, необработанных допустимых подрезов и превышений ширины валика (размеров катетов) в сравнении с установленными соответствующими стандартами или проектной документацией.

Сварные швы не должны иметь наплывов и резких перепадов, создающих отражения ультразвуковых колебаний и не позволяющих выявить дефекты.

Дополнительные требования к подготовке соединений под контроль, предъявляемые ЛКК, включая повторную зачистку зоны перемещения преобразователя при неудовлетворительном для ультразвукового контроля состоянии поверхности проката, а также дополнительную зачистку отдельных участков заподлицо с основным металлом валика шва в корне стыкового одностороннего соединения листов толщиной менее 20 мм и усиления валиков в местах пересечения швов металла любой толщины, должны выполняться работниками монтажного участка. Класс шероховатости поверхности при механической обработке зон контроля должен быть не ниже четвертого (Rz40) по ГОСТ 2789.

8.10. Ультразвуковой контроль сварных соединений должен проводиться звеном из двух дефектоскопистов. Допускается выполнение контроля одним дефектоскопистом, если при этом гарантируется безопасность работы и достоверность результатов контроля. Ориентировочные нормы времени ультразвукового контроля сварного соединения при прозвучивании с двух сторон наружного формирования шва приведены в приложении Ж.

Швы, проверенные каждым звеном (дефектоскопистом) за смену, должны подвергаться выборочному инспекционному ультразвуковому контролю в объеме 5 %, но не менее одного соединения. Инспекционный контроль выполняется дефектоскопистом более высокого разряда или уровня квалификации. В случае обнаружения при инспекционном контроле, неправильной оценки качества сварные швы, проверенные данным звеном (дефектоскопистом), должны быть подвергнуты этим звеном повторному контролю с выдачей новых заключений.

Представитель заказчика, службы или организации, осуществляющие технический и авторский надзор, имеют право потребовать выполнения повторного контроля отдельных участков сварных соединений, в том числе с применением других методов неразрушающего контроля.

8.11. К выполнению ультразвукового контроля сварных соединений допускаются специалисты 2-го и 1-го уровней квалификации, аттестованные в соответствии с ГОСТ 30489 (EN 473:1992) на право контроля сварных соединений мостовых конструкций. Оценку качества сварных соединений по результатам контроля проводят специалисты 2-го уровня квалификации.

Допускается привлекать к выполнению ультразвукового контроля специалистов 2-го уровня квалификации из сторонней организации, аттестованных на право ультразвукового контроля сварных соединений мостовых конструкций или, в виде исключения, - аттестованных на право ультразвукового контроля сварных соединений конструкций другого назначения после сдачи специального экзамена по технологии ультразвуковой дефектоскопии сварных соединений при строительстве мостов. Аттестация дефектоскопистов 2-го - 3-го уровней квалификации и прием экзаменов на право контроля мостовых конструкций производится в аттестационных центрах, аккредитованных при Национальном аттестационном комитете по неразрушающему контролю (НАК НК).

8.12. Ультразвуковой контроль должен выполняться в соответствии с «Инструкцией по ультразвуковому контролю сварных соединений при строительстве (монтаже, реконструкции) металлических мостов», разрабатываемой по заказу строительной организации, согласованной с одной из ведущих организаций в области контроля мостовых конструкций и утвержденной в установленном порядке.

Инструкция должна разрабатываться специалистом не ниже 3-го уровня квалификации по неразрушающему контролю сварных мостовых конструкций применительно к условиям контроля и дефектоскопам того типа, которые предполагается применять при строительстве моста. Основные положения методики контроля, предусмотренные инструкцией, должны соответствовать требованиям, изложенным в подразделе «Приемочный контроль» настоящего раздела СТП.

Входной контроль

8.13. Поступающие на строительство материалы (основной металл, электродная проволока, флюс, электроды и др.) должны подвергаться приемке, иметь сертификаты и удовлетворять по маркам требованиям чертежей КМ или технологических инструкций по сварке для конкретного объекта. Данные сертификатов должны соответствовать требованиям нормативных документов на указанные материалы.

Материалы, не имеющие сертификатов, не отвечающие нормативным требованиям, не предусмотренные в чертежах КМ или технологических инструкциях, к применению на монтаже не допускаются.

Каждая, поступающая на объект партия сварочной проволоки, флюса и электродов должна подвергаться технологическим испытаниям посредством сварки стыков с определением механических свойств металла соединения разрушающими методами. Технологию и режимы сварки принимают по ППСР или Инструкции, действующей на данном объекте.

Флюс и проволока считаются пригодными по технологическим свойствам, если процесс сварки на рекомендуемом режиме протекает спокойно, формирование шва и шлаковой корки равномерное, шлак легко удаляется со шва, а в наплавленном металле отсутствуют поры и трещины.

Электроды считаются годными, если при сварке тех же соединений на оптимальном режиме дуга горит устойчиво, спокойно, плавление обмазки происходит равномерно, без образования "козырька", шлак легко удаляется со шва и в наплавленном металле отсутствуют поры и трещины.

Партия сварочных материалов считается пригодной, если механические характеристики сварных контрольных соединений, выполненных с применением этих материалов, отвечают требованиям нормативной документации.

8.14. При приемке поступающих с завода-изготовителя монтажных элементов и деталей следует проверять наличие маркировки и ее соответствия монтажной схеме, клейм приемки ОТК и мостовой инспекции, клейма с указанием марки стали деталей, входящих в монтажный элемент.

Кроме того, осуществляется контроль правильности геометрических форм и размеров, отсутствия недопустимых остаточных деформаций и повреждений, формы подготовленных кромок монтажных элементов, а также (внешним осмотром) - качества заводских сварных соединений. Конструкции по допускам должны соответствовать требованиям действующих норм на заводское изготовление.

8.15. Перед началом монтажа пролетного строения, а затем, не реже одного раза в год, следует проверять квалификацию сварщиков, газорезчиков и дефектоскопистов. Проверяются теоретическая и практическая подготовка по рабочей специальности, проводится обучение и проверка знания технологической инструкции по монтажной сварке и контролю данного объекта, проверка наличия удостоверений о квалификации и указаний в них о характере работ, к которым имеется допуск.

Для подтверждения квалификации сварщики должны выполнять сварку контрольных соединений в соответствии с Правилами по аттестации сварщиков и специалистов. Положение сварки контрольных соединений должно быть аналогично пространственному положению сварных соединений при монтаже конструкций пролетного строения.

8.16. При контроле технического состояния сварочного оборудования и оснастки проверяется наличие и исправность на сварочных автоматах, выпрямителях и аппаратных шкафах измерительных приборов (амперметров и вольтметров); исправность ходовой части сварочных автоматов; возможность обеспечения данным оборудованием заданных параметров режима сварки.

Правильность показаний измерительных приборов, кроме предварительной проверки, контролируется не реже двух раз в месяц при помощи специальных контрольных приборов.

При контроле технического состояния дефектоскопической аппаратуры проверяется соответствие ее основных параметров требованиям нормативно-технической документации по неразрушающим методам контроля.

8.17. Перед началом монтажа пролетного строения, с целью окончательной проверки и последующего утверждения технологии сварки, сварщики мостостроительной организации в реальных условиях монтажа сваривают технологические пробы для определения механических свойств швов сварных соединений всех групп толщин металла, применяемых в конструкции пролетного строения.

Изготовление и испытание технологических проб и контрольных сварных соединений при аттестации сварщиков следует производить в соответствии с указаниями обязательного Приложения И "Методы и объемы испытания контрольных сварных соединений".

Пооперационный контроль

8.18. Выполнение каждой последующей операции при монтаже металлоконструкций пролетного строения разрешается только после осуществления контроля качества работ на предыдущей операции.

Пооперационный контроль проводится в соответствии с разработанными на основании ППСР или технологической инструкции технологическими картами на сборку и сварку монтажных соединений. Пооперационный контроль качества возлагается на мастеров и прорабов.

Перед подачей на сборку (монтажную площадку или укрупнительную сборку) следует проверить качество исправления всех отклонений зафиксированных при приемке монтажных элементов и деталей, и произвести при необходимости дополнительные исправления.

Сборка монтажных соединений под сварку должна производиться в полном соответствии с указанием ППСР и технологической инструкцией. Перед сваркой собранных соединений контролируются: правильность фиксирования элементов конструкции (в плане, профиле и по длине); правильность (в пределах допусков) всех размеров и формы подготовленных кромок (величина зазора, притупления, прямолинейность, постоянство сечения разделки, угол раскрытия разделки и пр.); плотность и надежность закрепления подкладок; величина депланации и уступов стыкуемых кромок; правильность обработки и чистота свариваемых кромок; соответствие применяемой при сборке технологической оснастки.

Контроль за соблюдением установленной технологии сварки должен осуществляться периодически - не реже одного раза в смену и при выполнении каждого нового типа монтажного соединения. Проверяются соответствие применяемых при сварке марок электродной проволоки, флюса и электродов, соответствие режима сварки и предварительного подогрева, правильность наложения слоев при заполнении разделки, качество наплавленного металла (визуальным осмотром) и сечение швов.

Приемочный контроль

8.19. Все швы сварных соединений, выполненные на укрупнении и монтаже, подвергаются всем видам контроля в объемах, предусмотренных в табл. 9.

При приемке сварных швов монтажных соединений производят визуальный осмотр и обмер швов, ультразвуковой контроль, рентгено- и гаммаграфический контроль (для уточнения данных ультразвукового контроля по отдельным швам).

Таблица 9

Приемочный контроль швов сварных соединений

Методы контроля

Контролируемые швы сварных соединений

Объем контроля

Наружный осмотр и обмер швов

Стыковые, угловые и нахлесточные швы монтажных соединений всех элементов

100 % длины швов

Ультразвуковая дефектоскопия

Стыковые швы всех элементов

100 % длины швов

Просвечивание проникающим излучением

Стыковые швы всех элементов

Участки швов, которые не могут быть подвергнуты ультразвуковому контролю, или результаты проверки которых ультразвуковой дефектоскопией требуют уточнения

В случае необходимости может производиться дополнительный контроль неразрушающими методами (магнитопорошковый и др.) сверх установленных в табл. 9 объемов.

Соединения, в которых соотношение ширины валика шва и толщины свариваемых листов не позволяют прозвучить сечение шва акустической осью луча типовых преобразователей (искателей), следует контролировать ультразвуковой дефектоскопией по специальной методике (с применением специальных искателей), или переходить на контроль проникающим излучением.

8.20. При внешнем осмотре и обмере, проводимом мастерами (прорабами) по сварке, проверяют соответствие швов сварных соединений требованиям раздела 8 и п. 1 табл. 8 настоящего стандарта, а также качество механической обработки металла шва и околошовной зоны, в том числе и зоны для ультразвукового контроля. Для контроля околошовная зона на ширину 200 мм по обе стороны шва должна быть очищена от брызг металла, отслоений окалины, грязи и краски. Сварные швы, имеющие недопустимые наружные дефекты или некачественную подготовку, подлежат ремонту до ультразвукового контроля.

8.21. Контроль качества сварных соединений ультразвуковой дефектоскопией (УЗД) следует осуществлять в соответствии с инструкцией по ультразвуковому контролю в объемах, предусмотренных в табл. 9.

Перед ультразвуковым контролем дефектоскописты повторно проверяют внешним осмотром качество сварного соединения и его подготовку к контролю. Швы, имеющие недопустимые наружные дефекты или некачественную подготовку не контролируются.

Основные параметры ультразвукового контроля, способы прозвучивания, схемы и параметры сканирования приведены в приложениях Ж, К, Л, М.

8.22. Поиск дефектов следует вести по схеме поперечно-продольного или продольно-поперечного перемещения преобразователя при превышении чувствительности поиска над чувствительностью Nxo оценки на 6 дБ.

Для выявления дефектов, расположенных у торцов стыковых соединений, следует дополнительно прозвучивать зону у каждого торца, постепенно поворачивая преобразователь приблизительно до 45° между плоскостью торца и плоскостью падения волны.

Для обнаружения поперечных трещин в стыковых соединениях следует дополнительно прозвучивать шов с каждой из двух сторон, перемещая преобразователь вдоль валика таким образом, чтобы плоскость падения волны составляла с продольной осью шва угол 10°...40°.

Участок шва с дефектами считают негодным и подвергают ремонту, если имеет место одно из условий:

1. Ngmax > Nxo, Максимальная амплитуда Ngmax эхо-сигнала от дефекта больше Nxo.

2 Nxo ³ Ngmax ³ Nxo - 6, но дефект обнаруживается преобразователем в положении, при котором плоскость падения волны составляет с продольной осью шва угол 10° - 40°.

3. Nхo ³ Ngmax ³ Nxo - 6, но условная протяженность DL1g, измеренная относительным способом, превышает значение DL1bp установленное в инструкции на контроль с учетом толщины сваренных листов, т.е. DL1g > DL1bp.

4. Nxo ³ Ngmax ³ Nxo - 6, но расстояние Dl между ближайшими дефектами меньше 45 мм, Dl ³ 45 мм.

5. Nxo ³ Ngmax ³ Nxo - 6 и Dl ³ 45 мм, но число дефектов на участке шва длиной 400 мм более четырех.

8.23. В случае обнаружения дефектов в сварном шве для выполнения ремонтных работ составляются карты контроля с указанием местоположения дефекта по длине шва, глубины залегания и условной протяженности дефекта, а также делается запись в журнале сварочных работ и ультразвукового контроля. После исправления дефектных участков производится повторный контроль, о результатах которого делается соответствующая запись в исполнительной документации. Заключение о качестве сварного соединения подписывает дефектоскопист не ниже 2-го уровня квалификации по ультразвуковому контролю сварных соединений.

8.24. В случаях, когда устранение единичного внутреннего дефекта типа пор или шлакового включения в стыковых швах двухлистовых пакетов или в труднодоступных для ремонта местах может повлечь ухудшение свойств и снижение прочности соединения, в виде исключения, допускается комиссионно, с участием представителей подрядчика, проектной и научной организаций, по каждому конкретному случаю решать вопрос о степени опасности данного дефекта и возможности оставления его без ремонта. При этом должны быть выяснены причины появления дефекта и приняты меры по предотвращению его дальнейших появлений.

После приемки шва сварного соединения выполняют грунтование и окраску металла шва и околошовной зоны с лицевой и корневой стороны.

9. ИСПРАВЛЕНИЕ ДЕФЕКТНЫХ УЧАСТКОВ ШВОВ И ПРАВКА ДЕФОРМИРОВАННЫХ КОНСТРУКЦИЙ

Исправление дефектных швов

9.1. Сварные соединения, не отвечающие требованиям к их качеству, допускается исправлять. Способ исправления назначается руководителем сварочных работ и главным инженером мостостроительной организации с учетом требований настоящего СТП. Дефектные швы могут быть исправлены путем частичного или полного их удаления с последующей переваркой.

9.2. Наплывы и недопустимое усиление швов обрабатывают абразивным инструментом. Неполномерные швы, недопустимые подрезы, незаплавленные кратеры, непровары и несплавления снаружи по кромкам подваривают с последующей зачисткой. Участки швов с недопустимым количеством пор, шлаковых включений и внутренних несплавлений полностью удаляют и заваривают вновь по технологии, приведенной в пп. 9.3, 9.4.

9.3. При обнаружении трещин в шве или основном металле устанавливают их протяженность и глубину с помощью УЗД. При необходимости в начале и конце трещины засверливают отверстия диаметром 10-12 мм. Затем производят подготовку участка под заварку с V-образной разделкой кромок с общим углом раскрытия - 60-70° с помощью армированных наждачных кругов толщиной 6-8 мм.

Допускается производить разделку кромок воздушно-дуговой резкой угольными омедненными электродами диаметром 6, 8 и 10 мм с последующей механической обработкой поверхностей реза абразивным инструментом на глубину не менее 1 мм или специальными электродами марок АНР-5, ОЗР-Р, ОЗР-2 диаметром 4-5 мм с последующей зачисткой от шлака и грата.

Удаление участка шва с трещиной, если не производилось засверливание отверстий в начале и конце трещины, следует выполнять с захватом основного металла по 50 мм в каждую сторону.

Аналогично производится подготовка под ремонтную сварку участков швов с недопустимым количеством пор, шлаковых включений и несплавлений.

9.4. Заварку подготовленного к ремонту дефектного участка необходимо осуществлять, как правило, тем способом сварки, который предусмотрен для выполнения данного шва. Короткие участки длиной до 1 м с внутренними дефектами, а также участки любой протяженности с внешними дефектами в виде подрезов, шлаковых включений и др. допускается исправлять ручной дуговой сваркой электродами диаметром 3-4 мм. Внутренние дефекты устраняют с разделкой дефектного участка, внешние - без разделки или с частичной разделкой армированными наждачными кругами.

Исправление дефектного участка шва допускается не более двух раз. Исправление более двух раз может быть допущено в порядке исключения, после установления причин возникновения данного дефекта.

Правка деформированных конструкций

9.5. Мостовые металлоконструкции, получившие в процессе транспортирования, погрузки-выгрузки и монтажа деформации и повреждения, освидетельствованные комиссионно по указаниям п. 3.7 настоящего СТП и признанные по акту годными после устранения дефектов, подлежат термической или термомеханической правке.

Любые виды остаточных деформаций, превышающих допустимые, после монтажной сварки во всех элементах пролетного строения допускается исправлять посредством термической и термомеханической правки.

9.6. Температуру местного нагрева металла при термической и термомеханической правке следует принимать номинально равной 700 °С. Запрещается, во избежание разупрочнения, нагревать термообработанные стали свыше 700 °С. Для горячекатанных сталей допускается нагрев до 900 °С.

Не допускается термическая правка горячекатанных сталей при наружной температуре воздуха ниже минус 15 °С, а термообработанных - ниже 0 °С.

Запрещается охлаждать нагретый металл водой.

Термомеханическую правку сложных форм деформаций с приложением статических усилий пригрузом, домкратами, распорками или стяжками надлежит производить при температуре зон нагрева в пределах 650-700 °С. Остывание металла ниже 600 °С при этом не допускается.

9.7. Термическую правку мостовых конструкций должны выполнять специально обученные рабочие-газоправильщики, имеющие соответствующее удостоверение. Газоправильщики должны уметь визуально определять температуру нагрева металла и контролировать ее величину с помощью оптического пирометра излучения или цифровых термометров ТЦ-1000.

9.8. Термическую правку грибовидности и перекоса полок элементов двутаврового, таврового и Н-образного сечения, а также ребристых и ортотропных плит следует выполнять посредством нагрева газопламенными горелками зон металла, указанных на рис. 25,а.

Рис. 25. Схемы термической правки грибовидности и перекоса полок (а) и термомеханической правки излома в стыке (б):

Н - зоны нагрева; D - деформация; 1 - домкрат; 2 - скоба

9.9. При сварке монтажных стыков в нижних поясах главных балок имеют место одновременно два вида деформаций - грибовидность и излом в стыке ("домик"). В полностью заваренном стыке грибовидность должна выправляться в первую очередь. Зоны нагрева (Н) размечают снизу пояса за линией сплавления углового поясного шва (см. рис. 25,а справа). Ширина зоны ориентировочно 20 мм, длина равняется длине монтажного углового шва плюс участки заводских швов по 50 мм в каждую сторону. Зона нагрева должна быть очищена от заводской грунтовки. Нагрев осуществляют горелками большой мощности (ГАО-60, ГЗУ и др.) от концов зоны к ее середине, постепенно увеличивая температуру нагрева от 500-550 °С на концах до 700 °С в середине зоны.

Степень исправления грибовидности определяют после полного остывания металла. Остаточная грибовидность не должна превышать допуска по разделу 11 настоящего СТП.

9.10. Остаточные деформации излома в стыке ("домики") исправляют термомеханическим способом (рис. 25,б). Нагрев пояса сверху производят до установки домкрата, а снизу - в процессе его работы, но с расчетом, чтобы температура в зоне нагрева не снижалась за пределы 600 °С. Выгиб домкратом доводят до полного выправления "домика" с плюсовым запасом 2-4 мм на последующую обратную упругую деформацию. Домкрат снимают после полного остывания металла.

9.11. Недопустимые деформации укрупненных блоков ортотропных плит (грибовидность и изломы в стыках по контуру настильных листов) следует выправлять до их установки в конструкцию монтируемого пролетного строения. Правка - термическая и термомеханическая по технологии, приведенной в пп. 9.8-9.10 и на рис. 26,а.

В консольных ортотропных плитах (рис. 26,б) деформации грибовидности свободного свеса настильного листа и изломов в стыковых поперечных швах выправляют также термическим и термомеханическим способами.

9.12. При сборке под вертикальную сварку стенок главных балок с односторонними вертикальными ребрами (рис. 27) требуется совпадение кромок с высокой точностью (±1 мм) в плоскости стенки. Такая точность достигается термической правкой стенки при монтаже (дополнительно к заводской правке, если последняя не обеспечивает требуемую точность).

Зоны нагрева (Н) намечают со стороны, противоположной вертикальным ребрам, за линией сплавления крайнего заводского шва по всей высоте ребер. Ширину зоны нагрева принимают равной 10-15 мм (см. рис. 27).

9.13. Продольный прогиб (выгиб, саблевидность) элементов таврового, двутаврового, Н-образного и коробчатого сечений следует править термическим и термомеханическим способами посредством нагрева зон определенной формы с выпуклой стороны элемента (рис. 28,а). Механические усилия к элементам в процессе правки прикладывают, как правило, в виде пригрузов.

Рис. 26. Схемы термической и термомеханической правки:

а - укрупненного блока ортотропных плит; б - консольной ортотропной плиты; D - деформация; в - свес настильного листа консольной плиты; 1 - настильный лист; 2 - поперечная балка; 3 - вставка продольного ребра плиты

9.14. Выпучивание стенок балочных и коробчатых пролетных строений с ребрами жесткости ("хлопуны") правят термическим или термомеханическим способами в последнюю очередь, после завершения правки остаточных деформаций других видов. При термической правке стенку следует нагревать с выпуклой стороны. При термомеханической правке на выпуклую сторону устанавливают пригруз, а нагрев производят с вогнутой стороны.

Рис. 27. Схема сборки стенки цельносварного стыка с правкой грибовидности свободных свесов:

1 - пояс главной балки; 2 - вертикальное ребро; 3 - вставка; Н - зоны нагрева; D - деформация

Рис. 28. Схемы правки саблевидности (а) и выпучивания (хлопунов):

Н - зоны нагрева, D - деформации; f - стрела выгиба

Выпучивание надлежит править нагревом полос, направленных радиально от его центра (рис, 28,б). Каждую следующую полосу нагревают после полного остывания металла от предыдущего нагрева.

9.15. Интенсивность нагрева указанных на рис. 25-28 зон должна быть максимально возможной по технологическим условиям. Рекомендуется использовать одновременно несколько горелок. Лист толщиной более 20 мм следует нагревать одновременно с двух сторон (при наличии доступа к противоположной стороне).

Высоту клиновидных зон нагрева принимают равной 2/3 высоты элемента, ширину в основании 30-100 мм. Нагрев клина производят от вершины к основанию.

При наметке клиновидных зон нагрева в первую очередь выбирают зоны с наибольшей кривизной или заметными переломами.

О результатах правки можно судить только после полного остывания зон нагрева. Если деформации остаются за пределами допусков, то намечают новые зоны нагрева. Одну и ту же зону нагревать более двух раз не допускается. Поверхность металла после правки не должна иметь вмятин, забоин и других повреждений. Если после допустимого числа правок фактические деформации превышают размеры предельных отклонений, то конструкции должны быть забракованы. В отдельных случаях по согласованию с проектной организацией допускается усиление выправляемых участков или их замена.

10. МЕХАНИЧЕСКАЯ ОБРАБОТКА СВАРНЫХ СОЕДИНЕНИЙ*

* Настоящим разделом отменяется ВСН 188-78

10.1. Механическую обработку сварных монтажных соединений в стальных конструкциях мостов для повышения их выносливости и хладостойкости следует назначать в чертежах КМ в соответствии с требованиями настоящего СТП. Допускаются ссылки в чертежах на соответствующие пункты норм без приведения их текста.

При проектировании новых конструкций для случаев, непредусмотренных настоящим СТП, проектная организация с участием научно-исследовательской организации разрабатывает конструктивное оформление и технологические требования к обработке зон концентрации напряжений. Для железнодорожных мостов эти решения должны согласовываться с МПС.

10.2. Механическая обработка сварных монтажных соединений производится после контроля качества и исправления дефектных участков швов. Выявленные в зоне обработки технологические дефекты сварки, а также неполное проплавление (если обязательно полное проплавление) должны быть устранены. Допускаемые нормами подрезы, попавшие в зону механической обработки, должны быть полностью удалены. Подлежат зачистке следы газовой срезки выводных планок и технологических припусков под механическую обработку.

10.3. Механическая обработка сварных соединений и соответствующих зон в местах изменения сечений элементов должна обеспечить получение плавных переходов от металла шва к основному металлу, а также от конца приваренной детали к основному элементу конструкции, или от конца обрываемой к оставшейся части сечения сварного элемента или балки. При этом обработку следует выполнять без излишнего ослабления сечения - на минимальную глубину, необходимую для снятия поверхностного слоя металла в зоне обработки - до получения чистой блестящей поверхности - номинально на глубину 0,5 мм.

10.4. При обработке сварных соединений ослабление сечения по толщине проката (углубление в основной металл без подварки) не должно превышать 1 мм на металле толщиной до 20 мм и 3 % толщины - на более толстом металле.

В случае превышения допускаемой величины ослабления разрешается производить подварку с последующей зачисткой по требованиям данного СТП. Все ожоги сваркой на поверхности металла должны быть зачищены абразивным инструментом на глубину 0,5 мм.

10.5. Местные наплывы, образовавшиеся в местах перекрытия соседних участков шва при перерыве процесса сварки или исправлении дефектов, должны быть сглажены механической обработкой до образования плавных переходов от наплыва к сечению шва проектного размера и к основному металлу.

10.6. Способ и инструмент для механической обработки сварных соединений назначает мостостроительная организация, выполняющая сварочные работы. Допускается обработка абразивными кругами различной твердости и крупности зерна, фрезами различных типов и форм и другим металлообрабатывающим инструментом.

При обработке абразивным инструментом не допускаются ожоги металла из-за сильного нажатия на инструмент и малой скорости его перемещения по обрабатываемой поверхности.

Для удаления технологических припусков и других частей свариваемых деталей, выступающих за проектный контур, допускается применение газокислородной резки, после чего должен оставаться проектный контур детали с припуском на механическую обработку на глубину 1-2 мм с удалением выступов и наплывов.

10.7. Качество стыковых сварных соединений должно соответствовать требованиям пп. 8.1 и 8.2 настоящего СТП. Если отклонения размеров швов не превышают допустимые, то механическая обработка их не требуется.

Зачистку кромок листов после удаления выводных планок газокислородной резкой следует выполнять по всей длине участка, где накладывались швы, прикрепляющие выводные планки. При этом углы кромок листов необходимо плавно скруглять радиусом 2 мм (рис. 29).

Для удаления поверхностных дефектов с торцов шва механической обработкой допускается плавно, с уклоном не более 1:20 и сопрягаемым радиусом не менее 160 мм на свободных кромках углубляться в основной металл без подварки на величину 0,02 ширины свариваемого листа, но не более чем на 8 мм с каждой стороны (рис. 29,б) и не более 12 мм с одной стороны. После обработки торцов шва углы кромок листов следует плавно скруглять радиусом 2 мм (см. рис. 29 сечение Б-Б).

В случае пересечения стыкового шва стенкой, ребром жесткости или фасонкой усиление шва в месте пересечения необходимо снять заподлицо с основным металлом. Углы кромок скругляются как в предыдущих случаях.

Рис. 29. Схема обработки стыкового соединения листов одинаковой толщины:

а - без углубления в основной металл по кромкам; б - с углублением на 0,02В, но не более чем на 8 мм с каждой стороны; 1 - граница шва по зоне сплавления; 2 - граница зон механической обработки; 3 - металл, удаляемый механической обработкой

При механической обработке стыковых сварных соединений листов различной толщины или разной ширины должны быть выполнены требования, указанные на рис. 30, а, б. Радиус перехода к более широкому листу должен быть не менее 150 мм. Допускается зачистка усиления швов заподлицо с основным металлом.

10.8. При пересечении сварных швов перед наложением шва пресекающего (рис. 31,а) или примыкающего к другому шву (рис. 31, б, в), во избежание образования подрезов в месте пересечения, необходимо обрабатывать усиление ранее наложенного стыкового шва заподлицо с основным металлом на расстоянии l не менее 40 мм от кромки листа или оси пересекаемого шва, обеспечивая при этом постепенный переход к незачищенному участку шва радиусом r > 60 мм.

Рис. 30. Схема обработки стыковых соединений листов разной толщины (а) и разной ширины (б):

1 - граница шва по зоне сплавления; 2 - границы зон механической обработки

Данные требования распространяются на все типы монтажных сварных соединений, в том числе на цельносварные стыки главных балок и ребристых плит.

10.9. Механическую обработку концов горизонтальных ребер жесткости, обрываемых вблизи монтажных болтовых или комбинированных болтосварных стыков балочных и коробчатых пролетных строений, следует выполнять в соответствии с требованиями, приведенными на рис. 32.

10.10. Механическую обработку концов стенок в двутавровых балках с комбинированными монтажными стыками надлежит выполнять в соответствии с требованиями, приведенными на рис. 33.

10.11. Механическую обработку выполненных ручной сваркой угловых швов в прикреплении продольных связей и вертикальных ребер жесткости к поясу или к связевой фасонке, расположенным в растянутой зоне балки обычного исполнения, следует осуществлять в соответствии с указаниями, приведенными на рис. 34.

Рис. 31. Схема обработки усиления стыкового шва в зоне пересечения (а) или примыкания к угловому (б) или к другому стыковому шву (в):

1 - граница шва; 2 - зона механической обработки; 3 - металл, удаляемый при обработке

Выполненные ручной сваркой поперечные угловые швы, прикрепляющие вертикальные ребра жесткости, диафрагмы или фасонки поперечных связей к растянутому элементу или растянутому поясу сплошностенчатой балки в пролете, если не обеспечены плавные переходы к основному металлу, обрабатывают в соответствии с указаниями, приведенными на рис. 35.

10.12. Лобовые и фланговые сварные швы, рассмотренные в п. 10.11 и на рис. 34 и 35, допускается не подвергать механической обработке после полуавтоматической сварки под флюсом, а также ручной дуговой сварки при условии обеспечения плавных переходов от металла шва к основному металлу.

10.13. Контроль качества механической обработки сварных монтажных соединений осуществляется внешним осмотром с применением в необходимых случаях эталонов, измерительного инструмента и шаблонов.

Качество обработки признается удовлетворительным, если установлено:

Рис. 32. Схема обработки конца горизонтального ребра жесткости, обрываемого вблизи монтажного болтового или комбинированного болто-сварного стыка балки:

1 - технологический припуск; 2 - контур, по которому припуск удаляется газовой резкой; 3 - зона механической обработки; b - ширина припуска у конца ребра (b > 20 мм); с - расстояние от края припуска до начала плавного перехода (с = 15 мм); r - радиус перехода (r ³ 60 мм)

а) полное снятие прокатной окалины, а также окисленного поверхностного слоя в заданных зонах с чистотой поверхности не ниже 4 класса (см. п. 8.3, Rz40);

б) плавность (с заданными радиусами) переходов от металла шва к основному металлу;

в) отсутствие на обработанной поверхности надрывов трещин и рисок поперек усилий, действующих в элементе;

г) отсутствие в зоне обработки ослаблений сечения, превышающих допустимые по п. 10.4;

Рис. 33. Схема обработки концевого участка стенки при обрыве ее не у торца элемента:

1 - технологический припуск; 2 - контур, по которому припуск удаляется газовой резкой; 3 - зона механической обработки; с - расстояние от края припуска до начала плавного перехода (с ³ 30 мм); r - радиус перехода (r ³ 60 мм); b - ширина припуска у конца стенки (b ³ 20 мм); R радиус выкружки технологического окна (R ³ 75 мм)

д) отсутствие у деталей и элементов в зоне обработки острых кромок и заусенцев;

е) отсутствие на обработанной поверхности поджогов металла от абразивного инструмента;

Рис. 34. Схема обработки выполненных ручной сваркой угловых швов в прикреплении диагоналей горизонтальных связей и вертикальных ребер жесткости к ветровому поясу, расположенному в растянутой зоне:

1 - зона механической обработки; l - длина обрабатываемого участка косого шва (l ³ 50 мм); r - радиус перехода (r ³ 5 мм)

Рис. 35. Схема обработки выполненных ручной сваркой поперечных угловых швов, прикрепляющих вертикальные ребра жесткости, диафрагм или фасонки поперечных связей к растянутому элементу или поясу сплошной балки в пролете:

1 - зона механической обработки; 2 - граница поперечного углового шва; r - радиус перехода (r ³ 5 мм); h - величина ослабления сечения согласно п. 8.4

ж) отсутствие в зоне обработки технологических дефектов сварки - трещин, несплавлений, пор, шлаковых включений, подрезов, неполного оплавления, когда оно требуется;

з) отсутствие следов приварки выводных планок и сборочных приспособлений, а также следов газовой резки, применявшейся для удаления технологических припусков, выводных планок и сборочных приспособлений.

Уменьшение размеров зон обработки и радиусов плавных переходов против указанных в настоящем СТП не допускается.

Увеличение размеров зон обработки и радиусов не является браковочным признаком.

11. ПРИЕМКА СВАРНЫХ МОСТОВЫХ КОНСТРУКЦИЙ

11.1. Конструкции мостов со сварными монтажными соединениями после их сборки и сварки подлежат комиссионной приемке с составлением "Акта промежуточной приемки ответственных конструкций", форма которого приведена в приложении 7 СНиП 3.01.01-85.

Периодичность приемки следует указывать в ППСР в зависимости от способа монтажа конструкций и объемов выполняемых монтажно-сварочных работ.

При конвейерно-тыловой сборке и продольной надвижке неразрезных пролетных строений приемку осуществляют перед надвижкой каждого очередного смонтированного и сваренного участка пролетного строения. При наводке наплаву - перемещаемыми секциями, при навесной сборке - попролетно или перед каждым очередным перемещением монтажного крана по пролетному строению.

11.2. При приемке необходимо проверять:

- соответствие проектным линейных размеров и геометрической формы отдельных элементов, соединений и в целом смонтированных конструкций;

- правильность положения смонтированной конструкции в плане и профиле по результатам инструментальной проверки;

- отсутствие внешних дефектов в установленных элементах;

- качество монтажных и заводских соединений, плотность примыкания элементов друг к другу и к опорным поверхностям;

- выполнение специальных требований проекта КМ по обработке плавных переходов в сварных соединениях, регулированию напряжений, предварительному напряжению и т.д.;

- полноту и правильность составления исполнительной документации на монтажные, сварочные работы, в том числе на контроль качества сварных соединений.

11.3. Допустимые отклонения линейных размеров и геометрической формы смонтированных конструкций приведены в табл. 10.

11.4. Для измерения линейных размеров конструкций необходимо применять следующие виды измерительных инструментов (Приложение Н):

линейки металлические измерительные по ГОСТ 427;

штангенциркули по ГОСТ 166;

рулетки измерительные металлические второго класса точности типов Р3-2; Р3-5; Р3-10; Р3-20; Р3-30 по ГОСТ 7502;

шаблоны для измерения размеров сварных швов.

Для измерения непрямолинейности и неплотности следует применять:

щупы второго класса по ГОСТ 882;

индикаторы часового типа по ГОСТ 577;

металлические измерительные линейки или шаблоны;

угломеры с нониусом по ГОСТ 5378, проверочные линейки и натянутые струны.

Для определения неперпендикулярности следует применять поверочные угольники 90° второго класса типа VIII по ГОСТ 3749.

Размеры деталей, для которых установлены величины предельных отклонений, следует проверять не менее чем в двух местах.

Допускается применение средств измерений, изготовленных предприятиями для внутриведомственных нужд и поверенных метрологическими организациями Госстандарта в соответствии с требованиями ГОСТ 8.001.

Таблица 10

Допускаемые отклонения линейных размеров и геометрической формы смонтированных конструкций

Наименование отклонения

Значение предельного отклонения

1. Отклонение длины каждой главной балки или фермы пролетного строения от проектной при длине L, м:

 

до 50 включ.

±10 мм

свыше 50

0,0002L

2. Отклонение расстояний между соседними узлами главных ферм и связей при расстоянии l, м:

 

до 9 включ.

0,0003l

свыше 9

±3 мм

3. Отклонение от проектных ординат строительного подъема пролетного строения, смонтированного целиком или частично при ординатах h, мм:

 

до 100 включ.

±10 мм

свыше 100

±0,1h

4. Отклонение в плане оси главной балки или фермы от проектной оси при пролете L

0,0002L

5. Отклонение в плане одного из узлов от прямой, соединяющей два соседних с ним узла при длине панели l.

0,001l

6. Отклонение расстояний между осями вертикальных стенок сплошностенчатых балочных и коробчатых пролетных строений

±4 мм

7. Отклонение расстояний по длине балок и коробок между смежными вертикальными ребрами жесткости, к которым прикрепляются поперечные балки ортотропных и ребристых плит; соответствующие расстояния между поперечными балками ортотропных и ребристых плит

±2 мм

8. Отклонение расстояний между осями продольных ребер ортотропных плит:

 

в зоне стыков и пересечений с поперечными балками

±2 мм

на других участках

±4 мм

9. Отклонения по высоте сплошностенчатых балок и коробок в зоне цельносварных или комбинированных стыков

±2 мм

10. Допускаемая стрела выгиба осей элементов длиной l:

отдельных элементов главных ферм, балок, коробок, балок проезжей части элементов связей

0,001l, но не более 10 мм

0,0015l, но не более 15 мм

11. Грибовидность, перекос, грибовидность с перекосом поясов сварных балок, коробок, ортотропных плит (для коробок и ортотропных плит b - величина свободного свеса пояса, для двутавровых балок - ширина пояса)

11.1. В стыках, в местах сопряжения балок с другими элементами, в зонах установки опорных частей и железобетонных плит с закладными деталями

0,005b, но не более 1 мм

11.2. На других участках

0,01b при

D1-D2 £ 3 мм

12. Выпучивание стенки балок и коробок при свободной (неоребренной) высоте стенки

12.1. Для балок и коробок с поперечными ребрами жесткости

0,006h

12.2. Для балок без поперечных ребер жесткости h - высота стенки)

0,003h

13. Остаточные угловые деформации в сварных стыковых соединениях (домики), определяемые стрелой прогиба на базе 400 мм при толщине S стыкуемых листов, мм:

 

до 20 включ.

0,1S

свыше 20

2 мм

14. Допускаемая разность (в поперечном направлении) отметок узлов пролетного строения:

а) после установки его на опорные части

 

на опорах

0,001 В

в пролете

0,002 В

(В - расстояние между осями ферм, балок, коробок)

 

б) при сборке на подмостях, стапеле, насыпи

(В - расстояние между стенками одной коробки или между осями смежных коробок)

0,001 В

12. ОБЕСПЕЧЕНИЕ БЕЗОПАСНОСТИ ТРУДА

12.1. При производстве монтажных и сварочных работ на строительстве мостов должны соблюдаться:

СНиП III-4-80*;

Правила по охране труда при сооружении мостов [1];

ГОСТ 12.3.003;

Правила пожарной безопасности при производстве строительно-монтажных работ [2];

Правила пожарной безопасности при проведении сварочных и других, огневых работ на объектах народного хозяйства [3];

Санитарные правила при сварке, наплавке и резке металлов [4];

ГОСТ 12.1.013

12.2. На основании перечисленных в п. 12.1 действующих нормативных документов и стандартов мостостроительная организация должна разработать местную инструкцию, по которой производится обучение и инструктаж рабочих безопасным методам производства работ.

12.3. При приеме на работу с рабочими должны производиться: вводный инструктаж, первичный инструктаж на рабочем месте и обучение по охране труда при профессиональной подготовке рабочих.

В ходе работы проводятся текущие инструктажи при изменении условий работ или переходе на другую работу, а также периодическая проверка знаний техники безопасности не реже одного раза в год.

Все данные по проведенным инструктажам и обучению должны заноситься в соответствующие журналы.

12.4. Инженерно-технические работники, занятые монтажными и электросварочными работами обязаны периодически, не реже одного раза в год проходить проверку знания ими правил техники безопасности и производственной санитарии с учетом характера выполняемых работ. При переходе ИТР на другую работу, а также по требованию органов государственного надзора и технической инспекции труда должна проводиться внеплановая проверка знаний техники безопасности.

12.5. Общее руководство работой всех структурных подразделений по обеспечению безопасности труда возлагается на руководителя предприятия. Непосредственно службой техники безопасности обязан руководить главный инженер предприятия. Для ведения текущей работы назначается инженер по технике безопасности.

12.6. Опасность (поражающие факторы) для человека и окружающей среды при производстве сварочных работ разделяют на следующие виды:

- поражение электрическим током;

- действие световой радиации дуги;

- выделение токсичных веществ при горении дуги и плавлении сварочных материалов;

- взрывоопасностъ газокислородных смесей;

- тепловые ожоги при соприкосновении с нагретым металлом;

- пожарная опасность;

- получение механических травм.

12.7. Меры безопасности при работе с электрическим током.

Электросварочные установки необходимо присоединять к сети электрического тока через рубильники и плавкие предохранители, или автоматические выключатели. Напряжение тока на зажимах преобразователей и выпрямителей (постоянный ток) не должно превышать 110 В; трансформаторов переменного тока - 70 В.

Металлические части электросварочного оборудования, не находящиеся под напряжением, а также свариваемые изделия и конструкции стальных пролетных строений на все время сварки и монтажа надлежит заземлять, а у сварочного трансформатора, кроме этого, необходимо соединять заземляющий болт корпуса с зажимом вторичной обмотки, к которому подключается обратный провод.

В качестве обратного провода, присоединяемого к свариваемому изделию, нельзя использовать провода сети заземления, трубы водопроводные и отопления, металлоконструкции, оборудование.

Передвижные электросварочные установки следует заземлять стальными стержнями длиной 2; 1,5; 1,2 м массой 2,9; 2,2; 1,8 кг сечением не менее 12 мм2, забиваемыми в землю с последующим извлечением. Сечение медного провода для заземления должно быть не менее 6 мм2.

Сварочные провода необходимо надежно изолировать; изоляция должна выдерживать испытательное напряжение не ниже 1500 В. Плотность тока в сварочных проводах не должна превышать 7-8 А/мм2.

Сварочные провода и перемычки балластных реостатов РБ должны обеспечивать пропуск сварочного тока силой до 950 А в течение 40 мин без их существенного нагрева (температура их нагрева не должна превышать 40 °С).

Ремонт электросварочного оборудования без снятия напряжения в сети запрещается.

Участки производства сварочных работ необходимо хорошо освещать. Светильники общего освещения на 220 В следует устанавливать на высоте не менее 2,5 м от уровня земли или настила подмостей. При меньшей высоте переходят на светильники с напряжением не выше 42 В, а в особо опасных условиях - 12 В. В качестве источника питания напряжением до 42 В следует применять понижающие трансформаторы, машинные преобразователи, генераторы, аккумуляторные батареи. Не допускается применять для указанных целей автотрансформаторы.

Освещенность на участках сварки должна быть не менее 50 ЛК при лампах накаливания и 150 ЛК - при люминесцентных.

12.8. Защита от действия световой радиации дуги.

Световая радиация открытой дуги поражает глаза и кожу на расстояния до 10 м от места сварки. В радиусе 1 м достаточно 10-30 с воздействия света дуги на глаза, чтобы появилась сильная резь, слезотечение, светобоязнь. Более длительное воздействие светодуги на глаза приводит к тяжелым заболеваниям - электроофтальмии и катаракте.

При заболевании глаз от световой радиации необходимо немедленно обратиться к врачу. Впредь до оказания медицинской помощи делать примочки глаз слабым раствором питьевой соды.

Сварщики и работающие с ними монтажники должны защищать кожу лица и глаза от ожогов и светового излучения щитками, масками и очками со светофильтрами.

В настоящее время отечественная и зарубежная промышленность выпускает сварочные маски с автоматическим светофильтром, который до загорания дуги остается прозрачным, после загорания дуги мгновенно переходит в темное состояние, а после гашения дуги снова становится прозрачным. Такие маски значительно улучшают условия труда сварщика - возможность непрерывного наблюдения за рабочей зоной без утомительного поднимания и опускания маски, снижения риска профессиональных заболеваний глаз и шеи, освобождения обеих рук, возможность использования герметичной маски с подачей в нее чистого воздуха, что особенно важно при выполнении сварочных работ в замкнутых объемах, например, внутри балок коробчатого сечения.

Светофильтры в щитки и маски для электросварщиков подбирают в зависимости от силы сварочного тока по табл. 11.

Для газорезчиков применяют защитные очки со светофильтрами Г-1 и Г-2, марка стекла ТС-2. Для вспомогательных рабочих - защитные очки со светофильтрами В-1, В-2, В-3, марки стекла - ТС-1.

Таблица 11

Светофильтры для защиты глаз от электрической дуги

Процессы сварки и резки

Тип светофильтра по DIN/ОСТ 21-6-87 при силе тока, А

100

150

200

250

300

350

400

450

500

600

700

800

900

Ручная дуговая сварка

11

12

13

14

5

6

7

8

9

10

11

Полуавтоматическая сварка в защитных газах

11

12

13

14

15

3

4

5

6

7

8

9

10

Воздушно-дуговая резка

10

11

12

13

14

15

10

11

12

13

Плазменно-дуговая резка и сварка

11

12

13

7

8

9

10

11

12

13

Примечание. По каждому процессу в верхней строке указаны типы светофильтров по DIN, в нижней - по ОСТ 21-6-87.

12.9. Защита от токсичных аэрозолей.

Предельно допустимые концентрации вредных газов и паров в воздухе на участке сварки (закрытом или открытом) не должны превышать (ГОСТ 12.1.005), мг/м3: аммиака - 20, бензина, керосина - 100, бензола - 5, марганца и его соединения в пересчете на МnО2 - 0,3, окислов азота в пересчете на N2O5 - 5, окиси цинка - 6, окиси углерода - 20, свинца и его неорганических соединений - 0,01; сероводорода - 10, фосфористого водорода - 0,1, фтористого водорода - 0,5, ацетона - 200, сернистого ангидрида - 10, фенола - 0,3.

При сварочных работах в закрытых коробчатых элементах или в цехах укрупнительной сборки должна работать приточно-вытяжная вентиляция. В зимнее время, во избежание сквозняков, газы из зоны сварки следует удалять с помощью местных вытяжных пылегазоприемников.

Флюсы, электроды с толстой обмазкой, порошковая проволока, защитные газы и химические добавки должны применяться только по действующим на время сварки стандартам и техническим условиям, согласованным с органами санитарного надзора.

12.10. Предупреждение взрыва газокислородных смесей.

Запрещены перевозка и хранение кислородных баллонов совместно с баллонами, заполненными горючими газами.

Запрещается сброс баллонов при разгрузке и переворачивание их вентилями вниз. Вентили должны защищаться от повреждений колпаками.

Кислородные и газовые баллоны должны отстоять от места газопламенных работ не менее чем на 10 м. На таком же расстоянии от баллонов не допускается производить электросварку, разжигать костры, курить.

При работе с кислородными баллонами не допускаются маслозагрязняющие предметы. Запрещается применять для кислорода редукторы и шланги, которые ранее использовались для работы со сжиженными газами.

Не допускается установка кислородных и газовых баллонов во время работы под прямыми лучами солнца.

Не допускается использовать неисправную газокислородную аппаратуру и поврежденные шланги (рукава). Шланги к ниппелям должны крепиться хомутами, но не проволочными скрутками.

12.11. Для предупреждения ожогов кожи сварщики, газорезчики и вспомогательные рабочие должны работать в брезентовых костюмах, шлемах сварщика под маску, рукавицах или крагах (при потолочной сварке). Ботинки должны быть с боковыми застежками, брюки - навыпуск, карманы куртки закрыты клапанами.

Работы по отбивке шлака и брызг производить в защитных очках с прозрачными стеклами.

Специальная одежда для сварщиков, газорезчиков, монтажников, специалистов неразрушающего контроля, инженерно-технических работников, занятых на сборочно-сварочных, контрольных работах на монтаже пролетных строений металлических мостов, должна соответствовать современным требованиям (огнестойкости, прочности, удобству, гигиене) и выдаваться бесплатно за счет мостостроительной организации.

12.12. Для предотвращения пожаров участок сварочных работ должен быть очищен от стружки, пакли, опилок, мусора и других пожароопасных веществ.

Запрещаются перемещения рабочего с зажженной горелкой или резаком за пределами его рабочего места и подъем по лестницам.

При длительном воздействии искр и капель расплавленного металла на деревянные подмости следует закрывать дерево от возгорания стальным листом или асбестом, а в жаркое время дополнительно поливать водой.

По окончании смены необходимо тщательно проверить участок на предмет отсутствия тлеющих материалов.

При тушении керосина, бензина, мазута, помещения, где находится карбид кальция, загоревшихся электропроводов запрещается применять воду и пенные огнетушители. Необходимо пользоваться песком и углекислотными или сухими огнетушителями.

Рядом с местом производства сварочных работ должен быть организован противопожарный пост.

12.13. Для предотвращения травматизма сварщики и вспомогательные рабочие должны пользоваться защитными средствами - касками, поясами. Работать разрешается на подмостях с ограждениями, место сварщика должно быть защищено от прямого попадания на сварщика и в зону сварки дождя и снега. Сварочные работы при температуре наружного воздуха ниже минус 20 °С запрещаются.

Приложение А

(рекомендуемое)

ПРИМЕРНОЕ СОДЕРЖАНИЕ ППСР И ИНСТРУКЦИИ ПО СВАРКЕ МОСТОВЫХ КОНСТРУКЦИЙ

А.1. Проект производства сварочных работ (ППСР).

А.1.1. Техническая характеристика конструкций со сварными монтажными соединениями с приложением необходимых схем компоновки монтажных элементов на укрупнении.

А.1.2. Способ монтажа конструкций. Увязка с ППР на монтаж и строительство моста в целом.

А.1.3. Монтажно-маркировочная схема металлоконструкций с указанием номеров всех монтажных сварных швов.

А.1.4. Ведомость сварочного оборудования, приборов, инструмента для монтажной сварки.

А.1.5. Устройства и приспособления для строповки, сборки и сварки конструкций. Средства подмащивания.

А.1.6. Последовательность предварительной укрупнительной сборки и сварки монтажных элементов. Карточки укрупнительной сборки элементов.

А.1.7. Технология сборки и сварки пролетных строений. Устройства для обеспечения проектной геометрии положения монтажных элементов и пролетного строения в целом. Операционный контроль сборки и сварки конструкций.

А.1.8. Ведомость допусков на собранные и сваренные конструкции.

А.1.9. Устройства и приспособления для сварки в зимних условиях и при атмосферных осадках (при необходимости).

А.1.10. Календарный план (график) производства укрупнительной сборки-сварки пролетных строений.

А.1.11 Пояснительная записка (по разделам ППСР).

А.1.12. Приложение к ППСР: рабочие чертежи специальных вспомогательных сооружений и устройств для производства сборо-сварочных работ.

А.2. Инструкция по сварке мостовых конструкций (для конкретного объекта)

А.2.1. Особенности конструкции и типы сварных монтажных соединений, отличающиеся от принятых в нормативных документах. Способы сварки, применяемые на данном объекте согласно чертежам КМ.

А.2.2. Требования к квалификации сварщиков. Сварка и испытание контрольных образцов до начала сварочных работ на объекте.

А.2.3. Требования к сварочным материалам и сварочному оборудованию. Входной контроль. Хранение и подготовка к работе.

А.2.4. Сборка конструкций и сборочные приспособления.

А.2.5. Подготовка монтажных соединений под сварку. Операционный контроль.

А.2.6. Технология и режимы сварки.

А.2.7. Контроль качества сварки.

А.2.8. Исправление дефектов и правка конструкций.

А.2.9. Мехобработка сварных швов.

А.2.10. Приемка сборо-сварочных работ и смонтированных конструкций.

А.2.11. Техника безопасности при производстве сборо-сварочных работ.

Приложение Б

(обязательное)

ПЕРЕЧЕНЬ И ФОРМЫ ИСПОЛНИТЕЛЬНОЙ ДОКУМЕНТАЦИИ НА ПРОИЗВОДСТВО МОНТАЖНО-СВАРОЧНЫХ РАБОТ ПРИ СТРОИТЕЛЬСТВЕ МОСТОВ

№№

п/п

Наименование исполнительной документации

Нормативный документ, в котором приведены формы исполнительной документации

1.

Комплект рабочих чертежей КМ и ППСР со всеми внесенными в них изменениями и надписями о соответствии выполненных в натуре работ этим чертежам

СНиП 3.01.04-87, п. 3.5; 3.5,б

2.

Сертификаты, технические паспорта или другие документы, удостоверяющие качество материалов и конструкций, примененных на строительстве моста

СНиП 3.01.04-87, п. 3.5,в

3.

Журнал по монтажу строительных конструкций

СНиП 3.03.01-87, приложение 1

4.

Журнал сварочных работ

СНиП 3.03.01-87, приложение 2

5.

Журнал выполнения монтажных соединений на болтах с контролируемым натяжением

СНиП 3.03.01-87, приложение 5

6.

Журнал авторского надзора

Приложение Б настоящего СТП

7.

Акт промежуточной приемки ответственных конструкций

СНиП 3.01.01-85, приложение 7

8.

Акт-рапортичка освидетельствования и приемки конструкций, полученных от заводов

Приложение Б настоящего СТП

9.

Протокол аттестации электросварщика

То же

10.

Акт сварки технологической пробы

-"-

11. Журнал ультразвукового контроля качества сварных соединений.

12. Заключения по результатам неразрушающих методов контроля сварных швов (ультразвукового, магнитопорошкового, проникающим излучением).

13. Акты испытаний контрольных сварных соединений (до начала сварочных работ и в процессе производства их).

14. Опись удостоверений о квалификации рабочих-сварщиков, производивших заводскую и монтажную сварку.

15. Маркировочные схемы сварных монтажных соединений (как приложение к журналу сварочных работ).

16. Акты проверки соблюдения технологии монтажной сварки.

17. Технологическая инструкция по сборке и сварке конструкций моста.

ЖУРНАЛ

авторского надзора за строительством моста

Объект строительства ______________________________________________________

 

Начало работ _____________________________________________________________

 

Окончание работ __________________________________________________________

 

Заказчик _________________________________________________________________

 

Подрядчик _______________________________________________________________

 

Авторский надзор ведет ____________________________________________________

 

Журнал начат:_____________________________________________________________

 

окончен ___________________________________________________________

 

 

Дата

Ф. И. О. представителя авторского надзора

Указания и предложения представителя авторского надзора

№№

чертежей, по которым даны указания

Указания гл. инженера подрядчика об ответственном исполнителе и сроке выполнения предписания авторского надзора

Дата выполнения и роспись лица, исполняющего указания авторского надзора

Дата проверки выполнения и роспись гл. инженера подрядчика, принявшего работы после выполнения предписания

 

1

2

3

4

5

6

7

АКТ - РАПОРТИЧКА

выгрузки и приемки конструкций

Мостостроительная организация____________________________________________

Объект строительства_____________________________________________________

Наименование конструкций________________________________________________

________________________________________________________________________

Вагоны №_____________________, накладные №______________________________

Отправитель завод-изготовитель_____________________________________________

Заводская опись №______________Заводской заказ №__________________________

Начало разгрузки_________________________________________________________

Окончание разгрузки______________________________________________________

Способ разгрузки_________________________________________________________

Место разгрузки__________________________________________________________

Разгрузку производил бригадир______________________________________________

Разгрузкой руководил______________________________________________________

№№

Наименование элементов

Марки

Количество шт.

Общая масса, т

Состояние конструкций, характеристика дефектов, обнаруженных при разгрузке

Освидетельствование конструкций с недопустимыми дефектами

Марки элементов_________________________________________________________

Акт заводской инспекции о приемке №_______от_____________________________

Наличие маркировки, клейм ОТК и Заводской инспекции_______________________

_______________________________________________________________________

Характер дефектов________________________________________________________

Причины дефектов________________________________________________________

Меры по устранению дефектов______________________________________________

Исполнитель_____________________________________________________________

Подписи_________________________________________________________________

 

НАИМЕНОВАНИЕ (ШТАМП) ОРГАНИЗАЦИИ, ПРОВОДЯЩЕЙ АТТЕСТАЦИЮ ЭЛЕКТРОСВАРЩИКОВ с указанием адреса, телефона и № лицензии Комитета по лицензированию строительной деятельности на проведение аттестационных работ

ПРОТОКОЛ

АТТЕСТАЦИИ ЭЛЕКТРОСВАРЩИКА

Сведения о сварщике

Ф. И. О. сварщика

Дата рождения

Образование:

Разряд:

Стаж работы:

Дата последней аттестации:

Организация. Проводившая последнюю аттестацию:

Руководитель аттестации:

№ телефона:

УСЛОВИЯ СВАРКИ КОНТРОЛЬНОГО СОЕДИНЕНИЯ

Метод сварки:

Вид образца:

Тип шва:

Лист

Труба

Стыковой

Угловой

Основной металл (марка):

Толщина металла, мм:

Диаметр трубы, мм:

Положение шва:

Размеры контрольного образца, мм:

Тип разделки (по ГОСТ):

Способ сварки корневого прохода:

Сварочные материалы:

Способ сварки остальных проходов:

Сварочные материалы:

Вид термообработки и подогрева:

Место выполнения сварки контрольного образца:

Ф. И. О. ответственного лица:

Подпись:

Дата:

РЕЗУЛЬТАТЫ КОНТРОЛЯ

Вид контроля (испытаний)

Метод контроля (Тип образца)

Замечания и результаты контроля (испытаний)

Оценка (удовл./неудовл.)

Визуальный осмотр

 

 

 

Неразрушающий контроль

 

 

 

Испытания на растяжение

 

 

 

Испытание на статический изгиб

 

 

 

Испытания на ударный изгиб

 

 

 

КВАЛИФИКАЦИОННЫЙ СЕРТИФИКАТ

Заключение по аттестации (аттестован/не аттестован):

 

Срок действия сертификата:

Обоснование дисквалификации:

ДОПУЩЕН К СВАРКЕ:

Тип конструкций:

Класс и марки стали:

Метод сварки:

Положение шва:

Ф. И. О. инспектора:

Подпись:

Дата:

Печать организации:

НАИМЕНОВАНИЕ (ШТАМП) СТРОИТЕЛЬНОЙ ОРГАНИЗАЦИИ, ВЫПОЛНЯЮЩЕЙ МОНТАЖНУЮ СВАРКУ,

с указанием адреса, телефона

АКТ

СВАРКИ ТЕХНОЛОГИЧЕСКОЙ ПРОБЫ

Объект строительства:

Строительная организация:

Сварка выполнена в присутствии:

Ф. И. О. ответственных лиц:

Место работы:

Подпись:

 

 

 

 

 

 

 

 

 

 

 

 

 

 

 

 

Ф. И. О. электросварщика:

Сведения о квалификации и аттестации:

Место проведения сварки:

Дата выполнения сварки:

УСЛОВИЯ СВАРКИ ТЕХНОЛОГИЧЕСКОЙ ПРОБЫ

Метод сварки:

Тип шва:

Основной металл (марка):

Толщина металла, мм:

Положение шва:

Размеры контрольного образца, мм:

Температура воздуха, °С:

Тип и параметры разделки:

Род и полярность тока:

Тип формирующей подкладки:

Сварочные материалы:

Электроды:

Проволока:

Флюс:

Газ:

Присадка:

Сварка корневого прохода:

Способ:

dэл, мм:

Iсв, А:

Uд, В:

Vcв, м/час:

Примечание:

Сварка средних слоев:

Способ:

dэл, мм:

Iсв, А:

Uд, В:

Vcв, м/час:

Примечание:

Свирка наружных слоев:

Способ:

dэл, мм:

Iсв, А:

Uд, В:

Vcв, м/час:

Примечание:

Вид термообработки и подогрева:

Количество проходов:

РЕЗУЛЬТАТЫ КОНТРОЛЯ

Размеры шва, мм

Ширина наружного валика:

Высота наружного валика:

Ширина обратного валика:

Высота обратного валика:

Результаты ультразвукового контроля:

Заключение УЗД:

Подпись дефектоскописта:

Заключение комиссии:

 

Приложение В

(рекомендуемое)

ТИПЫ и УСЛОВНЫЕ ОБОЗНАЧЕНИЯ на ЧЕРТЕЖАХ КМ и КМД ШВОВ СВАРНЫХ МОНТАЖНЫХ СОЕДИНЕНИЙ В СООТВЕТСТВИИ с ГОСТ 2.312, ГОСТ 8713, ГОСТ 5264 и ГОСТ 16098

Условное обозначение и тип сварного соединения

Подготовка кромок

Форма и характеристика швов

Способ сварки

Обозначение на чертежах КМ и КМД

С4 стыковое

Без скоса кромок

Односторонний

АФп - автоматическая под флюсом на съемной подкладке

С18 стыковое

Со скосом кромок

Односторонний

АФп - автоматическая под флюсом на съемной подкладке

С8 стыковое

Со скосом одной кромки

Односторонний

Р - ручная, горизонтальный или вертикальный шов на вертикальной плоскости

С15 стыковое

Со скосом двух кромок

Двусторонний

Р - ручная, горизонтальный или вертикальный шов на вертикальной плоскости

С25 стыковое

Со скосом четырех кромок

Двусторонний

Р - ручная, горизонтальный или вертикальный шов на вертикальной плоскости

Т3 тавровое

Без скоса кромок

Двусторонний

АФ - автоматическая и полуавтоматическая под флюсом; Р - ручная

Т6 тавровое

Со скосом одной кромки

Односторонний

Р - ручная

Т7 тавровое

Со скосом одной кромки

Двусторонний

АФ - автоматическая и полуавтоматическая под флюсом; Р - ручная

Т8 тавровое

Со скосом двух кромок

Двусторонний со сплошным проплавлением

АФ - автоматическая и полуавтоматическая под флюсом; Р - ручная

Т9 тавровое

Со скосом двух кромок

Двусторонний без сплошного проплавления

Р - ручная

Н1 нахлесточное

Без скоса

Односторонний

АФ - автоматическая и полуавтоматическая под флюсом; Р - ручная

Н2 нахлесточное

Без скоса

Двусторонний

АФ - автоматическая и полуавтоматическая под флюсом; Р ручная

 

Примечания: * - длина шва (проставляется при необходимости); ** - катет, мм.

Приложение Г

(обязательное)

ПРОВЕРКА КАЧЕСТВА СВАРОЧНЫХ МАТЕРИАЛОВ

Сварочные материалы, используемые для изготовления конструкций мостов, помимо проверки соответствия сопроводительной документации (сертификатам) марок, номеров партий и плавок, геометрических размеров и других технических характеристик, подвергают обязательной проверке не менее одного раза в год.

Г.1. Проверка качества сварочной проволоки.

Сварочную проволоку контролируют внешним осмотром, замером диаметра и определением временного сопротивления разрыву (для легированной проволоки) в соответствии с ГОСТ 2246. По этому же ГОСТ назначают объем испытаний. Кроме того, проверку качества производят в случае появления технологического брака при сварке (трещин в металле шва, пор и т.п.).

Г.2. Проверка качества флюса.

Качество флюса определяют осмотром, проверкой гранулометрического состава, влажности и объемной массы в соответствии с ГОСТ 9087 и химического состава по ГОСТ 22974.0 - ГОСТ 22974.13 или по методике, разработанной институтом электросварки им. Е.О. Патона.

Кроме того, проверку качества флюса производят в случае его увлажнения, загрязнения или появления технологического брака при сварке (трещин, пор и т.п.).

Г.3. Проверка качества электродов.

Качество электродов проверяют внешним осмотром, обмером и определением прочности и влажности покрытия, сварочных (технологических) свойств наплавленного металла и его химического состава согласно ГОСТ 9466. По этому же ГОСТ назначают и объем испытаний.

Кроме того, в случае появления технологического брака при сварке (трещин, пор и т.п.) производят проверку качества электродной проволоки.

Каждая партия электродов должна иметь сертификат, в котором указывается завод-изготовитель, дата изготовления, номер и масса партии, ГОСТ на электроды, диаметр, тип и марка электродов, механические свойства наплавленного металла и допустимое в нем содержание серы и фосфора, рекомендуемые режимы сварки, режим прокалки электродов перед сваркой. Каждая пачка, кроме того, снабжается этикеткой, наклеенной на пачку или вложенной внутрь. Этикетка повторяет сведения сертификата.

Покрытие электродов должно быть прочным и не разрушаться от падения электрода на стальную плиту или при изгибе.

При хранении электродов на складе не допускается их увлажнение. Они должны храниться на деревянных стеллажах, не соприкасающихся с грунтом. Для прокалки электродов используют электропечи с терморегуляторами в диапазоне от 100 до 400 °С. В этих же печах прокаливают флюс и сварочную проволоку.

Применение электродов без сертификатов или этикеток не допускается.

Г.4. Хранение и подготовка сварочных материалов на каждом объекте строительства с применением монтажной сварки осуществляется на специализированном участке в отапливаемом помещении с температурой воздуха не ниже +10 °С. Участок должен иметь помещения со стеллажами для хранения сварочных материалов, быть оснащенным прокалочными и сушильными печами, устройством для очистки, правки и намотки проволоки, необходимым инструментом, оборудованием для приготовления металлохимической присадки, контрольно-измерительными приборами для проверки температуры прокаливания, инструкциями по подготовке сварочных материалов.

Отпуск сварочных материалов после их подготовки на монтаж осуществляется в пределах сменной потребности. Одновременное использование на монтаже сварочных материалов из разных партий не допускается.

Приложение Д

(справочное)

ОБОРУДОВАНИЕ, ОСНАСТКА И ИНСТРУМЕНТ ДЛЯ МОНТАЖНОЙ СВАРКИ МОСТОВ И КОНТРОЛЯ КАЧЕСТВА СВАРНЫХ СОЕДИНЕНИЙ

Д.1. Автоматическую сварку под флюсом, в том числе с МХП, в нижнем положении выполняют сварочными тракторами марок АДФ-1002, ТС-35, АДС-1000-4. Для полуавтоматической сварки под флюсом применяют полуавтоматы ПШ-5, ПШ-54 (табл. Д.1).

Источниками питания для указанных автоматов и полуавтоматов служат выпрямители ВДУ-1601, ВДУ-1201, ВДУ-1001, ВДУ-504, ВДУ-504-1, ВДМ-1601, ВДМ-1000 и ВС-600 (табл. Д.2).

Для механизированной сварки вертикальных швов с принудительным формированием металла шва применяют аппараты А-1150У, А-1381, АД-333, АД-335 с источниками питания ВДУ-1201, ВДУ-601, ВДУ-506, ВДУ-505.

Для ручной сварки постоянным током применяют выпрямители ВДМ-1601 (многопостовой), ВДМ-1000 (многопостовой), ИПП-500В, ВДУ-504, ВДУ-504-1. Выпрямители ВДМ-1601 и ВДМ-1000 должны работать с балластными реостатами РБ-300 для регулирования силы сварочного тока и обеспечения падающей характеристики.

Для подготовки кромок под сварку, механической обработки сварных швов, разделки и зачистки дефектных мест применяют шлифовальные машинки с пневмо- или электроприводом (табл. Д.3).

Зону сварки сушат от влаги и подогревают газопламенными горелками, характеристика которых приведена в табл. Д.4. Температуру подогрева контролируют приборами, приведенными в табл. Д.5.

Для неразрушающего контроля качества сварных соединений применяют импульсные ультразвуковые дефектоскопы типов "Рельс-6" (УД-13УРВ1П1) и УД2-12 в комплекте с пьезопреобразователями (искателями).

Таблица Д.1

Технические характеристики сварочных тракторов и полуавтоматов

Показатель

АДФ-1002

ТС-35

АДС-1000-4

ПШ-5

ПШ-54

Номинальный сварочный ток, А

1000

1000

1000

500

500

Пределы регулирования тока, А

200-1000

400-1000

400-1200

80-650

200-500

Диаметр сварочной проволоки, мм

1,6-5

2-5

2-5

1,2-2

1,6-2

Скорость подачи проволоки, м/ч

52-403

50-500

60-360

80-600

80-600

Способ регулирования подачи проволоки

Ступенчато

Ступенчато

Плавно

-

-

Скорость сварки, м/ч

16-126

12-120

12-120

-

-

Масса сварочной проволоки в барабане, кг

До 8

До 10

До 15

8

8

Длина шлангового провода, м

-

-

-

3,5

3,5

Масса, кг:

 

 

 

 

 

аппарата (без проволоки и флюса)

45

45

65

20

23

шкафа управления

50

100

80

-

-

Габаритные размеры, мм:

 

 

 

 

 

длина

715

850

1010

440

330

ширина

345

530

370

300

280

высота

540

490

665

340

325

Таблица Д.2

Источники питания сварочной дуги

Марка, ГОСТ

Назначение

Потребляемая мощность, кВ

Пределы регулирования сварочного тока, А

Габаритные размеры, мм

Вес, кг

Изготовитель

ВД-201УЗ, ГОСТ 13821-88

Ручная дуговая сварка

9,8

30 ¸ 200

550x730x890

725

Завод "Искра", пос. Новоуткинск

ВД-306УЗ, ГОСТ 13821-77

То же

24

45 ¸ 315

785x780x795

764

Завод "ВЭС", г. Вильнюс

ВД-401УЗ, ГОСТ 13821-77

-²-

42

50 ¸ 450

820x850x900

220

НПО "Грузэлектросварка", г. Тбилиси

ВД-506УЗ, ГОСТ 13821-88

Ручная, полуавтоматическая и автоматическая сварка

40

50 ¸ 500

620x820x1100

300

п/я А-1206, г. Санкт-Петербург

ВДУ-505УЗ, ТУ ИЕАЖ 455312.015ПС

Ручная, полуавтоматическая порошковой проволокой

40

50 ¸ 500

800x700x920

300

п/я А-1206, г. Санкт-Петербург

ВДУ-1201УЗ, ГОСТ 13821-88

Ручная многопостовая, автоматическая под флюсом, полуавтоматическая под флюсом и в защитных газах

135

300 ¸ 1250

1400x850x1250

730

п/я А-1206, г. Санкт-Петербург

ВДУ-1202, ГОСТ 13821-77

Ручная многопостовая, автоматическая под флюсом, полуавтоматическая под флюсом и в защитных газах

120

250 ¸ 1250

1150x700x950

590

Завод "Электрик", г. Санкт-Петербург

ВД-403, ГОСТ 13821-77

Ручная дуговая сварка

15

50 ¸ 450

820х250х900

180

НПО "Грузэлектросварка", г. Тбилиси

Таблица Д.3

Характеристика шлифовальных машин

Показатель

ИП-2203А

ИП-2015

ИП-2014А

ИЭ-6103А

ИЭ-8201Б

Привод

Пневматический

Электрический

Диаметр шлифовального круга, мм

125

100

150

200

200

Частота вращения, об/мин

4580

7600

5100

2920

2920

Мощность, кВт

1,3

0,73

1,3

0,8

1,02

Расход сжатого воздуха, м3/мин

1,6

0,7

1,0

-

-

Давление воздуха, МПа

0,5

0,5

0,5

-

-

Габаритные размеры, мм:

 

 

 

 

 

длина

320

510

590

293

328

ширина

150

114

164

272

175

высота

200

93

130

279

245

Масса, кг

4,8

3,5

5,5

34

30,7

Исполнение

-

-

-

С гибким валом

Напряжение, В

-

-

-

220

220

Тип гибкого вала

 

 

 

В-122-1

В-122-1

Длина гибкого вала, мм

 

 

 

3400

3400

Таблица Д.4

Характеристика газопламенных горелок

Тип горелки

Длина, мм

Масса, кг

Горючий газ

Номер наконечника

Расход газа, м3

Эффективная мощность пламени, кал/с

горючего

кислорода

ГЗУ-2-62П

585

1,5

Пропан-бутан или природный газ

6

0,65-1,05

2,2-3,6

до 3000

7 (сетчатые)

1,05-1,7

3,5-5,8

до 4300

ГВПН

630

1,5

Пропан-бутан

 

1,0-1,2

Воздух из атмосферы

(1500)

ГВ-1

 

1,5

То же

1

0,6

То же

(1000)

2

1,2

(1500)

3

1,7

(2000)

ГС-3

600

1,0

Ацетилен

5

0,66-1,10

0,47-1,2

1300

6

1,05-1,75

1,15-1,95

1750

7

1,70-2,80

1,90-3,10

2200

ГС-4

 

 

-²-

8

2,8-4,5

3,1-5,0

(3000)

9

4,5-7,0

5,0-8,0

(4000)

ГС-4П

 

 

Пропан-бутан

8

1,7-2,7

6,0-9,5

(5000)

9 (сетчатые)

2,7-4,2

9,5-14,7

(7000)

ГАО-2-72

1290

2,0

Ацетилен

Многопламенные

2,0

2,2

(2000)

Примечания.

1. В скобках приведены ориентировочные расчетные значения эффективной мощности пламени горелок.

2. Горелки типа ГЗУ-2-62П, ГВПН, ГВ-1, ГС-3 и ГАО-2-72 отличаются только наконечниками и имеют рукоятку горелки ГС-3.

3. Горелка ГВ-1 в отличие от горелки ГВПН имеет более длинное пламя (до 1 м). Во время эксплуатации следует эти горелки держать наклонно по отношению к нагреваемой поверхности.

Таблица Д.5

Характеристики приборов для контроля температуры подогрева

Наименование

Марка

Фиксируемая температура

Масса, кг

Габаритные размеры, мм

Изменение цвета при фиксации температуры

Питание прибора

Предприятие-изготовитель

Приборы для контроля температуры

ТПТ-14

0-500

0,05

 

 

Батареи 2,5-3,0 В

 

ТПТ-15

50-300

0,05

100x20x20

 

От аккумуляторов

 

ЭТП-3М

0-300

0,10

100x28x18

 

Батарейка "Крона"

 

Малогабаритный цифровой термометр

ТЦМ-9210-03П

-50 ¸ +400

-

-

-

-

НПП "Элемер" 141570 Московс. обл. г. Менделеево

т. (8-095)-534-01-22

Термометры цифровые

ТЦ-200

-50 ¸ +200

-

-

-

-

ОООНФП "Термо-Спейс" 193031

г. С-Петербург, Фонтанка, д. 101, кв. 6

т. (факс) 315-23-59

ТЦ-1000

-20 ¸ +1000

 

 

 

 

Д.2. Научно-производственная фирма (НПФ) "ТЕХНОТЕСТ" разработала электронный переносной твердомер ТЭМП-1 динамического действия с цифровой индикацией результатов измерения твердости. Прибор предназначен для измерения твердости стальных изделий по методам Бринелля и Роквелла "С", а также Виккерса и Шора "D" (по желанию Заказчика) и может быть использован в производственных, эксплуатационных и лабораторных условиях в различных отраслях машиностроения, в металлургии, в энергетике и т.д. Объектами измерений могут быть: сосуды давления различного назначения, трубопроводы, роторы турбин и генераторов, прокатные валки, коленчатые валы, шестерни, детали различных транспортных средств, промышленные полуфабрикаты, в том числе отливки, поковки, листы, трубы, а также различные сварные соединения (по желанию Заказчика возможен вариант твердомера и для измерений твердости металла угловых швов).

Отличительные особенности твердомера:

- возможность измерения твердости деталей сложной формы и крупногабаритных изделий, имеющих труднодоступные зоны измерений, в различных пространственных положениях;

- высокая производительность, простота измерений и обслуживания прибора;

- возможность оперативного контроля твердости деталей массового производства в цеховых условиях, например, для оценки стабильности технологических процессов (термическая и механическая обработки, сварка, обработка давлением и т.д.).

Технические характеристики прибора

Диапазоны измерений твердости по шкале:

"С" Роквелла                                                                                 (22-68) HRC

Бринелля                                                                                       (100-450) НВ

"D" Шора                                                                                       (23-99) HSD

Виккерса                                                                                       (300-950) HV

Пределы допускаемой погрешности твердомера при проверке его на образцовых мерах твердости 2-го разряда в диапазоне измерений:

(22-68) HRC                                                                                  не более 2,5 HRC

(100-450) НВ                                                                                 не более 12 НВ

Время одного измерения, с                                                         не более 5

Рабочий диапазон температур, С                                               +5 - +35

Источник питания                                 2 аккумуляторных батареи типа "Ника"

в комплекте с зарядным устройством

или две батареи типа "Крона"

Количество заряд-зарядных циклов аккумуляторов                200

Время непрерывной работы прибора на одной зарядке

аккумуляторов, ч                                                                          не менее 11

Шероховатость контролируемой поверхности, Ra                  не более 2,5

Габаритные размеры, мм                                                            35x93x125

Масса прибора, кг                                                                        0,3

Твердомер ТЭМП-1 аттестован в ГОССТАНДАРТе России. На прибор выдается сертификат. Срок гарантийного обслуживания - 12 мес. со дня поставки. Производится послегарантийное обслуживание твердомеров. Тел. для справок: (095) 275-85-68; 275-87-13

Рис. 1. Твердомер электронный малогабаритный переносной ТЭМП-1

Приложение Е

(рекомендуемое)

Таблица перевода твердости металла

По Виккерсу

По Бринеллю

По Роквеллу

По Виккерсу

По Бринеллю

По Роквеллу

Н

НВ3000

HRC

Н

НВ3000

HRC

240

240

20,3

450

425

44,5

245

245

21,2

460

434

45,3

250

250

22,1

470

443

46,1

255

255

23

480

452

46,8

260

260

23,9

490

-

47,5

265

265

24,8

500

-

48,2

270

270

25

520

-

49,6

275

275

26,4

560

-

52,0

280

280

27,2

580

-

53,1

285

285

28

600

-

54,2

290

290

28,8

620

-

55,4

295

295

29,5

640

-

56,5

300

300

30,2

660

-

57,5

310

310

31,6

680

-

58,4

320

319

33

700

-

59,3

330

328

34,2

720

-

60,2

340

336

35,3

740

-

61,1

350

344

36,3

760

-

62

360

352

37,2

780

-

62,8

370

360

38,1

800

-

63,6

380

368

38,9

820

-

64,3

390

376

39,7

840

-

65,1

400

384

40,5

860

-

65,8

410

392

41,3

880

-

66,4

420

400

42,1

900

-

67

430

408

42,9

 

-

 

440

416

43,7

 

-

 

Примечание. НВ3000 - при нагрузке 30Д2 = 30x102 = 3000 кгс » 30 кН. Число твердости по Бринеллю соответствует давлению в кгс/мм2.

Приложение Ж

(обязательное)

МЕТОДИКА ОЦЕНКИ ОТНОШЕНИЯ КОЭФФИЦИЕНТОВ ПРОЗРАЧНОСТИ

Отношение DN в децибелах коэффициентов прозрачности границ призмы преобразователя - металл контролируемого соединения и границы призмы преобразователя - металл образца может быть оценено как разность между амплитудой эхо-сигнала от двугранного угла контролируемого соединения Nс и амплитудой эхо-сигнала от двугранного угла образца N0, если толщина контролируемого соединения и толщина образца не отличаются более, чем на ± 10 %, т.е. ½DN½ = ½Nc - N0½.

Если контролируемое соединение и стандартный образец СО-2 или СО-2Р имеют различную толщину, то в образце контролируемого соединения на глубине 15 или 44 мм высверливают цилиндрическое отверстие диаметром 6 мм.

Если контролируемое соединение и испытательный образец второго вида имеют различную толщину, то в образце контролируемого соединения высверливают цилиндрическое отверстие диаметром 2 мм на глубине, равной глубине расположения одного из отверстий в испытательном образце. Отношение DN коэффициентов прозрачности оценивают как разность амплитуд эхо-сигналов от цилиндрического отражателя, выполненного в образце контролируемого соединения Nc и цилиндрического отражателя в стандартном или испытательном образце N0, т.е. ½DN½ = ½Nc - N0½.

Измерения Nc и N0 выполняют не менее трех раз.

Если по каким-либо причинам нельзя оценить отношение коэффициентов прозрачности, то для поверхности проката принимают ½DN½ = 6 дБ.

Нормы времени ультразвукового контроля сварного соединения при прозвучивании с двух сторон наружного деформирования шва

Типы сварных соединений

Ориентировочный объем УЗД-контроля, м/ч

Стыковые с плавным переходом валика шва к основному металлу или с обработанным заподлицо усилением

1

Стыковые с неровностями валика, приводящими к появлению эхо-сигналов

0,7

Стыковые соединения двухлистовых пакетов

0,5

Тавровые со сплошным проплавлением

0,8

Приложение И

(обязательное)

МЕТОДЫ И ОБЪЕМЫ ИСПЫТАНИЙ КОНТРОЛЬНЫХ СВАРНЫХ СОЕДИНЕНИЙ

И.1. Строительные организации, ведущие монтаж стальных мостовых конструкций со сварными монтажными соединениями должны проводить испытания технологических проб и контрольных сварных соединений с определением механических характеристик металла шва и околошовной зоны. Испытания технологических проб проводят для проверки и, при необходимости, корректировки применяемых режимов монтажной сварки, проверки качества сварочных материалов, а испытание контрольных сварных соединений - при аттестации для проверки квалификации сварщиков.

Для проведения испытаний рекомендуется привлекать специализированные лаборатории научно-исследовательских институтов.

И.2. Испытания технологических проб необходимо проводить:

- перед началом монтажных работ на каждом новом объекте;

- при изменении технологии монтажной сварки (параметров режимов сварки, сварочных материалов, формы подготовки кромок и т.п.);

- при поступлении на монтаж каждой новой партии сварочных материалов (флюса, сварочной проволоки и электродов);

- по требованию заказчика или проектной организации в случае появления при сварке монтажных соединений опасных дефектов (трещины большой протяженности, хрупкие разрушения швов и т.п.) или большого числа дефектов в сварных швах.

Испытания контрольных соединений при аттестации сварщиков проводят перед началом монтажных работ и при ежегодной проверке их квалификации.

И.3. Испытания технологических проб выполняют для стыковых соединений металла всех марок и толщин, применяемых в монтажных соединениях мостовых конструкций на данном объекте, если иное не указано в проектно-технологической документации.

Испытания контрольных стыковых сварных соединений проводят в соответствии с Правилами аттестации сварщиков и специалистов.

В комплекс испытания включаются:

а) по металлу шва - определение предела текучести sт, временного сопротивления sв и относительного удлинения d5;

б) по сварному соединению - определение временного сопротивления, угла статического загиба, ударной вязкости по оси шва и по линии сплавления KCV и измерения твердости HV.

На макрошлифах для замера твердости, вырезанных из технологических проб, проверяется обеспечение требуемого проектом провара соединяемых деталей, коэффициент формы провара и твердости HV.

И.4. Соединения для испытаний изготавливаются из металла той же марки и сочетания тех же толщин, что применяются в монтажных соединениях мостовых металлоконструкций. При заказе стальных мостовых конструкций с цельносварными стыками должны быть оговорены особые условия поставки, а именно: завод-изготовитель в комплекте с основными конструкциями поставляет пластины листового проката шириной 400-500 мм и длиной 700-1000 мм; начальные и выводные планки; сборочные скобы. Поставляемый технологический металлопрокат сопровождается сертификатами. При вырезке пластин необходимо, чтобы направление прокатки металла было поперек сварного шва.

Для стыковых соединений контрольные образцы сваривают из листа одной из толщин для каждой группы:

I - 10; 12; 16 мм;

II - 20; 25 мм;

III - 32; 40 мм.

И.5. Сварку технологических проб и контрольных соединений производят в реальных климатических условиях монтажа по принятой на строительстве технологии сварки в присутствии представителей службы главного сварщика, строительной лаборатории или руководителя сварочных работ. Сварное контрольное соединение должно быть осмотрено, замаркировано, проконтролировано УЗД. Образцы, имеющие в шве дефекты (поры, шлаковые включения, непровары, подрезы, трещины), а также несовпадение плоскостей листов в сварном соединении или стрелу поперечного изгиба образца на базе 200 мм свыше 10 % толщины сваренных листов, к изготовлению образцов для испытаний не принимаются. По факту сварки технологических проб составляется акт, с указанием типа сварного соединения, вида сварки, использованных материалов, фамилий и квалификации сварщика.

И.6. Изготовление образцов для испытаний проводят в специализированных лабораториях научно-исследовательских и производственных организаций.

При вырезке заготовок образцов для испытаний из сварного соединения концевые участки шва длиной 40 и 80 мм, соответственно в начале и конце шва, для изготовления образцов не используют (рис. И.1). При вырезке заготовок для образцов механическим способом с минимальными припусками на обработку должно соблюдаться условие, чтобы нагрев испытуемой части образца не превышал 100 °С. При вырезке заготовок для образцов газовой резкой необходимо предусматривать припуски под последующую механическую обработку, исключающие влияние теплового воздействия на испытуемую часть образца и принимаемые не менее двух толщин металла контрольного образца. Усиление шва стыкового контрольного соединения снимается заподлицо с основным металлом механическим способом и направлением рисок поперек шва.

Рис. И.1. Схема вырезки образцов из стыкового соединения:

1 - ударные; 2 - макрошлифы; 3 - цилиндрические; 4 - плоскоразрывные; 5 - гибовые

И.7. Для определения механических свойств сварных соединений изготавливают образцы согласно ГОСТ 6996. По каждому виду испытаний должно быть изготовлено не менее 3 образцов, а для испытаний на ударный изгиб - по 6 образцов с надрезом по оси шва и по линии сплавления.

И.7.1. Для испытания на статическое растяжение изготавливают:

- цилиндрические образцы I и II типа (рис. И.2, табл. И.1);

- плоские образцы - XII и XIII (рис. И.3, табл. И.2).

Рис. И.2. Образец для испытания металла шва на статическое растяжение

Таблица И.1

Размеры в миллиметрах

Тип образца

d0

K

D

h

h1

R

l0

l

L

I

3+0,1

0,03

6

4

2,0

1,0

15

18

30±1

II

6±0,1

0,03

12

10

2,5

1,5

30

36

61±1

Примечание. Здесь K - допускаемая разность наибольшего и наименьшего диаметров на длине рабочей части образца.

Таблица И.2

Размеры в миллиметрах

Толщина основного металла

Ширина рабочей части образца, b

Ширина захватной части образца, b1

Длина рабочей части образца, l

Общая длина образца, L

От 10 до 25

25±0,5

35

100

L=l + 2h (XII)

От 25 до 40

30±0,5

40

160

L=l + 2h + 30 (XIII)

Примечание. Длину захватной части образца h устанавливают в зависимости от конструкции испытательной машины.

Рис. И.3. Образцы для определения равнопрочности сварного соединения при растяжении:

а - XII типа; б - XIII типа

И.7.2. На статический изгиб с поперечным швом изготавливают образцы XXVII или XXVIII типа (рис. И.4, табл. И.3):

Рис. И.4. Образец для испытания сварного соединения на статический изгиб

Таблица И.3

Размеры в миллиметрах

Тип образца

Толщина основного металла, а

Ширина образца, b

Общая длина образца L

Длина рабочей части образца, l

XXVII

до 50

1,5 а но не менее 10

2,5D + 80

1/3 L

XXVIII

от 10 до 50

30

3D + 80

1/3 L

Примечание. Здесь D - диаметр оправки в мм

И.7.3. На ударный изгиб при заданной в проектной документации температуре испытаний изготавливают образцы VI или VII типа (рис. И.5), а также образцы IX и X типа (шарпи), если это оговорено в проектной документации.

Рис. И.5. Образцы для испытания металла шва, зоны термического влияния (в различных участках) на ударный изгиб:

а - для металла шва толщиной 10 мм и выше; б - для металла шва толщиной менее 10 мм

Надрезы на образцах располагают по оси шва и по линии сплавления со стороны облицовочного прохода в шве, выполненном односторонней сваркой, или со стороны, заваренной последней при двусторонней сварке. Разметку для нанесения надреза производят по макрошлифам, изготовленным на боковых гранях заготовки сечением 10х10 (5х10) мм, обработанным шлифованием с чистотой поверхности не ниже Ra 0,4. Надрез выполняется прошедшими проверку в Мостовой инспекции фрезами со специально заточенным профилем зубьев, соответствующим указанным в ГОСТ 6996 параметрами. Чистота поверхности надреза не должна быть ниже Ra 0,4. Выполнение надреза способами, не обеспечивающими требуемую чистоту поверхности, не допускается.

При сварке вертикальных стыковых соединений с принудительным формированием шва надрезы в образцах располагают вдоль толщины листа (см. рис. 15 ГОСТ 6996).

При разметке и выполнении надреза по линии сплавления необходимо следить, чтобы основание надреза упиралось в линию сплавления шва с основным металлом на глубине 2 мм от верхней плоскости образца, на его обеих боковых гранях.

И.7.4. Для изготовления макрошлифов и замеров твердости металла сварного соединения вырезают темплеты, включающие металл шва, околошовную зону и основной металл (рис. И.6).

Рис. И.6. Образцы для определения твердости сварного соединения

И.8. Перед испытанием все образцы должны быть тщательно осмотрены, замерены и замаркированы. На образцах не допускаются дефекты сварки, несоответствие требуемой чистоте обработки, отступлений по размерам, перекос захватных частей, изгиб образца. Образцы с дефектами бракуются и заменяются новыми. Маркировку следует наносить на торцевые части образца, вне их рабочей зоны.

И.9. Испытание образцов производится по соответствующим стандартам:

- на статическое растяжение при нормальной температуре - ГОСТ 497;

- на статический изгиб - ГОСТ 14019;

- на ударный изгиб - ГОСТ 9454. Испытания на ударный изгиб допускается производить для каждой исследуемой зоны сварного соединения лишь при расчетной отрицательной температуре, принимаемой по п. 1.39 СНиП 2.05.03-84. Результаты испытаний следует считать положительными, если значения ударной вязкости при расчетной отрицательной температуре всех испытанных образцов соответствуют нормативным требованиям (не ниже 30 Дж/см2), а площадь излома с волокнистым строением не ниже 50 %.

И.10. Испытания образцов сварных соединений считаются недействительными:

- при разрыве образца по кернам (рискам), если при этом какая-либо характеристика по своей величине не отвечает установленным требованиям;

- при разрыве образца в захватах испытательной машины или за пределами расчетной длины (при определении относительного удлинения);

- при образовании двух и более мест разрыва;

- при разрыве образца по дефекту;

- при обнаружении ошибок в проведении испытаний или записи результатов испытаний.

В указанных случаях испытание должно быть повторено на изготовленных от той же партии образцах. Количество дополнительных образцов должно соответствовать числу недействительных испытаний.

При удовлетворительных результатах испытаний (по нормативным требованиям к механическим свойствам) наличие шлаковых включений, пор в изломе образца не является браковочным признаком. Наличие трещин в изломе образца при всех условиях является браковочным признаком.

И.11. При неудовлетворительных результатах испытаний по некоторым показателям свойств или образцов испытания повторяются на удвоенном количестве образцов. Если и при этом результаты испытаний неудовлетворительные, сварные соединения должны быть забракованы, установлены причины отклонений путем проверки качества основного металла, флюса, сварочной проволоки, порошковой проволоки и электродов.

И.12. Измерение твердости производится по Виккерсу (ГОСТ 2999) или по Роквеллу (ГОСТ 9013) на приборах, прошедших Госповерку. Чистота обработки поверхностей макрошлифов не должна быть ниже Ra 0,10 при измерении по Виккерсу и не ниже Ra 1,6 при измерении по Роквеллу. Замеры твердости следует проводить по схемам, приведенным на рис. 6; число точек по намеченным линиям при замерах твердости каждой зоны (шва, зоны термического влияния, включая линию сплавления, основного металла) должно быть не менее четырех.

И.13. В необходимых случаях производится проверка химического состава металла сварных швов. Методы отбора проб для определения химического состава установлены ГОСТ 7122.

Проба для определения химического состава может быть взята из любой части шва на расстоянии не менее 40 мм от начала шва, не менее 80 мм от конца шва и на расстоянии 2,5-3 мм от линии сплавления шва. Перед взятием пробы поверхность металла должна быть тщательно очищена от противокоррозионных покрытий, масла, ржавчины, окалины и других загрязнений. Отбор проб может проводиться сверлением, строганием или фрезерованием. При этом следует пользоваться сухим и чистым инструментом, который не должен выкрашиваться. Стружка при отборе проб должна быть как можно мельче; брать ее надо в количестве 50 г.

Химический анализ металла сварных швов производится в соответствии с ГОСТ 12344 - ГОСТ 12365, ГОСТ 22536.0 - ГОСТ 22536.12 или спектральным анализом по ГОСТ 22536.0.

Спектральный анализ химического состава металла шва выполняется на макрошлифах из испытываемого сварного соединения, по измерениям, проведенным в средней части поперечного сечения сварного шва.

Приложение К

(обязательное)

СПОСОБЫ ПРОЗВУЧИВАНИЯ И ЧУВСТВИТЕЛЬНОСТИ ОЦЕНКИ ПРИ КОНТРОЛЕ СТЫКОВЫХ СОЕДИНЕНИЙ ЛИСТОВ ТОЛЩИНОЙ d = 10 - 20 мм.

К.1 Способы прозвучивания преобразователями, выпускаемыми промышленностью (n = 15 мм)

Примечания:

1. Контролю подлежат соединения при условии, что b1+b2 £ 4,3d - 36;

2. Контроль вести с двух сторон одной плоскости.

К.2 Испытательные образцы для настройки чувствительности вида.

1. Изготавливается из образца контролируемого соединения

К.3 Порядок настройки чувствительности оценки, которой соответствует показание аттенюатора

½Nx0½ = ½N0½ - ½DN½ - ½Kg½:

1. Измерить амплитуду эхо-сигнала от соответствующего цилиндрического отражателя в испытательном образце ½Nx0½, отр. дБ.

2. Уменьшить показание аттенюатора на величину поправки чувствительности Кg, определяемой по таблице:

d, мм

10

12

14

16

18

20

Kg

m=0

4

5

5

6

7

8

m=1

8

8

9

9

9

10

3. Уменьшить показание аттенюатора на величину DN.

4. Убедиться, что мертвая зона М £ 3 мм.

Примечание. При применении испытательного образца первого вида DN = 0; при применении испытательного образца второго вида DN определяется по приложению B.

Приложение Л

(обязательное)

СПОСОБЫ ПРОЗВУЧИВАНИЯ И ЧУВСТВИТЕЛЬНОСТИ ОЦЕНКИ ПРИ КОНТРОЛЕ СТЫКОВЫХ СОЕДИНЕНИЙ ЛИСТОВ d = 21 - 50 мм

Л.1 Способы прозвучивания преобразователями, выпускаемыми промышленностью (n = 15 мм)

d, мм

a1, град

a2, град

z, мм

L1

L2

L3

Условия прозвучивания

20-30

65±2

65±2

3

2,15d

2,15d+3

4,3d

b1 + b2 £ 4,3d-36

30-50

65±2

50±2

5

2,15d

1,19d+5

2,4d

0,47b1 + 0,84b2 £ 2d-22,5

Примечания.

1. Контролю подлежат соединения при соблюдении условия прозвучиваемости.

2. Контроль вести с двух сторон одной плоскости.

Л.2 Порядок настройки чувствительности оценки, которой соответствует показание аттенюатора

½Nx0½ = ½N0½ + Kg - ½DN½:

1. Измерить амплитуду эхо-сигнала от цилиндрического отражателя на глубине 44 мм в стандартном образце ГСО-2 или ОСО-2Р ½N0½, дБ.

2. Определить по соответствующей SKH-диаграмме значение Kg для S3=3 мм2 и Н0=0,75d при m = 0 и Н0 = 1,75d при m = 1.

3. Уменьшить показание аттенюатора на значение Кg, если величина Kg отрицательная, или увеличить показание аттенюатора на значение Кg, если величина его положительная.

4. Уменьшить показание аттенюатора на величину DN.

5. Убедиться, что мертвая зона М £ 3 мм при a = 65° + 2° и М £ 8 мм при a = 50° + 2°.

Примечание. DN определяется по приложению Ж.

Приложение М

(обязательное)

СПОСОБЫ ПРОЗВУЧИВАНИЯ И ЧУВСТВИТЕЛЬНОСТИ ОЦЕНКИ ПРИ КОНТРОЛЕ СТЫКОВЫХ СОЕДИНЕНИЙ ДВУХЛИСТОВЫХ ПАКЕТОВ ТОЛЩИНОЙ dS = 30-80 мм

Контроль соединения выполняют в два этапа:

этап 1 - контроль с верхней плоскости пакета листов;

этап 2 - контроль с нижней плоскости пакета листов.

На этапе 1 контролируют по типовой методике для стыкового соединения толщиной d1 с валиками шва размерами b1 и b0.

На этапе 2 контролируют по типовой методике для стыкового соединения толщиной d2 с валиками шва размерами b2 и b0

На каждом этапе контроль следует вести с двух сторон соответствующей плоскости.

Параметры a, L1, L2, L3, NX0, M определяются в зависимости от значении толщин d1 и d2 по приложениям К или Л.

DN определяют для каждой плоскости по приложению Ж.

Приложение Н

(справочное)

СРЕДСТВА ИЗМЕРЕНИЙ И КОНТРОЛЯ

Н.1. Рулетки измерительные (табл. Н.1) металлические со штриховыми шкалами (ГОСТ 7502) 1-го и 2-го классов точности.

Таблица Н.1

Наименование

Типоразмер

Допускаемые отклонения действительной длины (±), мм, не более

1-й класс

2-й класс

В закрытом корпусе (РЗ)

РЗ-2

-

0,4

РЗ-5

-

1,0

РЗ-10

0,5

1,0

РЗ-20

1,0

2,0

РЗ-30

-

3,0

РЗ-50

-

5,0

На крестовине (РК)

РК-50

2,0

5,0

РК-75

-

7,5

РК-100

-

10,0

На вилке (РВ)

РВ-20

1,0

2,0

РВ-30

-

3,0

РВ-50

-

5,0

Отдельные действия:

 

 

 

дециметровые и метровые

Все

0,2

0,3

сантиметровые

Все

0,1

0,2

миллиметровые

Все

0,05

0,1

Н.2. Линейки измерительные (табл. Н.2) металлические со штриховыми шкалами (ГОСТ 427).

Таблица Н.2

Длина, мм

150

300

500

1000

Допускаемые отклонения общей длины линеек и расстояния от любого штриха до начала или конца шкалы, мм

±0,1

±0,1

±0,15

±0,2

Цена деления, мм

0,5 и 1

0,5 и 1

0,5 и 1

0,5 и 1

Отклонение от номинальных значений длин отдельных сантиметровых делений, мм

±0,1

±0,1

±0,1

±0,1

То же, миллиметровых делений, мм

+0,05

+0,05

+0,05

+0,05

Н.3. Штангенциркули (ГОСТ 166)

Таблица Н.3

Параметр

ШЦ-I, ШЦТ-I

ШЦ-II

ШЩ-III

Значение отсчета по нониусу (один нониус), мм

0,1

0,05

0,1

0,1

Пределы измерений, мм

0-125

0-160

0-315, 0-400, 0-500,

0-200

250-630, 250-800,

0-250

320-1000, 500-1250, 500-1600, 800-2000

Типы штангенциркулей (табл. Н.3):

ШЦ-I - двусторонний с глубиномером;

ШЦТ-I - односторонний с покрытием из твердого сплава, с глубиномером

ШЦ-II - двусторонний (рис. Н.1);

ШЦ-III - односторонний (рис. Н.2).

Рис. Н.1. Штангенциркуль ШЦ-II с точностью отсчета по нониусу 0,05 мм:

1 - штанга; 2 - микрометрический винт; 3 - гайка; 4 - нониус; 5 и 6 - губки нижние; 7 и 8 - губки верхние; 9 и 11 - стопорные винты; 10 - рамка; 12 - хомутик

Рис. Н.2. Штангенциркуль ШЦ-III с точностью отсчета по нониусу 0,10 мм:

1 - штанга; 2 - рамка; 3 - зажим рамки; 4 - нониус

Н.4. Штангенглубиномеры (ГОСТ 162) со значениями отсчета по нониусу 0,05 мм предназначены для измерения глубин до 400 мм (рис. Н.3). Длина основания 120 мм. Пределы измерений 0-160, 0-200, 0-250, 0-315, 0-400.

Рис. Н.3. Штангенглубиномер:

1 - рамка; 2 - штанга; 3 - нониус

Н.5. Штангенрейсмасы (ГОСТ 164) применяют для измерений и разметки размеров до 2500 мм. Прибор (рис. Н.4) имеет значения отсчета по нониусу 0,05 и 0,1 мм, а также следующие пределы измерений, мм: 0-250, 40-400, 60-630, 100-1000, 600-1600, 1500-2500. Вылет ножек штангенрейсмаса не должен быть меньше 50, 60, 125, 160 мм.

Рис. Н.4. Штангенрейсмас:

1 - основание; 2 - измерительная ножка; 3 - штанга; 4 - микрометрическая подача; 5 - нониус; 6 - рамка; 7 - разметочная ножка

Н.6. Микрометры рычажные (ГОСТ 4381) изготовляют с верхним пределом измерений до 2000 мм и отсчетным устройством с ценой деления 0,002 и 0,01 мм.

Типы рычажных микрометров (табл. Н.4):

МР - для измерения наружных размеров до 100 мм включительно, рис. Н.5,а;

МР3 - зубомерные, рис. Н.5,б;

МРИ - с отсчетным устройством для измерения размеров до 2000 мм, рис. Н.5,в.

Рис. Н.5. Микрометры рычажные:

1 - скоба; 2 - подвижная пятка; 3 - микрометрический винт; 4 - стопор; 5 - стебель; 6 - барабан; 7 - отсчетное устройство; 8 - теплоизоляционная накладка

Микрометры с ценой деления 0,01 мм (ГОСТ 6507) изготовляет следующих типов (табл. Н.5);

МК - гладкие для измерения наружных размеров, рис. Н.6;

МЛ - листовые с циферблатом для измерения толщины листов и лент, рис. Н.7;

МТ - трубные для измерения толщины стенок труб диаметром от 8 мм и более, рис. Н.8;

МЗ - зубомерные для контроля длины общей нормали зубчатых колес с модулем от 1 мм, рис. Н.9.

Рис. Н.6. Микрометр типа МК:

1 - скоба; 2 - пятка; 3 - микрометрический винт; 4 - стопор; 5 - стебель; 6 - барабан; 7 - трещотка (фрикцион)

Рис. Н.7. Микрометр типа МЛ:

1 - скоба; 2 - пятка; 3 - микрометрический винт; 4 - стопор; 5 - стебель; 6 - барабан; 7 - трещотка (фрикцион); 8 - циферблат; 9 - стрелка

Рис. Н.8. Микрометр типа МТ:

1 - скоба; 2 - пятка; 3 - микрометрический винт; 4 - стопор; 5 - стебель; 6 - барабан; 7 - трещотка (фрикцион)

Рис. Н.9. Микрометр типа МЗ:

1 - скоба; 2 - пятка; 3 - измерительная губка; 4 - микрометрический винт; 5 - стопор; 6 - стебель; 7 - барабан; 8 - трещотка (фрикцион)

Основные параметры рычажных микрометров, мм

Таблица Н.4

Тип микрометра

Пределы измерений

Отсчетное устройство

Цена деления барабана микрометра

Перемещение микрометрического винта

цена деления

диапазон показаний, не менее

МР

0-25; 25-50;

50-75; 75-100

0,002

±0,14

0,01

25

МР3

0-20

20-45

0,002

±0,14

0,01

20

25

МРИ

100-125; 125-150;

150-200; 200-250;

250-300; 300-400;

400-500

0,002

±0,1

0,01

25

300-400; 400-500;

500-600

0,01

2

0,01

25

600-700; 700-800;

800-900; 900-1000

0,01

5

0,01

25

1000-1200; 1200-1400;

1400-1600; 1600-1800;

1800-2000

0,01

10

0,01

25

Н.7. Нутромеры микрометрические (ГОСТ 10) предназначены для измерения диаметров отверстий и других внутренних размеров более 50 мм. Для увеличения предела измерения нутромера снимают гайку 2 (рис. Н.10) и вместо нее навинчивают удлинители, входящие в комплект нутромера. Диапазон измерений нутромеров по ГОСТ 10: 50-125, 125-200, 200-325, 325-500, 500-800, 800-1250, 1250-1600, 1600-2000, 2000-2500, 2500-3150, 3150-4000, 4000-5000, 5000-6000 мм. Нутромеры с верхним пределом измерения более 2500 мм должны поставляться с микрометрической головкой, оснащенной индикатором часового типа класса 0.

Основные параметры микрометров по ГОСТ 6507

Таблица Н.5

Тип

Пределы измерений

Шаг микрометрического винта, мм

Измерительное перемещение микрометрического винта, мм

Измерительное усилие кН

МК

0-25, 25-50, 50-75, 75-100, 100-125, 125-150, 150-175, 175-200, 200-225, 225-250, 250-275, 275-300, 300-400, 400-500, 500-600

0,5

25

500-900

МЛ

0-5

1,0

5

300-700

0-10

10

0-25

25

МТ

0-25

0,5

25

300-700

МЗ

0-25, 25-50, 50-75, 75-100

0,5

25

300-700

Рис. Н.10. Микрометрический нутромер:

1 - измерительный наконечник; 2 - гайка; 3 - стебель; 4 - стопор; 5 - микрометрический винт; 6 - барабан; 7 - установочная гайка; 8 - измерительный наконечник

Н.8. Глубиномеры микрометрические (ГОСТ 7470) используют для измерения глубин глухих отверстий, пазов, высот и уступов до 150 мм, рис. Н.11.

Н.9. Щупы (ГОСТ 882) используют для определения величины зазоров с точностью до 0,01 мм. Их изготовляют длиной 100 и 200 мм и шириной 10 мм и толщиной 0,02-1 мм, классы точности 1 и 2, наборы № 1, 2, 3, 4 - для щупов длиной 100 мм. Щупы длиной 200 мм выпускают отдельными пластинами.

Рис. Н.11. Микрометрический глубиномер:

1 - трещотка; 2 - барабан; 3 - стебель; 4 - стопор; 5 - траверса; 6 - измерительный сменный стержень

Н.10. Линейки поверочные (ГОСТ 802.6) изготовляют следующих типов (табл. Н.6):

ЛТ - лекальные трехгранные;

ЛЧ - лекальные четырехгранные;

ШП - с широкой рабочей поверхностью прямоугольного сечения;

ШД - с широкой рабочей поверхностью двутаврового сечения.

Н.11. Угольники поверочные 90° (ГОСТ 3749) типов (табл. Н.7) УЛ - лекальные, УЛП - лекальные плоские, УЛЦ - лекальные цилиндрические, УП - слесарные плоские, УШ - слесарные с широким основанием (рис. Н.12). Угольники типа УЛЦ имеют следующие размеры, мм:

Н                             160           250            400            630

Д                             80             100            125            160.

Н.12. Угломеры с нониусом (ГОСТ 5378) применяют для измерения углов и приготовляют двух типов: УН - для измерения наружных углов от 0 до 180 и внутренних от 40 до 180° (рис. Н.13) с величиной отсчета по нониусу 2¢ и 5¢; УМ - для измерения только наружных углов от 0 до 180° (рис. Н.14) с величиной отсчета по нониусу 2¢, 5¢, 15¢. Цена деления шкалы основания угломеров должна быть 1°.

Основные размеры и классы точности поверочных линеек (ГОСТ 8026)

Таблица Н.6.

Тип

Эскиз

Размер, мм

Класс точности

L

В

ЛТ

200

26

0; 1

320

30

500

40

ЛЧ

200

20

0; 1

320

25

500

35

ШП

250

5

0; 1; 2

400

6

630

10

ШД

630

14

0; 1; 2

1000

16

1600

18

2000

18

2500

20

3000

20

4000

30

Основные размеры угольников, мм

Таблица Н.7

Тип

Н

L

Тип

Н

L

УЛ; УЛП; УП; УШ

60

40

УП; УШ

400

250

100

60

 

 

160

100

 

 

УЛП; УП; УШ

250

160

УШ

630

400

 

 

1000

630

 

 

1600

1000

Рис. Н.12. Угольники поверочные:

Б, В - измерительные поверхности угольников; Г, Ж - опорные поверхности; Е - боковые поверхности

Рис. Н.13. Угломер УН:

1 - основание; 2 - нониус; 3 - стопор; 4 - сектор; 5 - линейка основания; 6 - линейка съемная; 7 - угольник; 8 - державка

Рис. Н.14. Угломер УМ:

1 - сектор; 2 - стопор; 3 - нониус; 4 - основание; 5 - державка; 6 - линейка подвижная; 7 - ось; 8 - угольник; 9 - линейка съемная

Н.13. Калибры для контроля отверстий. Пробки двусторонние с неполными непроходными вставками показаны на рис. Н.15,а. Ими измеряют отверстия диаметром 6-50 мм.

Рис. Н.15. Пробка со вставками:

а - двусторонние; б - проходные; в - непроходные

Пробки проходные со вставками (рис. Н.15,б) применяют для контроля отверстий диаметром 50-75 мм.

Пробки непроходные с неполными вставками (рис. Н.15,в) применяют для контроля отверстий диаметром 50-100 мм.

Пробки с насадками двусторонние (рис. Н.16,а), проходные (рис. Н.16,б) и непроходные (рис. Н.16,в) изготовляют для контроля отверстий диаметром 50-100 мм.

Рис. Н.16. Пробки с насадками:

а - двусторонние; б - проходные; в - непроходные

Н.14. Геодезический инструмент.

Теодолиты (ГОСТ 10529):

теодолит точный Т-2 (ТБ-1);

теодолит технический Т-15 (Т-30).

Нивелиры (ГОСТ 10528):

нивелир высокоточный Н-2 (НА-1) с комплектом инвентарной рейки;

нивелир точный Н-3 (НС-4, НВ-1),

нивелир Н-3К МОП по ТУ 3-3.993-77.

Рейка базисная дальномерная.

Теодолиты и нивелиры выпускают предприятия Министерства оборонной промышленности.

Н.15. Измерение твердости металлов.

Для этой цели применяют приборы:

- прибор стационарный для измерения твердости по Виккерсу ТП-7Р-1 с пределами измерения 8-1000 HV.

- прибор переносной для измерения твердости по Виккерсу ТПП-2 с пределами измерения 8-1500 HV.

- прибор настольный для измерения твердости по Роквеллу ТК-2М (ТК-14-250) по ТУ 25-06-227-67.

Все указанные приборы для определения твердости выпускает Ивановское производственное объединение "Точприбор".

Н.16. Контроль шероховатости обработанных поверхностей.

На рабочих местах в цехах наиболее приемлем метод контроля шероховатости сравнением обработанной поверхности со стандартным образцом шероховатости по ГОСТ 9378 или с аттестованной деталью. При этом оценку шероховатости поверхности производят визуально-осязательным методом, с помощью лупы или специального микроскопа сравнения, позволяющих одновременно наблюдать поверхности образца и детали с увеличением до 80Х.

Для количественной оценки шероховатости применяют контактные щуповые приборы профилометры и профилографы мод. 201, 252, 253.

Приложение П

(информационное)

Библиография

[1] Правила по охране труда при сооружении мостов / ЦНИИС. 1991.

[2] Правила пожарной безопасности при производстве строительно-монтажных работ (ППБ1-93РФ) / Главное управление пожарной охраны. МВД РФ. 1993.

[3] Правила пожарной безопасности при проведении сварочных и других огневых работ на объектах народного хозяйства / ГУПО МВД СССР. 1972.

[4] Санитарные правила при сварке, наплавке и резке металлов. № 1009-73/

Ключевые слова: монтажные соединения, цельносварные стыки, комбинированные болтосварные стыки, сварочные материалы, режимы сварки, механическая обработка сварных соединений, контрольные образцы, технологические пробы.




Rambler's Top100 Яндекс цитирования
  Copyright © 2008-2026, www.docload.ru