Бесплатная библиотека стандартов и нормативов www.docload.ru

Все документы, размещенные на этом сайте, не являются их официальным изданием и предназначены исключительно для ознакомительных целей.
Электронные копии этих документов могут распространяться без всяких ограничений. Вы можете размещать информацию с этого сайта на любом другом сайте.
Это некоммерческий сайт и здесь не продаются документы. Вы можете скачать их абсолютно бесплатно!
Содержимое сайта не нарушает чьих-либо авторских прав! Человек имеет право на информацию!

 

ГОСУДАРСТВЕННЫЙ СТАНДАРТ СОЮЗА ССР

ЛАКИ КРЕМНИЙОРГАНИЧЕСКИЕ
ЭЛЕКТРОИЗОЛЯЦИОННЫЕ

ТЕХНИЧЕСКИЕ УСЛОВИЯ

ГОСТ 16508-70

ИЗДАТЕЛЬСТВО СТАНДАРТОВ
Москва

ГОСУДАРСТВЕННЫЙ СТАНДАРТ СОЮЗА ССР

ЛАКИ КРЕМНИЙОРГАНИЧЕСКИЕ ЭЛЕКТРОИЗОЛЯЦИОННЫЕ

Технические условия

Insulating silicone varnishes.

Specifications

ГОСТ
16508-70

Срок действия с 01.01.72

до 01.01.96

Настоящий стандарт распространяется на электроизоляционные кремнийорганические лаки класса нагревостойкости Н (ГОСТ 8865-87), представляющие собой растворы кремнийорганических полимеров, модифицированных или немодифицированных органическими соединениями, в органических растворителях.

Электроизоляционные кремнийорганические лаки предназначаются для изоляции электрических машин и аппаратов.

1. МАРКИ

1.1. Электроизоляционные кремнийорганические лаки должны изготовляться следующих марок:

КО-916 (бывший К-47) - для лакировки электротехнической стали;

КО-916А - для изготовления обмоточных проводов со стекловолокнистой изоляцией и теплостойких проводов и кабелей с защитной стекловолокнистой оболочкой;

КО-918 (бывший К-54) - для изготовления электроизоляционных покровных эмалей горячей сушки;

КО-921 (бывший К-55) - для пропитки стеклянной оплетки проводов и кабелей;

КО-922 (бывший К-56) - для изготовления гибких стеклослюдинитовых электроизоляционных материалов;

КО-926 (бывший К-41) - для изготовления слоистых пластиков;

КО-945 (бывший К-65) - для изготовления электроизоляционных покровных эмалей холодной сушки.

Выпуск кремнийорганических лаков новых марок допускается по техническим условиям, утвержденным в установленном порядке, в течение 2 лет (не более), после чего эти марки могут выпускаться только после включения их в настоящий стандарт.

(Измененная редакция, Изм. № 3, 4, 5).

2. ТЕХНИЧЕСКИЕ ТРЕБОВАНИЯ

2.1. (Исключен, Изм. № 4).

2.2. При изготовлении, испытании и применении электроизоляционных кремнийорганических лаков должны применяться растворители, разбавители, ускорители и отвердители, указанные в табл. 1, соответствующие требованиям нормативно-технической документации, утвержденной в установленном порядке: толуол (ГОСТ 14710-78), спирт бутиловый (ГОСТ 5208-81), этилцеллозольв (ГОСТ 8313-88), сиккатив НФ-1 или сиккатив ЖК-1 (ГОСТ 1003-73); полиэтиленполиамин - по техническим условиям, утвержденным в установленном порядке.

2.3. Лаки КО-918, КО-926, КО-945 должны поставляться в виде двух компонентов, указанных в табл. 2.

2.4. (Исключен, Изм. № 4).

2.5. Физико-химические и электрические показатели электроизоляционных кремнийорганических лаков должны соответствовать требованиям и нормам, указанным в табл. 3.

Таблица 1

Компоненты

Марки лаков

КО-916

КО-916А

КО-918

КО-921

КО-922

КО-926

КО-945

Растворители

Этилцеллозольв

Толуол

Толуол

Толуол

Толуол

Толуол

Толуол

Разбавители

Этилцеллозольв

Толуол

Толуол

Толуол

Толуол

Толуол

Толуол

Ускорители, отвердители

-

-

Сиккатив НФ-1 или сиккатив ЖК-1

-

-

Сиккатив НФ-1 или сиккатив ЖК-1

Полиэтиленполиамин

(Измененная редакция, Изм. № 3, 4, 5).

Таблица 2

Марки лаков

Ускорители и отвердители

Масса ускорителя или отвердителя, г на 100 г лака

КО-918

Сиккатив НФ-1 или сиккатив ЖК-1 (20 %)

7,00

КО-926

То же

0,75

КО-945

Полиэтиленполиамин

1,30

Примечания:

1. Ускорители или отвердители вводятся в лак при тщательном перемешивании непосредственно перед употреблением. Допускается уменьшать количество сиккатива ЖК-1 до 50 % для улучшения адгезии к подложке.

2. Время хранения лака с введенным ускорителем или отвердителем должно быть определено технологической инструкцией по применению лаков.

3. Лаки, применяемые не по основному назначению, могут поставляться потребителю некомплектно.

(Измененная редакция, Изм. № 4, 5).

Таблица 3

Наименование показателя

Норма для марки

КО-915

окп 23 1133 2300

КО-913А

ОКП 23 1133 5200

КО-918

окп 21 1133 2500

КО-921

ОКП 23 1133 2700

КО-922

ОКП 24 1133 2800

КО-926

ОКП 23 1133 3000

КО-945

ОКП 23 1133 3400

1. Наличие механических включений в лаке

Отсутствие

2. (Исключен, Изм. № 5).

3. Внешний вид лака

Оттенок не нормируется

Однородный прозрачный раствор. Допускается легкая опалесценция

4. Массовая доля нелетучих веществ, %

67 ± 2

60 ± 2

65 ± 2

50 ± 2

50 ± 2

50 ± 2

70 ± 2

5. Вязкость по вискозиметру ВЗ-4, с

45 - 65

30 - 60

72 - 125

17 - 27

17 - 27

14 - 22

93 - 160

6, Время высыхания лаковой пленки до степени 3, мин, не более

15

15

90

15

60

25

24 ч

7. Массовая доля водорода, связанного с кремнием, %, не более

0,0018

0,0018

0,0012

0,0010

0,0010

0,0010

0,0010

8. Термоэластичность пленки лака, ч, не менее

50

50

100

75

200

-

70

9. Маслостойкость пленки лака, Н (кгс), не менее

-

-

49 (5)

-

-

-

49 (5)

10. Твердость пленки лака по маятниковому прибору МЭ-3

 

 

 

 

 

 

 

при (20 ± 5) °С не менее

0,5

0,6

0,5

-

-

-

0,45

при (180 ± 2) °С не менее

0,2

0,2

0,17

-

-

-

0,13

типа ТМЛ

Не нормируется

-

-

-

-

Не нормируется

11. Продолжительность желатинизации, мин

-

-

-

-

-

5 - 20

-

12. Удельное объемное электрическое сопротивление пленки лака, Ом·м, не менее:

 

 

 

 

 

 

 

М (15 - 35 °С) 45 - 75 %

1 · 1012

1 · 1012

1 · 1012

1 · 1012

1 · 1012

-

1 · 1012

М (180 °С) < 20 %

1 · 1010

-

1 · 1010

1 · 1010

1 · 1010

-

-

М (200 °С) < 20 %

-

1 · 1010

-

-

-

-

-

24 ч (23 °С) 93 %

1 · 1011

1 · 1011

1 · 1011

1 · 1011

1 · 1011

-

1 · 1011

13. Электрическая прочность пленки лака, МВ/м, не менее:

 

 

 

 

 

 

 

М (15 - 35 °С) 45 - 75 %

70

70

60

70

70

-

60

М (180 °С) < 20 %

35

-

30

35

35.

-

-

М (200 °С) < 20 %

-

35

-

-

-

-

-

24 ч (23 °С) 93 %

40

40

35

35

35

-

-

14. Оптическая плотность лака не более

0,6

0,5

0,6

0,5

0,5

0,8

1,5

Примечания:

1. (Исключен, Изм. № 4).

2. Для лака КО-926 допускается снижение нижнего предела продолжительности желатинизации до 3 мин к концу гарантийного срока хранения лака.

3. Показатель 10 для прибора типа ТМЛ не нормируется до 01.07.93. Определение обязательно с 01.01.92.

(Измененная редакция, Изм. № 3, 4, 5).

3а. Требования безопасности

3а.1. Лаки являются пожароопасными и токсичными, что обусловлено свойствами входящих в их состав растворителей толуола и этилцеллозольва, указанными в табл. .

Таблица 3а

Растворители

Предельно-допустимые концентрации в воздухе рабочей зоны производственных помещений, мг/м3

Температура вспышки,

Температура самовоспламенения, °С

Концентрационные пределы воспламенения, % (по объему)

Класс опасности

нижний

верхний

Толуол

50

4

536

1,25

6,5

3

Этилцеллозольв

10

40 - 46

235

1,8

15,7

4

Полимеризованные пленки лаков пожароопасности не представляют.

(Измененная редакция, Изм. № 5).

3а.2. Все работы, связанные с производством и применением лаков, должны проводиться в соответствии с требованиями правил пожарной безопасности и промышленной санитарии, в помещениях, снабженных приточно-вытяжной вентиляцией, в местах, обеспеченных местной вытяжной вентиляцией (ГОСТ 12.1.005-88 и ГОСТ 12.3.005-75).

Не допускается одновременное проведение в помещениях работ с применением открытого огня.

3а.3. Электроизоляционные лаки не способны к кумуляции.

При попадании лака на кожу его следует удалить сухим тампоном, затем протереть этиловым спиртом и промыть водой с мылом.

3а.4. Лица, связанные с изготовлением и применением лаков, должны быть обеспечены средствами индивидуальной защиты - по ГОСТ 12.4.001-80

3а.5. Средствами пожаротушения являются: песок, кошма, пенные установки.

Разд. . (Введен дополнительно, Изм. № 4).

3. ПРАВИЛА ПРИЕМКИ

3.1. Правила приемки - по ГОСТ 9980.1-86, разд. 1.

(Измененная редакция, Изм. № 3, 4, 5).

3.2. Кремнийорганические лаки изготовитель должен подвергать приемосдаточным, периодическим и типовым испытаниям.

Приемосдаточные испытания проводят в соответствии с п. 1 - 6 табл. 3, п. 11 для лака КО-926, п. 13 для всех лаков, кроме лака КО-926. Испытания лака КО-945 проводят при температуре от 15 до 35 °С.

Периодические испытания лаков проводят по всем остальным показателям не реже одного раза в три месяца.

(Измененная редакция, Изм. № 3, 4, 5).

3.3 - 3.6. (Исключены, Изм. № 3).

4. МЕТОДЫ ИСПЫТАНИЙ

4.1. Подготовка образцов к испытанию

В лак КО-918 перед испытаниями по пп. 6, 8, 9, 10, 12, 13 табл. 3 вводят сиккатив НФ-1 или ЖК-1 в количестве, указанном в п. 2.3.

В лак КО-945 перед испытанием по пп. 6, 8, 9, 10, 12, 13 табл. 3 вводят полиэтиленполиамин по п. 2.3.

Лак КО-926 испытывают без отвердителя.

(Измененная редакция, Изм. № 3, 4, 5).

4.2. Наличие механических включений в лаке определяют по ГОСТ 20841.1-75 в цилиндре диаметром 25 - 30 мм.

(Измененная редакция, Изм. № 5).

4.3. Цвет лака определяют по ГОСТ 19266-79.

4.4. Внешний вид лака определяют по ГОСТ 13526-79.

Время выдержки лака в цилиндре 2 ч.

(Измененная редакция, Изм. № 4).

4.5. Массовую долю нелетучих веществ определяют по ГОСТ 17537-72.

Время выдержки образцов в термостате при (20,0 ± 5) °С - 30 мин.

(Измененная редакция, Изм. № 3).

4.6. Вязкость лака определяют по ГОСТ 8420-74 вискозиметром типа ВЗ-246 (или ВЗ-4) с диаметром сопла 4 мм.

(Измененная редакция, Изм. № 4, 5).

4.7. Время высыхания пленки лака определяют по ГОСТ 19007-73. Подготовку пластин и нанесение лака проводят в соответствии с ГОСТ 13526-79. Металлические основания должны быть тщательно очищены от окислов, загрязнений шлифовальным порошком, промыты в бензине, уайт-спирите или толуоле и высушены. Метод нанесения лака на основание - двукратное окунание. Толщина пленки лака (50 ± 5) мк. Лак КС-916 перед нанесением на основание после разбавления этилцеллозольвом выдерживают 24 ч.

Время подсушки образцов при температуре от 15 до 35 °С - 15 - 20 мин.

Испытание на отлип лаков всех марок должно проводиться при температуре от 15 до 35 °С

Материал основания (подложки) и температура сушки лаков всех марок приведены в табл. 4.

Время высыхания лаков КО-926 и КО-928 определяют со следующими дополнениями и изменениями: стеклоткань размером 50×100 мм однократно пропитывают лаком с массовой долей нелетучих веществ, указанных в п. 4 табл. 3 при (20 ± 5) °С, выдерживают в подвешенном состоянии при той же температуре 15 мин и сушат в течение времени, указанного в п. 6 табл. 3, при температуре, приведенной в табл. 4. Высушенную стеклоткань перегибают поперек основы на 180°. Если при этом стеклоткань сломается в месте перегиба, испытание продолжают на образовавшихся сложенных половинках образца. Затем испытание производят по ГОСТ 13526-79, при этом масса груза для лака КО-926 должна быть 500 г. Лак считают удовлетворяющим требованиям настоящего стандарта, если поверхности образца не слипаются, пленка не сдирается после снятия давления, а фильтровальная бумага не прилипает к поверхности образца и не оставляет волокон. Для лака КО-926 допускается побеление и растрескивание лаковой пленки после снятия груза.

Таблица 4

Марка лаков

Материал основания (подложки)

Температура сушки, °С

КО-926

Ткань стеклянная марки Э2-80 толщиной 0,08 ± 0,01 мм (ГОСТ 19907-83)

100 ± 2

КО-945

Фольга алюминиевая толщиной 0,1 мм (ГОСТ 618-73)

20 ± 5

КО-918

125 ±2

КО-916, КО-916А

КО-921

КО-922

Лента медная марки ЛММ толщиной 0,1 мм (ГОСТ 434-78), размером 60×150 мм

200 ± 5

(Измененная редакция, Изм. № 3, 4, 5).

4.8. Определение массовой доли водорода, связанного с кремнием

4.8.1. Применяемые реактивы, растворы и приборы:

натрия гидроокись по ГОСТ 4328-77 или калия гидрат окиси (кали едкое), раствор спиртовой 2 моль/дм3;

спирт этиловый ректификованный (гидролизный) высшей очистки;

натрий хлористый по ГОСТ 4233-77, насыщенный раствор, подкисленный несколькими каплями серной кислоты и подкрашенный метилоранжем;

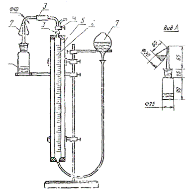
видоизмененный прибор Церевитинова-Чугаева (см. чертеж) с бюреткой вместимостью 25 см3, помещенный в кожух из органического стекла.

Прибор для определения содержания водорода, связанного с кремнием

1 - реакционная пробирка; 2 - боковой карман; 3 - вакуумный каучук; 4 - кран трехходовой; 5 - водяной кожух; 6 - бюретка; 7 - уравнительный сосуд.

4.8.2 Проведение испытания

5 - 6 г испытуемого лака, взвешенного с погрешностью не более 0,0002 г, помещают в реакционную пробирку. В боковой карман вливают 10 см3 раствора щелочи. Реакционную пробирку, содержащую навеску лака, присоединяют к трубке с боковым карманом, предварительно смазав шлив вакуумной смазкой. Далее поворачивают трехходовой кран так, чтобы бюретка и реакционная пробирка оказались соединенными с атмосферой, и перемещают уравнительный сосуд до тех пор, пока уровень насыщенного раствора хлористого натрия в бюретке будет совпадать с нулевым делением. Затем поворачивают кран так, чтобы реакционная пробирка и бюретка сообщались, а выход в атмосферу был закрыт, закрепляют уравнительный сосуд в положении ниже нулевого деления на 2 - 3 см3 и оставляют на 8 - 10 мин. По истечении 10 мин поднимают уравнительный сосуд и проверяют нулевое положение в бюретке. Если раствор в бюретке резко опустился, необходимо устранить негерметичность прибора. Если прибор герметичен, проводят анализ, для чего наклоняют реакционную пробирку и сливают в нее щелочь из бокового кармана. Пробирку энергично встряхивают до прекращения выделения пузырьков газа.

По окончании реакции пробирку оставляют на 20 мин для выравнивания температуры, после чего замеряют изменение объема в бюретке за счет выделившегося водорода и затем отмечают его изменения через каждые 5 мин, до получения трех одинаковых значений при замерах. Во время замеров объема уравнительный сосуд должен быть закреплен так, чтобы уровни жидкости в нем и бюретке строго совпадали. Затем фиксируют барометрическое давление и температуру в рубашке прибора.

Массовую долю водорода, связанного с кремнием, (Х1) в процентах вычисляют по формуле

где

0,00008987 - масса 1 см3 водорода при 0 °С и 101 кПа (760 мм рт. ст.);

2 - коэффициент пересчета на атомарный водород, выделяющийся при реакции лака с раствором щелочи;

т - масса лака, г;

V0 - объем выделившегося водорода при 0 °С и 101 кПа (760 мм рт. ст.), см3;

Vt - объем выделившегося водорода, замеренный при температуре и давлении испытания, см3;

Р - барометрическое давление во время испытания, кПа (мм рт. ст.);

P1 - давление паров воды над насыщенным раствором при температуре испытания, кПа (мм. рт. ст.);

t - температура во время испытания, °С.

Допускаемые расхождения между двумя параллельными определениями не должны превышать ±0,00015 %.

(Измененная редакция, Изм. № 4).

4.9. (Исключен, Изм. № 3).

4.10. Термоэластичность пленки лака определяют по ГОСТ 13526-79. Образцы для испытания изготавливают и сушат по п. 4.7, кроме образцов лака КО-922, которые изготавливают на алюминиевой фольге (ГОСТ 618-73). Температура в термостате для определения термоэластичности следующая:

для КО-916; КО-916А; КО-918; КО-921; КО-945 - (200 ± 5) °С;

для КО-922 - (250 ± 5) °С.

После выдержки образцов при температуре от 15 до 35 °С производят испытание по ГОСТ 6806-73 вокруг стержня диаметром 3 мм.

Допускается применение других термостатов (термостатирующих устройств), обеспечивающих заданную температуру.

(Измененная редакция, Изм. № 3, 4, 5).

4.11. Маслостойкость пленки лака определяют по ГОСТ 13526-79 в турбинном масле 30 (ГОСТ 32-74). Лак наносят на пластинки из стали (ГОСТ 5582-75) толщиной 0,8 - 2,0 мм. Образцы для испытания изготавливают и сушат по п. 4.7 с дополнительной сушкой при 130 °С для лака КО-918 в течение 12 ч и для лака КО-945 в течение 3 ч.

4.12. (Исключен, Изм. № 4).

4.13. Твердость лаковой пленки определяют по ГОСТ 5233-89 на приборе МЭ-3 и ТМЛ.

Лак наносят на стеклянную пластинку по ГОСТ 8832-76 наливом в два слоя. Пластинку с нанесенным первым слоем лака 15 - 20 мин выдерживают при (20 ± 2) °С, затем наносят второй слой лака и сушат по п. 4.7 с последующей дополнительной сушкой при (130 ± 2) °С в течение 12 ч для лака КО-918 и для лака КО-945 в течение 3 ч, а для лаков КО-916, КО-916А при (210 ± 5) °С в течение 1 ч.

Толщина пленки лака после сушки должна быть (0,05 ± 0,005) мм.

Перед определением твердости лаковой пленки при 180 °С образец предварительно 5 - 10 мин прогревают в приборе МЭ-3 при (180 ± 2) °С.

Шарики маятника после каждых 10 - 15 определений при температуре 180 °С выдерживают в толуоле для набухания пленки. Дальнейшая обработка шариков - по ГОСТ 5233-89.

(Измененная редакция, Изм. № 5).

4.14. Продолжительность желатинизации определяют при (200 ± 2) °С на специальном приборе, состоящем из полимеризационной плитки, электронагревателей и системы автоматического контроля и регулирования температуры. Полимеризационная плитка прибора представляет собой диск диаметром 225 мм из нержавеющей стали с шестью гнездами диаметром 21 мм и глубиной 5 мм, равномерно расположенными по окружности диаметром 85 мм.

В центре диска имеется два специальных гнезда для установки контрольного термометра и датчика системы автоматического контроля и регулирования температуры.

(1,0 ± 0,1) г испытуемого лака помещают в гнездо нагретой полимеризационной плитки, включают секундомер и непрерывно перемешивают стеклянной палочкой диаметром 2 - 3 мм до образования геля. Время, прошедшее с момента помещения лака в гнездо полимеризационной плитки до момента образования геля (прекращения вытягивания нитей), принимают за продолжительность желатинизации. Испытания проводят на двух образцах.

(Измененная редакция, Изм. № 3, 5).

4.15. (Исключен, Изм, № 4).

4.16. Объемное электрическое сопротивление и электрическую прочность пленок при 15 - 35 и 180 °С определяют по ГОСТ 13526-79, а после воздействия воздуха с относительной влажностью 93 % при 23 °С в течение 24 ч по ГОСТ 10315-75, проводя измерение не позднее чем через 3 мин после удаления образцов из гигростата.

Образцы для испытания изготавливают по ГОСТ 13526-79 (метод нанесения лака на основание - двукратное окунание) и сушат по п. 4.7. Материал подложки и режим дополнительной сушки для электрических испытаний лаков различных марок указаны в табл. 5.

Допускается хранение образцов перед измерением до 24 ч в эксикаторе над сухим хлористым кальцием при температуре от 15 до 35 °С или в аналогичных условиях.

(Измененная редакция, Изм. № 3, 4, 5).

4.17. Определение оптической плотности

Метод измерения - фотоколориметрический, основан на определении оптической плотности кремнийорганических лаков при длине волны 400 нм по отношению к пустой кювете.

За результат анализа принимают среднее арифметическое результатов двух параллельных определений, допустимое расхождение между которыми не должно превышать: для лака КО-916, КО-918 - 0,01; для лака КО-916А - 0,018; для лака КО-926 - 0,021; для лака КО-945 - 0,02; для лака КО-921, КО-922 - 0,01 при доверительной вероятности Р = 0,95.

Таблица 5

Марки лаков

Материал подложки

Температура дополнительной сушки, °С

Продолжительность дополнительной сушки, ч

КО-916

КО-916А

КО-921

КО-922

Сталь (ГОСТ 5582-75) толщиной 0,8 - 2,0 мм, или медь (ГОСТ 495-77) толщиной 0,5 - 1,0 мм

200 ± 5

10

КО-918

Сталь (ГОСТ 5582-75) толщиной 0,8 - 2,0 мм

130 ± 2

12

КО-945

 

3

Доверительные границы суммарной погрешности результатов анализа (Δ) составляют: для лаков КО-916, КО-918 - ±0,04; для лака КО-916А - ±0,09; для лака КО-926 - ±0,03; для лака КО-921, КО-922 - ±0,02; для лака КО-945 - ±0,005 при Р = 0,95.

Результаты анализа округляют до числа, кратного 0,01.

4.17.1. Аппаратура и реактивы

Колориметр фотоэлектрический концентрационный КФК-2 с набором кювет со светофильтром № 3, обеспечивающим длину волны (400 ± 5) нм.

Толуол по ГОСТ 5789-78.

Ацетон по ГОСТ 2603-79.

Допускается использование колориметра другой марки с метрологическими характеристиками не хуже, чем у КФК-2.

4.17.2. Подготовка к испытанию

Настраивают фотоколориметр и работают на нем согласно инструкции к прибору. Кюветы промывают ацетоном после полного растворения остатков лака в толуоле.

4.17 - 4.17.2. (Измененная редакция, Изм. № 5).

4.17.2. Подготовка к испытанию

Кювету с длиной оптического слоя 10 мм (для лаков КО-916, КО-918, КО-916А), 30 мм (для лаков КО-921, КО-922) или 20 мм (для лаков КО-945, КО-926) наполняют до метки продуктом, помещают ее в кюветное отделение прибора и измеряют оптическую плотность по отношению к пустой кювете. Затем кювету освобождают от лака, промывают ацетоном и сушат.

(Введен дополнительно, Изм. № 5).

5. УПАКОВКА, МАРКИРОВКА, ТРАНСПОРТИРОВАНИЕ И ХРАНЕНИЕ

5.1. Упаковка, маркировка, транспортирование и хранение лака - по ГОСТ 9980.3-86, ГОСТ 9980.4-86, ГОСТ 9980.5-86.

Упаковку лака проводят в соответствии с группой 2 ГОСТ 9980.3-86.

Допускается по согласованию с потребителем упаковывать лаки в алюминиевые фляги, принадлежащие изготовителю, и стальные бочки по ГОСТ 6247-79 и ГОСТ 13950-84 вместимостью 200 дм3.

По согласованию с потребителем допускается упаковывать лаки в тару вместимостью не более 50 дм3.

Металлические бидоны упаковывают в деревянные ящики типа У-1 (на два бидона) по ГОСТ 18573-86 или дощатые ящики типа У-1 (на один бидон), изготовленные по ГОСТ 2991-85, НТД и чертежам, утвержденным в установленном порядке.

5.2. Транспортную маркировку проводят по ГОСТ 14192-77 с нанесением знака опасности по ГОСТ 19433-88, соответствующего классу 3, подклассу 3.3. Шифр группы опасности 3212. Серийный номер ООН 1263.

Требования к транспортированию лаков пакетами. Основные параметры и размеры пакетов должны соответствовать требованиям ГОСТ 24597-81. Средства пакетирования: поддоны плоские по ГОСТ 9078-84, ГОСТ 9557-87.

Лаки должны храниться в таре изготовителя при температуре от 5 до 30 °С.

Разд. 5. (Измененная редакция, Изм. № 4, 5).

6. ГАРАНТИИ ИЗГОТОВИТЕЛЯ

6.1. Изготовитель гарантирует соответствие лаков требованиям настоящего стандарта при соблюдении условий транспортирования и хранения.

6.2. Гарантийный срок хранения лаков КО-916, КО-916А, КО-918, КО-926, КО-945 - шесть месяцев; лаков КО-921, КО-922 - один год со дня изготовления.

Разд. 6. (Измененная редакция, Изм. № 4).

ИНФОРМАЦИОННЫЕ ДАННЫЕ

1. РАЗРАБОТАН И ВНЕСЕН Министерством химической промышленности

РАЗРАБОТЧИКИ

А.Н. Поливанов, канд. техн. наук; В.В. Северный, д-р. хим. наук; И.И. Хазанов, канд. техн. наук; Г.И. Панфиленок, канд. техн. наук; М.М. Зубова; Л.С. Двойнова

2 УТВЕРЖДЕН И ВВЕДЕН В ДЕЙСТВИЕ Постановлением Государственного комитета стандартов Совета Министров СССР от 23.12.70 № 1799

3. СРОК ПЕРВОЙ ПРОВЕРКИ - 1996 г.

Периодичность проверки - 5 лет

4. ВВЕДЕН ВПЕРВЫЕ

5. ССЫЛОЧНЫЕ НОРМАТИВНО-ТЕХНИЧЕСКИЕ ДОКУМЕНТЫ

Обозначение НТД, на который дана ссылка

Номер пункта, подпункта

ГОСТ 12.1.005-88

3а.2

ГОСТ 12.3.005-75

3а.2

ГОСТ 12.4.001-80

3а.4

ГОСТ 32-74

4.11

ГОСТ 434-78

4.7

ГОСТ 618-73

4.10

ГОСТ 1003-73

2.2

ГОСТ 2603-79

14.17.1

ГОСТ 2991-85

5.1

ГОСТ 4233-77

4.8.1

ГОСТ 4328-77

4.8.1

ГОСТ 5233-89

4.13

ГОСТ 5582-75

4.11, 4.16

ГОСТ 5789-78

14.17.1

ГОСТ 6806-73

4.10

ГОСТ 6247-79

5.1

ГОСТ 8832-76

4.13

ГОСТ 8420-74

4.6

ГОСТ 8865-87

Вводная часть

ГОСТ 9078-84

5.2

ГОСТ 9557-87

5.2

ТОСТ 9980.1-86

3.1

ГОСТ 9980.3-86

5.1

ГОСТ 9980.4-86

5.1

ГОСТ 9980.5-86

5.1

ГОСТ 10315-75

4.16

ГОСТ 13526-79

4.4, 4.7, 4.10, 4.11, 4.16

ГОСТ 13950-91

5.1

ГОСТ 14192-77

5.2

ГОСТ 17537-72

4.5

ГОСТ 18573-86

5.1

ГОСТ 19266-79

4.3

ГОСТ 19433-88

5.2

ГОСТ 20841.1-75

4.2

ГОСТ 24597-81

5.2

ТУ 38.101169-88

5.1

6. СРОК ДЕЙСТВИЯ ПРОДЛЕН до 01.01.96 Постановлением Госстандарта от 30.03.90 № 768

7. ПЕРЕИЗДАНИЕ (март 1993 г.) с изменениями № 1, 2, 3, 4, 5, утвержденными в феврале 1973 г., июле 1975 г., ноябре 1976 г., марте 1985 г., марте 1990 г. (3-73, 8-75, 11-76, 6-85, 7-90)

СОДЕРЖАНИЕ

 




Rambler's Top100 Яндекс цитирования
  Copyright © 2008-2026, www.docload.ru