|
|
Правительство Москвы СИСТЕМА НОРМАТИВНЫХ ДОКУМЕНТОВ В СТРОИТЕЛЬСТВЕ ПРОЕКТИРОВАНИЕ ГОРОДСКИХ МОСТОВЫХ
СООРУЖЕНИЙ МГСН 5.02-99 (с изменениями от 19 августа 2003 г., 29 марта 2005 г.) 1999
ПРОЕКТИРОВАНИЕ ГОРОДСКИХ МОСТОВЫХ
СООРУЖЕНИЙ МГСН 5.02-99
РАЗРАБОТАНЫ Научно-технической ассоциацией
ученых и специалистов транспортного строительства, руководитель разработки
академик Академии транспорта О.А. Попов (ОАО "ГИПРОТРАНСМОСТ"); ОАО
"ГИПРОТРАНСМОСТ" - инженеры Э.М. Гитман, А.В. Илларионов. И.В.
Леднева, при участии А.И. Ликвермана; МАДИ - д-р техн. наук А.А. Потапкин;
ОАО"ЦНИИС" - д-р техн. наук К.С. Силин, при участии д-ра техн. наук
А.А. Цернанта; кандидаты техн. наук М.С. Руденко, А.И. Васильев, Б.И. Кришман, инж.
Д.А. Соколов; при участии кандидатов техн. наук В.И. Беды, Г.С. Рояка, Ф.Б.
Глазман, А.С. Бейвеля, инженеров И.Д. Полякова, Е.А. Антонова; Союздорнии - при участии кандидатов техн. наук -
Р.А. Когана, И.Д. Сахаровой; НИИЖБ - при участии канд. техн. наук Е.А. Гузеева;
НИИОСП - при участии д-ра техн. наук Б.В. Бахолдина; СП "Гормост" -
инженеры В.Н. Федосеев, Ю.А. Енютин; Мосинжпроектом -инж. В.В. Варшавский;
Москомархитектурой - инж. Ю.Б. Лапин; Союздорпроектом - при участии инженеров Ю.И. Федорова, Ф.В. Винокура; ООО
"Организатор"- при участии инженеров А.А. Конных, В.П. Лясковского;
Мосгосэкспертизой - при участии инж. А.Д. Зурнаджиева; Корпорацией "Трансстрой" - при участии инженеров В.А. Климова, Л.Н. Подольцева,
Г.Л. Коледы; с учетом замечаний и предложений Главгосэкспертизы РФ, Академии
транспорта, ЦНИИСК им. В.А. Кучеренко, РосдорНИИ, АО "Мостотрест", АО
"Мостостройиндустрия". ВНЕСЕНЫ Управлением развития Генплана. ПОДГОТОВЛЕНЫ к утверждению и изданию
Москомархитектурой и Корпорацией "Трансстрой". СОГЛАСОВАНЫ Корпорацией
"Трансстрой"; ООО "Организатор"; Главгосэкспертизой России;
Мосгосэкспертизой; Москомархитектурой; Управлением жилищно-коммунального
хозяйства и благоустройства Правительства Москвы; СП "Гормост";
Дирекция Заказчика "Гидромост"; ГИБДД (ГАИ) ГУВД г. Москвы; ОАО
"ЦНИИС"; ГП Союздорнии; Мосинжпроектом; ГП Союздорпроект; ОАО
"Мосинжстрой"; Государственным комитетом по охране окружающей среды
г. Москвы (Москомприрода). РЕКОМЕНДОВАНЫ к утверждению Госстроем России
(письмо № 13-638 от 01.12.98). ПРИНЯТЫ И ВВЕДЕНЫ в действие постановлением
Правительства Москвы от 7 сентября 1999 г. № 848. СОДЕРЖАНИЕ 1. ОБЛАСТЬ ПРИМЕНЕНИЯ
(Измененная редакция. Изм.
№ 2). 1.2 Нормы не распространяются на
проектирование и реконструкцию в Москве железнодорожных и автодорожных
тоннелей. 1.3 Настоящие нормы отражают
специфику проектирования мостов в Москве, включая повышенные требования к
расчетным нагрузкам, габаритам, плану и профилю, системам водоотвода, морозо- и
солестойкости, а также атмосферостойкости применяемых материалов в сочетании с
плотностью городской застройки, сложностью транспортных развязок и др. 2. НОРМАТИВНЫЕ ССЫЛКИ
В настоящих нормах использованы
ссылки на следующие нормативные документы: СНиП 1.02.07-87 - Инженерные
изыскания для строительства СНиП 2.02.01-83* - Основания зданий
и сооружений СНиП 2.02.03- 85 - Свайные фундаменты СНиП 2.03.11-85 - Защита строительных конструкций
от коррозии СНиП 2.04.03-85 -
Канализация. Наружные сети и сооружения СНиП 2.05.03-84* - Мосты и трубы СНиП 2.05.09-90 - Трамвайные и
троллейбусные линии СНиП
2.06.07-87 - Подпорные стены, судоходные шлюзы, рыбопропускные и
рыбозащитные сооружения СНиП
2.07.01-89 - Градостроительство. Планировка и застройка городских и
сельских поселений СНиП
3.04.03-85 - Защита строительных конструкций и сооружений от коррозии СНиП 32-01-95 - Железные дороги
колеи 1520 мм СНиП 32-04-97 - Тоннели
железнодорожные и автодорожные НПБ 110-03 Перечень зданий, сооружений, помещений и оборудования, подлежащих защите автоматическими установками пожаротушения и автоматической пожарной сигнализацией. МГСН 1.01-99 Временные нормы и правила проектирования планировки и застройки г. Москвы. СТН Ц-01-95 - Железные дороги колеи 1520 мм
(Строительно-технические нормы МПС РФ) ГОСТ
9128-84 - Смеси асфальтобетонные дорожные, аэродромные и асфальтобетон.
Технические условия ГОСТ
9.402-80 - ЕСЗКС. Покрытия лакокрасочные. Подготовка металлических
поверхностей перед окрашиванием ГОСТ
10060.0 - Бетоны. Методы определения морозостойкости. Общие требования ГОСТ 10060.1 -
Бетоны. Базовый метод определения морозостойкости ГОСТ
10060.2 - Бетоны. Ускоренные методы определения морозостойкости ГОСТ 13508-74 - Разметка дорожная ГОСТ 13840-68*
- Канаты стальные арматурные 1´7. Технические условия ГОСТ
20522-96 - Грунты. Методы статистической обработки результатов испытаний ГОСТ
23457-86 - Технические средства организации дорожного движения. Правила
применения ГОСТ
23961-80 - Метрополитены. Габаритные приближения строений, оборудования и
подвижного состава ГОСТ 25100-95 - Грунты. Классификация ГОСТ
26600-85 - Знаки и огни навигационные внутренних водных путей. Общие
технические условия ГОСТ 26633-91 -
Бетоны тяжелые и мелкозернистые. Технические условия ГОСТ
26804-86 - Ограждения дорожные металлические барьерного типа. Технические
условия Инструкция
по проектированию зданий и сооружений в районах г. Москвы с проявлением
карстово-суффозионных процессов (утверждена Исполкомом Моссовета 23.01.84 №
149). ГОСТ 12.1.004-91 Пожарная безопасность. Общие требования. СНиП 2.01.02-85* Противопожарные нормы. СНиП 21-01-97* Пожарная безопасность зданий и сооружений. СНиП 21-02-99 Стоянки автомобилей. СНиП 2.04.01-85* Внутренний водопровод и канализация зданий. СНиП 41-01-2003 Отопление, вентиляция и кондиционирование. СНиП 2.07.01-89* Градостроительство. Планировка и застройка городских и сельских поселений. СНиП 2.08.02-89* Общественные здания и сооружения. СНиП 2.09.04-87* Административные и бытовые здания. СНиП 31-03-2001 Производственные здания. СНиП 31.04-2001 Складские здания. СНиП II-89-80* Генеральные планы промышленных предприятий. НПБ 88-01 Установки пожаротушения и сигнализации. Нормы и правила проектирования. НПБ 104-03 Проектирование систем оповещения людей о пожаре в зданиях и сооружениях. НПБ 105-03 Определение категорий помещений и зданий по взрывопожарной и пожарной опасности. НПБ 236-97 Огнезащитные составы для стальных конструкций. Общие требования. Методы определения огнезащитной эффективности. МГСН 4.13-97* Предприятия розничной торговли. МГСН 4.14-98 Предприятия общественного питания. МГСН 4.18-99 Предприятия бытового обслуживания населения. МГСН 5.01-01 Стоянки легковых автомобилей ВСН 01-89 Предприятия по обслуживанию автомобилей. ВСН 59-88 Электрооборудование жилых и общественных зданий. Нормы проектирования. Правила устройства электроустановок. ППБ 01-03 Правила пожарной безопасности в Российской Федерации. (Измененная редакция. Изм. №
2). 3. ОБЩИЕ ТРЕБОВАНИЯ
Общие указания
3.1 Мосты
следует проектировать по СНиП
2.05.03-84* с учетом требований, правил и рекомендаций настоящих норм
(перечень дополнений, развивающих действующие нормы, приведен в приложении А). 3.3 Расчетный
срок службы проектируемых мостовых сооружений должен составлять не менее 70 –
100 лет, при условии выполнения требований по их эксплуатации. Прогнозируемый
срок службы частей и элементов сооружений рекомендуется принимать по данным приложения Б. 3.4 При проектировании новых и
реконструкции существующих мостовых сооружений к реализации следует принимать
проектные решения, отобранные в результате сравнения вариантов по соответствию
архитектурным требованиям и по технико-экономическим показателям, в которые,
как правило, следует включать стоимость, расход материалов, сроки строительства
и эксплуатационные затраты с учетом прогнозируемого срока службы отдельных
частей сооружения. Принятые к реализации архитектурно-планировочные решения
должны быть согласованы с Москомархитектурой. 3.6 Проектирование по зарубежным
нормам не допускается. 3.7 При раздельных пролетных
строениях, в том числе под каждую проезжую часть одного направления, расстояние
в свету между смежными пролетными строениями следует, как правило, назначать не
менее 1 м; в обоснованных случаях его допускается уменьшать до 0,2 м. ГРАДОСТРОИТЕЛЬНО-ПЛАНИРОВОЧНЫЕ
ТРЕБОВАНИЯ
Общие положения
3.8 Мостовые
сооружения следует проектировать с учетом градостроительно-планировочных
требований СНиП
2.05.03-84*, СНиП
2.07.01-89, МГСН
1.01-98 и настоящих норм. 3.9 При проектировании мостовых
сооружений в г. Москве необходимо учитывать перспективы развития
улично-дорожной сети и транспортных систем в соответствии с Генеральным планом
развития города, Схемой комплексного развития всех видов транспорта,
градостроительной документацией о градостроительном планировании. Основой планировочных решений
мостовых сооружений должны быть действующие линии городских проездов,
закрепленные разбивочными актами (красные линии), проектируемые поперечные
профили городских проездов, а также проектируемые линии регулирования водотоков
и водоемов (синие линии). Мостовые переходы через р.
Москву, мостовые сооружения, входящие в состав сложных транспортных
пересечений, следует проектировать в соответствии с предварительно
разработанными специальными проектами планировки и архитектурно-планировочными
заданиями, утвержденными в порядке, установленном Правительством Москвы. 3.10 При реконструкции мостовых
сооружений, являющихся памятниками архитектуры, или при строительстве рядом с
ними новых мостовых сооружений, архитектурно-планировочные и конструктивные
решения должны быть определены заданием Главного управления охраны памятников
г. Москвы. 3.11 Проектные решения должны обеспечивать
рациональное использование городской территории. В сложившихся районах города с
исторической застройкой, в зонах охраняемого ландшафта рекомендуется
предусматривать тоннельные варианты транспортных пересечений. Расположение сооружений в
плане и продольном профиле
3.12 Мосты
допускается располагать на участках с любыми параметрами плана и продольного
профиля, установленными для данной категории улицы. При этом минимальные
значения радиусов кривых в плане и вертикальных кривых следует принимать по МГСН
1.01-98 и максимальные значения продольных уклонов проезжей части - по табл. 1 Таблица 1
1) Не более указанной величины
и при соответствующем обосновании. Радиус кривых в плане для
транспортных сооружений тоннельного типа должен быть не менее 250 м и в
исключительных случаях * не менее 150 м. Минимальные радиусы вертикальных
кривых для указанных конструкций следует принимать по Нормам и Правилам проектирования
планировки и застройки г. Москвы, а максимальные продольные уклоны - как для
мостов. Минимальный уклон продольного
профиля проезжей части транспортных сооружений тоннельного типа следует
принимать не менее 3%о. Ширина сооружений
3.14 Ширину
одной полосы движения городского автомобильного транспорта следует принимать по
табл.2. Таблица 2
1) Не менее указанной величины в
стесненных условиях и при соответствующем обосновании. На магистральных улицах
общегородского и районного значения в состав ездового полотна вдоль ограждений
следует включать полосы безопасности шириной не менее 1 м, а при отсутствии
тротуаров - не менее 2 м; ширина полос безопасности на улицах местного значения
должна быть не менее соответственно 0,5 и 1 м. 3.15 При необходимости на
мостовых сооружениях допускается предусматривать переходно-скоростные полосы,
ширину которых следует назначать не менее ширины, указанной в п. 3.14. 3.16 Ширину разделительных полос
между полосами встречных направлений движения на мостовых сооружениях
необходимо принимать не менее ширины, указанной в табл. 3; во всех случаях их ширина должна быть не менее
ширины разделительной полосы прилегающей улицы. Таблица 3
1) He менее указанной величины в стесненных условиях и при
соответствующем обосновании. для автодорожных городских и
совмещенных мостов .... 1,5; для пешеходных мостов
...……………………….……….. 3,0; для пешеходных сооружений
тоннельного типа .........…. 4,0. В зонах массового скопления людей
ширину тротуаров рекомендуется принимать не менее 3 м. В стесненных условиях ширину
пешеходных сооружений тоннельного типа, возводимых методом продавливания,
допускается сокращать до 3 м, при условии достаточности проектируемой ширины
расчетной перспективной интенсивности пешеходного движения. В обоснованных случаях и только
при согласовании с Заказчиком и эксплуатирующей организацией ширину прохожей
части пешеходных мостов допускается уменьшать до 2,25 м. Ширину лестничных сходов по
концам мостовых сооружений с тротуарами следует принимать исходя из их средней
расчетной пропускной способности. При наличии служебных проходов по мосту и
высоте насыпи подходов более 4 м необходимо предусматривать лестничные сходы
шириной 0,75 м. Среднюю расчетную пропускную
способность в час "пик" 1 м ширины тротуаров, прохожих частей и
лестничных сходов следует принимать, чел/ч: для пешеходных
мостов....................................................................……...
2000 для тротуаров на автодорожных
городских и совмещенных мостах….. 1500 Ширину тротуаров рекомендуется
назначать кратной 0,75 м. На мостах и в транспортных сооружениях
тоннельного типа при соответствующем технико-экономическом обосновании с учетом
комплексных планировочных решений допускается не устраивать тротуары. На многоярусных развязках и
съездах с них допускается не предусматривать тротуары независимо от удаленности
пешеходных переходов от развязок. При отсутствии тротуаров по
требованию Заказчика или (и) эксплуатирующей организации необходимо устраивать
служебные проходы, ширину которых следует принимать не менее 0,75 м. (Измененная редакция. Изм. № 1). Высотные габариты
3.18
Приближение конструкций мостов к проходящим под ними проезжим частям улиц и
линиям рельсового транспорта и приближение к конструкциям перекрытия в
транспортных сооружениях тоннельного типа следует принимать не менее значений,
указанных в табл.4. 3.19 Подмостовые габариты мостов
на водных путях г. Москвы следует принимать не менее существующих и в соответствии
с требованиями ГП "Канал им. Москвы". На стадии предварительных
проработок высоту от отметки нормального подпорного уровня до низа пролетных
строений рекомендуется принимать, м: на р. Москве и судоходных
участках канала им. Москвы... 14,5 на Водоотводном канале и р. Яузе
.........................…..............4,5 на прочих малых реках,
предназначенных для движения
маломерного флота...................................................3,5. Таблица 4
1) Не менее
указанного значения в стесненных условиях и при соответствующем обосновании. 2) Для
реконструируемых сооружений. Подходы
3.21 Подходы к мостам следует
проектировать преимущественно в виде эстакад исходя из обеспечения расстояния в
свету под эстакадой не менее 2м. 3.22 Функциональное назначение
подэстакадного пространства должен определять Заказчик по согласованию с
Москомархитектурой, префектурой административного округа и эксплуатирующей
организацией. При необходимости в составе проекта с привлечением
специализированных организаций разрабатывают технологический,
санитарно-технический, пожарной безопасности и другие разделы, обусловленные
спецификой объекта; проектирование выполняют в соответствии с действующими
нормативными документами. Мощность или расчетную вместимость объектов в
подэстакадном пространстве следует назначать на основании проверки влияния
условий транспортного обслуживания объекта (подъезды, подходы, автостоянки,
погрузочно-разгрузочные площадки) на пропускную способность и безопасность
движения на городских проездах. Помещения, встраиваемые в подэстакадные
пространства, следует оборудовать автоматическими установками водяного
пожаротушения в соответствии с НПБ
110-96. (Измененная редакция. Изм. №
2). Ограждения
3.23
Ограждения на мостовых сооружениях следует устанавливать в соответствии с
требованиями пп. 1.64 и 1.65 СНиП
2.05.03-84* и настоящих норм. Ограждения на разделительной
полосе мостов необходимо предусматривать в следующих случаях: по мосту проходит магистральная
улица общегородского значения; ограждения устроены на разделительной полосе
подходящих участков улиц; на разделительной полосе
расположены элементы конструкций моста, опоры контактной сети, освещения и
т.п.; конструкция разделительной полосы
не рассчитана на выезд транспортных средств на полосу. В стесненных условиях ограждения
со стороны осевой разделительной полосы (не приподнятой над проезжими частями
встречных направлений движения) допускается не устраивать. Ограждения под мостами и в
транспортных сооружениях тоннельного типа следует устанавливать: на магистральных улицах
общегородского значения; на улицах всех категорий вдоль
промежуточных опор, если они расположены на разделительной полосе или с внешней
стороны на расстоянии менее 0,50 м от края проезжей части. 3.24 Ограждения должны быть
непрерывными и иметь одинаковое конструктивное решение по длине мостовых
сооружений; конструкции ограждений должны обеспечивать быструю замену или
исправление поврежденных элементов. Окончания ограждений на мостах
или на подходах к ним, а также под мостами и в транспортных сооружениях
тоннельного типа должны иметь плавные переходы к полному профилю ограждающих
конструкций с надежным (в том числе заанкериванием в бетонный массив)
закреплением концов переходов. На подходах следует устраивать
ограждения в створе с ограждениями на мостах и аналогичной конструкции. Для
предотвращения растекания пролитого нефтепродукта на полосы встречного движения
вдоль разделительной полосы при наличии на ней ограждений следует выполнять
непрерывный бордюр высотой не менее 15 см. (Измененная редакция. Изм. №
2). 3.25 Перильные ограждения
тротуаров и служебных проходов на мостах допускается совмещать с шумозащитными
экранами. Линии рельсового и
городского пассажирского транспорта
3.26 При
проектировании мостов с трамвайным движением следует учитывать требования СНиП 2.05.03-84* и СНиП
2.05.09-90, с движением поездов метрополитена - требования СНиП 2.05.03-84* и ГОСТ
23961 -80 , а также требования, предъявляемые эксплуатирующей организацией. Трамвайное полотно на мостах, как
правило, должно быть расположено в уровне проезжей части. Размещать остановочные пункты
городского пассажирского транспорта (без установки павильонов) на подходах к
мостам, выполненных в земляных насыпях (с откосами или в подпорных стенах),
допускается в исключительных случаях без устройства специальных "карманов",
при условии, что в створе остановочного пункта расположено пешеходное
сооружение тоннельного типа в теле насыпи подхода. Продольный уклон участка
размещения остановочного пункта для автотранспортных средств не должен
превышать 30 %о. 3.28 При проектировании мостов
над железнодорожными путями параметры железнодорожного полотна следует
назначать в соответствии с требованиями СНиП 32-01-95 и СТНЦ-01-95. Прокладка инженерных
коммуникаций
3.29 На всех
мостах не допускается прокладка следующих коммуникаций: нефтепроводов,
нефтепродуктопроводов, трубопроводов для транспортировки прочих горючих и
легковоспламеняющихся жидкостей; кабельных высоковольтных линий
напряжением более 10000 В; кабельных маслонаполненных линий и высоковольтных
воздушных линий электропередачи; линий самотечной канализации. Конструктивные решения
коммуникаций и приспособлений для их прокладки должны учитывать перемещения,
деформации и колебания пролетных строений мостов, обеспечивать сохранность
сооружения, а также непрерывность и безопасность движения по мосту. При этом
эксплуатация и ремонт коммуникаций не должны приводить к разборке, удалению или
повреждению конструкций мостов. При числе балок в балочных
пролетных строениях равном 2 или 3 прокладка трубопроводов между балками
допускается по согласованию с Заказчиком и эксплуатирующей организацией. Размещение телефонных и
электрических кабелей по фасаду пролетных строений и опор допускается по
согласованию с Москомархитектурой и эксплуатирующей организацией. Прокладка телефонных и
электрических кабелей в тротуарах и внутри пустотелых плитных пролетных
строений, как правило, запрещается; такое размещение указанных видов
коммуникаций допускается в особо стесненных условиях при специальном технике -
экономическом обосновании и по согласованию с эксплуатирующей организацией. В конструкции опор-камер с
трубопроводами, наполненными теплоносителями (паром или водой), следует
предусматривать окна для создания естественной вентиляции и снижения
температуры воздуха внутри опор-камер до температуры наружного воздуха. Расстояние в свету между
трубопроводами и элементами несущих конструкций пролетных строений и опор (за
исключением поддерживающих трубопровод элементов) должно быть не менее 0,5 м. Прокладка новых коммуникаций или
переустройство существующих, а также перепланировка подмостовых помещений на
эксплуатируемых мостах должны быть согласованы с проектной и эксплуатирующей
мост организациями. 3.31 Для прокладываемых
инженерных коммуникаций на мостах следует предусматривать следующее: специальные конструктивные
элементы, в том числе специальные мостки или консоли для кабелей; общие (проходные или
полупроходные) коллекторы подземных коммуникаций; коллекторы телефонной
канализации; доступность трубопроводов и
кабельных линий для их осмотра и ремонта. Конструктивные элементы для
инженерных коммуникаций не должны препятствовать выполнению работ по текущему
содержанию и ремонту мостов. При укладке на мостах
высоковольтных кабелей постоянного тока следует предусматривать защиту
конструкций мостов и трубопроводов от воздействия блуждающих токов. 3.32 Мачты, предназначенные для
наружного освещения и (или) подвески контактной сети, на мостах следует
располагать с внешней стороны сооружения вне прохожей части тротуаров и
служебных проходов. При наличии на мосту осевой
разделительной полосы шириной не менее 3,0 м, имеющей ограждение, либо
трамвайных путей, расположенных на обособленном полотне, мачты допускается
располагать по продольной оси моста или в междупутье трамвайных путей. Размеры мачт должны быть
одинаковые на всей длине моста. 3.33 При проектировании
транспортных сооружений тоннельного типа необходимо соблюдать следующие условия
пересечения с подземными инженерными коммуникациями: разрешается пропускать
коммуникации всех видов, кроме газопроводов с рабочим давлением более 0,6 МПа
(6 кгс/см2), над перекрытием сооружения при достаточной (с учетом
геометрических параметров коммуникаций и расстояния до проезжей части над ними)
толщине засыпки; пропуск газопроводов в этом случае допускается при
согласовании его прокладки с эксплуатирующей сооружение организацией; в случае недостаточной толщины
засыпки при специальном технико-экономическом обосновании и согласовании с
эксплуатирующей сооружение организацией в конструкции перекрытия разрешается
пропускать напорные инженерные коммуникации (теплосеть, водопровод,
канализацию, газопроводы с рабочим давлением не более 0,6 МПа (6 кгс/см2)
в стальных трубах, а также высоковольтные кабельные линяй напряжением не более
10 000 В; самотечные инженерные
коммуникации (фекальная и дождевая канализация) при невозможности их прокладки
под основанием конструкции должны быть проложены или переустроены в обход
сооружений; прокладка газопроводов под
сооружениями запрещается. При проектировании пешеходных
сооружений тоннельного типа следует предусматривать прокладку или
переустройство подземных инженерных коммуникаций вне габаритов сооружения в
плане. В стесненных условиях и при согласовании с эксплуатирующей сооружение организацией
допускается: пропускать в конструкции
перекрытия пересекаемую телефонную сеть, электрические кабели напряжением до 10
000 В, газопроводы с рабочим давлением не более 0,6 МПа (6 кгс/см2)
в герметичной самонесущей конструкции; пропускать в конструкции днища
пересекаемые самотечные инженерные коммуникации в монолитных герметичных
обоймах; пропускать под днищем линии
водопровода и напорной канализации в стальных трубах в футлярах (в стальных или
железобетонных). Обеспечение безопасности
дорожного движения
Полосы безопасности и
разделительные полосы, а также обращенные к проезжей части крайние грани
ограждений следует, как правило, выделять покрытием из материалов разной
фактуры, цвета или разметкой из износоустойчивых материалов. Начала мостов, пандусов
транспортных сооружений тоннельного типа, путепроводов и эстакад следует четко
фиксировать хорошо видимыми конструкциями со световыми или светоотражающими
указателями. Вертикальные стены и
промежуточные опоры транспортных сооружений тоннельного типа и путепроводов
следует облицовывать или обрабатывать материалами светлых тонов. Дорожные знаки, указатели,
информационные стенды необходимо располагать выше принятого высотного габарита
при верхней установке и, как правило, не ближе 1,5 м от края проезжей части при
боковой установке. Размещение рекламных щитов на
мостовых сооружениях допускается только при согласовании с эксплуатирующей
организацией. 3.35 Изменение ширины
разделительных полос или разделение проезжих частей для размещения на них
промежуточных опор следует осуществлять по плавным горизонтальным кривым,
минимальный радиус которых принимают по МГСН
1.01-98. 3.36 Судоходные пролеты мостов
через р. Москву и канал им. Москвы должны быть оборудованы освещаемой
судоходной сигнализацией в соответствии с ГОСТ 26600-85. Транспортные развязки в
разных уровнях
3.38 При проектировании
пересечений в разных уровнях необходимо учитывать развитие железнодорожных
линий и параллельных этим линиям городских проездов, проходящих под мостами, в
соответствии с перспективными планами развития городской дорожно-транспортной
сети. 3.39 Транспортные развязки
следует проектировать комплексно - для движения транспортных средств и
пешеходов, предусматривая в необходимых случаях строительство обособленных
сооружений для пешеходного движения. 3.40 Параметры плана и профиля
съездов, соединяющих разноуровневые улицы на транспортных развязках, необходимо
принимать в зависимости от расчетной скорости движения транспортных средств на
съезде, которую определяют по типу развязки и удельному весу поворотных
потоков. 3.41 Число полос движения на
съездах следует назначать по расчету исходя из перспективной интенсивности
движения и пропускной способности одной полосы движения. При общей трассе съездов между
встречными направлениями движения следует предусматривать разделительную
полосу, выделенную размещенными на ней ограждениями. Допускается в стесненных
условиях устройство общей проезжей части для встречных направлений с
разделительной полосой в уровне покрытия шириной не менее 1 м. 3.42 При размещении транспортных
развязок в разных уровнях на городских площадях, застроенных крупными зданиями
общественных учреждений, магазинов и т.д., вблизи станций метрополитена и
других объектов массового посещения в транспортном узле должен быть выделен
специальный ярус (уровень) для пешеходов, обособленный от пространства движения
транспортных средств. Пешеходный уровень при необходимости следует выполнять в
виде комплекса пешеходных сооружений тоннельного типа, образующих пешеходное
подземное пространство. 3.43 Для освещения транспортных
развязок в разных уровнях при отсутствии контактной сети допускается
использовать высокие специальные мачты с лампами заливающего света и
располагать их вне сооружения. 3.44 На транспортных развязках в
разных уровнях в местах примыкания съездов к проезжим частям основных
направлений следует создавать зоны видимости, в пределах которых запрещается
размещение любых сооружений высотой более 1,2 м. Размеры зоны определяются
видимостью транспортного средства, создающего препятствие для движения по
основному направлению на расстоянии не менее 40 м. ДЕФОРМАЦИИ
3.45
Вертикальные упругие прогибы стальных и сталежелезобетонных балочных пролетных
строений городских автодорожных мостов, вычисленные при действии подвижной
временной вертикальной нагрузки (при коэффициенте надежности по нагрузке g1=1 и динамическом коэффициенте 1+m), не должны превышать, как правило, 1/600 расчетного пролета. АРХИТЕКТУРНЫЕ ТРЕБОВАНИЯ
В обоснованных случаях мосты
допускается рассматривать как самоградообразующие объекты, доминирующие по
стилю и композиции на прилегающей городской территории. 3.47 В композиции мостов следует
добиваться гармоничных и динамических решений, соблюдать единство стиля для
всего сооружения. 3.48 Конструктивное решение
композиции моста должно, как правило, обеспечивать езду поверху и плавный (с
минимальными возможными углами перелома пролетных строений на опорах) выпуклый
продольный профиль
проезжей части, а для балочных пролетных строений, помимо этого, - одинаковую
высоту сопрягаемых балок. 3.49 Способы достижения
архитектурной выразительности выбирают с учетом значимости объектов и их
расположения. Связь мостов с городским
ансамблем: допускается ограничивать внешними фасадными признаками, деталями и
материалом. 3.50 Скульптура как элемент
архитектуры моста должна входить в его композицию и при необходимости ее можно
рассматривать как доминанту в архитектуре сооружения. 3.51 Архитектурное оформление
пешеходных сооружений тоннельного типа следует осуществлять в соответствии с
требованиями, изложенными в главе 7 настоящих норм. Для оформления транспортных
сооружений тоннельного типа, в основном, необходимо использовать внешние
фасадные признаки и детали в рамповой части сооружения. 3.52 При реконструкции
существующих мостов следует обеспечивать единый архитектурный облик сохраняемом
н пристраиваемой частей. ЭКОЛОГИЧЕСКИЕ ТРЕБОВАНИЯ
3.54 Основные виды воздействий
мостов на городскую среду следует принимать по приложению В. Состав и содержание разделов ОВОС
(оценка воздействия на окружающую среду) и ООС (охрана окружающей среды)
рекомендуется принимать соответственно по приложениям Г и Д. 3.55 На мостах необходимо
применять, специальные конструкции и материалы, снижающие загрязнение атмосферы
и поверхностного стока с моста, а также уровень шума. К таким конструкциям и
материалам, как правило, относятся: экраны, водоочистные устройства,
асфальтобетонные покрытия с шумопоглощающими элементами, специальные фильтры
или дренажи. В полосах отвода моста для
снижения указанных воздействий, кроме того, следует предусматривать посадку
зеленых насаждений и дополнительное остекление окон примыкающих зданий. В
необходимых случаях, определяемых расчетом, для снижения воздействия вибрации
следует устраивать в земле специальные экраны. Конструктивные и технологические
решения по снижению уровня воздействий на среду в процессе строительства
следует принимать с учетом требований СНиП 3.01.01-85. 3.56 Расчеты загрязнения
атмосферы отработанными газами при движении транспортных средств по мосту,
шумового воздействия трассы, загрязнения поверхностного стока с моста, а также
расчеты по определению воздействий от вибрации и по определению зон превышения
содержания свинца в почве прилегающей к мосту территории рекомендуется
выполнять по нормам и методикам приложения Е. Кроме того, в приложении Е
указаны нормативные документы, в которых приведены допускаемые рассчитываемые
воздействия. ЭКСПЛУАТАЦИОННЫЕ ТРЕБОВАНИЯ
3.58 В накрывных галереях
пешеходных мостов, а также для шумозащитных экранов на мостах следует применять
защитные покрытия из небьющегося стекла или других материалов. Конструкция
прикреплений защитных покрытий должна обеспечивать возможность ремонта или
замены этих покрытий в случае повреждения. На стальные детали прикрепления
следует наносить металлизационные покрытия. 3.59 Все части пролетных строений
и видимые поверхности опор должны быть доступны для осмотра и ухода, для чего
рекомендуется устраивать люки, проходы и лестницы с перильными ограждениями
(высотой не менее 1,1 м), специальные и удобные для использования смотровые
приспособления, а также предусматривать стальные элементы для подвески
временных подмостей (по требованию Заказчика и эксплуатирующей организации),
дорожных знаков и информационных щитов. В коробчатых пролетных строениях
следует обеспечивать освещение их внутренних поверхностей. Устраивать люки в пределах
проезжей части запрещается. В обоснованных случаях (с учетом требований п.3.30 настоящих норм) по согласованию
с эксплуатирующей организацией допускается устройство люков в пределах
тротуаров, при этом необходимо обеспечивать их водонепроницаемость. В мостах следует обеспечивать
условия и при необходимости предусматривать устройства для выполнения работ по
регулированию положения, ремонту или замене опорных частей и подферменников, по
ремонту верха опор. 3.61 Все металлические
конструкции мостов должны быть заземлены. Также должны быть заземлены
железобетонные и бетонные конструкции при наличии контактной сети на мосту. 3.62 Перегородки и перекрытия
внутри подмостовых помещений не должны препятствовать температурным
перемещениям конструкций моста и не мешать осмотру и другим работам по
содержанию и ремонту несущих элементов. В подмостовых помещениях
рекомендуется предусматривать возможность подключения отопления, водоснабжения,
связи, электроснабжения и канализации. 4. НАГРУЗКИ И ВОЗДЕЙСТВИЯ
В пешеходных и парковых зонах
нормативную временную вертикальную нагрузку от подвижного состава следует
назначать по согласованию с Заказчиком. Класс К нагрузки АК следует
принимать равным 14. Полосы нагрузки АК, величины и
распределение нагрузок от НК-80, от подвижного состава метрополитена и
трамваев, требования по загружению этими нагрузками, а также коэффициенты
надежности по нагрузке gf и динамические коэффициенты 1+m
следует принимать по пп.2.12.; 2.14.; 2.15.; 2.22*.; 2.23. СНиП 2.05.03-84*. Сверхтяжелую одиночную колесную
нагрузку НК-176 (рис.1), общий вес
которой составляет 1726,56 кН (176 тс), следует принимать в виде колесной
нагрузки от прицепа-тяжеловоза с давлением на ось Р =245,25 кН (25 тс) и
автомобиля прикрытия с давлением на ось 0,26Р = 63,765 кН (6,5 тс). Нагрузку НК-176 при расчете
следует располагать вдоль направления движения на любом участке проезжей части
моста (вне полос безопасности). При этом нагрузку НК-176 не учитывают совместно
с временной нагрузкой АК и временной нагрузкой на тротуарах, а также в расчетах
конструкций на выносливость. К нагрузке НК-176 следует
вводить: динамический коэффициент 1+m=1,3
при l £ 1 м; 1+m=1,1
при l ³ 5 м, для промежуточных значений l
динамический коэффициент вычисляют по интерполяции. Величину l
(пролета или длины загружения) в формулах принимают по п. 2.22* СНиП 2.05.03-84*; коэффициент
надежности по нагрузке gf = 1. При одновременном загружении
полос автомобильного движения нагрузкой НК-176 и рельсовых путей следует
выполнять требования п. 2.15* СНиП
2.05.03-84*.
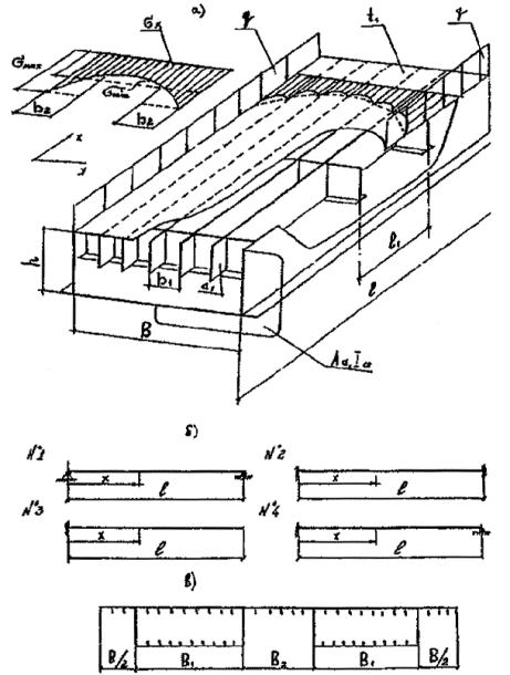
Рисунок 1. Схема сверхтяжелой одиночной нагрузки НК-176: Р -
давление на ось; с - длина соприкасания колеса с покрытием проезжей части; Г -
габаритная ширина (все размеры даны в метрах) 4.2 Нормативную временную
нагрузку для пешеходных мостов и тротуаров следует принимать по п. 2.21*. СНиП 2.05.03 - 84* с учетом следующих
требований: вертикальную и горизонтальную
равномерно распределенную нагрузку, учитываемую при отсутствии других нагрузок,
на перила пешеходных мостов и мостов с тротуарами следует принимать равной 1,47
кН/м (150 кгс/м), а для мостов со служебными проходами - 0,98 кН/м (100 кгс/м); по требованию Заказчика элементы
тротуаров и пешеходных мостов следует рассчитывать на вертикальные
сосредоточенные давления, учитываемые при отсутствии других нагрузок, от
пропуска одиночной колесной нагрузки (в том числе уборочной машины) общим весом
не более 49,1 кН (5 тс). Коэффициент надежности по
нагрузке gf для пешеходных мостов и тротуаров
следует принимать по п. 2.23* СНиП
2.05.03-84* с учетом следующих требований: к распределенным нагрузкам на
перила пешеходных мостов и мостов с тротуарами следует принимать gf = 1,2; к сосредоточенным давлениям от
одиночной колесной нагрузки на тротуары и прохожую часть пешеходных мостов
следует принимать gf = 1,0; к вертикальному сосредоточенному
давлению на элементы тротуаров следует принимать gf =1,4. 4.3 Нормативное сопротивление
трению в подвижных опорных частях следует принимать по п. 2.28* СНиП 2.05.03-84* с учетом настоящих
требований. Максимальные и минимальные коэффициенты
трения в подвижных однокатковых опорных частях из высокопрочной стали, а также
с наплавкой материалов высокой прочности на поверхности катка и плиты должны
быть равны соответственно 0,015 и 0,010. Для подвижных стаканных опорных
частей с прокладками из фторопласта совместно с полированными листами из
нержавеющей стали среднее давление на опорную часть от нормативных постоянных
нагрузок и воздействий должно быть не ниже 9,81 МПа (100 кгс/см2). 4.4 В многоярусных транспортных
развязках во всех расчетах элементов или отдельных конструкций эстакад,
воспринимающих временную нагрузку с нескольких ярусов, подвижной состав на этих
ярусах следует устанавливать в положение, приводящее к наиболее неблагоприятным
результатам, и принимать коэффициенты сочетания нагрузок на путях или полосах
по пп. 2.14 и 2.15* СНиП 2.05.03-84*.
При этом загружение каждого яруса следует принимать в соответствии с
требованиями п. 2.12* СНиП 2.05.03-84*.
Независимо от количества ярусов одиночную колесную нагрузку совместно с
нагрузкой АК не учитывают. 4.5 Рассеивание с проезжей части
пятна нагружения от колесной нагрузки следует назначать: при асфальтобетонном
покрытии - под углом 30° к вертикали, при покрытии из армированного
цементобетона или езде по железобетонным плитам - под углом 45° к вертикали. 5. ТРЕБОВАНИЯ К МАТЕРИАЛАМ, РАСЧЕТЫ И КОНСТРУИРОВАНИЕ
ЖЕЛЕЗОБЕТОННЫХ, СТАЛЬНЫХ И СТАЛЕЖЕЛЕЗОБЕТОННЫХ КОНСТРУКЦИЙ
ЖЕЛЕЗОБЕТОННЫЕ КОНСТРУКЦИИ
Требования к материалам
5.1
Применяемый для конструкций мостов бетон должен соответствовать требованиям,
приведенным в табл.5. Требования к бетону для
конструкций, не указанных в табл. 5, приведены в табл. 21 СНиП 2.05.03-84*, а для элементов фундаментов -
в главе 6 настоящих норм. Таблица 5
Бетон классов по прочности выше
В60 (в том числе получаемый с использованием добавок, повышающих прочность)
допускается применять по специальным Техническим условиям. Для омоноличивания напрягаемой
арматуры, располагаемой в открытых каналах, следует применять бетон не ниже
класса В35. Для повышения стойкости бетона к
агрессивным воздействиям допускается применять специальные добавки
(микрокремнезем, а также другие виды), регламентированные в утвержденных
нормативных документах. Цементно-водный раствор (как
правило, с добавками по специальному регламенту) для инъецирования арматурных
каналов в предварительно напряженных конструкциях должен иметь следующие
физико-механические свойства, указываемые в проектах: текучесть после приготовления -
не более 45 с, через 1 ч после приготовления - не более 85 с; оседание - не более 2% от объема; прочность: в возрасте 7 суток -
не менее 20 МПа (203,87 кгс/см2), в возрасте 28 суток - не менее 30
МПа (305,81 кгс/см2); морозостойкость при температуре замораживания
минус 20±3°С при водоцементном отношении не менее 0,4 - не ниже нормированного
по специальному регламенту; при отношении менее 0,4 морозостойкость не
нормируется. 5.2 Марки бетона по
морозостойкости F и водонепроницаемости W следует принимать не ниже
значений, указанных в табл. 6. Таблица 6
1) К конструкциям,
находящимся в контакте с антиобледенителями, следует относить элементы
мостового полотна, в том числе защитный слой, парапеты и карнизы, а также
другие части или элементы сооружения, назначаемые при проектировании. 2) Марку бетона по
морозостойкости следует принимать по классификации дорожного бетона с
испытанием в солях (здесь и далее в тексте норм - по ГОСТ
10060.0-95 ¸ ГОСТ
10060.2-95). Требования по морозостойкости и
водонепроницаемости для видов конструкций, не указанных в табл. 6, приведены в главе 3 СНиП 2.05.03-84*, а для элементов фундаментов - в
главе 6 настоящих норм. 5.3 В расчетах на выносливость
коэффициент bb по п. 3.26*. СНиП 2.05.03-84* (учитывающий рост прочности бетона
во времени) при пропаривании бетона следует назначать не более 1,1. 5.4 Рабочая арматура из
арматурных сталей по ТУ РФ, а также из зарубежных (включая страны СНГ)
арматурных сталей по ТУ и ГОСТам РФ или нормативным документам стран-импортеров
допускается к применению в установленном порядке. 5.5 Значения модуля упругости
арматурных канатов К-7 следует принимать равным: для одиночных канатов - 1,8×105
МПа (1,9×106 кгс/см2); для пучков канатов -1,77×105
МПа (1,8×106 кгс/см2). При необходимости значения
модулей упругости допускается принимать по результатам контрольных испытаний. Расчетные и
конструктивные требования
5.6 В
расчетах изгибаемых железобетонных элементов, кроме изгибаемых элементов
балочно-разрезных и температурно-неразрезных систем, сжимающие напряжения в
бетоне сечения от нормативных постоянных нагрузок и воздействий не должны
превышать 0,5 Rb,ser, где Rb,ser следует принимать по табл. 23* СНиП 2.05.03-84*. 5.7 Плиты проезжей части
автодорожных мостов толщиной 20 см и более допускается не рассчитывать на
выносливость. 5.8 Минимальное армирование
нормального к плоскости изгиба сечения железобетонных пролетных строений должно
составлять 0,2%. При этом за расчетную следует принимать площадь напрягаемой и
ненапрягаемой рабочей арматуры. 5.9 В стыках составных по длине
(высоте) предварительно напряженных конструкций мостов не допускаются
растягивающие напряжения от суммарных нагрузок, учитываемых в расчетах по
первой группе предельных состояний. 5.10 Усилия в железобетонной
плите проезжей части, объединяющей пролетные строения в
температурно-неразрезную систему, следует определять на основе пространственных
методов расчета от нагрузок и воздействий по СНиП 2.05.03-84* и настоящих норм. При этом усилия в
плите от перемещений объединяемых конструкций следует определять от нормативных
нагрузок и воздействий. 5.11 В городских мостах в
расчетах по трещиностойкости монолитных пролетных строений с преднапрягаемой
арматурой, располагаемой в заполняемых инъекционным раствором неизвлекаемых
гофрированных металлических каналообразователях, минимальные сжимающие
напряжения при отсутствии временной нагрузки должны составлять 5 кгс/см2. 5.12 В предварительно напряженных
пролетных строениях мостов в случае применения смешанного армирования
растягивающие напряжения в бетоне в расчетах по трещиностойкости в зонах
отрицательных изгибающих моментов не должны превышать предельных значений по п.
3.95*, а в зонах положительных изгибающих моментов - предельных значений по п.
3.96* СНиП 2.05.03-84*. 5.13 В монолитных и
сборно-монолитных неразрезных балках и ригелях многопролетных рамных
конструкций рабочую арматуру следует, как правило, предусматривать непрерывной.
При этом часть верхней и нижней рабочей арматуры должна быть непрерывной
соответственно поверху и понизу на всей длине конструкции или иметь стыки,
перекрывающие разрывы армирования. Количество непрерывных верхних и
нижних арматурных элементов должно составлять: а) в конструкциях с ненапрягаемой
арматурой - не менее 20% нижней и 15% верхней рабочей арматуры; б) в конструкциях с напрягаемой
арматурой - не менее 10% нижней и 5% верхней рабочей арматуры. При этом в
конструкциях с напрягаемой арматурой непрерывность верхних и нижних арматурных
элементов допускается обеспечивать напрягаемой, ненапрягаемой или комбинацией
напрягаемой и ненапрягаемой рабочей арматуры, причем в последнем случае
суммарную площадь рабочей арматуры определяют как сумму приведенных по
расчетным сопротивлениям площадей арматурных элементов. 5.14 Для учета крутящих моментов
в расчетах сечений железобетонных элементов допускается использовать метод,
приведенный в приложении Ж. 5.15 Определение нормальных
напряжений в сечениях железобетонных предварительно напряженных криволинейных
балок в расчетах по трещиностойкости рекомендуется производить по приложению И. 5.16 Для новых и реконструируемых
с заменой пролетного строения мостов располагать напрягаемую арматуру в
открытых каналах в уровне проезжей части запрещается. Напрягаемые арматурные пучки или
канаты в открытых каналах рекомендуется закреплять на длине, не превышающей 3
м. Поверх напрягаемой арматуры каналы следует армировать сеткой с ячейками 100´100
мм из арматуры диаметром 10 мм класса AII. При омоноличивании толщина бетонного слоя над напрягаемой
арматурой или верхом стенок канала должна быть не менее 5 см. 5.17 В составных по длине
конструкциях применение сухих стыков блоков запрещается. 5.18 В узлах разветвлений (или
резкого изменения сечений) железобетонных пролетных строений, как правило,
следует предусматривать массивную поперечную диафрагму, либо массивный
монолитный участок необходимой формы. В плитных пролетных строениях в местах их
разветвления допускается выполнять только закругления граней несущей
конструкции. Армирование мест разветвлений
рекомендуется осуществлять на основе численных методов расчета или
моделировании. 5.19 Криволинейные железобетонные
плитные и коробчатые пролетные строения следует армировать с учетом разного
напряженного состояния по наружной и внутренней граням или наружной и
внутренней стенкам конструкции. В криволинейных коробчатых
пролетных строениях отгибы напрягаемой арматуры по внутренней стенке коробки
допускается не устраивать. При этом возникающий постоянный крутящий момент
рекомендуется учитывать в расчетах пролетного строения на кручение. В местах точечного опирания
криволинейных плитных пролетных строений на столбы растянутую зону плиты
допускается армировать сетками с ортогональным или радиальным расположением
поперечных стержней. 5.20 В косых железобетонных
плитных пролетных строениях продольную и поперечную нижнюю арматуру
рекомендуется размещать параллельно граням пролетного строения в плане. К
середине пролета число продольных стержней следует увеличивать. Верхнюю
поперечную арматуру косых плит рекомендуется располагать перпендикулярно
продольной оси моста, увеличивая количество армирующих элементов у тупых углов. Плитные конструкции с точечным
косым опиранием рекомендуется армировать продольными и поперечными стержнями по
косому направлению, сгущая армирование над стойками. В узких пролетных строениях (при
соотношении ширины к длине пролета не более 1/4) допускается располагать
поперечные стержни перпендикулярно оси сооружения. 5.21 Для предварительного
напряжения монолитных пролетных строений следует, как правило, применять пучки
из одного, четырех, семи, двенадцати и девятнадцати витых арматурных канатов
К-7 диаметром 15 мм по ГОСТ 13840.
При соответствующем обосновании могут быть применены пучки из большего числа
канатов; при этом к расчетному сопротивлению арматуры следует вводить
коэффициент условий работы m = 0,95. 5.22 Предварительно напрягаемые
арматурные элементы монолитных пролетных строений (с натяжением на бетон)
необходимо располагать в закрытых каналах, размещаемых, как правило, в пределах
бетонной части поперечного сечения. После натяжения арматуры каналы следует
инъецировать цементно-водным раствором с физико-механическими свойствами по п. 3.1 настоящих норм, обеспечивающим
защиту арматуры от коррозии и ее сцепление с основной конструкцией. Внутренний
диаметр каналообразователя следует назначать в пределах значений, указанных в табл. 7. Таблица 7
5.23 Элементы систем
преднапряжения (концевые и внутренние анкеры, стыковые устройства - куплеры,
закладные детали, защитные кожухи, неизвлекаемые каналообразователи с
соответствующими комплектующими и др.) следует предусматривать в соответствии
со специальными Техническими условиями. 5.24 Напрягаемые арматурные
элементы допускается стыковать по длине куплерами. Прочность стыка напрягаемого
арматурного элемента должна соответствовать его прочности вне стыка. При этом к
расчетному сопротивлению стыкуемой арматуры следует вводить коэффициент условий
работы m = 0,95. В месте расположения стыка пучков
необходимо обеспечить подвижность куплера относительно бетона при натяжении
арматуры. В случаях продольной надвижки железобетонных
пролетных строений в одном сечении допускается стыковать не более 50% от
площади всей напрягаемой арматуры, предусматривая в стыках секций бетонирования
по контуру сечения выпуски ненапрягаемой арматуры периодического профиля,
суммарная площадь которых должна составлять не менее 100 % площади стыкуемой
высокопрочной арматуры. 5.25 Угол перегиба канатов в
месте перехода от плотно сформированного пучка к анкеру или стыковочному
устройству не должен превышать 7°. 5.26 При натяжении напрягаемой
арматуры в гофрированных металлических каналах коэффициенты w и d,
используемые для определения потерь от трения по приложению 11 СНиП 2.05.03- 84*, следует принимать: w =
0,0025; d = 0,27. Суммарные потери на трение
арматуры о стенки каналов при ее натяжении допускается определять по
контрольным замерам. 5.27 Толщину стенок, плит,
диафрагм и ребер железобетонных элементов следует принимать по п.3.117, табл.42
СНиП 2.05.03-84*, но не менее
указанных значений в табл. 8. 5.28 Толщину защитного слоя
бетона следует принимать по п. 3.119*. и табл. 44* СНиП 2.05.03-84* с учетом требований для элементов
фундаментов опор по главе 6 настоящих норм, но не менее указанной в табл. 9. Наибольшая толщина защитного слоя
арматуры независимо от ее вида в пролетных строениях не должна превышать 6 см. 5.29 В сборных балках применение
хомутов в виде вязаных плоских сеток из гладкой арматуры запрещается. Крайние плоскости хомутов следует
закрепить в верхней и нижней зонах с образованием замкнутого контура с верхней
и нижней поперечной рабочей арматурой балки. 5.30 Площадь распределительной
арматуры плит должна составлять не менее 20% площади рабочей арматуры. 5.31 В монолитных пролетных
строениях в местах стыковки напрягаемой арматуры стыки внахлестку продольной
ненапрягаемой расчетной и конструктивной арматуры должны иметь длину перепуска
2 ls, где ls следует принимать по п. 3.163* СНиП 2.05.03-84*. Стыки ненапрягаемой
арматуры рекомендуется располагать на расстоянии не менее 0,5 высоты сечения от
стыков напрягаемой арматуры. Таблица 8
Таблица 9
1) Здесь и далее в
табл. к ненапрягаемой арматуре следует относить расчетную и нерасчетную
(конструктивную) арматуру. 2) В конструкциях
с поперечным предварительным напряжением толщину защитного слоя допускается
принимать 3 см. 3) В
исключительных случаях и по согласованию с Заказчиком и эксплуатирующей
организацией толщину защитного слоя допускается принимать 2 см. 5.32 Нанесение защитных покрытий
на наружные поверхности железобетонных (бетонных) конструкций следует
предусматривать по требованию Заказчика, эксплуатирующей организации и
Москомархитектуры. Защитные покрытия следует применять с учетом требований СНиП
2.03.11-85 и СНиП
3.04.03-85 и в соответствии с рекомендациями специализированных
организации. 5.33 Подготовку бетонной
поверхности к нанесению защитных покрытий следует предусматривать в
соответствии с требованиями главы 2 СНиП
3.04.03-85. Лицевые бетонные поверхности без
защитных покрытий должны быть гладкими и не иметь раковин, местных наплывов и
впадин, а также околов ребер конструкций, размеры которых превышают следующие
предельные (мм): раковины: по диаметру...6; по
глубине...3; местные наплывы (по высоте) и
впадины (по глубине)...3; околы бетона: по глубине...5; по
суммарной длине на 1 м ребра...50. При этом число раковин на любом
участке бетонной поверхности площадью 0,04 м2 (0,2´0,2
м) не должно превышать 3. Нелицевые без защитных покрытий
бетонные поверхности должны быть гладкими и не иметь раковин, местных наплывов
и впадин, а также околов ребер конструкций, размеры которых превышают следующие
предельные (мм): раковины: по диаметру...15; по
глубине....5; местные наплывы (по высоте) и
впадины (по глубине)...5; околы бетона: по глубине...5; по суммарной
длине на 1 м ребра... 100. При этом число раковин на любом
участке бетонной поверхности площадью 0,04 м2 (0,2´0,2м)
не должно превышать 4. СТАЛЬНЫЕ КОНСТРУКЦИИ
Расчетные и
конструктивные требования
5.34 При
вычислении эффективной ширины поясов балок по п. 4.26* СНиП 2.05.03-84* коэффициенты приведения n следует определять по табл. 62 СНиП 205.03-84* при smin/smax = 1,25n*-0,25. Коэффициент n* принимают по приложению К. При расчетах жесткости пролетных
строений в сечение балок включают проектную ширину поясов. 5.35 В опорных сечениях
коробчатых пролетных строений необходимо обеспечивать передачу крутящих
моментов с главных балок на опорные диафрагмы и опорные части. Реакции в опорных частях
рекомендуется определять с учетом пространственной работы пролетных строений в
зависимости от способа расположения опорных частей и жесткости поперечных
несущих конструкций в опорных сечениях. 5.36 Усилия в поперечных несущих
конструкциях (плитах, поперечных балках, диафрагмах, стержневых связях) следует
определять с учетом работы этих элементов от пространственного взаимодействия
главных балок пролетного строения (общий расчет) и от местного воздействия
нагрузки (местный расчет). Верхние пояса диафрагм
рекомендуется объединять с нижними поясами поперечных балок. Поперечные связи должны быть
расположены в плоскости поперечных подкреплений главных балок. 5.37 В расчетах на выносливость
ортотропных плит и сплошностенчатых балок следует учитывать их сложное
напряженное состояние. Повреждения, накапливаемые от
общей и местной работы ортотропной плиты, а также балок, следует суммировать. Порядок расчета на выносливость
частей или элементов пролетного строения при использовании формулы (189) СНиП 2.05.03-84* рекомендуется
следующий: определение напряжений от общей и
местной работы (индекс "с" относят к напряжениям от общей работы, а
индекс "р" - от местной); нахождение приведенных напряжений
с учетом повреждений при независимом действии отдельных компонентов
напряженного состояния:
Здесь sхс, sхр, syc, txyc, txyp - максимальные расчетные
напряжения в точке, вызванные нормативными нагрузками (с учетом динамического
коэффициента 1+2/3m - к подвижной вертикальной
нагрузке); gwxc, gwxp, gwyc, gwyp, gwxyc, gwxyp - частные коэффициенты
выносливости. В общем случае выносливость
следует проверять по формуле:
где Ry и m следует принимать по главе 4 СНиП 2.05.03-84*. Характерные критические сечения и
точки для расчета ортотропной плиты на выносливость следует принимать по приложению Л. 5.38 Стальные конструкции следует
проектировать с учетом изготовления и монтажа. Толщина листа ортотропной плиты
для автодорожных мостов должна быть не менее 14 мм. При этом расстояние между
продольными ребрами рекомендуется принимать равным 300 мм. 5.39 Антикоррозионную защиту
стальных конструкций следует выполнять с учетом требований, изложенных в
нормативных документах для мостостроения, а также в СНиП 2.03.11-85 и СНиП
3.04.03-85. При этом необходимо предусматривать: подготовку металлической
поверхности - в соответствии с главой 2 СНиП
3.04.03-85; подготовка поверхности должна отвечать 1-й степени очистки по
обезжириванию и 2- и степени очистки по ГОСТ 9.402-80 от окислов (оксидов);
радиус закругления острых кромок следует принимать не менее 2 мм; применение, как правило: для
грунтования - цинконаполненных лакокрасочных материалов на эпоксидной, полиуретановой
или этилселикатной основах; для покрывных материалов - лакокрасочные материалы
на полиуретановой или поливинилхлоридной основах; нанесение слоев лакокрасочных
материалов: на заводе-изготовителе - не менее двух слоев общей толщиной 80 мкм;
на монтажной площадке: для балочных сплошностенчатых пролетных строений - общей
толщиной 220-260 мкм на наружных поверхностях коробчатого поперечного сечения и
по согласованию с Заказчиком и эксплуатирующей организацией на всей или части
поверхности незамкнутого (открытого снизу) поперечного сечения; общей толщиной
140-150 мкм - на внутренних поверхностях коробчатого поперечного сечения, а
также на части (с учетом указанного условия) поверхности незамкнутого
поперечного сечения. СТАЛЕЖЕЛЗОБЕТОННЫЕ КОНСТРУКЦИИ
Расчетные и
конструктивные требования
5.41 Минимальный процент
армирования железобетонных плит проезжей части в зонах действия растягивающего
плиту момента следует определять по формуле
где Rbt,ser и Rsn - расчетные сопротивления
соответственно бетона и арматуры по главе 3 СНиП 2.05.03-84*. 5.42 Толщину железобетонной плиты
проезжей части автодорожных мостов следует назначать не менее 200 мм. Толщина тротуарной консоли,
учитываемой в составе рабочего сечения, должна быть не менее 120 мм, 5.43 Объединение сборной
железобетонной плиты со стальной конструкцией упорами и анкерами,
замоноличиваемыми в окнах, не допускается. Объединение упорами и анкерами,
замоноличиваемыми в швах сборной железобетонной плиты, допускается при ширине
шва не менее 300 мм. Зазор между упором или анкером и гранью плиты должен быть
не менее 50 мм. Шов следует армировать на всю ширину; при этом по граням плит
необходимо предусматривать арматурные выпуски. 5.44 Гибкие упоры в виде круглых
стержней с головками следует применять диаметром не менее 19 мм и высотой,
включая головку, - не менее 100 мм; диаметр головки должен быть не менее 1,5
диаметра стержня. 5.45 Толщина защитного слоя
бетона для упоров и анкеров в теле плиты должна быть не менее 50 мм. При
соединении на сварке расстояние между краем сварного шва упора (анкера) и краем
стального элемента, к которому приварен упор (анкер), должно быть не менее 25
мм. 5.46 Несъемную опалубку
монолитной плиты проезжей части следует выполнять из материалов, долговечность
которых не ниже прогнозируемого срока службы плиты (или пролетного строения в
целом), и обеспечивать ее сцепление с бетоном специальными конструктивными
мерами для предотвращения отлипания опалубки в процессе эксплуатации. 6. ОСНОВАНИЯ, ФУНДАМЕНТЫ, ОПОРЫ И ПОДПОРНЫЕ
СТЕНЫ
ОСНОВАНИЯ, ФУНДАМЕНТЫ И ОПОРЫОсновные положения
Общие указания
6.1
Фундаменты и опоры мостов следует проектировать в соответствии с требованиями СНиП 2.05.03-84*, СНиП 2.02.01-83*, СНиП 2.02.03-85 и настоящих норм. 6.2 При проектировании
фундаментов на оползневых участках, в том числе участках, подверженных
потенциальной оползневой опасности, в частности, техногенного происхождения,
необходимо привлекать специализированные организации; специализированные
организации рекомендуется привлекать также в необходимых случаях для оценки
стабильности гидрогеологических условий в процессе эксплуатации фундаментов. 6.3 При проектировании массивных
монолитных опор следует учитывать способ и условия их возведения, отвечающие
принятому конструктивному решению, и, в необходимых случаях, предусматривать
технологический регламент. 6.4 При специальном обосновании
устои диванного типа допускается предусматривать на армогрунтовом основании. Характеристики грунтовРезультаты изысканий должны
содержать детальное описание распространения и условий залегания основных
геолого-литологических разновидностей грунтов, а также прослоев торфа, илов и
других слабых грунтов; характеристику физико-механических свойств прорезаемых
грунтов и несущего слоя. К основным параметрам
механических свойств грунтов, определяющим несущую способность оснований и их
деформации, следует относить параметры, приведенные в п. 2.10 СНиП 2.02.01-83*. 6.6 Характеристики грунтов
природного сложения, а также искусственного происхождения определяют, как
правило, на основе их непосредственных испытаний в полевых или лабораторных
условиях с учетом возможного изменения влажности грунтов в процессе
строительства и эксплуатации сооружений. При этом нормативные и расчетные
значения характеристик грунтов следует устанавливать на основе статистической
обработки результатов испытаний по методике, изложенной в ГОСТ
20522-96. В расчетах оснований по несущей
способности значения расчетных характеристик грунтов, определяемых по ГОСТ
20522-96, следует принимать при доверительной вероятности L = 0,98, а в расчетах по
деформациям - L = 0,9. 6.7 При наличии в основании
грунтов (в том числе юрских глин и суглинков), образцы которых для лабораторных
испытаний невозможно получить ненарушенной структуры, расчетные значения
характеристики грунтов следует определять по результатам штамповых испытаний,
динамического или статического зондирования. При расположении под нижними
концами забивных свай рыхлых песчаных грунтов или пылевато-глинистых с
показателем текучести JL > 0,6 несущую способность
следует определять по результатам статических испытаний свай. Подземные и поверхностные воды
6.9 В процессе изысканий должны
быть получены следующие сведения о поверхностных водах: абсолютные отметки и
даты максимального, минимального и рабочего уровней воды в водотоках;
максимальные и минимальные расходы воды; даты начала и конца ледостава и
ледохода, толщина льда, уровни ледостава и ледохода, возможные заторы льда;
характер и степень агрессивности воды и скорости ее течения. Выбор основания и типа фундаментов
6.11 На склонах и косогорах
следует, как правило, устраивать фундаменты в виде безростверковых опор или
свайные с расположением ростверка над грунтом. Перед началом проектирования
фундаментов следует проверить устойчивость склонов и косогоров на сдвиг в
период эксплуатации сооружения. Расчеты несущей способности оснований и фундаментов
6.12 При
расчетах несущей способности оснований и фундаментов нагрузки и воздействия, а
также их сочетания следует принимать по главам 2 и 7 СНиП 2.05.03-84* с учетом требований настоящих
норм. 6.13 Расчеты фундаментов,
включающие определение усилий, действующих в поперечных сечениях их элементов,
давление на грунт, а также горизонтальные и угловые перемещения, допускается
производить, рассматривая окружающие фундаменты немерзлые грунты как упругую
линейно-деформируемую среду, характеризуемую коэффициентом постели, нарастающим
пропорционально глубине. При расчете свайных фундаментов
необходимо учитывать влияние свойств грунтов, характер внешних нагрузок,
условия опирания концов свай, глубину их погружения, а также расположение свай
в фундаменте и характеристики жесткости свай (в том числе на осевое сжатие). 6.14 В расчетах фундаментов за
расчетную поверхность грунта допускается принимать: для фундаментов
промежуточных опор мостов - естественную поверхность грунта, а при срезке
грунта или возможности размыва - поверхность грунта соответственно после срезки
или местного размыва дна водотока при расчетном паводке; для фундаментов устоев
- естественную поверхность грунта, а при слабом верхнем слое (илы, текучие или
текучепластичные глины, суглинки, супеси) - подошву этого слоя. 6.15 Для устоев и береговых
промежуточных опор со свайными фундаментами, ростверки которых расположены над
естественной поверхностью грунта, а сваи погружены сквозь отсыпанную или
намытую часть насыпи с коэффициентом уплотнения 0,98, расчетную поверхность
грунта допускается принимать на максимальном уровне, на котором расстояние от
плоскости, ограничивающей конус со стороны пролета, до оси ближайшего ряда свай
составляет не менее 3d при толщине (диаметре) сваи d £
0,8 м и 2,5 м при d > 0,8 м. 6.16 Если фундаменты мелкого
заложения опирают на скальный грунт, гидростатическое давление учитывают только
при проверке устойчивости положения их против опрокидывания и сдвига. 6.17 При проектировании оснований
и фундаментов вблизи зданий и сооружений следует оценивать влияние вновь
сооружаемых конструкций на основания существующих на стадиях строительства и
эксплуатации. Для оценки влияния рекомендуется привлекать специализированные
организации и, при необходимости, предусматривать технологический регламент на
стадии строительства. 6.18 Фундаменты мелкого заложения
и свайные фундаменты (как условные массивные) следует рассчитывать на
деформации (осадки и крены) под их подошвой. При этом площадь распределения
давлений на подошву для свайных фундаментов следует определять по приложению 25
СНиП 2.05.03-84*. Во всех случаях
предельное значение осадки не должно превышать полную равномерную осадку опоры,
равную 1,5 6.19 Расчеты оснований и
фундаментов мелкого заложения следует производить в соответствии с требованиями
СНиП 2.05.03-84* (глава 7 пп.
7.8*, 7.9). 6.20 Расчеты свайных фундаментов
и их оснований следует выполнять по СНиП 2.02.03-85 (глава 3). В расчете одиночных
свай (в составе фундамента и вне его) по несущей способности грунтов основания
коэффициент надежности gk, указанный в скобках в п. 3.10 СНиП 2.02.03-85, следует
принимать в случаях, когда несущая способность сваи определена по результатам
полевых испытаний статической нагрузкой или расчетом по результатам штамповых
испытаний или статического зондирования грунтов. Несущую способность по грунту
буровых свай, сооружаемых виброштампованием, следует определять, ввода следующие
коэффициенты условия работы грунта: под нижним концом сваи для рыхлых и средней
плотности песков gcr = 1,1; по боковой поверхности
сваи gcf = 0,9. 6.21 Отрицательные (негативные)
силы трения, возникающие на боковой поверхности свайных элементов при осадке
околосвайного грунта и направленные вертикально вниз, необходимо учитывать в
следующих случаях: планировки территории подсыпкой
слоя толщиной более 1 м; увеличения эффективных напряжений
в грунте за счет снятия взвешивающего действия воды при понижении уровня
подземных вод; незавершенной консолидации
грунтов современных и техногенных отложений; уплотнения несвязных грунтов при
динамических воздействиях; просадки грунтов при замачивании. Методика учета отрицательных сил
трения приведена в п. 4.12, 4.13 и главе 8 СНиП 2.02.03-85. Материалы
6.22 Для
фундаментов следует использовать тяжелый бетон, удовлетворяющий требованиям ГОСТ
26633-91. Классы бетона по прочности на сжатие и марки его морозостойкости
принимают не ниже указанных в табл. 10 в зависимости от зон расположения элементов фундаментов по
отношению к поверхности грунта или воды. Таблица
10
1)По классификации дорожного бетона
с испытаниями в солях Примечания. 1. За верхнюю
границу подземной или подводной зоны принимают уровень, расположенный ниже на
0,5 м нормативной глубины промерзания грунта или воды (при низком ледоставе). 2. За верхнюю
границу зоны переменного уровня воды принимают отметку на 1 м выше наивысшего
уровня ледохода, за нижнюю - верхнюю границу подводной зоны. 3. Верхнюю
границу надземной зоны принимают на 1 м выше незатопляемой поверхности грунта;
за верхнюю границу надводной зоны принимают верхнюю границу переменного уровня
воды. 4. Элементы фундаментов следует проектировать из бетона, имеющего
марку по водонепроницаемости не ниже: W4
для элементов в подводных и подземных зонах (кроме фундаментов мелкого
заложения и плиты свайных ростверков); W6
для фундаментов мелкого заложения и плиты свайных ростверков в подводных и
подземных зонах; W8 для элементов,
расположенных в зонах надводной, надземной и переменного уровня воды, в том
числе не защищенных от попадания на них солей. 5. Для элементов
фундаментов в подземных и подводных зонах марку бетона по водонепроницаемости
следует назначать с учетом фактических данных по показателям агрессивности
жидкой неорганической среды, но не менее указанной в п. 4 настоящего примечания. Конструирование
Общие указания
6.24 Элементы фундаментов и
безростверковых опор, в пределах постоянного или переменного уровня воды должны
иметь сплошные сечения. Допускается применение в городских мостах полых
железобетонных оболочек со стенкой толщиной не менее 30 см и двойным
армированием в пределах водотоков, в которых лед тает на месте, а при ледоходе
толщина льда не превышает 0,5 м. Кроме этого, при полых оболочках следует
предусмотреть меры (например, дренажные отверстия), предотвращающие образование
в их стенках трещин от замерзающей воды. 6.25 При проектировании
фундаментов и безростверковых опор на буронабивных сваях в пределах постоянных
водотоков в зонах переменного уровня и местного размыва следует использовать
неизвлекаемые обсадные трубы. В зоне переменного уровня
постоянных водотоков применение свай-оболочек, заполненных бетоном, не
допускается. При наличии коррозионной защиты
на период прогнозируемого срока службы фундамента стальные трубы допускается
включать в совместную работу с бетоном заполнения. В пределах зоны переменного
уровня воды частям опор, находящимся в этой зоне, следует придавать форму,
уменьшающую воздействие ледохода на опоры. При этом взаимное сопряжение граней
фундамента, ростверка и навесных ледозащитных плит следует осуществлять по
цилиндрической поверхности радиусом 0,75 м. В обоснованных случаях допускается
уменьшать радиус до 0,3 м. 6.26 Для армирования элементов
фундаментов и безростверковых опор следует применять стержневую арматуру;
применение ненапрягаемой арматуры диаметром менее 8 мм не допускается. 6.27 Вблизи существующих
сооружений на нескальных грунтах следует применять буровые сваи, сооружаемые с
использованием инвентарных обсадных труб (при этом в водонасыщенных песках
следует предусматривать меры, исключающие перебор грунта, в том числе меры по
сохранению грунтовой пробки). В указанных условиях при соответствующем
обосновании допускается также использовать задавливаемые и (или)
буроинъекционные сваи, а также сваи других типов, погружение которых не
вызывает динамических и вибрационных воздействий на существующие сооружения. Фундаменты мелкого заложения
6.29 В пределах водотоков фундаменты
необходимо закладывать в грунте на требуемой по расчету глубине ниже уровня
местного размыва, определяемого при расчетном расходе воды. 6.30 Для омоноличивания сборных
стоек опор в стаканах фундаментов рекомендуется использовать бетон на
безусадочном цементе. Свайные фундаменты
6.31 Подошву ростверка необходимо
располагать следующим образом: в пределах суши в грунтах, не подверженных
пучению, при условии простирания их не менее чем на 1 м ниже расчетной глубины
промерзания и отсутствия напорных надземных вод в зоне промерзания независимо
от ее глубины - на любом уровне; на суше в прочих грунтах и условиях, а также в
пределах поймы реки или в русле периодического водотока - вне слоя промерзания
ниже глубины промерзания не менее 0,25 м или выше дневной поверхности грунта на
0,5 м и более - для устоев и 1 м и более - для промежуточных опор; в русле реки
или на пойме при наличии ледохода или истирающих кладку наносов - с таким
расчетом, чтобы сваи не подвергались их воздействию (если не предусматриваются защитные
меры); в русле реки при отсутствии промерзания воды до дна - не менее чем на d +
0,25 м ниже уровня низкого ледостава, где d - толщина льда, м. 6.32 Толщину защитного слоя
бетона вблизи подошвы плиты ростверка фундамента, расположенной над грунтом или
тампонажным слоем, следует принимать не менее 10 см. 6.33 Толщину защитного слоя
бетона буровых свай следует принимать не менее: 10 см - при сооружении без
обсадных труб; 7 см - при использовании обсадных труб или подаче бетона в
скважину под давлением. В сваях сплошного сечения, полых
и в сваях-оболочках, расположенных вне акватории, защитный слой бетона следует
принимать не менее 3 см, при условии осуществления мер по предотвращению
образования в них трещин. 6.34 Свайные элементы в местах
возможного размыва дна русла подлежат заглублению в нескальный грунт ниже
уровня местного размыва на величину, определяемую расчетом несущей способности
элементов, но не менее 4 м при расчетном паводке. При опирании элементов на
поверхность скальных грунтов без заделки в них неразмываемая толща покровных
отложений должны быть не менее 4м. 6.35 Глубину заделки буровых свай
в скальный грунт определяют по расчету и принимают не менее 0,5 м в сплошных
породах с пределом прочности на сжатие 4,91 МПа (50 кгс/см2) и выше
и не менее 1 м в остальных породах. 6.36 Напряжение в бетоне
ростверка от давления, передаваемого торцом свайного элемента, как правило, не
должно превышать более чем на 30% расчетное сопротивление бетона ростверка (по
нормам для осевого сжатия всей площади). В случаях превышения расчетного
сопротивления в ростверках допускается использовать бетон более высокого
класса. Если напряжения превышают расчетное сопротивление бетона ростверка,
допускается также над верхним концом каждой сваи укладывать одну (в случае
превышения на 15-20% расчетного сопротивления бетона ростверка) или две (при
напряжениях, превышающих на 20-30% расчетное сопротивление бетона) сетки из
стержней диаметром 12 мм. Длину каждой стороны сетки принимают на 0,5 м больше
толщины ствола элемента. Размеры ячеек сетки назначают от 10´10
см для забивных свай до 15´15см для буровых свай и оболочек. Нижнюю одиночную сетку
располагают непосредственно над торцом элемента, а верхнюю - на расстоянии
10-15 см от нижней. Особенности
проектирования фундаментов в карстово-опасной зоне
6.38 Фундаменты следует
проектировать на основе результатов проведенных геофизических исследований и
анализа детальных исследований грунтов и карстовых образований. 6.39 В районе карстовых
проявлений при наличии или прогнозировании появления свободных полостей
применять фундаменты мелкого заложения запрещается. Фундаменты мелкого заложения в
виде общей плиты под опорой или сооружением допускается возводить только при
полной ликвидации выявленных (в частности георадиолокацией) свободных полостей
с заполнением их бетоном и (или) укреплением ослабленных грунтов под карстовыми
полостями. 6.40 Под статически
неопределимыми сооружениями следует возводить свайные фундаменты в виде буровых
свай в стальных или железобетонных оболочках - трубах с открытым концом,
погружаемых ниже карстово-опасной зоны до особо плотных слоев грунта или скалы.
При расчете таких свай боковое сопротивление грунта или заполнение в пределах
карстовой зоны и выше ее не учитывают; в этом случае при проверке несущей
способности свай следует учитывать их работу на продольный изгиб и выносливость
при воздействии знакопеременных горизонтальных сил. 6.41 Решение о необходимости
заполнения карстовой полости (вне свай) следует принимать индивидуально для
каждого конкретного объекта на основе тщательного анализа
инженерно-геологических условий и параметров карстообразования и проектируемого
фундамента. ПОДПОРНЫЕ СТЕНЫОбщие положения
6.42
Подпорные стены следует проектировать с учетом требований СНиП
2.06.07-87. 6.43 Конструкцию подпорных стен
выбирают с учетом их местоположения, целевого назначения, особенностей проекта
основного сооружения при использовании стен в сопряжении с подходами,
инженерно-геологических условий, а также на основании технико-экономического
сравнения вариантов, в том числе по выполнению архитектурных требований. 6.44 Наряду с бетонными (или
каменными) и железобетонными, в том числе профильными железобетонными
тонкостенными, либо тонкостенными с анкерами или контрфорсами, допускается
использовать подпорные стены следующих типов при обеспечении их надежности,
долговечности и ремонтопригодности: ряжевые в виде жесткого
пространственного каркаса, емкость которого заполняют уплотняемым грунтом; армогрунтовые с использованием
армоэлементов в уплотненном грунте, либо рулонных геотекстильных материалов,
удерживающих отсыпанные и уплотненные слои грунта обратной засыпки; из заполненных камнем или гравием
габионов, имеющих защемляемые в грунте засыпки горизонтальные засыпки. Материалы
6.45 Материалы для подпорных стен
должны удовлетворять требованиям СНиП
2.05.03-84*. 6.46 Для подпорных стен следует
применять тяжелый бетон со следующими характеристиками: по прочности - не ниже класса
В25; по морозостойкости и
водонепроницаемости - по табл. 6
настоящих норм. 6.47 Для армирования
армогрунтовых подпорных стен допускается использовать коррозионностойкие
стальные элементы (как анкеры), а также геотекстильные полимерные и другие
композитные материалы по действующим стандартам и ТУ, при условии обоснования
их надежности и долговечности, а также обеспечения защиты от воздействия жидкой
агрессивной среды, солнечной радиации и механических повреждений. Конструктивные и
расчетные требования
6.48 Подпорные стены из бетона
или железобетона могут быть монолитными или сборно-монолитными; сборные стены
допускается применять при согласовании с эксплуатирующей организацией. Из бетона и камня рекомендуется
возводить монолитные массивные подпорные стены, а также стены одевающего типа. 6.49 Фундаменты мелкого заложения
и свайные фундаменты подпорных стен следует проектировать в соответствии с
требованиями СНиП
2.02.01-83* и СНиП 2.02.03 -
85. 6.50 Глубину заложения подошвы
железобетонных (или бетонных) подпорных стен следует принимать в соответствии с
требованиями СНиП 2.02.01-83*. При этом глубину
заложения подошвы для верховых подпорных стен следует отсчитывать от дна
кювета, а низовых - от поверхности грунта по нормали к стене. Глубину заложения подошвы
армогрунтовых подпорных стен из геотекстильных материалов следует назначать вне
зависимости от глубины промерзания исходя из несущей способности основания и
его осадки. 6.51 В продольном направлении
подошву железобетонных (и бетонных) подпорных стен следует располагать на
площадке с продольным уклоном не более 0,02; при большем уклоне подошву следует
устраивать ступенчатой. 6.52 Толщина тонкостенных
железобетонных подпорных стен должна быть не менее 20 см. 6.53 Подпорные стены (кроме
армогрунтовых из геотекстильных материалов и шпунтовых) необходимо разделять
сквозными вертикальными деформационными швами на всю высоту стены, включая
фундамент. Расстояние между швами необходимо устанавливать в соответствии с
требованиями п.2.5. СНиП
2.06.07-87 с учетом однородности грунта под подошвой стены. При этом
расстояние между швами следует принимать не более, м: для монолитных массивных бетонных
стен и стен с использованием камня - 20; для монолитных и
сборно-монолитных железобетонных стен - 25; для сборных железобетонных стен -
30. 6.54 Уплотнения в швах подпорных
стен, а также лицевая часть армогрунтовых подпорных стен из геотекстильных
материалов должны обеспечивать грунтонепроницаемость и суффозионную
устойчивость грунта обратной засыпки (или армированного грунта для
армогрунтовых подпорных стен); в обоих случаях рекомендуется использовать
прокладки из геотекстильного материала типа дорнит. В необходимых случаях уплотнения
в швах подпорных стен должны быть водонепроницаемые. 6.55 Обратную засыпку подпорных
стен следует выполнять из послойно уплотняемых (с коэффициентом уплотнения не
ниже 0,98) дренирующих крупнообломочных или песчаных (гравелистых, крупных или
средней крупности) грунтов. Для армогрунтовых подпорных стен
рекомендуется использовать грунты с показателем неоднородности
гранулометрического состава Cu = d60/d10 не менее 5, где d60 и d10 принимают по ГОСТ 25100-95. 6.56 Для снижения бокового
давления грунта на подпорную стену рекомендуется предусматривать пассивное
армирование обратной засыпки, в том числе рулонными геотекстильными
материалами. 6.57 Поверхности подпорных стен
(кроме армогрунтовых и каменных), соприкасающиеся с грунтом (кроме подошвы
фундамента), следует изолировать защитными покрытиями, препятствующими
проникновению воды через стену. 6.58 За подпорной стеной на высоте
не менее 0,5 м над дном кювета (для верховых стен) или поверхностью грунта (для
низовых стен) следует устраивать пристенный и отводящий в систему водосбора
продольный дренаж с уклоном не менее 2%. В теле подпорной стены необходимо
устраивать окна или трубки для пропуска воды из дренажа; окна или трубки
рекомендуется предусматривать через 2-5 м; диаметр трубок следует назначать не
менее 40 мм. С лицевой стороны верховых
подпорных стен следует предусматривать открытые лотки с вертикальными стенками;
размеры лотков должны быть не менее 0,4´0,4 м. Для подпорных стен, расположенных
на косогорных участках, за тыльной гранью следует также предусматривать
водоотводный лоток. В ряжевых подпорных стенах со
сквозным пространственным каркасом продольный дренаж не устраивают. 6.59 На выступах стен и
разгрузочных консолях следует устраивать сливы с уклоном 2%. Сливы,
расположенные со стороны грунта, покрывают слоем камня и крупного песка. 6.60 На подпорных стенах в
необходимых случаях устанавливают ограждения. 6.61 Для удобства осмотра и
эксплуатационного обслуживания подпорные стены следует снабжать сходами.
Расстояние между сходами назначают по согласованию с эксплуатирующей сооружение
организацией. 6.62 Коммуникации - водопровод,
теплосети и канализацию - следует располагать не ближе 30 м от подпорных стен с
засыпкой; указанные коммуникации должны иметь защиту в виде футляра или обоймы. 6.63 Действующие на подпорные
стены постоянные и временные нагрузки и воздействия следует принимать по СНиП 2.05.03 - 84* и настоящим
нормам. Минимальное расстояние от
продольной оси временной нагрузки в виде полосы АК или тяжелой одиночной
колесной нагрузки до внутренней кромки стены, а также число полос нагрузки АК
на проезжей части следует определять с учетом требований п. 2.12* СНиП 2.05.03-84*. 6.64 Боковое давление грунта на
тыловую и лицевую грани подпорных стен допускается определять с учетом
деформативности стены и особенностей ее взаимодействия с грунтовой средой. 6.65 Расчет армогрунтовых и
анкерно-контрфорсных подпорных стен следует вести по утвержденным методикам,
разработанным специализированными организациями. 7. ТРАНСПОРТНЫЕ И ПЕШЕХОДНЫЕ РАЗВЯЗКИ
ТРАНСПОРТНЫЕ РАЗВЯЗКИОбщие положения
7.1 При
проектировании транспортных развязок следует учитывать требования, изложенные в
главе 1 настоящих норм. 7.2 На полотне проезжей части
развязок при отсутствии тротуаров на входящих в развязку мостов, подходов к ним
и съездов, как правило, следует устанавливать ограждения повышенной
удерживающей способности (энергоемкостью 400-650 КДж). 7.3 При проектировании развязок
следует предусматривать комплексный подход к водоотводу с проезжих частей
отдельных сооружений и при необходимости устраивать общую водоотводящую сеть. Конструктивные и
расчетные требования
7.4 В криволинейных коробчатых
эстакадах большой кривизны для уменьшения крутящих моментов, возникающих от
временных и постоянных нагрузок, стоечные или столбчатые опоры рекомендуется
располагать эксцентрично по отношению к оси поперечного сечения, смещая их в
сторону выпуклости кривизны. 7.5 Концевые опорные сечения
коробчатых криволинейных балок следует снабжать диафрагмами для обеспечения
восприятия крутящих моментов. 7.6 В косых стальных пролетных
строениях промежуточные диафрагмы рекомендуется располагать в одном сечении по
ширине пролетного строения. 7.7 При расчете косых и
криволинейных в плане пролетных строений допускается использовать поперечные
линии влияния от обобщенной единичной нагрузки, либо поверхности влияния от
единичного груза. 7.8 При расчете и конструировании
косых и криволинейных пролетных строений следует учитывать значительное
отклонение направления главных изгибающих моментов от оси моста. ПЕШЕХОДНЫЕ МОСТЫ
Общие положения
7.10 На пешеходных мостах
допускается размещать торговые точки, площадки отдыха и другие объекты
социально-культурного назначения. 7.11 В обоснованных случаях для
подъема или спуска с пешеходного моста допускается устройство эскалаторов или
лифтов, а на пролетном строении - бегущих дорожек. При отсутствии пандусов или
средств механического подъема-спуска следует предусматривать устройство вдоль
лестниц накладных пандусов для детских колясок. 7.12 Устройство теплообогрева в
прохожей части и входах-сходах пешеходных мостов должно быть обосновано
специальным расчетом. Конструктивные и
расчетные требования
7.13 Ширину
прохожей части пешеходных мостов следует назначать по п. 3.17 настоящих норм. Суммарная ширина лестниц и
пандусов, как правило, должна быть не менее ширины прохожей части моста, а при
совмещении лестниц и пандусов на спуске (подъеме) - не менее половины ширины
для каждого типа схода. Ступени лестниц должны иметь
размер не менее 14´32 см с количеством их в марше не
более 15 (высота ступеней не более 16 см). Продольный уклон на мосту не
должен превышать 5%. Продольные уклоны пандусов
принимают по п. 7.19 настоящих
норм. При криволинейных в плане
пандусах их радиус должен быть не менее 6м. 7.14 Перила пешеходных мостов
следует устраивать высотой не менее 1,1 м с ограждающим бортом высотой не менее
0,1 м. 7.15 Плита прохожей части
открытых пешеходных мостов должна быть защищена гидроизоляцией. Вид покрытия на
мосту следует назначать с учетом его эксплуатационных качеств, в том числе
износоустойчивости. 7.16 Расчет собственных колебаний
пешеходных мостов с фундаментами на естественном основании следует, как
правило, выполнять с учетом взаимодействия с грунтом. ПЕШЕХОДНЫЕ СООРУЖЕНИЯ ТОННЕЛЬНОГО ТИПА
Планировочные требования
7.18 Пешеходные сооружения
тоннельного типа в разных уровнях с проезжей частью следует, как правило,
предусматривать на магистральных улицах с непрерывным движением; на улицах с
регулируемым движением при потоке пешеходов более 1500 чел/ч и ширине улицы
более 14 м; на перекрестках улиц с нерегулируемым правоповоротным движением
интенсивностью более 300 приведенных автомобилей в 1 ч; на площадях и
перекрестках с кольцевым саморегулируемым движением транспорта, если размеры
конфликтующих потоков транспорта и пешеходов требуют введения светофорного
регулирования. Расстояние между пешеходными
сооружениями тоннельного типа следует, как правило, назначать не менее чем
через 300 м. Уклоны на пандусах следует
назначать 5,0% без площадок отдыха и 8% с площадками отдыха при длине участка
пандуса 10. Размеры ступеней принимают по п. 7.13 настоящих норм. При этом
верхнюю ступень на входе (выходе) следует приподнимать над уровнем тротуара для
предотвращения попадания воды с тротуара в сооружение. Входы в пешеходные сооружения
тоннельного типа (или выходы из них) следует располагать на тротуарах или
полосах зеленых насаждений, как правило, вблизи остановок общественного
транспорта при расстоянии от борта до ограждения проезжей части не менее 0,5 м.
В районах сложившейся капитальной застройки при недостаточной ширине тротуаров
допускается использовать для входов в пешеходные сооружения тоннельного типа
первые этажи прилегающих зданий. Материалы
7.20 В несущих конструкциях
пешеходных сооружений тоннельного типа следует применять тяжелый бетон класса
не ниже В25 водонепроницаемости марки W12 с морозостойкостью F300, причем для пандусов и
лестничных маршей - с морозостойкостью F300 по классификации дорожного
бетона с испытанием в солях. 7.21 Для утепления полов
пешеходных сооружений тоннельного типа следует применять керамзитобетон марки В
7,5 или другие виды теплоизоляции. Нагрузка
7.22 Перекрытия пешеходных
сооружений тоннельного типа, расположенные под проезжей частью, следует
рассчитывать на временную вертикальную нагрузку от транспортных средств,
указанную в главе 4 настоящих норм. Конструктивные требования
7.23 При крестовых и Н-образных
пешеходных сооружениях тоннельного типа в местах пересечения пешеходных потоков
следует принимать удвоенную ширину пересекающихся сооружений на длине равной
принятой удвоенной ширине. 7.24 Пешеходные сооружения
тоннельного типа следует проектировать с минимальным заглублением под проезжей
частью улиц (без засыпки). При этом расстояние от верха проезжей части до верха
перекрытия должно составлять не менее 0,4 м (с учетом динамических воздействий
от временных нагрузок по п. 2.22* СНиП
2.05.03-84*). Высоту пешеходных сооружений
тоннельного типа в свету следует принимать не менее 2,3 м. При этом высота до
низа ригеля должна быть не менее 2м. Продольный уклон пола пешеходных
сооружений тоннельного типа следует принимать не более 40%о, поперечный уклон -
10%о. При заглублении пешеходных
сооружений тоннельного типа (по местным условиям) более 5 м следует
предусматривать устройство эскалаторов, а при длине более 150 м - устройство
бегущих дорожек. 7.25 При расположении пешеходных
сооружений тоннельного типа в карстово-опасных районах необходимо устраивать
основание в виде несущей распределительной монолитной железобетонной плиты,
рассчитанной на образование под ней суффозионной воронки диаметром 6 м в любом
месте по длине сооружения. 7.26 Толщину гранитных ступеней
лестничных сходов и накрывных плит парапетов следует принимать не менее 60 мм.
Толщина керамзитобетонного слоя в конструкции полов должна быть не менее
0,15-0,2 м. 7.27 В пешеходных сооружениях
тоннельного типа следует предусматривать помещения для электротехнических
устройств (щитовых), ввода водопровода, насосной станции, устройств по обогреву
лестничных сходов и пандусов, хранения уборочного инвентаря и размещения
обслуживающего персонала. В узловых пешеходных сооружениях
тоннельного типа рекомендуется принимать высоту сооружений в свету не менее 2,5
м с устройством в них помещений для попутного обслуживания пешеходов
(размещение торговых точек, телефонов-автоматов, пунктов бытового обслуживания
и т.д.). Также рекомендуется предусматривать в таких переходах туалеты для
служебного пользования. При невозможности устройства
пандусов необходимо предусматривать лифты для пешеходов с ограниченной
подвижностью (в том числе инвалидов с колясками). Водоотвод и гидроизоляция
7.28 Для пешеходных
сооружений тоннельного типа с уровнем грунтовых вод выше пола следует
предусматривать гидроизоляцию по периметру ствола сооружения. В сухих грунтах под сооружением
устраивают профилактический пластовый дренаж с осевым расположением дренажной
призмы; в этом случае гидроизоляцию по днищу не укладывают. При выборе типа гидроизоляции
лестничных сходов и пандусов следует учитывать необходимость обогрева этих
частей сооружения в зимних условиях. Герметичная емкость должна быть
рассчитана на прием ливневого стока с открытых поверхностей пешеходного тоннеля
и часового притока дренажных вод. Для бесперебойной работы по
водосбросу из емкости в дождевую канализацию насосную станцию следует
комплектовать из двух насосов, которые объединяют системой автоматики,
обеспечивающей включение резервного насоса при выходе из строя работающего.
Производительность насоса подбирают с учетом необходимости водосброса удвоенного
расчетного объема воды, поступающей в емкость за 1 ч. Эксплуатационные
требования
7.30 Размещение трансформаторных
подстанций в пешеходных сооружениях тоннельного типа не допускается. 7.31 Пешеходные сооружения
тоннельного типа следует оснащать поливочным водопроводом и обеспечивать ввод
водопровода в служебное помещение и в насосную станцию с размещением в одном из
них водомерного узла. Краны поливочного водопровода размещают исходя из длины
поливочного шланга 30 м. Диаметр водопровода назначают исходя
из расчетного расхода воды 2 л/с. 7.32 Пешеходные сооружения
тоннельного типа следует оснащать системой снегоудаления (обогрева лестничных
сходов). Для снегоудаления рекомендуется
использовать систему с нагревательным кабелем. При этом необходимую мощность
электропитания рассчитывают исходя из потребляемой мощности в 0,5 кВА на 1 м2
лестничных и пандусных сходов. При соответствующем обосновании в системе
снегоудаления допускается использовать горячую воду от близлежащей тепловой
сети. Для увеличения срока службы системы снегоудаления рекомендуется применять
полиэтиленовые свариваемые трубы с теплоносителем, температура которого равна
70°С. Для этого в сооружении необходимо предусматривать тепловой пункт для
размещения в нем бойлерной. 7.33 Электроснабжение пешеходных
сооружений тоннельного типа осуществляют от близлежащих трансформаторных
подстанций кабельными линиями с напряжением 380 В. В сооружении должны быть
предусмотрены помещения (щитовые) для распределительных шкафов и прочего
электрооборудования. 7.34 Освещение пешеходных
сооружений тоннельного типа должно иметь три режима работы: ночной, вечерний и
дневной; необходимо также предусматривать аварийное освещение. Светильники для освещения следует
защищать специальной конструкцией, предотвращающей акты вандализма; эти
конструкции должны обеспечивать пропуск света и быть прочными. 7.35 Необходимо принимать
следующие нормы освещенности пешеходных сооружений тоннельного типа: наименьшая горизонтальная
освещенность на уровне пола днем - 100 люкс, в вечернее и ночное время - 40
люкс; наименьшая освещенность открытых
лестниц и пандусов - 20 люкс. Коэффициент ослепленности
светильных установок следует принимать не более 1,15, а коэффициент запаса
освещенности должен быть равен 1,5. Архитектурные требования
7.36 Внутренние поверхности
пешеходных сооружений тоннельного типа должны быть облицованы естественным
камнем, наружные поверхности парапетов - полированным (с видимой стороны)
естественным камнем. Для облицовки внутренних
поверхностей допускается использовать высококачественные искусственные
материалы, морозостойкость которых принимают не менее F300. Художественное оформление
внутренних поверхностей в виде настенных мозаичных панно из бронзы, латунных
выколок и т.д. должно быть согласовано с Москомархитектурой и Заказчиком. Покрытие полов рекомендуется
выполнять из естественного камня типа базальта или гранита толщиной не менее 40
мм или цветной тротуарной плитки (типа арбатской) из высококачественного
пескобетона. В узловых пешеходных сооружениях
тоннельного типа рекомендуется применять рисунчатые полы из разноцветных
искусственных или естественных материалов. 7.37 Выходы (входы) пешеходных
сооружений тоннельного типа рекомендуется оформлять в виде
архитектурно-выразительных прозрачных павильонов, совмещенных с остановками
общественного транспорта ТРАНСПОРТНЫЕ СООРУЖЕНИЯ ТОННЕЛЬНОГО ТИПА
Общие указания
7.38
Проектирование транспортных сооружений тоннельного типа следует выполнять по
настоящим нормам с учетом в необходимых случаях требований разделов 7-9 СНиП
32-04-97. 7.39 Устройство принудительной
вентиляции в транспортных сооружениях тоннельного типа следует предусматривать
по расчету. При длине перекрытой части сооружения более 200 м устройство
принудительной вентиляции является обязательным. 7.40 В состав транспортных
сооружений тоннельного типа, как правило, должны входить проезжая часть с
разделительной полосой и служебные проходы (или служебные проходы и
коллектора). При соответствующем обосновании
допускается совмещение транспортных сооружений тоннельного типа и пешеходных
переходов, при условии возведения глухой разделительной стены между сооружением
и проходами. Планировочные требования
7.41 При проектировании
транспортных сооружений тоннельного типа следует выполнять
градостроительно-планировочные требования, изложенные в главе 3 настоящих норм,
а также в данном разделе. 7.42 По согласованию с
Заказчиком, Москомархитектурой и ГИБДД проезжую часть транспортных сооружений
тоннельного типа в стесненных условиях допускается проектировать без полос
безопасности, а ширину разделительной полосы между встречными потоками
принимать не менее 0,75 м. В транспортных сооружениях
тоннельного типа, кроме четырехполосных, при длине перекрытой части более 150 м
для отстоя аварийных транспортных средств следует предусматривать резервную
полосу в каждом направлении движения шириной 3 м, в том числе за счет полос
безопасности. Ширину служебных проходов следует
назначать не менее 0,75 м. При расположении транспортных
сооружений тоннельного типа на площадях или (и) вблизи торговых и культурных
центров города рекомендуется максимально использовать подземное пространство,
размещая над сооружением в первых двух ярусах (на глубине до 6 м)
торгово-рекреационные комплексы, совмещенные с пешеходными переходами и
автостоянками. Въезды и выезды автостоянок
рекомендуется размещать попарно в уровне пересекающихся магистралей, устраивая
отгонные полосы в транспортном сооружении. Материалы
7.43 В несущих конструкциях
транспортных сооружений тоннельного типа следует применять тяжелый бетон класса
не ниже В25 водонепроницаемости марки W12 и с морозостойкостью F300, причем для несущих и
ограждающих конструкций, находящихся в контакте с антиобледенителями, - с
морозостойкостью F300 по классификации дорожного бетона с испытаниями в
солях. Конструктивные требования
7.44 Транспортные сооружения
тоннельного типа рекомендуется проектировать в виде рамных систем. 7.45 При наличии промежуточных
опор на разделительной полосе следует предусматривать меры по их защите от
наезда транспортных средств. 7.46 При возведении транспортных
сооружений тоннельного типа в котловане с шпунтовым ограждением следует
устраивать переходные плиты длиной не менее 3 м и засыпать пазухи котлованов
дренирующим песчаным грунтом. 7.47 При возведении транспортных
сооружений тоннельного типа методом "стена в грунте", либо с
использованием буросекущих или бурокасательных свай вместо переходных плит
допускается устраивать переходные призмы из щебня, стабилизированного битумом,
или из тощего бетона. 7.48 При возведении транспортных
сооружений тоннельного типа из замкнутых секций методом продавливают или
стягивания высота грунта над тоннелем должна составлять не менее 2,5м 7.49 При возведении транспортных
сооружений тоннельного типа в карстово-опасных районах необходимо
предусматривать специальные конструктивные мероприятия, обеспечивающие
сохранность сооружения при образовании карстово-суффозионной воронки диаметром
6 м под его подошвой . Особенности
конструирования и расчета траншейного стыка
7.50. Траншейный стык сборных
элементов стен и фундаментов транспортных сооружений тоннельного типа должен
иметь следующие конструктивные параметры (рис.
2): высота переднего зуба должна быть не менее 1,1 толщины В стенового
блока, а высота заднего зуба - не менее 0,7 В; толщина фундамента под подошвой
стенового блока должна быть не менее В; толщину переднего и заднего зуба в
корне следует принимать не менее 0,6 м. 7.51 Расчет траншейного стыка
следует выполнять с учетом следующих предпосылок (рис. 3): все действующие силы на стеновой
блок (Е, М и N) следует приводить к середине высоты переднего зуба (h1); изгибающий момент следует
определять с учетом коэффициента условия работы m = 0,8, учитывающего снижение
величины момента относительно передней грани стенки. Напряжения в переднем и заднем
зубе траншейного стыка от сил Е и М определяют на единицу его длины вдоль
сооружения. 7.52 Монолитный бетон заполнения
траншейного стыка должен быть проверен на местное смятие. 7.53 Проверку прочности и
трещиностойкости переднего и заднего зуба траншейного стыка следует выполнять в
соответствии с требованиями СНиП 2.05.03-84*. Рисунок
2. Конструктивная схема траншейного стыка Рисунок
3. Расчетная схема траншейного стыка Водоотвод и гидроизоляция
7.54 В транспортных сооружениях
тоннельного типа, возводимых в открытом котловане или в шпунтовом ограждении, с
наружной стороны стен следует предусматривать гидроизоляцию и пристенный дренаж
(в частности, из полимерного полотна с прилегающей к стене бугристой
поверхностью) с выводом воды в лоток водостока. В случаях расположения
грунтовых вод выше основания конструкции дорожной одежды устраивают замкнутую
гидроизоляцию по внешнему контуру сооружения, а также пристенный пластовый
дренаж. При возведении транспортных
сооружений тоннельного типа методом "стена в грунте", либо с
использованием буросекущих или бурокасательных свай гидроизоляцию по внешнему
контуру сооружения допускается не устраивать. В этих случаях следует
предусматривать внутренний пристенный дренаж с защитной теплоизоляцией и
самонесущую ограждающую конструкцию с морозостойкостью F300 по классификации дорожных
бетонов с испытаниями в солях. При возведении транспортных
сооружений методом продавливания допускается устраивать наружную
металлоизоляцию сооружения, используя лист толщиной не менее 6 мм. При совмещении транспортных
сооружений тоннельного типа с торгово-рекреационными комплексами в транспортных
сооружениях при необходимости, обусловленной расчетом, следует предусматривать
контурную шумо-, паро- и теплоизоляцию. 7.55 При необходимости под
проезжей частью транспортных сооружений тоннельного типа следует устраивать
ливневую канализацию с водоприемной герметичной емкостью, рассчитанной на сток
воды с рамповых частей сооружения от линии водораздела и воды, поступающей из
дренажной системы. Насосную станцию, предназначенную для водосброса из емкости
в городскую канализацию, проектируют с учетом требований п. 7.29 настоящих норм. 7.56 При проектировании
гидроизоляции и защитного слоя пролетных строений транспортных сооружений
тоннельного типа следует соблюдать требования, предъявляемые к устройству
гидроизоляции и защитного слоя на мостах: при этом для отвода воды с
гидроизоляции следует предусматривать систему дренажа. Эксплуатационные
требования
7.57 В транспортных сооружениях
тоннельного типа следует предусматривать помещения для электротехнических
устройств (щитовых), для водопровода и канализации, технических служб, насосных
станций. Размещение трансформаторных
подстанций допускается только в рамповых частях сооружений. 7.58 Электроснабжение
транспортных сооружений тоннельного типа следует обеспечивать от ближайших
трансформаторных подстанций кабельными линиями напряжением 380 В. 7.59 Средняя яркость дорожного
покрытия в рамповых частях транспортных сооружений тоннельного типа должна быть
не менее 2,4 кд/м2. Отношение максимальной яркости к
минимальной по длине сооружения не должно превышать 3:1. Среднюю горизонтальную
освещенность проезжей части в транспортных сооружениях тоннельного типа длиной
более 60 м следует принимать по табл.
11 . Таблица
11
Примечание. В сооружениях с прямолинейной
трассой длиной до 60 м искусственное освещение проектируют с учетом его
использования только в темное время суток. Для освещения сооружений
используют светильники с широким несимметричным боковым светораспределением
закрытого исполнения с защитным углом не менее 10°. Светильники следует устанавливать
на стене, в стене или под потолком с шагом, обеспечивающим создание непрерывной
световой полосы с равномерной (или близкой к равномерной) освещенностью
проезжей части. Для уменьшения разницы в
освещенности внутри сооружений и на подходах к ним необходимо предусматривать
следующие покрытия: на внешней части портала, рампах и проезжей части перед
въездом (на длине 100-150 м) - темные покрытия с коэффициентом отражения 0,1;
на остальной (в пределах сооружения) проезжей части - светлое покрытие с
коэффициентом отражения 0,4; на стенах и промежуточных опорах сооружения - покрытие
в виде облицовки из материалов с коэффициентом отражения не менее 0,8; на
потолке - покрытие краской (или другими материалами) светлых тонов с
коэффициентом отражения 0,4. Экологические требования
7.60 При возведении и
эксплуатации транспортных сооружений тоннельного типа, как правило, следует
обеспечивать сохранение естественного уровня грунтовых вод. Для этого
рекомендуется применять устройство, принцип работы которого основан на
равенстве уровней жидкости в сообщающихся сосудах. Устройство проектируют в
виде перевернутой буквы "п" из труб, охватывающих стены сооружения и
проходящих под его дном, причем трубы для пропуска грунтовых вод перфорируют в
уровне их горизонта. 8. ВАНТОВЫЕ МОСТЫ
Общие положения
Конструктивные и расчетные
требования
8.2 В вантовых трехпролетных
городских мостах длину бокового пролета следует, как правило, принимать равной:
с железобетонной балкой жесткости - 0,42-0,44 L; со стальной и
сталежелезобетонной - 0,38-0,42 L, где L -длина центрального пролета. Высоту пилона над уровнем проезда
в вантовых мостах рекомендуется назначать равной: в двухпилонных схемах -
0,18-0,25 L; в однопилонных -0,3-0,4 L, где L также длина центрального
пролета. В вантовых системах, как правило,
следует предусматривать 2 плоскости вант, причем число вант в каждой плоскости
рекомендуется назначать с учетом длины панели балки жесткости. Крайние ванты-оттяжки следует
прикреплять к балке жесткости над опорами или заделывать в устой для
обеспечения жесткости системы. Расчетное усилие в ванте
рекомендуется принимать не более 20 МН. Длину панели балки жесткости
рекомендуется принимать с учетом массы монтажного элемента при монтаже балки
жесткости внавес и назначать в пределах 6-15м. Опирание балки жесткости на пилон
может быть упругим (опирание на вертикальных вантах). При необходимости (в случаях
возникновения отрицательных реакций) балка жесткости должна быть закреплена в
опорах с использованием анкерующих устройств; при соответствующем обосновании
допускается применение пригруза балки жесткости. 8.3 Форму поперечного сечения
балки жесткости следует определять с учетом общей компоновки системы,
количества плоскостей вант, числа вант, длины панелей. В расчет следует
включать проверку на устойчивость балки жесткости при продольном изгибе и
проверку прогиба от местной нагрузки. Поперечное сечение балки
жесткости многовантовой системы с двумя плоскостями вант допускается принимать
незамкнутым понизу и компоновать из плиты, продольных и поперечных балок,
причем поперечное сечение железобетонной балки жесткости шириной менее 15 м в
обоснованных случаях допускается компоновать из плиты и продольных балок либо
принимать плитным. При двухплоскостной системе вант
с их малым числом в каждой плоскости рекомендуется применять балки жесткости
коробчатого сечения. При одноплоскостной системе вант применение коробчатого
сечения балки жесткости является обязательным. 8.4 Конструкцию вант следует
принимать на основе вариантного сравнения канатов различных типов с учетом
технологии монтажа, удобства эксплуатации, долговечности и экономичности. Проволока для вант должна иметь
прочность на растяжение не менее 1500 Н/мм2. Продольную жесткость вант следует
определять с учетом эффекта провисания канатов. В мостах с пролетом более 500 м
жесткость наиболее пологих вант следует повышать дополнительными оттяжками,
прикрепленными к середине основных вант. Сжимающие напряжения в вантах на
стадиях монтажа и эксплуатации не допускаются. Ванту допускается формировать не
более чем из двух канатов. Прикреплять ванты к пилону следует,
как правило, на анкерах, что позволяет заменять отдельные канаты в условиях
эксплуатации. Конструкция анкеров для канатов
вант должна обеспечивать надежную заделку проволок и усталостную прочность
каната в зоне его примыкания к анкеру. Для гашения колебаний вант при
соответствующем обосновании допускается применять демпфирующие устройства
различных видов. 8.5 Узлы прикрепления вант к
балке жесткости следует проектировать на основе уточненных расчетов
напряженно-деформированного состояния, как правило, по методу конечных
элементов и физического моделирования. Сечения балок в узлах крепления
вант следует рассчитывать на прочность и устойчивость, вводя редукционные
коэффициенты, учитывающие эффект сдвигового запаздывания. 8.6 Конструктивные решения пилонов
вантовых мостов должны быть увязаны с общими компоновочными решениями и
параметрами системы. При пролетах длиной более 250 м
рекомендуется предусматривать железобетонные пилоны. 8.7 При расчете вантовых мостов
следует учитывать технологию их возведения. Рекомендуется применять расчетные
схемы следующих видов: а) невесомая схема -
ненагруженная внешними силами, в том числе собственным весом, со всеми
наложенными на нее внутренними и внешними связями. В общем случае в этой схеме
имеют место состояния самонапряжения; б) изготовительная схема -
совпадает с невесомой при отсутствии состояний самонапряжения. При наличии
состояний самонапряжения отдельные связи разрывают, в частности, на опорах при
последующем регулировании на них; в) эксплуатационная схема - проектная
схема (очертание балки жесткости) при загружении полной постоянной нагрузкой и
временной нагрузкой на требуемой части длины пролетного строения. 8.8 Байтовые мосты на стадиях
монтажа и эксплуатации следует рассчитывать на вихревое возбуждение от воздействия
ветра и крутильный флаттер. Для расчета допускается использовать приложения М и Н. 8.9 Изготовительную длину канатов
вант допускается определять по формуле:
где Е0 - модуль упругости прямого каната; А - площадь каната; a - угол наклона хорды к
горизонтали;
g - вес погонного метра каната; Тразм - усилие в канате
на стенде при его разметке, если ее выполняют в напряженном состоянии; Т - усилие в канате от постоянных
нагрузок и регулирования, вычисленное в расчетной схеме при постоянном значении
модуля упругости, соответствующем напряжениям к началу эксплуатации. Значения эффективного модуля
упругости каната в зависимости от уровня напряжений следует определять по
формуле (195) СНиП 2.05.03-84*. 9. МОСТОВОЕ ПОЛОТНО И ОПОРНЫЕ ЧАСТИ
ОДЕЖДА ЕЗДОВОГО ПОЛОТНА
9.1 Одежду ездового полотна
следует проектировать по утвержденным для мостостроения нормативным документам,
настоящим нормам и с учетом требований СНиП
3.04.03-85. 9.2 Одежду ездового полотна
рекомендуется устраивать многослойной. Для тротуаров (служебных проходов)
автодорожных мостов и для пешеходных мостов одежду прохожей части по
согласованию с Заказчиком допускается принимать из слоя литого асфальта
толщиной не менее 40 мм. 9.3 Выравнивающий и защитный слой
следует выполнять из тяжелого бетона на мелком заполнителе по ГОСТ 26633-91.
В пролетных строениях с монолитной плитой проезжей части выравнивающий слой
допускается не устраивать. При специальном обосновании защитный слой
допускается предусматривать из фибробетона. При этом материалы должны
обладать следующими свойствами: быть водонепроницаемыми (не иметь
признаков проникновения воды) при давлении воды 0,0981 МПа (1 кгс/см2)
в течение 2 ч; не иметь разрывов при растяжении
силой не менее 588,6 Н (60 кгс) произвольным образом вырезанного образца
(полоски шириной 50 мм); не иметь трещин при загибе на
брусе радиусом К) мм при температуре не выше минус 25°С (для материалов на
полимерной основе)1); быть устойчивыми к агрессии
щелочей, антиобледенителей, нефтепродуктов. Они также должны иметь: относительное удлинение при
разрыве не менее 20%; водопоглощение в течение 24 ч не
более 1% по массе; прочность на раздир с основой в
произвольном направлении силой не менее 107,91 Н (11 кгс/см2) - для
рулонных материалов; адгезию к материалу проезжей
части - не менее 0,2943 МПа (3 кгс/см2); температуру хрупкости битумного
вяжущего по Фраасу - не выше минус 32°С (для материалов на битумной основе)2); температуроустойчивость
(температуру размягчения по КиШ) не ниже 85°С (при защитном слое из бетона)3); устойчивость к статическому
продавливанию стальным шариком диаметром 10 мм на бетонном основании силой
не менее 245,25 Н (25 кгс)4). 1) При согласовании
с Заказчиком и эксплуатирующей сооружение организацией - не выше минус 15°С. 2) При
согласовании с Заказчиком и эксплуатирующей сооружение организацией - не выше
минус 25°С. 3) В других
случаях температуроустойчивость следует назначать исходя из температуры
двухслойного асфальтобетона 140-160°С и литого асфальта 180-200°С. 4) При защитном
слое из бетона указанную проверку не производят. 9.5 Для покрытия ездового полотна
мостов следует применять горячий плотный мелкозернистый двухслойный
асфальтобетон типа А или Б марки I по ГОСТ
9128-84. 9.6 Гидроизоляцию следует
выполнять непрерывной по всей ширине мостового полотна. Гидроизоляцию
допускается прерывать у парапетов или жесткой части комбинированных ограждений
в обоснованных случаях и при условии полного исключения попадания воды под
гидроизоляцию в местах ее обрыва. 9.7 Покрытие ездового полотна
следует устраивать из двух слоев асфальтобетона общей толщиной не менее 100 мм.
При наличии специальных технических условий покрытие ездового полотна
допускается устраивать из литого асфальта. При проектировании ездового
полотна следует предусматривать картограмму проектных отметок для каждого слоя
асфальтобетонного покрытия. ОТВОД ВОДЫ И ДРЕНАЖ
9.9 Воду с мостового полотна при необходимости
следует отводить за его пределы через водоотводные трубки. Диаметр трубок и их количество
следует, как правило, назначать по расчету исходя из продольного уклона моста,
его длины, а также расчетного расхода дождевых (поверхностных)
вод, определяемого по СНиП 2.04.03-85. При продольных уклонах i £
10%о
следует устанавливать водоотводные трубки диаметром не менее 150 мм; при i > 10%o в обоснованных случаях водоотводные трубки допускается не
устанавливать. Число рядов дренажных трубок,
установленных в пониженных местах вдоль моста, при двухстороннем поперечном
уклоне должно быть не менее 2. 9.11 Верх водоотводных трубок
следует устраивать ниже поверхности, с которой отводится вода, не менее чем на
1 см. Верх дренажных трубок следует
располагать в дренажном слое под асфальтобетонным покрытием. При этом
необходимо обеспечить заводку гидроизоляции в трубку или исключить зазоры между
трубкой и защитными покрытиями на стальных мостах, и, кроме того, в обоих
случаях исключить засорение трубки материалом дренажного слоя. Водоотводные и дренажные трубки
должны отстоять от нижней поверхности плиты проезжей части не менее чем на 50
мм, причем конец дренажных трубок должен быть срезан, как правило, под углом
45°. 9.12 Дренажный слой следует
устраивать в защитном слое покрытия; при этом состав дренажного слоя необходимо
назначать по специальным техническим условиям. 9.13 Организованный отвод воды от
водоотводных трубок за пределы конструкций моста следует предусматривать по
навесным лоткам с уклонами не менее 50 %о и трубам в систему водостока. Конструкция лотков и труб
должна обеспечивать их удобный осмотр и очистку от грязи водой под давлением. На участках
мостовых сооружений, проходящих над автодорогами, железнодорожными путями,
территориями предприятий, а также имеющих в своих подэстакадных пространствах
здания и сооружения, применение открытых лотков не допускается. Закрытые лотки
должны обеспечивать пропуск по ним пролитых нефтепродуктов как в зимнее, так и
в летнее время года. Навесные водоотводные лотки
следует изготовлять из коррозионно-стойких материалов. Трубы, колена,
отстойники и другую арматуру водоотводной системы рекомендуется предусматривать
по сортаменту изделий, применяемых в наружной канализации и для водопровода. (Измененная редакция. Изм. №
2). КОНСТРУКЦИЯ ДЕФОРМАЦИОННЫХ ШВОВ
9.14 Конструкция деформационных
швов должна обеспечивать необходимую свободу для предусматриваемых продольных и
поперечных линейных и угловых перемещений пролетных строений моста, а также
обеспечивать плавность проезда и эксплуатационную надежность. Конструктивное решение
деформационных швов на ширине мостового полотна (включая ездовое полотно,
тротуары, в том числе служебные, и карнизы) следует принимать одинаковым. Конструкции деформационных швов
следует предусматривать водонепроницаемыми. Конструкция
деформационных швов на участках над автодорогами, железнодорожными путями,
территориями предприятий, а также зданиями и сооружениями, размещаемыми в
подэстакадном пространстве, должна обеспечивать отвод пролитых нефтепродуктов в
системы городского водостока, после предварительной очистки на локальных
очистных сооружениях. Конструкцию деформационного шва и
требования к ней принимают по техническим условиям, утвержденным в
установленном порядке. Конструкции деформационных швов
должны быть доступны для ухода, надзора и ремонта в процессе эксплуатации. (Измененная редакция. Изм. №
2). 9.15 Ширина разрывов, создаваемых
конструкцией деформационных швов в уровне покрытия, не должна превышать 80 мм;
в обоснованных случаях ширину разрывов допускается увеличивать до 120 мм. 9.16 В местах постановки
конструкций деформационных швов следует предусматривать усиленную защиту
несущих конструкций пролетных строений и опор, элементов конструкций
деформационных швов и одежды ездового полотна от преждевременного разрушения, в
том числе для стальных элементов - от коррозии металла. Для обетонирования узлов
сопряжения следует применять бетоны класса не ниже В40 с маркой по
водонепроницаемости не ниже W10 и с морозостойкостью F300 по классификации дорожного
бетона с испытанием в солях. Метизы для прикрепления конструкций швов должны
иметь антикоррозионное покрытие, как правило, кадмиевое или цинковое толщиной
не менее 9 мкм. 9.17 В конструкции деформационных
швов следует предусматривать решения, обеспечивающие надежный и плотный контакт
с примыкающим асфальтобетонным покрытием. 9.18 При проектировании следует
обеспечить условия, исключающие отвод воды из конструкций водонепроницаемых
деформационных швов на фасадные поверхности пролетных строений и поверхности
опор мостов. ОГРАЖДАЮЩИЕ ЭЛЕМЕНТЫ МОСТОВОГО ПОЛОТНА
9.20 На мостах следует
устанавливать барьерные, парапетные (жесткие) или комбинированные (барьерные,
устанавливаемые на сплошном борту, полужесткие) ограждения. Применение барьерных ограждений с
использованием тросов не допускается. При отсутствии тротуаров и
служебных проходов на мостах допускается устанавливать совмещенные с перилами
ограждения не ближе 0,5 м от края пролетного строения; высоту таких ограждений
принимают не менее 1,1 м. 9.21 Металлические барьерные
ограждения следует принимать по ГОСТ
26804-86; усиленные типы металлических барьерных ограждений допускается
применять по специальным ТУ. Парапетные и комбинированные
ограждения следует предусматривать по специальным ТУ. Из парапетных ограждений
к использованию рекомендуются ограждения типа "Нью-Джерси". 9.22 В необходимых случаях
парапетные и комбинированные ограждения следует рассчитывать на прочность и
устойчивость положения при наезде на них автомобиля. Класс бетона парапетных (или
борта комбинированных) ограждений следует принимать не ниже В40; марку по
водонепроницаемости и морозостойкости - по табл. 6 настоящих норм. В железобетонных и бетонных
ограждениях использовать накрывные плиты для их облицовки не допускается. 9.23 Высоту борта в
комбинированных ограждениях следует назначать не менее 0,15 м. 9.24 На барьерных или
комбинированных ограждениях со стороны тротуаров рекомендуется предусматривать
защитные экраны, предохраняющие пешеходов от забрызгивания. ОПОРНЫЕ ЧАСТИ
9.26 Положение балочных пролетных
строений на опорах на стадиях строительства и эксплуатации следует фиксировать
постановкой необходимого и достаточного количества неподвижных и односторонне
линейно-подвижных опорных частей. 9.27 Плоскости опирания балочных
пролетных строений на опорные части и опорных частей на опоры должны быть
горизонтальными. В обоснованных случаях, учитывающих конструкцию опорных
частей, балочные пролетные строения допускается опирать на опорные части по
наклонной плоскости с уклоном не более 5%. 9.29 Железобетонные подферменные
площадки под опорные части рекомендуется предусматривать из фибробетона. В зонах конструкций
деформационных швов при расчете железобетонных подферменных площадок на местное
сжатие (смятие) по пп.3.89-3.90 СНиП
2.05.03-84* на давление, передаваемого на них опорными частями, расчетные
сопротивления Rb,loc (в конструкциях без косвенного
армирования) и Rb (в конструкциях с косвенным
армированием) следует принимать с коэффициентами условия работы соответственно
равными 0,9 и 0,95. 9.30 Линейные (продольные и
поперечные) перемещения торцов пролетных строений следует определять с учетом
направления линейных перемещений, допускаемых опорными частями в опорном
сечении. При этом необходимо выполнять требования п. 9.14 настоящих норм. 10. ПРОТИВОПОЖАРНЫЕ ТРЕБОВАНИЯ(Введен дополнительно. Изм. №
2). 10.1 Для целей настоящего раздела используются следующие определения. Сооружение подэстакадного пространства - строительная система, проектируемая и возводимая в подэстакадном пространстве мостового сооружения, выполненная на собственных несущих конструкциях, либо с использованием несущих конструкций мостового сооружения, предназначенная для размещения в них объектов и помещений производственного, складского, административно-бытового, общественного назначения, а также автостоянок. Помещение - пространство внутри здания (сооружения), имеющее определенное функциональное назначение и ограниченное строительными конструкциями. Требования
по противопожарной защите мостовых сооружений
Размещение
зданий в подэстакадном пространстве
10.2 При проведении трассировочных работ следует учитывать степень огнестойкости, класс конструктивной пожарной опасности, а также категории по взрывопожарной и пожарной опасности существующих зданий, попадающих в зону подэстакадного пространства (далее по тексту - существующих зданий). Расположение существующих зданий со степенью огнестойкости ниже II и конструктивной пожарной опасностью ниже СО по СНиП 21-01, а также зданий категорий А, Б и В с наличием помещений категории В1 по НПБ 105-95 в зоне проекции мостовых сооружений не допускается. Расположение указанных зданий в зоне менее 20 м от вертикальной проекции мостовых сооружений допускается при соответствующем технико-экономическом обосновании, учитывающем требования СНиП 2.07.01-89* и СНиП II-89-80*, и согласовании с Государственной противопожарной службой. Конструктивные
требования
10.3 На участках мостовых сооружений, предназначенных для движения автомобильного транспорта и имеющих в своих подэстакадных пространствах здания и сооружения (за исключением сооружений, предназначенных для технического обслуживания мостового сооружения), предел огнестойкости конструкций по СНиП 21-01-97* должен составлять: - опор - не менее R 180; - пролетных строений - не менее значений, приведенных в табл.12. Таблица 12
Примечание: высота расположения конструкций пролетных строений -
незастроенная высота в свету между нижним уровнем конструкций пролетных
строений мостового сооружения и верхним уровнем конструкций зданий или
сооружений, расположенных под мостовым сооружением. Для автостоянок за высоту
следует принимать минимальное расстояние по вертикали от уровня хранения автомобилей
до нижнего уровня конструкций пролетных строений. Для получения требуемых пределов огнестойкости следует применять только конструктивные способы огнезащиты по НПБ 236-97. Выполнение конструкций мостовых сооружений с пределами огнестойкости ниже указанных в табл. 12 допускается только при наличии соответствующего обоснования отсутствия теплового воздействия пламени на конструкции при пожаре, либо обоснования сохранения характеристик конструкций после пожара. Проектные решения по выполнению конструкций мостового сооружения в этом случае в обязательном порядке согласовываются с Государственной противопожарной службой. Для пешеходных мостов требования к пределам огнестойкости строительных конструкций определяют в задании на проектирование исходя из необходимости обеспечения безопасной эвакуации людей, находящихся на мосту. Система
пожаротушения
10.4 Требования настоящего подраздела (пп. 10.4-10.7) распространяются на следующие участки мостовых сооружений, предназначенных для движения автомобильного транспорта: в подэстакадных пространствах которых проектируется возведение сооружений, не предназначенных для технического обслуживания мостового сооружения; в подэстакадные пространства которых попадают существующие здания и сооружения. 10.5 Для нужд наружного пожаротушения следует предусматривать устройство пожарных гидрантов, размещаемых на участках кольцевого водопровода. При этом, в радиусе 150 м от любой точки подэстакадного пространства должно размещаться не менее трех пожарных гидрантов, обеспечивающих расход не менее 100 л.с-1. 10.6 Для подачи на проезжую часть мостового сооружения раствора пенообразователя или воды с помощью пожарных автомобилей необходимо предусматривать устройство двух сухотрубов диаметром не менее 100 мм. Для мостовых сооружений с двухсторонним движением сухотрубы следует выполнять на разделительной полосе либо попарно по правому краю проезжей части для каждого направления движения. Для мостовых сооружений с односторонним движением сухотрубы следует выполнять со стороны наиболее высоких планировочных отметок. Время заполнения сухотрубов водой или раствором пенообразователя не должно превышать трех минут. При этом сухотрубы должны иметь патрубки с полугайками для подключения пожарных автомобилей на мостовом сооружении и у опор мостового сооружения, а также полугайки диаметром 50 и 89 мм для подключения пожарных стволов на мостовом сооружении. Разводку сухотрубов на мостовом сооружении следует выполнять по секциям. Максимальную допустимую длину секции сухотруба следует определять как минимальное значение из длин, определенных по критерию незамерзания головной части струи и по критерию гидравлического сопротивления. Расчет максимальной допустимой длины секции сухотруба допускается проводить в соответствии с рекомендуемым Приложением П. Крепление вертикальных участков сухотрубов целесообразно предусматривать к конструкциям опор. Допускается не оборудовать сухотрубами участки мостовых сооружений с высотой расположения проезжей части относительно уровня земли не более 10 м и протяженностью не более 200 м. Допускается также не оборудовать сухотрубами участки мостовых сооружений протяженностью более 200 м с высотой расположения проезжей части относительно уровня земли не более 10 м, обеспеченные возможностью двухстороннего подъезда пожарных автомобилей. 10.7 Для мостовых сооружений с использованием стальных и сталежелезобетонных конструкций следует выполнять систему водяного орошения стальных конструкций с разводкой трубопроводов от сухотрубов. Систему орошения допускается не устраивать в обоснованных случаях, когда время прибытия подразделений пожарной охраны и начала орошения конструкций менее значения времени теплового воздействия, соответствующего фактическому пределу огнестойкости конструкций, либо при выполнении конструктивной огнезащиты. Требования
по противопожарной защите подэстакадных пространств
Общие
требования к объемно-планировочным и конструктивным решениям сооружений
подэстакадных пространств
10.8 Проектирование сооружений и помещений различного назначения в подэстакадном пространстве должно осуществляться в соответствии с требованиями действующих строительных норм и правил. 10.9 Сооружения подэстакадных пространств, использующие конструкции мостовых сооружений, по пределам огнестойкости строительных конструкций должны отвечать, как правило, требованиям, предъявляемым к зданиям и сооружениям I степени огнестойкости по СНиП 21-01-97*. Для сооружений подэстакадных пространств, выполненных на собственных несущих конструкциях, не зависимых от несущих конструкций мостового сооружения, пределы огнестойкости строительных конструкций допускается предусматривать в соответствии с требованиями, предъявляемыми к зданиям и сооружениям II степени огнестойкости по СНиП 21-01-97*. 10.10 Для сооружений подэстакадного пространства через каждые 300 м, как правило, следует предусматривать сквозные проезды шириной не менее 3.5 м, высотой не менее 4.25 м для проезда пожарных автомобилей, а между ближайшими проездами - не менее одного сквозного прохода шириной не менее 1.2 м. 10.11 Участки различной функциональной пожарной опасности эксплуатируемых подэстакадных пространств следует выделять в противопожарные отсеки с противопожарными стенами и перекрытиями 1-го типа по СНиП 21-01-97*. 10.12 Для комплекса, состоящего из помещений и сооружений различного функционального назначения, как правило, следует предусматривать устройство единого диспетчерского пункта. Указанные пункты следует размещать, как правило, на первом этаже у наружной стены, в помещении, отделенном от примыкающих помещений противопожарными преградами с пределами огнестойкости не менее EI 45, имеющем выход непосредственно наружу, оборудованном городской телефонной связью и выводом сигнала о пожаре по радиоканалу на ЦУС ("01") Государственной противопожарной службы. Организация диспетчерской службы должна предусматривать постоянное круглосуточное присутствие людей. Автостоянки
10.13 Не допускается устройство обособленных боксов и сетчатых ограждений для выделения мест хранения легковых автомобилей в следующих случаях: для автостоянок, использующих конструкции мостовых сооружений; для верхних ярусов автостоянок независимо от их конструктивного исполнения. 10.14 Над проемами верхнего яруса открытых автостоянок, как правило, следует предусматривать устройство защитных козырьков из негорючих материалов шириной не менее 1 м. Производственные
участки дорожно-эксплуатационных служб
10.15 Размещение производственных и складских помещений категорий взрывопожарной и пожарной опасности А, Б, В1 по НПБ 105-95 в сооружениях подэстакадного пространства предусматривать не следует. В сооружениях подэстакадного пространства допускается предусматривать размещение предприятий по мелкому ремонту и обслуживанию автомобилей. При этом запрещается размещение участков малярных работ, газосварочных работ, зарядки аккумуляторов и т.п. В сооружениях подэстакадного пространства допускается предусматривать размещение участков хранения дорожной техники. Проектирование указанных участков должно осуществляться в соответствии с ВСН 01-89. 10.16 Предусматривать в качестве второго эвакуационного выхода со второго и выше расположенных этажей сооружения наружных лестниц не допускается. Сооружения
общественного назначения
10.17 При проектировании следует выделять следующие группы помещений. Пассажирская зона - комплекс помещений, направленных на обслуживание пассажиров транспортных (пересадочных) узлов. Включает пешеходные переходы между остановочными пунктами, кассовые помещения, помещения обогрева пассажиров, медицинские пункты, опорные пункты охраны порядка. В пассажирской зоне допускается размещение торговых киосков, предприятий бытового обслуживания населения и обменных пунктов без торговых залов и помещений для посетителей. Торгово-бытовая зона - комплекс помещений предприятий розничной торговли, предприятий общественного питания, предприятий бытового обслуживания населения и банковских учреждений с торговыми, обеденными залами и помещениями для посетителей, а также связанных с ними служебно-бытовых и технических помещений. Помещения торгово-бытовой зоны следует отделять от примыкающих групп помещений общественного назначения противопожарными стенами и перекрытиями 1-го типа. Для торговых залов и помещений для посетителей допускается предусматривать входы с самозакрывающимися дверями из общего вестибюля при условии устройства самостоятельных эвакуационных выходов из торгового зала без учета выходов через общий вестибюль. Административная зона - комплекс административных помещений, в которых размещается администрация транспортного узла. 10.18 Устройство многосветных пространств в сооружениях подэстакадных пространств не допускается. 10.19 В торгово-бытовой зоне не допускается размещение магазинов по продаже легковоспламеняющихся материалов, горючих жидкостей (масел, красок, растворителей и т.п.), а также товаров хозяйственно-бытового назначения в аэрозольной упаковке; предприятий бытового обслуживания, в которых применяются легковоспламеняющиеся вещества; пунктов приема вторичного сырья от населения; складских помещений с хранением взрывоопасных материалов, ЛВЖ, ГЖ, товаров в аэрозольной упаковке. В складских помещениях удельная временная пожарная нагрузка не должна превышать 2200 мДж/м2. 10.20 Использование наружных лестниц для эвакуации из помещений торгово-бытовой и административной зон не допускается. 10.21 Устройство открытых лестниц, связывающих этажи в торгово-бытовых зонах, не допускается. Лестницы в пассажирской зоне, служащие для пересадки пассажиров, могут быть открытыми. Инженерные
решения противопожарной защиты
10.22. Все сооружения подэстакадных пространств, включая автостоянки закрытого и открытого типа, а также существующие здания независимо от площади и этажности следует защищать спринклерными установками пожаротушения. Защите подлежат все помещения, кроме лестничных клеток, санузлов и других помещений с мокрыми процессами, а также венткамер, насосных, бойлерных и других помещений для инженерного оборудования, в которых отсутствуют сгораемые материалы. 10.23 При проектировании внутреннего противопожарного водопровода необходимо предусматривать устройство сухотрубов для подсоединения пожарной техники, подключенных в систему через обратные клапаны. 10.24 Для сооружений подэстакадных пространств следует предусматривать систему оповещения о пожаре 3-го типа по НПБ 104-95. 10.25 Необходимо предусматривать автоматическое включение системы оповещения о пожаре в отсеке его возникновения при срабатывании пожарной автоматики. 10.26 Решение о включении систем оповещения в случае возникновения пожара на проезжей части мостового сооружения, а также в отсеках подэстакадных пространств, за исключением отсека возникновения пожара, принимается диспетчером на основании утвержденной инструкции. ПРИЛОЖЕНИЕ А
(справочное) ПЕРЕЧЕНЬ ДОПОЛНЕНИЙ, РАЗВИВАЮЩИХ ТРЕБОВАНИЯ, ПРАВИЛА И
РЕКОМЕНДАЦИИ СНИП
2.05.03-84*
"МОСТЫ И ТРУБЫ"
1. РАЗДЕЛ "ОБЛАСТЬ ПРИМЕНЕНИЯ" 1. В п. 1.1 расширена область применения норм 3. РАЗДЕЛ
"ОБЩИЕ ТРЕБОВАНИЯ" В подразделе "Общие
указания" введено требование по расчетному сроку службы сооружений - п.3.3; оговорены условия проектирования
и сравнения вариантов - пп. 3.1; 3.2; 3.5-3.7. В подразделе
"Градостроительно-планировочные требования" оговорены общие положения
- пп. 3.8-3.11; применительно к
условиям г. Москвы приведены требования по расположению сооружений в плане и
продольном профиле - п. 3.12; по
ширине сооружений и их элементов - пп.
3.13-3.17; по высотным габаритам - пп.
3.18-3.19 (в частности, увеличена минимальная высота габарита проезда под
путепроводами - п. 3.18); подходам
- пп. 3.20-3.22; по ограждениям - пп. 3.23-3.25; расположению линий
рельсового и городского пассажирского транспорта - пп. 3.26-3.28 (в частности, разрешено размещение
остановочных пунктов на мостах и эстакадах в "карманах" п. 3.27); прокладке инженерных
коммуникаций - пп. 3.29-3.33 (по
существу, запрещается прокладка коммуникаций под тротуарами - п. 1.30);
обеспечению безопасности дорожного движения - пп. 3.34-3.36. транспортным развязкам в разных уровнях -
пп. 3.37-3.44 (вновь введенные
требования). В подразделе
"Деформации" ужесточено требование по прогибам стальных и
сталежелезобетонных пролетных строений - п.
3.45. Впервые сформулированы
Архитектурные и Экологические требования - соответственно пп. 3.46-3.52 и 3.53-3.56. Подраздел "Эксплуатационные
требования" расширен по сравнению с действующими нормами - пп. 3.57-3.62 (в частности, введено
требование о разработке паспорта сооружения - п. 3.60). 4. РАЗДЕЛ" НАГРУЗКИ И ВОЗДЕЙСТВИЯ" Раздел содержит пп. 4.1-4.5. Здесь, учитывая
необходимость повышения надежности и долговечности мостов, а также интеграции с
европейскими странами, введена новая (увеличенная) нормативная временная
нагрузка; уточнены нагрузки на тротуары и перила мостов; оговорены условия
загружения на транспортных развязках; уточнены коэффициенты трения для опорных
частей и углы рассеивания пятна нагружения от колеса. 5. РАЗДЕЛ
"ТРЕБОВАНИЯ К МАТЕРИАЛАМ, РАСЧЕТЫ И КОНСТРУИРОВАНИЕ ЖЕЛЕЗОБЕТОННЫХ,
СТАЛЬНЫХ И СТАЛЕЖЕЛЕЗОБЕТОННЫХ КОНСТРУКЦИЙ" В подразделе "Железобетонные
конструкции" с учетом накопленного опыта повышены требования к материалам
- бетону, железобетону и арматуре - пп.
5.1-5.5; уточнены расчетные и конструктивные требования к железобетонным
пролетным строениям, в частности, к монолитным конструкциям, к железобетонным
конструкциям транспортных развязок; на основании опыта применения уточнены
минимальные толщины элементов и величины защитного слоя арматуры - пп. 5.6-5.33. В подразделе "Стальные
конструкции" расширены расчетные и конструктивные требования, в т.ч.
уточнена методика расчета на выносливость, впервые сформулированы общие
требования по антикоррозионной защите стальных конструкций - пп. 5.34-5.39. В подразделе
"Сталежелезобетонные конструкции" расширены расчетные и
конструктивные требования, направленные на повышение долговечности конструкций,
- пп. 5.40-5.46. 6. РАЗДЕЛ
"ОСНОВАНИЯ, ФУНДАМЕНТЫ, ОПОРЫ И ПОДПОРНЫЕ СТЕНЫ" В подразделе "Основания,
фундаменты и опоры" на основании практики возведения и проектирования опор
и фундаментов, в том числе на МКАДе, уточнены и расширены требования к
инженерно-геологическим изысканиям, расчету, материалам и конструкции
фундаментов и опор применительно к условиям строительства в г. Москве. Указанные дополнения содержатся в
подподразделах: основные положения - пп.
6.1-6.4, нормативные и расчетные значения характеристик грунтов - пп. 6.5-6.7; подземные и поверхностные
воды - пп. 6.8-6.9; выбор оснований
и типов фундаментов - пп. 6.10-6.11;
расчеты несущей способности оснований и фундаментов - пп. 6.12-6.21; материалы - п. 6.22; общие указания по конструированию - пп. 6.23-6.27; конструирование
фундаментов мелкого заложения и свайных фундаментов - пп. 6.28-6.36; особенности проектирования фундаментов в
карстово-опасной зоне - пп. 6.37-6.41. Требования, изложенные в
подразделе "Подпорные стены" - пп.
6.42-6.65, сформулированы впервые. 7. РАЗДЕЛ
"ТРАНСПОРТНЫЕ И ПЕШЕХОДНЫЕ РАЗВЯЗКИ" Раздел содержит подразделы:
"Транспортные развязки" - пп.
7.1-7.8; "Пешеходные мосты" - пп. 7.9-7.16; "Пешеходные сооружения тоннельного
типа" - пп. 7.17-7.37;
"Транспортные сооружения тоннельного типа" - пп. 7.38-7.60. Требования, изложенные в этих
подразделах, сформулированы впервые. 8. РАЗДЕЛ
"ВАНТОВЫЕ МОСТЫ" Требования этого раздела - пп. 8.1-8.9 сформулированы впервые. 9. РАЗДЕЛ
"МОСТОВОЕ ПОЛОТНО И ОПОРНЫЕ ЧАСТИ" Требования, изложенные в разделе,
в целом основаны на опыте проектирования и сооружения мостов при реконструкции
МКАД; они дополняют и расширяют требования существующих норм по одежде ездового
полотна пп. 9.1-9.7; отводу воды и дренажу
- пп. 9.8-9.12; конструкции
деформационных швов - пп. 9.14-9.19;
ограждающим элементам мостового полотна - пп.
9.20-9.24; опорным частям - пп.
9.25-9.30. Здесь впервые сформулированы
требования к гидроизоляции мостового полотна - п. 9.4; дренажу - пп.
9.10-9.11; установке конструкций деформационных швов - п. 9.19; типу применяемых ограждений - п. 9.20; к опорным частям, в том числе
для криволинейных в плане пролетных строений - п. 9.28. ПРИЛОЖЕНИЕ Б
| |||||||||||||||||||||||||||||||||||||||||||||||||||||||||||||||||||||||||||||||||||||||||||||||||||||||||||||||||||||||||||||||||||||||||||||||||||||||||||||||||||||||||||||||||||||||||||||||||||||||||||||||||||||||||||||||||||||||||||||||||||||||||||||||||||||||||||||||||||||||||||||||||||||||||||||||||||||||||||||||||||||||||||||||||||||||||||||||||||||||||||||||||||||||||||||||||||||||||||||||||||||||||||||||||||||||||||||||||||||||||||||||||||||||||||||||||||||||||||||||||||||||||||||||||||||||||||||||||||||||||||||||||||||||||||||||||||||||||||||||||||||||||||||||||||||||||||||||||||||||||||||||||||||||||||||||||||||||||||||||||||||||||||||||||||||||||||||||||||||||||||||||||||||||||||||||||||||||||||||||||||||||||||||||||||||||||||||||||||||||||||||||||||||||||||||||||||||||||||||||||||||||||||||||||||||||||||||||||||||||||||||||||||||||||||||||||||||||||||||||||||||||||||||||||||||||||||||||||||||||||||||||||||||||||||||||||||||||||||||||||||||||||||||||||||||||||||||||||||||||
|
№ пп. |
Вид частей и элементов сооружений (конструкций) |
Срок службы, лет |
|
1 |
2 |
3 |
|
1 |
Фундаменты: |
|
|
|
на буровых столбах диаметром 1 м и
более |
120 |
|
|
на забивных железобетонных сваях |
100 |
|
|
мелкого заложения |
90 |
|
2 |
Опоры: |
|
|
|
массивные из бетона естественного
твердения |
100 |
|
|
массивные сборно-монолитные |
90 |
|
|
стенчатые монолитные железобетонные |
90 |
|
|
стоечные сборные |
70 |
|
3 |
Пролетные
строения: |
|
|
|
стальные из низколегированных сталей |
100 |
|
|
стальные из углеродистых сталей |
80 |
|
|
железобетонные монолитные |
100 |
|
|
железобетонные сборные |
70 |
|
|
железобетонные сборно-монолитные |
80 |
|
|
сталежелезобетонные с монолитной
плитой |
100 |
|
|
сталежелезобетонные со
сборно-монолитной плитой |
90 |
|
4 |
Опорные части: |
|
|
|
стальные литые |
100 |
|
|
стальные из проката |
80 |
|
|
из полимерных материалов, в том числе
резино-металлические |
20 |
|
5 |
Подпорные
стены: |
|
|
|
массивные бетонные |
90 |
|
|
железобетонные монолитные |
90 |
|
|
сборно-монолитные |
70 |
|
6 |
Мостовое
полотно в целом |
20 |
|
|
Отдельные
элементы: |
|
|
|
тротуары железобетонные
сборно-монолитные перильные ограждения: |
40 |
|
|
стальные, в т. ч. чугунные |
40 |
|
|
железобетонные |
20 |
|
|
барьерные ограждения |
10 |
|
|
деформационные швы |
10 |
|
|
асфальтобетонное покрытие |
10 |
|
|
гидроизоляция |
20 |
|
|
система водоотвода, в т.ч. дренаж |
10 |
|
7 |
Сопряжение с
насыпью (в целом): |
40 |
|
|
укрепление конусов |
30 |
|
|
дренаж у устоев, подпорных стен |
40 |
Примечание. За прогнозируемый срок службы
принят период функционирования частей и элементов сооружения без ограничения по
эксплуатации, при условии обеспечения нормально текущего содержания и
выполнения ремонта.
Таблица
В.1
|
Вид воздействий |
Строительство |
Эксплуатация |
||
|
Мост (как инженерное сооружение) |
Движение по мосту транспортных средств |
|||
|
1 |
2 |
3 |
4 |
|
|
На природу |
||||
|
Видоизменение
ландшафта |
|
+1) |
|
|
|
Внедрение в
геоморфологическое строение (оползни, осыпи и т.п.) |
+ |
+ |
|
|
|
Нарушение
условий поверхностного стока |
|
+ |
|
|
|
Нарушение
естественного уровня протекания грунтовых вод (осушение, переувлажнение почв) |
|
+ |
|
|
|
Нарушение гидрологического
режима и сечения реки (изменение береговой линии, активизация русловых
процессов и т.д.) |
|
+ |
|
|
|
Нарушение
условий среды обитания растений, животных и рыб |
+ |
+ |
+ |
|
|
Загрязнение и запыление
воздушной среды и почвы, шумовое воздействие, вибрация от потока транспортных
средств |
|
|
+ |
|
|
Загрязнение
водных объектов поверхностным стоком с мостового сооружения |
|
|
+ |
|
|
Загрязнение и запыление
воздушной среды, почвы, поверхностных и грунтовых вод от различных видов
строительных работ, машин и механизмов на стройплощадках |
+ |
|
|
|
|
Загрязнение и
сужение русла реки при строительстве опор |
+ |
|
|
|
|
На объекты хозяйственной деятельности |
||||
|
Нарушение
функционирования коммуникаций |
+ |
+ |
|
|
|
На социальную среду |
||||
|
Снос строений,
переселение, связанное с отводом земель под строительство |
+ |
|
|
|
|
Нанесение ущерба
памятникам истории, культуры и объектам археологии |
+ |
|
|
|
1) Знаком "+" отмечены виды воздействий,
учитываемые при проведении экологического обоснования на стадиях строительства
и эксплуатации моста.
В состав и содержание раздела
рекомендуется включать:
1. Оценку современного состояния
окружающей среды:
·
оценку современного состояния природной окружающей среды (атмосфера,
гидросфера, геологическая и почвенная среда, растительный и животный мир);
·
оценку существующей техногенной нагрузки на компоненты окружающей среды;
·
оценку современной социальной обстановки.
2. Ориентировочную количественную
оценку воздействия моста на окружающую среду по каждому варианту размещения:
·
характеристику мостового перехода;
·
оценку воздействия на компоненты окружающей природной среды , социальные
условия;
·
оценку возможности развития опасных техногенных процессов и аварийных ситуаций;
·
оценку возможных мероприятий по предотвращению (минимизации) воздействий;
·
разработку системы локального мониторинга.
3. Эколого-экономическую оценку
инвестиций в строительство мостового перехода:
·
оценку экологического и экономического ущерба для природной среды при различных
вариантах размещения мостового перехода;
·
альтернативную оценку стоимости природоохранных мероприятий, обеспечивающих
экологическую безопасность природной среды и населения.
4. Выбор варианта размещения
мостового перехода с экологической позиции.
5. Рекомендации по последующим
этапам разработки экологического обоснования (ООС).
В состав и содержание раздела
рекомендуется включать:
I. Краткий анализ состояния окружающей среды на территории
предполагаемого строительства:
I.1. Природные условия:
климатическая характеристика (тип климата, метеорологические
показатели, определяющие условия рассеяния загрязняющих веществ в атмосфере:
температурный режим, средняя максимальная температура наиболее жаркого месяца,
температурные инверсии, их повторяемость и продолжительность, среднее
количество осадков за год, их распределение в течение года, ветровой режим,
средняя скорость ветра по направлениям, повторяемость штилей, скорость ветра по
средним многолетним данным повторяемость которой составляет 5% - u*, коэффициент, зависящий от
стратификации атмосферы, коэффициент рельефа местности);
ландшафтная характеристика
территории;
геоморфологические условия (тип рельефа, абсолютные отметки
и относительные высоты);
геологическое строение и
гидрогеология района:
гидрологические условия (уровни водных объектов
минимальные, максимальные расчетной обеспеченности; ледовый режим, толщина
льда, сроки замерзания и вскрытия водоема, гидравлические элементы потока:
ширина, глубина, средняя скорость течения на участке пересечения,
гидравлический радиус, шероховатость русла, уклон, коэффициент извилистости,
характер руслового процесса, характеристика существующего водопользования в
зоне размещения мостового сооружения, размеры и границы прибрежных полос и
водоохранных зон);
почвенно-растительные условия (тип почв, водопроницаемость, пористость,
гранулометрический состав почв, эродированность почвенного покрова,
деградированные земли, состояние растительности, состав пород, возраст,
полнота, бонитет);
состояние животного мира, в том
числе ихтиофауны.
I.2. Хозяйственные аспекты
использования территории:
характер антропогенной нагрузки (наличие промпредприятий,
существующей транспортной сети, общее влияние хозяйственной деятельности на
компоненты природной среды);
фоновые значения показателей
загрязнения природных компонентов (атмосферы, в том числе существующих уровней шума; водных
объектов, в том числе коэффициент донной аккумуляции веществ; почвы и т.п.).
I.3. Социальная среда:
численность населения района
тяготения, качество среды обитания;
данные о наличии памятников
истории, культуры, археологии.
II. Характеристика намечаемой деятельности:
данные о существующем уровне и
перспективной интенсивности движения и составе транспортного потока;
определение типов и характера
вероятных воздействий мостового сооружения на окружающую среду - строительные воздействия
(временный характер); эксплуатационные воздействия, связанные с
функционированием объекта как инженерного сооружения; воздействия от
передвижных источников (транспорта).
III. Прогноз изменения состояния окружающей среды в период
строительства и эксплуатации мостового сооружения:
уровень загрязнения атмосферы
отработавшими газами при движении транспорта по мостовому сооружению и
скопления техники при строительно-монтажных работах; то же по запыленности;
уровень шумового воздействия
трассы и шума от технологических процессов на примагистральную территорию;
то же для вибрации (в основном для реконструируемых
сооружений);
уровень загрязнения
поверхностного стока с мостового сооружения и со стройплощадок с определением
предельно допустимого сброса (НДС) в водный объект;
оценка влияния строительства
мостового сооружения на подземные воды и геологическую среду;
зона превышения содержания свинца
над предельно допустимой концентрацией (ПДК) в почве примагистральной
территории;
рекомендации по рекультивации
временно занимаемых земель;
прогнозируемая оценка изменения в
растительном покрове, растительности, в животном мире, в том числе ихтиофауне;
эстетические аспекты изменения
ландшафта после строительства мостового сооружения;
вопросы обеспечения транспортной
доступности и сохранения местных путей сообщения после строительства мостового
сооружения; сохранения памятников истории, культуры, объектов археологии (при их наличии).
IV. Природоохранные мероприятия, подбор проектных решений и
мероприятий по уменьшению негативного влияния мостового переходана окружающую
среду:
посадка защитной полосы зеленых
насаждений, устройство шумозащитных экранов, валов, очистных сооружений в
пределах водоохранных зон водных объектов и т.п.;
мероприятия по сохранению и
защите памятников истории, культуры, археологии;
предложения но компенсации
ущерба, причиняемого в период строительства и эксплуатации населению и
окружающей среде, включая отчуждение земельных участков, снос зданий и т.н.;
предложения по компенсации ущерба
рыбным запасам;
предложения по компенсации ущерба
зеленым насаждениям.
V. Возможность аварийных ситуаций и оценка экологического
риска.
VI. Обеспечение организации локального
экологического мониторинга.
Примечания.
1. Исходные
данные в виде таблиц, карт, планов, справок, технических условий и согласований
оформляют в приложениях к пояснительной записке по экологическому обоснованию.
В планы (или карты) включают следующие графические документы: схематический
ситуационный план мостового сооружения с нанесением границ промышленных и
селитебных территорий, охранных и защитных зон, зон рекреационного
использования; стройгенплан объекта с указанием мест размещения источников
загрязнения; ситуационный план с нанесением основных намечаемых проектных
мероприятий по охране окружающей среды и зон негативного влияния в границах
предельно допустимых значений.
2. Климатическую
характеристику получают в "Отделе экологических расчетов и справок"
Московского центра по гидрометеорологии и наблюдению природной среды;
рыбохозяйственную характеристику водного объекта - в Мосрыбводе. Сведения о
фоновых концентрациях загрязняющих веществ получают: для атмосферы - в отделе
экологических расчетов и справок (ОЭРС) Московского центра по гидрометеорологии
и наблюдению природной среды, для водных объектов - в Московско-Окском
бассейновом водо-хозяйственном управлении (МОБВУ), по шуму и вибрации - в
Московском городском центре государственного санитарно-эпидемиологического
надзора.
1. Расчеты уровня загрязнения
атмосферы отработавшими газами при движении транспортных средств по мостовому
сооружению и от работы техники при строительно-монтажных работах.
При этом выполняют:
расчеты массового выброса
загрязняющих веществ в атмосферу по четырем основным примесям - оксиду углерода СО, оксидам
азота (в пересчете на NO2), суммарным углеводородам СН и сернистому ангидриду SO2 (согласно "Методическим
указаниям по расчету массовых выбросов от автотранспорта в городах",
НИИАТ, 1997);
расчеты рассеивания загрязняющих
веществ в атмосфере (по "Методике расчета концентраций в атмосферном воздухе
вредных веществ, содержащихся в выбросах предприятий ОНД-86"
(Госкомгидромет, 1986) или по программам, реализующим основные положения
указанной методики или методики, утвержденной ГГО им. А.И.Воейкова).
Сравнение полученных результатов
с предельно допустимыми концентрациями (ПДК) выполняют по данным из
"Перечня ПДК загрязняющих веществ в атмосферном воздухе населенных мест
", № 3086-84 (основной список) с дополнениями.
2. Расчеты уровня шумового
воздействия и воздействия вибрации трассы на примагистральную территорию и шума
и вибрации от технологических процессов строительства (при наличии в тоне влияния
мостового сооружения жилой застройки).
Допустимые уровни шума в
помещении нормированы в Санитарных нормах СН
2.2.4/2.1.8.562-96 "Шум на рабочих местах, в помещениях жилых и общественных
зданий и на территории жилой застройки", М, 1997.
Расчет прогнозируемого уровня
шума, требуемого его снижения, и расчет экранирующих сооружений выполняют по
СНиП 11-12-77 "Защита от шума" (в т.ч. по программам, реализующих
основные положения СНиП и результаты научных исследований).
Допустимые уровни шума, вибрации
и требования к звукоизоляции в жилых и общественных зданиях принимают по МГСН
2.04-97.
3. Расчет зоны превышения
содержания свинца.
Для расчетов зоны превышения
содержания свинца над предельно допустимой концентрацией (ПДК) в почве
примагистральной территории используют методику "Рекомендаций по учету
требований охраны окружающей среды при проектировании автомобильных дорог и
мостовых переходов", Минтранс, 1995.
Полученные результаты сравнивают
с данными по "Перечню ПДК и ОДК химических веществ в почве",
Минздрав, 1991.
4. Расчет предельно допустимого
сброса (ПДС) в водный объект, определение уровня загрязнения поверхностного
стока с мостового сооружения и со стройплощадок.
Расчет ПДС в водный объект и
определение уровня загрязнения поверхностного стока, а также необходимость его
сбора, отведения и очистки принимают с учетом "Правил охраны поверхностных
вод", Госкомприрода, 1991.
При этом выполняют:
расчет объема годового стока
(ливневого, талого, моечного) с мостового сооружения или стройплощадки (по СНиП 2.04.03-85
"Канализация. Наружные сети и сооружения");
расчет количества загрязняющих
веществ, содержащихся в стоке (удельные показатели загрязнения принимают по СН
496-77 "Временной инструкции по проектированию сооружений для очистки
поверхностных сточных вод");
расчет ПДС (расчет выполняют по
"Методическим указаниям по установлению ПДС веществ, поступающих в водные
объекты со сточными водами, или по рекомендованным Госкомприродой программам
для расчета норм ПДС).
В зависимости от категории
водного объекта полученные в результате расчетов концентрации загрязняющих веществ
в контрольном створе сравнивают с предельно допустимыми концентрациями по
"Обобщенному перечню ПДК и ОБУВ вредных веществ в воде водных объектов,
используемых для рыбохозяйственных целей" или "Списку ПДК вредных
веществ в водных объектах хозяйственно-бытового и культурно-бытового
водопользования".
Примечание. Необходимые
расчеты и нормативные требования приведены также в "Инструкции по
разработке раздела Охраны окружающей среды проектной документации на стадиях ТЭО
и проект (рабочий проект) для строительства в Москве", М., 1994 и в другой
нормативной документации.
В сжатой зоне бетона при действии
крутящего момента следует рассмотреть два случая разрушения бетона: от
растяжения и от сжатия.
При этом предельную несущую
способность сжатой части сечения на кручение по растяжению следует определять
по формуле:
,
а по сжатию - по формуле:
.
В приведенных формулах приняты
следующие обозначения:
Wк - момент сопротивления сжатой
зоны сечения при кручении.
Rbt, Rb - расчетные сопротивления бетона
соответственно на растяжение и сжатие, принимаемые по СНиП 2.05.03-84*;
sвm - среднее сжимающее напряжение в
сечении от внецентренно приложенной силы;
tQ - касательные напряжения в сечении от действия поперечной
силы.
Для последующих расчетов из двух
найденных значений крутящих моментов Мк1 и Мк2 следует
принимать наименьшее - Мк,min. При проверке сечения на
внецентренное сжатие с двухосным эксцентриситетом с учетом действия крутящего
момента должны быть выполнены следующие условия:
и
,
где Nxy и Мху - действующие
внешние силы при внецентренном сжатии;
и
- несущая способность
сечения по нормальной силе и изгибающему моменту;
Мк - действующий в
сечении внешний крутящий момент.
Внецентренно сжатый железобетонный
элемент с внешней нагрузкой в виде крутящего момента Мк следует
армировать с учетом этого момента.
При этом для коробчатых сечений
площадь поперечной арматуры (хомутов) в плитном элементе определяют по формуле:
,
а площадь продольной арматуры -
по формуле:
,
где
- шаг хомутов;
Rs,хом; Rs,прод - расчетное сопротивление на
растяжение соответственно хомутов и продольной арматуры, принимаемое по СНиП 2.05.03-84*;
L - периметр контура площадью Ак/2;
здесь Ак - удвоенная площадь фигуры, ограниченная средней линией
замкнутого профиля;
Аs,хом; Аs,прод - площадь соответственно хомутов
и продольной арматуры.
При расположении хомутов под
углом 45° к продольной оси площадь арматуры в элементе определяют по формуле:
.
где
- шаг поперечной
арматуры вдоль продольной оси элемента.
Дополнительную продольную
арматуру, воспринимающую крутящий момент, рекомендуется располагать в углах
сечения.
Если касательные напряжения от
действующего крутящего момента > 0,6 Rbt, то поперечную арматуру (хомуты)
рекомендуется располагать с шагом, величина которого не должна превышать
минимального значения из следующих размеров:
1/2 наименьшего из поперечных
размеров элемента; 1/3 наибольшего из поперечных размеров элемента; 20 см.
Расчеты с учетом кручения по
второй группе предельных состояний следует выполнять по СНиП 2.05.03-84*.
Нормальные напряжения в сечениях предварительно
напряженных криволинейных пролетных строений следует вычислять от нормальных
усилий в предположении упругой работы материала.
В общем случае нормальные
напряжения в бетоне в точке сечения с координатами v, w (рис. И.1,а) при действии нормальной силы N и изгибающих
моментов Мn и Mw определяют по формуле (1):
где А, Iv, Iw - площадь и моменты инерции
поперечного сечения относительно осей v и w;
snm - суммарные изменения напряжений
в данной точке сечения, вызванные усадкой, ползучестью бетона и другими
длительными действиями.
При этом напряжения в элементах
арматуры вычисляют по формулам (2) и (2’):
для напрягаемой арматуры:
для ненапрягаемой арматуры:
где sр - напряжения, отвечающие
контролируемому усилию;
- потери предварительного
напряжения;
Ер, Es, Ев- модули упругости
напрягаемой, ненапрягаемой арматуры и бетона;
sвu - напряжение в бетоне на уровне
центра тяжести сечения элемента арматуры.
При натяжении арматуры до
бетонирования величину sвu в формулах (2) и (2’)
следует определять по формуле (1) от
воздействия полных постоянных и временных нагрузок. Если натяжение арматуры
производится после
бетонирования, то напряжения sвu следует определять от той части
нагрузок, которую прикладывают к конструкции после натяжения арматуры.
Рис. И.1.
Схемы к определению нормальных напряжений в криволинейных балках:
а - система координат; б - криволинейный участок; в - эпюры
напряжений
Кроме продольных напряжений sвu, в сечениях пролетных строений следует определить
нормальные напряжения sвv в горизонтальной и sвw в вертикальной плоскостях,
вызванные криволинейным расположением напрягаемой или ненапрягаемой арматуры (рис. И.1, б), а также от предварительного напряжения хомутов или
поперечной арматуры плит; sвv и sвw
от предварительного напряжения
хомутов или поперечной арматуры следует определять по СНиП 2.05.0.1-84*.
Распределенные усилия,
передаваемые бетону от криволинейной арматуры с продольным напряжением spu - для напрягаемой или ssu - для ненапрягаемой арматуры,
будут равны (рис. И.1, в):
;
либо
;
,
(3)
где Ruv, Ruw, Ар - радиусы кривизны
продольных осей арматуры и площадь ее поперечного сечения. При этом напряжения spu (или ssu) необходимо принимать с
соответствующими знаками. Если арматура растянута, то сжимающие усилия qvp и qwp направлены к центру кривизны;
при сжатой арматуре те же усилия направлены в противоположную сторону (см. рис. И.1, в)
Под действием усилий qvp и qwp в бетоне балок пролетных строений
возникают сжимающие и растягивающие нормальные напряжения. Так как арматура искривляется
в стенках или плитах несущих конструкций, нормальные напряжения условно
определяют для прямоугольных элементов, в плоскости которых действуют указанные
силы, (см. сечения А-А; Б-Б и В-В на рис. И.1, в).
Напряжения sвv и sвw
от сил qvp и qwp следует вычислять по формулам (4):
;
где av и аw - расстояния от грани рассматриваемого
элемента, наиболее удаленной от центра кривизны криволинейной арматуры, до
точки, в которой определяются напряжения;
вv,
, вw, и
- толщина и ширина
прямоугольных элементов (см. рис. И.1, б).
Члены формулы (4), расположенные за вертикальной чертой,
учитывают в том случае, когда расстояния аv или aw больше, чем расстояние от
наиболее удаленной грани до арматуры.
При наличии в плите или стенке
балки нескольких криволинейных элементов арматуры напряжения по формулам (4) следует определять от каждого из них, а затем суммировать
напряжения.
При проверке трещиностойкости
сечений следует учитывать изменения напряжений в бетоне и арматуре от
ползучести и усадки бетона от длительных деформаций бетона.
Влияние длительных деформаций
бетона на нормальные напряжения в сечениях балок допускается оценивать на основе
теории старения.
В случае несимметричного сечения
пролетного строения с произвольно расположенной арматурой (рис. И.2) при усилиях от собственного веса и сил
предварительного напряжения изменения напряжений в арматуре (потери) от
ползучести бетона вычисляют по формуле
(5):
где
- условный
коэффициент армирования;
- коэффициент армирования;
sво - начальное напряжение в бетоне
на уровне центра тяжести арматуры;
еv, еw - координаты центра тяжести
арматуры площадью сечения Ар относительно центра тяжести бетонного
сечения (см. рис. И.2);
Eв - модуль упругости бетона;
Ав- площадь
поперечного сечения конструкции (площадь бетона);
Ivв, Iwв - моменты инерции бетонного
сечения относительно осей v, w;
Ер - модуль упругости
арматуры;
Ар- площадь
поперечного сечения арматуры;
К = 1 - е-Вjt - коэффициент, учитывающий
влияние ползучести бетона и принимаемый по табл.
И.1;
![]()
- отношение модулей
упругости;
jt - характеристика ползучести бетона.
|
n |
jt=jк |
Значение коэффициента К при mc, равном |
||||||||
|
0,005 |
0,01 |
0,02 |
0,04 |
0,06 |
0,08 |
0,1 |
0,2 |
0,3 |
||
|
4 |
0 |
0 |
0 |
0 |
0 |
0 |
0 |
0 |
0 |
0 |
|
|
1 |
0,02 |
0,04 |
0,07 |
0,13 |
0,18 |
0,21 |
0,25 |
0,36 |
0,42 |
|
|
2 |
0,04 |
0,08 |
0,14 |
0,24 |
0,32 |
0,39 |
0,44 |
0,59 |
0,66 |
|
|
3 |
0,06 |
0,11 |
0,20 |
0,34 |
0,44 |
0,52 |
0,58 |
0,74 |
0,81 |
|
6 |
0 |
0 |
0 |
0 |
0 |
0 |
0 |
0 |
0 |
0 |
|
|
1 |
0,03 |
0,06 |
0,10 |
0,18 |
0,23 |
0,27 |
0,32 |
0,42 |
0,47 |
|
|
2 |
0,06 |
0,11 |
0,19 |
0,32 |
0,41 |
0,48 |
0,53 |
0,66 |
0,72 |
|
|
3 |
0,08 |
0,16 |
0,27 |
0,44 |
0,55 |
0,62 |
0,67 |
0,81 |
0,86 |
|
8 |
0 |
0 |
0 |
0 |
0 |
0 |
0 |
0 |
0 |
0 |
|
|
1 |
0,04 |
0,07 |
0,13 |
0,21 |
0,27 |
0,32 |
0,36 |
0,46 |
0,51 |
|
|
2 |
0,06 |
0,14 |
0,24 |
0,39 |
0,48 |
0,54 |
0,59 |
0,71 |
0,76 |
|
|
3 |
0,08 |
0,20 |
0,34 |
0,52 |
0,62 |
0,69 |
0,74 |
0,84 |
0,88 |
Изменения напряжений в бетоне
сечения (потери) в точке с координатами v и w следует определять по формуле
(6):
.
(6)
Изменения напряжений в бетоне на
уровне центра тяжести арматуры, т.е. при w = еw и v =ev будут равны: Dsвр = -sвоК.
Потери напряжений в арматуре,
вызванные усадкой, определяют по формуле(7):
,
(7)
где Кs - коэффициент, учитывающий
влияние усадки бетона и сопровождающей ее ползучести и принимаемый по табл. И.2;
eкs - конечное значение деформации
усадки.
Изменения напряжений в бетоне
сечений от усадки определяют по формуле (8):
.
(8)
Рисунок
И.2. Схемы для расчета несимметричного сечения пролетного строения на
длительные воздействия:
Цб - центр тяжести бетонного сечения; Цп
- то же, приведенного сечения
|
п |
jк |
Значение коэффициента Ks при mс, равном |
||||||||
|
0,005 |
0,01 |
0,02 |
0,04 |
0,05 |
0,1 |
0,2 |
0,3 |
0,5 |
||
|
4 |
0 |
0,02 |
0,04 |
0,07 |
0,14 |
0,17 |
0,29 |
0,44 |
0,55 |
0,67 |
|
|
1 |
0,02 |
0,04 |
0,07 |
0,13 |
0,15 |
0,25 |
0,36 |
0,42 |
0,49 |
|
|
2 |
0,02 |
0,04 |
0,07 |
0,12 |
0,14 |
0,22 |
0,29 |
0,33 |
0,37 |
|
|
3 |
0,02 |
0,04 |
0,07 |
0,11 |
0,13 |
0,19 |
0,24 |
0,27 |
0,29 |
|
6 |
0 |
0,03 |
0,06 |
0,11 |
0,19 |
0,23 |
0,37 |
0,55 |
0,64 |
0,75 |
|
|
1 |
0,02 |
0,05 |
0,10 |
0,18 |
0,21 |
0,31 |
0,42 |
0,47 |
0,53 |
|
|
2 |
0,02 |
0,05 |
0,10 |
0,16 |
0,18 |
0,25 |
0,33 |
0,36 |
0,39 |
|
|
3 |
0,02 |
0,05 |
0,09 |
0,15 |
0,17 |
0,22 |
0,27 |
0,28 |
0,30 |
|
8 |
0 |
0,03 |
0,07 |
0,14 |
0,24 |
0,29 |
0,44 |
0,62 |
0,71 |
0,80 |
|
|
1 |
0,03 |
0,07 |
0,13 |
0,22 |
0,25 |
0,36 |
0,46 |
0,51 |
0,55 |
|
|
2 |
0,03 |
0,07 |
0,12 |
0,19 |
0,22 |
0,29 |
0,35 |
0,84 |
0,88 |
|
|
3 |
0,03 |
0,07 |
0,11 |
0,17 |
0,19 |
0,24 |
0,28 |
0,29 |
0,30 |
|
В/ |
Значения редукционного коэффициента v* для схем
по рис. К.1, б |
|||||||||||
|
Схема № 1 |
Схема № 2 |
|||||||||||
|
Х = 0 |
Х = 0,25 |
X = 0,5 |
Х = 0 |
Х = 0,25 |
X = 0,5 |
|||||||
|
w=0 |
w=1 |
w=0 |
w=1 |
w=0 |
w=1 |
w=0 |
w=1 |
w=0 |
w=1 |
w=0 |
w5=1 |
|
|
0 |
1,0 |
1,0 |
1,0 |
1,0 |
1,0 |
1,0 |
1,0 |
1,0 |
1,0 |
1,0 |
1,0 |
1,0 |
|
0,05 |
0,91 |
0,86 |
0,99 |
0,98 |
0,99 |
0,99 |
0,71 |
0,64 |
0,92 |
0,89 |
0,99 |
0,96 |
|
0,10 |
0,84 |
0,77 |
0,98 |
0,96 |
0,98 |
0,97 |
0,58 |
0,50 |
0,85 |
0,76 |
0,96 |
0,91 |
|
0,20 |
0,70 |
0,60 |
0,93 |
0,86 |
0,95 |
0,89 |
0,41 |
0,32 |
0,68 |
0,55 |
0,86 |
0,72 |
|
0,40 |
0,52 |
0,38 |
0,77 |
0,62 |
0,81 |
0,67 |
0,24 |
0,17 |
0,42 |
0,31 |
0,58 |
0,40 |
|
0,60 |
0,42 |
0,30 |
0,62 |
0,47 |
0,66 |
0,51 |
0,18 |
0,12 |
0,32 |
0,22 |
0,41 |
0,29 |
|
0,80 |
0,32 |
0,22 |
0,46 |
0,32 |
0,50 |
0,35 |
0,12 |
0,08 |
0,21 |
0,14 |
0,24 |
0,18 |
|
1,00 |
0,27 |
0,18 |
0,37 |
0,26 |
0,40 |
0,28 |
0,11 |
0,07 |
0,16 |
0,12 |
0,20 |
0,15 |
|
1,50 |
0,17 |
0,12 |
0,20 |
0,16 |
0,21 |
0,17 |
0,09 |
0,06 |
0,11 |
0,09 |
0,15 |
0,11 |
|
2,00 |
0,12 |
0,09 |
0,15 |
0,11 |
0,16 |
0,12 |
0,07 |
0,05 |
0,09 |
0,07 |
0,13 |
0,09 |
|
В/ |
Схема № 3 |
Схема № 4 |
||||||||||
|
Х = 0 |
X = 0,25 |
X = 0,5 |
Х = 0 |
X = 0,25 |
Х = 0,5 |
|||||||
|
w=0 |
w=1 |
w=0 |
w=1 |
w=0 |
w=1 |
w=0 |
w=1 |
w=0 |
w=1 |
w=0 |
w0=1 |
|
|
0 |
1,0 |
1,0 |
1,0 |
1,0 |
1,0 |
1,0 |
1,0 |
1,0 |
1,0 |
1,0 |
1,0 |
1,0 |
|
0,05 |
0,89 |
0,85 |
1,0 |
1,0 |
0,96 |
0,92 |
0,76 |
0,68 |
1,0 |
1,0 |
0,88 |
0,82 |
|
0,10 |
0,82 |
0,76 |
1,0 |
1,0 |
0,92 |
0,86 |
0,62 |
0,54 |
1,0 |
1,0 |
0,79 |
0,70 |
|
0,20 |
0,68 |
0,61 |
1,0 |
1,0 |
0,84 |
0,77 |
0,45 |
0,38 |
1,0 |
1,0 |
0,63 |
0,52 |
|
0,40 |
0,52 |
0,44 |
1,0 |
1,0 |
0,70 |
0,60 |
0,27 |
0,21 |
0,92 |
0,76 |
0,44 |
0,32 |
|
0,60 |
0,44 |
0,36 |
0,94 |
0,88 |
0,61 |
0,49 |
0,20 |
0,16 |
0,69 |
0,56 |
0,34 |
0,24 |
|
0,80 |
0,35 |
0,28 |
0,88 |
0,75 |
0,52 |
0,38 |
0,13 |
0,10 |
0,46 |
0,35 |
0,24 |
0,16 |
|
1,00 |
0,31 |
0,25 |
0,76 |
0,62 |
0,46 |
0,34 |
0,12 |
0,08 |
0,35 |
0,28 |
0,20 |
0,14 |
|
1,50 |
0,22 |
0,12 |
0,52 |
0,37 |
0,33 |
0,23 |
0,09 |
0,06 |
0,20 |
0,16 |
0,12 |
0,08 |
|
2,00 |
0,18 |
0,14 |
0,38 |
0,27 |
0,27 |
0,18 |
0,09 |
0,06 |
0,19 |
0,15 |
0,08 |
0,07 |
Примечание.
Величину w определяют из
выражения w = ах/(b1t1) - (здесь
обозначения приняты по рис. К.1.); для
консольных плит следует вводить множитель равный 0,85.
Рисунок
К.1. Схемы для определения значений редукционных коэффициентов:
а - общая компоновочная схема; б - по-пролетные схемы (№
1-4); в - схема поперечного сечения
1. Расчет на выносливость
ортотропной плиты необходимо выполнять в зонах, указанных ниже (рис. Л.1):
А и D - по основному металлу листа
настила в зоне продольных сварных швов и стыка поперечных балок;
В - по основному металлу
продольного ребра в тоне пересечения его с поперечной балкой;
С - по основному металлу листа
настила в зоне поперечных сварных швов и стыков продольных ребер;
Е - по основному металлу листа
настила в местах продольных угловых швов прикрепления стенки главной балки и по
металлу угловых швов прикрепления стенки главной балки к верхнему поясу;
F - по основному металлу
вертикального поперечного ребра жесткости в месте его приварки к верхнему
продольному ребру жесткости главной балки.
2. Эффективные коэффициенты
концентрации напряжений в расчетах на выносливость следует принимать по
приложению 17 СНиП 2.05.03-84*.
3. Для зоны В за расчетные необходимо
принимать напряжения в нижней фибре продольного ребра только от местной
нагрузки при коэффициенте асимметрии цикла переменных напряжений равным нулю.
Рисунок
Л.1. Расположение зон ортотропной плиты, рассчитываемых на выносливость
Критическую скорость ветра, при
которой возникают резонансные колебания сооружения в направлении,
перпендикулярном ветровому потоку, следует определять в зависимости от отношения
ширины пролетного строения в уровне нижних поясов - "в" (м) к высоте
сечения "d" (м) по одной из ниже приведенных формул:
для
< 5,0;
для
5£
<10;
для
³10,
где Т - период собственных
колебаний конструкции по i-ой форме.
Амплитуду интенсивности
динамической силы Fi(z), Н/м, с координатой вдоль пролетного строения Z при колебаниях сооружения по i-ой форме допускается определять
по формуле:
Fi(z) =Foi,ai(z),
где Foi = Cyqkp,id - амплитуда интенсивности силы
на конце консоли или в середине пролета;
qkp,i = 0,613
- скоростной напор, Па, соответствующий критической скорости Vkp,i;
Су - коэффициент
поперечной силы, принимаемый равным 0,5 - для элементов с поперечными
сечениями, имеющими угловые точки, 0,25 - для элементов круговой формы;
ai(z) - относительная ордината i-ой формы собственных колебаний
(если принять коэффициенты распределения амплитуд i-ой формы колебаний в виде aij=yij/yin и положить уin=1, то aij=yij).
Для консолей постоянного сечения
допускается учитывать в расчетах только первую форму собственных колебаний.
Резонансные усилия и перемещения
конструкции в сечении с координатой Z определяют по формуле:
,
где хc(z) - прогиб, изгибающий момент или
поперечная сила от статически приложенной ветровой нагрузки Fi(z), вычисленной для v=vкр;
d -
логарифмический декремент колебаний, принимаемый равным: 0,05 - для
железобетонных конструкций, 0,03 - для стальных конструкций и 0,04 - для
сталежелезобетонных конструкций.
Расчетные суммарные усилия и
перемещения элементов при проверке на резонанс допускается определять по
формуле:
x(z)=
,
где хд(z) и xc(z) - перемещение, изгибающий
момент или поперечная сила соответственно от динамической и статической
ветровой нагрузки, соответствующей qкp,i.
Критическую скорость ветра Vф, при которой возникает флаттер,
в общем случае следует определять из уравнения (1);
где S =
- параметр, отражающий зависимость между характеристиками флаттера:
критической скорости ветра Vф и круговой частотой колебаний
пролетного строения wф при ширине конструкции В.
Значения S для сечения в виде узкого прямоугольника в зависимости от
отношений крутильной (wк) к изгибной (wн) частоте собственных колебаний
пролетного строения дана на рис. Н.1,
а;
θ(z) - аппроксимирующая функция,
задаваемая с учетом граничных условий при кручении пролетного строения.
Пояснения к остальным
обозначениям приведены к формуле (2).
При определении Vф по уравнению (1) для висячих мостов к выражению в
скобках (GIк-Mr2) следует добавлять слагаемое Нв2/2,
где Н - распор, а "в" - расстояние между подвесками поперек
пролетного строения.
Для консольной балки длиной
критическую скорость
ветра Vф
определяют по формуле (2):
где EIw и GIк - жесткости сечения балки
(стержня) при кручении; N - сжимающая сила в балке (стержне);
- плотность воздуха;
Кm - производная от коэффициента
аэродинамического момента, определяемая опытным путем. Для сечения в виде
тонкой пластины Кm=1,6;
г2=
, здесь Ix, Iy и А - соответственно моменты
инерции и площадь поперечного сечения;
В - ширина поперечного сечения;
;
- погонная масса пролетного
строения (m = q/g).
Для висячего моста с центральным
пролетом
и величиной распора Н
критическую скорость ветра определяют по формуле (3):
где n = 1,2,3... - порядковый номер
форм колебаний пролетного строения.
Остальные обозначения приведены к
формуле (2).
В формуле (3) сжимающая сила N, действующая на балку жесткости,
может равняться нулю или величине распора Н в зависимости от конструкции моста.
При Н = 0 из формулы (3) получают
формулу для свободно опертой балки.
Формулы (2) и (3)
применяют для сечений в виде тонкого прямоугольника. Для других форм
поперечного сечения пролетного строения к критической скорости ветра,
вызывающей флаттер, Vф, по формулам (2) и (3), следует вводить множитель -
коэффициент формы, величина которого с учетом данных экспериментальных
исследований приведена на рисунке Н.1, б.
Согласно требованию п. 2.24 СНиП 2.05.03-84* величина Vф, полученная из уравнения (1) или по формулам (2) и (3) с
учетом коэффициента формы должна быть больше максимальной скорости ветра,
возможного в районе расположения моста не менее чем в 1,5 раза.
а)
б)
b:h =
20:1; h=0,72
b:h
= 9:1; h=0,73
b:b¢:h
= 10:5:1; h=0,72
b:b¢:b":h
= 7:3:1:0,7; h= 0,72
Рисунок H.1. Значения параметров при расчете пролетных строений на
крутильный флаттер:
а - графические зависимости между параметром S и величиной отношения
; б - величина параметра Г (коэффициента формы) для
пролетных строений с характерными формами поперечного сечения
(Введено дополнительно. Изм. №
2).
Определение предельной (максимальной допустимой) длины секции сухотруба следует проводить по двум критериям:
- обеспечение не замерзания головной части потока;
- обеспечение требуемого напора на пеногенераторах на проезжей части мостового сооружения с учетом гидравлического сопротивления.
Определение предельной длины сухотруба из условия обеспечения не замерзания головной части потока
Определение предельной длины сухотруба по критерию обеспечения не замерзания головной части потока проводится по методике приведенной в работе [1].
Предельная длина сухотруба, Lпр1, определяется по формуле:
,
где величина местного коэффициента теплоотдачи от жидкости к стенке трубы a, Вт.м-2×K-1, определяется по формуле:

W - линейная скорость течения жидкости в сухотрубе (м×с-1), вычисляемая по формуле:
![]()
Q - массовая скорость течения жидкости в сухотрубе, м3×с-1;
d - диаметр сухотруба, м;
Cж - удельная теплоемкость жидкости, Дж×кг-1×K-1;
rж - плотность жидкости, принимаемая для воды равной 1000 кг×м-3;
tж,вх - температура жидкости на входе в сухотруб, °С;
tж,пр - предельная температура жидкости, принимаемая для воды равной 1°С;
lж - коэффициент теплопроводности жидкости, Вт×м-1×K-1;
Prж - критерий Прандтля для жидкости;
nж - коэффициент кинематической вязкости жидкости (м2×с-1), определяемый по формуле:
,
где mж - динамическая вязкость жидкости, Н×с×м-2.
Значения теплофизических величин Cж, lж, mж, nж, Prж для воды принимаются в соответствии с таблицей при значении температуры tж = (tж,вх + tж,пр)/2.
Таблица
|
tж |
Cж |
lж |
mж×10-6 |
nж×10-6 |
Prж |
|
°С |
Дж×кг-1×K-1 |
Вт×м-1×K-1 |
Н×с×м-2 |
м2×с-1 |
|
|
0 |
4212 |
0,551 |
1788 |
1,789 |
13,67 |
|
10 |
4191 |
0,574 |
1306 |
1,306 |
9,52 |
|
20 |
4183 |
0,599 |
1004 |
1,004 |
7,02 |
|
30 |
4174 |
0,618 |
801,5 |
0,805 |
5,42 |
|
40 |
4174 |
0,635 |
653,3 |
0,659 |
4,31 |
Определение
предельной длины сухотруба из условия обеспечения требуемого напора на пеногенераторах
на проезжей части мостового сооружения с учетом гидравлического сопротивления
Определение предельной длины сухотруба для обеспечения требуемого напора на пеногенераторах на проезжей части мостового сооружения проводится из условия:
hПНС-hПЕНОГ=Z+hГИДР, (1)
где hПНС - напор, обеспечиваемый пожарной насосной станцией, м;
hПЕНОГ - необходимый напор на пеногенераторе, м;
Z - высота вертикального столба жидкости в сухотрубе, м;
hГИДР - потеря напора в сухотрубе из-за гидравлического сопротивления, определяемая по зависимости [2]:
hГИДР=l LПР2 W2/(2gd),
где l - гидравлический коэффициент трения, определяемый из рисунка в зависимости от числа Рейнольдса (Re=W d/nж), диаметра трубопровода d и шероховатости трубы D [2].
Предельная длина сухотруба (LПР2, м) определяется по формуле:
,
где g = 9,8 м×с-2 - ускорение свободного падения.
Пример. Определить предельную длину секции сухотруба для подачи воды (раствора пенообразователя) на мостовое сооружение из условия обеспечения требуемого напора на пеногенераторах на проезжей части мостового сооружения, а также не замерзания головной части потока для следующих значений исходных данных:
Q=60 л×с-1; d=0,1 м; tж,вх=9°С; hПНС=100 м; hПЕНОГ=60 м; Z=10 м.
Значение эквивалентной абсолютной шероховатости для труб D=0.05.
Расчет. Из таблицы для tж=5°С определяем значения теплофизических величин Cж=4202 Дж×кг-1×K-1; lж=0,563 Вт×м-1×K-1; nж=1,55×10-6 м2×с-1; Prж=11,6.
Рассчитываем значения линейной скорости течения жидкости в сухотрубе W, и числа Рейнольдса Re
W=4Q/pd2=4×60×10-3/(p×0,12)=7,64 м×с-1
Re=W d/nж=7,64×0,1/1,55×10-6=4,9×105
Определяем значение a
Вт×м-2×К-1
Определяем значение предельной длины сухотруба из условия обеспечения не замерзания головной части потока LПР1.
![]()
Из рисунка для Re=4,9×105 и d/D=2000 определяем значение гидравлического коэффициента трения сухотруба l=0,017.
Рассчитываем значение предельной длины сухотруба из условия обеспечения требуемого напора на пеногенераторах на проезжей части мостового сооружения с учетом гидравлического сопротивления LПР2.
![]()
Таким образом, для приведенных значений исходных данных предельная длина секции сухотруба определяется из условия обеспечения требуемого напора на пеногенераторах на проезжей части мостового сооружения и составляет 60 м.
Список литературы к приложению П
1. Тушение нефти и нефтепродуктов: Пособие/Безродный И.Ф., Гилетич А.Н, и др. - М.:ВНИИПО, 1996. - 216 с.
2. Тепло- и массообмен. Теплотехнический эксперимент: Справочник/Е.В. Аметистов, В.А. Григорьев и др. - М.: Энергоиздат, 1982.
3. Исаченко В.П. и др. Теплопередача. Учебник для вузов, Изд. 3-е перераб. и доп. М., "Энергия", 1975. 17
|
|
|
|