Бесплатная библиотека стандартов и нормативов www.docload.ru

Все документы, размещенные на этом сайте, не являются их официальным изданием и предназначены исключительно для ознакомительных целей.
Электронные копии этих документов могут распространяться без всяких ограничений. Вы можете размещать информацию с этого сайта на любом другом сайте.
Это некоммерческий сайт и здесь не продаются документы. Вы можете скачать их абсолютно бесплатно!
Содержимое сайта не нарушает чьих-либо авторских прав! Человек имеет право на информацию!

 

ГОСУДАРСТВЕННЫЙ СТАНДАРТ
СОЮЗА ССР

ЗАМКИ ДЛЯ БУРИЛЬНЫХ ТРУБ

ГОСТ 5286-75

ИЗДАТЕЛЬСТВО СТАНДАРТОВ
Москва

ГОСУДАРСТВЕННЫЙ СТАНДАРТ СОЮЗА ССР

ЗАМКИ ДЛЯ БУРИЛЬНЫХ ТРУБ

Drilling tool joints

ГОСТ
5286-75*

Взамен
ГОСТ 5286-58

Дата введения 01.01.78

Ограничение срока действия снято по решению Межгосударственного совета по стандартизации, метрологии и сертификации (ИУС 2-93)

* Переиздание (апрель 1994 г.) с Изменениями № 1, 2, 3, 4, утвержденными в сентябре 1979 г., январе 1983 г., июне 1988 г., июне 1990 г. (ИУС 10-79, 5-83, 10-88, 10-90)

Настоящий стандарт распространяется на замки, предназначенные для соединения в колонны бурильных труб по ГОСТ 631-75.

1. ТИПЫ, ОСНОВНЫЕ ПАРАМЕТРЫ И РАЗМЕРЫ

1.1. Замки для бурильных труб должны изготовляться типов, указанных в табл. 1.

1.2. Замки должны изготовляться двух исполнений:

правые - с правой замковой резьбой и с правой резьбой для соединения замка с бурильными трубами;

левые - с левой замковой резьбой и с левой резьбой для соединения замка с бурильными трубами.

1.3. Основные размеры и масса замков должны соответствовать указанным на черт. 1 (для замков ЗН, ЗШ и ЗУ), на черт. 2 (для замков ЗШК и ЗУК) и в табл. 2.

(Измененная редакция, Изм. № 1).

Таблица 1

Обозначение типов

Наименование

Область применения

зн

Замок с нормальным проходным отверстием

Для соединения труб с высаженными внутрь концами

зш

Замок с широким проходным отверстием

Для соединения труб с высаженными внутрь и наружу концами

ЗУ

Замок с увеличенным проходным отверстием

зшк

Замок с широким проходным отверстием с конической расточкой

Для соединения труб с высаженными внутрь концами с коническими стабилизирующими поясками

ЗУК

Замок с увеличенным проходным отверстием с конической расточкой

Для соединения труб с высаженными внутрь и наружу концами с коническими стабилизирующими поясками

1 - ниппель; 2 - муфта.

Черт. 1

1 - ниппель; 2 - муфта.

Черт. 2

Таблица 2

Размеры в мм

Обозначение типоразмера замка

Диаметр труб по ГОСТ 631-75

Обозначение замковой резьбы

D

L

Масса, кг

с высаженными внутрь концами

с высаженными наружу концами

ЗН-80

60,3

-

З-66

80

404

12

ЗН-95

73,0

-

З-76

95

4311

16

ЗН-108

89,0

-

З-88

108

455

20

ЗН-113

89,0

-

З-88

113

455

23

(ЗН-140)

114,3

-

З-117

140

502

35

(ЗН-172)

139,7

-.

З-140

172

560

58

(ЗН-197)

168,3

-

З-152

197

603

76

ЗШ-108

73,0

-

З-86

108

431

20

ЗШ-1,18

89,0

-

З-101

118

455

23

ЗШ-133

131,6

-

З-108

133

496

37

(ЗШ-146)

114,3

101,6

З-121

146

508

38

ЗШ-178

130,7

-

З-147

178

573

61

ЗШ-203

168,3

-

З-171

203

603

73

ЗУ-86

-

60,3

З-73

85

404

15

ЗУ-108

-

73,0

З-86

10,8

431

20

ЗУ-120

-

89,0

З-102

120

468

25

ЗУ-146

114,3

101,6

З-122

146

496

37

ЗУ-155

127,0

114,3

З-133

155

526

39

ЗУ-185

-

133,7

З-161

186

553

53

ЗУК-108

-

НК-73

З-86

108

431

17

зшк-113

ВК-89

-

З-101

118

454

22

ЗШК-133

ВК-102

-

З-108

133

506

32

ЗШК-178

вк-140

-

З-147

178

573

61

ЗУК-120

-

НК-89

З-102

120

468

20

ЗУК-146

BK-114

НК-102

З-122

146

506

36

ЗУК-155

ВК-127

НК-114

З-133

155

536

38

Примечания:

1. Типоразмеры замков, указанные в скобках, применять не рекомендуется.

2. Обозначение замковой резьбы состоит из буквы З и целого значения большего диаметра основания конуса ниппеля.

Пример условного обозначения замка типа ЗН с наружным диаметром D 108 мм с правой резьбой:

Замок ЗН-108 ГОСТ 5286-75

То же, с левой резьбой:

Замок ЗН-108 Л ГОСТ 5286-75

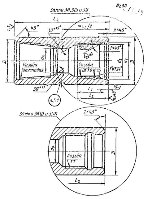
1.4. Размеры ниппелей замков должны соответствовать указанным на черт. 3 и в табл. 3 (для ЗН, ЗШ и ЗУ), на черт. 3 и 9 и в табл. 4 и 11 (для замков ЗШК и ЗУК).

Черт. 3

Таблица 3

Размеры в мм

Обозначение типоразмера замка

Обозначение замковой резьбы

D

(пред. откл. ±0,5)

Наружный диаметр упорного уступа D1 (пред. откл. ±0,5)

Наружный диаметр торца D2 (пред. откл. ±1)

Диаметр цилиндрической выточки d1 (пред. откл. ±0,5)

Внутренний диаметр резьбы в плоскости торца d2 (справочный)

d3 (пред. откл. ±0,6)

L1 (пред. откл. )

Расстояние от торца до конца резьбы с полным профилем l1 (пред. откл. +5)

Длина конуса под резьбу l2 (пред. откл. +8)

Масса, кг

ЗН-80

З-66

80

76,5

70

63,5

57,451

25

240

77

87

5,5

ЗН-95

З-76

95

91.0

86

76.2

70,151

32

260

90

100

7,5

ЗH-10-S

З-88

108

103,5

102

92,0

86,026

38

275

9,0

ЗН-113

З-88

113

108,0

10,5

ЗН-140

З-117

140

134.5

127

117,5

111,425

58

305

110

120

16,0

ЗН-172

З-140

172

164,5

154

144,5

138,42/

70

340

115

125

27,0

ЗН-197

З-152

197

186,0

181

171,5

165,401

89

365

121

131

35,0

ЗШ-108

З-86

103

103,5

86

75,2

70,151

54

260

90

100

9,0

ЗШ-118

З-101

118

114,0

102

92,0

86,026

62

275

10,5

ЗШ-133

З-108

133

127,5

116

104,8

98,726

72

300

100

110

17,0

ЗШ-146

З-121

146

140.5

127

117,5

111,426

80

305

110

120

17,5

ЗШ-178

З-147

178

170,5

154

144,5

13.8,426

101

360

115

125

28,0

ЗШ-203

З-171

203

196,0

181

171,5

165,401

127

365

121

131

33,0

ЗУ-86

З-73

86

82,5

78

70,6

64,588

44

240

77

87

7,0

ЗУ-108

З-80

108

103,5

98

84,9

78,889

54

260

9,0

ЗУ-120

З-102

120

116,0

108

100,3

94,256

70

285

83

93

11,5

ЗУ-146

З-122

146

140,5

130

117,5

111,426

82

305

110

120

17,0

ЗУ-155

З-133

155

150,5

140

130,2

124,126

95

320

17,5

ЗУ-185

З-161

185

180,0

167

157,2

151,126

120

340

115

125

24,0

Таблица 4

Размеры в мм

Обозначение типоразмера замка

Обозначение замковой резьбы

Обозначение резьбы для соединения с трубами

D (пред. откл. ±0,5)

Наружный диаметр упорного уступа Dr (пред. откл. ±0,5)

D2 (пред. откл. ±1)

d3 (пред. откл. ±0,6)

L1 (пред. откл. )

Масса, кг

ЗШК-118

З-101

ТТ82×5,08×1:32

118

114,0

100

62

275

10

ЗШК-133

З-108

ТТ94×5,08×1:32

133

127,5

115

72

310

15

ЗШК-178

З-147

ТТ132×5,08×1:32

178

170,5

156

101

350

29

ЗУК-108

З-86

ТТ78×5,08×1:32

108

103,5

94

54

260

8

ЗУК-120

З-102

ТТЭ4×5,08×1:32

120

116,0

110

70

285

9

ЗУK-146

З-146

ТТ107×5,08×1:32

146

140,5

125

82

310

16

ЗУК-155

З-133

ТТ122×5,08×1:32

155

150,5

140

95

325

17

Примечание (к табл. 3 к 4). Допускается изготовлять ниппели замков с длинами, укороченными не более, чем на 20 мм по сравнению с номинальной длиной, в количестве не более 3 % замков от партии.

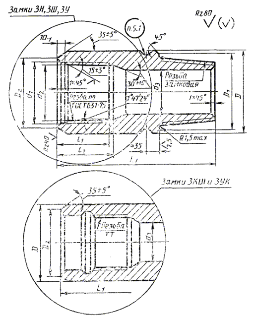
1.5. Размеры муфт замков должны соответствовать указанным на черт. 4 и в табл. 5 (для замков ЗН, ЗШ и ЗУ) и на черт. 4 и 9 и в табл.6 и 11 (для замков ЗШК и ЗУК).

Черт. 4

Таблица 5

Размеры в мм

Обозначение типоразмера замка

Обозначение замковой резьбы

D (пред. откл. ±0,5)

Наружный диаметр упорного торца D1 (пред. откл. ±0,5)

Диаметр цилиндрической выточки d1 (пред. откл. ±0,5)

Внутренний диаметр резьбы в плоскости торца d2 (справочный)

d4 (пред. откл. ±0,6)

L2 (пред. откл. )

Расстояние от торца до конца резьбы с полным профилем l1 (пред. откл. +5)

Длина конуса под резьбы l2 (пред. откл. +8)

Масса, кг

ЗН-80

З-66

80

76,5

63,5

57,451

36

240

77

87

6,5

ЗН-95

З-76

95

91,0

76,2

70,151

45

260

90

100

8,5

ЗН-108

З-88

108

103,5

92,0

86,026

58

275

11,0

ЗН-113

З-88

113

108,5

12,5

ЗН-140

З-117

140

134,5

117,5

111,426

78

305

110

120

19,0

ЗН-172

З-140

172

164,5

144,5

138,426

98

340

115

125

31,0

ЗН-197

З-152

197

186,0

171,5

165,401

122

365

121

131

41,0

ЗШ-108

З-86

108

103,5

76,2

70,151

54

260

90

100

11,0

ЗШ-118

З-101

118

114,0

92,0

86,026

62

275

12,5

ЗШ-133

З-108

133

127,5

104,8

98,726

72

300

100

ПО

20,0

ЗШ-146

З-121

146

140,5

117,5

111,426

80

305

110

120

20,5

ЗШ-178

З-147

178

170.5

144,5

138,426

101

353

115

125

33,0

ЗШ-203

З-171

203

196,0

171,5

165,401

127

335

121

131

40,0

ЗУ-86

З-73

86

82,5

70,6

64,588

44

240

77

87

8,0

ЗУ-108

З-86

108

103,5

84,9

78,889

54

260

11,0

ЗУ-120

З-102

120

116,0

100,3

94,256

78

285

83

93

13,5

ЗУ-146

З-122

146

140,5

117,5

111,426

95

305

110

120

20,0

ЗУ-155

З-133

155

150,5

130,2

124,126

105

320

21,5

ЗУ-185

З-161

185

180,0

157,2

151,126

132

340

115

125

29,0

Таблица 6

Размеры в мм

Обозначение типоразмера замка

Обозначение замковой резьбы

Обозначение резьбы для соединения замка с трубами

D (пред. откл. ±0,5)

Наружный диаметр упорного торца D1 (пред. откл. ±0,5)

D4 (пред. откл. ±0,6)

L2

(пред. откл. )

Масса, кг

ЗШК-118

З-101

ТТ82×5,08×1:32

118

114,0

62

275

12

ЗШК-133

З-108

ТТ94×5,08×1:32

133

127,5

72

310

17

ЗШК-178

З-147

ТТ132×5,08×Д:32

178

170,5

101

350

32

ЗУК-108

З-86

ТТ78×5,08×1:32

108

103,5

54

260

9

ЗУК-120

З-102

TT94×5,08×1:32

120

116,0

70

28,5

11

ЗУК-146

З-122

ТТ107×5,08×1:32

146

140,5

82

310

20

ЗУК-155

З-133

ТТ122×5,08×1:32

155

150,5

95

325

21

Примечание к табл. 5 и 6. Допускается изготовлять муфты замков с длинами, укороченными не более чем на 20 мм по сравнению с номинальной длиной, в количестве не более 3 % замков от партии.

1.6. Форма и размеры профиля замковой резьбы (правой и левой) должны соответствовать указанной на черт. 5 и в табл. 7.

1.4 - 1.6. (Измененная редакция, Изм. № 1).

Черт. 5

Таблица 7

Размеры в мм

Элементы профиля резьбы

Размеры профиля

I

II

III

IV

Число ниток на длине 25,4 мм

5

4

Шаг резьбы Р

5,080

6,350

Конусность резьбы 2tgj

1:4

1:6

Высота остроугольного профиля Н

4,376

5,471

5,487

Высота профиля резьбы h1

2,993

3,742

3,755

3,095

Рабочая высота профиля h

2,626

3,283

3,293

2,634

Высота среза вершины l

0,875

1,094

1,097

1,42.7

Усечение впадины, f

0,508

0,635

0,965

Площадка а*

1,016

1,270

1,651

Радиус закругления впадины r*

0,508

0,635

0.965

Радиус сопряжения r, не более

0,38

Угол уклона j

7°730"

4°4548"

* Размеры приведены для проектирования резьбообразующего инструмента.

Примечание. Шаг резьбы Р измеряется параллельно оси резьбы замка.

1.7. Размеры замковых соединений должны соответствовать указанным на черт, 6 и в табл. 8.

Черт. 6

Таблица 8

Размеры в мм

Обозначение замковой резьбы

Число ниток на длине резьбы 25,4 мм

Конусность 2tgj

Форма профиля

Средний диаметр резьбы в основной плоскости dcp

Ниппель

Муфта

Диаметр большего основания конуса d5 (справочный)

Диаметр меньшего основания конуса d6 (справочный)

Длина конуса l3 (пред откл. -2)

Диаметр конической выточки в плоскости торца d7 (пред. откл. ±0,6)

Внутренний диаметр резьбы в плоскости торца d8 (справочный)

l4 не менее

З-66

5

1:4

I

60,080

66,674

47,674

76

68,3

61,422

82

З-73

4

1:6

IV

67,767

74,047

60,380

74,6

67,779

З-76

5

1:4

I

63,605

76,200

53,950

89

77,8

70,948

95

З-86

4

1:6

IV

80,848

85,128

71,295

87,7

80,860

З-88

5

1:4

I

82,293

83,887

66,137

95

90,5

83,635

101

З-101

94,844

101,438

77,688

102,8

96,186

З-102

4

1:6

IV

96,723

10-2,003

85,003

102

103,6

96,735

108

З-108

103,429

108,709

89,709

114

110,3

103,441

120

З-117

5

1:4

I

110,868

117,462

90,462

108

119,1

112,210

114

З-12,1

115,113

121,709

96,209

102

123,8

116,457

108

З-122

4

1:6

IV

117,500

122,780

103,780

114

124,6

117,512

20

З-133

128,059

133,339

114,339

1.34,9

128,071

З-140

1:4

II

132,944

140,195

110,195

120

141,7

133,629

126

З-147

1:6

III

142,011

147,949

126,782

127

150,0

141,363

133

З-152

146,248

152,186

131.019

154,0

145,600

З-161

155,981

161,920

140,753

163,8

155,334

З-171

165,598

171,536

150,369

173,8

164,950

1.8. Предельные отклонения замковой резьбы должны быть следующие:

шага на длине резьбы 25,4 мм между любыми двумя

нитками, мм.............................................................................................. ±0,05

шага на всей длине резьбы, мм................................................................ ±0,11

половины угла профиля резьбы, мин...................................................... ±30

конусности на длине конуса 100 мм:

наружного и среднего диаметра ниппеля, мм....................................... +0,25

внутреннего и среднего диаметра муфты, мм....................................... -0,25

1.9. Предельные отклонения высоты профиля замковой резьбы должны соответствовать указанным на черт. 7 и в табл. 9.

Черт. 7

Таблица 9

мм

Шаг резьбы

Предельные отклонения высоты профиля резьбы ниппеля и муфты

Dh1

5,08

-0,12

+0,08

6,35

-0,18

+0,12

Примечание. Предельные отклонения, указанные в табл. 9, являютея исходными для проектирования резьбообразующего инструмента и факультативными для изделий.

1.10. Форма и размеры профиля резьбы трубной трапецеидальной ТТ (правой и левой) должны соответствовать указанной на черт. 8 и в табл. 10.

Черт. 8

Таблица 10

Размеры в мм

Элементы профиля резьбы

Нормы

Шаг резьбы Р

5,08

Конусность резьбы 2 tgj

1:32

Угол уклона j

0°5342"

Высота профиля резьбы h1

1,90+0,10

Площадка b

1,88

Площадка b1

2,18+0,05

Радиус сопряжения R

0,30 - 0,05

Ширина скоса С

0,30+0,05

Примечания:

1. Шаг резьбы Р измеряется параллельно оси резьбы замка.

2. Предельные отклонения, указанные в табл. 10, за исключением предельного отклонения на высоту профиля резьбы h1, являются исходными для проектирования резьбообразующего инструмента и факультативными для изделий.

3. Допускается замена скосов Сх50° радиусом скругления 0,35+0;05 мм.

1.11. Рзамеры концов ниппеля и муфты с резьбой ТТ должны соответствовать указанным на черт 9 и в табл. 11.

Черт. 9

Таблица 11

мм

Обозначение резьбы

Внутренний диаметр резьбы в основной плоскости dвн

Диаметр конической расточки в расчетной плоскости уплотнения dрасч

Диаметр конической расточки в плоскости торца d9 (справочный)

Внутренний диаметр резьбы в плоскости торца d10 (справочный)

d11 (пред. откл. +0,5)

l5 (пред. откл. ±0,3)

ТТ78×5,08×1:32

78,35

84,25

85,375

80,131

55

132

ТТ82×5,08×1:32

82,34

88,24

89,365

84,121

63

ТТ94×5,08×1:32

94,31

100,21

101,335

96,091

73

ТТ107×5,08×1:32

107,29

113,19

114,565

109,321

83

140

ТТ122×5,08×1:32

122,25

128,15

129,525

124,281

96

ТТ132×5,08×1:32

132,2.3

138,13

139,505

134,261

102

Примечание. Обозначение трубной трапецеидальной резьбы определяется буквами ТТ, внутренним диаметром резьбы в основной плоскости (dвн) в целых числах (без дробных долей), шагом и конусностью резьбы.

(Измененная редакция, Изм. № 1).

1.12. Предельные отклонения резьбы ТТ должны быть следующие:

шага на длине резьбы 25,4 мм между любыми двумя нитками, мм................... ±0,05

шага на всей длине резьбы, мм............................................................................... ±0,10

половины угла профиля резьбы, мин..................................................................... ±45

конусности на длине конуса 65 мм по внутреннему и

наружному диаметрам, мм...................................................................................... -0,20

1.13. Предельные отклонения конусности конической расточки на всей длине ее ±0,05 мм.

2. ТЕХНИЧЕСКИЕ ТРЕБОВАНИЯ

2.1. Замки должны изготовляться в соответствии с требованиями настоящего стандарта по рабочим чертежам, утвержденным в установленном порядке.

2.2. Замки должны изготовляться из стали марки 40ХН по ГОСТ 4543-71. Механические свойства термически обработанных замков должны соответствовать указанным ниже:

временное сопротивление разрыву sв, кгс/см2, не менее............ 90

предел текучести sт, кгс/см2, не менее.......................................... 75

относительное удлинение δ5, %, не менее.................................... 10

относительное сужение ψ, %, не менее........................................ 45

ударная вязкость dк, кгс·см/см2, не менее..................................... 7

твердость по Бринеллю НВ, в пределах........................................ 285 ... 341

2.3. На наружной и внутренней поверхностях замка недолжно быть трещин, волосовин, плен, раковин и расслоений. Вырубка, заварка и заделка дефектных мест не допускаются.

2.4. Поверхности упорного уступа ниппеля и упорного торца муфты должны быть гладкими, без заусенцев, рванин, забоин и других дефектов, нарушающих плотность соединения. Знаки маркировки на данные поверхности наносить не допускается.

2.5. Разностенность ниппеля у торца конуса (размер d6, черт. 6) не должны превышать для замков ЗШ-108, ЗШ-118, ЗШ-133, ЗШ-146, ЗУ-106, ЗУ-120, ЗУ-86, ЗУ-146, ЗУ-155, ЗУК-Ю8, ЗШК-П8, ЗШК-133, ЗУК-120, ЗУК-146 и ЗУК-155 1,5 мм, для остальных замков - 2 мм.

2.6. Допуск перпендикулярности упорных торцев ниппеля и муфты к оси замковой резьбы не должен быть более 0,1 мм, а допуск плоскостности на ширине упорного уступа ниппеля и упорного торца муфты - 0,07 мм.

2.7. Допуск перпендикулярности торцев А и Б (черт. 9) к оси резьбы ТТ не должен быть более 0,06 мм. Отклонения от плоскостности на ширине этих торцев не должны быть более 0,06 мм.

2.8. Замковая резьба и резьбы ТТ должны быть гладкими, без забоин выкрошенных ниток, заусенцев, рванин, продольных углублений вдоль образующей резьбы и других дефектов, нарушающих непрерывность, герметичность и прочность резьбы.

2.9. Параметры шероховатости поверхности замковой резьбы и резьбы ТТ должны быть Rz ³ 20 мкм по ГОСТ 2789-73.

2.10. Заходной виток замковой резьбы ниппеля и муфты должен быть притуплён до основания профиля или выполнен в виде скоса под углом 30° - 3° к оси резьбы.

2.11. Резьбы замков и конические расточки должны быть фосфатированы.

2.12. Допуск соосности осей замковой резьбы и трубной не должен быть более 0,6 мм в плоскости торца и 1,75 мм на длине 1 м.

2.13. Допуск соосности осей конической выточки замковой резьбы и цилиндрической выточки резьбы, предназначенной для соединения замков ЗН, ЗШ и ЗУ с трубами, не должен быть более 0,6 мм.

2.14. Допуск соосности осей резьбы ТТ и конической расточки концов замков ЗШK и ЗУК, предназначенных для соединения с трубами, не должен быть более 0,04 мм.

2.15. Допускается наличие фаски не на всей боковой поверхности, выполненной под углом 10° между диаметром проходного отверстия и торцем А (черт. 9), чернота на этой поверхности при отсутствии заусенцев на упорном торце А.

2.16. Величина натяга замковой резьбы ниппеля должна быть 15,875 мм (черт. 10).

Черт. 10

Величина натяга замковой резьбы муфт с резьбой до 3 - 122 включ. должна находиться в пределах указанных, на черт. 11,. остальных - на черт. 12.

(Измененная редакция, Изм. № 1).

Черт. 11

Черт. 12

Черт. 13

2.17. Величина натяга резьбы, предназначенной для соединения замков ЗН, ЗШ и ЗУ с трубами, должна быть А = 8 ± 2,4 мм (черт. 13).

2.18. Величина натяга hp (черт. 14) резьбы ТТ не должна быть более:

42 ± 1,6 мм - для замков ЗУК-108, ЗШК-118, ЗУК-120 и ЗШК-133;

50 ± 1,6 мм - для остальных замков.

Черт. 14

2.19. Величина натяга hг (черт. 15) резьбы ТТ не должна быть более:

54 ± 1,6 мм - для замков ЗУК-108, ЗШК-П8, ЗУК-120 и ЗШК-133;

62 ± 1,6 мм - для остальных замков.

Черт. 15

2.20. Предельные отклонения величины диаметра в расчетной плоскости конической расточки замков ЗШК и ЗУК должны быть следующие:

±1,6 мм - для замков ЗУК-108 и ЗШК-118 (черт. 16);

+3,2 мм - для остальных замков (черт. 17).

Черт. 16

Черт. 17

2.21. На ниппелях и муфтах должен быть проточен поясок для маркировки, а на ниппелях и муфтах левых замков, кроме пояска для маркировки, должен быть проточен также опознавательный поясок (черт. 18).

Правые и левые ниппели и муфты ЗУ-120, ЗУ-155, ЗУК-120 и ЗУК-155 должны иметь опознавательную лунку (черт. 18).

2.20, 2.21. (Измененная редакция, Изм. № 1).

1 - поясок для маркировки; 2 - опознавательный поясок: 3 - упорный торец муфты или упорный уступ ниппеля; 4 - опознавательная лунка.

Черт. 18

2.22. Ресурс замка до среднего ремонта - не менее 500 свинчиваний.

(Введен дополнительно, Изм. № 1).

3. ПРАВИЛА ПРИЕМКИ

3.1. Химический состав стали замков должен проверяться по ГОСТ 7565-81.

3.2. Механические свойства стали замков должны проверяться на образцах, отобранных от партии деталей одного типоразмера, прошедших термообработку по одинаковому режиму.

3.3. Испытание на растяжение должно проводиться по ГОСТ 10006-80 на продольных образцах.

3.4. Испытание на ударную вязкость должно проводиться по ГОСТ 9454-78.

3.5. Твердость должна проверяться на каждом ниппеле и каждой муфте по ГОСТ 9012-59.

3.6. Разностенность должна проверяться у каждого ниппеля.

3.7. Допуски плоскостности и перпендикулярности упорных уступов ниппеля и муфты, а также торцев А и Б (черт. 9) должны проверяться у каждого ниппеля и каждой муфты.

3.8. Качество покрытия на резьбе должно проверяться выборочно в соответствии с ГОСТ 9.302-88.

3.9. Допуск соосности резьб обоих концов ниппелей и муфт должно проверяться выборочно.

3.10. Конусность замковой резьбы по наружному диаметру наружных резьб и по внутреннему диаметру внутренних резьб, а также конической расточки резьбы ТТ должны проверяться у каждого ниппеля и каждой муфты.

3.11. Отклонения от шага резьбы, половины угла профиля всех резьб, конусность по среднему диаметру (для замковой резьбы и резьбы, предназначенной для соединения замков ЗН, ЗШ и ЗУ с трубами), а также конусность по наружному диаметру резьбы ТТ должны проверяться периодически.

3.12. Допуск соосности резьб, соответствующих выточек и расточки согласно пп. 2.12 - 2.14, проверяется выборочно.

3.13. Натяг замковой резьбы и резьбы, предназначенной для соединения замка с трубами, должен проверяться у каждого ниппеля и каждой муфты.

3.14. Величина диаметра в расчетной плоскости конической расточки замков ЗШК и ЗУК должна проверяться у каждого ниппеля и каждой муфты.

3.15. Периодичность проверок отдельных параметров замков (не оговоренных особо) определяется предприятием-изготовителем.

4. МЕТОДЫ ИСПЫТАНИЙ

4.1. Механические свойства замков (п. 2.2) должны проверяться на образцах, вырезанных из замкового конца ниппеля.

Образцы должны вырезаться методом, не изменяющим структуры и механических свойств стали проверяемой детали замка. Наличие резьбы на образцах не обязательно.

(Измененная редакция, Изм. № 2).

4.2. Проверка твердости должна проводиться на наружной цилиндрической поверхности каждого ниппеля и каждой муфты в двух местах: на расстоянии 15 - 20 мм от пояска для маркировки и на этом же расстоянии от торца ниппеля и от торца муфты.

4.3. Плоскостность (пп. 2.6, 2.7) должна проверяться по всей ширине упорных поверхностей ниппелей и муфт с помощью универсального инструмента или специальных приборов. Перпендикулярность в каждом ниппеле и в каждой муфте проверяется одновременно с проверкой резьбы калибрами.

Перпендикулярность (пп. 2.6 и 2.7) определяется как разность наибольшего и наименьшего расстояния между измерительной плоскостью калибра и упорными поверхностями ниппелей и муфт.

4.4. Качество покрытия на резьбе (п. 2.11) проверяется в трех равномерно расположенных точках по окружности нитки резьбы капельным или другим способом.

4.5. Соосность резьб (пп. 2.12 - 2.14) обоих концов ниппелей и муфт проверяется следующим способом.

Проверяемую деталь замка одним концом свинчивают с контрольной оправкой, точно центрированной в приспособлении (или на токарном станке), другим концом деталь свинчивают со второй оправкой шлифованная цилиндрическая часть которой, длиной 100 - 200 мм, соосна с нарезанной частью. Вращая деталь, определяют биение второй оправки у торца детали и на конце оправки при помощи индикатора часового типа. Отклонение от соосности у торца определяется непосредственно по индикатору (отклонение от соосности равно половине величины биения). Перекос осей на длине 1 м определяют из соотношения величин биения у торца детали и у конца оправки.

4.6. Конусность по наружному диаметру наружных резьб и по внутреннему диаметру внутренних резьб (для замковой резьбы и резьбы, предназначенной для соединения замков ЗН, ЗШ и ЗУ с трубами) (п. 1.8) должна проверяться гладкими коническими калибрами (кольцами и пробками) с применением пластинчатого щупа:

шириной 3 мм для замков; от ЗН-80 до ЗН-140; от ЗШ-108 до ЗШ-146; от ЗУ-86 до ЗУ-155 и шириной 4 мм для остальных замков или при помощи других средств измерения.

4.7. Конусность резьбы ТТ по внутреннему диаметру, а также конической расточки ниппелей и муфт замков ЗШК и ЗУК (пп. 1.12 и 1.13) должна проверяться рабочими гладкими коническими калибрами-пробками с применением пластинчатого щупа.

Ширина щупов: 4 мм для замков ЗШК-178 и 3 мм для остальных замков.

4.8. Шаг резьбы, половина угла профиля и высота профиля всех резьб, конусность по среднему диаметру (для замковой резьбы, предназначенной для соединения замков ЗН, ЗШ и ЗУ с трубами), а также конусность по наружному диаметру резьбы ТТ (пп. 1.6 - 1.12) должны проверяться с помощью универсальных измерительных средств или специальных приборов.

4.9. Соосность резьб соответствующих выточек и расточки (пп. 2.13 и 2.14) проверяют с помощью универсальных измерительных средств.

4.10. Перед проверкой величины натяга всех резьб с поверхности резьбы ниппелей и муфт должны быть удалены заусенцы или другие шероховатости. Калибры и изделия должны быть тщательно очищены, и на поверхность резьбы должен быть нанесен тонкий слой жидкого масла. Резьбовые калибры должны навинчиваться на резьбу до отказа усилием одного человека с применением рычага длиной 150 мм.

4.11. При контроле величины натяга замковой резьбы муфт с резьбой до 3-133 измерительная плоскость любого рабочего резьбового калибра-пробки должна совпадать с упорным торцом или заходить за торец на 0,25 мм (черт. 11), а у муфт с резьбой 3 - 133 и выше - должна совпадать с упорным торцом или не доходить до торца на 0,25 мм (черт. 12).

До 01-01.93 при проверке натяга муфт калибрами потребителя измерительная плоскость резьбового калибра-пробки для резьб до 3-122 включительно должна заходить за упорный торец, не более, чем на 0,50 мм или не доходить до торца не более чем на 0,10 мм, а для остальных резьб измерительная плоскость калибра должна заходить за торец не более чем на 0,25 мм или не доходить до торца не более, чем на 0,35 мм.

4.12. При контроле величины натяга замковой резьбы ниппеля измерительная плоскость любого рабочего резьбового калибра-кольца должна находиться на расстоянии 15,875 мм от упорного уступа.

До 01.01.93 при проверке натяга ниппелей калибрами у потребителя измерительная плоскость резьбового калибра-кольца должна находиться для резьб до 3 - 122 включительно на расстоянии 15,875 мм от упорного уступа, а для остальных резьб - на расстоянии 15,875 мм от упорного уступа.

4.11, 4.12. (Измененная редакция, Изм. № 1, 2, 3, 4).

4.13. При контроле величины натяга резьбы ТТ замков ЗУК-108, ЗШК-118, ЗУК-120 и ЗШК-133 измерительная плоскость любого рабочего калибра-пробки должна находиться на расстоянии 54 ± 1,6 мм от торца детали замка, у остальных размеров замком - на расстоянии 62 ± 1,6 мм.

4.14. При контроле величины диаметра в расчетной плоскости конической расточки замков ЗУК-108 и ЗШК-118 измерительная плоскость любого рабочего калибра-пробки должна совпадать с торцом детали замка. Предельные отклонения величины натяга ±1,6 мм. Для остальных замков измерительная плоскость должна совпадать с торцом детали замка или не доходить до торца на 3,2 мм.

5 МАРКИРОВКА, УПАКОВКА, ТРАНСПОРТИРОВАНИЕ И ХРАНЕНИЕ

5.1. На ниппеле и муфте каждого замка на поясках для маркировки должна быть нанесена маркировка в следующем порядке:

товарный знак предприятия-изготовителя;

типоразмер замка;

дата выпуска (месяц, год);

обозначение настоящего стандарта.

5.2. Маркировка должна быть произведена четко клеймами шрифтом ПО-6, ПО-8 по ГОСТ 2930-62.

5.3. Резьбы замков, поверхности конических расточек и упорные уступы (торцы) для предохранения от коррозии должны быть покрыты антикоррозионной смазкой по ГОСТ 9.014-88.

5.4. При транспортировании ниппелей и муфт раздельно замковая резьба и упорный уступ (торец), а замков ЗШК и ЗУК также резьба ТТ и коническая расточка должны быть предохранены от повреждений.

Способ упаковки и защиты от повреждений устанавливается по согласованию с потребителем.

(Измененная редакция, Изм. № 1).

5.5. Каждая партия замков, а также ниппелей и муфт должна сопровождаться документом, удостоверяющим соответствие их качества требованиям настоящего стандарта.

Документ должен содержать:

наименование организации, в систему которой входит предприятие-изготовитель;

наименование предприятия-изготовителя, его местонахождение (город) или условный адрес;

наименование изделий и их обозначение;

дату выпуска;

количество изделий;

результаты проверок и испытаний;

обозначение настоящего стандарта.

5.6. Замки, рассортированные по типоразмерам, должны храниться под навесом или в закрытом помещении, уложенными в штабели или в вертикальном положении.

При укладке замков должно быть обращено внимание на предохранение резьб и упорных поверхностей ниппелей и муфт от механических повреждений

СОДЕРЖАНИЕ

 




Rambler's Top100 Яндекс цитирования
  Copyright © 2008-2026, www.docload.ru