Бесплатная библиотека стандартов и нормативов www.docload.ru

Все документы, размещенные на этом сайте, не являются их официальным изданием и предназначены исключительно для ознакомительных целей.
Электронные копии этих документов могут распространяться без всяких ограничений. Вы можете размещать информацию с этого сайта на любом другом сайте.
Это некоммерческий сайт и здесь не продаются документы. Вы можете скачать их абсолютно бесплатно!
Содержимое сайта не нарушает чьих-либо авторских прав! Человек имеет право на информацию!

 

СТРОИТЕЛЬНЫЕ НОРМЫ И ПРАВИЛА

МОСТЫ И ТРУБЫ

СНиП 2.05.03-84*

МОСКВА 1996

РАЗРАБОТАНЫ ЦНИИС Минтрансстроя (канд. техн. наук И.И. Казей - руководитель темы; кандидаты техн. наук Е.А. Троицкий, К.П. Большаков, д-р техн. наук Н.Н. Стрелецкий, Э.М. Гитман, канд. техн. наук Н.М. Глотов), СоюздорНИИ Минтрансстроя (кандидаты техн. наук И.Н. Серегин и Н.А. Калашников), ПромтрансНИИпроектом Госстроя СССР (В.И. Каташев и В.С. Порожняков) с учетом замечаний и предложений Гипротрансмоста, Ленгипротрансмоста, Союздорпроекта с филиалами, Ленгипротранса Минтрансстроя, НИИмостов, ЛИИЖТ, МИИТ, ЦНИИ, ДИИТ и ГипротрансТЭИ МПС, ЦНИИСК им. В.А. Кучеренко, НИИЖБ, ЦНИИпроектстальконструкции им. Мельникова, НИИОСП им. Н.М. Герсеванова Госстроя СССР, Производственно-технического управления и ГипродорНИИ Минавтодора РСФСР, БелгипродорНИИ Минавтодора БССР, ГипродорНИИ Минавтодора УССР, Технического управления Мосгорисполкома, организаций Минобороны, МАДИ и ГПИ имени В. И. Ленина Минвуза СССР.

ВНЕСЕНЫ Минтрансстроем и МПС.

ПОДГОТОВЛЕНЫ К УТВЕРЖДЕНИЮ Главтехнормированием Госстроя СССР (В.И. Байко, Н.Н. Петрухин, В.М. Скубко, В.П. Поддубный, О.Н. Сильницкая).

СНиП 2.05.03-84* является переизданием СНиП 2.05.03-84 с изменениями, разработанными ЦНИИСом и утвержденными постановлением Госстроя СССР от 26 ноября 1991 г. № 15.

Пункты и таблицы, в которые внесены изменения, отмечены в настоящих нормах и правилах звездочкой.

При пользовании нормативным документом следует учитывать утвержденные изменения строительных норм и правил и государственных стандартов, публикуемые а журнале «Бюллетень строительной техники» и информационном указателе «Государственные стандарты».

Госстрой СССР

Строительные нормы и правила

СНиП 2.05.03-84*

Мосты и трубы

Взамен
СНиП
II-Д, 7-62*,

СН 200-62 и СН 365-67

* Настоящие нормы распространяются на проектирование новых и реконструкцию существующих постоянных мостов (в том числе путепроводов, виадуков, эстакад и пешеходных мостов) и труб под насыпями на железных дорогах (колеи 1520 мм), линиях метрополитена и трамвая, на автомобильных дорогах (включая внутрихозяйственные дороги в колхозах, совхозах и других сельскохозяйственных предприятиях и организациях, дороги промышленных предприятий), на улицах и дорогах городов, поселков и сельских населенных пунктов.

Нормы распространяются также на проектирование совмещенных мостов с движением по ним транспортных средств автомобильных и городских дорог и поездов железных дорог или метрополитена, на проектирование несущих конструкций разводных пролетов мостов и пешеходных тоннелей под железными, автомобильными и городскими дорогами. Мосты с пролетами свыше 33 м на дорогах промышленных предприятий с обращением автомобилей особо большой грузоподъемности следует проектировать по настоящим нормам с учетом требований к нагрузкам и габаритным размерам, предусматриваемым в технических заданиях.

Нормы необходимо соблюдать при проектировании мостов и труб, предназначенных для эксплуатации в любых климатических условиях страны, а также в районах с расчетной сейсмичностью до 9 баллов включ.

Данные нормы не распространяются на проектирование:

мостов на железнодорожных высокоскоростных (200 км/ч и выше) пассажирских линиях;

механизмов разводных пролетов мостов;

мостов и труб на внутренних автомобильных дорогах лесозаготовительных и лесохозяйственных организаций (не выходящих на сеть дорог общего пользования и к водным путям);

служебных эстакад и галерей, входящих в комплекс зданий и промышленных сооружений.

Внесены
Минтрансстроем МПС

Утверждены
постановлением Госстроя СССР
от 30 ноября 1984 г. № 200

Срок введения
в действие
1 января 1986 г.

1. ОСНОВНЫЕ ПОЛОЖЕНИЯ

ОБЩИЕ УКАЗАНИЯ

1.1*. При проектировании новых и реконструкции существующих мостов и труб следует:

выполнять требования по обеспечению надежности, долговечности и бесперебойности эксплуатации сооружений, а также безопасности и плавности движения транспортных средств, безопасности для пешеходов и охране труда рабочих в периоды строительства и эксплуатации;

предусматривать безопасный пропуск возможных паводков и ледохода на водотоках, а, кроме того, на водных путях - выполнение требований судоходства и лесосплава;

принимать проектные решения, обеспечивающие экономное расходование материалов, экономию топливных и энергетических ресурсов, снижение стоимости и трудоемкости строительства и эксплуатации;

предусматривать простоту, удобство и высокие темпы монтажа конструкций, возможность широкой индустриализации строительства на базе современных средств комплексной механизации и автоматизации строительного производства, использования типовых решений, применения сборных конструкций, деталей и материалов, отвечающих стандартам и техническим условиям;

учитывать перспективы развития транспорта и дорожной сети, реконструкции имеющихся и строительства новых подземных и наземных коммуникаций, интересы благоустройства и планировки населенных пунктов, перспективы освоения земель в сельскохозяйственных целях;

предусматривать меры по охране окружающей среды (в том числе предотвращение заболачивания, термокарстовых, эрозионных, наледных и других вредных процессов), по поддержанию экологического равновесия и охране рыбных запасов.

1.2. Основные технические решения, принимаемые при проектировании новых и реконструкции существующих мостов и труб, следует обосновывать путем сравнения технико-экономических показателей конкурентоспособных вариантов.

1.3*. При проектировании реконструкции мостов и труб следует учитывать их физическое состояние, грузоподъемность конструкций, продолжительность и режим эксплуатации сооружений после реконструкции.

При строительстве вторых путей проектировать железнодорожные мосты и трубы следует с учетом конструктивных особенностей и опыта эксплуатации сооружений на действующем пути.

1.4*. Мосты и трубы следует проектировать капитального типа. Не допускается проектировать:

деревянные трубы;

деревянные мосты на путях и дорогах, предназначенных для перевозки горячих грузов (жидкого чугуна, шлака и т.п.).

Применение деревянных мостов допускается:

а) на железнодорожных линиях общей сети ниже II категории (по СНиП II-39-76) - с разрешения МПС, на железных дорогах промышленных предприятий - заказчика;

б) на автомобильных дорогах ниже III категории (по СНиП 2.05.02-85) - без ограничения;

в) на магистральных улицах районного значения (по СНиП 2.07.01-89*) с разрешения:

горисполкомов - для крупнейших, крупных, больших и средних городов;

райисполкомов - для малых городов, поселков и сельских населенных пунктов;

г) на улицах и дорогах местного значения (по СНиП 2.07.01-89* и СНиП 2.05.11-83) - без ограничения.

В случае применения для деревянных мостов бетонных или железобетонных опор последние следует проектировать с учетом замены деревянных пролетных строений железобетонными.

РАСПОЛОЖЕНИЕ МОСТОВ И ТРУБ

1.5*. Выбор места перехода, разбивку мостов на пролеты, назначение положения сооружения в плане и профиле следует производить с учетом требований трассирования дороги (линии) или принятых градостроительно-планировочных решений, строительных и эксплуатационных показателей вариантов, а также русловых, геологических, гидрогеологических, экологических, ландшафтных и других местных условий, влияющих на технико-экономические показатели соответствующего участка дороги (линии).

При выборе места мостового перехода через судоходные реки по возможности следует:

мостовые переходы располагать перпендикулярно течению воды (с косиной не более 10°) на прямолинейных участках с устойчивым руслом, в местах с неширокой (малозатопляемой) поймой и удаленных от перекатов на расстояние не менее 1,5 длины расчетного судового или плотового состава;

середину судоходных пролетов совмещать с осью соответствующего судового хода, учитывая возможные русловые переформирования и смещения за расчетный период службы моста;

обеспечивать взаимопараллельность оси судового хода, направления течения воды и плоскостей опор, обращенных в сторону судоходных пролетов;

допускаемое отклонение от параллельности судового хода и направления течения реки принимать не более 10°;

не допускать увеличения скорости течения воды в русле при расчетном судоходном уровне, вызванного строительством мостового перехода, свыше 20 % при скорости течения воды в естественных условиях до 2 м/с и 10 % - при скорости свыше 2,4 м/с (при скорости течения воды в естественных условиях свыше 2 до 2,4 м/с процент допускаемого увеличения средней скорости следует определять по интерполяции);

поперечное сечение опор моста в пределах затопления до отметки расчетного судоходного уровня воды проектировать, как правило, обтекаемым.

1.6. Число и размеры водопропускных сооружений на пересечении водотока следует определять на основе гидравлических расчетов, при этом необходимо учитывать последующее влияние сооружения на окружающую природную среду.

Пропуск вод нескольких водотоков через одно сооружение должен быть обоснован, а при наличии вечномерзлых грунтов, селевого стока, лессовых грунтов и возможности образования наледи - не допускается.

1.7*. Железнодорожные мосты с устройством рельсового пути на балласте, малые и средние автодорожные и городские мосты1, а также трубы разрешается располагать на участках дороги (улицы) с любым профилем и планом, принятыми для проектируемой дороги (улицы).

___________

1 Здесь и далее условное разделение мостов: малые - длиной до 25 м, средние - длиной свыше 25 м до 100 м; большие - длиной свыше 100 м. Автодорожные (в том числе городские) мосты длиной менее 100 м, но пролетами свыше 60 м также относятся к большим. Длину моста следует принимать между концами береговых опор (закладных щитов), при этом длину переходных плит в длину моста включать не следует.

Железнодорожные мосты с безбалластной проезжей частью следует располагать на прямых участках пути, горизонтальных площадках или уклонах не круче 4 . Расположение таких мостов на уклонах круче 4 , а на железных дорогах предприятий - также на кривых в плане допускается только при технико-экономическом обосновании.

Деревянные железнодорожные мосты с безбалластной проезжей частью допускается располагать на уклонах до 15 и на кривых в плане радиусом 250 м и более.

Продольный уклон ездового полотна больших мостов должен быть, , не более: 30 - для автодорожных мостов: 40 - для городских мостов; 20 - для всех мостов с деревянным настилом.

1.8*. Толщину засыпки над звеньями или плитами перекрытия труб (включая пешеходные тоннели), а также над сводами мостов следует принимать не менее указанной в табл. 1.*

Таблица 1

Тип дорог

Толщина засыпки*, м, над

железобетонными трубами

металлическими гофрированными трубами

Сводами мостов

Железные:

 

 

 

общей сети и подъездные пути предприятий

1,0

1,2

0,7

внутренние пути предприятий

0,4

1,0

0,7

Автомобильные общего пользования, дороги и улицы в городах, поселках и сельских населенных пунктах, а также автомобильные промышленных предприятий

0,5

0,5**

0,2

Внутрихозяйственные автомобильные в колхозах, совхозах и других сельскохозяйственных предприятиях и организациях, дороги местного значения

0,2***

-

-

* Считая от верха звена (плиты перекрытия) трубы или от верхней точки свода до подошвы рельсов - на железных дорогах или до низа монолитных слоев дорожной одежды - на автомобильных дорогах.

** Но не менее 0,8 м от верха звена трубы до поверхности дорожного покрытия.

*** Но не менее 0,5 м до уровня бровки земляного полотна.

Примечание. Толщину засыпки над железобетонными трубами и пешеходными тоннелями, расположенными в пределах железнодорожных станций, допускается принимать менее 1,0 м.

В обоснованных случаях на улицах и автомобильных дорогах толщину засыпки над трубами и закрытыми лотками допускается принимать менее 0,5 м. Во всех случаях при уменьшенной толщине засыпки должны выполняться содержащиеся в п. 2.22* указания по учету соответствующего динамического воздействия временных нагрузок.

ОСНОВНЫЕ ТРЕБОВАНИЯ К КОНСТРУКЦИЯМ

1.9*. Основные размеры пролетных строений и опор новых мостов, а также труб следует назначать с соблюдением принципов модульности и унификации в строительстве.

При разработке типовых проектов железнодорожных мостов и труб следует предусматривать возможность использования их при строительстве вторых путей и замене пролетных строений на эксплуатируемой сети.

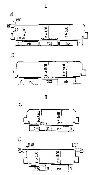
Расчетные пролеты или полную длину пролетных строений автодорожных и городских мостов на прямых участках дорог при вертикальных и перпендикулярных оси моста опорах следует назначать равными 3, 6, 9, 12, 15, 18, 21, 24, 33 и 42 м, а при больших размерах пролетов - кратными 21 м.

Приведенные размеры следует принимать в качестве полной длины для разрезных пролетных строений: до 42 м включ. - из железобетона, до 33 м включ. - из других материалов. Во всех остальных случаях, а также для пролетных строений со сквозными главными фермами приведенным размерам должны соответствовать расчетные пролеты.

Отступление от указанных размеров допускается при технико-экономическом обосновании при проектировании: мостов, возводимых вблизи существующих; многопролетных путепроводов через железнодорожные станционные пути; деревянных мостов пролетами менее 9 м, а также отдельных пролетов мостов сложных систем (неразрезных, рамно-подвесных, рамно-консольных).

При применении в конструкциях сооружений типовых элементов или стандартных деталей необходимо учитывать установленные для них допустимые отклонения в геометрических размерах. Для сборных элементов, изготовляемых применительно к данной конструкции моста или трубы, в проекте при соответствующем обосновании могут быть установлены свои величины этих отклонений.

1.10. Массу и размеры элементов сборных конструкций следует, как правило, назначать исходя из возможности использования при монтаже и перевозке общестроительных и специализированных кранов и транспортных средств серийного производства.

1.11. Конструкция деформационных устройств (опорных частей, шарниров, деформационных швов, уравнительных приборов, сезонных уравнительных рельсов) и их расположение должны обеспечивать необходимую свободу для предусматриваемых взаимных перемещений (линейных, угловых) отдельных частей (элементов) сооружения.

Проектная документация должна содержать указания по установке деформационных устройств с учетом степени готовности сооружения и температуры во время замыкания конструкции согласно требованиям п. 2.27*.

1.12. На мостовых переходах при необходимости регулирования направления потока и предотвращения подмывов (размывов) надлежит предусматривать струенаправляющие и берегоукрепительные сооружения.

Струенаправляющие дамбы следует предусматривать при пойменном расходе воды не менее 15 % расчетного расхода или при средних расчетных скоростях течения воды под мостом до размыва свыше 1 м/с, а также при соответствующих ситуационных особенностях перехода (прижимных течениях, перекрытиях проток и т.п.).

Для труб и малых мостов на основании гидравлических расчетов следует предусматривать углубление, планировку и укрепление русел, устройства, препятствующие накоплению наносов, а также устройства для гашения скоростей протекающей воды на входе и выходе.

При использовании принципа строительства с сохранением вечной мерзлоты возведение струенаправляющих и берегоукрепительных сооружений не должно вызывать нарушения условий протекания грунтовых вод, местных застоев воды и других значительных изменений бытового режима водотока, а также изменения состояния вечномерзлых грунтов в основании.

1.13*. Отверстие (и высоту в свету) труб следует назначать, как правило, м, не менее:

1,0 - при длине трубы (или при расстоянии между смотровыми колодцами в междупутье на станциях) до 20 м;

1,25 - при длине трубы 20 м и более.

Отверстия труб на автомобильных дорогах ниже II категории допускается принимать равными, м:

1,0 - при длине трубы до 30 м;

0,75 - при длине трубы до 15 м;

0,5 - на съездах при устройстве в пределах трубы быстротока (уклон 10 и более) и ограждений на входе.

В обоснованных случаях на улицах и дорогах местного значения, а также в районах орошаемого земледелия, в поселках и сельских населенных пунктах на автомобильных дорогах ниже II категории по согласованию с минавтодорами республик допускается применение труб отверстием 0,5 м при длине трубы до 15 м, устройстве в пределах трубы быстротока (уклон 10 и более) и ограждения на входе.

Отверстия труб на внутрихозяйственных автомобильных дорогах (по СНиП 2.05.11-83) при длине трубы 10 м и менее допускается принимать 0,5 м.

Отверстия труб на железных дорогах общей сети и автомобильных дорогах общего пользования в районах со средней температурой наружного воздуха наиболее холодной пятидневки ниже минус 40 °С (с обеспеченностью 0,92 по СНиП 2.01.01-82) следует назначать не менее 1,5 м независимо от длины трубы.

Отверстия труб и малых мостов допускается увеличивать для использования их в качестве пешеходных переходов, скотопрогонов, а в случае технико-экономической целесообразности - для пропуска автомобильного транспорта (низких, узкозахватных сельскохозяйственных машин) с обеспечением соответствующих габаритов.

1.14. Водопропускные трубы следует, как правило, проектировать на безнапорный режим работы. Допускается предусматривать полунапорный и напорный режимы работы водопропускных труб, располагаемых на железных дорогах общей сети для пропуска только наибольшего расхода, на всех остальных дорогах - расчетного расхода (см. п. 1.25*). При этом под оголовками и звеньями следует предусматривать фундаменты, а при необходимости также противофильтрационные экраны. Кроме того, при напорном режиме следует предусматривать специальные входные оголовки и обеспечивать водонепроницаемость швов между торцами звеньев и секциями фундаментов, надежное укрепление русла, устойчивость насыпи против напора и фильтрации.

Для труб, расположенных в районах со средней температурой наружного воздуха наиболее холодной пятидневки ниже минус 40 °С, не допускается предусматривать полунапорный и напорный режимы работы, за исключением случаев расположения труб на скальных грунтах.

1.15. Водопропускные трубы, как правило, следует проектировать с входными и выходными оголовками, форма и размеры которых обеспечивают принятые в расчетах условия протекания воды и устойчивость насыпи, окружающей трубу.

Металлические гофрированные трубы допускается проектировать без устройства оголовков. При этом нижняя часть несрезаемой трубы должна выступать из насыпи на уровне ее подошвы не менее чем на 0,2 м, а сечение трубы со срезанным концом должно выступать из тела насыпи не менее чем на 0,5 м.

1.16*. Применять трубы не допускается при наличии ледохода и карчехода, а также, как правило, в местах возможного возникновения селей и образования наледи.

В местах возможного образования наледи в виде исключения может быть допущено применение прямоугольных железобетонных труб (шириной не менее 3 м и высотой не менее 2 м) в комплексе с постоянными противоналедными сооружениями.

При этом боковые стенки трубы должны быть массивными бетонными.

Для пропуска селевых потоков следует предусматривать однопролетные мосты отверстиями не менее 4 м или селеспуски с минимальным стеснением потока.

1.17. В проектной документации должны быть предусмотрены мероприятия по необходимой защите элементов и частей мостов и труб от повреждений при отсыпке насыпи и укреплении откосов, от засорения и загрязнения, вредных воздействий агрессивных сред, высоких температур, блуждающих токов и т.д.

1.18. Для вновь проектируемых мостов расстояния между соседними главными фермами (балками) следует назначать из условия обеспечения осмотра, текущего содержания и окраски отдельных частей конструкций. При раздельных пролетных строениях (под каждый путь или проезжую часть одного направления движения транспортных средств) расстояние в свету между смежными главными фермами (балками) следует назначать не менее 1,0 м.

1.19. В конструктивных решениях, принимаемых при проектировании малых железнодорожных мостов с ездой на балласте, должна быть предусмотрена возможность подъема пути при его капитальном ремонте.

ГАБАРИТЫ

1.20*. Габариты приближения конструкций проектируемых сооружений должны удовлетворять требованиям:

на железных дорогах - ГОСТ 9238-83;

на линиях метрополитена - ГОСТ 23961-80;

на автомобильных дорогах общего пользования, внутрихозяйственных автомобильных дорогах в колхозах, совхозах и других сельскохозяйственных предприятиях и организациях1, на дорогах промышленных предприятий, а также на улицах и дорогах в городах, поселках и сельских населенных пунктах - обязательного приложения 1*.

_____________

1 В дальнейшем там, где это не затрудняет понимания устанавливаемых требований, вместо термина «внутрихозяйственные автомобильные дороги в колхозах, совхозах и других сельскохозяйственных предприятиях и организациях» будет применяться сокращенный термин « внутрихозяйственные дороги».

Если в перспективном плане развития дорожной сети или в техническом задании на проектирование дороги предусматривается перевод дороги в более высокую категорию, габариты приближения конструкций проектируемых сооружений, а также их грузоподъемность должны соответствовать требованиям, предусмотренным для сооружений на дорогах более высокой категории.

1.21*. Ширину пешеходных мостов и тоннелей следует определять в зависимости от расчетной перспективной интенсивности движения пешеходов в час пик и принимать, м, не менее: 2,25 - для мостов и 3,0 - для тоннелей.

Высота пешеходных тоннелей в свету должна быть не менее 2,30 м.

Среднюю расчетную пропускную способность 1 м ширины следует принимать для пешеходных мостов и тоннелей - 2000, для лестниц - 1500 чел/ч.

Ширину пешеходных мостов и тоннелей, сооружаемых вне населенных пунктов, допускается принимать равной 1,5 м.

Габариты сооружений для пропуска полевых дорог и прогона скота (миграции диких животных) при отсутствии специальных требований следует принимать, м:

а) для полевых дорог: высоту не менее 4,5, ширину - 6,0, но не менее увеличенной на 1,0 м максимальной ширины сельскохозяйственных машин, движение которых возможно на дороге;

б) для прогона скота: высоту не менее 3,0, ширину по формуле 2 + l/6, где l - длина скотопрогона, но не менее 4,0 и не более 8,0.

Полевая дорога или дорога для прогона скота, проходящая под пролетом моста или в трубе под насыпью, должна быть укреплена по всей ее ширине и иметь укрепления на участках не менее 10,0 м в каждую сторону от сооружения. При необходимости у сооружений устраиваются направляющие ограждения.

1.22*. Габариты подмостовых судоходных пролетов на внутренних водных путях следует принимать в соответствии с ГОСТ 26775-85. При строительстве мостов под второй путь или дополнительные полосы движения автотранспорта (при расширении существующих мостовых переходов) подмостовые габариты следует принимать на основании технико-экономических расчетов с учетом подмостовых габаритов существующих мостов.

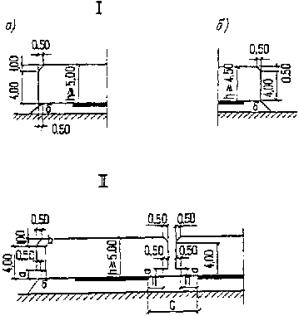
1.23*. Положение элементов моста над уровнями воды и ледохода на несудоходных и несплавных водотоках, а также в несудоходных пролетах мостов на судоходных водных путях следует определять в зависимости от местных условий и выбранной схемы моста. Размеры возвышений отдельных элементов моста над соответствующими уровнями воды и ледохода во всех случаях не должны быть менее величин, указанных в табл. 2.

Таблица 2

Часть или элемент моста

Возвышение частей или элементов, м

над уровнем воды (с учетом влияния подпора и волны) при максимальных расходах паводков

над наивысшим уровнем ледохода

расчетных для мостов

наибольших

на железных дорогах общей сети

на остальных железных дорогах и на всех автомобильных дорогах

Низ пролетных строений:

 

 

 

 

а) при глубине подпертой воды 1 м и менее

0,50

0,50

0,25

-

б) то же, св. 1 м

0,75

0,50

0,25

0,75

в) при наличии на реке заторов льда

1,00

0,75

0,75

1,00

г) при наличии карчехода

1,50

1,00

1,00

-

д) при селевых потоках

-

1,00

1,00

-

Верх площадки для установки опорных частей

0,25

0,25

-

0,50

Низ пят арок и сводов

0,25

-

-

0,25

Низ продольных схваток и выступающих элементов конструкций в пролетах деревянных мостов

0,25

0,25

-

0,75

Примечания: 1. Для малых мостов наименьшее возвышение низа пролетных строений допускается определять без учета высоты ветровой волны.

2. При наличии явлений, вызывающих более высокие уровни воды (вследствие подпора от нижележащих рек, озер или водохранилищ, нагона воды ветром, образования заторов или прохождения паводков по руслам, покрытым льдом, и др.), указанные в таблице возвышения следует отсчитывать от этого уровня, вероятность превышения которого устанавливается в соответствии с табл. 3*.

3. При определении возвышения верха площадки для установки опорных частей уровень воды необходимо определять с учетом набега потока на опору моста.

Таблица 3*

Железные дороги

Автомобильные дороги, городские улицы и дороги

Сооружения

Категория дорог

Вероятность превышения максимальных расходов паводков, %

Сооружения

Категория дорог

Вероятность превышения максимальных расходов расчетных паводков, %

расчетных

наибольших

Мосты и трубы

I и II (общей сети)

1

0,33

Большие и средние мосты

I-III, I-в, I-к и II-к и городские улицы и дороги

1***

То же

III и IV (общей сети)

2

1*

То же

IV, II-в, III-в, III-к, IV-в и IV-к, V, I-с и II

2***

«

IV и V (подъездные пути)

2**

-

Малые мосты и трубы

1

1****

«

Внутренние пути промышленных предприятий

2

-

То же

II, III, III-п и городские улицы и дороги

2****

 

 

 

 

«

IV, IV-п, V и внутрихозяйственные дороги

3****

___________

* При расчетах бровок земляного полотна, незатопляемых регуляционных сооружений и оградительных дамб русел блуждающих рек для железных дорог III категории вероятность превышения максимального расхода при наибольшем паводке следует принимать 0,33 %.

** Если по технологическим причинам предприятий перерыв в движении не допускается, вероятность превышения следует принимать равной 1 %.

*** В районах с малоразвитой сетью автомобильных дорог для сооружений, имеющих особо важное народнохозяйственное значение, при технико-экономическом обосновании вероятность превышения допускается принимать 0,33 вместо 1 % и 1 вместо 2 %.

**** В районах с развитой сетью автомобильных дорог для автодорожных малых мостов и труб при технико-экономическом обосновании вероятность превышения допускается принимать 2 вместо 1 %, 3 вместо 2 %, 5 вместо 3 %, а для труб на дорогах II-c и III-с категорий - 10 %.

Примечание. Степень развития сети автомобильных дорог в районе строительства и народнохозяйственное значение проектируемых сооружений устанавливаются в разрабатываемом техническом задании.

Возвышение низа пролетных строений над наивысшим статическим уровнем водохранилища у мостов, расположенных в несудоходных и несплавных зонах водохранилища, должно быть не менее 0,75 высоты расчетной ветровой волны с увеличением на 0,25 м.

Наименьшее возвышение низа пролетных строений при наличии наледи необходимо назначать с учетом их высоты.

При одновременном наличии карчехода и наледных явлений возвышения, приведенные в табл. 2, следует увеличивать не менее чем на 0,50 м.

Расстояние между опорами в свету при наличии карчехода следует назначать с учетом размеров карчей, но не менее 15,0 м.

1.24. Возвышение высшей точки внутренней поверхности трубы в любом поперечном сечении над поверхностью воды в трубе при максимальном расходе расчетного паводка и безнапорном режиме работы должно быть в свету: в круглых и сводчатых трубах высотой до 3,0 м - не менее 1/4 высоты трубы, свыше 3,0 м - не менее 0,75 м; в прямоугольных трубах высотой до 3,0 м - не менее 1/6 высоты трубы, свыше 3,0 м - не менее 0,50 м.

РАСЧЕТ МОСТОВ И ТРУБ НА ВОЗДЕЙСТВИЕ ВОДНОГО ПОТОКА

Общие указания

1.25*. Расчет мостов, труб и пойменных насыпей на воздействие водного потока следует производить, как правило, по гидрографам и водомерным графикам расчетных паводков. Кроме того, мосты, трубы и пойменные насыпи на железных дорогах общей сети необходимо рассчитывать по гидрографам и водомерным графикам паводков, условно именуемых наибольшими. При этом вероятности превышения расчетных и наибольших паводков следует принимать одинаковыми с указанными в табл. 3* вероятностями превышения максимальных расходов соответствующих паводков.

При отсутствии гидрографов и водомерных графиков паводков, а также в других обоснованных случаях расчет сооружений на воздействие водного потока допускается производить по максимальным расходам и соответствующим им уровням расчетных и наибольших паводков.

В расчетах следует учитывать опыт водопропускной работы близко расположенных сооружений на том же водотоке, влияние водопропускных сооружений одного на другое, а также влияние на проектируемые водопропускные сооружения существующих или намечаемых гидротехнических и других речных сооружений.

При наличии вблизи мостов и труб инженерных сооружений, зданий и сельскохозяйственных угодий необходимо проверить безопасность их от подтопления из-за подпора воды перед сооружением.

При проектировании водопропускных сооружений, расположенных вблизи некапитальных плотин, необходимо учитывать возможность прорыва этих плотин. Вопрос об усилении таких плотин или увеличении отверстий сооружений необходимо решать комплексно путем сравнения технико-экономических показателей возможных решений.

1.26. В расчетах следует принимать максимальные расходы паводков того происхождения, при которых для заданного значения вероятности превышения создаются наиболее неблагоприятные условия работы сооружений.

Построение гидрографов и водомерных графиков, определение максимальных расходов при разных паводках и соответствующих им уровней воды следует производить согласно требованиям СНиП 2.01.14-83.

1.27*. Размеры отверстий малых мостов и труб допускается определять по средним скоростям течения воды, допустимым для грунта русла (в том числе на входе и выходе из сооружения), типов его укрепления и укрепления конусов, при этом необходимо соблюдать требования, приведенные в пп. 1.23*, 1.24 и 1.34*.

Отверстия малых мостов и труб допускается назначать с учетом аккумуляции воды у сооружения. Уменьшение расходов воды в сооружениях вследствие учета аккумуляции возможно не более чем: в 3 раза - если размеры отверстия назначаются по ливневому стоку; в 2 раза - если размеры отверстия назначаются по снеговому стоку и отсутствуют ледовые и другие явления, уменьшающие размеры отверстия. При этом независимо от вида расчетного стока для труб должны, в зависимости от характера их работы в условиях аккумуляции, выполняться указания, содержащиеся в п. 1.14 или 1.24, а для малых мостов - выполняться требования по положению низа конструкций, содержащиеся в п. 1.23*.

При наличии вечномерзлых грунтов аккумуляция воды у сооружений не допускается.

1.28. Размеры отверстий больших и средних мостов следует определять с учетом подпора, естественной деформации русла, устойчивого уширения подмостового русла (срезки), общего и местного размывов у опор, конусов и регуляционных сооружений. Отверстие моста в свету не должно быть менее устойчивой ширины русла.

Размеры отверстий городских мостов следует назначать с учетом намечаемого регулирования реки и требований планировки набережных.

1.29. Расчет общего размыва под мостами следует производить на основе решения уравнения баланса наносов на участках русел рек у мостовых переходов при паводках, указанных в п. 1.25*.

Если проход паводков, меньших по величине, чем расчетные (наибольшие), вызывает необратимые изменения в подмостовом русле (что возможно при стеснении потока более чем в 2 раза, на мостовых переходах в условиях подпора, в нижних бьефах плотин, деформации русел в пойменных отверстиях и т.п.), определение общего размыва следует выполнять из условий прохода расчетного (наибольшего) паводка после серии натурных наблюденных паводков одного из многоводных периодов.

Для предварительных расчетов, а также при отсутствии необходимых данных о режиме водотока общий размыв допускается определять по скорости течения, соответствующей балансу наносов.

При морфометрической основе расчета вычисленные максимальные глубины общего размыва следует увеличивать на 15 %.

1.30. При построении линии наибольших размывов надлежит учитывать кроме общего размыва местные размывы у опор, влияние регуляционных сооружений и других элементов мостового перехода, возможные естественные переформирования русла и особенности его геологического строения.

Расчеты мостов на воздействие сейсмических нагрузок следует производить без учета местного размыва русла у опор.

1.31*. Величину коэффициента общего размыва под мостом следует обосновать технико-экономическим расчетом. При этом надлежит учитывать вид грунтов русла, конструкцию фундаментов опор моста и глубину их заложения, разбивку моста на пролеты, величины подпоров, возможное уширение русла, скорости течения, допустимые для судоходства и миграции рыбы, а также другие местные условия. Величину коэффициента размыва, как правило, следует принимать не более 2.

Примечание. В обоснованных случаях для мостов через неглубокие реки и водотоки могут приниматься коэффициенты общего размыва более указанного в пункте значения.

1.32*. Срезку грунта в пойменной части отверстия моста допускается предусматривать только на равнинных реках. Размеры и конфигурацию срезки следует определять расчетом исходя из условий ее незаносимости в зависимости от частоты затопления поймы и степени стеснения потока мостовым переходом при расчетном уровне высокой воды.

Срезка в русле побочней, отмелей при расчете площади живого сечения под мостом не учитывается.

1.33. Уширение под мостом вследствие срезки грунта следует плавно сопрягать с неуширенными частями русла для обеспечения благоприятных условий подвода потока воды и руслоформирующих наносов в подмостовое сечение. Общая длина срезки (в верховую и низовую стороны от оси перехода) должна быть в 4-6 раз больше ее ширины в створе моста. Следует избегать конфигурации срезки наибольшей ширины в створах голов регуляционных сооружений.

При проектировании срезки грунта на пойме необходимо предусматривать удаление пойменного наилка до обнажения несвязных аллювиальных грунтов на всей площади срезки.

1.34*. Возвышение бровок земляных сооружений на подходах к большим и средним мостам над уровнями воды при паводках по п. 1.25* (с учетом набега волны на откосы и возможного подпора) следует принимать, м, не менее: 0,5 - для земляного полотна, водоразделительных и ограждающих дамб, а также струенаправляющих дамб на реках с блуждающими руслами, 0,25 - для регуляционных сооружений и берм насыпей.

Возвышение бровки земляного полотна на подходах к малым мостам и трубам над уровнями воды при паводках по п. 1.25* (с учетом подпора и аккумуляции) следует принимать не менее 0,5 м, а для труб при напорном или полунапорном режиме работы - не менее 1,0 м. Кроме того, на автомобильных дорогах при назначении возвышения бровки земляного полотна на подходах к указанным сооружениям следует соблюдать требования по возвышению низа дорожной одежды над уровнем грунтовых и поверхностных вод, установленные СНиП 2.05.02-85.

В пределах воздействия льда на пойменную насыпь отметка ее бровки должна быть не ниже отметок верха навала льда, а также отметок наивысшего заторного или зажорного льда с учетом полуторной толщины льда. Подпоры на мостовых переходах рассчитываются по уравнениям движения жидкости или по зависимостям, учитывающим в достаточной мере данные явления на проектируемых переходах.

РАСЧЕТ НЕСУЩИХ КОНСТРУКЦИЙ И ОСНОВАНИЙ МОСТОВ И ТРУБ НА СИЛОВЫЕ ВОЗДЕЙСТВИЯ

Общие указания

1.35. Несущие конструкции и основания мостов и труб необходимо рассчитывать на действие постоянных нагрузок и неблагоприятных сочетаний временных нагрузок, указанных в разд. 2. Расчеты следует выполнять по предельным состояниям в соответствии с требованиями СТ СЭВ 384-76.

1.36*. Временные нагрузки от подвижного состава (транспортных средств) железных и автомобильных дорог в случаях, предусмотренных настоящими нормами, следует вводить в расчет с соответствующими динамическими коэффициентами.

При одновременном учете действия на сооружение двух или более временных нагрузок расчетные значения этих нагрузок следует умножать на коэффициенты сочетаний, меньше или равные единице.

1.37. Расчетные схемы и основные предпосылки расчета должны отражать действительные условия работы конструкций мостов и труб при их эксплуатации и строительстве.

Конструкции пролетных строений мостов, как правило, следует рассчитывать как пространственные, а при условном расчленении их на плоские системы - приближенными методами, выработанными практикой проектирования, и учитывать взаимодействие элементов между собой и основанием.

Усилия в элементах конструкций мостов и труб, для которых в нормах не указаны методы их расчета с учетом возникающих неупругих деформаций, допускается определять в предположении упругой работы принятой расчетной схемы.

При соответствующем обосновании расчет допускается производить по деформированной схеме, учитывающей влияние перемещений конструкции под нагрузкой.

Выбор расчетных схем, а также методов расчета конструкций мостов и труб необходимо производить с учетом эффективного использования ЭВМ.

1.38. Величины напряжений (деформаций), определяемые в элементах конструкций при расчетах сооружений в стадии эксплуатации и при строительстве, а также величины напряжений (деформаций), определяемые расчетами в монтажных элементах или блоках при их изготовлении, транспортировании и монтаже, не должны превышать расчетных сопротивлений (предельных деформаций), установленных в нормах по проектированию соответствующих конструкций мостов и труб.

1.39. За расчетную минимальную температуру следует принимать среднюю температуру наружного воздуха наиболее холодной пятидневки в районе строительства в соответствии с требованиями СНиП 2.01.01-82 с обеспеченностью:

0,92 - для бетонных и железобетонных конструкций;

0,98 - для стальных конструкций и стальных частей сталежелезобетонных конструкций.

1.40*. Устойчивость конструкций против опрокидывания следует рассчитывать по формуле1

,                                                               (1)

_______________

1 Основные буквенные обозначения, принятые в формулах настоящих норм, приведены в справочном приложении 28*.

где Мu - момент опрокидывающих сил относительно оси возможного поворота (опрокидывания) конструкции, проходящей по крайним точкам опирания;

Мz - момент удерживающих сил относительно той же оси:

m - коэффициент условий работы, принимаемый равным:

при проверке конструкций, опирающихся на отдельные опоры:

в стадии строительства -                     0,95;

« - «-       постоянной эксплуатации - 1,0;

при проверке сечений бетонных конструкций и фундаментов:

на скальных основаниях - 0,9;

на нескальных     « -         0,8;

gn -    коэффициент надежности по назначению, принимаемый равным 1,1 при расчетах в стадии постоянной эксплуатации и 1,0 - при расчетах в стадии строительства.

Опрокидывающие силы следует принимать с коэффициентами надежности по нагрузке, большими единицы.

Удерживающие силы следует принимать с коэффициентом надежности по нагрузке:

для постоянных нагрузок - gf < 1;

для временной вертикальной подвижной нагрузки от порожнего состава железных дорог, метрополитена и трамвая - gf = 1.

В соответствующих случаях, руководствуясь указаниями п. 7.6*, необходимо учитывать уменьшение веса конструкции вследствие взвешивающего действия воды.

1.41*. Устойчивость конструкций против сдвига (скольжения) следует рассчитывать по формуле

,                                                               (2)

где Qr - сдвигающая сила, равная сумме проекций сдвигающих сил на направление возможного сдвига;

Qz -   удерживающая сила, равная сумме проекций удерживающих сил на направление возможного сдвига;

m - коэффициент условий работы, принимаемый равным 0,9;

gn - см. п. 1.40.*

Сдвигающие силы следует принимать с коэффициентами надежности по нагрузке, большими единицы, а удерживающие силы - с коэффициентами надежности по нагрузке, указанными в п. 1.40.*

Примечания: 1. В качестве удерживающей горизонтальной силы, создаваемой грунтом, допускается принимать силу, величина которой не превышает активного давления грунта.

2. Силы трения в основании определяются по коэффициентам трения, указанным в п. 7.14. Коэффициент трения бетонной кладки по кладке следует принимать при этом равным 0,55.

ДЕФОРМАЦИИ, ПЕРЕМЕЩЕНИЯ, ПРОДОЛЬНЫЙ ПРОФИЛЬ КОНСТРУКЦИЙ

1.42. При проектировании мостов следует обеспечивать плавность движения транспортных средств путем ограничения упругих прогибов пролетных строений от подвижной временной вертикальной нагрузки и назначения для продольного профиля пути или проезжей части соответствующего очертания.

1.43. Вертикальные упругие прогибы пролетных строений, вычисленные при действии подвижной временной вертикальной нагрузки (при gf = 1 и динамическом коэффициенте 1 + m = 1), не должны превышать значений, м:

для железнодорожных мостов - определяемых по формуле , но не более ;

для городских и автодорожных мостов (включая мосты на внутрихозяйственных дорогах и дорогах промышленных предприятий), а также для пешеходных мостов с балочными пролетными строениями - , где l - расчетный пролет, м.

Указанные значения прогибов допускается увеличивать для балочных пролетных строений мостов (кроме пешеходных):

однопролетных и неразрезных (за исключением крайних пролетов пролетных строений железнодорожных мостов, опирающихся на промежуточные опоры) - на 20 %;

деревянных - на 50 %.

1.44*. Необходимое очертание рельсовому пути и покрытию проезжей части на пролетных строениях мостов следует при проектировании придавать за счет: строительного подъема пролетных строений; изменения толщины выравнивающего слоя проезжей части и балластного слоя; рабочей высоты мостовых брусьев.

Строительный подъем балочных пролетных строений железнодорожных мостов, а также стальных, сталежелезобетонных и деревянных балочных пролетных строений автодорожных и городских мостов следует предусматривать по плавной кривой, стрела которой после учета деформаций от постоянной нагрузки равна 40 % упругого прогиба пролетного строения от подвижной временной вертикальной нагрузки (при gf = 1 и 1 + m = 1).

Пролетным строениям пешеходных мостов следует задавать строительный подъем, компенсирующий вертикальные деформации пролетного строения от постоянной нагрузки. Коэффициент надежности по нагрузке принимается при этом равным единице.

Примечание. Строительный подъем допускается не предусматривать для пролетных строений, прогиб которых от постоянной и подвижной временной вертикальной нагрузок не превышает 1/1600 величины пролета (но не более 1,5 см в железнодорожных мостах с ездой на поперечинах), а также для деревянных мостов с прогонами.

1.45*. Строительный подъем и очертание профиля покрытия железобетонных пролетных строений автодорожных и городских мостов следует предусматривать так, чтобы после проявления деформаций от ползучести и усадки бетона (но не позднее двух лет с момента действия полной постоянной нагрузки) углы перелома продольного профиля по осям полос движения в местах сопряжения пролетных строений между собой и с подходами не превышали:

при отсутствии на мосту подвижной временной вертикальной нагрузки - значений, приведенных в табл. 4*;

при загружении моста подвижной временной вертикальной нагрузкой по осям полос движения - 24 для нагрузки АК и 13 для нагрузок НК-80 и НГ-60. В проектной документации следует указывать продольный профиль проезда на момент устройства одежды проезжей части (с намечаемым улучшением его очертания посредством изменения толщины выравнивающего слоя) и после проявления деформаций от усадки и ползучести бетона.

Примечания: 1. До проявления длительных деформаций углы перелома продольного профиля при отсутствии на мосту подвижной временной вертикальной нагрузки могут превышать значения, приведенные в табл. 4*, не более чем в 2 раза.

2. В случаях применения для вантовых и висячих пролетных строений витых канатов необходимо при задании строительного подъема и очертания профиля проезда учитывать возможность деформации ползучести канатов.

Таблица 4*

Примечания: 1. Если расстояния между местами сопряжения пролетных строений между собой или с подходами превышают 50 м, предельные значения углов перелома могут быть увеличены в 1,2 раза.

2. В температурно-неразрезных пролетных строениях, объединенных по плите проезжей части, углы перелома профиля следует определять без учета влияния соединительной плиты.

1.46. При проектировании пролетных строений внешне статически неопределимых систем в расчетах следует учитывать возможные осадки и перемещения верха опор.

Горизонтальные и вертикальные перемещения верха опор следует также учитывать при назначении конструкций опорных частей и деформационных швов, размеров подферменных плит (оголовков опор, ригелей).

1.47. Различные по величине осадки соседних опор не должны вызывать появления в продольном профиле дополнительных углов перелома, превышающих для мостов:

автодорожных и городских - 2 ;

железнодорожных - 1 .

Предельные величины продольных и поперечных смещений верха опор железнодорожных мостов с разрезными балочными, пролетными строениями с учетом общего размыва русла не должны, как правило, превышать значения 0,5 , см, где l0 - длина меньшего примыкающего к опоре пролета, принимаемая не менее 25 м.

1.48*. Расчетный период собственных поперечных горизонтальных колебаний для балочных разрезных металлических и сталежелезобетонных пролетных строений железнодорожных мостов должен быть (в секундах) не более 0,01l (l - пролет, м) и не превышать 1,5 с.

В пролетных строениях пешеходных и городских мостов расчетные периоды собственных колебаний (в незагруженном состоянии) по двум низшим формам (в балочных разрезных системах - по одной низшей форме) не должны быть от 0,45 до 0,60 с - в вертикальной и от 0,9 до 1,2 с - в горизонтальной плоскостях.

Для пролетных строений пешеходных мостов следует при этом учитывать возможность загружения их толпой, создающей нагрузку 0,49 кПа (50 кгс/м2).

На стадии монтажа пролетных строений для консолей, образующихся при навесной сборке или при продольной надвижке, периоды собственных поперечных колебаний в вертикальной и горизонтальной плоскостях не должны превышать 3,0 с, а период собственных крутильных колебаний при этом не должен быть более 2,0 с. Отступления от указанных требований могут допускаться после проведения соответствующих расчетов или специальных аэродинамических исследований по оценке устойчивости и пространственной жесткости собираемых консолей. При этом необходимо соблюдать требования, содержащиеся в п. 2.24*, по расчету конструкций на воздействие ветра.

Висячие и вантовые мосты следует проверять на аэродинамическую устойчивость и пространственную жесткость. Для конструкций с динамическими характеристиками, существенно отличающимися от аналогичных характеристик построенных мостов, кроме аналитических расчетов следует проводить соответствующие исследования на моделях.

1.49. Строительный подъем труб при высоте насыпи свыше 12 м следует назначать в соответствии с расчетом ожидаемых осадок от веса грунта насыпи. При расчете осадок труб допускается использовать методику, применяемую при расчете осадок фундаментов.

Трубы под насыпями высотой 12 м и менее следует укладывать со строительным подъемом (по лотку), равным: 1/80 h - при фундаментах на песчаных, галечниковых и гравелистых грунтах основания; 1/50 h - при фундаментах на глинистых, суглинистых и супесчаных грунтах основания и 1/40 h - при грунтовых подушках из песчано-гравелистой или песчано-щебеночной смеси (h - высота насыпи).

Отметки лотка входного оголовка (или входного звена) трубы следует назначать так, чтобы они были выше отметок среднего звена трубы как до проявления осадок основания, так и после прекращения этих осадок.

Стабильность проектного положения секций фундаментов и звеньев водопропускных труб в направлении продольной оси сооружений должна быть обеспечена устойчивостью откосов насыпи и прочностью грунтов основания.

Примечание. При устройстве труб на скальных грунтах и на свайных фундаментах строительный подъем назначать не следует.

ВЕРХНЕЕ СТРОЕНИЕ ПУТИ НА ЖЕЛЕЗНОДОРОЖНЫХ МОСТАХ

1.50*. Путь на железобетонных пролетных строениях следует укладывать на щебеночном балласте. Мостовое полотно на металлических пролетных строениях, как правило, должно устраиваться на безбалластных железобетонных плитах или на балласте. На строящихся мостах с металлическими пролетными строениями по согласованию с МПС может предусматриваться устройство пути на деревянных поперечинах.

Рельсы на мостах следует укладывать тяжелого типа (не легче типа Р50 и не легче типа рельсов, укладываемых на подходах). На больших мостах, на мостах с разводными пролетами и на подходах к этим сооружениям на протяжении не менее 200 м в каждую сторону следует укладывать рельсы не легче типа Р65.

Бесстыковой путь допускается укладывать на мостах с мостовым полотном на балласте, на мостах с безбалластным мостовым полотном, - как правило, при суммарной длине пролетных строений 66 м и менее. Устройство бесстыкового пути на местах с безбалластным мостовым полотном при суммарной длине пролетных строений свыше 66 м допускается в обоснованных случаях по согласованию с МПС.

1.51. Конструкция мостового полотна должна обеспечивать:

возможность прохода колес подвижного состава в случае схода их с рельсов;

содержание и ремонт пути с использованием средств механизации.

1.52. Балластное корыто устоев и пролетных строений с ездой на балласте должно обеспечивать размещение балластной призмы типового поперечного профиля, принятого для мостов.

1.53. Мостовое полотно (включая охранные приспособления, уравнительные приборы или сезонные уравнительные рельсы) следует проектировать, руководствуясь «Указаниями по устройству и конструкции мостового полотна на железнодорожных мостах», утвержденными МПС.

1.54. Безбалластное мостовое полотно на железобетонных плитах должно иметь ширину не менее 3,20 м.

1.55. Мостовые брусья (деревянные поперечины) должны соответствовать требованиям ГОСТ 8486-66, иметь сечение 20´24 см и длину 3,25 м.

1.56*. Мосты полной длиной более 25 м, а также все мосты высотой более 3 м, мосты, расположенные в пределах станций, и все путепроводы должны иметь двухсторонние служебные тротуары с перилами (высотой не менее 1,10 м), располагаемые вне габаритов приближений строений.

В районах со среднесуточной минимальной температурой наружного воздуха минус 40 °С и ниже (с обеспеченностью 0,92) двухсторонние боковые тротуары должны иметь все мосты полной длиной более 10 м.

На двухпутных и многопутных мостах следует предусматривать тротуары (без перил) также и в междупутье.

Настил тротуаров, как правило, следует проектировать из железобетонных плит.

1.57. При проектировании пути на подходах следует предусматривать меры, препятствующие угону пути с подходов на мост.

1.58*. На железнодорожных путях общей сети и железных дорогах промышленных предприятий, проходящих под путепроводами и пешеходными мостами с опорами стоечного типа, при расстоянии от оси железнодорожного пути до грани опоры менее 3,0 м необходимо укладывать контруголки, выходящие в каждую сторону за боковые грани путепровода или пешеходного моста не менее чем на 10 м.

В пути на мостах и путепроводах дорог промышленных предприятий при кривых радиусом 500 м и менее следует предусматривать специальные устройства, препятствующие изменению ширины колеи.

МОСТОВОЕ ПОЛОТНО АВТОДОРОЖНЫХ И ГОРОДСКИХ МОСТОВ

1.59*. Параметры и конструкция мостового полотна должны отвечать требованиям, установленным для данной дороги или улицы СНиП 2.05.02-85, СНиП 2.07.01-89* или СНиП 2.05.11-83, и обеспечивать механизированное устройство одежды, а также удобные условия текущего содержания (механизированную очистку ездового полотна и тротуаров от грязи, снега и пр.).

1.60*. Опоры контактной сети и освещения следует располагать, как правило, в створе перил (при ширине тротуаров 2,25 м и менее) или междупутье трамвайных путей при расположении их на обособленном полотне.

Головки рельсов трамвайных путей на необособленном полотне должны со стороны автопроездов располагаться на уровне верха покрытия проезжей части.

На городских и пешеходных мостах, как правило, должно предусматриваться устройство стационарного электрического освещения. На других мостах необходимость и вид такого освещения устанавливаются в соответствии с требованиями, содержащимися в СНиП 2.05.02-85 и СНиП 2.05.07-85 по освещенности автомобильных дорог разного назначения.

1.61*. Одежда ездового полотна на железобетонной плите проезжей части может приниматься многослойной, включающей, как правило, покрытие, защитный слой, гидроизоляцию и выравнивающий слой, а также двух- или однослойной, включающей выравнивающий слой из бетона особо низкой проницаемости (по СНиП 2.03.11-85 с маркой по водопроницаемости W8), выполняющего гидроизолирующие функции, и асфальтобетонное покрытие или только выравнивающий слой.

Покрытие на проезжей части следует предусматривать в виде двух слоев асфальтобетона общей толщиной не менее 70 мм из мелкозернистой смеси в соответствии с категорией дороги - типа Б, В и Г не ниже II марки или из армированного цементобетона толщиной не менее 80 мм.

Защитный слой следует выполнять из армированного бетона пониженной проницаемости (по СНиП 2.03.11-85 с маркой по водопроницаемости W6) толщиной не менее 40 мм. При устройстве цементобетонного покрытия допускается совмещать функции покрытия и защитного слоя. Выравнивающий слой в многослойной конструкции одежды следует выполнять из цементопесчаного раствора толщиной не менее 30 мм или асфальтобетона.

Однослойную или двухслойную одежду ездового полотна с выравнивающим слоем из бетона особо низкой проницаемости, выполняющего гидроизолирующие функции, допускается устраивать на пролетных строениях, не имеющих в железобетонной плите проезжей части предварительно напряженной арматуры, при условии, что действующие в верхних фибрах выравнивающего слоя растягивающие напряжения не превосходят расчетных сопротивлений бетона растяжению при изгибе, определяемых в соответствии с ГОСТ 10180-78*. Величину защитного слоя следует принимать не менее 40 мм.

На пролетных строениях дорог III-V, I-c, II-c категорий по согласованию с заказчиком допускается в качестве временной одежды ездового полотна применять сборные железобетонные плиты, укладываемые на выравнивающий слой толщиной 30-50 мм из пескоцементной смеси. При этом плиту проезжей части и боковые поверхности несущих конструкций, на которые может попасть вода, следует гидроизолировать.

1.62*. В конструкциях одежды ездового полотна на металлической плите проезжей части следует предусматривать меры по обеспечению надежного сцепления покрытия с поверхностью металла и защите металлической поверхности от коррозии.

1.63. Полосы безопасности (предохранительные) и разделительные следует выделять покрытием из материалов разной фактуры или разметкой - сплошной маркировочной линией из износоустойчивых материалов.

1.64*. На мостах, как правило, следует предусматривать на каждой стороне тротуары или служебные проходы, ограждаемые с наружных сторон перилами высотой 1,10 м.

На мостах с раздельными пролетными строениями тротуары и служебные проходы могут предусматриваться только с внешней стороны (по отношению к оси дороги) каждого пролетного строения.

На городских эстакадах, путепроводах и мостах грузовых дорог, изолированных от пешеходного движения, а также на мостовых сооружениях автомобильных дорог при интенсивности пешеходного движения 200 чел/сут и менее допускается предусматривать только служебные проходы.

Вне населенных пунктов при отсутствии пешеходного движения на мостовых сооружениях длиной до 50 м служебные проходы допускается не устраивать.

Ширина служебных проходов принимается равной 0,75 м.

Ширину тротуаров следует назначать по расчету в зависимости от величины расчетной перспективной интенсивности движения пешеходов в час «пик». Расчетную пропускную способность пешеходной полосы шириной 0,75 м следует принимать равной 1500 чел/ч. Ширину многополосных тротуаров, как правило, следует назначать кратной 0,75 м, ширину однополосных тротуаров - не менее 1,0 м.

На мостах, расположенных в городах, поселках и сельских населенных пунктах, ширину тротуаров следует принимать не менее 1,50 м.

Устройство тротуаров с шириной не кратной 0,75 м, обусловленное конструктивными соображениями, допускается при соответствующем технико-экономическом обосновании и по согласованию с заказчиком.

1.65*. Со стороны проезда транспортных средств тротуары и обособленное трамвайное полотно на скоростных дорогах и магистральных улицах и дорогах должны быть отделены от проезжей части ограждающими устройствами:

металлическими барьерными или железобетонными парапетами высотой 0,75 м на мостовых сооружениях автомобильных дорог I-III категорий и в городах;

то же высотой 0,6 м на мостовых сооружениях автомобильных дорог IV, V, I-c, II-c категорий, в поселках и сельских населенных пунктах;

колесоотбойным брусом высотой 0,25 м на деревянных мостах.

За высоту ограждения следует принимать расстояние от поверхности покрытия до верхней грани ограждения.

Высота ограждений на мостовых сооружениях дорог промышленных предприятий должна назначаться не менее 1/2 диаметра колеса расчетного автомобиля, но не менее 0,75 м.

При отсутствии на мостовом сооружении тротуаров и служебных проходов ограждения должны быть установлены не ближе 0,5 м от края плиты пролетного строения и могут быть при этом совмещены с перильными ограждениями, устройство которых должно предусматриваться во всех случаях.

На разделительной полосе следует предусматривать ограждения в случае, если:

ограждения имеются на разделительной полоса подходов;

на разделительной полосе расположены элементы конструкций моста, опоры контактной сети, освещения и т.п.;

конструкция разделительной полосы не рассчитана на выезд транспортных средств на полосу.

Ограждения на подходах к мостовым сооружениям следует устраивать на длине не менее 18 м от начала и конца сооружения, причем на первых 6 м они должны быть в одном створе с ограждениями на мостовом сооружении. Отгон в плане ограждений, устанавливаемых на мостовом сооружении, к ограждениям на обочинах дороги должен быть с тангенсом не более 1 : 20.

1.66*. Конструкции деформационных швов должны не нарушать плавности движения транспортных средств и исключать попадание воды и грязи на опорные площадки и нижерасположенные части моста.

При применении водопроницаемых швов следует предусматривать: возможность осмотра и ремонта конструкций швов сверху; отвод воды, проникающей через шов, с помощью лотков, имеющих уклон не менее 50 ; удобный осмотр и очистку лотков от грязи.

Цементобетонные покрытия над деформационным швом следует прерывать во всех случаях. Асфальтобетонные покрытия допускается устраивать непрерывными на дорогах I-III, I-c, I-в, I-к, II-к категорий при перемещениях в шве не более 5 мм, на дорогах более низких категорий - до 10 мм.

Конструкции деформационных швов должны быть надежно закреплены в пролетных строениях. Перекрывающие элементы, скользящие листы или плиты следует прижимать к окаймлению с помощью пружин или другими способами, исключающими неплотное прилегание перекрывающих скользящих элементов.

СОПРЯЖЕНИЕ МОСТОВ С ПОДХОДАМИ

1.67. Земляное полотно на протяжении 10 м от задней грани устоев у больших железнодорожных мостов должно быть уширено на 0,5 м с каждой стороны, у автодорожных и городских мостов - иметь ширину не менее расстояния между перилами плюс 0,5 м с каждой стороны. Переход от увеличенной ширины к нормальной следует делать плавным и осуществлять на длине 15-25 м.

1.68. В местах примыкания насыпи к устоям железнодорожных мостов следует предусматривать меры для удержания балластной призмы от осыпания.

1.69*. В сопряжении автодорожных и городских мостов с насыпью следует, как правило, предусматривать укладку железобетонных переходных плит. Длину плит следует принимать в зависимости от ожидаемых осадок грунта под лежнем плиты и назначать, как правило, не более 8 м.

На мостах с устоями, опирающимися непосредственно на насыпь (диванного типа), длину переходных плит следует назначать, учитывая необходимость соблюдения принятого профиля проезда при возможной разности осадок опорных площадок плиты, и принимать не менее 2 м.

Гравийно-песчаная подушка под лежнем плиты должна всей своей площадью опираться на дренирующий грунт или на грунт насыпи ниже глубины промерзания.

При слабых глинистых грунтах в основании насыпи лежни переходных плит следует укладывать с учетом возможной их осадки в размере 0,5-0,7 % высоты насыпи.

1.70. При сопряжении конструкций мостов с насыпями подходов необходимо выполнять условия:

а) после осадки насыпи и конуса примыкающая к насыпи часть устоя или свободной консоли (в автодорожных мостах) должна входить в конус на величину (считая от вершины конуса насыпи на уровне бровки полотна до грани сопрягаемой с насыпью конструкции) не менее 0,75 м при высоте насыпи до 6 м и не менее 1,00 м при высоте насыпи свыше 6 м;

б) откосы конусов должны проходить ниже подферменной площадки (в плоскости шкафной стенки) или верха боковых стенок, ограждающих шкафную часть, не менее чем на 0,50 м - для железнодорожных и на 0,40 м - для автодорожных и городских мостов. Низ конуса у необсыпных устоев не должен выходить за переднюю грань устоя. В обсыпных устоях мостов линия пересечения поверхности конуса с передней гранью устоя должна быть расположена выше уровня воды расчетного паводка (без подпора и наката волн) не менее чем на 0,50 м;

в) откосы конусов необсыпных устоев мостов должны иметь уклоны на высоту первых 6 м, считая сверху вниз от бровки насыпи, - не круче 1:1,25 и на высоту следующих 6 м - не круче 1:1,50. Крутизну откосов конусов насыпей высотой свыше 12 м следует определять расчетом устойчивости конуса (с проверкой основания) и назначать ее не менее 1:1,75 в пределах всего конуса или до более пологой его части;

г) откосы конусов обсыпных устоев, устоев рамных и свайно-эстакадных мостов, а также всех мостов в пределах подтопления при уровне воды расчетного паводка должны иметь уклоны не круче 1:1,5, при высоте насыпей свыше 12 м должны определяться расчетом по устойчивости (с проверкой основания).

Для сейсмических районов уклоны откосов конусов следует назначать в соответствии с требованиями СНиП II-7-81*.

1.71. Крайний ряд стоек или свай устоев деревянных мостов должен входить в насыпь не менее чем на 0,50 м, считая от оси стойки до бровки конуса, при этом концы прогонов должны быть защищены от соприкасания с грунтом.

1.72*. Отсыпку конусов у мостов, а также насыпей за устоями мостов на длину поверху - не менее высоты насыпи за устоем плюс 2,0 м и понизу (в уровне естественной поверхности грунта) - не менее 2,0 м следует предусматривать из песчаного или другого дренирующего грунта с коэффициентом фильтрации (после уплотнения) не менее 2 м/сут.

В особых условиях при соответствующих технико-экономических обоснованиях допускается применение песков с коэффициентом фильтрации менее 2 м/сут при обеспечении с помощью конструктивных и технологических мероприятий (в том числе с применением укрепляющих и армирующих синтетических материалов и сеток) надлежащей надежности и долговечности устоев, конусов и насыпей за устоями.

1.73. Откосы конусов у мостов и путепроводов должны быть укреплены на всю высоту. Типы укреплений откосов и подошв конусов и насыпей в пределах подтопления на подходах к мостам и у труб, а также откосов регуляционных сооружений следует назначать в зависимости от их крутизны, условий ледохода, воздействия волн и течения воды при скоростях, отвечающих максимальным расходам во время паводков: наибольших - для мостов на железных дорогах общей сети и расчетных - для остальных мостов. Отметки верха укреплений должны быть выше уровней воды, отвечающих указанным выше паводкам, с учетом подпора и наката волны на насыпь:

у больших и средних мостов - не менее 0,50 м;

у малых мостов и труб - не менее 0,25 м.

ОТВОД ВОДЫ

1.74. Ездовое полотно и другие поверхности конструкций (в том числе и под тротуарными блоками), на которые может попадать вода, следует проектировать с поперечным уклоном не менее 20 , в балластных корытах железнодорожных мостов - не менее 30 .

Продольный уклон поверхности ездового полотна на автодорожных и городских мостах, как правило, следует принимать не менее 5 . При продольном уклоне свыше 10 допускается уменьшение поперечного уклона при условии, что геометрическая сумма уклонов будет не менее 20 .

На железнодорожных мостах при асбестовом балласте следует предусматривать отвод поверхностных вод.

1.75*. Воду с ездового полотна следует отводить через водоотводные трубки либо через поперечные или продольные лотки. При наличии в конструкции одежды ездового полотна гидроизоляции (кроме гидроизоляции из бетона особо низкой проницаемости) установка водоотводных трубок обязательна. Неорганизованный сброс воды через тротуары (по всей длине пролетного строения) не допускается.

Верх водоотводных трубок и дно лотков следует устраивать ниже поверхности, с которой отводится вода, не менее чем на 1 см.

Вода из водоотводных устройств не должна попадать на нижележащие конструкции, а также на железнодорожные пути и проезжую часть автомобильных дорог, расположенных под путепроводами.

Для предотвращения периодического увлажнения нижних поверхностей железобетонных и бетонных конструкций (консольных плит крайних балок, тротуарных блоков, оголовков опор и др.) следует устраивать защитные выступы и слезники.

В местах сброса воды с пролетного строения на конус насыпи на конусе вдоль моста должны устраиваться водоотводные лотки. Для отвода воды из-за устоев следует предусматривать устройство надежно действующей дренажной системы.

1.76*. Водоотводные трубки должны иметь внутренний диаметр не менее 150 мм, и их следует устраивать в балластных корытах железнодорожных мостов из расчета не менее 5 см2 сечения трубки на 1 м2 площади стока.

Расстояния между водоотводными трубками на ездовом полотне автодорожных и городских мостов должны составлять вдоль пролета не более 6 м при продольном уклоне до 5 и 12 м - при уклонах от 5 до 10 . На более крутых уклонах расстояние между трубками может быть увеличено. Число трубок на одном пролете не должно быть менее трех.

1.77. Внутри замкнутых сечений (под элементами одежды ездового полотна и в других местах, где возможно скопление случайно попавшей воды, а также воды, скапливающейся вследствие конденсации атмосферной влаги) следует предусматривать устройство в пониженных местах водоотводных трубок (или отверстий) диаметром не менее 60 мм.

Удаление воды из полостей под тротуарными блоками следует, как правило, предусматривать без применения водоотводных трубок.

1.78. При необходимости сохранения вечномерзлых грунтов в основании устоев следует предусматривать меры, исключающие доступ воды к основанию.

В случае притока поверхностной воды со стороны подходов необходимо предусматривать устройства для отвода ее за пределы земляного полотна.

ЭКСПЛУАТАЦИОННЫЕ ОБУСТРОЙСТВА

1.79*. Все части пролетных строений, видимые поверхности опор и труб должны быть доступны для осмотра и ухода, для чего следует устраивать проходы, люки, лестницы, перильные ограждения (высотой не менее 1,10 м), специальные смотровые приспособления, а также закладные части для подвески временных подмостей. В мостах с балочными пролетными строениями и подвижными опорными частями следует предусматривать условия для выполнения работ по регулированию положения, ремонту или замене опорных частей.

1.80. У каждого конца мостового сооружения или трубы при высоте насыпи свыше 2 м для железнодорожных и свыше 4 м для автодорожных сооружений следует, как правило, устраивать по откосам постоянные лестничные сходы шириной 0,75 м.

1.81*. В необходимых случаях (например, при строительстве мостов и труб в опытном порядке, при применении для мостов внешне статически неопределимых систем, чувствительных к осадкам, при создании в стальных конструкциях предварительно напряженного состояния и др.) в проектной документации следует предусматривать установку специальных марок или других приспособлений, необходимых для осуществления контроля за общими деформациями, а также за напряженным состоянием отдельных его элементов.

1.82. На железнодорожных мостах и в путепроводах тоннельного типа при их длине свыше 50 м следует предусматривать площадки-убежища в уровне железнодорожного проезда через 50 м с каждой стороны проезда, располагаемые в шахматном порядке. При длине моста или путепровода до 100 м площадки-убежища допускается устраивать по одной с каждой стороны проезда.

На линиях, где предусмотрена скорость движения поездов свыше 120 км/ч, а также на мостах в районах со средней температурой наружного воздуха наиболее холодной пятидневки с обеспеченностью 0,98 ниже минус 40 °С расстояние между площадками-убежищами должно быть не более 25 м.

1.83. Противопожарное оборудование на железнодорожных мостах должно соответствовать Указаниям по устройству и конструкции мостового полотна, утвержденным МПС, на автодорожных - перечню, согласованному с минавтодорами союзных республик.

1.84*. Все металлические конструкции мостовых сооружений должны быть заземлены, если они расположены на расстояниях менее 5 м от контактной сети на постоянном токе и менее 10 м от контактной сети на переменном токе. Также должны быть заземлены железобетонные и бетонные конструкции, поддерживающие контактную сеть.

1.85. При проектировании путепроводов и пешеходных мостов через пути электрифицированных железных дорог над контактной сетью следует предусматривать устройство ограждающих и предохранительных вертикальных щитов (сеток) высотой 2,0 м. Допускается применение с каждой стороны моста горизонтальных щитов (сеток) длиной не менее 1,5 м.

1.86. Железнодорожные мосты и путепроводы на путях перевозки ковшей с жидким чугуном и горячим шлаком должны иметь вместо перил специальные предохранительные ограждения, высота которых должна быть на 20 см выше верха ковшей. При этом через 50 м с каждой стороны следует предусматривать площадки-убежища, располагаемые в шахматном порядке.

Конструкции путепроводов, под которыми предполагается проход слитко-, чугуно- или шлаковозных составов, должны иметь специальные экраны, ограничивающие нагрев ограждаемых конструкций до температуры не выше 100 °С.

1.87*. На всех мостах не допускается прокладка нефтепроводов, нефтепродуктопроводов и, как правило, линий высоковольтных электропередач (напряжением свыше 1000 В). Кроме того, на железнодорожных мостах не допускается прокладка газопроводов и канализационных трубопроводов, а также водопроводных линий.

При специальном технико-экономическом обосновании на автодорожных, городских и пешеходных мостах допускается прокладка в стальных трубах тепловых сетей, водопроводных линий, напорной канализации и газопроводов с рабочим давлением не более 0,6 МПа (6 кгс/см2).

Во всех случаях должны быть предусмотрены меры по обеспечению сохранности моста, а также непрерывности и безопасности движения по нему в случаях прорывов и повреждений трубопроводов и кабелей. Для этого на больших и средних мостах линии электропередачи и другие коммуникации, как правило, а на железнодорожных мостах обязательно должны иметь устройства для выключения этих линий и коммуникаций с обеих сторон моста.

Примечание*. В обоснованных случаях на городских и автодорожных мостах, расположенных в населенных пунктах, по согласованию с эксплуатирующей мост организацией или заказчиком допускается прокладка кабельных линий высоковольтных электропередач при условии обеспечения безопасности работ по текущему содержанию моста.

Прокладка кабельных маслонаполненных линий и высоковольтных воздушных злектропередач по мостам не разрешается.

1.88*. Мосты должны иметь приспособления для пропуска линий связи, предусмотренных на данной дороге, и других коммуникаций, разрешенных для данного сооружения, а на железных дорогах (в том числе и на линиях, где электрическая тяга поездов первоначально не предусмотрена) и в городах при троллейбусном и трамвайном движении - также устройства для подвески контактной сети.

Для прокладки труб и кабелей следует, как правило, предусматривать специальные конструктивные элементы (выносные консоли, поперечные диафрагмы, наружные подвески и т.п.), не препятствующие выполнению работ по текущему содержанию и ремонту моста.

Прокладка коммуникаций под тротуарными плитами и на разделительной полосе допускается при защите от повреждений во время эксплуатации как коммуникаций, так и конструкций моста. В случае прокладки коммуникаций в замкнутых полостях блоков под тротуарными плитами необходимо устройство в них гидроизоляции и отверстий для водоотвода.

1.89. Железнодорожные и автодорожные мосты с разводными пролетами, а также мосты с совмещенной проезжей частью (для неодновременного движения рельсовых и безрельсовых транспортных средств) должны быть ограждены с обеих сторон сигналами прикрытия, находящимися на расстоянии не менее 50 м от въездов на них. Для городских мостов расстояния от въездов до сигналов прикрытия устанавливаются по согласованию с ГАИ МВД РФ. Открывание сигналов прикрытия должно быть возможно только при неразведенном положении разводного пролета, а также при незанятом состоянии совмещенного проезда.

Железнодорожные мосты с разводными пролетами, а также однопутные мосты на двухпутных участках дороги должны быть защищены предохранительными (улавливающими) тупиками или устройствами путевого заграждения.

Для больших железнодорожных мостов следует предусматривать устройство заградительной и оповестительной сигнализации, а также контрольно-габаритных устройств в соответствии с Правилами технической эксплуатации железных дорог (ПТЭ), утвержденными МПС.

Судоходные пролеты на мостах через водные пути должны быть оборудованы освещаемой судовой сигнализацией.

1.90. У охраняемых мостов следует предусматривать помещения для охраны моста и соответствующие устройства.

Около больших железнодорожных мостов, а также автодорожных и городских мостов длиной свыше 200 м следует предусматривать помещения площадью 16-25 м для их обслуживания и, кроме того, в обоснованных случаях - помещения для компрессорных.

На больших железнодорожных мостах для механизации работ по текущему содержанию и ремонту следует, по согласованию с МПС, предусматривать устройство линий подачи сжатого воздуха и воды, а также линий продольного электроснабжения с токоразборными точками.

2. НАГРУЗКИ И ВОЗДЕЙСТВИЯ

СОЧЕТАНИЯ НАГРУЗОК

2.1*. Конструкции мостов и труб следует рассчитывать на нагрузки и воздействия и их сочетания, принимаемые в соответствии с табл. 5*.

Таблица 5*

Номер нагрузки (воздействия)

Нагрузки и воздействия

Номер нагрузки (воздействия), не учитываемой в сочетании с данной нагрузкой (воздействием)

 

А. Постоянные

 

1

Собственный вес конструкций

-

2

Воздействие предварительного напряжения (в том числе регулирования усилий)

-

3

Давление грунта от веса насыпи

-

4

Гидростатическое давление

-

5

Воздействие усадки и ползучести бетона

-

6

Воздействие осадки грунта

-

 

Б. Временные

 

 

От подвижного состава и пешеходов

 

7

Вертикальные нагрузки

16, 17

8

Давление грунта от подвижного состава

16, 17

9

Горизонтальная поперечная нагрузка от центробежной силы

10, 16, 17

10

Горизонтальные поперечные удары подвижного состава

9, 11, 12, 16-18

11

Горизонтальная продольная нагрузка от торможения или силы тяги

16, 17

 

Прочие

 

12

Ветровая нагрузка

10, 14, 18

13

Ледовая нагрузка

11, 14, 16, 18

14

Нагрузка от навала судов

11-13, 15-18

15

Температурные климатические воздействия

14, 18

16

Воздействие морозного пучения грунта

7-11, 13, 14, 18

17

Строительные нагрузки

7-11, 14, 18

18

Сейсмические «

10, 12-17

Примечания: 1*. В необходимых случаях в расчетах следует учитывать трение и сопротивление сдвигу в опорных частях, относящиеся к прочим воздействиям.

2. Расчеты на выносливость производят на сочетания, в которые кроме постоянных нагрузок и воздействий входят временные нагрузки № 7-9, при этом вертикальную нагрузку от пешеходов на тротуарах с вертикальной нагрузкой от подвижного состава совместно учитывать не следует.

3*. Расчеты по предельным состояниям II группы следует производить только на сочетания нагрузок и воздействий № 1-9, 15 и 17. При этом в расчетах железобетонных конструкций по трещиностойкости также надлежит учитывать нагрузку № 11, а при расчете горизонтальных перемещений верха опор - нагрузки № 10, 12 и 13.

2.2. Коэффициенты сочетаний h, учитывающие уменьшение вероятности одновременного появления расчетных нагрузок, следует во всех расчетах принимать равными:

а) к постоянным нагрузкам № 1-6, к нагрузке № 17 и весу порожнего подвижного состава железных дорог - 1,0;

б) при учете действия только одной из временных нагрузок или группы сопутствующих одна другой нагрузок № 7-9 без других нагрузок - 1,0;

в) при учете действия двух или более временных нагрузок (условно считая группу нагрузок № 7-9 за одну нагрузку) - к одной из временных нагрузок - 0,8, к остальным - 0,7.

Примечания: 1. К нагрузке № 12 во всех случаях сочетания с нагрузкой № 7 в зависимости от вида подвижного состава, образующего нагрузку, коэффициент h следует принимать равным:

а) при загружении железнодорожным подвижным составом и поездами метрополитена:

не защищенными от воздействия бокового ветра - 0,5;

защищенными галереями от воздействия бокового ветра - 1,0;

б) при загружении автотранспортными средствами и вагонами трамвая - 0,25.

Для автодорожных и городских мостов в случае действия нескольких временных нагрузок и отсутствия среди них нагрузки № 7 к нагрузке № 12 следует принимать h = 0,5.

2. Во всех сочетаниях нагрузок коэффициенты h необходимо принимать: к нагрузкам № 7-9 - одинаковыми, к нагрузке № 11 - не более чем к нагрузке № 7.

3. При учете нагрузки № 18 совместно с нагрузкой № 7 и ей сопутствующими коэффициенты h следует принимать к нагрузке № 18 - 0,8, к остальным временным нагрузкам для мостов:

железнодорожных (только с одного пути) - 0,7;

автодорожных и городских - 0,3.

4. Значения коэффициентов h для различных комбинаций временных нагрузок и воздействий приведены в справочном приложении 2*.

2.3. Величины нагрузок и воздействий для расчета конструкций по всем группам предельных состояний принимают согласно табл. 6 с коэффициентами надежности по нагрузке gf (по пп. 2.10*, 2.23* и 2.32* для соответствующих нормативных нагрузок и воздействий) и динамическими коэффициентами 1 + m или 1 + 2/3 m (по п. 2.22*).

Таблица 6

Группа предельного состояния

Вид расчета

Вводимый коэффициент

ко всем нагрузкам и воздействием, кроме подвижной вертикальной

к подвижной вертикальной нагрузке*

I

а. Все расчеты, кроме перечисленных в подпунктах «б» - «г»

gf

gf ; 1 + m

б. На выносливость

gf = 1

gf = 1; 1 + 2/3 m

в. По устойчивости положения

gf

gf***

г. По сочетаниям, - включающим сейсмическую нагрузку

gf***

gf

II

Все расчеты, включая расчеты по образованию и раскрытию трещин в железобетоне

gf = 1

gf = 1

* Во всех неоговоренных случаях (кроме нагрузки от кранов по п. 2.30) динамический коэффициент 1 + m следует принимать равным единице.

** Сейсмические нагрузки следует принимать с коэффициентом надежности по нагрузке, равным единице.

*** К порожнему составу железных дорог и метрополитена gf = 1.

ПОСТОЯННЫЕ НАГРУЗКИ И ВОЗДЕЙСТВИЯ

2.4. Нормативную вертикальную нагрузку от собственного веса следует определять по проектным объемам элементов и частей конструкции, включая постоянные смотровые приспособления, опоры и провода линий электрификации и связи, трубопроводы и т.д.

Для балочных пролетных строений нагрузку от собственного веса допускается принимать равномерно распределенной по длине пролета, если величина ее на отдельных участках отклоняется от средней величины не более чем на 10 %.

Нормативную нагрузку от веса мостового полотна одного железнодорожного пути следует принимать равной:

при деревянных поперечинах и отсутствии тротуаров - 6,9 кН/м (0,70 тс/м) пути;

то же, при двух тротуарах с металлическими консолями и железобетонными плитами настила - 12,7 кН/м (1,30 тс/м) пути:

при железобетонных безбалластных плитах без тротуаров - 16,7 кН/м (1,70 тс/м) пути;

то же, с двумя тротуарами - 22,6 кН/м (2,30 тс/м) пути.

Вес сварных швов, а также выступающих частей высокопрочных болтов с гайками и двумя шайбами допускается принимать в процентах к общему весу металла по табл. 7.

Таблица 7

Металлическая конструкция

Сварные швы, %

Выступающие части высокопрочных болтов, гайки и две шайбы, %

Болтосварная

1,0

4,0

Сварная

2,0

-

2.5. Нормативное воздействие предварительного напряжения (в том числе регулирования усилий) в конструкции следует устанавливать по предусмотренному (контролируемому) усилию с учетом нормативных величин потерь, соответствующих рассматриваемой стадии работы.

В железобетонных и сталежелезобетонных конструкциях кроме потерь, связанных с технологией выполнения работ по напряжению и регулированию усилий, следует учитывать также потери, вызываемые усадкой и ползучестью бетона.

2.6. Нормативное давление грунта от веса насыпи на опоры мостов и звенья труб следует определять по формулам, кПа (тс/м2):

а) вертикальное давление:

для опор мостов

pv = gn h;                                                                      (3)

для звеньев труб

pv = Cv gn h;                                                                  (4)

б) горизонтальное (боковое) давление

pn = gn hx tn,                                                                 (5)

где h, hx - высота засыпки, м, определяемая для устоев мостов согласно обязательному приложению 3, для звеньев труб - согласно обязательному приложению 4*;

gn - нормативный удельный вес грунта, кН/м3 (тс/м3);

Cv - коэффициент вертикального давления, определяемый для звеньев труб согласно обязательному приложению 4*;

tn -   коэффициент нормативного бокового давления грунта засыпки береговых опор мостов или звеньев труб, определяемый по формуле

;                                                         (6)

здесь jn - нормативный угол внутреннего трения грунта, град.

Значения gn и jn следует, как правило, принимать на основании лабораторных исследований образцов грунтов, предназначенных для засыпки сооружения.

При типовом проектировании для определения нормативного давления грунта допускается принимать удельный вес грунта засыпки gn = 17,7 кН/м3 (1,30 тс/м3), нормативные углы внутреннего трения jn - равными:

для устоев при засыпке песчаным (дренирующим) грунтом - 35°;

для звеньев труб, находящихся в насыпи, - 30°;

для оголовков труб - 25°.

Методика определения равнодействующей нормативного горизонтального (бокового) давления на опоры мостов от собственного веса грунта приведена в обязательном приложении 3.

2.7. Нормативное гидростатическое давление (взвешивающее действие воды) следует определять в соответствии с указаниями разд. 7.

2.8. Нормативное воздействие усадки и ползучести бетона следует принимать в виде относительных деформаций и учитывать при определении перемещений и усилий в конструкциях. Ползучесть бетона определяется только от действия постоянных нагрузок.

Величины нормативных деформаций усадки и ползучести для рассматриваемой стадии работы следует определять по значениям предельных относительных деформаций усадки бетона en и удельных деформаций ползучести бетона cn в соответствии с указаниями разд. 3 и 5.

2.9. Нормативное воздействие от осадки грунта в основании опор мостов должно учитываться при применении пролетных строений внешне статически неопределимой системы и приниматься по результатам расчета осадок фундаментов.

2.10*. Коэффициенты надежности по нагрузке gf для постоянных нагрузок и воздействий, указанных в пп. 2.4-2.9, следует принимать по табл. 8*. При этом на всех загружаемых нагрузкой участках значения gf для каждой из нагрузок следует принимать одинаковыми во всех случаях, за исключением расчетов по устойчивости положения, в которых gf для разных загружаемых участков принимается в соответствии с пп. 1.40* и 1.41*.

Таблица 8*

Нагрузки и воздействия

Коэффициенты надежности по нагрузке gf

Все нагрузки и воздействия, кроме указанных ниже в данной таблице

1,1 (0,9)

Вес мостового полотна с ездой на балласте под железную дорогу, а также пути метрополитена и трамвая

1,3 (0,9)

Вес балластного мостового полотна под трамвайные пути на бетонных и железобетонных плитах

1,2 (0,9)

Вес выравнивающего, изоляционного и защитного слоев автодорожных и городских мостов

1,3 (0,9)

Вес покрытия ездового полотна и тротуаров автодорожных мостов

1,5 (0,9)

То же, городских мостов

2,0 (0,9)

Вес деревянных конструкций в мостах

1,2 (0,9)

Горизонтальное давление грунта от веса насыпи:

 

на опоры мостов (включая устои)

1,4 (0,7)

на звенья труб

1,3 (0,8)

Воздействие усадки и ползучести бетона

1,1 (0,9)

Воздействие осадки грунта

1,5 (0,5)

Примечания: 1. Значения gf для мостов на внутрихозяйственных автомобильных дорогах следует принимать такими же, как и для мостов на автомобильных дорогах общего пользования.

2. Значения gf, указанные в табл. 8* в скобках, следует принимать в случаях, когда при невыгодном сочетании нагрузок увеличивается их суммарное воздействие на элементы конструкции.

ВРЕМЕННЫЕ НАГРУЗКИ ОТ ПОДВИЖНОГО СОСТАВА И ПЕШЕХОДОВ

2.11. Нормативную временную вертикальную нагрузку от подвижного состава железных дорог (СК) следует принимать (с учетом перспективы развития транспортных средств железных дорог) в виде объемлющих максимальных эквивалентных нагрузок n, кН/м (тс/м) пути, полученных от отдельных групп сосредоточенных грузов весом до 24,5К кН (2,50К тс) и равномерно распределенной нагрузки интенсивностью 9,81К кН/м (1К тс/м) пути.

Показатель К обозначает класс устанавливаемой нагрузки, который принимается равным:

для капитальных сооружений - 14;

для деревянных мостов - 10.

Таблица интенсивности нормативной нагрузки n и правила загружения указанной нагрузкой линий влияния приведены в обязательном приложении 5. При этом приняты обозначения: l - длина загружения линии влияния, м; a = a/l - относительное положение вершины линии влияния; a - проекция наименьшего расстояния от вершины до конца линии влияния, м.

Вес нагрузки, приходящийся на 1 м пути, следует принимать равным значениям n при a = a/l = 0,5, но не более 19,62К кН/м (2К тс/м) пути.

Временную вертикальную нагрузку от порожнего подвижного состава следует принимать равной 13,7 кН/м (1,40 тс/м) пути.

Нормативную нагрузку для расчета мостов и труб на путях железных дорог промышленных предприятий, где предусмотрено обращение особо тяжелого железнодорожного подвижного состава, следует принимать с учетом его веса.

В случаях, указанных ниже, нагрузку СК необходимо вводить в расчеты с коэффициентами e £ 1, которые учитывают наличие в поездах только перспективных локомотивов и вагонов, а также отсутствие тяжелых транспортеров.

Нагрузку eCK необходимо принимать в расчетах:

на выносливость;

железобетонных конструкций по раскрытию трещин, по сейсмическим нагрузкам, а также при определении прогибов пролетных строений и перемещений опор - на всех загружаемых путях; при загружениях второго и третьего путей - во всех других случаях.

Величину коэффициента e следует определять по табл. 9.

Таблица 9

Длина загружения l, м

5 и менее

От 10 до 25

50 и более

Коэффициент e

1,00

0,85

1,00

Для промежуточных значений l коэффициенты e следует определять по интерполяции.

Примечание. Если кроме коэффициента e в расчетах учитывается динамический коэффициент (1 + m или 1 + 2/3 m), то их произведение не должно приниматься менее единицы.

2.12*. Нормативную временную вертикальную нагрузку от подвижного состава на автомобильных дорогах (общего пользования, внутрихозяйственных в колхозах, совхозах и других сельскохозяйственных предприятиях и организациях), на улицах и дорогах городов, поселков и сельских населенных пунктов следует принимать (с учетом перспективы):

а) от автотранспортных средств - в виде полос АК (черт. 1, а), каждая из которых включает одну двухосную тележку с осевой нагрузкой Р, равной 9,81К кН (1К тс), и равномерно распределенную нагрузку интенсивностью n (на обе колеи) - 0,98К кН/м (0,10К тс/м)1.

___________

1 На всех схемах с - длина соприкасания колеса с покрытием проезжей части (размеры даны в метрах).

Нагрузкой АК загружаются также трамвайные пути при их расположении на необособленном полотне.

Класс нагрузки К надлежит принимать равным 11 для всех мостов и труб, кроме деревянных мостов на дорогах V категории и внутрихозяйственных дорогах II-c и III-с категорий, для которых он может приниматься равным 8.

Элементы проезжей части мостов, проектируемых под нагрузку А8, следует проверять на давление одиночной оси, равное 108 кН (11 тc) (черт. 1, б);

б) от тяжелых одиночных колесных и гусеничных нагрузок (черт. 1, в):

для мостов и труб, проектируемых под нагрузку A11, - в виде колесной нагрузки (одной четырехосной машины) НК-80 общим весом 785 кН (80 тс);

для мостов и труб, проектируемых под нагрузку А8, - в виде гусеничной нагрузки (одной машины) НГ-60 общим весом 588 кН (60 тс);

в) от подвижного состава метрополитена с каждого пути - в виде поезда расчетной длины, состоящего из четырехосных вагонов (черт. 1, г) общим весом каждого загруженного вагона 588 кН (60 тс). При загружении линий влияния, имеющих два или более участков одного знака, разделяющие их участки другого знака следует загружать порожними вагонами весом каждый 294 кН (30 тс);

г) от трамваев (при расположении трамвайных путей на самостоятельном огражденном или обособленном полотне) с каждого пути - в виде поездов из четырехосных вагонов (черт. 1, д) общим весом каждого загруженного вагона 294 кН (30 тс) и порожнего - 147 кН (15 тс); число вагонов в поезде и расстояние между поездами должны соответствовать самому неблагоприятному загружению при следующих ограничениях: число вагонов в одном поезде - не более четырех; расстояния между крайними осями рядом расположенных поездов - не менее 8,5 м.

Загружения моста указанными нагрузками должны создавать в рассчитываемых элементах наибольшие усилия, в установленных нормами местах конструкции - максимальные перемещения (деформации). При этом для нагрузки АК во всех случаях должны быть выполнены условия:

при наличии линий влияния, имеющих три или более участков разных знаков, тележкой загружается участок, дающий для рассматриваемого знака наибольшее значение усилия (перемещения), равномерно распределенной нагрузкой (с необходимыми ее перерывами по длине) загружаются все участки, вызывающие усилие (перемещение) этого знака;

число полос нагрузки, размещаемой на мосту, не должно превышать установленного числа полос движения;

расстояния между осями смежных полос нагрузки должны быть не менее 3,0 м:

при многополосном движении в каждом направлении и отсутствии разделительной полосы на мосту ось крайней левой (внутренней) полосы нагрузки каждого направления не должна быть расположена ближе 1,5 м от осевой линии или линии, разделяющей направления движения.

При расчетах конструкций мостов по прочности и устойчивости следует рассматривать два случая воздействия нагрузки АК:

первый - предусматривающий невыгодное размещение на проезжей части (в которую не входят полосы безопасности) числа полос нагрузки, не превышающего числа полос движения;

второй - предусматривающий при незагруженных тротуарах невыгодное размещение на всей ширине ездового полотна (в которое входят полосы безопасности) двух полос нагрузки (на однополосных мостах - одной полосы нагрузки).

При этом оси крайних полос нагрузки АК должны быть расположены не ближе 1,5 м от кромки проезжей части - в первом и от ограждения ездового полотна - во втором случаях.

При расчетах конструкций на выносливость и по предельным состояниям второй группы следует рассматривать только первый случай воздействия нагрузки АК.

При определении в рассматриваемом сечении совместного воздействия нескольких силовых факторов допускается для каждого фактора нагрузку АК устанавливать в самое неблагоприятное положение.

Мосты под пути метрополитена (несовмещенные) при расчетах по предельным состояниям первой группы должны быть проверены на загружение одного из путей поездом, не создающим динамического воздействия, но имеющим длину, превышающую (до 2 раз) длину расчетного поезда. При этом на двухпутных мостах второй путь должен быть загружен поездом расчетной длины.

Тяжелые одиночные нагрузки НК-80 и НГ-60 следует располагать вдоль направления движения на любом участке проезжей части моста (в которую не входят полосы безопасности); эквивалентные нагрузки для них приведены в справочном приложении 6*.

Примечания: 1. Если на мосту предусмотрена разделительная полоса шириной 3 м и более без ограждений, то при загружении моста временными вертикальными нагрузками следует учитывать возможность использования в перспективе разделительной полосы для движения.

2*. Нагрузки НК-80 и НГ-60 не учитывают совместно с временной нагрузкой на тротуарах, с сейсмическими нагрузками, а также при расчетах конструкций на выносливость.

3*. На дорогах V категории большие и средние мосты разрешается проектировать на нагрузки А8 и НГ-60 только при надлежащем обосновании с разрешения госстроев республик.

4. При загружении трамвайных путей временной нагрузкой от автотранспортных средств (п. 2.12*а) оси полос нагрузки АК следует совмещать с осями трамвайных путей.

5. Распределение давления в пределах толщины одежды проезжей части следует принимать под углом 45°.

Черт. 1 Схемы нагрузок от подвижного состава для расчета автодорожных и городских мостов

а - автомобильная нагрузка АК в виде полосы равномерно распределенной нагрузки интенсивностью n и одиночной тележки с давлением на ось Р; б - одиночная ось для проверки проезжей части мостов, проектируемых под нагрузку А-8; в - тяжелые одиночные нагрузки НК-80, НГ-60; г - поезда метрополитена; д - поезда трамвая

2.13. Нормативную вертикальную нагрузку от подвижного состава на автомобильных дорогах промышленных предприятий, где предусмотрено обращение автомобилей особо большой грузоподъемности и на которые не распространяются ограничения весовых и габаритных параметров автотранспортных средств общего назначения, следует принимать в виде колонн двухосных автомобилей АБ с параметрами, приведенными в табл. 10.

Таблица 10

Параметр

Нагрузки

АБ-51

АБ-74

АБ-151

Нагрузка на ось груженого автомобиля, кН (тс):

 

 

 

заднюю

333 (34,0)

490 (50,0)

990 (101,0)

переднюю

167 (17,0)

235 (24,0)

490 (50,0)

Расстояние между осями (база) автомобиля, м

3,5

4,2

4,5

Габарит по ширине (по колесам задней оси), м

3,5

3,8

5,4

Ширина колеи, м, колес:

 

 

 

задних

2,4

2,5

3,75

передних

2,8

2,8

4,1

Размер площадки соприкасания задних колес с покрытием проезжей части, м:

 

 

 

по длине

0,40

0,45

0,80

по ширине

1,10

1,39

1,65

Диаметр колеса, м

1,5

1,8

2,5

При проектировании следует рассматривать случаи:

а) по мосту движутся колонны автомобилей, создающие динамическое воздействие, предусмотренное настоящими нормами;

б) на мосту имеет место вынужденная остановка расчетных автомобилей (динамическое воздействие не возникает).

В случае «а» расстояние между задней и передней осями соседних автомобилей в каждой колонне не должно быть менее:

20 м - для нагрузок АБ-51 и АБ-74;

26 « - « нагрузки АБ-151.

По ширине моста колонны, число которых не должно превышать числа полос движения, следует устанавливать в самое невыгодное положение с соблюдением расстояний, указанных в табл. 11.

В случае «б» мост загружается одной колонной, имеющей не более трех автомобилей. Расстояние между задними и передними осями соседних автомобилей должно быть не менее 8 м - для нагрузок АБ-51 и АБ-74 и не менее 10 м - для нагрузки АБ-151. На остальных полосах устанавливается не более одного автомобиля. По ширине моста колонна и одиночный автомобиль устанавливаются в наиболее невыгодное положение с соблюдением расстояний, указанных в табл. 11.

Таблица 11

Расстояние по ширине моста

Наименьший размер, м, для нагрузок

АБ-51

АБ-74

АБ-151

От ограждения до края заднего колеса автомобиля:

 

 

 

движущегося

1,0

1,2

1,6

стоящего

Вплотную

Между краями задних колес соседних автомобилей:

 

 

 

движущихся

1,9

2,0

2,5

стоящих

0,5

0,7

1,0

Эквивалентные нагрузки для треугольных линий влияния от одиночных автомобилей нагрузки АБ, а также от стоящих и движущихся колонн этих автомобилей (при установленных минимальных расстояниях между автомобилями) приведены в справочном приложении 7.

Примечание. Мосты и трубы, расположенные на дорогах промышленных предприятий, где обращаются автомобили типов МАЗ и КрАЗ с расчетной шириной свыше 2,5 м, а давление задней тележки менее 196 кН (20 тс), следует проектировать на нагрузки А-11 и НК-80.

2.14. Во всех расчетах для элементов или отдельных конструкций мостов, воспринимающих временную нагрузку с нескольких путей или полос движения, нагрузку от подвижного состава с одного пути или полосы движения (где нагрузка приводит к самым неблагоприятным результатам) следует принимать с коэффициентом s1 = 1,0.

С остальных путей (полос) нагрузки принимают с коэффициентами s1, равными для:

а) нагрузки eСК (одновременно загружается не более трех путей): 1,0 - при длине загружения 15 м и менее; 0,7 - при длине загружения 25 м и более; для промежуточных значений длин - по интерполяции;

б) нагрузки АК: 1,0 - для тележек и 0,6 - для равномерно распределенной нагрузки;

в) нагрузки АБ - 0,7;

г) поездов метрополитена и трамвая - 1,0.

2.15*. При одновременном загружении полос автомобильного движения (совместно с тротуарами) и рельсовых путей (железных дорог, метрополитена или трамвая) временную вертикальную нагрузку, которая оказывает меньшее воздействие (как вертикальное, так и горизонтальное), следует вводить в расчет с дополнительным коэффициентом, определяемым по формулам:

при одновременном загружении железнодорожных путей и полос автомобильного движения

s2 = 1 - 0,010l, но не менее 0,75;                                                 (7)

то же, путей метрополитена или трамвая и полос автомобильного движения

s2 = 1 - 0,002l, но не менее 0,75,                                                 (8)

где l - длина загружения пролетного строения нагрузкой, оказывающей меньшее воздействие, м.

2.16. Нормативное горизонтальное (боковое) давление грунта на устои мостов (и промежуточные опоры, если они расположены внутри конусов) от подвижного состава, находящегося на призме обрушения, следует принимать с учетом распространения нагрузки в грунте ниже подошвы рельса или верха дорожного покрытия под углом к вертикали arc tg 1/2 и определять согласно обязательному приложению 8*.

Примечание. Совместно с сейсмическим воздействием горизонтальное (боковое) давление грунта на устои от подвижного состава, находящегося на призме обрушения, не учитывается.

2.17. Нормативное давление грунта от подвижного состава на звенья (секции) труб, кПа (тс/м2), на соответствующую проекцию внешнего контура трубы следует определять с учетом распределения давления нагрузки в грунте по формулам:

а) вертикальное давление:

от подвижного состава железных дорог

;                                                                   (9)

от транспортных средств автомобильных и городских дорог (кроме нагрузки АК, на которую расчет не производится), а также дорог промышленных предприятий с обращением автомобилей АБ

;                                                                    (10)

б) горизонтальное давление

рh = pn tn,                                                                       (11)

где v - интенсивность временной вертикальной нагрузки от подвижного состава железных дорог, принимаемая по табл. 1 обязательного приложения 5* для длины загружения l = d + h и положения вершины линии влияния a = 0,5, но не более 19,6К кН/м (2К тс/м);

d - диаметр (ширина) звена (секции) по внешнему контуру, м;

h - расстояние от подошвы рельса или верха дорожного покрытия до верха звена при определении вертикального давления или до рассматриваемого горизонта при определении горизонтального (бокового) давления, м;

tn - коэффициент, определяемый по формуле (6);

y - линейная нагрузка, кН/м (тc/м), определяемая по табл. 12;

a0 - длина участка распределения, м, определяемая по табл. 12.

2.18*. Нормативную горизонтальную поперечную нагрузку от центробежной силы для мостов, расположенных на кривых, следует принимать с каждого пути или полосы движения в виде равномерно распределенной нагрузки интенсивностью nh или сосредоточенной одиночной силы Fh. Значения и nh и Fh необходимо принимать:

а) от подвижного состава на мостах железных дорог общей сети, проектируемых:

под нагрузку С14 - ,

но не более 0,15 n;

под нагрузку С10 - ,

но не более 0,15 n,

где r - радиус кривой, м;

n - вес нагрузки от подвижного состава, кН/м (тс/м) пути, принимаемый в соответствии с п. 2.11;

б) от подвижного состава на мостах железных дорог промышленных предприятий - по формуле

,                                                          (12*)

где nt - наибольшая скорость, установленная для движения поездов на кривых данного радиуса, км/ч;

в) от поездов метрополитена и трамвая - по формуле

,                                                                   (13)

где u - величина, равная: 0,241 кН (ч/км2) [0,0246 тc (ч/км2)] - для поездов метрополитена и 0,143 кН (ч/км2) [0,0146 тc (ч/км2)] - для поездов трамвая;

г) от автомобильной нагрузки АК для всех мостов при радиусах кривых:

250 м и менее - по формуле

;                                                                   (14)

свыше 250 до 600 м (при расположении мостов на кривых большего радиуса нагрузку от центробежной силы в расчетах не учитывают) - по формуле

,                                                                  (15)

но во всех случаях величина nh должна быть не менее  кН/м  и более 0,49К кН/м (0,050К тс/м),

где Р - сила, равная 4,4 кН (0,45 тс);

М - момент, равный 1079 кН×м (110 тс×м);

д) от нагрузки АБ для мостов на дорогах промышленных предприятий при радиусах кривых 400 м и менее (при расположении мостов на кривых большего радиуса нагрузку от центробежной силы в расчетах не учитывают) - по формуле

,                                                               (16)

где G - вес одного автомобиля (сумма нагрузок на переднюю и заднюю оси), определяемый по табл. 10.

При многопутном (многополосном) движении нагрузки nh и Fh учитывают с коэффициентами s1 в соответствии с п. 2.14, при этом нагрузки nh со всех полос движения (кроме одной), загружаемых автомобильной нагрузкой АК, принимают с коэффициентом s1 = 0,6.

Таблица 12

Параметр

Для нагрузок

НК-80

НГ-60

АБ-51

АБ-74

АБ-151

при высоте засыпки*, м

1 и более

1,5 и более

1,3 и более

менее 1,3

1,9 и более

менее 1,9

3 и более

менее 3

y

186 (19)

108 (11)

186 (19)

42 (4,3)

186 (19)

66 (6,7)

186 (19)

93 (9,5)

а0

3

3

3

-0,3

3

-0,15

3

0

____________

* В случаях, когда высота засыпки h менее 1 м при нагрузке НК-80 или менее 1,5 м при нагрузке НГ-60, величину давления на рассматриваемую часть трубы следует определять с учетом распределения давления в грунте под углом к вертикали arc tg 1/2.

Высоту приложения нагрузок nh и Fh (от головки рельса или верха покрытия проезжей части) следует принимать, м:

2,2 - для подвижного состава железных дорог;

2,0 - для вагонов метрополитена и трамвая;

1,5 - для транспортных средств нагрузки АК;

3,1 - для нагрузок соответственно АБ-51, АБ-74 и АБ-151.

Примечание. Центробежные силы от нагрузок НК-80 и НГ-60 при расчете мостов учитывать не следует.

2.19*. Нормативную горизонтальную поперечную нагрузку от ударов подвижного состава независимо от числа путей или полос движения на мосту следует принимать:

а)* от подвижного состава рельсовых дорог - в виде равномерно распределенной нагрузки, приложенной в уровне верха головки рельса и равной:

для поездов железных дорог - 0,59К кН/м (0,06К тс/м);

для поездов метрополитена - 1,96 кН/м (0,2 тс/м);

«         «       трамвая - 1,47 кН/м (0,15 тс/м),

где К - класс нагрузки СК.

Элементы металлических ограждений барьерного типа, выполняемые в соответствии в ГОСТ 26804-86 (группы 11 МО и 11 МД), на воздействие горизонтальных нагрузок не рассчитываются.

Крепление узла анкеровки болтов стоек барьерного ограждения должно быть отдельно проверено на действие:

горизонтального усилия, отвечающего срезу четырех болтов прикрепления;

момента, возникающего от усилия, соответствующего разрыву двух рядом расположенных болтов относительно противоположного ребра;

б) от автомобильной нагрузки АК - в виде равномерно распределенной нагрузки, равной 0,39К кН/м (0,04К тс/м), или сосредоточенной силы, равной 5,9К кН (0,6К тс), приложенных в уровне верха покрытия проезжей части, где К - класс нагрузки АК;

в) от нагрузки АБ - в виде сосредоточенной силы, приложенной к пролетному строению в уровне верха проезжей части или к ограждению проезжей части и равной 0,2G, где G - вес одного автомобиля (сумма нагрузок на переднюю и заднюю оси), определяемый по табл. 10.

При расчете элементов ограждений проезжей части, а также их прикреплений горизонтальные нагрузки следует принимать:

а) в автодорожных и городских мостах:

для сплошных жестких железобетонных парапетных ограждений - в виде поперечной нагрузки 11,8К кН (1,2К тс), распределенной по длине 1 м и приложенной к ограждению на уровне 2/3 высоты ограждения (от поверхности проезда);

для бордюров - в виде поперечной нагрузки 5,9К кН (0,6К тс), распределенной по длине 0,5 м и приложенной в уровне верха бордюра;

для консольных стоек полужестких металлических барьерных ограждений (при расстоянии между стойками от 2,5 до 3,0 м) - в виде сосредоточенных сил, действующих одновременно в уровне направляющих планок и равных:

поперек проезда - 4,41 К кН (0,45К тс);

вдоль           «      - 2,45К кН (0,25К тс),

где К - класс нагрузки АК.

Для металлических барьерных ограждений при непрерывных направляющих планках нагрузку, действующую вдоль моста, допускается распределять на четыре расположенные рядом стойки.

Поперечные нагрузки от ударов машин НК-80 и НГ-60 не учитывают;

б) в мостах на дорогах промышленных предприятий (под нагрузки АБ) - в виде равномерного давления (от указанной в подпункте «в» сосредоточенной силы 0,2G), приложенного к верхней части ограждения (парапета или бордюра) на площадках, имеющих размеры по высоте и длине соответственно, см, для нагрузок:

АБ-51             20´45

АБ-74             25´50

АБ-151           30´60

Примечание. Нормативную горизонтальную поперечную нагрузку от ударов подвижного состава для мостов на железных дорогах промышленных предприятий в случаях, когда максимальная скорость движения ограничена до 40 км/ч, допускается принимать равной 0,3К кН/м (0,03К тс/м), а при скоростях движения 80 км/ч и больших - в размерах, предусмотренных для железных дорог общей сети (см. подп. «а»).

2.20*. Нормативную горизонтальную продольную нагрузку от торможения или сил тяги подвижного состава следует принимать равной:

а) при расчете элементов пролетных строений и опор мостов, % к весу нормативной временной вертикальной подвижной нагрузки:

от железнодорожной нагрузки СК, поездов метрополитена и трамвая - 10;

от равномерно распределенной части нагрузки АК (вес тележек в нагрузках не учитывается) - 50, но не менее 7,8К кН (0,8К тс) и не более 24,5К кН (2,5К тс);

от нагрузок АБ-51 и АБ-74 (к весу одного автомобиля) - от 45 (при l £ 20 м) до 60 (при l ³ 60 м);

от нагрузки АБ-151 (к весу одного автомобиля) - от 30 (при l £ 25 м) до 40 (при l ³ 60 м);

для промежуточных значений l величина нагрузки устанавливается по интерполяции;

б) при расчете деформационных швов автодорожных мостов на дорогах: I-III, I-в, I-к, II-к, II-в, III-в, III-к, IV-в, IV-к категорий и городских мостов - 6,86К кН (0,7К тc);

IV и V категорий, а также внутрихозяйственных - 4,9К кН (0,5К тc);

промышленных предприятий под нагрузку АБ - 50 % к весу расчетного автомобиля.

При расчетах в случае «а» высоту приложения горизонтальных продольных нагрузок следует принимать в соответствии с п. 2.18*.

Горизонтальную продольную нагрузку при расчете деформационных швов следует прикладывать в уровне проезда и принимать в виде двух равных сил, удаленных одна от другой на 1,9 м для нагрузки АК и на ширину колеи задних колес для нагрузки АБ по табл. 10.

Продольную нагрузку следует принимать:

при двух железнодорожных путях - с одного пути, а при трех путях и более - с двух путей;

при любом числе полос автомобильного движения на мосту - со всех полос одного направления, а если в перспективе предусматривается перевод движения на одностороннее - со всех полос движения.

Во всех случаях необходимо учитывать коэффициент s1 согласно требованиям п. 2.14.

От транспортных средств, находящихся на призме обрушения грунта у устоев, продольная нагрузка не учитывается.

В мостах с балочными пролетными строениями продольную нагрузку допускается прикладывать в уровне:

проезжей части - при расчете устоев;

центров опорных частей - при расчете промежуточных опор, при этом разрешается не учитывать влияние моментов от переноса нагрузки.

Продольное усилие от торможения или силы тяги, передаваемое на неподвижные опорные части, следует принимать в размере 100 % полного продольного усилия, действующего на пролетное строение. При этом не следует учитывать продольное усилие от установленных на той же опоре подвижных опорных частей соседнего пролета, кроме случая расположения в разрезных пролетных строениях неподвижных опорных частей со стороны меньшего из примыкающих к опоре пролета. Усилие на опору в указанном случае надлежит принимать равным сумме продольных усилий, передаваемых через опорные части обоих пролетов, но не более усилия, передаваемого со стороны большего пролета при неподвижном его опирании.

Усилие, передающееся на опору с неподвижных опорных частей неразрезных и температурно-неразрезных пролетных строений, в обоснованных расчетом случаях допускается принимать равным полной продольной нагрузке с пролетного строения за вычетом сил трения в подвижных опорных частях при минимальных коэффициентах трения, но не менее величины, приходящейся на опору при распределении полного продольного усилия между всеми промежуточными опорами пропорционально их жесткости.

Дли железнодорожных мостов при определении продольной горизонтальной нагрузки от торможения или сил тяги в случаях применения деревянных опор, а также гибких (из отдельных стоек) стальных и железобетонных опор интенсивность временной подвижной вертикальной нагрузки n допускается принимать равной 9,81 К кН/м (К тс/м).

Примечание. При проектировании в железнодорожных мостах устройств, предназначенных для восприятия продольных нагрузок, следует учитывать полную силу тяги в виде распределенной нагрузки, составляющей, % к весу нагрузки:

при длине загружения 40 м и менее                            25

то же, 100 м и более                                                     10

при промежуточных значениях                                    по интерполяции

2.21*. Нормативную временную нагрузку для пешеходных мостов и тротуаров следует принимать в виде:

1) вертикальной равномерно распределенной нагрузки:

а) на пешеходные мосты - 3,92 кПа (400 кгс/м2);

б) на тротуары мостов (при учете совместно с другими действующими нагрузками) - по формуле

,                                                  (17)

но не менее 1,96 кПа (200 кгс/м2),

где l - длина загружения (сумма длин при загружении двух участков и более), м;

2) равномерно распределенной нагрузки, учитываемой при отсутствии других нагрузок:

а) вертикальной - при расчете только элементов тротуаров железнодорожных мостов и мостов метрополитена с устройством пути на балласте - 9,81 кПа (1000 кгс/м2), при расчете элементов тротуаров на прочих мостах - 3,92 кПа (400 кгс/м2);

б) вертикальной и горизонтальной - при расчете перил городских мостов - 0,98 кН/м (100 кгс/м);

3) сосредоточенных давлений, учитываемых при отсутствии других нагрузок:

а) вертикального - при расчете элементов тротуаров городских мостов - 9,8 кН (1 тс) с площадкой распределения от колеса автомобиля 0,015 м2 (0,15´0,10 м), прочих мостов - 3,4 кН (350 кгс);

б) вертикального или горизонтального при расчете перил мостов - 1,27 кН (130 кгс).

При расчете элементов тротуаров мостов на внутрихозяйственных дорогах, а также служебных проходов на мостах автомобильных дорог всех категорий равномерно распределенная нагрузка принимается равной 1,96 кПа (200 кгс/м2). При расчете основных конструкций мостов указанная нагрузка на тротуары не учитывается.

Примечание. При расчете элементов тротуаров необходимо учитывать также нагрузки от приспособлений, предназначенных для осмотра конструкций моста.

2.22*. Динамические коэффициенты 1+m к нагрузкам от подвижного состава железных, автомобильных и городских дорог следует принимать равными:

1) к вертикальным нагрузкам СК, eСК и АК (включая давление одиночной оси), а также к нагрузкам от поездов метрополитена и трамвая:

а) для элементов стальных и сталежелезобетонных пролетных строений, а также элементов стальных опор:

железнодорожных мостов и обособленных мостов под пути метрополитена и трамвая всех систем (кроме основных элементов главных ферм неразрезных пролетных строений) независимо от рода езды (на балласте или поперечинах)

,                                                        (18)

но не менее 1,15;

основных элементов главных ферм железнодорожных мостов с неразрезными пролетными строениями и совмещенных мостов всех систем под железнодорожную (включая поезда метрополитена) и автомобильную нагрузки

,                                                        (19)

но не менее 1,15 для железнодорожных и 1,10 для совмещенных мостов;

элементов автодорожных и городских мостов всех систем, кроме главных ферм (балок) и пилонов висячих и вантовых мостов

;                                                        (20)

элементов главных ферм и пилонов висячих и вантовых мостов

;                                                         (21)

б) для железобетонных балочных пролетных строений, рамных конструкций (в том числе для сквозных надарочных строений), а также для железобетонных сквозных, тонкостенных и стоечных опор:

железнодорожных и других мостов под рельсовые пути

,                                                          (22)

но не менее 1,15;

совмещенных мостов - по формуле (22), но не менее 1,10;

автодорожных и городских мостов

,                                                           (23)

но не менее 1,0;

в) для железобетонных звеньев труб и подземных пешеходных переходов:

на железных дорогах и путях метрополитена при общей толщине балласта с засыпкой (считая от подошвы рельса):

0,40 м и менее - по формуле (22);

1,00 м и более - 1 + m = 1,00; для промежуточных значений толщины - по интерполяции;

на автомобильных дорогах - 1 + m =1,00;

г) для железобетонных и бетонных арок со сплошным надсводным строением, для бетонных опор и звеньев труб, грунтовых оснований и всех фундаментов

1 + m = 1,00;

д) для арок и сводов арочных железобетонных пролетных строений со сквозной надарочной конструкцией:

железнодорожных мостов

,                                            (24)

где f - стрела арки; l - пролет арки;

автодорожных и городских мостов

,                                                        (25)

но не менее 1,00;

е) для элементов деформационных швов, расположенных в уровне проезжей части автодорожных и городских мостов, и их анкеровки (к возможным вертикальным и горизонтальным усилиям)

1 + m = 2,00;

ж) для деревянных конструкций:

железнодорожных мостов:

для элементов 1 + m = 1,10;

для сопряжений 1 + m = 1,20;

автодорожных и городских мостов

1 + m = 1,00;

2) к временной вертикальной нагрузке АБ:

а) для элементов стальных и сталежелезобетонных пролетных строений, а также элементов стальных опор

,                                                        (26)

но не менее 1,00;

б) для железобетонных балочных пролетных строений, железобетонных сквозных, тонкостенных и стоечных опор, а также звеньев труб при отсутствии засыпки под дорожной одеждой

,                                                        (27)

но не менее 1,00;

в) для бетонных опор и звеньев труб, грунтовых оснований и всех фундаментов, а при общей толщине засыпки (включая толщину дорожной одежды) не менее 1,0 м - для железобетонных звеньев труб и не менее 0,5 м - для других элементов, перечисленных выше в подпункте «б»,,

1 + m = 1,00;

при толщине засыпки (включая толщину дорожной одежды) менее указанной в подпункте «в» значения динамических коэффициентов, перечисленных в подпункте «б»,, принимаются по интерполяции между значениями, принимаемыми по подпунктам «б» и «в»;

г) для деревянных конструкций:

для элементов 1 + m = 1,10;

для сопряжений 1 + m = 1,20.

Для колонны автомобилей нагрузки АБ - при расчетах на случай «б» п. 2.13

1 + m = 1,00;

3) к одиночным транспортным единицам для пролетных строений, сквозных, тонкостенных и стоечных опор автодорожных и городских мостов:

к нагрузке НК-80:

1 + m = 1,30 при l £ 1,0 м;

1 + m = 1,10 при l ³ 5,0 м;

для промежуточных значений l - по интерполяции:

к нагрузке НГ-60

1 + m = 1,10;

4) к вертикальным подвижным нагрузкам для пешеходных мостов и к нагрузкам на тротуарах

1 + m = 1,00;

5) к временным горизонтальным нагрузкам и давлению грунта на опоры от транспортных средств железных и автомобильных дорог

1 + m = 1,00;

6) при расчете мостов на выносливость (см. табл. 6) динамическую добавку m, получаемую по формулам (18) - (27) (включая ограничения), следует умножать на 2/3.

Величину l (пролета или длины загружения) в формулах следует принимать:

а) для основных элементов главных ферм (разрезных балок, арок, рам), а также для продольных и поперечных балок при загружении той части линии влияния, которая определяет их участие в работе главных ферм, - равной длине пролета или длине загружения линии влияния, если эта длина больше величины пролета;

б) для основных элементов главных ферм неразрезных систем - равной сумме длин загружаемых участков линий влияния (вместе с разделяющими их участками);

в) при расчете на местную нагрузку (при загружении той части линии влияния, которая учитывает воздействие местной нагрузки):

продольных балок и продольных ребер ортотропных плит - равной длине их пролета;

поперечных балок и поперечных ребер ортотропных плит - равной суммарной длине продольных балок в примыкающих панелях;

подвесок, стоек и других элементов, работающих только на местную нагрузку, - равной длине загружения линий влияния:

плит балластового корыта (поперек пути) - условно равной нулю;

железобетонных плит железнодорожного проезда, укладываемых по металлическим балкам, при расчете плиты поперек пути - равной ширине плиты, при расчете вдоль пути - равной длине панели продольной балки;

железобетонных плит автодорожного проезда, укладываемых по металлическим балкам, при расчете плит поперек моста - равной расстоянию между балками, на которые опирается плита;

г) при загружении линий влияния, учитывающих одновременно основную и местные нагрузки, - раздельно для каждой из этих нагрузок;

д) для элементов опор всех типов - равной длине загружения линии влияния опорной реакции, определяемой как сумма длин загружаемых участков (вместе с разделяющими их участками);

е) для звеньев труб и подземных пешеходных переходов - равной ширине звена.

Примечание. В случаях, когда на железных дорогах промышленных предприятий установленная максимальная скорость движения по мосту ограничена (nt < 80 км/ч), расчетную величину динамического коэффициента допускается уменьшать, умножая соответствующую динамическую добавку m на отношение nt/80, при этом динамический коэффициент следует принимать не менее 1,10.

2.23*. Коэффициенты надежности по нагрузке gf к временным нагрузкам и воздействиям, приведенным в пп. 2.11-2.21*, следует принимать равными:

а) для железнодорожных нагрузок СК и eСК - по табл. 13;

Таблица 13

Воздействие

Коэффициент надежности по нагрузке gf при расчете

конструкций мостов в зависимости от длины загружения l*, м

звеньев труб

0

50

150 и более

Вертикальное

1,30

1,15

1,10

1,30

Горизонтальное

1,20

1,10

1,10

1,20

Давление грунта от подвижного состава на призме обрушения

1,20 независимо от длины загружения

-

___________

* Здесь l - длина загружения линии влияния за вычетом длины участков, загруженных порожним составом (при gf = 1); для промежуточных значений следует принимать по интерполяции.

б) для нагрузки от автотранспортных средств АК - по табл. 14;

в) к колесной (НК-80) и гусеничной (НГ-60) нагрузкам и их воздействиям - 1,0;

г) к нагрузкам от подвижного состава метрополитена и трамвая - по формуле

,                                                        (28)

но не менее 1,10,

где l - длина загружения, м, принимаемая по табл. 13;

Таблица 14

Нагрузка

Случай применения

Коэффициент надежности по нагрузке gf

Тележка

При расчетах элементов проезжей части мостов

1,50

При расчетах всех других элементов мостов

1,50 при l* = 0
1,20 при
l ³ 30 м

При определении веса в расчетах на сейсмические воздействия

1,20

Равномерно распределенная

При всех расчетах конструкций мостов и звеньев труб на вертикальные и горизонтальные воздействия

1,20

Одиночная ось

При проверке элементов проезжей части мостов, проектируемых на нагрузку А8

1,20

_____________

* Здесь l - длина участка линии влияния одного знака; для промежуточных значений l следует принимать по интерполяции.

д) к распределенным нагрузкам для пешеходных мостов и тротуаров при расчете:

элементов пешеходных мостов и тротуаров (кроме тротуаров на мостах внутрихозяйственных дорог и служебных проходов), а также перил городских мостов - 1,40;

пролетного строения и опор при учете совместно с другими нагрузками - 1,20;

тротуаров на мостах внутрихозяйственных дорог и служебных проходов на мостах дорог всех категорий - 1,10;

е) к распределенным и сосредоточенным горизонтальным нагрузкам на ограждения проезжей части, а также к сосредоточенным давлениям на тротуары и перила - 1,00;

ж) к автомобильным нагрузкам АБ и их воздействиям - в зависимости от удельного веса породы gvb, для перевозки которой строится дорога:

при gvb £ 17,7 кН/мЗ (1,8 тс/м3)                   1,1

при gvb = 39,2 кН/м3 (4,0 тс/м3)                   1,4

при промежуточных значениях                  по интерполяции

ПРОЧИЕ ВРЕМЕННЫЕ НАГРУЗКИ И ВОЗДЕЙСТВИЯ

2.24*. Нормативную величину ветровой нагрузки Wn следует определять как сумму нормативных значений средней Wm и пульсационной Wp составляющих:

Wn = Wm + Wp.

Нормативное значение средней составляющей ветровой нагрузки Wm на высоте z над поверхностью воды или земли определяется по формуле

Wm = Wo kCw,

где W - нормативное значение ветрового давления, принимаемое по СНиП 2.01.07-85 в зависимости от ветрового района территории РФ, в котором возводится сооружение;

k - коэффициент, учитывающий для открытой местности (типа А) изменение ветрового давления по высоте z, принимаемый по СНиП 2.01.07-85;

Сw - аэродинамический коэффициент лобового сопротивления конструкций мостов и подвижного состава железных дорог и метрополитена, приведенный в обязательном приложении 9*.

Нормативное значение пульсационной составляющей ветровой нагрузки Wp на высоте z следует определять по указаниям, содержащимся в СНиП 2.01.07-85:

Wp = Wm x L n,

где x - коэффициент динамичности;

L - коэффициент пульсации давления ветра на уровне z;

n - коэффициент пространственной корреляции пульсации давления для расчетной поверхности сооружения.

При определении пульсационной составляющей ветровой нагрузки применительно к конструкциям мостов допускается руководствоваться следующим:

а) произведение коэффициентов Ln принимать равным:

0,55 - 0,15 l/100, но не менее 0,30,

где l - длина пролета или высота опоры, м;

б) коэффициент динамичности x для балочных разрезных конструкций находить в предположении, что рассматриваемая конструкция в горизонтальной плоскости является динамической системой с одной степенью свободы (с низшей частотой собственных колебаний f1, Гц) и его величину определять по графику, приведенному в п. 6.7 СНиП 2.01.07-85 в зависимости от указанного там параметра S и логарифмического декремента затухания s = 0,3 - для железобетонных и сталежелезобетонных конструкций и s = 0,15 - для стальных конструкций.

Коэффициент динамичности принимается равным 1,2, если:

балочное пролетное строение является неразрезным;

для балочного разрезного пролетного строения имеет место условие fi > fl, где fl, Гц - предельные значения частот собственных колебаний, приведенные в п. 6.8 СНиП 2.01.07-85, при которых в разных ветровых районах допускается не учитывать силы инерции, возникающие при колебаниях по собственной форме.

При расчете конструкций автодорожных и городских мостов воздействие ветра на безрельсовые транспортные средства и трамвай, находящиеся на этих мостах, не учитывается.

Типовые конструкции пролетных строений следует, как правило, проектировать на возможность их применения в V ветровом районе (при расчетной высоте до низа пролетных строений: 20 м - при езде понизу и 15 м - при езде поверху) и предусматривать возможность их усиления при применении в VI и VII ветровых районах.

Нормативную интенсивность полной ветровой поперечной горизонтальной нагрузки при проектировании индивидуальных (нетиповых) конструкций пролетных строений и опор следует принимать не менее 0,59 кПа (60 кгс/м2) - при загружении конструкций временной вертикальной нагрузкой и 0,98 кПа (100 кгс/м2) - при отсутствии загружения этой нагрузкой.

Горизонтальную поперечную ветровую нагрузку, действующую на отдельные конструкции моста, а также на поезд, находящийся на железнодорожном мосту (мосту метро), следует принимать равной произведению интенсивности ветровой нагрузки на рабочую ветровую поверхность конструкции моста и подвижного состава.

Рабочую ветровую поверхность конструкции моста и подвижного состава следует принимать равной:

для главных ферм сквозных пролетных строений и сквозных опор - площади проекции всех элементов наветренной фермы на плоскость, перпендикулярную направлению ветра, при этом для стальных ферм с треугольной или раскосой решеткой ее допускается принимать в размере 20 % площади, ограниченной контурами фермы;

для проезжей части сквозных пролетных строений - боковой поверхности ее балочной клетки, не закрытой поясом главной фермы;

для пролетных строений со сплошными балками и прогонов деревянных мостов - боковой поверхности наветренной главной балки или коробки и наветренного прогона;

для сплошных опор - площади проекции тела опоры от уровня грунта или воды на плоскость, перпендикулярную направлению ветра;

для железнодорожного подвижного состава (в том числе поездов метрополитена) - площади сплошной полосы высотой 3 м с центром давления на высоте 2 м от головки рельса.

Распределение ветровой нагрузки по длине пролета допускается принимать равномерным.

Нормативную интенсивность ветровой нагрузки, учитываемой при строительстве и монтаже, следует определять исходя из возможного в намеченный период значения средней составляющей ветровой нагрузки в данном районе. В зависимости от характера производимых работ при наличии специального обоснования, предусматривающего соответствующее ограничение времени и продолжительности выполнения отдельных этапов работ, нормативная величина средней составляющей ветровой нагрузки для проверки напряжений (но не устойчивости) может быть уменьшена, но должна быть не ниже 0,226 кПа (23 кгс/м2). Для проверки типовых конструкций на стадии строительства и монтажа величину нормативной интенсивности ветровой нагрузки следует принимать по нормам для III ветрового района.

Нормативную горизонтальную продольную ветровую нагрузку для сквозных пролетных строений следует принимать в размере 60 %, для пролетных строений со сплошными балками - 20 %, соответствующей полной нормативной поперечной ветровой нагрузке. Нормативную горизонтальную продольную нагрузку на опоры мостов выше уровня грунта или межени следует принимать равной поперечной ветровой нагрузке.

Продольная ветровая нагрузка на транспортные средства, находящиеся на мосту, не учитывается.

Усилия от ветровых нагрузок в элементах продольных и поперечных связей между фермами пролетных строений следует, как правило, определять посредством пространственных расчетов.

В случаях устройства в сквозных пролетных строениях двух систем продольных связей допускается поперечное давление ветра на фермы распределять на каждую из них, а давление ветра на проезжую часть и подвижной состав передавать полностью на те связи, в плоскости которых расположена езда.

Горизонтальное усилие от продольной ветровой нагрузки, действующей на пролетное строение, следует принимать передающимся на опоры в уровне центра опорных частей - для мостов с балочными пролетными строениями и в уровне оси ригеля рамы - для мостов рамной конструкции. Распределение усилий между опорами следует принимать таким же, как и горизонтального усилия от торможения в соответствии с п. 2.20*.

Для вантовых и висячих мостов следует проводить проверку на аэродинамическую устойчивость и на резонанс колебаний в направлении, перпендикулярном ветровому потоку. При проверке аэродинамической устойчивости должна определяться критическая скорость ветра, при которой вследствие взаимодействия воздушного потока с сооружением возможно появление флаттера (возникновение опасных изгибно-крутильных колебаний балки жесткости). Критическая скорость, отвечающая возникновению флаттера, найденная по результатам аэродинамических испытаний моделей или определенная расчетом, должна быть больше максимальной скорости ветра, возможного в районе расположения моста, не менее чем в 1,5 раза.

2.25. Нормативную ледовую нагрузку от давления льда на опоры мостов следует принимать в виде сил, определяемых согласно обязательному приложению 10*.

2.26. Нормативную нагрузку от навала судов на опоры мостов следует принимать в виде сосредоточенной продольной или поперечной силы и ограничивать в зависимости от класса внутреннего водного пути значениями, указанными в табл. 15.

Таблица 15

Класс внутренних водных путей

Нагрузка от навала судов, кН (тс)

вдоль оси моста со стороны пролета

поперек оси моста со стороны

судоходного

несудоходного

верховой

низовой, при отсутствии течения - и верховой

I

1570 (160)

780 (80)

1960 (200)

1570 (160)

II

1130 (115)

640 (65)

1420 (145)

1130 (115)

III

1030 (105)

540 (55)

1275 (130)

1030 (105)

IV

880 (90)

490 (50)

1130 (115)

880 (90)

V

390 (40)

245 (25)

490 (50)

390 (40)

VI

245 (25)

147 (15)

295 (30)

245 (25)

VII

147 (15)

98 (10)

245 (25)

147 (15)

Нагрузка от навала судов должна прикладываться к опоре на высоте 2 м от расчетного судоходного уровня, за исключением случаев, когда опора имеет выступы, фиксирующие уровень действия этой нагрузки, и когда при менее высоком уровне нагрузка вызывает более значительные воздействия.

Для опор, защищенных от навала судов, а также для деревянных опор автодорожных мостов на внутренних водных путях VI и VII классов нагрузку от навала судов допускается не учитывать.

Для однорядных железобетонных свайных опор автодорожных мостов через внутренние водные пути VI и VII классов нагрузку вдоль оси моста допускается учитывать в размере 50 %.

2.27*. Нормативное температурное климатическое воздействие следует учитывать при расчете перемещений в мостах всех систем - при определении усилий во внешне статически неопределимых системах, а также при расчете элементов сталежелезобетонных пролетных строений.

Среднюю по сечению нормативную температуру элементов или их частей допускается принимать равной:

для бетонных и железобетонных элементов в холодное время года, а также для металлических конструкций в любое время года - нормативной температуре наружного воздуха;

для бетонных и железобетонных элементов в теплое время года - нормативной температуре наружного воздуха за вычетом величины, численно равной 0,2а, но не более 10 °С, где a - толщина элемента или его части, см, включая одежду ездового полотна автодорожных мостов.

Температуру элементов со сложным поперечным сечением следует определять как средневзвешенную по температуре отдельных элементов (стенок, полок и др.).

Нормативные температуры воздуха в теплое tn,T и холодное tn,X время года следует принимать равными:

а) при разработке типовых проектов, а также проектов для повторного применения на территории страны:

для конструкций, предназначенных для районов с расчетной минимальной температурой воздуха ниже минус 40 °С,

tn,T = 40 °C, tn,X = -50 °C;

для конструкций, предназначенных для остальных районов,

tn,T = 40 °C, tn,X = -40 °C;

б) в других случаях

tn,T = tVII + T,                                                            (29)

где tVII - средняя температура воздуха самого жаркого месяца, принимаемая по СНиП 2.01.01-82;

Т - постоянная величина для определения температуры воздуха наиболее жарких суток, принимаемая по карте изолиний СНиП 2.01.01-82, °С.

Нормативная температура tn,X принимается равной расчетной минимальной температуре воздуха в районе строительства в соответствии с п. 1.39.

Влияние солнечной радиации на температуру элементов следует учитывать в виде дополнительного нагрева на 10 °С освещенного солнцем поверхностного слоя толщиной 15 см (включая одежду ездового полотна).

Температуры замыкания конструкций, если они в проекте не оговорены, следует принимать равными:

tз,Т = tn,T - 15 °C; tз,X = tn,X + 15 °C.

Температуру конструкции в момент замыкания допускается определять по формуле

t3 = 0,4 t1 + 0,6 t2,                                                        (30)

где t1 - средняя температура воздуха за предшествующий замыканию период, равный T0;

t2 - средняя температура воздуха за предшествующий замыканию период, равный 0,25 T0;

T0 - период, ч, численно равный приведенной толщине элементов конструкции, см, которую следует определять делением удвоенной площади поперечного сечения элемента (с учетом дорожной одежды) на его периметр, граничащий с наружным воздухом. При расчете сталежелезобетонных пролетных строений следует учитывать влияние неравномерного распределения температуры по сечению элементов, вызываемое изменением температуры воздуха и солнечной радиацией.

При расчете перемещений коэффициент линейного расширения следует принимать для стальных и сталежелезобетонных конструкций равным 1,2 × 10-5 и для железобетонных конструкций - 1,0 × 10-5.

2.28*. Нормативное сопротивление от трения в подвижных опорных частях следует принимать в виде горизонтального продольного реактивного усилия Sf и определять по формуле

Sf = mn Fn,                                                                     (31)

где mn - нормативная величина коэффициента трения в опорных частях при их перемещении, принимаемая равной средней величине из возможных экстремальных значений:

,                                                            (32)

Fn -   вертикальная составляющая при действии рассматриваемых нагрузок с коэффициентом надежности по нагрузке gf = 1.

Величины возможных максимальных и минимальных коэффициентов трения следует принимать соответственно равными:

а) при катковых, секторных или валковых опорных частях - 0,040 и 0,010;

б) при качающихся стойках или подвесках - 0,020 и 0 (условно);

в) при тангенциальных и плоских металлических опорных частях - 0,40 и 0,10;

г) при подвижных опорных частях с прокладками из фторопласта совместно с полированными листами из нержавеющей стали - по табл. 16.

Таблица 16

Средние давления в опорных частях по фторопласту, МПа (кгс/см2)

Коэффициенты трения при температуре наиболее холодной пятидневки по СНиП 2.01.01-82 с обеспеченностью 0,92

минус 10 °С и выше

минус 50 °С

mmax

mmin

mmax

mmin

9,81 (100)

0,085

0,030

0,120

0,045

19,6 (200)

0,050

0,015

0,075

0,030

29,4 (300)

0,035

0,010

0,060

0,020

Примечание. Коэффициенты трения при промежуточных значениях отрицательных температур и средних давлениях определяются по интерполяции.

Расчетные усилия от сил трения в подвижных опорных частях балочных пролетных строений в зависимости от вида и характера проводимых расчетов следует принимать в размерах:

Sf,max = mmax Fn, если при рассматриваемом сочетании нагрузок силы трения увеличивают общее воздействие на рассчитываемый элемент конструкции;

Sf,max = mmin Fn, если при рассматриваемом сочетании силы трения уменьшают общее воздействие нагрузок на рассчитываемый элемент конструкции.

Коэффициенты надежности по нагрузке gf к усилиям Smax и Smin не вводятся.

Определение воздействия на конструкции пролетных строений сил трения, возникающих в подвижных опорных частях каткового, секторного и валкового типов при числе опорных частей в поперечном направлении более двух, следует проводить с коэффициентом условия работы, равным 1,1.

Опоры (включая фундаменты) и пролетные строения мостов должны быть проверены на воздействие расчетных сил трения, возникающих от температурных деформаций при действии постоянных нагрузок.

Опорные части и элементы их прикреплений, а также части опор и пролетных строений, примыкающие к опорным частям, должны быть проверены на расчетные силы трения, возникающие от постоянных и временных (без учета динамики) нагрузок.

При расположении на опоре двух рядов подвижных опорных частей пролетных строений, а также при установке в неразрезном и температурно-неразрезном пролетных строениях неподвижных опорных частей на промежуточной опоре продольное усилие следует принимать не более разницы сил трения при максимальных и минимальных коэффициентах трения в опорных частях.

Максимальные и минимальные коэффициенты трения в подвижных опорных частях для группы опор, воспринимающих в неразрезных и температурно-неразрезных пролетных строениях продольные усилия одного знака (соответственно mmax,z и mmin,z), допускается определять по формуле

,                                (33)

где mmax, mmin - максимальные и минимальные значения коэффициентов трения для устанавливаемого вида опорных частей;

z - число опор в группе.

Правая часть формулы (33) рассчитывается со знаком «плюс» при определении mmax,z, со знаком «минус» - при определении mmin,z.

Величина реактивного продольного усилия Sh, кН (кгс), возникающего в резиновых опорных частях вследствие сопротивления их сдвигу, вычисляется по формуле

,                                                              (34)

где d - перемещения в опорных частях, см;

а - суммарная толщина слоев резины, см;

А - площадь резиновой опорной части или нескольких опорных частей в случае расположения их рядом под одним концом балки, м2 (см2);

G - модуль сдвига, значения которого при определении расчетных величин продольных усилий зависят от нормативной температуры воздуха окружающей среды и принимаются для употребляемых марок резины по следующей таблице:

Марка резины

Модуль сдвига резины, МПа (кгс/см2), при нормативной температуре окружающего воздуха, °С

20

-20

-30

-40

-50

-55

НО-69-1

0,88 (9,0)

0,96 (9,8)

1,12 (11,4)

1,43 (14,6)

-

-

ИРП-1347

0,55 (5,6)

0,58 (5,9)

0,59 (6,0)

0,63 (6,4)

0,75 (7,6)

0,86 (9,0)

Примечание. Промежуточные значения принимаются по интерполяции.

Формула (35) исключена.

Под опорными узлами балок или плит пролетных строений вдоль оси моста необходимо, как правило, устанавливать только одну резиновую опорную часть, а поперек оси моста допускается несколько одинаковых опорных частей, изготовленных из резины одной марки. Применение двух рядом расположенных вдоль оси моста резиновых опорных частей возможно, если оно обосновано в проекте соответствующими расчетами.

2.29*. Воздействие морозного пучения грунта в пределах слоя сезонного промерзания (оттаивания) для сооружений на вечномерзлых грунтах, а также на пучинистых грунтах, сезонно промерзающих на глубину свыше 2 м, следует принимать в виде приложенных по периметру фундамента (или свай) вертикальных касательных сил. Величины сил морозного пучения следует принимать в соответствии с требованиями СНиП 2.02.04-88.

2.30. Строительные нагрузки, действующие на конструкцию при монтаже или строительстве (собственный вес, вес подмостей, кранов, работающих людей, инструментов, мелкого оборудования, односторонний распор и др.), а также при изготовлении и транспортировании элементов следует принимать по проектным данным с учетом предусматриваемых условий производства работ и требований СНиП III-4-80*.

При определении нагрузки от крана вес поднимаемых грузов и вес подвижной стрелы следует принимать с динамическими коэффициентами, равными соответственно 1,20 (0,85) при весе до 196 кН (20 тc) и 1,10 (0,95) при большем весе. При этом, если отсутствие груза на кране может оказать неблагоприятное влияние на работу рассчитываемой конструкции, кран в расчетах учитывается без груза.

При расчете элементов железобетонных конструкций на воздействие усилий, возникающих при их транспортировании, нагрузку от собственного веса элементов следует вводить в расчет с динамическими коэффициентами, равными при перевозке транспортом:

1,6 - автомобильным;

1,3 - железнодорожным.

Динамические коэффициенты, учитывающие условия транспортирования, допускается принимать в меньших размерах, если это подтверждено опытом, но не ниже 1,3 - при перевозке автотранспортом и не ниже 1,15 - железнодорожным транспортом.

2.31. Сейсмические нагрузки следует принимать в соответствии с требованиями СНиП II-7-81*.

2.32*. Коэффициенты надежности по нагрузке gf к прочим временным нагрузкам и воздействиям, приведенным в пп. 2.24* - 2.30, следует принимать по табл. 17*.

Таблица 17*

Прочие временные нагрузки и воздействия

Коэффициент надежности по нагрузке gf

Ветровые нагрузки при:

 

эксплуатации моста

1,4

строительстве и монтаже

1,0

Ледовая нагрузка

1,2

Нагрузка от навала судов

1,2

Температурные климатические деформации и воздействия

1,2

Воздействие морозного пучения грунта

1,3

Воздействие сопротивления от трения в подвижных опорных частях

По п. 2.28*

Строительные нагрузки:

 

собственный вес вспомогательных обустройств

1,1 (0,9)

вес складируемых строительных материалов и воздействие искусственного регулирования во вспомогательных сооружениях

1,3 (0,8)

вес работающих людей, инструментов, мелкого оборудования

1,3 (0,7)

вес кранов, копров и транспортных средств

1,1 (1,0)

усилия от гидравлических домкратов и электрических лебедок при подъеме и передвижке

1,3 (1,0)

усилия от трения при перемещении пролетных строений и других грузов:

 

на салазках и по фторопласту

1,3 (1,0)

на катках

1,1 (1,0)

на тележках

1,2 (1,0)

Примечание. Значения gf , указанные в скобках, принимают в случаях, когда при невыгодном сочетании нагрузок увеличивается их суммарное воздействие на элементы конструкции.

При проверке прочности тела опор в случаях использования их для навесной уравновешенной сборки пролетных строений, а также при проверке прочности анкеров, прикрепляющих в этих случаях пролетное строение к опорам, необходимо к собственному весу собираемых консольных частей пролетного строения, создающих на опоре изгибающие моменты разного знака, вводить коэффициенты надежности по нагрузке с учетом конкретных условий изготовления и монтажа собираемых частей (блоков). При заводской технологии изготовления железобетонных блоков пролетных строений коэффициенты надежности по нагрузке от собственного веса допускается при проверке прочности тела опоры и прикрепляющих анкеров определять по формулам:

для одной консоли ;                                          (36)

для другой консоли ,                                        (37)

где z - число блоков, устанавливаемых с каждой стороны.

3. БЕТОННЫЕ И ЖЕЛЕЗОБЕТОННЫЕ КОНСТРУКЦИИ

ОСНОВНЫЕ РАСЧЕТНЫЕ ТРЕБОВАНИЯ

3.1*. При проектировании бетонных и железобетонных мостов и труб необходимо соблюдать указания СТ СЭВ 1406-78 об обеспечении требуемой надежности конструкций от возникновения предельных состояний двух групп, предусмотренных ГОСТ 27751-68 (СТ СЭВ 384-87).

Для этого наряду с назначением соответствующих материалов и выполнением предусмотренных конструктивных требований необходимо проведение указанных в настоящих нормах расчетов.

В расчетах конструкции в целом и отдельных ее элементов необходимо учитывать самые неблагоприятные сочетания нагрузок и воздействий, возможные на различных стадиях их работы.

Рассматриваемые расчетные схемы, общие требования для которых указаны в п. 1.37, должны соответствовать принятым конструктивно-технологическим решениям, учитывать условия изготовления, транспортирования и возведения сооружений, особенности их загружения постоянными и временными нагрузками, порядок предварительного напряжения и регулирования усилий в конструкции.

3.2. Для недопущения предельных состояний первой группы элементы конструкций мостов и труб должны быть рассчитаны в соответствии с указаниями настоящего раздела по прочности, устойчивости (формы и положения) и на выносливость, при этом в расчетах на выносливость должны рассматриваться нагрузки и воздействия, возможные на стадии нормальной эксплуатации сооружений.

Для недопущения предельных состояний второй группы производятся расчеты, указанные в табл. 18.

Таблица 18

Расчет

Рабочая арматура

Стадии работы конструкции

По образованию продольных трещин

Ненапрягаемая

Нормальная эксплуатация

Напрягаемая

Все стадии (нормальная эксплуатация, возведение сооружения, предварительное напряжение, хранение, транспортирование)

По образованию трещин, нормальных и наклонных к продольной оси элемента

Напрягаемая

Все стадии

По раскрытию трещин, нормальных и наклонных к продольной оси элемента

Ненапрягаемая и напрягаемая (кроме элементов с напрягаемой арматурой, проектируемых по категории требований по трещиностойкости 2а, см. табл. 39*)

Все стадии

По закрытию (зажатию) трещин, нор-мальных к продольной оси элемента

Напрягаемая

Нормальная эксплуатация

По ограничению касательных напряжений

Ненапрягаемая и напрягаемая

Все стадии

По деформациям (прогибам) пролетных строений в мостах всех назначений и углам перелома профиля проезда в автодорожных и городских мостах

То же

Нормальная эксплуатация

3.3. Расчеты по трещиностойкости совместно с конструктивными и другими требованиями (к водоотводу и гидроизоляции конструкций, морозостойкости и водонепроницаемости бетона) должны обеспечивать коррозионную стойкость железобетонных мостов и труб, а также препятствовать возникновению повреждений в них при совместном воздействии силовых факторов и неблагоприятных влияний внешней среды.

Элементы железобетонных конструкций в зависимости от назначения, условий работы и применяемой арматуры должны удовлетворять соответствующим категориям требований по трещиностойкости, которые предусматривают различную вероятность образования (появления) трещин и предельные расчетные значения ширины их раскрытия (см. п. 3.95*).

3.4. Усилия в сечениях элементов статически неопределимых конструкций от нагрузок и воздействий при расчетах по предельным состояниям первой и второй групп следует, как правило, определять с учетом неупругих деформаций бетона и арматуры и наличия трещин.

В конструкциях, методика расчета которых с учетом неупругих свойств бетона не разработана, а также для промежуточных стадий расчета с учетом неупругих свойств бетона усилия в сечениях элементов допускается определять в предположении их линейной упругости.

3.5. Если в процессе изготовления или монтажа конструкции изменяются расчетные схемы или геометрические характеристики сечений, то усилия, напряжения и деформации в конструкции необходимо определять суммированием их для всех предшествующих стадий работы. При этом, как правило, следует учитывать изменение усилий во времени из-за усадки и ползучести бетона и релаксации напряжений в напрягаемой арматуре.

3.6*. В конструкциях с ненапрягаемой арматурой напряжения в бетоне и арматуре следует определять по правилам расчета упругих материалов без учета работы бетона растянутой зоны (см. пп. 3.48*, 3.94* и 3.100*).

3.7*. В предварительно напряженных конструкциях напряжения в бетоне и арматуре в сечениях, нормальных к продольной оси элемента, следует определять по правилам расчета упругих материалов, рассматривая сечение как сплошное. Если бетон омоноличивания напрягаемой арматуры, расположенной в открытых каналах, не имеет сцепления (см. п. 3.170) с бетоном основной конструкции, то следует считать, что и напрягаемая арматура, расположенная в канале, не имеет сцепления с бетоном конструкции.

При определении ширины раскрытия трещин в элементах предварительно напряженных конструкций (в том числе и со смешанным армированием) напряжения в арматуре следует определять без учета работы растянутой зоны бетона. Допускается усилия растянутой зоны бетона полностью передавать на арматуру.

Характеристики приведенного сечения во всех случаях необходимо определять с учетом имеющейся в сечении напрягаемой и ненапрягаемой арматуры с учетом п. 3.48*.

Если элементы конструкции выполнены из бетона разных классов, то общую рабочую площадь сечения следует определять с учетом соответствующих им модулей упругости.

В конструкциях, напрягаемых на бетон, на стадии его обжатия в рабочей площади бетона не учитывают площадь закрытых и открытых каналов. При расчете этих конструкций на стадии эксплуатации допускается в расчетной площади сечения бетона учитывать площадь сечения заинъецированных закрытых каналов. Бетон омоноличивания открытых каналов допускается учитывать при условии выполнения требований по п. 3.104* специальных технологических мероприятий в соответствии с п. 3.170 и установки в бетоне омоноличивания ненапрягаемой арматуры. При этом ширина раскрытия трещин в бетоне омоноличивания не должна превышать размеров, принятых для элементов, проектируемых по категории требований по трещиностойкости 3в.

3.8*. В составных по длине (высоте) конструкциях следует производить проверки прочности и трещиностойкости в сечениях, совпадающих со стыками или пересекающих зону стыков.

Стыки должны обеспечивать передачу расчетных усилий без появления повреждений в бетоне омоноличивания и на торцах стыкуемых элементов (блоков).

Клей в стыках предназначается для герметизации стыков и равномерной передачи сжимающих усилий.

3.9*. Стенки тавровых балок железнодорожных пролетных строений необходимо рассчитывать с учетом возможного на мосту поперечного смещения пути, принимаемого в размере не менее 10 см.

Расчет стенок балок пролетных строений мостов по образованию трещин рекомендуется производить с учетом кручения и изгиба стенок (из их плоскости).

3.10*. Предварительное напряжение арматуры характеризуют значения начального (контролируемого) усилия с учетом п. 3.86, прикладываемого к концам напрягаемой арматуры через натяжные устройства, и установившегося усилия, равного контролируемому за вычетом потерь, произошедших к рассматриваемому моменту времени. При этом напряжения в арматуре, соответствующие контролируемому усилию, не должны превышать расчетных сопротивлений, указанных в табл. 31*, с учетом коэффициентов условий работы в соответствии с п. 3.43*.

Для напрягаемых арматурных элементов в проектной документации должны указываться значения контролируемых усилий и соответствующих им удлинений (вытяжек) арматуры с учетом поз. 4 табл. 1* обязательного приложения 11*.

Значения удлинений арматуры Dр в общем случае определяются по формуле

,                                                        (38)*

где sр - напряжения, отвечающие контролируемому усилию и назначаемые с учетом требований п. 3.14;

Ер - модуль упругости напрягаемой арматуры:

l - расчетная длина арматурного элемента (расстояние от натяжного анкера до точки арматурного элемента с нулевым перемещением).

Остальные обозначения приведены в табл. 1 и 2* обязательного приложения 11*.

При определении расчетного воздействия, создаваемого усилием напрягаемой арматуры, коэффициенты надежности по нагрузке следует принимать равными:

а) при наличии сцепления арматуры с бетоном:

для целых по длине элементов = 1;

« составных       «         «            по п. 3.86*;

б) при отсутствии сцепления арматуры с бетоном (см. п. 3.65*) = 1 ± 0,1.

3.11. При расчете предварительно напряженных элементов место передачи на бетон сосредоточенных усилий с напрягаемой арматуры следует принимать в конструкциях:

с внешними (концевыми) и внутренними (каркасно-стержневыми) анкерами - в месте опирания или закрепления анкеров;

с арматурой, не имеющей анкеров (с заанкериванием посредством сцепления арматуры с бетоном), - на расстоянии, равном 2/3 длины зоны передачи напряжений.

Длину зоны передачи на бетон усилий с напрягаемой стержневой арматуры периодического профиля следует принимать при передаче усилия:

плавной - 20d (d - диаметр стержня);

мгновенной посредством обрезки стержней (допускаемой при диаметрах стержней не более 18 мм) - 25d.

Для элементов конструкций, предназначенных для эксплуатации в районах со средней температурой наружного воздуха наиболее холодной пятидневки ниже минус 40 °С, длину зоны передачи усилий на бетон следует увеличивать на 5d.

Длину зоны передачи на бетон усилий с напрягаемых арматурных канатов класса К-7 при отсутствии анкеров следует принимать в размерах, указанных в табл. 19; для элементов конструкций, предназначенных для эксплуатации в районах со средней температурой наружного воздуха наиболее холодной пятидневки ниже минус 40 °С, при арматурных канатах класса К-7 длину зоны следует принимать более значений, указанных в табл. 19:

на 27 см - при диаметре канатов 9 мм;

на 30 см -           то же                  12 мм;

на 38 см -                «                     15 мм.

Таблица 19

Диаметр арматурных канатов класса К-7, мм

Длина зоны передачи на бетон усилий lгр, см, при передаточной прочности бетона, отвечающей бетону классов по прочности на сжатие

 

В22,5

В25

В27,5

В30

В35

В40

В45

В50 и более

9

88

85

83

80

75

70

65

60

12

98

95

93

90

87

85

75

70

15

115

110

105

100

95

90

85

80

Примечание. При мгновенной передаче на бетон усилия обжатия (посредством обрезки канатов) начало зоны передачи усилий следует принимать на расстоянии, равном 0,25 lгр от торца элемента.

3.12*. Армирование зоны передачи на бетон сосредоточенных усилий, в том числе с напрягаемых арматурных элементов, должно выполняться с учетом напряженно-деформированного состояния этой зоны, определяемого методами теории упругости или другими обоснованными способами расчета на местные напряжения.

3.13. Влияние усадки и ползучести бетона следует учитывать при определении:

потерь предварительных напряжений в арматуре;

снижения обжатия бетона в предварительно напряженных конструкциях;

изменений усилий в конструкциях с искусственным регулированием напряжений;

перемещений (деформаций) конструкций от постоянных нагрузок и воздействий;

усилий в статически неопределимых конструкциях;

усилий в сборно-монолитных конструкциях.

Перемещения (деформации) конструкций от временных нагрузок допускается определять без учета усадки и ползучести бетона.

При расчете двухосно- и трехосно-обжатых элементов потери напряжений в напрягаемой арматуре и снижение обжатия бетона вследствие его усадки и ползучести допускается определять отдельно по каждому направлению действия усилий.

3.14. Напряжения в элементах предварительно напряженных конструкций следует определять по контролируемому усилию за вычетом:

первых потерь - на стадии обжатия бетона;

первых и вторых потерь - на стадии эксплуатации.

К первым потерям следует относить:

а) в конструкциях с натяжением арматуры на упоры - потери вследствие деформации анкеров, трения арматуры об огибающие приспособления, релаксации напряжений в арматуре (в размере 50 % полных), температурного перепада, быстронатекающей ползучести, а также от деформации форм (при натяжении арматуры на формы);

б) в конструкциях с натяжением арматуры на бетон - потери вследствие деформации анкеров, трения арматуры о стенки закрытых и открытых каналов, релаксации напряжений в арматуре (в размере 50 % полных).

Ко вторым потерям следует относить:

а) в конструкциях с натяжением арматуры на упоры - потери вследствие усадки и ползучести бетона, релаксации напряжений в арматуре (в размере 50 % полных);

б) в конструкциях с натяжением арматуры на бетон - потери вследствие усадки и ползучести бетона, релаксации напряжений в арматуре (в размере 50 % полных), смятия под витками спиральной или кольцевой арматуры, навиваемой на бетон, деформации стыков между блоками в составных по длине конструкциях.

Значения отдельных из перечисленных потерь следует определять по обязательному приложению 11* с учетом п. 3.15.

Допускается принимать, что вторые потери от релаксации напряжений в арматуре (в размере 50 % полных) происходят равномерно и полностью завершаются в течение одного месяца после обжатия бетона.

При проектировании суммарное значение первых и вторых потерь не должно приниматься менее 98 МПа (1000 кгс/см2).

3.15. При определении потерь предварительного напряжения в арматуре от усадки и ползучести бетона необходимо руководствоваться следующими указаниями:

а) изменение во времени потерь Dsр(t) от усадки и ползучести бетона допускается определять по формуле

,                                       (39)

где Dsр(t®¥) - конечные (предельные) значения потерь в арматуре от усадки и ползучести бетона, определяемые по обязательным приложениям 11* или 13*;

t - время, отсчитываемое при определении потерь от ползучести - со дня обжатия бетона, от усадки - со дня окончания бетонирования, сут;

e = 2,718 - основание натуральных логарифмов;

б) для конструкций, предназначенных для эксплуатации при влажности воздуха окружающей среды ниже 40 %, потери от усадки и ползучести бетона следует увеличивать на 25 %, за исключением конструкций, предназначенных для эксплуатации в климатическом подрайоне IVA согласно СНиП 2.01.01-82 и не защищенных от солнечной радиации, для которых указанные потери увеличиваются на 50 %;

в) допускается использовать более точные методы для определения потерь и перераспределения усилий от усадки и ползучести бетона с учетом предельных удельных значений деформаций ползучести и усадки бетона, влияния арматуры, возраста и передаточной прочности бетона, постадийного приложения нагрузки и длительности ее воздействия на каждой стадии, скорости развития деформаций во времени, приведенных размеров поперечных сечений, относительной влажности среды и других факторов. Эти методы должны быть обоснованы в установленном порядке. При этом нормативные деформации ползучести cп и усадки бетона eп для классов бетона, соответствующих его передаточной прочности, следует принимать по табл. 3 обязательного приложения 11*.

3.16*. Расчетную длину l0 сжатых элементов железобетонных решетчатых ферм следует принимать по указаниям, относящимся к определению расчетной длины сжатых элементов стальных решетчатых ферм (см. разд. 4).

Расчетную длину стоек отдельно стоящих рам при жестком соединении стоек с ригелем допускается принимать по табл. 20 в зависимости от соотношения жесткости ригеля В1 = Еb l1 и стоек В2 = Еb l2.

Таблица 20

Отношение пролета ригеля l к высоте стойки Н

Расчетная длина стойки l0 при отношении жесткости В12

0,5

1

5

0,2

1,1 Н

Н

Н

1

1,3 Н

1,15 Н

Н

3

1,5 Н

1,4 Н

1,1 Н

Примечание. При промежуточных значениях отношений L/H и B1/B2 расчетную длину l0 допускается определять по интерполяции.

Расчетную длину свай (свай-оболочек, свай-столбов), в том числе в элементах опор эстакадного типа, следует принимать с учетом деформативности грунта и сопротивляемости перемещениям фундамента и верха опоры.

При расчете частей или элементов опор на продольный изгиб с использованием методов строительной механики, касающихся определения расчетной (свободной) длины сжатых стержней, допускается учитывать упругое защемление (упругую податливость) концов рассматриваемых элементов вследствие деформативности грунта и наличия в подвижных опорных частях сил трения. Если такие расчеты не производятся, то при применении подвижных опорных частей каткового и секторного типа, а также на фторопластовых прокладках взаимную связанность верха опор учитывать не следует.

В сжатых железобетонных элементах минимальная площадь поперечного сечения продольной арматуры, % к полной площади расчетного сечения бетона, должна быть не менее:

0,20 - в элементах с гибкостью l0/i £ 17;

0,60 -           «                  «          l0/i ³ 104;

для промежуточных значений гибкости - по интерполяции (l0 - расчетная длина элемента;

 - радиус инерции поперечного сечения элемента, где Jb - момент инерции бетонного сечения; Аb - площадь бетонного сечения). Если требования по величине минимального армирования не удовлетворяются, то элементы конструкции следует рассчитывать как бетонные.

Гибкость сжатых железобетонных элементов в любом направлении в стадии эксплуатации сооружения не должна быть свыше 120, а на стадии монтажа - 150.

Гибкость l0/ief элементов с косвенным армированием не должна превышать при сетках - 55, при спирали - 35, где ief - радиус инерции части бетонного сечения (ограниченной осями крайних стержней сетки или спиралью).

3.17. Звенья прямоугольных железобетонных труб следует рассчитывать как рамы замкнутого контура с дополнительной проверкой их стенок по схеме с жестко заделанными стойками.

Звенья круглых железобетонных труб допускается рассчитывать только на изгибающие моменты (без учета продольных и поперечных сил), определяемые по обязательному приложению 12.

МАТЕРИАЛЫ ДЛЯ БЕТОННЫХ И ЖЕЛЕЗОБЕТОННЫХ КОНСТРУКЦИЙ

Бетон

ОБЩАЯ ХАРАКТЕРИСТИКА

3.18*. В конструкциях мостов и труб следует предусматривать применение конструкционного тяжелого бетона со средней плотностью от 2200 до 2500 кг/м3 включ.*, соответствующего ГОСТ 26633-91.

____________

* Изложенные в разделе нормы и требования относятся к бетону с указанной плотностью, который далее (без указания плотности) именуется «тяжелый бетон».

Применение бетона с другими признаками и плотностью допускается в опытных конструкциях в установленном порядке.

Бетон конструкции по прочности на сжатие характеризуется проектным классом, передаточной и отпускной прочностями. Класс бетона по прочности на сжатие «В» определяется значением гарантированным, обеспеченностью 0,95, прочностью на сжатие, контролируемой на кубах 150´150´150 мм в установленные сроки.

Проектный класс бетона «В» - это прочность бетона конструкции, назначаемая в проекте.

Передаточная прочность бетона Rbp - прочность (соответствующая классу) бетона в момент передачи на него усилия в процессе изготовления и монтажа (см. п. 3.31*).

Отпускная прочность бетона Rbo - прочность (соответствующая классу) бетона в момент отгрузки (замораживания) его со склада завода-изготовителя.

3.19*. Для конструкций мостов и труб следует применять тяжелый бетон классов по прочности на сжатие В20, В22,51, В25, В27,51, В30, В35, В40, В45, В50, В55 и В60.

__________

1 Бетон классов В22,5 и В27,5 следует предусматривать при условии, что это приводит к экономии цемента и не снижает других технико-экономических показателей конструкции.

В зависимости от вида конструкций, их армирования и условий работы применяемый бетон должен соответствовать требованиям, приведенным в табл. 21*.

Таблица 21*

Вид конструкций, армирование и условия работы

Бетон класса по прочности на сжатие, не ниже

1. Бетонные

В20

2. Железобетонные с напрягаемой арматурой при расположении1:

 

а) в зоне переменного уровня воды

В25

б) в надземных частях сооружения

В22,5

в) в подземных частях сооружения, а также во внутренних полостях сборно-монолитных опор

В20

3. Предварительно наряженные железобетонные:

 

а) без анкеров:

 

при стержневой арматуре классов:

 

А-IV, Aт-IV

B25

A-V, Aт-V

B30

Aт-VI

B35

при проволочной арматуре:

 

из одиночных проволок класса Вр

В35

из одиночных арматурных канатов класса К-7

В35

б) с анкерами:

 

при проволочной арматуре:

 

класса В (при наружных или внутренних анкерах)

В25

из одиночных арматурных канатов класса К-7

В25

из пучков канатов класса К-7

В35

при стальных канатах (со свивкой спиральной, двойной и закрытых)

В35

4. Блоки облицовки опор на реках с ледоходом при расположении мостов в районах со средней температурой наружного воздуха наиболее холодной пятидневки, °С:

 

минус 40 и выше

В35

ниже минус 40

В45

_________

1 Характеристика зон указана в сноске1 и в примечаниях к табл. 22*.

Для омоноличивания напрягаемой арматуры, располагаемой в открытых каналах, следует предусматривать бетон класса по прочности на сжатие не ниже В30.

Инъецирование арматурных каналов в предварительно напряженных конструкциях должно производиться раствором прочностью на 28-й день не ниже 29,4 МПа (300 кгс/см2).

Для омоноличивания стыков сборных конструкций следует применять бетон класса по прочности на сжатие не ниже принятого для стыкуемых элементов.

3.20*. Марки бетона и раствора по морозостойкости F в зависимости от климатических условий зоны строительства, расположения и вида конструкций следует принимать по табл. 22*.

Таблица 22*

Климатические условия, характеризуемые среднемесячной температурой наиболее холодного месяца согласно СНиП 2.01.01-82, °С

Расположение конструкций и их частей

в надводной, подземной и надземной незатопляемой зонах1

в зоне переменного уровня воды2

Вид конструкций

железобетонные и тонкостенные бетонные (толщиной менее 0,5 м)

бетонные массивные

железобетонные и тонкостенные бетонные

бетонные массивные

блоки облицовки

кладка тела опор (бетон наружной зоны)

кладка заполнения при блоках облицовки (бетон внутренней зоны)

Умеренные:

 

 

 

 

 

 

минус 10 и выше

200

100

200

100

100

-

Суровые:

 

 

 

 

 

 

ниже минус 10 до минус 20 включ.

200

100

300

200

100

300

Особо суровые:

 

 

 

 

 

 

ниже минус 20

300

200

300*

300

200

400**

___________

1 К надземным незатопляемым зонам в опорах следует относить части, расположенные на 1 м выше поверхности грунта. Для бетона участков опор, расположенных ниже и достигающих половины глубины промерзания грунта, следует предусматривать требования, указанные для конструкций, находящихся в зоне переменного уровня воды.

2 За верхнюю границу зоны переменного уровня воды следует принимать условный уровень, который на 1 м выше наивысшего уровня ледохода, за нижнюю - уровень на 0,5 м ниже нижней поверхности слоя льда наинизшего ледостава.

* Железобетонные элементы промежуточных опор железнодорожных и совмещенных мостов на постоянных водотоках в районах с особо суровыми климатическими условиями должны иметь марку бетона по морозостойкости F400.

** Бетон блоков облицовки опор больших железнодорожных и совмещенных мостов через реки с ледоходом при толщине льда свыше 1,5 м и расположении моста в районе с особо суровыми климатическими условиями должен иметь марку по морозостойкости F500.

Примечания: 1. К бетону частей конструкций подводных (на 0,5 м ниже поверхности слоя льда наинизшего ледостава), подземных (ниже половины глубины промерзания), а также находящихся в вечномерзлых грунтах требования по морозостойкости не нормируются. В обсыпных устоях к подземным частям конструкции относятся части тела устоя, расположенные ниже половины глубины промерзания грунта конуса насыпи.

2*. Бетон: всех элементов водопропускных труб, укрепления русел рек и конусов насыпей, берегоукрепительных и регуляционных сооружений (бетон, находящийся в сезоннооттаивающем слое грунта в районах вечной мерзлоты), всех элементов мостового полотна, включая плиты проезжей части автодорожных мостов, а также бетон выравнивающего слоя одежды ездового полотна, выполняющий гидроизолирующие функции, и плиты мостового полотна в железнодорожных пролетных строениях при безбалластной езде, должен отвечать требованиям по морозостойкости, предъявляемым к бетону, находящемуся в зоне переменного уровня воды.

3*. При назначении требований по морозостойкости участков буронабивных свай в зоне переменного уровня воды за нижний уровень этой зоны принимается отметка на 0,5 м ниже нижней поверхности льда.

3.21. Марки по морозостойкости бетона тела опор и блоков облицовки для мостов, расположенных вблизи плотин гидростанций и водохранилищ, должны устанавливаться в каждом отдельном случае на основе анализа конкретных условий эксплуатации и требований, предъявляемых в этих случаях к бетону речных гидротехнических сооружений.

3.22*. В подводных и подземных сооружениях, не подвергающихся электрической и химической коррозии, следует в соответствии со СНиП 2.03.11-85 применять бетон с маркой по водонепроницаемости W4.

Остальные элементы и части конструкций, в том числе бетонируемые стыки железобетонных мостов и труб и защитный слой одежды ездового полотна, должны проектироваться из бетона, имеющего марку по водонепроницаемости не ниже W6.

В районах со средней температурой наружного воздуха наиболее холодной пятидневки ниже минус 40 °С в железобетонных опорах в зоне переменного уровня воды, в блоках облицовки опор, а также во всех случаях в выравнивающем слое бетона одно- и двухслойной одежды ездового полотна, выполняющем гидроизолирующие функции, должен применяться бетон с маркой по водонепроницаемости не ниже W8.

3.23*. В элементах конструкций, предназначенных для эксплуатации в агрессивных средах, должны приниматься бетон и защитные покрытия, обладающие стойкостью к такому воздействию, в соответствии с требованиями СНиП 2.03.11-85.

РАСЧЕТНЫЕ СОПРОТИВЛЕНИЯ

3.24*. Расчетные сопротивления бетона разных классов при расчете конструкций мостов и труб по предельным состояниям первой и второй групп должны приниматься по табл. 23*.

Таблица 23*

Вид сопротивления

Условное обозначение

Расчетное сопротивление, Мпа (кгс/см2), бетона классов по прочности на сжатие

В20

В22,5

В25

В27,5

В30

В35

В40

В45

В50

В55

В60

При расчетах по предельным состояниям первой группы

Сжатие осевое (призменная прочность)

Rb

10,5

105

11,75

120

13,0

135

14,3

145

15,5

160

17,5

180

20,0

205

22,0

225

25,0

255

27,5

280

30,0

305

Растяжение осевое

Rbr

0,85

8,5

0,90

9,0

0,95

10,0

1,05

10,5

1,10

11,0

1,15

12,0

1,15

13,0

1,30

13,5

1,40

14,0

1,45

14,5

1,50

15,5

При расчетах по предельным состояниям второй группы

Сжатие осевое (призменная прочность)

Rb.ser

15,0

155

16,8

170

18,5

190

20,5

210

22,0

225

25,5

260

29,0

295

32,0

325

36,0

365

39,5

405

43,0

440

Растяжение осевое

Rbt.ser

1,40

14,5

1,50

15,5

1,60

16,5

1,70

17,5

1,80

18,5

1,95

20,0

2,10

21,5

2,20

22,5

2,30

23,5

2,40

24,5

2,50

25,5

Скалывание при изгибе

Rb.sh

1,95

20,0

2,30

23,5

2,50

25,5

2,75

28,0

2,90

29,5

3,25

33,0

3,60

37,0

3,80

39,0

4,15

42,5

4,45

45,5

4,75

48,5

Сжатие осевое (призменная прочность) для расчетов по предотвращению образования в конструкциях продольных трещин:

 

 

 

 

 

 

 

 

 

 

 

 

при предварительном напряжении и монтаже

Rb.mc1

-

-

13,7

140

15,2

155

16,7

170

19,6

200

23,0

235

26,0

265

29,9

305

32,8

335

36,2

370

на стадии эксплуатации

Rb.mc2

8,8

90

10,3

105

11,8

120

13,2

135

14,6

150

16,7

170

19,6

200

22,0

225

25,0

255

27,5

280

30,0

305

Примечание*. Значения Rb.ser и Rbt.ser равны нормативным сопротивлениям бетона соответственно Rbn и Rbt.n.

Расчетные сопротивления бетона на непосредственный срез Rb.cut при расчетах конструкций по предельным состояниям первой группы следует принимать:

для сечений, расположенных в монолитном армированном бетоне, когда не учитывается работа арматуры, - Rb.cut = 0,1 Rb;

для тех же сечений, при учете работы арматуры на срез - по указаниям п. 3.78*;

в местах сопряжения бетона омоноличивания с бетоном сборных элементов при соблюдении требований п. 3.170 - Rb.cut = 0,05 Rb.

Для бетонных конструкций расчетные сопротивления сжатию Rb и Rb.mc2 необходимо принимать на 10 % ниже значений, указанных в табл. 23*, а для непосредственного среза - Rb.cut = 0,05 Rb.

Расчетные сопротивления монолитного бетона класса В20 во внутренних полостях (в ядре) круглых оболочек опор допускается в расчетах повышать на 25 %.

3.25. Расчетные сопротивления бетона, приведенные в п. 3.24* и в табл. 23*, в соответствующих случаях следует принимать с коэффициентами условий работы согласно табл. 24.

Таблица 24

Фактор, обусловливающий введение коэффициента условий работы

Коэффициент условий работы

Расчетное сопротивление бетона, к которому вводится коэффициент

Значение коэффициента условий работы

1. Многократно повторяющаяся нагрузка

mb1

Rb

По п. 3.26

2. Бетонирование в вертикальном положении сжатых элементов с площадью поперечного сечения 0,3 м2 и менее

mb4

Rb

0,85

3. Влияние двухосного напряженного состояния при поперечном обжатии бетона

mb6

Rb, Rb.sh

По п. 3.27

4. Работа конструкции в районах со средней температурой наружного воздуха наиболее холодной пятидневки ниже минус 40 °С при отсутствии водонасыщения бетона

mb7

Rb

0,9

5. Попеременное замораживание и оттаивание бетона, находящегося в водонасыщенном состоянии в конструкциях, эксплуатируемых в районах со средней температурой наружного воздуха наиболее холодной пятидневки, °С:

 

 

 

минус 40 и выше

mb8

Rb

0,9

ниже минус 40

mb8

Rb

0,8

6. Работа конструкций, не защищенных от солнечной радиации, в климатическом подрайоне IV А согласно СНиП 2.01.01-82

mb9

Rb, Rbt

0,85

7. Наличие в составных конструкциях:

 

 

 

бетонируемых стыков

mb10

Rb

По п. 3.28 и табл. 27

клееных стыков

mb10

Rb

По п. 3.29

швов на растворе в неармированной кладке

mb10

Rb

По п. 3.30

8. Расчет элементов в стадии эксплуатации по предельным состояниям второй группы:

 

 

 

а) на косой изгиб и косое внецентренное сжатие

mb13

Rb.mc2

1,1

б) на кручение

mb14

Rb.sh

1,15

в) на скалывание по плоскости сопряжения бетона омоноличивания с бетоном конструкции

mb15

Rb.sh

0,5

3.26*. При многократно повторяющихся нагрузках, действующих на элементы, подлежащие расчету на выносливость, расчетные сопротивления бетона сжатию в расчетах на выносливость следует определять по формуле

Rbf = mb1 Rb = 0,6 bb eb Rb,                                               (40)

где mb1 - коэффициент условий работы;

Rb - расчетное сопротивление бетона осевому сжатию при расчетах по предельным состояниям первой группы (см. табл. 23*);

bb -   коэффициент, учитывающий рост прочности бетона во времени и принимаемый по табл. 25;

eb - коэффициент, зависящий от асимметрии цикла повторяющихся напряжений  и принимаемый по табл. 26.

Таблица 25

Класс бетона по прочности на сжатие

В27,5 и ниже

В30

В35

В40

В45

В50

В55

В60

bb

1,34

1,31

1,28

1,26

1,24

1,22

1,21

1,20

Таблица 26

Коэффициент цикла повторяющихся напряжений rb

0,1 и менее

0,2

0,3

0,4

0,5

0,6 и более

eb

1,00

1,05

1,10

1,15

1,20

1,24

3.27. В расчетах предварительно напряженных конструкций при поперечном их обжатии напряжением sby к расчетным сопротивлениям бетона осевому сжатию Rb скалыванию при изгибе Rb.sh и непосредственному срезу Rb,cut следует вводить коэффициенты условий работы mb6, равные:

а) для Rb:

mb6 = 1,1 - если 0,1 Rb £ sby £ 0,2 Rb;

mb6 = 1,2 - при напряжениях sby = 0,6 Rb, которые представляют собой максимальную величину, учитываемую в расчетах;

б) для Rb,sh и Rb,cut:

 - при sby £ 0,98 МПа (10 кгс/см2);

 - при sby = 2,94 МПа (30 кгс/см2);

для промежуточных значений sby коэффициенты условий работы бетона принимают по интерполяции.

3.28. При расчете составных по длине конструкций с бетонируемыми стыками значения коэффициента условий работы mb10, учитывающего разницу в прочности бетона конструкции и материала заполнения стыкового шва на каждой стадии работы стыка, следует принимать в зависимости от толщины шва b и отношения прочности бетона (раствора) в стыке (шве) Rbj к прочности бетона в блоках конструкции Rb,con по табл. 27.

При толщине частей блока менее 120 мм, а также при наличии в теле блока отверстий для пропуска напрягаемой арматуры значения mb10 для стыка с толщиной шва от 20 до 40 мм следует принимать как для шва толщиной 70 мм, для шва толщиной 70 мм - как для шва толщиной 200 мм.

Таблица 27

Толщина шва, мм

Коэффициент условий работы mb10 при отношениях Rbj/Rb,con

0,2 и менее

0,3

0,4

0,5

0,6

0,7

0,8

0,9

1,0

От 20 до 40

0,70

0,76

0,82

0,88

0,94

1,0

1,0

1,0

1,0

70

0,50

0,58

0,65

0,72

0,80

0,85

0,90

0,95

1,0

200 и более

0,20

0,30

0,40

0,50

0,60

0,70

0,80

0,90

1,0

3.29. Составные конструкции по длине пролетных строений с клееными стыками следует проектировать такими, чтобы они были способны нести монтажные нагрузки при неотвержденном клее.

В расчетах составных конструкций по длине с клееными стыками коэффициент условий работы mb10, вводимый к расчетным сопротивлениям бетона блоков и учитывающий снижение прочности конструкции до отверждения клея, следует принимать в зависимости от вида поверхности бетона торцов блоков: при рифленой - 0,90, при гладкой - 0,85.

Для клееных стыков, расстояния между которыми менее наибольшего размера сечения, а также для стыков вставных диафрагм указанные значения mb10 следует уменьшать на 0,05.

Для клееных стыков с отвержденным клеем следует принимать mb10 = 1.

3.30. При расчете неармированной кладки из бетонных блоков на растворе к расчетным сопротивлениям бетона, принимаемым для бетонных конструкций в соответствии с п. 3.24*, следует вводить коэффициенты условий работы mb10, равные:

0,85 - при классах бетона блоков В20 и В22,5;

0,75 - «         «            «          «       В25-В35;

0,70 - «         «            «          «       В40 и выше.

Толщина швов кладки при этом не должна быть свыше 1,5 см, а раствор в швах должен иметь прочность в 28-дневном возрасте не ниже 19,6 МПа (200 кгс/см2).

3.31*. При изготовлении предварительно напряженных конструкций обжатие бетона допускается при его прочности не ниже установленной для проектного класса.

Расчетные сопротивления бетона для назначения передаточной прочности следует определять по табл. 23* путем интерполяции значений, относящихся к близким классам бетона.

Прочность бетона к моменту передачи на него полного усилия с напрягаемой арматуры и при монтаже следует назначать, как правило, не менее прочности, соответствующей классу бетона по прочности В25.

ХАРАКТЕРИСТИКИ ДЕФОРМАТИВНЫХ СВОЙСТВ

3.32*. Значение модулей упругости бетона при сжатии и растяжении Еb, и твердении бетона конструкций в естественных условиях в случае отсутствия опытных данных следует принимать по табл. 28.

Таблица 28

Класс бетона по прочности на сжатие

В20

В22,5

В25

В27,5

В30

В35

В40

В45

В50

В55

В60

Еb·10-3, МПа (кгс/см2)

27,0

275

28,5

290

30,0

306

31,5

321

32,5

332

34,5

352

36,0

367

37,5

382

39,0

398

39,5

403

40,0

408

Значения модулей упругости Еb, приведенные в табл. 28, следует уменьшать:

на 10 % - для бетона, подвергнутого тепло-влажностной обработке, а также для бетона, работающего в условиях попеременного замораживания и оттаивания;

на 15 % - для бетона конструкций, не защищенных от солнечной радиации, в климатическом подрайоне IVA в соответствии с требованиями СНиП 2.01.01-82.

Для кладки из бетонных блоков значения модулей деформации Е следует принимать для бетона классов:

В20 - В35 - 0,5 Еb;

В40 и выше - 0,6 Eb.

Приведенный модуль деформации бетона сборно-монолитной опоры в целом определяется как средневзвешенный по значениям модуля деформации бетона кладки из блоков и модуля упругости бетона ядра сечения с учетом пропорциональности их площадей сечения, по отношению ко всей площади сечения опоры.

Модуль сдвига бетона Gb следует принимать равным 0,4Еb, коэффициент поперечной деформации (коэффициент Пуассона) - n = 0,2.

Минимальное значение модуля упругости клеев, используемых в стыках составных конструкций, не должно быть меньше 1500 МПа (15000 кгс/см2), а значение коэффициента поперечной деформации n - не более 0,25.

Арматура

3.33*. Марки стали для арматуры железобетонных мостов и труб, устанавливаемой по расчету, в зависимости от условий работы элементов конструкций и средней температуры наружного воздуха наиболее холодной пятидневки в районе строительства следует принимать по табл. 29* с учетом пп. 1.39, 3.91* и 3.133*, при этом знак «плюс» означает возможность применения указанной марки стали в данных условиях.

Таблица 29*

Арматурная сталь

Класc арматурной стали

Документ, регламентирующий качество арматурной стали

Марка стали

Диаметр, мм

Элементы с арматурой, не рассчитываемой на выносливость

Элементы с арматурой, рассчитываемой на выносливость

при применении конструкций в районах со средней температурой наружного воздуха наиболее холодной пятидневки, °С

минус 30 и выше

ниже минус 30 до минус 40 вкл.

ниже минус 40

минус 30 и выше

ниже минус 30 до минус 40 вкл.

ниже минус 40

Стержневая горячекатаная гладкая

А-I

ГОСТ 5781-82, ГОСТ 380-88*

Ст3сп

6-10

+

+

+

+

+

+

Ст3сп

12-40

+

+

+

+

+

-

Ст3пс

6-10

+

+

+1,2

+

+1

-

Ст3пс

12-16

+

+1

-

+

+1

-

Ст3пс

18-40

+

+1

-

+1

-

-

Ст3кп

6-10

+

-

-

-

-

-

Стержневая горячекатаная периодического профиля

А-II

ГОСТ 5781-82, ГОСТ 380-88*

Ст5сп

10-40

+

+

+1,2,3

+

+

-

Ст5пс

10-16

+

+1

-

+

+1

-

ВСт5пс2

18-40

+

-

-

+1

-

-

Ас-II

10ГТ

10-32

+

+

+

+

+

+

A-III

25Г2С

6-40

+

+

+1

+

+1

+1

 

35ГС

6-40

+

+4

-

-

-

-

А-IV

20XГ2Ц

10-22

-

+

+5

+

+

+5

А-V

23Х2Г2Т

10-32

+

+

+5

+

+

+5

Стержневая термически упрочненная периодического профиля

Ат-IV6

ГОСТ 10884-81

25Г2С

10-28

+5

+5

+5,7

-

-

-

10ГС2

10-18

+5

+5

+5,7

-

-

-

20ХГС2

10-18

+5

+5

+5,7

-

-

-

Ат-V6

20ХГС2

10-28

+5

+5

+5,7

-

-

-

Ат-VI6

20ХГС2

10-16

+5

+5

+5,7

-

-

-

Высокопрочная проволока гладкая

В

ГОСТ 7348-81

-

3-8

+

+

+8

+

+

+8

Высокопрочная проволока периодического профиля

Вр

-

3-8

+

+

+9

+

+

+9

Арматурные канаты

К-7

ГОСТ 13840-68

-

9-15

+

+

+

+

+

+

Стальные канаты

Спиральные

-

-

Предусмотренные ГОСТом с диаметрами проволок 3 мм и более

+

+

-

+10

+10

-

Двойной свивки

ГОСТ 3067-88*, ГОСТ 3068-88*

+

+

-

+10

+10

-

Закрытые

ГОСТ 3090-73*, ГОСТ 7675-73*, ГОСТ 7676-73*

Предусмотренные ГОСТом

+

+

-

+10

+10

-

___________

1 Допускается к применению в вязаных каркасах и сетках.

2 Не допускается к применению для хомутов пролетных строений.

3 Не допускается к применению, если динамический коэффициент свыше 1,1.

4 Если динамический коэффициент свыше 1,1, допускается к применению только в вязаных каркасах и сетках.

5 Только в виде целых стержней мерной длины.

6 Допускается к применению термически упрочненная арматурная сталь только марок С (свариваемая) и К (стойкая к коррозионному растрескиванию).

7 Допускается к применению при гарантируемой величине равномерного удлинения не менее 2 %.

8 Допускается к применению при диаметрах проволок 5-8 мм.

9 Допускается к применению при диаметре проволок 5 мм.

10 Допускается к применению только в пролетных строениях совмещенных мостов.

В случае применения растянутой рабочей арматуры разных классов при расчетах на прочность следует:

для ненапрягаемой арматуры - принимать расчетное сопротивление, соответствующее арматурной стали наименьшей прочности;

для напрягаемой арматуры - учитывать только арматуру одной марки.

Арматурную сталь класса А-II марки Ст5пс допускается применять в пролетных строениях (исключая хомуты) и в опорах мостов, если диаметр ее стержней, мм, не более:

20 - для элементов с арматурой, не рассчитываемой на выносливость;

18 - то же, рассчитываемой на выносливость.

Указанную арматурную сталь при диаметрах 22 мм и более следует применять только в фундаментах и частях опор, расположенных ниже половины глубины промерзания грунта.

Сварные соединения стержневой термически упрочненной арматурной стали, высокопрочной арматурной проволоки, арматурных канатов класса К-7 и стальных канатов со свивкой спиральной, двойной и закрытых не допускаются.

К стержневой напрягаемой арматуре, находящейся в пределах тела бетона конструкции, запрещается приварка каких-либо деталей или арматуры.

Применение в качестве рабочей (рассчитываемой) арматуры новых, в том числе импортных, арматурных сталей допускается в установленном порядке.

3.34*. Для монтажных (подъемных) петель следует предусматривать применение арматурной стали класса А-I марки Ст3сп.

Если проектом предусмотрен монтаж конструкции при среднесуточных температурах наружного воздуха не ниже минус 40 °С, то для монтажных петель допускается применение арматурной стали класса А-I из стали марки Ст3пс.

3.35*. В качестве конструктивной арматуры при всех условиях допускается применение арматурной стали классов А-I и А-II марок, указанных в табл. 29*, а также арматурной проволоки периодического профиля класса Вр.

СТАЛЬНЫЕ ИЗДЕЛИЯ

3.36*. Для закладных изделий деформационных швов и других расчетных элементов следует применять стальной прокат по ГОСТ 6713-91:

при расчетной температуре минус 40 °С и выше - марки 16Д;

при расчетной температуре ниже минус 40 °С - марок 15ХСНД и 10ХСНД.

Возможно также применение проката из марок сталей, перечисленных в ГОСТ 19282-73* и ГОСТ 19281-73 (кроме марок 17ГС и 17Г1С), без дополнительной термообработки и не ниже шестой категории поставки.

При средней температуре наружного воздуха наиболее холодной пятидневки в районе строительства не ниже минус 30 °С и динамическом коэффициенте не более 1,1 допускается также применение проката толщиной 4 - 24 мм из стали марки Ст3пс по ГОСТ 535-88.

При температуре наружного воздуха наиболее холодной пятидневки выше минус 40 °С возможно применение проката из марок стали Ст3сп (при толщине 10-30 мм) и Ст3пс (при толщине 4-30 мм).

Для закладных изделий, не рассчитываемых на силовые воздействия, допускается использовать предусмотренный в ГОСТ 535-88 прокат из стали марки СтЗкп с толщиной проката 4-30 мм.

Таблица 30 исключена.

Расчетные характеристики арматуры

3.37*. Нормативные и расчетные сопротивления растяжению арматурных сталей, применение которых допускается в железобетонных конструкциях мостов и труб, следует принимать по табл. 31*.

Таблица 31*

Класс арматурной стали

Диаметр, мм

Нормативные сопротивления растяжению Rsn и Rph, МПа (кгс/см2)

Расчетные сопротивления растяжению при расчетах по предельным состояниям первой группы Rs и Rn, МПа (кгс/см2), для мостов и труб

железнодорожных

автодорожных и городских

 

 

Ненапрягаемая арматура

1. Стержневая:

 

 

 

 

а) гладкая А-I

6-40

235 (2400)

200 (2050)

210 (2150)

б) периодического профиля:

 

 

 

 

А-II, Ac-II

10-40

295 (3000)

250 (2550)

265 (2700)

А-III

6 и 8

390 (4000)

320 (3250)

340 (3450)

10-40

390 (4000)

330 (3350)

350 (3550)

 

 

Напрягаемая арматура

2. Стержневая:

 

 

 

 

а) горячекатаная

 

 

 

 

А-IV*

10-32

590 (6000)

435 (4500)

465 (4750)

А-V

10-32

785 (8000)

 

 

б) термически упрочненная:

 

 

 

 

Ат-IV

10-28

590 (6000)

-

465 (4750)

Ат-V

10-14

785 (8000)

-

645 (6600)

16-28

785 (8000)

-

600 (6100)

Ат-VI

10-14

980 (10 000)

-

775 (7900)

16

980 (10 000)

-

745 (7600)

3. Высокопрочная проволока:

 

 

 

 

а) гладкая В-II

3

1490 (15 200)

1120 (11 400)

1180 (12 050)

4

1410 (14 400)

1060 (10 800)

1120 (11 400)

5

1335 (13 600)

1000 (10 200)

1055 (10 750)

6

1255 (12 800)

940 (9600)

995 (10 150)

7

1175 (12 000)

885 (9000)

930 (9500)

8

1100 (11 200)

825 (8400)

865 (8850)

б) периодического профиля Вр-II

3

1460 (14 900)

1100 (11 200)

1155 (11 800)

4

1375 (14 000)

1030 (10 500)

1090 (11 100)

5

1255 (12 800)

940 (9600)

995 (10 150)

6

1175 (12 000)

885 (9000)

930 (9500)

7

1100 (11 200)

825 (8400)

870 (8850)

8

1020 (10 400)

765 (7800)

810 (8250)

4. Арматурные канаты К-7

9

1375 (14 000)

1030 (10 500)

1090 (11 100)

12

1335 (13 600)

1000 (10 200)

1055 (10 750)

15

1295 (13 200)

970 (9900)

1025 (10 450)

5. Стальные канаты со спиральной или двойной свивкой и закрытые

По соответствующим стандартам

0,75 Rrpn (где Rrpn - нормативное сопротивление разрыву каната в целом)

0,54 Rrpn

0,57 Rrpn

____________

* При смешанном армировании стержневую горячекатаную арматуру класса А-IV допускается применять в качестве ненапрягаемой арматуры.

Примечания: 1. В соответствии с ГОСТ 7348-81* проволока диаметром 3-8 мм имеет класс прочности: гладкая от 1500 до 1100, периодического профиля от 1500 до 1000.

2. В соответствии с ГОСТ 13840-68* арматурные канаты К-7 диаметром 9-15 мм имеют класс прочности от 1500 до 1400.

3.38. Расчетные сопротивления сжатию Rsc ненапрягаемой арматурной стали классов А-I, А-II, Ас-II и А-III следует принимать равными расчетным сопротивлениям этой арматуры растяжению Rs.

Используемые при расчетах конструкций по предельным состояниям первой группы наибольшие сжимающие напряжения Rpc в напрягаемой арматуре, расположенной в сжатой зоне сечения элемента и имеющей сцепление с бетоном, следует принимать не более 500 МПа (5100 кгс/см2).

КОЭФФИЦИЕНТЫ УСЛОВИЙ РАБОТЫ АРМАТУРЫ

3.39*. При расчете арматуры на выносливость (в железнодорожных и обособленных мостах под пути метрополитена) расчетные сопротивления арматурной стали растяжению для ненапрягаемой Rsf и напрягаемой Rpf арматуры следует определять по формулам:

Rsf = masl Rs = ers brw Rs;                                                  (41)

Rpf = mapl Rp = erp brw Rp,                                                  (42)

где masl, mapl - коэффициенты условий работы арматуры, учитывающие влияние многократно повторяющейся нагрузки;

Rs, Rp -   расчетные сопротивления арматурной стали растяжению, принимаемые по табл. 31*;

ers, erp - коэффициенты, зависящие от асимметрии цикла изменения напряжения в арматуре r = smin/smax, приведены в табл. 32*;

brw - коэффициент, учитывающий влияние на условия работы арматурных элементов наличия сварных стыков или приварки к арматурным элементам других элементов, приведен в табл. 33*.

Таблица 32*

Класс (виды или особенности) применяемой арматурной стали

Значения коэффициентов ers и erр при r

-1

-0,5

-0,2

-0,1

0

0,1

0,2

0,3

0,35

1

2

3

4

5

6

7

8

9

10

 

Коэффициент ers

А-I

0,48

0,61

0,72

0,77

0,81

0,85

0,89

0,97

1

А-II

0,40

0,50

0,60

0,63

0,67

0,70

0,74

0,81

0,83

Ас-II

-

-

0,67

0,71

0,75

0,78

0,82

0,86

0,88

А-III

0,32

0,40

0,48

0,51

0,54

0,57

0,59

0,65

0,67

 

Коэффициент erр

А-IV (без стыков или со стыками, выполненными контактной сваркой с механической зачисткой)

-

-

-

-

-

-

-

-

-

В или пучки из нее

-

-

-

-

-

-

-

-

-

Вр или пучки из нее

-

-

-

-

-

-

-

-

-

К-7

-

-

-

-

-

-

-

-

-

Окончание табл. 32*

Класс (виды или особенности) применяемой арматурной стали

Значения коэффициентов ers и erр при r

0,4

0,5

0,6

0,7

0,75

0,8

0,85

0,9

1

1

11

12

13

14

15

16

17

18

19

 

Коэффициент ers

А-I

1

1

1

1

1

1

1

1

1

А-II

0,87

0,94

1

1

1

1

1

1

1

Ас-II

0,90

0,92

0,94

1

1

1

1

1

1

А-III

0,70

0,75

0,81

0,90

0,95

1

1

1

1

 

Коэффициент erр

А-IV (без стыков или со стыками, выполненными контактной сваркой с механической зачисткой)

0,38

0,49

0,70

0,78

0,85

0,91

0,94

0,96

1

В или пучки из нее

-

-

-

-

0,85

0,97

1

1

1

Вр или пучки из нее

-

-

-

-

0,78

0,82

0,87

0,91

1

К-7

-

-

-

-

0,78

0,84

0,95

1

1

Примечания: 1. Для стальных канатов со спиральной или двойной свивкой и закрытых при r ³ 0,85 коэффициент erр допускается принимать равным единице, а при r < 0,85 - устанавливать в соответствии с п. 4.58, относящимся к расчету на выносливость канатов висячих, вантовых и предварительно напряженных стальных пролетных строений.

2. Для промежуточных значений r коэффициенты ers и erр следует определять по интерполяции.

Таблица 33*

Тип сварного соединения

Коэффициент асимметрии цикла r

Коэффициент brw для стержней диаметром 32 мм и менее при арматурной стали классов

A-I

A-II, Ac-II

A-III

A-IV

Сварка контактным способом (без продольной зачистки)

0

0,75

0,65

0,60

-

0,2

0,85

0,70

0,65

-

0,4

1

0,80

0,75

0,75

0,7

1

0,90

0,75

0,75

0,8

1

1

0,75

0,80

0,9

1

1

0,85

0,90

Сварка ванным способом на удлиненных накладках-подкладках

0

0,75

0,65

0,60

-

0,2

0,80

0,70

0,65

-

0,4

0,90

0,80

0,75

-

0,7

0,90

0,90

0,75

-

0,8

1

1

0,75

-

0,9

1

1

0,85

-

Контактная точечная сварка перекрещивающихся стержней арматуры и приварка других стержней, сварка на парных смещенных накладках

0

0,65

0,65

0,60

-

0,2

0,70

0,70

0,65

-

0,4

0,75

0,75

0,65

-

0,7

0,90

0,90

0,70

-

0,8

1

1

0,75

-

0,9

1

1

0,85

-

Примечания: 1. Если диаметры стержней растянутой арматуры свыше 32 мм, то значения brw следует уменьшать на 5 %.

2. Если значения r < 0, то значения brw следует принимать такими же, как при r = 0.

3*. Для растянутой арматурной стали класса A-IV, стержни которой имеют сварные стыки, выполненные контактной сваркой с последующей продольной зачисткой, следует принимать brw = 1.

4. При промежуточных значениях r коэффициенты brw следует определять по интерполяции.

3.40. При расчете растянутой поперечной арматуры (хомутов и отогнутых стержней) в наклонных сечениях на действие поперечной силы к расчетным сопротивлениям растяжению арматурной стали, указанным в табл. 31*, вводятся коэффициенты условий работы арматуры:

ma4 = 0,8 - для стержневой арматуры;

ma4 = 0,7 - для арматуры из высокопрочной проволоки, арматурных канатов класса К-7 и стальных канатов со спиральной и двойной свивкой и закрытых.

Если в сварных каркасах диаметр хомутов из арматурной стали класса A-III менее 1/3 диаметра продольных стержней, то учитываемые в расчете на поперечную силу напряжения в хомутах не должны превышать, МПа (кгс/см2):

245 (2500) - при диаметре хомутов 6 и 8 мм;

255 (2600) - то же, 10 мм и более.

3.41*. Для арматурной стали классов A-IV и A-V при применении стыков, выполненных контактной сваркой без продольной механической зачистки, и стыков на парных смещенных накладках к расчетным сопротивлениям растяжению, указанным в табл. 31*, вводится коэффициент условий работы арматуры ma5 = 0,9.

Для арматурной стали классов А-I, А-II, Ас-II и А-III при наличии стыков, выполненных контактной сваркой, ванным способом на удлиненных или коротких подкладках, на парных смещенных накладках, расчетные сопротивления растяжению следует принимать такими же, как для арматурной стали, не имеющей стыков.

3.42*. При расчете по прочности растянутой арматуры в изгибаемых конструкциях для арматурных элементов (отдельных стержней, пучков, канатов), расположенных от растянутой грани изгибаемого элемента на расстоянии более чем 1/5 высоты растянутой зоны сечения, к расчетным сопротивлениям арматурной стали растяжению по табл. 31* следует вводить коэффициенты условий работы арматуры

,

где h - x -          высота растянутой зоны сечения;

 - расстояние оси растянутого арматурного элемента от растянутой грани сечения.

3.43*. При расчетах на стадии создания в конструкции предварительного напряжения, а также на стадии монтажа расчетные сопротивления арматурной стали следует принимать с коэффициентами условий работы, равными:

1,10 - для стержневой арматурной стали, а также арматурных элементов из высокопрочной проволоки;

1,05 - для арматурных канатов класса К-7, а также стальных канатов со спиральной и двойной свивкой и закрытых.

3.44. При перегибе стальных канатов со спиральной или двойной свивкой вокруг анкерных полукруглых блоков диаметром D менее 24d (d - диаметр каната) к расчетным сопротивлениям канатов растяжению при расчетах на прочность должны вводиться коэффициенты условий работы канатов ma10, которые при отношениях D/d от 8 до 24 допускается определять по формуле

.                                                   (43)

При перегибах вокруг блоков диаметром D менее 8d коэффициенты условий работы канатов следует назначать по результатам опытных исследований.

3.45. При расчетах по прочности оцинкованной высокопрочной гладкой проволоки класса В-II диаметром 5 мм к расчетным сопротивлениям проволоки растяжению по табл. 31* следует вводить коэффициенты условий работы арматуры ma11, равные:

0,94 - при оцинковке проволоки по группе С, отвечающей среднеагрессивным условиям среды;

0,88 - то же, по группе Ж, отвечающей жестко-агрессивным условиям среды.

РАСЧЕТНЫЕ ХАРАКТЕРИСТИКИ ДЛЯ СТАЛЬНЫХ ИЗДЕЛИЙ

3.46. Для стальных изделий железобетонных мостов и труб, представляющих отдельные их конструктивные детали (опорные части, элементы шарниров и деформационных швов, упорные устройства и т.д.), и для стальных закладных изделий из листового и фасонного проката расчетные сопротивления следует принимать такими же, как для элементов стальных конструкций мостов (см. разд. 4).

Расчетные сопротивления для арматурных стержней, анкеруемых в бетоне, следует принимать в соответствии с указаниями, относящимися к арматуре.

ХАРАКТЕРИСТИКИ ДЕФОРМАТИВНЫХ СВОЙСТВ АРМАТУРЫ И ОТНОШЕНИЕ МОДУЛЕЙ УПРУГОСТИ

3.47. Значения модуля упругости арматуры следует принимать по табл. 34.

Таблица 34

Класс (вид) арматурной стали

Модуль упругости, МПа (кгс/см2), арматуры

ненапрягаемой Еs

напрягаемой Ер

А-I, A-II, Ac-II

2,06·105 (2,1·106)

-

А-III

1,96·105 (2,0·106)

-

А-IV, Ат-IV, А-V

-

1,86·105 (1,9·106)

Ат-V, Ат-VI

-

1,86·105 (1,9·106)

В-II, Вр-II

-

1,96·105 (2,0·106)

Пучки из параллельных проволок классов В-II и Вр-II

-

1,77·105 (1,8·106)

К-7

-

1,77·105 (1,8·106)

Пучки из арматурных канатов К-7

-

1,67·105 (1,7·106)

Стальные канаты:

 

 

спиральные и двойной свивки

-

1,67·105 (1,7·106)

закрытые

-

1,57·105 (1,6·106)

3.48*. Во всех расчетах элементов мостов, производимых по формулам упругого тела, кроме расчетов мостов с ненапрягаемой арматурой на выносливость и на трещиностойкость, следует использовать отношения модулей упругости n1sb или Еpb), определяемые по значениям модулей, приведенным для арматуры в табл. 34 и для бетона в табл. 28.

При расчетах элементов мостов с ненапрягаемой арматурой на выносливость и на трещиностойкость, при определении напряжений и геометрических характеристик приведенных сечений площадь арматуры учитывается с коэффициентом отношения модулей упругости n, при котором учитывается виброползучесть бетона. Значения n следует принимать при бетоне классов:

В20                                     22,5

В22,5 и В25                       20

В27,5                                  17

В30 и В35                          15

В40 и выше                        10

РАСЧЕТ ПО ПРЕДЕЛЬНЫМ СОСТОЯНИЯМ ПЕРВОЙ ГРУППЫ

Расчет по прочности и устойчивости

ОБЩИЕ УКАЗАНИЯ

3.49. Расчет бетонных и железобетонных элементов мостов и труб следует производить, сопоставляя расчетные усилия от внешних нагрузок с предельными.

Применение изгибаемых, центрально- и внецентренно растянутых бетонных элементов в конструкциях не допускается.

3.50*. Расчетные усилия в статически неопределимых конструкциях должны учитывать перераспределение усилий от усадки и ползучести бетона, искусственного регулирования, трещинообразования и предварительного напряжения к общему усилию, найденному от нормативных значений перечисленных нагрузок и воздействий, которое вводится с коэффициентами надежности 1,1 или 0,9.

3.51. Предельные усилия в элементах конструкций следует определять в сечениях, нормальных и наклонных к продольной оси элемента.

3.52*. При расчете бетонных и железобетонных элементов на воздействие сжимающей продольной силы N за расчетное значение усилия необходимо принимать меньшее, полученное из расчетов по прочности и устойчивости. При расчете по прочности следует учитывать случайный эксцентриситет ес.сл. = 1/400 l0 (l0 - геометрическая длина элемента или ее часть между точками закрепления элемента, принимаемая с учетом требований п. 3.16).

При расчете по трещиностойкости и деформациям случайный эксцентриситет учитывать не следует.

В элементах статически определимых конструкций эксцентриситет ес (относительно центра тяжести приведенного сечения) находится как сумма эксцентриситетов - определяемого из статического расчета конструкции и случайного ес.сл..

Для элементов статически неопределимых конструкций величина эксцентриситета продольной силы относительно центра тяжести приведенного сечения принимается равной эксцентриситету, полученному из статического расчета, но не менее ес.сл..

3.53*. Расчет по прочности и устойчивости сжатых, внецентренно сжатых бетонных и железобетонных элементов прямоугольного, таврового, двутаврового и коробчатого сечений в зависимости от величины эксцентриситета ес = M/N производится в соответствии с табл. 35*.

Таблица 35*

Вид расчета

Конструкции

бетонные

железобетонные

Номера пунктов, в соответствии с которыми следует выполнять расчеты при эксцентриситетах

ес £ r

ес > r

ес £ r

ес > r

По прочности

3,68

3,54

3,68

3,54

3,69,б

-

3,70

3,54

По устойчивости

3,66

3,55

-

-

3,69,а

3,55

-

-

Примечаниe. r - ядровое расстояние.

Сжатые элементы с расчетным начальным эксцентриситетом ес > r следует рассчитывать на внецентренное сжатие.

Влияние прогиба на увеличение расчетного усилия внецентренно сжатого элемента при расчете по недеформируемой схеме следует учитывать путем умножения эксцентриситета ес на коэффициент h, определяемый по п. 3.54*.

При расчете на устойчивость при ес £ r коэффициент продольного изгиба j следует принимать в соответствии с п. 3.55*.

3.54*. Коэффициент h, учитывающий влияние прогиба по прочности, определяется по формуле

,                                                                (44)

где Nсr - условная критическая сила, определяемая по формулам:

для бетонных элементов

,                                                (45)

для железобетонных элементов

,                                       (46)

где Ib - момент инерции площади сечения бетона, определяется без учета трещин в бетоне;

Is - момент инерции площади сечения ненапрягаемой и напрягаемой арматуры. Моменты инерции определяются относительно осей, проходящих через центр тяжести приведенного сечения.

В формулах (45) и (46) коэффициентами jl и jp учитывается соответственно влияние на прогиб длительного действия нагрузки, предварительного напряжения арматуры и относительной величины эксцентриситета.

Значение коэффициента jl следует принимать равным:

,                                                               (47)

где М - момент, равный произведению нормальной силы N, от постоянной и временной нагрузок на расстояние от места расположения силы N до наиболее растянутого стержня (для бетонных элементов - до наиболее растянутой грани сечения) или до наименее сжатого стержня или грани (при целиком сжатом сечении).

Значение коэффициента d следует принимать равным ec/h, но не менее определяемого по формуле

,                                                (48)

где Rb - расчетное сопротивление бетона, МПа;

l0 - расчетная длина элемента.

Если моменты (или эксцентриситеты) от полной нагрузки и от постоянной имеют разные знаки, то при абсолютном значении эксцентриситета полной нагрузки ес ³ 0,1h следует принимать jl = 1,0, а при еc < 0,1h - jl = 1,05.

Значение коэффициента jp, учитывающего влияние предварительного натяжения арматуры на жесткость элемента, следует определять по формуле

,                                                         (49)

где sbp - предварительное напряжение в бетоне на уровне центра тяжести продольной арматуры с учетом всех потерь согласно обязательному приложению 11*;

для кольцевых и круглых сечений h = D.

В формуле (49) расчетные сопротивления R принимаются без учета коэффициентов условий работы бетона, а значения ec/h не должны превышать 1,5.

Сжатые железобетонные элементы должны иметь характеристики, при которых обеспечивается условие N/N cr £ 0,7.

При расчете элементов на внецентренное сжатие из плоскости изгиба, созданного внецентренным приложением нагрузки, необходимо учитывать значение случайного эксцентриситета (см. п. 3.52*). Для железобетонных элементов, имеющих несмещаемые опоры или опоры, одинаково перемещающиеся при вынужденных деформациях (например, при температурных удлинениях), значения коэффициента h следует принимать:

для сечений в средней трети длины элемента - по формуле (44);

то же, в пределах крайних третей длины элемента - по интерполяции между значениями, вычисленными для средней трети, и единицей, принимаемой для опорных сечений.

3.55*. Коэффициент продольного изгиба j при расчетах сжатых (еc = 0) и внецентренно сжатых элементов, имеющих относительный эксцентриситет ec/r £ 1, следует определять по формуле

,                                                           (50)

где jm - коэффициент продольного изгиба, учитывающий воздействие временной нагрузки;

jl - то же, постоянных нагрузок;

Nl - расчетное продольное усилие от постоянной нагрузки с учетом усилия d напрягаемой арматуре, не имеющей сцепления с бетоном;

Nm - расчетное продольное усилие от временной нагрузки;

N = Nl + Nm - полное расчетное продольное усилие.

Значения коэффициентов jm и jl, при вычислении которых учтены также значения случайных эксцентриситетов по п. 3.52*, следует принимать для железобетонных элементов по табл. 36, для бетонных элементов - по табл. 37*.

Таблица 36

Характеристики гибкости элемента

Коэффициенты продольного изгиба

jm при относительных эксцентриситетах ес/r

jl

l0/b

l0/d

l0/i

0

0,25

0,50

1,0

4

3,5

14

1

1

0,9

0,9

0,81

0,81

0,69

0,69

1

10

3,6

35

1

1

0,86

0,86

0,77

0,77

0,65

0,65

0,84

12

10,4

40

0,95

0,95

0,83

0,83

0,74

0,74

0,62

0,62

0,79

14

12,1

48,5

0,90

0,85

0,79

0,74

0,70

0,65

0,58

0,53

0,70

16

13,8

55

0,86

0,78

0,75

0,67

0,66

0,58

0,55

0,47

0,65

18

15,6

62,5

0,82

0,75

0,71

0,64

0,62

0,55

0,51

0,44

0,56

20

17,3

70

0,78

0,7

0,67

0,59

0,57

0,48

0,48

0,4

0,47

22

19,1

75

0,72

0,64

0,60

0,52

0,52

0,44

0,43

0,35

0,41

24

20,8

83

0,67

0,59

0,55

0,47

0,47

0,39

0,38

0,3

0,32

26

22,5

90

0,62

0,53

0,51

0,42

0,44

0,35

0,35

0,26

0,25

28

24,3

97

0,58

0,5

0,49

0,41

0,43

0,35

0,34

0,26

0,20

30

26

105

0,53

0,46

0,45

0,38

0,39

0,32

0,32

0,25

0,16

32

27,7

110

0,48

0,42

0,41

0,35

0,36

0,3

0,31

0,25

0,14

34

29

120

0,43

0,39

0,36

0,32

0,31

0,27

0,25

0,21

0,10

38

33

130

0,38

0,33

0,32

0,28

0,28

0,24

0,24

0,2

0,08

40

34,6

140

0,35

0,32

0,29

0,26

0,25

0,22

0,21

0,18

0,07

43

37,5

150

0,33

0,3

0,28

0,25

0,24

0,21

0,21

0,18

0,06

Примечание. Над чертой приведены значения для железобетонных элементов при отсутствии на данной стадии их работы сцепления напрягаемой арматуры с бетоном, под чертой - для предварительно напряженных элементов при наличии сцепления напрягаемой арматуры с бетоном.

Таблица 37*

Характеристики гибкости элемента

Коэффициенты продольного изгиба

jm при относительных эксцентриситетах ес/r

jl

l0/b

l0/i

0

0,25

0,50

1,0

4

14

1

0,86

0,77

0,65

1

6

21

0,98

0,84

0,75

0,63

0,94

8

28

0,95

0,81

0,72

0,6

0,88

10

35

0,92

0,78

0,69

0,57

0,8

12

42

0,88

0,76

0,67

0,55

0,72

14

49

0,85

0,74

0,65

0,58

0,62

16

56

0,79

0,68

0,59

0,48

0,58

18

63

0,74

0,63

0,54

0,43

0,43

20

70

0,67

0,56

0,46

0,37

0,32

22

77

0,63

0,51

0,43

0,34

0,26

24

84

0,58

0,46

0,38

0,29

0,20

26

91

0,49

0,38

0,31

0,22

0,16

В табл. 36 и 37* обозначено:

b - сторона прямоугольного сечения, нормальная к направлению перемещения элемента;

d - диаметр круглого сечения элемента;

l0/i - гибкость элемента (i - наименьший радиус инерции поперечного сечения);

ес/r - относительный эксцентриситет N;

ес - эксцентриситет силы N относительно центра тяжести приведенного сечения;

 - ядровое расстояние (Wred и Ared - момент сопротивления и площадь приведенного сечения).

Расчет по прочности сечений, нормальных к продольной оси элемента

3.56*. Предельные усилия в сечениях согласно пп. 3.62*-3.71* и 3.75 следует определять исходя из следующих предпосылок:

сопротивление бетона растяжению принимается равным нулю;

сопротивление бетона сжатию ограничивается напряжениями, равными Rb и равномерно распределенными в пределах условной сжатой зоны бетона;

растягивающие напряжения в арматуре ограничиваются расчетными сопротивлениями растяжению в ненапрягаемой Rs и напрягаемой Rp арматуре;

сжимающие напряжения в ненапрягаемой арматуре ограничиваются расчетными сопротивлениями сжатию Rsc, а в напрягаемой - наибольшими сжимающими напряжениями spc согласно п. 3.60*;

при расчете сечения на общий случай по СНиП 2.03.01-84* деформации (напряжения) в арматуре определяются в зависимости от высоты сжатой зоны бетона с учетом деформаций (напряжений) от предварительного напряжения.

Допускается при обосновании в установленном порядке также производить указанные расчеты с использованием диаграмм деформаций бетона и арматуры.

Примечание. Для случаев, когда расчетные сопротивления и напряжения в бетоне и арматуре должны вводиться в формулы только в МПа, в тексте даются специальные указания.

3.57*. Если в сжатой зоне расчетного сечения имеются бетоны разных классов, то их площади приводятся пропорционально расчетным сопротивлениям к бетону одного расчетного сопротивления.

3.58. При расчете балок с плитой в сжатой зоне длина свесов плиты, вводимая в расчет, не должна превышать шести ее толщин hf, считая от начала свеса, и должна быть не более половины расстояния в свету между балками,

Начало свеса принимается от ребра балки или от конца вута, если он имеет уклон 1:3 и более.

При переменной толщине плиты, а также при вутах с уклоном менее 1:3 длина свесов определяется по приведенной толщине плиты, которая находится с учетом площади плиты и вутов.

Площадь свесов растянутых поясов двутавровых сечений при расчете не учитывается.

3.59. Если количество растянутой арматуры по конструктивным соображениям или по расчету по трещиностойкости превышает требуемое по расчету по прочности, то в расчете допускается учитывать не всю арматуру, а только требуемую по этому расчету.

3.60*. Напрягаемую арматуру, расположенную в сжатой зоне и имеющую сцепление с бетоном, следует вводить в расчет с напряжением

sрс = Rpc - spcl,                                                              (51)

где Rpc - учитываемое расчетом наибольшее сжимающее напряжение в напрягаемой арматуре согласно п. 3.38;

spcl - расчетное напряжение в напрягаемой арматуре (за вычетом всех потерь) при коэффициенте надежности по нагрузке, равном gg = 1,1; при spcl £ Rpc принимается spc = 0.

Площадь поперечного сечения сжатой арматуры Аs¢ вводится в расчет в зависимости от соотношения расчетной высоты сжатой зоны бетона х и расстояния аs этой арматуры до сжатой грани сечения.

При расчете изгибаемых элементов площадь Аs учитывается полностью, если x2 ³ 2as¢, где x2 - высота сжатой зоны, определенная с учетом сжатой арматуры As¢.

Если без учета сжатой арматуры высота сжатой зоны сечения отвечает условию x1 ³ 2as¢, а при учете сжатой арматуры x2 < 2as¢, то расчет на прочность допускается производить, используя условие

M £ (Rp Ap + Rs As) (ha - as¢).                                          (52)

При х1 < 2аs Аs не учитывается.

3.61*. Расчет сечений, нормальных к продольной оси элемента, когда внешняя сила действует в плоскости оси симметрии сечения и арматура сосредоточена у перпендикулярных указанной плоскости граней элемента, должен производиться в зависимости от значения относительной высоты сжатой зоны x = х/h0, определяемой из соответствующих условий равновесия. Значение x при расчете конструкций, как правило, не должно превышать относительной высоты сжатой зоны бетона xy, при которой предельное состояние бетона сжатой зоны наступает не ранее достижения в растянутой арматуре напряжения, равного расчетному сопротивлению Rs или Rp с учетом соответствующих коэффициентов условий работы для арматуры.

Значение xy определяется по формуле

,                                                          (53)

где w = 0,85-0,008 Rb -          для элементов с обычным армированием;

w = 0,85-0,008 Rb + d £ 0,9 - для элементов с косвенным армированием;

при этом расчетное сопротивление бетона Rb следует принимать в МПа, а значение d - равным 10m, но не более 0,15 (где m - коэффициент армирования, принимаемый согласно п. 3.72*);

напряжения в арматуре s1, МПа, следует принимать равными:

Rs - для ненапрягаемой арматуры;

Rp - 500 - sp - для напрягаемой арматуры;

расчетное сопротивление напрягаемой арматуры растяжению Rp следует принимать с учетом соответствующих коэффициентов условий работы арматуры, а величину предварительного напряжения в арматуре sр - с учетом первых и вторых потерь по обязательному приложению 11*. При наличии напрягаемой и ненапрягаемой арматуры напряжение s1 принимается по напрягаемой арматуре;

напряжение s2 является предельным напряжением в арматуре сжатой зоны и должно приниматься равным 500 МПа.

Если при расчете по прочности окажется необходимым и обоснованным сохранение полученного по расчету значения x = х/h0 по величине большего граничного значения xy согласно п. 3.61*, то рекомендуется руководствоваться указаниями СНиП 2.03.01-84*.

Указаниями СНиП 2.03.01-84* рекомендуется руководствоваться при расчетах: железобетонных элементов на косое внецентренное сжатие и косой изгиб; элементов с арматурой, равномерно распределенной по сечению; коротких консолей, конструкций на продавливание и отрыв, закладных изделий, строповочных петель и элементов, работающих на изгиб с кручением и на внецентренное сжатие с кручением.

Применение других методов для расчета треугольных, ромбовидных и других непрямоугольных сечений с арматурой, равномерно расположенной и сосредоточенной, допускается производить при их обосновании в установленном порядке.

Расчет прочности круглых сечений железобетонных элементов на внецентренное сжатие приведен в рекомендуемом приложении 29*.

Во всех перечисленных расчетах следует для бетона и арматуры принимать расчетные сопротивления, установленные в настоящих нормах.

Расчет изгибаемых железобетонных элементов

3.62*. Расчет прямоугольных сечений (черт. 2) при  следует производить из условия

М £ Rb bx (h0 - 0,5x) + Rsc A¢s (h01 - a¢s) + spc A¢p (h0 - a¢p),                       (54)

при этом высоту сжатой зоны х следует определять по формуле

Rp Ap + Rs As - Rsc A¢s - spc A¢p = Rb bx.                                      (55)

Черт. 2. Схема усилий и эпюра напряжений в сечении, нормальном к продольной оси изгибаемого железобетонного элемента, при расчете его по прочности

Здесь и в других формулах допускается высоту h0 принимать от равнодействующих усилий в арматуре Аp и Аs. При отсутствии напрягаемой арматуры h0 = h01.

Расчет продольного стыка плиты проезжей части ребристых пролетных строений автодорожных и городских мостов на прочность производится с введением к правой части формул (54) и (55) коэффициентов условий работы, равных 0,8 - для бездиафрагменных и 0,9 - для диафрагменных пролетных строений.

3.63. Расчет тавровых, двутавровых и коробчатых сечений с плитой в сжатой зоне при  следует производить в зависимости от положения границы сжатой зоны:

а) если граница сжатой зоны проходит в плите (черт, 3, а), т.е. соблюдается условие

Rp Ap + Rs As £ Rb b¢f x + Rsc A¢s + spc A¢p,                                  (56)

расчет производится как для прямоугольного сечения шириной b¢f в соответствии с п. 3.62*;

б) если граница сжатой зоны проходит в ребре (черт, 3, б), т.е. условие (56) не соблюдается, расчет должен выполняться из условия

М £ Rb bx (h0 - 0,5x) + Rb (b¢f - b) h¢f (h0 - 0,5 h¢f) + Rsx A¢s(h01 - a¢s) + spc A¢p (h0 - a¢p), (57)

при этом высоту сжатой зоны бетона х следует определять по формуле

Rp Ap + Rs As - Rsc A¢s - spc A¢p = Rb bx + Rb (b¢f - b) h¢f .                        (58)

Черт. 3. Форма сжатой зоны в сечениях железобетонных элементов с плитой в сжатой зоне

а - при расположении границы сжатой зоны в плите; б - то же, в ребре

3.64. Расчет изгибаемых элементов кольцевого сечения при соотношении внутреннего и наружного радиусов r1/r2 ³ 0,5 с арматурой, равномерно распределенной по длине окружности (при числе продольных стержней не менее шести), должен производиться как для внецентренно сжатых элементов в соответствии с п. 3.71*, подставляя в формулу (74*) вместо Nech значение изгибающего момента М и принимая в формулах (75*) и (76*) значение продольной силы N = 0.

3.65*. Если рабочая напрягаемая арматура в изгибаемых железобетонных элементах автодорожных мостов не имеет сцепления с бетоном, то pасчет сечений по прочности производится согласно пп. 3.62* и 3.63, при этом в соответствующие формулы вместо расчетного сопротивления растяжению напрягаемой арматуры Rp вводится значение spl установившегося (за вычетом всех потерь) предварительного напряжения в напрягаемой арматуре.

Кроме этого, в составных по длине конструкциях следует дополнительно производить расчет по формулам сопротивления упругих материалов на расчетные нагрузки (с коэффициентом надежности по нагрузке), включая усилие от предварительного напряжения. На всех стадиях работы в стыках, не армированных ненапрягаемой арматурой, не допускаются растягивающие напряжения в зонах, где эти напряжения возникают от внешней нагрузки.

Расчет внецентренно сжатых бетонных элементов

3.66. Внецентренно сжатые бетонные элементы с начальным эксцентриситетом ес £ r (см. п. 3.55*) следует рассчитывать по устойчивости, выполняя условие

N £ j Rb Ab,                                                                (59)

где j - коэффициент, принимаемый по п. 3.55*;

Аb - площадь сжатого сечения элемента.

3.67*. Расчет по прочности внецентренно сжатых бетонных элементов при es > r (r - ядровое расстояние по п. 3.55*) производится в зависимости от положения нейтральной оси и значения а, принимаемого по формуле

a = ac - ec h,                                                                (60)

где а - расстояние от точки приложения продольной силы N до наиболее сжатой грани сечения с учетом коэффициента h, определяемое согласно п. 3.54*;

аc - расстояние от оси, проходящей через центр тяжести всего сечения, до наиболее сжатой грани;

еc - начальный эксцентриситет продольной силы N относительно центра тяжести всего сечения.

При этом равнодействующая внешних сил должна находиться в пределах поперечного сечения элемента при соблюдении условия

ec h £ 0,8 ac.                                                           (61)

3.68. При расчете внецентренно сжатых бетонных элементов таврового, двутаврового и коробчатого сечений с плитой в сжатой зоне (черт. 4) прочность сечения обеспечивается при соблюдении условия

N £ Rb bx + Rb (b¢f - b) h¢f,                                                (62)

при этом высота сжатой зоны определяется:

при а > 0,5h¢f (нейтральная ось проходит в пределах ребра)

,                                          (63)

при a < 0,5h¢f (нейтральная ось проходит в пределах сжатой плиты) для расчета используются формулы (62) и (63) с заменой b на bf.

Черт. 4. Схема усилий и эпюра напряжений в сечении, нормальном к продольной оси внецентренно сжатого бетонного элемента

При расчете внецентренно сжатых элементов прямоугольного сечения прочность обеспечивается при соблюдении условия

N £ Rb bx,                                                                     (64)

при этом высота сжатой зоны определяется по формуле

x = h - 2ec h.                                                                   (65)

Кроме расчета по прочности в плоскости действия изгибающего момента элемент должен быть проверен расчетом по устойчивости с изгибом из плоскости действия момента (см. п. 3.55*).

Расчет внецентренно сжатых железобетонных элементов

3.69. Внецентренно сжатые железобетонные элементы с расчетным эксцентриситетом ec £ r (см. п. 3.55*) следует рассчитывать по устойчивости и прочности исходя из следующих условий:

а) расчет по устойчивости:

при наличии сцепления арматуры с бетоном

N £ j (Rb Ab + Rsc A¢s + Rpc A¢p);                                                 (66)

при отсутствии сцепления напрягаемой арматуры с бетоном

N £ j (Rb Ab + Rsc A¢s) - spcl A¢p + ;                                       (67)

б) расчет по прочности:

при наличии сцепления арматуры с бетоном

N £ Rb Ab + Rsc A¢s - spcl A¢p;                                                  (68)

при отсутствии сцепления напрягаемой арматуры с бетоном

N £ Rb Ab + Rsc A¢s - spcl A¢p + ;                                    (69)

В формулах (66) - (69):

N -   продольное сжимающее усилие от расчетных нагрузок (без учета усилия предварительного напряжения);

j - коэффициент продольного изгиба, принимаемый по п. 3.55*;

Rb - расчетное сопротивление бетона сжатию при расчете по прочности, принимаемое по табл. 23;

Аb - полная площадь сечения элемента (если площадь сечения арматуры превышает 3 %, то Аb заменяют на Ab - A¢s - A¢p);

Rsc, Rpc - расчетные сопротивления арматуры сжатию, принимаемые по п. 3.38;

spc - учитываемое в расчете, согласно п. 3.60*, напряжение в напрягаемой арматуре, расположенной в сжатой зоне;

spcl -   установившееся предварительное напряжение в напрягаемой арматуре A¢p согласно п. 3.60*, после проявления всех потерь;

;

;

A¢s, A¢p -     площади сечения соответственно всей ненапрягаемой и напрягаемой арматуры;

n1 - отношение модулей упругости, принимаемое по п. 3.48*.

3.70*. Расчет по прочности внецентренно сжатых железобетонных элементов таврового, двутаврового и коробчатого поперечного сечений с плитой в сжатой зоне с эксцентриситетом еs > r при x > h¢f и x £ xy (черт. 3 и 5) следует производить, используя условие

Ne0 £ Rb bx (h0 - 0,5x) + Rb (b¢f - b) h¢f (h0 - 0,5h¢f) +

+ Rsc A¢s (h01 - a¢s) + spc A¢p (h0 - a¢p),                                   (70)

и определять величину e0 по формуле

e0 = e + ec (h - 1),                                                        (71)

где N - продольная сила;

h - коэффициент, определяемый по п. 3.54*;

e - расстояние от точки приложения силы N до равнодействующей усилий в растянутой арматуре;

ec - начальный эксцентриситет продольной силы N относительно центра тяжести всего сечения (с учетом случайного эксцентриситета согласно п. 3.52*);

spc - сжимающее напряжение в напрягаемой арматуре, расположенной в зоне, сжатой от внешней нагрузки, согласно п. 3.61*.

Для прямоугольных сечений в формуле (70) принимается bf = b.

Черт. 5. Схема усилий и эпюра напряжений в сечении, нормальном к продольной оси внецентренно сжатого железобетонного элемента, при расчете его по прочности

Высоту сжатой зоны бетона х необходимо определять по формуле

N + RpAp + RsAs - RscA¢s - spc A¢p = Rbbx + Rb (b¢f - b) h¢f.                      (72)

Знаки при усилиях в формуле (72) соответствуют расположению силы N вне сечения.

При расчете двутавровых сечений с плитой в растянутой зоне свесы плиты не учитываются. Кроме расчета по прочности в плоскости действия изгибающего момента следует проводить расчет по устойчивости с изгибом из плоскости действия момента.

Учет работы сжатой ненапрягаемой арматуры следует производить по п. 3.60*. Однако если без учета этой арматуры х > 2аs, а с ее учетом х < 2аs, то расчет по прочности допускается производить, используя условие

Ne0 £ (Rp Ap + Rs As + N) (h0 - a¢s).                                         (73)

Расчет на прочность внецентренно сжатых предварительно напряженных элементов при предварительном напряжении заменяется расчетом под нормативной нагрузкой по образованию продольных трещин под нормативной нагрузкой (п. 3.100*) с ограничением сжимающих напряжений в бетоне значениями Rb;mcl, соответствующими классу передаточной прочности бетона.

3.71*. Расчет внецентренно сжатых железобетонных элементов кольцевого сечения при отношении внутреннего r1 и наружного r2 радиусом r1/r2 ³ 0,5 с ненапрягаемой арматурой, равномерно распределенной по длине окружности (при числе продольных стержней не менее 6), производится в зависимости от относительной площади сжатой зоны бетона, равной:

.                                                 (74)*

В зависимости от значений xcir в расчетах используются приведенные условия:

а) при 0,15< xcir < 0,60 из условия

Nlo £ (Rb Ab Zm + Rs As,tot rs)  +

+ Rs As,tot rs (1 - 1,7 xcir) (0,2 - 1,3 xcir);                                    (75)*

б) при xcir = 0,15 из условия

Nlo £ (Rb Ab rm + Rs As,tot rs)  + 0,295 Rs As,tot rs,                    (76)*

где                                                   ;                                                        (77)*

в) при xcir ³ 0,6 из условия

Nlo £ (Rb Ab rm + Rs As,tot rs) ,                                   (78)*

где                                                    .                                                         (79)*

В формулах (74) - (79)*:

Аb - площадь бетона кольцевого сечения;

As,tot - площадь сечения всей продольной арматуры;

,

rs - радиус окружности, проходящей через центры тяжести стержней рассматриваемой арматуры.

Эксцентриситет продольной силы с определяется с учетом прогиба элемента согласно пп. 3.52*-3.54* и 3.70*.

При расчете элементов кольцевого сечения на совместное воздействие внецентренного сжатия и изгиба при соблюдении указанных выше требований к сечению при ненапрягаемой арматуре допускается использовать формулы (74)* - (79)*, рекомендованные для расчета кольцевых сечений на внецентренное сжатие, но с учетом измененного значения эксцентриситета ео, вызванного дополнительным влиянием суммарного изгибающего момента М, принимаемого по результирующей эпюре моментов с учетом принятого расположения сил, вызывающих изгиб элемента. При этом суммарное значение эксцентриситета ео, входящего в формулы (75)*, (76)* и (78)*, для конкретных сечений определяется с учетом суммарных значений моментов и нормальных сил для этих сечений. При определении значения критической силы Ncr, входящей в формулу (44) для определения коэффициента h, учитывающего влияние прогиба на прочность сечения, необходимо учитывать значение коэффициента ji по формуле (47).

3.72*. Расчет элементов сплошного сечения с косвенным армированием и с ненапрягаемой продольной арматурой следует производить согласно требованиям пп. 3.69, б и 3.70*. В расчет следует вводить часть бетонного сечения, ограниченную крайними стержнями сеток поперечной арматуры или спиралью (считая по ее оси), и подставлять в расчетные формулы вместо Rb приведенную призменную прочность Rb,red. Гибкость l0/ief элементов с косвенным армированием не должна превышать при армировании: сетками - 55, спиралью - 35 (где ief - радиус инерции вводимой в расчет части сечения).

Формулы (80) и (81) исключены.

Значения Rb,red следует определять по формулам:

а) при армировании сварными поперечными сетками

Rb,red = Rb + js,xy Rs,                                                         (82)

где Rs - расчетное сопротивление растяжению арматуры сеток:

.                                                  (83)

В формулах (82) и (83):

nx, Asx, lx - соответственно число стержней, площадь поперечного сечения и длина стержней сетки в одном направлении (считая в осях крайних стержней);

ny, Ayx, ly - то же, в другом направлении;

Аef -   площадь сечения бетона, заключенного внутри контура сеток (считая по осям крайних стержней);

s -    расстояние между сетками (считая по осям стержней), если устанавливается одна сетка, то величина s принимается равной 7 см;

j - коэффициент эффективности косвенного армирования, определяемый по формуле

                                                               (84)

при                                                       .                                                             (85)

В формуле (85) Rs и Rb принимаются в МПа, m = ms,xy.

Площади поперечного сечения стержней сетки на единицу длины в одном и другом направлениях должны различаться не более чем в 1,5 раза;

б) при армировании спиральной или кольцевой арматурой

,                                              (86)

где Rs - расчетное сопротивление арматуры спирали;

ec - эксцентриситет приложения продольной силы (без учета влияния прогиба);

m - коэффициент армирования, равный:

;                                                                (87)

Аs.cir - площадь поперечного сечения спиральной арматуры;

def - диаметр части сечения внутри спирали;

s - шаг спирали.

При учете влияния прогиба на несущую способность элементов с косвенным армированием следует пользоваться указаниями п. 3.54*, определяя момент инерции для части их сечения, ограниченной крайними стержнями сеток или заключенной внутри спирали. Значение Ncr, полученное по формуле (45), должно быть умножено на коэффициент j1 = 0,25 + 0,05£ 1 (где сef равно высоте или диаметру учитываемой части бетонного сечения), а при определении d второй член правой части формулы (48) заменяется на 0,01j2 (где j2 = 0,1 - 1 £ 1). Косвенное армирование учитывается в расчете при условии, что несущая способность элемента, определенная с учетом Аef и Rb,red, превышает его несущую способность, определенную по полному сечению Ab и с учетом Rb (но без учета косвенной арматуры). Кроме этого, косвенное армирование должно соответствовать конструктивным требованиям п. 3.153.

3.73*. При расчете элементов с косвенным армированием наряду с расчетом по прочности следует производить расчет, обеспечивающий трещиностойкость защитного слоя бетона. Этот расчет следует производить согласно указаниям пп. 3.69,б и 3.70* под эксплуатационной нагрузкой (при gf = 1), учитывая всю площадь сечения бетона и принимая вместо Rb и Rs расчетные сопротивления Rbn и Rsn для предельных состояний второй группы, а также принимая расчетное сопротивление арматуры сжатию равным Rsc,ser, но не более 400 МПа.

Расчет центрально-растянутых элементов

3.74. При расчете сечений центрально-растянутых железобетонных элементов все расчетное усилие должно полностью восприниматься арматурой, при этом требуется соблюдение условия

N £ Rs As + Rp Ap,                                                         (88)

где N - продольное растягивающее усилие, приложенное центрально.

Расчет внецентренно растянутых элементов

3.75. Расчет сечений внецентренно растянутых железобетонных элементов следует производить в зависимости от положения продольной силы N исходя из следующих условий:

а) если продольная сила N приложена между равнодействующими усилий в соответствующей арматуре (черт. 6, а), причем все сечение растянуто, то в этом случае вся расчетная сила должна быть полностью воспринята арматурой и расчет следует производить, используя условия:

Ne £ Rs A¢s (h01 - a¢s) + Rp A¢p (h0 - a¢p);                                      (89)

Ne¢ £ Rs A¢s (h - as - a¢s) + Rp A¢p (h - ap - a¢p);                                 (90)

б) если продольная сила N приложена за пределами расстояний между равнодействующими усилий в соответствующей арматуре (черт. 6, б) с расположением нейтральной оси в пределах ребра, то прочность сечения следует устанавливать из условия

Ne £ Rb bx (h0 - 0,5x) + Rb (b¢f - b) h¢f (h0 - 0,5h¢f) +

+ Rsc A¢s (h01 - a¢s) + spc A¢p (h0 - a¢p).                                      (91)

Высоту сжатой зоны бетона х следует определять по формуле

Rp Ap + Rs As - Rsc A¢s - spc A¢p - N = Rb bx + Rb (b¢f - b) h¢f.                     (92)

Черт. 6. Схема усилий и эпюра напряжений в сечении, нормальном к продольной оси внецентренно растянутого железобетонного элемента, при расчете его по прочности

а - продольная сила N приложена между равнодействующими усилий в арматуре; б - то же, за пределами расстояния между равнодействующими усилий в арматуре

Если полученное из расчета по формуле (92) значение х > xy h0, то в условие (91) подставляется х = xy h0 , где xy определяется согласно указаниям п. 3.61*.

Учет работы сжатой арматуры следует производить согласно п. 3.60*. Однако, если без учета этой арматуры величина х > 2аs, а с учетом ее х < 2a¢s, тo расчет по прочности следует производить из условия

Ne £ (Rp Ap + Rs As - N)(h0 - a¢s).                                        (93)

Расчет по прочности сечений, наклонных к продольной оси элемента

3.76*. Расчет по прочности наклонных сечений должен производиться с учетом переменности сечения:

на действие поперечной силы между наклонными трещинами (см. п. 3.77*) и по наклонной трещине (см. п. 3.78*);

на действие изгибающего момента по наклонной трещине для элементов с поперечной арматурой (см. п. 3.83*).

Расчет сечений, наклонных к продольной оси элемента, на действие поперечной силы

3.77*. Для железобетонных элементов с поперечной арматурой должно быть соблюдено условие, обеспечивающее прочность по сжатому бетону между наклонными трещинами:

Q £ 0,3 jwl jbl Rb bh0.                                                     (94)

В формуле (94):

Q - поперечная сила на расстоянии не ближе h0 от оси опоры;

jwl = 1 - hn1mw, при расположении хомутов нормально к продольной оси jwl £ 1,3,

где h = 5 - при хомутах, нормальных к продольной оси элемента;

h = 10 - то же, наклонных под углом 45°;

n1 - отношение модулей упругости арматуры и бетона, определяемое согласно п. 3.48*;

;

Asw - площадь сечения ветвей хомутов, расположенных в одной плоскости;

Sw - расстояние между хомутами по нормали к ним;

b - толщина стенки (ребра);

h0 - рабочая высота сечения.

Коэффициент jbl определяется по формуле

jbl = 1 - 0,01 Rb,

в которой расчетное сопротивление Rb принимается в МПа.

3.78*. Расчет наклонных сечений элементов с поперечной арматурой на действие поперечной силы (черт. 7) следует производить из условий:

для элементов с ненапрягаемой арматурой

Q £ S Rsw Asi sin a + S Rsw Asw + Qb + Qrw;                                 (95)*

для элементов с напрягаемой арматурой при наличии ненапрягаемых хомутов

Q £ S Rpw Api sin a + S Rsw Asw + S Rpw Apw + Qb + Qrw;                           (96)*

Черт. 7. Схема усилий в сечении, наклонном к продольной оси железобетонного элемента, при расчете его по прочности на действие поперечной силы

a - с ненапрягаемой арматурой; б - с напрягаемой арматурой

В формулах (95)* и (96)*:

Q -    максимальное значение поперечной силы от внешней нагрузки, расположенной по одну сторону от рассматриваемого наклонного сечения;

SRswAsisina, SRswAsw -   суммы проекций усилий всей пересекаемой ненапрягаемой (наклонной и нормальной к продольной оси элемента) арматуры при длине проекции сечения с, не превышающей 2h0;

SRpwApisina, SRpwApw - то же, в напрягаемой арматуре, имеющей сцепление с бетоном (если напрягаемая арматура не имеет сцепления с бетоном, то значение расчетного сопротивления Rpw следует принять равным установившемуся предварительному напряжению spwl в напрягаемой арматуре);

Rsw, Rpw - расчетные сопротивления ненапрягаемой и напрягаемой арматуры с учетом коэффициентов ma4 или mp4, определяемых по п. 3.40;

a - угол наклона стержней (пучков) к продольной оси элемента в месте пересечения наклонного сечения;

Qb - поперечное усилие, передаваемое в расчете на бетон сжатой зоны над концом наклонного сечения и определяемое по формуле

,                                            (97)*

где b, h0 - толщина стенки (ребра) или ширина сплошной плиты и расчетная высота сечения, пересекающего центр сжатой зоны наклонного сечения;

с - длина проекции невыгоднейшего наклонного сечения на продольную ось элемента, определяемая сравнительными расчетами согласно требованиям п. 3.79*.

m - коэффициент условий работы, равный

,                                                 (98)*

но не менее 1,3 и не более 2,5,

где Rb,sh - расчетное сопротивление на скалывание при изгибе (табл. 23*);

tq - наибольшее скалывающее напряжение от нормативной нагрузки;

при tq £ 0,25 Rb,sh - проверку на прочность по наклонным сечениям допускается не производить, а при tq > 0,25 Rb,sh - сечение должно быть перепроектировано;

Qwr - усилие, воспринимаемое горизонтальной арматурой, кгс:

Qwr = 1000 Awr K,                                                        (99)*

где Awr - площадь горизонтальной напрягаемой и ненапрягаемой арматуры, см2, пересeкаемой наклонным сечением под углом b, град.

Значение коэффициента К определяется условием

.                                                     (100)*

В сечениях, расположенных между хомутами, при b = 90°

Qwr = 1000 Awr.

3.79*. Невыгоднейшее наклонное сечение и соответствующую ему проекцию на продольную ось элемента следует определять посредством сравнительных расчетов из условия минимума поперечной силы, воспринимаемой бетоном и арматурой. При этом на участках длиной 2h0 от опорного сечения следует выполнять проверку наклонных сечений с углом наклона к опорному (вертикальному) сечению 45° для конструкций с ненапрягаемой арматурой и 60° - с напрягаемой. При сосредоточенном действии нагрузки вблизи опоры наиболее опасное наклонное сечение имеет направление от нагрузки к опоре.

3.80*. При наличии напрягаемых хомутов угол к продольной оси элемента при дополнительной проверке по наклонным сечениям следует определять по формуле

a = arctg ,

где smt - значение главного растягивающего напряжения;

tb - значение касательного напряжения.

3.81*. Для железобетонных элементов без поперечной арматуры должно соблюдаться условие

Q £ Q + Qwr,                                                        (101)*

ограничивающее развитие наклонных трещин.

3.82. При расчете растянутых и внецентренно растянутых элементов при отсутствии в них сжатой зоны вся поперечная сила Q должна восприниматься поперечной арматурой.

При расчете внецентренно растянутых элементов при наличии сжатой зоны значение Qb, вычисленное по формуле (97*), следует умножить на коэффициент kt, равный:

kt = 1 - 0,2 ,                                                         (102)

но не менее 0,2 (N - продольная растягивающая сила).

Расчет сечений, наклонных к продольной оси элемента, на действие изгибающих моментов

3.83*. Расчет наклонных сечений по изгибающему моменту (черт. 8) следует производить, используя условия:

для элементов с ненапрягаемой арматурой

М £ Rs As zs + S Rs Asw zsw + S Rs Asi zsi;                                      (103)

для элементов с напрягаемой арматурой при наличии ненапрягаемых хомутов

М £ Rp Ap zp + S Rp Apw zpw + S Rs Asw zsw + S Rp Api zpi,                      (104)

где                       М - момент относительно оси, проходящей через центр сжатой зоны наклонного сечения, от расчетных нагрузок, расположенных по одну сторону от сжатого конца сечения;

zsw, zs, zsi; zpw, zp, zpi - расстояния от усилий в ненапрягаемой и напрягаемой арматуре до точки приложения равнодействующей усилий в сжатой зоне бетона в сечении, для которого определяется момент; остальные обозначения приведены в п. 3.78*.

Продольная арматура стенок в расчете не учитывается.

Положение невыгоднейшего наклонного сечения следует определять путем сравнительных расчетов, проводимых, как правило, в местах обрыва или отгибов арматуры и в местах резкого изменения сечения.

Черт. 8. Схема усилий в сечении, наклонном к продольной оси железобетонного элемента, при расчете его по прочности на действие изгибающего момента

а - с ненапрягаемой арматурой; б - с напрягаемой арматурой

3.84*. Для наклонных сечений, пересекающих растянутую грань элемента на участках, обеспеченных от образования нормальных трещин от нормативной нагрузки (при sbt < Rbt) расчет на действие момента допускается не производить.

3.85*. При расчете по прочности на действие момента напрягаемую поперечную арматуру, не имеющую сцепления с бетоном, следует учитывать так же, как при расчете на поперечную cилу по п. 3.78*.

Расчет стыков на сдвиг

3.86*. Клееные или бетонируемые стыки (плоские или с уступом) в изгибаемых составных по длине конструкциях следует рассчитывать на прочность по сдвигу по формуле

Q £ 0,45 msh Na,                                                       (105)

где Q -   максимальное сдвигающее усилие от внешних нагрузок и предварительного напряжения в наклонной арматуре, взятых с коэффициентами надежности, соответствующими расчетам по первой группе предельных состояний;

0,45 - расчетное значение коэффициента трения бетона по бетону;

msh - коэффициент условий работы стыкового шва при сдвиге, определяемый для разных видов стыков по п. 3.87*;

Na - усилие, воспринимаемое площадью рабочего сечения стыка соответствующей сжатой части эпюры нормальных напряжений.

При этом коэффициенты надежности к усилиям, возникающим в напрягаемой арматуре (вместо указанных в табл. 8* и п. 2.5), принимают равными:

g =1 ± 0,1 - при числе напрягаемых пучков (стержней)

n £ 10 и gf = 1 + при n > 10.

В рабочее сечение стыка входит сечение стенки (ребра) и продолжение ее в верхней и нижней плитах.

При условии пересечения стыка в пределах стенки наклонными пучками, расположенными в закрытых заинъецированных каналах, в рабочее сечение стыка могут включаться также прилегающие к стенке участки вутов и плиты протяженностью с каждой стороны не более двух толщин плиты (без вутов) или стенки, если она тоньше плиты.

При учете совместной работы на сдвиг клееного стыка и жестких элементов (уступов, шпонок и т.п. ), воспринимающих поперечную силу, несущую способность жестких элементов следует принимать с коэффициентом сочетания, равным 0,7. При этом усилие, воспринимаемое жестким элементом, не должно превышать половины величины поперечной силы, действующей на стык.

3.87*. Коэффициенты условий работы msh в формуле (105) следует принимать равными:

для клееного плотного тонкого стыка с отверждением клеем - 1,2;

для бетонируемого стыка без выпусков арматуры - 1,0;

для клееного стыка с неотвержденным клеем с гладкой поверхностью торцов блоков - 0,25;

то же, с рифленой поверхностью торцов блоков - 0,45.

3.88*. В стыках составных по длине пролетных строений не допускаются растягивающие напряжения от расчетных постоянных нагрузок, учитываемых при выполнении расчетов по первой группе предельных состояний.

Расчет на местное сжатие (смятие)

3.89*. При расчете на местное сжатие (смятие) элементов без косвенного армирования должно удовлетворяться условие

N £ jloc Rb,loc Aloc,                                                         (106)

где N - продольная сжимающая сила от местной нагрузки;

jloc - коэффициент, принимаемый равным: при равномерном распределении местной нагрузки на площади смятия - 1,00, при неравномерном распределении - 0,75;

Aloc - площадь смятия;

Rb,loc - расчетное сопротивление бетона смятию, определяемое по формулам:

Rb,loc = 13,5 jloc1 Rbt;                                                       (107)

jloc1 =  £ 2.                                                        (108)*

В формулах (107) и (108*):

Rbt - расчетное сопротивление бетона растяжению для бетонных конструкций;

Ad - расчетная площадь, симметричная по отношению к площади смятия в соответствии со схемами, приведенными на черт. 9.

3.90. При расчете на местное сжатие (смятие) элементов с косвенным армированием в виде сварных поперечных сеток должно удовлетворяться условие

N £ Rb,red Aloc,                                                               (109)

где Аloc - площадь смятия;

Rb,red - приведенная прочность бетона осевому сжатию, определяемая по формуле

Rb,red = Rb jloc,b + j Rs jloc,s.                                                 (110)

В формуле (110):

Rb, Rs - в МПа;

jloc,b =  £ 3;

j, m - соответственно коэффициент эффективности косвенного армирования и коэффициент армирования сечения сетками или спиралями [формулы (83), (84) и (87)] согласно п. 3.72*;

Черт. 9. Схемы расположения расчетных площадей Ad в зависимости от положения площадей смятия Аloc

jloc,s = 4,5 - 3,5 ;

Aef - площадь бетона, заключенного внутри контура сеток косвенного армирования, считая по их крайним стержням, при этом должно удовлетворяться условие Аloc < Аef £ Аd;

Ad - расчетная площадь, симметричная по отношению к площади смятия Аloc и принимаемая не более указанной на черт. 9.

Остальные обозначения следует принимать согласно требованиям п. 3.89*.

Бетон конструкции в зоне передачи на него сосредоточенных усилий (см. черт. 9) должен быть рассчитан на местное сжатие (смятие), а также по трещиностойкости с учетом местных растягивающих напряжений согласно указаниям п. 3.111*.

Расчет на выносливость

3.91*. Расчету на выносливость подлежат элементы железнодорожных мостов, мостов под пути метрополитена, совмещенных мостов и плиты проезжей части автодорожных и городских мостов; при толщине засыпки менее 1 м - ригели рам и перекрытия прямоугольных железобетонных труб, включая места их сопряжения со стенками.

На выносливость не рассчитывают:

бетонные опоры;

фундаменты всех видов;

звенья круглых труб:

прямоугольные трубы и их перекрытия при толщине засыпки 1 м и более;

стенки балок пролетных строений;

бетон растянутой зоны;

арматуру, работающую только на сжатие;

железобетонные опоры, в которых коэффициенты асимметрии цикла напряжений превышают в бетоне 0,6, в арматуре - 0,7.

Если при расчете на выносливость железобетонных опор и перекрытий труб напряжения в арматуре не превышают 75 % установленных расчетных сопротивлений (с учетом коэффициентов условий работы по пп. 3.26* и 3.39*), то дополнительные ограничения по классам арматуры и маркам стали, указанные в п. 3.33* для арматуры, рассчитываемой на выносливость при средней температуре наружного воздуха наиболее холодной пятидневки ниже минус 40 °С, могут не выполняться.

3.92*. Расчет на выносливость элементов (или их частей) предварительно напряженных железобетонных конструкций, отнесенных к категориям требований по трещиностойкости 2а или 2б (см. п. 3.95*), по сечениям, нормальным к продольной оси, следует производить по приведенным ниже формулам, подставляя абсолютные значения напряжений и принимая сечения элементов без трещин:

а) при расчете арматуры растянутой зоны:

sp.max = (spl - sel,c) + spg + spv £ mapl Rp;                                       (111)

sp.min = (spl - sel,c) + spg;                                                      (112)

б) при расчете бетона сжатой зоны изгибаемых, внецентренно сжатых и внецентренно растянутых элементов:

sbc.max = sbcl + sbcg + sbcv £ mbl Rb;                                             (113)

sbc.min = sbcl + sbcg                                                          (114)

(знак напряжений при расчете статически неопределимых конструкций может изменяться на противоположный).

В формулах (111) - (114):

sp.max, sp.min - напряжения в напрягаемой арматуре соответственно максимальные и минимальные;

spl - установившиеся (за вычетом потерь) предварительные напряжения в напрягаемой арматуре растянутой зоны;

sel,c - снижение напряжения в напрягаемой арматуре растянутой зоны от упругого обжатия бетона согласно п. 3.93;

spg = nl sbtg - напряжения в арматуре от постоянной нагрузки;

spv = nl sbrv - напряжения в арматуре от временной нагрузки;

где                 nl - отношение модулей упругости согласно п. 3.48*:

mapl - коэффициент условий работы арматуры, учитывающий влияние многократно повторяющейся нагрузки согласно п. 3.39*;

Rp - расчетное сопротивление напрягаемой арматуры согласно п. 3.37*;

sbc.max, sbc.min - сжимающие напряжения в бетоне соответственно максимальные и минимальные;

sbcl - установившиеся (за вычетом потерь) предварительные напряжения в бетоне сжатой зоны;

sbrg, sbcv - напряжения в бетоне от постоянной нагрузки соответственно растянутой и сжатой зон;

sbn, sbcg - напряжения в бетоне от временной нагрузки соответственно растянутой и сжатой зон;

mbl -   коэффициент условий работы бетона, учитывающий влияние многократно повторяющейся нагрузки согласно п. 3.26*;

Rb - расчетное сопротивление бетона сжатию согласно п. 3.24*.

Примечание. При расчете как на выносливость, так и на трещиностойкость, при oпределении напряжений в бетоне с учетом приведенного сечения, в формулах напряжения в арматуре, напрягаемой на упоры, принимают без их снижения от упругого обжатия бетона (пои условии, если при расчете всю арматуру, имеющую сцепление с бетоном, включают в приведенные характеристики сечения).

3.93. Напряжения в напрягаемой арматуре следует вычислять с учетом снижения от упругого обжатия бетона sel,c, которое при одновременном обжатии бетона всей напрягаемой на упоры арматурой необходимо определять по формуле

sel,c = nl sbp.                                                             (115)

При натяжении арматуры на бетон в несколько этапов снижение предварительного напряжения в арматуре, натянутой ранее, следует определять по формуле

sel,c = nl Dsb ml.                                                           (116)

В формулах (115) и (116):

nl - отношение модулей упругости согласно п. 3.48*;

sbp -     предварительное напряжение в бетоне на уровне центра тяжести напрягаемой арматуры, вызываемое обжатием сечения всей арматуры;

Dsb -     напряжение в бетоне на уровне центра тяжести арматуры, вызываемое натяжением одного пучка или стержня с учетом потерь, соответствующих данной стадии работы;

ml - число одинаковых пучков (стержней), натянутых после того пучка (стержня), для которого определяют потери напряжения.

3.94*. Расчет на выносливость элементов железобетонных конструкций с ненапрягаемой арматурой производится по формулам сопротивления материалов без учета работы бетона растянутой зоны. Этот расчет допускается производить по формулам, указанным в табл. 38*.

Формулы табл. 38* могут использоваться для определения по их левым частям значений smin и smax при вычислении коэффициентов r, приведенных в табл. 26, 32* и 33*.

При расчете по формуле (121) следует учитывать указания п. 3.91* о расчете на выносливость также и преимущественно сжатой арматуры при знакопеременных напряжениях.

Аналогичным образом следует выполнять расчет внецентренно растянутых элементов. При расчете центрально-растянутых элементов все растягивающее усилие передается на арматуру.

Кроме расчета на выносливость сечения должны быть рассчитаны по прочности.

Таблица 38*

Характер работы элемента

Расчетные формулы

Изгиб в одной из главных плоскостей:

 

проверка по бетону

(117)

проверка по арматуре

(118)

Осевое сжатие в бетоне

(119)

Внецентренное сжатие:

 

 

проверка по бетону

sp £ mbl Rb

(120)*

проверка по арматуре

sp £ masl Rs

(121)*

В формулах (117) - (121)*:

M и N - момент и нормальная сила;

Ired - момент инерции приведенного сечения относительно нейтральной оси без учета растянутой зоны бетона с введением отношения n к площади всей арматуры согласно п. 3.48*;

x¢ - высота сжатой зоны бетона, определяемая по формулам упругого тела, без учета растянутой зоны бетона;

mbl, masl - коэффициенты, учитывающие асимметрию цикла напряжений в бетоне и в ненапрягаемой арматуре (с учетом сварных соединений) согласно пп. 3.26* и 3.39*, вводимые к расчетным сопротивлениям соответственно бетона Rb и арматуры Rs;

au, a¢u - расстояние от наружной соответственно растянутой и сжатой (или менее растянутой) граней до оси ближайшего ряда арматуры;

Ared - площадь приведенного поперечного сечения элемента с введением отношения n, согласно п. 3.48* к площади поперечного сечения всей арматуры.

РАСЧЕТ ПО ПРЕДЕЛЬНЫМ СОСТОЯНИЯМ ВТОРОЙ ГРУППЫ

Расчет по трещиностойкости

ОБЩИЕ ПОЛОЖЕНИЯ

3.95*. Железобетонные конструкции мостов и труб в зависимости от их вида и назначения, применяемой арматуры и условий работы должны удовлетворять категориям требований по трещиностойкости, приведенным в табл. 39*. Трещиностойкость характеризуется значениями растягивающих и сжимающих напряжений в бетоне и расчетной шириной раскрытия трещин.

Таблица 39*

Вид и назначение конструкций, особенности армирования

Категория по трещиностойкости

Предельные значения

растягивающих напряжений в бетоне

расчетной ширины раскрытия трещин Dcr

минимальных сжимающих напряжений при отсутствии временной нагрузки

Элементы железнодорожных мостов (кроме стенок балок пролетных строений), армированные напрягаемой проволочной арматурой всех видов.

Элементы автодорожных и городских мостов (кроме стенок балок пролетных строений), армированные напрягаемой высокопрочной проволокой диаметром 3 мм, арматурными канатами класса К-7 диаметром 9 мм, а также напрягаемыми стальными канатами (со спиральной и двойной свивкой и закрытыми)

2а

0,4 Rbt,ser

-

-

Элементы железнодорожных мостов (кроме стенок балок пролетных строений), армированные напрягаемой стержневой арматурой.

Элементы автодорожных и городских мостов (кроме стенок балок пролетных строений), армированные напрягаемой высокопрочной проволокой диаметром 4 мм и более, напрягаемыми арматурными канатами класса К-7 диаметром 12 и 15 мм.

Сваи мостов всех назначений, армированные напрягаемой стержневой арматурой и напрягаемой высокопрочной проволокой диаметром 4 мм и более, а также напрягаемыми арматурными канатами класса К-7

2б

1,4R*bt.ser

0,015**

Не менее 0,1Rb при бетонах класса В30 и ниже и не менее 1,6 МПа (16,3 кгс/см2) - при бетонах класса В35 и выше

Стенки (ребра) балок предварительно напряженных пролетных строений мостов при расчете на главные напряжения

По табл. 40*

0,015

-

Элементы автодорожных и городских мостов, армированные напрягаемой стержневой арматурой.

Участки элементов (в мостах всех назначений), рассчитываемые на местные напряжения в зоне расположения напрягаемой проволочной арматуры

-

0,020

-

Элементы мостов и труб всех назначений с ненапрягаемой арматурой.

Железобетонные элементы мостов всех назначений с напрягаемой арматурой, расположенной вне тела элемента.

Участки элементов (в мостах всех назначений), рассчитываемые на местные напряжения в зоне расположения напрягаемой стержневой арматуры

-

0,030***

-

___________

* При смешанном армировании допускается повышать предельные растягивающие напряжения в бетоне согласно указаниям п. 3.96*.

В конструкциях автодорожных и городских мостов с проволочной напрягаемой арматурой при расположении ее в плите проезжей части предельные значения растягивающих напряжений в бетоне в направлении его обжатия не должны быть более 0,8 Rbt,ser.

** При оцинкованной проволоке допускается принимать Dcr = 0,02 см.

*** Ширина раскрытия трещин не должна превышать, см:

0,020 - в элементах пролетных строений железнодорожных мостов, в верхних плитах проезжей части автодорожных и городских мостов при устройстве на них гидроизоляции, в стойках и сваях всех опор, находящихся в зоне переменного уровня воды, а также в элементах и частях водопропускных труб;

0,015 - в элементах промежуточных опор железнодорожных мостов в зонах, расположенных выше и ниже переменного уровня воды;

0,010 - на уровне верхней грани в продольных стыках верхних плит проезжей части автодорожных и городских мостов.

При расположении мостов и труб вблизи плотин гидростанций и водохранилищ в зоне попеременного замораживания и оттаивания (в режиме по ГОСТ 10060-87) ширина раскрытия трещин в зависимости от числа циклов попеременного замораживания в год должна составлять, см, не более:

0,015 - при числе циклов менее 50;

0,010 -то же, 50 и более.

Расчеты по определению напряжений в бетоне, образованию трещин и определению ширины их раскрытия должны производиться с учетом потерь предварительного напряжения в арматуре согласно обязательному приложению 11*.

В составных предварительно напряженных конструкциях мостов всех назначений возникновение растягивающих напряжений в обжимаемых стыках, а также в элементах сквозных пролетных строений железнодорожных мостов не допускается.

В составных по длине конструкциях пролетных строений мостов минимальные сжимающие напряжения в бетоне при воздействии создаваемой нормативной постоянной нагрузкой должны соответствовать категории требований по трещиностойкости 2б.

В неразрезных пролетных строениях, составленных из разрезных преднапряженных балок с надопорными необжатыми бетонируемыми стыками, армированными ненапрягаемой арматурой, ширина трещин в бетоне под нормативной нагрузкой должна отвечать категории требований 3.

3.96*. В автодорожных и городских мостах при применении смешанного армирования предельные растягивающие напряжения в бетоне допускается повышать до 2Rbt,ser при условии, что все усилие от части эпюры растягивающих напряжений, возникающее на той части площади сечения, на которой растягивающие напряжения превышают 1,4Rbt,ser, воспринимается только ненапрягаемой арматурой. Кроме этого, при расчете ширины поперечных трещин следует руководствоваться указаниями пп. 3.108* и 3.109*.

3.97*. В обжатом бетоне конструкций, проектируемых по категории требований по трещиностойкости 2а, при проверке возможности прохода по монтируемой части моста монтажного крана, с грузом допускается принимать:

предельные значения нормальных растягивающих напряжений в бетоне - 1,15 Rbt,ser;

предельные значения расчетной ширины раскрытия трещин - 0,01 см.

При расчете следует учитывать снижение предварительных напряжений в напрягаемой арматуре, соответствующее потерям за год.

3.98*. В элементах конструкций, проектируемых по категориям требований по трещиностойкости 2а, 2б и 3б, в зонах бетона, сжатых на стадии эксплуатации под постоянной и временной нагрузками конструкций, не следует допускать при других стадиях работы возникновение растягивающих напряжений, превышающих величину 0,8 Rbt,ser.

РАСЧЕТ ПО ОБРАЗОВАНИЮ ТРЕЩИН

3.99*. Трещиностойкость железобетонных конструкций мостов и труб обеспечивается ограничениями возникающих в элементах растягивающих и сжимающих напряжений, а в бетонных конструкциях - сжимающих напряжений.

Предельные значения указанных напряжений принимаются в зависимости от условий, которые необходимо обеспечить:

а) появление (образование) трещин в элементах конструкции недопустимо;

б) появление трещин с ограниченным раскрытием их по ширине допустимо (возможно).

3.100*. Образование продольных трещин от нормальных сжимающих напряжений во всех конструкциях и на всех стадиях их работы недопустимо.

Возникающие от действующих нормативных нагрузок и воздействий нормальные сжимающие напряжения sbx в сечениях элементов не должны превышать:

в бетонных и железобетонных конструкциях с ненапрягаемой арматурой - расчетных сопротивлений Rb,mc2 (с учетом пп. 3.48* и 3.97*);

в обжимаемой зоне бетона предварительно напряженных конструкций - расчетных сопротивлений Rb,mc1 (на стадии изготовления и монтажа) и Rb.mc2 (на стадии постоянной эксплуатации).

Возникающие в бетоне стенок предварительно напряженных балок главные сжимающие напряжения не должны во всех случаях превышать расчетное сопротивление бетона Rb,mc2.

3.101. Образование трещин, нормальных к продольной оси элемента (перпендикулярных направлению действия нормальных растягивающих напряжений), не допускается в конструкциях мостов, проектируемых по категории требований по трещиностойкости 2а, за исключением случая проверки на пропуск по мосту монтажного крана. При этом не исключается вероятность образования случайных поперечных трещин.

Для выполнения этих условий нормальные растягивающие напряжения в обжимаемом бетоне не должны превышать значений, указанных в табл. 39* и п. 3.97*.

3.102. В конструкциях, проектируемых по категориям требований по трещиностойкости 2б, 3а, 3б и 3в, допускается образование поперечных трещин. При этом возможность образования поперечных трещин в конструкциях, проектируемых по категориям требований по трещиностойкости 2б и 3а, ограничивается двумя показателями, указанными в табл. 39*, - предельно допустимыми растягивающими напряжениями и расчетной шириной возможного раскрытия поперечных трещин.

Кроме этого, в предварительно напряженных конструкциях, проектируемых по категории требований по трещиностойкости 2б, следует обеспечивать «зажатие» поперечных трещин: предельные значения минимальных сжимающих напряжений в обжимаемом бетоне при отсутствии на мосту временной нагрузки должны быть не менее значений, приведенных в табл. 39*.

3.103*. Главные растягивающие напряжения в бетоне стенок предварительно напряженных балок должны ограничиваться с учетом отношения главных сжимающих напряжений smc к расчетному сопротивлению бетона сжатию Rb,mc2 при рассмотрении сечения как сплошного.

Предельные значения главных растягивающих напряжений в зависимости от отношения указанных величин должны приниматься не более приведенных в табл. 40*.

Таблица 40*

Предельные значения главных растягивающих напряжений max smt, принимаемых в мостах

железнодорожных

автодорожных и городских

£ 0,52

0,68 Rbt,ser, но не более 1,75 МПа (18 кгс/см2)

0,85 Rbt,ser, но не более 2,15 МПа (22 кгс/см2)

³ 0,80

0,42 Rbt,ser

0,53 Rbt,ser

Примечания. 1. Для промежуточных значений отношений smc/Rb,mc2 предельные значения max smt следует определять по интерполяции.

2. Предварительное значение главных растягивающих напряжений в бетоне зон, примыкающих к клееным стыкам в составных конструкциях пролетных строений, следует уменьшить на 10 %. Длина указанной зоны принимается равной высоте стыка в каждую сторону от стыка.

3.104*. Главные сжимающие и главные растягивающие напряжения, указанные в пп. 3.100* и 3.103*, следует определять по формуле

,                                (122)

где sbx - нормальное напряжение в бетоне вдоль продольной оси от внешней нагрузки и от усилий в напрягаемой арматуре с учетом потерь;

sby - нормальное напряжение в бетоне в направлении, нормальном к продольной оси элемента, от напрягаемых хомутов, наклонной арматуры и напряжений от опорной реакции, при этом распределение сжимающих усилий от опорной реакции следует принять под углом 45°;

tb - касательное напряжение в бетоне стенки (ребра), определяемое по формуле

tb = tq + tt £ mb6 Rb,sh.                                                 (123)

В формуле (123):

tq - касательные напряжения от поперечной силы, определяемой от внешней нагрузки и предварительного напряжения;

tt - то же, от кручения;

mb6 - коэффициент, учитывающий воздействие поперечного обжатия бетона по п. 3.27:

Rb,sh - расчетное сопротивление бетона скалыванию при изгибе, принимаемое по табл. 23*.

При расчете стенок (ребер) составных по длине балок с бетонными стыками на главные напряжения по формуле (122) входящие в формулу касательные напряжения по контакту между поперечно обжатым бетоном стыка и блоками следует ограничивать значениями, приведенными в формуле (123), в правую часть которой наряду с коэффициентом mb6 необходимо вводить также и коэффициент mb15. При необжатых стыках вместо коэффициента mb6 следует вводить коэффициент mb15. Сечение бетона омоноличивания допускается учитывать при расчете по предельным состояниям второй группы, если расчетом обоснована, а конструктивно обеспечена передача сдвигающего усилия по контакту бетона омоноличивания с бетоном блоков и если скалывающие напряжения в бетоне по контакту не превышают 0,5Rb,sh по табл. 23*. Сечение инъецированного раствора в закрытых каналах допускается учитывать в расчете полностью.

Определение нормальных и касательных напряжений в элементах высотой, изменяющейся по длине пролета, следует выполнять с учетом переменности сечения.

РАСЧЕТ ПО РАСКРЫТИЮ ТРЕЩИН

3.105. Ширину раскрытия нормальных и наклонных к продольной оси трещин аcr, см, в железобетонных элементах, проектируемых по категориям требований по трещиностойкости 2б, 3а, 3б и 3в, необходимо определять по формуле

,                                                         (124)

где s - растягивающее напряжение, равное для ненапрягаемой арматуры напряжению ss в наиболее растянутых (крайних) стержнях, для напрягаемой - приращению напряжений Dsp после погашения обжатия бетона;

Е - модуль упругости соответственно для ненапрягаемой Es и напрягаемой Еp арматуры, принимаемый по табл. 34;

y - коэффициент раскрытия трещин, определяемый в зависимости от радиуса армирования (учитывает влияние бетона растянутой зоны, деформации арматуры, ее профиль и условия работы элемента) и принимаемый по п. 3.109*;

Dсr - предельное значение расчетной ширины раскрытия трещин, см, принимаемое по табл. 39*.

3.106*. При определении ширины трещин по формуле (124) при смешанном армировании значение s/Е с учетом растягивающих напряжений в ненапрягаемой арматуре ss и приращения напряжений в напрягаемой арматуре Dsb после погашения предварительного обжатия бетона до нуля определяется по формуле

,                                                  (125*)

где y1 - коэффициент раскрытия трещин для ненапрягаемой арматуры, принимаемый по п. 3.109*;

y2 - то же, для напрягаемой арматуры по п. 3.109*.

Формулы (126) и (127) исключены.

3.107*. Растягивающие напряжения ss в поперечной и продольной арматуре стенок (ребер) балок допускается определять по формуле

,                                                                 (128)

где sbt - напряжение в предварительно напряженных балках, не имеющих напрягаемых хомутов, принимаемое равным главному растягивающему напряжению smt на уровне центра тяжести сечения, в балках с ненапрягаемой арматурой - равным касательному напряжению t на том же уровне;

m - коэффициент армирования стенки стержнями, пересекающими наклонное сечение (между вутами поясов), определяемый как отношение проекции площадей сечения этих стержней на нормаль к наклонному сечению - к площади бетона наклонного сечения;

d -    коэффициент, учитывающей перераспределение напряжений в зоне образования наклонных трещин и определяемый по формуле

,                                                   (129)

где li - длина, см, предполагаемой наклонной трещины на участке между вутами поясов (в тавровых балках начало наклонного сечения принимается от крайнего, в сторону нейтральной оси, ряда растянутой арматуры); наклон трещин следует принимать по п. 3.79*.

Черт. 10. Проекции усилий в поперечной арматуре на нормаль к наклонному сечению

1 - нормаль; 2 - хомут; 3 - наклонное сечение; 4 - продольная арматура; 5 - касательная к пучку; 6 - вут

3.108*. При определении ширины нормальных трещин в растянутой зоне предварительно напряженных элементов следует учитывать всю растянутую арматуру.

При определении ширины трещин в предварительно напряженных сваях допускается учитывать всю арматуру растянутой зоны.

Приращение растягивающего напряжения Dsр в напрягаемой арматуре согласно п. 3.105, возникающее после снижения под временной нагрузкой предварительного сжимающего напряжения в бетоне до нуля, допускается определять по формуле

,                                                                (130)

где sbt - растягивающее напряжение в бетоне на уровне центра тяжести площади растянутой зоны бетона;

mp - коэффициент армирования, определяемый как отношение учитываемой в расчете площади поперечного сечения продольной арматуры к площади всей растянутой зоны бетона (арматура, не имеющая сцепления с бетоном, при вычислении mp не учитывается).

При смешанном армировании напряжение в бетоне sbt определяется на уровне центра тяжести той части площади растянутой зоны бетона, в пределах которой растягивающие напряжения не превышают 1,4sbt,ser.

Напряжения в ненапрягаемой арматуре при смешанном армировании допускается определять по формуле

,

где sbts - напряжения в бетоне на уровне центра тяжести части площади Аbts растянутой зоны бетона, в пределах которой напряжения в бетоне превышают 1,4sbt,ser:

.

3.109*. Коэффициенты раскрытия трещин следует принимать в зависимости от радиуса армирования Rr (см) равными:

0,35Rr - для гладкой стержневой арматуры, арматурных пучков из гладкой проволоки и для стальных закрытых канатов;

1,5 - для стержневой арматуры периодического профиля, проволок периодического профиля, пучков из этой проволоки, канатов класса К-7 и пучков из них, стальных канатов со спиральной и двойной свивкой, а также для любой арматуры в стенках.

3.110*. При расчете ширины нормальных трещин радиус армирования должен определяться по формуле

,                                                         (131)

где Ar - площадь зоны взаимодействия для нормального сечения, принимаемая ограниченной наружным контуром сечения и радиусом взаимодействия r = 6d.

b - коэффициент, учитывающий степень сцепления арматурных элементов с бетоном согласно табл. 41*;

n - число арматурных элементов с одинаковым номинальным диаметром d;

d - диаметр одного стержня (включая случаи расположения стержней в группах).

Для непрямоугольных сечений с арматурой, равномерно распределенной по контуру, радиус взаимодействия принимается r = 3d.

Для пучков и канатов d соответствует наружному контуру арматурного элемента, а r = 5d.

Таблица 41*

Вид армирования конструкции

Коэффициент b

1. Одиночные стержни (гладкие и периодического профиля), одиночные проволоки периодического профиля или арматурные канаты класса К-7

1,0

2. Вертикальные ряды из двух стержней (без просветов), группами из сдвоенных стержней (с просветами между группами стержней)

0,85

3. То же, из трех стержней (с просветами между группами стержней), стальные канаты со спиральной и двойной свивкой, пучки из арматурных канатов класса К-7

0,75

4. Пучки с числом проволок до 24 включительно

0,65

5. Пучки с числом проволок свыше 24 или стальные закрытые канаты

0,5

Радиус взаимодействия r следует откладывать от крайнего, ближайшего к нейтральной оси ряда стержня. Если в крайнем ряду установлено менее половины площади поперечного сечения стержней по отношению к площади арматуры в каждом из остальных рядов, то r следует откладывать от предпоследнего ряда с полным числом стержней; в круглых сечениях r следует откладывать от оси наиболее напряженного стержня в сторону нейтральной оси, а при пучках стержней - от оси внутреннего стержня наиболее напряженного пучка.

Зона взаимодействия не должна выходить за нейтральную ось, и ее высота не должна превышать высоты сечения, а в центрально-растянутых элементах принимается равной всей площади сечения. В круглых сечениях площадь зоны взаимодействия и радиус армирования следует определять для наиболее напряженного стержня или пучка.

Формула (132) исключена.

При расчете ширины наклонных трещин радиус армирования следует определять по формуле

,                         (133)

где Ar - площадь зоны взаимодействия для наклонного сечения, определяемая по формуле

Ar = li b;

li - длина наклонного сечения стенки по п. 3.107*;

b - толщина стенки;

np, nw, nl -   число наклонных стержней, ветвей хомутов и продольных стержней в пределах наклонного сечения;

di, dw, dl - диаметры соответственно наклонных стержней (или пучков), хомутов и продольных стержней, пересекающих наклонное сечение в пределах стенки;

ai, aw, al - углы между наклонными стержнями (или пучками), хомутами, продольными стержнями и нормалью к наклонному сечению согласно черт. 10.

3.111*. Трещиностойкость элементов от местных напряжений, вызываемых сосредоточенно приложенными силами предварительного напряжения, и изгиб стенок (балок) от местной нагрузки допускается обеспечивать постановкой дополнительной арматуры, воспринимающей передающееся на нее с бетона все растягивающее усилие от местных воздействий в предположении образования трещин на рассматриваемом участке. При этом вычисленная ширина трещин не должна превышать нормированную для категорий требований по трещиностойкости 3б или 3в (см. табл. 39*). Для участков, где указанные напряжения не превышают 0,4, армирование разрешается осуществлять конструктивно.

При расчете бетона на местное сжатие под анкером усилие, передаваемое последним, следует принимать равным: при натяжении арматуры на бетон - 100 %, при натяжении на упоры пучка с внутренним анкером - 30 % усилия в арматуре.

Определение прогибов и углов поворота

3.112. Прогибы, углы поворота и продольные перемещения вычисляются по формулам строительной механики в зависимости от кривизны элементов 1/r, а также относительных продольных перемещений, которые определяются исходя из гипотезы плоских сечений для полных (упругих и неупругих) деформаций.

Прогиб f или угол поворота a, обусловленные деформациями изгиба элемента, следует определять по формуле

,                                                 (134)

где  - при определении прогиба f - функция изгибающего момента от единичной силы, приложенной по направлению искомого прогиба f, при определении угла поворота a - функция изгибающего момента от единичного момента, приложенного по направлению искомого угла поворота;

 -   кривизна элемента в том же сечении от нагрузки, под которой определяется прогиб или угол поворота (знак принимается в соответствии со знаком изгибающего момента в указанном сечении).

В формуле (134) суммирование производится по всем участкам (по длине пролета), различающимся законами изменения величин  и .

Вычисление прогибов (углов поворота) допускается производить численными приемами, используя выражение

f(a) = ,                                                  (135)

в котором  и  - средние величины момента и кривизны на отдельных участках длиной Dх, где изменение указанных параметров имеет плавный характер.

3.113*. Кривизну предварительно напряженных элементов, в которых пояса отнесены к категориям требований по трещиностойкости 2а, 2б и 3б, допускается определять как для сплошного сечения по формуле

,                                                (136)

где

Mp, Mg, Mv - моменты в рассматриваемом сечении, создаваемые соответственно усилием в напрягаемой арматуре, постоянной и временной нагрузками;

B·p, B·g - жесткости сечения при длительном воздействии соответственно усилия в напрягаемой арматуре и постоянной нагрузки;

В - жесткость сплошного сечения при кратковременном действии нагрузок.

Значения перечисленных жесткостей допускается определять по обязательному приложению 13*.

Допускается правую часть формулы (136) определять другими методами, обоснованными в установленном порядке.

Моменты от предварительного напряжения следует вычислять исходя из напряжений в арматуре, соответствующих стадиям работы конструкции: на стадии обжатия - за вычетом первых потерь; на последующих стадиях, в том числе и на стадии эксплуатации, за вычетом также и вторых потерь согласно обязательному приложению 11*.

Значения изгибающих моментов Мg при навесном монтаже следует определять с учетом веса монтируемых блоков и других возможных строительных нагрузок. При определении жесткостей В·p и В·g учитывается влияние усилия предварительного напряжения и длительности действия нагрузки.

3.114*. Кривизну элементов с ненапрягаемой арматурой, в которых пояса отнесены к категории требований по трещиностойкости 3в, следует определять по формуле

,                                                             (137)

где  - жесткость сечения при действии постоянной нагрузки с учетом образования трещин и ползучести бетона;

 - жесткость сплошного сечения при кратковременном действии временной нагрузки с учетом образования трещин.

При вычислении кривизны элементов допускается принимать, что вся постоянная нагрузка действует в бетоне одного возраста, отвечающего приложению наибольшей части этой нагрузки.

Определение кривизны железобетонных элементов с напрягаемой арматурой на участках с трещинами (шириной, превышающей 0,015 см) в растянутой зоне допускается производить по указаниям СНиП 2.03.01-84.

3.115*. При вычислении прогибов балок с ненапрягаемой арматурой (если ширина трещин в бетоне не превышает 0,015 см) по формулам сопротивления упругих материалов, а также для расчета перемещений опор, столбов, свай-оболочек (в том числе заполненных бетоном) независимо от определяемой ширины трещин сечения допускается жесткость определять по формуле

В = 0,8 Еb Jb,

здесь Jb - момент инерции бетонного сечения.

Расчет перемещений массивных бетонных и железобетонных элементов (опор) от временной и постоянной нагрузок допускается производить с учетом жесткостей, определенных по полным сечениям элементов без учета ползучести и усадки бетона.

КОНСТРУКТИВНЫЕ ТРЕБОВАНИЯ

3.116. При проектировании бетонных и железобетонных конструкций для обеспечения условий их изготовления, требуемой долговечности и совместной работы арматуры и бетона необходимо выполнять конструктивные требования, изложенные в настоящем разделе.

Минимальные размеры сечения элементов

3.117. Толщина стенок, плит, диафрагм и ребер в железобетонных элементах должна приниматься не менее указанной в табл. 42.

Таблица 42

Элементы и их части

Наименьшая толщина, см, для конструкций мостов и труб

железнодорожных

автодорожных

1. Вертикальные или наклонные стенки балок:

 

 

а) ребристых:

 

 

при отсутствии в стенках арматурных пучков

12*

10*

при наличии в стенках арматурных пучков

15

12*

б) коробчатых:

 

 

при отсутствии в стенках арматурных пучков

15

12*

при наличии в стенках арматурных пучков

18

15

2. Плиты:

 

 

а) балластного корыта:

 

 

между стенками (ребрами)

15

-

на концах консолей

10

-

б) проезжей части:

 

 

между стенками (ребрами)

-

-

при отсутствии в плите арматурных пучков

-

12

при наличии в плите арматурных пучков

-

15

на концах консолей

-

8

в) нижние в коробчатых балках:

 

 

при отсутствии в плите арматурных пучков

15

12

при наличии в плите арматурных пучков

18

15

г) тротуаров:

 

 

монолитные (несъемные)

8

8

сборные (съемные)

6

6

3. Пустотелые блоки плитных пролетных строений**:

 

 

а) с арматурой из стержней, одиночных канатов класса К-7 и пучков из параллельных высокопрочных проволок:

 

 

стенки и верхние плиты

10

8

нижние плиты

12

10

б) струнобетонные:

 

 

стенки и верхние плиты

-

6

нижние плиты

-

7

4. Диафрагмы и ребра жесткости пролетных строений

10

10

5. Стенки звеньев труб под насыпями

10

10***

6. Стенки блоков коробчатого и круглого сечений пустотелых и сборно-монолитных опор:

 

 

в зоне переменного уровня воды

30

25

вне зоны переменного уровня воды

15

15

7. Стенки железобетонных полых свай и свай-оболочек при наружном диаметре, м:

 

 

0,4

8

8

от 0,6 до 0,8

10

10

от 1,0 до 3,0

12

12

___________

* При применении двух арматурных сеток наименьшая толщина стенок принимается равной 15 см.

** В пустотелых блоках с криволинейным очертанием верхних и нижних участков полостей между стенками за наименьшую толщину плиты на криволинейных участках допускается принимать среднюю приведенную величину, вычисленную на ширине полости.

*** Для труб диаметром 0,5 и 0,75 м допускается принимать толщину стенок равной 8 см.

Наименьшие диаметры ненапрягаемой арматуры

3.118*. Наименьшие диаметры ненапрягаемой арматуры следует принимать по табл. 43*.

Таблица 43*

Вид арматуры

Наименьший диаметр арматуры, мм

1. Расчетная продольная в элементах мостов (кроме элементов, указанных ниже) и прямоугольных труб

12

2. Расчетная проезжей части (включая тротуары) автодорожных мостов

10

3. Расчетная и конструктивная звеньев круглых труб; конструктивная продольная и поперечная в элементах мостов (кроме плит); хомуты стенок балок и уширений поясов на всей длине

8

4. Проволочная арматура класса Вр для плит укрепления откосов и хомутов арматуры свай (см. п. 3.35*) диаметром 5 мм

10

5. Конструктивная (распределительная) плит; хомуты свай и свай-оболочек; хомуты в пустотелых плитах

6

Распределительная арматура в плитах и хомуты в сваях при продольной арматуре диаметром 28 мм и более должны иметь диаметр не менее четверти диаметра продольных стержней.

Защитный слой бетона

3.119*. Толщина защитного слоя бетона от его наружной поверхности до поверхности арматурного элемента или канала должна быть не менее указанной в табл. 44*.

Таблица 44*

Вид арматуры и ее расположение

Наименьшая толщина защитного слоя бетона, см

1. Ненапрягаемая рабочая арматура:

 

верхняя в плите проезжей части автодорожных и городских мостов

5

в ребристых и плитных пролетных строениях, а также в плитах высотой 30 см и более

3

в плитах высотой менее 30 см

2

в звеньях труб и полых сваях-оболочках

2*

в наружных блоках сборных опор у наружных поверхностей монолитных опор:

 

а) в ледорезной части опоры

7

б) на остальных участках опоры

5

в) в сваях, колодцах и блоках сборных фундаментов

3

в опорных плитах фундаментов из монолитного железобетона:

 

а) при наличии бетонной подготовки

4

б) при отсутствии бетонной подготовки

7

2. Ненапрягаемые хомуты:

 

в стенках (ребрах) балок

2

в стойках опор:

 

а) вне зоны переменного уровня воды

2

б) в зоне переменного уровня воды

3

3. Конструктивная (нерасчетная) продольная в стенках (ребрах) балок и в плитах

1,5

4. Ненапрягаемая, устанавливаемая в бетоне омоноличивания напрягаемой арматуры

3

5. Напрягаемая в растянутой зоне сечения:

 

а) в виде пучков из высокопрочной проволоки и пучков из канатов класса К-7

4**

б) из арматурной стали классов:

 

А-IV, АТ-IV

4

A-V, Aт-V, Ат-VI

5

в) из стальных канатов (спиральных, двойной свивки и закрытых) диаметром d > 40 мм с анкерами на концах

d

6. Напрягаемая всех видов в плите проезжей части, защищенной гидроизоляцией

3

7. Напрягаемые хомуты в стенках (ребрах)

3

8. Напрягаемая в струнобетонных конструкциях со стороны:

 

растянутой грани

3***

боковых граней

2

___________

* Для труб диаметром 3 м и более защитный слой с внутренней стороны 3 см.

** Для напрягаемой арматуры, размещаемой в закрытых каналах, защитный слой бетона принимается относительно поверхности канала. Для каналов диаметром 11 см защитный слой следует назначать равным 5 см. При диаметрах каналов свыше 11 см принимаемую толщину защитного слоя следует проверять расчетом на силовые воздействия и давление раствора при инъецировании.

*** Для элементов толщиной менее 20 см допускается защитный слой уменьшать до 2 см.

3.120. Толщина защитного слоя бетона у концов предварительно напряженных элементов на длине зоны передачи усилий (согласно п. 3.11) должна составлять не менее двух диаметров арматуры.

При применении стержневой напрягаемой арматурной стали классов A-V, aт-v и aт-vi следует дополнительно на длине зоны передачи усилий (см. п. 3.11) устанавливать сетки, спирали диаметром, на 4 см превышающим диаметр стержня, или замкнутые хомуты с шагом не более 5 см.

Минимальные расстояния между арматурными элементами

3.121. Расстояния в свету между отдельными арматурными элементами, а также стенками каналов должны обеспечивать требуемое заполнение бетонной смесью всего объема конструкции. Дополнительно в предварительно напряженных конструкциях эти расстояния должны назначаться с учетом особенности передачи усилий с напрягаемой арматуры на бетон, размещения анкеров, габаритов применяемого натяжного оборудования.

3.122*. Расстояние в свету между отдельными продольными рабочими стержнями ненапрягаемой арматуры и пучками арматуры, напрягаемой на упоры, должно приниматься:

а) если стержни занимают при бетонировании горизонтальное или наклонное положение, см, не менее, при расположении арматуры:

4 - в один ряд;

5 - в два ряда;

6 - в три ряда или более;

б) если стержни занимают при бетонировании вертикальное положение - 5 см.

При стесненных условиях для размещения арматуры допускается располагать стержни ненапрягаемой арматуры группами (без запора между стержнями) по два или по три стержня. Расстояние по ширине в свету между группами следует принимать, см, не менее:

5 - при двух стержнях в группе;

6 - «      трех        «        «      «

3.123*. При назначении расстояний в свету между арматурными элементами в предварительно напряженных конструкциях следует соблюдать требования, указанные в табл. 45*.

При смешанном армировании минимальное расстояние между ненапрягаемым арматурным стержнем и арматурным пучком или стенкой закрытого канала следует принимать не менее 3 см.

Таблица 45*

Назначаемые расстояния в свету

Наименьшие размеры расстояний

по абсолютному значению, см

в зависимости от диаметра d арматурного элемента или диаметра dc канала

В конструкциях с арматурой, напрягаемой на упоры

1. Между арматурными пучками из параллельных высокопрочных проволок

6

d

2. Между арматурными пучками и наружными поверхностями их внутренних анкеров

4

-

3. Между наружными поверхностями внутренних анкеров арматурных пучков

3

-

4. Между отдельными арматурными канатами класса К-7 при расположении их:

 

 

в один ряд

4

-

в два ряда и более

5

-

5. Расстояние от торца внутреннего анкера до торца бетона

5

 

В конструкциях с арматурой, напрягаемой на бетон

6. Между стенками круглых закрытых каналов при диаметрах каналов, см:

 

 

9 и менее

6

dc - 1

св. 9 до 11

8

-

св. 11

По расчету

7. Между пучками из параллельных высокопрочных проволок, пучками из арматурных канатов класса К-7, а также стальными канатами (спиральными, двойной свивки и закрытыми) при расположении их в открытых каналах:

 

 

в один ряд

3

-

в два ряда

4

-

8. Между стенками каналов с одиночными стержнями, напрягаемыми электротермическим способом, при каналах:

 

 

закрытых

10

-

открытых

13

-

Анкеровка ненапрягаемой арматуры

3.124*. Арматурные стержни периодического профиля, а также стержни гладкого профиля в сварных сетках и каркасах допускается применять без крюков на концах.

Растянутые рабочие стержни арматуры гладкого профиля, а также гладкие рабочие стержни в вязаных сетках и каркасах должны иметь на концах полукруглые крюки с внутренним диаметром не менее 2,5 диаметра стержня и длиной прямолинейного участка после отгиба не менее трех диаметров стержня.

3.125*. В изгибаемых разрезных балках и в плитных конструкциях толщиной белее 30 см концы растянутых стержней при обрыве их по эпюре моментов следует, как правило, анкеровать в сжатой зоне бетона, определяемой в расчетах на трещиностойкость.

Гладкие стержни, заводимые посредством отгибов в сжатую зону, следует заканчивать прямыми крюками, имеющими после загиба прямые участки длиной не менее трех диаметров арматуры.

Для арматуры периодического профиля и при сварных соединениях допускается для автодорожных и городских мостов заделка стержней в растянутой зоне бетона изгибаемых и внецентренно сжатых элементов на длину не менее 30 диаметров стержней за местом их теоретического обрыва. Кроме этого, в пролетных строениях концы заанкериваемых стержней должны быть приварены к смежным стержням на длине не менее 4d швом толщиной не менее 4 мм.

3.126. Начало отгибов продольных растянутых стержней арматуры периодического профиля в изгибаемых элементах или обрыв таких стержней во внецентренно сжатых элементах следует располагать за сечением, в котором стержни учитываются с полным расчетным сопротивлением. Длина заводки стержня за сечения (длина заделки ls) для арматурных сталей классов А-II и Ас-II должна составлять не менее:

22d - при классе бетона В30 и выше;

25d - при классах бетона В20 - В27,5 (d - диаметр стержня).

Для арматурных сталей класса А-III длину заделки ls следует соответственно увеличивать на 5d. При пучке стержней d определяется как диаметр условного стержня с площадью, равной суммарной площади стержней, образующих пучок.

3.127*. В разрезных балках и на концевых участках неразрезных балок заводимые за ось опорной части растянутые стержни продольной арматуры должны иметь прямые участки длиной не менее 8 диаметров стержня. Кроме того, крайние стержни, примыкающие к боковым поверхностям балки, должны быть отогнуты у торца под углом 90° и продолжены вверх до половины высоты балки.

Необходимо обеспечить расстояние от торца балки до оси опирания, равное не менее 30 см, и до края опорной плиты - не менее 15 см.

3.128. Перегибы растянутых стержней продольной арматуры по очертанию входящих углов, образующихся при переломе поверхности элемента, не допускаются. Стержни продольной арматуры, расположенные вдоль плоскостей, образующих угол перелома, должны быть продолжены за точку их пересечения на длину не менее 20 диаметров арматуры.

Анкеровка напрягаемой арматуры

3.129*. При применении в конструкциях арматуры из стержней периодического профиля диаметром до 36 мм, напрягаемой на упоры, устройство анкеров на стержнях не требуется.

В элементах с арматурой, рассчитываемой на выносливость, вся арматура (за исключением указанной выше) должна иметь внутренние или наружные (концевые) анкеры.

В элементах, напрягаемых на упоры, с арматурой, не рассчитываемой на выносливость, допускается применять без устройства анкеров (внутренних и наружных) отдельные арматурные канаты класса К-7 и отдельные высокопрочные проволоки периодического профиля.

Прочность анкеровки, применяемой в конструкциях с натяжением на бетон, не должна быть менее прочности арматурных элементов, закрепляемых анкерами.

3.130. В изгибаемых элементах следует избегать расположения анкеров арматуры в зонах бетона, где главные растягивающие и сжимающие напряжения составляют свыше 90 % предельных значений, установленных для этих напряжений.

3.131*. Наружные (концевые) анкеры на торцевой поверхности балок следует располагать возможно равномернее. При этом необходимо предусматривать постановку на торце сплошных стальных листов, перекрывающих бетон зоны расположения анкеров. Краевые участки листов следует заанкеривать в бетоне.

Толщину торцевых листов следует назначать по расчету в зависимости от усилий натяжения напрягаемых арматурных элементов и принимать, мм, не менее:

при усилии натяжения 590 кН (60 тс) - 10;

«           «            «           1180 кН (120 тс) - 20;

«           «            «           2750 кН (280 тс) - 40.

При усилиях, отличающихся от указанных, следует принимать толщину листов, соответствующую ближайшему большему значению.

3.132. В элементах с натяжением арматуры на бетон зону обетонирования наружных анкеров следует армировать поперечными сетками из стержней периодического профиля диаметром не менее 10 мм с ячейками не более 10´10 см. Расстояние между сетками должно быть не более 10 см.

Продольное армирование элементов

3.133*. В сварных арматурных каркасах арматура располагается группами, не более трех стержней в каждой. Стержни в группе объединяются между собой сварными односторонними связующими швами. Длина связующих швов между стержнями должна быть не менее 4 диаметров, а их толщина - не более 4 мм. Зазоры между группами стержней образуются постановкой продольных коротышей диаметром не менее 25 мм. Коротыши устанавливаются перед отгибами, не более чем через 2,5 м по длине, вразбежку по отношению друг к другу. Они привариваются к рабочей арматуре односторонними связующими швами толщиной не более 4 мм и длиной не менее 2 диаметров рабочей арматуры.

Связующие сварные швы между стержнями в группе располагаются вразбежку по отношению к коротышам и смежным связующим швам так, чтобы расстояние в свету между швами было не менее 40 см, в случае если смежные швы наложены на общий продольный стержень, и 10 см, если связующие швы относятся к разным продольным стержням каркаса. Кроме того, необходимо, чтобы любое поперечное сечение группы стержней пересекало не более одного сварного шва.

Допускается при соответствующем обосновании вертикальные стержни сварных сеток в стенках приваривать контактной точечной сваркой к арматуре и к продольным коротышам, расположенным между группами стержней. Приварка дуговой электросваркой хомутов к основной арматуре не допускается.

Для основной рабочей арматуры каркасов рекомендуется применение арматуры класса Ас-II марки 10ГТ.

Указания по швам, прикрепляющим к рабочей арматуре, приведены в п. 3.160*.

3.134*. В разрезных балках и плитах следует доводить до опоры не менее трети рабочей арматуры, устанавливаемой в середине пролета. При этом в балках необходимо доводить до опоры не менее двух стержней, в плитах - не менее трех стержней на 1 м ширины плиты.

Распределительную арматуру плит следует устанавливать с шагом, не превышающим 25 см.

При смешанном армировании стержни ненапрягаемой арматуры допускается устанавливать попарно, при этом толщина защитного слоя этой арматуры должна соответствовать п. 3.119*, а расстояния между стержнями и пучками - пп. 3.122* и 3.123*.

3.135. В неразрезных балках и ригелях многопролетных рамных конструкций часть верхней и нижней рабочей арматуры должна быть непрерывной по длине или иметь стыки, перекрывающие разрывы армирования.

Количество непрерывных арматурных элементов должно составлять:

а) в конструкциях с ненапрягаемой арматурой - не менее 20 % нижней и 15 % верхней рабочей арматуры;

б) в конструкциях с напрягаемой арматурой - не менее 10 % нижней и 5 % верхней рабочей арматуры, но не менее двух нижних и двух верхних арматурных элементов.

3.136. Шаг (расстояние между осями) рабочей арматуры плиты в середине пролета и над ее опорами не должен превышать, см:

15 - в плитах балластного корыта железнодорожных мостов;

20 - в плитах проезжей части автодорожных мостов.

Поперечное армирование элементов

3.137. Армирование стенок ненапрягаемых балок на восприятие поперечных сил следует осуществлять наклонными и вертикальными стержнями (хомутами) и объединять последние с продольной арматурой стенок в каркасы и сетки.

3.138. В ненапрягаемых балках устанавливаемые по расчету наклонные стержни следует располагать симметрично относительно продольной оси изгибаемого элемента. Стержни, как правило, должны иметь по отношению к продольной оси элемента угол наклона, близкий к 45° (не более 60° и не менее 30°). При этом на участка балки, где по расчету требуется установка наклонных стержней, любое сечение, перпендикулярное продольной ocи балки, должно пересекать не менее одного стержня наклонной арматуры.

3.139*. Требуемые по расчету балок дополнительные наклонные стержни должны быть прикреплены к основной продольной рабочей арматуре. Если стержни арматуры изготовлены из стали классов А-I, А-II, Ас-II и А-III, то прикрепление дополнительных наклонных стержней можно выполнять посредством сварных швов.

3.140. Наклонные стержни арматуры в балках следует отгибать по дуге круга радиусом не менее 10 диаметров арматуры.

Отгибы продольной арматуры у торцов балки (за осью опорной части) допускается выполнять по дуге круга радиусом не менее трех диаметров арматуры.

3.141. Продольную арматуру в стенках ненапрягаемых балок следует устанавливать:

в пределах трети высоты стенки, считая от растянутой грани балки, - с шагом не более 12 диаметров применяемой арматуры (d = 8-12 мм);

в пределах остальной части высоты стенки - с шагом не более 20 диаметров арматуры (d = 8- 10 мм).

3.142. Напрягаемые арматурные элементы, имеющие участки, направление которых не совпадает с направлением продольной оси балки, как правило, следует располагать симметрично относительно продольной оси балки.

3.143*. Хомуты в балках устанавливаются по расчету, включая расчет по сечению между хомутами. В стенках толщиной до 50 см, в пределах приопорных участков длиной, равной 1/4 пролета, считая от оси опоры, шаг хомутов принимают не более 15 см.

На среднем участке балки длиной, равной 1/2 пролета, шаг хомутов принимается не более 20 см.

При толщине стенок более 50 см максимальный шаг хомутов в середине пролета допускается увеличивать на 5 см.

Допускается применение сдвоенных хомутов из арматуры одного класса и диаметра.

3.144. Хомуты в разрезных плитных пролетных строениях следует устанавливать с шагом, не превышающим, см:

15 - на участках, примыкающих к опорным частям и имеющих длину, равную 1/4 пролета;

25 - на среднем участке, имеющем длину, равную 1/2 пролета.

В сплошных плитах балластного корыта железнодорожных мостов и проезжей части автодорожных мостов, имеющих высоту 30 см и менее, хомуты при отсутствии сжатой расчетной арматуры допускается не устанавливать.

Примечание. В плитных пролетных строениях автодорожных и городских мостов допускается не ставить поперечную арматуру в плиты толщиной до 40 см, если касательные напряжения в бетоне не превышают 0,25Rb,sh (где Rb,sh - расчетное сопротивление бетона скалыванию при изгибе по табл. 23*).

3.145. Хомуты в поясах ненапрягаемых балок должны охватывать ширину пояса не более 50 см и объединять не более пяти растянутых и не более трех сжатых стержней продольной арматуры, расположенной в крайних горизонтальных рядах.

3.146. Уширение поясов балок должно быть армировано замкнутыми хомутами из арматурных стержней периодического профиля; ветви хомутов должны охватывать весь наружный контур поясов.

3.147. Наибольший шаг замкнутых хомутов или поперечных стержней в сварных сетках обжимаемых поясов напрягаемых балок следует принимать не более 15 см в железнодорожных и 20 см в автодорожных мостах. Шаг хомутов в обжимаемых поясах не должен быть более шага хомутов в стенках балок.

3.148. Хомуты в элементах, рассчитываемых на кручение, а также на кручение совместно с изгибом, сжатием или растяжением, должны быть замкнутыми с перепуском концов:

при хомутах из гладкой арматурной стали - на 30 диаметров;

то же, из арматурной стали периодического профиля - на 20 диаметров.

3.149. В зоне расположения анкеров напрягаемых арматурных элементов под опорными плитами (см. п. 3.131*) следует устанавливать дополнительную поперечную (косвенную) арматуру по расчету на местные напряжения.

Дополнительную арматуру выполняют из стержней периодического профиля с шагом между ними, см, не более:

10 - в сетках;

6 - в спиралях.

3.150. Продольную рабочую арматуру и хомуты в сжатых элементах конструкций следует объединять в каркасы. Шаг хомутов в зависимости от диаметра d стержней продольной арматуры следует принимать не более:

15 d - при сварных каркасах;

12 d - при вязаных каркасах.

Во всех случаях шаг хомутов следует назначать, см, не более:

при насыщении сечения продольной арматурой менее 3 % - 40;

то же, в размере 3 % и более - 30.

При значительном насыщении сечения продольной арматурой вместо отдельных хомутов рекомендуется принимать непрерывное поперечное армирование витками, повторяющими очертание поперечного сечения элемента.

3.151*. Конструкция хомутов сжатых элементов опор с квадратной или прямоугольной формой поперечных сечений должна быть такой, чтобы продольные стержни располагались в местах перегиба хомутов, а ветви хомутов, устанавливаемые вдоль граней элементов, удерживали не более четырех стержней продольной арматуры и имели длину не более 40 см.

Приведенные указания относятся к опорам с размерами граней не более 80 см. При больших размерах граней опор рабочие продольные стержни опор, расположенные на противоположных гранях, допускается не объединять между собой хомутами, пересекающими сечение опоры, а заменять такие хомуты расположенными по периметру цепочками конструктивных хомутов П-образной формы, каждый длиной по 40 см с боковыми анкерующими ветвями длиной не менее 20 см, располагаемыми перпендикулярно к основной продольной ветви хомута по направлению внутрь сечения бетона. Концы коротких ветвей, заканчиваемые полукруглыми крюками, прикрепляются к вертикальным монтажным стержням, устанавливаемым на всю высоту опоры. Хомуты между собой перехлестываются в местах перегиба. Цепочки хомутов, охватывающие опоры по периметру, располагаются по высоте через 40 см.

Для хомутов и монтажных вертикальных стержней следует применять арматуру диаметром не менее 10 мм. Для повышения устойчивости сжатых рабочих стержней опоры, кроме цепочек хомутов, следует предусматривать постановку монтажных связей, соединяющих продольные вертикальные стержни на поперечных гранях опоры. Связи должны состоять из трех стержней диаметром не менее 16 мм и устанавливаться в плане и по высоте не реже чем через 1,6 м.

Во избежание затруднений, возникающих при бетонировании, из-за наличия стержней, пересекающих сечение, связи на каждом уровне допускается устанавливать и закреплять поочередно непосредственно перед укладкой каждого последующего слоя бетона.

3.152. На концевых участках сжатых элементов, передающих нагрузку через торцы без выпусков стержней продольной арматуры, следует устанавливать поперечные сварные сетки в количестве не менее четырех (в сваях - пять). Длину концевых участков, армированных сетками, следует принимать не менее 20 диаметров стержней продольной арматуры, а расстояние между сетками назначать не более 10 см.

3.153. При косвенном армировании сжатых элементов ненапрягаемой арматурой (см. п. 3.72*) применяемые сварные поперечные сетки и спирали должны выполняться из арматурной стали классов А-II, Ас-II и А-III (диаметром не более 14 мм).

Стержни поперечных сеток и витки спирали должны охватывать всю рабочую продольную арматуру элемента.

Размеры ячеек поперечных сеток следует принимать не менее 5,5 см и не более 1/4 меньшей стороны сечения элемента или 10 см. Шаг поперечных сеток по длине элемента следует назначать не менее 6 см и не более 1/3 меньшей стороны сечения элемента или 10 см.

Спирали должны иметь диаметр навивки не менее 20 см. Шаг витков спирали следует назначать не менее 4 см и не более 1/5 диаметра сечения элемента или 10 см.

3.154. В звеньях круглых труб и цилиндрических оболочек при их армировании двойными сетками стержни рабочей арматуры должны быть связаны в радиальном направлении соединительными стержнями-фиксаторами или объединены в каркасы.

Сварные соединения арматуры

3.155*. Сварные соединения арматуры должны отвечать требованиям ГОСТ 14098-91 и ГОСТ 10922-90. При проектировании должна указываться категория ответственности применяемых стыков и соответствующая им категория требований к контролю качества сварных соединений.

Сварные соединения, несущая способность которых определяется из расчета по первому предельному состоянию, - относят к I категории, по второму предельному состоянию - к II категории, а в остальных случаях соединения - к III категории ответственности и соответственно к III категории качества стыков.

Объем контроля для каждой категории ответственности определяется в соответствии с указаниями СНиП III-18-75.

3.156*. Горячекатаная стержневая арматурная сталь классов и марок, указанных в табл. 29*, как правило, должна соединяться посредством контактной стыковой сварки. Выполнение последней для стержней диаметром 10 мм и менее допускается только в заводских условиях при наличии специального оборудования.

Стыкование арматуры контактной сваркой допускается при отношении площадей стыкуемых стержней не более 1,15. В арматурных элементах, рассчитываемых на выносливость, как правило, необходимо устранять в зоне стыков возникшие в результате сварки концентраторы напряжений путем соответствующей механической продольной зачистки.

Допускается применять другие эффективные конструктивные решения сварных стыков при условии, что ограниченный предел выносливости этих стыков будет не менее нормативного предела выносливости свариваемых арматурных стержней.

3.157*. Сварные сетки, в том числе и по ГОСТ 23279-85, а также каркасы следует, как правило, проектировать с применением в пересечениях стержней контактной точечной сварки.

3.158*. При изготовлении из арматурной стали классов А-I, А-II, Ас-II и А-III сеток и каркасов, которые в соответствии с указаниями табл. 29* должны выполняться в вязаном варианте, применение сварных соединений для основной арматуры может быть допущено только в местах, где напряжения в стержнях арматуры не превышают 50 % установленных расчетных сопротивлений.

3.159*. Число стыков в одном расчетном сечении элемента (в пределах участка длиной, равной 15 диаметрам стыкуемых стержней) не должно превышать в элементах, арматура которых рассчитывается на выносливость, 25 %, в элементах, арматура которых не рассчитывается на выносливость, - 40 % общего количества рабочей арматуры в растянутой зоне сечения.

Сварные стыки арматуры допускается располагать без разбежки в монтажных стыках сборных элементов (без снижения расчетного сопротивления арматуры), а также на участках конструкции, где арматура используется не более чем на 50 %.

3.160*. Для стыков стержневой горячекатаной арматуры из стали классов А-I, А-II, Ас-II и А-III при монтаже конструкций допускается применение ванной сварки на удлиненных стальных накладках (подкладках) длиной не менее 5 диаметров стержней, а также применение стыков с парными смещенными накладками, приваренными односторонними или двусторонними швами суммарной длиной не менее 10 диаметров стыкуемых стержней. Ванную сварку следует применять при диаметре стержней не менее 20 мм.

Для нерассчитываемых на выносливость стыков сжатых стержней допускается также применение ванной сварки на коротких стальных накладках (подкладках) в соответствии с ГОСТ 14098-91.

Длина односторонних сварных швов, прикрепляющих наклонные стержни арматуры, должна быть не менее 12 диаметров при толщине швов не менее 0,25 d и не менее 4 мм; длину двусторонних швов допускается принимать вдвое меньшей.

3.161*. Монтажные выпуски арматуры в стыках должны обеспечивать условия для качественного выполнения на монтаже ванно-шовной сварки на удлиненных накладках с плавным выводом продольных сварных швов на стыкуемые стержни.

В вязаных арматурных каркасах конструкций автодорожных и городских мостов для закрепления арматуры в проектном положении при монтаже, транспортировке и бетонировании допускается в пересечениях стержней рабочей арматуры со стержнями конструктивной арматуры устройство вспомогательных сварных соединений при соблюдении следующих условий: сварка может производиться в местах, где прочность рабочей арматуры используется не более чем на 50 %, а также, где арматура работает только на сжатие.

Стыки ненапрягаемой арматуры внахлестку (без сварки)

3.162. Во внецентренно сжатых и внецентренно растянутых элементах стержни арматурной стали периодического профиля диаметром до 36 мм и гладкие с полукруглыми крюками допускается стыковать внахлестку.

В изгибаемых и центрально-растянутых элементах стыкование растянутых арматурных стержней внахлестку не допускается.

3.163*. В стыках арматуры внахлестку длину нахлестки (перепуска) стержней из арматурной стали классов А-II и Ас-II следует принимать не менее:

30 d - при классах бетона В20 - В27,5;

25 d - при классе бетона В30 и выше, где d - диаметр стыкуемых стержней.

Для арматуры из стали класса А-III длина нахлестки должна быть соответственно увеличена на 4d.

Для арматуры из стали класса А-I длину нахлестки (между внутренними поверхностями полукруглых крюков) следует принимать такой же, как для арматуры из стали класса А-III.

Для стыков, расположенных в сжатой зоне сечения, длину нахлестки допускается принимать на 5 d менее установленной выше.

Отдельные сварные и вязаные сетки следует стыковать внахлестку на длину не менее 30 диаметров продольных стержней сетки и не менее 25 см.

3.164*. При расположении стыков стержней рабочей арматуры внахлестку в растянутой зоне сечения, где напряжения в стержнях превышают 75 % расчетного сопротивления, в зоне стыка требуется устанавливать спиральную арматуру. Если установка спиральной арматуры не требуется (напряжение в стержнях составляет менее 75 % расчетного сопротивления), то расстояние между хомутами в местах стыкования рабочей растянутой арматуры внахлестку следует назначать не более 6 см, а буронабивных столбах - 12 см.

Стыки арматуры внахлестку, как правило, следует располагать вразбежку. При этом площадь сечения рабочих стержней, стыкуемых на длине требуемой нахлестки, должна составлять при стержнях периодического профиля не более 50 % общей площади сечения растянутой арматуры, при гладких стержнях - не более 25 %.

Стыки элементов сборных конструкций

3.165*. В сборных конструкциях, как правило, следует применять стыки:

бетонируемые широкие (необжимаемые) с расстоянием между торцами объединяемых элементов 10 см и более, с выпуском из элементов стержней рабочей арматуры или стальных закладных деталей;

бетонируемые узкие (обжимаемые) шириной не более 3 см, без выпусков из элементов арматуры, с заполнением стыкового зазора цементным или полимерцементным раствором;

клееные плотные (обжимаемые) с клеевой прослойкой толщиной не более 0,3 см на основе эпоксидных смол или других долговечных (проверенных опытом) полимерных композиций.

В обоснованных случаях в предварительно напряженных пролетных строениях автодорожных мостов допускается применение бетонируемых широких, без выпуска арматуры обжимаемых стыков со швами до 10 см, но не более половины толщины каждой из соединенных частей.

Применение сухих стыков (без заполнения швов между блоками клеевым составом, цементным или полимерным раствором) в пролетных строениях не допускается.

3.166. Торцы блоков составных по длине пролетных строений при применении стыков без выпусков арматуры следует армировать дополнительными поперечными сетками из стержней диаметром не менее 6 мм. При устройстве зубчатого стыка или стыка с уступами расчетная арматура зуба и уступа должна иметь диаметр не менее 10 мм.

3.167. В составных по длине (высоте) конструкциях с клееными плотными стыками для обеспечения точного совмещения стыкуемых поверхностей блоков следует, как правило, устраивать фиксаторы.

3.168*. В верхних плитах балок автодорожных, городских и совмещенных мостов, не подвергающихся непосредственному воздействию подвижной железнодорожной нагрузки, допускается применение бетонируемых стыков с выпусками из плит арматуры периодического профиля с прямыми крюками на всю толщину плиты и с взаимным перепуском арматуры внахлестку на длину не менее 15 диаметров стержней и не менее 25 см, а также применение полукруглых петель внахлестку с указанной длиной перепуска петель друг за другом. Кроме этого допускается применение полукруглых петель с той же длиной их заделки, но с прямой вставкой арматуры между петлями длиной, равной не менее диаметра петли. Диаметр полукруглых петель следует принимать не менее 10 диаметров арматуры.

ДОПОЛНИТЕЛЬНЫЕ УКАЗАНИЯ ПО КОНСТРУИРОВАНИЮ ПРЕДВАРИТЕЛЬНО НАПРЯЖЕННЫХ ЖЕЛЕЗОБЕТОННЫХ ЭЛЕМЕНТОВ

3.169. Напрягаемую арматуру в конструкциях с натяжением на бетон следует, как правило, располагать в закрытых каналах, образуемых преимущественно извлекаемыми каналообразователями из полимерных материалов.

При устройстве каналов с неизвлекаемыми каналообразователями рекомендуется применять неоцинкованные гибкие стальные рукава и гофрированные трубы. При этом материал заполнения каналов должен исключать увеличение его объема при замораживании, а величина защитного слоя бетона должна быть на 1 см более указанной в табл. 44*.

Неизвлекаемые каналообразователи из цельнотянутых стальных или полимерных труб допускается применять только на коротких участках в стыках между сборными блоками составных по длине конструкций и в местах перегибов и анкеровки напрягаемой арматуры.

3.170. Для обеспечения сцепления бетона омоноличивания в открытых каналах с бетоном предварительно напряженного элемента рекомендуется предусматривать:

выпуски из тела бетона предварительно напряженных элементов арматурных стержней или концов хомутов с шагом не более 10 см;

покрытие очищенной поверхности бетона, примыкающей к бетону омоноличивания, и напрягаемой арматуры цементным коллоидным или полимерцементным клеем;

применение для омоноличивания бетона, имеющего водоцементное отношение не более 0,4;

покрытие наружной поверхности бетона омоноличивания противоусадочным пароизолирующим составом.

Закладные изделия

3.171*. Закладные изделия из отдельных листов или фасонных профилей с приваренными к ним втавр или внахлестку анкерными стержнями из арматурных сталей классов А-II, Ас-II или А-III диаметром не более 25 мм должны проектироваться в соответствии с требованиями ГОСТ 19292-85. Сварные соединения должны выполняться в соответствии с требованиями ГОСТ 14098-91 и ГОСТ 10922-90.

3.172*. Закладные изделия не должны разрезать бетон. Длину растянутых анкеруемых стержней, заделываемых в бетон, следует принимать в зависимости от напряженного состояния бетона в направлении, перпендикулярном анкеруемым стержням. Если от постоянно действующих нагрузок (при коэффициенте по нагрузке, равном 1) в зоне анкерных стержней возникают сжимающие напряжения sbc, наибольшие значения которых отвечают условию

,

то длина заделки стержней должна составлять не менее:

при стержнях из арматуры периодического профиля - 12d (d - диаметр стержня);

при стержнях из гладкой арматуры - 20d, но не менее 25 см.

Если напряжения в бетоне sbc в зоне заделки не отвечают приведенному выше условию или характер напряжений не установлен, то длина заделки растянутых арматурных стержней должна приниматься не менее:

при классах арматурной стали А-II и Ас-II - 25d;

«    классе           «              «    А-III - 30d.

Длина заделки растянутых анкерных стержней может быть уменьшена посредством приварки на концах стержней плоских металлических элементов или устройством на концах стержней головок, высаженных горячим способом. При этом диаметр головок должен быть не менее:

при арматуре из стали классов А-II и Ас-II - 2d;

«         «          «      «    класса А-III - 3d.

В этих случаях длина заделки анкеруемого стержня определяется расчетом на выкалывание и смятие бетона и принимается не менее 10d.

3.173*. Отношение толщины d плоского стального элемента закладной детали к диаметру d анкерного стержня этой детали (d/d) следует принимать равным при сварке:

а) автоматической - втавр под флюсом не менее:

0,55 ¸ 0,65 - для арматуры класса А-II;

0,65 ¸ 0,75 -   «         «             «      А-III;

б) ручной - втавр под флюсом - не менее 0,75 для всех классов арматуры;

а) ручной - в раззенкованное отверстие - не менее:

0,65 - для арматуры класса А-II;

0,75 -   «           «             «     А-III;

г) дуговой - внахлестку фланговыми швами - не менее 0,3 для арматуры всех классов.

Конструирование опор

3.174*. Элементы опор железнодорожных мостов, находящиеся в зонах возможного замерзания воды (свободной или имеющейся в грунте), должны иметь сплошное сечение.

В опорах автодорожных и городских мостов допускается в указанных зонах применение железобетонных элементов в виде полых свай-оболочек при обеспечении мер (например, дренажных отверстий) против образования в стенках оболочек трещин от силового воздействия замерзающей воды и льда во внутренних полостях оболочек.

3.175. В пределах уровня ледохода телу опоры следует придавать форму с учетом направления воздействия ледохода.

Сопряжение граней опоры следует делать по цилиндрической поверхности радиусом 0,75 м. При надлежащем обосновании этот радиус может быть уменьшен до 0,3 м.

3.176*. На реках, расположенных в районах, где среднемесячная температура наружного воздуха наиболее холодного месяца минус 20 °С и выше, промежуточные опоры (включая и железобетонные) мостов допускается выполнять из бетона без специальной защиты поверхности.

При проектировании русловых опор мостов на реках с интенсивным перемещением речных наносов (количество взвешенных наносов более 1 кгс в 1 м3 потока и скорость течения более 2,5 м/с) опоры со стойками из свай-столбов или свай-оболочек следует применять со специальной защитой (металлические оболочки-бандажи, изготовление из износостойкого бетона и др.) в зонах движения наносов. Массивные опоры могут применяться без дополнительной защиты их поверхностей.

Поверхности промежуточных бетонных, железобетонных опор мостов, расположенных в районах, где среднемесячная температура наружного воздуха наиболее холодного месяца ниже минус 20 °С, а также, как правило, опоры на реках, вскрывающихся при отрицательных среднесуточных температурах наружного воздуха, должны быть облицованы в пределах зоны переменного уровня ледохода. При этом толщина, а также высота облицовочных блоков должны быть не менее 40 см. Армирование облицовочных блоков следует применять в том случае, если это требуется по условиям их транспортирования и заанкеривания на отрывающее воздействие льда.

Ширина заполняемых раствором вертикальных швов должна быть 2,5 - 0,5 см, а горизонтальных - 1 ± 0,5 см.

3.177. При отсутствии бетонных облицовочных блоков должного качества допускается при технико-экономическом обосновании применение для опор облицовки из естественного морозостойкого камня с прочностью на сжатие не ниже 59 МПа (600 кгс/см2), при мощном ледоходе - не ниже 98 МПа (1000 кгс/см2). Конструкция облицовки из естественного камня должна обеспечивать возможность ее изготовления индустриальными методами.

3.178*. Соединение железобетонных стоек и элементов опор с ригелем (насадкой) допускается осуществлять омоноличиванием арматурных выпусков в нишах или отверстиях. При этом стенки башмаков стаканного типа должны быть армированы из расчета на воздействие продольных и поперечных сил.

Длина арматурных выпусков, заводимых в нишу или отверстие, должна быть не менее 20 диаметров стержней, а бетон стойки или сваи не должен заходить в ростверки или ригели более чем на 5 см.

3.179*. При проектировании массивных опор и устоев следует предусматривать устройство железобетонных оголовков толщиной не менее 0,4 м.

Участки элементов (ригелей, насадок и т.п.) в местах передачи на них давления от пролетных строений должны быть армированы дополнительной косвенной арматурой, требуемой по расчету на местное сжатие (смятие). На этих участках, а также под монолитными стыками пролетных строений и на оголовках опор не должно быть мест, где возможен застой попадающей воды.

В местах расположения деформационных швов верхнему слою бетона на опорах следует придавать уклоны (не менее 1:10), обеспечивающие сток воды.

Уклон верха оголовков и ригелей опор должен выполняться одновременно с их бетонированием.

3.180*. Нагрузку от опорных частей пролетных строений при наличии уклонов на верхней поверхности массивных опор, а для железнодорожных мостов - во всех случаях следует передавать на железобетонные подферменные площадки. Высота этих площадок должна обеспечивать возвышение их верхней грани над опорой не менее чем на 15 см.

Расстояние от нижних плит опорных частей до боковых граней подферменных площадок или до боковых граней железобетонных элементов (ригелей, насадок и т.п.) должно быть не менее 15 см.

Расстояние от граней подферменных площадок до граней оголовка следует назначать с учетом возможности установки домкратов для подъема концов пролетных строений и принимать, см, не менее:

а) вдоль моста:

при пролетах от 15 до 30 м - 15;

»          «         « 30 « 100 « - 25;

»          «        свыше 100 « - 35;

б) поперек моста:

при закругленной форме оголовка от угла подферменной площадки до ближайшей грани оголовка - не менее указанных в подпункте «а»;

при прямоугольной форме оголовка, см, не менее:

для плитных пролетных строений - 20;

для всех пролетных строений, кроме плитных, при опорных частях:

резиностальных - 20;

плоских и тангенциальных - 30;

катковых и секторных - 50.

3.181*. Применение железобетонных конструкций в опорах допускается для мостов, расположенных на суходолах, для путепроводов, виадуков и эстакад, на водотоках - при условии армирования стержневой арматурой и защиты поверхности от возможных механических повреждений. В опорах на водотоках применение напрягаемой проволочной арматуры не допускается.

Железобетонные элементы опор в пределах водотоков надлежит защищать от истирания льдом и перемещающимися донными отложениями от повреждений при навале судов или плотов, а также от механических повреждений, возможных в случае заторов бревен при молевом способе сплава. В качестве защитных мероприятий рекомендуется применять бетон с повышенной износостойкостью, увеличивать толщину защитного слоя бетона железобетонных элементов до 5-7 см, а при особо тяжелых условиях (мощном ледоходе и карчеходе) допускается применять покрытие железобетонных элементов стальными листами. Необходимость защиты или ее способ в каждом отдельном случае в зависимости от конкретных условий водотока решается проектной организацией.

Гидроизоляция конструкций

3.182. Все внутренние поверхности балластных корыт пролетных строений железнодорожных мостов и устоев, в автодорожных мостах - вся ширина пролетного строения (включая тротуары), переходные плиты, а также засыпаемые грунтом поверхности устоев, водопропускных труб (лотков) должны быть защищены изоляцией, препятствующей прониканию воды к защищаемым поверхностям бетона.

3.183. Гидроизоляция должна быть: водонепроницаемой по всей изолируемой поверхности; водо-, био-, тепло-, морозо- и химически стойкой; сплошной и не повреждаемой при возможном образовании на изолируемой поверхности бетона трещин с раскрытием, принятым в нормах проектирования; прочной при длительных воздействиях постоянной и временной нагрузок и возможных деформациях бетона, а для труб - при наличии давления грунта насыпи и гидростатического давления воды; герметичной в местах перекрытия строповочных отверстий и в сопряжениях с бортиками балластных корыт, а также с водоотводными и ограждающими устройствами, конструкциями деформационных швов, тротуарными блоками, карнизами, перилами, столбами и т.п.

3.184. Конструкцию гидроизоляции и применяемые для ее устройства материалы следует принимать исходя из требований обеспечения эксплуатационной надежности гидрозащиты в интервале температур наружного воздуха в районе строительства (по СНиП 2.01.01-82) от абсолютной максимальной до средней наиболее холодных суток.

При назначении гидроизоляции балластных корыт и проезжей части пролетных строений мостов, устоев, водопропускных труб должны учитываться также другие особенности климатических условий в районе строительства.

При соответствующем обосновании допускается на пролетных строениях автодорожных мостов устройство гидроизоляции из морозостойкого гидрофобного бетона, армированного стальной сеткой, на железнодорожных мостах при безбалластной езде и отсутствии агрессивной среды - в виде покрытий стойкими красками.

3.185*. Выравнивающий и защитный слои следует выполнять из бетона с мелким заполнителем. Класс бетона по прочности на сжатие следует принимать для мостов не ниже В25 и для труб - не ниже В20. Защитный слой следует армировать.

Применение плетеных сеток для армирования защитного слоя одежды ездового полотна не допускается.

3.186. Допускается в установленном порядке применение других типов гидроизоляции пролетных строений, устоев мостов и водопропускных труб, отвечающих требованиям пп. 3.183 и 3.184.

4. СТАЛЬНЫЕ КОНСТРУКЦИИ

ОБЩИЕ ПОЛОЖЕНИЯ

4.1. Тип исполнения стальных пролетных строений, опор и труб в зависимости от значения расчетной минимальной температуры следует назначать в соответствии с табл. 46.

Таблица 46

Расчетная минимальная температура, °С

Тип исполнения

До минус 40 включ.

Обычное

Ниже минус 40 до минус 50 включ

Северное А

Ниже минус 50

Северное Б

4.2*. При проектировании стальных конструкций мостов следует:

выбирать оптимальные в технико-экономическом отношении схемы, системы и конструкции пролетных строений, сечения элементов, экономичные профили проката и эффективные марки стали;

применять, как правило, унифицированные типовые конструкции и стандартные элементы и детали (деформационные устройства, эксплуатационные обустройства и др.);

обеспечивать комплексную технологичность конструкций с учетом трудовых затрат на заводах и строительно-монтажных площадках, возможность поточного изготовления, конвейерного или крупноблочного монтажа;

предусматривать применение независимо от расчетной минимальной температуры и назначения моста, сварных заводских элементов, объединяемых, как правило, на высокопрочных болтах. При соответствующем обосновании с учетом общей технологии монтажа и других условий, а в железнодорожных и совмещенных мостах - по согласованию с МПС применять сварные и комбинированные болтосварные монтажные соединения;

обеспечивать возможность осмотра, очистки, окраски и ремонта конструкций; исключать в них зоны, в которых возможно скопление воды и затруднено проветривание; предусматривать герметизацию замкнутых профилей, элементов и блоков;

указывать в рабочих чертежах КМ стальных конструкций марки сталей и материалы соединений, а также необходимые дополнительные требования к ним, предусмотренные стандартами и техническими условиями;

соблюдать нормы СНиП 2.03.11-85 и СНиП 3.04.03-85 и требования руководящего технического материала «Конструкции мостовые металлические. Покрытия лакокрасочные» (Минтрансстрой, МПС, 1975).

4.3*. Элементы стальных мостовых конструкций должны иметь минимальные сечения, удовлетворяющие требованиям настоящих норм с учетом действующего сортамента на прокат. При расчете составных сечений элементов решетчатых ферм по прочности и устойчивости недонапряжение не должно превышать 5 %.

МАТЕРИАЛЫ И ПОЛУФАБРИКАТЫ

4.4*. В стальных конструкциях мостов и труб обычного исполнения следует применять:

а) для элементов из прокатного металла1 - сталь в соответствии с табл. 47*;

______________

1 Толстолистовой, широкополосный универсальный, фасонный, сортовой прокат, трубы и гнутые профили следует применять из стали с требованием свариваемости, за исключением проката для болтов, гаек и шайб, а также для элементов без сварных соединений.

Таблица 47*

Тип исполнения

Сталь несущих элементов сварных пролетных строений, опор и эксплуатационных обустройств при применении в заводских и монтажных соединениях

толщина проката, мм

марка стали

государственный стандарт

номер

дополнительные требования

1

2

3

4

5

Обычное

8-50

15ХСНД-2

ГОСТ 6713-91

По примеч. 3 к табл. 1*; пп. 2.2.7, 2.2.9

8-40

10ХСНД-2

ГОСТ 6713-91

То же

4-50

390-14Г2АФД-14

ГОСТ 19281-89

По п. 1.4*

4-32

390-15Г2АФДпс-14

ГОСТ 19281-89

То же

Северное А

8-50

15ХСНД-3

ГОСТ 6713-91

По примеч. 3 к табл. 1*; пп. 2.2.7, 2.2.9

8-40

10ХСНД-3

ГОСТ 6713-91

То же

4-50

390-14Г2АФД-15

ГОСТ 19281-89

По п. 1.4*

4-32

390-15Г2АФДпс-15

ГОСТ 19281-89

То же

Северное Б

8-40

10ХСНД-3

ГОСТ 6713-91

По примеч. 3 к табл. 1*, пп. 2.2.7, 2.2.9, 4.3***

Окончание табл. 47*

Тип исполнения

Сталь несущих элементов сварных пролетных строений, опор и эксплуатационных обустройств при применении в заводских и монтажных соединениях

вид проката

марка стали

государственный стандарт

толщина проката, мм

номер

дополнительные требования

1

6

7

8

9

10

Обычное

Любой

16Д

ГОСТ 6713-91

-

До 20 включ.

Листовой

15ХСНД

ГОСТ 6713-91

По примеч. 3 к табл. 1*; пп.2.2.7, 2.2.9

8-15

15ХСНД-2

ГОСТ 6713-91

То же

16-50

10ХСНД

ГОСТ 6713-91

«

8-15

10ХСНД-2

ГОСТ 6713-91

«

16-40

390-14Г2АФД-13

ГОСТ 19281-89

По п. 1.4*

4-50

390-15Г2АФДпс-13

ГОСТ 19281-89

То же

4-32

Фасонный

15ХСНД

ГОСТ 6713-91

По примеч. 3 к табл. 1*; пп.2.2.7, 2.2.9

8-32

10ХСНД

ГОСТ 6713-91

То же

8-15

Северное А

Листовой

15ХСНД-2

ГОСТ 6713-91

То же

8-50

10ХСНД-2

ГОСТ 6713-91

«

8-40

390-14Г2АФД-14

ГОСТ 19281-89

По п. 1.4*

4-50

390-15Г2АФДпс-14

ГОСТ 19281-89

То же

4-32

Фасонный

15ХСНД-2**

ГОСТ 6713-91

По примеч. 3 к табл. 1*; пп.2.2.7, 2.2.9

8-32

10ХСНД-2***

ГОСТ 6713-91

То же

8-15

Северное Б

Листовой

10ХСНД-3

ГОСТ 6713-91

По примеч. 3 к табл. 1*; пп.2.2.7, 2.2.9

8-40

Фасонный

15ХСНД-3**

ГОСТ 6713-91

То же

8-32

10ХСНД-3**

ГОСТ 6713-91

«

8-15

____________

* Стали марок 14Г2АФД и 15Г2АФДпс по ГОСТ 19281-89 допускается применять только в автодорожных, городских и пешеходных мостах.

** В мостах всех назначений допускается применять уголки по ГОСТ 8509-72 и ГОСТ 8510-72 без термообработки - прокат категории I - по ГОСТ 6713-91.

В конструкциях автодорожных, городских и пешеходных мостов северного исполнения А и Б допускается применять двутавры, тавры и швеллеры без термообработки при условии выполнения требований по ударной вязкости при температуре соответственно минус 60 и минус 70 °С.

*** Требование полистового испытания предъявляется только при расчетной минимальной температуре минус 60 °С и ниже.

б)* для висячих, вантовых и предварительно напряженных пролетных строений:

стальные витые канаты с металлическим сердечником, подвергнутые предварительной вытяжке усилием, равным половине установленного государственными стандартами или техническими условиями разрывного усилия каната в целом (а при его отсутствии в нормах - половине агрегатной прочности витого каната): закрытые несущие диаметром 30-70 мм по ТУ 14-4-1216-82; одинарной свивки по ГОСТ 3064-84 из круглой оцинкованной по группе ЖС проволоки диаметром 2,6 мм и более;

пучки и канаты из параллельно уложенных оцинкованных проволок по ГОСТ 3617-71;

в) для металлических гофрированных труб - листовые волнистые профили из стали марки 15сп по ТУ 14-2-207-76;

г)* для литых частей - отливки группы III из стали марок 25Л, 30Л, 35Л, 20ГЛ, 20ФЛ, 35ГЛ по ГОСТ 977-88 и марки 35ХН2МЛ по ТУ 24-1-12-181-75;

д)* для шарниров, катков, болтов-шарниров и прокладных листов под катки - поковки: Гр. IV-КП 275 ГОСТ 8479-70 из стали марки Ст5сп2-III по ГОСТ 535-38 и ГОСТ 14637-89; Гр. IV-КП 315 ГОСТ 8479-70 из стали марки 35-а-Т по ГОСТ 1050-88; Гр. IV-КП 315 ГОСТ 8479-70 из стали марки 30Г-2-Т по ГОСТ 4543-71; Гр. IV-КП 345 ГОСТ 8479-70 из стали марки 35Г-2-Т по ГОСТ 4543-71; Гр. IV-КП 785 ГОСТ 8479-70 из стали марки 40ХН2МА-2-2-Т по ГОСТ 4543-71; Гр. IV-КП 1200 из стали марки 40Х13 по ГОСТ 5632-72; Гр. IV-КП 245 ГОСТ 8479-70 из стали марки 265-III-09Г2С по ГОСТ 19281-89 с наплавкой, удовлетворяющей требованиям, предъявляемым к стали марки 40Х13 по ГОСТ 5632-72;

е) высокопрочные болты по ГОСТ 22353-77, высокопрочные гайки по ГОСТ 22354-77, шайбы к высокопрочным болтам по ГОСТ 22355-77 с общими техническими требованиями к ним по ГОСТ 22356-77;

ж) для сварки конструкций - сварочные материалы, предусмотренные «Инструкцией по технологии механизированной и ручной сварки при заводском изготовлении стальных конструкций мостов» (Минтрансстрой, 1980);

з)* для соединений элементов мостового полотна, перил и смотровых приспособлений - стальные болты по ГОСТ 7798-70 класса прочности 4,6 по ГОСТ 1759.4-87 (с испытаниями по пп. 6.2 и 6.6) и гайки по ГОСТ 5915-70 классов прочности 4 и 5 по ГОСТ 1759.5-87 (болты и гайки - только из спокойной стали), а также болты и гайки из стали марки Ст3сп4 по ГОСТ 535-88 по специальным техническим условиям;

и)* для крепления опорных частей к пролетным строениям и стальным опорам - стальные болты по ГОСТ 7798-70 и гайки по ГОСТ 5915-70 из сталей марок 09Г2 по ТУ 14-1-287-72, 295-III 09Г2-4 и 295-III 09Г2С-4 по ГОСТ 19281-89, 40Х по ГОСТ 4543-71 по специальным техническим условиям;

к)* для крепления опорных частей к бетонным опорам и фундаментам - фундаментные (анкерные) болты по ГОСТ 24379.0-80 и ГОСТ 24379.1-80 из сталей марок 20-г-Т по ГОСТ 1055-88 и 295-III 09Г2С-4 по ГОСТ 19281-89, а также из стали марки 40Х по ГОСТ 4543-71 по специальным техническим условиям; гайки по ГОСТ 5915-70 при диаметре болтов менее 48 мм и по ГССТ 10605-72 при диаметре болтов свыше 48 мм; классов прочности 4 и 5 по ГОСТ 1759.5-87 (только из спокойной стали), а также из стали марки 20-г-Т, класса прочности 6 по ГОСТ 1759.5-87 (только из спокойной стали) - для болтов из стали марки 295-III 09Г2С-4, классов прочности 10 и 12 по ГОСТ 1759.5-87 - для болтов из стали марки 40Х;

л) для заливки концов стальных канатов в анкерах - сплав марки ЦАМ 9-1,5Л по ГОСТ 21437-75;

м)* для деталей анкеров стальных канатов - сталь марки 295-III 09Г2С-4 по ГОСТ 19281-89, а также сталь марок 20-б-Т и 45-б-Т по ГОСТ 1050-88 в нормализованном состоянии;

н) для прокладок между стальными канатами, а также между канатами и деталями анкеров, отклоняющих устройств, сжимов, хомутов подвесок и других элементов - листы по ГОСТ 21631-76 или ленты по ГОСТ 13726-78 толщиной не менее 1 мм из алюминия марок АД и АД1 по ГОСТ 4784-74.

Примечания: 1. Для несущих сварных элементов тротуаров и смотровых приспособлений (консолей и балок тротуаров, стоек и поручней перил, балок лестниц, пешеходных площадок, смотровых тележек и подъемных люлек), а также элементов мостового полотна допускается применение стали марки Ст3сп5, а для указанных элементов без сварных соединений - стали марки Ст3сп4 по ГОСТ 535-88 и ГОСТ 14637-89. При толщине проката до 10 мм включительно допускается применение полуспокойной стали тех же категорий.

При этом применение круглых труб допускается без ограничений, а прямоугольных сварных - с соблюдением требований СНиП III-18-75 к радиусу гибки для конструкций, воспринимающих динамическую нагрузку.

Механические свойства металла труб должны быть указаны в проекте и обеспечены заводом-изготовителем конструкций.

2. В перилах и смотровых приспособлениях уголки с полкой 70 мм и менее допускается применять из стали марки Ст3пс2 по ГОСТ 535-88.

3. Для футляров (кожухов) опорных частей допускается применение стали марки Ст0 по ГОСТ 14637-89.

4. Для нерабочих прокладок и элементов заполнения перил допускается применение стали марки Ст3кп2 по ГОСТ 535-88 и ГОСТ 14637-89, для настилов смотровых ходов и приспособлений - сталь марки Ст3пс2 по ГОСТ 14637-89.

4.5*. В стальных конструкциях мостов и труб северного исполнения следует применять:

а) материалы и полуфабрикаты, указанные в п. 4.4* а, б*, г*-ж, л-н;

б) для металлических гофрированных труб - листовые волнистые профили из стали марки 09Г2Д по ТУ 14-2-207-76;

в)* для соединений элементов мостового полотна, перил и смотровых приспособлений - стальные болты по ГОСТ 7798-70 класса прочности 4,6 по ГОСТ 1759.4-87 (с испытаниями по пп. 6.2 и 6.6) при диаметре менее 22 мм и болты из стали марки 09Г2 по ТУ 14-1-287-72 по специальным техническим условиям при диаметре 22 мм и более; гайки по ГОСТ 5915-70 классов прочности 4 и 5 по ГОСТ 1759.5-87 (болты и гайки - только из спокойной стали);

г)* для крепления опорных частей к пролетным строениям и стальным опорам - стальные болты по ГОСТ 7798-70 и гайки по ГОСТ 5915-70 из сталей марок 09Г2 по ТУ 14-1-287-72, 295-III 09Г2-6 и 295-III 09Г2С-6 по ГОСТ 19281-89, 40Х по ГОСТ 4543-71 по специальным техническим условиям;

д)* для крепления опорных частей к бетонным опорам и фундаментам - фундаментные (анкерные) болты по ГОСТ 24379.0-80 и ГОСТ 24379.1-80 из сталей марок 295-III 09Г2-6 и 295-III 09Г2С-6 по ГОСТ 19281-89, а также из сталей марок 09Г2 по ТУ 14-1-287- 72 и 40Х по ГОСТ 4543-71 по специальным техническим условиям; гайки по ГОСТ 5915-70 при диаметре болтов менее 48 мм и по ГОСТ 10605-72 при диаметре болтов свыше 48мм - класса прочности 6 по ГОСТ 1759.5-87 (только из спокойной стали) - для болтов из сталей марок 09Г2-8, 09Г2С-8, 09Г2, классов прочности 10 и 12 по ГОСТ 1759.5-87 - для болтов из стали марки 40Х.

Примечания: 1. Примеч. 3 и 4 к п. 4.4* распространяются на конструкции мостов северного исполнения.

2*. Для несущих элементов тротуаров, смотровых приспособлений и элементов мостового полотна допускается применять сталь марок 345-10Г2С1Д-4, 345-10Г2С1-4, 325-09Г2СД-4, 325-09Г2С-4, 295-09Г2Д-4, 295-09Г2-4 и 325-14Г2-4 по ГОСТ 19281-89. При этом применение круглых труб допускается без ограничений, а прямоугольных - с соблюдением требований СНиП III-18-75 к радиусу гибки для конструкций из низколегированной стали, воспринимающих динамическую нагрузку.

Механические свойства металла труб должны быть указаны в проекте и обеспечены заводом-изготовителем конструкций.

3*. Для ограждающих элементов тротуаров и смотровых приспособлений уголки с полкой 70 мм и менее допускается применять из стали марки Ст3пс2 по ГОСТ 535-88.

РАСЧЕТНЫЕ ХАРАКТЕРИСТИКИ МАТЕРИАЛОВ И СОЕДИНЕНИЙ

4.6*. Расчетные сопротивления проката для различных видов напряженных состояний следует определять по формулам, приведенным в табл. 48*.

Таблица 48*

Напряженное состояние

Расчетные сопротивления проката

Растяжение, сжатие и изгиб:

 

по пределу текучести

Ry = Ryn/gm

по временному сопротивлению

Ru = Run/gm

Сдвиг

Rs = 0,58 Ryn/gm

Смятие торцевой поверхности (при наличии пригонки)

Rp = Run/gm

Смятие местное в цилиндрических шарнирах (цапфах) при плотном касании

Rtp = 0,5 Run/gm

Диаметральное сжатие катков (при свободном касании в конструкциях с ограниченной подвижностью)

при Run £ 600 МПа (5886 кгс/см2) Rcd = 0,25 Run/gm;

при Run > 600 МПа (5886 кгс/см2) Rcd = [0,042×10-6 (Run - 600)2 + 0,025] Run/gm, МПа;

Rcd = [0,0438×10-8 (Run - 5886)2 + 0,025] Run/gm, кгс/см2

Растяжение в направлении толщины проката t при t до 60 мм

Rth = 0,5 Run/gm

Примечание. gm - коэффициент надежности по материалу, определяемый в соответствии с п. 4.7*.

4.7*. Значения коэффициента надежности gm по материалу проката следует принимать по табл. 49*.

Таблица 49*

Государственный стандарт (марка стали или значение предела текучести)

Коэффициент надежности по материалу gm

ГОСТ 535-88 и ГОСТ 14637-89 [Ст3сп, Ст3пс, Ст3кп]

ГОСТ 19281-89 и ГОСТ 19282-89 [до 380 МПа (39 кгс/мм2)]

1,05

ГОСТ 19281-89 и ГОСТ 19282-89 [св. 380 МПа (39 кгс/мм2)]

1,10

ГОСТ 6713-91 [16Д]

1,09

ГОСТ 6713-91 [15ХСНД]

1,165

ГОСТ 6713-91 [10ХСНД]

1,125

Нормативные и расчетные сопротивления проката из сталей по ГОСТ 6713-91, сталей марок 390-14Г2АФД, 390-15Г2АФДпс по ГОСТ 19281-89 и стали марки 40Х13 по ГОСТ 5632-72 следует принимать по табл. 50*.

Таблица 50*

Марка стали

Государственный стандарт

Прокат

Толщина проката1, мм

Нормативное сопротивление2, МПа (кгс/мм2)

Расчетное сопротивление3, МПа (кгс/см2)

по пределу текучести Ryn

по временному сопротивлению Run

по пределу текучести Ry

по временному сопротивлению Ru

16Д

ГОСТ 6713-91

Любой

До 20

235 (24)

370 (38)

215 (2200)

340 (3450)

16Д

ГОСТ 6713-91

«

21-40

225 (23)

370 (38)

205 (2100)

340 (3450)

16Д

ГОСТ 6713-91

«

41-60

215 (22)

370 (38)

195 (2000)

340 (3450)

15ХСНД

ГОСТ 6713-91

«

8-32

340 (35)

490 (50)

295 (3000)

415 (4250)

15ХСНД

ГОСТ 6713-91

Листовой

33-50

330 (34)

470 (48)

285 (2900)

400 (4100)

10ХСНД

ГОСТ 6713-91

Любой

8-15

390 (40)

530 (54)

350 (3550)

470 (4800)

10ХСНД

ГОСТ 6713-91

Листовой

16-32

390 (40)

530 (54)

350 (3550)

470 (4800)

10ХСНД

ГОСТ 6713-91

«

33-40

390 (40)

510 (52)

350 (3550)

450 (4600)

390-15Г2АФДпс

ГОСТ 19282-89

«

4-32

390 (40)

540 (55)

355 (3600)

490 (5000)

390-14Г2АФД

ГОСТ 19282-89

«

4-50

390 (40)

540 (55)

355 (3600)

490 (5000)

40Х13

ГОСТ 5632-72

Круглый

До 250

1200 (122)

1540 (157)

1050 (10700)

1365 (13900)

__________

1 За толщину фасонного проката следует принимать толщину полки.

2 За нормативные сопротивления приняты минимальные значения предела текучести и временного сопротивления, приведенные в ГОСТ 6713-91 в кгс/мм2. Нормативные сопротивления в МПа вычислены умножением соответствующих величин на множитель 9,80665 и округлением до 5 МПа.

3 Здесь указаны расчетные сопротивления растяжению, сжатию и изгибу Ry и Ru. Остальные расчетные сопротивления определяются по формулам табл. 48*.

Значения расчетных сопротивлений получены делением нормативных сопротивлений на коэффициент надежности по материалу, определяемым по табл. 49*, и округлением до 5 МПа.

Расчетные сопротивления проката по ГОСТ 535-88, ГОСТ 14637-89 и ГОСТ 19281-89 следует принимать равными пределу текучести, указанному в этих стандартах, поделенному на коэффициент надежности по материалу gm по табл. 49*.

4.8. Расчетные сопротивления отливок из углеродистой и легированной сталей следует принимать по табл. 51*.

Таблица 51*

Напряженное состояние

Расчетные сопротивления, МПа (кгс/см2), отливок

обозначение

из стали марки

25Л

30Л

35Л

20ГЛ

20ФЛ

35ХН2МЛ

35ГЛ

Растяжение, сжатие и изгиб

Ry

175 (1800)

190 (1950)

205 (2100)

205 (2100)

220 (2250)

400 (4100)

220 (2250)

Сдвиг

Rs

105 (1100)

115 (1200)

125 (1300)

125 (1300)

130 (1350)

240 (2450)

130 (1350)

Смятие торцевой поверхности (при наличии пригонки)

Rp

265 (2700)

300 (3050)

315 (3200)

345 (3500)

315 (3200)

440 (4500)

345 (3500)

Смятие местное в цилиндрических шарнирах (цапфах) при плотном касании

Rtp

125 (1300)

145 (1500)

155 (1600)

170 (1750)

155 (1600)

222 (2250)

170 (1750)

Диаметральное сжатие катков (при свободном касании в конструкциях с ограниченной подвижностью)

Rcd

7 (70)

7,5 (75)

8 (80)

9 (90)

8 (80)

11 (110)

9 (90)

4.9. Расчетные сопротивления поковок из углеродистой и легированной сталей следует принимать по табл. 52*.

Таблица 52*

Напряженное состояние

Расчетное сопротивление, МПа (кгс/см2), поковок группы IV

обозначение

при категории прочности (марке стали)

КП275

(Ст5сп2)

КП245

(20-а-Т)

КП315

(35-а-Т)

КП345

(45-а-Т)

1

2

3

4

5

6

Растяжение, сжатие и изгиб

Ry

215 (2200)

205 (2100)

260 (2650)

290(2950)

Сдвиг

Rs

120 (1250)

115 (1200)

145 (1500)

165 (1700)

Смятие торцевой поверхности (при наличии пригонки)

Rp

325 (3300)

310 (3150)

395 (4000)

435 (4400)

Смятие местное в цилиндрических шарнирах (цапфах) при плотном касании

Rtp

160 (1650)

150 (1550)

195 (2000)

215 (2200)

Диаметральное сжатие катков (при свободном касании в конструкциях с ограниченной подвижностью)

Rcd

8 (80)

7,5 (75)

11 (110)

10 (100)

Окончание табл. 52*

Напряженное состояние

Расчетное сопротивление, МПа (кгс/см2), поковок группы IV

обозначение

при категории прочности (марке стали)

КП315

(30Г-2-Т)

КП345

(35Г-2-Т)

КП785

(40ХН2МА-2-2-Т)

КП1200

(40Х13)

1

2

7

8

9

10

Растяжение, сжатие и изгиб

Ry

260 (2650)

280 (2850)

605 (6150)

1050 (10700)

Сдвиг

Rs

145 (1500)

160 (1650)

350 (3550)

610 (6200)

Смятие торцевой поверхности (при наличии пригонки)

Rp

395 (4000)

420 (4250)

905 (9200)

1365 (13900)

Смятие местное в цилиндрических шарнирах (цапфах) при плотном касании

Rtp

195 (2000)

205 (2100)

450 (4600)

685 (6950)

Диаметральное сжатие катков (при свободном касании в конструкциях с ограниченной подвижностью)

Rcd

10 (100)

10 (100)

23 (230)

85 (860)

4.10. Расчетные сопротивления сварных соединений для различных видов соединений и напряженных состояний следует определять по формулам, приведенным в табл. 53.

Таблица 53

Сварные соединения

Напряженное состояние

Расчетные сопротивления сварных соединений

Стыковые

Сжатие.

Растяжение и изгиб при автоматической, полуавтоматической или ручной сварке с физическим контролем качества швов:

 

по пределу текучести

Rwy = Ry

по временному сопротивлению

Rwu = Ru

Сдвиг

Rws = Rs

С угловыми швами

Срез (условный):

 

по металлу шва

Rwf = 0,55

по металлу границы сплавления

Rwz = 0,45 Run

Примечания: 1. Для швов, выполняемых ручной сваркой, значения Rwun следует принимать равными значениям временного сопротивления разрыву металла шва, указанным в ГОСТ 9467-75*.

2. Для швов, выполняемых автоматической или полуавтоматической сваркой, значения Rwun следует принимать по разд. 3 СНиП II-23-81*.

3. Значение коэффициента надежности по материалу шва gwm следует принимать равным 1,25.

Расчетные сопротивления стыковых соединений элементов из сталей с разными расчетными сопротивлениями следует принимать как для стыковых соединений из стали с меньшим значением расчетного сопротивления.

Расчетные сопротивления металла швов сварных соединений с угловыми швами следует принимать по прил. 2. СНиП II-23-81*.

4.11*. Расчетные сопротивления одноболтовых соединений следует определять по формулам, приведенным в табл. 54*.

Таблица 54*

Напряженное состояние

Расчетные сопротивления одноболтовых соединений

срезу и растяжению болтов при классе прочности или марке стали

смятию соединяемых элементов из стали с нормативным пределом текучести до 440 МПа (4500 кгс/см2)

4.6; Ст3сп4; 09Г2; 295-09Г2-4; 295-09Г226; 325-09Г2С-4; 325-09Г2С-6

40Х

Срез

Rbs = 0,38 Rbun

Rbs = 0,4 Rbun

-

Растяжение

Rbt = 0,42 Rbun

Rbt = 0,5 Rbun

-

Смятие:

 

 

 

а) болты класса точности А

-

-

Rbp = Run

б) болты классов точности В и С

-

-

Rbp = Run

Расчетные сопротивления срезу и растяжению болтов следует принимать по табл. 55*.

Таблица 55*

Напряженное состояние

Расчетное сопротивление, МПа (кгс/см2), болтов при классе прочности или марке стали

обозначение

4.6

Ст3сп4

09Г2; 295-09Г24; 295-09Г2-6

325-09Г2С-4; 325-09Г2С-6

40Х

Срез

Rbs

145 (1500)

140 (1450)

154 (1700)

175 (1800)

395 (4000)

Растяжение

Rbt

160 (1650)

155 (1600)

185 (1900)

195 (2000)

495 (5000)

Расчетные сопротивления смятию элементов, соединяемых болтами, следует определять по прил. 2 СНиП II-23-81*.

4.12*. Расчетное сопротивление растяжению фундаментных (анкерных) болтов Rba следует определять по формуле

Rba = 0,4 Run.                                                         (138)

Расчетные сопротивления растяжению фундаментных (анкерных) болтов следует принимать по табл. 56*.

Таблица 56*

Диаметр болтов d, мм

Расчетные сопротивления, МПа (кгс/см2), фундаментных (анкерных) болтов из стали марок

20

09Г2; 295-09Г2-6

325-09Г2С-6

40Х

12-20

160 (1650)

175 (1800)

185 (1900)

-

16-27

-

-

-

430 (4400)

21-32

160 (1650)

175 (1800)

180 (1850)

-

30

-

-

-

370 (3800)

36

-

-

-

295 (3000)

33-60

160 (1650)

-

180 (1850)

-

42

-

-

-

255 (2600)

48

-

-

-

235 (2400)

61-80

160 (1650)

-

175 (1800)

-

81-100

160 (1650)

-

170 (1750)

-

101-160

160 (1650)

-

170 (1750)

-

161-250

160 (1650)

-

-

-

4.13. Расчетное сопротивление срезу для сплава ЦАМ 9-1,5Л следует принимать равным 50 МПа (500 кгс/см2).

4.14. Расчетное сопротивление высокопрочных болтов по ГОСТ 22353-77* и ГОСТ 22356-77* растяжению Rbh следует определять по формуле

Rbh = 0,7 Rbun,                                                         (139)

где Rbun - наименьшее временное сопротивление высокопрочных болтов разрыву по ГОСТ 22356-77*.

4.15*. Значения коэффициента трения m по соприкасающимся поверхностям деталей во фрикционных соединениях1 следует принимать по табл. 57*. Способ обработки контактных поверхностей должен быть указан в чертежах КМ.

____________

1 Фрикционными называются соединения, в которых передача усилия осуществляется только силами трения по контактным плоскостям соединяемых элементов, возникающего вследствие натяжения высокопрочных болтов.

Таблица 57*

Способ обработки контактных поверхностей во фрикционных соединениях

Коэффициент трения m

1. Пескоструйный или дробеструйный двух поверхностей кварцевым песком или дробью - без последующей консервации

0,58

2. Кварцевым песком или дробью одной поверхности с консервацией полимерным клеем и посыпкой карборундовым порошком, стальными щетками без консервации - другой поверхности

0,50

3. Газопламенный двух поверхностей без консервации

0,42

4. Стальными щетками двух поверхностей без консервации

0,35

5. Дробеметный двух поверхностей дробью без последующей консервации

0,38

6. Дробеметный двух поверхностей дробью с последующим их газопламенным нагревом (до температуры 250-300 °С) на кольцевых зонах вблизи отверстий площадью не менее площади шайбы

0,61

4.16. Расчетное сопротивление растяжению Rdh высокопрочной стальной проволоки, применяемой в пучках и канатах из параллельно уложенных проволок, следует определять по формуле

Rdh = 0,63 Run,                                                        (140)

где Run - наименьшее временное сопротивление проволоки разрыву по государственным стандартам или техническим условиям.

4.17*. При определении расчетного сопротивления стального витого каната с металлическим сердечником учитываются значение разрывного усилия каната в целом, установленное государственным стандартом или техническими условиями на канаты (а при его отсутствии в нормах - значение агрегатной прочности витого каната) и коэффициент надежности gm = 1,6.

4.18*. Модуль упругости или модуль сдвига прокатной стали, стального литья, пучков и канатов из параллельно уложенных проволок следует принимать по табл. 58*.

Таблица 58*

Полуфабрикаты

Модуль упругости Е или модуль сдвига G, МПа (кгс/см2)

1. Прокатная сталь и стальное литье

Е = 2,06 × 105 (2,1 × 106)

2. То же

G = 0,78 × 105 (0,81 × 106)

3. Пучки и канаты из параллельно уложенных оцинкованных проволок по ГОСТ 3617-71

Е = 2,01 × 106 (2,5 × 106)

Модуль упругости стальных оцинкованных витых канатов с металлическим сердечником, подвергнутых предварительной вытяжке усилием, равным половине разрывного усилия каната в целом, следует принимать по табл. 59.

Таблица 59

Канаты

Кратность свивки

Модуль упругости Е, МПа (кгс/см2)

Одинарной свивки по ГОСТ 3064-80 и закрытые несущие по ТУ 14-4-1216-82

6

1,18 × 105 (1,20 × 106)

8

1,45 × 105 (1,47 × 106)

10

1,61 × 105 (1,63 × 106)

11

1,65 × 105 (1,67 × 106)

12

1,70 × 105 (1,73 × 106)

14

1,75 × 105 (1,78 × 106)

16

1,77 × 105 (1,80 × 106)

УЧЕТ УСЛОВИЙ РАБОТЫ И НАЗНАЧЕНИЯ КОНСТРУКЦИЙ

4.19*. При расчете стальных конструкций и соединений мостов надлежит учитывать:

коэффициент надежности по назначению gn, принимаемый равным gn = 1,0;

коэффициент надежности gu = 1,3 для элементов конструкций, рассчитываемых по прочности с использованием расчетных сопротивлений Ru;

коэффициент условий работы m, принимаемый по табл. 60* и 81 и подразделам настоящих норм, а для канатов в зоне отгибов на отклоняющих устройствах, хомутов, стяжек, сжимов и анкеров - по обязательному приложению 14.

Таблица 60*

Область применения

Коэффициент условий работы m

1. Элементы и их соединения в пролетных строениях и опорах железнодорожных и пешеходных мостов при расчете на эксплуатационные нагрузки

0,9

2. То же, при расчете на нагрузки, возникающие при изготовлении, транспортировке и монтаже

1,0

3. Элементы и их соединения в пролетных строениях и опорах автодорожных и городских мостов при расчете на эксплуатационные нагрузки, а также на нагрузки, возникающие при изготовлении, транспортировании и монтаже

1,0

4. Канаты гибких несущих элементов в вантовых и висячих мостах

0,8

5. Канаты напрягаемых элементов предварительно напряженных конструкций

0,9

6. Растянутые и сжатые элементы из одиночных профилей, прикрепленных одной полкой (или стенкой):

 

неравнополочный уголок, прикрепленный меньшей полкой

0,7

то же, прикрепленный большей полкой

0,8

равнополочный уголок

0,75

прокатный или составной швеллер, прикрепленный стенкой, или тавр, прикрепленный полкой

0,9

7. Элементы и их сварные соединения а пролетных строениях и опорах северного исполнения Б

0,85

Примечания: 1. Значения коэффициента условий работы по поз. 1, 2 и 3 в соответствующих случаях применяются совместно с коэффициентами по поз. 4-7. Коэффициент условий работы по поз. 7 в соответствующих случаях применяется совместно с коэффициентами по поз. 4-6.

2. В случаях, не оговоренных в настоящем разделе, в формулах следует принимать m =1,0.

РАСЧЕТЫ

Общие положения

4.20. Расчетную схему конструкции следует принимать в соответствии с ее проектной геометрической схемой, при этом строительный подъем и деформации под нагрузкой, как правило, не учитываются.

Усилия в элементах и перемещения стальных мостовых конструкций определяются из условия их работы с сечениями брутто.

Геометрическую нелинейность, вызванную перемещением элементов конструкций, следует учитывать при расчете систем, в которых ее учет вызывает изменение усилий и перемещений более чем на 5 %.

При выполнении расчетов с учетом геометрической нелинейности следует определять изменения в направлении действия сил, связанные с общими деформациями системы (следящий эффект).

При определении усилий в элементах конструкций соединения сварные и фрикционные на высокопрочных болтах следует рассматривать как неподатливые.

При расчете вантовых и висячих мостов с гибкими несущими элементами из витых канатов с металлическим сердечником - одинарной свивки и закрытых несущих, подвергнутых предварительной вытяжке согласно п. 4.4*, - надлежит учитывать их продольную и поперечную ползучесть в соответствии с указаниями пп. 4.34 и 4.35.

4.21. Жесткие соединения элементов в узлах решетчатых ферм допускается принимать при расчете шарнирными, если при таком допущении конструкция сохраняет свою неизменяемость, при этом для главных ферм отношение высоты сечения к длине элементов не должно, как правило, превышать 1:15.

Дополнительные напряжения в поясах ферм от деформации подвесок следует учитывать независимо от отношения высоты сечения к длине элемента пояса.

Учет жесткости узлов в решетчатых фермах допускается осуществлять приближенными методами, при этом допускается определение осевых усилий выполнять по шарнирной расчетной схеме.

4.22*. За ось элемента пролетных строений принимается линия, соединяющая центры тяжести его сечений. При определении положения центра тяжести сечения его ослабление отверстиями болтовых соединений не учитывается, а ослабление перфораций учитывается и принимается постоянным по всей длине элемента. При смещении оси элемента сквозных ферм относительно линии, соединяющей центры узлов, эксцентриситет следует учитывать в расчете, если он превосходит:

для П-образных, коробчатых, двухшвеллерных и двутавровых элементов - 1,5 % высоты сечения;

для тавровых и Н-образных элементов - 0,7 % высоты сечения.

Изгибающие моменты от смещения осей элементов распределяются между всеми сходящимися в узле элементами пропорционально их жесткости и обратно пропорционально длине. При этом каждый изгибающий момент следует принимать равным произведению эксцентриситета на максимальное значение усилия в данном элементе в основной расчетной схеме.

В элементах связей из уголков с болтовыми соединениями, центрированных по рискам, ближайшим к обушку, допускается возникающий при этом эксцентриситет не учитывать.

4.23. Распределение временной нагрузки в элементах многобалочных пролетных строений со сплошными главными балками, объединенными жесткими поперечными связями, при отношении длины пролета к ширине свыше 4 допускается определять по теории тонкостенных стержней, принимая при этом гипотезу о недеформируемости контура поперечного сечения. В остальных случаях необходимо учитывать деформации контура поперечного сечения.

4.24. При проектировании необходимо обеспечивать пространственную неизменяемость, прочность, общую и местную устойчивость пролетных строений и опор в целом, блоков, отдельных элементов, их частей, деталей и соединений под воздействием нагрузок, возникающих при изготовлении, транспортировании и монтаже, под воздействием эксплуатационных нагрузок - и выносливость.

Для элементов, ослабленных отверстиями под обычные болты, при расчетах на прочность и выносливость следует принимать сечения нетто, на устойчивость и жесткость - сечения брутто.

При расчетах элементов с фрикционными соединениями на высокопрочных болтах на выносливость, устойчивость и жесткость следует принимать сечения брутто, при расчетах по прочности - сечения нетто с учетом того, что половина усилия, приходящегося на данный болт, в рассматриваемом сечении уже передана силами трения.

Геометрические характеристики сечения нетто элементов конструкций следует находить, определяя невыгоднейшее ослабление.

Расчеты по прочности

ЦЕНТРАЛЬНО-РАСТЯНУТЫЕ И ЦЕНТРАЛЬНО-СЖАТЫЕ ЭЛЕМЕНТЫ

4.25*. Расчет по прочности элементов, подверженных центральному растяжению или сжатию силой N следует выполнять по формуле

.                                                                   (141)

Здесь и в пп. 4.26*-4.32 m - коэффициент условий работы, принимаемый по табл. 60*.

ИЗГИБАЕМЫЕ ЭЛЕМЕНТЫ

4.26*. Расчет по прочности элементов, изгибаемых в одной из главных плоскостей, следует выполнять по формуле

М

¾¾ £ Ry m,                                                           (142)

æWh

где æ - коэффициент, учитывающий ограниченное развитие пластических деформаций в сечении и определяемый по формулам (143) и (144)* при условии выполнения требований п. 4.32;

Wn - здесь и далее в расчетах по прочности минимальный момент сопротивления сечения нетто, определяемый с учетом эффективной ширины пояса bef.

При одновременном действии в сечении момента М и поперечной силы Q коэффициент æ следует определять по формулам:

при tm £ 0,25 Rs

æ = æ1;                                                                  (143)

при 0,25 Rs < tm £ Rs

æ = æ1;                                                     (144)*

при этом 0 £ æ £ æ1,

где æ1 - коэффициент, принимаемый у двутавровых, коробчатых и тавровых сечений - по табл. 61, для кольцевых сечений - равным 1,15, для прямоугольных сплошных и Н-образных - 1,25;

 - среднее касательное напряжение в стенке балки,

 ;  - для коробчатых сечений;

 - для двутавровых сечений;

здесь Qu - предельная поперечная сила, определяемая по формуле

Rs m æ2 I t

Qu = ¾¾¾¾¾,

S

причем æ2 принимается по формуле (160).

Таблица 61

Аf,min

Значения коэффициента æ1 при отношении площадей (Аf,min+Aw)/A, равном

Aw

0,01

0,1

0,2

0,3

0,4

0,5

0,6

0,7

0,8

0,9

1,0

0

1,243

1,248

1,253

1,258

1,264

1,269

1,274

1,279

1,283

1,267

1,243

0,1

1,187

1,191

1,195

1,199

1,202

1,206

1,209

1,212

1,214

1,160

-

0,2

1,152

1,155

1,158

1,162

1,165

1,168

1,170

1,172

1,150

-

-

0,3

1,128

1,131

1,133

1,136

1,139

1,142

1,144

1,145

1,097

-

-

0,4

1,110

1,113

1,115

1,118

1,120

1,123

1,125

1,126

1,069

-

-

0,5

1,097

1,099

1,102

1,104

1,106

1,109

1,110

1,106

1,061

-

-

0,6

1,087

1,089

1,091

1,093

1,095

1,097

1,099

1,079

-

-

-

0,7

1,078

1,080

1,082

1,084

1,086

1,088

1,090

1,055

-

-

-

0,8

1,071

1,073

1,075

1,077

1,079

1,081

1,082

1,044

-

-

-

0,9

1,065

1,067

1,069

1,071

1,073

1,074

1,076

1,036

-

-

-

1,0

1,060

1,062

1,064

1,066

1,067

1,069

1,071

1,031

-

-

-

2,0

1,035

1,036

1,037

1,038

1,039

1,040

1,019

-

-

-

-

3,0

1,024

1,025

1,026

1,027

1,028

1,029

1,017

-

-

-

-

4,0

1,019

1,019

1,020

1,021

1,021

1,022

1,015

-

-

-

-

5,0

1,015

1,015

1,016

1,017

1,018

1,018

-

-

-

-

-

Примечания: 1. Для коробчатых сечений площадь Аw следует принимать равной сумме площадей стенок.

2. Для таврового сечения площадь Аf,min = 0.

Эффективную ширину пояса bef при вычислении Wn следует определять по формуле

bef = Snbi,                                                             (145)

где n - коэффициент приведения неравномерно распределенных напряжений на ширине участков пояса bi к условным равномерно распределенным напряжениям по всей эффективной ширине пояса bef, принимаемый по табл. 62;

bi -   ширина участка пояса, заключенная в рассматриваемом сечении между двумя точками с максимальными напряжениями smax (тогда bi = b) или между такой точкой и краем пояса (bi = bk), при этом должны выполняться условия b > 0,04l и bk ³ 0,02l (в противном случае n = 1);

l - длина пролета разрезной балки или расстояние между точками нулевых моментов в неразрезной балке.

Таблица 62

smin/smax

Коэффициент n

smin/smax

Коэффициент n

1,0

1

0,25

0,65

0,7

1

0,20

0,60

0,5

0,85

0,10

0,52

0,33

0,72

0

0,43

В табл. 62 обозначено:

smax, smin - максимальное и минимальное напряжения на данном участке пояса шириной bi, определяемые расчетом пространственной конструкции в упругой стадии.

Примечание. При наличии вырезов в ортотропных плитах для пропуска тела пилона, обрывов плиты в отсеках многосекционного коробчатого сечения, при других нарушениях регулярности конструкции, а также в сечениях, где приложены сосредоточенные силы, значения коэффициента n следует определять по специальной методике.

4.27. Расчет по прочности элементов, изгибаемых в двух главных плоскостях, следует выполнять:

с двутавровыми и коробчатыми сечениями с двумя осями симметрии - по формуле

Mx                My

¾¾¾ yx + ¾¾¾ yy £ Ry m;                                          (146)

æxWxn                                                 æyWyn

с сечениями других типов - по формуле

Mxy                                                 Myx

¾¾¾ yx ± ¾¾¾ yy £ Ry m;                                           (147)

æx Ixn              æy Iyn

где æx, æy - коэффициенты, определяемые по формулам (143) и (144)* как независимые величины для случаев изгиба относительно осей х и у;

yx, yy - коэффициенты, определяемые:

для двутавровых сечений с двумя осями симметрии - по формулам:

Mx

yx = ¾¾¾¾¾; yy = 1;                                               (148)

æx Wxn Ry m

для коробчатых сечений с двумя осями симметрии - по формулам:

; ,                                    (149)

где

Mx                                                                                         My

wx = ¾¾¾¾¾¾; wy = ¾¾¾¾¾¾.                                 (150)

æx Wxn Ry m                 æy Wyn Ry m

ЭЛЕМЕНТЫ, ПОДВЕРЖЕННЫЕ ДЕЙСТВИЮ ОСЕВОЙ СИЛЫ С ИЗГИБОМ

4.28*. Расчет по прочности внецентренно сжатых, сжато-изгибаемых, внецентренно растянутых и растянуто-изгибаемых элементов при изгибе в одной из главных плоскостей следует выполнять по формуле

N                                                       M

¾ y + ¾¾¾ £ Ry m,                                                    (151)

An          æ Wn

где М - приведенный изгибающий момент;

y - коэффициент;

æ - коэффициент, определяемый по формулам (143) и (144)*.

Приведенный изгибающий момент М при гибкости элементов l > 60 для сечений, находящихся в пределах двух средних четвертей длины шарнирно-опертого стержня и всей длины стержня, защемленного по концам, следует определять по формуле

,                                                               (152)

где М1 - момент, действующий в проверяемом сечении;

N -   продольная сила, действующая в проверяемом сечении со своим знаком («плюс» - растяжение);

Nе - эйлерова критическая сила в плоскости действия момента, вычисленная для соответствующих закреплений стержня; при l £ 60 допускается принимать М = М1.

Коэффициент y следует определять:

для элементов двутаврового, коробчатого и таврового сечений с одной осью симметрии по табл. 63 - в случае, если напряжения в меньшем поясе (с площадью Af,min) от момента и продольной силы одинаковых знаков, и по табл. 64* - в случае, если напряжения в меньшем поясе от момента и продольной силы разных знаков;

для элементов сплошного прямоугольного и Н-образного сечений - по формуле

;                                                              (153)

для элементов кольцевого сечения - по формуле

,                                                        (154)

где .

Для других сечений, а также при других закреплениях концов элементов расчет по прочности следует производить по формуле

N                                                          My

¾ + ¾¾¾ £ Ry m.                                                   (155)

An        æ Ixn

В формулах (153) - (155) обозначения те же, что и в формуле (151).

Таблица 63

Af,min

Значения коэффициента y при w

0,05

0,2

0,4

Af,max

при Af,max/Aw

0,5

1

2

0,5

1

2

0,5

1

2

1

2

3

4

5

6

7

8

9

10

0

1

1

1

1

1

1

1

1

1

0,5

0,53

0,55

0,57

0,63

0,68

0,78

0,77

0,85

0,92

1

0,067

0,09

0,14

0,26

0,36

0,56

0,53

0,70

0,83

Окончание табл. 63

Af,min

Значения коэффициента y при w

0,6

0,8

0,95

Af,max

при Af,max/Aw

0,5

1

2

0,5

1

2

0,5

1

2

1

11

12

13

14

15

16

17

18

19

0

1

1

1

1

1

1

1

1

1

0,5

0,89

0,93

0,96

0,96

0,98

0,99

0,99

0,99

0,997

1

0,78

0,87

0,93

0,92

0,95

0,97

0,98

0,99

0,994

В табл. 63 обозначено: .

Примечания: 1. Промежуточные значения коэффициента n определяются линейной интерполяцией.

2. Силу N следует принимать со знаком «плюс».

Таблица 64*

Af,min

Значения коэффициента y при w

-0,05

-0,2

-0,4

Af,max

при Af,max/Aw

0,5

1

2

0,5

1

2

0,5

1

2

1

2

3

4

5

6

7

8

9

10

0

0,9

0,9

0,9

0,6

0,6

0,6

0,2

0,2

0,2

0,5

0,42

0,40

0,38

0,17

0,12

0,02

-0,17

-0,25

-0,32

1

-0,07

-0,09

-0,14

-0,27

-0,36

-0,56

-0,53

-0,70

-0,83

Окончание табл. 64*

Af,min

Значения коэффициента y при w

-0,6

-0,8

-0,95

Af,max

при Af,max/Aw

0,5

1

2

0,5

1

2

0,5

1

2

1

11

12

13

14

15

16

17

18

19

0

-0,2

-0,2

-0,2

-0,6

-0,6

-0,6

-0,9

-0,9

-0,9

0,5

-0,49

-0,53

-0,56

-0,76

-0,78

-0,79

-0,94

-0,94

-0,95

1

-0,78

-0,87

-0,93

-0,92

-0,95

-0,97

-0,98

-0,99

-0,99

Примечания: 1. Обозначения см. в табл. 63.

2. Силу N следует принимать со знаком «минус».

3. Промежуточные значения коэффициента y определяются линейной интерполяцией.

4.29*. Расчет по прочности внецентренно сжатых, сжато-изгибаемых, внецентренно растянутых и растянуто-изгибаемых элементов при изгибе в двух главных плоскостях следует выполнять:

для элементов двутаврового, коробчатого и таврового сечений с одной осью симметрии, а также для элементов сплошного прямоугольного и кольцевого сечений - по формуле

1     N                                                        Mx

¾ (¾ y + ¾¾¾) £ Ry m,                                           (156)

d     An          æ Wxn

где

My

d = 1 - ¾¾¾¾¾¾;                                                     (157)

æy Wyn Ry m

Mx, My - приведенные изгибающие моменты по п. 4.28*;

y, æx, æy - коэффициенты, принимаемые по пп. 4.28* и 4.26*, причем

;

для других сечений, а также при других закреплениях концов элементов расчет по прочности следует производить по формуле

N          Mx             My

¾ ± ¾¾¾ y ± ¾¾¾ x £ Ry m.                                          (158)

An        æx Ixn         æy Iyn

В основных случаях, когда приведенных данных для определения æx и æy недостаточно, расчет на прочность производят по формуле (158), принимая æx = æy = 1.

4.30*. Значения касательных напряжений t в сечениях стенки изгибаемых элементов при М = Мх = Мy = 0 должны удовлетворять условию

QS

t = ¾¾¾ £ Rs m,                                                  (159)

æ2 I t

где                                                     æ2 = 1,25 - 0,25 ;                                                          (160)

tmin.ef, tmax.ef - значения минимального и максимального касательных напряжений в сечении стенки, вычисленные в предположении упругой работы.

При наличии ослабления стенки отверстиями болтовых соединений вместо t в формулу ( 159) следует подставлять значение

,

здесь а - шаг болтов; d - диаметр отверстий.

4.31*. Для стенок балок, рассчитываемых в пп. 4.26* - 4.29*, должно выполняться условие:

 £ g¢ Ry m; txy £ Rs m,                          (161)

где sx - нормальные (положительные при сжатии) напряжения в проверяемой точке (х, у) срединной плоскости стенки, параллельные оси балки;

sy - такие же напряжения, перпендикулярные оси балки, определяемые согласно обязательному приложению 16*;

g¢ - коэффициент, равный 1,15 при sx = 0 и 1,10 при sy ¹ 0;

txy - касательное напряжение в проверяемой точке стенки балки.

4.32. Элементы, воспринимающие усилия разных знаков, после проверки прочности с учетом допущения развития ограниченных пластических формаций (æ > 1) должны быть проверены также по формуле

 £ 1,8 Ry m,                                   (162)

где smax, smin - соответственно расчетные максимальные и минимальные (со своими знаками) нормальные напряжения в проверяемой точке, вычисленные в предположении упругой работы материала;

t1, t2 - касательные напряжения в проверяемой точке (с учетом их знаков), вычисленные соответственно от тех же нагрузок, что и smax и smin.

При невыполнении указанного условия расчет по прочности следует выполнить на наибольшие усилия для упругой стадии работы.

Расчет на прочность и ползучесть стальных канатов

4.33. Расчет по прочности стальных канатов гибких несущих элементов в вантовых и висячих мостах, а также напрягаемых элементов предварительно напряженных конструкций следует выполнять по формуле

,                                                              (163)

где Rdh - расчетное сопротивление канатов;

m - коэффициент условий работы, принимаемый по табл. 60*;

m1 - коэффициент условий работы, определяемый по обязательному приложению 14.

Расчетное сопротивление Rdh для канатов и пучков из параллельно уложенных высокопрочных проволок определяется по формуле (140), для канатов одинарной свивки и закрытых несущих - по формулам

 или ,                                          (164)

где [SPun] - значение разрывного усилия каната в целом, указанное в государственном стандарте или технических условиях;

gm = 1,6 согласно п. 4.17*;

SPun - сумма разрывных усилий всех проволок в канате;

k - коэффициент агрегатной прочности витого каната, определяемый по табл. 65.

Таблица 65

Канат

Коэффициент k при кратности свивки

6

8

10

12

14

16

Одинарной свивки

0,89

0,93

0,96

0,97

0,98

0,99

Закрытый несущий

0,87

0,91

0,94

0,95

0,96

0,97

4.34. Продольную ползучесть epl,x стальных оцинкованных витых канатов с металлическим сердечником - одинарной свивки и закрытых несущих, подвергнутых предварительной вытяжке, - следует определять по формуле

,                                                      (165)

где           s -   напряжение в канате от усилия, подсчитанного от воздействия нормативных постоянных нагрузок и 1/3 нормативной временной нагрузки;

 - нормативное сопротивление каната;

е - основание натуральных логарифмов.

4.35. Поперечную ползучесть epl,y канатов, указанных в п. 4.34, следует определять по формуле

.                                                  (166)

Расчеты по устойчивости

4.36. Расчет при плоской форме потери устойчивости сплошностенчатых элементов замкнутого и открытого сечений, подверженных центральному сжатию, сжатию с изгибом и внецентренному сжатию при изгибе в плоскости наибольшей гибкости, следует выполнять по формуле

 £ j Ry m,                                                           (167)

где j - коэффициент продольного изгиба, определяемый по табл. 1*-3 обязательного приложения 15* в зависимости от гибкости элемента l и приведенного относительного эксцентриситета еef;

m - здесь и в пп. 4.38-4.41 - коэффициент условий работы, принимаемый по табл. 60*.

Гибкость элемента l следует определять по формуле

,                                                                   (168)

где lef - расчетная длина;

i - радиус инерции сечения относительно оси, перпендикулярной плоскости наибольшей гибкости (плоскости изгиба).

Приведенный относительный эксцентриситет еef следует определять по формуле

eef = h erel,                                                                   (169)

где h - коэффициент влияния формы сечения, определяемый по обязательному приложению 15*;

erel =  - относительный эксцентриситет плоскости изгиба (здесь е - действительный эксцентриситет силы N при внецентренном сжатии и расчетный эксцентриситет при сжатии с изгибом, r - ядровое расстояние), принимаемый при центральном сжатии равным нулю.

Расчетный эксцентриситет е в плоскости изгиба при сжатии с изгибом следует определять по формуле

,                                                                       (170)

где N, М - расчетные значения продольной силы и изгибающего момента.

Ядровое расстояние r по направлению эксцентриситета следует определять по формуле

,                                                                      (171)

где Wc - момент сопротивления сечения брутто, вычисляемый для наиболее сжатого волокна.

Расчетные значения продольной силы N и изгибающего момента М в элементе следует принимать для одного и того же сочетания нагрузок из расчета системы по недеформированной схеме в предположении упругих деформаций стали.

При этом значения М следует принимать равными:

для элементов постоянного сечения рамных систем - наибольшему моменту в пределах длины элемента;

для элементов с одним защемленным, а другим свободным концом - моменту в заделке, но не менее момента в сечении, отстоящем на треть длины элемента от заделки;

для сжатых поясов ферм, воспринимающих внеузловую нагрузку, - наибольшему моменту в пределах средней трети длины панели пояса, определяемому из расчета пояса как упругой неразрезной балки;

для сжатых стержней с шарнирно-опертыми концами и сечениями, имеющими одну ось симметрии, совпадающую с плоскостью изгиба, - моменту, определяемому по формулам табл. 66.

Таблица 66

Относительный эксцентриситет, соответствующий Мmax

Расчетные значения М при условной гибкости стержня

 < 4

 ³ 4

erel £ 3

M = M2 = Mmax - (Mmax - M1)

M = M1

3 < erel £ 20

M = M2 + (Mmax - M2)

M = M1 + (Mmax - M1)

В табл. 66 обозначено:

Мmax - наибольший изгибающий момент в пределах длины стержня;

М1 -   наибольший изгибающий момент в пределах средней трети длины стержня, но не менее 0,5 Мmax;

еrel - относительный эксцентриситет, определяемый по формуле

;

 - условная гибкость, определяемая по формуле

 = l aR,

где aR - коэффициент, принимаемый по табл. 4* обязательного приложения 15*.

Примечание. Во всех случаях следует принимать М ³ 0,5 Mmax.

Для сжатых стержней с шарнирно-опертыми концами и сечениями, имеющими две оси симметрии, расчетные значения приведенных относительных эксцентриситетов еef следует определять по прил. 6 СНиП II-23-81*, принимая при этом mef равным eef и mef1 равным eef1, определяемому по формуле

,

где M1 - больший из изгибающих моментов, приложенных на шарнирно-опертых концах сжатого стержня указанного типа.

4.37. Расчет при плоской форме потери устойчивости сквозных элементов замкнутого сечения, ветви которых соединены планками или перфорированными листами, при центральном сжатии, сжатии с изгибом и внецентренном сжатии следует выполнять:

элемента в целом в плоскости действия изгибающего момента или предполагаемого (при центральном сжатии) изгиба, перпендикулярной плоскости планок или перфорированных листов, - по формуле (167);

элемента в целом в плоскости действия изгибающего момента или предполагаемого (при центральном сжатии) изгиба, параллельной плоскости планок или перфорированных листов, - по формуле (167) с определением коэффициента продольного изгиба j по табл. 1*-3 обязательного приложения 15* в зависимости от приведенной гибкости lef;

отдельных ветвей - по формуле (167) в зависимости от гибкости ветви la.

Гибкость ветви la следует определять по формуле (168), принимая за расчетную длину lef расстояние между приваренными планками (в свету) или расстояние между центрами крайних болтов соседних планок, или равное 0,8 длины отверстия в перфорированном листе и за i - радиус инерции сечения ветви относительно собственной оси, перпендикулярной плоскости планок или перфорированных листов.

Приведенную гибкость сквозного элемента lef в плоскости соединительных планок и перфорированных листов следует определять по формуле

lef = ,                                                            (172)

где l - гибкость элемента в плоскости соединительных планок или перфорированных листов, определяемая по формуле (168);

la - гибкость ветви.

При подсчете площади сечения, момента инерции и радиуса инерции элемента следует принимать эквивалентную толщину tef, определяя ее:

для перфорированных листов шириной b, длиной l и толщиной t - по формуле

,                                                             (173)

где А = bl - площадь листа до образования перфораций;

SA1 - суммарная площадь всех перфораций на поверхности листа;

для соединительных планок толщиной t - по формуле

,                                                                  (174)

где Sl1 - сумма длин всех планок элемента (вдоль элемента);

l - длина элемента.

Сквозные элементы из деталей, соединенных вплотную или через прокладки, следует рассчитывать как сплошные, если наибольшие расстояния между болтами, приваренными планками (в свету) или между центрами крайних болтов соседних планок не превышают:

для сжатых элементов - 40i;

для растянутых элементов - 80i.

Здесь радиус инерции i уголка или швеллера следует принимать для составных тавровых или двутавровых сечений относительно оси, параллельной плоскости расположения прокладок, для крестовых сечений - минимальный. При этом в пределах длины сжатого элемента должно быть не менее двух прокладок.

4.38. Расчет при изгибно-крутильной форме потери устойчивости сплошностенчатых элементов открытого сечения с моментами инерции Ix > Iy, подверженных центральному сжатию силой N, следует выполнять по формуле

 £ jc Ry m,                                                                 (175)

где jc - коэффициент продольного изгиба, определяемый по табл. 1*-3 обязательного приложения 15* при еef = 0 и

.

4.39. Расчет на изгибно-крутильную устойчивость сплошностенчатых элементов замкнутого и открытого сечений с моментами инерции Ix > Iy, подверженных сжатию с изгибом и внецентренному сжатию в плоскости наименьшей гибкости, совпадающей с плоскостью симметрии и осью у, следует выполнять по формуле

 £ jc Ry m,

где e - действительный эксцентриситет силы N при внецентренном сжатии и расчетный эксцентриситет е = M/N при сжатии с изгибом;

Wc - момент сопротивления сечения брутто, вычисляемый для наиболее сжатого волокна;

jc - коэффициент продольного изгиба, определяемый по табл. 1*-3 обязательного приложения 15* при еef = 0 и

.

4.40. Расчет при изгибно-крутильной форме потери устойчивости сплошностенчатых элементов замкнутого и открытого сечений, подверженных сжатию с изгибом и внецентренному сжатию в двух плоскостях, следует выполнять по формуле

£ jc Ry m,                                      (177)

где еy, еx - действительные эксцентриситеты по направлению осей y и х при внецентренном сжатии и расчетные эксцентриситеты при сжатии с изгибом;

ус, хс - координаты наиболее сжатой точки сечения от совместного действия Мх, Мy и N;

jc -   коэффициент продольного изгиба, определяемый по табл. 1*-3 обязательного приложения 15* при eef = 0 и

.

Кроме того, должен быть выполнен расчет по формуле (167) в предположении плоской формы потери устойчивости в плоскости оси y с эксцентриситетом еy (при еx = 0) и в плоскости оси х с эксцентриситетом ex (при ey = 0).

4.41. Расчет при изгибно-крутильной форме потери устойчивости сплошностенчатых балок, изгибаемых в одной плоскости, следует выполнять по формуле

 £ e jb Ry m,                                                        (178)

где М - наибольший расчетный изгибающий момент в пределах расчетной длины lef сжатого пояса балки;

Wc - момент сопротивления сечения балки для крайнего волокна сжатого пояса;

e - коэффициент, определяемый по формулам:

при ly < 85

e = 1 + (æ - 1) ;

при ly ³ 85

e = 1,0; здесь æ - коэффициент, определяемый по формулам (143) и (144*);

jb - коэффициент продольного изгиба, определяемый по табл. 1*-3 обязательного приложения 15* при еef = 0 и гибкости из плоскости стенки

.

4.42. Расчет при изгибно-крутильной форме потери устойчивости сплошностенчатых балок, изгибаемых в двух плоскостях, следует выполнять по формуле (178), при этом коэффициент jb следует принимать по табл. 1*-3 обязательного приложения 15* при еef = h erel.

Здесь h - коэффициент, принимаемый по обязательному приложению 15*;

еrel - относительный эксцентриситет, определяемый по формуле

erel = ,                                                            (179)

где sfh - наибольшее напряжение в точке на боковой кромке сжатого пояса от изгибающего момента в горизонтальной плоскости в сечении, находящемся в пределах средней трети незакрепленной длины сжатого пояса балки;

sfn - напряжение в сжатом поясе балки от вертикальной нагрузки в том же сечении.

4.43. Проверка общей устойчивости разрезной балки и сжатой зоны пояса неразрезной балки не выполняется в случае, если сжатый пояс объединен с железобетонной или стальной плитой.

Расчет по устойчивости полок и стенок элементов, не подкрепленных ребрами жесткости

4.44. Расчет по устойчивости полок и стенок прокатных и составных сварных центрально- и внецентренно сжатых, а также сжато-изгибаемых и изгибаемых элементов постоянного поперечного сечения, не подкрепленных ребрами жесткости (черт. 11), следует выполнять по теории призматических складчатых оболочек.

Черт. 11. Схемы расчетных сечений элементов, не подкрепленных ребрами жесткости

4.45*. Устойчивость полок и стенок элементов, не подкрепленных ребрами жесткости, при среднем касательном напряжении, не превышающем 0,2sх, допускается обеспечивать назначением отношения высоты стенки (h, hw) или ширины полки (br, bh) к толщине (t, tw, tr, th) не более 0,951 a/ (здесь a - коэффициент, sx,cr,ef - приведенное критическое напряжение).

Коэффициент a следует определять:

для пластинок шириной bh, h, опертых по одной стороне (черт. 11, б-е), - по формуле

;                                          (180)

для пластинок шириной hw, hv, опертых по двум сторонам (черт. 11, а, б, г), - по формуле

.                                          (181)

В формулах (180) и (181):

 - коэффициент защемления пластинки, определяемый по формулам табл. 67;

x - коэффициент, определяемый (для сечений брутто) по формуле

,

где sx,  - максимальное и минимальное продольные нормальные напряжения по продольным границам пластинки, положительные при сжатии, определяемые по формулам (141) - (158) при невыгодном для устойчивости пластинки загружении, при этом коэффициенты æ, æx, æy, y, yx, yy следует принимать равными 1,0.

Таблица 67

Тип сечения элемента

Коэффициент защемления пластинки

стенки

полки - для углового сечения при bh/h

1

0,667

0,5

Коробчатое (черт. 11, а)

Двутавровое (черт. 11, б)

Тавровое (черт. 11, в)

Швеллерное (черт. 11, г)

Угловое для полки высотой h (черт. 11, д)

-

9 = ¥

9 = 10

9 = 5,2

Крестовое (черт. 11, е)

В табл. 67 обозначено:

b1 = ; a1 = ; b2 = ; a2 = ; b3 = ; a3 = .

Примечания: 1. При отрицательном значении знаменателя в формулах табл. 67, а также при равенстве его нулю следует принимать  = ¥.

2. Для углового сечения с отношением bh/h, не указанным в табл. 67, значения 9 следует определять по интерполяции, при этом для bh/h = 1 значение 9 следует принимать равным 100.

Приведенное критическое напряжение sx,cr,ef для пластинки следует определять по формулам табл. 68* в зависимости от критических напряжений sx,cr, за которые следует принимать действующие напряжения sx/m (здесь m - коэффициент условий работы, принимаемый по табл. 60*).

Таблица 68*

Марка стали

Значение sx,cr, МПа (кг/см2)

Формулы для определения sx,cr,ef или его значения, МПа (кг/см2)

16Д

До 176 (1800)

1,222 sx,cr

Ст3

Св. 176 (1800) до 205 (2100)

Св. 205 (2100)

385 (3923)

15ХСНД

До 186 (1900)

1,111 sx,cr

Св. 186 (1900) до 284 (2900)

Св. 284 (2900)

524 (5342)

10ХСНД

До 206 (2100)

1,111 sx,cr

390-14Г2АФД

Св. 206 (2100) до 343 (3499)

390-15Г2АФДпс

Св. 343 (3499)

591 (6023)

Расчет по устойчивости полок и стенок элементов, подкрепленных ребрами жесткости

4.46. Расчет по устойчивости полок и стенок элементов, подкрепленных ребрами жесткости, следует выполнять по теории призматических складчатых оболочек, укрепленных поперечными диафрагмами.

Допускается выполнять расчет по устойчивости пластинок, полок и стенок указанных элементов согласно обязательному приложению 16*.

4.47*. Устойчивость пластинок ортотропных плит допускается обеспечивать назначением отношения их толщины к ширине в соответствии с п. 4.45*, при этом:

для полосовых продольных ребер коэффициент a следует определять по формуле (180) при коэффициенте защемления ns и свесе полки тавра bh (черт. 12, а), равном 0,5 hw при r2 th ³ hw или r1 th при r2 th < hw;

для участка листа ортотропной плиты между соседними продольными полосовыми ребрами коэффициент a следует определять по формуле (181) при коэффициенте защемления , высоте стенки hw, равной расстоянию между продольными ребрами, и свесе полки bh, равном высоте продольного ребра (черт. 12, б), но не более x1th; здесь x1 и x2 - коэффициенты, определяемые по п. 4.55*.

Черт. 12. Схемы расчетных сечений пластинок ортотропных плит

Расчетные длины

4.48. Расчетные длины lef элементов главных ферм, за исключением элементов перекрестной решетки, следует принимать по табл. 69.

Таблица 69

Направление продольного изгиба

Расчетная длина lef

поясов

опорных раскосов и опорных стоек*

прочих элементов решетки

1. В плоскости фермы

l

l

0,8 l

2. В направлении, перпендикулярном плоскости фермы (из плоскости фермы)

l1

l1

l1

В табл. 69 обозначено:

l - геометрическая длина элемента (расстояние между центрами узлов) в плоскости фермы;

l1 - расстояние между узлами, закрепленными от смещения из плоскости фермы.

___________

* Расчетную длину опорных раскосов и опорных стоек у промежуточных опор неразрезных пролетных строений следует принимать как для прочих элементов решетки.

4.49. Расчетную длину lef элемента, по длине которого действуют разные сжимающие усилия N1 и N2 (причем N1 > N2), из плоскости фермы (с треугольной решеткой со шпренгелем или полураскосной и т.п.) следует вычислять по формуле

,                                                   (182)

где l1 - расстояние между узлами, закрепленными от смещения из плоскости фермы.

Расчет по устойчивости в этом случае следует выполнять на усилие N1.

Применение формулы (182) допускается при растягивающей силе N2, в этом случае значение N2 следует принимать со знаком «минус», а lef ³ 0,5 l1.

4.50. Расчетные длины lef элементов перекрестной решетки главной фермы следует принимать:

в плоскости фермы - равными 0,8 l, где l - расстояние от центра узла фермы до точки их пересечения;

из плоскости фермы:

для сжатых элементов - по табл. 70;

для растянутых элементов - равными полной геометрической длине элемента (lef = l1, где l1 см. табл. 69).

Таблица 70

Конструкция узла пересечения элементов решетки

Расчетная длина lef из плоскости фермы при поддерживающем элементе

растянутом

неработающем

сжатом

Оба элемента не прерываются

l

0,7 l1

l1

Поддерживающий элемент прерывается и перекрывается фасонкой:

 

 

 

рассматриваемый элемент не прерывается

0,7 l1

l1

1,4 l1

рассматриваемый элемент прерывается и перекрывается фасонкой

0,7 l1

-

-

4.51. При проверке общей устойчивости балки расчетную длину сжатого пояса следует принимать равной:

расстоянию между узлами фермы продольных связей - при наличии продольных связей в зоне верхних и нижних поясов и поперечных связей в опорных сечениях;

расстоянию между фермами поперечных связей - при наличии продольных связей только в зоне растянутых поясов, при этом фермы поперечных связей должны быть центрированы с узлами продольных связей, а гибкость поясов указанных ферм не должна превышать 100;

пролету балки - при отсутствии в пролете продольных и поперечных связей;

расстоянию от конца консоли до ближайшей плоскости поперечных связей за опорным сечением консоли - при монтаже пролетного строения внавес или продольной надвижкой.

4.52. Расчетную длину lef сжатого пояса главной балки или фермы «открытого» пролетного строения, не имеющего продольных связей по этому поясу, следует определять, как правило, из расчета по устойчивости стержня на упругих опорах, сжатого переменной по длине продольной силой.

Допускается определять указанную расчетную длину по формуле

lef = m l,                                                               (183)

где l - длина пояса, равная расчетному пролету для балок и ферм с параллельными поясами, полной длине пояса для балок с криволинейным верхним поясом и ферм с полигональным верхним поясом;

m - коэффициент расчетной длины.

Коэффициент расчетной длины m для поясов балок и ферм с параллельными поясами, а также для фермы с полигональным или балки с криволинейным верхним поясом следует определять по табл. 71, при этом наибольшее перемещение d следует принимать для рамы, расположенной посредине пролета.

Таблица 71

x

Коэффициент m

0

0,696

5

0,524

10

0,443

15

0,396

30

0,353

60

0,321

100

0,290

150

0,268

200

0,246

300

0,225

500

0,204

1000

0,174

Св. 1000

0,174

В табл. 71 обозначено:

,

где d - расстояние между рамами, закрепляющими пояс от поперечных горизонтальных перемещений;

d - наибольшее горизонтальное перемещение узла рамы (исключая опорные рамы) от силы F = 1;

lm - среднее (по длине пролета) значение момента инерции сжатого пояса балки (фермы) относительно вертикальной оси.

Примечания: 1. Если полученная по данным табл. 71 расчетная длина lef < 1,3d, то ее следует определять из расчета по устойчивости стержня на упругих опорах.

2. Для промежуточных значений x коэффициент m следует определять по линейной интерполяции.

4.53*. Расчет арок по устойчивости выполняется на ЭВМ с учетом совместной работы арок и элементов проезжей части и поддерживающих ее элементов.

При проверке общей устойчивости арки сплошного постоянного сечения допускается определять расчетную длину lef в ее плоскости по формуле

,                                                               (184)

где   l - длина пролета арки;

a = f/l - коэффициент (здесь f - стрела подъема арки);

x - коэффициент, принимаемый по табл. 72.

Значение x для двухшарнирной арки переменного сечения при изменении ее момента инерции в пределах ±10 % среднего его значения по длине пролета допускается определять по поз. 4 табл. 72, принимая при этом Еlbog в четверти пролета.

Во всех случаях расчетная длина lef арки в ее плоскости должна быть не менее расстояния между узлами прикрепления стоек или подвесок.

Таблица 72

Тип арки

Коэффициент x

1. Двухшарнирная с ездой понизу с гибкой затяжкой*, соединенной с аркой подвесками

x = 2x1

2. Бесшарнирная

x = 2x1 + ax1

3. Трехшарнирная

Меньшее из x = x1 и x = x2

4. Двухшарнирная с неразрезной балкой жесткости, соединенной с аркой стойками

x = x1 + (0,95 + 0,7a2)b x1

В табл. 72 обозначено:

x1, x2 - коэффициенты, принимаемые по табл. 73*;

a - см. формулу (184);

; здесь Ibal и Ibog - моменты инерции сечений соответственно балки жесткости и арки.

____________

* При отношении жесткостей затяжки и арки, большем 0,8, расчетная длина арки определяется как для двухшарнирной арки с неразрезной балкой жесткости, соединенной с аркой стойками.

Таблица 73*

a

Коэффициенты

a

Коэффициенты

x1

x2

x1

x2

0,1

28,5

22,5

0,5

36,8

44,0

0,2

45,4

39,6

0,6

30,5

-

0,3

46,5

47,3

0,8

20,0

-

0,4

43,9

49,2

1,0

14,1

-

Примечание. Для промежуточных значений a коэффициенты x1 и x2 следует определять по линейной интерполяции.

4.54. Расчетную длину lef элементов продольных и поперечных связей с любой решеткой, кроме крестовой, следует принимать равной:

в плоскости связей - расстоянию l2 между центрами прикреплений элементов связей к главным фермам или балкам, а также балкам проезжей части;

из плоскости связей - расстоянию l3 между точками пересечения оси элемента связей с осями крайних рядов болтов прикрепления фасонок связей к главным фермам или балкам, а также балкам проезжей части.

Расчетную длину lef перекрещивающихся элементов связей следует принимать:

в плоскости связей - равной расстоянию от центра прикрепления элемента связей к главной ферме или балке, а также балке проезжей части, - до точки пересечения осей связей;

из плоскости связей: для растянутых элементов - равной l3; для сжатых элементов - по табл. 70, принимая при этом за l расстояние от точки пересечения оси элемента связей с осью крайнего ряда болтов прикрепления фасонок связей до точки пересечения осей элементов связей, за l1 - расстояние l3.

Для элементов связей с любой решеткой, кроме крестовой, из одиночных уголков расчетную длину lef следует принимать равной расстоянию l между крайними болтами прикреплений их концов. При крестовой решетке связей lef = 0,6 l. Радиус инерции сечений следует принимать минимальный (i = imin).

4.55*. В сплошностенчатых балках расчетную длину lef опорных стоек, состоящих из одного или нескольких опорных ребер жесткости и примыкающих к ним участков стенки, следует определять по формуле

lef = m lc,                                                                   (185)

где m - коэффициент расчетной длины;

lc - длина опорной стойки балки, равная расстоянию от верха домкратной балки до верхнего пояса или до ближайшего узла поперечных связей.

Коэффициент расчетной длины m опорной стойки следует определять по формуле

;                                                                 (186)

здесь ,

где Ic - момент инерции сечения опорной стойки относительно оси, совпадающей с плоскостью стенки;

Ir, lr - соответственно момент инерции сечения и длина распорки поперечных связей; в «открытых» пролетных строениях в формуле (186) следует принимать n = 0.

При определении площади, момента инерции и радиуса инерции опорной стойки с одним ребром жесткости в состав ее сечения следует включать кроме опорного ребра жесткости примыкающие к нему участки стенки шириной b1 = z1t (здесь t - толщина сечения, z1 - коэффициент, принимаемый по табл. 74*).

Таблица 74*

Марка стали

Значение коэффициента z1

16Д

14

15ХСНД

12

10ХСНД, 390-14Г2АФД, 390-15Г2АФДпс

11,5

Таблица 75*

Марка стали

Значение коэффициента z2

16Д

44

15ХСНД

38

10ХСНД, 390-14Г2АФД, 390-15Г2АФДпс

36

При определении площади, момента инерции и радиуса инерции опорной стойки с несколькими ребрами жесткости при расстояниях между ними b2 = z2t (здесь z2 - коэффициент, принимаемый по табл. 75*) в состав ее сечения следует включать все указанные ребра жесткости, участки стенки между ними, а также примыкающие с внешней стороны к крайним ребрам жесткости участки стенки шириной b1 = z1t, где z1 следует принимать по табл. 74*.

Предельная гибкость стержневых элементов

4.56*. Гибкость стержневых элементов не должна превышать значений, приведенных в табл. 76*.

Таблица 76*

Элементы конструкций

Предельная гибкость стержневых элементов мостов

железнодорожных и пешеходных

автодорожных и городских

Сжатые и сжато-растянутые элементы главных ферм; стойки опор; растянутые элементы поясов главных ферм

100

120

Растянутые элементы главных ферм, кроме поясов; элементы, служащие для уменьшения расчетной длины lef

150

150

Сжатые элементы продольных связей главных ферм и продольных балок, а также тормозных связей

130

150

То же, растянутые

130

180

Элементы поперечных связей:

 

 

на опоре

130

150

в пролете

150

150

Пояса ферм поперечных связей, в уровне которых отсутствуют продольные связи, или плита, объединенная с поясами главных балок для совместной работы

100

100

Ветви составного сжатого или сжато-растянутого элемента

40

40

То же, растянутого

50

50

Расчет на выносливость элементов стальных конструкций и их соединений

4.57*. Расчет на выносливость элементов стальных конструкций и их соединений (кроме канатов) следует выполнять по формулам:

smax, ef £ gw Ry m;                                                           (187)

tmax, ef £ 0,75 gw Ry m,                                                       (188)

где smax, ef -   абсолютное наибольшее нормальное напряжение (растягивающее - положительное);

tmax, ef - абсолютное наибольшее скалывающее напряжение при расчете угловых швов на срез (его направление принимается за положительное);

gw - коэффициент;

m - коэффициент условий работы, принимаемый по табл. 60*.

Напряжения smax, ef и tmax, ef следует определять соответственно по формулам табл. 77 и формулам (206)-(217) от нагрузок, указанных в пп. 2.1*-2.3.

Таблица 77

Напряженное состояние

Формулы для определения smax, ef

Растяжение или сжатие

Изгиб в одной из главных плоскостей

М

¾¾¾

æ3 Wn

Растяжение или сжатие с изгибом в одной из главных плоскостей

N       M

¾ ± ¾¾¾

An       æ3 Wn

Изгиб в двух главных плоскостях

Мхy            Myx

¾¾¾¾ ± ¾¾¾¾

æ3 Ix,n          æ3 Iy,n

Растяжение или сжатие с изгибом в двух главных плоскостях

N        Mxy        Myx

¾ ± (¾¾¾ ± ¾¾¾)

An        æ3 Ix,n      æ3 Iy,n

В табл. 77 обозначено:

М, Мx, Мy - приведенные изгибающие моменты в рассматриваемом сечении, определяемые согласно п. 4.28*;

æ3 - коэффициент, принимаемый равным 1,05.

Примечание. При расчете элементов с фрикционными соединениями на высокопрочных болтах в формулы табл. 77 подставляются характеристики сечения брутто.

Коэффициент gm следует определять по формуле

,                                      (189)

где z - коэффициент, равный 1,0 для железнодорожных и пешеходных и 0,7 - для автодорожных и городских мостов;

 - коэффициент, зависящий от длины загружения l линии влияния при определении smax;

a, d -   коэффициенты, учитывающие марку стали и нестационарность режима нагруженности;

b - эффективный коэффициент концентрации напряжений, принимаемый по табл. 1* обязательного приложения 17*:

r - коэффициент асимметрии цикла переменных напряжений.

Коэффициент r следует определять по формулам:

;                                                               (190)

,                                                                (191)

где smin, smax, tmin, tmax - наименьшие и наибольшие по абсолютной величине значения напряжений со своими знаками, определяемые в том же сечении, по тем же формулам, что и smax, ef, tmax, ef; при этом следует принимать æ3 = 1,0.

В формуле (189) верхние знаки в скобках следует принимать при расчете по формуле (187), если smax > 0, и всегда при расчете по формуле (188).

Коэффициенты a и d следует принимать по табл. 78*.

Таблица 78*

Марка стали

Значения коэффициентов

a

d

16Д

0,64

0,20

15ХСНД

0,72

0,24

10ХСНД

0,81

0,20

390-14Г2АФД, 390-15Г2АФДпс

 

 

При вычислении коэффициентов gm для сварных швов принимаются те же значения коэффициентов a и d, что и для металла элемента.

Коэффициент  следует принимать равным:

                                              (192)

где значения n и x следует принимать по табл. 79*.

Таблица 79*

Эффективный коэффициент концентрации напряжений b

Значения коэффициентов n и x для стали марок

16Д

15ХСНД, 10ХСНД, 390-14Г2АФД, 390-15Г2АФДпс

n

x

n

x

1,0

1,45

0,0205

1,65

0,0295

1,1

1,48

0,0218

1,69

0,0315

1,2

1,51

0,0232

1,74

0,0335

1,3

1,54

0,0245

1,79

0,0355

1,4

1,57

0,0258

1,83

0,0375

1,5

1,60

0,0271

1,87

0,0395

1,6

1,63

0,0285

1,91

0,0415

1,7

1,66

0,0298

1,96

0,0436

1,8

1,69

0,0311

2,00

0,0455

1,9

1,71

0,0325

2,04

0,0475

2,0

1,74

0,0338

2,09

0,0495

2,2

1,80

0,0364

2,18

0,0536

2,3

1,83

0,0377

2,23

0,0556

2,4

1,86

0,0390

2,27

0,0576

2,5

1,89

0,404

2,31

0,0596

2,6

1,92

0,0417

2,36

0,0616

2,7

1,95

0,0430

2,40

0,0636

3,1

2,07

0,0483

2,57

0,0716

3,2

2,10

0,0496

2,62

0,0737

3,4

2,15

0,0523

2,71

0,0777

3,5

-

-

2,75

0,0797

3,7

-

-

2,84

0,0837

4,4

-

-

3,15

0,0977

4.58. Расчет канатов на выносливость следует выполнять по формуле

smax £ m1 gws Rdh m,                                                            (193)

где m1 - коэффициент условий работы каната при расчете на выносливость, равный:

для гибких несущих элементов вантовых и висячих мостов без индивидуального регулирования усилий в канатах - 0,83;

для напрягаемых элементов предварительно напряженных конструкций и гибких несущих элементов вантовых и висячих мостов при индивидуальном регулировании усилий в канатах, в том числе по величине стрелы прогиба при монтаже канатов, - 1,0;

Rdh - расчетное сопротивление канатов, определяемое по п. 4.33;

gws - коэффициент, учитывающий переменность напряжений и определяемый по формуле

 £ 1,                        (194)

где z, , r - коэффициенты, принимаемые согласно п. 4.57*;

b1 - эффективный коэффициент концентрации напряжений, значения которого принимаются по табл. 2 обязательного приложения 17*;

m - коэффициент условий работы, принимаемый по табл. 60*.

Особенности расчета несущих элементов и соединений

ЭЛЕМЕНТЫ ГЛАВНЫХ ФЕРМ

4.59. В расчетах элементов и соединений решетчатых главных ферм по прочности при отношении высоты сечения к длине элемента свыше 1/15 следует учитывать изгибающие моменты от жесткости узлов. Это требование относится и к расчетам на выносливость элементов решетчатых главных ферм с узловыми соединениями на высокопрочных болтах; при сварных узловых соединениях расчет на выносливость следует выполнять с учетом изгибающих моментов от жесткости узлов независимо от величины отношения высоты сечения к длине элементов.

Расчет по прочности решетчатых главных ферм, имеющих в уровне проезда пояс, работающий на совместное действие осевых усилий и изгиба от внеузлового приложения нагрузки, следует выполнять с учетом жесткости узлов указанного пояса независимо от отношения высоты сечения к длине панели. Учет жесткости остальных узлов следует выполнять, как указано выше.

Во всех указанных случаях в расчетах по прочности изгибающие моменты от жесткости узлов следует уменьшать на 20 %.

Изгибающие моменты от примыкания связей или горизонтальных диафрагм с эксцентриситетом и от неполной (с учетом п. 4.22*) центровки элементов ферм следует учитывать полностью. Это требование распространяется и на учет изгибающих моментов, возникающих в горизонтальных и наклонных элементах решетчатых главных ферм и связей от их собственного веса. При этом допускается принимать эти изгибающие моменты распределенными по параболе с ординатами посредине длины элемента и на концах его, равными 0,6 момента для свободно опертого элемента.

4.60*. В расчетах по устойчивости элементов решетчатых главных ферм изгибающие моменты от жесткости узлов, воздействий связей и поперечных балок допускается не учитывать.

Элементы решетчатых ферм, имеющие замкнутое коробчатое сечение с отношением размеров сторон не более двух, допускается рассчитывать на устойчивость по плоским изгибным формам относительно горизонтальной и вертикальной осей сечения.

4.61. Стойки, распорки, стяжки, связи и другие элементы пролетного строения, используемые для уменьшения свободной длины сжатых элементов, следует рассчитывать на сжатие и растяжение силой, равной 3 % продольного усилия в сжатом элементе.

4.62. В арочных мостах с передачей распора на опоры продольные связи между арками следует рассчитывать как элементы балочной фермы, защемленной по концам.

В разрезных балочных пролетных строениях ветровая ферма, образованная поясами главных ферм и продольными связями, принимается разрезной балочной, подвижно-опертой в своей плоскости на порталы или опорные части. В арках и при полигональном очертании поясов ферм допускается определение усилий в поясах ветровой фермы как для плоской фермы с делением полученных результатов на косинус угла наклона данного элемента к горизонтали.

В неразрезных балочных пролетных строениях с ездой понизу ветровые фермы, образованные поясами главных ферм и продольными связями, следует рассчитывать как неразрезные балочные, считая верхнюю подвижно-опертой на упругие опоры - порталы на концевых опорах и на каждой промежуточной опоре главных ферм, а нижнюю - опертой на жесткие опоры - опорные части.

4.63. Элементы главных ферм и связей на изгиб от воздействия ветра допускается не рассчитывать.

Опорные порталы следует рассчитывать на воздействие реакций соответствующей ветровой фермы, при этом в нижних поясах балочных пролетных строений следует учитывать горизонтальные составляющие продольных усилий в ногах наклонных опорных порталов.

4.64. Пояса главных ферм и элементы решетки, примыкающие к опорному узлу, следует рассчитывать на осевую силу и изгибающий момент от передаваемых с эксцентриситетом на неподвижную опорную часть продольных сил торможения или тяги, а также на изгибающий момент от эксцентриситета реакции однокатковой опорной части относительно центра опорного узла.

Распределение изгибающих моментов между элементами опорного узла следует принимать согласно п. 4.22*.

4.65. Поперечные подкрепления, образуемые в пролетных строениях коробчатого и П-образного сечений решетчатыми или сплошностенчатыми диафрагмами, а также поперечными ребрами и листами ортотропных плит и стенок балок, должны быть проверены на прочность, устойчивость и выносливость на усилия, определяемые, как правило, пространственным расчетом пролетных строений.

Допускается рассчитывать поперечные подкрепления как рамы или балки, конфигурация которых соответствует поперечнику пролетного строения, а в состав сечения кроме поперечных ребер или диафрагм - решетчатых или сплошностенчатых - входит лист общей шириной, равной 0,2 расстояния между соседними стенками главных балок, но не более расстояния между поперечными подкреплениями.

Поперечные подкрепления в опорных сечениях имеют жесткие опоры в месте расположения опорных частей. Эти подкрепления следует рассчитывать на опорные реакции, местную вертикальную нагрузку и распределенные по контуру поперечного сечения в листах стенок и ортотропных плит касательные напряжения от изгиба и кручения примыкающих к данной опоре пролетов.

Поперечные подкрепления, расположенные в пролете, в том числе в местах приложения сосредоточенных сил (например, усилий от вант), следует рассчитывать с учетом всех внешних сил и касательных напряжений в листах стенок и ортотропных плит от изгиба и кручения.

4.66. В расчетах на прочность и выносливость прямолинейных железнодорожных пролетных строений, расположенных на кривых участках пути радиусом менее 1000 м, следует учитывать усилия, возникающие при кручении пролетного строения как пространственной конструкции.

4.67. При многостадийном возведении конструкции прочность сечений на промежуточных стадиях монтажа следует проверять по формулам (141) - (158), принимая при этом коэффициенты æ, æх, æу, y, yх, yу равными 1,0.

4.68. Продольные деформации вант пролетных строений вантовых систем следует определять, принимая приведенный модуль упругости, вычисляемый по формуле

,                                             (195)

где Е - модуль упругости каната, принимаемый по табл. 58* и 59;

r - плотность материала каната;

g - ускорение силы тяжести;

l - горизонтальная проекция ванты;

A - площадь поперечного сечения каната;

S1, S2 - соответственно начальное и конечное значения усилия в ванте - до и после приложения нагрузки, на которую выполняется расчет.

Усилия в вантах следует определять последовательными приближениями.

4.69. Пилоны вантовых и висячих мостов должны быть проверены по прочности и устойчивости на основе деформационных расчетов.

Гибкость пилона при проверке общей устойчивости следует определять с учетом переменной жесткости, условий его закрепления и нагружения на фундаментах и в узлах примыкания ригелей, кабелей и вант.

Для одностоечных пилонов вантово-балочных мостов следует учитывать следящий эффект от усилий в вантах.

4.70. Конструкции с предварительным напряжением или регулированием должны быть проверены расчетом по прочности и устойчивости на всех этапах выполнения предварительного напряжения или регулирования, при этом следует принимать коэффициенты условий работы по п. 4.19*, коэффициенты надежности по нагрузке (более или менее 1,0) - согласно указаниям разд. 2 и вычисленные для каждого этапа напряжения суммировать. При расчетах следует учитывать в соответствии с обязательным приложением 11* потери напряжений от релаксации, трения и податливости анкеров напрягаемых элементов.

ЭЛЕМЕНТЫ ПРОЕЗЖЕЙ ЧАСТИ

4.71*. Продольные балки проезжей части пролетных строений, не имеющих разрывов продольных балок (специальных узлов с продольно-подвижным опиранием их примыкающих один к другому концов), следует рассчитывать по прочности, по упругой стадии работы с учетом дополнительных усилий от их совместной работы с поясами главных ферм, при этом уменьшение усилий в поясах главных ферм допускается учитывать только при включении проезжей части в совместную работу с ними специальными горизонтальными диафрагмами.

4.72. При включении проезжей части в совместную работу с решетчатыми главными фермами в расчетах всех болтосварных пролетных строений независимо от порядка их монтажа уменьшение усилий в поясах главных ферм следует учитывать только по отношению к воздействию временной вертикальной нагрузки.

Учет деформации поясов при определении усилий в проезжей части следует выполнять:

от всех нагрузок - при включении проезжей части в совместную работу с главными фермами одновременно с их монтажом;

только от временной вертикальной нагрузки - при включении проезжей части в совместную работу с главными фермами после передачи постоянной нагрузки на главные фермы.

4.73. Усилия в элементах проезжей части от совместной работы с главными фермами следует определять в предположении, что в горизонтальной плоскости имеют место следующие закрепления: продольные балки к поперечным прикреплены шарнирно; пояс поперечной балки, расположенный в уровне связей, прикреплен к поясам главных ферм жестко, а другой ее пояс - шарнирно.

Расчет по прочности сечений поперечных балок с учетом изгибающих моментов Му в горизонтальной плоскости, возникающих от совместной работы элементов проезжей части с поясами главных ферм, следует выполнять по формулам (146) - (150), принимая Му уменьшенными на 20 %.

В расчетах по прочности элементов проезжей части с плитным безбалластным полотном необходимо учитывать усилия в них от включения плит в совместную работу с продольными балками.

4.74. Усилия в продольных балках с накладками («рыбками») по верхнему или по обоим поясам в сопряжении с поперечными балками следует определять с учетом неразрезности балок и упругой податливости опор. Распределение осевого усилия и изгибающего момента между прикреплениями поясов и стенки продольной балки следует осуществлять с учетом их податливости.

4.75. Продольные балки решетчатых пролетных строений с проезжей частью, не включенной в совместную работу с главными фермами, допускается, независимо от конструктивного оформления прикрепления их поясов в примыкании к поперечным балкам, рассчитывать по прочности как разрезные, при этом детали прикрепления поясов и стенки балок к поперечным следует рассчитывать на 0,6 момента в середине пролета разрезной балки с распределением его согласно п. 4.74. При расчете указанных продольных балок на выносливость изгибающие моменты следует определять по линиям влияния неразрезной балки на упругоподатливых опорах.

4.76*. Поперечные балки решетчатых пролетных строений следует рассчитывать как элементы рам, образованных поперечной балкой и примыкающими к узловым фасонкам элементами главных ферм.

Опорные сечения поперечных балок, подвесок, стоек (а при отсутствии подвесок или стоек - и раскосов главных ферм) следует проверять на изгибающие моменты, возникающие в элементах рам, образованных указанными элементами, вследствие изгиба поперечных балок под воздействием вертикальных нагрузок.

Изгибающие моменты в элементах замкнутых поперечных рам для однопутных пролетных строений железнодорожных мостов допускается определять по формулам:

опорный изгибающий момент в поперечной балке

;                                   (196)*

изгибающий момент в подвеске или стойке:

у края прикрепления поперечной балки

;                                                  (197)

в уровне центра ближайшего к поперечной балке узла поперечных связей, а при их отсутствии - центра противоположного пояса главной фермы

Mcl = -0,5 Mc.                                                          (198)

В формулах (196)* и (197):

F - опорная реакция поперечной балки;

а -   расстояние между осью сечения пояса главной фермы и осью сечения продольной балки;

В - расстояние между осями поясов главных ферм;

lm - длина панели главной фермы (расстояние между поперечными балками):

Н - расчетная длина подвески или стойки из плоскости фермы;

Ibal - момент инерции сечения брутто поперечной балки в середине ее длины;

Ic - момент инерции сечения брутто подвески или стойки относительно оси, параллельной плоскости главной фермы;

It - момент инерции чистого кручения пояса фермы, примыкающего к поперечной балке.

4.77. В открытых пролетных строениях с ездой понизу поперечные рамы следует рассчитывать на условные горизонтальные силы, приложенные на уровне центра тяжести сечения пояса и равные 2 % продольного усилия в сжатом поясе балки или фермы.

4.78. Усилия в элементах проезжей части со стальными ортотропными плитами автодорожных, городских, совмещенных и пешеходных мостов следует определять, применяя пространственные расчетные схемы с дискретным расположением поперечных ребер и учитывая совместную работу плит с главными фермами (балками).

Расчет элементов ортотропной плиты по прочности и устойчивости следует выполнять по обязательному приложению 18*, на выносливость - по специальной методике.

ЭЛЕМЕНТЫ СВЯЗЕЙ

4.79*. Усилия в элементах продольных связей с крестовой, ромбической и треугольной решетками от деформации поясов главных ферм или балок следует определять от вертикальной нагрузки, которая воздействует после включения их в работу.

Усилия в элементах продольных связей, не соединенных с продольными балками или соединенных при наличии разрывов в них (см. п. 4.71*), допускается определять по формулам:

в раскосе крестовой решетки, когда распоркой связей является поперечная изгибаемая балка,

Nd = Ad (sf cos2a + smf sin2a);                                            (199)

в других раскосах крестовой решетки

;                                                    (200)

в раскосе ромбической решетки

;                                       (201)

в раскосе треугольной решетки

;                                     (202)

в распорке связей с любой решеткой

Nc = (Nd.lin + Nd.rec) sin a.                                             (203)

В формулах (199) - (203):

Nd, Nc - усилия соответственно в раскосе и распорке связей;

Nd.lin, Nd.rec - усилия в раскосе соответственно с левой и правой сторон от распорки;

sf - нормальное напряжение в поясе главной фермы;

smf - средние (вычисленные с учетом неравномерности распределения изгибающих моментов по длине балки) напряжения в нижнем поясе поперечной балки;

Ad, Аc - площадь сечения соответственно раскоса и распорки связей; в случае, когда распоркой является поперечная изгибаемая балка, в формулах (199) - (202) следует принимать Ac = ¥;

I - момент инерции пояса главной фермы относительно вертикальной оси;

a - угол между раскосом связей и поясом главной фермы.

В формулах (199) - (202) при определении усилий в элементах связей балок со сплошной стенкой вместо sf следует принимать напряжение sw в стенке главной балки, вычисленное по площади брутто на уровне расположения плоскостей связей; в формуле (199) вместо smf следует принимать среднее напряжение smw в стенке поперечной балки на уровне расположения плоскости связей, вычисленное так же, как и smf.

Усилия в элементах продольных связей с полураскосной решеткой от вертикальной нагрузки допускается не учитывать.

4.80. Уменьшение усилий в поясах главных ферм за счет включения продольных связей в совместную работу в цельносварных пролетных строениях следует учитывать от всей нагрузки, действующей после постановки и закрепления продольных связей, а в болтосварных пролетных строениях - только от временной вертикальной нагрузки.

4.81. Расчет на прочность и выносливость поясов главных ферм с ромбической и треугольной решетками связей, а также крестовой с распорками разной жесткости следует выполнять с учетом возникающих в поясах изгибающих моментов от деформации элементов связей и от деформации поперечных балок проезжей части независимо от вида связей.

Изгибающие моменты в поясе, действующие в плоскости связей с треугольной и ромбической решетками, следует определять по формуле

,                                                              (204)

где Nc - усилие в распорке связей;

lm - расстояние между центрами узлов прикрепления элементов к поясу.

РАСЧЕТ СОЕДИНЕНИЙ

4.82*. Сварные, фрикционные и болтовые соединения следует рассчитывать на передачу всех усилий, действующих в элементе конструкции, при этом, как правило, каждая часть сечения элемента (с учетом ее ослабления) должна быть прикреплена соответственно приходящемуся на нее усилию. В случае невыполнения этого условия перегрузку отдельных зон и деталей прикреплений следует учитывать введением коэффициентов условий работы, указанных в табл. 60* и 82.

При расчете прикрепления элемента к узлу с одиночной фасонкой допускается не учитывать изгибающие моменты в плоскости, перпендикулярной плоскости фасонки.

Распределение продольного усилия, проходящего через центр тяжести соединения, следует принимать равномерным между болтами или сварными швами прикрепления.

При проектировании реконструкции клепаных пролетных строений расчеты заклепочных соединений надлежит выполнять по указаниям «Технических условий проектирования железнодорожных, автодорожных и городских мостов и труб» (СН 200-62).

Болтовые соединения с применением болтов из стали 40Х не допускаются в конструкциях, рассчитываемых на выносливость.

4.83*. Расчетную высоту сечения сварных швов следует принимать:

для стыковых швов:

деталей, свариваемых с полным проплавлением, - tw = tmin;

деталей, свариваемых с неполным проплавлением, tw = tw,min;

для угловых швов:

по металлу шва - tf = bf kf;

по металлу границы сплавления - tz = bz kf,

где tmin - наименьшая из толщин свариваемых деталей;

tw,min - наименьшая толщина сечения стыкового шва при сварке деталей с неполным проплавлением;

kf - наименьший из катетов углового шва;

bf, bz - коэффициенты расчетных сечений угловых швов, принимаемые по табл. 80*.

Таблица 80*

Вид сварки при диаметре сварочной проволоки d, мм

Положение шва

Коэффициенты расчетных сечений угловых швов

обозначения

при катетах швов kf, мм

3-8

9-12

14-16

18 и более

Автоматическая при d = 3-5

В лодочку

bf

1,1

0,7

bz

1,15

1,0

Нижнее

bf

1,1

0,9

0,7

bz

1,15

1,05

1,0

Автоматическая и полуавтоматическая при d = 1,4-2

В лодочку

bf

0,9

0,8

0,7

bz

1,05

1,0

Нижнее, горизонтальное, вертикальное

bf

0,9

0,8

0,7

bz

1,05

1,0

Ручная, полуавтоматическая проволокой сплошного сечения при d < 1,4 или порошковой проволокой

В лодочку, нижнее, горизонтальное, вертикальное, потолочное

bf

0,7

bz

1,0

Примечание. Значения коэффициентов соответствуют режимам сварки, предусмотренным в «Инструкции по технологии механизированной и ручной сварки при заводском изготовлении стальных конструкций мостов» (Минтрансстрой, 1980).

4.84. Расчет по прочности сварных стыковых соединений следует выполнять:

при сварке деталей из сталей различного уровня прочности, а также при сварке материалами, для которых Rwy < Ry (в этих случаях Rwy должно быть указано в проекте);

при наличии выкружек или ослаблений в зоне стыка, когда

lw < b

или

tw,min < t;

Aw,n < A,

где lw - полная длина стыкового шва;

b, t - ширина и толщина стыкуемых деталей;

Aw,n - площадь нетто ослабленного (например, отверстиями) сечения стыкового шва;

A - площадь брутто (или нетто) сечения стыкуемых деталей в зоне стыка.

4.85. Расчет по прочности сварных стыковых соединений в случае центрального растяжения или сжатия следует выполнять по формуле

,                                                       (205)

где m - коэффициент условий работы, принимаемый по табл. 60*.

Расчет по прочности сварных стыковых соединений в случае изгиба в одной или двух главных плоскостях, а также действия осевой силы с изгибом в одной или двух главных плоскостях следует выполнять по формулам (142) - (158), в которых геометрические параметры и коэффициенты æ, æх, æу, y, yх, yу следует вычислять для сечения стыкового соединения, принимаемого согласно п. 4.84, а в правой части вместо Rym и Rsm подставлять соответственно величины Rwym и Rwsm.

4.86. Прочность сварных соединений с угловыми швами при действии продольных или поперечных сил следует проверять на срез (условный) по двум сечениям (черт. 13):

по металлу шва (сечение 0-1)

;                                                        (206)

по металлу границы сплавления (сечение 0-2)

,                                                         (207)

где lw - полная длина шва;

tf, tz - расчетная высота сечения шва;

m - коэффициент условий работы, принимаемый по табл. 60*.

Черт. 13. Схема расчетных сечений сварного углового шва при расчете на срез

4.87. Расчет по прочности сварных соединений с угловыми швами при действии момента в плоскости, перпендикулярной плоскости расположения швов, следует выполнять для двух сечений по формулам:

по металлу шва

;                                                        (208)

по металлу границы сплавления

.                                                          (209)

В формулах (208) и (209):

Wf - момент сопротивления расчетного сечения по металлу шва;

Wz - то же, по металлу границы сплавления.

4.88. Расчет по прочности сварных соединений с угловыми швами при действии момента в плоскости расположения этих швов следует выполнять для двух сечений по формулам:

по металлу шва

;                                          (210)

по металлу границы сплавления

,                                           (211)

где Ifx, Ify - моменты инерции расчетного сечения по металлу шва относительно его главных осей;

Izx, Izy - то же, по металлу границы сплавления;

х, у - координаты точки шва, наиболее удаленной от центра тяжести расчетного сечения швов, относительно главных осей этого сечения.

4.89. Прочность сварных стыковых соединений при одновременном действии в одном и том же сечении нормальных и касательных напряжений следует проверять по формуле (161), в которой следует принимать: sx = swx и sy = swy - нормальные напряжения в сварном соединении по двум взаимно перпендикулярным направлениям; txy = twxy - касательное напряжение в сварном соединении; Ry = Rwy.

4.90. При расчете по прочности сварных соединений с угловыми швами при одновременном действии продольной и поперечной сил и момента должны быть выполнены условия:

tf £ Rwf m;                                                                (212)

tz £ Rwz m,                                                                (213)

где tf, tz - напряжения в расчетном сечении соответственно по металлу шва и по металлу границы сплавления, равные геометрическим суммам напряжений, вызываемых продольной и поперечной силами и моментом.

4.91. Расчет по прочности сварных соединений угловыми швами прикрепления листов пояса между собой и к стенке изгибаемых балок следует выполнять по формулам:

при отсутствии местного давления:

по металлу шва

;                                                        (214)

по металлу границы сплавления

,                                                        (215)

где n - число угловых швов;

при воздействии на пояс местного давления:

по металлу шва

;                                            (216)

по металлу границы сплавления

,                                             (217)

где q - давление от подвижной вертикальной нагрузки, определяемое по пп. 2.11- 2.13 и обязательному приложению 5*.

4.92. Сварные швы, соединяющие отдельные листовые детали сечения составных сплошностенчатых сжатых элементов, следует рассчитывать на условную поперечную силу, принимаемую постоянной по всей длине элемента и определяемую по формуле

,                                                    (218)

где W - момент сопротивления сечения элемента брутто в проверяемой плоскости (ослабление листовых деталей перфорациями допускается не учитывать);

l - длина составного элемента;

j - коэффициент продольного изгиба при расчете по устойчивости элемента в проверяемой плоскости.

Те же сварные швы в сжато-изогнутых составных элементах следует рассчитывать на поперечную силу Q1, равную сумме поперечных сил - условной Qfic, определяемой по формуле (218), и фактической.

Если в сечении составного элемента имеются две параллельно расположенные листовые детали и более, то прикрепление каждой из них следует рассчитывать на поперечную силу Qi, определяемую по формуле

,                                                              (219)

где ti - толщина прикрепляемой листовой детали;

n - число параллельно расположенных листовых деталей.

4.93. При прикреплении к узлам главных ферм составных сплошностенчатых элементов, отдельные части сечения которых непосредственно не прикрепляются к узловым фасонкам, сварные швы присоединения неприкрепляемой части сечения к прикрепляемой следует рассчитывать на передачу приходящегося на нее усилия, принимая при этом коэффициенты условий работы m равными:

m = 0,8 - при отношении площади прикрепляемой части сечения Av ко всей площади сечения элемента А до 0,6;

m = 0,9 - при отношении Аv/А свыше 0,6 до 0,8;

m = 1,0 - при отношении Аv/А свыше 0,8.

Расчетную длину сварного шва при этом следует принимать равной длине перекрытия элемента узловой фасонкой фермы.

4.94. Расчетное усилие Nb, которое может быть воспринято одним болтом, следует определять по формулам:

на срез

Nb = Rbs mbl A ns;                                                        (220)

на смятие

Nb = Rbp mbl d S t;                                                       (221)

на растяжение

Nb = Rbt Abn,                                                            (222)

где

Rbs, Rbp, Rbt - расчетные сопротивления болтовых соединений;

d - диаметр стержня болта;

 - площадь сечения стержня болта;

Аbn - площадь сечения болта нетто; для болтов с метрической резьбой значение Аbn следует принимать по ГОСТ 22356-77*;

St -    наименьшая суммарная толщина элементов, сминаемых в одном направлении;

ns - число расчетных срезов одного болта;

mbl - коэффициент условий работы соединения, который следует принимать по табл. 81.

Таблица 81

Характеристика соединения

Коэффициент условий работы соединения mbl

Многоболтовое в расчетах на срез и смятие при болтах:

 

повышенной точности

1,0

нормальной и грубой точности

0,9

4.95. Число n болтов в соединении при действии продольной силы N, проходящей через центр тяжести соединения, следует определять по формуле

,                                                           (223)

где Nb,min - меньшее из значений расчетного усилия для одного болта, вычисленных по формулам (220) и (221);

m, mb - коэффициенты условий работы, принимаемые соответственно по табл. 60* и 82.

Таблица 82

Характеристика стыка или прикрепления

Коэффициент условий работы mb болтов

Стык элемента или его ветви, все части сечения которых перекрыты односторонними накладками

0,9

Стык элемента или его ветви с двухсторонними накладками при наличии части сечения, непосредственно неперекрытой

0,9

Прикрепление элемента в узле одиночной фасонкой

0,9

Прикрепление части сечения через:

 

один лист

0,9

два листа и более

0,8

прокладку, прикрепленную за пределами соединения не менее чем на 1/4 полного усилия, которое может быть воспринято ее сечением

0,9

Прикрепление выступающей полки швеллера, уголка или горизонтального листа коробчатого сечения угловым коротышом

0,7

4.96. При действии в плоскости соединения изгибающего момента распределение усилий на болты следует принимать пропорционально расстояниям от центра тяжести соединения до рассматриваемого болта.

4.97. Болты, работающие на срез от одновременного действия продольной силы и момента, следует проверять на усилие, определяемое как равнодействующее усилий, найденных отдельно от продольной силы и момента.

4.98. Болты, работающие одновременно на срез и растяжение, допускается проверять отдельно на срез и на растяжение.

4.99. Болты, соединяющие стенки и пояса составных балок, следует рассчитывать по формулам:

при отсутствии местного давления

;                                                      (224)

при воздействии на пояс местного давления q

,                                             (225)

где а - шаг поясных болтов;

Nb,min - меньшее из значений расчетного усилия для одного болта, определяемых по п. 4.94;

S - статический момент брутто пояса балки относительно нейтральной оси;

I - момент инерции сечения брутто балки относительно нейтральной оси; коэффициент условий работы, определяемый по табл. 60*.

4.100*. Расчетное усилие Qbh, которое может быть воспринято каждой поверхностью трения соединяемых элементов, стянутых одним высокопрочным болтом (одним болтоконтактом), следует определять по формуле

,                                                               (226)

где Р - усилие натяжения высокопрочного болта;

m - коэффициент трения, принимаемый по табл. 57*;

gbh - коэффициент надежности, принимаемый по табл. 83*.

Таблица 83*

Число высокопрочных болтов в соединении

Значения коэффициента надежности gbh при обработке контактных поверхностей* способом

пескоструйным или дробеструйным

дробеструйным с нанесением фрикционного грунта или клеефрикционного покрытия

газоплазменным

стальными щетками

дробеметным

дробеметным с газоплазменным нагревом пверхности металла в зоне отверстия до 250-300 °С

2 - 4

1,568

1,250

1,956

2,514

1,441

1,396

5 - 19

1,362

1,157

1,576

1,848

1,321

1,290

20

1,184

1,068

1,291

1,411

1,208

1,189

___________

* Число обрабатываемых контактных поверхностей (одна или обе) следует принимать по табл. 57*.

Усилие натяжения Р высокопрочного болта следует определять по формуле

P = Rbh Abh mbh,                                                       (227)

где Rbh - расчетное сопротивление высокопрочного болта растяжению, определяемое по формуле (139);

mbh - коэффициент условий работы высокопрочных болтов при натяжении их крутящим моментом, равный 0,95.

4.101. Число n высокопрочных болтов в соединении при действии продольной силы N, проходящей через центр тяжести соединения, следует определять по формуле

,                                                           (228)

где m - коэффициент условий работы, принимаемый по табл. 60*;

Qbh - расчетное усилие на один болтоконтакт, определяемое по формуле (226);

ns - число контактов в соединении.

4.102. При действии в плоскости соединения изгибающего момента или продольной силы с изгибающим моментом усилие, приходящееся на рассматриваемый высокопрочный болт, следует определять согласно указаниям пп. 4.96 и 4.97.

4.103. Высокопрочные болты, соединяющие стенки и пояса составных балок, следует рассчитывать по формулам:

при отсутствии местного давления

;                                                        (229)

при воздействии на пояс местного давления q

,                                                 (230)

где ns - число контактов в соединении;

Qbh - расчетное усилие, воспринимаемое одним болтоконтактом и определяемое по формуле (226); остальные обозначения те же, что и в п. 4.99.

4.104. В случае, если совместная работа проезжей части и поясов главных ферм обеспечивается специальными горизонтальными диафрагмами, расчет прикрепления продольных балок к поперечным следует выполнять на поперечную силу и момент с учетом требований п. 4.74; при этом усилия в болтах, прикрепляющих вертикальные уголки к стенке поперечной балки, необходимо определять как для фланцевых соединений.

Расчет болтовых и фрикционных соединений прикреплений балок проезжей части пролетных строений с решетчатыми главными фермами допускается выполнять только на поперечную силу, вводя дополнительный коэффициент условий работы mb согласно табл. 84.

Таблица 84

Характеристика прикрепления и места расположения болтов

Особенности конструкции узла

Коэффициент условий работы mb

Во всех пролетных строениях

Вертикальные уголки прикрепления поперечной балки к узлу решетчатой главной фермы:

 

 

болты в полках уголков, прикрепляемых к ферме

Конструкция не способна воспринимать опорный момент

0,85

Конструкция способна воспринимать опорный момент

0,9

то же, к поперечной балке

Независимо от конструкции

0,9

Совместная работа проезжей части и поясов главных ферм не обеспечивается

Вертикальные уголки прикрепления продольной балки к поперечной:

 

 

болты в полках уголков, прикрепляемых к поперечной балке

Конструкция не способна воспринимать опорный момент

0,7

Конструкция способна воспринимать опорный момент

0,9

то же, к продольной балке

Независимо от конструкции

0,9

4.105. Расчет по прочности стыковых накладок растянутых элементов ферм и поясов сплошных балок следует выполнять с введением для накладок коэффициента условий работы m = 0,9.

4.106. Листы узловых фасонок следует проверять на прочность прикрепления растянутых и сжатых элементов по контуру, соединяющему центры отверстий периферийных болтов прикрепления указанных элементов, по формуле

N £ 0,675 t Ry m S(0,212ai + 1)li,                                         (231)

где N - продольное усилие в элементе;

t - толщина узловой фасонки;

m - коэффициент условий работы, принимаемый по табл. 60*;

li - длина i-го участка проверяемого контура узловой фасонки;

ai - угол между направлением i-го участка проверяемого контура и осью элемента (0 £ ai £ p/2), рад.

4.107. Прочность узловых болтов-шарниров допускается проверять в предположении работы болта на изгиб как свободно лежащей балки, нагруженной сосредоточенными силами по оси пакетов, соприкасающихся с болтом, принимая расчетные сопротивления по табл. 48*.

Расчет соединительных планок и перфорированных листов

4.108*. Соединительные планки или перфорированные листы сквозных сжатых элементов следует рассчитывать на условную поперечную силу Qfic, принимаемую постоянной по всей длине стержня и определяемую по формуле

,                                                                (232)

где N - продольное усилие сжатия в элементе;

j -   коэффициент продольного изгиба при проверке устойчивости элемента в плоскости соединительных планок или перфорированных листов, принимаемый по табл. 1*-3 обязательного приложения 15* в зависимости от приведенного относительного эксцентриситета еef;

a - коэффициент, принимаемый равным 0,024-0,00007l, но не более 0,015, 0,017 и 0,018 соответственно для сталей марок 16Д, 15ХСНД, 10ХСНД, 390-14Г2АФД, 390-15Г2АФДпс;

здесь l - гибкость элемента в плоскости соединительных планок или перфорированных листов.

Соединительные планки и перфорированные листы сквозных сжато-изогнутых элементов следует рассчитывать на поперечную силу, равную сумме фактической поперечной силы при изгибе и условной Qfic, определяемой по формуле (232).

При расположении соединительных элементов в нескольких параллельных плоскостях, перпендикулярных оси, относительно которой выполняется проверка устойчивости, поперечную силу Q следует распределять:

при соединительных планках или перфорированных листах, а также в случае их сочетания - поровну между всеми плоскостями планок и перфорированных листов;

при сплошном листе (пакете) и соединительных планках или перфорированных листах - на сплошной лист (пакет) принимать часть поперечной силы, равную Q и определяемую по формуле

,                                                             (233)

где Aef - площадь сечения брутто сквозного элемента, равная Sbtef; здесь b и tef определяются по п. 4.37;

Аbl,ef - часть сечения элемента, работающая вместе со сплошным листом и равная Abl + 2tv z1 (здесь Аbl - площадь сечения сплошного листа; tv - толщина вертикального листа или пакета; z1 - коэффициент, принимаемый по п. 4.55*).

Соединительные планки и перфорированные листы в промежутках между отверстиями перфорации следует рассчитывать на приходящуюся на них часть поперечной силы Q как элементы безраскосных ферм.

Расчет опорных частей

4.109*. Элементы опорных частей (катки, балансиры, плиты), как правило, следует рассчитывать как конструкции на упругом основании.

Допускается определять усилия в верхних балансирах всех опорных частей, в нижних балансирах неподвижных опорных частей в предположении равномерного распределения нагрузки по площади опирания.

4.110*. При расчете опорных частей должны быть учтены указания пп. 2.20* и 2.28*, а для подвижных опорных частей следует учитывать также эксцентриситеты передачи давления, равные продольным перемещениям катков, секторов и балансиров от нормативных нагрузок и воздействий.

Продольные перемещения подвижных опорных частей следует определять от постоянной нагрузки, временной вертикальной нагрузки с динамическим коэффициентом, деформации опор и их оснований, а также от температуры, указанной в п. 2.27*. При этом для пролетных строений с отношением расстояния между фермами к пролету свыше 1:15 следует учитывать воздействие на неподвижные опорные части нагрузок, возникающих от перепада температур поясов главных ферм в размере 15 °С.

4.111. Заделку анкерного болта следует рассчитывать в соответствии с указаниями п. 5.14 СНиП 2.03.01-84* с введением при этом коэффициента условий работы m = 0,7.

4.112*. Расчет на смятие в цилиндрических шарнирах (цапфах) балансирных опорных частей (при центральном угле касания поверхностей, равном или большем 90°) следует выполнять по формуле

.                                                             (234)

Расчет на диаметральное сжатие катков следует выполнять по формуле

.                                                              (235)*

В формулах (234) и (235*):

F - давление на опорную часть;

F1 - давление на один наиболее нагруженный каток;

r - радиус кривизны поверхности катка или шарнира;

l - длина катка или шарнира;

m - коэффициент условий работы, принимаемый по табл. 60*;

Rlp, Rcd - расчетные сопротивления соответственно местному смятию при плотном касании и диаметральному сжатию катков при свободном касании, принимаемые согласно требованиям п. 4.7*.

КОНСТРУИРОВАНИЕ

Общие положения

4.113*. При проектировании стальных конструкций необходимо:

учитывать возможности технологического и кранового оборудования заводов-изготовителей стальных конструкций, а также подъемно-транспортного и монтажного оборудования строительных организаций;

разделять конструкции на отправочные элементы из условий выполнения максимального объема работ на заводах-изготовителях с учетом грузоподъемности и габаритов транспортных средств;

предусматривать связи, обеспечивающие в процессе транспортирования, монтажа и эксплуатации устойчивость и пространственную неизменяемость конструкции в целом, ее частей и элементов;

осуществлять унификацию монтажных блоков и элементов, а также узлов и расположения болтовых отверстий;

обеспечивать удобство сборки и выполнения монтажных соединений, предусматривая монтажные крепления элементов, устройство монтажных столиков и т.п.;

осуществлять унификацию осуществляемого проката по профилям и длинам с учетом требования об использовании металла с минимальными отходами и потерями;

учитывать допуски проката и допуски заводского изготовления;

предусматривать применение автоматической сварки под флюсом и фрикционных соединений на высокопрочных болтах.

4.114. При проектировании стальных конструкций следует исключать стесненное расположение привариваемых деталей, резкие изменения сечения элементов, образование конструктивных «надрезов» в виде обрывов фасонок и ребер жесткости или вырезов в них, примыкающих под углом к поверхности напряженных частей сечения (поясов и стенки балок, листов составных элементов и т.д.).

Для повышения выносливости и хладостойкости конструкций и снижения отрицательного влияния остаточных деформаций и напряжений от сварки следует предусматривать мероприятия конструктивного и технологического характера (оптимальный порядок сборки и сварки элементов: роспуск швов; предварительный выгиб и местный подогрев; нагрев отдельных зон после сварки; полное проплавление и выкружки на концах обрываемых деталей, подходящие по касательной к поверхности оставшейся части сечения; механическую обработку зон концентрации напряжений и др.).

В конструкциях северного исполнения следует исключать обрыв отдельных частей сечения по длине элемента в целом (или монтажного блока, если в стыках блоков применены фрикционные соединения).

Защита от коррозии конструкций, предназначенных для эксплуатации в условиях тропического климата, должна предусматриваться в соответствии с ГОСТ 9.401-91.

4.115. В железнодорожных мостах пролетные строения с раздельными балками и продольные балки проезжей части должны иметь продольные связи по верхним и нижним поясам. Прикрепление продольных связей к стенкам балок в железнодорожных мостах не допускается.

«Открытые» пролетные строения (см. п. 4.52) и «открытая» проезжая часть в железнодорожных мостах допускаются только при наличии технико-экономического обоснования и при условии закрепления свободных поясов жесткими рамами в плоскостях поперечных балок, а в проезжей части - поперечными связями.

При наличии элементов, жестко связывающих пояса балок или ферм (например, железобетонной или стальной плиты), допускается не устраивать продольных связей в соответствующей плоскости, если они не требуются по условиям монтажа.

В арочных пролетных строениях продольные связи следует устраивать в плоскости одного из поясов арок и в плоскости проезжей части, если она не имеет плиты; при решетчатых арках следует предусматривать поперечные связи между ними и продольные связи по обоим поясам.

4.116. Продольные связи следует центрировать в плане с поясами главных ферм, при этом эксцентриситеты в прикреплении из плоскости связей должны быть минимальными.

4.117. В железнодорожных мостах при мостовом полотне с поперечинами расстояние между осями продольных балок следует назначать 1,90 м, а между осями главных балок (ферм) при отсутствии балочной клетки - 2,00 м. При большем расстоянии между осями главных балок (ферм) следует предусматривать устройство железобетонной или стальной плиты.

4.118. В железнодорожных мостах пролетные строения с раздельными двутавровыми балками и продольные балки проезжей части должны иметь поперечные связи, располагаемые на расстояниях, не превышающих двух высот балок.

4.119. Для снижения напряжений в поперечных балках проезжей части от деформации поясов главных ферм следует, как правило, включать проезжую часть в совместную работу с главными фермами.

В пролетных строениях с проезжей частью, не включенной в совместную работу с главными фермами, следует предусматривать тормозные связи.

4.120. Прикрепление балок проезжей части с помощью торцевых листов, приваренных к стенке и поясам балки, не допускается.

В пролетных строениях железнодорожных мостов прикрепление стенок продольных и поперечных балок следует осуществлять, как правило, с помощью вертикальных уголков и фрикционных соединений.

В пролетных строениях всех мостов следует, как правило, обеспечивать неразрезность продольных балок на всем протяжении, а при наличии разрывов в проезжей части - на участках между ними.

4.121. Для повышения аэродинамической устойчивости пролетных строений висячих и вантовых мостов следует увеличивать их крутильную жесткость за счет постановки продольных связей по раздельным главным балкам или применения балки жесткости замкнутого коробчатого сечения и придания ей обтекаемой формы.

Сечения элементов

4.122. Наименьшая толщина деталей элементов пролетных строений и опор принимается по расчету на прочность, устойчивость, выносливость, жесткость и колебания, но не менее указанной в табл. 85.

Таблица 85

Детали конструкции

Наименьшая толщина или сечение деталей конструкции, мм

в железнодорожных мостах и трубах под железную дорогу

в автодорожных, городских и пешеходных мостах и трубах под автомобильную дорогу

1. Листовые волнистые профили для металлических гофрированных труб обычного исполнения

2

1,5

2. То же, для труб северного исполнения

2,5

2

3. Листовые детали (за исключением деталей, указанных в поз. 4-9)

10

10

4. Узловые фасонки главных ферм и вертикальные стенки сварных изгибаемых главных балок

10

8

5. Узловые фасонки связей

10

8

6. Накладки в стыках ребер ортотропной плиты и планки

8

8

7. Прокладки

20

20

8. Горизонтальные опорные листы

20

20

9. Листы настила и ребер ортотропных плит

12

12

10. Уголки в основных элементах главных ферм и проезжей части

100´100´10

100´100´10

11. Уголки фланцевых прикреплений продольных и поперечных балок

100´100´12

100´100´12

12. Уголки в элементах связей

80´80´8

80´80´7

Допускается следующая наибольшая толщина проката, мм:

в пакетах деталей, стягиваемых обычными болтами, - 20;

в сварных элементах из углеродистой и низколегированной сталей - 60;

в стыковых накладках и узловых фасонных листах при применении фрикционных соединений - 16.

4.123. Для уменьшения числа соединительных сварных швов сечения составных элементов решетчатых ферм следует проектировать из минимального числа деталей.

4.124. В решетчатых главных фермах материал элементов коробчатого и Н-образного сечений должен быть сконцентрирован в листах, расположенных в плоскости фермы.

Пояса, сжатые элементы ферм и опор следует, как правило, проектировать коробчатого сечения.

4.125. В составных элементах решетчатых ферм отношение z расчетной ширины b к толщине t листов не должно превышать следующих величин:

у вертикальных и горизонтальных листов коробчатых элементов - 60;

у горизонтальных листов Н-образных элементов - 45;

у листов со свободными (неокаймленными) свесами - 20;

у листов со свесами, окаймленными уголками или ребрами, - 30.

За расчетную ширину b листа следует принимать:

а) при обеих закрепленных продольных кромках:

для элементов с болтовыми соединениями - расстояние между ближайшими рисками болтов, присоединяющих данный лист к перпендикулярным ему листам или соединительным связям;

для сварных и прокатных элементов - расстояние между осями указанных листов;

б) при закреплении одной продольной кромки:

для элементов с болтовыми соединениями - расстояние от свободного края листа до ближайшей риски болтов;

для сварных и прокатных элементов - расстояние от свободного края листа до оси ближайшего листа, расположенного перпендикулярно данному.

4.126. В сжатых элементах Н-образного сечения толщина горизонтального листа должна составлять от толщины соединяемых листов tf не менее:

0,4 tf - в элементах с болтовыми соединениями;

0,6 tf - в сварных и прокатных элементах при tf £ 24 мм и 0,5 tf при tf > 24 мм.

4.127. При конструировании узлов ферм следует обеспечивать местную устойчивость сжатых зон узловых фасонок в соответствии с п. 4.55*, при необходимости подкрепляя свободные кромки окаймляющими уголками или ребрами.

4.128. Двутавровые сварные балки следует проектировать из одного вертикального и двух горизонтальных листов, а коробчатые - из двух вертикальных и двух непосредственно соединенных с ними поясными швами горизонтальных листов.

Если требуемая толщина пояса сварной балки превосходит 60, 50 и 40 мм (соответственно в конструкциях обычного, северного А и Б исполнения), допускается применение в поясах пакетов из двух листов.

Изменение сечения пояса следует осуществлять в зоне расположения его стыков, предусматривая скосы по ширине или по толщине, а при необходимости - то и другое одновременно с уклоном 1:8 для растянутого пояса и 1:4 - для сжатого.

В поясах из двух листов следует применять листы, отличающиеся по ширине не менее чем на 100 мм. В автодорожных и городских мостах допускается применение в поясах балок пакетов из листов одинаковой ширины, соединенных сварными швами, наложенными по соприкасающимся кромкам, с разделкой последних на требуемую по расчету глубину.

4.129. Наружный лист пакета пояса, обрываемый в пролете балки с учетом указаний п. 4.114, следует продолжить за место его теоретического обрыва на длину, обеспечивающую прикрепление 50 % площади сечения листа. При этом следует предусматривать: толщину этого листа на конце - 10 мм; симметричные скосы по ширине (со сведением на нет) - с уклоном 1:4; скос по толщине - с уклоном 1:8 для растянутого пояса и 1:4 - для сжатого. Для косых швов на конце листа следует предусматривать отношение катетов 1:2 (меньший катет - по вертикали) и механическую обработку для получения плавных (радиусом не менее 5 мм) переходов к основному металлу непрерываемого листа пояса.

4.130. В железнодорожных мостах при мостовом полотне с деревянными поперечинами следует обеспечивать центрированную передачу давления поперечин на стенки главных или продольных балок, при этом под нагрузкой должно быть исключено касание поперечинами элементов продольных и поперечных связей.

Ребра жесткости сплошных изгибаемых балок

4.131*. В опорных сечениях, в местах передачи сосредоточенных сил (кроме мест опирания мостовых поперечин), расположения поперечных связей в сплошных изгибаемых балках должны быть предусмотрены поперечные ребра жесткости из полос, уголков или тавров.

Промежуточные поперечные, а также продольные ребра жесткости следует предусматривать в соответствии с расчетом местной устойчивости стенок для стадий изготовления, транспортирования, монтажа и эксплуатации.

При отсутствии местного давления продольные ребра жесткости следует располагать на расстояниях от сжатого пояса:

при одном ребре - (0,20-0,25)hw;

при двух или трех ребрах: первое ребро - (0,15- 0,20) hw; второе ребро - (0,40-0,50)hw; третье ребро следует располагать, как правило, в растянутой зоне стенки.

Расчетную высоту стенки hw следует принимать в соответствии со справочным приложением 28*.

В балках со стенкой, укрепленной только поперечными ребрами, ширина их выступающей части bh должна быть для парного симметричного ребра не менее  + 40 мм, для одностороннего ребра - не менее  + 50 мм; толщина ребра ts должна быть не менее .

При укреплении стенки поперечными и продольными ребрами жесткости моменты инерции их сечений должны удовлетворять нормам табл. 86* для поперечных ребер и табл. 87* - для продольного (при одном продольном ребре).

Таблица 86*

m

Is (hw tw3)

для поперечных ребер

0,75

0,80

0,62

1,44

0,50

2,8

0,40

4,6

0,44

6,6

В табл. 86* обозначено:

Is - момент инерции поперечного ребра;

hw - расчетная высота стенки, принимаемая по обязательному приложению 16*;

tw - толщина стенки балки;

;

а - расстояние между осями поперечных ребер жесткости.

Таблица 87*

Необходимый момент инерции сечения продольного ребра Ist

Предельные значения Ist

минимальные

максимальные, учитываемые в расчете

0,20

(2,5 - 0,5 а / h) ´ a2 tw3 / h

1,5h tw3

7h tw3

0,25

(1,5 - 0,4 a / h) ´ a2 tw3 / h

1,5h tw3

3,5h tw3

0,30

1,5h tw3

-

-

В табл. 87* обозначено:

h1 - расстояние от оси продольного ребра жесткости до оси ближайшего пояса в сварных балках или до крайней риски поясных уголков в балках с болтовыми соединениями;

a, hw - см. обозначения в табл. 86*;

Ist - момент инерции сечения продольного ребра;

tw - толщина стенки балки.

Примечание. При вычислении Ist для промежуточных значений h1/h допускается линейная интерполяция.

В пролетных строениях мостов всех назначений допускается расположение ребер на одной стороне стенки, а также расположение односторонних поперечных и продольных ребер с разных сторон стенки.

Момент инерции односторонних ребер жесткости вычисляется относительно нейтральной оси составного сечения, в состав которого входят само ребро (плоское, уголковое или тавровое) и участки стенки шириной b1 = z1 t, определяемой по п. 4.55*.

Минимальные размеры выступающей части продольных ребер жесткости следует принимать согласно приведенным выше требованиям для поперечных ребер жесткости.

При необходимости постановки ребер с большим моментом инерции следует применять вместо полосовых поперечные ребра жесткости в виде уголков или тавров. Продольные ребра таврового сечения допускается применять для подкрепления стенки при расположении их внутри коробчатой части пролетного строения. В продольных ребрах из уголка вертикальная полка должна быть повернута вниз.

4.132*. В ребрах жесткости, приваренных к стенке балки, в местах их примыкания к поясам балки, к ребрам жесткости другого направления, а в автодорожных мостах - и к фасонкам связей, приваренным к стенке балки, необходимо предусматривать скругленные вырезы высотой 120 и шириной 50 мм; у опорных ребер жесткости допускается уменьшать ширину выреза до 30 мм, а высоту - до 50 мм.

4.133. В местах передачи сосредоточенных сил следует предусматривать пригонку торцов ребер жесткости к листу пояса балки.

Концы промежуточных поперечных ребер жесткости сварных балок должны, как правило, плотно примыкать к поясным листам балок. Для обеспечения этого допускается во всех мостах постановка на концах ребер специальных переходных деталей, в железнодорожных мостах - применение уголковых ребер жесткости, прикрепленных к стенке с помощью фрикционных соединений, а в автодорожных, городских и пешеходных - приварка ребер к поясам. При этом торцы поперечных ребер жесткости, к которым прикрепляются поперечные ребра ортотропной плиты автодорожной проезжей части, должны быть приварены к поясам балки независимо от типа исполнения конструкций и знака напряжений в поясе и с учетом требований п. 4.168. Допускается устройство обрывов промежуточных поперечных ребер жесткости на стенке вблизи поясов с оформлением зоны обрыва ребра в соответствии с требованиями п. 4.165.

4.134. Продольные ребра жесткости в сварных балках следует применять лишь в тех случаях, когда обеспечение местной устойчивости за счет постановки одних поперечных ребер жесткости и изменения толщины стенки оказывается нецелесообразным.

4.135*. Привариваемые к стенке или полке балки ребра жесткости, параллельные заводским или монтажным сварным стыковым швам стенки или полки, должны быть удалены от них на расстояние не менее 10 tw в конструкциях обычного исполнения и 20 tw - северного исполнения.

Перо или обушок уголка, используемый в виде ребра жесткости и прикрепляемый к стенке болтами, от стыкового сварного шва стенки должны быть удалены на расстояние не менее 5 tw.

4.136*. Ребра жесткости должны быть прикреплены сплошными двусторонними швами.

Ребра жесткости и швы, прикрепляющие их к стенке, в местах пересечения стыковых швов стенки прерывать не допускается.

В пролетных строениях всех назначений и исполнений в местах пересечения ребер жесткости необходимо пропускать непрерывными продольные ребра и их швы, а поперечные ребра (кроме опорных) прерывать и прикреплять к ним угловыми швами; эти швы в растянутой зоне стенки должны иметь отношение катетов 1:2 (больший катет - на продольном ребре) и плавный переход к основному металлу.

При обрыве продольных ребер жесткости у болтового поперечного стыка стенки оформление зоны обрыва ребра должно отвечать требованиям п. 4.165.

Предварительно напряженные пролетные строения

4.137. В неразрезных балках постоянной высоты затяжки следует размещать в зонах максимальных положительных и отрицательных моментов.

Сечение предварительно напряженных балок со сплошной стенкой следует проектировать несимметричным с более развитым сжатым поясом.

4.138. При проектировании предварительно напряженных балок необходимо предусматривать присоединение затяжки к поясу по длине балки не менее чем в четырех точках таким образом, чтобы при работе под нагрузкой обеспечивалось совместное их перемещение в боковом направлении и независимое в продольном направлении.

4.139. Прикрепление ребер жесткости или кронштейнов, поддерживающих затяжки, должно быть запроектировано с учетом сил трения, возникающих при натяжении затяжек.

4.140. Концы затяжек должны закрепляться на специальных выносных жестких элементах - упорах. Элементы балок в местах прикрепления упоров следует усилить на воздействие сосредоточенных нагрузок.

4.141. Для обеспечения устойчивости обжимаемых элементов ферм затяжки соединяются со стержнями с помощью диафрагм. Расстояния между точками закрепления следует принимать из условия устойчивости стержня свободной длины, соответствующей длине этих участков.

Сварные, фрикционные и болтовые соединения

4.142. В тех случаях, когда прикрепление с эксцентриситетом неизбежно, в цельносварной конструкции при одностенчатых сечениях элементов прикрепление их следует осуществлять по всему контуру соединения.

4.143. На чертежах КМ сварных конструкций следует указывать:

типы, размеры всех швов и обозначения монтажных и заводских швов;

способ выполнения всех сварных швов (автоматическая, полуавтоматическая сварка под флюсом, ручная сварка и др.) и тип подкладки для стыковых швов, а при необходимости - также последовательность наложения швов;

участки сварных швов с полным проплавлением толщины детали;

все места конструкции, подлежащие обработке в соответствии с «Инструкцией по механической обработке сварных соединений в стальных конструкциях мостов» (Минтрансстрой, МПС, 1978), с указанием соответствующего пункта.

Для узлов и конструкций, применяемых впервые, на чертежах КМ следует указывать формы деталей с размерами, относящимися к механической обработке сварных швов и зон концентрации напряжений, и рекомендации по способам ее выполнения.

4.144. При применении сложных прокатных профилей (швеллеров, тавров и двутавров, в том числе с параллельными гранями полок) устройство с помощью сварки поперечных стыков и прикреплений к узлам не допускается.

В конструкциях автодорожных, городских и пешеходных мостов обычного и северного исполнений допускается применение сварки продольными непрерывными швами цельных (без стыков по длине) тавров и двутавров (в том числе разных номеров) между собой и с листом, прикрепляемым по всей длине встык или втавр к стенке профиля или двумя угловыми швами к кромкам полки профиля.

В конструкциях указанных мостов допускается применение приварки узловых фасонок и фасонок связей к стенке профилей с осуществлением мероприятий по снижению концентрации напряжений у концов фасонок в соответствии с пп. 4.165 и 4.166, а также приварки ребер жесткости - только к стенке двутавров и тавров.

4.145. Применение электрозаклепок в железнодорожных мостах не допускается, а в автодорожных, городских и пешеходных мостах допускается только для нерабочих соединений.

4.146. Угловые швы необходимо применять, как правило, с вогнутым очертанием их поверхности и плавным переходом к основному металлу.

Лобовые швы, как правило, следует проектировать неравнобокими с большим катетом, направленным вдоль усилия, при этом рекомендуется отношение большего катета к меньшему принимать равным 2.

4.147. Размеры угловых сварных швов следует назначать возможно меньшими из расчета по прочности и выносливости с учетом при этом указанных ниже технологических требований.

Продольные соединительные угловые швы коробчатых, тавровых и Н-образных элементов для сталей и толщин проката, указанных в табл. 47, должны иметь расчетную высоту сечения не менее 4 мм, а швы, прикрепляющие ребра жесткости к стенке балки, а также продольные ребра ортотропной плиты к покрывающему листу, - не менее 3 мм.

Длина углового лобового или флангового шва должна быть не менее 60 мм и не менее шестикратного размера катета шва.

4.148. Конструкция стыковых швов должна обеспечивать возможность получения полного проплавления расчетной толщины стыкуемых деталей и плавных переходов к основному металлу.

4.149. При расположении стыка поперек усилия в элементе толщина стыкового шва не должна быть меньше толщины свариваемых листов.

4.150*. В сварных балках и составных элементах, сечения которых образуются с помощью соединительных швов, полное проплавление тавровых и угловых соединений не требуется, если свариваемые детали обрываются в одном сечении. При наличии обрыва не в одном сечении на длине 100 мм от обрыва необходимо предусматривать полное проплавление таврового или углового соединения свариваемых деталей.

В соединениях, работающих на отрыв, обеспечение полного проплавления обязательно.

Применение узлов с работой на отрыв деталей пакета, образованного с помощью нахлесточных угловых сварных швов, не допускается.

В угловых соединениях составных замкнутых герметичных элементов, образованных односторонними угловыми швами, глубина провара должна быть не менее 4 мм при толщине более тонкого листа до 16 мм и не менее 5 мм при толщине более тонкого листа свыше 16 мм.

Для соединения отдельных деталей и прикрепления элементов конструкций прерывистые швы не применяются.

4.151. В конструкциях с фрикционными соединениями должна быть обеспечена возможность свободной постановки высокопрочных болтов, плотного стягивания пакета болтами и закручивания гаек с применением динамометрических ключей и гайковертов.

4.152. В соединениях прокатных профилей с непараллельными поверхностями полок должны применяться клиновидные шайбы.

4.153. Номинальные диаметры отверстий под высокопрочные болты во фрикционных соединениях приведены в табл. 88.

Таблица 88

Группа соединений

Номинальный диаметр отверстий, мм, во фрикционных соединениях при номинальном диаметре болтов, мм

18

22

24

27

Стыки и прикрепления основных несущих элементов и связей, определяющие проектное положение конструкций

21

25

28

30

Прикрепления: связей, не определяющих проектного положения конструкций; стыковых накладок (рыбок) поясов продольных балок; тормозных связей и горизонтальных диафрагм проезжей части

23

28

30

33

4.154. Соединения следует проектировать с возможно более компактным расположением высокопрочных и обычных болтов по нормам табл. 89.

Таблица 89

Характеристика расстояний

Норма

1. Расстояния между центрами болтов:

 

а) минимальное в любом направлении

2,5 d*

б) максимальное в любом направлении в крайних рядах при растяжении и сжатии:

 

в листах

7d или 16t

в уголках**

160 мм

в) максимальное в средних рядах:

 

поперек усилия при растяжении и сжатии

24t

вдоль усилия при растяжении

24t

то же, при сжатии

16t

2. Расстояние от центра болта до края элемента:

 

а) минимальное вдоль усилия и по диагонали

1,5d

б) то же, поперек усилия:

 

при кромках после механической обработки

1,5d

при кромках прокатных или после газовой резки методом «смыв-процесс» и с кислородной завесой

1,3d

в) максимальное

8t или 120 мм

В таблице 89 обозначено:

d - номинальный диаметр болта;

t - толщина наиболее тонкой детали, расположенной снаружи пакета.

___________

* Для обычных болтов следует назначать 3,0d.

** При двухрядном расположении норма относится к ряду у пера.

4.155. Число высокопрочных болтов должно быть не менее двух:

в прикреплениях связей главных ферм и проезжей части;

в каждом продольном ряду прикрепления или стыковой накладки (считая от оси стыка).

В прикреплении стержня на обычных болтах число болтов в продольном ряду должно быть не менее: при одном ряде - 3; при двух рядах и более - 2; в выступающей полке уголкового коротыша - 5.

В стыках и прикреплениях растянутых и сжато-растянутых элементов число болтов в двух первых поперечных рядах (считая от сечения элемента или накладки с полным усилием) следует принимать одинаковым. Число болтов в последующих рядах должно увеличиваться постепенно. В стыках и прикреплениях уголков с двухрядным расположением болтов первый болт должен быть расположен у обушка.

Число рядов болтов вдоль усилия (при выполнении требований п. 4.106) должно быть минимальным.

В продольных и поперечных стыках стенок балок допускается располагать болты с каждой стороны стыка в один ряд.

4.156. Диаметр болтов, поставленных в уголках основных элементов, не должен, как правило, быть более 1/4 ширины полки уголка.

Допускается в элементах связей, ребрах жесткости, диафрагмах и т.п. ставить болты диаметром 22 мм в полке уголка шириной 80 мм и диаметром 24 мм в полке шириной 90 мм.

Во фрикционных соединениях с большим числом высокопрочных болтов их диаметр следует назначать возможно большим.

4.157. Полную длину высокопрочных болтов следует назначать из условия, чтобы верх гайки после затяжки находился ниже границы фаски болта.

4.158. Стыки вертикальной стенки балки при болтовых соединениях должны быть перекрыты накладками по всей высоте.

Стыковые накладки поясных уголков допускается применять в виде плоских листов.

4.159. Непосредственно прикрепленная площадь элементов сквозных главных ферм в узлах и стыках должна составлять не менее 50 % всей рабочей площади элемента. При непрямом перекрытии площади сечения следует уменьшать эксцентриситет в прикреплении накладок и увеличивать их длину.

Детали конструкции

4.160. В конструкции не должно быть соприкасающихся несоединенных частей (кроме мест примыкания ребер жесткости к поясам балок), а также щелей, зазоров, пазух и корыт. В местах возможного скопления влаги следует устраивать дренажные отверстия диаметром не менее 50 мм.

Стальные канаты и пучки высокопрочной проволоки, их анкеры, места соединения и примыкания должны быть надежно защищены от коррозии.

4.161. У растянутых элементов симметричного сечения, снабженных отверстиями для соединения их узловыми болтами-шарнирами, площадь нетто разреза, проходящего через болтовое отверстие, должна быть не менее 140 %, а разреза от торца элемента до болтового отверстия - не менее 100 % расчетного сечения элемента.

4.162. Ветви сжатых составных стержней с болтовыми соединениями, а также сжато-изогнутые сварные элементы в местах воздействия сосредоточенных сил должны быть подкреплены поперечными диафрагмами.

В сварных коробчатых и Н-образных элементах ферм диафрагмы рекомендуется приваривать или прикреплять на болтах только к вертикальным листам с зазором между диафрагмами и горизонтальными листами не менее 50 мм.

4.163. Непосредственная приварка вспомогательных деталей (кронштейнов, элементов перил и тротуаров, навигационных знаков и сигналов и т.п.) к элементам главных балок и балок проезжей части, а также к элементам решетчатых главных ферм не допускается. Приваривать эти детали допускается только к поперечным ребрам жесткости; в железнодорожных пролетных строениях северного исполнения указанные детали следует крепить на болтах.

Распорки и диагонали продольных связей, распорки поперечных связей не допускается приваривать непосредственно к поясам балок пролетных строений всех назначений.

В железнодорожных пролетных строениях не допускается также приварка элементов продольных и поперечных связей к ребрам жесткости и фасонкам связей, прокладок - к основным элементам, а в конструкциях северного исполнения - и противоугонных уголков к поясам балок.

4.164*. Для обеспечения плавных (радиусом не менее 15 мм) переходов от металла шва к основному металлу в растянутых1 на стадии эксплуатации поперечных стыках деталей и элементов железнодорожных пролетных строений должна предусматриваться механическая обработка; это требование распространяется на концевые участки поперечных стыковых швов стенки балок на протяжении 40 % высоты растянутой зоны, но не менее 200 мм, считая от растянутого пояса.

___________

1 Требования к растянутым стыкам распространяются и на сжато-растянутые стыки.

4.165. Для автодорожных, городских и пешеходных пролетных строений при прикреплении горизонтальных фасонок продольных связей непосредственно встык к поясам сплошных балок необходимо предусматривать полное проплавление всей толщины фасонки и возможность его неразрушающего контроля.

Необходимо также предусматривать на концах фасонки выкружки и механическую обработку их вместе с концами швов для получения плавных переходов (радиусом не менее 60 мм) к поясу.

4.166. Для автодорожных, городских и пешеходных пролетных строений при крестовой и полураскосной системах продольных связей, расположенных в уровне, смещенном относительно поясов, для фасонок, привариваемых к стенке втавр, необходимо предусматривать мероприятия по снижению концентрации напряжений, указанные в п. 4.165. При этом для обеспечения устойчивости и устранения колебаний пояса относительно стенки должны быть поставлены на стенке балки поперечные ребра жесткости в плоскости каждого узла связей.

В случае если указанные фасонки пересекаются с поперечными ребрами жесткости, фасонки и их швы следует устраивать непрерывными; приварку элементов поперечного ребра жесткости к фасонке надлежит осуществлять угловыми швами с отношением катетов 1:2 (больший катет - на фасонке) и плавным переходом к основному металлу фасонки.

4.167. В цельносварных автодорожных, городских и пешеходных пролетных строениях элементы связей, присоединяемые внахлестку к фасонкам, следует прикреплять двумя фланговыми и двумя лобовыми швами согласно п. 4.142; элементы связей из парных уголков, симметрично расположенных относительно фасонки, допускается прикреплять двумя фланговыми и одним лобовым (торцевым) швами.

Расстояния между швами прикреплений элементов связей и швами, прикрепляющими фасонки к стенке балки, а также к поперечным ребрам жесткости, должны быть не менее 60 мм.

4.168. В случае приварки вертикальных диафрагм, ребер жесткости и фасонок к растянутому поясу в пролете поперечные швы, прикрепляющие указанные элементы, следует проектировать с отношением катетов 1:2 (больший катет - на поясе) и плавным переходом к основному металлу.

4.169. В конструкциях обычного исполнения противоугонные уголки допускается приваривать к верхнему поясу сварных балок продольными и поперечными угловыми швами. При этом для поперечных швов необходимо предусматривать мероприятия по снижению концентрации напряжений, указанные в п. 4.168, а также механическую обработку для получения плавных переходов (радиусом не менее 5 мм) к основному металлу.

4.170. В конструкциях деталей, изменяющих направление стального каната (отклоняющих устройств, оголовков пилонов и др.) или проволоки в канате (анкерных устройств), а также обжимающих канат (сжимов, хомутов подвесок и т.п.), следует применять желоба криволинейного поперечного сечения со скруглениями у торцов (в месте выхода каната) и укороченными (по сравнению с основанием) прижимными накладками, прокладки из алюминия (в соответствии с п. 4.4, н) или другого мягкого материала. При этом для исключения электрохимической коррозии контактирующие с алюминием стальные канаты и стальные детали указанных выше устройств должны быть защищены покрытиями из кадмия или цинка толщиной не менее 20 мкм.

Конструкция планок и перфорированных листов

4.171. В сварных коробчатых и Н-образных элементах главных ферм железнодорожных мостов допускается применение только сплошных или перфорированных горизонтальных листов. Соединительные планки допускаются только в элементах связей железнодорожных мостов и в тех элементах автодорожных, городских и пешеходных мостов, для которых при расчете по выносливости соединение планок с основными частями сечения возможно осуществить без специальных мер по снижению концентрации напряжений.

4.172. Длина промежуточных планок должна быть не менее 0,75а, где а - расстояние между рядами болтов (или сварными швами) прикрепления планки.

Концевые планки в сжатых и сжато-растянутых элементах следует делать в 1,7 раза длиннее промежуточных, а в растянутых - в 1,3 раза. Концевые планки должны ставиться возможно ближе к узлу.

В сварных коробчатых и Н-образных элементах допускается выход перфорации на торец элемента.

4.173. Число болтов для прикрепления одной стороны планки должно быть не менее:

для элементов, работающих на временную нагрузку, - 4;

для элементов, работающих только на постоянную нагрузку, - 3;

для нерабочих элементов - 2.

Особенности конструкции болтосварных пролетных строений

4.174. В болтосварных пролетных строениях северного исполнения допускается применение стыковых, а в конструкциях обычного исполнения - также и накладных компенсаторов ослабления сечения элементов болтовыми отверстиями.

На концах стыковых компенсаторов ослабления (у стыка) необходимо предусматривать скосы и механическую обработку соединений в соответствии с указаниями пп. 4.128 и 4.164*.

В накладных компенсаторах ослабления следует предусматривать скосы по ширине с уклоном 1:1. Для косых швов следует принимать отношение катетов 1:2. Для обеспечения плавных (радиусом не менее 5 мм) переходов от шва к основному металлу необходимо предусматривать обработку косых швов на конце компенсатора. Косые швы и участки продольных швов до первого ряда отверстий должны обеспечивать полное прикрепление площади компенсатора. Ширина компенсатора из стали марок 16Д, 15ХСНД и 10ХСНД, 390-14Г2АФД и 390-15Г2АФДпс должна быть соответственно не более 44, 38 и 36 его толщин. При большей требуемой ширине необходимо применять два раздельных компенсатора, расстояние между их швами должно быть не менее 60 мм. Расстояние от центра болта до края компенсатора должно быть не менее удвоенного диаметра отверстия под болт.

4.175. Для решетчатых болтосварных ферм автодорожных, городских и пешеходных пролетных строений обычного исполнения допускается применение узловых фасонок-вставок и фасонок-приставок, соединяемых с поясами с помощью сварки.

Узловые фасонки-вставки и фасонки-приставки должны иметь плавные переходы (радиусом не менее 250 мм) к поясу. Расстояние от стыка пояса и фасонки-вставки до начала выкружки в ней должно приниматься не менее 70 мм. Для стыковых швов фасонок-вставок растянутого и сжато-растянутого поясов должна предусматриваться механическая обработка, отвечающая требованиям п. 4.164*.

У фасонок-приставок надлежит предусматривать полное проплавление всей толщины и возможность его неразрушающего контроля, а также механическую обработку концов фасонок.

4.176. Поясные листы продольных и поперечных балок могут иметь длину, меньшую, чем длина стенки, при условии устройства на углах стенки прямоугольных скругленных (радиусом 15 мм) вырезов, вертикальная грань которых совпадает с торцом обрываемого поясного листа.

Подобные вырезы должны иметь также фасонки, привариваемые к верхнему поясу поперечной балки для увеличения высоты ее стенки в зоне прикрепления к главным фермам. Конструкция сопряжения конца фасонки с поясом поперечной балки должна отвечать требованиям пп. 4.165 и 4.166.

При необходимости устройства обрыва пояса двутавровой балки без образования вышеуказанного выреза в стенке необходимо предусматривать следующее: пояс к месту обрыва должен быть скошен по толщине до 6 мм с уклоном 1:8 и по ширине до 32 мм с уклоном 1:4; прикрепление к стенке балки на протяжении скошенной части пояса должно иметь полное проплавление. Следует предусматривать также механическую обработку конца пояса для получения плавных переходов (радиусом не менее 60 мм) к стенке (в обеих плоскостях).

Конструкция ортотропной плиты проезжей части

4.177. В автодорожных, городских и пешеходных мостах конструкцию ортотропной плиты следует проектировать одноярусной, состоящей из листа настила, подкрепленного продольными и поперечными ребрами, вертикальные стенки которых приварены к листу настила двусторонними угловыми швами.

Монтажные блоки ортотропной плиты должны быть ориентированы длинной стороной вдоль оси моста.

4.178. Толщину листа настила в автодорожных и городских мостах следует принимать не менее 12 мм и не менее значения, полученного по формуле

,                                                              (236)

где а - расстояние между продольными ребрами;

Р - максимальное давление на лист от сосредоточенной нагрузки, определяемое с учетом его распределения конструкцией полотна;

x = 7,8 или 15,6 - значения коэффициента, принимаемые для конструкций ортотропных плит с продольными ребрами соответственно полосового и фасонного профилей.

4.179*. В автодорожных, городских и пешеходных мостах монтажные стыки листа настила верхней ортотропной плиты следует, как правило, проектировать сварными.

В нижних ортотропных плитах при обосновании расчетом допускается применение монтажных продольных сварных стыков горизонтального листа с неполным заполнением разделки.

Присоединение листов настила ортотропных плит проезжей части к поясам главных балок или ферм сварными швами внахлестку не допускается.

4.180. В ортотропных плитах следует применять преимущественно продольные ребра открытого сечения из полос, прокатных тавров, неравнобоких уголков и сварных тавров, причем в железнодорожных мостах, как правило, из сварных тавров.

4.181. Монтажные стыки продольных ребер верхних ортотропных плит следует размещать в трети пролета между поперечными ребрами и предусматривать, как правило, фрикционными с выполнением отверстий в заводских условиях.

Монтажные стыки продольных ребер нижних ортотропных плит в автодорожных, городских и пешеходных мостах следует предусматривать, как правило, сварными.

Применение монтажных стыков ортотропной плиты с не приваренными к листу настила вставками продольных ребер и обрывом ребер в зоне монтажного стыка блоков пролетного строения не допускается.

4.182. Монтажные стыки стенки и пояса поперечных ребер таврового сечения следует, как правило, предусматривать фрикционными на высокопрочных болтах с выполнением отверстий на полный диаметр в заводских условиях.

4.183. Продольные ребра в местах пересечений со стенками поперечных балок не должны прерываться. В автодорожных, городских и пешеходных мостах продольные ребра следует пропускать сквозь вырезы в стенках поперечных балок и приваривать на заводе угловыми швами к вертикальной грани выреза в стенке или в опорной пластинке (см. обязательное приложение 17*, табл. 1, поз. 17, а, б). Приварка торцов продольных ребер к стенкам поперечных ребер не допускается.

4.184. Прикрепление поперечных ребер верхней ортотропной плиты к ребрам жесткости или специальным фасонкам главных балок, как правило, следует осуществлять фрикционным на высокопрочных болтах.

4.185. В проекте следует указывать вид антикоррозионного покрытия листа настила и тип одежды ездового полотна по стальной ортотропной плите.

4.186. В железнодорожных пролетных строениях следует применять двухъярусные ортотропные плиты с прикреплением продольных ребер к верхней полке поперечных балок на фрикционных высокопрочных болтах. В случае, если лист настила непосредственно соединяется со стенками балок, допускается прикрепление продольных ребер к полкам поперечных балок стяжными приспособлениями клеммного типа.

Конструкция опорных частей

4.187. Балочные пролетные строения пролетом свыше 25 м должны иметь подвижные опорные части шарнирно-каткового или секторного типа.

Допускается (в сейсмических районах - рекомендуется) применение опорных частей с использованием полимерных материалов.

4.188. При расстоянии между центрами опорных частей, расположенных на одной опоре, свыше 15 м следует обеспечивать поперечную подвижность одной из опорных частей путем устройства двояко подвижных опорных частей или другим способом.

В железнодорожных мостах нижние балансиры неподвижных опорных частей и плиты подвижных опорных частей должны быть закреплены на опорах анкерными болтами.

В случае невыполнения требований п. 1.40* концы пролетных строений должны быть прикреплены к опорам анкерными болтами по расчету.

4.189. Конструкция опорных частей должна обеспечивать распределение нагрузки по всей площади опирания узла пролетного строения и опирания на опору.

4.190. Опорные части шарнирно-каткового или секторного типа следует применять, как правило, литые с шарнирами свободного касания. Допускается применять подвижные однокатковые опорные части из высокопрочной стали, а также с наплавкой на поверхность катка и плиты из материалов высокой твердости.

В подвижных опорных частях не должно быть более четырех катков.

Катки должны быть соединены между собой боковыми стяжками, гарантирующими совместность перемещения и не препятствующими перекатке и очистке, и оснащены устройствами от боковых сдвигов и продольного угона, а также защищены футлярами. При применении цилиндрических катков, имеющих две плоские грани, должна быть исключена возможность их опрокидывания и заклинивания.

5. СТАЛЕЖЕЛЕЗОБЕТОННЫЕ КОНСТРУКЦИИ

ОБЩИЕ ПОЛОЖЕНИЯ

5.1*. Нормы настоящего раздела необходимо соблюдать при проектировании пролетных строений, в которых железобетонная плита объединена со стальными главными балками, фермами или балками проезжей части для совместной работы.

5.2. Сталежелезобетонные пролетные строения железнодорожных мостов, кроме балочно-разрезных со сплошной стенкой с ездой поверху, допускается применять только по согласованию с МПС.

5.3. Требования к качеству и расчетные характеристики материалов сталежелезобетонных конструкций, а также не предусмотренные в настоящем разделе указания по расчету и конструированию следует принимать согласно разд. 1-4.

РАСЧЕТЫ

Основные положения

5.4. Расчеты следует выполнять, как правило, исходя из гипотезы плоских сечений, без учета податливости швов объединения стальной и железобетонной частей. Податливость швов объединения необходимо учитывать для балок пролетом менее 8 м и решетчатых ферм с панелями менее 8 м.

5.5. В расчетах сталежелезобетонных конструкций следует применять коэффициент приведения nb = Est/Eb, здесь Est = 2,06×105 МПа (2,1×106 кгс/см2) - модуль упругости конструкционного металла стальной части, Еb - модуль упругости бетона при сжатии и растяжении, определяемый по п. 3.32*.

5.6. Состав расчетов и виды учитываемых в них неупругих деформаций следует принимать по табл. 90. Как правило, неупругие деформации надлежит также учитывать при определении усилий в элементах статически неопределимых систем. Допускается приближенный учет неупругих деформаций бетона с использованием при этом условных модулей упругости по обязательным приложениям 19 и 20.

Таблица 90

Нагрузки и воздействия

Неупругие деформации, учитываемые в расчетах

по прочности и устойчивости

на выносливость

по трещиностойкости

вертикальной и горизонтальной жесткости

ординат строительного подъема (для конструкций со сборной плитой)

статически определимых пролетных строений железнодорожных мостов

пролетных строений автодорожных и городских мостов

по образованию трещин

по раскрытию трещин

Постоянные

kr, us

vkr,us

kr, us

kr, us

kr, us

-

kr, us

Временные вертикальные

cr, pl

vkr,us

cr

wud

cr

wud

wud

Температурные и усадочные

cr, pl

-

-

wud

cr

-

-

Временные поперечные горизонтальные

pl

-

-

-

-

wud

-

При транспортировании, монтаже, предварительном напряжении и регулировании

wud

-

-

wud

cr

-

wud

В табл. 90 обозначено:

kr - ползучесть бетона;

us - обжатие поперечных швов сборной железобетонной плиты;

vkr - виброползучесть бетона;

cr -    поперечные трещины в железобетоне (от всей совокупности действующих нагрузок);

рl - ограниченные пластические деформации стали и бетона (от всей совокупности действующих нагрузок и только при проверке сечения);

wud - без учета неупругих деформаций;

тире обозначает, что расчет не производится.

5.7. Ползучесть бетона необходимо учитывать при определении усилий и моментов от постоянных нагрузок и воздействий, если наибольшие напряжения в бетоне от них превосходят 0,2 Rb, где Rb - расчетное сопротивление бетона сжатию по п. 3.24*.

При определении влияния ползучести бетона на сталежелезобетонную конструкцию следует, как правило, учитывать изгибную жесткость железобетонной части конструкции EbIb.

Ползучесть бетона допускается учитывать приближенно по обязательному приложению 19, если ЕbIb £ 0,2 Est Is; здесь Est Is - изгибная жесткость стальной части конструкции.

Потери натяжения напрягаемой арматуры от ползучести бетона, а также дополнительные деформации от обжатия поперечных швов сборной железобетонной плиты следует определять по обязательному приложению 19.

5.8. Расчет на выносливость зон железнодорожных мостов, в которых временная нагрузка увеличивает сжимающие напряжения в бетоне, следует выполнять с учетом виброползучести бетона по обязательному приложению 19.

5.9. Усадку бетона следует учитывать при расчетах на температурные воздействия. При этом разгружающее влияние усадки бетона не учитывается.

Предельную относительную деформацию усадки бетона eshr следует принимать равной 2×10-4 для монолитной плиты и 1×10-4 для сборной плиты.

Допускается уравновешенные в пределах поперечного сечения напряжения от усадки бетона определять по обязательному приложению 20.

Ползучесть бетона от усадочных напряжений допускается учитывать путем применения в расчетах условного модуля упругости бетона Еef,shr = 0,5Еb.

5.10. В расчетах на температурные воздействия следует учитывать разность температур железобетонной и стальной частей сечения. Разность температур следует определять, как правило, на основании теплофизических расчетов.

Расчеты на температурные воздействия допускается выполнять, принимая распределение температур в сечении неизменным по длине сталежелезобетонного пролетного строения и исходя из следующих нормативных наибольших значений разности температур железобетонной плиты и стальной конструкции:

а) для пролетных строений со стальными балками со сплошной стенкой при езде поверху (черт. 14, а):

в случае, когда температура стали выше, чем железобетона, и балка подвергается нагреву от воздействия солнечных лучей при наклоне их к горизонту 30° и более, - 30 °С;

в случае, когда температура стали выше, чем железобетона, но балка не подвергается нагреву от воздействия солнечных лучей, - 15 °С;

в случае, когда температура стали ниже, чем железобетона, - минус 15 °С;

б) для пролетных строений с решетчатыми главными фермами при езде поверху:

в случае, когда температура стальных элементов фермы выше, чем железобетона, независимо от условий освещения солнцем, - 15 °С;

в случае, когда температура стальных элементов фермы ниже, чем железобетона, - минус 10 °С;

в) для пролетных строений с главными балками со сплошной стенкой или с решетчатыми главными фермами и расположенной между ними железобетонной плитой с ездой понизу или посредине:

в случае, когда температура стали выше, чем железобетона, - 20 °С;

в случае, когда температура стали ниже, чем железобетона, - минус 15 °С;

г) для пролетных строений железнодорожных мостов с безбалластной плитой в проезжей части и в пролетных строениях автодорожных и городских мостов с ездой поверху без (до) устройства на железобетонной плите проезжей части одежды ездового полотна в случае, когда температура железобетона выше, чем стали, - 20 °С.

Определение усилий и напряжений от температурных воздействий следует выполнять:

по подпункту «а» - с принятием по высоте стальной части сечения криволинейной эпюры разности температур (черт. 14, б) с ординатой в i-й точке

tni = tn,max Vti = tn,max ,                           (237)

где Zbl,i, hw - по черт. 14, а, см;

по подпунктам »б» и «в» - с принятием прямоугольной эпюры разности температур по всей высоте стальной части сечения;

по подпункту «г» - с принятием криволинейной эпюры разности температур по черт 14, в и с ординатой в i-й точке

tni = tn,max V¢n = tn,max ,                                            (238)

где Zbf,i - по черт. 14, в, см.

В пролетных строениях с ездой поверху стальную часть коробчатого сечения допускается условно разделять на балки двутаврового сечения и при этом учитывать разность температур по черт. 14, б. Допускается уравновешенные в пределах поперечных сечений напряжения от изменений температуры определять по обязательному приложению 20.

Черт. 14. Поперечное сечение сталежелезобетонной конструкции и расчетные эпюры разности температур

а - схема поперечного сечения; б - криволинейная эпюра разности температур по высоте стальной части сечения; в - криволинейная эпюра разности температур для верхней части сечения балки

5.11. Сжатую железобетонную плиту следует рассчитывать по прочности, трещиностойкости, а в железнодорожных мостах - и на выносливость.

Влияние развития ограниченных пластических деформаций бетона и стали на распределение усилий в статически неопределимых конструкциях допускается не учитывать.

5.12. Растянутую железобетонную плиту следует рассчитывать по прочности и трещиностойкости. Категории требований по трещиностойкости следует принимать согласно п. 3.95*.

Жесткость при растяжении железобетонной плиты с учетом образовавшихся трещин определяется выражением ; здесь Еr, Ar - модуль упругости и площадь сечения продольной арматуры плиты, Ycr - коэффициент, учитывающий частичное вовлечение бетона между трещинами в работу на растяжение и принимаемый по табл. 91.

Таблица 91

Арматура

Значение коэффициента ycr для

железнодорожных мостов при расчете

автодорожных и городских мостов при расчетах по прочности и трещиностойкости

по прочности

по трещиностойкости

Гладкая; пучки высокопрочной проволоки; стальные канаты

1,00

1,00

0,70

Периодического профиля

1,00

0,75

0,50

В статически неопределимых системах усилия следует определять с учетом влияния наличия поперечных трещин в железобетонной плите.

Для сборной необжатой железобетонной плиты, у которой продольная арматура не стыкуется, жесткость при растяжении следует принимать равной нулю.

5.13. Расчеты плиты проезжей части на местный изгиб и совместную работу с главными балками допускается выполнять независимо один от другого, при этом суммировать, усилия и деформации следует только в случае работы плиты на местный изгиб в продольном направлении.

5.14. Расчет поперечного сечения следует выполнять по стадиям, число которых определяется количеством частей сечения, последовательно включаемых в работу.

Для каждой части сечения действующие напряжения следует определять суммированием их по стадиям работы.

5.15. Учитываемую в составе сечения расчетную ширину железобетонной плиты bsl следует определять как сумму расчетных величин свесов плиты в обе стороны от оси стальной конструкции (черт. 15). Расчетную величину свеса плиты следует, как правило, определять пространственным расчетом: допускается принимать ее значение в соответствии с табл. 92.

Черт. 15. Схема для определения расчетной ширины железобетонной плиты, учитываемой в составе сечения

Таблица 92

Положение свеса плиты относительно стальной части, его обозначение

Параметр плиты l

Расчетная величина свеса плиты

Свес в сторону соседнего стального элемента b

Св. 4В

В/2

Менее 4В

a + 6tsl,

но не более В/2 и не менее l/8

Свес в сторону консоли bc

Св. 12С

С

Менее 12С

a + 6tsl,c, но не более С и не менее l/12

В табл. 92 обозначено:

а - половина ширины железобетонного ребра или вута, а при их отсутствии - половина ширины контакта железобетонной плиты и стального пояса;

tsl, tsl,c - средняя толщина железобетонной плиты соответственно в пролете и на консоли (за вычетом ребра или вута);

l - параметр плиты, равный:

длине пролета - для главных балок или ферм;

длине панели - для продольных балок проезжей части;

расстоянию между главными фермами или ширине железобетонной плиты поперек моста, если она меньше этого расстояния, - для поперечных балок проезжей части;

В - расстояние между осями стальных конструкций, равноценных по жесткости (см. черт. 15);

С - конструктивный консольный свес плиты от оси стальной конструкции (см. черт. 15).

5.16. Площадь железобетонной плиты Аb, а в расчетах на кручение - также ее толщину tsl и ширину ребра или вута следует принимать поделенными на коэффициент приведения nb согласно п. 5.5. При учете неупругих деформаций допускается использовать коэффициенты приведения, найденные по условным модулям упругости бетона, определяемым по обязательным приложениям 19 и 20.

Площадь продольной арматуры, имеющей сцепление с бетоном, следует принимать поделенной на коэффициент приведения nr = Еstr, где Er - модуль упругости ненапрягаемой Еrs или напрягаемой Еrp арматуры, принимаемый по табл. 34.

Подливку, одежду ездового полотна и верхнее строение железнодорожного пути в составе расчетного поперечного сечения учитывать не следует.

5.17. Центры тяжести стального и приведенного сечений следует определять по сечению брутто.

Ослабление сечений болтовыми отверстиями учитывается согласно п. 4.24.

5.18. Прочность и устойчивость стальных балок при монтаже проверяют согласно пп. 4.41, 4.42 и 4.51.

Прочность и трещиностойкость конструкций и их элементов при предварительном напряжении, транспортировании и монтаже следует проверять в предположении упругой работы стали и бетона. Проверку следует осуществлять без учета ползучести, усадки бетона и обжатия поперечных швов, но с учетом влияния потерь предварительного напряжения согласно разд. 3.

РАСЧЕТ КОНСТРУКЦИЙ

Расчет по прочности

5.19*. Расчет сталежелезобетонной балки на воздействие положительного изгибающего момента1 следует выполнять по формулам табл. 93* по одному из расчетных случаев А, Б или В (черт. 16) в зависимости от величины напряжения в бетоне sb на уровне центра тяжести железобетонной плиты и напряжения в продольной арматуре sr, отвечающего деформации бетона при напряжении sb.

____________

1 Вызывающего в верхнем поясе сжатие.

Таблица 93*

Критерии и проверки

Формулы для критериев и проверок прочности в расчетных случаях

А

Б

В

Критерии:

 

 

 

соотношения жесткостей

Eb Ib £ 0,2 Est Is

-

-

напряжений в бетоне (сжатие +, растяжение -)

 - sbi < mb Rb

 - sbi ³ mb Rb

напряжений в расчетной продольной арматуре (сжатие +, растяжение -)

 - sri < mr Rr

 - sri ³ mr Rr

Проверки:

 

 

железобетона (сжатие +, растяжение -)

-

-

стального верхнего пояса (сжатие +, растяжение -)

M - ZbsNbr

¾¾¾¾¾ -

æ4 Ws2.s

Nbr

- ¾¾ £ ml m Ry

As

M - ZbsNbr.R

¾¾¾¾¾ -

æ3 Ws2.s

Nbr.R

- ¾¾ £ m Ry

As

стального нижнего пояса (растяжение +, сжатие -)

M - ZbsNbr

¾¾¾¾¾ -

æ3 Ws1,s

Nbr

- ¾¾ £ m Ry

As

M-ZbsNbR.r

¾¾¾¾

æ3 Ws1,s

NbR,r

- ¾¾ £ m Ry

As

M - ZbsNbr.R

¾¾¾¾¾ -

æ3 Ws1,s

Nbr.R

- ¾¾ £ m Ry

As

В табл. 93 обозначено:

M = M1 + M2 - полный изгибающий момент (принимают так же, как и М1 и М2 с соответствующим знаком);

M1 - изгибающий момент первой стадии работы (нагрузку воспринимает стальная часть конструкции);

M2 - изгибающий момент второй стадии работы (нагрузку воспринимает сталежелезобетонная конструкция), определяемый для статически неопределимых систем с учетом ползучести бетона, обжатия поперечных швов, образования поперечных трещин в растянутых зонах железобетонной плиты, а также усадки бетона и изменений температуры;

sbi, sri - уравновешенные в поперечном сталежелезобетонном сечении напряжения, возникающие на уровне центра тяжести поперечного сечения бетона от его ползучести, обжатия поперечных швов сборной плиты, усадки бетона и изменений температуры (за исключением случая, когда температура железобетонной плиты согласно п. 5.10, г выше, чем стали, и расчеты проводятся по формулам табл. 93*-95) соответственно в бетоне и в продольной арматуре;

Аs = As1 + Aw + As2 - площадь нетто поперечного сечения стальной балки;

Аs1, As2, Aw, Ab, Ar = Ars - площади элементов поперечного сечения соответственно стальных нижнего и верхнего поясов, стальной вертикальной стенки, бетона плиты, продольной ненапрягаемой арматуры плиты;

; ;  - моменты сопротивления;

 - условный момент сопротивления на уровне центра тяжести сечения бетона;

Istb, Is - моменты инерции нетто соответственно сталежелезобетонного поперечного сечения балки, приведенного к стали, и поперечного сечения стальной балки;

Zb.stb, Zbs, Zs1.s, Zs2.s - расстояние согласно черт. 16;

 - коэффициент приведения, принимаемый по п. 5.16;

nb - коэффициент приведения, принимаемый по п. 5.5;

eb,lim = 0,0016 -     предельная (для сталежелезобетонных конструкций) относительная деформация бетона в уровне центра тяжести его поперечного сечения;

Ry, Rb, Rr = Rrs - расчетные сопротивления соответственно материала стальной конструкции по пп. 4.6* и 4.7*, бетона сжатию по п. 3.24*, ненапрягаемой продольной арматуры по п. 3.37*;

æ3 = 1 + h (æ - 1) - поправочный коэффициент к моменту сопротивления при расчете прочности стальной балки на совместное действие изгибающего момента и осевой силы;

æ3

æ4 = ¾ - поправочный коэффициент к моменту сопротивления при проверке

ml    стального верхнего пояса, принимаемый не менее 1,0;

æ - коэффициент, принимаемый по п. 4.26*;

h - коэффициент, принимаемый по табл. 94;

m - коэффициент условий работы стальной конструкции, принимаемый по п. 4.19*;

mb - коэффициент условий работы бетона, принимаемый по п. 3.25;

mr - коэффициент условий работы арматуры, принимаемый по пп. 3.29*-3.45;

 - коэффициент условий работы верхнего стального пояса, учитывающий его разгрузку прилегающим недонапряженным бетоном и принимаемый не более 1,2;

k - коэффициент, учитывающий увеличение относительных деформаций бетона при развитии пластических деформаций; при этом k = 1, если ; в случае если [1 + h (æ - 1)] , k определяют интерполяцией между предельными значениями k = 1,0 и k = 1,0 + .

Черт. 16. Усилия, напряжения и деформации в сталежелезобетонном поперечном сечении, воспринимающем положительный изгибающий момент

Таблица 94

As2

Значения коэффициента h при N/As m Ry, равном

As1

0

0,05

0,10

0,15

0,20

0,25

0,30

0,35

1

2

3

4

5

6

7

8

9

0

1,0

1,0

1,0

0,98

1,0

0,94

1,0

0,90

1,0

0,87

1,0

0,81

1,0

0,75

0,98

0,67

0,2

1,0

1,0

1,0

0,97

1,0

0,92

1,02

0,87

1,03

0,80

1,04

0,70

1,05

0,57

1,06

0,38

0,4

1,0

1,0

1,04

0,90

1,08

0,80

1,12

0,67

1,14

0,52

1,16

0,34

1,19

0,53

1,20

0,68

0,6

1,0

1,0

1,10

0,84

1,19

0,64

1,28

0,40

1,35

0,56

1,40

0,75

1,44

0,95

1,46

1,13

0,8

1,0

1,0

1,20

0,61

1,39

0,51

1,55

0,84

1,70

1,12

1,83

1,36

1,93

1,60

1,98

1,86

1,0

1,0

1,0

1,29

1,29

1,63

1,63

2,04

2,04

2,47

2,47

2,86

2,86

3,20

3,20

3,38

3,38

Окончание табл. 94

As2

Значения коэффициента h при N/As m Ry, равном

As1

0,40

0,45

0,50

0,55

0,60

0,65

0,70

1

10

11

12

13

14

15

16

0

0,96

0,58

0,95

0,45

0,92

0,28

0,88

0,52

0,83

0,68

0,75

0,76

0,63

0,82

0,2

1,07

0,49

1,06

0,61

1,05

0,72

1,02

0,82

0,99

0,91

0,90

0,99

0,75

1,05

0,4

1,21

0,84

1,20

0,98

1,18

1,12

1,16

1,22

1,13

1,30

1,09

1,38

1,04

1,42

0,6

1,47

1,30

1,46

1,45

1,45

1,58

1,42

1,69

1,39

1,76

1,35

1,84

1,30

1,90

0,8

2,00

2,08

2,02

2,29

2,01

2,47

1,99

2,52

1,97

2,50

1,91

2,46

1,84

2,38

1,0

3,49

3,49

3,56

3,56

3,57

3,57

3,53

3,53

3,43

3,43

3,29

3,29

3,05

3,05

В табл. 93-95 обозначено:

N = Nbr = Ab sb + Ar sr - в случаях А и Г;

N = Nbr,R = Ab Rb + Ar sr - в случае Б при проверке нижнего пояса;

N = Nbr,R = Ab Rb + Ar Rr - в случае Б при проверке верхнего пояса, а также в случае В;

N = NrR = АrRr - в случае Д при проверке верхнего пояса;

N = Nr = Ar sr, но не более ArRr - в случае Д при проверке нижнего пояса.

Примечания: 1. Случаи А, Б и В следует принимать по п.5.19* (черт. 16), Г и Д - по п. 5.21 (черт. 17).

2. Здесь Аs2 - меньший по площади пояс стальной балки.

3. Над чертой даны значения h для случая, когда напряжения от момента и осевой силы суммируются в меньшем по площади поясе стальной балки; под чертой - для случая, когда напряжения от момента и осевой силы суммируются в большем по площади поясе стальной балки.

4. Нормальную силу N следует принимать растягивающей стальную балку при сжимающих напряжениях в железобетонной плите и сжимающей стальную балку при растягивающих напряжениях в железобетонной плите и арматуре (в формулы силу N в обоих случаях необходимо подставлятъ со знаком «плюс»).

5.20. При расположении нейтральной оси сечения в пределах высоты железобетонной плиты и напряжениях в растянутой части плиты, превосходящих mbRbt по пп. 3.24* и 3.25, в состав сечения следует включать только сжатую часть бетона. Проверку прочности сечения следует выполнять с учетом неравномерного распределения напряжений по высоте железобетонной плиты.

5.21. Расчет сталежелезобетонной балки на воздействие отрицательного изгибающего момента1 следует выполнять по формулам табл. 95 по одному из расчетных случаев Г или Д (черт. 17) в зависимости от величины напряжения в бетоне sb на уровне центра тяжести железобетонной плиты.

_________

1 Вызывающего в верхнем поясе растяжение.

Таблица 95

Критерии и проверки

Формулы для критериев и проверок прочности в расчетных случаях

Г

Д

Критерии:

 

 

соотношения жесткостей

Еb Ib £ 0,2 Est Is

-

напряжений в бетоне (сжатие +, растяжение -)

sb= - sbi > 0,1mbRb

sb=  - sbi £ 0,1mbRb

Проверки:

 

 

напряжений в продольной арматуре железобетона (растяжение +, сжатие -)

-

 - sri £ mrRr

стального верхнего пояса (растяжение +, сжатие -)

-M + Zbs Nbr    Nbr

¾¾¾¾¾ + ¾ £ m2 m Ry

æ5 Ws2,s          As

-M - Zrs NrR    NrR

¾¾¾¾¾ - ¾ £ m Ry

æ3 Ws2,s          As

стального нижнего пояса (сжатие +, растяжение -)

-M + Zbs Nbr    Nbr

¾¾¾¾¾ - ¾ £ m Ry

æ3 Ws1,s          As

-M - Zrs Nr      Nr

¾¾¾¾¾ + ¾ £ m Ry

æ3 Ws1,s          As

В табл. 95 обозначено:

M; M1; M2; sbi; sri; As2; Aw;

Ab;Ar; As; Wb,stb; Ws2,s; Ws1,s;

nr; nb;Ry; Rb; Rr; æ3; h; m; mr; mb -         см. обозначения к табл. 93*;

; ; Isy - соответственно площадь, момент сопротивления и момент инерции поперечного сечения нетто стальной конструкции балки, работающей совместно с продольной арматурой площадью  (приведенной к материалу стальной конструкции);

Zbs; Zb,sy; Zrs; Zr,sy - расстояния по черт. 17;

æ3

æ5 = ¾ -   поправочный коэффициент, принимаемый не

m2

менее 1,0;

 - коэффициент условий работы верхнего стального пояса, принимаемый не более 1,2.

Черт. 17. Усилия и напряжения в сталежелезобетонном поперечном сечении, воспринимающем отрицательный изгибающий момент

5.22. Расчет по прочности более сложных сечений (например, напрягаемых высокопрочной арматурой, двухплитных, при совместном действии изгибающего момента и внешней осевой силы) следует выполнять с учетом их напряженного состояния и конструктивных особенностей, руководствуясь указаниями пп. 5.19*-5.21.

Для сечения с высокопрочной арматурой усилия предварительного напряжения следует учитывать на стадии натяжения арматуры как внешнюю нагрузку. На последующих стадиях работы при определении разгружающих усилий N высокопрочную арматуру следует учитывать с бетоном и ненапрягаемой продольной арматурой, при этом необходимо дополнительно выполнить проверку прочности высокопрочной арматуры. В случае Д высокопрочную арматуру следует проверять с учетом увеличения усилия в ней при ограниченном развитии пластических деформаций в стальной конструкции.

При действии на сечение наряду с изгибающими моментами М также внешних осевых усилий Nе следует учитывать дополнительные изгибающие моменты, возникающие от изменения положения центра тяжести рассматриваемой части сечения.

5.23. Расчет по прочности сечений с железобетонной плитой, работающей на местный изгиб в продольном направлении, следует выполнять по расчетным случаям А, Б, В, Г и Д, при этом плиту в случаях Б, В и Д необходимо рассчитывать по предельному равновесию как внецентренно сжатый или внецентренно растянутый железобетонный стержень в соответствии с пп. 3.69, 3.70*, 3.72*, 3.73*, 3.75 и 5.13, а в расчете всего сечения следует учитывать разгрузку стальной его части равнодействующей сжимающих или растягивающих продольных сил, воспринимаемых плитой.

Расчет на выносливость

5.24*. Расчет на выносливость следует выполнять: для стальной и железобетонной частей конструкции, а также для конструкций объединения железобетона со сталью железнодорожных мостов; только для стальной части конструкции и прикреплений конструкций объединения автодорожных, городских и пешеходных мостов. При этом высокопрочную арматуру, имеющую сцепление с бетоном, следует относить к железобетонной части, а не имеющую сцепления - к стальной.

В расчетах на выносливость следует учитывать неупругие деформации бетона согласно пп. 5.6-5.8 и обязательному приложению 19.

Температурные воздействия, усадку бетона и горизонтальные нагрузки в расчетах на выносливость допускается не учитывать.

В состав сечения при определении  следует включать ту часть бетона, в которой при рассматриваемом загружении отсутствует растяжение.

Проверку выносливости следует выполнять с учетом требований, изложенных в пп. 3.91*-3.94* и 4.57*.

5.25. Расчет на выносливость сталежелезобетонной балки железнодорожного моста с ненапрягаемой арматурой в железобетонной части сечения следует выполнять по формулам:

;                                                (239)

£ m æ2 gw,s1 Ry;                                        (240)

£ m æ2 gw,s2 Ry;                                    (241)

где M1w - изгибающий момент первой стадии работы от нагрузок, учитываемых в расчетах на выносливость;

M2w - изгибающий момент второй стадии работы от нагрузок, учитываемых в расчетах на выносливость, включая изгибающие моменты от виброползучести бетона в статически неопределимых системах;

W¢i,stb - момент сопротивления нетто сталежелезобетонного сечения для фибры i (bf, s1, s2), определенный при коэффициенте приведения бетона к стали

;

Еvkr - условный модуль упругости бетона с учетом его виброползучести по обязательному приложению 19;

mb1 - коэффициент условий работы бетона под многократно повторяющейся нагрузкой по п. 3.26*;

остальные обозначения соответствуют принятым в пп. 3.94*, 4.57*, 5.19* и на черт. 16.

При наличии концентраторов напряжений на стенке балки следует проверить выносливость и этих точек сечения с подстановкой в формулы (240) и (241) соответствующих значений моментов сопротивления и коэффициента gw.

Расчет по трещиностойкости

5.26. Расчет железобетонных плит по трещиностойкости при совместной работе со стальными конструкциями следует выполнять в соответствии с требованиями пп. 3.95*-3.111* и 5.12. При этом в расчетах по образованию трещин предельные значения растягивающих и сжимающих напряжений в бетоне следует сопоставлять с напряжениями в крайней фибре бетона sbf упруго работающего сталежелезобетонного сечения, вычисленными от эксплуатационных нагрузок с учетом на стадии эксплуатации неупругих деформаций согласно п. 5.6.

В расчетах по раскрытию трещин напряжения в крайнем ряду продольной арматуры следует вычислять с учетом увеличения ее площади по п. 5.12 и потерь напряжения от неупругих деформаций. При ненапрягаемой продольной арматуре и работе сечения по двум стадиям растягивающее напряжение следует вычислять по формуле

,                            (242)

где М2 - изгибающий момент второй стадии работы от эксплуатационных нагрузок, определяемый для статически неопределимых систем с учетом ползучести бетона, обжатия поперечных швов, образования поперечных трещин в растянутых зонах железобетонной плиты, а также усадки бетона и изменения температуры; остальные обозначения пояснены в пп. 5.12, 5.19*, 5.21 и на черт. 17.

5.27*. Раскрытие трещин (при двух стадиях работы) в растянутой сборной железобетонной плите, у которой ненапрягаемая арматура в поперечных швах не состыкована, следует определять по формуле

 £ Dcr,d,                                          (243)

где             s2,s2 - растягивающее напряжение в стальном верхнем поясе от нагрузок и воздействий второй стадии работы в предположении, что железобетонная плита в растянутой зоне отсутствует;

la - расстояние между конструкциями объединения у поперечных швов, при отсутствии конструкций объединения - длина блока плиты;

Zbf,s, Zs2,s - расстояния согласно черт. 17;

Dcr,d = 0,03 cм - предельная ширина раскрытия трещин в поперечном шве, имеющем арматуру для передачи поперечной силы; при отсутствии в шве арматуры Dcr,d следует вычислять в предположении, что поперечная сила через шов не передается.

При устройстве клеевых швов трещиностойкость железобетонной плиты в железнодорожных мостах следует проверять по категории требований по трещиностойкости 2а; при проверке трещиностойкости железобетонной плиты в автодорожных, городских и пешеходных мостах величина растягивающих напряжений не должна превышать 0,5 Rbt,ser (по табл. 23).

При использовании клееных стыков в предварительно напряженной железобетонной плите ее трещиностойкость следует принимать по п. 3.95*.

Расчет объединения железобетонной плиты со стальной конструкцией

5.28. Конструкции объединения следует рассчитывать на сдвигающие усилия SQ в объединительном шве от поперечных сил и продольное сдвигающее усилие Sv, возникающее от температурных воздействий и усадки бетона, анкеровки высокопрочной арматуры, воздействия примыкающей ванты или раскоса и т.д.

Конструкции объединения, расположенные на концевых участках железобетонной плиты, следует рассчитывать, кроме того, на отрывающие усилия, в том числе возникающие от температурных воздействий и усадки бетона.

5.29. Сдвигающее усилие по шву объединения железобетонной плиты и стальной конструкции следует определять по формуле

Si = (sb1 Ab + sr1 Ar) - (sb2 Ab + sr2 Ar),                                    (244)

где sb1, sb2 - напряжения в центре тяжести поперечного сечения бетона соответственно в правом и левом сечениях расчетного участка плиты длиной аi;

sr1, sr2 - напряжения в продольной арматуре соответственно в тех же сечениях;

Ab, Ar - согласно пп. 5.19* и 5.12.

Если растягивающие напряжения в железобетонной плите превышают 0,4Rbt,ser, сдвигающие усилия следует определять в предположении наличия в плите трещин и вычислять напряжения в арматуре sr с учетом продольной жесткости плиты согласно п. 5.12.

Полное концевое сдвигающее усилие Se следует определять, принимая на конце s = 0 и назначая длину концевого расчетного участка равной:

ae = 0,36 (H + bsl),                                                           (245)

где Н - расчетная высота поперечного сечения сталежелезобетонного элемента;

bsl - согласно п. 5.15.

Распределение сдвигающих усилий между железобетонной плитой и стальной конструкцией в сложных случаях воздействий допускается принимать согласно обязательному приложению 21.

5.30. Концевые отрывающие железобетонную плиту от стальной конструкции усилия Sab следует определять по формуле

,                                                       (246)

где Zb,s2 - расстояние от центра тяжести поперечного сечения бетона до верхней фибры стальной конструкции;

Se, H, bsl - согласно п. 5.29.

Отрывающее усилие Sab следует принимать приложенным на расстоянии 0,024 (Н + bsl) от конца плиты (см. чертеж обязательного приложения 21).

5.31. Расчеты конструкции объединения стальной части с железобетонной следует выполнять:

а) при жестких упорах - полагая прямоугольной эпюру сжимающих напряжений, передаваемых расчетной сминающей поверхностью упора;

б) при вертикальных гибких упорах - исходя из условий работы упора на изгиб со смятием бетона согласно обязательному приложению 22;

в) при наклонных анкерах - исходя из условий работы анкера на сочетание растяжения и изгиба со смятием бетона согласно обязательному приложению 22;

г) при закладных деталях плиты, объединенных со стальными поясами высокопрочными болтами, - исходя из расчета фрикционных соединений на высокопрочных болтах согласно пп. 4.100* и 4.101;

д) при объединительных швах на высокопрочных болтах, обжимающих железобетон, - исходя из условий работы объединения на трение по контактным поверхностям шва согласно обязательному приложению 23;

е) при болтоклеевых объединительных швах - в соответствии с подпунктом «г» или «д», но с учетом сил сцепления от склеивания.

5.32*. Расчет конструкции объединения на жестких упорах надлежит выполнять по следующим формулам:

в железнодорожных мостах:

по прочности

Sh £ 2Rb Ab,dr;                                                           (247)

на выносливость

Sw £ 1,5 mbl Rb Ab,dr;                                                      (248)

в автодорожных, городских и пешеходных мостах - по прочности

Sh £ 1,6 Rb Ab,dr,                                                          (249)

где Sh, Sw - сдвигающие усилия, приходящиеся на один упор, соответственно при расчете по прочности или выносливости;

Ab,dr - площадь поверхности смятия бетона упором; при цилиндрических и дугообразных упорах - площадь их диаметрального сечения;

mbl - согласно п. 5.25.

При сборной железобетонной плите и расположении упоров в окнах расчетное сопротивление Rb следует принимать по классу бетона блоков, а толщину подливки не включать в площадь смятия. При расположении упоров в продольных швах плиты площадь смятия следует учитывать полностью, а расчетные сопротивления принимать по классу бетона замоноличивания швов.

Если жесткие упоры расположены в железобетонном ребре или вуте, предельные значения величин Sh и Sw следует уменьшать, умножая правые части приведенных формул на 0,9 при 1,5 bdr ³ brib > 1,3bdr и на 0,7 при brib £ 1,3bdr, где bdr - ширина площади смятия бетона упором, brib - ширина ребра или вута на уровне центра тяжести расчетной площади смятия бетона упором.

5.33. Прикрепления конструкций объединения к стальной части следует рассчитывать по пп. 4.82*- 4.102.

Расчеты прикрепления жесткого упора к стальной части конструкции следует выполнять с учетом момента от сдвигающей силы.

5.34. При одновременном использовании в конструкции объединения жестких упоров и наклонных анкеров допускается учитывать их совместную работу, полагая полное сопротивление объединительного шва равным сумме сопротивлений упоров и анкеров.

Проверка жесткости, определение строительного подъема и расчет по горизонтальным нагрузкам

5.35. Вертикальные прогибы от действующих нагрузок, а также перемещения при определении периодов колебаний следует вычислять в предположении упругой работы бетона независимо от знака возникающих в нем напряжений.

При определении периодов свободных горизонтальных колебаний прогиб железобетонной плиты в горизонтальной плоскости допускается определять с введением в состав сечения защитного слоя, подготовки под гидроизоляцию, бортов балластного корыта и железобетонных тротуаров.

При расчете строительного подъема пролетных строений со сборной плитой усадку бетона учитывать не следует.

5.36. В однопутных железнодорожных пролетных строениях железобетонная плита должна быть проверена по прочности в горизонтальной плоскости как сжато-изогнутый (или растянуто-изогнутый) железобетонный элемент, находящийся под действием осевого усилия от совместной работы со стальной конструкцией и изгибающего момента от горизонтальных нагрузок. Температурные воздействия и усадку бетона при этом допускается не учитывать.

Если бетон плиты от действия вертикальных нагрузок и усилий предварительного напряжения оказывается в пластическом состоянии и не воспринимает горизонтальный изгибающий момент, последний должен быть воспринят стальной частью конструкции. При этом полные относительные деформации в бетоне eb,lim с учетом горизонтального изгибающего момента не должны превышать 0,0016.

Конструирование

5.37. Железобетонную плиту следует объединять со стальными главными балками и фермами по всей их длине. Требуемая степень трещиностойкости должна быть обеспечена продольным армированием или предварительным напряжением.

5.38. Толщина железобетонной плиты проезжей части должна быть не менее указанной в п. 3.117. Толщина железобетонной плиты тротуарной консоли, учитываемой в составе рабочего сечения, должна быть не менее 3 см.

5.39. Объединение сборной железобетонной плиты со стальной конструкцией следует осуществлять, как правило, с применением фрикционных, болтоклеевых или сварных соединений.

Допускается объединение упорами и анкерами, замоноличиваемыми в окнах и швах сборной железобетонной плиты. Зазоры между упором и конструкцией блока плиты должны быть не менее 5 и 3 см соответственно вдоль и поперек пролетного строения.

Устройство упоров и анкеров в полостях и пазах, закрытых сверху, а также трудноомоноличиваемых, не допускается.

При устройстве прерывистых объединительных швов должна быть обеспечена прочность железобетонной плиты при работе на местный изгиб между участками опирания, при этом высота зазора между плитой и поясом должна быть достаточной для окраски пояса.

5.40. Размещение конструкций объединения должно удовлетворять следующим требованиям:

расстояние в свету между жесткими упорами и анкерами не должно превышать восьмикратной средней толщины плиты, определяемой делением площади плиты, включенной в работу, на ее расчетную ширину, при этом площадь плиты следует принимать с учетом площади ребра или вута;

расстояние в свету между жесткими упорами должно быть не менее 3,5-кратной высоты расчетной площади смятия бетона упором;

расстояние в свету между анкерами должно быть не мене 3dan, где dan - диаметр стержня анкера.

Минимальные расстояния для размещения высокопрочных болтов, обжимающих железобетонную плиту, следует принимать по табл. 96.

Таблица 96

Нормируемый размер

Минимально допустимое расстояние, мм, при диаметре болтов, мм

22

24

От центра отверстия до края железобетонного элемента

100

120

Между центрами отверстий по всем направлениям

140

160

5.41. Конструкция жестких упоров должна обеспечивать равномерные деформации бетона по площади смятия и не приводить к раскалыванию бетона, например, из-за наличия углов.

При выпуклой форме поверхности, передающей давление с упора на бетон (цилиндрических упорах и др.), зону местного сжатия бетона упором необходимо армировать.

5.42. Анкеры следует устраивать, как правило, в виде петель, расположенных под углом 45° к направлению сдвигающих усилий.

Допускается применение одиночных арматурных анкеров.

В закладных деталях петлевые арматурные анкеры следует, как правило, применять в сочетании с жесткими упорами.

5.43. При применении высокопрочных болтов для объединения сборной железобетонной плиты со стальными поясами необходимо:

отверстия под высокопрочные болты назначать увеличенных диаметров, обеспечивающих постановку болтов с учетом допусков, установленных нормами изготовления и монтажа;

обеспечить возможность устранения неплотностей за счет деформирования стальных листов при стягивании, применения податливых прокладок или других мер.

5.44. Железобетонная плита должна быть заанкерена против отрыва ее от стальной части. При жестких упорах, не обеспечивающих заанкеривания железобетонной плиты, следует применять дополнительные меры против ее отрыва.

Если в объединении с наклонными анкерами сдвигающая сила может менять направление действия, необходимы постановка наклонных анкеров встречных направлений или сочетание наклонных анкеров с вертикальными.

5.45. Поперечные стыки блоков сборной железобетонной плиты рекомендуется устраивать с применением:

склеивания торцевых поверхностей с обжатием стыков усилием, создающим давление на торец не менее 0,5 МПа (5 кгс/см2);

сварки арматурных выпусков и последующего замоноличивания шва бетоном.

5.46. При сборной железобетонной плите, объединенной на всей длине блока, между стальным верхним поясом и железобетонным блоком должен быть предусмотрен слой бетона или раствора, предохраняющий верхний пояс от коррозии При толщине слоя раствора или бетона 5 см и более его следует армировать.

6. ДЕРЕВЯННЫЕ КОНСТРУКЦИИ

ОБЩИЕ УКАЗАНИЯ

6.1. В деревянных мостах, как правило, следует применять элементы заводского изготовления, а элементы железнодорожных мостов и элементы всех мостов с клеевыми соединениями - только заводского изготовления.

Железнодорожные деревянные мосты следует применять балочно-эстакадного типа с пролетными строениями в виде прогонов или простых (несоставных) пакетов.

6.2. При проектировании деревянных мостов следует предусматривать специальные меры по защите древесины от гниения, a в необходимых случаях - и от возгорания.

6.3. Конструкции деревянных мостов должны обеспечивать доступность всех частей для осмотра и очистки, устранения неплотностей, возникших в соединениях, посредством подтяжки болтов и тяжей, а также допускать возможность простого ремонта отдельных элементов, на железных дорогах - замену капитальными мостами или трубами.

Применяемые в конструкциях узлы, стыки и соединения должны обеспечивать равномерное распределение усилий между отдельными элементами и частями сооружения.

Особое внимание при проектировании следует уделять обеспечению условий для проветривания отдельных частей конструкции.

6.4*. В балочных эстакадных мостах на однорядных опорах для восприятия горизонтальных сил следует устраивать, как правило, каждую пятую опору двухрядной или многорядной.

6.5. Деревянные опоры должны быть надежно защищены от воздействия льда и плывущих предметов с помощью обшивок, обстроек и ледорезов.

МАТЕРИАЛЫ

6.6*. Для деревянных конструкций мостов следует применять древесину сосны, ели, лиственницы, пихты, удовлетворяющую требованиям ГОСТ 9463-88 и ГОСТ 8486-86Е.

Растянутые и изгибаемые элементы пролетных строений и мостовые брусья должны выполняться из древесины 1-го сорта. Остальные элементы конструкций мостов могут быть выполнены из древесины 2-го сорта.

В крайних зонах (в пределах 1/6 высоты от кромок балок, но не менее двух досок) клееных балок прямоугольного сечения следует применять пиломатериалы 1-го сорта, в остальных зонах допускается применять пиломатериалы 2-го сорта.

Для железнодорожных мостов общей сети применение ели и пихты допускается в отдельных случаях по согласованию с МПС.

Для изготовления мелких деталей соединений (подушек, шпонок и т.п.) следует применять отборную древесину твердых лиственных пород (дуба, ясеня, бука и граба), удовлетворяющую требованиям ГОСТ 9462-88 - для круглого леса лиственных пород и ГОСТ 2695-83 - для пиломатериалов лиственных пород.

Допускается для опорных брусьев и насадок в опорах мостов применение круглого леса и брусьев из древесины твердых лиственных пород - дуба, бука, ясеня, граба по ГОСТ 9462-88 и ГОСТ 2695-83.

Смещение разных пород древесины в одном несущем элементе не допускается.

6.7*. Прочностные характеристики (нормативное и временное сопротивление) древесины, применяемой для изготовления элементов деревянных мостов, должны соответствовать требованиям, указанным для сортовой древесины в прил. 2 СНиП II-25-80.

Лабораторные испытания образцов древесины по прочности следует проводить при сооружении мостов с деревянными фермами и во всех случаях - при наличии признаков пониженной прочности древесины. Древесина считается пригодной, если полученная при испытаниях прочность не ниже нормативных сопротивлений. Прочность древесины круглых лесоматериалов и брусьев допускается оценивать визуально по соответствующим требованиям, приведенным в государственных стандартах, упомянутых в п. 5.6* настоящих норм.

6.8*. Влажность применяемой древесины должна быть, %, не более: бревен - 25, пиломатериалов - 20, пиломатериалов для клееных конструкций, а также мелких деталей и соединений - 12.

В малых автодорожных1 и городских мостах для верхнего настила, поперечин и колесоотбойных брусьев допускается применять древесину с влажностью до 40 %.

_____________

1 При отсутствии дополнительных указаний к автодорожным деревянным мостам здесь и далее относятся также деревянные мосты на внутрихозяйственных автомобильных дорогах в колхозах, совхозах и других сельскохозяйственных предприятиях и организациях.

Влажность древесины для свай и других элементов, целиком расположенных ниже уровня низких вод, не ограничивается. При изготовлении деревянных конструкций в условиях стройплощадки допускается применять для несущих элементов древесину с влажностью до 25 %, а для вспомогательных элементов - с влажностью до 40 % при условии ее защиты от гниения.

6.9*. Для стальных элементов деревянных мостов следует применять полосовую, фасонную, листовую и арматурные стали, удовлетворяющие требованиям разд. 3 и 4.

Гвозди следует применять по ГОСТ 4028-63, а стальные дюбели - по ТУ 14-4-1231-83. В обоснованных случаях допускается использовать гвозди винтовые стальные по ТУ 10-69-369-87.

6.10*. Для склеивания элементов конструкций следует применять клеи, обладающие необходимой прочностью, водостойкостью, биостойкостью и долговечностью: фенольные, резорциновые и фенольно-резорциновые, которые в зависимости от условий эксплуатации должны соответствовать требованиям СНиП II-25-80.

Для склеивания древесины с металлом следует применять эпоксидные клеи.

РАСЧЕТНЫЕ ХАРАКТЕРИСТИКИ МАТЕРИАЛОВ И СОЕДИНЕНИЙ

6.11. Расчетные сопротивления древесины сосны 1-го сорта в зависимости от ее влажности следует принимать по табл. 97*.

Таблица 97*

Напряженное состояние и характеристика элементов

Расчетные сопротивления, МПа (кгс/см2), при влажности, %

обозначение

25 и менее

св. 25

1. Изгиб:

Rdb

 

 

а) элементов из бревен естественной коничности

 

17,7 (180)

15,2 (155)

б) элементов из брусьев и окантованных бревен

 

15,7 (160)

13,7 (140)

в) досок настила и др.

 

13,7 (140)

11,8 (120)

2. Растяжение вдоль волокон

Rdt

11,8 (120)

9,8 (100)

3. Сжатие и смятие вдоль волокон

Rds, Rdqs

14,7 (150)

11,8 (120)

4. Сжатие и смятие всей поверхности поперек волокон

Rdq

1,77 (18,0)

1,47 (15,0)

5. Смятие местное поперек волокон:

Rdap

 

 

а) в лобовых врубках (при длине площади смятия до 15 см)

 

3,1 (32)

2,5 (26)

б) под шайбами при углах смятия от 90 до 60°

 

3,9 (40)

3,3 (34)

6. Скалывание (наибольшее) вдоль волокон при изгибе

Rdab

2,35 (24)

2,15 (22)

7. Скалывание (среднее по площадке) в соединениях на врубках, учитываемое в пределах длины не более 10 глубин врезки и двух толщин брутто элемента:

 

 

 

а) вдоль волокон

Rdam

1,57 (16)

1,47 (15)

б) поперек волокон

Rdsm

0,78 (8)

0,69 (7,0)

Примечания: 1. Расчетное сопротивление древесины смятию и скалыванию под углом a к направлению волокон следует определять по формуле

,                                                                  (250)

где Rd1, Rd2 - расчетные сопротивления смятию или скалыванию соответственно при a = 0° и a = 90°.

2. Расчетное сопротивление местному смятию поперек волокон (за исключением случаев, указанных в поз. 5 табл. 97*) на части длины элемента при длине незагружаемых участков не менее площади смятия и не менее толщины элемента следует определять по формуле

,                                                                      (251)

где ls - длина площадки смятия вдоль волокон древесины, см.

3. Если в расчетных сечениях элементов имеются ослабления врубками или врезками, то соответствующие расчетные сопротивления следует умножать на коэффициенты условий работы, равные для элементов:

0,80 - растянутых;

0,85 - изгибаемых из брусьев;

0,90 -           «                  «   бревен.

Для древесины сосны 2-го сорта расчетные сопротивления должны приниматься менее установленных для 1-го сорта:

на 30 % - при растяжении вдоль волокон;

на 10 % - при всех других напряженных состояниях.

6.12*. Расчетные сопротивления клееной древесины сосны при толщине склеиваемых досок 33 мм и высоте элементов 50 см и менее следует принимать по табл. 98*.

Таблица 98*

 

Расчетные сопротивления

Напряженное состояние

обозначение

МПа

кгс/см2

1. Изгиб бруса

Rdb

17,7

180

2. Растяжение вдоль волокон

Rdt

12,7

130

3. Сжатие вдоль волокон

Rds

15,7

160

4. Смятие вдоль волокон

Rdqs

14,7

150

5. Сжатие и смятие всей поверхности поперек волокон

Rdcq, Rdq

1,96

20,0

6. Смятие местное поперек волокон:

 

 

 

а) в опорных плоскостях конструкции

Rdq

2,50

26,0

б) под шайбами при углах смятия от 90 до 60°

Rdap

4,31

44,0

7. Скалывание наибольшее вдоль волокон по клеевым швам при изгибе

Rdaf

1,47

15,0

8. Скалывание поперек волокон по клеевым швам

Rdsf

0,78

8,0

В случаях применения досок (слоев) толщиной, отличной от 33 мм, расчетные сопротивления изгибу, сжатию и скалыванию вдоль волокон следует умножать на коэффициенты условий работы, равные:

1,10 - при толщине 19 мм и менее;

1,05 - то же, 26 мм;

0,95 - то же, 43 мм.

При высоте клееных элементов свыше 50 см расчетные сопротивления изгибу и сжатию вдоль волокон следует умножать на коэффициенты условий работы, приведенные в табл. 99.

Таблица 99

Высота сечения, см

Коэффициент условий работы

Высота сечения, см

Коэффициент условий работы

50 и менее

1,0

80

0,90

60

0,96

100

0,85

70

0,93

120 и более

0,80

6.13*. Расчетное сопротивление древесины сосны скалыванию вдоль волокон Rdaf в клеештыревых соединениях - вклеенных стальных арматурных стержнях, работающих на выдергивание или продавливание (черт. 18), - в зависимости от глубины заделки штырей l следует принимать по табл. 100*.

Черт. 18. Клеештыревой стык

1 - стыкуемые блоки; 2 - стык блоков; 3 - отверстия для штырей; 4 - вклеенные в отверстия штыри

Таблица 100*

Глубина заделки штыря l, см

Расчетное сопротивление скалыванию Rdaf

МПа

кгс/см2

15

2,94

30,0

20

2,75

28,0

25

2,55

26,0

30

2,45

25,0

35

2,26

23,0

40

2,16

22,0

45

2,01

20,5

50

1,91

19,5

55

1,77

18,0

Примечания*: 1. Расчетное сопротивление скалыванию при вклеивании стержня под углом a к направлению волокон следует определять по формуле

.                                                                        (252)

2. Изготовление клеештыревых соединений допускается только на заводах, имеющих соответствующее технологическое оборудование.

6.14. Для древесины других пород расчетные сопротивления, приведенные в табл. 97*, 98* и 100*, следует умножать на коэффициент перехода по табл. 101.

Таблица 101

Порода дерева

Коэффициент перехода для расчетных сопротивлений

растяжению, изгибу, сжатию и смятию вдоль волокон

сжатию и смятию поперек волокон

скалыванию

Ель

1,0

1,0

1,0

Лиственница

1,2

1,2

1,0*

Пихта

0,8

0,8

0,8

Дуб

1,3

2,0

1,3

Ясень, граб

1,3

2,0

1,6

Бук

1,1

1,6

1,3

___________

*Для клееных конструкций - 0,9.

6.15. Модули упругости древесины для всех пород при сжатии и растяжении вдоль волокон, а также при изгибе следует принимать, МПа (кгс/см2):

для обычной древесины при определении деформаций: от постоянных нагрузок - 8340 (85 000), от временных нагрузок - 9810 (100 000);

для клееной древесины при определении деформаций от любых нагрузок - 9810 (100 000).

Модуль упругости древесины при сжатии поперек волокон следует принимать равным 392 МПа (4000 кгс/см2).

6.16. Расчетные сопротивления и модули упругости для стальных элементов деревянных мостов следует принимать согласно разд. 3 и 4.

6.17*. Расчетная несущая способность стального сквозного цилиндрического нагеля, дюбеля или гвоздя в соединениях элементов из сосны при направлении усилий, передаваемых нагелем вдоль волокон, а гвоздем и дюбелем - под любым углом, приведена в табл. 102*.

Таблица 102*

Соединения

Напряженное состояние

Расчетная несущая способность стального нагеля, дюбеля или гвоздя на один срез

кН

кгс

Симметричные

Смятие в средних элементах

0,441 dt1

45 dt1

Смятие в крайних элементах

0,685 dt2

70 dt2

Несимметричные

Смятие во всех элементах равной толщины, а также в более толстых элементах односрезных соединений

0,294 dt1

30 dt1

Смятие в более тонких крайних элементах

0,685 dt2

70 dt2

Симметричные и несимметричные

Изгиб нагеля

1,618d2 + 0,019t32, но не более 2,256d2

165d2 + 2t32, но не более 230d2

Изгиб гвоздя (ГОСТ 2028-63*)

2,256d2 + 0,010t32, но не более 3,628d2

230d2 + t32, но не более 370d2

Изгиб винтового гвоздя (ТУ 10-69-369-87)

4,14d2

420d2

В табл. 102* обозначено:

d - диаметр нагеля или гвоздя, см;

t1 - толщина средних элементов, а также равных и более толстых элементов односрезных соединений, см;

t2 - толщина крайних элементов, а также более тонких элементов односрезных соединений, см;

t3 - глубина забивки гвоздя или дюбеля в крайний элемент односрезного соединения, см.

Примечания*: 1. Рабочую несущую способность нагеля в рассматриваемом шве следует принимать равной меньшему из всех значений, полученных по формулам таблицы.

2. Диаметр нагеля d следует назначать из условия наиболее полного использования его несущей способности по изгибу.

3. Расчет нагельных соединений на скалывание древесины можно не производить, если выполняется условие расстановки нагелей в соответствии с требованиями настоящих норм.

4. Нагельные соединения со стальными накладками на болтах, глухих цилиндрических нагелях, гвоздях и дюбелях допускается применять в тех случаях, когда обеспечена необходимая плотность их постановки.

5. Расчетную несущую способность дюбелей и гвоздей в соединениях со стальными накладками следует определять с умножением на коэффициенты:

1,0 - для пристреленных дюбелей;

0,8 - для забитых в предварительно рассверленные отверстия.

Расчетную несущую способность стального нагеля в соединениях элементов из древесины других пород определяют по табл. 102* умножением на соответствующий коэффициент по табл. 101 - при расчете на смятие древесины в нагельном гнезде и на корень квадратный из этого коэффициента - при расчете на изгиб нагеля. При направлении передаваемого нагелем усилия под углом a к волокнам древесины его расчетную несущую способность следует определять с учетом коэффициента ka по указаниям разд. 5 СНиП II-25-80.

6.18. Расчетную несущую способность вклеиваемого штыря на выдергивание или продавливание Ndd, кН (кгс), в клеештыревых соединениях растянутых и сжатых элементов следует определять по формуле

Ndd = m p de le Rdaf,                                                     (253)

где m - коэффициент условий работы, принимаемый равным при диаметрах отверстий, см:

2,4 и менее - 1,00;

2,6 и 2,8 - 0,95;

3 и более - 0,90;

de - диаметр отверстия под штырь, м (см);

le - длина заделки штыря, м (см);

Rdaf - расчетное сопротивление древесины скалыванию в клеештыревом соединении, принимаемое по табл. 100*, МПа (кгс/см2).

6.19. Расчетную несущую способность продольных призматических шпонок (колодок) следует определять по смятию и скалыванию, причем расчетные сопротивления скалыванию следует принимать с коэффициентом условий работы ma = 0,8.

РАСЧЕТЫ

Определение усилий и моментов

6.20*. При расчете конструкций мостов допускается:

усилия в элементах и соединениях определять, предполагая упругую работу материала;

пространственную конструкцию расчленять на отдельные плоские системы и рассчитывать их на прочность без учета податливости элементов;

узловые соединения элементов сквозных конструкций принимать при расчетах шарнирные;

считать, что укосины, диагональные связи и раскосы не участвуют в восприятии вертикальных усилий, передаваемых насадками на стойки однорядных и башенных опор;

не учитывать напряжения и деформации от изменения температуры, а также возникающие при усушке и разбухании древесины;

действие сил трения учитывать только в случаях, когда трение ухудшает условия работы конструкции или соединения (коэффициент трения дерева по дереву в этих случаях допускается принимать равным 0,6).

6.21. Прогоны балочных мостов, элементы нижнего настила (доски, накатник и т.п.), поперечины, продольные и поперечные балки проезжей части автодорожных и городских мостов следует рассчитывать как разрезные.

Деревоплиту, опирающуюся на поперечные прогоны, допускается рассчитывать как балку на двух опорах шириной b, равной:

а) для клееной деревоплиты

b = a + 2t + ;                                                        (254)

б) для гвоздевой деревоплиты:

при расстоянии между гвоздями 25 см и менее

b = a + 2t + 4d;                                                         (255)

при расстоянии между гвоздями свыше 25 см

b = a + 2t + 2d.                                                         (256)

В формулах (254) - (256):

a - размер ската колеса или гусеницы в направлении поперек досок;

t - толщина покрытия;

d - толщина одной доски;

l - расчетный пролет плиты.

При определении давления на прогон следует учитывать упругое распределение нагрузки поперечинами при условии их фактической неразрезности.

При определении давления на поперечины допускается учитывать распределение нагрузки, если стыки настила расположены вразбежку (в одном сечении не более 30 % всех стыков).

6.22. При наличии подбалок усилия в прогонах допускается определять при уменьшенном пролете, но не более чем на 10 %.

6.23. При определении усилий в тяжах собственный вес фермы допускается принимать распределенным поровну на верхние и нижние узлы.

6.24. Ветровые связи пролетных строений, расположенные в уровне проезжей части, следует рассчитывать на ветровую нагрузку, приходящуюся на пояс фермы, проезжую часть и перила, и на горизонтальные поперечные воздействия от временной нагрузки.

Расчетная длина сжатых элементов и гибкость элементов

6.25*. При расчете по устойчивости прямолинейных элементов, загруженных продольными силами, расчетную длину следует принимать в зависимости от вида закрепления концов в соответствии с указаниями СНиП II-25-80.

6.26. Расчетную длину элементов пролетных строений и опор при расчете по устойчивости необходимо принимать равной:

а) для сжатых поясов ферм:

в плоскости фермы - расстоянию между узлами;

из плоскости фермы - расстоянию между узлами горизонтальных связей;

б) для раскосов в фермах Гау-Журавского:

в плоскости фермы - половине полной длины раскоса;

из плоскости фермы - полной длине раскоса;

в) для сжатых досок в дощатых фермах со сплошной стенкой - шестикратной ширине досок;

г) для стоек башенных спор - расстоянию между узлами связей;

д) для свай при отсутствии дополнительных поперечных связей:

при закреплении свайных насадок (ростверков) от смещений в горизонтальной плоскости посредством забивки наклонных свай и при полной заделке свай в грунт - 0,7l;

при закреплении свайных насадок (ростверков) от смещений в горизонтальной плоскости и неполной (шарнирной) заделке свай в грунт (наличие сроста свай) - l;

при отсутствии закрепления насадок (ростверков) от смещений в горизонтальной плоскости и обеспечении полной заделки свай в грунт - 2l, где l - теоретическая длина свай, принимаемая равной расстоянию от головы сваи (низа ростверка или насадки) до сечения ее заделки (или шарнира) в грунт с учетом размыва.

6.27*. Расчетную гибкость следует принимать равной:

а) для элементов цельного сечения (в обеих плоскостях) и стержней составных (в плоскости, нормальной к плоскости соединительных связей между ветвями) - отношению расчетной длины к соответствующему радиусу инерции поперечного сечения брутто элемента;

б) для элементов составных (в плоскости соединительных связей между ветвями) - приведенной гибкости lz:

,                                                        (257)

где l, la - гибкость соответственно всего элемента и его ветви;

mz - коэффициент приведенной гибкости, определяемый по формуле

,                                                        (258)

здесь lc - расчетная длина элемента, м;

а - размер поперечного сечения элемента в плоскости изгиба, см;

nf - число швов между ветвями элемента;

nq - число срезов связей в одном шве на 1 м элемента;

d - коэффициент податливости соединений, определяемый по табл. 103*;

b - полная ширина сечения элемента, см.

Примечания: 1. Гибкость l и lа определяется по расчетной длине элемента lc и расстоянию la между связями как для цельных элементов.

2. При расчетной длине ветви la, не превышающей семикратной ее толщины, допускается принимать lа = 0.

Таблица 103*

Вид связей

Значение коэффициента податливости соединений d при сжатии

центральном

с изгибом

Стальные нагели:

 

 

Гвозди и дюбели

В табл. 103* обозначено:

t - толщина наиболее тонкого из соединяемых элементов, см;

d - диаметр гвоздя, дюбеля или нагеля, см.

6.28*. При определении коэффициентов приведенной гибкости составных элементов необходимо соблюдать условия:

а) гвозди и дюбели с защемлением конца менее 4d не должны учитываться;

б) при соединении ветвей с помощью шпонок или колодок следует принимать mz = 1,2;

в) если в швах применяются нагели двух диаметров (d1 и d2), то расчетное число срезов связей в шве n определяется по формуле

n = n1 + n2 ,                                                               (259)

где n1, d1 - число срезов и коэффициент податливости, соответствующие нагелям диаметром d1;

n2, d2 - число срезов и коэффициент податливости, соответствующие нагелям диаметром d2.

6.29. Коэффициент j понижения несущей способности центрально-сжатых элементов следует определять в зависимости от их расчетной гибкости l по формулам:

j = 1 - 0,8  при l £ 70;                                           (260)

j =  при l > 70.                                                (261)

Расчет элементов конструкций

6.30*. Расчет элементов деревянных конструкций мостов по прочности и устойчивости следует выполнять по формулам табл. 104*.

Таблица 104*

Работа элемента

Формулы для расчета

На прочность по нормальным напряжениям

Растяжение вдоль волокон

(262)

Сжатие вдоль волокон

(263)

Изгиб в одной из главных плоскостей

(264)

Косой изгиб

(265)

Растяжение с изгибом в одной из главных плоскостей

(266)

Сжатие с изгибом в одной из главных плоскостей

(267)

Сжатие (смятие) поперек волокон

(268)

На прочность по касательным напряжениям

Изгиб

(269)

На устойчивость

Центральное сжатие

(270)

В табл. 104* обозначено:

Nd, Md, Qd - расчетные значения соответственно осевого усилия, изгибающего момента, поперечной силы;

Rdt, Rds - расчетное сопротивление (индекс соответствует виду напряженного состояния);

Ant, Abr - площади поперечного сечения соответственно нетто и брутто;

Sbr - статический момент брутто части сечения относительно нейтральной оси;

Wnt - момент сопротивления ослабленного сечения, принимаемый для составных стержней с учетом коэффициента условий работы по п. 6.33;

Ix, Iy - моменты инерции сечения нетто соответственно относительно осей х и у;

Ibr - момент инерции сечения брутто;

х, у - расстояния от главных осей х и у до наиболее удаленных точек сечения;

b - ширина сечения;

j - коэффициент понижения несущей способности при проверке устойчивости центрально-сжатых элементов по п. 6.29;

Аq - площадь смятия;

Ad - расчетная площадь поперечного сечения при проверке по устойчивости, принимаемая равной:

Аbr - при ослаблении сечения на 25 % и менее;

4/3 Ant - то же, свыше 25 %;

x - коэффициент, учитывающий влияние дополнительного момента от нормальной силы Nd при деформации элемента и определяемый по формуле

,                                                      (271)

где l - расчетная гибкость элемента в плоскости изгиба.

Примечания: 1. При несимметричных ослаблениях, выходящих на кромку, центрально-сжатые элементы необходимо рассчитывать как внецентренно сжатые.

2. Расчет по устойчивости внецентренно сжатого элемента в плоскости, перпендикулярной плоскости изгиба, а также в плоскости изгиба при напряжениях Мd/Wbr, не превышающих 10 % напряжений Nd/Abr, допускается выполнять по формуле (263) без учета изгибающего момента.

3. При расчете сжатых элементов с клеештыревыми стыками ослабление сечения отверстиями под штыри не учитывается, если сечение полностью сжато.

4. При проверке прочности сечения растянутых элементов в зоне клеештыревого стыка следует учитывать концентрацию напряжения в сечении, умножая площадь сечения Ant на коэффициент условий работы, равный 0,9.

6.31*. В составных внецентренно сжатых элементах на прокладках расчет по устойчивости наиболее напряженной ветви при ее расчетной длине, превышающей семь толщин ветви, следует производить исходя из условия

,                                            (272)*

где    j - коэффициент понижения несущей способности для отдельной ветви;

Аbr, Wbr - площадь и момент сопротивления брутто поперечного сечения ветви;

x - коэффициент, определяемый по п. 6.30.

6.32. Расчет элементов из бревен следует производить с учетом сбега в размере 1,0 см на 1 м длины бревна.

Площадь сечения Ant определяется при условном совмещении в рассматриваемом сечении всех ослаблений, расположенных на участке длиной 20 см. При этом относительное ослабление площади сечения брутто не должно превышать 0,4 - при несимметричном и 0,5 - при симметричном ослаблении.

Ослабления, создаваемые в сжатых элементах нагелями, допускается учитывать без совмещения близлежащих ослаблений. Ослабления сжатых элементов, создаваемые гвоздями, поставленными без предварительного просверливания гнезд, допускается не учитывать.

В качестве площади Аnt следует принимать также рабочую площадь, определяемую в предположении ступенчатого разрыва (с учетом площадок скалывания между соседними ослаблениями), если он дает более неблагоприятные результаты.

6.33. Расчет по прочности изгибаемых составных балок на призматических продольных шпонках (колодках) следует производить с учетом коэффициента сплошности, равного для балок:

0,85 - двухъярусных;

0,80 - трехъярусных.

Прогибы для указанных составных балок, найденные без учета податливости соединений, должны быть увеличены на 30 %.

6.34. Расчет многослойных элементов клееных конструкций по прочности и устойчивости допускается производить без учета податливости швов. Влияние податливости швов на прогибы клееных балок допускается учитывать увеличением прогибов на 20 %.

6.35. При отсутствии местного прогиба и наличии накладок и прокладок в стыках поясов сквозных ферм, выполненных с пригонкой торцов, допускается через торцы передавать полное расчетное усилие, если стык расположен в узле фермы, и половину расчетного усилия, если стыки расположены вне узла фермы.

6.36. Дощатую ферму допускается рассчитывать как сплошную балку, в которой изгибающие моменты воспринимаются поясами, а поперечные силы - раскосами решетки или стенки с распределением поровну на все пересекаемые раскосы.

К площади сечения пояса нетто следует вводить коэффициенты, равные: 1,0 - для доски, ближайшей к стенке, 0,8 - для следующей и 0,6 - для третьей. Прогибы дощатых ферм с параллельными поясами, рассчитанные без учета податливости соединений, следует увеличивать на 30 %.

Опорные стойки ферм рассчитываются на передачу полного опорного давления от примыкающих элементов решетки.

6.37. При расчете ряжей следует принимать, что они опираются на 2/3 своей площади. Коэффициент трения по грунту необходимо принимать согласно требованиям п. 7.14.

6.38. Расчет устойчивости положения опор против опрокидывания должен производиться: относительно сроста наружной коренной сваи - при опорах без боковых укосин или наклонных свай; относительно нижней точки опоры боковой укосины или наклонной сваи (в уровне нижних горизонтальных поперечных связей) - при опорах с боковыми укосинами и наклонными сваями.

Расчет соединений

6.39*. Расчет на смятие и скалывание соединений элементов, работающих на осевые силы, следует производить без учета работы стальных скреплений по формулам:

на смятие

;                                                        (273)

на скалывание

,                                                         (274)

где Аq, Аa - площади смятия и скалывания;

mq -      коэффициент условий работы древесины на смятие поперек волокон, принимаемый: для соединения лежней и насадок в сопряжении со стойками или сваями при эксплуатации элементов конструкции выше горизонта воды равным 1,2, при соприкасающихся с грунтом или находящихся в грунте - 0,85; постоянно увлажняемых и находящихся в воде - 0,75;

ma - коэффициент условий работы на скалывание, равный:

в лобовых врубках:

1,0 - при врубках с одним зубом;

0,8 и 1,15 - соответственно по первому от торца и второму зубу при врубках с двумя зубьями;

в элементах, соединяемых на продольных шпонках, - 0,7.

Силы трения в соединениях при расчетах на смятие и скалывание не учитываются, если они не вызывают дополнительных напряжений.

Расчетную несущую способность площадок местного смятия древесины поперек волокон (за исключением лобовых врубок, гнезд и нагелей) допускается повышать за счет усиления их металлическими скреплениями (гвоздями, дюбелями, шурупами, глухарями), работающими совместно со смятием древесины.

Размещение на площади местного смятия металлических скреплений, работающих на вдавливание, следует производить в соответствии с требованиями табл. 106*.

Расчет соединений с площадками местного смятия поперек волокон, усиленными скреплениями, следует производить по формуле

,                                                 (274а)*

где ns - число скреплений на площадке местного смятия;

Ndds - расчетная несущая способность вдавливанию одного скрепления (гвоздя, дюбеля, шурупа, глухаря), кН (ктс), внедренного в древесину поперек волокон, определяемая по формуле

Ndds = 0,78 (4Rdds ds ls + Rdap Ds2),                                      (274б)*

где Rdds - расчетное сопротивление вдавливанию на единицу поверхности расчетного контакта скрепления с древесиной, принимаемое:

для гвоздей и дюбелей, независимо от влажности древесины, равным 0,3 МПа (3 кгс/см2);

для винтового гвоздя (ТУ 10-69-369-87) при воздушно-сухой древесине равным 0,6 МПа (6 кгс/см2);

для шурупов, глухарей равным Rdsm по табл. 97* для соответствующей влажности древесины;

ds - диаметр стержня скрепления, м (см);

ls - расчетная длина контакта скрепления с древесиной, м (см):

Rdap - расчетное сопротивление местному снятию поперек волокон, которое допускается определять по табл. 97*;

Ds - диаметр шляпки скрепления, м (см).

Правая часть формулы (274 а)* не должна превышать значение 2mqRdap.

6.40. Расчет лобовых врубок с двумя зубьями на скалывание следует выполнять: по плоскости скалывания первого от торца зуба - на усилие, приходящееся на его площадь смятия; по плоскости скалывания второго от торца зуба - на полную силу.

6.41. Расчетная длина скалывания ld в элементах, соединяемых наклонными колодками, должна приниматься равной:

ld = a + 0,5 la.                                                             (275)

Распор одной колодки S для определения усилий в стяжных болтах следует вычислять по формуле

S = 3/2 Q .                                                              (276)

В формулах (275) и (276):

Q - расчетная сдвигающая сила на одну колодку без учета податливости соединения;

а - расстояние между колодками в свету;

z - плечо сил скалывания колодки;

la - длина колодки.

6.42*. Связи в прикреплениях поясов двутавровых дощато-гвоздевых балок к сплошной перекрестной стенке следует рассчитывать на сдвигающее усилие, возникающее между поясом и стенкой. При этом несущую способность гвоздей в прикреплении следует принимать с коэффициентом условий работы, равным 0,8 при расчетной толщине стенки, равной суммарной толщине ее досок.

Расчетную длину защемления в древесине конца гвоздя допускается определять по формуле

еl = 1,95 d ,                                                       (276a)*

где          d - диаметр гвоздя;

Ry - расчетное сопротивление стали гвоздя растяжению и изгибу по пределу текучести, МПа (кгс/см2), принимаемое по разд. 4 настоящих норм;

Rdqs - расчетное сопротивление древесины смятию вдоль волокон, МПа (кгс/см2).

При определении расчетной длины защемления конца гвоздя не следует учитывать заостренную часть длиной 1,5d. Кроме того, из его длины следует вычитать по 2 мм на каждый шов между соединяемыми элементами. При свободном выходе гвоздя из пакета его длину следует уменьшать на 1,5d.

6.43. Клеештыревые соединения, расположенные в сжатых элементах и в сжатой зоне изгибаемых элементов, допускается рассчитывать в предположении, что 70 % усилия передается через торцы стыкуемых элементов, а оставшаяся часть усилия воспринимается штырями.

Клеештыревые соединения, расположенные в растянутой зоне изгибаемых элементов и в растянутых элементах, следует рассчитывать в предположении, что усилия, приходящиеся на отдельные участки площади сечения соединяемых элементов, полностью воспринимаются штырями; работа клеевого шва между торцами стыкуемых элементов на растяжение не учитывается.

На воздействие поперечных сил зону клеештыревого стыка изгибаемых элементов следует рассчитывать как целое сечение.

КОНСТРУИРОВАНИЕ

Основные требования

6.44. Соединения следует применять простые с минимальным количеством врубок и устраивать так, чтобы в них не застаивалась вода.

В составных элементах для проветривания следует предусматривать зазоры не менее 4 см между брусьями и не менее 2 см между бревнами. В конструкциях, не допускающих устройства зазоров должны быть приняты меры против непосредственного увлажнения атмосферными осадками. Устройство закрытых стыков (накладки со всех сторон) в надводной части деревянных конструкций не допускается. В клееных пролетных строениях следует предусматривать меры, препятствующие попаданию на них солнечных лучей.

6.45. Соединение пиломатериалов по длине осуществляется с помощью зубчатых соединений по ГОСТ 16483.10-73*.

6.46. После антисептирования элементов не допускается какая-либо их обработка, кроме сверления отверстий для установки скрепляющих изделий.

Просверленные отверстия в антисептированной древесине перед установкой скрепляющих изделий необходимо обильно смазать каменноугольным маслом в соответствии с ГОСТ 2770-74*.

6.47. Для обеспечения поперечной жесткости пролетного строения с клееными и дощато-гвоздевыми главными балками необходимо устанавливать в опорных сечениях и в пролете через 4-6 м поперечные связи, а при дощато-гвоздевых балках - и продольные связи в плоскости верхних поясов балок.

6.48. Главные балки пролетных строений длиной 15 м и более следует, как правило, устанавливать на резиновые опорные части. Взамен опорных частей под балками допускается укладывать мауэрлатные брусья из антисептированной древесины с устройством прокладок из рубероида.

6.49. Деревянная или железобетонная длина проезжей части должна быть связана с главными балками креплениями, обеспечивающими передачу балкам горизонтальных усилий.

6.50. При конструировании проезжей части клееных пролетных строений автодорожных и городских мостов необходимо предусматривать продольные и поперечные уклоны, обеспечивающие быстрый сток воды с проезжей части.

При длине моста до 50 м и его одностороннем уклоне не менее 1 %, а также при длине моста 100 м и уклонах от середины в каждую сторону не менее 1 % водоотвод допускается обеспечивать за счет продольного стока воды.

6.51. Проезжая часть клееных пролетных строений должна защищать нижележащие конструкции от попадания осадков и прямого солнечного освещения. Плиту проезжей части следует устраивать непрерывной, а на верхние пояса балок под железобетонную плиту укладывать водонепроницаемые прокладки.

6.52. Для улучшения условий проветривания зазор между торцами главных балок в автодорожных и городских мостах следует назначать не менее 10 см, высоту опорных частей - не менее 5 см. Между главными балками и плитой проезжей части должны устраиваться проемы высотой 5-6 см.

6.53. В качестве покрытия на клееных мостах с дощатой плитой следует назначать тройную поверхностную обработку или предусматривать укладку слоя асфальтобетона.

6.54. В пролетных строениях с ездой поверху жесткую и скрепленную с фермами проезжую часть следует использовать в качестве верхних связей.

6.55. В изгибаемых элементах в сечениях с наибольшими изгибающими моментами необходимо избегать ослабления подрезками крайних растянутых волокон. В опорных сечениях элементов при условии обеспечения прочности древесины на отрыв поперек волокон, допускается подрезка не более чем на 1/3 высоты элемента.

Наименьшие размеры элементов и допускаемые их гибкости

6.56*. В поперечном сечении деревянные части и металлические изделия должны иметь размеры не менее приведенных в табл. 105*.

Таблица 105*

Деревянные части и металлические изделия

Нормируемый размер поперечного сечения

Наименьшее значение нормируемого размера для мостов

железнодорожных

автодорожных и городских

1. Брусья и доски:

 

 

 

для основных элементов

Бóльшая сторона, см

18

16

для связей, стыковых накладок, перил и других дополнительных элементов

То же

10

8

2. Доски

Толщина, см

4

4*

3. Бревна в тонком конце:

Диаметр, см

 

 

для основных элементов

 

22

18**

для свай

 

22

22

для накатника

 

-

14

4. Пластины

Радиус круга, см

9

9

5. Болты:

Диаметр, мм

 

 

рабочие и стяжные

 

19

19

конструктивные

 

16

16

6. Штыри в клеештыревых стыках

«

-

12

7. Стальные тяжи

«

25

22

8. Стальные нагели

«

22

12

9. Гвозди и дюбели

«

4

4

10. Стальные накладки

Толщина, мм

8

8

11. Шайбы

«

6

6

12. Зубчатые шипы

Длина, см

-

3,2

___________

* Толщина досок для клееных конструкций после обработки не должна превышать 3,3 см - для главных балок и 4,3 см - для остальных элементов.

** Бревна диаметром в тонком конце менее 18 см допускается применять только для настила проезжей части и неответственных элементов (второстепенных связей, схваток и т.д.).

6.57. Гибкость деревянных элементов в конструкциях не должна превышать:

а) для поясов, раскосов, стоек опор и свай:

сжатых - 100;

растянутых - 150;

б) для связей:

сжатых - 150;

растянутых - 200.

Стыки и соединения

6.58. Стыки растянутых и сжатых элементов в фермах следует, как правило, располагать вне узла (в панели), при этом стыки сжатых элементов следует располагать вблизи узлов, закрепленных от выходов из плоскости фермы.

Стыки клееных неразрезных балок следует располагать в зоне минимальных моментов.

6.59. Соединяемые элементы должны быть стянуты болтами, а при необходимости - хомутами. Болты должны иметь стальные шайбы с обоих концов.

6.60. Стыки растянутых и растянуто-изогнутых поясов ферм рекомендуется перекрывать деревянными накладками на сквозных цилиндрических стальных нагелях или выполнять клеештыревыми.

Следует избегать применения соединений с гребенчатыми накладками.

Стыки сжатых элементов поясов, выполненные в торец, должны быть перекрыты накладками, а при необходимости усилены вклеенными стальными штырями (клеештыревой стык).

Стыки поясов дощато-гвоздевых ферм следует перекрывать накладками на стальных нагелях.

6.61*. Наименьшие расстояния между болтами, нагелями, гвоздями, дюбелями, шурупами, глухарями и штырями при их рядовой расстановке должны приниматься по табл. 106*.

Таблица 106*

Нормируемые расстояния

Значения наименьших расстояний, выраженные в расчетных диаметрах, для

болтов и сквозных нагелей

глухих нагелей

штырей

гвоздей и дюбелей

шурупов и глухарей

1. Между осями скрепления:

 

 

 

 

 

вдоль волокон

6

7

-

15* или 25**

10

поперек волокон

3

3,5

3

4

5

2. От оси крайнего скрепления до края элемента поперек волокон

6

7

-

15* или 25**

10

3. От оси крайнего скрепления до края элемента поперек волокон

2,5

3

2

4

3,5

___________

* При толщине пробиваемого элемента не менее 10d (где d - диаметр гвоздя или дюбеля).

** При толщине пробиваемого элемента, равной 4d. Для элементов, не пробиваемых сквозными гвоздями или дюбелями, независимо от толщины принимается расстояние между осями гвоздей или дюбелей вдоль волокон не менее 15d.

Примечания*: 1. Расстояние между осями штырей в клеештыревом соединении дано для случая их расположения вдоль волокон. При расположении штырей поперек волокон или под углом к ним расстояние между штырями должно назначаться исходя из работы узлового соединения, но не менее приведенного.

2. Наименьшее расстояние между гвоздями или дюбелями при промежуточных значениях толщины элемента следует определять по интерполяции.

3. Наименьшее расстояние между нагелями (штырями) при длине просверливаемых для них отверстий, превышающих 10d, должно быть увеличено на 5 % избыточной (более 10d) длины отверстия.

6.62*. При соединении на гвоздях и дюбелях элементов из древесины лиственных и других твердых пород, а также во всех случаях применения гвоздей диаметром d свыше 6 мм должно предусматриваться предварительное просверливание гнезд диаметром 0,8-0,9 d.

6.63*. Нагели, дюбели, шурупы, глухари и гвозди не следует располагать по оси досок или брусьев.

Шахматная расстановка просверленных гнезд в нагельных соединениях не рекомендуется.

Гвозди в поясах ферм следует располагать вертикальными рядами.

6.64*. При встречной несквозной забивке гвоздей и дюбелей концы их могут быть перепущены один за другой на 1/3 толщины средней доски без увеличения расстояния между гвоздями и дюбелями.

6.65. Стяжные болты в стыках с нагельными соединениями следует применять, как правило, одного диаметра с нагелями. Число болтов должно быть не более 20 % числа нагелей и не менее четырех на каждую половину накладки.

6.66. В качестве штырей в клеештыревом соединении следует применять горячекатаную стержневую арматуру периодического профиля диаметром 12-26 мм из стали класса А-II.

Диаметры отверстий под штыри следует назначать увеличенные по сравнению с диаметрами штырей: при диаметре штыря 12 мм - на 2 мм, 14-18 мм - на 3 мм, 20-22 мм - на 4 мм, при штырях диаметром свыше 22 мм - на 5 мм.

Глубину заделки штыря в древесину рекомендуется принимать равной 15-20 диаметрам штыря.

6.67. В сжатых и растянутых элементах штыри следует располагать равномерно по сечению. Число штырей должно быть не менее четырех.

В растянутой и сжатой зонах изгибаемых элементов штыри необходимо располагать таким образом, чтобы каждый штырь передавал усилие с тяготеющего к нему участка древесины. Число стержней в каждой из зон должно быть не менее четырех.

При числе штырей пять и более штыри для предотвращения концентрации напряжений следует назначать разной длины.

6.68. Глубина врубок и врезок в соединениях должна быть не менее: в брусьях (и окантованных бревнах) - 2 см, в бревнах - 3 см.

Глубина врубок и врезок должна быть не более:

а) при соединениях на шпонках и колодках:

в брусьях - 1/5 толщины бруса;

в бревнах - 1/4 диаметра бревна;

б) при соединениях на врубках:

в опорных узлах - 1/3 толщины элемента;

в промежуточных узлах сквозных ферм - 1/4 толщины элемента.

Длина плоскости скалывания в соединениях должна назначаться не менее четырех глубин врезки и не менее 20 см.

6.69. Соединения элементов на врубках следует осуществлять, как правило, в виде лобовых врубок с одним зубом или непосредственного лобового упора примыкающих сжатых элементов.

В соединениях на лобовых врубках с двумя зубьями глубина врубки зуба должна быть более глубины первого зуба не менее чем на 2 см. Применение лобовых врубок с тремя зубьями не допускается. Соединения на щековых врубках не рекомендуются.

Рабочую плоскость смятия, как правило, следует располагать перпендикулярно оси примыкающего сжатого элемента.

6.70. Деревянные призматические шпонки (или колодки) допускается применять только продольные или наклонные, волокна которых параллельны или близки к направлению сдвигающей силы.

Расстояние между шпонками (колодками) в свету во всех случаях должно быть не менее длины шпонки (колодки). Отношение длины шпонки l к глубине врезки а должно быть не менее 5.

При сплачивании элементов с зазором d должно соблюдаться условие

.                                                                (277)

Зазор d при сплачивании бревен диаметром d наклонными шпонками (колодками) должен быть не более:

0,4-0,5d - при двухъярусных балках;

0,25d - при трехъярусных балках.

Элементы пролетных строений и опор

6.71. Проезжую часть автодорожных и городских мостов следует устраивать с дощато-гвоздевой плитой или с двойным дощатым настилом.

Доски дна балластного корыта и настила под противопожарный слой щебня железнодорожных мостов и элементы нижнего настила проезжей части автодорожных и городских мостов следует укладывать с зазором 2-3 см.

Верхний настил проезжей части автодорожных и городских мостов рекомендуется делать продольным. Толщина досок настила должна быть не менее 5 см.

6.72. Брусья или бревна прогонов должны быть связаны между собой и закреплены на опорах от продольных и поперечных перемещений. Концы разбросных прогонов выпускают за ось насадок опор (или опорных брусьев) не менее чем на 30 см.

Прогоны под балластным корытом железнодорожных мостов следует укладывать с промежутками 15-20 см.

6.73. Усилия от поперечных балок на пояса ферм должны передаваться центрированно через подушки, перекрывающие все ветви пояса.

6.74. В местах лобового упора раскосов и стоек при отсутствии наружных соединений должны быть поставлены потайные штыри, в местах пересечения раскосов - болты и прокладки.

6.75. Число ветвей стальных тяжей в решетчатых фермах должно быть не более двух.

На концах тяжей должны предусматриваться контргайки, длина нарезки должна обеспечивать возможность необходимого натяжения тяжей гайками при строительстве и эксплуатации.

Подгаечники должны быть общими для всех тяжей одного узла.

6.76. В каждом ярусе пояса дощатых ферм с одной стороны стенки должно быть не более трех досок, включая стыковую накладку.

В одном сечении каждого яруса пояса допускается стыковать не более двух досок.

Каждая доска должна быть продолжена за теоретическое место обрыва на длину не менее половины длины накладки. Замена стыкуемых досок одного яруса досками другого яруса, вступающими в работу, не допускается.

6.77. Устойчивость стенок дощатых ферм должна быть обеспечена постановкой вертикальных брусьев на расстояниях не более 3 м и не более высоты фермы. Брусья должны обжимать стенку и пояса фермы.

6.78. В каждом пересечении досок сплошной стенки должен быть поставлен гвоздь диаметром не менее 4,5 мм. Длина гвоздей должна превышать толщину стенки не менее чем на 3 см. Концы гвоздей должны быть загнуты.

6.79. Жесткость и устойчивость свайных и рамных опор в поперечном и продольном направлениях должны быть обеспечены постановкой наклонных свай, горизонтальных и диагональных связей в виде раскосов (крестов), подкосов (укосин), тяжей и т. п. Наклонные сваи или укосины следует ставить при высоте опор (от грунта до верха насадки), превышающей расстояние между осями крайних свай или стоек.

Применение подводных тяжей и ряжевых оболочек для железнодорожных мостов не рекомендуется.

6.80. Стыки свай следует, как правило, располагать в грунте на 2 м ниже уровня возможного размыва. При расположении их выше уровня размыва в местах стыков должны быть поставлены связи.

Стыки сжатых элементов опор (стоек, свай) следует выполнять в торец (стыки одиночных свай - с постановкой штыря) и перекрывать металлическими накладками на болтах.

Если стык свай расположен выше уровня грунта, допускается применение деревянных накладок на нагелях.

В пакетных сваях стыки отдельных брусьев или бревен следует располагать вразбежку.

6.81. Ряжевые опоры следует устраивать в случаях, если забивка свай невозможна.

6.82. Ширину ряжа (вдоль моста) следует назначать не менее 1/3 его высоты и не менее 2 м. Высота ряжа назначается с запасом 5 % на осадку и усушку.

Верх ряжа должен возвышаться над наивысшим уровнем ледохода не менее чем на 0,5 м и не менее чем на 0,25 м над высоким горизонтом воды.

6.83. На суходолах и реках со слабым течением ряжи рекомендуется устраивать прямоугольными в плане. При скорости течения 1,5 м/с и более следует применять ряжи заостренной обтекаемой формы.

Ряжи, подверженные действию льда, следует совмещать с ледорезами. В этом случае с верховой стороны ряжа необходимо устраивать вертикальное режущее ребро. При сильном ледоходе режущее ребро следует устраивать наклонным согласно указаниям п. 6.36.

6.84. Между наружными стенками ряжа необходимо устраивать поперечные и продольные перегородки (внутренние стены). Размеры сторон ячеек, образуемых внутренними стенками, не должны превышать 2 м.

В углах наружных стен ряжа, а также в местах примыкания перегородок должны устанавливаться вертикальные брусья или окантованные бревна-сжимы с овальными по высоте прорезями для болтов в каждом четвертом венце. В поперечном направлении наружные стены ряжа должны соединяться стальными тяжами, пропускаемыми через сжимы.

6.85. Ледорезы должны быть установлены перед каждой речной опорой, подверженной ударам льда, на расстоянии от опоры вверх по течению реки 2-8 м в зависимости от скорости течения. На реках с мощным ледоходом (при толщине льда свыше 50 см и скорости ледохода свыше 1,5 м/с) на расстоянии 30-50 м от основных ледорезов следует предусматривать более мощные аванпостовые ледорезы в одну линию с опорами и основными ледорезами, но в количестве вдвое меньшем. Ледорезы должны быть загружены камнем.

6.86. Рабочая ширина ледореза на уровне самого высокого ледохода должна быть не менее ширины защищаемой опоры в том же уровне.

Уклон режущего ребра ледореза должен быть не круче 1:15. Верх ножа ледореза должен возвышаться над наивысшим уровнем ледохода не менее чем на 1,0 м, низ ножа следует располагать не менее чем на 0,75 м ниже уровня самого низкого ледохода.

6.87. При наличии размываемых грунтов следует предусматривать укрепление дна реки вокруг опор и ледорезов фашинными тюфяками и каменной отсыпкой.

7. ОСНОВАНИЯ И ФУНДАМЕНТЫ

ОБЩИЕ ПОЛОЖЕНИЯ

7.1*. Основания и фундаменты мостов и труб следует проектировать в соответствии с указаниями СНиП 2.02.01-83*, СНиП 2.02.03-85, СНиП 2.02.04-88, СНиП II-7-81* с учетом требований настоящего раздела.

7.2. Классификацию грунтов оснований необходимо производить в соответствии с ГОСТ 25100-82.

7.3. Значения характеристик физических свойств грунтов, необходимые для вычисления расчетных сопротивлений оснований под подошвой фундаментов мелкого заложения или фундаментов из опускных колодцев (по обязательному приложению 24), следует определять согласно указаниям СНиП 2.02.01-83*.

7.4. Нормативные и расчетные значения характеристик физико-механических свойств материалов, используемых для фундаментов, должны удовлетворять требованиям разд. 3, 4 и 6.

РАСЧЕТЫ

7.5. Основания и фундаменты мостов и труб следует рассчитывать по двум группам предельных состояний:

по первой группе - по несущей способности оснований, устойчивости фундаментов против опрокидывания и сдвига, устойчивости фундаментов при воздействии сил морозного пучения грунтов, прочности и устойчивости конструкций фундаментов;

по второй группе - по деформациям оснований и фундаментов (осадкам, кренам, горизонтальным перемещениям), трещиностойкости железобетонных конструкций фундаментов (по указаниям разд. 3).

7.6*. Взвешивающее действие воды на грунты и части сооружения, расположенные ниже уровня поверхностных или подземных вод, необходимо учитывать в расчетах по несущей способности оснований и по устойчивости положения фундаментов, если фундаменты заложены в песках, супесях, илах. При заложении фундаментов в суглинках, глинах и скальных грунтах взвешивающее действие воды требуется учитывать в случаях, когда оно создает более неблагоприятные расчетные условия. Уровень воды принимается невыгоднейший - наинизший или наивысший.

7.7*. Для оснований из нескальных грунтов под фундаментами мелкого заложения, рассчитываемыми без учета заделки в грунт, положение равнодействующей расчетных нагрузок (по отношению к центру тяжести площади подошвы фундаментов), характеризуемое относительным эксцентриситетом, должно быть ограничено значениями, указанными в табл. 107.

Таблица 107

Расположение мостов

Наибольший относительный эксцентриситет е0/r для

промежуточных опор при действии

устоев при действии

только постоянных нагрузок

постоянных и временных нагрузок в наиболее невыгодном сочетании

только постоянных нагрузок

постоянных и временных нагрузок в наиболее невыгодном сочетании

На железных дорогах общей сети и промышленных предприятий, на обособленных путях метрополитена

0,1

1,0

0,5

0,6

На автомобильных дорогах (включая дороги промышленных предприятий и внутрихозяйственные), на улицах и дорогах городов, поселков и сельских населенных пунктов:

0,1

1,0

0,8

 

большие и средние

 

 

 

1,0

малые

 

 

 

1,2

_____________

* Эксцентриситет е0 и радиус ядра сечения фундамента r (у его подошвы) определяют по формулам

e0 =  и r = ,                                                                         (278)

где М - момент сил, действующих относительно главной центральной оси подошвы фундамента;

N - равнодействующая вертикальных сил;

W - момент сопротивления подошвы фундамента для менее напряженного ребра;

А - площадь подошвы фундамента.

Проверку положения равнодействующей нагрузок в уровне подошвы фундаментов устоев при высоте подходной насыпи свыше 12 м следует производить с учетом вертикального давления от веса примыкающей части насыпи. В этом случае относительный эксцентриситет в сторону пролета должен составлять не более чем 20 % значений, указанных в табл. 107.

Если относительный эксцентриситет свыше единицы, максимальное давление подошвы фундамента на основание следует определять исходя из треугольной формы эпюры, построенной в пределах сжимаемой части основания.

7.8*. Несущая способность основания под подошвой фундаментов мелкого заложения или фундаментов из опускных колодцев при раздельном расчете опор на временные нагрузки, действующие вдоль и поперек моста, должна удовлетворять условиям

р £  и рmax £ ,

где р, рmax - соответственно среднее и максимальное давления подошвы фундамента на основание кПа (тс/м2);

R - расчетное сопротивление основания из нескальных или скальных грунтов осевому сжатию, кПа (тс/м2), определяемое согласно обязательному приложению 24;

gn - коэффициент надежности по назначению сооружения, принимаемый равным 1,4;

gc - коэффициент условий работы, принимаемый равным: 1,0 - при определении несущей способности нескальных оснований в случаях действия временных нагрузок № 7-9; 1,2 - при определении несущей способности скальных оснований во всех случаях и нескальных оснований в случаях действия (кроме временных нагрузок № 7-9) одной или нескольких временных нагрузок¹ 10-15 и 17.

7.9. В расчетах по несущей способности оснований фундаментов мелкого заложения и фундаментов из опускных колодцев возникающие в грунте под их подошвой напряжения от нагрузок № 10-14 (по п. 2.1* с учетом соответствующих коэффициентов сочетаний по п. 2.2) следует определять отдельно вдоль и поперек оси моста, а наиболее неблагоприятные из них суммировать с напряжениями от постоянных и временных вертикальных нагрузок. В свайных фундаментах усилия, которые возникают в сваях от указанных выше нагрузок, действующих вдоль и поперек оси моста, необходимо суммировать.

7.10. В расчетах (по грунту и материалу) конструкций свайных фундаментов и фундаментов из опускных колодцев (за исключением расчетов несущей способности оснований) за расчетную поверхность грунта следует принимать: для фундаментов устоев - естественную поверхность грунта; для фундаментов промежуточных опор - поверхность грунта у опор на уровне срезки (планировки) или местного размыва, определяемого согласно указаниям пп. 1.25-1.30, при расчетном и наибольшем расходах [для расчетов на действие соответственно расчетных (крайних) и эксплуатационных нагрузок].

Для устоев и береговых промежуточных опор со свайными фундаментами, ростверки которых расположены над грунтом, а сваи погружены сквозь отсыпанную или намытую часть насыпи, расчетную поверхность грунта допускается принимать с учетом заделки свай в этой части насыпи.

7.11*. Несущую способность одиночной сваи в немерзлых грунтах при действии осевого сжимающего или выдергивающего усилия следует определять согласно СНиП 2.02.03-85, в мерзлых грунтах - согласно СНиП 2.02.04-88.

7.12. Несущую способность основания в уровне низа свай требуется проверять как для условного фундамента согласно обязательному приложению 25*.

Указанная проверка не требуется для:

однорядных фундаментов в любых грунтовых условиях;

многорядных свайных фундаментов, сваи которых работают как стойки (при опирании их на скальные грунты, крупнообломочные грунты с песчаным заполнителем, глинистые грунты твердой консистенции и мерзлые грунты, используемые по принципу 1).

7.13. Если под несущим слоем грунта, воспринимающим давление подошвы фундамента или нижних концов свай, залегает слой менее прочного немерзлого или оттаивающего вечномерзлого грунта, необходимо проверить несущую способность этого слоя согласно обязательному приложению 26.

7.14. Расчет по устойчивости фундаментов мелкого заложения на немерзлых или оттаивающих вечномерзлых грунтах против опрокидывания или плоского сдвига (скольжения) необходимо производить согласно разд. 1, приняв в расчете на сдвиг следующие значения коэффициентов трения кладки о поверхность:

скальных грунтов с омыливающейся поверхностью
(глинистые известняки, сланцы и т.п.) и глин:

а) во влажном состоянии                                                       0,25

б) в сухом состоянии                                                              0,30

суглинков и супесей                                                                    0,30

песков                                                                                            0,40

гравийных и галечниковых грунтов                                           0,50

скальных грунтов с неомыливающейся поверхностью            0,60

7.15. Расчет по устойчивости фундаментов на немерзлых или оттаивающих вечномерзлых грунтах против глубокого сдвига (смещения совместно с грунтом по наиболее неблагоприятной поверхности скольжения) следует выполнять для промежуточных опор, расположенных на косогорах, и для устоев при насыпях высотой свыше 12 м - во всех случаях, при насыпях высотой от 6 до 12 м - в случаях расположения в основании фундаментов слоя немерзлого или оттаивающего глинистого грунта или прослойки водонасыщенного песка, подстилаемого глинистым грунтом.

7.16*. Осадку и крен фундаментов мелкого заложения следует рассчитывать на немерзлых грунтах согласно СНиП 2.02.01-83*, на вечномерзлых грунтах - согласно СНиП 2.02.04-88.

В расчете осадки устоев при высоте насыпи свыше 12 м необходимо учитывать дополнительное вертикальное давление на основание от веса примыкающей части подходной насыпи, определяемое согласно обязательному приложению 27.

7.17. Осадку фундамента из свай или из опускного колодца следует определять в соответствии с указаниями п. 7.16*, рассматривая такой фундамент как условный в форме прямоугольного параллелепипеда размерами, принимаемыми согласно обязательному приложению 25*.

Осадку свайного фундамента допускается принимать равной осадке одиночной сваи по данным статических испытаний ее в тех же грунтах при соблюдении одного из следующих условий:

а) сваи работают как стойки;

б) число продольных рядов свай не более трех.

7.18. При определении осадок фундаментов по пп. 7.16* и 7.17 за расчетную поверхность грунта допускается принимать его естественную поверхность (без учета срезки или возможности размыва).

Осадки фундаментов на немерзлых грунтах допускается не определять:

при опирании фундаментов на скальные, крупнообломочные грунты с песчаным заполнителем и твердые глины - для всех мостов;

при опирании фундаментов на прочие грунты - для мостов внешне статически определимых систем пролетом до 55 м на железных и до 105 м на автомобильных дорогах.

7.19. Напряжение в бетоне ростверка от давления торца свай, как правило, не должно превышать расчетное сопротивление бетона ростверка по нормам для осевого сжатия в расчетах по прочности.

Если напряжение превышает расчетное сопротивление бетона ростверка, следует применить бетон более высокого класса или предусмотреть укладку арматурных сеток из стержней диаметром 12 мм над каждой сваей (одной сетки, если напряжения превышают расчетное сопротивление бетона ростверка до 20 %, или двух сеток, если напряжения превышают расчетное сопротивление бетона на 20-30 %).

КОНСТРУИРОВАНИЕ

7.20*. Фундаменты мостов и труб следует закладывать в грунт на глубине, определяемой расчетами несущей способности оснований и фундаментов согласно пп. 7.5-7.18 и принимаемой не менее значений, требуемых СНиП 2.02.01-83* и СНиП 2.02.04-88 для фундаментов мелкого заложения, СНиП 2.02.03-85 и СНиП 2.02.04-88 для свай и ростверков. Минимальные расстояния между сваями в плане следует назначать согласно СНиП 2.02.03-85 и СНиП 2.02.04-88.

В пределах водотоков фундаменты мостов должны быть заложены в грунт ниже уровня местного размыва, определяемого согласно указаниям пп. 1.25*-1.30 при расчетном и наибольшем расходах воды, на глубине, требуемой по расчету на действие соответственно расчетной (крайней) и эксплуатационной нагрузок.

7.21*. Размеры в плане ростверка свайных фундаментов следует принимать исходя из расстояний между осями свай по СНиП 2.02.03-85 с учетом установленных СНиП 3.02.01-83 допусков на точность заглубления свай в грунт, а также из необходимости обеспечения между сваями и вертикальными гранями ростверка расстояния в свету не менее 25 см, при сваях-оболочках диаметром свыше 2м - не менее 10 см.

Тампонажный слой бетона, уложенного подводным способом, запрещается использовать в качестве рабочей (несущей) части ростверка.

7.22*. Сваи должны быть заделаны в ростверк (выше слоя бетона, уложенного подводным способом) на длину, определяемую расчетом и принимаемую не менее половины периметра призматических свай, и 1,2 м - для свай диаметром 0,6 м и более.

Допускается заделка свай в ростверке с помощью выпусков стержней продольной арматуры длиной, определяемой расчетом, но не менее 30 диаметров стержней при арматуре периодического профиля и 40 диаметров стержней при гладкой арматуре. При этом сваи должны быть заведены в ростверк не менее чем на 10 см.

7.23. Железобетонный ростверк необходимо армировать по расчету согласно указаниям разд. 3.

Бетонный ростверк следует армировать конструктивно в его нижней части (в промежутках между сваями). Площадь поперечного сечения стержней арматуры вдоль и поперек оси моста необходимо принимать не менее 10 см2 на 1 м ростверка.

7.24. Прочность раствора, применяемого для заделки свай или свай-столбов в скважинах, пробуренных в скальных грунтах, должна быть не ниже 9,8 МПа (100 кгс/см2), в остальных грунтах - не ниже 4,9 МПа (50 кгс/см2).

7.25. На обрезе фундамента при его расположении в пределах колебаний уровней воды и льда следует предусматривать устройство фаски размером не менее 0,3 ´ 0,3 м, а фундаменту придавать обтекаемую форму.

7.26. При необходимости устройства уступов фундамента размеры их должны быть обоснованы расчетом, а поверхности, соединяющие внутренние ребра уступов бетонного фундамента, не должны отклоняться от вертикали на угол свыше 30°.

Наклон к вертикали боковых граней опускного колодца (или отношение суммарной ширины уступов колодца к глубине заложения), как правило, не должен превышать 1:20. Наклон более указанного допускается при условии принятия мер, обеспечивающих погружение колодцев с заданной точностью.

ПРИЛОЖЕНИЕ 1*
Обязательное

ГАБАРИТЫ ПРИБЛИЖЕНИЯ КОНСТРУКЦИЙ МОСТОВЫХ СООРУЖЕНИЙ НА АВТОМОБИЛЬНЫХ ДОРОГАХ ОБЩЕГО ПОЛЬЗОВАНИЯ, ВНУТРИХОЗЯЙСТВЕННЫХ АВТОМОБИЛЬНЫХ ДОРОГАХ В КОЛХОЗАХ, СОВХОЗАХ И ДРУГИХ СЕЛЬСКОХОЗЯЙСТВЕННЫХ ПРЕДПРИЯТИЯХ И ОРГАНИЗАЦИЯХ, НА ВНУТРЕННИХ АВТОМОБИЛЬНЫХ ДОРОГАХ ПРОМЫШЛЕННЫХ ПРЕДПРИЯТИЙ, А ТАКЖЕ НА УЛИЦАХ И ДОРОГАХ В ГОРОДАХ, ПОСЕЛКАХ И СЕЛЬСКИХ НАСЕЛЕННЫХ ПУНКТАХ

1. Настоящее приложение устанавливает габариты приближения конструкций мостов - предельные поперечные очертания (в плоскости, перпендикулярной продольной оси проезжей части), внутрь которых не должны заходить какие-либо элементы сооружения или расположенных на нем устройств.

Примечание. Габариты условно обозначают буквой Г и числом (после тире), равным расстоянию между ограждениями.

2*. Схемы габаритов приближения конструкций на автодорожных и городских мостах при отсутствии трамвайного движения приведены на черт. 1, при этом левая половина каждой схемы относится к случаю примыкания тротуаров к ограждениям, правая - к случаю раздельного размещения тротуаров.

Черт. 1. Схемы габаритов приближения конструкций на автодорожных и городских мостах

a - при отсутствии разделительной полосы; б - с разделительной полосой без ограждений; в - с разделительной полосой при наличии ограждений

Обозначения, принятые на схемах габаритов:

nb - общая ширина проезжей части или ширина проезжей части для движения одного направления;

n - число полос движения и b - ширина каждой полосы движения принимаются:

для мостов на дорогах общего пользования - по табл. 4 СНиП 2.05.02-85, на внутрихозяйственных дорогах - по табл. 1* настоящего приложения;

на дорогах промышленных предприятий - по табл. 24-26 СНиП 2.05.07-91;

на улицах и дорогах в городах, поселках и сельских насаленных пунктах - по табл. 8 и 9 СНиП 2.07.01-89*;

h - габарит по высоте (расстояние от поверхности проезда до верхней линии очертания габарита), принимаемый для мостов на автомобильных дорогах:

общего пользования, внутрихозяйственных автомобильных дорогах и на улицах и дорогах в городах, поселках и сельских населенных пунктах - не менее 5,0 м;

промышленных предприятий - не менее высоты намеченных к обращению транспортных средств плюс 1 м, но не менее 5 м;

П - полосы безопасности (предохранительные полосы);

С - разделительные полосы (при многополосном движении в каждом направлении), ширина которых равна расстоянию между кромками проезжих частей разного направления движения;

ЗП - защитные полосы, ширину которых, как правило, следует принимать равной 0,5 м, для деревянных мостов с ездой понизу - 0,25 м;

Г - расстояние между ограждениями проезда, в которое входит и ширина разделительной полосы, не имеющей ограждений;

Т - ширина тротуаров по п. 1.64*;

h - габарит по высоте (расстояние от поверхности проезда до верхней линии очертания габарита), принимаемый для мостов:

на автомобильных дорогах I-III категорий, на улицах и дорогах городов, поселков и сельских населенных пунктов - не менее 5,0 м;

на автомобильных дорогах IV и V категорий и на внутрихозяйственных автомобильных дорогах - не менее 4,5 м;

на автомобильных дорогах промышленных предприятий III-п и IV-п категорий - не менее высоты намеченных к обращению транспортных средств плюс 1 м, но не менее 5 м;

а - высота ограждений проездов в соответствии с указаниями п. 1.65*;

hТ - габарит по высоте на тротуарах, принимаемый не менее 2,5 м.

3. Габариты по ширине мостов, расположенных на автомобильных дорогах общего пользования, внутрихозяйственных дорогах в колхозах, совхозах и других сельскохозяйственных предприятиях и организациях, дорогах промышленных предприятий, а также на улицах и дорогах в городах, поселках и сельских населенных пунктах, при отсутствии трамвайного движения следует принимать по табл. 1*.


Таблица 1*

Расположение мостов

Категория дорог или улиц

Общее число полос движения

Ширина расчетного автомобиля d, м

Габарит

Ширина, м

полос безопасности П

проезжей части nb

Автомобильные дороги общего пользования, подъездные и внутренние автомобильные дороги промышленных предприятий (без обращения автомобилей особо большой грузоподъемности

I

6

2, 5

Г-(13,25+С+13,25)

2(Г-15,25)

2,0

11,25´2

4

Г-(9,5+С+9,5)

2(Г-11,5)

7,5х2

II

III

IV

2

Г-11,5

Г-10

Г-8*

2,0

1,5

1,0

7,5

7,0

6,0

V

1

Г-6,5**

Г-4,5

1,0

0,5

4,5

3,5

Автомобильные внутрихозяйственные дороги в колхозах, совхозах и других сельскохозяйственных предприятиях и организациях

I-c

2

2,5

Г-8*

1,0

6,0

II-c

1

Г-6,5**

Г-4,5

1,0

0,5

4,5

3,5

III-c

1

Г-4,5

0,5

3,5

Улицы и дороги в городах, поселках и сельских населенных пунктах

Магистральные дороги скоростного движения и улицы общегородского значения непрерывного движения

8

2,5

Г-(16,5+С+16,5)

2(Г-18)

1,5

15´2

6

Г-(12,75+С+12,75)

2(Г-14,25)

11,25´2

4

Г-(9,0+С+9,0)

2(Г-10,5)

7,5´2

Магистральные дороги и улицы общегородского значения регулируемого движения

8

2,5

Г-(15,0+С+15,0)

2 (Г-16)

1,0

14´2

6

Г-(11,5+С+11,5)

2 (Г-12,5)

10,5´2

4

Г-(8,0+С+8,0)

2 (Г-9)

7´2

2

Г-9

7

Магистральные транспортно-пешеходные улицы районного значения и дороги научно-производственных, промышленных и коммунально-складских районов, поселковые дороги и главные улицы

4

2,5

____Г-16___

Г-(8,0+С+8,0)

2 (Г-9)

1,0

14

7´2

2

Г-9

7

Магистральные пешеходно-транспортные улицы районного значения

2

Г-10

8

Улицы и дороги в жилой застройке местного значения, парковые дороги

2

Г-8

6

___________

* Для деревянных мостов (кроме мостов из клееной древесины) допускается применять габарит Г-7.

** То же, габарит Г-6.

Примечания: 1. В графе «Габарит» над чертой указаны габариты мостов при отсутствии ограждений на разделительной полосе, под чертой - при наличии ограждений или при раздельных пролетных строениях под каждое направление движения.

2. В не предусмотренных табл. 1* случаях (в частности, для мостов на дорогах промышленных предприятий с обращением автомобилей особо большей грузоподъемности) габариты мостов по ширине следует устанавливать по формулам:

Г = П + nb + C + nb + П; Г = П + nb + П.

3. Ширину полос безопасности (Пl) следует принимать в зависимости от установленных для дороги расчетных скоростей движения (используя данные, приведенные в табл. 1*).

Для мостов на дорогах промышленных предприятий (в том числе и с обращением автомобилей особо большой грузоподъемности) размер полос безопасности следует принимать П = 1,50 м.

4. На лесовозных и хозяйственных дорогах лесозаготовительных предприятий габарит мостов (в том числе деревянных) на дорогах IV категории следует принимать равным Г-8 при ширине проезжей части 6,5 м и полос безопасности 0,75 м.

5. Если в данном регионе эксплуатируются (являются расчетными) сельскохозяйственные машины, имеющие габариты, превышающие указанные в табл. 1*, то, по согласованию с субъектами Российской Федерации, габариты мостов в этом регионе следует назначать увеличенными в зависимости от дорожного просвета (возвышения над дорожной одеждой) частей, выступающих за наружную поверхность шин колес или гусениц машины.

В случаях когда дорожный просвет выступающих частей менее 0,35 м (для деревянных мостов - менее 0,30 м), габарит моста следует назначать на 1 м шире габарита машины в транспортном положении.

В случаях когда дорожный просвет выступающих частей 0,35 м и более (для деревянных мостов - 0,30 м и более), габарит моста следует назначать на 1,5 м шире расстояния между наружными поверхностями шин колес или гусениц сельскохозяйственной машины.


4. Схемы габаритов приближения конструкций для городских мостов с трамвайным движением следует принимать согласно черт. 2 (обозначения - по п. 2* настоящего приложения) и данным табл. 1*.

Габарит по ширине мостов, предназначенных только под трамвайное движение (два пути), следует принимать не менее 9,0 м.

Черт. 2. Схемы габаритов приближения конструкций на городских мостах с трамвайным движением

I - трамвайные пути расположены на оси моста; II - трамвайные пути смещены относительно оси моста: а - на обособленном полотне; б - на общем полотне

5. На совмещенных мостах при расположении двухполосной проезжей части автомобильной дороги по одной полосе с каждой стороны железнодорожных путей или путей метрополитена габарит по ширине на каждой полосе движения должен быть не менее 5,5 м.

6. Полосы безопасности шириной меньшей, чем указано в табл. 1*, допускается при соответствующем технико-экономическом обосновании назначать:

для мостов длиной свыше 100 м на дорогах I-III и III-п категорий и длиной свыше 50 м на дорогах IV и IV-п категорий, если мосты расположены на расстоянии свыше 100 км от крупнейших городов и свыше 50 км от других городов, а расчетная интенсивность движения транспортных средств снижается в 2 раза и более по сравнению с пригородными участками указанных дорог;

в случае расположения мостов на участках дорог с уменьшенной шириной обочины;

при переустройстве мостов;

на путепроводах - при наличии переходно-скоростных полос (со стороны этих полос);

на мостах с дополнительной полосой движения на подъеме (со стороны этой полосы).

При этом ширина полос безопасности должна быть не менее: 1,0 м на мостах дорог I-III и III-п категорий и 0,75 м на мостах дорог IV и IV-п категорий.

Примечание. При назначении полос безопасности шириной меньшей, чем указано в табл. 1*, следует предусматривать установку дорожных знаков, регулирующих режим движения транспортных средств.

7*. При расположении мостов на кривых в плане проезжая часть должна быть уширена в зависимости от категории дорог в соответствии с требованиями СНиП 2.05.02-85 или СНиП 2.07.01-89*.

Проезжую часть автодорожных мостов допускается уширять за счет уменьшения полос безопасности при условии соблюдения ее размеров по п. 6 или увеличения габаритов приближения конструкций.

8. Ширина разделительной полосы на мосту должна быть, как правило, такой же, как на дороге или улице.

На больших мостах при соответствующих технико-экономических обоснованиях ширину разделительной полосы допускается уменьшать, но принимать не менее чем 2,0 м плюс ширина ограждения.

9. Габариты приближения конструкций под путепроводами через автомобильные дороги должны соответствовать приведенным на черт. 3.

Условные обозначения:

а - П принимается по п. 2*; б - бровка земляного полотна;
b -определяется конструкцией ограждающих устройств

Черт. 3. Схемы габаритов приближения конструкций под путепроводами

I - при отсутствии ограждений на пересекаемых дорогах; II - при наличии опор на разделительной полосе и ограждений на дороге; a - категорий I-III; III-п и IV-п; б - категорий IV и V

При расположении опор на разделительной полосе расстояние от кромки проезжей части до грани опоры должно быть, м, не менее:

на дорогах I категории - 2,0 (в том числе полоса безопасности 1,5 м);

на городских дорогах и улицах - 1,5 (в том числе полоса безопасности 1,0 м).

Габариты по высоте под путепроводами через городские улицы и дороги следует принимать:

при отсутствии трамвайных путей - по п. 2* настоящего приложения;

при наличии               «              « -     по черт. 2.

Габариты по высоте под путепроводами через дороги III-п и IV-п категорий следует принимать по п. 2* настоящего приложения.

Примечание. При назначении отметок низа конструкций пролетных строений путепроводов, а также положения верхних связей в мостах с ездой понизу следует учитывать возможность повышения уровня проезда после ремонта проезжей части на толщину нового (дополнительного) слоя дорожного покрытия.

10. Расстояние от бровки земляного полотна пересекаемой дороги до передней грани необсыпных устоев или до конуса насыпи при обсыпных устоях должно быть не менее величин, указанных в табл. 2.

Таблица 2

Категория пересекаемой дороги

Наименьшее расстояние, м, от бровки земляного полотна пересекаемых дорог при проектировании

пешеходных мостов

путепроводов с числом полос движения

2

4

6

8

I, II, III, III-п, IV-п

2,0

3,0

4,0

5,0

6,0

IV

1,0

1,5

2,0

3,0

4,0

V, I-c

0,5

0,5

0,5

0,5

0,5

Боковые поверхности промежуточных опор (со стороны дороги) следует располагать за бровкой земляного полотна пересекаемой дороги на расстоянии не менее 2 м при стоечных сквозных опорах и не менее 4 м при сплошных стенках на дорогах I-III категорий и 0,5 м на дорогах IV и V категорий.

При пересечении городских скоростных дорог и улиц опоры всех видов следует располагать на расстоянии не менее 1,0 м от ограждения (бордюра), при отсутствии ограждения - не менее 1,5 м от кромки проезжей части улиц.

Стенки (устои) городских путепроводов тоннельного типа следует располагать на границах габаритов приближения конструкций под путепроводами согласно черт. 3.

ПРИЛОЖЕНИЕ 2*
Справочное

КОЭФФИЦИЕНТ СОЧЕТАНИЙ h ДЛЯ ВРЕМЕННЫХ НАГРУЗОК И ВОЗДЕЙСТВИЙ

Номера нагрузок (воздействий), наиболее неблагоприятных для данного расчета

Номера комбинаций нагрузок (воздействий), действующих одновременно или порознь с наиболее неблагоприятными

Коэффициент h при различных комбинациях временных нагрузок и воздействий

№ 7
(временные вертикальные нагрузки)

№ 8
(давление грунта от подвижного состава)

№ 9
(центробежная сила)

№ 10
(поперечные удары подвижного состава)

№ 11
(торможение или сила тяги)

№ 12
(ветровая нагрузка)

1

2

3

4

5

6

7

8

7 и 8

9

1

1

1

-

-

-

10*

1

1

-

1

-

-

9, 11, 12 и 15

0,8

0,8

0,8

-

0,7

0,5

0,25

9, 12, 13, 15 и S

0,8

0,8

0,8

-

-

0,5

0,25

10, 13, 15 и S

0,8

0,8

-

0,7

-

-

10 и 14

0,8

0,8

-

0,7

-

-

11, 12 и 15

0,8

0,8

-

-

0,7

0,5

0,25

12, 13 и 15

0,8

0,8

-

-

-

0,5

0,25

9

11, 12 и 15

0,8

0,8

0,8

-

0,7

0,5

0,25

12, 13, 15 и S

0,8

0,8

0,8

-

-

0,5

0,25

14

0,8

0,8

0,8

-

-

-

10*

7, 8, 13, 15 и S

0,7

0,7

-

0,8

-

-

7, 8 и 14

0,7

0,7

-

0,8

-

-

11

7-9, 12 и 15

0,8

0,8

0,8

-

0,8

0,5

0,25

12*

7-9

0,7

0,7

0,7

-

-

0,5

0,25

7, 8, 11 и 15

0,7

0,7

-

-

0,7

0,5

0,25

7-9, 13, 15 и S

0,7

0,7

0,7

-

-

0,5

0,25

13, 15, 17 и S

-

-

-

-

-

0,8

0,5

15-17 и S

-

-

-

-

-

0,8

0,5

13

-

-

-

-

-

-

-

7-9, 12, 15 и S

0,7

0,7

0,7

-

-

0,5

0,25

7, 8, 10, 15 и S

0,7

0,7

-

0,7

-

-

12, 15 и S

-

-

-

-

-

0,7

0,5

14

-

-

-

-

-

-

-

7-9

0,7

0,7

0,7

-

-

-

7, 8 и 10

0,7

0,7

-

0,7

-

-

15

-

-

-

-

-

-

-

7-9, 11 и 12

0,7

0,7

0,7

-

0,7

0,5

0,25

7-9, 12, 13 и S

0,7

0,7

0,7

-

-

0,5

0,25

7, 8, 10, 13 и S

0,7

0,7

-

0,7

-

-

12, 13, 17 и S

-

-

-

-

-

0,7

0,5

12, 16, 17 и S

-

-

-

-

-

0,7

0,5

16

-

-

-

-

-

-

-

12, 15, 17 и S

-

-

-

-

-

0,7

0,5

17

-

-

-

-

-

-

-

12, 13, 15 и S

-

-

-

-

-

0,7

0,5

12, 15, 16 и S

-

-

-

-

-

0,7

0,5

18***

7-9, 11 и S

0,7

0,3

0,7

0,3

0,7

-

-

0,7

-

-

S

-

-

-

-

-

-

-

7-9, 12, 13, 15

0,7

0,7

0,7

-

-

0,5

0,25

7, 8, 10, 13, 15

0,7

0,7

-

0,7

-

-

12, 13, 15, 17

-

-

-

-

-

0,7

0,5

12, 15-17

-

-

-

-

-

0,7

0,5

Окончание приложения 2*

Номера нагрузок (воздействий), наиболее неблагоприятных для данного расчета

Номера комбинаций нагрузок (воздействий), действующих одновременно или порознь с наиболее неблагоприятными

Коэффициент h при различных комбинациях временных нагрузок и воздействий

№ 13
(ледовая нагрузка)

№ 14
(нагрузка от навала судов)

№ 15
(температурные климатические воздействия)

№ 16
(воздействия морозного пучения грунта)

№ 17
(строительные нагрузки)

№ 18
(сейсмические нагрузки)

S (трение или сопротивление сдвигу в опорных частях)

1

2

9

10

11

12

13

14

15

7 и 8

9

-

-

-

-

-

-

-

10*

-

-

-

-

-

-

-

9, 11, 12 и 15

-

-

0,7

-

-

-

-

9, 12, 13, 15 и S

0,7

-

0,7

-

-

-

0,7

10, 13, 15 и S

0,7

-

0,7

-

-

-

0,7

10 и 14

-

0,7

-

-

-

-

-

11, 12 и 15

-

-

0,7

-

-

-

-

12, 13 и 15

0,7

-

0,7

-

-

-

-

9

11, 12 и 15

-

-

0,7

-

-

-

-

12, 13, 15 и S

0,7

-

0,7

-

-

-

0,7

14

-

0,7

-

-

-

-

-

10*

7, 8, 13, 15 и S

0,7

-

0,7

-

-

-

0,7

7, 8 и 14

-

0,7

-

-

-

-

-

11

7-9, 12 и 15

-

-

0,7

-

-

-

-

12*

7-9

-

-

-

-

-

-

-

7, 8, 11 и 15

-

-

0,7

-

-

-

-

7-9, 13, 15 и S

0,7

-

0,7

-

-

-

0,7

13, 15, 17 и S

0,7

-

0,7

-

1

-

0,7

15-17 и S

-

-

0,7

0,7

1

-

0,7

13

-

1

-

-

-

-

-

-

7-9, 12, 15 и S

0,7

-

0,7

-

-

-

0,7

7, 8, 10, 15 и S

0,7

-

0,7

-

-

-

0,7

12, 15 и S

0,7

-

0,7

-

-

-

0,7

14

-

-

1

-

-

-

-

-

7-9

-

0,8

-

-

-

-

-

7, 8 и 10

-

0,8

-

-

-

-

-

15

-

-

-

1

-

-

-

-

7-9, 11 и 12

-

-

0,8

-

-

-

-

7-9, 12, 13 и S

0,7

-

0,8

-

-

-

0,7

7, 8, 10, 13 и S

0,7

-

0,8

-

-

-

0,7

12, 13, 17 и S

0,7

-

0,8

-

1

-

0,7

12, 16, 17 и S

-

-

0,8

0,7

1

-

0,7

16

-

-

-

-

1

-

-

-

12, 15, 17 и S

-

-

0,7

0,8

1

-

0,7

17

-

-

-

-

-

1

-

-

12, 13, 15 и S

0,7

-

0,7

-

1

-

0,7

12, 15, 16 и S

-

-

0,7

0,7

1

-

0,7

18***

7-9, 11 и S

-

-

-

-

-

0,8

0,7

S

-

-

-

-

-

-

-

1

7-9, 12, 13, 15

0,7

-

0,7

-

-

-

0,8

7, 8, 10, 13, 15

0,7

-

0,7

-

-

-

0,8

12, 13, 15, 17

0,7

-

0,7

-

1

-

0,8

12, 15-17

-

-

0,7

0,7

1

-

0,8

____________

* При расположении мостов на кривых большого радиуса (когда центробежная сила невелика) нагрузку № 10 следует рассматривать как сопутствующую нагрузкам № 7 и № 8.

** См. примеч. 1 к п. 2.2 разд. 2.

*** См. примеч. 3 к п. 2.2 разд. 2.

Примечание. Над чертой указаны коэффициенты сочетаний, принимаемые при проектировании железнодорожных мостов и мостов метрополитена, под чертой - автодорожных и городских.

ПРИЛОЖЕНИЕ 3
Обязательное

МЕТОДИКА ОПРЕДЕЛЕНИЯ РАВНОДЕЙСТВУЮЩЕЙ НОРМАТИВНОГО ГОРИЗОНТАЛЬНОГО (БОКОВОГО) ДАВЛЕНИЯ ОТ СОБСТВЕННОГО ВЕСА ГРУНТА НА ОПОРЫ МОСТОВ

1. Равнодействующую нормативного горизонтального (бокового) давления Fh на опоры мостов от собственного веса насыпного грунта, а также грунта, лежащего ниже естественной поверхности земли при глубине заложения подошвы фундамента 3 м и менее (чертеж, а), следует определять по формуле

,                                                             (1)

где рh - нормативное горизонтальное (боковое) давление грунта на уровне нижней поверхности рассматриваемого слоя, принимаемое согласно п. 2.6;

hx - высота засыпки, считая от подошвы рельсов или верха дорожного покрытия, м;

b -   приведенная (средняя по высоте hx) ширина опоры в плоскости задних граней, на которую распределяется горизонтальное (боковое) давление грунта, м.

Схема эпюр давления грунта на опоры моста для определения равнодействующей нормативного горизонтального (бокового) давления на опоры

а - при глубине заложения подошвы фундамента 3 м и менее; б - то же, свыше 3 м; 1 - первый слой; 2 - второй слой; 3 - третий слой

Плечо равнодействующей Fh от подошвы фундамента следует принимать равным z = 1/3 hx.

Для массивных (в том числе с обратными стенками) и пустотелых (с продольными проемами) устоев, если ширина проема b1 равна или менее двойной ширины обратной стенки b2, а также для сплошных (без проемов) фундаментов ширину b следует принимать равной расстоянию между внешними гранями конструкций.

Для пустотелых (с продольными проемами) устоев или для раздельных (с проемами) фундаментов, если b1 > 2b2, ширину b следует принимать равной удвоенной суммарной ширине стенок или раздельных фундаментов.

Для свайных или стоечных устоев, если суммарная ширина свай (стоек) равна или более половины всей ширины, за ширину b следует принимать расстояние между внешними гранями свай (стоек); если суммарная ширина свай (стоек) менее половины всей ширины опоры, то за ширину b следует принимать для каждой сваи (стойки) двойную ее ширину.

Примечания: 1. Величины gn и wn при определении давления рh на всю высоту hx допускается принимать как для дренирующего грунта засыпки.

2. Для свай, забитых в ранее возведенную (уплотненную) насыпь, горизонтальное (боковое) давление учитывать не следует.

3. Горизонтальное (боковое) давление грунта на опоры моста со стороны пролета следует учитывать, если в проекте сооружения предусматриваются мероприятия, гарантирующие стабильность воздействия этого грунта при строительстве и эксплуатации моста.

4. Наклон задней грани устоя и силы трения между грунтом засыпки и этой гранью при определении силы Fh учитывать не следует.

2. При глубине заложения подошвы фундамента свыше 3 м равнодействующую нормативного горизонтального (бокового) давления каждого i-го (снизу) слоя грунта, расположенного ниже естественной поверхности земли, следует определять по формуле

,

где gi - удельный вес грунта рассматриваемого слоя;

hi - толщина рассматриваемого слоя;

ti - коэффициент нормативного горизонтального (бокового) давления грунта для i-го слоя, равный:

;                                                       (2)

ji - нормативное значение угла внутреннего трения слоя грунта;

h0i - приведенная к удельному весу грунта засыпки общая толщина слоев грунта, лежащих выше верхней поверхности рассматриваемого слоя.

Например, для нижнего (первого) слоя приведенная на чертеже, б толщина составляет

.                                                     (3)

Плечо равнодействующей давления i-го слоя Fi от нижней поверхности рассматриваемого слоя следует принимать равным:

.                                                           (4)

ПРИЛОЖЕНИЕ 4*
Обязательное

МЕТОДИКА ОПРЕДЕЛЕНИЯ КОЭФФИЦИЕНТА ВЕРТИКАЛЬНОГО ДАВЛЕНИЯ ГРУНТА ПРИ РАСЧЕТЕ ЗВЕНЬЕВ (СЕКЦИЙ) ТРУБ

1*. Коэффициент вертикального давления грунта для железобетонных и бетонных звеньев (секций) труб Сv следует определять по формулам:

,                                                 (1)

,                                                            (2)

где jn - нормативный угол внутреннего трения грунта засыпки трубы;

tn - коэффициент нормативного горизонтального (бокового) давления грунта засыпки, определяемый по формуле (6) п. 2.6;

d - диаметр (ширина) звена (секции) по внешнему контуру, м;

h - высота засыпки при определении вертикального давления по формуле (4) п. 2.6, считая от подошвы рельсов или верха дорожного покрытия до верха звена (секции), м; при определении горизонтального (бокового) давления по формуле (5) п. 2.6 высоту засыпки hx следует принимать до середины высоты звеньев (секций) трубы;

a - расстояние от основания насыпи до верха звена (секции) трубы, м;

s - коэффициент, принимаемый равным при фундаментах:

1,2 - неподатливых (на скальном основании или на сваях-стойках);

1,1 - малоподатливых (на висячих сваях);

1,0 - массивных мелкого заложения и грунтовых (нескальных) основаниях.

Если В > , то следует принимать В = .

Коэффициент вертикального давления грунта для многоочковых круглых водопропускных труб допускается вычислять по формуле

Cv1 = nv Cv,                                                                 (3)

где nv = 0,01 (l/d)2 + 0,02 (l/d) + 0,9, но не более 1 (здесь l - расстояние в свету между очками труб).

При подсыпке насыпей, в которых со временем произошло естественное уплотнение грунта засыпки и физическое состояние конструкций трубы является удовлетворительным, допускается при определении нормативного давления на трубу от собственного веса грунта принимать независимо от податливости основания безразмерный коэффициент С равным 1.

2. При расчете гибких (из гофрированного металла и др.) звеньев (секций) труб и при определении давления на грунтовые (нескальные) основания коэффициент Сv следует принимать равным единице.

ПРИЛОЖЕНИЕ 5*
Обязательное

НОРМАТИВНАЯ ВРЕМЕННАЯ ВЕРТИКАЛЬНАЯ НАГРУЗКА СК ОТ ЖЕЛЕЗНОДОРОЖНОГО ПОДВИЖНОГО СОСТАВА И ПРАВИЛА ЗАГРУЖЕНИЯ ЕЮ ЛИНИЙ ВЛИЯНИЯ

1. Величины нормативных эквивалентных нагрузок v для загружения однозначных и отдельных участков двузначных линий влияния приведены в табл. 1.

Таблица 1

Длина загружения l, м

Интенсивность эквивалентной нагрузки n, кН/м (тс/м) пути, при

К = 1

К = 14

a = 0

a = 0,5

a = 0

a = 0,5

1

49,03 (5,000)

49,03 (5,000)

686,5 (70,00)

686,5 (70,00)

1,5

39,15 (3,992)

34,25 (3,493)

548,1 (55,89)

479,5 (48,90)

2

30,55 (3,115)

26,73 (2,726)

427,7 (43,61)

374,2 (38,16)

3

24,16 (2,464)

21,14 (2,156)

338,3 (34,50)

296,0 (30,18)

4

21,69 (2,212)

18,99 (1,936)

303,7 (30,97)

265,8 (27,10)

5

20,37 (2,077)

17,82 (1,817)

285,2 (29,08)

249,5 (25,44)

6

19,50 (1,988)

17,06 (1,740)

272,9 (27,83)

238,8 (24,35)

7

18,84 (1,921)

16,48 (1,681)

263,7 (26,89)

230,7 (23,53)

8

18,32 (1,868)

16,02 (1,634)

256,4 (26,15)

224,4 (22,88)

9

17,87 (1,822)

15,63 (1,594)

250,2 (25,51)

218,9 (22,32)

10

17,47 (1,781)

15,28 (1,558)

244,5 (24,93)

214,0 (21,82)

12

16,78 (1,711)

14,68 (1,497)

234,9 (23,95)

205,5 (20,96)

14

16,19 (1,651)

14,16 (1,444)

226,6 (23,11)

198,3 (20,22)

16

15,66 (1,597)

13,71 (1,398)

219,3 (22,36)

191,8 (19,56)

18

15,19 (1,549)

13,30 (1,356)

212,7 (21,69)

186,0 (18,97)

20

14,76 (1,505)

12,92 (1,317)

206,6 (21,07)

180,8 (18,44)

25

13,85 (1,412)

12,12 (1,236)

193,9 (19,77)

169,7 (17,30)

30

13,10 (1,336)

11,46 (1,169)

183,4 (18,70)

160,5 (16,37)

35

12,50 (1,275)

10,94 (1,116)

175,0 (17,85)

153,2 (15,62)

40

12,01 (1,225)

10,51 (1,072)

168,2 (17,15)

147,2 (15,01)

45

11,61 (1,184)

10,16 (1,036)

162,6 (16,58)

142,2 (14,50)

50

11,29 (1,151)

9,875 (1,007)

158,0 (16,11)

138,3 (14,10)

60

10,80 (1,101)

9,807 (1,000)

151,1 (15,41)

137,3 (14,00)

70

10,47 (1,068)

9,807 (1,000)

146,6 (14,95)

137,3 (14,00)

80

10,26 (1,046)

9,807 (1,000)

143,6 (14,64)

137,3 (14,00)

90

10,10 (1,030)

9,807 (1,000)

141,4 (14,42)

137,3 (14,00)

100

10,00 (1,020)

9,807 (1,000)

140,0 (14,28)

137,3 (14,00)

110

9,944 (1,014)

9,807 (1,000)

139,3 (14,20)

137,3 (14,00)

120

9,895 (1,009)

9,807 (1,000)

138,6 (14,13)

137,3 (14,00)

130

9,865 (1,006)

9,807 (1,000)

138,1 (14,08)

137,3 (14,00)

140

9,846 (1,004)

9,807 (1,000)

137,9 (14,06)

137,3 (14,00)

150 и более

9,807 (1,000)

9,807 (1,000)

137,3 (14,00)

137,3 (14,00)

Примечания: 1. Эквивалентные нагрузки, рассчитываемые в кН/м пути при значениях параметров 1,5 £ l £ 50 м (a = 0 и a = 0,5) и l > 50 м (a = 0), получены по формуле

,

где е = 2,718... - основание натуральных логарифмов.

2. Для промежуточных значений длин загружения l и промежуточных положений вершин линий влияния  величины нагрузки n следует определять по интерполяции.

В случаях, оговоренных ниже, при загружении линий влияния следует применять нагрузки - равномерную 9,81 К кН/м (К тс/м) пути и от порожнего подвижного состава, указанные в п. 2.11.

2*. При расчете элементов мостов следует учитывать передачу и распределение давления элементами верхнего строения пути, при этом эквивалентную нагрузку n необходимо принимать:

а) при определении местного давления, передаваемого мостовыми поперечинами, а также металлическими скреплениями (с резиновыми прокладками) при укладке рельсов по железобетонной плите, - равной 24,5К кН/м (2,50К тс/м) пути, для расчета по устойчивости стенки балки - не более 19,62К кН/м (2К тс/м) пути;

б) при определении местного давления, передаваемого плитой балластного корыта (во всех случаях), а также при определении усилий для расчета плиты поперек пути - равной 19,62К кН/м (2К тс/м) пути, вдоль пути - не более 19,62К кН/м (2К тс/м) пути.

Примечания*: 1. При устройстве пути на балласте значение n £ 19,62К кН/м (2К тс/м) при l £ 25 м следует принимать (в том числе для расчета опор, если балластный слой непрерывен) соответствующим a = 0,5 независимо от положения вершин линий влияния.

2. Величину нагрузки для расчета плиты балластного корыта следует принимать равной n/b, кПа (тс/м),

где b - ширина распределения нагрузки, м, принимаемая равной 2,7 - h или 2,7 - 2h (в зависимости от того, что является более неблагоприятным при расчете отдельных сечений плиты), но не более ширины балластного корыта;

h - расстояние от подошвы шпал до верха плиты. м.

3*. При криволинейном, зубчатом (близком к треугольному) и четырехугольном очертаниях однозначные линии влияния и отдельно загруженные участки двузначных линий влияния при коэффициенте искаженности y < 1,10 (отношение площади треугольной линии влияния к площади рассматриваемой линии влияния при одинаковых длинах линий влияния и при одинаковых их наибольших ординатах) загружаются эквивалентной нагрузкой n согласно п. 2* настоящего приложения.

4. При криволинейном очертании однозначные линии влияния и отдельно загружаемые участки двузначных линий влияния при коэффициенте искаженности y ³ 1,10 и длине l ³ 2 м загружаются согласно п. 2* настоящего приложения с учетом следующих указаний:

а) при 1,10 £ Y £ 1,40 (за исключением случая устройства пути на балласте и l < 50 м) с увеличением интенсивности эквивалентной нагрузки на величину, %, равную е (y - 1), где е - коэффициент, определяемый по черт. 1.

Черт. 1. Коэффициент е в зависимости от l и a (длина загружения l, м, указана на графике)

При устройстве пути на балласте и l < 50 м величину n следует принимать по табл. 1, причем для l £ 10 м независимо от положения вершин линий влияния - по графе, соответствующей a = 0,5;

б) при y > 1,40 следует суммировать от загружения частей линии влияния.

Включающая вершину часть линии влияния длиной l1 и площадью A1 (черт. 2), ограниченная ординатами у1 и у2, загружается на максимум (в соответствии с l1 и a1); остальная часть линии влияния (А - А1) загружается нагрузкой 9,81К кН/м (К тс/м) пути.

При этом суммарную величину усилия следует принимать не менее n1 + А2), где n - определяется в соответствии с l и a всей линии влияния.

Длину l1 (см. черт. 2) следует назначать с учетом расчетной схемы конструкции.

Черт. 2. Часть линии влияния длиной l, включая ее вершину

5. Усилия (рассматриваемого знака) по линиям влияния, состоящим из нескольких участков, следует определять суммированием результатов загружения отдельных, рядом расположенных участков всей или части линии влияния.

В соответствии с очертанием линий влияния и значениями величин l и a для участков следует загружать:

два участка рассматриваемого знака, расположенные рядом или разделенные участком иного знака, при общей длине этих (двух или трех) участков менее 80 м;

один участок рассматриваемого знака при длине 80 м и более;

остальные участки того же знака - нагрузкой 9,81К кН/м (К тс/м) пути.

Разделяющие участки иного знака следует загружать нагрузкой 13,73 кН/м (1,4 тс/м) пути, а при наличии таких участков длиной до 20 м один из них не загружают.

Примеры некоторых загружений приведены на черт. 3 и 4.

Черт. 3. Схема загружения участков линии влияния при l > 80 м

Черт. 4. Схема загружения пролета одновременно с призмой обрушения или пролета с устоем при расчете массивных устоев мостов с разрезными балочными пролетными строениями

6*. При расчете массивных устоев мостов с разрезными балочными пролетными строениями загружение пролета одновременно с призмой обрушения или пролета с устоем следует производить в соответствии с черт. 4 и табл. 2.

Длину загружения призмы обрушения следует принимать равной половине высоты от подошвы шпал до рассматриваемого сечения опоры.

Таблица 2

Схема загружения (см. черт. 4)

Загружаемая часть моста

Длина загружаемых участков, м

Ограничение

Принимаемое положение вершины линии влияния a

Эквивалентная нагрузка, кН/м (тс/м) пути

а

Пролет

l1

l = l1 + l2 + l3 £ 80

0*

n1

Устой

l2 £ 20

-

0

Призма обрушения

l3

0,5

n3 £ 19,62К (2К)

б

Пролет

l1

l = l1 + l2 + l3 ³ 80

0

n1

Устой

l2 £ 20

-

0

Призма обрушения

l3

-

n3 = 9,81К (К)

б2

Пролет

l1

l = l1 + l2 + l3 ³ 80

-

n1 = 9,81К (К)

Устой

l2 £ 20

-

0

Призма обрушения

l3

0,5

n3

в

Пролет

l1

l1 + l2 £ 80

0

n1

Устой

l2

0,5

n2 £ 19,62К (2К)

г1

Пролет

l1

l1 + l2 ³ 80

0

n1

Устой

l2

-

n2 = 9,81К (К)

г2

Пролет

l1

l1 + l2 ³ 80

-

n1 = 9,81К (К)

Устой

l2

0,5

n2

___________

* При устройстве езды на балласте l1 < 25 м следует принимать a = 0,5 (см. п. 2).

Коэффициент надежности по нагрузке следует принимать, руководствуясь приведенной длиной загружения, равной сумме длин участков, на которых в каждом случае размещается временная нагрузка.

7. При загружении пролетных строений, расположенных на кривых, величину нагрузки n следует принимать с коэффициентом, отражающим влияние смещения центра тяжести подвижного состава, причем расчет следует осуществлять дважды:

а) с учетом центробежной силы и динамического коэффициента, но без учета силовых факторов, возникающих вследствие возвышения наружного рельса;

б) без учета центробежной силы и динамического коэффициента, но с учетом силовых факторов, возникающих вследствие возвышения наружного рельса.

8. При расчете на выносливость максимальное и минимальное усилия (напряжения) по линиям влияния, указанным в п. 5, определяются невыгоднейшим из загружений, возникающих от подвижного состава, и состоящим из нагрузки eСК (которой загружается только один участок) и нагрузки 9,81К кН/м (К тс/м) пути. Загружение ведется последовательно по участкам линии влияния - отдельно справа налево и слева направо (черт. 5). При симметричной линии влияния производится загружение в одном направлении.

Черт. 5. Схема загружения участков линии влияния для определения максимальных и минимальных усилий (напряжений) при расчете на выносливость

ПРИЛОЖЕНИЕ 6*
Справочное

ЭКВИВАЛЕНТНЫЕ НАГРУЗКИ ОТ ОДИНОЧНЫХ ТЯЖЕЛЫХ НАГРУЗОК НК-80 И НГ-60

Таблица 1

Длина загружения l, м

Эквивалентные нагрузки, кН/м (тс/м), при разных положениях вершин треугольных линий влияния

НК-80

НГ-60

в середине и четверти

на конце

в любой точке

4

176,5 (18,00)

215,7 (22,00)

117,7 (12,00)

5

163,2 (16,64)

200,8 (20,48)

117,7 (12,00)

6

156,9 (16,20)

183,1 (18,67)

114,4 (11,67)

7

147,3 (15,02)

166,6 (16,99)

108,1 (11,02)

8

137,3 (14,00)

152,0 (15,50)

101,1 (10,31)

9

127,9 (13,04)

139,5 (14,22)

94,4 (9,63)

10

119,2 (12,16)

128,7 (13,12)

88,3 (9,00)

11

111,5 (11,37)

119,3 (12,17)

82,7 (8,43)

12

104,6 (10,67)

111,1 (11,33)

77,7 (7,92)

13

98,46 (10,04)

104,0 (10,60)

73,1 (7,45)

14

92,87 (9,47)

97,7 (9,96)

69,0 (7,04)

15

87,87 (8,96)

92,1 (9,39)

65,4 (6,67)

16

83,36 (8,50)

87,1 (8,88)

62,1 (6,33)

18

75,51 (7,70)

78,4 (8,00)

56,3 (5,74)

20

69,04 (7,04)

71,4 (7,28)

51,5 (5,25)

22

63,55 (6,48)

65,5 (6,68)

47,4 (4,83)

24

58,84 (6,00)

60,5 (6,17)

43,9 (4,48)

26

54,82 (5,59)

56,2 (5,73)

40,9 (4,17)

28

51,19 (5,22)

52,5 (5,35)

38,2 (3,90)

30

48,15 (4,91)

49,1 (5,01)

36,0 (3,67)

32

45,31 (4,62)

46,3 (4,72)

33,9 (3,46)

36

40,70 (4,15)

41,4 (4,22)

30,4 (3,10)

40

36,87 (3,76)

37,5 (3,82)

27,6 (2,81)

50

29,91 (3,05)

30,2 (3,08)

22,4 (2,28)

60

25,11 (2,56)

25,4 (2,59)

18,8 (1,92)

70

21,67 (2,21)

21,9 (2,23)

16,2 (1,65)

80

19,02 (1,94)

19,2 (1,96)

14,2 (1,45)

Примечание. Эквивалентные нагрузки, кН/м, вычислены по формулам:

для колесной нагрузки НК-80:

а) при 0 £ a £ 0,25

;

б) при 0,25 < a £ 0,50

;

для гусеничной нагрузки НГ-60

.

Таблица 2*

Длина загружения l, м

Эквивалентные нагрузки, кН/м (тс/м), для криволинейных линий влияния (с разными коэффициентами искажения y*) для нагрузок

НК-80

НГ-60

НК-80

НК-60

y = 0,75-0,85

y = 1,05-1,25

y = 1,30-1,50

y = 1,1-1,2

y = 1,05-1,25

y = 1,3-1,50

1

2

3

4

5

6

7

8

4

159 (16,2)

118 (12,0)

182 (18,6)

190 (19,4)

225 (22,9)

118 (12,0)

118 (12,0)

5

158 (16,1)

118 (12,0)

170 (17,3)

175 (17,8)

210 (21,4)

118 (12,0)

118 (12,0)

6

157 (16,0)

114 (11,6)

162 (16,5)

171 (17,4)

191 (19,5)

116 (11,8)

117 (11,9)

7

145 (14,8)

108 (11,0)

153 (15,6)

165 (16,8)

177 (18,1)

111 (11,3)

113 (11,5)

8

130 (13,3)

102 (10,4)

144 (14,7)

158 (16,1)

163 (16,6)

105 (10,7)

109 (11,1)

9

121 (12,3)

93 (9,5)

135 (13,8)

150 (15,3)

151 (15,4)

99 (10,1)

105 (10,7)

10

112 (11,4)

86 (8,8)

127 (13,0)

140 (14,3)

140 (4,3)

94 (9,6)

100 (10,2)

12

97 (9,9)

73 (7,4)

110 (11,2)

127 (12,9)

123 (12,5)

83 (8,5)

90 (9,2)

14

85 (8,7)

65 (6,6)

101 (10,3)

114 (11,6)

109 (11,1)

76 (7,7)

77 (7,9)

16

75 (7,6)

56 (5,7)

92 (9,4)

104 (10,6)

97 (9,9)

69 (7,0)

76 (7,8)

18

67 (6,8)

50 (5,1)

83 (8,5)

95 (9,7)

87 (8,9)

62 (6,3)

72 (7,3)

20

61 (6,2)

45 (4,6)

76 (7,8)

88 (9,0)

81 (8,3)

57 (5,8)

68 (6,9)

22

56 (5,7)

42 (4,3)

70 (7,1)

81 (8,3)

74 (7,5)

53 (5,4)

59 (6,0)

24

51 (5,2)

38 (3,9)

66 (6,7)

76 (7,7)

69 (7,0)

49 (5,0)

56 (5,7)

26

47 (4,8)

35 (3,6)

62 (6,3)

71 (7,2)

64 (6,5)

46 (4,7)

54 (5,5)

28

44 (4,5)

32 (3,3)

58 (5,9)

67 (6,8)

60 (6,1)

43 (4,4)

49 (5,0)

30

41 (4,2)

30 (3,1)

54 (5,5)

64 (6,5)

56 (5,7)

41 (4,2)

47 (4,8)

32

38 (3,9)

28 (2,9)

52 (5,3)

60 (6,1)

53 (5,4)

38 (3,9)

44 (4,5)

36

34 (3,5)

25 (2,6)

46 (4,7)

54 (5,5)

47 (4,8)

34 (3,5)

40 (4,1)

40

31 (3,2)

24 (2,4)

42 (4,3)

49 (5,0)

43 (4,4)

31 (3,2)

36 (3,7)

__________

* Коэффициент искажения y равен отношению площади треугольной линии влияния к площади рассматриваемой линии влияния при одинаковых длинах линий влияния и одинаковых их наибольших ординатах.

Для промежуточных значений y следует определять по интерполяции.


ПРИЛОЖЕНИЕ 7
Справочное

ЭКВИВАЛЕНТНЫЕ НАГРУЗКИ ОТ ОДИНОЧНЫХ АВТОМОБИЛЕЙ, СТОЯЩИХ И ДВИЖУЩИХСЯ КОЛОНН АВТОМОБИЛЕЙ НАГРУЗКИ АБ

Длина загружения l, м

Эквивалентные нагрузки от нагрузок АБ при разных положениях вершин треугольных линий влияния, кН/м (тс/м)

АБ-51

АБ-74

АБ-151

a = 0,5

a = 0,25

a = 0

a = 0,5

a = 0,25

a = 0

a = 0,5

a = 0,25

a = 0

А. Одиночный автомобиль

4

166,7 (17,00)

166,7 (17,00)

177,1 (18,06)

245,2 (25,00)

245,2 (25,00)

245,2 (25,00)

495,2 (50,50)

495,2 (50,50)

495,2 (50,50)

5

133,4 (13,60)

137,8 (14,05)

153,4 (15,64)

196,1 (20,00)

196,1 (20,00)

211,2 (21,54)

396,2 (40,40)

396,2 (40,00)

415,8 (42,40)

6

111,1 (11,33)

123,5 (12,59)

134,3 (13,69)

163,5 (16,67)

168,7 (17,20)

187,0 (19,07)

330,2 (33,67)

330,2 (33,67)

371,0 (37,83)

7

95,2 (9,71)

111,1 (11,33)

119,1 (12,14)

140,1 (14,29)

153,6 (15,66)

167,0 (17,03)

283,0 (28,86)

303,0 (30,90)

333,0 (33,96)

8

88,6 (9,03)

100,7 (10,27)

106,8 (10,89)

122,6 (12,50)

140,2 (14,30)

150,5 (15,35)

247,6 (25,25)

278,3 (28,38)

301,3 (30,72)

9

82,4 (8,40)

91,9 (9,37)

96,7 (9,86)

112,5 (11,47)

128,8 (13,13)

136,9 (13,96)

220,1 (22,44)

256,4 (26,15)

274,6 (28,00)

10

76,7 (7,82)

84,4 (8,61)

88,4 (9,01)

105,6 (10,77)

118,8 (12,11)

125,3 (12,78)

207,9 (21,20)

237,3 (24,20)

252,0 (25,70)

12

67,2 (6,85)

72,6 (7,40)

75,2 (7,67)

93,5 (9,53)

102,7 (10,47)

107,2 (10,93)

185,5 (18,92)

205,9 (21,00)

216,1 (22,04)

15

56,3 (5,74)

59,7 (6,09)

61,5 (6,27)

79,2 (8,08)

85,0 (8,67)

88,0 (8,97)

158,2 (16,13)

171,3 (17,47)

177,8 (18,13)

18

48,3 (4,93)

50,8 (5,18)

52,0 (5,30)

68,4 (6,98)

72,5 (7,39)

74,5 (7,60)

137,3 (14,00)

146,4 (14,93)

150,9 (15,39)

24

37,7 (3,84)

38,9 (3,97)

39,6 (4,04)

53,6 (5,47)

55,9 (5,70)

57,1 (5,82)

108,1 (11,02)

113,2 (11,54)

115,7 (11,80)

30

30,8 (3,14)

31,6 (3,22)

32,1 (3,27)

44,0 (4,49)

45,4 (4,63)

46,2 (4,71)

88,9 (9,07)

92,2 (9,40)

93,8 (9,57)

33

28,1 (2,87)

28,8 (2,94)

29,2 (2,98)

40,3 (4,11)

41,6 (4,24)

42,2 (4,30)

81,7 (8,33)

84,3 (8,60)

85,7 (8,74)

36

26,0 (2,65)

26,6 (2,71)

26,9 (2,74)

37,3 (3,80)

38,2 (3,90)

38,8 (3,96)

75,4 (7,69)

77,8 (7,93)

78,8 (8,04)

48

19,8 (2,02)

20,2 (2,06)

20,3 (2,07)

28,5 (2,91)

29,1 (2,97)

29,4 (3,00)

57,9 (5,90)

59,1 (6,03)

59,8 (6,10)

66

14,6 (1,49)

14,8 (1,51)

14,9 (1,52)

21,1 (2,15)

21,4 (2,18)

21,6 (2,20)

42,9 (4,37)

43,5 (4,44)

43,8 (4,47)

Б. Колонна стоящих автомобилей

10

76,7 (7,82)

84,4 (8,61)

88,4 (9,01)

105,6 (10,77)

118,8 (12,11)

125,3 (12,78)

207,9 (21,20)

237,3 (24,20)

252,0 (25,70)

12

67,2 (6,85)

72,6 (7,40)

77,6 (7,91)

93,5 (9,53)

102,7 (10,7)

107,2 (10,93)

185,5 (18,92)

205,9 (21,00)

216,1 (22,04)