Бесплатная библиотека стандартов и нормативов www.docload.ru

Все документы, размещенные на этом сайте, не являются их официальным изданием и предназначены исключительно для ознакомительных целей.
Электронные копии этих документов могут распространяться без всяких ограничений. Вы можете размещать информацию с этого сайта на любом другом сайте.
Это некоммерческий сайт и здесь не продаются документы. Вы можете скачать их абсолютно бесплатно!
Содержимое сайта не нарушает чьих-либо авторских прав! Человек имеет право на информацию!

 

ГОСТ Р 51364-99

(ИСО 6758-80)

ГОСУДАРСТВЕННЫЙ СТАНДАРТ РОССИЙСКОЙ ФЕДЕРАЦИИ

АППАРАТЫ ВОЗДУШНОГО ОХЛАЖДЕНИЯ

Общие технические условия

СОДЕРЖАНИЕ

Предисловие

1. Область применения

2. Нормативные ссылки

3. Классификация, основные параметры и размеры

4. Общие технические требования

5. Требования безопасности

6. Правила приемки

7. Методы контроля

8. Транспортирование и хранение

9. Указания по эксплуатации

10. Указания по проектированию

11. Гарантии изготовителя

ПРИЛОЖЕНИЕ А (справочное) МЕЖДУНАРОДНЫЙ СТАНДАРТ ИСО 6758-80

ПРИЛОЖЕНИЕ Б (справочное) международный стандарт ИСО 6759-80

ПРИЛОЖЕНИЕ В (обязательное) Перечень материалов для изготовления основных деталей и сборочных единиц

ПРИЛОЖЕНИЕ Г (справочное) Перечень материалов, рекомендуемых для изготовления основных деталей и сборочных единиц аппарата, работающих под давлением, для климатического исполнения У1

ПРИЛОЖЕНИЕ Д (справочное) Перечень организаций, специализированных в вопросах проектирования и изготовления аппаратов воздушного охлаждения

ПРИЛОЖЕНИЕ Е (рекомендуемое) Форма паспорта аппарата воздушного охлаждения

ПРИЛОЖЕНИЕ Ж (справочное) Библиография 

Предисловие

1. РАЗРАБОТАН И ВНЕСЕН Техническим комитетом по стандартизации ТК 260 «Оборудование химическое и нефтеперерабатывающее»

2. ПРИНЯТ И ВВЕДЕН В ДЕЙСТВИЕ Постановлением Госстандарта России от 25 ноября 1999 г. № 433-ст

3. Приложение А настоящего стандарта представляет собой аутентичный текст ИСО 6758-80 «Трубы стальные сварные для теплообменников», приложение Б - ИСО 6759-80 «Трубы стальные бесшовные для теплообменников»

4. ВВЕДЕН ВПЕРВЫЕ

ГОСТ Р 51364-99

(ИСО 6758-80)

ГОСУДАРСТВЕННЫЙ СТАНДАРТ РОССИЙСКОЙ ФЕДЕРАЦИИ

АППАРАТЫ ВОЗДУШНОГО ОХЛАЖДЕНИЯ

Общие технические условия

Air cooling apparatus. General specifications

Дата введения 2001-01-01

1. Область применения

Настоящий стандарт распространяется на аппараты воздушного охлаждения, предназначенные для охлаждения газов и жидкостей и конденсирования паровых и парожидкостных сред в технологических процессах химической, нефтехимической, нефтеперерабатывающей, газовой, нефтяной и других отраслях промышленности при давлении среды не более 16,0 МПа или под вакуумом с остаточным давлением не ниже 665 Па и температуре не выше 400°С.

Настоящий стандарт определяет основные требования к изготовлению, контролю и поставке аппаратов воздушного охлаждения.

Климатическое исполнение аппаратов У1 и УХЛ1 - по ГОСТ 15150.

В общем случае аппараты исполнений У1, УХЛ1 поставляют для эксплуатации при рабочей температуре деталей, находящихся под давлением, не ниже минус 40°С.

По прочности металлической несущей конструкции аппараты могут быть использованы для установки в районах с сейсмичностью до 7 баллов [1] и скоростным напором ветра по IV географическому району [2].

Аппараты предназначены для работы на высоте не более 1000 м над уровнем моря.

В отдельных случаях в соответствии с контрактом область применения аппаратов может быть расширена и по требованию заказчика аппараты могут быть изготовлены:

- с усиленной металлической конструкцией - для работы в районах с сейсмичностью до 9 баллов и со скоростным напором ветра по V географическому району;

- в климатическом исполнении УХЛ1 - для эксплуатации с рабочей температурой деталей, находящихся под давлением, ниже минус 40°С;

- по специальным требованиям, связанным с поставкой на экспорт, в том числе в климатическом исполнении Т1 по ГОСТ 15150.

2. Нормативные ссылки

В настоящем стандарте использованы ссылки на следующие нормативные документы:

ГОСТ 2.601-95 Единая система конструкторской документации. Эксплуатационные документы

ГОСТ 9.005-72 Единая система конструкторской документации. Допустимые и недопустимые контакты металлов. Общие требования

ГОСТ 9.014-78 Единая система защиты от коррозии и старения материалов и изделий. Временная противокоррозионная защита изделий. Общие требования

ГОСТ 9.032-74 Единая система защиты от коррозии и старения материалов и изделий. Покрытия лакокрасочные. Группы, технические требования и обозначения

ГОСТ 9.104-79 Единая система защиты от коррозии и старения материалов и изделий. Покрытия лакокрасочные. Группы условий эксплуатации

ГОСТ 9.401-91 Единая система защиты от коррозии и старения материалов и изделий. Покрытия лакокрасочные. Общие требования и методы ускоренных испытаний на стойкость к воздействию климатических факторов

ГОСТ 9.402-80 Единая система защиты от коррозии и старения материалов и изделий. Покрытия лакокрасочные. Подготовка металлических поверхностей перед окрашиванием

ГОСТ 9.403-80 Единая система защиты от коррозии и старения материалов и изделий. Покрытия лакокрасочные. Методы испытаний на стойкость к статическому воздействию жидкостей

ГОСТ 12.1.003-83 Система стандартов безопасности труда. Шум. Общие требования безопасности

ГОСТ 12.1.007-76 Система стандартов безопасности труда. Вредные вещества. Классификация и общие требования безопасности

ГОСТ 12.1.012-90 Система стандартов безопасности труда. Вибрационная безопасность. Общие требования

ГОСТ 12.1.028-80 Система стандартов безопасности труда. Шум. Определение шумовых характеристик источников шума. Ориентировочный метод

ГОСТ 12.2.003-91 Система стандартов безопасности труда. Оборудование производственное. Общие требования безопасности

ГОСТ 12.2.007.0-75 Система стандартов безопасности труда. Изделия электротехнические. Общие требования безопасности

ГОСТ 12.2.020-76 Система стандартов безопасности труда. Электрооборудование взрывозащищенное. Классификация. Маркировка

ГОСТ 12.4.026-76 Система стандартов безопасности труда. Цвета сигнальные и знаки безопасности

ГОСТ 15.001-88 Система разработки и постановки продукции на производство. Продукция производственно-технического назначения

ГОСТ 15.005-86 Система разработки и постановки продукции на производство. Создание изделий единичного и мелкосерийного производства, собираемых на месте эксплуатации

ГОСТ 26.008-85 Шрифты для надписей, наносимых методом гравирования. Исполнительные размеры

ГОСТ 26.020-80 Шрифты для средств измерений и автоматизации. Начертания и основные размеры

ГОСТ 27.002-89 Надежность в технике. Основные понятия. Термины и определения

ГОСТ 27.410-87 Надежность в технике. Методы контроля показателей надежности и планы контрольных испытаний на надежность

ГОСТ 166-89 (ИСО 3599-76) Штангенциркули. Технические условия

ГОСТ 380-94 Сталь углеродистая обыкновенного качества. Марки

ГОСТ 481-80 Паронит и прокладки из него. Технические условия

ГОСТ 550-75 Трубы стальные бесшовные для нефтехимической промышленности. Технические условия

ГОСТ 977-88 Отливки стальные. Общие технические условия

ГОСТ 1050-88 Прокат сортовой калиброванный, со специальной отделкой поверхности из углеродистой качественной конструкционной стали. Общие технические условия

ГОСТ 1759.0-87 Болты, винты, шпильки и гайки. Технические условия

ГОСТ 1759.4-87 (ИСО 898-1-78) Болты, винты и шпильки. Механические свойства и методы испытаний

ГОСТ 1759.5-87 (ИСО 898-2-80) Гайки. Механические свойства и методы испытаний

ГОСТ 4543-71 Прокат из легированной конструкционной стали. Технические условия

ГОСТ 4784-97 Алюминий и сплавы алюминиевые деформируемые. Марки

ГОСТ 5494-95 Пудра алюминиевая пигментная (порошок алюминиевый). Технические условия

ГОСТ 5520-79 Сталь листовая углеродистая низколегированная и легированная для котлов и сосудов, работающих под давлением. Технические условия

ГОСТ 5632-72 Стали высоколегированные и сплавы коррозионностойкие, жаростойкие и жаропрочные. Марки

ГОСТ 7350-77 Сталь толстолистовая коррозионностойкая, жаростойкая и жаропрочная. Технические условия

ГОСТ 7502-98 Рулетки измерительные металлические. Технические условия

ГОСТ 8479-70 Поковки из углеродистой и легированной стали. Общие технические условия

ГОСТ 8731-74 Трубы стальные бесшовные горячедеформированные. Технические условия

ГОСТ 8733-74 Трубы стальные бесшовные холоднодеформированные и теплодеформированные. Технические условия

ГОСТ 9038-90 Меры длины концевые плоскопараллельные

ГОСТ 9109-81 Грунтовка ФЛ-ОЗК и ФЛ-ОЗЖ. Технические условия

ГОСТ 9940-81 Трубы бесшовные горячедеформированные из коррозионностойкой стали. Технические условия

ГОСТ 9941-81 Трубы бесшовные холодно- и теплодеформированные из коррозионностойкой стали

ГОСТ 10198-91 Ящики деревянные для грузов массой свыше 200 до 20000 кг. Общие технические требования

ГОСТ ИСО 10816-1-97 Вибрация. Контроль состояния машин по результатам измерений вибрации на невращающихся частях. Общие требования

ГОСТ 12971-67 Таблички прямоугольные для машин и приводов. Размеры

ГОСТ 14192-96 Маркировка грузов

ГОСТ 14249-89 Сосуды и аппараты. Нормы и методы расчета на прочность

ГОСТ 14637-89 Прокат толстолистовой из углеродистой стали обыкновенного качества. Технические условия

ГОСТ 15150-69 Машины, приборы и другие технические изделия. Исполнения для различных климатических районов. Категории, условия эксплуатации, хранения и транспортирования в части воздействия климатических факторов внешней среды

ГОСТ 15907-70 Лаки ПФ-170 и ПФ-171. Технические условия

ГОСТ 16350-80 Климат СССР. Районирование и статистические параметры климатических факторов для технических целей

ГОСТ 16523-97 Прокат тонколистовой из углеродистой стали качественной и обыкновенного качества общего назначения. Технические условия

ГОСТ 8018-70 Лак электроизоляционный пропиточный ГФ-95. Технические условия

ГОСТ 18475-82 Трубы холоднодеформированные из алюминия и алюминиевых сплавов. Технические условия

ГОСТ 19281-89 (ИСО 4950-2-81, ИСО 4950-3-81, ИСО 4951-79, ИСО 4995-78, ИСО 4996-78, ИСО 4952-83) Прокат из стали повышенной прочности. Общие технические условия

ГОСТ 19433-88 Грузы опасные. Классификация и маркировка

ГОСТ 20072-74 Сталь теплоустойчивая. Технические условия

ГОСТ 21130-75 Изделия электротехнические. Зажимы заземляющие и знаки заземления. Конструкция и размеры

ГОСТ 21646-76 Трубы латунные для теплообменных аппаратов. Технические условия

ГОСТ 22061-76 Система классов точности балансировки. Машины и техническое оборудование. Основные положения

ГОСТ 23170-78 Упаковка для изделий машиностроения. Общие требования

ГОСТ 24297-87 Входной контроль продукции. Основные положения

ГОСТ 24444-87 Оборудование технологическое. Общие требования монтажной технологичности

ГОСТ 24634-81 Ящики деревянные для продукции, поставляемой для экспорта. Общие технические условия

ГОСТ 25054-81 Поковки из коррозионностойких сталей и сплавов. Общие технические условия

ГОСТ 25346-89 Основные нормы взаимозаменяемости. Единая система допусков и посадок. Общие положения, ряды допусков и основных отклонений

ГОСТ 25348-82 Основные нормы взаимозаменяемости. Единая система допусков и посадок. Ряды допусков, основных отклонений и поля допусков для размеров свыше 3150 мм

ГОСТ 25670-83 Основные нормы взаимозаменяемости. Предельные отклонения размеров с неуказанными допусками

ГОСТ 25822-83 Сосуды и аппараты. Аппараты воздушного охлаждения. Нормы и методы расчета на прочность

ГОСТ 26191-84 Масла, смазки и специальные жидкости. Ограничительный перечень и порядок назначения

ГОСТ 27772-88 Прокат для строительных конструкций. Общие технические условия

ГОСТ 28759.3-90 Фланцы сосудов и аппаратов стальные приварные встык. Конструкция и размеры

ГОСТ 29329-92 Весы для статического взвешивания. Общие технические требования

ГОСТ Р 50460-92 Знак соответствия при обязательной сертификации. Форма, размеры и технические требования

ИСО 2604-2-75* Стальные изделия, используемые в условиях повышенного давления. Требования к качеству. Часть 2. Кованые бесшовные трубы

ИСО 2604-3-75* Стальные изделия, используемые в условиях повышенного давления. Требования к качеству. Часть 3. Трубы, сваренные с помощью контактной и индукционной сварки.

ИСО 2604-5-78* Стальные изделия, используемые в условиях повышенного давления. Требования к качеству. Трубы из аустенитной стали, сваренные продольно

ИСО 2954-75* Механическая вибрация машин с вращательным и возвратно-поступательным движением. Требования к приборам для измерения интенсивности вибрации

ИСО 4200-91* Гладкие концы стальных труб сварных и бесшовных. Общая таблица размеров и масс на единицу длины.

* Оригиналы международных стандартов ИСО/МЭК находятся во ВНИИКИ и ВНИИНМАШ Госстандарта России.

3. Классификация, основные параметры и размеры

3.1 Аппарат воздушного охлаждения (далее - аппарат) представляет собой теплообменный аппарат, состоящий из следующих основных частей:

теплообменной поверхности (теплообменная секция);

системы подачи воздуха, включающей вентилятор с приводом от электродвигателя, диффузор с коллектором;

опорной металлоконструкции.

Типичная конструкция аппарата приведена на рисунке 1.

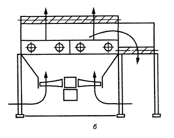
3.1.1. По способу принудительной подачи охлаждающего воздуха на теплообменную поверхность аппараты подразделяют на два вида:

- нагнетательный (рисунок 1а);

- вытяжной (рисунок 1б).

3.1.2. По расположению теплообменных секций в пространстве аппараты подразделяют на горизонтальные, вертикальные, зигзагообразные и дельтаобразные.

3.1.3. По условиям эксплуатации аппараты могут быть снабжены дополнительными устройствами, обеспечивающими рециркуляцию нагретого в теплообменных секциях воздуха, для предотвращения переохлаждения продукта в зимнее время.

По этому признаку аппараты подразделяют следующим образом: а) без рециркуляции (см. рисунок 1);

а - аппарат нагнетательного вида; б - аппарат вытяжного вида

1 - теплообменная секция; 2- колесо вентилятора; 3 - привод вентилятора; 4- диффузор с коллектором; 5 - металлоконструкция

Рисунок 1 - Конструкция аппарата воздушного охлаждения

a - с внутренней рециркуляцией; б - с внешней рециркуляцией

Рисунок 2 - Аппараты воздушного охлаждения

б) с внутренней рециркуляцией через соседний вентилятор (рисунок 2а);

в) с внешним коробом для рециркуляции (рисунок 2б).

Типичная конструкция теплообменной секции приведена на рисунке 3.

3.2. В зависимости от конструкции камер теплообменных секций аппараты могут быть:

а) с разъемными камерами на давление до 6,3 МПа;

б) с цельносварными камерами с пробками на давление до 10 МПа;

в) с трубчатыми камерами на давление свыше 10 МПа. Основные типы камер приведены на рисунке 4.

3.3. Дополнительно аппараты могут быть оснащены:

а) увлажнителем воздуха, необходимым для снятия пиковых нагрузок в летнее время;

б) подогревателем воздуха, устанавливаемым перед теплообменной секцией в потоке воздуха;

в) подогревателем продукта типа «труба в трубе», конструктивно объединенным с трубным пучком теплообменной секции;

1 - трубный пучок; 2 - крышка камеры; 3 и 4 - неподвижная и подвижная трубные доски; 5 - боковая стенка; 6 - балка; 7 - дистанционирующий элемент

Рисунок 3 - Конструкция теплообменной секции

г) жалюзийным устройством;

д) приводами изменения угла наклона лопаток жалюзи и лопастей вентилятора.

3.4. Конструкция аппаратов, их основные параметры и размеры, а также условное обозначение должны соответствовать нормативной и конструкторской документации.

а, б, в - разъемные камеры на давление до ,3 МПа; г, д - цельносварные камеры с пробками на давление до 10,0 МПа; е - трубчатые камеры на давление свыше 10,0 МПа

Рисунок 4 - Основные типы камер теплообменных секций

4. Общие технические требования

4.1. Характеристики аппаратов воздушного охлаждения

4.1.1. Показатели назначения аппаратов должны соответствовать приведенным в нормативной и конструкторской документации на аппараты конкретных типов.

4.1.2. Характеристики аппаратов, обеспечивающие при изготовлении соответствие аппаратов показателям назначения, приведены в таблице 1.

Указанные в таблице 1 характеристики должны подтверждаться при проведении приемочных, периодических и сертификационных испытаний аппаратов.

Таблица 1

Наименование показателя назначения

Характеристика аппарата, обеспечивающая заданный показатель назначения

1. Теплопроизводительность

Площадь поверхности теплообмена

Тепловой контакт оребрения с несущей трубой

Производительность вентилятора

2. Давление расчетное или условное*

Прочность

3. Температура расчетная

Тип оребрения

* В соответствии с конструкторской документацией.

4.1.3. Теплообменные секции аппаратов должны быть герметичными. Класс герметичности 4 и 5 по ОСТ 26-11-14 [1] в зависимости от применяемой среды и ее параметров.

4.1.4. Показатели надежности аппаратов воздушного охлаждения:

наработка до отказа, ч.                                                                                                  15000,

ресурс до капитального ремонта, ч.                                                                            50000,

расчетный срок службы для аппаратов, работающих на некоррозионных и малокоррозионных средах (при скорости коррозии до 0,1 мм в год), лет               20

Примечание. Указанные показатели в соответствии с ГОСТ 27.002 до наступления отказа, срока ремонта и предельного состояния являются прогнозируемыми. Браковочный уровень значения срока службы:

- для аппаратов, работающих на средах со скоростью коррозии до 0,1 мм в год, - 16 лет;

- для аппаратов специальной конструкции или работающих на средах со скоростью коррозии > 0,1 мм в год - по согласованию с заказчиком. Расчетный срок службы должен быть занесен в паспорт аппарата.

4.2. Требования к конструкции

4.2.1. Общие положения

Аппараты воздушного охлаждения должны изготовляться в соответствии с требованиями настоящего стандарта и комплекта конструкторской документации, утвержденной в установленном порядке. Конструкторская документация сборочных единиц и деталей, работающих под давлением или вакуумом, должна быть разработана с учетом требований [4] и [6]. Конструкторская документация на металлические несущие конструкции должна учитывать требования [5] и [6].

В конструкторской документации на аппарат должны быть учтены специальные требования заказчика в соответствии с разделом 1.

4.2.2. Требования к теплообменной секции

4.2.2.1. Теплообменная секция должна представлять собой законченную сборочную единицу и может быть поставлена заказчику как в сборе с аппаратом, так и отдельно.

Трубы теплообменной секции могут быть изготовлены в соответствии с приложениями А и Б (ИСО 6758 и ИСО 6759).

4.2.2.2. В конструкции секции должны быть предусмотрены строповые устройства, обеспечивающие удобство транспортирования и монтажа.

4.2.2.3. Конструкция теплообменной секции должна быть жесткой и исключать прогиб трубного пучка, что достигается установкой поперечных опор под нижним рядом труб и дистанционирующих элементов, располагающихся между рядами труб над опорами.

Допускается плавный прогиб труб в рабочем положении не более 0,6 внутреннего диаметра трубы.

4.2.2.4. В конструкции секции должна быть предусмотрена возможность компенсации теплового расширения труб.

4.2.2.5. Конструкция секций должна обеспечивать возможность удаления воздуха и продукта, для чего в верхней и нижней точках камеры должны быть предусмотрены специальные резьбовые отверстия, заглушаемые пробками, либо могут быть использованы штуцеры камер, установленные в этих точках.

4.2.2.6. Трубы аппаратов, предназначенных для охлаждения продукта с конденсирующимися фракциями, должны иметь уклон не менее 1:100 в сторону выхода продукта.

4.2.2.7. В зависимости от температуры охлаждаемой среды и материального исполнения теплообменной секции, условное обозначение которого принято в соответствии с приложением В, в аппаратах могут применяться теплообменные трубы с различными способами оребрения в соответствии с таблицей 2.

Таблица 2

Способ оребрения

Условия применения

1 Поперечно-винтовое накатывание ребер на алюминиевой трубе, надетой на гладкую несущую трубу, с образованием биметаллической оребренной трубы

До 300°С при материальных исполнениях Б1, Б2.1, Б3, Б3.1, Б4, Б4.1.

До 250°С при материальных исполнениях Б5 и Б5.1

2 Образование ребер методом навивки алюминиевой ленты с последующей завальцовкой ее в винтовую канавку на поверхности несущей трубы

До 350°С при материальном исполнении Б1.

Способ не применяется в аппаратах исполнения Т1

3 Образование L-образных ребер методом навивки с натягом алюминиевой ленты на несущую трубу:

 

а) с насечкой наружной поверхности несущей трубы

До 200°С

б) без насечки наружной поверхности несущей трубы

До 150°С

4 Образование ребер методом навивки стальной ленты с обваркой

До 400°С при материальном исполнении Б1

Примечание - Допускается применять трубы с другим типом оребрения или без него.

4.2.2.8. Перед нанесением оребрения наружная поверхность несущих труб материального исполнения Б1 должна быть очищена от ржавчины, коррозии и консервационных смазок.

Технология и контроль качества очистки поверхности несущих труб должны определяться технологической инструкцией предприятия-изготовителя.

4.2.2.9. При навивке под натягом L-образных ребер концы ребер должны быть закреплены для того, чтобы предотвратить ослабление или разматывание ребер при эксплуатации.

4.2.2.10. Для оребрения труб методом навивки с завальцовкой алюминиевой ленты в канавку рекомендуется использовать трубы с предельными отклонениями по наружному диаметру и толщине, соответствующими группе А по ГОСТ 550 или требованиям приложения Б.

Толщина трубы при этом способе оребрения должна измеряться от дна канавки до внутренней поверхности трубы.

4.2.2.11. Дефекты поверхности оребренных труб, возникающие в процессе оребрения и изготовления секции, ограничиваются требованиями технологических инструкций предприятия-изготовителя, согласованных с организацией, специализированной по технологии изготовления аппаратов воздушного охлаждения (см. приложение Д). Дефекты не должны выводить площадь поверхности теплообмена за пределы минусового допуска, указанного в конструкторской документации.

4.2.2.12. По требованию Заказчика после проведения операции оребрения оребренные поверхности должны быть очищены от продуктов смазочно-охлаждающей жидкости.

Технология очистки и методы контроля оребренных поверхностей определяются технологической инструкцией предприятия-изготовителя, степень очистки - по согласованным со специализированной технологической организацией образцам-эталонам.

4.2.2.13. Трубы не должны иметь стыковых швов.

При изготовлении аппаратов с длиной труб свыше 6 м допускается один кольцевой сварной шов, выполняемый на оребренной трубе, при условии проведения радиографического контроля сварного шва в объеме 100 % с последующим гидроиспытанием каждой трубы: для труб, применяемых в АВО с рабочим (условным) давлением:

- до 6,3 МПа - пробным давлением 10 МПа, но не большим, чем предусмотрено по стандарту на конкретную трубу;

- свыше 6,3 МПа - двухкратным рабочим давлением, но не большим, чем предусмотрено по стандарту на конкретную трубу.

Длина неоребренного участка труб в месте сварного шва не должна превышать 100 мм. Для улучшения распределения воздуха в секции (исключения проскока воздуха в зоне сварных швов) швы соседних рядов труб должны быть смещены относительно друг друга, а неоребренный участок верхнего ряда закрыт дефлектором.

4.2.2.14. Крепление труб в трубных решетках цельносварных и разъемных камер - в соответствии с инструкцией предприятия-изготовителя, разработанной в соответствии с требованиями [7] и [8] и согласованной со специализированной технологической организацией.

В теплообменных секциях для охлаждения взрывоопасных и токсичных сред должны быть использованы трубы с отклонениями по наружному диаметру, регламентированными стандартами, указанными в [7], приложение 1, а для классов точности соединения труб с трубной решеткой 2 и 3 - также международными стандартами. При использовании труб, не обеспечивающих класс соединения, рекомендованный [7], приложение 2, в инструкции предприятия-изготовителя по контролю качества крепления труб в трубных решетках должны быть предусмотрены зависимые допуски на размер внутреннего диаметра трубы после развальцовки, обеспечивающие соответствие степени развальцовки, указанной в [7], таблица 8.

Развальцовка труб без автоматического ограничения крутящего момента с контролем степени развальцовки только измерением внутренних диаметров труб допускается при обмере и паспортизации всех трубных отверстий в решетках и всех вальцуемых концов труб.

Крепление труб в трубчатых камерах должно производиться сваркой.

4.2.2.15. Зазор от края оребрения до трубной решетки или дефлектора должен быть (15 ±5) мм, ширина дефлектора - не более 30 мм.

4.2.2.16. При изготовлении теплообменной секции допускается заглушать трубы в количестве:

- одной трубы - в секции с числом труб до 124;

- двух труб - в секции с числом труб свыше 124 до 200;

- трех труб - в секции с числом труб свыше 200.

В отдельных секциях многосекционных аппаратов допускается увеличивать число заглушаемых труб, если суммарное число заглушаемых в аппарате труб не превышает нормированного.

4.2.3 Требования к камерам

4.2.3.1. В многоходовых аппаратах, где разность температур среды в начале одного хода и конце последующего превышает 100°С, камеры должны быть выполнены раздельными.

4.2.3.2. Площадь проходного сечения отверстий в усиливающей перегородке для прохода среды должна быть в 1,2 раза больше площади внутреннего сечения труб одного хода за перегородкой.

4.2.3.3. Расчет на прочность камер секций - по ГОСТ 25822 и ГОСТ 14249.

4.2.3.4. Разъемные камеры

Шероховатость уплотнительных поверхностей в соединениях разъемных камер должна быть не ниже Ra 6,3 в соответствии с ГОСТ 28759.3 для давления до 6,3 МПа.

Тип прокладок камер разъемной конструкции должен быть определен в нормативной документации предприятия-изготовителя.

Ширина прокладки крышки должна быть не менее 9 мм.

Для облегчения демонтажа в крышке должны быть предусмотрены отжимные болты или зазор между крышкой и решеткой не менее 5 мм.

Номинальный диаметр шпилек должен быть не менее 16 мм.

4.2.3.5. Цельносварные камеры

Для обеспечения доступа к теплообменным трубам напротив каждой трубы должны быть предусмотрены отверстия под пробки.

Разность диаметров отверстия под пробку и номинального наружного диаметра теплообменной трубы должна быть не менее 1 мм.

Шероховатость уплотнительньгх поверхностей отверстий под пробки должна быть не ниже Ra 6,3.

Пробки должны быть с буртиком и с цилиндрической резьбой.

Пустотелые пробки не допускаются.

Пробки должны иметь шестигранную головку. Минимальный размер головки «под ключ» должен быть не более диаметра буртика пробки.

Уплотнение пробки должно выполняться с помощью прокладки, размещенной между буртиком и стенкой камеры.

Длина резьбового участка пробки должна быть равна толщине решетки (без учета глубины выточки под прокладку) минус 1,5 мм.

4.2.4. Требования к подогревателю воздуха

4.2.4.1. Подогреватель воздуха в общем случае должен представлять собой самостоятельную сборочную единицу, состоящую из однорядного прямотрубного пучка оребренных труб, вваренных в коллекторы.

4.2.4.2. Контроль сварных швов в подогревателе производится в соответствии с требованиями [4], предъявляемыми к сосудам группы 4.

4.2.5. Требования к патрубкам и другим соединениям

4.2.5.1. Патрубки диаметром от 40 мм и более должны быть выполнены с фланцами.

4.2.5.2. Размеры фланца и его присоединительной поверхности должны быть выполнены в соответствии с нормативной документацией.

4.2.6. Требования к вентиляторам

4.2.6.1. Применяемые в аппаратах вентиляторы должны быть осевого типа.

4.2.6.2. Размер колеса вентилятора и расположение его в аппарате должны соответствовать следующим требованиям:

- площадь проходного сечения вентилятора должна быть не менее 40 % площади фронтального сечения перед теплообменной секцией, обдуваемой этим вентилятором;

- расстояние от коллектора вентилятора до теплообменной секции должно быть не менее 0,4 диаметра вентилятора;

- номинальный радиальный зазор между концом лопасти и внутренней поверхностью коллектора вентилятора не должен превышать 0,5 % диаметра колеса вентилятора, при этом отклонение не должно быть более 25 %, номинальный радиальный зазор должен быть не более 25 мм.

4.2.6.3. Окружная скорость концов лопастей вентилятора не должна превышать 65 м/с.

4.2.6.4. Допускаемые отклонения линейных размеров проточной части вентилятора должны быть в пределах полей допусков не ниже 14-го квалитета по ГОСТ 25346 и ГОСТ 25348. Неравномерность зазора не должна превышать:

3 мм - при диаметрах колеса до 2250 мм;

5 мм - при диаметрах свыше 2250 мм.

4.2.6.5. Материалы концов лопастей и коллектора вентилятора должны исключать возможность искрообразования в случае касания лопастей поверхности коллектора.

4.2.6.6. Вариант регулирования угла поворота лопастей вентилятора - вручную при остановленном вентиляторе или автоматически с помощью пневмопривода без остановки вентилятора - должен быть предусмотрен в технической документации на аппарат воздушного охлаждения конкретного типа.

4.2.6.7. Вентиляторы аппаратов должны быть оснащены съемным защитным ограждением. Размер ячейки ограждения вентилятора не должен превышать 50 мм.

4.2.6.8. Минимальное расстояние от ограждения вентилятора до его лопастей при их максимальном рабочем угле должно быть 150 мм.

4.2.6.9. После сборки перед окраской колесо вентилятора должно быть статически сбалансировано. Допустимый остаточный дисбаланс Д, г/см, не должен превышать рассчитываемого по формуле:

,

где М - расчетная масса колеса вентилятора, кг;

п - частота вращения вентилятора, мин-1.

Балансировочные грузы должны привариваться к внутренней поверхности ступицы вентилятора. Допускается их крепление с помощью заклепок.

4.2.6.10. Вентиляторы могут быть оснащены следующими видами приводов:

- непосредственный (колесо вентилятора установлено на вал электродвигателя с использованием шпоночного соединения);

- с клиноременной передачей;

- редукторный.

Типы приводов приведены на рисунках 5 и 6.

а - непосредственный; б - клиноременный; в - редуктор с параллельными валами; г - редуктор с перпендикулярными валами

Рисунок 5 - Приводы аппаратов нагнетательного вида

а - непосредственный; б - клиноременный; в - редуктор с параллельными валами; г - редуктор с перпендикулярными валами

Рисунок 6 - Приводы аппаратов вытяжного вида

4.2.7. Требования к электродвигателям

4.2.7.1. Электродвигатели, служащие приводами вентиляторов, должны быть многофазными асинхронного типа.

4.2.7.2. Класс точности балансировки привода 3 - по ГОСТ 22061 (оговаривается при заказе электродвигателя).

4.2.7.3. Исполнение двигателя и его техническая характеристика должны соответствовать условиям работы аппарата.

4.2.7.4. Установочная мощность электродвигателя должна превышать мощность, потребляемую вентилятором, не менее чем на 10 %.

4.2.7.5. В аппаратах с рециркуляцией воздуха электродвигатели должны быть рассчитаны на работу при температурах окружающей среды с учетом рециркуляционных потоков воздуха.

4.2.8. Требования к передаче

4.2.8.1. В раме приводов вентиляторов должны быть предусмотрены резьбовые отверстия для регулировочных болтов.

4.2.8.2. Смазка и масло в передаче должны быть приняты в соответствии с ГОСТ 26191.

4.2.8.3. Открытые движущиеся части передачи должны иметь ограждения.

4.2.9. Требования к жалюзи

4.2.9.1. Конструкция системы тяг жалюзийной решетки должна обеспечивать синхронность перемещения лопаток жалюзи. Зазор между соседними лопатками при закрытых жалюзи для аппаратов с рециркуляцией воздуха не должен превышать 3 мм.

4.2.9.2. Зазор между лопатками жалюзи (у их концов) и боковыми стенками не должен превышать 6 мм.

4.2.9.3. Конструкция лопаток и каркаса жалюзи должна быть жесткой и исключать перекос прилегающих кромок лопаток.

4.2.9.4. При использовании привода его мощность должна не менее чем в два раза превышать необходимую мощность, которая требуется для перемещения жалюзийных заслонок.

4.2.9.5. Пневмопривод по требованию заказчика может быть оснащен позиционером.

4.2.9.6. Жалюзийная решетка, оснащенная приводом, должна быть снабжена концевыми указателями положения жалюзи с подачей сигнала на пульт управления.

4.2.9.7. При ручной регулировке работы жалюзи должно быть предусмотрено стопорное устройство.

4.2.9.8. Жалюзийные решетки при ручном регулировании поворотом лопаток по требованию заказчика могут быть оснащены удлинителями для осуществления ручного регулирования с земли или с площадки.

4.2.9.9. Материал подшипниковых втулок для опоры осей жалюзийных лопаток должен выдерживать максимальную температуру продукта при входе в аппарат.

4.2.10. Конструктивные требования к аппарату в целом

4.2.10.1. Качество и характеристики покупных комплектующих изделий должны соответствовать действующей нормативной документации на их изготовление и поставку.

4.2.10.2. Климатическое исполнение комплектующих изделий должно соответствовать климатическому исполнению аппарата.

4.2.10.3. Предельные отклонения размеров на необрабатываемые поверхности и сварные конструкции, не указанные в конструкторской документации, не должны превышать соответствующих очень грубому классу точности, отклонения размеров между обрабатываемыми и необрабатываемыми поверхностями - грубому классу точности, на обрабатываемые поверхности - среднему классу точности по ГОСТ 25670.

Предельные отклонения присоединительных размеров аппаратов, не указанные в конструкторской документации, должны соответствовать среднему классу точности по ГОСТ 25670.

4.2.10.4. При присоединении листов обшивки на диффузорах, коллекторах вентиляторов, жалюзи и других малонагруженных элементах аппарата допускается применение прерывистых швов, контактной сварки и электрозаклепок.

4.2.10.5. На элементах металлоконструкции аппарата должны быть предусмотрены заземляющие зажимы по ГОСТ 21130. Место установки зажима должно быть указано в монтажной документации.

4.2.10.6. Для дополнительного охлаждения технологических продуктов в жаркое время года аппарат по требованию заказчика может быть снабжен увлажнителем с форсуночным распылением воды.

4.2.11. Требования к материалам

4.2.11.1. Для изготовления деталей аппаратов должны применяться материалы, обеспечивающие их надежную работу в течение расчетного срока службы с учетом заданных условий эксплуатации.

4.2.11.2. По химическому составу и механическим свойствам материалы должны соответствовать требованиям государственных стандартов, технических условий, [4] и [6].

4.2.11.3. При выборе материалов для изготовления деталей аппарата (секций), работающих под давлением, следует учитывать:

- расчетное давление;

- температуру стенки (минимальную отрицательную и максимальную положительную);

- состав (содержание отдельных компонентов и примесей) и характер среды (коррозионноактивный, взрывоопасный, токсичный и т.п.);

- технологические свойства (свариваемость, коррозионную стойкость и коррозионно-механическую прочность).

4.2.11.4. Материалы, применяемые при изготовлении основных деталей и сборочных единиц секции, работающих под давлением, и соответствующее им условное обозначение материального исполнения секции приведены в таблице В1.

Данные об этих материалах должны быть занесены в паспорт аппарата.

4.2.11.5. Требования к материалам деталей аппарата (секций), работающих под давлением, виды и объемы испытаний и требуемое состояние поставки должны соответствовать требованиям [4] и [6].

4.2.11.6. Требования к применяемым материалам и материалы для изготовления остальных деталей и сборочных единиц аппаратов приведены в таблице В2 приложения В.

4.2.11.7. Требования к сварочным материалам - по [4], [6].

4.2.11.8. При изготовлении аппаратов в климатическом исполнении У1 минимальная температура стенки деталей, работающих под давлением, может быть по согласованию с заказчиком принята минус 30°С. В этом случае дополнительно к материалам, указанным в 4.2.11.4, могут быть выбраны материалы по [4]. Рекомендуемый перечень этих материалов приведен в приложении Г.

4.2.11.9. В случае поступления стальных труб секций без гарантии гидроиспытаний предприятия-поставщика труб каждая труба должна быть подвергнута гидроиспытанию на предприятии-изготовителе аппаратов в соответствии с требованиями 5.11 [4] и 4.2.2.13.

Теплообменные трубы до оребрения не должны иметь сварных швов.

Применение электросварных труб, в том числе по ИСО 6758, не допускается, кроме случаев применения труб без оребрения в соответствии с примечанием к таблице 2.

4.2.11.10. Для оребрения труб методом накатки в качестве заготовки должны применяться трубы из алюминия марки АД1 по ГОСТ 18475 или по технической документации, утвержденной в установленном порядке.

Для оребрения труб методом навивки должна применяться лента из алюминия марки АД1М по ГОСТ 4784 или по технической документации, утвержденной в установленном порядке.

Допускается применение других марок алюминия.

При оребрении труб методом навивки стальной лентой с обваркой марку стали для ребер выбирает предприятие-изготовитель.

4.2.11.11. Ответные фланцы секций должны быть изготовлены из стали того же класса, что и основные фланцы, а для секций материального исполнения Б3.1 и Б4.1 из стали того же класса, что и решетка.

4.2.11.12. Материал и технические требования на изготовление крепежных деталей секций, работающих под давлением, должны соответствовать требованиям [4], [9] и [6].

Для шпилек крепления крышек применяют материалы с пределом текучести не менее 600 МПа (60 кгс/мм2) и пределом прочности не менее 750 МПа (75 кгс/мм2).

4.2.11.13. Резьбовые пробки должны быть изготовлены из стали того же класса, что и камеры.

4.2.11.14. Прокладки соединений крышки с трубной решеткой должны быть изготовлены из паронита по ГОСТ 481, если не оговорено особо.

4.2.11.15. Прокладки фланцевых соединений аппаратов, работающих под давлением до 6,3 МПа включительно, должны изготовляться из паронита по ГОСТ 481, если не оговорено особо.

Материал прокладок фланцевых соединений аппаратов, работающих под давлением свыше 6,3 МПа, в зависимости от условий эксплуатации должен приниматься по технической документации, утвержденной в установленном порядке. В теплообменных секциях для охлаждения токсичных сред под давлением 4,0 МПа и выше рекомендуется в качестве прокладок фланцевых соединений использовать спирально-навитые прокладки по [10] с наполнителем из графлекса.

4.2.11.16. Материал металлических прокладок должен быть мягче материала поверхности, контактирующего с прокладкой.

4.2.11.17. Прокладки под пробки должны быть изготовлены из алюминия или меди, если по условиям коррозионности среды Заказчиком не оговорен конкретный материал.

4.2.11.18. Лопасти вентилятора должны быть изготовлены из алюминиевого сплава или армированных пластических материалов. Применение других материалов должно быть оговорено в технической документации.

4.2.11.19. Контакты материалов, использованных при изготовлении аппаратов, недопустимые или ограниченно допустимые по ГОСТ 9.005, должны быть защищены от воздействия атмосферы металлическим покрытием с последующим лакокрасочным покрытием по инструкции предприятия-изготовителя.

4.2.11.20. В аппаратах исполнений У1 и УХЛ1 поверхность трубных решеток секций со стороны потока воздуха для материальных исполнений Б1, Б2, Б2.1, Б5, Б5.1, а также концы труб между оребрением и трубной решеткой секции материальных исполнений Б1, Б2 и Б2.1 должны иметь защитное покрытие по инструкции предприятия-изготовителя, согласованной со специализированной организацией.

В аппаратах исполнения Т1 поверхность трубных решеток секций со стороны потока воздуха для материальных исполнений Б1, Б2, Б2.1, Б5, Б5.1, а также концы труб секций материальных исполнений Б1, Б2 и Б2.1 (от трубной решетки до начала оребрения) должны быть металлизированы с последующим лакокрасочным покрытием по инструкции предприятия-изготовителя. Концы труб, развальцовываемые в трубные решетки, лакокрасочному покрытию не подвергаются.

У аппаратов в исполнении Т1 все детали с разъемными посадочными поверхностями, предназначенные к сборке и регулировке при монтаже или эксплуатации, а также детали подвижных соединений должны быть металлизированы или изготовлены из материалов, стойких в условиях тропического климата.

Пружины, применяемые в аппаратах в исполнении Т1, должны быть металлизированы по инструкции предприятия-изготовителя.

4.2.11.21. В случае применения материалов для деталей, работающих под давлением, не указанных в [4] и [6], их применение должно быть согласовано с организациями, перечень которых приведен в приложении Д.

4.2.11.22. Требования 4.2.2.6, 4.2.3.1, 4.2.3.2, 4.2.6.2, 4.2.6.3, 4.2.9.4, 4.2.9.6, 4.2.9.8, 4.2.10.6 обеспечиваются конструкцией аппарата и проверке ОТК предприятия-изготовителя не подлежат.

4.3. Комплектность

4.3.1. В зависимости от габаритов аппараты поставляют в собранном виде либо максимально собранными сборочными единицами.

В комплектность поставки аппаратов воздушного охлаждения должны входить:

1) аппарат согласно спецификации комплекта конструкторской документации;

2) ответные фланцы с прокладками и крепежными деталями - один комплект;

3) запасные детали:

- прокладки к фланцевым соединениям - один комплект;

- пробки с прокладками под пробки для теплообменных секций с цельносварными камерами - не менее 5 % количества пробок;

4) запасные части комплектующих изделий в соответствии с комплектовочными документами предприятий-изготовителей этих изделий;

5) техническая документация в одном экземпляре в следующем составе:

а) паспорт аппарата по форме, приведенной в приложении Е. К паспорту аппарата должны быть приложены:

- сборочный чертеж аппарата и основных сборочных единиц и, при необходимости, монтажный чертеж;

- расчет на прочность с приложением эскизов основных несущих элементов аппарата: стенок камеры аппарата, фланцев, узлов врезки штуцеров и др.;

- руководство по эксплуатации (РЭ) и, при необходимости, инструкция по монтажу, пуску, регулированию и обкатке изделия (ИМ) в соответствии с ГОСТ 2.601;

6) комплектовочная ведомость;

в) сопроводительные документы на комплектующие изделия.

4.3.2. По требованию заказчика, оговоренному в заказе (договоре, контракте), в комплект поставки за отдельную плату могут быть включены:

1) дополнительные сборочные единицы, если их поставка предусматривается нормативной или технической документацией на конкретные аппараты (тип аппаратов):

- пневмопривод жалюзи,

- позиционер к пневмоприводу жалюзи,

- увлажнитель,

- подогреватель воздуха.

Количество сборочных единиц определено в комплекте конструкторской документации предприятия-изготовителя;

2) дополнительное количество запасных деталей, указанных в 4.3.1;

3) запасные прокладки под крышки камер разъемной конструкции.

4.3.3. Для ремонтных целей могут быть поставлены по особому заказу в установленном порядке следующие сборочные единицы:

1) теплообменная секция,

2) трубный пучок (секции без крышек, прокладок),

3) крышка секции,

4) колесо вентилятора,

5) лопасть вентилятора,

6) жалюзи,

7) увлажнитель воздуха,

8) комплект форсунок для увлажнения воздуха,

9) подогреватель воздуха.

4.3.4. В комплектность аппаратов не входят:

1) система средств автоматизации с комплектом пусковой аппаратуры;

2) коллекторная обвязка теплообменных секций при отсутствии ее в составе конструкторской документации и трубопроводная арматура;

3) вспомогательные подъемные устройства;

4) салазки или тележки для монтажа и демонтажа привода вентилятора;

5) фундаментные болты;

6) площадки обслуживания, лестницы, ограждения между стойками несущей конструкции.

По согласованию с предприятием-изготовителем перечисленные комплекты изделий могут быть поставлены заказчику по отдельному договору.

4.4. Маркировка

4.4.1. Аппарат должен иметь табличку, соответствующую требованиям ГОСТ 12971.

4.4.2. Табличка должна быть размещена на видном месте и прикреплена на приварном подкладном листе.

4.4.3. На табличке должны быть указаны:

1) наименование предприятия-изготовителя (допускается сокращенное) или его товарный знак;

2) тип аппарата (наименование или условное обозначение аппарата);

3) заводской номер аппарата;

4) расчетное или условное давление, МПа;

5) пробное давление, МПа;

6) расчетная температура стенки, °С;

7) год изготовления;

8) масса аппарата;

9) клеймо ОТК.

В случае проведения сертификации на изделие должна быть нанесена маркировка Знака соответствия по ГОСТ Р 50460.

4.4.4. Каждая секция и подогреватель воздуха (при наличии его в аппарате) должны иметь (на верхнем крае передней трубной решетки или допускается на боковой поверхности трубной решетки; на боковой стенке сварной камеры; на коллекторе) маркировку, содержащую данные, указанные в 4.4.3. На каждой секции к заводскому номеру аппарата должен быть добавлен порядковый номер секции или другое условное обозначение, позволяющее однозначно идентифицировать любую секцию аппарата. При этом указывается масса секции или подогревателя.

Способ нанесения маркировки - по [4].

4.4.5. Вентилятор должен иметь маркировку, нанесенную на ступице и содержащую следующие данные:

- наименование предприятия-изготовителя и (или) товарный знак;

- условное обозначение вентилятора;

- год изготовления;

- заводской номер;

- масса, кг;

- обозначение технических условий на изготовление вентилятора при их наличии.

Маркировка должна быть нанесена ударным способом на ступице и несмываемой краской на лопасти вентилятора.

4.4.6. Шрифт маркировки должен соответствовать ГОСТ 26.020 для плоской печати и ГОСТ 26.008 для ударного способа.

4.4.7. Поставляемые по особому заказу для ремонтных целей сборочные единицы и детали поставляют без заводской таблички.

Теплообменные секции, трубный пучок, крышки секции, подогреватель воздуха, колесо вентилятора, поставляемые для ремонтных целей, должны иметь на видном месте маркировку в соответствии с 4.4.4 и 4.4.5.

Допускается присваивать один заводской номер партии однотипных сборочных единиц, поставляемых одному потребителю одновременно. При этом дополнительно маркируется порядковый номер сборочной единицы в партии. Остальные сборочные единицы и детали, поставляемые для ремонтных целей, могут быть без заводского номера.

4.4.8. Количество и состав грузовых мест определяет предприятие-изготовитель.

4.4.9. Каждое грузовое место (сборка, ящик, контейнер или укладка) должно иметь указания о месте строповки и условное обозначение на строповые устройства, выполненные яркой краской.

4.4.10. Маркировка грузовых мест - в соответствии с требованиями ГОСТ 14192 и нормативной документацией предприятия-изготовителя.

Транспортная маркировка теплообменных секций, законсервированных инертными газами или воздухом с избыточным давлением, должна учитывать требования ГОСТ 19433.

4.4.11. На крупногабаритные грузовые места (секции) должны быть нанесены манипуляционные знаки «Место строповки» и «Центр тяжести».

4.4.12. Содержание, места монтажной маркировки и способы ее нанесения должны соответствовать требованиям ГОСТ 24444 и отражены в технической документации на аппарат.

4.4.13. Каждое колесо вентилятора должно иметь монтажную маркировку на деталях, которые подлежат сборке при монтаже колеса вентилятора. Маркировка должна быть нанесена рельефным шрифтом.

Порядок сборки колеса вентилятора согласно монтажной маркировке должен быть указан в РЭ.

4.4.14. На коллекторе (корпусе) вентилятора должна быть нанесена несмываемой краской стрелка красного цвета, указывающая направление вращения.

4.5. Консервация, окраска и упаковка

4.5.1. Консервация аппаратов должна производиться по документации предприятия-изготовителя в соответствии с требованиями ГОСТ 9.014 и конструкторской документации в зависимости от срока защиты и условий транспортирования и хранения.

4.5.2. Консервация должна обеспечивать защиту от коррозии при транспортировании и хранении не менее 24 месяцев со дня отгрузки с предприятия-изготовителя.

4.5.3. Консервации подлежат:

- наружные поверхности сборочных единиц, комплектующих изделий и запасных частей, не имеющие лакокрасочного или металлического защитного покрытия, а также уплотнительные поверхности ответных фланцев и штуцеров крышек;

- внутренние поверхности трубного пространства теплообменных секций материальных исполнений Б1, Б2 и Б2.1, а для климатического исполнения Т1 теплообменные секции Б1, Б2, Б2.1, Б3.1 и Б4.1, если их консервация оговорена Заказчиком в контракте.

4.5.4. Консервации не подлежат:

- наружные поверхности оребренных труб секций и змеевиков подогревателя воздуха;

- поверхности деталей из нержавеющих сталей;

- детали из алюминия, резины и синтетических материалов;

- внутреннее пространство змеевиков подогревателя воздуха, увлажнителя воздуха, пневмоприводов жалюзи и механизма поворота лопастей вентилятора;

- отверстия под крепежные детали (кроме отверстий под отжимные болты в крышках), отверстия во втулочно-пальцевых муфтах и в других деталях, подшипниковые латунные втулки жалюзи;

- внутренние поверхности деталей, имеющие замкнутый (закрытый) профиль (лопасти вентиляторов, элементы металлоконструкций, детали из труб и др.);

- противолежащие поверхности фланцевых соединений крышек с решетками.

4.5.5. Консервация должна производиться с учетом условий хранения и транспортирования для группы изделий II по ГОСТ 9.014, соответствующих условиям 7 (Ж1) или 8 (ОЖЗ) по ГОСТ 15150 в зависимости от типа атмосферы, а для аппаратов климатического исполнения Т1-9 (ОЖ1).

4.5.6. Консервация запасных частей должна производиться с учетом условий хранения и транспортирования для группы изделий I по ГОСТ 9.014, соответствующим условиям 5 (ОЖ4) по ГОСТ 15150.

4.5.7. Методы консервации и применяемые для этого материалы должны обеспечивать возможность расконсервации без разборки сборочных единиц. Метод консервации определяет предприятие-изготовитель.

4.5.8. Консервация внутренних поверхностей трубного пространства секций должна производиться по одному из вариантов защиты по ГОСТ 9.014 для группы изделий II-4.

При герметизации внутреннего пространства, заполненного инертными газами, следует применять только металлические заглушки, пробки и т.п. с резиновыми или паронитовыми прокладками.

По требованию заказчика при герметизации аппарата может быть предусмотрено избыточное давление в аппарате до 0,02 МПа с устройством для его контроля.

4.5.9. Все отверстия, патрубки, штуцеры и фланцы секций и подвода воздуха к пневмоприводам жалюзи должны быть герметично заглушены для защиты от загрязнений и повреждений уплотнительных поверхностей, также должны быть заглушены торцы секторов и патрубков увлажнителя воздуха (при наличии его в аппарате).

4.5.10. Наружные поверхности сборок и деталей аппаратов должны быть окрашены. Окраске не подлежат:

- оребренные поверхности теплообменных труб теплообменных секций и подогревателей воздуха;

- поверхности, подвергаемые консервации;

- алюминиевые лопасти вентиляторов;

- детали из резины и пластмасс.

4.5.11. Допускается не подвергать металлическому или лакокрасочному покрытию, если не оговорено особо:

- поверхности трубных решеток;

- поверхности крышек со стороны продукта;

- противолежащие поверхности фланцевых соединений;

- внутренние поверхности деталей, имеющих замкнутый профиль (лопасти вентилятора, элементы металлоконструкций, детали из труб и др.).

4.5.12. Требования к лакокрасочным покрытиям в зависимости от климатического исполнения аппаратов - по ГОСТ 9.401.

Покрытия, подвергающиеся в процессе эксплуатации воздействию температур свыше 60°С или особых сред по ГОСТ 9.032, должны быть испытаны по ГОСТ 9.403 или документации, устанавливающей технические требования на принятый вид покрытия.

4.5.13. Обозначение условий эксплуатации изделий с покрытием в зависимости от климатического исполнения изделия и назначения покрытия - по ГОСТ 9.104 и ГОСТ 9.032.

4.5.14. Внешний вид покрытия и качество окрашиваемой поверхности должны соответствовать классу VI по ГОСТ 9.032. По согласованию с предприятием-изготовителем заказчик может заказать аппарат с покрытием класса V.

4.5.15. Подготовка поверхности под окраску должна производиться по инструкции предприятия-изготовителя, разработанной в соответствии с требованиями ГОСТ 9.402.

Окраска должна производиться по инструкции предприятия-изготовителя, утвержденной в установленном порядке.

4.5.16. Дренажные пробки теплообменных секций, стрелки на коллекторе вентилятора, ограждение вентиляторов и центрирующие тяги должны быть окрашены в красный цвет. Цвета окраски остальных сборочных единиц и деталей выбираются предприятием-изготовителем, предпочтительный цвет - серебристый.

4.5.17. Прилегающие поверхности деталей коллекторов и диффузоров, жалюзи и других сборочных единиц аппаратов в исполнении Т1, свариваемые контактной сваркой, должны быть до сварки покрыты слоем токопроводящей краски одного из следующих составов:

а) пентафталевый лак ПФ-170 или ПФ-171 по ГОСТ 15907 с добавлением 10 - 15 % алюминиевой пудры ПАП-1 или ПАП-2 по ГОСТ 5494;

б) лак ГФ-95 по ГОСТ 8018 с добавлением 15 - 20 % алюминиевой пудры ПАП-1 или ПАП-2 ГОСТ 5494;

в) эмаль 910 по [11].

Допускается применение грунтов ФЛ-03-К, ФЛ-ОЗ-Ж по ГОСТ 9109 с добавлением 10 - 20 % алюминиевой пудры по ГОСТ 5494 при сварке по сырому слою грунтовки или не позднее чем через 10 мин после нанесения.

4.5.18. Аппараты в климатическом исполнении У1 и УХЛ1, поставляемые в собранном виде, как правило, транспортируют без упаковки.

При поставке аппаратов максимально собранными сборочными единицами упаковка сборочных единиц аппаратов в ящики или решетчатую тару зависит от конкретного типа аппарата и требований настоящего стандарта и проводится по документации предприятия-изготовителя. Категория упаковки - КУ-1 по ГОСТ 23170.

Без упаковки поставляют:

- теплообменные секции аппаратов (или теплообменные секции в сборе с вентиляторными секциями);

- сборочные единицы металлической несущей конструкции, жалюзи и подогреватели воздуха, секторы увлажнителя, диффузора и коллектора вентилятора.

В упаковке поставляют:

- приводы вентиляторов (тихоходные электродвигатели, электродвигатели с редуктором или другим видом передачи) должны поставляться в упаковке предприятия-изготовителя соответственно двигателей и редукторов;

- сборочные единицы колеса вентилятора, механизма поворота лопастей вентилятора, механизм передачи жалюзийной решетки, отдельно поставляемые сборки к приводу (стяжки, ограждение вентилятора и др.), крепежные детали и запасные части. Допускается упаковывать колеса вентиляторов в металлическую решетчатую тару, изготовленную по конструкторской документации.

Деревянные ящики должны соответствовать типу III, V или VI ГОСТ 10198.

4.5.19. Аппараты в климатическом исполнении Т1 или транспортируемые морским путем должны быть упакованы:

- в специальную решетчатую тару при поставке в собранном виде;

- в деревянные ящики в соответствии с ГОСТ 24634 при поставке сборочными единицами. Допускается использовать деревянные ящики для упаковки аппарата в сборе.

Вариант внутренней упаковки для ящика - ВУ-2 по ГОСТ 9.014.

4.5.20. Сборочные единицы и детали аппаратов, упакованные в ящики или решетчатую тару, должны быть в них надежно закреплены для предотвращения перемещения.

4.5.21. Техническая и сопроводительная документация, прилагаемая к аппаратам, должна быть обернута в водонепроницаемую бумагу и вложена в пакет из полиэтиленовой пленки толщиной не менее 150 мкм. Швы пакета должны быть заварены или заклеены. Пакет должен быть завернут в водонепроницаемую бумагу и вложен в ящик места номер 1, а при отсутствии упаковки должен быть закреплен на аппарате. При этом на аппарате должна быть нанесена надпись о месте нахождении документации.

Техническую и сопроводительную документацию, второй экземпляр упаковочных листов допускается отправлять почтой. Отправка должна быть произведена в течение одного месяца после отгрузки изделия.

5. Требования безопасности

5.1. По конструктивному устройству и условиям эксплуатации аппараты должны соответствовать требованиям безопасности по ГОСТ 12.2.003, 12.2.007.0, [6], [13] и конструкторской документации.

5.2. Аппараты предназначены для установки на открытой площадке в пределах взрывоопасной зоны класса В-1г по классификации [12], если не оговорено особо.

5.3. В качестве рабочей среды в аппаратах применяют среды газовой, нефтяной, химической, нефтехимической, нефтеперерабатывающей и других отраслей промышленности.

Класс опасности рабочей среды - по ГОСТ 12.1.007.

5.4. Аппарат не является источником вредных выбросов, герметичен и не оказывает отрицательного воздействия на окружающую среду.

Класс герметичности определяют для конкретного аппарата в зависимости от применяемой рабочей среды, согласовывают с заказчиком (потребителем) и заносят в РЭ и раздел «Свидетельство о приемке» паспорта аппарата или теплообменной секции.

5.5. Комплектующее электрооборудование должно соответствовать требованиям безопасности по ГОСТ 12.2.007.0.

5.6. Исполнение электрооборудования по взрывозащите должно соответствовать ГОСТ 12.2.020 в зависимости от рабочей среды.

5.7. Для обеспечения электробезопасности должны быть выполнены следующие требования:

5.7.1. Аппараты должны иметь заземляющие зажимы и нанесенные знаки заземления, выполненные по ГОСТ 21130;

5.7.2. Электрическое сопротивление между заземляющими зажимами и каждой доступной прикосновению металлической нетоковедущей частью, которая может оказаться под напряжением, в соответствии с ГОСТ 12.2.007.0 не должно превышать 0,1 Ом.

5.8. Защита аппаратов от превышения давления должна быть обеспечена заказчиком.

5.9. Устройства для обеспечения сброса вредных или взрывоопасных сред должны быть предусмотрены заказчиком и размещены на трубопроводной обвязке аппарата.

5.10. Строповка аппаратов при проведении сборочных и погрузочно-разгрузочных работ должна производиться в соответствии с требованиями конструкторской документации.

5.11. Уровень звука на расстоянии 1 м от наружного контура аппарата на открытой площадке не должен превышать 92 дБА.

5.12. Требования к защите обслуживающего персонала от воздействия повышенного уровня шума приведены в разделе 9.

5.13. Размах виброперемещения, измеренный на раме привода и верхней плите стойки металлоконструкции в диапазоне частот от  до 250 Гц, не должен превышать 0,2 мм, где ПДВ - частота вращения электродвигателя, мин-1.

Примечание - При отсутствии технической возможности измерения виброперемещения допускается измерять виброскорость. Среднеквадратичное значение виброскорости не должно превышать значений, допускаемых ГОСТ ИСО 10816-1.

5.14. Виброотключатели для аварийной защиты аппарата должны устанавливаться по требованию заказчика.

6. Правила приемки

6.1. Служба технического контроля предприятия-изготовителя должна осуществлять систематический контроль качества выполнения работ, который заключается в организации и проведении в соответствии с ГОСТ 24297 входного контроля материалов и комплектующих изделий и операционного контроля в процессе изготовления деталей и сборочных единиц.

Результаты входного и операционного контроля должны регистрироваться на предприятии-изготовителе. Система хранения зарегистрированных результатов контроля должна устанавливаться предприятием-изготовителем и может быть использована при проведении испытаний готового аппарата.

6.2. Готовые аппараты (сборочные единицы, детали) должны быть приняты службой контроля предприятия-изготовителя в соответствии с требованиями настоящего стандарта и комплекта конструкторской документации и представлены на испытания в соответствии с требованиями ГОСТ 15.001, ГОСТ 15.005 и настоящего стандарта.

6.3. Виды и периодичность испытаний в зависимости от вида продукции приведены в таблице 3.

Таблица 3

Вид продукции

Вид испытаний

Периодичность проведения испытаний

1. Единичное изделие - аппарат, сборочная единица, поставляемая самостоятельно, или партия аппаратов или сборочных единиц

Приемо-сдаточные

Каждый изготовленный аппарат или самостоятельно поставляемая сборочная единица. Испытания проводят на предприятии-изготовителе

2. Аппарат (сборочная единица) мелкосерийного производства

Сертификационные

Один образец, отобранный по усмотрению испытательной лаборатории из числа прошедших приемо-сдаточные испытания аппаратов или сборочных единиц

3. Опытный образец (партия)

Приемо-сдаточные

Каждый аппарат

Приемочные

Каждый аппарат или представитель партии, прошедший приемосдаточные испытания

4. Аппарат (сборочные единицы) серийного производства

Приемо-сдаточные

Каждый изготовленный аппарат или самостоятельно поставляемая сборочная единица. Испытания проводят на предприятии-изготовителе

Периодические

Один аппарат в год из числа прошедших приемо-сдаточные испытания. Испытания проводят на заводе-изготовителе

Типовые испытания

В случае внесения в конструкцию аппарата или технологию его изготовления изменений, которые могут влиять на его характеристики или взаимозаменяемость сборочных единиц. Испытания проводят на предприятии-изготовителе на аппарате, прошедшем приемо-сдаточные испытания

Сертификационные

Один образец, отобранный по усмотрению испытательной лаборатории из числа прошедших приемо-сдаточные испытания аппаратов или сборочных единиц

Примечания

1. По требованию заказчика, оговоренному при заказе единичного аппарата или партии, могут быть проведены приемочные испытания единичного аппарата или головного образца партии в объеме, согласованном между разработчиком рабочей документации и заказчиком.

2. Аппараты, изготовление которых возобновлено после перерыва, превысившего по продолжительности срок проведения периодических испытаний, подвергают периодическим испытаниям перед началом серийного выпуска.

3. Необходимость и порядок проведения сертификационных испытаний определяется директивными и нормативными документами по сертификации продукции.

6.4. Приемочные испытания опытного образца аппарата проводят с целью определения действительных показателей, подготовки рекомендаций по доработке аппарата и, при необходимости, по выводу его на проектную мощность (в случае, если аппарат по объективным причинам не может быть выведен на проектную мощность в процессе приемочных испытаний). Испытания проводят на предприятии-изготовителе в объеме, установленном техническим заданием. По параметрам, для проверки которых на предприятии-изготовителе отсутствует техническая возможность, испытания проводят на месте эксплуатации.

При проведении приемочных испытаний на месте эксплуатации на взрывопожароопасных производствах необходимо иметь разрешение органа ГГТН РФ на проведение испытаний.

6.5. Объем испытаний аппаратов приведен в таблице 4.

Таблица 4

Объем испытаний аппаратов

Наименование сборочной единицы

Наименование показателя или испытания

Наличие проверки при испытаниях

приемо-сдаточных

периодических

приемочных

сертификационных**

1. Секция теплообменная

Площадь поверхности теплообмена

- (+*)

+

-

-

Качество контакта оребрения с несущей трубой

+

-

-

-

Гидравлические испытания теплообменной секции в сборе на прочность и герметичность

+

-

- (+**)

+

Гидравлические испытания литых крышек

+

-

-

+

Гидравлические испытания литых ответных фланцев

+

-

-

+

Контроль прогиба труб

- (+*)

+

-

-

2. Подогреватель воздуха

Гидравлические испытания на прочность и герметичность

+

-

- (+**)

+

3. Вентилятор

Дисбаланс колеса вентилятора

+

-

-

-

Испытание колеса вентилятора на прочность при частоте вращения, превышающей номинальную на 20 %

+

-

-

+

Работоспособность вентилятора на аппаратах, поставляемых в собранном виде

+

-

-

-

Работоспособность механизма поворота лопастей

+

-

-

-

Проверка аэродинамической характеристики вентилятора

- (+*)

-

-

-

4. Жалюзи

Работоспособность жалюзи

+

-

- (+**)

-

Работоспособность пневмопривода жалюзи

+

-

- (+**)

-

5. Аппарат в целом

Комплектность и маркировка

+

-

- (+**)

-

Масса

- (+*)

+

-

-

Аэродинамические характеристики аппарата

-

+

+

-

Контрольная сборка аппарата

- (+*)

+

+

-

Взрывобезопасность

+

-

-

+

Электробезопасность:

 

 

 

 

по 5.7.1

+

-

-

+

по 5.7.2

-

+

+

+

Уровень звука

-

+

+

+

Вибрация

-

+

+

+

Показатели надежности

-

+

-

-

* Для аппаратов единичного производства и опытного образца.

** При проведении испытаний на месте эксплуатации.

*** Объем сертификационных испытаний может быть расширен по требованию изготовителя или поставщика.

Объем типовых испытаний определяется изготовителем в зависимости от изменений, внесенных в конструкцию или технологию изготовления аппарата.

6.6. Если по результатам испытаний аппарат не соответствует требованиям раздела 4, аппарат (сборочные единицы, детали аппарата) должен быть возвращен в производство для устранения несоответствий и дефектов.

При повторном обнаружении одного и того же несоответствия служба технического контроля предприятия-изготовителя должна принять и внести в протокол испытаний решение о забраковании аппарата (его сборочных единиц и деталей) или о возможности его использования.

6.7. Требования раздела 4, не контролируемые в процессе приемо-сдаточных испытаний, проверяют в процессе изготовления аппаратов по технологии предприятия-изготовителя.

6.8. Средства измерения и оборудование для проведения контроля продукции выбирает предприятие-изготовитель с учетом требований раздела 7.

7. Методы контроля

7.1. Входной и операционный контроль проводят по инструкции и технической документации предприятия-изготовителя. Количество контролируемых образцов и порядок их отбора определяет предприятие-изготовитель.

7.2. Площадь поверхности теплообмена F, м2, контролируют косвенным методом по формуле:

,

(1)

где D - измеренный наружный диаметр оребренной трубы, м;

Н - измеренная высота ребра, м;

Sp - измеренная толщина ребра при вершине, м;

S0 - измеренное расстояние между ребрами, м;

L - измеренная длина оребренной части трубы, м-1;

т - действительное линейное число ребер, шт.;

п - действительное число труб в аппарате без учета заглушённых, шт.

Параметры оребренной трубы измеряют на трех трубах аппарата на расстоянии не менее 1 м от концов труб.

В формулу следует подставлять средние арифметические значения результатов трех измерений каждого параметра.

Геометрические величины D, H, SР, S0 следует измерять штангенциркулями ШЦ-1-125-0,1 и ШЦ-1-250-0,05 по ГОСТ 166, L - измерительной рулеткой с верхним пределом измерений до 10 м (20 м) и ценой деления 1 мм по ГОСТ 7502.

Для серийных аппаратов, за исключением представленных к периодическим испытаниям, и повторяющихся партий аппаратов мелкосерийного производства допускается измерять площадь оребренной поверхности шаблонами при операционном контроле качества оребренных труб по инструкции предприятия-изготовителя, согласованной со специализированной технологической организацией. В этом случае в паспорт аппарата заносится значение номинальной площади поверхности в соответствии с конструкторской документацией без учета площади поверхности заглушенных труб.

Для аппаратов с гладкими трубами и трубами с нестандартным оребрением контроль площади поверхности теплообмена следует производить по конструкторской документации.

7.3. Качество контакта оребрения с несущей трубой определяют при операционном контроле путем теплотехнических испытаний на стенде «экспресс-контроля» по методике предприятия-изготовителя, согласованной со специализированной организацией.

Дополнительно к теплотехническому контролю допускается проверять оребренные трубы на усилие выпрессовки, как поверочный контроль. Усилие плавной выпрессовки образца трубы длиной 100 мм, изготовленной методом накатки, не менее 9,8·103 Н в начале выпрессовки. Усилие удаления сектора ребра на образце трубы, изготовленном методом навивки алюминиевой ленты, должно приниматься в соответствии с паспортными данными оборудования.

Объем контроля:

- для труб каждого стана для оребрения труб два раза в месяц, но не реже, чем после прокатки 30000 метров труб каждым станом;

- при переналадке стана на производство труб с другими параметрами оребрения.

7.4. Гидравлические испытания теплообменных секций - по [4], а в части испытания литых деталей - в соответствии с [6].

По требованию заказчика, оговоренному в контракте, после удаления воды трубное пространство теплообменной секции может быть просушено воздухом температурой на входе в аппарат от 170 до 200°С. Продолжительность сушки должна обеспечить выход воздуха в течение 15 мин температурой не ниже 115°С, после чего секция должна быть загерметизирована. Проведение сушки должно быть оформлено актом.

7.5. Испытания на герметичность - по [3]. При совмещении их с гидроиспытаниями давление гидроиспытания для класса герметичности 4 должно быть не менее 2,0 МПа.

7.6. Прогиб труб в рабочем положении контролируют по инструкции предприятия-изготовителя после проведения гидроиспытаний теплообменной секции.

7.7. Гидравлическое испытание подогревателя воздуха на прочность и плотность проводят по [4] пробным давлением 2,0 МПа, если не оговорено особо.

7.8. Операционный контроль допускаемого дисбаланса колеса вентилятора должен проводиться при статической балансировке колеса по инструкции предприятия-изготовителя.

7.9. Испытание колес вентиляторов на прочность проводят при повышенной (на 20 % номинальной) частоте вращения в течение 15 мин по инструкции предприятия-изготовителя.

Испытание колеса вентилятора на прочность при повышенной частоте вращения проводят один раз в месяц на одном колесе каждого диаметра, а также каждый раз, когда в конструкцию колеса вентилятора или в технологию его изготовления вносятся изменения, которые могут повлиять на его прочность.

7.10. Работоспособность вентиляторов на аппаратах, поставляемых в собранном виде, проверяют включением их в работу на 5 мин.

7.11. Испытание механизмов поворота лопастей вентиляторов должно проводиться по технологии предприятия-изготовителя вручную и с помощью пневмопривода после проверки герметичности пневмопривода.

7.12. Предварительное испытание жалюзи на работоспособность проводится вручную отдельно для каждой секции жалюзи.

Лопатки должны свободно, без заедания поворачиваться в подшипниках. Зазор между соседними лопатками в закрытом положении определяется с помощью концевых плоскопараллельных мер длины по ГОСТ 9038.

7.13. Испытание пневмопривода жалюзи на герметичность и работоспособность должно проводиться по технологии предприятия-изготовителя.

Испытание привода с электрическим исполнительным механизмом должно проводиться включением механизма в сеть.

7.14. Окончательное испытание работоспособности жалюзи проводится на собранном жалюзийном устройстве включением привода или поворотом ручного рычага управления при поставке жалюзийного устройства с ручным регулированием.

7.15. Проверку комплектности и маркировки аппарата на соответствие требованиям нормативно-технической и конструкторской документации проводят визуально.

7.16. Массу аппарата проверяют взвешиванием отдельных сборочных единиц и деталей аппарата на весах для статического взвешивания обычного класса точности с наибольшим пределом взвешивания, выбранным из ряда по ГОСТ 29329, с последующим суммированием их масс.

При наличии технической возможности аппарат, поставляемый в собранном виде, может быть взвешен в сборе на весах с наибольшим пределом взвешивания, выбранным из ряда по ГОСТ 29329.

7.17. Аэродинамическую характеристику аппарата проверяют по инструкции предприятия-изготовителя, согласованной со специализированной организацией.

7.18. Контрольная сборка аппарата должна проводиться по технологии предприятия-изготовителя в соответствии с монтажными и сборочными чертежами аппарата.

Аппарат должен быть собран без подгоночных работ.

7.19. Проверку соответствия требованиям взрывобезопасности проводят визуально:

- сличением обозначения уровня и вида взрывозащиты, группы электрооборудования и температурного класса по ГОСТ 12.2.020 на маркировке электродвигателя с требованиями к взрывозащите электродвигателя в технической документации на аппарат;

- сопоставлением указанного в технической документации комплектующих изделий исполнения по взрывозащите с требованиями технической документации на аппарат.

7.20. Проверку соответствия требованиям электробезопасности проводят:

- визуальным контролем наличия заземляющих зажимов и соответствия их конструкции и знаков заземления требованиям ГОСТ 21130;

- измерением электрического сопротивления между заземляющими зажимами и каждой доступной прикосновению металлической нетоковедущей частью, которая может оказаться под напряжением.

Электрическое сопротивление рекомендуется измерять микроомметром Ф415 с пределами измерений 0 - 1,0 Ом, класса точности 2,5.

7.21. Уровень звука проверяется шумомером класса точности 2. Методика измерений - по ГОСТ 12.1.028.

7.22. Проверку показателей вибрации следует производить виброизмерительным прибором, имеющим шкалу виброперемещения, по инструкции предприятия-изготовителя с учетом требований ГОСТ ИСО 2954.

7.23. Показатели надежности подтверждаются в процессе промышленной эксплуатации за период не менее одного года после окончания пуска и освоения производства. Подтверждение показателей надежности оформляются в виде акта обследования. Результаты обследования могут быть учтены при проектировании аналогичных аппаратов.

7.24. Допускается применять другие средства измерения, не указанные в настоящем разделе, но обеспечивающие заданную точность измерения и допущенные к применению.

8. Транспортирование и хранение

8.1. Аппараты транспортируют всеми видами транспорта в соответствии с правилами перевозок, действующими на соответствующем виде транспорта.

8.2. Условия транспортирования:

в части воздействия климатических факторов - 7, 8 по ГОСТ 15150 (открытый подвижной состав) или 9 для климатического исполнения Т1;

в части механических факторов - С по ГОСТ 23170 (не более 4 перегрузок) или - Ж (неограниченное число перегрузок).

8.3. Способы погрузки, разгрузки, а также способы транспортирования и условия хранения аппаратов у потребителя должны обеспечивать сохранность изделия от механических повреждений.

Крепление аппаратов следует производить по документации предприятия-изготовителя.

8.4. Аппараты воздушного охлаждения и не упакованные в ящики сборочные единицы аппаратов до их монтажа могут храниться на открытом воздухе, если не оговорено особо, при этом под сборочные единицы должны быть подложены брусья или шпалы. Сверху укладки из теплообменных секций должны быть защищены от загрязнений и атмосферных осадков.

Детали и сборки, упакованные в ящики, а также привод вентилятора, поставляемый отдельно от аппарата, должны храниться только под навесом или в закрытом помещении (условия хранения 5 по ГОСТ 15150).

8.5. При транспортировании лопатки жалюзи должны быть установлены в положение «Закрыто» и предохранены от самопроизвольного открывания.

8.6. Во время транспортирования допускается устанавливать до четырех теплообменных секций друг на друга по документации предприятия-изготовителя.

8.7. При транспортировании и хранении все штуцеры секций и штуцеры подвода воздуха к пневмоприводам жалюзи должны быть заглушены, также должны быть заглушены торцы секторов и патрубков увлажнителя воздуха (при наличии его в аппарате) в соответствии с требованием 4.5.9.

9. Указания по эксплуатации

9.1. Аппараты воздушного охлаждения, подпадающие по своим рабочим параметрам под действие [6], должны быть до ввода в эксплуатацию зарегистрированы в местном органе Госгортехнадзора России в соответствии с требованиями [6].

9.2. Аппарат должен эксплуатироваться в соответствии с утвержденным технологическим регламентом и РЭ, выполненным разработчиком рабочей документации по ГОСТ 2.601, при рабочих параметрах, не превышающих указанные в паспорте аппарата.

Сборка и монтаж аппаратов на месте эксплуатации не входят в стоимость аппарата, а также в объем работ предприятия-изготовителя и производятся силами потребителя.

9.3. При пуске и остановке аппарата в зимнее время необходимо руководствоваться «Регламентом проведения в зимнее время пуска, остановки и испытаний на герметичность аппаратов воздушного охлаждения», составленным в соответствии с приложением 17 [4], который должен быть приложен к паспорту аппарата.

9.4. Перед пуском в эксплуатацию, а также после каждого ремонта или остановки аппарата со сбросом давления необходимо произвести подтяжку гаек крепления крышек к трубным решеткам (для аппаратов с разъемными камерами) согласно указаниям РЭ.

9.5. Перед пуском аппарата необходимо проверить надежность заземления аппарата и электродвигателя, надежность крепления лопастей вентилятора, стяжек коллектора, крепление поворотного сектора коллектора вентилятора, уровень масла в редукторе, ограждения вентилятора, муфты редукторного привода (при наличии его в аппарате) или клиноременной передачи (при наличии ее в аппарате). В зимнее время лопасти вентилятора должны быть очищены от наледи.

9.6. Перед пуском аппарата должна быть проведена динамическая балансировка вентилятора в сборе с электродвигателем.

После ремонта колеса или замены его сборочных единиц потребителем должна быть произведена статическая балансировка колес вентиляторов с достижением 3-го класса точности балансировки по ГОСТ 22061 с последующей динамической балансировкой колеса в сборе с электродвигателем.

9.7. Должны быть соблюдены все правила безопасности, установленные для отдельных видов работ, а также общие правила безопасности и противопожарные требования, действующие на предприятии, эксплуатирующем аппарат.

9.8. При монтаже отдельных сборок и деталей аппарата должны быть соблюдены все правила проведения такелажных работ.

Строповку аппаратов следует проводить по документации предприятия-изготовителя.

9.9. Аппараты предназначены для работы с дистанционным управлением. Постоянные рабочие места в зоне повышенного шума (свыше 80 дБА) не допускаются. Зона обслуживания аппарата должна быть обозначена знаками безопасности по ГОСТ 12.4.026.

Суммарную длительность пребывания обслуживающего персонала и средства индивидуальной защиты работающих в зоне повышенного (свыше 80 дБА) шума определяет предприятие, эксплуатирующее аппарат, в соответствии с требованиями ГОСТ 12.1.003.

9.10. При регулировке угла поворота лопастей вентилятора вручную, проведении монтажных, ремонтных, а также других работ, при выполнении которых вентилятор аппарата должен быть остановлен, привод вентилятора должен быть отключен от сети, и должны быть приняты меры против случайного включения электродвигателя.

9.11. При монтаже, эксплуатации и ремонте не допускается применять электрические инструменты и переносные лампы напряжением более 36 В.

9.12. Все электрические провода должны быть проложены в стальных трубах или металлорукавах.

9.13. При остановке аппарата в зимнее время должны быть приняты меры для предотвращения замерзания жидких продуктов в трубном пространстве теплообменных секций и змеевика подогревателя воздуха.

При остановке на длительное время аппаратов, в которых может присутствовать влага, в частности, после проведения гидроиспытаний, аппараты должны быть осушены в соответствии с 7.4.

10. Указания по проектированию

10.1. При проектировании установок с применением аппаратов воздушного охлаждения следует учитывать:

- возможность работы аппаратов в непрерывном и циклическом режимах;

- необходимость дистанционного управления, так как постоянные рабочие места в зоне повышенного шума (свыше 80 дБА) не допускаются.

10.2. При применении аппаратов в установках взрывопожароопасных производств должны быть учтены требования правил [6] и [13].

10.3. Выбор рекомендуемых в таблице В.1 конструкционных материалов для изготовления теплообменных секций с учетом конкретных условий эксплуатации и применяемой среды производит заказчик. При необходимости выбор материалов может быть согласован со специализированной организацией. При отсутствии особых требований аппарат поставляют в соответствии с требованиями 4.1.4 для некоррозионных сред.

10.4. Показатели надежности, приведенные в 4.1.4 настоящего стандарта, регламентируют работу аппаратов для некоррозионных сред. При заказе аппаратов для охлаждения коррозионных сред требования к показателям надежности должны быть согласованы заказчиком с разработчиком аппарата или предприятием-изготовителем. При отсутствии особых требований аппарат поставляют в соответствии с требованиями 4.1.4 для некоррозионных сред.

10.5. При проектировании привязки секций аппаратов (для аппаратов с разъемными камерами) к технологическим трубопроводам следует предусмотреть возможность перемещения крышек секций по шпилькам трубных решеток на расстояние до 130 мм.

10.6. При проектировании монтажной обвязки аппаратов воздушного охлаждения следует обеспечить минимальные нагрузки и крутящие моменты, воздействующие на штуцеры аппарата.

10.7. При проектировании обслуживающих площадок должно быть предусмотрено ограждение поверхностей аппарата, имеющих температуру выше 60°С и доступных прикосновению обслуживающего персонала, крупноячеистой сеткой или экраном.

10.8. При применении аппаратов с увлажнителем воздуха должна быть предусмотрена химическая подготовка воды или использование конденсата. Максимальное давление воды в системе 0,6 МПа.

11. Гарантии изготовителя

11.1. Предприятие-изготовитель должно гарантировать соответствие аппарата требованиям настоящего стандарта и нормативной документации на аппарат конкретного типа при соблюдении заказчиком условий транспортирования, хранения, монтажа и эксплуатации.

При этом выполнение дополнительных требований или требований, предусматривающих вариант исполнения, должно гарантироваться в соответствии с контрактом.

11.2. Предприятие-изготовитель должен гарантировать работу аппарата при параметрах, указанных в контракте или техническом задании.

11.3. Гарантийный срок эксплуатации - не менее 18 месяцев со дня ввода сосуда в эксплуатацию, но не более 24 месяцев после отгрузки с предприятия-изготовителя, то же и на запасные части.

Гарантийный срок эксплуатации на комплектующие изделия - в соответствии с сопроводительной документацией поставщиков.

ПРИЛОЖЕНИЕ А
(справочное)
МЕЖДУНАРОДНЫЙ СТАНДАРТ ИСО 6758-80

Трубы стальные сварные для теплообменников (ИСО 6758-80)

1. Область применения

1.1. Настоящий международный стандарт устанавливает характеристики сварных труб с гладким концом, изготовленных из углеродистой или легированной стали (включая аустенитную нержавеющую сталь), которые предназначены для использования в теплообменниках.

1.2. Настоящий стандарт не распространяется на стальные трубы, используемые в условиях действия на них открытого пламени.

2. Ссылки

ИСО 2604-3-75 Стальные изделия, используемые в условиях повышенного давления. Требования к качеству. Часть 3. Трубы, сваренные с помощью контактной и индукционной сварки

ИСО 2604-5-78 Стальные изделия, используемые в условиях повышенного давления. Требования к качеству. Часть 5. Трубы, из аустенитной нержавеющей стали, сваренные продольно

3. Материал

Трубы должны соответствовать требованиям стандарта ИСО 2604/3 или ИСО 2604-5. Они должны относиться к категории испытаний III или V для стандарта ИСО 2604/3 и к категории испытаний II или IV для стандарта ИСО 2604-5, однако гидравлическое испытание по выбору изготовителя может быть заменено испытанием без разрушения образца, обеспечивающим такое же качество (водонепроницаемость).

Предпочтительно использовать следующие марки стали:

углеродистая - TW2, TW5, TW9H, TW10;

легированная - TW26, TW32;

аустенитная нержавеющая - TW46, TW47, TW53, TW57, TW58, TW60, TW61.

По соглашению между изготовителем и заказчиком могут поставляться другие марки стали согласно ISO 2604, часть 3 или 5.

4. Размеры, масса и допуски

4.1. Размеры и масса

Таблица 1

Углеродистая и легированная сталь

Наружный диаметр, мм

Масса на единицу длины, кг/м, при толщине, мм

1,2

1,6

2,0

2,6

3,2

16

0,438

0,568

0,691

-

-

20

-

0,726

0,888

1,12

-

25

-

0,923

1,13

1,44

1,72

30

-

1,12

1,38

1,76

2,11

38

-

-

1,78

2,27

2,75

Примечание к таблицам 1 и 2 - См. также дополнение к настоящему стандарту.

Таблица 2

Аустенитная нержавеющая сталь

Наружный диаметр, мм

Масса на единицу длины, кг/м при толщине, мм

1,2

1,6

2,0

2,6

3,2

16

0,445

0,577

0,701

-

-

20

0,564

0,737

0,901

1,14

-

25

-

0,937

1,15

1,46

1,75

30

-

1,14

1,40

1,79

2,14

38

-

1,46

1,81

2,30

2,79

4.2. Допуски

Трубы должны иметь допуски, указанные в 4.2.1 - 4.2.3. В допуски по наружному диаметру входит овальность, а в допуски по толщине - эксцентричность.

4.2.1. Наружный диаметр

4.2.1.1. Трубы из углеродистой и легированной стали

Диаметр, мм

Допуск, мм

До 20 включ.

±0,10

От 20 до 38 »

±0,15

4.2.1.2. Трубы из аустенитной нержавеющей стали

Класс I

Диаметр, мм

Допуск, мм

До 20 включ.

±0,15

От 20 до 38 »

±0,20

Класс II

Диаметр, мм

Допуск, мм

До 20 включ.

±0,3

От 30 до 38 »

±0,4

4.2.2. Толщина

Допуски по толщине должны составлять ±10 % (не менее ±0,2 мм), за исключением тех случаев, когда трубы поставляются минимальной толщины в соответствии с соглашением; при этом допуски составляют:  %.

Наплыв шва снаружи должен быть полностью удален так, чтобы поверхность шва сравнялась с поверхностью трубы, а внутренний наплыв должен быть удален так, чтобы его высота не превышала:

0,25 мм для труб наружным диаметром < 20 мм;

0,15 мм для труб наружным диаметром ≤ 20 мм.

Примечание - Для толщины и массы трубы на единицу длины в таблицах 1 и 2 даны номинальные значения. При указании минимального допуска на толщину трубы необходимо увеличить массу на 10 %.

4.2.3. Длина

Если длина указана как «точная», то допуски по длине должны быть следующими:

Длина, мм

Допуск, мм

До 6000 включ.

+3,0

 

0

От 6000 до 9000

+4,5

 

0

» 9000 » 12000 »

+6,0

 

0

» 12000 - 15000 »

+7,5

 

0

» 15000 - 18000 »

+9,0

 

0

5. Обозначение для заявки

5.1. Трубы, указанные в настоящем международном стандарте, обозначают следующим образом:

а) название «труба»;

б) ссылка на данный международный стандарт;

в) размеры в миллиметрах (наружный диаметр и толщина);

г) марка стали.

Пример:

Труба, соответствующая ИСО 6758, наружным диаметром 20 мм и толщиной 2 мм, изготовленная из стали марки TW5, должна иметь обозначение:

Труба ИСО 6758-20×2-TW5

5.2. Настоящий международный стандарт допускает выбор вариантов. Заказчик должен указать в заявке приведенные здесь сведения, в противном случае поставку осуществляют по выбору изготовителя.

ДОПОЛНЕНИЕ

Размеры в метрической системе, соответствующие размерам в дюймах

Значения, представленные в приведенной ниже таблице, могут понадобиться при замене труб в существующих теплообменниках для соблюдения критического зазора между трубами и трубной решеткой, особенно если последний первоначально был определен в дюймах.

Эти зазоры взаимозаменяемы с соответствующими зазорами, выраженными в дюймах. Условия поставки (в частности, допуски по толщине) должны быть оговорены между изготовителем и заказчиком.

Наружный диаметр, мм

Толщина, мм

0,89

1,25

1,65

2,11

2,77

3,41

15,9

х1

х

х

х

 

 

19,06

х1

х1

х

х

х

 

25,4

 

х1

х

х

х

х

31,8

 

 

х

х

х

х

38,1

 

 

х

х

х

х

50,8

 

 

 

х

х

х

1 Только для труб из нержавеющей стали.

Примечание - Масса должна быть вычислена в соответствии с ИСО 4200.

ПРИЛОЖЕНИЕ Б
(справочное)
международный стандарт ИСО 6759-80

Трубы стальные бесшовные для теплообменников (ИСО 6759-80)

1. Область применения

1.1. Настоящий международный стандарт устанавливает характеристики бесшовных труб с гладким концом, изготовленным из углеродистой или легированной стали (включая нержавеющую сталь), которые предназначены для использования в теплообменниках.

1.2. Настоящий стандарт не распространяется на стальные трубы, используемые в условиях действия на них открытого пламени.

2. Ссылка

ИСО 2604/2 Стальные изделия, используемые в условиях повышенного давления. Требования к качеству. Часть 2. Кованые бесшовные трубы

3. Материал

Трубы должны соответствовать требованиям стандарта ИСО 2604/2 и, кроме того, должны пройти холодную отделку и термическую обработку. Они относятся к категории испытаний III или V, однако гидравлическое испытание по выбору изготовителя может быть заменено испытанием без разрушения образца, обеспечивающим такое же качество (водонепроницаемость).

Предпочтительно использовать следующие марки стали:

углеродистую - TS2, TS5, TS9H, TS10;

легированную - TS26, TS32, TS34, TS37, TS43, TS45;

ферритную нержавеющую - TS39;

аустенитную нержавеющую - TS46, TS47, TS48, TS53, TS54, TS57, TS58, TS60, TS61, TS63.

По соглашению между изготовителем и заказчиком могут поставляться другие марки стали согласно ИСО 2604, часть 2.

4. Размеры, масса и допуски

4.1. Размеры и масса

Таблица 1

Углеродистая и легированная сталь

Наружный диаметр, мм

Масса на единицу длины, кг/м, при толщине, мм

1,2

1,6

2,0

2,6

3,2

16

0,438

0,568

0,691

-

-

20

-

0,726

0,888

1,12

-

25

-

0,923

1,13

1,44

1,72

30

-

1,12

1,38

1,76

2,11

38

-

-

1,78

2,27

2,75

Примечание к таблицам 1-3 - см. также дополнение к настоящему стандарту

Таблица 2

Аустенитная нержавеющая сталь

Наружный диаметр, мм

Масса на единицу длины, кг/м, при толщине, мм

1,2

1,6

2,0

2,6

3,2

16

0,445

0,577

0,701

-

-

20

0,564

0,737

0,901

1,14

-

25

-

0,937

1,15

1,46

1,7

30

-

1,14

1,40

1,79

2,1

38

-

1,46

1,81

2,30

2,9

Таблица 3

Ферритная нержавеющая сталь

Наружный диаметр, мм

Масса на единицу длины, кг/м, при толщине, мм

1,2

1,6

2,0

2,6

3,2

16

0,431

0,559

0,681

-

-

20

0,548

0,715

0,875

1,10

-

25

-

0,909

1,11

1,42

1,69

30

-

1,10

1,36

1,73

2,08

38

-

1,42

1,75

2,24

2,71

4.2. Допуски

Трубы должны иметь допуски, указанные в 4.2.1 - 4.2.3. В допуски по наружному диаметру входит овальность, а в допуски по толщине - эксцентричность.

4.2.1. Наружный диаметр

4.2.1.1. Трубы из углеродистой и легированной стали

Диаметр, мм

Допуск, мм

До 20 включ.

±0,10

От 20 до 38 »

±0,15

4.2.1.2 Трубы из нержавеющей стали

Класс I

Диаметр, мм

Допуск, мм

До 20 включ.

±0,15

От 20 до 38 »

±0,20

Класс II

Диаметр, мм

Допуск, мм

До 20 включ.

±0,3

От 20 до 38 »

±0,4

4.2.2. Толщина

Допуски по толщине должны составлять ±10 % (не менее ±0,2 мм), за исключением тех случаев, когда трубы поставляются минимальной толщиной в соответствии с соглашением; при этом допуски составляют:  %.

Примечание - Для толщины и массы на единицу длины в таблицах 1, 2 и 3 даны номинальные значения. При указании минимального допуска на толщину необходимо увеличить массу на 10 %.

4.2.3. Длина

Если длина указывается как точная, то допуски по длине должны быть следующими:

Длина, мм

Допуск, мм

До 6000 включ.

+3,0

 

0

От 6000 до 9000 »

+4,5

 

0

» 9000 » 12000 »

+6,0

 

0

» 12000 » 15000 »

+7,5

 

0

» 15000 » 18000 »

+9,0

 

0

5. Обозначение для заявки

5.1. Трубы, указанные в данном международном стандарте, обозначаются следующим образом:

а) название «труба»;

б) ссылка на настоящий международный стандарт;

в) размеры в миллиметрах (наружный диаметр и толщина);

г) марка стали.

Пример:

Труба, соответствующая ИСО 6759, наружным диаметром 20 мм и толщиной 2 мм, изготовленная из стали марки TS5, должна иметь обозначение:

Труба ИСО 6759-20×2-TS5

5.2. Настоящий международный стандарт допускает выбор вариантов. Заказчик должен указать в заявке приведенные здесь сведения, в противном случае продукт поставляется по выбору изготовителя.

 


ПРИЛОЖЕНИЕ В
(обязательное)
Перечень материалов для изготовления основных деталей и сборочных единиц

Таблица В.1

Перечень материалов для изготовления основных деталей и сборочных единиц аппарата, работающих под давлением, для климатического исполнения УХЛ1

Условное обозначение исполнения секций при заказе

Марка стали, обозначение ГОСТ или ТУ

Внутренняя труба

Разъемная камера

Цельносварная камера

Трубчатая камера

Трубная решетка

Крышка

Камера

Штуцер, фланец

Пробка

Коллектор, штуцер

Днище (крышка)

Фланец

Б1

Сталь 10, 20, 10Г2 по ГОСТ 550, ГОСТ 8731, ГОСТ 8733, сталь 20 по [14]

Сталь 09Г2С, 10Г2С1, категории 6, 7, 8, 12, 17 по ГОСТ 5520 и категории 4 по ГОСТ 19281 в зависимости от температуры стенки. Сталь 09Г2С-ш и 09Г2СА по [15]

Сталь 20Л, 25Л группа 3 по ГОСТ 977 Сталь 20ГМЛ* по [16] 20ЮЧЛ* по [17]

Сталь 09Г2С, 10Г2С1 категории 6, 7, 8, 12, 17 по ГОСТ 5520 и категории 4 по ГОСТ 19281 в зависимости от температуры стенки. Сталь 09Г2С-ш и 09Г2СА по [15]

Сталь 10Г2 по ГОСТ 4543

Сталь 09Г2С категории 4, 7, 12 по ГОСТ 19281 в зависимости от температуры стенки Сталь 10Г2 по ГОСТ 4543

Сталь 10Г2 по ГОСТ 8731, ГОСТ 8733

Сталь 10Г2 по ГОСТ 4543

Сталь 10Г2 по ГОСТ 4543

Б2.1

Сталь 15Х5М, Х8 по ГОСТ 550

-

-

-

-

-

-

Б2

Сталь 15Х5М по ГОСТ 7350, [18]

Сталь 20Х5МЛ по ГОСТ 977 или 20Х5ТЛ по [17]

Сталь 15Х5М по ГОСТ 7350, [18]

Сталь 15Х5М по ГОСТ 20072

Сталь 15Х5М по ГОСТ 20072

Сталь 15Х5М по ГОСТ 550

Сталь 15Х5М по ГОСТ 20072

Сталь 15Х5М по ГОСТ 20072

Б3

Сталь 12Х18Н10Т, 08Х18Н10Т, 08Х22Н6Т по ГОСТ 9941

Сталь 12Х18Н10Т, 08Х22Н6Т по ГОСТ 7350

Сталь 12Х18Н9ТЛ, группа 3 по ГОСТ 977

Сталь 12Х18Н10Т, 08Х22Н6Т по ГОСТ 7350

Сталь 12Х18Н10Т, 08Х22Н10Т, 08Х22Н6Т по ГОСТ 5632

Сталь 12Х18Н10Т, 08Х18Н10Т, 08Х22Н6Т по ГОСТ 5632

Сталь 12Х18Ш0Т, 08Х18ШОТ, 08Х22Н6Т по ГОСТ 9940, ГОСТ 9941

Сталь 12Х18Н10Т, 08Х18Н10Т, 08Х22Н6Т по ГОСТ 5632

Сталь 12Х18Ш0Т, 08Х18Н10Т, 08Х22Н6Т по ГОСТ 5632

Б3.1

Сталь 08Х22Н6Т по ГОСТ 9941

Сталь 08Х22Н6Т по ГОСТ 7350

Сталь 20ГМЛ*** по [16], сталь 20ЮЧЛ***, по [17]

-

-

-

-

-

-

Б4

Сталь 10Х17Х13М2Т по ГОСТ 9941

Сталь 12Х18Н10Т, 08Х22Н6Т по ГОСТ 7350

Сталь 12Х18Н9ТЛ, группа 3 по ГОСТ 977

Сталь 10Х17Х13М2Т, 12Х18Н10Т, 08Х22Н6Т по ГОСТ 7350

Сталь 10Х17Х13М2Т, 12Х18Н10Т, 08Х22Н6Т по ГОСТ 5632

Сталь 10Х17Х13М2Т, 12Х18Н10Т, 08Х22Н6Т по ГОСТ 7350

Сталь 10Х17Х13М2Т, 12Х18Н10Т, 08Х22Н6Т по ГОСТ 9940, ГОСТ 9941

Сталь 10Х17Х13М2Т, 12Х18Ш0Т, 08Х22Н6Т по ГОСТ 5632

Сталь 10Х17Х13М2Т, 12Х18Ш0Т, 08Х22Н6Т по ГОСТ 5632

Сталь 08Х2Ш6М2Т по [19]

Сталь 08Х22Н6Т по ГОСТ 7350

Сталь 08Х2Ш6М2Т, 08Х22Н6Т по ГОСТ 7350

Сталь 08Х21Н6М2Т, 08Х22Н6Т по ГОСТ 5632

Сталь 08Х21Н6М2Т, 08Х22Н6Т по ГОСТ 5632

Сталь 08Х22Н6Т по ГОСТ 9940, ГОСТ 9941

Сталь 08Х22Н6Т по ГОСТ 5632

Сталь 08Х22Н6Т по ГОСТ 5632

Б4.1

Сталь G8X21H6M2T по [19]

Сталь 08Х2Ш6М2Т, 08Х22Н6Т по ГОСТ 7350

Сталь 20ГМЛ*** по [16], сталь 20ЮЧЛ***, по [17]

-

-

-

-

-

-

Б5

Латунь ЛАМш 77-2-0,05 по ГОСТ 21646

Сталь 09Г2С, 10Г2С1, категории 7 по ГОСТ 5520 и категории 5 по ГОСТ 19281 с наплавкой латунью

Сталь 20ЮЧЛ* с металлизацией латунью внутренних поверхностей с последующим покрытием бакелитовым лаком или сталь 20ГМЛ*** по [16]

-

-

-

-

-

-

Б5.1

Латунь ЛАМш 77-2-0,05 по ГОСТ 21646

См. исполнение Б1

Сталь 20ЮЧЛ* по [17], 20ГМЛ*. по [16]

См. исполнение Б1

Сталь 10Г2 по ГОСТ 4543

Сталь 09Г2С категории 4, 7, 12 по ГОСТ 19281 в зависимости от температуры стенки, сталь 10Г2 по ГОСТ 4543

-

-

-

* Отливки подлежат проверке на ударную вязкость при температуре минус 50°С, при этом ударная вязкость должна быть не менее 29 Дж/см2 (3 кгс•м/см2).

** Прибавка на коррозию должна приниматься не менее 4 мм.

Примечания

1. В секциях исполнения Б4 при применении внутренних труб из стали марки 08Х21Н6М2Т применение трубных решеток из стали марки I2X18H10T не допускается.

2. Применение аппаратов исполнения Б4.1 подлежит согласованию с ОАО «ЛЕННИИХИММАШ», Санкт-Петербург.

3. Трубы из стали марок 08Х22Н6Т и 08Х2Ш6М2Т на раздачу не испытывают.

4. Сталь марки 20ЮЧЛ применяют в нормализованном состоянии (нормализация плюс отпуск) по технической документации, утвержденной в установленном порядке.

5. Исполнения Б5 и Б5.1 применяют при температуре охлаждаемой среды не выше 250°С (523 К).

6. В секциях исполнений Б5 и Б5.1 допускается применять трубы из латуни ЛАМш 70-1-0,05 по ГОСТ 21646.

7. При отсутствии требований к материалу на склонность к межкристаллитной коррозии крышки секций исполнений Б3 и Б4 допускается изготовлять из стали марки 10Х18Н9Л, группа 3 по ГОСТ 977 с пределом текучести не ниже 200 МПа (20 кгс/мм2), а материал решетки допускается применять без проверки на склонность к межкристаллитной коррозии.

8. Для аппаратов, изготовляемых для эксплуатации в районах со средней температурой воздуха в течение 5 суток подряд в наиболее холодный период не ниже минус 40°С, крышки секций исполнений Б1, Б2.1, Б3.1, Б4.1, Б5 и Б5.1 могут быть изготовлены из сталей марок 20Л, 25Л по ГОСТ 977 при условии проведения термической обработки в режиме нормализации плюс отпуск.

9. При необходимости конкретные сочетания марок сталей внутри материального исполнения для внутренних труб, крышек и решеток (камер, коллекторов) должны оговариваться заказчиком при заказе аппарата.

10. В секциях исполнения Б1 допускается применять листовой прокат из стали марок 09Г2С и 10Г2С1 по [20] при условии проведения на предприятии-изготовителе полистных испытаний механических свойств и ударной вязкости, предусмотренных [4], прил. 2, прим. 15. Результаты полистных испытаний должны быть не ниже значений, указанных в [20].

11. По согласованию со специализированной организацией допускается применять материалы других марок, отличных от указанных в таблице и примечании 6, не ухудшающих эксплуатационных характеристик аппарата.

Таблица В.2

Перечень материалов для изготовления деталей и сборочных единиц аппарата, не работающих под давлением

Наименование сборки

Марка материала

Вид испытаний

 

1. Металлическая несущая конструкция, опора секций, рама привода вентилятора, каркас секций, ступица вентилятора, механизм поворота лопастей вентилятора, пневмопривод жалюзи, нагруженный крепеж (болты и шпильки), а также другие нагруженные ответственные детали привода вентилятора и других сборок

а) сварные конструкции:

 

 

Для климатического исполнения У1:

 

- сортовой, фасонный и листовой прокат из стали марки Ст3сп и Ст3пс по ГОСТ 380

По ГОСТ 380 с контролем ударной вязкости при минус 20°С и после механического старения.

 

Прокат толщиной от 10 до 25 мм должен поставляться с гарантируемой свариваемостью

- фасонные профили, листовая и сортовая сталь 09Г2, 09Г2С, 14Г2, 10Г2С1 по ГОСТ 5520 и ГОСТ 19281 категории 12, по [20] категории 3

По ГОСТ 5520, ГОСТ 19281 с контролем ударной вязкости при минус 40°С

Для климатического исполнения УХЛ1:

По ГОСТ 5520, ГОСТ 19281 с контролем ударной вязкости при минус 50°С.

 

- фасонные профили, листовая и сортовая сталь 09Г2, 09Г2С, 14Г2, 10Г2С1 по ГОСТ 5520 и ГОСТ 19281 категории 12

Для аппаратов, предназначенных для работы в климатическом районе I по ГОСТ 16350, контроль ударной вязкости должен производиться при минус 70°С либо при минус 40°С и после механического старения (категории 2 и 3 по ГОСТ 27772 соответственно)

б) детали, не подлежащие сварке:

По подпункту а.

 

- материалы по подпункту а);

По ГОСТ 1759.4, ГОСТ 1759.5 и ГОСТ 4543 контроль ударной вязкости при минус 40°С или минус 50°С в зависимости от температуры применения.

 

- материалы - в соответствии с ГОСТ 1759.4 и ГОСТ 1759.5.

- сортовая сталь марки 10Г2 по ГОСТ 4543 в термически обработанном состоянии

Для климатического района I испытания по ГОСТ 4543 с дополнительным требованием испытания ударной вязкости сортовой стали 40Г2 при температуре минус 60°С.

Нормы ударной вязкости для приведенных материалов должны быть не ниже указанных в ГОСТ 27772 при соответствующей температуре испытаний

2. Элементы металлоконструкций и других деталей и сборок с напряжением менее 0,4 расчетного сопротивления

Стали Ст3сп5 и Ст3пс5 по ГОСТ 380, с техническими требованиями для проката толщиной: до 3,9 мм включительно по ГОСТ 16523, с 4 мм до 5 мм включительно по ГОСТ 14637.

По ГОСТ 380, ГОСТ 16523, ГОСТ 14637 с контролем ударной вязкости при минус 20°С и после механического старения

3. Вспомогательные конструкции жалюзи, обшивка коллекторов и диффузоров, малонагруженные и невращающиеся детали разных сборок

Стали Ст3сп4 и Ст3пс4 по ГОСТ 380, с техническими требованиями для проката толщиной:

По ГОСТ 380, ГОСТ 16523, ГОСТ 14637

 

до 3,9 мм включительно по ГОСТ 16523, с 4 мм до 5 мм включительно по ГОСТ 14637

 

4. Трубы для стяжек коллектора и увлажнителя воздуха

Для климатического исполнения У1:

 

Сталь Ст3сп5 и Ст3пс5 в термообработанном состоянии по ГОСТ 380

В состоянии поставки

 

Для климатического исполнения УХЛ1:

 

Сталь 10Г2 по ГОСТ 4543 в термообработанном состоянии или сталь 12Х18Н10Т по ГОСТ 5632

То же

 

5. Трубы змеевиков подогрева воздуха и змеевиков подогрева рабочей среды в секциях

Сталь 10, 20 по ГОСТ 8733

»

 

6. Малонагруженный неответственный крепеж

Материалы по ГОСТ 1759.4 и ГОСТ 1759.5

»

 

Примечания

1. Допускается применять другие марки стали, соответствующие требованиям ГОСТ 27772.

2. Детали из резины должны быть изготовлены из резины марки В-14-1 по [21] или по согласованию со специализированной организацией из других равноценных марок резины.

 

ПРИЛОЖЕНИЕ Г
(справочное)
Перечень материалов, рекомендуемых для изготовления основных деталей и сборочных единиц аппарата, работающих под давлением, для климатического исполнения У1

Таблица Г.1

Условное обозначение исполнения секций при заказе

Марка стали, обозначение ГОСТ или ТУ

Труба внутренняя

Разъемная камера

Цельносварная камера

Трубчатая камера

Решетка внутренняя

Крышка

Камера

Штуцер, фланец

Пробка

Коллектор, штуцер

Днище (крышка)

Фланец

Б1

Сталь 10, 20, 10Г2 по ГОСТ 550, ГОСТ 8731, ГОСТ 8733, сталь 20 по [4]

Сталь 17ГС, 17Г1С, 09Г2С, 16ГС, 10Г2С1 категории 5, 6, 12

Сталь 16ГС, 09Г2С, 10Г2С1 категории 11 по ГОСТ 5520

Сталь 17ГС, 17ПС, 16ГС, 09Г2С категории 3, 4, 11, 12 по ГОСТ 19281 и категории 2, 3 по [20] в зависимости от температуры стенки

Сталь 20Л, 25Л группа 3 по ГОСТ 977

Сталь 20ГМЛ* по [16], сталь 20ЮЧЛ* по [17]

Сталь 17ГС, 17Г1С, 09Г2С, 16ГС, 10Г2С1 категории 5, 6, 12

Сталь 16ГС, 09Г2С, 10Г2С1 категории 11 по ГОСТ 5520

Сталь 17ГС, 17Г1С, 16ГС, 09Г2С категории 3, 4, 12 по ГОСТ 19281 в зависимости от температуры стенки

Сталь 16ГС, 09Г2С по ГОСТ 19281

Сталь 10Г2 по ГОСТ 4543

Сталь 09Г2С категории 4, 12, по ГОСТ 19281 в зависимости от температуры стенки, сталь 10Г2 по ГОСТ 4543

Сталь 20 по ГОСТ 550, ГОСТ 8731, ГОСТ 8733 [14]

Сталь 20 по ГОСТ 1050

Сталь 20 по ГОСТ 1050

Б2.1

Сталь 15Х5М, Х8 по ГОСТ 550

 

-

-

-

-

-

-

* Отливки подлежат проверке на ударную вязкость при температуре минус 50°С, при этом ударная вязкость должна быть не менее 29 Дж/см2 (3 кгс·м/см2).


ПРИЛОЖЕНИЕ Д
(справочное)
Перечень организаций, специализированных в вопросах проектирования и изготовления аппаратов воздушного охлаждения

Наименование организации

Область специализации

Адрес

1. ОАО «ЛЕННИИХИММАШ»

Проектирование, изготовление, расчеты на прочность, технологические расчеты, сертификационные испытания, разработка нормативных документов

193167, г. Санкт-Петербург, ул. А. Невского, 9 тел/факс (812) 274-4635

2. ОАО «ВНИИПТхимнефтеаппаратуры»

Технология изготовления, сварка, термообработка, металловедение

400005, г. Волгоград, пр. Ленина, 90 тел/факс (8442) 34-114 34-1197

3. ОАО «ВНИИнефтемаш»

Металловедение, сварка, коррозия, расчеты на прочность

113191, г. Москва, 4-й Рощинский проезд, 19/21 тел/факс (095) 952-5168

ПРИЛОЖЕНИЕ Е
(рекомендуемое)
Форма паспорта аппарата воздушного охлаждения

1. Форму приложений А и Б к паспорту определяет предприятие-изготовитель.

2. Форму паспорта теплообменной секции при поставке ее отдельной сборочной единицей, разрабатывает предприятие-изготовитель по типу паспорта на аппарат с включением сведений, относящихся непосредственно к теплообменной секции.

АППАРАТ ВОЗДУШНОГО ОХЛАЖДЕНИЯ

ПАСПОРТ

________________________________________________ПС

обозначение изделия

Регистрационный №_________________

ПРИ ПЕРЕДАЧЕ АППАРАТА ДРУГОМУ ВЛАДЕЛЬЦУ ВМЕСТЕ С АППАРАТОМ ПЕРЕДАЕТСЯ НАСТОЯЩИЙ ПАСПОРТ

ПС С. 2

Содержание

1. Основные сведения об аппарате

2. Основные технические данные

3. Сведения об основных элементах аппарата, работающих под давлением

4. Комплектность

5. Ресурсы, сроки службы и хранения, гарантии изготовителя

6. Консервация

7. Свидетельство об упаковывании

8. Свидетельство о приемке

9. Движение изделия при эксплуатации

10. Работы при эксплуатации

11. Ремонт

12. Свидетельство о приемке после ремонта и гарантии

13. Сведения о рекламациях

14. Техническое освидетельствование контрольными органами

15. Регистрация аппарата

Приложение А Регламент проведения в зимнее время пуска, остановки и испытаний на герметичность аппаратов воздушного охлаждения

Приложение Б - Для серийных аппаратов: пределы применения теплообменных секций по давлению в зависимости от действительной рабочей температуры;

- для несерийных аппаратов: значение отношения [σ] 20/ [σ]т в соответствии с требованиями [16]

Разрешение на изготовление

№__________________________________

от_________________________20______г.

выдано_____________________________

наименование органа

Госгортехнадзора России

 

УДОСТОВЕРЕНИЕ О КАЧЕСТВЕ ИЗГОТОВЛЕНИЯ АППАРАТА

1. Основные сведения об аппарате

1.1. Аппарат воздушного охлаждения типа_____________________________________

изготовлен________________________________________________________________

наименование

_________________________________________________________________________

и адрес предприятия-изготовителя

Заводской номер ________________________Дата изготовления______________

1.2. Аппарат предназначен для работы на открытом воздухе в макроклиматических районах с ____________климатом, со средней температурой воздуха в течение 5 суток подряд в наиболее холодный период не ниже минус ________°С.

Несущая конструкция аппарата рассчитана для установки аппарата в районах с сейсмичностью до _____ баллов и скоростным напором ветра по _______ географическому району.

Аппарат предназначен для работы на высоте не более 1000 м над уровнем моря.

1.3. Сведения о сертификате соответствия

__________________________________________________________________________

__________________________________________________________________________

__________________________________________________________________________

2. Основные технические данные

2.1. Площадь поверхности теплообмена аппарата, м2:

- наружная (по оребрению)

_______________________

- внутренняя

_______________________

2.2. Характеристика теплообменной секции

2.2.1. Эксплуатационные параметры аппарата- в соответствии с таблицей 1.

Таблица 1

Наименование параметра

Значение

1. Давление расчетное или условное, МПа, не более

 

2. Давление пробное, МПа

 

3. Температура стенки расчетная (при расчетном давлении), °С

 

4. Минимальная допустимая отрицательная температура стенки, °С

 

5. Рабочая среда, ее коррозионные свойства

 

Примечание - При отсутствии у заказчика требований по коррозионным свойствам среды разработчик рабочей документации принимает материалы и значение прибавки на коррозию, как для некоррозионных и малокоррозионных сред со скоростью коррозии до 0,1 мм в год.

 

2.2.2. Конструктивные параметры:

- коэффициент оребрения труб условный

__________________________

- номинальный размер несущей трубы

(наружный диаметр × толщина), мм

__________________________

- число труб фактическое (за вычетом заглушённых)

__________________________

- число рядов труб в секции

__________________________

- число ходов по трубному пространству

__________________________

2.3. Число теплообменных секций в аппарате

__________________________

2.4. Объем трубного пространства

__________________________

2.5. Характеристика привода

 

Тип привода:

- непосредственный с передачей вращения через шпоночное соединение;

- с клиноременной передачей;

- редукторный

Тип электродвигателя:

___________________________

- мощность электродвигателя номинальная, кВт

___________________________

-синхронная частота вращения электродвигателя, мин-1

____________________________

- число приводов в аппарате

____________________________

2.6. Характеристика вентилятора:

____________________________

- тип колеса вентилятора

____________________________

- диаметр колеса вентилятора, мм

____________________________

- число лопастей

____________________________

- частота вращения вентилятора, мин-1

____________________________

- максимальный угол установки лопастей (теоретический)

____________________________

- лопасти изготовлены из

____________________________

2.7. Число вентиляторов в аппарате:

____________________________

- в том числе с ручной регулировкой каждой лопасти отдельно при остановленном вентиляторе

____________________________

- с пневматическим механизмом поворота лопастей при работающем вентиляторе

____________________________

2.8. Габаритные размеры аппарата, мм:

 

длина

____________________________

ширина

____________________________

высота

____________________________

2.9. Масса, кг:

 

аппарата

____________________________

теплообменной секции

____________________________

привода

____________________________

3. Сведения об основных элементах аппарата, работающих под давлением

(заполняются отдельно для каждой сборочной единицы аппарата, работающей под давлением)

3.1. Сведения об основных элементах теплообменной секции с заводским номером_______________________________________________________

Шифр материального исполнения теплообменной секции по ГОСТ Р _________________________________________________________________________

Сведения об основных элементах теплообменной секции приведены в таблице 2.

Данные о термообработке элементов теплообменной секции (вид и режим)

_________________________________________________________________________

_________________________________________________________________________

_________________________________________________________________________

Выписка из сертификатов Поставщиков материалов приведена в таблице 3.

 


Таблица 2

Сведения об основных элементах теплообменных секций с заводским номером _________, работающих под давлением

Наименование элементов, работающих под давлением

Число элементов

Размеры, мм: для труб: диаметр × толщина; для листа: толщина; для фланцев: условный диаметр DN,

- условное давление PN

Основной металл

Данные о сварке

Марка

ГОСТ или ТУ

Вид сварки

Электроды, сварочная проволока

Метод и объем контроля

Тип, марка

ГОСТ или ТУ

1. Трубы теплообменные несущие

 

 

 

 

 

 

 

 

2. Сварные камеры:

 

 

 

 

 

 

 

 

Стенки:

 

 

 

 

 

 

 

 

боковые

 

 

 

 

 

 

 

 

верхние

 

 

 

 

 

 

 

 

нижние

 

 

 

 

 

 

 

 

торцевые

 

 

 

 

 

 

 

 

Перегородки

 

 

 

 

 

 

 

 

Штуцеры

 

 

 

 

 

 

 

 

Фланцы

 

 

 

 

 

 

 

 

3. Разъемные камеры:

 

 

 

 

 

 

 

 

решетки

 

 

 

 

 

 

 

 

крышки

 

 

 

 

 

 

 

 

фланцы

 

 

 

 

 

 

 

 

4. Трубчатые камеры:

 

 

 

 

 

 

 

 

трубы камерные

 

 

 

 

 

 

 

 

штуцеры

 

 

 

 

 

 

 

 

фланцы

 

 

 

 

 

 

 

 

5. Крепежные изделия:

 

 

 

 

 

 

 

 

шпильки

 

 

 

 

 

 

 

 

гайки

 

 

 

 

 

 

 

 

пробки резьбовые

 

 

 

 

 

 

 

 

6. Ответные фланцы

 

 

 

 

 

 

 

 

Таблица 3

Выписка из сертификатов поставщиков материалов основных элементов теплообменных секций

Наименование элементов, работающих под давлением

Размер заготовки

Марка материала

№ плавки

Номер сертификата или протокола испытаний

Обозначение ГОСТ, ТУ, DIN

Химический состав, %

Результаты механических испытаний

С

Si

Мп

S

Р

Сr

Ni

 

 

σТ, н/мм2

σВ, н/мм2

σ5, %

φ0,2, %

KCU, Дж/см2

НВ

Загиб, Дж/см2

 

1. Трубы теплообменник несущие

 

 

 

 

 

 

 

 

 

 

 

 

 

 

 

 

 

 

 

 

 

 

2. Сварные камеры:

 

 

 

 

 

 

 

 

 

 

 

 

 

 

 

 

 

 

 

 

 

 

Стенки:

 

 

 

 

 

 

 

 

 

 

 

 

 

 

 

 

 

 

 

 

 

 

боковые

 

 

 

 

 

 

 

 

 

 

 

 

 

 

 

 

 

 

 

 

 

 

верхние

 

 

 

 

 

 

 

 

 

 

 

 

 

 

 

 

 

 

 

 

 

 

нижние

 

 

 

 

 

 

 

 

 

 

 

 

 

 

 

 

 

 

 

 

 

 

торцевые

 

 

 

 

 

 

 

 

 

 

 

 

 

 

 

 

 

 

 

 

 

 

Перегородки

 

 

 

 

 

 

 

 

 

 

 

 

 

 

 

 

 

 

 

 

 

 

Штуцеры

 

 

 

 

 

 

 

 

 

 

 

 

 

 

 

 

 

 

 

 

 

 

Фланцы

 

 

 

 

 

 

 

 

 

 

 

 

 

 

 

 

 

 

 

 

 

 

3. Разъемные камеры:

 

 

 

 

 

 

 

 

 

 

 

 

 

 

 

 

 

 

 

 

 

 

решетки

 

 

 

 

 

 

 

 

 

 

 

 

 

 

 

 

 

 

 

 

 

 

крышки

 

 

 

 

 

 

 

 

 

 

 

 

 

 

 

 

 

 

 

 

 

 

фланцы

 

 

 

 

 

 

 

 

 

 

 

 

 

 

 

 

 

 

 

 

 

 

4. Трубчатые камеры:

 

 

 

 

 

 

 

 

 

 

 

 

 

 

 

 

 

 

 

 

 

 

трубы камерные

 

 

 

 

 

 

 

 

 

 

 

 

 

 

 

 

 

 

 

 

 

 

штуцеры

 

 

 

 

 

 

 

 

 

 

 

 

 

 

 

 

 

 

 

 

 

 

фланцы

 

 

 

 

 

 

 

 

 

 

 

 

 

 

 

 

 

 

 

 

 

 

5. Крепежные изделия:

 

 

 

 

 

 

 

 

 

 

 

 

 

 

 

 

 

 

 

 

 

 

шпильки

 

 

 

 

 

 

 

 

 

 

 

 

 

 

 

 

 

 

 

 

 

 

гайки

 

 

 

 

 

 

 

 

 

 

 

 

 

 

 

 

 

 

 

 

 

 

пробки резьбовые

 

 

 

 

 

 

 

 

 

 

 

 

 

 

 

 

 

 

 

 

 

 

6. Ответные фланцы

 

 

 

 

 

 

 

 

 

 

 

 

 

 

 

 

 

 

 

 

 

 

3.2. Сведения об основных элементах коллекторов входа и выхода продукта (при наличии в аппарате) приведены в таблицах 4 и 5.

Таблица 4

Сведения об основных элементах коллекторов входа и выхода

Наименование элементов, работающих под давлением

Число элементов

Размеры, мм: для труб: диаметр х толщина; для листа: толщина; для фланцев:

- условный диаметр DN

- условное давление PN

Основной металл

Данные о сварке

Марка

ГОСТ или ТУ

Вид сварки

Электроды, сварочная проволока

Метод и объем контроля

Тип, марка

ГОСТ или ТУ

1. Трубы коллектора

 

 

 

 

 

 

 

 

2. Штуцеры

 

 

 

 

 

 

 

 

3. Заглушки

 

 

 

 

 

 

 

 

4. Фланцы

 

 

 

 

 

 

 

 

5. Крепежные изделия:

 

 

 

 

 

 

 

 

шпильки

 

 

 

 

 

 

 

 

гайки

 

 

 

 

 

 

 

 

Данные о термообработке элементов коллекторов входа и выхода продукта (вид и режим)

____________________________________________________________________________________________

____________________________________________________________________________________________

____________________________________________________________________________________________

Таблица 5

Выписка из сертификатов поставщиков материалов основных элементов коллекторов входа и выхода

Наименование элементов, работающих под давлением

Размер заготовки

Марка материала

Номер плавки

Номер сертификата или протокола испытаний

Обозначение ГОСТ, ТУ, DIN

Химический состав, %

Результаты механических испытаний

С

Si

Мп

S

Р

Сr

Ni

 

 

σТ, н/мм2

σВ, н/мм2

σ5, %

φ0,2, %

KCU, Дж/см2

НВ

Загиб, Дж/см2

 

1. Трубы коллектора

 

 

 

 

 

 

 

 

 

 

 

 

 

 

 

 

 

 

 

 

 

 

2. Штуцеры

 

 

 

 

 

 

 

 

 

 

 

 

 

 

 

 

 

 

 

 

 

 

3. Заглушки

 

 

 

 

 

 

 

 

 

 

 

 

 

 

 

 

 

 

 

 

 

 

4. Фланцы

 

 

 

 

 

 

 

 

 

 

 

 

 

 

 

 

 

 

 

 

 

 

5. Крепежные изделия:

 

 

 

 

 

 

 

 

 

 

 

 

 

 

 

 

 

 

 

 

 

 

шпильки

 

 

 

 

 

 

 

 

 

 

 

 

 

 

 

 

 

 

 

 

 

 

гайки

 

 

 

 

 

 

 

 

 

 

 

 

 

 

 

 

 

 

 

 

 

 

3.3. Сведения об основных элементах подогревателя воздуха приведены в таблицах 6 и 7.

Таблица 6

Сведения об основных элементах подогревателя воздуха

Наименование элементов, работающих под давлением

Число элементов

Размеры, мм: для труб: диаметр х толщина; для листа: толщина; для фланцев:

- условный диаметр DN

- условное давление PN

Основной металл

Данные о сварке

Марка

ГОСТ или ТУ

Вид сварки

Электроды, сварочная проволока

Метод и объем контроля

Тип, марка

ГОСТ или ТУ

1. Трубы теплообменные несущие

 

 

 

 

 

 

 

 

2. Трубы коллектора

 

 

 

 

 

 

 

 

3. Заглушки

 

 

 

 

 

 

 

 

4. Фланцы

 

 

 

 

 

 

 

 

5. Крепежные изделия:

 

 

 

 

 

 

 

 

шпильки

 

 

 

 

 

 

 

 

гайки

 

 

 

 

 

 

 

 

Данные о термообработке элементов подогревателя воздуха (вид и режим)

_________________________________________________________________________

_________________________________________________________________________

_________________________________________________________________________

Таблица 7

Выписка из сертификатов поставщиков материалов основных элементов коллекторов входа и выхода

Наименование элементов, работающих под давлением

Размер заготовки

Марка материала

Номер плавки

Номер сертификата или протокола испытаний

Обозначение ГОСТ, ТУ, DIN

Химический состав, %

Результаты механических испытаний

С

Si

Мп

S

Р

Сr

Ni

 

 

σТ, н/мм2

σВ, н/мм2

σ5, %

φ0,2, %

KCU, Дж/см2

НВ

Загиб, Дж/см2

 

1. Трубы теплообменные несущие

 

 

 

 

 

 

 

 

 

 

 

 

 

 

 

 

 

 

 

 

 

 

2. Трубы коллектора

 

 

 

 

 

 

 

 

 

 

 

 

 

 

 

 

 

 

 

 

 

 

3. Заглушки

 

 

 

 

 

 

 

 

 

 

 

 

 

 

 

 

 

 

 

 

 

 

4. Фланцы

 

 

 

 

 

 

 

 

 

 

 

 

 

 

 

 

 

 

 

 

 

 

5. Крепежные изделия:

 

 

 

 

 

 

 

 

 

 

 

 

 

 

 

 

 

 

 

 

 

 

шпильки

 

 

 

 

 

 

 

 

 

 

 

 

 

 

 

 

 

 

 

 

 

 

гайки

 

 

 

 

 

 

 

 

 

 

 

 

 

 

 

 

 

 

 

 

 

 

 


4. Комплектность

4.1. Комплектность поставки аппарата в соответствии со спецификацией приведена в таблице 8.

Таблица 8

Обозначение изделия

Наименование аппарата или сборочной единицы

Количество, шт.

Заводской номер

Примечание

1. Аппарат с теплообменными секциями и при наличии в спецификации коллектора входа и выхода продукта, укомплектованными ответными фланцами, прокладками и крепежом (приварными заглушками)

 

 

 

 

 

 

 

 

 

 

 

 

 

 

 

 

 

 

 

 

 

 

 

 

 

 

 

 

 

 

 

 

 

 

 

 

 

 

 

 

 

 

 

 

 

 

 

 

 

 

 

 

 

 

 

 

 

 

 

 

2. Сборочные единицы, поставляемые по требованию заказчика

 

Комплект жалюзи с ручным приводом

 

 

 

 

Пневмопривод жалюзи

 

 

 

 

Позиционер к пневмоприводу жалюзи

 

 

 

 

Увлажнитель

-

 

 

 

Подогреватель воздуха

 

 

 

3. Запасные части к аппарату

 

 

 

 

 

 

 

 

 

 

 

 

 

 

 

 

 

 

 

 

 

 

 

 

 

 

 

 

 

 

 

 

 

 

 

(наименование комплекта ЗИ или перечень запасных частей)

 

 

 

 

 

 

 

 

 

 

 

 

 

 

 

 

 

 

 

 

 

 

 

 

 

 

 

 

 

 

 

 

 

 

 

4. Эксплуатационная документация

 

 

 

 

 

 

 

 

 

 

 

 

 

 

 

 

 

 

 

 

 

 

 

 

 

 

 

 

 

 

 

 

 

 

 

 

(перечень эксплуатационных документов)

 

 

 

 

 

 

 

 

 

 

 

 

 

 

 

 

 

 

 

 

 

 

 

 

 

 

 

 

 

 

 

 

 

 

 

 

 

 

5. Ресурсы, сроки службы и хранения, гарантии изготовителя

Ресурс до первого капитального ремонта при непрерывной работе теплообменной секции ______час.

Расчетный срок службы _________лет, в том числе срок хранения __________лет/года при

___________________________________________________________________________

вид консервации изготовителя

___________________________________________________________________________

условия хранения

Ресурсы и срок службы комплектующих изделий - в соответствии с эксплуатационными документами на эти изделия.

Указанные ресурсы, сроки службы и хранения действительны при соблюдении потребителем требований действующей эксплуатационной документации.

Гарантии изготовителя (поставщика)

___________________________________________________________________________

___________________________________________________________________________

___________________________________________________________________________

___________________________________________________________________________

___________________________________________________________________________

___________________________________________________________________________

6. Консервация

Сведения о консервации приведены в таблице 9.

Таблица 9

Дата проведения консервации

Наименование работы

Срок действия, лет

Должность, фамилия, подпись

 

 

-

 

7. Свидетельство об упаковывании

_________

_______________

________________

№_________

наименование изделия

обозначение

заводской номер

 

упакован(а)___________________________________________________________

наименование или код изготовителя

согласно требованиям, предусмотренным в действующей технической документации.

_______________

____________________

____________________

должность

личная подпись

расшифровка подписи

___________________________

год, месяц, число

8. Свидетельство о приемке

________

________________

________________

№_________

наименование изделия

обозначение

заводской номер

 

изготовлен(а) и принят(а) в соответствии с требованиями ГОСТ Р и действующей технической документации. Сборочные единицы, работающие под давлением, подвергнуты наружному осмотру и гидравлическому испытанию пробным давлением:

теплообменные секции

_____________________МПа,

подогреватели воздуха

_____________________МПа,

коллекторы входа и выхода продукта

_____________________МПа,

Класс герметичности теплообменной секции _______по ОСТ 26-11-14-88 подтвержден испытаниями___________________________________________________________________

Колесо вентилятора отбалансировано статически.

Остаточный дисбаланс _________________г·см.

Аппарат признан годным для эксплуатации при указанных в паспорте среде и параметрах.

 

Начальник ОТК

__________________________

_____________________________

личная подпись

расшифровка подписи

__________________________

 

год, месяц, число

 

Обязательные приложения к паспорту:

1) Сборочный чертеж аппарата и основных сборочных единиц и, при необходимости, монтажный чертеж с указанием основных размеров.

2) Расчет на прочность с приложением эскизов основных несущих элементов аппарата: стенок камеры аппарата, фланцев, узлов врезки штуцеров и др.

3) Руководство по эксплуатации и, при необходимости, инструкция по монтажу, пуску, регулированию и обкатке изделия.

4) Регламент пуска аппарата в зимнее время ОСТ 26-291.

5) Отношение [σ]20/[σ]t в соответствии с требованиями 4.6 «Правил устройства и безопасной эксплуатации сосудов, работающих под давлением» для несерийных аппаратов, либо пределы применения для теплообменных секций по давлению в зависимости от рабочей температуры для серийных аппаратов.

9. Движение изделия при эксплуатации

Ограничения по транспортированию ______________________________________

ограничения, соблюдение которых

_________________________________________________________________________

обязательно при транспортировании изделия

_________________________________________________________________________

_________________________________________________________________________

Таблица 10

Хранение

Дата

Условия хранения

Вид хранения

Примечание

приемки на хранение

снятия с хранения

 

 

 

 

 

Таблица 11

Движение изделия при эксплуатации

Дата установки

Место установки

Дата снятия

Наработка

Причина снятия

Подпись лица, проводившего установку (снятие)

с начала эксплуатации

После последнего ремонта

 

 

 

 

 

 

 

Таблица 12

Прием и передача изделия

Дата

Состояние изделия

Основание (наименование, номер и дата документа)

Предприятие, должность и подпись

Примечание

сдавшего

принявшего

 

 

 

 

 

 

Таблица 13

Сведения о закреплении изделия за ответственным лицом за исправное состояние и безопасность работы

Наименование изделия (составной части) и обозначение

Основание (наименование, номер и дата документа)

Должность, фамилия и инициалы

Подпись ответственного лица

Закрепление

Открепление

 

 

 

 

 

10. Работы при эксплуатации

Таблица 14

Учет выполнения работ

Дата

Наименование работы и причина ее выполнения

Должность, фамилия и подпись

Примечание

выполнившего работу

проверившего работу

 

 

-

 

 

Таблица 15

Особые замечания по эксплуатации и аварийным случаям

Дата

Данные по аварийным случаям, возникшим из-за неисправности изделия, и сведения по основным замечаниям по эксплуатации

Неисправность изделия

Меры, принятые по устранению неисправности

Подпись лица, ответственного лица за выполнение работ

 

 

 

 

 

Таблица 16

Периодический контроль основных эксплуатационных и технических характеристик

Наименование и единица измерения проверяемой характеристики

Номинальное значение

Предельное значение

Периодичность контроля

Результаты контроля

Дата

Значение

 

 

 

 

 

 

Примечание - Перечень, наименование, единицы измерения проверяемых характеристик (номинальные величины и предельные отклонения) указывает изготовитель изделия.

11. Ремонт

Краткие записи о произведенном ремонте

____________

______________________

№ _________________

наименование изделия

обозначение

заводской номер

______________________________

 

предприятие, дата

 

Наработка с начала эксплуатации

__________________________________

 

параметр, характеризующий ресурс или срок службы

Наработка после последнего ремонта

______________________________________________

 

параметр, характеризующий ресурс или срок службы

Причина поступления в ремонт_____________________________________________________________

Сведения о произведенном ремонте

________________________________________

 

вид ремонта и краткие

_______________________________________________________________________

сведения о ремонте

Данные приемо-сдаточных испытаний изделия после ремонта______________________

________________________________________________________________________

________________________________________________________________________

________________________________________________________________________

________________________________________________________________________

12. Свидетельство о приемке после ремонта и гарантии

____________________

_____________________

№ ____________________

наименование изделия

обозначение

заводской номер

_________________

_____________________

согласно

_______________

вид ремонта

наименование предприятия

условное обозначение

 

вид документа

Принят(а) в соответствии с обязательными требованиями государственных стандартов и действующей технической документацией и признан(а) годным(ой) для эксплуатации.

Ресурс до очередного ремонта

___________________________________________

 

параметр, определяющий ресурс

в течение срока службы __________лет (года), в том числе срок хранения________

________________________________________________________________________

условия хранения лет (года)

Исполнитель ремонта гарантирует соответствие изделия требованиям действующей технической документации при соблюдении потребителем требований действующей эксплуатационной документации.

МП

Начальник ОТК

__________________________

_______________________

личная подпись

расшифровка подписи

__________________________

 

год, месяц, число

 

13. Сведения о рекламациях

Таблица 17

Краткое изложение порядка предъявления рекламации

Краткое содержание рекламации

Меры, принятые по рекламации

 

 

 

 

Особые отметки_______________________________________________________________

______________________________________________________________________________

______________________________________________________________________________

______________________________________________________________________________

14. Техническое освидетельствование контрольными органами

Таблица 18

Техническое освидетельствование контрольными органами

Наименование и обозначение составной части изделия

Заводской номер

Дата изготовления

Периодичность освидетельствования

Освидетельствование

Примечание

Дата

Срок очередного освидетельствования

 

 

 

 

 

 

 

Примечание - Первые четыре графы таблицы заполняет изготовитель изделия. Последующие графы заполняет лицо, проводившее освидетельствование.

15. Регистрация аппарата

Аппарат зарегистрирован за №__________________________________________________

в _____________________________________________________________________________

регистрирующий орган

В паспорте пронумеровано и прошнуровано __________страниц и ___________ чертежей

________________________

_____________________

 

должность регистрирующего лица

подпись

 

М.П.

"_____"_______________20 _____г.

ПРИЛОЖЕНИЕ Ж
(справочное)
Библиография

1. СНиП 11-7-81 Строительство в сейсмических районах

2. СНиП 2.01.07-85 Нагрузки и воздействия

3. ОСТ 26-11-14-88 Сосуды и аппараты, работающие под давлением. Газовые и жидкостные методы контроля герметичности

4. ОСТ 26-291-94 Сосуды и аппараты стальные сварные. Общие технические условия

5. ОСТ 26-02-758-79 Конструкции металлические. Общие технические требования

6. Правила устройства и безопасной эксплуатации сосудов, работающих под давлением (ПБ 10-115-96) - Госгортехнадзор России

7. ОСТ 26-02-1015-85 Крепление труб в трубных решетках

8. ОСТ 26-17-01-83 Аппараты теплообменные и аппараты воздушного охлаждения стандартные. Технические требования к развальцовке труб с ограничением крутящего момента

9. ОСТ 26-2043-91 Болты, шпильки, гайки и шайбы для фланцевых соединений. Технические требования

10. ОСТ 26.260.454-99 Прокладки спирально-навитые. Типы и размеры. Общие технические требования

11. ТУ 6-10-1233-77 Эмаль ПФ темно-серая

12. Правила устройства электроустановок (ПУЭ)

13. Общие правила взрывобезопасности для взрывопожароопасных химических, нефтехимических и нефтеперерабатывающих производств (ПБ 09-170-97) Госгортехнадзор России

14. ТУ 14-3-460-75 Трубы стальные бесшовные для паровых котлов и трубопроводов. Технические условия

15. ТУ 302.02.122-91 Заготовки из стали марок 09Г2С (092СШ), 09Г2СА. Технические условия

16. ОСТ 26-07-402-83 Отливки стальные для трубопроводной арматуры и приводных устройств к ним. Общие технические условия

17. ТУ 26-02-19-75 Отливки стальные для оборудования нефтеперерабатывающих и нефтехимических производств

18. ТУ 14-1-2657-79 Сталь толстолистовая марки 15Х5М

19. ТУ 14-3-1905-93 Трубы бесшовные горяче- и холоднодеформированные из коррозионной стали марок 08Х22Н6Т (ЭП53), 08Х21Р6М2Т (ЭП54) и 10Х14П4Н4Т (ЭИ711)

20. ТУ 14-1-5241-93 Прокат толстолистовой высококачественный из углеродистой, низколегированной и легированной сталей. Технические условия

21. ТУ 38.1051082-86 Смеси резиновые невулканизированные товарные

Ключевые слова: аппараты воздушного охлаждения, конструкция, основные параметры и размеры, материалы, трубы оребренные, вентилятор

 




Rambler's Top100 Яндекс цитирования
  Copyright © 2008-2026, www.docload.ru